GENN001 HUMANITIES AND
       ENGINEERING


ENGINEERING COMMUNCATIONS
            2/2
• Written engineering communications (Lec 9)
  Memos, letters, e-mails, reports, journal
  papers, specifications

• Graphical communications
  Sketching, 3D pictorial representations, 2D
  orthographic representations

• Oral communications
GRAPHICAL COMMUNICATION
• The engineer must be able to create graphical
  representations to describe his work
• The engineer must be able to read graphical
  representations produced by others
• The intent of the graphical representation
  may be to show the general design to a client
  ( no details )
• Or it may show details ( dimensions,
  tolerances, specifications, ….)
Types of Graphical Representations
• Sketching :
- is the art of communicating graphical ideas
  without using traditional mechanical tools
  (hand drawing)
- It is used to show preliminary ideas
- Sometimes are computer drawn, but many
  times are hand drawn
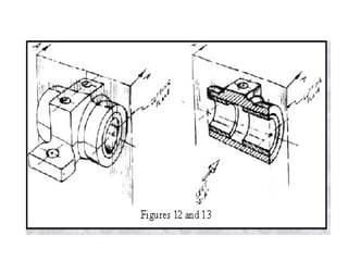
• Pictorial Representations (3D)
  Perspective representations ( one- point , or
  two- point perspectives )
- The most realistic to the human eye.
- Useful for describing information to non
  engineers

  Isometric Representations (30-degree with
  the horizontal direction and vertical lines)
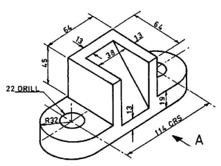
• 2D Graphical Representations:
- Orthographic Representations ( front, top or
  plan, and side views)
- Section Views
- Auxiliary Views
THE ENGINEER AS A SPEAKER
• Engineers make many presentations to managers
  at department meetings, executives, clients, and
   at professional meetings
• In all these presentations, the engineer is the
  speaker, and must present his work in a
  professional, friendly, clear, brief, complete and
  attractive style
• Like public speakers, engineers must prepare their
  material carefully, and rehearse their presentations
  well to be effective
• Speak clearly and distinctly
• Speak sincerely, without hesitation, and with
  reasonable deliberation
• Answer questions and explain details in a
  pleasant style that would keep the audience
  attentive and interested
• Becoming a good speaker is a skill that
  requires considerable training & effort
END

GENN 001 Lec 10

  • 1.
    GENN001 HUMANITIES AND ENGINEERING ENGINEERING COMMUNCATIONS 2/2
  • 2.
    • Written engineeringcommunications (Lec 9) Memos, letters, e-mails, reports, journal papers, specifications • Graphical communications Sketching, 3D pictorial representations, 2D orthographic representations • Oral communications
  • 3.
    GRAPHICAL COMMUNICATION • Theengineer must be able to create graphical representations to describe his work • The engineer must be able to read graphical representations produced by others • The intent of the graphical representation may be to show the general design to a client ( no details ) • Or it may show details ( dimensions, tolerances, specifications, ….)
  • 4.
    Types of GraphicalRepresentations • Sketching : - is the art of communicating graphical ideas without using traditional mechanical tools (hand drawing) - It is used to show preliminary ideas - Sometimes are computer drawn, but many times are hand drawn
  • 5.
    • Pictorial Representations(3D) Perspective representations ( one- point , or two- point perspectives ) - The most realistic to the human eye. - Useful for describing information to non engineers Isometric Representations (30-degree with the horizontal direction and vertical lines)
  • 6.
    • 2D GraphicalRepresentations: - Orthographic Representations ( front, top or plan, and side views) - Section Views - Auxiliary Views
  • 18.
    THE ENGINEER ASA SPEAKER • Engineers make many presentations to managers at department meetings, executives, clients, and at professional meetings • In all these presentations, the engineer is the speaker, and must present his work in a professional, friendly, clear, brief, complete and attractive style • Like public speakers, engineers must prepare their material carefully, and rehearse their presentations well to be effective
  • 19.
    • Speak clearlyand distinctly • Speak sincerely, without hesitation, and with reasonable deliberation • Answer questions and explain details in a pleasant style that would keep the audience attentive and interested • Becoming a good speaker is a skill that requires considerable training & effort
  • 20.