GSM,GPRS,UMTS,HSDPA and
HSUPA Protocols and Call flow

             By
        Kiran Koona
Overview

1.   GSM Protocols and Call flow
2.   GPRS Protocols and Call flow
3.   UMTS Protocols and Call flow
4.   HSDPA and HSUPA Protocols.
GSM
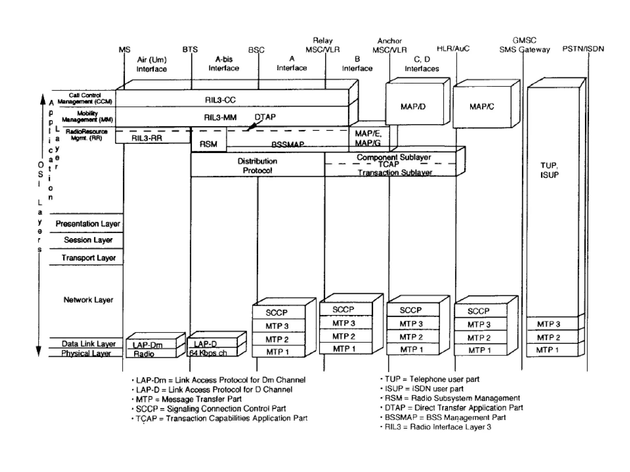
GSM Architecture-Interfaces
Layer 1 Protocol
                         3-Layer Model
TDMA – Time Division Multiple Access
G.703 – ITU PCM frame structure
MTP – Message Transfer Part

Layer 2 Protocols
LAPDm Link Access Protocol D-channel-mobile
LAPD Link Access Protocol D-Channel

Layer 3 Protocols
RR – Radio Resource Management
MM – Mobility Management
CM – Connection management
BTSM – Base Transceiver Station Management
SCCP – Signalling Connection Control Part
BSSMAP – Base Station Subsystem
MAP-Mobile Application Part
DTAP – Direct Transfer Application Part

 TUP , ISUP
Physical Layer
1. Txn of bits
2. Error detection and Correction
3. Interleaving
4. Burst Formating
5. Measurements
6. Power Control
7. Modulation and Demodulation
BTS-BSC: 64Kbps
BSC-MSC:2Mbps (32*64Kbps)
Physical Layer
Interfaces with Physical Layer
Layer-2: LAPDm and LAPD
1.   Flow control
2.   Sequence Numbering
3.   Duplicate detection
4.   Frame formatting
Layer-3: RRM
Protocols: RR, RSM, BSSAP.
1.     Cell selection and Reselection  Control
2.     Handover procedure
3.     Establishing , maintaining, monitoring and releasing the channels
4.     Monitoring and forwarding of radio connections
5.     Introduction of encryption
6.    Change in transmission mode ,Channel coding depending on
      channel conditions Advise L1 and L2
7.    MS level measurement commands control
8.    Frequency redefinition Downlink Freq hopping
9.    Broadcasting System Information  Downlink
10.   Paging
RRM Messages
Layer-3:MM
Protocols : DTAP,MAP.

1.   Authentication request/response
2.   Ciphering Information/Commands from MSC
3.   Abort from MSC Auth Failure
4.   Normal location Updating request/response
5.   Periodic location update
6.   TMSI Reallocation Procedure
7.   IMSI attach/detach
8.   IMEI request/response
MM Messages
Layer-3:CM
1.   Call control (CC) - manages call connections,
2.   Supplementary service support (SS) - handles special services
3.   Short message service support (SMS) - transfers brief texts.
CC:
Mobile-originating call establishment  Setup message
Mobile-terminating call establishment  Paging
Call clearing initiated by the network
Call clearing initiated by the Mobile
DTMF
SS:
Call Forwarding
Call waiting ,Call Hold and Conference
Multi Call
CLIP,CLIR ,COLP and COLR
SMS:
CM Messages
SS 7
To provide General purpose Signaling system to be used globally.
CCS , Out of Band
ITU-T Q.700 series.
Elements: SSP,STP and SCP.
Access Links: A to F
Analogy: MTP3 IP and SCCPTCP
SCCP: GTT, Ext MTP (Supports CL or CO)
Message Discrimination & distribution
TCAP: Query and Response (CL or CO )
MTP 3: Routing within SPC
MTP2: Node to node delivery
SS 7 Architecture
SSP, STP and SCP
SS 7 Logical Network
MAP
MAP messages are carried by TCAP when dealing with Database centre.
MAP Sessions: Open, Close. Message Types: Request, Response, Notification and
Confirmation.
GTT
GSM Call flow
GSM Logical Channels
IMSI Attach
Location Update
Authentication and Ciphering
Identity (IMSI) checking
Call Origination




                   2929
Call Clearing
IMSI Detach
MSRN Usage
Our HLR Knows where our Customer is,
Only our GMSC can inquire our HLR
GPRS
GPRS Architecture-Interfaces
GPRS Protocol Stack
Packet Fragmentation
MAC
1.   MAC arbitrates access to the shared medium between
     multiple MSs and GPRS network.
2.   Uplink: Managing limited resourcesSlotted Aloha
3.   Downlink: Queuing and Scheduling of access attempts.
4.   Priority handling between data flows of one UE
5.   Priority handling between UEs by means of dynamic
     scheduling—Downlink
6.   Channel mapping
7.   Traffic Volume monitoring
RLC
1.    SAR
2.    Concatenation
3.    Padding
4.    Error Correction---CRC, ARQ (For AM)
5.    In-Sequence delivery of SDUs
6.    Duplicate detection
7.    Flow control
8.    Sequence number check---UM
9.    Suspend/resume functionality
10.   SDU discard
LLC
Provide a reliable logical link between MS and SGSN.
LLC messages are transparent to RAN.
Transmission in Asynchronous Disconnected Mode and
Asynchronous Balanced Mode
Ciphering.
Transfer of PDUs of Higher Layers
C-Plane: attach, authentication and PDP activation
U-Plane: carry actual data.
Can be AM or UM
SNDCP
• Transparent over BSS. Used only in U-Plane
•multiplexing of PDPs. Can be AM or UM
•compression of user data (including IP header compression) RFC 1154 & 2507
•segmentation of data packets to be passed to the LLC layer .
Frame Relay
Meshed N/W                 Frame Relay
Frame Relay
Speed up to 2 Mbps.
Simple.
Superseded by ATM
BSSGP
Transport both control and User data.
Provide the required QoS.
One-to-one mapping of BSSGP between SGSN and BSS.
BSSGP Data Frames
GTP
1.   GTP-U and GTP-C.
2.   Uses TCP for Reliable link
3.   Uses UDP for non-Reliable link
IP, TCP and UDP
IP: IPv4 or IPv6. Datagram Service. Class full or Class less
Addressing.
TCP: Connection Oriented.
Ack ARQ. Sequence Number Checking.
Three-way handshake. Point-to-Point Add
Flow Control and Congestion Control.
UDP: Connection less.
Used for Delay Sensitive applications.
Supports Multicast Addressing.
GPRS Callflow
GPRS Logical Channels
GPRS Attach
PDP Context Activation
PDP
Data Transfer from MS
Data Transfer to MS
Web Access in GPRS
PDP Context Deactivation
Security
GPRS Detach
UMTS
Architecture-Interfaces
R99 Protocol Stack
Access Stratum
MAC
Logical to Transport Conversion
Mac-b located at Node-B
Mac-c/sh and Mac-d are at SRNC.
MAC functionalities
1.    Mapping between logical channels and transport channels
2.    Selection of appropriate TF (from the TFCS) for each Transport
      Channel, depending on the instantaneous source rate
3.    Priority handling between data flows of one UE
4.    Priority handling between UEs by means of dynamic scheduling—
      Downlink
5.    Identification of UEs on common transport channels
6.    Multiplexing/demultiplexing of higher layer protocol data units
      (PDUs)
7.    Traffic volume monitoring—Down link
8.    Dynamic Transport Channel type switching
9.    Ciphering—RLC (TM)
10.   Access Service Class (ASC) selection for RACH transmission
RLC
1.   Transparent mode (Tr) , Unacknowledged Mode (UM) or
     Acknowledged Mode (AM)
2.   Tr and UM RLC entities are defined to be unidirectional, whereas the
     AM-mode entities are described as bidirectional
3.   Tr—Voice Call Video Call, UM—VOIP, Streaming
RLC functionalities
1.    Segmentation and reassembly
2.    Concatenation
3.    Padding
4.    Transfer of user data
5.    Error correction----ARQ
6.    In-sequence delivery of higher layer PDUs
7.    Duplicate detection
8.    Flow control
9.    SN check (unacknowledged data transfer mode).
10.   Ciphering is performed in the RLC layer for acknowledged and
      unacknowledged modes.
11.   Suspend/resume function for data transfer
RLC Dataflow
RRC
1.    Broadcast of system information
2.    Paging and notification
3.    Initial cell selection and reselection
4.    Establishment, maintenance and release of an RRC
      connection
5.    Establishment and release of Radio bearers
6.    Control of ciphering
7.    Integrity protection of signalling messages
8.    UE measurement reporting and control of the reporting
9.    RRC connection mobility functions
10.   Support of SRNS relocation
11.   Support for downlink outer loop power control in the UE
12.   Open-loop power control
13.   CBS-related functions (BMC)
14.   Handovers---preparation and execution
15.   Control of requested QoS
16.   Routing of Higher layer PDUs (Direct transfer)
17.   MBMS control
RRC States
BMC
BMC: Broadcast/Multicast Control Protocol
SMS-CB service

1.   Storage of CB
2.   Traffic volume monitoring and radio resource request for
     CBS
3.   Scheduling of BMC messages
4.   Transmission of BMC messages to UE
PDCP
     PDCP: Packet Data Convergence Protocol
1.    PS Domain
2.    PDCP contains compression methods, which are needed to get
      better spectral efficiency over radio interface.
3.    IP Packet header compression. Eg: 40 bytes for IPv4 and at least
      60 bytes for IPv6. (RFC 2507)
4.    Transfer of user data
Non Access Stratum
Protocol Interworking architecture
Transport : Carry Signaling and User data.
Radio N/W : Establish, maintain and Release RB.
System: Create Communication with Core network.
Transport Network protocols
Radio network protocols
System network protocols
UMTS Call flow
R99 Channels
Basic Model of Network
      transactions
RRC Connection Setup
RRC Connection CCCH (By passing Node-B)
Paging
Paging Type 1 through  PCCH
Paging Type-2 through DCCH
RRC Connection CCCH
Authentication and Security Control
DCCH Channel and MM messages
Transaction setup and RAB allocation
                 (CS)
Setup : DCCH Call Proceeding: DTCH
Transaction setup and RAB allocation
                (PS)
Transaction Clearing with RAB release
RRC Connection release
LU in CS domain
RU in PS domain
HSDPA and HSUPA
R99 RRM Architecture
HSDPA and HSUPA RRM Architecture
New Functionalities
HSDPA and HSUPA Channels
R99 Protocol Stack
HSPA Protocol stack
HSDPA Protocol Stack
HSDPA user plane Protocol Architecture
Fast Node-B Scheduling
H-ARQ ,Incremental Redundancy
Soft Buffer at Node-B and UE
Retransmission at N/W borders  No Soft Handover
HSUPA Protocol Stack
HSUPA user plane protocol Architecture
Mac-es/e : Uplink Scheduling
Mac-e: Hybrid ARQ , Buffer
Mac-es : In-sequence delivery (Soft Handover)
RLC re transmissions may take place if Physical layer re
transmissions is exceeded initiated by RNC.
References
1.    3G TS 25.321, MAC Protocol Specification.
2.    3G TS 25.322, RLC Protocol Specification.
3.    3G TS 25.323, PDCP Protocol Specification
4.    3G TS 25.331, RRC Protocol Specification
5.    3G TS 25.324, Broadcast/Multicast Control Protocol (BMC)
      Specification
6.    3G TS 25.302, Services Provided by the Physical Layer
7.    3GPP TS 25.331 RRC specification
8.    3GPP TS 25.413 RANAP
9.    3GPP TS 25.423 RANSAP
10.   3GPP TS 25.433 NBAP
11.   GSM.System.Engineering.-.Artech BOOK, by Asha Mehrotra.
12.   GPRS BOOK-MC-HIL by R.J. Bates.
13.   WCDM for UMTS-Wiley –H.Holma and A.Toskala
14.   SS7 –MC-HILL by Travel Russel
Datagram
Virtual Circuit

Call flows

  • 1.
    GSM,GPRS,UMTS,HSDPA and HSUPA Protocolsand Call flow By Kiran Koona
  • 2.
    Overview 1. GSM Protocols and Call flow 2. GPRS Protocols and Call flow 3. UMTS Protocols and Call flow 4. HSDPA and HSUPA Protocols.
  • 3.
  • 4.
  • 7.
    Layer 1 Protocol 3-Layer Model TDMA – Time Division Multiple Access G.703 – ITU PCM frame structure MTP – Message Transfer Part Layer 2 Protocols LAPDm Link Access Protocol D-channel-mobile LAPD Link Access Protocol D-Channel Layer 3 Protocols RR – Radio Resource Management MM – Mobility Management CM – Connection management BTSM – Base Transceiver Station Management SCCP – Signalling Connection Control Part BSSMAP – Base Station Subsystem MAP-Mobile Application Part DTAP – Direct Transfer Application Part TUP , ISUP
  • 8.
    Physical Layer 1. Txnof bits 2. Error detection and Correction 3. Interleaving 4. Burst Formating 5. Measurements 6. Power Control 7. Modulation and Demodulation BTS-BSC: 64Kbps BSC-MSC:2Mbps (32*64Kbps)
  • 9.
  • 10.
  • 11.
    Layer-2: LAPDm andLAPD 1. Flow control 2. Sequence Numbering 3. Duplicate detection 4. Frame formatting
  • 12.
    Layer-3: RRM Protocols: RR,RSM, BSSAP. 1. Cell selection and Reselection  Control 2. Handover procedure 3. Establishing , maintaining, monitoring and releasing the channels 4. Monitoring and forwarding of radio connections 5. Introduction of encryption 6. Change in transmission mode ,Channel coding depending on channel conditions Advise L1 and L2 7. MS level measurement commands control 8. Frequency redefinition Downlink Freq hopping 9. Broadcasting System Information  Downlink 10. Paging
  • 13.
  • 14.
    Layer-3:MM Protocols : DTAP,MAP. 1. Authentication request/response 2. Ciphering Information/Commands from MSC 3. Abort from MSC Auth Failure 4. Normal location Updating request/response 5. Periodic location update 6. TMSI Reallocation Procedure 7. IMSI attach/detach 8. IMEI request/response
  • 15.
  • 16.
    Layer-3:CM 1. Call control (CC) - manages call connections, 2. Supplementary service support (SS) - handles special services 3. Short message service support (SMS) - transfers brief texts. CC: Mobile-originating call establishment  Setup message Mobile-terminating call establishment  Paging Call clearing initiated by the network Call clearing initiated by the Mobile DTMF SS: Call Forwarding Call waiting ,Call Hold and Conference Multi Call CLIP,CLIR ,COLP and COLR SMS:
  • 17.
  • 18.
    SS 7 To provideGeneral purpose Signaling system to be used globally. CCS , Out of Band ITU-T Q.700 series. Elements: SSP,STP and SCP. Access Links: A to F Analogy: MTP3 IP and SCCPTCP SCCP: GTT, Ext MTP (Supports CL or CO) Message Discrimination & distribution TCAP: Query and Response (CL or CO ) MTP 3: Routing within SPC MTP2: Node to node delivery
  • 19.
  • 20.
    SS 7 LogicalNetwork
  • 21.
    MAP MAP messages arecarried by TCAP when dealing with Database centre. MAP Sessions: Open, Close. Message Types: Request, Response, Notification and Confirmation.
  • 22.
  • 23.
  • 24.
  • 25.
  • 26.
  • 27.
  • 28.
  • 29.
  • 30.
  • 31.
  • 32.
    MSRN Usage Our HLRKnows where our Customer is, Only our GMSC can inquire our HLR
  • 34.
  • 35.
  • 36.
  • 38.
  • 39.
    MAC 1. MAC arbitrates access to the shared medium between multiple MSs and GPRS network. 2. Uplink: Managing limited resourcesSlotted Aloha 3. Downlink: Queuing and Scheduling of access attempts. 4. Priority handling between data flows of one UE 5. Priority handling between UEs by means of dynamic scheduling—Downlink 6. Channel mapping 7. Traffic Volume monitoring
  • 40.
    RLC 1. SAR 2. Concatenation 3. Padding 4. Error Correction---CRC, ARQ (For AM) 5. In-Sequence delivery of SDUs 6. Duplicate detection 7. Flow control 8. Sequence number check---UM 9. Suspend/resume functionality 10. SDU discard
  • 41.
    LLC Provide a reliablelogical link between MS and SGSN. LLC messages are transparent to RAN. Transmission in Asynchronous Disconnected Mode and Asynchronous Balanced Mode Ciphering. Transfer of PDUs of Higher Layers C-Plane: attach, authentication and PDP activation U-Plane: carry actual data. Can be AM or UM
  • 42.
    SNDCP • Transparent overBSS. Used only in U-Plane •multiplexing of PDPs. Can be AM or UM •compression of user data (including IP header compression) RFC 1154 & 2507 •segmentation of data packets to be passed to the LLC layer .
  • 43.
  • 44.
    Frame Relay Speed upto 2 Mbps. Simple. Superseded by ATM
  • 45.
    BSSGP Transport both controland User data. Provide the required QoS. One-to-one mapping of BSSGP between SGSN and BSS.
  • 46.
  • 47.
    GTP 1. GTP-U and GTP-C. 2. Uses TCP for Reliable link 3. Uses UDP for non-Reliable link
  • 48.
    IP, TCP andUDP IP: IPv4 or IPv6. Datagram Service. Class full or Class less Addressing. TCP: Connection Oriented. Ack ARQ. Sequence Number Checking. Three-way handshake. Point-to-Point Add Flow Control and Congestion Control. UDP: Connection less. Used for Delay Sensitive applications. Supports Multicast Addressing.
  • 49.
  • 50.
  • 51.
  • 52.
  • 53.
  • 54.
  • 55.
  • 56.
  • 57.
  • 58.
  • 59.
  • 60.
  • 61.
  • 62.
  • 63.
  • 64.
    MAC Logical to TransportConversion Mac-b located at Node-B Mac-c/sh and Mac-d are at SRNC.
  • 65.
    MAC functionalities 1. Mapping between logical channels and transport channels 2. Selection of appropriate TF (from the TFCS) for each Transport Channel, depending on the instantaneous source rate 3. Priority handling between data flows of one UE 4. Priority handling between UEs by means of dynamic scheduling— Downlink 5. Identification of UEs on common transport channels 6. Multiplexing/demultiplexing of higher layer protocol data units (PDUs) 7. Traffic volume monitoring—Down link 8. Dynamic Transport Channel type switching 9. Ciphering—RLC (TM) 10. Access Service Class (ASC) selection for RACH transmission
  • 66.
    RLC 1. Transparent mode (Tr) , Unacknowledged Mode (UM) or Acknowledged Mode (AM) 2. Tr and UM RLC entities are defined to be unidirectional, whereas the AM-mode entities are described as bidirectional 3. Tr—Voice Call Video Call, UM—VOIP, Streaming
  • 67.
    RLC functionalities 1. Segmentation and reassembly 2. Concatenation 3. Padding 4. Transfer of user data 5. Error correction----ARQ 6. In-sequence delivery of higher layer PDUs 7. Duplicate detection 8. Flow control 9. SN check (unacknowledged data transfer mode). 10. Ciphering is performed in the RLC layer for acknowledged and unacknowledged modes. 11. Suspend/resume function for data transfer
  • 68.
  • 69.
    RRC 1. Broadcast of system information 2. Paging and notification 3. Initial cell selection and reselection 4. Establishment, maintenance and release of an RRC connection 5. Establishment and release of Radio bearers 6. Control of ciphering 7. Integrity protection of signalling messages 8. UE measurement reporting and control of the reporting 9. RRC connection mobility functions 10. Support of SRNS relocation 11. Support for downlink outer loop power control in the UE 12. Open-loop power control 13. CBS-related functions (BMC) 14. Handovers---preparation and execution 15. Control of requested QoS 16. Routing of Higher layer PDUs (Direct transfer) 17. MBMS control
  • 70.
  • 71.
    BMC BMC: Broadcast/Multicast ControlProtocol SMS-CB service 1. Storage of CB 2. Traffic volume monitoring and radio resource request for CBS 3. Scheduling of BMC messages 4. Transmission of BMC messages to UE
  • 72.
    PDCP PDCP: Packet Data Convergence Protocol 1. PS Domain 2. PDCP contains compression methods, which are needed to get better spectral efficiency over radio interface. 3. IP Packet header compression. Eg: 40 bytes for IPv4 and at least 60 bytes for IPv6. (RFC 2507) 4. Transfer of user data
  • 73.
  • 74.
    Protocol Interworking architecture Transport: Carry Signaling and User data. Radio N/W : Establish, maintain and Release RB. System: Create Communication with Core network.
  • 75.
  • 76.
  • 77.
  • 78.
  • 79.
  • 80.
    Basic Model ofNetwork transactions
  • 81.
    RRC Connection Setup RRCConnection CCCH (By passing Node-B)
  • 82.
    Paging Paging Type 1through  PCCH Paging Type-2 through DCCH RRC Connection CCCH
  • 83.
    Authentication and SecurityControl DCCH Channel and MM messages
  • 84.
    Transaction setup andRAB allocation (CS) Setup : DCCH Call Proceeding: DTCH
  • 85.
    Transaction setup andRAB allocation (PS)
  • 86.
  • 87.
  • 88.
    LU in CSdomain
  • 89.
    RU in PSdomain
  • 90.
  • 91.
  • 92.
    HSDPA and HSUPARRM Architecture
  • 93.
  • 94.
  • 95.
  • 96.
  • 97.
  • 98.
    HSDPA user planeProtocol Architecture Fast Node-B Scheduling H-ARQ ,Incremental Redundancy Soft Buffer at Node-B and UE Retransmission at N/W borders  No Soft Handover
  • 99.
  • 100.
    HSUPA user planeprotocol Architecture Mac-es/e : Uplink Scheduling Mac-e: Hybrid ARQ , Buffer Mac-es : In-sequence delivery (Soft Handover) RLC re transmissions may take place if Physical layer re transmissions is exceeded initiated by RNC.
  • 101.
    References 1. 3G TS 25.321, MAC Protocol Specification. 2. 3G TS 25.322, RLC Protocol Specification. 3. 3G TS 25.323, PDCP Protocol Specification 4. 3G TS 25.331, RRC Protocol Specification 5. 3G TS 25.324, Broadcast/Multicast Control Protocol (BMC) Specification 6. 3G TS 25.302, Services Provided by the Physical Layer 7. 3GPP TS 25.331 RRC specification 8. 3GPP TS 25.413 RANAP 9. 3GPP TS 25.423 RANSAP 10. 3GPP TS 25.433 NBAP 11. GSM.System.Engineering.-.Artech BOOK, by Asha Mehrotra. 12. GPRS BOOK-MC-HIL by R.J. Bates. 13. WCDM for UMTS-Wiley –H.Holma and A.Toskala 14. SS7 –MC-HILL by Travel Russel
  • 102.
  • 103.