UNIT – 5
CNC MACHINES & ITS
COMPONENTS
 NC - Numerical Control
 CNC - Computer Numerical
Control
 MCU - Machine Control Unit
 HMC - Horizontal Machining
Centre
 VMC - Vertical Machining Centre
 UMC - Universal Machining Centre
CMM - Coordinate Measuring
Machine
LMB - Linear Motion Bearing
ATC - Automatic Tool Changer
CBN - Cubic Boron Nitride
PCD - Poly Crystalline Diamond
MDI - Manual Data Input
Numerical Control (NC)
• NC is
machine
various
defined
slide
functions by means
as Control of
movements &
of
Letters, Numbers and Symbols
• Letters, Numbers and Symbols
forming some sequence is called
Part Program
1.Starting and stopping of
machine tool spindle.
2.Controlling the spindle speed.
3.Positioning the tool tip
4.Guiding the tool in desired
paths
5.Controlling the feed rate.
6.Changing of tool in the spindle
 It is a Numerical Control system,
which uses a Computer to perform
all or some of the basic numerical
control functions
In CNC, the program is entered
once and they stored in the
computer memory
A CNC system consist of the
following
1.Machine Control Unit (MCU)
2.Operator Control Panel
3.Servo Control Unit & Drives
4.Feedback Devices
In CNC systems the part program is
fed into the computer.
Then the instructions are read by the
controller to convert it into signals
that activate the machine tool.
The signals are sent to the machine
tool for performing different
operations.
Input
Device
Display
Unit
Drive
System
Machine
Control
Unit
Feed back
devices
Part Program
Motion Data
Miscellaneous
Function
Position Feedback
Velocity Feedback
Software of system has 3 major programs
1. Part Program: It has Part
Dimensions, Spindle Speed, Feed rate
2. Service Program: Used to check ,
edit, correct the part program
3. Control Program: Accept the Part
program as a Input data to produce
signals to drive the axes of motion
Machine Control Unit (MCU)
 Consists of PLC, Processor,
Memory Devices
PLC control the Spindle ON/OFF,
Coolant ON/OFF, Tool path,
Speed, Feed, Tool Changes
Convert the Program
Commands into Signal
Operator Control Panel
Provide the interaction
between User & CNC
system
Consists of Monitor,
Feather touch keyboard,
machine control panel
Servo Control Unit & Drives
 PLC gives command signal
to servo drives , this command
signal values are converted
into actual movement on the
machine by servo drives
Feedback Devices
 PLC receives feedback signal about
actual movement of the machine tool
through feedback devices
Feedback Devices are Transducers
& Encoders
This feedback signals are compared
with the Input signals and error
correction is done
 Storage of more than one part program
Various forms of Data Input
Program Editing
Graphical Display of Cutter path &
shape of the finished job before actually
running the program is possible
Sub program facility for repetitive
machining sequence also possible
• Increased Productivity
• High Accuracy
• Reduced Time
• Reduced man power
• Simulation of program is available
• Increased Safety operations
• Lesser Floor place
NC CNC
NC - Numerical Control CNC - Computer
Numerical Control
Machine is not
controlled by Computer
Machine is Controlled
by Computer
Input is given by
punched tape
Input is directly given
through computer
Reliability is less Reliability is more
Program editing is not
possible
Program editing is
possible
Simulation of part Simulation of part
program is not possible program is possible
Storing the part
program is difficult
Storing the part
program is easy
Less flexible High flexible
Less Capability High Capability
NC programmers are
skilled persons
Programmer not
necessarily a skilled
person
• CNC Turning centre is a machine
tool capable of performing
various Turning & related
operation in one setup under CNC
system
• CNC turning centers are designed
mainly for machining shaft-type
work pieces which are supported
by a chuck
 CNC turning centre Tool Turret have
Capacity of 8 to 12 tools
Two axis control:
 Z axis - Parallel to Spindle axis
 X axis - Perpendicular to Spindle axis
Types of CNC turning Centre:
• Horizontal Spindle Turning Centre
• Vertical Spindle Turning Centre
Horizontal Spindle Turning Centre
Main Parts of CNC Turning
Centre:
• Bed
• Head Stock
• Turrets
• Machine Control Unit (MCU)
• Servo Mechanism
Sd,
,
Vertical Spindle Turning Centre
• Vertical
used for machine
CNC lathes widely
heavy
components.
• Some of these machines can
also be used for milling
operations. Such machines are
sometimes known as turn -
mill centers.
• A machining centre consists of
machine tools, usually numerically
controlled,
automatically
capable of
drilling, reaming,
tapping, milling and boring the
multiple faces of a part with tool
magazine, Automatic tool changer,
automatic pallet changer.
Five axis control:
 X axis, Y axis, Z axis - Linear Movement
 A axis - Spindle Tilt
 B axis - Table rotation
Types of CNC Machining Centre:
• Horizontal Spindle Machining Centre
(HMC)
• Vertical Spindle Machining Centre
(VMC)
Main Parts of CNC Machining Centre:
• Bed
• Column
• Spindle
• Table
• Servo Mechanism
• Tool Magazine
• Automatic Tool Changer (ATC)
• Automatic Pallet Changer (APC)
Horizontal Machining Centre
(HMC)
• HMC has its Spindle on Horizontal
Axis
• Used for heavier work piece with large
metal removal
• X axis - Table Longitudinal movement
• Y axis - Spindle Up & down movement
• Z axis - Table movements towards
spindle
• HMC have Rotary table with axis
parallel to Y axis & is called B axis
• Tool magazine have tools upto 60 – 120
• Generally these are Single spindle
machines with ATC & APC
Vertical Machining Centre
(VMC)
• VMC has its Spindle on Vertical Axis
• Used for heavier work piece with large
metal removal
• X axis - Table Longitudinal movement
• Y axis - Table cross wise movement
• Z axis - Spindle Up & down movement
• VMC have Rotary table with axis
parallel to X axis & is called A axis
•Tool magazine have upto
60 tools
•Generally these are
Single spindle with ATC
Multi spindle with
Turret Head
• In CNC machine tool, each of
the axis of motion is controlled
by axis feed drive mechanism
• Primary axis of motion are
referred as X, Y and Z axis
• Rotary axis : A, B, C identifies
the rotary motion about X, Y
and Z axis
TURNING
CENTRE
• A CNC turning centre has two axis
X & Z
• Z Axis: Tool Movement parallel
to the Spindle axis
 Z + (Positive) : Tool movement
away from spindle
Z - (Negative) : Tool movement
towards the spindle
X Axis: Tool Movement
perpendicular to the Spindle axis
X + (Positive) : Tool movement
away from work piece zero point
X - (Negative) : Tool movement
towards work piece zero point
MACHINING
CENTRE
• A CNC Machining centre has
three axis X , Y & Z
• Z Axis: Up & Down movement
of Spindle & tool
 Z + (Positive) : Tool movement
away from Workpiece
Z - (Negative) : Tool movement
towards the Workpiece
•X Axis: Table longitudinal
movement
 X + (Positive) : Table
movements towards right
 X- (Negative) : Table
movements towards left
• Y Axis:
movement
 Y +
Table Crosswise
(Positive)
movements away
: Table
from the
machine column
 Y - (Negative) : Table
movements towards the machine
column
(CMM)
• CMM is an Electro mechanical
system designed to determine
the location, orientation,
dimensions and geometry of a
object
• CMM is used to measure
various features of work piece
by using Probes
Granite Table
• CMM has following major elements
 Stationary Granite measuring table
Length measuring system
Air bearings
Control unit
Probe head
Software
Bridge
Type
Types of CMM
Cantilev
er
Type
Horizont
al
Type
Gantry
Type
Colum
n
Type
Bridge Type
Bridge Type
Bridge Type
Bridge Type
Cantilever Type
Cantilever Type
Gantry
Type
Gantry Type
Gantry Type
Horizontal
Typ
e
Horizontal Type
Column
Typ
e
Column Type
Benefits of CMM
•Flexibility
•Increased Productivity
•Unmanned Operations
•Greater accuracy
•Reduced operator error
COMPONENETS
CNC MACHINE COMPONENETS
Slide ways
 Friction & Anti friction Slide ways
 Linear motion bearings
 Recirculation ball screw
Automatic Tool Changer (ATC)
Tool Magazine
Feedback Devices
 Transducers
 Encoders
Tool inserts
Inprocess Probing
Slide ways
Precise positioning and Repeatability of
tool slides are the major
requirements of CNC
machine
functional
machines.
The inaccuracies that caused are mainly
due to the stick slip motion when plain
slide ways (metal to metal contact) are
used.
 Slide ways are used for movement
between tool members of machine tool
such as carriage & bed in a lathe
Requirement of Good Slide ways:
• Low wear
• Negligible stick-slip
• Low price
• Low co-efficient of friction properties
• Good surface finish on slideway
surface
• High Stiffness
Types of
Slidewa
ys
Friction
Slidewa
ys
V - Slideways
Flat Slideways
Round Slideways
Antifrictio
n
Slidewa
ys
Linear Motion
Bearings
Friction Slideways
1. V - Slideways
Friction Slideways
2. Flat Slideways
Friction Slideways
3. Round Slideways
Friction Slideways
4. Dovetail Slideways
Antifriction Slideways
It involves intermediate rolling
member(Balls or Rollers)
between the sliding members,
thus reducing the friction
Low friction, No stick slip,
high load capacity
Linear Motion Bearings
Recirculation Ball Screw
 Balls rotate between the screw & nut and convert the
sliding Friction into Rolling friction
(ATC)
•The device used to pick up
a tool from Tool magazine
and replace it with the tool
in the spindle with in 3 to
7 seconds is called ATC
•Reducing idle time during
tool changing operations
1. ATC arm Rotates through 90º from the
Rest position
2. One end grips tool in the magazine &
another end grips tool in the spindle
3. Both tools are pulled out
4. ATC arm rotates through 180º
5. It inserts new tool to the spindle & old
tool to the magazine
6. ATC arm Rotates through 90º & goes to
the Rest position
Tool
Magazine
AT
C
1. Arm comes from the rest position
& Grips both Tools
2. Arm pull the tools from the
Mounting
3. Arm rotates through 180º
4. Carrier Inserts tools
5. Arm rotates & go to rest position
AT
C
Spindl
e
Tool
Magazine
• The system of arrangement which
holds large number of tools is
called Tool Magazine
• It is specified by Storage Capacity
& Shape
• Storage capacity ranges from 12 -
200
• Used in CNC turning centre & CNC
machining centre
Tool
Magazin
e
Tool
Turret
Disc or
Drum
type
magazin
e
Chain
type
magazi
ne
Rack
type
magazi
Egg box
magazi
ne
Ring
type
magazi
Longitudin
al
Magazin
Tool Turret
 It is the Simplest form of tool
magazine
 It consists of tool storage without
tool changer
 Turret is indexed in required
position for desired operation
 Tool can be easily identified
 Tool change time is more
Disc or Drum Type Tool Magazine
It is the Rotates to get the desired
tool in position with tool change
arm
It carries 12 - 50 tools
If diameter of the disc is large more
number of tools can be hold
It have pockets where the tools can
be inserted
Chain type magazine
It is the Capable of storing more
number of tools
Used in machining centre
Tools are inserted into their pockets
which are attached to the chain
 Chain moving on sprocket &
sprockets are driven by motors
Rack Tool Magazine
It is the Cost efficient
alternative to usual tool
magazine system
It carries up to 400 tools
It consists of high tool storage
without tool changer
Egg box type Magazine
Rotary type Magazine
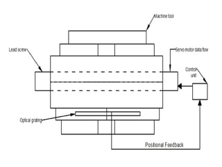
• The electronic devices such as
Transducer & Encoders used for
giving the position & velocity of the
machine elements are called
Feedback devices
• Based on feedback control the
systems are classified as
1. Open loop control system
2. Closed loop control system
Open loop control system:
Machin
e
Contr
ol
Unit
Drive
Moto
r
Machine
tool
slide
 The machine tool control system in which there is
No feed back devices to compare the actual
position of the cutting tool or work piece with the
input signals are called open loop control systems
Closed loop control system:
Machin
e
Contr
ol
Unit
Drive
Moto
r
Machine
tool
slide
 The machine tool control system in which there are
feed back devices to compare the actual position of
the cutting tool or work piece with the input signals
are called open loop control systems
Velocity feed
back
Positionfeed
• Transducers are electronic devices
used for converting the physical
quantities like Speed,
velocity, Displacement
Feed,
into
Electronic signals that give feed
back
• Two types of transducers
1.Linear transducer
2.Rotary Transducer
Linear Transducer
• It is used to measure the Displacement of
machine slide
Rotary Transducer (Angular
Position measuring
Transducer)
• It is used to measure the Angular Rotation
of the Lead Screw
• Encoders are devices used to
measure the linear movement of
the Machine table
• Any devices that is used to give
positioning feedback to the control it
applies a code or changes
information into coded form
• Two types of encoders
1. Linear encoders
2. Rotary encoders
Rotary encoders
A rotary encoder is a type of
sensor that when mounted to
the shaft of the motor can
detect its angular position
Its is made from light source,
optical sensor, disc with small
slits cut into it like spokes
Linear encoders
Its is made from light source,
optical sensor, glass scale
• It is the process of performing the
inspection procedure during
manufacturing operation.
• In this process manufacturing as
well as inspection are done
simultaneously
• The process of inspection is called
& device used for
is called Inspection
probing
inspection
Probe
Method of Probing:
•Contact Probe system
•Non-Contact Probe system
Advantages of Probing
•100% inspection is
achieved
•High quality is ensured
•Inspection time is reduced
•Inspection cost is reduced
 High speed steel (HSS)
Cemented Carbide
Coated Carbide
Ceramics
High Carbon tool steel
Cast Alloy
Cubic Boron Nitride (CBN)
Poly Crystalline Diamond
(PCD)
•Tool inserts
carbide pieces
are small
having
cutting edges which comes
in various shapes & size
geometries & clamped in
the Insert holder
Commonly used shapes
• Round (R)
• Square (S)
• Triangular (T)
• Rhomboidal 80º (C)
• Rhomboidal 35º (V)
• Rhomboidal 55º (D)
• Parallelogram 55º (K)
unit5newppt-180520142423.pptx
unit5newppt-180520142423.pptx
unit5newppt-180520142423.pptx

unit5newppt-180520142423.pptx

  • 3.
    UNIT – 5 CNCMACHINES & ITS COMPONENTS
  • 4.
     NC -Numerical Control  CNC - Computer Numerical Control  MCU - Machine Control Unit  HMC - Horizontal Machining Centre  VMC - Vertical Machining Centre  UMC - Universal Machining Centre
  • 5.
    CMM - CoordinateMeasuring Machine LMB - Linear Motion Bearing ATC - Automatic Tool Changer CBN - Cubic Boron Nitride PCD - Poly Crystalline Diamond MDI - Manual Data Input
  • 7.
    Numerical Control (NC) •NC is machine various defined slide functions by means as Control of movements & of Letters, Numbers and Symbols • Letters, Numbers and Symbols forming some sequence is called Part Program
  • 9.
    1.Starting and stoppingof machine tool spindle. 2.Controlling the spindle speed. 3.Positioning the tool tip 4.Guiding the tool in desired paths 5.Controlling the feed rate. 6.Changing of tool in the spindle
  • 17.
     It isa Numerical Control system, which uses a Computer to perform all or some of the basic numerical control functions In CNC, the program is entered once and they stored in the computer memory
  • 22.
    A CNC systemconsist of the following 1.Machine Control Unit (MCU) 2.Operator Control Panel 3.Servo Control Unit & Drives 4.Feedback Devices
  • 23.
    In CNC systemsthe part program is fed into the computer. Then the instructions are read by the controller to convert it into signals that activate the machine tool. The signals are sent to the machine tool for performing different operations.
  • 25.
  • 26.
    Software of systemhas 3 major programs 1. Part Program: It has Part Dimensions, Spindle Speed, Feed rate 2. Service Program: Used to check , edit, correct the part program 3. Control Program: Accept the Part program as a Input data to produce signals to drive the axes of motion
  • 32.
    Machine Control Unit(MCU)  Consists of PLC, Processor, Memory Devices PLC control the Spindle ON/OFF, Coolant ON/OFF, Tool path, Speed, Feed, Tool Changes Convert the Program Commands into Signal
  • 33.
    Operator Control Panel Providethe interaction between User & CNC system Consists of Monitor, Feather touch keyboard, machine control panel
  • 35.
    Servo Control Unit& Drives  PLC gives command signal to servo drives , this command signal values are converted into actual movement on the machine by servo drives
  • 36.
    Feedback Devices  PLCreceives feedback signal about actual movement of the machine tool through feedback devices Feedback Devices are Transducers & Encoders This feedback signals are compared with the Input signals and error correction is done
  • 38.
     Storage ofmore than one part program Various forms of Data Input Program Editing Graphical Display of Cutter path & shape of the finished job before actually running the program is possible Sub program facility for repetitive machining sequence also possible
  • 40.
    • Increased Productivity •High Accuracy • Reduced Time • Reduced man power • Simulation of program is available • Increased Safety operations • Lesser Floor place
  • 42.
    NC CNC NC -Numerical Control CNC - Computer Numerical Control Machine is not controlled by Computer Machine is Controlled by Computer Input is given by punched tape Input is directly given through computer Reliability is less Reliability is more Program editing is not possible Program editing is possible
  • 43.
    Simulation of partSimulation of part program is not possible program is possible Storing the part program is difficult Storing the part program is easy Less flexible High flexible Less Capability High Capability NC programmers are skilled persons Programmer not necessarily a skilled person
  • 45.
    • CNC Turningcentre is a machine tool capable of performing various Turning & related operation in one setup under CNC system • CNC turning centers are designed mainly for machining shaft-type work pieces which are supported by a chuck
  • 46.
     CNC turningcentre Tool Turret have Capacity of 8 to 12 tools Two axis control:  Z axis - Parallel to Spindle axis  X axis - Perpendicular to Spindle axis Types of CNC turning Centre: • Horizontal Spindle Turning Centre • Vertical Spindle Turning Centre
  • 47.
  • 48.
    Main Parts ofCNC Turning Centre: • Bed • Head Stock • Turrets • Machine Control Unit (MCU) • Servo Mechanism
  • 51.
  • 52.
  • 53.
    • Vertical used formachine CNC lathes widely heavy components. • Some of these machines can also be used for milling operations. Such machines are sometimes known as turn - mill centers.
  • 58.
    • A machiningcentre consists of machine tools, usually numerically controlled, automatically capable of drilling, reaming, tapping, milling and boring the multiple faces of a part with tool magazine, Automatic tool changer, automatic pallet changer.
  • 59.
    Five axis control: X axis, Y axis, Z axis - Linear Movement  A axis - Spindle Tilt  B axis - Table rotation Types of CNC Machining Centre: • Horizontal Spindle Machining Centre (HMC) • Vertical Spindle Machining Centre (VMC)
  • 60.
    Main Parts ofCNC Machining Centre: • Bed • Column • Spindle • Table • Servo Mechanism • Tool Magazine • Automatic Tool Changer (ATC) • Automatic Pallet Changer (APC)
  • 62.
  • 68.
    • HMC hasits Spindle on Horizontal Axis • Used for heavier work piece with large metal removal • X axis - Table Longitudinal movement • Y axis - Spindle Up & down movement • Z axis - Table movements towards spindle • HMC have Rotary table with axis parallel to Y axis & is called B axis
  • 69.
    • Tool magazinehave tools upto 60 – 120 • Generally these are Single spindle machines with ATC & APC
  • 70.
  • 72.
    • VMC hasits Spindle on Vertical Axis • Used for heavier work piece with large metal removal • X axis - Table Longitudinal movement • Y axis - Table cross wise movement • Z axis - Spindle Up & down movement • VMC have Rotary table with axis parallel to X axis & is called A axis
  • 74.
    •Tool magazine haveupto 60 tools •Generally these are Single spindle with ATC Multi spindle with Turret Head
  • 79.
    • In CNCmachine tool, each of the axis of motion is controlled by axis feed drive mechanism • Primary axis of motion are referred as X, Y and Z axis • Rotary axis : A, B, C identifies the rotary motion about X, Y and Z axis
  • 80.
  • 82.
    • A CNCturning centre has two axis X & Z • Z Axis: Tool Movement parallel to the Spindle axis  Z + (Positive) : Tool movement away from spindle Z - (Negative) : Tool movement towards the spindle
  • 83.
    X Axis: ToolMovement perpendicular to the Spindle axis X + (Positive) : Tool movement away from work piece zero point X - (Negative) : Tool movement towards work piece zero point
  • 84.
  • 88.
    • A CNCMachining centre has three axis X , Y & Z • Z Axis: Up & Down movement of Spindle & tool  Z + (Positive) : Tool movement away from Workpiece Z - (Negative) : Tool movement towards the Workpiece
  • 89.
    •X Axis: Tablelongitudinal movement  X + (Positive) : Table movements towards right  X- (Negative) : Table movements towards left
  • 90.
    • Y Axis: movement Y + Table Crosswise (Positive) movements away : Table from the machine column  Y - (Negative) : Table movements towards the machine column
  • 91.
  • 92.
    • CMM isan Electro mechanical system designed to determine the location, orientation, dimensions and geometry of a object • CMM is used to measure various features of work piece by using Probes
  • 93.
  • 95.
    • CMM hasfollowing major elements  Stationary Granite measuring table Length measuring system Air bearings Control unit Probe head Software
  • 96.
  • 97.
  • 98.
  • 99.
  • 100.
  • 101.
  • 102.
  • 103.
  • 104.
  • 105.
  • 106.
  • 107.
  • 108.
  • 109.
  • 110.
    Benefits of CMM •Flexibility •IncreasedProductivity •Unmanned Operations •Greater accuracy •Reduced operator error
  • 111.
  • 112.
    CNC MACHINE COMPONENETS Slideways  Friction & Anti friction Slide ways  Linear motion bearings  Recirculation ball screw Automatic Tool Changer (ATC) Tool Magazine Feedback Devices  Transducers  Encoders Tool inserts Inprocess Probing
  • 114.
    Slide ways Precise positioningand Repeatability of tool slides are the major requirements of CNC machine functional machines. The inaccuracies that caused are mainly due to the stick slip motion when plain slide ways (metal to metal contact) are used.  Slide ways are used for movement between tool members of machine tool such as carriage & bed in a lathe
  • 115.
    Requirement of GoodSlide ways: • Low wear • Negligible stick-slip • Low price • Low co-efficient of friction properties • Good surface finish on slideway surface • High Stiffness
  • 116.
    Types of Slidewa ys Friction Slidewa ys V -Slideways Flat Slideways Round Slideways Antifrictio n Slidewa ys Linear Motion Bearings
  • 117.
  • 118.
  • 119.
  • 120.
  • 123.
    Antifriction Slideways It involvesintermediate rolling member(Balls or Rollers) between the sliding members, thus reducing the friction Low friction, No stick slip, high load capacity
  • 124.
  • 127.
    Recirculation Ball Screw Balls rotate between the screw & nut and convert the sliding Friction into Rolling friction
  • 133.
  • 134.
    •The device usedto pick up a tool from Tool magazine and replace it with the tool in the spindle with in 3 to 7 seconds is called ATC •Reducing idle time during tool changing operations
  • 140.
    1. ATC armRotates through 90º from the Rest position 2. One end grips tool in the magazine & another end grips tool in the spindle 3. Both tools are pulled out 4. ATC arm rotates through 180º 5. It inserts new tool to the spindle & old tool to the magazine 6. ATC arm Rotates through 90º & goes to the Rest position
  • 141.
    Tool Magazine AT C 1. Arm comesfrom the rest position & Grips both Tools
  • 142.
    2. Arm pullthe tools from the Mounting
  • 143.
    3. Arm rotatesthrough 180º
  • 144.
  • 145.
    5. Arm rotates& go to rest position AT C Spindl e Tool Magazine
  • 147.
    • The systemof arrangement which holds large number of tools is called Tool Magazine • It is specified by Storage Capacity & Shape • Storage capacity ranges from 12 - 200 • Used in CNC turning centre & CNC machining centre
  • 148.
  • 149.
    Tool Turret  Itis the Simplest form of tool magazine  It consists of tool storage without tool changer  Turret is indexed in required position for desired operation  Tool can be easily identified  Tool change time is more
  • 153.
    Disc or DrumType Tool Magazine It is the Rotates to get the desired tool in position with tool change arm It carries 12 - 50 tools If diameter of the disc is large more number of tools can be hold It have pockets where the tools can be inserted
  • 157.
    Chain type magazine Itis the Capable of storing more number of tools Used in machining centre Tools are inserted into their pockets which are attached to the chain  Chain moving on sprocket & sprockets are driven by motors
  • 166.
    Rack Tool Magazine Itis the Cost efficient alternative to usual tool magazine system It carries up to 400 tools It consists of high tool storage without tool changer
  • 169.
    Egg box typeMagazine
  • 171.
  • 175.
    • The electronicdevices such as Transducer & Encoders used for giving the position & velocity of the machine elements are called Feedback devices • Based on feedback control the systems are classified as 1. Open loop control system 2. Closed loop control system
  • 176.
    Open loop controlsystem: Machin e Contr ol Unit Drive Moto r Machine tool slide  The machine tool control system in which there is No feed back devices to compare the actual position of the cutting tool or work piece with the input signals are called open loop control systems
  • 178.
    Closed loop controlsystem: Machin e Contr ol Unit Drive Moto r Machine tool slide  The machine tool control system in which there are feed back devices to compare the actual position of the cutting tool or work piece with the input signals are called open loop control systems Velocity feed back Positionfeed
  • 181.
    • Transducers areelectronic devices used for converting the physical quantities like Speed, velocity, Displacement Feed, into Electronic signals that give feed back • Two types of transducers 1.Linear transducer 2.Rotary Transducer
  • 182.
    Linear Transducer • Itis used to measure the Displacement of machine slide
  • 184.
    Rotary Transducer (Angular Positionmeasuring Transducer) • It is used to measure the Angular Rotation of the Lead Screw
  • 190.
    • Encoders aredevices used to measure the linear movement of the Machine table • Any devices that is used to give positioning feedback to the control it applies a code or changes information into coded form
  • 191.
    • Two typesof encoders 1. Linear encoders 2. Rotary encoders
  • 192.
    Rotary encoders A rotaryencoder is a type of sensor that when mounted to the shaft of the motor can detect its angular position Its is made from light source, optical sensor, disc with small slits cut into it like spokes
  • 195.
    Linear encoders Its ismade from light source, optical sensor, glass scale
  • 198.
    • It isthe process of performing the inspection procedure during manufacturing operation. • In this process manufacturing as well as inspection are done simultaneously • The process of inspection is called & device used for is called Inspection probing inspection Probe
  • 199.
    Method of Probing: •ContactProbe system •Non-Contact Probe system
  • 200.
    Advantages of Probing •100%inspection is achieved •High quality is ensured •Inspection time is reduced •Inspection cost is reduced
  • 202.
     High speedsteel (HSS) Cemented Carbide Coated Carbide Ceramics High Carbon tool steel Cast Alloy Cubic Boron Nitride (CBN) Poly Crystalline Diamond (PCD)
  • 204.
    •Tool inserts carbide pieces aresmall having cutting edges which comes in various shapes & size geometries & clamped in the Insert holder
  • 205.
    Commonly used shapes •Round (R) • Square (S) • Triangular (T) • Rhomboidal 80º (C) • Rhomboidal 35º (V) • Rhomboidal 55º (D) • Parallelogram 55º (K)