RAMCO INSTITUTE OF TECHNOLOGY
Mr.M.LAKSHMANAN
Assistant Professor (Senior Grade)
Department of Mechanical Engineering
UNIT IV
ULTRASONIC TESTING (UT)
&
ACOUSTIC EMISSION (AE)
Syllabus
Ultrasonic Testing-Principle, Transducers,
transmission and pulse-echo method, straight
beam and angle beam, instrumentation, data
representation, A/Scan, B-scan, C-scan.
Phased Array Ultrasound, Time of Flight
Diffraction. Acoustic Emission Technique –
Principle, AE parameters, Applications
Outline
• Basic Principles of sound generation
• Pulse echo and through transmission testing
• Inspection applications
• Equipment
–Transducers
–Instrumentation
–Reference Standards
• Data presentation
• Advantages and Limitations
• Applications
Sound
• Wavelength :
The distance required to complete a cycle
– Measured in Meter or mm
• Frequency :
The number of cycles per unit time
– Measured in Hertz (Hz) or Cycles per second (cps)
• Velocity :
How quick the sound travels
Distance per unit time
– Measured in meter / second (m / sec)
Properties of a sound wave
• Sound cannot travel in
vacuum
• Sound energy to be
transmitted / transferred
from one particle to
another
SOLID LIQUID GAS
Velocity
• The velocity of sound in a particular material is CONSTANT.
• It is the product of DENSITY and ELASTICITY of the
material
• It will NOT change if frequency changes
• Only the wavelength changes
• Examples:
V Compression in steel : 5960 m/s
V Compression in water : 1470 m/s
V Compression in air : 330 m/s
STEEL WATER AIR
5 M Hz
Acoustic Spectrum
0 10 100 1K 10K 100K 1M 10M 100m
Sonic / Audible
Human
16Hz - 20kHz
Ultrasonic
> 20kHz = 20,000Hz
Ultrasonic Testing
0.5MHz - 50MHz
Ultrasonic : Sound with frequency above 20 KHz
Frequency
• Frequency : Number of cycles per second
1 second
1 cycle per 1 second = 1
Hertz
18 cycle per 1 second =
18 Hertz
3 cycle per 1 second = 3
Hertz
1 second 1 second
THE HIGHER THE FREQUENCY THE SMALLER THE WAVELENGTH
Wavelength
Sound waves are the vibration of particles in solids, liquids
or gases.
Particles vibrate about a mean position.
One cycle
Displacement
The distance
taken to
complete one
cycle
wavelength

wavelength
Wavelength is the distance required to complete a cycle.
f
V

Velocity
Frequency
Wavelength
Frequency & Wavelength
1 M Hz 5 M Hz 10 M Hz 25 M Hz
Which probe has the smallest wavelength?
SMALLESTLONGEST
Which probe has the longest wavelength?
 = v / f
F F 
• The higher the frequency the smaller the wavelength
• The smaller the wavelength the higher the sensitivity
• Sensitivity : The smallest detectable flaw by the
system or technique
• In UT the smallest detectable flaw is ½  (Half the
wavelength)
Basic Principles of Sound
• Sound is produced by a vibrating body and travels in the
form of a wave.
• Sound waves travel through materials by vibrating the
particles that make up the material.
• The pitch of the sound is determined by the frequency of
the wave (vibrations or cycles
completed in a certain
period of time).
• Ultrasound is sound
with a pitch too high
to be detected by the
human ear.
• The measurement of sound waves from crest to crest
determines its wavelength (λ).
• The time is takes a sound wave to travel a distance of
one complete wavelength is the same amount of time it
takes the source to execute one complete vibration.
• The sound wavelength
is inversely proportional
to its frequency. (λ = 1/f)
• Several wave modes of
vibration are used in
ultrasonic inspection.
The most common are
longitudinal, shear, and
Rayleigh (surface) waves.
• Ultrasonic waves are very similar to light
waves in that they can be reflected,
refracted, and focused.
• Reflection and refraction occurs when
sound waves interact with interfaces of
differing acoustic properties.
• In solid materials, the vibrational energy
can be split into different wave modes when
the wave encounters an interface at an angle
other than 90 degrees.
• Ultrasonic reflections from the presence of
discontinuities or geometric features
enables detection and location.
• The velocity of sound in a given material is
constant and can only be altered by a
change in the mode of energy.
Ultrasound Generation
The transducer is
capable of both
transmitting and
receiving sound energy.
Ultrasound is generated with a transducer.
A piezoelectric element in
the transducer converts
electrical energy into
mechanical vibrations
(sound), and vice versa.
Principles of Ultrasonic Inspection
• Ultrasonic waves are introduced into a material where
they travel in a straight line and at a constant speed until
they encounter a surface.
• At surface interfaces some of the wave energy is
reflected and some is transmitted.
• The amount of reflected or transmitted energy can be
detected and provides information about the size of the
reflector.
• The travel time of the sound can be measured and this
provides information on the distance that the sound has
traveled.
• Ultrasonic testing is a very versatile inspection method,
and inspections can be accomplished in a number of
different ways.
• Ultrasonic inspection techniques are commonly divided
into three primary classifications.
Pulse-echo and Through Transmission
(Relates to whether reflected or transmitted energy is
used)
Normal Beam and Angle Beam
(Relates to the angle that the sound energy enters the
test article)
Contact and Immersion
(Relates to the method of coupling the transducer to the
test article)
Test Techniques
• In pulse-echo testing, a transducer sends out a pulse of energy and
the same or a second transducer listens for reflected energy (an
echo).
• Reflections occur due to the presence of discontinuities and the
surfaces of the test article.
• The amount of reflected sound energy is displayed versus time,
which provides the inspector information about the size and the
location of features that reflect the sound.
f
Test Techniques - Pulse-Echo
plate
crack
0 2 4 6 8 10
initial
pulse
crack
echo
back surface
echo
UT Instrument Screen
Test Techniques – Pulse-Echo (cont.)
Digital display showing
signal generated from
sound reflecting off back
surface.
Digital display showing the
presence of a reflector midway
through material, with lower
amplitude back surface
reflector.
The pulse-echo technique allows testing when access to only one side of
the material is possible, and it allows the location of reflectors to be
precisely determined.
Test Techniques – Through-Transmission
0 2 4 6 8 10
2
11
• Two transducers located on opposing
sides of the test specimen are used. One
transducer acts as a transmitter, the
other as a receiver.
• Discontinuities in the sound path will
result in a partial or total loss of sound
being transmitted and be indicated by a
decrease in the received signal
amplitude.
• Through transmission is useful in
detecting discontinuities that are not
good reflectors, and when signal
strength is weak. It does not provide
depth information.
T R
T R
11
2
Digital display
showing received
sound through
material thickness.
Digital display
showing loss of
received signal due
to presence of a
discontinuity in
the sound field.
Test Techniques – Through-Transmission
Test Techniques – Normal and Angle Beam
• In normal beam testing, the sound beam
is introduced into the test article at 90
degree to the surface.
• In angle beam testing, the sound beam is
introduced into the test article at some
angle other than 90.
• The choice between normal and angle
beam inspection usually depends on two
considerations:
- The orientation of the feature of
interest – the sound should be
directed to produce the largest
reflection from the feature.
- Obstructions on the surface of the
part that must be worked around.
Ultrasonic Inspection Applications
• Flaw detection (cracks, inclusions, porosity, etc.)
• Erosion & corrosion thickness gauging
• Assessment of bond integrity in adhesively joined
and brazed components
• Estimation of void content in composites and
plastics
• Measurement of case hardening depth in steels
• Estimation of grain size in metals
Thickness Gauging
• Ultrasonic thickness gauging is
routinely utilized in the
petrochemical and utility
industries to determine various
degrees of corrosion/erosion.
• Applications include
piping systems, storage
and containment
facilities, and pressure
vessels.
Flaw Detection - Delaminations
Signal showing multiple back
surface echoes in an unflawed area.
Additional echoes indicate
delaminations in the member.
Contact, pulse-echo inspection for delaminations on 36”
rolled beam.
Flaw Detection in Welds
• One of the most widely used
methods of inspecting
weldments is ultrasonic
inspection.
• Full penetration groove welds
lend themselves readily to
angle beam shear wave
examination.
Equipment
Equipment for ultrasonic testing is very diversified.
Proper selection is important to insure accurate
inspection data as desired for specific applications.
In general, there are three basic components that
comprise an ultrasonic test system:
- Instrumentation
- Transducers
- Calibration Standards
Transducers
• Transducers are manufactured in a variety of forms, shapes and
sizes for varying applications.
• Transducers are categorized in a number of ways which include:
- Contact or immersion
- Single or dual element
- Normal or angle beam
• In selecting a transducer
for a given application, it
is important to choose the
desired frequency,
bandwidth, size, and in some cases focusing which optimizes the
inspection capabilities.
Contact Transducers
Contact transducers are designed
to withstand rigorous use, and
usually have a wear plate on the
bottom surface to protect the
piezoelectric element from
contact with the surface of the
test article.
Many incorporate ergonomic
designs for ease of grip while
scanning along the surface.
Contact Transducers (cont.)
• Contact transducers are available
with two piezoelectric crystals in one
housing. These transducers are
called dual element transducers.
• One crystal acts as a transmitter, the
other as a receiver.
• This arrangement improves near
surface resolution because the second
transducer does not need to complete
a transmit function before listening
for echoes.
• Dual elements are commonly
employed in thickness gauging of
thin materials.
Contact Transducers (cont.)
• A way to improve near surface
resolution with a single element
transducer is through the use of a
delay line.
• Delay line transducers have a plastic
piece that is a sound path that
provides a time delay between the
sound generation and reception of
reflected energy.
• Interchangeable pieces make it
possible to configure the transducer
with insulating wear caps or flexible
membranes that conform to rough
surfaces.
• Common applications include
thickness gauging and high
temperature measurements.
Transducers (cont.)
• Angle beam transducers
incorporate wedges to introduce a
refracted shear wave into a
material.
• The incident wedge angle is used
with the material velocity to
determine the desired refracted
shear wave according to Snell’s
Law)
• Transducers can use fixed or
variable wedge angles.
• Common application is in weld
examination.
Transducers (cont.)
• Immersion transducers are designed to transmit sound
whereby the transducer and test specimen are immersed in
a liquid coupling medium (usually water).
• Immersion transducers
are manufactured with
planar, cylindrical or spherical
acoustic
lenses (focusing lens).
Instrumentation
• Ultrasonic equipment is usually purchased to satisfy
specific inspection needs, some users may purchase
general purpose equipment to fulfill a number of
inspection applications.
• Test equipment can be classified in a number of
different ways, this may include portable or stationary,
contact or immersion, manual or automated.
• Further classification of instruments commonly
divides them into four general categories:
D-meters,
Flaw detectors,
Industrial and special application.
Instrumentation (cont.)
• D-meters or digital
thickness gauge
instruments provide the
user with a digital
(numeric) readout.
• They are designed
primarily for
corrosion/erosion
inspection applications.
• Some instruments provide the user with both a digital readout
and a display of the signal. A distinct advantage of these units
is that they allow the user to evaluate the signal to ensure that
the digital measurements are of the desired features.
Instrumentation (cont.)
• Flaw detectors are instruments
designed primarily for the
inspection of components for
defects.
• However, the signal can be
evaluated to obtain other
information such as material
thickness values.
• Both analog and digital display.
• Offer the user options of gating
horizontal sweep and amplitude
threshold.
Instrumentation (cont.)
• Industrial flaw detection
instruments, provide users with
more options than standard
flaw detectors.
• May be modulated units
allowing users to tailor the
instrument for their specific
needs.
• Generally not as portable as
standard flaw detectors.
Instrumentation (cont.)
• Immersion ultrasonic scanning
systems are used for automated
data acquisition and imaging.
• They integrate an immersion
tank, ultrasonic instrumentation, a
scanning bridge, and computer
controls.
• The signal strength and/or the
time-of-flight of the signal is
measured for every point in the
scan plan.
• The value of the data is plotted
using colors or shades of gray to
produce detailed images of the
surface or internal features of a
component.
Images of a Quarter Produced With an Ultrasonic
Immersion Scanning System
Gray scale image produced using
the sound reflected from the front
surface of the coin
Gray scale image produced using the
sound reflected from the back surface
of the coin (inspected from “heads” side)
Calibration Standards
Calibration Standards
Calibration is a operation of configuring the ultrasonic test
equipment to known values. This provides the inspector
with a means of comparing test signals to known
measurements.
Calibration standards come in a wide variety of material
types, and configurations due to the diversity of
inspection applications.
Calibration standards are typically manufactured from
materials of the same acoustic properties as those of the
test articles.
• Reference standards are used to establish a general
level of consistency in measurements and to help
interpret and quantify the information contained in
the received signal.
• Reference standards are used to validate that the
equipment and the setup provide similar results from
one day to the next and that similar results are
produced by different systems.
• Reference standards also help the inspector to
estimate the size of flaws. In a pulse-echo type setup,
signal strength depends on both the size of the flaw
and the distance between the flaw and the transducer.
• The inspector can use a reference standard with
an artificially induced flaw of known size and at
approximately the same distance away for the
transducer to produce a signal.
• By comparing the signal from the reference
standard to that received from the actual flaw, the
inspector can estimate the flaw size.
IIW Type Blocks
• IIW type blocks are used to calibrate instruments for
both angle beam and normal incident inspections.
• Some of their uses include setting metal-distance and
sensitivity settings, determining the sound exit point
and refracted angle of angle beam transducers, and
evaluating depth resolution of normal beam
inspection setups.
• Instructions on using the IIW type blocks can be
found in the annex of American Society for Testing
and Materials Standard E164, Standard Practice for
Ultrasonic Contact Examination of Weldments.
The Miniature Angle-Beam
• The miniature angle-beam is a calibration block
that was designed for the US Air Force for use
in the field for instrument calibration.
• The block is much smaller and lighter than the
IIW block but performs many of the same
functions.
• The miniature angle-beam block can be used to
check the beam angle and exit point of the
transducer.
• The block can also be used to make metal-
distance and sensitivity calibrations for both
angle and normal-beam inspection setups.
AWS Shear Wave Distance/
Sensitivity Calibration (DSC) Block
• A block that closely resembles the miniature angle-
beam block and is used in a similar way is the DSC
AWS Block.
• This block is used to determine the beam exit point
and refracted angle of angle-beam transducers and to
calibrate distance and set the sensitivity for both
normal and angle beam inspection setups.
• Instructions on using the DSC block can be found in
the annex of American Society for Testing and
Materials Standard E164, Standard Practice for
Ultrasonic Contact Examination of Weldments.
Resolution Reference Block
• The resolution reference block is used to evaluate the
near-surface resolution and flaw size/depth sensitivity
of a normal-beam setup.
• The block contains number 3 (3/64"), 5 (5/64"), and 8
(8/64") ASTM flat bottom holes at ten metal-
distances ranging from 0.050 inch (1.27 mm) to 1.250
inch (31.75 mm).
Miniature Resolution Block
• The miniature resolution block is used to evaluate the
near-surface resolution and sensitivity of a normal-
beam setup.
• It can be used to calibrate high-resolution thickness
gages over the range of 0.015 inches (0.381 mm) to
0.125 inches (3.175 mm).
Step and Tapered Calibration Wedges
• Step and tapered calibration wedges come in a large
variety of sizes and configurations.
• Step wedges are typically manufactured with four or
five steps but custom wedge can be obtained with any
number of steps.
• Tapered wedges have a constant taper over the
desired thickness range.
Distance/Sensitivity (DS) Block
• The DS test block is a calibration standard used to
check the horizontal linearity and accuracy per
requirements of AWS.
Distance/Area-Amplitude Blocks
• Distance/area amplitude correction blocks typically are
purchased as a ten-block set. Aluminum sets are
manufactured per the requirements of ASTM E127 and
steel sets per ASTM E428. Sets can also be purchased
in titanium. Each block contains a single flat-
bottomed, plugged hole. The hole sizes and metal path
distances are as follows:
• 3/64" at 3"
• 5/64" at 1/8", 1/4", 1/2", 3/4", 11/2", 3", and 6"
• 8/64" at 3" and 6"
Area-Amplitude Blocks
• Area-amplitude blocks are also usually purchased in an
eight-block set and look very similar to Distance/Area-
Amplitude Blocks.
• However, area-amplitude blocks have a constant 3-inch
metal path distance and the hole sizes are varied from
1/64" to 8/64" in 1/64" steps.
• The blocks are used to determine the relationship
between flaw size and signal amplitude by comparing
signal responses for the different sized holes
Distance-Amplitude blocks
• Distance-amplitude blocks also very similar to the
distance/area-amplitude blocks. Nineteen block sets
with flat-bottom holes of a single size and varying
metal path distances are also commercially available.
• The relationship between the metal path distance and
the signal amplitude is determined by comparing
signals from same size flaws at different depth.
ASTM Distance/Area Amplitude
IIW
DSC DC Rhompas
SC
ASME Pipe Sec. XI
Data Presentation
• Information from ultrasonic testing can be
presented in a number of differing formats.
• Three of the more common formats include:
A-scan
B-scan
C-scan
Data Presentation - A-scan
• A-scan presentation displays
the amount of received
ultrasonic energy as a
function of time.
• Relative discontinuity size
can be estimated by
comparing the signal
amplitude to that from a
known reflector.
• Reflector depth can be
determined by the position of
the signal on the horizontal
sweep.
Time
SignalAmplitudeSignalAmplitude
Time
Data Presentation - B-scan
• B-scan presentations display a
profile view (cross-sectional) of a
test specimen.
• Only the reflector depth in the
cross-section and the linear
dimensions can be determined.
• A limitation to this display
technique is that reflectors may be
masked by larger reflectors near the
surface.
Data Presentation - C-scan
• The C-scan presentation displays a plan type view of
the test specimen and discontinuities.
• C-scan presentations are produced with an automated
data acquisition system, such as in immersion
scanning.
• Use of A-scan in conjunction with C-scan is necessary
when depth determination is desired.
Photo of a Composite
Component
C-Scan Image of
Internal Features
Advantage of Ultrasonic Testing
• Sensitive to small discontinuities both surface and subsurface.
• Depth of penetration for flaw detection or measurement is
superior to other methods.
• Only single-sided access is needed when pulse-echo technique is
used.
• High accuracy in determining reflector position and estimating
size and shape.
• Minimal part preparation required.
• Electronic equipment provides instantaneous results.
• Detailed images can be produced with automated systems.
• Has other uses such as thickness measurements, in addition to
flaw detection.
Limitations of Ultrasonic Testing
• Surface must be accessible to transmit ultrasound.
• Skill and training is more extensive than with some other methods.
• Materials that are rough, irregular in shape, very small,
exceptionally thin or not homogeneous are difficult to inspect.
• Cast iron and other coarse grained materials are difficult to inspect
due to low sound transmission and high signal noise.
• Linear defects oriented parallel to the sound beam may go
undetected.
• Reference standards are required for both equipment calibration,
and characterization of flaws.
ACOUSTIC EMISSION (AE)
Acoustic Emission
• Acoustic emission (AE) is the phenomenon of
radiation of acoustic (elastic) waves in solids that
occurs when a material undergoes irreversible
changes in its internal structure.
OR
• Acoustic Emission is a phenomenon of sound and
ultrasound wave radiation in materials undergo
deformation and fracture processes.
OR
• Acoustic emissions (AEs) are the stress waves
produced by the sudden internal stress of the material
caused by the changes in internal structure. The
frequency of the stress waves emitted is normally in
the range 30 kHz to 1 MHz
Concept
• AE is occurring during the processes of mechanical
loading of materials and structures accompanied by
structural changes that generate local sources
of elastic waves.
• This results in small surface displacements of a
material produced by elastic or stress
waves generated when the accumulated elastic
energy in a material or on its surface is released
rapidly.
History of AE
• The first AE test in USA was conducted in the Aerospace
industry to verify the integrity of the Polaris rocket motor
for the U.S Navy (1961). After noticing audible sounds
during hydrostatic testing it was decided to test the rocket
using contact microphones, a tape recorder and sound level
analysis equipment.
• In 1963, Dunegan suggested the use of AE for examination
of high pressure vessels.
• In early 1965, at the National Reactor Testing Station,
researchers were looking for a NDT method for detecting the
loss of coolant in a nuclear reactor. Acoustic Emission was
applied successfully.
• In 1969, Dunegan founded the first company that specializes
in the production of AE equipment.
• Today, AE Non-Destructive Testing used practically in all
industries around the world for different types of structures
and materials.
ACOUSTIC EMISSION THEORY
Acoustic Emission, The generation of transient
elastic waves during the rapid release of energy
from localized sources within a material.
The source of these emissions in metals is closely
associated with the dislocation movement
accompanying plastic deformation and the
initiation and extension of cracks in a structure
under stress.
Other sources of Acoustic Emission are: melting,
phase transformation, thermal stresses, cool
down cracking and stress build up.
Principle
Parameters
• Threshold
• Event Count
• Peak Amplitude
• Rise Time
• Event Duration
Signal shaping Chain
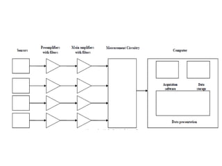
Acoustic Emission Instrumentation
• Sensors used to detect AE events.
• Preamplifiers amplifies initial signal.
• Cables transfer signals on distances up to
200m to AE devices. Cables are typically of
coaxial type.
• Data acquisition device performs filtration,
signals’ parameters evaluation, data analysis
and charting.
AE Sensors
• Purpose of AE sensors is to detect stress waves
motion that cause a local dynamic material
displacement and convert this displacement to an
electrical signal.
• AE sensors are typically piezoelectric sensors
with elements made of special ceramic elements
like lead zirconate titanate.
• Mechanical strain of a piezo element generates an
electric signals.
• Sensors may have internally installed preamplifier
(integral sensors).
Sensors Characteristics
• Typical frequency range in AE applications varies
between 20 kHz and 1 MHz.
• Selection of a specific sensor depends on the application
and type of flaws to be revealed.
• There are two qualitative type of sensor according to
their frequency responds: resonant and wideband
sensors.
• Thickness of piezoelectric element defines the resonance
frequency of sensor.
• Diameter defines the area over which the sensor
averages surface motion.
• Another important property of AE sensors includes Curie
Point, the temperature under which piezoelectric
element loses permanently its piezoelectric properties.
Methods of AE Sensors Calibration
• The calibration of a sensor is the measurement of
its voltage output into an established electrical
load for a given mechanical input. Calibration
results can be expressed either as frequency
response or as an impulse response.
• Surface calibration or Rayleigh calibration: The
sensor and the source are located on the same
plane surface of the test block. The energy at the
sensor travels at the Rayleigh speed and the
calibration is influenced by the aperture effect.
AE Data Acquisition Devices
Example of AE device parameters:
• 16 bit, 10 MHz A/D converter.
• Maximum signal amplitude 100 dB AE.
• High Pass filters for each channel with a range from
10 KHz to 200 KHz (under software control).
• Low Pass filters for each channel with a range from
100 KHz to 2.1 MHz (under software control).
• 32 bit Digital Signal Processor.
• 1 Mbyte DSP and Waveform buffer.
Principles of AE Data Measurement and Analysis
Threshold and Hit Definition Time (HDT):
Threshold and HDT are parameters that used for
detection AE signals in traditional AE devices.
HDT: Enables the system to determine the end of a
hit, close out the measurement process and store the
measured attributes of the signal.
AE Parameters
AE Parameters
• Peak amplitude - The maximum of AE signal.
• Energy – Integral of the rectified voltage signal over
the duration of the AE hit.
• Duration – The time from the first threshold crossing
to the end of the last threshold crossing.
• Counts – The number of AE signal exceeds threshold.
• Average Frequency –Determines the average
frequency in kHz over the entire AE hit.
• Rise time - The time from the first threshold crossing
to the maximum amplitude.
• Count rate - Number of counts per time unit.
Applications
• In field inspection
• Structural integrity evaluation
• Vessels testing [ambient, hot or cryogenic, metallic and FRP,
spheres]
• Tank bottom testing
• Nuclear components inspection (valves, lift beams, steam
lines)
• Corrosion detection
• Pipeline testing
• Railroad tank car testing
• Tube trailers & high pressure gas cylinders
• Aging aircraft evaluation
• Advanced materials testing (composites, ceramics)
• Production quality control
• Rocket motor testing.
1. Pressure equipment:
A reliable and standard method of non-
destructive testing for pressure vessels. AE
is used to monitor flaws, corrosion, and
leakage in pressure vessels, LPG, tanks, piping
systems, steam generators.
2.Aircraft and aerospace: aerospace structures,
wings, fuel tanks, Rocket engine, real time
monitoring;
3.Petrochemical and chemical: storage tanks,
reactor vessels and pipeline;
4.Marine: corrosion, composite shell, engine
and power plant;
5.Civil engineering: bridges, dams, suspension
cable bridges, concrete structure reinforced by
composite;
6.Research and development: acoustic
emission is a good technique to monitor and
study the damage in materials and their
mechanical properties (new materials, smart
materials, Shape memory alloys (SMA)).
Application in Composite
Application in Hard Disk Drive
Seagate Drive Quantum Drive
THANK YOU

ULTRASONIC TESTING (UT) & ACOUSTIC EMISSION (AE)

  • 1.
    RAMCO INSTITUTE OFTECHNOLOGY Mr.M.LAKSHMANAN Assistant Professor (Senior Grade) Department of Mechanical Engineering
  • 2.
    UNIT IV ULTRASONIC TESTING(UT) & ACOUSTIC EMISSION (AE)
  • 3.
    Syllabus Ultrasonic Testing-Principle, Transducers, transmissionand pulse-echo method, straight beam and angle beam, instrumentation, data representation, A/Scan, B-scan, C-scan. Phased Array Ultrasound, Time of Flight Diffraction. Acoustic Emission Technique – Principle, AE parameters, Applications
  • 4.
    Outline • Basic Principlesof sound generation • Pulse echo and through transmission testing • Inspection applications • Equipment –Transducers –Instrumentation –Reference Standards • Data presentation • Advantages and Limitations • Applications
  • 5.
    Sound • Wavelength : Thedistance required to complete a cycle – Measured in Meter or mm • Frequency : The number of cycles per unit time – Measured in Hertz (Hz) or Cycles per second (cps) • Velocity : How quick the sound travels Distance per unit time – Measured in meter / second (m / sec)
  • 6.
    Properties of asound wave • Sound cannot travel in vacuum • Sound energy to be transmitted / transferred from one particle to another SOLID LIQUID GAS
  • 7.
    Velocity • The velocityof sound in a particular material is CONSTANT. • It is the product of DENSITY and ELASTICITY of the material • It will NOT change if frequency changes • Only the wavelength changes • Examples: V Compression in steel : 5960 m/s V Compression in water : 1470 m/s V Compression in air : 330 m/s STEEL WATER AIR 5 M Hz
  • 8.
    Acoustic Spectrum 0 10100 1K 10K 100K 1M 10M 100m Sonic / Audible Human 16Hz - 20kHz Ultrasonic > 20kHz = 20,000Hz Ultrasonic Testing 0.5MHz - 50MHz Ultrasonic : Sound with frequency above 20 KHz
  • 9.
    Frequency • Frequency :Number of cycles per second 1 second 1 cycle per 1 second = 1 Hertz 18 cycle per 1 second = 18 Hertz 3 cycle per 1 second = 3 Hertz 1 second 1 second THE HIGHER THE FREQUENCY THE SMALLER THE WAVELENGTH
  • 10.
    Wavelength Sound waves arethe vibration of particles in solids, liquids or gases. Particles vibrate about a mean position. One cycle Displacement The distance taken to complete one cycle wavelength  wavelength Wavelength is the distance required to complete a cycle.
  • 11.
  • 12.
    Frequency & Wavelength 1M Hz 5 M Hz 10 M Hz 25 M Hz Which probe has the smallest wavelength? SMALLESTLONGEST Which probe has the longest wavelength?  = v / f F F 
  • 13.
    • The higherthe frequency the smaller the wavelength • The smaller the wavelength the higher the sensitivity • Sensitivity : The smallest detectable flaw by the system or technique • In UT the smallest detectable flaw is ½  (Half the wavelength)
  • 15.
    Basic Principles ofSound • Sound is produced by a vibrating body and travels in the form of a wave. • Sound waves travel through materials by vibrating the particles that make up the material. • The pitch of the sound is determined by the frequency of the wave (vibrations or cycles completed in a certain period of time). • Ultrasound is sound with a pitch too high to be detected by the human ear.
  • 16.
    • The measurementof sound waves from crest to crest determines its wavelength (λ). • The time is takes a sound wave to travel a distance of one complete wavelength is the same amount of time it takes the source to execute one complete vibration. • The sound wavelength is inversely proportional to its frequency. (λ = 1/f) • Several wave modes of vibration are used in ultrasonic inspection. The most common are longitudinal, shear, and Rayleigh (surface) waves.
  • 17.
    • Ultrasonic wavesare very similar to light waves in that they can be reflected, refracted, and focused. • Reflection and refraction occurs when sound waves interact with interfaces of differing acoustic properties. • In solid materials, the vibrational energy can be split into different wave modes when the wave encounters an interface at an angle other than 90 degrees. • Ultrasonic reflections from the presence of discontinuities or geometric features enables detection and location. • The velocity of sound in a given material is constant and can only be altered by a change in the mode of energy.
  • 18.
    Ultrasound Generation The transduceris capable of both transmitting and receiving sound energy. Ultrasound is generated with a transducer. A piezoelectric element in the transducer converts electrical energy into mechanical vibrations (sound), and vice versa.
  • 19.
    Principles of UltrasonicInspection • Ultrasonic waves are introduced into a material where they travel in a straight line and at a constant speed until they encounter a surface. • At surface interfaces some of the wave energy is reflected and some is transmitted. • The amount of reflected or transmitted energy can be detected and provides information about the size of the reflector. • The travel time of the sound can be measured and this provides information on the distance that the sound has traveled.
  • 20.
    • Ultrasonic testingis a very versatile inspection method, and inspections can be accomplished in a number of different ways. • Ultrasonic inspection techniques are commonly divided into three primary classifications. Pulse-echo and Through Transmission (Relates to whether reflected or transmitted energy is used) Normal Beam and Angle Beam (Relates to the angle that the sound energy enters the test article) Contact and Immersion (Relates to the method of coupling the transducer to the test article) Test Techniques
  • 21.
    • In pulse-echotesting, a transducer sends out a pulse of energy and the same or a second transducer listens for reflected energy (an echo). • Reflections occur due to the presence of discontinuities and the surfaces of the test article. • The amount of reflected sound energy is displayed versus time, which provides the inspector information about the size and the location of features that reflect the sound. f Test Techniques - Pulse-Echo plate crack 0 2 4 6 8 10 initial pulse crack echo back surface echo UT Instrument Screen
  • 22.
    Test Techniques –Pulse-Echo (cont.) Digital display showing signal generated from sound reflecting off back surface. Digital display showing the presence of a reflector midway through material, with lower amplitude back surface reflector. The pulse-echo technique allows testing when access to only one side of the material is possible, and it allows the location of reflectors to be precisely determined.
  • 23.
    Test Techniques –Through-Transmission 0 2 4 6 8 10 2 11 • Two transducers located on opposing sides of the test specimen are used. One transducer acts as a transmitter, the other as a receiver. • Discontinuities in the sound path will result in a partial or total loss of sound being transmitted and be indicated by a decrease in the received signal amplitude. • Through transmission is useful in detecting discontinuities that are not good reflectors, and when signal strength is weak. It does not provide depth information. T R T R 11 2
  • 24.
    Digital display showing received soundthrough material thickness. Digital display showing loss of received signal due to presence of a discontinuity in the sound field. Test Techniques – Through-Transmission
  • 25.
    Test Techniques –Normal and Angle Beam • In normal beam testing, the sound beam is introduced into the test article at 90 degree to the surface. • In angle beam testing, the sound beam is introduced into the test article at some angle other than 90. • The choice between normal and angle beam inspection usually depends on two considerations: - The orientation of the feature of interest – the sound should be directed to produce the largest reflection from the feature. - Obstructions on the surface of the part that must be worked around.
  • 26.
    Ultrasonic Inspection Applications •Flaw detection (cracks, inclusions, porosity, etc.) • Erosion & corrosion thickness gauging • Assessment of bond integrity in adhesively joined and brazed components • Estimation of void content in composites and plastics • Measurement of case hardening depth in steels • Estimation of grain size in metals
  • 27.
    Thickness Gauging • Ultrasonicthickness gauging is routinely utilized in the petrochemical and utility industries to determine various degrees of corrosion/erosion. • Applications include piping systems, storage and containment facilities, and pressure vessels.
  • 28.
    Flaw Detection -Delaminations Signal showing multiple back surface echoes in an unflawed area. Additional echoes indicate delaminations in the member. Contact, pulse-echo inspection for delaminations on 36” rolled beam.
  • 29.
    Flaw Detection inWelds • One of the most widely used methods of inspecting weldments is ultrasonic inspection. • Full penetration groove welds lend themselves readily to angle beam shear wave examination.
  • 30.
    Equipment Equipment for ultrasonictesting is very diversified. Proper selection is important to insure accurate inspection data as desired for specific applications. In general, there are three basic components that comprise an ultrasonic test system: - Instrumentation - Transducers - Calibration Standards
  • 31.
    Transducers • Transducers aremanufactured in a variety of forms, shapes and sizes for varying applications. • Transducers are categorized in a number of ways which include: - Contact or immersion - Single or dual element - Normal or angle beam • In selecting a transducer for a given application, it is important to choose the desired frequency, bandwidth, size, and in some cases focusing which optimizes the inspection capabilities.
  • 32.
    Contact Transducers Contact transducersare designed to withstand rigorous use, and usually have a wear plate on the bottom surface to protect the piezoelectric element from contact with the surface of the test article. Many incorporate ergonomic designs for ease of grip while scanning along the surface.
  • 33.
    Contact Transducers (cont.) •Contact transducers are available with two piezoelectric crystals in one housing. These transducers are called dual element transducers. • One crystal acts as a transmitter, the other as a receiver. • This arrangement improves near surface resolution because the second transducer does not need to complete a transmit function before listening for echoes. • Dual elements are commonly employed in thickness gauging of thin materials.
  • 34.
    Contact Transducers (cont.) •A way to improve near surface resolution with a single element transducer is through the use of a delay line. • Delay line transducers have a plastic piece that is a sound path that provides a time delay between the sound generation and reception of reflected energy. • Interchangeable pieces make it possible to configure the transducer with insulating wear caps or flexible membranes that conform to rough surfaces. • Common applications include thickness gauging and high temperature measurements.
  • 35.
    Transducers (cont.) • Anglebeam transducers incorporate wedges to introduce a refracted shear wave into a material. • The incident wedge angle is used with the material velocity to determine the desired refracted shear wave according to Snell’s Law) • Transducers can use fixed or variable wedge angles. • Common application is in weld examination.
  • 36.
    Transducers (cont.) • Immersiontransducers are designed to transmit sound whereby the transducer and test specimen are immersed in a liquid coupling medium (usually water). • Immersion transducers are manufactured with planar, cylindrical or spherical acoustic lenses (focusing lens).
  • 37.
    Instrumentation • Ultrasonic equipmentis usually purchased to satisfy specific inspection needs, some users may purchase general purpose equipment to fulfill a number of inspection applications. • Test equipment can be classified in a number of different ways, this may include portable or stationary, contact or immersion, manual or automated. • Further classification of instruments commonly divides them into four general categories: D-meters, Flaw detectors, Industrial and special application.
  • 38.
    Instrumentation (cont.) • D-metersor digital thickness gauge instruments provide the user with a digital (numeric) readout. • They are designed primarily for corrosion/erosion inspection applications. • Some instruments provide the user with both a digital readout and a display of the signal. A distinct advantage of these units is that they allow the user to evaluate the signal to ensure that the digital measurements are of the desired features.
  • 39.
    Instrumentation (cont.) • Flawdetectors are instruments designed primarily for the inspection of components for defects. • However, the signal can be evaluated to obtain other information such as material thickness values. • Both analog and digital display. • Offer the user options of gating horizontal sweep and amplitude threshold.
  • 40.
    Instrumentation (cont.) • Industrialflaw detection instruments, provide users with more options than standard flaw detectors. • May be modulated units allowing users to tailor the instrument for their specific needs. • Generally not as portable as standard flaw detectors.
  • 41.
    Instrumentation (cont.) • Immersionultrasonic scanning systems are used for automated data acquisition and imaging. • They integrate an immersion tank, ultrasonic instrumentation, a scanning bridge, and computer controls. • The signal strength and/or the time-of-flight of the signal is measured for every point in the scan plan. • The value of the data is plotted using colors or shades of gray to produce detailed images of the surface or internal features of a component.
  • 42.
    Images of aQuarter Produced With an Ultrasonic Immersion Scanning System Gray scale image produced using the sound reflected from the front surface of the coin Gray scale image produced using the sound reflected from the back surface of the coin (inspected from “heads” side)
  • 43.
  • 44.
    Calibration Standards Calibration isa operation of configuring the ultrasonic test equipment to known values. This provides the inspector with a means of comparing test signals to known measurements. Calibration standards come in a wide variety of material types, and configurations due to the diversity of inspection applications. Calibration standards are typically manufactured from materials of the same acoustic properties as those of the test articles.
  • 45.
    • Reference standardsare used to establish a general level of consistency in measurements and to help interpret and quantify the information contained in the received signal. • Reference standards are used to validate that the equipment and the setup provide similar results from one day to the next and that similar results are produced by different systems. • Reference standards also help the inspector to estimate the size of flaws. In a pulse-echo type setup, signal strength depends on both the size of the flaw and the distance between the flaw and the transducer.
  • 46.
    • The inspectorcan use a reference standard with an artificially induced flaw of known size and at approximately the same distance away for the transducer to produce a signal. • By comparing the signal from the reference standard to that received from the actual flaw, the inspector can estimate the flaw size.
  • 47.
    IIW Type Blocks •IIW type blocks are used to calibrate instruments for both angle beam and normal incident inspections. • Some of their uses include setting metal-distance and sensitivity settings, determining the sound exit point and refracted angle of angle beam transducers, and evaluating depth resolution of normal beam inspection setups. • Instructions on using the IIW type blocks can be found in the annex of American Society for Testing and Materials Standard E164, Standard Practice for Ultrasonic Contact Examination of Weldments.
  • 49.
    The Miniature Angle-Beam •The miniature angle-beam is a calibration block that was designed for the US Air Force for use in the field for instrument calibration. • The block is much smaller and lighter than the IIW block but performs many of the same functions. • The miniature angle-beam block can be used to check the beam angle and exit point of the transducer. • The block can also be used to make metal- distance and sensitivity calibrations for both angle and normal-beam inspection setups.
  • 51.
    AWS Shear WaveDistance/ Sensitivity Calibration (DSC) Block • A block that closely resembles the miniature angle- beam block and is used in a similar way is the DSC AWS Block. • This block is used to determine the beam exit point and refracted angle of angle-beam transducers and to calibrate distance and set the sensitivity for both normal and angle beam inspection setups. • Instructions on using the DSC block can be found in the annex of American Society for Testing and Materials Standard E164, Standard Practice for Ultrasonic Contact Examination of Weldments.
  • 53.
    Resolution Reference Block •The resolution reference block is used to evaluate the near-surface resolution and flaw size/depth sensitivity of a normal-beam setup. • The block contains number 3 (3/64"), 5 (5/64"), and 8 (8/64") ASTM flat bottom holes at ten metal- distances ranging from 0.050 inch (1.27 mm) to 1.250 inch (31.75 mm).
  • 54.
    Miniature Resolution Block •The miniature resolution block is used to evaluate the near-surface resolution and sensitivity of a normal- beam setup. • It can be used to calibrate high-resolution thickness gages over the range of 0.015 inches (0.381 mm) to 0.125 inches (3.175 mm).
  • 55.
    Step and TaperedCalibration Wedges • Step and tapered calibration wedges come in a large variety of sizes and configurations. • Step wedges are typically manufactured with four or five steps but custom wedge can be obtained with any number of steps. • Tapered wedges have a constant taper over the desired thickness range.
  • 56.
    Distance/Sensitivity (DS) Block •The DS test block is a calibration standard used to check the horizontal linearity and accuracy per requirements of AWS.
  • 57.
    Distance/Area-Amplitude Blocks • Distance/areaamplitude correction blocks typically are purchased as a ten-block set. Aluminum sets are manufactured per the requirements of ASTM E127 and steel sets per ASTM E428. Sets can also be purchased in titanium. Each block contains a single flat- bottomed, plugged hole. The hole sizes and metal path distances are as follows: • 3/64" at 3" • 5/64" at 1/8", 1/4", 1/2", 3/4", 11/2", 3", and 6" • 8/64" at 3" and 6"
  • 58.
    Area-Amplitude Blocks • Area-amplitudeblocks are also usually purchased in an eight-block set and look very similar to Distance/Area- Amplitude Blocks. • However, area-amplitude blocks have a constant 3-inch metal path distance and the hole sizes are varied from 1/64" to 8/64" in 1/64" steps. • The blocks are used to determine the relationship between flaw size and signal amplitude by comparing signal responses for the different sized holes
  • 59.
    Distance-Amplitude blocks • Distance-amplitudeblocks also very similar to the distance/area-amplitude blocks. Nineteen block sets with flat-bottom holes of a single size and varying metal path distances are also commercially available. • The relationship between the metal path distance and the signal amplitude is determined by comparing signals from same size flaws at different depth.
  • 60.
    ASTM Distance/Area Amplitude IIW DSCDC Rhompas SC ASME Pipe Sec. XI
  • 61.
    Data Presentation • Informationfrom ultrasonic testing can be presented in a number of differing formats. • Three of the more common formats include: A-scan B-scan C-scan
  • 62.
    Data Presentation -A-scan • A-scan presentation displays the amount of received ultrasonic energy as a function of time. • Relative discontinuity size can be estimated by comparing the signal amplitude to that from a known reflector. • Reflector depth can be determined by the position of the signal on the horizontal sweep. Time SignalAmplitudeSignalAmplitude Time
  • 63.
    Data Presentation -B-scan • B-scan presentations display a profile view (cross-sectional) of a test specimen. • Only the reflector depth in the cross-section and the linear dimensions can be determined. • A limitation to this display technique is that reflectors may be masked by larger reflectors near the surface.
  • 64.
    Data Presentation -C-scan • The C-scan presentation displays a plan type view of the test specimen and discontinuities. • C-scan presentations are produced with an automated data acquisition system, such as in immersion scanning. • Use of A-scan in conjunction with C-scan is necessary when depth determination is desired. Photo of a Composite Component C-Scan Image of Internal Features
  • 65.
    Advantage of UltrasonicTesting • Sensitive to small discontinuities both surface and subsurface. • Depth of penetration for flaw detection or measurement is superior to other methods. • Only single-sided access is needed when pulse-echo technique is used. • High accuracy in determining reflector position and estimating size and shape. • Minimal part preparation required. • Electronic equipment provides instantaneous results. • Detailed images can be produced with automated systems. • Has other uses such as thickness measurements, in addition to flaw detection.
  • 66.
    Limitations of UltrasonicTesting • Surface must be accessible to transmit ultrasound. • Skill and training is more extensive than with some other methods. • Materials that are rough, irregular in shape, very small, exceptionally thin or not homogeneous are difficult to inspect. • Cast iron and other coarse grained materials are difficult to inspect due to low sound transmission and high signal noise. • Linear defects oriented parallel to the sound beam may go undetected. • Reference standards are required for both equipment calibration, and characterization of flaws.
  • 67.
  • 68.
    Acoustic Emission • Acousticemission (AE) is the phenomenon of radiation of acoustic (elastic) waves in solids that occurs when a material undergoes irreversible changes in its internal structure. OR • Acoustic Emission is a phenomenon of sound and ultrasound wave radiation in materials undergo deformation and fracture processes. OR • Acoustic emissions (AEs) are the stress waves produced by the sudden internal stress of the material caused by the changes in internal structure. The frequency of the stress waves emitted is normally in the range 30 kHz to 1 MHz
  • 69.
    Concept • AE isoccurring during the processes of mechanical loading of materials and structures accompanied by structural changes that generate local sources of elastic waves. • This results in small surface displacements of a material produced by elastic or stress waves generated when the accumulated elastic energy in a material or on its surface is released rapidly.
  • 70.
    History of AE •The first AE test in USA was conducted in the Aerospace industry to verify the integrity of the Polaris rocket motor for the U.S Navy (1961). After noticing audible sounds during hydrostatic testing it was decided to test the rocket using contact microphones, a tape recorder and sound level analysis equipment. • In 1963, Dunegan suggested the use of AE for examination of high pressure vessels. • In early 1965, at the National Reactor Testing Station, researchers were looking for a NDT method for detecting the loss of coolant in a nuclear reactor. Acoustic Emission was applied successfully. • In 1969, Dunegan founded the first company that specializes in the production of AE equipment. • Today, AE Non-Destructive Testing used practically in all industries around the world for different types of structures and materials.
  • 71.
    ACOUSTIC EMISSION THEORY AcousticEmission, The generation of transient elastic waves during the rapid release of energy from localized sources within a material. The source of these emissions in metals is closely associated with the dislocation movement accompanying plastic deformation and the initiation and extension of cracks in a structure under stress. Other sources of Acoustic Emission are: melting, phase transformation, thermal stresses, cool down cracking and stress build up.
  • 73.
  • 74.
    Parameters • Threshold • EventCount • Peak Amplitude • Rise Time • Event Duration
  • 75.
  • 76.
    Acoustic Emission Instrumentation •Sensors used to detect AE events. • Preamplifiers amplifies initial signal. • Cables transfer signals on distances up to 200m to AE devices. Cables are typically of coaxial type. • Data acquisition device performs filtration, signals’ parameters evaluation, data analysis and charting.
  • 78.
    AE Sensors • Purposeof AE sensors is to detect stress waves motion that cause a local dynamic material displacement and convert this displacement to an electrical signal. • AE sensors are typically piezoelectric sensors with elements made of special ceramic elements like lead zirconate titanate. • Mechanical strain of a piezo element generates an electric signals. • Sensors may have internally installed preamplifier (integral sensors).
  • 80.
    Sensors Characteristics • Typicalfrequency range in AE applications varies between 20 kHz and 1 MHz. • Selection of a specific sensor depends on the application and type of flaws to be revealed. • There are two qualitative type of sensor according to their frequency responds: resonant and wideband sensors. • Thickness of piezoelectric element defines the resonance frequency of sensor. • Diameter defines the area over which the sensor averages surface motion. • Another important property of AE sensors includes Curie Point, the temperature under which piezoelectric element loses permanently its piezoelectric properties.
  • 82.
    Methods of AESensors Calibration • The calibration of a sensor is the measurement of its voltage output into an established electrical load for a given mechanical input. Calibration results can be expressed either as frequency response or as an impulse response. • Surface calibration or Rayleigh calibration: The sensor and the source are located on the same plane surface of the test block. The energy at the sensor travels at the Rayleigh speed and the calibration is influenced by the aperture effect.
  • 84.
    AE Data AcquisitionDevices Example of AE device parameters: • 16 bit, 10 MHz A/D converter. • Maximum signal amplitude 100 dB AE. • High Pass filters for each channel with a range from 10 KHz to 200 KHz (under software control). • Low Pass filters for each channel with a range from 100 KHz to 2.1 MHz (under software control). • 32 bit Digital Signal Processor. • 1 Mbyte DSP and Waveform buffer.
  • 86.
    Principles of AEData Measurement and Analysis Threshold and Hit Definition Time (HDT): Threshold and HDT are parameters that used for detection AE signals in traditional AE devices. HDT: Enables the system to determine the end of a hit, close out the measurement process and store the measured attributes of the signal.
  • 87.
  • 88.
    AE Parameters • Peakamplitude - The maximum of AE signal. • Energy – Integral of the rectified voltage signal over the duration of the AE hit. • Duration – The time from the first threshold crossing to the end of the last threshold crossing. • Counts – The number of AE signal exceeds threshold. • Average Frequency –Determines the average frequency in kHz over the entire AE hit. • Rise time - The time from the first threshold crossing to the maximum amplitude. • Count rate - Number of counts per time unit.
  • 89.
    Applications • In fieldinspection • Structural integrity evaluation • Vessels testing [ambient, hot or cryogenic, metallic and FRP, spheres] • Tank bottom testing • Nuclear components inspection (valves, lift beams, steam lines) • Corrosion detection • Pipeline testing • Railroad tank car testing • Tube trailers & high pressure gas cylinders • Aging aircraft evaluation • Advanced materials testing (composites, ceramics) • Production quality control • Rocket motor testing.
  • 90.
    1. Pressure equipment: Areliable and standard method of non- destructive testing for pressure vessels. AE is used to monitor flaws, corrosion, and leakage in pressure vessels, LPG, tanks, piping systems, steam generators.
  • 91.
    2.Aircraft and aerospace:aerospace structures, wings, fuel tanks, Rocket engine, real time monitoring; 3.Petrochemical and chemical: storage tanks, reactor vessels and pipeline; 4.Marine: corrosion, composite shell, engine and power plant;
  • 92.
    5.Civil engineering: bridges,dams, suspension cable bridges, concrete structure reinforced by composite; 6.Research and development: acoustic emission is a good technique to monitor and study the damage in materials and their mechanical properties (new materials, smart materials, Shape memory alloys (SMA)).
  • 93.
  • 94.
    Application in HardDisk Drive Seagate Drive Quantum Drive
  • 95.