Reciprocating Rotary Engine
Dr. Ravi Shankar Gautam
ravishankargautam@gmail.com
(Thrust vectoring Ignition Chamber)
Indian Patent No. 201821027867
Overview
•Ignition chamber rotates
- Compressed fuel is ignited
-> ignited gas exiting through
transversely oriented nozzles cause
-> rotation of ignition chamber
•Flywheel - coaxially mounted ignition chamber
Challenges
•Fuel Suction Compression Ignition into/inside
rotating Ignition chamber
•Nozzle operation close/open of
Nozzles of rotating Ignition chamber
Overcome challenges
• Converting (part of) rotation of ignition chamber
->Reciprocrating action of piston
->Fuel suction and compression and
passage of compressed fuel
into ignition chamber
Apparatus used
Multipurpose bilaterally operated front dwell scotch
yoke actuator
Example
Garden Sprinkler:
Water coming through a bent nozzle
produces a rotatory motion
Fighter planes
vertical lifts using thrust vectoring
Advantages
•Exhaust of gas do not require extra stroke
•Half rotation of flywheel one combustion
•Two phase compression
- reduces traversal distance of scotch yoke required
for higher compression ratio
- Reduces the length of ignition chamber required
for higher amount of fuel
- lesser weight of ignition chamber
Thrust vectoring Engine (parts)
Front Side (Rotatory motion)
Ignition Chamber
Flywheel
Ignition spark plug
Rear Side (Fuel suction supply & Compression) :
Auxiliary Compression chamber
Scotch Yoke operation chamber
Front Piston chamber
Scotch-Yoke actuator
Scotch-Yoke operation mechanism
Ignition Chamber (IC)
Enclosure: Two Coaxial cylinder
Capped at front end
- transversely oriented coupled nozzle
- Nozzles with open/close valve:
Single Exit on each side
- Internal cylinder rearwardly extended
- cam gear (crown gear with rearward teeth)
mounted - rearward extension of internal cylinder
- flywheel gear coaxially mounted front end
Auxiliary Compression chamber (ACC)
•cylindrical enclosure radius greater than
ignition chamber
•rear side – fuel inlet (popette) valve
connected to fuel source
•Rear piston plate of scotch yoke actuator
Nozzle & its operation
Nozzle seal - solenoid operated – annular cylindrical
shutter - Annular cavity
•Scotch Yoke Operation chamber (SOC)
Enclosure: rectangular enclosure
- Between auxiliary compression chamber and
ignition chamber
- Yoke slot (bipartitioned)
- bilateral Crank-Pin set(s) of scotch yoke actuator
(operating yoke slots)
- Scotch yoke operation mechanism
(bilateral Cam follower gears operating Crank-Pin set(s))
- Support rods of scotch yoke
(Front and Rear support rods)
Front piston chamber (FPC)
•Cylindrical tube coaxial to ignition chamber
•Front side of SOC
•Front piston plate of scotch yoke actuator
•Spark plug
Front
Side
Rear Side
Flywheel
Nozzle
Seal
Solenoid
cyl2
cyl1
Nozzle
Seal
Ignition Chamber
Nozzle
FPC
Scotch Yoke Actuator
Salient features
•bilaterally operated multi purpose scotch yoke
•bilaterally operated slot (bipartitioned slot)
•front dwell yoke slot (time for fuel combustion exiting
through nozzle generation rotation force)
•double action - piston plates on both ends of yoke
•Passage for compressed gas
- piston plates with hole at center
mounted with pressure valves
- Yoke is continuous rod with longitudinal hole
- Yoke passes through yoke slots
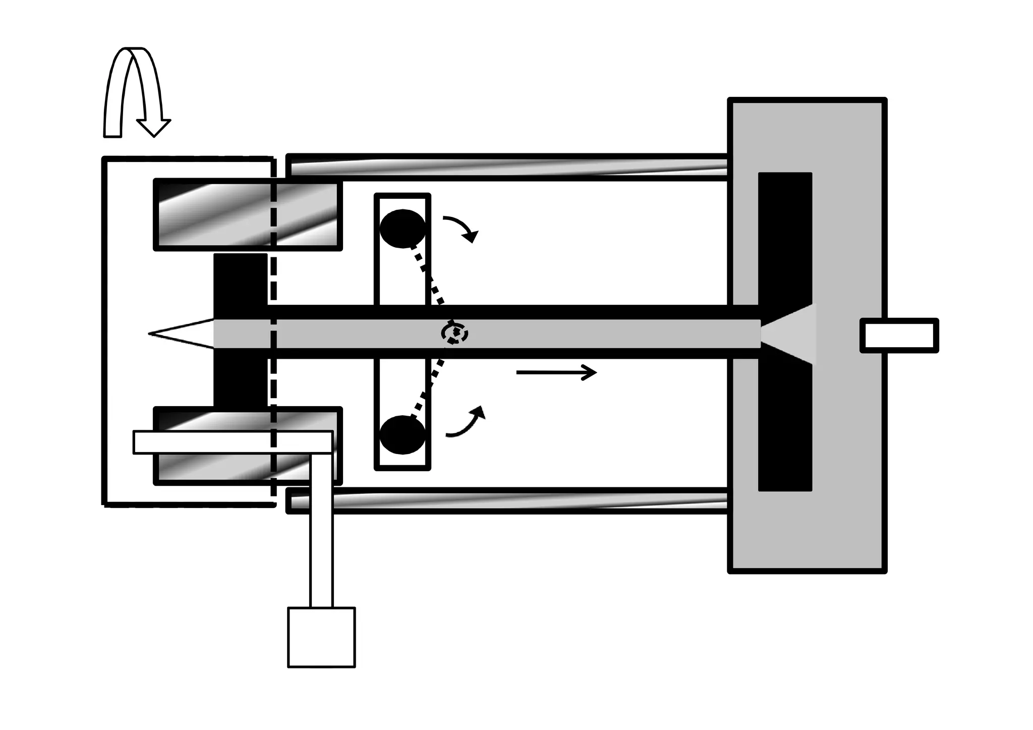
Scotch Yoke Actuator (SYA)
Parts and Assembly
•bipartitioned slot
left right sub-slots
•bilateral crank-pin set
ball bearing with pin
each pin engages one sub-slot
•Yoke rod
- continuous rod passing through yoke slot
- longitudinal passage hole along its length
•Piston plates
- front and rear end of yoke rod
- hole mounted with pressure valve
- valve opening into and out of yoke rod passage
- rear piston plate in ACC
- front piston plate FPC (Ignition chamber)
•Support rods
- front yoke rod support, (YRS1)
- rear yoke rod support (YRS2)
Advantages
- No torsional twisting
- rotational force distributed over larger space
- lesser sideward thrust and hence lesser friction
Multi-Slot-Scotch-Yoke Actuator (Configuration)
•Two pins - moving in yoke slot in opposite direction
•Two Cranks - rotate in opposite direction
Multi-Slot-Scotch-Yoke Actuator (function)
- Suction & Compression
- Rotation ->Translation
- Reciprocrating motion
- Passage of compressed fuel from
compression chamber to ignition chamber
Multi-Slot-Scotch-Yoke operation mechanism
-Coupling between Cam Gear (IC) and Scotch-Yoke Actuator
- Cam follower gear left and right side SOC
- Cam axis
connect cam follower gear to crank gear
- operate crank gear (which in turn operate yoke slot)
•Coupling between rotatory motion of Ignition
chamber and Scotch yoke actuator
-> convert rotation to reciprocating motion of piston
-> Fuel Suction/Compression/Supply/Compression
Fuel Suction Supply and Compression
Two Phase Compression
•Compression chamber (Rearward motion of
scotch yoke)
•Ignition chamber (Forward motion of scotch
yoke)
•Fuel Suction in Compression chamber
(Forward motion of scotch yoke)
•Fuel Supply to Ignition chamber
(Rearward motion of scotch yoke)
Ignition
chamber
PIN CRANK
YOKE
Fu
el
val
ve
Spark
Plug
YOKE
Slot
Improvement for high torque
(Indian patent 201821035766)
•Nozzles with open/close valve: multi-section seal
•Single-internal-Multi-outer-Exit
- single outlet in internal cylinder of IC
- branch into multi outlet at outer cylinder of IC
Single-Exit Nozzle (straight)
Single-Exit Nozzle (curved)
Single-Exit Nozzle
Multi-Exit Nozzle
Thank You

Thrust vectoring internal combustion engine

  • 1.
    Reciprocating Rotary Engine Dr.Ravi Shankar Gautam ravishankargautam@gmail.com (Thrust vectoring Ignition Chamber) Indian Patent No. 201821027867
  • 2.
    Overview •Ignition chamber rotates -Compressed fuel is ignited -> ignited gas exiting through transversely oriented nozzles cause -> rotation of ignition chamber •Flywheel - coaxially mounted ignition chamber
  • 3.
    Challenges •Fuel Suction CompressionIgnition into/inside rotating Ignition chamber •Nozzle operation close/open of Nozzles of rotating Ignition chamber
  • 4.
    Overcome challenges • Converting(part of) rotation of ignition chamber ->Reciprocrating action of piston ->Fuel suction and compression and passage of compressed fuel into ignition chamber Apparatus used Multipurpose bilaterally operated front dwell scotch yoke actuator
  • 7.
    Example Garden Sprinkler: Water comingthrough a bent nozzle produces a rotatory motion Fighter planes vertical lifts using thrust vectoring
  • 8.
    Advantages •Exhaust of gasdo not require extra stroke •Half rotation of flywheel one combustion •Two phase compression - reduces traversal distance of scotch yoke required for higher compression ratio - Reduces the length of ignition chamber required for higher amount of fuel - lesser weight of ignition chamber
  • 9.
    Thrust vectoring Engine(parts) Front Side (Rotatory motion) Ignition Chamber Flywheel Ignition spark plug Rear Side (Fuel suction supply & Compression) : Auxiliary Compression chamber Scotch Yoke operation chamber Front Piston chamber Scotch-Yoke actuator Scotch-Yoke operation mechanism
  • 10.
    Ignition Chamber (IC) Enclosure:Two Coaxial cylinder Capped at front end - transversely oriented coupled nozzle - Nozzles with open/close valve: Single Exit on each side - Internal cylinder rearwardly extended - cam gear (crown gear with rearward teeth) mounted - rearward extension of internal cylinder - flywheel gear coaxially mounted front end
  • 11.
    Auxiliary Compression chamber(ACC) •cylindrical enclosure radius greater than ignition chamber •rear side – fuel inlet (popette) valve connected to fuel source •Rear piston plate of scotch yoke actuator Nozzle & its operation Nozzle seal - solenoid operated – annular cylindrical shutter - Annular cavity
  • 12.
    •Scotch Yoke Operationchamber (SOC) Enclosure: rectangular enclosure - Between auxiliary compression chamber and ignition chamber - Yoke slot (bipartitioned) - bilateral Crank-Pin set(s) of scotch yoke actuator (operating yoke slots) - Scotch yoke operation mechanism (bilateral Cam follower gears operating Crank-Pin set(s)) - Support rods of scotch yoke (Front and Rear support rods)
  • 13.
    Front piston chamber(FPC) •Cylindrical tube coaxial to ignition chamber •Front side of SOC •Front piston plate of scotch yoke actuator •Spark plug
  • 14.
  • 15.
  • 16.
  • 17.
  • 18.
  • 20.
    Scotch Yoke Actuator Salientfeatures •bilaterally operated multi purpose scotch yoke •bilaterally operated slot (bipartitioned slot) •front dwell yoke slot (time for fuel combustion exiting through nozzle generation rotation force) •double action - piston plates on both ends of yoke •Passage for compressed gas - piston plates with hole at center mounted with pressure valves - Yoke is continuous rod with longitudinal hole - Yoke passes through yoke slots
  • 21.
    Scotch Yoke Actuator(SYA) Parts and Assembly •bipartitioned slot left right sub-slots •bilateral crank-pin set ball bearing with pin each pin engages one sub-slot
  • 22.
    •Yoke rod - continuousrod passing through yoke slot - longitudinal passage hole along its length •Piston plates - front and rear end of yoke rod - hole mounted with pressure valve - valve opening into and out of yoke rod passage - rear piston plate in ACC - front piston plate FPC (Ignition chamber)
  • 23.
    •Support rods - frontyoke rod support, (YRS1) - rear yoke rod support (YRS2) Advantages - No torsional twisting - rotational force distributed over larger space - lesser sideward thrust and hence lesser friction
  • 24.
    Multi-Slot-Scotch-Yoke Actuator (Configuration) •Twopins - moving in yoke slot in opposite direction •Two Cranks - rotate in opposite direction
  • 28.
    Multi-Slot-Scotch-Yoke Actuator (function) -Suction & Compression - Rotation ->Translation - Reciprocrating motion - Passage of compressed fuel from compression chamber to ignition chamber
  • 29.
    Multi-Slot-Scotch-Yoke operation mechanism -Couplingbetween Cam Gear (IC) and Scotch-Yoke Actuator - Cam follower gear left and right side SOC - Cam axis connect cam follower gear to crank gear - operate crank gear (which in turn operate yoke slot)
  • 30.
    •Coupling between rotatorymotion of Ignition chamber and Scotch yoke actuator -> convert rotation to reciprocating motion of piston -> Fuel Suction/Compression/Supply/Compression
  • 32.
    Fuel Suction Supplyand Compression Two Phase Compression •Compression chamber (Rearward motion of scotch yoke) •Ignition chamber (Forward motion of scotch yoke) •Fuel Suction in Compression chamber (Forward motion of scotch yoke) •Fuel Supply to Ignition chamber (Rearward motion of scotch yoke)
  • 33.
  • 34.
    Improvement for hightorque (Indian patent 201821035766) •Nozzles with open/close valve: multi-section seal •Single-internal-Multi-outer-Exit - single outlet in internal cylinder of IC - branch into multi outlet at outer cylinder of IC
  • 35.
  • 36.
  • 37.
  • 38.
  • 39.