1
Definition
• Measurement
– A method to obtain information regarding the physical
values of the variable.
– Act of measurement consists of obtaining a quantitative
comparison between a predefined standard and an
unknown quantity.
• Instrumentation
– Devicesused in measurement system
2
Terminologies
• variable such as pressure, temperature,Physical quantity:
mass,length, etc.
• Data: Information
instrumentation/measurement
obtained
system as a
from
result
the
of the
measurements made of the physicalquantities
• Information: Data that hasacalibrated numeric relationship to
the physicalquantity.
• Parameter: Physical quantity within defined (numeric)limits.
Purpose of ameasurement system
Measurand
3
Sensor, signal conditioning, display Man, tracking control etc
Generalisedmeasuring system
General Structure of Measuring System
Stage1:Adetection-transducer or sensor-transducer,stage1inthisstagethequantityis
detectedandtransducedintoelectricalform
Stage2:Theoutputfromthefirststageneedscertainmodificationsbeforeitbecomescompatiblewith
datapresentationstage.Thisnecessarymodificationiscarriedoutinintermediatestagecalledas
“signalconditioningstage”
Stage3:Thelaststageofthemeasurementsystemmayconsistofindicating,recording,displaying
etc.
4
Signal conditioning
•Signal conditioning circuits : are used to process the output signal
from sensors of a measurement system to be suitable for the next stage
of operation using amplification, attenuation, non- linearities,
linearization or multiplication by another function.
•The necessity of signal conditioning maybe due to following
reasons:
1. Signal maybe too noisy due to electromagnetic interference.
2. Signal maybe too small, usually in mV range.
3. Signal maybe non-linear and require to be converted into linear
form.
4. Signal maybe analog one and require to be converted into digital
form.
5. Signal maybe digital one and require to be converted into analog
form.
6. It maybe required to improve the quality of digital signals.
Process adopted in signal conditioning
1. Protection: The range of the output signals from the transducer may be
so high that it may damage the next unit or element which needs to be
protected.
Example: if the high voltage or current signals are fed to the
microprocessor, it will get damaged .The microprocessor is protected by:
• Employing series of current limiting resistors, fuses to break if
current is too high.
• Using a step down transformer
• Using voltage limiting circuits. Etc.
2. Getting right type of signal:
• The output signal of a transducer is of analog type, this needs to be
converted to DC voltage or current.
• The output signal of a microprocessor is of digital nature, it needs to
be converted into analog form to feed it to an actuator for process
controlling.
3. Getting correct level of signals:
• The level of the output signal maybe very low ,this needs to be
amplified for feeding into an analog to digital converter.
• It is also difficult to measure such a low signals.
• For amplification ,operational amplifiers are used.
4. Elimination of interferences:
• Some undesired signals or disturbances may be associated with the
output signals, these needs to be eliminated.
• Such disturbances are eliminated by using filters.
5. Manipulation of signals:
• The output signals maybe nonlinear in nature, these need to be
linearised and vice-versa.
Mechanical Amplification and Electrical Signal conditioning
Mechanical amplification by the elements such as linkages, gearing, or cans
is quite limited because of the following disadvantages:
1. When amplification is required frictional forces are also amplified ,
resulting in considerable undesirable signal loadings. These effects
results in poor response.
Advantages of electrical signal conditioning :
• Such conditioning may typically include:
• Converting resistance changes to voltage changes
• Subtracting offset voltage
• Increasing signal voltages
• Removing unwanted frequency components
• Ease of power amplification:
• Additional power may be fed to the system to provide greater output
power than input by the users of power amplifier.
Functions of signal conditioning equipment
Signal conditioning equipment may be required to perform
following functions:
1. Amplification: enhancement of signal level.
2. Modification or modulation: changing the form of signal:
smoothened, linearized,filtered or converted into different
form.
3. Impedance matching: matches the input and output
impedances to maintain the level of signal.
4. Data Processing: carries out mathematical operations
before recording or indication of data.
5. Data transmission: transmits data from one location to
other.
The whole task of the signal conditioning requires the following
i. Ingenuity
ii. Proper selection of components
iii. Faithful reproduction of signals
The excitation sources may be
DC Voltage source
AC Voltage source
•DC excitation source:
The strain guage (resistance transducer) constitutes one or more
arm of the Wheatstone’s bridge, which is excited by the dc
source.
The bridge can be balanced by using a potentiometer and can
also be calibrated to indicate the unbalanced condition.
The dc amplifier should have the following characteristics.
• Its input stage may be a balanced differential inputs giving a
high CMRR.(ratio of desired signal to undesired signal)
• It should have extremely good thermal and long term
stability.
• Easy to calibrate at low frequency.
• Able to recover from an over load condition, unlike an ac
system.
The main disadvantage of a dc amplifier is the problem of drift.
Hence low frequency spurious signals are available as data at
the output and to avoid this low drift of a dc amplifier, special
low drift dc amplifiers are used.
The dc amplifiers is followed by a low-pass filter, which is used
to eliminate high frequency components or noise from the data
signals.
In order to overcome the problem of drift in the dc systems, ac
systems are used. Figure 14.3 shows a circuit of an ac system
using carrier type ac Signal Conditioning System.
The transducers used are of the variable resistance or variable
inductance type. They are employed between carrier frequencies
of 50 kHz and 200 kHz. The carrier frequencies are much
higher, at least 5 to 10 times the signal frequencies.
The output of a transducer is applied to the bridge circuit, whose
output is an amplitude modulated carrier signal.
This waveform is amplified by an ac amplifier.
This amplified modulated output is then applied to a phase
sensitive demodulator, the carrier signal.
This produces a dc output that indicates the direction of the
parameter change in the bridge output.
In a carrier system amplifier, frequency drift and presence of
spurious signals are not much of a problem. However it is more
difficult to obtain a stable carrier oscillator than a dc stabilised
source.
Active filters can be used to reject this frequency and prevent
overloading of the ac amplifier.
The function of the phase sensitive detector is to filter out the
carrier frequency components of the data signal.
To summarise, dc systems are generally used for
common resistance transducers (such
as potentiometers and resistance strain gauges).
Uses:
AC systems are used for variable reactance transducers and for
systems where signals have to be transmitted via long cables to
connect the transducers to Signal Conditioning System.
After physical quantities like temperature, pressure, strain,
acceleration, etc. have been transduced into their analogous
electrical form and amplified to sufficient current and voltage
levels (say 1 — 10 V), they are further processed and the
amplified signal applied directly to the indicating, recording or
control systems.
Amplification
An amplifier is a device which is used to increase or augment the
weak signal. It may operate on mechanical( gear, levers etc.)
optical, pneumatic or hydraulic or electrical and electronic
principles.
The ratio of output signal (I0) to the input signal (Ii) for an
amplifier is termed as gain amplification or magnification . The
gain of amplification (G) is expressed as:
𝐺 =
𝐼0
𝐼𝑖
Since
𝐼0
𝐼 𝑖
are in same units , the gain G is dimensionless.
For 2 or more amplifiers, gain is given as
𝐼0
𝐼 𝑖
= 𝐺1. 𝐺2 . 𝐺3 … …
Types of Amplifiers
On the basis of principle of working:
1. Mechanical Amplifiers
2. Fluid Amplifiers
3. Optical Amplifiers
4. Electrical and Electronics Amplifiers
Mechanical Amplifiers
A mechanical amplifier, or a mechanical amplifying element,
is a linkage mechanism that amplifies the magnitude of
mechanical quantities such as force, displacement, velocity,
acceleration and torque in linear and rotational systems.
Transducers are devices that convert energy from one form to
another, such as mechanical-to-electrical or vice versa; and
mechanical amplifiers are employed to improve the efficiency of
this energy conversion from mechanical sources.
Two meshing gears transmit rotational motion. With different
number of teeth between the input and output gears, torque and
velocity can be either amplified or reduced. if the number of
teeth of the output gear is less than that of the input, the output
velocity is amplified.
The mechanical advantage of a gear train is given by the ratio of
the output torque T and input torque T, which is also the same
ratio of number of teeth of the output gear N and the number of
teeth of the input gear N.
• Limitations:
i. Internal loading
ii. Friction at mating parts
iii. Elastic deformation
iv. Backlash
The input arm is sometimes
called the "effort arm".
The "output arm" is
sometimes called the
load arm.
1. Mechanical Amplifiers
Lever can be used to change the magnitude of a given mechanical signal, such
as force or displacement. Levers are widely used as mechanical amplifiers in
actuators and generators.
It is a mechanism that usually consist of a rigid beam/rod fixed about a pivot.
Levers are balanced when there is a balance of moment or torque about the
pivot.
2. Fluid Amplifiers
i) Pneumatic amplifiers: A pneumatic control system operates
with air. The signal is transmitted in the form of variable air
pressure (often in the range of 0.2 to 1.0 bar (3-15 psi)) that
initiates the control action. One of the basic building blocks of a
pneumatic control system is the flapper nozzle amplifier. It
converts very small displacement signal (in order of microns) to
variation of air pressure.
Constant air pressure is supplied to one end of the pipeline.
There is an orifice at this end.
At the other end of the pipe, there is a nozzle and a flapper. The
gap between the nozzle and the flapper is set by the input signal.
As the flapper moves closer to the nozzle, there will be less
airflow through the nozzle and the air pressure inside the pipe
will increase.
On the other hand, if the flapper moves further away from the
nozzle, the air pressure decreases.
At the extreme, if the nozzle is open (flapper is far off), the
output pressure will be equal to the atmospheric pressure.
If the nozzle is blocked, the output pressure will be equal to the
supply pressure.
ii) Hydraulic Amplifiers : When a small displacement is
applied to a piston operating inside a cylinder containing some
liquid, there occurs a large displacement of the liquid in the
output tube which has small diameter.
3. Optical Amplifiers:
The angle between the incident ray and the normal is known as the angle of
incidence ( i ). The angle between the reflected ray and the normal is known
as the angle of reflection ( r ). Mirror Incident Ray Reflected Ray Normal.
The law of reflection states that if the light ray strikes a mirror at some angle
A from the normal, the reflected light
ray will leave the mirror at the same angle
to the normal. In other words, the angle
of incidence is equal to the angle of reflection.
A light ray from the light source is
called an incident ray.
When mirror rotates through an angle ө then
Angle of incident becomes i + ө , therefore
angle of reflection also becomes i+ ө .
4. Electrical and Electronics Amplifiers:
The electrical amplifiers are used to increase the magnitude of
weak voltage or current signals resulting from
electromechanical transducers.
4.1 Desirable characteristics of Electronic Amplifiers:
i. High input impedance so that its loading effect on the
transducer is minimum.
ii. Low output impedance so that the amplifier is not unduly
loaded by the display or recording devices.
iii. Frequency response should be as good as that of a
transducer.
4.2Electronic Amplification of Gain
For simplification, Assume
• Infinite gain
• Infinite input impedance i.e no input current, hence no load on the previous
stage or device.
•Zero output impedance ( low noise)
•Instant response
•Zero output for zero input
If, 𝑣𝑖 = 𝐼𝑛𝑝𝑢𝑡 𝑣𝑜𝑙𝑎𝑡𝑔𝑒
𝑖𝑖 = 𝐼𝑛𝑝𝑢𝑡 𝑣𝑜𝑙𝑎𝑡𝑔𝑒
𝑣0 = 𝐼𝑛𝑝𝑢𝑡 𝑣𝑜𝑙𝑎𝑡𝑔𝑒
𝑖0 = 𝐼𝑛𝑝𝑢𝑡 𝑣𝑜𝑙𝑎𝑡𝑔𝑒
Then: Gain =
𝑃𝑜𝑤𝑒𝑟 𝑜𝑢𝑡𝑝𝑢𝑡
𝑃𝑜𝑤𝑒𝑟 𝑖𝑛𝑝𝑢𝑡
=
𝑣0 𝑖 𝑜
𝑣 𝑖 𝑣 𝑖
Voltage amplification =
𝑉𝑜𝑙𝑡𝑎𝑔𝑒 𝑜𝑢𝑡𝑝𝑢𝑡
𝑉𝑜𝑙𝑡𝑎𝑔𝑒 𝑖𝑛𝑝𝑢𝑡
=
𝑣0
𝑣𝑖
Current amplification =
𝐶𝑢𝑟𝑟𝑒𝑛𝑡 𝑜𝑢𝑡𝑝𝑢𝑡
𝑐𝑢𝑟𝑟𝑒𝑛𝑡 𝑖𝑛𝑝𝑢𝑡
=
𝑖 𝑜
𝑖𝑖
Another way of expressing power gain is through the use of
decibel .
The common logarithm ( log to the base 10) of power gain is
known as bel power gain.
Power gain = 𝑙𝑜𝑔10
𝑃0
𝑃 𝑖
𝑏𝑒𝑙
1 bel = 10 db
Power gain = 10 𝑙𝑜𝑔10
𝑃0
𝑃 𝑖
𝑑𝐵
If the two powers are developed in the same resistance or equal
resistance, then
𝑃𝑖 =
𝑉𝑖2
𝑅
= 𝐼𝑖2
R
𝑃0 =
𝑉02
𝑅
= 𝐼02
R
4.3 AC and DC amplifiers
• The AC Amplifiers are only capable of dealing with rapid ,repetitive
signals but are usually simple and cheaper when compared with their
DC counterparts.
• In an AC amplifier systems, the amplifier drift and spurious noise
are not significant, the mains frequency pick up rejection is very
high.
• The DC amplifiers are capable of amplifying static, slowly
changing.
• The DC amplifier systems are easy to calibrate at low frequencies
and hence the ability to recover rapidly from overload conditions.
4.4 Modulated and Unmodulated Signals
• Signal may be pure in the sense that analog electrical signal contains nothing
more than the real time variation of the measurand information itself.
• Or the signal may be mixed with the carrier signal which consists of voltage
oscillation at some frequency higher than that of a signal.(10:1)
• The measurand affects the carrier by varying either its amplitude or its
frequency.
• When carrier frequency is held constant and its amplitude is varied by the
meausrand. This process is called as Amplitude modulation (AM).
• When carrier amplitude is held constant and its frequency is varied by the
measurand. This process is known as Frequency modulation (FM).
• It is required to extract signal information from the modulated carrier
• When AM is used,
• The simplest way is to display the entire signal using an oscillioscope or
oscilliograph, and then to read the result from the envelop of carrier.
• Mixed signal is demodulated by rectification or filtering.
• For FM demodulation, operation is accomplished by using
• Frequency discrimination
• Ratio detection
• IC phase –locked loops
4.5 Integrated Circuits (IC’S)
It is group of circuit elements combined to perform specific
purposes .
The are used to construct more complex circuits such as:
• Differential amplifiers
• Mixers
• Timers
• Audio Preamps
• Auto- power amplifiers
• Voltage references
• Regulators and comparators
• Several digital devices
4.6 Operational Amplifiers (Op-amp)
It is a linear integrated circuit that has a very high voltage gain, high input
impedance, and a low output impedance.
It is so called because it can be employed to carry out different
mathematical operations like Addition , Subtraction , Division ,
Multiplication, differentiation , integration etc.
• Specification / characteristics of an Op-amp
• Op-amp description
• Limitations of OP-amps
• Applications
Op-amp circuits used in instrumentation
• Inverter
• Adder
• Subtracter
• Multiplier and divider
• Integrator
• Differentiator
• Buffer amplifier
• Differential Amplifier
4.7 Attenuators
• An attenuator is a two-port resistive network and is used to
reduce the signal level by a given amount.
• In a number of applications , it is necessary to introduce a
specified loss between the source and a matched load without
altering the impedance relationship. Attenuators are used for
this purpose
• Attenuators may be fixed or variable , or symmetrical or
asymmetrical .A fixed attenuator with constant attenuation is
called as PAD
• Variable attenuators are used as volume controller in radio
broadcasting.
• Attenuators are also used in laboratory to obtain small value
of voltage or current for testing circuits.
The attenuation is expressed in decibals (dB) or in naper.
𝐴𝑡𝑡𝑒𝑛𝑢𝑎𝑡𝑖𝑜𝑛 𝑖𝑛 𝑑𝐵 = 10 𝑙𝑜𝑔10
𝑃 𝑖
𝑃0
Where 𝑃0 𝑖𝑠 𝑡ℎ𝑒 𝑜𝑢𝑡𝑝𝑢𝑡 𝑝𝑜𝑤𝑒𝑟 𝑎𝑛𝑑 𝑃𝑖 is the input power
Attenuators maybe of following types
1. Resistance attenuators
2. Symmetrical T- attenuators
3. L-type attenuators
4. ∏- attenuators
4.8 Filters
Filtering is the process of attenuating unwanted components of
the measurement while permitting the desired components to
pass.
The filter is an electronic device which can pass or stop a
particular band of frequencies through it.
The band of frequency which will pass through it is called as
pass band and all the remaining frequencies are called as
attenuation band.
Classification of filters
On the basis of passing and attenuating of frequencies
1. Low pass filters: (lag network or integrating network)
These are those filters which pass only low frequencies through
them and rejects all high frequencies.
2. High pass filters: (lead network)
These are those filters which pass high frequencies through
them and will reject all low frequencies below the cut off
frequency.
3. Band pass filters:
These are those filters which pass a band of frequencies through
them and rejects all other frequencies.
4. Band stop filters :
These filters are also known as band elimination filters: they
reject band of frequencies to pass through it and allows all other
frequencies to pass through it.
Data Acquisition Systems
A typical Data Acquisition System consists of individual sensors with the
necessary signal conditioning, data conversion, data processing,
multiplexing, data handling and associated transmission, storage and display
systems.
Data acquisition systems (abbreviated with the acronym DAS or DAQ)
typically convert analog waveforms into digital values for easy processing.
The analog data is usually acquired and converted into digital form for the
purpose of processing, transmission, display and storage. Data may be
transferred for long distance or short distances.
The data may be displayed on a digital panel meter or as apart of CRT
presentation
The same may be stored temporarily in either raw form or processed form for
immediate use or for later references.
• 1.Generalized block diagram of data acquisition system
The components of data acquisition systems include:
Sensors that convert physical parameters to electrical
signals.
Signal conditioning circuitry to convert sensor signals
into a form that can be converted to digital values.
Analog-to-digital converters, which convert conditioned
sensor signals to digital values.
2.objective
DAS must acquire the necessary data, at correct speed
and at correct time.
It must monitor the complete plant operation to
maintain on line and safe operations.
It must be able to collect, summarise and store data for
diagnosis of operation and record purpose.
It must be flexible and capable of being expanded for
future requirements.
It must be able to compute unit performance indices
using on-line, real time data.
It must be reliable, easy to operate and must be user
friendly.
3.Configuration of DAS
The important factors that decide the configuration and sub-systems of
DAS are as follows:
• The number of channels to be monitored.
• Sampling rate per channel.
• Signal conditioning requirement for each channel.
• Resolution and accuracy
• Cost.
The various general configuration includes:
1. Signal channel possibilities:
• Direct conversion
• Pre-amplification and direct conversion
• Pre-amplification, sample , hold and conversion
• Pre-amplification , signal conditioning and any of the above
2. Multi- channel possibilities:
• Multiplexing the outputs of a signal channel converters
• Multiplexing the outputs of sample hold circuits
• Multiplexing the inputs of sample hold circuits
• Multiplexing low level data
3. Noise reduction options:
• Filtering
• Integrating converters and digital processing
4.Data Acquisition systems
Data Acquisition is the process of using output signals and inputting that into
a computer.
4.1 Analog and Automated data acquisition systems:
This system consists of sensor- transducer the output of which is connected
to DAC board (PCB) through a signal conditioning unit.
The DAC board is plugged in the computer
The DAC board consists of a multiplexer, amplifier, ADC, register and
control circuitry, and output is connected to computer.
A software employed to control the acquisition of data through DAC. When
the program requires input from particular sensor ,it activates the DAC board
by sending control word to the control and status register .The control word
indicates what type of operation the board has to carry out.
Sensor
Signal
Conditioning
DAC Board
Processor
Or
Computer
Output
device
Monitor,
Printer
Recorder
Automated data acquisition system : may take the following
forms:
1. Data loggers
2. Computer with plug-in boards
1. Data Loggers: A data logger (also data recorder) is an
electronic device that records data over time or in relation to
location either with a built in or via external instruments and
sensors. Data loggers are available in various shapes and
sizes. The range includes simple economical single channel
fixed function loggers to more powerful programmable
devices capable of handling hundreds of inputs.
Inputs from individual sensors, after suitable
signal conditioning it is fed into the multiplexer, which
is then fed to the ADC
The output is then displayed on the digital meters
2. Computer with plug-in cards
The signal conditioning prior to the inputs to the board depends upon
the sensor concern
Computer
Board
Signal
conditioning
Inputs
from
sensors
4.2 Single Channel DAS
• The system consists of a signal conditioner followed by an
analog to digital converter performing repetitive
conversions.
• The digital outputs are further fed to a storage or printout
device or to a digital computer for analysis.
output
Convert
command
ADC Buffer
Input To storage or
printout
device or
digital
computer for
analysis
The Multi Channel Data Acquisition System can be time shared by two or
more input sources. Depending on the desired properties of the multiplexed
system, a number of techniques are employed for such time shared
measurements.
Multi-Channel Analog Multiplexed System:
The multi-channel DAS has a single A/D converter preceded by a
multiplexer. The individual analog signals are applied directly or after
amplification and/or signal conditioning, whenever necessary, to the
multiplexer. These are further converted to digital signals by the use of A/D
converters, sequentially.
For the most efficient utilisation of time, the multiplexer is made to seek the
next channel to be converted while the previous data stored in the
sample/hold is converted to digital form.
When the conversion is complete, the status line from the converter causes
the sample/hold to return to the sample mode and acquires the signal of the
next channel. On completion of acquisition, either immediately or upon
command, the S/H is switched to the hold mode, a conversion begins again
and the multiplexer selects the next channel. This method is relatively slower
than systems where S/H outputs or even A/D converter outputs are
multiplexed, but it has the obvious advantage of low cost due to sharing of a
majority of sub-systems.
Multiplexing the Outputs of Sample/Hold:
When a large number of channels are to be monitored at the same time
(synchronously) but at moderate speeds, the technique of multiplexing the outputs
of the S/H is particularly attractive.
An individual S/H is assigned to each channel as shown in Figure, and they are
updated synchronously by a timing circuit. The S/H outputs are connected to an
A/D converter through a multiplexer, resulting in a sequential readout of the
outputs.
(Applications that might require this approach include wind tunnel measurements,
seismographic experimentation, radar and fire control systems. The event to be
measured is often a one-shot phenomenon and information is required at a critical
point during a one-shot event.)
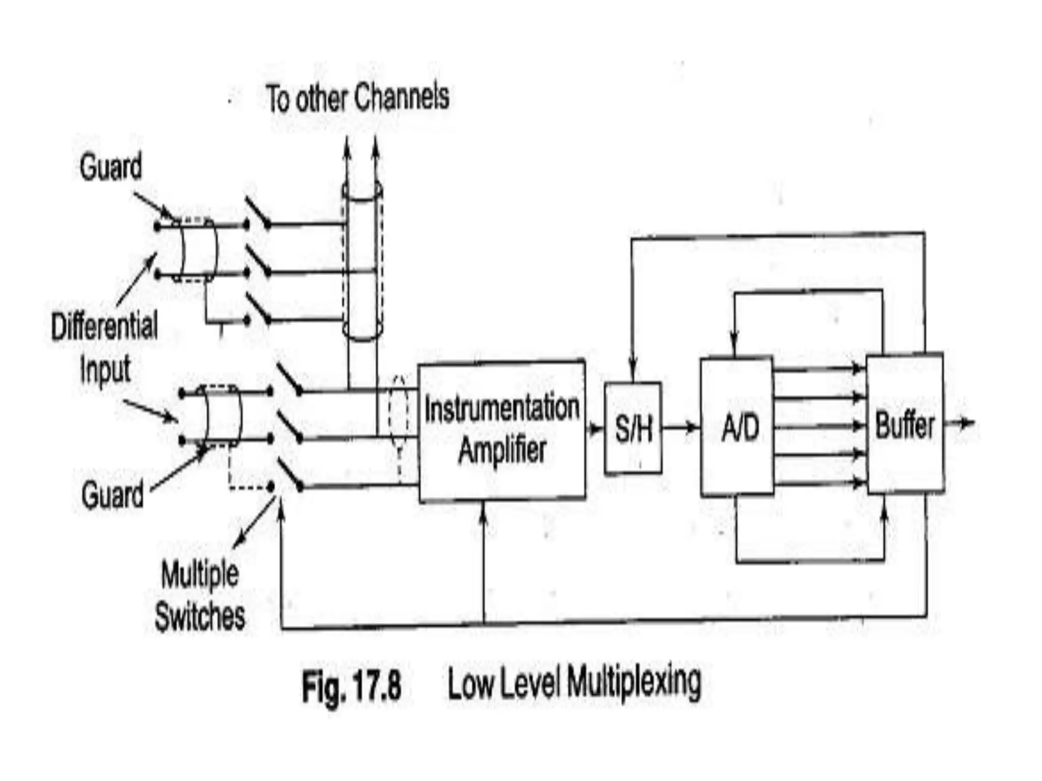
Multiplexing Low Level Data:
A low level data multiplexing system, as shown in Figure, enables the use of
a single high quality data amplifier for handling multichannel low level
inputs. individual amplifiers are used for each low level signal. Low level
multiplexing can be attractive when a large number of channels (25), all
having low level outputs, need to be used at moderate speeds. The use of
individual channels is possible because of the availability of high
quality amplifiers at moderate cost. (A typical application is a 200 channel
stress measurement system in a transmission tower set up.)
Several factors have to be considered to accomplish low level multiplexing
successfully. Guarding may have to be employed for every channel, and each
individual guard may have to be switched, so that the appropriate guard is
driven by the common mode pertaining to that channel.
Problems of pickup gets more complicated and have to be taken care of, to
avoid the possibility of signal-to-signal, and even common mode-to differen-
tial mode signal cross-talk.
Capacitance balance may need to be carried out. When the number of
channels to be multiplexed increases, the problems of stray capacitances and
capacitive balance are worsened.
In the specific case of a 48 channel system, the input channels are subdivided
into groups of eight channels in the first tier. Each of these six subgroups are
in turn multiplexed by a six channel multiplexer on the second tier.
sensors and transducers Module 3

sensors and transducers Module 3

  • 1.
    1 Definition • Measurement – Amethod to obtain information regarding the physical values of the variable. – Act of measurement consists of obtaining a quantitative comparison between a predefined standard and an unknown quantity. • Instrumentation – Devicesused in measurement system
  • 2.
    2 Terminologies • variable suchas pressure, temperature,Physical quantity: mass,length, etc. • Data: Information instrumentation/measurement obtained system as a from result the of the measurements made of the physicalquantities • Information: Data that hasacalibrated numeric relationship to the physicalquantity. • Parameter: Physical quantity within defined (numeric)limits.
  • 3.
    Purpose of ameasurementsystem Measurand 3 Sensor, signal conditioning, display Man, tracking control etc
  • 4.
    Generalisedmeasuring system General Structureof Measuring System Stage1:Adetection-transducer or sensor-transducer,stage1inthisstagethequantityis detectedandtransducedintoelectricalform Stage2:Theoutputfromthefirststageneedscertainmodificationsbeforeitbecomescompatiblewith datapresentationstage.Thisnecessarymodificationiscarriedoutinintermediatestagecalledas “signalconditioningstage” Stage3:Thelaststageofthemeasurementsystemmayconsistofindicating,recording,displaying etc. 4
  • 5.
    Signal conditioning •Signal conditioningcircuits : are used to process the output signal from sensors of a measurement system to be suitable for the next stage of operation using amplification, attenuation, non- linearities, linearization or multiplication by another function. •The necessity of signal conditioning maybe due to following reasons: 1. Signal maybe too noisy due to electromagnetic interference. 2. Signal maybe too small, usually in mV range. 3. Signal maybe non-linear and require to be converted into linear form. 4. Signal maybe analog one and require to be converted into digital form. 5. Signal maybe digital one and require to be converted into analog form. 6. It maybe required to improve the quality of digital signals.
  • 6.
    Process adopted insignal conditioning 1. Protection: The range of the output signals from the transducer may be so high that it may damage the next unit or element which needs to be protected. Example: if the high voltage or current signals are fed to the microprocessor, it will get damaged .The microprocessor is protected by: • Employing series of current limiting resistors, fuses to break if current is too high. • Using a step down transformer • Using voltage limiting circuits. Etc. 2. Getting right type of signal: • The output signal of a transducer is of analog type, this needs to be converted to DC voltage or current. • The output signal of a microprocessor is of digital nature, it needs to be converted into analog form to feed it to an actuator for process controlling. 3. Getting correct level of signals: • The level of the output signal maybe very low ,this needs to be amplified for feeding into an analog to digital converter. • It is also difficult to measure such a low signals. • For amplification ,operational amplifiers are used.
  • 7.
    4. Elimination ofinterferences: • Some undesired signals or disturbances may be associated with the output signals, these needs to be eliminated. • Such disturbances are eliminated by using filters. 5. Manipulation of signals: • The output signals maybe nonlinear in nature, these need to be linearised and vice-versa.
  • 8.
    Mechanical Amplification andElectrical Signal conditioning Mechanical amplification by the elements such as linkages, gearing, or cans is quite limited because of the following disadvantages: 1. When amplification is required frictional forces are also amplified , resulting in considerable undesirable signal loadings. These effects results in poor response. Advantages of electrical signal conditioning : • Such conditioning may typically include: • Converting resistance changes to voltage changes • Subtracting offset voltage • Increasing signal voltages • Removing unwanted frequency components • Ease of power amplification: • Additional power may be fed to the system to provide greater output power than input by the users of power amplifier.
  • 9.
    Functions of signalconditioning equipment Signal conditioning equipment may be required to perform following functions: 1. Amplification: enhancement of signal level. 2. Modification or modulation: changing the form of signal: smoothened, linearized,filtered or converted into different form. 3. Impedance matching: matches the input and output impedances to maintain the level of signal. 4. Data Processing: carries out mathematical operations before recording or indication of data. 5. Data transmission: transmits data from one location to other. The whole task of the signal conditioning requires the following i. Ingenuity ii. Proper selection of components iii. Faithful reproduction of signals
  • 10.
    The excitation sourcesmay be DC Voltage source AC Voltage source •DC excitation source: The strain guage (resistance transducer) constitutes one or more arm of the Wheatstone’s bridge, which is excited by the dc source. The bridge can be balanced by using a potentiometer and can also be calibrated to indicate the unbalanced condition. The dc amplifier should have the following characteristics. • Its input stage may be a balanced differential inputs giving a high CMRR.(ratio of desired signal to undesired signal) • It should have extremely good thermal and long term stability. • Easy to calibrate at low frequency. • Able to recover from an over load condition, unlike an ac system.
  • 11.
    The main disadvantageof a dc amplifier is the problem of drift. Hence low frequency spurious signals are available as data at the output and to avoid this low drift of a dc amplifier, special low drift dc amplifiers are used. The dc amplifiers is followed by a low-pass filter, which is used to eliminate high frequency components or noise from the data signals.
  • 12.
    In order toovercome the problem of drift in the dc systems, ac systems are used. Figure 14.3 shows a circuit of an ac system using carrier type ac Signal Conditioning System. The transducers used are of the variable resistance or variable inductance type. They are employed between carrier frequencies of 50 kHz and 200 kHz. The carrier frequencies are much higher, at least 5 to 10 times the signal frequencies. The output of a transducer is applied to the bridge circuit, whose output is an amplitude modulated carrier signal. This waveform is amplified by an ac amplifier. This amplified modulated output is then applied to a phase sensitive demodulator, the carrier signal. This produces a dc output that indicates the direction of the parameter change in the bridge output.
  • 13.
    In a carriersystem amplifier, frequency drift and presence of spurious signals are not much of a problem. However it is more difficult to obtain a stable carrier oscillator than a dc stabilised source. Active filters can be used to reject this frequency and prevent overloading of the ac amplifier. The function of the phase sensitive detector is to filter out the carrier frequency components of the data signal. To summarise, dc systems are generally used for common resistance transducers (such as potentiometers and resistance strain gauges). Uses: AC systems are used for variable reactance transducers and for systems where signals have to be transmitted via long cables to connect the transducers to Signal Conditioning System.
  • 14.
    After physical quantitieslike temperature, pressure, strain, acceleration, etc. have been transduced into their analogous electrical form and amplified to sufficient current and voltage levels (say 1 — 10 V), they are further processed and the amplified signal applied directly to the indicating, recording or control systems.
  • 15.
    Amplification An amplifier isa device which is used to increase or augment the weak signal. It may operate on mechanical( gear, levers etc.) optical, pneumatic or hydraulic or electrical and electronic principles. The ratio of output signal (I0) to the input signal (Ii) for an amplifier is termed as gain amplification or magnification . The gain of amplification (G) is expressed as: 𝐺 = 𝐼0 𝐼𝑖 Since 𝐼0 𝐼 𝑖 are in same units , the gain G is dimensionless. For 2 or more amplifiers, gain is given as 𝐼0 𝐼 𝑖 = 𝐺1. 𝐺2 . 𝐺3 … …
  • 16.
    Types of Amplifiers Onthe basis of principle of working: 1. Mechanical Amplifiers 2. Fluid Amplifiers 3. Optical Amplifiers 4. Electrical and Electronics Amplifiers
  • 17.
    Mechanical Amplifiers A mechanicalamplifier, or a mechanical amplifying element, is a linkage mechanism that amplifies the magnitude of mechanical quantities such as force, displacement, velocity, acceleration and torque in linear and rotational systems. Transducers are devices that convert energy from one form to another, such as mechanical-to-electrical or vice versa; and mechanical amplifiers are employed to improve the efficiency of this energy conversion from mechanical sources.
  • 18.
    Two meshing gearstransmit rotational motion. With different number of teeth between the input and output gears, torque and velocity can be either amplified or reduced. if the number of teeth of the output gear is less than that of the input, the output velocity is amplified.
  • 19.
    The mechanical advantageof a gear train is given by the ratio of the output torque T and input torque T, which is also the same ratio of number of teeth of the output gear N and the number of teeth of the input gear N. • Limitations: i. Internal loading ii. Friction at mating parts iii. Elastic deformation iv. Backlash
  • 20.
    The input armis sometimes called the "effort arm". The "output arm" is sometimes called the load arm. 1. Mechanical Amplifiers
  • 21.
    Lever can beused to change the magnitude of a given mechanical signal, such as force or displacement. Levers are widely used as mechanical amplifiers in actuators and generators. It is a mechanism that usually consist of a rigid beam/rod fixed about a pivot. Levers are balanced when there is a balance of moment or torque about the pivot.
  • 22.
    2. Fluid Amplifiers i)Pneumatic amplifiers: A pneumatic control system operates with air. The signal is transmitted in the form of variable air pressure (often in the range of 0.2 to 1.0 bar (3-15 psi)) that initiates the control action. One of the basic building blocks of a pneumatic control system is the flapper nozzle amplifier. It converts very small displacement signal (in order of microns) to variation of air pressure.
  • 23.
    Constant air pressureis supplied to one end of the pipeline. There is an orifice at this end. At the other end of the pipe, there is a nozzle and a flapper. The gap between the nozzle and the flapper is set by the input signal. As the flapper moves closer to the nozzle, there will be less airflow through the nozzle and the air pressure inside the pipe will increase. On the other hand, if the flapper moves further away from the nozzle, the air pressure decreases. At the extreme, if the nozzle is open (flapper is far off), the output pressure will be equal to the atmospheric pressure. If the nozzle is blocked, the output pressure will be equal to the supply pressure.
  • 24.
    ii) Hydraulic Amplifiers: When a small displacement is applied to a piston operating inside a cylinder containing some liquid, there occurs a large displacement of the liquid in the output tube which has small diameter. 3. Optical Amplifiers: The angle between the incident ray and the normal is known as the angle of incidence ( i ). The angle between the reflected ray and the normal is known as the angle of reflection ( r ). Mirror Incident Ray Reflected Ray Normal. The law of reflection states that if the light ray strikes a mirror at some angle A from the normal, the reflected light ray will leave the mirror at the same angle to the normal. In other words, the angle of incidence is equal to the angle of reflection. A light ray from the light source is called an incident ray. When mirror rotates through an angle ө then Angle of incident becomes i + ө , therefore angle of reflection also becomes i+ ө .
  • 25.
    4. Electrical andElectronics Amplifiers: The electrical amplifiers are used to increase the magnitude of weak voltage or current signals resulting from electromechanical transducers. 4.1 Desirable characteristics of Electronic Amplifiers: i. High input impedance so that its loading effect on the transducer is minimum. ii. Low output impedance so that the amplifier is not unduly loaded by the display or recording devices. iii. Frequency response should be as good as that of a transducer.
  • 26.
    4.2Electronic Amplification ofGain For simplification, Assume • Infinite gain • Infinite input impedance i.e no input current, hence no load on the previous stage or device. •Zero output impedance ( low noise) •Instant response •Zero output for zero input If, 𝑣𝑖 = 𝐼𝑛𝑝𝑢𝑡 𝑣𝑜𝑙𝑎𝑡𝑔𝑒 𝑖𝑖 = 𝐼𝑛𝑝𝑢𝑡 𝑣𝑜𝑙𝑎𝑡𝑔𝑒 𝑣0 = 𝐼𝑛𝑝𝑢𝑡 𝑣𝑜𝑙𝑎𝑡𝑔𝑒 𝑖0 = 𝐼𝑛𝑝𝑢𝑡 𝑣𝑜𝑙𝑎𝑡𝑔𝑒 Then: Gain = 𝑃𝑜𝑤𝑒𝑟 𝑜𝑢𝑡𝑝𝑢𝑡 𝑃𝑜𝑤𝑒𝑟 𝑖𝑛𝑝𝑢𝑡 = 𝑣0 𝑖 𝑜 𝑣 𝑖 𝑣 𝑖 Voltage amplification = 𝑉𝑜𝑙𝑡𝑎𝑔𝑒 𝑜𝑢𝑡𝑝𝑢𝑡 𝑉𝑜𝑙𝑡𝑎𝑔𝑒 𝑖𝑛𝑝𝑢𝑡 = 𝑣0 𝑣𝑖 Current amplification = 𝐶𝑢𝑟𝑟𝑒𝑛𝑡 𝑜𝑢𝑡𝑝𝑢𝑡 𝑐𝑢𝑟𝑟𝑒𝑛𝑡 𝑖𝑛𝑝𝑢𝑡 = 𝑖 𝑜 𝑖𝑖
  • 27.
    Another way ofexpressing power gain is through the use of decibel . The common logarithm ( log to the base 10) of power gain is known as bel power gain. Power gain = 𝑙𝑜𝑔10 𝑃0 𝑃 𝑖 𝑏𝑒𝑙 1 bel = 10 db Power gain = 10 𝑙𝑜𝑔10 𝑃0 𝑃 𝑖 𝑑𝐵 If the two powers are developed in the same resistance or equal resistance, then 𝑃𝑖 = 𝑉𝑖2 𝑅 = 𝐼𝑖2 R 𝑃0 = 𝑉02 𝑅 = 𝐼02 R
  • 28.
    4.3 AC andDC amplifiers • The AC Amplifiers are only capable of dealing with rapid ,repetitive signals but are usually simple and cheaper when compared with their DC counterparts. • In an AC amplifier systems, the amplifier drift and spurious noise are not significant, the mains frequency pick up rejection is very high. • The DC amplifiers are capable of amplifying static, slowly changing. • The DC amplifier systems are easy to calibrate at low frequencies and hence the ability to recover rapidly from overload conditions.
  • 29.
    4.4 Modulated andUnmodulated Signals • Signal may be pure in the sense that analog electrical signal contains nothing more than the real time variation of the measurand information itself. • Or the signal may be mixed with the carrier signal which consists of voltage oscillation at some frequency higher than that of a signal.(10:1) • The measurand affects the carrier by varying either its amplitude or its frequency. • When carrier frequency is held constant and its amplitude is varied by the meausrand. This process is called as Amplitude modulation (AM). • When carrier amplitude is held constant and its frequency is varied by the measurand. This process is known as Frequency modulation (FM). • It is required to extract signal information from the modulated carrier • When AM is used, • The simplest way is to display the entire signal using an oscillioscope or oscilliograph, and then to read the result from the envelop of carrier. • Mixed signal is demodulated by rectification or filtering. • For FM demodulation, operation is accomplished by using • Frequency discrimination • Ratio detection • IC phase –locked loops
  • 30.
    4.5 Integrated Circuits(IC’S) It is group of circuit elements combined to perform specific purposes . The are used to construct more complex circuits such as: • Differential amplifiers • Mixers • Timers • Audio Preamps • Auto- power amplifiers • Voltage references • Regulators and comparators • Several digital devices
  • 31.
    4.6 Operational Amplifiers(Op-amp) It is a linear integrated circuit that has a very high voltage gain, high input impedance, and a low output impedance. It is so called because it can be employed to carry out different mathematical operations like Addition , Subtraction , Division , Multiplication, differentiation , integration etc. • Specification / characteristics of an Op-amp • Op-amp description • Limitations of OP-amps • Applications
  • 32.
    Op-amp circuits usedin instrumentation • Inverter • Adder • Subtracter • Multiplier and divider • Integrator • Differentiator • Buffer amplifier • Differential Amplifier
  • 33.
    4.7 Attenuators • Anattenuator is a two-port resistive network and is used to reduce the signal level by a given amount. • In a number of applications , it is necessary to introduce a specified loss between the source and a matched load without altering the impedance relationship. Attenuators are used for this purpose • Attenuators may be fixed or variable , or symmetrical or asymmetrical .A fixed attenuator with constant attenuation is called as PAD • Variable attenuators are used as volume controller in radio broadcasting. • Attenuators are also used in laboratory to obtain small value of voltage or current for testing circuits.
  • 34.
    The attenuation isexpressed in decibals (dB) or in naper. 𝐴𝑡𝑡𝑒𝑛𝑢𝑎𝑡𝑖𝑜𝑛 𝑖𝑛 𝑑𝐵 = 10 𝑙𝑜𝑔10 𝑃 𝑖 𝑃0 Where 𝑃0 𝑖𝑠 𝑡ℎ𝑒 𝑜𝑢𝑡𝑝𝑢𝑡 𝑝𝑜𝑤𝑒𝑟 𝑎𝑛𝑑 𝑃𝑖 is the input power Attenuators maybe of following types 1. Resistance attenuators 2. Symmetrical T- attenuators 3. L-type attenuators 4. ∏- attenuators
  • 35.
    4.8 Filters Filtering isthe process of attenuating unwanted components of the measurement while permitting the desired components to pass. The filter is an electronic device which can pass or stop a particular band of frequencies through it. The band of frequency which will pass through it is called as pass band and all the remaining frequencies are called as attenuation band. Classification of filters On the basis of passing and attenuating of frequencies 1. Low pass filters: (lag network or integrating network) These are those filters which pass only low frequencies through them and rejects all high frequencies. 2. High pass filters: (lead network) These are those filters which pass high frequencies through them and will reject all low frequencies below the cut off frequency.
  • 36.
    3. Band passfilters: These are those filters which pass a band of frequencies through them and rejects all other frequencies. 4. Band stop filters : These filters are also known as band elimination filters: they reject band of frequencies to pass through it and allows all other frequencies to pass through it.
  • 37.
    Data Acquisition Systems Atypical Data Acquisition System consists of individual sensors with the necessary signal conditioning, data conversion, data processing, multiplexing, data handling and associated transmission, storage and display systems. Data acquisition systems (abbreviated with the acronym DAS or DAQ) typically convert analog waveforms into digital values for easy processing. The analog data is usually acquired and converted into digital form for the purpose of processing, transmission, display and storage. Data may be transferred for long distance or short distances. The data may be displayed on a digital panel meter or as apart of CRT presentation The same may be stored temporarily in either raw form or processed form for immediate use or for later references.
  • 38.
    • 1.Generalized blockdiagram of data acquisition system
  • 39.
    The components ofdata acquisition systems include: Sensors that convert physical parameters to electrical signals. Signal conditioning circuitry to convert sensor signals into a form that can be converted to digital values. Analog-to-digital converters, which convert conditioned sensor signals to digital values.
  • 40.
    2.objective DAS must acquirethe necessary data, at correct speed and at correct time. It must monitor the complete plant operation to maintain on line and safe operations. It must be able to collect, summarise and store data for diagnosis of operation and record purpose. It must be flexible and capable of being expanded for future requirements. It must be able to compute unit performance indices using on-line, real time data. It must be reliable, easy to operate and must be user friendly.
  • 41.
    3.Configuration of DAS Theimportant factors that decide the configuration and sub-systems of DAS are as follows: • The number of channels to be monitored. • Sampling rate per channel. • Signal conditioning requirement for each channel. • Resolution and accuracy • Cost. The various general configuration includes: 1. Signal channel possibilities: • Direct conversion • Pre-amplification and direct conversion • Pre-amplification, sample , hold and conversion • Pre-amplification , signal conditioning and any of the above 2. Multi- channel possibilities: • Multiplexing the outputs of a signal channel converters • Multiplexing the outputs of sample hold circuits • Multiplexing the inputs of sample hold circuits • Multiplexing low level data 3. Noise reduction options: • Filtering • Integrating converters and digital processing
  • 42.
    4.Data Acquisition systems DataAcquisition is the process of using output signals and inputting that into a computer. 4.1 Analog and Automated data acquisition systems: This system consists of sensor- transducer the output of which is connected to DAC board (PCB) through a signal conditioning unit. The DAC board is plugged in the computer The DAC board consists of a multiplexer, amplifier, ADC, register and control circuitry, and output is connected to computer. A software employed to control the acquisition of data through DAC. When the program requires input from particular sensor ,it activates the DAC board by sending control word to the control and status register .The control word indicates what type of operation the board has to carry out. Sensor Signal Conditioning DAC Board Processor Or Computer Output device Monitor, Printer Recorder
  • 43.
    Automated data acquisitionsystem : may take the following forms: 1. Data loggers 2. Computer with plug-in boards 1. Data Loggers: A data logger (also data recorder) is an electronic device that records data over time or in relation to location either with a built in or via external instruments and sensors. Data loggers are available in various shapes and sizes. The range includes simple economical single channel fixed function loggers to more powerful programmable devices capable of handling hundreds of inputs. Inputs from individual sensors, after suitable signal conditioning it is fed into the multiplexer, which is then fed to the ADC The output is then displayed on the digital meters
  • 45.
    2. Computer withplug-in cards The signal conditioning prior to the inputs to the board depends upon the sensor concern Computer Board Signal conditioning Inputs from sensors
  • 46.
    4.2 Single ChannelDAS • The system consists of a signal conditioner followed by an analog to digital converter performing repetitive conversions. • The digital outputs are further fed to a storage or printout device or to a digital computer for analysis. output Convert command ADC Buffer Input To storage or printout device or digital computer for analysis
  • 47.
    The Multi ChannelData Acquisition System can be time shared by two or more input sources. Depending on the desired properties of the multiplexed system, a number of techniques are employed for such time shared measurements. Multi-Channel Analog Multiplexed System: The multi-channel DAS has a single A/D converter preceded by a multiplexer. The individual analog signals are applied directly or after amplification and/or signal conditioning, whenever necessary, to the multiplexer. These are further converted to digital signals by the use of A/D converters, sequentially. For the most efficient utilisation of time, the multiplexer is made to seek the next channel to be converted while the previous data stored in the sample/hold is converted to digital form. When the conversion is complete, the status line from the converter causes the sample/hold to return to the sample mode and acquires the signal of the next channel. On completion of acquisition, either immediately or upon command, the S/H is switched to the hold mode, a conversion begins again and the multiplexer selects the next channel. This method is relatively slower than systems where S/H outputs or even A/D converter outputs are multiplexed, but it has the obvious advantage of low cost due to sharing of a majority of sub-systems.
  • 49.
    Multiplexing the Outputsof Sample/Hold: When a large number of channels are to be monitored at the same time (synchronously) but at moderate speeds, the technique of multiplexing the outputs of the S/H is particularly attractive. An individual S/H is assigned to each channel as shown in Figure, and they are updated synchronously by a timing circuit. The S/H outputs are connected to an A/D converter through a multiplexer, resulting in a sequential readout of the outputs. (Applications that might require this approach include wind tunnel measurements, seismographic experimentation, radar and fire control systems. The event to be measured is often a one-shot phenomenon and information is required at a critical point during a one-shot event.)
  • 51.
    Multiplexing Low LevelData: A low level data multiplexing system, as shown in Figure, enables the use of a single high quality data amplifier for handling multichannel low level inputs. individual amplifiers are used for each low level signal. Low level multiplexing can be attractive when a large number of channels (25), all having low level outputs, need to be used at moderate speeds. The use of individual channels is possible because of the availability of high quality amplifiers at moderate cost. (A typical application is a 200 channel stress measurement system in a transmission tower set up.) Several factors have to be considered to accomplish low level multiplexing successfully. Guarding may have to be employed for every channel, and each individual guard may have to be switched, so that the appropriate guard is driven by the common mode pertaining to that channel. Problems of pickup gets more complicated and have to be taken care of, to avoid the possibility of signal-to-signal, and even common mode-to differen- tial mode signal cross-talk. Capacitance balance may need to be carried out. When the number of channels to be multiplexed increases, the problems of stray capacitances and capacitive balance are worsened. In the specific case of a 48 channel system, the input channels are subdivided into groups of eight channels in the first tier. Each of these six subgroups are in turn multiplexed by a six channel multiplexer on the second tier.