CAMS
Yatin Kumar Singh Page 1
8.1 Introduction
A cam is a rotating or a reciprocating element of a mechanism, which imparts rotating, reciprocating or
oscillating motion to another element, called the follower. There is line contact between the cam and the
follower, and thereby forms a higher pair. Cams are used in clocks, printing machines, automatic screw
cutting machines, internal combustion engines for operating the valves, and shoe making machines etc. In this
chapter, we shall study the various types of planar cams from the point of view of drawing their profile and
motion analysis. The three essential components of a cam mechanism are as follows:
1. The Cam,
2. The Follower, And
3. The Frame.
The cam revolves at a constant speed and drives the follower. The motion of the follower depends upon the
profile of the cam. The frame supports and guides the follower and the cam.
8.2 Classification of Cams
The planar cams can be classified according to their shape as follows:
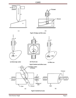
Wedge and Flat Cams: Such a cam has a wedge A to which translational motion is given to actuate the
follower B in order to either reciprocate or oscillate it, as shown in Fig.8.1 (a) and (b). The follower is guided
in the guides C. In Fig.8.1(c), the cam is stationary and the follower guide C causes the relative motion of the
cam A and follower B. Fig.8.1 (d) shows a flat plate with a groove in which the follower is held to obtain the
desired motion.
(a) (b)
Radial and Offset Cams: A cam in which the follower moves radially from the centre of rotation of the cam is
called a radial (or disc or plate) cam, as shown in Fig.8.2(a) and (b). In such a cam, the axis of the follower
passes through the axis of the cam. If the axis of the follower does not pass through the axis of the cam, it is
called an offset cam, as shown in Fig.8.2(c).
Cylindrical Cams: In a cylindrical cam, a cylinder which has a circumferential groove cut in the surface,
rotates about its axis. The follower motion can be either oscillatory or reciprocating type, as shown in Fig.8.3
(a) and (b). They are also called Barrel or Drum Cams.
CAMS
Yatin Kumar Singh Page 2
(c) (d)
Fig.8.1 Wedge and flat cams
Fig.8.2 Radial and offset cams
Fig.8.3 Cylindrical cams
CAMS
Yatin Kumar Singh Page 3
Fig.8.4 Spiral cam Fig.8.5 Conjugate cam
Spiral Cams: A spiral cam is a face cam in which a groove is cut in the form of a spiral, as shown in Fig.8.4.
The spiral groove consists of teeth which mesh with a pin gear follower.
Conjugate Cams: It is a double disc cam in which the two discs keyed together are in constant touch with the
two rollers of a follower, as shown in Fig.8.5. Such a cam gives low wear, low noise, better control of follower,
high speed, and high dynamic loads, etc.
Globoidal Cams: A globoidal cam has either a convex or a concave surface. A circumferential groove is cut on
the surface of rotation of the cam to impart motion to the follower, which has oscillatory motion, as shown in
Fig.8.6(a) and (b). This is used where the angle of oscillation is large.
Spherical Cams: In a spherical cam, the follower oscillates about an axis perpendicular to the axis of rotation
of the cam. The spherical cam is in the form of a spherical surface, as shown in Fig.8.7.
Fig.8.6 Globoidal cam
Fig.8.7 Spherical cam
CAMS
Yatin Kumar Singh Page 4
8.3 Types of Followers
The followers can be of the following types:
Based on the surface in contact: The followers based on the type of surface in contact can be classified as:
knife edge, roller, flat faced (or mush room), and spherical-faced follower, as shown in Fig.8.8 (a) to (g).
Fig.8.8 Types of followers
Based on the motion of the follower: Depending upon the motion, the follower could be of the reciprocating
or translating, oscillating or rotating types
Based on the path of motion of follower: When the axis of the follower passes through the centre of
rotation of the cam, it is called a radial follower, and when the axis of the follower does not pass through the
axis of the cam, it is called an offset follower
CAMS
Yatin Kumar Singh Page 5
8.4 Cam Nomenclature
A radial cam with reciprocating roller follower is shown in Fig.8.9. The following nomenclature is used in
reference to planar cam mechanisms:
Base Circle: It is the smallest circle that can be drawn to the cam profile from the centre of rotation.
Fig.8.9 Cam nomenclature
Prime Circle: It is the smallest circle drawn to the pitch curve from the centre of rotation of the cam.
Pitch Point: It is a point on the pitch curve having the maximum pressure angle.
Pitch Circle: It is the circle drawn through the centre and pitch point.
Trace Point: It is a reference point on the follower and is used to generate the pitch curve. In the case of a
knife edge follower, it is the knife edge, and in the case of a roller follower, it is the centre of the roller.
Pitch Curve: It is the curve generated by the trace point as the follower moves relative to the cam.
Cam Angle: It is the angle turned through by the cam from the initial position.
Pressure Angle: It is the angle between the direction of the follower motion and a normal to the pitch curve.
Lift: It is the maximum travel of the follower from the lowest position to the topmost position. It is also called
throw or stroke of the cam.
CAMS
Yatin Kumar Singh Page 6
Cam Profile: The surface in contact with the follower is known as the cam profile.
Angle of Ascent: It is the angle of rotation of the cam during which the follower rises up.
Angle of Descent: It is the angle of rotation of the cam during which the follower lowers down.
Angle of Dwell: It is the angle of rotation of cam during which the follower remains stationary.
8.5 Follower Motions
The follower can have following type of motions:
1. Simple Harmonic Motion (SHM)
2. Uniform Acceleration and Deceleration
3. Uniform Velocity
4. Parabolic Motion, and
5. Cycloidal Motion.
8.5.1 Simple Harmonic Motion (SHM)
Consider a particle at A rotating in a circle about point O with uniform angular speed, as shown in Fig.8.10 (a),
and executing simple harmonic motion (SHM). The displacement curve shown in Fig.8.10 (b) can be
constructed as follows:
 Draw a semicircle with follower lift as the vertical diameter.
 Divide this semicircle into n equal parts (say 6, i.e., 30° each).
 Draw cam rotation angle along the x-axis. Mark the angles of ascent, dwell, descent, and dwell on this line.
 Divide the angles of ascent and descent into same equal number of parts.
 Draw vertical lines at these points.
 Draw horizontal lines from the points on the circumference of the semicircle to intersect the vertical lines.
 Mark the points of intersection and join by a smooth curve to obtain the displacement diagram.
Fig.8.10 Simple harmonic motion of follower
Motion Analysis
Let y = displacement of the follower
h = lift of the follower (maximum displacement or rise)
θ = angle turned through by the crank OA from given datum
ϕ = cam rotation angle for the maximum follower displacement
CAMS
Yatin Kumar Singh Page 7
= angle on harmonic circle
= � − � = ( ) × − .
For the ascent or descent h of the follower displacement, the cam is rotated through an angle ϕ, whereas a
point on the harmonic semicircle traverses angle π radians. Thus, the cam rotation is proportional to the
angle turned through by the point on the harmonic semicircle, i.e.,
=
�
�
Thus Eq. (8.1a) becomes,
= ( ) [ − (
�
�
)] .
Now θ = ωt
= ( ) [ − (
�
�
)] .
V��oc�t�, � =
Differentiating Eq. (8.1c), we get
= ( ) (
�
�
) � (
�
�
) = ( ) (
�
�
) � (
�
�
) .
Let θ1 = angle of ascent; θ2 = angle of dwell; θ3 = angle of descent
V��oc�t� du��n� asc�nt, = ( ) (
�
�
) � (
�
�
) .
V��oc�t� du��n� d�sc�nt, = ( ) (
�
�
) � (
�
�
) .
V��oc�t� �s �a���u� w��n � =
�
= ( ) (
�
�
) .
Ma���u� V��oc�t� o� �o��ow�� du��n� asc�nt = ( ) (
�
�
) .
Ma���u� V��oc�t� o� �o��ow�� du��n� d�sc�nt = ( ) (
�
�
) .
Acc����at�on, =
Differentiating Eq. (8.2), we get
= ( ) (
�
�
) (
�
�
) .
Acc����at�on du��n� asc�nt, = ( ) (
�
�
) (
�
�
) .
CAMS
Yatin Kumar Singh Page 8
Acc����at�on du��n� d�sc�nt, = ( ) (
�
�
) (
�
�
) .
Fig.8.11 Displacement, velocity and acceleration distribution in SHM of follower
The acceleration is maximum when θ = °.
= ( ) (
�
�
) .
Ma���u� Acc����at�on o� �o��ow�� du��n� asc�nt = ( ) (
�
�
) .
Ma���u� Acc����at�on o� �o��ow�� du��n� d�sc�nt = ( ) (
�
�
) .
The motion of the follower is shown in Fig.8.11. It can be observed from Fig.8.11 that there is an abrupt
change of acceleration from zero to maximum at the beginning of the follower motion and also from
maximum (negative) to zero at the end of the follower motion. The same pattern is repeated during descent.
This leads to jerk, vibration and noise etc. Therefore, SHM should be adopted only for low and moderate cam
speeds.
8.5.2 Motion with Uniform Acceleration and Deceleration
In such a motion, there is acceleration during the first half of the follower motion and deceleration during the
later half. The magnitude of both acceleration and deceleration is the same in the two halves. The
displacement diagram, as shown in Fig.8.12, can be constructed as follows:
CAMS
Yatin Kumar Singh Page 9
 Draw the cam rotation angle along the x-axis and the follower lift along the y-axis.
 Mark the angles of ascent, dwell, descent and dwell on the horizontal line and the lift on the vertical line at the
origin.
 Divide the angles of ascent and descent into equal number of parts (say 6). Also divide the lift line into same
equal number of parts.
 Draw horizontal and vertical lines at these points.
Fig.8.12 Displacement diagram for uniform acceleration and deceleration of follower
 Join the origin with the points of intersection on the middle line of ascent upto half the lift. Also join the points
on the other half of the middle line of lift with the topmost point of the last line.
 Mark the points of intersection of these lines with the vertical lines.
 Join these points with a smooth curve to get the displacement diagram.
Motion Analysis
Let f = uniform acceleration or deceleration of the follower.
y = displacement of follower
=
Integrating, we have
= +
where C1 is a constant of integration
If at t = 0, v = 0, then C1 = 0. Hence
=
Now = =
Integrating again, we have
= +
where C2 is another constant of integration.
As y = 0 at t = 0, therefore C2 = 0. Hence
CAMS
Yatin Kumar Singh Page 10
=
= = � . �
Cons�d���n� t�� �o��ow�� at ��dwa�, w� �av�, = and =
�/
�
=
[� � ]
=
�
�
.
Ma���u� Acc����at�on du��n� asc�nt, =
�
�
.
Ma���u� Acc����at�on du��n� d�sc�nt, =
�
�
.
= =
�
�
(
�
�
) = (
�
�
) � .
The velocity is maximum when the follower is at midway position, i.e., θ = ϕ/2
Ma���u� v��oc�t�, = (
�
�
) (
�
) =
�
�
.
Ma���u� v��oc�t� du��n� asc�nt =
�
�
.
Ma���u� v��oc�t� du��n� d�sc�nt =
�
�
.
The motion of the follower is shown in Fig.8.13.
Fig.8.13 Motion with uniform acceleration and deceleration
CAMS
Yatin Kumar Singh Page 11
It may be observed from Fig.8.13 that there are abrupt changes in the acceleration at the beginning, midway
and at the end of the follower motion. At the midway, an infinite jerk is produced. Therefore, this motion is
adopted for moderate speeds only.
8.5.3 Motion with Uniform Velocity
In this case, the displacement of the follower is proportional to the angle of cam rotation. Therefore, slope of
the displacement curve is constant.
Let y = cθ
Where c = constant of proportionality, and θ = angle of cam rotation.
If h = follower rise
ϕ = angle through which the cam is to rotate to lift the follower by h.
���n, = �
so t�at =
�
∴ =
�
�
.
V��oc�t�, � = (
�
) . (
�
) =
�
�
.
Ac����at�on, = (
�
) . (
�
) =
�
�
.
The variation of displacement, velocity and acceleration are shown in Fig.8.14. It may be observed that
although the acceleration is zero during ascent or descent of the follower, it is infinite at the beginning and
end of the motion. There are abrupt changes in velocity at these points. This results in infinite inertia forces
and is therefore unsuitable from practical point of view.
Fig.8.14 Motion with uniform velocity
This can be avoided by rounding the sharp corners of the displacement curve so that the velocity changes are
gradual at the beginning and end of the follower motion. During these periods the acceleration may be
assumed to be constant and of finite values. A modified uniform velocity motion is shown in Fig.8.15.
CAMS
Yatin Kumar Singh Page 12
Fig.8.15 Modified motion with uniform velocity
8.5.4 Parabolic Motion
In the parabolic motion, the displacement of the follower is proportional to the square of the angle of cam
rotation. Let the parabolic motion, for the first half, be represented by
= �
where c = a constant of proportionality
Fo� = ; � =
�
∴ =
�
o� =
�
��nc� = (
�
�
) .
V��oc�t�, � =
��
�
.
Ac����at�on, = (
�
�
) = � .
Fo� v��oc�t� to b� �a���u�, � =
�
Ma���u� v��oc�t�, =
�
�
.
For the second half, we have
CAMS
Yatin Kumar Singh Page 13
= + � + �
Fo� � = ; = and = . A�so �o� � =
�
=
∴ = + � + �
= � + ��
o� = + �
��nc�, = − ; =
�
; = −
�
= [ − ( −
�
�
) ] .
= (
�
�
) ( −
�
�
) .
= − (
�
�
) .
The variation of displacement, velocity and acceleration are shown in Fig.8.16.
Fig.8.16 Parabolic motion
In this case, the displacement of the follower is proportional to the angle of cam rotation.
CAMS
Yatin Kumar Singh Page 14
8.5.5 Cycloidal Motion
A cycloid is the locus of a point on a circle rolling on a straight line. The cycloidal curve, as shown in Fig.8.17,
can be constructed by adopting the following steps:
 Draw a horizontal line to a convenient scale equal to the angle of ascent of the cam.
 At the origin, draw another line perpendicular to the previous line, on a convenient scale, equal to the lift of
the cam.
 Divide the angle of ascent into equal number of parts (say 6), and number them from 0 to 6.
 Erect vertical lines at these points.
 Draw the diagonal QR passing through the origin and produce it backward.
 Calculate the radius of the circle, ch08-ueq16, where h = lift.
 Select a convenient point P on the diagonal produced backwards and draw a circle with radius equal to r:
 Divide the circle into six equal parts and number the ends of the diameters from 0 to 6.
 Join points 1–2 and 4–5, intersecting the vertical diameter at points m and n, respectively.
 From points m and n, draw lines parallel to QR intersecting vertical lines at 1 and 2 at a and b and lines at 4
and 5 at d and e. The diagonal PQR shall intersect line at 3 at c.
 Join the points Q, a, b, c, d, e, and R by a smooth curve to get the cycloidal curve.
Fig.8.17 Cycloidal curve
CAMS
Yatin Kumar Singh Page 15
Motion Analysis:
A cycloid is expressed by,
= ( ) [
�
�
− ( ) � (
�
�
)] .
= = (
�
) (
�
) = [
�
− { } (
�
) (
�
�
)] . � =
�
�
− (
�
�
) (
�
�
)
= (
�
�
) [ − (
�
�
)] .
Ma���u� v��oc�t�, =
�
�
at � =
�
.
Ac����at�on, = = (
�
) (
�
) = (
�
�
) . (
�
�
) × [ � (
�
�
)] � = × (
�
�
) � (
�
�
) .
= × (
�
�
) at � =
�
.
Fig.8.18 Displacement, velocity and acceleration with cycloidal motion
CAMS
Yatin Kumar Singh Page 16
The variation of cycloidal motion is shown in Fig.8.18. It may be observed that there are no abrupt changes in
the velocity and acceleration at any stage of the motion. Therefore, cycloidal motion is the most ideal for high
speed follower motion.
8.6 Cam Profile with Knife–Edge Follower
The following procedure may be adopted to draw the cam profile with knife edge follower:
 Draw the displacement diagram for follower motion.
 Consider that cam remains stationary and that the follower moves round it in a direction opposite to the
direction of cam rotation.
 Draw the cam base circle and divide its circumference into equal number of divisions depending upon the
divisions used in the displacement diagram.
 Draw various positions of follower with dotted lines corresponding to different angular displacement from
the radius from which ascent is to commence.
 Draw a smooth curve tangential to the contact surface in different positions.
Example: A disc cam is to give SHM to a knife edge follower during out stroke of 50 mm. The angle of ascent
is 120°, dwell 60°, and angle of descent 90°. The minimum radius of cam is 50 mm. Draw the profile of the
cam when the axis of the follower passes through the axis of the camshaft. Also calculate the maximum
velocity and acceleration during ascent and descent when the camshaft revolves at 240 rpm.
Solution:
Given:
h = mm, N = rpm, θ = °, θ3 = 90°
An�u�a� v��oc�t� o� ca� s�a�t, � =
� ×
= . � /
Ma���u� V��oc�t� du��n� asc�nt = (
�ℎ
) (
�
�
) =
� × × −
×
.
�
×
= . /
Ma���u� V��oc�t� du��n� d�sc�nt = (
�ℎ
) (
�
�
) =
� × × −
×
.
�
×
= . /
Ma���u� Acc����at�on du��n� asc�nt = ( ) (
�
�
) = [
� × .
�
×
] ×
× −
= . /
Ma���u� Acc����at�on du��n� d�sc�nt = ( ) (
�
�
) = [
� × .
�
×
] ×
× −
= . /
Displacement Diagram: The displacement diagram shown in Fig.8.19 (a) may be drawn as follows:
 Draw a vertical line 0–6 equal to the lift of 50 mm.
 Draw a semicircle on this line and divide the semicircle into six equal parts of 30° each.
CAMS
Yatin Kumar Singh Page 17
 Draw a horizontal line 00′ perpendicular to 0–6 line representing cam rotation angle θ on a scale of cm =
20°.
 Divide the ascent angle of 120° into six equal parts and also the descent angle of 90° into six equal parts.
 Erect perpendiculars at points 0 to 6 and 6′ to 0′.
 Draw horizontal lines from points 1 to 5 on the semicircle to intersect vertical lines drawn previously, as
shown in the figure.
 Join the points of intersection with a smooth curve to get the displacement diagram.
Cam Profile:
The cam profile shown in Fig.8.19 (b) may be drawn as follows:
 Draw a circle of radius equal to the base circle radius of 50 mm with center O.
 Draw angles of ascent, dwell and descent of 120°, 60° and 90°, respectively.
 Divide the angles of ascent and descent into six equal parts. Draw radial lines for these angles.
 Mark points 0 to 6 and 6′ to 0′ on the base circle in the angles of ascent and descent, respectively.
 Measure distance 1a, 2b, 3c, 4d, 5e, and 6f from the displacement diagram for ascent and cut-off
corresponding distances on the radial lines drawn in the cam profile. Repeat the same process during
descent.
 Join the points so obtained by a smooth curve to get the cam profile.
CAMS
Yatin Kumar Singh Page 18
Fig.8.19 Cam profile with radial knife-edge follower having SHM
Example: Draw the cam profile when the knife-edge follower is offset by 20 mm.
Solution: Displacement diagram remains the same as in Example 1. The cam profile as shown in Fig.8.20 can
be drawn as follows:
 Draw the offset circle with radius equal to the offset of 20 mm and the base circle with radius 50 mm at centre
O.
 Divide the angles of ascent and descent in the offset circle into six equal parts. Draw radial lines intersecting
the offset circle from g to m and n to u in the angle of ascent and descent respectively.
 Draw tangents at points g to u intersecting the base circle at 0 to 6 and 6′ to 0′ in the angle of ascent and
descent, respectively.
 Measure distances 1a, 2b, 3c, 4d, 5e, and 6f on the displacement diagram for ascent and cut-off corresponding
distances on the tangential lines drawn in the cam profile. Repeat the same process for the angle of descent.
 Join the points so obtained by a smooth curve to get the cam profile.
CAMS
Yatin Kumar Singh Page 19
Fig.8.20 Cam profile with offset knife-edge follower having SHM
8.7 Cam Profile with Roller Follower
8.7.1 Radial Roller Follower
The profile of a cam with radial roller follower has been shown in Fig.8.21. The following steps may be used
to draw the cam profile:
 Draw the base circle.
 Draw the follower in its 0° position, tangent to the base circle.
 Draw the reference circle through the centre of the follower in its 0° position.
 Draw radial lines from the centre of the cam, corresponding to the vertical lines in the displacement diagram.
 Transfer displacements a, b, c, …, etc. from the displacement diagram to the appropriate radial lines,
measuring from the reference circle.
 Draw in the follower outline on the various radial lines.
CAMS
Yatin Kumar Singh Page 20
 Draw a smooth curve tangent to these follower outlines.
Example: A disc cam with base circle radius of 50 mm is operating a roller follower with SHM. The lift is 25
mm, angle of ascent 120°, dwell 90°, return 90°, and dwell during the remaining period. The cam rotates at
300 rpm. Find the maximum velocity and acceleration during ascent and descent. The roller radius is 10 mm.
Draw the cam profile when the line of reciprocation of follower passes through the cam axis.
Solution:
Given: N = rpm, h = mm, θ1 = °, θ3 = 90°
An�u�a� v��oc�t� , � =
� ×
= . �ad/s
Ma���u� V��oc�t� du��n� asc�nt, �� = (
�ℎ
) (
�
�
) = (
� × .
) ×
.
�
×
= . /
Ma���u� V��oc�t� du��n� d�sc�nt, �� = (
�ℎ
) (
�
�
) = (
� × .
) ×
.
�
×
= . /
Ma���u� Acc����at�on du��n� asc�nt =
��
ℎ
=
.
.
= . /
Ma���u� Acc����at�on du��n� d�sc�nt =
��
ℎ
=
.
.
= . /
CAMS
Yatin Kumar Singh Page 21
Fig.8.21 Cam with radial roller follower
Cam Profile: The cam profile shown in Fig.8.22 (b) may be drawn as explained below:
 Draw the base circle with centre O and radius 50 mm.
 Draw the reference circle with radius equal to the sum of the radius of base circle and roller radius, i.e., 60
mm. Draw angles of ascent, dwell, and descent of 120°, 60°, and 90°, respectively.
 Divide the angle of ascent and descent into six equal parts.
CAMS
Yatin Kumar Singh Page 22
 Draw radial lines intersecting the reference circle at point 0 to 6 in the angle of ascent and 6′ to 0′ in the angle
of descent.
 Measure distances 1a, 2b, etc. from the displacement diagram and mark corresponding distances on the
radial lines in the cam profile from the reference circle.
 Repeat the same process in the angle of descent.
 Draw circles at points 0 to f and f′ to 0′ with radius equal to the roller radius of 10 mm.
 Draw a smooth curve touching (asymptotic) the roller radii to obtain the cam profile.
Fig.8.22 Cam profile with radial roller follower having SHM
CAMS
Yatin Kumar Singh Page 23
8.7.2 Offset Roller Follower
A cam profile with offset roller follower is shown in Fig.8.23. The following steps may be used to draw the
cam profile:
 Draw the base circle.
 Draw the follower in its 0° position, tangent to the base circle.
 Draw the reference circle through the centre of the follower in its 0° position.
 Draw the offset circle tangent to the follower centre line.
 Divide the offset circle into a number of divisions corresponding to the divisions in the displacement diagram.
 Draw tangents to the offset circle at each number.
 Lay off various displacements a, b, c, …, etc. along the appropriate tangent lines, measuring from the
reference circle.
 Draw in the follower outlines on the various tangent lines.
 Draw a smooth curve to these follower outlines.
CAMS
Yatin Kumar Singh Page 24
Fig.8.23 Cam profile with offset roller follower
8.8 Cam Profile with Translational Flat-Faced Follower
A cam with flat-faced follower is shown in Fig.8.28. The following steps may be adopted to draw the cam
profile:
 Draw the base circle, which also serves the reference circle in this case.
 Draw the follower in the home position, tangent to the base circle.
 Draw radial lines corresponding to the divisions in the displacement diagram, and number accordingly.
 Draw in the follower outline on the various radial lines by laying off the appropriate displacements and
drawing lines perpendicular to the radial lines.
 Draw a smooth curve tangent to the follower lines.
CAMS
Yatin Kumar Singh Page 25
8.11 Analytical Methods
8.11.1 Tangent Cam with Roller Follower
A tangent cam with roller follower is shown in Fig.8.39.
Let r = distance between cam and nose centres
r1 = least radius of cam; r2 = nose radius; r3 = roller radius
CAMS
Yatin Kumar Singh Page 26
l = r2 + r3
= angle of ascent
ϕ = angle of contact of cam with straight flank
Fig.8.39 Tangent cam with roller follower
(a) Roller in contact with Straight Flank:
At position B, let θ be the angle turned through by the cam, as shown in Fig. . (a). Then lift,
���n ���t, = � − � =
�
�
− � =
� − �
�
=
� + � − �
�
.
V��oc�t�, = = (
�
) (
�
) = � � + � (
− � �
�
) .
Maximum velocity occurs at θ = ϕ.
= � � + � (
− � �
�
) .
Acc����at�on, = = (
�
) (
�
) = � � + �
− �
�
.
Minimum acceleration occurs at θ = 0°
= � � + � .
(b) Follower in contact with Circular Nose:
Fig.8.39 (b) shows the follower in contact with circular nose.
Let OP = r = const.
PD = r2 + r3 = l = const.
CAMS
Yatin Kumar Singh Page 27
OPD is a slider crank chain in which OP is the crank, PD the connecting rod, and D the slider.
Let θ1 = − θ
For a slider crank chain, the displacement from top dead centre is given by,
= �[ − � + − − � � .
]
Where n = l/r
For the cam mechanism shown in Fig.8.41, we have
= �[ − � + � + � �⁄ − [{ � + � �⁄ } − � � ] .
]
= � − � + − − � � � .
.
= �
�
= �� [� � � +
� � �
− � � � .
] .
= �
�
= � � [ � +
� � + � � �
− � � � /
] .
Fig.8.41 Circular arc cam operating flat-faced follower
8.12 Radius of Curvature and Undercutting
There is no restriction on the radius of curvature of the cam profile with a knife-edge follower. The cam
profile must be convex everywhere for a flat-faced follower. In the case of a roller follower, the concave
portion of the cam profile must have a radius of curvature greater than that of the roller to ensure proper
contact along the cam profile.
To determine the pitch surface of a disc cam with radial roller follower, let the displacement R of the centre of
the follower from the centre of the cam be given by (Fig.8.49):
CAMS
Yatin Kumar Singh Page 28
� = � + � .
where R0 = minimum radius of the pitch surface of the cam.
f θ = radial motion of the follower as a function of cam angle.
Once the value of R0 is known, the polar coordinates of the centres of the roller follower can be generated.
Fig.8.49 Disc cam operating roller follower
8.12.1 Kloomok and Muffley Method
Let ρ = radius of curvature of the pitch surface
Rr = radius of roller
These values are shown in Fig. . together with the radius of curvature ρc of the cam surface, ρ is held
constant and Rr is increased so that ρc decreases. If this continued until Rr equals ρ, then ρc will be zero and
the cam becomes pointed as shown in Fig.8.51 (a). As Rr is further increased, the cam becomes undercut as
shown in Fig.8.51 (b), and the motion of the follower will not be as prescribed. Therefore, to prevent a point
or an undercut from occurring on the cam profile, Rr must be less than ρmin, where ρmin is the minimum value
of ρ over the particular segment of profile being considered. )t is impossible to undercut a concave portion of
a cam. The radius of curvature at a point on a curve can be expressed as:
Fig.8.50 Cam and pitch surfaces
CAMS
Yatin Kumar Singh Page 29
Fig.8.51 Undercutting in cams
=
[� + (
�
�
) ]
/
[� + (
�
�
) − � (
�
�
)]
Where R = f(ϕ). Here f θ = f ϕ)
�
�
= ′
� ;
�
�
= ′′ �
� , =
[� + { ′
� } ] /
[� + { ′′ � } − �{ ′′ � }]
.
� � � � � , ��
� � � � � , + �� � �
P��ssu�� An���, = � −
(
�
.
�
�
) .
8.12.2 Pressure Angle
The pressure angle is one of the most important parameters in cam design. By increasing the size of the cam,
the pressure angle can be reduced. Consider a cam with offset roller follower, as shown in Fig.8.52
Let = pressure angle; r1 = prime circle radius; e = offset; y = f θ ; θ = angle of cam rotation; ω = angular
velocity of cam
The cam mechanism has four elements, namely, the fixed link 1, cam 2, roller 3, and follower rod 4. The
instantaneous centres are:
12: at O
34: at roller centre
14: at infinity
23: lies on the common normal at the point of contact of the roller and cam surface
24: at the intersection of common normal at the point of contact and horizontal axis on which 14 lies.
CAMS
Yatin Kumar Singh Page 30
Fig.8.52 Cam with offset roller follower
As the movement of the follower rod is pure translation, all points on it have the same velocity. Thus, the
velocity of follower during rise is:
= = � − = �[ + + � ] .
w���� = (� − )
.
� =
[ − ]
[ � + � − . ]
=
[
�
− ]
[ � + � − . ]
.
Du��n� t�� ��tu�n, � =
[|
�
| + ]
[ � + � − . ]
.
For maximum pressure angle, using rise, we have
�
�
= [ � + (� − )
.
]
�
− (
�
− ) (
�
) =
(
�
− )
[ � + � − . ]
=
(
�
)
(
�
)
= .
Solve Eq. . to get the value of θ0. Then
CAMS
Yatin Kumar Singh Page 31
= � −
[
(
�
)
(
�
)
]
�=�
.
8.13 Cam Size
The cam size is defined by the following parameters:
 Pressure Angle
 Radius of Curvature of Cam Profile
 Hub Size.
The following methods may be used to reduce the pressure angle:
1. Increase the diameter of the base circle.
2. Increase the angle of rotation of the cam, thereby lengthening the pitch curve for the specified follower
displacement. The cam profile becomes flatter and the pressure angle becomes smaller.
3. Select the motion curve for a smaller pressure angle.
4. By changing the offset of the follower.

Cams and Followers

  • 1.
    CAMS Yatin Kumar SinghPage 1 8.1 Introduction A cam is a rotating or a reciprocating element of a mechanism, which imparts rotating, reciprocating or oscillating motion to another element, called the follower. There is line contact between the cam and the follower, and thereby forms a higher pair. Cams are used in clocks, printing machines, automatic screw cutting machines, internal combustion engines for operating the valves, and shoe making machines etc. In this chapter, we shall study the various types of planar cams from the point of view of drawing their profile and motion analysis. The three essential components of a cam mechanism are as follows: 1. The Cam, 2. The Follower, And 3. The Frame. The cam revolves at a constant speed and drives the follower. The motion of the follower depends upon the profile of the cam. The frame supports and guides the follower and the cam. 8.2 Classification of Cams The planar cams can be classified according to their shape as follows: Wedge and Flat Cams: Such a cam has a wedge A to which translational motion is given to actuate the follower B in order to either reciprocate or oscillate it, as shown in Fig.8.1 (a) and (b). The follower is guided in the guides C. In Fig.8.1(c), the cam is stationary and the follower guide C causes the relative motion of the cam A and follower B. Fig.8.1 (d) shows a flat plate with a groove in which the follower is held to obtain the desired motion. (a) (b) Radial and Offset Cams: A cam in which the follower moves radially from the centre of rotation of the cam is called a radial (or disc or plate) cam, as shown in Fig.8.2(a) and (b). In such a cam, the axis of the follower passes through the axis of the cam. If the axis of the follower does not pass through the axis of the cam, it is called an offset cam, as shown in Fig.8.2(c). Cylindrical Cams: In a cylindrical cam, a cylinder which has a circumferential groove cut in the surface, rotates about its axis. The follower motion can be either oscillatory or reciprocating type, as shown in Fig.8.3 (a) and (b). They are also called Barrel or Drum Cams.
  • 2.
    CAMS Yatin Kumar SinghPage 2 (c) (d) Fig.8.1 Wedge and flat cams Fig.8.2 Radial and offset cams Fig.8.3 Cylindrical cams
  • 3.
    CAMS Yatin Kumar SinghPage 3 Fig.8.4 Spiral cam Fig.8.5 Conjugate cam Spiral Cams: A spiral cam is a face cam in which a groove is cut in the form of a spiral, as shown in Fig.8.4. The spiral groove consists of teeth which mesh with a pin gear follower. Conjugate Cams: It is a double disc cam in which the two discs keyed together are in constant touch with the two rollers of a follower, as shown in Fig.8.5. Such a cam gives low wear, low noise, better control of follower, high speed, and high dynamic loads, etc. Globoidal Cams: A globoidal cam has either a convex or a concave surface. A circumferential groove is cut on the surface of rotation of the cam to impart motion to the follower, which has oscillatory motion, as shown in Fig.8.6(a) and (b). This is used where the angle of oscillation is large. Spherical Cams: In a spherical cam, the follower oscillates about an axis perpendicular to the axis of rotation of the cam. The spherical cam is in the form of a spherical surface, as shown in Fig.8.7. Fig.8.6 Globoidal cam Fig.8.7 Spherical cam
  • 4.
    CAMS Yatin Kumar SinghPage 4 8.3 Types of Followers The followers can be of the following types: Based on the surface in contact: The followers based on the type of surface in contact can be classified as: knife edge, roller, flat faced (or mush room), and spherical-faced follower, as shown in Fig.8.8 (a) to (g). Fig.8.8 Types of followers Based on the motion of the follower: Depending upon the motion, the follower could be of the reciprocating or translating, oscillating or rotating types Based on the path of motion of follower: When the axis of the follower passes through the centre of rotation of the cam, it is called a radial follower, and when the axis of the follower does not pass through the axis of the cam, it is called an offset follower
  • 5.
    CAMS Yatin Kumar SinghPage 5 8.4 Cam Nomenclature A radial cam with reciprocating roller follower is shown in Fig.8.9. The following nomenclature is used in reference to planar cam mechanisms: Base Circle: It is the smallest circle that can be drawn to the cam profile from the centre of rotation. Fig.8.9 Cam nomenclature Prime Circle: It is the smallest circle drawn to the pitch curve from the centre of rotation of the cam. Pitch Point: It is a point on the pitch curve having the maximum pressure angle. Pitch Circle: It is the circle drawn through the centre and pitch point. Trace Point: It is a reference point on the follower and is used to generate the pitch curve. In the case of a knife edge follower, it is the knife edge, and in the case of a roller follower, it is the centre of the roller. Pitch Curve: It is the curve generated by the trace point as the follower moves relative to the cam. Cam Angle: It is the angle turned through by the cam from the initial position. Pressure Angle: It is the angle between the direction of the follower motion and a normal to the pitch curve. Lift: It is the maximum travel of the follower from the lowest position to the topmost position. It is also called throw or stroke of the cam.
  • 6.
    CAMS Yatin Kumar SinghPage 6 Cam Profile: The surface in contact with the follower is known as the cam profile. Angle of Ascent: It is the angle of rotation of the cam during which the follower rises up. Angle of Descent: It is the angle of rotation of the cam during which the follower lowers down. Angle of Dwell: It is the angle of rotation of cam during which the follower remains stationary. 8.5 Follower Motions The follower can have following type of motions: 1. Simple Harmonic Motion (SHM) 2. Uniform Acceleration and Deceleration 3. Uniform Velocity 4. Parabolic Motion, and 5. Cycloidal Motion. 8.5.1 Simple Harmonic Motion (SHM) Consider a particle at A rotating in a circle about point O with uniform angular speed, as shown in Fig.8.10 (a), and executing simple harmonic motion (SHM). The displacement curve shown in Fig.8.10 (b) can be constructed as follows:  Draw a semicircle with follower lift as the vertical diameter.  Divide this semicircle into n equal parts (say 6, i.e., 30° each).  Draw cam rotation angle along the x-axis. Mark the angles of ascent, dwell, descent, and dwell on this line.  Divide the angles of ascent and descent into same equal number of parts.  Draw vertical lines at these points.  Draw horizontal lines from the points on the circumference of the semicircle to intersect the vertical lines.  Mark the points of intersection and join by a smooth curve to obtain the displacement diagram. Fig.8.10 Simple harmonic motion of follower Motion Analysis Let y = displacement of the follower h = lift of the follower (maximum displacement or rise) θ = angle turned through by the crank OA from given datum ϕ = cam rotation angle for the maximum follower displacement
  • 7.
    CAMS Yatin Kumar SinghPage 7 = angle on harmonic circle = � − � = ( ) × − . For the ascent or descent h of the follower displacement, the cam is rotated through an angle ϕ, whereas a point on the harmonic semicircle traverses angle π radians. Thus, the cam rotation is proportional to the angle turned through by the point on the harmonic semicircle, i.e., = � � Thus Eq. (8.1a) becomes, = ( ) [ − ( � � )] . Now θ = ωt = ( ) [ − ( � � )] . V��oc�t�, � = Differentiating Eq. (8.1c), we get = ( ) ( � � ) � ( � � ) = ( ) ( � � ) � ( � � ) . Let θ1 = angle of ascent; θ2 = angle of dwell; θ3 = angle of descent V��oc�t� du��n� asc�nt, = ( ) ( � � ) � ( � � ) . V��oc�t� du��n� d�sc�nt, = ( ) ( � � ) � ( � � ) . V��oc�t� �s �a���u� w��n � = � = ( ) ( � � ) . Ma���u� V��oc�t� o� �o��ow�� du��n� asc�nt = ( ) ( � � ) . Ma���u� V��oc�t� o� �o��ow�� du��n� d�sc�nt = ( ) ( � � ) . Acc����at�on, = Differentiating Eq. (8.2), we get = ( ) ( � � ) ( � � ) . Acc����at�on du��n� asc�nt, = ( ) ( � � ) ( � � ) .
  • 8.
    CAMS Yatin Kumar SinghPage 8 Acc����at�on du��n� d�sc�nt, = ( ) ( � � ) ( � � ) . Fig.8.11 Displacement, velocity and acceleration distribution in SHM of follower The acceleration is maximum when θ = °. = ( ) ( � � ) . Ma���u� Acc����at�on o� �o��ow�� du��n� asc�nt = ( ) ( � � ) . Ma���u� Acc����at�on o� �o��ow�� du��n� d�sc�nt = ( ) ( � � ) . The motion of the follower is shown in Fig.8.11. It can be observed from Fig.8.11 that there is an abrupt change of acceleration from zero to maximum at the beginning of the follower motion and also from maximum (negative) to zero at the end of the follower motion. The same pattern is repeated during descent. This leads to jerk, vibration and noise etc. Therefore, SHM should be adopted only for low and moderate cam speeds. 8.5.2 Motion with Uniform Acceleration and Deceleration In such a motion, there is acceleration during the first half of the follower motion and deceleration during the later half. The magnitude of both acceleration and deceleration is the same in the two halves. The displacement diagram, as shown in Fig.8.12, can be constructed as follows:
  • 9.
    CAMS Yatin Kumar SinghPage 9  Draw the cam rotation angle along the x-axis and the follower lift along the y-axis.  Mark the angles of ascent, dwell, descent and dwell on the horizontal line and the lift on the vertical line at the origin.  Divide the angles of ascent and descent into equal number of parts (say 6). Also divide the lift line into same equal number of parts.  Draw horizontal and vertical lines at these points. Fig.8.12 Displacement diagram for uniform acceleration and deceleration of follower  Join the origin with the points of intersection on the middle line of ascent upto half the lift. Also join the points on the other half of the middle line of lift with the topmost point of the last line.  Mark the points of intersection of these lines with the vertical lines.  Join these points with a smooth curve to get the displacement diagram. Motion Analysis Let f = uniform acceleration or deceleration of the follower. y = displacement of follower = Integrating, we have = + where C1 is a constant of integration If at t = 0, v = 0, then C1 = 0. Hence = Now = = Integrating again, we have = + where C2 is another constant of integration. As y = 0 at t = 0, therefore C2 = 0. Hence
  • 10.
    CAMS Yatin Kumar SinghPage 10 = = = � . � Cons�d���n� t�� �o��ow�� at ��dwa�, w� �av�, = and = �/ � = [� � ] = � � . Ma���u� Acc����at�on du��n� asc�nt, = � � . Ma���u� Acc����at�on du��n� d�sc�nt, = � � . = = � � ( � � ) = ( � � ) � . The velocity is maximum when the follower is at midway position, i.e., θ = ϕ/2 Ma���u� v��oc�t�, = ( � � ) ( � ) = � � . Ma���u� v��oc�t� du��n� asc�nt = � � . Ma���u� v��oc�t� du��n� d�sc�nt = � � . The motion of the follower is shown in Fig.8.13. Fig.8.13 Motion with uniform acceleration and deceleration
  • 11.
    CAMS Yatin Kumar SinghPage 11 It may be observed from Fig.8.13 that there are abrupt changes in the acceleration at the beginning, midway and at the end of the follower motion. At the midway, an infinite jerk is produced. Therefore, this motion is adopted for moderate speeds only. 8.5.3 Motion with Uniform Velocity In this case, the displacement of the follower is proportional to the angle of cam rotation. Therefore, slope of the displacement curve is constant. Let y = cθ Where c = constant of proportionality, and θ = angle of cam rotation. If h = follower rise ϕ = angle through which the cam is to rotate to lift the follower by h. ���n, = � so t�at = � ∴ = � � . V��oc�t�, � = ( � ) . ( � ) = � � . Ac����at�on, = ( � ) . ( � ) = � � . The variation of displacement, velocity and acceleration are shown in Fig.8.14. It may be observed that although the acceleration is zero during ascent or descent of the follower, it is infinite at the beginning and end of the motion. There are abrupt changes in velocity at these points. This results in infinite inertia forces and is therefore unsuitable from practical point of view. Fig.8.14 Motion with uniform velocity This can be avoided by rounding the sharp corners of the displacement curve so that the velocity changes are gradual at the beginning and end of the follower motion. During these periods the acceleration may be assumed to be constant and of finite values. A modified uniform velocity motion is shown in Fig.8.15.
  • 12.
    CAMS Yatin Kumar SinghPage 12 Fig.8.15 Modified motion with uniform velocity 8.5.4 Parabolic Motion In the parabolic motion, the displacement of the follower is proportional to the square of the angle of cam rotation. Let the parabolic motion, for the first half, be represented by = � where c = a constant of proportionality Fo� = ; � = � ∴ = � o� = � ��nc� = ( � � ) . V��oc�t�, � = �� � . Ac����at�on, = ( � � ) = � . Fo� v��oc�t� to b� �a���u�, � = � Ma���u� v��oc�t�, = � � . For the second half, we have
  • 13.
    CAMS Yatin Kumar SinghPage 13 = + � + � Fo� � = ; = and = . A�so �o� � = � = ∴ = + � + � = � + �� o� = + � ��nc�, = − ; = � ; = − � = [ − ( − � � ) ] . = ( � � ) ( − � � ) . = − ( � � ) . The variation of displacement, velocity and acceleration are shown in Fig.8.16. Fig.8.16 Parabolic motion In this case, the displacement of the follower is proportional to the angle of cam rotation.
  • 14.
    CAMS Yatin Kumar SinghPage 14 8.5.5 Cycloidal Motion A cycloid is the locus of a point on a circle rolling on a straight line. The cycloidal curve, as shown in Fig.8.17, can be constructed by adopting the following steps:  Draw a horizontal line to a convenient scale equal to the angle of ascent of the cam.  At the origin, draw another line perpendicular to the previous line, on a convenient scale, equal to the lift of the cam.  Divide the angle of ascent into equal number of parts (say 6), and number them from 0 to 6.  Erect vertical lines at these points.  Draw the diagonal QR passing through the origin and produce it backward.  Calculate the radius of the circle, ch08-ueq16, where h = lift.  Select a convenient point P on the diagonal produced backwards and draw a circle with radius equal to r:  Divide the circle into six equal parts and number the ends of the diameters from 0 to 6.  Join points 1–2 and 4–5, intersecting the vertical diameter at points m and n, respectively.  From points m and n, draw lines parallel to QR intersecting vertical lines at 1 and 2 at a and b and lines at 4 and 5 at d and e. The diagonal PQR shall intersect line at 3 at c.  Join the points Q, a, b, c, d, e, and R by a smooth curve to get the cycloidal curve. Fig.8.17 Cycloidal curve
  • 15.
    CAMS Yatin Kumar SinghPage 15 Motion Analysis: A cycloid is expressed by, = ( ) [ � � − ( ) � ( � � )] . = = ( � ) ( � ) = [ � − { } ( � ) ( � � )] . � = � � − ( � � ) ( � � ) = ( � � ) [ − ( � � )] . Ma���u� v��oc�t�, = � � at � = � . Ac����at�on, = = ( � ) ( � ) = ( � � ) . ( � � ) × [ � ( � � )] � = × ( � � ) � ( � � ) . = × ( � � ) at � = � . Fig.8.18 Displacement, velocity and acceleration with cycloidal motion
  • 16.
    CAMS Yatin Kumar SinghPage 16 The variation of cycloidal motion is shown in Fig.8.18. It may be observed that there are no abrupt changes in the velocity and acceleration at any stage of the motion. Therefore, cycloidal motion is the most ideal for high speed follower motion. 8.6 Cam Profile with Knife–Edge Follower The following procedure may be adopted to draw the cam profile with knife edge follower:  Draw the displacement diagram for follower motion.  Consider that cam remains stationary and that the follower moves round it in a direction opposite to the direction of cam rotation.  Draw the cam base circle and divide its circumference into equal number of divisions depending upon the divisions used in the displacement diagram.  Draw various positions of follower with dotted lines corresponding to different angular displacement from the radius from which ascent is to commence.  Draw a smooth curve tangential to the contact surface in different positions. Example: A disc cam is to give SHM to a knife edge follower during out stroke of 50 mm. The angle of ascent is 120°, dwell 60°, and angle of descent 90°. The minimum radius of cam is 50 mm. Draw the profile of the cam when the axis of the follower passes through the axis of the camshaft. Also calculate the maximum velocity and acceleration during ascent and descent when the camshaft revolves at 240 rpm. Solution: Given: h = mm, N = rpm, θ = °, θ3 = 90° An�u�a� v��oc�t� o� ca� s�a�t, � = � × = . � / Ma���u� V��oc�t� du��n� asc�nt = ( �ℎ ) ( � � ) = � × × − × . � × = . / Ma���u� V��oc�t� du��n� d�sc�nt = ( �ℎ ) ( � � ) = � × × − × . � × = . / Ma���u� Acc����at�on du��n� asc�nt = ( ) ( � � ) = [ � × . � × ] × × − = . / Ma���u� Acc����at�on du��n� d�sc�nt = ( ) ( � � ) = [ � × . � × ] × × − = . / Displacement Diagram: The displacement diagram shown in Fig.8.19 (a) may be drawn as follows:  Draw a vertical line 0–6 equal to the lift of 50 mm.  Draw a semicircle on this line and divide the semicircle into six equal parts of 30° each.
  • 17.
    CAMS Yatin Kumar SinghPage 17  Draw a horizontal line 00′ perpendicular to 0–6 line representing cam rotation angle θ on a scale of cm = 20°.  Divide the ascent angle of 120° into six equal parts and also the descent angle of 90° into six equal parts.  Erect perpendiculars at points 0 to 6 and 6′ to 0′.  Draw horizontal lines from points 1 to 5 on the semicircle to intersect vertical lines drawn previously, as shown in the figure.  Join the points of intersection with a smooth curve to get the displacement diagram. Cam Profile: The cam profile shown in Fig.8.19 (b) may be drawn as follows:  Draw a circle of radius equal to the base circle radius of 50 mm with center O.  Draw angles of ascent, dwell and descent of 120°, 60° and 90°, respectively.  Divide the angles of ascent and descent into six equal parts. Draw radial lines for these angles.  Mark points 0 to 6 and 6′ to 0′ on the base circle in the angles of ascent and descent, respectively.  Measure distance 1a, 2b, 3c, 4d, 5e, and 6f from the displacement diagram for ascent and cut-off corresponding distances on the radial lines drawn in the cam profile. Repeat the same process during descent.  Join the points so obtained by a smooth curve to get the cam profile.
  • 18.
    CAMS Yatin Kumar SinghPage 18 Fig.8.19 Cam profile with radial knife-edge follower having SHM Example: Draw the cam profile when the knife-edge follower is offset by 20 mm. Solution: Displacement diagram remains the same as in Example 1. The cam profile as shown in Fig.8.20 can be drawn as follows:  Draw the offset circle with radius equal to the offset of 20 mm and the base circle with radius 50 mm at centre O.  Divide the angles of ascent and descent in the offset circle into six equal parts. Draw radial lines intersecting the offset circle from g to m and n to u in the angle of ascent and descent respectively.  Draw tangents at points g to u intersecting the base circle at 0 to 6 and 6′ to 0′ in the angle of ascent and descent, respectively.  Measure distances 1a, 2b, 3c, 4d, 5e, and 6f on the displacement diagram for ascent and cut-off corresponding distances on the tangential lines drawn in the cam profile. Repeat the same process for the angle of descent.  Join the points so obtained by a smooth curve to get the cam profile.
  • 19.
    CAMS Yatin Kumar SinghPage 19 Fig.8.20 Cam profile with offset knife-edge follower having SHM 8.7 Cam Profile with Roller Follower 8.7.1 Radial Roller Follower The profile of a cam with radial roller follower has been shown in Fig.8.21. The following steps may be used to draw the cam profile:  Draw the base circle.  Draw the follower in its 0° position, tangent to the base circle.  Draw the reference circle through the centre of the follower in its 0° position.  Draw radial lines from the centre of the cam, corresponding to the vertical lines in the displacement diagram.  Transfer displacements a, b, c, …, etc. from the displacement diagram to the appropriate radial lines, measuring from the reference circle.  Draw in the follower outline on the various radial lines.
  • 20.
    CAMS Yatin Kumar SinghPage 20  Draw a smooth curve tangent to these follower outlines. Example: A disc cam with base circle radius of 50 mm is operating a roller follower with SHM. The lift is 25 mm, angle of ascent 120°, dwell 90°, return 90°, and dwell during the remaining period. The cam rotates at 300 rpm. Find the maximum velocity and acceleration during ascent and descent. The roller radius is 10 mm. Draw the cam profile when the line of reciprocation of follower passes through the cam axis. Solution: Given: N = rpm, h = mm, θ1 = °, θ3 = 90° An�u�a� v��oc�t� , � = � × = . �ad/s Ma���u� V��oc�t� du��n� asc�nt, �� = ( �ℎ ) ( � � ) = ( � × . ) × . � × = . / Ma���u� V��oc�t� du��n� d�sc�nt, �� = ( �ℎ ) ( � � ) = ( � × . ) × . � × = . / Ma���u� Acc����at�on du��n� asc�nt = �� ℎ = . . = . / Ma���u� Acc����at�on du��n� d�sc�nt = �� ℎ = . . = . /
  • 21.
    CAMS Yatin Kumar SinghPage 21 Fig.8.21 Cam with radial roller follower Cam Profile: The cam profile shown in Fig.8.22 (b) may be drawn as explained below:  Draw the base circle with centre O and radius 50 mm.  Draw the reference circle with radius equal to the sum of the radius of base circle and roller radius, i.e., 60 mm. Draw angles of ascent, dwell, and descent of 120°, 60°, and 90°, respectively.  Divide the angle of ascent and descent into six equal parts.
  • 22.
    CAMS Yatin Kumar SinghPage 22  Draw radial lines intersecting the reference circle at point 0 to 6 in the angle of ascent and 6′ to 0′ in the angle of descent.  Measure distances 1a, 2b, etc. from the displacement diagram and mark corresponding distances on the radial lines in the cam profile from the reference circle.  Repeat the same process in the angle of descent.  Draw circles at points 0 to f and f′ to 0′ with radius equal to the roller radius of 10 mm.  Draw a smooth curve touching (asymptotic) the roller radii to obtain the cam profile. Fig.8.22 Cam profile with radial roller follower having SHM
  • 23.
    CAMS Yatin Kumar SinghPage 23 8.7.2 Offset Roller Follower A cam profile with offset roller follower is shown in Fig.8.23. The following steps may be used to draw the cam profile:  Draw the base circle.  Draw the follower in its 0° position, tangent to the base circle.  Draw the reference circle through the centre of the follower in its 0° position.  Draw the offset circle tangent to the follower centre line.  Divide the offset circle into a number of divisions corresponding to the divisions in the displacement diagram.  Draw tangents to the offset circle at each number.  Lay off various displacements a, b, c, …, etc. along the appropriate tangent lines, measuring from the reference circle.  Draw in the follower outlines on the various tangent lines.  Draw a smooth curve to these follower outlines.
  • 24.
    CAMS Yatin Kumar SinghPage 24 Fig.8.23 Cam profile with offset roller follower 8.8 Cam Profile with Translational Flat-Faced Follower A cam with flat-faced follower is shown in Fig.8.28. The following steps may be adopted to draw the cam profile:  Draw the base circle, which also serves the reference circle in this case.  Draw the follower in the home position, tangent to the base circle.  Draw radial lines corresponding to the divisions in the displacement diagram, and number accordingly.  Draw in the follower outline on the various radial lines by laying off the appropriate displacements and drawing lines perpendicular to the radial lines.  Draw a smooth curve tangent to the follower lines.
  • 25.
    CAMS Yatin Kumar SinghPage 25 8.11 Analytical Methods 8.11.1 Tangent Cam with Roller Follower A tangent cam with roller follower is shown in Fig.8.39. Let r = distance between cam and nose centres r1 = least radius of cam; r2 = nose radius; r3 = roller radius
  • 26.
    CAMS Yatin Kumar SinghPage 26 l = r2 + r3 = angle of ascent ϕ = angle of contact of cam with straight flank Fig.8.39 Tangent cam with roller follower (a) Roller in contact with Straight Flank: At position B, let θ be the angle turned through by the cam, as shown in Fig. . (a). Then lift, ���n ���t, = � − � = � � − � = � − � � = � + � − � � . V��oc�t�, = = ( � ) ( � ) = � � + � ( − � � � ) . Maximum velocity occurs at θ = ϕ. = � � + � ( − � � � ) . Acc����at�on, = = ( � ) ( � ) = � � + � − � � . Minimum acceleration occurs at θ = 0° = � � + � . (b) Follower in contact with Circular Nose: Fig.8.39 (b) shows the follower in contact with circular nose. Let OP = r = const. PD = r2 + r3 = l = const.
  • 27.
    CAMS Yatin Kumar SinghPage 27 OPD is a slider crank chain in which OP is the crank, PD the connecting rod, and D the slider. Let θ1 = − θ For a slider crank chain, the displacement from top dead centre is given by, = �[ − � + − − � � . ] Where n = l/r For the cam mechanism shown in Fig.8.41, we have = �[ − � + � + � �⁄ − [{ � + � �⁄ } − � � ] . ] = � − � + − − � � � . . = � � = �� [� � � + � � � − � � � . ] . = � � = � � [ � + � � + � � � − � � � / ] . Fig.8.41 Circular arc cam operating flat-faced follower 8.12 Radius of Curvature and Undercutting There is no restriction on the radius of curvature of the cam profile with a knife-edge follower. The cam profile must be convex everywhere for a flat-faced follower. In the case of a roller follower, the concave portion of the cam profile must have a radius of curvature greater than that of the roller to ensure proper contact along the cam profile. To determine the pitch surface of a disc cam with radial roller follower, let the displacement R of the centre of the follower from the centre of the cam be given by (Fig.8.49):
  • 28.
    CAMS Yatin Kumar SinghPage 28 � = � + � . where R0 = minimum radius of the pitch surface of the cam. f θ = radial motion of the follower as a function of cam angle. Once the value of R0 is known, the polar coordinates of the centres of the roller follower can be generated. Fig.8.49 Disc cam operating roller follower 8.12.1 Kloomok and Muffley Method Let ρ = radius of curvature of the pitch surface Rr = radius of roller These values are shown in Fig. . together with the radius of curvature ρc of the cam surface, ρ is held constant and Rr is increased so that ρc decreases. If this continued until Rr equals ρ, then ρc will be zero and the cam becomes pointed as shown in Fig.8.51 (a). As Rr is further increased, the cam becomes undercut as shown in Fig.8.51 (b), and the motion of the follower will not be as prescribed. Therefore, to prevent a point or an undercut from occurring on the cam profile, Rr must be less than ρmin, where ρmin is the minimum value of ρ over the particular segment of profile being considered. )t is impossible to undercut a concave portion of a cam. The radius of curvature at a point on a curve can be expressed as: Fig.8.50 Cam and pitch surfaces
  • 29.
    CAMS Yatin Kumar SinghPage 29 Fig.8.51 Undercutting in cams = [� + ( � � ) ] / [� + ( � � ) − � ( � � )] Where R = f(ϕ). Here f θ = f ϕ) � � = ′ � ; � � = ′′ � � , = [� + { ′ � } ] / [� + { ′′ � } − �{ ′′ � }] . � � � � � , �� � � � � � , + �� � � P��ssu�� An���, = � − ( � . � � ) . 8.12.2 Pressure Angle The pressure angle is one of the most important parameters in cam design. By increasing the size of the cam, the pressure angle can be reduced. Consider a cam with offset roller follower, as shown in Fig.8.52 Let = pressure angle; r1 = prime circle radius; e = offset; y = f θ ; θ = angle of cam rotation; ω = angular velocity of cam The cam mechanism has four elements, namely, the fixed link 1, cam 2, roller 3, and follower rod 4. The instantaneous centres are: 12: at O 34: at roller centre 14: at infinity 23: lies on the common normal at the point of contact of the roller and cam surface 24: at the intersection of common normal at the point of contact and horizontal axis on which 14 lies.
  • 30.
    CAMS Yatin Kumar SinghPage 30 Fig.8.52 Cam with offset roller follower As the movement of the follower rod is pure translation, all points on it have the same velocity. Thus, the velocity of follower during rise is: = = � − = �[ + + � ] . w���� = (� − ) . � = [ − ] [ � + � − . ] = [ � − ] [ � + � − . ] . Du��n� t�� ��tu�n, � = [| � | + ] [ � + � − . ] . For maximum pressure angle, using rise, we have � � = [ � + (� − ) . ] � − ( � − ) ( � ) = ( � − ) [ � + � − . ] = ( � ) ( � ) = . Solve Eq. . to get the value of θ0. Then
  • 31.
    CAMS Yatin Kumar SinghPage 31 = � − [ ( � ) ( � ) ] �=� . 8.13 Cam Size The cam size is defined by the following parameters:  Pressure Angle  Radius of Curvature of Cam Profile  Hub Size. The following methods may be used to reduce the pressure angle: 1. Increase the diameter of the base circle. 2. Increase the angle of rotation of the cam, thereby lengthening the pitch curve for the specified follower displacement. The cam profile becomes flatter and the pressure angle becomes smaller. 3. Select the motion curve for a smaller pressure angle. 4. By changing the offset of the follower.