РЕСПУБЛИКА КАЗАХСТАН
(19) KZ (13) B (11) 28765
(51) F03D 1/00 (2006.01)
F03D 3/00 (2006.01)
КОМИТЕТ ПО ПРАВАМ
ИНТЕЛЛЕКТУАЛЬНОЙ СОБСТВЕННОСТИ
МИНИСТЕРСТВА ЮСТИЦИИ РЕСПУБЛИКИ КАЗАХСТАН
ОПИСАНИЕ ИЗОБРЕТЕНИЯ
К ПАТЕНТУ
(21) 2011/0911.1
(22) 23.08.2011
(45) 15.07.2014, бюл. №7
(76) Аяшев Максат Темирбекович
(56) KZ 24402 A4,15.08.2011
KZ 23626 В, 15.12.2010
RU 86672 U1, 10.09.2009
WO 2008078342, 03.07.2008
KZ 18089 A, 15.12.2006
(54) МОДУЛЬНЫЙ ВЕТРОГЕНЕРАТОР
(57) Изобретение относится к области
ветроэнергетики, в частности к
ветроэнергетическим агрегатам, предназначенным
для заряда аккумуляторной батареи и
электропитания различных потребителей, например,
электроосветительные приборы, радио- и
телеприемники и др., в районах и на объектах без
электроснабжения и может быть использовано для
получения электроэнергии.
Техническим результатом является повышение
производительности, упрощение конструкции,
уменьшение ее массы и габаритов, снижение
себестоимости.
Это достигается тем, что ветрогенератор состоит
из модулей, содержащих каркас, вертикальный вал,
поворотные лопасти, направляющие заслонки и
электрический генератор, поворотные лопасти
выполнены вогнутыми, вертикальный вал выполнен
с фланцем соединения с электрогенератором.
Направляющие заслонки закреплены к каркасу.
Вал нижнего модуля закреплен к статору, а вал
верхнего модуля закреплен к верхнему ротору
электрогенератора посредством соединительных
фланцев.
Верхний и нижний роторы генератора соединены
посредством редуктора с планетарной передачей,
расположенного и закреплённого в теле статора.
(19)KZ(13)B(11)28765
28765
2
Изобретение относится к области
ветроэнергетики, в частности к
ветроэнергетическим агрегатам, предназначенным
для электропитания различных потребителей,
например, электроосветительные приборы, радио- и
телеприемники и др., в районах и на объектах без
электроснабжения и может быть использовано для
получения электроэнергии.
Известен безредукторный ветрогенератор,
содержащий магнитоэлектрический генератор со
статором и сегментным ротором и ветроколесо с
горизонтальной осью вращения. /SU 861716 А,
07.09.1981/
Недостатками ветрогенератора являются
большая материалоемкость и сложность сборки.
Известен ветрогенератор, выбранный в качестве
наиболее близкого аналога, содержащий
вертикальный вал с кронштейнами и прикрепленные
к ним поворотные лопасти, контактирующие с
упором. При этом упоры выполнены в виде
установленных вокруг вала плоских панелей,
которые своими краями соединены между собой и
кронштейнами. Ветрогенератор также включает
каркас и электрический генератор. /RU 2029885 С1,
27.02.1995/
Недостатками данного ветрогенератора являются
сложность конструкции, невысокая
производительность и громоздкость.
Задачей изобретения является создание
аэродинамической электростанции, состоящей из
отдельных модульных ветротурбин с
вертикальными осями вращения, вращающихся во
встречном друг другу направлении и, размещённым
между ветротурбинами модулем электрического
генератора.
Техническим результатом является повышение
производительности, упрощение конструкции,
уменьшение ее массы и габаритов, снижение
себестоимости.
Это достигается тем, что ветрогенератор состоит
из 3-х модулей: «Верхняя ветротурбина», «Нижняя
ветротурбина» и «Модуль электрогенератора».
Каждая ветротурбина содержит каркас,
вертикальный вал, поворотные лопасти и
корректирующие направление ветра заслонки,
поворотные лопасти выполнены вогнутыми,
вертикальный вал закреплён к верхнему и нижнему
центрам каркаса и имеет соединительный фланец
для присоединения к валу электрогенератора.
Вал, установленный внутри каркаса, закреплен к
нему шарнирно посредством подшипников.
Направляющие заслонки предназначены для
освобождения обратного хода лопастей от
встречного сопротивления вращению, создаваемого
ветром, увеличивая, таким образом, мощность
вращения лопастей ветрогенератора.
Направляющие заслонки закреплены равномерно
по окружности каркаса.
На фиг.1 изображён модуль «Верхняя
ветротурбина» (вид спереди), который содержит
каркас (1), вертикальный вал (2), поворотные
лопасти (3), имеющие вогнутую форму
(полуциллиндрическую), направляющие заслонки
(4) и посадочные места для подшипников (5).
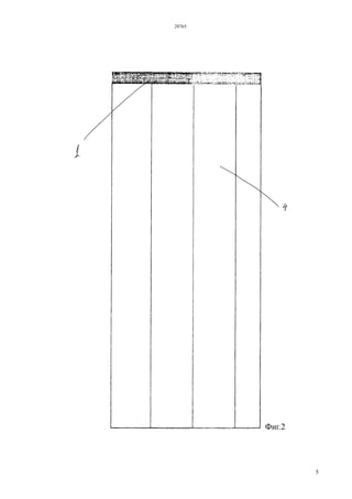
На фиг.2 изображён модуль «Нижняя
ветротурбина» (вид спереди), который также
содержит каркас (1), вертикальный вал (2),
поворотные лопасти (3), имеющие вогнутую форму
(полуциллиндрическую) противоположную
вогнутостям лопастей модуля «Верхняя
ветротурбина», направляющие заслонки (4),
направленные в противоположном направлении по
отношении к заслонкам модуля «Верхняя
ветротурбина», посадочные места для
подшипников(5). Поворотные лопасти двух модулей
вращаются в противоположных направлениях.
На фиг.3 изображен модуль «Электрогенератор»
(вид спереди), который содержит генератор
электрического тока (6), состоящий из верхнего (7) и
нижнего (8) роторов встречного вращения и статора
(9) с планетарным редуктором (10), токосъёмные
щётки для приёма вырабатываемой электроэнергии
(11), посадочные места для подшипников (12),
обустроенные в корпусе генератора (13), кабельные
каналы (14) и фланцы соединения с модулями
«Верхняя ветротурбина» и «Нижняя ветротурбина»
(15).
На фиг.4 отдельно изображена конструкция
вертикального вала (2) с поворотными лопастями
(3).
На фиг.5 изображена конструкция (общий вид)
модульного ветрогенератора в сборе, состоящего из
верхнего (фиг.1) и нижнего (фиг.2) модулей, а также
модуля электрогенератора (фиг.3).
На фиг.6 изображена конструкция верхнего
модуля (в поперечном разрезе), состоящего из
каркаса (1) с направляющими заслонками (4) и,
расположенными внутри него, поворотными
лопастями (3) вид сверху.
На фиг.7 изображена конструкция нижнего
модуля (в поперечном разрезе), состоящего из
каркаса (1) с направляющими заслонками (4) и,
расположенными внутри него, поворотными
лопастями (3) вид сверху.
На фиг.8 изображёны каркасы всех трёх модулей
в сборе (верхнего, нижнего и электрогенератора) в
продольном разрезе, состоящего из каркасов (1) с
направляющими заслонками (4) и, расположенными
внутри него, посадочными местами подшипников
вертикальных валов (5), посадочными местами
подшипников электрогенератора (12) и кабельные
каналы (14) вид спереди.
На фиг.9 изображена конструкция
электрического генератора, состоящего из корпуса
генератора (13), верхнего ротора (7), нижнего ротора
(8), редуктора планетарной передачи (10) и статора
(9).
На фиг.10 изображена конструкция верхнего
ротора (7) электрического генератора.
На фиг.11 изображена конструкция нижнего
ротора (8) электрического генератора.
На фиг.12 изображена конструкция корпуса
генератора (13), состоящего из редуктора
планетарной передачи (10), встроенного в статор (9)
электрического генератора.
28765
3
Модульный ветрогенератор МВГ-1 работает
следующим образом:
При вращении поворотных лопастей (3)
отдельных модулей, в разные стороны, при помощи
направляющих заслонок (4). Поворотные лопасти
верхнего модуля вращаются в одну сторону, а
поворотные лопасти нижнего модуля - в другую
сторону. Верхний модуль (фиг.1) передаёт крутящий
момент верхнему ротору (7) электрогенератора,
который посредством планетарной передачи
редуктора, расположенного и закреплённого в теле
статора (9) передаёт крутящий момент во встречном
направлении нижнему ротору (8), а нижний модуль
(фиг.2) - соответственно статору (9). В
электрическом генераторе (6) вырабатывается
энергия, которая далее с токосъёмных колец
снимается токосъёмными щётками и направляется
на преобразователь и накопитель.
Предлагаемое изобретение представляет собой
ветрогенератор, состоящий из отдельных модулей
верхних и нижних ветротурбин и электрического
генератора. При этом будучи составляющими
частями одного ветрогенератора, требуют наличие
лишь одного генератора электрического тока, тем
самым увеличивая крутящий момент и уменьшая
себестоимость ветрогенератора относительно
производительности.
ФОРМУЛА ИЗОБРЕТЕНИЯ
1. Модульный ветрогенератор, содержащий
несущую конструкцию и состоящий из верхней
ветротурбины, нижней ветротурбины и
электрогенератора, составленных и скрепленных в
виде сборных моделей друг на друге,
отличающийся тем, что каждая ветротурбина
содержит каркас, вертикальный вал, поворотные
лопасти и корректирующие направление ветра
заслонки, поворотные лопасти выполнены
вогнутыми, вертикальный вал закреплен к верхнему
и нижнему центрам каркаса и имеет
соединительный фланец для присоединения к валу
электрогенератора, вал, установленный внутри
каркаса, закреплен к нему шарнирно посредством
подшипников.
2. Модульный генератор по п.1, отличающийся
тем, что направляющие заслонки верхнего и
нижнего модулей ветротурбин закреплены к каркасу
в противоположных друг другу направлениях.
3. Модульный генератор по п.1, отличающийся
тем, что вал верхнего модуля ветротурбины
закреплен фланцем к ротору электрогенератора, а
вал нижнего модуля ветротурбины закреплен
фланцем к статору электрогенератора.
4. Модульный генератор по п.1, отличающийся
тем, что верхний ротор имеет соединение с нижним
ротором посредством планетарной передачи
редуктора, расположенного и закреплённого в теле
статора.
5. Модульный генератор по п.1, отличающийся
тем, что поворотные лопасти нижней и верхней
ветротурбин вращаются в противоположных
направлениях.
28765
4
28765
5
28765
6
28765
7
28765
8
28765
9
28765
10
28765
11
Верстка А. Сарсекеева
Корректор Р. Шалабаев

28765p

  • 1.
    РЕСПУБЛИКА КАЗАХСТАН (19) KZ(13) B (11) 28765 (51) F03D 1/00 (2006.01) F03D 3/00 (2006.01) КОМИТЕТ ПО ПРАВАМ ИНТЕЛЛЕКТУАЛЬНОЙ СОБСТВЕННОСТИ МИНИСТЕРСТВА ЮСТИЦИИ РЕСПУБЛИКИ КАЗАХСТАН ОПИСАНИЕ ИЗОБРЕТЕНИЯ К ПАТЕНТУ (21) 2011/0911.1 (22) 23.08.2011 (45) 15.07.2014, бюл. №7 (76) Аяшев Максат Темирбекович (56) KZ 24402 A4,15.08.2011 KZ 23626 В, 15.12.2010 RU 86672 U1, 10.09.2009 WO 2008078342, 03.07.2008 KZ 18089 A, 15.12.2006 (54) МОДУЛЬНЫЙ ВЕТРОГЕНЕРАТОР (57) Изобретение относится к области ветроэнергетики, в частности к ветроэнергетическим агрегатам, предназначенным для заряда аккумуляторной батареи и электропитания различных потребителей, например, электроосветительные приборы, радио- и телеприемники и др., в районах и на объектах без электроснабжения и может быть использовано для получения электроэнергии. Техническим результатом является повышение производительности, упрощение конструкции, уменьшение ее массы и габаритов, снижение себестоимости. Это достигается тем, что ветрогенератор состоит из модулей, содержащих каркас, вертикальный вал, поворотные лопасти, направляющие заслонки и электрический генератор, поворотные лопасти выполнены вогнутыми, вертикальный вал выполнен с фланцем соединения с электрогенератором. Направляющие заслонки закреплены к каркасу. Вал нижнего модуля закреплен к статору, а вал верхнего модуля закреплен к верхнему ротору электрогенератора посредством соединительных фланцев. Верхний и нижний роторы генератора соединены посредством редуктора с планетарной передачей, расположенного и закреплённого в теле статора. (19)KZ(13)B(11)28765
  • 2.
    28765 2 Изобретение относится кобласти ветроэнергетики, в частности к ветроэнергетическим агрегатам, предназначенным для электропитания различных потребителей, например, электроосветительные приборы, радио- и телеприемники и др., в районах и на объектах без электроснабжения и может быть использовано для получения электроэнергии. Известен безредукторный ветрогенератор, содержащий магнитоэлектрический генератор со статором и сегментным ротором и ветроколесо с горизонтальной осью вращения. /SU 861716 А, 07.09.1981/ Недостатками ветрогенератора являются большая материалоемкость и сложность сборки. Известен ветрогенератор, выбранный в качестве наиболее близкого аналога, содержащий вертикальный вал с кронштейнами и прикрепленные к ним поворотные лопасти, контактирующие с упором. При этом упоры выполнены в виде установленных вокруг вала плоских панелей, которые своими краями соединены между собой и кронштейнами. Ветрогенератор также включает каркас и электрический генератор. /RU 2029885 С1, 27.02.1995/ Недостатками данного ветрогенератора являются сложность конструкции, невысокая производительность и громоздкость. Задачей изобретения является создание аэродинамической электростанции, состоящей из отдельных модульных ветротурбин с вертикальными осями вращения, вращающихся во встречном друг другу направлении и, размещённым между ветротурбинами модулем электрического генератора. Техническим результатом является повышение производительности, упрощение конструкции, уменьшение ее массы и габаритов, снижение себестоимости. Это достигается тем, что ветрогенератор состоит из 3-х модулей: «Верхняя ветротурбина», «Нижняя ветротурбина» и «Модуль электрогенератора». Каждая ветротурбина содержит каркас, вертикальный вал, поворотные лопасти и корректирующие направление ветра заслонки, поворотные лопасти выполнены вогнутыми, вертикальный вал закреплён к верхнему и нижнему центрам каркаса и имеет соединительный фланец для присоединения к валу электрогенератора. Вал, установленный внутри каркаса, закреплен к нему шарнирно посредством подшипников. Направляющие заслонки предназначены для освобождения обратного хода лопастей от встречного сопротивления вращению, создаваемого ветром, увеличивая, таким образом, мощность вращения лопастей ветрогенератора. Направляющие заслонки закреплены равномерно по окружности каркаса. На фиг.1 изображён модуль «Верхняя ветротурбина» (вид спереди), который содержит каркас (1), вертикальный вал (2), поворотные лопасти (3), имеющие вогнутую форму (полуциллиндрическую), направляющие заслонки (4) и посадочные места для подшипников (5). На фиг.2 изображён модуль «Нижняя ветротурбина» (вид спереди), который также содержит каркас (1), вертикальный вал (2), поворотные лопасти (3), имеющие вогнутую форму (полуциллиндрическую) противоположную вогнутостям лопастей модуля «Верхняя ветротурбина», направляющие заслонки (4), направленные в противоположном направлении по отношении к заслонкам модуля «Верхняя ветротурбина», посадочные места для подшипников(5). Поворотные лопасти двух модулей вращаются в противоположных направлениях. На фиг.3 изображен модуль «Электрогенератор» (вид спереди), который содержит генератор электрического тока (6), состоящий из верхнего (7) и нижнего (8) роторов встречного вращения и статора (9) с планетарным редуктором (10), токосъёмные щётки для приёма вырабатываемой электроэнергии (11), посадочные места для подшипников (12), обустроенные в корпусе генератора (13), кабельные каналы (14) и фланцы соединения с модулями «Верхняя ветротурбина» и «Нижняя ветротурбина» (15). На фиг.4 отдельно изображена конструкция вертикального вала (2) с поворотными лопастями (3). На фиг.5 изображена конструкция (общий вид) модульного ветрогенератора в сборе, состоящего из верхнего (фиг.1) и нижнего (фиг.2) модулей, а также модуля электрогенератора (фиг.3). На фиг.6 изображена конструкция верхнего модуля (в поперечном разрезе), состоящего из каркаса (1) с направляющими заслонками (4) и, расположенными внутри него, поворотными лопастями (3) вид сверху. На фиг.7 изображена конструкция нижнего модуля (в поперечном разрезе), состоящего из каркаса (1) с направляющими заслонками (4) и, расположенными внутри него, поворотными лопастями (3) вид сверху. На фиг.8 изображёны каркасы всех трёх модулей в сборе (верхнего, нижнего и электрогенератора) в продольном разрезе, состоящего из каркасов (1) с направляющими заслонками (4) и, расположенными внутри него, посадочными местами подшипников вертикальных валов (5), посадочными местами подшипников электрогенератора (12) и кабельные каналы (14) вид спереди. На фиг.9 изображена конструкция электрического генератора, состоящего из корпуса генератора (13), верхнего ротора (7), нижнего ротора (8), редуктора планетарной передачи (10) и статора (9). На фиг.10 изображена конструкция верхнего ротора (7) электрического генератора. На фиг.11 изображена конструкция нижнего ротора (8) электрического генератора. На фиг.12 изображена конструкция корпуса генератора (13), состоящего из редуктора планетарной передачи (10), встроенного в статор (9) электрического генератора.
  • 3.
    28765 3 Модульный ветрогенератор МВГ-1работает следующим образом: При вращении поворотных лопастей (3) отдельных модулей, в разные стороны, при помощи направляющих заслонок (4). Поворотные лопасти верхнего модуля вращаются в одну сторону, а поворотные лопасти нижнего модуля - в другую сторону. Верхний модуль (фиг.1) передаёт крутящий момент верхнему ротору (7) электрогенератора, который посредством планетарной передачи редуктора, расположенного и закреплённого в теле статора (9) передаёт крутящий момент во встречном направлении нижнему ротору (8), а нижний модуль (фиг.2) - соответственно статору (9). В электрическом генераторе (6) вырабатывается энергия, которая далее с токосъёмных колец снимается токосъёмными щётками и направляется на преобразователь и накопитель. Предлагаемое изобретение представляет собой ветрогенератор, состоящий из отдельных модулей верхних и нижних ветротурбин и электрического генератора. При этом будучи составляющими частями одного ветрогенератора, требуют наличие лишь одного генератора электрического тока, тем самым увеличивая крутящий момент и уменьшая себестоимость ветрогенератора относительно производительности. ФОРМУЛА ИЗОБРЕТЕНИЯ 1. Модульный ветрогенератор, содержащий несущую конструкцию и состоящий из верхней ветротурбины, нижней ветротурбины и электрогенератора, составленных и скрепленных в виде сборных моделей друг на друге, отличающийся тем, что каждая ветротурбина содержит каркас, вертикальный вал, поворотные лопасти и корректирующие направление ветра заслонки, поворотные лопасти выполнены вогнутыми, вертикальный вал закреплен к верхнему и нижнему центрам каркаса и имеет соединительный фланец для присоединения к валу электрогенератора, вал, установленный внутри каркаса, закреплен к нему шарнирно посредством подшипников. 2. Модульный генератор по п.1, отличающийся тем, что направляющие заслонки верхнего и нижнего модулей ветротурбин закреплены к каркасу в противоположных друг другу направлениях. 3. Модульный генератор по п.1, отличающийся тем, что вал верхнего модуля ветротурбины закреплен фланцем к ротору электрогенератора, а вал нижнего модуля ветротурбины закреплен фланцем к статору электрогенератора. 4. Модульный генератор по п.1, отличающийся тем, что верхний ротор имеет соединение с нижним ротором посредством планетарной передачи редуктора, расположенного и закреплённого в теле статора. 5. Модульный генератор по п.1, отличающийся тем, что поворотные лопасти нижней и верхней ветротурбин вращаются в противоположных направлениях.
  • 4.
  • 5.
  • 6.
  • 7.
  • 8.
  • 9.
  • 10.
  • 11.