РЕСПУБЛИКА КАЗАХСТАН
(19) KZ (13) B (11) 29908
(51) F03D 1/04 (2012.01)
МИНИСТЕРСТВО ЮСТИЦИИ РЕСПУБЛИКИ КАЗАХСТАН
ОПИСАНИЕ ИЗОБРЕТЕНИЯ
К ПАТЕНТУ
(21) 2013/1757.1
(22) 19.11.2013
(45) 15.05.2015, бюл. №5
(72) Бейсембетов Искандер Калыбекович;
Кенжалиев Багдаулет Кенжалиевич; Нусупов Каир
Хамзаевич
(73) Бейсембетов Искандер Калыбекович;
Кенжалиев Багдаулет Кенжалиевич; Нусупов Каир
Хамзаевич; Акционерное общество "Казахстанско-
Британский технический университет"
(56) RU 2387871 C1, 27.04.2010
RU 2067690 C1, 10.10.1996
KZ 8018 A, 15.09.1999
DE 4443011 A1, 05.06.1996
(54) МНОГОСТУПЕНЧАТАЯ ВЕТРОВАЯ
УСТАНОВКА
(57) Изобретение относится к ветроэнергетике и
предназначено для преобразования кинетической
энергии направленного воздушного потока (ветра) в
электрическую энергию.
Предложена конструкция ветровой установки,
позволяющая получать электроэнергию за счет
отбора мощности, как у основного воздушного
потока (ветра) по всей высоте установки, так и у
воздушных потоков, возникающих на разных
ступенях установки в процессе эжекции. Установка
состоит из подвижной и неподвижной частей.
Верхняя подвижная часть установки с помощью
флюгера ориентируется по ветру и посредством
ветроприемника осуществляет захват основного
воздушного потока. Ниже этой части расположена
многоступенчатая неподвижная часть установки,
состоящая из последовательно соединенных между
собой не полных труб Вентури с оптимальными
аэродинамическими размерами применительно к
воздушному потоку.
(19)KZ(13)B(11)29908
29908
2
Изобретение относится к ветроэнергетике и
предназначено для преобразования кинетической
энергии направленного воздушного потока (ветра) в
электрическую энергию.
Известна энергетическая установка с
использованием вставленных соосно друг в друга
труб Вентури с турбогенераторами, размещенными
у поверхности Земли (Патент RU 2265163, МПК
F24J 2/42, оп. 27.11.2005). Реализация на практике
этой установки сопряжена со значительными
финансовыми затратами и, следовательно, высокой
ценой конечного продукта, не доступной
большинству населения. Другой недостаток этой
установки связан с недостаточной эффективностью
использования ветрового потока.
Установка, описанная в работе: “INVELOX: A
NEW CONCEPT IN WIND ENERGY HARVESTING.
Daryosh Allaei, Yiannis Andreopoulos // ASME 2013
7th
International Conference on Energy Sustainability
and 11th
Fuel Cell Science, Engineering and Technology
Conference. ES - Fuel Cell 2013. // July 14 - 19, 2013.
Minneapolis, MN, USA. // ES - Fuel Cell 2013 -
18311.” принимается за аналог. Эта
ветроэнергетическая установка состоит из
неподвижного разделенного на секции
ветроприемника, размещенного в верхней части
опорной металлической башни. Ветроприемник
улавливает направленный поток воздуха при любом
направлении ветра. При этом работают одна или две
секции ветроприемника, направленные к ветру.
Одновременно из остальных секций происходит
всасывание-эжекция воздуха из окружающего
пространства. Ветроприемник соединен с
протяженной трубой, представляющей собой
усеченный конус, постепенно сужающийся сверху
вниз. В этой трубе происходит дополнительное
ускорение и уплотнение воздушного потока,
направленного из ветроприемника вниз к
ветрогенератору, размещенного в классической
трубе Вентури и прикрепленного к фундаменту на
поверхности Земли.
Эта установка имеет ряд недостатков. Отбор
мощности у внешнего воздушного потока
происходит ветроприемником только в верхней
части опорной башни, а вся остальная часть башни
до поверхности земли не участвует в отборе
мощности у внешнего ветрового потока и выполняет
пассивную функцию опоры, направляя захваченный
в верхней части установки поток ветра вниз к
генератору. Так как ветроприемник выполнен
секционным, то для забора достаточного объема
направленного воздушного потока необходимо
увеличивать размеры ветроприемника.
Эффективность всасывания воздуха из окружающей
среды у такой конструкции ветроприемника
недостаточно высока. К перечисленным
недостаткам следует добавить значительную
протяженность трубы, представляющей собой
усеченный конус для ускорения и уплотнения
воздушного потока. Энергетические потери в
протяженной трубе более значительны, чем в
короткой трубе, вследствие трения воздушного
потока о стенки трубы. Установка не модульная и
для ее перевозки требуются специальные подъемно-
транспортные средства. Установка металлоемкая и
имеет большие массогабаритные показатели.
Наиболее близким по техническому решению и
достигаемому результату является
ветроэнергетическая установка по патенту RU
2387871, МПК F03D 1/04, оп. 27.04.2010, которая
рассматривается как прототип. Данная установка
имеет ветроприемники, посаженные на подшипники
и ориентируемые флюгером по направлению ветра.
Захваченный ветроприемниками поток воздуха с
помощью неподвижной опорной трубы
направляется вниз и принимается воздушной
турбиной, расположенной ниже фундамента.
Турбина соединена с генератором. Установка имеет
три последовательно расположенных сверху вниз
всасывающе-нагнетательных насосов высокого
давления и три нагревательных элемента. Эти
насосы всасывают воздух из трубы, образуя
разрежение и тем самым увеличивая скорость
воздушного потока в трубе с последующим
возвратом этого воздуха вновь в трубу, но уже под
давлением и нагретым. Поэтому опорная труба по
всей высоте используется для ускорения и
уплотнения направленного вниз воздушного потока.
Ускоренный и нагретый воздух попадает в турбину.
Установка снабжена аккумулятором, сепаратором,
электродвигателем, раздаточными коробками и
адаптерами, которые обеспечивают работу
установки в целом в соответствии с заложенной
идеей.
Установка по прототипу имеет ряд недостатков.
Неподвижная опорная труба играет пассивную роль
и самостоятельно без всасывающе- нагнетательных
насосов высокого давления не способна эффективно
ускорять и уплотнять воздушную массу от
ветроприемников к турбине. Установка для своей
работы требует значительный дополнительный
расход электроэнергии, что снижает ее
эффективность. Стоимость такой установки
достаточно высока и ее эксплуатация требует
наличия квалифицированного персонала.
Целью предлагаемого изобретения является:
1. Минимизировать стоимость ветроустановки.
2. Максимально увеличить эффективность
преобразования энергии ветра в электрическую
энергию.
3. Уменьшить диаметр лопасти или турбины (для
более многоступенчатой установки), а также других
массогабаритных показателей ветроустановки.
4. Упростить конструкцию.
5. Упростить изготовление, транспортировку,
монтаж, демонтаж, ремонт и эксплуатацию
ветроустановки.
6. Обеспечить независимость работы
неподвижной части установки от направления ветра.
7. Осуществить воздухозабор по всей высоте
установки при любом направлении ветра, кроме
последней ступени.
8. Изготовить установку из легкого, прочного,
долговечного и относительно дешевого пластика,
например, поликарбоната с целью максимального
сбережения природных материалов (железа и т.д.).
29908
3
9. Обеспечить изготовление установки на
имеющихся предприятиях практически без их
модернизации с минимальными
капиталовложениями для массового производства.
10. Получать электроэнергию в широком
диапазоне мощностей без заметного увеличения
массогабаритных показателей.
11. Обеспечить безопасность биологических
объектов от опасного для жизни человека и
животных низкочастотного инфразвука, а также
полностью исключить опасность для летящих птиц.
Основная идея изобретения базируется на
уплотнении и ускорении ветрового потока
короткими конфузорами с малым углом раскрытия
предпочтительно в пределах 21-25 градусов с целью
уменьшения аэродинамического сопротивления
ветровому потоку, а также в использовании
коротких виртуальных горловин для достижения
минимальной расходимости ускоренного
воздушного потока. Виртуальные горловины - это
горловины, не имеющие стен как таковых, но
рассчитанные как горловины классических труб
Вентури. Горловина с помощью концентраторов
(фиг.4) соединяет предыдущий конфузор с
последующим конфузором. Периферийная часть
каждой виртуальной горловины по всему периметру
разделена на секции с помощью концентраторов,
которые образуют периферийные конфузоры
виртуальных горловин, причем длина каждого
концентратора простирается до радиуса
виртуальной горловины каждого модуля.
Периферийные конфузоры обеспечивают ускорение
и уплотнение всасываемого воздуха и
направленного воздушного потока (ветра). Поэтому
получение электроэнергии происходит за счет
отбора мощности как у основного воздушного
потока (ветра) по всей высоте установки, так и у
воздушных потоков, возникающих на разных
ступенях установки в процессе эжекции. Установка
состоит из двух частей: подвижной и неподвижной.
Верхняя подвижная часть установки с помощью
флюгера ориентируется по ветру и посредством
ветроприемника осуществляет захват основного
воздушного потока. Ниже ветроприемника
расположена многоступенчатая неподвижная часть
установки, состоящая из последовательно
соединенных между собой не полных труб Вентури
с оптимальными аэродинамическими размерами
применительно к воздушному потоку. В данном
изобретении, все трубы Вентури, кроме последней
ступени, расположенной непосредственно у
поверхности Земли, состоят только из коротких
конфузоров и коротких виртуальных горловин без
диффузоров. Это позволяет обеспечить ускорение и
уплотнение конфузорами направленного
воздушного потока и минимальные потери на
трение как в конфузорах, так и в виртуальных
горловинах за счет отрыва воздушного потока от
виртуальных горловин. Кроме того в виртуальных
горловинах происходит не только захват, ускорение
и уплотнение направленного воздушного потока
(ветра) из любого направления, но и всасывание
(эжекция) атмосферного воздуха из окружающей
среды по всему периметру виртуальных горловин. В
зависимости от количества ступеней установка
может вырабатывать электроэнергию, как для
промышленного применения, так и для автономного
энергоснабжения частных домов. Последняя
ступень установки представляет собой
классическую трубу Вентури, состоящую из
конфузора, горловины и диффузора с оптимальными
аэродинамическими размерами и углами для
воздушного потока. Установка выполнена в
модульном варианте, что обеспечивает ее высокую
мобильность и легкую транспортабельность без
использования подъемных кранов и специального
транспорта. В предлагаемом изобретении при
сохранении основных достоинств аналога и
прототипа (размещения ветрогенератора и
ветротурбины у поверхности Земли) основное
внимание было сосредоточено не только на
получении более высокой эффективности
преобразования кинетической энергии
направленного воздушного потока в электрическую
энергию, но и на ее доступности по цене населению.
Воздухоприемник и все компоненты труб Вентури
изготавливаются из материала, предназначенного
для экстремальных условий применения -
поликарбоната: относительно не дорогого,
химически стойкого, легкого, прочного,
долговечного и способного работать в широком
диапазоне температур. Установка проста в
изготовлении, эксплуатации, монтаже, демонтаже и
ремонте.
Сущность изобретения поясняется чертежами
(фиг.1-3). На фиг.1 представлена пятиступенчатая
ветроэнергетическая установка, состоящая из двух
частей: подвижной - ступень I и неподвижной -
ступени II - V. Подвижная часть установки состоит
из ветроприемника 5, ориентируемого по
направлению ветра посредством флюгера 1,
выполненного, например, в виде раскрытых крыльев
и хвоста летящего лебедя. Ветроприемник 5
размещен внутри цилиндрических кожухов 4, 45 и
снабжен защитной сеткой 6 от попадания птиц,
летучих мышей, снега, мусора и т.д. Крыша 3,
предназначена для защиты установки от дождя и
снега. Ветроустановка снабжена громоотводом,
например, в виде королевской короны 2 (для
дизайна), и позволяет предотвратить разрушение
установки от удара молнии. Все
вышеперечисленные компоненты установки
составляют единое целое и подвержены
вращательному движению как по часовой, так и
против часовой стрелки благодаря подшипникам 17
и 18 в коробке 19, которые отделяют подвижную
часть установки от неподвижной части.
Неподвижные ступени II - IV представляют
собой последовательно соединенные неполные
трубы Вентури без диффузоров. Ступени состоят
только из коротких конфузоров 7, 8 и 9 с углом
раствора предпочтительно 21 - 25 градусов, и
коротких виртуальных горловин 11, 12 и 13 с
оптимальными аэродинамическими размерами.
Размеры конфузоров и горловин постепенно
уменьшаются как по среднему диаметру, так и по их
29908
4
высоте, в направлении от выше расположенных
ступеней к нижним ступеням. Виртуальные
горловины этих ступеней образуются верхними 20,
21, 22 и нижними 23, 24, 25 воронками, которые
разделены концентраторами 26, 27 и 28.
Концентраторы образуют радиально
расположенные конфузоры (фиг.4). На каждой
ступени установки происходит прием
направленного потока воздушной массы (ветра)
независимо от направления ветра и всасывание
воздуха из окружающего пространства по всему
периметру горловин, снабженных также защитной
сеткой 29, 30 и 31. Все три ступени размещены
внутри цилиндрических кожухов 33, 47, 34, 43, 35 и
46.
В неподвижной ступени V размещена
классическая труба Вентури, состоящая из
конфузора 10, горловины 14 и диффузора 15 с
оптимальными аэродинамическими размерами.
Выходная часть диффузора 15 соединена
аэродинамическим направляющим 16 для вывода в
окружающее пространство отработанного
воздушного потока через круговую сетку 32,
закрепленную на несущих колоннах 36 и 37. Внутри
горловины 14 размещены лопасти 38 и генератор 39.
Внутри диффузора размещена стойка крепления
генератора 40.
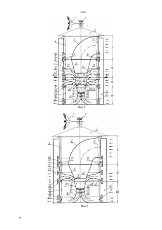
На фиг.2 и 3 представлены четырех- и
трехступенчатые ветроэнергетические установки,
нумерации элементов которых полностью
совпадают с нумерациями элементов фиг.1 и имеют
те же функциональные назначения. Отличие
установки, представленной на фиг.2, от установки
на фиг. 1 состоит не только по количеству ступеней,
но и по их диаметру и высоте. При этом входная
площадь ветроприемника четырехступенчатой
установки достаточна, чтобы пропустить объем
воздушной массы, необходимой для эффективной
работы ветроустановки, в то время как площадь
ветроприемника трехступенчатой установки
дополнена конфузором, чтобы пропустить через
себя тот же объем воздуха.
На фиг.4 представлен поперечный разрез
ветроустановки по сечению А-А (см. фиг.2).
Виртуальные горловины всех ступеней идентичны
горловине, представленной на фиг. 4. Все они
состоят из аналогичных концентраторов ветрового
потока типа 28, благодаря которым улавливается
ветровой поток любого направления и доставляется
к центральной части горловины. Опорные балки
ветроустановки представляют собой концентраторы
типа 41 и 42, размещенные на вершинах
концентраторов виртуальных горловин (см. фиг.4).
Установка работает следующим образом. С
помощью флюгера 1 (фиг.1-3) первая ступень
ветроустановки ориентируется по направлению
ветра. Ветроприемник 5 с аэродинамической
полостью направляет захваченный ветровой поток
на вторую ступень, состоящий из короткого
конфузора 7 и короткой виртуальной горловины 11 с
оптимальными аэродинамическими размерами и
углами. На участке 7 ветровой поток ускоряется и
уплотняется и поступает в виртуальную горловину
11. Горловина 11 не имеет стенок как таковых и
поэтому на этом участке направленный вниз
ветровой поток не испытывает аэродинамического
сопротивления стенок горловины ввиду их
отсутствия. На этом участке происходит всасывание
воздушной массы из окружающей среды через
боковые конфузоры направленным вниз ветровым
потоком из ветроприемника 5. Боковые конфузоры
образованы периферийнными концентраторами
типа 28 и обеспечивают всасывание воздуха по
всему периметру горловин (фиг.4). Кроме того на
этом же участке в одной или двух секциях
происходит прием направленного воздушного
потока (ветра). Этот воздушный поток вызывает
дополнительное всасывание воздуха из окружающей
среды. Опорные балки типа 41, 42, (см. фиг.4),
обеспечивающие целостность установки от
разрушения при больших ветровых нагрузках, также
принимают активное участие в работе установки.
Они являются продолжением концентраторов типа
28 и позволяют направить в горловину больший
объём воздуха. Таким образом, многократно
усиленный ветровой поток затем поступает на
третью ступень ветроустановки и физический
процесс, описанный выше, повторяется. То же самое
происходит и на четвертой ступени. И, наконец, этот
ураганной силы ветер поступает в пятую ступень,
ускоряется конфузором, и со всей мощью начинает
вращать лопасти 38 ветрогенератора 39.
Отработанный воздушный поток с помощью
диффузора 15 и аэродинамической направляющей
16 через цилиндрическую сетку 32 выводится в
окружающее пространство. При достаточно высоких
скоростях ветрового потока возрастают
динамические нагрузки на лопасти, и они могут
разрушиться. Поэтому при ураганных силах ветра
целесообразнее использовать ветровые турбины или
даже специальные турбины для больших ветровых
нагрузок.
ФОРМУЛА ИЗОБРЕТЕНИЯ
1. Многоступенчатая ветровая установка,
содержащая поворотный ветроприемник с защитной
сеткой, неподвижный ветропровод, лопасти,
соединенные с ветрогенератором, флюгер и
конфузоры, отличающаяся тем, что неподвижный
ветропровод, кроме последней ступени, состоит из
нескольких последовательно соединенных модулей,
каждый из которых представляет собой неполные
трубы Вентури, состоящие только из коротких
конфузоров и коротких виртуальных горловин без
диффузоров, причем высота, средний диаметр
конфузора и диаметр виртуальной горловины,
имеющие оптимальные аэродинамические размеры,
постепенно уменьшаются сверху вниз, от ступени к
ступени, в направлении ветрогенератора,
размещенного у поверхности Земли.
2. Многоступенчатая ветровая установка по п.1,
отличающаяся тем, что периферийная часть
каждой виртуальной горловины по всему периметру
разделена на секции с помощью концентраторов,
29908
5
которые образуют периферийные конфузоры
виртуальных горловин.
3. Многоступенчатая ветровая установка по п.1,
отличающаяся тем, что она имеет опорные балки,
представляющие собой концентраторы,
примыкающие к вершинам концентраторов
виртуальных горловин.
4. Многоступенчатая ветровая установка по п.1,
отличающаяся тем, что флюгер выполнен в форме
раскрытых крыльев и хвоста летящего лебедя.
5. Многоступенчатая ветровая установка по п.1,
отличающаяся тем, что она имеет устройство для
защиты установки от ударов молнии, выполненное в
форме королевской короны.
29908
6
29908
7
Верстка А. Сарсекеева
Корректор К. Нгметжанова

29908p

  • 1.
    РЕСПУБЛИКА КАЗАХСТАН (19) KZ(13) B (11) 29908 (51) F03D 1/04 (2012.01) МИНИСТЕРСТВО ЮСТИЦИИ РЕСПУБЛИКИ КАЗАХСТАН ОПИСАНИЕ ИЗОБРЕТЕНИЯ К ПАТЕНТУ (21) 2013/1757.1 (22) 19.11.2013 (45) 15.05.2015, бюл. №5 (72) Бейсембетов Искандер Калыбекович; Кенжалиев Багдаулет Кенжалиевич; Нусупов Каир Хамзаевич (73) Бейсембетов Искандер Калыбекович; Кенжалиев Багдаулет Кенжалиевич; Нусупов Каир Хамзаевич; Акционерное общество "Казахстанско- Британский технический университет" (56) RU 2387871 C1, 27.04.2010 RU 2067690 C1, 10.10.1996 KZ 8018 A, 15.09.1999 DE 4443011 A1, 05.06.1996 (54) МНОГОСТУПЕНЧАТАЯ ВЕТРОВАЯ УСТАНОВКА (57) Изобретение относится к ветроэнергетике и предназначено для преобразования кинетической энергии направленного воздушного потока (ветра) в электрическую энергию. Предложена конструкция ветровой установки, позволяющая получать электроэнергию за счет отбора мощности, как у основного воздушного потока (ветра) по всей высоте установки, так и у воздушных потоков, возникающих на разных ступенях установки в процессе эжекции. Установка состоит из подвижной и неподвижной частей. Верхняя подвижная часть установки с помощью флюгера ориентируется по ветру и посредством ветроприемника осуществляет захват основного воздушного потока. Ниже этой части расположена многоступенчатая неподвижная часть установки, состоящая из последовательно соединенных между собой не полных труб Вентури с оптимальными аэродинамическими размерами применительно к воздушному потоку. (19)KZ(13)B(11)29908
  • 2.
    29908 2 Изобретение относится кветроэнергетике и предназначено для преобразования кинетической энергии направленного воздушного потока (ветра) в электрическую энергию. Известна энергетическая установка с использованием вставленных соосно друг в друга труб Вентури с турбогенераторами, размещенными у поверхности Земли (Патент RU 2265163, МПК F24J 2/42, оп. 27.11.2005). Реализация на практике этой установки сопряжена со значительными финансовыми затратами и, следовательно, высокой ценой конечного продукта, не доступной большинству населения. Другой недостаток этой установки связан с недостаточной эффективностью использования ветрового потока. Установка, описанная в работе: “INVELOX: A NEW CONCEPT IN WIND ENERGY HARVESTING. Daryosh Allaei, Yiannis Andreopoulos // ASME 2013 7th International Conference on Energy Sustainability and 11th Fuel Cell Science, Engineering and Technology Conference. ES - Fuel Cell 2013. // July 14 - 19, 2013. Minneapolis, MN, USA. // ES - Fuel Cell 2013 - 18311.” принимается за аналог. Эта ветроэнергетическая установка состоит из неподвижного разделенного на секции ветроприемника, размещенного в верхней части опорной металлической башни. Ветроприемник улавливает направленный поток воздуха при любом направлении ветра. При этом работают одна или две секции ветроприемника, направленные к ветру. Одновременно из остальных секций происходит всасывание-эжекция воздуха из окружающего пространства. Ветроприемник соединен с протяженной трубой, представляющей собой усеченный конус, постепенно сужающийся сверху вниз. В этой трубе происходит дополнительное ускорение и уплотнение воздушного потока, направленного из ветроприемника вниз к ветрогенератору, размещенного в классической трубе Вентури и прикрепленного к фундаменту на поверхности Земли. Эта установка имеет ряд недостатков. Отбор мощности у внешнего воздушного потока происходит ветроприемником только в верхней части опорной башни, а вся остальная часть башни до поверхности земли не участвует в отборе мощности у внешнего ветрового потока и выполняет пассивную функцию опоры, направляя захваченный в верхней части установки поток ветра вниз к генератору. Так как ветроприемник выполнен секционным, то для забора достаточного объема направленного воздушного потока необходимо увеличивать размеры ветроприемника. Эффективность всасывания воздуха из окружающей среды у такой конструкции ветроприемника недостаточно высока. К перечисленным недостаткам следует добавить значительную протяженность трубы, представляющей собой усеченный конус для ускорения и уплотнения воздушного потока. Энергетические потери в протяженной трубе более значительны, чем в короткой трубе, вследствие трения воздушного потока о стенки трубы. Установка не модульная и для ее перевозки требуются специальные подъемно- транспортные средства. Установка металлоемкая и имеет большие массогабаритные показатели. Наиболее близким по техническому решению и достигаемому результату является ветроэнергетическая установка по патенту RU 2387871, МПК F03D 1/04, оп. 27.04.2010, которая рассматривается как прототип. Данная установка имеет ветроприемники, посаженные на подшипники и ориентируемые флюгером по направлению ветра. Захваченный ветроприемниками поток воздуха с помощью неподвижной опорной трубы направляется вниз и принимается воздушной турбиной, расположенной ниже фундамента. Турбина соединена с генератором. Установка имеет три последовательно расположенных сверху вниз всасывающе-нагнетательных насосов высокого давления и три нагревательных элемента. Эти насосы всасывают воздух из трубы, образуя разрежение и тем самым увеличивая скорость воздушного потока в трубе с последующим возвратом этого воздуха вновь в трубу, но уже под давлением и нагретым. Поэтому опорная труба по всей высоте используется для ускорения и уплотнения направленного вниз воздушного потока. Ускоренный и нагретый воздух попадает в турбину. Установка снабжена аккумулятором, сепаратором, электродвигателем, раздаточными коробками и адаптерами, которые обеспечивают работу установки в целом в соответствии с заложенной идеей. Установка по прототипу имеет ряд недостатков. Неподвижная опорная труба играет пассивную роль и самостоятельно без всасывающе- нагнетательных насосов высокого давления не способна эффективно ускорять и уплотнять воздушную массу от ветроприемников к турбине. Установка для своей работы требует значительный дополнительный расход электроэнергии, что снижает ее эффективность. Стоимость такой установки достаточно высока и ее эксплуатация требует наличия квалифицированного персонала. Целью предлагаемого изобретения является: 1. Минимизировать стоимость ветроустановки. 2. Максимально увеличить эффективность преобразования энергии ветра в электрическую энергию. 3. Уменьшить диаметр лопасти или турбины (для более многоступенчатой установки), а также других массогабаритных показателей ветроустановки. 4. Упростить конструкцию. 5. Упростить изготовление, транспортировку, монтаж, демонтаж, ремонт и эксплуатацию ветроустановки. 6. Обеспечить независимость работы неподвижной части установки от направления ветра. 7. Осуществить воздухозабор по всей высоте установки при любом направлении ветра, кроме последней ступени. 8. Изготовить установку из легкого, прочного, долговечного и относительно дешевого пластика, например, поликарбоната с целью максимального сбережения природных материалов (железа и т.д.).
  • 3.
    29908 3 9. Обеспечить изготовлениеустановки на имеющихся предприятиях практически без их модернизации с минимальными капиталовложениями для массового производства. 10. Получать электроэнергию в широком диапазоне мощностей без заметного увеличения массогабаритных показателей. 11. Обеспечить безопасность биологических объектов от опасного для жизни человека и животных низкочастотного инфразвука, а также полностью исключить опасность для летящих птиц. Основная идея изобретения базируется на уплотнении и ускорении ветрового потока короткими конфузорами с малым углом раскрытия предпочтительно в пределах 21-25 градусов с целью уменьшения аэродинамического сопротивления ветровому потоку, а также в использовании коротких виртуальных горловин для достижения минимальной расходимости ускоренного воздушного потока. Виртуальные горловины - это горловины, не имеющие стен как таковых, но рассчитанные как горловины классических труб Вентури. Горловина с помощью концентраторов (фиг.4) соединяет предыдущий конфузор с последующим конфузором. Периферийная часть каждой виртуальной горловины по всему периметру разделена на секции с помощью концентраторов, которые образуют периферийные конфузоры виртуальных горловин, причем длина каждого концентратора простирается до радиуса виртуальной горловины каждого модуля. Периферийные конфузоры обеспечивают ускорение и уплотнение всасываемого воздуха и направленного воздушного потока (ветра). Поэтому получение электроэнергии происходит за счет отбора мощности как у основного воздушного потока (ветра) по всей высоте установки, так и у воздушных потоков, возникающих на разных ступенях установки в процессе эжекции. Установка состоит из двух частей: подвижной и неподвижной. Верхняя подвижная часть установки с помощью флюгера ориентируется по ветру и посредством ветроприемника осуществляет захват основного воздушного потока. Ниже ветроприемника расположена многоступенчатая неподвижная часть установки, состоящая из последовательно соединенных между собой не полных труб Вентури с оптимальными аэродинамическими размерами применительно к воздушному потоку. В данном изобретении, все трубы Вентури, кроме последней ступени, расположенной непосредственно у поверхности Земли, состоят только из коротких конфузоров и коротких виртуальных горловин без диффузоров. Это позволяет обеспечить ускорение и уплотнение конфузорами направленного воздушного потока и минимальные потери на трение как в конфузорах, так и в виртуальных горловинах за счет отрыва воздушного потока от виртуальных горловин. Кроме того в виртуальных горловинах происходит не только захват, ускорение и уплотнение направленного воздушного потока (ветра) из любого направления, но и всасывание (эжекция) атмосферного воздуха из окружающей среды по всему периметру виртуальных горловин. В зависимости от количества ступеней установка может вырабатывать электроэнергию, как для промышленного применения, так и для автономного энергоснабжения частных домов. Последняя ступень установки представляет собой классическую трубу Вентури, состоящую из конфузора, горловины и диффузора с оптимальными аэродинамическими размерами и углами для воздушного потока. Установка выполнена в модульном варианте, что обеспечивает ее высокую мобильность и легкую транспортабельность без использования подъемных кранов и специального транспорта. В предлагаемом изобретении при сохранении основных достоинств аналога и прототипа (размещения ветрогенератора и ветротурбины у поверхности Земли) основное внимание было сосредоточено не только на получении более высокой эффективности преобразования кинетической энергии направленного воздушного потока в электрическую энергию, но и на ее доступности по цене населению. Воздухоприемник и все компоненты труб Вентури изготавливаются из материала, предназначенного для экстремальных условий применения - поликарбоната: относительно не дорогого, химически стойкого, легкого, прочного, долговечного и способного работать в широком диапазоне температур. Установка проста в изготовлении, эксплуатации, монтаже, демонтаже и ремонте. Сущность изобретения поясняется чертежами (фиг.1-3). На фиг.1 представлена пятиступенчатая ветроэнергетическая установка, состоящая из двух частей: подвижной - ступень I и неподвижной - ступени II - V. Подвижная часть установки состоит из ветроприемника 5, ориентируемого по направлению ветра посредством флюгера 1, выполненного, например, в виде раскрытых крыльев и хвоста летящего лебедя. Ветроприемник 5 размещен внутри цилиндрических кожухов 4, 45 и снабжен защитной сеткой 6 от попадания птиц, летучих мышей, снега, мусора и т.д. Крыша 3, предназначена для защиты установки от дождя и снега. Ветроустановка снабжена громоотводом, например, в виде королевской короны 2 (для дизайна), и позволяет предотвратить разрушение установки от удара молнии. Все вышеперечисленные компоненты установки составляют единое целое и подвержены вращательному движению как по часовой, так и против часовой стрелки благодаря подшипникам 17 и 18 в коробке 19, которые отделяют подвижную часть установки от неподвижной части. Неподвижные ступени II - IV представляют собой последовательно соединенные неполные трубы Вентури без диффузоров. Ступени состоят только из коротких конфузоров 7, 8 и 9 с углом раствора предпочтительно 21 - 25 градусов, и коротких виртуальных горловин 11, 12 и 13 с оптимальными аэродинамическими размерами. Размеры конфузоров и горловин постепенно уменьшаются как по среднему диаметру, так и по их
  • 4.
    29908 4 высоте, в направленииот выше расположенных ступеней к нижним ступеням. Виртуальные горловины этих ступеней образуются верхними 20, 21, 22 и нижними 23, 24, 25 воронками, которые разделены концентраторами 26, 27 и 28. Концентраторы образуют радиально расположенные конфузоры (фиг.4). На каждой ступени установки происходит прием направленного потока воздушной массы (ветра) независимо от направления ветра и всасывание воздуха из окружающего пространства по всему периметру горловин, снабженных также защитной сеткой 29, 30 и 31. Все три ступени размещены внутри цилиндрических кожухов 33, 47, 34, 43, 35 и 46. В неподвижной ступени V размещена классическая труба Вентури, состоящая из конфузора 10, горловины 14 и диффузора 15 с оптимальными аэродинамическими размерами. Выходная часть диффузора 15 соединена аэродинамическим направляющим 16 для вывода в окружающее пространство отработанного воздушного потока через круговую сетку 32, закрепленную на несущих колоннах 36 и 37. Внутри горловины 14 размещены лопасти 38 и генератор 39. Внутри диффузора размещена стойка крепления генератора 40. На фиг.2 и 3 представлены четырех- и трехступенчатые ветроэнергетические установки, нумерации элементов которых полностью совпадают с нумерациями элементов фиг.1 и имеют те же функциональные назначения. Отличие установки, представленной на фиг.2, от установки на фиг. 1 состоит не только по количеству ступеней, но и по их диаметру и высоте. При этом входная площадь ветроприемника четырехступенчатой установки достаточна, чтобы пропустить объем воздушной массы, необходимой для эффективной работы ветроустановки, в то время как площадь ветроприемника трехступенчатой установки дополнена конфузором, чтобы пропустить через себя тот же объем воздуха. На фиг.4 представлен поперечный разрез ветроустановки по сечению А-А (см. фиг.2). Виртуальные горловины всех ступеней идентичны горловине, представленной на фиг. 4. Все они состоят из аналогичных концентраторов ветрового потока типа 28, благодаря которым улавливается ветровой поток любого направления и доставляется к центральной части горловины. Опорные балки ветроустановки представляют собой концентраторы типа 41 и 42, размещенные на вершинах концентраторов виртуальных горловин (см. фиг.4). Установка работает следующим образом. С помощью флюгера 1 (фиг.1-3) первая ступень ветроустановки ориентируется по направлению ветра. Ветроприемник 5 с аэродинамической полостью направляет захваченный ветровой поток на вторую ступень, состоящий из короткого конфузора 7 и короткой виртуальной горловины 11 с оптимальными аэродинамическими размерами и углами. На участке 7 ветровой поток ускоряется и уплотняется и поступает в виртуальную горловину 11. Горловина 11 не имеет стенок как таковых и поэтому на этом участке направленный вниз ветровой поток не испытывает аэродинамического сопротивления стенок горловины ввиду их отсутствия. На этом участке происходит всасывание воздушной массы из окружающей среды через боковые конфузоры направленным вниз ветровым потоком из ветроприемника 5. Боковые конфузоры образованы периферийнными концентраторами типа 28 и обеспечивают всасывание воздуха по всему периметру горловин (фиг.4). Кроме того на этом же участке в одной или двух секциях происходит прием направленного воздушного потока (ветра). Этот воздушный поток вызывает дополнительное всасывание воздуха из окружающей среды. Опорные балки типа 41, 42, (см. фиг.4), обеспечивающие целостность установки от разрушения при больших ветровых нагрузках, также принимают активное участие в работе установки. Они являются продолжением концентраторов типа 28 и позволяют направить в горловину больший объём воздуха. Таким образом, многократно усиленный ветровой поток затем поступает на третью ступень ветроустановки и физический процесс, описанный выше, повторяется. То же самое происходит и на четвертой ступени. И, наконец, этот ураганной силы ветер поступает в пятую ступень, ускоряется конфузором, и со всей мощью начинает вращать лопасти 38 ветрогенератора 39. Отработанный воздушный поток с помощью диффузора 15 и аэродинамической направляющей 16 через цилиндрическую сетку 32 выводится в окружающее пространство. При достаточно высоких скоростях ветрового потока возрастают динамические нагрузки на лопасти, и они могут разрушиться. Поэтому при ураганных силах ветра целесообразнее использовать ветровые турбины или даже специальные турбины для больших ветровых нагрузок. ФОРМУЛА ИЗОБРЕТЕНИЯ 1. Многоступенчатая ветровая установка, содержащая поворотный ветроприемник с защитной сеткой, неподвижный ветропровод, лопасти, соединенные с ветрогенератором, флюгер и конфузоры, отличающаяся тем, что неподвижный ветропровод, кроме последней ступени, состоит из нескольких последовательно соединенных модулей, каждый из которых представляет собой неполные трубы Вентури, состоящие только из коротких конфузоров и коротких виртуальных горловин без диффузоров, причем высота, средний диаметр конфузора и диаметр виртуальной горловины, имеющие оптимальные аэродинамические размеры, постепенно уменьшаются сверху вниз, от ступени к ступени, в направлении ветрогенератора, размещенного у поверхности Земли. 2. Многоступенчатая ветровая установка по п.1, отличающаяся тем, что периферийная часть каждой виртуальной горловины по всему периметру разделена на секции с помощью концентраторов,
  • 5.
    29908 5 которые образуют периферийныеконфузоры виртуальных горловин. 3. Многоступенчатая ветровая установка по п.1, отличающаяся тем, что она имеет опорные балки, представляющие собой концентраторы, примыкающие к вершинам концентраторов виртуальных горловин. 4. Многоступенчатая ветровая установка по п.1, отличающаяся тем, что флюгер выполнен в форме раскрытых крыльев и хвоста летящего лебедя. 5. Многоступенчатая ветровая установка по п.1, отличающаяся тем, что она имеет устройство для защиты установки от ударов молнии, выполненное в форме королевской короны.
  • 6.
  • 7.