РЕСПУБЛИКА КАЗАХСТАН
(19) KZ (13) B (11) 28751
(51) B23K 15/00 (2006.01)
B23K 26/06 (2006.01)
B23K 26/26 (2006.01)
B23K 26/32 (2006.01)
F01D 5/04 (2006.01)
F01D 5/30 (2006.01)
F04D 29/28 (2006.01)
КОМИТЕТ ПО ПРАВАМ
ИНТЕЛЛЕКТУАЛЬНОЙ СОБСТВЕННОСТИ
МИНИСТЕРСТВА ЮСТИЦИИ РЕСПУБЛИКИ КАЗАХСТАН
ОПИСАНИЕ ИЗОБРЕТЕНИЯ
К ПАТЕНТУ
(21) 2012/1579.1
(22) 07.12.2010
(45) 15.07.2014, бюл. №7
(31) СО 2009 А 000063
(32) 11.12.2009
(33) IT
(85) 19.06.2012
(86) PCT/EP2010/069022, 07.12.2010
(72) КАНТЕЛЛИ, Уго (IT); МИНИАТИ, Энцо (IT);
ИННОЧЕНТИ, Мирко (IT)
(73) НУОВО ПИНЬОНЕ С.П.А. (IT)
(74) Тагбергенова Модангуль Маруповна;
Тагбергенова Алма Таишевна; Касабекова Найля
Ертисовна
(56) JP Н04123881 A, 23.04.1992
US 4201516 A, 06.05.1980
US 5735672 A, 07.04.1998
JP 5177373 A, 20.07.1993
US 5483034 A, 09.01.1996
US 5841098 A, 24.11.1998
SU 844829 A, 07.07.1981
(54) СПОСОБ ЛУЧЕВОЙ СВАРКИ РАБОЧЕГО
КОЛЕСА С ВЫПОЛНЕНИЕМ ДВУХ
ПРОХОДОВ ПАЗА И РАБОЧЕЕ КОЛЕСО
(57) Способ, выполненный в соответствии с
иллюстративными вариантами выполнения
изобретения, предлагает способ сварки для лопаток
(60) рабочего колеса в центробежных компрессорах.
В соответствии с одним иллюстративным вариантом
выполнения, соединительная область (70) лопатки
(60) рабочего колеса имеет «молотообразное»
поперечное сечение, что облегчает выполнение
лучевой сварки соединительной области с пазом,
выполненном на поверхности или в покрывающем
диске, к которому должна быть присоединена
лопатка (60).
(19)KZ(13)B(11)28751
28751
2
Настоящее изобретение относится к
компрессорам и, в частности, к способам сварки
рабочего колеса компрессора.
Предпосылки изобретения
Компрессор представляет собой механизм,
который ускоряет частицы газа, чтобы, в конечном
счете, повысить давление сжимаемой текучей
среды, например, газа, путем использования
механической энергии. Компрессоры используются
в целом ряде различных приложений, включая
работу в качестве первичной ступени
газотурбинного двигателя. Среди различных типов
компрессоров имеются так называемые
центробежные компрессоры, в которых
механическая энергия воздействует на входящий в
компрессор газ путем центробежного ускорения,
например, путем вращения центробежного рабочего
колеса (иногда также называемого «ротором»),
посредством которого осуществляется пропускание
сжимаемой жидкости. В целом, центробежные
компрессоры можно назвать частью класса
механизмов, известных как «турбомашины» или
«турбо вращающиеся машины».
Центробежные компрессоры могут иметь одно
рабочее колесо, то есть могут иметь конфигурацию
с одной ступенью, или несколько рабочих колес,
расположенных последовательно, и в этом случае их
называют многоступенчатыми компрессорами.
Каждая ступень центробежного компрессора
обычно содержит входной канал для сжимаемого
газа, рабочее колесо, которое способно передавать
кинетическую энергию входящему газу, и
диффузор, который преобразует кинетическую
энергию газа, выходящего из ротора, в энергию
давления.
Рабочее колесо в целом содержит лопатки,
которые расположены радиально друг относительно
друга с образованием проходов, которые сходятся к
центру рабочего колеса и через которые, при работе,
проходит сжимаемый газ. Лопатки присоединены с
одной стороны к ступице, а с другой стороны к
покрывающему диску. Такие рабочие колеса
подвергаются значительным напряжениям во время
работы, связанным, например, с высокими
скоростями, на которых они вращаются, и с
высокими плотностями, с которыми сжимаемые
газы подаются в центробежные компрессоры. Таким
образом, важно спроектировать такие рабочие
колеса, которые будут выдерживать такие
напряжения и стабильно работать в течение
длительных периодов времени.
Поэтому способ, которым лопатки соединены со
ступицей и покрывающим диском, очень важен для
общей конструкции рабочего колеса, а также для
ряда различных способов соединения, которые
использовались ранее. Вполне обычным делом для
лопаток является их фрезеровка вместе со ступицей
как единого целого, а затем их соединение с
покрывающим диском, например, с помощью
сварки. Например, как показано на фиг.1, лопатка 10
рабочего колеса имеет соединительную область с
поперечным сечением, которое, как правило, имеет
треугольную форму, хотя и с небольшой плоской
частью вблизи конца, и выполнено как одно целое
со ступицей 12. Эта лопатка 10 может быть
соединена с покрывающим диском 14 с
использованием внутреннего ручного способа
дуговой сварки. Выполняют пять проходов дуговой
сварки (как показано областями 1-5) для
приваривания конца лопатки 10 к поверхности
покрывающего диска 14. Однако это процесс
соединения страдает от общих недостатков ручных
процессов, например, отсутствия единообразия в
сварных швах и экономической неэффективности,
причем первый из них приводит к деформационным
дефектам соединения, которые не дают рабочему
колесу выдерживать рабочие напряжения из-за
геометрических отклонений в лопатке, созданных
ручным процессом соединения сваркой.
Окончательная форма лопатки после ее
присоединения к покрывающему диску с
использованием ручной дуговой сварки будет,
таким образом, варьироваться от лопатки к лопатке
рабочего колеса.
Также были предложены автоматизированные
внешние способы соединения. Например, как
показано на фиг.2, для крепления лопатки 20 к
покрывающему диску 22 можно использовать
автоматизированный процесс дуговой сварки
вольфрамовым электродом в среде инертного газа
(TIG). В этом соединительном механизме в
покрывающем диске 22 выполнен паз 24, который
изначально покрыт сравнительно тонкой
металлической частью или мембраной 26. В этом
способе можно видеть, что соединительная область
лопатки 20 обычно имеет поперечное сечение
прямоугольной формы. Сварка осуществляется с
помощью ряда сварочных проходов (обозначены как
области 1 - 7, изображенные на фиг.2) с внешней
стороны покрывающего диска 22, первая из которых
расплавляет тонкую металлическую часть 26, а
остальные заполняют паз 24. Этот процесс сварки
также предназначен для создания радиуса
закругления (криволинейные соединительные
области) между лопаткой 20 и покрывающим
диском 22. Однако, поскольку сам процесс сварки
предназначен для создания криволинейных областей
по обе стороны лопатки 20, в результате между
различными лопатками в рабочем колесе получают
по существу неоднородный радиус закругления.
Электронно-лучевая сварка и лазерная сварка
также использовались для соединения лопаток
рабочего колеса с покрывающим диском. Как
показано на фиг.3, лопатка 30, которая
отфрезерована на ступице 32 и имеет
соединительную область с поперечным сечением
типичной прямоугольной формы, может быть
приварена к покрывающему диску 34 путем
непосредственного направления электронного луча
или лазерного луча через покрывающий диск 34 к
соединительной области лопатки 30 и оплавляя
лопатку 30 на покрывающий диск 34. Однако этот
подход также страдает от ряда недостатков.
Например, в области соединения между лопаткой 30
и покрывающим диском 34 нет радиусов
закругления, образуемых этим процессом сварки, то
28751
3
есть, края лопатки 30 остаются прямыми и
перпендикулярными по отношению к поверхности
покрывающего диска. Более того, нет
проникновения соединительной области лопатки 30
в покрывающий диск 34, в результате получают
неполные сварные швы. С точки зрения
производства, такие неполные швы делают
традиционные процессы сварки электронным
пучком или лазерным лучом не подходящими для
изготовления рабочих колес. Другим недостатком
этих способов является отсутствие точности,
связанной с процессом сварки, что делает
затруднительным выполнение сварного шва
непосредственно в центре лопатки, создавая, тем
самым, дополнительные дефекты в месте
соединения. Эта проблема становится все более
значительной с увеличением сложности формы
лопатки, например, закруглений и закручиваний.
Для присоединения рабочих колес к другим
поверхностям также используется пайка, либо сама
по себе, либо в сочетании с лучевой сваркой.
Однако эти способы также страдают от отсутствия
проникновения, отсутствия радиусов закругления и
проблем с неполной сваркой, которые были описаны
выше. Кроме того, соединение, созданное с
использованием пайки, является неоднородным, что
приводит к потенциально сниженным механическим
свойствам места соединения, особенно в условиях
эксплуатации, которые включают агрессивные газы,
которые могут воздействовать на материал пайки.
Соответственно, было бы желательно
разработать и создать способы электроннолучевой /
лазерной сварки для присоединения лопаток
рабочего колеса к другим поверхностям, например,
покрывающим дискам, с помощью которых были бы
преодолены вышеупомянутые недостатки
существующих способов сварки.
Сущность изобретения
Иллюстративные варианты выполнения касаются
систем и способов для обеспечения
автоматизированных способов лучевой сварки,
используемых для присоединения лопатки рабочего
колеса, например, к покрывающему диску. В
соответствии с одним иллюстративным вариантом
выполнения, соединительная область лопатки
рабочего колеса имеет поперечное сечение
«молотообразной» формы, которая облегчает
лучевую сварку соединительной области с пазом на
поверхности или покрывающем диске, к которому
должна быть присоединена лопатка.
В соответствии с иллюстративным вариантом
выполнения способ лучевой сварки для
присоединения лопатки рабочего колеса к
поверхности включает следующие этапы: введение
соединительной области лопатки рабочего колеса в
паз на поверхности, выполнение первого прохода
лучевой сваркой на первой стороне соединительной
области лопатки рабочего колеса для сварки первой
стороны соединительной области лопатки с одной
стороной паза, и выполнение второго прохода
лучевой сваркой на другой стороне соединительной
области лопатки для сварки второй стороны
соединительной области лопатки с другой стороной
паза.
В соответствии с другим иллюстративным
вариантом выполнения рабочее колесо содержит
ступицу с отфрезерованными на ней лопатками и
покрывающий диск, имеющий выполненные в нем
пазы, присоединенные к каждой из указанных
лопаток рабочего колеса в соединительных областях
лопатки путем лучевой сварки каждой из двух
сторон соединительных областей лопатки рабочего
колеса с соответствующими сторонами одного из
пазов.
В соответствии с еще одним иллюстративным
вариантом выполнения, турбомашина содержит
ротор, содержащий по меньшей мере одно рабочее
колесо, присоединенный к нему подшипник для
поддержки ротора с возможностью вращения, и
статор, причем указанное по меньшей мере одно
рабочее колесо содержит ступицу, имеющую
отфрезерованные на ней лопатки, причем
покрывающий диск имеет выполненные в нем пазы,
соединенные с каждой из указанных лопаток в
соединительной области лопатки путем лучевой
сварки каждой из двух сторон соединительной
области лопатки рабочего колеса с соответствующей
стороной одного из пазов.
Краткое описание чертежей
Прилагаемые чертежи иллюстрируют
иллюстративные варианты выполнения, на которых:
Фиг.1 иллюстрирует способ ручной дуговой
сварки для лопатки рабочего колеса;
Фиг.2 иллюстрирует автоматизированный
внешний способ сварки для лопатки рабочего
колеса;
Фиг.3 иллюстрирует традиционный способ
лучевой сварки для лопатки рабочего колеса;
Фиг.4 представляет собой иллюстративный
центробежный компрессор, в котором могут быть
использованы рабочие колеса, изготовленные в
соответствии с иллюстративными вариантами
выполнения;
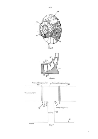
Фиг.5 и 6 показывают иллюстративное рабочее
колесо, которое может быть изготовлено в
соответствии с иллюстративными вариантами
выполнения;
Фиг.7 изображает соединительную область
рабочего колеса и иллюстрирует способ лучевой
сварки рабочего колеса с другой поверхностью, в
соответствии с иллюстративным вариантом
выполнения; и
Фиг.8 изображает блок-схему, иллюстрирующую
способ сварки рабочего колеса с другой
поверхностью, в соответствии с иллюстративным
вариантом выполнения.
Подробное описание
Последующее подробное описание
иллюстративных вариантов выполнения дается со
ссылкой на прилагаемые чертежи. Одинаковые
номера позиций на различных чертежах обозначают
одинаковые или аналогичные элементы. Кроме того,
последующее подробное описание не ограничивает
изобретение, а объем изобретения определяется
формулой изобретения.
28751
4
Чтобы дать некоторое объяснение для
последующего обсуждения, касающегося
технологии сварки и форм соединительной области
лопатки рабочего колеса, в соответствии с этими
иллюстративными вариантами выполнения, на фиг.
4 схематично изображен многоступенчатый
центробежный компрессор 40, в котором могут
использоваться рабочие колеса, изготовленные с
использованием таких способов. На этом чертеже
компрессор 40 содержит короб или кожух (статор)
42, в котором установлен вращающийся вал 44
компрессора, снабженный несколькими
центробежными роторами или рабочими колесами
46. Роторный узел 48 содержит вал 44 и роторы 46 и
поддерживается радиально и аксиально
подшипниками 50, которые расположены по обе
стороны от роторного узла 48.
Многоступенчатый центробежный компрессор
работает так, что он получает поступающий
технологический газ из входного отверстия 52
канала, для ускорения частиц технологического газа
путем приведения в действие узла 48, и дальше
продвигая технологический газ через различные
межступенчатые каналы 54 при выходном давлении,
которое выше, чем его давление на входе.
Технологический газ может, например, представлять
собой один из следующих газов: углекислый газ,
сероводород, бутан, метан, этан, пропан,
сжиженный природный газ или их комбинацию.
Между рабочими колесами 46 и подшипниками 50
для предотвращения протекания технологического
газа к подшипникам 50 предусмотрены уплотнения
(не показаны). Для предотвращения выхода газа из
центробежного компрессора 40 кожух 42 выполнен
так, что он закрывает как подшипники 50, так и
уплотнения.
Более подробная, но чисто описательная
иллюстрация рабочего колеса 46 представлена на
фиг.5. Можно убедиться, что рабочее колесо 46
имеет лопатки 60, радиально ориентированные
между ступицей 62 и покрывающим диском 64, к
которому они прикреплены, например, в местах 66
соединения. Разобранная часть рабочего колеса 46
показывает винтовую конструкцию лопаток 60
рабочего колеса от узкого конца рабочего колеса 46
до его более широкого конца. Фиг.6 представляет
собой частичный вид в продольном разрезе рабочего
колеса 46, показанного на фиг.5, взятом через центр
рабочего колеса. При этом места 66 присоединения
лопаток 60 к покрывающему диску 64 можно видеть
более четко, причем теперь, начиная с фиг.7,
который представляет собой сечение, взятое по
линии В-В, показанной на фиг.6, будут описаны
механизмы, с помощью которых образуются такие
соединения, в соответствии с иллюстративными
вариантами выполнения.
Таким образом, можно видеть
«молотообразную» форму соединительной области
70 лопаток 60 в соответствии с иллюстративными
вариантами выполнения. В отличие от других
соединительных областей лопатки рабочего колеса,
описанных выше, можно заметить, что
соединительная область 70 шире (толще) от своего
наружного конца 72 до своего внутреннего конца 74,
относительно следующей соседней части лопатки
60. Кроме того, на внутреннем конце 74
соединительная область 70 присоединена к
остальной части лопатки 60 криволинейными
участками 76 и 78. Эти криволинейные участки 76 и
78 выполнены с заданным радиусом кривизны
(радиусом закругления), например 3-4 мм, чтобы
прикрепленная лопатка имела требуемые
характеристики на прочность и изгиб. Таким
образом, ширина (толщина) области 70 может,
например, быть равна толщине лопатки 60 плюс два
требуемых радиуса закругления.
В соответствии с иллюстративным вариантом
выполнения, для прикрепления лопатки 60 к диску
64 может быть выполнен способ сварки, показанный
на схеме, изображенной на фиг.8. Во-первых,
область 70 лопатки 60 вставляют в
соответствующий паз 80 в диске 64. Затем
сварочный аппарат для лазерной или электронно-
лучевой сварки (не показан на фиг.6) генерирует
сварочный лазерный или электронный луч в
(небольшом) промежутке между стороной области
70 и стороной паза 80 в диске 64, а затем повторяют
этот процесс с другой стороны области 70, как
показано двумя большими стрелками,
изображенными на фиг. 6, между сторонами
соединительной области и сторонами паза в
покрывающем диске. Оборудование для электронно-
лучевой сварки и/или для лазерной сварки, которое
используется для выполнения самих сварочных
проходов, может представлять собой стандартное
оборудование для лучевой сварки, как, например,
описанное в патентах США №7312417 и №7413620,
описания которых включены в настоящий документ
посредством ссылки. Этот процесс лучевой сварки в
два прохода быстро создает прочное соединение с
диском 64 на обеих сторонах области 70, без
оплавления или иным образом изменения радиусов
закругления изогнутых участков 76 и 78 или
деформации лопатки 60, поскольку, помимо всего
прочего, сварные швы выполняют по бокам области
70 и не изменяют предварительно сформированные
радиусы 76 и 78 закругления.
Таким образом, в соответствии с
иллюстративным вариантом выполнения, способ
лучевой сварки для присоединения лопатки
рабочего колеса к поверхности, например,
покрывающему диску рабочего колеса, может
включать этапы, представленные на схеме,
изображенной на фиг.7. Таким образом, на этапе 90
соединительную область лопатки рабочего колеса
вставляют в паз на поверхности. Затем, на этапе 92,
выполняют первый проход лучевой сваркой на
первой стороне соединительной области лопатки
для сварки первой стороны соединительной области
лопатки с одной стороной паза. Далее, на этапе 94
выполняют второй проход лучевой сваркой на
второй стороне соединительной области лопатки
для сварки второй стороны соединительной области
лопатки с другой стороной паза.
Описанные выше иллюстративные варианты
выполнения предназначены для иллюстрации во
28751
5
всех отношениях, а не ограничения, настоящего
изобретения. Таким образом, настоящее
изобретение может иметь много модификаций в
детальной реализации, которые могут быть
получены специалистом из приведенного в
настоящем документе описания. Считается, что все
эти варианты и модификации находятся в пределах
сущности и объема настоящего изобретения, как
определено в последующей формуле изобретения.
Ни один элемент, действие или инструкция,
используемые в описании данной заявки, не следует
рассматривать как критический или существенно
важный для изобретения, если только явно не
описан как таковой. Кроме того, в настоящем
документе использование единственного числа
также подразумевает наличие одного или
нескольких элементов.
ФОРМУЛА ИЗОБРЕТЕНИЯ
1. Способ лучевой сварки для присоединения
лопатки рабочего колеса к поверхности,
включающий:
введение соединительной области лопатки
рабочего колеса в паз, выполненный на указанной
поверхности, являющейся поверхностью
покрывающего диска;
выполнение первого прохода лучевой сваркой на
первой стороне указанной соединительной области
лопатки для сварки указанной первой стороны
соединительной области лопатки с одной стороной
указанного паза; и
выполнение второго прохода лучевой сваркой на
второй стороне указанной соединительной области
лопатки для сварки указанной второй стороны
соединительной области лопатки с другой стороной
указанного паза, без изменения предварительно
сформированного радиуса кривизны лопатки
рабочего колеса.
2. Способ по п.1, в котором лучевая сварка
представляет собой лазерную сварку или
электроннолучевую сварку.
3. Способ по п.1, в котором указанная
соединительная область лопатки рабочего колеса
имеет молотообразное поперечное сечение, которое
шире, чем смежная часть указанной лопатки
рабочего колеса, от своего первого конца, который
вставляют в указанный паз, до своего второго конца.
4. Рабочее колесо, содержащее ступицу,
имеющую лопатки, отфрезерованные вместе с ней; и
покрывающий диск, имеющий выполненные в нем
пазы, соединенные с каждой из указанных лопаток в
соединительных областях лопаток с помощью
лучевой сварки каждой из двух сторон указанных
соединительных областей лопаток с
соответствующими сторонами одного из указанных
пазов, без изменения предварительно
сформированного радиуса закругления лопатки
рабочего колеса.
5. Рабочее колесо по п.4, в котором лучевая
сварка представляет собой лазерную сварку или
электроннолучевую сварку.
6. Рабочее колесо по п.4, в котором указанная
соединительная область лопатки рабочего колеса
имеет молотообразное поперечное сечение, которое
шире, чем смежная часть указанной лопатки
рабочего колеса, от своего первого конца,
вставленного в соответствующий паз, до своего
второго конца.
7. Рабочее колесо по п.6, в котором радиус
закругления имеет два криволинейных участка,
соединяющие соединительную область с указанной
смежной частью лопатки рабочего колеса, причем
каждый их указанных двух криволинейных участков
имеет заданный радиус кривизны, которые не
меняются при выполнении указанных первого и
второго проходов лучевой сварки.
8. Рабочее колесо по п.4, которое удерживается
роторным узлом, содержащим подшипник,
присоединенный к роторному узлу для его
поддержки с возможностью вращения, и статор,
причем роторный узел и статор содержатся в
турбомашине.
9. Рабочее колесо по п.6, в котором
соединительная область лопатки рабочего колеса
имеет два криволинейных участка, которые
соединяют указанную соединительную область
лопатки рабочего колеса с указанной смежной
частью лопатки.
28751
6
28751
7
28751
8
Верстка А. Сарсекеева
Корректор Р. Шалабаев

28751p

  • 1.
    РЕСПУБЛИКА КАЗАХСТАН (19) KZ(13) B (11) 28751 (51) B23K 15/00 (2006.01) B23K 26/06 (2006.01) B23K 26/26 (2006.01) B23K 26/32 (2006.01) F01D 5/04 (2006.01) F01D 5/30 (2006.01) F04D 29/28 (2006.01) КОМИТЕТ ПО ПРАВАМ ИНТЕЛЛЕКТУАЛЬНОЙ СОБСТВЕННОСТИ МИНИСТЕРСТВА ЮСТИЦИИ РЕСПУБЛИКИ КАЗАХСТАН ОПИСАНИЕ ИЗОБРЕТЕНИЯ К ПАТЕНТУ (21) 2012/1579.1 (22) 07.12.2010 (45) 15.07.2014, бюл. №7 (31) СО 2009 А 000063 (32) 11.12.2009 (33) IT (85) 19.06.2012 (86) PCT/EP2010/069022, 07.12.2010 (72) КАНТЕЛЛИ, Уго (IT); МИНИАТИ, Энцо (IT); ИННОЧЕНТИ, Мирко (IT) (73) НУОВО ПИНЬОНЕ С.П.А. (IT) (74) Тагбергенова Модангуль Маруповна; Тагбергенова Алма Таишевна; Касабекова Найля Ертисовна (56) JP Н04123881 A, 23.04.1992 US 4201516 A, 06.05.1980 US 5735672 A, 07.04.1998 JP 5177373 A, 20.07.1993 US 5483034 A, 09.01.1996 US 5841098 A, 24.11.1998 SU 844829 A, 07.07.1981 (54) СПОСОБ ЛУЧЕВОЙ СВАРКИ РАБОЧЕГО КОЛЕСА С ВЫПОЛНЕНИЕМ ДВУХ ПРОХОДОВ ПАЗА И РАБОЧЕЕ КОЛЕСО (57) Способ, выполненный в соответствии с иллюстративными вариантами выполнения изобретения, предлагает способ сварки для лопаток (60) рабочего колеса в центробежных компрессорах. В соответствии с одним иллюстративным вариантом выполнения, соединительная область (70) лопатки (60) рабочего колеса имеет «молотообразное» поперечное сечение, что облегчает выполнение лучевой сварки соединительной области с пазом, выполненном на поверхности или в покрывающем диске, к которому должна быть присоединена лопатка (60). (19)KZ(13)B(11)28751
  • 2.
    28751 2 Настоящее изобретение относитсяк компрессорам и, в частности, к способам сварки рабочего колеса компрессора. Предпосылки изобретения Компрессор представляет собой механизм, который ускоряет частицы газа, чтобы, в конечном счете, повысить давление сжимаемой текучей среды, например, газа, путем использования механической энергии. Компрессоры используются в целом ряде различных приложений, включая работу в качестве первичной ступени газотурбинного двигателя. Среди различных типов компрессоров имеются так называемые центробежные компрессоры, в которых механическая энергия воздействует на входящий в компрессор газ путем центробежного ускорения, например, путем вращения центробежного рабочего колеса (иногда также называемого «ротором»), посредством которого осуществляется пропускание сжимаемой жидкости. В целом, центробежные компрессоры можно назвать частью класса механизмов, известных как «турбомашины» или «турбо вращающиеся машины». Центробежные компрессоры могут иметь одно рабочее колесо, то есть могут иметь конфигурацию с одной ступенью, или несколько рабочих колес, расположенных последовательно, и в этом случае их называют многоступенчатыми компрессорами. Каждая ступень центробежного компрессора обычно содержит входной канал для сжимаемого газа, рабочее колесо, которое способно передавать кинетическую энергию входящему газу, и диффузор, который преобразует кинетическую энергию газа, выходящего из ротора, в энергию давления. Рабочее колесо в целом содержит лопатки, которые расположены радиально друг относительно друга с образованием проходов, которые сходятся к центру рабочего колеса и через которые, при работе, проходит сжимаемый газ. Лопатки присоединены с одной стороны к ступице, а с другой стороны к покрывающему диску. Такие рабочие колеса подвергаются значительным напряжениям во время работы, связанным, например, с высокими скоростями, на которых они вращаются, и с высокими плотностями, с которыми сжимаемые газы подаются в центробежные компрессоры. Таким образом, важно спроектировать такие рабочие колеса, которые будут выдерживать такие напряжения и стабильно работать в течение длительных периодов времени. Поэтому способ, которым лопатки соединены со ступицей и покрывающим диском, очень важен для общей конструкции рабочего колеса, а также для ряда различных способов соединения, которые использовались ранее. Вполне обычным делом для лопаток является их фрезеровка вместе со ступицей как единого целого, а затем их соединение с покрывающим диском, например, с помощью сварки. Например, как показано на фиг.1, лопатка 10 рабочего колеса имеет соединительную область с поперечным сечением, которое, как правило, имеет треугольную форму, хотя и с небольшой плоской частью вблизи конца, и выполнено как одно целое со ступицей 12. Эта лопатка 10 может быть соединена с покрывающим диском 14 с использованием внутреннего ручного способа дуговой сварки. Выполняют пять проходов дуговой сварки (как показано областями 1-5) для приваривания конца лопатки 10 к поверхности покрывающего диска 14. Однако это процесс соединения страдает от общих недостатков ручных процессов, например, отсутствия единообразия в сварных швах и экономической неэффективности, причем первый из них приводит к деформационным дефектам соединения, которые не дают рабочему колесу выдерживать рабочие напряжения из-за геометрических отклонений в лопатке, созданных ручным процессом соединения сваркой. Окончательная форма лопатки после ее присоединения к покрывающему диску с использованием ручной дуговой сварки будет, таким образом, варьироваться от лопатки к лопатке рабочего колеса. Также были предложены автоматизированные внешние способы соединения. Например, как показано на фиг.2, для крепления лопатки 20 к покрывающему диску 22 можно использовать автоматизированный процесс дуговой сварки вольфрамовым электродом в среде инертного газа (TIG). В этом соединительном механизме в покрывающем диске 22 выполнен паз 24, который изначально покрыт сравнительно тонкой металлической частью или мембраной 26. В этом способе можно видеть, что соединительная область лопатки 20 обычно имеет поперечное сечение прямоугольной формы. Сварка осуществляется с помощью ряда сварочных проходов (обозначены как области 1 - 7, изображенные на фиг.2) с внешней стороны покрывающего диска 22, первая из которых расплавляет тонкую металлическую часть 26, а остальные заполняют паз 24. Этот процесс сварки также предназначен для создания радиуса закругления (криволинейные соединительные области) между лопаткой 20 и покрывающим диском 22. Однако, поскольку сам процесс сварки предназначен для создания криволинейных областей по обе стороны лопатки 20, в результате между различными лопатками в рабочем колесе получают по существу неоднородный радиус закругления. Электронно-лучевая сварка и лазерная сварка также использовались для соединения лопаток рабочего колеса с покрывающим диском. Как показано на фиг.3, лопатка 30, которая отфрезерована на ступице 32 и имеет соединительную область с поперечным сечением типичной прямоугольной формы, может быть приварена к покрывающему диску 34 путем непосредственного направления электронного луча или лазерного луча через покрывающий диск 34 к соединительной области лопатки 30 и оплавляя лопатку 30 на покрывающий диск 34. Однако этот подход также страдает от ряда недостатков. Например, в области соединения между лопаткой 30 и покрывающим диском 34 нет радиусов закругления, образуемых этим процессом сварки, то
  • 3.
    28751 3 есть, края лопатки30 остаются прямыми и перпендикулярными по отношению к поверхности покрывающего диска. Более того, нет проникновения соединительной области лопатки 30 в покрывающий диск 34, в результате получают неполные сварные швы. С точки зрения производства, такие неполные швы делают традиционные процессы сварки электронным пучком или лазерным лучом не подходящими для изготовления рабочих колес. Другим недостатком этих способов является отсутствие точности, связанной с процессом сварки, что делает затруднительным выполнение сварного шва непосредственно в центре лопатки, создавая, тем самым, дополнительные дефекты в месте соединения. Эта проблема становится все более значительной с увеличением сложности формы лопатки, например, закруглений и закручиваний. Для присоединения рабочих колес к другим поверхностям также используется пайка, либо сама по себе, либо в сочетании с лучевой сваркой. Однако эти способы также страдают от отсутствия проникновения, отсутствия радиусов закругления и проблем с неполной сваркой, которые были описаны выше. Кроме того, соединение, созданное с использованием пайки, является неоднородным, что приводит к потенциально сниженным механическим свойствам места соединения, особенно в условиях эксплуатации, которые включают агрессивные газы, которые могут воздействовать на материал пайки. Соответственно, было бы желательно разработать и создать способы электроннолучевой / лазерной сварки для присоединения лопаток рабочего колеса к другим поверхностям, например, покрывающим дискам, с помощью которых были бы преодолены вышеупомянутые недостатки существующих способов сварки. Сущность изобретения Иллюстративные варианты выполнения касаются систем и способов для обеспечения автоматизированных способов лучевой сварки, используемых для присоединения лопатки рабочего колеса, например, к покрывающему диску. В соответствии с одним иллюстративным вариантом выполнения, соединительная область лопатки рабочего колеса имеет поперечное сечение «молотообразной» формы, которая облегчает лучевую сварку соединительной области с пазом на поверхности или покрывающем диске, к которому должна быть присоединена лопатка. В соответствии с иллюстративным вариантом выполнения способ лучевой сварки для присоединения лопатки рабочего колеса к поверхности включает следующие этапы: введение соединительной области лопатки рабочего колеса в паз на поверхности, выполнение первого прохода лучевой сваркой на первой стороне соединительной области лопатки рабочего колеса для сварки первой стороны соединительной области лопатки с одной стороной паза, и выполнение второго прохода лучевой сваркой на другой стороне соединительной области лопатки для сварки второй стороны соединительной области лопатки с другой стороной паза. В соответствии с другим иллюстративным вариантом выполнения рабочее колесо содержит ступицу с отфрезерованными на ней лопатками и покрывающий диск, имеющий выполненные в нем пазы, присоединенные к каждой из указанных лопаток рабочего колеса в соединительных областях лопатки путем лучевой сварки каждой из двух сторон соединительных областей лопатки рабочего колеса с соответствующими сторонами одного из пазов. В соответствии с еще одним иллюстративным вариантом выполнения, турбомашина содержит ротор, содержащий по меньшей мере одно рабочее колесо, присоединенный к нему подшипник для поддержки ротора с возможностью вращения, и статор, причем указанное по меньшей мере одно рабочее колесо содержит ступицу, имеющую отфрезерованные на ней лопатки, причем покрывающий диск имеет выполненные в нем пазы, соединенные с каждой из указанных лопаток в соединительной области лопатки путем лучевой сварки каждой из двух сторон соединительной области лопатки рабочего колеса с соответствующей стороной одного из пазов. Краткое описание чертежей Прилагаемые чертежи иллюстрируют иллюстративные варианты выполнения, на которых: Фиг.1 иллюстрирует способ ручной дуговой сварки для лопатки рабочего колеса; Фиг.2 иллюстрирует автоматизированный внешний способ сварки для лопатки рабочего колеса; Фиг.3 иллюстрирует традиционный способ лучевой сварки для лопатки рабочего колеса; Фиг.4 представляет собой иллюстративный центробежный компрессор, в котором могут быть использованы рабочие колеса, изготовленные в соответствии с иллюстративными вариантами выполнения; Фиг.5 и 6 показывают иллюстративное рабочее колесо, которое может быть изготовлено в соответствии с иллюстративными вариантами выполнения; Фиг.7 изображает соединительную область рабочего колеса и иллюстрирует способ лучевой сварки рабочего колеса с другой поверхностью, в соответствии с иллюстративным вариантом выполнения; и Фиг.8 изображает блок-схему, иллюстрирующую способ сварки рабочего колеса с другой поверхностью, в соответствии с иллюстративным вариантом выполнения. Подробное описание Последующее подробное описание иллюстративных вариантов выполнения дается со ссылкой на прилагаемые чертежи. Одинаковые номера позиций на различных чертежах обозначают одинаковые или аналогичные элементы. Кроме того, последующее подробное описание не ограничивает изобретение, а объем изобретения определяется формулой изобретения.
  • 4.
    28751 4 Чтобы дать некотороеобъяснение для последующего обсуждения, касающегося технологии сварки и форм соединительной области лопатки рабочего колеса, в соответствии с этими иллюстративными вариантами выполнения, на фиг. 4 схематично изображен многоступенчатый центробежный компрессор 40, в котором могут использоваться рабочие колеса, изготовленные с использованием таких способов. На этом чертеже компрессор 40 содержит короб или кожух (статор) 42, в котором установлен вращающийся вал 44 компрессора, снабженный несколькими центробежными роторами или рабочими колесами 46. Роторный узел 48 содержит вал 44 и роторы 46 и поддерживается радиально и аксиально подшипниками 50, которые расположены по обе стороны от роторного узла 48. Многоступенчатый центробежный компрессор работает так, что он получает поступающий технологический газ из входного отверстия 52 канала, для ускорения частиц технологического газа путем приведения в действие узла 48, и дальше продвигая технологический газ через различные межступенчатые каналы 54 при выходном давлении, которое выше, чем его давление на входе. Технологический газ может, например, представлять собой один из следующих газов: углекислый газ, сероводород, бутан, метан, этан, пропан, сжиженный природный газ или их комбинацию. Между рабочими колесами 46 и подшипниками 50 для предотвращения протекания технологического газа к подшипникам 50 предусмотрены уплотнения (не показаны). Для предотвращения выхода газа из центробежного компрессора 40 кожух 42 выполнен так, что он закрывает как подшипники 50, так и уплотнения. Более подробная, но чисто описательная иллюстрация рабочего колеса 46 представлена на фиг.5. Можно убедиться, что рабочее колесо 46 имеет лопатки 60, радиально ориентированные между ступицей 62 и покрывающим диском 64, к которому они прикреплены, например, в местах 66 соединения. Разобранная часть рабочего колеса 46 показывает винтовую конструкцию лопаток 60 рабочего колеса от узкого конца рабочего колеса 46 до его более широкого конца. Фиг.6 представляет собой частичный вид в продольном разрезе рабочего колеса 46, показанного на фиг.5, взятом через центр рабочего колеса. При этом места 66 присоединения лопаток 60 к покрывающему диску 64 можно видеть более четко, причем теперь, начиная с фиг.7, который представляет собой сечение, взятое по линии В-В, показанной на фиг.6, будут описаны механизмы, с помощью которых образуются такие соединения, в соответствии с иллюстративными вариантами выполнения. Таким образом, можно видеть «молотообразную» форму соединительной области 70 лопаток 60 в соответствии с иллюстративными вариантами выполнения. В отличие от других соединительных областей лопатки рабочего колеса, описанных выше, можно заметить, что соединительная область 70 шире (толще) от своего наружного конца 72 до своего внутреннего конца 74, относительно следующей соседней части лопатки 60. Кроме того, на внутреннем конце 74 соединительная область 70 присоединена к остальной части лопатки 60 криволинейными участками 76 и 78. Эти криволинейные участки 76 и 78 выполнены с заданным радиусом кривизны (радиусом закругления), например 3-4 мм, чтобы прикрепленная лопатка имела требуемые характеристики на прочность и изгиб. Таким образом, ширина (толщина) области 70 может, например, быть равна толщине лопатки 60 плюс два требуемых радиуса закругления. В соответствии с иллюстративным вариантом выполнения, для прикрепления лопатки 60 к диску 64 может быть выполнен способ сварки, показанный на схеме, изображенной на фиг.8. Во-первых, область 70 лопатки 60 вставляют в соответствующий паз 80 в диске 64. Затем сварочный аппарат для лазерной или электронно- лучевой сварки (не показан на фиг.6) генерирует сварочный лазерный или электронный луч в (небольшом) промежутке между стороной области 70 и стороной паза 80 в диске 64, а затем повторяют этот процесс с другой стороны области 70, как показано двумя большими стрелками, изображенными на фиг. 6, между сторонами соединительной области и сторонами паза в покрывающем диске. Оборудование для электронно- лучевой сварки и/или для лазерной сварки, которое используется для выполнения самих сварочных проходов, может представлять собой стандартное оборудование для лучевой сварки, как, например, описанное в патентах США №7312417 и №7413620, описания которых включены в настоящий документ посредством ссылки. Этот процесс лучевой сварки в два прохода быстро создает прочное соединение с диском 64 на обеих сторонах области 70, без оплавления или иным образом изменения радиусов закругления изогнутых участков 76 и 78 или деформации лопатки 60, поскольку, помимо всего прочего, сварные швы выполняют по бокам области 70 и не изменяют предварительно сформированные радиусы 76 и 78 закругления. Таким образом, в соответствии с иллюстративным вариантом выполнения, способ лучевой сварки для присоединения лопатки рабочего колеса к поверхности, например, покрывающему диску рабочего колеса, может включать этапы, представленные на схеме, изображенной на фиг.7. Таким образом, на этапе 90 соединительную область лопатки рабочего колеса вставляют в паз на поверхности. Затем, на этапе 92, выполняют первый проход лучевой сваркой на первой стороне соединительной области лопатки для сварки первой стороны соединительной области лопатки с одной стороной паза. Далее, на этапе 94 выполняют второй проход лучевой сваркой на второй стороне соединительной области лопатки для сварки второй стороны соединительной области лопатки с другой стороной паза. Описанные выше иллюстративные варианты выполнения предназначены для иллюстрации во
  • 5.
    28751 5 всех отношениях, ане ограничения, настоящего изобретения. Таким образом, настоящее изобретение может иметь много модификаций в детальной реализации, которые могут быть получены специалистом из приведенного в настоящем документе описания. Считается, что все эти варианты и модификации находятся в пределах сущности и объема настоящего изобретения, как определено в последующей формуле изобретения. Ни один элемент, действие или инструкция, используемые в описании данной заявки, не следует рассматривать как критический или существенно важный для изобретения, если только явно не описан как таковой. Кроме того, в настоящем документе использование единственного числа также подразумевает наличие одного или нескольких элементов. ФОРМУЛА ИЗОБРЕТЕНИЯ 1. Способ лучевой сварки для присоединения лопатки рабочего колеса к поверхности, включающий: введение соединительной области лопатки рабочего колеса в паз, выполненный на указанной поверхности, являющейся поверхностью покрывающего диска; выполнение первого прохода лучевой сваркой на первой стороне указанной соединительной области лопатки для сварки указанной первой стороны соединительной области лопатки с одной стороной указанного паза; и выполнение второго прохода лучевой сваркой на второй стороне указанной соединительной области лопатки для сварки указанной второй стороны соединительной области лопатки с другой стороной указанного паза, без изменения предварительно сформированного радиуса кривизны лопатки рабочего колеса. 2. Способ по п.1, в котором лучевая сварка представляет собой лазерную сварку или электроннолучевую сварку. 3. Способ по п.1, в котором указанная соединительная область лопатки рабочего колеса имеет молотообразное поперечное сечение, которое шире, чем смежная часть указанной лопатки рабочего колеса, от своего первого конца, который вставляют в указанный паз, до своего второго конца. 4. Рабочее колесо, содержащее ступицу, имеющую лопатки, отфрезерованные вместе с ней; и покрывающий диск, имеющий выполненные в нем пазы, соединенные с каждой из указанных лопаток в соединительных областях лопаток с помощью лучевой сварки каждой из двух сторон указанных соединительных областей лопаток с соответствующими сторонами одного из указанных пазов, без изменения предварительно сформированного радиуса закругления лопатки рабочего колеса. 5. Рабочее колесо по п.4, в котором лучевая сварка представляет собой лазерную сварку или электроннолучевую сварку. 6. Рабочее колесо по п.4, в котором указанная соединительная область лопатки рабочего колеса имеет молотообразное поперечное сечение, которое шире, чем смежная часть указанной лопатки рабочего колеса, от своего первого конца, вставленного в соответствующий паз, до своего второго конца. 7. Рабочее колесо по п.6, в котором радиус закругления имеет два криволинейных участка, соединяющие соединительную область с указанной смежной частью лопатки рабочего колеса, причем каждый их указанных двух криволинейных участков имеет заданный радиус кривизны, которые не меняются при выполнении указанных первого и второго проходов лучевой сварки. 8. Рабочее колесо по п.4, которое удерживается роторным узлом, содержащим подшипник, присоединенный к роторному узлу для его поддержки с возможностью вращения, и статор, причем роторный узел и статор содержатся в турбомашине. 9. Рабочее колесо по п.6, в котором соединительная область лопатки рабочего колеса имеет два криволинейных участка, которые соединяют указанную соединительную область лопатки рабочего колеса с указанной смежной частью лопатки.
  • 6.
  • 7.
  • 8.