rkSasiTi§EktRmUv³sYs cMerIn
eroberogeday³ sYs cMerIn
2003
matika RKb;RKgsMNg;
eroberogeday³ sYs cMerIn
matika
CMBUk cMNgeCIgemeron TMB½r
CMBUkTI 1 niymn½yénmuxCMnajRKb;RKgsMNg 1
CMBUkTI 2 bNþaCMhansikSaKMeragsagsg;sMNg; 12
CMBUkTI 3 lMnaMRKb;RKgsMNg;mUldæan 29
CMBUkTI 4 begáItRbtiTinkargarkñúgplitkmµsMNg; 39
CMBUkTI 5 erobcMRKb;RKgsMNg;tamviFIsaRsþExScgVak; 73
CMBUkTI 6 begáItRbtiTinkargartamviFIsaRsþdüaRkambNþaj 105
CMBUkTI 7 kargardwkCBa¢Ún nig pøÚvbeNþaHGasnñ kñúgkarerobcMkardæan 118
CMBUkTI 8 erobcdgsÞÚc ma:sIun nig ]bkrN_sMNg; elIkardæan 134
CMBUkTI 9 pÁt;pÁg;TwkenAkardæan 145
CMBUkTI 10 erobcMpÁt;pÁg;nigXøaMgsMPar³ 150
CMBUkTI 11 erobcMCMrkbeNþaHGasnñenAkardæan 155
CMBUkTI 12 kar)a:n;sµancMNay 159
CMBUkTI 13 ry³eBl nig tMél kñúgdMeNIrkarRKb;RKgsMNg 166
CMBUkTI 14 sBaØakñúñúgdMeNIrkarRKb;RKgsMNg; 176
Éksareyag 189
CMBUkTI 1 RKb;RKgsMNg;
eroberogeday³ sYs cMerIn niymn½yénmuxCMnajRKb;RKgsMNg;
1
CCMMBBUUkkTTII 11 ³³ nniiyymmnn½½yyéénnmmuuxxCCMMnnaajjRRKKbb;;RRKKggssMMNNgg;;
1> tYnaTInigTisedAénkarRKb;RKgsMNg;
sMNg; KWCaEpñkmYyénplitplRKwHkñúgexOnesdækic©Cati/ sMNg;mantYnaTI
sMxan; kñúgkarksagmUldæansMPar³/ bec©keTssgÁm/ sMxan;cMeBaHkm<úCaEdlkMBugksag
exOnesdækic©CatitamTisedAesdækic©esrI/ sMNg;mantYnaTIsMxan;Nas;. plitplsMNg;
manTMnak;TMngCamYynigEpñkplitplTaMgGs; ehIyCamYyvis½yesdækic© RKb;Epñkkñúg
ry³kalGPivDÆn_dMbUg.
sMNg; KWsMEdgnUvkarGPivDÆn_rbs;sgÁm. edayehtuenH rdæaPi)al)an
ehAsMNg; KWCamuxrbr]sSahkmµFn;F¶n;mYykñúgcMeNam ]sSahkmµFn;F¶n;epSgd¾éTeTot.
ehAfa sMNg;mUldæan eRBaHplitplrbs;va KWCaFnFanrbs;sgÁmrYm
cMENk begáItecjbNþaplitplepSg².
kñúgmUldæansMNg; KWsMNg;]sSahkmµ nigsMNg;sIuvil)anykbrimaNya:gFM/
tYnaTIrbs;m©as;sagsg;sMNg; KWRtUveRbIR)as;tamlT§PaBedImTn;edIm,I sMerc)an TisedA
dak;ecjkñúgry³eBlxIø.
tMrg;TisedAxagelI eyIgRtUveRbIR)as;EkécñnUvbNþalT§plrIkcMerInviTüasaRsþ/
bec©keTs/ ]sSahkmµ/ écñRbDitlT§PaBFmµCati nigmUldæansMPar³bec©keTs rbs;
RkumGñkplit. bBaðaTaMgenH KWsßitelIkMritbec©keTsRKb;RKgplitrbs;GñkbBa¢a kñúglMnaM
sagsg;sMNg;.
dUceyIgdwgRsab; sMNg;sIuvil nig]sSahkmµ CasMNMueRcInénlMnaMplitpl
sµúKsµaj Tak;Tgdl;bNþaEpñkplitepSg²/ naFakarrYmpSMrvagbNþalMnaMmYyrlUn/ sMerc
CMBUkTI 1 RKb;RKgsMNg;
eroberogeday³ sYs cMerIn niymn½yénmuxCMnajRKb;RKgsMNg;
2
lT§pl)an KWCacMeNaTmYymankarKitKUrsaMjaMuTamTarvisVkrsMNg; RtUvdwgBIRTwsIþ RbB½n§
viTüasaRsþ nigviFIsaRsþRKb;RKgplitsMNg;. mann½yfa eyIgeRbIR)as; cMeNHdwg
viTüasaRsþRKb;RKg edIm,IsMercTisedAdak;ecj EdlminRtUvkareFIVvinieyaKsMPar³
bec©keTsEfm b¤FnFanFmµCati.
srubesckþI tYnaTIrbs;muxviC©a RKb;RKgsMNg; KWbMeBj)anRbB½n§RKb;RKg/
kMNt; bNþaviFIsaRsþRKb;RKgerobcM/ cg¥úlbgðajsagsg;sMNg;tamrebobmYyviTüasaRsþ
FananUvesdækic©bec©keTsx<s; eBlsagsg;sMNg;mYyk¾dUcCasagsg;sMNg;eRcIn bNþak;
Kña sMNg;sIuvil nig ]sSahkmµ.
2> eKalkarN_CamUldæanénkarRKb;RKgsMNg;
1> sagsg;sMNg;Tan;eBlevlakMNt; EdlmaRtc,ab;)ankMNt;eday
c,as;las;dUcCa³ tamEpnkarrbs;rdæ ebIsMNg;enaHCarbs;rdæpÁt;pÁg;/ kic©RBmeRBog RbKl;
- TTYlKMerag ebIsMNg;Gnuvtþn_tamkic©snüa k-x/ tamesckIþsMercrbs;m©as;viniyaK
ebIsMNg;sagsg;edayxøÜnÉg/ b¤k¾epJIsagsg;>>>. ral;karbMRBYjxøI b¤ bnøay
eBlevlasagsg; suT§EtRtUv)anvaytMélCUnrgVan; b¤ Bin½ysmRsbeTAniglT§pl
b¤k¾karxUcxatelIesdækic©.
2> FanakMlaMgBlkmµx<s;énbNþasßab½nTaMgGs;EdlcUlrYmsagsg; bBaðaenH
KWeKniyayeLIgnUvlkçN³shRbtiþkarN_ manGtßRbeyaCn_bMputkñúgplitplcUlKña Fana
suvtßiPaBeGayBlkmµ.
3> FanaKuNPaBxçs;eGaysMNg; KuNPaBplitplbgðajnUvkMritsMerc)an
tambNþabTdæanbec©keTsrbs;kargarsg;tMeLIg EdleyagtamkarKNna)ankMNt;.
bNþabTdæanKuNPaBGnuvtþn_ RtUv)ansresrkñúgÉksarénkic©snüa. cg;Fana KuNPaB
CMBUkTI 1 RKb;RKgsMNg;
eroberogeday³ sYs cMerIn niymn½yénmuxCMnajRKb;RKgsMNg;
3
sMNg;Gñksagsg; RtUvbBa©b;kargartamRbB½n§RKb;RKgKuNPaB ¬]> ISO 9000¦ EdlRtUv)an
TIpSarTTYlsÁal;nig)anTIRbwkSabec©keTsRtYtBinitüyl;RBm.
4> TTYllT§plesdækic©x<s; enaHKWsMerc)anTaMgKuNPaBbec©keTs RBmTaMg
mantMélTab. enHKWlkçxNÐedIm,Isßab½nsagsg;sßitenAfitefr nigrIkcMerIn. sßab½n
sagsg;manlT§PaBsMerc)an nUvbNþaTisedAxagelI eTIbmanPaBxøaMgRKb;RKan;kñúgkar
RbKYtRbECgelITIpSarkñúgRbeTsk_dUcCaGnþrCati. lT§PaB nigkarRbKYtRbECg rbs;sßab½n
sagsg; bgðajnUvfamBleRsc)ac; edIm,IGnuvtþn_bNþalkçxNÐrbs;TIpSaplitpl/
Cak;EsþgKW³
1> eRtomlkçN³CaeRsc edIm,IebIkkardæanplittamTMhMsMNg;TTYlsagsg;
¬puspulebIkkarsagsg;¦.
2> manRsab;mUldæanrUbFatubec©keTs ¬famBlbrikça/ RkumvisVkr/ CMnajkar
nigkmµkrCMnajsmRsbnigsMNg;.
3> eRCIserIsviFIsaRsþlMnaM]sSahkmµplitsMNg;smRsb.
4> FanapÁt;pÁg;FnFancaM)ac;eGaykarplit.
5> begáItEpnkar ¬RbtiTinkargar¦ nigcg¥úlbgðajplitRbkbeday
eCaKC½y.
viTüasaRsþRKb;RKgsMNg;EtgmanTMnak;TMngCamYynig cMeNHdwgénmuxCMnaj
eRcIn BiessmuxCMnaj]sSahkmµsagsg;/ ynþkmµsagsg; nigesdækic©sMNg;. enaHKW
bNþacMeNHdwgmUldæan EdlvisVkrsMNg;RtUvyl;c,as;muneBlcab;édkñúgkargar begáIt
EpnkarRKb;RKgsMNg;nigGnuvtþn_kargarsagsg;.
CMBUkTI 1 RKb;RKgsMNg;
eroberogeday³ sYs cMerIn niymn½yénmuxCMnajRKb;RKgsMNg;
4
3> cMNucBiessrbs;CMnajplitsMNg;
sMNg;k¾dUcbNþamuxrbrplitpl]sSah_kmµepSg²/ vamank,Ünc,ab;rYm nig
cMNucBiessepSg². enATIenHeyIgRKan;EtelIkeLIg nigviPaKnUvbNþacMNucBiess Edl
manTMnak;TMngeRcIndl;lT§plrbs;skmµPaBplitplsMNg;.
1> plitplrbs;sMNg;; KWCalT§plrbs;CMnajeRcInEpñk/ GgÁkarsßab½nesdækic©
eRcIn/ enaHKW m©as;vinieyaK/ bNþashRKassagsg;/ bNþasßab½nTIRbwkSaerobcMKMerag/
bNþasßab½npÁt;pÁg;sMPar³brikça/ sßab½nbMerIesva:FnaKar/ hirBaØvtßú nigbNþa sßab½nRKb;RKg
rbs;rdæ/ bBaðaenHeGayeyIgeXIjfa cg;eGayKMeragmYyman eCaKC½yl¥ RtUvmankar
rYmbBa©ÚlKñaCaRkum/ CaEpñk ehIyKMeragEtgEtsßit enAeRkamkarRKb;RKgrbs;c,ab;rdæ.
2> sagsg;sMNg; KWCaFmµtaEtgmanTunFMsMrab;eFIVvinieyaK sMNg;)anyk
cMnYnmYyya:gFMkñúgfvikaCati. dUcenH yuT§saRsþkñúgkarRbKYtRbECgsagsg; Canic©Cakal KWCa
cMNucBiessrbs;rdæaPi)al nigGñkeFIVvinieyaKtUcFM. Kan;EtKwtedayELk Epñksagsg;
bNþasMNg;Fmµta/ tUctack¾RtUvcMNayfvika rab;Ban;rhUtdl;rab;landuløa. enHKW minTan;
niyaydl;sMNg;Biess²/FM²pg.
3> plitplsagsg;; Canic©CakalpSaP¢ab;nigkarrIkcMerInénvis½yesdækic© nig
CivPaBrs;enArbs;RbCaBlrdæ. eBlesdækic©sgÁmrIkcMerIn eFIVeGayplitpl sagsg;
sMNg;mankarGPivDÆn_rIkcMerIntam CaBiesskñúgvis½ysagsg;sMNg; ]sSah_kmµ
nigsIuvil.
4> kñúgplitplsagsg; GñkvinieyaK nigGñkeRbIR)as;plitpl BMuEmnCa
GñkGnuvtþn_ kñúgkargarsagsg;eT. kñúgenaHEtgEtsßitelIkic©snüarvagm©as;vinieyaK nig
GñkTTYlkarsagsg; ehIyEtgEtmansmµPaBTIRbwkSa nigRtYtBinitü.
CMBUkTI 1 RKb;RKgsMNg;
eroberogeday³ sYs cMerIn niymn½yénmuxCMnajRKb;RKgsMNg;
5
5> plitplsagsg;sMNg; KWCabNþaplitplmanTMnak;TMngnigTItaMgmYy
kMNt; ¬Gclnvtßú¦ edayehtuenHplitplsMNg;rgnUvT§iBlénktþatMbn;. TItaMg
plitEtgpøas;bþÚr. kMlaMgplitkmµEtgRtUvcl½t/ rcnasm<½n§RKb;RKgerobcM sg;tMeLIg
EtgEtRtUvpøas;bþÚreGaysmRsbCamYynigsMNg; EdleFIVeGayekIn cMNayeday
Rbeyal.
6> plitplsMNg;bgðajnUvcritlkçN³sm,tiþrbs;sgÁm nigERbRbYltam
yuKÁsm½yvargT§iBlénRbéBNI/ TMenomTmøab;/ kMritvb,Fm’nigTsSn³rbs;GñkeRbIR)as;.
7> ry³eBlsagsg;sMNg;mYyKWcMNayeBlEvgbgÁÜrenAkNþalval dUcenH
varg nUvRbtiþkmµFatuGakas/ TIpSardl;dMeNIrkarplitya:gc,as;. karRKb;RKgerobcM
sagsg;TamTarRtUvCanic©CakalsVahab;/ c,as;las; nigTn;Pøn;/ eBlxøHenAmanTaMgEpñk
sMNagpgEdr.
8> dMeNIrplitsMNg;KWCasMNMulMnaM]sSahkmµpliteRcIn dMeNIrplitnimYy²
maneRcInviFIsaRsþbec©keTs nigRKb;RKg. edIm,IeTAdl; viFIsaRsþl¥bMput GñkbBa¢a
karplitsMNg;RtUvGHGag)annUvbNþaviFIsaRsþ EdlGacTTYlyk)an ¬EdlteTAeyIg
ehAfa viFIsaRsþseRmc¦ edIm,IrkeGayeXIjviFIsaRsþsmRsb eFIVCamUldæankñúg kar
eRCIserIsviFIsaRsþEdlRbesIrbMput. lMnaMkareRCIserIs viFIsaRsþTaMgLay RtUvGnuvtþn_
kareRbobeFobtamlkçN³vinicä½yEdlRtUvkar.
enHCakic©karTamTarbuKÁlikRtUvmankMritvb,Fm’/ famBl nigmanbTBiesaFn_
eRcInkñúgkarsagsg;. viFIsaRsþseRmc KWCaviFIsaRsþbgðajnUvmeFüa)aybec©keTsEdl
GacGnuvtþn_)an. viFIsaRsþsmRsb KWviFIsaRsþseRmc b:uEnþRtUvRsbniglkçxNÐsagsg;
Cak;Esþg. lkçxNÐsagsg; KWCalT§PaBrbs;Rkumsg;tMeLIg/ tYnaTIsagsg; sMNg;
nigbNþalkçxNÐepSg²EdlvargnUvcMNgtamkic©snüa/ karsnµt; >>>. viFIsaRsþRbesIr
CMBUkTI 1 RKb;RKgsMNg;
eroberogeday³ sYs cMerIn niymn½yénmuxCMnajRKb;RKgsMNg;
6
KWCaviFIsaRsþsmRsb mankMritx<s;bMputtambNþabTdæan EdlGñksagsg;dak;ecj
¬eBlevla/ tMél/ FnFanFmµCati >>>¦.
9> plitplsMNg;eRbIR)as;CIvBlkmµeRcIn EdlCIvBlkmµCaRbPBFnFan
ya:gmantMél dUcenHbBaðaeRbIR)as;eGaysmRsbnightþBlik EtgEtdak;ecj CamYynig
ral;viFIsaRsþsagsg;.
10>sMNg;sagsg;ERbRbYlyWt/ karsMgat;bec©keTsBi)akrkSa/ TIpSarRbKYt
RbECgesrI dUcenH vaCakarmYysMxan;Nas;. ktþasMxan;ykC½yCMnH KWtMél.
tMélsMNg;Tab KWedaysarPaBévqøaténkarRKb;RKgerobcM/ bBa¢a. cg;)an ya:gdUecñH
Gñksagsg;RtUveFIVvinieyaKvtßúFatuedImcUlkñúgkarRKb;RKgplit nig RsavRCavTIpSarQrelI
mUldæan]sSahkmµeCOnelOn.
4> TisedAGPivDÆn_rbs;muxCMnajplitsMNg;
dUceyIg)anGHGag muxCMnajsMNg; KWmYykñúgcMeNammuxCMnajviTüasaRsþ
bec©keTseRbIR)as;. ral;karrIkcMerInrbs;viTüasaRsþ/ bec©keTs suT§EtmanRbtiþkmµ
elIkar GPivDÆn_rbs;plitplsMNg;/ CaBiess KWmuxCMnajemkanicpliteRKOgynþ nig
sMPar³sMNg;. manbNþak,Ünc,ab;bec©keTsxøH )anRtUvRTwsþIdak;ecjCayUmkehIy
b:uEnþelIkElgEtmanbrikçaeRbIR)as;smRsbnigRTwsIþ enaHeTIbkøayCa]sSahkmµTMenIb.
cMeBaHkarelcecjRbePTsMPar³sMNg;mYyfµIvak¾manlT§pldUcenHEdr.
eyIgGacyl;fa lMnaM]sSahkmµmYy KWCaTMhMénplitplmYy kñúgenaHrYmman³
vtþúFatuedIm/ brikçasMrab;sagsg; niglMnaMplitplmYy. dUcenH mYykñúgcMeNam
ktþaERbRbYlénBYkva eyIgman]sSahkmµmYyfµI. pÞúymkvij cg;sMrc[)annUv
CMBUkTI 1 RKb;RKgsMNg;
eroberogeday³ sYs cMerIn niymn½yénmuxCMnajRKb;RKgsMNg;
7
]sSahkmµmYyfIµ eyIgRtUveFIVtUbnIykmµ]sSahkmµEdlman b¤k¾pøas;bþÚr[smRsb
CamYyniglkçx½NÐtamsm½ykalTIpSarplit.
k_+dUcCabNþavis½yplitplepSg² TisedAGPivDÆn_énkarsagsg;sMNg; KWmin
bBaÄb;bþÚrfIµlMnaM]sSahkmµplit/ ]sSahkmµTMenIbnrUbnIykmµCaRKwHénplitpl sagsg;.
TisedATaMgGs;enaH RtUv)anelcCarUbragedayqøgkat;dMNak;kalBIrsMxan;KW³ Canic©Cakal
eRbIR)as;bNþakarrIkcMerInviTüasaRsþbec©keTseTAkñúgplitplsMNg; nigbþÚrfµIviFIsaRsþ
RKb;RKg. Cak;EsþgKW³
1> eRbIR)as;ynþkmµRBmKñakñúgbNþadMeNIrkarplit
ynþkmµTMenIb KWbþÚrBIBlkmµsib,kmµmkGnuvtþn_edayeRKOgma:sIun. ynþkmµ TMenIb
KWCaBUCrbs;]sShkmµTMenIb. eRbIR)as;ynþkmµ KWsMedArMedaHBlkmµédeCIg/
begáInfamBlBlkmµ nigKuNPaBtambTdæanTMenIb. cg;GPivDÆn_)antamlT§PaBrbs;
eRKOgynþ KWynþkmµTMenIbRtUvdMeNIrkarRsbKña ¬RBmKña¦. RsbKñatamlkçN³rbs;
]sSahkmµ/ tamplitPaB nigKuNPaBrbs;sMNg;.
cg;Gnuvtþn_)anTisedAynþkmµRBmKña sßab½nsagsg;RtUvmanlT§PaB RKb;RKan;
elIEpñkesdækic© nigbec©keTs/ manskþanuPaBeRcInedIm,ITijbrikçaeRbIR)as;/ b¤Gnuvtþn_
shBaNiC¢ edayshkarrvagbNþasßab½nsagsg;epSg². cMeBaHrdæ KWkarrYmbBa©ÚlKña
rvagsßab½ntUc²eGayeTACasßab½nmYyFM/ cMeBaHGnþrCati KWCa kareFIVshBaNiC¢
rvagRkumh‘unkñúgRbeTs nigRkumh‘unbreTs.
2> plitedayynþkmµsV½yRbvtþiTMenIb
sV½yRbvtþiTMenIbKWRTg;RTay]sSahkmµTMenIbkMritx<s;.vaCYyelIkkMBs;kMlaMgBlkmµ
nigeFIVeGay)at;nUvRBMEdn rvagBlkmµxYrk,al nigédeCIg. kMriténPaBsV½yRbvtiþTMenIb
CMBUkTI 1 RKb;RKgsMNg;
eroberogeday³ sYs cMerIn niymn½yénmuxCMnajRKb;RKgsMNg;
8
GaRs½yeTAniglMnaM]sSahkmµplitnimYy². bc©úb,nñkñúgkarsagsg;sMNg; edayeRbIR)as; eRKOg
ynþsV½yRbvtþiTMenIbenAmankMritTabenAeLIy eTaHCasßitkúñúgbNþaRbeTs]sSahkmµrIkcMerIn
k¾eday.
eKaledArYmrbs;plitpl]sSahkmµ KWQandl;kMriteRbIR)as;eRKOgynþ
sV½yRbvtþiTMenIbkan;EteRcInkan;Etl¥ BiessKWkñúgbNþakargarEdleFIVkñúgbridæan mhnþray
nigkargarFn;F¶n;.
kargarCadMbUgénkareRbIR)as;ynþkmµsVy½RbvtþiTMenIb KWedAelIbNþakargar
RtUveRbIR)as;eRKOgma:sIun nigkñúgvis½ybegáItEpnkar/ RKb;RKg nigbBa¢a kñúgkarplit.
Cak;Esþg KwkargarGnuvtþn_ma:sIunkuMBüÜTr½eTAkñúgkarbBa¢aelIlMnaM karplit/ RKb;RKgKMerag
nigeRbIR)as;plitpl.
3> ]sSahkmµTMenIbénrbrsMNg;
RsbCamYynigynþkmµTMenIb TisedAmYyd¾FM KW]sSahkmµTMenIbénrbr sagsg;.
]sSahkmµTMenIb KWnaMykbNþakargarxageRkA cUleTAGnuvtþn¾kñuúgbNþa eragCag/
eragcRkyfaRbePT. ]sSahkmµTMenIb niglMnaMkarplitsMNg;eGayenACitbegáIy
nigbNþaEpñkplitpl]sSahkmµepSg²/ bnßykarlM)akrbs;kmµkrkñúg eBlbMerI kargar
enAkNþalval/ bnßyT§iBlrbs;FatuGakasEdlmanRbtiþkmµ mkelIplitpl sMNg;.
]sSahkmµTMenIbkan;x<s; KWfamBl/ KuNPaBBlkmµ kan;EtFM/ elIkkMBs; lT§PaB
eRbIR)as;eRKOgcRk begáItlkçxNÐeGayynþkmµ TMenIb nigsV½yRbvtiþrIkcMerIn/ Biess
kñúgsMNg;]sSahkmµ KW]sSahkmµTMenIb minGacminykcitþ)aneT/ edayehtufa vaman
Gtßn½ykñúgtMbn; nigGnþrCati.
CMBUkTI 1 RKb;RKgsMNg;
eroberogeday³ sYs cMerIn niymn½yénmuxCMnajRKb;RKgsMNg;
9
4> eRbIR)as;GtibrmasMNg;cab;tMeLIg
kñúglkçxNÐEdlGaceFIV)an KYreRbIR)as;eGay)aneRcInsMNg;cab;tMeLIg/ eRBaH
enHCalMnaM]sSahkmµplitsMNg;Qanmux. Gnuvtþn_edaykarcab;tMeLIg begáIt
lkçxNÐCaGaTiPaBeGay]sSahkmµTMenIb)anGPivDÆn_xøÜn. sMNg;cab;tMeLIg CYybnßy
eBlevlasagsg;/ snSMsMéc)anBum</ bnßyRbtiþkmµrbs;GakasFatu. kñúgsMNg; EdkCajwkjab;
kargarcab;tMeLIgCaviFIsaRsþEtmYyKt; nigRbesIrbMput. cg;[ dMeNIrkarcab;tMeLIg
GPivDÆn_xøaMgxøa RtUvdak;TuneRcIneTAelIkarRsavRCaverobcM sßabtükmµ/ eRKOgbgÁM
nigEsVgrkviFIsaRsþsagsg;EdlmanGtßRbeyaCn_.
5> eRbIR)as;sMPar³fµICMnYseGaysMPar³RbéBNI/ minbBaÆb;kar
pøas;bþÚrfµI énlMnaM]sSahkmµplit
edaykarrIkcMerInbec©keTs/ sBVéf¶mansMPar³eRcInRbePT)anbegáIt/ kñúgbNþa
sMPar³fµI manRbePTsMPar³eFIVeGaymankarpøas;bþÚrlMnaM]sSahkmµplitTaMgRsug dUcenH
buKÁlikbec©keTsRtUvcab;ykeGayTan;eBl edIm,IeGaykMritcMeNHdwg bec©keTs
Canic©CakalmankMritbec©keTsQanmux. edayELk eRKOgynþ brikçaeRbIR)as; k¾min
bBaÆb;karGPivDÆn_ eFIVeGaybNþalMnaM]sSahkmµplitcas; RtUvbþÚrfµItam/ CalT§pl
køayCalMnaM]sSahkmµplitfµI.
6> karBarbridæanBImYyéf¶eTAmYyéf¶RtUvelIkkMBs;
enHKWCa TisedAGPivDÆn_rbs;yuKÁsm½y EdlRKb;vis½y/ RKb;ekasikarsgÁm
RtUvyk citþTukdak;EfrkSaeGayeBjTMhwg. bNþasMNg;sagsg;minRtwmEtCHT§iBldl;
bridæankñúgxN³eBlkMBg;smµPaBb:ueNÑaHeT ehIyvaEfmTaMgenACHT§iBlFM kñúgdMNak;kal
CMBUkTI 1 RKb;RKgsMNg;
eroberogeday³ sYs cMerIn niymn½yénmuxCMnajRKb;RKgsMNg;
10
sagsg;pgEdr. edIm,IRbqaMgnigPaBkxVk;EdlbNþamkBIkardæan sagsg;bgáreGay
PUmisaRsþenACMuvijvakñúgviFIsaRsþsagsg;RtUvKwtKUrdl;viFIRbqaMgPaBkxVk;.
bNþaPaBkxVk;EdlbNþamkBIkardæansMNg;bgáreLIgEtgEtCaFUlI/ PaBKRKic/
katsMNg;sMPar³sMNg; nigPaBkxVk;edaysarkMeNInRbCaCn>>> EdleFIV eGaybMBl;
briyakas nigRbPBTwk T§iBlTaMgGs;enaH RtUvTTYlsÁal;eday BiR)akd nigerobcM
viFIsaRsþRbqaMgtaMgEtBIdMNak;kalKNnarhUtdl;dMNak;kal begáItviFIsaRsþsagsg;.
bNþaviFIsaRsþsMxan; Kwkat;bnßykarbMBl;brisaßnEdlbNþalmkBIkardæan
sMNg;;bgáreLIg dUcCa³
• pøas;bþÚrlMnaM]sSahkmµsagsg;smRsb.
• x½NÐkardæanedayrbgsMNaj;.
• sMGateRKOgynþeBlecjeRkAkardæan.
• manEpnkarN_edaHRsaykatsMNl;Cab;lab;/ minTukeGays¥úyrlYy
¬x©b;dwkecj¦
• dak;sMPar³plitmYycMnYn ÉCMrkEdlGacecjq¶ayBIkardæan/ Biess
cMeBaHRbPBbgárPaBkxVk;¬PaBG‘UEG/ FUlI/ katsMNl;>>>¦.
• begIánmeFüa)aydwkCBa¢ÚnbiTCit/ rfynþkugtWn½r/ Qandl;eRbIEtsMPar³
maneRsam/ EdlGacRbqaMgPaBkxVk;pg nigTb;Tl;karx¢Hx¢ay/
RCuHFøak; sMPar³pg.
• ENnaMBRgIklkçxNÐkarBarbridæankñúgc,ab;sagsg; edIm,IRbCaBlrdæ
RKb;rUb elakGnuvtþn_eBjeljkñúgkardæanFM b¤tUc.
CMBUkTI 1 RKb;RKgsMNg;
eroberogeday³ sYs cMerIn niymn½yénmuxCMnajRKb;RKgsMNg;
11
karFanakarBarbridæan vakøayCabTdæanEdlvaytMél elIRbvtiþeFIVvinieyaK
sagsg;sMNg;.
7> kñúgkarRKb;Rkgplit Gnuvtþn_viFIsaRsþerobcMBlkmµ
viTüasaRsþ edIm,IsMralkargareGayCIvBlkmµ/ elIkkMBs;
KuNPaBplitpl/ FanasuvtßiPaBBlkmµ nigbnßy
PaynþraykµúgsMNg;
enHKWCaPar³kic© énEpnkarbec©keTsrbs;sßab½nsagsg;/ RtUvCanic©Cakal
yk citþTukdak;RKb;RKg RsavRCav nigENnaMGnuvtþn_;. BiessKW suvtißPaBBlkmµ eRBaHkñúg
karsagsg;eRKaHfñak;gaynigekIteLIg nigCaFmµtaKWmineFVsRbEhs.
8> Gnuvtþn_viFIsaRsþRKb;RKgerobcMsagsg;tamExSbBa¢Ún
GaRs½ylkçxNÐCak;Esþg eyIgGacGnuvtþn_viFIsaRsþRKb;RKgQanmuxenHelI
EpñkTaMgmUl b¤k¾EpñkNamYyrbs;sMNg;. dUcenH RKan;EteRbIR)as;kñúgEpñkNamYy k¾naMmk
vijnUvlT§plya:gRbesIr eRBaHenHKWCaviFIsaRsþRKb;RKgQanmuxbMput vaFanaeGay
kareRbIR)as;Blkmµ/ vtßúFatuedImsmRsb/ elIkkMBs;KuNPaB plitpl/ famBl Blkmµ
nigbnßyeBlevlasagsg;.
9> eRbIR)as;kMuBüÚT½rkñúgkarRKb;RKg nigbBa¢asagsg;
yuKÁsm½yrbs;lMnaM]sSahkmµBt’manviTüa bNþaEpñkTn;eRbIR)as;kñúgkar
RKb;RKg niyayrYm nigsMNg;niyayedayELk KWBImYyéf¶eTAmYyéf¶kan;EteRcIn nigxøaMg/
vaCYyeGayGñksagsg;TTYlnigbBa¢ÚnBt’man/ Tinñn½y/ viPaKsßankarN_elOnrh½s nignaM
mkvijTinñplx<s;. eRbIR)as;lT§PaBkMuBüÚT½r KWbgárlkçxNÐeGayynþkmµ sV½yRbvtþirIkcMerIn/
kñúgRKb;RKgnignaMmkvijnUveCaKC½yelIEpñkesdækic©.
CMBUkTI 2 RKb;RKgsMNg;
eroberogeday³ sYs cMerIn sikSaKMeragsagsg;sMNg;
12
CMBUkTI 2
bNþaCMhansikSaKMeragsagsg;sMNg;
tamTsSn³TUlay rbs;GñkRKb;RKgeFIVvinieyaK/ sMNg;sagsg;EtgEtpSarP¢ab;
CamYynigKMeragmYy/ vaEtEtgqøgkat;bIdMNak;kalKW etomlkçN³eFIVvinieyaK/ karGnuvtþn_
kargarvinieyaKnigdak;[eRbIR)as;plitplsMNg;.
dUcenH cg;begáIt)anKMeragmYy RtUvEtCalT§plénehtuplrbs;KMnitbuKÁl
¬lT§PaBvinieyaK¦ nig ehtupléntfPaB ¬tMrUvkarTIpSa¦.
tamTsSn³lMGit rbs;GñkRKb;RKg sMNg;mYy)anekItCarUbrageLIg Kweday
sarva)anqøgkat;R)aMmYyCMhandUcxageRkam .
elIrUbPaB )anBiBN’naya:gc,as; nUvbNþaCMhanéndMeNIrkarGnuvtþn_KMeragmYy
¬karsßabnasMNg;¦ Carbs;rdæaPi)alRKb;RKg b:uEnþvak¾rYmmanTaMgsMNg;Edlm©as;
lMnaMbegIáteGaymanCarUbragsMNg; tamn½yTUlay
Gnuvtþn_kargar
¬sag;sg;sMNg;¦
tMrUvkarrbs;TIpSa/
rdæaPi)al/ sgÁm
lT§PaBvinieyaKrbs;
shRKas/ rdæaPi)al/ sgÁm
begáIt[manrUbrag
KMeragvinieyaK
eRtomlkçN³vinieyaK kareRbIR)as;
plitplsMNg;
CMBUkTI 2 RKb;RKgsMNg;
eroberogeday³ sYs cMerIn sikSaKMeragsagsg;sMNg;
13
vinieyaKCaÉkCnpgEdr. CakarBItehIy ebIeTAtamTMhMsMNg; enaHbNþaCMhan
sikSaKMeragGacmannwglkçN³samBaØ edayRKan;EtrkSanUvbNþaCMhanmUldæan.
menaKti rbs;KMerag KWCaeyabl;dak;ecjdMbUg edIm,IKMerag)anelc
CarUbrag. menaKti CaFmµtaRtUv)anm©as;vinieyaKsMEdgecj edaysarRbtiþkmµ
rbs;ehtuplbuKÁl nig TUeTA/ CYnkalRKan;EtCakarrMCYlcitþ elImuxrbrrbs;m©as; vinieyaK
kúñgsßanPaBCak;EsþgmYy. menaKti elcCarUbrageLIgedayssnSwm²/ taMgBIeBlcab;
epþImrhUtdl;dMNak;kalTuMRCuH ehIynwgRtUv)annaMykBiPakSanigRtUv)anRkbx½NÐGFibetyü
kt;RtacUlkñúgkmµviFIKMerag. xageRkamenH KWCaGMNHGMNageGay bNþaCMhan
bnþbnÞab;eTot³
menaKti
sikSadMbUg
sikSa
eKal
karN_
dMbUg
r)ay
karN_
dMbUg
vaytMél
sikSalMGit
sikSa
lkçN³
bec©k
eTs
r)ay
karN_
lMGit
ETdgd
vaytMél
KNna
sikSa
bEnßm
edj
éfø
sag
sg;;
eRbI
R)as;
m©as;vinieyaK
Gnuvtþ
vay
tMél
Gñkem:Akar
Gnuvtþ
m©as;vinieyaK
sßab½nTIRbwkSaGnuvtþ
CMBUkTI 2 RKb;RKgsMNg;
eroberogeday³ sYs cMerIn sikSaKMeragsagsg;sMNg;
14
k> sikSadMbUg
KICaCMhanbnþeTotrbs; menaKti Edlm©as;vinieyaK)anCYlsßab½nTIRbwkSa
Gnuvtþn_/ ehIym©as;vinieyaKk¾GacGnuvtþn_edayxøÜnÉg. xøwmsarrbs;CMhanenH
KWEsVgrkbNþaTinñn½ydMbUg edIm,Im©as;vinieyaKeFIVkarsMercelI menaKti Edl)anepþImecj
faetImanmUldæanb¤eT/ ebImanesckIþsgÇwm KwbnþRsavRCaveTot EtebIBMumankþIR)afñaeTenaH
karsikSaKMerag nwgRtUvbBaÄb;.
kñúgCMhanenH kargarEsVgyl; KwCacMNucsMxan;/ eRBaHEp¥kelItYelxRsab;
EdlRbmUl)an eKbegáItKMeragmunGnuvtþn_. bnÞab;eTot eKKwtdl;bNþabBaða ecaTEdl
sMxan; Kw viPaKelImUldæanRKwHénesdækic© edIm,IvaytMélKMerag.
begIátKMeragmunGnuvtþn_ KW caM)ac;RtUvsikSaEsVgyl;elIbNþakargarxageRkam³
• EsVgyl;GMBItMrUvkarrbs;sgÁm kñúgtMbn;EdlKMerageFIVsmµPaB.
• EsVgyl;GMBIneya)ayTisedAGPivDÆn_esdækic©rbs;Cati kñúgry³eBlEvg
bgÁÜr¬10- 50 qñaM¦.
• vaytMélsßanPaBviC¢aCIv³bc©úb,nñ nig viC¢aÉkeTsesdækic© kñúgkarsikSa
KMerag/ kñúgenaH RtUvykcitþTukdak;dl; kMriténlMnaM]sSahkmµplit/ famBl
Edlman/ lT§PaBGPivDÆn_rbs;bNþamUldæanbec©keTs kñúgry³eBlmYy
Edlnwgmkdl; ¬EkEcñ/ ebIkcMh/ eFIVeGayRbesIreLIgnUvlMnaM]sSahkmµ/
eFIVtUbnIykmµTMenIbén]sSahkmµplit¦.
• cMNat;fñak;énlMnaM]sSahkmµplitkñúg tMbn; nig BiPBelak.
• kMritCIvPaBrs;enArbs;sgÁm/ lT§PaBeRbIR)as;plitplenAtamtMbn;.
CMBUkTI 2 RKb;RKgsMNg;
eroberogeday³ sYs cMerIn sikSaKMeragsagsg;sMNg;
15
• lT§PaBrbs;m©as;vinieyaK/bNþaRbPBedImTunEdlGacclna/TMhMvinieyaK.
• RbPBpÁt;pÁg;vtßúFatuedIm/ lMnaM]sSahkmµplit.
• TItaMgsagsg;sMNg; EdlnwgRtUvGnuvtþn_KMeragCamYyniglT§plPUKBÖsaRsþ/
xül;Gakas/ cMnYnRbCaBlrdæ/ brisßanmun nig eRkaysagsg;sMNg;.
• ehdæarcnasm<½n§sMNg;manRsab;nig lT§PaBeTAGnaKt.
QrelImUldæan bNþaTinñn½yEdl)anviPaKkñúgkarsikSaKMerag nwgykmk
sniñdæan faetIGaceFIVkarvinieyaK)anEdrb¤eT ehIyTMhMénkarvinieyaKnwgcMNayedImTun
Gs;b:unñan.
kñúgry³eBlbegáItCMhanenH bNþaTinñn½yxVHxat b¤minTan;eCOrCak; KweyIg
GacGnuvtþn_sikSaRtYtBinitüeKalkarN_dMbUgeLIgvij edIm,ImanTinñn½yRKb;RKan; kñúgkar
sresrr)aykarN_rbs; karsikSalMGit.
sikSadMbUg KwsresreRkamsNæanCar)aykarN_ RtUvEt)anvaytMél nig
yl;RBm/ eTAtamkarsnµt;EdlkMBg;Gnuvtþn_ edayGaRs½yelITMhM nig RbPB edImTun
énKMerag.
x> sikSalMGit
CMhanenH KWsMxan;Nas;kñúgdMeNIrkar eFIVeGayKMeragekItCarUbrageGaykan;
Etc,as;/ vaGHGagnUv lkçN³R)akdniymrbs;KMerag. kñúgCMhanenH rYmmanBIr Epñk Kw
sikSaKMerag nig sresrr)aykarN_KMeragGnuvtþn_. begIát KMeragGnuvtþn_ EtgEtRtUv)an
sßab½nTIRbwkSabec©keTsGnuvtþn_sikSaerobcMKMerag. kñúg KMeragGnuvtþn_ RtUvbkRsay )annUv
lkçN³Gnuvtþn_bec©keTs nig lkçN³eCaKC½yelIesdækic©.
CMBUkTI 2 RKb;RKgsMNg;
eroberogeday³ sYs cMerIn sikSaKMeragsagsg;sMNg;
16
sMNg;kan;EtFM Kwkargarsßabnakan;EtsµúKsµaj/ TIlansagsg;kan;EtFMTUlay
naMeGaykarsikSakan;EtRtUvlMGitelITMhMkargarTaMgmUl nig manRKb;lkçN³. cMeBaHbNþa
KMerag EdlsßitenAkñúgtMbn;mansMNg;sagsg; KW Tinñn½yrbs;KMerag EdlnwgykmkGnuvtþn_
GacnwgeRbIR)as;nUvbNþaTinñn½yrbs;karsikSamun.
kñúgkarsikSaKMerag RtUv)anEckecjCaBIrRbePTsikSa KW sikSaGMBIesdækic© nig
bec©keTs. sikSaGMBIesdækic© CaFmµtaRtUv)anGnuvtþn_mun/ eRBaHvapÁt;pÁg;Tinñn½y CamUldæan
kñúgkarkMNt;tYnaTIrbs;sMNg; edayrYmpSMCamYynig RbPBvtßúFatuedIm/ bNþajehdæarcna
sm<½n§sMNg;; ¬KmnaKmn_/ famBl¦ RbPBTwk/ cMnYnRbCaBlrdæ/ TMenomTMlab;/ vb,Fm’/
brisßanFmµCati/ Blkmµ CaedIm.
vtßúbMNgrbs;karsikSaKMeragtamlkçN³bec©keTs KWCa karsikSaGMBIlkçxNÐ
FmµCatikñúgtMbn;EdlRtUvGnuvtþn_KMerag/ RBmTaMgmanTisedA edIm,IGnuvtþn_KMerag Rbkbeday
GtßRbeyaCn_bMput. lT§pl én karsikSaGMBIbec©keTs KwvaCYyeGay eyIgeRCIserIs
)anTItaMgsagsg;sMNg;smRsb/ erobcMEpnkarN_sagsg;lMenAdæan )anl¥ k¾dUcCasMNg;FM²/
karsikSaKMeragtamlkçN³bec©keTs KWCakarEsVgrk bNþadMeNaHRsaybec©keTsEdl
RtUvGnuvtþn_caM)ac; kñúgkarsagsg;.
CacugeRkaykarsnñidæanrbs;KMerag KWEp¥kelIkarvaytMéltamesdækic©-bec©keTs
elIKMeragTaMgmUl eTAtamviFIsaRsþEdl)anelIkeLIg.
cMeBaHsMNg;sIuvil nig ]sSahkmµ karsikSaKMerag rYmmanbNþabBaðasMxan;
dUcxageRkam³
• bgðajeGayc,as; nUvlkçxNÐesdækic© kñúgtMbn;sagsg;sMNg; KYbpSMnig
karykcitþTukdak;dl;skmµPaBrbs;sMNg; EdlrYmman³ vtßúFatuedIm/
CMBUkTI 2 RKb;RKgsMNg;
eroberogeday³ sYs cMerIn sikSaKMeragsagsg;sMNg;
17
sMPar³sMNg;/ lT§PaBpÁt;pÁg;TwkePøIg/ bNþajpøÚvKmnaKmn_/ kMlaMg
Blkmµ k_dUcCabNþaFnFanepSg².
• sikSabNþasMNg;EdlkMBg;manskmµPaB kñúgtMbn;EdlnwgGnuvtþn_KMerag/
bgðaj[c,as;nUvlT§PaB/ kMriteRbIR)as;lMnaM]sSahkmµ/ lT§PaBTMnak;TMng
rvagBYkva nigKMeragEdlnwgRtUvsg;. enHKW CamUldæanRKwH edIm,IkMNt;TMhM
nig GtßRbeyaCn_rbs;sMNg;EdlRtUvsßabna.
• sikSaGMBIPUmisaRsþTaMgmUl/ sßanPaBdIenAtMbn;Gnuvtþn_KMerag edIm,IelIk
KMerag nig EpnkarN_lMenAdæan/ GKar k¾dUcCa bNþabNþajbec©keTs/
ehdæarcnasmç½n§sMNg;. kargarenH RtUv)anbgðajenAelIEpnTIrdæ)al
¬manRsab; b¤RtUvvas;Evg nig KUredayxøYnÉg¦.
• sikSaGMBI PUKÁBÖsaRsþ/ ClsaRsþ rbs;TItaMgsagsg; edIm,IkMNt;)an
lkçN³emkanicénRsTab;dInimYy²/ crnþTwkenAkñúgdI/ ePøógxül;>>>. Tinñn½y
Edl)anmkBIkarsikSa RtUveGaymanRKb;RKan; edIm,IkMNt;)an viFIsaRsþ
tMeLIgeRKOgbgÁúMsMNg;/ RKwHsMNg;/ RbB½n§bNþajcrnþTwkkñúgdI >>>.
• sikSalkçxNÐFatuGakas enAtMbn;sagsg; ¬ePøógxül;/ sItuNðPaB/ rnÞHpÁr
>>>¦. cMeBaHbNþaGKarsMxan; caM)ac;eyIgRtUvsikSabEnßm elIbNþaktþa
briyakas ¬kMedA/ xül;brisuT§/ viTüúskmµ/ GIuy:Ut >>>¦.
• sikSalkçxNÐEdlmanTMnak;TMngdl;karsagsg; edayeRbIR)as;lT§PaB
sagsg;enAnigkEnøg edIm,IbnßytMélrbs;sMNg;. kñúgkarsikSaenH
rYmman RbPBsMPar³sMNg;EdlpÁt;pÁg;enAnigkEnøg/ eRKOgma:sIun/ brikçar/
CMBUkTI 2 RKb;RKgsMNg;
eroberogeday³ sYs cMerIn sikSaKMeragsagsg;sMNg;
18
KmnaKmn_/ lT§PaBeRbIR)as;bNþashRKasCMnYy/ RbPBBlkmµkñúgtMbn;/
bNþaj GKÁIsnI/ bNþajTwkEdlmanRsab;.
• sikSabNþaktþaEdlCHT§iBldl;tMélrbs;sMNg;/ eBlevlaEdlGacsMerc
kargarsagsg;tamEpñknimYy² b¤ EpñkTaMgmUl k¾dUcCaeBldak;plitpl
eGayeRbIR)as;.
• sikSaelIesaP½NÐPaBénsßabtükmµ/ EpnkarN_erobcMtMbn; edIm,IsMNg;man
dMeNaHRsayKNnarYmbBa©Úl CamYynigesaP½NÐPaBsßabtükmµEdlman.
bNþaTinñn½yTaMgGs;enH manTMnak;TMngdl;EpnkarN_elIkKMerag/ sagsg;nig
kareRbIR)as;sMNg; suT§EtRtUvRbmUlTinñn½yeGayRKb;RKan; nig sresrCa r)aykarN_
esdækic©bec©keTs edIm,IGHGag)annUvtYnaTIénkarsagsg;sMNg;.
r)aykarN_sagsg;RtUvdak;ecjya:gticbMput eGay)anBIrviFIsaRsþ edIm,IEFIVkar
ebobeFobeRCIserIsviFIsaRsþEdlmanlkçN³esdækic©x<s;.
r)aykarN_esdækic©rbs; karsikSalMGit KWRtUv)anGnuvtþn_ edaysßab½n
TIRbwkSaelIkKMerag edayEp¥kelIbNþar)aykarN_esdækic©-bec©keTs. r)aykarN_ RtUvdak;
ecj nUvbMNkRsayrbs;cMeNaTbBaða EdlRtUvmanya:gticBIrviFIsaRsþ. kñúgenaH manTaMg
bMNkRsayGMBIGtßRbeyaCn_esdækic© EdlrYmmanEpñksMxan;² dUcxageRkam.
1> lT§PaBeRbIR)as;rbs;sMNg;.
2> tMéledIm/ plRbeyaCn_esdækic©/ eBlevlaTTYledImTunvinieyaKmkvij.
3> eBlevla)ansMerctamlT§PaBsikSaKMerag.
CMBUkTI 2 RKb;RKgsMNg;
eroberogeday³ sYs cMerIn sikSaKMeragsagsg;sMNg;
19
4> kMriteRbIR)as;eRKOgcRk/ sV½yRbvtþielIlMnaM]sSahkmµplit/ cMNat;fñak;
énlMnaM]sSahkmµpliteFobnigkñúgRbeTs nig BiPBelak. cMNat;fñak;
tambTdæan.
5> emKuNsagsg; ¬eRbIR)as;épÞsagsg;¦ eFobCamYynigbTdæanEdl
kMNt;.
6> PaBERbRbYlbrisßanPUmisaRsþ ¬rukçCati/ crnþTwk/ tMéldI¦ edaysarEtpl
rbs;karsagsg;sMNg;.
7> manT§iBldl;CivPaBrs;enArbs;smaCik nig RKYsarkmµkr/ buKÁlik kñúg
dMeNIrkarsagsg;nig eRbIR)as;sMNg;.
sMNMur)aykarN_énkarsikSalMGitrYmman³
1> bMNkRsayBiBN’naedaysegçb elIxøwmsarénbNþaviFIsaRsþdak;ecj
edIm,I eRCIserIs/ ebobeRFobbNþaviFIsaRsþTaMgenaH/ KNnaTUeTAbNþa
karsMerckñúg viFIsaRsþ. BiBN’naGMBIviFankarFanasuvtiþPaBBlkmµ nig
KNnabNþa cMNayelIesdækic©bec©keTs/ kñgenaHRtUvbkRsay nig
rebobkMNt;rbs; bNþakarcMNayTaMgGs;enaH.
2> TIlansagsg; bgðajeGayRKb;sBV nUvTMnak;TMngrvagbøuúklMenAdæan nig
épÞEdlRtUvGnuvtþn_KMerag.
3> bNþaKMnUrénlMnaM]sSahkmµ/ KmnaKmn_kñúgKMerag/ dMeNaHRsay
sßabtükmµ/ eRKOgbgÁMú/ RbB½n§brikçar nig dMeNaHRsaykarKNnaepSg²
Edlman TMnak;TMng.
CMBUkTI 2 RKb;RKgsMNg;
eroberogeday³ sYs cMerIn sikSaKMeragsagsg;sMNg;
20
4> bBaI¢eRKOgcRk/ brikçar EdlRtUvykmkGnuvtþn_elIKMerag.
5> )a:n;sµanlT§PaBvinieyaKsagsg;sMNg;.
6> )a:n;sµantMélTijsMPar³brikçar/ eRKOgcRk tamtMélsikSa.
7> )a:n;sµantMélvinieyaKTunsrub ¬)a:n;sµansrub¦.
8> taragbBa¢IGnuvtþn_ bNþakargarsMxan;² EdlRtUvsagsg;.
9> EbgEcksMPar³kñúgRsuk nig eRkARsuk edIm,IbegIátEpnkarTTYl.
10> EbgEcktamCMnajBlkmµEdlcaM)ac;.
11> elIkKMerag RKb;RKg sMNg; CamYynig dMeNIrkarsagsg;TaMgmUl
¬bgðajedayDIya:Rkam epþk b¤ bNþaj¦
12> tMelIg ma:Ekt sMNg; ¬TaMgmUl b¤EpñksMxan;NamYy¦
ebIeXIjfacaM)ac;.
13> esckIþbEnßm edIm,IENnaM eRbIR)as;kMlaMgBlkmµ ¬tamc,ab;kargar¦ nig
eRbIR)as;RbPBsah‘uy sagsg;sMNg;¬CaBiess KWrUbIvtßúbreTs¦.
14> bNþadMeNaHRsaybec©keTsRbqaMgkarbMBl;brisßanb¤pøas;bþÚreTsPaB.
karsikSalMGit RtUv)anvaytMél nig sßab½nm©as;vinieyaKEdlman
sT§ismmUl yl;RBm eTAtamRbPBedImTun nig sMNg;Carbs;RkumNa?
CMBUkTI 2 RKb;RKgsMNg;
eroberogeday³ sYs cMerIn sikSaKMeragsagsg;sMNg;
21
K> KNnasMNg;sIuvil nig ]sSahkmµ
KNnasMNg;sIuvilnig]sSahkmµrYmmanBIrEpñksMxan;KWKNnanig )a:n;tMél.
eTAtamTMhM/ kMritsµúKsµaj/ lkçN³sMxan;rbs;sMNg; KNnaGacGnuvtþn_tam
BIrdMNak;kal b¤ mYydMNak;kal.
ebIKNnatammYydMNak;kalKW KNnasagsg;. eBlKNnatamBIr dMNak;kal
KWdMNak;kaldMbUgCadMNak;kalKNnabec©keTs cMENkdMNak;kaleRkayCa dMNak;kal
KNnasagsg;. karKNnaCaPar³rbs;TIRbwkSa RtUvGnuvtþn_eTAtamkic©snüaCamYym©as;
vinieyaK. KNnamYy b¤ BIrdMNak;kal eTAtamTMhM nig lkçN³Biessrbs;sMNg;
vaGaRs½yedaysßab½nman siTi§GMNaceFIVkarsMerc.
1> KNnabec©keTs
KNnabec©keTsCa dMNak;kaldMbUgénKNnaCaBIrdMNak;kal. KNna
bec©keTs Ep¥kelImUldæansikSaEsVgyl; nig r)aykarN_rbs;KMeragGnuvtþn_ bUkrYmTaMg
karsikSabEnßmkñúgdMNak;kalKNna ¬ebIman¦.
KNnabec©keTs bkRsayelIbNþabBaðabec©keTsTaMgGs;EdlFana[
sMNg;manlkçN³sMerc/ viFIsaRsþKNnaRtwmRtUvmanlkçN³eCOnel,Wn/ Tinñn½yEdl
dak;ecjc,as;las; b:uEnþvaenAEtsßitenAdMNak;Nak;kalcMhr ¬edIm,IbEnßm¦ nUvcMNucEdl
minTan;mankarlMGwtRKb;RKan; kñúgkarGnuvtþn_ sagsg;. KNnabec©keTsRtUv)aneRbIR)as;
[bNþaEpñkKNnaTaMgGs; dUcCa lMnaM]sSahkmµplit/ sßabtükmµ/ eRKOgbgÁMú/
sMPar³CaedIm/ edayeRtomlkçN³ CaeRsc edIm,IbMerIkarsagsg;.
CMBUkTI 2 RKb;RKgsMNg;
eroberogeday³ sYs cMerIn sikSaKMeragsagsg;sMNg;
22
ÉksarKNnabec©keTsrYmman³
1> bMNkRsayBiBN’naGMBIrviFIKNna/ bMNkRsayCaTUeTAnUvbNþa
dMeNaHRsay KNnaelIsMNg;TaMgmUl.
2> KMeragbøg;lMnaM]sSahkmµ/ ExSbBa¢Únplitkmµ/ sßabtükmµ/ ¬KMnUredk/
KMnUrkat;/ KMnUrbBaÄr¦/ eRKOgbgÁMú/ sMPar³tak;Etg CaedIm/ EdllMnaM
]sSahkmµsagsg;sMNg;nwgtMrUveGayGnuvtþn_.
3> )a:n;sµantMéldMbUgrbs;sMNg;.
KNnabec©keTsRtUv)anvaytMél nig yl;RBmBIsßab½nmansmßPaBkñúg
Rkbx½NÐrdæ b¤ m©as;vinieyaK ¬sMNg;shBaniC¢ b¤ ÉkCn¦.
2> KNnasagsg;
KNnakarsagsg;KW KNnasMNg;tam mYydMNak;kal b¤ k¾dMNak;kalTI2 én
karKNnasMNg;BIrdMNak;kalrYmmanKNna nig )a:n;tMél.
KNnakarsagsg; mantYnaTIbMerIedaypÞal;elIkargarsagsg;sMNg;. KNna
karsagsg;KW Ep¥kelIr)aykarN_KMeragGnuvtþn_ ¬KNnamYydMNak;kal¦ b¤ KNna
bec©keTs¬KNnaBIrdMNak;kal¦.
eBlKNnamYydMNak;kal KNnasagsg; RtUvRsaybBa¢ak;elI TMhMTaMgmUl
nig cMNucNamYyénbNþadMeNaHRsayKNna/ pþl;Tinñn½y caM)ac;RKb;RKan; dUcCa Blkmµ/
vtßúFatuedIm/ sMPar³sMNg;/ bec©keTs/ tMélsMNg; ¬)a:n;tMél¦ rYmCamYynigKMnUrsagsg;
énbNþakargarsg; temøIgeGaymanRKb;RKan;sMrab;Gñksg;.
CMBUkTI 2 RKb;RKgsMNg;
eroberogeday³ sYs cMerIn sikSaKMeragsagsg;sMNg;
23
kñúgKNnaBIrdMNak;kal KNnasagsg; RtUveFIVeGayR)akd/ eFIVeGaylMGit
elIbNþadMeNaHRsaylMnaM]sSahkmµ/ sßabtükmµ/ eRKOgbgÁúM/ sagsg; Edl)anGHGag
kñúgKNnabec©keTs.
)a:n;sµantMélKNnasagsg; RtUvbkRsayvIFIKNnabrimaN/ bBaI¢tMél
Gnuvtþn_/ esckþIENnaM b¤ saracrrbs;sßab½nrdæaPi)alGMBIBn§sMNg;. eBlcaM)ac;
RtUvmanÉksarRKb;RKan; EdlTak;Tgdl;tMéleRKagrbs; sMNg; ¬lixitGaTiPaB/
esckIþsMercbnßyBn§ >>> ¦.
KMeragbøg;sagsg; RtUvpÁt;pÁg;RKb;RKan;c,as;las;/ bgðajbøg;lMGitcaM)ac;
rbs;sMNg;edIm,IGnuvtþn_bNþakargartMelIg. KMeragRtUv BiBN’nataMgBI KMeragTaMgmUl dl;
KMeraglMGit/ viPaKcg¥úlbgðaj. KMeragbøg;RtUvbgðaj )anenATItaMg/ cMNgTak;Tg
rvagbNþasMNg;/ lMenAdæan CamYynig bNþajbec©keTs/ KmnaKmn_. KMeragbøg;sagsg;
RtUvFanaeGayGñk Gnuvtþn_RtUvtamKMnitrbs;GñkKNna tamviFImYy c,as;las;nig
gayRsYl bMput/ snSMsMécbMput.
)a:n;sµantMélKMerag RtUv)anKNnaEp¥kelIkarGMNHGMNagrbs;KMeragGnuvtþn_ nig
lT§plKNnasagsg; ¬KwniyaytaMgBIbNþaviFIsaRsþsagsg; Biess EdlminTan;
mankñúgbTdæantMél¦.
KNnasagsg; nig )a:n;sµantMél RtUvEtmankaryl;RBmBIsßab½n
RKb;RKgEdlmansTi§sMercelIva eTIbGackøayCaÉksarbMerIkargarsagsg; RBmTaMgCa
mUldæanRKwHedIm,ItulüakarsMNg;.
CMBUkTI 2 RKb;RKgsMNg;
eroberogeday³ sYs cMerIn sikSaKMeragsagsg;sMNg;
24
3> KNnaRKb;RKgsMNg;
KNnaRKb;RKgsMNg; RtUv)anGnuvtþn_CamYynig KNnasagsg; b¤ KNna
sagsg;mYydMNak;kal. KNnaRKb;RKgsMNg; RtUv)ansßab½nTIRbwkSaKMerag Gnuvtþn_Ep¥k
elImUldæanKMeragGnuvtþn_ nig lT§plsikSabec©keTs ehIynig sikSabEnßmkñúgxN³eBl
KNna.
ÉksarKNnaRKb;RKgsMNg;³
1> taragkargarEdlRtUvsg;tMelIg nig CaBiesskñúgdMNak;kalsagsg;
k_dUcCadMNak;kaleRtom.
2> segçbRbRktiTinsagsg; ¬elIDIya:RkamTUeTA¦ Gnuvtþn_bNþa kargar
sMxan; kñúgdMNak;kaleRtom nig dMNak;kalsagsg;. kñúgenaH
bgðajeGayc,as;lMdab;Gnuvtþkargar. kñúgRbRkTinmanP©ab;
mkCamYynYv DIya:Rkamcl½tkMlaMgBlkmµ/ ry³eBleRbIR)as;
eRKOgcRk.
3> EpnkarsrubGMBIkarpÁt;pÁg;sah‘uytamqñaM/qmassmRsbnigRbRktiTin.
4> TIFøasagsg;srubCamYynigmaRtdæanRtwmRtUv bgðajnUvsMNg;)annigkMBug
sagsg; k_dUcCa XøaMgsMPar³/ CMrMusñak;enArbs;buKÁlik kmµkar CaedIm.
5> EpnTItMbn;CamYynigmaRtdæanRtwmRtUv bgðajnUvkardæansagsg;CamYynig
bNþajshRKasCMnYy/ mUldæansMPar³bec©keTs/ PUmikmµkr/ RbB½n§
KmnaKm_nigbNþasMNg;epSg²EdlmanTMnak;TMngdl;kardæan.
CMBUkTI 2 RKb;RKgsMNg;
eroberogeday³ sYs cMerIn sikSaKMeragsagsg;sMNg;
25
6> bBa¢IsrubsMPar³/ lk;plitpl/ eRKagsMNg;sMxan;/ eRKOgcRk/
meFüa)aydwkCBa¢ÚntamdMNak;kalsagsg;énqñaM/ qmas.
7> KNna nig )a:n;sµantMél rbs;GKarsñak;enAbeNþaHGasnñ EdlminsßitenAkñúg
tMélsagsg;/ bNþaGKarsñak;enATaMgGs;enHKwGaRs½yedayma©s;vieyaK Binitü
nigyl;RBm.
8> GtßbTbkRsayGMBIlkçN³sm,tiþrbs;sMNg;/ lkçN³xNÐsagsg;/ lMnaM
]sSahkmµ/viFIsaRsþRKb;RKgsMNg;/tMrUvkarnigdMeNaHRsayGMBIkMlaMgBlkmµ/
eRKOgcRk/ XøaMg/ pøÚvfñl;/ CMrMu k_dUcCa bNþaniTsSnþesdækic©
bec©keTsrbs;viFIsagsg;.
9> KNnatMél)a:n;sµanrbs;sMNg;edayEp¥kelItMélÉktþa/ bTdæan nig
viFIsagsg;Edl)anyl;RBm. KNna)a:n;tMél RtUvmantarag
briyaykargar/ rebobkMNt;brimaNkargarrbs;BYkva. cMeBaHkargarRcIn
EdlminmantMélÉktþa enaHKWRtUvKNnatMélEdlrYmman sMPar³/
Blkmµ/ eRKOgcRk.
KNnaRKb;RKgsMNg; RtUvGnuvtþn_RsbCamYynigbNþadMNak;kalKNna
smmUlrbs;sMNg; edIm,IeGaysmRsbCamYynigdMeNaHRsayTIlan sagsg;/
eRKOgbgÁúM/ lMnaM]sSahkmµrbs;sMNg;.
cMeBaHsMNg;tUc²mYycMnYnb¤ sMNg;sagsg;tamKMrURtUvman³
• RbtiTinsegçb¬DIya:Rkam¦
• TIlansagsg;.
CMBUkTI 2 RKb;RKgsMNg;
eroberogeday³ sYs cMerIn sikSaKMeragsagsg;sMNg;
26
• DIya:RkamBlkmµnigeRbIR)as;eRKOgcRk.
• bBa¢I)a:n;tMél.
• bMNkRsay.
4> KNnaRKb;RKgsagsg;
KNnaRKb;RKgsagsg; RtUv)ansßab½nsg;tMelIgGnuvtþn_elImUldæanrbs;
KNnaRKb;RKgsMNg;/ )a:n;sµantMélsMNg; bUkCamYybNþalT§pl/ sikSabEnßmtMbn;
kardæan nig smßPaBrbs;sßab½nTTYlGnuvtþn_.
kñúgKNnaRKb;RKgsagsg; nwgBinitüepÞgpÞat;/ eFIVedayl¥itl¥t;/ bNþa
esckIþsMercrbs;KNnaRKb;RKg nig edaHRsaybNþabBaðaEdleTIb ekIteLIg.
CaBiessykcitþTukdak;dl; bNþakargarlMGit EdlRtUv Gnuvtþn_kñúglMnaM]sSahkmµ
sg;tMeLIg k_dUcCakargarsg;tMeLIgkñúgbNþa shRKasCMnYyEdlbMerIkñúgkarplitsMPar³/
eRKagsMNg;eGaykardæan. TItaMg/ smßPaB/ ]sSahkmµ nig brikçarrbs;bNþashRKas
RtUv)anrkSaenAdEdltamKNnaRKb;RKg. karERbRbYlGnuBaØatþiEtenAeBlPaKI KNnaRKb;RKg
sMNg;yl;RBmedayehtuplénkarfy)antMélsMNg;nig ékécñKuNPaBkargar.
KNnaRKb;RKgsagsg; bMerIeGaykargarRKb;RKgsMerc/ cg¥úlbgðaj nig
RtYtBinitüelICMhansagsg;TaMgGs;/ bNþakMNat;sagsg;sMNg; nig kardæan TaMgmUl
dUcenHcaM)ac;RtUvtamc,as;las; nig RtwmRtUvelIbNþabBaðaxageRkam³ ry³eBlkMNt;
sagsg;bNþakMNat;sMNg;/ rbs;bNþadMNak;kalsMxan; nig kardææanTaMgmUl/ lMdab;nigviFI
Gnuvtþn_bNþakargarsg;tMeLIg/ karrYmpSM/ eBlevlakMNt; Gnuvtþn_bNþaviFIkñúgdMNak;kaleRtom/
CMBUkTI 2 RKb;RKgsMNg;
eroberogeday³ sYs cMerIn sikSaKMeragsagsg;sMNg;
27
DIya:RkampÁt;pÁg;sMPar³/ eRKOgcRk/ tMrUvkarBIvtßúFatuedIm/ tMrUvkarBIBlkmµtamCMnaj/
viFIsaRsþ karBar/ Gnam½ysuvtþiPaBBlkmµ/ RbB½n§RtYtBinitü/ RKb;RKgKuNPaB eRbIR)as;.
Éksarrbs;KNnaRKb;RKgsagsg;
1> RbtiTinsagsg;bNþasMNg;CamYynigbrimaNkargarRtwmRtUv.
2> RbtiTinsrubTUeTAsMrab;kardæanTaMgmUl nig dMNak;kalsagsg;.
3> TIlanerobcMcMbg tYnaTIbNþashRKasplit/ pøÚvfñl;yUrGEgVg b¤
beNþaHsnñ/ XøaMg/ bNþajpÁt;pÁg;GKÁIsnI/ Twk/ TUrKmnaKmn_>>>.
4> taragbriyayGMBIbrimaNkargarkñúgdMNak;kaleRtom nig DIya:Rkam
Gnuvtþn_.
5> DIya:RkampÁt;pÁg;sMPar³brikçarsMxan;.
6> DIya:RkamtMrUvkarBlkmµtamCMnaj/ eRKOgcRk nig dwkCBa¢Ún.
7> kMNt;sMKal;lMnaM]sSahkmµ eGaykargarmYycMnYnEdlmankarsagsg;
sµúKsµaj nig fIµ.
8> bBa¢IeRKOgcRk nig kMNt;sMKal;pøas;bþÚrlMnaM]sSahkmµ eGaykargar
sagsg;sMxan;mYycMnYn¬dak;mInpÞúH/ XYg/ elIkdak;>>>>¦.
9> ÉksarbkRsayGMBIdMeNaHRsaylMnaM]sSahkmµ/ eRKaHfñak;/ brisßan/
suvtþiPaBBlkmµ/ rUbPaBTTYlGñkmaneTBekaslü/ ]bkrN_.
KNnabNþacMNayesdækic©bec©keTs¬ry³eBlbBa¢b;sagsg;/ kMrit
eRbIR)as;ynþkmµ/ cMNayBlkmµsMrab;EpñkplitplnimYy²¦.
CMBUkTI 2 RKb;RKgsMNg;
eroberogeday³ sYs cMerIn sikSaKMeragsagsg;sMNg;
28
10>KMeragbøg;KNnasagsg;sMNg;beNþaHGasnñ/ CMrMu. RtUvGnuvtþn_cb;
munéf¶ebIkkardæansagsg;mYyry³ ¬RbEhlBIrEx¦ edIm,IbuKÁlik
bec©keTsRsarvRCav nig cab;yk)anBIeKalbMNgTaMgenaH. kargar
KNnaRKb;RKgsagsg; RtUvvisVkr nig buKÁlikmanbTBiesaFn_rbs;
sßab½nTTYlvinieyaKGnuvtþn_ eRkamkarcg¥úlbgðajrbs;RbFanvisVkr
manTaMgkarBiPakSaeyabl;rbs;Gñksagsg;mYycMnYnpg.
KNnaRKb;RKgsagsg; edaHRsaybNþabBaðabec©keTs]sSahkmµ/ RKb;RKg
nig esdækic©sµúKsµaj. cg;sMerc)anGtibrma KWRtUvGnuvtþn_ eGay)aneRcInviFIsaRsþ
edIm,IeFIVCamUldæankñúgkareRCIserIstamtMrUvkar esdækic©bec©keTsmYycMnYn/ Cak;EsþgKW³
• GMBIbec©keTs
• FanaKuNPaBx<s;bMput.
• begIátlkçxNÐeGaykargarsagsg;gayRsYl/ suvtßiPaBbMput.
• GMBIesdækic©
• bnßytMéleGayTabbMput.
• eRbIR)as;eGaymanRbeyaCn_bMputnUvFnFanplitpl rbs;sßab½n
sg;tMeT,Ig.
• sMNg;dak;eGayeRbIR)as;RtwmRtUvtamEpnkarN_
CMBUkTI 3 RKb;RKgsMNg;
eroberogeday³ sYs cMerIn lMnaMRKb;RKgsMNg;mUldæan
29
CMBUkTI 3 lMnaMRKb;RKgsMNg;mUldæan
1> lMnaMTUeTA
Cak;EsþgTRmugkarsagsg;mUldæanrbs;RBHraCaNacRkkm<úCa maneRcInviFI/ bTbBa¢a/
CYnkalEbCasaMjaúM ¬EvgeBk¦. enATIenHeyIgRKan;EteFIVkarsegçbrYmdUcxageRkam³
1> rdæaPi)alkMNt;neya)aysagsg;sMNg;/ RbPBTun/ cMNay. edIm,IbMerITinñn½y
eGayCMha‘nenH/ RtUvelIkGgÁRbkb ¬KMeragvinieyaK¦ edIm,IkMNt;TMhMsagsg;
sMNg;/ )a:n;sµancMNay/ dMeNIrkarsagsg;.
2> m©as;vinieyaK ³ KWCasßab½nCMnYsrdæaPi)al b¤ CaGñkvinieyaKÉkCn edIm,IGnuvtþ
bNþaCMha’n sagsg;/ TUTat;cMNaysikSa/ sagsg;/ sgtMélBeRgIkTIFøasMNg;.
edayELkcMeBaH RbtiTinkargar nig KuNPaBsMNg;/ m©as;sMNg;k¾manPar³kic©
tamdamBinitü/ emIlEf nig RKb;RKg. b:uEnþEtgRtUvcuHkic©snüaCamYysßab½n
TIRbwkSabec©keTs/ sßab½nenH nig TTYlPar³sMxan; CYym©as;vinieyaK
GMBIKMeragvinieyaK.
eTAtamTMhM/ TItaMg/ TiedApÞal;rbs;sMNg;Edlm©as;vinieyaKGacCa GKÁnayk
shRKasmYy/ CaGPi)alextþ b¤ Rsuk >>>> edIm,ICYykargareGaym©as;vinieyaK/
maneBlxøH begáItCaKNkmµkarRKb;RKgKMerag/ eFIVkargaredaypÞal;RKb;kargar.
CamYysMNg;TunbreTs/ EtgmanGKÁnaykKMeragmYy.
3> sikSalT§PaBdMbUg³ KWEsVgyl;GMBItMrUvkarsgÁm/ TisedAGPivDÆn_rbs;CatiBI 10-
50 qñaM/ cMNat;fñak;sMNg;/ CIvPaBsgÁm/ lT§PaB nig TMhMvinieyaK/
RbPBpÁt;pÁg;sMPar³/ TItaMgPUmisaRsþ/ PUKBÖsaRsþ/ briyakas/ cMnYnBlrdæ edIm,I
ykTinñn½yeGaykarKNna.
CMBUkTI 3 RKb;RKgsMNg;
eroberogeday³ sYs cMerIn lMnaMRKb;RKgsMNg;mUldæan
30
4> KNnadMbUg³ begáItKMnUrsMNg;/ KNnaeRKOgbgÁMúsMxan;²/ KNnabrimaN/
cMNaybNþaEdlRtUvsg. srubeFIVCar)aykarN_¬KMeragmunGnuvtþ¦.
5> m©as;vinieyaK esñIesckIþyl;RBm dl;sßab½nmansiT§isMerc.
6> sikSalMGit³ sikSabEnßmnUvTinñn½yEdlxVH¬emIlemeronCMBUkTI2 KMeragGnuvtþ¦.
7> KNnabec©keTs³ begáItKMnUrsMNg;/ KNnalMGiteRKOgbgÁMúsMNg;/
KNnabrimaN/ sresrbMNkRsay. srubeFIVCar)aykarN_KNnabec©keTs.
¬emIlemeronCMBUkTI2 KMeragGnuvtþnig KNna sMNg;sIuvil nig ]sSahkmµ¦.
8> m©as;vinieyaK esñIesckIþyl;RBm dl;sßab½nmansiT§isMerc elIbec©keTs nig
)a:n;sµanlMGit.
9> elImUldæan 7/ 8 m©as;vinieyaKerobcMedjéfø edIm,IeRCIserIssßab½nsagsg;.
lMdab;lMedayTRmugkartamc,ab;rbs;rdæaPi)al.
10> GMBICeRmIs sßab½neFIVCaTIRbwkSaKNna/ TIRbwkSaRtYtBinitü/ CamYybNþasMNg;FM²
k¾RtUverobedjéfø edIm,IeRCIserIs. CalT§plkMNt;sßab½nsagsg; ¬PaKI “x”¦
nig sßab½nTIRbwkSa.
11> edIm,Isagsg;/ sßab½nsagsg;CabÉmRtUvBinitüsßanPaBPUmisaRsþ/ sikSaBinitü
eLIgvij Tinñn½yKNna nig KNnasagsg;Cak;EsþgtamlMdab;kargarnimYy²³
TIlansagsg; ¬kEnøgsñak;enA/ kEnøgdak;sMPar³/ kEnøglayebtug >>>¦. begáIt
RbtiTinsagsg;sMNg;TaMgmUl/ RbtiTinsagsg;RKb;kargar >>>.
12> plitsMPar³ nig TijvtßúFatuedIm/ sMPar³/ KWCakargarmYyeRtommuneBlsagsg;
nig sßitenAkñúgdMNak;kalsagsg;rhUtdl;cb;. kMNt;TItaMg fµ/ xSac;/ RkYs/
sßanIy_bMEbkfµ/ kEnøgTijsIum:g;t_/ Edk/ srésEdk/ eRbgNÐn³ >>>.
CMBUkTI 3 RKb;RKgsMNg;
eroberogeday³ sYs cMerIn lMnaMRKb;RKgsMNg;mUldæan
31
bNþasMPar³ RtUvmanviBaØbnb®½tKuNPaB nig RtUvBiesaFn_BinitüKuNPaB. begáIt
bnÞb;BiesaFn_tamsMNUmBr ¬sMNg;FM²¦.
13> m©as;vinieyaKeFIVkarCamYyGaCJaFtMbn; GMBIsb,Tan nig sgéfødI/ pÞHsMEbg >>>.
epÞrTIlan eGaysßab½nsagsg;. enHCa TRmugmYyEdlCYbRbTHkarlM)akeRcIn/
QWk,al.
14> erobcMsagsg;KWCalT§plrbs; CMha‘n 11/ 12/ 13 . EbgEckkMNat;sagsg;
ya:gdUcemþc? rYmpSMRbtiTinsagsg;sMNg;ya:gdUcemþc? eFIVkarCamYyTIRbwkSa/
CamYym©as;vinieyaK GMBIkarBinitübec©keTs/ BinitüRKb;RKgTUTat;kargar
nimYy². edaHRsayPaBvivaT ¬dUcCa karBeRgIkTIlanminTan;eBl/ EkERb
EfmfykarKNna >>>CaedIm¦.
15> erobcMBinitükargarnimYy²/ dUcCa RKwH / srésEdkFñwm. sMPar³Bnitükargar
rYmman Tinñn½ysikSa-vas;EvgCak;Esþg dUcCa³ kMritkMBs;/ CIkRKwH/ ssrRKwH/
eCIgtag/ lT§plBiesaFn_ebtug/ Edk >>>. EpñkEdlsMxan; KW m©as;vinieyaK/
sagsg;/ TIRbwkSa.
eRkABIenH/ TIRbwkSaenABinitü/ BiesaFn_RKb;kargarnimYy²dUcCa ³ BiesaFn_sMPar³/
cak;ebtug/ EfTaMebtug >>>.
16> sMNg;bBa©b; ³ eFIVr)aykarN_bBa©b;kargarTaMgmUl/ mUldæanbegáItr)aykarN_
bBa©b;kargarKW³ KMnUrdUckñúgKNna/ b:uEnþxñatKWTinñn½yvas;Cak;Esþg.
17> begáItKN³kmµaBinitüsMNg;TaMgmUl³ CamYysMNg;FM²/ GacCaKN³kmµarbs;
rdæ. eTaHya:gNa/ EpñkEdlsMxan;KW³ ma©s; - Gñksg; - TIRbwkSa. BinitürYc/
RbKl;CUnma©s;vinieyaK.
CMBUkTI 3 RKb;RKgsMNg;
eroberogeday³ sYs cMerIn lMnaMRKb;RKgsMNg;mUldæan
32
eRkayeBl)anBinitü/ sßab½nsagsg;/ enAmanPar³Fanakñúgry³eBlmYykMNt;.
kñúgry³eBlenH/ ral;ehtukarN_xUcxatekIteLIg/ sßab½nsagsg;RtUvCYsCul
edaymancMNaybEnßm.
18> Binitü-TUTat;³ sßab½nsagsg; RbmUlÉksarTaMgGs;/ sMPar³/ KMnUrbBa©b;kargar/
brimaNCak;Esþg nig tamkic©snüa/ bNþaehtukarN_RtUvbþwgtva:/ bEnßmcMNay >>>
raykarN_eGayma©s;vinieyaK nig sßab½nepSg². TUTat;eTAtamkic©snüa.
2>lMnaMKNna
KnøwH/ xøwmsaenATIenHKW tambICMha‘n xageRkam³
• sikSa – KNnadMbUg/ )a:n;sµanTUeTA³ sikSaKNnabNþatMrUvkarsMxan;² edIm,I
eRbobeFobviFIsaRsþ/ )a:n;sµancMNay. PikSaviFIsaRsþedIm,IKNnabec©keTs
naMeTAsagsg;. edayEpñkKNnaGnuvtþ.
• sikSa – KNnabec©keTs/ )a:n;sµanlMGit³ tamviFIsaRsþEdl)aneRCIserIs/
sikSac,as;las;/ KNnaeRKOgbgÁúMRKb;lkçN³. )a:n;sµancMNaylMGitkargar
nimYy². RKb;lkçx½NÐedIm,InaMsMNg;cUleTAsagsg; nig RtUv)anesckIþyl;RBm.
edayEpñkKNnaGnuvtþ.
• sikSa – KNnasagsg;/ )a:n;sµan;sagsg;³ edayEpñksagsg;Gnuvtþ
edIm,IGnuvtþcMeKaledA/ eRKOgbgÁúMsMNg;tamKMeragKNnabec©keTsxagelI.
Epñksagsg;bgðajCak;Esþg KNnaRKb;RKgsagsg;. rYcehIyKNna)a:n;sµan
cMNaysagsg;.
CMBUkTI 3 RKb;RKgsMNg;
eroberogeday³ sYs cMerIn lMnaMRKb;RKgsMNg;mUldæan
33
3>TMnak;TMngrvag m©as;vinieyaK - Gñksagsg; - TIRbwkSa
GMBIKuNPaB nig dMeNIrkarsagsg; KWCaPar³kic©d¾sMxan;rbs;sßab½nsagsg;.
eRkaymkdl;sßab½nTIRbwkSaCamYyParkic©tamdan/ RtYtBinitübec©keTssagsg; nig
RbwkSaeGaym©as;vinieyaK nUvbNþaviFIsaRsþedaHRsayFM². edayehtuenH/
ral;karvivtþ/ edaHRsaykargarkñúglMnaMsagsg; ¬dUcCa ³ Binitü/ EkERbKNna >>>¦
manEtbIsßab½nKW m©as; - GñkGnuvtþ – TIRbwkSa.
TMnak;TMngeFIVkargarrvagbNþasßab½n sagsg; nig sßab½nTIRBwkSaRtYtBinitü/
GacBIBN’na dUcmnusSCwHkg;mañk;. kñúgenaH GñkCiHkg;KWCa sßab½nsagsg;. kg;mux KW
manbYn CaPar³rbs;sßb½nsagsg; ³ brimaN – sagsg; - RbKl; - suvtßiPaB.
kg;eRkayk¾manbYnEdr EdlCaPar³rbs; TIRbwkSabec©keTs KW Epnkar – KNna –
Binitü – yl;RBm. eyIgGacyl;fa³
• sßab½nsagsg; KWCaGñkTTYlPar³sMxan;GMBI dMeNIrkarsagsg;/ KuNPaB/
suvtßiPaBsagsg;.
• k,alma:sIun RKb;RKgrbs;sßab½nsagsg; ¬kg;mux¦ RtUvPar³sMxan; edIm,Ikg;
clnaeTAmux)anRtUvTisedA ¬bBa©b;kargar¦/ minCYbeRKaHfñak; ¬suvtßiPaB¦.
• sßab½nTIRbwkSa¬kg;eRkay¦/ manRKan;EtmantYnaTI CMnYy/ CMruj/ RtYtBinitü.
4> erobcMedjéfø – RKb;RKgKuNPaB
edjKWCarUbPaBmYy ¬RbLgeRCIserIs¦ bNþasßab½nsagsg;sMNg;mYy/ sMedAEsVgrk
sßab½nsagsg;elOn/ l¥/ tMélefak.
edjéfø/ ebIniyayGMBIniymn½yTUlay manBIrrUbPaB³
CMBUkTI 3 RKb;RKgsMNg;
eroberogeday³ sYs cMerIn lMnaMRKb;RKgsMNg;mUldæan
34
• CamYysMNg;FM²³ ¬GaRs½yedayTMhMvinieyaK/ RbPBTun >>>¦/
m©as;vinieyaKebIkkar edjéføCamYyCMha’ndUcxageRkam³ RbkasCUndMNwg/
TTYlÉksarsMuedjéførbs;bNþa sßab½nsagsg;/ erobcMBIFIeRCIserIs/ Rbkas
eQµHsßab½nQñH/ cuHhtßelxaelIkic©snüa sagsg;.
• CamYysMNg;tUctac³ m©as;vinieyaK mansiT§ikMNt;Gñksagsg;/ mann½yfa
eRCIserIssßab½nedaypÞal; ¬edaykarTMnak;TMng¦/ edIm,IEsVgrksßab½nsagsg;
elOn/ l¥/ tMélefak.
1> siT§iedjéfø ³
bNþaKMerageRbIR)as;Tunrbs;rdæ/ m©as;vinieyaKRtUverobcMedjéfø.
bNþaKMeragxageRkamRtUv)ankMNt;ykGñksagsg;.
• KMeragmanlkçN³RsavRCavBiesaFn_.
• KMeragmanlkçN³bnÞan;edayehtuplvibtiþFmµCati.
• KMeragmanlkçN³karsMgat;rbs;Cati/ snþisuxCati.
2> rUbPaBkic©snüa
rUbPaBkic©snüa KWCaxøwmsarmUldæankMNt;muneBlerobcMedjéfø. enAkmçúCasBVéf¶/
bBaðaenH enARtUvGnueLamtam/ lMnaMRKb;RKgsagsg;mUldæan/ KuNPaBÉksar
KNna nig )a:n;tMél/ viFIerobcMRKb;RKg-muxgar-Par³rbs;sßab½nsagsg;.
manrUbPaBmYycMnYndUcxageRkam³
• kic©snüakBa©b;/ RtUv)anGnuvtþeBlÉksarKNnabec©keTs-)a:n;tMél RtUv)an
KNnalMGit ¬dwgmun/ bBa¢ItMél manmUldæanc,as;tamKNnacg¥úlbgðaj
sagsg; ¦. dUcenH/ eBlm©as;vinieyaKEkERbKMeragbøg;/ manbrimaN
CMBUkTI 3 RKb;RKgsMNg;
eroberogeday³ sYs cMerIn lMnaMRKb;RKgsMNg;mUldæan
35
ekIteLIg enaHGñkemA:kar k¾RtUv)anTUTat;brimaNenaH. pÞúyeTAvij/
brimaNfy/ GñkemA:kark¾RtUvdkecjcMNaybrimaNfy.
• kic©snüa ¬esaéd¦ RtUv)anyl;faGñkTTYlemA:karGnuvtþTaMgPar³KNna nig
sagsg;. sßab½nemA:kartamkic©snüaenH KW ¬KMeragGnuvtþ¦ RtUv)an
yl;RBm.
• kic©snüamanEkERbtMél³ KWCakic©snüaEtgRtUv)anGnuvtþ CamYyKMeragrbs;rdæ
Edlx©ITunrbs;GgÁkar hirBaØvtßúBiPBelak edIm,IvinieyaKsagsg;ehdæarcna
sm<½n§. RbePTkic©snüaenH sµúKsµajRKan;ebI/ eRBaHRtUvc,as;las;brimaN
ekIteLIg RtUv)anTUTat;eRkAbrimaNkñúgkñúgÉksardMbUg.
• kic©snüasagsg;sMNg; RtUv)anGnuvtþ elImUldæanKNnabec©keTs -
)a:n;tMéllMGit/ RtUvnigkarkMNt; ¬GMBIKNnaeRKOgbgÁMú/ TRmugkarÉksar¦
edaysarsßab½nGaCIBmYyGnuvtþ ¬dUcCa sßab½nKNnapøÚvfñl;/ lMenAdæan >>>¦
eBlÉksarbec©keTs/ )a:n;tMélRtUv)anGñkEdlmansiT§isMercyl;RBm/
sßab½nKNna )anbBa©b;Par³kic©/ RtUv)anTUTat;cMNayKNnaTaMgGs;.
m©as;vinieyaK nwgCa ¬ma©s;vinieyaKKNna¦ nig manPar³ naMeTAsagsg;RtUv
tamsMNUmBr/ KuNPaB tamÉksarKNnaenaH. minRtUvTukeGaysßab½nmYy
¬GñkemA:kar¦ eFIVkarTaMgKNna nig sagsg;/ dUcCa ¬Tat;)a:l;pg
pøúMkEBa©pg¦/ EsnBi)akRKb;RKg. Cak;Esþgsßab½nsagsg; Bi)akcab;eGay
eRCA)anRTwsIþKNna/ bTdæaneRbIkñúgKNna. kñúgenaH/ EtgmanbBðaEkERb
cuHeLIgeRKOgbgÁMú.
• eBlNamYy)anmanÉksarKNna-)a:n;tMélc,as;las;/ RKb;RKan;/ kic©snüa
sagsg;KWCa kBa©b;. eTaHCak;EsþgenAEtminGacminkrNIbrimaNEfmfy
CMBUkTI 3 RKb;RKgsMNg;
eroberogeday³ sYs cMerIn lMnaMRKb;RKgsMNg;mUldæan
36
eFobCamYyKNna. sßab½nsagsg;/ edayviFIKNnaviTüasaRsþ/ eday
bTBiesaFn_/ manPar³EkERbya:gNaeGaytMélcugeRkayKW cMeNj b:uEnþenA
EtRtUvCamYyÉksarKNna.
• CamYyeKalkarTaMgBIxagelI/ eBlsagsg;sMNg;/ edaHRsayrl;kargar
nwgCa ³ m©as;vinieyaK – TIRbwkSa – GñkTTYlsagsg;.
3> lMnaMedjéfø
3>1> lMnaMedjéfødUcxageRkam³
1> GeBa¢IjGñkemA:karcUlrYmedjéfø.
2> Eck nig TTYlbNþaÉksarcUlrYmedjéfø.
3> viPaKTinñn½yGñkcUlrYmedjéfø/ erIs nig RbkaseQµaH GñkemA:kar)an
cUlrYmedjéfø.
4> Éksaredjéfø nig EckÉksaredjéfø
• lixitGeBa¢Ijedjéfø/ ENnaMeGaybNþaGñkedjéfø.
• lkçx½NÐkic©snüa.
• lkçN³bec©keTs.
• bNþaKMnUssMNg;.
• kMNt;bec©keTs.
• taragbrimaNkargar
• KMrUlixitedjéfø nig esckIþbEnßmmYycMnYn.
5> bNþaGñkedjéføeTABinitüemIlTItaMgsagsg;.
6> cm¶l;rbs;Gñkedjéfø/ viFIbkRsay.
CMBUkTI 3 RKb;RKgsMNg;
eroberogeday³ sYs cMerIn lMnaMRKb;RKgsMNg;mUldæan
37
7> dak; nig TTYlÉksaredjéfø.
8> ebIÉksaredjéfø³ m©as;vinieyaKerobcMBIFIebIkedjéfø.
9> vaytMélÉksaredjéfø³ m©as;vinieyaKGacCYlGñkCMnajvaytMél/ Binitü
emIl/ eRbobeFob bNþaÉksaredjéfø. eRkaymkerobcMRbCMueT,Igvij
CamYybNþaGñkedjéfø/ RbkaslT§pleRCIserIsGñksagsg;.
10> cuHkic©snüa
3>2>eKalkarN_eRCIserIsGñkemA:kar
• BinitüRbB½n§erobcMRKb;RKgTaMgmUl/ famBlsagsg;/ viFIsaRsþ
sagsg; Edl)andakkñuúgÉksaredjéfø.
• BinitüRbB½n§erobcMRKb;tMél/ ebItMélTab/ tMélsrubfycuH
elImUldæanmUldæan eRKOgcRksMPar³TMenIb/ erobcMRKb;RKgsagsg;
smRsb KWCaehtuplEdlGacTTYlyk)an.
RtUveRCosvagkareRCIserIsgayeBktamtMélTunedjéfø ¬RKan;Et
efakbMputKWyk¦ b¤ sßab½nsagsg;cg; ¬QñHedayral;tMél¦/ ral;
ehtukarN_ekIteLIgepSg²eTIbKittameRkay. sßab½nsagsg;mYy
¬x1¦ manviFIsaRsþsagsg;viTüasaRsþ/ sMPar³]bkrN_TMenIb/
b:uEnþtMéléføCagsßab½n ¬x2¦ EdlmanviFIsaRsþsagsg;min
viTüasaRsþ/ eyIgenAEteRCIserIssßab½n¬x1¦.
• srubmkvij eyIgKYr nig RtUveRCIserIsGñksagsg;elImUldæanbTdæan
c,as;las;.
4> xwømsarÉksarcUlrYmedjéfø¬PaKI x¦
lMnaMedjéføxagelI/ eyIgRtUvdwgRbePTÉksarBIr³
CMBUkTI 3 RKb;RKgsMNg;
eroberogeday³ sYs cMerIn lMnaMRKb;RKgsMNg;mUldæan
38
ÉksarsMucUlrYmedjéfø/ EdlCarbs; ¬PaKI k¦ kñúgenaHmanÉksarKNna
¬KMnUrsMNg;/ lkçN³bec©keTs/ brimaN >>>>¦ edaysßab½nKNna ¬b¤ TIRbwkSa
KNna¦ Gnuvtþ. edayELkkar)a:n;sµantMéllMGit/ eBledjéfø ¬PaKI k¦ rkSaTuk
CasMgat;.
ÉksarcUlrYmedjéfø ³ edayPaKI x GnuvtþelImUldæanÉksaredjéfø/ nigTRmugkar
rdæa)alepSg².
xageRkamenH xøwmsarÉksarcUlrYmedjéfø.
• lixitsMucUlrYmedjéfø.
• lixitFanacUlrYmedjéfø ³ rbs;FnaKar/ bBa¢Únfvikakk;sMrab;cUlrYm
edjéfø eGaym©as;vinieyaK. ebIminQñHkaredjéføRtUv)andkmkvij.
• segçbtMélTunvinieyaK ³ srubtMélTunbNþakargar ¬CIkdI/ cak;/ >>>>>¦
• lixitGnuBaØatRbkbGaCIvkmµ.
• Éksar]eTsnamsmtßPaB/ Tun/ buKÁlik/ ]bkrN_/ eRKOgcRk/
bNþasMNg;EdlCasñaédsagsg;.
• sMraybBa¢ak;KNnaerobcMRKb;RKgsagsg;³ ép¥kelIKMnUrsMNg;/ brimaN/
bec©keTs kñúgÉksaredjéførbs; ¬PaKI k¦ pþl;eGay. sMraybBa¢ak;
GMBIkarerobcMsagsg; dUcCa³ kargareRtomsagsg;/ vIFIsaRsþsagsg;
RKwH/ eRKOgbgÁMú >>>RbtiTinkargarsagsg;.
CMBUkTI 4 RKb;RKgsMNg;
eroberogeday³ sYs cMerIn begáItRbtiTinkargarkñúgplitkmµsMNg;
39
CMBUkTI 4
begáItRbtiTinkargarkñúgplitkmµsMNg;
I. tYnaTI nig xwømsarénkarbegIátEpnkartamry³eBl
¬RbtiTinkargar¦
sMNg;sIuvilnig]sSahkmµ k_dUcCa bNþaplitkmµepSg²eTot cg;sMerc)anTisedA
dak;ecj KWRtUvmanEpnkarN_plitkmµCak;c,as;. EpnkarplitkmµmYy
RtYv)anpSaP¢ab; CamYyGk½Sry³eBlmYy eyIgeGayeQµaHfa Epnkartamry³eBl b¤
RbtiTinkargar. dUcenH RbtiTinkargarKWCa Epnkar)anpSaP¢ab;nigRbtiTinkt;ehtukarN_.
ral;Epñkrbs;RbtiTinkargarRtUv)anP¢ab;eedayGk½Sry³eBlkMNt;mYy.
kardæansMNg;dMeNIrkar)an Kwedaysarsßab½nsg;tMeLIgeRcIn rYmCamYynig
karcUlrYmrbs;GñkvinieyaK/ GñkKNna/ shRKaspÁt;pÁg;eRKOgcRkbrikçar nig
bNþaRbePTFnFanepSg² >>> . dUcenH sagsg;sMNg;mYy KWCaRbBn§½bBa¢amYy
sµúKsµaj/ FMNas;. eRBaHkñúgRbBn½§RKb;RKgmaneRcInEpñkNas; ehIycMNg
Tak;TgrvagBYkva mankarsaMjauMNas;Edr. PaBsµúKsµajTaMgbrimaNTaMgsßanPaB
rbs;va manlkçN³ERbRbYl nig RseBcRsBil. dUcenH kñúgkarsagsg;sMNg;min
GacGHGagb¤bBa¢aedaydac;xat)aneT b:uEnþvamanlkçN³Rbhak;RbEhl. edIm,I
sagsg;sMNg;mYy RtUvmanKMrUviTüasaRsþRtYtRta/ bNþalMnaMRKb;RKg nig
cg¥úlbgðajkargarsagsg;. KMrUenaHeyIgk¾GacehAfa RbtiTinkargarkñúgplitkmµ
sMNg;pgEdr.
CMBUkTI 4 RKb;RKgsMNg;
eroberogeday³ sYs cMerIn begáItRbtiTinkargarkñúgplitkmµsMNg;
40
eBlsagsg;sMNg;mYyRtUvGnuvtþbNþalMnaMsagsg;eRcInNas; eRBaHvamanTMnak;TMng
s¥itrmYtenAkñúgTIlMMh nig ry³eBlkMNt; ehIyk¾GaRs½ynigRBMEdnrbs;FnFan.
dUcenH TisedAénkarbegáItRbtiTinkargar KwbegáItKMrUplitkmµmYy/ kñúgenaH
manerobcMlMdab;kargar eRkaymkFanasagsg;sMNg;kúñgry³eBlxIø/ mantMélTab/
KuNPaBx<s;.
TisedAenHGacCakarCak;EsþgmandUcxageRkam³
1> bBa©b; nig dak;bNþalMdab;kargarsagsg;sMNg;tamEpñknimYy² k_dUcCasrub
elIsMNg;TaMgmUleGayeFIVskmµPaBRtwmRtUvtamry³eBlkMNt;.
2> eRbIR)as;smRsbeRKOgcRkbrikçar.
3> bnßyry³eBlraMgsÞHFnFanEdlminTan;eRbIR)as;.
4> begáItEpnkareRbIR)as;RbesIr sMrab;mUldæansMPar³bec©keTsbMerIkar
sagsg;.
5> pÁt;pÁg;Tan;eBlbNþadMeNaHRsayEdlmanRbeyaCn_ edIm,IGnuvtþn_sagsg;
sMNg;.
RbtiTinkargarCanic©CakalRtUvsEmþgCaragKMnUstag ¬RkahVik b¤ DIya:Rkam¦.
eyagelI lkçN³rbs;sMNg; nig tMrUvkarrbs;lMnaM]sSahkmµkarbgðajRkhiVk
GacsEmþgeRkamrag epþk/ eRTt/ bNþaj ehIynwgBiBN’nalMGitenAGtßbTemeron
eRkaybnþeTot.
Casegçb/ RbtiTinkargar KWCaEpnkarplitkmµEdlsEmþgedayRkahiVk
kñúgenaHbgðajBIxøwmsarEdlrYmman³ Tinñn½yKNna/ bNþadMeNaHRsayGnuvtþkñúg
CMBUkTI 4 RKb;RKgsMNg;
eroberogeday³ sYs cMerIn begáItRbtiTinkargarkñúgplitkmµsMNg;
41
dMeNIrkarsagsg;rYmman³ lMnaM]sSahkmµ/ ry³eBl/ TItaMg/ tYnaTI nig
brimaNénbNþakargarsagsg;CamYylkçN³xNÐGnuvtþrYm.
RbtiTinkargar KWCaEmkFagEdlminGacpþac;ecjBI KNnaRKb;RKg nig KNna
RKb;RKgsagsg; .
RbtiTinkargarsMrab; KNnaRKb;RKgsMNg; EdlteTAeyIgehAkat;fa RbtiTin
kargarRKb;RKgsMNg; EdlbegáItedaysßab½nTIRbwkSaKMerag EdlrYmman³ KNna/
eRtomsg;tMelIg/ kic©snüapÁt;pÁg;eRKOgcRk/ brikçar/ pþl;Éksarr)aykarN_bMerI
sagsg; nig naMsMNg;cUleFIVskmµPaB. RkahVikRbtiTinkargar ebICasMNg;
tUctaceyIgGacbgðajedaybnÞat;epþk/ ebICasMNg;FM² eyIgbgðajedayDIya:Rkam
bNþaj. kñúgRbtiTinkargar bNþakargarbgðajeRkamragTUeTA/ kargareRcIn
rbs;sMNg;)anRbmUleLIgvijEdlbgðajedaykargarsrubmYy. kñúgRbtiTin
kargarsrub RtUvcg¥úlbgðajBIry³eBlsMxan;²dUcCa dMNak;kalsagsg;/ éf¶bBa©b;
rbs;lMdab;kargarnimYy²/ eBlevlapÁt;pÁg;eRKOgcRk/ brikçareGaysMNg; nig
éf¶sMercelIkargarTaMgmUl.
RbtiTinkargarkñúg KNnaRKb;RKgsagsg;sMNg; EdlteTAeyIgehAkat;fa
RbtiTinkargarRKb;RKgsagsg; EdlCatYnaTIGñkemA:karGnuvtþn_ CamYynigkar
cUlrYmrbs;GñkvinieyaKTn;rg. kñúgenaHbgðajBIkargareRtom/ sMNg;beNþaHGasnñ/
sMNg;sMxan; nig ry³eBlnaMkargarnimYy²eGayeFIVskmµPaB. RbtiTinkargar
RKb;RKgsagsg; GacsEmþgedaybnÞat;epþk b¤ bNþaj. RbtiTinkargar
RKb;RKgsagsg;srub begáIteLIgedayEp¥kelIbNþaÉktasMNg;. bNþaÉkkþasMNg;
eBlcgP¢ab;CamYyKña KWEp¥kelIkarlMnaM]sSahkmµ nig bMerIbMras;FnFan.
CMBUkTI 4 RKb;RKgsMNg;
eroberogeday³ sYs cMerIn begáItRbtiTinkargarkñúgplitkmµsMNg;
42
kñúgRbtiTinkargar bNþakargarsg;tMelIgRtUv)ankMNt;lMGitRbePTnimYy²/
brimaNtamKNnarbs;KNnasagsg;. ry³eBlkMNt; edIm,IsMerclMdab;kargar
nig elIsMNg;TaMgmUlRtUveGaysIunig RbtiTinkargarRKb;RKgsMNg;.
RbtiTinkargarsagsg;sMNg; eRbIedIm,Icg¥úlbgðasagsg;sMNg;/ edIm,IvaytMél
PaBlMeGogrvagkargarCak;Esþg nig EpnkarN_)anbegáIt. ebIPaBlMeGogrvag
plikmµ nig Epnkar FMeBkdl;kMritNamYyenaH RtUvbegáItRbtiTinkargareLIgvij.
begáItRbtiTinkargarfµI edayEp¥kelIsßanPaBCak;EsþgkñúgxN³eBlenaH dUcenH
eyIgrkSa)anTisedAmUldæan/ ebImanPaBlMeGogkan;EttUckan;Etl¥/ CaBiess
KWry³eBlsagsg;.
II. bNþaCMhanbegáItRbtiTinkargar
RbRktiTinkargarsagsg; RtUv)anbegáItedayEp¥kelITinñn½y nig KNnarbs;KNna
RKb;RKgsMNg; b¤ KNnaRKb;RKgsagsg; CamYyniglT§plsikSabEnßmmYycMnYn
EdlGaRs½ynigcMNucBiessrbs;kardæan. kñúgbNþaTinñn½yTaMgenaH/ CaBiess
ykcitþTukdak;dl;ry³eBlkMNt;rbs;lMdab;kargarsMNg; nig kardæansMNg;
TaMgmUl.
edIm,IRbtiTinkargarbegáIt)anelOn ehIybMeBj)antMrUvkardak;ecj nig man
lkçN³smRsb/ Gñkbec©keTsRtUvGnuvtþn_bNþaCMhandUcxageRkam.
1> viPaKlMnaM]sSahkmµsagsg;sMNg;.
2> begáItlMdab;kargarEdlnwgGnuvtþnsg;tMeLIgsMNg;.
3> kMNt;brimaNkargartamlMdab;kñúgtarag.
CMBUkTI 4 RKb;RKgsMNg;
eroberogeday³ sYs cMerIn begáItRbtiTinkargarkñúgplitkmµsMNg;
43
4> eRCIserIsviFIsaRsþbec©keTssagsg;eGaybNþakargar.
5> kMNt;cMNayBlkmµ¬ éf¶Blkmµ¦ nig eRKOgcRk ¬evneRKOgcRk¦.
6> kMNt;ry³eBlsagsg; nig tMrUvkarFnFan.
7> begáItRbtiTinkargarmUldæan.
8> kMNt;lkçN³esdækic©bec©keTs.
9> eRbobeFobtMrUvkarrbs;RbtiTinkargarEdleTIbbegáIt CamYyTisedA
dak;ecj.
10> eFIVeGayRbesIrRbtiTinkargartamTinñn½yGaTiPaB.
11> RbtiTinkargarmankarTTYlsÁal;.
12> begIþttaragtMrUvkarFnFan.
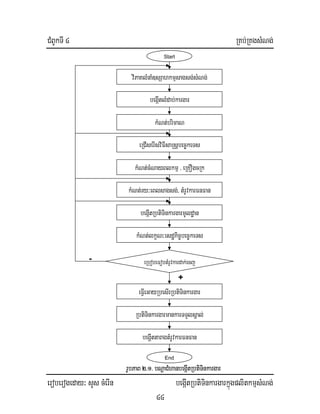
tamrUbPaB 2>1 bNþaCMhanGnuvtþbgðajtamlMdab;erog LOGIC .
III.1. viPaKlMnaM]sSahkmµ
KWCaCMhandMbUg b:uEnþCaCMhansMxan;Nas;. vakMNt;TiseGaybNþadMeNaHRsay
lMnaM]sSahkmµEdlnwgeRCIserIsCaeRkay. cg;viPaK)anlMnaM]sSahkmµsMNg;
RtUvEp¥kelI KNna]sSahkmµ/ sßabtükmµ nig eRKOgbgÁMúrbs;sMNg;. viPaK
lT§PaBsagsg;sMNg;elIlkçN³eRCIserIslMnaM]sSahkmµ GnuvtþbNþalMnaM
sagsg;smRsb nig PaBcaM)ac;eRKOgcRk nig sMPar³sMNg;bMerIsagsg;.
karviPaK]sSahkmµplitcab;epþImtaMgEtBI KNnasMNg; Edlmansßab½n
TIRbwkSaKMerageFIVCaRbFan nig mankarBiPakSaCamYyGñkGnuvtþn_sagsg;/
CMBUkTI 4 RKb;RKgsMNg;
eroberogeday³ sYs cMerIn begáItRbtiTinkargarkñúgplitkmµsMNg;
44
Start
viPaKlMnaM]sSahkmµsagsg;sMNg;
begáItlMdab;kargar
kMNt;brimaN
eRCIserIsviFIsaRsþbec©keTs
kMNt;cMNayBlkmµ/ eRKOgcRk
kMNt;ry³eBlsagsg;/ tMrUvkarFnFan
begáItRbtiTinkargarmUldæan
kMNt;lkçN³esdækic©bec©keTs
eFIVeGayRbesIrRbtiTinkargar
eRbobeFobtMrUvkardak;ecj
RbtiTinkargarmankarTTYlsÁal;
begIþttaragtMrUvkarFnFan
End
+
-
rUbPaB 2>1> bNþaCMhanbegáItRbtiTinkargar
CMBUkTI 4 RKb;RKgsMNg;
eroberogeday³ sYs cMerIn begáItRbtiTinkargarkñúgplitkmµsMNg;
45
CYnkalmanTaMgeyabl;rbs;PaKITak;TgepSg² dUcCa m©as;pþl;edImTun/
sßab½nmanPar³pÁt;pÁg; eRKOgcRk/ brikçaeGaysMNg;k_dUcCabMerIsagsg;.
karshkarN_rvagKñaRKb;lkçN³ nwgbegáIt)anCMerIs]sSahkmµ ¬sagsg;enA
nigkEnøg b¤ cab;tMelIg/ eRbIR)as;sMPar³kñúgRsuk b¤ eRkARsuk/
dMeNaHRsayRKwH/ eRKOgbgÁúMrgkMlaMg/ bMBak;eRKOgsgðarwm¦. eRkayeBl)an
eRCIserIslMnaM]sSahkmµsagsg;eyIgbnþkareFIVviPaKlMnaM]sSahkmµenaH.
viPaKlMnaM]sSahkmµsagsg; edIm,IbegáItRbtiTinkargarEdlsßab½n sg;tMeLIg
Gnuvtþ ehIymankarcUlrYmrbs;sßab½neRkambgÁb;. karviPaKlkçN³plitkmµ
edIm,Iyl;c,as;lMnaM]sSahkmµsagsg; eFIVeGaybNþasßab½nGnuvtþ kan;kab;
hµt;ct;elIkargar nig nwgmanviFIsaRsþbec©keTssmRsb. viFIsaRsþGnuvtþ
mYycMnYn GnuBaØat)anEtsMerckargarbEnßmlMnaM]sSahkmµ Edl)aneRCIserIs/
ral;sMPar³pøas;bþÚrmineFIVeGayfyKuNPaBsMNg; >>>> sMxan;bMput KW mineFIV
eGaybnøayeBlevlasagsg;.
III.2. begáItlMdab;kargar
Ep¥keTAnigkarviPaKlMnaM]sSahkmµplitkmµ nig bNþakarKNnakñúgKMerag.
kargarTaMgGs;kñúglMdab;kargar nwgRtUv)anbgðajelIRbtiTinkargar. dUcenH
karEckEpñkbNþalMnaMCabNþakargarRtUvsmmUlniglkçxNÐdUcxageRkam³
• eQñaHkargarRtUvCamYynigelxsMKal;kñúgbTdæaneRbIR)as;.
• kargarGacGnuvtþn_sagsg;ÉkraCükñúglMh k¾dUcCary³eBlminrg nigk¾
minbgárraMgsÞHdl;bNþakargarepSg².
CMBUkTI 4 RKb;RKgsMNg;
eroberogeday³ sYs cMerIn begáItRbtiTinkargarkñúgplitkmµsMNg;
46
• kargarmYyRtUvmanbrimaNRKab;RKan;sMrab;mYyÉkta ¬BYk/ Rkum¦ eFIVkar
kñúgry³eBlkMNt;.
• kñúglT§PaBEdlGac KYEbgEckkargarnimYy²tamÉkeTskmµ/ kñúgkrNI
minGaceTIbeyIgerobcMRkumEdlbMerIkargar)aneRcInmuxb¤k¾Rcbl;Kña.
• enAxN³eBlbBa©b; bNþadMNak;kalsagsg;sMNg;bNþakargarEdlman
TMnak;TMngk¾RtUvbBa©b;enAxN³eBlenaH.
• kargarmYycMnYnEdlminGnuvtþn_enAkardæan b:uEnþsßitenAdMeNIrkarsagsg;
k_RtUvdak;cUlkñúglMdab;kargar.
• kargarFMmYycMnYnGacEbgEckCakargartUc²eRcIn edIm,IGacrYmpSMsagsg;
RsbRsbKña CamYybNþakargarepSg edIm,Ibnßyry³eBlsagsg;.
• kargartUc²eRcIn brimaNticGacbUkrYmKña edIm,IkøayCakargarmYyeRkam
eQµaHrYm edIm,IgayRsYskñúgkarbgðajDIya:Rkam.
III.3. kMNt;brimaNkargar
brimaNkargar Canic©kaledIrCamYylMdab;kargar RtUv)anKNnatamKMerag
bøg;sagsg; nig sMraybBa¢ak;rbs;karKNna. Éktarbs;brimaN EdlEtgEt
eRbIR)as;KWÉktargVas;rgVl; ¬Em:Rt/ Em:Rtkaer:/ Em:RtKUb/ etan/ edIm/
eRKOg>>>. ehIyk¾GaceRbIÉktarUbIuvtßúsmmUlkñúgbTdæan/ tMélÉktaeRbIR)as;.
kMNt;RtwmRtUvtambrimaN KWmUldæankñúgkareRCIserIsmeFüa)ay/ viFIsaRsþ
sagsg;smRsb. tamry³enH kMNt;c,as;las;Blkmµ/ eRKOgcRk nig ry³
eBlsagsg; edIm,IbegáItRbtiTinkargar.
CMBUkTI 4 RKb;RKgsMNg;
eroberogeday³ sYs cMerIn begáItRbtiTinkargarkñúgplitkmµsMNg;
47
III.4. eRCIserIsviFIsaRsþbec©keTssagsg;
QrelImUldæanbrimaNkargar niglkçxNÐGnuvtþn_ eyIgeFIVkareRCIserIsviFIsaRsþ
sagsg;. kñúgkareRCIserIsviFIsaRsþsagsg; GTiPaBeRbIR)as;eRKOgynþ nwg
bnßyry³eBlsagsg; ehIyk¾eFIVeGayekInfamBlBlkmµ nig fytMéleTopg.
eRCIserIseRKOgcRk RtUveKarBtamc,ab; :ynþkmµTMenIbRBmKña :. kñúgmYyRkum
eRKOgcRk eRCIserIseRKOgcRksMrab;kargarsMxan; b¤ kargarmanbrimaNFM
muneRkayenaH eyIgeRCIserIsbNþaeRKOgcRkEdlenAesssl;. krNIman
viFIsaRsþGnuvtþn_eRcInkñúgkareRCIserIseRKOgcRk RtUvGnuvtþn_RtUveRbobeFob
tMrUvkaresdækic©/ bec©keTs. eRbIR)as;k,Ünc,ab;sagsg;Blkmµ manEtkñúg
krNIlkçxNÐsagsg;minGnuBaØatiþeGayeRbIR)as;eRKOgcRk/ brimaNticeBk b¤
karcMNaymantMélx<s;ebIeRbIR)as;eRKOgcRk.
eBleRCIserIseRKOgcRkeRkABIKuNsm,tiþbec©keTs eyIgRtUvykcitþTukdak;
dl;smtßPaB nig T§iBlrbs;k,Ünc,ab;sagsg;elIbrisßanCMvij ¬PaBkkVk;/
FulI/ rej:rja:j>>>¦.
III.5. eRCIserIs)a:ra:Em:Rtrbs;RbtiTinkargar ¬htßBlkmµ
eRKOgcRk¦
RbtiTinkargarGaRs½yedayRbePT)a:ra:Em:RtmUldæanbI enaHKW lMnaM]sSahkmµ/
TItaMg nig ry³eBl. )a:ra:Em:RtlMnaM]sSahkmµrYmman³ cMnYnRkumeFIVkargar
ÉkraCü/ brimaNkargar/ smasPaBRkum ¬buKÁlik¦/
CMBUkTI 4 RKb;RKgsMNg;
eroberogeday³ sYs cMerIn begáItRbtiTinkargarkñúgplitkmµsMNg;
48
smtßPaBkargarrbs;Rkum. )a:ra:Em:RtTItaMgrYmman³ TItaMgeFIVkargar/
ExSbnÞat;kargar/ kMNat;sagsg;/ nig evnsagsg;.
)a:ra:Em:Rtry³eBlrYmman³ ry³eBlsagsg;kargar nig
ry³eBlnaMtamEpñknimYy² b¤EpñkTaMgmUlrbs;sMNg;cUleFIVskmµPaB. bNþa
)a:ra:Em:Rtrbs;RbtiTinkargar manTMnak;TMngrvagKñatamkarRKb;RKgya:g
s¥itrmYt. karERbRbYl)a:ra:Em:RtNamYy² nwgeFIVeGaybNþa)a:ra:Em:RtepSg²
ERbRbYltam nigeFIVeGayERbRbYlRbtiTinkargarsagsg;Edr. kareRCIserIs
)a:ra:Em:Rt CadMbUgRtUvRsbCamYylMnaM]sSahkmµsagsg; eRkaymkRtUveGay
smRsbnigkargarRKb;RKg. GaRs½ytamviFIsaRsþRKb;RKg eKGaceRCIserIs
bNþa)a:ra:Em:Rttamk,Ünc,ab;epSg²mYycMnYneTot ¬nwgBinitüCak;EsþgCaeRkay
kñúgkrNIedayELk¦.
• EbgEcképÞsagsg;/ kMNat;sagsg;RtUvnigeRKOgbgÁMú/ sßabtükmµ edIm,I
cMENkkargarsagsg;nimYy²ÉkraCü nig FanaKuNPaBsMNg;.
• brimaNrbs;kargarnimYy²RtUvmanbrimaNRKb;RKan; edIm,IeRbIR)as;
RbkbedaylT§pl elIsmtßPaBeRKOgcRk/ kMlaMgRkum.
tMrUvkarBlkmµ kñúgkarsMerckargarRtUv)ankMNt;tamrUbmnþ¬4>1¦³
L = S. Q / W/ nak; ¬4>1¦
kñúgenaH ³ Q - brimaNkargar ¬ÉktargVas;rgVal;¦/
S-bTdææancMNayry³eBlsMerckargar¬ema:g¼1ÉktargVas;rgVal;¦/
CMBUkTI 4 RKb;RKgsMNg;
eroberogeday³ sYs cMerIn begáItRbtiTinkargarkñúgplitkmµsMNg;
49
W - cMnYnema:gkñúgmYyevneFIVkargar ¬ema:g¦.
tMrUvkarsMrab;eRKOgcRkedIm,IsMerckargarRtUv)ankMNt;tamrUbmnþ¬4>2¦³
M = Q / P/ eRKOg ¬4>2¦
kñúgenaH³ Q - brimaNkargar ¬ÉktargVas;rgVal;¦/
P- smtßPaBrbs;eRKOgcRkkñúgmYyevneFIVkargar/
kñúgkrNIkargarpSMBIkargareRcIneyIgkMNt;bNþa)a:ra:Em:RttambTdæantMélmFüm
rbs;bNþasmasPaBkargartamtamrUbmnþ ¬2>3¦³
L = C / LC/nak;
M = C / MC/eRKOg ¬4>3¦
kñúgenaH ³ C - brimaNkargarEdlKittamfvika¬ÉktarUbIuvtßú¦/
LC, MC - smtßPaBBlkmµ nig smtßPaBeRKOgcRkKittam
tMélrUbIuvtßú.
ebIkñúgbTdæan nig Tinñn½yKNna pþl;minRKb;RKan;kñúglMdab;kargarmYycMnYn/
GñkbegáItRbtiTinkargar RtUvykTinñn½ytambTBiesaFn_ nig kar)a:n;sµan.
xageRkamenH eyIgEsVgyl;nUvk,Ünc,ab;rYmmYycMnYn eBlEdleyIgcg;kMNt;
bNþa)a:ra:EmRtTaMgenaH.
CMBUkTI 4 RKb;RKgsMNg;
eroberogeday³ sYs cMerIn begáItRbtiTinkargarkñúgplitkmµsMNg;
50
• cMnYnRbePTkargar ¬kñúglMdab;kargar¦ eRCIserIseTAtamkMritCMnajrbs;
Rkumsagsg;/ kargarEbgEckkan;EttUc nwgkan;EtekInBlkmµ eFIVeGay
cMnYnkargarekIneLIg CaFmµtavanwgbnøayeBlevlasagsg; nig karerobcM
RKb;RKgkan;EtsµúKsaµj.
• kareRbIR)as; ¬cMnYnkmµkr/ cMnYneRKOgcRk¦ tamEpñkeGayRbesIrbMput
¬CaFmµtamanbgðajkñúgbTdæanbec©keTs¦ nwgpþl;eGaykargarmanfamBl
x<s;bMput/KuNPaBFana. kareRbIR)as;buKÁlikRtUvGnuvtþn_tamrUbmnþ ¬4>4¦
Lmin ≤ Lij ≤ L max;
Mmin ≤ Mij ≤ M max. ¬4>4¦
kñúgenaH³ Lij, Mij - kmµkr/eRKOgcRkrbs;kargari eFIVkarenATItaMgj/
Lmin, Mmin - cMnYnkmµkr/ eRKOgcRkGb,brmaedIm,IGaceFIVkargarl¥
¬tambTdæan¦ ehAtamrebobepSgKW Rkumkargar
dMbUg.
Lmax, Mmax - cMnYnkmµkr/ eRKOgcRkGtibrmaedIm,IGaceFIVkargar)an
CaFmµtaelIkMNat;kargar.
• ebIkargarsagsg;eRbI)as;eRKOgcRkpg RBmTaMgeRbIR)as;Blkmµpg KWRtUv
eRCIserIs)a:ra:Em:RteRKOgcRkmun/ )a:ra:Em:RtmnusSeRCIserIsCaeRkayeday
GaRs½yelIbrimaNeRKOgcRk.
CMBUkTI 4 RKb;RKgsMNg;
eroberogeday³ sYs cMerIn begáItRbtiTinkargarkñúgplitkmµsMNg;
51
III.6. kMNt;ry³eBlsagsg;
ry³eBlsagsg;kargarGaRs½yeTAelIbrimaN/ bnÞat;kargar/ kMriteRbIR)as;
FnFan nig ry³eBlkMNt;sagsg;sMNg;. edIm,Irujel,Ónsagsg;/
elIkkMBs;GtßRbeyaCn_eRKOgcRkTMenIb RtUvykcitþTukdak;dl;rbbeFIVkargar
BIr b¤ bIevn/ kargarsMxan;mYycMnYn KYreRbIR)as;eRKOgcRkRBmKña. CaTUeTA
karekInevnnwgeFIVeGayekIntMéldUcCaBnøå/ karcayvayra:b;rgkargarBIrevn b¤
bIevn/ ekInbuKÁlikbec©keTs/ RKb;RKg. lMnaMsagsg;edayeRbIR)as;
BlkmµmYycMnYnedIm,IbegáInevnplit ekItenAeBlbrimaNkargarFM bu:EnþbnÞat;
kargarnwgceg¥ótminGaceFIVkarbEnßmkmµkr)an.
eBllkçxNÐsagsg; manlkçN³GacGnuvtþ)an nig RbkbedayesßrPaB/
ry³eBlsagsg;kargarkMNt;tamrUbmnþ¬4>5¦/ ¬4>6¦³
tij = Lij / (a.Li)/ ¬4>5¦
tij = MSij / (a.Mi)/ ¬4>6¦
kñúgenaH ³ tij – ry³eBlsagsg;kargar ij ¬éf¶¦/
Lij- brimaNBlkmµ¬éf¶Blkmµ¦ sMerckargar/
MSij - cMnYnevneRKOgcRksMerckargar/
a - cMnYnevneFIVkarkñgmYyéf¶¬rbbeFIVkargar¦/
Li, Mi - cMnYnkmµkr/ eRKOgcRkrbs;Rkum.
CMBUkTI 4 RKb;RKgsMNg;
eroberogeday³ sYs cMerIn begáItRbtiTinkargarkñúgplitkmµsMNg;
52
kñúgkargarCak;Esþg/ eKenAykcitþTukdak;dl; ry³eBlsagsg;qab;bMput nig
yUbMput. enaHKW RBMEdnGñkRKb;RKgsMNg;dwgedIm,IeRbIR)as;RbtiTinkargar.
ry³eBlsagsg;qab;bMput Tmin man)an eBlNaeyIgeRbIR)as;lT§PaB
Gnuvtþn_kargarGtibrmaelIbnÞat;kargar nig lT§PaBpÁt;pÁg;FnFan.
ry³eBlsagsg;yUrbMput Tmax man)an eBlNaeyIgeRbIR)as;lT§PaB
Gnuvtþn_kargarGb,brma CamYynig RbPBFnFansmmUl Edlkargarminrgkar
xUcxat. dUcenH ry³eBlsagsg;kargaryUrbMput eBlRKan;EterobcM
eRKOgcRksagsg;mYy b¤ mYyRkumplitkmµmUldæan. enATIenH Rkumplitkmµ
dMbUg KWCasßab½nplitkmµGtibrmaCamYynig cMnUnmnusSGb,brma b:uEnþenAEt
FanafamBlplit. KNnatamcMnYnmnusS ¬ RkumplitkmµmUldæanCaFmµta
RtUv)ansresrkñúgbTdæanbec©keTs¦
Ca]TahrN_³ kargarmYymanbrimaNBlkmµ 120 éf¶/ RkumplitkmµdMbUg
rbs;kargarenaH 5 nak; ebIbnÞat;kargarGnuBaØatiþ (Lmax ≤ 40) eyIgk_GacerobcM
cMnYnkmµkrnigry³eBlsagsg;dUctarag¬4>1¦
tarag4>1
cMnYnRkumplitkmµdMbUg (b) ! @ # $ ^ *
cMnYnkmµkreFIVkñúgmYyéf¶ (L) % (Lmin) !0 !% @0 #0 $0 (Lmax)
ry³eBlsagsg;/ éf¶ (t) @$ !@ * ^ $ #
CMBUkTI 4 RKb;RKgsMNg;
eroberogeday³ sYs cMerIn begáItRbtiTinkargarkñúgplitkmµsMNg;
53
cMnYnkmµkr L = a.b.Lmin GacerobcMeFIVkargar a = 1; 2 b¤ 3 evn ¼ éf¶. dUcenH/
ry³eBlsagsg;sagsg;qab;bMput tmin = 3 éf¶. ebIeFIVticCag # éf¶ nig eRcIn
Cag @$ éf¶ suT§EtnaMeTAdl;llT§plminl¥ ¬sMrab;kareRbIR)as;kmµkr b¤
KuNPaBkargar¦.
eRkayeBlkMNt;ry³eBlsagsg; eyIgGackMNt;kMriteRbIR)as;sMPar³tam
rUbmnþ³
q = (Qij.q0) / Tij,
cMNayfvikatamrUbmnþ³
C = (Qij.C0) / Tij,
kñúgenaH ³ q – kMriteRbIR)as;sMPar³kñúgmYyéf¶/
Qij – brimaNkargari Gnuvtþn_elIkMNat;kargar j,
Tij – ry³eBlsagsg;,
C – tMélcMNaysMrab;kargarkñúgmYyéf¶,
q0, C0 – bTdæansMPar³/ tMélkargar.
eBlry³eBlsagsg;minkMNt;Cak;c,as;/ eKeRbIR)as;tMélEdlTukcitþ.
enaHKW krNIlMnaMGnuvtþn_kargarCYbRbTHkargarERbRbYl RtUvBüakrN_ edaykar
eCOrCak;kMNt;mYyBIbTBiesaFn_sagsg; b¤ lkçxNÐsagsg;GaRs½yeday
ktþaénkarERbRbYlCaeRcIn. eRbIR)as;tMélTukcitþ GMBIry³eBlsagsg;Ep¥kelI
viFIsaRsþKNnaKNitsaRsþeyIgRsavRCaveGayc,as;enACMBUkeRkay.
CMBUkTI 4 RKb;RKgsMNg;
eroberogeday³ sYs cMerIn begáItRbtiTinkargarkñúgplitkmµsMNg;
54
III.7. begáItRbtiTinkargardMbUg
eRkayeBleRCIserIsviFIsaRsþsagsg; nig kMNt;)anbNþa)a:ra:Em:Rt/ eyIgbnþ
Gnuvtþn_begáItRbtiTinkargardMbUg.
begáItRbtiTinkargarrYmman kMNt;viFIsaRsþbgðajRbtiTinkargar nig
lMdab;lMnaM]sSahkmµeGaysmRsb edIm,IdMeNIrkarkargarsagsg;.
RbRktiTinkargarGacbgðajeday RkahiVkepþk/ RkahiVkeRTt/ DIya:RkambNþaj.
eRCIserIsviFIsaRsþNak_RtUvGaRs½yeTAelITMhM/ lkçN³sµúKsµajrbs;sMNg;.
RkahiVkepþksMEdgRbtiTinkargarsMNg;tUc² nig lMnaM]sSahkmµgayRsYl.
RkahiVkeRTt sMEdgRbRktiTinkargarsMNg;EdlTamTarkarR)akdRbCaGMBI
ry³eBl nig TIlMh. RkahiVkeRTt Gacl¥RbesIrelIkargarEdlman
brimaNtic. DIya:RkambNþaj sMEdgRbtiTinkargarsagsg;sMNg;FM² nig
sµúKsµaj. kñúgenaHEdr ykcitþTukdak;dl;lMnaM]sSahkmµ/ Canic©CakaleRbI
R)as;lT§PaBBeRgIkkargarRBmKña RsbKña edIm,Ikat;bnßyry³eBlsagsg;.
eRkABIenHkarBeRgIkkargarcaM)ac;ykcitþTudak;dl;bBaðaeRbIR)as;FnFan nig
FanaRkumCMnajmanskmµPaBtamExSbBa¢Ún.
begáItRbRktiTinkargardMbUg GacGnuvtþn_tam bIviFIdUcxageRkam.
a) erobcMkargar BIkargardMbUgtamlMdab;kargar dl;kargarbBa¢b;. enHKW viFI
EdlniymeRbIeRcIn/ gayRsYl b:uEnþTamTarGñkbegáItRtUvmanbTBiesaF_kñúg
kargarplit. CaFmµtaeyIgerobcMkargaremmun Ep¥kelIenaH eyIgerobcM
kargarEdlenAsl; eTAtamTMnak;TMngerobcMRKb;RKg. cMeBaHsMNg;FM²
karbegáIttamviFIenH vaBi)akNas;edIm,IQandl;lT§plcg;)an.
CMBUkTI 4 RKb;RKgsMNg;
eroberogeday³ sYs cMerIn begáItRbtiTinkargarkñúgplitkmµsMNg;
55
b) erobcMkargartamtamxN³eBlkMNt;mun edayeTAbBa¢as;kargarxagmux.
enHCaviFIbegáIttamTisedAkMNt;mun/ CaFmµtaeyIgEtgykeBlevlakMNt;
karbBa©b;sagsg;sMNg;/ eBlevlabBa©b;bNþadMNak;kaleFIVCa cMNuccab;
epþIm rkRcas;mkvijbNþakargarmanTMnak;TMngmun. viFIenHqab;sMerc
TisedA b:uEnþbNþakarplitKYreGay)armµN_ eRBaHkarkMNt;xN³eBl
kargarminc,as;las;eFIVkargarrgkarxUcxac.
c) eRbIR)as;KNitsaRsþ ¬DIya:RkambNþaj¦ edIm,IbegIátRbtiTinkargar.
enHCaviFIQanmuxCYyeGayeyIg edaHRsay)ankrNIsµúKsµajmYycMnYn.
viFIenHCadMbUgeKeRbIKNitsaRsþpÁMúlMnaMsagsg;sMNg; mann½yfaeRbI
DIya:RkambNþaj edIm,IbgðajbNþalMnaM]sSahkmµ LOGIC nig
karRKb;RKgsagsg;sMNg;caM)ac;/ eRkaymkeRbIR)as;KNitviTüaedIm,I
KNnarkbNþa)a:ra:Em:Rtrbs;plitkmµ ¬RbtiTinkargar¦ dak;ecj
eRkaymkbgðajmkvijTisedArbs;Epnkarplit.
III.8. RtYtBinitüRbtiTinkargardMbUg
eRkayeBlRbtiTinkargar)anbegáIt/ eKGnuvtþn_KNnabNþaniTsSn_rbs;va
ehIyeRbobeFobnigbNþatMrUvkarEdl)anelIkeLIg. bNþatMrUvkarTaMgenaHCa
FmµtaEtgEtCary³eBlsagsg;kMNt;/ kMriteRbIR)as;FnFan/ kMritesßrPaB
eRbIR)as;edImTun/ Blkmµ/ tMéléføfñÚrKMerag. ebItMrUvkarbMeBj)annUv
RbtiTinkargardMbUg/ eyIgnwgbnþeFIVeGayRbesIrtamlkçN³sm,tiþsagsg;
edim,IelIkkMBs;esdækic©/ bec©keTs.
CMBUkTI 4 RKb;RKgsMNg;
eroberogeday³ sYs cMerIn begáItRbtiTinkargarkñúgplitkmµsMNg;
56
kñúgkrNImannisSn_xøHEdlminTan;RKb;RKan;/ eyIgRtUvEksMrYlRbtiTinkargar
dMbUg. kargarRtYtBinitünwgRtUv)anGnuvtþn_tameRcInCMudUcxxageRkam³
CMu 1³ RtYtBinitüCMha‘n begáItRbRktiTinkargardMbUg ¬erobcMeLIgvijnUv
kargar¦ ebIminTan;seRmcGnuvtþn_RtYtBinitüCMubnþeTot.
CMu 2³ RtYtBinitübNþa)a:ra:Em:RtRKb;RKg eLIgcuHcMnYnBlkmµ/ eRKOgcRk.
enHCaCMha‘nRKb;RKgeLIgvij ÉktaplitkmµebIminTan;sMerc Gnuvtþn_
bnþCMueRkay.
CMu 3³ RtYtBinitüviFIsaRsþsagsg;. enHCa CMuRtYtBinitüEksMrYlviFIsaRsþ
sagsg; ¬pøas;bþÚrRbePTeRKOgcRk/ eRCIserIsviFIsaRsþsagsg;epSg
eTot>>>¦ ebIminTan;sMerc)aneyIgRtUvRtYtBinitüCMucugeRkay.
CMu 4³ enHCa CMuRtYtBinitülMnaM]sSahkmµplit. eRBaHbNþaviFIsaRsþ
RKb;RKg nig bec©keTs suT§EtminseRmc eyIgRtUvEkERblMnaM
]sSahkmµsagsg; ¬]TahrN_ bþÚrBIebtugcak;enAkEnøg mkeRbIR)as;
cab;tMeLIg/ bþÚrssrRKwH sgát;mun mkeRbIssrRKwHsgát;eRkay >>>>.
CakarBitehIy CMunimYy²GacGnuvtþn_mYy b¤BirbIdgenAeBlEdlminTan;seRmc
eTIbbnþmkCMubnÞab;eTot. karRtYtBinitüRbtiTinkargarEtgEtlM)akebIsMNg;
enaHFMsµúKsµaj eBlenaHeKcaM)ac;CMnYyrbs;kMBüÚT½r.
CMBUkTI 4 RKb;RKgsMNg;
eroberogeday³ sYs cMerIn begáItRbtiTinkargarkñúgplitkmµsMNg;
57
III. bgðajRbtiTinkargarelIRkahiVkepþk ( GANTT CHART)
dUceyIg)andwg RbtiTinkargarGacsMEdgecjtam RkahiVkepþk/ RkhiVkeRTt/
DIya:RkambNþaj GaRs½yedaylkçN³sMNg; nig TisedArbs;GñkbegáIt. kñúgbI
rebobbgðaj KWRkahiVkepþkmanRbCaRbiyCagTaMgGs;. eKEtgeRbIR)as;RkahiVkepþk
kñúgbNþakrNI³ sMNg;gayRsYl/ RbtiTinkargarEdlRtUv)anbegáItedayRkhiVk eRTt
b¤ DIya:RkambNþaj b:uEnþedIm,IeGaygayRsYleRbIR)as; eKbþÚrmkRkahiVkepþk.
eRBaHRkahiVkepþk gayRsYlcab;)an edayGBÖnþBaØaN/ gayRsYlGan/ gayRsYl
tamdan nig enAmankargayRsYlkñúgkarbgðajbNþa)a:ra:Em:Rtrg EdlRkahiVkepSg
minGacbgðaj.
xøwmsarrbs;RbtiTinkargarmYyEdlbgðajtamRkahiVVkepþk ¬rUb 4>3¦ CaFmµtarYm
manBIrEpñk/ EpñkTinñn½y nig EpñkRkhiVk.
• EpñkTinñn½y kargarRtUv)anpÁt;pÁg;Tinñn½ymYycMnYnEdlcaM)ac;bMerIkargarsagsg;
EdlrYmman 12 CYrbBaÄr Columns ¬rUb4>2¦
Colunm 1: sresrelxerogtamtaraglMdab;kargar ehIyk_GacbUkrYm
kargareRcInCakargarmYy ¬RbtiTinkargarTUeTA¦.
Colunm 2: eQµaHkargarsresrtamlMdab;kargar b¤ dak;eQµaHfIµebIkargar
enaH CakargarsrubTUeTA.
Colunm 3: ÉktaCaFmµtaeRbICaÉktargVas;brimaN/ ÉktarUbIuvtßú.
CMBUkTI 4 RKb;RKgsMNg;
eroberogeday³ sYs cMerIn begáItRbtiTinkargarkñúgplitkmµsMNg;
58
Colunm 4: brimaNkargarsresreGayRtUvnigÉktaeRbIR)as;.
Colunm 5: bTdæanBlkmµ-cMNayBlkmµ edIm,IseRmcmYyÉktaplitkmµ
yktambTdæankMBugGnuvtþ.
Colunm 6: bTdæaneRKOgcRk-cMNayema:geRKOgcRk ¬ebIsagsg;eRbI
eRKOgcRk¦ sMrab;ÉktaplitkmµmYyyktambTdæankMBug
Gnuvtþ.
Colunm 7, 8: CatMrUvkarBlkmµ ¬éf¶Blkmµ¦ nig eRKOgcRk
¬evneRKOgcRk¦/ CalT§plrbs;plKuN Colunm 4 CamYy
Colunm 5 nig 6.
Colunm 9: rbbeFIVkargar-cMnYnevneFIVkargarkñúgmYyéf¶/ EtgEtyk 1 evn
sMrab;BlkmµédeCIg/ 2/ 3 evnsMrab;sagsg;edayeRKOgcRk.
Colunm 10, 11: cMnYnkmµkr/ cMnYneRKOgcRkkñúgÉktaGnuvtþkargar
¬emIlxøwmsarkñúgcMNgeCIg II¦
Colunm 12: ry³eBlsagsg;RtUv)ankMNt;tamrUbmnþ ¬4>5¦/ ¬4>6¦.
eBlkargarsagsg; manTaMgeRKOgynþlayCamYyBlkmµ
ry³eBlkMNt;tameRKOgynþ. cMnYnkmµkr nwgGnueLameTAtam
nigry³eBleFIVedayeRKOgynþ.
• EpñkRkahiVk bgðajEpnkarsagsg; ¬rUb 2>2 ¦. kargarnimYy² RtUv)an
bgðajedaybnÞat;Rtg;mYy manRbEvgesµInigry³eBlsagsg;. kargarnimYy²
CMBUkTI 4 RKb;RKgsMNg;
eroberogeday³ sYs cMerIn begáItRbtiTinkargarkñúgplitkmµsMNg;
59
kMNt;elIGkS½ry³eBlrbs;RbtiTin. xN³eBlnimYy²elIRbtiTinkargar RtUv
)ankMNt;taméf¶ExqñaM.
CaFmµtakargarRtUv)anbgðajxN³eBlcab;epþIm ¬ nimitþsBaØa S ¦ nig xN³eBl
bBa©b; ¬ nimitþsBaØa F ¦. bNþakargarEdlGacbnøayeBlevlasagsg;elIs
ry³eBl)ankMNt; enaHeyIgKUsbnþedaybnÞat;dac;² ¬----- ¦enAxageRkay
¬ kargar a ¦/ enAxagmux ¬ kargar b ¦ ebIbgðajlT§PaBcab;epþImqab;.
bNþakargarEdlmanTMnak;TMnak;KñakñúgkarRKb;RKg nwgRtUvP¢ab;CamYyKñaedaybnÞat;
dac;² ¬kargar a, d, f ¦. bNþakargar EdlrkSatYnaTIdwknaM
RbtiTinkargarsagsg;RtUv)anbgðajedaybnÞat;RkasCageK ¬ a, d, f, e ¦.
kargarmYyeBlerobcMRKb;RKgsagsg; EbgEcgCakargartUc²eRcIn RtUv)an
bgðajedaybnÞat;mYykat;elIBYkva¬kargarC1, C2, C3 ¦.
elIbnÞat;bgðajkargar eKGacdak;Tinñn½yeRcInepSg²Kña ¬dUcCa Blkmµ/ sMPar³/
eRKOgcRk/fvikar>>>>¦.
DIya:RkameRbIR)as;FnFan RtUv)anKUsxageRkamRbtiTinkargar. CaFmµtaeK
bgðajEtbNþaFnFansMxan;² dUcCa Blkmµ/ fvika/ sMPar³eRbIR)as;eRcIn ¬ fµ/
xSac;/dæ/sIum:g;t_>>>¦RtUvpÁt;pÁg;Cab;lab;.cg;KUs)anDIya:RkamFnFan)anc,as;
las; eKRtUvbgðajeGayRtUvnigkargarnimYy² rbs;RbRktiTinkargar/ eRkayeBl
KUsrYc eyIgRKan;EtbUkFnFan tamRbePTkargarnimYy² enaHeyIg)anRkahiVk
¬ebIeRbIR)as;kmµviFImanRsab;”Microsft Project” ma:sIunnwgsV½yRbvtþiKUs.
CMBUkTI 4 RKb;RKgsMNg;
eroberogeday³ sYs cMerIn begáItRbtiTinkargarkñúgplitkmµsMNg;
60
IV. bNþaeKalkarN_sMxan;edIm,IbegáItRbtiTinkargar
edIm,IRbtiTinkargarEdlbegáIteLIg CitRtUvnigkargarCak;Esþg nig esckIþRtUvkar
rbs;sMNg;/ eFIVeGaykarsagsg;sMercRbkbeday lT§plesdækic©bec©keTs
eyIgcaM)ac;RtUvGnueLamtambNþaeKalkarN_sMxan;CamUldæandUcxageRkam.
1. esßrPaBelIbNþakargareRtomTan;eBledIm,IGnuvtþn_sagsg;sMNg;sMxan;
kargarsagsg;sMNg;Gnuvtþn_edaygayRsYl b¤ mindUecñHeT KW GaRs½yedaybNþa
kargareRtommYycMnYn. CaFmµta sagsg;sMNg;mYy eKEckecjCaBIEpñk³
EpñkkargareRtom nig EpñksMNg;sMxan;. EpñkeRtomrYmman eRtomTIlansagsg; nig
sg;CMrMu/ pøÚvfñl;beNþaHGasnñbMerIkargarsagsg;/ cMENkÉEpñksMNg;sMxan; rYmman³
sagsg;sMNg;nigdak;sMNg;eGayeFIVskmµPaB.
bNþakargareRtomTIlansagsg;rYmman³ vaybMEbk b¤ pøas;TIpÞHsMEbg/ TIlanEdl
RtUvsagsg;sMNg;enAkardæan³ sMGat/ beBa©jTwk/ eFIVfñl;bMerIkarsagsg;. EsVgrk
RbPBpÁt;pÁg;famBl/vtßúFatuedIm/GKÁIsnI/Twk>>>.l.
sagsg;sMNg;beNþaHGasnñrYmman³ sagsg;sMNg;fµI/ CYsCulsMNg;/ CMurMu/ eragCag/
bNþatMbn;rs;enArbs;buKÁlikkmµkr.
bTBiesaFn_bgðajfa kargareRtommanlkçN³l¥ nwgeFIVeGaykargarsagsg;
sMNg;sMxan;Gnuvtþn_)anelOnnigsMercRbkbedaylT§plx<s;.BitNas;faminEmn
bNþakargareRtomTaMgGs; elIRbtiTinkargar suT§EtRtUvbBa©b;muneBlebIkkar
sagsg;sMNg;sMxan;enaHeT. eBlbegáItRbtiTinkargar eKkMNt;EtelIkargar
CMBUkTI 4 RKb;RKgsMNg;
eroberogeday³ sYs cMerIn begáItRbtiTinkargarkñúgplitkmµsMNg;
61
EdlRtUvGnuvtþn_mun/ bNþakargarRtUveFIVCamYykargarsMxan;. kareRCIserIsmuneRkay
Ep¥kelIeKalkarN_ KwbegIátlkçxNÐl¥bMput edIm,IeFIVkargarsagsg;sMxan; b:uEnþrYmpSM
kareRbIR)as;FnFan/famBltamrebobmYysmRsb/snSMsMéc.
edIm,IbnßyEpñksagsg;sMNg;beNþaHGasnñ eBlbegIátRbtiTinkargar RtUvkMNt;
)ankarcUlrYmeRbIR)as;sMNg;GciéRnþ eTAkñúgTisedAeRbIR)as;beNþaHGasnñ/ CaBiess
KWEpñksagsg;pøÚvfñl;/bNþajbec©keTs/bgÁn;Gnam½y.
2. eRCIserIslMdab;erogkargarsmRsb
eBlsagsg; sMNg;FM²mYycMnYn/ sµúKsµaj/ manlMdab;erogkargareRcIn Edlman
TMnak;TMngKñaedaylMnaM]sSahkmµ/ lkçxNÐsagsg; dUcenHkareRCIserIslMdab;erog
kargarRtUveGaysmRsb. manbNþakargarxøH² RtUv)ankMNt;PøamtaMgBIKNna
RKb;RKgsMNg;. eBleRCIserIslMdab;erogkargar karcab;epþImGnuvtþn_RtUvcaM)ac;
ykcitþTukdak;dl;bBaðadUcxageRkam³
bNþakargarsagsg;tamlMdab;RtUveFIVtamlMnaM]sSahkmµplitkmµ/ vanwgman
tYnaTI naMEpñknimYy² b¤EpñksMNg;TaMgmUlcUleFIVskmµPaB nig kMNt;sMerc
ry³eBlsagsg;. ebIlMdab;erogkargarminFana nwgeFIVeGaybnøayry³eBl
sagsg; b¤ eFIVeGayfyGtßRbeyaCn_esdækic©rbs;KMerag.
caM)c;ykcitþTukdak;dl;lMdab;kargarmYycMnYn EdlkMNt;bBa©b;ry³eBlkMNt;
sagsg;/ CaBiessykcitþTukdak;dl; bNþabnÞat;kargarmYycMnYn EdlcMNay
ry³eBlsagsg;yUr b:uEnþEbrCaceg¥ót b¤k¾CaRbePTbnÞat;Cit. lMdab;kargar
CMBUkTI 4 RKb;RKgsMNg;
eroberogeday³ sYs cMerIn begáItRbtiTinkargarkñúgplitkmµsMNg;
62
mYycMnYn EdlsßitkñúgRbePTenH dUcCa s<an/ eRkamdI/ sMNg;]sSahkmµ >>>
KwvaBi)akyk eCaKC½yNas;eBlEdleyIgcg;CMrujelOnRbtiTinkargar.
RkumlMdab;kargarmYycMnYn kñúgExSbBa¢ÚnplitkmµmYy k¾KYrpþl;GaTiPaBBeRgIk
kargarRBmKañ/ edIm,IeBlnaMsMNg;eTAeFIVskmµPaB enaHbNþasMNg;pÁt;pÁg;k¾
eRtomlkçN³CaeRsc.
kñúgsMNg;nimYy² bNþakargarcab;epþImtamlMdab;eroglMnaM]sSahkmµsmRsb
bMput/ RbwgERbgFana)annUvlkçN³bnþbnÞab; ¬efr¦ sMrab;RkumCagsMxan;².
CaFmµtatamlMnaM]sSahkmµ eKcab;epþImkargardUcxageRkam³ sagsg;BIkñúgecjeRkA/
EpñkeRKOgbgÁMúsMNg;BIeRkameLIg/ BIRbB½n§sMxan; ¬em¦ mkRbB½n§rg/ BIRbB½n§rg
kMlaMg mkRbB½n§minrgkMlaMg/ EpñkbegðIysagsg;BIelIcuHeRkam/ BIkñúgecjeRkA.
CakarBitehIy lMdab;kargarenaH minEmnsuT§EtRtUvGnuvtþya:gdUcenHeT/
vaGaRs½yeTAtamkargarCak;Esþgrbs;sMNg;nimYy² nig lkçN³lMnaM]sSahkmµ
EdleyIgeRbIR)as;.
BeRgIkkargark_RtUvykcitþTukdak;dl;sßanPaBFatuGakas edIm,Idkecjkardac;
ecj rvagBYkvaEdlekIteLIg.
karRbmUlBlkmµRtUvykcitþTukdak;dl; RBMEdnmYycMnYnGMBIFnFan nig FananUv
eKalkarN_rnþMkñúgkarerobcMRKb;RKg.
kargarsagsg;Bi)ak²mYycMnYn RtUvcat;EcgbNþaviFIsaRsþmYycMnYn CaCMnYy
eBlcaM)ac; edIm,IrkSa)aneKaledAeBlbegáItRbtiTinkargar.
CMBUkTI 4 RKb;RKgsMNg;
eroberogeday³ sYs cMerIn begáItRbtiTinkargarkñúgplitkmµsMNg;
63
3. Fanary³eBlsagsg;
mYykñúgcMeNamTisedAsMxan;rbs; KNnaRKb;RKgsMNg; KWFanac,ab;ry³eBl
kMNt;sagsg;. c,ab;ry³eBlkMNt;; GaRs½yedayesckIþsMercrbs;
rdæaPi)alsIþGMBIkarRKb;RKgsMNg; ebIsMNg;sßiteRkamkarRKb;RKgrbs;rdæaPi)al/
ebIsMNg;m©as;vinieyaKCaBaniC¢kr KWGaRs½yedayBaniC¢krkMNt;. eTaHebIm©as;
vinieyaK CaEpñkesdækic©Nak_eday ry³eBlkMNt;sagsg;sMNg; RtUv)ancat;Tuk
Cac,ab;EtenAeBlmansresrkñúgkic©snüavinieyaK. ry³eBlbBa©b; dak;sMNg;eFIV
skmµPaBsMxan;CaTIbMput. CYnkalvakMNt;nUveCaKC½y nig braC½yrbs;KMerag/
dUcenHral;karERbRbYlry³eBlsagsg; suT§EtRtUvGnuvtþn_tambNþamaRtaEdl
)ansresrkñúgGtßbTénkic©snüa ¬CUnrgVan;ebIfyry³eBlsagsg;/ pakBin½y
eBlbnøayry³eBl b¤ mineKarBkic©snüa¦.
ry³eBlkMNt;sagsg;RtUv)anyl;fa Cary³eBlGnuvtþkargarsagsg; nig
naMsMNg;eFIVskmµPaB ¬éf¶KN³kmµkarBinitü nig cuHhtßelxaRbKl;-TTYl¦.
edIm,IsMNg;bBa©b;RtUvtamc,ab;ry³eBlkMNt;/ RbtiTinkargardMbUgbegáItRtUv
GnueLamtamlkçxNÐenH. kñúgeBlbegáItRbtiTinkargar/ ry³eBlkMNt;
sagsg;sMNg;GaRs½yeTAelIry³eBlkMNt;sagsg;rbs;rbs;kargarnimYy² nig
karerobcMBYkvatamry³eBl. dUcecñH GñkbegáItRbtiTinkargarRtUveFIVm©as;elI
bNþakargar nig cab;)annUvlMnaM]sSahkmµsagsg;sMrab;sMNg;TaMgmUl. ebI
RbtiTinkargar begáIttamrebob a ry³eBlkMNt;sagsg;sMNg;dMbUg Etg
xusCamYynigc,ab;ry³eBlkMNt;eRcInRKan;ebI dUcenH RtUvEktMrUv/ begáIttamerob
CMBUkTI 4 RKb;RKgsMNg;
eroberogeday³ sYs cMerIn begáItRbtiTinkargarkñúgplitkmµsMNg;
64
b ry³eBlkMNt;rbs;RbtiTinkargardMbUg eGaykan;EtRtUvnigc,ab;ry³eBl
kMNt;.
CaFmµtaRbtiTinkargardMbUgbegáIt eRkayeBlKNna nwg ekIteLIgbIkrNI
dUcxageRkam³
• krNI1³ -eBlry³eBlkMNt;RbtiTinkargar(T)tUcCagc,ab;ry³eBlkMNt;(TL)³
T<TL eBlenaHelceLIgnUv ∆T = Tl - T / GñksMNg;GaceRbIR)as;
edIm,IEktMrUvkñúglMnaMGnuvtþ CamYyTisedAPaBrnþMFnFan.
• krNI2 ³ T = TL cat;TukfaRbtiTinkargarEdl)anbegáItsmmUllkçxNÐ
ry³eBlGacTTYlyk)an. krNIenHlT§PaBEktMrUvkareRbIFnFan
tictYcNas;.
• krNI3³ T > TL RbtiTinkargarEdl)anbegáItminTTYlyk)an/caM)ac;bgçMRtUv
EktMrUveLIgvij dl;eBlNasmmUllkçxNÐ T ≤ TL.
4. eRbIR)as;BlkmµrnþMkñúgplitkmµ ¬lkçN³rnþMvaytMéledayRkahiVkBlkmµ¦
RkahiVkBlkmµrnþMeBlcMnYnBlkmµekInCabnþicmþg² kñúgry³eBlEvg nig fybnþic
mþg²Edr enAeBlkardæanbBa©b; minmankarekInfyxøaMgxøa. ebIcMnYnkmµkrEdleRbI
minrnþM eBlxøH nwgelceLIgcMnYnkMlaMgBlkmµRbmUlpþMúx<s;CaTIbMput/ eBlxøH
cuHCaTabxøaMg eFIVeGaybNþa éføQñÜlekIntam nig x¢aHx¢ayFnFan. bNþaéføQñÜl
enaH cMNayelIkareRCIserIs/ sagsg;pÞHsMEbg CMurMu nig hUbcukRbcaMéf¶.
CMBUkTI 4 RKb;RKgsMNg;
eroberogeday³ sYs cMerIn begáItRbtiTinkargarkñúgplitkmµsMNg;
65
RbmUlpþMúmnusSeRcIn kñúgry³eBlxøIbegáItnUvkarx©Hx¢ay elIbNþamUldæanmYycMnYn
k¾dUcCaeRKOgynþ eRBaHeRbIR)as;ticminTan;sPaBkarN_. dUcenH RkahiVkBlkmµ
mYysmRsb ¬ekInbeNþIr² enAxagedIm nig fybeNþIr²enAxagcug/ cMnYnmnusS
zitefrkan;EtxitCitkMritmFümkan;Etl¥¦ KWCaKMrUvaytMélRbtiTinkargarmYy.
elIRkahiVkBlkmµ lkçN³rnþM bgðajedaybnÞat;ekag eLIgcuHbeNþIr² minmankar
ERbRbYl ¬rUbPaB 2>3/ bnÞat; c ¦.
vaytMélRkahiVkBlkmµ eKeRbIR)as;bNþaemKuNrnþM K1nig emKuNesßrPaB K2
K1 = La / Lmax
K2 = Tv / T
kñúgenaH La – cMnYnkmµkrmFümPaKKNnatam ¬2>12¦
La = Lr / T ¬2>12¦
Lmax– cMnYnkmµkrRbmUlpþMúx<s;bMput/
CMBUkTI 4 RKb;RKgsMNg;
eroberogeday³ sYs cMerIn begáItRbtiTinkargarkñúgplitkmµsMNg;
66
T – ry³eBlkMNt;sagsg;/
Tv – ry³eBlcMnYnkmµkrRbmUlpþMúEdlhYsputcMnYnkmµkrmFüm/
Lr – kmµkrcaM)ac;sMrab;sagsg;sMNg;/ KWCaépÞrvagGk½S T nig
RkhiVk.
Cak;Esþg K1 nig K2 QaneTArk 1 kan;Etl¥. qøgemKuNefr K2
eyIgeXIjeBlRkahiVkBlkmµmanbMErbMrYlxøH ERbRbYlminFmµta RtUvGnueLam
tam k,Ünc,ab;³ minGnuBaØategIbx<s; edayry³eBlxøI nig cuHeRCAedayry³eBl
Evg ¬rUbPaB2>4¦ eRBaHTaMgBIrkrNIenH suT§EteFIVeGayfytMél K1 nig K2.
épÞkMNt;kñúgRkahiVkBlkmµ bgðajkMlaMgBlkmµ. dUcenH épÞkan;EttUcbgðaj
sMNg;eRbIR)as;BlkmµticfamBlBlkmµx<s;. enHk¾Ca TisedAmYyrbs;GñkbegáIt
Epnkarsagsg;.
egIbx<s;kñúgry³eBlxøI/ cuHeRCAkñúgry³eBlEvg
rUbPaB 2>4> RkahiVkBlkmµminefr
cMnYnBlkmµ cMnYnBlkmµ
CMBUkTI 4 RKb;RKgsMNg;
eroberogeday³ sYs cMerIn begáItRbtiTinkargarkñúgplitkmµsMNg;
67
5. naMfvikaedImTuncUlkñúgsMNg;smRsb
TunvinieyaK KWCabrimaNfvika e)aHcUlsMNg;. fvikaedImTun KWCaRbePTFnFan
eRbIR)as;mYyelIk/ va)ancMeNjEteBlsMNg;eFIVskmµPaB. dUcenH kardak;Tun
eTAkñúgsMNg; KWCatMrUvkarmYysMxan;rbs;RbtiTinkargarmYy.
eBlKNnaRKb;RKgsMNg; eKEtgEtBinitüemIlRkahiVkpÁt;pÁg;TunsMNg;dMbUg.
cMeBaHGñksagsg; edImTunEtgEtxI©FnaKar EdlRtUvTTYlrgnUvtMélkarR)ak;.
Gñksagsg; sg)anEtenAeBlNa PaKI :k :pþl;R)ak;mun b¤TUTat;tamkic©snüa.
kñúgkrNI PaKI :k : pþl;R)ak;munminTan; enaHPaKIGñkTTYlkar RtUvTTYlbg;
karR)ak;FnaKar. dUcenH fvikadak;cUlsMNg;kan;Etqab;kan;EtgayrgnUvkarsÞH
bgákarxUcxateGayGñksagsg;. eKRtUvrkrUbmnþmYy edIm,Idak;fvikaedImTuneTAkñúg
sMNg;ya:gNaeGaykar)at;bg;fvikaTabbMput.
rUbmnþedIm,I dak;fvikaedImTuneTAkñúgsMNg;man bIRbePTCamUldæan EdlRtUv)an
bgðajelI rUbPaB 2>5. bnÞat;DIepr:gEsül dak;TuncUlkñúgsMNg; bgðajnUv
brimaNfvika cMNaysMrab;bNþakargarsg;tMeLIg enAbNþary³eBltam
RbtiTinkargar¬s)þah_/Ex/ qmas/ qñaM¦.
rUbPaB 2>5a - dak;fvikaeTAkñúgsMNg;eTogeBl/ cab;BIeBlcab;epþImdl;eBl
bBa©b; brimaNfvikavinieyaKkñúgry³eBldUcKñaesµIKña.
rUbPaB 2>5b - dak;fvikaeTAkñúgsMNg;ekInbnþicmþg²/ eBldMbUgcMNayticeRkaymk
ekInbnþicmþg²/ eBlbBa©b;dak;fvikaeTAkñúgsMNg;eRcInbMput.
CMBUkTI 4 RKb;RKgsMNg;
eroberogeday³ sYs cMerIn begáItRbtiTinkargarkñúgplitkmµsMNg;
68
rUbPaB 2>5c - dak;fvikaeTAkñúgsMNg;fybnþicmþg²/ eBldMbUgcMNayeRcInbMput
eRkaymkfybnþicmþg²esµIKña/ eBlbBa©b;dak;fvikaeTAkñúgsMNg;ticbMput.
edIm,IvaytMél rUbPaBvinieyaKTaMgbIxagelIeTAkñúgsMNg; eKKUsRkahiVkGaMgetRkal
edImTunvinieyaK ¬bnÞat;cMNaysrub¦. elIrUbPaB 2>6 eyIgmanbnÞat;
GaMgetRkalbIsmmUlCamYyviFIvinieyaKTaMgbIxagelI.
bnÞat;GaMgetRkalbgðajedImTunsrub Edldak;cUleTAkñúgsMNg; dl;bNþaxN³eBl
elIRbtiTinkargar. vabgðajcMnYnfvikasrub EdleRbIR)as;kñúgkarGnuvtþkargar
sMNg;dl;xN³eBl t. Cak;Esþg ragbnÞat;GaMgetRkalGaRs½yeTAnigbnÞat;
Diepr:gEsül. bnÞat;GaMgetRkal 2>6 a KWCabnÞat;Rtg;/ bnÞat; 2>6 b KWCa
)a:ra:bUlpt cMENkbnÞat; 2>6 c KWCa)a:ra:bUle)a:g. eRBaH TaMgbIrUbPaBvinieyaK
sMrab;sMNg;mYyCarYm dUcenH tMélcugeRkaysuT§EtesµIKña (C). épÞqñÚtrvagbnÞat;
rUbPaB 2>5> rUbPaBvinieyaKeTAkñúgsMNg;
vinieyaKesµI/ ekInbnþicmþg²/ fybnþicmþg²
rUbPaB 2>6> bnÞat;GaMgetRkaledImTuneTAkñúgsMNg;
vinieyaKesµI/ ekInbnþicmþg²/ fybnþicmþg²
CMBUkTI 4 RKb;RKgsMNg;
eroberogeday³ sYs cMerIn begáItRbtiTinkargarkñúgplitkmµsMNg;
69
GaMgetRkal nig Gk½S (T) bgðajkareRbIR)as;fvikaedImTuneTAkñúgsMNg;. TisedA
rbs;GñkeFIVesdækic© KW eFIVya:gNaeGaykareRbIR)as;TunTabbMput - c,as;las;
eBlbnÞat;GaMetRkalmanépÞqñÚtbeBa¢ógtUcbMput.
cMeBaHsMNg;mYyeTaHCavinieyaKtamviFINak_RtUvFanary³eBlkMNt;sagsg; nig
tMélsrubminERbRbYl. mann½yfa man (T) nig (C) rYmKña. dUcenH CamYynigviFI
KNnaGaMgetRkalsamBaØeyIgKNna)an ³
Fa = 0.5CT ; Fb = 0.33CT ; Fc = 0.66CT
dUecñH eBlbegáItRbtiTinkargarsagsg; eyIgerobcMRKb;RKgbNþakargar
ya:gNaeGay bnÞat;DIepr:gEsülvinieyaKTunekIntamlMdab; edIm,IbnÞat;GaMgetRkal
manépÞtUcbMput.
BitehIy eBlEdlRbtiTinkargarbegáIttambnÞat;GaMgetRkal manépÞtUcbMput
mann½yfa bNþakargarfyeTAeRkay CaBiessbNþakargarmYycMnYn mancMNay
FM nwgbgáreRKaHfñak;eBlRbtiTinkargarmanPaBlMeGog.
IV. bNþaviFIsaRsþRtYtBinitükargarGnuvtþRbtiTinkargar
edIm,IsMNg;sagsg; RtwmRtUvtamEpnkar bNþakargarkñúgRbtiTinkargarRtUv)an
GnuvtþRtUveBl. PaBlMeGognimYy² kñúglMnaMsagsg;k_GacnaMdl;lT§plxus
bMNgEdlcg;)an. edIm,IvaytMélTan;eBl nig manviFIsaRsþedaHRsayRtwmRtUv
eKRtUvGnuvtþRbB½n§RtYtBinitükarGnuvtþn_RbtiTinkargarTaMgmUl b¤ kargarmYy
cMnYn. GacRtYtBinitütameBlevlakMNt;mun b¤minkMNt;mun.
CMBUkTI 4 RKb;RKgsMNg;
eroberogeday³ sYs cMerIn begáItRbtiTinkargarkñúgplitkmµsMNg;
70
eBlRbtiTinkargarsagsg;bgðajelIRkahiVkepþk. eyIgGacGnuvtþRtYtBinitü
tam`BIrviFIsaRsþ³
1. viFIsaRsþBinitütambnÞat;PaKry/
2. viFIsaRsþBinitüRBwtiþkarN_RbcaMéf¶.
1. viFIsaRsþBinitütambnÞat;PaKry
enH KWCaviFIsaRsþeRbIR)as;sMrab; GnuvtþRtYtBinitükargareRcInkñúgxN³eBlmYy
enAelIRbtiTinkargarEdlbgðajedayRkahiVkepþk. elIrUbPaB 2>7 BiBN’na
GMBIviFIRtYtBinitütambnÞat;PaKry.
rUbPaB 2>7> RtYtBinitüRbRktiTinkargaredaybnÞat;PaKry
bnÞat;RtYtBinitü/ bnÞat;PaKry
kargar
¬kagar nig minBinitüeT¦
CMBUkTI 4 RKb;RKgsMNg;
eroberogeday³ sYs cMerIn begáItRbtiTinkargarkñúgplitkmµsMNg;
71
viFIsaRsþenHGnuvtþdUcteTA³ elIRbtiTinkargarEdlsMEdgedayRkahiVkepþk/
kargarnimYy² RtUv)anbgðajedaybnÞat;Rtg;mYyEdlmanRbEvgesµInig 100% én
brimaNkargar. enAxN³eBl t NamYyminkMNt;EdlRtUvRtYtBinitü eKKUs
bnÞat;Rtg;Qr/ bnÞat;enaHehIyKWCabnÞat;RtYtBinitü. elIRbtiTinkargarbNþa
kargarnimYy²sßitenAmYykñúgBIrkrNI. krNIkargarnimYy²)anbBa©b;b¤minTan;
)ancab;epþIm minkat;bnÞat;RtYtBinitü eyIgelIkElg. krNIkargarmYycMnYnkMBug
sagsg; - kat;bnÞat;RtYtBinitü RtUvykTinñn½ybrimaNEdl)anGnuvtþKitmk
dl;xN³eBlenaH. tamPaKrybrimaNTaMgmUl/ cMnYnPaKryGnuvtþ)an RtUv
dak;elIRkahiVk/ BYkvaP¢ab;Kña begáIt)anCabnÞat;PaKry. enaH KWCabnÞat;Gnuvtþ
Cak;Esþg. emIlbnÞat;PaKry eKdwg)ansßanPaBGnuvtþRbtiTinkargar.
ebIbnÞat;PaKryenAxagsþaMcMNit - bNþakargarenaHGnuvtþelIskMritEpnkar/
ebIbnÞat;PaKryenAxageqVgcMNit - kargarGnuvtþyWt. b:uEnþcMNucEdl bnÞat;
PaKryRtYtelIcMcMNit - kargarGnuvtþcMEpnkar.
enHCaviFIsaRsþEtgEteRbIR)as;kñúgkarBinitüminkMNt;mun. vaCYyeGayGñkdwknaM
dwg)ansßanPaBGnuvtþkargarCak;Esþg enAxN³eBlcM)ac;.
2. viFIsaRsþBinitütamRBwtiþkarN_RbcaMéf¶¬rUbPaB 2>8¦
enHCaviFIRtYtBinitüral;éf¶rbs;kargarnimYy². tamEpnkar kargarnimYy²
RtUvGnuvtþnUvbrimaNkargarkMNt;mYyCaerogral;éf¶.
CMBUkTI 4 RKb;RKgsMNg;
eroberogeday³ sYs cMerIn begáItRbtiTinkargarkñúgplitkmµsMNg;
72
kargarTaMgenHRtUvbgðajedaybnÞat;EpnkarmYy Caerogral;éf¶eRkayeBleFIVkar
brimaNkargarGnuvtþ RtUvkMNt;)an nig KUscUleTARkahiVk/ eyIg)anbnÞat;Gnuvtþ.
tamRkahiVkbgðajeyIgnUvsmtßPaBrbs;éf¶nimYy² )ansMerc b¤ min)ansMerc
edIm,I EksRmYlsMrab;éf¶bnþbnÞab;eTot. viFIenHc,as;las; Tan;eBl
b:uEnþxateBlevla eRbIR)as;)anEtsMrab;RkummanCMnaj b¤ kargarTamTarkar
RtYtBinitülMGit.
Casegçb/ bNþaviFIsaRsþxagelI pÁt;pÁg;)anEtsMrab;eGayeyIgnUvsßanPaBGnuvtþ
RbtiTinkargar. cMENkmUlehtu nig plvi)akénPaBlMeGogTaMgenaH
CakarBitbNþaviFIsaRsþxagelIminTan;)anelIkeT,Ig. edIm,Icab;eGay)aneRCARCH
eyIgRtUveFIVkarviPaK nig eRbIR)as;bNþaviFIsaRsþvaytMél nig BüakrN_ Edlnwg
dak;eGayRsavRCavc,as;las;enAbNþaCMBUkbnþeTot.
EpnkarN_/ Gnuvtþn_Caerogral;éf¶
rUbPaB 2>8>RkahiVkkMNt;ehtukargar
CMBUkTI 5 RKb;RKgsMNg;
eroberogeday³ sYs cMerIn RKb;RKgsMNg;tamviFIsaRsþExScgVak;
73
CMBUkTI 5
erobcMRKb;RKgsMNg;tamviFIsaRsþExScgVak;
1. niymn½yGMBIbNþaviFIsaRsþerobcMplitkmµ
sMNg;KWCa CMnajplitkmµ]sSahkmµ eRBaHtamry³plitkmµ sMNg;eK)an
ERbkøaybNþa sMPar³/ brikçar eGaymkCaplitplsMrab;sgÁm dUcCa ³ lMenAdæan/ GKar
kñúgkarbMerIeGayesdækic©rs;enArbs;Blrdæ.
edIm,IsMercPar³plit GñkGnuvtþkargarsg;tMeLIgRtUvRbmUlpþúMsMPar³/ eRKOgma:sIun/
brikçareGayRKb;RKan; nig CaBiesslkçN³sm,tiþrbs;mnusSedIm,IGnuvtþn_kargar.
karBeRgIkkargarplitkmµGacGnuvtþn_tameRcInviFIepSg²Kña EdleyIgehAfa viFIsaRsþ
erobcMRKb;RKgplitkmµ.
eRbIR)as;viFIsaRsþNak¾RtUvGnueLamtamk,Ünc,ab;mUldæanrbs;karerobcMplitkmµ/ edayELk
erobcMplitkmµsMNg;/ enaHKW ³
• GnueLamtamlMnaM]sSahkmµplitkmµedIm,IFanaKuNPaBsMNg;.
• Fanary³eBlkMNt;sagsg;.
• tMélplitplTab.
mkTl;eBlenHeKGacEck viFIsaRsþerobcMplitkmµsMNg; CabI viFIsaRsþsMxan;KW³
tamlMdab;/ Rsb nig viFIsaRsþExScgVak;. viFIsaRsþnimYy² manbNþaKuNsm,tiþ
CMBUkTI 5 RKb;RKgsMNg;
eroberogeday³ sYs cMerIn RKb;RKgsMNg;tamviFIsaRsþExScgVak;
74
edayELk/ GaRs½yeTAtambNþalkçx½NÐCak;Esþg ehIybNþaviFIsaRsþTaMgenaH
RtUv)anGnuvtþeBjelj b¤ tamEpñk b¤ rYmpSM / suT§EtCamYynigTisedAKw
naMmkvijnUvlT§plplitkmµx<s;bMput.
a. vIFIsaRsþtamlMdab;¬rUbPaB4>1¦
KWCaviFIsaRsþerobcMplitkmµ bNþakargarEdl)ansMercenATItaMgenH eTIbelateTAeFIV
enATItaMgepSgbnþeTot.
elIrUbPaB 4>1 eyIgeXIjbNþasMNg; A, B, C, D RtUv)ansagsg;tamlMdab;/
cb;kargarsMNg; A eTIbbþÚrmk B/ cb; B eTIbbþÚrmk C >>>>.l. ebIry³eBlsagsg;
sMNg;mYy KW Tc enaHry³eBlsrub (T1) sagsg; M sMNg;KW ³
T1 = M.Tc (3.1)
1
2
3
M
Tc Tc Tc Tc
T1 = M.Tc
R
O t
R1 R1 R1 R1 R1
rUbPaB 4>1> erobcMplitkmµtamlMdab;eday M sMNg;
CMBUkTI 5 RKb;RKgsMNg;
eroberogeday³ sYs cMerIn RKb;RKgsMNg;tamviFIsaRsþExScgVak;
75
ebIcMNayFnFanmFümsagsg;sMNg;mYyKW Rc enaHRkahVikcMNayFnFanKW R1= Rc
mintwgEtg. TMrg;erobcMplitkmµenH smRsbCamYynig FnFan EdlBi)akcl½t nig
sagsg;gayRsYl.
b. erobcMplitkmµtamviFIsaRsþRsb¬rUbPaB4>2¦
qøgtamrUbPaB 4>2> eyIgeXIjtamviFIsaRsþerobcMRsb bNþasMNg;rYmGnuvtþ
sagsg;RBmCamYyKña.
eBlsMercsagsg;sMNg;mYy enaHbNþasMNg;epSgeTotk_RtUvbBa©b;. eBlenaHeyIg
eXIjry³eBlsagsg;sMNg;mYyKW Tc enaHry³eBlsagsg;sMNg;TaMgGs; T2 = Tc.
eRBaHBRgIksMNg;TaMgGs;M dUcenHFnFancl½tmFümsMrab;sMNg;TaMgGs;ekInM dg/
1
2
3
M
R
O
Tc
T2 = Tc
R1
rUbPaB 4>2> erobcMplitkmµRsbeday M sMNg;
R1
R1
R1
t
CMBUkTI 5 RKb;RKgsMNg;
eroberogeday³ sYs cMerIn RKb;RKgsMNg;tamviFIsaRsþExScgVak;
76
R2 = M.Rc (3.2)
dUcenHerobcMsagsg;tamviFIsaRsþRsbry³eBlsagsg;KW xøINas;b:uEnþFnFaneRbIR)as;
Gtibrma.
viFIsaRsþenHGnuvtþ eBlRtUvkarry³eBlsagsg;xøInig FnFaneRbIR)as;minkMNt;.
CaFmµtary³eBlsagsg;Gb,brmak¾manRBMEdnkMNt;Edr/ vaGaRs½yeday lMnaM
]sSahkmµ sagsg;rbs;sMNg;.
c. viFIsaRsþerobcMplitkmµtamviFIsaRsþExScgVak;
BIrviFIsaRsþxagelIman KuNsm,tiþ nig KuNvibtiþbBa©HKñaeday ry³eBlsagsg; nig
kMriteRbIR)as;FnFan. b:uEnþmanKuNvibtiþmYyrYmKW ykcitþTukdak;tictYcdl;kargar
rbs;RkumCagEdlmanÉkeTskmµnig nirnþrPaB.
edIm,IeFIVeGayRbesIrbNþaKuNvibtiþ nig GPivDÄn_KuNsm,tiþ/ bNþaGñkerobcMplitkmµ
dak;ecjviFIsaRsþerobcMplitkmµtamExScgVak;.
lkçN³rbs;erobcMplitkmµtamExScgVak; RtUv)anbgðaj edayrUbPaB 4>3.
edIm,IGnuvtþn_plitkmµtamviFIsaRsþExScgVak; eKEbgEcksMNg;CabNþa kMNat;kargar
manviC¢aÉkeTskmµedayELk. kMNat;kargar ¬kargar¦ edayELknimYy² RtUv)an
erobcMmYyRkummanviC¢aÉkeTsshsm<½nGnuvtþ. dUcenHbNþaRkumnwgbBa¢ÚnKña
¬cl½tKña¦eTAvijeTAmk bBa©b;kargarrbs;xøÜnBIsMNg; ¬kMNat;kargar¦ enHeTA
sMNg;epSg²eTotrhUtdl;Gs;.
elIrUbPaB 4>3 manbYnsMNg; A, B, C, D EdlmanlMnaM]sSahkmµsagsg;dUcKña.
eyIgEbgEcklMnaM]sSahkmµenaHCabYnkargarmanCMnajÉkeTsepSgKña. bYnkargar
CMBUkTI 5 RKb;RKgsMNg;
eroberogeday³ sYs cMerIn RKb;RKgsMNg;tamviFIsaRsþExScgVak;
77
enH)anbYnRkum 1, 2, 3, 4 Gnuvtþ. bNþaRkumTaMgbYnbBa¢ÚnKña Gnuvtþn_kargar
rbs;xøÜntamlMnaMplitkmµ nig bBa¢ÚnBIsMNg; A eTA, B, C nigD.
qøgtamrUbPaB 4>3 eyIgeXIjry³eBl T3 sMerckargarsagsg;TaMgbYnsMNg;xøI
CagerobcMtamlMdab; T1 nig EvgCagerobcMplitkmµtamviFIsaRsþRsbKña T2 :
T2 < T3 < T1 (3.3)
cMENkcMNayFnFank_dUcKña/ bnßyPaBtwgEtgCageBlerobcMplitkmµtamviFIsaRsþ
RsbKñanigx<s;CagerobcMtamlMdab;.
Rc
Rc
Rc
Rc
Rmax Ra
R
t
rUbPaB 4>3> erobcMplitkmµtamExScgVak;
4321
Tc
Tc <T3 < M.Tc
A
B
C
D
M sMNg;
4321
4321
4321
CMBUkTI 5 RKb;RKgsMNg;
eroberogeday³ sYs cMerIn RKb;RKgsMNg;tamviFIsaRsþExScgVak;
78
R2 < Rtb < Rmax = M.Rc (3.4)
dUcenH erobcMplitkmµtamviFIsaRsþExScgVak;KW EbgEcklMnaMplitkmµecjCakMNat;
kargarmanÉkeTskmµedayELk nig erobcMRkummanviC¢aÉkeTsshsm<½n§Gnuvtþ
dUcCaExScgVak;plitkmµmYyBIsMNg; ¬cMENkkargar¦enHbBa¢ÚnmksMNg; ¬cMENk
kargar¦epSg²eTot. eBleFIVkargar ExScgVak; nwg RtUvrYmpSMCamYyKñatamry³eBl
nig lMh tamviFImYyya:gsñiT§sñal. edayPaBcgsm<½n§ya:gsñiT§sñaldUcenH
EdlviFIsaRsþerobcMplittamviFIsaRsþExScgVak;manKuNsm,tiþeRcIn naMmkvijnUv
GtßRbeyaCn_elIesdækic©k¾dUcCasgÁm.
2. bNþa)a:ra:Em:Rtrbs;ExScgVak;
erobcMplitkmµtamviFIsaRsþExScgVak; KWCaTMhMplitkmµEdlmankarcUlrYmya:gs¥itrmYt
rvaglMnaM]sSahkmµ/ry³eBl niglMh.
1. )a:ra:Em:RtlMnaM]sSahkmµ
• cMnYnsmasPaBExScgVak; (n) ³ enHKWCa RbePTkargarEdlRtUv)anEckecj
edIm,IeFIVkargaredayÉkraCütamExScgVak;viC¢aÉkeTs.
cMnYnsmasPaBExScgVak;GaRs½yelI lMnaM]sSahkmµplitkmµ nig GaRs½y
edaykMriteFIVÉkeTskmµkñúgplitkmµ. ]sSahkmµsagsg;sµúKsµaj naMeGay
cMnYnRkum ¬ExScgVak;smas b¤ ExScgVak;eTal¦ kan;EteRcIn. kMriteFIV
ÉkeTskmµkan;EteRcIneFIVeGaycMnYnRkumEbgEckkan;EttUc.
kñúgplitkmµkMriteFIVÉkeTskmµ kan;Etx<s; enaHKWKuNPaBkargar kan;Etl¥
b:uEnþerobcMkan;EtBi)ak nig EtgeFIVeGayry³eBlkMNt;RtUvGUsbNþay.
CaFmµtaeKeRCIserIscMnYnkMNat;ExScgVak; ya:gNa FanakMriteFIVÉkeTskmµ
CMBUkTI 5 RKb;RKgsMNg;
eroberogeday³ sYs cMerIn RKb;RKgsMNg;tamviFIsaRsþExScgVak;
79
caM)ac;CamYynigcMnYnExScgVak;ticbMputedIm,IkargarerobcMgayRsYl. Canic©kal
kareRCIserIscMnYnkMNat;ExScgVak;RtUveyageTAnigplitkmµ.
• brimaNkargar (Q) ³ KwbrimaNkargar EdlExScgVak;eTal
RtUvGnuvtþelIlMhkMNt;mYy kñúgry³eBlmYykMNt;mun. brimaNkargarEtg
sMEdgedaybrimaNBlkmµ/ vaGaRs½yedayeTAnigkMritCMnajbec©keTs nig
kMritEbgEcklMhkargarrvagbNþaRkumnimYy².
ExScgVak;mYymanskmµPaBl¥ eBlEdlbrimaNkargarRKb;RKan; b¤ elIsbnþic
eFobeTAnigfamBlrbs;va edIm,IFanaExScgVak;eBlNak¾sMerc nig qøgputkMrit
Epnkar.eyagelI brimaNkargareyIgeRCIserIsbuKÁlikrbs;Rkumplit.
• plitPaBrbs;ExScgVak; (I) : KWCabrimaN plitplrbs;ExScgVak;
kñúgmYyevneFIVkargar. plitPaBGaRs½yeTAnigfamBl plitkmµrbs;
Rkumkargar. ebIsagsg;edayBlkmµenaHvaGaRs½y nigcMnYnkmµkr (N)/
cMENksagsg;edayynþkmµGaRs½ycMnYneRKOgcRkeFIVkargar(M) :
I = N.S b¤ I = M.P (3.5)
kñúgenaH³ S – bTdæaneFIVkargarrbs;kmµkr/
P – famBlRbtibtiþrbs;eRKOgcRk.
2. )a:ra:Em:RtlMh: eBlGnuvtþkargarTamTarlMhkMNt;mYy/ vasMEdgtambNþa
)a:ra:EmRtlMh dUcCa TItaMgkargar/ bnÞat;kargar/ kMNat;kargar/
dMNak;kalsagsg;/
• TItaMgkargar (f): KWCacMgaylMhtUcbMput edIm,IkmµkreFIV kargar)angayRsYl/
suvtiþPaB/ manfamBl. TItaMgkargarGaRs½yeTAnig RbePTkargar/
CMBUkTI 5 RKb;RKgsMNg;
eroberogeday³ sYs cMerIn RKb;RKgsMNg;tamviFIsaRsþExScgVak;
80
brikçarsMrab;sagsg; nig lT§PaBeFIVkargarrbs;kmµkr. eBl erobcMsagsg;
nig eyIgeRCIserIsTItaMgkargarsmlµmKWmanlT§plbMput. ceg¥óteBk
nwgfyfamBlgay)at;bg;suvtiþPaB/ TUlayeBkeFIVeGayry³eBl
sagsg;RtUvGUsbnøayCYnkalfyfamBl.
• bnÞat;kargar (F): KWCasMNMuénbNþaTItaMgkargarrbs;RbePTkargarnimYy².
bnÞat;kargarman³ bnÞat;biT nig bnÞat;ebIk. bnÞat;ebIkKWCa
bnÞat;GacBRgIkkargar)anPøam/ bnÞat;biTKWCa bnÞat;BRgIkkargar)an
EtenAeBlkargarmun)anbBa©b;.
• kMNat;kargar (j, m)³ KWCakMNat;sMNg;EdlRkumkargarmYy GacBRgIk/
bBa©b;kargarelIenaHedayÉkraCü/ GPivDÄn_eBjfamBl nig minraMgsÞHkargar
rbs;GñkepSg. kñúgkarerobcMplitkmµExScgVak;/ kargareRCIs kMNat;kargar
KWsMxan;Nas;/ vaCHTi§BledaypÞal;dl;KuNPaB k_dUcCael,Ónsagsg;.
eRCIserIskMNat;kargar RtUvsmRsbniglMnaM]sSahkmµ/ sßabtükmµ/
eRKÓgbgÁúMsMNg; nig bMNgerobcMplitkmµ. rIÉlMnaM]sSahkmµRtUvFanakargar
Gnuvtþn_sMerc)anKuNPaB/ brimaNsagsg;RtUvsmlµmgayGnuvtþ/ smRsb
nigkMlaMgplitkmµEdlnigBRgIk.saßbtükmµRtUvFana)anesaP½NÐPaB. eRKOgbgÁúM
RtUvFanabNþakMNat;sagsg;cb; eRKOgbgÁúMrwgmaM ebIQb;minmanTi§Bl
dl;lT§PaBrgkMlaMg. cMENkÉ/ karerobcMplitkmµRtUvFanabrimaNkargarlµm
nig kMlaMgplitkmµ nig ry³eBlsagsg;sMNg;TaMgmUl. brimaNkargarelI
kMNat;nimYy²RtUv)anehAfakargarmYy/vaGacsagsg;/KNnaedayÉkraCü.
CMBUkTI 5 RKb;RKgsMNg;
eroberogeday³ sYs cMerIn RKb;RKgsMNg;tamviFIsaRsþExScgVak;
81
• kMNak;kalsagsg;: KWCalMhtamkMBs; eBlsagsg; sMNg;mancMNuc
Qb;tamkMBs;. kMNak;kalsagsg; EtgeRbIR)as;enAeBleFIVsMNg;eRcInCan;
b¤eRKagsMNg;mankMBs;x<s;.
3. )a:ra:Em:Rtry³eBl
ExScgVak;plitkmµbgðaj lMnaMbegáItecjplitplmYy/ vaEtgEtskmµ.
skmµPaBenaH bgðajtambNþa)a:ra:EmRtry³eBl ³ ry³eBl / CMhan/ p¥ak nig
ry³eBlkMNt; rbs;ExScgVak;.
• ry³eBlrbs;ExScgVak; (tij) : KWCacenøaHeBleFIVskmµPaBrbs;ExScgVak;
kMLúgeBl i elIkMNat; j ¬rUbPaB 4>4¦.
tij = Qij / a.Nj (3.6)
C
• Module (K) ³ KWCacenøaHeBlExScgVak;eRCIserIs edIm,IeFIVeGayRbesIrbNþa
)a:ra:Em:Rtry³eBl/ EtgCaéf¶eFIVkargar (K = 1; 2; 3). eKEtg eRCIserIs
ry³eBltUcbMputrbs;ExScgVak;eFIVm:UDulxYb/ eBlExScgVak;manry³eBlesIµKña
enaH Module (K) dUcKñaCamYynig (tij ≡ K) eBlenaH Éktary³eBleRbI K
eFIVCaeKal.
• CMhanrbs;ExScgVak; (K0i) : KWCacenøaHeBl BIcab;epþIm ExScgVak; ( i-1 )
dl;cab;epþImExScgVak; ( i ) enAkMNat;dMbUg.
tij
   
i
tij
sMNg;¬kMNat;¦
j
D
C
B
A
rUbPaB 4>4RkahiVkepþkrbs;ExScgVak;/     - Rkumplitkmµ
ry³eBlsagsg; t
CMBUkTI 5 RKb;RKgsMNg;
eroberogeday³ sYs cMerIn RKb;RKgsMNg;tamviFIsaRsþExScgVak;
82
cenøaHeBl rvagExScgVak;BIrCab;KñaelIkMNat;kargarEtmYyehAfa CMhanrbs;
ExScgVak;enAkMNat;kargarenaH. cenøaHrvagxN³eBlcab;epIþm KWCaCMhancUl
cMENkxN³eBlbBa©b;KWCa CMhanecj.
rvagry³eBl/ CMhanecj/ CMhancUl manTMnak;TMng ³
tI-1;j + Kij
out
= tij + Kij
in
(3.7)
kñúgenaH ³ ti-1;j nig tij KWCary³eBlExScgVak; i - 1 nig i enAkMNat;kargar
j/
K0
n
1
1
...
m
kMNat;
K0
I-1
K0
I
K0
I+1
rUbPaB 4>5> CMhanrbs;ExScgVak;
i-11 i i+1 n
i
tI-1;j Kj
I
out
t;ijKj
I
in
rUbPaB 4>6> CMhanrbs;ExScgVak;elIkMNat;kargar
kMNat;kargarj
CMBUkTI 5 RKb;RKgsMNg;
eroberogeday³ sYs cMerIn RKb;RKgsMNg;tamviFIsaRsþExScgVak;
83
Kij
out
KWCaCMhanecjrbs;ExScgVak; i elIkMNat;kargar j/
Kij
in
KWCaCMhancUlrbs;ExScgVak; i elIkMNat;kargar j/
• p¥akkargar (Zj
I,I+1
) ³ KWCacenøaHry³eBlTMenrelIkMNat;kargar j rvagExScgVak;
BIrbnþak;Kña nig minmanExScgVak;NamanskmµPaB. rUbPaB 4>7
p¥akkargar KWCacenøaHeBlGvtþmanrbs;mnusSelIkMNat;kargar. p¥akkargar
ekIteLIgedayehtuplBIr³ bec©keTs nig erobcM.
p¥akkargarbec©keTsKwedaytMrUvkarrbs;lMnaM]sSahkmµRtUvmancenøaHeBlenaH.
p¥akkargarerobcMKwp¥akkargaredayerobcMplitkmµekIteLIg.
3. bgðajExScgVak;elIRkahiVk
kñúgCMBUk 3 eyIg)andwgRbtiTinkargarGacbgðajtambIRbePT³ epþk/ eRTt/ bNþaj.
eBlerobcMsagsg;tamExScgVak;KWRbtiTinkargar k¾GacbgðajtamTaMgbIRkahiVkenaH.
1. bgðajelIRkahiVkepþk
Gk½Sry³eBlRtUv)aneRCIserIsKWCa Gk½Sedk edIm,IbgðajbNþa )a:ra:Em:Rt
ry³eBl. )a:ra:Em:RtlMnaM]sSahkmµ RtUv)ansMEdgedaybnÞat;kargar.
)a:ra:Em:RtlMh manBIrviFIbgðaj ³ viFITI 1 ¬rUbPaB 4>8¦ kMNat;kargarRtUv)an
Rkum i
Zj
i, i+1
rUbPaB 4>7> p¥akkargarrvagExScgVak;BIrelIkMNat;kargar j
kMNat;kargarj
Rkum I+1
ry³eBlTMenr
CMBUkTI 5 RKb;RKgsMNg;
eroberogeday³ sYs cMerIn RKb;RKgsMNg;tamviFIsaRsþExScgVak;
84
bgðajedayGk½SQr/ viFITI 2 ¬rUbPaB 4>9¦ kMNat;kargar
RtUv)anbgðajedaykMNt;sMKal;elIbnÞat;kargar.
elIrUbPaB 4>8 eyIgeXIjbNþaExScgVak; ¬kargar A, B, C, D¦ sMEdgeday
bNþabnÞat;fñak;². fñak;nimYy² KWCamYykMNat;kargar/ RbEvgkMNat;elIfñak;
nImYy² KWCary³eBlrbs;kMNat;enaH. sMNg;manb:unµankMNat;kargar
enaHbnÞat;fñak; bgðajb:uNÑwg. dMeNIrkarsagsg;manb:unµansMNg; enaHmanbnÞat;
fñak;b:uNÑwgEdr. RbtiTinkargarbgðajbnþ tam TaMgGk½SQr nig Gk½Sepþk.
nirnþrPaBrbs;kargarRtUv)anbgðajedaybNþa bnÞat;P¢ab;dac;².
1
2
j
m
kMNat;kargar
A B C D
A B C D
A B C D
A B C D
tAJ TBJ TCJ TDJ
KoB KoC KoD
T
rUbPaB 4>8>RbtiTinkargarbgðajedayRkahiVkepþk
CMBUkTI 5 RKb;RKgsMNg;
eroberogeday³ sYs cMerIn RKb;RKgsMNg;tamviFIsaRsþExScgVak;
85
elIrUbPaB 4>9 Gk½SQrminbgðajkMNat;kargar)an b:uEnþbgðajkargar/ kargar
nimYy²sMEdgedaybnÞat;Rtg;mYy/ RbEvgrbs;bnÞat;nimYy²bgðajGMBIry³eBl
kMNt;eFIVskmµPaBrbs;RkumCageFIVkargarenaH. elIRbtiTinkargarmanb:unaµn
RbePTkargar enaHmanbnÞat;kargarbgðajb:uNÑwg. edIm,IkMNt;sMKal;
(distinctions) ry³eBlrbs;ExScgVak;smas eKkt;sMKal;elIbNþabnÞat;
Edl)anbgðaj. Ca]TahrN_ A1, A2, …, Aj KWCakargar A eFIVelIbNþakMNat;
kargar 1, 2, …j / RbEvgrbs;bNþakMNat; KWCary³eBlrbs;ExScgVak;elI
kMNat;enaH.
2. bgðajedayRkahiVkeRTt
elIRkahiVk ry³eBlbgðajedayGk½Sepþk cMENkkMNat;kargarbgðajeday
Gk½SQr/ bNþakargarRtUv)anbgðajedaybnÞat;EdlvivDÄn_tamTaMgBIrTis nig
ry³eBlbegáIt)anCabnÞat;eRTt. kargar ¬ExScgVak;smas¦ nimitþsBaØaeday
(i) cMENkkMNat;kargarKW (j). cMeNalrbs;bNþaExScgVak;
A
B
C
D
kargar
A1 A2 Aj Am
B1 B2 Bj Bm
C1 C2 Cj Dm
D1 D2 Dj Dm
tAJ
tBJ
tCJ
tDJ
KoB
KoC
KoD
T
rUbPaB 4>9> RbtiTinkargarbgðajedayRkahiVkepþk
CMBUkTI 5 RKb;RKgsMNg;
eroberogeday³ sYs cMerIn RKb;RKgsMNg;tamviFIsaRsþExScgVak;
86
elIGk½SepþksmmUlnigkMNat;kargarnimYy² KW ry³eBl (tij) rbs;ExScgVak;elI
kMNat;kargarenaH. elIRkahiVk eyIgeXIjCMhanrbs;ExScgVak; (Koi) k¾dUcCa
CMhancUl/ CMhanecj rbs;bNþaExScgVak;elIkMNat;kargarnimYy². dUecñH
bgðajExScgVak;edayRkahiVkeRTt KWc,as;las; nig RKb;RKan;bMput. elIRkahiVk
eyIgeXIjkarvivDÄn_rbs;RkumCag nig bNþacMNucRtUvRby½tñ ¬cab;epþIm/
ecjcUl nig bBa©b;¦ eBlRbtibtiþplitkmµ. edayehtuenH RbRktiTinkargar
plitkmµtamExScgVak;EtgbgðajedayRkahiVkeRTt.
3. bgðajedayDIya:RkambNþaj
ExScgVak; bgðajedayDIya:RkambNþaj manlkçN³sµúKsµajeRcIn b:uEnþCak;
c,as; ehIyeyIgeFIVkarsikSaenACMBUkeRkay.
m
j
2
1
KMNat;kargar
K02 K0i K0n tn1
t11
Z2i
1
Z12
2
Z12
m
Z1n
m
K2in
m
1 2 i n
K2out
m
rUbPaB 4>10>RbtiTinkargarbgðajedayRkahiVkeRTt
CMBUkTI 5 RKb;RKgsMNg;
eroberogeday³ sYs cMerIn RKb;RKgsMNg;tamviFIsaRsþExScgVak;
87
4. bNþaCMhanbegáItExScgVak;sagsg;
begáItExScgVak;plitkmµ sMxan;KwbegáItEpnkarplitkmµbgðajtamRbtiTinkargar
kñúgenaHeKykcitþTukdak;Gnuvtþ bNþak,Ünc,ab;rbs;ExScgVak;. CaFmµta/ eBlbegáItExS
bBa¢ÚnsMNg;mYyeKGnuvtþ bNþaCMhandUcxageRkam ³ ¬rUb 4>11¦.
CMhanTI 1 ³ viPaKlMnaM]sSahkmµsagsg;Ep¥kelIbNþakarkMNt;rbs;KNnasagsg;
viPaKdMeNIrkarbec©keTsGaceRbIR)as;edIm,Isagsg;sMNg;. rkTMnak;TMng
GMBIlMnaM]sShkmµ EdlGñkRKb;RKgplitkmµRtUvGnuvtþn_tam kñúgenaHcab;
GarmµN_dl;TMnak;TMng ³ p¥akkargarbec©keTs. bNþaeRKOgcRkbrikçarnwg
RtUveRbIR_)as;eBlsagsg;.
CMhanTI 2 ³ kMNt;kMritÉkeTskmµedIm,IbegáItlMdab;erogkargar
elImUldæanviPaKlkçN³sm,tiþlMnaM]sSahkmµ eKEckdMeNIrkarsagsg;
CalMnaMsmas. bNþalMnaMsmas RtUvsagsg;edayÉkraCü enATItaMg
epSg²KñaelIsMNg;. BYkvaRtUv)anGnuvtþn_tamlMdab;lMeday]sSahkmµ
kMNt;. eTAtamTMhMrbs;sMNg; EdlbNþalMnaMsmas mankMritEbgEck
tUc²epSgKña. lT§plEbgEckkargar eyIgbegáIt)anlMdab;erogkargar
sagsg;.
CMhanTI 3³ kMNt;bNþa)a:ra:Em:RtlMnaM]sSahkmµ
begáItRkumplitkmµ manviC¢aÉkeTskmµsmRsb CamYynig bNþalMnaM
plitkmµ begáIt)anCabNþaExScgVak;smas. bNþaExScgVak;smas
TaMgenaH nwg GnuvtþEbgEckkargartamlMdab;lMedaybnþbnÞab;KñaBI
TItaMgenHmkTItaMgbnþbnÞab;eTot.
CMBUkTI 5 RKb;RKgsMNg;
eroberogeday³ sYs cMerIn RKb;RKgsMNg;tamviFIsaRsþExScgVak;
88
Start
viPaKlMnaM]sSahkmµsagsg;sMNg;
begáItlMdab;kargar
begáItbNþaRkumplitkmµCMnaj
EbgEcképÞsagsg;
kMNt;ry³eBlrbs;ExScgVak;
TMnak;TMngExScgVak;tamry³eBl nig lMh
KNnabNþatMrUvkarrbs;ExScgVak;
vaytMéltMrUvkar
bgðajedaytaragRbRktiTinkargar
begIþttaragtMrUvkarFnFan
End
+
-
CMBUkTI 5 RKb;RKgsMNg;
eroberogeday³ sYs cMerIn RKb;RKgsMNg;tamviFIsaRsþExScgVak;
89
eyagtamkMritEbgEckbNþalMnaM plitkmµ EdlmankMritCMnajÉkeTs
rbs;bNþaRkum ³ RkumÉkeTs/ rYmpSM b¤ BhuCMnaj. CMnajÉkeTs nig
BhuCMnajrbs;RkumCag KWCabBaðaBIr rbs;erobcMRKb;RKg. begáInEpñkNa
edIm,IsMerc)anlT§plplitkmµ KWCa karqøatévrbs;GñkerobcMRKb;RKg
plitkmµ. eRkaymkkMNt; rbbeFIV kargarrbs;RkumCagtamviFI
)ansÁal;.
CMhanTI 4³ kMNt;)a:ra:Em:RtlMh
elImUldæanviPaKlkçN³edayELkrbs;sMNg; ¬sßabtükmµ/ eRKOgbgÁúM/
smßPaBBlkmµ nig lMnaMbec©keTssagsg;¦ eyIgEbgEcképÞsagsg;Ca
kMNat;kargar. karEbgEckkMNat;kargarRtUvRsbCamYynigbec©keTs
nig RKb;RKgsagsg;.
CMhanTI5 ³ kMNt;)a:ra:Em:Rtry³eBl/ kMNt;ry³eBlrbs;ExScgVak;
elImUldæanEbgEckkMNat;kargar nig erobcMRKb;RKgrbs;ExScgVak; eyIg
kMNt;ry³eBlrbs;BYkvaEp¥kelIrUbmnþ³ ¬eBlsagsg;edayBlkmµ¦
tij = Qij / a.Ni
b¤ ¬eBlsagsg;edayynþkmµ¦
tij = Qij / a.Mi
kñúgenaH ³ tij - ry³eBlrbs;ExScgVak; elIkMNat;kargar /
Qij - brimaNkargarKittam éf¶Blkmµ ¬Blkmµ¦b¤ evn
¬ynþkmµ¦/
a - cMnYnevneFIVkargarkñúgmYyéf¶¬rbbeFIVkargar¦/
NI, Mj - cMnYnkmµkr/ cMnYneRKOgeFIVkargarenAExScgVak; i/
CMBUkTI 5 RKb;RKgsMNg;
eroberogeday³ sYs cMerIn RKb;RKgsMNg;tamviFIsaRsþExScgVak;
90
CMhanTI6 ³ sg;ExScgVak;mann½yfacgsm<½n§bNþaExScgVak;tamry³eBl nig lMh
eRkayeBlkMNt;)anbNþa)a:ra:Em:Rtrbs;ExScgVak;kargarsg;ExScgVak;KWCa
karcgsm<½n§bNþaExScgVak;eTalCamYyKña begáIt)anExScgVak;plitkmµ.
kargarcgsm<½n§bNþaExScgVak;eTal bgðajtambNþa)a:ra:Em:Rt lMh nig
ry³eBlelIeKalkarN_BIr³ lMnaM]sShkmµnig erobcMRKb;RKgExScgVak;.
eKalkarN_lMnaM]sSahkmµ KWExScgVak;rYmpSMCamYyKña tamlMdab;erog
]sSahkmµ/ FanalMnaMbec©keTs edIm,IviFIsaRsþmanlT§PaBsMerckargar.
cMENkeKalkarN_erobcMRKb;RKg³ KWExSbBa¢ÚeFIVkarrnþM mann½yfaeFIVkar
CamYynigplitPaBefr/ kñúgry³eBlmYydUcKña ExScgVak;eRbIR)as;FnFan
dUcKña/ plitecjnUvplitplesµIKña.
CMhanTI 7 ³ KNnabNþatMrUvkarrbs;ExScgVak;
enACMhanTI 6 eyIgmanExScgVak;plitkmµmYy ¬sagsg;sMNg;¦ tam
eKalkarN_lMnaM]sSahkmµ nig erobcMRKb;RKg dak;ecj. CaFmµta
ExScgVak;dMbUgEdl)anbegáIt minTan;bMeBj)anPøamnUvbNþatMrUvkarrbs;
Gñksagsg; edIm,IvaytMélva eKGnuvtþn_KNnabNþatMrUvkardak;ecj.
bNþatMrUvRtUvKNnaKW ry³eBleFIVskmµPaBrbs;ExScgVak;/ esßrPaB/
PaBrnþM/ plitPaB/ tMrUvkarGMBIFnFanmFüm nig xN³eBlx<s;bMput>>>.
CMhanTI 8 ³ vaytMélbNþatMrUvkarrbs;ExScgVak;)anbegáIt
bNþatMrUvkarrbs;ExScgVak;)anbegáIt
caM)ac;RtUv)anvaytMéledayviFIeRbob eFob eTAnigbNþatMrUvkardak;ecj
¬rbs;m©as;vinieyaK/ Gñksagsg;¦. ebI tMrUvkardMbUgRKb;RKan;
CMBUkTI 5 RKb;RKgsMNg;
eroberogeday³ sYs cMerIn RKb;RKgsMNg;tamviFIsaRsþExScgVak;
91
enaHExScgVak;EdleTIbbegáIt)an GackøayCa
RbtiTinkargarmankarTTYlsÁal; ¬eBlRtUv)anTaMgBIrPaKI :k : nig :x :
BinitüsMerc¦.
ebIbNþatMrUvkarminGacsmRsbCamYytMrUvkardak;ecj enaHExScgVak;RtUv
)anEktMrUv eGaysmRsbtamlMnaMxageRkam.
CMuTI1 ³ sg;eLIgvijExScgVak;tamviFIbþÚrkarcgsm<½n§énlMh nig ry³eBl
eBllkçxNÐGnuBaØati. qøgtamry³enaH bNþatMrUvkarrbs;
ExSbBa¢Úúnplitkmµpøas;bþÚredayTItaMg rbs;ExScgVak;smasbþÚrnUv
brimaN cMENkKuNPaBrkSaenAdEdl. dUcenH CMuTI1 enH eyIg
ehAfaCMuEktMrUverobcMRKb;RKg ebICMuTI1 enAEtminRKb;RKan;/
eyIgRtUvGnuvtþn_EktMrUvCMuTI2.
CMuTI2 ³ EktMrUvplitPaBrbs;bNþaExScgVak;edayvIFIEfmfyBlkmµ/
eRKOgcRkrbs;Rkumplitkmµ. ebItamCMuTI2 enAEtminTan;bMeBj
)antMrUvkardak;ecj eyIgRtUvGnuvtþn_CMuTI3³
CMuTI3 ³ EktMrUvviFIsaRsþerobcMbec©keTsedayviFIbþÚrkMritCMnajÉkeTs
ehIyQandl;bþÚrEbgEcklMh ¬kMNat;/ dMNak;kal¦ eFIVeGay
ExScgVak;plitkmµpøas;bþÚreRcIn eRBaHbNþa)a:ra:Em:RtmUldæanbþÚr.
CMhanTI 9³ bgðajedayRbtiTinkargar
eBltMrUvdak;ecjRtUvExScgVak; Edl)anbegáItbMeBj)an enaHExScgVak;
plitkmµenaH GacbþÚrmkRbtiTinkargarmankarTTYlsÁal; ¬eBlRtUv)an
TaMgBIrPaKIRsuHRsYl dak;cUlkñúgxøwmsarénkic©snüa esdækic©-
bec©keTs¦.
CMBUkTI 5 RKb;RKgsMNg;
eroberogeday³ sYs cMerIn RKb;RKgsMNg;tamviFIsaRsþExScgVak;
92
ExScgVak;RtUv)anbþÚrmkRbtiTinkargar edayviFIP¢ab;vaeTAnigeBlevla
kMNt;. bNþaxN³eBlrbs;kargar ¬epþIm - bBa©b;¦ ry³eBlsagsg;
RtUv)anbgðajelIGkSry³eBlenaH . bNþaExScgVak;smas RtUv)anbgðaj
edaybNþabnÞat;Edlcab;epþImBIxN³eBleFIVkargarbnþKñardwk dl;bBa©b;
kargarrbs;va. edayehtuenH karRbKl;EpnkarN_eGayRkumplitkmµ
manlkçN³sam½BaØnig mansar³RbeyaCn_.
CMhanTI 10 ³ begáIttaragpÁt;pÁg;FnFan
dUcral;Epnkarplitkmµ/ kargarpÁt;pÁg;l¥KWCabBaðacaM)ac; edIm,IdMeNIr -kar
sagsg;cMEpnkar/ BiessKW eBlerobcMplikmµtamExScgVak;. bNþa
taragrbs;ExScgVak;GacCa karpÁt;pÁg; sMPar³/ Blkmµ/ eRKOgcRk/
plitPaB nig fvikar .l.
5. c,ab;rbs;ExScgVak;eTal ¬smas¦
c,ab;ExScgVak;KWCa karbgðajcMNgrvagbNþa)a:ra:Em:Rtrbs;BYkva/ CaFmµtabgðajBI
ry³eBlkMNt;eFIVskmµPaBrbs;ExScgVak;. elIrUbPaB 3>11 eyIggayeXIjry³eBl
eFIVskmµPaB ti rbs;ExScgVak;eTalrnþMnig minrnþM.
2
m
j
1
KMNat;kargar
k
ti1
ti2
tij
Tim
k k k
T = m.k
ti1
ti2
tij
Tim
k k k
2
m
j
1
KMNat;kargar
k
T =
k k k k
CMBUkTI 5 RKb;RKgsMNg;
eroberogeday³ sYs cMerIn RKb;RKgsMNg;tamviFIsaRsþExScgVak;
93
eyIgmanrUbmnþ ³
kmti .=
∑=
=
m
j
iji tt
1
dUcenHExScgVak;manesßrPaBKW ³
constPNIi == . nig
i
ij
i
ijij
ij
N
Q
PN
V
I
V
t ===
.
/
kñúgenaH ³Vij, Qij – brimaNkargar nig brimaNBlkmµ i elIkMNat;kargar j,
P- smßPaBBlkmµrbs;mnusSmñak; ¼ éf¶/
eBlExScgVak;rnþMeyIgman ³
const
N
Q
t
i
ij
ij ==
eRBaH ³Nj = const enaH , Qij = const,
mann½yfacg;)anExScgVak;rnþM brimaNkargarelIbNþakMNat;kargaresµIKña.
Cak;EsþgeBlbrimaNkargareRkam 25° eyIgGaccat;TukdUcCary³eBlsagsg;
esµIKña. mann½yfa Qij ≠ const enaH tij ≠ const/ eyIgmanExScgVak;minrnþM.
ry³eBleFIVskmµPaBrbs;ExScgVak;eTalGacsMEdgedayrUbmnþxageRkam/ ExScgVak;rnþM³
i
ij
i
N
Qm
kmt
.
. ==
ExScgVak;minrnþM ³
i
m
j
ijm
j
ijij
N
Q
tt
∑
∑
=
=
==
1
1
CMBUkTI 5 RKb;RKgsMNg;
eroberogeday³ sYs cMerIn RKb;RKgsMNg;tamviFIsaRsþExScgVak;
94
ya:gNamij eyIgk¾GackMNt;cMnYnkmµkrrbs;ExScgVak;smmUl³
i
i
i
t
QM
N
.
= b¤
i
m
j
ij
i
t
Q
N
∑=
=
1
/
kñúgenaH ³ M,Qi, ∑=
m
j
ijQ
1
- brimaNsrubkargarrbs;ExScgVak; i/
6. c,ab;rbs;ExScgVak;ÉkeTsrnþM
eBlerobcMExScgVak;ÉkeTsmYy manry³eBlrbs;bNþaExScgVak;smasminERbRbYl
nig esµIKña eyIgmanExScgVak;rnþM. eBlenaH eyIgman³
ti = const ∀ i, j
mann½yfa³ const
I
V
t
i
ij
ij ==
tameKalkarN_ erobcMExScgVak;KW I = const ¬plitPaBefr¦ naMeGay
constVij =
dUcenHlkçxNÐ EdlGac)anExScgVak;rnþM KWCa brimaNkargarelIkMNat;kargarRtUv
esµIKña. kñúgkargarCak;Esþg brimaNkargarelIbNþakMNat;kargarmaneBlxøHxusKña.
ebIPaBxusKñaenaHeRkam 20° eyIgk¾Gaccat;TukfaCaesµIKña eRBaHeyIgGacbegáIn
plitPaB edIm,Iry³eBlminmanERbERbYl.
edayry³eBlrbs;ExScgVak; minERbRbYl nig esµIKña enaHeyIgGacykry³eBlrbs;
ExScgVak;eFIVCa m:UDulxYb ¬ tij = K ¦. dUcenH elIRkahiVk/ Éktary³eBlKW K ¬rUbPaB
4>12¦.
CMBUkTI 5 RKb;RKgsMNg;
eroberogeday³ sYs cMerIn RKb;RKgsMNg;tamviFIsaRsþExScgVak;
95
elIrUbPaB 4>12 eyIgfa ry³eBlkMNt;rbs;ExScgVak; KWCa cenøaHeBlBeRgIkkargar
bNþaExScgVak;smas ¬T1¦ bUkCamYynigskmµPaBrbs;ExScgVak;eTalcugeRkay tn.
eyIgmanrUbmnþ³
T = T1+tn
müa:geTot³ T1- enAehAfaxYblMnaM]sSahkmµplitkmµeBlenaHnimitþsBaØaCa τ/
Tn - enAehAfary³eBlbegáItecjplitplrbs;ExScgVak;.
eBlrvagbNþaExScgVak;smasminmankarp¥akkargar/ tameKalkarN_enaHCMhanrbs;
ExScgVak;cMesµIry³eBlrbs;ExScgVak; (K0=K)> dUcenH ³
τ = T1 = (n-1).k
tn = m.k
T = (m+n-1).k
eBlrvagExScgVak;mYyBIrmankarp¥akkargarbec©keTs ¬rUbPaB 4>13¦enaH
kMNat;kargar
rUbPaB 4>12 ExSbBa¢ÚnrnþM
CMBUkTI 5 RKb;RKgsMNg;
eroberogeday³ sYs cMerIn RKb;RKgsMNg;tamviFIsaRsþExScgVak;
96
∑ +
+−== 1,
1 ).1( ii
ZkmT τ
ry³eBlkMNt;rbs;ExScgVak; nwg GnuvtþtamrUbmnþ³
∑ +
+−+= 1,
).1( ii
ZknmT
kñúgenaH³ ∑ +1,ii
Z - karp¥akkargarrvagbNþaExScgVak;eTal i nig i+1.
Blkmµrbs;bNþaExScgVak;eTalkMNt;tamrUbmnþ³
K
Q
K
SV
N
ijiij
i ==
.
b¤
i
i
i
ij
i
t
Q
Km
Qm
N ==
.
.
kñúgenaH³ Vij, Qij - brimaNkargar nig brimaNBlkmµrbs;kargar i
elIkMNat;kargar j /
Si- bTdæankargarrbs;kargar i.
dUcenH cMnYnBlkmµGtibrma RtUvkarsMrab;ExScgVak;ÉkeTs KWcMnYnBlkmµsrubrbs;
ExScgVak;eTas
K
Q
NN
n
i
ijn
i
i
∑
∑ =
== 1
max b¤ ∑
∑
=
==
n
i i
n
i
i
i
t
Q
t
Q
N
1
1
max
eBlExScgVak;minmankarp¥akkargar ¬rUbPaB 4>12¦ eyIgman³
KnKT
n
ini
)1(
2
1.0
,
1 −== ∑
eBlExScgVak;minmankarp¥akkargar ¬rUbPaB 4>13¦eyIgman³
∑∑ +−==
=
ZKnKT
n
i
ini
)1(
2
1.0
,
1
rUbPaB 4>13 ExScgVak;rnþM nig karp¥akkargar
kMNat;kargar
CMBUkTI 5 RKb;RKgsMNg;
eroberogeday³ sYs cMerIn RKb;RKgsMNg;tamviFIsaRsþExScgVak;
97
eBlExScgVak;minmankarp¥akkargar ¬rUbPaB 4>12¦ eyIgman³
KnKT
n
i
outi
m )1(
2
,
.03 −== ∑=
eBlExScgVak;minmankarp¥akkargar ¬rUbPaB 3>13¦eyIgman³
∑∑ +−==
=
ZKnKT
n
i
outi
mo )1(
2
,
.3
7. karvaytMélExScgVak;
dUceyIg)andwgExScgVak;plitkmµsMNg; kan;EteFIVskmµPaBEvgkan;EtTTYllT§pll¥.
edIm,IvaytMél b¤ eRbobeFobExScgVak; eKdak;ecjbNþatMélCamUldæandUcxageRkam³
• tMélesßrPaB α rbs;ExScgVak;³ vas;edaysmamaRtrvagry³eBlExScgVak;
esßrPaB CamYynigry³eBlsrubrbs;va³
T
T2
=α
RbRktiTinkargar/ RkahiVkBlkmµ
cMnYnmnusS
kMNat;kargar
rUbPab 4>14 karGPivDÄn_rbs;ExSbBa¢Ún
CMBUkTI 5 RKb;RKgsMNg;
eroberogeday³ sYs cMerIn RKb;RKgsMNg;tamviFIsaRsþExScgVak;
98
CamYynigExScgVak;ÉkeTsrnþM eyIgeXIj
1
1
−+
+−
=
nm
nm
α
• tMélsMrab;eFIVeGayRbesIrcMNayFnFanβ ³ vas;edaysmamaRtrvagkMrit
cMNayFnFanmFüm eFobCamYynigbnÞat;Gtibrma. CaFmµtaeKeRbIRkahiVk
BlkmµedIm,IvaytMél.
maxN
Na
=β
kñúgenaH³ Na - cMnYnBlkmµmFümeRbIR)as;kñúgExScgVak;/
Nmax - cMnYnBlkmµGtibrmaEdlkñúgExScgVak;eRbIR)as;.
eBlExScgVak;rnþM eyIgmanRkahiVkBlkmµ dUcelIrUbPaB 4>15
1−+
=
nm
m
β
tMélrbs; α nig β kan;EtFMenaHExScgVak;kan;EtmanesßrPaB nig RbesIr.
ehIyeyIgeXIjfa α nig β Canic©kaltUcCag 1. BYkvaesµI 1 EteBlNa m
xitCit ∞ .
rUbPab 4>15 RkahiVkBlkmµrbs;ExScgVak;rnþM
CMBUkTI 5 RKb;RKgsMNg;
eroberogeday³ sYs cMerIn RKb;RKgsMNg;tamviFIsaRsþExScgVak;
99
:1<α
ehtuenHGaceXIjfa m kan;EtFMenaHExScgVak;kan;EtRbesIrCageK.
8. c,ab;rbs;ExScgVak;rnþMxusrag
ExScgVak;ÉkeTskmµmanExScgVak;smasrnþM b:uEnþkñúgenaHmanExScgVak;mYycMnYn
ry³eBl rbs;BYkvaKWKuNEfmcMnYnrbs;ry³eBlrbs;bNþaExScgVak;epSg².
consttij = eday ∀ i
ijrj tct .= eday ir ≠
elIrUbPaB 4>16 BIBN’naExScgVak;rnþMxusrag. bNþaExSbBa©Ún 1, 2, ,…, i, n,
manry³eBlesµIKñanig esµI K/ edayELkExScgVak;r manry³eBl 2K .
edaymanExScgVak;xusrag dUcenHrvagBYkvaekIteLIgnUv karsMrakkargar Z0 EdleFIV
eGayry³eBlkMNt;rbs;ExScgVak;RtUvGUsbnøay.
0).1( ZKnmT +−+=
T=(c.m+n-1).k
Zo
k
m
3
2
1
kMNat;kargar
kkk k
j
kk
1
Zo
k kkkk k
2
kk kk k
r i
kk
n
rUbPaB 4>16>ExSbBa¢ÚnrnþMxusrag
CMBUkTI 5 RKb;RKgsMNg;
eroberogeday³ sYs cMerIn RKb;RKgsMNg;tamviFIsaRsþExScgVak;
100
mKKcZ )..(0 −=
)().1( mcmKKnmT −+−+=
KncmT ).1( −+=
qøgtamrUbmnþxagelI eyIgeXIjfa eFobCamYynigExScgVak;rnþMry³eBlkMNt;rbs;
ExScgVak;rnþMxusrag EbCaGUsbNþayeBlevla Z0. Z0 smamaRtCamYynig m. dUcenH
m kan;EtFM enaHry³eBlkMNt;kan;EtGUsbNøayEfmeTot bgÁeGay)at;bg;pl
RbeyaCn_sMrab;plitkmµ.
dUcenHedIm,I bnßydl;PaBKµanGtßRbeyaCn_enaH eyIgrkviFIedaHRsaykarp¥akEbbenaH.
eRBaH ijrj tct .=
i
ij
r
rj
N
Qc
N
Q .
=
ij
i
ij
r
rj
t
N
Q
Nc
Q
==
.
mann½yfa cg;bnßyry³eBlrbs;ExScgVak; r eGaycuHesµIry³eBlExScgVak;epSg eyIg
RtUvbegIÁIncMnYnBlkmµeLIg c dg. b:uEnþerOgenH minGac)aneT eRBaHépÞsagsg;min
GnuBaØateGay.
viFIl¥bMputedIm,I bnßyeGayxøIry³eBlkarp¥akkargarKW tulüaPaBExScgVak; eday
viFIsaRsþerobcMRKb;RKg.
krNItulüPaBtamry³eBlelOn
vIFITI 1³ erobcMRKb;RKgRkumeFIVkargarRsbKña ¬rUbPaB 4>17¦
CMBUkTI 5 RKb;RKgsMNg;
eroberogeday³ sYs cMerIn RKb;RKgsMNg;tamviFIsaRsþExScgVak;
101
a, b
rb
k
T=(m+n'-1).k=(m+n+c-2).k
m
3
1
2
kMNat;kargar
kkk k
j
edayBIrRkum
k k
ra
rb
ra
1
k
c=2
k
eFIVkargarRsbKña
kk k
rb
ra
2
ra
kk
i n
rb
rUbPaB 4>17>tulüPaBExSbBa¢ÚnrnþMxusrag
ExSbBa©ún r manry³eBl 2K cg;eGaymantulüPaBry³eBlCamYyExScgVak;epSg
eyIgerobcMExScgVak; r CaBIrExScgVak; ra nig rb eFIVkargarRsbKña. ExScgVak; a
eFIVkargarenAbNþakMNat;kargaress nig ExScgVak; c eFIVkargarenAkMNat;kargarKU.
eBlenaHbNþaExScgVak; r minmankarp¥akkargar. ry³eBleFIVkargarrbs;ExScgVak;KW³
KnmT ).1'(' −+=
1' −+= cnn
kñúgkrNIrUbPaB 3>17 eyIgman³
112' +=−+= nnn
CMnYscUleyIg)an³
KnmT ).(' +=
CMBUkTI 5 RKb;RKgsMNg;
eroberogeday³ sYs cMerIn RKb;RKgsMNg;tamviFIsaRsþExScgVak;
102
dUcKñacMeBaHkrNI c=3 eyIgerobcMCa 3 ExScgVak; a, b, c eFIVkargarRsbKña ¬rUbPaB
3>18¦³
kñúgkrNIenH ³
21' +=−+= ncnn
eyIgman ³
KnmT ).1(' ++=
edIm,IgayRsYlExScgVak;smasmYy manry³eBlrnþMxusrag ck enaH erobcMCa c Rkum
eFIVkargarRsbKña. ry³eBlrbs;ExScgVak;eRkayeBlmantulüPaBKW
.)2(' KcnmT −++=
ry³eBlbnßyeGayxøI)an edayehtu tulüPaBExScgVak;KW³
'TTT −=∆
CMnYscUlrUbmnþxagelI eyIg)an³
KcnmKncmT )2()1( −++−−+=∆
)1)(1(]1)1[( −−=+−−=∆ cmKKcmcT
eBlmantulüPaBtamviFIerobcMRkumeFIVkargarRsbKña BlkmµeFIVkñúgExScgVak; nwgekIn
EfmesµI cMnYnBlkmµeFIVkargarRsbenARkumenaH.
CMBUkTI 5 RKb;RKgsMNg;
eroberogeday³ sYs cMerIn RKb;RKgsMNg;tamviFIsaRsþExScgVak;
103
ra
a, b, c
rUbPaB 4>18> ExSbBa¢ÚnrnþMxusrag
k
T=(m+n'-1).k=(m+n+c-2).k
m
3
2
1
kMNat;kargar
kkk k
j
edaybIRkum
kk
ra
rb
rc
1
kkk
eFIVkargarRsbKña
kk
c=3
k
rc
rb
2
ra
kk
rb
i n
viFITI 2³erobcMRKb;RKgeFIVbEnßmevn enAExScgVak;rnþMxusrag¬rUbPaB 4>19¦
tamviFIenH bNþaExScgVak;FmµtaeFIVkargar 8ema:g¼éf¶/ edayELkExScgVak;rnþMxusrag
erobcMc Rkum eFIVkargar c evnkñúgmYyéf¶.
kMNat;kargar
ExSbBa¢Ún eFIVkargar 2 Evn¼éf¶
ExSbBa¢Ún eFIVkargar 1 Evn¼éf¶
rUbPaB4>19> erobcMeFIVkargarEfmevn
T=(m+n-1).k
t.n
c
k
(n-1).k
k k
3
s
kk
1
2
s c c s c
j
m
k
r
1, i, n
s c s c c
k
s s
1
kkk
s c s
k
c s c s
r i n
c
dUcenHelIral;kMNat;kargar eBlNak¾manEtmYyRkumeFIVkargar FanaépÞsagsg;.
dUcenH ry³eBlrbs;ExScgVak;xøICag c dg nig mantulüPaBry³eBlCamYyExScgVak;
EdlenAsl;.
CMBUkTI 5 RKb;RKgsMNg;
eroberogeday³ sYs cMerIn RKb;RKgsMNg;tamviFIsaRsþExScgVak;
104
ry³eBlxøIeRkayeBlbnßyry³eBleGayenAxøIKW³
KnmKnmcTTT ).1().1.(' −+−−+=−=∆
mKcT )1( −=∆
mantulüPaBry³eBlelOntamviFIerobcM c eFIVeGayTan;eBlevla ExScgVak;Gnuvtþn_
)anEteBl c = 2 b¤ 3. krNI c>3 minGacGnuvtþn_)aneRBaHéf¶eFIVkargar # evn
KWGtibrma.
CMBUkTI 6 RKb;RKgsMNg;
eroberogeday³ sYs cMerIn RKb;RKgsMNg;tamDIya:RkambNþaj
105
CMBUkTI 6
begáItRbtiTinkargartamviFIsaRsþdüaRkambNþaj
I. niymn½y
1.1. kargar³ KWCalMnaMsagsg;sßitenArvagRBwtiþkarN_BIr/ RtUv)anbgðajedayRBYj
(arrow) nig nimitþsBaØaedaybNþaelxerogrbs;RBwtiþkarN_BIr mun nig eRkay.
cMNaM³ lMdab;erogkargarRtUvFana i<j. mankargarbIRbePTdUcxageRkam³
A. kargarBit³ KWCalMnaMsagsg;RtUvkarry³eBl/ Blkmµ/ ynþkmµ nig
sMPar³. vaRtUv)ansMEdgedayRBYjCab;Kña/ eQµaHkargarsresrenAxagelI
nig ry³eBleFIVeGaycb;kargarRtUv)ansresenAxageRkamRBYj.
2
8 éf¶
rUbPaB 2
1
CIkdI
rUbPaB 1
kargar i-j
ji
CMBUkTI 6 RKb;RKgsMNg;
eroberogeday³ sYs cMerIn RKb;RKgsMNg;tamDIya:RkambNþaj
106
B. kargarnimitþ³ manEtcMNgTak;TgGMBIbec©keTsrvagkargarBIr b¤ eRcIn.
vaelIkeLIgnUvkarcab;epþIm nig bBa©b; rbs;kargarepSg² ¬dUcCa kargar
tubEtgbegðIykñúglMenAdæanRtUveFIVeRkayeBlkargarRbk;)anbBa©b;¦/ kargar
nimitþminTamTarTaMgBlkmµTaMgsMPar³ehIyvaRtUv)anbgðajedayRBYjdac;².
C. kargarrg;caM³ KwkargarRtUvkarcaM)ac;Etry³eBlEdlminRtUvkarBlkmµ/
sMPar³ ¬dUcCa kargarrg;caMsm¶Ütrbs;RsTab;bUkeRkA b¤ rg;caMPaBrwgmaM
rbs;ebtugsrésEdk¦. vaRtUv)anbgðajedayRBYjCab;Kña.
1.2. RBwtiþkarN_³ KWCakarcab;epþIm b¤ bBa©b;rbs; mYy b¤ BIrbIkargar. elIdüaRkam
bNþaj/ bNþaRBwtiþkarN_bgðajedayrgVg;mUledaydak;eQµaHtamelxerog (0-n).
eKmaneRcInRbePTRBwtwþkarN_³
21
rUbPaB 3
rUbPaB 6rUbPaB 5rUbPaB 4
RBwtiþkaN_cab;epþIm RBwtiþkaN_samBaØ RBwtiþkaN_bBa©b;
0 i n
CMBUkTI 6 RKb;RKgsMNg;
eroberogeday³ sYs cMerIn RKb;RKgsMNg;tamDIya:RkambNþaj
107
1. RBwtþikarN_cab;epþIm³ KWCaRBwtiþkarN_ EdlmunvaminmanRBYjcUleTA enaH
KW cMNuccab;epþImsagsg;sMNg;.
2. RBwtiþkarN_samBaس KWCaRBwtiþkarN_ manTaMgRBYjcUleTA manTaMgRBYj
cakecj.
3. RBwtiþkarN_bBa©b;³ KWCaRBwtiþkarN_ EdleRkayvaminmanRBYjcak
ecj.enaHKWCacMNucbBa©b;karsagsg;.
1.3. bnÞat;em nig bnÞat;rg
1. kñúgdüaRkambNþaj³ bNþakargarerobtamlMdab;eday P¢ab;KñabegIát
)anCabnÞat;. RbEvgrbs;bnÞat;KWCary³eBlsrubrbs;bNþakargarnimYy².
BIRBwtiþkarN_cab;epþImrhUtdl;RBwtiþkarN_bBa©b;maneRcInRbePTxus²Kña.
2. bnÞat;em³ KWCabnÞat;P¢ab;BIRBwtiþkarN_cab;epþImdl;RBwtiþkarN_bBa©b;
manRbEvgEvgbMput/ enaHKWCary³eBlsagsg;sMNg;TaMgmUl. ¬ry³eBl
bBa©b;EpnkarN_¦. cgcaMfa kargarnimitþk’GacsißtelI bnÞat;em.
eKtagbnÞat;emeday Tm.
3. bNþakargarenAelIbnÞat;em³ KWCabNþakargarsMxan; ¬kargarem¦ nig
bgðajelIdüaRkambNþajedayRBYjditFM.
3
42
rUbPaB 7
5
0
5
1
3
1
6
2
3
5
5
CMBUkTI 6 RKb;RKgsMNg;
eroberogeday³ sYs cMerIn RKb;RKgsMNg;tamDIya:RkambNþaj
108
4. bNþakargarminenAelIbnÞat;em³ KWCabNþakargarrg/ kargarman
ry³eBlbMrug.
]TahrN_ mandüaRkamdUcrUbxagelI/ eyIgbegáIt)antaragRbEvg
bNþabnÞat;dUcxageRkam.
n bnÞat; (Ln)
RbEvg ¬ry³eBl¦
rbs;bnÞat;
ry³eBlbMrugrbs;
bnÞat; R (Ln)
1 0-1-2-3-4-5 1+3+6+0+3=13 16-13=3
2 0-1-2-3-5 1+3+6+5=15 16-15=1
3 0-1-2-4-5 1+3+5+3=12 16-12=4
4 0-1-3-4-5 1+2+0+3=6 16-6=10
5 0-1-3-5 1+2+5=8 16-8=8
6 0-2-3-4-5 5+6+0+3=14 16-14=2
7 0-2-3-5 5+6+5=16 16-16=0
8 0-2-4-5 5+5+3=13 16-13=3
vaytMél³ tamlT§plenAtaragxagelIKWbnÞat;TI & qøgtamRBwtiþkarN_ 0-
@-#-% manry³eBlFMbMput. dUcenH BitCabnÞat;em ¬bnÞat;sMxan;¦
rbs;bNþaxagelI.
5. PaBxusKñarvagRbEvgbnÞag;em nig bnÞat;NamYyminkMNt;³
KWCary³eBlbMrugTaMgmUl (R) rbs;bnÞat;NamYyenaH. R eGay
dwgBIry³eBlsrub EdlGacbegáIneGayral;kargarrg EdlmineFIVeGay
ekInry³eBlbBa©b;sagsg;sMNg;.
6. bNþabnÞat;rgmanry³eBlbMrugTaMgmUl³ enaHKW bNþakargarenA
elIbnÞat;enH suT§Etmanry³eBlbMrugedayELk (r) rbs;BYkva.
CMBUkTI 6 RKb;RKgsMNg;
eroberogeday³ sYs cMerIn RKb;RKgsMNg;tamDIya:RkambNþaj
109
II. bNþac,ab;begáItdüaRkambNþaj³
A. kñúgdüaRkambNþaj³ minGnuBaØatiþ³
1. mankargareRcInkat;Kña ¬rUbPaB 8¦.
2. manbNþakargarBeRgIkxøÜntamCMu¬xYb¦ ¬rUbPaB 9¦.
3. nimitþsBaØdUcKñarbs;bNþakargarepSgKña ¬rUbPaB 10¦.
4. kargarRbmUlpþMúeRcIneBkeTAelIRBwtiþkarN_EtmYy b¤ BIRBwtiþkarN_
EtmYymankargareRcIncakecj.
B. düaRkambNþaj³ Gacbgðaj³
1. bNþakargaredaybNþaRBYjRtg; ¬rUbPaB 12.a¦ b¤ edayRBYj kac;RCug
¬rUbPaB 12.b¦.
rUbPaB 8 rUbPaB 9
rUbPaB 11
xusa)
Eh‘Vm
5
rUbPaB 10
j
6
7
Eh‘Vm
5
b) RtUv
8
6
1
3
2
4
21
3
dgsÞÚc dgsÞÚc
dMbUl dMbUl
CMBUkTI 6 RKb;RKgsMNg;
eroberogeday³ sYs cMerIn RKb;RKgsMNg;tamDIya:RkambNþaj
110
2. kargarmYycMnYnGnuvtþn_Rsb b¤ cab;epþImBIRBwtiþkarN_mYy nig bBa©b;
enARBwtiþkarN_epSgKña enaHKWRtUv)anbgðajtam ¬rUbPaB 13¦.
C. kñúgdüaRkambNþaj³ RtUvbgðajRtUvcMNgTak;TgkargarCamYyKña
1. kargarmYycMnYnmanTMnak;TMngedayELkepSg²Kña enaHRtUvbgðaj
eGaycMbNþakargarTMnak;TMngepSg²KñaTaMgenaH.
rUbPaB 14
C -
CA 63
sg;LaMgtU
5
A -
4
B
sg;CBa¢aMgB -
7
D
xusa)
53 6
tMeLIgTVabg¥ÜcRbk;dMbUl D -
4
B
5'
D
7
RtUvb)
A C
rUbPaB 12
rUbPaB 13
7
6
8 9
a)
1
4
2
3
b)
21 4
3
CMBUkTI 6 RKb;RKgsMNg;
eroberogeday³ sYs cMerIn RKb;RKgsMNg;tamDIya:RkambNþaj
111
vaytMél ³ ]TahrN_xagelI/ eyIgcaM)ac;RtUvdak;Efm RBwtiþkarN_
mYyfIµ (5’) nig cMNgTak;Tg (5, 5’) fµI bgðajRtUvnigbNþa
TMnak;TMngedayELkepSgKñaenaH ¬rUbPaB 14 .b¦.
2. ebIkargarmYycMnYn B, C, D Gaccab;epþIkargar)aneBlEdlkargar A
QrmunBYkva)anbBa©b; KWRtUvbgðajkargar A CaeRcInEpñk edIm,IeGay
bNþakargareRkayGaccab;epþIm)an ¬rUbPaB 15>b¦.
C -
rUbPaB 15
sg;CBa¢aMgA -
5
a)
A
6
D
C
B
sg;LaMgtUB -
9
8
7 b)
5
A
sg;CeNþIrtMeLIgTVabg¥Üc D -
6
A
B
8
A
C
6'
7
D
6'' 9
CMBUkTI 6 RKb;RKgsMNg;
eroberogeday³ sYs cMerIn RKb;RKgsMNg;tamDIya:RkambNþaj
112
III. bNþa)a:ra:EmRt nig KNnadüaRkambNþaj
A. bNþa)a:ra:Em:Rtrbs;düaRkambNþaj
1. cMeBaHkargar³
a) kMNt;RbEvgrbs;bnÞat;sMxan;¬bnÞat;em¦ KW Tm.
b) ry³eBlcab;epþImqab;rbs;kargar (i-j) ¬ se
jit − ¦³ KWCary³eBlrbs;
Ggát;bnÞat;EvgbMput Kitcab;BIRBwtiþkarN_cab;epþIm dl;RBwtiþkarN_Qrmux
kargarenaH.
c) ry³eBlbBa©b;qab;rbs;kargar (i-j) ¬ fe
jit − ¦³ KWCary³eBl Edlkargar
GacbBa©b;qab; ebIdUcEdlvacab;epIþm BIxN³eBlcab;epþImqab;.
d) ry³eBlcab;epþImyWtrbs;kargar (i-j) ¬ sl
jit − ¦³ KWCary³eBl Edl
kargarGaccab;epþImyWtbMput b¤ Cary³eBlyWtbMput edIm,IGaccab;epIþm
Gnuvtþn_kargarenaH EdlminCHTi§Bldl;karbBa©b;sMNg;kñúgry³eBl
)ankMNt;.
e) ry³eBlbBa©b;yWtrbs;kargar (i-j) ¬ fl
jit − ¦³ KWCary³eBlyWtbMput
edIm,IGacbBa©b;kargarenaH ebIdUcEdlvacab;epIþmBIxN³eBlcab;epþImyWt.
f) ry³eBlbMrugTaMgmUlrbs;kargar (i-j) ¬ jiR − ¦³ KWCary³eBlGac
bþÚrxN³eBlcab;epþImkargar b¤ GacbegáIn ¬b¤GUsbnøay¦ ry³eBl ¬ti-j¦
rbs;kargarenaH EdlmineFIVeGayERbRbYl ry³eBlkMNt;sagsg;sMNg;
TaMgmUl.
CMBUkTI 6 RKb;RKgsMNg;
eroberogeday³ sYs cMerIn RKb;RKgsMNg;tamDIya:RkambNþaj
113
g) ry³eBlbMrugedayELkrbs;kargar (i-j) ¬ jir− ¦³ KWCary³eBlGac
bþÚrxN³eBl eBlcab;epþImkargarenaH b¤ GacbegáIn ¬b¤GUsbnøay¦
ry³eBl ¬ti-j¦ rbs;kargarenaH EdlmineFIVeGayERbRbYl xN³eBl
cab;epþImqab; rbs;kargarbnþbnÞab;vaenaH.
cMNaM³ bNþakargarsißtenAelIbnÞat;emTaMgGs; suT§Etminmanry³eBl
bMrugNamYyeLIy.
2. cMeBaHRBwtwþkarN_
a) eKEckrgVg;mUlRBwtiþkarN_ ¬j¦ ecjCabYnRbeLaHrUbkgcRk nig sresr
cUlRbeLaHenaH nUv)a:ra:Em:RtmYycMnYnrbs;RBwtiþkarN_enaH³
• rUbkgcRkelIbg¥s;KWCaelxerogrbs;RBwtiþkarN_.
• rUbkgcRkxageqVg KWCary³eBlqab;edIm,IbBa©b;RBwtwþkarN_ ¬xN³
eBlbBa©b;qab;¦.
• rUbkgcRkxagsþaM KWCary³eBlyWtedIm,IbBa©b;RBwtwþkarN_ ¬xN³
eBlbBa©b;yWt¦.
• rUbkgcRkeRkambg¥s; KWCaelxerogrbs;RBwtiþkarN_ ekIteLIg
muntambnÞat;em.
rUbPaB 16
t
o
N
t
se
j-k
i
j
fl
i-j
CMBUkTI 6 RKb;RKgsMNg;
eroberogeday³ sYs cMerIn RKb;RKgsMNg;tamDIya:RkambNþaj
114
b) ry³eBlbBa©b;qab;rbs;RBwtwþkarN_ ¬j¦ ¬ fe
jT ¦ KWCabnÞat;EvgbMput
KitBIRBwtiþkarN_cab;epþIm dl;RBwtiþkarN_ ¬j¦ b¤ KWCacMNuccab;epþImqab; bMput
rbs;bNþakargarTaMgGs;EdlcakecjBIRBwtiþkarN_ ¬j¦.
c) ry³eBlbBa©b;yWtrbs;RBwtwþkarN_ ¬j¦ ¬ fl
jT ¦ KWCary³eBlbBa©b; yWtbMput
rbs;bNþakargarTaMgGs;EdleTAdl;RBwtiþkarN_ ¬j¦.
d) ry³eBlbMrugrbs;RBwtiþkarN_ ¬Rj¦ sMxan;KWry³eBlbMrugelIEpñkTaMgmUl
rbs;bnÞat;EdlEvgbMput qøgtamRBwtiþkarN_enaH. kargarmYycMnYnEdlman
¬R = 0¦ KwbNþakargarmYycMnYnEdlsißtenAelIbnÞat;em/ bNþakargartP¢ab;
nigbNþaRBwtiþkarN_enaH KW bNþakargarem.
B. viFIKNnadüaRkambNþaj³ KNnadüaRkambNþaj GacGnuvtþn_)antambI
viFIsaRsþ dUcxageRkam.
• KNnaedayéd edaybegáIttarag ¬BiBN’naenAEpñkKNnatamkargar¦/
• KNnaedayéd minbegáIttarag ¬BiBN’naenAEpñkKNnaRBwtiþkarN_¦/
• KNnaedayma:sIun¬minBiBN’naenACMBUkenH¦/
1. KNnatamkargar
A. enATIenHeyIgRtUvkMNt;)an³
• ry³eBlcab;epþImqab;bMput nig yWtbMput/ ry³eBlbBa©b;qab;bMput nig
yWtbMput rbs;ral;kargarnimYy².
• ry³eBlrbs;ral;bnÞat;em.
• ry³eBlbMrugmYycMnYnrbs;kargarEdlminEmnCaem.
CMBUkTI 6 RKb;RKgsMNg;
eroberogeday³ sYs cMerIn RKb;RKgsMNg;tamDIya:RkambNþaj
115
B. CaCak;EsþgbNþaCMhanKNnamandUcxageRkam³
• 0=se
ft / ∑ −− = i
se
ji tt 0max ¬CamYynig 0-i KWCanimitþsBaØarbs;bNþakargar
Qrmunkargar i-j¦
• ji
se
ji
fe
ji ttt −−− +=
• ∑ −= jim tT max
• m
fl
f Tt = / ∑ −− −= njm
fl
ji tTt max ¬CamYynig j-n KWCanimitþsBaØarbs;
bNþakargarQreRkaykargar i-j¦.
• ji
fl
ji
sl
ji ttt −−− −=
• se
ji
sl
jiji ttR −−− −= b¤ fe
ji
fl
jiji ttR −−− −=
• fe
ji
se
kjji ttr −−− −= .
2. KNnatamRBwtiþkarN_
A. bNþaCMhanGnuvtþ
• bBa©b;qab;rbs; RBwtiþkarN_dMbUgesµIsUnü ¬ 00 =fe
t ¦.
xN³eBlbBa©b;qab;rbs;RBwtiþkarN_Nak_eday RtUv)anKNnatamrUbmnþ³
ji
fe
i
fe
j tTT −+=
ebImankargareRcIneTAdl;RBwtiþkarN_ j enaHxN³eBlbBa©b;kargarqab;rbs;
RBwtiþkarN_enH KwmancMnYnFMbMputkMNt;edayrUbmnþ³
( )ji
fe
i
fe
j tTT −+= max
• bBa©b;yWtrbs;RBwtiþkarN_cugbg¥s; KwsmmUlCamYynigbBa©b;qab;rbs;
RBwtiþkarN_cugbg¥s;enaH.
CMBUkTI 6 RKb;RKgsMNg;
eroberogeday³ sYs cMerIn RKb;RKgsMNg;tamDIya:RkambNþaj
116
• xN³eBlbBa©b;yWtrbs;RBwtiþkarN_Nak_eday RtUv)anKNnatamrUbmnþ³
kj
fl
f
fl
j tTT −−=`
ebImankargarcakecjRBwtiþkarN_ enaHxN³eBlbBa©b;yWtrbs;RBwtiþkarN_
enH KWCacMnYnticbMput/ kMNt;tam³
( )kj
fl
f
fl
j tTT −−= min
ry³eBlbMrugrbs;rbs;RBwtiþkarN_kMNt;tamrUbmnþ³
fe
j
fl
jj TTR −=
IV. düaRkambNþajelIGk½Sry³eBl
1.1. viFIbegáIt³ KUsbnÞat;epþkmYy eFIVCaGk½Sry³eBl/ elIenaHmanKMnUsTTwgelI
Gk½SenaH xøI² esµI²Kña/ smmUlCamYynigéf¶eFIVkargar. elIGk½Sry³eBlenaH/
eyIgKUs bNþakargarsMxan;mun CabnÞat;Rtg;ditFM ¬rYm eRcInkMNat;bnþrKañ¦ P¢ab;BI
RBwtiþkarN_cab;epþIm dl; RBwtiþkarN_bBa©b; eFIVCabnÞat;KMrU. eRkayenaH eTIbeyIg
erobcMbNþakargarrg ¬kargarminsMxan;¦ epSg² KUsenAxagelI nig xageRkam
KUskargarsMxan; ¬rUbPaB 17¦. ry³eBlbMrugGacenAdMbUg/ enAkNþal b¤enA
xagcugbBa©b;kargar GaRs½yedayviFIerobcMrbs;eyIg edIm,IEksMrYleGaytarag
Blkmµ)anFURsal.
1.2. EksMrYl³
a) ebIry³eBlbnÞat;emrbs;viFIsaRsþdüaRkambNþajdMbUg tUcCagry³eBl
kMNt; ¬Tm < Tl¦mann½yfaeyIgmansl;ry³eBl nig eyIgGaceRbIcMnYn
ry³eBlEdl sl;enaH edIm,IbegáInry³eBlrbs;kargarem kñúgkareFIVeGay
RbesIrdüaRkambNþaj.
CMBUkTI 6 RKb;RKgsMNg;
eroberogeday³ sYs cMerIn RKb;RKgsMNg;tamDIya:RkambNþaj
117
b) ebI ¬Tm > Tl¦ enaHeyIgrkviFIBRgYjeGayxIøbNþajeLIgvij sMedAbnßy
ry³eBlbBa©b;EpnkarN_.
manbIviFIsaRsþBRgYjeGayxIøry³eBl ¬Tm¦ dUcxageRkam³
• bnßyry³eBlsagsg;RKb;kargar edayviFI³
• begáIncMnYnkmµkr.
• begáIncMnYneRKOgcRk/ brikçar.
• begáIncMnYnevneFIVkargarkñúgmYyéf¶.
• bnßyry³eBlsagsg;edayviFIpøas;bþÚrviFIsaRsþsagsg;.
• bnßyry³eBlsagsg; edayviFIerobcMsagsg;tamvIFIsaRsþRsb bBa©Úl
kargareRcInkñúgeBlEtmYy.
24
18
12
6
12
6
6
2
0 1 2
0
12
1
1
2
5
5
3
12
4
6
3
6 7 13
6
9
6
8
5
6
10 11
4
6
12
3
3
16
5
14
6
15
5
CMBUkTI7 RKb;RKgsMNg;
eroberogeday³ sYs cMerIn kargardwkCBa¢ÚnnigpøÚvbeNþaHGasnñ
118
CMBUkTI 7
kargardwkCBa¢Ún nig pøÚvbeNþaHGasnñ
kñúgkarerobcMkardæan
1. niymn½y
bMerIbMras;rbs;kardwkCBa¢Ún
1. cg;sagsg;³ eyIgRtUvkardwkCBa¢Úndl;kardæannUv³
• sMPar³sMNg; ³ xSac;/ fµ/ eRKaH/ dæ/ sIum:g;t_/ Edk/ eQI/ >>>> CaedIm.
• brikçar nig eRKOgcRk bMerIeGaykargarsagsg;.
2. edayELkkargardwkCBa¢ÚnsMPar³ ¬niyayTaMg dI/ fµ/ >>>> ¦ nig elIdak;
)andeNþIrdl;³
• 50° brimaNsrubrbs;kargarenAkardæan.
• 30° tMélsMNg;.
3. edayehtuplxagelI ³ eKRtUvRsavRCaverobcMkargardwkCBa¢ÚneGaysmRsb
edIm,I bnßyBlkmµ nig cMNaydwkCBa¢Ún.
CMBUkTI7 RKb;RKgsMNg;
eroberogeday³ sYs cMerIn kargardwkCBa¢ÚnnigpøÚvbeNþaHGasnñ
119
lMdab;erobcMkargardwkCBa¢Ún
• kMNt;brimaNsrubrbs;sMPar³EdlRtUvdwkCBa¢Ún.
• kMNt;brimaNsMPar³eFIVcracrral;elIpøÚvEdlRtUvdwkCBa¢Ún.
• eRCIserIsmeFüa)aydwkCBa¢Ún.
• KNnakMlaMgGUsrbs;rfynþ/ lT§PaBcrracr rbs;pøÚv nig KNnacMnYn
rfynþEdlRtUvkar.
• edaHRsaypøÚv erobcMXøaMg nig kEnøgelIdak;sMPar³.
• kMNt;smasPaB nig erobcMEpñkRKb;RKg kargardwkCBa¢Ún
• KNnasagsg;³ pøÚvfñl;/ s<anlU/ sßanIy_.
2. kMNt;brimaNsMPar³srubEdlRtUvdwkCBa¢Ún
bNþaRbePTsMPar³manRbmaN 75° eTA 80° énbrimaNsMPar³srub Edl
RtUvdwkCBa¢ÚnenAkardæan. eKEp¥kelIRbRktiTinkargarsagsg; edIm,IkMNt;brimaN
nig ry³eBldwkCBa¢Ún.
eRkABIbrimaNniyayxagelI/ eyIgenARtUvdwgdl;bNþabrimaNepSgeTot dUcCa³
brikçabec©keTs/ sMPar³bMerICIvPaBrs;enA/ bNþatMrUvkarGMBIvtßúFatuedIm/
FatucMehH/ >>>> CaedIm.
CMBUkTI7 RKb;RKgsMNg;
eroberogeday³ sYs cMerIn kargardwkCBa¢ÚnnigpøÚvbeNþaHGasnñ
120
3. kMNt;brimaNsMPar³EdlRtUvdwkCBa¢Únral;éf¶
kMNt;brimaNsMPar³dwkral;éf¶elIpøÚvfñl; RtUv)anKNnatambrimaNsMPar³
mYyqñaM/ tamrUbmnþ³
Qral;éf¶ = k.Qn / T
kñúgenaH ³
Qral;éf¶ - brimaNsMPar³dwkCBa¢Únral;éf¶ ¬etan¦/
Qn - brimaNsMPar³dwkCBa¢ÚnmYyqñaM ¬etan¦/
T - ry³eBldwkCBa¢ÚnkñúgmYyqñaM¬éf¶¦/
k - emKuNkñúgkardwCBa¢Únral;éf¶/ k = 1.5
cMeBaHpøÚvEdk nig k = 2 cMeBaHpøÚvrfynþ.
4. eRCIserIsmeFüa)aydwkCBa¢Ún
• tamRbePTpøÚv³ eyIgmankardwkCBa¢ÚntampøÚvEdk/ pøÚvrfynþ/ pøÚvTwk.
• tamkMlaMgGUs³ eyIgmankMlaMgcMyayTwk/ kMlaMgpÞúH/ kMlaMgGKÁIsnI/
kMlaMgBahn³.
• tamsßanPaB ³ eyIgmankardwkCBa¢ÚneRkA ¬BIxageRkAmkdl;kardæan¦/
dwkCBa¢Únkñúg ¬BIXøaMgsMPar³/ BIeragCagdl;TIkEnøg
sagsg;¦
CMBUkTI7 RKb;RKgsMNg;
eroberogeday³ sYs cMerIn kargardwkCBa¢ÚnnigpøÚvbeNþaHGasnñ
121
• dwkCBa¢ÚneRkA³ eyIgRtUvykcitþTukdak;dl;cMgay nig PUmisaRsþ.
eKEtgeRbIpøÚvrfynþ/ pøÚvEdk/ pøÚvTenø nig pøÚvsmuRT rbs;
saFarN³. vadeNþImRbmaN 9° tMélsMNg;.
• dwkCBa¢Únkñúg³ RtUvykcitþTukdak;dl;lkçx½NÐCak;Esþgrbs;TItaMg nig
sMPar³EdlRtUvdwkCBa¢Ún. eKEtgeRbIpøÚvbeNþaHGasnñ
CamYynig meFüa)ayynþkmµ ¬ érFM/ érlµm/ értUc/
rfynþ/ ma:sIunGUs/ kMlaMgTwk/ xül;sgát;/¦ nig
kMlaMgBlkmµ ¬GaceRbIbNþaRbePTreTs dUcCa
reTseKa/ RkbI/ es³ edIm,IdwkCBa¢ÚndI/ xSac;/ fµ/ RKYs/
CamYynigbrimaNmYyreTsRbmaN 0>35 dl; 0>45
Em:RtKUb nig eRbIl¥enAkardæanEdlmanTIFøaceg¥ót¦
deNþImRbmaN 13>5° tMélsMNg;.
sMKal;
• eBlsMPar³dwkCBa¢Ún CasMPar³sMNg;manTMhMFM ¬dUcCa eRKOgbgÁúM nig
brikçarF¶n;²¦ elIkMNat;pøÚvEvg ¬ 50 KWLUt_Em:RteLIgeTA¦ KW eRbIR)as;
pøÚvEdknwgmanplRbeyaCn_CagpøÚvrfynþ.
• eBlpøÚvdwkCBa¢ÚneRkam 50 KILÚt_Em:Rt ¬Biess KW cMgayBI 10 eTAdl; 15
KILÚt_Em:Rt¦ KW kardwkCBa¢Únedayrfynþl¥RbesIrCag¦
• enATItaMgsµúKsµajRtUvqøgkat;Tenø/ eLIgcuHPñM/ TITYl/ TMnabrkibrkub
KWkargardwkCBa¢ÚnsMPar³sMNg;l¥bMput KWeRbIR)as;pøÚvExSkabeyag.
CMBUkTI7 RKb;RKgsMNg;
eroberogeday³ sYs cMerIn kargardwkCBa¢ÚnnigpøÚvbeNþaHGasnñ
122
• ebIcMgaydwkCBa¢ÚnxøIBI ¬1 dl; 2 KILÚt_Em:Rt¦ KWeyIgKYreRbIR)as;
rfynþseNþag edIm,IdwkCBa¢ÚnsMPar³. RbePTenH eTaHCamanel,ÓnyWtCag
rfynþKµanseNþag b:uEnþmanKuNRbeyaCn_epSg KW mincM)ac;)at;bg;
eBlevlaeFIVpøÚvfñl;beNþaHGasnñ.
5. KNnakMlaMgGUs/ cMnYnrfynþ niglT§PaBcracrrbs;pøÚv
KNnakMlaMgGUsrbs;yan
1. kMlaMgGUsrbs;rfynþ³ RtUv)anKNnatamrUbmnþ³
FGUs = 270.NCak;Esþg / v (kgf)
CamYynig
270 - tMélbþÚrBIkMlaMgess
NCak;Esþg - kMlaMgCak;Esþgrbs;ma:sIun¬KitCa ess¦
RtUv)anKNna tamrUbmnþ ³
NCak;Esþg = Ni.f
eday
Ni - kMlaMgRTwsþIssrelIma:sIun.
f - emKuNeRbIR)as; mann½yfaemKuNclnarvag kMlaMg nig
kg;rfynþvil. eKeRcInyk f = 0.85 ÷ 0.95
CMBUkTI7 RKb;RKgsMNg;
eroberogeday³ sYs cMerIn kargardwkCBa¢ÚnnigpøÚvbeNþaHGasnñ
123
v - el,Ónrt;Km/h
2. tMélrbs;kMlaMgGUs FGUs mincaMFMCagtMélrbs;kMlaMgc,am Fc,am
rbs;kg;rfynþ ¬b¤ rbs;kg;Rcva:k;ma:sIunTaj¦ elIdIeT.
ebI FGUs > Fc,am enaHKW minGacbMlas;TI)aneT EdlxN³enaH
ekIteLIg)atuPUtkg; rfynþRkan;vilenAkEnøg. dUcenH eyIgRtUvmanlkçx½Nг
FGUs<= Fc,am
eRBaH FGUs bgðajeday kgf cMENk Fc,am EbrCabgðajeday tf
dUcenHeyIgRtUv³
FGUs <= 1000.φ.Pc,am
eday
φ - emKuNc,ampøÚv ¬emIlenAtarag 6>1¦
Pc,am- TMgn;elIrfynþbBa¢Únmkkg;rbs;vamantMéldUcxageRkam³
RbePTefynþRsal Pc,am= 0.55 ÷ 0.68 (P+Q)
RbePTefynþF¶n; Pc,am= 0.68 ÷ 0.75 (P+Q)
RbePTefynþGUskg;ekAs‘U Pc,am= 0.7 (P+Q)
RbePTefynþGUskg;Rcva:k; Pc,am= (P+Q)
P - TMgn;pÞal;rbs;yan (tf), Q -TMgn;sMPar³ (tf)
CMBUkTI7 RKb;RKgsMNg;
eroberogeday³ sYs cMerIn kargardwkCBa¢ÚnnigpøÚvbeNþaHGasnñ
124
taragtMélmFümrbs;emKuNc,am φ sMrab;rfynþ nig ma:sIunGUs.
RbePT nig sßanPaBpøÚv rfynþ ma:sIunGUs
pøÚvdI
s¶Üt 0.6 0.9
esIm 0.3 0.8
pøÚvRkalebtug
s¶Üt 0.6 0.4
esIm 0.4 0.3
pøÚvsmas
s¶Üt 0.6 0.4
esIm 0.4 0.3
pøÚvfµ
s¶Üt 0.7 0.7
esIm
3. lkçx½NÐmUldæanedIm,ImeFüa)aydwkCBa¢ÚnGaccl½t)anelIkMNat;pøÚvNamYy³
kMlaMgGUsRtUvFMCagkMlaMgfy/ mann½fa ³
FGUs > Qt . ∑W
kñúgenaH
Qt - TMgn;sMPar³srub (tf)
Qt = P + Q
P - TMgn;pÞal;rbs;yan (tf)
CMBUkTI7 RKb;RKgsMNg;
eroberogeday³ sYs cMerIn kargardwkCBa¢ÚnnigpøÚvbeNþaHGasnñ
125
Q - TMgn;sMPar³(tf)
∑W- kMlaMgfysrub KitCa kgf elI ! tf TMgn;rbs;meFüa)aydwkCBa¢Ún
¬kgf / tf¦ kMNt;eeday ³
∑W = Wfyem + Wi + W kMlaMgfyrg
eday ³
Wfyem - kMlaMgfysMxan;)anmkBITMgn;rbs;rfynþ
nig sMPar³bgáreLIg.
Wi - kMlaMgfyrg )anmkBIkMritCMralrbs;pøÚv
bgáreLIg.
Wfyrg - kMlaMgfyrg )anmkBIkMritekagrbs;pøÚv
bgáreLIg.
BinitüCak;EsþgbNþakMlaMgfy/ eyIgman³
• tMélrbs;kMlaMgfyem Wfyem ³ kargardwkCBa¢Únedayrfynþ b¤
ma:sIunGUs/ GaRs½yeTAnigsßanPaBepSgKñarbs;pøÚv/ eyIgGnuvtþn_
tamtarag 6>2³
• tMélrbs;kMlaMgfyrg Wii ³ smmUlCamYynig 1000i Edl kñúgenaH
i; CakMritCMral. pøÚvmYymankMritCMralKW i = 5%0 KWtMélrbs;
kMlaMgfyrgeBlenaH RtUv)anKNnaCa Wi = 5kgf / tf. ebIrfynþ
rt;elIpøÚvrab ¬minmankMritCMral¦ KWeBlenaHeyIgman Wi = 0.
CMBUkTI7 RKb;RKgsMNg;
eroberogeday³ sYs cMerIn kargardwkCBa¢ÚnnigpøÚvbeNþaHGasnñ
126
• tMélrbs;kMlaMgfyrg Wfyrg ³ CamYynigpøÚvEdkce®g¥ót KWkMNt;
tamrUbmnþ³
Wfyrg = 500.e / R
kñúgenaH e - cMgayrvagGkS½rfynþ.
R - kaMrbs;pøÚvekag.
ebIrfynþrt;elIpøÚvRtg;Wfyrg KW kMlaMgfyrgseBlenaHWfyrg = 0.
cMNaM ³ eRkABIkMlaMgfyTaMgbIxagelI/ eyIgenAykcitþdl;kMlaMg fybNþalmkBI
cab;epþImbeBa©Hma:sIunekIteLIg.
tarag 6>2
l>r RbePTpøÚv
sßanPaB
rbs;pøÚv
rfynþ
ma:sIunGUs rfynþseNþag
kg;
Rcva:k;
kg;xSl;
kg;
Rcva:k;
kg;xSl;
1 ebtug/ebTIm l¥ 7-20 50 20 20 20
2 Rkalfµ/eRKaH mFüm 25-40 50 50 40 50
3 Rkalfµ
mFüm 30-40 50 50 40 50
Gn; 40-80 80 80 100 80
4 dI
mFüm 80-100 80 90 100 90
Gn; 100-150 140 150 140 100
5 dIfµIeTIbCIk
Gn; 150-200 120 250 200 100
ya:gGn; 200-300 150 300
CMBUkTI7 RKb;RKgsMNg;
eroberogeday³ sYs cMerIn kargardwkCBa¢ÚnnigpøÚvbeNþaHGasnñ
127
4. ykcitþTukdak;³
• krNIdwkCBa¢Únedayrfynþ/ eyIgman
Q = FGUs/ (Wfyem + Wi ) - P
• krNIdwkCBa¢Únedayma:sIunGUs/ eBleGaykMlaMgGUsenAkMlaMgc,am
pøÚv eyIgman³
Q = FGUs/ (Wfyem + Wi )
6. KNnabrimaNrfynþ
1. KNnary³eBleTAmkrbs;efynþ ¬b¤ rfePøIg¦ elIkMNat;pøÚv ¬rfynþ / Edk/
RtUeL¦ kMNt;tamrUbmnþ ³
t = telIdak; + L / v1+ tdak;cuH + L / v2 + teCos
kñúgenaH telIdak; -ry³eBlelIkdak;sMPar³eLIgrfynþ¬ema:g¦
tdak;cuH - ry³eBldak;cuHsMPar³BIrfynþ¬ema:g¦
teCos - ry³eBlrg;caMenARtg;kEnøgeCosKña ¬ema:g¦
v1nig v2-el,Óncl½trbs;rfynþeBldwksMPar³ nig eBlmindwk
¬rfynþbrTeT¦ ¬KILÚt_Em:Rt ¼ema:g¦
CMBUkTI7 RKb;RKgsMNg;
eroberogeday³ sYs cMerIn kargardwkCBa¢ÚnnigpøÚvbeNþaHGasnñ
128
sMKal;
a) CamYynigpøÚvmYyTis nig sMPar³dwkmYyTis enaHry³eBlrbs;rfynþ
mYyeCIgKW ³
t = telIdak; + tdak;cuH + 2L / vmFüm
eday vmFüm -el,ÓnmFümrbs;rfynþTaMgeTATaMgRtLb;mkvij
¬KILÚt_Em:Rt ¼ ema:g¦
b) CamYynigpøÚvmYyTis b:uEnþmankMNat;eCosKña enaH enaHry³eBlrbs;
rfynþmYyeCIgKW³
t = telIdak; + tdak;cuH + teCos +2L / vmFüm
eday teCos- ry³eBlrfynþQb;eCosKña ¬ema:g¦
2. cMnYneCIg ¬niyayTaMgeTATaMgmk¦ kñúgmYyéf¶rbs;rfynþ³ RtUv)anKNna
tamrUbmnþ ³
m = (T + t0) / t
kñúgenaH T - ry³eBlsrub
t0 - ry³eBl)at;bg;bNþalBI bþÚrrfynþ b¤ edaysarrfynþrt;
mindwksMPar³BIkEnøgpÞúkdl;kardæan nig RcaseTAvij.
CamYynig rfynþnig ma:sIunGUs t0 = 0.5 - 2 ¬ema:g¦
3. cMnYnrfynþEdlRtUvkar (n) ³ kMNt;tamrUbmnþ³
CMBUkTI7 RKb;RKgsMNg;
eroberogeday³ sYs cMerIn kargardwkCBa¢ÚnnigpøÚvbeNþaHGasnñ
129
n = Q / (q.m)
kñúgenaH Q - TMgn;sMPar³RtUvdwkkñúgmYyry³eBl ¬evn¦
q - TMgn;eRbIR)as;rbs;rfynþ.
7. lT§PaBcracr nig lT§PaBdwkrbs;pøÚv
1. lT§PaBcracrrbs;pøÚv ³ KWCacMnYnrfynþ ¬cMnYnExSrfePøIg¦ Gaccracr)anelI
kMNat;pøÚvkñúgmYyéf¶.
2. lT§PaBdwkrrbs;pøÚv ³ KWCabrimaNsMPar³GacdwkelIkMNat;pøÚvkñúgmYyéf¶
edaybrimaNrfynþ¬ExSrfynþ¦ manRsab;.
8. pøÚvbeNþaHGasnñenAkardæan
pøÚvbeNþaHGasnñenAkardæan minEmnRtUvtamsMNUmBrbec©keTsrbs;pøÚvGciéRnþeT/
b:uEnþenAEtRtUveKarBbNþalkçx½NÐeBjeljsMedAFana)ansuvtiþPaBcracrcM)ac;.
1. pøÚvrfynþ ³ eKeRcIneFIVpøÚvrfynþbeNþaHGasnñ bMerIkarsagsg; elIkardæan
rYmCamYynig pøÚvrfynþ GciéRnþ edIm,IbnßycMNaysagsg;pøÚvfñl;.
eyIgEteFiVItamCMhandUcxageRkam ³
• dMbUg/ eyIgeFIVpøÚvbeNþaHGasnñ dUcCa ³ pøÚvdI/ pøÚvdIEkécñ/ pøÚvfµl¥it ¬b¤ RKYs¦/
pøÚvfµbMEbk/ pøÚvbnÞHebtugcak;Rsab; b¤pøÚvRkalbnÞHeQItamkg;rfynþ.
• eBlmanTuneyIgnwgeFIVpøÚvGciéRnþ b¤ bBa©b;pøÚvbeNþaHGasnñ eRBaHva minRtwmEt
RtUveRbIkñúgkargarsagsg;beNÑaHeT EfmTaMgenAeRbIsMrab;bMerI plitkmµ
eRkaymk.
CMBUkTI7 RKb;RKgsMNg;
eroberogeday³ sYs cMerIn kargardwkCBa¢ÚnnigpøÚvbeNþaHGasnñ
130
pøÚvbeNÑaHGasnñ manmuxkat;TTwgdUcxageRkamenH ³
Epñk ! KWsMrab;rfynþbr/ EpñkTI @ KWCacieBaI©mpøÚv edIm,ImnusSeFIVdMeNIr nig
rfynþeCosKña/ EpñkTI # RbLaybgðÚrTwk/ EpñkTI $ KWCa TIFøadak;sMPar³bMrug edIm,I
kargarCYsCulpøÚv.
RsTab;dI CaFmµtaRT)anTMgn;BI0>5 – 2>5 Kgf/cm² b:uEnþTMgn;kg;rfynþ CaFmµta
eLIgdl; 5-5>5 ehtuenH elIRsTab;pøÚveKRtUvRkalbEnßm edIm,IbegáInkMlaMgRT
rbs;RsTab;pøÚv.
a) RsTab;pøÚvdI ³ RtUv)aneFIVedayviFIeGayma:suInruj (Bulldozer) edIm,IeGay
épÞrabesµI ehIyeRkaymkeGayma:sIunbgðab; (Roller) mankMlaMgbgðab;BI 2-6
etan/ bgðab;eRcIndg edIm,IbegáIt)anCaRsTab;rwgmaMl¥.
b) RsTab;pøÚvdIEkécñ ³ eFIVedayvIFIRkalmYyRsTab; ¬CaFmµta BI 15-20 sm¦
smas EdlsmasPaBrYmman³
• dIF¶n; (Heavy soil) BI6-14°
• dIxSac; (Sandy soil)BI 70-75°
• EpñkenAsl;KWCaRKb;tUcepSg²¬dUcCa RKYsEdlmanRKb;tUc²¦
cMNaM ³
234 12 43
CMBUkTI7 RKb;RKgsMNg;
eroberogeday³ sYs cMerIn kargardwkCBa¢ÚnnigpøÚvbeNþaHGasnñ
131
• ebIRKwHpøÚvCadIF¶n; enaHeyIgefmxSac; edIm,IpøÚveCosputBIpñt; b¤ rGileBl
manePøóg.
• ebIRKwHpøÚvCadIxSac; enaHRtUvEfmdIF¶n; edIm,IbegáInkMrits¥it nig eday
ehtuenaH eBlmanePøóg nwgeCos)ansßanPaBhUreRcaH.
c) pøÚvmakadam (Macadam)³ ¬Gaceday RkYs b¤ fµ¦ eyIgRtUvRkalCaRsTab;²
¬FmµtakMras;BI 15-20 sm¦.
enARsTab;nImYy² RtUvbgðat;ya:ghab;edayma:sIunbgðab; (Roller). EpñkRKwH
pøÚvRtUvBUn/ eKk¾RtUvRkalCaRsTab;² nig bgðab;ya:gENntan;tab;. tambeNþa
pøÚv/ caM)ac;RtUvmanRbLaybgðÚrTwk edIm,IFanapøÚveRbIR)as;)anyUr.
RsTab;fµb¤ RkYs
RbLaybgðÚrTwk RKwH
2.0 M
i=5-6
%
i=3-4%
b/2
CMBUkTI7 RKb;RKgsMNg;
eroberogeday³ sYs cMerIn kargardwkCBa¢ÚnnigpøÚvbeNþaHGasnñ
132
d) pøÚvRkalbnÞHebtugsrésEdkcak;Rsab; ³ bnÞHebtugCaFmµtamanTMhM
0.15x1x3.0m .
sMKal;³
• ebIrfynþmankMlaMgpÞúk 10 etan enaHeRbIbnÞHkMras;BI 12-14 sm.
• ebIrfynþmankMlaMgpÞúk 25 etan enaHeRbIbnÞHkMras;BI 18-20 sm.
• eKeRcIneRbIeRkn edIm,IsÞÚcRkal. muneBlRkalbnÞHebtug eyIgRkal
RsTab;xSac;kMras;BI 7-10 sm edIm,IeRkayeBleRbI KWGacelIkbnÞHenaH
eLIg edaygayRsYl edIm,IykeTAeRbIenAkEnøgepSg.
e) pøÚvbeNþaHGasnñRkalbnÞHeQI ³ eKEtgeRbIenAkEnøgéRB. RbePTpøÚvenH
RtUv)anRkaltamkg;rfynþ dUcrUbxageRkam ³
cMeBaHkEnøgekag eyIgRtUvmanTTwgFMCagTTwgFmµtaBI 1-2 m nig CMral 60
eTeTAp©itrbs;kaMekag.
0.90
2.40
3.20
0.40
0.06x0.20x0.60
0.75
1.20x1.4x3.20
0.75
0.40
a 100
CMBUkTI7 RKb;RKgsMNg;
eroberogeday³ sYs cMerIn kargardwkCBa¢ÚnnigpøÚvbeNþaHGasnñ
133
tarag ³Tinñn½yeRbIedIm,IKNnapøÚvrfynþbeNÑaHGasnñ dUcxageRkam ³
l>r tMrUvkarbec©keTs
Ékta RbePTpøÚv
II III
1 2 3 4 5
1 snÞsSrfynþkñúgmYyema:g eRKOg 16-100 <=15
2 TTwgEpñkrfynþ
CamYypøÚvmYyTis
CamYypøÚvBIrTis
m
m
3/5-4/0
6/0
3/0
5/5
3 Ggát;p©wtpøÚvekagGb,brma m 30 20
4 CMralGb,brma ° 7 8
5 TisSmanPaB ¬PaBGacemIleXIj¦
tamTisrfynþrt;
tamTissgçagpøÚvExVg
m
m
70
50
50
35
sMKal;³
RbePT II KWCapøÚvRkalfµ/ RKYs nig Fatus¥it/ KWpøÚvekAs‘U.
RbePT III KWCapøÚvdI/ b¤pøÚvRkal fµ /RKYs minmanFatus¥it b:uEnþbgðab;ya:ghab;.
CMBUkTI8 RKb;RKgsMNg;
eroberogeday³ sYs cMerIn erobcMeRknma:sIunnig]bkrN_sMNg;elIkardæan
134
CMBUkTI 8
erobcdgsÞÚc ma:sIun nig ]bkrN_sMNg; elIkardæan
eBlrbrsMNg;QaneLIgtamTis]sSahtUbnIykmµ, TMenIbkmµ/KWman CRANE/ ma:sIunnig
]bkrN_ sMNg; CaeRcInRbePT RtUv)anrIkcMerIn nigRtUv)aneRbIR)as; elIkardæan sMNg;.
bNþama:sIun nig ]bkrN_sMNg; BImYyéf¶eTAmYyéf¶ kan;EteRbIeRcIn/ eRcInsNæan/
lT§PaBbec©keTsmankarpøas;bþÚrfµIeRcIn nig TMenIbeTA².
dUcenH karRsavRCavedIm,IerobcM nig eRbIR)as; CRANE mYy b¤ ma:sIunmYy/ ]bkrN_sMNg;
nwgmankarENnaMenA catalog b¤enA technical drawing.
enATIenH RKan;EtBiBN’nabNþaeKalkarNrYm/ karENnaMcaM)ac; edIm,Ikargar erobcM nig
eRbIR)as; bNþaRbePT CRANE, ENGINE, EQUIPMENT sMNg; elIkardæan RtUvbec©keTs
nig FanasuvtþiPaBBlkmµ.
eRBaH ma:sIunsMNg; CaeRcInmanlkçN³rYm/ dUcenH RKan;Etsgát;F¶n;elIRbePT CRANE,
ENGINE, EQUIPMENT sMNg;mYycMnYnEdlEtgCYbenAkardæansagsg;.
• CRANE: STATIC TOWER CRANE & MOBILE TOWER CRANE
• MATERIALS HOIST: dgeyag edIm,ICBa¢ÚnsMPar³eLIgkMBs;
• PASSENGER HOIST: dgeyag edIm,ICBa¢ÚnmnusSeLIgkMBs;
• CONCRETE MIXER: sßanIy_layebtug nig lay)ayGrbUk
1. CRANE
CMBUkTI8 RKb;RKgsMNg;
eroberogeday³ sYs cMerIn erobcMeRknma:sIunnig]bkrN_sMNg;elIkardæan
135
CRANE EtgeRbIsMrab;tMeLIg sMNg;sIuvil nig ]sSahkmµ/ b¤ bMerIeGaykargarCBa¢Ún
eLIgkMBs;. eBlsagsg;GKareRcInCan; edayebtugsrésEdk CRANE CasMxan;bMerI
kargar³ CBa¢ÚnBumÖ/ srésEdk/ ebtug/ ceg¥Ir>>> nig sMPar³mYycMnYneTotEdlmanTMgn;
F¶n;.
TOWER CRANE
bc©úb,nñmanBIRbePT CRANES RtUv)aneRbITUlMTUlaykñúgkarsagsg;GKareRcIn
Can;.
• MOBILE TOWER CRANE rt;elIérmanTMgn;tulüPaBenAeRkam TOWER
• STATIC TOWER CRANE QrkMNt;mYykEnøgmanTMgn;tulüPaBenAelI
TOWER/ RbePTenHmanBIrRbePT³
• RbePTQrnwgedayeCIg)ateRkam.
• RbePTQrnwgedayviFIe)aHeCIg TOWER eTAkñúgRKwH.
GMBIbec©keTs/ manRbePT tY TOWER kMNt; ¬fix¦/ manRbePT tY TOWER
ERbRbYlsV½yRbvtiþ. manRbePT CRANE eBlbgVildgsÞÚc enaHvilTaMgtY nig TMgn;
tulüPaB enAeRkam TOWER. manRbePT CRANE vilEtdgsÞÚc cMENktYQrRTwg.
dUcenH CamYynig CRANE nimYy² manvIFIerobcM CRANE mYy elITIlansagsg;
epSgKña/ b:uEnþsuT§EtmantMrUvkarrYmKW³
• TItaMgQr nig cl½trbs; CRANE RtUvmansar³RbeyaCn_bMput sMrab;
TIlaneFIVkargar/ gayRsYl kñúgkarsÞÚc b¤CBa¢ÚnsMPar³/ eRKOgbgÁMú >>>.
CMBUkTI8 RKb;RKgsMNg;
eroberogeday³ sYs cMerIn erobcMeRknma:sIunnig]bkrN_sMNg;elIkardæan
136
• TItaMgQr nig cl½trbs; CRANE RtUvFanasuvitþPaBeGay / eGaysMNg;
nig eGaykMlaMgBlkmµ/ gayRsYlsMrab;kargartMeLIg nig ruHTuk
CRANE.
• FanalkçN³esdækic© Gnuvtþ)ankMlaMgpÞúk/ manGgát;pÞwtbMerIsmRsb/
famBlx<s;.
a) erobcM TOWER CRANE rt;el:ér
cMgayBIpw©trbs; CRANE dl;G½kSxagrbs;sMNg;RtUv)anKNnadUcxag
eRkam³
A = l c + l s + l sf, (m),
CMBUkTI8 RKb;RKgsMNg;
eroberogeday³ sYs cMerIn erobcMeRknma:sIunnig]bkrN_sMNg;elIkardæan
137
kñúgenaH ³
l c : cMgayrbs;TMgn;tulüPaB KitBIp©wtrbs; CRANE dl;
EKmxagrbs; TMgn;tulüPaB
l s : cMgaysuvtiþPaB/ l s = 1 m
l sf : TTwgrbs;ceg¥Ir + cMgaysl;edIm,Isagsg;.
elITIlansagsg;srub/ CRANE RtUv)anbgðajdUcrUbPaB 7>1 nig 7>2.
b) eRknQrnwgSTATIC TOWER CRANE
STATIC TOWER CRANE manTMgn;tulüPaBenAelInig manBIrRbePT³
• RbePTQrnwg edayeCIg)ateRkam enAelIér b¤ enAelIdI)aneFIVeGay
RbesIr nig cak;ebtugsrésEdkmYyRsTab; b¤ tMeLIgedaybNþabnÞH
ebtugsréscak;Rsab;. eBlenH CRANE RtUvenATItaMg ya:gNaeGay
p©wteFIVskmµPaBrbs;dgsÞÚc RKb;RKg)ansMNg;TaMgmUl. cMgayBIG½kS
rbs; CRANE dl;EKmeRkArbs;sMNg; RtUv)anKNnadUcxageRkam³
A = (r c / 2) + l s + l sf, (m),
kñúgenaH ³
r c : TTwgrbs;ér b¤ eCIg)ateRkamrbs; CRANE
l s : cMgaysuvtiþPaB/ l s = 1 m
l sf : TTwgrbs;ceg¥Ir + cMgaysl;edIm,Isagsg;.
CMBUkTI8 RKb;RKgsMNg;
eroberogeday³ sYs cMerIn erobcMeRknma:sIunnig]bkrN_sMNg;elIkardæan
138
• cMeBaHRbePT CRANE QrnwgmaneCIge)aHcUlRKwH KWCaRbePTTMenIb/
elIkdak;kMBs;tY TOWER edayxøÜnva nigRbePT CRANE enH vilEtdg
sÞÚc cMENkÉtYvaenAQrRTwg/ cMgayrvag CRANE nig vtßúCitbMput
¬ceg¥Ir/ ssrCBa¢aMg >>>¦ RtUv)aneragcRkplitkMNt;elI catalog
P¢ab;CamYy. elIrUbPaB 7>5 KWCa]TahrN_bBa¢ak;.
sMKal;³eBltMeLIg CRANE edIm,Icak;ebtugreNþARKwH/ b¤ bNþasMNg;eRkamdI/
eRkABIkareRCIserIscMgay dl;sMNg;/ RtUvEtBinitülkçx½NÐsuvtiþPaB
eGayreNþARKwH edayviFIKNnacMgay A’ manniyayTaMg kMritRCalrbs;
CMralRKwH ¬rUbPaB 7>7¦.
eBlenHcMgay A’ RtUvKNnadUcxageRkam ³
A’ = l s + B, (m),
kñúgenaH ³
l s : TTwgrbs;ceg¥IrGaRs½yedayRbePTdInig CRANE/
Etgyk ls= 1-3 (m)
B = H.Cotgφ
H : CMerAreNþARKwH
φ : mMurbs;CMralrbs;dIKittamRTwsþI
eRkncl½tMOBILE TOWER CRANE
CMBUkTI8 RKb;RKgsMNg;
eroberogeday³ sYs cMerIn erobcMeRknma:sIunnig]bkrN_sMNg;elIkardæan
139
MOBILE TOWER CRANE kg;Rcva:k; b¤ kg;ekAs‘U/ EtgRtUv)aneRbIR)as;sMrab;
tMeLIgeragcRk 1 Can;/ cab;tMeLIg b¤ CBa¢ÚneLIgx<s; eBlsagsg;sMNg;sIuvil
rhUtdl; 5 Can;. TItaMgrbs; CRANE elITIlansagsg; RtUv)ankMNt;eday
TIRbCMuTMgn;rbs; CRANE nig RtUvKNnatamviFIsaRsþviPaK b¤ KMnUrbøg;
kñúgEpñkKMeragbøg;lMnaM]sSahkmµsMNg;.
elITIlansagsg;TaMgmUl RtUvkarkMNt;pøÚvcl½trbs; CRANE CuMvijsMNg;.
kMNt;pøÚvrbs; CRANE CamUldæansMrab;kargarerobcM sMNg;beNþaHGasnñ dUcCa
TIkEnøglayebtug/ XøaMgsMPar³ eRKOgbgÁMú>>> .
edIm,IsnSMsMéc éde)aHrbs; CRANE/ ebITIlanGnuBaØatiþ/ EterobcMeGay CRANE
rt;CMuvijsMNg;/ ebITIlanminGnuBaØatiþ enaHKW CRANE RKan;Etrt;EtmçagsMNg;/
eBlenHpøÚv CRANE gayRsYlKWCa mYykMNat;pøÚvRtg;.
BIkaMeFIVkargarrbs; CRANE (R) kMNt;)anG½kSpøÚv. edIm,IkMNt;TTwgpøÚvRtUvyk
citþTukdak;dl; ³
• kMNat;pøÚv CRANE cl½tpg ¬rt;beNþay¦ nig Qb;edIm,IeFIVkargarpg
¬bgVilTTwg b¤ beNþay¦ RtUv)anyk³
A = cMgaydgsÞÚc+ 2m
• cMgayrbs;dgsÞÚc KWCacMgay rvagkg;mux nig kg;eRkay
ebICadgsÞÚckg;ekAs‘U/ esµIcMgayrbs;EpñkRcva:k;rt;elIdI ebICadgsÞÚckg;
Rcva:k;. bNþaRbePTdgsÞÚceRbIkñúgsMNg; EtgmanRbEvg 4-6 m/
eBlenH A = 6 – 8 m.
CMBUkTI8 RKb;RKgsMNg;
eroberogeday³ sYs cMerIn erobcMeRknma:sIunnig]bkrN_sMNg;elIkardæan
140
• kMNat;pøÚvRKan;Etdak; CRANE cl½tKNnatamTTwgrbs;dgsÞÚc RtUv)an
KNnaKW B = 1 pøÚvrfynþRbePTFM.
edayRtUvcl½telIpøÚvKmnaKmn_Cati b¤ kñúgTIRkug/ dUcenH CRANE RtUv)anKNna
smRsbnigpøÚvrfynþ. dUcenHGacykmYypøÚvrfynþ TMhM 4 Em:Rt. kaMekag
Gb,brma enAkEnøgbt;Gacyk R = 15 m.
2. MATERIAL HOIST AND ELEVATOR
enAbNþakardæansMNg;GKareRcInCan;/ eRkABI CRANE eFIVPar³CBa¢ÚneLIgx<s;
enARtUvkarerobcM dgeyag edIm,ICBa¢ÚnsMPar³manTMgn;tic nig TMhMminFM dUcCa ³ dæ/
kar:U/ )ayGrbUk/ nig brikçarGnam½y/ brikçarGKÁIsnI >>> b:uEnþebIeRbI CRANE KW nwg
minesdækic©. enAbNþasMNg;x<s; edIm,IkmµkreLIgCan;nimYy² eFIVkargargayRsYl/
GacerobcM CeNþIreyag edayELksMrab;GñkeLIgcuH.
MATERIAL HOIST
CamYynigsMNg;tUc/ sagsg;edayeRbIkMlaMgBlkmµ minman CRANE / KW
MATERIAL HOIST manPar³sMxan;rbs;kargarCBa¢ÚneLIgx<s;/ eBlenH ebI
erobcM MATERIAL HOIST mYy KWnwgerobcMenAkNþalsMNg;. ebI erobcM
MATERIAL HOIST BIr EdlTIlansagsg;GnuBaØatiþ KWKYrerobcM mYyenAxagmux
nig mYyeTotenAxageRkaysMNg;. ebITIlansagsg;minGnuBaØatiþ
KWGacEckCaBIsMNg; / edIm,I MATERIAL HOIST nimYy²bMerIBak;kNþalGKar/
ebIGKarEvgRtUvEckCabI b¤ bYnEpñk/ b:uEnþEpñknimYy²RtUvkar MATERIAL HOIST
mYy bMerIkar KWnwgerobcM cMnYn MATERIAL HOIST smmUl.
krNIBiessGacerobcM MATERIAL HOIST enATaMgBIrxag edIm nig cug.
CMBUkTI8 RKb;RKgsMNg;
eroberogeday³ sYs cMerIn erobcMeRknma:sIunnig]bkrN_sMNg;elIkardæan
141
TItaMgerobcM MATERIAL HOIST RtUvclnaeGayeBjTMhwg/ RKan;EtmanTIlan
sagsg;mYyTUlaylµm edIm,ItMeLIg MATERIAL HOIST nig pøÚveGayrfynþ
KWGactMeLIg)an. krNIenH emIlrUbPaB 7>9 nig 7>10.
enAkardæansMNg;eRcInCan;mYycMnYn man MOBILE TOWER CRANE/ eRBaHpøÚv
CRANE eBlNak¾ q¶ayBIsMNg;cMgaymYy/ lµm edIm,ItMeLIg MATERIAL
HOIST dUcenH TItaMgerobcMdUckrNIkardæanmanEt MATERIAL HOIST
¬emIlrUbPaB 7>9 nig 7>10¦.
kardæansMNg;GKarCan;x<s; man CRANE KW MATERIAL HOIST RtUvGnueLam
tameKalkarN_xageRkam³
• ebI CRANE cl½telIér KW MATERIAL HOIST erobcMeTATissMNg;
minmanpøÚv CRANE / cMnYn MATERIAL HOIST GaRs½ytamRbEvg nig
TMhMsMNg; ¬rUbPaB 7>11¦.
• ebI CRANE Qrnwg/ KWenAEtKYrerobcM MATERIAL HOIST enATisminman
CRANE/ TukCaeRscTIFøapÁt;pÁg;/ CBa¢ÚnsMPar³ b:uEnþebITIFøaxagminman
CRANE ceg¥ót/ minRKb;edIm,ItMeLIg nig eRbIR)as; MATERIAL HOIST
KWGactMeLIg MATERIAL HOIST eTATisman CRANE enATItaMg kan;Et
q¶ayBI CRANE kan;Etl¥¬emIlrUbPaB 7> 12¦.
ELEVATOR
GMBIeKalkarN_eFIVkargar/ ELEVATOR k¾dUcCa MATERIAL HOIST RKan;Etxus
lMGitmYycMnYn/ enaHKW RTugrbs; ELEVATOR RtUv)aneFIVBIEdk mansMNaj;
karBarCMvij nig TVasMrab;ecjcUl.
CMBUkTI8 RKb;RKgsMNg;
eroberogeday³ sYs cMerIn erobcMeRknma:sIunnig]bkrN_sMNg;elIkardæan
142
TItaMg ELEVATOR minsMxan; nig minmantMrUvkarx<s;dUccMeBaH MATERIAL
HOIST/ dUcenH Etgpþl;GtßiPaBerobcM MATERIAL HOISTmun eTIberobcM
ELEVATOR CaeRkay. ELEVATOR RtUverobcMeRkAtMbn;eRKaHfñak;/ Etgq¶ayBI
CRANE/ MATERIAL HOIST/ ma:sIunlay MIXER/ GacenAEkgsMNg; b¤
edImkEnøg EdlmnusSGaceTAmkmansuvtþiPaB.
CaBiessykcitþTukdak; TMnak;TMngrvag TItaMg ELEVATOR nig pøÚvCMuvijsMNg;/
ya:gNaeGayeBlpøÚvmnusSBI ELEVATOR edIrecj/ minkat;nigpøÚvrfynþ/ b¤
enAEkgkMeNagpøÚvrfynþ b¤ enACitpøÚvrfynþeBk. caM)ac;RtUvmancMgaymYy
nig manépÞkMNt;mYy/ edIm,IeyIgGactamdan.
3. CONCRETE MIXER ma:sIunlayebtug
eRkay eRkn CRANE nig dgeyagsMPar³ MATERIAL HOIST/ ma:sIunlayebtug
CONCRETE MIXER RtUv)anpþl;GtßiPaB erobcMelITIlan sagsg;.
eTAtamTMhMsMNg; nig brimaNebtugRtUvkar EdlGacerobcMCakEnøglay ebtug
edIm,IpÁt;pÁg;eGaykardæanTaMgmUl/ eBlenHkEnøglaymankMlaMgFM Nas;/
ebtugRtUv)anCBa¢Úndl;kardæan edayrfynþ b¤ meFüa)ayepSg².
]TahrN_ kEnøglayebtugpÁt;pÁg;eGaykaardæansMNg;TaMgmUl. eBlenH
TItaMgkEnøglayRtUvkarBinitü elImUldæanTMnak;TMngrYm rvagsMNg;elI kardæan/
GacedaHRsaycMeNaT rkTItaMgtUcbMputrbs;kEnøglayebtug ya:gNa
eGaytMéldwkCBa¢Únebtugsrubdl;kardæanmantMéltUcbMput.
CMBUkTI8 RKb;RKgsMNg;
eroberogeday³ sYs cMerIn erobcMeRknma:sIunnig]bkrN_sMNg;elIkardæan
143
CamYynigkardæanRtUvkarerobcM kEnøglayebtugEtmþgenACitsMNg; KWkEnøg
layerobcMtameKalkarN_xageRkam ³
• bNþama:sIunlayebtugkan;EtCitkEnøgeRbIkan;Etl¥.
]TahrN_³ eBlcak;ebtugRKwH/ bNþama:sIunlayGacerobCMuvijbrimaRtRKwH. b¤
eBlsg;GKareRcInCan; manTIlansagsg;ceg¥ót Gacykma:sIunlaymanmaD
tUc V = 100 lIRt b¤ V = 200 lIRt eLIgelICan;/ edIm,IlayebtugbUk
bMerICan;enaH.
• bNþama:sIunlayebtugkan;EtCitmeFüa)ayCBa¢ÚneLIgx<s;kan;Etl¥/ b:uEnþRtUv
FanasuvtþiPaBBlkmµ.
]TahrN_³ ebI meFüa)ayCBa¢ÚneLIgx<s;KWCa dgeyagsMPar³ KWkEnøglay
ebtugkan;EtCitdgeyagsMPar³kan;Etl¥. ebImeFüa)aCBa¢ÚneLIgx<s;Ca CRANE
nig TIlansagsg;TUlay/ KYrerobcMkEnøglayenAeRkAtMbn;maneRKaHfñak; rbs;
CRANE ticbMput 2 Em:Rt/ cMENkebITIlanceg¥ót/ caM)ac;RtUverobcM kEnøglay
enACit CRANE KWcaM)ac;mandMeNaHRsaysuvtiþPaB.
• ebIkardæanmanTIlanTUlayKW RtUverobcMticbMput BIrkEnøglayebtug enAsgçag
CRANE/ dUcenHkargarerobcMTIlanXøaMgsMPar³ dUcCa xSac;/ fµ/ RkYs/ minRtUv
)anRbmUlpþMúenAEtmYykEnøg/ begáItlkçx½NÐeGaykargarCBa¢Ún/ elIkdak;
sMPar³/ gayRsYlnig suvtiþPaBBlkmµ.
CMBUkTI8 RKb;RKgsMNg;
eroberogeday³ sYs cMerIn erobcMeRknma:sIunnig]bkrN_sMNg;elIkardæan
144
ebIkardæansMNg;ceg¥ót erobcM)anEtkEnøglaymYy/ KWkEnøglaymYy RtUvman
ticbMputma:sIunlayBIr/ edIm,IFanapÁt;pÁg;ebtugbnþbnÞab; min)ac;caMyUr nig
sMrYlKña ebImanma:sIunmYyxUcRtUvkarCYsCul.
CMBUkTI9 RKb;RKgsMNg;
eroberogeday³ sYs cMerIn pÁt;pÁg;TwkenAkardæan
145
CMBUkTI 9
pÁt;pÁg;TwkenAkardæan
1. pÁt;pÁg;TwkbeNþaHGasnñ
kargarsMxan;rbs;kargarpÁt;pÁg;TwkbeNþaHGasnñ bMerIeGaykarsagsg;enAkardæan
rYmman ³
• kMNt;brimaNTwkEdlRtUvkar
• kMNt;KuNPaBTwk
• eRCIserIsbNþajpÁt;pÁg;Twk
• erobcMbrikçarpÁt;pÁg;Twk
• eRCIserIsRbPBTwk nig RbB½n§eRcaHTwk
A. kMNt;brimaNTwkcaM)ac;
bMerIelI ³ brimaNTwkplitkmµ/ TwkbMerItMrUvkarrbs;mnusS nig
TwkBnøt;GKÁIP½y.
1. brimaNTwkplitkmµ ³ eRbIsMrab;layebtug/ lay)ayGr >>>>
RtUv)ankMNt;tamrUbmnþ ³
Q plitkmµ = 1.2.(k.∑Qm) / 8.3600
kñúgenaHeyIgman³
1.2 - emKuNKitdl;ma:sIunEdlminTan;briyayGs;/
k - emKuNeRbI)as;TwkminEkécñ¬Etgyk k = 1÷2¦/
CMBUkTI9 RKb;RKgsMNg;
eroberogeday³ sYs cMerIn pÁt;pÁg;TwkenAkardæan
146
Q m - brimaNTwkplitkmµrbs;ma:sIunnimYy²
kñúgmYyevn.
2. brimaNTwktMrUvkarrbs;mnusS ³ RtUv)anKNnatamrUbmnþ ³
Q L = Qa + Qb
kñúgenaH ³
Q a brimaNTwkbMerItMrUvkarrs;enArbs;mnusSelIkardæan/ RtUv)anKNna
Qa = ( k.N1.Q n ) / 8.3600
kñúgenaHeyIgman³
k - emKuNeRbI)as;TwkminEkécñ/
N 1 - brimaNkmµkrsñak;enAkardæan/
Q n - tMrUvkarTwksMrab;kmµkrmñak;eRbIR)as;kñúgmYyevn
enAkardæan ¬Etgyk BI Q n = 10 ÷ 15lIRt/ mañk;¦
Q b brimaNTwkbMerItMrUvkarrs;enArbs;mnusSelIkardæan/ RtUv)anKNna
Qa = ( k.N2.Q n ) / 24.3600
kñúgenaHeyIgman³
k - emKuNeRbI)as;TwkminEkécñ/
N 2 - brimaNkmµkrsñak;enAkardæan/
Q n - tMrUvkarTwksMrab;kmµkrmñak;eRbIR)as;kñúgmYyéf¶
enAkEnøgsñak;enA ¬Etgyk BI Qn = 25 ÷ 30lIRt/
mañk;¦.
dUcenH ³
Q L= (k.N1.Qn) / 8.3600 + (k.N2.Qn) / 24.3600
CMBUkTI9 RKb;RKgsMNg;
eroberogeday³ sYs cMerIn pÁt;pÁg;TwkenAkardæan
147
3. brimaNTwkBnøt;GKÁIP½y ³ GaRs½ytamTMhM nig RbePTsMNg;
eyIgmanbrimaNTwkBnøt;GKÁIP½ysmRsb.
a) Cak;Esþg ³
• TIlansagsg;tUcCag 3 hita KWbrimaNTwkBnøt;GKÁIP½y KW
• q ef = 10l / s nig ebIEfm 5 hita KWEfm 5l / s.
• CamYynigGaKarCan;tic/ cMnYnkmµkrticCag 10>000 nak; yk
q ef = 5l / s nig FMCag 10>000nak; yk Qef=10l / s.
b) eKenAkMNt;brimaNTwkBnøt;GKIÁP½y tamtMélGtibrmarvagrUbmnþ
xageRkam ³
Qef = Qp + Q l (l/s) b¤ Qef = qef + 0.5(Qp+Ql) (l/s)
eRbobeFobvIFIKNnaTaMgBIrxagelI rYcehIyeyIgykmYytMélNa
EdlFM.
B. kMNt;KuNPaBTwk
eyIgRtUvBinitüTwkkñúgbnÞb;BiesaFn_. KuNPaBTwkRtUvsmRsbCamYybNþa
tMrUvkarkMNt;. TwkedIm,Ilayebtug RtUv)anrMedaHeGayGs;FatuminsMxan;/
FatuCUr/ Fatuxøaj;.
ebITwkminbMeBj)ansMNUmBrbec©keTs KWeyIgRtUvBinitüdl; lT§PaBeRcaH
Twk.
C. eRCIserIsbNþaypÁg;pÁg;Twk
erobcMbNþajbMBg;Twk CaFmµtaRtUv)aneRbIR)as;tamtaragbIxageRkamenH ³
CMBUkTI9 RKb;RKgsMNg;
eroberogeday³ sYs cMerIn pÁt;pÁg;TwkenAkardæan
148
1. DIya:RkambiTCit ³ EtgRtUv)anerobcM enAtMbn;rbs;enArbs;buKÁlik
kmµkr/ dUcenHnigFana)anTwkmanRKb;eBl ¬rUbPaB 8>1¦.
¬rUbPaB 8>1¦
2. DIya:RkamExVg ³ EtgRtUv)anerobcMenAelIkardæan eRBaHExS
KWxIøbMput nig tMélefakbMput ¬rUbPaB 8>3¦.
¬rUbPaB 8>2¦
3. DIya:Rkamsmas ³ ExSbiTCitbMerIkEnøgeRbIR)as;sMxan;
cMENkExSExVg nigbMerIbNþakEnøgeRbIR)as;rg ¬rUbPaB 8>3¦.
¬rUbPaB 8>3¦
CMBUkTI9 RKb;RKgsMNg;
eroberogeday³ sYs cMerIn pÁt;pÁg;TwkenAkardæan
149
D. KNnabMBg;
kMNt;bMBg; RtUv)ankMNt;tamrUbmnþ
v
Q
v
Q
D
.
2.63
.
1000..4
ππ
== (mm)
eday ³
D - Ggát;p©itbMBg; (mm),
Q - brimaNTwkRtUvkarsrub (l/s),
v - el,Ónrbs;TwkenAkñúgbMBg;/ ¬v =0.8 ÷ 2m/s¦/
1000 - tMélbþÚrBI Em:RtKUbeTA lIRt.
elIkardæan/ eKEtgeRbIbMBg;Edk/ minkb;eRCA.
CMBUkTI10 RKb;RKgsMNg;
eroberogeday³ sYs cMerIn erobcMpÁt;pÁg;nigXøaMgsMPar³
150
CMBUkTI 10
erobcMpÁt;pÁg;nigXøaMgsMPar³
1. kargarpÁt;pÁg;sMPar³
A. RtUvFanapÁt;pÁg;bNþasMPar³sMNg; nig brikçarcaM)ac;eGaykargar
Gnuvtþn_dMeNIrkarsagsg;)andak;ecj/ya:gNaeGay³
1. RKb;cMnYn/
2. cMKuNPaB/ nig
3. Tan;eBlevla.
B. bNþaPar³sMxan;rbs;EpñkpÁt;pÁg;KW³
1. dak; nig TTYlsMPar³ ¬dUcCasMPar³sMNg;/ sMPar³Bak;kNþal
sMerc/ eRKag/ brikçarGnuvtþn_/ >>>¦ rYmmanbNþaEpñkCak;Esþg
dUcxageRkam ³
a) begáItEpnkar/
b) pþl;fvikar/
c) cuHkic©snüa ¬ykcitþTukdak;RtYtBinitü nig tamdankargar
Gnuvtþn_¦/
d) EbgEckvtßúFatuedImeGaykEnøgTTYlEkécñ/
e) TUTat;CamYynigbNþasßab½npÁt;pÁg;/
CMBUkTI10 RKb;RKgsMNg;
eroberogeday³ sYs cMerIn erobcMpÁt;pÁg;nigXøaMgsMPar³
151
f) dwgBIsMPar³mankñúgXøaMg/ ebIvaminRtUvkarsMrab;kardæaneTot
KWGac RtUv)anlk;b¤ edaHdUeGaysßab½nepSg².
2. dwkCBa¢ÚnsMPar³
a) tamdankargardwkCBa¢ÚnelIkMNat;pøÚvcracr.
b) TTYlTMnijenAcMeNatrfynþnig XøaMgkardæan.
3. Tukdak;/ EfTaM nig EckcayTMnijeGayEpñksagsg;³
a) bBa©ÚlbeBa©j/ EfTaM RtUvkt;TukkñúgbBa¢IeGayc,as;las;
b) EckcayeGayEpñksagsg;
2. erobcMXøaMgdak;sMPar³
A. RbePTXøaMg
1. XøaMgkNþal³ erobcMenAkEnøgRtUvkarelIkdak;sMPar³ BImeFüa)ay
dwkCBa¢ÚnenH eTA meFüa)ay dwkCBa¢ÚnepSgeTot ¬dUcCa³ BIpøÚvTwk b¤ BIpøÚvEdk
eTApøÚvrfynþ¦.sMPar³sßitenAkñúgXøaMgEtmYyry³eBlxIø¬RbmaNBIbIéf¶¦.
2. XøaMgem ³ Gacdak;enAkñúg b¤ eRkAkardæan ¬ebICakardæanenAkEnøgceg¥ót dUcCa
sMNg;enAtMbn;]sSahkmµ b¤kñúgTIRkugFM ¦. enHCakEnøgTukdak;;/EfTaMsMPar³
b¤ eRKagsMNg;edIm,IpÁt;pÁg;eGaysMNg;TaMgmUl.
3. XøaMgtMbn; ³ RtUv)andak;enAtMbn;NamYyenaH rbs;kardæan nig pÞúkEtRbePT
sMPar³EdlenAXøaMgsMNag;minGacEfTaM)an. XøaMgenH dak;RbePTsMPar³
EdlRtUveRbIeGaytMbn;mYyrbs;sMNg; nig GaceCosvag)an Ti§Blrbs;
briyakasdUcCa³sIum:g;/brikçarGKÁIsnInigbNþaRbePTsMPar³sMxan;epSg².
CMBUkTI10 RKb;RKgsMNg;
eroberogeday³ sYs cMerIn erobcMpÁt;pÁg;nigXøaMgsMPar³
152
4. XøaMgsMNg;³ EtgCavaldak;enAkNþalval/ enACitbegáIysMNg;kMBug
sagsg;/ dak;bNþasMPar³minrgT§iBlrbs;briyakas dUcCa ¬ xSac;/ fµ/
RkYs/dæ/ek,Óg/)a:ENl¦.
5. XøaMgrbs;eragEkécñ³ dak;enACiteragCag/ KWCakEnøgTukdak;bNþavtßúFatuedIm
nigRBmCamYyenaHk¾CakEnøgEfTaMsMPar³rbs;eragenaHeTot.
B. tYnaTIrbs;XøaMg³
1. TTYlsMPar³nigeRKagsMNg;
2. Tukdak;nigEfTaM/
3. vicx©b;sMPar³/
4. EckcayeGayEpñksagsg;b¤kEnøgTTYleRbIR)as;sMPar³epSg/
5. eFIVkMeragkMriteRbIR)as;vtßúFatuedIm.
C. kMNt;brimaNsMPar³bRmug³
sMPar³bRmug KWedIm,IFanapÁt;pÁg;eGaykargarsagsg;)anCab;lab;. KYrRby½tñfa
brimaNsMPar³bRmug minRtUvFMeBk eRBaHebIdUcenH nigeFIVeGayfivikacMNay
rgkarxatbg;CHT§iBldl;skmµPaBesdækic©rbs;sßab½nsagsg;.
brimaNsMPar³bRmugRtUv)ankMNt;tamrUbmnþxageRkam ³
Q = q.T
kñúgenaHeyIgman³
q - brimaNsMPar³eRbIR)as;RbcaMéf¶¬RtUv)anKit Cam3
b¤etan¦/ ehIyRtUv)anKNnatamrUbmnþ ³
q = k.Q / ti
CMBUkTI10 RKb;RKgsMNg;
eroberogeday³ sYs cMerIn erobcMpÁt;pÁg;nigXøaMgsMPar³
153
kñúgenaH
Q -brimaNsMPar³srub ¬m3
/ etan¦ RtUv)aneRbIR)as;
kñúgmYyry³eBlrbs;EpnkarN_/
t i -ry³eBleRbIR)as;sMPar³ ¬éf¶¦/
k -emKuNeRbIR)as;kMNt;tamRbtiTinkargar/
T -ry³eBlpÁt;pÁg;sMPar³/ RtUv)anKNnatamrUbmnþ³
T = t1 + t2 + t3 + t4 + t5
kñúgenaH
t 1 -ry³eBlrvagTTYlsMPar³TaMgBIrdg/
t 2 -ry³eBldwkCBa¢ÚnsMPar³BIXøaMgdl;kardæan/
t 3 -ry³eBlx©b; nig TTYlsMPar³enAkardæan/
t 4 -ry³eBlBiesaFn_/ dak;tamRbePT nig eRtomsMPar³
EdlEckcay/
t 5 -ry³eBlbRmugGb,brmaedIm,IkarBarkarrGak;rGYl
eFIVeGaykargarpÁt;pÁg;sMPar³dl;XøaMgmin)anbnþ
bnÞab;EdlmankñúgtaragxageRkamenH ³
l>r briyaysMPar³
meFüa)aydwkCBa¢Ún
pøÚvEdk pøÚvrfynþ
< 10 km 10 ÷ 50 km
1 Edk/ bMBg;/ srésEdk/ eQI 25 ÷ 30 10 15 ÷ 20
2 sIum:g;t_/ kMe)ar/ fñaM/ kBa©k;/ Rkdas/ Rkdasxat; 20 ÷ 25 7 ÷ 10 10 ÷ 15
3 dæ/ fµ/ RkYs/ xSac; 15 ÷ 20 5 ÷ 8 8 ÷ 12
CMBUkTI10 RKb;RKgsMNg;
eroberogeday³ sYs cMerIn erobcMpÁt;pÁg;nigXøaMgsMPar³
154
D. KNnaRkLaépÞXøaMg
ehA F CaRkLaépÞEdlmansar³RbeyaCn_ ¬eRbIR)as; - dak;EtsMPar³/
minniyaydl;pøÚvedIreTAmkkñúgXøaMg¦ RtUv)anKNnatamrUbmnþ³
F = Q / q
kñúgenaH
Q -brimaNsMPar³dak;kñúgXøaMg/
q -brimaNsMPar³dak;kñúg m 2
.
ehA S CaRkLaépÞXøaMg ¬niyayTaMgpøÚvedIreTAmk¦ RtUv)anKNnatamrUbmnþ ³
S = ∝.F
kñúgenaH
∝ -emKuNeRbIR)as;TIFøarbs;XøaMg ¬∝ = 1.1 ÷ 1.7¦/
eRkayeBlKNna)anRkLaépÞrbs;XøaMg/ eKRtUvkMNt;RbEvg nig TTwgXøaMg
elITIFøasagsg;.
RbEvgXøaMg L RtUv)anKNnatamrUbmnþxageRkam³
L = n.l + l1 (n-1)
kñúgenaH
n - cMnYnrfynþdwk elIkdak;sMPar³kñúgeBlEtmYy/
l - RbEvgrbs;ExSrfynþdwksMPar³ (m) /
l1 - KMlatrvagExSrfynþ (m) . CamYynigpøÚvEdkyk
CarYmKW 1m cMENkpøÚvrynþeyIgyk l1 = 1.5 ÷
2.5 m.
cMENkTTwgXøaMgEtgykBI (6-10m).
CMBUkTI11 RKb;RKgsMNg;
eroberogeday³ sYs cMerIn erobcMCMrkbeNþaHGasnñenAkardæan
155
CMBUkTI 11
erobcMCMrkbeNþaHGasnñenAkardæan
1. niymn½y
A. enAkardæan/eKEbgEckCMrksñak;enAbeNþaHGasnñCaBIrRbePT³
1. CMrkplitkmµ ³ eyIgEtgCYbRbTHCajwúkjab; bNþaCMrkbeNþaHGasnñ
bMerIplitkmµ ¬sagsg;¦ KWCa XøaMg/ eragCagékécñ ¬eQI/ Edk¦
kEnøglayebtug >>>. enAkardæanFM² eyIgenACYbCMrkplitkmµ
beNþaHGasnñ bMerIeGaysagsg;dUcCa³ sßanIy_ynþkmµ/ kara:s;/
bnÞb;BiesaFn_.
2. CMrkbuKÁlik ³ CMrkeFIVkargarrbs;nayk/ bnÞb;RbCMu nig bnÞb;BiPakSa kargar
bMerIkargarEktRmUv nig RKb;RKgkargarsagsg;.
CMrkTaMgBIrRbePTxagelIRtUv)anerobcMkñúgtMbn;sagsg;enAkardæan.
sMKal;³
• eRkABIBIrRbePTxagelI/ enAkardæan/ edIm,Ikargarsagsg;
dMeNIrkar)anl¥/ eKenARtUvBinitüdl;CMrksñak;enA ¬dUcCa ³
CMrkrYm/ CMrkRKYsar/ CMrkePJov¦ nig CMrkbMerICIvitrs;enA/
vb,Fm’eGaybuKÁlikkmµkrenA kardæan ¬CMrkbriePaK/ CMrkekµg²/
CMrkBüa)alCMgW/ CMrkCMnYb/ køib>>>¦. RbePTCMrkenH RtUv)an
sg;enAtMbn;rs;enArbs; buKÁlikkmµkr/ EckeGaydac;
CamYytMbn;sagsg;enAkardæan.
CMBUkTI11 RKb;RKgsMNg;
eroberogeday³ sYs cMerIn erobcMCMrkbeNþaHGasnñenAkardæan
156
• EpñktUcmYyénCMrkbeNþaHGasnñbMerIkargarepSg² ¬dUcCa ³
CMrkTTYlTanéf¶Rtg;/ sMrakéf¶Rtg;/ »sf >>>¦ RbePTCMrkenH
RtUv)ansg;kñúgtMbn;sagsg; enAkardæan/ taMgenArvagtMbn;
plitkmµ nig tMbn;RKb;RKg.
B. cMNaysagsg;CMrkbeNþaHGasnñ bMerIkargarsagsg;enAkardæan )an
GnuBaØatiþyk 2>8°énedImTundMbUg.
C. bNþadMeNaHRsaybegáItcMNayelICMrkbeNþaHGasnñ ³ bnßyeGayman
kMritTabbMput b:uEnþenAEtFanaeFIVkargar nig CIvitrs;enArbs;buKÁlikkmµkr
)anl¥KW³
1. eRbIR)as;bNþaCMrkcas; sßitkñúgPUmisaRsþkardæansagsg;.
2. RbwgERbgsagsg;elOn CMrkGciéRnþ kñúgPar³sagsg; edIm,IeFIVCMrk
RKb;RKg.
3. eRbIR)as;CMrkgayRsYlruserInig RsYlcl½t.
D. CMrkbeNþaHGasnñtUctacepSg² ³ ¬dUcCa ³ b:usþ_yam/ bnÞb;Twk/ >>>.
enAkñúgtMbn;sagsg;RtUv)anKiteTAcMNaybEnßmsMNg;.
2. kMNt;cMnYnmnusSenAkardæan nig tMrUvkarCMrkbeNþaHGasnñ
A. kMNt;cMnYnmnusSenAkardæan ³ eKEckbuKÁlikkmµkrelIkardæan CaR)aMRkumdUc
xageRkamenH³
• Rkum A ¬kmµkrsMNg;mUldæan¦
• Rkum B ¬kmµkreFIVkargarenAbNþaeragCagplitkmµ¦
CMBUkTI11 RKb;RKgsMNg;
eroberogeday³ sYs cMerIn erobcMCMrkbeNþaHGasnñenAkardæan
157
• Rkum C ¬buKÁlikbec©keTs¦
• Rkum D ¬buKÁlikRKb;RKg¦
• Rkum E ¬kmµkr/ buKÁlikbMerIkarbriePaK/ suxmalPaB >>>¦
1. Rkum A ¬kmµkrsMNg;mUldæan¦³RtUv)ankMNt;tamtaragBlkmµ enAtarag
RbtiTinkargarsagsg;/ KNnaedaycMnYnGtibrma nig ry³eBlsagsg;
yUrbMput.
2. Rkum B ¬kmµkreFIVkargarenAbNþaeragCagplitkmµ¦³kMNt;tamrUbmnþ ³
B = m.A / 100
eyIgGacyk ³ m = 20 - 30 cMeBaHsMNg;]sSahkmµRbePTtUctac/
RbePTlµm nig sMNg;sIuvil/ m = 30 - 50 cMeBaHsMNg;]sSahkmµFM².
3. Rkum C ¬buKÁlikbec©keTs¦³ kMNt;tamrUbmnþ³
C = 4 ÷ 8% (A + B)
4. Rkum D ¬buKÁlikRKb;RKg¦ ³ kMNt;tamrUbmnþ³
D = 5 ÷ 6% (A + B)
5. Rkum E ¬kmµkr/ buKÁlikbMerI karbriePaK/ suxmalPaB >>>¦ kMNt;tam
rUbmnþ ³ E = p.(A +B+C+D) / 100
cMeBaHCMrkbeNþaHGasnñtUc ¬< 100 nak;¦ eyIgyk p = 5÷10/ cMeBaH
bNþaCMrkbeNþaHGasnñTMhMmFüm ¬100 ÷ 500 nak;¦ eyIgyk p = 10÷15/
cMeBaHCMrkbeNþaHGasnñFM ¬ > 500 nak;¦ eyIgyk p = 15÷20.
ebIyksmamaRtGñkmanCMgWCamFüm 2% nig sMuc,ab;sMrakRbcaMqñaM 4%
enaHKW cMnYybuKÁlikkmµkrelIkardæannwg)ankMNt;edayrUbmnþ³
G = 1,06.(A + B+C+D+E)
CMBUkTI11 RKb;RKgsMNg;
eroberogeday³ sYs cMerIn erobcMCMrkbeNþaHGasnñenAkardæan
158
ebIniyaydl;emKuNRKYsarKW cMnYnmnusSelIkardæanRtUvkMNt;tamrUbmnþ³
N = (1.5 + 2) G
B. tMrUvkarCMrkbeNþaHGasnñenAkardæan³ dwgcMnYnmnusSelIkardæan ¬N nig G¦
eKEp¥kelIbNþabTdæanRkLaépÞ nig karrs;enA/ sil,³ eFIVeGayeyIgKNna)an
tMrUvkarCMrkbeNþaHGasnñelIkardæan.
bTdæanépÞRkLarbs;CMrkbeNþaHGasnñmYycMnYn
l>r RbePTCMrk Ékta bTdæan
! CMrkrYm m2
¼ nak; 4,00
@ CMrkeGaybuKÁlik m2
¼ nak; 6,00
# CMrkeFIVkargarrbs;buKÁlik m2
¼ nak; 4,00
$ CMrkeFIVkargarrbs;fñak;dwknaM m2
¼ nak; 16,00
% CMrkGaharrYmkmµkrplitkmµ kEnøg ¼ !00 nak; 40 ÷ 50
^ CMrkEfrkSaekµg² kEnøg ¼ !000 nak; 20 ÷ 30
& mnÞIreBTü kEnøg ¼!000 nak; 8 ÷10
* køib kEnøg ¼ !00 nak; 40 ÷ 50
( bnÞb;Twk m2
¼ @0 nak; 2,4 ÷ 2,5
!0 bnÞb;Gnam½y m2
¼ @0 nak; 2 ÷ 2,5
!! bnÞb;pøas;bþÚrsMelokbMBak; m2
¼ #0 nak; 0,4 ÷ 0,5
CMBUkTI 12 RKb;RKgsMNg;
eroberogeday³ sYs cMerIn kar)a:n;sµancMNaysMNg;
159
CMBUkTI 12
kar)a:n;sµancMNay
cMNayEdlTak;TgCamYykargarsMNg;
bNþacMNayrbs;kargarsagsg;mYyEdlm©as;sMNg; (owner) RtUvcMNayrYmman³
karcMNayTundMbUg (the initial capital cost) nig cMNayeRbIR)as; eRkaybBa©b;sagsg;
nig cMNaykargarEfTaM (the subsequent operation and maintenance costs).
karcMNayTun (The capital cost) sMrab;KMeragsagsg; (construction project) mYy
rYmman ral;karcMNayEdlTak;Tgdl;karbegáItdMbUgrbs;kargar (the expenses related
to the initial establishment of the facility)³
• dIEdl)anmk (Land acquisition)
• sikSaEpnkar nig lT§PaBGnuvtþn_ (Planning and feasibility studies)
• KMeragbøg;sßabtükmµ nig visVkmµ(Architectural and engineering design)
• sagsg;/ rYmmanTMag sMPar³/ brikçar nig Blkmµ (Construction, including
materials, equipment and labor)
• RKb;RKgkardæansMNg; (Field supervision of construction)
• hirBaØb,Tansagsg; (Construction financing)
• Fanara:b;rg nig Bn§ kñúgry³eBlsagsg;(Insurance and taxes during construction)
• kariyal½yrbs;m©assMNg;;(Owner's general office)
• brikçar nig sgðarwm minrab;bBa©Úlkñúgkarsagsg; (Equipment and furnishings not
included in construction)
CMBUkTI 12 RKb;RKgsMNg;
eroberogeday³ sYs cMerIn kar)a:n;sµancMNaysMNg;
160
• GFikardæan nig BiesaFn_(Inspection and testing )
cMNayeRbIR)as; nig kargarEfTaM (The operation and maintenance cost)
eRkayeBldak;eGayeRbIR)as;rYmmandUcxageRkam³
• CYldI/ ebIman (Land rent, if applicable)
• buKÁlikbMerIkargar (Operating staff)
• Blkmµ nig sMPar³ sMrab;kargarEfTaM nig CYsCul (Labor and material for
maintenance and repairs)
• EksMrYlfIµEdlmanCaerIy² (Periodic renovations)
• Fanara:b;rg nig Bn§ (Insurance and taxes)
• cMNayhirBaØb,Tan (Financing costs)
• rbs;rbrepSg² (Utilities)
• bNþakarcMNayepSg²rbs;m©as;KMerag (Owner's other expenses)
TMhMénsmasPaBtMélnimYy² GaRs½yelI sßanPaBTUeTA/ TMhM nig TItaMg (depends on the
nature, size and location) rbs;KMerag. m©as;KMeragKYrcab;GarmµN_dl;karsMerc
nUvlT§PaBcMNayelIKMeragTaMgmUl eGaymantMélTabbMput EdlsmRsbCamYy
vtßúbMNgvinieyaKrbs;kargarsagsg;TaMgenaH.
vaCakarsMxan;Nas;sMrab;GñkeFIVKMeragGaCIB (design professionals) nig GñkRKb;RKg sMNg;
(construction managers) edIm,IeFIVeGaysMercfa eBlEdltMélsMNg;NamYy
GacCasmasPaBmYyFMbMputénkarcMNayTun rIÉsmasPaBénkarcMNayepSg²eTot
k_sMxan;Edr.
BITsSn³vis½yrbs;m©as;vinieyaK (From the owner's perspective), vamansar³sMxan; dUcKña
kñúgkar)a:n;saµncMNayeRbIR)as; nig EfTaM (the corresponding operation and maintenance
CMBUkTI 12 RKb;RKgsMNg;
eroberogeday³ sYs cMerIn kar)a:n;sµancMNaysMNg;
161
cost) eTAnigkareRCIserIsnimYy² elIkargarEdlRtUvesñI. karcMNayFM (The large
expenditures) mYyeTotEdlRtUvkar KWkargarEfTaM/ CaBiesssMrab;
ehdæarcnasm<½n§saFarN³rbs;pgeyIg/ ehIyk¾CakarrMlwknUvkareFVsRbEhsEdlman
knøgmk edIm,IeFIVkarBicarNaeGayc,as; elITMnak;TMngéntMéleRbIR)as; nig karEfTaM
enAdMNak;kalsikSaKMerag.
kñúgfvikasMNg; (construction budgets) mYycMnYnFM/ mankarGnuBaØatiþmYysMrab;tMél Gnimitþ
¬dMeNIrEdlrkehtuCaerOgkMNt;Kµan¦ b¤ edayécdnü (contingencies or unexpected costs)
kñúgeBlsagsg;. brimaNGnimitþ (contingency amount) enH
GacRtUvbBa©ÚlkñúgeQµaHcMNay (cost item) b¤ RtUv)anrYmbBa¢ÚlkñúgEpñkmYyrbs;
sMNg;Gnimitþ. brimaNGnimitþ (The amount of contingency) RtUv)anEp¥kelI bTBiesaFn_
(historical experience) nig PaBsµúKsµajEdlGacnwg ekIteLIg (the expected difficulty)
rbs;KMeragsagsg;. Ca]TahrN_/ kardæansMNg; mYyeFIVkar)a:n;sµancMNayenA
R)aMtMbn;epSgKña.
• KMeragGPivDÄn_pøas;bþÚr (Design development changes)
• RbtiTinkargarmankarEksMrYl (Schedule adjustments)
• cMNat;karrYmpøas;bþÚr (General administration changes)
• lkçx½NÐkardæanedayELk EdlGacnigekIteLIgenaH (Differing site conditions for
those expected) nig
• »kasniymkñúgeBlsagsg; (Third party requirements imposed during
construction).
CMBUkTI 12 RKb;RKgsMNg;
eroberogeday³ sYs cMerIn kar)a:n;sµancMNaysMNg;
162
RbePT)a:n;sµantMélsagsg;
)a:n;tMélsagsg; (Construction cost estimates) GacemIlBITsSn³vis½yepSgKña
BIeRBaHesckIþRtUvkarepSg²Kña. RbrPT)a:n;tMél CaeRcInRtUv)aneRbIR)as;enA
dMNak;kalepSg²Kñarbs;KMerag/ )a:n;tMélCakarl¥GacEbgEckCa bIRbePTsMxan;
tamtYnaTInimYy²rbs;BYkva. )a:n;tMélsagsg;bMerIeGaymYy kñúgcMeNambIktþa
mUldæan ³KMeragbøg;¬design¦/ dak;tMél (bid) nig RtYtBinitü (control).
1. )a:n;sµanKMeragbøg; Design Estimates sMrab;m©as; b¤ GñkeFIV KMeragbøg;GaCIB
(For the owner or its designated design professionals),
RbePTén)a:n;tMélrt;RsbCamYy EpnkarN_ (planning) nig KMeragbøg; (design)
dUcxageRkam³
o )a:n;sµanedaykarbgðaj ¬b¤ karerobcMTMhM)a:n;RbmaN¦ Screening estimates
(or order of magnitude estimates)
o kar)a:n;sµanbzm ¬b¤ kar)a:n;sµantamkMNt;¦ Preliminary estimates (or
conceptual estimates)
o kar)a:n;sµanlMGit ¬b¤ kar)a:n;sµanseRmc¦ Detailed estimates (or definitive
estimates)
o kar)a:n;sµanbec©keTs Ep¥kelI KMeragbøg; nig sMraybBa¢ak;bec©keTs
(Engineer's estimates based on plans and specifications).
2. kar)a:n;sµandak;tMél Bid Estimates sMrab;Gñkem:Akar (for contractor),
kar)a:nsµandak;tMél (bid estimate) RtUv)andak;CUnm©as;sMNg;NamYy edIm,I
RbKYtRbECgkaredjéfø (for competitive bidding) EdlniyayTaMg
karRKb;RKgkardæan (field supervision), bUkCamYynigkartemøIgtMél edIm,IRKb;RKg
cMNaysrub (general overhead) nig R)ak;cMeNj (profits). tMélpÞal;rbs;sMNg;
CMBUkTI 12 RKb;RKgsMNg;
eroberogeday³ sYs cMerIn kar)a:n;sµancMNaysMNg;
163
cMeBaHkar)a:n;sµandak;tMélCaerIy² RtUv)anmkBIRbPB
énkarpSMrbs;smasPaBdUcxageRkam³
o kardak;tMélrbs;Gñkem:Akarrg (Subcontractor quotations)
o brimaNcMlg (Quantity takeoffs)
o TRmugkarsMNg; (Construction procedures)
3. kar)a:n;sµanRtYtBinitü Control Estimates sMrab;tamdanKMeragkñúg
kMLúgeBlsagsg; (For monitoring the project during construction)
karbegáItkar)a:n;sµanRtYtBintü RtUv)anRbPBmkBIB½t’manEdlman (available
information) dUcxageRkam³
o kar)a:n;sµanfvikasMrab;hirBaØb,Tan (Budget estimate for financing)
o karcMNayfvikaeRkayeBlcuHkic©snüa b:uEnþmuneFIVkarsagsg; (Budgeted
cost after contracting but prior to construction)
o fvikacMNayrhUtdl;bBa©b;kñúgkMLúgeBldMeNIrkarsagsg; (Estimated cost
to completion during the progress of construction) .
kar)a:n;sµanKMeragbøg; Design Estimates
enAdMNak;kaleFIVEpnkaN_ (planning) nig KMeragbøg; (design) rbs;KMerag/
kar)a:n;sµanKMeragbøg;nimYy² (various design estimates) CHTi§Bldl;dMeNIrkar
rbs;KMeragbøg;. enAdMNak;kalRbjab;/ )a:n;sµanedaykarbgðaj b¤ karerobcMTMhM )a:n;sñan
(screening estimate or order of magnitude estimate) EtgeFIVmuneBl kargarenaH
bBa©b;KMeragbøg;/ nig eCOCak;elITinñn½ytMélrbs;kargar RsedogKñaEdl
)ansagsg;knøgmk. kar)a:n;sµanbzm b¤ kar)a:n;sµantamkMNt; (preliminary estimate or
conceptual estimate) KWEp¥kelIeKalKMnitKMeragbøg; enAeBlEdlbec©keTs
CMBUkTI 12 RKb;RKgsMNg;
eroberogeday³ sYs cMerIn kar)a:n;sµancMNaysMNg;
164
dMbUgsMrab;KMeragbøg;RtUv)anTTYlsÁal;. )a:n;sµanlMGit b¤ kar)a:n;sµanseRmc (detailed
estimate or definitive estimate) RtUv)anbegáIt eBlkargar)ansMercc,as;las; nig
KMeragbøg;lMGitkMBg;dMeNIrkar dUcenHcMNucsMxan;rbs;kargarsagssg;GacTTYl
sÁal;)an. kar)a:n;sµanbec©keTs (engineer's estimate) KWEp¥kelIbøg; nig
sMraybBa¢ak;bec©keTs (plans and specifications) )anbBa©b;sßaBr ehIyeBlEdlBYkva
manlkçN³RKb;RKan;eGaym©as;sMNg; viPaKkardak;éføBIbNþaGñkemA:karsMNg;. kñúg
kareobcMcat;Ecg)a:n;tMélenH/ GñkelIkKMeragGaCIB nig dak;bBa©ÚlbrimaNEdlCaTI
TukcitþsMrab;cMNaysrub nig R)ak;cMeNjrbs;GñkemA:kar (contractors' overhead and
profits).
Ca]TahrN_mYy³ BinitütMél)a:n;sµansMrab;sMeNIsg;s<anmYykat;TTwgTenømYy.
kar)a:n;sµanedaykarbgðaj (screening estimate) RtUv)aneFIVsMrab;ral;CMerIsskþanuPUt
¬minTan;eXIjCak;Esþg¦ dUcCa s<anekag b¤ s<anceg¥Ir. kñúgeBlRbePTs<an
RtUv)aneRCIserIs/ ]TahrN_ lMnaM]sSahkmµRtUv)aneRCIserIss<ankMeNag CMnYseGay
TMrg;s<anfµImYy/ )a:n;sµanbzm (preliminary estimate) RtUv)anbegáItelI
mUldæanénviFIbkRsayKMrURBagrbs;TMrg;s<anEdl)aneRCIserIs elImUldæanKMeragdMbUg b¤
tamkMNt;. )a:n;saµnlMGit (detailed estimate) RtUv)aneFIVelImUldæan
kargar)ankMNt;c,as;las;rbs;KMerag. enAeBlbøg;lMGit nig sMraybBa¢ak;
bec©keTsRtUv)anbBa©b;/ )a:n;sµanbec©keTs GacRtUv)anbegáItelImUldæan lMdab;erog nig
brimaNrbs;kargar (items and quantities of work).
kar)a:n;sµandak;tMél Bid Estimates
kar)a:n;sµandak;tMélrbs;GñkemA:karCaerIy² bgðajnUvectnarbs;GñkemA:kar edIm,IrkSa
suvtiþPaBkargar dUceTAnig)a:n;sµancMNayGaRs½ybMerIbMras;rbs;kargar. GñkemA:kar
mYycMnYneFIVkar)a:n;sµanl¥ kñúgeBlGñkemA:karxøHmineFIV. manEtGñkedjéføTabeT
nwgkøayCaGñkQñHkic©snüakñúgkarRbECgdak;tMél/ karxMRbwgERbgcMNaykMlaMgsMrab;
CMBUkTI 12 RKb;RKgsMNg;
eroberogeday³ sYs cMerIn kar)a:n;sµancMNaysMNg;
165
kar)a:n;sµandak;tMél CakarcMNaykMlaMgtRbeyaCn_ dl;GñkemA:karEdlminEmnCa
GñkTTYleCaKC½ykñúgkardak;tMél. dUcenH GñkemA:karKYrdak;tMélTabbMputEdlGac
sMrab;eFIVtMél)a:nsµan ebIeCOCak;fa »kaseCaKC½ykñúgkaredjéføminx<s;.
ebIGñkemA:karbRmugeRbIR)as;GñkemA:karrg (subcontractors) kñúgkargarsagsg;/
vaGacRbmUltMéldak;edjéføBIbNþaGñkemA:karrg. dUcenH GñkemA:karrg TTYlPar³
)a:n;sµantMélbnþBIGñkemA:kar. ebIral; b¤ EpñkmYyrbs;sMNg;RtUv sßiteRkamGñkemA:kar/
kar)a:n;sµandak;tMél GacerobcMelImUldæanbrimaNcMlgecjBIbøg;Edl)anpþl;eday
m©as;KMerag b¤ elImUldæanTRmugkarsMNg; Edl)anbegáIteLIg edayGñkemA:karsMrab;
karRbtiþbtiþKMerag.
kar)a:n;sµanRtYtBinitü Control Estimates
TaMgm©as;TaMgGñkemA:karRtUvyl;RBmeKalkarN_NamYy sMrab;karRtYtBinitütMélkñúg
kMLúgeBlsagsg;. cMeBaHma©s;/ kar)a:n;sµanCafvikaRtUv)anyl;RBmeGayTan;eBl
edIm,IbegáItEpnkarN_hirBaØb,Tanmanry³eBlEvg. dUcenH/ kar)a:n;sµanlMGit
Cajwúkjab;RtUv)aneRbI dUc)a:n;tMélCafvika enAeBlEdlvaRKb;lkçN³pþl;eGayKMerag vij
nig manCaeRscnUvry³eBlEvg munkar)a:n;sµanbec©keTs. kñúgeBlkargar dMeNIrkar/
karcMNayEdlélTuk RtUvBinitüeLIgvij edIm,IkMNt;eBlpþl;mkvij
nUvtMél)a:n;sµanrhUtdl;bBa©b;;.
cMeBaHGñkemA:kar (For the contractor)/ )a:n;sµandak;tMél CaFmµtaRtUv)ancat;TukdUc
)a:n;sµanCafvikar/ EdlnwgRtUveRbIsMrab;RtYtBinitüTisedAGnuvtþn_ dUcKñanigerobcM
EpnkarN_hirBaØb,TansMNg;. karcMNayEdlélTuk KYrRtUv)aneFIVeGayRbesIrpgEdr
edIm,ITTYl)anvijnUvtMél)a:n;sµanrhUtdl;bBa©b; k¾dUcCaFanafvikarsmlµmsMrab;
karbBa©b;rbs;KMerag.
CMBUkTI 13 RKb;RKgsMNg;
eroberogeday³ sYs cMerIn ry³eBlnigtMél
166
CMBUkTI 13
ry³eBl nig tMél
kñúgdMeNIrkarRKb;RKgsMNg;
1. lkçN³TUeTA
bnßyry³eBlsagsg; edIm,InaMsMNg;dak;eGayeRbIR)as; KWCabBaðaya:gsMxan;cMeBaH
sMNg;. sBVéf¶ enARBHraCaNacRkeyIg/ sMNg;CaeRcIn ]sSahkmµ nig sIuvil/
RtUvkarbBa©b;qab;rh½s edIm,ITTYlplmkvij .
cMeBaHGñkerobcM/ RKb;RKg cg;bnßyry³eBlsagsg; RtUvykcitþTukdak;CamYynig
ktþaesdækic© - bec©keTs rbs;sMNg;/ kñúgenaH ktþaBIrsMxan;eTotedIrTnwÞmKñaKW
ry³eBl nig tMél BiessTaMgkñúgkarbegIátEpnkar nig cg¥úlbgðajdMeNIrkar
sagsg;.
kúñgkarbegIátEpnkar nig cg¥úlbgðajsagsg;/ ktþary³eBl nig tMél edIrCamYyKña
ya:gs¥itrmYt.
tMélsMNg; KWbgðajedayrUbIvtßú rbs;bNþacMNay Blkmµrs; nig Blkmµ)at;bg;
rbs;mUldæanplitkmµ kñúglMnaMbegáIteGayecjplitpl.
tMélKWCa karcMNaysrubmYy TTYl)anmkBIkMritcMeNHdwgRKb;RKg/ Epnkar nIykmµ/
RKb;RKgbec©keTs nig plitPaBBlkmµ. BiR)akdNas;BIehtuplxaelI/
cab;taMgBIkarbegáItEpnkar/ eyIgRtUvkaredaHRsayl¥cMNgTak;Tgrvag³ ry³eBl
plitkmµ nig cMNayplitkmµ.
CMBUkTI 13 RKb;RKgsMNg;
eroberogeday³ sYs cMerIn ry³eBlnigtMél
167
bBaðaEdlEtgRtUv)anykcitþTukdak;KW bnßyry³eBlsagsg;sMNg;/ ehIyva
RKan;EtmanGtßn½y eBlpSarP¢ab;CamYynigtMrUvkar³ eFIVya:gNaedIm,I karekIn cMNay
edaybnßyry³eBlKWxøIbMput. enHCacMeNaT edaHRsayya:gsµúsµaj
eRBaHRtUveRbobeFobCamYyvIFIsaRsþEdlGacbnßyry³eBlCaeRcIn. bc©úb,nñenH/
edayedayviFIsaRsþelx eyIgGacmanlT§PaBeRcInKNnadUcCa ³ DIya:Rkam
bNþaj.
2. ry³eBl nig tMél
cMNgTak;Tgrvagry³eBl nig tMél rbs;kargar (i-j) GacbgðajtamRkhiVk
xageRkam ¬rUbPaB 0!¦.
rUbPaB 0!
tMél
ry³eBl t
tC
cMNucEdnkMNt;
AttA
B
A
CB
AC
C
ykRbhak;RbEhlCabnÞat;
ExSekagRTwsþI nig
cMNucFmµta
BIRkahiVkxagelIeyIgeXIjfa ³
• ebIkargarGnuvtþkñúglkç½x½NÐFmµta ¬cMNuc B¦ KWtMélGb,brma.
• ebIbnßyry³eBlsagsg;nigRtUvekInEfmcMNay b:uEnþdl;kMritEdnkMNt;
¬cMNuc A¦ enaHeTaHCabegáInEfmcMNay enAEtminbnßy)anry³eBl
eTAeTot edayehtuplbec©keTs.
CMBUkTI 13 RKb;RKgsMNg;
eroberogeday³ sYs cMerIn ry³eBlnigtMél
168
• ebItamcMNucFmµta B enaH karGUsbnøayeBlevla k¾RtUveFIVeGay
ekIncMNay.
kñúgviFIsaRsþDIya:RkambNþaj/ eyIg)ankMNt; ry³eBlGnuvtþkargarnimYy² (i-j) KW
(tij). dUcenH/ ry³eBlenH KWCacMnYnefr. eBlRtUvkarbnßyry³eBl
enaHry³eBlGnuvtþkargarmYycMnYn køayCabMErbMrYlÉkraC RtUv)ankMNt;kñúg
ry³eBl³
BijA ttt ≤≤
kñúgenaH ³
tA³ ry³eBlGb,brmaGnuvtþkargar i-j.
tB³ ry³eBlGtibrmaGnuvtþkargar i-j/ enAehAfary³eBl
FmµtaGnuvtþkargar i-j.
CamYyry³eBlenH/ kargarRtUv)anGnuvtþkñúgbNþal½kçx½NÐFmµta nig
cMNayGb,brma.
emKuNtMél
eBlbnßyry³eBl enaHcMNay nig tMélekInEfm ¬karekIntMél eBlbnßy
mYyÉktary³eBl rbs;kargarRtUv)anehAfa emKuNtMél.
BIrUbPaB 0!eyIgGackMNt;)an hc






−
−
=
TimeTT
CC
F
AB
BA
c
$
emKuNtMélbgðaj tMél EdleyIgRtUvsgeBlbnßyry³eBlGnuvtþkargar.
tMélrbs;emKuNenH manxøwmsarsMxan;kñúgkareRCIserIskargarNa RtUvbnßy
ry³eBlxøI ry³eBlEdltMél ¬TabbMput¦.
3. cMNaypÞal; nig cMNayminpÞal;kñúgsMNg;
CMBUkTI 13 RKb;RKgsMNg;
eroberogeday³ sYs cMerIn ry³eBlnigtMél
169
minfamYysMNg;NaminkMNt; sIuvil b¤ ]sSahkmµ/ tMélsrubrbs;sMNg;
rYmmanBIrEpñk ³
- cMNaypÞal;
- cMNayminpÞal;
kMNt;tMélKMeragsagsg;sMNg;KWkMNt;RbePTcMNayTaMgBIrxagelI EdlcMNuc
BiessRbePTnimYy² manT§iBledayELk dl;bBaðarbs;BYkeyIg.
xageRkamenHeyIgBinitüeGayc,as; tamRbePTmYy².
cMNayminpÞal;
tameKalnarN_ KNenyü (Cost Accounting) cMNayminpÞal;rbs;sMNg;mYy
rYmman ³
- cMNayfñak;dwknaM/ RKb;RKgrdæ)al.
- cMNayCYsCulsMNg;/ xUcxatFnFan.
cMNayminpÞal;ekIntamry³eBlsagsg;. ebIcMNayminpÞal; RKan;EteRbIkargar
rdæ)al dUcCa fñak;dwknaM/ Rkb;RKg/ RtYtBinitü/ >>> enaHvaRtUvbgðajedaybnÞat;
mYy. ebIbUkEfmcMNay)atbg;/ xUcxatFnFan/ CYsCulsMNg;enaHvaCa ExSekag.
cMNaypÞal;
tameKalkarN_KNenyü (Cost Accounting) cMNaypÞal;rbs;sMNg;mYyrYmman³
- TijsMPar³/ brikçarsagsg;.
- cMNayCYleRKOgcRk.
- cMNayR)ak;ebovtSsMrab;kmµkr.
CMBUkTI 13 RKb;RKgsMNg;
eroberogeday³ sYs cMerIn ry³eBlnigtMél
170
tMél
ry³eBl t
cMNayminpÞal;srub
C
cMNayrdæ)al
cMNayeday)at;bg;/ xUcxat/ CYsCul
rUbPaB 0@³ RkahiVkcMNayminpÞal;
pÞúy nig cMNayminpÞal;/ cMNaypÞal;ekIneBlry³eBlbnßy nig ry³eBlhYsput
EdnkMNt; rbs;ry³eBlFmµta enaHcMNaypÞal;k¾ekIn eBlry³eBlekIn.
RkahiVkcMNaypÞal; KWExSekagdWeRkTIBIr manGtibrmaRtg;cMNucFmµta. kñúgkargar
Cak;Esþg EtgmanTinñn½yminRKb;RKan;/ dUcenHExSekagbgðajcMNgTak;Tgry³eBl
nig EtgykRbhak;RbEhlKWCabnÞat;Rtg;mYy.
eyIgnwgman³
ijij
ij
c bthCij += .
emKuN ij
ch ³ manT§iBldl;lT§plrbs;bBaða.
ijb ³ bgðajcMnYncMNayefrminmanT§iBlkñúgeBledaHRsaybBaðaenH.
CMBUkTI 13 RKb;RKgsMNg;
eroberogeday³ sYs cMerIn ry³eBlnigtMél
171
C(t , c )i i
D(t , c )A A
it
BBD(t , c )
AD(t , max)
rUbPaB 0# ³ RkahiVkcMNaypÞal;
tMél
ry³eBl t
BttA
C
BIbNþaGnuKmn_rbs;kargar Cij eyIgGac)anGnuKmn_ tMélTaMgmUlrbs;KMerag C
¬rUbPaB 0#¦.
GnuKmn_tMélTaMgmUlrbs;KMeragRtUv)anbgðajeday ³
( )∑ ∑ =+== min!. ijij
ij
tij btfCC
B : tMélGb,brmaCamYyry³eBlFmµta ¬ tB¦
A : tMélGb,brmaCamYyry³eBlGb,brma ¬tA¦
C : tMélGb,brmaCamYyry³eBl¬t i¦
D : tMélGtibrmaCamYyry³eBlGb,brma ¬ t A¦
tB : ry³eBlGnuvtþKMeragkñúglkçxNÐFmµta
tA : ry³eBlGb,brmaGnuvtþKMerag.
ebIkñúgDIya:RkambNþaj kargarTaMgGs; suT§EtGnuvtþFmµta enaHminmanbBaðaeLIy/
eRBaHRKan;EtmanlT§pl sMrab;tMélKMeragTaMgmUl ¬cMNuc B¦ elIrUbPaB 0#.
b:uEnþeyIgbnþbnßyry³eBlGnuvtþKMeragTaMgmUl enaHCaTUeTARtUvbnßyry³eBl
kargarmYycMnYn ehIynwgmanviFIeRCIserIsCaeRcIn EdleyIgGacbnßy)an/ edIm,I
CMBUkTI 13 RKb;RKgsMNg;
eroberogeday³ sYs cMerIn ry³eBlnigtMél
172
FanaeBlevlakMNt; ¬ti¦. tMélKMerag (C) rbs;viFIenH CamYytMél (ti) ¬dktMél (tB)
smmUlCamYydMeNaHRsayFmµta¦ k¾nwgxusKñaGaRs½y eyIgeRCIserIskargar Na
edIm,Ibnßyry³eBl.
ebIenAry³eBlnimYy (ti) ¬ t = 1, 2...k¦ eyIgrk)antMélGb,brma rbs;tMélKMerag
TaMgmUl enaHTMnak;TMng tMél nig ry³eBlKWl¥bMput nig eyIgGacyk
Rbhak;RbEhleGaysmRsb ¬emIlExSekag BA elIrUbPaB 0#¦.
GacnaMeTAcMeNaTrkRbesIrdUcxageRkam³
begáItGb,brmaGnuKmn_TisedA ³
( ) ( ) min!. =+= ∑ij
ijijij bthcf
CamYlkçxNÐ BijA ttt ≤≤
enHCacMeNaTEpnkarQanmuxmYy man)a:ra:Em:Rt (t). edaHRsaylMhat;enH
eyIgnigrk)anbNþatMél (tij ) eFIVeGayGnuKmn_TisedAsMercGb,brma/
mann½yfatMélKMeragTaMgmUlGb,brma. lT§plKNna eGayeyIgkUGredaen rbs;
cMNuc C(ti, Ci) elIbnÞat;tMél nig Tinñn½yedIm,IKNna ry³eBlTaMgGs; CamYy
ry³eBlkMNt;mun (ti).
tMélKMeragsrub
eRkayeBlkMNt;)an cMNaypÞal;srub nig cMNayminpÞal;/ eyIgGackMNt;)an
tMélKMeragTaMgmUl.
CMBUkTI 13 RKb;RKgsMNg;
eroberogeday³ sYs cMerIn ry³eBlnigtMél
173
cMNaypÞal;
cMNayminpÞal;
tMélKMerag
Fmµtatt Gb,brmaEdnkMNt;t
minC
C
t
ry³eBl
rUbPaB 0$ ³ RkahiVkcMNayKMragsrub
eKalbMNgrbs;karviPaK tMél nig ry³eBlKWeTArktMélmYyEdltUcbMput (Cmin)
rbs;KMeragsmmUlCamYy ry³eBlEdll¥RbesIrbMput. eBl)ankMNt;)an
DIya:Rkam tMélsrubrbs;KMerag/ enaHbBaðarkry³eBll¥smmUlCamYytMél
Gb,brma minmanGIVBi)akeTot. kargarkMNt;tMélKMeragsrub eBlenHbþÚreTACa
cMeNaTkMNt;cMNaypÞal;. dUcenHminmann½yfa cMNayminpÞal; minsMxan; b¤ gay
RsYlkMNt;/ b:uEnþvamanT§iBltic dl;cMeNaTEdleyIgkMBg;kMNt;.
4. cMeNaTtMélTabbMput
kñúgÉksarvinieyaK/ tMélKMragsMNg; KWCa)a:ra:Em:RtmYysMxan; eFobeFobCamYy
bNþa)a:ra:Em:RtlMnaM]sSahkmµsMNg;/ lT§PaBGMBIbNþaGñkCMnajbec©keTs/ brikçar/
eRKOgcRksMNg;. dUcenH sagsg;elOnbMputCamYytMélsMNg;ticbMput
KWCaTisedArbs;bNþaskmµPaB vinieyaK. ehtuenH enHCacMeNaTmYyFM nig
manTisedaHRsayeRcInepSg²Kña.
enATIenH/ eyIgRKan;EtbgðajcMeNaT CamYyviFIedaHRsayelIDIya:RkambNþaj.
1. kMNt;taragcMNaypÞal;
CMBUkTI 13 RKb;RKgsMNg;
eroberogeday³ sYs cMerIn ry³eBlnigtMél
174
kñúgCak;Esþg/ karkMNt;cMNaypÞal; rbs;KMeragBi)akNas;/ BIeRBaHRKan;
EtRtUvkarRBwtiþkarN_mYycMnYntUc eyIgmanviFIsaRsþeRcInepSgKña.
xageRkamenH nwgkMNt;RTwsIþmUldæanmYycMnYn rbs;karkMNt;ExSekag
cMNaypÞal;tam]TahrN_mYy.
]TahrN_ !> eGayDIya;RkambNþaj CamYytMrUvkarbgðajenAtarag !.
19
19
10
10
10
2020
3030
10 10
00
3
2
41
rUbPaB %
tarag !> bNþaTinñn½yrbs;DIya:RkambNþaj
Ékta 1 USD
kargar tn tl Cn Cl hdm
1-2 10 7 400 640 80
1-3 19 11 600 1160 70
2-3 10 8 500 600 50
2-4 19 15 700 1000 75
3-4 10 4 4 300 85
∑ 2500 4210
eRkayeBl KNnabNþajxagelI/ Ep¥kelIbnÞat;em eyIgdwg)anry³eBl
bBa©b;KMeragKW #0 éf¶ CamYytMélpÞal;KW @%00 duløarGaemrik. cg;eGay
CMBUkTI 13 RKb;RKgsMNg;
eroberogeday³ sYs cMerIn ry³eBlnigtMél
175
EpnkarGnuvtþ @( éf¶ eyIgRtUvbnßymYykñúgcMeNamkargarem. ebIminykcitþ
Tukdak;dl; tMél enaHeyIgGacbnßy minfakargaremNamYy eyIgGacman T
= 29 éf¶. b:uEnþeKaedAmYycMnYn rbs;BYkeyIgKW bnßyry³eBlkMNt;pg/
RBmeBlCamYyenaH RtUvmantMélTabpg. tamtarag ! eyIgGacbnßy
kargar ¬@-#¦ eRBaHmantMél Gb,brma hm = 50 USD nig ry³eBlkMNt; tl =
8 éf¶. ebIbnßykargar ¬@-#¦eTACa ( éf¶enaH T = 29éf¶.
tMéléncMNayekIneLIgKW ³
C = 2500 + 50 = 2550 USD
lT§plDIya:RkambNþajbgðajelIrUbPaB ^.
19
19
10
10
2020
10 10
00
3
2
41 9 29 29
CMBUkTI 14 RKb;RKgsMNg;
eroberogeday³ sYs cMerIn sBaØakñúgdMeNIrkarRKb;RKgsMNg;
176
CMBUkTI 14
sBaØakñúñúgdMeNIrkarRKb;RKgsMNg;
1. sBaØabBa¢adgsÞÚcedayéd
CMBUkTI 14 RKb;RKgsMNg;
eroberogeday³ sYs cMerIn sBaØakñúgdMeNIrkarRKb;RKgsMNg;
177
CMBUkTI 14 RKb;RKgsMNg;
eroberogeday³ sYs cMerIn sBaØakñúgdMeNIrkarRKb;RKgsMNg;
178
CMBUkTI 14 RKb;RKgsMNg;
eroberogeday³ sYs cMerIn sBaØakñúgdMeNIrkarRKb;RKgsMNg;
179
CMBUkTI 14 RKb;RKgsMNg;
eroberogeday³ sYs cMerIn sBaØakñúgdMeNIrkarRKb;RKgsMNg;
180
CMBUkTI 14 RKb;RKgsMNg;
eroberogeday³ sYs cMerIn sBaØakñúgdMeNIrkarRKb;RKgsMNg;
181
2. sBaØasuvtßiPaBkñúgdMeNIrkarsagsg;
CMBUkTI 14 RKb;RKgsMNg;
eroberogeday³ sYs cMerIn sBaØakñúgdMeNIrkarRKb;RKgsMNg;
182
CMBUkTI 14 RKb;RKgsMNg;
eroberogeday³ sYs cMerIn sBaØakñúgdMeNIrkarRKb;RKgsMNg;
183
CMBUkTI 14 RKb;RKgsMNg;
eroberogeday³ sYs cMerIn sBaØakñúgdMeNIrkarRKb;RKgsMNg;
184
CMBUkTI 14 RKb;RKgsMNg;
eroberogeday³ sYs cMerIn sBaØakñúgdMeNIrkarRKb;RKgsMNg;
185
CMBUkTI 14 RKb;RKgsMNg;
eroberogeday³ sYs cMerIn sBaØakñúgdMeNIrkarRKb;RKgsMNg;
186
CMBUkTI 14 RKb;RKgsMNg;
eroberogeday³ sYs cMerIn sBaØakñúgdMeNIrkarRKb;RKgsMNg;
187
CMBUkTI 14 RKb;RKgsMNg;
eroberogeday³ sYs cMerIn sBaØakñúgdMeNIrkarRKb;RKgsMNg;
188

ក្រប់គ្រងសំណង់

  • 1.
  • 2.
    matika RKb;RKgsMNg; eroberogeday³ sYscMerIn matika CMBUk cMNgeCIgemeron TMB½r CMBUkTI 1 niymn½yénmuxCMnajRKb;RKgsMNg 1 CMBUkTI 2 bNþaCMhansikSaKMeragsagsg;sMNg; 12 CMBUkTI 3 lMnaMRKb;RKgsMNg;mUldæan 29 CMBUkTI 4 begáItRbtiTinkargarkñúgplitkmµsMNg; 39 CMBUkTI 5 erobcMRKb;RKgsMNg;tamviFIsaRsþExScgVak; 73 CMBUkTI 6 begáItRbtiTinkargartamviFIsaRsþdüaRkambNþaj 105 CMBUkTI 7 kargardwkCBa¢Ún nig pøÚvbeNþaHGasnñ kñúgkarerobcMkardæan 118 CMBUkTI 8 erobcdgsÞÚc ma:sIun nig ]bkrN_sMNg; elIkardæan 134 CMBUkTI 9 pÁt;pÁg;TwkenAkardæan 145 CMBUkTI 10 erobcMpÁt;pÁg;nigXøaMgsMPar³ 150 CMBUkTI 11 erobcMCMrkbeNþaHGasnñenAkardæan 155 CMBUkTI 12 kar)a:n;sµancMNay 159 CMBUkTI 13 ry³eBl nig tMél kñúgdMeNIrkarRKb;RKgsMNg 166 CMBUkTI 14 sBaØakñúñúgdMeNIrkarRKb;RKgsMNg; 176 Éksareyag 189
  • 3.
    CMBUkTI 1 RKb;RKgsMNg; eroberogeday³sYs cMerIn niymn½yénmuxCMnajRKb;RKgsMNg; 1 CCMMBBUUkkTTII 11 ³³ nniiyymmnn½½yyéénnmmuuxxCCMMnnaajjRRKKbb;;RRKKggssMMNNgg;; 1> tYnaTInigTisedAénkarRKb;RKgsMNg; sMNg; KWCaEpñkmYyénplitplRKwHkñúgexOnesdækic©Cati/ sMNg;mantYnaTI sMxan; kñúgkarksagmUldæansMPar³/ bec©keTssgÁm/ sMxan;cMeBaHkm<úCaEdlkMBugksag exOnesdækic©CatitamTisedAesdækic©esrI/ sMNg;mantYnaTIsMxan;Nas;. plitplsMNg; manTMnak;TMngCamYynigEpñkplitplTaMgGs; ehIyCamYyvis½yesdækic© RKb;Epñkkñúg ry³kalGPivDÆn_dMbUg. sMNg; KWsMEdgnUvkarGPivDÆn_rbs;sgÁm. edayehtuenH rdæaPi)al)an ehAsMNg; KWCamuxrbr]sSahkmµFn;F¶n;mYykñúgcMeNam ]sSahkmµFn;F¶n;epSgd¾éTeTot. ehAfa sMNg;mUldæan eRBaHplitplrbs;va KWCaFnFanrbs;sgÁmrYm cMENk begáItecjbNþaplitplepSg². kñúgmUldæansMNg; KWsMNg;]sSahkmµ nigsMNg;sIuvil)anykbrimaNya:gFM/ tYnaTIrbs;m©as;sagsg;sMNg; KWRtUveRbIR)as;tamlT§PaBedImTn;edIm,I sMerc)an TisedA dak;ecjkñúgry³eBlxIø. tMrg;TisedAxagelI eyIgRtUveRbIR)as;EkécñnUvbNþalT§plrIkcMerInviTüasaRsþ/ bec©keTs/ ]sSahkmµ/ écñRbDitlT§PaBFmµCati nigmUldæansMPar³bec©keTs rbs; RkumGñkplit. bBaðaTaMgenH KWsßitelIkMritbec©keTsRKb;RKgplitrbs;GñkbBa¢a kñúglMnaM sagsg;sMNg;. dUceyIgdwgRsab; sMNg;sIuvil nig]sSahkmµ CasMNMueRcInénlMnaMplitpl sµúKsµaj Tak;Tgdl;bNþaEpñkplitepSg²/ naFakarrYmpSMrvagbNþalMnaMmYyrlUn/ sMerc
  • 4.
    CMBUkTI 1 RKb;RKgsMNg; eroberogeday³sYs cMerIn niymn½yénmuxCMnajRKb;RKgsMNg; 2 lT§pl)an KWCacMeNaTmYymankarKitKUrsaMjaMuTamTarvisVkrsMNg; RtUvdwgBIRTwsIþ RbB½n§ viTüasaRsþ nigviFIsaRsþRKb;RKgplitsMNg;. mann½yfa eyIgeRbIR)as; cMeNHdwg viTüasaRsþRKb;RKg edIm,IsMercTisedAdak;ecj EdlminRtUvkareFIVvinieyaKsMPar³ bec©keTsEfm b¤FnFanFmµCati. srubesckþI tYnaTIrbs;muxviC©a RKb;RKgsMNg; KWbMeBj)anRbB½n§RKb;RKg/ kMNt; bNþaviFIsaRsþRKb;RKgerobcM/ cg¥úlbgðajsagsg;sMNg;tamrebobmYyviTüasaRsþ FananUvesdækic©bec©keTsx<s; eBlsagsg;sMNg;mYyk¾dUcCasagsg;sMNg;eRcIn bNþak; Kña sMNg;sIuvil nig ]sSahkmµ. 2> eKalkarN_CamUldæanénkarRKb;RKgsMNg; 1> sagsg;sMNg;Tan;eBlevlakMNt; EdlmaRtc,ab;)ankMNt;eday c,as;las;dUcCa³ tamEpnkarrbs;rdæ ebIsMNg;enaHCarbs;rdæpÁt;pÁg;/ kic©RBmeRBog RbKl; - TTYlKMerag ebIsMNg;Gnuvtþn_tamkic©snüa k-x/ tamesckIþsMercrbs;m©as;viniyaK ebIsMNg;sagsg;edayxøÜnÉg/ b¤k¾epJIsagsg;>>>. ral;karbMRBYjxøI b¤ bnøay eBlevlasagsg; suT§EtRtUv)anvaytMélCUnrgVan; b¤ Bin½ysmRsbeTAniglT§pl b¤k¾karxUcxatelIesdækic©. 2> FanakMlaMgBlkmµx<s;énbNþasßab½nTaMgGs;EdlcUlrYmsagsg; bBaðaenH KWeKniyayeLIgnUvlkçN³shRbtiþkarN_ manGtßRbeyaCn_bMputkñúgplitplcUlKña Fana suvtßiPaBeGayBlkmµ. 3> FanaKuNPaBxçs;eGaysMNg; KuNPaBplitplbgðajnUvkMritsMerc)an tambNþabTdæanbec©keTsrbs;kargarsg;tMeLIg EdleyagtamkarKNna)ankMNt;. bNþabTdæanKuNPaBGnuvtþn_ RtUv)ansresrkñúgÉksarénkic©snüa. cg;Fana KuNPaB
  • 5.
    CMBUkTI 1 RKb;RKgsMNg; eroberogeday³sYs cMerIn niymn½yénmuxCMnajRKb;RKgsMNg; 3 sMNg;Gñksagsg; RtUvbBa©b;kargartamRbB½n§RKb;RKgKuNPaB ¬]> ISO 9000¦ EdlRtUv)an TIpSarTTYlsÁal;nig)anTIRbwkSabec©keTsRtYtBinitüyl;RBm. 4> TTYllT§plesdækic©x<s; enaHKWsMerc)anTaMgKuNPaBbec©keTs RBmTaMg mantMélTab. enHKWlkçxNÐedIm,Isßab½nsagsg;sßitenAfitefr nigrIkcMerIn. sßab½n sagsg;manlT§PaBsMerc)an nUvbNþaTisedAxagelI eTIbmanPaBxøaMgRKb;RKan;kñúgkar RbKYtRbECgelITIpSarkñúgRbeTsk_dUcCaGnþrCati. lT§PaB nigkarRbKYtRbECg rbs;sßab½n sagsg; bgðajnUvfamBleRsc)ac; edIm,IGnuvtþn_bNþalkçxNÐrbs;TIpSaplitpl/ Cak;EsþgKW³ 1> eRtomlkçN³CaeRsc edIm,IebIkkardæanplittamTMhMsMNg;TTYlsagsg; ¬puspulebIkkarsagsg;¦. 2> manRsab;mUldæanrUbFatubec©keTs ¬famBlbrikça/ RkumvisVkr/ CMnajkar nigkmµkrCMnajsmRsbnigsMNg;. 3> eRCIserIsviFIsaRsþlMnaM]sSahkmµplitsMNg;smRsb. 4> FanapÁt;pÁg;FnFancaM)ac;eGaykarplit. 5> begáItEpnkar ¬RbtiTinkargar¦ nigcg¥úlbgðajplitRbkbeday eCaKC½y. viTüasaRsþRKb;RKgsMNg;EtgmanTMnak;TMngCamYynig cMeNHdwgénmuxCMnaj eRcIn BiessmuxCMnaj]sSahkmµsagsg;/ ynþkmµsagsg; nigesdækic©sMNg;. enaHKW bNþacMeNHdwgmUldæan EdlvisVkrsMNg;RtUvyl;c,as;muneBlcab;édkñúgkargar begáIt EpnkarRKb;RKgsMNg;nigGnuvtþn_kargarsagsg;.
  • 6.
    CMBUkTI 1 RKb;RKgsMNg; eroberogeday³sYs cMerIn niymn½yénmuxCMnajRKb;RKgsMNg; 4 3> cMNucBiessrbs;CMnajplitsMNg; sMNg;k¾dUcbNþamuxrbrplitpl]sSah_kmµepSg²/ vamank,Ünc,ab;rYm nig cMNucBiessepSg². enATIenHeyIgRKan;EtelIkeLIg nigviPaKnUvbNþacMNucBiess Edl manTMnak;TMngeRcIndl;lT§plrbs;skmµPaBplitplsMNg;. 1> plitplrbs;sMNg;; KWCalT§plrbs;CMnajeRcInEpñk/ GgÁkarsßab½nesdækic© eRcIn/ enaHKW m©as;vinieyaK/ bNþashRKassagsg;/ bNþasßab½nTIRbwkSaerobcMKMerag/ bNþasßab½npÁt;pÁg;sMPar³brikça/ sßab½nbMerIesva:FnaKar/ hirBaØvtßú nigbNþa sßab½nRKb;RKg rbs;rdæ/ bBaðaenHeGayeyIgeXIjfa cg;eGayKMeragmYyman eCaKC½yl¥ RtUvmankar rYmbBa©ÚlKñaCaRkum/ CaEpñk ehIyKMeragEtgEtsßit enAeRkamkarRKb;RKgrbs;c,ab;rdæ. 2> sagsg;sMNg; KWCaFmµtaEtgmanTunFMsMrab;eFIVvinieyaK sMNg;)anyk cMnYnmYyya:gFMkñúgfvikaCati. dUcenH yuT§saRsþkñúgkarRbKYtRbECgsagsg; Canic©Cakal KWCa cMNucBiessrbs;rdæaPi)al nigGñkeFIVvinieyaKtUcFM. Kan;EtKwtedayELk Epñksagsg; bNþasMNg;Fmµta/ tUctack¾RtUvcMNayfvika rab;Ban;rhUtdl;rab;landuløa. enHKW minTan; niyaydl;sMNg;Biess²/FM²pg. 3> plitplsagsg;; Canic©CakalpSaP¢ab;nigkarrIkcMerInénvis½yesdækic© nig CivPaBrs;enArbs;RbCaBlrdæ. eBlesdækic©sgÁmrIkcMerIn eFIVeGayplitpl sagsg; sMNg;mankarGPivDÆn_rIkcMerIntam CaBiesskñúgvis½ysagsg;sMNg; ]sSah_kmµ nigsIuvil. 4> kñúgplitplsagsg; GñkvinieyaK nigGñkeRbIR)as;plitpl BMuEmnCa GñkGnuvtþn_ kñúgkargarsagsg;eT. kñúgenaHEtgEtsßitelIkic©snüarvagm©as;vinieyaK nig GñkTTYlkarsagsg; ehIyEtgEtmansmµPaBTIRbwkSa nigRtYtBinitü.
  • 7.
    CMBUkTI 1 RKb;RKgsMNg; eroberogeday³sYs cMerIn niymn½yénmuxCMnajRKb;RKgsMNg; 5 5> plitplsagsg;sMNg; KWCabNþaplitplmanTMnak;TMngnigTItaMgmYy kMNt; ¬Gclnvtßú¦ edayehtuenHplitplsMNg;rgnUvT§iBlénktþatMbn;. TItaMg plitEtgpøas;bþÚr. kMlaMgplitkmµEtgRtUvcl½t/ rcnasm<½n§RKb;RKgerobcM sg;tMeLIg EtgEtRtUvpøas;bþÚreGaysmRsbCamYynigsMNg; EdleFIVeGayekIn cMNayeday Rbeyal. 6> plitplsMNg;bgðajnUvcritlkçN³sm,tiþrbs;sgÁm nigERbRbYltam yuKÁsm½yvargT§iBlénRbéBNI/ TMenomTmøab;/ kMritvb,Fm’nigTsSn³rbs;GñkeRbIR)as;. 7> ry³eBlsagsg;sMNg;mYyKWcMNayeBlEvgbgÁÜrenAkNþalval dUcenH varg nUvRbtiþkmµFatuGakas/ TIpSardl;dMeNIrkarplitya:gc,as;. karRKb;RKgerobcM sagsg;TamTarRtUvCanic©CakalsVahab;/ c,as;las; nigTn;Pøn;/ eBlxøHenAmanTaMgEpñk sMNagpgEdr. 8> dMeNIrplitsMNg;KWCasMNMulMnaM]sSahkmµpliteRcIn dMeNIrplitnimYy² maneRcInviFIsaRsþbec©keTs nigRKb;RKg. edIm,IeTAdl; viFIsaRsþl¥bMput GñkbBa¢a karplitsMNg;RtUvGHGag)annUvbNþaviFIsaRsþ EdlGacTTYlyk)an ¬EdlteTAeyIg ehAfa viFIsaRsþseRmc¦ edIm,IrkeGayeXIjviFIsaRsþsmRsb eFIVCamUldæankñúg kar eRCIserIsviFIsaRsþEdlRbesIrbMput. lMnaMkareRCIserIs viFIsaRsþTaMgLay RtUvGnuvtþn_ kareRbobeFobtamlkçN³vinicä½yEdlRtUvkar. enHCakic©karTamTarbuKÁlikRtUvmankMritvb,Fm’/ famBl nigmanbTBiesaFn_ eRcInkñúgkarsagsg;. viFIsaRsþseRmc KWCaviFIsaRsþbgðajnUvmeFüa)aybec©keTsEdl GacGnuvtþn_)an. viFIsaRsþsmRsb KWviFIsaRsþseRmc b:uEnþRtUvRsbniglkçxNÐsagsg; Cak;Esþg. lkçxNÐsagsg; KWCalT§PaBrbs;Rkumsg;tMeLIg/ tYnaTIsagsg; sMNg; nigbNþalkçxNÐepSg²EdlvargnUvcMNgtamkic©snüa/ karsnµt; >>>. viFIsaRsþRbesIr
  • 8.
    CMBUkTI 1 RKb;RKgsMNg; eroberogeday³sYs cMerIn niymn½yénmuxCMnajRKb;RKgsMNg; 6 KWCaviFIsaRsþsmRsb mankMritx<s;bMputtambNþabTdæan EdlGñksagsg;dak;ecj ¬eBlevla/ tMél/ FnFanFmµCati >>>¦. 9> plitplsMNg;eRbIR)as;CIvBlkmµeRcIn EdlCIvBlkmµCaRbPBFnFan ya:gmantMél dUcenHbBaðaeRbIR)as;eGaysmRsbnightþBlik EtgEtdak;ecj CamYynig ral;viFIsaRsþsagsg;. 10>sMNg;sagsg;ERbRbYlyWt/ karsMgat;bec©keTsBi)akrkSa/ TIpSarRbKYt RbECgesrI dUcenH vaCakarmYysMxan;Nas;. ktþasMxan;ykC½yCMnH KWtMél. tMélsMNg;Tab KWedaysarPaBévqøaténkarRKb;RKgerobcM/ bBa¢a. cg;)an ya:gdUecñH Gñksagsg;RtUveFIVvinieyaKvtßúFatuedImcUlkñúgkarRKb;RKgplit nig RsavRCavTIpSarQrelI mUldæan]sSahkmµeCOnelOn. 4> TisedAGPivDÆn_rbs;muxCMnajplitsMNg; dUceyIg)anGHGag muxCMnajsMNg; KWmYykñúgcMeNammuxCMnajviTüasaRsþ bec©keTseRbIR)as;. ral;karrIkcMerInrbs;viTüasaRsþ/ bec©keTs suT§EtmanRbtiþkmµ elIkar GPivDÆn_rbs;plitplsMNg;/ CaBiess KWmuxCMnajemkanicpliteRKOgynþ nig sMPar³sMNg;. manbNþak,Ünc,ab;bec©keTsxøH )anRtUvRTwsþIdak;ecjCayUmkehIy b:uEnþelIkElgEtmanbrikçaeRbIR)as;smRsbnigRTwsIþ enaHeTIbkøayCa]sSahkmµTMenIb. cMeBaHkarelcecjRbePTsMPar³sMNg;mYyfµIvak¾manlT§pldUcenHEdr. eyIgGacyl;fa lMnaM]sSahkmµmYy KWCaTMhMénplitplmYy kñúgenaHrYmman³ vtþúFatuedIm/ brikçasMrab;sagsg; niglMnaMplitplmYy. dUcenH mYykñúgcMeNam ktþaERbRbYlénBYkva eyIgman]sSahkmµmYyfµI. pÞúymkvij cg;sMrc[)annUv
  • 9.
    CMBUkTI 1 RKb;RKgsMNg; eroberogeday³sYs cMerIn niymn½yénmuxCMnajRKb;RKgsMNg; 7 ]sSahkmµmYyfIµ eyIgRtUveFIVtUbnIykmµ]sSahkmµEdlman b¤k¾pøas;bþÚr[smRsb CamYyniglkçx½NÐtamsm½ykalTIpSarplit. k_+dUcCabNþavis½yplitplepSg² TisedAGPivDÆn_énkarsagsg;sMNg; KWmin bBaÄb;bþÚrfIµlMnaM]sSahkmµplit/ ]sSahkmµTMenIbnrUbnIykmµCaRKwHénplitpl sagsg;. TisedATaMgGs;enaH RtUv)anelcCarUbragedayqøgkat;dMNak;kalBIrsMxan;KW³ Canic©Cakal eRbIR)as;bNþakarrIkcMerInviTüasaRsþbec©keTseTAkñúgplitplsMNg; nigbþÚrfµIviFIsaRsþ RKb;RKg. Cak;EsþgKW³ 1> eRbIR)as;ynþkmµRBmKñakñúgbNþadMeNIrkarplit ynþkmµTMenIb KWbþÚrBIBlkmµsib,kmµmkGnuvtþn_edayeRKOgma:sIun. ynþkmµ TMenIb KWCaBUCrbs;]sShkmµTMenIb. eRbIR)as;ynþkmµ KWsMedArMedaHBlkmµédeCIg/ begáInfamBlBlkmµ nigKuNPaBtambTdæanTMenIb. cg;GPivDÆn_)antamlT§PaBrbs; eRKOgynþ KWynþkmµTMenIbRtUvdMeNIrkarRsbKña ¬RBmKña¦. RsbKñatamlkçN³rbs; ]sSahkmµ/ tamplitPaB nigKuNPaBrbs;sMNg;. cg;Gnuvtþn_)anTisedAynþkmµRBmKña sßab½nsagsg;RtUvmanlT§PaB RKb;RKan; elIEpñkesdækic© nigbec©keTs/ manskþanuPaBeRcInedIm,ITijbrikçaeRbIR)as;/ b¤Gnuvtþn_ shBaNiC¢ edayshkarrvagbNþasßab½nsagsg;epSg². cMeBaHrdæ KWkarrYmbBa©ÚlKña rvagsßab½ntUc²eGayeTACasßab½nmYyFM/ cMeBaHGnþrCati KWCa kareFIVshBaNiC¢ rvagRkumh‘unkñúgRbeTs nigRkumh‘unbreTs. 2> plitedayynþkmµsV½yRbvtþiTMenIb sV½yRbvtþiTMenIbKWRTg;RTay]sSahkmµTMenIbkMritx<s;.vaCYyelIkkMBs;kMlaMgBlkmµ nigeFIVeGay)at;nUvRBMEdn rvagBlkmµxYrk,al nigédeCIg. kMriténPaBsV½yRbvtiþTMenIb
  • 10.
    CMBUkTI 1 RKb;RKgsMNg; eroberogeday³sYs cMerIn niymn½yénmuxCMnajRKb;RKgsMNg; 8 GaRs½yeTAniglMnaM]sSahkmµplitnimYy². bc©úb,nñkñúgkarsagsg;sMNg; edayeRbIR)as; eRKOg ynþsV½yRbvtþiTMenIbenAmankMritTabenAeLIy eTaHCasßitkúñúgbNþaRbeTs]sSahkmµrIkcMerIn k¾eday. eKaledArYmrbs;plitpl]sSahkmµ KWQandl;kMriteRbIR)as;eRKOgynþ sV½yRbvtþiTMenIbkan;EteRcInkan;Etl¥ BiessKWkñúgbNþakargarEdleFIVkñúgbridæan mhnþray nigkargarFn;F¶n;. kargarCadMbUgénkareRbIR)as;ynþkmµsVy½RbvtþiTMenIb KWedAelIbNþakargar RtUveRbIR)as;eRKOgma:sIun nigkñúgvis½ybegáItEpnkar/ RKb;RKg nigbBa¢a kñúgkarplit. Cak;Esþg KwkargarGnuvtþn_ma:sIunkuMBüÜTr½eTAkñúgkarbBa¢aelIlMnaM karplit/ RKb;RKgKMerag nigeRbIR)as;plitpl. 3> ]sSahkmµTMenIbénrbrsMNg; RsbCamYynigynþkmµTMenIb TisedAmYyd¾FM KW]sSahkmµTMenIbénrbr sagsg;. ]sSahkmµTMenIb KWnaMykbNþakargarxageRkA cUleTAGnuvtþn¾kñuúgbNþa eragCag/ eragcRkyfaRbePT. ]sSahkmµTMenIb niglMnaMkarplitsMNg;eGayenACitbegáIy nigbNþaEpñkplitpl]sSahkmµepSg²/ bnßykarlM)akrbs;kmµkrkñúg eBlbMerI kargar enAkNþalval/ bnßyT§iBlrbs;FatuGakasEdlmanRbtiþkmµ mkelIplitpl sMNg;. ]sSahkmµTMenIbkan;x<s; KWfamBl/ KuNPaBBlkmµ kan;EtFM/ elIkkMBs; lT§PaB eRbIR)as;eRKOgcRk begáItlkçxNÐeGayynþkmµ TMenIb nigsV½yRbvtiþrIkcMerIn/ Biess kñúgsMNg;]sSahkmµ KW]sSahkmµTMenIb minGacminykcitþ)aneT/ edayehtufa vaman Gtßn½ykñúgtMbn; nigGnþrCati.
  • 11.
    CMBUkTI 1 RKb;RKgsMNg; eroberogeday³sYs cMerIn niymn½yénmuxCMnajRKb;RKgsMNg; 9 4> eRbIR)as;GtibrmasMNg;cab;tMeLIg kñúglkçxNÐEdlGaceFIV)an KYreRbIR)as;eGay)aneRcInsMNg;cab;tMeLIg/ eRBaH enHCalMnaM]sSahkmµplitsMNg;Qanmux. Gnuvtþn_edaykarcab;tMeLIg begáIt lkçxNÐCaGaTiPaBeGay]sSahkmµTMenIb)anGPivDÆn_xøÜn. sMNg;cab;tMeLIg CYybnßy eBlevlasagsg;/ snSMsMéc)anBum</ bnßyRbtiþkmµrbs;GakasFatu. kñúgsMNg; EdkCajwkjab; kargarcab;tMeLIgCaviFIsaRsþEtmYyKt; nigRbesIrbMput. cg;[ dMeNIrkarcab;tMeLIg GPivDÆn_xøaMgxøa RtUvdak;TuneRcIneTAelIkarRsavRCaverobcM sßabtükmµ/ eRKOgbgÁM nigEsVgrkviFIsaRsþsagsg;EdlmanGtßRbeyaCn_. 5> eRbIR)as;sMPar³fµICMnYseGaysMPar³RbéBNI/ minbBaÆb;kar pøas;bþÚrfµI énlMnaM]sSahkmµplit edaykarrIkcMerInbec©keTs/ sBVéf¶mansMPar³eRcInRbePT)anbegáIt/ kñúgbNþa sMPar³fµI manRbePTsMPar³eFIVeGaymankarpøas;bþÚrlMnaM]sSahkmµplitTaMgRsug dUcenH buKÁlikbec©keTsRtUvcab;ykeGayTan;eBl edIm,IeGaykMritcMeNHdwg bec©keTs Canic©CakalmankMritbec©keTsQanmux. edayELk eRKOgynþ brikçaeRbIR)as; k¾min bBaÆb;karGPivDÆn_ eFIVeGaybNþalMnaM]sSahkmµplitcas; RtUvbþÚrfµItam/ CalT§pl køayCalMnaM]sSahkmµplitfµI. 6> karBarbridæanBImYyéf¶eTAmYyéf¶RtUvelIkkMBs; enHKWCa TisedAGPivDÆn_rbs;yuKÁsm½y EdlRKb;vis½y/ RKb;ekasikarsgÁm RtUvyk citþTukdak;EfrkSaeGayeBjTMhwg. bNþasMNg;sagsg;minRtwmEtCHT§iBldl; bridæankñúgxN³eBlkMBg;smµPaBb:ueNÑaHeT ehIyvaEfmTaMgenACHT§iBlFM kñúgdMNak;kal
  • 12.
    CMBUkTI 1 RKb;RKgsMNg; eroberogeday³sYs cMerIn niymn½yénmuxCMnajRKb;RKgsMNg; 10 sagsg;pgEdr. edIm,IRbqaMgnigPaBkxVk;EdlbNþamkBIkardæan sagsg;bgáreGay PUmisaRsþenACMuvijvakñúgviFIsaRsþsagsg;RtUvKwtKUrdl;viFIRbqaMgPaBkxVk;. bNþaPaBkxVk;EdlbNþamkBIkardæansMNg;bgáreLIgEtgEtCaFUlI/ PaBKRKic/ katsMNg;sMPar³sMNg; nigPaBkxVk;edaysarkMeNInRbCaCn>>> EdleFIV eGaybMBl; briyakas nigRbPBTwk T§iBlTaMgGs;enaH RtUvTTYlsÁal;eday BiR)akd nigerobcM viFIsaRsþRbqaMgtaMgEtBIdMNak;kalKNnarhUtdl;dMNak;kal begáItviFIsaRsþsagsg;. bNþaviFIsaRsþsMxan; Kwkat;bnßykarbMBl;brisaßnEdlbNþalmkBIkardæan sMNg;;bgáreLIg dUcCa³ • pøas;bþÚrlMnaM]sSahkmµsagsg;smRsb. • x½NÐkardæanedayrbgsMNaj;. • sMGateRKOgynþeBlecjeRkAkardæan. • manEpnkarN_edaHRsaykatsMNl;Cab;lab;/ minTukeGays¥úyrlYy ¬x©b;dwkecj¦ • dak;sMPar³plitmYycMnYn ÉCMrkEdlGacecjq¶ayBIkardæan/ Biess cMeBaHRbPBbgárPaBkxVk;¬PaBG‘UEG/ FUlI/ katsMNl;>>>¦. • begIánmeFüa)aydwkCBa¢ÚnbiTCit/ rfynþkugtWn½r/ Qandl;eRbIEtsMPar³ maneRsam/ EdlGacRbqaMgPaBkxVk;pg nigTb;Tl;karx¢Hx¢ay/ RCuHFøak; sMPar³pg. • ENnaMBRgIklkçxNÐkarBarbridæankñúgc,ab;sagsg; edIm,IRbCaBlrdæ RKb;rUb elakGnuvtþn_eBjeljkñúgkardæanFM b¤tUc.
  • 13.
    CMBUkTI 1 RKb;RKgsMNg; eroberogeday³sYs cMerIn niymn½yénmuxCMnajRKb;RKgsMNg; 11 karFanakarBarbridæan vakøayCabTdæanEdlvaytMél elIRbvtiþeFIVvinieyaK sagsg;sMNg;. 7> kñúgkarRKb;Rkgplit Gnuvtþn_viFIsaRsþerobcMBlkmµ viTüasaRsþ edIm,IsMralkargareGayCIvBlkmµ/ elIkkMBs; KuNPaBplitpl/ FanasuvtßiPaBBlkmµ nigbnßy PaynþraykµúgsMNg; enHKWCaPar³kic© énEpnkarbec©keTsrbs;sßab½nsagsg;/ RtUvCanic©Cakal yk citþTukdak;RKb;RKg RsavRCav nigENnaMGnuvtþn_;. BiessKW suvtißPaBBlkmµ eRBaHkñúg karsagsg;eRKaHfñak;gaynigekIteLIg nigCaFmµtaKWmineFVsRbEhs. 8> Gnuvtþn_viFIsaRsþRKb;RKgerobcMsagsg;tamExSbBa¢Ún GaRs½ylkçxNÐCak;Esþg eyIgGacGnuvtþn_viFIsaRsþRKb;RKgQanmuxenHelI EpñkTaMgmUl b¤k¾EpñkNamYyrbs;sMNg;. dUcenH RKan;EteRbIR)as;kñúgEpñkNamYy k¾naMmk vijnUvlT§plya:gRbesIr eRBaHenHKWCaviFIsaRsþRKb;RKgQanmuxbMput vaFanaeGay kareRbIR)as;Blkmµ/ vtßúFatuedImsmRsb/ elIkkMBs;KuNPaB plitpl/ famBl Blkmµ nigbnßyeBlevlasagsg;. 9> eRbIR)as;kMuBüÚT½rkñúgkarRKb;RKg nigbBa¢asagsg; yuKÁsm½yrbs;lMnaM]sSahkmµBt’manviTüa bNþaEpñkTn;eRbIR)as;kñúgkar RKb;RKg niyayrYm nigsMNg;niyayedayELk KWBImYyéf¶eTAmYyéf¶kan;EteRcIn nigxøaMg/ vaCYyeGayGñksagsg;TTYlnigbBa¢ÚnBt’man/ Tinñn½y/ viPaKsßankarN_elOnrh½s nignaM mkvijTinñplx<s;. eRbIR)as;lT§PaBkMuBüÚT½r KWbgárlkçxNÐeGayynþkmµ sV½yRbvtþirIkcMerIn/ kñúgRKb;RKgnignaMmkvijnUveCaKC½yelIEpñkesdækic©.
  • 14.
    CMBUkTI 2 RKb;RKgsMNg; eroberogeday³sYs cMerIn sikSaKMeragsagsg;sMNg; 12 CMBUkTI 2 bNþaCMhansikSaKMeragsagsg;sMNg; tamTsSn³TUlay rbs;GñkRKb;RKgeFIVvinieyaK/ sMNg;sagsg;EtgEtpSarP¢ab; CamYynigKMeragmYy/ vaEtEtgqøgkat;bIdMNak;kalKW etomlkçN³eFIVvinieyaK/ karGnuvtþn_ kargarvinieyaKnigdak;[eRbIR)as;plitplsMNg;. dUcenH cg;begáIt)anKMeragmYy RtUvEtCalT§plénehtuplrbs;KMnitbuKÁl ¬lT§PaBvinieyaK¦ nig ehtupléntfPaB ¬tMrUvkarTIpSa¦. tamTsSn³lMGit rbs;GñkRKb;RKg sMNg;mYy)anekItCarUbrageLIg Kweday sarva)anqøgkat;R)aMmYyCMhandUcxageRkam . elIrUbPaB )anBiBN’naya:gc,as; nUvbNþaCMhanéndMeNIrkarGnuvtþn_KMeragmYy ¬karsßabnasMNg;¦ Carbs;rdæaPi)alRKb;RKg b:uEnþvak¾rYmmanTaMgsMNg;Edlm©as; lMnaMbegIáteGaymanCarUbragsMNg; tamn½yTUlay Gnuvtþn_kargar ¬sag;sg;sMNg;¦ tMrUvkarrbs;TIpSa/ rdæaPi)al/ sgÁm lT§PaBvinieyaKrbs; shRKas/ rdæaPi)al/ sgÁm begáIt[manrUbrag KMeragvinieyaK eRtomlkçN³vinieyaK kareRbIR)as; plitplsMNg;
  • 15.
    CMBUkTI 2 RKb;RKgsMNg; eroberogeday³sYs cMerIn sikSaKMeragsagsg;sMNg; 13 vinieyaKCaÉkCnpgEdr. CakarBItehIy ebIeTAtamTMhMsMNg; enaHbNþaCMhan sikSaKMeragGacmannwglkçN³samBaØ edayRKan;EtrkSanUvbNþaCMhanmUldæan. menaKti rbs;KMerag KWCaeyabl;dak;ecjdMbUg edIm,IKMerag)anelc CarUbrag. menaKti CaFmµtaRtUv)anm©as;vinieyaKsMEdgecj edaysarRbtiþkmµ rbs;ehtuplbuKÁl nig TUeTA/ CYnkalRKan;EtCakarrMCYlcitþ elImuxrbrrbs;m©as; vinieyaK kúñgsßanPaBCak;EsþgmYy. menaKti elcCarUbrageLIgedayssnSwm²/ taMgBIeBlcab; epþImrhUtdl;dMNak;kalTuMRCuH ehIynwgRtUv)annaMykBiPakSanigRtUv)anRkbx½NÐGFibetyü kt;RtacUlkñúgkmµviFIKMerag. xageRkamenH KWCaGMNHGMNageGay bNþaCMhan bnþbnÞab;eTot³ menaKti sikSadMbUg sikSa eKal karN_ dMbUg r)ay karN_ dMbUg vaytMél sikSalMGit sikSa lkçN³ bec©k eTs r)ay karN_ lMGit ETdgd vaytMél KNna sikSa bEnßm edj éfø sag sg;; eRbI R)as; m©as;vinieyaK Gnuvtþ vay tMél Gñkem:Akar Gnuvtþ m©as;vinieyaK sßab½nTIRbwkSaGnuvtþ
  • 16.
    CMBUkTI 2 RKb;RKgsMNg; eroberogeday³sYs cMerIn sikSaKMeragsagsg;sMNg; 14 k> sikSadMbUg KICaCMhanbnþeTotrbs; menaKti Edlm©as;vinieyaK)anCYlsßab½nTIRbwkSa Gnuvtþn_/ ehIym©as;vinieyaKk¾GacGnuvtþn_edayxøÜnÉg. xøwmsarrbs;CMhanenH KWEsVgrkbNþaTinñn½ydMbUg edIm,Im©as;vinieyaKeFIVkarsMercelI menaKti Edl)anepþImecj faetImanmUldæanb¤eT/ ebImanesckIþsgÇwm KwbnþRsavRCaveTot EtebIBMumankþIR)afñaeTenaH karsikSaKMerag nwgRtUvbBaÄb;. kñúgCMhanenH kargarEsVgyl; KwCacMNucsMxan;/ eRBaHEp¥kelItYelxRsab; EdlRbmUl)an eKbegáItKMeragmunGnuvtþn_. bnÞab;eTot eKKwtdl;bNþabBaða ecaTEdl sMxan; Kw viPaKelImUldæanRKwHénesdækic© edIm,IvaytMélKMerag. begIátKMeragmunGnuvtþn_ KW caM)ac;RtUvsikSaEsVgyl;elIbNþakargarxageRkam³ • EsVgyl;GMBItMrUvkarrbs;sgÁm kñúgtMbn;EdlKMerageFIVsmµPaB. • EsVgyl;GMBIneya)ayTisedAGPivDÆn_esdækic©rbs;Cati kñúgry³eBlEvg bgÁÜr¬10- 50 qñaM¦. • vaytMélsßanPaBviC¢aCIv³bc©úb,nñ nig viC¢aÉkeTsesdækic© kñúgkarsikSa KMerag/ kñúgenaH RtUvykcitþTukdak;dl; kMriténlMnaM]sSahkmµplit/ famBl Edlman/ lT§PaBGPivDÆn_rbs;bNþamUldæanbec©keTs kñúgry³eBlmYy Edlnwgmkdl; ¬EkEcñ/ ebIkcMh/ eFIVeGayRbesIreLIgnUvlMnaM]sSahkmµ/ eFIVtUbnIykmµTMenIbén]sSahkmµplit¦. • cMNat;fñak;énlMnaM]sSahkmµplitkñúg tMbn; nig BiPBelak. • kMritCIvPaBrs;enArbs;sgÁm/ lT§PaBeRbIR)as;plitplenAtamtMbn;.
  • 17.
    CMBUkTI 2 RKb;RKgsMNg; eroberogeday³sYs cMerIn sikSaKMeragsagsg;sMNg; 15 • lT§PaBrbs;m©as;vinieyaK/bNþaRbPBedImTunEdlGacclna/TMhMvinieyaK. • RbPBpÁt;pÁg;vtßúFatuedIm/ lMnaM]sSahkmµplit. • TItaMgsagsg;sMNg; EdlnwgRtUvGnuvtþn_KMeragCamYyniglT§plPUKBÖsaRsþ/ xül;Gakas/ cMnYnRbCaBlrdæ/ brisßanmun nig eRkaysagsg;sMNg;. • ehdæarcnasm<½n§sMNg;manRsab;nig lT§PaBeTAGnaKt. QrelImUldæan bNþaTinñn½yEdl)anviPaKkñúgkarsikSaKMerag nwgykmk sniñdæan faetIGaceFIVkarvinieyaK)anEdrb¤eT ehIyTMhMénkarvinieyaKnwgcMNayedImTun Gs;b:unñan. kñúgry³eBlbegáItCMhanenH bNþaTinñn½yxVHxat b¤minTan;eCOrCak; KweyIg GacGnuvtþn_sikSaRtYtBinitüeKalkarN_dMbUgeLIgvij edIm,ImanTinñn½yRKb;RKan; kñúgkar sresrr)aykarN_rbs; karsikSalMGit. sikSadMbUg KwsresreRkamsNæanCar)aykarN_ RtUvEt)anvaytMél nig yl;RBm/ eTAtamkarsnµt;EdlkMBg;Gnuvtþn_ edayGaRs½yelITMhM nig RbPB edImTun énKMerag. x> sikSalMGit CMhanenH KWsMxan;Nas;kñúgdMeNIrkar eFIVeGayKMeragekItCarUbrageGaykan; Etc,as;/ vaGHGagnUv lkçN³R)akdniymrbs;KMerag. kñúgCMhanenH rYmmanBIr Epñk Kw sikSaKMerag nig sresrr)aykarN_KMeragGnuvtþn_. begIát KMeragGnuvtþn_ EtgEtRtUv)an sßab½nTIRbwkSabec©keTsGnuvtþn_sikSaerobcMKMerag. kñúg KMeragGnuvtþn_ RtUvbkRsay )annUv lkçN³Gnuvtþn_bec©keTs nig lkçN³eCaKC½yelIesdækic©.
  • 18.
    CMBUkTI 2 RKb;RKgsMNg; eroberogeday³sYs cMerIn sikSaKMeragsagsg;sMNg; 16 sMNg;kan;EtFM Kwkargarsßabnakan;EtsµúKsµaj/ TIlansagsg;kan;EtFMTUlay naMeGaykarsikSakan;EtRtUvlMGitelITMhMkargarTaMgmUl nig manRKb;lkçN³. cMeBaHbNþa KMerag EdlsßitenAkñúgtMbn;mansMNg;sagsg; KW Tinñn½yrbs;KMerag EdlnwgykmkGnuvtþn_ GacnwgeRbIR)as;nUvbNþaTinñn½yrbs;karsikSamun. kñúgkarsikSaKMerag RtUv)anEckecjCaBIrRbePTsikSa KW sikSaGMBIesdækic© nig bec©keTs. sikSaGMBIesdækic© CaFmµtaRtUv)anGnuvtþn_mun/ eRBaHvapÁt;pÁg;Tinñn½y CamUldæan kñúgkarkMNt;tYnaTIrbs;sMNg; edayrYmpSMCamYynig RbPBvtßúFatuedIm/ bNþajehdæarcna sm<½n§sMNg;; ¬KmnaKmn_/ famBl¦ RbPBTwk/ cMnYnRbCaBlrdæ/ TMenomTMlab;/ vb,Fm’/ brisßanFmµCati/ Blkmµ CaedIm. vtßúbMNgrbs;karsikSaKMeragtamlkçN³bec©keTs KWCa karsikSaGMBIlkçxNÐ FmµCatikñúgtMbn;EdlRtUvGnuvtþn_KMerag/ RBmTaMgmanTisedA edIm,IGnuvtþn_KMerag Rbkbeday GtßRbeyaCn_bMput. lT§pl én karsikSaGMBIbec©keTs KwvaCYyeGay eyIgeRCIserIs )anTItaMgsagsg;sMNg;smRsb/ erobcMEpnkarN_sagsg;lMenAdæan )anl¥ k¾dUcCasMNg;FM²/ karsikSaKMeragtamlkçN³bec©keTs KWCakarEsVgrk bNþadMeNaHRsaybec©keTsEdl RtUvGnuvtþn_caM)ac; kñúgkarsagsg;. CacugeRkaykarsnñidæanrbs;KMerag KWEp¥kelIkarvaytMéltamesdækic©-bec©keTs elIKMeragTaMgmUl eTAtamviFIsaRsþEdl)anelIkeLIg. cMeBaHsMNg;sIuvil nig ]sSahkmµ karsikSaKMerag rYmmanbNþabBaðasMxan; dUcxageRkam³ • bgðajeGayc,as; nUvlkçxNÐesdækic© kñúgtMbn;sagsg;sMNg; KYbpSMnig karykcitþTukdak;dl;skmµPaBrbs;sMNg; EdlrYmman³ vtßúFatuedIm/
  • 19.
    CMBUkTI 2 RKb;RKgsMNg; eroberogeday³sYs cMerIn sikSaKMeragsagsg;sMNg; 17 sMPar³sMNg;/ lT§PaBpÁt;pÁg;TwkePøIg/ bNþajpøÚvKmnaKmn_/ kMlaMg Blkmµ k_dUcCabNþaFnFanepSg². • sikSabNþasMNg;EdlkMBg;manskmµPaB kñúgtMbn;EdlnwgGnuvtþn_KMerag/ bgðaj[c,as;nUvlT§PaB/ kMriteRbIR)as;lMnaM]sSahkmµ/ lT§PaBTMnak;TMng rvagBYkva nigKMeragEdlnwgRtUvsg;. enHKW CamUldæanRKwH edIm,IkMNt;TMhM nig GtßRbeyaCn_rbs;sMNg;EdlRtUvsßabna. • sikSaGMBIPUmisaRsþTaMgmUl/ sßanPaBdIenAtMbn;Gnuvtþn_KMerag edIm,IelIk KMerag nig EpnkarN_lMenAdæan/ GKar k¾dUcCa bNþabNþajbec©keTs/ ehdæarcnasmç½n§sMNg;. kargarenH RtUv)anbgðajenAelIEpnTIrdæ)al ¬manRsab; b¤RtUvvas;Evg nig KUredayxøYnÉg¦. • sikSaGMBI PUKÁBÖsaRsþ/ ClsaRsþ rbs;TItaMgsagsg; edIm,IkMNt;)an lkçN³emkanicénRsTab;dInimYy²/ crnþTwkenAkñúgdI/ ePøógxül;>>>. Tinñn½y Edl)anmkBIkarsikSa RtUveGaymanRKb;RKan; edIm,IkMNt;)an viFIsaRsþ tMeLIgeRKOgbgÁúMsMNg;/ RKwHsMNg;/ RbB½n§bNþajcrnþTwkkñúgdI >>>. • sikSalkçxNÐFatuGakas enAtMbn;sagsg; ¬ePøógxül;/ sItuNðPaB/ rnÞHpÁr >>>¦. cMeBaHbNþaGKarsMxan; caM)ac;eyIgRtUvsikSabEnßm elIbNþaktþa briyakas ¬kMedA/ xül;brisuT§/ viTüúskmµ/ GIuy:Ut >>>¦. • sikSalkçxNÐEdlmanTMnak;TMngdl;karsagsg; edayeRbIR)as;lT§PaB sagsg;enAnigkEnøg edIm,IbnßytMélrbs;sMNg;. kñúgkarsikSaenH rYmman RbPBsMPar³sMNg;EdlpÁt;pÁg;enAnigkEnøg/ eRKOgma:sIun/ brikçar/
  • 20.
    CMBUkTI 2 RKb;RKgsMNg; eroberogeday³sYs cMerIn sikSaKMeragsagsg;sMNg; 18 KmnaKmn_/ lT§PaBeRbIR)as;bNþashRKasCMnYy/ RbPBBlkmµkñúgtMbn;/ bNþaj GKÁIsnI/ bNþajTwkEdlmanRsab;. • sikSabNþaktþaEdlCHT§iBldl;tMélrbs;sMNg;/ eBlevlaEdlGacsMerc kargarsagsg;tamEpñknimYy² b¤ EpñkTaMgmUl k¾dUcCaeBldak;plitpl eGayeRbIR)as;. • sikSaelIesaP½NÐPaBénsßabtükmµ/ EpnkarN_erobcMtMbn; edIm,IsMNg;man dMeNaHRsayKNnarYmbBa©Úl CamYynigesaP½NÐPaBsßabtükmµEdlman. bNþaTinñn½yTaMgGs;enH manTMnak;TMngdl;EpnkarN_elIkKMerag/ sagsg;nig kareRbIR)as;sMNg; suT§EtRtUvRbmUlTinñn½yeGayRKb;RKan; nig sresrCa r)aykarN_ esdækic©bec©keTs edIm,IGHGag)annUvtYnaTIénkarsagsg;sMNg;. r)aykarN_sagsg;RtUvdak;ecjya:gticbMput eGay)anBIrviFIsaRsþ edIm,IEFIVkar ebobeFobeRCIserIsviFIsaRsþEdlmanlkçN³esdækic©x<s;. r)aykarN_esdækic©rbs; karsikSalMGit KWRtUv)anGnuvtþn_ edaysßab½n TIRbwkSaelIkKMerag edayEp¥kelIbNþar)aykarN_esdækic©-bec©keTs. r)aykarN_ RtUvdak; ecj nUvbMNkRsayrbs;cMeNaTbBaða EdlRtUvmanya:gticBIrviFIsaRsþ. kñúgenaH manTaMg bMNkRsayGMBIGtßRbeyaCn_esdækic© EdlrYmmanEpñksMxan;² dUcxageRkam. 1> lT§PaBeRbIR)as;rbs;sMNg;. 2> tMéledIm/ plRbeyaCn_esdækic©/ eBlevlaTTYledImTunvinieyaKmkvij. 3> eBlevla)ansMerctamlT§PaBsikSaKMerag.
  • 21.
    CMBUkTI 2 RKb;RKgsMNg; eroberogeday³sYs cMerIn sikSaKMeragsagsg;sMNg; 19 4> kMriteRbIR)as;eRKOgcRk/ sV½yRbvtþielIlMnaM]sSahkmµplit/ cMNat;fñak; énlMnaM]sSahkmµpliteFobnigkñúgRbeTs nig BiPBelak. cMNat;fñak; tambTdæan. 5> emKuNsagsg; ¬eRbIR)as;épÞsagsg;¦ eFobCamYynigbTdæanEdl kMNt;. 6> PaBERbRbYlbrisßanPUmisaRsþ ¬rukçCati/ crnþTwk/ tMéldI¦ edaysarEtpl rbs;karsagsg;sMNg;. 7> manT§iBldl;CivPaBrs;enArbs;smaCik nig RKYsarkmµkr/ buKÁlik kñúg dMeNIrkarsagsg;nig eRbIR)as;sMNg;. sMNMur)aykarN_énkarsikSalMGitrYmman³ 1> bMNkRsayBiBN’naedaysegçb elIxøwmsarénbNþaviFIsaRsþdak;ecj edIm,I eRCIserIs/ ebobeRFobbNþaviFIsaRsþTaMgenaH/ KNnaTUeTAbNþa karsMerckñúg viFIsaRsþ. BiBN’naGMBIviFankarFanasuvtiþPaBBlkmµ nig KNnabNþa cMNayelIesdækic©bec©keTs/ kñgenaHRtUvbkRsay nig rebobkMNt;rbs; bNþakarcMNayTaMgGs;enaH. 2> TIlansagsg; bgðajeGayRKb;sBV nUvTMnak;TMngrvagbøuúklMenAdæan nig épÞEdlRtUvGnuvtþn_KMerag. 3> bNþaKMnUrénlMnaM]sSahkmµ/ KmnaKmn_kñúgKMerag/ dMeNaHRsay sßabtükmµ/ eRKOgbgÁMú/ RbB½n§brikçar nig dMeNaHRsaykarKNnaepSg² Edlman TMnak;TMng.
  • 22.
    CMBUkTI 2 RKb;RKgsMNg; eroberogeday³sYs cMerIn sikSaKMeragsagsg;sMNg; 20 4> bBaI¢eRKOgcRk/ brikçar EdlRtUvykmkGnuvtþn_elIKMerag. 5> )a:n;sµanlT§PaBvinieyaKsagsg;sMNg;. 6> )a:n;sµantMélTijsMPar³brikçar/ eRKOgcRk tamtMélsikSa. 7> )a:n;sµantMélvinieyaKTunsrub ¬)a:n;sµansrub¦. 8> taragbBa¢IGnuvtþn_ bNþakargarsMxan;² EdlRtUvsagsg;. 9> EbgEcksMPar³kñúgRsuk nig eRkARsuk edIm,IbegIátEpnkarTTYl. 10> EbgEcktamCMnajBlkmµEdlcaM)ac;. 11> elIkKMerag RKb;RKg sMNg; CamYynig dMeNIrkarsagsg;TaMgmUl ¬bgðajedayDIya:Rkam epþk b¤ bNþaj¦ 12> tMelIg ma:Ekt sMNg; ¬TaMgmUl b¤EpñksMxan;NamYy¦ ebIeXIjfacaM)ac;. 13> esckIþbEnßm edIm,IENnaM eRbIR)as;kMlaMgBlkmµ ¬tamc,ab;kargar¦ nig eRbIR)as;RbPBsah‘uy sagsg;sMNg;¬CaBiess KWrUbIvtßúbreTs¦. 14> bNþadMeNaHRsaybec©keTsRbqaMgkarbMBl;brisßanb¤pøas;bþÚreTsPaB. karsikSalMGit RtUv)anvaytMél nig sßab½nm©as;vinieyaKEdlman sT§ismmUl yl;RBm eTAtamRbPBedImTun nig sMNg;Carbs;RkumNa?
  • 23.
    CMBUkTI 2 RKb;RKgsMNg; eroberogeday³sYs cMerIn sikSaKMeragsagsg;sMNg; 21 K> KNnasMNg;sIuvil nig ]sSahkmµ KNnasMNg;sIuvilnig]sSahkmµrYmmanBIrEpñksMxan;KWKNnanig )a:n;tMél. eTAtamTMhM/ kMritsµúKsµaj/ lkçN³sMxan;rbs;sMNg; KNnaGacGnuvtþn_tam BIrdMNak;kal b¤ mYydMNak;kal. ebIKNnatammYydMNak;kalKW KNnasagsg;. eBlKNnatamBIr dMNak;kal KWdMNak;kaldMbUgCadMNak;kalKNnabec©keTs cMENkdMNak;kaleRkayCa dMNak;kal KNnasagsg;. karKNnaCaPar³rbs;TIRbwkSa RtUvGnuvtþn_eTAtamkic©snüaCamYym©as; vinieyaK. KNnamYy b¤ BIrdMNak;kal eTAtamTMhM nig lkçN³Biessrbs;sMNg; vaGaRs½yedaysßab½nman siTi§GMNaceFIVkarsMerc. 1> KNnabec©keTs KNnabec©keTsCa dMNak;kaldMbUgénKNnaCaBIrdMNak;kal. KNna bec©keTs Ep¥kelImUldæansikSaEsVgyl; nig r)aykarN_rbs;KMeragGnuvtþn_ bUkrYmTaMg karsikSabEnßmkñúgdMNak;kalKNna ¬ebIman¦. KNnabec©keTs bkRsayelIbNþabBaðabec©keTsTaMgGs;EdlFana[ sMNg;manlkçN³sMerc/ viFIsaRsþKNnaRtwmRtUvmanlkçN³eCOnel,Wn/ Tinñn½yEdl dak;ecjc,as;las; b:uEnþvaenAEtsßitenAdMNak;Nak;kalcMhr ¬edIm,IbEnßm¦ nUvcMNucEdl minTan;mankarlMGwtRKb;RKan; kñúgkarGnuvtþn_ sagsg;. KNnabec©keTsRtUv)aneRbIR)as; [bNþaEpñkKNnaTaMgGs; dUcCa lMnaM]sSahkmµplit/ sßabtükmµ/ eRKOgbgÁMú/ sMPar³CaedIm/ edayeRtomlkçN³ CaeRsc edIm,IbMerIkarsagsg;.
  • 24.
    CMBUkTI 2 RKb;RKgsMNg; eroberogeday³sYs cMerIn sikSaKMeragsagsg;sMNg; 22 ÉksarKNnabec©keTsrYmman³ 1> bMNkRsayBiBN’naGMBIrviFIKNna/ bMNkRsayCaTUeTAnUvbNþa dMeNaHRsay KNnaelIsMNg;TaMgmUl. 2> KMeragbøg;lMnaM]sSahkmµ/ ExSbBa¢Únplitkmµ/ sßabtükmµ/ ¬KMnUredk/ KMnUrkat;/ KMnUrbBaÄr¦/ eRKOgbgÁMú/ sMPar³tak;Etg CaedIm/ EdllMnaM ]sSahkmµsagsg;sMNg;nwgtMrUveGayGnuvtþn_. 3> )a:n;sµantMéldMbUgrbs;sMNg;. KNnabec©keTsRtUv)anvaytMél nig yl;RBmBIsßab½nmansmßPaBkñúg Rkbx½NÐrdæ b¤ m©as;vinieyaK ¬sMNg;shBaniC¢ b¤ ÉkCn¦. 2> KNnasagsg; KNnakarsagsg;KW KNnasMNg;tam mYydMNak;kal b¤ k¾dMNak;kalTI2 én karKNnasMNg;BIrdMNak;kalrYmmanKNna nig )a:n;tMél. KNnakarsagsg; mantYnaTIbMerIedaypÞal;elIkargarsagsg;sMNg;. KNna karsagsg;KW Ep¥kelIr)aykarN_KMeragGnuvtþn_ ¬KNnamYydMNak;kal¦ b¤ KNna bec©keTs¬KNnaBIrdMNak;kal¦. eBlKNnamYydMNak;kal KNnasagsg; RtUvRsaybBa¢ak;elI TMhMTaMgmUl nig cMNucNamYyénbNþadMeNaHRsayKNna/ pþl;Tinñn½y caM)ac;RKb;RKan; dUcCa Blkmµ/ vtßúFatuedIm/ sMPar³sMNg;/ bec©keTs/ tMélsMNg; ¬)a:n;tMél¦ rYmCamYynigKMnUrsagsg; énbNþakargarsg; temøIgeGaymanRKb;RKan;sMrab;Gñksg;.
  • 25.
    CMBUkTI 2 RKb;RKgsMNg; eroberogeday³sYs cMerIn sikSaKMeragsagsg;sMNg; 23 kñúgKNnaBIrdMNak;kal KNnasagsg; RtUveFIVeGayR)akd/ eFIVeGaylMGit elIbNþadMeNaHRsaylMnaM]sSahkmµ/ sßabtükmµ/ eRKOgbgÁúM/ sagsg; Edl)anGHGag kñúgKNnabec©keTs. )a:n;sµantMélKNnasagsg; RtUvbkRsayvIFIKNnabrimaN/ bBaI¢tMél Gnuvtþn_/ esckþIENnaM b¤ saracrrbs;sßab½nrdæaPi)alGMBIBn§sMNg;. eBlcaM)ac; RtUvmanÉksarRKb;RKan; EdlTak;Tgdl;tMéleRKagrbs; sMNg; ¬lixitGaTiPaB/ esckIþsMercbnßyBn§ >>> ¦. KMeragbøg;sagsg; RtUvpÁt;pÁg;RKb;RKan;c,as;las;/ bgðajbøg;lMGitcaM)ac; rbs;sMNg;edIm,IGnuvtþn_bNþakargartMelIg. KMeragRtUv BiBN’nataMgBI KMeragTaMgmUl dl; KMeraglMGit/ viPaKcg¥úlbgðaj. KMeragbøg;RtUvbgðaj )anenATItaMg/ cMNgTak;Tg rvagbNþasMNg;/ lMenAdæan CamYynig bNþajbec©keTs/ KmnaKmn_. KMeragbøg;sagsg; RtUvFanaeGayGñk Gnuvtþn_RtUvtamKMnitrbs;GñkKNna tamviFImYy c,as;las;nig gayRsYl bMput/ snSMsMécbMput. )a:n;sµantMélKMerag RtUv)anKNnaEp¥kelIkarGMNHGMNagrbs;KMeragGnuvtþn_ nig lT§plKNnasagsg; ¬KwniyaytaMgBIbNþaviFIsaRsþsagsg; Biess EdlminTan; mankñúgbTdæantMél¦. KNnasagsg; nig )a:n;sµantMél RtUvEtmankaryl;RBmBIsßab½n RKb;RKgEdlmansTi§sMercelIva eTIbGackøayCaÉksarbMerIkargarsagsg; RBmTaMgCa mUldæanRKwHedIm,ItulüakarsMNg;.
  • 26.
    CMBUkTI 2 RKb;RKgsMNg; eroberogeday³sYs cMerIn sikSaKMeragsagsg;sMNg; 24 3> KNnaRKb;RKgsMNg; KNnaRKb;RKgsMNg; RtUv)anGnuvtþn_CamYynig KNnasagsg; b¤ KNna sagsg;mYydMNak;kal. KNnaRKb;RKgsMNg; RtUv)ansßab½nTIRbwkSaKMerag Gnuvtþn_Ep¥k elImUldæanKMeragGnuvtþn_ nig lT§plsikSabec©keTs ehIynig sikSabEnßmkñúgxN³eBl KNna. ÉksarKNnaRKb;RKgsMNg;³ 1> taragkargarEdlRtUvsg;tMelIg nig CaBiesskñúgdMNak;kalsagsg; k_dUcCadMNak;kaleRtom. 2> segçbRbRktiTinsagsg; ¬elIDIya:RkamTUeTA¦ Gnuvtþn_bNþa kargar sMxan; kñúgdMNak;kaleRtom nig dMNak;kalsagsg;. kñúgenaH bgðajeGayc,as;lMdab;Gnuvtþkargar. kñúgRbRkTinmanP©ab; mkCamYynYv DIya:Rkamcl½tkMlaMgBlkmµ/ ry³eBleRbIR)as; eRKOgcRk. 3> EpnkarsrubGMBIkarpÁt;pÁg;sah‘uytamqñaM/qmassmRsbnigRbRktiTin. 4> TIFøasagsg;srubCamYynigmaRtdæanRtwmRtUv bgðajnUvsMNg;)annigkMBug sagsg; k_dUcCa XøaMgsMPar³/ CMrMusñak;enArbs;buKÁlik kmµkar CaedIm. 5> EpnTItMbn;CamYynigmaRtdæanRtwmRtUv bgðajnUvkardæansagsg;CamYynig bNþajshRKasCMnYy/ mUldæansMPar³bec©keTs/ PUmikmµkr/ RbB½n§ KmnaKm_nigbNþasMNg;epSg²EdlmanTMnak;TMngdl;kardæan.
  • 27.
    CMBUkTI 2 RKb;RKgsMNg; eroberogeday³sYs cMerIn sikSaKMeragsagsg;sMNg; 25 6> bBa¢IsrubsMPar³/ lk;plitpl/ eRKagsMNg;sMxan;/ eRKOgcRk/ meFüa)aydwkCBa¢ÚntamdMNak;kalsagsg;énqñaM/ qmas. 7> KNna nig )a:n;sµantMél rbs;GKarsñak;enAbeNþaHGasnñ EdlminsßitenAkñúg tMélsagsg;/ bNþaGKarsñak;enATaMgGs;enHKwGaRs½yedayma©s;vieyaK Binitü nigyl;RBm. 8> GtßbTbkRsayGMBIlkçN³sm,tiþrbs;sMNg;/ lkçN³xNÐsagsg;/ lMnaM ]sSahkmµ/viFIsaRsþRKb;RKgsMNg;/tMrUvkarnigdMeNaHRsayGMBIkMlaMgBlkmµ/ eRKOgcRk/ XøaMg/ pøÚvfñl;/ CMrMu k_dUcCa bNþaniTsSnþesdækic© bec©keTsrbs;viFIsagsg;. 9> KNnatMél)a:n;sµanrbs;sMNg;edayEp¥kelItMélÉktþa/ bTdæan nig viFIsagsg;Edl)anyl;RBm. KNna)a:n;tMél RtUvmantarag briyaykargar/ rebobkMNt;brimaNkargarrbs;BYkva. cMeBaHkargarRcIn EdlminmantMélÉktþa enaHKWRtUvKNnatMélEdlrYmman sMPar³/ Blkmµ/ eRKOgcRk. KNnaRKb;RKgsMNg; RtUvGnuvtþn_RsbCamYynigbNþadMNak;kalKNna smmUlrbs;sMNg; edIm,IeGaysmRsbCamYynigdMeNaHRsayTIlan sagsg;/ eRKOgbgÁúM/ lMnaM]sSahkmµrbs;sMNg;. cMeBaHsMNg;tUc²mYycMnYnb¤ sMNg;sagsg;tamKMrURtUvman³ • RbtiTinsegçb¬DIya:Rkam¦ • TIlansagsg;.
  • 28.
    CMBUkTI 2 RKb;RKgsMNg; eroberogeday³sYs cMerIn sikSaKMeragsagsg;sMNg; 26 • DIya:RkamBlkmµnigeRbIR)as;eRKOgcRk. • bBa¢I)a:n;tMél. • bMNkRsay. 4> KNnaRKb;RKgsagsg; KNnaRKb;RKgsagsg; RtUv)ansßab½nsg;tMelIgGnuvtþn_elImUldæanrbs; KNnaRKb;RKgsMNg;/ )a:n;sµantMélsMNg; bUkCamYybNþalT§pl/ sikSabEnßmtMbn; kardæan nig smßPaBrbs;sßab½nTTYlGnuvtþn_. kñúgKNnaRKb;RKgsagsg; nwgBinitüepÞgpÞat;/ eFIVedayl¥itl¥t;/ bNþa esckIþsMercrbs;KNnaRKb;RKg nig edaHRsaybNþabBaðaEdleTIb ekIteLIg. CaBiessykcitþTukdak;dl; bNþakargarlMGit EdlRtUv Gnuvtþn_kñúglMnaM]sSahkmµ sg;tMeLIg k_dUcCakargarsg;tMeLIgkñúgbNþa shRKasCMnYyEdlbMerIkñúgkarplitsMPar³/ eRKagsMNg;eGaykardæan. TItaMg/ smßPaB/ ]sSahkmµ nig brikçarrbs;bNþashRKas RtUv)anrkSaenAdEdltamKNnaRKb;RKg. karERbRbYlGnuBaØatþiEtenAeBlPaKI KNnaRKb;RKg sMNg;yl;RBmedayehtuplénkarfy)antMélsMNg;nig ékécñKuNPaBkargar. KNnaRKb;RKgsagsg; bMerIeGaykargarRKb;RKgsMerc/ cg¥úlbgðaj nig RtYtBinitüelICMhansagsg;TaMgGs;/ bNþakMNat;sagsg;sMNg; nig kardæan TaMgmUl dUcenHcaM)ac;RtUvtamc,as;las; nig RtwmRtUvelIbNþabBaðaxageRkam³ ry³eBlkMNt; sagsg;bNþakMNat;sMNg;/ rbs;bNþadMNak;kalsMxan; nig kardææanTaMgmUl/ lMdab;nigviFI Gnuvtþn_bNþakargarsg;tMeLIg/ karrYmpSM/ eBlevlakMNt; Gnuvtþn_bNþaviFIkñúgdMNak;kaleRtom/
  • 29.
    CMBUkTI 2 RKb;RKgsMNg; eroberogeday³sYs cMerIn sikSaKMeragsagsg;sMNg; 27 DIya:RkampÁt;pÁg;sMPar³/ eRKOgcRk/ tMrUvkarBIvtßúFatuedIm/ tMrUvkarBIBlkmµtamCMnaj/ viFIsaRsþ karBar/ Gnam½ysuvtþiPaBBlkmµ/ RbB½n§RtYtBinitü/ RKb;RKgKuNPaB eRbIR)as;. Éksarrbs;KNnaRKb;RKgsagsg; 1> RbtiTinsagsg;bNþasMNg;CamYynigbrimaNkargarRtwmRtUv. 2> RbtiTinsrubTUeTAsMrab;kardæanTaMgmUl nig dMNak;kalsagsg;. 3> TIlanerobcMcMbg tYnaTIbNþashRKasplit/ pøÚvfñl;yUrGEgVg b¤ beNþaHsnñ/ XøaMg/ bNþajpÁt;pÁg;GKÁIsnI/ Twk/ TUrKmnaKmn_>>>. 4> taragbriyayGMBIbrimaNkargarkñúgdMNak;kaleRtom nig DIya:Rkam Gnuvtþn_. 5> DIya:RkampÁt;pÁg;sMPar³brikçarsMxan;. 6> DIya:RkamtMrUvkarBlkmµtamCMnaj/ eRKOgcRk nig dwkCBa¢Ún. 7> kMNt;sMKal;lMnaM]sSahkmµ eGaykargarmYycMnYnEdlmankarsagsg; sµúKsµaj nig fIµ. 8> bBa¢IeRKOgcRk nig kMNt;sMKal;pøas;bþÚrlMnaM]sSahkmµ eGaykargar sagsg;sMxan;mYycMnYn¬dak;mInpÞúH/ XYg/ elIkdak;>>>>¦. 9> ÉksarbkRsayGMBIdMeNaHRsaylMnaM]sSahkmµ/ eRKaHfñak;/ brisßan/ suvtþiPaBBlkmµ/ rUbPaBTTYlGñkmaneTBekaslü/ ]bkrN_. KNnabNþacMNayesdækic©bec©keTs¬ry³eBlbBa¢b;sagsg;/ kMrit eRbIR)as;ynþkmµ/ cMNayBlkmµsMrab;EpñkplitplnimYy²¦.
  • 30.
    CMBUkTI 2 RKb;RKgsMNg; eroberogeday³sYs cMerIn sikSaKMeragsagsg;sMNg; 28 10>KMeragbøg;KNnasagsg;sMNg;beNþaHGasnñ/ CMrMu. RtUvGnuvtþn_cb; munéf¶ebIkkardæansagsg;mYyry³ ¬RbEhlBIrEx¦ edIm,IbuKÁlik bec©keTsRsarvRCav nig cab;yk)anBIeKalbMNgTaMgenaH. kargar KNnaRKb;RKgsagsg; RtUvvisVkr nig buKÁlikmanbTBiesaFn_rbs; sßab½nTTYlvinieyaKGnuvtþn_ eRkamkarcg¥úlbgðajrbs;RbFanvisVkr manTaMgkarBiPakSaeyabl;rbs;Gñksagsg;mYycMnYnpg. KNnaRKb;RKgsagsg; edaHRsaybNþabBaðabec©keTs]sSahkmµ/ RKb;RKg nig esdækic©sµúKsµaj. cg;sMerc)anGtibrma KWRtUvGnuvtþn_ eGay)aneRcInviFIsaRsþ edIm,IeFIVCamUldæankñúgkareRCIserIstamtMrUvkar esdækic©bec©keTsmYycMnYn/ Cak;EsþgKW³ • GMBIbec©keTs • FanaKuNPaBx<s;bMput. • begIátlkçxNÐeGaykargarsagsg;gayRsYl/ suvtßiPaBbMput. • GMBIesdækic© • bnßytMéleGayTabbMput. • eRbIR)as;eGaymanRbeyaCn_bMputnUvFnFanplitpl rbs;sßab½n sg;tMeT,Ig. • sMNg;dak;eGayeRbIR)as;RtwmRtUvtamEpnkarN_
  • 31.
    CMBUkTI 3 RKb;RKgsMNg; eroberogeday³sYs cMerIn lMnaMRKb;RKgsMNg;mUldæan 29 CMBUkTI 3 lMnaMRKb;RKgsMNg;mUldæan 1> lMnaMTUeTA Cak;EsþgTRmugkarsagsg;mUldæanrbs;RBHraCaNacRkkm<úCa maneRcInviFI/ bTbBa¢a/ CYnkalEbCasaMjaúM ¬EvgeBk¦. enATIenHeyIgRKan;EteFIVkarsegçbrYmdUcxageRkam³ 1> rdæaPi)alkMNt;neya)aysagsg;sMNg;/ RbPBTun/ cMNay. edIm,IbMerITinñn½y eGayCMha‘nenH/ RtUvelIkGgÁRbkb ¬KMeragvinieyaK¦ edIm,IkMNt;TMhMsagsg; sMNg;/ )a:n;sµancMNay/ dMeNIrkarsagsg;. 2> m©as;vinieyaK ³ KWCasßab½nCMnYsrdæaPi)al b¤ CaGñkvinieyaKÉkCn edIm,IGnuvtþ bNþaCMha’n sagsg;/ TUTat;cMNaysikSa/ sagsg;/ sgtMélBeRgIkTIFøasMNg;. edayELkcMeBaH RbtiTinkargar nig KuNPaBsMNg;/ m©as;sMNg;k¾manPar³kic© tamdamBinitü/ emIlEf nig RKb;RKg. b:uEnþEtgRtUvcuHkic©snüaCamYysßab½n TIRbwkSabec©keTs/ sßab½nenH nig TTYlPar³sMxan; CYym©as;vinieyaK GMBIKMeragvinieyaK. eTAtamTMhM/ TItaMg/ TiedApÞal;rbs;sMNg;Edlm©as;vinieyaKGacCa GKÁnayk shRKasmYy/ CaGPi)alextþ b¤ Rsuk >>>> edIm,ICYykargareGaym©as;vinieyaK/ maneBlxøH begáItCaKNkmµkarRKb;RKgKMerag/ eFIVkargaredaypÞal;RKb;kargar. CamYysMNg;TunbreTs/ EtgmanGKÁnaykKMeragmYy. 3> sikSalT§PaBdMbUg³ KWEsVgyl;GMBItMrUvkarsgÁm/ TisedAGPivDÆn_rbs;CatiBI 10- 50 qñaM/ cMNat;fñak;sMNg;/ CIvPaBsgÁm/ lT§PaB nig TMhMvinieyaK/ RbPBpÁt;pÁg;sMPar³/ TItaMgPUmisaRsþ/ PUKBÖsaRsþ/ briyakas/ cMnYnBlrdæ edIm,I ykTinñn½yeGaykarKNna.
  • 32.
    CMBUkTI 3 RKb;RKgsMNg; eroberogeday³sYs cMerIn lMnaMRKb;RKgsMNg;mUldæan 30 4> KNnadMbUg³ begáItKMnUrsMNg;/ KNnaeRKOgbgÁMúsMxan;²/ KNnabrimaN/ cMNaybNþaEdlRtUvsg. srubeFIVCar)aykarN_¬KMeragmunGnuvtþ¦. 5> m©as;vinieyaK esñIesckIþyl;RBm dl;sßab½nmansiT§isMerc. 6> sikSalMGit³ sikSabEnßmnUvTinñn½yEdlxVH¬emIlemeronCMBUkTI2 KMeragGnuvtþ¦. 7> KNnabec©keTs³ begáItKMnUrsMNg;/ KNnalMGiteRKOgbgÁMúsMNg;/ KNnabrimaN/ sresrbMNkRsay. srubeFIVCar)aykarN_KNnabec©keTs. ¬emIlemeronCMBUkTI2 KMeragGnuvtþnig KNna sMNg;sIuvil nig ]sSahkmµ¦. 8> m©as;vinieyaK esñIesckIþyl;RBm dl;sßab½nmansiT§isMerc elIbec©keTs nig )a:n;sµanlMGit. 9> elImUldæan 7/ 8 m©as;vinieyaKerobcMedjéfø edIm,IeRCIserIssßab½nsagsg;. lMdab;lMedayTRmugkartamc,ab;rbs;rdæaPi)al. 10> GMBICeRmIs sßab½neFIVCaTIRbwkSaKNna/ TIRbwkSaRtYtBinitü/ CamYybNþasMNg;FM² k¾RtUverobedjéfø edIm,IeRCIserIs. CalT§plkMNt;sßab½nsagsg; ¬PaKI “x”¦ nig sßab½nTIRbwkSa. 11> edIm,Isagsg;/ sßab½nsagsg;CabÉmRtUvBinitüsßanPaBPUmisaRsþ/ sikSaBinitü eLIgvij Tinñn½yKNna nig KNnasagsg;Cak;EsþgtamlMdab;kargarnimYy²³ TIlansagsg; ¬kEnøgsñak;enA/ kEnøgdak;sMPar³/ kEnøglayebtug >>>¦. begáIt RbtiTinsagsg;sMNg;TaMgmUl/ RbtiTinsagsg;RKb;kargar >>>. 12> plitsMPar³ nig TijvtßúFatuedIm/ sMPar³/ KWCakargarmYyeRtommuneBlsagsg; nig sßitenAkñúgdMNak;kalsagsg;rhUtdl;cb;. kMNt;TItaMg fµ/ xSac;/ RkYs/ sßanIy_bMEbkfµ/ kEnøgTijsIum:g;t_/ Edk/ srésEdk/ eRbgNÐn³ >>>.
  • 33.
    CMBUkTI 3 RKb;RKgsMNg; eroberogeday³sYs cMerIn lMnaMRKb;RKgsMNg;mUldæan 31 bNþasMPar³ RtUvmanviBaØbnb®½tKuNPaB nig RtUvBiesaFn_BinitüKuNPaB. begáIt bnÞb;BiesaFn_tamsMNUmBr ¬sMNg;FM²¦. 13> m©as;vinieyaKeFIVkarCamYyGaCJaFtMbn; GMBIsb,Tan nig sgéfødI/ pÞHsMEbg >>>. epÞrTIlan eGaysßab½nsagsg;. enHCa TRmugmYyEdlCYbRbTHkarlM)akeRcIn/ QWk,al. 14> erobcMsagsg;KWCalT§plrbs; CMha‘n 11/ 12/ 13 . EbgEckkMNat;sagsg; ya:gdUcemþc? rYmpSMRbtiTinsagsg;sMNg;ya:gdUcemþc? eFIVkarCamYyTIRbwkSa/ CamYym©as;vinieyaK GMBIkarBinitübec©keTs/ BinitüRKb;RKgTUTat;kargar nimYy². edaHRsayPaBvivaT ¬dUcCa karBeRgIkTIlanminTan;eBl/ EkERb EfmfykarKNna >>>CaedIm¦. 15> erobcMBinitükargarnimYy²/ dUcCa RKwH / srésEdkFñwm. sMPar³Bnitükargar rYmman Tinñn½ysikSa-vas;EvgCak;Esþg dUcCa³ kMritkMBs;/ CIkRKwH/ ssrRKwH/ eCIgtag/ lT§plBiesaFn_ebtug/ Edk >>>. EpñkEdlsMxan; KW m©as;vinieyaK/ sagsg;/ TIRbwkSa. eRkABIenH/ TIRbwkSaenABinitü/ BiesaFn_RKb;kargarnimYy²dUcCa ³ BiesaFn_sMPar³/ cak;ebtug/ EfTaMebtug >>>. 16> sMNg;bBa©b; ³ eFIVr)aykarN_bBa©b;kargarTaMgmUl/ mUldæanbegáItr)aykarN_ bBa©b;kargarKW³ KMnUrdUckñúgKNna/ b:uEnþxñatKWTinñn½yvas;Cak;Esþg. 17> begáItKN³kmµaBinitüsMNg;TaMgmUl³ CamYysMNg;FM²/ GacCaKN³kmµarbs; rdæ. eTaHya:gNa/ EpñkEdlsMxan;KW³ ma©s; - Gñksg; - TIRbwkSa. BinitürYc/ RbKl;CUnma©s;vinieyaK.
  • 34.
    CMBUkTI 3 RKb;RKgsMNg; eroberogeday³sYs cMerIn lMnaMRKb;RKgsMNg;mUldæan 32 eRkayeBl)anBinitü/ sßab½nsagsg;/ enAmanPar³Fanakñúgry³eBlmYykMNt;. kñúgry³eBlenH/ ral;ehtukarN_xUcxatekIteLIg/ sßab½nsagsg;RtUvCYsCul edaymancMNaybEnßm. 18> Binitü-TUTat;³ sßab½nsagsg; RbmUlÉksarTaMgGs;/ sMPar³/ KMnUrbBa©b;kargar/ brimaNCak;Esþg nig tamkic©snüa/ bNþaehtukarN_RtUvbþwgtva:/ bEnßmcMNay >>> raykarN_eGayma©s;vinieyaK nig sßab½nepSg². TUTat;eTAtamkic©snüa. 2>lMnaMKNna KnøwH/ xøwmsaenATIenHKW tambICMha‘n xageRkam³ • sikSa – KNnadMbUg/ )a:n;sµanTUeTA³ sikSaKNnabNþatMrUvkarsMxan;² edIm,I eRbobeFobviFIsaRsþ/ )a:n;sµancMNay. PikSaviFIsaRsþedIm,IKNnabec©keTs naMeTAsagsg;. edayEpñkKNnaGnuvtþ. • sikSa – KNnabec©keTs/ )a:n;sµanlMGit³ tamviFIsaRsþEdl)aneRCIserIs/ sikSac,as;las;/ KNnaeRKOgbgÁúMRKb;lkçN³. )a:n;sµancMNaylMGitkargar nimYy². RKb;lkçx½NÐedIm,InaMsMNg;cUleTAsagsg; nig RtUv)anesckIþyl;RBm. edayEpñkKNnaGnuvtþ. • sikSa – KNnasagsg;/ )a:n;sµan;sagsg;³ edayEpñksagsg;Gnuvtþ edIm,IGnuvtþcMeKaledA/ eRKOgbgÁúMsMNg;tamKMeragKNnabec©keTsxagelI. Epñksagsg;bgðajCak;Esþg KNnaRKb;RKgsagsg;. rYcehIyKNna)a:n;sµan cMNaysagsg;.
  • 35.
    CMBUkTI 3 RKb;RKgsMNg; eroberogeday³sYs cMerIn lMnaMRKb;RKgsMNg;mUldæan 33 3>TMnak;TMngrvag m©as;vinieyaK - Gñksagsg; - TIRbwkSa GMBIKuNPaB nig dMeNIrkarsagsg; KWCaPar³kic©d¾sMxan;rbs;sßab½nsagsg;. eRkaymkdl;sßab½nTIRbwkSaCamYyParkic©tamdan/ RtYtBinitübec©keTssagsg; nig RbwkSaeGaym©as;vinieyaK nUvbNþaviFIsaRsþedaHRsayFM². edayehtuenH/ ral;karvivtþ/ edaHRsaykargarkñúglMnaMsagsg; ¬dUcCa ³ Binitü/ EkERbKNna >>>¦ manEtbIsßab½nKW m©as; - GñkGnuvtþ – TIRbwkSa. TMnak;TMngeFIVkargarrvagbNþasßab½n sagsg; nig sßab½nTIRBwkSaRtYtBinitü/ GacBIBN’na dUcmnusSCwHkg;mañk;. kñúgenaH GñkCiHkg;KWCa sßab½nsagsg;. kg;mux KW manbYn CaPar³rbs;sßb½nsagsg; ³ brimaN – sagsg; - RbKl; - suvtßiPaB. kg;eRkayk¾manbYnEdr EdlCaPar³rbs; TIRbwkSabec©keTs KW Epnkar – KNna – Binitü – yl;RBm. eyIgGacyl;fa³ • sßab½nsagsg; KWCaGñkTTYlPar³sMxan;GMBI dMeNIrkarsagsg;/ KuNPaB/ suvtßiPaBsagsg;. • k,alma:sIun RKb;RKgrbs;sßab½nsagsg; ¬kg;mux¦ RtUvPar³sMxan; edIm,Ikg; clnaeTAmux)anRtUvTisedA ¬bBa©b;kargar¦/ minCYbeRKaHfñak; ¬suvtßiPaB¦. • sßab½nTIRbwkSa¬kg;eRkay¦/ manRKan;EtmantYnaTI CMnYy/ CMruj/ RtYtBinitü. 4> erobcMedjéfø – RKb;RKgKuNPaB edjKWCarUbPaBmYy ¬RbLgeRCIserIs¦ bNþasßab½nsagsg;sMNg;mYy/ sMedAEsVgrk sßab½nsagsg;elOn/ l¥/ tMélefak. edjéfø/ ebIniyayGMBIniymn½yTUlay manBIrrUbPaB³
  • 36.
    CMBUkTI 3 RKb;RKgsMNg; eroberogeday³sYs cMerIn lMnaMRKb;RKgsMNg;mUldæan 34 • CamYysMNg;FM²³ ¬GaRs½yedayTMhMvinieyaK/ RbPBTun >>>¦/ m©as;vinieyaKebIkkar edjéføCamYyCMha’ndUcxageRkam³ RbkasCUndMNwg/ TTYlÉksarsMuedjéførbs;bNþa sßab½nsagsg;/ erobcMBIFIeRCIserIs/ Rbkas eQµHsßab½nQñH/ cuHhtßelxaelIkic©snüa sagsg;. • CamYysMNg;tUctac³ m©as;vinieyaK mansiT§ikMNt;Gñksagsg;/ mann½yfa eRCIserIssßab½nedaypÞal; ¬edaykarTMnak;TMng¦/ edIm,IEsVgrksßab½nsagsg; elOn/ l¥/ tMélefak. 1> siT§iedjéfø ³ bNþaKMerageRbIR)as;Tunrbs;rdæ/ m©as;vinieyaKRtUverobcMedjéfø. bNþaKMeragxageRkamRtUv)ankMNt;ykGñksagsg;. • KMeragmanlkçN³RsavRCavBiesaFn_. • KMeragmanlkçN³bnÞan;edayehtuplvibtiþFmµCati. • KMeragmanlkçN³karsMgat;rbs;Cati/ snþisuxCati. 2> rUbPaBkic©snüa rUbPaBkic©snüa KWCaxøwmsarmUldæankMNt;muneBlerobcMedjéfø. enAkmçúCasBVéf¶/ bBaðaenH enARtUvGnueLamtam/ lMnaMRKb;RKgsagsg;mUldæan/ KuNPaBÉksar KNna nig )a:n;tMél/ viFIerobcMRKb;RKg-muxgar-Par³rbs;sßab½nsagsg;. manrUbPaBmYycMnYndUcxageRkam³ • kic©snüakBa©b;/ RtUv)anGnuvtþeBlÉksarKNnabec©keTs-)a:n;tMél RtUv)an KNnalMGit ¬dwgmun/ bBa¢ItMél manmUldæanc,as;tamKNnacg¥úlbgðaj sagsg; ¦. dUcenH/ eBlm©as;vinieyaKEkERbKMeragbøg;/ manbrimaN
  • 37.
    CMBUkTI 3 RKb;RKgsMNg; eroberogeday³sYs cMerIn lMnaMRKb;RKgsMNg;mUldæan 35 ekIteLIg enaHGñkemA:kar k¾RtUv)anTUTat;brimaNenaH. pÞúyeTAvij/ brimaNfy/ GñkemA:kark¾RtUvdkecjcMNaybrimaNfy. • kic©snüa ¬esaéd¦ RtUv)anyl;faGñkTTYlemA:karGnuvtþTaMgPar³KNna nig sagsg;. sßab½nemA:kartamkic©snüaenH KW ¬KMeragGnuvtþ¦ RtUv)an yl;RBm. • kic©snüamanEkERbtMél³ KWCakic©snüaEtgRtUv)anGnuvtþ CamYyKMeragrbs;rdæ Edlx©ITunrbs;GgÁkar hirBaØvtßúBiPBelak edIm,IvinieyaKsagsg;ehdæarcna sm<½n§. RbePTkic©snüaenH sµúKsµajRKan;ebI/ eRBaHRtUvc,as;las;brimaN ekIteLIg RtUv)anTUTat;eRkAbrimaNkñúgkñúgÉksardMbUg. • kic©snüasagsg;sMNg; RtUv)anGnuvtþ elImUldæanKNnabec©keTs - )a:n;tMéllMGit/ RtUvnigkarkMNt; ¬GMBIKNnaeRKOgbgÁMú/ TRmugkarÉksar¦ edaysarsßab½nGaCIBmYyGnuvtþ ¬dUcCa sßab½nKNnapøÚvfñl;/ lMenAdæan >>>¦ eBlÉksarbec©keTs/ )a:n;tMélRtUv)anGñkEdlmansiT§isMercyl;RBm/ sßab½nKNna )anbBa©b;Par³kic©/ RtUv)anTUTat;cMNayKNnaTaMgGs;. m©as;vinieyaK nwgCa ¬ma©s;vinieyaKKNna¦ nig manPar³ naMeTAsagsg;RtUv tamsMNUmBr/ KuNPaB tamÉksarKNnaenaH. minRtUvTukeGaysßab½nmYy ¬GñkemA:kar¦ eFIVkarTaMgKNna nig sagsg;/ dUcCa ¬Tat;)a:l;pg pøúMkEBa©pg¦/ EsnBi)akRKb;RKg. Cak;Esþgsßab½nsagsg; Bi)akcab;eGay eRCA)anRTwsIþKNna/ bTdæaneRbIkñúgKNna. kñúgenaH/ EtgmanbBðaEkERb cuHeLIgeRKOgbgÁMú. • eBlNamYy)anmanÉksarKNna-)a:n;tMélc,as;las;/ RKb;RKan;/ kic©snüa sagsg;KWCa kBa©b;. eTaHCak;EsþgenAEtminGacminkrNIbrimaNEfmfy
  • 38.
    CMBUkTI 3 RKb;RKgsMNg; eroberogeday³sYs cMerIn lMnaMRKb;RKgsMNg;mUldæan 36 eFobCamYyKNna. sßab½nsagsg;/ edayviFIKNnaviTüasaRsþ/ eday bTBiesaFn_/ manPar³EkERbya:gNaeGaytMélcugeRkayKW cMeNj b:uEnþenA EtRtUvCamYyÉksarKNna. • CamYyeKalkarTaMgBIxagelI/ eBlsagsg;sMNg;/ edaHRsayrl;kargar nwgCa ³ m©as;vinieyaK – TIRbwkSa – GñkTTYlsagsg;. 3> lMnaMedjéfø 3>1> lMnaMedjéfødUcxageRkam³ 1> GeBa¢IjGñkemA:karcUlrYmedjéfø. 2> Eck nig TTYlbNþaÉksarcUlrYmedjéfø. 3> viPaKTinñn½yGñkcUlrYmedjéfø/ erIs nig RbkaseQµaH GñkemA:kar)an cUlrYmedjéfø. 4> Éksaredjéfø nig EckÉksaredjéfø • lixitGeBa¢Ijedjéfø/ ENnaMeGaybNþaGñkedjéfø. • lkçx½NÐkic©snüa. • lkçN³bec©keTs. • bNþaKMnUssMNg;. • kMNt;bec©keTs. • taragbrimaNkargar • KMrUlixitedjéfø nig esckIþbEnßmmYycMnYn. 5> bNþaGñkedjéføeTABinitüemIlTItaMgsagsg;. 6> cm¶l;rbs;Gñkedjéfø/ viFIbkRsay.
  • 39.
    CMBUkTI 3 RKb;RKgsMNg; eroberogeday³sYs cMerIn lMnaMRKb;RKgsMNg;mUldæan 37 7> dak; nig TTYlÉksaredjéfø. 8> ebIÉksaredjéfø³ m©as;vinieyaKerobcMBIFIebIkedjéfø. 9> vaytMélÉksaredjéfø³ m©as;vinieyaKGacCYlGñkCMnajvaytMél/ Binitü emIl/ eRbobeFob bNþaÉksaredjéfø. eRkaymkerobcMRbCMueT,Igvij CamYybNþaGñkedjéfø/ RbkaslT§pleRCIserIsGñksagsg;. 10> cuHkic©snüa 3>2>eKalkarN_eRCIserIsGñkemA:kar • BinitüRbB½n§erobcMRKb;RKgTaMgmUl/ famBlsagsg;/ viFIsaRsþ sagsg; Edl)andakkñuúgÉksaredjéfø. • BinitüRbB½n§erobcMRKb;tMél/ ebItMélTab/ tMélsrubfycuH elImUldæanmUldæan eRKOgcRksMPar³TMenIb/ erobcMRKb;RKgsagsg; smRsb KWCaehtuplEdlGacTTYlyk)an. RtUveRCosvagkareRCIserIsgayeBktamtMélTunedjéfø ¬RKan;Et efakbMputKWyk¦ b¤ sßab½nsagsg;cg; ¬QñHedayral;tMél¦/ ral; ehtukarN_ekIteLIgepSg²eTIbKittameRkay. sßab½nsagsg;mYy ¬x1¦ manviFIsaRsþsagsg;viTüasaRsþ/ sMPar³]bkrN_TMenIb/ b:uEnþtMéléføCagsßab½n ¬x2¦ EdlmanviFIsaRsþsagsg;min viTüasaRsþ/ eyIgenAEteRCIserIssßab½n¬x1¦. • srubmkvij eyIgKYr nig RtUveRCIserIsGñksagsg;elImUldæanbTdæan c,as;las;. 4> xwømsarÉksarcUlrYmedjéfø¬PaKI x¦ lMnaMedjéføxagelI/ eyIgRtUvdwgRbePTÉksarBIr³
  • 40.
    CMBUkTI 3 RKb;RKgsMNg; eroberogeday³sYs cMerIn lMnaMRKb;RKgsMNg;mUldæan 38 ÉksarsMucUlrYmedjéfø/ EdlCarbs; ¬PaKI k¦ kñúgenaHmanÉksarKNna ¬KMnUrsMNg;/ lkçN³bec©keTs/ brimaN >>>>¦ edaysßab½nKNna ¬b¤ TIRbwkSa KNna¦ Gnuvtþ. edayELkkar)a:n;sµantMéllMGit/ eBledjéfø ¬PaKI k¦ rkSaTuk CasMgat;. ÉksarcUlrYmedjéfø ³ edayPaKI x GnuvtþelImUldæanÉksaredjéfø/ nigTRmugkar rdæa)alepSg². xageRkamenH xøwmsarÉksarcUlrYmedjéfø. • lixitsMucUlrYmedjéfø. • lixitFanacUlrYmedjéfø ³ rbs;FnaKar/ bBa¢Únfvikakk;sMrab;cUlrYm edjéfø eGaym©as;vinieyaK. ebIminQñHkaredjéføRtUv)andkmkvij. • segçbtMélTunvinieyaK ³ srubtMélTunbNþakargar ¬CIkdI/ cak;/ >>>>>¦ • lixitGnuBaØatRbkbGaCIvkmµ. • Éksar]eTsnamsmtßPaB/ Tun/ buKÁlik/ ]bkrN_/ eRKOgcRk/ bNþasMNg;EdlCasñaédsagsg;. • sMraybBa¢ak;KNnaerobcMRKb;RKgsagsg;³ ép¥kelIKMnUrsMNg;/ brimaN/ bec©keTs kñúgÉksaredjéførbs; ¬PaKI k¦ pþl;eGay. sMraybBa¢ak; GMBIkarerobcMsagsg; dUcCa³ kargareRtomsagsg;/ vIFIsaRsþsagsg; RKwH/ eRKOgbgÁMú >>>RbtiTinkargarsagsg;.
  • 41.
    CMBUkTI 4 RKb;RKgsMNg; eroberogeday³sYs cMerIn begáItRbtiTinkargarkñúgplitkmµsMNg; 39 CMBUkTI 4 begáItRbtiTinkargarkñúgplitkmµsMNg; I. tYnaTI nig xwømsarénkarbegIátEpnkartamry³eBl ¬RbtiTinkargar¦ sMNg;sIuvilnig]sSahkmµ k_dUcCa bNþaplitkmµepSg²eTot cg;sMerc)anTisedA dak;ecj KWRtUvmanEpnkarN_plitkmµCak;c,as;. EpnkarplitkmµmYy RtYv)anpSaP¢ab; CamYyGk½Sry³eBlmYy eyIgeGayeQµaHfa Epnkartamry³eBl b¤ RbtiTinkargar. dUcenH RbtiTinkargarKWCa Epnkar)anpSaP¢ab;nigRbtiTinkt;ehtukarN_. ral;Epñkrbs;RbtiTinkargarRtUv)anP¢ab;eedayGk½Sry³eBlkMNt;mYy. kardæansMNg;dMeNIrkar)an Kwedaysarsßab½nsg;tMeLIgeRcIn rYmCamYynig karcUlrYmrbs;GñkvinieyaK/ GñkKNna/ shRKaspÁt;pÁg;eRKOgcRkbrikçar nig bNþaRbePTFnFanepSg² >>> . dUcenH sagsg;sMNg;mYy KWCaRbBn§½bBa¢amYy sµúKsµaj/ FMNas;. eRBaHkñúgRbBn½§RKb;RKgmaneRcInEpñkNas; ehIycMNg Tak;TgrvagBYkva mankarsaMjauMNas;Edr. PaBsµúKsµajTaMgbrimaNTaMgsßanPaB rbs;va manlkçN³ERbRbYl nig RseBcRsBil. dUcenH kñúgkarsagsg;sMNg;min GacGHGagb¤bBa¢aedaydac;xat)aneT b:uEnþvamanlkçN³Rbhak;RbEhl. edIm,I sagsg;sMNg;mYy RtUvmanKMrUviTüasaRsþRtYtRta/ bNþalMnaMRKb;RKg nig cg¥úlbgðajkargarsagsg;. KMrUenaHeyIgk¾GacehAfa RbtiTinkargarkñúgplitkmµ sMNg;pgEdr.
  • 42.
    CMBUkTI 4 RKb;RKgsMNg; eroberogeday³sYs cMerIn begáItRbtiTinkargarkñúgplitkmµsMNg; 40 eBlsagsg;sMNg;mYyRtUvGnuvtþbNþalMnaMsagsg;eRcInNas; eRBaHvamanTMnak;TMng s¥itrmYtenAkñúgTIlMMh nig ry³eBlkMNt; ehIyk¾GaRs½ynigRBMEdnrbs;FnFan. dUcenH TisedAénkarbegáItRbtiTinkargar KwbegáItKMrUplitkmµmYy/ kñúgenaH manerobcMlMdab;kargar eRkaymkFanasagsg;sMNg;kúñgry³eBlxIø/ mantMélTab/ KuNPaBx<s;. TisedAenHGacCakarCak;EsþgmandUcxageRkam³ 1> bBa©b; nig dak;bNþalMdab;kargarsagsg;sMNg;tamEpñknimYy² k_dUcCasrub elIsMNg;TaMgmUleGayeFIVskmµPaBRtwmRtUvtamry³eBlkMNt;. 2> eRbIR)as;smRsbeRKOgcRkbrikçar. 3> bnßyry³eBlraMgsÞHFnFanEdlminTan;eRbIR)as;. 4> begáItEpnkareRbIR)as;RbesIr sMrab;mUldæansMPar³bec©keTsbMerIkar sagsg;. 5> pÁt;pÁg;Tan;eBlbNþadMeNaHRsayEdlmanRbeyaCn_ edIm,IGnuvtþn_sagsg; sMNg;. RbtiTinkargarCanic©CakalRtUvsEmþgCaragKMnUstag ¬RkahVik b¤ DIya:Rkam¦. eyagelI lkçN³rbs;sMNg; nig tMrUvkarrbs;lMnaM]sSahkmµkarbgðajRkhiVk GacsEmþgeRkamrag epþk/ eRTt/ bNþaj ehIynwgBiBN’nalMGitenAGtßbTemeron eRkaybnþeTot. Casegçb/ RbtiTinkargar KWCaEpnkarplitkmµEdlsEmþgedayRkahiVk kñúgenaHbgðajBIxøwmsarEdlrYmman³ Tinñn½yKNna/ bNþadMeNaHRsayGnuvtþkñúg
  • 43.
    CMBUkTI 4 RKb;RKgsMNg; eroberogeday³sYs cMerIn begáItRbtiTinkargarkñúgplitkmµsMNg; 41 dMeNIrkarsagsg;rYmman³ lMnaM]sSahkmµ/ ry³eBl/ TItaMg/ tYnaTI nig brimaNénbNþakargarsagsg;CamYylkçN³xNÐGnuvtþrYm. RbtiTinkargar KWCaEmkFagEdlminGacpþac;ecjBI KNnaRKb;RKg nig KNna RKb;RKgsagsg; . RbtiTinkargarsMrab; KNnaRKb;RKgsMNg; EdlteTAeyIgehAkat;fa RbtiTin kargarRKb;RKgsMNg; EdlbegáItedaysßab½nTIRbwkSaKMerag EdlrYmman³ KNna/ eRtomsg;tMelIg/ kic©snüapÁt;pÁg;eRKOgcRk/ brikçar/ pþl;Éksarr)aykarN_bMerI sagsg; nig naMsMNg;cUleFIVskmµPaB. RkahVikRbtiTinkargar ebICasMNg; tUctaceyIgGacbgðajedaybnÞat;epþk/ ebICasMNg;FM² eyIgbgðajedayDIya:Rkam bNþaj. kñúgRbtiTinkargar bNþakargarbgðajeRkamragTUeTA/ kargareRcIn rbs;sMNg;)anRbmUleLIgvijEdlbgðajedaykargarsrubmYy. kñúgRbtiTin kargarsrub RtUvcg¥úlbgðajBIry³eBlsMxan;²dUcCa dMNak;kalsagsg;/ éf¶bBa©b; rbs;lMdab;kargarnimYy²/ eBlevlapÁt;pÁg;eRKOgcRk/ brikçareGaysMNg; nig éf¶sMercelIkargarTaMgmUl. RbtiTinkargarkñúg KNnaRKb;RKgsagsg;sMNg; EdlteTAeyIgehAkat;fa RbtiTinkargarRKb;RKgsagsg; EdlCatYnaTIGñkemA:karGnuvtþn_ CamYynigkar cUlrYmrbs;GñkvinieyaKTn;rg. kñúgenaHbgðajBIkargareRtom/ sMNg;beNþaHGasnñ/ sMNg;sMxan; nig ry³eBlnaMkargarnimYy²eGayeFIVskmµPaB. RbtiTinkargar RKb;RKgsagsg; GacsEmþgedaybnÞat;epþk b¤ bNþaj. RbtiTinkargar RKb;RKgsagsg;srub begáIteLIgedayEp¥kelIbNþaÉktasMNg;. bNþaÉkkþasMNg; eBlcgP¢ab;CamYyKña KWEp¥kelIkarlMnaM]sSahkmµ nig bMerIbMras;FnFan.
  • 44.
    CMBUkTI 4 RKb;RKgsMNg; eroberogeday³sYs cMerIn begáItRbtiTinkargarkñúgplitkmµsMNg; 42 kñúgRbtiTinkargar bNþakargarsg;tMelIgRtUv)ankMNt;lMGitRbePTnimYy²/ brimaNtamKNnarbs;KNnasagsg;. ry³eBlkMNt; edIm,IsMerclMdab;kargar nig elIsMNg;TaMgmUlRtUveGaysIunig RbtiTinkargarRKb;RKgsMNg;. RbtiTinkargarsagsg;sMNg; eRbIedIm,Icg¥úlbgðasagsg;sMNg;/ edIm,IvaytMél PaBlMeGogrvagkargarCak;Esþg nig EpnkarN_)anbegáIt. ebIPaBlMeGogrvag plikmµ nig Epnkar FMeBkdl;kMritNamYyenaH RtUvbegáItRbtiTinkargareLIgvij. begáItRbtiTinkargarfµI edayEp¥kelIsßanPaBCak;EsþgkñúgxN³eBlenaH dUcenH eyIgrkSa)anTisedAmUldæan/ ebImanPaBlMeGogkan;EttUckan;Etl¥/ CaBiess KWry³eBlsagsg;. II. bNþaCMhanbegáItRbtiTinkargar RbRktiTinkargarsagsg; RtUv)anbegáItedayEp¥kelITinñn½y nig KNnarbs;KNna RKb;RKgsMNg; b¤ KNnaRKb;RKgsagsg; CamYyniglT§plsikSabEnßmmYycMnYn EdlGaRs½ynigcMNucBiessrbs;kardæan. kñúgbNþaTinñn½yTaMgenaH/ CaBiess ykcitþTukdak;dl;ry³eBlkMNt;rbs;lMdab;kargarsMNg; nig kardæansMNg; TaMgmUl. edIm,IRbtiTinkargarbegáIt)anelOn ehIybMeBj)antMrUvkardak;ecj nig man lkçN³smRsb/ Gñkbec©keTsRtUvGnuvtþn_bNþaCMhandUcxageRkam. 1> viPaKlMnaM]sSahkmµsagsg;sMNg;. 2> begáItlMdab;kargarEdlnwgGnuvtþnsg;tMeLIgsMNg;. 3> kMNt;brimaNkargartamlMdab;kñúgtarag.
  • 45.
    CMBUkTI 4 RKb;RKgsMNg; eroberogeday³sYs cMerIn begáItRbtiTinkargarkñúgplitkmµsMNg; 43 4> eRCIserIsviFIsaRsþbec©keTssagsg;eGaybNþakargar. 5> kMNt;cMNayBlkmµ¬ éf¶Blkmµ¦ nig eRKOgcRk ¬evneRKOgcRk¦. 6> kMNt;ry³eBlsagsg; nig tMrUvkarFnFan. 7> begáItRbtiTinkargarmUldæan. 8> kMNt;lkçN³esdækic©bec©keTs. 9> eRbobeFobtMrUvkarrbs;RbtiTinkargarEdleTIbbegáIt CamYyTisedA dak;ecj. 10> eFIVeGayRbesIrRbtiTinkargartamTinñn½yGaTiPaB. 11> RbtiTinkargarmankarTTYlsÁal;. 12> begIþttaragtMrUvkarFnFan. tamrUbPaB 2>1 bNþaCMhanGnuvtþbgðajtamlMdab;erog LOGIC . III.1. viPaKlMnaM]sSahkmµ KWCaCMhandMbUg b:uEnþCaCMhansMxan;Nas;. vakMNt;TiseGaybNþadMeNaHRsay lMnaM]sSahkmµEdlnwgeRCIserIsCaeRkay. cg;viPaK)anlMnaM]sSahkmµsMNg; RtUvEp¥kelI KNna]sSahkmµ/ sßabtükmµ nig eRKOgbgÁMúrbs;sMNg;. viPaK lT§PaBsagsg;sMNg;elIlkçN³eRCIserIslMnaM]sSahkmµ GnuvtþbNþalMnaM sagsg;smRsb nig PaBcaM)ac;eRKOgcRk nig sMPar³sMNg;bMerIsagsg;. karviPaK]sSahkmµplitcab;epþImtaMgEtBI KNnasMNg; Edlmansßab½n TIRbwkSaKMerageFIVCaRbFan nig mankarBiPakSaCamYyGñkGnuvtþn_sagsg;/
  • 46.
    CMBUkTI 4 RKb;RKgsMNg; eroberogeday³sYs cMerIn begáItRbtiTinkargarkñúgplitkmµsMNg; 44 Start viPaKlMnaM]sSahkmµsagsg;sMNg; begáItlMdab;kargar kMNt;brimaN eRCIserIsviFIsaRsþbec©keTs kMNt;cMNayBlkmµ/ eRKOgcRk kMNt;ry³eBlsagsg;/ tMrUvkarFnFan begáItRbtiTinkargarmUldæan kMNt;lkçN³esdækic©bec©keTs eFIVeGayRbesIrRbtiTinkargar eRbobeFobtMrUvkardak;ecj RbtiTinkargarmankarTTYlsÁal; begIþttaragtMrUvkarFnFan End + - rUbPaB 2>1> bNþaCMhanbegáItRbtiTinkargar
  • 47.
    CMBUkTI 4 RKb;RKgsMNg; eroberogeday³sYs cMerIn begáItRbtiTinkargarkñúgplitkmµsMNg; 45 CYnkalmanTaMgeyabl;rbs;PaKITak;TgepSg² dUcCa m©as;pþl;edImTun/ sßab½nmanPar³pÁt;pÁg; eRKOgcRk/ brikçaeGaysMNg;k_dUcCabMerIsagsg;. karshkarN_rvagKñaRKb;lkçN³ nwgbegáIt)anCMerIs]sSahkmµ ¬sagsg;enA nigkEnøg b¤ cab;tMelIg/ eRbIR)as;sMPar³kñúgRsuk b¤ eRkARsuk/ dMeNaHRsayRKwH/ eRKOgbgÁúMrgkMlaMg/ bMBak;eRKOgsgðarwm¦. eRkayeBl)an eRCIserIslMnaM]sSahkmµsagsg;eyIgbnþkareFIVviPaKlMnaM]sSahkmµenaH. viPaKlMnaM]sSahkmµsagsg; edIm,IbegáItRbtiTinkargarEdlsßab½n sg;tMeLIg Gnuvtþ ehIymankarcUlrYmrbs;sßab½neRkambgÁb;. karviPaKlkçN³plitkmµ edIm,Iyl;c,as;lMnaM]sSahkmµsagsg; eFIVeGaybNþasßab½nGnuvtþ kan;kab; hµt;ct;elIkargar nig nwgmanviFIsaRsþbec©keTssmRsb. viFIsaRsþGnuvtþ mYycMnYn GnuBaØat)anEtsMerckargarbEnßmlMnaM]sSahkmµ Edl)aneRCIserIs/ ral;sMPar³pøas;bþÚrmineFIVeGayfyKuNPaBsMNg; >>>> sMxan;bMput KW mineFIV eGaybnøayeBlevlasagsg;. III.2. begáItlMdab;kargar Ep¥keTAnigkarviPaKlMnaM]sSahkmµplitkmµ nig bNþakarKNnakñúgKMerag. kargarTaMgGs;kñúglMdab;kargar nwgRtUv)anbgðajelIRbtiTinkargar. dUcenH karEckEpñkbNþalMnaMCabNþakargarRtUvsmmUlniglkçxNÐdUcxageRkam³ • eQñaHkargarRtUvCamYynigelxsMKal;kñúgbTdæaneRbIR)as;. • kargarGacGnuvtþn_sagsg;ÉkraCükñúglMh k¾dUcCary³eBlminrg nigk¾ minbgárraMgsÞHdl;bNþakargarepSg².
  • 48.
    CMBUkTI 4 RKb;RKgsMNg; eroberogeday³sYs cMerIn begáItRbtiTinkargarkñúgplitkmµsMNg; 46 • kargarmYyRtUvmanbrimaNRKab;RKan;sMrab;mYyÉkta ¬BYk/ Rkum¦ eFIVkar kñúgry³eBlkMNt;. • kñúglT§PaBEdlGac KYEbgEckkargarnimYy²tamÉkeTskmµ/ kñúgkrNI minGaceTIbeyIgerobcMRkumEdlbMerIkargar)aneRcInmuxb¤k¾Rcbl;Kña. • enAxN³eBlbBa©b; bNþadMNak;kalsagsg;sMNg;bNþakargarEdlman TMnak;TMngk¾RtUvbBa©b;enAxN³eBlenaH. • kargarmYycMnYnEdlminGnuvtþn_enAkardæan b:uEnþsßitenAdMeNIrkarsagsg; k_RtUvdak;cUlkñúglMdab;kargar. • kargarFMmYycMnYnGacEbgEckCakargartUc²eRcIn edIm,IGacrYmpSMsagsg; RsbRsbKña CamYybNþakargarepSg edIm,Ibnßyry³eBlsagsg;. • kargartUc²eRcIn brimaNticGacbUkrYmKña edIm,IkøayCakargarmYyeRkam eQµaHrYm edIm,IgayRsYskñúgkarbgðajDIya:Rkam. III.3. kMNt;brimaNkargar brimaNkargar Canic©kaledIrCamYylMdab;kargar RtUv)anKNnatamKMerag bøg;sagsg; nig sMraybBa¢ak;rbs;karKNna. Éktarbs;brimaN EdlEtgEt eRbIR)as;KWÉktargVas;rgVl; ¬Em:Rt/ Em:Rtkaer:/ Em:RtKUb/ etan/ edIm/ eRKOg>>>. ehIyk¾GaceRbIÉktarUbIuvtßúsmmUlkñúgbTdæan/ tMélÉktaeRbIR)as;. kMNt;RtwmRtUvtambrimaN KWmUldæankñúgkareRCIserIsmeFüa)ay/ viFIsaRsþ sagsg;smRsb. tamry³enH kMNt;c,as;las;Blkmµ/ eRKOgcRk nig ry³ eBlsagsg; edIm,IbegáItRbtiTinkargar.
  • 49.
    CMBUkTI 4 RKb;RKgsMNg; eroberogeday³sYs cMerIn begáItRbtiTinkargarkñúgplitkmµsMNg; 47 III.4. eRCIserIsviFIsaRsþbec©keTssagsg; QrelImUldæanbrimaNkargar niglkçxNÐGnuvtþn_ eyIgeFIVkareRCIserIsviFIsaRsþ sagsg;. kñúgkareRCIserIsviFIsaRsþsagsg; GTiPaBeRbIR)as;eRKOgynþ nwg bnßyry³eBlsagsg; ehIyk¾eFIVeGayekInfamBlBlkmµ nig fytMéleTopg. eRCIserIseRKOgcRk RtUveKarBtamc,ab; :ynþkmµTMenIbRBmKña :. kñúgmYyRkum eRKOgcRk eRCIserIseRKOgcRksMrab;kargarsMxan; b¤ kargarmanbrimaNFM muneRkayenaH eyIgeRCIserIsbNþaeRKOgcRkEdlenAesssl;. krNIman viFIsaRsþGnuvtþn_eRcInkñúgkareRCIserIseRKOgcRk RtUvGnuvtþn_RtUveRbobeFob tMrUvkaresdækic©/ bec©keTs. eRbIR)as;k,Ünc,ab;sagsg;Blkmµ manEtkñúg krNIlkçxNÐsagsg;minGnuBaØatiþeGayeRbIR)as;eRKOgcRk/ brimaNticeBk b¤ karcMNaymantMélx<s;ebIeRbIR)as;eRKOgcRk. eBleRCIserIseRKOgcRkeRkABIKuNsm,tiþbec©keTs eyIgRtUvykcitþTukdak; dl;smtßPaB nig T§iBlrbs;k,Ünc,ab;sagsg;elIbrisßanCMvij ¬PaBkkVk;/ FulI/ rej:rja:j>>>¦. III.5. eRCIserIs)a:ra:Em:Rtrbs;RbtiTinkargar ¬htßBlkmµ eRKOgcRk¦ RbtiTinkargarGaRs½yedayRbePT)a:ra:Em:RtmUldæanbI enaHKW lMnaM]sSahkmµ/ TItaMg nig ry³eBl. )a:ra:Em:RtlMnaM]sSahkmµrYmman³ cMnYnRkumeFIVkargar ÉkraCü/ brimaNkargar/ smasPaBRkum ¬buKÁlik¦/
  • 50.
    CMBUkTI 4 RKb;RKgsMNg; eroberogeday³sYs cMerIn begáItRbtiTinkargarkñúgplitkmµsMNg; 48 smtßPaBkargarrbs;Rkum. )a:ra:Em:RtTItaMgrYmman³ TItaMgeFIVkargar/ ExSbnÞat;kargar/ kMNat;sagsg;/ nig evnsagsg;. )a:ra:Em:Rtry³eBlrYmman³ ry³eBlsagsg;kargar nig ry³eBlnaMtamEpñknimYy² b¤EpñkTaMgmUlrbs;sMNg;cUleFIVskmµPaB. bNþa )a:ra:Em:Rtrbs;RbtiTinkargar manTMnak;TMngrvagKñatamkarRKb;RKgya:g s¥itrmYt. karERbRbYl)a:ra:Em:RtNamYy² nwgeFIVeGaybNþa)a:ra:Em:RtepSg² ERbRbYltam nigeFIVeGayERbRbYlRbtiTinkargarsagsg;Edr. kareRCIserIs )a:ra:Em:Rt CadMbUgRtUvRsbCamYylMnaM]sSahkmµsagsg; eRkaymkRtUveGay smRsbnigkargarRKb;RKg. GaRs½ytamviFIsaRsþRKb;RKg eKGaceRCIserIs bNþa)a:ra:Em:Rttamk,Ünc,ab;epSg²mYycMnYneTot ¬nwgBinitüCak;EsþgCaeRkay kñúgkrNIedayELk¦. • EbgEcképÞsagsg;/ kMNat;sagsg;RtUvnigeRKOgbgÁMú/ sßabtükmµ edIm,I cMENkkargarsagsg;nimYy²ÉkraCü nig FanaKuNPaBsMNg;. • brimaNrbs;kargarnimYy²RtUvmanbrimaNRKb;RKan; edIm,IeRbIR)as; RbkbedaylT§pl elIsmtßPaBeRKOgcRk/ kMlaMgRkum. tMrUvkarBlkmµ kñúgkarsMerckargarRtUv)ankMNt;tamrUbmnþ¬4>1¦³ L = S. Q / W/ nak; ¬4>1¦ kñúgenaH ³ Q - brimaNkargar ¬ÉktargVas;rgVal;¦/ S-bTdææancMNayry³eBlsMerckargar¬ema:g¼1ÉktargVas;rgVal;¦/
  • 51.
    CMBUkTI 4 RKb;RKgsMNg; eroberogeday³sYs cMerIn begáItRbtiTinkargarkñúgplitkmµsMNg; 49 W - cMnYnema:gkñúgmYyevneFIVkargar ¬ema:g¦. tMrUvkarsMrab;eRKOgcRkedIm,IsMerckargarRtUv)ankMNt;tamrUbmnþ¬4>2¦³ M = Q / P/ eRKOg ¬4>2¦ kñúgenaH³ Q - brimaNkargar ¬ÉktargVas;rgVal;¦/ P- smtßPaBrbs;eRKOgcRkkñúgmYyevneFIVkargar/ kñúgkrNIkargarpSMBIkargareRcIneyIgkMNt;bNþa)a:ra:Em:RttambTdæantMélmFüm rbs;bNþasmasPaBkargartamtamrUbmnþ ¬2>3¦³ L = C / LC/nak; M = C / MC/eRKOg ¬4>3¦ kñúgenaH ³ C - brimaNkargarEdlKittamfvika¬ÉktarUbIuvtßú¦/ LC, MC - smtßPaBBlkmµ nig smtßPaBeRKOgcRkKittam tMélrUbIuvtßú. ebIkñúgbTdæan nig Tinñn½yKNna pþl;minRKb;RKan;kñúglMdab;kargarmYycMnYn/ GñkbegáItRbtiTinkargar RtUvykTinñn½ytambTBiesaFn_ nig kar)a:n;sµan. xageRkamenH eyIgEsVgyl;nUvk,Ünc,ab;rYmmYycMnYn eBlEdleyIgcg;kMNt; bNþa)a:ra:EmRtTaMgenaH.
  • 52.
    CMBUkTI 4 RKb;RKgsMNg; eroberogeday³sYs cMerIn begáItRbtiTinkargarkñúgplitkmµsMNg; 50 • cMnYnRbePTkargar ¬kñúglMdab;kargar¦ eRCIserIseTAtamkMritCMnajrbs; Rkumsagsg;/ kargarEbgEckkan;EttUc nwgkan;EtekInBlkmµ eFIVeGay cMnYnkargarekIneLIg CaFmµtavanwgbnøayeBlevlasagsg; nig karerobcM RKb;RKgkan;EtsµúKsaµj. • kareRbIR)as; ¬cMnYnkmµkr/ cMnYneRKOgcRk¦ tamEpñkeGayRbesIrbMput ¬CaFmµtamanbgðajkñúgbTdæanbec©keTs¦ nwgpþl;eGaykargarmanfamBl x<s;bMput/KuNPaBFana. kareRbIR)as;buKÁlikRtUvGnuvtþn_tamrUbmnþ ¬4>4¦ Lmin ≤ Lij ≤ L max; Mmin ≤ Mij ≤ M max. ¬4>4¦ kñúgenaH³ Lij, Mij - kmµkr/eRKOgcRkrbs;kargari eFIVkarenATItaMgj/ Lmin, Mmin - cMnYnkmµkr/ eRKOgcRkGb,brmaedIm,IGaceFIVkargarl¥ ¬tambTdæan¦ ehAtamrebobepSgKW Rkumkargar dMbUg. Lmax, Mmax - cMnYnkmµkr/ eRKOgcRkGtibrmaedIm,IGaceFIVkargar)an CaFmµtaelIkMNat;kargar. • ebIkargarsagsg;eRbI)as;eRKOgcRkpg RBmTaMgeRbIR)as;Blkmµpg KWRtUv eRCIserIs)a:ra:Em:RteRKOgcRkmun/ )a:ra:Em:RtmnusSeRCIserIsCaeRkayeday GaRs½yelIbrimaNeRKOgcRk.
  • 53.
    CMBUkTI 4 RKb;RKgsMNg; eroberogeday³sYs cMerIn begáItRbtiTinkargarkñúgplitkmµsMNg; 51 III.6. kMNt;ry³eBlsagsg; ry³eBlsagsg;kargarGaRs½yeTAelIbrimaN/ bnÞat;kargar/ kMriteRbIR)as; FnFan nig ry³eBlkMNt;sagsg;sMNg;. edIm,Irujel,Ónsagsg;/ elIkkMBs;GtßRbeyaCn_eRKOgcRkTMenIb RtUvykcitþTukdak;dl;rbbeFIVkargar BIr b¤ bIevn/ kargarsMxan;mYycMnYn KYreRbIR)as;eRKOgcRkRBmKña. CaTUeTA karekInevnnwgeFIVeGayekIntMéldUcCaBnøå/ karcayvayra:b;rgkargarBIrevn b¤ bIevn/ ekInbuKÁlikbec©keTs/ RKb;RKg. lMnaMsagsg;edayeRbIR)as; BlkmµmYycMnYnedIm,IbegáInevnplit ekItenAeBlbrimaNkargarFM bu:EnþbnÞat; kargarnwgceg¥ótminGaceFIVkarbEnßmkmµkr)an. eBllkçxNÐsagsg; manlkçN³GacGnuvtþ)an nig RbkbedayesßrPaB/ ry³eBlsagsg;kargarkMNt;tamrUbmnþ¬4>5¦/ ¬4>6¦³ tij = Lij / (a.Li)/ ¬4>5¦ tij = MSij / (a.Mi)/ ¬4>6¦ kñúgenaH ³ tij – ry³eBlsagsg;kargar ij ¬éf¶¦/ Lij- brimaNBlkmµ¬éf¶Blkmµ¦ sMerckargar/ MSij - cMnYnevneRKOgcRksMerckargar/ a - cMnYnevneFIVkarkñgmYyéf¶¬rbbeFIVkargar¦/ Li, Mi - cMnYnkmµkr/ eRKOgcRkrbs;Rkum.
  • 54.
    CMBUkTI 4 RKb;RKgsMNg; eroberogeday³sYs cMerIn begáItRbtiTinkargarkñúgplitkmµsMNg; 52 kñúgkargarCak;Esþg/ eKenAykcitþTukdak;dl; ry³eBlsagsg;qab;bMput nig yUbMput. enaHKW RBMEdnGñkRKb;RKgsMNg;dwgedIm,IeRbIR)as;RbtiTinkargar. ry³eBlsagsg;qab;bMput Tmin man)an eBlNaeyIgeRbIR)as;lT§PaB Gnuvtþn_kargarGtibrmaelIbnÞat;kargar nig lT§PaBpÁt;pÁg;FnFan. ry³eBlsagsg;yUrbMput Tmax man)an eBlNaeyIgeRbIR)as;lT§PaB Gnuvtþn_kargarGb,brma CamYynig RbPBFnFansmmUl Edlkargarminrgkar xUcxat. dUcenH ry³eBlsagsg;kargaryUrbMput eBlRKan;EterobcM eRKOgcRksagsg;mYy b¤ mYyRkumplitkmµmUldæan. enATIenH Rkumplitkmµ dMbUg KWCasßab½nplitkmµGtibrmaCamYynig cMnUnmnusSGb,brma b:uEnþenAEt FanafamBlplit. KNnatamcMnYnmnusS ¬ RkumplitkmµmUldæanCaFmµta RtUv)ansresrkñúgbTdæanbec©keTs¦ Ca]TahrN_³ kargarmYymanbrimaNBlkmµ 120 éf¶/ RkumplitkmµdMbUg rbs;kargarenaH 5 nak; ebIbnÞat;kargarGnuBaØatiþ (Lmax ≤ 40) eyIgk_GacerobcM cMnYnkmµkrnigry³eBlsagsg;dUctarag¬4>1¦ tarag4>1 cMnYnRkumplitkmµdMbUg (b) ! @ # $ ^ * cMnYnkmµkreFIVkñúgmYyéf¶ (L) % (Lmin) !0 !% @0 #0 $0 (Lmax) ry³eBlsagsg;/ éf¶ (t) @$ !@ * ^ $ #
  • 55.
    CMBUkTI 4 RKb;RKgsMNg; eroberogeday³sYs cMerIn begáItRbtiTinkargarkñúgplitkmµsMNg; 53 cMnYnkmµkr L = a.b.Lmin GacerobcMeFIVkargar a = 1; 2 b¤ 3 evn ¼ éf¶. dUcenH/ ry³eBlsagsg;sagsg;qab;bMput tmin = 3 éf¶. ebIeFIVticCag # éf¶ nig eRcIn Cag @$ éf¶ suT§EtnaMeTAdl;llT§plminl¥ ¬sMrab;kareRbIR)as;kmµkr b¤ KuNPaBkargar¦. eRkayeBlkMNt;ry³eBlsagsg; eyIgGackMNt;kMriteRbIR)as;sMPar³tam rUbmnþ³ q = (Qij.q0) / Tij, cMNayfvikatamrUbmnþ³ C = (Qij.C0) / Tij, kñúgenaH ³ q – kMriteRbIR)as;sMPar³kñúgmYyéf¶/ Qij – brimaNkargari Gnuvtþn_elIkMNat;kargar j, Tij – ry³eBlsagsg;, C – tMélcMNaysMrab;kargarkñúgmYyéf¶, q0, C0 – bTdæansMPar³/ tMélkargar. eBlry³eBlsagsg;minkMNt;Cak;c,as;/ eKeRbIR)as;tMélEdlTukcitþ. enaHKW krNIlMnaMGnuvtþn_kargarCYbRbTHkargarERbRbYl RtUvBüakrN_ edaykar eCOrCak;kMNt;mYyBIbTBiesaFn_sagsg; b¤ lkçxNÐsagsg;GaRs½yeday ktþaénkarERbRbYlCaeRcIn. eRbIR)as;tMélTukcitþ GMBIry³eBlsagsg;Ep¥kelI viFIsaRsþKNnaKNitsaRsþeyIgRsavRCaveGayc,as;enACMBUkeRkay.
  • 56.
    CMBUkTI 4 RKb;RKgsMNg; eroberogeday³sYs cMerIn begáItRbtiTinkargarkñúgplitkmµsMNg; 54 III.7. begáItRbtiTinkargardMbUg eRkayeBleRCIserIsviFIsaRsþsagsg; nig kMNt;)anbNþa)a:ra:Em:Rt/ eyIgbnþ Gnuvtþn_begáItRbtiTinkargardMbUg. begáItRbtiTinkargarrYmman kMNt;viFIsaRsþbgðajRbtiTinkargar nig lMdab;lMnaM]sSahkmµeGaysmRsb edIm,IdMeNIrkarkargarsagsg;. RbRktiTinkargarGacbgðajeday RkahiVkepþk/ RkahiVkeRTt/ DIya:RkambNþaj. eRCIserIsviFIsaRsþNak_RtUvGaRs½yeTAelITMhM/ lkçN³sµúKsµajrbs;sMNg;. RkahiVkepþksMEdgRbtiTinkargarsMNg;tUc² nig lMnaM]sSahkmµgayRsYl. RkahiVkeRTt sMEdgRbRktiTinkargarsMNg;EdlTamTarkarR)akdRbCaGMBI ry³eBl nig TIlMh. RkahiVkeRTt Gacl¥RbesIrelIkargarEdlman brimaNtic. DIya:RkambNþaj sMEdgRbtiTinkargarsagsg;sMNg;FM² nig sµúKsµaj. kñúgenaHEdr ykcitþTukdak;dl;lMnaM]sSahkmµ/ Canic©CakaleRbI R)as;lT§PaBBeRgIkkargarRBmKña RsbKña edIm,Ikat;bnßyry³eBlsagsg;. eRkABIenHkarBeRgIkkargarcaM)ac;ykcitþTudak;dl;bBaðaeRbIR)as;FnFan nig FanaRkumCMnajmanskmµPaBtamExSbBa¢Ún. begáItRbRktiTinkargardMbUg GacGnuvtþn_tam bIviFIdUcxageRkam. a) erobcMkargar BIkargardMbUgtamlMdab;kargar dl;kargarbBa¢b;. enHKW viFI EdlniymeRbIeRcIn/ gayRsYl b:uEnþTamTarGñkbegáItRtUvmanbTBiesaF_kñúg kargarplit. CaFmµtaeyIgerobcMkargaremmun Ep¥kelIenaH eyIgerobcM kargarEdlenAsl; eTAtamTMnak;TMngerobcMRKb;RKg. cMeBaHsMNg;FM² karbegáIttamviFIenH vaBi)akNas;edIm,IQandl;lT§plcg;)an.
  • 57.
    CMBUkTI 4 RKb;RKgsMNg; eroberogeday³sYs cMerIn begáItRbtiTinkargarkñúgplitkmµsMNg; 55 b) erobcMkargartamtamxN³eBlkMNt;mun edayeTAbBa¢as;kargarxagmux. enHCaviFIbegáIttamTisedAkMNt;mun/ CaFmµtaeyIgEtgykeBlevlakMNt; karbBa©b;sagsg;sMNg;/ eBlevlabBa©b;bNþadMNak;kaleFIVCa cMNuccab; epþIm rkRcas;mkvijbNþakargarmanTMnak;TMngmun. viFIenHqab;sMerc TisedA b:uEnþbNþakarplitKYreGay)armµN_ eRBaHkarkMNt;xN³eBl kargarminc,as;las;eFIVkargarrgkarxUcxac. c) eRbIR)as;KNitsaRsþ ¬DIya:RkambNþaj¦ edIm,IbegIátRbtiTinkargar. enHCaviFIQanmuxCYyeGayeyIg edaHRsay)ankrNIsµúKsµajmYycMnYn. viFIenHCadMbUgeKeRbIKNitsaRsþpÁMúlMnaMsagsg;sMNg; mann½yfaeRbI DIya:RkambNþaj edIm,IbgðajbNþalMnaM]sSahkmµ LOGIC nig karRKb;RKgsagsg;sMNg;caM)ac;/ eRkaymkeRbIR)as;KNitviTüaedIm,I KNnarkbNþa)a:ra:Em:Rtrbs;plitkmµ ¬RbtiTinkargar¦ dak;ecj eRkaymkbgðajmkvijTisedArbs;Epnkarplit. III.8. RtYtBinitüRbtiTinkargardMbUg eRkayeBlRbtiTinkargar)anbegáIt/ eKGnuvtþn_KNnabNþaniTsSn_rbs;va ehIyeRbobeFobnigbNþatMrUvkarEdl)anelIkeLIg. bNþatMrUvkarTaMgenaHCa FmµtaEtgEtCary³eBlsagsg;kMNt;/ kMriteRbIR)as;FnFan/ kMritesßrPaB eRbIR)as;edImTun/ Blkmµ/ tMéléføfñÚrKMerag. ebItMrUvkarbMeBj)annUv RbtiTinkargardMbUg/ eyIgnwgbnþeFIVeGayRbesIrtamlkçN³sm,tiþsagsg; edim,IelIkkMBs;esdækic©/ bec©keTs.
  • 58.
    CMBUkTI 4 RKb;RKgsMNg; eroberogeday³sYs cMerIn begáItRbtiTinkargarkñúgplitkmµsMNg; 56 kñúgkrNImannisSn_xøHEdlminTan;RKb;RKan;/ eyIgRtUvEksMrYlRbtiTinkargar dMbUg. kargarRtYtBinitünwgRtUv)anGnuvtþn_tameRcInCMudUcxxageRkam³ CMu 1³ RtYtBinitüCMha‘n begáItRbRktiTinkargardMbUg ¬erobcMeLIgvijnUv kargar¦ ebIminTan;seRmcGnuvtþn_RtYtBinitüCMubnþeTot. CMu 2³ RtYtBinitübNþa)a:ra:Em:RtRKb;RKg eLIgcuHcMnYnBlkmµ/ eRKOgcRk. enHCaCMha‘nRKb;RKgeLIgvij ÉktaplitkmµebIminTan;sMerc Gnuvtþn_ bnþCMueRkay. CMu 3³ RtYtBinitüviFIsaRsþsagsg;. enHCa CMuRtYtBinitüEksMrYlviFIsaRsþ sagsg; ¬pøas;bþÚrRbePTeRKOgcRk/ eRCIserIsviFIsaRsþsagsg;epSg eTot>>>¦ ebIminTan;sMerc)aneyIgRtUvRtYtBinitüCMucugeRkay. CMu 4³ enHCa CMuRtYtBinitülMnaM]sSahkmµplit. eRBaHbNþaviFIsaRsþ RKb;RKg nig bec©keTs suT§EtminseRmc eyIgRtUvEkERblMnaM ]sSahkmµsagsg; ¬]TahrN_ bþÚrBIebtugcak;enAkEnøg mkeRbIR)as; cab;tMeLIg/ bþÚrssrRKwH sgát;mun mkeRbIssrRKwHsgát;eRkay >>>>. CakarBitehIy CMunimYy²GacGnuvtþn_mYy b¤BirbIdgenAeBlEdlminTan;seRmc eTIbbnþmkCMubnÞab;eTot. karRtYtBinitüRbtiTinkargarEtgEtlM)akebIsMNg; enaHFMsµúKsµaj eBlenaHeKcaM)ac;CMnYyrbs;kMBüÚT½r.
  • 59.
    CMBUkTI 4 RKb;RKgsMNg; eroberogeday³sYs cMerIn begáItRbtiTinkargarkñúgplitkmµsMNg; 57 III. bgðajRbtiTinkargarelIRkahiVkepþk ( GANTT CHART) dUceyIg)andwg RbtiTinkargarGacsMEdgecjtam RkahiVkepþk/ RkhiVkeRTt/ DIya:RkambNþaj GaRs½yedaylkçN³sMNg; nig TisedArbs;GñkbegáIt. kñúgbI rebobbgðaj KWRkahiVkepþkmanRbCaRbiyCagTaMgGs;. eKEtgeRbIR)as;RkahiVkepþk kñúgbNþakrNI³ sMNg;gayRsYl/ RbtiTinkargarEdlRtUv)anbegáItedayRkhiVk eRTt b¤ DIya:RkambNþaj b:uEnþedIm,IeGaygayRsYleRbIR)as; eKbþÚrmkRkahiVkepþk. eRBaHRkahiVkepþk gayRsYlcab;)an edayGBÖnþBaØaN/ gayRsYlGan/ gayRsYl tamdan nig enAmankargayRsYlkñúgkarbgðajbNþa)a:ra:Em:Rtrg EdlRkahiVkepSg minGacbgðaj. xøwmsarrbs;RbtiTinkargarmYyEdlbgðajtamRkahiVVkepþk ¬rUb 4>3¦ CaFmµtarYm manBIrEpñk/ EpñkTinñn½y nig EpñkRkhiVk. • EpñkTinñn½y kargarRtUv)anpÁt;pÁg;Tinñn½ymYycMnYnEdlcaM)ac;bMerIkargarsagsg; EdlrYmman 12 CYrbBaÄr Columns ¬rUb4>2¦ Colunm 1: sresrelxerogtamtaraglMdab;kargar ehIyk_GacbUkrYm kargareRcInCakargarmYy ¬RbtiTinkargarTUeTA¦. Colunm 2: eQµaHkargarsresrtamlMdab;kargar b¤ dak;eQµaHfIµebIkargar enaH CakargarsrubTUeTA. Colunm 3: ÉktaCaFmµtaeRbICaÉktargVas;brimaN/ ÉktarUbIuvtßú.
  • 60.
    CMBUkTI 4 RKb;RKgsMNg; eroberogeday³sYs cMerIn begáItRbtiTinkargarkñúgplitkmµsMNg; 58 Colunm 4: brimaNkargarsresreGayRtUvnigÉktaeRbIR)as;. Colunm 5: bTdæanBlkmµ-cMNayBlkmµ edIm,IseRmcmYyÉktaplitkmµ yktambTdæankMBugGnuvtþ. Colunm 6: bTdæaneRKOgcRk-cMNayema:geRKOgcRk ¬ebIsagsg;eRbI eRKOgcRk¦ sMrab;ÉktaplitkmµmYyyktambTdæankMBug Gnuvtþ. Colunm 7, 8: CatMrUvkarBlkmµ ¬éf¶Blkmµ¦ nig eRKOgcRk ¬evneRKOgcRk¦/ CalT§plrbs;plKuN Colunm 4 CamYy Colunm 5 nig 6. Colunm 9: rbbeFIVkargar-cMnYnevneFIVkargarkñúgmYyéf¶/ EtgEtyk 1 evn sMrab;BlkmµédeCIg/ 2/ 3 evnsMrab;sagsg;edayeRKOgcRk. Colunm 10, 11: cMnYnkmµkr/ cMnYneRKOgcRkkñúgÉktaGnuvtþkargar ¬emIlxøwmsarkñúgcMNgeCIg II¦ Colunm 12: ry³eBlsagsg;RtUv)ankMNt;tamrUbmnþ ¬4>5¦/ ¬4>6¦. eBlkargarsagsg; manTaMgeRKOgynþlayCamYyBlkmµ ry³eBlkMNt;tameRKOgynþ. cMnYnkmµkr nwgGnueLameTAtam nigry³eBleFIVedayeRKOgynþ. • EpñkRkahiVk bgðajEpnkarsagsg; ¬rUb 2>2 ¦. kargarnimYy² RtUv)an bgðajedaybnÞat;Rtg;mYy manRbEvgesµInigry³eBlsagsg;. kargarnimYy²
  • 61.
    CMBUkTI 4 RKb;RKgsMNg; eroberogeday³sYs cMerIn begáItRbtiTinkargarkñúgplitkmµsMNg; 59 kMNt;elIGkS½ry³eBlrbs;RbtiTin. xN³eBlnimYy²elIRbtiTinkargar RtUv )ankMNt;taméf¶ExqñaM. CaFmµtakargarRtUv)anbgðajxN³eBlcab;epþIm ¬ nimitþsBaØa S ¦ nig xN³eBl bBa©b; ¬ nimitþsBaØa F ¦. bNþakargarEdlGacbnøayeBlevlasagsg;elIs ry³eBl)ankMNt; enaHeyIgKUsbnþedaybnÞat;dac;² ¬----- ¦enAxageRkay ¬ kargar a ¦/ enAxagmux ¬ kargar b ¦ ebIbgðajlT§PaBcab;epþImqab;. bNþakargarEdlmanTMnak;TMnak;KñakñúgkarRKb;RKg nwgRtUvP¢ab;CamYyKñaedaybnÞat; dac;² ¬kargar a, d, f ¦. bNþakargar EdlrkSatYnaTIdwknaM RbtiTinkargarsagsg;RtUv)anbgðajedaybnÞat;RkasCageK ¬ a, d, f, e ¦. kargarmYyeBlerobcMRKb;RKgsagsg; EbgEcgCakargartUc²eRcIn RtUv)an bgðajedaybnÞat;mYykat;elIBYkva¬kargarC1, C2, C3 ¦. elIbnÞat;bgðajkargar eKGacdak;Tinñn½yeRcInepSg²Kña ¬dUcCa Blkmµ/ sMPar³/ eRKOgcRk/fvikar>>>>¦. DIya:RkameRbIR)as;FnFan RtUv)anKUsxageRkamRbtiTinkargar. CaFmµtaeK bgðajEtbNþaFnFansMxan;² dUcCa Blkmµ/ fvika/ sMPar³eRbIR)as;eRcIn ¬ fµ/ xSac;/dæ/sIum:g;t_>>>¦RtUvpÁt;pÁg;Cab;lab;.cg;KUs)anDIya:RkamFnFan)anc,as; las; eKRtUvbgðajeGayRtUvnigkargarnimYy² rbs;RbRktiTinkargar/ eRkayeBl KUsrYc eyIgRKan;EtbUkFnFan tamRbePTkargarnimYy² enaHeyIg)anRkahiVk ¬ebIeRbIR)as;kmµviFImanRsab;”Microsft Project” ma:sIunnwgsV½yRbvtþiKUs.
  • 62.
    CMBUkTI 4 RKb;RKgsMNg; eroberogeday³sYs cMerIn begáItRbtiTinkargarkñúgplitkmµsMNg; 60 IV. bNþaeKalkarN_sMxan;edIm,IbegáItRbtiTinkargar edIm,IRbtiTinkargarEdlbegáIteLIg CitRtUvnigkargarCak;Esþg nig esckIþRtUvkar rbs;sMNg;/ eFIVeGaykarsagsg;sMercRbkbeday lT§plesdækic©bec©keTs eyIgcaM)ac;RtUvGnueLamtambNþaeKalkarN_sMxan;CamUldæandUcxageRkam. 1. esßrPaBelIbNþakargareRtomTan;eBledIm,IGnuvtþn_sagsg;sMNg;sMxan; kargarsagsg;sMNg;Gnuvtþn_edaygayRsYl b¤ mindUecñHeT KW GaRs½yedaybNþa kargareRtommYycMnYn. CaFmµta sagsg;sMNg;mYy eKEckecjCaBIEpñk³ EpñkkargareRtom nig EpñksMNg;sMxan;. EpñkeRtomrYmman eRtomTIlansagsg; nig sg;CMrMu/ pøÚvfñl;beNþaHGasnñbMerIkargarsagsg;/ cMENkÉEpñksMNg;sMxan; rYmman³ sagsg;sMNg;nigdak;sMNg;eGayeFIVskmµPaB. bNþakargareRtomTIlansagsg;rYmman³ vaybMEbk b¤ pøas;TIpÞHsMEbg/ TIlanEdl RtUvsagsg;sMNg;enAkardæan³ sMGat/ beBa©jTwk/ eFIVfñl;bMerIkarsagsg;. EsVgrk RbPBpÁt;pÁg;famBl/vtßúFatuedIm/GKÁIsnI/Twk>>>.l. sagsg;sMNg;beNþaHGasnñrYmman³ sagsg;sMNg;fµI/ CYsCulsMNg;/ CMurMu/ eragCag/ bNþatMbn;rs;enArbs;buKÁlikkmµkr. bTBiesaFn_bgðajfa kargareRtommanlkçN³l¥ nwgeFIVeGaykargarsagsg; sMNg;sMxan;Gnuvtþn_)anelOnnigsMercRbkbedaylT§plx<s;.BitNas;faminEmn bNþakargareRtomTaMgGs; elIRbtiTinkargar suT§EtRtUvbBa©b;muneBlebIkkar sagsg;sMNg;sMxan;enaHeT. eBlbegáItRbtiTinkargar eKkMNt;EtelIkargar
  • 63.
    CMBUkTI 4 RKb;RKgsMNg; eroberogeday³sYs cMerIn begáItRbtiTinkargarkñúgplitkmµsMNg; 61 EdlRtUvGnuvtþn_mun/ bNþakargarRtUveFIVCamYykargarsMxan;. kareRCIserIsmuneRkay Ep¥kelIeKalkarN_ KwbegIátlkçxNÐl¥bMput edIm,IeFIVkargarsagsg;sMxan; b:uEnþrYmpSM kareRbIR)as;FnFan/famBltamrebobmYysmRsb/snSMsMéc. edIm,IbnßyEpñksagsg;sMNg;beNþaHGasnñ eBlbegIátRbtiTinkargar RtUvkMNt; )ankarcUlrYmeRbIR)as;sMNg;GciéRnþ eTAkñúgTisedAeRbIR)as;beNþaHGasnñ/ CaBiess KWEpñksagsg;pøÚvfñl;/bNþajbec©keTs/bgÁn;Gnam½y. 2. eRCIserIslMdab;erogkargarsmRsb eBlsagsg; sMNg;FM²mYycMnYn/ sµúKsµaj/ manlMdab;erogkargareRcIn Edlman TMnak;TMngKñaedaylMnaM]sSahkmµ/ lkçxNÐsagsg; dUcenHkareRCIserIslMdab;erog kargarRtUveGaysmRsb. manbNþakargarxøH² RtUv)ankMNt;PøamtaMgBIKNna RKb;RKgsMNg;. eBleRCIserIslMdab;erogkargar karcab;epþImGnuvtþn_RtUvcaM)ac; ykcitþTukdak;dl;bBaðadUcxageRkam³ bNþakargarsagsg;tamlMdab;RtUveFIVtamlMnaM]sSahkmµplitkmµ/ vanwgman tYnaTI naMEpñknimYy² b¤EpñksMNg;TaMgmUlcUleFIVskmµPaB nig kMNt;sMerc ry³eBlsagsg;. ebIlMdab;erogkargarminFana nwgeFIVeGaybnøayry³eBl sagsg; b¤ eFIVeGayfyGtßRbeyaCn_esdækic©rbs;KMerag. caM)c;ykcitþTukdak;dl;lMdab;kargarmYycMnYn EdlkMNt;bBa©b;ry³eBlkMNt; sagsg;/ CaBiessykcitþTukdak;dl; bNþabnÞat;kargarmYycMnYn EdlcMNay ry³eBlsagsg;yUr b:uEnþEbrCaceg¥ót b¤k¾CaRbePTbnÞat;Cit. lMdab;kargar
  • 64.
    CMBUkTI 4 RKb;RKgsMNg; eroberogeday³sYs cMerIn begáItRbtiTinkargarkñúgplitkmµsMNg; 62 mYycMnYn EdlsßitkñúgRbePTenH dUcCa s<an/ eRkamdI/ sMNg;]sSahkmµ >>> KwvaBi)akyk eCaKC½yNas;eBlEdleyIgcg;CMrujelOnRbtiTinkargar. RkumlMdab;kargarmYycMnYn kñúgExSbBa¢ÚnplitkmµmYy k¾KYrpþl;GaTiPaBBeRgIk kargarRBmKañ/ edIm,IeBlnaMsMNg;eTAeFIVskmµPaB enaHbNþasMNg;pÁt;pÁg;k¾ eRtomlkçN³CaeRsc. kñúgsMNg;nimYy² bNþakargarcab;epþImtamlMdab;eroglMnaM]sSahkmµsmRsb bMput/ RbwgERbgFana)annUvlkçN³bnþbnÞab; ¬efr¦ sMrab;RkumCagsMxan;². CaFmµtatamlMnaM]sSahkmµ eKcab;epþImkargardUcxageRkam³ sagsg;BIkñúgecjeRkA/ EpñkeRKOgbgÁMúsMNg;BIeRkameLIg/ BIRbB½n§sMxan; ¬em¦ mkRbB½n§rg/ BIRbB½n§rg kMlaMg mkRbB½n§minrgkMlaMg/ EpñkbegðIysagsg;BIelIcuHeRkam/ BIkñúgecjeRkA. CakarBitehIy lMdab;kargarenaH minEmnsuT§EtRtUvGnuvtþya:gdUcenHeT/ vaGaRs½yeTAtamkargarCak;Esþgrbs;sMNg;nimYy² nig lkçN³lMnaM]sSahkmµ EdleyIgeRbIR)as;. BeRgIkkargark_RtUvykcitþTukdak;dl;sßanPaBFatuGakas edIm,Idkecjkardac; ecj rvagBYkvaEdlekIteLIg. karRbmUlBlkmµRtUvykcitþTukdak;dl; RBMEdnmYycMnYnGMBIFnFan nig FananUv eKalkarN_rnþMkñúgkarerobcMRKb;RKg. kargarsagsg;Bi)ak²mYycMnYn RtUvcat;EcgbNþaviFIsaRsþmYycMnYn CaCMnYy eBlcaM)ac; edIm,IrkSa)aneKaledAeBlbegáItRbtiTinkargar.
  • 65.
    CMBUkTI 4 RKb;RKgsMNg; eroberogeday³sYs cMerIn begáItRbtiTinkargarkñúgplitkmµsMNg; 63 3. Fanary³eBlsagsg; mYykñúgcMeNamTisedAsMxan;rbs; KNnaRKb;RKgsMNg; KWFanac,ab;ry³eBl kMNt;sagsg;. c,ab;ry³eBlkMNt;; GaRs½yedayesckIþsMercrbs; rdæaPi)alsIþGMBIkarRKb;RKgsMNg; ebIsMNg;sßiteRkamkarRKb;RKgrbs;rdæaPi)al/ ebIsMNg;m©as;vinieyaKCaBaniC¢kr KWGaRs½yedayBaniC¢krkMNt;. eTaHebIm©as; vinieyaK CaEpñkesdækic©Nak_eday ry³eBlkMNt;sagsg;sMNg; RtUv)ancat;Tuk Cac,ab;EtenAeBlmansresrkñúgkic©snüavinieyaK. ry³eBlbBa©b; dak;sMNg;eFIV skmµPaBsMxan;CaTIbMput. CYnkalvakMNt;nUveCaKC½y nig braC½yrbs;KMerag/ dUcenHral;karERbRbYlry³eBlsagsg; suT§EtRtUvGnuvtþn_tambNþamaRtaEdl )ansresrkñúgGtßbTénkic©snüa ¬CUnrgVan;ebIfyry³eBlsagsg;/ pakBin½y eBlbnøayry³eBl b¤ mineKarBkic©snüa¦. ry³eBlkMNt;sagsg;RtUv)anyl;fa Cary³eBlGnuvtþkargarsagsg; nig naMsMNg;eFIVskmµPaB ¬éf¶KN³kmµkarBinitü nig cuHhtßelxaRbKl;-TTYl¦. edIm,IsMNg;bBa©b;RtUvtamc,ab;ry³eBlkMNt;/ RbtiTinkargardMbUgbegáItRtUv GnueLamtamlkçxNÐenH. kñúgeBlbegáItRbtiTinkargar/ ry³eBlkMNt; sagsg;sMNg;GaRs½yeTAelIry³eBlkMNt;sagsg;rbs;rbs;kargarnimYy² nig karerobcMBYkvatamry³eBl. dUcecñH GñkbegáItRbtiTinkargarRtUveFIVm©as;elI bNþakargar nig cab;)annUvlMnaM]sSahkmµsagsg;sMrab;sMNg;TaMgmUl. ebI RbtiTinkargar begáIttamrebob a ry³eBlkMNt;sagsg;sMNg;dMbUg Etg xusCamYynigc,ab;ry³eBlkMNt;eRcInRKan;ebI dUcenH RtUvEktMrUv/ begáIttamerob
  • 66.
    CMBUkTI 4 RKb;RKgsMNg; eroberogeday³sYs cMerIn begáItRbtiTinkargarkñúgplitkmµsMNg; 64 b ry³eBlkMNt;rbs;RbtiTinkargardMbUg eGaykan;EtRtUvnigc,ab;ry³eBl kMNt;. CaFmµtaRbtiTinkargardMbUgbegáIt eRkayeBlKNna nwg ekIteLIgbIkrNI dUcxageRkam³ • krNI1³ -eBlry³eBlkMNt;RbtiTinkargar(T)tUcCagc,ab;ry³eBlkMNt;(TL)³ T<TL eBlenaHelceLIgnUv ∆T = Tl - T / GñksMNg;GaceRbIR)as; edIm,IEktMrUvkñúglMnaMGnuvtþ CamYyTisedAPaBrnþMFnFan. • krNI2 ³ T = TL cat;TukfaRbtiTinkargarEdl)anbegáItsmmUllkçxNÐ ry³eBlGacTTYlyk)an. krNIenHlT§PaBEktMrUvkareRbIFnFan tictYcNas;. • krNI3³ T > TL RbtiTinkargarEdl)anbegáItminTTYlyk)an/caM)ac;bgçMRtUv EktMrUveLIgvij dl;eBlNasmmUllkçxNÐ T ≤ TL. 4. eRbIR)as;BlkmµrnþMkñúgplitkmµ ¬lkçN³rnþMvaytMéledayRkahiVkBlkmµ¦ RkahiVkBlkmµrnþMeBlcMnYnBlkmµekInCabnþicmþg² kñúgry³eBlEvg nig fybnþic mþg²Edr enAeBlkardæanbBa©b; minmankarekInfyxøaMgxøa. ebIcMnYnkmµkrEdleRbI minrnþM eBlxøH nwgelceLIgcMnYnkMlaMgBlkmµRbmUlpþMúx<s;CaTIbMput/ eBlxøH cuHCaTabxøaMg eFIVeGaybNþa éføQñÜlekIntam nig x¢aHx¢ayFnFan. bNþaéføQñÜl enaH cMNayelIkareRCIserIs/ sagsg;pÞHsMEbg CMurMu nig hUbcukRbcaMéf¶.
  • 67.
    CMBUkTI 4 RKb;RKgsMNg; eroberogeday³sYs cMerIn begáItRbtiTinkargarkñúgplitkmµsMNg; 65 RbmUlpþMúmnusSeRcIn kñúgry³eBlxøIbegáItnUvkarx©Hx¢ay elIbNþamUldæanmYycMnYn k¾dUcCaeRKOgynþ eRBaHeRbIR)as;ticminTan;sPaBkarN_. dUcenH RkahiVkBlkmµ mYysmRsb ¬ekInbeNþIr² enAxagedIm nig fybeNþIr²enAxagcug/ cMnYnmnusS zitefrkan;EtxitCitkMritmFümkan;Etl¥¦ KWCaKMrUvaytMélRbtiTinkargarmYy. elIRkahiVkBlkmµ lkçN³rnþM bgðajedaybnÞat;ekag eLIgcuHbeNþIr² minmankar ERbRbYl ¬rUbPaB 2>3/ bnÞat; c ¦. vaytMélRkahiVkBlkmµ eKeRbIR)as;bNþaemKuNrnþM K1nig emKuNesßrPaB K2 K1 = La / Lmax K2 = Tv / T kñúgenaH La – cMnYnkmµkrmFümPaKKNnatam ¬2>12¦ La = Lr / T ¬2>12¦ Lmax– cMnYnkmµkrRbmUlpþMúx<s;bMput/
  • 68.
    CMBUkTI 4 RKb;RKgsMNg; eroberogeday³sYs cMerIn begáItRbtiTinkargarkñúgplitkmµsMNg; 66 T – ry³eBlkMNt;sagsg;/ Tv – ry³eBlcMnYnkmµkrRbmUlpþMúEdlhYsputcMnYnkmµkrmFüm/ Lr – kmµkrcaM)ac;sMrab;sagsg;sMNg;/ KWCaépÞrvagGk½S T nig RkhiVk. Cak;Esþg K1 nig K2 QaneTArk 1 kan;Etl¥. qøgemKuNefr K2 eyIgeXIjeBlRkahiVkBlkmµmanbMErbMrYlxøH ERbRbYlminFmµta RtUvGnueLam tam k,Ünc,ab;³ minGnuBaØategIbx<s; edayry³eBlxøI nig cuHeRCAedayry³eBl Evg ¬rUbPaB2>4¦ eRBaHTaMgBIrkrNIenH suT§EteFIVeGayfytMél K1 nig K2. épÞkMNt;kñúgRkahiVkBlkmµ bgðajkMlaMgBlkmµ. dUcenH épÞkan;EttUcbgðaj sMNg;eRbIR)as;BlkmµticfamBlBlkmµx<s;. enHk¾Ca TisedAmYyrbs;GñkbegáIt Epnkarsagsg;. egIbx<s;kñúgry³eBlxøI/ cuHeRCAkñúgry³eBlEvg rUbPaB 2>4> RkahiVkBlkmµminefr cMnYnBlkmµ cMnYnBlkmµ
  • 69.
    CMBUkTI 4 RKb;RKgsMNg; eroberogeday³sYs cMerIn begáItRbtiTinkargarkñúgplitkmµsMNg; 67 5. naMfvikaedImTuncUlkñúgsMNg;smRsb TunvinieyaK KWCabrimaNfvika e)aHcUlsMNg;. fvikaedImTun KWCaRbePTFnFan eRbIR)as;mYyelIk/ va)ancMeNjEteBlsMNg;eFIVskmµPaB. dUcenH kardak;Tun eTAkñúgsMNg; KWCatMrUvkarmYysMxan;rbs;RbtiTinkargarmYy. eBlKNnaRKb;RKgsMNg; eKEtgEtBinitüemIlRkahiVkpÁt;pÁg;TunsMNg;dMbUg. cMeBaHGñksagsg; edImTunEtgEtxI©FnaKar EdlRtUvTTYlrgnUvtMélkarR)ak;. Gñksagsg; sg)anEtenAeBlNa PaKI :k :pþl;R)ak;mun b¤TUTat;tamkic©snüa. kñúgkrNI PaKI :k : pþl;R)ak;munminTan; enaHPaKIGñkTTYlkar RtUvTTYlbg; karR)ak;FnaKar. dUcenH fvikadak;cUlsMNg;kan;Etqab;kan;EtgayrgnUvkarsÞH bgákarxUcxateGayGñksagsg;. eKRtUvrkrUbmnþmYy edIm,Idak;fvikaedImTuneTAkñúg sMNg;ya:gNaeGaykar)at;bg;fvikaTabbMput. rUbmnþedIm,I dak;fvikaedImTuneTAkñúgsMNg;man bIRbePTCamUldæan EdlRtUv)an bgðajelI rUbPaB 2>5. bnÞat;DIepr:gEsül dak;TuncUlkñúgsMNg; bgðajnUv brimaNfvika cMNaysMrab;bNþakargarsg;tMeLIg enAbNþary³eBltam RbtiTinkargar¬s)þah_/Ex/ qmas/ qñaM¦. rUbPaB 2>5a - dak;fvikaeTAkñúgsMNg;eTogeBl/ cab;BIeBlcab;epþImdl;eBl bBa©b; brimaNfvikavinieyaKkñúgry³eBldUcKñaesµIKña. rUbPaB 2>5b - dak;fvikaeTAkñúgsMNg;ekInbnþicmþg²/ eBldMbUgcMNayticeRkaymk ekInbnþicmþg²/ eBlbBa©b;dak;fvikaeTAkñúgsMNg;eRcInbMput.
  • 70.
    CMBUkTI 4 RKb;RKgsMNg; eroberogeday³sYs cMerIn begáItRbtiTinkargarkñúgplitkmµsMNg; 68 rUbPaB 2>5c - dak;fvikaeTAkñúgsMNg;fybnþicmþg²/ eBldMbUgcMNayeRcInbMput eRkaymkfybnþicmþg²esµIKña/ eBlbBa©b;dak;fvikaeTAkñúgsMNg;ticbMput. edIm,IvaytMél rUbPaBvinieyaKTaMgbIxagelIeTAkñúgsMNg; eKKUsRkahiVkGaMgetRkal edImTunvinieyaK ¬bnÞat;cMNaysrub¦. elIrUbPaB 2>6 eyIgmanbnÞat; GaMgetRkalbIsmmUlCamYyviFIvinieyaKTaMgbIxagelI. bnÞat;GaMgetRkalbgðajedImTunsrub Edldak;cUleTAkñúgsMNg; dl;bNþaxN³eBl elIRbtiTinkargar. vabgðajcMnYnfvikasrub EdleRbIR)as;kñúgkarGnuvtþkargar sMNg;dl;xN³eBl t. Cak;Esþg ragbnÞat;GaMgetRkalGaRs½yeTAnigbnÞat; Diepr:gEsül. bnÞat;GaMgetRkal 2>6 a KWCabnÞat;Rtg;/ bnÞat; 2>6 b KWCa )a:ra:bUlpt cMENkbnÞat; 2>6 c KWCa)a:ra:bUle)a:g. eRBaH TaMgbIrUbPaBvinieyaK sMrab;sMNg;mYyCarYm dUcenH tMélcugeRkaysuT§EtesµIKña (C). épÞqñÚtrvagbnÞat; rUbPaB 2>5> rUbPaBvinieyaKeTAkñúgsMNg; vinieyaKesµI/ ekInbnþicmþg²/ fybnþicmþg² rUbPaB 2>6> bnÞat;GaMgetRkaledImTuneTAkñúgsMNg; vinieyaKesµI/ ekInbnþicmþg²/ fybnþicmþg²
  • 71.
    CMBUkTI 4 RKb;RKgsMNg; eroberogeday³sYs cMerIn begáItRbtiTinkargarkñúgplitkmµsMNg; 69 GaMgetRkal nig Gk½S (T) bgðajkareRbIR)as;fvikaedImTuneTAkñúgsMNg;. TisedA rbs;GñkeFIVesdækic© KW eFIVya:gNaeGaykareRbIR)as;TunTabbMput - c,as;las; eBlbnÞat;GaMetRkalmanépÞqñÚtbeBa¢ógtUcbMput. cMeBaHsMNg;mYyeTaHCavinieyaKtamviFINak_RtUvFanary³eBlkMNt;sagsg; nig tMélsrubminERbRbYl. mann½yfa man (T) nig (C) rYmKña. dUcenH CamYynigviFI KNnaGaMgetRkalsamBaØeyIgKNna)an ³ Fa = 0.5CT ; Fb = 0.33CT ; Fc = 0.66CT dUecñH eBlbegáItRbtiTinkargarsagsg; eyIgerobcMRKb;RKgbNþakargar ya:gNaeGay bnÞat;DIepr:gEsülvinieyaKTunekIntamlMdab; edIm,IbnÞat;GaMgetRkal manépÞtUcbMput. BitehIy eBlEdlRbtiTinkargarbegáIttambnÞat;GaMgetRkal manépÞtUcbMput mann½yfa bNþakargarfyeTAeRkay CaBiessbNþakargarmYycMnYn mancMNay FM nwgbgáreRKaHfñak;eBlRbtiTinkargarmanPaBlMeGog. IV. bNþaviFIsaRsþRtYtBinitükargarGnuvtþRbtiTinkargar edIm,IsMNg;sagsg; RtwmRtUvtamEpnkar bNþakargarkñúgRbtiTinkargarRtUv)an GnuvtþRtUveBl. PaBlMeGognimYy² kñúglMnaMsagsg;k_GacnaMdl;lT§plxus bMNgEdlcg;)an. edIm,IvaytMélTan;eBl nig manviFIsaRsþedaHRsayRtwmRtUv eKRtUvGnuvtþRbB½n§RtYtBinitükarGnuvtþn_RbtiTinkargarTaMgmUl b¤ kargarmYy cMnYn. GacRtYtBinitütameBlevlakMNt;mun b¤minkMNt;mun.
  • 72.
    CMBUkTI 4 RKb;RKgsMNg; eroberogeday³sYs cMerIn begáItRbtiTinkargarkñúgplitkmµsMNg; 70 eBlRbtiTinkargarsagsg;bgðajelIRkahiVkepþk. eyIgGacGnuvtþRtYtBinitü tam`BIrviFIsaRsþ³ 1. viFIsaRsþBinitütambnÞat;PaKry/ 2. viFIsaRsþBinitüRBwtiþkarN_RbcaMéf¶. 1. viFIsaRsþBinitütambnÞat;PaKry enH KWCaviFIsaRsþeRbIR)as;sMrab; GnuvtþRtYtBinitükargareRcInkñúgxN³eBlmYy enAelIRbtiTinkargarEdlbgðajedayRkahiVkepþk. elIrUbPaB 2>7 BiBN’na GMBIviFIRtYtBinitütambnÞat;PaKry. rUbPaB 2>7> RtYtBinitüRbRktiTinkargaredaybnÞat;PaKry bnÞat;RtYtBinitü/ bnÞat;PaKry kargar ¬kagar nig minBinitüeT¦
  • 73.
    CMBUkTI 4 RKb;RKgsMNg; eroberogeday³sYs cMerIn begáItRbtiTinkargarkñúgplitkmµsMNg; 71 viFIsaRsþenHGnuvtþdUcteTA³ elIRbtiTinkargarEdlsMEdgedayRkahiVkepþk/ kargarnimYy² RtUv)anbgðajedaybnÞat;Rtg;mYyEdlmanRbEvgesµInig 100% én brimaNkargar. enAxN³eBl t NamYyminkMNt;EdlRtUvRtYtBinitü eKKUs bnÞat;Rtg;Qr/ bnÞat;enaHehIyKWCabnÞat;RtYtBinitü. elIRbtiTinkargarbNþa kargarnimYy²sßitenAmYykñúgBIrkrNI. krNIkargarnimYy²)anbBa©b;b¤minTan; )ancab;epþIm minkat;bnÞat;RtYtBinitü eyIgelIkElg. krNIkargarmYycMnYnkMBug sagsg; - kat;bnÞat;RtYtBinitü RtUvykTinñn½ybrimaNEdl)anGnuvtþKitmk dl;xN³eBlenaH. tamPaKrybrimaNTaMgmUl/ cMnYnPaKryGnuvtþ)an RtUv dak;elIRkahiVk/ BYkvaP¢ab;Kña begáIt)anCabnÞat;PaKry. enaH KWCabnÞat;Gnuvtþ Cak;Esþg. emIlbnÞat;PaKry eKdwg)ansßanPaBGnuvtþRbtiTinkargar. ebIbnÞat;PaKryenAxagsþaMcMNit - bNþakargarenaHGnuvtþelIskMritEpnkar/ ebIbnÞat;PaKryenAxageqVgcMNit - kargarGnuvtþyWt. b:uEnþcMNucEdl bnÞat; PaKryRtYtelIcMcMNit - kargarGnuvtþcMEpnkar. enHCaviFIsaRsþEtgEteRbIR)as;kñúgkarBinitüminkMNt;mun. vaCYyeGayGñkdwknaM dwg)ansßanPaBGnuvtþkargarCak;Esþg enAxN³eBlcM)ac;. 2. viFIsaRsþBinitütamRBwtiþkarN_RbcaMéf¶¬rUbPaB 2>8¦ enHCaviFIRtYtBinitüral;éf¶rbs;kargarnimYy². tamEpnkar kargarnimYy² RtUvGnuvtþnUvbrimaNkargarkMNt;mYyCaerogral;éf¶.
  • 74.
    CMBUkTI 4 RKb;RKgsMNg; eroberogeday³sYs cMerIn begáItRbtiTinkargarkñúgplitkmµsMNg; 72 kargarTaMgenHRtUvbgðajedaybnÞat;EpnkarmYy Caerogral;éf¶eRkayeBleFIVkar brimaNkargarGnuvtþ RtUvkMNt;)an nig KUscUleTARkahiVk/ eyIg)anbnÞat;Gnuvtþ. tamRkahiVkbgðajeyIgnUvsmtßPaBrbs;éf¶nimYy² )ansMerc b¤ min)ansMerc edIm,I EksRmYlsMrab;éf¶bnþbnÞab;eTot. viFIenHc,as;las; Tan;eBl b:uEnþxateBlevla eRbIR)as;)anEtsMrab;RkummanCMnaj b¤ kargarTamTarkar RtYtBinitülMGit. Casegçb/ bNþaviFIsaRsþxagelI pÁt;pÁg;)anEtsMrab;eGayeyIgnUvsßanPaBGnuvtþ RbtiTinkargar. cMENkmUlehtu nig plvi)akénPaBlMeGogTaMgenaH CakarBitbNþaviFIsaRsþxagelIminTan;)anelIkeT,Ig. edIm,Icab;eGay)aneRCARCH eyIgRtUveFIVkarviPaK nig eRbIR)as;bNþaviFIsaRsþvaytMél nig BüakrN_ Edlnwg dak;eGayRsavRCavc,as;las;enAbNþaCMBUkbnþeTot. EpnkarN_/ Gnuvtþn_Caerogral;éf¶ rUbPaB 2>8>RkahiVkkMNt;ehtukargar
  • 75.
    CMBUkTI 5 RKb;RKgsMNg; eroberogeday³sYs cMerIn RKb;RKgsMNg;tamviFIsaRsþExScgVak; 73 CMBUkTI 5 erobcMRKb;RKgsMNg;tamviFIsaRsþExScgVak; 1. niymn½yGMBIbNþaviFIsaRsþerobcMplitkmµ sMNg;KWCa CMnajplitkmµ]sSahkmµ eRBaHtamry³plitkmµ sMNg;eK)an ERbkøaybNþa sMPar³/ brikçar eGaymkCaplitplsMrab;sgÁm dUcCa ³ lMenAdæan/ GKar kñúgkarbMerIeGayesdækic©rs;enArbs;Blrdæ. edIm,IsMercPar³plit GñkGnuvtþkargarsg;tMeLIgRtUvRbmUlpþúMsMPar³/ eRKOgma:sIun/ brikçareGayRKb;RKan; nig CaBiesslkçN³sm,tiþrbs;mnusSedIm,IGnuvtþn_kargar. karBeRgIkkargarplitkmµGacGnuvtþn_tameRcInviFIepSg²Kña EdleyIgehAfa viFIsaRsþ erobcMRKb;RKgplitkmµ. eRbIR)as;viFIsaRsþNak¾RtUvGnueLamtamk,Ünc,ab;mUldæanrbs;karerobcMplitkmµ/ edayELk erobcMplitkmµsMNg;/ enaHKW ³ • GnueLamtamlMnaM]sSahkmµplitkmµedIm,IFanaKuNPaBsMNg;. • Fanary³eBlkMNt;sagsg;. • tMélplitplTab. mkTl;eBlenHeKGacEck viFIsaRsþerobcMplitkmµsMNg; CabI viFIsaRsþsMxan;KW³ tamlMdab;/ Rsb nig viFIsaRsþExScgVak;. viFIsaRsþnimYy² manbNþaKuNsm,tiþ
  • 76.
    CMBUkTI 5 RKb;RKgsMNg; eroberogeday³sYs cMerIn RKb;RKgsMNg;tamviFIsaRsþExScgVak; 74 edayELk/ GaRs½yeTAtambNþalkçx½NÐCak;Esþg ehIybNþaviFIsaRsþTaMgenaH RtUv)anGnuvtþeBjelj b¤ tamEpñk b¤ rYmpSM / suT§EtCamYynigTisedAKw naMmkvijnUvlT§plplitkmµx<s;bMput. a. vIFIsaRsþtamlMdab;¬rUbPaB4>1¦ KWCaviFIsaRsþerobcMplitkmµ bNþakargarEdl)ansMercenATItaMgenH eTIbelateTAeFIV enATItaMgepSgbnþeTot. elIrUbPaB 4>1 eyIgeXIjbNþasMNg; A, B, C, D RtUv)ansagsg;tamlMdab;/ cb;kargarsMNg; A eTIbbþÚrmk B/ cb; B eTIbbþÚrmk C >>>>.l. ebIry³eBlsagsg; sMNg;mYy KW Tc enaHry³eBlsrub (T1) sagsg; M sMNg;KW ³ T1 = M.Tc (3.1) 1 2 3 M Tc Tc Tc Tc T1 = M.Tc R O t R1 R1 R1 R1 R1 rUbPaB 4>1> erobcMplitkmµtamlMdab;eday M sMNg;
  • 77.
    CMBUkTI 5 RKb;RKgsMNg; eroberogeday³sYs cMerIn RKb;RKgsMNg;tamviFIsaRsþExScgVak; 75 ebIcMNayFnFanmFümsagsg;sMNg;mYyKW Rc enaHRkahVikcMNayFnFanKW R1= Rc mintwgEtg. TMrg;erobcMplitkmµenH smRsbCamYynig FnFan EdlBi)akcl½t nig sagsg;gayRsYl. b. erobcMplitkmµtamviFIsaRsþRsb¬rUbPaB4>2¦ qøgtamrUbPaB 4>2> eyIgeXIjtamviFIsaRsþerobcMRsb bNþasMNg;rYmGnuvtþ sagsg;RBmCamYyKña. eBlsMercsagsg;sMNg;mYy enaHbNþasMNg;epSgeTotk_RtUvbBa©b;. eBlenaHeyIg eXIjry³eBlsagsg;sMNg;mYyKW Tc enaHry³eBlsagsg;sMNg;TaMgGs; T2 = Tc. eRBaHBRgIksMNg;TaMgGs;M dUcenHFnFancl½tmFümsMrab;sMNg;TaMgGs;ekInM dg/ 1 2 3 M R O Tc T2 = Tc R1 rUbPaB 4>2> erobcMplitkmµRsbeday M sMNg; R1 R1 R1 t
  • 78.
    CMBUkTI 5 RKb;RKgsMNg; eroberogeday³sYs cMerIn RKb;RKgsMNg;tamviFIsaRsþExScgVak; 76 R2 = M.Rc (3.2) dUcenHerobcMsagsg;tamviFIsaRsþRsbry³eBlsagsg;KW xøINas;b:uEnþFnFaneRbIR)as; Gtibrma. viFIsaRsþenHGnuvtþ eBlRtUvkarry³eBlsagsg;xøInig FnFaneRbIR)as;minkMNt;. CaFmµtary³eBlsagsg;Gb,brmak¾manRBMEdnkMNt;Edr/ vaGaRs½yeday lMnaM ]sSahkmµ sagsg;rbs;sMNg;. c. viFIsaRsþerobcMplitkmµtamviFIsaRsþExScgVak; BIrviFIsaRsþxagelIman KuNsm,tiþ nig KuNvibtiþbBa©HKñaeday ry³eBlsagsg; nig kMriteRbIR)as;FnFan. b:uEnþmanKuNvibtiþmYyrYmKW ykcitþTukdak;tictYcdl;kargar rbs;RkumCagEdlmanÉkeTskmµnig nirnþrPaB. edIm,IeFIVeGayRbesIrbNþaKuNvibtiþ nig GPivDÄn_KuNsm,tiþ/ bNþaGñkerobcMplitkmµ dak;ecjviFIsaRsþerobcMplitkmµtamExScgVak;. lkçN³rbs;erobcMplitkmµtamExScgVak; RtUv)anbgðaj edayrUbPaB 4>3. edIm,IGnuvtþn_plitkmµtamviFIsaRsþExScgVak; eKEbgEcksMNg;CabNþa kMNat;kargar manviC¢aÉkeTskmµedayELk. kMNat;kargar ¬kargar¦ edayELknimYy² RtUv)an erobcMmYyRkummanviC¢aÉkeTsshsm<½nGnuvtþ. dUcenHbNþaRkumnwgbBa¢ÚnKña ¬cl½tKña¦eTAvijeTAmk bBa©b;kargarrbs;xøÜnBIsMNg; ¬kMNat;kargar¦ enHeTA sMNg;epSg²eTotrhUtdl;Gs;. elIrUbPaB 4>3 manbYnsMNg; A, B, C, D EdlmanlMnaM]sSahkmµsagsg;dUcKña. eyIgEbgEcklMnaM]sSahkmµenaHCabYnkargarmanCMnajÉkeTsepSgKña. bYnkargar
  • 79.
    CMBUkTI 5 RKb;RKgsMNg; eroberogeday³sYs cMerIn RKb;RKgsMNg;tamviFIsaRsþExScgVak; 77 enH)anbYnRkum 1, 2, 3, 4 Gnuvtþ. bNþaRkumTaMgbYnbBa¢ÚnKña Gnuvtþn_kargar rbs;xøÜntamlMnaMplitkmµ nig bBa¢ÚnBIsMNg; A eTA, B, C nigD. qøgtamrUbPaB 4>3 eyIgeXIjry³eBl T3 sMerckargarsagsg;TaMgbYnsMNg;xøI CagerobcMtamlMdab; T1 nig EvgCagerobcMplitkmµtamviFIsaRsþRsbKña T2 : T2 < T3 < T1 (3.3) cMENkcMNayFnFank_dUcKña/ bnßyPaBtwgEtgCageBlerobcMplitkmµtamviFIsaRsþ RsbKñanigx<s;CagerobcMtamlMdab;. Rc Rc Rc Rc Rmax Ra R t rUbPaB 4>3> erobcMplitkmµtamExScgVak; 4321 Tc Tc <T3 < M.Tc A B C D M sMNg; 4321 4321 4321
  • 80.
    CMBUkTI 5 RKb;RKgsMNg; eroberogeday³sYs cMerIn RKb;RKgsMNg;tamviFIsaRsþExScgVak; 78 R2 < Rtb < Rmax = M.Rc (3.4) dUcenH erobcMplitkmµtamviFIsaRsþExScgVak;KW EbgEcklMnaMplitkmµecjCakMNat; kargarmanÉkeTskmµedayELk nig erobcMRkummanviC¢aÉkeTsshsm<½n§Gnuvtþ dUcCaExScgVak;plitkmµmYyBIsMNg; ¬cMENkkargar¦enHbBa¢ÚnmksMNg; ¬cMENk kargar¦epSg²eTot. eBleFIVkargar ExScgVak; nwg RtUvrYmpSMCamYyKñatamry³eBl nig lMh tamviFImYyya:gsñiT§sñal. edayPaBcgsm<½n§ya:gsñiT§sñaldUcenH EdlviFIsaRsþerobcMplittamviFIsaRsþExScgVak;manKuNsm,tiþeRcIn naMmkvijnUv GtßRbeyaCn_elIesdækic©k¾dUcCasgÁm. 2. bNþa)a:ra:Em:Rtrbs;ExScgVak; erobcMplitkmµtamviFIsaRsþExScgVak; KWCaTMhMplitkmµEdlmankarcUlrYmya:gs¥itrmYt rvaglMnaM]sSahkmµ/ry³eBl niglMh. 1. )a:ra:Em:RtlMnaM]sSahkmµ • cMnYnsmasPaBExScgVak; (n) ³ enHKWCa RbePTkargarEdlRtUv)anEckecj edIm,IeFIVkargaredayÉkraCütamExScgVak;viC¢aÉkeTs. cMnYnsmasPaBExScgVak;GaRs½yelI lMnaM]sSahkmµplitkmµ nig GaRs½y edaykMriteFIVÉkeTskmµkñúgplitkmµ. ]sSahkmµsagsg;sµúKsµaj naMeGay cMnYnRkum ¬ExScgVak;smas b¤ ExScgVak;eTal¦ kan;EteRcIn. kMriteFIV ÉkeTskmµkan;EteRcIneFIVeGaycMnYnRkumEbgEckkan;EttUc. kñúgplitkmµkMriteFIVÉkeTskmµ kan;Etx<s; enaHKWKuNPaBkargar kan;Etl¥ b:uEnþerobcMkan;EtBi)ak nig EtgeFIVeGayry³eBlkMNt;RtUvGUsbNþay. CaFmµtaeKeRCIserIscMnYnkMNat;ExScgVak; ya:gNa FanakMriteFIVÉkeTskmµ
  • 81.
    CMBUkTI 5 RKb;RKgsMNg; eroberogeday³sYs cMerIn RKb;RKgsMNg;tamviFIsaRsþExScgVak; 79 caM)ac;CamYynigcMnYnExScgVak;ticbMputedIm,IkargarerobcMgayRsYl. Canic©kal kareRCIserIscMnYnkMNat;ExScgVak;RtUveyageTAnigplitkmµ. • brimaNkargar (Q) ³ KwbrimaNkargar EdlExScgVak;eTal RtUvGnuvtþelIlMhkMNt;mYy kñúgry³eBlmYykMNt;mun. brimaNkargarEtg sMEdgedaybrimaNBlkmµ/ vaGaRs½yedayeTAnigkMritCMnajbec©keTs nig kMritEbgEcklMhkargarrvagbNþaRkumnimYy². ExScgVak;mYymanskmµPaBl¥ eBlEdlbrimaNkargarRKb;RKan; b¤ elIsbnþic eFobeTAnigfamBlrbs;va edIm,IFanaExScgVak;eBlNak¾sMerc nig qøgputkMrit Epnkar.eyagelI brimaNkargareyIgeRCIserIsbuKÁlikrbs;Rkumplit. • plitPaBrbs;ExScgVak; (I) : KWCabrimaN plitplrbs;ExScgVak; kñúgmYyevneFIVkargar. plitPaBGaRs½yeTAnigfamBl plitkmµrbs; Rkumkargar. ebIsagsg;edayBlkmµenaHvaGaRs½y nigcMnYnkmµkr (N)/ cMENksagsg;edayynþkmµGaRs½ycMnYneRKOgcRkeFIVkargar(M) : I = N.S b¤ I = M.P (3.5) kñúgenaH³ S – bTdæaneFIVkargarrbs;kmµkr/ P – famBlRbtibtiþrbs;eRKOgcRk. 2. )a:ra:Em:RtlMh: eBlGnuvtþkargarTamTarlMhkMNt;mYy/ vasMEdgtambNþa )a:ra:EmRtlMh dUcCa TItaMgkargar/ bnÞat;kargar/ kMNat;kargar/ dMNak;kalsagsg;/ • TItaMgkargar (f): KWCacMgaylMhtUcbMput edIm,IkmµkreFIV kargar)angayRsYl/ suvtiþPaB/ manfamBl. TItaMgkargarGaRs½yeTAnig RbePTkargar/
  • 82.
    CMBUkTI 5 RKb;RKgsMNg; eroberogeday³sYs cMerIn RKb;RKgsMNg;tamviFIsaRsþExScgVak; 80 brikçarsMrab;sagsg; nig lT§PaBeFIVkargarrbs;kmµkr. eBl erobcMsagsg; nig eyIgeRCIserIsTItaMgkargarsmlµmKWmanlT§plbMput. ceg¥óteBk nwgfyfamBlgay)at;bg;suvtiþPaB/ TUlayeBkeFIVeGayry³eBl sagsg;RtUvGUsbnøayCYnkalfyfamBl. • bnÞat;kargar (F): KWCasMNMuénbNþaTItaMgkargarrbs;RbePTkargarnimYy². bnÞat;kargarman³ bnÞat;biT nig bnÞat;ebIk. bnÞat;ebIkKWCa bnÞat;GacBRgIkkargar)anPøam/ bnÞat;biTKWCa bnÞat;BRgIkkargar)an EtenAeBlkargarmun)anbBa©b;. • kMNat;kargar (j, m)³ KWCakMNat;sMNg;EdlRkumkargarmYy GacBRgIk/ bBa©b;kargarelIenaHedayÉkraCü/ GPivDÄn_eBjfamBl nig minraMgsÞHkargar rbs;GñkepSg. kñúgkarerobcMplitkmµExScgVak;/ kargareRCIs kMNat;kargar KWsMxan;Nas;/ vaCHTi§BledaypÞal;dl;KuNPaB k_dUcCael,Ónsagsg;. eRCIserIskMNat;kargar RtUvsmRsbniglMnaM]sSahkmµ/ sßabtükmµ/ eRKÓgbgÁúMsMNg; nig bMNgerobcMplitkmµ. rIÉlMnaM]sSahkmµRtUvFanakargar Gnuvtþn_sMerc)anKuNPaB/ brimaNsagsg;RtUvsmlµmgayGnuvtþ/ smRsb nigkMlaMgplitkmµEdlnigBRgIk.saßbtükmµRtUvFana)anesaP½NÐPaB. eRKOgbgÁúM RtUvFanabNþakMNat;sagsg;cb; eRKOgbgÁúMrwgmaM ebIQb;minmanTi§Bl dl;lT§PaBrgkMlaMg. cMENkÉ/ karerobcMplitkmµRtUvFanabrimaNkargarlµm nig kMlaMgplitkmµ nig ry³eBlsagsg;sMNg;TaMgmUl. brimaNkargarelI kMNat;nimYy²RtUv)anehAfakargarmYy/vaGacsagsg;/KNnaedayÉkraCü.
  • 83.
    CMBUkTI 5 RKb;RKgsMNg; eroberogeday³sYs cMerIn RKb;RKgsMNg;tamviFIsaRsþExScgVak; 81 • kMNak;kalsagsg;: KWCalMhtamkMBs; eBlsagsg; sMNg;mancMNuc Qb;tamkMBs;. kMNak;kalsagsg; EtgeRbIR)as;enAeBleFIVsMNg;eRcInCan; b¤eRKagsMNg;mankMBs;x<s;. 3. )a:ra:Em:Rtry³eBl ExScgVak;plitkmµbgðaj lMnaMbegáItecjplitplmYy/ vaEtgEtskmµ. skmµPaBenaH bgðajtambNþa)a:ra:EmRtry³eBl ³ ry³eBl / CMhan/ p¥ak nig ry³eBlkMNt; rbs;ExScgVak;. • ry³eBlrbs;ExScgVak; (tij) : KWCacenøaHeBleFIVskmµPaBrbs;ExScgVak; kMLúgeBl i elIkMNat; j ¬rUbPaB 4>4¦. tij = Qij / a.Nj (3.6) C • Module (K) ³ KWCacenøaHeBlExScgVak;eRCIserIs edIm,IeFIVeGayRbesIrbNþa )a:ra:Em:Rtry³eBl/ EtgCaéf¶eFIVkargar (K = 1; 2; 3). eKEtg eRCIserIs ry³eBltUcbMputrbs;ExScgVak;eFIVm:UDulxYb/ eBlExScgVak;manry³eBlesIµKña enaH Module (K) dUcKñaCamYynig (tij ≡ K) eBlenaH Éktary³eBleRbI K eFIVCaeKal. • CMhanrbs;ExScgVak; (K0i) : KWCacenøaHeBl BIcab;epþIm ExScgVak; ( i-1 ) dl;cab;epþImExScgVak; ( i ) enAkMNat;dMbUg. tij     i tij sMNg;¬kMNat;¦ j D C B A rUbPaB 4>4RkahiVkepþkrbs;ExScgVak;/     - Rkumplitkmµ ry³eBlsagsg; t
  • 84.
    CMBUkTI 5 RKb;RKgsMNg; eroberogeday³sYs cMerIn RKb;RKgsMNg;tamviFIsaRsþExScgVak; 82 cenøaHeBl rvagExScgVak;BIrCab;KñaelIkMNat;kargarEtmYyehAfa CMhanrbs; ExScgVak;enAkMNat;kargarenaH. cenøaHrvagxN³eBlcab;epIþm KWCaCMhancUl cMENkxN³eBlbBa©b;KWCa CMhanecj. rvagry³eBl/ CMhanecj/ CMhancUl manTMnak;TMng ³ tI-1;j + Kij out = tij + Kij in (3.7) kñúgenaH ³ ti-1;j nig tij KWCary³eBlExScgVak; i - 1 nig i enAkMNat;kargar j/ K0 n 1 1 ... m kMNat; K0 I-1 K0 I K0 I+1 rUbPaB 4>5> CMhanrbs;ExScgVak; i-11 i i+1 n i tI-1;j Kj I out t;ijKj I in rUbPaB 4>6> CMhanrbs;ExScgVak;elIkMNat;kargar kMNat;kargarj
  • 85.
    CMBUkTI 5 RKb;RKgsMNg; eroberogeday³sYs cMerIn RKb;RKgsMNg;tamviFIsaRsþExScgVak; 83 Kij out KWCaCMhanecjrbs;ExScgVak; i elIkMNat;kargar j/ Kij in KWCaCMhancUlrbs;ExScgVak; i elIkMNat;kargar j/ • p¥akkargar (Zj I,I+1 ) ³ KWCacenøaHry³eBlTMenrelIkMNat;kargar j rvagExScgVak; BIrbnþak;Kña nig minmanExScgVak;NamanskmµPaB. rUbPaB 4>7 p¥akkargar KWCacenøaHeBlGvtþmanrbs;mnusSelIkMNat;kargar. p¥akkargar ekIteLIgedayehtuplBIr³ bec©keTs nig erobcM. p¥akkargarbec©keTsKwedaytMrUvkarrbs;lMnaM]sSahkmµRtUvmancenøaHeBlenaH. p¥akkargarerobcMKwp¥akkargaredayerobcMplitkmµekIteLIg. 3. bgðajExScgVak;elIRkahiVk kñúgCMBUk 3 eyIg)andwgRbtiTinkargarGacbgðajtambIRbePT³ epþk/ eRTt/ bNþaj. eBlerobcMsagsg;tamExScgVak;KWRbtiTinkargar k¾GacbgðajtamTaMgbIRkahiVkenaH. 1. bgðajelIRkahiVkepþk Gk½Sry³eBlRtUv)aneRCIserIsKWCa Gk½Sedk edIm,IbgðajbNþa )a:ra:Em:Rt ry³eBl. )a:ra:Em:RtlMnaM]sSahkmµ RtUv)ansMEdgedaybnÞat;kargar. )a:ra:Em:RtlMh manBIrviFIbgðaj ³ viFITI 1 ¬rUbPaB 4>8¦ kMNat;kargarRtUv)an Rkum i Zj i, i+1 rUbPaB 4>7> p¥akkargarrvagExScgVak;BIrelIkMNat;kargar j kMNat;kargarj Rkum I+1 ry³eBlTMenr
  • 86.
    CMBUkTI 5 RKb;RKgsMNg; eroberogeday³sYs cMerIn RKb;RKgsMNg;tamviFIsaRsþExScgVak; 84 bgðajedayGk½SQr/ viFITI 2 ¬rUbPaB 4>9¦ kMNat;kargar RtUv)anbgðajedaykMNt;sMKal;elIbnÞat;kargar. elIrUbPaB 4>8 eyIgeXIjbNþaExScgVak; ¬kargar A, B, C, D¦ sMEdgeday bNþabnÞat;fñak;². fñak;nimYy² KWCamYykMNat;kargar/ RbEvgkMNat;elIfñak; nImYy² KWCary³eBlrbs;kMNat;enaH. sMNg;manb:unµankMNat;kargar enaHbnÞat;fñak; bgðajb:uNÑwg. dMeNIrkarsagsg;manb:unµansMNg; enaHmanbnÞat; fñak;b:uNÑwgEdr. RbtiTinkargarbgðajbnþ tam TaMgGk½SQr nig Gk½Sepþk. nirnþrPaBrbs;kargarRtUv)anbgðajedaybNþa bnÞat;P¢ab;dac;². 1 2 j m kMNat;kargar A B C D A B C D A B C D A B C D tAJ TBJ TCJ TDJ KoB KoC KoD T rUbPaB 4>8>RbtiTinkargarbgðajedayRkahiVkepþk
  • 87.
    CMBUkTI 5 RKb;RKgsMNg; eroberogeday³sYs cMerIn RKb;RKgsMNg;tamviFIsaRsþExScgVak; 85 elIrUbPaB 4>9 Gk½SQrminbgðajkMNat;kargar)an b:uEnþbgðajkargar/ kargar nimYy²sMEdgedaybnÞat;Rtg;mYy/ RbEvgrbs;bnÞat;nimYy²bgðajGMBIry³eBl kMNt;eFIVskmµPaBrbs;RkumCageFIVkargarenaH. elIRbtiTinkargarmanb:unaµn RbePTkargar enaHmanbnÞat;kargarbgðajb:uNÑwg. edIm,IkMNt;sMKal; (distinctions) ry³eBlrbs;ExScgVak;smas eKkt;sMKal;elIbNþabnÞat; Edl)anbgðaj. Ca]TahrN_ A1, A2, …, Aj KWCakargar A eFIVelIbNþakMNat; kargar 1, 2, …j / RbEvgrbs;bNþakMNat; KWCary³eBlrbs;ExScgVak;elI kMNat;enaH. 2. bgðajedayRkahiVkeRTt elIRkahiVk ry³eBlbgðajedayGk½Sepþk cMENkkMNat;kargarbgðajeday Gk½SQr/ bNþakargarRtUv)anbgðajedaybnÞat;EdlvivDÄn_tamTaMgBIrTis nig ry³eBlbegáIt)anCabnÞat;eRTt. kargar ¬ExScgVak;smas¦ nimitþsBaØaeday (i) cMENkkMNat;kargarKW (j). cMeNalrbs;bNþaExScgVak; A B C D kargar A1 A2 Aj Am B1 B2 Bj Bm C1 C2 Cj Dm D1 D2 Dj Dm tAJ tBJ tCJ tDJ KoB KoC KoD T rUbPaB 4>9> RbtiTinkargarbgðajedayRkahiVkepþk
  • 88.
    CMBUkTI 5 RKb;RKgsMNg; eroberogeday³sYs cMerIn RKb;RKgsMNg;tamviFIsaRsþExScgVak; 86 elIGk½SepþksmmUlnigkMNat;kargarnimYy² KW ry³eBl (tij) rbs;ExScgVak;elI kMNat;kargarenaH. elIRkahiVk eyIgeXIjCMhanrbs;ExScgVak; (Koi) k¾dUcCa CMhancUl/ CMhanecj rbs;bNþaExScgVak;elIkMNat;kargarnimYy². dUecñH bgðajExScgVak;edayRkahiVkeRTt KWc,as;las; nig RKb;RKan;bMput. elIRkahiVk eyIgeXIjkarvivDÄn_rbs;RkumCag nig bNþacMNucRtUvRby½tñ ¬cab;epþIm/ ecjcUl nig bBa©b;¦ eBlRbtibtiþplitkmµ. edayehtuenH RbRktiTinkargar plitkmµtamExScgVak;EtgbgðajedayRkahiVkeRTt. 3. bgðajedayDIya:RkambNþaj ExScgVak; bgðajedayDIya:RkambNþaj manlkçN³sµúKsµajeRcIn b:uEnþCak; c,as; ehIyeyIgeFIVkarsikSaenACMBUkeRkay. m j 2 1 KMNat;kargar K02 K0i K0n tn1 t11 Z2i 1 Z12 2 Z12 m Z1n m K2in m 1 2 i n K2out m rUbPaB 4>10>RbtiTinkargarbgðajedayRkahiVkeRTt
  • 89.
    CMBUkTI 5 RKb;RKgsMNg; eroberogeday³sYs cMerIn RKb;RKgsMNg;tamviFIsaRsþExScgVak; 87 4. bNþaCMhanbegáItExScgVak;sagsg; begáItExScgVak;plitkmµ sMxan;KwbegáItEpnkarplitkmµbgðajtamRbtiTinkargar kñúgenaHeKykcitþTukdak;Gnuvtþ bNþak,Ünc,ab;rbs;ExScgVak;. CaFmµta/ eBlbegáItExS bBa¢ÚnsMNg;mYyeKGnuvtþ bNþaCMhandUcxageRkam ³ ¬rUb 4>11¦. CMhanTI 1 ³ viPaKlMnaM]sSahkmµsagsg;Ep¥kelIbNþakarkMNt;rbs;KNnasagsg; viPaKdMeNIrkarbec©keTsGaceRbIR)as;edIm,Isagsg;sMNg;. rkTMnak;TMng GMBIlMnaM]sShkmµ EdlGñkRKb;RKgplitkmµRtUvGnuvtþn_tam kñúgenaHcab; GarmµN_dl;TMnak;TMng ³ p¥akkargarbec©keTs. bNþaeRKOgcRkbrikçarnwg RtUveRbIR_)as;eBlsagsg;. CMhanTI 2 ³ kMNt;kMritÉkeTskmµedIm,IbegáItlMdab;erogkargar elImUldæanviPaKlkçN³sm,tiþlMnaM]sSahkmµ eKEckdMeNIrkarsagsg; CalMnaMsmas. bNþalMnaMsmas RtUvsagsg;edayÉkraCü enATItaMg epSg²KñaelIsMNg;. BYkvaRtUv)anGnuvtþn_tamlMdab;lMeday]sSahkmµ kMNt;. eTAtamTMhMrbs;sMNg; EdlbNþalMnaMsmas mankMritEbgEck tUc²epSgKña. lT§plEbgEckkargar eyIgbegáIt)anlMdab;erogkargar sagsg;. CMhanTI 3³ kMNt;bNþa)a:ra:Em:RtlMnaM]sSahkmµ begáItRkumplitkmµ manviC¢aÉkeTskmµsmRsb CamYynig bNþalMnaM plitkmµ begáIt)anCabNþaExScgVak;smas. bNþaExScgVak;smas TaMgenaH nwg GnuvtþEbgEckkargartamlMdab;lMedaybnþbnÞab;KñaBI TItaMgenHmkTItaMgbnþbnÞab;eTot.
  • 90.
    CMBUkTI 5 RKb;RKgsMNg; eroberogeday³sYs cMerIn RKb;RKgsMNg;tamviFIsaRsþExScgVak; 88 Start viPaKlMnaM]sSahkmµsagsg;sMNg; begáItlMdab;kargar begáItbNþaRkumplitkmµCMnaj EbgEcképÞsagsg; kMNt;ry³eBlrbs;ExScgVak; TMnak;TMngExScgVak;tamry³eBl nig lMh KNnabNþatMrUvkarrbs;ExScgVak; vaytMéltMrUvkar bgðajedaytaragRbRktiTinkargar begIþttaragtMrUvkarFnFan End + -
  • 91.
    CMBUkTI 5 RKb;RKgsMNg; eroberogeday³sYs cMerIn RKb;RKgsMNg;tamviFIsaRsþExScgVak; 89 eyagtamkMritEbgEckbNþalMnaM plitkmµ EdlmankMritCMnajÉkeTs rbs;bNþaRkum ³ RkumÉkeTs/ rYmpSM b¤ BhuCMnaj. CMnajÉkeTs nig BhuCMnajrbs;RkumCag KWCabBaðaBIr rbs;erobcMRKb;RKg. begáInEpñkNa edIm,IsMerc)anlT§plplitkmµ KWCa karqøatévrbs;GñkerobcMRKb;RKg plitkmµ. eRkaymkkMNt; rbbeFIV kargarrbs;RkumCagtamviFI )ansÁal;. CMhanTI 4³ kMNt;)a:ra:Em:RtlMh elImUldæanviPaKlkçN³edayELkrbs;sMNg; ¬sßabtükmµ/ eRKOgbgÁúM/ smßPaBBlkmµ nig lMnaMbec©keTssagsg;¦ eyIgEbgEcképÞsagsg;Ca kMNat;kargar. karEbgEckkMNat;kargarRtUvRsbCamYynigbec©keTs nig RKb;RKgsagsg;. CMhanTI5 ³ kMNt;)a:ra:Em:Rtry³eBl/ kMNt;ry³eBlrbs;ExScgVak; elImUldæanEbgEckkMNat;kargar nig erobcMRKb;RKgrbs;ExScgVak; eyIg kMNt;ry³eBlrbs;BYkvaEp¥kelIrUbmnþ³ ¬eBlsagsg;edayBlkmµ¦ tij = Qij / a.Ni b¤ ¬eBlsagsg;edayynþkmµ¦ tij = Qij / a.Mi kñúgenaH ³ tij - ry³eBlrbs;ExScgVak; elIkMNat;kargar / Qij - brimaNkargarKittam éf¶Blkmµ ¬Blkmµ¦b¤ evn ¬ynþkmµ¦/ a - cMnYnevneFIVkargarkñúgmYyéf¶¬rbbeFIVkargar¦/ NI, Mj - cMnYnkmµkr/ cMnYneRKOgeFIVkargarenAExScgVak; i/
  • 92.
    CMBUkTI 5 RKb;RKgsMNg; eroberogeday³sYs cMerIn RKb;RKgsMNg;tamviFIsaRsþExScgVak; 90 CMhanTI6 ³ sg;ExScgVak;mann½yfacgsm<½n§bNþaExScgVak;tamry³eBl nig lMh eRkayeBlkMNt;)anbNþa)a:ra:Em:Rtrbs;ExScgVak;kargarsg;ExScgVak;KWCa karcgsm<½n§bNþaExScgVak;eTalCamYyKña begáIt)anExScgVak;plitkmµ. kargarcgsm<½n§bNþaExScgVak;eTal bgðajtambNþa)a:ra:Em:Rt lMh nig ry³eBlelIeKalkarN_BIr³ lMnaM]sShkmµnig erobcMRKb;RKgExScgVak;. eKalkarN_lMnaM]sSahkmµ KWExScgVak;rYmpSMCamYyKña tamlMdab;erog ]sSahkmµ/ FanalMnaMbec©keTs edIm,IviFIsaRsþmanlT§PaBsMerckargar. cMENkeKalkarN_erobcMRKb;RKg³ KWExSbBa¢ÚeFIVkarrnþM mann½yfaeFIVkar CamYynigplitPaBefr/ kñúgry³eBlmYydUcKña ExScgVak;eRbIR)as;FnFan dUcKña/ plitecjnUvplitplesµIKña. CMhanTI 7 ³ KNnabNþatMrUvkarrbs;ExScgVak; enACMhanTI 6 eyIgmanExScgVak;plitkmµmYy ¬sagsg;sMNg;¦ tam eKalkarN_lMnaM]sSahkmµ nig erobcMRKb;RKg dak;ecj. CaFmµta ExScgVak;dMbUgEdl)anbegáIt minTan;bMeBj)anPøamnUvbNþatMrUvkarrbs; Gñksagsg; edIm,IvaytMélva eKGnuvtþn_KNnabNþatMrUvkardak;ecj. bNþatMrUvRtUvKNnaKW ry³eBleFIVskmµPaBrbs;ExScgVak;/ esßrPaB/ PaBrnþM/ plitPaB/ tMrUvkarGMBIFnFanmFüm nig xN³eBlx<s;bMput>>>. CMhanTI 8 ³ vaytMélbNþatMrUvkarrbs;ExScgVak;)anbegáIt bNþatMrUvkarrbs;ExScgVak;)anbegáIt caM)ac;RtUv)anvaytMéledayviFIeRbob eFob eTAnigbNþatMrUvkardak;ecj ¬rbs;m©as;vinieyaK/ Gñksagsg;¦. ebI tMrUvkardMbUgRKb;RKan;
  • 93.
    CMBUkTI 5 RKb;RKgsMNg; eroberogeday³sYs cMerIn RKb;RKgsMNg;tamviFIsaRsþExScgVak; 91 enaHExScgVak;EdleTIbbegáIt)an GackøayCa RbtiTinkargarmankarTTYlsÁal; ¬eBlRtUv)anTaMgBIrPaKI :k : nig :x : BinitüsMerc¦. ebIbNþatMrUvkarminGacsmRsbCamYytMrUvkardak;ecj enaHExScgVak;RtUv )anEktMrUv eGaysmRsbtamlMnaMxageRkam. CMuTI1 ³ sg;eLIgvijExScgVak;tamviFIbþÚrkarcgsm<½n§énlMh nig ry³eBl eBllkçxNÐGnuBaØati. qøgtamry³enaH bNþatMrUvkarrbs; ExSbBa¢Úúnplitkmµpøas;bþÚredayTItaMg rbs;ExScgVak;smasbþÚrnUv brimaN cMENkKuNPaBrkSaenAdEdl. dUcenH CMuTI1 enH eyIg ehAfaCMuEktMrUverobcMRKb;RKg ebICMuTI1 enAEtminRKb;RKan;/ eyIgRtUvGnuvtþn_EktMrUvCMuTI2. CMuTI2 ³ EktMrUvplitPaBrbs;bNþaExScgVak;edayvIFIEfmfyBlkmµ/ eRKOgcRkrbs;Rkumplitkmµ. ebItamCMuTI2 enAEtminTan;bMeBj )antMrUvkardak;ecj eyIgRtUvGnuvtþn_CMuTI3³ CMuTI3 ³ EktMrUvviFIsaRsþerobcMbec©keTsedayviFIbþÚrkMritCMnajÉkeTs ehIyQandl;bþÚrEbgEcklMh ¬kMNat;/ dMNak;kal¦ eFIVeGay ExScgVak;plitkmµpøas;bþÚreRcIn eRBaHbNþa)a:ra:Em:RtmUldæanbþÚr. CMhanTI 9³ bgðajedayRbtiTinkargar eBltMrUvdak;ecjRtUvExScgVak; Edl)anbegáItbMeBj)an enaHExScgVak; plitkmµenaH GacbþÚrmkRbtiTinkargarmankarTTYlsÁal; ¬eBlRtUv)an TaMgBIrPaKIRsuHRsYl dak;cUlkñúgxøwmsarénkic©snüa esdækic©- bec©keTs¦.
  • 94.
    CMBUkTI 5 RKb;RKgsMNg; eroberogeday³sYs cMerIn RKb;RKgsMNg;tamviFIsaRsþExScgVak; 92 ExScgVak;RtUv)anbþÚrmkRbtiTinkargar edayviFIP¢ab;vaeTAnigeBlevla kMNt;. bNþaxN³eBlrbs;kargar ¬epþIm - bBa©b;¦ ry³eBlsagsg; RtUv)anbgðajelIGkSry³eBlenaH . bNþaExScgVak;smas RtUv)anbgðaj edaybNþabnÞat;Edlcab;epþImBIxN³eBleFIVkargarbnþKñardwk dl;bBa©b; kargarrbs;va. edayehtuenH karRbKl;EpnkarN_eGayRkumplitkmµ manlkçN³sam½BaØnig mansar³RbeyaCn_. CMhanTI 10 ³ begáIttaragpÁt;pÁg;FnFan dUcral;Epnkarplitkmµ/ kargarpÁt;pÁg;l¥KWCabBaðacaM)ac; edIm,IdMeNIr -kar sagsg;cMEpnkar/ BiessKW eBlerobcMplikmµtamExScgVak;. bNþa taragrbs;ExScgVak;GacCa karpÁt;pÁg; sMPar³/ Blkmµ/ eRKOgcRk/ plitPaB nig fvikar .l. 5. c,ab;rbs;ExScgVak;eTal ¬smas¦ c,ab;ExScgVak;KWCa karbgðajcMNgrvagbNþa)a:ra:Em:Rtrbs;BYkva/ CaFmµtabgðajBI ry³eBlkMNt;eFIVskmµPaBrbs;ExScgVak;. elIrUbPaB 3>11 eyIggayeXIjry³eBl eFIVskmµPaB ti rbs;ExScgVak;eTalrnþMnig minrnþM. 2 m j 1 KMNat;kargar k ti1 ti2 tij Tim k k k T = m.k ti1 ti2 tij Tim k k k 2 m j 1 KMNat;kargar k T = k k k k
  • 95.
    CMBUkTI 5 RKb;RKgsMNg; eroberogeday³sYs cMerIn RKb;RKgsMNg;tamviFIsaRsþExScgVak; 93 eyIgmanrUbmnþ ³ kmti .= ∑= = m j iji tt 1 dUcenHExScgVak;manesßrPaBKW ³ constPNIi == . nig i ij i ijij ij N Q PN V I V t === . / kñúgenaH ³Vij, Qij – brimaNkargar nig brimaNBlkmµ i elIkMNat;kargar j, P- smßPaBBlkmµrbs;mnusSmñak; ¼ éf¶/ eBlExScgVak;rnþMeyIgman ³ const N Q t i ij ij == eRBaH ³Nj = const enaH , Qij = const, mann½yfacg;)anExScgVak;rnþM brimaNkargarelIbNþakMNat;kargaresµIKña. Cak;EsþgeBlbrimaNkargareRkam 25° eyIgGaccat;TukdUcCary³eBlsagsg; esµIKña. mann½yfa Qij ≠ const enaH tij ≠ const/ eyIgmanExScgVak;minrnþM. ry³eBleFIVskmµPaBrbs;ExScgVak;eTalGacsMEdgedayrUbmnþxageRkam/ ExScgVak;rnþM³ i ij i N Qm kmt . . == ExScgVak;minrnþM ³ i m j ijm j ijij N Q tt ∑ ∑ = = == 1 1
  • 96.
    CMBUkTI 5 RKb;RKgsMNg; eroberogeday³sYs cMerIn RKb;RKgsMNg;tamviFIsaRsþExScgVak; 94 ya:gNamij eyIgk¾GackMNt;cMnYnkmµkrrbs;ExScgVak;smmUl³ i i i t QM N . = b¤ i m j ij i t Q N ∑= = 1 / kñúgenaH ³ M,Qi, ∑= m j ijQ 1 - brimaNsrubkargarrbs;ExScgVak; i/ 6. c,ab;rbs;ExScgVak;ÉkeTsrnþM eBlerobcMExScgVak;ÉkeTsmYy manry³eBlrbs;bNþaExScgVak;smasminERbRbYl nig esµIKña eyIgmanExScgVak;rnþM. eBlenaH eyIgman³ ti = const ∀ i, j mann½yfa³ const I V t i ij ij == tameKalkarN_ erobcMExScgVak;KW I = const ¬plitPaBefr¦ naMeGay constVij = dUcenHlkçxNÐ EdlGac)anExScgVak;rnþM KWCa brimaNkargarelIkMNat;kargarRtUv esµIKña. kñúgkargarCak;Esþg brimaNkargarelIbNþakMNat;kargarmaneBlxøHxusKña. ebIPaBxusKñaenaHeRkam 20° eyIgk¾Gaccat;TukfaCaesµIKña eRBaHeyIgGacbegáIn plitPaB edIm,Iry³eBlminmanERbERbYl. edayry³eBlrbs;ExScgVak; minERbRbYl nig esµIKña enaHeyIgGacykry³eBlrbs; ExScgVak;eFIVCa m:UDulxYb ¬ tij = K ¦. dUcenH elIRkahiVk/ Éktary³eBlKW K ¬rUbPaB 4>12¦.
  • 97.
    CMBUkTI 5 RKb;RKgsMNg; eroberogeday³sYs cMerIn RKb;RKgsMNg;tamviFIsaRsþExScgVak; 95 elIrUbPaB 4>12 eyIgfa ry³eBlkMNt;rbs;ExScgVak; KWCa cenøaHeBlBeRgIkkargar bNþaExScgVak;smas ¬T1¦ bUkCamYynigskmµPaBrbs;ExScgVak;eTalcugeRkay tn. eyIgmanrUbmnþ³ T = T1+tn müa:geTot³ T1- enAehAfaxYblMnaM]sSahkmµplitkmµeBlenaHnimitþsBaØaCa τ/ Tn - enAehAfary³eBlbegáItecjplitplrbs;ExScgVak;. eBlrvagbNþaExScgVak;smasminmankarp¥akkargar/ tameKalkarN_enaHCMhanrbs; ExScgVak;cMesµIry³eBlrbs;ExScgVak; (K0=K)> dUcenH ³ τ = T1 = (n-1).k tn = m.k T = (m+n-1).k eBlrvagExScgVak;mYyBIrmankarp¥akkargarbec©keTs ¬rUbPaB 4>13¦enaH kMNat;kargar rUbPaB 4>12 ExSbBa¢ÚnrnþM
  • 98.
    CMBUkTI 5 RKb;RKgsMNg; eroberogeday³sYs cMerIn RKb;RKgsMNg;tamviFIsaRsþExScgVak; 96 ∑ + +−== 1, 1 ).1( ii ZkmT τ ry³eBlkMNt;rbs;ExScgVak; nwg GnuvtþtamrUbmnþ³ ∑ + +−+= 1, ).1( ii ZknmT kñúgenaH³ ∑ +1,ii Z - karp¥akkargarrvagbNþaExScgVak;eTal i nig i+1. Blkmµrbs;bNþaExScgVak;eTalkMNt;tamrUbmnþ³ K Q K SV N ijiij i == . b¤ i i i ij i t Q Km Qm N == . . kñúgenaH³ Vij, Qij - brimaNkargar nig brimaNBlkmµrbs;kargar i elIkMNat;kargar j / Si- bTdæankargarrbs;kargar i. dUcenH cMnYnBlkmµGtibrma RtUvkarsMrab;ExScgVak;ÉkeTs KWcMnYnBlkmµsrubrbs; ExScgVak;eTas K Q NN n i ijn i i ∑ ∑ = == 1 max b¤ ∑ ∑ = == n i i n i i i t Q t Q N 1 1 max eBlExScgVak;minmankarp¥akkargar ¬rUbPaB 4>12¦ eyIgman³ KnKT n ini )1( 2 1.0 , 1 −== ∑ eBlExScgVak;minmankarp¥akkargar ¬rUbPaB 4>13¦eyIgman³ ∑∑ +−== = ZKnKT n i ini )1( 2 1.0 , 1 rUbPaB 4>13 ExScgVak;rnþM nig karp¥akkargar kMNat;kargar
  • 99.
    CMBUkTI 5 RKb;RKgsMNg; eroberogeday³sYs cMerIn RKb;RKgsMNg;tamviFIsaRsþExScgVak; 97 eBlExScgVak;minmankarp¥akkargar ¬rUbPaB 4>12¦ eyIgman³ KnKT n i outi m )1( 2 , .03 −== ∑= eBlExScgVak;minmankarp¥akkargar ¬rUbPaB 3>13¦eyIgman³ ∑∑ +−== = ZKnKT n i outi mo )1( 2 , .3 7. karvaytMélExScgVak; dUceyIg)andwgExScgVak;plitkmµsMNg; kan;EteFIVskmµPaBEvgkan;EtTTYllT§pll¥. edIm,IvaytMél b¤ eRbobeFobExScgVak; eKdak;ecjbNþatMélCamUldæandUcxageRkam³ • tMélesßrPaB α rbs;ExScgVak;³ vas;edaysmamaRtrvagry³eBlExScgVak; esßrPaB CamYynigry³eBlsrubrbs;va³ T T2 =α RbRktiTinkargar/ RkahiVkBlkmµ cMnYnmnusS kMNat;kargar rUbPab 4>14 karGPivDÄn_rbs;ExSbBa¢Ún
  • 100.
    CMBUkTI 5 RKb;RKgsMNg; eroberogeday³sYs cMerIn RKb;RKgsMNg;tamviFIsaRsþExScgVak; 98 CamYynigExScgVak;ÉkeTsrnþM eyIgeXIj 1 1 −+ +− = nm nm α • tMélsMrab;eFIVeGayRbesIrcMNayFnFanβ ³ vas;edaysmamaRtrvagkMrit cMNayFnFanmFüm eFobCamYynigbnÞat;Gtibrma. CaFmµtaeKeRbIRkahiVk BlkmµedIm,IvaytMél. maxN Na =β kñúgenaH³ Na - cMnYnBlkmµmFümeRbIR)as;kñúgExScgVak;/ Nmax - cMnYnBlkmµGtibrmaEdlkñúgExScgVak;eRbIR)as;. eBlExScgVak;rnþM eyIgmanRkahiVkBlkmµ dUcelIrUbPaB 4>15 1−+ = nm m β tMélrbs; α nig β kan;EtFMenaHExScgVak;kan;EtmanesßrPaB nig RbesIr. ehIyeyIgeXIjfa α nig β Canic©kaltUcCag 1. BYkvaesµI 1 EteBlNa m xitCit ∞ . rUbPab 4>15 RkahiVkBlkmµrbs;ExScgVak;rnþM
  • 101.
    CMBUkTI 5 RKb;RKgsMNg; eroberogeday³sYs cMerIn RKb;RKgsMNg;tamviFIsaRsþExScgVak; 99 :1<α ehtuenHGaceXIjfa m kan;EtFMenaHExScgVak;kan;EtRbesIrCageK. 8. c,ab;rbs;ExScgVak;rnþMxusrag ExScgVak;ÉkeTskmµmanExScgVak;smasrnþM b:uEnþkñúgenaHmanExScgVak;mYycMnYn ry³eBl rbs;BYkvaKWKuNEfmcMnYnrbs;ry³eBlrbs;bNþaExScgVak;epSg². consttij = eday ∀ i ijrj tct .= eday ir ≠ elIrUbPaB 4>16 BIBN’naExScgVak;rnþMxusrag. bNþaExSbBa©Ún 1, 2, ,…, i, n, manry³eBlesµIKñanig esµI K/ edayELkExScgVak;r manry³eBl 2K . edaymanExScgVak;xusrag dUcenHrvagBYkvaekIteLIgnUv karsMrakkargar Z0 EdleFIV eGayry³eBlkMNt;rbs;ExScgVak;RtUvGUsbnøay. 0).1( ZKnmT +−+= T=(c.m+n-1).k Zo k m 3 2 1 kMNat;kargar kkk k j kk 1 Zo k kkkk k 2 kk kk k r i kk n rUbPaB 4>16>ExSbBa¢ÚnrnþMxusrag
  • 102.
    CMBUkTI 5 RKb;RKgsMNg; eroberogeday³sYs cMerIn RKb;RKgsMNg;tamviFIsaRsþExScgVak; 100 mKKcZ )..(0 −= )().1( mcmKKnmT −+−+= KncmT ).1( −+= qøgtamrUbmnþxagelI eyIgeXIjfa eFobCamYynigExScgVak;rnþMry³eBlkMNt;rbs; ExScgVak;rnþMxusrag EbCaGUsbNþayeBlevla Z0. Z0 smamaRtCamYynig m. dUcenH m kan;EtFM enaHry³eBlkMNt;kan;EtGUsbNøayEfmeTot bgÁeGay)at;bg;pl RbeyaCn_sMrab;plitkmµ. dUcenHedIm,I bnßydl;PaBKµanGtßRbeyaCn_enaH eyIgrkviFIedaHRsaykarp¥akEbbenaH. eRBaH ijrj tct .= i ij r rj N Qc N Q . = ij i ij r rj t N Q Nc Q == . mann½yfa cg;bnßyry³eBlrbs;ExScgVak; r eGaycuHesµIry³eBlExScgVak;epSg eyIg RtUvbegIÁIncMnYnBlkmµeLIg c dg. b:uEnþerOgenH minGac)aneT eRBaHépÞsagsg;min GnuBaØateGay. viFIl¥bMputedIm,I bnßyeGayxøIry³eBlkarp¥akkargarKW tulüaPaBExScgVak; eday viFIsaRsþerobcMRKb;RKg. krNItulüPaBtamry³eBlelOn vIFITI 1³ erobcMRKb;RKgRkumeFIVkargarRsbKña ¬rUbPaB 4>17¦
  • 103.
    CMBUkTI 5 RKb;RKgsMNg; eroberogeday³sYs cMerIn RKb;RKgsMNg;tamviFIsaRsþExScgVak; 101 a, b rb k T=(m+n'-1).k=(m+n+c-2).k m 3 1 2 kMNat;kargar kkk k j edayBIrRkum k k ra rb ra 1 k c=2 k eFIVkargarRsbKña kk k rb ra 2 ra kk i n rb rUbPaB 4>17>tulüPaBExSbBa¢ÚnrnþMxusrag ExSbBa©ún r manry³eBl 2K cg;eGaymantulüPaBry³eBlCamYyExScgVak;epSg eyIgerobcMExScgVak; r CaBIrExScgVak; ra nig rb eFIVkargarRsbKña. ExScgVak; a eFIVkargarenAbNþakMNat;kargaress nig ExScgVak; c eFIVkargarenAkMNat;kargarKU. eBlenaHbNþaExScgVak; r minmankarp¥akkargar. ry³eBleFIVkargarrbs;ExScgVak;KW³ KnmT ).1'(' −+= 1' −+= cnn kñúgkrNIrUbPaB 3>17 eyIgman³ 112' +=−+= nnn CMnYscUleyIg)an³ KnmT ).(' +=
  • 104.
    CMBUkTI 5 RKb;RKgsMNg; eroberogeday³sYs cMerIn RKb;RKgsMNg;tamviFIsaRsþExScgVak; 102 dUcKñacMeBaHkrNI c=3 eyIgerobcMCa 3 ExScgVak; a, b, c eFIVkargarRsbKña ¬rUbPaB 3>18¦³ kñúgkrNIenH ³ 21' +=−+= ncnn eyIgman ³ KnmT ).1(' ++= edIm,IgayRsYlExScgVak;smasmYy manry³eBlrnþMxusrag ck enaH erobcMCa c Rkum eFIVkargarRsbKña. ry³eBlrbs;ExScgVak;eRkayeBlmantulüPaBKW .)2(' KcnmT −++= ry³eBlbnßyeGayxøI)an edayehtu tulüPaBExScgVak;KW³ 'TTT −=∆ CMnYscUlrUbmnþxagelI eyIg)an³ KcnmKncmT )2()1( −++−−+=∆ )1)(1(]1)1[( −−=+−−=∆ cmKKcmcT eBlmantulüPaBtamviFIerobcMRkumeFIVkargarRsbKña BlkmµeFIVkñúgExScgVak; nwgekIn EfmesµI cMnYnBlkmµeFIVkargarRsbenARkumenaH.
  • 105.
    CMBUkTI 5 RKb;RKgsMNg; eroberogeday³sYs cMerIn RKb;RKgsMNg;tamviFIsaRsþExScgVak; 103 ra a, b, c rUbPaB 4>18> ExSbBa¢ÚnrnþMxusrag k T=(m+n'-1).k=(m+n+c-2).k m 3 2 1 kMNat;kargar kkk k j edaybIRkum kk ra rb rc 1 kkk eFIVkargarRsbKña kk c=3 k rc rb 2 ra kk rb i n viFITI 2³erobcMRKb;RKgeFIVbEnßmevn enAExScgVak;rnþMxusrag¬rUbPaB 4>19¦ tamviFIenH bNþaExScgVak;FmµtaeFIVkargar 8ema:g¼éf¶/ edayELkExScgVak;rnþMxusrag erobcMc Rkum eFIVkargar c evnkñúgmYyéf¶. kMNat;kargar ExSbBa¢Ún eFIVkargar 2 Evn¼éf¶ ExSbBa¢Ún eFIVkargar 1 Evn¼éf¶ rUbPaB4>19> erobcMeFIVkargarEfmevn T=(m+n-1).k t.n c k (n-1).k k k 3 s kk 1 2 s c c s c j m k r 1, i, n s c s c c k s s 1 kkk s c s k c s c s r i n c dUcenHelIral;kMNat;kargar eBlNak¾manEtmYyRkumeFIVkargar FanaépÞsagsg;. dUcenH ry³eBlrbs;ExScgVak;xøICag c dg nig mantulüPaBry³eBlCamYyExScgVak; EdlenAsl;.
  • 106.
    CMBUkTI 5 RKb;RKgsMNg; eroberogeday³sYs cMerIn RKb;RKgsMNg;tamviFIsaRsþExScgVak; 104 ry³eBlxøIeRkayeBlbnßyry³eBleGayenAxøIKW³ KnmKnmcTTT ).1().1.(' −+−−+=−=∆ mKcT )1( −=∆ mantulüPaBry³eBlelOntamviFIerobcM c eFIVeGayTan;eBlevla ExScgVak;Gnuvtþn_ )anEteBl c = 2 b¤ 3. krNI c>3 minGacGnuvtþn_)aneRBaHéf¶eFIVkargar # evn KWGtibrma.
  • 107.
    CMBUkTI 6 RKb;RKgsMNg; eroberogeday³sYs cMerIn RKb;RKgsMNg;tamDIya:RkambNþaj 105 CMBUkTI 6 begáItRbtiTinkargartamviFIsaRsþdüaRkambNþaj I. niymn½y 1.1. kargar³ KWCalMnaMsagsg;sßitenArvagRBwtiþkarN_BIr/ RtUv)anbgðajedayRBYj (arrow) nig nimitþsBaØaedaybNþaelxerogrbs;RBwtiþkarN_BIr mun nig eRkay. cMNaM³ lMdab;erogkargarRtUvFana i<j. mankargarbIRbePTdUcxageRkam³ A. kargarBit³ KWCalMnaMsagsg;RtUvkarry³eBl/ Blkmµ/ ynþkmµ nig sMPar³. vaRtUv)ansMEdgedayRBYjCab;Kña/ eQµaHkargarsresrenAxagelI nig ry³eBleFIVeGaycb;kargarRtUv)ansresenAxageRkamRBYj. 2 8 éf¶ rUbPaB 2 1 CIkdI rUbPaB 1 kargar i-j ji
  • 108.
    CMBUkTI 6 RKb;RKgsMNg; eroberogeday³sYs cMerIn RKb;RKgsMNg;tamDIya:RkambNþaj 106 B. kargarnimitþ³ manEtcMNgTak;TgGMBIbec©keTsrvagkargarBIr b¤ eRcIn. vaelIkeLIgnUvkarcab;epþIm nig bBa©b; rbs;kargarepSg² ¬dUcCa kargar tubEtgbegðIykñúglMenAdæanRtUveFIVeRkayeBlkargarRbk;)anbBa©b;¦/ kargar nimitþminTamTarTaMgBlkmµTaMgsMPar³ehIyvaRtUv)anbgðajedayRBYjdac;². C. kargarrg;caM³ KwkargarRtUvkarcaM)ac;Etry³eBlEdlminRtUvkarBlkmµ/ sMPar³ ¬dUcCa kargarrg;caMsm¶Ütrbs;RsTab;bUkeRkA b¤ rg;caMPaBrwgmaM rbs;ebtugsrésEdk¦. vaRtUv)anbgðajedayRBYjCab;Kña. 1.2. RBwtiþkarN_³ KWCakarcab;epþIm b¤ bBa©b;rbs; mYy b¤ BIrbIkargar. elIdüaRkam bNþaj/ bNþaRBwtiþkarN_bgðajedayrgVg;mUledaydak;eQµaHtamelxerog (0-n). eKmaneRcInRbePTRBwtwþkarN_³ 21 rUbPaB 3 rUbPaB 6rUbPaB 5rUbPaB 4 RBwtiþkaN_cab;epþIm RBwtiþkaN_samBaØ RBwtiþkaN_bBa©b; 0 i n
  • 109.
    CMBUkTI 6 RKb;RKgsMNg; eroberogeday³sYs cMerIn RKb;RKgsMNg;tamDIya:RkambNþaj 107 1. RBwtþikarN_cab;epþIm³ KWCaRBwtiþkarN_ EdlmunvaminmanRBYjcUleTA enaH KW cMNuccab;epþImsagsg;sMNg;. 2. RBwtiþkarN_samBaس KWCaRBwtiþkarN_ manTaMgRBYjcUleTA manTaMgRBYj cakecj. 3. RBwtiþkarN_bBa©b;³ KWCaRBwtiþkarN_ EdleRkayvaminmanRBYjcak ecj.enaHKWCacMNucbBa©b;karsagsg;. 1.3. bnÞat;em nig bnÞat;rg 1. kñúgdüaRkambNþaj³ bNþakargarerobtamlMdab;eday P¢ab;KñabegIát )anCabnÞat;. RbEvgrbs;bnÞat;KWCary³eBlsrubrbs;bNþakargarnimYy². BIRBwtiþkarN_cab;epþImrhUtdl;RBwtiþkarN_bBa©b;maneRcInRbePTxus²Kña. 2. bnÞat;em³ KWCabnÞat;P¢ab;BIRBwtiþkarN_cab;epþImdl;RBwtiþkarN_bBa©b; manRbEvgEvgbMput/ enaHKWCary³eBlsagsg;sMNg;TaMgmUl. ¬ry³eBl bBa©b;EpnkarN_¦. cgcaMfa kargarnimitþk’GacsißtelI bnÞat;em. eKtagbnÞat;emeday Tm. 3. bNþakargarenAelIbnÞat;em³ KWCabNþakargarsMxan; ¬kargarem¦ nig bgðajelIdüaRkambNþajedayRBYjditFM. 3 42 rUbPaB 7 5 0 5 1 3 1 6 2 3 5 5
  • 110.
    CMBUkTI 6 RKb;RKgsMNg; eroberogeday³sYs cMerIn RKb;RKgsMNg;tamDIya:RkambNþaj 108 4. bNþakargarminenAelIbnÞat;em³ KWCabNþakargarrg/ kargarman ry³eBlbMrug. ]TahrN_ mandüaRkamdUcrUbxagelI/ eyIgbegáIt)antaragRbEvg bNþabnÞat;dUcxageRkam. n bnÞat; (Ln) RbEvg ¬ry³eBl¦ rbs;bnÞat; ry³eBlbMrugrbs; bnÞat; R (Ln) 1 0-1-2-3-4-5 1+3+6+0+3=13 16-13=3 2 0-1-2-3-5 1+3+6+5=15 16-15=1 3 0-1-2-4-5 1+3+5+3=12 16-12=4 4 0-1-3-4-5 1+2+0+3=6 16-6=10 5 0-1-3-5 1+2+5=8 16-8=8 6 0-2-3-4-5 5+6+0+3=14 16-14=2 7 0-2-3-5 5+6+5=16 16-16=0 8 0-2-4-5 5+5+3=13 16-13=3 vaytMél³ tamlT§plenAtaragxagelIKWbnÞat;TI & qøgtamRBwtiþkarN_ 0- @-#-% manry³eBlFMbMput. dUcenH BitCabnÞat;em ¬bnÞat;sMxan;¦ rbs;bNþaxagelI. 5. PaBxusKñarvagRbEvgbnÞag;em nig bnÞat;NamYyminkMNt;³ KWCary³eBlbMrugTaMgmUl (R) rbs;bnÞat;NamYyenaH. R eGay dwgBIry³eBlsrub EdlGacbegáIneGayral;kargarrg EdlmineFIVeGay ekInry³eBlbBa©b;sagsg;sMNg;. 6. bNþabnÞat;rgmanry³eBlbMrugTaMgmUl³ enaHKW bNþakargarenA elIbnÞat;enH suT§Etmanry³eBlbMrugedayELk (r) rbs;BYkva.
  • 111.
    CMBUkTI 6 RKb;RKgsMNg; eroberogeday³sYs cMerIn RKb;RKgsMNg;tamDIya:RkambNþaj 109 II. bNþac,ab;begáItdüaRkambNþaj³ A. kñúgdüaRkambNþaj³ minGnuBaØatiþ³ 1. mankargareRcInkat;Kña ¬rUbPaB 8¦. 2. manbNþakargarBeRgIkxøÜntamCMu¬xYb¦ ¬rUbPaB 9¦. 3. nimitþsBaØdUcKñarbs;bNþakargarepSgKña ¬rUbPaB 10¦. 4. kargarRbmUlpþMúeRcIneBkeTAelIRBwtiþkarN_EtmYy b¤ BIRBwtiþkarN_ EtmYymankargareRcIncakecj. B. düaRkambNþaj³ Gacbgðaj³ 1. bNþakargaredaybNþaRBYjRtg; ¬rUbPaB 12.a¦ b¤ edayRBYj kac;RCug ¬rUbPaB 12.b¦. rUbPaB 8 rUbPaB 9 rUbPaB 11 xusa) Eh‘Vm 5 rUbPaB 10 j 6 7 Eh‘Vm 5 b) RtUv 8 6 1 3 2 4 21 3 dgsÞÚc dgsÞÚc dMbUl dMbUl
  • 112.
    CMBUkTI 6 RKb;RKgsMNg; eroberogeday³sYs cMerIn RKb;RKgsMNg;tamDIya:RkambNþaj 110 2. kargarmYycMnYnGnuvtþn_Rsb b¤ cab;epþImBIRBwtiþkarN_mYy nig bBa©b; enARBwtiþkarN_epSgKña enaHKWRtUv)anbgðajtam ¬rUbPaB 13¦. C. kñúgdüaRkambNþaj³ RtUvbgðajRtUvcMNgTak;TgkargarCamYyKña 1. kargarmYycMnYnmanTMnak;TMngedayELkepSg²Kña enaHRtUvbgðaj eGaycMbNþakargarTMnak;TMngepSg²KñaTaMgenaH. rUbPaB 14 C - CA 63 sg;LaMgtU 5 A - 4 B sg;CBa¢aMgB - 7 D xusa) 53 6 tMeLIgTVabg¥ÜcRbk;dMbUl D - 4 B 5' D 7 RtUvb) A C rUbPaB 12 rUbPaB 13 7 6 8 9 a) 1 4 2 3 b) 21 4 3
  • 113.
    CMBUkTI 6 RKb;RKgsMNg; eroberogeday³sYs cMerIn RKb;RKgsMNg;tamDIya:RkambNþaj 111 vaytMél ³ ]TahrN_xagelI/ eyIgcaM)ac;RtUvdak;Efm RBwtiþkarN_ mYyfIµ (5’) nig cMNgTak;Tg (5, 5’) fµI bgðajRtUvnigbNþa TMnak;TMngedayELkepSgKñaenaH ¬rUbPaB 14 .b¦. 2. ebIkargarmYycMnYn B, C, D Gaccab;epþIkargar)aneBlEdlkargar A QrmunBYkva)anbBa©b; KWRtUvbgðajkargar A CaeRcInEpñk edIm,IeGay bNþakargareRkayGaccab;epþIm)an ¬rUbPaB 15>b¦. C - rUbPaB 15 sg;CBa¢aMgA - 5 a) A 6 D C B sg;LaMgtUB - 9 8 7 b) 5 A sg;CeNþIrtMeLIgTVabg¥Üc D - 6 A B 8 A C 6' 7 D 6'' 9
  • 114.
    CMBUkTI 6 RKb;RKgsMNg; eroberogeday³sYs cMerIn RKb;RKgsMNg;tamDIya:RkambNþaj 112 III. bNþa)a:ra:EmRt nig KNnadüaRkambNþaj A. bNþa)a:ra:Em:Rtrbs;düaRkambNþaj 1. cMeBaHkargar³ a) kMNt;RbEvgrbs;bnÞat;sMxan;¬bnÞat;em¦ KW Tm. b) ry³eBlcab;epþImqab;rbs;kargar (i-j) ¬ se jit − ¦³ KWCary³eBlrbs; Ggát;bnÞat;EvgbMput Kitcab;BIRBwtiþkarN_cab;epþIm dl;RBwtiþkarN_Qrmux kargarenaH. c) ry³eBlbBa©b;qab;rbs;kargar (i-j) ¬ fe jit − ¦³ KWCary³eBl Edlkargar GacbBa©b;qab; ebIdUcEdlvacab;epIþm BIxN³eBlcab;epþImqab;. d) ry³eBlcab;epþImyWtrbs;kargar (i-j) ¬ sl jit − ¦³ KWCary³eBl Edl kargarGaccab;epþImyWtbMput b¤ Cary³eBlyWtbMput edIm,IGaccab;epIþm Gnuvtþn_kargarenaH EdlminCHTi§Bldl;karbBa©b;sMNg;kñúgry³eBl )ankMNt;. e) ry³eBlbBa©b;yWtrbs;kargar (i-j) ¬ fl jit − ¦³ KWCary³eBlyWtbMput edIm,IGacbBa©b;kargarenaH ebIdUcEdlvacab;epIþmBIxN³eBlcab;epþImyWt. f) ry³eBlbMrugTaMgmUlrbs;kargar (i-j) ¬ jiR − ¦³ KWCary³eBlGac bþÚrxN³eBlcab;epþImkargar b¤ GacbegáIn ¬b¤GUsbnøay¦ ry³eBl ¬ti-j¦ rbs;kargarenaH EdlmineFIVeGayERbRbYl ry³eBlkMNt;sagsg;sMNg; TaMgmUl.
  • 115.
    CMBUkTI 6 RKb;RKgsMNg; eroberogeday³sYs cMerIn RKb;RKgsMNg;tamDIya:RkambNþaj 113 g) ry³eBlbMrugedayELkrbs;kargar (i-j) ¬ jir− ¦³ KWCary³eBlGac bþÚrxN³eBl eBlcab;epþImkargarenaH b¤ GacbegáIn ¬b¤GUsbnøay¦ ry³eBl ¬ti-j¦ rbs;kargarenaH EdlmineFIVeGayERbRbYl xN³eBl cab;epþImqab; rbs;kargarbnþbnÞab;vaenaH. cMNaM³ bNþakargarsißtenAelIbnÞat;emTaMgGs; suT§Etminmanry³eBl bMrugNamYyeLIy. 2. cMeBaHRBwtwþkarN_ a) eKEckrgVg;mUlRBwtiþkarN_ ¬j¦ ecjCabYnRbeLaHrUbkgcRk nig sresr cUlRbeLaHenaH nUv)a:ra:Em:RtmYycMnYnrbs;RBwtiþkarN_enaH³ • rUbkgcRkelIbg¥s;KWCaelxerogrbs;RBwtiþkarN_. • rUbkgcRkxageqVg KWCary³eBlqab;edIm,IbBa©b;RBwtwþkarN_ ¬xN³ eBlbBa©b;qab;¦. • rUbkgcRkxagsþaM KWCary³eBlyWtedIm,IbBa©b;RBwtwþkarN_ ¬xN³ eBlbBa©b;yWt¦. • rUbkgcRkeRkambg¥s; KWCaelxerogrbs;RBwtiþkarN_ ekIteLIg muntambnÞat;em. rUbPaB 16 t o N t se j-k i j fl i-j
  • 116.
    CMBUkTI 6 RKb;RKgsMNg; eroberogeday³sYs cMerIn RKb;RKgsMNg;tamDIya:RkambNþaj 114 b) ry³eBlbBa©b;qab;rbs;RBwtwþkarN_ ¬j¦ ¬ fe jT ¦ KWCabnÞat;EvgbMput KitBIRBwtiþkarN_cab;epþIm dl;RBwtiþkarN_ ¬j¦ b¤ KWCacMNuccab;epþImqab; bMput rbs;bNþakargarTaMgGs;EdlcakecjBIRBwtiþkarN_ ¬j¦. c) ry³eBlbBa©b;yWtrbs;RBwtwþkarN_ ¬j¦ ¬ fl jT ¦ KWCary³eBlbBa©b; yWtbMput rbs;bNþakargarTaMgGs;EdleTAdl;RBwtiþkarN_ ¬j¦. d) ry³eBlbMrugrbs;RBwtiþkarN_ ¬Rj¦ sMxan;KWry³eBlbMrugelIEpñkTaMgmUl rbs;bnÞat;EdlEvgbMput qøgtamRBwtiþkarN_enaH. kargarmYycMnYnEdlman ¬R = 0¦ KwbNþakargarmYycMnYnEdlsißtenAelIbnÞat;em/ bNþakargartP¢ab; nigbNþaRBwtiþkarN_enaH KW bNþakargarem. B. viFIKNnadüaRkambNþaj³ KNnadüaRkambNþaj GacGnuvtþn_)antambI viFIsaRsþ dUcxageRkam. • KNnaedayéd edaybegáIttarag ¬BiBN’naenAEpñkKNnatamkargar¦/ • KNnaedayéd minbegáIttarag ¬BiBN’naenAEpñkKNnaRBwtiþkarN_¦/ • KNnaedayma:sIun¬minBiBN’naenACMBUkenH¦/ 1. KNnatamkargar A. enATIenHeyIgRtUvkMNt;)an³ • ry³eBlcab;epþImqab;bMput nig yWtbMput/ ry³eBlbBa©b;qab;bMput nig yWtbMput rbs;ral;kargarnimYy². • ry³eBlrbs;ral;bnÞat;em. • ry³eBlbMrugmYycMnYnrbs;kargarEdlminEmnCaem.
  • 117.
    CMBUkTI 6 RKb;RKgsMNg; eroberogeday³sYs cMerIn RKb;RKgsMNg;tamDIya:RkambNþaj 115 B. CaCak;EsþgbNþaCMhanKNnamandUcxageRkam³ • 0=se ft / ∑ −− = i se ji tt 0max ¬CamYynig 0-i KWCanimitþsBaØarbs;bNþakargar Qrmunkargar i-j¦ • ji se ji fe ji ttt −−− += • ∑ −= jim tT max • m fl f Tt = / ∑ −− −= njm fl ji tTt max ¬CamYynig j-n KWCanimitþsBaØarbs; bNþakargarQreRkaykargar i-j¦. • ji fl ji sl ji ttt −−− −= • se ji sl jiji ttR −−− −= b¤ fe ji fl jiji ttR −−− −= • fe ji se kjji ttr −−− −= . 2. KNnatamRBwtiþkarN_ A. bNþaCMhanGnuvtþ • bBa©b;qab;rbs; RBwtiþkarN_dMbUgesµIsUnü ¬ 00 =fe t ¦. xN³eBlbBa©b;qab;rbs;RBwtiþkarN_Nak_eday RtUv)anKNnatamrUbmnþ³ ji fe i fe j tTT −+= ebImankargareRcIneTAdl;RBwtiþkarN_ j enaHxN³eBlbBa©b;kargarqab;rbs; RBwtiþkarN_enH KwmancMnYnFMbMputkMNt;edayrUbmnþ³ ( )ji fe i fe j tTT −+= max • bBa©b;yWtrbs;RBwtiþkarN_cugbg¥s; KwsmmUlCamYynigbBa©b;qab;rbs; RBwtiþkarN_cugbg¥s;enaH.
  • 118.
    CMBUkTI 6 RKb;RKgsMNg; eroberogeday³sYs cMerIn RKb;RKgsMNg;tamDIya:RkambNþaj 116 • xN³eBlbBa©b;yWtrbs;RBwtiþkarN_Nak_eday RtUv)anKNnatamrUbmnþ³ kj fl f fl j tTT −−=` ebImankargarcakecjRBwtiþkarN_ enaHxN³eBlbBa©b;yWtrbs;RBwtiþkarN_ enH KWCacMnYnticbMput/ kMNt;tam³ ( )kj fl f fl j tTT −−= min ry³eBlbMrugrbs;rbs;RBwtiþkarN_kMNt;tamrUbmnþ³ fe j fl jj TTR −= IV. düaRkambNþajelIGk½Sry³eBl 1.1. viFIbegáIt³ KUsbnÞat;epþkmYy eFIVCaGk½Sry³eBl/ elIenaHmanKMnUsTTwgelI Gk½SenaH xøI² esµI²Kña/ smmUlCamYynigéf¶eFIVkargar. elIGk½Sry³eBlenaH/ eyIgKUs bNþakargarsMxan;mun CabnÞat;Rtg;ditFM ¬rYm eRcInkMNat;bnþrKañ¦ P¢ab;BI RBwtiþkarN_cab;epþIm dl; RBwtiþkarN_bBa©b; eFIVCabnÞat;KMrU. eRkayenaH eTIbeyIg erobcMbNþakargarrg ¬kargarminsMxan;¦ epSg² KUsenAxagelI nig xageRkam KUskargarsMxan; ¬rUbPaB 17¦. ry³eBlbMrugGacenAdMbUg/ enAkNþal b¤enA xagcugbBa©b;kargar GaRs½yedayviFIerobcMrbs;eyIg edIm,IEksMrYleGaytarag Blkmµ)anFURsal. 1.2. EksMrYl³ a) ebIry³eBlbnÞat;emrbs;viFIsaRsþdüaRkambNþajdMbUg tUcCagry³eBl kMNt; ¬Tm < Tl¦mann½yfaeyIgmansl;ry³eBl nig eyIgGaceRbIcMnYn ry³eBlEdl sl;enaH edIm,IbegáInry³eBlrbs;kargarem kñúgkareFIVeGay RbesIrdüaRkambNþaj.
  • 119.
    CMBUkTI 6 RKb;RKgsMNg; eroberogeday³sYs cMerIn RKb;RKgsMNg;tamDIya:RkambNþaj 117 b) ebI ¬Tm > Tl¦ enaHeyIgrkviFIBRgYjeGayxIøbNþajeLIgvij sMedAbnßy ry³eBlbBa©b;EpnkarN_. manbIviFIsaRsþBRgYjeGayxIøry³eBl ¬Tm¦ dUcxageRkam³ • bnßyry³eBlsagsg;RKb;kargar edayviFI³ • begáIncMnYnkmµkr. • begáIncMnYneRKOgcRk/ brikçar. • begáIncMnYnevneFIVkargarkñúgmYyéf¶. • bnßyry³eBlsagsg;edayviFIpøas;bþÚrviFIsaRsþsagsg;. • bnßyry³eBlsagsg; edayviFIerobcMsagsg;tamvIFIsaRsþRsb bBa©Úl kargareRcInkñúgeBlEtmYy. 24 18 12 6 12 6 6 2 0 1 2 0 12 1 1 2 5 5 3 12 4 6 3 6 7 13 6 9 6 8 5 6 10 11 4 6 12 3 3 16 5 14 6 15 5
  • 120.
    CMBUkTI7 RKb;RKgsMNg; eroberogeday³ sYscMerIn kargardwkCBa¢ÚnnigpøÚvbeNþaHGasnñ 118 CMBUkTI 7 kargardwkCBa¢Ún nig pøÚvbeNþaHGasnñ kñúgkarerobcMkardæan 1. niymn½y bMerIbMras;rbs;kardwkCBa¢Ún 1. cg;sagsg;³ eyIgRtUvkardwkCBa¢Úndl;kardæannUv³ • sMPar³sMNg; ³ xSac;/ fµ/ eRKaH/ dæ/ sIum:g;t_/ Edk/ eQI/ >>>> CaedIm. • brikçar nig eRKOgcRk bMerIeGaykargarsagsg;. 2. edayELkkargardwkCBa¢ÚnsMPar³ ¬niyayTaMg dI/ fµ/ >>>> ¦ nig elIdak; )andeNþIrdl;³ • 50° brimaNsrubrbs;kargarenAkardæan. • 30° tMélsMNg;. 3. edayehtuplxagelI ³ eKRtUvRsavRCaverobcMkargardwkCBa¢ÚneGaysmRsb edIm,I bnßyBlkmµ nig cMNaydwkCBa¢Ún.
  • 121.
    CMBUkTI7 RKb;RKgsMNg; eroberogeday³ sYscMerIn kargardwkCBa¢ÚnnigpøÚvbeNþaHGasnñ 119 lMdab;erobcMkargardwkCBa¢Ún • kMNt;brimaNsrubrbs;sMPar³EdlRtUvdwkCBa¢Ún. • kMNt;brimaNsMPar³eFIVcracrral;elIpøÚvEdlRtUvdwkCBa¢Ún. • eRCIserIsmeFüa)aydwkCBa¢Ún. • KNnakMlaMgGUsrbs;rfynþ/ lT§PaBcrracr rbs;pøÚv nig KNnacMnYn rfynþEdlRtUvkar. • edaHRsaypøÚv erobcMXøaMg nig kEnøgelIdak;sMPar³. • kMNt;smasPaB nig erobcMEpñkRKb;RKg kargardwkCBa¢Ún • KNnasagsg;³ pøÚvfñl;/ s<anlU/ sßanIy_. 2. kMNt;brimaNsMPar³srubEdlRtUvdwkCBa¢Ún bNþaRbePTsMPar³manRbmaN 75° eTA 80° énbrimaNsMPar³srub Edl RtUvdwkCBa¢ÚnenAkardæan. eKEp¥kelIRbRktiTinkargarsagsg; edIm,IkMNt;brimaN nig ry³eBldwkCBa¢Ún. eRkABIbrimaNniyayxagelI/ eyIgenARtUvdwgdl;bNþabrimaNepSgeTot dUcCa³ brikçabec©keTs/ sMPar³bMerICIvPaBrs;enA/ bNþatMrUvkarGMBIvtßúFatuedIm/ FatucMehH/ >>>> CaedIm.
  • 122.
    CMBUkTI7 RKb;RKgsMNg; eroberogeday³ sYscMerIn kargardwkCBa¢ÚnnigpøÚvbeNþaHGasnñ 120 3. kMNt;brimaNsMPar³EdlRtUvdwkCBa¢Únral;éf¶ kMNt;brimaNsMPar³dwkral;éf¶elIpøÚvfñl; RtUv)anKNnatambrimaNsMPar³ mYyqñaM/ tamrUbmnþ³ Qral;éf¶ = k.Qn / T kñúgenaH ³ Qral;éf¶ - brimaNsMPar³dwkCBa¢Únral;éf¶ ¬etan¦/ Qn - brimaNsMPar³dwkCBa¢ÚnmYyqñaM ¬etan¦/ T - ry³eBldwkCBa¢ÚnkñúgmYyqñaM¬éf¶¦/ k - emKuNkñúgkardwCBa¢Únral;éf¶/ k = 1.5 cMeBaHpøÚvEdk nig k = 2 cMeBaHpøÚvrfynþ. 4. eRCIserIsmeFüa)aydwkCBa¢Ún • tamRbePTpøÚv³ eyIgmankardwkCBa¢ÚntampøÚvEdk/ pøÚvrfynþ/ pøÚvTwk. • tamkMlaMgGUs³ eyIgmankMlaMgcMyayTwk/ kMlaMgpÞúH/ kMlaMgGKÁIsnI/ kMlaMgBahn³. • tamsßanPaB ³ eyIgmankardwkCBa¢ÚneRkA ¬BIxageRkAmkdl;kardæan¦/ dwkCBa¢Únkñúg ¬BIXøaMgsMPar³/ BIeragCagdl;TIkEnøg sagsg;¦
  • 123.
    CMBUkTI7 RKb;RKgsMNg; eroberogeday³ sYscMerIn kargardwkCBa¢ÚnnigpøÚvbeNþaHGasnñ 121 • dwkCBa¢ÚneRkA³ eyIgRtUvykcitþTukdak;dl;cMgay nig PUmisaRsþ. eKEtgeRbIpøÚvrfynþ/ pøÚvEdk/ pøÚvTenø nig pøÚvsmuRT rbs; saFarN³. vadeNþImRbmaN 9° tMélsMNg;. • dwkCBa¢Únkñúg³ RtUvykcitþTukdak;dl;lkçx½NÐCak;Esþgrbs;TItaMg nig sMPar³EdlRtUvdwkCBa¢Ún. eKEtgeRbIpøÚvbeNþaHGasnñ CamYynig meFüa)ayynþkmµ ¬ érFM/ érlµm/ értUc/ rfynþ/ ma:sIunGUs/ kMlaMgTwk/ xül;sgát;/¦ nig kMlaMgBlkmµ ¬GaceRbIbNþaRbePTreTs dUcCa reTseKa/ RkbI/ es³ edIm,IdwkCBa¢ÚndI/ xSac;/ fµ/ RKYs/ CamYynigbrimaNmYyreTsRbmaN 0>35 dl; 0>45 Em:RtKUb nig eRbIl¥enAkardæanEdlmanTIFøaceg¥ót¦ deNþImRbmaN 13>5° tMélsMNg;. sMKal; • eBlsMPar³dwkCBa¢Ún CasMPar³sMNg;manTMhMFM ¬dUcCa eRKOgbgÁúM nig brikçarF¶n;²¦ elIkMNat;pøÚvEvg ¬ 50 KWLUt_Em:RteLIgeTA¦ KW eRbIR)as; pøÚvEdknwgmanplRbeyaCn_CagpøÚvrfynþ. • eBlpøÚvdwkCBa¢ÚneRkam 50 KILÚt_Em:Rt ¬Biess KW cMgayBI 10 eTAdl; 15 KILÚt_Em:Rt¦ KW kardwkCBa¢Únedayrfynþl¥RbesIrCag¦ • enATItaMgsµúKsµajRtUvqøgkat;Tenø/ eLIgcuHPñM/ TITYl/ TMnabrkibrkub KWkargardwkCBa¢ÚnsMPar³sMNg;l¥bMput KWeRbIR)as;pøÚvExSkabeyag.
  • 124.
    CMBUkTI7 RKb;RKgsMNg; eroberogeday³ sYscMerIn kargardwkCBa¢ÚnnigpøÚvbeNþaHGasnñ 122 • ebIcMgaydwkCBa¢ÚnxøIBI ¬1 dl; 2 KILÚt_Em:Rt¦ KWeyIgKYreRbIR)as; rfynþseNþag edIm,IdwkCBa¢ÚnsMPar³. RbePTenH eTaHCamanel,ÓnyWtCag rfynþKµanseNþag b:uEnþmanKuNRbeyaCn_epSg KW mincM)ac;)at;bg; eBlevlaeFIVpøÚvfñl;beNþaHGasnñ. 5. KNnakMlaMgGUs/ cMnYnrfynþ niglT§PaBcracrrbs;pøÚv KNnakMlaMgGUsrbs;yan 1. kMlaMgGUsrbs;rfynþ³ RtUv)anKNnatamrUbmnþ³ FGUs = 270.NCak;Esþg / v (kgf) CamYynig 270 - tMélbþÚrBIkMlaMgess NCak;Esþg - kMlaMgCak;Esþgrbs;ma:sIun¬KitCa ess¦ RtUv)anKNna tamrUbmnþ ³ NCak;Esþg = Ni.f eday Ni - kMlaMgRTwsþIssrelIma:sIun. f - emKuNeRbIR)as; mann½yfaemKuNclnarvag kMlaMg nig kg;rfynþvil. eKeRcInyk f = 0.85 ÷ 0.95
  • 125.
    CMBUkTI7 RKb;RKgsMNg; eroberogeday³ sYscMerIn kargardwkCBa¢ÚnnigpøÚvbeNþaHGasnñ 123 v - el,Ónrt;Km/h 2. tMélrbs;kMlaMgGUs FGUs mincaMFMCagtMélrbs;kMlaMgc,am Fc,am rbs;kg;rfynþ ¬b¤ rbs;kg;Rcva:k;ma:sIunTaj¦ elIdIeT. ebI FGUs > Fc,am enaHKW minGacbMlas;TI)aneT EdlxN³enaH ekIteLIg)atuPUtkg; rfynþRkan;vilenAkEnøg. dUcenH eyIgRtUvmanlkçx½Nг FGUs<= Fc,am eRBaH FGUs bgðajeday kgf cMENk Fc,am EbrCabgðajeday tf dUcenHeyIgRtUv³ FGUs <= 1000.φ.Pc,am eday φ - emKuNc,ampøÚv ¬emIlenAtarag 6>1¦ Pc,am- TMgn;elIrfynþbBa¢Únmkkg;rbs;vamantMéldUcxageRkam³ RbePTefynþRsal Pc,am= 0.55 ÷ 0.68 (P+Q) RbePTefynþF¶n; Pc,am= 0.68 ÷ 0.75 (P+Q) RbePTefynþGUskg;ekAs‘U Pc,am= 0.7 (P+Q) RbePTefynþGUskg;Rcva:k; Pc,am= (P+Q) P - TMgn;pÞal;rbs;yan (tf), Q -TMgn;sMPar³ (tf)
  • 126.
    CMBUkTI7 RKb;RKgsMNg; eroberogeday³ sYscMerIn kargardwkCBa¢ÚnnigpøÚvbeNþaHGasnñ 124 taragtMélmFümrbs;emKuNc,am φ sMrab;rfynþ nig ma:sIunGUs. RbePT nig sßanPaBpøÚv rfynþ ma:sIunGUs pøÚvdI s¶Üt 0.6 0.9 esIm 0.3 0.8 pøÚvRkalebtug s¶Üt 0.6 0.4 esIm 0.4 0.3 pøÚvsmas s¶Üt 0.6 0.4 esIm 0.4 0.3 pøÚvfµ s¶Üt 0.7 0.7 esIm 3. lkçx½NÐmUldæanedIm,ImeFüa)aydwkCBa¢ÚnGaccl½t)anelIkMNat;pøÚvNamYy³ kMlaMgGUsRtUvFMCagkMlaMgfy/ mann½fa ³ FGUs > Qt . ∑W kñúgenaH Qt - TMgn;sMPar³srub (tf) Qt = P + Q P - TMgn;pÞal;rbs;yan (tf)
  • 127.
    CMBUkTI7 RKb;RKgsMNg; eroberogeday³ sYscMerIn kargardwkCBa¢ÚnnigpøÚvbeNþaHGasnñ 125 Q - TMgn;sMPar³(tf) ∑W- kMlaMgfysrub KitCa kgf elI ! tf TMgn;rbs;meFüa)aydwkCBa¢Ún ¬kgf / tf¦ kMNt;eeday ³ ∑W = Wfyem + Wi + W kMlaMgfyrg eday ³ Wfyem - kMlaMgfysMxan;)anmkBITMgn;rbs;rfynþ nig sMPar³bgáreLIg. Wi - kMlaMgfyrg )anmkBIkMritCMralrbs;pøÚv bgáreLIg. Wfyrg - kMlaMgfyrg )anmkBIkMritekagrbs;pøÚv bgáreLIg. BinitüCak;EsþgbNþakMlaMgfy/ eyIgman³ • tMélrbs;kMlaMgfyem Wfyem ³ kargardwkCBa¢Únedayrfynþ b¤ ma:sIunGUs/ GaRs½yeTAnigsßanPaBepSgKñarbs;pøÚv/ eyIgGnuvtþn_ tamtarag 6>2³ • tMélrbs;kMlaMgfyrg Wii ³ smmUlCamYynig 1000i Edl kñúgenaH i; CakMritCMral. pøÚvmYymankMritCMralKW i = 5%0 KWtMélrbs; kMlaMgfyrgeBlenaH RtUv)anKNnaCa Wi = 5kgf / tf. ebIrfynþ rt;elIpøÚvrab ¬minmankMritCMral¦ KWeBlenaHeyIgman Wi = 0.
  • 128.
    CMBUkTI7 RKb;RKgsMNg; eroberogeday³ sYscMerIn kargardwkCBa¢ÚnnigpøÚvbeNþaHGasnñ 126 • tMélrbs;kMlaMgfyrg Wfyrg ³ CamYynigpøÚvEdkce®g¥ót KWkMNt; tamrUbmnþ³ Wfyrg = 500.e / R kñúgenaH e - cMgayrvagGkS½rfynþ. R - kaMrbs;pøÚvekag. ebIrfynþrt;elIpøÚvRtg;Wfyrg KW kMlaMgfyrgseBlenaHWfyrg = 0. cMNaM ³ eRkABIkMlaMgfyTaMgbIxagelI/ eyIgenAykcitþdl;kMlaMg fybNþalmkBI cab;epþImbeBa©Hma:sIunekIteLIg. tarag 6>2 l>r RbePTpøÚv sßanPaB rbs;pøÚv rfynþ ma:sIunGUs rfynþseNþag kg; Rcva:k; kg;xSl; kg; Rcva:k; kg;xSl; 1 ebtug/ebTIm l¥ 7-20 50 20 20 20 2 Rkalfµ/eRKaH mFüm 25-40 50 50 40 50 3 Rkalfµ mFüm 30-40 50 50 40 50 Gn; 40-80 80 80 100 80 4 dI mFüm 80-100 80 90 100 90 Gn; 100-150 140 150 140 100 5 dIfµIeTIbCIk Gn; 150-200 120 250 200 100 ya:gGn; 200-300 150 300
  • 129.
    CMBUkTI7 RKb;RKgsMNg; eroberogeday³ sYscMerIn kargardwkCBa¢ÚnnigpøÚvbeNþaHGasnñ 127 4. ykcitþTukdak;³ • krNIdwkCBa¢Únedayrfynþ/ eyIgman Q = FGUs/ (Wfyem + Wi ) - P • krNIdwkCBa¢Únedayma:sIunGUs/ eBleGaykMlaMgGUsenAkMlaMgc,am pøÚv eyIgman³ Q = FGUs/ (Wfyem + Wi ) 6. KNnabrimaNrfynþ 1. KNnary³eBleTAmkrbs;efynþ ¬b¤ rfePøIg¦ elIkMNat;pøÚv ¬rfynþ / Edk/ RtUeL¦ kMNt;tamrUbmnþ ³ t = telIdak; + L / v1+ tdak;cuH + L / v2 + teCos kñúgenaH telIdak; -ry³eBlelIkdak;sMPar³eLIgrfynþ¬ema:g¦ tdak;cuH - ry³eBldak;cuHsMPar³BIrfynþ¬ema:g¦ teCos - ry³eBlrg;caMenARtg;kEnøgeCosKña ¬ema:g¦ v1nig v2-el,Óncl½trbs;rfynþeBldwksMPar³ nig eBlmindwk ¬rfynþbrTeT¦ ¬KILÚt_Em:Rt ¼ema:g¦
  • 130.
    CMBUkTI7 RKb;RKgsMNg; eroberogeday³ sYscMerIn kargardwkCBa¢ÚnnigpøÚvbeNþaHGasnñ 128 sMKal; a) CamYynigpøÚvmYyTis nig sMPar³dwkmYyTis enaHry³eBlrbs;rfynþ mYyeCIgKW ³ t = telIdak; + tdak;cuH + 2L / vmFüm eday vmFüm -el,ÓnmFümrbs;rfynþTaMgeTATaMgRtLb;mkvij ¬KILÚt_Em:Rt ¼ ema:g¦ b) CamYynigpøÚvmYyTis b:uEnþmankMNat;eCosKña enaH enaHry³eBlrbs; rfynþmYyeCIgKW³ t = telIdak; + tdak;cuH + teCos +2L / vmFüm eday teCos- ry³eBlrfynþQb;eCosKña ¬ema:g¦ 2. cMnYneCIg ¬niyayTaMgeTATaMgmk¦ kñúgmYyéf¶rbs;rfynþ³ RtUv)anKNna tamrUbmnþ ³ m = (T + t0) / t kñúgenaH T - ry³eBlsrub t0 - ry³eBl)at;bg;bNþalBI bþÚrrfynþ b¤ edaysarrfynþrt; mindwksMPar³BIkEnøgpÞúkdl;kardæan nig RcaseTAvij. CamYynig rfynþnig ma:sIunGUs t0 = 0.5 - 2 ¬ema:g¦ 3. cMnYnrfynþEdlRtUvkar (n) ³ kMNt;tamrUbmnþ³
  • 131.
    CMBUkTI7 RKb;RKgsMNg; eroberogeday³ sYscMerIn kargardwkCBa¢ÚnnigpøÚvbeNþaHGasnñ 129 n = Q / (q.m) kñúgenaH Q - TMgn;sMPar³RtUvdwkkñúgmYyry³eBl ¬evn¦ q - TMgn;eRbIR)as;rbs;rfynþ. 7. lT§PaBcracr nig lT§PaBdwkrbs;pøÚv 1. lT§PaBcracrrbs;pøÚv ³ KWCacMnYnrfynþ ¬cMnYnExSrfePøIg¦ Gaccracr)anelI kMNat;pøÚvkñúgmYyéf¶. 2. lT§PaBdwkrrbs;pøÚv ³ KWCabrimaNsMPar³GacdwkelIkMNat;pøÚvkñúgmYyéf¶ edaybrimaNrfynþ¬ExSrfynþ¦ manRsab;. 8. pøÚvbeNþaHGasnñenAkardæan pøÚvbeNþaHGasnñenAkardæan minEmnRtUvtamsMNUmBrbec©keTsrbs;pøÚvGciéRnþeT/ b:uEnþenAEtRtUveKarBbNþalkçx½NÐeBjeljsMedAFana)ansuvtiþPaBcracrcM)ac;. 1. pøÚvrfynþ ³ eKeRcIneFIVpøÚvrfynþbeNþaHGasnñ bMerIkarsagsg; elIkardæan rYmCamYynig pøÚvrfynþ GciéRnþ edIm,IbnßycMNaysagsg;pøÚvfñl;. eyIgEteFiVItamCMhandUcxageRkam ³ • dMbUg/ eyIgeFIVpøÚvbeNþaHGasnñ dUcCa ³ pøÚvdI/ pøÚvdIEkécñ/ pøÚvfµl¥it ¬b¤ RKYs¦/ pøÚvfµbMEbk/ pøÚvbnÞHebtugcak;Rsab; b¤pøÚvRkalbnÞHeQItamkg;rfynþ. • eBlmanTuneyIgnwgeFIVpøÚvGciéRnþ b¤ bBa©b;pøÚvbeNþaHGasnñ eRBaHva minRtwmEt RtUveRbIkñúgkargarsagsg;beNÑaHeT EfmTaMgenAeRbIsMrab;bMerI plitkmµ eRkaymk.
  • 132.
    CMBUkTI7 RKb;RKgsMNg; eroberogeday³ sYscMerIn kargardwkCBa¢ÚnnigpøÚvbeNþaHGasnñ 130 pøÚvbeNÑaHGasnñ manmuxkat;TTwgdUcxageRkamenH ³ Epñk ! KWsMrab;rfynþbr/ EpñkTI @ KWCacieBaI©mpøÚv edIm,ImnusSeFIVdMeNIr nig rfynþeCosKña/ EpñkTI # RbLaybgðÚrTwk/ EpñkTI $ KWCa TIFøadak;sMPar³bMrug edIm,I kargarCYsCulpøÚv. RsTab;dI CaFmµtaRT)anTMgn;BI0>5 – 2>5 Kgf/cm² b:uEnþTMgn;kg;rfynþ CaFmµta eLIgdl; 5-5>5 ehtuenH elIRsTab;pøÚveKRtUvRkalbEnßm edIm,IbegáInkMlaMgRT rbs;RsTab;pøÚv. a) RsTab;pøÚvdI ³ RtUv)aneFIVedayviFIeGayma:suInruj (Bulldozer) edIm,IeGay épÞrabesµI ehIyeRkaymkeGayma:sIunbgðab; (Roller) mankMlaMgbgðab;BI 2-6 etan/ bgðab;eRcIndg edIm,IbegáIt)anCaRsTab;rwgmaMl¥. b) RsTab;pøÚvdIEkécñ ³ eFIVedayvIFIRkalmYyRsTab; ¬CaFmµta BI 15-20 sm¦ smas EdlsmasPaBrYmman³ • dIF¶n; (Heavy soil) BI6-14° • dIxSac; (Sandy soil)BI 70-75° • EpñkenAsl;KWCaRKb;tUcepSg²¬dUcCa RKYsEdlmanRKb;tUc²¦ cMNaM ³ 234 12 43
  • 133.
    CMBUkTI7 RKb;RKgsMNg; eroberogeday³ sYscMerIn kargardwkCBa¢ÚnnigpøÚvbeNþaHGasnñ 131 • ebIRKwHpøÚvCadIF¶n; enaHeyIgefmxSac; edIm,IpøÚveCosputBIpñt; b¤ rGileBl manePøóg. • ebIRKwHpøÚvCadIxSac; enaHRtUvEfmdIF¶n; edIm,IbegáInkMrits¥it nig eday ehtuenaH eBlmanePøóg nwgeCos)ansßanPaBhUreRcaH. c) pøÚvmakadam (Macadam)³ ¬Gaceday RkYs b¤ fµ¦ eyIgRtUvRkalCaRsTab;² ¬FmµtakMras;BI 15-20 sm¦. enARsTab;nImYy² RtUvbgðat;ya:ghab;edayma:sIunbgðab; (Roller). EpñkRKwH pøÚvRtUvBUn/ eKk¾RtUvRkalCaRsTab;² nig bgðab;ya:gENntan;tab;. tambeNþa pøÚv/ caM)ac;RtUvmanRbLaybgðÚrTwk edIm,IFanapøÚveRbIR)as;)anyUr. RsTab;fµb¤ RkYs RbLaybgðÚrTwk RKwH 2.0 M i=5-6 % i=3-4% b/2
  • 134.
    CMBUkTI7 RKb;RKgsMNg; eroberogeday³ sYscMerIn kargardwkCBa¢ÚnnigpøÚvbeNþaHGasnñ 132 d) pøÚvRkalbnÞHebtugsrésEdkcak;Rsab; ³ bnÞHebtugCaFmµtamanTMhM 0.15x1x3.0m . sMKal;³ • ebIrfynþmankMlaMgpÞúk 10 etan enaHeRbIbnÞHkMras;BI 12-14 sm. • ebIrfynþmankMlaMgpÞúk 25 etan enaHeRbIbnÞHkMras;BI 18-20 sm. • eKeRcIneRbIeRkn edIm,IsÞÚcRkal. muneBlRkalbnÞHebtug eyIgRkal RsTab;xSac;kMras;BI 7-10 sm edIm,IeRkayeBleRbI KWGacelIkbnÞHenaH eLIg edaygayRsYl edIm,IykeTAeRbIenAkEnøgepSg. e) pøÚvbeNþaHGasnñRkalbnÞHeQI ³ eKEtgeRbIenAkEnøgéRB. RbePTpøÚvenH RtUv)anRkaltamkg;rfynþ dUcrUbxageRkam ³ cMeBaHkEnøgekag eyIgRtUvmanTTwgFMCagTTwgFmµtaBI 1-2 m nig CMral 60 eTeTAp©itrbs;kaMekag. 0.90 2.40 3.20 0.40 0.06x0.20x0.60 0.75 1.20x1.4x3.20 0.75 0.40 a 100
  • 135.
    CMBUkTI7 RKb;RKgsMNg; eroberogeday³ sYscMerIn kargardwkCBa¢ÚnnigpøÚvbeNþaHGasnñ 133 tarag ³Tinñn½yeRbIedIm,IKNnapøÚvrfynþbeNÑaHGasnñ dUcxageRkam ³ l>r tMrUvkarbec©keTs Ékta RbePTpøÚv II III 1 2 3 4 5 1 snÞsSrfynþkñúgmYyema:g eRKOg 16-100 <=15 2 TTwgEpñkrfynþ CamYypøÚvmYyTis CamYypøÚvBIrTis m m 3/5-4/0 6/0 3/0 5/5 3 Ggát;p©wtpøÚvekagGb,brma m 30 20 4 CMralGb,brma ° 7 8 5 TisSmanPaB ¬PaBGacemIleXIj¦ tamTisrfynþrt; tamTissgçagpøÚvExVg m m 70 50 50 35 sMKal;³ RbePT II KWCapøÚvRkalfµ/ RKYs nig Fatus¥it/ KWpøÚvekAs‘U. RbePT III KWCapøÚvdI/ b¤pøÚvRkal fµ /RKYs minmanFatus¥it b:uEnþbgðab;ya:ghab;.
  • 136.
    CMBUkTI8 RKb;RKgsMNg; eroberogeday³ sYscMerIn erobcMeRknma:sIunnig]bkrN_sMNg;elIkardæan 134 CMBUkTI 8 erobcdgsÞÚc ma:sIun nig ]bkrN_sMNg; elIkardæan eBlrbrsMNg;QaneLIgtamTis]sSahtUbnIykmµ, TMenIbkmµ/KWman CRANE/ ma:sIunnig ]bkrN_ sMNg; CaeRcInRbePT RtUv)anrIkcMerIn nigRtUv)aneRbIR)as; elIkardæan sMNg;. bNþama:sIun nig ]bkrN_sMNg; BImYyéf¶eTAmYyéf¶ kan;EteRbIeRcIn/ eRcInsNæan/ lT§PaBbec©keTsmankarpøas;bþÚrfµIeRcIn nig TMenIbeTA². dUcenH karRsavRCavedIm,IerobcM nig eRbIR)as; CRANE mYy b¤ ma:sIunmYy/ ]bkrN_sMNg; nwgmankarENnaMenA catalog b¤enA technical drawing. enATIenH RKan;EtBiBN’nabNþaeKalkarNrYm/ karENnaMcaM)ac; edIm,Ikargar erobcM nig eRbIR)as; bNþaRbePT CRANE, ENGINE, EQUIPMENT sMNg; elIkardæan RtUvbec©keTs nig FanasuvtþiPaBBlkmµ. eRBaH ma:sIunsMNg; CaeRcInmanlkçN³rYm/ dUcenH RKan;Etsgát;F¶n;elIRbePT CRANE, ENGINE, EQUIPMENT sMNg;mYycMnYnEdlEtgCYbenAkardæansagsg;. • CRANE: STATIC TOWER CRANE & MOBILE TOWER CRANE • MATERIALS HOIST: dgeyag edIm,ICBa¢ÚnsMPar³eLIgkMBs; • PASSENGER HOIST: dgeyag edIm,ICBa¢ÚnmnusSeLIgkMBs; • CONCRETE MIXER: sßanIy_layebtug nig lay)ayGrbUk 1. CRANE
  • 137.
    CMBUkTI8 RKb;RKgsMNg; eroberogeday³ sYscMerIn erobcMeRknma:sIunnig]bkrN_sMNg;elIkardæan 135 CRANE EtgeRbIsMrab;tMeLIg sMNg;sIuvil nig ]sSahkmµ/ b¤ bMerIeGaykargarCBa¢Ún eLIgkMBs;. eBlsagsg;GKareRcInCan; edayebtugsrésEdk CRANE CasMxan;bMerI kargar³ CBa¢ÚnBumÖ/ srésEdk/ ebtug/ ceg¥Ir>>> nig sMPar³mYycMnYneTotEdlmanTMgn; F¶n;. TOWER CRANE bc©úb,nñmanBIRbePT CRANES RtUv)aneRbITUlMTUlaykñúgkarsagsg;GKareRcIn Can;. • MOBILE TOWER CRANE rt;elIérmanTMgn;tulüPaBenAeRkam TOWER • STATIC TOWER CRANE QrkMNt;mYykEnøgmanTMgn;tulüPaBenAelI TOWER/ RbePTenHmanBIrRbePT³ • RbePTQrnwgedayeCIg)ateRkam. • RbePTQrnwgedayviFIe)aHeCIg TOWER eTAkñúgRKwH. GMBIbec©keTs/ manRbePT tY TOWER kMNt; ¬fix¦/ manRbePT tY TOWER ERbRbYlsV½yRbvtiþ. manRbePT CRANE eBlbgVildgsÞÚc enaHvilTaMgtY nig TMgn; tulüPaB enAeRkam TOWER. manRbePT CRANE vilEtdgsÞÚc cMENktYQrRTwg. dUcenH CamYynig CRANE nimYy² manvIFIerobcM CRANE mYy elITIlansagsg; epSgKña/ b:uEnþsuT§EtmantMrUvkarrYmKW³ • TItaMgQr nig cl½trbs; CRANE RtUvmansar³RbeyaCn_bMput sMrab; TIlaneFIVkargar/ gayRsYl kñúgkarsÞÚc b¤CBa¢ÚnsMPar³/ eRKOgbgÁMú >>>.
  • 138.
    CMBUkTI8 RKb;RKgsMNg; eroberogeday³ sYscMerIn erobcMeRknma:sIunnig]bkrN_sMNg;elIkardæan 136 • TItaMgQr nig cl½trbs; CRANE RtUvFanasuvitþPaBeGay / eGaysMNg; nig eGaykMlaMgBlkmµ/ gayRsYlsMrab;kargartMeLIg nig ruHTuk CRANE. • FanalkçN³esdækic© Gnuvtþ)ankMlaMgpÞúk/ manGgát;pÞwtbMerIsmRsb/ famBlx<s;. a) erobcM TOWER CRANE rt;el:ér cMgayBIpw©trbs; CRANE dl;G½kSxagrbs;sMNg;RtUv)anKNnadUcxag eRkam³ A = l c + l s + l sf, (m),
  • 139.
    CMBUkTI8 RKb;RKgsMNg; eroberogeday³ sYscMerIn erobcMeRknma:sIunnig]bkrN_sMNg;elIkardæan 137 kñúgenaH ³ l c : cMgayrbs;TMgn;tulüPaB KitBIp©wtrbs; CRANE dl; EKmxagrbs; TMgn;tulüPaB l s : cMgaysuvtiþPaB/ l s = 1 m l sf : TTwgrbs;ceg¥Ir + cMgaysl;edIm,Isagsg;. elITIlansagsg;srub/ CRANE RtUv)anbgðajdUcrUbPaB 7>1 nig 7>2. b) eRknQrnwgSTATIC TOWER CRANE STATIC TOWER CRANE manTMgn;tulüPaBenAelInig manBIrRbePT³ • RbePTQrnwg edayeCIg)ateRkam enAelIér b¤ enAelIdI)aneFIVeGay RbesIr nig cak;ebtugsrésEdkmYyRsTab; b¤ tMeLIgedaybNþabnÞH ebtugsréscak;Rsab;. eBlenH CRANE RtUvenATItaMg ya:gNaeGay p©wteFIVskmµPaBrbs;dgsÞÚc RKb;RKg)ansMNg;TaMgmUl. cMgayBIG½kS rbs; CRANE dl;EKmeRkArbs;sMNg; RtUv)anKNnadUcxageRkam³ A = (r c / 2) + l s + l sf, (m), kñúgenaH ³ r c : TTwgrbs;ér b¤ eCIg)ateRkamrbs; CRANE l s : cMgaysuvtiþPaB/ l s = 1 m l sf : TTwgrbs;ceg¥Ir + cMgaysl;edIm,Isagsg;.
  • 140.
    CMBUkTI8 RKb;RKgsMNg; eroberogeday³ sYscMerIn erobcMeRknma:sIunnig]bkrN_sMNg;elIkardæan 138 • cMeBaHRbePT CRANE QrnwgmaneCIge)aHcUlRKwH KWCaRbePTTMenIb/ elIkdak;kMBs;tY TOWER edayxøÜnva nigRbePT CRANE enH vilEtdg sÞÚc cMENkÉtYvaenAQrRTwg/ cMgayrvag CRANE nig vtßúCitbMput ¬ceg¥Ir/ ssrCBa¢aMg >>>¦ RtUv)aneragcRkplitkMNt;elI catalog P¢ab;CamYy. elIrUbPaB 7>5 KWCa]TahrN_bBa¢ak;. sMKal;³eBltMeLIg CRANE edIm,Icak;ebtugreNþARKwH/ b¤ bNþasMNg;eRkamdI/ eRkABIkareRCIserIscMgay dl;sMNg;/ RtUvEtBinitülkçx½NÐsuvtiþPaB eGayreNþARKwH edayviFIKNnacMgay A’ manniyayTaMg kMritRCalrbs; CMralRKwH ¬rUbPaB 7>7¦. eBlenHcMgay A’ RtUvKNnadUcxageRkam ³ A’ = l s + B, (m), kñúgenaH ³ l s : TTwgrbs;ceg¥IrGaRs½yedayRbePTdInig CRANE/ Etgyk ls= 1-3 (m) B = H.Cotgφ H : CMerAreNþARKwH φ : mMurbs;CMralrbs;dIKittamRTwsþI eRkncl½tMOBILE TOWER CRANE
  • 141.
    CMBUkTI8 RKb;RKgsMNg; eroberogeday³ sYscMerIn erobcMeRknma:sIunnig]bkrN_sMNg;elIkardæan 139 MOBILE TOWER CRANE kg;Rcva:k; b¤ kg;ekAs‘U/ EtgRtUv)aneRbIR)as;sMrab; tMeLIgeragcRk 1 Can;/ cab;tMeLIg b¤ CBa¢ÚneLIgx<s; eBlsagsg;sMNg;sIuvil rhUtdl; 5 Can;. TItaMgrbs; CRANE elITIlansagsg; RtUv)ankMNt;eday TIRbCMuTMgn;rbs; CRANE nig RtUvKNnatamviFIsaRsþviPaK b¤ KMnUrbøg; kñúgEpñkKMeragbøg;lMnaM]sSahkmµsMNg;. elITIlansagsg;TaMgmUl RtUvkarkMNt;pøÚvcl½trbs; CRANE CuMvijsMNg;. kMNt;pøÚvrbs; CRANE CamUldæansMrab;kargarerobcM sMNg;beNþaHGasnñ dUcCa TIkEnøglayebtug/ XøaMgsMPar³ eRKOgbgÁMú>>> . edIm,IsnSMsMéc éde)aHrbs; CRANE/ ebITIlanGnuBaØatiþ/ EterobcMeGay CRANE rt;CMuvijsMNg;/ ebITIlanminGnuBaØatiþ enaHKW CRANE RKan;Etrt;EtmçagsMNg;/ eBlenHpøÚv CRANE gayRsYlKWCa mYykMNat;pøÚvRtg;. BIkaMeFIVkargarrbs; CRANE (R) kMNt;)anG½kSpøÚv. edIm,IkMNt;TTwgpøÚvRtUvyk citþTukdak;dl; ³ • kMNat;pøÚv CRANE cl½tpg ¬rt;beNþay¦ nig Qb;edIm,IeFIVkargarpg ¬bgVilTTwg b¤ beNþay¦ RtUv)anyk³ A = cMgaydgsÞÚc+ 2m • cMgayrbs;dgsÞÚc KWCacMgay rvagkg;mux nig kg;eRkay ebICadgsÞÚckg;ekAs‘U/ esµIcMgayrbs;EpñkRcva:k;rt;elIdI ebICadgsÞÚckg; Rcva:k;. bNþaRbePTdgsÞÚceRbIkñúgsMNg; EtgmanRbEvg 4-6 m/ eBlenH A = 6 – 8 m.
  • 142.
    CMBUkTI8 RKb;RKgsMNg; eroberogeday³ sYscMerIn erobcMeRknma:sIunnig]bkrN_sMNg;elIkardæan 140 • kMNat;pøÚvRKan;Etdak; CRANE cl½tKNnatamTTwgrbs;dgsÞÚc RtUv)an KNnaKW B = 1 pøÚvrfynþRbePTFM. edayRtUvcl½telIpøÚvKmnaKmn_Cati b¤ kñúgTIRkug/ dUcenH CRANE RtUv)anKNna smRsbnigpøÚvrfynþ. dUcenHGacykmYypøÚvrfynþ TMhM 4 Em:Rt. kaMekag Gb,brma enAkEnøgbt;Gacyk R = 15 m. 2. MATERIAL HOIST AND ELEVATOR enAbNþakardæansMNg;GKareRcInCan;/ eRkABI CRANE eFIVPar³CBa¢ÚneLIgx<s; enARtUvkarerobcM dgeyag edIm,ICBa¢ÚnsMPar³manTMgn;tic nig TMhMminFM dUcCa ³ dæ/ kar:U/ )ayGrbUk/ nig brikçarGnam½y/ brikçarGKÁIsnI >>> b:uEnþebIeRbI CRANE KW nwg minesdækic©. enAbNþasMNg;x<s; edIm,IkmµkreLIgCan;nimYy² eFIVkargargayRsYl/ GacerobcM CeNþIreyag edayELksMrab;GñkeLIgcuH. MATERIAL HOIST CamYynigsMNg;tUc/ sagsg;edayeRbIkMlaMgBlkmµ minman CRANE / KW MATERIAL HOIST manPar³sMxan;rbs;kargarCBa¢ÚneLIgx<s;/ eBlenH ebI erobcM MATERIAL HOIST mYy KWnwgerobcMenAkNþalsMNg;. ebI erobcM MATERIAL HOIST BIr EdlTIlansagsg;GnuBaØatiþ KWKYrerobcM mYyenAxagmux nig mYyeTotenAxageRkaysMNg;. ebITIlansagsg;minGnuBaØatiþ KWGacEckCaBIsMNg; / edIm,I MATERIAL HOIST nimYy²bMerIBak;kNþalGKar/ ebIGKarEvgRtUvEckCabI b¤ bYnEpñk/ b:uEnþEpñknimYy²RtUvkar MATERIAL HOIST mYy bMerIkar KWnwgerobcM cMnYn MATERIAL HOIST smmUl. krNIBiessGacerobcM MATERIAL HOIST enATaMgBIrxag edIm nig cug.
  • 143.
    CMBUkTI8 RKb;RKgsMNg; eroberogeday³ sYscMerIn erobcMeRknma:sIunnig]bkrN_sMNg;elIkardæan 141 TItaMgerobcM MATERIAL HOIST RtUvclnaeGayeBjTMhwg/ RKan;EtmanTIlan sagsg;mYyTUlaylµm edIm,ItMeLIg MATERIAL HOIST nig pøÚveGayrfynþ KWGactMeLIg)an. krNIenH emIlrUbPaB 7>9 nig 7>10. enAkardæansMNg;eRcInCan;mYycMnYn man MOBILE TOWER CRANE/ eRBaHpøÚv CRANE eBlNak¾ q¶ayBIsMNg;cMgaymYy/ lµm edIm,ItMeLIg MATERIAL HOIST dUcenH TItaMgerobcMdUckrNIkardæanmanEt MATERIAL HOIST ¬emIlrUbPaB 7>9 nig 7>10¦. kardæansMNg;GKarCan;x<s; man CRANE KW MATERIAL HOIST RtUvGnueLam tameKalkarN_xageRkam³ • ebI CRANE cl½telIér KW MATERIAL HOIST erobcMeTATissMNg; minmanpøÚv CRANE / cMnYn MATERIAL HOIST GaRs½ytamRbEvg nig TMhMsMNg; ¬rUbPaB 7>11¦. • ebI CRANE Qrnwg/ KWenAEtKYrerobcM MATERIAL HOIST enATisminman CRANE/ TukCaeRscTIFøapÁt;pÁg;/ CBa¢ÚnsMPar³ b:uEnþebITIFøaxagminman CRANE ceg¥ót/ minRKb;edIm,ItMeLIg nig eRbIR)as; MATERIAL HOIST KWGactMeLIg MATERIAL HOIST eTATisman CRANE enATItaMg kan;Et q¶ayBI CRANE kan;Etl¥¬emIlrUbPaB 7> 12¦. ELEVATOR GMBIeKalkarN_eFIVkargar/ ELEVATOR k¾dUcCa MATERIAL HOIST RKan;Etxus lMGitmYycMnYn/ enaHKW RTugrbs; ELEVATOR RtUv)aneFIVBIEdk mansMNaj; karBarCMvij nig TVasMrab;ecjcUl.
  • 144.
    CMBUkTI8 RKb;RKgsMNg; eroberogeday³ sYscMerIn erobcMeRknma:sIunnig]bkrN_sMNg;elIkardæan 142 TItaMg ELEVATOR minsMxan; nig minmantMrUvkarx<s;dUccMeBaH MATERIAL HOIST/ dUcenH Etgpþl;GtßiPaBerobcM MATERIAL HOISTmun eTIberobcM ELEVATOR CaeRkay. ELEVATOR RtUverobcMeRkAtMbn;eRKaHfñak;/ Etgq¶ayBI CRANE/ MATERIAL HOIST/ ma:sIunlay MIXER/ GacenAEkgsMNg; b¤ edImkEnøg EdlmnusSGaceTAmkmansuvtþiPaB. CaBiessykcitþTukdak; TMnak;TMngrvag TItaMg ELEVATOR nig pøÚvCMuvijsMNg;/ ya:gNaeGayeBlpøÚvmnusSBI ELEVATOR edIrecj/ minkat;nigpøÚvrfynþ/ b¤ enAEkgkMeNagpøÚvrfynþ b¤ enACitpøÚvrfynþeBk. caM)ac;RtUvmancMgaymYy nig manépÞkMNt;mYy/ edIm,IeyIgGactamdan. 3. CONCRETE MIXER ma:sIunlayebtug eRkay eRkn CRANE nig dgeyagsMPar³ MATERIAL HOIST/ ma:sIunlayebtug CONCRETE MIXER RtUv)anpþl;GtßiPaB erobcMelITIlan sagsg;. eTAtamTMhMsMNg; nig brimaNebtugRtUvkar EdlGacerobcMCakEnøglay ebtug edIm,IpÁt;pÁg;eGaykardæanTaMgmUl/ eBlenHkEnøglaymankMlaMgFM Nas;/ ebtugRtUv)anCBa¢Úndl;kardæan edayrfynþ b¤ meFüa)ayepSg². ]TahrN_ kEnøglayebtugpÁt;pÁg;eGaykaardæansMNg;TaMgmUl. eBlenH TItaMgkEnøglayRtUvkarBinitü elImUldæanTMnak;TMngrYm rvagsMNg;elI kardæan/ GacedaHRsaycMeNaT rkTItaMgtUcbMputrbs;kEnøglayebtug ya:gNa eGaytMéldwkCBa¢Únebtugsrubdl;kardæanmantMéltUcbMput.
  • 145.
    CMBUkTI8 RKb;RKgsMNg; eroberogeday³ sYscMerIn erobcMeRknma:sIunnig]bkrN_sMNg;elIkardæan 143 CamYynigkardæanRtUvkarerobcM kEnøglayebtugEtmþgenACitsMNg; KWkEnøg layerobcMtameKalkarN_xageRkam ³ • bNþama:sIunlayebtugkan;EtCitkEnøgeRbIkan;Etl¥. ]TahrN_³ eBlcak;ebtugRKwH/ bNþama:sIunlayGacerobCMuvijbrimaRtRKwH. b¤ eBlsg;GKareRcInCan; manTIlansagsg;ceg¥ót Gacykma:sIunlaymanmaD tUc V = 100 lIRt b¤ V = 200 lIRt eLIgelICan;/ edIm,IlayebtugbUk bMerICan;enaH. • bNþama:sIunlayebtugkan;EtCitmeFüa)ayCBa¢ÚneLIgx<s;kan;Etl¥/ b:uEnþRtUv FanasuvtþiPaBBlkmµ. ]TahrN_³ ebI meFüa)ayCBa¢ÚneLIgx<s;KWCa dgeyagsMPar³ KWkEnøglay ebtugkan;EtCitdgeyagsMPar³kan;Etl¥. ebImeFüa)aCBa¢ÚneLIgx<s;Ca CRANE nig TIlansagsg;TUlay/ KYrerobcMkEnøglayenAeRkAtMbn;maneRKaHfñak; rbs; CRANE ticbMput 2 Em:Rt/ cMENkebITIlanceg¥ót/ caM)ac;RtUverobcM kEnøglay enACit CRANE KWcaM)ac;mandMeNaHRsaysuvtiþPaB. • ebIkardæanmanTIlanTUlayKW RtUverobcMticbMput BIrkEnøglayebtug enAsgçag CRANE/ dUcenHkargarerobcMTIlanXøaMgsMPar³ dUcCa xSac;/ fµ/ RkYs/ minRtUv )anRbmUlpþMúenAEtmYykEnøg/ begáItlkçx½NÐeGaykargarCBa¢Ún/ elIkdak; sMPar³/ gayRsYlnig suvtiþPaBBlkmµ.
  • 146.
    CMBUkTI8 RKb;RKgsMNg; eroberogeday³ sYscMerIn erobcMeRknma:sIunnig]bkrN_sMNg;elIkardæan 144 ebIkardæansMNg;ceg¥ót erobcM)anEtkEnøglaymYy/ KWkEnøglaymYy RtUvman ticbMputma:sIunlayBIr/ edIm,IFanapÁt;pÁg;ebtugbnþbnÞab; min)ac;caMyUr nig sMrYlKña ebImanma:sIunmYyxUcRtUvkarCYsCul.
  • 147.
    CMBUkTI9 RKb;RKgsMNg; eroberogeday³ sYscMerIn pÁt;pÁg;TwkenAkardæan 145 CMBUkTI 9 pÁt;pÁg;TwkenAkardæan 1. pÁt;pÁg;TwkbeNþaHGasnñ kargarsMxan;rbs;kargarpÁt;pÁg;TwkbeNþaHGasnñ bMerIeGaykarsagsg;enAkardæan rYmman ³ • kMNt;brimaNTwkEdlRtUvkar • kMNt;KuNPaBTwk • eRCIserIsbNþajpÁt;pÁg;Twk • erobcMbrikçarpÁt;pÁg;Twk • eRCIserIsRbPBTwk nig RbB½n§eRcaHTwk A. kMNt;brimaNTwkcaM)ac; bMerIelI ³ brimaNTwkplitkmµ/ TwkbMerItMrUvkarrbs;mnusS nig TwkBnøt;GKÁIP½y. 1. brimaNTwkplitkmµ ³ eRbIsMrab;layebtug/ lay)ayGr >>>> RtUv)ankMNt;tamrUbmnþ ³ Q plitkmµ = 1.2.(k.∑Qm) / 8.3600 kñúgenaHeyIgman³ 1.2 - emKuNKitdl;ma:sIunEdlminTan;briyayGs;/ k - emKuNeRbI)as;TwkminEkécñ¬Etgyk k = 1÷2¦/
  • 148.
    CMBUkTI9 RKb;RKgsMNg; eroberogeday³ sYscMerIn pÁt;pÁg;TwkenAkardæan 146 Q m - brimaNTwkplitkmµrbs;ma:sIunnimYy² kñúgmYyevn. 2. brimaNTwktMrUvkarrbs;mnusS ³ RtUv)anKNnatamrUbmnþ ³ Q L = Qa + Qb kñúgenaH ³ Q a brimaNTwkbMerItMrUvkarrs;enArbs;mnusSelIkardæan/ RtUv)anKNna Qa = ( k.N1.Q n ) / 8.3600 kñúgenaHeyIgman³ k - emKuNeRbI)as;TwkminEkécñ/ N 1 - brimaNkmµkrsñak;enAkardæan/ Q n - tMrUvkarTwksMrab;kmµkrmñak;eRbIR)as;kñúgmYyevn enAkardæan ¬Etgyk BI Q n = 10 ÷ 15lIRt/ mañk;¦ Q b brimaNTwkbMerItMrUvkarrs;enArbs;mnusSelIkardæan/ RtUv)anKNna Qa = ( k.N2.Q n ) / 24.3600 kñúgenaHeyIgman³ k - emKuNeRbI)as;TwkminEkécñ/ N 2 - brimaNkmµkrsñak;enAkardæan/ Q n - tMrUvkarTwksMrab;kmµkrmñak;eRbIR)as;kñúgmYyéf¶ enAkEnøgsñak;enA ¬Etgyk BI Qn = 25 ÷ 30lIRt/ mañk;¦. dUcenH ³ Q L= (k.N1.Qn) / 8.3600 + (k.N2.Qn) / 24.3600
  • 149.
    CMBUkTI9 RKb;RKgsMNg; eroberogeday³ sYscMerIn pÁt;pÁg;TwkenAkardæan 147 3. brimaNTwkBnøt;GKÁIP½y ³ GaRs½ytamTMhM nig RbePTsMNg; eyIgmanbrimaNTwkBnøt;GKÁIP½ysmRsb. a) Cak;Esþg ³ • TIlansagsg;tUcCag 3 hita KWbrimaNTwkBnøt;GKÁIP½y KW • q ef = 10l / s nig ebIEfm 5 hita KWEfm 5l / s. • CamYynigGaKarCan;tic/ cMnYnkmµkrticCag 10>000 nak; yk q ef = 5l / s nig FMCag 10>000nak; yk Qef=10l / s. b) eKenAkMNt;brimaNTwkBnøt;GKIÁP½y tamtMélGtibrmarvagrUbmnþ xageRkam ³ Qef = Qp + Q l (l/s) b¤ Qef = qef + 0.5(Qp+Ql) (l/s) eRbobeFobvIFIKNnaTaMgBIrxagelI rYcehIyeyIgykmYytMélNa EdlFM. B. kMNt;KuNPaBTwk eyIgRtUvBinitüTwkkñúgbnÞb;BiesaFn_. KuNPaBTwkRtUvsmRsbCamYybNþa tMrUvkarkMNt;. TwkedIm,Ilayebtug RtUv)anrMedaHeGayGs;FatuminsMxan;/ FatuCUr/ Fatuxøaj;. ebITwkminbMeBj)ansMNUmBrbec©keTs KWeyIgRtUvBinitüdl; lT§PaBeRcaH Twk. C. eRCIserIsbNþaypÁg;pÁg;Twk erobcMbNþajbMBg;Twk CaFmµtaRtUv)aneRbIR)as;tamtaragbIxageRkamenH ³
  • 150.
    CMBUkTI9 RKb;RKgsMNg; eroberogeday³ sYscMerIn pÁt;pÁg;TwkenAkardæan 148 1. DIya:RkambiTCit ³ EtgRtUv)anerobcM enAtMbn;rbs;enArbs;buKÁlik kmµkr/ dUcenHnigFana)anTwkmanRKb;eBl ¬rUbPaB 8>1¦. ¬rUbPaB 8>1¦ 2. DIya:RkamExVg ³ EtgRtUv)anerobcMenAelIkardæan eRBaHExS KWxIøbMput nig tMélefakbMput ¬rUbPaB 8>3¦. ¬rUbPaB 8>2¦ 3. DIya:Rkamsmas ³ ExSbiTCitbMerIkEnøgeRbIR)as;sMxan; cMENkExSExVg nigbMerIbNþakEnøgeRbIR)as;rg ¬rUbPaB 8>3¦. ¬rUbPaB 8>3¦
  • 151.
    CMBUkTI9 RKb;RKgsMNg; eroberogeday³ sYscMerIn pÁt;pÁg;TwkenAkardæan 149 D. KNnabMBg; kMNt;bMBg; RtUv)ankMNt;tamrUbmnþ v Q v Q D . 2.63 . 1000..4 ππ == (mm) eday ³ D - Ggát;p©itbMBg; (mm), Q - brimaNTwkRtUvkarsrub (l/s), v - el,Ónrbs;TwkenAkñúgbMBg;/ ¬v =0.8 ÷ 2m/s¦/ 1000 - tMélbþÚrBI Em:RtKUbeTA lIRt. elIkardæan/ eKEtgeRbIbMBg;Edk/ minkb;eRCA.
  • 152.
    CMBUkTI10 RKb;RKgsMNg; eroberogeday³ sYscMerIn erobcMpÁt;pÁg;nigXøaMgsMPar³ 150 CMBUkTI 10 erobcMpÁt;pÁg;nigXøaMgsMPar³ 1. kargarpÁt;pÁg;sMPar³ A. RtUvFanapÁt;pÁg;bNþasMPar³sMNg; nig brikçarcaM)ac;eGaykargar Gnuvtþn_dMeNIrkarsagsg;)andak;ecj/ya:gNaeGay³ 1. RKb;cMnYn/ 2. cMKuNPaB/ nig 3. Tan;eBlevla. B. bNþaPar³sMxan;rbs;EpñkpÁt;pÁg;KW³ 1. dak; nig TTYlsMPar³ ¬dUcCasMPar³sMNg;/ sMPar³Bak;kNþal sMerc/ eRKag/ brikçarGnuvtþn_/ >>>¦ rYmmanbNþaEpñkCak;Esþg dUcxageRkam ³ a) begáItEpnkar/ b) pþl;fvikar/ c) cuHkic©snüa ¬ykcitþTukdak;RtYtBinitü nig tamdankargar Gnuvtþn_¦/ d) EbgEckvtßúFatuedImeGaykEnøgTTYlEkécñ/ e) TUTat;CamYynigbNþasßab½npÁt;pÁg;/
  • 153.
    CMBUkTI10 RKb;RKgsMNg; eroberogeday³ sYscMerIn erobcMpÁt;pÁg;nigXøaMgsMPar³ 151 f) dwgBIsMPar³mankñúgXøaMg/ ebIvaminRtUvkarsMrab;kardæaneTot KWGac RtUv)anlk;b¤ edaHdUeGaysßab½nepSg². 2. dwkCBa¢ÚnsMPar³ a) tamdankargardwkCBa¢ÚnelIkMNat;pøÚvcracr. b) TTYlTMnijenAcMeNatrfynþnig XøaMgkardæan. 3. Tukdak;/ EfTaM nig EckcayTMnijeGayEpñksagsg;³ a) bBa©ÚlbeBa©j/ EfTaM RtUvkt;TukkñúgbBa¢IeGayc,as;las; b) EckcayeGayEpñksagsg; 2. erobcMXøaMgdak;sMPar³ A. RbePTXøaMg 1. XøaMgkNþal³ erobcMenAkEnøgRtUvkarelIkdak;sMPar³ BImeFüa)ay dwkCBa¢ÚnenH eTA meFüa)ay dwkCBa¢ÚnepSgeTot ¬dUcCa³ BIpøÚvTwk b¤ BIpøÚvEdk eTApøÚvrfynþ¦.sMPar³sßitenAkñúgXøaMgEtmYyry³eBlxIø¬RbmaNBIbIéf¶¦. 2. XøaMgem ³ Gacdak;enAkñúg b¤ eRkAkardæan ¬ebICakardæanenAkEnøgceg¥ót dUcCa sMNg;enAtMbn;]sSahkmµ b¤kñúgTIRkugFM ¦. enHCakEnøgTukdak;;/EfTaMsMPar³ b¤ eRKagsMNg;edIm,IpÁt;pÁg;eGaysMNg;TaMgmUl. 3. XøaMgtMbn; ³ RtUv)andak;enAtMbn;NamYyenaH rbs;kardæan nig pÞúkEtRbePT sMPar³EdlenAXøaMgsMNag;minGacEfTaM)an. XøaMgenH dak;RbePTsMPar³ EdlRtUveRbIeGaytMbn;mYyrbs;sMNg; nig GaceCosvag)an Ti§Blrbs; briyakasdUcCa³sIum:g;/brikçarGKÁIsnInigbNþaRbePTsMPar³sMxan;epSg².
  • 154.
    CMBUkTI10 RKb;RKgsMNg; eroberogeday³ sYscMerIn erobcMpÁt;pÁg;nigXøaMgsMPar³ 152 4. XøaMgsMNg;³ EtgCavaldak;enAkNþalval/ enACitbegáIysMNg;kMBug sagsg;/ dak;bNþasMPar³minrgT§iBlrbs;briyakas dUcCa ¬ xSac;/ fµ/ RkYs/dæ/ek,Óg/)a:ENl¦. 5. XøaMgrbs;eragEkécñ³ dak;enACiteragCag/ KWCakEnøgTukdak;bNþavtßúFatuedIm nigRBmCamYyenaHk¾CakEnøgEfTaMsMPar³rbs;eragenaHeTot. B. tYnaTIrbs;XøaMg³ 1. TTYlsMPar³nigeRKagsMNg; 2. Tukdak;nigEfTaM/ 3. vicx©b;sMPar³/ 4. EckcayeGayEpñksagsg;b¤kEnøgTTYleRbIR)as;sMPar³epSg/ 5. eFIVkMeragkMriteRbIR)as;vtßúFatuedIm. C. kMNt;brimaNsMPar³bRmug³ sMPar³bRmug KWedIm,IFanapÁt;pÁg;eGaykargarsagsg;)anCab;lab;. KYrRby½tñfa brimaNsMPar³bRmug minRtUvFMeBk eRBaHebIdUcenH nigeFIVeGayfivikacMNay rgkarxatbg;CHT§iBldl;skmµPaBesdækic©rbs;sßab½nsagsg;. brimaNsMPar³bRmugRtUv)ankMNt;tamrUbmnþxageRkam ³ Q = q.T kñúgenaHeyIgman³ q - brimaNsMPar³eRbIR)as;RbcaMéf¶¬RtUv)anKit Cam3 b¤etan¦/ ehIyRtUv)anKNnatamrUbmnþ ³ q = k.Q / ti
  • 155.
    CMBUkTI10 RKb;RKgsMNg; eroberogeday³ sYscMerIn erobcMpÁt;pÁg;nigXøaMgsMPar³ 153 kñúgenaH Q -brimaNsMPar³srub ¬m3 / etan¦ RtUv)aneRbIR)as; kñúgmYyry³eBlrbs;EpnkarN_/ t i -ry³eBleRbIR)as;sMPar³ ¬éf¶¦/ k -emKuNeRbIR)as;kMNt;tamRbtiTinkargar/ T -ry³eBlpÁt;pÁg;sMPar³/ RtUv)anKNnatamrUbmnþ³ T = t1 + t2 + t3 + t4 + t5 kñúgenaH t 1 -ry³eBlrvagTTYlsMPar³TaMgBIrdg/ t 2 -ry³eBldwkCBa¢ÚnsMPar³BIXøaMgdl;kardæan/ t 3 -ry³eBlx©b; nig TTYlsMPar³enAkardæan/ t 4 -ry³eBlBiesaFn_/ dak;tamRbePT nig eRtomsMPar³ EdlEckcay/ t 5 -ry³eBlbRmugGb,brmaedIm,IkarBarkarrGak;rGYl eFIVeGaykargarpÁt;pÁg;sMPar³dl;XøaMgmin)anbnþ bnÞab;EdlmankñúgtaragxageRkamenH ³ l>r briyaysMPar³ meFüa)aydwkCBa¢Ún pøÚvEdk pøÚvrfynþ < 10 km 10 ÷ 50 km 1 Edk/ bMBg;/ srésEdk/ eQI 25 ÷ 30 10 15 ÷ 20 2 sIum:g;t_/ kMe)ar/ fñaM/ kBa©k;/ Rkdas/ Rkdasxat; 20 ÷ 25 7 ÷ 10 10 ÷ 15 3 dæ/ fµ/ RkYs/ xSac; 15 ÷ 20 5 ÷ 8 8 ÷ 12
  • 156.
    CMBUkTI10 RKb;RKgsMNg; eroberogeday³ sYscMerIn erobcMpÁt;pÁg;nigXøaMgsMPar³ 154 D. KNnaRkLaépÞXøaMg ehA F CaRkLaépÞEdlmansar³RbeyaCn_ ¬eRbIR)as; - dak;EtsMPar³/ minniyaydl;pøÚvedIreTAmkkñúgXøaMg¦ RtUv)anKNnatamrUbmnþ³ F = Q / q kñúgenaH Q -brimaNsMPar³dak;kñúgXøaMg/ q -brimaNsMPar³dak;kñúg m 2 . ehA S CaRkLaépÞXøaMg ¬niyayTaMgpøÚvedIreTAmk¦ RtUv)anKNnatamrUbmnþ ³ S = ∝.F kñúgenaH ∝ -emKuNeRbIR)as;TIFøarbs;XøaMg ¬∝ = 1.1 ÷ 1.7¦/ eRkayeBlKNna)anRkLaépÞrbs;XøaMg/ eKRtUvkMNt;RbEvg nig TTwgXøaMg elITIFøasagsg;. RbEvgXøaMg L RtUv)anKNnatamrUbmnþxageRkam³ L = n.l + l1 (n-1) kñúgenaH n - cMnYnrfynþdwk elIkdak;sMPar³kñúgeBlEtmYy/ l - RbEvgrbs;ExSrfynþdwksMPar³ (m) / l1 - KMlatrvagExSrfynþ (m) . CamYynigpøÚvEdkyk CarYmKW 1m cMENkpøÚvrynþeyIgyk l1 = 1.5 ÷ 2.5 m. cMENkTTwgXøaMgEtgykBI (6-10m).
  • 157.
    CMBUkTI11 RKb;RKgsMNg; eroberogeday³ sYscMerIn erobcMCMrkbeNþaHGasnñenAkardæan 155 CMBUkTI 11 erobcMCMrkbeNþaHGasnñenAkardæan 1. niymn½y A. enAkardæan/eKEbgEckCMrksñak;enAbeNþaHGasnñCaBIrRbePT³ 1. CMrkplitkmµ ³ eyIgEtgCYbRbTHCajwúkjab; bNþaCMrkbeNþaHGasnñ bMerIplitkmµ ¬sagsg;¦ KWCa XøaMg/ eragCagékécñ ¬eQI/ Edk¦ kEnøglayebtug >>>. enAkardæanFM² eyIgenACYbCMrkplitkmµ beNþaHGasnñ bMerIeGaysagsg;dUcCa³ sßanIy_ynþkmµ/ kara:s;/ bnÞb;BiesaFn_. 2. CMrkbuKÁlik ³ CMrkeFIVkargarrbs;nayk/ bnÞb;RbCMu nig bnÞb;BiPakSa kargar bMerIkargarEktRmUv nig RKb;RKgkargarsagsg;. CMrkTaMgBIrRbePTxagelIRtUv)anerobcMkñúgtMbn;sagsg;enAkardæan. sMKal;³ • eRkABIBIrRbePTxagelI/ enAkardæan/ edIm,Ikargarsagsg; dMeNIrkar)anl¥/ eKenARtUvBinitüdl;CMrksñak;enA ¬dUcCa ³ CMrkrYm/ CMrkRKYsar/ CMrkePJov¦ nig CMrkbMerICIvitrs;enA/ vb,Fm’eGaybuKÁlikkmµkrenA kardæan ¬CMrkbriePaK/ CMrkekµg²/ CMrkBüa)alCMgW/ CMrkCMnYb/ køib>>>¦. RbePTCMrkenH RtUv)an sg;enAtMbn;rs;enArbs; buKÁlikkmµkr/ EckeGaydac; CamYytMbn;sagsg;enAkardæan.
  • 158.
    CMBUkTI11 RKb;RKgsMNg; eroberogeday³ sYscMerIn erobcMCMrkbeNþaHGasnñenAkardæan 156 • EpñktUcmYyénCMrkbeNþaHGasnñbMerIkargarepSg² ¬dUcCa ³ CMrkTTYlTanéf¶Rtg;/ sMrakéf¶Rtg;/ »sf >>>¦ RbePTCMrkenH RtUv)ansg;kñúgtMbn;sagsg; enAkardæan/ taMgenArvagtMbn; plitkmµ nig tMbn;RKb;RKg. B. cMNaysagsg;CMrkbeNþaHGasnñ bMerIkargarsagsg;enAkardæan )an GnuBaØatiþyk 2>8°énedImTundMbUg. C. bNþadMeNaHRsaybegáItcMNayelICMrkbeNþaHGasnñ ³ bnßyeGayman kMritTabbMput b:uEnþenAEtFanaeFIVkargar nig CIvitrs;enArbs;buKÁlikkmµkr )anl¥KW³ 1. eRbIR)as;bNþaCMrkcas; sßitkñúgPUmisaRsþkardæansagsg;. 2. RbwgERbgsagsg;elOn CMrkGciéRnþ kñúgPar³sagsg; edIm,IeFIVCMrk RKb;RKg. 3. eRbIR)as;CMrkgayRsYlruserInig RsYlcl½t. D. CMrkbeNþaHGasnñtUctacepSg² ³ ¬dUcCa ³ b:usþ_yam/ bnÞb;Twk/ >>>. enAkñúgtMbn;sagsg;RtUv)anKiteTAcMNaybEnßmsMNg;. 2. kMNt;cMnYnmnusSenAkardæan nig tMrUvkarCMrkbeNþaHGasnñ A. kMNt;cMnYnmnusSenAkardæan ³ eKEckbuKÁlikkmµkrelIkardæan CaR)aMRkumdUc xageRkamenH³ • Rkum A ¬kmµkrsMNg;mUldæan¦ • Rkum B ¬kmµkreFIVkargarenAbNþaeragCagplitkmµ¦
  • 159.
    CMBUkTI11 RKb;RKgsMNg; eroberogeday³ sYscMerIn erobcMCMrkbeNþaHGasnñenAkardæan 157 • Rkum C ¬buKÁlikbec©keTs¦ • Rkum D ¬buKÁlikRKb;RKg¦ • Rkum E ¬kmµkr/ buKÁlikbMerIkarbriePaK/ suxmalPaB >>>¦ 1. Rkum A ¬kmµkrsMNg;mUldæan¦³RtUv)ankMNt;tamtaragBlkmµ enAtarag RbtiTinkargarsagsg;/ KNnaedaycMnYnGtibrma nig ry³eBlsagsg; yUrbMput. 2. Rkum B ¬kmµkreFIVkargarenAbNþaeragCagplitkmµ¦³kMNt;tamrUbmnþ ³ B = m.A / 100 eyIgGacyk ³ m = 20 - 30 cMeBaHsMNg;]sSahkmµRbePTtUctac/ RbePTlµm nig sMNg;sIuvil/ m = 30 - 50 cMeBaHsMNg;]sSahkmµFM². 3. Rkum C ¬buKÁlikbec©keTs¦³ kMNt;tamrUbmnþ³ C = 4 ÷ 8% (A + B) 4. Rkum D ¬buKÁlikRKb;RKg¦ ³ kMNt;tamrUbmnþ³ D = 5 ÷ 6% (A + B) 5. Rkum E ¬kmµkr/ buKÁlikbMerI karbriePaK/ suxmalPaB >>>¦ kMNt;tam rUbmnþ ³ E = p.(A +B+C+D) / 100 cMeBaHCMrkbeNþaHGasnñtUc ¬< 100 nak;¦ eyIgyk p = 5÷10/ cMeBaH bNþaCMrkbeNþaHGasnñTMhMmFüm ¬100 ÷ 500 nak;¦ eyIgyk p = 10÷15/ cMeBaHCMrkbeNþaHGasnñFM ¬ > 500 nak;¦ eyIgyk p = 15÷20. ebIyksmamaRtGñkmanCMgWCamFüm 2% nig sMuc,ab;sMrakRbcaMqñaM 4% enaHKW cMnYybuKÁlikkmµkrelIkardæannwg)ankMNt;edayrUbmnþ³ G = 1,06.(A + B+C+D+E)
  • 160.
    CMBUkTI11 RKb;RKgsMNg; eroberogeday³ sYscMerIn erobcMCMrkbeNþaHGasnñenAkardæan 158 ebIniyaydl;emKuNRKYsarKW cMnYnmnusSelIkardæanRtUvkMNt;tamrUbmnþ³ N = (1.5 + 2) G B. tMrUvkarCMrkbeNþaHGasnñenAkardæan³ dwgcMnYnmnusSelIkardæan ¬N nig G¦ eKEp¥kelIbNþabTdæanRkLaépÞ nig karrs;enA/ sil,³ eFIVeGayeyIgKNna)an tMrUvkarCMrkbeNþaHGasnñelIkardæan. bTdæanépÞRkLarbs;CMrkbeNþaHGasnñmYycMnYn l>r RbePTCMrk Ékta bTdæan ! CMrkrYm m2 ¼ nak; 4,00 @ CMrkeGaybuKÁlik m2 ¼ nak; 6,00 # CMrkeFIVkargarrbs;buKÁlik m2 ¼ nak; 4,00 $ CMrkeFIVkargarrbs;fñak;dwknaM m2 ¼ nak; 16,00 % CMrkGaharrYmkmµkrplitkmµ kEnøg ¼ !00 nak; 40 ÷ 50 ^ CMrkEfrkSaekµg² kEnøg ¼ !000 nak; 20 ÷ 30 & mnÞIreBTü kEnøg ¼!000 nak; 8 ÷10 * køib kEnøg ¼ !00 nak; 40 ÷ 50 ( bnÞb;Twk m2 ¼ @0 nak; 2,4 ÷ 2,5 !0 bnÞb;Gnam½y m2 ¼ @0 nak; 2 ÷ 2,5 !! bnÞb;pøas;bþÚrsMelokbMBak; m2 ¼ #0 nak; 0,4 ÷ 0,5
  • 161.
    CMBUkTI 12 RKb;RKgsMNg; eroberogeday³sYs cMerIn kar)a:n;sµancMNaysMNg; 159 CMBUkTI 12 kar)a:n;sµancMNay cMNayEdlTak;TgCamYykargarsMNg; bNþacMNayrbs;kargarsagsg;mYyEdlm©as;sMNg; (owner) RtUvcMNayrYmman³ karcMNayTundMbUg (the initial capital cost) nig cMNayeRbIR)as; eRkaybBa©b;sagsg; nig cMNaykargarEfTaM (the subsequent operation and maintenance costs). karcMNayTun (The capital cost) sMrab;KMeragsagsg; (construction project) mYy rYmman ral;karcMNayEdlTak;Tgdl;karbegáItdMbUgrbs;kargar (the expenses related to the initial establishment of the facility)³ • dIEdl)anmk (Land acquisition) • sikSaEpnkar nig lT§PaBGnuvtþn_ (Planning and feasibility studies) • KMeragbøg;sßabtükmµ nig visVkmµ(Architectural and engineering design) • sagsg;/ rYmmanTMag sMPar³/ brikçar nig Blkmµ (Construction, including materials, equipment and labor) • RKb;RKgkardæansMNg; (Field supervision of construction) • hirBaØb,Tansagsg; (Construction financing) • Fanara:b;rg nig Bn§ kñúgry³eBlsagsg;(Insurance and taxes during construction) • kariyal½yrbs;m©assMNg;;(Owner's general office) • brikçar nig sgðarwm minrab;bBa©Úlkñúgkarsagsg; (Equipment and furnishings not included in construction)
  • 162.
    CMBUkTI 12 RKb;RKgsMNg; eroberogeday³sYs cMerIn kar)a:n;sµancMNaysMNg; 160 • GFikardæan nig BiesaFn_(Inspection and testing ) cMNayeRbIR)as; nig kargarEfTaM (The operation and maintenance cost) eRkayeBldak;eGayeRbIR)as;rYmmandUcxageRkam³ • CYldI/ ebIman (Land rent, if applicable) • buKÁlikbMerIkargar (Operating staff) • Blkmµ nig sMPar³ sMrab;kargarEfTaM nig CYsCul (Labor and material for maintenance and repairs) • EksMrYlfIµEdlmanCaerIy² (Periodic renovations) • Fanara:b;rg nig Bn§ (Insurance and taxes) • cMNayhirBaØb,Tan (Financing costs) • rbs;rbrepSg² (Utilities) • bNþakarcMNayepSg²rbs;m©as;KMerag (Owner's other expenses) TMhMénsmasPaBtMélnimYy² GaRs½yelI sßanPaBTUeTA/ TMhM nig TItaMg (depends on the nature, size and location) rbs;KMerag. m©as;KMeragKYrcab;GarmµN_dl;karsMerc nUvlT§PaBcMNayelIKMeragTaMgmUl eGaymantMélTabbMput EdlsmRsbCamYy vtßúbMNgvinieyaKrbs;kargarsagsg;TaMgenaH. vaCakarsMxan;Nas;sMrab;GñkeFIVKMeragGaCIB (design professionals) nig GñkRKb;RKg sMNg; (construction managers) edIm,IeFIVeGaysMercfa eBlEdltMélsMNg;NamYy GacCasmasPaBmYyFMbMputénkarcMNayTun rIÉsmasPaBénkarcMNayepSg²eTot k_sMxan;Edr. BITsSn³vis½yrbs;m©as;vinieyaK (From the owner's perspective), vamansar³sMxan; dUcKña kñúgkar)a:n;saµncMNayeRbIR)as; nig EfTaM (the corresponding operation and maintenance
  • 163.
    CMBUkTI 12 RKb;RKgsMNg; eroberogeday³sYs cMerIn kar)a:n;sµancMNaysMNg; 161 cost) eTAnigkareRCIserIsnimYy² elIkargarEdlRtUvesñI. karcMNayFM (The large expenditures) mYyeTotEdlRtUvkar KWkargarEfTaM/ CaBiesssMrab; ehdæarcnasm<½n§saFarN³rbs;pgeyIg/ ehIyk¾CakarrMlwknUvkareFVsRbEhsEdlman knøgmk edIm,IeFIVkarBicarNaeGayc,as; elITMnak;TMngéntMéleRbIR)as; nig karEfTaM enAdMNak;kalsikSaKMerag. kñúgfvikasMNg; (construction budgets) mYycMnYnFM/ mankarGnuBaØatiþmYysMrab;tMél Gnimitþ ¬dMeNIrEdlrkehtuCaerOgkMNt;Kµan¦ b¤ edayécdnü (contingencies or unexpected costs) kñúgeBlsagsg;. brimaNGnimitþ (contingency amount) enH GacRtUvbBa©ÚlkñúgeQµaHcMNay (cost item) b¤ RtUv)anrYmbBa¢ÚlkñúgEpñkmYyrbs; sMNg;Gnimitþ. brimaNGnimitþ (The amount of contingency) RtUv)anEp¥kelI bTBiesaFn_ (historical experience) nig PaBsµúKsµajEdlGacnwg ekIteLIg (the expected difficulty) rbs;KMeragsagsg;. Ca]TahrN_/ kardæansMNg; mYyeFIVkar)a:n;sµancMNayenA R)aMtMbn;epSgKña. • KMeragGPivDÄn_pøas;bþÚr (Design development changes) • RbtiTinkargarmankarEksMrYl (Schedule adjustments) • cMNat;karrYmpøas;bþÚr (General administration changes) • lkçx½NÐkardæanedayELk EdlGacnigekIteLIgenaH (Differing site conditions for those expected) nig • »kasniymkñúgeBlsagsg; (Third party requirements imposed during construction).
  • 164.
    CMBUkTI 12 RKb;RKgsMNg; eroberogeday³sYs cMerIn kar)a:n;sµancMNaysMNg; 162 RbePT)a:n;sµantMélsagsg; )a:n;tMélsagsg; (Construction cost estimates) GacemIlBITsSn³vis½yepSgKña BIeRBaHesckIþRtUvkarepSg²Kña. RbrPT)a:n;tMél CaeRcInRtUv)aneRbIR)as;enA dMNak;kalepSg²Kñarbs;KMerag/ )a:n;tMélCakarl¥GacEbgEckCa bIRbePTsMxan; tamtYnaTInimYy²rbs;BYkva. )a:n;tMélsagsg;bMerIeGaymYy kñúgcMeNambIktþa mUldæan ³KMeragbøg;¬design¦/ dak;tMél (bid) nig RtYtBinitü (control). 1. )a:n;sµanKMeragbøg; Design Estimates sMrab;m©as; b¤ GñkeFIV KMeragbøg;GaCIB (For the owner or its designated design professionals), RbePTén)a:n;tMélrt;RsbCamYy EpnkarN_ (planning) nig KMeragbøg; (design) dUcxageRkam³ o )a:n;sµanedaykarbgðaj ¬b¤ karerobcMTMhM)a:n;RbmaN¦ Screening estimates (or order of magnitude estimates) o kar)a:n;sµanbzm ¬b¤ kar)a:n;sµantamkMNt;¦ Preliminary estimates (or conceptual estimates) o kar)a:n;sµanlMGit ¬b¤ kar)a:n;sµanseRmc¦ Detailed estimates (or definitive estimates) o kar)a:n;sµanbec©keTs Ep¥kelI KMeragbøg; nig sMraybBa¢ak;bec©keTs (Engineer's estimates based on plans and specifications). 2. kar)a:n;sµandak;tMél Bid Estimates sMrab;Gñkem:Akar (for contractor), kar)a:nsµandak;tMél (bid estimate) RtUv)andak;CUnm©as;sMNg;NamYy edIm,I RbKYtRbECgkaredjéfø (for competitive bidding) EdlniyayTaMg karRKb;RKgkardæan (field supervision), bUkCamYynigkartemøIgtMél edIm,IRKb;RKg cMNaysrub (general overhead) nig R)ak;cMeNj (profits). tMélpÞal;rbs;sMNg;
  • 165.
    CMBUkTI 12 RKb;RKgsMNg; eroberogeday³sYs cMerIn kar)a:n;sµancMNaysMNg; 163 cMeBaHkar)a:n;sµandak;tMélCaerIy² RtUv)anmkBIRbPB énkarpSMrbs;smasPaBdUcxageRkam³ o kardak;tMélrbs;Gñkem:Akarrg (Subcontractor quotations) o brimaNcMlg (Quantity takeoffs) o TRmugkarsMNg; (Construction procedures) 3. kar)a:n;sµanRtYtBinitü Control Estimates sMrab;tamdanKMeragkñúg kMLúgeBlsagsg; (For monitoring the project during construction) karbegáItkar)a:n;sµanRtYtBintü RtUv)anRbPBmkBIB½t’manEdlman (available information) dUcxageRkam³ o kar)a:n;sµanfvikasMrab;hirBaØb,Tan (Budget estimate for financing) o karcMNayfvikaeRkayeBlcuHkic©snüa b:uEnþmuneFIVkarsagsg; (Budgeted cost after contracting but prior to construction) o fvikacMNayrhUtdl;bBa©b;kñúgkMLúgeBldMeNIrkarsagsg; (Estimated cost to completion during the progress of construction) . kar)a:n;sµanKMeragbøg; Design Estimates enAdMNak;kaleFIVEpnkaN_ (planning) nig KMeragbøg; (design) rbs;KMerag/ kar)a:n;sµanKMeragbøg;nimYy² (various design estimates) CHTi§Bldl;dMeNIrkar rbs;KMeragbøg;. enAdMNak;kalRbjab;/ )a:n;sµanedaykarbgðaj b¤ karerobcMTMhM )a:n;sñan (screening estimate or order of magnitude estimate) EtgeFIVmuneBl kargarenaH bBa©b;KMeragbøg;/ nig eCOCak;elITinñn½ytMélrbs;kargar RsedogKñaEdl )ansagsg;knøgmk. kar)a:n;sµanbzm b¤ kar)a:n;sµantamkMNt; (preliminary estimate or conceptual estimate) KWEp¥kelIeKalKMnitKMeragbøg; enAeBlEdlbec©keTs
  • 166.
    CMBUkTI 12 RKb;RKgsMNg; eroberogeday³sYs cMerIn kar)a:n;sµancMNaysMNg; 164 dMbUgsMrab;KMeragbøg;RtUv)anTTYlsÁal;. )a:n;sµanlMGit b¤ kar)a:n;sµanseRmc (detailed estimate or definitive estimate) RtUv)anbegáIt eBlkargar)ansMercc,as;las; nig KMeragbøg;lMGitkMBg;dMeNIrkar dUcenHcMNucsMxan;rbs;kargarsagssg;GacTTYl sÁal;)an. kar)a:n;sµanbec©keTs (engineer's estimate) KWEp¥kelIbøg; nig sMraybBa¢ak;bec©keTs (plans and specifications) )anbBa©b;sßaBr ehIyeBlEdlBYkva manlkçN³RKb;RKan;eGaym©as;sMNg; viPaKkardak;éføBIbNþaGñkemA:karsMNg;. kñúg kareobcMcat;Ecg)a:n;tMélenH/ GñkelIkKMeragGaCIB nig dak;bBa©ÚlbrimaNEdlCaTI TukcitþsMrab;cMNaysrub nig R)ak;cMeNjrbs;GñkemA:kar (contractors' overhead and profits). Ca]TahrN_mYy³ BinitütMél)a:n;sµansMrab;sMeNIsg;s<anmYykat;TTwgTenømYy. kar)a:n;sµanedaykarbgðaj (screening estimate) RtUv)aneFIVsMrab;ral;CMerIsskþanuPUt ¬minTan;eXIjCak;Esþg¦ dUcCa s<anekag b¤ s<anceg¥Ir. kñúgeBlRbePTs<an RtUv)aneRCIserIs/ ]TahrN_ lMnaM]sSahkmµRtUv)aneRCIserIss<ankMeNag CMnYseGay TMrg;s<anfµImYy/ )a:n;sµanbzm (preliminary estimate) RtUv)anbegáItelI mUldæanénviFIbkRsayKMrURBagrbs;TMrg;s<anEdl)aneRCIserIs elImUldæanKMeragdMbUg b¤ tamkMNt;. )a:n;saµnlMGit (detailed estimate) RtUv)aneFIVelImUldæan kargar)ankMNt;c,as;las;rbs;KMerag. enAeBlbøg;lMGit nig sMraybBa¢ak; bec©keTsRtUv)anbBa©b;/ )a:n;sµanbec©keTs GacRtUv)anbegáItelImUldæan lMdab;erog nig brimaNrbs;kargar (items and quantities of work). kar)a:n;sµandak;tMél Bid Estimates kar)a:n;sµandak;tMélrbs;GñkemA:karCaerIy² bgðajnUvectnarbs;GñkemA:kar edIm,IrkSa suvtiþPaBkargar dUceTAnig)a:n;sµancMNayGaRs½ybMerIbMras;rbs;kargar. GñkemA:kar mYycMnYneFIVkar)a:n;sµanl¥ kñúgeBlGñkemA:karxøHmineFIV. manEtGñkedjéføTabeT nwgkøayCaGñkQñHkic©snüakñúgkarRbECgdak;tMél/ karxMRbwgERbgcMNaykMlaMgsMrab;
  • 167.
    CMBUkTI 12 RKb;RKgsMNg; eroberogeday³sYs cMerIn kar)a:n;sµancMNaysMNg; 165 kar)a:n;sµandak;tMél CakarcMNaykMlaMgtRbeyaCn_ dl;GñkemA:karEdlminEmnCa GñkTTYleCaKC½ykñúgkardak;tMél. dUcenH GñkemA:karKYrdak;tMélTabbMputEdlGac sMrab;eFIVtMél)a:nsµan ebIeCOCak;fa »kaseCaKC½ykñúgkaredjéføminx<s;. ebIGñkemA:karbRmugeRbIR)as;GñkemA:karrg (subcontractors) kñúgkargarsagsg;/ vaGacRbmUltMéldak;edjéføBIbNþaGñkemA:karrg. dUcenH GñkemA:karrg TTYlPar³ )a:n;sµantMélbnþBIGñkemA:kar. ebIral; b¤ EpñkmYyrbs;sMNg;RtUv sßiteRkamGñkemA:kar/ kar)a:n;sµandak;tMél GacerobcMelImUldæanbrimaNcMlgecjBIbøg;Edl)anpþl;eday m©as;KMerag b¤ elImUldæanTRmugkarsMNg; Edl)anbegáIteLIg edayGñkemA:karsMrab; karRbtiþbtiþKMerag. kar)a:n;sµanRtYtBinitü Control Estimates TaMgm©as;TaMgGñkemA:karRtUvyl;RBmeKalkarN_NamYy sMrab;karRtYtBinitütMélkñúg kMLúgeBlsagsg;. cMeBaHma©s;/ kar)a:n;sµanCafvikaRtUv)anyl;RBmeGayTan;eBl edIm,IbegáItEpnkarN_hirBaØb,Tanmanry³eBlEvg. dUcenH/ kar)a:n;sµanlMGit Cajwúkjab;RtUv)aneRbI dUc)a:n;tMélCafvika enAeBlEdlvaRKb;lkçN³pþl;eGayKMerag vij nig manCaeRscnUvry³eBlEvg munkar)a:n;sµanbec©keTs. kñúgeBlkargar dMeNIrkar/ karcMNayEdlélTuk RtUvBinitüeLIgvij edIm,IkMNt;eBlpþl;mkvij nUvtMél)a:n;sµanrhUtdl;bBa©b;;. cMeBaHGñkemA:kar (For the contractor)/ )a:n;sµandak;tMél CaFmµtaRtUv)ancat;TukdUc )a:n;sµanCafvikar/ EdlnwgRtUveRbIsMrab;RtYtBinitüTisedAGnuvtþn_ dUcKñanigerobcM EpnkarN_hirBaØb,TansMNg;. karcMNayEdlélTuk KYrRtUv)aneFIVeGayRbesIrpgEdr edIm,ITTYl)anvijnUvtMél)a:n;sµanrhUtdl;bBa©b; k¾dUcCaFanafvikarsmlµmsMrab; karbBa©b;rbs;KMerag.
  • 168.
    CMBUkTI 13 RKb;RKgsMNg; eroberogeday³sYs cMerIn ry³eBlnigtMél 166 CMBUkTI 13 ry³eBl nig tMél kñúgdMeNIrkarRKb;RKgsMNg; 1. lkçN³TUeTA bnßyry³eBlsagsg; edIm,InaMsMNg;dak;eGayeRbIR)as; KWCabBaðaya:gsMxan;cMeBaH sMNg;. sBVéf¶ enARBHraCaNacRkeyIg/ sMNg;CaeRcIn ]sSahkmµ nig sIuvil/ RtUvkarbBa©b;qab;rh½s edIm,ITTYlplmkvij . cMeBaHGñkerobcM/ RKb;RKg cg;bnßyry³eBlsagsg; RtUvykcitþTukdak;CamYynig ktþaesdækic© - bec©keTs rbs;sMNg;/ kñúgenaH ktþaBIrsMxan;eTotedIrTnwÞmKñaKW ry³eBl nig tMél BiessTaMgkñúgkarbegIátEpnkar nig cg¥úlbgðajdMeNIrkar sagsg;. kúñgkarbegIátEpnkar nig cg¥úlbgðajsagsg;/ ktþary³eBl nig tMél edIrCamYyKña ya:gs¥itrmYt. tMélsMNg; KWbgðajedayrUbIvtßú rbs;bNþacMNay Blkmµrs; nig Blkmµ)at;bg; rbs;mUldæanplitkmµ kñúglMnaMbegáIteGayecjplitpl. tMélKWCa karcMNaysrubmYy TTYl)anmkBIkMritcMeNHdwgRKb;RKg/ Epnkar nIykmµ/ RKb;RKgbec©keTs nig plitPaBBlkmµ. BiR)akdNas;BIehtuplxaelI/ cab;taMgBIkarbegáItEpnkar/ eyIgRtUvkaredaHRsayl¥cMNgTak;Tgrvag³ ry³eBl plitkmµ nig cMNayplitkmµ.
  • 169.
    CMBUkTI 13 RKb;RKgsMNg; eroberogeday³sYs cMerIn ry³eBlnigtMél 167 bBaðaEdlEtgRtUv)anykcitþTukdak;KW bnßyry³eBlsagsg;sMNg;/ ehIyva RKan;EtmanGtßn½y eBlpSarP¢ab;CamYynigtMrUvkar³ eFIVya:gNaedIm,I karekIn cMNay edaybnßyry³eBlKWxøIbMput. enHCacMeNaT edaHRsayya:gsµúsµaj eRBaHRtUveRbobeFobCamYyvIFIsaRsþEdlGacbnßyry³eBlCaeRcIn. bc©úb,nñenH/ edayedayviFIsaRsþelx eyIgGacmanlT§PaBeRcInKNnadUcCa ³ DIya:Rkam bNþaj. 2. ry³eBl nig tMél cMNgTak;Tgrvagry³eBl nig tMél rbs;kargar (i-j) GacbgðajtamRkhiVk xageRkam ¬rUbPaB 0!¦. rUbPaB 0! tMél ry³eBl t tC cMNucEdnkMNt; AttA B A CB AC C ykRbhak;RbEhlCabnÞat; ExSekagRTwsþI nig cMNucFmµta BIRkahiVkxagelIeyIgeXIjfa ³ • ebIkargarGnuvtþkñúglkç½x½NÐFmµta ¬cMNuc B¦ KWtMélGb,brma. • ebIbnßyry³eBlsagsg;nigRtUvekInEfmcMNay b:uEnþdl;kMritEdnkMNt; ¬cMNuc A¦ enaHeTaHCabegáInEfmcMNay enAEtminbnßy)anry³eBl eTAeTot edayehtuplbec©keTs.
  • 170.
    CMBUkTI 13 RKb;RKgsMNg; eroberogeday³sYs cMerIn ry³eBlnigtMél 168 • ebItamcMNucFmµta B enaH karGUsbnøayeBlevla k¾RtUveFIVeGay ekIncMNay. kñúgviFIsaRsþDIya:RkambNþaj/ eyIg)ankMNt; ry³eBlGnuvtþkargarnimYy² (i-j) KW (tij). dUcenH/ ry³eBlenH KWCacMnYnefr. eBlRtUvkarbnßyry³eBl enaHry³eBlGnuvtþkargarmYycMnYn køayCabMErbMrYlÉkraC RtUv)ankMNt;kñúg ry³eBl³ BijA ttt ≤≤ kñúgenaH ³ tA³ ry³eBlGb,brmaGnuvtþkargar i-j. tB³ ry³eBlGtibrmaGnuvtþkargar i-j/ enAehAfary³eBl FmµtaGnuvtþkargar i-j. CamYyry³eBlenH/ kargarRtUv)anGnuvtþkñúgbNþal½kçx½NÐFmµta nig cMNayGb,brma. emKuNtMél eBlbnßyry³eBl enaHcMNay nig tMélekInEfm ¬karekIntMél eBlbnßy mYyÉktary³eBl rbs;kargarRtUv)anehAfa emKuNtMél. BIrUbPaB 0!eyIgGackMNt;)an hc       − − = TimeTT CC F AB BA c $ emKuNtMélbgðaj tMél EdleyIgRtUvsgeBlbnßyry³eBlGnuvtþkargar. tMélrbs;emKuNenH manxøwmsarsMxan;kñúgkareRCIserIskargarNa RtUvbnßy ry³eBlxøI ry³eBlEdltMél ¬TabbMput¦. 3. cMNaypÞal; nig cMNayminpÞal;kñúgsMNg;
  • 171.
    CMBUkTI 13 RKb;RKgsMNg; eroberogeday³sYs cMerIn ry³eBlnigtMél 169 minfamYysMNg;NaminkMNt; sIuvil b¤ ]sSahkmµ/ tMélsrubrbs;sMNg; rYmmanBIrEpñk ³ - cMNaypÞal; - cMNayminpÞal; kMNt;tMélKMeragsagsg;sMNg;KWkMNt;RbePTcMNayTaMgBIrxagelI EdlcMNuc BiessRbePTnimYy² manT§iBledayELk dl;bBaðarbs;BYkeyIg. xageRkamenHeyIgBinitüeGayc,as; tamRbePTmYy². cMNayminpÞal; tameKalnarN_ KNenyü (Cost Accounting) cMNayminpÞal;rbs;sMNg;mYy rYmman ³ - cMNayfñak;dwknaM/ RKb;RKgrdæ)al. - cMNayCYsCulsMNg;/ xUcxatFnFan. cMNayminpÞal;ekIntamry³eBlsagsg;. ebIcMNayminpÞal; RKan;EteRbIkargar rdæ)al dUcCa fñak;dwknaM/ Rkb;RKg/ RtYtBinitü/ >>> enaHvaRtUvbgðajedaybnÞat; mYy. ebIbUkEfmcMNay)atbg;/ xUcxatFnFan/ CYsCulsMNg;enaHvaCa ExSekag. cMNaypÞal; tameKalkarN_KNenyü (Cost Accounting) cMNaypÞal;rbs;sMNg;mYyrYmman³ - TijsMPar³/ brikçarsagsg;. - cMNayCYleRKOgcRk. - cMNayR)ak;ebovtSsMrab;kmµkr.
  • 172.
    CMBUkTI 13 RKb;RKgsMNg; eroberogeday³sYs cMerIn ry³eBlnigtMél 170 tMél ry³eBl t cMNayminpÞal;srub C cMNayrdæ)al cMNayeday)at;bg;/ xUcxat/ CYsCul rUbPaB 0@³ RkahiVkcMNayminpÞal; pÞúy nig cMNayminpÞal;/ cMNaypÞal;ekIneBlry³eBlbnßy nig ry³eBlhYsput EdnkMNt; rbs;ry³eBlFmµta enaHcMNaypÞal;k¾ekIn eBlry³eBlekIn. RkahiVkcMNaypÞal; KWExSekagdWeRkTIBIr manGtibrmaRtg;cMNucFmµta. kñúgkargar Cak;Esþg EtgmanTinñn½yminRKb;RKan;/ dUcenHExSekagbgðajcMNgTak;Tgry³eBl nig EtgykRbhak;RbEhlKWCabnÞat;Rtg;mYy. eyIgnwgman³ ijij ij c bthCij += . emKuN ij ch ³ manT§iBldl;lT§plrbs;bBaða. ijb ³ bgðajcMnYncMNayefrminmanT§iBlkñúgeBledaHRsaybBaðaenH.
  • 173.
    CMBUkTI 13 RKb;RKgsMNg; eroberogeday³sYs cMerIn ry³eBlnigtMél 171 C(t , c )i i D(t , c )A A it BBD(t , c ) AD(t , max) rUbPaB 0# ³ RkahiVkcMNaypÞal; tMél ry³eBl t BttA C BIbNþaGnuKmn_rbs;kargar Cij eyIgGac)anGnuKmn_ tMélTaMgmUlrbs;KMerag C ¬rUbPaB 0#¦. GnuKmn_tMélTaMgmUlrbs;KMeragRtUv)anbgðajeday ³ ( )∑ ∑ =+== min!. ijij ij tij btfCC B : tMélGb,brmaCamYyry³eBlFmµta ¬ tB¦ A : tMélGb,brmaCamYyry³eBlGb,brma ¬tA¦ C : tMélGb,brmaCamYyry³eBl¬t i¦ D : tMélGtibrmaCamYyry³eBlGb,brma ¬ t A¦ tB : ry³eBlGnuvtþKMeragkñúglkçxNÐFmµta tA : ry³eBlGb,brmaGnuvtþKMerag. ebIkñúgDIya:RkambNþaj kargarTaMgGs; suT§EtGnuvtþFmµta enaHminmanbBaðaeLIy/ eRBaHRKan;EtmanlT§pl sMrab;tMélKMeragTaMgmUl ¬cMNuc B¦ elIrUbPaB 0#. b:uEnþeyIgbnþbnßyry³eBlGnuvtþKMeragTaMgmUl enaHCaTUeTARtUvbnßyry³eBl kargarmYycMnYn ehIynwgmanviFIeRCIserIsCaeRcIn EdleyIgGacbnßy)an/ edIm,I
  • 174.
    CMBUkTI 13 RKb;RKgsMNg; eroberogeday³sYs cMerIn ry³eBlnigtMél 172 FanaeBlevlakMNt; ¬ti¦. tMélKMerag (C) rbs;viFIenH CamYytMél (ti) ¬dktMél (tB) smmUlCamYydMeNaHRsayFmµta¦ k¾nwgxusKñaGaRs½y eyIgeRCIserIskargar Na edIm,Ibnßyry³eBl. ebIenAry³eBlnimYy (ti) ¬ t = 1, 2...k¦ eyIgrk)antMélGb,brma rbs;tMélKMerag TaMgmUl enaHTMnak;TMng tMél nig ry³eBlKWl¥bMput nig eyIgGacyk Rbhak;RbEhleGaysmRsb ¬emIlExSekag BA elIrUbPaB 0#¦. GacnaMeTAcMeNaTrkRbesIrdUcxageRkam³ begáItGb,brmaGnuKmn_TisedA ³ ( ) ( ) min!. =+= ∑ij ijijij bthcf CamYlkçxNÐ BijA ttt ≤≤ enHCacMeNaTEpnkarQanmuxmYy man)a:ra:Em:Rt (t). edaHRsaylMhat;enH eyIgnigrk)anbNþatMél (tij ) eFIVeGayGnuKmn_TisedAsMercGb,brma/ mann½yfatMélKMeragTaMgmUlGb,brma. lT§plKNna eGayeyIgkUGredaen rbs; cMNuc C(ti, Ci) elIbnÞat;tMél nig Tinñn½yedIm,IKNna ry³eBlTaMgGs; CamYy ry³eBlkMNt;mun (ti). tMélKMeragsrub eRkayeBlkMNt;)an cMNaypÞal;srub nig cMNayminpÞal;/ eyIgGackMNt;)an tMélKMeragTaMgmUl.
  • 175.
    CMBUkTI 13 RKb;RKgsMNg; eroberogeday³sYs cMerIn ry³eBlnigtMél 173 cMNaypÞal; cMNayminpÞal; tMélKMerag Fmµtatt Gb,brmaEdnkMNt;t minC C t ry³eBl rUbPaB 0$ ³ RkahiVkcMNayKMragsrub eKalbMNgrbs;karviPaK tMél nig ry³eBlKWeTArktMélmYyEdltUcbMput (Cmin) rbs;KMeragsmmUlCamYy ry³eBlEdll¥RbesIrbMput. eBl)ankMNt;)an DIya:Rkam tMélsrubrbs;KMerag/ enaHbBaðarkry³eBll¥smmUlCamYytMél Gb,brma minmanGIVBi)akeTot. kargarkMNt;tMélKMeragsrub eBlenHbþÚreTACa cMeNaTkMNt;cMNaypÞal;. dUcenHminmann½yfa cMNayminpÞal; minsMxan; b¤ gay RsYlkMNt;/ b:uEnþvamanT§iBltic dl;cMeNaTEdleyIgkMBg;kMNt;. 4. cMeNaTtMélTabbMput kñúgÉksarvinieyaK/ tMélKMragsMNg; KWCa)a:ra:Em:RtmYysMxan; eFobeFobCamYy bNþa)a:ra:Em:RtlMnaM]sSahkmµsMNg;/ lT§PaBGMBIbNþaGñkCMnajbec©keTs/ brikçar/ eRKOgcRksMNg;. dUcenH sagsg;elOnbMputCamYytMélsMNg;ticbMput KWCaTisedArbs;bNþaskmµPaB vinieyaK. ehtuenH enHCacMeNaTmYyFM nig manTisedaHRsayeRcInepSg²Kña. enATIenH/ eyIgRKan;EtbgðajcMeNaT CamYyviFIedaHRsayelIDIya:RkambNþaj. 1. kMNt;taragcMNaypÞal;
  • 176.
    CMBUkTI 13 RKb;RKgsMNg; eroberogeday³sYs cMerIn ry³eBlnigtMél 174 kñúgCak;Esþg/ karkMNt;cMNaypÞal; rbs;KMeragBi)akNas;/ BIeRBaHRKan; EtRtUvkarRBwtiþkarN_mYycMnYntUc eyIgmanviFIsaRsþeRcInepSgKña. xageRkamenH nwgkMNt;RTwsIþmUldæanmYycMnYn rbs;karkMNt;ExSekag cMNaypÞal;tam]TahrN_mYy. ]TahrN_ !> eGayDIya;RkambNþaj CamYytMrUvkarbgðajenAtarag !. 19 19 10 10 10 2020 3030 10 10 00 3 2 41 rUbPaB % tarag !> bNþaTinñn½yrbs;DIya:RkambNþaj Ékta 1 USD kargar tn tl Cn Cl hdm 1-2 10 7 400 640 80 1-3 19 11 600 1160 70 2-3 10 8 500 600 50 2-4 19 15 700 1000 75 3-4 10 4 4 300 85 ∑ 2500 4210 eRkayeBl KNnabNþajxagelI/ Ep¥kelIbnÞat;em eyIgdwg)anry³eBl bBa©b;KMeragKW #0 éf¶ CamYytMélpÞal;KW @%00 duløarGaemrik. cg;eGay
  • 177.
    CMBUkTI 13 RKb;RKgsMNg; eroberogeday³sYs cMerIn ry³eBlnigtMél 175 EpnkarGnuvtþ @( éf¶ eyIgRtUvbnßymYykñúgcMeNamkargarem. ebIminykcitþ Tukdak;dl; tMél enaHeyIgGacbnßy minfakargaremNamYy eyIgGacman T = 29 éf¶. b:uEnþeKaedAmYycMnYn rbs;BYkeyIgKW bnßyry³eBlkMNt;pg/ RBmeBlCamYyenaH RtUvmantMélTabpg. tamtarag ! eyIgGacbnßy kargar ¬@-#¦ eRBaHmantMél Gb,brma hm = 50 USD nig ry³eBlkMNt; tl = 8 éf¶. ebIbnßykargar ¬@-#¦eTACa ( éf¶enaH T = 29éf¶. tMéléncMNayekIneLIgKW ³ C = 2500 + 50 = 2550 USD lT§plDIya:RkambNþajbgðajelIrUbPaB ^. 19 19 10 10 2020 10 10 00 3 2 41 9 29 29
  • 178.
    CMBUkTI 14 RKb;RKgsMNg; eroberogeday³sYs cMerIn sBaØakñúgdMeNIrkarRKb;RKgsMNg; 176 CMBUkTI 14 sBaØakñúñúgdMeNIrkarRKb;RKgsMNg; 1. sBaØabBa¢adgsÞÚcedayéd
  • 179.
    CMBUkTI 14 RKb;RKgsMNg; eroberogeday³sYs cMerIn sBaØakñúgdMeNIrkarRKb;RKgsMNg; 177
  • 180.
    CMBUkTI 14 RKb;RKgsMNg; eroberogeday³sYs cMerIn sBaØakñúgdMeNIrkarRKb;RKgsMNg; 178
  • 181.
    CMBUkTI 14 RKb;RKgsMNg; eroberogeday³sYs cMerIn sBaØakñúgdMeNIrkarRKb;RKgsMNg; 179
  • 182.
    CMBUkTI 14 RKb;RKgsMNg; eroberogeday³sYs cMerIn sBaØakñúgdMeNIrkarRKb;RKgsMNg; 180
  • 183.
    CMBUkTI 14 RKb;RKgsMNg; eroberogeday³sYs cMerIn sBaØakñúgdMeNIrkarRKb;RKgsMNg; 181 2. sBaØasuvtßiPaBkñúgdMeNIrkarsagsg;
  • 184.
    CMBUkTI 14 RKb;RKgsMNg; eroberogeday³sYs cMerIn sBaØakñúgdMeNIrkarRKb;RKgsMNg; 182
  • 185.
    CMBUkTI 14 RKb;RKgsMNg; eroberogeday³sYs cMerIn sBaØakñúgdMeNIrkarRKb;RKgsMNg; 183
  • 186.
    CMBUkTI 14 RKb;RKgsMNg; eroberogeday³sYs cMerIn sBaØakñúgdMeNIrkarRKb;RKgsMNg; 184
  • 187.
    CMBUkTI 14 RKb;RKgsMNg; eroberogeday³sYs cMerIn sBaØakñúgdMeNIrkarRKb;RKgsMNg; 185
  • 188.
    CMBUkTI 14 RKb;RKgsMNg; eroberogeday³sYs cMerIn sBaØakñúgdMeNIrkarRKb;RKgsMNg; 186
  • 189.
    CMBUkTI 14 RKb;RKgsMNg; eroberogeday³sYs cMerIn sBaØakñúgdMeNIrkarRKb;RKgsMNg; 187
  • 190.
    CMBUkTI 14 RKb;RKgsMNg; eroberogeday³sYs cMerIn sBaØakñúgdMeNIrkarRKb;RKgsMNg; 188