Smart Shopping System
Department of Computer Science and Engineering,JCE,Belagavi Page 1
Chapter 1
INTRODUCTION
1.1 OVERVIEW
According to present scenario, Now a day’s shopping at big malls is becoming a daily
activity in metro cities. The huge rush at malls on holidays and weekends. After purchase,
at the billing counter the cashier prepare the bill using bar code reader which is a time
consuming process and results in long queues..Considering all this ,we have
implemented a system that can be used in shopping malls to solve the rush at billing
counter using RFID based trolley.
1.2 INTRODUCTION
During the last decade the commercial use of RFID has been growing rapidly all
over the world. Furthermore, it is projected that the RFID market will reach an estimated
US$18.7 billion by the year 2017 (GIAI, 2012). Everywhere retailers are increasingly
embedding RFID technology into their supermarket products in order to improve the
customers’ shopping experience, customer support and develop new services for
customers.
RFID is a technology that uses radio waves to track, capture, identify and transfer
data efficiently and without human intervention. [2] RFID-based system gathers data
about a certain object without touching it or seeing it stag and forwards the information to
a host computer. The data on the tag include pointer to the central database within an
RFID system. RFID-Readers are able to establish a Channel of communication, read the
tags and trace the movement of these objects within the coverage area. RFID is a
promising technology which can improve operational efficiency specially a considerable
amount of reduction in transaction costs. Tag detection does not require human
intervention therefore reduces employment costs and eliminates human errors during data
collection. Due to its flexibility and business efficiency, the RFID technology has been
widely adopted in a wide range of applications such as supply chain management and
inventory, libraries, equipment and parts maintenance, vehicle identification, tracking
people, access control, reliable car tracking, manufacturing line control, automated
Smart Shopping System
Department of Computer Science and Engineering,JCE,Belagavi Page 2
reading and receipt of goods at end sale points, e-passport and much more (Owunwanne
and Goel,2010). Implementation of RFID based applications has become an objective of
many Organizations, partially as a result of the decision made by Wal-Mart, the world’s
biggest retailer, to implement the RFID technology to monitor flow of pallets and
packaging in its supply chain and ask their top 100 vendors deploy RFID. The US
Department of Defence, Proctor and Gamble and the European retailer Metro Group
require their larger suppliers to implement RFID on every box and pallet shipped to them.
The grocery industry is a prime candidate for RFID implementation. On-hand shelf
inventory system in the supermarket will be linked to the store’s information system, thus
maintaining real time product information and automatic inventory tracking to keeping
the correct inventory levels. [2]Using RFID technology in supermarkets can also provide
detailed information on customer purchase behaviour. Currently most of the
supermarkets use a barcode-based system whereby an item is assigned a serial number
printed on the barcode label attached to an item and the item related information is stored
in the database of the back-end system. To perform inventory control, someone has to
scan the barcode label of each item and compare them with existing inventory list. This is
a lengthy and error prone process; as a result it’s done less frequently and hence often is
not up-to-date. The capabilities of the barcode technology are limited in term of
functionalities that businesses require (Bendavid et al.,2006). RFID technology offers a
solution to the above mentioned problem.
1.3 CHALLENGES OF THE PROPOSED SYSTEM
Some common problems with RFID are reader collision and tag collision. Reader
collision occurs when the signals from two or more readers overlap. The tag is unable to
respond to simultaneous queries. Systems must be carefully set up to avoid this problem.
Tag collision occurs when many tags are present in a small area; but since the read time is
very fast, it is easier for vendors to develop systems that ensure that tags respond one at
a time.
1.4 PROBLEM STATEMENT
An innovative product with societal acceptance is the one that aids the comfort,
convenience and efficiency in everyday life. Purchasing and shopping at big malls is
becoming daily activity in metro cities. There will be rush at these malls on holidays and
weekends. People purchase different items and put them in trolley. After completion of
purchases, one needs to go to billing counter for payments. At billing counter the cashier
Smart Shopping System
Department of Computer Science and Engineering,JCE,Belagavi Page 3
prepare the bill using bar code reader which is very time consuming process and results
in long queue at billing counter.
In this Project, we are implementing a system “RFID Based Automatic Shopping
Cart” being developed to assist a person in everyday shopping in terms of reduced time
spent while purchasing. The main objective of proposed system is to provide a
technology oriented, low-cost, easily scalable, and rugged system for assisting shopping
in person.
1.5 PROPOSED SYSTEM
The main objective of proposed system is to provide a technology oriented, low-
cost, easily scalable, and rugged system for assisting shopping in person.[5] The RFID
powered electronic shopping cart is built to enhance the overall shopping experience for
electronics store consumers. Upon placing an item in the shopping cart, the consumer can
access an array of product information, advanced product specifications, product features,
consumer reviews, and combination deals with other store products. If a consumer is not
sure of the physical location of an item, they will be able to search for the item and view
a direct map of the store to find it. Other features include a live total of all items in the
cart, being able to view the weekly in-store specials and ready for pick up.
1.6 ORGANIZATION OF THE REPORT
Chapter 1 explains the overview, introduction, problem statement and proposed system.
Chapter 2 discusses about the literature survey about the existing system.
Chapter 3 gives the details of the requirement analysis and specification such as
functional, non-functional requirements, hardware and software requirements.
Chapter 4 explains the system design and implementation with the module description,
architecture diagram and data flow.
Chapter 5 discusses about the various System Testing..
Chapter 6 gives the results and detailed analysis of the results obtained.
Smart Shopping System
Department of Computer Science and Engineering,JCE,Belagavi Page 4
Chapter 2
LITERATURE SURVEY
2.1 OVERVIEW
Literature Survey is an important phase in the system development life cycle as
we collect and acquire the necessary information to handle or develop a project during
this phase. A literature review is a description of the literature relevant to particular field
or topic. It gives an overview of what has been said, who the key writers are, what are the
prevailing theories and hypothesis and what methods and what methodologies are
appropriate and useful.
In this chapter research is done prior to taking up the project and understanding
the various methods that were used previously. A detailed analysis of the existing systems
was performed. This study helped to identify the benefits and drawbacks of the existing
systems.
Dr. Suryaprasad J in "A Novel Low-Cost Intelligent Shopping Cart“[1] proposed
to develop a low cost intelligent shopping aid that assists the customer to search and
select products and inform the customer on any special deals available on the products as
they move around in the shopping complex.
Amine Karmouche in "Aisle-level Scanning for Pervasive RFID-based Shopping
Applications" [2] proposed to develop a system that is able to scan dynamic and static
products in the shopping space using RFID Reader antennas. Instead of conducting the
RFID observations at the level of individual carts, aisle-level scanning is performed.
Mr. P. Chandrasekar in "Smart Shopping Cart with Automatic billing System
through RFID and ZigBee" [3] proposed to develop a shopping cart with a Product
Identification Device (PID) which will contain a microcontroller, a LCD, an RFID reader,
EEPROM, and ZigBee module. Purchasing product information will be read through a
RFID reader on shopping cart, meanwhile product information will be stored into
EEPROM attached to it and this EEPROM data will be send to Central Billing System
through ZigBee module. The central billing system gets the cart information and
Smart Shopping System
Department of Computer Science and Engineering,JCE,Belagavi Page 5
EEPROM data, it access the product database and calculates the total amount of
purchasing for that particular cart.
Satish Kamble in "Developing a Multitasking Shopping Trolley Based on RFID
Technology" [4] proposed to develop a product to assist a person in everyday shopping in
terms of reduced time spent while purchasing. The main aim of proposed system is to
provide a technology oriented, low-cost, easily scalable, and rugged system for assisting
shopping in person.
Since this project itself is an application based on RFID Technology, we have
done a literature survey on some of the papers regarding our components and some
methodologies or techniques. In these papers we found the information required for our
project.
The paper has a generalised information to develop this project and even some of
the information about developing the communication between the devices that we use in
our project. The block diagram from the above paper is given bellow.
Fig.2.1 Generalized block diagram of Existing System.
From this block diagram we studied that they are using number of RFID readers
at the checkout points and in whole Super market to provide the network for updating the
cart information to the Back-end server. When the customer starts shopping and starts
Smart Shopping System
Department of Computer Science and Engineering,JCE,Belagavi Page 6
collecting the items to purchase, the cart will communicate with RFID reader nearer to it
and updates the carts information. But by doing so the complexity is increased in
hardware and as well as detecting the tags.
To collect information about single cart is easy but if the number of carts
increased then it will be very difficult to collect information about all the carts
simultaneously. Since they are using RFID only for both reading the tags and sending the
information to the server from the cart. This will create a huge disturbance
2.2 NEED OF ZIGBEE
Zigbee is a wireless communication technology which supports for multi-node
communication. This will help us to prevent the Data interference while collecting the
data from the cart to the server. [3]Here it can even reduce the amount of Hardware
required and complexity in information collection. By this the system will become
cheaper. Even though the cost required for the individual components is high, but cost
will become less for huge production.
Table 2.1Difference between Existing system and Proposed system
EXISTING SYSTEM PROPOSED SYSTEM
1. Manual billing 1.Automatic billing
2. Use Barcode for billing 2.Use RFID TAG for billing
3. Human staff is needed for billing 3.No need of any staff for billing
4. Low product cost but over all
expenses are much high.
4.Product is little expensive but
over all expense is much low
5. Difficult to track the product 5.Easy to locate or track the product
6. Getting product information is
difficult & time consuming
6. Getting product information is
easy and no extra time needed
7. It does not disclose any automatic
way of indicating to shopper how
the total bill is affected as the
objects are added or removed from
7.LCD Display is present which
will show the updated bill every
time the shopper add or remove any
object from the cart.
Smart Shopping System
Department of Computer Science and Engineering,JCE,Belagavi Page 7
2.3 THE ADVANTAGES OF RFID OVER BAR CODING
 No "line of sight" requirements: Bar code reads can sometimes be limited or
problematic due to the need to have a direct "line of sight" between a scanner and
a bar code. RFID tags can be read through materials without line of sight.
 More automated reading: RFID tags can be read automatically when a tagged
product comes past or near a reader, reducing the labour required to scan product
and allowing more proactive, real-time tracking.
 Improved read rates: RFID tags ultimately offer the promise of higher read rates
than bar codes, especially in high-speed operations such as carton sortation.
 Greater data capacity: RFID tags can be easily encoded with item details such as
lot and batch, weight, etc.
 "Write" capabilities: Because RFID tags can be rewritten with new data as supply
chain activities are completed, tagged products
Smart Shopping System
Department of Computer Science and Engineering,JCE,Belagavi Page 8
Chapter 3
REQUIREMENT ANALYSIS AND SPECIFICATION
3.1 OVERVIEW
The requirement analysis include the Functional and Non-Function requirements, and
Hardware and Software requirements. The functional requirements are the activities that
admin performs with the trolley section and the database interactions. The non-functional
requirements includes feasibility, reliability, scalability. The hardware requirements is
inclusive of the Arduino pro mini, RFID reader, RFID tag, LCD display, Buzzer, Zigbee.
The software requirements include the programming languages like Embedded C, JAVA.
Also Microsoft access acts as an intermediate to access the database.
3.2 FUNCTIONAL REQUIREMENT
 Interface Requirement
The system is capable to accept and transmit the raw data which may be in the
form of digital that is numeric values.
 Audit Trail
For each activity, the data will be recorded in the application audit trail.
 Capacity
The system is enough capable to hold the data and process on it.
3.3 NON FUNCTIONAL REQUIREMENT
 Maintainability: Human resources is not required to maintain the components
and collect the raw data from each of the components.
 Reusability: The components are compatible for changing environment and
supports upgradeability.
 Availability: The system is functional throughout and data transfer takes place
only when user requests.
 Usability: The system is user friendly as it uses a simple networking model like a
ZigBee.
 Reliability: The system is highly consistent and reliable.
Smart Shopping System
Department of Computer Science and Engineering,JCE,Belagavi Page 9
3.4 HARDWARE REQUIREMENT
3.4.1 RFID tag
An RFID tag is comprised of a microchip containing identifying information and
an antenna that transmits this data wirelessly to a reader. At its most basic, the chip will
contain a serialized identifier, or license plate number, that uniquely identifies that item,
similar to the way many bar codes are used today. A key difference, however is that [2]
RFID tags have a higher data capacity than their bar code counterparts. This increases the
options for the type of information that can be encoded on the tag, including the
manufacturer, batch or lot number, weight, ownership, destination and history (such as
the temperature range to which an item has been exposed). In fact, an unlimited list of
other types of information can be stored on RFID tags, depending on application needs.
An RFID tag can be placed on individual items, cases or pallets for identification
purposes, as well as on fixed assets such as trailers, containers, totes, etc.
Fig 3.4.1 RFID TAGS
Passive versus Active
“Passive” tags have no battery and "broadcast" their data only when energized by
a reader. That means they must be actively polled to send information. "Active" tags are
capable of broadcasting their data using their own battery power. In general, this means
that the read ranges are much greater for active tags than they are for passive tags perhaps
a read range of 100 feet or more, versus 15 feet or less for most passive tags. The extra
capability and read ranges of active tags, however, come with a cost; they are several
times more expensive than passive tags. Today, active tags are much more likely to be
Smart Shopping System
Department of Computer Science and Engineering,JCE,Belagavi Page 10
used for high-value items or fixed assets such as trailers, where the cost is minimal
compared to item value, and very long read ranges are required. Most traditional supply
chain applications, such as the RFID-based tracking and compliance programs emerging
in the consumer goods retail chain, will use the less expensive passive tags.
3.4.2 RFID reader
RFID reader is used to read the data’s present in the RFID tag. RFID readers or
receivers are composed of a radio frequency module, a control unit and an antenna to
interrogate electronic tags via radio frequency (RF) communication. Many also include
an interface that communicates with an application. Readers can be hand-held or mounted
in strategic locations so as to ensure they are able to read the tags as the tags pass through
an “interrogation zone.”
Fig 3.4.2 RFID reader.
An RFID reader’s function is to interrogate RFID tags. The means of
interrogation is wireless and because the distance is relatively short; line of sight between
the reader and tags is not necessary.[2] A reader contains an RF module, which acts as
both a transmitter and receiver of radio frequency signals. The transmitter consists of an
oscillator to create the carrier frequency; a modulator to impinge data commands upon
this carrier signal and an amplifier to boost the signal enough to awaken the tag. The
receiver has a demodulator to extract the returned data and also contains an amplifier to
strengthen the signal for processing. A microprocessor forms the control unit, which
Smart Shopping System
Department of Computer Science and Engineering,JCE,Belagavi Page 11
employs an operating system and memory to filter and store the data. The data is now
ready to be sent to the network.
3.4.3 LCD Display
 LCD has the ability to display numbers and characters
 Display the product name, price, expire date and total amount .
 Complete listings of the products along with their price on LCD display.
 Up/down switches are interfaced with the microcontroller which can be used to
view all the purchase
Fig 3.4.3 LCD-20x4
3.4.4 Buzzer
A buzzer is an audio signalling device, which may be mechanical, electromechanical, or
piezoelectric. A buzzer is interfaced with the microcontroller to indicate scanning of the
product by the RFID reader.
3.4.5 MAX 232
This chip is used when interfacing micro controller with PC to check the Baud rate and
changes the voltage level because micro controller is TTL compatible whereas PC is
CMOS compatible. The MAX 232 IC contains the necessary drivers and receivers, to
adapt the RS- 232 signal voltage levels to TTL logic. RS 232 is used at the time of billing.
Cart is connected to the laptop via MAX 232 and after connection is made details about
the purchases are transferred to the laptop and lock is opened. The bill is calculated and it
is debited from the user RFID credit card and process is complete. RS232 is not
compatible with today’s micro controllers, we need a line driver to convert the RS232’s
Smart Shopping System
Department of Computer Science and Engineering,JCE,Belagavi Page 12
signals to TTL voltage levels that will be acceptable to the AVR micro controller TxD
and RxD, that is why we are using MAX232.
3.4.6 MICROCONTROLLER
INTRODUCTION TO ATMEL MICROCONTROLLER
Series: ATmega328 Family
Technology: CMOS
ARCHITECTURE OF ATmega328
Fig.3.4.6(a) Architecture of ATmega328
Smart Shopping System
Department of Computer Science and Engineering,JCE,Belagavi Page 13
THE MAJOR FEATURES OF 8-BIT MICRO CONTROLLER ATmega328
Important features of ATmega328
1. High performance and low power requirement.
2. 8-Bit Microcontroller Atmel, AVR advanced RISC architecture
3. 131 instructions most of which are executed in a single clock cycle
4. Up to 20 MIPS at 20 MHz
5. 32 x 8 working registers
6. 2 cycle multiplier
Memory
1. 32 KB of programmable Flash, IKB of EEPROM, 2KB SRAM, 10,000 Write Erase
cycles for Flash and 100,000 for EEPROM
2. Data retention for 20 years at 85°C and 100 years at 25°C
3. Optional boot loader with lock bits. In System Programming (ISP) by via boot loader
and True Read-While-Write operation. Programming lock available for software security.
Additional features
1. 2 x 8-bit Timers/Counters each with independent prescaler and compare modes
2. A single 16-bit Timer/Counter with an independent prescaler, compare and capture
modes
3. Real time counter with independent oscillator
4. 10 bit, 6 channel analog to digital Converter
5. 6 pulse width modulation channels
6. Internal temperature sensor
7. Serial USART (Programmable)
8. Master/Slave SPI Serial Interface – (Philips I2C compatible)
Smart Shopping System
Department of Computer Science and Engineering,JCE,Belagavi Page 14
9. Programmable watchdog timer with independent internal oscillator
10. Internal analog comparator
11. Interrupt and wake up on pin change
12. Internal calibrated oscillator
13. Power on reset and programmable brown out detection
14. External and internal interrupts
15. 6 sleep modes including idle, ADC noise reduction, power save, power down,
standby, and extended standby
16. 23 programmable I/O lines
17. 28 pin PDIP package
18. Operating voltage – 1.8 – 5.5V
19. Operating temperature range- 20.40 to 85 Degree C
20. 0-4 MHz at 1.8-5.5V, 0-10 MHz at 2.7-5.5V, 0-20 MHz at 4.5-5.5V
21. Low power consumption mode at 1.8V, 1 MHz and 25°C:
22. Active Mode: 0.3 mA
23. Power-down Mode: 0.1 μA
24. Power-save Mode: 0.8 μA (Including 32 kHz RTC)
25. Flash – 32 KB
26. EEPROM – 1KB
27. SRAM – 2KB
28. Frequency Max – 20MHz
29. Vcc – 1.8 to 5.5V
30. 10-Bit A/D Channels – 6
Smart Shopping System
Department of Computer Science and Engineering,JCE,Belagavi Page 15
31. 16-Bit Timers – 1
32. 8-Bit Timers – 2
33. Ext Interrupts – 2
34. Interrupts – 26
35. PWM Channels – 6
36. SPI – 1
PIN DESCRIPTION OF MICROCONTROLLER
Fig 3.4.6(b) Pin diagram of Microcontroller.
Smart Shopping System
Department of Computer Science and Engineering,JCE,Belagavi Page 16
PIN DESCRIPTION
VCC
Supply voltage.
GND
Ground.
Port B (PB7:0) XTAL1/XTAL2/TOSC1/TOSC2
Port B is an 8-bit bi-directional I/O port with internal pull-up resistors (selected for each
bit). The Port B output buffers have symmetrical drive characteristics with both high sink
and source capability. As inputs, Port B pins that are externally pulled low will source
current if the pull-up resistors are activated. The Port B pins are tristated when a reset
condition becomes active, even if the clock is not running.Depending on the clock
selection fuse settings, PB6 can be used as input to the inverting Oscillator amplifier and
input to the internal clock operating circuit. Depending on the clock selection fuse
settings, PB7 can be used as output from the inverting Oscillator amplifier. If the Internal
Calibrated RC Oscillator is used as chip clock source, PB7...6 is used as TOSC2...1 input
for the Asynchronous Timer/Counter2 if the AS2 bit in ASSR is set.
Port C (PC5:0)
Port C is a 7-bit bi-directional I/O port with internal pull-up resistors (selected for each
bit). The PC5...0 output buffers have symmetrical drive characteristics with both high
sink and source capability. As inputs, Port C pins that are externally pulled low will
source current if the pull-up resistors are activated. The Port C pins are tristated when a
reset condition becomes active, even if the clock is not running.
PC6/RESET
If the RSTDISBL Fuse is programmed, PC6 is used as an I/O pin. Note that the electrical
characteristics of PC6 differ from those of the other pins of Port C. If the RSTDISBL
Fuse is unprogrammed, PC6 is used as a Reset input. A low level on this pin for longer
than the minimum pulse length will generate a Reset, even if the clock is not running.
Port D (PD7:0)
Port D is an 8-bit bi-directional I/O port with internal pull-up resistors (selected for each
bit). The Port D output buffers have symmetrical drive characteristics with both high sink
and source capability. As inputs, Port D pins that are externally pulled low will source
current if the pull-up resistors are activated. The Port D pins are tristated when a reset
condition becomes active, even if the clock is not running.
Smart Shopping System
Department of Computer Science and Engineering,JCE,Belagavi Page 17
AVCC
AVCC is the supply voltage pin for the A/D Converter, PC3:0, and ADC7:6. It should be
externally connected to VCC, even if the ADC is not used. If the ADC is used, it should
be connected to VCC through a low-pass filter. Note that PC6...4 use digital supply
voltage, VCC.
AREF
AREF is the analog reference pin for the A/D Converter.
PSEN
Program Store Enable (PSEN) is the read strobe to external program memory. When the
AT89S52 is executing code from external program memory, PSEN is activated twice
each machine cycle, except that two PSEN activations are skipped during each access to
external data memory.
ADC7:6 (TQFP and QFN/MLF Package Only)
In the TQFP and QFN/MLF package, ADC7:6 serve as analog inputs to the A/D
converter. These pins are powered from the analog supply and serve as 10-bit ADC
channels.
ADVANTAGES OF MICROCONTROLLERS
If a system is developed with a microprocessor, the designer has to go for external
memory such as RAM, ROM or EPROM and peripherals and hence the size of the PCB
will be large enough to hold all the required peripherals. But, the micro controller has got
all these peripheral facilities on a single chip so development of a similar system with a
micro controller reduces PCB size and cost of the design.
One of the major differences between a micro controller and a microprocessor is
that a controller often deals with bits , not bytes as in the real world application, for
example switch contacts can only be open or close, indicators should be lit or dark and
motors can be either turned on or off and so forth.
APPLICATIONS OF MICROCONTROLLERS
Microcontrollers are designed for use in sophisticated real time applications in Industrial
Control such as
 Instrumentation and
Smart Shopping System
Department of Computer Science and Engineering,JCE,Belagavi Page 18
 Intelligent computer peripherals
They are used in industrial applications to control
 Motor
 Robotics
 Discrete and continuous process control
 In missile guidance and control
 In medical instrumentation
 Oscilloscopes
 Telecommunication
 Automobiles
 For Scanning a keyboard
 Driving an LCD
 For Frequency measurements
 Period Measurements
A microcontroller is a kind of miniature computer that you can find in all kinds of
Gizmos. Some examples of common, every-day products that have microcontrollers are
built-in. If it has buttons and a digital display, chances are it also has a programmable
microcontroller brain.
Every-Day the devices used by ourselves that contain Microcontrollers. Try to
make a list and counting how many devices and the events with microcontrollers you use
in a typical day. Here are some examples: if your clock radio goes off, and you hit the
snooze button a few times in the morning, the first thing you do in your day is interact
with a microcontroller. Heating up some food in the microwave oven and making a call
on a cell phone also involve operating microcontrollers. That's just the beginning. Here
are a few more examples: Turning on the Television with a handheld remote, playing a
hand held game, using a calculator, and checking your digital wrist watch. All those
devices have microcontrollers inside them that interact with you. Consumer appliances
aren't the only things that contain microcontrollers. Robots, machinery, aerospace designs
and other high-tech devices are also built with microcontrollers.
Smart Shopping System
Department of Computer Science and Engineering,JCE,Belagavi Page 19
OSCILLATOR AND CLOCK CIRCUIT
XTAL1 and XTAL2 are the input and output respectively of an inverting
amplifier which is intended for use as a crystal oscillator in the pierce configuration, in
the frequency range of 1.2 MHz to 12 MHz. XTAL2 also the input to the internal clock
generator.
To drive the chip with an internal oscillator, one would ground XTAL1 and
XTAL2. Since the input to the clock generator is divide by two flip flop there are no
requirements on the duty cycle of the external oscillator signal. However, minimum high
and low times must be observed.
The clock generator divides the oscillator frequency by 2 and provides a tow
phase clock signal to the chip. The phase 1 signal is active during the first half to each
clock period and the phase 2 signals are active during the second half of each clock
period.
3.4.7 ZIGBEE
Fig 3.4.7(a) Zigbee Pair
ilabs CC2500 Serial Transreceiver Wireless Module is designed to meet the
requirement for the low cost, low power wireless device to transmit and receive serial
data. The module operates on 2.4 GHz frequency band. The module can also be used as
Wireless Sensor Network (WSN) node.
Smart Shopping System
Department of Computer Science and Engineering,JCE,Belagavi Page 20
Working
The module has simple Protocol for working. the Using ilabs CC transreceiver GUI, the
module can be configured data communication through hyper terminal. [3] This modules
basically take TTL data & send it to receiver(receiver whose ID is send along with data).
Modules can also broadcast the data (broadcast id (0xff).A single module can
communicate with number of modules at run time. as receiver ID needs to send every
time, So one can send different receiver id every time to communicate with different
modules. This feature makes it best suited for swarm robotics.
As modules has capability of analog to digital conversion (ADC). So user has to
just configure the module once for ADC, & the module will send the data to the
respective receiver, at the given interval of time. This feature (of reading ADC value &
sending to the respective receiver module) makes it standalone for WSN. So it reduces
the need of separate controller. The GUI interface makes it easy for user to configure
module as well as to send data & test modules for different settings.
PIN CONNECTIONS
Ilabs CC2500 transreceiver module is having 3 connector headers (P1, P2 & P3as
shown in picture). P1 is having 4 pins GND (V-), VCC (V+), Rx, Tx. Where Jumper 2 is
having 6 pins A0 to A5 (ADC 0 to ADC 5).
Fig3.4.7(b) Pin diagram of ZIGBEE.
Configuring ilabs CC2500 Module
Ilabs cc2500 module can configure for various things like Self ID (self address or
SID), Channel ID (CID), Baud Rate (max 38400bps) and ADC values.
Smart Shopping System
Department of Computer Science and Engineering,JCE,Belagavi Page 21
Configuring Self ID & Channel ID
Ilabs CC2500 module can be configured by various ways. It can configure during
use through programming, HyperTerminal Or through ilabs CC2500 wireless GUI.
To configure the module we need to follow some protocol (some set of commands).
Protocol for configuring self ID & channel ID is given below. In which we have to give
Self ID / Self Address (range 0 to 255 in decimal 0R 0x00 to 0xFF in Hex) and channel
ID / Channel Address (range 0 to 255 in decimal 0R 0x00 to 0xFF in Hex). It is to be
noted that the Self ID 0xFF (in hex) Or 255 (in decimal) is reserved for broadcast.
Broadcast means that each & every module on the same channel can receive data,
provided that broadcast should be enable on every module (broadcast is default enable on
the ilabs CC modules Broadcast id is 255 OR 0xFF).
Configuring Baud rate
Ilabs cc2500 module can support for different baud rates. Modules can be
configured for different baud rate (default is 9600 bps) using simple Protocol or it can be
done using GUI.
Protocol for configuring Baud rate includes Baud rate index (1-3). Sending this
baud rate index can change its own baud rate. It is to be noted that changing a baud rate
may leads to failure after configuration. So one has to change the baud rate of other
device also.
APPLICATIONS OF ZIGBEE
There are numerous applications of Zigbee, some of them are shown below
 Home Automation
 ZigBee Smart Energy
 Telecommunication Applications
 Personal Home
Smart Shopping System
Department of Computer Science and Engineering,JCE,Belagavi Page 22
3.5 SOFTWARE REQUIREMENTS
1. JCreator
JCreator is a Java IDE created by Xinox Software. It is a light-weight development
environment for Java technologies. Features include project management, templates,
customizable syntax highlighting, class views, tabbed documents, multiple compilers,
wizards and fully customizable interface. JCreator is only available on the windows
operating system.
2. Programming Language
i. Embedded c that is used by the hardware that is RFID receiver (fitted in trolley)
and transmitter (RFID tags) that look ups up the specified table of item and maps
the product with price.
ii. JAVA is used on the front end to display the final billed amount to the customer
on the host computer where final payment is made.
3. Database
Microsoft Access is a database management system (DBMS) from Microsoft that
combines the relational Microsoft Jet Database Engine with a graphical user interface and
software-development tools. Microsoft Access stores data in its own format based on the
Access Jet Database Engine. It can also import or link directly to data stored in other
applications and databases.
Smart Shopping System
Department of Computer Science and Engineering,JCE,Belagavi Page 23
Chapter 4
SYSTEM DESIGN AND IMPLEMENTATION
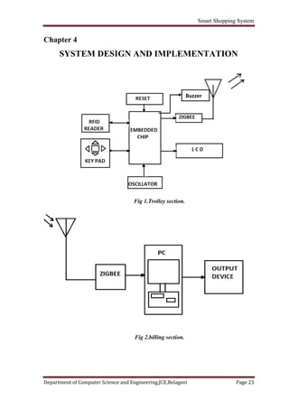
Fig 1.Trolley section.
Fig 2.billing section.
Buzzer
Smart Shopping System
Department of Computer Science and Engineering,JCE,Belagavi Page 24
The model features a cart equipped with an RFID reader, a ZigBee transceiver
and an LCD display[5]. The cart is initially deactivated. Upon entering in the specific
area, the store’s main reader would trigger the respective passive RFID tag on the cart
that entered, thus activating it, and turning ON all the components such as RFID reader,
micro controller and ZigBee The reader on the cart sends the tagID of the item being
dropped into or removed from the cart and price against it to the main reader which
updates the bill for the respective cart. It scans products when customer picks up from the
shelf and puts in the cart. The cartID, tagID of the item and the corresponding price is
transmitted by the cart’s reader to the main reader using the IEEE 802.15.4 (ZigBee
Protocol). This smart shopping cart keeps an account of the bill made by keeping running
total of their purchases. LCD screen will show the total bill of the items present in the
cart.
The main reader is consistently connected with the database via server and is
equipped with ZigBee transceiver to receive from the cart’s reader cartID, tagID and
price of the data item which is being put into or removed from the cart. This main reader
is also in communication with reader on the exit door which detects a particular cart at
the checkout time. This exit door reader has a ZigBee transceiver so as to send the
information of detected cart to the main reader . It also communicates with the server via
the main reader, which is being constantly updated by the main reader for every cart that
entered the store area. The server is connected to the database. All the changes intended
to be made in the database are made with help of the server via main reader
Fig (A) Smart Trolley
Smart Shopping System
Department of Computer Science and Engineering,JCE,Belagavi Page 25
Fig (B)Block Diagram of Trolley side
Fig (C)Block Diagram of Server side
Smart Shopping System
Department of Computer Science and Engineering,JCE,Belagavi Page 26
Figure A, B and C depicts a block diagram containing the subsystems of
intelligent trolley. Each subsystem is interfaced carefully to form a whole unit. This
system consists of a micro controller interfaced with RFID, ZigBee, RFID Tags, LCD
20x4 display, forming the hardware unit and ZigBee interfaced to the server making up
the software unit. When any product containing RFID tag is placed in the trolley, it is
detected and information is collected. The RFID tags have a unique ID number. RFID
tags are used to uniquely identify products. This information is then sent to the main
server using the wireless ZigBee unit. The data sent is the unique number. At the server
end, the database is queried based on the unique number. All the products and their
respective details stored in that particular database are retrieved and sent back to the
shopping trolley. The information received from the server is temporarily stored in the
shopping trolley memory and then displayed on the display unit affixed on the trolley.
The customer can then select the product with the information being shown on the display
unit. Every product is uniquely identified using RFID tags. As the products are selected
and added into the cart, the RFID reader will identify the product and the price will be
added to the temporary bill. If a customer chooses to drop a selected product, it needs to
be done by selecting the appropriate button (“Add/Remove”) on the display unit. After
completing the shopping, the customer has to select the “Complete” button. This enables
the total bill being generated after confirmed purchase of all the selected products in the
shopping trolley. This generated bill is sent to billing side computer to get the
computerized bill. At the same time, this information is sent to the database server
through the wireless ZigBee unit. The integrated system is built around AT89S52 micro
controller and 20x4 LCD display unit and miscellaneous circuit including power supply.
4.1 RFID (RADIO FREQUENCY IDENTIFICATION)
RFID (radiofrequency identification) technology offers the ability to provide
many new services and convenience in the retail environment. Radio-frequency
identification (RFID) is an automatic identification method, relying on storing and
remotely retrieving data using devices called RFID tags or transponders. [2]The
technology requires some extent of cooperation of an RFID reader and an RFID tag. An
RFID tag is an object that can be applied to or incorporated into a product, animal, or
person for the purpose of identification and tracking using radio waves. Some tags can be
read from several meters away and beyond the line of sight of the reader
Smart Shopping System
Department of Computer Science and Engineering,JCE,Belagavi Page 27
The RFID technology is a means of gathering data about a certain item without
the need of touching or seeing the data carrier, through the use of inductive coupling or
electromagnetic waves. The data carrier is a microchip attached to an antenna (together
called transponder or tag), the latter enabling the chip to transmit information to a reader
(or transceiver) within a given range, which can forward the information to a host
computer. The middleware (software for reading and writing tags) and the tag can be
enhanced by data encryption for security-critical application at an extra cost, and anti-
collision algorithms may be implemented for the tags if several of them are to be read
simultaneously.
One important feature enabling RFID for tracking objects is its capability to
provide unique identification. One possible approach to item identification is the EPC
(Electronic Product Code) , providing a standardized number in the EPCglobal Network,
with an Object Name Service (ONS) providing the adequate Internet addresses to access
or update instance-specific data. However, currently, ONS cannot be used in a global
environment, and since it is a proprietary service, its use is relatively expensive,
especially for participants with limited resources such as SMEs..
There are many different types of RFID systems out in the market. They are
categorized according to their frequency ranges. Some of the most commonly used RFID
kits are as follows:
1) Low-frequency (30 KHz to 500 KHz)
2) Mid-Frequency (900KHz to 1500MHz)
3) High Frequency (2.4GHz to 2.5GHz)
These frequency ranges mostly tell the RF ranges of the tags from low frequency
tag ranging from 3m to 5m, mid-frequency ranging from 5m to 17m and high frequency
ranging from 5ft to 90ft. The cost of the system is based according to there ranges with
low-frequency system ranging from a few hundred dollars to a high-frequency system
somewhere near 5000 dollars.
Smart Shopping System
Department of Computer Science and Engineering,JCE,Belagavi Page 28
4.1.1 ADVANTAGES
Though RFID is not likely to entirely replace commonly used barcodes in the near
future, the following advantages suggest to additionally apply RFID for added value of
identification
 Tag detection not requiring human intervention reduces employment costs and
eliminates human errors from data collection.
 As no line-of-sight is required, tag placement is less constrained.
 RFID tags have a longer read range than, e. g., barcodes.
 Tags can have read/write memory capability, while barcodes do not.
 An RFID tag can store large amounts of data additionally to a unique identifier.
 Unique item identification is easier to implement with RFID than with barcodes.
 Tags are less sensitive to adverse conditions (dust, chemicals, physical damage
etc.).
 Many tags can be read simultaneously.
 RFID tags can be combined with sensors.
 Automatic reading at several places reduces time lags and inaccuracies in an
inventory.
 Tags can locally store additional information; such distributed data storage may
increase fault tolerance of the entire system.
 Reduces inventory control and provisioning costs.
 Reduces warranty claim processing costs.
4.1.2 APPLICATIONS OF RFID
Manufacturing and Processing
 Inventory and production process monitoring
 Warehouse order fulfilment
Supply Chain Management
 Inventory tracking systems
 Logistics management
Retail
 Inventory control and customer insight
 Auto checkout with reverse logistics
Smart Shopping System
Department of Computer Science and Engineering,JCE,Belagavi Page 29
Security
 Access control
 Counterfeiting and Theft control/prevention
Location Tracking
 Traffic movement control and parking management
 Wildlife/Livestock monitoring and tracking
4.2 WORKING OF PROPOSED SYSTEM
1) Every product has an RFID tag which contains a Unique ID. These ID’s are fed in the
database assigned to the corresponding products.
2)There will be another option provided to get the location of required product.
3) If there needs to be a purchase done, then that product can be dropped in the cart where
the RFID reader reads the tag. The information of the product is extracted and displayed
on the LCD screen. At the same time billing information is also updated.
4) When a customer wants to remove any product from the trolley, then that product
needs to be scanned again.
5) At the same time the billing information is updated. The total amount of purchases is
also displayed on screen.
6) These steps are repeated until the end of shopping button or send bill button is pressed.
This generated bill is sent to billing side computer to get the computerized bill.
7) The customer can straight away pay the bill and leave.
8) Inventory status of the products is also updated at the end of shopping. Simultaneously
the temporary data present in microcontroller is reset, so that it can be reused.
9)If the customer has registered user card, the payment can be done by swapping user
card in the trolley itself.
4.3 PSEUDO CODE
begin
if shoppers with the cart press “start button”
then the system turns ON
all the components such as RFID reader, microcontroller and ZigBee start
working.
else the system is idle
Smart Shopping System
Department of Computer Science and Engineering,JCE,Belagavi Page 30
if search mode is selected
if customer enters required product name
then product detail is extracted from the database
if the product is available
then display its location
else display none
else search mode is turned off
if the shopper drops any product in the cart
then the RFID reader reads the tag
product details are displayed on the LCD screen
if shopper removes the product from cart
then, the amount of the product is subtracted from total amount
and displayed on the LCD screen
else the total amount remains same
if the customer has the registered user card
then the payment can be done by swapping in the trolley itself
the paid information is displayed as well as sent to the counter
else the customer can pay at the counter
end
Smart Shopping System
Department of Computer Science and Engineering,JCE,Belagavi Page 31
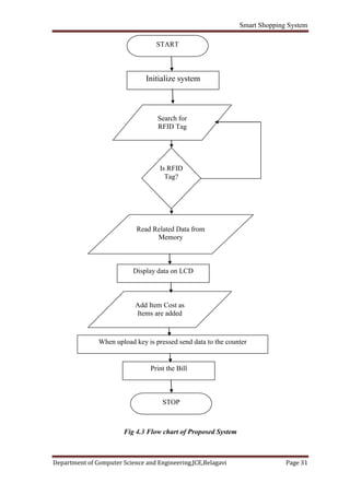
Fig 4.3 Flow chart of Proposed System
START
Initialize system
Search for
RFID Tag
Is RFID
Tag?
Read Related Data from
Memory
Display data on LCD
Add Item Cost as
Items are added
When upload key is pressed send data to the counter
Print the Bill
STOP
Smart Shopping System
Department of Computer Science and Engineering,JCE,Belagavi Page 32
4.4 DEVELOPMENT BOARD
The development board is hand held, battery powered microcontroller board ideal for
personal, educational and research robotics projects. Based on AT89S52 micro controller,
the Development board includes 64K of flash RAM, inputs for variety of sensors like
RFID reader, Zigbee Module and a 20x4 alpha numeric LCD screen.
Fig 4.4 Development Board
Smart Shopping System
Department of Computer Science and Engineering,JCE,Belagavi Page 33
4.5 SOFTWARE DESIGN
Programming involves two steps. First step is to write and compile the code and generate
the “*.ino” file. Second step is to load this “*.ino” file on the micro controller using
Arduino software. We are going to use Arduino software for writing the code for the
Micro controller.
On the billing side we would be making a software forgetting the itemized bill, print the
bill and empty the trolley. This software will be made using JCreater tool and
programming would be done in Java swings
Smart Shopping System
Department of Computer Science and Engineering,JCE,Belagavi Page 34
Chapter 5
TESTING
5.1 UNIT TESTING
Unit Testing is a level of software testing where individual units/components of a
software are tested. The purpose is to validate that each unit of the software performs as
designed. A unit is the smallest testable part of software. It usually has one or a few
inputs and usually a single output. Typically the unit test will establish some sort of
artificial environment and then invoke methods in the unit being tested. It then checks the
results returned against some known value. When the units are assembled we can use the
same tests to test the system as a hole. The figure 5.1 shows the unit testing carried for
component.
Fig 5.1 Unit Testing of LCD Display
5.2 Functional Testing
Functional Testing is a testing technique that is used to test the features /functionality of
the system or Software, should cover all the scenarios including failure paths and
boundary cases. For example: Testing of RFID reader and Testing of Zigbee
transmission. The terminal software is used to test the RFID Reader and the Zigbee
module by connecting them with the computer separately using USB to SERIAL port
converter.
Smart Shopping System
Department of Computer Science and Engineering,JCE,Belagavi Page 35
Testing of RFID reader
Number of tests carried Tags read Successfully Tags failed to read
5 4 1
Testing of Zigbee transmission
Number of tests
carried
Sent Received Failed
5 5 4 1
5.3 Integration Testing
Upon completion of unit testing, the units or modules are to be integrated which gives
raise to integration testing. The purpose of integration testing is to verify the functional,
performance, and reliability between the modules that are integrated. In the system, the
RFID tags which are individually tested and then integration of LCD display, RFID
reader, Zigbee is done and their working is tested. Similarly, every unit is integrated after
the testing of every single unit is done individually.
5.4 System Testing
System testing of software or hardware is the testing conducted on a complete, integrated
system to evaluate the system’s compliance with its specified equirements.The hardware
and the software units are tested separately and then tested together to check if the desired
results are obtained.
5.5 Performance Testing
Performance testing, a non-functional testing technique performed to determine the
system parameters in terms of responsiveness and stability under various workload.
Performance testing measures the quality attributes of the system, such as scalability,
reliability and resource usage.
5.6 Acceptance Testing
Acceptance testing, a testing technique performed to determine whether or not the
software system has met the requirement specifications. The main purpose of this test is
to evaluate the system's compliance with the business requirements and verify if it is has
met the required criteria for delivery to end users. In the interface designed for the
system, the START and DONE button acts as the Acceptance testing.
Smart Shopping System
Department of Computer Science and Engineering,JCE,Belagavi Page 36
Chapter 6
RESULTS & PERFORMANCE ANALYSIS
Unique RFID tags given in table 6.1 are used to indicate distinctive products
being shopped. As the RFID card reader read the product, details were displayed on the
display unit. The product details of the shopped items were temporarily stored in the local
memory. Once the shopping is completed, the memory contents were read and billing
was done. The same product information data was sent back to the server to update the
inventory.
Table 6.1 Sample Database of product details.
ID PName PMrp PEDate Location
180089032EBC PONDS 10.50 30-6-18 Row=1,Col=1
180089158B0F LOCK 15.50 01-7-18 Row=1,Col=3
18008916F87F RED LABEL 05.00 01-2-19 Row=2,Col=1
1800892ACF74 OIL 20.50 30-5-20 Row=1,Col=2
The following test case scenarios were used in the integrated system testing to prove the
working of the developed system.
a) Shopping cart and server communication using the wireless ZigBee module .
b) Identifying items based on RFID tags and synchronizing with central database.
c) Automatic billing .
d) Display the product details.
e) Update inventory in the central system upon each purchase of a product.
f) Automatic billing update when the products are dropped in the cart or removed
from the cart.
g) Display of total bill on the master pc.
All test cases were successfully tested. The system developed is user friendly and no
special training is required to use the cart.
Smart Shopping System
Department of Computer Science and Engineering,JCE,Belagavi Page 37
Table 6.2 Comparison between BARCODE & RFID System
BARCODE
(existing technology)
RFID
(proposed technology)
a) Person is required to read barcode on
product.
b) Barcode must be visible on the surface
of product.
c) Line of sight required to a read
barcode.
d) The readability of barcodes can be
impaired by dirt, moisture, abrasion, or
packaging contours
e) Short reading distance.
f) Barcode does not have READ &
WRITE capability.
a) Automatic reading of RFID tag from
product.
b) RFID can be placed inside the
product.
c) No line of sight required to read
RFID.
d) RFID tags are not affected by such
conditions.
e) Long reading distance.
f) RFID tag having READ & WRITE
capability.
Smart Shopping System
Department of Computer Science and Engineering,JCE,Belagavi Page 38
SCREENSHOTS
Fig 6.1 Server side.
 Admin needs to initialize the system by clicking on start button.
Fig 6.2 Product details.
 The product details like product name, cost, expire date and total amount is
displayed on the LCD display after the product is scanned.
Smart Shopping System
Department of Computer Science and Engineering,JCE,Belagavi Page 39
Fig 6.3 addition of product.
 As the products are added the product details are displayed and the amount will be
updated.
Fig 6.4 Search mode.
 If the customer wishes to search the product, the search key must be turned on and
the name of the product should be entered using keypad.
Smart Shopping System
Department of Computer Science and Engineering,JCE,Belagavi Page 40
Fig 6.5 Response from server.
 The product location will be fetched from the database and displayed on the LCD.
Fig 6.6 payment status at customer side.
 The payment details is displayed as the customer chooses to pay using the
registered user card.
Smart Shopping System
Department of Computer Science and Engineering,JCE,Belagavi Page 41
Fig 6.7 Payment status at server side.
 The payment details will be sent to counter as the customer pays the bill using the
registered user card.
Fig 6.8 Product Table.
 The database containing registered product details.
Smart Shopping System
Department of Computer Science and Engineering,JCE,Belagavi Page 42
Fig 6.9 Trolley Details.
 Database containing purchased product by customer.
Smart Shopping System
Department of Computer Science and Engineering,JCE,Belagavi Page 43
CONCLUSION
The proposed model is easy to use, low-priced and does not require any special
training. This model keeps an account and uses of the existing developments and various
types of radio frequency identification and detection technologies which are used for item
recognition, billing and inventory update. As the whole system is becoming smart, the
requirement of manpower will decrease, thus benefiting the retailers. Theft in the mall
will be controlled using this smart system, which further adds to the cost efficiency. The
time efficiency will increase phenomenally since this system will eliminate the waiting
queues. More customers can be served in same time thus benefiting the retailers and
customers as well.
Smart Shopping System
Department of Computer Science and Engineering,JCE,Belagavi Page 44
FUTURE SCOPE
The proposed system does not make use of intricate routing system architecture.
Rather it uses simple algorithms in order to banish existing problems. Model can be
further extended, to prevent the loosing of the intelligent/smart shopping cart. It can be
concluded that the initial cost of the model may be high but the in subsequent years the
model will be beneficial as compared to the system using barcode or manual system.
Further, a more advanced micro controller, larger display module and a service to pay the
bill within the cart by using swapping card can be used, thus providing the customers
better services, improved consumer experience and improving time complexity to a great
extent.
Smart Shopping System
Department of Computer Science and Engineering,JCE,Belagavi Page 45
REFERENCES
[1] Dr. Suryaprasad J, Praveen Kumar B O, Roopa D & Arjun A K "A Novel Low-Cost
......Intelligent Shopping Cart", 2014 IEEE.
[2] Amine Karmouche, Yassine Salih-Alj, "Aisle-level Scanning for Pervasive RFID-
......based Shopping Applications", 2013 IEEE.
[3] Mr. P. Chandrasekar, Ms. T. Sangeetha, "Smart Shopping Cart with Automatic Central
......Billing System through RFID and ZigBee", 2014 IEEE.
[4] Satish Kamble, Sachin Meshram, Rahul Thokal & Roshan Gakre, "Developing a
......Multitasking Shopping Trolley based on RFID Technology", January 2014
......International Journal of Soft Computing and Engineering (IJSCE).
[5] Raju Kumar, K. Gopalakrishna, K. Ramesha,"Intelligent Shopping Cart" International
.....Journal of Engineering Science and Innovative Technology (IJESIT) Volume 2, Issue
.....4, July 2013.
[6] Janhavi Iyer, Harshad Dhabu, Sudeep K. Mohanty, "Smart Trolley System for
......Automated Billing using RFID and ZIGBEE" International Journal of Emerging
......Technology and Advanced Engineering Volume 5, Issue 10, October 2015.

Smart shopping system

  • 1.
    Smart Shopping System Departmentof Computer Science and Engineering,JCE,Belagavi Page 1 Chapter 1 INTRODUCTION 1.1 OVERVIEW According to present scenario, Now a day’s shopping at big malls is becoming a daily activity in metro cities. The huge rush at malls on holidays and weekends. After purchase, at the billing counter the cashier prepare the bill using bar code reader which is a time consuming process and results in long queues..Considering all this ,we have implemented a system that can be used in shopping malls to solve the rush at billing counter using RFID based trolley. 1.2 INTRODUCTION During the last decade the commercial use of RFID has been growing rapidly all over the world. Furthermore, it is projected that the RFID market will reach an estimated US$18.7 billion by the year 2017 (GIAI, 2012). Everywhere retailers are increasingly embedding RFID technology into their supermarket products in order to improve the customers’ shopping experience, customer support and develop new services for customers. RFID is a technology that uses radio waves to track, capture, identify and transfer data efficiently and without human intervention. [2] RFID-based system gathers data about a certain object without touching it or seeing it stag and forwards the information to a host computer. The data on the tag include pointer to the central database within an RFID system. RFID-Readers are able to establish a Channel of communication, read the tags and trace the movement of these objects within the coverage area. RFID is a promising technology which can improve operational efficiency specially a considerable amount of reduction in transaction costs. Tag detection does not require human intervention therefore reduces employment costs and eliminates human errors during data collection. Due to its flexibility and business efficiency, the RFID technology has been widely adopted in a wide range of applications such as supply chain management and inventory, libraries, equipment and parts maintenance, vehicle identification, tracking people, access control, reliable car tracking, manufacturing line control, automated
  • 2.
    Smart Shopping System Departmentof Computer Science and Engineering,JCE,Belagavi Page 2 reading and receipt of goods at end sale points, e-passport and much more (Owunwanne and Goel,2010). Implementation of RFID based applications has become an objective of many Organizations, partially as a result of the decision made by Wal-Mart, the world’s biggest retailer, to implement the RFID technology to monitor flow of pallets and packaging in its supply chain and ask their top 100 vendors deploy RFID. The US Department of Defence, Proctor and Gamble and the European retailer Metro Group require their larger suppliers to implement RFID on every box and pallet shipped to them. The grocery industry is a prime candidate for RFID implementation. On-hand shelf inventory system in the supermarket will be linked to the store’s information system, thus maintaining real time product information and automatic inventory tracking to keeping the correct inventory levels. [2]Using RFID technology in supermarkets can also provide detailed information on customer purchase behaviour. Currently most of the supermarkets use a barcode-based system whereby an item is assigned a serial number printed on the barcode label attached to an item and the item related information is stored in the database of the back-end system. To perform inventory control, someone has to scan the barcode label of each item and compare them with existing inventory list. This is a lengthy and error prone process; as a result it’s done less frequently and hence often is not up-to-date. The capabilities of the barcode technology are limited in term of functionalities that businesses require (Bendavid et al.,2006). RFID technology offers a solution to the above mentioned problem. 1.3 CHALLENGES OF THE PROPOSED SYSTEM Some common problems with RFID are reader collision and tag collision. Reader collision occurs when the signals from two or more readers overlap. The tag is unable to respond to simultaneous queries. Systems must be carefully set up to avoid this problem. Tag collision occurs when many tags are present in a small area; but since the read time is very fast, it is easier for vendors to develop systems that ensure that tags respond one at a time. 1.4 PROBLEM STATEMENT An innovative product with societal acceptance is the one that aids the comfort, convenience and efficiency in everyday life. Purchasing and shopping at big malls is becoming daily activity in metro cities. There will be rush at these malls on holidays and weekends. People purchase different items and put them in trolley. After completion of purchases, one needs to go to billing counter for payments. At billing counter the cashier
  • 3.
    Smart Shopping System Departmentof Computer Science and Engineering,JCE,Belagavi Page 3 prepare the bill using bar code reader which is very time consuming process and results in long queue at billing counter. In this Project, we are implementing a system “RFID Based Automatic Shopping Cart” being developed to assist a person in everyday shopping in terms of reduced time spent while purchasing. The main objective of proposed system is to provide a technology oriented, low-cost, easily scalable, and rugged system for assisting shopping in person. 1.5 PROPOSED SYSTEM The main objective of proposed system is to provide a technology oriented, low- cost, easily scalable, and rugged system for assisting shopping in person.[5] The RFID powered electronic shopping cart is built to enhance the overall shopping experience for electronics store consumers. Upon placing an item in the shopping cart, the consumer can access an array of product information, advanced product specifications, product features, consumer reviews, and combination deals with other store products. If a consumer is not sure of the physical location of an item, they will be able to search for the item and view a direct map of the store to find it. Other features include a live total of all items in the cart, being able to view the weekly in-store specials and ready for pick up. 1.6 ORGANIZATION OF THE REPORT Chapter 1 explains the overview, introduction, problem statement and proposed system. Chapter 2 discusses about the literature survey about the existing system. Chapter 3 gives the details of the requirement analysis and specification such as functional, non-functional requirements, hardware and software requirements. Chapter 4 explains the system design and implementation with the module description, architecture diagram and data flow. Chapter 5 discusses about the various System Testing.. Chapter 6 gives the results and detailed analysis of the results obtained.
  • 4.
    Smart Shopping System Departmentof Computer Science and Engineering,JCE,Belagavi Page 4 Chapter 2 LITERATURE SURVEY 2.1 OVERVIEW Literature Survey is an important phase in the system development life cycle as we collect and acquire the necessary information to handle or develop a project during this phase. A literature review is a description of the literature relevant to particular field or topic. It gives an overview of what has been said, who the key writers are, what are the prevailing theories and hypothesis and what methods and what methodologies are appropriate and useful. In this chapter research is done prior to taking up the project and understanding the various methods that were used previously. A detailed analysis of the existing systems was performed. This study helped to identify the benefits and drawbacks of the existing systems. Dr. Suryaprasad J in "A Novel Low-Cost Intelligent Shopping Cart“[1] proposed to develop a low cost intelligent shopping aid that assists the customer to search and select products and inform the customer on any special deals available on the products as they move around in the shopping complex. Amine Karmouche in "Aisle-level Scanning for Pervasive RFID-based Shopping Applications" [2] proposed to develop a system that is able to scan dynamic and static products in the shopping space using RFID Reader antennas. Instead of conducting the RFID observations at the level of individual carts, aisle-level scanning is performed. Mr. P. Chandrasekar in "Smart Shopping Cart with Automatic billing System through RFID and ZigBee" [3] proposed to develop a shopping cart with a Product Identification Device (PID) which will contain a microcontroller, a LCD, an RFID reader, EEPROM, and ZigBee module. Purchasing product information will be read through a RFID reader on shopping cart, meanwhile product information will be stored into EEPROM attached to it and this EEPROM data will be send to Central Billing System through ZigBee module. The central billing system gets the cart information and
  • 5.
    Smart Shopping System Departmentof Computer Science and Engineering,JCE,Belagavi Page 5 EEPROM data, it access the product database and calculates the total amount of purchasing for that particular cart. Satish Kamble in "Developing a Multitasking Shopping Trolley Based on RFID Technology" [4] proposed to develop a product to assist a person in everyday shopping in terms of reduced time spent while purchasing. The main aim of proposed system is to provide a technology oriented, low-cost, easily scalable, and rugged system for assisting shopping in person. Since this project itself is an application based on RFID Technology, we have done a literature survey on some of the papers regarding our components and some methodologies or techniques. In these papers we found the information required for our project. The paper has a generalised information to develop this project and even some of the information about developing the communication between the devices that we use in our project. The block diagram from the above paper is given bellow. Fig.2.1 Generalized block diagram of Existing System. From this block diagram we studied that they are using number of RFID readers at the checkout points and in whole Super market to provide the network for updating the cart information to the Back-end server. When the customer starts shopping and starts
  • 6.
    Smart Shopping System Departmentof Computer Science and Engineering,JCE,Belagavi Page 6 collecting the items to purchase, the cart will communicate with RFID reader nearer to it and updates the carts information. But by doing so the complexity is increased in hardware and as well as detecting the tags. To collect information about single cart is easy but if the number of carts increased then it will be very difficult to collect information about all the carts simultaneously. Since they are using RFID only for both reading the tags and sending the information to the server from the cart. This will create a huge disturbance 2.2 NEED OF ZIGBEE Zigbee is a wireless communication technology which supports for multi-node communication. This will help us to prevent the Data interference while collecting the data from the cart to the server. [3]Here it can even reduce the amount of Hardware required and complexity in information collection. By this the system will become cheaper. Even though the cost required for the individual components is high, but cost will become less for huge production. Table 2.1Difference between Existing system and Proposed system EXISTING SYSTEM PROPOSED SYSTEM 1. Manual billing 1.Automatic billing 2. Use Barcode for billing 2.Use RFID TAG for billing 3. Human staff is needed for billing 3.No need of any staff for billing 4. Low product cost but over all expenses are much high. 4.Product is little expensive but over all expense is much low 5. Difficult to track the product 5.Easy to locate or track the product 6. Getting product information is difficult & time consuming 6. Getting product information is easy and no extra time needed 7. It does not disclose any automatic way of indicating to shopper how the total bill is affected as the objects are added or removed from 7.LCD Display is present which will show the updated bill every time the shopper add or remove any object from the cart.
  • 7.
    Smart Shopping System Departmentof Computer Science and Engineering,JCE,Belagavi Page 7 2.3 THE ADVANTAGES OF RFID OVER BAR CODING  No "line of sight" requirements: Bar code reads can sometimes be limited or problematic due to the need to have a direct "line of sight" between a scanner and a bar code. RFID tags can be read through materials without line of sight.  More automated reading: RFID tags can be read automatically when a tagged product comes past or near a reader, reducing the labour required to scan product and allowing more proactive, real-time tracking.  Improved read rates: RFID tags ultimately offer the promise of higher read rates than bar codes, especially in high-speed operations such as carton sortation.  Greater data capacity: RFID tags can be easily encoded with item details such as lot and batch, weight, etc.  "Write" capabilities: Because RFID tags can be rewritten with new data as supply chain activities are completed, tagged products
  • 8.
    Smart Shopping System Departmentof Computer Science and Engineering,JCE,Belagavi Page 8 Chapter 3 REQUIREMENT ANALYSIS AND SPECIFICATION 3.1 OVERVIEW The requirement analysis include the Functional and Non-Function requirements, and Hardware and Software requirements. The functional requirements are the activities that admin performs with the trolley section and the database interactions. The non-functional requirements includes feasibility, reliability, scalability. The hardware requirements is inclusive of the Arduino pro mini, RFID reader, RFID tag, LCD display, Buzzer, Zigbee. The software requirements include the programming languages like Embedded C, JAVA. Also Microsoft access acts as an intermediate to access the database. 3.2 FUNCTIONAL REQUIREMENT  Interface Requirement The system is capable to accept and transmit the raw data which may be in the form of digital that is numeric values.  Audit Trail For each activity, the data will be recorded in the application audit trail.  Capacity The system is enough capable to hold the data and process on it. 3.3 NON FUNCTIONAL REQUIREMENT  Maintainability: Human resources is not required to maintain the components and collect the raw data from each of the components.  Reusability: The components are compatible for changing environment and supports upgradeability.  Availability: The system is functional throughout and data transfer takes place only when user requests.  Usability: The system is user friendly as it uses a simple networking model like a ZigBee.  Reliability: The system is highly consistent and reliable.
  • 9.
    Smart Shopping System Departmentof Computer Science and Engineering,JCE,Belagavi Page 9 3.4 HARDWARE REQUIREMENT 3.4.1 RFID tag An RFID tag is comprised of a microchip containing identifying information and an antenna that transmits this data wirelessly to a reader. At its most basic, the chip will contain a serialized identifier, or license plate number, that uniquely identifies that item, similar to the way many bar codes are used today. A key difference, however is that [2] RFID tags have a higher data capacity than their bar code counterparts. This increases the options for the type of information that can be encoded on the tag, including the manufacturer, batch or lot number, weight, ownership, destination and history (such as the temperature range to which an item has been exposed). In fact, an unlimited list of other types of information can be stored on RFID tags, depending on application needs. An RFID tag can be placed on individual items, cases or pallets for identification purposes, as well as on fixed assets such as trailers, containers, totes, etc. Fig 3.4.1 RFID TAGS Passive versus Active “Passive” tags have no battery and "broadcast" their data only when energized by a reader. That means they must be actively polled to send information. "Active" tags are capable of broadcasting their data using their own battery power. In general, this means that the read ranges are much greater for active tags than they are for passive tags perhaps a read range of 100 feet or more, versus 15 feet or less for most passive tags. The extra capability and read ranges of active tags, however, come with a cost; they are several times more expensive than passive tags. Today, active tags are much more likely to be
  • 10.
    Smart Shopping System Departmentof Computer Science and Engineering,JCE,Belagavi Page 10 used for high-value items or fixed assets such as trailers, where the cost is minimal compared to item value, and very long read ranges are required. Most traditional supply chain applications, such as the RFID-based tracking and compliance programs emerging in the consumer goods retail chain, will use the less expensive passive tags. 3.4.2 RFID reader RFID reader is used to read the data’s present in the RFID tag. RFID readers or receivers are composed of a radio frequency module, a control unit and an antenna to interrogate electronic tags via radio frequency (RF) communication. Many also include an interface that communicates with an application. Readers can be hand-held or mounted in strategic locations so as to ensure they are able to read the tags as the tags pass through an “interrogation zone.” Fig 3.4.2 RFID reader. An RFID reader’s function is to interrogate RFID tags. The means of interrogation is wireless and because the distance is relatively short; line of sight between the reader and tags is not necessary.[2] A reader contains an RF module, which acts as both a transmitter and receiver of radio frequency signals. The transmitter consists of an oscillator to create the carrier frequency; a modulator to impinge data commands upon this carrier signal and an amplifier to boost the signal enough to awaken the tag. The receiver has a demodulator to extract the returned data and also contains an amplifier to strengthen the signal for processing. A microprocessor forms the control unit, which
  • 11.
    Smart Shopping System Departmentof Computer Science and Engineering,JCE,Belagavi Page 11 employs an operating system and memory to filter and store the data. The data is now ready to be sent to the network. 3.4.3 LCD Display  LCD has the ability to display numbers and characters  Display the product name, price, expire date and total amount .  Complete listings of the products along with their price on LCD display.  Up/down switches are interfaced with the microcontroller which can be used to view all the purchase Fig 3.4.3 LCD-20x4 3.4.4 Buzzer A buzzer is an audio signalling device, which may be mechanical, electromechanical, or piezoelectric. A buzzer is interfaced with the microcontroller to indicate scanning of the product by the RFID reader. 3.4.5 MAX 232 This chip is used when interfacing micro controller with PC to check the Baud rate and changes the voltage level because micro controller is TTL compatible whereas PC is CMOS compatible. The MAX 232 IC contains the necessary drivers and receivers, to adapt the RS- 232 signal voltage levels to TTL logic. RS 232 is used at the time of billing. Cart is connected to the laptop via MAX 232 and after connection is made details about the purchases are transferred to the laptop and lock is opened. The bill is calculated and it is debited from the user RFID credit card and process is complete. RS232 is not compatible with today’s micro controllers, we need a line driver to convert the RS232’s
  • 12.
    Smart Shopping System Departmentof Computer Science and Engineering,JCE,Belagavi Page 12 signals to TTL voltage levels that will be acceptable to the AVR micro controller TxD and RxD, that is why we are using MAX232. 3.4.6 MICROCONTROLLER INTRODUCTION TO ATMEL MICROCONTROLLER Series: ATmega328 Family Technology: CMOS ARCHITECTURE OF ATmega328 Fig.3.4.6(a) Architecture of ATmega328
  • 13.
    Smart Shopping System Departmentof Computer Science and Engineering,JCE,Belagavi Page 13 THE MAJOR FEATURES OF 8-BIT MICRO CONTROLLER ATmega328 Important features of ATmega328 1. High performance and low power requirement. 2. 8-Bit Microcontroller Atmel, AVR advanced RISC architecture 3. 131 instructions most of which are executed in a single clock cycle 4. Up to 20 MIPS at 20 MHz 5. 32 x 8 working registers 6. 2 cycle multiplier Memory 1. 32 KB of programmable Flash, IKB of EEPROM, 2KB SRAM, 10,000 Write Erase cycles for Flash and 100,000 for EEPROM 2. Data retention for 20 years at 85°C and 100 years at 25°C 3. Optional boot loader with lock bits. In System Programming (ISP) by via boot loader and True Read-While-Write operation. Programming lock available for software security. Additional features 1. 2 x 8-bit Timers/Counters each with independent prescaler and compare modes 2. A single 16-bit Timer/Counter with an independent prescaler, compare and capture modes 3. Real time counter with independent oscillator 4. 10 bit, 6 channel analog to digital Converter 5. 6 pulse width modulation channels 6. Internal temperature sensor 7. Serial USART (Programmable) 8. Master/Slave SPI Serial Interface – (Philips I2C compatible)
  • 14.
    Smart Shopping System Departmentof Computer Science and Engineering,JCE,Belagavi Page 14 9. Programmable watchdog timer with independent internal oscillator 10. Internal analog comparator 11. Interrupt and wake up on pin change 12. Internal calibrated oscillator 13. Power on reset and programmable brown out detection 14. External and internal interrupts 15. 6 sleep modes including idle, ADC noise reduction, power save, power down, standby, and extended standby 16. 23 programmable I/O lines 17. 28 pin PDIP package 18. Operating voltage – 1.8 – 5.5V 19. Operating temperature range- 20.40 to 85 Degree C 20. 0-4 MHz at 1.8-5.5V, 0-10 MHz at 2.7-5.5V, 0-20 MHz at 4.5-5.5V 21. Low power consumption mode at 1.8V, 1 MHz and 25°C: 22. Active Mode: 0.3 mA 23. Power-down Mode: 0.1 μA 24. Power-save Mode: 0.8 μA (Including 32 kHz RTC) 25. Flash – 32 KB 26. EEPROM – 1KB 27. SRAM – 2KB 28. Frequency Max – 20MHz 29. Vcc – 1.8 to 5.5V 30. 10-Bit A/D Channels – 6
  • 15.
    Smart Shopping System Departmentof Computer Science and Engineering,JCE,Belagavi Page 15 31. 16-Bit Timers – 1 32. 8-Bit Timers – 2 33. Ext Interrupts – 2 34. Interrupts – 26 35. PWM Channels – 6 36. SPI – 1 PIN DESCRIPTION OF MICROCONTROLLER Fig 3.4.6(b) Pin diagram of Microcontroller.
  • 16.
    Smart Shopping System Departmentof Computer Science and Engineering,JCE,Belagavi Page 16 PIN DESCRIPTION VCC Supply voltage. GND Ground. Port B (PB7:0) XTAL1/XTAL2/TOSC1/TOSC2 Port B is an 8-bit bi-directional I/O port with internal pull-up resistors (selected for each bit). The Port B output buffers have symmetrical drive characteristics with both high sink and source capability. As inputs, Port B pins that are externally pulled low will source current if the pull-up resistors are activated. The Port B pins are tristated when a reset condition becomes active, even if the clock is not running.Depending on the clock selection fuse settings, PB6 can be used as input to the inverting Oscillator amplifier and input to the internal clock operating circuit. Depending on the clock selection fuse settings, PB7 can be used as output from the inverting Oscillator amplifier. If the Internal Calibrated RC Oscillator is used as chip clock source, PB7...6 is used as TOSC2...1 input for the Asynchronous Timer/Counter2 if the AS2 bit in ASSR is set. Port C (PC5:0) Port C is a 7-bit bi-directional I/O port with internal pull-up resistors (selected for each bit). The PC5...0 output buffers have symmetrical drive characteristics with both high sink and source capability. As inputs, Port C pins that are externally pulled low will source current if the pull-up resistors are activated. The Port C pins are tristated when a reset condition becomes active, even if the clock is not running. PC6/RESET If the RSTDISBL Fuse is programmed, PC6 is used as an I/O pin. Note that the electrical characteristics of PC6 differ from those of the other pins of Port C. If the RSTDISBL Fuse is unprogrammed, PC6 is used as a Reset input. A low level on this pin for longer than the minimum pulse length will generate a Reset, even if the clock is not running. Port D (PD7:0) Port D is an 8-bit bi-directional I/O port with internal pull-up resistors (selected for each bit). The Port D output buffers have symmetrical drive characteristics with both high sink and source capability. As inputs, Port D pins that are externally pulled low will source current if the pull-up resistors are activated. The Port D pins are tristated when a reset condition becomes active, even if the clock is not running.
  • 17.
    Smart Shopping System Departmentof Computer Science and Engineering,JCE,Belagavi Page 17 AVCC AVCC is the supply voltage pin for the A/D Converter, PC3:0, and ADC7:6. It should be externally connected to VCC, even if the ADC is not used. If the ADC is used, it should be connected to VCC through a low-pass filter. Note that PC6...4 use digital supply voltage, VCC. AREF AREF is the analog reference pin for the A/D Converter. PSEN Program Store Enable (PSEN) is the read strobe to external program memory. When the AT89S52 is executing code from external program memory, PSEN is activated twice each machine cycle, except that two PSEN activations are skipped during each access to external data memory. ADC7:6 (TQFP and QFN/MLF Package Only) In the TQFP and QFN/MLF package, ADC7:6 serve as analog inputs to the A/D converter. These pins are powered from the analog supply and serve as 10-bit ADC channels. ADVANTAGES OF MICROCONTROLLERS If a system is developed with a microprocessor, the designer has to go for external memory such as RAM, ROM or EPROM and peripherals and hence the size of the PCB will be large enough to hold all the required peripherals. But, the micro controller has got all these peripheral facilities on a single chip so development of a similar system with a micro controller reduces PCB size and cost of the design. One of the major differences between a micro controller and a microprocessor is that a controller often deals with bits , not bytes as in the real world application, for example switch contacts can only be open or close, indicators should be lit or dark and motors can be either turned on or off and so forth. APPLICATIONS OF MICROCONTROLLERS Microcontrollers are designed for use in sophisticated real time applications in Industrial Control such as  Instrumentation and
  • 18.
    Smart Shopping System Departmentof Computer Science and Engineering,JCE,Belagavi Page 18  Intelligent computer peripherals They are used in industrial applications to control  Motor  Robotics  Discrete and continuous process control  In missile guidance and control  In medical instrumentation  Oscilloscopes  Telecommunication  Automobiles  For Scanning a keyboard  Driving an LCD  For Frequency measurements  Period Measurements A microcontroller is a kind of miniature computer that you can find in all kinds of Gizmos. Some examples of common, every-day products that have microcontrollers are built-in. If it has buttons and a digital display, chances are it also has a programmable microcontroller brain. Every-Day the devices used by ourselves that contain Microcontrollers. Try to make a list and counting how many devices and the events with microcontrollers you use in a typical day. Here are some examples: if your clock radio goes off, and you hit the snooze button a few times in the morning, the first thing you do in your day is interact with a microcontroller. Heating up some food in the microwave oven and making a call on a cell phone also involve operating microcontrollers. That's just the beginning. Here are a few more examples: Turning on the Television with a handheld remote, playing a hand held game, using a calculator, and checking your digital wrist watch. All those devices have microcontrollers inside them that interact with you. Consumer appliances aren't the only things that contain microcontrollers. Robots, machinery, aerospace designs and other high-tech devices are also built with microcontrollers.
  • 19.
    Smart Shopping System Departmentof Computer Science and Engineering,JCE,Belagavi Page 19 OSCILLATOR AND CLOCK CIRCUIT XTAL1 and XTAL2 are the input and output respectively of an inverting amplifier which is intended for use as a crystal oscillator in the pierce configuration, in the frequency range of 1.2 MHz to 12 MHz. XTAL2 also the input to the internal clock generator. To drive the chip with an internal oscillator, one would ground XTAL1 and XTAL2. Since the input to the clock generator is divide by two flip flop there are no requirements on the duty cycle of the external oscillator signal. However, minimum high and low times must be observed. The clock generator divides the oscillator frequency by 2 and provides a tow phase clock signal to the chip. The phase 1 signal is active during the first half to each clock period and the phase 2 signals are active during the second half of each clock period. 3.4.7 ZIGBEE Fig 3.4.7(a) Zigbee Pair ilabs CC2500 Serial Transreceiver Wireless Module is designed to meet the requirement for the low cost, low power wireless device to transmit and receive serial data. The module operates on 2.4 GHz frequency band. The module can also be used as Wireless Sensor Network (WSN) node.
  • 20.
    Smart Shopping System Departmentof Computer Science and Engineering,JCE,Belagavi Page 20 Working The module has simple Protocol for working. the Using ilabs CC transreceiver GUI, the module can be configured data communication through hyper terminal. [3] This modules basically take TTL data & send it to receiver(receiver whose ID is send along with data). Modules can also broadcast the data (broadcast id (0xff).A single module can communicate with number of modules at run time. as receiver ID needs to send every time, So one can send different receiver id every time to communicate with different modules. This feature makes it best suited for swarm robotics. As modules has capability of analog to digital conversion (ADC). So user has to just configure the module once for ADC, & the module will send the data to the respective receiver, at the given interval of time. This feature (of reading ADC value & sending to the respective receiver module) makes it standalone for WSN. So it reduces the need of separate controller. The GUI interface makes it easy for user to configure module as well as to send data & test modules for different settings. PIN CONNECTIONS Ilabs CC2500 transreceiver module is having 3 connector headers (P1, P2 & P3as shown in picture). P1 is having 4 pins GND (V-), VCC (V+), Rx, Tx. Where Jumper 2 is having 6 pins A0 to A5 (ADC 0 to ADC 5). Fig3.4.7(b) Pin diagram of ZIGBEE. Configuring ilabs CC2500 Module Ilabs cc2500 module can configure for various things like Self ID (self address or SID), Channel ID (CID), Baud Rate (max 38400bps) and ADC values.
  • 21.
    Smart Shopping System Departmentof Computer Science and Engineering,JCE,Belagavi Page 21 Configuring Self ID & Channel ID Ilabs CC2500 module can be configured by various ways. It can configure during use through programming, HyperTerminal Or through ilabs CC2500 wireless GUI. To configure the module we need to follow some protocol (some set of commands). Protocol for configuring self ID & channel ID is given below. In which we have to give Self ID / Self Address (range 0 to 255 in decimal 0R 0x00 to 0xFF in Hex) and channel ID / Channel Address (range 0 to 255 in decimal 0R 0x00 to 0xFF in Hex). It is to be noted that the Self ID 0xFF (in hex) Or 255 (in decimal) is reserved for broadcast. Broadcast means that each & every module on the same channel can receive data, provided that broadcast should be enable on every module (broadcast is default enable on the ilabs CC modules Broadcast id is 255 OR 0xFF). Configuring Baud rate Ilabs cc2500 module can support for different baud rates. Modules can be configured for different baud rate (default is 9600 bps) using simple Protocol or it can be done using GUI. Protocol for configuring Baud rate includes Baud rate index (1-3). Sending this baud rate index can change its own baud rate. It is to be noted that changing a baud rate may leads to failure after configuration. So one has to change the baud rate of other device also. APPLICATIONS OF ZIGBEE There are numerous applications of Zigbee, some of them are shown below  Home Automation  ZigBee Smart Energy  Telecommunication Applications  Personal Home
  • 22.
    Smart Shopping System Departmentof Computer Science and Engineering,JCE,Belagavi Page 22 3.5 SOFTWARE REQUIREMENTS 1. JCreator JCreator is a Java IDE created by Xinox Software. It is a light-weight development environment for Java technologies. Features include project management, templates, customizable syntax highlighting, class views, tabbed documents, multiple compilers, wizards and fully customizable interface. JCreator is only available on the windows operating system. 2. Programming Language i. Embedded c that is used by the hardware that is RFID receiver (fitted in trolley) and transmitter (RFID tags) that look ups up the specified table of item and maps the product with price. ii. JAVA is used on the front end to display the final billed amount to the customer on the host computer where final payment is made. 3. Database Microsoft Access is a database management system (DBMS) from Microsoft that combines the relational Microsoft Jet Database Engine with a graphical user interface and software-development tools. Microsoft Access stores data in its own format based on the Access Jet Database Engine. It can also import or link directly to data stored in other applications and databases.
  • 23.
    Smart Shopping System Departmentof Computer Science and Engineering,JCE,Belagavi Page 23 Chapter 4 SYSTEM DESIGN AND IMPLEMENTATION Fig 1.Trolley section. Fig 2.billing section. Buzzer
  • 24.
    Smart Shopping System Departmentof Computer Science and Engineering,JCE,Belagavi Page 24 The model features a cart equipped with an RFID reader, a ZigBee transceiver and an LCD display[5]. The cart is initially deactivated. Upon entering in the specific area, the store’s main reader would trigger the respective passive RFID tag on the cart that entered, thus activating it, and turning ON all the components such as RFID reader, micro controller and ZigBee The reader on the cart sends the tagID of the item being dropped into or removed from the cart and price against it to the main reader which updates the bill for the respective cart. It scans products when customer picks up from the shelf and puts in the cart. The cartID, tagID of the item and the corresponding price is transmitted by the cart’s reader to the main reader using the IEEE 802.15.4 (ZigBee Protocol). This smart shopping cart keeps an account of the bill made by keeping running total of their purchases. LCD screen will show the total bill of the items present in the cart. The main reader is consistently connected with the database via server and is equipped with ZigBee transceiver to receive from the cart’s reader cartID, tagID and price of the data item which is being put into or removed from the cart. This main reader is also in communication with reader on the exit door which detects a particular cart at the checkout time. This exit door reader has a ZigBee transceiver so as to send the information of detected cart to the main reader . It also communicates with the server via the main reader, which is being constantly updated by the main reader for every cart that entered the store area. The server is connected to the database. All the changes intended to be made in the database are made with help of the server via main reader Fig (A) Smart Trolley
  • 25.
    Smart Shopping System Departmentof Computer Science and Engineering,JCE,Belagavi Page 25 Fig (B)Block Diagram of Trolley side Fig (C)Block Diagram of Server side
  • 26.
    Smart Shopping System Departmentof Computer Science and Engineering,JCE,Belagavi Page 26 Figure A, B and C depicts a block diagram containing the subsystems of intelligent trolley. Each subsystem is interfaced carefully to form a whole unit. This system consists of a micro controller interfaced with RFID, ZigBee, RFID Tags, LCD 20x4 display, forming the hardware unit and ZigBee interfaced to the server making up the software unit. When any product containing RFID tag is placed in the trolley, it is detected and information is collected. The RFID tags have a unique ID number. RFID tags are used to uniquely identify products. This information is then sent to the main server using the wireless ZigBee unit. The data sent is the unique number. At the server end, the database is queried based on the unique number. All the products and their respective details stored in that particular database are retrieved and sent back to the shopping trolley. The information received from the server is temporarily stored in the shopping trolley memory and then displayed on the display unit affixed on the trolley. The customer can then select the product with the information being shown on the display unit. Every product is uniquely identified using RFID tags. As the products are selected and added into the cart, the RFID reader will identify the product and the price will be added to the temporary bill. If a customer chooses to drop a selected product, it needs to be done by selecting the appropriate button (“Add/Remove”) on the display unit. After completing the shopping, the customer has to select the “Complete” button. This enables the total bill being generated after confirmed purchase of all the selected products in the shopping trolley. This generated bill is sent to billing side computer to get the computerized bill. At the same time, this information is sent to the database server through the wireless ZigBee unit. The integrated system is built around AT89S52 micro controller and 20x4 LCD display unit and miscellaneous circuit including power supply. 4.1 RFID (RADIO FREQUENCY IDENTIFICATION) RFID (radiofrequency identification) technology offers the ability to provide many new services and convenience in the retail environment. Radio-frequency identification (RFID) is an automatic identification method, relying on storing and remotely retrieving data using devices called RFID tags or transponders. [2]The technology requires some extent of cooperation of an RFID reader and an RFID tag. An RFID tag is an object that can be applied to or incorporated into a product, animal, or person for the purpose of identification and tracking using radio waves. Some tags can be read from several meters away and beyond the line of sight of the reader
  • 27.
    Smart Shopping System Departmentof Computer Science and Engineering,JCE,Belagavi Page 27 The RFID technology is a means of gathering data about a certain item without the need of touching or seeing the data carrier, through the use of inductive coupling or electromagnetic waves. The data carrier is a microchip attached to an antenna (together called transponder or tag), the latter enabling the chip to transmit information to a reader (or transceiver) within a given range, which can forward the information to a host computer. The middleware (software for reading and writing tags) and the tag can be enhanced by data encryption for security-critical application at an extra cost, and anti- collision algorithms may be implemented for the tags if several of them are to be read simultaneously. One important feature enabling RFID for tracking objects is its capability to provide unique identification. One possible approach to item identification is the EPC (Electronic Product Code) , providing a standardized number in the EPCglobal Network, with an Object Name Service (ONS) providing the adequate Internet addresses to access or update instance-specific data. However, currently, ONS cannot be used in a global environment, and since it is a proprietary service, its use is relatively expensive, especially for participants with limited resources such as SMEs.. There are many different types of RFID systems out in the market. They are categorized according to their frequency ranges. Some of the most commonly used RFID kits are as follows: 1) Low-frequency (30 KHz to 500 KHz) 2) Mid-Frequency (900KHz to 1500MHz) 3) High Frequency (2.4GHz to 2.5GHz) These frequency ranges mostly tell the RF ranges of the tags from low frequency tag ranging from 3m to 5m, mid-frequency ranging from 5m to 17m and high frequency ranging from 5ft to 90ft. The cost of the system is based according to there ranges with low-frequency system ranging from a few hundred dollars to a high-frequency system somewhere near 5000 dollars.
  • 28.
    Smart Shopping System Departmentof Computer Science and Engineering,JCE,Belagavi Page 28 4.1.1 ADVANTAGES Though RFID is not likely to entirely replace commonly used barcodes in the near future, the following advantages suggest to additionally apply RFID for added value of identification  Tag detection not requiring human intervention reduces employment costs and eliminates human errors from data collection.  As no line-of-sight is required, tag placement is less constrained.  RFID tags have a longer read range than, e. g., barcodes.  Tags can have read/write memory capability, while barcodes do not.  An RFID tag can store large amounts of data additionally to a unique identifier.  Unique item identification is easier to implement with RFID than with barcodes.  Tags are less sensitive to adverse conditions (dust, chemicals, physical damage etc.).  Many tags can be read simultaneously.  RFID tags can be combined with sensors.  Automatic reading at several places reduces time lags and inaccuracies in an inventory.  Tags can locally store additional information; such distributed data storage may increase fault tolerance of the entire system.  Reduces inventory control and provisioning costs.  Reduces warranty claim processing costs. 4.1.2 APPLICATIONS OF RFID Manufacturing and Processing  Inventory and production process monitoring  Warehouse order fulfilment Supply Chain Management  Inventory tracking systems  Logistics management Retail  Inventory control and customer insight  Auto checkout with reverse logistics
  • 29.
    Smart Shopping System Departmentof Computer Science and Engineering,JCE,Belagavi Page 29 Security  Access control  Counterfeiting and Theft control/prevention Location Tracking  Traffic movement control and parking management  Wildlife/Livestock monitoring and tracking 4.2 WORKING OF PROPOSED SYSTEM 1) Every product has an RFID tag which contains a Unique ID. These ID’s are fed in the database assigned to the corresponding products. 2)There will be another option provided to get the location of required product. 3) If there needs to be a purchase done, then that product can be dropped in the cart where the RFID reader reads the tag. The information of the product is extracted and displayed on the LCD screen. At the same time billing information is also updated. 4) When a customer wants to remove any product from the trolley, then that product needs to be scanned again. 5) At the same time the billing information is updated. The total amount of purchases is also displayed on screen. 6) These steps are repeated until the end of shopping button or send bill button is pressed. This generated bill is sent to billing side computer to get the computerized bill. 7) The customer can straight away pay the bill and leave. 8) Inventory status of the products is also updated at the end of shopping. Simultaneously the temporary data present in microcontroller is reset, so that it can be reused. 9)If the customer has registered user card, the payment can be done by swapping user card in the trolley itself. 4.3 PSEUDO CODE begin if shoppers with the cart press “start button” then the system turns ON all the components such as RFID reader, microcontroller and ZigBee start working. else the system is idle
  • 30.
    Smart Shopping System Departmentof Computer Science and Engineering,JCE,Belagavi Page 30 if search mode is selected if customer enters required product name then product detail is extracted from the database if the product is available then display its location else display none else search mode is turned off if the shopper drops any product in the cart then the RFID reader reads the tag product details are displayed on the LCD screen if shopper removes the product from cart then, the amount of the product is subtracted from total amount and displayed on the LCD screen else the total amount remains same if the customer has the registered user card then the payment can be done by swapping in the trolley itself the paid information is displayed as well as sent to the counter else the customer can pay at the counter end
  • 31.
    Smart Shopping System Departmentof Computer Science and Engineering,JCE,Belagavi Page 31 Fig 4.3 Flow chart of Proposed System START Initialize system Search for RFID Tag Is RFID Tag? Read Related Data from Memory Display data on LCD Add Item Cost as Items are added When upload key is pressed send data to the counter Print the Bill STOP
  • 32.
    Smart Shopping System Departmentof Computer Science and Engineering,JCE,Belagavi Page 32 4.4 DEVELOPMENT BOARD The development board is hand held, battery powered microcontroller board ideal for personal, educational and research robotics projects. Based on AT89S52 micro controller, the Development board includes 64K of flash RAM, inputs for variety of sensors like RFID reader, Zigbee Module and a 20x4 alpha numeric LCD screen. Fig 4.4 Development Board
  • 33.
    Smart Shopping System Departmentof Computer Science and Engineering,JCE,Belagavi Page 33 4.5 SOFTWARE DESIGN Programming involves two steps. First step is to write and compile the code and generate the “*.ino” file. Second step is to load this “*.ino” file on the micro controller using Arduino software. We are going to use Arduino software for writing the code for the Micro controller. On the billing side we would be making a software forgetting the itemized bill, print the bill and empty the trolley. This software will be made using JCreater tool and programming would be done in Java swings
  • 34.
    Smart Shopping System Departmentof Computer Science and Engineering,JCE,Belagavi Page 34 Chapter 5 TESTING 5.1 UNIT TESTING Unit Testing is a level of software testing where individual units/components of a software are tested. The purpose is to validate that each unit of the software performs as designed. A unit is the smallest testable part of software. It usually has one or a few inputs and usually a single output. Typically the unit test will establish some sort of artificial environment and then invoke methods in the unit being tested. It then checks the results returned against some known value. When the units are assembled we can use the same tests to test the system as a hole. The figure 5.1 shows the unit testing carried for component. Fig 5.1 Unit Testing of LCD Display 5.2 Functional Testing Functional Testing is a testing technique that is used to test the features /functionality of the system or Software, should cover all the scenarios including failure paths and boundary cases. For example: Testing of RFID reader and Testing of Zigbee transmission. The terminal software is used to test the RFID Reader and the Zigbee module by connecting them with the computer separately using USB to SERIAL port converter.
  • 35.
    Smart Shopping System Departmentof Computer Science and Engineering,JCE,Belagavi Page 35 Testing of RFID reader Number of tests carried Tags read Successfully Tags failed to read 5 4 1 Testing of Zigbee transmission Number of tests carried Sent Received Failed 5 5 4 1 5.3 Integration Testing Upon completion of unit testing, the units or modules are to be integrated which gives raise to integration testing. The purpose of integration testing is to verify the functional, performance, and reliability between the modules that are integrated. In the system, the RFID tags which are individually tested and then integration of LCD display, RFID reader, Zigbee is done and their working is tested. Similarly, every unit is integrated after the testing of every single unit is done individually. 5.4 System Testing System testing of software or hardware is the testing conducted on a complete, integrated system to evaluate the system’s compliance with its specified equirements.The hardware and the software units are tested separately and then tested together to check if the desired results are obtained. 5.5 Performance Testing Performance testing, a non-functional testing technique performed to determine the system parameters in terms of responsiveness and stability under various workload. Performance testing measures the quality attributes of the system, such as scalability, reliability and resource usage. 5.6 Acceptance Testing Acceptance testing, a testing technique performed to determine whether or not the software system has met the requirement specifications. The main purpose of this test is to evaluate the system's compliance with the business requirements and verify if it is has met the required criteria for delivery to end users. In the interface designed for the system, the START and DONE button acts as the Acceptance testing.
  • 36.
    Smart Shopping System Departmentof Computer Science and Engineering,JCE,Belagavi Page 36 Chapter 6 RESULTS & PERFORMANCE ANALYSIS Unique RFID tags given in table 6.1 are used to indicate distinctive products being shopped. As the RFID card reader read the product, details were displayed on the display unit. The product details of the shopped items were temporarily stored in the local memory. Once the shopping is completed, the memory contents were read and billing was done. The same product information data was sent back to the server to update the inventory. Table 6.1 Sample Database of product details. ID PName PMrp PEDate Location 180089032EBC PONDS 10.50 30-6-18 Row=1,Col=1 180089158B0F LOCK 15.50 01-7-18 Row=1,Col=3 18008916F87F RED LABEL 05.00 01-2-19 Row=2,Col=1 1800892ACF74 OIL 20.50 30-5-20 Row=1,Col=2 The following test case scenarios were used in the integrated system testing to prove the working of the developed system. a) Shopping cart and server communication using the wireless ZigBee module . b) Identifying items based on RFID tags and synchronizing with central database. c) Automatic billing . d) Display the product details. e) Update inventory in the central system upon each purchase of a product. f) Automatic billing update when the products are dropped in the cart or removed from the cart. g) Display of total bill on the master pc. All test cases were successfully tested. The system developed is user friendly and no special training is required to use the cart.
  • 37.
    Smart Shopping System Departmentof Computer Science and Engineering,JCE,Belagavi Page 37 Table 6.2 Comparison between BARCODE & RFID System BARCODE (existing technology) RFID (proposed technology) a) Person is required to read barcode on product. b) Barcode must be visible on the surface of product. c) Line of sight required to a read barcode. d) The readability of barcodes can be impaired by dirt, moisture, abrasion, or packaging contours e) Short reading distance. f) Barcode does not have READ & WRITE capability. a) Automatic reading of RFID tag from product. b) RFID can be placed inside the product. c) No line of sight required to read RFID. d) RFID tags are not affected by such conditions. e) Long reading distance. f) RFID tag having READ & WRITE capability.
  • 38.
    Smart Shopping System Departmentof Computer Science and Engineering,JCE,Belagavi Page 38 SCREENSHOTS Fig 6.1 Server side.  Admin needs to initialize the system by clicking on start button. Fig 6.2 Product details.  The product details like product name, cost, expire date and total amount is displayed on the LCD display after the product is scanned.
  • 39.
    Smart Shopping System Departmentof Computer Science and Engineering,JCE,Belagavi Page 39 Fig 6.3 addition of product.  As the products are added the product details are displayed and the amount will be updated. Fig 6.4 Search mode.  If the customer wishes to search the product, the search key must be turned on and the name of the product should be entered using keypad.
  • 40.
    Smart Shopping System Departmentof Computer Science and Engineering,JCE,Belagavi Page 40 Fig 6.5 Response from server.  The product location will be fetched from the database and displayed on the LCD. Fig 6.6 payment status at customer side.  The payment details is displayed as the customer chooses to pay using the registered user card.
  • 41.
    Smart Shopping System Departmentof Computer Science and Engineering,JCE,Belagavi Page 41 Fig 6.7 Payment status at server side.  The payment details will be sent to counter as the customer pays the bill using the registered user card. Fig 6.8 Product Table.  The database containing registered product details.
  • 42.
    Smart Shopping System Departmentof Computer Science and Engineering,JCE,Belagavi Page 42 Fig 6.9 Trolley Details.  Database containing purchased product by customer.
  • 43.
    Smart Shopping System Departmentof Computer Science and Engineering,JCE,Belagavi Page 43 CONCLUSION The proposed model is easy to use, low-priced and does not require any special training. This model keeps an account and uses of the existing developments and various types of radio frequency identification and detection technologies which are used for item recognition, billing and inventory update. As the whole system is becoming smart, the requirement of manpower will decrease, thus benefiting the retailers. Theft in the mall will be controlled using this smart system, which further adds to the cost efficiency. The time efficiency will increase phenomenally since this system will eliminate the waiting queues. More customers can be served in same time thus benefiting the retailers and customers as well.
  • 44.
    Smart Shopping System Departmentof Computer Science and Engineering,JCE,Belagavi Page 44 FUTURE SCOPE The proposed system does not make use of intricate routing system architecture. Rather it uses simple algorithms in order to banish existing problems. Model can be further extended, to prevent the loosing of the intelligent/smart shopping cart. It can be concluded that the initial cost of the model may be high but the in subsequent years the model will be beneficial as compared to the system using barcode or manual system. Further, a more advanced micro controller, larger display module and a service to pay the bill within the cart by using swapping card can be used, thus providing the customers better services, improved consumer experience and improving time complexity to a great extent.
  • 45.
    Smart Shopping System Departmentof Computer Science and Engineering,JCE,Belagavi Page 45 REFERENCES [1] Dr. Suryaprasad J, Praveen Kumar B O, Roopa D & Arjun A K "A Novel Low-Cost ......Intelligent Shopping Cart", 2014 IEEE. [2] Amine Karmouche, Yassine Salih-Alj, "Aisle-level Scanning for Pervasive RFID- ......based Shopping Applications", 2013 IEEE. [3] Mr. P. Chandrasekar, Ms. T. Sangeetha, "Smart Shopping Cart with Automatic Central ......Billing System through RFID and ZigBee", 2014 IEEE. [4] Satish Kamble, Sachin Meshram, Rahul Thokal & Roshan Gakre, "Developing a ......Multitasking Shopping Trolley based on RFID Technology", January 2014 ......International Journal of Soft Computing and Engineering (IJSCE). [5] Raju Kumar, K. Gopalakrishna, K. Ramesha,"Intelligent Shopping Cart" International .....Journal of Engineering Science and Innovative Technology (IJESIT) Volume 2, Issue .....4, July 2013. [6] Janhavi Iyer, Harshad Dhabu, Sudeep K. Mohanty, "Smart Trolley System for ......Automated Billing using RFID and ZIGBEE" International Journal of Emerging ......Technology and Advanced Engineering Volume 5, Issue 10, October 2015.