PRESENTATION ON
Step up chopper
CAREER POINT UNIVERSITY
 INTRODUCTION:-
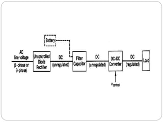
In many technical applications, it is required
to convert a set voltage DC source into a
variable-voltage DC output. A DC-DC
switching converter converts voltage directly
from DC to DC and is simply known as a DC
Converter. It can be used to step down or step
up a DC voltage source, as a transformer . A
chopper is basically a dc to dc converter
whose main function is to create adjustable dc
voltage from fixed dc voltage sources through
the use of semiconductors.
 PHOTOVOLTIC –
 The power capacity range of a single PV panel is
about 100W to 300W, and the maximum power
point (MPP) voltage range is from 15V to 40V,
which will be the input voltage of the ac module;
in cases with lower input voltage, it is difficult for
the ac module to reach high efficiency. However,
employing a high step-up dc–dc converter in the
front of the inverter improves power-conversion
efficiency and provides a stable dc link to the
inverter.
 LOAD RESISTANCE
 Load Resistance =V0/I0
 Assuming Io to be 0.4A
 Load Resistance =15V/0.4A = 37.5Ω

 DUTY CYCLE

 Duty Cycle = 1-VIN /V0
 = 0.67

 CAPACITOR
 C = 2.034×10-3F

 INDUCTOR
 L = 870μH
PRINCIPLE OF STEP‐DOWN
CHOPPER:
 There are two major factors related to the
efficiency of a high step-up dc–dc converter:
large input current and high output voltage.
shows the solar energy through the PV panel
and micro inverter to the output terminal when
the switches are OFF.[3] When installation of
the ac module is taking place, this potential
difference could pose hazards to both the
worker and the facilities. A floating active
switch is designed to isolate the dc current
from the PV panel, for when the ac module is
off-grid as well as in the non operating
Applications of Choppers:
 They are used for DC motor control (battery-
supplied vehicles), solar energy conversion
and wind energy conversion.
 Choppers are used in electric cars, airplanes
and spaceships, where onboard-regulated DC
power supplies are required.
 In general, Chopper circuits are used as
power supplies in computers, commercial
electronics, electronic instruments.
Analysis, modeling and simulation of step
up converter using Matlab–Simulink
 The basic configuration of step up converter
usually used in photovoltaic solar systems to
increase the DC voltage generated at their
outputs suffers from some drawbacks just like
high ripple in the output voltage, greater
losses in the system and unstable dynamic
behavior. To eliminate these drawbacks, this
paper introduces a two-phase connection of
step up converter with uncoupled smoothing
reactors.
Converter
DC-DC Converters -
MATLAB SIMULATION RESULTS:
Result:-
Shailesh (10708)

Shailesh (10708)

  • 1.
    PRESENTATION ON Step upchopper CAREER POINT UNIVERSITY
  • 2.
     INTRODUCTION:- In manytechnical applications, it is required to convert a set voltage DC source into a variable-voltage DC output. A DC-DC switching converter converts voltage directly from DC to DC and is simply known as a DC Converter. It can be used to step down or step up a DC voltage source, as a transformer . A chopper is basically a dc to dc converter whose main function is to create adjustable dc voltage from fixed dc voltage sources through the use of semiconductors.
  • 3.
     PHOTOVOLTIC – The power capacity range of a single PV panel is about 100W to 300W, and the maximum power point (MPP) voltage range is from 15V to 40V, which will be the input voltage of the ac module; in cases with lower input voltage, it is difficult for the ac module to reach high efficiency. However, employing a high step-up dc–dc converter in the front of the inverter improves power-conversion efficiency and provides a stable dc link to the inverter.
  • 4.
     LOAD RESISTANCE Load Resistance =V0/I0  Assuming Io to be 0.4A  Load Resistance =15V/0.4A = 37.5Ω   DUTY CYCLE   Duty Cycle = 1-VIN /V0  = 0.67   CAPACITOR  C = 2.034×10-3F   INDUCTOR  L = 870μH
  • 5.
    PRINCIPLE OF STEP‐DOWN CHOPPER: There are two major factors related to the efficiency of a high step-up dc–dc converter: large input current and high output voltage. shows the solar energy through the PV panel and micro inverter to the output terminal when the switches are OFF.[3] When installation of the ac module is taking place, this potential difference could pose hazards to both the worker and the facilities. A floating active switch is designed to isolate the dc current from the PV panel, for when the ac module is off-grid as well as in the non operating
  • 6.
    Applications of Choppers: They are used for DC motor control (battery- supplied vehicles), solar energy conversion and wind energy conversion.  Choppers are used in electric cars, airplanes and spaceships, where onboard-regulated DC power supplies are required.  In general, Chopper circuits are used as power supplies in computers, commercial electronics, electronic instruments.
  • 7.
    Analysis, modeling andsimulation of step up converter using Matlab–Simulink  The basic configuration of step up converter usually used in photovoltaic solar systems to increase the DC voltage generated at their outputs suffers from some drawbacks just like high ripple in the output voltage, greater losses in the system and unstable dynamic behavior. To eliminate these drawbacks, this paper introduces a two-phase connection of step up converter with uncoupled smoothing reactors.
  • 9.
  • 10.
  • 11.