Embed presentation















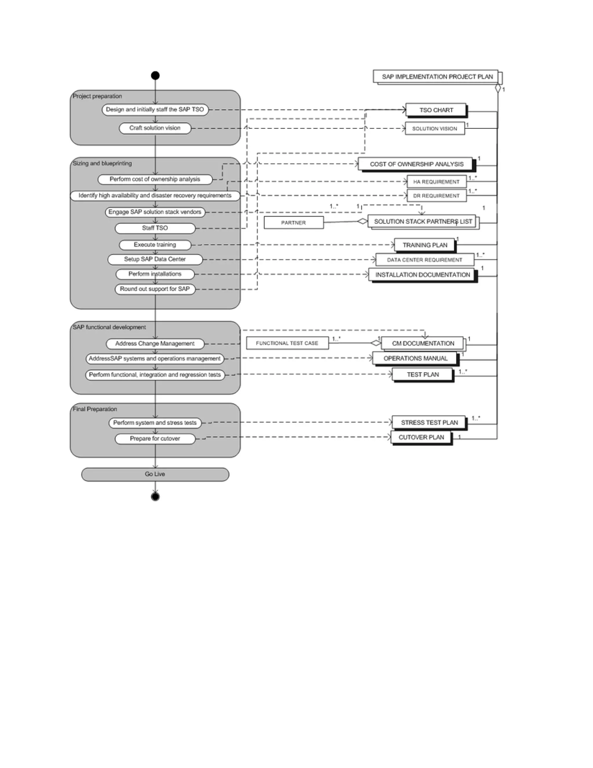
SAP implementation involves a defined process to plan and execute the installation of SAP software in an organization. The SAP implementation life cycle consists of four main phases - project preparation to create a vision for the SAP solution, sizing and blueprinting to design the solution and provide training, functional development, and final preparation with testing before going live.
Explores the complete method to implement SAP software, outlining four main phases: project preparation, sizing and blueprinting, functional development, and final preparation.














