Block Diagram Reduction
Signal-Flow Graphs
Unit 4: Block Diagram Reduction
Engineering 5821:
Control Systems I
Faculty of Engineering & Applied Science
Memorial University of Newfoundland
February 15, 2010
ENGI 5821 Unit 4: Block Diagram Reduction
Block Diagram Reduction
Signal-Flow Graphs
1 Block Diagram Reduction
Cascade Form
Parallel Form
Feedback Form
Moving Blocks
Example
1 Signal-Flow Graphs
ENGI 5821 Unit 4: Block Diagram Reduction
Block Diagram Reduction
Signal-Flow Graphs
Cascade Form
Parallel Form
Feedback Form
Moving Blocks
Example
Block Diagram Reduction
Subsystems are represented in block diagrams as blocks, each
representing a transfer function.
ENGI 5821 Unit 4: Block Diagram Reduction
Block Diagram Reduction
Signal-Flow Graphs
Cascade Form
Parallel Form
Feedback Form
Moving Blocks
Example
Block Diagram Reduction
Subsystems are represented in block diagrams as blocks, each
representing a transfer function. In this unit we will consider how
to combine the blocks corresponding to individual subsystems so
that we can represent a whole system as a single block, and
therefore a single transfer function.
ENGI 5821 Unit 4: Block Diagram Reduction
Block Diagram Reduction
Signal-Flow Graphs
Cascade Form
Parallel Form
Feedback Form
Moving Blocks
Example
Block Diagram Reduction
Subsystems are represented in block diagrams as blocks, each
representing a transfer function. In this unit we will consider how
to combine the blocks corresponding to individual subsystems so
that we can represent a whole system as a single block, and
therefore a single transfer function. Here is an example of this
reduction:
ENGI 5821 Unit 4: Block Diagram Reduction
Block Diagram Reduction
Signal-Flow Graphs
Cascade Form
Parallel Form
Feedback Form
Moving Blocks
Example
Block Diagram Reduction
Subsystems are represented in block diagrams as blocks, each
representing a transfer function. In this unit we will consider how
to combine the blocks corresponding to individual subsystems so
that we can represent a whole system as a single block, and
therefore a single transfer function. Here is an example of this
reduction:
ENGI 5821 Unit 4: Block Diagram Reduction
Block Diagram Reduction
Signal-Flow Graphs
Cascade Form
Parallel Form
Feedback Form
Moving Blocks
Example
Block Diagram Reduction
Subsystems are represented in block diagrams as blocks, each
representing a transfer function. In this unit we will consider how
to combine the blocks corresponding to individual subsystems so
that we can represent a whole system as a single block, and
therefore a single transfer function. Here is an example of this
reduction:
Reduced Form:
ENGI 5821 Unit 4: Block Diagram Reduction
Block Diagram Reduction
Signal-Flow Graphs
Cascade Form
Parallel Form
Feedback Form
Moving Blocks
Example
Block Diagram Reduction
Subsystems are represented in block diagrams as blocks, each
representing a transfer function. In this unit we will consider how
to combine the blocks corresponding to individual subsystems so
that we can represent a whole system as a single block, and
therefore a single transfer function. Here is an example of this
reduction:
Reduced Form:
ENGI 5821 Unit 4: Block Diagram Reduction
First we summarize the elements of block diagrams:
First we summarize the elements of block diagrams:
First we summarize the elements of block diagrams:
We now consider the forms in which blocks are typically connected
and how these forms can be reduced to single blocks.
Block Diagram Reduction
Signal-Flow Graphs
Cascade Form
Parallel Form
Feedback Form
Moving Blocks
Example
Cascade Form
When multiple subsystems are connected such that the output of
one subsystem serves as the input to the next, these subsystems
are said to be in cascade form.
ENGI 5821 Unit 4: Block Diagram Reduction
Block Diagram Reduction
Signal-Flow Graphs
Cascade Form
Parallel Form
Feedback Form
Moving Blocks
Example
Cascade Form
When multiple subsystems are connected such that the output of
one subsystem serves as the input to the next, these subsystems
are said to be in cascade form.
ENGI 5821 Unit 4: Block Diagram Reduction
Block Diagram Reduction
Signal-Flow Graphs
Cascade Form
Parallel Form
Feedback Form
Moving Blocks
Example
Cascade Form
When multiple subsystems are connected such that the output of
one subsystem serves as the input to the next, these subsystems
are said to be in cascade form.
The algebraic form of the final output clearly shows the equivalent
system TF—the product of the cascaded subsystem TF’s.
ENGI 5821 Unit 4: Block Diagram Reduction
When reducing subsystems in cascade form we make the
assumption that adjacent subsystems do not load each other.
When reducing subsystems in cascade form we make the
assumption that adjacent subsystems do not load each other.
That is, a subsystem’s output remains the same no matter what
the output is connected to.
When reducing subsystems in cascade form we make the
assumption that adjacent subsystems do not load each other.
That is, a subsystem’s output remains the same no matter what
the output is connected to. If another subsystem connected to the
output modifies that output, we say that it loads the first system.
When reducing subsystems in cascade form we make the
assumption that adjacent subsystems do not load each other.
That is, a subsystem’s output remains the same no matter what
the output is connected to. If another subsystem connected to the
output modifies that output, we say that it loads the first system.
Consider interconnecting the circuits (a) and (b) below:
When reducing subsystems in cascade form we make the
assumption that adjacent subsystems do not load each other.
That is, a subsystem’s output remains the same no matter what
the output is connected to. If another subsystem connected to the
output modifies that output, we say that it loads the first system.
Consider interconnecting the circuits (a) and (b) below:
When reducing subsystems in cascade form we make the
assumption that adjacent subsystems do not load each other.
That is, a subsystem’s output remains the same no matter what
the output is connected to. If another subsystem connected to the
output modifies that output, we say that it loads the first system.
Consider interconnecting the circuits (a) and (b) below:
The overall TF is not the product of the individual TF’s!
We can prevent loading by inserting an amplifier.
We can prevent loading by inserting an amplifier. This amplifier
should have a high input impedance so it does not load its source,
and low output impedance so it appears as a pure voltage source
to the subsystem it feeds into.
We can prevent loading by inserting an amplifier. This amplifier
should have a high input impedance so it does not load its source,
and low output impedance so it appears as a pure voltage source
to the subsystem it feeds into.
If no actual gain is desired then K = 1 and the “amplifier” is
referred to as a buffer.
Block Diagram Reduction
Signal-Flow Graphs
Cascade Form
Parallel Form
Feedback Form
Moving Blocks
Example
Parallel Form
Parallel subsystems have a common input and their outputs are
summed together.
ENGI 5821 Unit 4: Block Diagram Reduction
Block Diagram Reduction
Signal-Flow Graphs
Cascade Form
Parallel Form
Feedback Form
Moving Blocks
Example
Parallel Form
Parallel subsystems have a common input and their outputs are
summed together.
ENGI 5821 Unit 4: Block Diagram Reduction
Block Diagram Reduction
Signal-Flow Graphs
Cascade Form
Parallel Form
Feedback Form
Moving Blocks
Example
Parallel Form
Parallel subsystems have a common input and their outputs are
summed together.
The equivalent TF is the sum of parallel TF’s (with matched signs
at summing junction).
ENGI 5821 Unit 4: Block Diagram Reduction
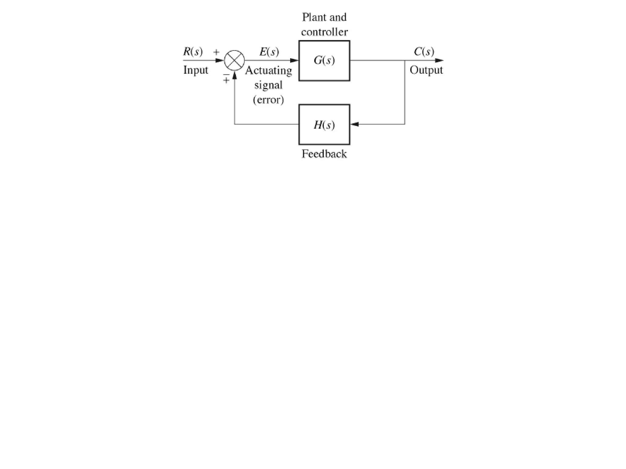
Feedback Form
Systems with feedback typically have the following form:
Feedback Form
Systems with feedback typically have the following form:
Feedback Form
Systems with feedback typically have the following form:
Noticing the cascade form within the feedforward and feedback
paths we can simplify:
Feedback Form
Systems with feedback typically have the following form:
Noticing the cascade form within the feedforward and feedback
paths we can simplify:
We can easily establish the following two facts:
We can easily establish the following two facts:
E(s) = R(s) ∓ C(s)H(s)
We can easily establish the following two facts:
E(s) = R(s) ∓ C(s)H(s)
C(s) = E(s)G(s)
We can easily establish the following two facts:
E(s) = R(s) ∓ C(s)H(s)
C(s) = E(s)G(s)
We can now eliminate E(s) to obtain,
We can easily establish the following two facts:
E(s) = R(s) ∓ C(s)H(s)
C(s) = E(s)G(s)
We can now eliminate E(s) to obtain,
Ge(s) =
G(s)
1 ± G(s)H(s)
We can easily establish the following two facts:
E(s) = R(s) ∓ C(s)H(s)
C(s) = E(s)G(s)
We can now eliminate E(s) to obtain,
Ge(s) =
G(s)
1 ± G(s)H(s)
Moving Blocks
A system’s block diagram may require some modification before
the reductions discussed above can be applied.
Moving Blocks
A system’s block diagram may require some modification before
the reductions discussed above can be applied.
We may need to move blocks either to the left or right of a
summing junction:
Moving Blocks
A system’s block diagram may require some modification before
the reductions discussed above can be applied.
We may need to move blocks either to the left or right of a
summing junction:
Or we may need to move blocks to the left or right of a pickoff
point:
Or we may need to move blocks to the left or right of a pickoff
point:
Block Diagram Reduction
Signal-Flow Graphs
Cascade Form
Parallel Form
Feedback Form
Moving Blocks
Example
Example
Reduce the following system to a single TF:
ENGI 5821 Unit 4: Block Diagram Reduction
Block Diagram Reduction
Signal-Flow Graphs
Cascade Form
Parallel Form
Feedback Form
Moving Blocks
Example
Example
Reduce the following system to a single TF:
ENGI 5821 Unit 4: Block Diagram Reduction
Block Diagram Reduction
Signal-Flow Graphs
Cascade Form
Parallel Form
Feedback Form
Moving Blocks
Example
Example
Reduce the following system to a single TF:
First we can combine the three summing junctions together...
ENGI 5821 Unit 4: Block Diagram Reduction
We can now recognize the parallel form in the feedback path:
We can now recognize the parallel form in the feedback path:
We can now recognize the parallel form in the feedback path:
We now have G1 cascaded with a feedback subsystem:
We can now recognize the parallel form in the feedback path:
We now have G1 cascaded with a feedback subsystem:
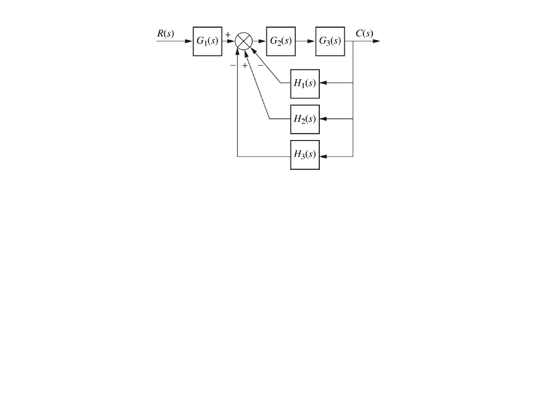
Example 2
Reduce the following more complicated block diagram:
Example 2
Reduce the following more complicated block diagram:
Example 2
Reduce the following more complicated block diagram:
Steps:
Example 2
Reduce the following more complicated block diagram:
Steps:
Rightmost feedback loop can be reduced
Example 2
Reduce the following more complicated block diagram:
Steps:
Rightmost feedback loop can be reduced
Create parallel form by moving G2 left
Example 2
Reduce the following more complicated block diagram:
Steps:
Rightmost feedback loop can be reduced
Create parallel form by moving G2 left
Example 2
Reduce the following more complicated block diagram:
Steps:
Rightmost feedback loop can be reduced
Create parallel form by moving G2 left
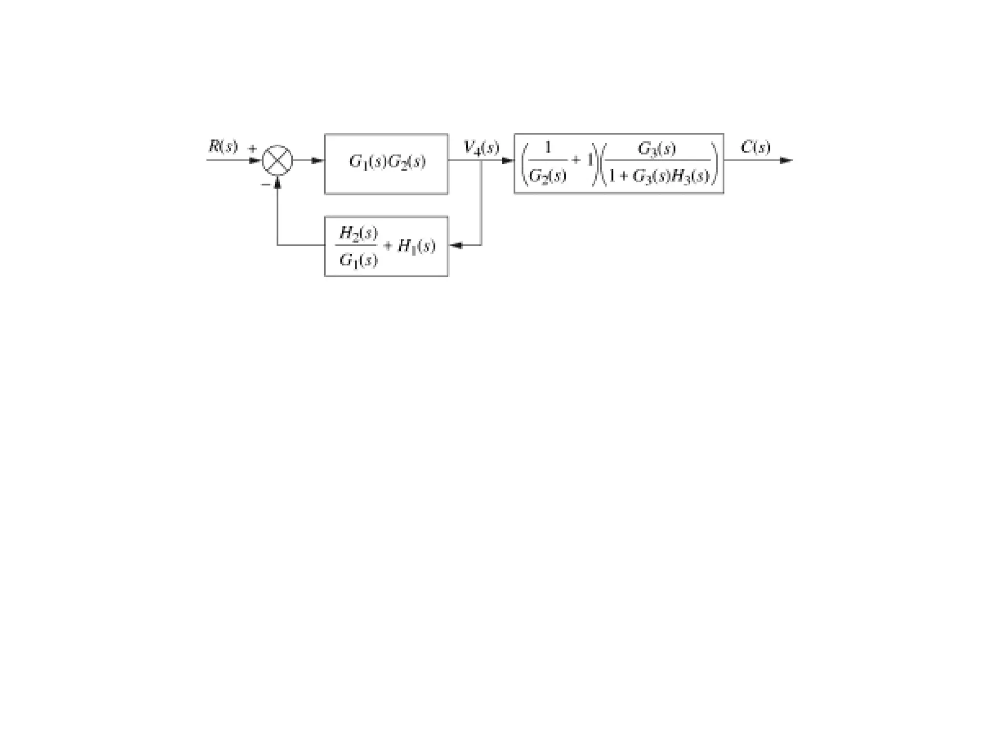
Reduce parallel form involving 1/G2 and unity
Reduce parallel form involving 1/G2 and unity
Push G1 to the right past the summing junction to create a
parallel form in the feedback path
Reduce parallel form involving 1/G2 and unity
Push G1 to the right past the summing junction to create a
parallel form in the feedback path
Reduce parallel form involving 1/G2 and unity
Push G1 to the right past the summing junction to create a
parallel form in the feedback path
Reduce parallel form on left
Reduce parallel form on left
Recognize cascade form on right
Reduce parallel form on left
Recognize cascade form on right
Reduce parallel form on left
Recognize cascade form on right
Reduce feedback form on left
Reduce feedback form on left
Reduce feedback form on left
Reduce feedback form on left
Reduce feedback form on left
Signal-Flow Graphs
Signal-flow graphs are an alternative to block diagrams.
Signal-Flow Graphs
Signal-flow graphs are an alternative to block diagrams. They
consist of branches which represent systems (a) and nodes which
represent signals (b).
Signal-Flow Graphs
Signal-flow graphs are an alternative to block diagrams. They
consist of branches which represent systems (a) and nodes which
represent signals (b). Multiple branches converging on a node
implies summation.
Signal-Flow Graphs
Signal-flow graphs are an alternative to block diagrams. They
consist of branches which represent systems (a) and nodes which
represent signals (b). Multiple branches converging on a node
implies summation.
V (s) = R1(s)G1(s) − R2(s)G2(s) + R3(s)G3(s)
Signal-Flow Graphs
Signal-flow graphs are an alternative to block diagrams. They
consist of branches which represent systems (a) and nodes which
represent signals (b). Multiple branches converging on a node
implies summation.
V (s) = R1(s)G1(s) − R2(s)G2(s) + R3(s)G3(s)
C1(s) = V (s)G4(s)
Signal-Flow Graphs
Signal-flow graphs are an alternative to block diagrams. They
consist of branches which represent systems (a) and nodes which
represent signals (b). Multiple branches converging on a node
implies summation.
V (s) = R1(s)G1(s) − R2(s)G2(s) + R3(s)G3(s)
C1(s) = V (s)G4(s)
C2(s) = V (s)G5(s)
Signal-Flow Graphs
Signal-flow graphs are an alternative to block diagrams. They
consist of branches which represent systems (a) and nodes which
represent signals (b). Multiple branches converging on a node
implies summation.
V (s) = R1(s)G1(s) − R2(s)G2(s) + R3(s)G3(s)
C1(s) = V (s)G4(s)
C2(s) = V (s)G5(s)
C3(s) = V (s)G6(s)
We can convert the cascaded, parallel, and feedback forms into
signal-flow graphs:
We can convert the cascaded, parallel, and feedback forms into
signal-flow graphs:
e.g. Convert the following block diagram to a signal-flow graph:
e.g. Convert the following block diagram to a signal-flow graph:
e.g. Convert the following block diagram to a signal-flow graph:

reduc_inclass.pdf

  • 1.
    Block Diagram Reduction Signal-FlowGraphs Unit 4: Block Diagram Reduction Engineering 5821: Control Systems I Faculty of Engineering & Applied Science Memorial University of Newfoundland February 15, 2010 ENGI 5821 Unit 4: Block Diagram Reduction
  • 2.
    Block Diagram Reduction Signal-FlowGraphs 1 Block Diagram Reduction Cascade Form Parallel Form Feedback Form Moving Blocks Example 1 Signal-Flow Graphs ENGI 5821 Unit 4: Block Diagram Reduction
  • 3.
    Block Diagram Reduction Signal-FlowGraphs Cascade Form Parallel Form Feedback Form Moving Blocks Example Block Diagram Reduction Subsystems are represented in block diagrams as blocks, each representing a transfer function. ENGI 5821 Unit 4: Block Diagram Reduction
  • 4.
    Block Diagram Reduction Signal-FlowGraphs Cascade Form Parallel Form Feedback Form Moving Blocks Example Block Diagram Reduction Subsystems are represented in block diagrams as blocks, each representing a transfer function. In this unit we will consider how to combine the blocks corresponding to individual subsystems so that we can represent a whole system as a single block, and therefore a single transfer function. ENGI 5821 Unit 4: Block Diagram Reduction
  • 5.
    Block Diagram Reduction Signal-FlowGraphs Cascade Form Parallel Form Feedback Form Moving Blocks Example Block Diagram Reduction Subsystems are represented in block diagrams as blocks, each representing a transfer function. In this unit we will consider how to combine the blocks corresponding to individual subsystems so that we can represent a whole system as a single block, and therefore a single transfer function. Here is an example of this reduction: ENGI 5821 Unit 4: Block Diagram Reduction
  • 6.
    Block Diagram Reduction Signal-FlowGraphs Cascade Form Parallel Form Feedback Form Moving Blocks Example Block Diagram Reduction Subsystems are represented in block diagrams as blocks, each representing a transfer function. In this unit we will consider how to combine the blocks corresponding to individual subsystems so that we can represent a whole system as a single block, and therefore a single transfer function. Here is an example of this reduction: ENGI 5821 Unit 4: Block Diagram Reduction
  • 7.
    Block Diagram Reduction Signal-FlowGraphs Cascade Form Parallel Form Feedback Form Moving Blocks Example Block Diagram Reduction Subsystems are represented in block diagrams as blocks, each representing a transfer function. In this unit we will consider how to combine the blocks corresponding to individual subsystems so that we can represent a whole system as a single block, and therefore a single transfer function. Here is an example of this reduction: Reduced Form: ENGI 5821 Unit 4: Block Diagram Reduction
  • 8.
    Block Diagram Reduction Signal-FlowGraphs Cascade Form Parallel Form Feedback Form Moving Blocks Example Block Diagram Reduction Subsystems are represented in block diagrams as blocks, each representing a transfer function. In this unit we will consider how to combine the blocks corresponding to individual subsystems so that we can represent a whole system as a single block, and therefore a single transfer function. Here is an example of this reduction: Reduced Form: ENGI 5821 Unit 4: Block Diagram Reduction
  • 9.
    First we summarizethe elements of block diagrams:
  • 10.
    First we summarizethe elements of block diagrams:
  • 11.
    First we summarizethe elements of block diagrams: We now consider the forms in which blocks are typically connected and how these forms can be reduced to single blocks.
  • 12.
    Block Diagram Reduction Signal-FlowGraphs Cascade Form Parallel Form Feedback Form Moving Blocks Example Cascade Form When multiple subsystems are connected such that the output of one subsystem serves as the input to the next, these subsystems are said to be in cascade form. ENGI 5821 Unit 4: Block Diagram Reduction
  • 13.
    Block Diagram Reduction Signal-FlowGraphs Cascade Form Parallel Form Feedback Form Moving Blocks Example Cascade Form When multiple subsystems are connected such that the output of one subsystem serves as the input to the next, these subsystems are said to be in cascade form. ENGI 5821 Unit 4: Block Diagram Reduction
  • 14.
    Block Diagram Reduction Signal-FlowGraphs Cascade Form Parallel Form Feedback Form Moving Blocks Example Cascade Form When multiple subsystems are connected such that the output of one subsystem serves as the input to the next, these subsystems are said to be in cascade form. The algebraic form of the final output clearly shows the equivalent system TF—the product of the cascaded subsystem TF’s. ENGI 5821 Unit 4: Block Diagram Reduction
  • 15.
    When reducing subsystemsin cascade form we make the assumption that adjacent subsystems do not load each other.
  • 16.
    When reducing subsystemsin cascade form we make the assumption that adjacent subsystems do not load each other. That is, a subsystem’s output remains the same no matter what the output is connected to.
  • 17.
    When reducing subsystemsin cascade form we make the assumption that adjacent subsystems do not load each other. That is, a subsystem’s output remains the same no matter what the output is connected to. If another subsystem connected to the output modifies that output, we say that it loads the first system.
  • 18.
    When reducing subsystemsin cascade form we make the assumption that adjacent subsystems do not load each other. That is, a subsystem’s output remains the same no matter what the output is connected to. If another subsystem connected to the output modifies that output, we say that it loads the first system. Consider interconnecting the circuits (a) and (b) below:
  • 19.
    When reducing subsystemsin cascade form we make the assumption that adjacent subsystems do not load each other. That is, a subsystem’s output remains the same no matter what the output is connected to. If another subsystem connected to the output modifies that output, we say that it loads the first system. Consider interconnecting the circuits (a) and (b) below:
  • 20.
    When reducing subsystemsin cascade form we make the assumption that adjacent subsystems do not load each other. That is, a subsystem’s output remains the same no matter what the output is connected to. If another subsystem connected to the output modifies that output, we say that it loads the first system. Consider interconnecting the circuits (a) and (b) below: The overall TF is not the product of the individual TF’s!
  • 21.
    We can preventloading by inserting an amplifier.
  • 22.
    We can preventloading by inserting an amplifier. This amplifier should have a high input impedance so it does not load its source, and low output impedance so it appears as a pure voltage source to the subsystem it feeds into.
  • 23.
    We can preventloading by inserting an amplifier. This amplifier should have a high input impedance so it does not load its source, and low output impedance so it appears as a pure voltage source to the subsystem it feeds into. If no actual gain is desired then K = 1 and the “amplifier” is referred to as a buffer.
  • 24.
    Block Diagram Reduction Signal-FlowGraphs Cascade Form Parallel Form Feedback Form Moving Blocks Example Parallel Form Parallel subsystems have a common input and their outputs are summed together. ENGI 5821 Unit 4: Block Diagram Reduction
  • 25.
    Block Diagram Reduction Signal-FlowGraphs Cascade Form Parallel Form Feedback Form Moving Blocks Example Parallel Form Parallel subsystems have a common input and their outputs are summed together. ENGI 5821 Unit 4: Block Diagram Reduction
  • 26.
    Block Diagram Reduction Signal-FlowGraphs Cascade Form Parallel Form Feedback Form Moving Blocks Example Parallel Form Parallel subsystems have a common input and their outputs are summed together. The equivalent TF is the sum of parallel TF’s (with matched signs at summing junction). ENGI 5821 Unit 4: Block Diagram Reduction
  • 27.
    Feedback Form Systems withfeedback typically have the following form:
  • 28.
    Feedback Form Systems withfeedback typically have the following form:
  • 29.
    Feedback Form Systems withfeedback typically have the following form: Noticing the cascade form within the feedforward and feedback paths we can simplify:
  • 30.
    Feedback Form Systems withfeedback typically have the following form: Noticing the cascade form within the feedforward and feedback paths we can simplify:
  • 32.
    We can easilyestablish the following two facts:
  • 33.
    We can easilyestablish the following two facts: E(s) = R(s) ∓ C(s)H(s)
  • 34.
    We can easilyestablish the following two facts: E(s) = R(s) ∓ C(s)H(s) C(s) = E(s)G(s)
  • 35.
    We can easilyestablish the following two facts: E(s) = R(s) ∓ C(s)H(s) C(s) = E(s)G(s) We can now eliminate E(s) to obtain,
  • 36.
    We can easilyestablish the following two facts: E(s) = R(s) ∓ C(s)H(s) C(s) = E(s)G(s) We can now eliminate E(s) to obtain, Ge(s) = G(s) 1 ± G(s)H(s)
  • 37.
    We can easilyestablish the following two facts: E(s) = R(s) ∓ C(s)H(s) C(s) = E(s)G(s) We can now eliminate E(s) to obtain, Ge(s) = G(s) 1 ± G(s)H(s)
  • 38.
    Moving Blocks A system’sblock diagram may require some modification before the reductions discussed above can be applied.
  • 39.
    Moving Blocks A system’sblock diagram may require some modification before the reductions discussed above can be applied. We may need to move blocks either to the left or right of a summing junction:
  • 40.
    Moving Blocks A system’sblock diagram may require some modification before the reductions discussed above can be applied. We may need to move blocks either to the left or right of a summing junction:
  • 41.
    Or we mayneed to move blocks to the left or right of a pickoff point:
  • 42.
    Or we mayneed to move blocks to the left or right of a pickoff point:
  • 43.
    Block Diagram Reduction Signal-FlowGraphs Cascade Form Parallel Form Feedback Form Moving Blocks Example Example Reduce the following system to a single TF: ENGI 5821 Unit 4: Block Diagram Reduction
  • 44.
    Block Diagram Reduction Signal-FlowGraphs Cascade Form Parallel Form Feedback Form Moving Blocks Example Example Reduce the following system to a single TF: ENGI 5821 Unit 4: Block Diagram Reduction
  • 45.
    Block Diagram Reduction Signal-FlowGraphs Cascade Form Parallel Form Feedback Form Moving Blocks Example Example Reduce the following system to a single TF: First we can combine the three summing junctions together... ENGI 5821 Unit 4: Block Diagram Reduction
  • 47.
    We can nowrecognize the parallel form in the feedback path:
  • 48.
    We can nowrecognize the parallel form in the feedback path:
  • 49.
    We can nowrecognize the parallel form in the feedback path: We now have G1 cascaded with a feedback subsystem:
  • 50.
    We can nowrecognize the parallel form in the feedback path: We now have G1 cascaded with a feedback subsystem:
  • 51.
    Example 2 Reduce thefollowing more complicated block diagram:
  • 52.
    Example 2 Reduce thefollowing more complicated block diagram:
  • 53.
    Example 2 Reduce thefollowing more complicated block diagram: Steps:
  • 54.
    Example 2 Reduce thefollowing more complicated block diagram: Steps: Rightmost feedback loop can be reduced
  • 55.
    Example 2 Reduce thefollowing more complicated block diagram: Steps: Rightmost feedback loop can be reduced Create parallel form by moving G2 left
  • 56.
    Example 2 Reduce thefollowing more complicated block diagram: Steps: Rightmost feedback loop can be reduced Create parallel form by moving G2 left
  • 57.
    Example 2 Reduce thefollowing more complicated block diagram: Steps: Rightmost feedback loop can be reduced Create parallel form by moving G2 left
  • 59.
    Reduce parallel forminvolving 1/G2 and unity
  • 60.
    Reduce parallel forminvolving 1/G2 and unity Push G1 to the right past the summing junction to create a parallel form in the feedback path
  • 61.
    Reduce parallel forminvolving 1/G2 and unity Push G1 to the right past the summing junction to create a parallel form in the feedback path
  • 62.
    Reduce parallel forminvolving 1/G2 and unity Push G1 to the right past the summing junction to create a parallel form in the feedback path
  • 64.
  • 65.
    Reduce parallel formon left Recognize cascade form on right
  • 66.
    Reduce parallel formon left Recognize cascade form on right
  • 67.
    Reduce parallel formon left Recognize cascade form on right
  • 69.
  • 70.
  • 71.
  • 72.
  • 73.
  • 74.
    Signal-Flow Graphs Signal-flow graphsare an alternative to block diagrams.
  • 75.
    Signal-Flow Graphs Signal-flow graphsare an alternative to block diagrams. They consist of branches which represent systems (a) and nodes which represent signals (b).
  • 76.
    Signal-Flow Graphs Signal-flow graphsare an alternative to block diagrams. They consist of branches which represent systems (a) and nodes which represent signals (b). Multiple branches converging on a node implies summation.
  • 77.
    Signal-Flow Graphs Signal-flow graphsare an alternative to block diagrams. They consist of branches which represent systems (a) and nodes which represent signals (b). Multiple branches converging on a node implies summation. V (s) = R1(s)G1(s) − R2(s)G2(s) + R3(s)G3(s)
  • 78.
    Signal-Flow Graphs Signal-flow graphsare an alternative to block diagrams. They consist of branches which represent systems (a) and nodes which represent signals (b). Multiple branches converging on a node implies summation. V (s) = R1(s)G1(s) − R2(s)G2(s) + R3(s)G3(s) C1(s) = V (s)G4(s)
  • 79.
    Signal-Flow Graphs Signal-flow graphsare an alternative to block diagrams. They consist of branches which represent systems (a) and nodes which represent signals (b). Multiple branches converging on a node implies summation. V (s) = R1(s)G1(s) − R2(s)G2(s) + R3(s)G3(s) C1(s) = V (s)G4(s) C2(s) = V (s)G5(s)
  • 80.
    Signal-Flow Graphs Signal-flow graphsare an alternative to block diagrams. They consist of branches which represent systems (a) and nodes which represent signals (b). Multiple branches converging on a node implies summation. V (s) = R1(s)G1(s) − R2(s)G2(s) + R3(s)G3(s) C1(s) = V (s)G4(s) C2(s) = V (s)G5(s) C3(s) = V (s)G6(s)
  • 81.
    We can convertthe cascaded, parallel, and feedback forms into signal-flow graphs:
  • 82.
    We can convertthe cascaded, parallel, and feedback forms into signal-flow graphs:
  • 83.
    e.g. Convert thefollowing block diagram to a signal-flow graph:
  • 84.
    e.g. Convert thefollowing block diagram to a signal-flow graph:
  • 85.
    e.g. Convert thefollowing block diagram to a signal-flow graph: