(ground up)
Dr. Sajal Kumar Das
Sajal_das@yahoo.com
 Agenda
Session-1 :
LTE System overview
• LTE Cellular Systems
• 3GPP Long]Term Evolution (LTE) Overview
• LTE Design Goals
• 3GPP LTE Specifications
• LTE Network Architecture
Session -2 :
• OFDMA Concept
• SCFDMA Concept
• Advantages over WCDMA
• Demerits of OFDMA and solutions
Session -3 :
• LTE Uu Downlink and Uplink Transmission Schemes and Air Interface
• Downlink Transmission Scheme
• LTE Downlink Frame Structure
• Uplink Transmission Scheme and Frame Structure
• Channel Structure
• Downlink Channel Structure and Transmission Mechanism
• Downlink Physical Channel Processing
• Uplink Channel Structure and Transmission Mechanism
• Uplink Physical Channel Processing
• System Protocol Architecture
• User Plane Data Flow Diagram
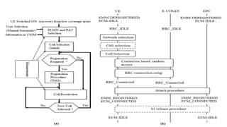
• Protocol States
• Bearer Service Architecture
Session -4:
Multiple Input Multiple Output (MIMO)
• MIMO in the LTE System
• Transmission Mode (TM)
• Uplink Hybrid Automatic Repeat Request (ARQ)
Session -5:
• LTE UE Operations-
• LTE UE Operations Procedures and Anatomy
• UE Procedures
• Network and Cell Selection in Terminals
• PLMN Selection
• Cell Selection Criteria
Session -6:
• Cell Search and Acquisition
• Cell Search and Synchronization Procedure
• Cell Specific Reference (CRS) Signal Detection
• PBCH (MIB) Reception
• PCFICH Reception
• PHICH Reception
Session -7:
PDCCH Reception
Implementation of Control Channel Decoder
PDSCH Reception
SIB Reception
Paging Reception
Calculation of Paging Frame Number
Paging Procedure
UE Measurement Parameters
Random Access Procedure (RACH Transmission)
Preamble Transmission by UE
Data Transmission
Session -8:
Handover
Idle State Mobility Management
Interoperability with Legacy Systems (IRAT)
Anatomy of an LTE UE
Channel Estimation
Equalization
Detection
Decoder
Session -9:
UE Categories
LTE UE Testing
References:
1. Mobile terminal receiver design: Lte and Lte-advanced, Sajal Kumar Das, WILEY 2015
Web-link:
https://books.google.co.in/books/about/Mobile_Terminal_Receiver_Design.html?id=V7clDQAAQBAJ&printsec=front
cover&source=kp_read_button&redir_esc=y#v=onepage&q&f=false
2. Mobile Handset Design , Sajal Kumar Das, WILEY 2010
Web-link:
https://books.google.co.in/books/about/Mobile_Handset_Design.html?id=AylGzU3yOE4C&printsec=frontcover&sou
rce=kp_read_button&redir_esc=y#v=onepage&q&f=false
3. System design of mobile terminals (Chinese Edition), Sajal Kumar Das, LI NING YI, WILEY, 2012
https://www.abebooks.co.uk/System-design-mobile-terminalsChinese-Edition-YINSajal/7954200221/bd
4. 3GPP site: www.3gpp.org
5. Other Technical books on LTE and website materials [with due curtesy]
SESSION-1
EVOLUTION of Network System Architecture
Air
Interface
UE
Radio Access
Network (RAN)
Core
Network
(CN)
PSTN
Other Networks
Cell
Geographical
Area
 Main Entities in a Cellular Network
In 1970 Bell Labs proposed
cellular telephone concept,
which have been evolved
over time
 Evolution of Cellular Network
 GSM/GPRS (2G) Cellular Network
• Network was designed for support of CS and PS is add on
 3G (WCDMA) Cellular Network
Iu CS
• Network was designed on top of existing 2G (CS centric) network, PS is add on
• 3G system can’t support seamless handover and mobility among these heterogeneous IP networks
 Need for New Advanced Cellular Network
• 3G performance is not sufficient to meet the demands for driving future high-
performance data voracious applications
e.g. full-motion video, wireless videoconferencing etc. in terms of bit rate and
latency requirements
 Limitations of Legacy Network:
• UMTS standard has fundamental capacity limitations (when the number of
active users increases beyond a certain point)
• In HSPA evolution path, the terminal complexity for WCDMA or MC-CDMA
systems is quite high, making equipment expensive, resulting in poor
performing implementations of receivers
• Legacy systems are designed mainly for Voice and Data is Add On, network is
not optimized for Data
=> These limitations are the driving factors for 4G telecommunications networks and systems
• In March 2008, the International Telecommunications Union-Radio communications sector (ITU-R)
came up with a set of requirements for 4G standards,
• Which is known as International Mobile Telecommunications Advanced (IMT-Advanced) specification
 Requirements for 4G Network:
 Introduction of Advanced (4G) Cellular Network
• Peak data rate: 100 Mbit/s for high mobility and 1 Gbit/s for low mobility,
• Latency: round trip time < 10 ms,
• Network: should be based on all-IP packet switched optimized network
• High level of mobility and security,
• Smooth handovers across heterogeneous networks,
• Optimized terminal power efficiency,
• Frequency flexibility and scalable channel bandwidths,
• Higher System spectral efficiency- in indoor case, 3-bit/s/Hz/cell in downlink and 2.25-bit/s/Hz/cell in uplink
 Introduction to 4G Network Evolution
WiMAX: IEEE 802.16e standard also known as Wireless MAN is commonly
referred to as WiMAX (worldwide interoperability for microwave access)
by an industry forum,
LTE: 3GPP developing their own version of beyond 3G systems based on
the OFDMA technology, which is known as evolved universal terrestrial
radio access (evolved UTRA) and is also widely referred to as LTE (Long-
Term Evolution)
3GPP2’s version of it is called UMB (ultra-mobile broadband).
LTE is designed to support only packet-switched services and aims to
provide seamless Internet Protocol (IP) connectivity between user
equipment (UE) and the packet data network (PDN). Voice is add on.
4G system was evolving mainly through => WiMAX and 3G LTE systems.
Both are part of IMT-2000 family of standards
• In December 2008, 3GPP released LTE specifications for long-term evolution of UMTS cellular technology.
 Introduction to 3GPP Long Term Evolution (LTE)
• Formally known as evolved UMTS terrestrial radio access (E-UTRA) and evolved UMTS terrestrial radio
access network (E-UTRAN), but now it is more commonly referred to as LTE.
First released version of LTE (Rel-8) :
1. Support scalable bandwidths of 1.4, 3, 5.0, 10.0 and 20.0 MHz
2. Peak data rate DL: 100 Mbps, UL: 50 Mbps, (for 20 MHz spectrum)
3. Supported antenna configurations
a. Downlink: 4x2, 2x2, 1x2, 1x1
b. Uplink: 1x2, 1x1
4. Mobility Support: up to 500 kmph
5. Latency
a. C-plane: <50 – 100 msec to establish U-plane
b. U-plane: <10 msec from UE to server
 Design Goal:
As 3GPP LTE Rel-8 version does not satisfy all the requirements of ITU-R 4G requirements
so, first version (REL-8) is loosely referred to as 3.9 G.
 3GPP LTE Specifications
LTE feasibility study and system objectives are captured in =>
• 3GPP Technical Report -TS 25.912 and LTE requirements -TS 25.913
• 36.200 series: covers layer 1 (physical layer) specifications
• 36.300 series: covers layer 2 and 3 air interface signaling specifications
• 36.400 series: covers network signaling specifications
• 36.100 series: covers radio specifications and evolved Node B (eNB) conformance testing
• 36.500 series: covers user equipment conformance testing
• 36.800 and 36.900 series: technical reports containing background information
• SAE specifications : 22 series, 23 series, 24 series, and 33 series.
 LTE Network Architecture
Iu PS
MME
‘LTE’ encompasses the evolution of the radio access through E-UTRAN EUTRAN and the EPC = Evolved Packet System (EPS)
Evolved packet core
 LTE Network Architecture and Interfaces [TS 23.882 and 36.300]
3GPP developed a
new flatter all-IP,
packet-only core
network (CN) known
as the evolved packet
core (EPC)
[TS 23.401]
-It acts as local mobility anchor and helps for
forwarding and receiving the packets to and
from the serving eNB to P-GW.
-All user IP packets are passed through the S-
GW.
-It manages and stores UE contexts and also
retains the information about the bearers,
when the UE is in the idle state. It also performs
some administrative functions in the visited
network
-Acts like a router between the EPS and
external packet data networks (PDN).
-Interfaces with external PDNs.
-It is responsible for IP address allocation to
the UE, as well as QoS enforcement and flow-
based charging according to the rules from
PCRF.
- It also performs several IP functions such as
address allocation, policy enforcement, packet
filtering, and routing.
 LTE Network Architecture Entities
- Signalling messages flow through it
- Its main functions are NAS signaling, control
and execution of paging retransmission,
idle state mobility handling, roaming,
tracking area list management,
authorization, authentication, P-GW/S-GW
selection, bearer management, NAS
signaling, etc
It’s responsible for policy
control, decision-making
and controlling of flow-
based charging
functionalities
-central database contains users’ SAE
subscription-related information.
-Its functionalities include - mobility
management, call and session establishment
support, user authentication and access
authorization.
Evolved Packet
Data Gateway
(un-trusted
non-3gpp)
Radio resource management (RRM), IP
header compression and encryption,
signaling towards MME, selection of MME at
UE attachment time and routing of user
plane data towards S-GW
• LTE system does not support soft-handoff or macro-diversity.
• When the UE moves, the network transfers all information related to a UE (the UE context) together with any buffered data,
from one eNB to another eNB
 LTE Network Architecture
- UE is Used by an end-user to communicate with the
network. –
- UE has three main modem sections - Radio, Physical Layer
(PHY), Protocol Stack and Applications running on it.
- E-UTRA is designed to operate in the different operating
bands [3GPP TS 36.101]
• Tracking area (TA) - generally covers multiple eNBs. Tracking area identity (TAI)
information indicating which TA an eNB belongs to. A UE can detect change of tracking
area when it receives a different TAI than in its current cell. The UE updates the MME
with its new TA information as it moves across TAs.
Functional split between eNB and MME/GW
User plane protocol Control plane protocol stack
 Protocol Layer Architecture Distribution LTE UE Protocol Layers
LTE Operating Frequency Bands
 LTE Frequency Bands & Spectrum Allocations
 Many frequency bands used for LTE TDD and FDD versions.
 The spectrum allocated for LTE varies around the world.
 LTE uses two versions – FDD and TDD
 FDD spectrum requires pair of freq bands, one of the uplink and one for the downlink,
 TDD requires a single freq band as uplink and downlink are on the same frequency but time separated.
 Different LTE band are allocated for TDD and FDD.
 In some cases these bands may overlap
 The different LTE frequency allocations or LTE frequency bands are allocated numbers.
 Currently the LTE bands between 1 & 22 are for paired spectrum, i.e. FDD,
 LTE bands between 33 & 41 are for unpaired spectrum, i.e. TDD.
FDD LTE BANDS & FREQUENCIES
LTE BAND
NUMBER
UPLINK
(MHZ)
DOWNLINK
(MHZ)
WIDTH OF BAND
(MHZ)
DUPLEX SPACING
(MHZ)
BAND GAP (MHZ)
1 1920 - 1980 2110 - 2170 60 190 130
2 1850 - 1910 1930 - 1990 60 80 20
3 1710 - 1785 1805 -1880 75 95 20
4 1710 - 1755 2110 - 2155 45 400 355
5 824 - 849 869 - 894 25 45 20
6 830 - 840 875 - 885 10 35 25
7 2500 - 2570 2620 - 2690 70 120 50
8 880 - 915 925 - 960 35 45 10
9 1749.9 - 1784.9 1844.9 - 1879.9 35 95 60
10 1710 - 1770 2110 - 2170 60 400 340
11 1427.9 - 1452.9 1475.9 - 1500.9 20 48 28
12 698 - 716 728 - 746 18 30 12
13 777 - 787 746 - 756 10 -31 41
14 788 - 798 758 - 768 10 -30 40
15 1900 - 1920 2600 - 2620 20 700 680
16 2010 - 2025 2585 - 2600 15 575 560
17 704 - 716 734 - 746 12 30 18
18 815 - 830 860 - 875 15 45 30
19 830 - 845 875 - 890 15 45 30
20 832 - 862 791 - 821 30 -41 71
21 1447.9 - 1462.9 1495.5 - 1510.9 15 48 33
22 3410 - 3500 3510 - 3600 90 100 10
23 2000 - 2020 2180 - 2200 20 180 160
24 1625.5 - 1660.5 1525 - 1559 34 -101.5 135.5
25 1850 - 1915 1930 - 1995 65 80 15
26 814 - 849 859 - 894 30 / 40 10
27 807 - 824 852 - 869 17 45 28
28 703 - 748 758 - 803 45 55 10
29 n/a 717 - 728 11
30 2305 - 2315 2350 - 2360 10 45 35
31 452.5 - 457.5 462.5 - 467.5 5 10 5
TDD LTE BANDS & FREQUENCIES
LTE BAND
NUMBER
ALLOCATION (MHZ) WIDTH OF BAND
(MHZ)
33 1900 - 1920 20
34 2010 - 2025 15
35 1850 - 1910 60
36 1930 - 1990 60
37 1910 - 1930 20
38 2570 - 2620 50
39 1880 - 1920 40
40 2300 - 2400 100
41 2496 - 2690 194
42 3400 - 3600 200
43 3600 - 3800 200
44 703 - 803 100
LTE Down Link Transmission Mechanism
 LTE-Uu Downlink Transmission Schemes
• LTE introduces new OFDMA based air interface - Evolved UMTS Terrestrial Radio Access (EUTRA), also known
as LTE-Uu interface.
Limitation of WCDMA:
- To support high data rate / capacity- higher chip rate is required
= more BW needed
- more multi-paths can be resolved due to shorter chip times, but
the receiver becomes expensive
- Variable BW support is not very flexible in WCDMA
How OFDMA helps to achieve higher data rate?
So, it was felt necessary to employ a new access scheme in the LTE downlink => OFDMA
Capacity Comparison
OFDMA Concept to Practice
 OFDMA Concept
How to Increase data rate ?
1. Bit Rate will increase => if No. of bits per symbols increased => e.g. use of Higher Order Modulation schemes
2. Bit Rate will increase => if No. of symbols per sec is increased => e.g. smaller duration of the symbol
=> But, if symbol duration reduces then it will lead to several other problems …………..
Bit Rate = Number of Symbols per sec * Number of bits per Symbols
(=1 sec)
 Problem associated with High data rate signal transmission in a multi-path environment
Coherent BW (Bc) :
Coherence bandwidth is the bandwidth over which the
channel transfer function remains virtually constant.
Multipath Delay Spread effect:-
- Flat Fading- Symbol period > Delay spread
BW of signal < Coherence BW,
- Frequency Selective Fading- BW of signal > Coherence BW,
symbol period < Delay spread
1. Freq Selective and Freq Flat Fading
2. Inter Symbol Interference (ISI)
So, for high data rate signal transmission => with smaller symbol duration in a multi-path environment leads problems:
1.The channel fading goes from Flat fading to Frequency selective fading.
2. The channel delay spread can cause ISI
=> Results in heavy degradation of bit error rate
Most popular solution to compensate these above problems are -
(a) Use of Equalizers - Adaptive compensation of time-variant channel distortion. But, as we move to higher data rates,
the equalizer complexity grows to a level, where the channel changes before you can compensate for it. => Practical
difficulties in operating this equalization in real-time at several Mb/s with compact, low-cost hardware
(b) Adaptive Array Antenna – complex, space consuming and expensive solution
(c) An alternate promising solution is => Multi-carrier transmission
BW
 Muli-Carrier System: Divide the BW into several sub-carriers (fn = BW /N)
Advantages:
- Divide the data stream into N number of parallel streams
- Provide one sub-carriers for each of these parallel stream
modulations/demodulation & transmission
Here, symbol duration (Ts) on each stream is increased-
 so, less susceptible to ISI (Symbol period > Delay spread)
 Small BW sub-carriers can be allocated if not faded
 convert from frequency selective to frequency flat fading
So Multi-Carrier Transmission is the right path for achieving higher data rate
 Problem with Multi-Carrier FDM System:
1. Large BW requirement- we have large numbers of sub-carriers to be placed adjacent to each other
2. Bank of Transmitter/Receivers : Transmitter side the arrays of sinusoidal frequency generators are required and at
Receiver side arrays of coherent demodulators are required to support this multi-carrier system.
- This makes the Multi-Carrier system very complex and expensive (till recently when FFT/IFFT techniques are not known).
So, how to overcome these problem?
(1) The solution to the first problem is – use orthogonal frequency carriers- known as OFDM
(2) The solution to the second problem is- use of FFT & IFFT technique to generate/receive many sub-carriers
SESSION-2
 Quick Re-cap from 1st session ……..
 To achieve higher data rate – we could use-
=> Higher Order modulation (where per symbol add more bits)
=> Reduce symbol duration (so that in 1 sec more number of symbols
could be transmitted)
 Reduction is symbol duration creates problems like,
=> ISI
=> Frequency Selective Channel
These problems could be solved by:
=> Dividing the High Rate (lower symbol duration) input data stream
into N number of parallel low rate data stream (higher symbol duration)
 So, convert serial high rate input stream => several low rate parallel streams
=> then modulate each stream by independent narrow band sub-carriers
So, way forward or solution is use of Multi-Carrier Transmission
But, dis-advantage of Multi-carrier FDM transmission is – wastage of BW e.g. freq resources
How the BW wastage in Multi-carrier communication could be effectively utilized ?
=> Using Orthogonal Sub-Carriers approach - OFDM
That means -> Bring Orthogonality concept – use Orthogonal Sub-carriers – for spacing sub-carriers closely – to
get better Spectrum efficiency
 Concept of Orthogonality
Then g(t) = sin(m.Ꙍt) * sin(n. Ꙍt) = ½ ( cos (m - n). Ꙍt + cos (m + n)Ꙍt ).
• These two resultant components are also sinusoids
• So, the integral or area under one period will be also zero. (Except when, m = n. Then not zero)
• Carriers are all sine/cosine wave.
• Area under one period of sine or cosine wave is zero.
• If one complete period is taken then +ve and –ve half
energy cancel each other.
• If g1(t) = sin(m.Ꙍt) and g2(t) = sin(n.Ꙍt) are two such waves -
• We can conclude that when we multiply a sinusoid of frequency n by a sinusoid of frequency m (where m and n are
integers and m ≠ n), the area under the product is zero e.g. they are orthogonal.
• In general for all integer values of m and n => sinnx, sinmx, cosnx, conmx are all orthogonal to each other.
• These frequencies are called harmonics (f,2f, 3f,….nf).
Condition of orthogonality=>
OFDM carriers transmission wave Its power spectrum
Maximum
Zero
T1 = n T or f1 = n f
Maximum
Minimum
• If the Sub-carrier spacing (∆f) is multiple of 1/T
(e.g. f), Then there will be zero ICI (no
Interference from other Carriers)
 Concept of Orthogonal Sub-Carriers
• To maintain orthogonality between carriers, it is
necessary to ensure that the symbol time contains
one or multiple cycles of each sinusoidal carrier
waveform
• Orthogonality amongst the sub-carriers allows overlapping the sub-carriers and transmitting these
simultaneously
=> leads to lesser BW requirement
carrier assignment
using FDM technique
In OFDM
BW requirement is reduced
than FDM
 Now, we know the way forward is Multi-carrier & OFDM approach
Analog
OFDM
Tx
Rx
• OFDM Sub-carrier Generations/Receptions: Using many frequency synthesizers in transmitter side
and arrays of coherent demodulators at the receiver side makes the OFDM Tx-Rx solution difficult and
expensive in earlier days.
• So OFDM was know from 1967 but not popular till 1990 (before DSP become popular and powerful)
 Next Problem -
• This problem is solved by using digital approach
• On the transmitter side Inverse Digital Fourier Transform (IDFT) is used to create many
subcarriers
• On the receiver side the inverse process (DFT) is performed for reception
 In PHY – the input data block is - CRC appended, Channel
coded, Interleaved, and symbol mapped according to the
modulation used, then these complex symbols are
represented as Xk.
 N data to be transmitted are Xk, k = 0, 1, . . . ,N -1,
 Xk complex values symbols are transmitted using Nc sub-
carriers in parallel
 The source symbol duration Td of the serial data symbols results after
serial-to-parallel conversion in the OFDM symbol duration.
• Input data block comes from higher layer (MAC/RLC)
on every TTI to PHY for transmission
 The principle of OFDM is to modulate the Nc sub-streams on sub-carriers with a spacing of Fs in order to achieve
orthogonality between the signals on the Nc sub-carriers
 Mathematical Concept
 The complex-valued multi-carrier transmitter output is given by
• A digital transmitter will generate its output in a sampled-data fashion
 By letting t = nTs, where Ts is the sample interval, the digital multi-carrier transmitter output is now
 Furthermore, if the carrier frequencies are uniformly spaced in the frequency domain by a frequency spacing
of fS, i.e. fk = k.fS; k = 0, 1, . . . , N -1,
 Let fS = 1 / NTs or fS * Ts = 1/N – the minimum separation to keep orthogonality among signals on different
modulators–then the OFDM signal is given by
 There is one more modulation (RF Up-conversion- Analog Mod.) to translate all these subcarriers to a
higher frequency band
 Except for a multiplying constant (1/N), the above formula is the equation of an N-point inverse discrete
Fourier transform (IDFT).
 If N is a power of two, then there exist many fast and efficient algorithms and architectures for implementing
such an IDFT operation. => IFFT, FFT,..
Fourier Transform: (Re-cap…)
-Using Fourier’s theory – any signal can be decomposed into combination of pure tones, called sine or cosine waves, at
different frequencies.
-Any real world signal can be represented by combination of sine waves, also there may be some dc values (constant
term) present in that.
Fourier transform - used for converting the continuous
aperiodic signal from time to frequency domain
Fourier Series - used for transforming periodic signal.
Transformation from the time domain to the frequency domain is based on the
Fourier transform (FT).  dtetsS tfj
.)()( ..2
 



Conversion from frequency domain to time domain is called inverse Fourier
Transform (IFT)
 dfefSts tfj
.)()( ..2




- Instead of Analog signal if we take digital signal => then we could use DFT (instead of FT) and D-IFT instead of IFT).
- To reduce the complexity, we use FFT instead of DFT and IFFT instead of I-DFT.
=> So generation and reception of sine wave is now easy using FFT and IFFT.
 A receiver may receive several delayed replicas of the transmitted signal, which is known as the multipath
effect which causes ISI
 To eliminate ISI, a Guard Interval of Ng samples is usually inserted at the beginning of each OFDM symbol.
The CP is generated by duplicating the last G samples of the IFFT output and appending them at the
beginning of xk.
This yields the time domain OFDM symbol
 The length of the guard interval is made longer than the delay spread of the wireless channel. CP length
G must be chosen to be longer than the longest channel impulse response to be supported
 The CP converts the linear (i.e. aperiodic) convolution of the channel into a circular (i.e. periodic) one
which is suitable for DFT processing.
Cyclic-prefix insertion thus increases the length of the OFDM symbol from Tu to Tu + TCP, where TCP is the
length of the cyclic prefix, with a corresponding reduction in the OFDM symbol rate as a consequence.
The last NCP samples of the IFFT
output block of length N are copied
and inserted at the beginning of the
block, increasing the block length
from N to N + NCP
• At the receiver side => correlation is carried out only over a time interval Tu = 1/Δf
• The corresponding samples for CP interval - are discarded before OFDM demodulation (for FFT processing)
 The output of the channel, after RF down-conversion, is the received signal waveform y(t):
• y(t) is passed through an analogue-to-digital converter and sampled at a rate - the received signal y(t)
sampled at rate 1/Td, . The output sequence will be :
 Since ISI is only present in the first Lg samples of the received sequence, these Lg samples are removed
before multi-carrier demodulation.
 The ISI-free part v = 0, . . . , Nc - 1, of yv is multi-carrier demodulated by inverse OFDM exploiting a DFT
 The output of the DFT is the multi-carrier demodulated sequence Rn, n = 0, . . . , Nc - 1, consisting of Nc
complex-valued symbols
 A received symbol Rn is obtained from the frequency domain representation according to
* Channel estimation using ref
symbols (discussed later)
• From a parallel stream of N sources of data, each one independently modulated, a waveform composed of N
orthogonal subcarriers is obtained, with each subcarrier having the shape of a frequency sinc function
• A uniform rectangular pulse (RECT function) in the time domain results in a SINC function (sin(x) / x) in the
frequency domain
OFDM-Related Issues
• Guard Interval- guard interval actually wastes transmission resources,
• Null Subcarriers - OFDM systems usually do not transmit any data on the subcarriers near the two
edges of the assigned band. In addition to guard bands, some subcarriers around DC frequency
may also be made null
• High Peak-to-Average Power Ratio- PAPR - ratio of the peak power to the average power
Multi-carrier & Multi-coded transmission case – carriers adds
constructively or destructively
Composite
wave
Designed to amplify small voltage input signals into much larger output signals
Solution- Envelope Tracking (EPT)
Power Amplifier Biasing difficulties for high PAPR
LTE System Design Parameters
• In an OFDM system, the available spectrum is divided into multiple orthogonal carriers, called subcarriers
• Symbol duration (Ts) = 66.67 usec.
• Each sub-carrier is a SINC pattern in the frequency domain with uniformly spaced zero-
crossings at ∆f = 1/Ts = 15 kHz intervals—precisely at the center of the adjacent subcarrier.
• It is therefore possible to sample at the center frequency of each subcarrier while
encountering no interference from neighboring subcarriers (zero-ICI) e.g. Sampling
frequency will be N* ∆f. (N is the number of carriers)
• The information data stream is parallelized and spread across these sub-carriers for transmission
• The process of modulating data symbols and combining them is equivalent to an Inverse Fourier
Transform operation (IFFT)
CP (Cyclic Prefix)
• To reduce intersymbol interference, in the time domain a guard interval Tg is added at the beginning of the
OFDM symbol. The guard time interval, or cyclic prefix (CP) is a duplication of a fraction of the symbol end. The
total symbol length becomes Ts = Tu+ Tg.
• The duration of the CP is determined by the highest anticipated degree of delay spread for the targeted
application and cell size
Tu is termed 'useful symbol length‘ => determines the FFT period
LTE FFT period = FFT time window size is fixed to 1/(∆f) = 1/15 KHz = 66.67 usec
- WCDMA sampling frequency= 3.84 MHz.
3.84 MHz * 8 = 30.72 MHz => which is LTE sampling frequency for 20 MHz BW.
In the case of a 20 MHz system bandwidth, an FFT order of 2048 may be assumed for efficient
implementation
For 20 MHz transmission bandwidth and Sampling Frequency computation :
• No of occupied sub-carriers = 20 MHz /15 KHz = 1333 , used number of subcarriers = 1201
• FFT size = 2048 (nearest 2^N number for applying FFT operation)
• Sampling time = Ts = 66.67 usec / FFT Size
• Sampling rate = FFT size / 66.67 usec = 2048 / 66.67 usec = 30.72 MHz.
LTE BW and Sampling Frequencies
System design parameters
Frame duration 10 ms
Sub-frame duration 1 ms
Slot duration 0.5 ms
Sub carrier spacing 15 KHz
Transmission BW (MHz) 1.4 3 5 10 15 20
Sampling Frequency
(MHz)
1.92 3.84 7.68 15.36 23.04 30.72
FFT size 128 256 512 1024 1536 2048
Number of occupied subcarriers
(extra one for dc subcarrier)
72+1 180+1 300+1 600+1 900+1 1200+1
Frame structure (FDD)
• Radio frame has a length of 10 ms (T frame = 307200 ・ Ts).
• Each frame is divided into ten equally sized subframes of 1 ms in length (Tsubframe =
30720 ・ Ts).
• Scheduling is done on a subframe basis for both the downlink and uplink.
• Each subframe consists of two equally sized slots of 0.5 ms in length (Tslot = 15360 ・ Ts).
• Each slot in turn consists of a number of OFDM symbols which can be either seven
(normal cyclic prefix) or six (extended cyclic prefix).
In the frequency domain, the number of sub-carriers N ranges from 128 to 2048,
depending on channel bandwidth
Users are allocated a specific number of subcarriers for predefined amount of time
=> these are referred to as physical resource block (RB)
The RBs have both a time and a frequency dimensions
The smallest time-frequency unit for transmission is denoted a resource element (RE)
– (one subcarrier) x (one symbol)
The allocation of RBs is handled by a scheduling function at the 3GPP base station
A RB consists of 12 consecutive sub-carriers, or 15x12 = 180 kHz (in frequency
dimension), for a duration of one slot (0.5 ms) in time dimension
Physical resources are assigned on a basis on two resource blocks for one TTI (1 ms) =
1 subframe = 1 resource block pair
LTE Downlink Frame Structure
LTE Resource Block
Physical channel is formed by using
resource =>
(one frequency & one symbol)
SESSION-3
• A Physical Cell Id (PCI) is the identifier of a cell in the physical
layer of the LTE network, which is used for separation of different
eNB transmitters.
 LTE Cell planning and Cell-IDs
• There are total 504 number of cell IDs defined
• Tracking area (TA) - generally covers multiple eNBs. Tracking area identity (TAI)
information indicating which TA an eNB belongs to. A UE can detect change of tracking
area when it receives a different TAI than in its current cell. The UE updates the MME
with its new TA information as it moves across TAs.
Same Frequency Band used in
these nearby cells from same
operators for deployment
RLC Phy processing
Info :
Control /
User Data
Logical level
MAC
Multiplex
channels
based on
similar QoS
Reqt:
Transport
level
Multiplex
channels
based on
Phy resource
need:
Physical
level
Physical Channel
Consists of
RE (Subcarrier x Symbol)
Or several REs combined
 Information Carrying Channels
In LTE FDD:
• DL and UL are separated by different freq bands
• Different Phy channels are created as a combination of several Sub-Carriers &
Symbols
Three types of channels are defined: logical, transport and physical channels
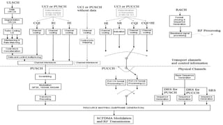
Channel Structure [3GPP TS 36.211 ]
Downlink logical, transport and physical channels
Paging,
Broadcast Control,
Common Control,
Dedicated Control,
Multicast Control,
Dedicated Traffic
Multicast Traffic
Paging,
Broadcast,
Multicast,
Downlink Shared
Physical Downlink control
Physical Broadcast
Physical Downlink Shared
Physical multicast channel
Phy Control Format Indicator
Physical hybrid ARQ indicator
Characterized by the info that
is transferred- mainly
Control (Control-plane info) &
Traffic (user plane info)
Characterized by how data
is transferred (QoS)
over radio interface
Characterized by physical
transmission of data
Main data bearing ch. Many log ch are mapped to this.
Supports adaptive modulation and coding, hybrid ARQ, power control, semi-static
and dynamic resource allocation, DRX, MBMS transmission.
This is suitable for transmission over the entire cell coverage area or specific area
with the use with beam forming
PDCCH: Informs the UE about the resource allocation of PCH and DL-SCH and to indicate about the modulation,
coding and hybrid-ARQ information related for DL-SCH.
Maximum of three or four OFDM symbols can be used for PDCCH. Information carried on PDCCH is referred to as
downlink control information (DCI).
QPSK modulation used.
PBCH: Used for transmission of MIB. It broadcasts essential parameters for initial
access of the cell (e.g. downlink system bandwidth, Physical Hybrid ARQ Indicator
Channel structure, and the most significant eight-bits of the SFN)
PCFICH: Carries the Control Frame Indicator (CFI) which includes the number of
OFDM symbols used for control channel transmission dynamically in each sub-
frame (typically 1, 2, or 3).
QPSK modulation
PDSCH: It is the main data bearing channel which is allocated to users on a dynamic and opportunistic basis. PCH
& DL-SCH are mapped to this. Transmits broadcast information not transmitted on the PBCH which include
System Information Blocks (SIB) and paging messages.
PHICH: It is used to carry hybrid ARQ ACK/NACK for uplink transmissions (PUSCH).
BPSK modulation is used
PMCH: It is defined to carry Multimedia Broadcast and Multicast Services (MBMS)
RLC
Used for sending
paging info
Used for
broadcasting sys.
info
Used for sending
contl info when
UE not having RRC
connection
Point to point bidir.
Contl ch when UE
have RRC connection
Used for point to
multi point
MBMS contl ch.
Point to Multi point
transmission of user MBMS
data
point to point ch
for user specific
dedicated info
transmissionMapped to BCH
when carrying MIB When carrying SIB
(A) Logical Channels (characterized by the information that is transferred):
(1) Control Channels:
(i) Paging Channel (PCCH): this is used for paging information transfer.
(ii) Broadcast Control Channel (BCCH): this is used for broadcasting system control information.
(iii) Common Control Channel (CCCH): this is used for carrying information between network and
UE. It is used for UEs that have no RRC connection.
(iv) Dedicated Control Channel (DCCH): this is point-to-point bi-directional channel for
exchanging control information and used by the UEs which have RRC connection.
(v) Multicast Control Channel (MCCH): this is point-to-multipoint channel for transmitting MBMS
control information. This is used only by those UEs who are receiving MBMS.
(B) Traffic Channels:
(i) Dedicated Traffic channel (DTCH): this is a point-to-point channel dedicated to a single UE for
the transmission of user information.
(ii) Multicast Traffic Channel (MTCH): this is a point-to-multipoint channel used for the
transmission of user MBMS data.
(B) Transport Channels (characterized by how the data are transferred over the radio interface):
(i) Paging Channel (PCH): PCCH logical channel is mapped to PCH. For UE power saving, it
supports discontinuous reception (DRX). The network indicates a DRX cycle to UE.
(ii) Broadcast Channel (BCH): This uses a fixed pre-defined format as this is the first channel UE
receives after acquiring synchronization to a cell. BCCH logical channel is mapped to either a
transport channel referred to as a broadcast channel (BCH) or to the downlink shared channel
(DLSCH). This is broadcasted over the entire cell.
(iii) Multicast Channel (MCH): This is required to broadcast over the entire cell. It supports for
SFN combining and semi-static resource allocation. The MCCH and MTCH are either mapped to
a transport channel called a multicast channel (MCH) or to the downlink shared channel (DL-
SCH).
(iv) Downlink Shared Channel (DL-SCH): This supports for adaptive modulation and coding,
hybrid ARQ (HARQ), power control, semi-static and dynamic resource allocation, DRX, MBMS
transmission.
Transmission over the entire cell coverage area and for use with beam forming.
BCCH, CCCH, DCCH, DTCH, MCCCH, MTCH are mapped to DL-SCH.
Downlink physical channels:
•Physical Downlink Shared Channel (PDSCH)
• It is the main data bearing channel which is allocated to users on a dynamic and opportunistic basis. The
PCH and DL-SCH are mapped to this physical channel.
•Physical Downlink Control Channel (PDCCH)
• It’s used to inform the UE about the resource allocation of PCH and DL-SCH and to indicate about the
modulation, coding and hybrid-ARQ information related for DL-SCH. Generally, a maximum of three or four
OFDM symbols can be used for PDCCH. Carries the uplink scheduling grant.
•Physical HARQ Indicator Channel (PHICH)
• Carries ACK/NACKs in response to uplink transmissions.
•Physical Control Format Indicator Channel (PCFICH)
• Transmitted in every subframe. It carries the Control Frame Indicator (CFI) which includes the number of
OFDM symbols used for control channel transmission dynamically in each sub-frame (typically 1, 2, or 3).
•Physical Broadcast Channel (PBCH)
• The coded BCH transport block is mapped to four subframes within a 40 ms interval.
• PBCH is used for transmission of MIB (part of the BCH). It broadcasts the essential parameters for initial
access of the cell, for example downlink system bandwidth, the Physical Hybrid ARQ Indicator Channel
structure, and the most significant eight-bits of the SFN.
 Downlink Signals
• In addition to these physical channels, some physical signals are also defined
• These downlink physical signals correspond to a set of REs used by the PHY layer
only and do not carry any higher layer’s information
• These are mathematically designed signal used by the PHY layer for synchronization
and some other purposes.
• The downlink signals are broadly classified into two:
• Synchronization signals
1. Primary synchronization signal (PSS)
2. Secondary synchronization signal (SSS)
• Reference Signals
1. Cell specific reference signals (CRS)
2. UE specific reference signals (UeSRS)
3. MBSFN-specific RSs, which are only used for Multimedia Broadcast Single
Frequency Network (MBSFN) operation
 Primary Synchronization signal (PSS)
• PSS is constructed from a frequency-domain Zadoff–Chu (ZC) sequence of phase shifts and with length 63
• ZC sequences belong to a class of complex exponential sequences and are non-binary unit-amplitude sequences,
which satisfy a Constant Amplitude Zero Autocorrelation (CAZAC) property
• In LTE the following PSS sequence {d(n), n ranges from 0 to 61} is used [TS 36.211 sub clause 6.11.1]:







 



61,...,32,31
30,...,1,0
)(
63
)2)(1(
63
)1(
ne
ne
nd nnu
j
nun
j
u 

Where the Zadoff-Chu root sequence index (u) has three possible values of 25, 29 and 34 based on cell physical layer identities
So, there are 3 PSS sequences derived and these represents 3 separate physical layer identities used during cell search
Each of the PSS sequences is having length 62 (excluding 0) and these 62
symbols are mapped to 62 central subcarriers of the central six RBs (e.g. 6*12
= 72 subcarriers = 1.08 MHz) in frequency domain
That means PSS (as well as SSS) always occupies only 62 central subcarriers around dc subcarrier (which is unused)
and this does not change with respect to the used overall system bandwidth (which can vary from 6 to 110 RBs
(1.4 to 20 MHz).
So, during the initial sync up procedure, this helps the UE to synchronize to the network without any a priori
knowledge of the allocated bandwidth.
• Looking of PSS in Frequency Domain
• LTE FDD cell : In time scale, the PSS is always located in the last OFDM symbol of slot#0 (sub frame 0) and slot#10
(sub frame 5) of each radio frame
• P-SCH is transmitted twice in each radio frame, especially to simplify handover.
• Within one cell, two PSSs within a frame are identical but PSS of a cell can take three different values depending
on the physical-layer cell identity of that cell
• Looking of PSS in Time Domain
5 subcarriers (REs) at each side (each extremity) of the last OFDM symbol of the 1st (slot#0) and 11th slots (slot#10) of each radio frame
are unused
and only central 62 subcarriers are used occupying a BW of 62*15 = 930 KHz. This helps UE to detect the PSS (and SSS) using a size-
64 FFT and a lower sampling rate correspondingly.
#5
In TDD mode : PSS is placed in the third OFDM symbol positions of Downlink Pilot Time Slot (DwPTS).
The PSS sequences increase the distance between the SSS and the PSS, from being sent in adjacent symbols to being three
symbols apart.
In case of TDD, the SSS is transmitted in the last symbol of subframes 0 and 5 – that means, three symbols ahead of
the PSS.
Sub frame-1 – 3rd symbol
Sub frame-6 – 3rd symbol
last symbol of time
slot 1 (subframe 0) last symbol of time
slot 11 (subframe 5)
DwPTS – Downlink Pilot Time Slot
UpPTs- Uplink Pilot TS
 Secondary Synchronization Signal (SSS)
• In FDD mode: SSS is placed adjacent to PSS e.g. SSS is the 2nd last OFDM symbol positions in slot#0 and slot#10
In time domain, in an FDD cell, the SSS is always located in the 2nd last OFDM symbol of the 1st and 11th slots of each
radio frame e.g. the SSS is located in the symbol immediately preceding the PSS.
• The SSS sequences are based on maximum length sequences (M-sequence), which can be created by cycling through
every possible state of a shift register of length n
 Generation of SSS
Scrambling sequences
• Like PPS, SSS is also transmitted twice per radio frame, but here the transmitted sequences in subframe-0 (2nd
last symbol of slot 0 in FDD)) and transmitted sequences in sub frame 5 (2nd last symbol of slot 11) are different.
Cell search and Acquisition
=> Using these two types of channels PSS and SSS => UE try to do the Cell Search Operation to find the suitable
cell to camp on…..
Recap……….
 Cell search and Acquisition
1. Once the UE is powered on, it needs to do time and frequency synchronization with a cell
• eNB broadcasts two types of downlink physical signals: (a) PSS (b) SSS – which are used in cell search
• Two different types of cell search and cell synchronization :
(a) Initial cell selection and synchronization: Occurs after the initial power on and when UE was not connected
to LTE cell but now wants to access LTE network
(b) New cell identification: Occurs when the UE is already connected to LTE cell and is searching for other new
cells for cell re-selection (idle mode) or handover (connected mode)
Similar to WCDMA, LTE uses a hierarchical cell search scheme –
first identify Nid
(2) [Physical layer ID] and then Nid
(1) [physical layer cell group ID]
So, cell ID => Physical layer Cell ID =>
PCID = Nid
(2) + 3*Nid
(1)
3. Next, after ranking these frequencies based on RSSI, UE attempts the cell search procedure using the downlink
synchronization channels (PSS and SSS).
2. UE tunes to different Frequency carriers in the selected / commanded PLMN and attempts to measure the wideband
received power for each carrier (EARFCN frequency channel number as commanded by higher layer) over a set of
supported frequency bands one after another …
Next: Cell Search starts on that identified cell frequency:-
The cell search procedure in LTE system is performed in
three steps. ……
Step-1: Symbol timing, frequency offset and physical layer ID detection using PSS
• PSS occupies a bandwidth of 62 x 15 kHz around the dc, so the low-pass filter can be used for extracting PSS
signal from a larger spectrum.
• Then received PSS symbols are correlated with the reference locally generated PSS signal
• Generally Matched Filter could be used. So, received samples are fed to matched-filters which have three
correlators per antenna.
• Detection of PSS sequence:
(1) Coherent approach => requires channel estimation
(2) Non-coherent approach=> estimation not needed. Most commonly, a non-coherent approach is used for the
PSS
• PSS has good autocorrelation properties in time domain as well
• In frequency domain fairly large number of FFT operations needs to be performed on multiple timing hypotheses
which require complex implementation with increased power requirements.
• Whereas, time-domain correlation has good autocorrelation properties and simple correlation can be performed
with time-domain PSS sequence which provides reduced complexity and resources.
• Once the terminal has detected and identified PSS (data sequence) of the received cell:
 Slot boundary is detected
 5 ms timing boundary of the RB transmission in the cell,
 symbol timing,
 frequency offset
 position of the SSS (which has fixed offset from PSS) are found or inferred.
 Once the timing error and frequency error are detected, these are compensated.
 This enables UE to be synchronized on subframe level.
 As, PSS is also repeated in subframe 5, which means UE is synchronized on 5ms basis since each
subframe is 1ms.
 Typical Implementation Approach for PSS / SSS reception
Step-2: radio frame timing and cell group ID detection using SSS
• Generally, SSS detection is performed in the frequency domain therefore FFT is applied to the Rx sequence.
• For SSS detection the received signal is correlated with all possible sequences and after applying ML detector
the timing is obtained.
• As the channel can be known based on the PSS sequence, so, both a coherent or non-coherent approach can be
used for SSS.
CP detection:
• LTE system supports normal and extended CP.
• The precise timing of the SSS changes depending on the CP type.
• Before SSS detection, the CP type is unknown to UE, so it is blindly detected by checking for the SSS at the two
possible positions.
Duplexing mode detection:
• Once the position of SSS and PSS are known in the frame structure, the terminal easily identifies the duplexing
scheme (FDD or TDD) used on a carrier.
Step 3: Reception of Reference signals
• From step 1 and 2 above, UE gets physical layer identity and cell identity group number, then UE determines the
PCI for the cell (NID
cell).
• Once UE knows the PCI of a cell, it also knows the location and values of cell Reference signals in that cell’s time-
frequency grid structure, which can be used now for channel estimation, cell selection / reselection and
measurement for handover procedures.
• Next based on the channel quality, UE camps on a particular cell and proceed to the next step for CRS detection
and then system information reading.
 Reference Signals (RS)
• Reference signal provided to the UE whose reception quality is estimated by the UE and compared against the
reference signals for error estimation and hence channel estimation
LTE downlink reference signals are again classified into three:
1. Cell specific reference signals (CRS)
2. UE specific reference signals (UESRS)
3. MBSFN-specific RSs
1. Transmission of Cell-specific reference signal (CRS)
• CRS used for various downlink measurements as well as for demodulation of non-MBSFN transmissions.
• These can be used by the terminal for channel estimation for coherent demodulation of any downlink physical
channel.
• The measurements performed using cell-specific reference signals include =>
- Channel quality estimation,
- MIMO rank calculation, MIMO precoding vector/matrix selection
- Measurements for handoff. (like, Reference Signal Received Power (RSRP), Reference Signal Received Quality (RSRQ), Carrier Received Signal Strength Indicator (RSSI)
• CRSs are arranged in a specific manner in the time frequency two-dimensional lattice based on the system
requirement.
• It consists of reference symbols of predefined values inserted within the first
and third last OFDM symbol of each slot in time dimension
and with a frequency-domain spacing of six subcarriers.
• Furthermore, there is a frequency-domain staggering of three subcarriers for
the reference symbols within the third last OFDM symbol.
• Within each resource-block pair (during one 1 ms subframe), consisting of 12 subcarriers, there are thus eight reference
symbols.
Considering fc = 2 GHz and v = 500 km/h, then the Doppler shift is fd = 950 Hz
Tc = 1/(2fd) ~ 0.5 ms
=> Two reference symbols per slot (RB) are needed in the time domain in order
to estimate the channel correctly
The maximum r.m.s channel delay spread considered is 991 ns (considering Bc,90% = 1/50στ )
=> the spacing between two reference symbols in frequency in one RB, is 45 kHz ( 15 KHz x
3 e.g. 3 sub carriers),
Ref slide: There are mainly four types of small scale fading based on the following causes-
Doppler Spread causes :- (occurs due to mobile Speed – param. related with Coherent Time)
(a) Fast Fading- High speed Mobile environment=> High Doppler Spread;
Coherence time < symbol period.
(b) Slow Fading- Low speed => Low Doppler spread,
Coherence time > symbol period
Multipath – causes:- (Occurs due to delay spread – param. Related with Coherent BW)
(c) Flat Fading- BW of signal < Coherence BW,
Delay spread < symbol period
(d) Frequency Selective Fading- BW of signal > Coherence BW,
Delay spread > symbol period
• CRS Location: Once UE detects the PCI of the cell, as well as the cell frame timing -
=> it knows the location of the first CRS position in the frequency domain
• CRS Value:
• There are 504 different reference-signal sequences defined for LTE, where each
sequence corresponds to one of 504 different physical-layer cell identities.
• The CRS is cell specific and remain same for the entire cell once configured.
• CRS symbols are mapped to every sixth subcarrier
• Start index of the subcarrier is determined by the physical layer cell
ID: vshift = NcellID mod 6
• In time domain (symbol 0, 4, 7, 11 in a sub frame in FDD)
• UE knows the reference-signal sequence (the pseudo-random sequence used to generate the cell-specific reference
signals) of the cell (according to the physical-layer cell identity)
• It also knows the start of the reference-signal sequence (given by the frame timing).
 So, the CRS locations in time-frequency grid and their respective values are known to the terminal (UE).
 So it can extract that symbol and compare with known one and find error e.g. do channel estimation ….
For cell-specific reference signals, up to a maximum of four antenna ports are supported
CRS is transmitted with some specific power, which is intimated to UE using SIB messages and UE can use that
for calculating the multipath effect
RRC_IDLE mode – the reference signal will be used for channel estimation and subsequent decoding of the BCH
transport channel to obtain the most basic set of system information
RRC_CONNECTED mode – the terminal will measure the received power of the reference signal. If the measurement
fulfills a configurable condition, it will trigger sending of a reference signal received power (RSRP) measurement report
to the network.
 Next, after knowing the CRS positions => UE proceed to the next step for PBCH reception for getting MIB……
2. UE Specific reference Signal (UESRS)
• UE-specific reference signals are transmitted in addition to the CRSs primarily for enabling beamforming of the data
transmissions to specific UEs
• If the downlink data transmissions is configured (by higher layer) for UESRS receiving, then UESRS will be transmitted
in the RBs to which PDSCH is mapped for the UEs.
3. MBSFN-specific reference signal
• These are transmitted only when Multimedia Broadcast Single Frequency Network (MBSFN) operation is
used.
• These signals are present only in sub-frames allocated for MBSFN.
System Information (SI) Transmission and Reception
Once the cell search and initial synchronization is performed by UE using PSS and SSS signals,
=> next step will be to read the System Information in-order to camp on to the network ……
 System Information (SI)
• System Information is repeatedly broadcasted by LTE eNB over logical channel BCCH
• There are two parts in System Information –
• Dynamic part :
• This is known as system information block (SIB)
and is mapped on RRC SI messages (SI-
1,2,3,4,5,6,7,8,9,10,11) which is mapped over DL-
SCH channel and transmitted using PDSCH
physical channel at defined periodic intervals.
• Static Part :
• This is known as master information block (MIB)
and is transmitted using transport channel BCH
and BCH is mapped to Physical channel P-BCH.
• MIB is transmitted once every 40ms that means
BCH Transmissions Time Interval (TTI) is 40 ms.
 PBCH Transmission
• MIB is transmitted via PBCH and the PBCH is always transmitted with a fixed bandwidth
(PBCH is transmitted with central 72 * 15 KHz central bandwidth, regardless of the actual system bandwidth)
• PBCH is transmitted in the first four OFDMA symbols of the 2nd slot of each radio frame (10 ms)
• PBCH does not use subcarriers reserved for reference signals
 Appearance of PSS, SSS and PBCH in LTE Downlink frame structure
MIB contains-
(a) DL Bandwidth (3 bits) – it indicates the System bandwidth used in the cell (1.4MHz ….20 MHz),
(b) PHICH Configuration (3 bits),
(c) System Frame Number (8 bits) - actually the SFN is 10 bits wide number but out of that the two least
significant bits of the SFN are not included in the MIB which terminal can detect indirectly
(d) Spare bits (10 bits).
• The size of the MIB is 14 bits and it is transmitted every 40 ms.
In LTE,
- a single antenna,
- two-antenna SFBC (Space Frequency Block Coding)
- four-antenna combined SFBC-FSTD (frequency-switched) transmit diversity schemes are supported on the
PBCH
Note: FSTD- Frequency shift time div and TSTD – time shift transmit div.
SFBC (Space Frequency Block Coding)
Two antenna case
Four antenna case
BCH data arrives - a maximum of one transport block
every transmission time interval (TTI) of 40 ms
• 16 CRC parity bits are computed from 24 bit data bits
• eNB can use 1, 2 or 4 antennas for transmission
• The 16 CRC bits are scrambled (masked)
based on the 1, 2 or 4 antenna used
Number of Transmit antenna
ports at eNB
PBCH CRC mask
{Xant0,……Xant15}
1 {0,0,0,0,0,0,0,0,0,0,0,0,0,0,0,0}
2 {1,1,1,1,1,1,1,1,1,1,1,1,1,1,1,1}
4 {0,1,0,1,0,1,0,1, 0,1,0,1,0,1,0,1}
PBCH CRC masks for different
antennas
Next, CRC bits added to data bits.
So, total 14+10+16 = 40 bits of data
generated after CRC addition.
convolutional coding
scrambled with a cell-specific sequence and mapped to resource
grid and modulated using QPSK modulation and transmitted
• The TTI of PBCH is 40 ms so, ideally the UE has to decode PBCH in 4 consecutive radio frames to get the
information transmitted in the MIB.
• But, at high SNR this can be done earlier e.g. after the reception of 2 or 3 radio frames (as PBCH contains lot
of redundancy bits).
• The information about the number of transmitting antenna used in the system is implied in CRC mask of
PBCH.
• In presently existing method, UE tries three times to blindly find out the number of antenna ports used in
the transmission with hypothesis of the single antenna, two antennas SFBC and four antennas.
• When receiving first time the cell BCH, the terminal does not know to what set of four sub frames a certain
BCH transport block is mapped. Instead, a terminal must try to decode the BCH at four possible timing
positions.
• Depending on which decoding is successful, indicated by a correct CRC check, the terminal can implicitly
determine 40 ms timing or, equivalently, the two least significant bits of the SFN. This is the reason why
these bits do not need to be explicitly included in the MIB.
CRC Pass ? This indicates, these are the four consecutive radio frames ( 4 = 2^2 = 2 bits are not
required in SFN. 2 LSB discarded). Only 8 bits used in SFN instead of 10 bits.
• On the receiver side, UE knows the cell specific scrambling code derived from the cell ID which is obtained from
detected PSS and SSS.
• So, after reception of PBCH data, it descrambles and decodes the PBCH data.
• The PBCH does not occupy subcarriers reserved for cell specific reference signals of the four antenna ports
irrespective of number of antennas used for PBCH transmission.
• This is for simplicity reasons because during the initial PBCH reception UE is unaware about the number of antennas
used for transmission.
• So, UE actually performs blind detection of the number of antennas used for PBCH with hypothesis of the single
antenna, two antennas SFBC and four antennas.
 PBCH Reception
 UE’s next task is to start receiving PCFICH channel to decode the control format indicator (CFI) for
knowing the number of control symbols in subframe…..
Control Channel’s Transmission from eNB and Reception by UE
• Each subframe can be said to be divided into a control region followed by a data region
• Control region corresponds to part of the sub-
frame in which the L1/L2 control signaling is
transmitted
• The size of the control region is expressed in number of
OFDM symbols :
• Control signaling is placed (started) at the
beginning of the sub frame (1,2,3 symbols)
=> To allow UE to decode DL scheduling
assignments as early as possible and
possibly power down if not assigned.
• Maximum size of the control region is normally
three OFDM symbols (1,2,3 symbols)
• Four in the case of narrow cell bandwidths (1,2,3,4
symbols) 10DL
RB N
• Allocation of resources happens in terms of CCE (Control Channel Elements),
• where, 1 CCE = 9 continuous REG's (Resource element Group)
• and 1 REG = 4 RE (Resource Element).
1. PCFICH - informing the terminal about the size of the control region. There is one PCFICH on each
component carrier
2. PDCCH - used to signal downlink scheduling assignments and uplink scheduling grants
3. PHICH- used to signal hybrid-ARQ acknowledgements in response to uplink UL-SCH transmissions
To each resource-element group, a symbol quadruplet consisting of four (QPSK) symbols is mapped
Re-cap-
Before starting each channel processing-
Basic understanding of MIMO concept – in LTE…………………. (go to MIMO section)
 Physical Control Format Indicator Channel (PCFICH)
• In every sub-frame, eNB indicates the number of control symbols (used for PDCCH transmission) using the
control format indicator (CFI) and transmits it on the PCFICH
• It consists of two bits of information, corresponding to the 3 control-region sizes of 1, 2, or 3 OFDM symbols
• These 3 bits are coded into a 32-bit code-word
• Scrambled with a cell- and sub frame-specific scrambling code to randomize inter-cell interference,
• QPSK modulated,
• Then mapped to 16 resource elements of first OFDM symbol of a sub-frame
• In groups of four resource elements (4 REGs)
 Transmission mechanism from eNB-
• PCFICH is always carried by 4 REGs (16 REs) at the first symbol of each subframe
• these 4 REGs are well separated in frequency to obtain diversity.
• To avoid collisions between PCFICH transmissions in neighboring cells -
• location of the 4 groups in the frequency domain depends on Physical Cell ID
• The exact location of these four REGs for PCFICH is determined by Physical Cell ID and System BW
according to formula below-
NRB
SC = Number of frequency carriers per Resource block, NDL
RB = Number of resource blocks per bandwidth, Ncell
ID = Physical Cell id
• Correct decoding of PCFICH is needed to indicate the size of the control region in terms of the number of OFDM symbols
 Reception mechanism in UE-
• At the start of every sub-frame, the UE detects the REs that are occupied by the PCFICH, reads the CFI and determines
the size of the downlink control region
• After decoding, the UE uses UE-specific Radio Network Temporary Identifier (RNTI) and checks the CRC errors to
determine whether the DCI was actually intended for it or not.
• If errors are observed the UE is not scheduled in the current sub-frame and it will wait for the beginning of the next
sub-frame.
 Physical Hybrid-ARQ Indicator Channel (PHICH)
• The PHICH is used for transmission of hybrid-ARQ acknowledgements in response to UL-SCH
• There is one PHICH transmitted per received transport block and TTI
• HIs for multiple UEs within a PHICH group are code-multiplexed (in order to avoid interference peaks in the
neighboring cells).
• PHICH is carried by several REGs and Multiple PHICHs can share the same set of REGs and are
differentiated by orthogonal sequences
• PHICHs which share the same resources are called a PHICH group
• A PHICH group consists of eight PHICHs in the case of normal cyclic prefix
• A specific PHICH is identified by two parameters:
• PHICH group number, and the orthogonal sequence index within the group
• The number of PHICH groups that can be supported in a system depends on the specific configuration.
• The actual number of PHICH groups can be derived from the downlink bandwidth and the parameter
broadcast in MIB
 PHICH Transmission
It is located in the same symbol as PCFICH
 Physical Downlink Control Channel (PDCCH)
• The PDCCH is used to carry downlink control information (DCI)
DCI Includes:
- Downlink scheduling assignments (PDSCH resource indication, transport format, hybridARQ
information, and control information related to spatial multiplexing, command for power
control of the PUCCH..)
- Uplink scheduling grants (PUSCH resource indication, transport format, and hybridARQ-
related information,…)
- Power-control commands for a set of terminals
• One PDCCH carries one DCI message with one of the DCI formats
• DCI is therefore categorized into different DCI formats
DCI Format Use
Format 0 (Uplink DCI Formats). Used for transmission of resources to UE for sending their uplink data.
Format 1 (Downlink DCI Format). Used for downlink scheduling for 1 PDSCH code-word(SISO/SIMO modes)
Format 1A (Downlink DCI Format). Compact version of format 1 scheduling for 1 PDSCH code-word or
Dedicated preamble assignment to initiate random access
Format 1B (Downlink DCI Format). Used for transmission control information of Multiple Input Multiple
Output (MIMO) rank 1 based compact resource assignment
Format 1C (Downlink DCI Format). It is used for very compact transmission of PDSCH assignment
Format 1D (Downlink DCI Format). same as format1B with additional information of power offset
Format 2 (Downlink DCI Format). Format 2 and Format 2A for transmission of DL-SCH allocation for closed
and open loop MIMO operation, respectively
Format 3 (Uplink DCI Formats). Format 3 and format 3A for transmission of TPC command for an uplink
channel
• Allocation of resources happens in terms of CCE (Control Channel Elements),
• where, 1 CCE = 9 continuous REG's (Resource element Group) and 1 REG = 4 RE (Resource Element).
The number of CCEs, one, two, four, or eight, required for a certain PDCCH depends on the payload size of the
control information (DCI payload) and the channel-coding rate.
• Once UE receives DL sub-frame, decodes the PCFIH and PHICH and finds out the number of symbols used for
control information
• UE calculates the number of RE’s used for PDCCH using the equation:
RE’s for PDCCH = total RE’s in first N OFDM symbols – reference symbol RE’s – PCFICH RE’s – PHICH RE’s.
 Decoding of PDCCH
• UE will arrange the CCE’s into a sequential manner.
• Next, UE RRC will decide the RNTI’s on which it needs to try decoding the CCE’s.
• UE will calculate the starting CCE index by using the equation as used by eNB using
• RNTI, sub-frame number, number of CCE’s and the aggregation level.
• Multiple PDCCHs may be transmitted in a sub-frame (in case of dedicated control), one for each UE scheduled for uplink
or downlink transmission
PDCCH payload is used to calculate the
a16-bits-long CRC parity bits.
CRC parity bits are scrambled with the UE-
RNTI (MAC ID) to which this PDSCH is
intended to
tail-biting convolutional coding and rate
matching is performed separately on each
PDCCH
PDCCH payload is used to calculate the
a16-bits-long CRC parity bits
 Control channel decoder (Implementation)
PCFICH decoder (CFI):
• PCFICH is located in the 1st OFDM symbol per DL sub-frame.
PCFICH decoding is typically executed immediately after soft
bits for the 1st OFDM symbol are available.
• The control channel decoder assembles all PCFICH REs and
performs ML decoding of all 4 possible CFI values
PDCCH decoder (DCI):
• encoded DCI is mapped on the PDCCH in multiples of CCEs
• Control channel decoder reads all soft bits for PDCCH and
assembles and performs de-interleaving such that all CCEs are
provided in original order and then try for the blind decoding of all
possible DCI candidates
PHICH decoder (HI) :
• The length of the control region is derived from CFI.
• assembles all PHICH resource elements and performs
maximum likelihood decoding in order to obtain the
ACK/NAK bit for the associated UL-DSCH.
 Physical Downlink Shared Channel (PDSCH)
• PDSCH carries user specific data (DL Payload), known as Transport Blocks (TB) which correspond to a MAC PDU
• Passed from the MAC layer to the PHY layer once per Transmission Time Interval (TTI) which is 1 ms
Based on channel feedback and the scheduling algorithm, the eNB will allocate data for each user using Physical
Resource Block (PRB)
eNB uses PDCCH channel’s DCI to informs UE about where the data is located and the Modulation and Coding Scheme
(MCS) is used for that
It is better to decode the PCFICH and PDCCH as fast as possible and then stop buffering the PDSCH and power down
the receiver if the data is not intended for the UE
 Downlink Physical channel Processing (any Physical DL channel)
(a) CRC computation:
- At first the transport block is passed through a CRC encoder, it will generate 24 or 16 or 8 bit parity bits using cyclic
generator polynomials based on different channel types.
- Then CRC bits appended to the data bits.
(b) Code block segmentation and CRC attachment:
- if the input bit sequence is larger than the maximum code block size (6144), then segmentation of the input bit
sequence is performed
- and an additional CRC sequence of length 24 bits is attached to each code block.
(c) Channel coding: Generally, the tail biting convolutional coding or turbo coding is applied to TrCHs
TrCH Coding scheme Coding
rate
Control
Information
Coding scheme Coding rate
UL-SCH Turbo coding 1/3
DCI
Tail biting convolutional
coding
1/3
DL-SCH CFI Block code 1/16
PCH HI Repetition code 1/3
MCH
UCI
Block code variable
BCH Tail biting
convolutional
coding
1/3
Tail biting convolutional
coding
1/3
(d) Interleaving and Rate matching:
The rate matching for turbo coded and convolutional coded transport channels (and control information) is
defined per coded block
(e) Code block concatenation: Reassemble the resulting code blocks into a single code-word
(f) Scrambling: different scrambling sequences used for neighboring cells, the interfering signal(s) after descrambling is
(are) randomized, ensuring full utilization of the processing gain provided by the channel code. This is achieved by having
the scrambling sequences depend on the physical-layer cell identity.
(g) Modulation: scrambled bits to a corresponding block of complex (I-Q) modulation symbols
Downlink Uplink
Downlink channels Modulation scheme Physical channels Modulation scheme
PBCH QPSK PUCCH BPSK, QPSK
QPSK QPSK PUSCH QPSK, 16QAM, 64QAM
PDSCH QPSK, 16QAM, 64QAM PRACH uth root Zadoff-Chu
PMCH QPSK, 16QAM, 64QAM Physical signals Modulation scheme
PCFICH QPSK Demodulation RS Zadoff-Chu
PHICH BPSK modulated on I and Q with the
spreading factor 2 or 4 Walsh codes
Sounding RS Based on Zadoff-Chu
Physical signals Modulation scheme
RS Complex I+jQ pseudo random
sequence (length-31 Gold sequence)
derived from cell ID
Primary synchronization One of three Zadoff-Chu sequences
Secondary
synchronization
Two 31-bit BPSK M-sequence
(h) Antenna mapping:
• Antenna mapping is the combination of layer mapping and pre-coding, which process the modulation symbols for
one or two code-words to transmit them on different antenna ports depending on the specific transmission scheme
being used.
• These antenna ports do not correspond to physical antennas, but rather are logical entities distinguished by their
reference signal sequences.
• Multiple antenna port signals can be transmitted on a single transmit antenna or, a single antenna port can be spread
across multiple transmit antennas.
Processing of Different DL Channels
MIMO
 MIMO (Multiple Input Multiple Output)
Three major factors play important role in the design of a communication system-
- Transmitted Power
- Available Bandwidth
- Accuracy Requirement
System can be design for – BW limited system, Power limited system
To keep the accuracy at the same label various methods of improvements –
- increase the amplitude or power level,
- decrease the BW requirement by multiplying the lobe with damping factor (RRC filtering) MIMO
- Use MIMO
Multiple antennas at the transmitter and receiver can be used to improve –
1. Communication link performance
2. And to increase data rate
It exploits the space dimension to improve wireless systems capacity, range and reliability
• MIMO offers significant increases in data throughput and link performance –
- without additional bandwidth or increased transmit power
• It spreads the same total transmit power –
• over different antennas to achieve an array gain that improves the spectral efficiency
• or achieve a diversity gain that improves the link reliability
• The linear-increase of channel capacity with the
increase of number of antenna element in MIMO
system,
• whereas SIMO and MISO system shows logarithmic-
increasing of channel capacity
• Different arrangements of MIMO system are-
SISO
(single input single output)
SIMO
(Single-input-multiple-output)
MISO
(Multiple-input-single-output)
MIMO
(Multiple-input-multiple-output)
C = B log2(1 + S/N )
• Different gains can be achieved depending on the MIMO mode used
(1) Spatial Diversity: Here, instead of increasing data rate or capacity,
MIMO can be used to exploit diversity and increase the robustness of
data transmission
- referred to transmit and receive diversity
- improves the signal to noise ratio
- Which are characterized by improving the reliability of the
system with respect to the various forms of fading
(1.a) Transmit Diversity-
• Typically an additional antenna-specific coding is applied to the signals before
transmission to increase the diversity effect.
• Often, space-time coding is used according to Alamouti.
• Switching between the two MIMO modes, like, transmit diversity and spatial
multiplexing is possible depending on channel conditions.
(1.b) Receive Diversity: Using at least two receive antennas at the receiver side
diversity gain is achieved.
Spatial Diversity Spatial Multiplexing
(2) Spatial Multiplexing-
• It provides additional data capacity by utilizing the different paths to
carry additional traffic.
• It allows to transmit different streams of data simultaneously
on the same resource block(s) by exploiting the spatial
dimension of the radio channel.
• Data streams are divided into layers or branches, and transmitted
separately via each independent space (hence the name spatial) in the
same frequency
each spatial channel carries independent
information so capacity increases
 Spatial Diversity is better to use in low
SNR scenario- where spatial diversity
could be used to enhance the SNR.
 Spatial Multiplexing is good use at High
SNR scenario- to improve the data rate
• These data streams can belong to one =>
• single user (single user MIMO / SU-MIMO)
• or to different users (multi user MIMO / MU-MIMO).
• SU-MIMO helps to increase the data rate of one user, and MU-MIMO
allows to increase the overall capacity.
• If Nt is the number of transmit antennas, Nr is the number of receive
antennas, the number of data streams that can be transmitted in parallel over
the MIMO channel is given by min {Nt, Nr} and is limited by the rank of
the matrix H.
In LTE- Different downlink MIMO modes are defined and used according to channel condition, traffic
requirements, and UE capability.
There many transmission modes possible as below:
(a) Single-Antenna transmission, no MIMO
(b) Transmit diversity
(c) Open-loop spatial multiplexing with no UE feedback
(d) Closed-loop spatial multiplexing with UE feedback
(e) Multi-user MIMO
(f) Closed-loop precoding for rank=1
(g) Beamforming
• In LTE usually multiple Tx and Rx Antennas are used in downlink and antennas can be used for diversity
configuration or MIMO configuration for better link performance or data rate.
• Apart from number of antennas, there are some other physical layer parameters like, number of code words,
number of layers, precoding, code book index, multiplexing etc. the physical layer processing and hence the
transmission techniques varies.
• In LTE, a special name is given for each of the way of transmission and known as Transmission mode
MULTI-ANTENNA TRANSMISSION
There is one transport block per TTI except for spatial multiplexing, in which case there may be two transport
blocks per TTI
The output of the antenna mapping is a set of symbols for each antenna port
The different multi-antenna transmission schemes correspond to different so-called transmission modes
There are currently nine different transmission modes defined for LTE
Transmission
Mode
Description
1 Single antenna port, No of code word = 1, No of layer= 1, No of antennas= 1
2 Transmit diversity, No of code word = 1, No of layer= 2, No of antennas=2
3 Transmit diversity if the associated rank is 1 else large delay CDD. No of code word = 1 or 2, No of
layer= 2, No of antennas= 2
4 Closed loop spatial multiplexing, No of code word = 1 or 2, No of layer= 2, No of antennas=2
5 MU-MIMO, No of code word = 1, No of layer= 2, No of antennas=2
6 Closed loop spatial multiplexing with a single transmission layer, No of code word = 1, No of layer=
2, No of antennas=2
7 If the number of PBCH antenna ports is one, otherwise transmit diversity , No of code word = 1, No
of layer= 2 or 1, No of antennas = 2
 Different transmission schemes (PDSCH) – Transmission mode
3GPP TS 36.213
The TM designated for the UE is provided in an RRC message whenever the UE establishes an RRC
connection (configuration of the transmission mode is optional).
Up Link - Transmission Scheme and Frame Structure and Channels
x1, x2,…xNc
Low Symbol rate
x1
xNc
IFFT
Add
Cyclic
Prefix
Nc number of
Sub-carrier
RF
Up-conversion
& Amplification
Peak/Average Ratio
 (a2)/ (a2/N)
 High
1 complex symbol is mapped to 1 sub-
carrier
e.g. Nc symbols => Nc Sub-carriers
Due to large number of sub-carriers PAPR is high
 OFDMA Transmitter review and PAPR issue
Typical value of PAPR for 512 subcarriers
~ 10 dB
PAPR Increases
with Nc
Introduction to SC-OFDMA
• OFDMA has problem of High PAPR and more sensitive to frequency error
 leads to difficulties in Tx Power Amplified biasing difficulties
 Q point needs to be kept at linear region (for OFDM) to reduce the overall signal distortion low
 More battery power consumption (low amp. efficiency)
When no input ac signal
 Biasing is set such that
 Still there is some dc
current flows (finite Ib )
Due to High PAPR => the signal may go to saturation region and
causes signal distortion – so, either back-off or biasing adjustment is
needed. The Q point will be shifted down-wards to avoid distortion.
Efficiency reduces => as Pdc increases =>
UE battery dc power consumption increases => so, not advisable to use OFDMA from UE side Transmission,
but ok for eNB as power is not a constraint for eNB.
 How to solve this issue ?
x1, x2,…xNc
x1
xNc
IFFT
Add
Cyclic
Prefix
RF
Up-conversion
& Amplification
• If we use single carrier- then PAPR is lower
• How to create single carrier but using N sub-carrier e.g. OFDMA system (as we want
to use advantages of OFDM)
N- Point
DFT
(DFT
spread)
Map Nc Symbols
into Nc Sub-carriers
• Here, FFT/DFT and IFFT will cancel each-other
• With this we can get single carrier but still
advantages of OFDM – we will not get &
problem of PAPR is not solved
Frequency DomainTime Domain Time Domain
x1, x2,…xM
x1
xM
IFFT
Add
Cyclic
Prefix
RF
Up-conversion
&
Amplification
N- Point
DFT
(DFT
spread)
• To get advantages - Map M Symbols into Nc Sub-carriers, M << Nc
Frequency DomainTime Domain Time Domain
Sub-
carrier
Mapping
(M to Nc)
x1
xM
• each symbol is spread out on all the subcarriers used
by the UE,
• each sub-carrier contains information from all symbols
RB
SC-FDMA is a
single carrier
system where in
each symbol is
carried by one
much wider
bandwidth
subcarrier
• The transmitter of an SC-FDMA system converts a binary input signal to a sequence of modulated subcarriers.
• The transmitter of an SC-FDMA system first groups the modulation symbols into blocks each containing M symbols.
• Next it performs an M-point DFT to produce a frequency domain representation of the input symbols.
• It then maps each of the M-DFT outputs to one of the N (> M) orthogonal subcarriers that can be transmitted.
• As in OFDMA, an N-point IFFT transforms the subcarrier amplitudes to a complex time domain signal
• SC‐FDMA is considered as DFT‐spread‐OFDM because -> thus, every subcarrier possesses a portion of each
modulated symbol.
• While doing so, fluctuations of the envelope of the transmitted waveform are considerably reduced.
 Sub-Carrier Mapping
Example: M =4, N = 12 sub-carriers.
x(0), x(1), x(2), x(3)
4-point FFT=>
 X(0), X(1), X(2), X(3)
 These 4 symbols will be loaded into 12 sub-carriers in two different ways-
1. IFDMA (Interleaved FDMA)
- Distributed FDMA
Filled with zeros
2. LFDMA (Zero-padding based sub-
carrier mapping)
-Localized FDMA
• This is used mostly in LTE
Consecutive
• DFTS-OFDM allows for uplink FDMA with flexible bandwidth assignment
• By dynamically adjusting the transmitter DFT
size
• Size of the block of modulation symbols
nominal bandwidth of the DFTSOFDM signal
can be dynamically adjusted.
• By shifting the IDFT inputs to which the
DFT outputs are mapped, the exact
frequency-domain “position” of the signal to
be transmitted can be adjusted.
 LTE Uplink (SC-FDMA)
 Uplink logical, transport and physical channels
• This is used for carrying control
information between network and UE.
• It is used for UEs that have no RRC
connection.
• This is point-to-point bi-directional
channel for exchanging control
information and used by the UEs which
have RRC connection
• This is a point-to-point channel dedicated
to a single UE for transmission of user
information
This channel supports transmission of limited
control information and the possib This
channel supports transmission of limited
control information and the possible risk of
collision le risk of collision
all the three uplink logical channels are mapped to this transport channel. It
supports adaptive modulation/coding, HARQ, power control and semi-
static/dynamic resource allocation.
This carries the random access preamble.
The RACH transport channel is mapped to
this
It carries user data and UL-SCH transport channel is mapped to this.
The PUSCH carries in addition to user data any control information necessary to decode the
information such as transport format indicators and MIMO parameters
Used to carry downlink channel quality indication (CQI) reports, MIMO feedback (Rank Indicator,
Precoding Matrix Indicator), scheduling requests for uplink transmission and hybrid ARQ ACK/NACK
for downlink transmissions.
(A) Logical channels:
(i) Common control channel (CCCH): This is used for carrying information
between network and UE. It is used for UEs that have no RRC connection.
(ii) Dedicated Control Channel (DCCH): This is point-to-point bi-directional
channel for exchanging control information and used by the UEs which have RRC
connection.
(iii) Dedicated Traffic Channel (DTCH): This is a point-to-point channel dedicated
to a single UE for transmission of user information.
(B) Transport channels:
(i) Uplink shared channel (UL-SCH): all the three uplink logical channels are
mapped to this transport channel. It supports adaptive modulation/coding,
HARQ, power control and semi-static/dynamic resource allocation.
(ii) Random access channel (RACH): This channel supports transmission of
limited control information and the possible risk of collision.
UL Resource Block Structure
 Uplink Physical Signals
Uplink physical signals are used within the PHY and do not convey information from higher layers
1. Uplink Reference Signal –
(i) Demodulation reference signal
This facilitates Ch. Est. & coherent demodulation and associated with transmission of PUSCH or PUCCH.
It is transmitted in the fourth SC-FDMA symbol of the slot and is the same size as the assigned resource.
(ii) Sounding reference signal- (optional)
This is used to facilitate frequency dependent scheduling and not associated with transmission of PUSCH or
PUCCH. SRS is being transmitted by UE on the last symbol of subframe. SRS report the channel quality of over
all bandwidth and using this information eNB assign the resource.
- Common SRS, Dedicated SRS
- Both SRS, DMRS- are based on Zadhoff–
Chu sequences
 Uplink Physical Channels
(i) Physical Uplink Control Channel (PUCCH) :
• PUCCH carries a set of information called "UCI (Uplink Control Information)“ (similar to DCI in DL)
• It caries-
• DL channel state Information (CSI)
• Downlink channel quality indication (CQI)
• MIMO feedback
• Rank Indicator (RI)
• Precoding Matrix Indicator (PMI)
• Precoding Type Indicators (PTI)
• Scheduling Requests indicator (SRI) for uplink
transmission - UE indicates the need for an uplink
resource by a SRI – It is transmitted only through
PUCCH (not through PUSCH).
• Hybrid-ARQ ACK/NACK for downlink transmissions
PUCCH Format
 These information elements are transmitted using different formats. PUCCH uses different formats:
• UCI can also be transferred using the PUSCH
 PUCCH Resource Assignment
• PUCCH is assigned over subframe instead of by slot.
• To handle coverage-limited situations, transmission of
ACK/NACK spans the full 1 ms subframe e.g. 1 sub-frame.
• A user cannot transmit both PUCCH and PUSCH data
in the same slot.
• Exactly how many resource elements is allocated to the
PUCCH is determined by network and the configuration
is broadcasted to UE via SIB2.
• PUCCH consists of 1 RB/transmission at one end of the
system bandwidth which is followed by another RB in the
following slot (at opposite end of the channel spectrum)
• BPSK or QPSK used for PUCCH modulation
• Different UEs are separated on PUCCH by means of –
• Frequency Division Multiplexing (FDM)
• Code Division Multiplexing (CDM)
 Resource Multiplexing for PUCCH
• Code Division Multiplexing mechanism in PUCCH: -
Two ways to realize CDM inside the PUCCH resource block are:
(1) Cyclic shifts of a (CAZAC) sequence - Different UEs can be multiplexed into the given frequency/time resource by
allocating different cyclic shifts of the CAZAC sequence (length of 12 symbols) for them.
(2) block-wise spreading with the orthogonal cover sequences - Block-wise spreading increases the multiplexing
capacity of PUCCH by a factor of spreading factor (SF- 2,3,4)
• PUCCH Format 1/1a/1b is based on the combination of CAZAC sequence modulation and block-wise spreading. Carry
one information symbol (1 to 2 bits) per slot.
• PUCCH Format 2/2a/2b uses only CAZAC sequence modulation. Capable of conveying 5 symbols per slot (20 coded bits +
ACK/NACK per subframe).
• PUCCH Format 2/2a/2b is located at the outermost resource blocks of the system bandwidth.
• ACK/NACK reserved for persistently scheduled PDSCH
• SRI are located on the PUCCH resource blocks next to periodic CQI while the ACK/NACK resources reserved to
dynamically scheduled PDSCH are located at the innermost resource blocks reserved for PUCCH
- This broadcasted system parameter can be seen as the maximum number of resource blocks reserved for
PUCCH
- While actual PUCCH size changes dynamically based on Physical Control Format Indicator Channel
(PCFICH) transmitted on the downlink control channel
(ii) Physical Uplink Shared Channel (PUSCH) :
The Physical Uplink Shared Channel (PUSCH) is used to transfer -
• RRC signalling messages
• Application/User data
• Uplink Control Information (UCI).
• Control data is multiplexed with information data prior to DFT spreading.
• The actual mix of different L1/L2 control signals and their size vary from subframe to subframe
• Both the UE and the eNodeB have the knowledge about the number of symbols reserved by the control
part
• The data part of PUSCH is punctured by the number of control symbols allocated in the given subframe
• The PUSCH can be modulated using 64QAM, 16QAM or QPSK.
• The eNode B selects the appropriate modulation scheme according to its link adaptation algorithm.
3GPP References: TS 36.211, TS 36.212, TS 36.213
• LTE UE can never transmits both PUCCH and PUSCH during the same sub-frame (same TTI)-
3GPP Release 8 and Release 9)
• If UE has application data Or RRC signalling
• then UCI is carried over PUSCH
• If UE does not have any application data OR RRC signaling-
• then UCI is carried over PUCCH
• Release 10 allows simultaneous transmission of PUSCH and PUCCH
PUSCH transmission (in UE transmitter) and reception (in eNB)
(iii) Physical Random access Channel (PRACH):
• RACH Transport channel is mapped to PRACH (phy channel)
• PRACH Carries Random Access Preamble
– when a UE sends to access request to the network
 Need of RACH:
i) Achieve UP link synchronization between UE and eNB
ii) RRC Connection Request
 When RACH occurs-
i) Initial access from RRC_IDLE
ii) RRC Connection Re-establishment procedure
iii) Handover (Contention Based or Non Contetion Based)
iv) DL data arrival during RRC_CONNECTED requiring random access procedure (when UL synchronisation status
is “non-synchronised”)
v) UL data arrival during RRC_CONNECTED requiring random access procedure (when UL synchronisation status is
"non-synchronised" or there are no PUCCH resources for SR available)
vi) For positioning purpose during RRC_CONNECTED requiring random access procedure (when timing advance is
needed for UE positioning)
 RACH Structure
(1) RACH information carries- Preamble
(3) In preamble, a guard time (GT) introduced to avoid collisions with other transmissions
as the random access (RA) mechanism is used by the UE when it is not yet synchronized on the uplink
• The duration of GT needs to account for the round trip propagation time, which is dependent upon the supported cell
size.
• With propagation speed of 1 km/3.33μs, approximately 6.7μs of guard time per kilometer (2*3.33 μs) is required
to accommodate the round-trip time.
• Now, to support cell size up to 100 km as required for LTE, the guard time should be in the range of 670 μs.
• But, in case of small cell size this will be an overhead. So, to support that multiple random access preamble formats
with both small and large guard times are defined
The random access preamble length is always 0.8 ms
(2) In order to enable simple frequency-domain processing, the random access preamble also uses a cyclic prefix
(CP), its length accounts for both the propagations delays as well as the channel delay spread
• FDD LTE defines four different Random Access (RA) preamble formats with different preamble and cyclic prefix duration
to accommodate different cell size
• The preamble format to be used in a specific cell is informed to the UE using PRACH configuration index. This
is broadcasted in SIB-2.
• Zadoff-Chu sequence used for PRACH is in Frequency Domain - The PRACH Zadoff-Chu is transformed
to the time domain sequence
• In Frequency Domain: Preamble length in Frequency domain is
=> 6 RBs of UL sub-frame = 6 * 12 sub-carriers = 6*12*15 KHz = 1.08 MHz
• Again , one Sub-Carrier of PRACH Preamble is 1.25 KHz e.g. in an UL sub-carrier (15 KHz) total 15/1.25 = 12 PRACH
preamble sub-carriers can be placed.
• The position of the random access preamble in frequency domain is defined by PRACH frequency offset
parameter received by UE via SIB-2. This parameter ranges from 0 to 94 and specified the first resource block
within which preamble is located.
• Time Domain:
• Rach Access Preamble occupies 1, 2, 3 sub-frames in time domain (1,2,3 ms) (depending on Preamble Format) and
839 sub-carriers in frequency domain (1.08 MHz). Also there is a 15 KHz Guard band either side of the random
access preamble – so total 1.08 MHz is used.
• There is max of 1 random access preamble resource within each sub-frame but more than a single UE can use that
preamble resource.
• Multiple UEs using the same preamble resource are differentiated by different preamble sequences.
For example,
- if the UE is using "PRACH Configuration Idex 0",
- it should transmit the RACH only in EVEN number SFN (System Frame Number).
- UE is allowed to transmit RACH only at sub frame number 1 of every even SFN
 Exactly when and Where a UE transmit RACH:
It is determined by prach-ConfigIndex parameter in SIB2
Preamble Transmission by UE
Open-loop power control can be used to obtain a suitable transmission power for initial PRACH transmission and is
computed from the equation :
PPRACH = min {PCMAX , PREAMBLE_RECEIVED_TARGET_POWER + PL} [dBm].
Where, PCMAX is the configured maximum UE transmitted power, PL is the downlink path-loss estimate calculated in the
UE based on reference signal power signaled in SIB2 and the measured RSRP at UE
 Uplink channel’s Physical layer Processing
LTE Protocol Layers
Packet Data Convergence Protocol (PDCP, Ref TS 36.323):
decryption/encryption, compressing/decompressing of the headers
of user plane IP packets using Robust Header Compression (ROHC),
sequence numbering and duplicate removal
• Radio Link Control (RLC, Ref TS 36.322):
• Error Correction through ARQ, in-sequence delivery of SDUs, eliminates duplicate SDUs, Segmentation
according to the size of the Transport Block, Concatenation of SDUs for the same radio bearer.
• Based on the reliability requirement, the RLC can be configured
• acknowledge (AM) or un-acknowledge (UM) or transparent (TM) mode
- UM mode is used for transport of Real Time (RT) services which are delay sensitive and cannot wait
for retransmissions
- AM mode is suitable for non-RT (NRT) services
- TM mode is used when the PDU sizes are known a priori such as for broadcasting system
information.
- AM, UM use uses RLC header, whereas TM is used where effectively there is no header; it simply passes
the message through it.
Physical Layer:
Already discussed earlier
Medium Access Control (MAC, Ref TS 36.321):
- Multiplexing/de-multiplexing of RLC PDUs, padding, error correction through HARQ, Logical Channel
Prioritization and Scheduling Information reporting, mapping between the logical and the transport
channels, transport format selection etc.
- Uplink functions include random access channel scheduling, transport format selection etc.
- There are two levels of re-transmissions used for providing reliability- the Hybrid Automatic Repeat reQuest
(HARQ) at the MAC layer and outer ARQ at the RLC layer.
Any IP packet for UE is encapsulated by an EPC-specific protocol and tunnelled between the P-GW and eNB for
transmission to UE.
For tunnelling different protocols are used across different interfaces. Generally, GPRS Tunnelling Protocol (GTP)
is used over the CN interfaces, S1 and S5/S8.
RLC and MAC sublayers in control plane perform the similar
functions like the user plane.
PDCP layer performs decryption, integrity protection, sequence
numbering, duplicate removal etc.
Radio Resource Control (RRC, Ref TS 36.331)
Responsible for broadcast of system information, RRC connection control, initial security activation for
ciphering and integrity protection, mobility control, also for inter-RAT handovers, quality of service control, and
measurement control.
The RRC layer in eNB makes handover decisions based on neighbour cell measurements sent by the UE, and it
controls UE measurement reporting such as the periodicity of channel quality information (CQI) reports, send
paging message for the UEs, broadcasts system information and allocates cell-level temporary identifiers to
active UEs.
It is also responsible for setting up and maintenance of radio bearers.
The NAS messages carried in RRC are effectively double ciphered and integrity protected, once at the MME and
again at the eNB.
 UE protocol stack
OSI Model Internet Model
(TCP/IP)
Example protocol/services PDU (data form)
Application Application HTTP, HTTPS, Pop, SSH, SMTP, DNS,
Telnet
Data
Presentation Data
Session Data
Transport Transport TCP , UDP Segments
Network Inter-net ICMP, IGMP, IPv4, IPv6, IPX, RIP,
IPSec , [ref- IP- rfc 791]
Packets
Datalink Network Access
(Link)
Frames
Physical Bits / Blocks
 User Interfacing / representation
 Encoding
 Session control
e.g. Create email message and pass the data to lower layer
 Support host to host communication
 Application data segmentation,
 Transmission reliability, flow and error control
e.g. breaks data into segments and add header
 Packs data into packets (IP datagrams, which contain src &
dest addr).
 Route packets from network to network based on virtual IP
address.
 Determines the path of packet flow in the network.
e.g. break segment into packets and add header and logical
addresses (IP addresses)
 Act as an interface between HW and SW components.
 This helps to transfer these packets to a from that can be
transmitted over various media such as fiber optic, copper
wire, wireless / cellular systems
e.g. break into frames and add header and multiplex and error
coding for channel and transmit/receive bits/blocks
Choosing the right transport protocol - depends on the type of
data to be transferred.
(1) Use TCP for data which require - reliability, sequence
transmission and data integrity.
(2) Use UDP for data which require real-time transmission with
low overhead and less processing.
TCP (rfc793) UDP (rfc 768)
 Provides one to one, connection oriented, and reliable
communication services.
 Prior to transmission end points need to establish a connection
first.
 TCP protocol data units are called segments, which consists of a
fixed 20-byte header followed by a variable size data field.
 Segment size is restricted by the maximum transfer unit (1500
bytes).
 Defines one to one or one to many , connectionless, unreliable
communication services. UDP consists of fewer fields compared to
TCP.
 Because certain application data types (real time traffic) do not
require reliable delivery and extra overhead.
 Real-time traffic for example, needs to be transported in an
efficient way without error correction and retransmission
mechanisms. It assumes reliability to be handled by the application
layer. All it cares about is fast transmission.
 TCP is responsible for breaking down a stream of bytes into
segments and reconnecting them at the other end, retransmitting
whatever might be lost and also organizing the segments in the
correct order.
 Segment retransmission and flow control through windowing
 Segment sequencing
 Acknowledge segment
 No windowing / retransmission not required at this layer
 No segment sequencing
 Acknowledge Segment not required
 User plane data-flow diagram
transport-block size depends on the instantaneous data rate selected by the link adaptation mechanism
PHY Processing
LTE: RRC States (UE States and State Transition)
Power on
• IP address is assigned and tracked by the network
• UE is known in EPC but not known to eNB
• Mobility is controlled by UE – (PLMN Selection / Cell Selection and
Reselection
• Broadcast message reception
• Paging (DRX) reception- LTE supports always connected experience by
forcing the UE to continuously monitor control signals on PDCCH
• UE is known in EPC as well as in E-UTRAN/eNB and UE
location is known at the cell level
• Mobility is controlled by Network (so measurement report is
sent to the network periodically)
RRC Connection establishment
RRC Connection release
UE Software Stack
 Typical UE Software Modules
Inside a mobile terminal there is an application processor for driving
applications and a modem protocol processor for driving protocol
processing.
As protocol processing requires real time processing, so RTOS is used
here, whereas in application processor general purpose OS is used.
Both the processors has boot software and a mechanism for
communication to exchange the data
• After power on the hardware setup is done by the Basic Input / Output System (BIOS), which sets the hardware and loads
the software bootloader or OS kernel.
• As UE does not have BIOS, so, they rely on a firmware to set up the hardware before the operating system kernel is loaded
and started. The boot is often started from a Read Only Memory (ROM).
• In Modem unit, once the system initialization is over and OS is loaded into the memory,
• then OS takes the control and starts executing different tasks/threads, where different modem sub-layers and procedures are
running as OS threads
• The first procedure that runs at this stage is ‘network and cell selection’, where UE selects the PLMN to register, select
a CSG for registration using user permission, selects and camp on the cell.
Network operator (PLMN) and cell selection
• The LTE compliant UE’s NAS layer requests AS layer to report for available PLMNs (all PLMNs or just the
previously registered PLMN if that information was stored).
• After receiving that command, AS layer in UE scans all the RF channels within its supported RF bands (if
there is no prior stored information exists in UE).
• UE scans all the available radio frequencies in the given LTE band, also known as E-UTRA Absolute Radio
Frequency Channel Number or (EARFCN)
• On each carrier (RF channels), the UE searches for the strongest cell according to the cell search procedure
and synchronize with it and then read its system information (PLMN identity is broadcast within SIB-1) in
order to find out which PLMN that cell belongs to.
• PLMNs are reported to NAS as high quality, if RSRP>=-x dBm, (x = 110), and PLMNs not meeting high
quality criteria are reported along with their RSRP value to NAS.
• After receiving the PLMN lists, the LTE NAS layer selects a PLMN from that list of reported PLMNs.
• The selection of the PLMN is done by manual or automatic.
• After the PLMN selection, UE runs the CSG and cell selection procedures
• If the USIM in the UE contains any closed subscriber groups (CSG), then the UE has to run an additional procedure,
known as CSG selection
STEP 1: Frequency SCANNING
Phone scans all the available radio frequencies in the given LTE band, also known as E-UTRA Absolute Radio Frequency
Channel Number or (EARFCN).
Next UE ranks those EARFCNs into an ordered list
STEP 2: DOWNLINK SYNCHRONIZATION , Cell Search and Acquisition
UE establishes cell level synchronization at the downlink level
Primary Synchronization signal (PSS):
Secondary Synchronization signal (SSS)
• Time, freq sync, (slot , frame)
• TDD/FDD detection
• CP (extended, normal) detection
physical cell id (PCI) computation
PCI = 3*(Physical layer cell identity group) + physical layer identity
STEP 3: Reference signal position and value detection
Identify the location of the cell ref signal and ref
symbol values
STEP 4: Decoding Broadcast Information
UE needs to know is the system bandwidth. This is acquired by something called MIB
UE gets info from MIB:
System Bandwidth, PHICH configuration, SFN
• PCFICH, PDCCH reading and finding the resource block and other details of PDSCH reading
• SIB (PDSCH) reading - (SIB-1)
STEP 5: SIB Reading (PDSCH)
 SIB reception (PDSCH) by UE
System Information Blocks are grouped in SI containers. Each SI is composed of multiple SIBs. Each SI usually will have
different transmission periodicity
Carries cell ID,
MCC, MNC, TAC,
SIB mapping
UE needs in order to be able to
access cell. Carries Info- UL
power control, preamble
power ramping, UL CP
Length, UL EARFCN, UL cell
BW and RACH parameters
Carries cell re-
selection
information and
Intra frequency
cell re-selection
information
neighboring-
cell-related
information
Carries Inter
Frequency
Neighbors
LTE system information blocks Description
MIB Transmitted on every 40 ms on PBCH. It contains channel bandwidth, PHICH configuration details, transmit power, number of
antennas and SIB scheduling information etc. (Received in idle and connected mode).
SIB1 Transmitted on every 80 ms on DL-SCH. Indicates whether a terminal is allowed to camp on a cell or not. Carries cell ID, MCC,
MNC, TAC, SIB mapping. Includes information about the allocation of sub frames to uplink/downlink and configuration of the
special sub-frame in case of TDD. (Received in idle and connected mode).
SIB2 Transmitted every 160ms. Includes information that terminal needs in order to be able to access the cell. Carries information
about common channel and shared channel, uplink power control, preamble power ramping, uplink Cyclic Prefix Length, sub-
frame hopping, uplink EARFCN, uplink cell bandwidth and random-access parameters. (Received in idle and connected mode).
SIB3 Transmitted every 320 ms. Carries cell re-selection information and Intra frequency cell re-selection information. (Received in
idle mode).
SIB4 Contains neighboring-cell-related information, including information related to neighboring cells on the same carrier,
neighboring cells on different carriers, and neighboring non-LTE cells, such as WCDMA/HSPA, GSM, and CDMA2000 cells.
SIB5 Transmitted every 640 ms. Carries Inter Frequency Neighbors (on different frequency); E-UTRA LTE frequencies, other neighbor
cell frequencies from other RATs for cell reselection and handover. (Received in idle mode).
SIB6 Transmitted every 640 ms. Carries WCDMA neighbors information (serving UTRA and neighbor cell frequencies) for cell re-
selection. (Received in idle mode if UE supports WCDMA).
SIB7 Carries GSM neighbours information (GERAN and neighbor cell frequencies) for cell re-selection as well as handover purpose.
(Received in idle mode if UE supports GSM).
SIB8 Carries CDMA-2000 EVDO frequencies, CDMA-2000 neighbor cell frequencies.
SIB9 Carries HNBID (Home eNodeB Identifier).
SIB10 Carries ETWS prim notification (public warning messages).
SIB11 Carries ETWS sec. notification
SIB13 SIB13 contains information necessary for MBMS reception.
• After receiving MIB through BCCH channel, UE configure the PDSCH (BCCH-DL-SCH) channel
and map it on PDSCH to receive SI Block Type1 (SIB1), which is transmitted with a periodicity of
80 ms and contains the information relevant to cell access.
• SIB2 contains radio resource configuration information that is common for all UE.
• After SIB2 reception, UE configures the Random Access Channel and Common shared channels.
• Later as required, it Starts up-link synchronization using Random Access Procedure.
• For camping cell selection, the UE requires the PLMN ID (Operator ID)
STEP 6: PLMN Selection (Operator Selection)
• Every Operator (PLMN) is assigned one unique ID- PLMN ID.
• It consists of two codes, a Mobile Country Code (MCC) and Mobile Network Code (MNC).
• SIB 1 contains cell access related information (e.g. a PLMN identity list, tracking area code, cell identity, etc.),
information for cell selection, a frequency band indicator, scheduling information etc.
UE evaluates the suitability of the cell using cell selection criterion.
A suitable cell is defined as a cell which will have following characteristics-
(1) it should belong to the selected PLMN, registered PLMN or an equivalent PLMN
(2) it is not barred cell
(3) it should belong to at least one tracking area which is not forbidden
(4) it should satisfy the following cell selection criteria (Ref 3GPP TS 36.304):
Srxlev > 0 and Squal > 0,
where Srxlev = Qrxlevmeas – (Qrxlevmin + Qrxlevminofset) – Pcompensation
and Srqual = Qqualmeas – (Qqualmin + Qqualminoffset).
STEP 7: Cell Selection criteria (S-criteria) checking
Where, Srxlev = cell selection Rx level value in dB,
Squal = cell selection quality value (dB),
Qrxlevmeas = measured cell Rx level value (RSRP),
Qqualmeas = measured cell quality value (RSRQ),
Qrxlevmin = minimum required Rx level in the cell (dBm),
Qqualmin = minimum required quality level in the cell (dBm),
Qualmin = minimum required quality level in cell (dB),
Qrxlevminoffset = offset to the signalled Qrxlevmin,
Qqualminofset = offset to the signalled Qqualmin,
Pcompensation = max (PEMAX – PpowerClass, 0),
PEMAX = Max Tx power level,
PpowerClass = Max RF output power.
• cell barring status and minimum signal strength threshold from SIB type 1
• Once these conditions are satisfied then UE could camp on that cell
STEP 8: UPLINK SYNCHORNIZATION
• UE undergoes a procedure called “RACH” procedure to gain access of the resources to start transmission
• After reading SIB Type 2, the UE will know the format and where to transmit PRACH in resource block structure
• Each cell have a set of preamble sequences.
• SIB Type 2 communicates to the UE the set of preambles (64 available in a cell) from which UE MAC will randomly
Choose one for uplink synchronization.
• During sending of preamble, UE also needs to give its own identity to the network so that network can address it in next step.
• The identity which UE will use is called RA-RNTI (Random access radio network temporary identity).
How to decide RA RNTI ? [TS36.321]
• The RA-RNTI associated with the PRACH in which the Random Access Preamble is transmitted.
• RA_RNTI is decided by the sending timing (SubFrame) of PRACH Preamble by UE.
• It is computed as: RA-RNTI = 1 + t_id + 10 * f_id
• Where t_id => index of the first subframe of the specified PRACH (0 <≤ t_id <10),
• f_id is the index of the specified PRACH within that subframe, in ascending order of frequency domain (0≤ f_id< 6).
(For FDD, f_id is fixed as 0).
• It means that (the subframe number (number between 0000~0009) of PRACH transmission + 1) is RA-RNTI.
• Overall Flow for Open Loop Power Control (initial PRACH)
P_CMAX is the maximum UE transmitter power
specified in 3GPP 36.101
• If UE does not receive any response from the network, it increases its power in fixed step and sends RACH preamble again.
 RACH procedure
• In each LTE cell, total 64 preamble signatures are available and UE select randomly one of these signatures.
• Two types of RACH process : Contention-based and Contention-free
• There is a possibility - same PRACH preamble from multiple UE reaches the NW at the same time. So, contention could
happen.
• Then Network would go through additional process at later step to resolve these contention and this process is called
"Contention Resolution" steps.
• the Network informs each of the UE of exactly when and which preamble signature it has to use. Of course, in this case
Network will allocate these preamble signature, so that it would not collide.
• This kind of RACH process is called "Contention Free" RACH procedure.
• To initiate the "Contention Free" RACH process, UE should be in Connected Mode before the RACH process as in
Handover case.
Typical 'Contention Based' RACH Procedure is as follows :
i) UE --> NW : RACH Preamble (RA-RNTI, indication for L2/L3 message size)
ii) UE <-- NW : Random Access Response (Timing Advance, T_C-RNTI, UL grant for L2/L3 message)
iii) UE --> NW : L2/L3 message
iv) Message for early contention resolution
Typical 'Contention Free' RACH Procedure is as follows :
i) UE <--NW : RACH Preamble (PRACH) Assignment
ii) UE --> NW : RACH Preamble (RA-RNTI, indication for L2/L3 message size)
iii) UE <--NW : Random Access Response (Timing Advance, C-RNTI, UL grant for L2/L3 message)
• The UE listens to a downlink broadcast signal (SIB2) to
obtain the transmission timing.
• It is also informed of the available signatures, frequency
bands and time slots for a random access.
• There are total 64 preambles in a cell, which are grouped to
indicate the length of needed resource, also some are
reserved for contention-free access.
• UE selects one of the 64 available RACH preambles and
sends along with the UE identity called RA-RNTI (Random
access radio network temporary identity), determined from
the time slot number in which the preamble is sent.
• Next, eNodeB sends "Random Access Response" to UE on
DL-SCH addressed to RA-RNTI calculated from the timeslot
in which preamble was sent.
• It contains Temporary C-RNTI (eNB gives another identity to
UE which is called temporary C-RNTI (cell radio network
temporary identity) for further communication), Timing
Advance Value (eNodeB also informs UE to change its timing
so it can compensate for the round trip delay caused by UE
distance from the eNodeB), Uplink Grant Resource (network
assigns initial resource to UE so that it can use UL-SCH)
Then using UL-SCH, UE sends "RRC connection request
message" to eNodeB. This contains UE identity (TMSI or
Random Value), Connection establishment cause. The UE is
identified by temporary C-RNTI.
Once the message from UE is successfully received by eNB, it
responds with contention resolution message. This message is
addressed towards TMSI value or Random number but contains
the new C RNTI which will be used for the further communication
STEP 9: Initial Attach
• UE initiates the attach procedure with the completion of setting up the RRC connection
• NAS Attach Request is piggybacked to the RRC message.
• Also piggybacked on the RRC message is the NAS PDN Connectivity request which will also be passed to the MME
for processing after the Attach
• eNB, upon receiving the Attach Request will select an MME
• In Attach Request, the UE will identify itself by sending its IMSI (International Mobile Subscriber Identity) or old GUTI
(Globally Unique Temporary ID).
STEP 8.a: Authentication
STEP 8.b: Non Access Stratum Security
STEP 8.c: Access Stratum Security
STEP 9: PDN Connectivity
• MME has completed authentication and security establishment, the Attach is complete
• MME is managing the UE
Traffic Handling in Downlink
Traffic Handling in Uplink
Handover
Note: ….Step-8,9 – discussed in latter slides during connected
mode procedure discussions
 Idle Mode (RRC_Idle)
• Entering Idle mode is triggered by UE data inactivity.
• If no traffic is flowing for the UE (inactivity timer expiry), the eNB can initiate procedures to remove the RRC
connection and to change the state to RRC_Idle
• In LTE (E-UTRAN), the UE is RRC_Idle and from an EPS Mobility Management (EMM) perspective it is EMM-
Registered EMM-Idle.
• In this state, the UE no longer has any connectivity to the EPC, and all context relating to the UE is removed from the
E-UTRAN.
 Paging reception
• Once UE enters into RRC idle mode, it starts listening to the incoming paging message to know about incoming calls
The LTE paging procedure is used
(1) to initiate mobile terminated (MT) PS call [paging msg]
(2) to initiate mobile terminated CS fallback call
(3) to trigger LTE UE to re-acquire system information
(4) to provide an Earthquake and Tsunami Warning System (ETWS) indication
• Paging indication is single fixed indicator known as Paging RNTI (P-RNTI)- in PDCCH
• P-RNTI is derived from the IMSI of UE
• UE need to monitor the PDCCH for P-RNTI only at predetermined period (say 60 ms, 100 ms etc.) known as paging
occasion as set by DRX cycle.
• Every paging occasion, UE receives and checks for paging indication for it and if not found, then it will enter into sleep
mode till the next paging occasion.
• Different group of UEs (grouped according to their IMSI) monitor different sub frames for their paging messages.
 Calculation of paging occasion
• UE computes the paging frame number using the following relations:
Paging frame number = SFN mod T = (T/N) x (UE_ID mod N)
Where,
• T = DRX cycle length in radio frames (DRX cycle is broadcast in SIB2 and can have values of 32, 64, 128 or 256 radio
frames. These corresponds to time intervals of 320, 640, 1280 and 2560ms.
• The UE can also propose its own DRX cycle length within ATTACH REQUEST and TRACKING AREA UPDATE
REQUEST messages),
• N = Min(T,nB), nB is broadcast in SIB2 and can have values of {4T,2T,T,T/2,T/4,T/8,T/16,T/32},
• N can have values of {T,T/2,T/4,T/8,T/16,T/32},
• UE_ID = IMSI mod 1024 (refer to 36.304).
 Paging procedure
- MME sends S1AP paging message to one or
more eNBs (typically transmitted across multiple
cells in tracking area).
- MME starts timer T3413 after sending S1AP
paging message for PS data call and UE is
addressed by S-TMSI (SAE-TMSI) instead of IMSI
- UE wakes at paging occasion and checks for P-
RNTI in PDCCH.
- If P-RNTI has value of FFFE, it indicates that UE
may have a paging message on PDSCH. UE
decodes RRC message from PDSCH RBs and
checks UE identity.
- If positive paging found- it will trigger random
access procedure to establish RRC connection
- Once eNodeB forwards NAS message to MME
then it will stop T3413 and will proceed to
establish connection with UE
 UE Measurement parameters
In LTE UE measures RSRP and RSRQ
(a) Reference Symbol Received Power (RSRP):
It is the average power of Resource Elements (RE) that carry cell specific
Reference Signals (RS) over the entire bandwidth, so RSRP is only
measured in the symbols carrying RS.
(c) Reference Signal Received Quality (RSRQ):
RSRQ indicates quality of received reference signal.
RSRQ measurement and calculation is based on RSRP and RSSI values.
RSRQ = RSRP/ (RSSI/N).
N represents number of resource blocks (PRBs) over which RSSI is
measured
3GPP TS 36.133
(b) Received Signal Strength Indicator (RSSI): It represents the total received power over wideband by the UE. It is measured
only in all symbols containing reference signals.
RSRP is the received power of 1 RE (3GPP definition) average of power levels received across all Reference Signal symbols within the
considered measurement frequency bandwidth
RSSI is measured over the entire bandwidth
N: number of RBs across the RSSI is measured and depends on the BW
https://www.cablefree.net/wirelesstechnology/4glte/rsrp-rsrq-measurement-lte/
Event Type Description
Event A1 Serving becomes better than threshold
Event A2 Serving becomes worse than threshold
Event A3 Neighbour becomes offset better than serving
Event A4 Neighbour becomes better than threshold
Event A5
Serving becomes worse than threshold1 and neighbour becomes better than
threshold2
Event A6
Neighbour become offset better than S Cell (This event is introduced in Release
10 for CA)
Event B1 Inter RAT neighbour becomes better than threshold
Event B1-NR NR neighbour becomes better than threshold
Event B2
Serving becomes worse than threshold1 and inter RAT neighbour becomes
better than threshold2
Event B2-NR
Serving becomes worse than threshold1 and NR neighbour becomes better
than threshold2
Event C1 CSI-RS resource becomes better than threshold
Event C2 CSI-RS resource becomes offset better than reference CSI-RS resource
Event W1 WLAN becomes better than a threshold
Event W2
All WLAN inside WLAN mobility set becomes worse than threshold1 and a
WLAN outside WLAN mobility set becomes better than threshold2
Event W3 All WLAN inside WLAN mobility set becomes worse than a threshold
Event V1 The channel busy ratio is above a threshold
Event V2 The channel busy ratio is below a threshold
Event H1 The Aerial UE height is above a threshold
Event H2 The channel busy ratio is below a threshold
3GPP 36.331 5.5.4 Measurement report triggering
• Commonly, after UE power ON, the following steps are performed:
(i) UE is Powered ON
(ii) Boot up, self-test are performed, OS loaded. UE modem protocol layers are activated (as different threads of the OS).
(iii) Cell Search: NAS requests AS (L1) for Frequency Search. L1 programs the RF to receive different carrier frequencies
and measure the RSSI. Then L1 ranks those carriers according to their strength and presents to the higher layer.
(iv) Cell Selection: UE finds many cells and selects the best one based on the signal strength, and other parameters like,
whether that cell is allowed or not, belongs to the same operator or not etc.
(v) MIB decoding
(vi) SIB decoding
(vii) Initial RACH Process
(viii) Registration/Authentication/Attach
(ix) Default EPS Bearer Setup
At this stage, UE is in IDLE Mode
(i) Cell Reselection: UE constantly checks the presently camped cell’s signal quality and if diminishes then switches to the
best available one.
(ii) Paging monitoring: UE keep on listening to paging.
(iii) RACH for RRC connection setup- When paging message comes or User makes a call- RACH Process is invoked
(iv) Setup Dedicated EPS Bearer
(v) RRC connected stage: Receive data & Transmit data
(i) If UE power is perceived too weak by the network, network send TPC command to increase UE Tx Power
(ii) If UE power is perceived too strong by the network, network send TPC command to decrease UE Tx Power
xviii) If UE moves to another cell region, network and UE perform Handover procedure
xix) User stop call and UE gets into IDLE mode
 SUMMARY ………
 Data Transmission
 Handover
• The handovers in the RRC CONNECTED state are network controlled and UE assisted
(1) Measurement configuration and reporting:
• eNB sends the measurement command message to UE for configuring the different measurement types.
• The information included in the message is - measurement object, reporting configuration (event triggered or periodic),
measurement ID, quantity configuration, measurement gap etc.
• Reporting criteria for E-UTRA report include Events A1, A2, A3, A4 and A5 (refer to 3GPP TS 36.331) while ones for
inter-RAT measurement report include Events B1 and B2
(2) Handover Decision:
When the signal quality on target cell (eNB2) becomes better than the signal quality on serving/source cell (eNB1),
handover decision is taken by the network (as computed from the measurement report).
(3) Handover Preparation:
• Source eNB1 sends the coupling information and the UE context to the target eNB2 (HO request msg) on the X2
interface, which contains information about active E-RABs, security keys.
• The GTP connect for the uplink side is established between the target eNB2 and the serving SGW.
• The target eNB2 accepts the session if resources are available and allocates radio resources for the UE, allocates a
RACH preamble to it (optional), and reserves a C-RNTI (which provides a unique UE identification at the cell level
identifying the RRC connection).
• The target eNB2 may perform admission control depending on the received EPS bearer QoS information. The Target
eNB2 responds back to the source eNB with a Handover Request Acknowledge message.
• This message carries the Handover Command message (RRC Connection Reconfiguration Request) in a transparent
container. Source eNB1 commands the UE (HO command) to change the radio bearer to target eNB2.
• The UE receives the HO command with the necessary parameters (i.e. new C-RNTI, optionally dedicated RACH
preamble, possible expiry time of the dedicated RACH preamble, etc.) and is commanded by the source eNB1 to
perform the HO.
(4) Handover Execution:
• After receiving the HO command from eNB1, UE performs synchronization to the target eNB2 and accesses the target cell
via the RACH following a contention-free procedure (if dedicated RACH preamble was allocated in the HO command) or
following a contention-based procedure (if no dedicated preamble was allocated).
• The network responds with uplink resource allocation and timing advance (TA) to be applied by the UE. When the UE has
successfully accessed the target cell, the UE sends the HO confirm message (C-RNTI) along with an uplink buffer status
report indicating that the handover procedure is completed for the UE.
• The target eNB requests the MME to switch the message flow path from the source eNB to the target eNB. MME requests the
SGW to switch the path to the target eNB and SGW asks the PGW to switch the path.
• Then the SGW responds back to the MME signaling about the completion of the path switch. The target eNB will buffer data
directly received from the SGW until all the data received via the source eNB has been transmitted.
• This is needed to maintain the transmission order. Then SGW will be sending the data using the target eNodeB TEID. MME
responds back to signal the completion of the path switch.
• The end marker has been received at the Target eNodeB. At this point the target asks the source eNodeB to release resources
for the UE.
Note:
One of the reasons why we don’t have
CELL_FACH and CELL_DCH state is
because there is no concept of
common and dedicated transport
channel in LTE. In LTE the data transfer
will be done through the defined
shared transport channel.
P_Channel(i) = min{P_CMAX, Formula}
P_Channel(i) means "Power of the Channel for each subframe", implying that these channel power is calculated
and set for every subframe.
P_CMAX ? It is the maximum UE transmitter power specified in 3GPP 36.101
• After initial PRACH is completed, the UE power is controlled dynamically by TPC command (MAC CE or
TPC field in DCI 0).
• UE Transmission Power is controlled by some feedback input from eNB in a closed loop
 Closed Loop Power Control TS 36.213 - 5. Power Control
Anatomy of one LTE UE
 Anatomy of LTE UE
Lte training session_1
Lte training session_1

Lte training session_1

  • 1.
    (ground up) Dr. SajalKumar Das Sajal_das@yahoo.com
  • 2.
     Agenda Session-1 : LTESystem overview • LTE Cellular Systems • 3GPP Long]Term Evolution (LTE) Overview • LTE Design Goals • 3GPP LTE Specifications • LTE Network Architecture Session -2 : • OFDMA Concept • SCFDMA Concept • Advantages over WCDMA • Demerits of OFDMA and solutions Session -3 : • LTE Uu Downlink and Uplink Transmission Schemes and Air Interface • Downlink Transmission Scheme • LTE Downlink Frame Structure • Uplink Transmission Scheme and Frame Structure • Channel Structure • Downlink Channel Structure and Transmission Mechanism • Downlink Physical Channel Processing • Uplink Channel Structure and Transmission Mechanism • Uplink Physical Channel Processing
  • 3.
    • System ProtocolArchitecture • User Plane Data Flow Diagram • Protocol States • Bearer Service Architecture Session -4: Multiple Input Multiple Output (MIMO) • MIMO in the LTE System • Transmission Mode (TM) • Uplink Hybrid Automatic Repeat Request (ARQ) Session -5: • LTE UE Operations- • LTE UE Operations Procedures and Anatomy • UE Procedures • Network and Cell Selection in Terminals • PLMN Selection • Cell Selection Criteria Session -6: • Cell Search and Acquisition • Cell Search and Synchronization Procedure • Cell Specific Reference (CRS) Signal Detection • PBCH (MIB) Reception • PCFICH Reception • PHICH Reception
  • 4.
    Session -7: PDCCH Reception Implementationof Control Channel Decoder PDSCH Reception SIB Reception Paging Reception Calculation of Paging Frame Number Paging Procedure UE Measurement Parameters Random Access Procedure (RACH Transmission) Preamble Transmission by UE Data Transmission Session -8: Handover Idle State Mobility Management Interoperability with Legacy Systems (IRAT) Anatomy of an LTE UE Channel Estimation Equalization Detection Decoder Session -9: UE Categories LTE UE Testing
  • 5.
    References: 1. Mobile terminalreceiver design: Lte and Lte-advanced, Sajal Kumar Das, WILEY 2015 Web-link: https://books.google.co.in/books/about/Mobile_Terminal_Receiver_Design.html?id=V7clDQAAQBAJ&printsec=front cover&source=kp_read_button&redir_esc=y#v=onepage&q&f=false 2. Mobile Handset Design , Sajal Kumar Das, WILEY 2010 Web-link: https://books.google.co.in/books/about/Mobile_Handset_Design.html?id=AylGzU3yOE4C&printsec=frontcover&sou rce=kp_read_button&redir_esc=y#v=onepage&q&f=false 3. System design of mobile terminals (Chinese Edition), Sajal Kumar Das, LI NING YI, WILEY, 2012 https://www.abebooks.co.uk/System-design-mobile-terminalsChinese-Edition-YINSajal/7954200221/bd 4. 3GPP site: www.3gpp.org 5. Other Technical books on LTE and website materials [with due curtesy]
  • 6.
  • 7.
    EVOLUTION of NetworkSystem Architecture
  • 8.
    Air Interface UE Radio Access Network (RAN) Core Network (CN) PSTN OtherNetworks Cell Geographical Area  Main Entities in a Cellular Network In 1970 Bell Labs proposed cellular telephone concept, which have been evolved over time
  • 9.
     Evolution ofCellular Network
  • 10.
     GSM/GPRS (2G)Cellular Network • Network was designed for support of CS and PS is add on
  • 11.
     3G (WCDMA)Cellular Network Iu CS • Network was designed on top of existing 2G (CS centric) network, PS is add on
  • 12.
    • 3G systemcan’t support seamless handover and mobility among these heterogeneous IP networks  Need for New Advanced Cellular Network • 3G performance is not sufficient to meet the demands for driving future high- performance data voracious applications e.g. full-motion video, wireless videoconferencing etc. in terms of bit rate and latency requirements  Limitations of Legacy Network: • UMTS standard has fundamental capacity limitations (when the number of active users increases beyond a certain point) • In HSPA evolution path, the terminal complexity for WCDMA or MC-CDMA systems is quite high, making equipment expensive, resulting in poor performing implementations of receivers • Legacy systems are designed mainly for Voice and Data is Add On, network is not optimized for Data => These limitations are the driving factors for 4G telecommunications networks and systems
  • 13.
    • In March2008, the International Telecommunications Union-Radio communications sector (ITU-R) came up with a set of requirements for 4G standards, • Which is known as International Mobile Telecommunications Advanced (IMT-Advanced) specification  Requirements for 4G Network:  Introduction of Advanced (4G) Cellular Network • Peak data rate: 100 Mbit/s for high mobility and 1 Gbit/s for low mobility, • Latency: round trip time < 10 ms, • Network: should be based on all-IP packet switched optimized network • High level of mobility and security, • Smooth handovers across heterogeneous networks, • Optimized terminal power efficiency, • Frequency flexibility and scalable channel bandwidths, • Higher System spectral efficiency- in indoor case, 3-bit/s/Hz/cell in downlink and 2.25-bit/s/Hz/cell in uplink
  • 14.
     Introduction to4G Network Evolution WiMAX: IEEE 802.16e standard also known as Wireless MAN is commonly referred to as WiMAX (worldwide interoperability for microwave access) by an industry forum, LTE: 3GPP developing their own version of beyond 3G systems based on the OFDMA technology, which is known as evolved universal terrestrial radio access (evolved UTRA) and is also widely referred to as LTE (Long- Term Evolution) 3GPP2’s version of it is called UMB (ultra-mobile broadband). LTE is designed to support only packet-switched services and aims to provide seamless Internet Protocol (IP) connectivity between user equipment (UE) and the packet data network (PDN). Voice is add on. 4G system was evolving mainly through => WiMAX and 3G LTE systems. Both are part of IMT-2000 family of standards
  • 15.
    • In December2008, 3GPP released LTE specifications for long-term evolution of UMTS cellular technology.  Introduction to 3GPP Long Term Evolution (LTE) • Formally known as evolved UMTS terrestrial radio access (E-UTRA) and evolved UMTS terrestrial radio access network (E-UTRAN), but now it is more commonly referred to as LTE. First released version of LTE (Rel-8) : 1. Support scalable bandwidths of 1.4, 3, 5.0, 10.0 and 20.0 MHz 2. Peak data rate DL: 100 Mbps, UL: 50 Mbps, (for 20 MHz spectrum) 3. Supported antenna configurations a. Downlink: 4x2, 2x2, 1x2, 1x1 b. Uplink: 1x2, 1x1 4. Mobility Support: up to 500 kmph 5. Latency a. C-plane: <50 – 100 msec to establish U-plane b. U-plane: <10 msec from UE to server  Design Goal: As 3GPP LTE Rel-8 version does not satisfy all the requirements of ITU-R 4G requirements so, first version (REL-8) is loosely referred to as 3.9 G.
  • 16.
     3GPP LTESpecifications LTE feasibility study and system objectives are captured in => • 3GPP Technical Report -TS 25.912 and LTE requirements -TS 25.913 • 36.200 series: covers layer 1 (physical layer) specifications • 36.300 series: covers layer 2 and 3 air interface signaling specifications • 36.400 series: covers network signaling specifications • 36.100 series: covers radio specifications and evolved Node B (eNB) conformance testing • 36.500 series: covers user equipment conformance testing • 36.800 and 36.900 series: technical reports containing background information • SAE specifications : 22 series, 23 series, 24 series, and 33 series.
  • 17.
     LTE NetworkArchitecture Iu PS MME ‘LTE’ encompasses the evolution of the radio access through E-UTRAN EUTRAN and the EPC = Evolved Packet System (EPS) Evolved packet core
  • 18.
     LTE NetworkArchitecture and Interfaces [TS 23.882 and 36.300] 3GPP developed a new flatter all-IP, packet-only core network (CN) known as the evolved packet core (EPC) [TS 23.401] -It acts as local mobility anchor and helps for forwarding and receiving the packets to and from the serving eNB to P-GW. -All user IP packets are passed through the S- GW. -It manages and stores UE contexts and also retains the information about the bearers, when the UE is in the idle state. It also performs some administrative functions in the visited network -Acts like a router between the EPS and external packet data networks (PDN). -Interfaces with external PDNs. -It is responsible for IP address allocation to the UE, as well as QoS enforcement and flow- based charging according to the rules from PCRF. - It also performs several IP functions such as address allocation, policy enforcement, packet filtering, and routing.
  • 19.
     LTE NetworkArchitecture Entities - Signalling messages flow through it - Its main functions are NAS signaling, control and execution of paging retransmission, idle state mobility handling, roaming, tracking area list management, authorization, authentication, P-GW/S-GW selection, bearer management, NAS signaling, etc It’s responsible for policy control, decision-making and controlling of flow- based charging functionalities -central database contains users’ SAE subscription-related information. -Its functionalities include - mobility management, call and session establishment support, user authentication and access authorization. Evolved Packet Data Gateway (un-trusted non-3gpp) Radio resource management (RRM), IP header compression and encryption, signaling towards MME, selection of MME at UE attachment time and routing of user plane data towards S-GW
  • 20.
    • LTE systemdoes not support soft-handoff or macro-diversity. • When the UE moves, the network transfers all information related to a UE (the UE context) together with any buffered data, from one eNB to another eNB  LTE Network Architecture - UE is Used by an end-user to communicate with the network. – - UE has three main modem sections - Radio, Physical Layer (PHY), Protocol Stack and Applications running on it. - E-UTRA is designed to operate in the different operating bands [3GPP TS 36.101] • Tracking area (TA) - generally covers multiple eNBs. Tracking area identity (TAI) information indicating which TA an eNB belongs to. A UE can detect change of tracking area when it receives a different TAI than in its current cell. The UE updates the MME with its new TA information as it moves across TAs.
  • 21.
  • 22.
    User plane protocolControl plane protocol stack  Protocol Layer Architecture Distribution LTE UE Protocol Layers
  • 23.
  • 24.
     LTE FrequencyBands & Spectrum Allocations  Many frequency bands used for LTE TDD and FDD versions.  The spectrum allocated for LTE varies around the world.  LTE uses two versions – FDD and TDD  FDD spectrum requires pair of freq bands, one of the uplink and one for the downlink,  TDD requires a single freq band as uplink and downlink are on the same frequency but time separated.  Different LTE band are allocated for TDD and FDD.  In some cases these bands may overlap  The different LTE frequency allocations or LTE frequency bands are allocated numbers.  Currently the LTE bands between 1 & 22 are for paired spectrum, i.e. FDD,  LTE bands between 33 & 41 are for unpaired spectrum, i.e. TDD.
  • 25.
    FDD LTE BANDS& FREQUENCIES LTE BAND NUMBER UPLINK (MHZ) DOWNLINK (MHZ) WIDTH OF BAND (MHZ) DUPLEX SPACING (MHZ) BAND GAP (MHZ) 1 1920 - 1980 2110 - 2170 60 190 130 2 1850 - 1910 1930 - 1990 60 80 20 3 1710 - 1785 1805 -1880 75 95 20 4 1710 - 1755 2110 - 2155 45 400 355 5 824 - 849 869 - 894 25 45 20 6 830 - 840 875 - 885 10 35 25 7 2500 - 2570 2620 - 2690 70 120 50 8 880 - 915 925 - 960 35 45 10 9 1749.9 - 1784.9 1844.9 - 1879.9 35 95 60 10 1710 - 1770 2110 - 2170 60 400 340 11 1427.9 - 1452.9 1475.9 - 1500.9 20 48 28 12 698 - 716 728 - 746 18 30 12 13 777 - 787 746 - 756 10 -31 41 14 788 - 798 758 - 768 10 -30 40 15 1900 - 1920 2600 - 2620 20 700 680 16 2010 - 2025 2585 - 2600 15 575 560 17 704 - 716 734 - 746 12 30 18 18 815 - 830 860 - 875 15 45 30 19 830 - 845 875 - 890 15 45 30 20 832 - 862 791 - 821 30 -41 71 21 1447.9 - 1462.9 1495.5 - 1510.9 15 48 33 22 3410 - 3500 3510 - 3600 90 100 10 23 2000 - 2020 2180 - 2200 20 180 160 24 1625.5 - 1660.5 1525 - 1559 34 -101.5 135.5 25 1850 - 1915 1930 - 1995 65 80 15 26 814 - 849 859 - 894 30 / 40 10 27 807 - 824 852 - 869 17 45 28 28 703 - 748 758 - 803 45 55 10 29 n/a 717 - 728 11 30 2305 - 2315 2350 - 2360 10 45 35 31 452.5 - 457.5 462.5 - 467.5 5 10 5 TDD LTE BANDS & FREQUENCIES LTE BAND NUMBER ALLOCATION (MHZ) WIDTH OF BAND (MHZ) 33 1900 - 1920 20 34 2010 - 2025 15 35 1850 - 1910 60 36 1930 - 1990 60 37 1910 - 1930 20 38 2570 - 2620 50 39 1880 - 1920 40 40 2300 - 2400 100 41 2496 - 2690 194 42 3400 - 3600 200 43 3600 - 3800 200 44 703 - 803 100
  • 26.
    LTE Down LinkTransmission Mechanism
  • 27.
     LTE-Uu DownlinkTransmission Schemes • LTE introduces new OFDMA based air interface - Evolved UMTS Terrestrial Radio Access (EUTRA), also known as LTE-Uu interface. Limitation of WCDMA: - To support high data rate / capacity- higher chip rate is required = more BW needed - more multi-paths can be resolved due to shorter chip times, but the receiver becomes expensive - Variable BW support is not very flexible in WCDMA How OFDMA helps to achieve higher data rate? So, it was felt necessary to employ a new access scheme in the LTE downlink => OFDMA Capacity Comparison
  • 28.
  • 29.
     OFDMA Concept Howto Increase data rate ? 1. Bit Rate will increase => if No. of bits per symbols increased => e.g. use of Higher Order Modulation schemes 2. Bit Rate will increase => if No. of symbols per sec is increased => e.g. smaller duration of the symbol => But, if symbol duration reduces then it will lead to several other problems ………….. Bit Rate = Number of Symbols per sec * Number of bits per Symbols (=1 sec)
  • 30.
     Problem associatedwith High data rate signal transmission in a multi-path environment Coherent BW (Bc) : Coherence bandwidth is the bandwidth over which the channel transfer function remains virtually constant. Multipath Delay Spread effect:- - Flat Fading- Symbol period > Delay spread BW of signal < Coherence BW, - Frequency Selective Fading- BW of signal > Coherence BW, symbol period < Delay spread 1. Freq Selective and Freq Flat Fading
  • 31.
    2. Inter SymbolInterference (ISI) So, for high data rate signal transmission => with smaller symbol duration in a multi-path environment leads problems: 1.The channel fading goes from Flat fading to Frequency selective fading. 2. The channel delay spread can cause ISI => Results in heavy degradation of bit error rate Most popular solution to compensate these above problems are - (a) Use of Equalizers - Adaptive compensation of time-variant channel distortion. But, as we move to higher data rates, the equalizer complexity grows to a level, where the channel changes before you can compensate for it. => Practical difficulties in operating this equalization in real-time at several Mb/s with compact, low-cost hardware (b) Adaptive Array Antenna – complex, space consuming and expensive solution (c) An alternate promising solution is => Multi-carrier transmission
  • 32.
    BW  Muli-Carrier System:Divide the BW into several sub-carriers (fn = BW /N) Advantages: - Divide the data stream into N number of parallel streams - Provide one sub-carriers for each of these parallel stream modulations/demodulation & transmission Here, symbol duration (Ts) on each stream is increased-  so, less susceptible to ISI (Symbol period > Delay spread)  Small BW sub-carriers can be allocated if not faded  convert from frequency selective to frequency flat fading So Multi-Carrier Transmission is the right path for achieving higher data rate
  • 33.
     Problem withMulti-Carrier FDM System: 1. Large BW requirement- we have large numbers of sub-carriers to be placed adjacent to each other 2. Bank of Transmitter/Receivers : Transmitter side the arrays of sinusoidal frequency generators are required and at Receiver side arrays of coherent demodulators are required to support this multi-carrier system. - This makes the Multi-Carrier system very complex and expensive (till recently when FFT/IFFT techniques are not known). So, how to overcome these problem? (1) The solution to the first problem is – use orthogonal frequency carriers- known as OFDM (2) The solution to the second problem is- use of FFT & IFFT technique to generate/receive many sub-carriers
  • 34.
  • 35.
     Quick Re-capfrom 1st session ……..  To achieve higher data rate – we could use- => Higher Order modulation (where per symbol add more bits) => Reduce symbol duration (so that in 1 sec more number of symbols could be transmitted)  Reduction is symbol duration creates problems like, => ISI => Frequency Selective Channel These problems could be solved by: => Dividing the High Rate (lower symbol duration) input data stream into N number of parallel low rate data stream (higher symbol duration)
  • 36.
     So, convertserial high rate input stream => several low rate parallel streams => then modulate each stream by independent narrow band sub-carriers So, way forward or solution is use of Multi-Carrier Transmission But, dis-advantage of Multi-carrier FDM transmission is – wastage of BW e.g. freq resources
  • 37.
    How the BWwastage in Multi-carrier communication could be effectively utilized ? => Using Orthogonal Sub-Carriers approach - OFDM That means -> Bring Orthogonality concept – use Orthogonal Sub-carriers – for spacing sub-carriers closely – to get better Spectrum efficiency
  • 38.
     Concept ofOrthogonality Then g(t) = sin(m.Ꙍt) * sin(n. Ꙍt) = ½ ( cos (m - n). Ꙍt + cos (m + n)Ꙍt ). • These two resultant components are also sinusoids • So, the integral or area under one period will be also zero. (Except when, m = n. Then not zero) • Carriers are all sine/cosine wave. • Area under one period of sine or cosine wave is zero. • If one complete period is taken then +ve and –ve half energy cancel each other. • If g1(t) = sin(m.Ꙍt) and g2(t) = sin(n.Ꙍt) are two such waves - • We can conclude that when we multiply a sinusoid of frequency n by a sinusoid of frequency m (where m and n are integers and m ≠ n), the area under the product is zero e.g. they are orthogonal. • In general for all integer values of m and n => sinnx, sinmx, cosnx, conmx are all orthogonal to each other. • These frequencies are called harmonics (f,2f, 3f,….nf). Condition of orthogonality=>
  • 39.
    OFDM carriers transmissionwave Its power spectrum Maximum Zero T1 = n T or f1 = n f Maximum Minimum • If the Sub-carrier spacing (∆f) is multiple of 1/T (e.g. f), Then there will be zero ICI (no Interference from other Carriers)  Concept of Orthogonal Sub-Carriers • To maintain orthogonality between carriers, it is necessary to ensure that the symbol time contains one or multiple cycles of each sinusoidal carrier waveform
  • 40.
    • Orthogonality amongstthe sub-carriers allows overlapping the sub-carriers and transmitting these simultaneously => leads to lesser BW requirement carrier assignment using FDM technique In OFDM BW requirement is reduced than FDM  Now, we know the way forward is Multi-carrier & OFDM approach
  • 41.
    Analog OFDM Tx Rx • OFDM Sub-carrierGenerations/Receptions: Using many frequency synthesizers in transmitter side and arrays of coherent demodulators at the receiver side makes the OFDM Tx-Rx solution difficult and expensive in earlier days. • So OFDM was know from 1967 but not popular till 1990 (before DSP become popular and powerful)  Next Problem - • This problem is solved by using digital approach • On the transmitter side Inverse Digital Fourier Transform (IDFT) is used to create many subcarriers • On the receiver side the inverse process (DFT) is performed for reception
  • 42.
     In PHY– the input data block is - CRC appended, Channel coded, Interleaved, and symbol mapped according to the modulation used, then these complex symbols are represented as Xk.  N data to be transmitted are Xk, k = 0, 1, . . . ,N -1,  Xk complex values symbols are transmitted using Nc sub- carriers in parallel  The source symbol duration Td of the serial data symbols results after serial-to-parallel conversion in the OFDM symbol duration. • Input data block comes from higher layer (MAC/RLC) on every TTI to PHY for transmission  The principle of OFDM is to modulate the Nc sub-streams on sub-carriers with a spacing of Fs in order to achieve orthogonality between the signals on the Nc sub-carriers  Mathematical Concept
  • 43.
     The complex-valuedmulti-carrier transmitter output is given by • A digital transmitter will generate its output in a sampled-data fashion  By letting t = nTs, where Ts is the sample interval, the digital multi-carrier transmitter output is now  Furthermore, if the carrier frequencies are uniformly spaced in the frequency domain by a frequency spacing of fS, i.e. fk = k.fS; k = 0, 1, . . . , N -1,  Let fS = 1 / NTs or fS * Ts = 1/N – the minimum separation to keep orthogonality among signals on different modulators–then the OFDM signal is given by
  • 44.
     There isone more modulation (RF Up-conversion- Analog Mod.) to translate all these subcarriers to a higher frequency band  Except for a multiplying constant (1/N), the above formula is the equation of an N-point inverse discrete Fourier transform (IDFT).  If N is a power of two, then there exist many fast and efficient algorithms and architectures for implementing such an IDFT operation. => IFFT, FFT,..
  • 45.
    Fourier Transform: (Re-cap…) -UsingFourier’s theory – any signal can be decomposed into combination of pure tones, called sine or cosine waves, at different frequencies. -Any real world signal can be represented by combination of sine waves, also there may be some dc values (constant term) present in that. Fourier transform - used for converting the continuous aperiodic signal from time to frequency domain Fourier Series - used for transforming periodic signal. Transformation from the time domain to the frequency domain is based on the Fourier transform (FT).  dtetsS tfj .)()( ..2      Conversion from frequency domain to time domain is called inverse Fourier Transform (IFT)  dfefSts tfj .)()( ..2     - Instead of Analog signal if we take digital signal => then we could use DFT (instead of FT) and D-IFT instead of IFT). - To reduce the complexity, we use FFT instead of DFT and IFFT instead of I-DFT. => So generation and reception of sine wave is now easy using FFT and IFFT.
  • 46.
     A receivermay receive several delayed replicas of the transmitted signal, which is known as the multipath effect which causes ISI  To eliminate ISI, a Guard Interval of Ng samples is usually inserted at the beginning of each OFDM symbol. The CP is generated by duplicating the last G samples of the IFFT output and appending them at the beginning of xk. This yields the time domain OFDM symbol
  • 47.
     The lengthof the guard interval is made longer than the delay spread of the wireless channel. CP length G must be chosen to be longer than the longest channel impulse response to be supported  The CP converts the linear (i.e. aperiodic) convolution of the channel into a circular (i.e. periodic) one which is suitable for DFT processing. Cyclic-prefix insertion thus increases the length of the OFDM symbol from Tu to Tu + TCP, where TCP is the length of the cyclic prefix, with a corresponding reduction in the OFDM symbol rate as a consequence. The last NCP samples of the IFFT output block of length N are copied and inserted at the beginning of the block, increasing the block length from N to N + NCP
  • 48.
    • At thereceiver side => correlation is carried out only over a time interval Tu = 1/Δf • The corresponding samples for CP interval - are discarded before OFDM demodulation (for FFT processing)  The output of the channel, after RF down-conversion, is the received signal waveform y(t):
  • 49.
    • y(t) ispassed through an analogue-to-digital converter and sampled at a rate - the received signal y(t) sampled at rate 1/Td, . The output sequence will be :  Since ISI is only present in the first Lg samples of the received sequence, these Lg samples are removed before multi-carrier demodulation.  The ISI-free part v = 0, . . . , Nc - 1, of yv is multi-carrier demodulated by inverse OFDM exploiting a DFT  The output of the DFT is the multi-carrier demodulated sequence Rn, n = 0, . . . , Nc - 1, consisting of Nc complex-valued symbols  A received symbol Rn is obtained from the frequency domain representation according to
  • 50.
    * Channel estimationusing ref symbols (discussed later)
  • 52.
    • From aparallel stream of N sources of data, each one independently modulated, a waveform composed of N orthogonal subcarriers is obtained, with each subcarrier having the shape of a frequency sinc function • A uniform rectangular pulse (RECT function) in the time domain results in a SINC function (sin(x) / x) in the frequency domain
  • 53.
    OFDM-Related Issues • GuardInterval- guard interval actually wastes transmission resources, • Null Subcarriers - OFDM systems usually do not transmit any data on the subcarriers near the two edges of the assigned band. In addition to guard bands, some subcarriers around DC frequency may also be made null • High Peak-to-Average Power Ratio- PAPR - ratio of the peak power to the average power Multi-carrier & Multi-coded transmission case – carriers adds constructively or destructively Composite wave
  • 54.
    Designed to amplifysmall voltage input signals into much larger output signals Solution- Envelope Tracking (EPT) Power Amplifier Biasing difficulties for high PAPR
  • 55.
  • 56.
    • In anOFDM system, the available spectrum is divided into multiple orthogonal carriers, called subcarriers • Symbol duration (Ts) = 66.67 usec. • Each sub-carrier is a SINC pattern in the frequency domain with uniformly spaced zero- crossings at ∆f = 1/Ts = 15 kHz intervals—precisely at the center of the adjacent subcarrier. • It is therefore possible to sample at the center frequency of each subcarrier while encountering no interference from neighboring subcarriers (zero-ICI) e.g. Sampling frequency will be N* ∆f. (N is the number of carriers) • The information data stream is parallelized and spread across these sub-carriers for transmission • The process of modulating data symbols and combining them is equivalent to an Inverse Fourier Transform operation (IFFT)
  • 57.
    CP (Cyclic Prefix) •To reduce intersymbol interference, in the time domain a guard interval Tg is added at the beginning of the OFDM symbol. The guard time interval, or cyclic prefix (CP) is a duplication of a fraction of the symbol end. The total symbol length becomes Ts = Tu+ Tg. • The duration of the CP is determined by the highest anticipated degree of delay spread for the targeted application and cell size
  • 58.
    Tu is termed'useful symbol length‘ => determines the FFT period LTE FFT period = FFT time window size is fixed to 1/(∆f) = 1/15 KHz = 66.67 usec - WCDMA sampling frequency= 3.84 MHz. 3.84 MHz * 8 = 30.72 MHz => which is LTE sampling frequency for 20 MHz BW. In the case of a 20 MHz system bandwidth, an FFT order of 2048 may be assumed for efficient implementation For 20 MHz transmission bandwidth and Sampling Frequency computation : • No of occupied sub-carriers = 20 MHz /15 KHz = 1333 , used number of subcarriers = 1201 • FFT size = 2048 (nearest 2^N number for applying FFT operation) • Sampling time = Ts = 66.67 usec / FFT Size • Sampling rate = FFT size / 66.67 usec = 2048 / 66.67 usec = 30.72 MHz.
  • 59.
    LTE BW andSampling Frequencies System design parameters Frame duration 10 ms Sub-frame duration 1 ms Slot duration 0.5 ms Sub carrier spacing 15 KHz Transmission BW (MHz) 1.4 3 5 10 15 20 Sampling Frequency (MHz) 1.92 3.84 7.68 15.36 23.04 30.72 FFT size 128 256 512 1024 1536 2048 Number of occupied subcarriers (extra one for dc subcarrier) 72+1 180+1 300+1 600+1 900+1 1200+1
  • 60.
    Frame structure (FDD) •Radio frame has a length of 10 ms (T frame = 307200 ・ Ts). • Each frame is divided into ten equally sized subframes of 1 ms in length (Tsubframe = 30720 ・ Ts). • Scheduling is done on a subframe basis for both the downlink and uplink. • Each subframe consists of two equally sized slots of 0.5 ms in length (Tslot = 15360 ・ Ts). • Each slot in turn consists of a number of OFDM symbols which can be either seven (normal cyclic prefix) or six (extended cyclic prefix).
  • 61.
    In the frequencydomain, the number of sub-carriers N ranges from 128 to 2048, depending on channel bandwidth Users are allocated a specific number of subcarriers for predefined amount of time => these are referred to as physical resource block (RB) The RBs have both a time and a frequency dimensions The smallest time-frequency unit for transmission is denoted a resource element (RE) – (one subcarrier) x (one symbol) The allocation of RBs is handled by a scheduling function at the 3GPP base station A RB consists of 12 consecutive sub-carriers, or 15x12 = 180 kHz (in frequency dimension), for a duration of one slot (0.5 ms) in time dimension Physical resources are assigned on a basis on two resource blocks for one TTI (1 ms) = 1 subframe = 1 resource block pair
  • 62.
  • 64.
    LTE Resource Block Physicalchannel is formed by using resource => (one frequency & one symbol)
  • 65.
  • 66.
    • A PhysicalCell Id (PCI) is the identifier of a cell in the physical layer of the LTE network, which is used for separation of different eNB transmitters.  LTE Cell planning and Cell-IDs • There are total 504 number of cell IDs defined • Tracking area (TA) - generally covers multiple eNBs. Tracking area identity (TAI) information indicating which TA an eNB belongs to. A UE can detect change of tracking area when it receives a different TAI than in its current cell. The UE updates the MME with its new TA information as it moves across TAs. Same Frequency Band used in these nearby cells from same operators for deployment
  • 67.
    RLC Phy processing Info: Control / User Data Logical level MAC Multiplex channels based on similar QoS Reqt: Transport level Multiplex channels based on Phy resource need: Physical level Physical Channel Consists of RE (Subcarrier x Symbol) Or several REs combined  Information Carrying Channels In LTE FDD: • DL and UL are separated by different freq bands • Different Phy channels are created as a combination of several Sub-Carriers & Symbols Three types of channels are defined: logical, transport and physical channels
  • 68.
    Channel Structure [3GPPTS 36.211 ] Downlink logical, transport and physical channels Paging, Broadcast Control, Common Control, Dedicated Control, Multicast Control, Dedicated Traffic Multicast Traffic Paging, Broadcast, Multicast, Downlink Shared Physical Downlink control Physical Broadcast Physical Downlink Shared Physical multicast channel Phy Control Format Indicator Physical hybrid ARQ indicator Characterized by the info that is transferred- mainly Control (Control-plane info) & Traffic (user plane info) Characterized by how data is transferred (QoS) over radio interface Characterized by physical transmission of data Main data bearing ch. Many log ch are mapped to this. Supports adaptive modulation and coding, hybrid ARQ, power control, semi-static and dynamic resource allocation, DRX, MBMS transmission. This is suitable for transmission over the entire cell coverage area or specific area with the use with beam forming PDCCH: Informs the UE about the resource allocation of PCH and DL-SCH and to indicate about the modulation, coding and hybrid-ARQ information related for DL-SCH. Maximum of three or four OFDM symbols can be used for PDCCH. Information carried on PDCCH is referred to as downlink control information (DCI). QPSK modulation used. PBCH: Used for transmission of MIB. It broadcasts essential parameters for initial access of the cell (e.g. downlink system bandwidth, Physical Hybrid ARQ Indicator Channel structure, and the most significant eight-bits of the SFN) PCFICH: Carries the Control Frame Indicator (CFI) which includes the number of OFDM symbols used for control channel transmission dynamically in each sub- frame (typically 1, 2, or 3). QPSK modulation PDSCH: It is the main data bearing channel which is allocated to users on a dynamic and opportunistic basis. PCH & DL-SCH are mapped to this. Transmits broadcast information not transmitted on the PBCH which include System Information Blocks (SIB) and paging messages. PHICH: It is used to carry hybrid ARQ ACK/NACK for uplink transmissions (PUSCH). BPSK modulation is used PMCH: It is defined to carry Multimedia Broadcast and Multicast Services (MBMS) RLC Used for sending paging info Used for broadcasting sys. info Used for sending contl info when UE not having RRC connection Point to point bidir. Contl ch when UE have RRC connection Used for point to multi point MBMS contl ch. Point to Multi point transmission of user MBMS data point to point ch for user specific dedicated info transmissionMapped to BCH when carrying MIB When carrying SIB
  • 69.
    (A) Logical Channels(characterized by the information that is transferred): (1) Control Channels: (i) Paging Channel (PCCH): this is used for paging information transfer. (ii) Broadcast Control Channel (BCCH): this is used for broadcasting system control information. (iii) Common Control Channel (CCCH): this is used for carrying information between network and UE. It is used for UEs that have no RRC connection. (iv) Dedicated Control Channel (DCCH): this is point-to-point bi-directional channel for exchanging control information and used by the UEs which have RRC connection. (v) Multicast Control Channel (MCCH): this is point-to-multipoint channel for transmitting MBMS control information. This is used only by those UEs who are receiving MBMS. (B) Traffic Channels: (i) Dedicated Traffic channel (DTCH): this is a point-to-point channel dedicated to a single UE for the transmission of user information. (ii) Multicast Traffic Channel (MTCH): this is a point-to-multipoint channel used for the transmission of user MBMS data.
  • 70.
    (B) Transport Channels(characterized by how the data are transferred over the radio interface): (i) Paging Channel (PCH): PCCH logical channel is mapped to PCH. For UE power saving, it supports discontinuous reception (DRX). The network indicates a DRX cycle to UE. (ii) Broadcast Channel (BCH): This uses a fixed pre-defined format as this is the first channel UE receives after acquiring synchronization to a cell. BCCH logical channel is mapped to either a transport channel referred to as a broadcast channel (BCH) or to the downlink shared channel (DLSCH). This is broadcasted over the entire cell. (iii) Multicast Channel (MCH): This is required to broadcast over the entire cell. It supports for SFN combining and semi-static resource allocation. The MCCH and MTCH are either mapped to a transport channel called a multicast channel (MCH) or to the downlink shared channel (DL- SCH). (iv) Downlink Shared Channel (DL-SCH): This supports for adaptive modulation and coding, hybrid ARQ (HARQ), power control, semi-static and dynamic resource allocation, DRX, MBMS transmission. Transmission over the entire cell coverage area and for use with beam forming. BCCH, CCCH, DCCH, DTCH, MCCCH, MTCH are mapped to DL-SCH.
  • 71.
    Downlink physical channels: •PhysicalDownlink Shared Channel (PDSCH) • It is the main data bearing channel which is allocated to users on a dynamic and opportunistic basis. The PCH and DL-SCH are mapped to this physical channel. •Physical Downlink Control Channel (PDCCH) • It’s used to inform the UE about the resource allocation of PCH and DL-SCH and to indicate about the modulation, coding and hybrid-ARQ information related for DL-SCH. Generally, a maximum of three or four OFDM symbols can be used for PDCCH. Carries the uplink scheduling grant. •Physical HARQ Indicator Channel (PHICH) • Carries ACK/NACKs in response to uplink transmissions. •Physical Control Format Indicator Channel (PCFICH) • Transmitted in every subframe. It carries the Control Frame Indicator (CFI) which includes the number of OFDM symbols used for control channel transmission dynamically in each sub-frame (typically 1, 2, or 3). •Physical Broadcast Channel (PBCH) • The coded BCH transport block is mapped to four subframes within a 40 ms interval. • PBCH is used for transmission of MIB (part of the BCH). It broadcasts the essential parameters for initial access of the cell, for example downlink system bandwidth, the Physical Hybrid ARQ Indicator Channel structure, and the most significant eight-bits of the SFN.
  • 72.
     Downlink Signals •In addition to these physical channels, some physical signals are also defined • These downlink physical signals correspond to a set of REs used by the PHY layer only and do not carry any higher layer’s information • These are mathematically designed signal used by the PHY layer for synchronization and some other purposes. • The downlink signals are broadly classified into two: • Synchronization signals 1. Primary synchronization signal (PSS) 2. Secondary synchronization signal (SSS) • Reference Signals 1. Cell specific reference signals (CRS) 2. UE specific reference signals (UeSRS) 3. MBSFN-specific RSs, which are only used for Multimedia Broadcast Single Frequency Network (MBSFN) operation
  • 73.
     Primary Synchronizationsignal (PSS) • PSS is constructed from a frequency-domain Zadoff–Chu (ZC) sequence of phase shifts and with length 63 • ZC sequences belong to a class of complex exponential sequences and are non-binary unit-amplitude sequences, which satisfy a Constant Amplitude Zero Autocorrelation (CAZAC) property • In LTE the following PSS sequence {d(n), n ranges from 0 to 61} is used [TS 36.211 sub clause 6.11.1]:             61,...,32,31 30,...,1,0 )( 63 )2)(1( 63 )1( ne ne nd nnu j nun j u   Where the Zadoff-Chu root sequence index (u) has three possible values of 25, 29 and 34 based on cell physical layer identities So, there are 3 PSS sequences derived and these represents 3 separate physical layer identities used during cell search
  • 74.
    Each of thePSS sequences is having length 62 (excluding 0) and these 62 symbols are mapped to 62 central subcarriers of the central six RBs (e.g. 6*12 = 72 subcarriers = 1.08 MHz) in frequency domain That means PSS (as well as SSS) always occupies only 62 central subcarriers around dc subcarrier (which is unused) and this does not change with respect to the used overall system bandwidth (which can vary from 6 to 110 RBs (1.4 to 20 MHz). So, during the initial sync up procedure, this helps the UE to synchronize to the network without any a priori knowledge of the allocated bandwidth. • Looking of PSS in Frequency Domain
  • 75.
    • LTE FDDcell : In time scale, the PSS is always located in the last OFDM symbol of slot#0 (sub frame 0) and slot#10 (sub frame 5) of each radio frame • P-SCH is transmitted twice in each radio frame, especially to simplify handover. • Within one cell, two PSSs within a frame are identical but PSS of a cell can take three different values depending on the physical-layer cell identity of that cell • Looking of PSS in Time Domain 5 subcarriers (REs) at each side (each extremity) of the last OFDM symbol of the 1st (slot#0) and 11th slots (slot#10) of each radio frame are unused and only central 62 subcarriers are used occupying a BW of 62*15 = 930 KHz. This helps UE to detect the PSS (and SSS) using a size- 64 FFT and a lower sampling rate correspondingly. #5
  • 76.
    In TDD mode: PSS is placed in the third OFDM symbol positions of Downlink Pilot Time Slot (DwPTS). The PSS sequences increase the distance between the SSS and the PSS, from being sent in adjacent symbols to being three symbols apart. In case of TDD, the SSS is transmitted in the last symbol of subframes 0 and 5 – that means, three symbols ahead of the PSS. Sub frame-1 – 3rd symbol Sub frame-6 – 3rd symbol last symbol of time slot 1 (subframe 0) last symbol of time slot 11 (subframe 5) DwPTS – Downlink Pilot Time Slot UpPTs- Uplink Pilot TS
  • 77.
     Secondary SynchronizationSignal (SSS) • In FDD mode: SSS is placed adjacent to PSS e.g. SSS is the 2nd last OFDM symbol positions in slot#0 and slot#10 In time domain, in an FDD cell, the SSS is always located in the 2nd last OFDM symbol of the 1st and 11th slots of each radio frame e.g. the SSS is located in the symbol immediately preceding the PSS.
  • 78.
    • The SSSsequences are based on maximum length sequences (M-sequence), which can be created by cycling through every possible state of a shift register of length n  Generation of SSS
  • 80.
  • 81.
    • Like PPS,SSS is also transmitted twice per radio frame, but here the transmitted sequences in subframe-0 (2nd last symbol of slot 0 in FDD)) and transmitted sequences in sub frame 5 (2nd last symbol of slot 11) are different.
  • 82.
    Cell search andAcquisition => Using these two types of channels PSS and SSS => UE try to do the Cell Search Operation to find the suitable cell to camp on…..
  • 83.
  • 84.
     Cell searchand Acquisition 1. Once the UE is powered on, it needs to do time and frequency synchronization with a cell • eNB broadcasts two types of downlink physical signals: (a) PSS (b) SSS – which are used in cell search • Two different types of cell search and cell synchronization : (a) Initial cell selection and synchronization: Occurs after the initial power on and when UE was not connected to LTE cell but now wants to access LTE network (b) New cell identification: Occurs when the UE is already connected to LTE cell and is searching for other new cells for cell re-selection (idle mode) or handover (connected mode) Similar to WCDMA, LTE uses a hierarchical cell search scheme – first identify Nid (2) [Physical layer ID] and then Nid (1) [physical layer cell group ID] So, cell ID => Physical layer Cell ID => PCID = Nid (2) + 3*Nid (1)
  • 85.
    3. Next, afterranking these frequencies based on RSSI, UE attempts the cell search procedure using the downlink synchronization channels (PSS and SSS). 2. UE tunes to different Frequency carriers in the selected / commanded PLMN and attempts to measure the wideband received power for each carrier (EARFCN frequency channel number as commanded by higher layer) over a set of supported frequency bands one after another … Next: Cell Search starts on that identified cell frequency:- The cell search procedure in LTE system is performed in three steps. ……
  • 86.
    Step-1: Symbol timing,frequency offset and physical layer ID detection using PSS • PSS occupies a bandwidth of 62 x 15 kHz around the dc, so the low-pass filter can be used for extracting PSS signal from a larger spectrum. • Then received PSS symbols are correlated with the reference locally generated PSS signal • Generally Matched Filter could be used. So, received samples are fed to matched-filters which have three correlators per antenna. • Detection of PSS sequence: (1) Coherent approach => requires channel estimation (2) Non-coherent approach=> estimation not needed. Most commonly, a non-coherent approach is used for the PSS • PSS has good autocorrelation properties in time domain as well • In frequency domain fairly large number of FFT operations needs to be performed on multiple timing hypotheses which require complex implementation with increased power requirements. • Whereas, time-domain correlation has good autocorrelation properties and simple correlation can be performed with time-domain PSS sequence which provides reduced complexity and resources.
  • 87.
    • Once theterminal has detected and identified PSS (data sequence) of the received cell:  Slot boundary is detected  5 ms timing boundary of the RB transmission in the cell,  symbol timing,  frequency offset  position of the SSS (which has fixed offset from PSS) are found or inferred.  Once the timing error and frequency error are detected, these are compensated.  This enables UE to be synchronized on subframe level.  As, PSS is also repeated in subframe 5, which means UE is synchronized on 5ms basis since each subframe is 1ms.
  • 88.
     Typical ImplementationApproach for PSS / SSS reception
  • 89.
    Step-2: radio frametiming and cell group ID detection using SSS • Generally, SSS detection is performed in the frequency domain therefore FFT is applied to the Rx sequence. • For SSS detection the received signal is correlated with all possible sequences and after applying ML detector the timing is obtained. • As the channel can be known based on the PSS sequence, so, both a coherent or non-coherent approach can be used for SSS. CP detection: • LTE system supports normal and extended CP. • The precise timing of the SSS changes depending on the CP type. • Before SSS detection, the CP type is unknown to UE, so it is blindly detected by checking for the SSS at the two possible positions.
  • 90.
    Duplexing mode detection: •Once the position of SSS and PSS are known in the frame structure, the terminal easily identifies the duplexing scheme (FDD or TDD) used on a carrier.
  • 91.
    Step 3: Receptionof Reference signals • From step 1 and 2 above, UE gets physical layer identity and cell identity group number, then UE determines the PCI for the cell (NID cell). • Once UE knows the PCI of a cell, it also knows the location and values of cell Reference signals in that cell’s time- frequency grid structure, which can be used now for channel estimation, cell selection / reselection and measurement for handover procedures. • Next based on the channel quality, UE camps on a particular cell and proceed to the next step for CRS detection and then system information reading.
  • 92.
     Reference Signals(RS) • Reference signal provided to the UE whose reception quality is estimated by the UE and compared against the reference signals for error estimation and hence channel estimation LTE downlink reference signals are again classified into three: 1. Cell specific reference signals (CRS) 2. UE specific reference signals (UESRS) 3. MBSFN-specific RSs 1. Transmission of Cell-specific reference signal (CRS) • CRS used for various downlink measurements as well as for demodulation of non-MBSFN transmissions. • These can be used by the terminal for channel estimation for coherent demodulation of any downlink physical channel. • The measurements performed using cell-specific reference signals include => - Channel quality estimation, - MIMO rank calculation, MIMO precoding vector/matrix selection - Measurements for handoff. (like, Reference Signal Received Power (RSRP), Reference Signal Received Quality (RSRQ), Carrier Received Signal Strength Indicator (RSSI)
  • 93.
    • CRSs arearranged in a specific manner in the time frequency two-dimensional lattice based on the system requirement. • It consists of reference symbols of predefined values inserted within the first and third last OFDM symbol of each slot in time dimension and with a frequency-domain spacing of six subcarriers. • Furthermore, there is a frequency-domain staggering of three subcarriers for the reference symbols within the third last OFDM symbol. • Within each resource-block pair (during one 1 ms subframe), consisting of 12 subcarriers, there are thus eight reference symbols. Considering fc = 2 GHz and v = 500 km/h, then the Doppler shift is fd = 950 Hz Tc = 1/(2fd) ~ 0.5 ms => Two reference symbols per slot (RB) are needed in the time domain in order to estimate the channel correctly The maximum r.m.s channel delay spread considered is 991 ns (considering Bc,90% = 1/50στ ) => the spacing between two reference symbols in frequency in one RB, is 45 kHz ( 15 KHz x 3 e.g. 3 sub carriers),
  • 94.
    Ref slide: Thereare mainly four types of small scale fading based on the following causes- Doppler Spread causes :- (occurs due to mobile Speed – param. related with Coherent Time) (a) Fast Fading- High speed Mobile environment=> High Doppler Spread; Coherence time < symbol period. (b) Slow Fading- Low speed => Low Doppler spread, Coherence time > symbol period Multipath – causes:- (Occurs due to delay spread – param. Related with Coherent BW) (c) Flat Fading- BW of signal < Coherence BW, Delay spread < symbol period (d) Frequency Selective Fading- BW of signal > Coherence BW, Delay spread > symbol period
  • 95.
    • CRS Location:Once UE detects the PCI of the cell, as well as the cell frame timing - => it knows the location of the first CRS position in the frequency domain • CRS Value: • There are 504 different reference-signal sequences defined for LTE, where each sequence corresponds to one of 504 different physical-layer cell identities. • The CRS is cell specific and remain same for the entire cell once configured. • CRS symbols are mapped to every sixth subcarrier • Start index of the subcarrier is determined by the physical layer cell ID: vshift = NcellID mod 6 • In time domain (symbol 0, 4, 7, 11 in a sub frame in FDD) • UE knows the reference-signal sequence (the pseudo-random sequence used to generate the cell-specific reference signals) of the cell (according to the physical-layer cell identity) • It also knows the start of the reference-signal sequence (given by the frame timing).  So, the CRS locations in time-frequency grid and their respective values are known to the terminal (UE).  So it can extract that symbol and compare with known one and find error e.g. do channel estimation ….
  • 96.
    For cell-specific referencesignals, up to a maximum of four antenna ports are supported
  • 97.
    CRS is transmittedwith some specific power, which is intimated to UE using SIB messages and UE can use that for calculating the multipath effect RRC_IDLE mode – the reference signal will be used for channel estimation and subsequent decoding of the BCH transport channel to obtain the most basic set of system information RRC_CONNECTED mode – the terminal will measure the received power of the reference signal. If the measurement fulfills a configurable condition, it will trigger sending of a reference signal received power (RSRP) measurement report to the network.  Next, after knowing the CRS positions => UE proceed to the next step for PBCH reception for getting MIB……
  • 98.
    2. UE Specificreference Signal (UESRS) • UE-specific reference signals are transmitted in addition to the CRSs primarily for enabling beamforming of the data transmissions to specific UEs • If the downlink data transmissions is configured (by higher layer) for UESRS receiving, then UESRS will be transmitted in the RBs to which PDSCH is mapped for the UEs. 3. MBSFN-specific reference signal • These are transmitted only when Multimedia Broadcast Single Frequency Network (MBSFN) operation is used. • These signals are present only in sub-frames allocated for MBSFN.
  • 99.
    System Information (SI)Transmission and Reception Once the cell search and initial synchronization is performed by UE using PSS and SSS signals, => next step will be to read the System Information in-order to camp on to the network ……
  • 100.
     System Information(SI) • System Information is repeatedly broadcasted by LTE eNB over logical channel BCCH • There are two parts in System Information – • Dynamic part : • This is known as system information block (SIB) and is mapped on RRC SI messages (SI- 1,2,3,4,5,6,7,8,9,10,11) which is mapped over DL- SCH channel and transmitted using PDSCH physical channel at defined periodic intervals. • Static Part : • This is known as master information block (MIB) and is transmitted using transport channel BCH and BCH is mapped to Physical channel P-BCH. • MIB is transmitted once every 40ms that means BCH Transmissions Time Interval (TTI) is 40 ms.
  • 101.
     PBCH Transmission •MIB is transmitted via PBCH and the PBCH is always transmitted with a fixed bandwidth (PBCH is transmitted with central 72 * 15 KHz central bandwidth, regardless of the actual system bandwidth) • PBCH is transmitted in the first four OFDMA symbols of the 2nd slot of each radio frame (10 ms) • PBCH does not use subcarriers reserved for reference signals
  • 102.
     Appearance ofPSS, SSS and PBCH in LTE Downlink frame structure
  • 103.
    MIB contains- (a) DLBandwidth (3 bits) – it indicates the System bandwidth used in the cell (1.4MHz ….20 MHz), (b) PHICH Configuration (3 bits), (c) System Frame Number (8 bits) - actually the SFN is 10 bits wide number but out of that the two least significant bits of the SFN are not included in the MIB which terminal can detect indirectly (d) Spare bits (10 bits). • The size of the MIB is 14 bits and it is transmitted every 40 ms. In LTE, - a single antenna, - two-antenna SFBC (Space Frequency Block Coding) - four-antenna combined SFBC-FSTD (frequency-switched) transmit diversity schemes are supported on the PBCH Note: FSTD- Frequency shift time div and TSTD – time shift transmit div.
  • 104.
    SFBC (Space FrequencyBlock Coding) Two antenna case Four antenna case
  • 105.
    BCH data arrives- a maximum of one transport block every transmission time interval (TTI) of 40 ms • 16 CRC parity bits are computed from 24 bit data bits • eNB can use 1, 2 or 4 antennas for transmission • The 16 CRC bits are scrambled (masked) based on the 1, 2 or 4 antenna used Number of Transmit antenna ports at eNB PBCH CRC mask {Xant0,……Xant15} 1 {0,0,0,0,0,0,0,0,0,0,0,0,0,0,0,0} 2 {1,1,1,1,1,1,1,1,1,1,1,1,1,1,1,1} 4 {0,1,0,1,0,1,0,1, 0,1,0,1,0,1,0,1} PBCH CRC masks for different antennas Next, CRC bits added to data bits. So, total 14+10+16 = 40 bits of data generated after CRC addition. convolutional coding scrambled with a cell-specific sequence and mapped to resource grid and modulated using QPSK modulation and transmitted
  • 106.
    • The TTIof PBCH is 40 ms so, ideally the UE has to decode PBCH in 4 consecutive radio frames to get the information transmitted in the MIB. • But, at high SNR this can be done earlier e.g. after the reception of 2 or 3 radio frames (as PBCH contains lot of redundancy bits). • The information about the number of transmitting antenna used in the system is implied in CRC mask of PBCH. • In presently existing method, UE tries three times to blindly find out the number of antenna ports used in the transmission with hypothesis of the single antenna, two antennas SFBC and four antennas. • When receiving first time the cell BCH, the terminal does not know to what set of four sub frames a certain BCH transport block is mapped. Instead, a terminal must try to decode the BCH at four possible timing positions. • Depending on which decoding is successful, indicated by a correct CRC check, the terminal can implicitly determine 40 ms timing or, equivalently, the two least significant bits of the SFN. This is the reason why these bits do not need to be explicitly included in the MIB. CRC Pass ? This indicates, these are the four consecutive radio frames ( 4 = 2^2 = 2 bits are not required in SFN. 2 LSB discarded). Only 8 bits used in SFN instead of 10 bits.
  • 107.
    • On thereceiver side, UE knows the cell specific scrambling code derived from the cell ID which is obtained from detected PSS and SSS. • So, after reception of PBCH data, it descrambles and decodes the PBCH data. • The PBCH does not occupy subcarriers reserved for cell specific reference signals of the four antenna ports irrespective of number of antennas used for PBCH transmission. • This is for simplicity reasons because during the initial PBCH reception UE is unaware about the number of antennas used for transmission. • So, UE actually performs blind detection of the number of antennas used for PBCH with hypothesis of the single antenna, two antennas SFBC and four antennas.  PBCH Reception
  • 108.
     UE’s nexttask is to start receiving PCFICH channel to decode the control format indicator (CFI) for knowing the number of control symbols in subframe….. Control Channel’s Transmission from eNB and Reception by UE
  • 109.
    • Each subframecan be said to be divided into a control region followed by a data region • Control region corresponds to part of the sub- frame in which the L1/L2 control signaling is transmitted • The size of the control region is expressed in number of OFDM symbols : • Control signaling is placed (started) at the beginning of the sub frame (1,2,3 symbols) => To allow UE to decode DL scheduling assignments as early as possible and possibly power down if not assigned. • Maximum size of the control region is normally three OFDM symbols (1,2,3 symbols) • Four in the case of narrow cell bandwidths (1,2,3,4 symbols) 10DL RB N • Allocation of resources happens in terms of CCE (Control Channel Elements), • where, 1 CCE = 9 continuous REG's (Resource element Group) • and 1 REG = 4 RE (Resource Element).
  • 110.
    1. PCFICH -informing the terminal about the size of the control region. There is one PCFICH on each component carrier 2. PDCCH - used to signal downlink scheduling assignments and uplink scheduling grants 3. PHICH- used to signal hybrid-ARQ acknowledgements in response to uplink UL-SCH transmissions To each resource-element group, a symbol quadruplet consisting of four (QPSK) symbols is mapped
  • 111.
    Re-cap- Before starting eachchannel processing- Basic understanding of MIMO concept – in LTE…………………. (go to MIMO section)
  • 112.
     Physical ControlFormat Indicator Channel (PCFICH) • In every sub-frame, eNB indicates the number of control symbols (used for PDCCH transmission) using the control format indicator (CFI) and transmits it on the PCFICH • It consists of two bits of information, corresponding to the 3 control-region sizes of 1, 2, or 3 OFDM symbols • These 3 bits are coded into a 32-bit code-word • Scrambled with a cell- and sub frame-specific scrambling code to randomize inter-cell interference, • QPSK modulated, • Then mapped to 16 resource elements of first OFDM symbol of a sub-frame • In groups of four resource elements (4 REGs)  Transmission mechanism from eNB-
  • 113.
    • PCFICH isalways carried by 4 REGs (16 REs) at the first symbol of each subframe • these 4 REGs are well separated in frequency to obtain diversity. • To avoid collisions between PCFICH transmissions in neighboring cells - • location of the 4 groups in the frequency domain depends on Physical Cell ID • The exact location of these four REGs for PCFICH is determined by Physical Cell ID and System BW according to formula below- NRB SC = Number of frequency carriers per Resource block, NDL RB = Number of resource blocks per bandwidth, Ncell ID = Physical Cell id
  • 114.
    • Correct decodingof PCFICH is needed to indicate the size of the control region in terms of the number of OFDM symbols  Reception mechanism in UE- • At the start of every sub-frame, the UE detects the REs that are occupied by the PCFICH, reads the CFI and determines the size of the downlink control region • After decoding, the UE uses UE-specific Radio Network Temporary Identifier (RNTI) and checks the CRC errors to determine whether the DCI was actually intended for it or not. • If errors are observed the UE is not scheduled in the current sub-frame and it will wait for the beginning of the next sub-frame.
  • 115.
     Physical Hybrid-ARQIndicator Channel (PHICH) • The PHICH is used for transmission of hybrid-ARQ acknowledgements in response to UL-SCH • There is one PHICH transmitted per received transport block and TTI • HIs for multiple UEs within a PHICH group are code-multiplexed (in order to avoid interference peaks in the neighboring cells). • PHICH is carried by several REGs and Multiple PHICHs can share the same set of REGs and are differentiated by orthogonal sequences • PHICHs which share the same resources are called a PHICH group • A PHICH group consists of eight PHICHs in the case of normal cyclic prefix • A specific PHICH is identified by two parameters: • PHICH group number, and the orthogonal sequence index within the group • The number of PHICH groups that can be supported in a system depends on the specific configuration. • The actual number of PHICH groups can be derived from the downlink bandwidth and the parameter broadcast in MIB
  • 116.
     PHICH Transmission Itis located in the same symbol as PCFICH
  • 117.
     Physical DownlinkControl Channel (PDCCH) • The PDCCH is used to carry downlink control information (DCI) DCI Includes: - Downlink scheduling assignments (PDSCH resource indication, transport format, hybridARQ information, and control information related to spatial multiplexing, command for power control of the PUCCH..) - Uplink scheduling grants (PUSCH resource indication, transport format, and hybridARQ- related information,…) - Power-control commands for a set of terminals • One PDCCH carries one DCI message with one of the DCI formats
  • 118.
    • DCI istherefore categorized into different DCI formats DCI Format Use Format 0 (Uplink DCI Formats). Used for transmission of resources to UE for sending their uplink data. Format 1 (Downlink DCI Format). Used for downlink scheduling for 1 PDSCH code-word(SISO/SIMO modes) Format 1A (Downlink DCI Format). Compact version of format 1 scheduling for 1 PDSCH code-word or Dedicated preamble assignment to initiate random access Format 1B (Downlink DCI Format). Used for transmission control information of Multiple Input Multiple Output (MIMO) rank 1 based compact resource assignment Format 1C (Downlink DCI Format). It is used for very compact transmission of PDSCH assignment Format 1D (Downlink DCI Format). same as format1B with additional information of power offset Format 2 (Downlink DCI Format). Format 2 and Format 2A for transmission of DL-SCH allocation for closed and open loop MIMO operation, respectively Format 3 (Uplink DCI Formats). Format 3 and format 3A for transmission of TPC command for an uplink channel • Allocation of resources happens in terms of CCE (Control Channel Elements), • where, 1 CCE = 9 continuous REG's (Resource element Group) and 1 REG = 4 RE (Resource Element). The number of CCEs, one, two, four, or eight, required for a certain PDCCH depends on the payload size of the control information (DCI payload) and the channel-coding rate.
  • 119.
    • Once UEreceives DL sub-frame, decodes the PCFIH and PHICH and finds out the number of symbols used for control information • UE calculates the number of RE’s used for PDCCH using the equation: RE’s for PDCCH = total RE’s in first N OFDM symbols – reference symbol RE’s – PCFICH RE’s – PHICH RE’s.  Decoding of PDCCH • UE will arrange the CCE’s into a sequential manner. • Next, UE RRC will decide the RNTI’s on which it needs to try decoding the CCE’s. • UE will calculate the starting CCE index by using the equation as used by eNB using • RNTI, sub-frame number, number of CCE’s and the aggregation level.
  • 120.
    • Multiple PDCCHsmay be transmitted in a sub-frame (in case of dedicated control), one for each UE scheduled for uplink or downlink transmission PDCCH payload is used to calculate the a16-bits-long CRC parity bits. CRC parity bits are scrambled with the UE- RNTI (MAC ID) to which this PDSCH is intended to tail-biting convolutional coding and rate matching is performed separately on each PDCCH PDCCH payload is used to calculate the a16-bits-long CRC parity bits
  • 121.
     Control channeldecoder (Implementation) PCFICH decoder (CFI): • PCFICH is located in the 1st OFDM symbol per DL sub-frame. PCFICH decoding is typically executed immediately after soft bits for the 1st OFDM symbol are available. • The control channel decoder assembles all PCFICH REs and performs ML decoding of all 4 possible CFI values PDCCH decoder (DCI): • encoded DCI is mapped on the PDCCH in multiples of CCEs • Control channel decoder reads all soft bits for PDCCH and assembles and performs de-interleaving such that all CCEs are provided in original order and then try for the blind decoding of all possible DCI candidates PHICH decoder (HI) : • The length of the control region is derived from CFI. • assembles all PHICH resource elements and performs maximum likelihood decoding in order to obtain the ACK/NAK bit for the associated UL-DSCH.
  • 122.
     Physical DownlinkShared Channel (PDSCH) • PDSCH carries user specific data (DL Payload), known as Transport Blocks (TB) which correspond to a MAC PDU • Passed from the MAC layer to the PHY layer once per Transmission Time Interval (TTI) which is 1 ms Based on channel feedback and the scheduling algorithm, the eNB will allocate data for each user using Physical Resource Block (PRB) eNB uses PDCCH channel’s DCI to informs UE about where the data is located and the Modulation and Coding Scheme (MCS) is used for that It is better to decode the PCFICH and PDCCH as fast as possible and then stop buffering the PDSCH and power down the receiver if the data is not intended for the UE
  • 123.
     Downlink Physicalchannel Processing (any Physical DL channel) (a) CRC computation: - At first the transport block is passed through a CRC encoder, it will generate 24 or 16 or 8 bit parity bits using cyclic generator polynomials based on different channel types. - Then CRC bits appended to the data bits. (b) Code block segmentation and CRC attachment: - if the input bit sequence is larger than the maximum code block size (6144), then segmentation of the input bit sequence is performed - and an additional CRC sequence of length 24 bits is attached to each code block. (c) Channel coding: Generally, the tail biting convolutional coding or turbo coding is applied to TrCHs TrCH Coding scheme Coding rate Control Information Coding scheme Coding rate UL-SCH Turbo coding 1/3 DCI Tail biting convolutional coding 1/3 DL-SCH CFI Block code 1/16 PCH HI Repetition code 1/3 MCH UCI Block code variable BCH Tail biting convolutional coding 1/3 Tail biting convolutional coding 1/3
  • 124.
    (d) Interleaving andRate matching: The rate matching for turbo coded and convolutional coded transport channels (and control information) is defined per coded block (e) Code block concatenation: Reassemble the resulting code blocks into a single code-word (f) Scrambling: different scrambling sequences used for neighboring cells, the interfering signal(s) after descrambling is (are) randomized, ensuring full utilization of the processing gain provided by the channel code. This is achieved by having the scrambling sequences depend on the physical-layer cell identity. (g) Modulation: scrambled bits to a corresponding block of complex (I-Q) modulation symbols Downlink Uplink Downlink channels Modulation scheme Physical channels Modulation scheme PBCH QPSK PUCCH BPSK, QPSK QPSK QPSK PUSCH QPSK, 16QAM, 64QAM PDSCH QPSK, 16QAM, 64QAM PRACH uth root Zadoff-Chu PMCH QPSK, 16QAM, 64QAM Physical signals Modulation scheme PCFICH QPSK Demodulation RS Zadoff-Chu PHICH BPSK modulated on I and Q with the spreading factor 2 or 4 Walsh codes Sounding RS Based on Zadoff-Chu Physical signals Modulation scheme RS Complex I+jQ pseudo random sequence (length-31 Gold sequence) derived from cell ID Primary synchronization One of three Zadoff-Chu sequences Secondary synchronization Two 31-bit BPSK M-sequence
  • 125.
    (h) Antenna mapping: •Antenna mapping is the combination of layer mapping and pre-coding, which process the modulation symbols for one or two code-words to transmit them on different antenna ports depending on the specific transmission scheme being used. • These antenna ports do not correspond to physical antennas, but rather are logical entities distinguished by their reference signal sequences. • Multiple antenna port signals can be transmitted on a single transmit antenna or, a single antenna port can be spread across multiple transmit antennas.
  • 126.
  • 127.
  • 128.
     MIMO (MultipleInput Multiple Output) Three major factors play important role in the design of a communication system- - Transmitted Power - Available Bandwidth - Accuracy Requirement System can be design for – BW limited system, Power limited system To keep the accuracy at the same label various methods of improvements – - increase the amplitude or power level, - decrease the BW requirement by multiplying the lobe with damping factor (RRC filtering) MIMO - Use MIMO
  • 129.
    Multiple antennas atthe transmitter and receiver can be used to improve – 1. Communication link performance 2. And to increase data rate It exploits the space dimension to improve wireless systems capacity, range and reliability • MIMO offers significant increases in data throughput and link performance – - without additional bandwidth or increased transmit power
  • 130.
    • It spreadsthe same total transmit power – • over different antennas to achieve an array gain that improves the spectral efficiency • or achieve a diversity gain that improves the link reliability • The linear-increase of channel capacity with the increase of number of antenna element in MIMO system, • whereas SIMO and MISO system shows logarithmic- increasing of channel capacity • Different arrangements of MIMO system are- SISO (single input single output) SIMO (Single-input-multiple-output) MISO (Multiple-input-single-output) MIMO (Multiple-input-multiple-output) C = B log2(1 + S/N )
  • 131.
    • Different gainscan be achieved depending on the MIMO mode used (1) Spatial Diversity: Here, instead of increasing data rate or capacity, MIMO can be used to exploit diversity and increase the robustness of data transmission - referred to transmit and receive diversity - improves the signal to noise ratio - Which are characterized by improving the reliability of the system with respect to the various forms of fading (1.a) Transmit Diversity- • Typically an additional antenna-specific coding is applied to the signals before transmission to increase the diversity effect. • Often, space-time coding is used according to Alamouti. • Switching between the two MIMO modes, like, transmit diversity and spatial multiplexing is possible depending on channel conditions. (1.b) Receive Diversity: Using at least two receive antennas at the receiver side diversity gain is achieved. Spatial Diversity Spatial Multiplexing
  • 132.
    (2) Spatial Multiplexing- •It provides additional data capacity by utilizing the different paths to carry additional traffic. • It allows to transmit different streams of data simultaneously on the same resource block(s) by exploiting the spatial dimension of the radio channel. • Data streams are divided into layers or branches, and transmitted separately via each independent space (hence the name spatial) in the same frequency each spatial channel carries independent information so capacity increases  Spatial Diversity is better to use in low SNR scenario- where spatial diversity could be used to enhance the SNR.  Spatial Multiplexing is good use at High SNR scenario- to improve the data rate
  • 133.
    • These datastreams can belong to one => • single user (single user MIMO / SU-MIMO) • or to different users (multi user MIMO / MU-MIMO). • SU-MIMO helps to increase the data rate of one user, and MU-MIMO allows to increase the overall capacity. • If Nt is the number of transmit antennas, Nr is the number of receive antennas, the number of data streams that can be transmitted in parallel over the MIMO channel is given by min {Nt, Nr} and is limited by the rank of the matrix H.
  • 134.
    In LTE- Differentdownlink MIMO modes are defined and used according to channel condition, traffic requirements, and UE capability. There many transmission modes possible as below: (a) Single-Antenna transmission, no MIMO (b) Transmit diversity (c) Open-loop spatial multiplexing with no UE feedback (d) Closed-loop spatial multiplexing with UE feedback (e) Multi-user MIMO (f) Closed-loop precoding for rank=1 (g) Beamforming • In LTE usually multiple Tx and Rx Antennas are used in downlink and antennas can be used for diversity configuration or MIMO configuration for better link performance or data rate. • Apart from number of antennas, there are some other physical layer parameters like, number of code words, number of layers, precoding, code book index, multiplexing etc. the physical layer processing and hence the transmission techniques varies. • In LTE, a special name is given for each of the way of transmission and known as Transmission mode
  • 135.
    MULTI-ANTENNA TRANSMISSION There isone transport block per TTI except for spatial multiplexing, in which case there may be two transport blocks per TTI The output of the antenna mapping is a set of symbols for each antenna port The different multi-antenna transmission schemes correspond to different so-called transmission modes There are currently nine different transmission modes defined for LTE
  • 136.
    Transmission Mode Description 1 Single antennaport, No of code word = 1, No of layer= 1, No of antennas= 1 2 Transmit diversity, No of code word = 1, No of layer= 2, No of antennas=2 3 Transmit diversity if the associated rank is 1 else large delay CDD. No of code word = 1 or 2, No of layer= 2, No of antennas= 2 4 Closed loop spatial multiplexing, No of code word = 1 or 2, No of layer= 2, No of antennas=2 5 MU-MIMO, No of code word = 1, No of layer= 2, No of antennas=2 6 Closed loop spatial multiplexing with a single transmission layer, No of code word = 1, No of layer= 2, No of antennas=2 7 If the number of PBCH antenna ports is one, otherwise transmit diversity , No of code word = 1, No of layer= 2 or 1, No of antennas = 2  Different transmission schemes (PDSCH) – Transmission mode 3GPP TS 36.213 The TM designated for the UE is provided in an RRC message whenever the UE establishes an RRC connection (configuration of the transmission mode is optional).
  • 138.
    Up Link -Transmission Scheme and Frame Structure and Channels
  • 139.
    x1, x2,…xNc Low Symbolrate x1 xNc IFFT Add Cyclic Prefix Nc number of Sub-carrier RF Up-conversion & Amplification Peak/Average Ratio  (a2)/ (a2/N)  High 1 complex symbol is mapped to 1 sub- carrier e.g. Nc symbols => Nc Sub-carriers Due to large number of sub-carriers PAPR is high  OFDMA Transmitter review and PAPR issue Typical value of PAPR for 512 subcarriers ~ 10 dB PAPR Increases with Nc
  • 140.
    Introduction to SC-OFDMA •OFDMA has problem of High PAPR and more sensitive to frequency error  leads to difficulties in Tx Power Amplified biasing difficulties  Q point needs to be kept at linear region (for OFDM) to reduce the overall signal distortion low  More battery power consumption (low amp. efficiency) When no input ac signal  Biasing is set such that  Still there is some dc current flows (finite Ib ) Due to High PAPR => the signal may go to saturation region and causes signal distortion – so, either back-off or biasing adjustment is needed. The Q point will be shifted down-wards to avoid distortion. Efficiency reduces => as Pdc increases => UE battery dc power consumption increases => so, not advisable to use OFDMA from UE side Transmission, but ok for eNB as power is not a constraint for eNB.
  • 141.
     How tosolve this issue ? x1, x2,…xNc x1 xNc IFFT Add Cyclic Prefix RF Up-conversion & Amplification • If we use single carrier- then PAPR is lower • How to create single carrier but using N sub-carrier e.g. OFDMA system (as we want to use advantages of OFDM) N- Point DFT (DFT spread) Map Nc Symbols into Nc Sub-carriers • Here, FFT/DFT and IFFT will cancel each-other • With this we can get single carrier but still advantages of OFDM – we will not get & problem of PAPR is not solved Frequency DomainTime Domain Time Domain
  • 142.
    x1, x2,…xM x1 xM IFFT Add Cyclic Prefix RF Up-conversion & Amplification N- Point DFT (DFT spread) •To get advantages - Map M Symbols into Nc Sub-carriers, M << Nc Frequency DomainTime Domain Time Domain Sub- carrier Mapping (M to Nc) x1 xM • each symbol is spread out on all the subcarriers used by the UE, • each sub-carrier contains information from all symbols RB SC-FDMA is a single carrier system where in each symbol is carried by one much wider bandwidth subcarrier
  • 143.
    • The transmitterof an SC-FDMA system converts a binary input signal to a sequence of modulated subcarriers. • The transmitter of an SC-FDMA system first groups the modulation symbols into blocks each containing M symbols. • Next it performs an M-point DFT to produce a frequency domain representation of the input symbols. • It then maps each of the M-DFT outputs to one of the N (> M) orthogonal subcarriers that can be transmitted. • As in OFDMA, an N-point IFFT transforms the subcarrier amplitudes to a complex time domain signal • SC‐FDMA is considered as DFT‐spread‐OFDM because -> thus, every subcarrier possesses a portion of each modulated symbol. • While doing so, fluctuations of the envelope of the transmitted waveform are considerably reduced.
  • 144.
     Sub-Carrier Mapping Example:M =4, N = 12 sub-carriers. x(0), x(1), x(2), x(3) 4-point FFT=>  X(0), X(1), X(2), X(3)  These 4 symbols will be loaded into 12 sub-carriers in two different ways- 1. IFDMA (Interleaved FDMA) - Distributed FDMA Filled with zeros 2. LFDMA (Zero-padding based sub- carrier mapping) -Localized FDMA • This is used mostly in LTE Consecutive
  • 145.
    • DFTS-OFDM allowsfor uplink FDMA with flexible bandwidth assignment • By dynamically adjusting the transmitter DFT size • Size of the block of modulation symbols nominal bandwidth of the DFTSOFDM signal can be dynamically adjusted. • By shifting the IDFT inputs to which the DFT outputs are mapped, the exact frequency-domain “position” of the signal to be transmitted can be adjusted.
  • 146.
     LTE Uplink(SC-FDMA)
  • 147.
     Uplink logical,transport and physical channels • This is used for carrying control information between network and UE. • It is used for UEs that have no RRC connection. • This is point-to-point bi-directional channel for exchanging control information and used by the UEs which have RRC connection • This is a point-to-point channel dedicated to a single UE for transmission of user information This channel supports transmission of limited control information and the possib This channel supports transmission of limited control information and the possible risk of collision le risk of collision all the three uplink logical channels are mapped to this transport channel. It supports adaptive modulation/coding, HARQ, power control and semi- static/dynamic resource allocation. This carries the random access preamble. The RACH transport channel is mapped to this It carries user data and UL-SCH transport channel is mapped to this. The PUSCH carries in addition to user data any control information necessary to decode the information such as transport format indicators and MIMO parameters Used to carry downlink channel quality indication (CQI) reports, MIMO feedback (Rank Indicator, Precoding Matrix Indicator), scheduling requests for uplink transmission and hybrid ARQ ACK/NACK for downlink transmissions.
  • 148.
    (A) Logical channels: (i)Common control channel (CCCH): This is used for carrying information between network and UE. It is used for UEs that have no RRC connection. (ii) Dedicated Control Channel (DCCH): This is point-to-point bi-directional channel for exchanging control information and used by the UEs which have RRC connection. (iii) Dedicated Traffic Channel (DTCH): This is a point-to-point channel dedicated to a single UE for transmission of user information. (B) Transport channels: (i) Uplink shared channel (UL-SCH): all the three uplink logical channels are mapped to this transport channel. It supports adaptive modulation/coding, HARQ, power control and semi-static/dynamic resource allocation. (ii) Random access channel (RACH): This channel supports transmission of limited control information and the possible risk of collision.
  • 149.
  • 150.
     Uplink PhysicalSignals Uplink physical signals are used within the PHY and do not convey information from higher layers 1. Uplink Reference Signal – (i) Demodulation reference signal This facilitates Ch. Est. & coherent demodulation and associated with transmission of PUSCH or PUCCH. It is transmitted in the fourth SC-FDMA symbol of the slot and is the same size as the assigned resource. (ii) Sounding reference signal- (optional) This is used to facilitate frequency dependent scheduling and not associated with transmission of PUSCH or PUCCH. SRS is being transmitted by UE on the last symbol of subframe. SRS report the channel quality of over all bandwidth and using this information eNB assign the resource. - Common SRS, Dedicated SRS - Both SRS, DMRS- are based on Zadhoff– Chu sequences
  • 151.
     Uplink PhysicalChannels (i) Physical Uplink Control Channel (PUCCH) : • PUCCH carries a set of information called "UCI (Uplink Control Information)“ (similar to DCI in DL) • It caries- • DL channel state Information (CSI) • Downlink channel quality indication (CQI) • MIMO feedback • Rank Indicator (RI) • Precoding Matrix Indicator (PMI) • Precoding Type Indicators (PTI) • Scheduling Requests indicator (SRI) for uplink transmission - UE indicates the need for an uplink resource by a SRI – It is transmitted only through PUCCH (not through PUSCH). • Hybrid-ARQ ACK/NACK for downlink transmissions
  • 152.
    PUCCH Format  Theseinformation elements are transmitted using different formats. PUCCH uses different formats: • UCI can also be transferred using the PUSCH
  • 153.
     PUCCH ResourceAssignment • PUCCH is assigned over subframe instead of by slot. • To handle coverage-limited situations, transmission of ACK/NACK spans the full 1 ms subframe e.g. 1 sub-frame. • A user cannot transmit both PUCCH and PUSCH data in the same slot. • Exactly how many resource elements is allocated to the PUCCH is determined by network and the configuration is broadcasted to UE via SIB2. • PUCCH consists of 1 RB/transmission at one end of the system bandwidth which is followed by another RB in the following slot (at opposite end of the channel spectrum) • BPSK or QPSK used for PUCCH modulation
  • 154.
    • Different UEsare separated on PUCCH by means of – • Frequency Division Multiplexing (FDM) • Code Division Multiplexing (CDM)  Resource Multiplexing for PUCCH • Code Division Multiplexing mechanism in PUCCH: - Two ways to realize CDM inside the PUCCH resource block are: (1) Cyclic shifts of a (CAZAC) sequence - Different UEs can be multiplexed into the given frequency/time resource by allocating different cyclic shifts of the CAZAC sequence (length of 12 symbols) for them. (2) block-wise spreading with the orthogonal cover sequences - Block-wise spreading increases the multiplexing capacity of PUCCH by a factor of spreading factor (SF- 2,3,4) • PUCCH Format 1/1a/1b is based on the combination of CAZAC sequence modulation and block-wise spreading. Carry one information symbol (1 to 2 bits) per slot. • PUCCH Format 2/2a/2b uses only CAZAC sequence modulation. Capable of conveying 5 symbols per slot (20 coded bits + ACK/NACK per subframe). • PUCCH Format 2/2a/2b is located at the outermost resource blocks of the system bandwidth. • ACK/NACK reserved for persistently scheduled PDSCH • SRI are located on the PUCCH resource blocks next to periodic CQI while the ACK/NACK resources reserved to dynamically scheduled PDSCH are located at the innermost resource blocks reserved for PUCCH
  • 155.
    - This broadcastedsystem parameter can be seen as the maximum number of resource blocks reserved for PUCCH - While actual PUCCH size changes dynamically based on Physical Control Format Indicator Channel (PCFICH) transmitted on the downlink control channel
  • 156.
    (ii) Physical UplinkShared Channel (PUSCH) : The Physical Uplink Shared Channel (PUSCH) is used to transfer - • RRC signalling messages • Application/User data • Uplink Control Information (UCI). • Control data is multiplexed with information data prior to DFT spreading. • The actual mix of different L1/L2 control signals and their size vary from subframe to subframe • Both the UE and the eNodeB have the knowledge about the number of symbols reserved by the control part • The data part of PUSCH is punctured by the number of control symbols allocated in the given subframe • The PUSCH can be modulated using 64QAM, 16QAM or QPSK. • The eNode B selects the appropriate modulation scheme according to its link adaptation algorithm. 3GPP References: TS 36.211, TS 36.212, TS 36.213
  • 157.
    • LTE UEcan never transmits both PUCCH and PUSCH during the same sub-frame (same TTI)- 3GPP Release 8 and Release 9) • If UE has application data Or RRC signalling • then UCI is carried over PUSCH • If UE does not have any application data OR RRC signaling- • then UCI is carried over PUCCH • Release 10 allows simultaneous transmission of PUSCH and PUCCH
  • 159.
    PUSCH transmission (inUE transmitter) and reception (in eNB)
  • 160.
    (iii) Physical Randomaccess Channel (PRACH): • RACH Transport channel is mapped to PRACH (phy channel) • PRACH Carries Random Access Preamble – when a UE sends to access request to the network  Need of RACH: i) Achieve UP link synchronization between UE and eNB ii) RRC Connection Request  When RACH occurs- i) Initial access from RRC_IDLE ii) RRC Connection Re-establishment procedure iii) Handover (Contention Based or Non Contetion Based) iv) DL data arrival during RRC_CONNECTED requiring random access procedure (when UL synchronisation status is “non-synchronised”) v) UL data arrival during RRC_CONNECTED requiring random access procedure (when UL synchronisation status is "non-synchronised" or there are no PUCCH resources for SR available) vi) For positioning purpose during RRC_CONNECTED requiring random access procedure (when timing advance is needed for UE positioning)
  • 161.
     RACH Structure (1)RACH information carries- Preamble (3) In preamble, a guard time (GT) introduced to avoid collisions with other transmissions as the random access (RA) mechanism is used by the UE when it is not yet synchronized on the uplink • The duration of GT needs to account for the round trip propagation time, which is dependent upon the supported cell size. • With propagation speed of 1 km/3.33μs, approximately 6.7μs of guard time per kilometer (2*3.33 μs) is required to accommodate the round-trip time. • Now, to support cell size up to 100 km as required for LTE, the guard time should be in the range of 670 μs. • But, in case of small cell size this will be an overhead. So, to support that multiple random access preamble formats with both small and large guard times are defined The random access preamble length is always 0.8 ms (2) In order to enable simple frequency-domain processing, the random access preamble also uses a cyclic prefix (CP), its length accounts for both the propagations delays as well as the channel delay spread
  • 162.
    • FDD LTEdefines four different Random Access (RA) preamble formats with different preamble and cyclic prefix duration to accommodate different cell size • The preamble format to be used in a specific cell is informed to the UE using PRACH configuration index. This is broadcasted in SIB-2. • Zadoff-Chu sequence used for PRACH is in Frequency Domain - The PRACH Zadoff-Chu is transformed to the time domain sequence
  • 163.
    • In FrequencyDomain: Preamble length in Frequency domain is => 6 RBs of UL sub-frame = 6 * 12 sub-carriers = 6*12*15 KHz = 1.08 MHz • Again , one Sub-Carrier of PRACH Preamble is 1.25 KHz e.g. in an UL sub-carrier (15 KHz) total 15/1.25 = 12 PRACH preamble sub-carriers can be placed. • The position of the random access preamble in frequency domain is defined by PRACH frequency offset parameter received by UE via SIB-2. This parameter ranges from 0 to 94 and specified the first resource block within which preamble is located. • Time Domain: • Rach Access Preamble occupies 1, 2, 3 sub-frames in time domain (1,2,3 ms) (depending on Preamble Format) and 839 sub-carriers in frequency domain (1.08 MHz). Also there is a 15 KHz Guard band either side of the random access preamble – so total 1.08 MHz is used. • There is max of 1 random access preamble resource within each sub-frame but more than a single UE can use that preamble resource. • Multiple UEs using the same preamble resource are differentiated by different preamble sequences.
  • 164.
    For example, - ifthe UE is using "PRACH Configuration Idex 0", - it should transmit the RACH only in EVEN number SFN (System Frame Number). - UE is allowed to transmit RACH only at sub frame number 1 of every even SFN  Exactly when and Where a UE transmit RACH: It is determined by prach-ConfigIndex parameter in SIB2
  • 165.
    Preamble Transmission byUE Open-loop power control can be used to obtain a suitable transmission power for initial PRACH transmission and is computed from the equation : PPRACH = min {PCMAX , PREAMBLE_RECEIVED_TARGET_POWER + PL} [dBm]. Where, PCMAX is the configured maximum UE transmitted power, PL is the downlink path-loss estimate calculated in the UE based on reference signal power signaled in SIB2 and the measured RSRP at UE
  • 167.
     Uplink channel’sPhysical layer Processing
  • 169.
  • 170.
    Packet Data ConvergenceProtocol (PDCP, Ref TS 36.323): decryption/encryption, compressing/decompressing of the headers of user plane IP packets using Robust Header Compression (ROHC), sequence numbering and duplicate removal • Radio Link Control (RLC, Ref TS 36.322): • Error Correction through ARQ, in-sequence delivery of SDUs, eliminates duplicate SDUs, Segmentation according to the size of the Transport Block, Concatenation of SDUs for the same radio bearer. • Based on the reliability requirement, the RLC can be configured • acknowledge (AM) or un-acknowledge (UM) or transparent (TM) mode - UM mode is used for transport of Real Time (RT) services which are delay sensitive and cannot wait for retransmissions - AM mode is suitable for non-RT (NRT) services - TM mode is used when the PDU sizes are known a priori such as for broadcasting system information. - AM, UM use uses RLC header, whereas TM is used where effectively there is no header; it simply passes the message through it.
  • 171.
    Physical Layer: Already discussedearlier Medium Access Control (MAC, Ref TS 36.321): - Multiplexing/de-multiplexing of RLC PDUs, padding, error correction through HARQ, Logical Channel Prioritization and Scheduling Information reporting, mapping between the logical and the transport channels, transport format selection etc. - Uplink functions include random access channel scheduling, transport format selection etc. - There are two levels of re-transmissions used for providing reliability- the Hybrid Automatic Repeat reQuest (HARQ) at the MAC layer and outer ARQ at the RLC layer. Any IP packet for UE is encapsulated by an EPC-specific protocol and tunnelled between the P-GW and eNB for transmission to UE. For tunnelling different protocols are used across different interfaces. Generally, GPRS Tunnelling Protocol (GTP) is used over the CN interfaces, S1 and S5/S8.
  • 172.
    RLC and MACsublayers in control plane perform the similar functions like the user plane. PDCP layer performs decryption, integrity protection, sequence numbering, duplicate removal etc. Radio Resource Control (RRC, Ref TS 36.331) Responsible for broadcast of system information, RRC connection control, initial security activation for ciphering and integrity protection, mobility control, also for inter-RAT handovers, quality of service control, and measurement control. The RRC layer in eNB makes handover decisions based on neighbour cell measurements sent by the UE, and it controls UE measurement reporting such as the periodicity of channel quality information (CQI) reports, send paging message for the UEs, broadcasts system information and allocates cell-level temporary identifiers to active UEs. It is also responsible for setting up and maintenance of radio bearers. The NAS messages carried in RRC are effectively double ciphered and integrity protected, once at the MME and again at the eNB.
  • 173.
  • 174.
    OSI Model InternetModel (TCP/IP) Example protocol/services PDU (data form) Application Application HTTP, HTTPS, Pop, SSH, SMTP, DNS, Telnet Data Presentation Data Session Data Transport Transport TCP , UDP Segments Network Inter-net ICMP, IGMP, IPv4, IPv6, IPX, RIP, IPSec , [ref- IP- rfc 791] Packets Datalink Network Access (Link) Frames Physical Bits / Blocks  User Interfacing / representation  Encoding  Session control e.g. Create email message and pass the data to lower layer  Support host to host communication  Application data segmentation,  Transmission reliability, flow and error control e.g. breaks data into segments and add header  Packs data into packets (IP datagrams, which contain src & dest addr).  Route packets from network to network based on virtual IP address.  Determines the path of packet flow in the network. e.g. break segment into packets and add header and logical addresses (IP addresses)  Act as an interface between HW and SW components.  This helps to transfer these packets to a from that can be transmitted over various media such as fiber optic, copper wire, wireless / cellular systems e.g. break into frames and add header and multiplex and error coding for channel and transmit/receive bits/blocks Choosing the right transport protocol - depends on the type of data to be transferred. (1) Use TCP for data which require - reliability, sequence transmission and data integrity. (2) Use UDP for data which require real-time transmission with low overhead and less processing.
  • 176.
    TCP (rfc793) UDP(rfc 768)  Provides one to one, connection oriented, and reliable communication services.  Prior to transmission end points need to establish a connection first.  TCP protocol data units are called segments, which consists of a fixed 20-byte header followed by a variable size data field.  Segment size is restricted by the maximum transfer unit (1500 bytes).  Defines one to one or one to many , connectionless, unreliable communication services. UDP consists of fewer fields compared to TCP.  Because certain application data types (real time traffic) do not require reliable delivery and extra overhead.  Real-time traffic for example, needs to be transported in an efficient way without error correction and retransmission mechanisms. It assumes reliability to be handled by the application layer. All it cares about is fast transmission.  TCP is responsible for breaking down a stream of bytes into segments and reconnecting them at the other end, retransmitting whatever might be lost and also organizing the segments in the correct order.  Segment retransmission and flow control through windowing  Segment sequencing  Acknowledge segment  No windowing / retransmission not required at this layer  No segment sequencing  Acknowledge Segment not required
  • 177.
     User planedata-flow diagram transport-block size depends on the instantaneous data rate selected by the link adaptation mechanism PHY Processing
  • 178.
    LTE: RRC States(UE States and State Transition)
  • 179.
    Power on • IPaddress is assigned and tracked by the network • UE is known in EPC but not known to eNB • Mobility is controlled by UE – (PLMN Selection / Cell Selection and Reselection • Broadcast message reception • Paging (DRX) reception- LTE supports always connected experience by forcing the UE to continuously monitor control signals on PDCCH • UE is known in EPC as well as in E-UTRAN/eNB and UE location is known at the cell level • Mobility is controlled by Network (so measurement report is sent to the network periodically) RRC Connection establishment RRC Connection release
  • 180.
  • 181.
     Typical UESoftware Modules Inside a mobile terminal there is an application processor for driving applications and a modem protocol processor for driving protocol processing. As protocol processing requires real time processing, so RTOS is used here, whereas in application processor general purpose OS is used. Both the processors has boot software and a mechanism for communication to exchange the data
  • 182.
    • After poweron the hardware setup is done by the Basic Input / Output System (BIOS), which sets the hardware and loads the software bootloader or OS kernel. • As UE does not have BIOS, so, they rely on a firmware to set up the hardware before the operating system kernel is loaded and started. The boot is often started from a Read Only Memory (ROM). • In Modem unit, once the system initialization is over and OS is loaded into the memory, • then OS takes the control and starts executing different tasks/threads, where different modem sub-layers and procedures are running as OS threads • The first procedure that runs at this stage is ‘network and cell selection’, where UE selects the PLMN to register, select a CSG for registration using user permission, selects and camp on the cell.
  • 183.
    Network operator (PLMN)and cell selection
  • 184.
    • The LTEcompliant UE’s NAS layer requests AS layer to report for available PLMNs (all PLMNs or just the previously registered PLMN if that information was stored). • After receiving that command, AS layer in UE scans all the RF channels within its supported RF bands (if there is no prior stored information exists in UE). • UE scans all the available radio frequencies in the given LTE band, also known as E-UTRA Absolute Radio Frequency Channel Number or (EARFCN) • On each carrier (RF channels), the UE searches for the strongest cell according to the cell search procedure and synchronize with it and then read its system information (PLMN identity is broadcast within SIB-1) in order to find out which PLMN that cell belongs to. • PLMNs are reported to NAS as high quality, if RSRP>=-x dBm, (x = 110), and PLMNs not meeting high quality criteria are reported along with their RSRP value to NAS. • After receiving the PLMN lists, the LTE NAS layer selects a PLMN from that list of reported PLMNs. • The selection of the PLMN is done by manual or automatic. • After the PLMN selection, UE runs the CSG and cell selection procedures • If the USIM in the UE contains any closed subscriber groups (CSG), then the UE has to run an additional procedure, known as CSG selection
  • 185.
    STEP 1: FrequencySCANNING Phone scans all the available radio frequencies in the given LTE band, also known as E-UTRA Absolute Radio Frequency Channel Number or (EARFCN). Next UE ranks those EARFCNs into an ordered list STEP 2: DOWNLINK SYNCHRONIZATION , Cell Search and Acquisition UE establishes cell level synchronization at the downlink level Primary Synchronization signal (PSS): Secondary Synchronization signal (SSS) • Time, freq sync, (slot , frame) • TDD/FDD detection • CP (extended, normal) detection physical cell id (PCI) computation PCI = 3*(Physical layer cell identity group) + physical layer identity STEP 3: Reference signal position and value detection Identify the location of the cell ref signal and ref symbol values
  • 186.
    STEP 4: DecodingBroadcast Information UE needs to know is the system bandwidth. This is acquired by something called MIB UE gets info from MIB: System Bandwidth, PHICH configuration, SFN • PCFICH, PDCCH reading and finding the resource block and other details of PDSCH reading • SIB (PDSCH) reading - (SIB-1) STEP 5: SIB Reading (PDSCH)
  • 187.
     SIB reception(PDSCH) by UE System Information Blocks are grouped in SI containers. Each SI is composed of multiple SIBs. Each SI usually will have different transmission periodicity Carries cell ID, MCC, MNC, TAC, SIB mapping UE needs in order to be able to access cell. Carries Info- UL power control, preamble power ramping, UL CP Length, UL EARFCN, UL cell BW and RACH parameters Carries cell re- selection information and Intra frequency cell re-selection information neighboring- cell-related information Carries Inter Frequency Neighbors
  • 188.
    LTE system informationblocks Description MIB Transmitted on every 40 ms on PBCH. It contains channel bandwidth, PHICH configuration details, transmit power, number of antennas and SIB scheduling information etc. (Received in idle and connected mode). SIB1 Transmitted on every 80 ms on DL-SCH. Indicates whether a terminal is allowed to camp on a cell or not. Carries cell ID, MCC, MNC, TAC, SIB mapping. Includes information about the allocation of sub frames to uplink/downlink and configuration of the special sub-frame in case of TDD. (Received in idle and connected mode). SIB2 Transmitted every 160ms. Includes information that terminal needs in order to be able to access the cell. Carries information about common channel and shared channel, uplink power control, preamble power ramping, uplink Cyclic Prefix Length, sub- frame hopping, uplink EARFCN, uplink cell bandwidth and random-access parameters. (Received in idle and connected mode). SIB3 Transmitted every 320 ms. Carries cell re-selection information and Intra frequency cell re-selection information. (Received in idle mode). SIB4 Contains neighboring-cell-related information, including information related to neighboring cells on the same carrier, neighboring cells on different carriers, and neighboring non-LTE cells, such as WCDMA/HSPA, GSM, and CDMA2000 cells. SIB5 Transmitted every 640 ms. Carries Inter Frequency Neighbors (on different frequency); E-UTRA LTE frequencies, other neighbor cell frequencies from other RATs for cell reselection and handover. (Received in idle mode). SIB6 Transmitted every 640 ms. Carries WCDMA neighbors information (serving UTRA and neighbor cell frequencies) for cell re- selection. (Received in idle mode if UE supports WCDMA). SIB7 Carries GSM neighbours information (GERAN and neighbor cell frequencies) for cell re-selection as well as handover purpose. (Received in idle mode if UE supports GSM). SIB8 Carries CDMA-2000 EVDO frequencies, CDMA-2000 neighbor cell frequencies. SIB9 Carries HNBID (Home eNodeB Identifier). SIB10 Carries ETWS prim notification (public warning messages). SIB11 Carries ETWS sec. notification SIB13 SIB13 contains information necessary for MBMS reception.
  • 189.
    • After receivingMIB through BCCH channel, UE configure the PDSCH (BCCH-DL-SCH) channel and map it on PDSCH to receive SI Block Type1 (SIB1), which is transmitted with a periodicity of 80 ms and contains the information relevant to cell access. • SIB2 contains radio resource configuration information that is common for all UE. • After SIB2 reception, UE configures the Random Access Channel and Common shared channels. • Later as required, it Starts up-link synchronization using Random Access Procedure.
  • 190.
    • For campingcell selection, the UE requires the PLMN ID (Operator ID) STEP 6: PLMN Selection (Operator Selection) • Every Operator (PLMN) is assigned one unique ID- PLMN ID. • It consists of two codes, a Mobile Country Code (MCC) and Mobile Network Code (MNC). • SIB 1 contains cell access related information (e.g. a PLMN identity list, tracking area code, cell identity, etc.), information for cell selection, a frequency band indicator, scheduling information etc.
  • 191.
    UE evaluates thesuitability of the cell using cell selection criterion. A suitable cell is defined as a cell which will have following characteristics- (1) it should belong to the selected PLMN, registered PLMN or an equivalent PLMN (2) it is not barred cell (3) it should belong to at least one tracking area which is not forbidden (4) it should satisfy the following cell selection criteria (Ref 3GPP TS 36.304): Srxlev > 0 and Squal > 0, where Srxlev = Qrxlevmeas – (Qrxlevmin + Qrxlevminofset) – Pcompensation and Srqual = Qqualmeas – (Qqualmin + Qqualminoffset). STEP 7: Cell Selection criteria (S-criteria) checking Where, Srxlev = cell selection Rx level value in dB, Squal = cell selection quality value (dB), Qrxlevmeas = measured cell Rx level value (RSRP), Qqualmeas = measured cell quality value (RSRQ), Qrxlevmin = minimum required Rx level in the cell (dBm), Qqualmin = minimum required quality level in the cell (dBm), Qualmin = minimum required quality level in cell (dB), Qrxlevminoffset = offset to the signalled Qrxlevmin, Qqualminofset = offset to the signalled Qqualmin, Pcompensation = max (PEMAX – PpowerClass, 0), PEMAX = Max Tx power level, PpowerClass = Max RF output power.
  • 192.
    • cell barringstatus and minimum signal strength threshold from SIB type 1 • Once these conditions are satisfied then UE could camp on that cell
  • 193.
    STEP 8: UPLINKSYNCHORNIZATION • UE undergoes a procedure called “RACH” procedure to gain access of the resources to start transmission • After reading SIB Type 2, the UE will know the format and where to transmit PRACH in resource block structure • Each cell have a set of preamble sequences. • SIB Type 2 communicates to the UE the set of preambles (64 available in a cell) from which UE MAC will randomly Choose one for uplink synchronization. • During sending of preamble, UE also needs to give its own identity to the network so that network can address it in next step. • The identity which UE will use is called RA-RNTI (Random access radio network temporary identity). How to decide RA RNTI ? [TS36.321] • The RA-RNTI associated with the PRACH in which the Random Access Preamble is transmitted. • RA_RNTI is decided by the sending timing (SubFrame) of PRACH Preamble by UE. • It is computed as: RA-RNTI = 1 + t_id + 10 * f_id • Where t_id => index of the first subframe of the specified PRACH (0 <≤ t_id <10), • f_id is the index of the specified PRACH within that subframe, in ascending order of frequency domain (0≤ f_id< 6). (For FDD, f_id is fixed as 0). • It means that (the subframe number (number between 0000~0009) of PRACH transmission + 1) is RA-RNTI.
  • 194.
    • Overall Flowfor Open Loop Power Control (initial PRACH) P_CMAX is the maximum UE transmitter power specified in 3GPP 36.101
  • 195.
    • If UEdoes not receive any response from the network, it increases its power in fixed step and sends RACH preamble again.
  • 197.
     RACH procedure •In each LTE cell, total 64 preamble signatures are available and UE select randomly one of these signatures. • Two types of RACH process : Contention-based and Contention-free • There is a possibility - same PRACH preamble from multiple UE reaches the NW at the same time. So, contention could happen. • Then Network would go through additional process at later step to resolve these contention and this process is called "Contention Resolution" steps. • the Network informs each of the UE of exactly when and which preamble signature it has to use. Of course, in this case Network will allocate these preamble signature, so that it would not collide. • This kind of RACH process is called "Contention Free" RACH procedure. • To initiate the "Contention Free" RACH process, UE should be in Connected Mode before the RACH process as in Handover case. Typical 'Contention Based' RACH Procedure is as follows : i) UE --> NW : RACH Preamble (RA-RNTI, indication for L2/L3 message size) ii) UE <-- NW : Random Access Response (Timing Advance, T_C-RNTI, UL grant for L2/L3 message) iii) UE --> NW : L2/L3 message iv) Message for early contention resolution Typical 'Contention Free' RACH Procedure is as follows : i) UE <--NW : RACH Preamble (PRACH) Assignment ii) UE --> NW : RACH Preamble (RA-RNTI, indication for L2/L3 message size) iii) UE <--NW : Random Access Response (Timing Advance, C-RNTI, UL grant for L2/L3 message)
  • 198.
    • The UElistens to a downlink broadcast signal (SIB2) to obtain the transmission timing. • It is also informed of the available signatures, frequency bands and time slots for a random access. • There are total 64 preambles in a cell, which are grouped to indicate the length of needed resource, also some are reserved for contention-free access. • UE selects one of the 64 available RACH preambles and sends along with the UE identity called RA-RNTI (Random access radio network temporary identity), determined from the time slot number in which the preamble is sent. • Next, eNodeB sends "Random Access Response" to UE on DL-SCH addressed to RA-RNTI calculated from the timeslot in which preamble was sent. • It contains Temporary C-RNTI (eNB gives another identity to UE which is called temporary C-RNTI (cell radio network temporary identity) for further communication), Timing Advance Value (eNodeB also informs UE to change its timing so it can compensate for the round trip delay caused by UE distance from the eNodeB), Uplink Grant Resource (network assigns initial resource to UE so that it can use UL-SCH) Then using UL-SCH, UE sends "RRC connection request message" to eNodeB. This contains UE identity (TMSI or Random Value), Connection establishment cause. The UE is identified by temporary C-RNTI. Once the message from UE is successfully received by eNB, it responds with contention resolution message. This message is addressed towards TMSI value or Random number but contains the new C RNTI which will be used for the further communication
  • 200.
    STEP 9: InitialAttach • UE initiates the attach procedure with the completion of setting up the RRC connection • NAS Attach Request is piggybacked to the RRC message. • Also piggybacked on the RRC message is the NAS PDN Connectivity request which will also be passed to the MME for processing after the Attach • eNB, upon receiving the Attach Request will select an MME • In Attach Request, the UE will identify itself by sending its IMSI (International Mobile Subscriber Identity) or old GUTI (Globally Unique Temporary ID).
  • 201.
    STEP 8.a: Authentication STEP8.b: Non Access Stratum Security STEP 8.c: Access Stratum Security STEP 9: PDN Connectivity • MME has completed authentication and security establishment, the Attach is complete • MME is managing the UE Traffic Handling in Downlink Traffic Handling in Uplink Handover Note: ….Step-8,9 – discussed in latter slides during connected mode procedure discussions
  • 202.
     Idle Mode(RRC_Idle) • Entering Idle mode is triggered by UE data inactivity. • If no traffic is flowing for the UE (inactivity timer expiry), the eNB can initiate procedures to remove the RRC connection and to change the state to RRC_Idle • In LTE (E-UTRAN), the UE is RRC_Idle and from an EPS Mobility Management (EMM) perspective it is EMM- Registered EMM-Idle. • In this state, the UE no longer has any connectivity to the EPC, and all context relating to the UE is removed from the E-UTRAN.
  • 203.
     Paging reception •Once UE enters into RRC idle mode, it starts listening to the incoming paging message to know about incoming calls The LTE paging procedure is used (1) to initiate mobile terminated (MT) PS call [paging msg] (2) to initiate mobile terminated CS fallback call (3) to trigger LTE UE to re-acquire system information (4) to provide an Earthquake and Tsunami Warning System (ETWS) indication • Paging indication is single fixed indicator known as Paging RNTI (P-RNTI)- in PDCCH • P-RNTI is derived from the IMSI of UE • UE need to monitor the PDCCH for P-RNTI only at predetermined period (say 60 ms, 100 ms etc.) known as paging occasion as set by DRX cycle. • Every paging occasion, UE receives and checks for paging indication for it and if not found, then it will enter into sleep mode till the next paging occasion. • Different group of UEs (grouped according to their IMSI) monitor different sub frames for their paging messages.
  • 204.
     Calculation ofpaging occasion • UE computes the paging frame number using the following relations: Paging frame number = SFN mod T = (T/N) x (UE_ID mod N) Where, • T = DRX cycle length in radio frames (DRX cycle is broadcast in SIB2 and can have values of 32, 64, 128 or 256 radio frames. These corresponds to time intervals of 320, 640, 1280 and 2560ms. • The UE can also propose its own DRX cycle length within ATTACH REQUEST and TRACKING AREA UPDATE REQUEST messages), • N = Min(T,nB), nB is broadcast in SIB2 and can have values of {4T,2T,T,T/2,T/4,T/8,T/16,T/32}, • N can have values of {T,T/2,T/4,T/8,T/16,T/32}, • UE_ID = IMSI mod 1024 (refer to 36.304).
  • 205.
     Paging procedure -MME sends S1AP paging message to one or more eNBs (typically transmitted across multiple cells in tracking area). - MME starts timer T3413 after sending S1AP paging message for PS data call and UE is addressed by S-TMSI (SAE-TMSI) instead of IMSI - UE wakes at paging occasion and checks for P- RNTI in PDCCH. - If P-RNTI has value of FFFE, it indicates that UE may have a paging message on PDSCH. UE decodes RRC message from PDSCH RBs and checks UE identity. - If positive paging found- it will trigger random access procedure to establish RRC connection - Once eNodeB forwards NAS message to MME then it will stop T3413 and will proceed to establish connection with UE
  • 206.
     UE Measurementparameters In LTE UE measures RSRP and RSRQ (a) Reference Symbol Received Power (RSRP): It is the average power of Resource Elements (RE) that carry cell specific Reference Signals (RS) over the entire bandwidth, so RSRP is only measured in the symbols carrying RS. (c) Reference Signal Received Quality (RSRQ): RSRQ indicates quality of received reference signal. RSRQ measurement and calculation is based on RSRP and RSSI values. RSRQ = RSRP/ (RSSI/N). N represents number of resource blocks (PRBs) over which RSSI is measured 3GPP TS 36.133 (b) Received Signal Strength Indicator (RSSI): It represents the total received power over wideband by the UE. It is measured only in all symbols containing reference signals. RSRP is the received power of 1 RE (3GPP definition) average of power levels received across all Reference Signal symbols within the considered measurement frequency bandwidth RSSI is measured over the entire bandwidth N: number of RBs across the RSSI is measured and depends on the BW https://www.cablefree.net/wirelesstechnology/4glte/rsrp-rsrq-measurement-lte/
  • 207.
    Event Type Description EventA1 Serving becomes better than threshold Event A2 Serving becomes worse than threshold Event A3 Neighbour becomes offset better than serving Event A4 Neighbour becomes better than threshold Event A5 Serving becomes worse than threshold1 and neighbour becomes better than threshold2 Event A6 Neighbour become offset better than S Cell (This event is introduced in Release 10 for CA) Event B1 Inter RAT neighbour becomes better than threshold Event B1-NR NR neighbour becomes better than threshold Event B2 Serving becomes worse than threshold1 and inter RAT neighbour becomes better than threshold2 Event B2-NR Serving becomes worse than threshold1 and NR neighbour becomes better than threshold2 Event C1 CSI-RS resource becomes better than threshold Event C2 CSI-RS resource becomes offset better than reference CSI-RS resource Event W1 WLAN becomes better than a threshold Event W2 All WLAN inside WLAN mobility set becomes worse than threshold1 and a WLAN outside WLAN mobility set becomes better than threshold2 Event W3 All WLAN inside WLAN mobility set becomes worse than a threshold Event V1 The channel busy ratio is above a threshold Event V2 The channel busy ratio is below a threshold Event H1 The Aerial UE height is above a threshold Event H2 The channel busy ratio is below a threshold 3GPP 36.331 5.5.4 Measurement report triggering
  • 208.
    • Commonly, afterUE power ON, the following steps are performed: (i) UE is Powered ON (ii) Boot up, self-test are performed, OS loaded. UE modem protocol layers are activated (as different threads of the OS). (iii) Cell Search: NAS requests AS (L1) for Frequency Search. L1 programs the RF to receive different carrier frequencies and measure the RSSI. Then L1 ranks those carriers according to their strength and presents to the higher layer. (iv) Cell Selection: UE finds many cells and selects the best one based on the signal strength, and other parameters like, whether that cell is allowed or not, belongs to the same operator or not etc. (v) MIB decoding (vi) SIB decoding (vii) Initial RACH Process (viii) Registration/Authentication/Attach (ix) Default EPS Bearer Setup At this stage, UE is in IDLE Mode (i) Cell Reselection: UE constantly checks the presently camped cell’s signal quality and if diminishes then switches to the best available one. (ii) Paging monitoring: UE keep on listening to paging. (iii) RACH for RRC connection setup- When paging message comes or User makes a call- RACH Process is invoked (iv) Setup Dedicated EPS Bearer (v) RRC connected stage: Receive data & Transmit data (i) If UE power is perceived too weak by the network, network send TPC command to increase UE Tx Power (ii) If UE power is perceived too strong by the network, network send TPC command to decrease UE Tx Power xviii) If UE moves to another cell region, network and UE perform Handover procedure xix) User stop call and UE gets into IDLE mode  SUMMARY ………
  • 210.
  • 211.
     Handover • Thehandovers in the RRC CONNECTED state are network controlled and UE assisted (1) Measurement configuration and reporting: • eNB sends the measurement command message to UE for configuring the different measurement types. • The information included in the message is - measurement object, reporting configuration (event triggered or periodic), measurement ID, quantity configuration, measurement gap etc. • Reporting criteria for E-UTRA report include Events A1, A2, A3, A4 and A5 (refer to 3GPP TS 36.331) while ones for inter-RAT measurement report include Events B1 and B2 (2) Handover Decision: When the signal quality on target cell (eNB2) becomes better than the signal quality on serving/source cell (eNB1), handover decision is taken by the network (as computed from the measurement report).
  • 212.
    (3) Handover Preparation: •Source eNB1 sends the coupling information and the UE context to the target eNB2 (HO request msg) on the X2 interface, which contains information about active E-RABs, security keys. • The GTP connect for the uplink side is established between the target eNB2 and the serving SGW. • The target eNB2 accepts the session if resources are available and allocates radio resources for the UE, allocates a RACH preamble to it (optional), and reserves a C-RNTI (which provides a unique UE identification at the cell level identifying the RRC connection). • The target eNB2 may perform admission control depending on the received EPS bearer QoS information. The Target eNB2 responds back to the source eNB with a Handover Request Acknowledge message. • This message carries the Handover Command message (RRC Connection Reconfiguration Request) in a transparent container. Source eNB1 commands the UE (HO command) to change the radio bearer to target eNB2. • The UE receives the HO command with the necessary parameters (i.e. new C-RNTI, optionally dedicated RACH preamble, possible expiry time of the dedicated RACH preamble, etc.) and is commanded by the source eNB1 to perform the HO.
  • 213.
    (4) Handover Execution: •After receiving the HO command from eNB1, UE performs synchronization to the target eNB2 and accesses the target cell via the RACH following a contention-free procedure (if dedicated RACH preamble was allocated in the HO command) or following a contention-based procedure (if no dedicated preamble was allocated). • The network responds with uplink resource allocation and timing advance (TA) to be applied by the UE. When the UE has successfully accessed the target cell, the UE sends the HO confirm message (C-RNTI) along with an uplink buffer status report indicating that the handover procedure is completed for the UE. • The target eNB requests the MME to switch the message flow path from the source eNB to the target eNB. MME requests the SGW to switch the path to the target eNB and SGW asks the PGW to switch the path. • Then the SGW responds back to the MME signaling about the completion of the path switch. The target eNB will buffer data directly received from the SGW until all the data received via the source eNB has been transmitted. • This is needed to maintain the transmission order. Then SGW will be sending the data using the target eNodeB TEID. MME responds back to signal the completion of the path switch. • The end marker has been received at the Target eNodeB. At this point the target asks the source eNodeB to release resources for the UE.
  • 215.
    Note: One of thereasons why we don’t have CELL_FACH and CELL_DCH state is because there is no concept of common and dedicated transport channel in LTE. In LTE the data transfer will be done through the defined shared transport channel.
  • 216.
    P_Channel(i) = min{P_CMAX,Formula} P_Channel(i) means "Power of the Channel for each subframe", implying that these channel power is calculated and set for every subframe. P_CMAX ? It is the maximum UE transmitter power specified in 3GPP 36.101 • After initial PRACH is completed, the UE power is controlled dynamically by TPC command (MAC CE or TPC field in DCI 0). • UE Transmission Power is controlled by some feedback input from eNB in a closed loop  Closed Loop Power Control TS 36.213 - 5. Power Control
  • 217.
  • 218.