DNS Servers

 Gaurav Chaturvedi
gaurav.c@directi.com
Application => Resolver => Caching NS => Auth NS
( i.e Web
Browser )
RESOLVER
Takes request from application, formats it into
UDP packet, sends to cache
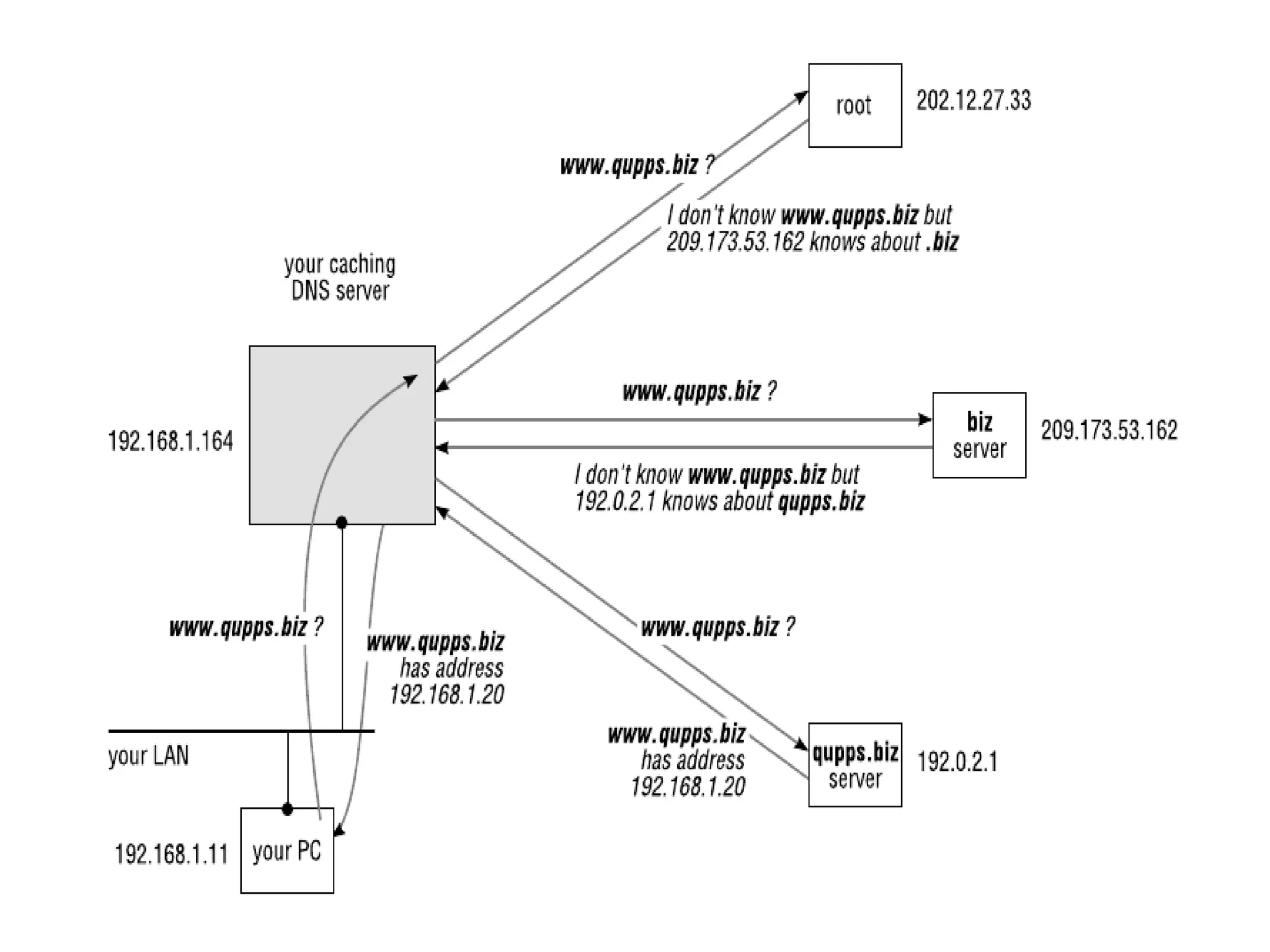
CACHING NAMESERVER
Returns the answer if already known,
Otherwise searches for an authoritative server
which has the information.
Caches the result for future queries.
AUTHORITATIVE NAMESERVER
An authoritative name server is a name server
 that gives answers in response to questions
 asked about names in a zone.
An authoritative-only name server only returns
 answers to queries about domain names that
 have been specifically configured by the
 administrator.
Caching NameServers
             Where would you need them?



Directly on a workstation or server


In a Small Office / Home Office


On a corporate network
DNSCACHE

dnscache maintains a limited-size cache of DNS
 information, 1 megabyte by default.


Unlike BIND (which keeps growing), discards
 older cache entries.
Powerdns

Lots of Backends:-
MySQL, PostgreSQL, Oracle, DB2,
 OpenDBX,SQLite, BIND, LDAP, geo, pipe, etc.
Install a Zone Editor :-
PowerAdmin
WebDNS
ZoneAdmin
A webpage detailing its own stats.
BIND
The most widely used DNS software on the
 Internet.


Widely documented


Can be used as a Caching nameserver
DSC
DNSTOP
Queries: 452 new, 4888 total
              Wed Jul 18 18:38:56 2012
Query Name
 Count   % cum%
-------------------------------------------------------
  --------- ------ ------
l.google.com                                              111
    2.3 2.3
1.nfps.bz                                                 83
Reference




http://jpmens.net/2010/10/29/alternative-dns-
  servers-the-book-as-pdf/

Dns presentation