VISVESVARAYA TECHNOLOGICAL UNIVERSITY
Belgaum-590014
Project Report
On
“BIO-INSPIRED TRANSFEMORAL PROSTHESIS SYSTEM”
Bachelor of Engineering
in
ELECTRONICS AND COMMUNICATION ENGINEERING
For the Academic Year
2012-2013
BY
Rengarajan S (1PE08EC079)
Samarth Julaniya (1PE07EC084)
Santosh Pallanti (1PE08EC088)
Smita V Bailur (1PE08EC097)
UNDER THE GUIDANCE OF
Mr. ANANDA. M
Assistant Professor
Dept. of ECE, PESSE.
Department of Electronics and Communication Engineering
PES SCHOOL OF ENGINEERING
HOSUR ROAD
BANGALORE-560100
ACKNOWLEDGEMENT
We would like to express our sincere gratitude to Dr. J. Surya Prasad,
Director/Principal of PESSE and college management for having provided excellent facilities
that aided the completion of this project.
We would like to thank Prof. S.N.R. Ajey, Head of Department of Electronics and
Communication Engineering, PESSE for giving us the support and encouragement that was
necessary for the completion of this report.
We would like express our sincere gratitude to all the lecturers and staff of the
department of Electronics and Communication Engineering for extending their help and
guidance towards our project, for providing the required R & D facility and encouragement in
completion of the project. We owe our deep sense of gratitude to our guide Mr. Ananda M,
asst professor, who has been the backbone and driving force ensuring the successful results
in our endeavours.
Last but not least; the project would not have been a success without the support of our
parents and friends; we would like to thank them for their everlasting love and presence in all
our endeavours.
CONTENTS
Chapter Topic Page
No.
Abstract
1. Preamble 1
1.1) Introduction 2
1.2) What Do We Do 2
1.3) What We Have Done So Far 2
1.4) Problems Faced In The Present 4
1.5) What Are We Doing 4
2. Under The Microscope 6
2.1) Different Types Of Prosthesis 7
2.2) Advantages Of Myoelectric Prosthesis 8
2.3) Muscles Which Help Us In Classification 9
2.4) Neural Networks 10
2.5) Optimization Of Neural Architecture 11
2.6) Our Implementation 13
2.7) Classifying Leg Motions and Experimental
Methodology
14
3. Hardware Requirements 15
3.1) Microcontroller 16
3.1.1) Features 16
3.1.2) Block Diagram 18
3.1.3) Servo Motor 20
3.1.4) Piezoelectric Sensors 20
3.1.4.1) AD620 Instrumentation Amplifier 22
3.1.4.2) OP07 Operation Amplifier 23
3.1.4.3) LM741 Operation Amplifier 24
4. Software Requirements 25
4.1) WinAVR USB Programmer and Complier 26
4.1.1) Features 26
4.1.2) Software Development Cycle 27
5. Flow Chart 32
6. Advantages, Applications and Results 34
6.1) Advantages 35
6.2) Applications 35
6.3) Result 35
7. Conclusion and Future Enhancement 37
7.1) Conclusion 38
7.2) Future Enhancement 38
8. References 39
ABSTRACT
To design a prosthetic limb for the disabled, and train the same using Artificial Neural
Networks to detect the actuation of the femoral muscles and hence move the limb
accordingly. The designed myoelectric prosthesis uses electromyography signals or potentials
from these femoral voluntarily contracted muscles within a person's residual limb on the
surface of the skin to control the movements of the prosthesis, so as to allow the person to
walk normally. We exploit the residual neuro-muscular system of the human body to control
the functions of an electric powered prosthetic leg. We are achieving this using a trained
artificial neural network; so as to replicate the working of an actual limb. It has a self
suspending socket with pick up electrodes placed over flexors and extensors for the
movement of flexion and extension respectively.
BIO-INSPIRED TRANSFEOMORAL PROSTHESIS SYSTEM
Dept. of ECE, PESSE Page 1
CHAPTER 1
PREAMBLE
BIO-INSPIRED TRANSFEOMORAL PROSTHESIS SYSTEM
Dept. of ECE, PESSE Page 2
CHAPTER 1
PREAMBLE
1.1 INTRODUCTION
The motivation behind classifying leg motions is the potential application in physiotherapy and
home-based rehabilitation. For example, a patient with paralysis may be given certain exercises
to do regularly, and inertial sensors can be used remotely to assess which exercise the patient is
performing and whether he is doing it properly, here we are using these signals to train the
system for leg moment in the case of prosthesis. By using such sensors and actuation mechanism
trained with artificial neural network, the cost is reduced and the user gets easily accustomed to
the system.
1.2 WHAT DO WE DO
Design a prosthetic limb for the disabled, and train the same using Artificial Neural Networks to
detect the actuation of the femoral muscles and hence move the limb accordingly.
1.3 WHAT PEOPLE HAVE DONE SO FAR
The idea was originally developed by Kelly James, a Canadian engineer, at the University of
Alberta. The C-Leg uses hydraulic cylinders to control the flexing of the knee. Sensors send
signals to the microprocessor that analyzes these signals, and communicates what resistance the
hydraulic cylinders should supply. C-Leg is an abbreviation of 3C100, the model number of the
original prosthesis, but has continued to be applied to all Otto Bock microprocessor-controlled
knee prostheses. The C-Leg functions through various technological devices incorporated into
the components of the prosthesis. The C-Leg uses a knee-angle sensor to measure the angular
position and angular velocity of the flexing joint. Measurements are taken up to fifty times a
second. The knee-angle sensor is located directly at the axis of rotation of the knee.
BIO-INSPIRED TRANSFEOMORAL PROSTHESIS SYSTEM
Dept. of ECE, PESSE Page 3
Figure 1.3: Two different models of the C-Leg prosthesis
Moment sensors are located in the tube adapter at the base of the C-Leg. These moment sensors
use multiple strain gauges to determine where the force is being applied to the knee, from the
foot, and the magnitude of that force.
The C-Leg controls the resistance to rotation and extension of the knee using a hydraulic
cylinder. Small valves control the amount of hydraulic fluid that can pass into and out of the
cylinder, thus regulating the extension and compression of a piston connected to the upper
section of the knee. The microprocessor receives signals from its sensors to determine the type of
motion being employed by the amputee. The microprocessor then signals the hydraulic cylinder
to act accordingly. The microprocessor also records information concerning the motion of the
amputee that can be downloaded onto a computer and analyzed. This information allows the user
to make better use of the prosthetic.
The C-Leg is powered by a lithium-ion battery housed inside the prosthesis near the knee joint.
On a full charge, the C-leg can operate for up to 45 hours, depending on the intensity of use. A
charging port located on the front of the knee joint can be connected to a charging cable plugged
directly into a standard outlet. A "pigtail" charging port adapter permits the relocation of the
charging port to a location more accessible when the prosthesis has a cosmetic cover applied.
The charger cord has lights that allow the user to observe the level of charge when connected to
the knee. A 12 volt car charger adapter can also be purchased.
BIO-INSPIRED TRANSFEOMORAL PROSTHESIS SYSTEM
Dept. of ECE, PESSE Page 4
1.4 PROBLEMS FACED IN THE PRESENT
The C-Leg provides certain advantages over conventional mechanical knee prostheses. It
provides an approximation to an amputee’s natural gait. The C-Leg allows amputees to walk at
near walking speed. Variations in speed are also possible and are taken into account by sensors
and communicated to the microprocessor, which adjusts to these changes accordingly. It also
enables the amputees to walk down stairs with a step-over-step approach, rather than the one step
at a time approach used with mechanical knees. The C-Leg’s ability to respond to sensor
readings can help amputees recover from stumbles without the knee buckling. However, the C-
Leg has some significant drawbacks that impair its use. The C-Leg is susceptible to water
damage and thus great care must be taken to ensure that the prosthesis remains dry. Otto Bock
recommends that each amputee use the C-Leg for up to two months before the system can fully
become accustomed to the individual’s unique gait. Becoming accustomed to the C-Leg is
especially difficult when walking downhill, and amputees should seek help while becoming
familiar with the system to avoid injury.
A wide range of amputees can make use of the C-Leg; however, some people are more suited to
this prosthesis than others. The C-Leg is designed for use on people who have undergone
transfemoral amputation, or amputation above the knee. The C-Leg can be used by amputees
with either single or bilateral limb amputations. In the case of bilateral amputations, the
application of C-Legs must be closely monitored. Certain physical requirements must be met for
C-Leg use. The amputee must have satisfactory cardiovascular and pulmonary health. The
balance and strength of the amputee must be sufficient to take strides while using prosthesis.
Also the cost of such systems is very high which is not affordable by every one.
1.5 WHAT ARE WE DOING
The project is about neural networks and their application for the design of controllers of
assistive systems aiming to provide the walking in amputees. The first suggestion from the
thorough review of literature and our own work is that the use of artificial neural networks could
BIO-INSPIRED TRANSFEOMORAL PROSTHESIS SYSTEM
Dept. of ECE, PESSE Page 5
be an effective method to resolve redundancy, time variability of system parameters,
nonlinearities, and other biological effects that contribute to extremely high complexity that
cannot be modelled by analytical tools with sufficient precision and details. The second
suggestion is that the application of artificial neural networks is only one part of solution, and
that at the actuator level of control (muscle activation) the dynamics of the biological systems
must be included.
Fig 1.5: Bird’s view of our project
The above diagram shows the system view of our project. The input is taken from the amputee’s
leg, above the knee, using sensors and given to the system. Here, the signals have to be filtered if
required and classified based on the intended movement. The classified signal is then sent to the
microcontroller serially, which uses it to drive the motors of the prosthesis accordingly. Hence,
the prosthesis moves according to the desired motion.
BIO-INSPIRED TRANSFEOMORAL PROSTHESIS SYSTEM
Dept. of ECE, PESSE Page 6
CHAPTER 2
UNDER THE MICROSCOPE
BIO-INSPIRED TRANSFEOMORAL PROSTHESIS SYSTEM
Dept. of ECE, PESSE Page 7
CHAPTER 2
DESIGN AND IMPLEMENTATION
2.1 DIFFERENT TYPES OF PROSTHESIS
Prostheses are classified as
1) Body powered prostheses
Body-powered prosthetics use cables and harnesses strapped to the individual to mechanically
maneuver the artificial limb through muscle, Shoulder, and arm movement. While they are
highly durable, they often sacrifice a natural appearance for moderate functionality. As well,
though the user experiences direct control and feedback through its mechanical operation, the
process can be fatiguing. To effectively control this type of prosthesis the user must possess
significant strength and control over various body parts, including the shoulders, chest, and
residual limb. There must be sufficient limb length, musculature, and range of motion.
Figure 2.1: Body powered prostheses
BIO-INSPIRED TRANSFEOMORAL PROSTHESIS SYSTEM
Dept. of ECE, PESSE Page 8
2) Myoelectric prostheses
Externally-powered artificial limbs are an attempt to solve this physical exertion through using a
battery and an electronic system to control movement. At the forefront of this technology is the
myoelectric prosthetic. Myoelectric prostheses typically do not involve elaborate harnesses or
cables and rely on very subtle muscle movements. This frees the user to be able to perform more
complicated fine motor skills while still operating the prosthesis.
Figure2.2.a: Myoelectric prostheses
2.2 ADVANTAGES OF MYOELECTRIC PROSTHESIS
Myoelectric prosthetics have a number of advantages over body-powered prosthetics:
Since it uses a battery and electronic motors to function, the myoelectric artificial limb does not
require any unwieldy straps or harnesses to function. Instead, it is custom made to fit and attach
to the remaining limb (whether above the knee or below) with maximum suspension using
suction technology. Once it is attached, the prosthetic uses electronic sensors to detect minute
muscle activity, also called electromyography signals. It then translates this muscle activity (as
triggered by the user) into information that its electric motors use to control the artificial limbs
movements. The end result is that the artificial limb moves much like a natural limb, according
the mental stimulus of the user. The user can even control the strength and speed of the limb’s
movements and grip by varying his or her muscle intensity.
BIO-INSPIRED TRANSFEOMORAL PROSTHESIS SYSTEM
Dept. of ECE, PESSE Page 9
Figure 2.2.b: Piezoelectric Sensors
As indicated in Figure 2.2.b, we have designed a piezoelectric sensor to measure the vibration in
muscles, piezo electric sensors are vibration sensors used to extract the signals which is fed to
Neural Network for classification.
2.3 MUSCLES WHICH HELP US IN CLASSIFICATION
The quadriceps femoris is a large muscle group that includes the four prevailing muscles on the
front of the thigh. It is the great extensor muscle of the knee, forming a large fleshy mass which
covers the front and sides of the femur.
It is subdivided into four separate portions or 'heads', which have received distinctive names:
● Rectus femoris occupies the middle of the thigh, covering most of the other three
quadriceps muscles. It originates on the ilium. It is named from its straight course.
● The other three lie deep to rectus femoris and originate from the body of the femur,
which they cover from the trochanters to the condyles:
○ Vastus lateralis is on the lateral side of the femur (i.e. on the outer side of the
thigh).
○ Vastus medialis is on the medial side of the femur (i.e. on the inner part thigh).
○ Vastus intermedius lies between vastus lateralis and vastus medialis on the front of
the femur (i.e. on the top or front of the thigh), but deep to the rectus femoris.
Typically, it cannot be seen without dissection of the rectus femoris.
BIO-INSPIRED TRANSFEOMORAL PROSTHESIS SYSTEM
Dept. of ECE, PESSE Page 10
All four quadriceps are powerful extensors of the knee joint. They are crucial in walking,
running, jumping and squatting. Because rectus femoris attaches to the ilium, it is also a flexor of
the hip. This action is also crucial to walking or running as it swings the leg forward into the
ensuing step. We make use of this fact in our project. We measure the muscle vibration in the
femoris and use an artificial neural network, trained to classify the muscle movement based on
similarly measured signals, to control the prosthesis. The piezo electric sensors shown in Figure
2.3 placed above these muscles help us extract the signals for different motions and classify them
using neural network.
2.4 NEURAL NETWORKS
An alternate approach to deriving control for multidegree of freedom prosthetic arms is
considered. By analyzing a single-channel myoelectric signal (MES), we can extract information
that can be used to identify different contraction patterns in the upper arm. These contraction
patterns are generated by subjects without previous training and are naturally associated with
specific functions. Using a set of normalized MES spectral features, we can identify contraction
patterns for three limb functions, specifically extension and flexion of the femoris for moving the
limb up and down, also the pattern for keeping the limb in rest is acquired. Performing
identification independent of signal power is advantageous because this can then be used as a
means for deriving proportional rate control for a prosthesis. An artificial neural network
implementation is applied in the classification task. By using three single-layer perceptron
networks, the MES is classified, with the spectral representations as input features.
Figure 2.4: Neural Network
BIO-INSPIRED TRANSFEOMORAL PROSTHESIS SYSTEM
Dept. of ECE, PESSE Page 11
As indicated above in Figure 1, the input layer consists of the input signals from the sensors, the
number of neurons in the input layer is decided by the number of samples in signals extracted,
the hidden layer is the one which is not subjected directly to the external environment and the
hidden layer is a non linear distribution of neurons which is responsible for the signal
classification along with the activation function, the final layer is the output layer in which the
number of neurons are decided depending upon the number of motions the required signal is to
be classified into. Trials performed on five subjects with normal limbs resulted in an average
classification performance level of 85% for the three functions.
2.5 OPTIMIZATION OF NEURAL ARCHITECTURE
Figure 2.5.a: Neural network
BIO-INSPIRED TRANSFEOMORAL PROSTHESIS SYSTEM
Dept. of ECE, PESSE Page 12
Figure 2.5.b:Performance of the network
BIO-INSPIRED TRANSFEOMORAL PROSTHESIS SYSTEM
Dept. of ECE, PESSE Page 13
2.6 OUR IMPLEMENTATION
We use small, low-cost piezoelectric sensors positioned on the human leg to classify leg motions.
The motivation behind classifying leg motions is the potential application in physiotherapy and
home-based rehabilitation. For example, a patient with paralysis may be given certain exercises
to do regularly, and inertial sensors can be used remotely to assess which exercise the patient is
performing and whether he is doing it properly, here we are using these signals to train the
system for leg moment in the case of prosthesis. Several different feature sets based on the
decomposition and their combinations are considered for effective feature extraction. The set that
gives the highest classification accuracy and minimum artificial neural network (ANN)
complexity is identified and used. Raw piezoelectric sensor signals, initially comprises of a large
number of samples which are represented by a moderate number of highly informative features.
This enables us to use ANNs as motion classifiers with high accuracy and relatively low network
complexity. Since the signal correlates the analyzed signal with a prototype function, hence
selection of the appropriate function or feature is a critical process that influences the
performance of any ANN-based application. Thus, in this work, we also investigate the effect of
different types of functions on classification performance and provide a comparison between
them. The output of the sensors are fed to the laptop using the audio port for classification using
neural network. The classified signals are serially transmitted to the microcontroller to control
the motion of the servos which Mimic the movement of the limb.
Figure 2.6: Prototype of the limb
BIO-INSPIRED TRANSFEOMORAL PROSTHESIS SYSTEM
Dept. of ECE, PESSE Page 14
As indicated in Figure 2.6, The limb consists of servos at the knee and ankle joint which are
controlled using the microcontroller receiving its input from the neural network which in turn
receives its input from the piezo electric sensors.
2.7 CLASSIFYING LEG MOTIONS AND EXPERIMENTAL
METHODOLOGY
Three different sample leg motions are classified using two piezoelectric sensors that are placed
on the subject’s right leg. Photos taken while performing the motions are shown in Figure 2.5.
Throughout the motions listed below, the subject’s left foot stays on the ground. The motions
are:
M1: standing without moving the legs (Figure 2.5(a)),
M2: moving only the lower part of right leg to the back (Figure 2.5(b)),
M3: moving only the lower part of the right leg upward while sitting on a stool (Figure 2.5(c)).
If the sensor remains still or moves in a straight line the signals produced by the sensor is almost
zero.
2.7(a) 2.7(b) 2.7(c)
M1: standing without moving the legs (Figure 2.7(a))
M2: moving only the lower part of right leg to the back (Figure 2.7(b))
M3: moving only the lower part of the right leg upward while sitting on a stool (Figure 2.7(c))
BIO-INSPIRED TRANSFEOMORAL PROSTHESIS SYSTEM
Dept. of ECE, PESSE Page 15
CHAPTER 3
HARDWARE REQUIREMENTS
BIO-INSPIRED TRANSFEOMORAL PROSTHESIS SYSTEM
Dept. of ECE, PESSE Page 16
CHAPTER 3
HARDWARE REQUIREMENTS
3.1 MICROCONTROLLER
A microcontroller often serves as the “brain” of a mechatronic system. Like a mini, self-
contained computer, it can be programmed to interact with both the hardware of the system and
the user. Even the most basic microcontroller can perform simple math operations, control digital
outputs, and monitor digital inputs. As the computer industry has evolved, so has the technology
associated with microcontrollers. Newer microcontrollers are much faster, have more memory,
and have a host of input and output features that dwarf the ability of earlier models. Most modern
controllers have analog-to-digital converters, high-speed timers and counters, interrupt
capabilities, outputs that can be pulse-width modulated, serial communication ports, etc.
3.1.1 FEATURES
High-performance, Low-power AVR 8-bit Microcontroller
Advanced RISC Architecture
- 32 x 8 General Purpose Working Registers
- Up to 6 MIPS Throughput at 16MHz
Nonvolatile Program and Data Memories
- 16k Bytes of In-System Self-Programmable Flash
- 512K Bytes EEPROM
Peripheral Features
- On-chip Analog Comparator
- Two 8-bit Timer/Counters with Separate Prescalar, Compare
BIO-INSPIRED TRANSFEOMORAL PROSTHESIS SYSTEM
Dept. of ECE, PESSE Page 17
- One 16-bit Timer/Counter with Separate Prescaler, Compare and Capture mode
- Real Time Counter with Separate Oscillator
- Four PWM Channels
- 8-channel, 10-bit ADC
- Byte-oriented Two-wire Serial Interface
- Programmable Serial USART
Special Microcontroller Features
- Power-on Reset and Programmable Brown-out Detection
- Internal Calibrated RC Oscillator
- External and Internal Interrupt Sources
- Six Sleep Modes: Idle, ADC Noise Reduction, Power-save, Power-down,
Standby, and Extended Standby
I/O and Packages
- 32 Programmable I/O Lines
- 40-pin PDIP, 44-lead TQFP, and 44-pad MLF
Operating Voltages
- 4.5-5.5V for ATmega16
Speed Grades
- 0-16 MHz for ATmega16
Power Consumption at 4 MHz, 3V, 35 °C
- Active: 1.1mA
- Idle Mode: 0.35mA
- Power-down Mode: < 1µA
BIO-INSPIRED TRANSFEOMORAL PROSTHESIS SYSTEM
Dept. of ECE, PESSE Page 18
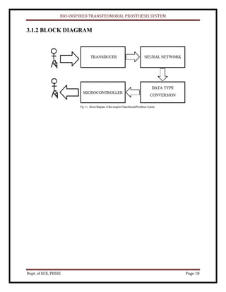
3.1.2 BLOCK DIAGRAM
BIO-INSPIRED TRANSFEOMORAL PROSTHESIS SYSTEM
Dept. of ECE, PESSE Page 19
Figure (3.2): Atmega16 Block Diagram
BIO-INSPIRED TRANSFEOMORAL PROSTHESIS SYSTEM
Dept. of ECE, PESSE Page 20
3.1.3 SERVO MOTOR
Voltage rating 6 V
Holding torque: 8 kg-cm
Shaft diameter: 0.190" [4.83 mm]
Shaft length: 0.50" [12.7 mm]
Motor depth: 1.34" [34 mm]
The second servo for the ankle has specifications: Figure 3.1.3: Servo motor
Voltage rating 6 V
Holding torque: 5 kg-cm
Shaft diameter: 0.190" [4.83 mm]
Shaft length: 0.50" [12.7 mm]
Motor depth: 1.34" [34 mm]
These motors are controlled using AT mega 16 micro controller
3.1.4 PIEZOELECTRIC SENSORS
Piezo Material: SM412
Dimensions: 9 x 0.5mm
Resonant frequency fr: 4.25 MKHz ± 4%
Electromechanical coupling coefficient Kp:
Resonant impedance Zm: ≤1.4 Ω
Static capacitance Cs: 1400pF±20%
Test Condition: 25±3 °C 40~70% R.H. fr, Zm, Kp => Figure 3.1.4:Piezoelectric
sensor
Thickness mode vibration application
Cs => LCR meter at 1KHz 1Vrms
Applications: Piezo transducer for vibration, transducer for matter dispersion, sonar
transducer Ultrasonic sensor, vibration sensor, material stress sensor, pressure sensor,
BIO-INSPIRED TRANSFEOMORAL PROSTHESIS SYSTEM
Dept. of ECE, PESSE Page 21
energy electricity harvesting, compression sensor, piezo expansion sensor and others.
Figure 3.1.4: Implementation of sensor
The above diagram shows the amplifying circuit used for the piezo sensor. We use AD620, an
instrumentation amplifier, for amplification and removal of noise due to sensors; since
instrumentation amplifiers have high common mode rejection ratio, they cancel out the signal
common at the two input terminals, i.e. the noise due to the piezo sensors. We use OP97 as a
voltage follower to ensure low output impedance. We use LM741 to get the required The
diodes ensure that the voltage across the body is never more than 0.7V. If it is greater than
0.7V, one of the diodes will short and provide a current path with much less resistance than
the body. The EMG out pin is read by the audio port of the laptop and serially sent to the
microcontroller to control the motors. This circuit is powered by 5V, and terminated at GND.
Since the AD620 requires a split power supply, this section creates a buffered voltage source.
The output here is 2.5V. When this 2.5V is used as reference, you can measure +2.5V
between here and 5V and -2.5V between here and GND; this creates a split supply which
allows the output of the instrumentation amplifier to swing.
BIO-INSPIRED TRANSFEOMORAL PROSTHESIS SYSTEM
Dept. of ECE, PESSE Page 22
3.1.4.1 AD620 INSTRUMENTATION AMPLIFIER
Figure 3.1.4.1: Instrumentation Amplifier
The AD620 is a low cost, high accuracy instrumentation amplifier that requires only one external
resistor to set gains of 1 to1000. Furthermore, the AD620 features 8-lead SOIC and DIP
packaging that is smaller than discrete designs, and offers lower power (only 1.3 mA max supply
current), making it a good fit for battery powered, portable (or remote) applications. The AD620,
with its high accuracy of 40 ppm maximum nonlinearity, low offset voltage of 50 mV max and
offset drift of 0.6 mV/°C max, is ideal for use in precision data acquisition systems, such as
weigh scales and transducer interfaces. Furthermore, the low noise, low input bias current, and
low power of the AD620 make it well suited for medical applications such as ECG and non-
invasive blood pressure monitors. The low input bias current of 1.0 nA max is made possible
with the use of Super beta processing in the input stage. The AD620 works well as a preamplifier
due to its low input voltage noise of 9 nV/ÖHz at 1 kHz, 0.28 mV p-p in the 0.1 Hz to 10 Hz
band, 0.1 pA/ÖHz input current noise. Also, the AD620 is well suited for multiplexed
applications with its settling time of 15 ms to 0.01% and its cost is low enough to enable designs
with one in amp per channel.
BIO-INSPIRED TRANSFEOMORAL PROSTHESIS SYSTEM
Dept. of ECE, PESSE Page 23
3.1.4.2 OP07 OPERATION AMPLIFIER
Figure 3.1.4.2: OP97 Pin Configuration
The OP07 has very low input offset voltage (75 μV max for OP07E) which is obtained by
trimming at the wafer stage. These low offset voltages generally eliminate any need for external
nulling. The OP07 also features low input bias current (4 nA for OP07E) and high open-loop
gain (200 V/mV for OP07E). The low offsets and high open-loop gain make the OP07
particularly useful for high-gain instrumentation applications. The wide input voltage range of 13
V minimum combined with high CMRR of 106 dB (OP07E) and high input impedance provides
high accuracy in the non-inverting circuit configuration. Excellent linearity and gain accuracy
can be maintained even at high closed-loop gains. Stability of offsets and gain with time or
variations in temperature is excellent. The accuracy and stability of the OP07, even at high gain,
combined with the freedom from external nulling have made the OP07 an industry standard for
instrumentation applications. The OP07 is available in two standard performance grades. The
OP07E is specified for operation over the 0°C to 70°C range, and OP07C over the –40°C to
+85°C temperature range. The OP07 is available in epoxy 8-lead Mini-DIP and 8-lead SOIC. It
is a direct replacement for 725,108A, and OP05 amplifiers; 741-types may be directly replaced
by removing the 741’s nulling potentiometer. For improved specifications, see the OP177 or
BIO-INSPIRED TRANSFEOMORAL PROSTHESIS SYSTEM
Dept. of ECE, PESSE Page 24
OP1177. For ceramic DIP and TO-99 packages and standard micro circuit (SMD) versions, see
the OP77.
3.1.4.3 LM741 OPERATION AMPLIFIER
Figure 3.1.4.3: LM741 Pin Configuration
The LM741 series are general purpose operational amplifiers which feature improved
performance over industry standards like the LM709. They are direct, plug-in replacements for
the 709C, LM201, MC1439 and 748 in most applications. The amplifiers offer many features
which make their application nearly foolproof: overload protection on the input and output, no
latch-up when the common mode range is exceeded, as well as freedom from oscillations. The
LM741C is identical to the LM741/LM741A except that the LM741C has their performance
guaranteed over a 0°C to +70°C temperature range, instead of −55°C to +125°C.
BIO-INSPIRED TRANSFEOMORAL PROSTHESIS SYSTEM
Dept. of ECE, PESSE Page 25
CHAPTER 4
SOFTWARE REQUIREMENTS
BIO-INSPIRED TRANSFEOMORAL PROSTHESIS SYSTEM
Dept. of ECE, PESSE Page 26
CHAPTER 4
SOFTWARE REQUIREMENTS
4.1 WinAVR USB Programmer and Complier
AVR USB programmer 810210 is a high power low cost programmer with a USB interface for
makes it easier to burn programs in microcontrollers. The programmer uses a firmware-only
USB driver; no special USB controller is needed. It is also officially included and supported in
WinAVR. The main reason for choosing AVR microcontroller is because of its facilities and
support from Linux compilers and cheap cost programmers. Here I am using WinAVR and
USBasp programmer.
4.1.1 Features
Supports 62 AVR microcontrollers
Compatible with Win AVR IDE
can also be use with AVR dude directly
Programmer powered by USB bus
Conforms to USB power requirements, including sleep
Supports USB v1.1 protocol and USB v2.0 compatible
Direct USB drivers -- not virtual serial port
Microsoft approved drivers for real plug and play
Supports Win 98SE/2000/XP/ME ** Win 95 and early Win98 require Microsoft USB
update
Programs target devices from 1.8V to 5V
Multiple programmers from one PC
BIO-INSPIRED TRANSFEOMORAL PROSTHESIS SYSTEM
Dept. of ECE, PESSE Page 27
4.1.2 SOFTWARE DEVELOPMENT CYCLE
1. Install Win-AVR in your PC
2. Install AVR dude-5.5in your PC
3. Connect this device to the PCs USB Port
4. It will give you a pop-up window “Found new hardware wizard”
Here locate and install your driver manually given on the CD
To use it with WINAVR do the following steps
First we require a compiler which converts your program into the hex code of the AVR
microcontroller. If you use C for programming AVR then you can use WinAVR, Code Vision
AVR, Image Craft AVR, BASCOM AVR for programming in BASIC, AVRStuidio for
programming in assembly. But here I am talking about C programming. I use WinaVR20xx for
all these programs compilation. Second requirement is a programmer which transfers the. Hex
code (machine code for AVR) into the chip. That is a programmer which burns the chip. We use
USBasp Programmer.
1. When you are creating make file for win AVR in the programmer option edit the make file as
"usbasp"
in the port option select USB then save it
2. Connect your programmer into your micro controller board as per the pins diagram mentioned
bellow
3. To compile your program go to tools->Make all
4. To load your code in your microcontroller go to tools->program
BIO-INSPIRED TRANSFEOMORAL PROSTHESIS SYSTEM
Dept. of ECE, PESSE Page 28
BIO-INSPIRED TRANSFEOMORAL PROSTHESIS SYSTEM
Dept. of ECE, PESSE Page 29
BIO-INSPIRED TRANSFEOMORAL PROSTHESIS SYSTEM
Dept. of ECE, PESSE Page 30
if your code is downloaded successfully it will give you the message in the following format
******************************************************************************
Creating load file for EEPROM: main.eep
Avr-objcopy -j .eeprom --set-section-flags=.eeprom="alloc,load" 
--change-section-lma .eeprom=0 --no-change-warnings -O ihex main.elf main.eep || exit 0
c:WinAVR-20070525binavr-objcopy.exe: there are no sections to be copied!
avrdude -p atmega16 -P usb -c usbasp -U flash:w:main.hex
found 5 busses
avrdude: AVR device initialized and ready to accept instructions
Reading | ################################################## | 100% 0.02s
avrdude: Device signature = 0x1e9403
avrdude: NOTE: FLASH memory has been specified, an erase cycle will be performed
To disable this feature, specify the -D option.
avrdude: erasing chip
avrdude: reading input file "main.hex"
avrdude: input file main.hex auto detected as Intel Hex
avrdude: writing flash (226 bytes):
Writing | ################################################## | 100% 0.05s
avrdude: 226 bytes of flash written
avrdude: verifying flash memory against main.hex:
avrdude: load data flash data from input file main.hex:
avrdude: input file main.hex auto detected as Intel Hex
avrdude: input file main.hex contains 226 bytes
avrdude: reading on-chip flash data:
Reading | ################################################## | 100% 0.06s
avrdude: verifying ...
avrdude: 226 bytes of flash verified
avrdude done. Thank you.
> Process Exit Code: 0
BIO-INSPIRED TRANSFEOMORAL PROSTHESIS SYSTEM
Dept. of ECE, PESSE Page 31
> Time Taken: 00:01
******************************************************************************
If there is any problem you may get the following information on the screen
******************************************************************************
Creating load file for EEPROM: main.eep
avr-objcopy -j .eeprom --set-section-flags=.eeprom="alloc,load" 
--change-section-lma .eeprom=0 --no-change-warnings -O ihex main.elf main.eep || exit 0
c:WinAVR-20070525binavr-objcopy.exe: there are no sections to be copied!
avrdude -p atmega16 -P usb -c usbasp -U flash:w:main.hex
found 5 busses
avrdude: error: programm enable: target doesn't answer. 1
avrdude: AVR device initialized and ready to accept instructions
Reading | ################################################## | 100% 0.02s
avrdude: Device signature = 0x000000
avrdude: Yikes! Invalid device signature.
Double check connections and try again, or use -F to override
this check.
avrdude done. Thank you.
make.exe: *** [program] Error 1
> Process Exit Code: 2
> Time Taken: 00:01
******************************************************************************
BIO-INSPIRED TRANSFEOMORAL PROSTHESIS SYSTEM
Dept. of ECE, PESSE Page 32
CHAPTER 5
FLOW CHART
BIO-INSPIRED TRANSFEOMORAL PROSTHESIS SYSTEM
Dept. of ECE, PESSE Page 33
Classify the signals using
matlab
Extract signals from
the subject
Send the signals to laptop
through audio port for
classification using neural
networks
Send the classified signal
serially to micro
controller
Umicrocontroller
Actuate the limb for
movement
BIO-INSPIRED TRANSFEOMORAL PROSTHESIS SYSTEM
Dept. of ECE, PESSE Page 34
CHAPTER 6
ADVANTAGES, APPLICATIONS
AND RESULTS
BIO-INSPIRED TRANSFEOMORAL PROSTHESIS SYSTEM
Dept. of ECE, PESSE Page 35
CHAPTER 6
ADVANTAGES, APPLICATIONS AND RESULTS
6.1 ADVANTAGES
Since it uses a battery and electronic motors to function, the myoelectric artificial limb does not
require any unwieldy straps or harnesses to function. Instead, it is custom made to fit and attach
to the remaining limb (whether above the knee or below) with maximum suspension using
suction technology. Once it is attached, the prosthetic uses electronic sensors to detect minute
muscle activity. It then translates this muscle activity (as triggered by the user) into information
that its electric motors use to control the artificial limbs movements. The end result is that the
artificial limb moves much like a natural limb, according the mental stimulus of the user.
6.2 APPLICATIONS
Provides a realistic limb for amputees.
Can also be used in controlling robotics to a high degree of precision
6.3 RESULT
The features for different movements are extracted and signals are plotted using matlab which
indicate distinct features for different motions. These features are exploited to classify the new
signals. By extracting more signals for training we can extract more features which in turn will
be able to classify the signals into more motions and also improves factors such as the learning
rate, efficiency of the neural network.
BIO-INSPIRED TRANSFEOMORAL PROSTHESIS SYSTEM
Dept. of ECE, PESSE Page 36
Figure 6.3(a)
Figure 6.3(b)
Figure 6.3(c)
Figure 6: Graphs indicating distinct features for the different motions of the leg.
M1: moving only the lower part of the right leg upward while sitting on a stool (Figure 6.1(a))
M2: moving only the lower part of right leg to the back (Figure 6.2(b)),
M3: standing without moving the legs (Figure 6.3(c)),
BIO-INSPIRED TRANSFEOMORAL PROSTHESIS SYSTEM
Dept. of ECE, PESSE Page 37
CHAPTER 7
CONCLUSION AND
FUTURE ENHANCEMENT
BIO-INSPIRED TRANSFEOMORAL PROSTHESIS SYSTEM
Dept. of ECE, PESSE Page 38
CHAPTER 7
CONCLUSION AND FUTURE ENHANCEMENT
7.1 CONCLUSION
We can hence implement a realistic limb for the amputees by designing using Artificial neural
networks for better efficiency.
7.2 FUTURE ENHANCEMENT
We can take more samples and improve the training for better classification also we have
implemented Classification of 3 motions which can be improved in the future
BIO-INSPIRED TRANSFEOMORAL PROSTHESIS SYSTEM
Dept. of ECE, PESSE Page 39
References
[1] www.myoelectricprosthetics.com
[2] E. Lamounier, A. Soares, A. Andrade, R. Carrijo, A Virtual Prosthesis Control based on
Neural Networks for EMG Pattern Classification, Federal University of Uberlândia/Faculty of
Electrical Engineering, Biomedical and Computer Graphics Laboratories, Brazil
[3]www.bsrm.co.uk/ClinicalGuidance/StdsAmpProsRehab.pdf
[4] D.B. Popovic and T. Sinkjer, Control of Movement for the Physically Disabled, Springer,
London,2000.
[5] R. Tomovic, D.B. Popovic, and R.B. Stein, Nonanalytical methods for motor control. World
Sci Publ, Singapore, 1995.
[6] R. Tomovic and R.B. McGhee, A finite state approach to the synthesis of bioengineering
control systems. IEEE Trans Human Factors Eng HFE-7:65-69, 1968.
[7] M. Kawato, Feedback-Error-Learning Neural Network for Supervised Motor Learning.
Advanced Neural Computers, pp 365-372, 1990.

Artificial Neural Networks Project report

  • 1.
    VISVESVARAYA TECHNOLOGICAL UNIVERSITY Belgaum-590014 ProjectReport On “BIO-INSPIRED TRANSFEMORAL PROSTHESIS SYSTEM” Bachelor of Engineering in ELECTRONICS AND COMMUNICATION ENGINEERING For the Academic Year 2012-2013 BY Rengarajan S (1PE08EC079) Samarth Julaniya (1PE07EC084) Santosh Pallanti (1PE08EC088) Smita V Bailur (1PE08EC097) UNDER THE GUIDANCE OF Mr. ANANDA. M Assistant Professor Dept. of ECE, PESSE. Department of Electronics and Communication Engineering PES SCHOOL OF ENGINEERING HOSUR ROAD BANGALORE-560100
  • 2.
    ACKNOWLEDGEMENT We would liketo express our sincere gratitude to Dr. J. Surya Prasad, Director/Principal of PESSE and college management for having provided excellent facilities that aided the completion of this project. We would like to thank Prof. S.N.R. Ajey, Head of Department of Electronics and Communication Engineering, PESSE for giving us the support and encouragement that was necessary for the completion of this report. We would like express our sincere gratitude to all the lecturers and staff of the department of Electronics and Communication Engineering for extending their help and guidance towards our project, for providing the required R & D facility and encouragement in completion of the project. We owe our deep sense of gratitude to our guide Mr. Ananda M, asst professor, who has been the backbone and driving force ensuring the successful results in our endeavours. Last but not least; the project would not have been a success without the support of our parents and friends; we would like to thank them for their everlasting love and presence in all our endeavours.
  • 3.
    CONTENTS Chapter Topic Page No. Abstract 1.Preamble 1 1.1) Introduction 2 1.2) What Do We Do 2 1.3) What We Have Done So Far 2 1.4) Problems Faced In The Present 4 1.5) What Are We Doing 4 2. Under The Microscope 6 2.1) Different Types Of Prosthesis 7 2.2) Advantages Of Myoelectric Prosthesis 8 2.3) Muscles Which Help Us In Classification 9 2.4) Neural Networks 10 2.5) Optimization Of Neural Architecture 11 2.6) Our Implementation 13 2.7) Classifying Leg Motions and Experimental Methodology 14 3. Hardware Requirements 15 3.1) Microcontroller 16 3.1.1) Features 16
  • 4.
    3.1.2) Block Diagram18 3.1.3) Servo Motor 20 3.1.4) Piezoelectric Sensors 20 3.1.4.1) AD620 Instrumentation Amplifier 22 3.1.4.2) OP07 Operation Amplifier 23 3.1.4.3) LM741 Operation Amplifier 24 4. Software Requirements 25 4.1) WinAVR USB Programmer and Complier 26 4.1.1) Features 26 4.1.2) Software Development Cycle 27 5. Flow Chart 32 6. Advantages, Applications and Results 34 6.1) Advantages 35 6.2) Applications 35 6.3) Result 35 7. Conclusion and Future Enhancement 37 7.1) Conclusion 38 7.2) Future Enhancement 38 8. References 39
  • 5.
    ABSTRACT To design aprosthetic limb for the disabled, and train the same using Artificial Neural Networks to detect the actuation of the femoral muscles and hence move the limb accordingly. The designed myoelectric prosthesis uses electromyography signals or potentials from these femoral voluntarily contracted muscles within a person's residual limb on the surface of the skin to control the movements of the prosthesis, so as to allow the person to walk normally. We exploit the residual neuro-muscular system of the human body to control the functions of an electric powered prosthetic leg. We are achieving this using a trained artificial neural network; so as to replicate the working of an actual limb. It has a self suspending socket with pick up electrodes placed over flexors and extensors for the movement of flexion and extension respectively.
  • 6.
    BIO-INSPIRED TRANSFEOMORAL PROSTHESISSYSTEM Dept. of ECE, PESSE Page 1 CHAPTER 1 PREAMBLE
  • 7.
    BIO-INSPIRED TRANSFEOMORAL PROSTHESISSYSTEM Dept. of ECE, PESSE Page 2 CHAPTER 1 PREAMBLE 1.1 INTRODUCTION The motivation behind classifying leg motions is the potential application in physiotherapy and home-based rehabilitation. For example, a patient with paralysis may be given certain exercises to do regularly, and inertial sensors can be used remotely to assess which exercise the patient is performing and whether he is doing it properly, here we are using these signals to train the system for leg moment in the case of prosthesis. By using such sensors and actuation mechanism trained with artificial neural network, the cost is reduced and the user gets easily accustomed to the system. 1.2 WHAT DO WE DO Design a prosthetic limb for the disabled, and train the same using Artificial Neural Networks to detect the actuation of the femoral muscles and hence move the limb accordingly. 1.3 WHAT PEOPLE HAVE DONE SO FAR The idea was originally developed by Kelly James, a Canadian engineer, at the University of Alberta. The C-Leg uses hydraulic cylinders to control the flexing of the knee. Sensors send signals to the microprocessor that analyzes these signals, and communicates what resistance the hydraulic cylinders should supply. C-Leg is an abbreviation of 3C100, the model number of the original prosthesis, but has continued to be applied to all Otto Bock microprocessor-controlled knee prostheses. The C-Leg functions through various technological devices incorporated into the components of the prosthesis. The C-Leg uses a knee-angle sensor to measure the angular position and angular velocity of the flexing joint. Measurements are taken up to fifty times a second. The knee-angle sensor is located directly at the axis of rotation of the knee.
  • 8.
    BIO-INSPIRED TRANSFEOMORAL PROSTHESISSYSTEM Dept. of ECE, PESSE Page 3 Figure 1.3: Two different models of the C-Leg prosthesis Moment sensors are located in the tube adapter at the base of the C-Leg. These moment sensors use multiple strain gauges to determine where the force is being applied to the knee, from the foot, and the magnitude of that force. The C-Leg controls the resistance to rotation and extension of the knee using a hydraulic cylinder. Small valves control the amount of hydraulic fluid that can pass into and out of the cylinder, thus regulating the extension and compression of a piston connected to the upper section of the knee. The microprocessor receives signals from its sensors to determine the type of motion being employed by the amputee. The microprocessor then signals the hydraulic cylinder to act accordingly. The microprocessor also records information concerning the motion of the amputee that can be downloaded onto a computer and analyzed. This information allows the user to make better use of the prosthetic. The C-Leg is powered by a lithium-ion battery housed inside the prosthesis near the knee joint. On a full charge, the C-leg can operate for up to 45 hours, depending on the intensity of use. A charging port located on the front of the knee joint can be connected to a charging cable plugged directly into a standard outlet. A "pigtail" charging port adapter permits the relocation of the charging port to a location more accessible when the prosthesis has a cosmetic cover applied. The charger cord has lights that allow the user to observe the level of charge when connected to the knee. A 12 volt car charger adapter can also be purchased.
  • 9.
    BIO-INSPIRED TRANSFEOMORAL PROSTHESISSYSTEM Dept. of ECE, PESSE Page 4 1.4 PROBLEMS FACED IN THE PRESENT The C-Leg provides certain advantages over conventional mechanical knee prostheses. It provides an approximation to an amputee’s natural gait. The C-Leg allows amputees to walk at near walking speed. Variations in speed are also possible and are taken into account by sensors and communicated to the microprocessor, which adjusts to these changes accordingly. It also enables the amputees to walk down stairs with a step-over-step approach, rather than the one step at a time approach used with mechanical knees. The C-Leg’s ability to respond to sensor readings can help amputees recover from stumbles without the knee buckling. However, the C- Leg has some significant drawbacks that impair its use. The C-Leg is susceptible to water damage and thus great care must be taken to ensure that the prosthesis remains dry. Otto Bock recommends that each amputee use the C-Leg for up to two months before the system can fully become accustomed to the individual’s unique gait. Becoming accustomed to the C-Leg is especially difficult when walking downhill, and amputees should seek help while becoming familiar with the system to avoid injury. A wide range of amputees can make use of the C-Leg; however, some people are more suited to this prosthesis than others. The C-Leg is designed for use on people who have undergone transfemoral amputation, or amputation above the knee. The C-Leg can be used by amputees with either single or bilateral limb amputations. In the case of bilateral amputations, the application of C-Legs must be closely monitored. Certain physical requirements must be met for C-Leg use. The amputee must have satisfactory cardiovascular and pulmonary health. The balance and strength of the amputee must be sufficient to take strides while using prosthesis. Also the cost of such systems is very high which is not affordable by every one. 1.5 WHAT ARE WE DOING The project is about neural networks and their application for the design of controllers of assistive systems aiming to provide the walking in amputees. The first suggestion from the thorough review of literature and our own work is that the use of artificial neural networks could
  • 10.
    BIO-INSPIRED TRANSFEOMORAL PROSTHESISSYSTEM Dept. of ECE, PESSE Page 5 be an effective method to resolve redundancy, time variability of system parameters, nonlinearities, and other biological effects that contribute to extremely high complexity that cannot be modelled by analytical tools with sufficient precision and details. The second suggestion is that the application of artificial neural networks is only one part of solution, and that at the actuator level of control (muscle activation) the dynamics of the biological systems must be included. Fig 1.5: Bird’s view of our project The above diagram shows the system view of our project. The input is taken from the amputee’s leg, above the knee, using sensors and given to the system. Here, the signals have to be filtered if required and classified based on the intended movement. The classified signal is then sent to the microcontroller serially, which uses it to drive the motors of the prosthesis accordingly. Hence, the prosthesis moves according to the desired motion.
  • 11.
    BIO-INSPIRED TRANSFEOMORAL PROSTHESISSYSTEM Dept. of ECE, PESSE Page 6 CHAPTER 2 UNDER THE MICROSCOPE
  • 12.
    BIO-INSPIRED TRANSFEOMORAL PROSTHESISSYSTEM Dept. of ECE, PESSE Page 7 CHAPTER 2 DESIGN AND IMPLEMENTATION 2.1 DIFFERENT TYPES OF PROSTHESIS Prostheses are classified as 1) Body powered prostheses Body-powered prosthetics use cables and harnesses strapped to the individual to mechanically maneuver the artificial limb through muscle, Shoulder, and arm movement. While they are highly durable, they often sacrifice a natural appearance for moderate functionality. As well, though the user experiences direct control and feedback through its mechanical operation, the process can be fatiguing. To effectively control this type of prosthesis the user must possess significant strength and control over various body parts, including the shoulders, chest, and residual limb. There must be sufficient limb length, musculature, and range of motion. Figure 2.1: Body powered prostheses
  • 13.
    BIO-INSPIRED TRANSFEOMORAL PROSTHESISSYSTEM Dept. of ECE, PESSE Page 8 2) Myoelectric prostheses Externally-powered artificial limbs are an attempt to solve this physical exertion through using a battery and an electronic system to control movement. At the forefront of this technology is the myoelectric prosthetic. Myoelectric prostheses typically do not involve elaborate harnesses or cables and rely on very subtle muscle movements. This frees the user to be able to perform more complicated fine motor skills while still operating the prosthesis. Figure2.2.a: Myoelectric prostheses 2.2 ADVANTAGES OF MYOELECTRIC PROSTHESIS Myoelectric prosthetics have a number of advantages over body-powered prosthetics: Since it uses a battery and electronic motors to function, the myoelectric artificial limb does not require any unwieldy straps or harnesses to function. Instead, it is custom made to fit and attach to the remaining limb (whether above the knee or below) with maximum suspension using suction technology. Once it is attached, the prosthetic uses electronic sensors to detect minute muscle activity, also called electromyography signals. It then translates this muscle activity (as triggered by the user) into information that its electric motors use to control the artificial limbs movements. The end result is that the artificial limb moves much like a natural limb, according the mental stimulus of the user. The user can even control the strength and speed of the limb’s movements and grip by varying his or her muscle intensity.
  • 14.
    BIO-INSPIRED TRANSFEOMORAL PROSTHESISSYSTEM Dept. of ECE, PESSE Page 9 Figure 2.2.b: Piezoelectric Sensors As indicated in Figure 2.2.b, we have designed a piezoelectric sensor to measure the vibration in muscles, piezo electric sensors are vibration sensors used to extract the signals which is fed to Neural Network for classification. 2.3 MUSCLES WHICH HELP US IN CLASSIFICATION The quadriceps femoris is a large muscle group that includes the four prevailing muscles on the front of the thigh. It is the great extensor muscle of the knee, forming a large fleshy mass which covers the front and sides of the femur. It is subdivided into four separate portions or 'heads', which have received distinctive names: ● Rectus femoris occupies the middle of the thigh, covering most of the other three quadriceps muscles. It originates on the ilium. It is named from its straight course. ● The other three lie deep to rectus femoris and originate from the body of the femur, which they cover from the trochanters to the condyles: ○ Vastus lateralis is on the lateral side of the femur (i.e. on the outer side of the thigh). ○ Vastus medialis is on the medial side of the femur (i.e. on the inner part thigh). ○ Vastus intermedius lies between vastus lateralis and vastus medialis on the front of the femur (i.e. on the top or front of the thigh), but deep to the rectus femoris. Typically, it cannot be seen without dissection of the rectus femoris.
  • 15.
    BIO-INSPIRED TRANSFEOMORAL PROSTHESISSYSTEM Dept. of ECE, PESSE Page 10 All four quadriceps are powerful extensors of the knee joint. They are crucial in walking, running, jumping and squatting. Because rectus femoris attaches to the ilium, it is also a flexor of the hip. This action is also crucial to walking or running as it swings the leg forward into the ensuing step. We make use of this fact in our project. We measure the muscle vibration in the femoris and use an artificial neural network, trained to classify the muscle movement based on similarly measured signals, to control the prosthesis. The piezo electric sensors shown in Figure 2.3 placed above these muscles help us extract the signals for different motions and classify them using neural network. 2.4 NEURAL NETWORKS An alternate approach to deriving control for multidegree of freedom prosthetic arms is considered. By analyzing a single-channel myoelectric signal (MES), we can extract information that can be used to identify different contraction patterns in the upper arm. These contraction patterns are generated by subjects without previous training and are naturally associated with specific functions. Using a set of normalized MES spectral features, we can identify contraction patterns for three limb functions, specifically extension and flexion of the femoris for moving the limb up and down, also the pattern for keeping the limb in rest is acquired. Performing identification independent of signal power is advantageous because this can then be used as a means for deriving proportional rate control for a prosthesis. An artificial neural network implementation is applied in the classification task. By using three single-layer perceptron networks, the MES is classified, with the spectral representations as input features. Figure 2.4: Neural Network
  • 16.
    BIO-INSPIRED TRANSFEOMORAL PROSTHESISSYSTEM Dept. of ECE, PESSE Page 11 As indicated above in Figure 1, the input layer consists of the input signals from the sensors, the number of neurons in the input layer is decided by the number of samples in signals extracted, the hidden layer is the one which is not subjected directly to the external environment and the hidden layer is a non linear distribution of neurons which is responsible for the signal classification along with the activation function, the final layer is the output layer in which the number of neurons are decided depending upon the number of motions the required signal is to be classified into. Trials performed on five subjects with normal limbs resulted in an average classification performance level of 85% for the three functions. 2.5 OPTIMIZATION OF NEURAL ARCHITECTURE Figure 2.5.a: Neural network
  • 17.
    BIO-INSPIRED TRANSFEOMORAL PROSTHESISSYSTEM Dept. of ECE, PESSE Page 12 Figure 2.5.b:Performance of the network
  • 18.
    BIO-INSPIRED TRANSFEOMORAL PROSTHESISSYSTEM Dept. of ECE, PESSE Page 13 2.6 OUR IMPLEMENTATION We use small, low-cost piezoelectric sensors positioned on the human leg to classify leg motions. The motivation behind classifying leg motions is the potential application in physiotherapy and home-based rehabilitation. For example, a patient with paralysis may be given certain exercises to do regularly, and inertial sensors can be used remotely to assess which exercise the patient is performing and whether he is doing it properly, here we are using these signals to train the system for leg moment in the case of prosthesis. Several different feature sets based on the decomposition and their combinations are considered for effective feature extraction. The set that gives the highest classification accuracy and minimum artificial neural network (ANN) complexity is identified and used. Raw piezoelectric sensor signals, initially comprises of a large number of samples which are represented by a moderate number of highly informative features. This enables us to use ANNs as motion classifiers with high accuracy and relatively low network complexity. Since the signal correlates the analyzed signal with a prototype function, hence selection of the appropriate function or feature is a critical process that influences the performance of any ANN-based application. Thus, in this work, we also investigate the effect of different types of functions on classification performance and provide a comparison between them. The output of the sensors are fed to the laptop using the audio port for classification using neural network. The classified signals are serially transmitted to the microcontroller to control the motion of the servos which Mimic the movement of the limb. Figure 2.6: Prototype of the limb
  • 19.
    BIO-INSPIRED TRANSFEOMORAL PROSTHESISSYSTEM Dept. of ECE, PESSE Page 14 As indicated in Figure 2.6, The limb consists of servos at the knee and ankle joint which are controlled using the microcontroller receiving its input from the neural network which in turn receives its input from the piezo electric sensors. 2.7 CLASSIFYING LEG MOTIONS AND EXPERIMENTAL METHODOLOGY Three different sample leg motions are classified using two piezoelectric sensors that are placed on the subject’s right leg. Photos taken while performing the motions are shown in Figure 2.5. Throughout the motions listed below, the subject’s left foot stays on the ground. The motions are: M1: standing without moving the legs (Figure 2.5(a)), M2: moving only the lower part of right leg to the back (Figure 2.5(b)), M3: moving only the lower part of the right leg upward while sitting on a stool (Figure 2.5(c)). If the sensor remains still or moves in a straight line the signals produced by the sensor is almost zero. 2.7(a) 2.7(b) 2.7(c) M1: standing without moving the legs (Figure 2.7(a)) M2: moving only the lower part of right leg to the back (Figure 2.7(b)) M3: moving only the lower part of the right leg upward while sitting on a stool (Figure 2.7(c))
  • 20.
    BIO-INSPIRED TRANSFEOMORAL PROSTHESISSYSTEM Dept. of ECE, PESSE Page 15 CHAPTER 3 HARDWARE REQUIREMENTS
  • 21.
    BIO-INSPIRED TRANSFEOMORAL PROSTHESISSYSTEM Dept. of ECE, PESSE Page 16 CHAPTER 3 HARDWARE REQUIREMENTS 3.1 MICROCONTROLLER A microcontroller often serves as the “brain” of a mechatronic system. Like a mini, self- contained computer, it can be programmed to interact with both the hardware of the system and the user. Even the most basic microcontroller can perform simple math operations, control digital outputs, and monitor digital inputs. As the computer industry has evolved, so has the technology associated with microcontrollers. Newer microcontrollers are much faster, have more memory, and have a host of input and output features that dwarf the ability of earlier models. Most modern controllers have analog-to-digital converters, high-speed timers and counters, interrupt capabilities, outputs that can be pulse-width modulated, serial communication ports, etc. 3.1.1 FEATURES High-performance, Low-power AVR 8-bit Microcontroller Advanced RISC Architecture - 32 x 8 General Purpose Working Registers - Up to 6 MIPS Throughput at 16MHz Nonvolatile Program and Data Memories - 16k Bytes of In-System Self-Programmable Flash - 512K Bytes EEPROM Peripheral Features - On-chip Analog Comparator - Two 8-bit Timer/Counters with Separate Prescalar, Compare
  • 22.
    BIO-INSPIRED TRANSFEOMORAL PROSTHESISSYSTEM Dept. of ECE, PESSE Page 17 - One 16-bit Timer/Counter with Separate Prescaler, Compare and Capture mode - Real Time Counter with Separate Oscillator - Four PWM Channels - 8-channel, 10-bit ADC - Byte-oriented Two-wire Serial Interface - Programmable Serial USART Special Microcontroller Features - Power-on Reset and Programmable Brown-out Detection - Internal Calibrated RC Oscillator - External and Internal Interrupt Sources - Six Sleep Modes: Idle, ADC Noise Reduction, Power-save, Power-down, Standby, and Extended Standby I/O and Packages - 32 Programmable I/O Lines - 40-pin PDIP, 44-lead TQFP, and 44-pad MLF Operating Voltages - 4.5-5.5V for ATmega16 Speed Grades - 0-16 MHz for ATmega16 Power Consumption at 4 MHz, 3V, 35 °C - Active: 1.1mA - Idle Mode: 0.35mA - Power-down Mode: < 1µA
  • 23.
    BIO-INSPIRED TRANSFEOMORAL PROSTHESISSYSTEM Dept. of ECE, PESSE Page 18 3.1.2 BLOCK DIAGRAM
  • 24.
    BIO-INSPIRED TRANSFEOMORAL PROSTHESISSYSTEM Dept. of ECE, PESSE Page 19 Figure (3.2): Atmega16 Block Diagram
  • 25.
    BIO-INSPIRED TRANSFEOMORAL PROSTHESISSYSTEM Dept. of ECE, PESSE Page 20 3.1.3 SERVO MOTOR Voltage rating 6 V Holding torque: 8 kg-cm Shaft diameter: 0.190" [4.83 mm] Shaft length: 0.50" [12.7 mm] Motor depth: 1.34" [34 mm] The second servo for the ankle has specifications: Figure 3.1.3: Servo motor Voltage rating 6 V Holding torque: 5 kg-cm Shaft diameter: 0.190" [4.83 mm] Shaft length: 0.50" [12.7 mm] Motor depth: 1.34" [34 mm] These motors are controlled using AT mega 16 micro controller 3.1.4 PIEZOELECTRIC SENSORS Piezo Material: SM412 Dimensions: 9 x 0.5mm Resonant frequency fr: 4.25 MKHz ± 4% Electromechanical coupling coefficient Kp: Resonant impedance Zm: ≤1.4 Ω Static capacitance Cs: 1400pF±20% Test Condition: 25±3 °C 40~70% R.H. fr, Zm, Kp => Figure 3.1.4:Piezoelectric sensor Thickness mode vibration application Cs => LCR meter at 1KHz 1Vrms Applications: Piezo transducer for vibration, transducer for matter dispersion, sonar transducer Ultrasonic sensor, vibration sensor, material stress sensor, pressure sensor,
  • 26.
    BIO-INSPIRED TRANSFEOMORAL PROSTHESISSYSTEM Dept. of ECE, PESSE Page 21 energy electricity harvesting, compression sensor, piezo expansion sensor and others. Figure 3.1.4: Implementation of sensor The above diagram shows the amplifying circuit used for the piezo sensor. We use AD620, an instrumentation amplifier, for amplification and removal of noise due to sensors; since instrumentation amplifiers have high common mode rejection ratio, they cancel out the signal common at the two input terminals, i.e. the noise due to the piezo sensors. We use OP97 as a voltage follower to ensure low output impedance. We use LM741 to get the required The diodes ensure that the voltage across the body is never more than 0.7V. If it is greater than 0.7V, one of the diodes will short and provide a current path with much less resistance than the body. The EMG out pin is read by the audio port of the laptop and serially sent to the microcontroller to control the motors. This circuit is powered by 5V, and terminated at GND. Since the AD620 requires a split power supply, this section creates a buffered voltage source. The output here is 2.5V. When this 2.5V is used as reference, you can measure +2.5V between here and 5V and -2.5V between here and GND; this creates a split supply which allows the output of the instrumentation amplifier to swing.
  • 27.
    BIO-INSPIRED TRANSFEOMORAL PROSTHESISSYSTEM Dept. of ECE, PESSE Page 22 3.1.4.1 AD620 INSTRUMENTATION AMPLIFIER Figure 3.1.4.1: Instrumentation Amplifier The AD620 is a low cost, high accuracy instrumentation amplifier that requires only one external resistor to set gains of 1 to1000. Furthermore, the AD620 features 8-lead SOIC and DIP packaging that is smaller than discrete designs, and offers lower power (only 1.3 mA max supply current), making it a good fit for battery powered, portable (or remote) applications. The AD620, with its high accuracy of 40 ppm maximum nonlinearity, low offset voltage of 50 mV max and offset drift of 0.6 mV/°C max, is ideal for use in precision data acquisition systems, such as weigh scales and transducer interfaces. Furthermore, the low noise, low input bias current, and low power of the AD620 make it well suited for medical applications such as ECG and non- invasive blood pressure monitors. The low input bias current of 1.0 nA max is made possible with the use of Super beta processing in the input stage. The AD620 works well as a preamplifier due to its low input voltage noise of 9 nV/ÖHz at 1 kHz, 0.28 mV p-p in the 0.1 Hz to 10 Hz band, 0.1 pA/ÖHz input current noise. Also, the AD620 is well suited for multiplexed applications with its settling time of 15 ms to 0.01% and its cost is low enough to enable designs with one in amp per channel.
  • 28.
    BIO-INSPIRED TRANSFEOMORAL PROSTHESISSYSTEM Dept. of ECE, PESSE Page 23 3.1.4.2 OP07 OPERATION AMPLIFIER Figure 3.1.4.2: OP97 Pin Configuration The OP07 has very low input offset voltage (75 μV max for OP07E) which is obtained by trimming at the wafer stage. These low offset voltages generally eliminate any need for external nulling. The OP07 also features low input bias current (4 nA for OP07E) and high open-loop gain (200 V/mV for OP07E). The low offsets and high open-loop gain make the OP07 particularly useful for high-gain instrumentation applications. The wide input voltage range of 13 V minimum combined with high CMRR of 106 dB (OP07E) and high input impedance provides high accuracy in the non-inverting circuit configuration. Excellent linearity and gain accuracy can be maintained even at high closed-loop gains. Stability of offsets and gain with time or variations in temperature is excellent. The accuracy and stability of the OP07, even at high gain, combined with the freedom from external nulling have made the OP07 an industry standard for instrumentation applications. The OP07 is available in two standard performance grades. The OP07E is specified for operation over the 0°C to 70°C range, and OP07C over the –40°C to +85°C temperature range. The OP07 is available in epoxy 8-lead Mini-DIP and 8-lead SOIC. It is a direct replacement for 725,108A, and OP05 amplifiers; 741-types may be directly replaced by removing the 741’s nulling potentiometer. For improved specifications, see the OP177 or
  • 29.
    BIO-INSPIRED TRANSFEOMORAL PROSTHESISSYSTEM Dept. of ECE, PESSE Page 24 OP1177. For ceramic DIP and TO-99 packages and standard micro circuit (SMD) versions, see the OP77. 3.1.4.3 LM741 OPERATION AMPLIFIER Figure 3.1.4.3: LM741 Pin Configuration The LM741 series are general purpose operational amplifiers which feature improved performance over industry standards like the LM709. They are direct, plug-in replacements for the 709C, LM201, MC1439 and 748 in most applications. The amplifiers offer many features which make their application nearly foolproof: overload protection on the input and output, no latch-up when the common mode range is exceeded, as well as freedom from oscillations. The LM741C is identical to the LM741/LM741A except that the LM741C has their performance guaranteed over a 0°C to +70°C temperature range, instead of −55°C to +125°C.
  • 30.
    BIO-INSPIRED TRANSFEOMORAL PROSTHESISSYSTEM Dept. of ECE, PESSE Page 25 CHAPTER 4 SOFTWARE REQUIREMENTS
  • 31.
    BIO-INSPIRED TRANSFEOMORAL PROSTHESISSYSTEM Dept. of ECE, PESSE Page 26 CHAPTER 4 SOFTWARE REQUIREMENTS 4.1 WinAVR USB Programmer and Complier AVR USB programmer 810210 is a high power low cost programmer with a USB interface for makes it easier to burn programs in microcontrollers. The programmer uses a firmware-only USB driver; no special USB controller is needed. It is also officially included and supported in WinAVR. The main reason for choosing AVR microcontroller is because of its facilities and support from Linux compilers and cheap cost programmers. Here I am using WinAVR and USBasp programmer. 4.1.1 Features Supports 62 AVR microcontrollers Compatible with Win AVR IDE can also be use with AVR dude directly Programmer powered by USB bus Conforms to USB power requirements, including sleep Supports USB v1.1 protocol and USB v2.0 compatible Direct USB drivers -- not virtual serial port Microsoft approved drivers for real plug and play Supports Win 98SE/2000/XP/ME ** Win 95 and early Win98 require Microsoft USB update Programs target devices from 1.8V to 5V Multiple programmers from one PC
  • 32.
    BIO-INSPIRED TRANSFEOMORAL PROSTHESISSYSTEM Dept. of ECE, PESSE Page 27 4.1.2 SOFTWARE DEVELOPMENT CYCLE 1. Install Win-AVR in your PC 2. Install AVR dude-5.5in your PC 3. Connect this device to the PCs USB Port 4. It will give you a pop-up window “Found new hardware wizard” Here locate and install your driver manually given on the CD To use it with WINAVR do the following steps First we require a compiler which converts your program into the hex code of the AVR microcontroller. If you use C for programming AVR then you can use WinAVR, Code Vision AVR, Image Craft AVR, BASCOM AVR for programming in BASIC, AVRStuidio for programming in assembly. But here I am talking about C programming. I use WinaVR20xx for all these programs compilation. Second requirement is a programmer which transfers the. Hex code (machine code for AVR) into the chip. That is a programmer which burns the chip. We use USBasp Programmer. 1. When you are creating make file for win AVR in the programmer option edit the make file as "usbasp" in the port option select USB then save it 2. Connect your programmer into your micro controller board as per the pins diagram mentioned bellow 3. To compile your program go to tools->Make all 4. To load your code in your microcontroller go to tools->program
  • 33.
    BIO-INSPIRED TRANSFEOMORAL PROSTHESISSYSTEM Dept. of ECE, PESSE Page 28
  • 34.
    BIO-INSPIRED TRANSFEOMORAL PROSTHESISSYSTEM Dept. of ECE, PESSE Page 29
  • 35.
    BIO-INSPIRED TRANSFEOMORAL PROSTHESISSYSTEM Dept. of ECE, PESSE Page 30 if your code is downloaded successfully it will give you the message in the following format ****************************************************************************** Creating load file for EEPROM: main.eep Avr-objcopy -j .eeprom --set-section-flags=.eeprom="alloc,load" --change-section-lma .eeprom=0 --no-change-warnings -O ihex main.elf main.eep || exit 0 c:WinAVR-20070525binavr-objcopy.exe: there are no sections to be copied! avrdude -p atmega16 -P usb -c usbasp -U flash:w:main.hex found 5 busses avrdude: AVR device initialized and ready to accept instructions Reading | ################################################## | 100% 0.02s avrdude: Device signature = 0x1e9403 avrdude: NOTE: FLASH memory has been specified, an erase cycle will be performed To disable this feature, specify the -D option. avrdude: erasing chip avrdude: reading input file "main.hex" avrdude: input file main.hex auto detected as Intel Hex avrdude: writing flash (226 bytes): Writing | ################################################## | 100% 0.05s avrdude: 226 bytes of flash written avrdude: verifying flash memory against main.hex: avrdude: load data flash data from input file main.hex: avrdude: input file main.hex auto detected as Intel Hex avrdude: input file main.hex contains 226 bytes avrdude: reading on-chip flash data: Reading | ################################################## | 100% 0.06s avrdude: verifying ... avrdude: 226 bytes of flash verified avrdude done. Thank you. > Process Exit Code: 0
  • 36.
    BIO-INSPIRED TRANSFEOMORAL PROSTHESISSYSTEM Dept. of ECE, PESSE Page 31 > Time Taken: 00:01 ****************************************************************************** If there is any problem you may get the following information on the screen ****************************************************************************** Creating load file for EEPROM: main.eep avr-objcopy -j .eeprom --set-section-flags=.eeprom="alloc,load" --change-section-lma .eeprom=0 --no-change-warnings -O ihex main.elf main.eep || exit 0 c:WinAVR-20070525binavr-objcopy.exe: there are no sections to be copied! avrdude -p atmega16 -P usb -c usbasp -U flash:w:main.hex found 5 busses avrdude: error: programm enable: target doesn't answer. 1 avrdude: AVR device initialized and ready to accept instructions Reading | ################################################## | 100% 0.02s avrdude: Device signature = 0x000000 avrdude: Yikes! Invalid device signature. Double check connections and try again, or use -F to override this check. avrdude done. Thank you. make.exe: *** [program] Error 1 > Process Exit Code: 2 > Time Taken: 00:01 ******************************************************************************
  • 37.
    BIO-INSPIRED TRANSFEOMORAL PROSTHESISSYSTEM Dept. of ECE, PESSE Page 32 CHAPTER 5 FLOW CHART
  • 38.
    BIO-INSPIRED TRANSFEOMORAL PROSTHESISSYSTEM Dept. of ECE, PESSE Page 33 Classify the signals using matlab Extract signals from the subject Send the signals to laptop through audio port for classification using neural networks Send the classified signal serially to micro controller Umicrocontroller Actuate the limb for movement
  • 39.
    BIO-INSPIRED TRANSFEOMORAL PROSTHESISSYSTEM Dept. of ECE, PESSE Page 34 CHAPTER 6 ADVANTAGES, APPLICATIONS AND RESULTS
  • 40.
    BIO-INSPIRED TRANSFEOMORAL PROSTHESISSYSTEM Dept. of ECE, PESSE Page 35 CHAPTER 6 ADVANTAGES, APPLICATIONS AND RESULTS 6.1 ADVANTAGES Since it uses a battery and electronic motors to function, the myoelectric artificial limb does not require any unwieldy straps or harnesses to function. Instead, it is custom made to fit and attach to the remaining limb (whether above the knee or below) with maximum suspension using suction technology. Once it is attached, the prosthetic uses electronic sensors to detect minute muscle activity. It then translates this muscle activity (as triggered by the user) into information that its electric motors use to control the artificial limbs movements. The end result is that the artificial limb moves much like a natural limb, according the mental stimulus of the user. 6.2 APPLICATIONS Provides a realistic limb for amputees. Can also be used in controlling robotics to a high degree of precision 6.3 RESULT The features for different movements are extracted and signals are plotted using matlab which indicate distinct features for different motions. These features are exploited to classify the new signals. By extracting more signals for training we can extract more features which in turn will be able to classify the signals into more motions and also improves factors such as the learning rate, efficiency of the neural network.
  • 41.
    BIO-INSPIRED TRANSFEOMORAL PROSTHESISSYSTEM Dept. of ECE, PESSE Page 36 Figure 6.3(a) Figure 6.3(b) Figure 6.3(c) Figure 6: Graphs indicating distinct features for the different motions of the leg. M1: moving only the lower part of the right leg upward while sitting on a stool (Figure 6.1(a)) M2: moving only the lower part of right leg to the back (Figure 6.2(b)), M3: standing without moving the legs (Figure 6.3(c)),
  • 42.
    BIO-INSPIRED TRANSFEOMORAL PROSTHESISSYSTEM Dept. of ECE, PESSE Page 37 CHAPTER 7 CONCLUSION AND FUTURE ENHANCEMENT
  • 43.
    BIO-INSPIRED TRANSFEOMORAL PROSTHESISSYSTEM Dept. of ECE, PESSE Page 38 CHAPTER 7 CONCLUSION AND FUTURE ENHANCEMENT 7.1 CONCLUSION We can hence implement a realistic limb for the amputees by designing using Artificial neural networks for better efficiency. 7.2 FUTURE ENHANCEMENT We can take more samples and improve the training for better classification also we have implemented Classification of 3 motions which can be improved in the future
  • 44.
    BIO-INSPIRED TRANSFEOMORAL PROSTHESISSYSTEM Dept. of ECE, PESSE Page 39 References [1] www.myoelectricprosthetics.com [2] E. Lamounier, A. Soares, A. Andrade, R. Carrijo, A Virtual Prosthesis Control based on Neural Networks for EMG Pattern Classification, Federal University of Uberlândia/Faculty of Electrical Engineering, Biomedical and Computer Graphics Laboratories, Brazil [3]www.bsrm.co.uk/ClinicalGuidance/StdsAmpProsRehab.pdf [4] D.B. Popovic and T. Sinkjer, Control of Movement for the Physically Disabled, Springer, London,2000. [5] R. Tomovic, D.B. Popovic, and R.B. Stein, Nonanalytical methods for motor control. World Sci Publ, Singapore, 1995. [6] R. Tomovic and R.B. McGhee, A finite state approach to the synthesis of bioengineering control systems. IEEE Trans Human Factors Eng HFE-7:65-69, 1968. [7] M. Kawato, Feedback-Error-Learning Neural Network for Supervised Motor Learning. Advanced Neural Computers, pp 365-372, 1990.