FOREWORD                                              READ FIRST—THEN DRIVE SAFELY


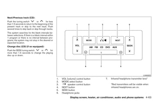
Welcome to the growing family of new NISSAN           Before driving your vehicle please read this Own-     ● ALWAYS review this Owner’s Manual
owners. This vehicle is delivered to you with         er’s Manual carefully. This will ensure familiarity     for important safety information.
confidence. It was produced using the latest          with controls and maintenance requirements, as-
techniques and strict quality control.                sisting you in the safe operation of your vehicle.    MODIFICATION OF YOUR VEHICLE
This manual was prepared to help you under-                                                                 This vehicle should not be modified.
stand the operation and maintenance of your                                WARNING                          Modification      could      affect  its
vehicle so that you may enjoy many miles (kilome-     IMPORTANT SAFETY INFORMATION RE-                      performance, safety or durability, and
ters) of driving pleasure. Please read through this   MINDERS FOR SAFETY!                                   may     even     violate    governmental
manual before operating your vehicle.                                                                       regulations. In addition, damage or per-
                                                      Follow these important driving rules to
A separate Warranty Information Booklet               help ensure a safe and complete trip for              formance problems resulting from modi-
explains details about the warranties cov-            you and your passengers!                              fications may not be covered under
ering your vehicle. The “NISSAN Service                                                                     NISSAN warranties.
                                                      ● NEVER drive under the influence of al-
and Maintenance Guide” explains details
                                                        cohol or drugs.
about maintaining and servicing your ve-
hicle. Additionally, a separate Customer              ● ALWAYS observe posted speed limits
Care/Lemon Law Booklet (U.S. only) will                 and never drive too fast for conditions.
explain how to resolve any concerns you
                                                      ● ALWAYS give your full attention to driv-
may have with your vehicle, as well as
                                                        ing and avoid using vehicle features or
clarify your rights under your state’s lemon
                                                        taking other actions that could distract
law.
                                                        you.
Your NISSAN dealership knows your vehicle             ● ALWAYS use your seat belts and appro-
best. When you require any service or have any          priate child restraint systems. Preteen
questions, they will be glad to assist you with the     children should be seated in the rear
extensive resources available to them.                  seat.
                                                      ● ALWAYS provide information about the
                                                        proper use of vehicle safety features to
                                                        all occupants of the vehicle.




                                                                                    ੬ REVIEW COPY—2008 Quest (van)
                                                                                    Owners Manual—USA_English (nna)
                                                                                    06/29/07—debbie ੭
WHEN READING THE MANUAL


This manual includes information for all options                                                              CALIFORNIA PROPOSITION 65
available on this model. Therefore, you may find                                                              WARNING
some information that does not apply to your
vehicle.
                                                                                                                               WARNING
All information, specifications and illustrations in
                                                                                                              Engine exhaust, some of its constituents,
this manual are those in effect at the time of
                                                                                                              and certain vehicle components contain
printing. NISSAN reserves the right to change
                                                                                                              or emit chemicals known to the State of
specifications or design without notice and with-
                                                                                                              California to cause cancer and birth de-
out obligation.
                                                                                                              fects or other reproductive harm. In addi-
IMPORTANT INFORMATION ABOUT                                                                                   tion, certain fluids contained in vehicles
THIS MANUAL                                                                                                   and certain products of component wear
                                                                                                              contain or emit chemicals known to the
You will see various symbols in this manual. They                                                             State of California to cause cancer and
are used in the following ways:                                                                  APD1005      birth defects or other reproductive harm.
                                                       If you see this symbol, it means “Do not do this”
                     WARNING
                                                       or “Do not let this happen.”
This is used to indicate the presence of a
hazard that could cause death or serious
personal injury. To avoid or reduce the                If you see a symbol similar to these in an illustra-
risk, the procedures must be followed                  tion, it means the arrow points to the front of the
precisely.                                             vehicle.

                      CAUTION
This is used to indicate the presence of a             Arrows in an illustration that are similar to these
hazard that could cause minor or moder-                indicate movement or action.
ate personal injury or damage to your ve-
hicle. To avoid or reduce the risk, the pro-
cedures must be followed carefully.                    Arrows in an illustration that are similar to these
                                                       call attention to an item in the illustration.




                                                                                      ੬ REVIEW COPY—2008 Quest (van)
                                                                                      Owners Manual—USA_English (nna)
                                                                                      06/29/07—debbie ੭
CALIFORNIA PERCHLORATE
ADVISORY
Some vehicle parts, such as lithium batter-
ies, may contain perchlorate material. The
following advisory is provided: “Perchlorate
Material – special handling may apply, See
www.dtsc.ca.gov/hazardouswaste/perchlorate.”

                    BLUETOOTH௡ is a
                    trademark owned by
                    Bluetooth SIG, Inc.,
                    U.S.A. and licensed to
                    Xanavi Informatics
                    Corporation.




© 2007 NISSAN NORTH AMERICA, INC.
All rights reserved. No part of this Owner’s
Manual may be reproduced or stored in a retrieval
system, or transmitted in any form, or by any
means, electronic, mechanical, photocopying,
recording or otherwise, without the prior written
permission of Nissan North America, Inc.




                                                    ੬ REVIEW COPY—2008 Quest (van)
                                                    Owners Manual—USA_English (nna)
                                                    06/29/07—debbie ੭
NISSAN CUSTOMER CARE PROGRAM
NISSAN CARES . . .
Both NISSAN and your NISSAN dealer are dedicated to serving all your automotive needs. Your satisfaction with your vehicle and your NISSAN dealer are
our primary concerns. Your NISSAN dealer is always available to assist you with all your automobile sales and service needs.
However, if there is something that your NISSAN      The Consumer Affairs Department will ask for the   You can write to NISSAN with the information at:
dealer cannot assist you with or you would like to   following information:
                                                                                                        For U.S. customers
provide NISSAN directly with comments or             – Your name, address, and telephone number          Nissan North America, Inc.
questions, please contact the NISSAN Con-
                                                     – Vehicle identification number (attached to the    Consumer Affairs Department
sumer Affairs Department using our toll-free
                                                       top of the instrument panel on the driver’s       P.O. Box 685003
number:
                                                       side)                                             Franklin, TN 37068-5003
For U.S. customers
                                                     – Date of purchase                                 For Canadian customers
 1-800-NISSAN-1
                                                                                                         Nissan Canada Inc.
 (1-800-647-7261)                                    – Current odometer reading                          5290 Orbitor Drive
For Canadian customers                               – Your NISSAN dealer’s name                         Mississauga, Ontario L4W 4Z5
 1-800-387-0122
                                                     – Your comments or questions
                                                     OR

                               We appreciate your interest in NISSAN and thank you for buying a quality NISSAN vehicle.




                                                                                  ੬ REVIEW COPY—2008 Quest (van)
                                                                                  Owners Manual—USA_English (nna)
                                                                                  06/29/07—debbie ੭
Table of   Illustrated table of contents                                      0
Contents   Safety—Seats, seat belts and supplemental restraint system         1
           Instruments and controls                                           2
           Pre-driving checks and adjustments                                 3
           Display screen, heater, air conditioner, audio and phone systems   4
           Starting and driving                                               5
           In case of emergency                                               6
           Appearance and care                                                7
           Maintenance and do-it-yourself                                     8
           Technical and consumer information                                 9
           Index                                                              10
੬ REVIEW COPY—2008 Quest (van)
Owners Manual—USA_English (nna)
06/29/07—debbie ੭
0 Illustrated table of contents


Airbags, seat belts and child restraints . . . . . . . . . . . . . . . 0-2                       Instrument panel. . . . . . . . . . . . . . . . . . . . . . . . . . . . . . . . . . . 0-6
Exterior front . . . . . . . . . . . . . . . . . . . . . . . . . . . . . . . . . . . . . . 0-3   Engine compartment check locations . . . . . . . . . . . . . . . . 0-8
Exterior rear. . . . . . . . . . . . . . . . . . . . . . . . . . . . . . . . . . . . . . . 0-4   Warning/indicator lights . . . . . . . . . . . . . . . . . . . . . . . . . . . . 0-9
Passenger compartment . . . . . . . . . . . . . . . . . . . . . . . . . . . 0-5




                                                                                                  ੬ REVIEW COPY—2008 Quest (van)
                                                                                                  Owners Manual—USA_English (nna)
                                                                                                  06/29/07—debbie ੭
AIRBAGS, SEAT BELTS AND CHILD
RESTRAINTS

                                                     1.    3rd row bench center seat belt
                                                           (P. 1-15)
                                                     2.    3rd row bench seat belts (P. 1-15)
                                                     3.    Top tether strap anchor points (P. 1-30)
                                                     4.    2nd row captain’s chair seat belts
                                                           (P. 1-15)
                                                     5.    Front seat belts (P. 1-15)
                                                     6.    Roof mounted curtain side-impact air
                                                           bag (P. 1-52)
                                                     7.    Supplemental front-impact air bags
                                                           (if so equipped) (P. 1-52)
                                                     8.    Seats (P. 1-2)
                                                     9.    Occupant classification sensor
                                                           (pressure sensor) (P.1-59)
                                                     10.   Seat belt with pretensioners (P. 1-64)
                                                     11.   Top tether strap anchor for vehicles
                                                           without 2nd or 3rd row seats (P. 1-31)
                                                     12.   Front seat-mounted side-impact
                                                           supplemental air bags (P. 1-52)
                                                     13.   LATCH (Lower Anchors and Tethers for
                                                           CHildren) (P. 1-28)
                                                     See the page number indicated in paren-
                                                     theses for operating details.




                                           LII0073

0-2 Illustrated table of contents




                                    ੬ REVIEW COPY—2008 Quest (van)
                                    Owners Manual—USA_English (nna)
                                    06/29/07—cathy ੭
EXTERIOR FRONT


                                  1.    Engine hood (P. 3-14)
                                  2.    Headlight and turn signal switch
                                        (P. 2-18)
                                  3.    Replacing bulbs (P. 8-27)
                                  4.    Windshield wiper and washer switch
                                        (P. 2-16)
                                  5.    Windshield (P. 8-17)
                                  6.    Power windows (P. 2-36)
                                  7.    Door locks, keyfob, keys
                                        (P. 3-3, 3-9, 3-2)
                                  8.    Mirrors (P. 3-23)
                                  9.    Tire pressure (P. 9-11)
                                  10.   Flat tire (P. 6-2)
                                  11.   Tire chains (P. 8-37)
                                  12.   Fog light switch (P. 2-22)
                                  13.   Tie down/towing hooks (P. 6-12)
                                  See the page number indicated in paren-
                                  theses for operating details.




                        LII0074

                                          Illustrated table of contents 0-3




                 ੬ REVIEW COPY—2008 Quest (van)
                 Owners Manual—USA_English (nna)
                 06/29/07—debbie ੭
EXTERIOR REAR


                                                     1.   Rear window defroster switch (P. 2-18)
                                                     2.   Vehicle loading (P. 9-12)
                                                     3.   Lift gate (P. 3-14)
                                                     4.   Lift gate release (P. 3-18)
                                                     5.   Rear view monitor (if so equipped)
                                                          (P.4-28)
                                                     6.   Replacing bulbs (P. 8-27)
                                                     7.   Fuel-filler cap, fuel recommendation
                                                          (P. 3-19, P. 9-3)
                                                     8.   Fuel-filler door (P. 3-19)
                                                     9.   Sliding doors (P. 3-5, P. 3-6)
                                                     See the page number indicated in paren-
                                                     theses for operating details.




                                           LII0075

0-4 Illustrated table of contents




                                    ੬ REVIEW COPY—2008 Quest (van)
                                    Owners Manual—USA_English (nna)
                                    06/29/07—debbie ੭
PASSENGER COMPARTMENT


                                         1.  DVD entertainment system
                                             (if so equipped) (P. 4-65)
                                         2. Personal lights (P. 2-42)
                                         3. Skyview roof (if so equipped) (P. 2-39)
                                         4. Moonroof (if so equipped) (P. 2-40)
                                         5. Map lights (P. 2-43),
                                             Console light P.2-44)
                                         6. Sun visors (P. 3-22)
                                         7. HomeLinkா (if so equipped) (P. 2-44)
                                         8. Glove box (P. 2-30)
                                         9. Seats (P. 1-2)
                                         10. Center tray table (if so equipped)
                                             (P. 2-29)
                                         11. Armrest (P.1-9)
                                         See the page number indicated in paren-
                                         theses for operating details.




                               LII0076

                                                Illustrated table of contents 0-5




                        ੬ REVIEW COPY—2008 Quest (van)
                        Owners Manual—USA_English (nna)
                        06/29/07—cathy ੭
INSTRUMENT PANEL


                                                     1.    Ventilators (P. 4-30)
                                                     2.    Headlight/fog light (if so equipped)/turn
                                                           signal switch (P. 2-18)
                                                     3.    Steering wheel switch for audio
                                                           control/Bluetoothா hands-free phone
                                                           system (if so equipped) (P. 4-62)
                                                     4.    Driver supplemental air bag/horn
                                                           (P. 1-52, P. 2-24)
                                                     5.    Meters and gauges (P. 2-3)
                                                     6.    Cruise control main/set switches
                                                           (P. 5-13)
                                                     7.    Windshield wiper/washer switch and
                                                           rear window wiper/washer switch
                                                           (P. 2-16, 2-17)
                                                     8.    Display screen/Navigation system*
                                                           (P. 4-2, P. 4-7, P. 4-17)
                                                     9.    Front passenger supplemental air bag
                                                           (P. 1-52)
                                                     10.   Glove box (P. 2-30)
                                                     11.   Front passenger air bag status light
                                                           (P. 1-60)
                                                     12.   Hazard warning flasher switch (P. 2-23)
                                                     13.   Climate controls (P. 4-31, 4-40)
                                                     14.   Audio system controls (P. 4-43)
                                                     15.   Display screen/Navigation system*
                                                           controls (P. 4-2, P. 4-7, P. 4-17)
                                           LIC0928   16.   Power outlets (P. 2-26)

0-6 Illustrated table of contents




                                    ੬ REVIEW COPY—2008 Quest (van)
                                    Owners Manual—USA_English (nna)
                                    06/29/07—debbie ੭
17.   Shift selector lever (P. 5-8)
18.   Ignition switch (P. 5-6)
19.   Tilt steering wheel control (P. 3-21)
20.   Rear sonar system off switch
      (if so equipped) (P. 2-25)
21.   Vehicle Dynamic Control (VDC) off
      switch (if so equipped) or Traction
      Control System (TCS) off switch
      (if so equipped) (P. 2-25, P. 2-25)
22.   Lights on demand switch (P. 2-41)
*: Refer to the separate Navigation System Own-
er’s Manual (if so equipped).
See the page number indicated in paren-
theses for operating details.




                                                                     Illustrated table of contents 0-7




                                                  ੬ REVIEW COPY—2008 Quest (van)
                                                  Owners Manual—USA_English (nna)
                                                  06/29/07—debbie ੭
ENGINE COMPARTMENT CHECK
LOCATIONS

                                                    1.  Power steering fluid reservoir (P. 8-11)
                                                    2.  Engine oil filler cap (P. 8-8)
                                                    3.  Air cleaner (P. 8-16)
                                                    4.  Brake fluid reservoir (P. 8-12)
                                                    5.  Battery (P. 8-13)
                                                    6.  Fuse/fusible link box (P. 8-20)
                                                    7.  Transmission dipstick (P. 8-11)
                                                    8.  Engine oil dipstick (P. 8-8)
                                                    9.  Radiator cap (P. 8-7)
                                                    10. Drive belt location (P. 8-14)
                                                    11. Fuse block (P. 8-20)
                                                    12. Windshield washer fluid reservoir
                                                        (P. 8-12)
                                                    13. Engine coolant reservoir (P. 8-7)
                                                    See the page number indicated in paren-
                                                    theses for operating details.




                                          WDI0515

0-8 Illustrated table of contents




                                    ੬ REVIEW COPY—2008 Quest (van)
                                    Owners Manual—USA_English (nna)
                                    06/29/07—debbie ੭
WARNING/INDICATOR LIGHTS


 Warning          Name           Page   Warning            Name             Page   Indicator           Name             Page
  light                                  light                                       light

           Anti-lock Braking     2-8                Low windshield          2-10               Malfunction Indica-      2-11
   or      System (ABS) warn-                       washer fluid warning                       tor Light (MIL)
           ing light                                light
                                                                                               Overdrive off indica-    2-11
                                                    Seat belt warning       2-10               tor light
           Brake warning light   2-8                light and chime
                                                                                               Front passenger air      2-11
   or                                               Supplemental air        2-10               bag status light
                                                    bag warning light
                                                                                               Security indicator       2-12
                                                                                               light
           Charge warning        2-8
           light                        Indicator          Name             Page
                                          light                                                Slip indicator light     2-12
           Door open warning     2-8
           light                                    Automatic transmis-     2-11
                                                    sion position indica-                      Traction Control         2-12
                                                    tor light                                  System off indicator
           Engine oil pressure   2-9
                                                                                               light (if so equipped)
           warning light
                                                    Cruise main switch      2-11
                                                    indicator light                            Turn signal/hazard       2-13
           Low fuel warning      2-9
                                                                                               indicator lights
           light
                                                    Cruise set switch       2-11
                                                    indicator light                            Vehicle Dynamic          2-13
           Low tire pressure     2-9
                                                                                               Control off indicator
           warning light
                                                    High beam indicator     2-11               light (if so equipped)
                                                    light (blue)


                                                                                        Illustrated table of contents 0-9




                                                                 ੬ REVIEW COPY—2008 Quest (van)
                                                                 Owners Manual—USA_English (nna)
                                                                 06/29/07—debbie ੭
MEMO




0-10 Illustrated table of contents
1 Safety—Seats, seat belts and
supplemental restraint system

Seats . . . . . . . . . . . . . . . . . . . . . . . . . . . . . . . . . . . . . . . . . . . . 1-2      Seat belt maintenance . . . . . . . . . . . . . . . . . . . . . . . . . 1-25
  Front manual seat adjustment                                                                      Child restraints . . . . . . . . . . . . . . . . . . . . . . . . . . . . . . . . . . . 1-26
  (if so equipped) . . . . . . . . . . . . . . . . . . . . . . . . . . . . . . . . 1-2                 Precautions on child restraints . . . . . . . . . . . . . . . . . . 1-26
  Front power seat adjustment                                                                          Lower Anchors and Tethers for CHildren
  (if so equipped) . . . . . . . . . . . . . . . . . . . . . . . . . . . . . . . . 1-4                 SYSTEM (LATCH) . . . . . . . . . . . . . . . . . . . . . . . . . . . . . 1-28
  2nd row captain’s chair adjustment . . . . . . . . . . . . . . . 1-6                                 Top tether strap child restraint . . . . . . . . . . . . . . . . . . 1-30
  3rd row bench seat adjustment . . . . . . . . . . . . . . . . . . 1-7                                Child restraint installation using LATCH-
  Front-Seat Active Head Restraints                                                                    2nd row captain’s chairs (if so equipped). . . . . . . . . 1-33
  (if so equipped) . . . . . . . . . . . . . . . . . . . . . . . . . . . . . . . . 1-7                 Child restraint installation using LATCH-
                                                                                                       3rd row bench seat (if so equipped) . . . . . . . . . . . . . 1-36
  Head restraint adjustment . . . . . . . . . . . . . . . . . . . . . . . 1-8
                                                                                                       Child restraint installation using the seat
  Armrests . . . . . . . . . . . . . . . . . . . . . . . . . . . . . . . . . . . . . . 1-9
                                                                                                       belts . . . . . . . . . . . . . . . . . . . . . . . . . . . . . . . . . . . . . . . . . 1-41
  Flexible seating. . . . . . . . . . . . . . . . . . . . . . . . . . . . . . . . . 1-9             Booster seats . . . . . . . . . . . . . . . . . . . . . . . . . . . . . . . . . . . . 1-47
Seat belts . . . . . . . . . . . . . . . . . . . . . . . . . . . . . . . . . . . . . . . 1-15          Precautions on booster seats . . . . . . . . . . . . . . . . . . . 1-47
  Precautions on seat belt usage. . . . . . . . . . . . . . . . . . 1-15                               Booster seat installation . . . . . . . . . . . . . . . . . . . . . . . . 1-49
  Child safety . . . . . . . . . . . . . . . . . . . . . . . . . . . . . . . . . . . 1-17           Supplemental restraint system . . . . . . . . . . . . . . . . . . . . . 1-52
  Pregnant women . . . . . . . . . . . . . . . . . . . . . . . . . . . . . . 1-19                      Precautions on supplemental restraint
  Injured persons. . . . . . . . . . . . . . . . . . . . . . . . . . . . . . . . 1-19                  system . . . . . . . . . . . . . . . . . . . . . . . . . . . . . . . . . . . . . . . 1-52
  Three-point type seat belt with retractor . . . . . . . . . . 1-19                                   Supplemental air bag warning labels . . . . . . . . . . . . . 1-66
  Seat belt extenders . . . . . . . . . . . . . . . . . . . . . . . . . . . . 1-25                     Supplemental air bag warning light . . . . . . . . . . . . . . 1-66




                                                                                                     ੬ REVIEW COPY—2008 Quest (van)
                                                                                                     Owners Manual—USA_English (nna)
                                                                                                     06/29/07—cathy ੭
SEATS


                                                                                          Seat Fold/Adjust Summary
                                                                                             Position:   Operation/page:
                                                                                          1st row        All (P. 1-2)
                                                                                                         Forward/backward adjust (P. 1-6)
                                                                                                         Recline (P. 1-6)
                                                                                          2nd row
                                                                                                         Tip-up for 3rd row entry (P. 1-7)
                                                                                                         Folding for cargo (P. 1-10)
                                                                                                         Recline (P. 1-7)
                                                                                          3rd row        Folding (P.1-12)
                                                                                                         Stow (P.1-12)

                                                                                          FRONT MANUAL SEAT
                                                                                          ADJUSTMENT (if so equipped)
                                                                               ARS1152

                WARNING                     ● For the most effective protection when
                                              the vehicle is in motion, the seat should
● Do not ride in a moving vehicle when        be upright. Always sit well back in the
  the seatback is reclined. This can be       seat with both feet on the floor and
  dangerous. The shoulder belt will not       adjust the seat properly. See “Precau-
  be against your body. In an accident,       tions on Seat Belt Usage” later in this
  you could be thrown into it and receive     section.
  neck or other serious injuries. You
  could also slide under the lap belt and   ● After adjustment, gently rock in the seat
  receive serious internal injuries.          to make sure it is securely locked.
                                            ● Do not leave children unattended inside
                                              the vehicle. They could unknowingly ac-
                                              tivate switches or controls. Unattended
                                              children could become involved in seri-
                                              ous accidents.

1-2 Safety—Seats, seat belts and supplemental restraint system




                                                                      ੬ REVIEW COPY—2008 Quest (van)
                                                                      Owners Manual—USA_English (nna)
                                                                      06/29/07—debbie ੭
WRS0520                                                WRS0521                                              WRS0131
Forward and backward                                Reclining                                              Seat lifter (if so equipped for driver’s
Pull the lever up and hold it while you slide the   To recline the seatback, pull the lever up and lean    seat)
seat forward or backward to the desired position.   back. To bring the seatback forward, pull the lever    Turn either dial to adjust the angle and height of
Release the lever to lock the seat in position.     up and lean your body forward. Release the lever       the seat cushion to the desired position.
                                                    to lock the seatback in position.
                                                    The reclining feature allows adjustment of the
                                                    seatback for occupants of different sizes for
                                                    added comfort and to help obtain proper seat
                                                    belt fit. See “Precautions on seat belt usage” later
                                                    in this section. Also, the seatback can be reclined
                                                    to allow occupants to rest when the vehicle is
                                                    stopped and the transmission is in P (Park).



                                                                           Safety—Seats, seat belts and supplemental restraint system 1-3




                                                                                   ੬ REVIEW COPY—2008 Quest (van)
                                                                                   Owners Manual—USA_English (nna)
                                                                                   06/29/07—debbie ੭
WRS0518                                                                                                WRS0522
Lumbar support (driver’s seat)                     FRONT POWER SEAT                                    Forward and backward
The lumbar support feature provides lower back     ADJUSTMENT (if so equipped)                         Moving the switch forward or backward will slide
support to the driver. Move the lever up or down                                                       the seat forward or backward to the desired
to adjust the seat lumbar area.
                                                   Operating tips                                      position.
                                                    ● The power seat motor has an auto-reset
                                                      overload protection circuit. If the motor
                                                                                                       Reclining
                                                      stops during operation, wait 30 seconds,         Move the recline switch backward until the de-
                                                      then reactivate the switch.                      sired angle is obtained. To bring the seatback
                                                    ● Do not operate the power seat switch for a       forward again, move the switch forward and
                                                      long period of time when the engine is off.      move your body forward. The seatback will move
                                                      This will discharge the battery.                 forward.

                                                   See “Automatic drive positioner (if so equipped)”
                                                   in “Pre-driving checks and adjustments” for auto-
                                                   matic drive positioner operation.
1-4 Safety—Seats, seat belts and supplemental restraint system




                                                                                ੬ REVIEW COPY—2008 Quest (van)
                                                                                Owners Manual—USA_English (nna)
                                                                                06/29/07—debbie ੭
The reclining feature allows adjustment of the
seatback for occupants of different sizes for
added comfort and to help obtain proper seat
belt fit (see “Precautions on seat belt usage” later
in this section). Also, the seatback can be re-
clined to allow occupants to rest when the ve-
hicle is stopped and the transmission is in P
(Park).




                                                                                             WRS0523                                           WRS0518
                                                       Seat lifter (if so equipped for driver’s          Lumbar support (driver’s seat)
                                                       seat)                                             The lumbar support feature provides lower back
                                                       Push the front or rear end of the switch up or    support to the driver. Move the lever up or down
                                                       down to adjust the angle and height of the seat   to adjust the seat lumbar area.
                                                       cushion.




                                                                            Safety—Seats, seat belts and supplemental restraint system 1-5




                                                                                   ੬ REVIEW COPY—2008 Quest (van)
                                                                                   Owners Manual—USA_English (nna)
                                                                                   06/29/07—debbie ੭
While seated, pull the lever᭺and hold it while
                                                                        1
                                            you slide᭺ the seat forward or backward to the
                                                      2
                                            desired position. Release the lever to lock the
                                            seat in position.




                                 WRS0705                                                                                                LRS0625

2ND ROW CAPTAIN’S CHAIR                                                                       Reclining
ADJUSTMENT                                                                                    To recline the seatback, pull up on the lever and
                                                                                              lean back.
Forward and backward
                                                                                              The recline feature allows adjustment of the seat
                WARNING                                                                       back for occupants of different sizes for added
                                                                                              comfort and to help obtain proper seat belt fit
● The 2nd row seats are heavy. Be careful                                                     (see “Precautions on seat belt usage” later in this
  when folding and unfolding.                                                                 section). Also, the seatback can be reclined to
● To avoid injury to yourself and others,                                                     allow occupants to rest when the vehicle is
  keep hands and body clear when                                                              stopped.
  folding.




1-6 Safety—Seats, seat belts and supplemental restraint system




                                                                        ੬ REVIEW COPY—2008 Quest (van)
                                                                        Owners Manual—USA_English (nna)
                                                                        06/29/07—debbie ੭
LRS0626                                                LRS0320                                          SPA1025
Tip up for easy entry to the 3rd row                   3RD ROW BENCH SEAT                                      FRONT-SEAT ACTIVE HEAD
The 2nd row captain’s chairs can be tipped for-        ADJUSTMENT                                              RESTRAINTS (if so equipped)
ward for easy entry or exit from the 3rd row bench     Reclining
seat. To enter the 3rd row bench seat , lift up on                                                                               WARNING
the lever located on the lower base of the 2nd         Lift up on the latch in the center of the seatback to   ● Always adjust the head restraints prop-
row captain’s chair to tip the seat forward. To exit   adjust the back of the seat. Release the latch to         erly as specified in this section. Failure
the 3rd row bench seat, pull back on the lever on      lock the seatback into position.                          to do so can reduce the effectiveness of
the lower base of the 2nd row captain’s chair and                                                                the Active Head Restraint.
push the seat forward.
                                                                                                               ● Active Head Restraints are designed to
                                                                                                                 supplement other safety systems. Al-
                                                                                                                 ways wear seat belts. No system can
                                                                                                                 prevent all injuries in any accident.



                                                                              Safety—Seats, seat belts and supplemental restraint system 1-7




                                                                                      ੬ REVIEW COPY—2008 Quest (van)
                                                                                      Owners Manual—USA_English (nna)
                                                                                      06/29/07—debbie ੭
● Do not attach anything to the head re-
  straint stalks. Doing so could impair
  Active Head Restraint function.
The Active Head Restraint moves forward utiliz-
ing the force that the seatback receives from the
occupant in a rear-end collision. The movement
of the head restraint helps support the occu-
pant’s head by reducing its backward movement
and helping absorb some of the forces that may
lead to whiplash type injuries.
Active Head Restraints are effective for collisions
at low to medium speeds in which it is said that
whiplash injury occurs most.
                                                                                              LRS0286                                       LRS0678
Active Head Restraints operate only in certain                        Type A — Front                                  Type B — 2nd row
rear-end collisions. After the collision, the head
restraints return to their original positions.        HEAD RESTRAINT ADJUSTMENT                                            WARNING
Properly adjust the Active Head Restraints as         To raise the head restraint, pull it up. To lower,   Head restraints should be adjusted prop-
described in this section.                            push and hold the lock knob and push the head        erly as they may provide significant pro-
                                                      restraint down.                                      tection against injury in an accident. Do
                                                                                                           not remove them. Check the adjustment
                                                      To adjust the head restraint forward or backward     after someone else uses the seat.
                                                      (Type B only), push it in the direction required.
                                                      The front seats and 2nd row captain’s chairs
                                                      head restraints are removable. See “Head re-
                                                      straint storage” in the “Instrument and controls”
                                                      section. The 3rd row bench seat head restraints
                                                      are not removable.


1-8 Safety—Seats, seat belts and supplemental restraint system




                                                                                    ੬ REVIEW COPY—2008 Quest (van)
                                                                                    Owners Manual—USA_English (nna)
                                                                                    06/29/07—debbie ੭
armrest to the stowed position, then pull it to the
                                                                                                         resting position and adjust to the desired height.
                                                                                                         FLEXIBLE SEATING
                                                                                                                              WARNING
                                                                                                         ● Never allow anyone to ride in the cargo
                                                                                                           area or on the rear seats when they are
                                                                                                           in the fold-down position. In a collision,
                                                                                                           people riding in these areas without
                                                                                                           proper restraints are more likely to be
                                                                                                           seriously injured or killed.
                                                                                                         ● Do not allow people to ride in any area
                                      WRS0134                                               WRS0531        of your vehicle that is not equipped with
                                                                                                           seats and seat belts. Be sure everyone
Adjust the head restraint so the center is level   ARMRESTS                                                in your vehicle is in a seat and using a
with the center of your ears.                                                                              seat belt properly.
                                                   To use the armrests, pull them down to the rest-
                                                   ing position.                                         ● Do not fold down the rear seats when
                                                                                                           occupants are in the rear seat area or
                                                   ᭺
                                                   A   Resting position                                    any luggage is on the rear seats.
                                                   ᭺
                                                   B   Stowed position                                   ● Head restraints should be adjusted
                                                   Adjustable front seat armrest’s (if so                  properly as they may provide significant
                                                                                                           protection against injury in an accident.
                                                   equipped)                                               Always replace and adjust them prop-
                                                   To use the adjustable seat armrest, pull it down to     erly if they have been removed for any
                                                   the resting position. Adjust the armrest to the         reason.
                                                   desired position by raising the armrest to the
                                                   desired height and releasing the armrest. To re-
                                                   adjust the armrest to a lower position, raise the
                                                                          Safety—Seats, seat belts and supplemental restraint system 1-9




                                                                                 ੬ REVIEW COPY—2008 Quest (van)
                                                                                 Owners Manual—USA_English (nna)
                                                                                 06/29/07—debbie ੭
● If the head restraints are removed for
  any reason, they should be securely
  stored to prevent them from causing
  injury to passengers or damage to the
  vehicle in case of sudden braking or an
  accident.
● When returning the seatbacks to the
  upright position, be certain they are
  completely secured in the latched posi-
  tion. If they are not completely secured,
  passengers may be injured in an acci-
  dent or sudden stop.
● Properly secure all cargo to help pre-
  vent it from sliding or shifting. Do not                                             LRS0627                                              LRS0628
  place cargo higher than the seatbacks.      Folding                                              Folding the 2nd row captain’s chair
  In a sudden stop or collision, unsecured
  cargo could cause personal injury.          To fold the seatback forward, for cargo hauling,     ᭺
                                                                                                   1   Fold the 2nd row captain’s chairs to the floor
                                              lift up on the recline lever and fold the seatback       for maximum cargo hauling, move the head
                                              over the seat base.                                      restraints forward before folding.
                                                                                                   ᭺
                                                                                                   2   Lift up on the recline lever to fold the seat-
                                                                                                       back forward on the seat base.




1-10 Safety—Seats, seat belts and supplemental restraint system




                                                                            ੬ REVIEW COPY—2008 Quest (van)
                                                                            Owners Manual—USA_English (nna)
                                                                            06/29/07—debbie ੭
LRS0702                                         LRS0629                                          LRS0630
          ᭺
          3   Push down on the small knob on the back of   ᭺
                                                           4   Then fold the entire seat forward into the
              the seat to release the base of the seat.        stowed position in the floor.
                                                           ᭺
                                                           5   Reverse this process to return the 2nd row
                                                               captain’s chairs to a seating position.




                            Safety—Seats, seat belts and supplemental restraint system 1-11




                                     ੬ REVIEW COPY—2008 Quest (van)
                                     Owners Manual—USA_English (nna)
                                     06/29/07—debbie ੭
2. To fold the 3rd row bench seat flat into the
                                                                                                              floor, for maximum cargo hauling, pull the
                                                                                                              strap on the seatback to allow all three head
                                                                                                              restraints to fold forward. If the head re-
                                                                                                              straints are in the folded position, the seat
                                                                                                              may not be latched into the floor.




                                           LRS0675                                             LRS0676
Folding                                                 Folding the 3rd row bench seat
To fold the seatback forward, for cargo hauling,
lift up on the latch in the center of the seatback to                      WARNING
fold the seatback over the seat base.                   ● The 3rd row bench seat is heavy. Be
                                                          careful when folding and unfolding.
                                                        ● To avoid injury to yourself or others,
                                                          keep hands and body clear of floor
                                                          opening when folding.
                                                         1. Disconnect and secure the center seat belt
                                                            and tongues into the retractor base. See
                                                            “Stowing the 3rd row center seat belt” later
                                                            in this section.


1-12 Safety—Seats, seat belts and supplemental restraint system




                                                                                    ੬ REVIEW COPY—2008 Quest (van)
                                                                                    Owners Manual—USA_English (nna)
                                                                                    06/29/07—debbie ੭
LRS0677                                          WRS0706                                         WRS0707
3. Pull back on the pull strap to release the     4. Pull up on the lever located on the back of   5. The entire seat will rotate toward you and
   back of the seat. Rotate the seatback toward      the seat base. This will fold the seat base      stow in the floor.
   the back of the vehicle.                          toward the back of the vehicle.




                                                                    Safety—Seats, seat belts and supplemental restraint system 1-13




                                                                             ੬ REVIEW COPY—2008 Quest (van)
                                                                             Owners Manual—USA_English (nna)
                                                                             06/29/07—debbie ੭
WARNING
                                                                                                  ● Do not unfasten the rear center seat
                                                                                                    belt connector except when folding
                                                                                                    down the rear seat.
                                                                                                  ● When attaching the rear center seat
                                                                                                    belt connector, be certain that the seat-
                                                                                                    backs are completely secured in the
                                                                                                    latched position and the rear center
                                                                                                    seat belt connector is completely
                                                                                                    secured.
                                                                                                  ● If the rear center seat belt connector
                                                                                                    and the seatbacks are not secured in
                                       WRS0708                                         LRS0703      the correct position, serious personal
                                                                                                    injury may result in an accident or sud-
 6. The rear seat anchors are spring loaded and     7. Reverse this process to return the bench     den stop.
    can be folded into the side panels to maxi-        seat to a seating position. Make sure to
    mize cargo space. The anchors are held in          properly return the head restraints to     ● When returning the seatbacks, be sure
    the folded position by the items in the cargo      the upright position, push the bench         to attach the rear center seat belt
    area. When the load is removed from the            seat down into the floor, and pull back      connector.
    cargo area, the rear seat anchors automati-        on the seatback until they latch into
    cally return to the unfolded position.             place.




1-14 Safety—Seats, seat belts and supplemental restraint system




                                                                             ੬ REVIEW COPY—2008 Quest (van)
                                                                             Owners Manual—USA_English (nna)
                                                                             06/29/07—debbie ੭
SEAT BELTS




                                                                      SSS0136
PRECAUTIONS ON SEAT BELT
USAGE
If you are wearing your seat belt properly ad-
justed and you are sitting upright and well back in
your seat with both feet on the floor, your chances
of being injured or killed in an accident and/or the
severity of injury may be greatly reduced.
NISSAN strongly encourages you and all of your
passengers to buckle up every time you drive,
even if your seating position includes a supple-
mental air bag.
Most U.S. states and Canadian provinces
or territories specify that seat belts be worn
at all times when a vehicle is being driven.

                                                       Safety—Seats, seat belts and supplemental restraint system 1-15




                                                              ੬ REVIEW COPY—2008 Quest (van)
                                                              Owners Manual—USA_English (nna)
                                                              06/29/07—debbie ੭
SSS0134                                       SSS0016

                 WARNING                                                                            WARNING
● Every person who drives or rides in this                                        ● The seat belt should be properly ad-
  vehicle should use a seat belt at all                                             justed to a snug fit. Failure to do so may
  times. Children should be properly re-                                            reduce the effectiveness of the entire
  strained in the rear seat and, if appro-                                          restraint system and increase the
  priate, in a child restraint.                                                     chance or severity of injury in an acci-
                                                                                    dent. Serious injury or death can occur
                                                                                    if the seat belt is not worn properly.




1-16 Safety—Seats, seat belts and supplemental restraint system




                                                                  ੬ REVIEW COPY—2008 Quest (van)
                                                                  Owners Manual—USA_English (nna)
                                                                  06/29/07—debbie ੭
● Be sure the seat belt tongue is securely    ● All seat belt assemblies, including re-
                                                fastened to the proper buckle.                tractors and attaching hardware,
                                                                                              should be inspected after any collision
                                              ● Do not wear the seat belt inside out or
                                                                                              by a NISSAN dealer. NISSAN recom-
                                                twisted. Doing so may reduce its
                                                                                              mends that all seat belt assemblies in
                                                effectiveness.
                                                                                              use during a collision be replaced un-
                                              ● Do not allow more than one person to          less the collision was minor and the
                                                use the same seat belt.                       belts show no damage and continue to
                                              ● Never carry more people in the vehicle        operate properly. Seat belt assemblies
                                                than there are seat belts.                    not in use during a collision should also
                                                                                              be inspected and replaced if either
                                              ● If the seat belt warning light glows con-     damage or improper operation is noted.
                                                tinuously while the ignition is turned
                                                ON with all doors closed and all seat       ● All child restraints and attaching hard-
                                   SSS0014      belts fastened, it may indicate a mal-        ware should be inspected after any col-
                                                function in the system. Have the system       lision. Always follow the restraint
                 WARNING                        checked by a NISSAN dealer.                   manufacturer’s inspection instructions
                                                                                              and replacement recommendations.
● Always route the shoulder belt over         ● Once a seat belt pretensioner has acti-       The child restraints should be replaced
  your shoulder and across your chest.          vated, it cannot be reused and must be        if they are damaged.
  Never run the belt behind your back,          replaced together with the retractor.
  under your arm or across your neck. The       See your NISSAN dealer.                     CHILD SAFETY
  belt should be away from your face and
  neck, but not falling off your shoulder.    ● Removal and installation of preten-         Children need adults to help protect them.
                                                sioner system components should be          They need to be properly restrained.
● Position the lap belt as low and snug as      done by a NISSAN dealer.
  possible AROUND THE HIPS, NOT THE                                                         In addition to the general information in this
  WAIST. A lap belt worn too high could                                                     manual, child safety information is available from
  increase the risk of internal injuries in                                                 many other sources, including doctors, teachers,
  an accident.                                                                              government traffic safety offices, and community
                                                                                            organizations. Every child is different, so be sure
                                                                                            to learn the best way to transport your child.
                                                               Safety—Seats, seat belts and supplemental restraint system 1-17




                                                                        ੬ REVIEW COPY—2008 Quest (van)
                                                                        Owners Manual—USA_English (nna)
                                                                        06/29/07—debbie ੭
There are three basic types of child restraint         for infants and small children. See “Child Re-         facing child restraint. Refer to the manufacturer’s
systems:                                               straints” later in this section.                       instructions for minimum and maximum weight
                                                                                                              and height recommendations. NISSAN recom-
 ● Rear facing child restraint                         Also, there are other types of child restraints
                                                                                                              mends that small children be placed in child
                                                       available for larger children for additional protec-
 ● Front facing child restraint                                                                               restraints that comply with Federal Motor Vehicle
                                                       tion.
                                                                                                              Safety Standards or Canadian Motor Vehicle
 ● Booster seat
                                                       NISSAN recommends that all pre-teens                   Safety Standards. You should choose a child
The proper restraint depends on the child’s size.      and children be restrained in the rear seat.           restraint that fits your vehicle and always follow
Generally, infants up to about 1 year and less         According to accident statistics, children             the manufacturer’s instructions for installation
than 20 pounds (9 kg) should be placed in rear         are safer when properly restrained in the              and use.
facing child restraints. Front facing child re-        rear seat than in the front seat.
straints are available for children who outgrow                                                               Larger children
                                                       This is especially important because your
rear facing child restraints and are at least 1 year   vehicle has a supplemental restraint sys-              Children who are too large for child restraints
old. Booster seats are used to help position a         tem (Air bag system) for the front passen-             should be seated and restrained by the seat belts
vehicle lap/shoulder belt on a child who can no        ger. See “Supplemental restraint system”               which are provided. The seat belt may not fit
longer use a front facing child restraint.             later in this section.                                 properly if the child is less than 4 feet 9 inches
                                                                                                              (142.5 cm) tall and weighs between 40 lbs (18
                     WARNING                           Infants                                                kg) and 80 lbs (36 kg). A booster seat should be
                                                       Infants up to at least 1 year old should be placed     used to obtain proper seat belt fit.
Infants and children need special protec-
tion. The vehicle’s seat belts may not fit             in a rear facing child restraint. NISSAN recom-        NISSAN recommends that a child be placed in a
them properly. The shoulder belt may                   mends that infants be placed in child restraints       commercially available booster seat if the shoul-
come too close to the face or neck. The                that comply with Federal Motor Vehicle Safety          der belt in the child’s seating position fits close to
lap belt may not fit over their small hip              Standards or Canadian Motor Vehicle Safety             the face or neck or if the lap portion of the seat
bones. In an accident, an improperly fit-              Standards. You should choose a child restraint         belt goes across the abdomen. The booster seat
ting seat belt could cause serious or fatal            that fits your vehicle and always follow the manu-     should raise the child so that the shoulder belt is
injury. Always use appropriate child                   facturer’s instructions for installation and use.      properly positioned across the top, middle por-
restraints.                                                                                                   tion of the shoulder and the lap belt is low on the
                                                       Small Children
                                                                                                              hips. A booster seat can only be used in seating
All U.S. states and Canadian provinces or terri-       Children that are over one year old and weigh at       positions that have a three-point type seat belt.
tories require the use of approved child restraints    least 20 lbs (9 kg) can be placed in a forward         The booster seat should fit the vehicle seat and
1-18 Safety—Seats, seat belts and supplemental restraint system




                                                                                      ੬ REVIEW COPY—2008 Quest (van)
                                                                                      Owners Manual—USA_English (nna)
                                                                                      06/29/07—debbie ੭
have a label certifying that it complies with Fed-   THREE-POINT TYPE SEAT BELT
eral Motor Vehicle Safety Standards or Canadian      WITH RETRACTOR
Motor Vehicle Safety Standards. Once the child
has grown so the shoulder belt is no longer on or
                                                                      WARNING
near the face and neck, use the shoulder belt
without the booster seat.                            ● Every person who drives or rides in this
                                                       vehicle should use a seat belt at all
                    WARNING                            times.
Never let a child stand or kneel on any              ● Do not ride in a moving vehicle when
seat and do not allow a child in the cargo             the seatback is reclined. This can be
areas while the vehicle is moving. The                 dangerous. The shoulder belt will not
child could be seriously injured or killed in          be against your body. In an accident,
an accident or sudden stop.                            you could be thrown into it and receive
                                                       neck or other serious injuries. You
PREGNANT WOMEN                                         could also slide under the lap belt and                                            LRS0607
                                                       receive serious internal injuries.                    Power front seat shown
NISSAN recommends that pregnant women use
seat belts. The seat belt should be worn snug,       ● For the most effective protection when      Fastening the seat belts
and always position the lap belt as low as pos-        the vehicle is in motion, the seat should    1. Adjust the seat. See “Seats” earlier in this
sible around the hips, not the waist. Place the        be upright. Always sit well back in the         section.
shoulder belt over your shoulder and across your       seat with both feet on the floor and
chest. Never run the lap/shoulder belt over your       adjust the seat belt properly.
abdominal area. Contact your doctor for specific
recommendations.
INJURED PERSONS
NISSAN recommends that injured persons use
seat belts. Check with your doctor for specific
recommendations.



                                                                      Safety—Seats, seat belts and supplemental restraint system 1-19




                                                                               ੬ REVIEW COPY—2008 Quest (van)
                                                                               Owners Manual—USA_English (nna)
                                                                               06/29/07—debbie ੭
The Emergency Locking Retractor (ELR) mode
                                                                                                         allows the seat belt to extend and retract to allow
                                                                                                         the driver and passengers some freedom of
                                                                                                         movement in the seat. The ELR locks the seat belt
                                                                                                         when the vehicle slows down rapidly or during
                                                                                                         certain impacts.
                                                                                                         The Automatic Locking Retractor (ALR) mode
                                                                                                         (child restraint mode) locks the seat belt for child
                                                                                                         restraint installation.
                                                                                                         When the ALR mode is activated, the seat belt
                                                                                                         cannot be extended again until the seat belt
                                                                                                         tongue is detached from the buckle and fully
                                                                                                         retracted. The seat belt returns to the ELR mode
                                        WRS0137                                             WRS0138
                                                                                                         after the seat belt fully retracts. See “Child re-
᭺
2   Slowly pull the seat belt out of the retractor   ᭺
                                                     3   Position the lap belt portion low and snug      straints” later in this section for more information.
    and insert the tongue into the buckle until          on the hips as shown.
    you hear and feel the latch engage.                                                                  The ALR mode should be used only for
                                                     ᭺
                                                     4   Pull the shoulder belt portion toward the       child restraint installation. During normal
 ● The retractor is designed to lock during              retractor to take up extra slack. Be sure the
                                                                                                         seat belt use by a passenger, the ALR mode
   a sudden stop or on impact. A slow                    shoulder belt is routed over your shoulder
                                                                                                         should not be activated. If it is activated it
   pulling motion permits the seat belt to               and across your chest.
   move, and allows you some freedom of                                                                  may cause uncomfortable seat belt ten-
                                                     The front passenger seat, 2nd row captain’s         sion. It can also change the operation of
   movement in the seat.
                                                     chairs and the rear bench seat three-point seat     the front passenger air bag. See “Front
 ● If the seat belt cannot be pulled from            belts have two modes of operation:                  passenger air bag and status light” later in
   its fully retracted position, firmly pull                                                             this section.
                                                      ● Emergency Locking Retractor (ELR)
   the belt and release it. Then smoothly
   pull the belt out of the retractor.                ● Automatic Locking Retractor (ALR)



1-20 Safety—Seats, seat belts and supplemental restraint system




                                                                                  ੬ REVIEW COPY—2008 Quest (van)
                                                                                  Owners Manual—USA_English (nna)
                                                                                  06/29/07—debbie ੭
To increase your confidence in the seat belts,
                 WARNING
                                                                                                   check the operation as follows.
When fastening the seat belts, be certain
that the seatbacks are completely se-                                                               ● Grasp the shoulder belt and pull forward
cured in the latched position. If they are                                                            quickly. The retractor should lock and re-
not completely secured, passengers may                                                                strict further belt movement.
be injured in an accident or sudden stop.                                                          If the retractor does not lock during this check or
                                                                                                   if you have any questions about seat belt opera-
                                                                                                   tion, see a NISSAN dealer.




                                                                                      WRS0139
                                             Unfastening the seat belts
                                             ᭺
                                             1   To unfasten the seat belt, press the button on
                                                 the buckle. The seat belt automatically re-
                                                 tracts.
                                             Checking seat belt operation
                                             Seat belt retractors are designed to lock seat belt
                                             movement by two separate methods:
                                              ● When the seat belt is pulled quickly from the
                                                retractor.
                                              ● When the vehicle slows down rapidly.




                                                                  Safety—Seats, seat belts and supplemental restraint system 1-21




                                                                           ੬ REVIEW COPY—2008 Quest (van)
                                                                           Owners Manual—USA_English (nna)
                                                                           06/29/07—debbie ੭
SSS0240                                        SSS0241
Center of the 3rd row bench seat                                   WARNING
The 3rd row center seat belt has a connector      ● Always fasten the connector tongue
tongue ᭺ and a seat belt tongue ᭺ . Both the
       1                           2                and the seat belt in the order shown.
connector tongue and the seat belt tongue must
be securely latched for proper seat belt opera-   ● Always make sure both the connector
tion.                                               tongue and the seat belt tongue are
                                                    secured when using the seat belt. Do
                                                    not use it with only the seat belt tongue
                                                    attached. This could result in serious
                                                    personal injury in case of an accident or
                                                    a sudden stop.



                                                                                                              LRS0432

1-22 Safety—Seats, seat belts and supplemental restraint system




                                                                            ੬ REVIEW COPY—2008 Quest (van)
                                                                            Owners Manual—USA_English (nna)
                                                                            06/29/07—debbie ੭
Stowing the 3rd row center seat belt                   ● If the rear center seat belt connector
When folding down the 3rd row seat, the 3rd row          and the seatbacks are not secured in
center seat belt can be retracted into a stowed          the correct position, serious personal
position as follows:                                     injury may result in an accident or sud-
                                                         den stop.
᭺
1   Hold the connector tongue so that the seat
    belt does not retract suddenly when the
    tongue is released from the connector
    buckle. Release the connector tongue by
    inserting a suitable tool such as a key into the
    connector buckle ᭺.  A

᭺
2   Retract the seat belt up to the retractor base.
᭺
3   Insert the seat belt tongue into the fabric
    sleeve so it will lay flat. Then secure the
    connector tongue into the retractor base.

                     WARNING
● Do not unfasten the rear center seat
  belt connector except when folding
  down the rear seat.
● When attaching the rear center seat
  belt connector, be certain that the seat-
  backs are completely secured in the
  latched position and the rear center
  seat belt connector is completely
  secured.

                                                                                                                                LRS0433

                                                                        Safety—Seats, seat belts and supplemental restraint system 1-23




                                                                                ੬ REVIEW COPY—2008 Quest (van)
                                                                                Owners Manual—USA_English (nna)
                                                                                06/29/07—debbie ੭
Attaching the 3rd row center seat belt
                                                                     WARNING
Always be sure the 3rd row center seat belt         ● Do not unfasten the rear center seat
connector tongue and connector buckle are at-         belt connector except when folding
tached. Disconnect only when folding down the         down the rear seat.
rear seat.
                                                    ● When attaching the rear center seat
To connect the buckle:                                belt connector, be certain that the seat-
᭺
1   Pull out the connector tongue from the re-        backs are completely secured in the
    tractor base.                                     latched position and the rear center
                                                      seat belt connector is completely
᭺
2   Pull out the seat belt tongue from the fabric     secured.
    sleeve.
                                                    ● If the rear center seat belt connector
᭺
3   Pull the seat belt and secure the receiver        and the seatbacks are not secured in
    buckle until it clicks.                           the correct position, serious personal                                               LRS0294
The center seat belt connector tongue and re-         injury may result in an accident or sud-                      Front seats
ceiver buckle are indicated by the > and < mark.      den stop.
                                                                                                  Shoulder belt height adjustment (Front
The center seat belt connector tongue can be                                                      and 2nd row seats)
attached only into the rear center seat belt con-
nector buckle.                                                                                    The shoulder belt anchor height should be ad-
                                                                                                  justed to the position best for you. (See “Precau-
To fasten the seat belt, see “Fastening the seat
                                                                                                  tions on seat belt usage” earlier in this section.)
belt” earlier in this section.
                                                                                                  To adjust, push or pull out᭺ the adjustment
                                                                                                                                  1
                                                                                                  button and move the shoulder belt anchor᭺to    2
                                                                                                  the desired position, so the belt passes over the
                                                                                                  center of the shoulder. The belt should be away
                                                                                                  from your face and neck, but not falling off your
                                                                                                  shoulder. Release the adjustment button to lock
                                                                                                  the shoulder belt anchor into position.


1-24 Safety—Seats, seat belts and supplemental restraint system




                                                                              ੬ REVIEW COPY—2008 Quest (van)
                                                                              Owners Manual—USA_English (nna)
                                                                              06/29/07—debbie ੭
SEAT BELT EXTENDERS                                   SEAT BELT MAINTENANCE
                                              If, because of body size or driving position, it is   ● To clean the seat belt webbing, apply a
                                              not possible to properly fit the lap-shoulder belt      mild soap solution or any solution recom-
                                              and fasten it, an extender is available which is        mended for cleaning upholstery or carpet.
                                              compatible with the installed seat belts. The ex-       Then wipe with a cloth and allow the seat
                                              tender adds approximately 8 in (200 mm) of              belts to dry in the shade. Do not allow the
                                              length and may be used for either the driver or         seat belts to retract until they are completely
                                              front passenger seating position. See a NISSAN          dry.
                                              dealer for assistance if an extender is required.
                                                                                                    ● If dirt builds up in the shoulder belt
                                                                                                      guide of the seat belt anchors, the seat
                                                                   WARNING                            belts may retract slowly. Wipe the shoulder
                                              ● Only NISSAN seat belt extenders, made                 belt guide with a clean, dry cloth.
                                                by the same company which made the
                                                                                                    ● Periodically check to see that the seat
                                   LRS0242      original equipment seat belts, should
                                                                                                      belt and the metal components, such as
              2nd row seats                     be used with NISSAN seat belts.
                                                                                                      buckles, tongues, retractors, flexible wires
                 WARNING                      ● Adults and children who can use the                   and anchors, work properly. If loose parts,
                                                standard seat belt should not use an                  deterioration, cuts or other damage on the
● After adjustment, release the adjust-         extender. Such unnecessary use could                  webbing is found, the entire seat belt as-
  ment button and try to move the shoul-        result in serious personal injury in the              sembly should be replaced.
  der belt anchor up and down to make           event of an accident.
  sure it is securely fixed in position.
                                              ● Never use seat belt extenders to install
● The shoulder belt anchor height should        child restraints. If the child restraint is
  be adjusted to the position best for you.     not secured properly, the child could be
  Failure to do so may reduce the effec-        seriously injured in a collision or a sud-
  tiveness of the entire restraint system       den stop.
  and increase the chance or severity of
  injury in an accident.



                                                                   Safety—Seats, seat belts and supplemental restraint system 1-25




                                                                            ੬ REVIEW COPY—2008 Quest (van)
                                                                            Owners Manual—USA_English (nna)
                                                                            06/29/07—debbie ੭
CHILD RESTRAINTS


                                                                                        ● Even with the NISSAN Advanced Air
                                                                                          Bag System, never install a rear-facing
                                                                                          child restraint in the front seat. An in-
                                                                                          flating front air bag could seriously in-
                                                                                          jure or kill your child. A rear-facing child
                                                                                          restraint must only be used in the rear
                                                                                          seat.
                                                                                        ● NISSAN recommends that the child re-
                                                                                          straint be installed in the rear seat. Ac-
                                                                                          cording to accident statistics, children
                                                                                          are safer when properly restrained in
                                                                                          the rear seat than in the front seat. If
                                                                                          you must install a front facing child re-
                               ARS1098                                      WRS0256       straint in the front seat, see “Child re-
                                                                                          straint installation using the seat belts”
PRECAUTIONS ON CHILD                                       WARNING                        later in this section.
RESTRAINTS                                                                              ● Improper use or improper installation
                                         ● Infants and small children should al-
                                           ways be placed in an appropriate child         of a child restraint can increase the risk
                                           restraint while riding in the vehicle.         or severity of injury for both the child
                                           Failure to use a child restraint can re-       and other occupants of the vehicle and
                                           sult in serious injury or death.               can lead to serious injury or death in an
                                                                                          accident.
                                         ● Infants and small children should never
                                           be carried on your lap. It is not possible   ● Follow all of the child restraint manu-
                                           for even the strongest adult to resist the     facturer’s instructions for installation
                                           forces of a severe accident. The child         and use. When purchasing a child re-
                                           could be crushed between the adult and         straint, be sure to select one which will
                                           parts of the vehicle. Also, do not put the     fit your child and vehicle. It may not be
                                           same seat belt around both your child          possible to properly install some types
                                           and yourself.                                  of child restraints in your vehicle.

1-26 Safety—Seats, seat belts and supplemental restraint system




                                                                   ੬ REVIEW COPY—2008 Quest (van)
                                                                   Owners Manual—USA_English (nna)
                                                                   06/29/07—debbie ੭
● If the child restraint is not anchored          ● When your child restraint is not in use,                Several manufacturers offer child restraints for
  properly, the risk of a child being in-           keep it secured with the LATCH System                   infants and small children of various sizes. When
  jured in a collision or a sudden stop             or a seat belt to prevent it from being                 selecting any child restraint, keep the following
  greatly increases.                                thrown around in case of a sudden stop                  points in mind:
                                                    or accident.                                             ● Choose only a restraint with a label certifying
● Child restraint anchor points are de-
  signed to withstand only those loads                                                                         that it complies with Federal Motor Vehicle
  imposed by correctly fitted child re-                                  CAUTION                               Safety Standard 213 or Canadian Motor
  straints. Under no circumstances are                                                                         Vehicle Safety Standard 213.
                                                  Remember that a child restraint left in a
  they to be used for adult seat belts or         closed vehicle can become very hot.                        ● Check the child restraint in your vehicle to be
  harnesses.                                      Check the seating surface and buckles                        sure it is compatible with the vehicle’s seat
● Adjustable seatbacks should be posi-            before placing your child in the child                       and seat belt system.
  tioned to fit the child restraint, but as       restraint.
                                                                                                             ● If the child restraint is compatible with your
  upright as possible.                                                                                         vehicle, place your child in the child restraint
                                                  This vehicle is equipped with a universal child
● After attaching the child restraint, test it    restraint lower anchor system, referred to as the            and check the various adjustments to be
  before you place the child in it. Push it       Lower Anchors and Tethers for CHildren System                sure the child restraint is compatible with
  from side to side while holding the seat        or LATCH. Some child restraints include two rigid            your child. Choose a child restraint that is
  near the LATCH attachment or by the                                                                          designed for your child’s height and weight.
                                                  or webbing-mounted attachments that can be
  seat belt path. Try to tug it forward and                                                                    Always follow all recommended procedures.
                                                  connected to these lower anchors. For details,
  check to see if the belt holds the re-          see the “Lower Anchors and Tethers for CHildren           All U.S. states and Canadian provinces or
  straint in place. The child restraint           System (LATCH)” later in this section.                    territories require that infants and small
  should not move more than 1 inch (25                                                                      children be restrained in an approved child
  mm). If the restraint is not secure,            If you do not have a LATCH compatible child               restraint at all times while the vehicle is
  tighten the belt as necessary, or put the       restraint, the vehicle seat belts can be used. See        being operated.
  restraint in another seat and test it           “Child restraint installation using the seat belts”
  again. You may need to try a different          later in this section. In general, child restraints are
  child restraint. Not all child restraints fit   also designed to be installed with the lap portion
  in all types of vehicles.                       of a lap/shoulder seat belt.



                                                                        Safety—Seats, seat belts and supplemental restraint system 1-27




                                                                                   ੬ REVIEW COPY—2008 Quest (van)
                                                                                   Owners Manual—USA_English (nna)
                                                                                   06/29/07—debbie ੭
WRS0315                                             LRS0631                                          WRS0691
      LATCH system anchor locations                 LATCH label locations 2nd row captain’s            LATCH label locations 3rd row bench (if so
LOWER ANCHORS AND TETHERS                                   chairs (if so equipped)                                   equipped)
FOR CHILDREN SYSTEM (LATCH)                         LATCH lower anchor point locations                                    WARNING
Your vehicle is equipped with special anchor        The LATCH anchors are located at the rear of the   ● Attach LATCH compatible child re-
points that are used with Lower Anchors and         seat cushion near the seatback. A label is at-       straints only at the locations shown in
Tethers for CHildren System (LATCH) compat-         tached to the seatback to help you locate the        the illustration. If a child restraint is not
ible child restraints.                              LATCH anchors.                                       secured properly, your child could be
                                                                                                         seriously injured or killed in an
The LATCH anchor points are provided to install
                                                                                                         accident.
child restraints in the following positions only:
 ● 2nd row captain’s chairs (if so equipped).
 ● 3rd row bench seat center position only (if
   so equipped).


1-28 Safety—Seats, seat belts and supplemental restraint system




                                                                                ੬ REVIEW COPY—2008 Quest (van)
                                                                                Owners Manual—USA_English (nna)
                                                                                06/29/07—debbie ੭
WRS0700                                             LRS0661                                                  LRS0662
      LATCH lower anchor location              LATCH webbing-mounted attachment                          LATCH rigid-mounted attachment
● Child restraint anchor points are de-     Installing child restraint LATCH anchor               turer. If you have such a child restraint, refer to the
  signed to withstand only those loads      attachments                                           illustration for the seating positions equipped
  imposed by correctly fitted child re-                                                           with LATCH system anchors which can be used
                                            LATCH compatible child restraints include two         to secure the child restraint.
  straints. Under no circumstance are
                                            rigid or webbing-mounted attachments that can
  they to be used for adult seat belts or                                                         LATCH child restraints generally require the use
                                            be connected to two anchors located at certain
  harnesses.                                                                                      of a top tether strap. See “Top tether strap child
                                            seating positions in your vehicle. This system is
                                            known as the LATCH system. This system may            restraint” later in this section for installation in-
                                            also be referred to as the ISOFIX or ISOFIX           structions.
                                            compatible system. With this system, you do not
                                                                                                  When installing a child restraint, carefully read
                                            have to use a vehicle seat belt to secure the child
                                            restraint. Check your child restraint for a label     and follow the instructions in this manual and
                                            stating that it is compatible with the LATCH sys-     those supplied with the child restraint. See “Child
                                            tem. This information may also be in the instruc-     restraint installation using LATCH on 2nd row
                                            tions provided by the child restraint manufac-        captain’s chairs (if so equipped)” or “Child re-

                                                                 Safety—Seats, seat belts and supplemental restraint system 1-29




                                                                          ੬ REVIEW COPY—2008 Quest (van)
                                                                          Owners Manual—USA_English (nna)
                                                                          06/29/07—debbie ੭
straint installation using LATCH on 3rd row            Top Tether Anchor Point Locations
bench seat (if so equipped)” in this section.
                                                       Anchor points are located in the following loca-
TOP TETHER STRAP CHILD                                 tions:
RESTRAINT                                               ● On the floor behind the front passenger seat
If the manufacturer of your child restraint requires      (2–passenger cargo van only) as shown.
the use of a top tether strap, it must be secured to    ● On the back of the 2nd row captain’s chairs
the anchor point.                                         (if so equipped) as shown.
                                                        ● On the back of the 3rd row center seating
                     WARNING                              position (if so equipped) as shown.
● Child restraint anchor points are de-
                                                       If you have any questions when installing a
  signed to withstand only those loads
                                                       top tether strap child restraint on the rear
  imposed by correctly fitted child re-
                                                       seat, consult your NISSAN dealer for de-                                                  WRS0210
  straints. Under no circumstances are
                                                       tails.                                                                  Label
  they to be used for adult seat belts or
  harnesses.                                                                                              The front passenger seat and 2nd row captain’s
● Do not allow cargo to contact the top                                                                   chair anchor point locations are marked with the
  tether strap when it is attached to the                                                                 label shown.
  top tether anchor. Properly secure the                                                                  Installing top tether strap
  cargo so it does not contact the top
  tether strap. Cargo that is not properly                                                                First, secure the child restraint with the LATCH
  secured or cargo that contacts the top                                                                  system (2nd row captain’s seating positions and
  tether strap may damage it during a                                                                     center seating position only of the 3rd row bench
  collision. Your child could be seriously                                                                seat) or the seat belt, as applicable.
  injured or killed in a collision if the top
  tether strap is damaged.




1-30 Safety—Seats, seat belts and supplemental restraint system




                                                                                   ੬ REVIEW COPY—2008 Quest (van)
                                                                                   Owners Manual—USA_English (nna)
                                                                                   06/29/07—debbie ੭
4. Tighten the tether strap according to the
                                                         manufacturer’s instructions to remove any
                                                         slack.
                                                     For best child restraint fit, see the child restraint
                                                     installation instructions in this section and the
                                                     child restraint manufacturer’s instructions.




                                         LRS0322                                                                                                      LRS0307
Front passenger seat (2 passenger cargo                                                                      2nd row captain’s chairs (if so equipped)
van only)
                                                                                                              1. Top tether strap
For the front passenger seat in the 2 passenger
                                                                                                              2. Anchor point
cargo van only, install the top tether strap as
follows:                                                                                                     For the 2nd row captain’s chairs (if so equipped),
                                                                                                             install the top tether strap as follows:
 1. Adjust the head restraint to its highest posi-
    tion.                                                                                                     1. Remove the head restraint. Store it in a
                                                                                                                 secure location.
 2. Route the top tether strap between the head
    restraint and the top of the seatback.                                                                    2. Position the top tether strap over the top of
                                                                                                                 the seatback.
 3. Secure the tether strap to the tether anchor
    point on the floor directly behind the seat.                                                              3. Secure the tether strap to the tether anchor
                                                                                                                 point on the seat directly behind the child
                                                                                                                 restraint.
                                                                          Safety—Seats, seat belts and supplemental restraint system 1-31




                                                                                    ੬ REVIEW COPY—2008 Quest (van)
                                                                                    Owners Manual—USA_English (nna)
                                                                                    06/29/07—debbie ੭
4. Tighten the tether strap according to the
    manufacturer’s instructions to remove any
    slack.
For best child restraint fit, see the child restraint
installation instructions in this section and the
child restraint manufacturer’s instructions.




                                                                                           WRS0687                                            WRS0688
                                                                         Type A                                            Type B
                                                        3rd row bench seat (if so equipped)            The center position of the 3rd row bench seat is
                                                                                                       the seating position that can use a top tether
                                                         1. Top tether strap
                                                                                                       strap.
                                                         2. Anchor point
                                                                                                       For the 3rd row bench seat (if so equipped),
                                                                                                       install the top tether strap as follows:
                                                                           WARNING
                                                                                                        1. Position the top tether strap under the head
                                                        In the 3rd row bench seat, a child restraint
                                                        with a top tether strap can only be used in        restraint (TYPE A) or position the top tether
                                                        the center position. Do not place in an            strap around the side of the head restraint
                                                        outboard seating position and attempt to           (TYPE B).
                                                        angle the tether strap to the center            2. Secure the tether strap to the tether anchor
                                                        position.                                          point on the seat directly behind the child
                                                                                                           restraint.

1-32 Safety—Seats, seat belts and supplemental restraint system




                                                                                  ੬ REVIEW COPY—2008 Quest (van)
                                                                                  Owners Manual—USA_English (nna)
                                                                                  06/29/07—debbie ੭
3. Tighten the tether strap according to the           ● Inspect the lower anchors by inserting
    manufacturer’s instructions to remove any             your fingers into the lower anchor area
    slack.                                                and feeling to make sure there are no
For best child restraint fit, see the child restraint     obstructions over the LATCH anchors,
installation instructions in this section and the         such as seat belt webbing or seat cush-
child restraint manufacturer’s instructions.              ion material. The child restraint will not
                                                          be secured properly if the LATCH an-
CHILD RESTRAINT INSTALLATION                              chors are obstructed.
USING LATCH-2ND ROW                                     Front-facing
CAPTAIN’S CHAIRS (if so equipped)
                                                        Follow these steps to install a front-facing child
                                                        restraint in the 2nd row captain’s chairs using
                      WARNING
                                                        LATCH:
● Attach LATCH compatible child re-
  straints only at the locations shown. For              1. Recline the seatback if the seatback is ad-                                               LRS0663

  the LATCH lower anchor locations, see                     justable to assist in attaching the child re-        Front facing web-mounted – step 3
  “Lower Anchors and Tethers for CHil-                      straint to the lower anchors.                     3. Secure the child restraint anchor attach-
  dren System (LATCH)” in this section. If               2. Position the child restraint on the seat. Al-        ments to the LATCH lower anchors. Check
  a child restraint is not secured properly,                ways follow the child restraint manufactur-          to make sure the LATCH attachment is prop-
  your child could be seriously injured or                  er’s instructions.                                   erly attached to the lower anchors.
  killed in an accident.
                                                                                                              4. Return the seatback to its normal upright
● The LATCH anchors are designed to                                                                              and locked position.
  withstand only those loads imposed by
  correctly fitted child restraints. Under                                                                   The back of the child restraint should be secured
  no circumstance are they to be used for                                                                    against the vehicle seatback. If necessary, adjust
  adult seat belts or harnesses.                                                                             or remove the head restraint to obtain the correct
                                                                                                             child restraint fit. See “Head restraint adjust-
                                                                                                             ment” in this section. If the head restraint is re-
                                                                                                             moved, store it in a secure place. Be sure to
                                                                                                             install the head restraint when the child restraint

                                                                            Safety—Seats, seat belts and supplemental restraint system 1-33




                                                                                      ੬ REVIEW COPY—2008 Quest (van)
                                                                                      Owners Manual—USA_English (nna)
                                                                                      06/29/07—debbie ੭
LRS0664                                               LRS0671                                                WRS0697
     Front facing rigid-mounted – step 3                        Front facing – step 5                                  Front facing – step 7
is removed. If the seating position does not have    5. For child restraints that are equipped with        7. Before placing the child in the child restraint,
an adjustable head restraint and it is interfering      webbing mounted attachments, remove any               hold the child restraint near the LATCH at-
with the proper child restraint fit, try another        additional slack from the anchor attach-              tachment and use force to push the child
seating position or a different child restraint.        ments. Press downward and rearward firmly             restraint from side to side, and tug it forward
                                                        in the center of the child restraint with your        to make sure that it is securely held in place.
                                                        knee to compress the vehicle seat cushion             It should not move more than 1 in (25 mm). If
                                                        and seatback while tightening the webbing             it does move more than 1 in (25 mm), pull
                                                        of the anchor attachments.                            again on the anchor attachments to further
                                                     6. If the child restraint is equipped with a top         tighten the child restraint. If you are unable to
                                                        tether strap, route the top tether strap and          properly secure the restraint, move the re-
                                                        secure the tether strap to the tether anchor          straint to another seating position and try
                                                        point. See “Top tether strap child restraint” in      again, or try a different child restraint. Not all
                                                        this section.                                         child restraints fit in all types of vehicles.


1-34 Safety—Seats, seat belts and supplemental restraint system




                                                                                   ੬ REVIEW COPY—2008 Quest (van)
                                                                                   Owners Manual—USA_English (nna)
                                                                                   06/29/07—debbie ੭
8. Check to make sure the child restraint is
    properly secured prior to each use. If the
    child restraint is loose, repeat steps 4
    through 7.
Rear-facing
Follow these steps to install a rear-facing child
restraint in the 2nd row captain’s chairs using
LATCH:
 1. Recline the seatback if the seatback is ad-
    justable to assist in attaching the child re-
    straint to the lower anchors.
 2. Position the child restraint on the seat. Al-
    ways follow the child restraint manufactur-                                         LRS0665                                   LRS0666
    er’s instructions.                                 Rear facing web-mounted – step 3             Rear facing rigid-mounted – step 3
                                                    3. Secure the child restraint anchor attach-
                                                       ments to the LATCH lower anchors. Check
                                                       to make sure the LATCH attachment is prop-
                                                       erly attached to the lower anchors.
                                                    4. Return the seatback to its normal upright
                                                       and locked position.




                                                                     Safety—Seats, seat belts and supplemental restraint system 1-35




                                                                              ੬ REVIEW COPY—2008 Quest (van)
                                                                              Owners Manual—USA_English (nna)
                                                                              06/29/07—debbie ੭
7. Check to make sure the child restraint is
                                                                                                                properly secured prior to each use. If the
                                                                                                                child restraint is loose, repeat steps 3
                                                                                                                through 6.
                                                                                                             CHILD RESTRAINT INSTALLATION
                                                                                                             USING LATCH-3RD ROW BENCH
                                                                                                             SEAT (if so equipped)
                                                                                                                               WARNING
                                                                                                             ● Attach LATCH compatible child re-
                                                                                                               straints only at the locations shown. For
                                                                                                               the LATCH lower anchor locations, see
                                        LRS0673                                                LRS0674         “Lower Anchors and Tethers for CHil-
            Front facing – step 5                                Front facing – step 6                         dren System (LATCH)” in this section. If
 5. For child restraints that are equipped with                                                                a child restraint is not secured properly,
                                                     6. Before placing the child in the child restraint,
    webbing mounted attachments, remove any                                                                    your child could be seriously injured or
                                                        hold the child restraint near the LATCH at-
    additional slack from the anchor attach-                                                                   killed in an accident.
                                                        tachment and use force to push the child
    ments. Press downward and rearward firmly           restraint from side to side, and tug it forward      ● The LATCH anchors are designed to
    in the center of the child restraint with your      to make sure that it is securely held in place.        withstand only those loads imposed by
    knee to compress the vehicle seat cushion           It should not move more than 1 in (25 mm). If          correctly fitted child restraints. Under
    and seatback while tightening the webbing           it does move more than 1 in (25 mm), pull              no circumstance are they to be used for
    of the anchor attachments.                          again on the anchor attachments to further             adult seat belts or harnesses.
                                                        tighten the child restraint. If you are unable to
                                                        properly secure the restraint, move the re-
                                                        straint to another seating position and try
                                                        again, or try a different child restraint. Not all
                                                        child restraints fit in all types of vehicles.


1-36 Safety—Seats, seat belts and supplemental restraint system




                                                                                    ੬ REVIEW COPY—2008 Quest (van)
                                                                                    Owners Manual—USA_English (nna)
                                                                                    06/29/07—debbie ੭
● Inspect the lower anchors by inserting
  your fingers into the lower anchor area
  and feeling to make sure there are no
  obstructions over the LATCH anchors,
  such as seat belt webbing or seat cush-
  ion material. The child restraint will not
  be secured properly if the LATCH an-
  chors are obstructed.
Front-facing
Follow these steps to install a front-facing child
restraint in the 3rd row bench seats using
LATCH:
 1. Recline the seatback if the seatback is ad-                                                 WRS0685                                    WRS0686
    justable to assist in attaching the child re-        Front facing web-mounted – step 3                    Front facing rigid-mounted – step 3
    straint to the lower anchors.                     3. Secure the child restraint anchor attach-
 2. Position the child restraint on the seat. Al-        ments to the LATCH lower anchors. Check
    ways follow the child restraint manufactur-          to make sure the LATCH attachment is prop-
    er’s instructions.                                   erly attached to the lower anchors.
                                                      4. Return the seatback to its normal upright
                                                         and locked position.
                                                     The back of the child restraint should be secured
                                                     against the vehicle seatback. If the seating posi-
                                                     tion does not have an adjustable head restraint
                                                     and it is interfering with the proper child restraint
                                                     fit, try another seating position or a different child
                                                     restraint.


                                                                           Safety—Seats, seat belts and supplemental restraint system 1-37




                                                                                     ੬ REVIEW COPY—2008 Quest (van)
                                                                                     Owners Manual—USA_English (nna)
                                                                                     06/29/07—debbie ੭
6. If the child restraint is equipped with a top
                                                        tether strap, route the top tether strap and
                                                        secure the tether strap to the tether anchor
                                                        point. See “Top tether strap child restraint” in
                                                        this section. Do not install child restraints
                                                        that require the use of the top tether strap to
                                                        seating positions that do not have a top
                                                        tether anchor.




                                        LRS0671                                                                                                       LRS0672
            Front facing – step 5                                                                                      Front facing – step 7
 5. For child restraints that are equipped with                                                            7. Before placing the child in the child restraint,
    webbing mounted attachments, remove any                                                                   hold the child restraint near the LATCH at-
    additional slack from the anchor attach-                                                                  tachment and use force to push the child
    ments. Press downward and rearward firmly                                                                 restraint from side to side, and tug it forward
    in the center of the child restraint with your                                                            to make sure that it is securely held in place.
    knee to compress the vehicle seat cushion                                                                 It should not move more than 1 in (25 mm). If
    and seatback while tightening the webbing                                                                 it does move more than 1 in (25 mm), pull
    of the anchor attachments                                                                                 again on the anchor attachments to further
                                                                                                              tighten the child restraint. If you are unable to
                                                                                                              properly secure the restraint, move the re-
                                                                                                              straint to another seating position and try
                                                                                                              again, or try a different child restraint. Not all
                                                                                                              child restraints fit in all types of vehicles.


1-38 Safety—Seats, seat belts and supplemental restraint system




                                                                                   ੬ REVIEW COPY—2008 Quest (van)
                                                                                   Owners Manual—USA_English (nna)
                                                                                   06/29/07—debbie ੭
8. Check to make sure the child restraint is
    properly secured prior to each use. If the
    child restraint is loose, repeat steps 3
    through 8.
Rear-facing
Follow these steps to install a rear-facing child
restraint in the 3rd row bench seats using
LATCH:
 1. Recline the seatback in vehicles with adjust-
    able seatbacks to assist in attaching the
    child restraint to the lower anchors.
 2. Position the child restraint on the seat. Al-
    ways follow the child restraint manufactur-                                       WRS0689                                   WRS0690
    er’s instructions.                                 Rear facing web-mounted – step 3            Rear facing rigid-mounted – step 3
                                                    3. Secure the child restraint anchor attach-
                                                       ments to the LATCH lower anchors. Check
                                                       to make sure that the LATCH attachment is
                                                       properly attached to the lower anchors.
                                                    4. Return the seatback to its normal upright
                                                       and locked position.




                                                                     Safety—Seats, seat belts and supplemental restraint system 1-39




                                                                             ੬ REVIEW COPY—2008 Quest (van)
                                                                             Owners Manual—USA_English (nna)
                                                                             06/29/07—debbie ੭
7. Check to make sure the child restraint is
                                                                                                                properly secured prior to each use. If the
                                                                                                                child restraint is loose, repeat steps 3
                                                                                                                through 6.




                                        LRS0673                                                LRS0674
            Front facing – step 5                                Front facing – step 6
 5. For child restraints that are equipped with      6. Before placing the child in the child restraint,
    webbing mounted attachments, remove any             hold the child restraint near the LATCH at-
    additional slack from the anchor attach-            tachment and use force to push the child
    ments. Press downward and rearward firmly           restraint from side to side, and tug it forward
    in the center of the child restraint with your      to make sure that it is securely held in place.
    hand to compress the vehicle seat cushion           It should not move more than 1 in (25 mm). If
    and seatback while tightening the webbing           it does move more than 1 in (25 mm), pull
    of the anchor attachments.                          again on the anchor attachments to further
                                                        tighten the child restraint. If you are unable to
                                                        properly secure the restraint, move the re-
                                                        straint to another seating position and try
                                                        again, or try a different child restraint. Not all
                                                        child restraints fit in all types of vehicles.


1-40 Safety—Seats, seat belts and supplemental restraint system




                                                                                    ੬ REVIEW COPY—2008 Quest (van)
                                                                                    Owners Manual—USA_English (nna)
                                                                                    06/29/07—debbie ੭
● NISSAN recommends that child re-            ● When installing a child restraint system
                                                 straints be installed in the rear seat.       in the rear center position, both the
                                                 However, if you must install a forward        center seat belt connector tongue and
                                                 facing child restraint in the front pas-      buckle tongue must be secured. See
                                                 senger seat, move the passenger seat          “Attaching the 3rd row center seat belt”
                                                 to the rearmost position. Also, be sure       earlier in this section.
                                                 the front passenger air bag status light
                                                                                             ● A child restraint with a top tether strap
                                                 is illuminated to indicate the passenger
                                                                                               should not be used in the front passen-
                                                 air bag is OFF. See “Front passenger air
                                                                                               ger seat except for the 2-passenger
                                                 bag and status light” later in this sec-
                                                                                               cargo van.
                                                 tion for details.
                                                                                             ● Front-facing child restraints can be in-
                                               ● The three-point seat belt in your vehicle
                                                                                               stalled in all 3rd row bench seat posi-
                                                 is equipped with an Automatic Locking
                                                                                               tions. However, front-facing child re-
                                                 Retractor (ALR) which must be used
                                   WRS0256                                                     straints that require the use of a top
                                                 when installing a child restraint.
CHILD RESTRAINT INSTALLATION                                                                   tether strap can be installed in the cen-
                                               ● Failure to use the ALR mode will result       ter 3rd row position only. Do not install
USING THE SEAT BELTS                             in the child restraint not being properly     a child restraint requiring a top tether
                                                 secured. The restraint could tip over or      strap in an outboard position and at-
                  WARNING                        otherwise be unsecured and cause in-          tempt to angle the tether to the 3rd row
● Even with the NISSAN Advanced Air              jury to the child in a sudden stop or         center anchor.
  Bag System, never install a rear-facing        collision. Also, it can change the opera-
                                                 tion of the front passenger air bag. See    The instructions in this section apply to child
  child restraint in the front passenger                                                     restraint installation using the vehicle seat belts in
  seat. Front air bags inflate with great        “Front passenger air bag and status
                                                 light” later in this section.               the rear seats or the front passenger seat.
  force. A rear-facing child restraint could
  be struck by the front air bag in a crash
  and could seriously injure or kill your
  child.



                                                                Safety—Seats, seat belts and supplemental restraint system 1-41




                                                                         ੬ REVIEW COPY—2008 Quest (van)
                                                                         Owners Manual—USA_English (nna)
                                                                         06/29/07—debbie ੭
2. Position the child restraint on the seat. Al-
                                                         ways follow the child restraint manufactur-
                                                         er’s instructions
                                                     The back of the child restraint should be secured
                                                     against the vehicle seatback. If necessary, adjust
                                                     or remove the head restraint to obtain the correct
                                                     child restraint fit. See “Head restraint adjust-
                                                     ment” in this section.
                                                     If the head restraint is removed, store it in a
                                                     secure place. Be sure to install the head restraint
                                                     when the child restraint is removed. If the seating
                                                     position does not have an adjustable head re-
                                                     straint and it is interfering with the proper child
                                       WRS0699       restraint fit, try another seating position or a dif-                                            WRS0680
Front-facing (front passenger seat) – step 1         ferent child restraint.                                            Front facing – step 3
Front-facing                                                                                                 3. Route the seat belt tongue through the child
                                                                                                                restraint and insert it into the buckle until you
Follow these steps to install a front-facing child                                                              hear and feel the latch engage. Be sure to
restraint using the vehicle seat belt in the rear                                                               follow the child restraint manufacturer’s in-
seats or in the front passenger seat:                                                                           structions for belt routing.
 1. If you must install a child restraint in
    the front seat, it should be placed in a
    front-facing direction only. Move the
    seat to the rearmost position. Child
    restraints for infants must be used in
    the rear-facing direction and therefore
    must not be used in the front seat.



1-42 Safety—Seats, seat belts and supplemental restraint system




                                                                                    ੬ REVIEW COPY—2008 Quest (van)
                                                                                    Owners Manual—USA_English (nna)
                                                                                    06/29/07—debbie ੭
LRS0667                                             LRS0668                                          WRS0681
            Front facing – step 4                               Front facing – step 5                               Front facing – step 6
4. Pull the shoulder belt until the belt is fully    5. Allow the seat belt to retract. Pull up on the   6. Remove any additional slack from the seat
   extended. At this time, the seat belt retractor      shoulder belt to remove any slack in the belt.      belt; press downward and rearward firmly in
   is in the Automatic Locking Retractor (ALR)                                                              the center of the child restraint with your
   mode (child restraint mode). It reverts to the                                                           knee to compress the vehicle seat cushion
   Emergency Locking Retractor (ELR) mode                                                                   and seatback while pulling up on the seat
   when the seat belt is fully retracted.                                                                   belt.




                                                                        Safety—Seats, seat belts and supplemental restraint system 1-43




                                                                                 ੬ REVIEW COPY—2008 Quest (van)
                                                                                 Owners Manual—USA_English (nna)
                                                                                 06/29/07—debbie ੭
8. Before placing the child in the child restraint,
                                                           hold the child restraint near the seat belt
                                                           path and use force to push the child restraint
                                                           from side to side, and tug it forward to make
                                                           sure that it is securely held in place. It should
                                                           not move more than 1 in (25 mm). If it does
                                                           move more than 1 in (25 mm), pull again on
                                                           the shoulder belt to further tighten the child
                                                           restraint. If you are unable to properly secure
                                                           the restraint, move the restraint to another
                                                           seating position and try again, or try a differ-
                                                           ent child restraint. Not all child restraints fit in
                                                           all types of vehicles.
                                                        9. Check that the retractor is in the ALR mode
                                         WRS0698                                                                                                           WRS0475
                                                           by trying to pull more seat belt out of the
            Front facing – step 7                          retractor. If you cannot pull any more belt                         Front facing – step 11
 7. If the child restraint is equipped with a top          webbing out of the retractor, the retractor is         11. If the child restraint is installed in the front
    tether strap, route the top tether strap and           in the ALR mode.                                           passenger seat, turn the ignition switch to
    secure the tether strap to the tether anchor                                                                      the ON position. The front passenger air bag
                                                       10. Check to make sure the child restraint is                  status light          should illuminate. If this
    point. See “Top tether strap child restraint” in
                                                           properly secured prior to each use. If the                 light is not illuminated see ЉFront passenger
    this section. Do not install child restraints          seat belt is not locked, repeat steps 3
    that require the use of a top tether strap to                                                                     air bag and status lightЉ in this section.
                                                           through 8.                                                 Move the child restraint to another
    seating positions that do not have a top
    tether anchor.                                                                                                    seating position. Have the system
                                                                                                                      checked by a NISSAN dealer.
                                                                                                                  After the child restraint is removed and the seat
                                                                                                                  belt is fully retracted, the ALR mode (child re-
                                                                                                                  straint mode) is canceled.



1-44 Safety—Seats, seat belts and supplemental restraint system




                                                                                        ੬ REVIEW COPY—2008 Quest (van)
                                                                                        Owners Manual—USA_English (nna)
                                                                                        06/29/07—debbie ੭
WRS0256                                                WRS0761                                               LRS0669
            Rear-facing – step 1                                  Rear facing – step 2                                   Rear facing – step 3
Rear-facing                                           2. Route the seat belt tongue through the child        3. Pull the shoulder belt until the belt is fully
                                                         restraint and insert it into the buckle until you      extended. At this time, the seat belt retractor
Follow these steps to install a rear-facing child        hear and feel the latch engage. Be sure to             is in the Automatic Locking Retractor (ALR)
restraint using the vehicle seat belt in the rear        follow the child restraint manufacturer’s in-          mode (child restraint mode). It reverts to the
seats:                                                   structions for belt routing.                           Emergency Locking Retractor (ELR) mode
 1. Child restraints for infants must be                                                                        when the seat belt is fully retracted.
    used in the rear-facing direction and
    therefore must not be used in the front
    seat. Position the child restraint on the seat.
    Always follow the restraint manufacturer’s
    instructions.




                                                                          Safety—Seats, seat belts and supplemental restraint system 1-45




                                                                                    ੬ REVIEW COPY—2008 Quest (van)
                                                                                    Owners Manual—USA_English (nna)
                                                                                    06/29/07—debbie ੭
LRS0670                                            WRS0762                                                WRS0763
            Rear facing – step 4                                 Rear facing – step 5                                Rear facing – step 6
 4. Allow the seat belt to retract. Pull up on the   5. Remove any additional slack from the child       6. Before placing the child in the child restraint,
    shoulder belt to remove any slack in the belt.      restraint; press downward and rearward              hold the child restraint near the seat belt
                                                        firmly in the center of the child restraint to      path and use force to push the child restraint
                                                        compress the vehicle seat cushion and seat-         from side to side, and tug it forward to make
                                                        back while pulling up on the seat belt.             sure that it is securely held in place. It should
                                                                                                            not move more than 1 in (25 mm). If it does
                                                                                                            move more than 1 in (25 mm), pull again on
                                                                                                            the shoulder belt to further tighten the child
                                                                                                            restraint. If you are unable to properly secure
                                                                                                            the restraint, move the restraint to another
                                                                                                            rear seating position and try again, or try a
                                                                                                            different child restraint. Not all child re-
                                                                                                            straints fit in all types of vehicles.


1-46 Safety—Seats, seat belts and supplemental restraint system




                                                                                 ੬ REVIEW COPY—2008 Quest (van)
                                                                                 Owners Manual—USA_English (nna)
                                                                                 06/29/07—debbie ੭
BOOSTER SEATS


 7. Check that the retractor is in the ALR mode                                                     ● Infants and small children should never
    by trying to pull more seat belt out of the                                                       be carried on your lap. It is not possible
    retractor. If you cannot pull any more seat                                                       for even the strongest adult to resist the
    belt webbing out of the retractor, the retrac-                                                    forces of a severe accident. The child
    tor is in the ALR mode.                                                                           could be crushed between the adult and
 8. Check to make sure that the child restraint is                                                    parts of the vehicle. Also, do not put the
    properly secured prior to each use. If the belt                                                   same seat belt around both your child
    is not locked, repeat steps 3 through 7.                                                          and yourself.
After the child restraint is removed and the seat                                                   ● NISSAN recommends that the booster
belt fully retracted, the ALR mode (child restraint                                                   seat be installed in the rear seat. Ac-
mode) is canceled.                                                                                    cording to accident statistics, children
                                                                                                      are safer when properly restrained in
                                                                                                      the rear seat than in the front seat. If
                                                                                         ARS1098      you must install a booster seat in the
                                                                                                      front seat, see “Booster seat installa-
                                                      PRECAUTIONS ON BOOSTER                          tion” in this section.
                                                      SEATS                                         ● A booster seat must only be installed in
                                                                                                      a seating position that has a
                                                                       WARNING                        lap/shoulder belt. Failure to use a
                                                      ● Infants and small children should al-         three-point type seat belt with a
                                                        ways be placed in an appropriate child        booster seat can result in a serious in-
                                                        restraint while riding in the vehicle.        jury in sudden stop or collision.
                                                        Failure to use a child restraint or         ● Improper use or improper installation
                                                        booster seat can result in serious injury     of a booster seat can increase the risk
                                                        or death.                                     or severity of injury for both the child
                                                                                                      and other occupants of the vehicle and
                                                                                                      can lead to serious injury or death in an
                                                                                                      accident.


                                                                       Safety—Seats, seat belts and supplemental restraint system 1-47




                                                                                ੬ REVIEW COPY—2008 Quest (van)
                                                                                Owners Manual—USA_English (nna)
                                                                                06/29/07—debbie ੭
● Do not use towels, books, pillows or        ● After placing the child in the booster
  other items in place of a booster seat.       seat and fastening the seat belt, make
  Items such as these may move during           sure the shoulder portion of the belt is
  normal driving or a collision and result      away from the child’s face and neck and
  in serious injury or death. Booster seats     the lap portion of the belt does not
  are designed to be used with a                cross the abdomen.
  lap/shoulder belt. Booster seats are de-
                                              ● Do not put the shoulder belt behind the
  signed to properly route the lap and
                                                child or under the child’s arm. If you
  shoulder portions of the seat belt over
                                                must install a booster seat in the front
  the strongest portions of a child’s body
                                                seat, see “Booster seat installation”
  to provide the maximum protection dur-
                                                later in this section.
  ing a collision.
                                              ● When your booster seat is not in use,
● Follow all of the booster seat manufac-
                                                keep it secured with a seat belt to pre-
  turer’s instructions for installation and
                                                vent it from being thrown around in                                                LRS0455
  use. When purchasing a booster seat,
                                                case of a sudden stop or accident.         Booster seats of various sizes are offered by
  be sure to select one which will fit your
  child and vehicle. It may not be possible                                                several manufacturers. When selecting any
  to properly install some types of                            CAUTION                     booster seat, keep the following points in mind:
  booster seats in your vehicle.              Remember that a booster seat left in a        ● Choose only a booster seat with a label
● If the booster seat and seat belt is not    closed vehicle can become very hot.             certifying that it complies with Federal Motor
  used properly, the risk of a child being    Check the seating surface and buckles           Vehicle Safety Standard 213 or Canadian
  injured in a collision or a sudden stop     before placing your child in the booster        Motor Vehicle Safety Standard 213.
  greatly increases.                          seat.
                                                                                            ● Check the booster seat in your vehicle to be
● Adjustable seatbacks should be posi-                                                        sure it is compatible with the vehicle’s seat
  tioned to fit the booster seat, but as                                                      and seat belt system.
  upright as possible.




1-48 Safety—Seats, seat belts and supplemental restraint system




                                                                       ੬ REVIEW COPY—2008 Quest (van)
                                                                       Owners Manual—USA_English (nna)
                                                                       06/29/07—debbie ੭
BOOSTER SEAT INSTALLATION
                                                                                                                             WARNING
                                                                                                        NISSAN recommends that booster seats
                                                                                                        be installed in the rear seat. However, if
                                                                                                        you must install a booster seat in the front
                                                                                                        passenger seat, move the passenger’s
                                                                                                        seat to the rearmost position.

                                                                                                                             CAUTION
                                                                                                        Do not use the lap/shoulder belt Auto-
                                                                                                        matic Locking Retractor mode when using
                                                                                                        a booster seat with the seat belts.
                                        LRS0453                                             LRS0512
● Make sure the child’s head will be properly       All U.S. states and Canadian provinces or           Follow these steps to install a booster seat in the
                                                    territories require that infants and small          rear seat or in the front passenger seat:
  supported by the booster seat or vehicle
  seat. The seat back must be at or above the       children be restrained in an approved child
  center of the child’s ears. For example, if a     restraint at all times while the vehicle is
  low back booster seat ᭺ is chosen, the
                             1                      being operated.
  vehicle seat back must be at or above the         The instructions in this section apply to booster
  center of the child’s ears. If the seat back is   seat installation in the rear seats or the front
  lower than the center of the child’s ears, a      passenger seat.
  high back booster seat ᭺ should be used.
                            2

● If the booster seat is compatible with your
  vehicle, place your child in the booster seat
  and check the various adjustments to be
  sure the booster seat is compatible with your
  child. Always follow all recommended pro-
  cedures.
                                                                        Safety—Seats, seat belts and supplemental restraint system 1-49




                                                                                 ੬ REVIEW COPY—2008 Quest (van)
                                                                                 Owners Manual—USA_English (nna)
                                                                                 06/29/07—debbie ੭
WRS0699                             LRS0513                                            LRS0512
 1. If you must install a booster seat in the      Rear center position                       Rear outboard position
    front seat, move the seat to the rear-                                          3. The booster seat should be positioned on
    most position.                                                                     the vehicle seat so that it is stable. If neces-
 2. Position the booster seat on the seat. Only                                        sary, adjust or remove the head restraint to
    place it in a front facing direction. Always                                       obtain the correct booster seat fit. See
    follow the booster seat manufacturer’s in-                                         “Head restraint adjustment” earlier in this
    structions.                                                                        section. If the head restraint is removed,
                                                                                       store it in a secure place. Be sure to install
                                                                                       the head restraint when the booster seat is
                                                                                       removed. If the seating position does not
                                                                                       have an adjustable head restraint and it is
                                                                                       interfering with the proper booster seat fit,
                                                                                       try another seating position or a different
                                                                                       booster seat.


1-50 Safety—Seats, seat belts and supplemental restraint system




                                                                  ੬ REVIEW COPY—2008 Quest (van)
                                                                  Owners Manual—USA_English (nna)
                                                                  06/29/07—debbie ੭
4. Position the lap portion of the seat belt low
   and snug on the child’s hips. Be sure to
   follow the booster seat manufacturer’s in-
   structions for adjusting the belt routing.
5. Pull the shoulder belt portion of the seat belt
   toward the retractor to take up extra slack.
   Be sure the shoulder belt is positioned
   across the top, middle portion of the child’s
   shoulder. Be sure to follow the booster seat
   manufacturer’s instructions for adjusting the
   belt routing.


                                                                                         LRS0454                                           WRS0475
                                                             Front passenger position                7. If the booster seat is installed in the front
                                                     6. Follow the warnings, cautions and instruc-      passenger seat, turn the ignition switch to
                                                        tions for properly fastening a seat belt        the ON position. The front passenger air bag
                                                        shown in the “Three-point seat belt with        status light      may or may not illuminate,
                                                        retractor” earlier in this section.             depending on the size of the child and the
                                                                                                        type of booster seat being used. See “Front
                                                                                                        passenger air bag and status light” later in
                                                                                                        this section.




                                                                      Safety—Seats, seat belts and supplemental restraint system 1-51




                                                                               ੬ REVIEW COPY—2008 Quest (van)
                                                                               Owners Manual—USA_English (nna)
                                                                               06/29/07—debbie ੭
SUPPLEMENTAL RESTRAINT
SYSTEM

PRECAUTIONS ON                                       Roof-mounted curtain side-impact supple-
SUPPLEMENTAL RESTRAINT                               mental air bag system: This system can help
                                                     cushion the impact force to the head of occu-
SYSTEM                                               pants in front and rear outboard seating positions
This Supplemental Restraint System (SRS) sec-        in certain side impact collisions. The curtain air
tion contains important information concerning       bags are designed to inflate on the side where
the following systems:                               the vehicle is impacted.
                                                     These supplemental restraint systems are de-
 ● Driver and passenger supplemental front-
                                                     signed to supplement the crash protection pro-
   impact air bag (NISSAN Advanced Air Bag
                                                     vided by the seat belts and are not a substitute
   System)                                           for them. Seat belts should always be correctly
 ● Front seat-mounted side-impact supple-            worn and the occupant seated a suitable dis-
   mental air bag                                    tance away from the steering wheel, instrument
                                                     panel and door finishers. See “Seat belts” earlier
 ● Roof-mounted curtain side-impact supple-          in this section for instructions and precautions on
   mental air bag                                    seat belt usage.
 ● Seat belt with pretensioner                       The supplemental air bags operate only
                                                     when the ignition switch is in the ON or
Supplemental front-impact air bag system:
                                                     START position.
The NISSAN Advanced Air Bag System can help
cushion the impact force to the head and chest of    After turning the ignition key to the ON
the driver and front passenger in certain frontal    position, the supplemental air bag warning
collisions.                                          light illuminates. The supplemental air bag
                                                     warning light will turn off after about 7
Front seat-mounted side-impact supple-               seconds if the system is operational.
mental air bag system: This system can help
cushion the impact force to the chest area of the
driver and front passenger in certain side impact
collisions. The side air bags are designed to
inflate on the side where the vehicle is impacted.

1-52 Safety—Seats, seat belts and supplemental restraint system




                                                                                   ੬ REVIEW COPY—2008 Quest (van)
                                                                                   Owners Manual—USA_English (nna)
                                                                                   06/29/07—debbie ੭
● The driver and front passenger seat belt
                                                                                                  buckles are equipped with sensors that
                                                                                                  detect if the seat belts are fastened. The
                                                                                                  Advanced Air Bag System monitors the
                                                                                                  severity of a collision and seat belt us-
                                                                                                  age then inflates the air bags. Failure to
                                                                                                  properly wear seat belts can increase
                                                                                                  the risk or severity of injury in an
                                                                                                  accident.
                                                                                                ● The front passenger seat is equipped
                                                                                                  with an occupant classification sensor
                                                                                                  (pressure sensor) that turns the front
                                                                                                  passenger air bag OFF under some
                                                                                    WRS0031       conditions. This sensor is only used in
                                                                                                  this seat. Failure to be properly seated
                  WARNING                       ● The seat belts and the front air bags are       and wearing the seat belt can increase
                                                  most effective when you are sitting well        the risk or severity of injury in an acci-
● The front air bags ordinarily will not          back and upright in the seat. The front         dent. See “Front passenger air bag and
  inflate in the event of a side impact, rear     air bags inflate with great force. Even         status light” later in this section.
  impact, rollover, or lower severity fron-       with the NISSAN Advanced Air Bag Sys-
  tal collision. Always wear your seat                                                          ● Keep hands on the outside of the steer-
                                                  tem, if you are unrestrained, leaning
  belts to help reduce the risk or severity                                                       ing wheel. Placing them inside the
                                                  forward, sitting sideways or out of posi-
  of injury in various kinds of accidents.                                                        steering wheel rim could increase the
                                                  tion in any way, you are at greater risk of
                                                                                                  risk that they are injured when the front
● The front passenger air bag will not            injury or death in a crash. You may also
                                                                                                  air bag inflates.
  inflate if the passenger air bag status         receive serious or fatal injuries from the
  light is lit or if the front passenger seat     front air bag if you are up against it
  is unoccupied. See “Front passenger air         when it inflates. Always sit back against
  bag and status light” later in this             the seatback and as far away as practi-
  section.                                        cal from the steering wheel or instru-
                                                  ment panel. Always use the seat belts.

                                                                  Safety—Seats, seat belts and supplemental restraint system 1-53




                                                                           ੬ REVIEW COPY—2008 Quest (van)
                                                                           Owners Manual—USA_English (nna)
                                                                           06/29/07—debbie ੭
ARS1133                                     ARS1041

                                                                                                  WARNING
                                                                                  ● Never let children ride unrestrained or
                                                                                    extend their hands or face out of the
                                                                                    window. Do not attempt to hold them in
                                                                                    your lap or arms. Some examples of
                                                                                    dangerous riding positions are shown
                                                                                    in the illustrations.




1-54 Safety—Seats, seat belts and supplemental restraint system




                                                                  ੬ REVIEW COPY—2008 Quest (van)
                                                                  Owners Manual—USA_English (nna)
                                                                  06/29/07—debbie ੭
ARS1042                   ARS1043                                  ARS1044

                 WARNING
● Children may be severely injured or
  killed when the front air bags, side air
  bags or curtain air bags inflate if they
  are not properly restrained. Pre-teens
  and children should be properly re-
  strained in the rear seat, if possible.




                                             Safety—Seats, seat belts and supplemental restraint system 1-55




                                                    ੬ REVIEW COPY—2008 Quest (van)
                                                    Owners Manual—USA_English (nna)
                                                    06/29/07—debbie ੭
ARS1045                                      WRS0256                                        WRS0431
                                                                                             Do not lean against the door.
                                                          WARNING
                                                                                                         WARNING
                                         ● Even with the NISSAN Advanced Air
                                           Bag System, never install a rear-facing     Front seat-mounted side-impact supple-
                                           child restraint in the front seat. An in-   mental air bags and roof-mounted curtain
                                           flating front air bag could seriously in-   side-impact supplemental air bags:
                                           jure or kill your child. See “Child re-
                                                                                       ● The side air bags and curtain air bags
                                           straints” earlier in this section for
                                                                                         ordinarily will not inflate in the event of
                                           details.
                                                                                         a frontal impact, rear impact, rollover or
                                                                                         lower severity side collision. Always
                                                                                         wear your seat belts to help reduce the
                                                                                         risk or severity of injury in various kinds
                                                                                         of accidents.



1-56 Safety—Seats, seat belts and supplemental restraint system




                                                                   ੬ REVIEW COPY—2008 Quest (van)
                                                                   Owners Manual—USA_English (nna)
                                                                   06/29/07—debbie ੭
WARNING
          ● The seat belts, the side air bags and
            curtain air bags are most effective when
            you are sitting well back and upright in
            the seat with both feet on the floor. The
            side air bag and curtain air bag inflate
            with great force. Do not allow anyone to
            place their hand, leg or face near the
            side air bag on the side of the seatback
            of the front seat or near the side roof
            rails. Do not allow anyone sitting in the
            front seats or rear outboard seats to
            extend their hand out of the window or
SSS0162     lean against the door. Some examples                                            WRS0306
            of dangerous riding positions are
            shown in the previous illustrations.                          WARNING
                                                        ● When sitting in the 2nd row rear seat, do
                                                          not hold onto the seatback of the front
                                                          seat. If the side air bag inflates, you may
                                                          be seriously injured. Be especially care-
                                                          ful with children, who should always be
                                                          properly restrained. Some examples of
                                                          dangerous riding positions are shown
                                                          in the illustrations.
                                                        ● Do not use seat covers on the front
                                                          seatbacks. They may interfere with side
                                                          air bag inflation.



                           Safety—Seats, seat belts and supplemental restraint system 1-57




                                    ੬ REVIEW COPY—2008 Quest (van)
                                    Owners Manual—USA_English (nna)
                                    06/29/07—debbie ੭
SSS0159




                                                                                                                         LRS0679
                                         1.   Roof-mounted curtain side-impact       4.   Supplemental front-impact air bag
                                              supplemental air bag inflators              modules
                                         2.   Roof-mounted curtain side-impact       5.   Crash zone sensor
                                              supplemental air bag (driver’s side)   6.   Air bag Control Unit (ACU)
                                         3.   Seat belt buckle switches              7.   Occupant classification system control
                                                                                          unit
1-58 Safety—Seats, seat belts and supplemental restraint system




                                                                    ੬ REVIEW COPY—2008 Quest (van)
                                                                    Owners Manual—USA_English (nna)
                                                                    06/29/07—cathy ੭
8.  Occupant classification sensor                      Vehicle damage (or lack of it) is not always an          dealer. If you are considering modification of your
    (pressure sensor)                                   indication of proper front air bag system opera-         vehicle due to a disability, you may also contact
9. Seat belt with pretensioner                          tion.                                                    NISSAN. Contact information is contained in the
10. Satellite sensors                                                                                            front of this Owner’s Manual.
                                                        The NISSAN Advanced Air Bag System has dual
11. Front seat-mounted side-impact                      stage inflators. It also monitors information from       When a front air bag inflates, a fairly loud noise
    supplemental air bag modules                        the crash zone sensor, the Air bag Control Unit          may be heard, followed by the release of smoke.
12. Roof-mounted curtain side-impact                    (ACU), seat belt buckle sensors, occupant clas-          This smoke is not harmful and does not indicate a
    supplemental air bag (passenger’s side)             sification sensor (pressure sensor) and passen-          fire. Care should be taken to not inhale it, as it may
                                                        ger seat belt tension sensor. Inflator operation is      cause irritation and choking. Those with a history
NISSAN Advanced Air Bag System                          based on the severity of a collision and seat belt       of a breathing condition should get fresh air
(front seats)                                           usage for the driver. For the front passenger, it        promptly.
                                                        additionally monitors the weight of an occupant
This vehicle is equipped with the NISSAN Ad-                                                                     Front air bags, along with the use of seat belts,
                                                        or object on the seat and seat belt tension. Based
vanced Air Bag System for the driver and front                                                                   help to cushion the impact force on the face and
                                                        on information from the sensors, only one front air
passenger seats. This system is designed to                                                                      chest of the front occupants. They can help save
                                                        bag may inflate in a crash, depending on the
meet certification requirements under U.S. regu-                                                                 lives and reduce serious injuries. However, an
                                                        crash severity and whether the front occupants
lations. It is also permitted in Canada. However,                                                                inflating front air bag may cause facial abrasions
                                                        are belted or unbelted. Additionally, the front
all of the information, cautions and warn-                                                                       or other injuries. Front air bags do not provide
                                                        passenger air bag may be automatically turned
ings in this manual still apply and must be                                                                      restraint to the lower body.
                                                        OFF under some conditions, depending on the
followed.                                               weight detected on the passenger seat and how            Even with the NISSAN Advanced Air Bag Sys-
The driver supplemental front-impact air bag is         the seat belt is used. If the front passenger air bag    tem, seat belts should be correctly worn and the
                                                        is OFF, the passenger air bag status light will be       driver and passenger seated upright as far as
located in the center of the steering wheel. The
                                                        illuminated (if the seat is unoccupied, the light will   practical away from the steering wheel or instru-
passenger supplemental front-impact air bag is
                                                        not be illuminated, but the air bag will be off). See    ment panel. The front air bags inflate quickly in
mounted in the dashboard above the glove box.           “Front passenger air bag and status light” later in      order to help protect the front occupants. Be-
The front air bags are designed to inflate in higher    this section for further details. One front air bag      cause of this, the force of the front air bag inflating
severity frontal collisions, although they may in-      inflating does not indicate improper performance         can increase the risk of injury if the occupant is
flate if the forces in another type of collision are    of the system.                                           too close to, or is against, the front air bag module
similar to those of a higher severity frontal impact.                                                            during inflation.
They may not inflate in certain frontal collisions.     If you have any questions about your air bag
                                                        system, please contact NISSAN or your NISSAN             The front air bags deflate quickly after a collision.
                                                                              Safety—Seats, seat belts and supplemental restraint system 1-59




                                                                                        ੬ REVIEW COPY—2008 Quest (van)
                                                                                        Owners Manual—USA_English (nna)
                                                                                        06/29/07—cathy ੭
The front air bags operate only when the                                                     Status light
ignition switch is in the ON or START posi-
tion.                                                                                        The front passenger air bag status light        is
                                                                                             located near the climate controls in the center of
After turning the ignition key to the ON                                                     the instrument panel. The light operates as fol-
position, the supplemental air bag warning                                                   lows:
light illuminates. The supplemental air bag
warning light will turn off after about 7                                                     ● Unoccupied passenger’s seat: The         is
seconds if the system is operational.                                                           OFF and the front passenger air bag is OFF
                                                                                                and will not inflate in a crash.
                                                                                              ● Passenger’s seat occupied by a small adult,
                                                                                                child or child restraint as outlined in this
                                                                                                section: The            illuminates to indicate
                                                                                                that the front passenger air bag is OFF and
                                                                                 WRS0475        will not inflate in a crash.
                                              Front passenger air bag and status light        ● Occupied passenger seat and the passen-
                                                                                                ger meets the conditions outlined in this
                                                                WARNING                         section: The light      is OFF to indicate
                                              The front passenger air bag is designed to        that the front passenger air bag is opera-
                                              automatically turn OFF under some con-            tional.
                                              ditions. Read this section carefully to
                                                                                             Front passenger air bag
                                              learn how it operates. Proper use of the
                                              seat, seat belt and child restraints is nec-   The front passenger air bag is designed to auto-
                                              essary for most effective protection. Fail-    matically turn OFF when the vehicle is operated
                                              ure to follow all instructions in this         under some conditions as described below in
                                              manual concerning the use of seats, seat       accordance with U.S. regulations. If the front
                                              belts and child restraints can increase the    passenger air bag is OFF, it will not inflate in a
                                              risk or severity of injury in an accident.     crash. The driver air bag and other air bags in your
                                                                                             vehicle are not part of this system.

1-60 Safety—Seats, seat belts and supplemental restraint system




                                                                        ੬ REVIEW COPY—2008 Quest (van)
                                                                        Owners Manual—USA_English (nna)
                                                                        06/29/07—debbie ੭
The purpose of the regulation is to help reduce         air bag should be automatically turned OFF as           crash instead of being OFF. See “Child re-
the risk of injury or death from an inflating air bag   required by the regulations.                            straints” earlier in this section for proper use and
to certain front passenger seat occupants, such                                                                 installation.
                                                        Front passenger seat adult occupants who are
as children, by requiring the air bag to be auto-
                                                        properly seated and using the seat belt as out-         If the front passenger seat is not occupied the
matically turned OFF. Certain sensors are used
                                                        lined in this manual should not cause the passen-       passenger air bag is designed not to inflate in a
to meet the requirements.
                                                        ger air bag to be automatically turned OFF. For         crash. However, heavy objects placed on the
One sensor used is the occupant classification          small adults it may be turned OFF, however if the       seat could result in air bag inflation, because of
sensor (pressure sensor). It is in the bottom of the    occupant takes his/her weight off the seat cush-        the object’s weight detected by the occupant
front passenger seat cushion and is designed to         ion (for example, by not sitting upright, by sitting    classification sensor. Other conditions could also
detect an occupant and objects on the seat by           on an edge of the seat, or by otherwise being out       result in air bag inflation, such as if a child is
weight. It works together with seat belt sensors        of position), this could cause the sensor to turn       standing on the seat, or if two children are on the
described later. For example, if a child is in the      the air bag OFF. In addition, if the occupant           seat, contrary to the instructions in this manual.
front passenger seat, the Advanced Air Bag Sys-         improperly uses the seat belt in the ALR mode,          Always be sure that you and all vehicle occupants
tem is designed to turn the passenger air bag           this could cause the air bag to be turned OFF.          are seated and restrained properly.
OFF in accordance with the regulations. Also, if a      Always be sure to be seated and wearing the seat
                                                                                                                Using the passenger air bag status light, you can
child restraint of the type specified in the regula-    belt properly for the most effective protection by
                                                                                                                monitor when the front passenger air bag is au-
tions is on the seat, its weight and the child’s        the seat belt and supplemental air bag.
                                                                                                                tomatically turned OFF with the seat occupied.
weight can be detected and cause the air bag to
                                                        NISSAN recommends that pre-teens and chil-              The light will not illuminate when the front pas-
turn OFF. Occupant classification sensor opera-
                                                        dren be properly restrained in a rear seat.             senger seat is unoccupied.
tion can vary depending on the front passenger
                                                        NISSAN also recommends that appropriate child
seat belt sensors.                                                                                              If an adult occupant is in the seat but the passen-
                                                        restraints and booster seats be properly installed
                                                                                                                ger air bag status light is illuminated (indicating
The front passenger seat belt sensors are de-           in a rear seat. If this is not possible, the occupant
                                                                                                                that the air bag is OFF), it could be that the
signed to detect if the seat belt is buckled and the    classification sensor and seat belt sensors are
                                                                                                                person is a small adult, or is not sitting on the seat
amount of tension on the seat belt, such as when        designed to operate as described above to turn
                                                                                                                properly or not using the seat belt properly.
it is in the Automatic Locking Retractor (ALR)          the front passenger air bag OFF for specified
mode (child restraint mode). Based on the               child restraints as required by the regulations.        If a child restraint must be used in the front seat,
weight on the seat detected by the occupant             Failing to properly secure child restraints and to      the passenger air bag status light may or may not
classification sensor and the belt tension de-          use the ALR mode may allow the restraint to tip or      be illuminated, depending on the size of the child
tected on the seat belt, the Advanced Air Bag           move in an accident or sudden stop. This can            and the type of child restraint being used. If the air
System determines whether the front passenger           also result in the passenger air bag inflating in a     bag status light is not illuminated (indicating that
                                                                             Safety—Seats, seat belts and supplemental restraint system 1-61




                                                                                       ੬ REVIEW COPY—2008 Quest (van)
                                                                                       Owners Manual—USA_English (nna)
                                                                                       06/29/07—debbie ੭
the air bag might inflate in a crash), it could be     in the center of the instrument panel, will blink.   ● Do not make unauthorized changes to
that the child restraint or seat belt is not being     Have the system checked by a NISSAN dealer.            your vehicle’s electrical system, sus-
used properly. Make sure that the child restraint is                                                          pension system or front end structure.
                                                       Other supplemental front-impact air bag
installed properly, the seat belt is used properly                                                            This could affect proper operation of
                                                       precautions
and the occupant is positioned properly. If the air                                                           the front air bag system.
bag status light is not illuminated, reposition the
                                                                           WARNING                          ● Tampering with the front air bag system
occupant or child restraint in a rear seat.
                                                       ● Do not place any objects on the steer-               may result in serious personal injury.
If the passenger air bag status light will not illu-     ing wheel pad or on the instrument                   Tampering includes changes to the
minate even though you believe that the child            panel. Also, do not place any objects                steering wheel and the instrument
restraint, the seat belts and the occupant are           between any occupant and the steering                panel assembly by placing material
properly positioned, the system may be sensing           wheel or instrument panel. Such ob-                  over the steering wheel pad and above
an unoccupied seat (in which case the air bag is         jects may become dangerous projec-                   the instrument panel or by installing
OFF). Your NISSAN dealer can check that the              tiles and cause injury if the front air bag          additional trim material around the air
system is OFF by using a special tool. However,          inflates.                                            bag system.
until you have confirmed with your dealer that                                                              ● Modifying or tampering with the front
                                                       ● Immediately after inflation, several
your air bag is working properly, reposition the         front air bag system components will be              passenger seat may result in serious
occupant or child restraint in a rear seat.              hot. Do not touch them; you may se-                  personal injury. For example, do not
                                                         verely burn yourself.                                change the front seats by placing mate-
The air bag system and passenger air bag status                                                               rial on the seat cushion or by installing
light will take a few seconds to register a change     ● No unauthorized changes should be                    additional trim material, such as seat
in the passenger seat status. For example, if a          made to any components or wiring of                  covers, on the seat that are not specifi-
large adult who is sitting in the front passenger        the supplemental air bag system. This is             cally designed to assure proper air bag
seat exits the vehicle, the passenger air bag            to prevent accidental inflation of the               operation. Additionally, do not stow any
status light will go from OFF to ON for a few            supplemental air bag or damage to the                objects under the front passenger seat
seconds and then to OFF. This is normal system           supplemental air bag system.                         or the seat cushion and seatback. Such
operation and does not indicate a malfunction.                                                                objects may interfere with the proper
                                                                                                              operation of the occupant classifica-
If a malfunction occurs in the front passenger air                                                            tion sensor (pressure sensor).
bag system, the supplemental air bag warning
light      , located in the meter and gauges area

1-62 Safety—Seats, seat belts and supplemental restraint system




                                                                                     ੬ REVIEW COPY—2008 Quest (van)
                                                                                     Owners Manual—USA_English (nna)
                                                                                     06/29/07—debbie ੭
● No unauthorized changes should be                                                                     inflate if the forces in another type of collision are
  made to any components or wiring of                                                                   similar to those of a higher severity side impact.
  the seat belt system. This may affect the                                                             They are designed to inflate on the side where the
  front air bag system. Tampering with                                                                  vehicle is impacted. They may not inflate in cer-
  the seat belt system may result in seri-                                                              tain side collisions.
  ous personal injury.                                                                                  Vehicle damage (or lack of it) is not always an
● Work on and around the front air bag                                                                  indication of proper side air bag and curtain air
  system should be done by a NISSAN                                                                     bag operation.
  dealer. Installation of electrical equip-
                                                                                                        When the side air bags and curtain air bags
  ment should also be done by a NISSAN
                                                                                                        inflate, a fairly loud noise may be heard, followed
  dealer. The Supplemental Restraint
                                                                                                        by release of smoke. This smoke is not harmful
  System (SRS) wiring should not be
                                                                                                        and does not indicate a fire. Care should be taken
  modified or disconnected. Unautho-
                                                                                                        not to inhale it, as it may cause irritation and
  rized electrical test equipment and                                                      WRS0532      choking. Those with a history of a breathing con-
  probing devices should not be used on
                                                  Front seat-mounted side-impact                        dition should get fresh air promptly.
  the air bag system.
● A cracked windshield should be re-              supplemental air bag and roof-                        Side air bags, along with the use of seat belts,
  placed immediately by a qualified re-           mounted curtain side-impact                           help to cushion the impact force on the chest of
                                                                                                        the front occupants. Curtain air bags help to
  pair facility. A cracked windshield could       supplemental air bag systems                          cushion the impact force to the head of occu-
  affect the function of the supplemental
  air bag system.                                 The side air bags are located in the outside of the   pants in the front and rear outboard seating po-
                                                  seatback of the front seats. The curtain air bags     sitions. They can help save lives and reduce
● The SRS wiring harness connectors are           are located in the side roof rails. These systems     serious injuries. However, an inflating side air bag
  yellow     and  orange    for   easy                                                                  and curtain air bag may cause abrasions or other
                                                  are designed to meet voluntary guidelines to help
  identification.                                                                                       injuries. Side air bags and curtain air bags do not
                                                  reduce the risk of injury to out-of-position occu-
                                                                                                        provide restraint to the lower body.
When selling your vehicle, we request that you    pants. However, all of the information, cau-
inform the buyer about the front air bag system   tions and warnings in this manual still ap-           The seat belts should be correctly worn and the
and guide the buyer to the appropriate sections   ply and must be followed. The side air bags           driver and passenger seated upright as far as
in this Owner’s Manual.                           and curtain air bags are designed to inflate in       practical away from the side air bag. Rear seat
                                                  higher severity side collisions, although they may    passengers should be seated as far away as
                                                                       Safety—Seats, seat belts and supplemental restraint system 1-63




                                                                                ੬ REVIEW COPY—2008 Quest (van)
                                                                                Owners Manual—USA_English (nna)
                                                                                06/29/07—debbie ੭
practical from the door finishers and side roof         ● Right after inflation, several side air bag   ● Work around and on the side air bag
rails. The side air bags and curtain air bags inflate     and curtain air bag system components           and curtain air bag systems should be
quickly in order to help protect the front and rear       will be hot. Do not touch them; you may         done by a NISSAN dealer. Installation
outboard occupants. Because of this, the force of         severely burn yourself.                         of electrical equipment should also be
the side air bag and curtain air bag inflating can                                                        done by a NISSAN dealer. The SRS wir-
increase the risk of injury if the occupant is too      ● No unauthorized changes should be
                                                                                                          ing harnesses* should not be modified
                                                          made to any components or wiring of
close to, or is against, these air bag modules                                                            or disconnected. Unauthorized electri-
                                                          the side air bag and curtain air bag
during inflation. The side air bag and curtain air                                                        cal test equipment and probing devices
                                                          systems. This is to prevent damage to or
bag will deflate quickly after the collision is over.                                                     should not be used on the side air bag
                                                          accidental inflation of the side air bag
                                                                                                          system.
The side air bags and curtain air bags op-                and curtain air bag systems.
erate only when the ignition switch is in the           ● Do not make unauthorized changes to           * The SRS wiring harness connectors are
ON or START position.                                     your vehicle’s electrical system, sus-        yellow and orange for easy identification.
After turning the ignition key to the ON                  pension system or side panel. This            When selling your vehicle, we request that you
position, the supplemental air bag warning                could affect proper operation of the
                                                                                                        inform the buyer about the side air bag and
                                                          side air bag and curtain air bag systems.
light illuminates. The supplemental air bag                                                             curtain air bag systems and guide the buyer to
warning light will turn off after about 7               ● Tampering with the side air bags may          the appropriate sections in this Owner’s Manual.
seconds if the system is operational.                     result in serious personal injury. For
                                                          example, do not change the front seats        Seat belts with pretensioners (Front
                      WARNING                             by placing material near the seatbacks        seats)
                                                          or by installing additional trim material,
● Do not place any objects near the seat-                 such as seat covers, around the side air
  back of the front seats. Also, do not                                                                                    WARNING
                                                          bag.
  place any objects (an umbrella, bag,                                                                  ● The pretensioners cannot be reused af-
  etc.) between the front door finisher                                                                   ter activation. They must be replaced
  and the front seat. Such objects may                                                                    together with the retractor and buckle
  become dangerous projectiles and                                                                        as a unit.
  cause injury if a side air bag inflates.



1-64 Safety—Seats, seat belts and supplemental restraint system




                                                                                   ੬ REVIEW COPY—2008 Quest (van)
                                                                                   Owners Manual—USA_English (nna)
                                                                                   06/29/07—debbie ੭
● If the vehicle becomes involved in a        The pretensioner system activates in conjunction       system may not function properly. They must be
  frontal collision but a pretensioner is     with the front air bag system. The pretensioner        checked and repaired. Take your vehicle to the
  not activated, be sure to have the pre-     system also activates with curtain and rollover air    nearest NISSAN dealer.
  tensioner system checked and, if nec-       bags in certain types of rollover collisions or near   When selling your vehicle, we request that you
  essary, replaced by your NISSAN             rollovers. Working with the seat belt retractor, it    inform the buyer about the pretensioner system
  dealer.                                     helps tighten the seat belt when the vehicle be-       and guide the buyer to the appropriate sections
                                              comes involved in certain types of collisions,         in this Owner’s Manual.
● No unauthorized changes should be
                                              helping to restrain front seat occupants.
  made to any components or wiring of
  the pretensioner system. This is to pre-    The pretensioner is encased with the seat belt
  vent damage to or accidental activation     retractor. These seat belts are used the same way
  of the pretensioners. Tampering with        as conventional seat belts.
  the pretensioner system may result in
  serious personal injury.                    When a pretensioner activates, smoke is re-
                                              leased and a loud noise may be heard. This
● Work around and on the pretensioner         smoke is not harmful and does not indicate a fire.
  system should be done by a NISSAN
                                              Care should be taken not to inhale it, as it may
  dealer. Installation of electrical equip-
                                              cause irritation and choking. Those with a history
  ment should also be done by a NISSAN
  dealer. Unauthorized electrical test        of a breathing condition should get fresh air
  equipment and probing devices should        promptly.
  not be used on the pretensioner system.     After pretensioner activation, load limiters allow
● If you need to dispose of a pretensioner    the seat belt to release webbing (if necessary) to
  or scrap the vehicle, contact a NISSAN      reduce forces against the chest.
  dealer. Correct pretensioner disposal       If any abnormality occurs in the pretensioner sys-
  procedures are set forth in the appropri-
                                              tem, the supplemental air bag warning
  ate NISSAN Service Manual. Incorrect
                                              light       will not come on, will flash intermit-
  disposal procedures could cause per-
  sonal injury.                               tently or will turn on for 7 seconds and remain on
                                              after the ignition key has been turned to the ON or
                                              START position. In this case, the pretensioner

                                                                   Safety—Seats, seat belts and supplemental restraint system 1-65




                                                                             ੬ REVIEW COPY—2008 Quest (van)
                                                                             Owners Manual—USA_English (nna)
                                                                             06/29/07—debbie ੭
When the ignition key is in the ON or START
                                                                                                           position, the supplemental air bag warning light
                                                                                                           illuminates for about 7 seconds and then turns
                                                                                                           off. This means the system is operational.
                                                                                                           If any of the following conditions occur, the front
                                                                                                           air bag, side air bag, curtain air bag and preten-
                                                                                                           sioner systems need servicing:
                                                                                                            ● The supplemental air bag warning light re-
                                                                                                              mains on after approximately 7 seconds.
                                                                                                            ● The supplemental air bag warning light
                                                                                                              flashes intermittently.
                                                                                                            ● The supplemental air bag warning light does
                                          LRS0318                                              LRS0100
                                                                                                              not come on at all.
1.   SRS Front Air Bag Warning Labels                 SUPPLEMENTAL AIR BAG
2.   SRS Front Seat-Mounted Side-Impact                                                                    Under these conditions, the front air bags, side
                                                      WARNING LIGHT                                        air bags, curtain air bags or pretensioners may
     Supplemental Air Bag Warning Label
                                                      The supplemental air bag warning light,              not operate properly. They must be checked and
SUPPLEMENTAL AIR BAG                                  displaying         in the instrument panel, moni-    repaired. Take your vehicle to the nearest
WARNING LABELS                                        tors the circuits of the supplemental front-impact   NISSAN dealer.
Warning labels about the supplemental front-          air bag, front seat-mounted side-impact supple-
impact air bag, front seat-mounted side-impact        mental air bag, roof-mounted curtain side-impact                          WARNING
supplemental air bag, and roof-mounted curtain        supplemental air bag and seat belt pretensioner      If the supplemental air bag warning light
side-impact supplemental air bag systems are          systems. The monitored circuits include the Air      is on, it could mean that the front air bag,
placed in the vehicle as shown in the illustration.   bag Control Unit (ACU), crash zone sensor, sat-      side air bags, curtain air bag and/or pre-
                                                      ellite sensors, side air bag modules, curtain air    tensioner systems will not operate in an
                                                      bag modules, pretensioners and all related wir-      accident. To help avoid injury to yourself
                                                      ing.                                                 or others, have your vehicle checked by a
                                                                                                           NISSAN dealer as soon as possible.

1-66 Safety—Seats, seat belts and supplemental restraint system




                                                                                    ੬ REVIEW COPY—2008 Quest (van)
                                                                                    Owners Manual—USA_English (nna)
                                                                                    06/29/07—debbie ੭
Repair and replacement procedure                        ● The front air bag, side air bag, curtain
The front air bags, side air bags, curtain air bags       air bag systems, and the pretensioner
                                                          system should be inspected by a
and pretensioners are designed to inflate on a
                                                          NISSAN dealer if there is any damage to
one-time-only basis. As a reminder, unless it is
                                                          the front end or side portion of the
damaged, the supplemental air bag warning light           vehicle.
remains illuminated after inflation has occurred.
Repair and replacement of these supplemental            ● If you need to dispose of a supplemen-
air bag systems should be done only by a                  tal air bag or pretensioner or scrap the
NISSAN dealer.                                            vehicle, contact a NISSAN dealer. Cor-
                                                          rect supplemental air bag and preten-
When maintenance work is required on the ve-              sioner disposal procedures are set forth
hicle, the front air bags, side air bags, curtain air     in the appropriate NISSAN Service
bags, pretensioners and related parts should be           Manual. Incorrect disposal procedures
pointed out to the person performing the mainte-          could cause personal injury.
nance. The ignition switch should always be in
the LOCK position when working under the hood
or inside the vehicle.

                      WARNING
● Once a front air bag, side air bag, or
  curtain air bag has inflated, the air bag
  module will not function again and
  must be replaced. Additionally, if any of
  the front air bags inflate, the activated
  pretensioners must also be replaced.
  The air bag module and pretensioners
  should be replaced by a NISSAN dealer.
  The air bag module and pretensioners
  cannot be repaired.

                                                                         Safety—Seats, seat belts and supplemental restraint system 1-67




                                                                                 ੬ REVIEW COPY—2008 Quest (van)
                                                                                 Owners Manual—USA_English (nna)
                                                                                 06/29/07—debbie ੭
2 Instruments and controls


Instrument panel. . . . . . . . . . . . . . . . . . . . . . . . . . . . . . . . . . . 2-2         Turn signal switch . . . . . . . . . . . . . . . . . . . . . . . . . . . . . 2-22
Meters and gauges . . . . . . . . . . . . . . . . . . . . . . . . . . . . . . . . 2-3             Fog light switch (if so equipped) . . . . . . . . . . . . . . . . 2-22
    Speedometer and odometer . . . . . . . . . . . . . . . . . . . . . 2-4                        Cornering light . . . . . . . . . . . . . . . . . . . . . . . . . . . . . . . . 2-23
    Tachometer . . . . . . . . . . . . . . . . . . . . . . . . . . . . . . . . . . . . 2-5   Hazard warning flasher switch . . . . . . . . . . . . . . . . . . . . . 2-23
    Engine coolant temperature gauge . . . . . . . . . . . . . . . 2-5                       Horn . . . . . . . . . . . . . . . . . . . . . . . . . . . . . . . . . . . . . . . . . . . . 2-24
    Fuel gauge . . . . . . . . . . . . . . . . . . . . . . . . . . . . . . . . . . . . 2-6   Heated seat (if so equipped). . . . . . . . . . . . . . . . . . . . . . . 2-24
Warning/indicator lights and audible reminders . . . . . . . 2-7                             Traction Control System (TCS) off switch
    Checking bulbs . . . . . . . . . . . . . . . . . . . . . . . . . . . . . . . . 2-7       (if so equipped) . . . . . . . . . . . . . . . . . . . . . . . . . . . . . . . . . . 2-25
    Warning lights . . . . . . . . . . . . . . . . . . . . . . . . . . . . . . . . . 2-8     Vehicle Dynamic Control (VDC) off switch
    Indicator lights . . . . . . . . . . . . . . . . . . . . . . . . . . . . . . . . 2-11    (if so equipped) . . . . . . . . . . . . . . . . . . . . . . . . . . . . . . . . . . 2-25
    Audible reminders . . . . . . . . . . . . . . . . . . . . . . . . . . . . . 2-13         Rear sonar system off switch (if so equipped). . . . . . . . 2-25
Security systems . . . . . . . . . . . . . . . . . . . . . . . . . . . . . . . . . 2-14      Power outlet . . . . . . . . . . . . . . . . . . . . . . . . . . . . . . . . . . . . . 2-26
    Vehicle security system. . . . . . . . . . . . . . . . . . . . . . . . . 2-14            Storage . . . . . . . . . . . . . . . . . . . . . . . . . . . . . . . . . . . . . . . . . 2-27
    NISSAN vehicle immobilizer system . . . . . . . . . . . . . 2-15                              Sunglasses holder . . . . . . . . . . . . . . . . . . . . . . . . . . . . . 2-27
Windshield wiper and washer switch . . . . . . . . . . . . . . . 2-16                             Instrument panel storage . . . . . . . . . . . . . . . . . . . . . . . 2-27
    Switch operation . . . . . . . . . . . . . . . . . . . . . . . . . . . . . . 2-16             Console box (if so equipped) . . . . . . . . . . . . . . . . . . . 2-28
Rear window wiper and washer switch. . . . . . . . . . . . . . 2-17                               Center tray table (if so equipped). . . . . . . . . . . . . . . . 2-29
Rear window and outside mirror (if so equipped)                                                   Glove box . . . . . . . . . . . . . . . . . . . . . . . . . . . . . . . . . . . . 2-30
defroster switch . . . . . . . . . . . . . . . . . . . . . . . . . . . . . . . . . . 2-18         Map pockets . . . . . . . . . . . . . . . . . . . . . . . . . . . . . . . . . . 2-30
Headlight and turn signal switch. . . . . . . . . . . . . . . . . . . . 2-18                      Seatback pockets . . . . . . . . . . . . . . . . . . . . . . . . . . . . . 2-31
    Headlight control switch. . . . . . . . . . . . . . . . . . . . . . . . 2-18                  Grocery hooks . . . . . . . . . . . . . . . . . . . . . . . . . . . . . . . . 2-31
    Daytime running light system (Canada only) . . . . . . 2-20                                   Cargo net (if so equipped). . . . . . . . . . . . . . . . . . . . . . 2-31
    Instrument brightness control . . . . . . . . . . . . . . . . . . . 2-21                      Overhead console . . . . . . . . . . . . . . . . . . . . . . . . . . . . . 2-32




                                                                                              ੬ REVIEW COPY—2008 Quest (van)
                                                                                              Owners Manual—USA_English (nna)
                                                                                              06/29/07—debbie ੭
Cup holders . . . . . . . . . . . . . . . . . . . . . . . . . . . . . . . . . . 2-32        Personal lights . . . . . . . . . . . . . . . . . . . . . . . . . . . . . . . . . . . 2-42
   Cargo organizer (if so equipped) . . . . . . . . . . . . . . . . 2-34                       Map lights . . . . . . . . . . . . . . . . . . . . . . . . . . . . . . . . . . . . . . . 2-43
   3rd row armrest bin . . . . . . . . . . . . . . . . . . . . . . . . . . . . 2-35               Console light. . . . . . . . . . . . . . . . . . . . . . . . . . . . . . . . . . 2-44
   Cargo area storage bin. . . . . . . . . . . . . . . . . . . . . . . . . 2-35                HomeLinkா universal transceiver (if so equipped). . . . . 2-44
   Garment hook. . . . . . . . . . . . . . . . . . . . . . . . . . . . . . . . . 2-35             Programming HomeLinkா. . . . . . . . . . . . . . . . . . . . . . . 2-45
   Roof rack (if so equipped) . . . . . . . . . . . . . . . . . . . . . . 2-36                    Programming HomeLinkா for Canadian
Windows . . . . . . . . . . . . . . . . . . . . . . . . . . . . . . . . . . . . . . . . 2-36      customers . . . . . . . . . . . . . . . . . . . . . . . . . . . . . . . . . . . . 2-46
   Power windows . . . . . . . . . . . . . . . . . . . . . . . . . . . . . . . 2-36               Operating the HomeLinkா universal
   Power vent windows (if so equipped) . . . . . . . . . . . . 2-38                               transceiver. . . . . . . . . . . . . . . . . . . . . . . . . . . . . . . . . . . . 2-46
   Manual vent windows (if so equipped) . . . . . . . . . . . 2-39                                Programming trouble-diagnosis . . . . . . . . . . . . . . . . . 2-46
SkyView™ glass-paneled roof (if so equipped) . . . . . . . 2-39                                   Clearing the programmed information . . . . . . . . . . . . 2-47
Moonroof (if so equipped) . . . . . . . . . . . . . . . . . . . . . . . . . 2-40                  Reprogramming a single HomeLinkா button . . . . . . 2-47
   Automatic moonroof . . . . . . . . . . . . . . . . . . . . . . . . . . . 2-40                  If your vehicle is stolen . . . . . . . . . . . . . . . . . . . . . . . . . 2-47
Lights on demand switch . . . . . . . . . . . . . . . . . . . . . . . . . . 2-41




                                                                                                ੬ REVIEW COPY—2008 Quest (van)
                                                                                                Owners Manual—USA_English (nna)
                                                                                                06/29/07—debbie ੭
INSTRUMENT PANEL


                                                1.    Ventilators (P. 4-30)
                                                2.    Headlight/fog light (if so equipped)/turn
                                                      signal switch (P. 2-18)
                                                3.    Steering wheel switch for audio
                                                      control/Bluetoothா hands-free phone
                                                      system (if so equipped) (P. 4-62)
                                                4.    Driver supplemental air bag/horn
                                                      (P. 1-52, P. 2-24)
                                                5.    Meters and gauges (P. 2-3)
                                                6.    Cruise control main/set switches
                                                      (P. 5-13)
                                                7.    Windshield wiper/washer switch and
                                                      rear window wiper/washer switch
                                                      (P. 2-16, 2-17)
                                                8.    Display screen/Navigation system*
                                                      (P. 4-2, P. 4-7, P. 4-17)
                                                9.    Front passenger supplemental air bag
                                                      (P. 1-52)
                                                10.   Glove box (P. 2-30)
                                                11.   Front passenger air bag status light
                                                      (P. 1-60)
                                                12.   Hazard warning flasher switch (P. 2-23)
                                                13.   Climate controls (P. 4-31, 4-40)
                                                14.   Audio system controls (P. 4-43)
                                                15.   Display screen/Navigation system*
                                                      controls (P. 4-2, P. 4-7, P. 4-17)
                                      LIC0928   16.   Power outlets (P. 2-26)

2-2 Instruments and controls




                               ੬ REVIEW COPY—2008 Quest (van)
                               Owners Manual—USA_English (nna)
                               06/29/07—debbie ੭
METERS AND GAUGES


17.   Shift selector lever (P. 5-8)
18.   Ignition switch (P. 5-6)
19.   Tilt steering wheel control (P. 3-21)
20.   Rear sonar system off switch
      (if so equipped) (P. 2-25)
21.   Vehicle Dynamic Control (VDC) off
      switch (if so equipped) or Traction
      Control System (TCS) off switch
      (if so equipped) (P. 2-25, P. 2-25)
22.   Lights on demand switch (P. 2-41)
*: Refer to the separate Navigation System Own-
er’s Manual (if so equipped).
See the page number indicated in paren-
theses for operating details.




                                                                                                                       LIC0929
                                                  1.   Tachometer
                                                  2.   Warning/indicator lights
                                                  3.   Speedometer
                                                  4.   Engine coolant temperature gauge
                                                  5.   Fuel gauge
                                                  6.   Odometer/Twin trip odometer
                                                                                                 Instruments and controls 2-3




                                                                           ੬ REVIEW COPY—2008 Quest (van)
                                                                           Owners Manual—USA_English (nna)
                                                                           06/29/07—debbie ੭
The twin trip odometer records the distance of
                                                  individual trips.




                                       LIC0930                                                                                              LIC0953
1.   Speedometer                                                                                   Changing the display:
2.   Odometer                                                                                      Pushing the change button changes the display
3.   Change button                                                                                 as follows:
SPEEDOMETER AND ODOMETER                                                                           Trip       → Trip        → Trip
Speedometer                                                                                        Resetting the trip odometer:
The speedometer indicates vehicle speed.                                                           Pushing the change button for more than 1 sec-
                                                                                                   ond resets the trip odometer to zero.
Odometer/Twin trip odometer
                                                                                                   Elapsed time, driving distance and average
The odometer/twin trip odometer is displayed                                                       speed information is also available. Refer to
when the ignition switch is in the ON position.                                                    “Control panel buttons” in the “Display screen,
                                                                                                   heater, air conditioner, audio and phone systems”
The odometer records the total distance the ve-                                                    section later in this manual.
hicle has been driven.

2-4 Instruments and controls




                                                                             ੬ REVIEW COPY—2008 Quest (van)
                                                                             Owners Manual—USA_English (nna)
                                                                             06/29/07—debbie ੭
CAUTION
                                                                                                       If the gauge indicates coolant tempera-
                                                                                                       ture near the hot (H) end of the normal
                                                                                                       range, reduce vehicle speed to decrease
                                                                                                       temperature. If the gauge is over the nor-
                                                                                                       mal range, stop the vehicle as soon as
                                                                                                       safely possible. If the engine is over-
                                                                                                       heated, continued operation of the ve-
                                                                                                       hicle may seriously damage the engine.
                                                                                                       See “If your vehicle overheats” in the “In
                                                                                                       case of emergency” section for immediate
                                                                                                       action required.

                                       LIC0931                                              LIC0932
TACHOMETER                                        ENGINE COOLANT TEMPERATURE
The tachometer indicates engine speed in revo-    GAUGE
lutions per minute (rpm). Do not rev the engine   The gauge indicates the engine coolant tempera-
into the red zone ᭺.
                  1
                                                  ture. The engine coolant temperature is within the
                                                  normal range ᭺ when the gauge needle points
                                                                 1
                   CAUTION                        within the zone shown in the illustration.
When engine speed approaches the red
                                                  The engine coolant temperature varies with the
zone, shift to a higher gear or reduce en-
gine speed. Operating the engine in the           outside air temperature and driving conditions.
red zone may cause serious engine
damage.




                                                                                                                Instruments and controls 2-5




                                                                                ੬ REVIEW COPY—2008 Quest (van)
                                                                                Owners Manual—USA_English (nna)
                                                                                06/29/07—debbie ੭
The          indicates that the fuel-filler door is
                                                    located on the driver’s side of the vehicle.

                                                                         CAUTION
                                                    ● If the vehicle runs out of fuel,
                                                      the         Malfunction Indicator Light
                                                      (MIL) may come on. Refuel as soon as
                                                      possible. After a few driving trips,
                                                      the         light should turn off. If the
                                                      light remains on after a few driving
                                                      trips, have the vehicle inspected by a
                                                      NISSAN dealer.
                                         LIC0933    ● For additional information, see “Mal-
FUEL GAUGE                                            function Indicator Light (MIL)” later in
                                                      this section.
The gauge indicates the approximate fuel level
in the tank.
The gauge may move slightly during braking,
turning, acceleration, or going up or down hills.
The gauge needle returns to E (Empty) after the
ignition key is turned to OFF.
The low fuel warning light comes on when the
amount of fuel in the tank is getting low.
Refill the fuel tank before the gauge regis-
ters E (Empty).


2-6 Instruments and controls




                                                                                  ੬ REVIEW COPY—2008 Quest (van)
                                                                                  Owners Manual—USA_English (nna)
                                                                                  06/29/07—debbie ੭
WARNING/INDICATOR LIGHTS AND
AUDIBLE REMINDERS

          or             Anti-lock Braking System (ABS)             Seat belt warning light and chime                        Front passenger air bag status light
                         warning light

          or             Brake warning light                        Supplemental air bag warning light                        Security indicator light


           Charge warning light                                     Automatic transmission position indicator light          Slip indicator light


           Door open warning light                                  Cruise main switch indicator light                        Traction control system off indicator light (if so
                                                                                                                             equipped)

           Engine oil pressure warning light                        Cruise set switch indicator light                         Turn signal/hazard indicator lights


           Low fuel warning light                                   High beam indicator light (Blue)                         Vehicle dynamic control off indicator light (if so
                                                                                                                             equipped)

           Low tire pressure warning light                          Malfunction indicator light (MIL)


           Low windshield washer fluid warning light                Overdrive off indicator light



CHECKING BULBS                                            The following lights come on briefly and then go            If any light fails to come on, it may indicate
                                                          off:                                                        a burned-out bulb or an open circuit in the
With all doors closed, apply the parking brake                                                                        electrical system. Have the system repaired
and turn the ignition key to the ON position                   or       ,      ,        ,       ,       ,    ,
                                                                                                                      promptly.
without starting the engine. The following lights
will come on:
      ,        or        ,          ,          ,

                                                                                                                                  Instruments and controls 2-7




                                                                                             ੬ REVIEW COPY—2008 Quest (van)
                                                                                             Owners Manual—USA_English (nna)
                                                                                             06/29/07—debbie ੭
WARNING LIGHTS                                         Low brake fluid warning light                          ● If the brake fluid      level is below the
     or      Anti-lock Braking                         When the ignition key is in the ON position, the         MINIMUM or MIN          mark on the brake
             System (ABS)                              light warns of a low brake fluid level. If the light     fluid reservoir, do     not drive until the
                                                       comes on while the engine is running with the            brake system has        been checked at a
             warning light                                                                                      NISSAN dealer.
                                                       parking brake not applied, stop the vehicle and
When the ignition switch is in the ON position,        perform the following:
the Anti-lock Braking System (ABS) warning light
                                                                                                                        Charge warning light
illuminates and then turns off. This indicates the      1. Check the brake fluid level. Add brake fluid
ABS is operational.                                        as necessary. See “Brake fluid” in the “Main-      If this light comes on while the engine is running,
                                                           tenance and do-it-yourself” section of this        it may indicate the charging system is not func-
If the ABS warning light illuminates while the             manual.                                            tioning properly. Turn the engine off and check
engine is running, or while driving, it may indicate                                                          the generator belt. If the belt is loose, broken,
the ABS is not functioning properly. Have the           2. If the brake fluid level is correct, have the      missing, or if the light remains on, see a NISSAN
system checked by a NISSAN dealer.                         warning system checked by a NISSAN                 dealer immediately.
                                                           dealer.
If an ABS malfunction occurs, the anti-lock func-                                                                                  CAUTION
tion is turned off. The brake system then operates                          WARNING
normally, but without anti-lock assistance. See                                                               Do not continue driving if the generator
ЉBrake systemЉ in the ЉStarting and drivingЉ sec-      ● Your brake system may not be working                 belt is loose, broken or missing.
                                                         properly if the warning light is on. Driv-
tion.
                                                         ing could be dangerous. If you judge it                         Door open warning light
           or            Brake warning light             to be safe, drive carefully to the nearest
                                                         service station for repairs. Otherwise,              This light comes on when any of the doors are not
                                                         have your vehicle towed because driv-                closed securely while the ignition key is in the ON
This light functions for both the parking brake and
                                                         ing it could be dangerous.                           position.
the foot brake systems.
                                                       ● Pressing the brake pedal with the en-
Parking brake indicator                                  gine stopped and/or a low brake fluid
When the ignition key is in the ON position, the         level may increase your stopping dis-
light comes on when the parking brake is applied.        tance and braking will require greater
                                                         pedal effort as well as pedal travel.

2-8 Instruments and controls




                                                                                      ੬ REVIEW COPY—2008 Quest (van)
                                                                                      Owners Manual—USA_English (nna)
                                                                                      06/29/07—debbie ੭
Refuel as soon as it is convenient, preferably           The low tire pressure warning light does not
           Engine oil pressure warning
                                                       before the fuel gauge reaches E (Empty). There           automatically turn off when the tire pressure is
           light                                       will be a small reserve of fuel in the tank              adjusted. After the tire is inflated to the recom-
This light warns of low engine oil pressure. If the    when the fuel gauge needle reaches E                     mended pressure, the vehicle must be driven at
light flickers or comes on during normal driving,      (Empty).                                                 speeds above 16 MPH (25 km/h) to activate the
pull off the road in a safe area, stop the engine                                                               TPMS and turn off the low tire pressure warning
                                                                  Low tire pressure warning                     light. Use a tire pressure gauge to check the tire
immediately and call a NISSAN dealer or other
authorized repair shop.                                           light                                         pressure.

The engine oil pressure warning light is not           Your vehicle is equipped with a Tire Pressure            For additional information, see “Tire Pressure
designed to indicate a low oil level. Use the          Monitoring System (TPMS) that monitors the tire          Monitoring System (TPMS)” in the “Starting and
                                                       pressure of all tires except the spare.                  driving” section and in the “In case of emergency”
dipstick to check the oil level. See “Engine oil” in
                                                                                                                section.
the “Maintenance and do-it-yourself” section of        The low tire pressure warning light warns of low
this manual.                                           tire pressure or indicates that the TPMS is not          TPMS malfunction:
                                                       functioning properly.
                                                                                                                If the TPMS is not functioning properly, the low
                      CAUTION                          After the ignition switch is placed in the ON            tire pressure warning light will flash for approxi-
Running the engine with the engine oil                 position, this light illuminates for about 1 second      mately 1 minute when the ignition switch is
pressure warning light on could cause se-              and turns off.                                           placed in the ON position. The light will remain on
rious damage to the engine almost imme-                                                                         after the 1 minute. Have the system checked by a
                                                       Low tire pressure warning:
diately. Such damage is not covered by                                                                          NISSAN dealer.
warranty. Turn off the engine as soon as it            If the vehicle is being driven with low tire pres-
                                                                                                                For additional information, see “Tire Pressure
is safe to do so.                                      sure, the warning light will illuminate. If you select
                                                                                                                Monitoring System (TPMS)” in the “Starting and
                                                       the tire pressure information in the display (if so
           Low fuel warning light                                                                               driving” section.
                                                       equipped), the LOW PRESSURE warning mes-
                                                       sage will be displayed. The tire pressure for each
                                                       tire will also be displayed.                                                  WARNING
This light comes on when the fuel level in the fuel
tank is getting low. The low fuel warning chime        When the low tire pressure warning light illumi-         ● If the light does not illuminate with the
will also sound under certain conditions. See          nates, you should stop and adjust the tire pres-           ignition switch in the ON position, have
“Low fuel warning chime” later in this section.        sure to the recommended COLD tire pressure                 the vehicle checked by a NISSAN dealer
                                                       shown on the Tire and Loading Information label.           as soon as possible.

                                                                                                                            Instruments and controls 2-9




                                                                                       ੬ REVIEW COPY—2008 Quest (van)
                                                                                       Owners Manual—USA_English (nna)
                                                                                       06/29/07—cathy ੭
● If the light illuminates while driving,        ● Replacing tires with those not originally            is fastened. At the same time, the chime sounds
  avoid sudden steering maneuvers or               specified by NISSAN could affect the                 for about 6 seconds unless the driver’s seat belt
  abrupt braking, reduce vehicle speed,            proper operation of the TPMS.                        is securely fastened.
  pull off the road to a safe location and                                                              The seat belt warning light may also illuminate if
  stop the vehicle as soon as possible.                                CAUTION                          the front passenger’s seat belt is not fastened
  Driving with under-inflated tires may                                                                 when the front passenger’s seat is occupied . For
  permanently damage the tires and in-           ● The TPMS is not a substitute for the
                                                   regular tire pressure check. Be sure to              7 seconds after the ignition switch is in the ON
  crease the likelihood of tire failure. Se-
                                                   check the tire pressure regularly.                   position, the system does not activate the warn-
  rious vehicle damage could occur and
  may lead to an accident and could re-                                                                 ing light for the front passenger.
                                                 ● If the vehicle is being driven at speeds
  sult in serious personal injury. Check           of less than 16 MPH (25 km/h), the                   Refer to “Seat belts” in the “Safety—Seats, seat
  the tire pressure for all four tires. Adjust     TPMS may not operate correctly.                      belts and supplemental restraint system” section
  the tire pressure to the recommended                                                                  for precautions on seat belt usage.
  COLD tire pressure shown on the Tire           ● Be sure to install the specified size of
  and Loading Information label to turn            tires to the 4 wheels correctly.                               Supplemental air bag warning
  the low tire pressure warning light OFF.                                                                        light
  If the light still comes on while driving
                                                            Low windshield washer fluid
  after adjusting the tire pressure, a tire                 warning light                               When the ignition key is in the ON or START
  may be flat. If you have a flat tire, re-                                                             position, the supplemental air bag warning light
                                                 This light comes on when the windshield washer
  place it with a spare tire as soon as                                                                 illuminates for about 7 seconds and then turns
                                                 fluid is at a low level. Add windshield washer fluid
  possible.                                                                                             off. This means the system is operational.
                                                 as necessary. See “Window washer fluid” in the
● When a spare tire is mounted or a wheel        “Maintenance and do-it-yourself” section of this       If any of the following conditions occur, the front
  is replaced, tire pressure will not be         manual.                                                air bag, side air bag, curtain air bag and preten-
  indicated, the TPMS will not function                                                                 sioner systems need servicing and your vehicle
  and the low tire pressure warning light                   Seat belt warning light and                 must be taken to a NISSAN dealer:
  will flash for approximately 1 minute.                    chime
  The light will remain on after 1 minute.                                                               ● The supplemental air bag warning light re-
                                                 The light and chime remind you to fasten your             mains on after approximately 7 seconds.
  Contact your NISSAN dealer as soon as
                                                 seat belts. The light illuminates whenever the
  possible for tire replacement and/or
                                                 ignition key is turned to the ON or START position      ● The supplemental air bag warning light
  system resetting.
                                                 and remains illuminated until the driver’s seat belt      flashes intermittently.
2-10 Instruments and controls




                                                                                ੬ REVIEW COPY—2008 Quest (van)
                                                                                Owners Manual—USA_English (nna)
                                                                                06/29/07—cathy ੭
● The supplemental air bag warning light does                 Cruise main switch indicator                            High beam indicator light
   not come on at all.
                                                               light                                                   (blue)
Unless checked and repaired, the supplemental
restraint systems (air bag system) and/or the       The light comes on when the cruise control main         This blue light comes on when the headlight high
pretensioners may not function properly. For ad-    switch is pushed. The light goes out when the           beams are on and goes out when the low beams
ditional details see “Supplemental restraint sys-   main switch is pushed again. When the cruise            are selected.
tem” in the “Safety—Seats, seat belts and           main switch indicator light comes on, the cruise
                                                                                                            The high beam indicator light also comes on
supplemental restraint system” section of this      control system is operational.
                                                                                                            when the passing signal is activated.
manual.                                                        Cruise set switch indicator                             Malfunction Indicator Light
                                                               light                                                   (MIL)
                    WARNING
If the supplemental air bag warning light           The light comes on while the vehicle speed is
                                                                                                            If this indicator light comes on steady or blinks
is on, it could mean that the front air bags,       controlled by the cruise control system. If the light
                                                                                                            while the engine is running, it may indicate a
side air bags, curtain air bags and/or pre-         blinks while the engine is running, it may indicate
                                                                                                            potential emission control malfunction.
tensioners will not operate in an accident.         the cruise control system is not functioning prop-
To help avoid injury to yourself or others,         erly. Have the system checked by a NISSAN               The Malfunction Indicator Light may also come
have your vehicle checked by a NISSAN               dealer.                                                 on steady if the fuel-filler cap is loose or missing,
dealer as soon as possible.                                                                                 or if the vehicle runs out of fuel. Check to make
                                                               Front passenger air bag                      sure the fuel-filler cap is installed and closed
INDICATOR LIGHTS                                               status light                                 tightly, and that the vehicle has at least 3 gallons
                                                                                                            (11.4 liters) of fuel in the fuel tank.
          Automatic transmission                    The front passenger air bag status light (        )
                                                    will be lit and the passenger front air bag will be     After a few driving trips, the     light should
          position indicator light                                                                          turn off if no other potential emission control
                                                    OFF depending on how the front passenger seat
When the ignition key is turned to the ON posi-     is being used.                                          system malfunction exists.
tion, the indicator in the tachometer shows the                                                             If this indicator light comes on steady for 20
                                                    For front passenger air bag status light operation,
automatic transmission selector lever position.                                                             seconds and then blinks for 10 seconds when
                                                    see “Front passenger air bag and status light” in
See “Driving the vehicle” in the “Starting and                                                              the engine is not running, it indicates that the
                                                    the “Safety — Seats, seat belts and supplemental
driving” section of this manual.                                                                            vehicle is not ready for an emission control sys-
                                                    restraint system” section of this manual.
                                                                                                            tem inspection/maintenance test. See “Readi-
                                                                                                                      Instruments and controls 2-11




                                                                                   ੬ REVIEW COPY—2008 Quest (van)
                                                                                   Owners Manual—USA_English (nna)
                                                                                   06/29/07—debbie ੭
ness for inspection/maintenance (I/M) test” in the          – if possible, reduce the amount of cargo                  Security indicator light
“Technical and consumer information” section of               being hauled or towed.
this manual.                                                                                                This light blinks whenever the ignition switch is in
                                                        The Malfunction Indicator Light may stop blinking
Operation                                               and come on steady. Have the vehicle inspected      the LOCK, OFF or ACC position. This function
                                                        by a NISSAN dealer. You do not need to have         indicates the security system equipped on the
The Malfunction Indicator Light will come on in                                                             vehicle is operational.
                                                        your vehicle towed to the dealer.
one of two ways:
                                                                                                            For additional information, see “Security sys-
 ● Malfunction Indicator Light on steady — An                               CAUTION                         tems” later in this section.
   emission control system malfunction has              Continued vehicle operation without hav-
   been detected. Check the fuel-filler cap. If         ing the emission control system checked                        Slip indicator light
   the fuel-filler cap is loose or missing, tighten     and repaired as necessary could lead to
   or install the cap and continue to drive the         poor driveability, reduced fuel economy,            This indicator light will blink when the traction
   vehicle. The           light should turn off after   and possible damage to the emission con-            control system is limiting wheel spin. Slippery
   a few driving trips. If the        light does not    trol system.                                        road conditions may exist if the slip indicator
   turn off after a few driving trips, have the                                                             blinks on. If this happens, adjust your driving
   vehicle inspected by a NISSAN dealer. You                     Overdrive off indicator light              accordingly.
   do not need to have your vehicle towed to
                                                                                                            The slip indicator light also comes on when you
   the dealer.                                          This light comes on when the overdrive function     turn the ignition key to the ON position. The light
 ● Malfunction Indicator Light blinking — An            is OFF.                                             will turn off after about 2 seconds if the system is
   engine misfire has been detected which may           The automatic transmission overdrive function is    operational. If the light does not come on or does
   damage the emission control system. To re-           controlled by the overdrive switch.                 not go off, have the traction control system
   duce or avoid emission control system dam-                                                               checked by a NISSAN dealer.
   age:                                                 See “Driving the vehicle” in the “Starting and
                                                        driving” section of this manual.                               Traction Control System off
    – do not drive at speeds above 45 MPH                                                                              indicator light (if so equipped)
      (72 km/h).
                                                                                                            This indicator light comes on when the traction
    – avoid hard acceleration or deceleration.                                                              control off switch is pushed to OFF. This indi-
                                                                                                            cates the Traction Control System is not operat-
    – avoid steep uphill grades.                                                                            ing.
2-12 Instruments and controls




                                                                                     ੬ REVIEW COPY—2008 Quest (van)
                                                                                     Owners Manual—USA_English (nna)
                                                                                     06/29/07—debbie ੭
Push the traction control off switch again or re-                Vehicle Dynamic Control off                 AUDIBLE REMINDERS
start the engine and the system will operate nor-                indicator light (if so equipped)            Brake pad wear warning
mally. See “Traction Control System (TCS)” in the
“Starting and driving” section of this manual.        This indicator light comes on when the Vehicle         The disc brake pads have audible wear warnings.
                                                      Dynamic Control off switch is pushed to OFF.           When a disc brake pad requires replacement, it
The traction control light also comes on when you     This indicates the Vehicle Dynamic Control sys-        makes a high pitched scraping sound when the
turn the ignition key to the ON position. The light   tem is not operating.                                  vehicle is in motion, whether or not the brake
will turn off after about 2 seconds if the Traction                                                          pedal is depressed. Have the brakes checked as
Control System (TCS) is operational. If the light     Push the Vehicle Dynamic Control off switch
                                                                                                             soon as possible if the warning sound is heard.
                                                      again or restart the engine and the system will
stays on or comes on along with the SLIP indica-
tor light while you are driving, have the Traction
                                                      operate normally. See “Vehicle Dynamic Control         Key reminder chime
                                                      (VDC) system” in the “Starting and driving” sec-
Control System checked by a NISSAN dealer.            tion of this manual.                                   A chime sounds if the driver’s door is opened
While the Traction Control System is operating,                                                              while the key is left in the ignition switch. Remove
                                                      The Vehicle Dynamic Control light also comes on        the key and take it with you when leaving the
you might feel slight vibration or hear the system    when you turn the ignition key to the ON position.     vehicle.
working when starting the vehicle or accelerat-       The light will turn off after about 2 seconds if the
ing, but this is normal.                              system is operational. If the light stays on or        Light reminder chime
                                                      comes on along with the SLIP indicator light
          Turn signal/hazard indicator                while you are driving, have the Vehicle Dynamic
                                                                                                             With the ignition switch in the OFF position, a
          lights                                                                                             chime sounds when the driver’s door is opened if
                                                      Control system checked by a NISSAN dealer.
                                                                                                             the headlights or parking lights are on.
The appropriate light flashes when the turn signal    While the Vehicle Dynamic Control system is
                                                                                                             Turn the headlight control switch off before leav-
switch is activated.                                  operating, you might feel slight vibration or hear
                                                                                                             ing the vehicle.
                                                      the system working when starting the vehicle or
Both lights flash when the hazard switch is turned
                                                      accelerating, but this is normal.
on.




                                                                                                                       Instruments and controls 2-13




                                                                                     ੬ REVIEW COPY—2008 Quest (van)
                                                                                     Owners Manual—USA_English (nna)
                                                                                     06/29/07—debbie ੭
SECURITY SYSTEMS


                                                          brief period. Never leave your keys in the ignition,         twice and the horn beeps once as a re-
                                                          and always lock the vehicle when unattended. Be              minder that the doors are already locked.
                                                          aware of your surroundings, and park in secure,
                                                                                                                    The horn may or may not beep. For vehicles
                                                          well-lit areas whenever possible.
                                                                                                                    with monochrome screen, refer to “Silenc-
                                                          Many devices offering additional protection, such         ing the horn beep feature” in the “Pre-driving
                                                          as component locks, identification markers, and           checks and adjustments” section later in this
                                                          tracking systems, are available at auto supply            manual. For vehicles with color screen, refer
                                                          stores and specialty shops. Your NISSAN dealer            to “Vehicle electronic systems” in the “Dis-
                                                          may also offer such equipment. Check with your            play screen, heater, air conditioner, audio
                                                          insurance company to see if you may be eligible           and phone systems” section later in this
                                                          for discounts for various theft protection features.      manual.
                                                          How to arm the vehicle security                        4. Confirm that the         indicator light comes
                                                          system                                                    on. The         light stays on for about 30
                                             WIC0834
                                                                                                                    seconds. The vehicle security system is now
Your vehicle has two types of security systems:            1. Close all windows. (The system can be                 pre-armed. After about 30 seconds the ve-
 ● Vehicle security system                                    armed even if the windows are open.)                  hicle security system automatically shifts
                                                           2. Remove the key from the ignition switch.              into the armed phase. The          light begins
 ● NISSAN Vehicle Immobilizer System                                                                                to flash once every 3 seconds. If, during the
                                                           3. Close all doors. Lock all doors. The doors            30-second pre-arm time period, the driver’s
VEHICLE SECURITY SYSTEM                                       can be locked with the key, power door lock           door is unlocked by the key or the keyfob, or
The vehicle security system provides visual and               switch or with the keyfob.                            the ignition key is turned to ACC or ON, the
audible alarm signals if someone opens the doors                                                                    system will not arm.
                                                               Keyfob operation:
when the system is armed. It is not, however, a
                                                                                                                 ● If the key is turned slowly when locking
motion detection type system that activates when               ● Push the           button on the keyfob.
                                                                                                                   the driver’s door, the system may not
a vehicle is moved or when a vibration occurs.                   All doors lock. The hazard lights flash
                                                                                                                   arm. Furthermore, if the key is turned
                                                                 twice and the horn beeps once to indicate
The system helps deter vehicle theft but cannot                                                                    beyond the vertical position toward the
                                                                 all doors are locked.
prevent it, nor can it prevent the theft of interior or                                                            unlock position to remove the key, the
exterior vehicle components in all situations. Al-             ● When the           button is pushed with          system may be disarmed when the key
ways secure your vehicle even if parking for a                   all doors locked, the hazard lights flash         is removed. If the indicator light fails to
2-14 Instruments and controls




                                                                                         ੬ REVIEW COPY—2008 Quest (van)
                                                                                         Owners Manual—USA_English (nna)
                                                                                         06/29/07—debbie ੭
glow for 30 seconds, unlock the driv-             How to stop an activated alarm                        If the no start condition re-occurs, NISSAN rec-
    er’s door once and lock it again.                                                                       ommends placing the registered key on a sepa-
                                                      The alarm stops only by unlocking the driver’s        rate key ring to avoid interference from other
 ● Even when the driver and/or passen-                door with the key, or by pressing the     but-        devices.
   gers are in the vehicle, the system will           ton on the keyfob.
   arm with all doors closed and locked                                                                     Statement related to Section 15 of FCC
   with the ignition key in the OFF posi-             NISSAN VEHICLE IMMOBILIZER                            Rules for NISSAN Vehicle Immobilizer Sys-
   tion.                                              SYSTEM                                                tem (CONT ASSY — IMMOBILIZER, ANT
                                                                                                            ASSY — IMMOBILIZER)
Vehicle security system activation                    The NISSAN Vehicle Immobilizer System will not
                                                                                                            This device complies with part 15 of the
                                                      allow the engine to start without the use of a
The vehicle security system will give the following                                                         FCC Rules and RSS-210 of Industry
                                                      registered key.                                       Canada. Operation is subject to the follow-
alarm:
                                                      If the engine fails to start using a registered key   ing two conditions;
 ● The headlights blink and the horn sounds           (for example, when interference is caused by
   intermittently.                                                                                          (1) This device may not cause harmful in-
                                                      another registered key, an automated toll road        terference, and (2) this device must accept
 ● The alarm automatically turns off after ap-        device or automatic payment device on the key         any interference received, including inter-
   proximately 50 seconds. However, the alarm         ring), restart the engine using the following pro-    ference that may cause undesired opera-
   reactivates if the vehicle is tampered with        cedures:                                              tion of the device.
   again. The alarm can be shut off by unlocking       1. Leave the ignition switch in the ON position      CHANGES OR MODIFICATIONS NOT EX-
   the driver’s door with the key, or by pressing         for approximately 5 seconds.                      PRESSLY APPROVED BY THE PARTY RE-
   the         button on the keyfob.                                                                        SPONSIBLE FOR COMPLIANCE COULD
                                                       2. Turn the ignition switch to the OFF or LOCK       VOID THE USER’S AUTHORITY TO OPER-
The alarm is activated by:                                position, and wait approximately 10 sec-          ATE THE EQUIPMENT.
 ● opening a door without using the key or                onds.
   keyfob (even if the door is unlocked by using       3. Repeat steps 1 and 2.
   the inside lock knob or the power door lock
   switch).                                            4. Restart the engine while holding the device
                                                          (which may have caused the interference)
                                                          separate from the registered key.


                                                                                                                     Instruments and controls 2-15




                                                                                    ੬ REVIEW COPY—2008 Quest (van)
                                                                                    Owners Manual—USA_English (nna)
                                                                                    06/29/07—debbie ੭
WINDSHIELD WIPER AND WASHER
                                                   SWITCH

                                                                                                       NOTE:
                                                                                                       You can turn on or turn off the driving
                                                                                                       speed dependent intermittent wiper func-
                                                                                                       tion for vehicles with color display screen.
                                                                                                       Refer to “Vehicle electronic systems” in the
                                                                                                       “Display screen, heater, air conditioner, au-
                                                                                                       dio and phone systems” section later in this
                                                                                                       manual.
                                                                                                       ᭺
                                                                                                       2   Low (LO) — continuous low speed operation
                                                                                                       ᭺
                                                                                                       3   High (HI) — continuous high speed opera-
                                                                                                           tion
                                                                                                       Push the lever up ᭺ to have one sweep opera-
                                                                                                                           4
                                        LIC0474                                            WIC0843     tion (MIST) of the wiper.
Security indicator light                           SWITCH OPERATION                                    Pull the lever toward you ᭺ to operate the
                                                                                                                                     5
                                                                                                       washer. The wiper will also operate several times.
The security indicator light blinks whenever the   The windshield wiper and washer operates when
ignition switch is in the LOCK, OFF or ACC         the ignition switch is in the ON position.                              WARNING
position. This function indicates the NISSAN Ve-
hicle Immobilizer System is operational.           Push the lever down to operate the wiper at the     In freezing temperatures the washer solu-
                                                   following speed:                                    tion may freeze on the windshield and
If the NISSAN Vehicle Immobilizer System is mal-                                                       obscure your vision which may lead to an
functioning, the light will remain on while the    ᭺
                                                   1   Intermittent (INT) — intermittent operation
                                                                                                       accident. Warm the windshield with the
ignition key is in the ON position.                    can be adjusted by turning the knob toward
                                                                                                       defroster before you wash the windshield.
If the light still remains on and/or the en-
                                                       ᭺ (Slower) or ᭺ (Faster). Also, the inter-
                                                        A               B
                                                       mittent operation speed varies in accor-
gine will not start, see a NISSAN dealer for           dance with the vehicle speed. (For example,
NISSAN Vehicle Immobilizer System ser-                 when the vehicle speed is high, the intermit-
vice as soon as possible. Please bring all
                                                       tent operation speed will be faster.)
registered keys that you have when visiting
your NISSAN dealer for service.
2-16 Instruments and controls




                                                                                ੬ REVIEW COPY—2008 Quest (van)
                                                                                Owners Manual—USA_English (nna)
                                                                                06/29/07—debbie ੭
REAR WINDOW WIPER AND
                                            WASHER SWITCH

                 CAUTION                                                                                         WARNING
● Do not operate the washer continu-                                                             In freezing temperatures the washer solu-
  ously for more than 30 seconds.                                                                tion may freeze on the window and ob-
                                                                                                 scure your vision. Warm the rear window
● Do not operate the washer if the reser-
                                                                                                 with the defroster before you wash the
  voir tank is empty.
                                                                                                 rear window.
● Do not fill the window washer reservoir
  tank with washer fluid concentrates at                                                                          CAUTION
  full strength. Some methyl alcohol
  based washer fluid concentrates may                                                            ● Do not operate the washer continu-
  permanently stain the grille if spilled                                                          ously for more than 30 seconds.
  while filling the window washer reser-                                                         ● Do not operate the washer if the reser-
  voir tank.                                                                                       voir tank is empty.
● Pre-mix washer fluid concentrates with                                             WIC0844     ● Do not fill the window washer reservoir
  water to the manufacturer’s recom-        The rear window wiper and washer operate when          tank with washer fluid concentrates at
  mended levels before pouring the fluid    the ignition switch is in the ON position.             full strength. Some methyl alcohol
  into the window washer reservoir tank.                                                           based washer fluid concentrates may
  Do not use the window washer reservoir    Turn the switch clockwise from the OFF position        permanently stain the grille if spilled
  tank to mix the washer fluid concen-      to operate the wiper.                                  while filling the window washer reser-
  trate and water.
                                            ᭺
                                            1   Intermittent (INT) – intermittent operation        voir tank.
                                                (not adjustable)                                 ● Pre-mix washer fluid concentrates with
                                                                                                   water to the manufacturer’s recom-
                                            ᭺
                                            2   ON – continuous low speed operation
                                                                                                   mended levels before pouring the fluid
                                            Push the switch forward ᭺ to operate the
                                                                          3                        into the window washer reservoir tank.
                                            washer. The wiper will also operate several times.     Do not use the window washer reservoir
                                                                                                   tank to mix the washer fluid concen-
                                                                                                   trate and water.



                                                                                                         Instruments and controls 2-17




                                                                          ੬ REVIEW COPY—2008 Quest (van)
                                                                          Owners Manual—USA_English (nna)
                                                                          06/29/07—debbie ੭
REAR WINDOW AND OUTSIDE                                                      HEADLIGHT AND TURN SIGNAL
MIRROR (if so equipped)                                                      SWITCH
DEFROSTER SWITCH




                                       WIC0934                     WIC0935                                              LIC0560
                    Type A                          Type B                                        Type A
To defrost the rear window glass and outside                                 HEADLIGHT CONTROL SWITCH
mirrors (if so equipped), start the engine and
push the rear window defroster switch on. The                                Lighting
rear window defroster indicator light comes on.
Push the switch again to turn the defroster off.                             ᭺
                                                                             1   When turning the switch to the             posi-
                                                                                 tion, the front parking, tail, license plate and
The rear window defroster automatically turns off                                instrument panel lights come on.
after approximately 15 minutes.
                                                                             ᭺
                                                                             2   When turning the switch to the           posi-
                    CAUTION                                                      tion, the headlights come on and all the other
                                                                                 lights remain on.
When cleaning the inner side of the rear
window, be careful not to scratch or dam-
age the rear window defroster.


2-18 Instruments and controls




                                                             ੬ REVIEW COPY—2008 Quest (van)
                                                             Owners Manual—USA_English (nna)
                                                             06/29/07—debbie ੭
NOTE:
                                                                                                   Autolight activation sensitivity and the
                                                                                                   time delay for autolight shutoff is adjust-
                                                                                                   able for vehicles with color display screen.
                                                                                                   See “Vehicle electronic systems” in the
                                                                                                   “Display screen, heater, air conditioner, au-
                                                                                                   dio and phone systems” section later in this
                                                                                                   manual.
                                                                                                   To turn on the autolight system:
                                                                                                    1. Turn the headlight switch to the AUTO posi-
                                                                                                       tion ᭺.
                                                                                                             1

                                                                                                    2. Turn the ignition key to ON.
                                LIC0687                                                  LIC0561
                                                                                                    3. The autolight system automatically turns the
                Type B                    Autolight system (if so equipped)                            headlights on and off.
                CAUTION                   The autolight system allows the headlights to be         Initially, if the ignition switch is turned OFF and a
Use the headlights with the engine run-   set so they turn on and off automatically. The           door is opened and left open, the headlights
ning to avoid discharging the vehicle     autolight system can:                                    remain on for 5 minutes. During that 5 minutes:
battery.                                                                                            ● if all doors are closed, the headlights remain
                                           ● Turn on the headlights, front parking, tail,
                                             license plate and instrument panel lights au-            on for 45 seconds, then turn off.
                                             tomatically when it is dark.                           ● if another door is opened, then the 5 minute
                                                                                                      timer is reset.
                                           ● Turn off all the lights when it is light.
                                                                                                   To turn the autolight system off, turn the switch to
                                           ● Keep all the lights on for 45 seconds after
                                                                                                   the OFF,        , or       position.
                                             you turn the key to OFF and all doors are
                                             closed.



                                                                                                             Instruments and controls 2-19




                                                                         ੬ REVIEW COPY—2008 Quest (van)
                                                                         Owners Manual—USA_English (nna)
                                                                         06/29/07—debbie ੭
After the headlights automatically turn off with the
                                                                                                       headlight switch in the          or         position,
                                                                                                       the headlights will illuminate again for 5 minutes if
                                                                                                       the headlight switch is moved to the OFF position
                                                                                                       and then turned to the          or         position.

                                                                                                                             CAUTION
                                                                                                       Even though the battery saver feature au-
                                                                                                       tomatically turns off the headlights after a
                                                                                                       period of time, you should turn the head-
                                                                                                       light switch to the OFF position when the
                                                                                                       engine is not running to avoid discharging
                                                                                                       the vehicle battery.
                                     LIC0954                                               LIC0390
                                                                                                       DAYTIME RUNNING LIGHT SYSTEM
Be sure you do not put anything on top of       Headlight beam select                                  (Canada only)
the autolight sensor ᭺ located on top of
                       1
the instrument panel. The autolight sensor      ᭺
                                                1   To select the high beam function, push the         The headlights automatically illuminate at a re-
controls the autolight; if it is covered, the       lever forward. The high beam lights come on        duced intensity when the engine is started with
autolight sensor reacts as if it is dark out        and the         light illuminates.                 the parking brake released. The daytime running
and the headlights will illuminate. If this                                                            lights operate with the headlight switch in the
occurs while parked with the engine off         ᭺
                                                2   Pull the lever back to select the low beam.
                                                                                                       OFF position or in the          position. Turn the
and the key in the ON position, your vehi-      ᭺
                                                3   Pulling and releasing the lever flashes the        headlight switch to the           position for full
cle’s battery could become discharged.              headlight high beams on and off.                   illumination when driving at night.
                                                Battery saver system                                   If the parking brake is applied before the engine is
                                                                                                       started, the daytime running lights do not illumi-
                                                If the ignition switch is turned OFF while the         nate. The daytime running lights illuminate when
                                                headlight switch is in the            or       posi-   the parking brake is released. The daytime run-
                                                tion, the headlights will turn off after 5 minutes.    ning lights will remain on until the ignition switch
                                                                                                       is turned off.
2-20 Instruments and controls




                                                                               ੬ REVIEW COPY—2008 Quest (van)
                                                                               Owners Manual—USA_English (nna)
                                                                               06/29/07—debbie ੭
The instrument brightness control will not adjust
                 WARNING
                                                                                                     the brightness when the headlights or parking
When the daytime running light system is                                                             lights are off.
active, tail lights on your vehicle are not
on. It is necessary at dusk to turn on your
headlights. Failure to do so could cause
an accident injuring yourself and others.




                                                                                         LIC0936

                                              INSTRUMENT BRIGHTNESS
                                              CONTROL
                                              The instrument brightness control operates when
                                              the     headlight    control  switch     is   in
                                              the        ,       or AUTO position (with auto-
                                              lights activated).
                                              Turn the control ᭺ to adjust the brightness of the
                                                                  1
                                              instrument panel lights when driving at night. The
                                              brightness indicator ᭺ will illuminate in the
                                                                        2
                                              odometer when the control is turned. The indica-
                                              tor will turn off a few seconds after the control is
                                              released.


                                                                                                               Instruments and controls 2-21




                                                                             ੬ REVIEW COPY—2008 Quest (van)
                                                                             Owners Manual—USA_English (nna)
                                                                             06/29/07—debbie ੭
The headlights must be on and the low beams
                                                                                                             selected for the fog lights to operate. The fog
                                                                                                             lights automatically turn off when the high beam
                                                                                                             headlights are selected.




                                          LIC0563                                                LIC0393
TURN SIGNAL SWITCH                                   FOG LIGHT SWITCH (if so equipped)
Turn signal                                          To turn the fog lights on, turn the headlight switch
                                                     to the         position, then turn the fog light
᭺
1   Move the lever up or down to signal the          switch to the         position.
    turning direction. When the turn is com-
    pleted, the turn signals cancel automatically.   To turn the fog lights on with the headlight switch
                                                     in the AUTO position (if so equipped), the head-
Lane change signal                                   lights must be on, then turn the fog light switch to
                                                     the        position.
᭺
2   To signal a lane change, move the lever up or
    down to the point where the indicator light      To turn the fog lights off, turn the fog light switch
    begins to flash, but the lever does not latch.   to the OFF position.




2-22 Instruments and controls




                                                                                    ੬ REVIEW COPY—2008 Quest (van)
                                                                                    Owners Manual—USA_English (nna)
                                                                                    06/29/07—debbie ੭
HAZARD WARNING FLASHER
                                                      SWITCH

                                                                                                      The flashers will operate with the ignition switch
                                                                                                      in any position.
                                                                                                      Some state laws may prohibit the use of
                                                                                                      the hazard warning flasher switch while
                                                                                                      driving.




                                          AIC0102                                          LIC0394
CORNERING LIGHT                                       Push the switch on to warn other drivers when
                                                      you must stop or park under emergency condi-
The cornering light provides additional illumina-     tions. All turn signal lights flash.
tion toward the turning direction. The cornering
light will illuminate on the turning direction side                     WARNING
when a turn is signaled with the headlights on.
                                                      ● If stopping for an emergency, be sure to
                                                        move the vehicle well off the road.
                                                      ● Do not use the hazard warning flashers
                                                        while moving on the highway unless
                                                        unusual circumstances force you to
                                                        drive so slowly that your vehicle might
                                                        become a hazard to other traffic.
                                                      ● Turn signals do not work when the haz-
                                                        ard warning flasher lights are on.

                                                                                                                Instruments and controls 2-23




                                                                                 ੬ REVIEW COPY—2008 Quest (van)
                                                                                 Owners Manual—USA_English (nna)
                                                                                 06/29/07—debbie ੭
HORN                                             HEATED SEAT (if so equipped)


                                                                                                      3. When the seat is warmed or before you leave
                                                                                                         the vehicle, be sure to turn the switch off.

                                                                                                                         CAUTION
                                                                                                      ● Do not use the seat heater for extended
                                                                                                        periods or when no one is using the seat.
                                                                                                      ● Do not put anything on the seat which
                                                                                                        insulates heat, such as a blanket, cush-
                                                                                                        ion, seat cover, etc. Otherwise, the seat
                                                                                                        may become overheated.
                                                                                                      ● Do not place anything hard or heavy on
                                                                                                        the seat or pierce it with a pin or similar
                                                                                                        object. This may result in damage to the
                                      LIC0395                                             WIC0905       heater.
To sound the horn, push the center pad area of
                                                 The front seats are warmed by built-in heaters (if   ● Any liquid spilled on the heated seat
the steering wheel.
                                                 so equipped). The switches are located at the          should be removed immediately with a
                                                 sides of the seats.                                    dry cloth.
                   WARNING
                                                                                                      ● When cleaning the seat, never use
Do not disassemble the horn. Doing so             1. Start the engine.
                                                                                                        gasoline, benzine, thinner, or any simi-
could affect proper operation of the                                                                    lar materials.
                                                  2. Push the          (low) or        (high) posi-
supplemental front air bag system. Tam-
                                                     tion of the switch, as desired, depending on     ● If any abnormalities are found or the
pering with the supplemental front air bag
system may result in serious personal                the temperature. The indicator light in the        heated seat does not operate, turn the
injury.                                              switch will illuminate.                            switch off and have the system checked
                                                     The heater is controlled by a thermostat,          by your NISSAN dealer.
                                                     automatically turning the heater on and off.     ● The battery could run down if the seat
                                                     The indicator light will remain on as long as      heater is operated while the engine is
                                                     the switch is on.                                  not running.

2-24 Instruments and controls




                                                                               ੬ REVIEW COPY—2008 Quest (van)
                                                                               Owners Manual—USA_English (nna)
                                                                               06/29/07—debbie ੭
TRACTION CONTROL SYSTEM (TCS)                          VEHICLE DYNAMIC CONTROL (VDC)                           REAR SONAR SYSTEM OFF SWITCH
OFF SWITCH (if so equipped)                            OFF SWITCH (if so equipped)                             (if so equipped)




                                           LIC0451                                                WIC0534                                               LIC0471
The vehicle should be driven with the Traction         The vehicle should be driven with the Vehicle                               WARNING
Control System (TCS) on for most driving condi-        Dynamic Control (VDC) system on for most driv-
tions.                                                 ing conditions.                                         The rear sonar system is a convenience
                                                                                                               but it is not a substitute for proper back-
If the vehicle is stuck in mud or snow, the TCS        If the vehicle is stuck in mud or snow, the VDC         ing. Always turn and check that it is safe to
reduces the engine output to reduce wheel spin.        system reduces the engine output to reduce              do so before backing up. Always back up
The engine speed will be reduced even if the           wheel spin. The engine speed will be reduced            slowly.
accelerator is depressed to the floor. If maximum      even if the accelerator is depressed to the floor. If
engine power is needed to free a stuck vehicle,        maximum engine power is needed to free a stuck          The rear sonar system (if so equipped) is active
turn the TCS off.                                      vehicle, turn the VDC system off.                       when the ignition is in the ON position and the
                                                                                                               shift selector lever is in R (Reverse).
To turn off the TCS, push the TCS OFF switch.          To turn off the VDC system, push the VDC OFF
The         indicator will come on.                    switch. The       indicator will come on.               When sensors detect obstacles within 6 ft (1.8
                                                                                                               m) of the rear bumper, a beeping tone is emitted.
Push the TCS OFF switch again or restart the en-       Push the VDC OFF switch again or restart the engine
gine to turn ON the system. See “Traction Control      to turn on the system. See “Vehicle Dynamic Control
System (TCS)” in the “Starting and driving” section.   (VDC) system” in the “Starting and driving” section.
                                                                                                                         Instruments and controls 2-25




                                                                                      ੬ REVIEW COPY—2008 Quest (van)
                                                                                      Owners Manual—USA_English (nna)
                                                                                      06/29/07—debbie ੭
POWER OUTLET


The rear sonar system can be disabled by push-
ing the OFF switch. When the system is disabled,
the indicator light on the switch will illuminate.
The system will automatically reset the next time
the ignition switch is turned on.
See “Rear sonar system” in the “Starting and
driving” section.




                                                                                             LIC0937                                     WIC0938
                                                                        1st row                                          2nd row
                                                     The power outlets are for powering electrical
                                                                                                                         CAUTION
                                                     accessories such as cellular telephones.
                                                                                                         ● The outlet and plug may be hot during
                                                     The power outlets located in the 1st and 2nd          or immediately after use.
                                                     rows are powered only when the ignition key is in
                                                     the ACC or ON position.                             ● This power outlet is not designed for
                                                                                                           use with a cigarette lighter unit.
                                                     The power outlet located in the cargo area is
                                                     powered directly by the vehicle’s battery.          ● Do not use with accessories that ex-
                                                                                                           ceed a 12 volt, 120W (10A) power draw.
                                                     Open the cap to use a power outlet.                   Do not use double adapters or more
                                                                                                           than one electrical accessory.
                                                                                                         ● Use power outlets with the engine run-
                                                                                                           ning to avoid discharging the vehicle
                                                                                                           battery.

2-26 Instruments and controls




                                                                                  ੬ REVIEW COPY—2008 Quest (van)
                                                                                  Owners Manual—USA_English (nna)
                                                                                  06/29/07—debbie ੭
STORAGE




                                   WIC0939                                            LIC0945                                  LIC0940
               Cargo area                     SUNGLASSES HOLDER                                         Below CD insert slot
                                                                                                          (if so equipped)
● Avoid using power outlets when the air      Pull the lid down to open the sunglasses holder.
  conditioner, headlights or rear window                                                         INSTRUMENT PANEL STORAGE
  defroster is on.
                                                                 WARNING
● Before inserting or disconnecting a
  plug, be sure the electrical accessory      Keep the sunglasses holder closed while
  being used is turned OFF.                   driving to prevent an accident.
● Push the plug in as far as it will go. If
  good contact is not made, the plug may                          CAUTION
  overheat or the internal temperature        ● Do not use for anything other than
  fuse may open.                                sunglasses.
● When not in use, be sure to close the       ● Do not leave sunglasses in the sunglasses
  cap. Do not allow water to contact the        holder while parking in direct sunlight.
  outlet.                                       The heat may damage the sunglasses.

                                                                                                      Instruments and controls 2-27




                                                                          ੬ REVIEW COPY—2008 Quest (van)
                                                                          Owners Manual—USA_English (nna)
                                                                          06/29/07—debbie ੭
LIC0941                                            WIC1037                                             LIC0943
         Below power outlets              CONSOLE BOX (if so equipped)                         Pull up on the lever to access the front storage
                                                                                               bin on the console box.
                                          Push the corresponding button ᭺ to open the
                                                                        1
                                          small storage compartments.
                                          Press the front portion of the lid ᭺ down from the
                                                                             2
                                          handle area until it stops.
                                          While keeping the downward force applied, push
                                          the lid rearward ᭺ to the desired opening
                                                             3
                                          amount. The CD/DVD tray is removable.




2-28 Instruments and controls




                                                                        ੬ REVIEW COPY—2008 Quest (van)
                                                                        Owners Manual—USA_English (nna)
                                                                        06/29/07—debbie ੭
LIC0894                                           LIC0895
CENTER TRAY TABLE (if so                                              To store the tray table, pull the lever located
equipped)                                                             beneath the tray table up ᭺ and gently lower the
                                                                                                   A
                                                                      tray table to its original position.
To use the center tray table, raise it up until it
locks into the upright position.
To access the small storage compartment on the
top of the tray table, raise the lid.

                     CAUTION
To avoid damaging it, do not apply a total
load of more than 50 lbs (23 kg) to the
center tray table.




                                                                               Instruments and controls 2-29




                                                     ੬ REVIEW COPY—2008 Quest (van)
                                                     Owners Manual—USA_English (nna)
                                                     06/29/07—debbie ੭
LIC0944                            WIC0946                           LIC0520

GLOVE BOX                                                     Front door                        Sliding door
                                                     MAP POCKETS
Open the glove box by pulling the handle. Use the
master key when locking ᭺ or unlocking ᭺ the
                           1                2
glove box. The valet key cannot be used to lock or
unlock the glove box.

                    WARNING
Keep glove box lid closed while driving to
help prevent injury in an accident or a
sudden stop.




2-30 Instruments and controls




                                                                       ੬ REVIEW COPY—2008 Quest (van)
                                                                       Owners Manual—USA_English (nna)
                                                                       06/29/07—debbie ੭
LIC0503                                             LIC0504                                           WIC0878
SEATBACK POCKETS                                  GROCERY HOOKS                                       CARGO NET (if so equipped)
The seatback pockets are located on the back of   The grocery hooks allow for standard size plastic   The net located on the back of the driver’s seat
the driver’s and passenger’s seats. The pockets   grocery bags to hang side by side.                  can be used to hold small objects.
can be used to store maps.
                                                                      CAUTION                                            WARNING
                                                  Do not apply a total load of more than 18           ● Do not place sharp objects in the net.
                                                  lbs (8 kg) to a single grocery hook.                  Such objects may become dangerous
                                                                                                        projectiles and cause injury when the
                                                                                                        vehicle is moving or if the vehicle is
                                                                                                        involved in a collision.
                                                                                                      ● The cargo restrained in the net must not
                                                                                                        exceed 18 lb (8 kg) or the net may not
                                                                                                        stay secured.


                                                                                                               Instruments and controls 2-31




                                                                               ੬ REVIEW COPY—2008 Quest (van)
                                                                               Owners Manual—USA_English (nna)
                                                                               06/29/07—debbie ੭
WIC0959                                           LIC0512                    LIC0955

OVERHEAD CONSOLE                                 Small storage bin                                         Type A
                                                                                                   Front
                                                 Push the button to open the small storage bin.
                    WARNING
                                                 Push the lid up to close.
Keep storage bins closed while driving to
help prevent injury in an accident or a          CUP HOLDERS
sudden stop.
Large storage bin                                                     CAUTION
                                                 ● Avoid abrupt starting and braking when
Push the button to open the storage bin.           the cup holder is being used to prevent
Push the lid up to close.                          spilling the drink. If the liquid is hot, it
                                                   can scald you or your passenger.
                                                 ● Use only soft cups in the cup holder. Hard
                                                   objects can injure you in an accident.

2-32 Instruments and controls




                                                                             ੬ REVIEW COPY—2008 Quest (van)
                                                                             Owners Manual—USA_English (nna)
                                                                             06/29/07—debbie ੭
LIC0896                      LIC0509                                   WIC0947
                     Type B                             2nd row                    3rd row
To use the cup holders, raise the center tray table.
Refer to “Center tray table” earlier in this section.




                                                                                             Instruments and controls 2-33




                                                                  ੬ REVIEW COPY—2008 Quest (van)
                                                                  Owners Manual—USA_English (nna)
                                                                  06/29/07—debbie ੭
To access the cargo organizer:
                                                                                  1. Move both front seats as forward as pos-
                                                                                     sible. Refer to ЉSeatsЉ in the ЉSafety – seats,
                                                                                     seat belts and supplemental restraint sys-
                                                                                     temЉ section earlier in this manual.
                                                                                  2. Stow the center tray table (if so equipped).
                                                                                     Refer to “Center tray table” earlier in this
                                                                                     section.
                                                                                  3. Lift up the floor carpeting and the removable
                                                                                     floor board ᭺. A



                                    LIC0521
       Sliding door bottle holder
Soft bottle holder
                 CAUTION
● Do not use bottle holder for any other
  objects that could be thrown about in
  the vehicle and possibly injure people
  during sudden braking or an accident.                                WIC0893

● Do not use bottle holder for open liquid    CARGO ORGANIZER (if so
  containers.                                 equipped)




2-34 Instruments and controls




                                                                ੬ REVIEW COPY—2008 Quest (van)
                                                                Owners Manual—USA_English (nna)
                                                                06/29/07—debbie ੭
WIC0948                                             LIC0514                                           WIC0831
3RD ROW ARMREST BIN                               CARGO AREA STORAGE BIN                               GARMENT HOOK
Raise the lid to open the 3rd row armrest bin.    To open the cargo area storage bin, turn the knob    To store garments, pull the garment hook down to
                                                  counterclockwise ᭺. The lid can be removed.
                                                                     1                                 the use position.
                                                  To close, replace the lid and turn the knob clock-
                                                  wise ᭺.
                                                        2                                                                  CAUTION
                                                                                                       Do not apply a total load of more than 55
                                                                                                       lbs (25 kg) to the hook.




                                                                                                                Instruments and controls 2-35




                                                                                ੬ REVIEW COPY—2008 Quest (van)
                                                                                Owners Manual—USA_English (nna)
                                                                                06/29/07—debbie ੭
WINDOWS


                                                                    WARNING                      POWER WINDOWS
                                                   ● Drive extra carefully when the vehicle is                     WARNING
                                                     loaded at or near the cargo carrying
                                                     capacity, especially if the significant     ● Make sure that all passengers have
                                                     portion of that load is carried on the        their hands, etc. inside the vehicle while
                                                     roof rack.                                    it is in motion and before closing the
                                                                                                   windows. Use the window lock switch
                                                   ● Heavy loading of the roof rack has the        to prevent unexpected use of the power
                                                     potential to affect the vehicle stability     windows.
                                                     and handling during sudden or abnor-
                                                     mal handling maneuvers.                     ● Do not leave children unattended inside
                                                                                                   the vehicle. They could unknowingly ac-
                                                   ● Roof rack load should be evenly               tivate switches or controls and become
                                                     distributed.                                  trapped in a window. Unattended chil-
                                       WIC0949     ● Do not exceed maximum roof rack load          dren could become involved in serious
ROOF RACK (if so equipped)                           weight capacity.                              accidents.
                                                   ● Properly secure all cargo with ropes or
Always distribute the luggage evenly on the roof
                                                     straps to help prevent it from sliding or
rack. Do not load more than 125 lb (56 kg). Be
                                                     shifting. In a sudden stop or collision,
careful that your vehicle does not exceed the        unsecured cargo could cause personal
Gross Vehicle Weight Rating (GVWR) or its            injury.
Gross Axle Weight Rating (GAWR front and
rear). The GVWR and GAWR are located on the                          CAUTION
F.M.V.S.S. label (located on the driver’s door
pillar). For more information regarding GVWR       Use care when placing or removing items
and GAWR, refer to “Vehicle loading information”   from the roof rack. If you cannot comfort-
in the “Technical and consumer information” sec-   ably lift the items onto the roof rack from
tion later in this manual.                         the ground, use a ladder or stool.



2-36 Instruments and controls




                                                                             ੬ REVIEW COPY—2008 Quest (van)
                                                                             Owners Manual—USA_English (nna)
                                                                             06/29/07—debbie ੭
Driver’s side power window switch
                                             The driver’s side control panel is equipped with
                                             switches to open or close all of the windows.
                                             The power windows operate when the ignition
                                             switch is in the ON position, or for about 45
                                             seconds after the ignition switch is turned to the
                                             OFF position. If the driver’s or passenger’s door
                                             is opened during this period of about 45 sec-
                                             onds, power to the windows is canceled. To open
                                             a window, push the switch and hold it down. To
                                             close a window, pull the switch and hold it up. To
                                             stop the opening or closing function at any time,
                                             simply release the switch.
                                   WIC0950                                                                                              WIC0951
1.   Window lock button                                                                           Front passenger’s power window
2.   Power door lock switch                                                                       switch
3.   Front passenger’s side automatic
                                                                                                  The passenger’s window switch operates only
     switch
                                                                                                  the corresponding passenger’s window. To open
4.   Right rear power vent window switch                                                          the window, push the switch and hold it down ᭺.
                                                                                                                                               1
     (if so equipped)                                                                             To close the window, pull the switch up ᭺.2
5.   Left rear power vent window switch
     (if so equipped)                                                                             Locking passengers’ windows
6.   Driver’s side automatic switch                                                               When the window lock button is depressed, only
                                                                                                  the driver’s side window can be opened or
                                                                                                  closed. Push it again to cancel the window lock
                                                                                                  function.



                                                                                                           Instruments and controls 2-37




                                                                           ੬ REVIEW COPY—2008 Quest (van)
                                                                           Owners Manual—USA_English (nna)
                                                                           06/29/07—cathy ੭
Auto-reverse function
                                                     The auto-reverse function can be activated when
                                                     a window is closed by automatic operation.
                                                     Depending on the environment or driving
                                                     conditions, the auto-reverse function may
                                                     be activated if an impact or load similar to
                                                     something being caught in the window oc-
                                                     curs.

                                                                         WARNING
                                                     There are some small distances immedi-
                                                     ately before the closed position which
                                          LIC0410    cannot be detected. Make sure that all                                                      LIC0523
                                                     passengers have their hands, etc., inside
Automatic operation                                  the vehicle before closing the window.              POWER VENT WINDOWS (if so
To fully open a window equipped with automatic
                                                                                                         equipped)
                                                     If the control unit detects something caught in a
operation, press the window switch down (only        window equipped with automatic operation as it      Use the vent window switches on the driver’s
driver’s side shown) to the second detent and        is closing, the window will be immediately low-     side window controls to open and close the
release it; it need not be held. The window auto-    ered.                                               power vent windows.
matically opens all the way. To stop the window,                                                         To open a power vent window, press the switch
lift the switch up while the window is opening.                                                          down ᭺.
                                                                                                               1
To fully close a window equipped with automatic                                                          To close the window, lift the switch up ᭺.
                                                                                                                                                 2
operation, pull the switch up to the second detent
and release it; it need not be held. To stop the
window, press the switch down while the window
is closing.


2-38 Instruments and controls




                                                                                  ੬ REVIEW COPY—2008 Quest (van)
                                                                                  Owners Manual—USA_English (nna)
                                                                                  06/29/07—debbie ੭
SKYVIEW™ GLASS-PANELED ROOF
                                                                                                            (if so equipped)

The power vent windows operate when the igni-
tion key is in the ON position, or for 45 seconds
after the ignition key is turned to the OFF position.
If the driver’s or passenger’s door is opened
during this 45 second period, power to the vent
windows is cancelled.




                                                                                                 LIC0524                                               LIC0525
                                                        MANUAL VENT WINDOWS (if so                          To close the SkyView roof sunshade, pull the tab
                                                        equipped)                                           to draw out the shade. Lock the shade in place by
                                                                                                            positioning the rod on the holder.
                                                        To open a manual vent window, pull the latch
                                                        handle toward you until it releases.                To open the shade, lift the rod from the holder and
                                                                                                            ease the shade back into its stored position.
                                                        To lock the window in the open position, push the
                                                        latch handle rearward until it locks.                                    CAUTION
                                                        To close a manual vent window, pull the latch       Do not pull the SkyView roof sunshade
                                                        handle toward you and push the rear portion of      straight down. This can damage the
                                                        the latch toward the rear of the vehicle until it   shade.
                                                        locks.




                                                                                                                      Instruments and controls 2-39




                                                                                     ੬ REVIEW COPY—2008 Quest (van)
                                                                                     Owners Manual—USA_English (nna)
                                                                                     06/29/07—debbie ੭
MOONROOF (if so equipped)


                                                      To fully close the moonroof, push the switch          Auto reverse function (when closing or
                                                      toward the close position ᭺.
                                                                                4
                                                                                                            tilting down the moonroof)
                                                      To open or close the moonroof part way, push the      The auto reverse function can be activated when
                                                      switch in any direction ᭺ while the roof is sliding
                                                                              5
                                                                                                            the moonroof is closed or tilted down by auto-
                                                      open or closed to stop it in the desired position.    matic operation when the ignition key is in the ON
                                                      Tilting the moonroof                                  position or for about 45 seconds after the ignition
                                                                                                            key is turned to the OFF position.
                                                      To tilt the moonroof up, push the tilt switch to-
                                                                                                            Depending on the environment or driving
                                                      ward the up position ᭺. When the moonroof is
                                                                              1
                                                                                                            conditions, the auto reverse function may
                                                      open, it will automatically close and then tilt up.   be activated if an impact or load similar to
                                                      To tilt the moonroof down, push the tilt switch       something being caught in the moonroof
                                                      toward the down position ᭺.
                                                                               2                            occurs.
                                          WIC0812
                                                      Resetting the moonroof sliding switch                                      WARNING
AUTOMATIC MOONROOF                                    The sliding switch will become inoperable after       There are some small distances immedi-
The moonroof will only operate when the ignition      the battery terminal is disconnected, the electri-    ately before the closed position which
switch is in the ON position. The automatic           cal supply interrupted and/or some abnormality        cannot be detected. Make sure that all
moonroof is operational for about 45 seconds,         detected. Use the following reset procedure to        passengers have their hands, etc., inside
even if the ignition switch is turned to the ACC or   return moonroof operation to normal.                  the vehicle before closing the moonroof.
OFF position. If the driver’s door or the front                                                             When closing:
                                                       1. If the moonroof lid is open, push the tilting
passenger’s door is opened during this period of
                                                          switch repeatedly toward the down position        If the control unit detects something caught in the
about 45 seconds, power to the moonroof is
canceled.                                                 ᭺ to fully close the lid.
                                                            2                                               moonroof as it moves to the front, the moonroof
                                                       2. Push and hold the tilting switch for more         will immediately open backward.
Sliding the moonroof                                      than 2 seconds toward the down position           When tilting down:
To fully open the moonroof, push the switch to-           ᭺ to reestablish the lid’s home position.
                                                           2
                                                                                                            If the control unit detects something caught in the
ward the open position ᭺.
                       3                                   The moonroof should now operate normally.        moonroof as it tilts down, the moonroof will im-
                                                                                                            mediately tilt up.
2-40 Instruments and controls




                                                                                    ੬ REVIEW COPY—2008 Quest (van)
                                                                                    Owners Manual—USA_English (nna)
                                                                                    06/29/07—debbie ੭
LIGHTS ON DEMAND SWITCH


If the auto reverse function malfunctions and re-   If the moonroof does not close
peats opening or tilting up the moonroof, keep
pushing the tilt down switch within 5 seconds       Have your NISSAN dealer check and repair the
after it happens; the moonroof will fully close     moonroof.
gradually. Make sure nothing is caught in the
moonroof.

                    WARNING
● In an accident you could be thrown from
  the vehicle through an open moonroof.
  Always use seat belts and child
  restraints.
● Do not allow anyone to stand up or
  extend any portion of their body out of                                                                                                        LIC0472
  the moonroof opening while the vehicle                                                           The lights on demand switch allows the driver to
  is in motion or while the moonroof is                                                            select one of three lighting modes for the interior
  closing.                                                                                         lights. The lights on demand switch operates
                                                                                                   regardless of ignition switch position.
                    CAUTION
                                                                                                         : The interior lights illuminate. The lights will
● Remove water drops, snow, ice or sand                                                            turn off automatically after 30 minutes to prevent
  from the moonroof before opening.                                                                the battery from becoming discharged.
● Do not place heavy objects on the
                                                                                                   OFF: The interior lights do not illuminate.
  moonroof or surrounding area.
                                                                                                         : The interior lights illuminate when a door
Sunshade                                                                                           is opened.
Open and close the sunshade by sliding it for-                                                     If the lights on demand switch is in the
ward or backward.                                                                                  position, the lights will stay on for about 30 sec-
                                                                                                   onds when:
                                                                                                              Instruments and controls 2-41




                                                                              ੬ REVIEW COPY—2008 Quest (van)
                                                                              Owners Manual—USA_English (nna)
                                                                              06/29/07—debbie ੭
PERSONAL LIGHTS


 ● The doors are unlocked by the keyfob, a key          NOTE:
   or the power door lock switch while all doors
                                                        The footwell and door step lights illuminate
   are closed and the ignition switch is in the         when the driver and passenger doors are
   OFF position.                                        open regardless of the lights on demand
 ● The driver’s door is opened and then closed          switch position. These lights will turn off
   while the key is removed from the ignition           automatically after 30 minutes while doors
   switch.                                              are open to prevent the battery from be-
                                                        coming discharged.
 ● The key is removed from the ignition switch
   while all doors are closed.                                            CAUTION
The interior lights will turn off while the 30 second   Do not use for extended periods of time
timer is activated when:                                with the engine stopped. This could result
                                                        in a discharged battery.
 ● The driver’s door is locked by the keyfob, a                                                                                                  LIC0492
   key, or the power door lock switch.
                                                                                                                            Type A
 ● The ignition switch is turned ON.
                                                                                                       The rear seating positions have personal lights
The lights will turn off automatically after 30 min-                                                   located on the headliner or on the overhead con-
utes while doors are open to prevent the battery                                                       sole. There is also a light above the cargo area on
from becoming discharged.                                                                              the overhead trim.
                                                                                                       To operate a personal light located on the head-
                                                                                                       liner (Type A), push the light.




2-42 Instruments and controls




                                                                                  ੬ REVIEW COPY—2008 Quest (van)
                                                                                  Owners Manual—USA_English (nna)
                                                                                  06/29/07—debbie ੭
MAP LIGHTS




                                          LIC0493                                              LIC0492                                             WIC0952
                       Type B                                              Type C                          To turn the map lights on, press the switches. To
The personal lights on the overhead console           The cargo light on the overhead trim (Type C) has    turn them off, press the switches again.
(Type B) can be swiveled 360 degrees. To turn on      a three-position switch. To operate, push the
the light, press the button. Press the button again   light.                                                                   CAUTION
to turn off the light.
                                                      On: The light is illuminated                         Do not use for extended periods of time
                                                                                                           with the engine stopped. This could result
                                                      Normal: The light illuminates when any door is
                                                                                                           in a discharged battery.
                                                      opened or unlocked by the keyfob. The light turns
                                                      off after 30 seconds or when all doors are closed.
                                                      Off: The light does not illluminate, regardless of
                                                      door position or lock status.




                                                                                                                     Instruments and controls 2-43




                                                                                     ੬ REVIEW COPY—2008 Quest (van)
                                                                                     Owners Manual—USA_English (nna)
                                                                                     06/29/07—debbie ੭
HOMELINKா UNIVERSAL
                                                   TRANSCEIVER (if so equipped)

                                                   The HomeLinkா Universal Transceiver provides a
                                                                                                                        WARNING
                                                   convenient way to consolidate the functions of up
                                                   to three individual hand-held transmitters into     ● Do not use the HomeLinkா Universal
                                                   one built-in device.                                  Transceiver with any garage door
                                                                                                         opener that lacks safety stop and re-
                                                   HomeLinkா Universal Transceiver:                      verse features as required by federal
                                                    ● Will operate most Radio Frequency (RF)             safety standards. (These standards be-
                                                      devices such as garage doors, gates, home          came effective for opener models
                                                                                                         manufactured after April 1, 1982). A ga-
                                                      and office lighting, entry door locks and se-
                                                                                                         rage door opener which cannot detect
                                                      curity systems.
                                                                                                         an object in the path of a closing garage
                                                    ● Is powered by your vehicle’s battery. No           door and then automatically stop and
                                                      separate batteries are required. If the vehi-      reverse, does not meet current federal
                                                      cle’s battery is discharged or is discon-          safety standards. Using a garage door
                                        LIC0956       nected, HomeLinkா will retain all program-         opener without these features in-
                                                      ming.                                              creases the risk of serious injury or
CONSOLE LIGHT                                                                                            death.
The console light ᭺ will turn on whenever the
                    1                              Once the HomeLinkா Universal Transceiver
                                                                                                       ● During the programming procedure
parking lights or headlights are illuminated.      is programmed, retain the original trans-
                                                                                                         your garage door or security gate will
                                                   mitter for future programming procedures
The console light brightness can be adjusted (if                                                         open and close (if the transmitter is
                                                   (Example: new vehicle purchases). Upon                within range). Make sure that people or
so equipped) with the illumination brightness      sale of the vehicle, the programmed
control.                                                                                                 objects are clear of the garage door,
                                                   HomeLinkா Universal Transceiver buttons               gate, etc. that you are programming.
                                                   should be erased for security purposes. For
                                                   additional information refer to “Program-           ● Your vehicle’s engine should be turned
                                                   ming HomeLinkா” later in this section.                off while programming the HomeLinkா
                                                                                                         Universal Transceiver.




2-44 Instruments and controls




                                                                                ੬ REVIEW COPY—2008 Quest (van)
                                                                                Owners Manual—USA_English (nna)
                                                                                06/29/07—debbie ੭
4. Hold down both buttons until the indicator
                                                                                                       light on the HomeLinkா flashes, changing
                                                                                                       from a “slow blink” to a “rapidly flashing
                                                                                                       blink”. This could take up to 90 seconds.
                                                                                                       When the indicator light flashes rapidly, both
                                                                                                       buttons may be released. The rapidly flash-
                                                                                                       ing light indicates successful programming.
                                                                                                       To activate the garage door or other pro-
                                                                                                       grammed device, press and hold the pro-
                                                                                                       grammed HomeLinkா button — releasing
                                                                                                       when the device begins to activate.
                                                                                                    5. If the indicator light on the HomeLinkா blinks
                                                                                                       rapidly for 2 seconds and then turns solid,
                                       WIC0986                                          WIC0987        HomeLinkா has picked up a “rolling code”
PROGRAMMING HOMELINKா                              3. Using both hands, simultaneously press and       garage door opener signal. You will need to
                                                      hold both the HomeLinkா button you want to       proceed with the next steps to train the
1. To begin, press and hold the two outer             program and the hand-held transmitter but-       HomeLinkா to complete the programming
   HomeLinkா buttons (to clear the memory)                                                             which may require a ladder and another per-
                                                      ton.
   until the indicator light ᭺ blinks (after 20
                             1                                                                         son for convenience.
   seconds). Release both buttons.                    DO NOT release the buttons until step 4 has
                                                      been completed.                               6. Press and release the “smart” or “learn” pro-
2. Position the end of the hand-held transmitter                                                       gram button located on the garage door
   1 - 3 inches (26 - 76 mm) away from the                                                             opener’s motor to activate the “training
   HomeLinkா surface.
                                                                                                       mode”. This button is usually located near
                                                                                                       the antenna wire that hangs down from the
                                                                                                       motor. If the wire originates from under a
                                                                                                       light lens, you will need to remove the lens to
                                                                                                       access the program button.



                                                                                                             Instruments and controls 2-45




                                                                              ੬ REVIEW COPY—2008 Quest (van)
                                                                              Owners Manual—USA_English (nna)
                                                                              06/29/07—debbie ੭
NOTE:                                                PROGRAMMING HOMELINKா FOR                             PROGRAMMING TROUBLE-
Once you have pressed and released the               CANADIAN CUSTOMERS                                    DIAGNOSIS
program button on the garage door open-              Prior to 1992, D.O.C. regulations required hand-      If the HomeLinkா does not quickly learn the hand-
er’s motor and the “training light” is lit, you      held transmitters to stop transmitting after 2 sec-   held transmitter information:
have 30 seconds in which to perform step 7.          onds. To program your hand-held transmitter to
Use the help of a second person for conve-                                                                  ● replace the hand-held transmitter batteries
                                                     HomeLinkா, continue to press and hold the
nience to assist when performing this step.                                                                   with new batteries.
                                                     HomeLinkா button (note steps 2 - 4 under “Pro-
 7. Within 30 seconds of pressing and releas-        gramming HomeLinkா”) while you press and re-           ● position the hand-held transmitter with its
    ing the garage door opener program button,       press (“cycle”) your hand-held transmitters every        battery area facing away from the
    quickly and firmly press and release the         2 seconds until the indicator light flashes rapidly      HomeLinkா surface.
    HomeLinkா button you’ve just programmed.         (indicating successful programming).
                                                                                                            ● press and hold both the HomeLinkா and
    Press and release the HomeLinkா button up
                                                     NOTE:                                                    hand-held transmitter buttons without inter-
    to 3 times to complete the training.
                                                                                                              ruption.
 8. Your HomeLinkா button should now be pro-         When programming a garage door opener,
                                                     etc., it is advised to unplug the device dur-          ● position the hand-held transmitter 1 - 3
    grammed. (To program the remaining
                                                     ing the “cycling” process to prevent pos-                inches (26 - 76 mm) away from the
    HomeLinkா buttons for additional door or
                                                     sible damage to the garage door opener                   HomeLinkா surface. Hold the transmitter in
    gate openers, follow steps 2-4 only.)
                                                     components.                                              that position for up to 15 seconds. If
                                                                                                              HomeLinkா is not programmed within that
NOTE:
                                                     OPERATING THE HOMELINKா                                  time, try holding the transmitter in another
Do not repeat step 1 unless you want to              UNIVERSAL TRANSCEIVER                                    position – keeping the indicator light in view
“clear”  all   previously   programmed                                                                        at all times.
HomeLinkா buttons.                                   The HomeLinkா Universal Transceiver (once pro-
                                                     grammed) may now be used to activate the ga-          If you continue to have programming difficulties,
If you have any questions or are having difficulty   rage door, etc. To operate, simply press the ap-      please contact the NISSAN Consumer Affairs
programming your HomeLinkா buttons, refer to         propriate programmed HomeLinkா Universal              Department. The phone numbers are located in
the HomeLinkா web site at: www.homelink.com          Transceiver button. The red indicator light will      the Foreword of this manual.
or call 1-800-355-3515.                              illuminate while the signal is being transmitted.



2-46 Instruments and controls




                                                                                   ੬ REVIEW COPY—2008 Quest (van)
                                                                                   Owners Manual—USA_English (nna)
                                                                                   06/29/07—debbie ੭
CLEARING THE PROGRAMMED                               The HomeLinkா Universal Transceiver button has       This transmitter has been tested and com-
INFORMATION                                           now been reprogrammed. The new device can            plies with FCC and DOC/MDC rules.
                                                      be activated by pushing the HomeLinkா button         Changes or modifications not expressly ap-
Individual buttons cannot be cleared. However,        that was just programmed. This procedure will        proved by the party responsible for compli-
to clear all programming, press and hold the two      not affect any other programmed HomeLinkா            ance could void the user’s authority to op-
outside buttons and release when the indicator        buttons.                                             erate the equipment.
light begins to flash (approximately 20 seconds).
                                                                                                           DOC: ISTC 1763K1313
                                                      IF YOUR VEHICLE IS STOLEN
REPROGRAMMING A SINGLE                                                                                     FCC I.D. CV2V67690
HOMELINKா BUTTON                                      If your vehicle is stolen, you should change the
                                                      codes of any non-rolling code device that has
To reprogram a HomeLinkா Universal Transceiver        been programmed into HomeLinkா. Consult the
button, complete the following.                       Owner’s Manual of each device or call the manu-
 1. Press and hold the desired HomeLinkா but-         facturer or dealer of those devices for additional
    ton. Do not release the button until step 4       information.
    has been completed.
                                                      When your vehicle is recovered, you will
 2. When the indicator light begins to flash          need to reprogram the HomeLinkா Univer-
    slowly (after 20 seconds), position the           sal Transceiver with your new transmitter
    hand-held transmitter 1 - 3 inches (26 - 76       information.
    mm) away from the HomeLinkா surface.
                                                      FCC Notice:
 3. Press and hold the hand-held transmitter
    button.                                           This device complies with FCC rules part 15
                                                      and RSS-210 of Industry Canada. Opera-
 4. The HomeLinkா indicator light will flash, first   tion is subject to the following two condi-
    slowly and then rapidly. When the indicator       tions:
    light begins to flash rapidly, release both
    buttons.                                          (1) This device may not cause harmful in-
                                                      terference and (2) This device must accept
                                                      any interference that may be received, in-
                                                      cluding interference that may cause undes-
                                                      ired operation.
                                                                                                                   Instruments and controls 2-47




                                                                                    ੬ REVIEW COPY—2008 Quest (van)
                                                                                    Owners Manual—USA_English (nna)
                                                                                    06/29/07—debbie ੭
MEMO




2-48 Instruments and controls
3 Pre-driving checks and adjustments


Keys . . . . . . . . . . . . . . . . . . . . . . . . . . . . . . . . . . . . . . . . . . . . . 3-2      Operating the power lift gate
    NISSAN vehicle immobilizer system keys . . . . . . . . . . 3-2                                      (if so equipped) . . . . . . . . . . . . . . . . . . . . . . . . . . . . . . . 3-16
Doors . . . . . . . . . . . . . . . . . . . . . . . . . . . . . . . . . . . . . . . . . . . . 3-3       Lift gate release . . . . . . . . . . . . . . . . . . . . . . . . . . . . . . . 3-18
    Locking with key. . . . . . . . . . . . . . . . . . . . . . . . . . . . . . . . 3-3              Fuel-filler door . . . . . . . . . . . . . . . . . . . . . . . . . . . . . . . . . . . 3-19
    Locking with inside lock knob . . . . . . . . . . . . . . . . . . . . 3-4                           Opener operation. . . . . . . . . . . . . . . . . . . . . . . . . . . . . . 3-19
    Locking with power door lock switch . . . . . . . . . . . . . 3-5                                   Fuel-filler cap . . . . . . . . . . . . . . . . . . . . . . . . . . . . . . . . . 3-19
    Operating the manual sliding door                                                                Steering wheel . . . . . . . . . . . . . . . . . . . . . . . . . . . . . . . . . . . 3-21
    (if so equipped) . . . . . . . . . . . . . . . . . . . . . . . . . . . . . . . . 3-5                Tilt operation . . . . . . . . . . . . . . . . . . . . . . . . . . . . . . . . . . 3-21
    Using the main ON/OFF switch for the                                                             Pedal position adjustment (if so equipped) . . . . . . . . . . 3-21
    power sliding door (if so equipped) . . . . . . . . . . . . . . . 3-6                            Sun visors . . . . . . . . . . . . . . . . . . . . . . . . . . . . . . . . . . . . . . . 3-22
    Operating the power sliding door                                                                    Vanity mirrors . . . . . . . . . . . . . . . . . . . . . . . . . . . . . . . . . 3-22
    (if so equipped) . . . . . . . . . . . . . . . . . . . . . . . . . . . . . . . . 3-6             Mirrors . . . . . . . . . . . . . . . . . . . . . . . . . . . . . . . . . . . . . . . . . . 3-23
    Child safety sliding door lock . . . . . . . . . . . . . . . . . . . . 3-9                          Rearview mirror (if so equipped). . . . . . . . . . . . . . . . . 3-23
Remote keyless entry system . . . . . . . . . . . . . . . . . . . . . . . 3-9                           Automatic anti-glare rearview mirror
    How to use remote keyless entry system . . . . . . . . . 3-10                                       (if so equipped) . . . . . . . . . . . . . . . . . . . . . . . . . . . . . . . 3-23
Hood . . . . . . . . . . . . . . . . . . . . . . . . . . . . . . . . . . . . . . . . . . . 3-14         Outside mirrors . . . . . . . . . . . . . . . . . . . . . . . . . . . . . . . 3-24
Lift gate . . . . . . . . . . . . . . . . . . . . . . . . . . . . . . . . . . . . . . . . . 3-14     Automatic drive positioner (if so equipped) . . . . . . . . . . 3-25
    Operating the manual lift gate . . . . . . . . . . . . . . . . . . . 3-15                           Memory storage function . . . . . . . . . . . . . . . . . . . . . . . 3-26
    Using the main ON/OFF switch for the                                                                Entry/exit function . . . . . . . . . . . . . . . . . . . . . . . . . . . . . 3-27
    power lift gate (if so equipped) . . . . . . . . . . . . . . . . . . 3-15                           System operation. . . . . . . . . . . . . . . . . . . . . . . . . . . . . . 3-27




                                                                                                      ੬ REVIEW COPY—2008 Quest (van)
                                                                                                      Owners Manual—USA_English (nna)
                                                                                                      06/29/07—debbie ੭
KEYS


                                                         A key number is only necessary when you have        cause the registration process will erase the
                                                         lost all keys and do not have one to duplicate      memory of all key codes previously registered
                                                         from. If you still have a key, your NISSAN dealer   into the NISSAN Vehicle Immobilizer System.
                                                         can duplicate it.                                   After the registration process, these components
                                                                                                             will only recognize keys coded into the NISSAN
                                                         NISSAN VEHICLE IMMOBILIZER                          Vehicle Immobilizer System during registration.
                                                         SYSTEM KEYS                                         Any key that is not given to your dealer at the time
                                                                                                             of registration will no longer be able to start your
                                                         You can only drive your vehicle using the master    vehicle.
                                                         or valet keys which are registered to the NISSAN
                                                         Vehicle Immobilizer System components in your       Do not allow the immobilizer system key, which
                                                         vehicle. These keys have a transponder chip in      contains an electrical transponder, to come into
                                                                                                             contact with salt water. This could affect system
                                                         the key head.
                                                                                                             function.
                                                         The master key can be used for all the locks.
                                           WPD0128
1.    Two master keys (black) with transpon-             The valet key cannot be used for the glove box
                                                         lock.
      der chip and chrome NISSAN brand
      symbol on one side                                 To protect belongings when you leave a key with
2.    Valet key (black) with transponder chip            someone, give them the valet key only.
3.    Key number plate                                   Never leave these keys in the vehicle.
4.    Transponder chip
                                                         Additional or replacement keys:
A key number plate is supplied with your keys.
Record the key number and keep it in a safe place        If you still have a key, the key number is not
(such as your wallet), not in the vehicle. If you lose   necessary when you need extra NISSAN Vehicle
your keys, see a NISSAN dealer for duplicates by         Immobilizer System keys. Your dealer can dupli-
using the key number. NISSAN does not record             cate your existing key. As many as five NISSAN
key numbers so it is very important to keep track        Vehicle Immobilizer System keys can be used
of your key number plate.                                with one vehicle. You should bring all NISSAN
                                                         Vehicle Immobilizer System keys that you have to
                                                         your NISSAN dealer for registration. This is be-
3-2 Pre-driving checks and adjustments




                                                                                      ੬ REVIEW COPY—2008 Quest (van)
                                                                                      Owners Manual—USA_English (nna)
                                                                                      06/29/07—debbie ੭
DOORS


                  WARNING                                       CAUTION
● Always have the doors locked while           ● Always use the door handle to open or
  driving. Along with the use of seat belts,     close a sliding door. Do not attempt to
  this provides greater safety in the event      open or close the doors by merely plac-
  of an accident by helping to prevent           ing your hand on the door edge or door
  persons from being thrown from the             slide roller, as this may cause injury.
  vehicle. This also helps keep children
                                               ● When opening a sliding door on a slope,
  and others from unintentionally open-
                                                 ensure that it is fully open and that it
  ing the doors, and will help keep out
                                                 does not close by itself.
  intruders.
● Before opening any door, always look
  for and avoid oncoming traffic.
● Do not leave children unattended inside                                                                                            LPD0181
  the vehicle. They could unknowingly ac-                                                                     Driver’s side
  tivate switches or controls. Unattended
  children could become involved in seri-                                                    LOCKING WITH KEY
  ous accidents.                                                                             The power door lock system allows you to lock or
● Always be sure that hands and feet are                                                     unlock all doors at the same time.
  clear of the door frame to avoid injury
  while closing a sliding door.                                                              Turning the key toward the front ᭺ of the vehicle
                                                                                                                              1
                                                                                             locks all doors.
                                                                                             Turning the key one time toward the rear ᭺ of the
                                                                                                                                      2
                                                                                             vehicle unlocks that door. From that position,
                                                                                             returning the key to neutral ᭺ (where the key can
                                                                                                                          3
                                                                                             only be removed and inserted) and turning it
                                                                                             toward the rear again within 5 seconds unlocks
                                                                                             all doors ᭺.
                                                                                                        4



                                                                                            Pre-driving checks and adjustments 3-3




                                                                        ੬ REVIEW COPY—2008 Quest (van)
                                                                        Owners Manual—USA_English (nna)
                                                                        06/29/07—debbie ੭
Opening and closing windows
The driver’s door key operation allows you to
open and close windows equipped with auto-
matic operation at the same time.
 ● To open the windows, turn the driver’s door
   key toward the rear of the vehicle for longer
   than 1 second after the door is unlocked.
 ● To close the windows, turn the driver’s door
   key to the front of the vehicle for longer
   than 1 second after the door is locked.
Windows stop when the key cylinder is released.
                                                                                           LPD0208                                 LPD0224
                                                            Inside lock for front doors                Inside lock for sliding doors
                                                   LOCKING WITH INSIDE LOCK
                                                   KNOB
                                                   To lock the door without the key, move the inside
                                                   lock knob to the lock position ᭺, then close the
                                                                                  1
                                                   door.
                                                   To unlock the door without the key, move the
                                                   inside lock knob to the unlock position ᭺.
                                                                                           2




3-4 Pre-driving checks and adjustments




                                                                                ੬ REVIEW COPY—2008 Quest (van)
                                                                                Owners Manual—USA_English (nna)
                                                                                06/29/07—debbie ੭
Lockout protection
                                                       When the power door lock switch (driver’s or
                                                       front passenger’s side) is moved to the lock
                                                       position with the key in the ignition and any door
                                                       open, all doors will lock and then unlock auto-
                                                       matically. This helps to prevent the keys from
                                                       being accidently locked inside the vehicle.




                                         WPD0381                                                                                                     LPD0233
               Door lock switch                                                                              OPERATING THE MANUAL SLIDING
LOCKING WITH POWER DOOR                                                                                      DOOR (if so equipped)
LOCK SWITCH                                                                                                  The manual sliding door can be opened from the
To lock all the doors without a key, push the door                                                           inside or the outside.
lock switch (driver’s or front passenger’s side), to                                                         To open a sliding door from the inside, push the
the lock position ᭺. When locking the door this
                   1                                                                                         button ᭺ and pull the handle toward the rear of
                                                                                                                     1
way, be certain not to leave the key inside the                                                              the vehicle.
vehicle.
                                                                                                             To open a sliding door from the outside, pull out
To unlock all the doors without a key, push the                                                              the outside handle.
door lock switch (driver’s or front passenger’s
                                                                                                             The driver side sliding door cannot be opened
side) to the unlock position ᭺.
                             2
                                                                                                             fully when the fuel-filler door is open.



                                                                                                            Pre-driving checks and adjustments 3-5




                                                                                     ੬ REVIEW COPY—2008 Quest (van)
                                                                                     Owners Manual—USA_English (nna)
                                                                                     06/29/07—debbie ੭
When the switch is in the OFF position, the
                                                      sliding door can still be opened with the keyfob or
                                                      overhead console switch. The sliding door can
                                                      also be opened manually with the inside or out-
                                                      side handle.

                                                      NOTE:
                                                      If the child safety lock is in the lock posi-
                                                      tion, the door pillar switch will not operate
                                                      the sliding door regardless of the main
                                                      ON/OFF switch position.



                                         WPD0334                                                                                                LPD0225

USING THE MAIN ON/OFF SWITCH                                                                                             Door pillar switch
FOR THE POWER SLIDING DOOR                                                                                  OPERATING THE POWER SLIDING
(if so equipped)                                                                                            DOOR (if so equipped)
The main ON/OFF switch is located in the over-                                                              NOTE:
head console.
                                                                                                            To open, close or reverse a power sliding
Push the switch ON to enable the door pillar                                                                door, the ignition switch must be OFF, or, if
switches and the power assist feature. An indica-                                                           the ignition switch is ON, the shift selector
tor light will illuminate when the switch is in the                                                         lever must be in P (Park). Also, the power
ON position.                                                                                                sliding doors will not operate if battery
                                                                                                            voltage is low.
Push the switch OFF to disable the door pillar
switches and the power assist feature. An indica-
tor light will illuminate when the switch is in the
OFF position.
3-6 Pre-driving checks and adjustments




                                                                                    ੬ REVIEW COPY—2008 Quest (van)
                                                                                    Owners Manual—USA_English (nna)
                                                                                    06/29/07—debbie ੭
● A sliding door can be opened by the over-          feature can be activated by the switches on the
                                                        head console switch and the keyfob even if         keyfob, the overhead console and the door pillar.
                                                        the vehicle is locked. The door will individu-
                                                                                                            ● If the inside or outside handle is activated
                                                        ally unlock and open. When the sliding door
                                                                                                              while the cinching motor is engaged, the
                                                        is closed, it will remain unlocked. The vehicle
                                                                                                              cinching motor will disengage and release
                                                        must be re-locked to lock the door.
                                                                                                              the latch.
                                                      ● The keyfob button must be held for 0.5 sec-
                                                                                                            ● The keyfob button must be held for 0.5 sec-
                                                        ond before the door opens.
                                                                                                              ond before the door closes.
                                                      ● The switch on the door pillar can only be
                                                                                                            ● The switch on the door pillar can only be
                                                        used to open the door if the main ON/OFF
                                                                                                              used to close the door if the main ON/OFF
                                                        switch is ON, the door is unlocked and the
                                                                                                              switch is ON.
                                                        child lockout switch is not set.
                                                                                                           Reverse:
                                       WPD0335       A warning chime will sound if the shift selector
                                                                                                           The door will reverse direction immediately dur-
           Overhead console switch                   lever is moved out of P (Park) during a power
                                                                                                           ing power open or power close if the keyfob,
Power Assist:                                        open operation.
                                                                                                           overhead console or door pillar switch is
If the main on/off switch is ON and a sliding door   The driver’s side power sliding door cannot be        pressed. A chime will sound to announce the
is unlocked and manually moved toward the open       power opened when the fuel lid door is open. A        reversal.
or close position using the inside or outside        warning chime will sound if an open operation is
handle, the power assist feature will be activated                                                         Auto Reverse:
                                                     attempted. The door can be opened manually
and the door will complete its motion automati-                                                            If an obstacle is detected during power open or
                                                     part way.
cally.                                                                                                     power close, a warning chime will sound and the
                                                     Power Close:                                          door will reverse direction and return to the full
Power Open:                                          The door automatically moves from the fully open      open or full close position. If a second obstacle is
The door automatically moves from the fully          position to the secondary position. When the          detected, the door motion will stop and the clutch
closed position to the fully open position in ap-    sliding door reaches the secondary position, the      mode will be engaged.
proximately 3 – 6 seconds. The power open            cinching motor engages and pulls the door to its
feature can be activated by the switches on the      primary latch position. Power close takes ap-
keyfob, the overhead console and the door pillar.    proximately 4 – 7 seconds. The power close

                                                                                                          Pre-driving checks and adjustments 3-7




                                                                                  ੬ REVIEW COPY—2008 Quest (van)
                                                                                  Owners Manual—USA_English (nna)
                                                                                  06/29/07—debbie ੭
4. Press and hold the power sliding door
                     WARNING
                                                          switch on the overhead console until the
There are some small distances immedi-                    door closes.
ately before the closed position which
cannot be detected. Make sure that all                 5. Release the switch.
passengers have their hands, etc., inside              6. Press and hold the power sliding door
the vehicle before closing the door.                      switch on the overhead console until the
                                                          door opens as far as it can.
Clutch Mode:
To help prevent unexpected slams due to gravity,       7. Release the switch.
the clutch mode is engaged intermittently for          8. Press and hold the power sliding door
approximately 5 – 8 seconds when power open               switch on the overhead console until the
or close is interrupted due to multiple obstacles,        door closes.
low battery voltage or the main ON/OFF switch
turned to OFF. The door must then be opened or         9. Release the switch.
closed manually.                                      The power sliding door should now work prop-
                                                      erly.
Restarting the power sliding door
Some power sliding door functions will become         NOTE:
disabled after the battery terminal is discon-        The restarting procedure must be com-
nected and/or the electrical supply is interrupted.   pleted for both the left-hand and right-
                                                      hand power sliding doors (if so equipped).
The following procedure must be used to restart
each power sliding door so that all functions are
enabled.
 1. Turn the main on/off switch to OFF.
 2. Manually open the power sliding door to its
    fully open position.
 3. Turn the main on/off switch to ON.

3-8 Pre-driving checks and adjustments




                                                                                ੬ REVIEW COPY—2008 Quest (van)
                                                                                Owners Manual—USA_English (nna)
                                                                                06/29/07—debbie ੭
REMOTE KEYLESS ENTRY SYSTEM


                                                                                                     It is possible to lock/unlock all doors, turn on the
                                                                                                     interior lights and puddle lamps (if so equipped),
                                                                                                     and activate the panic alarm by using the keyfob
                                                                                                     from outside the vehicle.
                                                                                                     Some settings for the keyfob, such as horn beep,
                                                                                                     can be adjusted. For vehicles with monochrome
                                                                                                     screen, refer to “Silencing the horn beep feature”
                                                                                                     later in this section. For vehicles with color
                                                                                                     screen, refer to “Vehicle electronic systems” in
                                                                                                     the “Display screen, heater, air conditioner, audio
                                                                                                     and phone systems” section later in this manual.
                                                                                                     Be sure to remove the key from the vehicle
                                                                                                     before locking the doors.
                                                                                                     The keyfob can operate at a distance of approxi-
                                                                                                     mately 33 ft (10 m) from the vehicle. The effective
                                                                                                     distance depends upon the conditions around
                                                                                                     the vehicle.
                                                                                                     As many as 5 keyfobs can be used with one
                                                                                                     vehicle. For information concerning the purchase
                                                                                                     and use of additional keyfobs, contact a NISSAN
                                                                                                     dealer.
                                                                                        WPD0437
                                                                                                     The keyfob will not function when:
CHILD SAFETY SLIDING DOOR                         The child safety lock levers are located on the
                                                  edge of the sliding doors.                          ● the battery is discharged
LOCK
                                                  When the lever is in the lock position, the         ● the distance between the vehicle and the
The child safety lock helps prevent the sliding                                                         keyfob is over 33 ft (10 m)
                                                  door can be opened only from the outside,
door from being opened accidentally, especially
                                                  by the overhead console switch or using            The panic alarm will not activate when the
when small children are in the vehicle.
                                                  the keyfob.                                        key is in the ignition switch.
                                                                                                    Pre-driving checks and adjustments 3-9




                                                                              ੬ REVIEW COPY—2008 Quest (van)
                                                                              Owners Manual—USA_English (nna)
                                                                              06/29/07—debbie ੭
● When the           button is pushed with all
                 CAUTION
                                                                                                    doors locked, the hazard warning lights flash
Listed below are conditions or occur-                                                               twice and the horn beeps once as a re-
rences which will damage the keyfob:                                                                minder that the doors are already locked.
● Do not allow the keyfob to become wet.                                                          ● If a door is open and you push the
● Do not drop the keyfob.                                                                           button, the doors will lock but the horn will
                                                                                                    not beep and the hazard warning lights will
● Do not strike the keyfob sharply against                                                          not flash.
  another object.
                                                                                                 The horn may or may not beep. For vehicles with
● Do not place the keyfob for an extended                                                        monochrome screen, refer to “Silencing the horn
  period in an area where temperatures                                                           beep feature” later in this section. For vehicles
  exceed 140°F (60°C).                                                                           with color screen, refer to “Vehicle electronic
If a keyfob is lost or stolen, NISSAN rec-                                                       systems” in the “Display screen, heater, air con-
ommends erasing the ID code of that key-                                             LPD0209     ditioner, audio and phone systems” section later
fob. This will prevent the keyfob from un-                                                       in this manual.
                                             HOW TO USE REMOTE KEYLESS
authorized use to unlock the vehicle. For
information regarding the erasing proce-
                                             ENTRY SYSTEM                                        NOTE:
dure, please contact a NISSAN dealer.        Locking doors                                       If you use the keyfob to change the horn
                                                                                                 beep and lamp flash feature for vehicles
                                              1. Close all windows.                              with color screen, the display will not show
                                              2. Remove the key from the ignition switch.        the current mode and cannot be used to
                                                                                                 change the mode. Use the keyfob to return
                                              3. Close the hood and all doors.                   to the previous mode and re-enable the
                                              4. Push the            button on the keyfob. All   display screen control. Refer to “Vehicle
                                                 the doors lock. The hazard warning lights       electronic systems” in the “Display screen,
                                                 flash twice and the horn beeps once to          heater, air conditioner, audio and phone
                                                 indicate all doors are locked.                  systems” section for additional informa-
                                                                                                 tion.


3-10 Pre-driving checks and adjustments




                                                                          ੬ REVIEW COPY—2008 Quest (van)
                                                                          Owners Manual—USA_English (nna)
                                                                          06/29/07—debbie ੭
Push the        button on the keyfob again within       Opening windows
                                                    5 seconds.
                                                                                                            The keyfob allows you to open windows
                                                     ● All doors unlock.                                    equipped with automatic operation simulta-
                                                     ● The hazard indicator flashes once if all doors       neously.
                                                       are completely closed.                                ● To open the windows, press the       but-
                                                    The interior lights and puddle lamps (if so                ton on the keyfob for longer than 3 sec-
                                                    equipped) can be turned off without waiting 30             onds after all doors are unlocked.
                                                    seconds by inserting the key into the ignition and      The door windows will open while pressing
                                                    turning to the ON or START position, locking the        the     button on the keyfob.
                                                    doors with the keyfob or pushing the interior light
                                                    switch to the OFF position.                             The door windows cannot be closed by
                                                                                                            using the keyfob.
                                                    Auto relock
                                        LPD0210                                                             Linking the keyfob to automatic drive
                                                    When the          button on the keyfob is pushed,       positioner memory
Unlocking doors                                     all doors will lock automatically within 1 minute
                                                    unless one of the following operations is per-          If the vehicle is equipped with automatic drive
Push the        button on the keyfob once.
                                                    formed:                                                 positioner, the keyfob can be linked to a memory
 ● Only the driver’s door unlocks.                                                                          setting.
                                                     ● Any door is opened.
 ● The hazard indicator flashes once if all doors                                                           See “Automatic drive positioner” later in this sec-
                                                     ● A key is inserted into the ignition switch and       tion.
   are completely closed with the ignition key in      the key is turned from OFF to ON.
   any position except the ON position.
 ● The interior lights and puddle lamps (if so
   equipped) turn on and the light timer acti-
   vates for 30 seconds when the lights on
   demand switch is in the        position with
   the ignition key in any position except the
   ON position.

                                                                                                          Pre-driving checks and adjustments 3-11




                                                                                  ੬ REVIEW COPY—2008 Quest (van)
                                                                                  Owners Manual—USA_English (nna)
                                                                                  06/29/07—debbie ੭
WPD0336                                               WPD0337                                               LPD0211
Operating the power sliding door (if so            Operating the power lift gate (if so                  Using the panic alarm
equipped)                                          equipped)                                             If you are near your vehicle and feel threatened,
Push and hold the button on the keyfob for about   Push and hold the button on the keyfob for about      you may activate the panic alarm to call attention
0.5 second to open or close the power sliding      0.5 second to open or close the lift gate. The        by pushing and holding the         button on the
door.                                              hazard warning lights flash and a chime sounds        keyfob for longer than 0.5 second.
                                                   to indicate the power open or power close se-         The panic alarm and headlights will stay on for 25
The door will reverse direction immediately dur-
                                                   quence has started.                                   seconds.
ing power open or power close if the keyfob
button is pressed. A chime will sound to an-       The lift gate will reverse direction immediately      The panic alarm stops when:
nounce the reversal.                               during power open or power close if the keyfob
                                                   button is pressed. A chime will sound to an-           ● it has run for 25 seconds, or
For more information, see “Operating the power
                                                   nounce the reversal.                                   ● any button is pushed on the keyfob.
sliding door” earlier in this section.
                                                   For more information, see “Lift gate” later in this
                                                   section.

3-12 Pre-driving checks and adjustments




                                                                                 ੬ REVIEW COPY—2008 Quest (van)
                                                                                 Owners Manual—USA_English (nna)
                                                                                 06/29/07—debbie ੭
NOTE:                                                   Using the interior lights
                                                   If you use the keyfob to change the horn                Push the        button on the keyfob once to turn
                                                   beep and lamp flash feature for vehicles                on the interior lights and puddle lamps (if so
                                                   with color screen, the display will not show            equipped).
                                                   the current mode and cannot be used to
                                                                                                           For additional information, refer to “Lights on
                                                   change the mode. Use the keyfob to return
                                                                                                           demand switch” in the “Instruments and controls”
                                                   to the previous mode and re-enable the                  section earlier in this manual.
                                                   display screen control. Refer to “Vehicle
                                                   electronic systems” in the “Display screen,
                                                   heater, air conditioner, audio and phone
                                                   systems” section for additional informa-
                                                   tion.
                                                   To deactivate: Press and hold the
                                       LPD0262
                                                   and      buttons for at least 2 seconds.
Silencing the horn beep feature
                                                   The hazard warning lights will flash three times to
If desired, the horn beep feature can be deacti-   confirm that the horn beep feature has been
vated using the keyfob.                            deactivated.
                                                   To activate: Press and hold the
                                                   and      buttons for at least 2 seconds
                                                   once more.
                                                   The hazard warning lights will flash once and the
                                                   horn will sound once to confirm that the horn
                                                   beep feature has been reactivated.
                                                   Deactivating the horn beep feature does not si-
                                                   lence the horn if the alarm is triggered.



                                                                                                         Pre-driving checks and adjustments 3-13




                                                                                 ੬ REVIEW COPY—2008 Quest (van)
                                                                                 Owners Manual—USA_English (nna)
                                                                                 06/29/07—debbie ੭
HOOD                                                                                              LIFT GATE


                                                                                                                    WARNING
                                                                                                  ● Always be sure the lift gate has been
                                                                                                    closed securely to prevent it from open-
                                                                                                    ing while driving.
                                                                                                  ● Do not drive with the lift gate open. This
                                                                                                    could allow dangerous exhaust gases
                                                                                                    to be drawn into the vehicle. See “Ex-
                                                                                                    haust gas” in the “Starting and driving”
                                                                                                    section of this manual.
                                                                                                  ● Do not leave children unattended inside
                                                                                                    the vehicle. They could unknowingly ac-
                                                                                                    tivate switches or controls. Unattended
                                                                                       WPD0338      children could become involved in seri-
                                                                                                    ous accidents.
᭺
1   Pull the hood lock release handle located                         WARNING
    below the driver’s side instrument panel. The                                                 ● Always be sure that hands and feet are
    hood will spring up slightly.                    ● Make sure the hood is completely             clear of the door frame to avoid injury
                                                       closed and latched before driving. Fail-     while closing the lift gate.
᭺
2   Push the lever at the front of the hood to the     ure to do so could cause the hood to fly
    side as illustrated with your fingertips and       open and result in an accident.
    raise the hood.
                                                     ● If you see steam or smoke coming from
᭺
3   Insert the support rod into the slot on the        the engine compartment, to avoid injury
    underside of the hood.                             do not open the hood.
When closing the hood, lower it slowly and make
sure it locks into place.




3-14 Pre-driving checks and adjustments




                                                                              ੬ REVIEW COPY—2008 Quest (van)
                                                                              Owners Manual—USA_English (nna)
                                                                              06/29/07—debbie ੭
OFF while the lift gate is opening or closing will
                                                                                                            cancel the operation and the lift gate will go to
                                                                                                            manual mode.
                                                                                                            When the switch is in the OFF position, the lift
                                                                                                            gate can still be opened with the keyfob or over-
                                                                                                            head console switch. The lift gate can also be
                                                                                                            opened manually with the outside handle if the lift
                                                                                                            gate is unlocked.




                                        LPD0221                                              WPD0334
OPERATING THE MANUAL LIFT                           USING THE MAIN ON/OFF SWITCH
GATE                                                FOR THE POWER LIFT GATE (if so
The power door lock system allows you to lock or    equipped)
unlock all doors including the lift gate simulta-   The main ON/OFF switch is located in the over-
neously.
                                                    head console.
To open the lift gate, depress the opener handle
                                                    Push the switch ON to enable the rear pillar
and lift up.
                                                    switch. An indicator light will illuminate when the
To close, lower and push the lift gate down se-     switch is in the ON position.
curely.
                                                    Push the switch OFF to disable the rear pillar
                                                    switch. An indicator light will illuminate when the
                                                    switch is in the OFF position. Pushing the switch



                                                                                                          Pre-driving checks and adjustments 3-15




                                                                                  ੬ REVIEW COPY—2008 Quest (van)
                                                                                  Owners Manual—USA_English (nna)
                                                                                  06/29/07—debbie ੭
● The lift gate must be unlocked to open it with
                                                                                                                 the outside opener handle.
                                                                                                               ● The switch on the rear pillar cannot be used
                                                                                                                 to open the lift gate.
                                                                                                              A warning chime will sound if the shift selector
                                                                                                              lever is moved out of P (Park) during a power
                                                                                                              open operation.
                                                                                                              Power Close:
                                                                                                              The power lift gate automatically moves from the
                                                                                                              fully open position to the secondary position.
                                                                                                              When the lift gate reaches the secondary posi-
                                                                                                              tion, the cinching motor engages and pulls the lift
                                        WPD0339                                                 WPD0340       gate to its primary latch position. Power close
               Rear pillar switch                              Overhead console switch                        takes approximately 7 – 10 seconds. The power
                                                                                                              close feature can be activated by the switch on
OPERATING THE POWER LIFT                              keyfob and the overhead console and by the              the keyfob, the overhead console and the rear
GATE (if so equipped)                                 outside opener handle. The hazard lights flash          pillar. The hazard lights flash and a chime sounds
                                                      and a chime sounds to indicate the power open           to indicate the power close sequence has been
NOTE:                                                 sequence has been started.                              started.
To open, close or reverse the power lift               ● The lift gate can be opened by the overhead           ● If the outside opener handle is activated
gate, the shift selector lever must be in P              console switch and the keyfob even if the               while the cinching motor is engaged, the
(Park). Also, the power lift gate will not               vehicle is locked. The lift gate will individually      cinching motor will disengage and release
operate if battery voltage is low.                       unlock and open. Once the lift gate is                  the latch.
                                                         closed, its lock will align to the vehicle’s lock
Power Open:                                                                                                    ● The keyfob button must be held for 0.5 sec-
                                                         or unlock status.                                       ond before the lift gate closes.
The power lift gate automatically moves from the
fully closed position to the fully open position in    ● The keyfob button must be held for 0.5 sec-           ● The switch on the rear pillar can only be used
approximately 5 – 8 seconds. The power open              ond before the lift gate opens.                         to close the lift gate if the main ON/OFF
feature can be activated by the switch on the                                                                    switch is ON.
3-16 Pre-driving checks and adjustments




                                                                                     ੬ REVIEW COPY—2008 Quest (van)
                                                                                     Owners Manual—USA_English (nna)
                                                                                     06/29/07—debbie ੭
Reverse:                                                  NOTE:
The power lift gate will reverse direction immedi-
                                                          If the pinch strip is damaged or removed,
ately during power open or power close if the             the power close function will not operate.
keyfob, overhead console or rear pillar switch is
pressed. A chime will sound to announce the                                   WARNING
reversal.
                                                          There are some small distances immedi-
Auto Reverse:                                             ately before the closed position which
If an obstacle is detected during power open or           cannot be detected. Make sure that all
power close, a warning chime will sound and the           passengers have their hands, etc., inside
lift gate will reverse direction and return to the full   the vehicle before closing the lift gate.
open or full close position. If a second obstacle is
detected, the lift gate motion will stop and the          Manual Mode:
drive motor will disengage. The lift gate will enter      If power operation is not available, the lift gate
                                                          may be operated manually. Power operation may
manual mode.                                                                                                                                                 LPD0238
                                                          not be available if the main ON/OFF switch is in
A pinch strip is mounted on each side of the lift         the OFF position, if multiple obstacles have been      Safe Mode:
gate. If an obstacle is detected by a pinch strip         detected in a single power cycle, or if battery        If the lift gate gas stays ᭺ lose pressure, the
                                                                                                                                              1
during power close, the lift gate will reverse di-        voltage is low.                                        power lift gate safe mode is activated. When the
rection and return to the full open position.                                                                    safe mode is activated, the lift gate slowly closes.
                                                                                                                 A continuous warning chime sounds until the lift
                                                                                                                 gate is in the fully down position. Then the lift gate
                                                                                                                 will be pulled to the closed and latched position
                                                                                                                 by a motor.
                                                                                                                 The power lift gate cannot be opened using the
                                                                                                                 switches at any time in the safe mode.
                                                                                                                 The auto reverse function remains active while
                                                                                                                 the lift gate is closing in the safe mode.
                                                                                                                 Do not operate the lift gate again until it is
                                                                                                                 checked by your NISSAN dealer.
                                                                                                               Pre-driving checks and adjustments 3-17




                                                                                        ੬ REVIEW COPY—2008 Quest (van)
                                                                                        Owners Manual—USA_English (nna)
                                                                                        06/29/07—debbie ੭
CAUTION                                        CAUTION
● If the power lift gate does not stay open    ● If the power lift gate does not stay open
  or if the lift gate unexpectedly closes at     or if the lift gate unexpectedly closes at
  any time while a continuous warning            any time while a continuous warning
  chime sounds, do not operate the lift          chime sounds, do not operate the lift
  gate. There may be a pressure loss in          gate. There may be a pressure loss in
  one or both of the lift gate gas stays.        one or both of the lift gate gas stays.
  Have the lift gate inspected by a              Have the lift gate inspected by a
  NISSAN dealer.                                 NISSAN dealer.
● Do not activate the power lift gate if one   ● Do not activate the power lift gate if one
  or both of the lift gate gas stays are         or both of the lift gate gas stays are
  removed. Damage to the lift gate or            removed. Damage to the lift gate or
  power lift gate mechanisms may occur.          power lift gate mechanisms may occur.
                                                                                                                                      LPD0230
LIFT GATE RELEASE                                                                                            Manual release
                                                                                              Manual lift gate (if so equipped)
                  WARNING
                                                                                              If the lift gate cannot be locked or unlocked with
● Always be sure the lift gate has been                                                       the door lock switch or the keyfob due to a
  closed securely to prevent it from open-                                                    discharged battery, follow these steps:
  ing while driving.
                                                                                               1. Remove the cover on the inside of the lift
● Do not drive with the lift gate open. This                                                      gate.
  could allow dangerous exhaust gases
  to be drawn into the vehicle. See “Ex-                                                       2. Move the lever down to lock or up to unlock.
  haust gas” in the “Starting and driving”
  section of this manual.




3-18 Pre-driving checks and adjustments




                                                                         ੬ REVIEW COPY—2008 Quest (van)
                                                                         Owners Manual—USA_English (nna)
                                                                         06/29/07—debbie ੭
FUEL-FILLER DOOR




                                        LPD0236                                                WPD0341                                                 LPD0232
                Power release                        OPENER OPERATION                                         FUEL-FILLER CAP
Power lift gate (if so equipped)
                                                     The fuel-filler door release is located on the driv-     The fuel-filler cap is a ratcheting type. Turn the
If the lift gate cannot be opened with the door      er’s door. To open the fuel-filler door, push the        cap counterclockwise to remove. To tighten, turn
lock switch or keyfob due to a discharged battery,   release. To lock, close the fuel-filler door se-         the cap clockwise until ratcheting clicks are
follow these steps:                                  curely.                                                  heard.
 1. Remove the cover on the inside of the lift                                                                Put the fuel-filler cap on the cap holder ᭺ while
                                                                                                                                                        1
    gate.                                                                                                     refueling.
 2. Move the lever up to open the lift gate.




                                                                                                            Pre-driving checks and adjustments 3-19




                                                                                    ੬ REVIEW COPY—2008 Quest (van)
                                                                                    Owners Manual—USA_English (nna)
                                                                                    06/29/07—debbie ੭
WARNING                      ● Do not fill a portable fuel container in                       CAUTION
                                                 the vehicle or trailer. Static electricity
● Gasoline is extremely flammable and            can cause an explosion of flammable          ● If fuel is spilled on the vehicle body,
  highly explosive under certain condi-          liquid, vapor or gas in any vehicle or         flush it away with water to avoid paint
  tions. You could be burned or seriously        trailer. To reduce the risk of serious         damage.
  injured if it is misused or mishandled.        injury or death when filling portable fuel   ● Tighten until the fuel-filler cap clicks.
  Always stop the engine and do not              containers:                                    Failure to tighten the fuel-filler cap
  smoke or allow open flames or sparks
  near the vehicle when refueling.               – Always place the container on the            properly may cause the               Mal-
                                                   ground when filling.                         function Indicator Light (MIL) to illumi-
● Do not attempt to top off the fuel tank
  after the fuel pump nozzle shuts off           – Do not use electronic devices when           nate. If the         light illuminates be-
  automatically. Continued refueling may           filling.                                     cause the fuel-filler cap is loose or
  cause fuel overflow, resulting in fuel         – Keep the pump nozzle in contact              missing, tighten or install the cap and
  spray and possibly a fire.                       with the container while you are fill-       continue     to    drive     the  vehicle.
● Use only an original equipment type              ing it.                                      The          light should turn off after a
  fuel-filler cap as a replacement. It has a     – Use only approved portable fuel con-
  built-in safety valve needed for proper                                                       few driving trips. If the         light
                                                   tainers for flammable liquid.
  operation of the fuel system and emis-                                                        does not turn off after a few driving
  sion control system. An incorrect cap                                                         trips, have the vehicle inspected by a
  can result in a serious malfunction and                                                       NISSAN dealer.
  possible injury. It could also cause the
                                                                                              ● For additional information, see the
  malfunction indicator light to come on.
                                                                                                “Malfunction Indicator Light (MIL)” in
● Never pour fuel into the throttle body to                                                     the “Instruments and Controls” section
  attempt to start your vehicle.                                                                earlier in this manual.




3-20 Pre-driving checks and adjustments




                                                                         ੬ REVIEW COPY—2008 Quest (van)
                                                                         Owners Manual—USA_English (nna)
                                                                         06/29/07—debbie ੭
STEERING WHEEL                                        PEDAL POSITION ADJUSTMENT (if so
                                                      equipped)

                                                                                                                            CAUTION
                                                                                                           Do not adjust the pedal position with your
                                                                                                           foot on the pedal.




                                         WPD0342                                            WPD0357
TILT OPERATION                                        The accelerator and brake pedals can be ad-
                                                      justed for driving comfort.
Pull the lock lever forward and adjust the steering
wheel up or down to the desired position.             Use the pedal adjusting switch to adjust the
                                                      brake and accelerator pedal position forward ᭺
                                                                                                   1
Push the lock lever back to lock the steering
                                                      or backward ᭺. Pedal adjustment can only be
                                                                   2
wheel in place.
                                                      performed when:
                     WARNING                           ● Ignition switch is in the OFF or ACC position
Do not adjust the steering wheel while                 ● Ignition switch is ON and the selector lever
driving. You could lose control of your                  is in the P (Park) position
vehicle and cause an accident.
                                                      The brake and accelerator pedals cannot be ad-
                                                      justed separately.



                                                                                                         Pre-driving checks and adjustments 3-21




                                                                                  ੬ REVIEW COPY—2008 Quest (van)
                                                                                  Owners Manual—USA_English (nna)
                                                                                  06/29/07—debbie ੭
SUN VISORS


                                          ᭺
                                          1   To block glare from the front, swing down the
                                              main sun visor.
                                          ᭺
                                          2   To block glare from the side, remove the
                                              main sun visor from the center mount and
                                              swing the visor to the side.
                                          ᭺
                                          3   Slide the sun visor in or out as needed.




                                                                                                                                    WPD0345
                                                                                              VANITY MIRRORS
                                                                                              To access the vanity mirror, pull the sun visor
                                                                                              down and flip open the mirror cover. The vanity
                                                                                              mirror will illuminate when the mirror cover is
                                                                                              open.




                             WPD0344

3-22 Pre-driving checks and adjustments




                                                                       ੬ REVIEW COPY—2008 Quest (van)
                                                                       Owners Manual—USA_English (nna)
                                                                       06/29/07—debbie ੭
MIRRORS


                                                                                                          For information on HomeLinkா Universal Trans-
                                                                                                          ceiver operation, see the “HomeLinkா Universal
                                                                                                          Transceiver” in the “Instrument and controls” sec-
                                                                                                          tion of this manual.




                                      WPD0126                                              WPD0329
REARVIEW MIRROR (if so equipped)                  AUTOMATIC ANTI-GLARE
The night position ᭺ reduces glare from the
                     1                            REARVIEW MIRROR (if so equipped)
headlights of vehicles behind you at night.       The inside mirror is designed so that it automati-
Use the day position ᭺ when driving in daylight
                     2                            cally changes reflection according to the intensity
hours.                                            of the headlights of the vehicle following you.
                                                  The indicator light ᭺ will illuminate when the
                                                                       1
                   WARNING
                                                  automatic anti-glare feature is on.
Use the night position only when neces-
sary, because it reduces rear view clarity.       To turn off the automatic anti-glare feature, press
                                                  the O button.
                                                  To turn on the automatic anti-glare feature, press
                                                  the | button.


                                                                                                        Pre-driving checks and adjustments 3-23




                                                                                ੬ REVIEW COPY—2008 Quest (van)
                                                                                Owners Manual—USA_English (nna)
                                                                                06/29/07—debbie ੭
Rotate the control lever to select the right or left   Heated mirrors (if so equipped)
                                                  mirror. Adjust the mirror to the desired position by
                                                  moving the control lever.                              Some outside mirrors can be heated to defrost,
                                                                                                         defog, or de-ice for improved visibility. For addi-
                                                  Automatic anti-glare outside mirrors (if               tional information, see “Rear window and outside
                                                  so equipped)                                           mirror (if so equipped) defroster switch” in the
                                                                                                         “Instrument and controls” section of this manual.
                                                  The outside mirrors will automatically dim during
                                                  nighttime conditions to reduce the glare from the
                                                  headlights of trailing vehicles. The automatic anti-
                                                  glare feature operates only when the ignition
                                                  switch is in the ON position.
                                                  The automatic anti-glare feature will be on when
                                                  starting the vehicle. The indicator light on the
                                      LPD0346
                                                  automatic anti-glare rearview mirror will illuminate
OUTSIDE MIRRORS                                   when the automatic anti-glare feature is on.
                                                  To turn off the automatic anti-glare feature, press
                   WARNING
                                                  the O button on the rearview mirror.
Objects viewed in the outside mirror on
the passenger side are closer than they           The indicator light will turn off.
appear. Be careful when moving to the             To turn on the automatic anti-glare feature again,
right. Using only this mirror could cause         press the | button on the rearview mirror
an accident. Use the inside mirror or
glance over your shoulder to properly             The indicator light will turn on.
judge distances to other objects.                 For information on the automatic anti-glare rear-
The outside mirror remote control only operates   view mirror, see “Automatic anti-glare rearview
when the ignition switch is in the ACC or ON      mirror” earlier in this section.
position.


3-24 Pre-driving checks and adjustments




                                                                                  ੬ REVIEW COPY—2008 Quest (van)
                                                                                  Owners Manual—USA_English (nna)
                                                                                  06/29/07—debbie ੭
AUTOMATIC DRIVE POSITIONER (if
                                                                                                                  so equipped)

                                                        Move the shift selector lever to R (Reverse). The         The automatic drive positioner system has two
                                                        selected mirror will turn downward.                       features:
                                                        The selected mirror surface will return to its origi-      ● Memory storage function
                                                        nal position when any of the following have oc-
                                                                                                                   ● Entry/exit function
                                                        curred:
                                                         ● The shift selector lever is moved to any po-
                                                           sition other than R (Reverse).
                                                         ● The outside mirror control switch is set to the
                                                           N (Neutral) position.
                                                         ● The ignition switch is turned OFF.

                                                        NOTE:
                                           MPA0008
                                                        If the outside mirror control switch is in the
Foldable outside mirrors                                neutral position, neither mirror will turn
                                                        downward when the shift selector lever is
Push the mirrors backward to fold them.                 moved to R (Reverse).
Reverse tilt-down feature (if so                        For more information regarding this feature, refer
equipped)                                               to “Automatic drive positioner” later in this sec-
                                                        tion.
The reverse tilt-down feature will turn the se-
lected outside mirror surface downward to pro-
vide better rear visibility close to the vehicle.
When the ignition switch is in the ON position,
turn the outside mirror control switch to the left or
right position. Only one mirror can be selected at
a time.


                                                                                                                Pre-driving checks and adjustments 3-25




                                                                                       ੬ REVIEW COPY—2008 Quest (van)
                                                                                       Owners Manual—USA_English (nna)
                                                                                       06/29/07—debbie ੭
3. Adjust the driver’s seat, accelerator and        1. Follow the steps for storing a memory posi-
                                                       brake pedals, and outside mirrors to the            tion.
                                                       desired positions by manually operating
                                                                                                        2. While the indicator light for the memory
                                                       each adjusting switch. For additional infor-
                                                                                                           switch being set is illuminated for 5 sec-
                                                       mation, see “Seats” in the “Safety—Seats,           onds, press the          button on the keyfob.
                                                       seat belts and supplemental restraint sys-          The indicator light will blink. After the indica-
                                                       tem” section and “Pedal position adjust-            tor light goes off, the keyfob is linked to that
                                                       ment” and “Outside mirrors” earlier in this         memory setting.
                                                       section.
                                                                                                       With the key removed from the ignition switch,
                                                       During this step, do not turn the ignition to   press the         button on the keyfob. The driv-
                                                       any position other than ON.                     er’s seat, accelerator and brake pedals, and out-
                                                                                                       side mirrors will move to the memorized position.
                                                    4. Push the SET switch and, within 5 seconds,
                                                       push the memory switch (1 or 2) fully for at    NOTE:
                                      WPD0347
                                                       least 1 second.
MEMORY STORAGE FUNCTION                                                                                If a new memory position is saved to the
                                                       The indicator light for the pushed memory       memory switch, the keyfob automatically
Two positions for the driver’s seat, accelerator       switch will come on and stay on for approxi-    re-links.
and brake pedals, and outside mirrors can be           mately 5 seconds after pushing the switch.
stored in the automatic drive positioner memory.       After the indicator light goes off, the se-     Confirming memory storage
Follow these procedures to use the memory sys-         lected positions are stored in the selected
                                                                                                        ● Turn the ignition ON and push the SET
tem.                                                   memory (1 or 2).
                                                                                                          switch. If the main memory has not been
 1. Set the automatic transmission selector le-    If a new memory is stored in the same memory           stored, the indicator light will come on for
    ver to the P (Park) position.                  switch, the previous memory will be deleted.           approximately 0.5 seconds. When the
                                                                                                          memory has stored the position, the indica-
 2. Turn the ignition ON.                          Linking a keyfob to a stored memory                    tor light will stay on for approximately 5 sec-
                                                   position                                               onds.
                                                   Each keyfob can be linked to a stored memory         ● If the battery cable is disconnected, or if the
                                                   position (memory switch 1 or 2) with the follow-       fuse opens, the memory storage function will
                                                   ing procedure.                                         be canceled and must be restarted before a
3-26 Pre-driving checks and adjustments




                                                                                ੬ REVIEW COPY—2008 Quest (van)
                                                                                Owners Manual—USA_English (nna)
                                                                                06/29/07—debbie ੭
stored memory position can be set again.          ENTRY/EXIT FUNCTION                                      Restarting the entry/exit function
     Drive the vehicle over 25 MPH (40 km/h) to
     restart the memory storage function. You          This system is designed so that the driver’s seat        If the battery cable is disconnected or if the fuse
     can also restart the memory storage function      will automatically move when the shift selector          opens, the entry/exit function will be disabled.
     using the following procedure.                    lever is in the P (Park) position. This allows the       Drive the vehicle over 25 MPH (40 km/h) to
                                                       driver to get into and out of the driver’s seat more     restart the entry/exit function. You can also restart
 1. Connect the battery cable or replace the
                                                       easily.                                                  the entry/exit function using the following proce-
    fuse.
                                                                                                                dure.
                                                       The driver’s seat will slide backward:
 2. Open and close the driver’s door more than
    two times with the ignition key in the LOCK                                                                  1. Connect the battery cable or replace the
                                                        ● When the key is removed from the ignition
    position.                                                                                                       fuse.
                                                          switch and the driver’s door is opened.
     Once the memory storage function has been                                                                   2. Open and close the driver’s door more than
                                                        ● When the driver’s door is opened with the
     restarted, you can store a memory position.                                                                    two times with the ignition key in the LOCK
                                                          key turned to LOCK.
     See “Memory storage function” earlier in this                                                                  position.
     section.                                           ● When the key is turned from ACC to LOCK
                                                                                                                The entry/exit function should now work properly.
                                                          with the driver’s door open.
Selecting the memorized position                                                                                SYSTEM OPERATION
                                                       The driver’s seat will return to previous position:
Set the shift selector lever to the P (Park) posi-
                                                        ● When the key is inserted into the ignition            The automatic drive positioner system will not
tion, then:
                                                          switch and the driver’s door is closed.               work or will stop operating under the following
 ● Within 45 seconds of opening the driver’s                                                                    conditions:
   door, push the memory switch (1 or 2) fully          ● When the driver’s door is closed with the key
   for at least 1 second, or                              turned to LOCK.                                        ● When the vehicle speed is above 4 MPH (7
                                                                                                                   km/h).
 ● Turn the ignition switch to the ON position          ● When the key is turned from ACC to ON
   and push the memory switch (1 or 2) fully for          while the shift selector lever is in the P (Park)      ● When any of the memory switches are
   at least 1 second.                                     position.                                                pushed while the automatic drive positioner
                                                                                                                   is operating.
The driver’s seat, accelerator and brake pedals,       The entry/exit function can be adjusted or can-
and outside mirrors will move to the memorized         celed. See “Vehicle electronic systems” in the            ● When the adjusting switch for the driver’s
position with the indicator light blinking, and then   “Display screen, heater, air conditioner, audio             seat is turned on while the automatic drive
the light will stay on for approximately 5 seconds.    and phone systems” section of this manual.                  positioner is operating.
                                                                                                              Pre-driving checks and adjustments 3-27




                                                                                      ੬ REVIEW COPY—2008 Quest (van)
                                                                                      Owners Manual—USA_English (nna)
                                                                                      06/29/07—debbie ੭
● When the memory switch (1 or 2) is not
   pushed and held for at least 1 second.
 ● When the seat has been already moved to
   the memorized position.
 ● When no seat position is stored in the
   memory switch.
 ● When the shift selector lever is moved from
   P (Park) to any other position.
 ● When the driver’s door remains open more
   than 45 seconds and the ignition switch is
   not in the ON position.
The automatic drive positioner system can be
adjusted and canceled. See “Vehicle electronic
systems” in the “Display screen, heater, air con-
ditioner, audio and phone systems” section of
this manual.




3-28 Pre-driving checks and adjustments




                                                    ੬ REVIEW COPY—2008 Quest (van)
                                                    Owners Manual—USA_English (nna)
                                                    06/29/07—debbie ੭
MEMO




       Pre-driving checks and adjustments 3-29
4 Display screen, heater, air conditioner,
audio and phone systems

Control panel buttons — with monochrome screen . . . . 4-2                                       Operating tips. . . . . . . . . . . . . . . . . . . . . . . . . . . . . . . . . 4-29
  How to use the TRIP button . . . . . . . . . . . . . . . . . . . . . 4-3                  Ventilators . . . . . . . . . . . . . . . . . . . . . . . . . . . . . . . . . . . . . . . 4-30
  How to use the SETTING button . . . . . . . . . . . . . . . . . 4-5                       Heater and air conditioner (manual). . . . . . . . . . . . . . . . . 4-31
          button. . . . . . . . . . . . . . . . . . . . . . . . . . . . . . . . . . . 4-6        Controls . . . . . . . . . . . . . . . . . . . . . . . . . . . . . . . . . . . . . . 4-31
  Door warning . . . . . . . . . . . . . . . . . . . . . . . . . . . . . . . . . . 4-6           Heater operation . . . . . . . . . . . . . . . . . . . . . . . . . . . . . . 4-32
Control panel buttons — color screen without                                                     Air conditioner operation . . . . . . . . . . . . . . . . . . . . . . . 4-33
Navigation System (if so equipped) . . . . . . . . . . . . . . . . . . 4-7                       Air flow charts. . . . . . . . . . . . . . . . . . . . . . . . . . . . . . . . . 4-34
  How to use the joystick and ENTER button . . . . . . . . 4-7                              Heater and air conditioner (automatic)
  How to use the BACK button . . . . . . . . . . . . . . . . . . . . 4-7                    (if so equipped) . . . . . . . . . . . . . . . . . . . . . . . . . . . . . . . . . . 4-40
  How to use the TRIP button . . . . . . . . . . . . . . . . . . . . . 4-8                       Automatic operation . . . . . . . . . . . . . . . . . . . . . . . . . . . 4-40
  How to use the SETTING button . . . . . . . . . . . . . . . . 4-11                             Manual operation . . . . . . . . . . . . . . . . . . . . . . . . . . . . . . 4-41
          button. . . . . . . . . . . . . . . . . . . . . . . . . . . . . . . . . . 4-16         Operating tips. . . . . . . . . . . . . . . . . . . . . . . . . . . . . . . . . 4-41
Control panel buttons — color screen with                                                   Rear seat air conditioner . . . . . . . . . . . . . . . . . . . . . . . . . . 4-42
Navigation System (if so equipped) . . . . . . . . . . . . . . . . . 4-17                        Controls . . . . . . . . . . . . . . . . . . . . . . . . . . . . . . . . . . . . . . 4-43
  How to use the joystick and ENTER button . . . . . . . 4-17                               Servicing air conditioner. . . . . . . . . . . . . . . . . . . . . . . . . . . 4-43
  How to use the BACK button . . . . . . . . . . . . . . . . . . . 4-18                     Audio system . . . . . . . . . . . . . . . . . . . . . . . . . . . . . . . . . . . . 4-43
  Setting up the start-up screen . . . . . . . . . . . . . . . . . . 4-18                        Radio . . . . . . . . . . . . . . . . . . . . . . . . . . . . . . . . . . . . . . . . 4-43
  How to use the TRIP button . . . . . . . . . . . . . . . . . . . . 4-18                        FM radio reception . . . . . . . . . . . . . . . . . . . . . . . . . . . . 4-44
  How to use the SETTING button . . . . . . . . . . . . . . . . 4-22                             AM radio reception . . . . . . . . . . . . . . . . . . . . . . . . . . . . 4-44
          button. . . . . . . . . . . . . . . . . . . . . . . . . . . . . . . . . . 4-28         Satellite radio reception (if so equipped) . . . . . . . . . 4-44
Rearview monitor (if so equipped) . . . . . . . . . . . . . . . . . . 4-28                       Audio operation precautions . . . . . . . . . . . . . . . . . . . . 4-45
  How to read the displayed lines . . . . . . . . . . . . . . . . . 4-28                         FM/AM/SAT radio with compact disc (CD)
  Adjusting the screen . . . . . . . . . . . . . . . . . . . . . . . . . . . 4-29                player . . . . . . . . . . . . . . . . . . . . . . . . . . . . . . . . . . . . . . . . 4-50




                                                                                             ੬ REVIEW COPY—2008 Quest (van)
                                                                                             Owners Manual—USA_English (nna)
                                                                                             06/29/07—debbie ੭
FM/AM/SAT radio with compact disc (CD)                                                          Care and maintenance . . . . . . . . . . . . . . . . . . . . . . . . . 4-71
  changer (Type A and B) (if so equipped) . . . . . . . . . 4-56                                  How to handle the DVD . . . . . . . . . . . . . . . . . . . . . . . . 4-72
  CD care and cleaning . . . . . . . . . . . . . . . . . . . . . . . . . . 4-61              Car phone or CB radio . . . . . . . . . . . . . . . . . . . . . . . . . . . . 4-75
  Steering wheel switch for audio control . . . . . . . . . . 4-62                           Bluetoothா Hands-Free Phone System
  Rear audio controls (if so equipped) . . . . . . . . . . . . . 4-64                        (if so equipped) . . . . . . . . . . . . . . . . . . . . . . . . . . . . . . . . . . 4-75
  Antenna . . . . . . . . . . . . . . . . . . . . . . . . . . . . . . . . . . . . . . 4-65        Using the system . . . . . . . . . . . . . . . . . . . . . . . . . . . . . . 4-77
DVD entertainment system (if so equipped). . . . . . . . . . 4-65                                 Control buttons . . . . . . . . . . . . . . . . . . . . . . . . . . . . . . . 4-79
  Digital video disc (DVD) player controls . . . . . . . . . . 4-66                               Getting started . . . . . . . . . . . . . . . . . . . . . . . . . . . . . . . . 4-79
  Remote control. . . . . . . . . . . . . . . . . . . . . . . . . . . . . . . . 4-67              List of voice commands . . . . . . . . . . . . . . . . . . . . . . . . 4-81
  Flip-down screen . . . . . . . . . . . . . . . . . . . . . . . . . . . . . . 4-67               Speaker adaptation (SA) mode. . . . . . . . . . . . . . . . . . 4-86
  Playing a digital video disc (DVD) . . . . . . . . . . . . . . . 4-68                           Troubleshooting guide . . . . . . . . . . . . . . . . . . . . . . . . . 4-89




                                                                                              ੬ REVIEW COPY—2008 Quest (van)
                                                                                              Owners Manual—USA_English (nna)
                                                                                              06/29/07—debbie ੭
CONTROL PANEL BUTTONS — WITH
                                                MONOCHROME SCREEN

                  WARNING
● Do not disassemble or modify this sys-
  tem. If you do, it may result in accidents,
  fire, or electrical shock.
● Do not use this system if you notice any
  abnormality, such as a frozen screen or
  lack of sound. Continued use of the
  system may result in accident, fire or
  electric shock.
● In case you notice any foreign object in
  the system hardware, spill liquid on it,
  or notice smoke or smell coming from
  it, stop using the system immediately
  and contact your nearest NISSAN
  dealer. Ignoring such conditions may
  lead to accidents, fire or electrical
  shock.




                                                                                                                                    LHA0616
                                                1.   TRIP button (P. 4-3)                        If you use the system with the engine not
                                                2.          brightness control button            running (ignition ON or ACC) for a long
                                                     (P. 4-6)                                    time, it will use up all the battery power,
                                                                                                 and the engine will not start.
                                                3.   SETTING button (P. 4-5)
                                                When you use this system, make sure the engine
                                                is running.
4-2 Display screen, heater, air conditioner, audio and phone systems




                                                                           ੬ REVIEW COPY—2008 Quest (van)
                                                                           Owners Manual—USA_English (nna)
                                                                           06/29/07—cathy ੭
Reference symbols:                                                                                       ● When driving uphill or rounding curves, the
                                                                                                           fuel in the tank shifts, which may momentarily
TRIP button — This is a button on the control
                                                                                                           change the display.
panel. By pressing this button you can select the
item or perform this action.
HOW TO USE THE TRIP BUTTON
When the TRIP button is pressed, the following
modes will display on the screen.
Dist. to Empty → Average Speed → Fuel
Economy → Tire Pressure → Audio or OFF →
Dist. to Empty


                                                                                             LHA0617

                                                    Distance to empty (MI or km)
                                                    The Distance To Empty (DTE) mode provides you
                                                    with an estimation of the distance that can be
                                                    driven before refueling. The DTE is constantly
                                                    calculated based on the amount of fuel in the fuel
                                                    tank and the actual fuel consumption. The display
                                                    is updated every 30 seconds. When the fuel level
                                                    is low, the DTE display will change to — .

                                                    NOTE:
                                                     ● If the amount of fuel added while the ignition
                                                       switch is OFF is small, the display just before
                                                       the ignition switch is turned OFF may con-
                                                       tinue to be displayed.
                                                                    Display screen, heater, air conditioner, audio and phone systems 4-3




                                                                                  ੬ REVIEW COPY—2008 Quest (van)
                                                                                  Owners Manual—USA_English (nna)
                                                                                  06/29/07—debbie ੭
LHA0618                                           LHA0619                                               LHA0620
Average speed (MPH or km/h)                          Fuel economy (MPG or L/100 km)                    Tire pressure information
The Average Speed mode shows the average             The Fuel Economy mode shows the average fuel      Pressure indication in **psi on the screen indi-
speed since the last reset. To calculate the aver-   economy since the last reset.                     cates that the pressure is being measured. After
age speed, driving distance is divided by driving                                                      a few driving trips, the pressure for each tire will
                                                     For approximately the first 30 seconds and 1/3
time.                                                                                                  be displayed randomly.
                                                     mile (500 m) after a reset or connecting the
For approximately the first 30 seconds after a       battery cables, the display will show —.          The order of the tire pressure figures displayed
reset or reconnecting the battery cables, the                                                          on the screen does not correspond with the
                                                     Resetting fuel economy
display will show —.                                                                                   actual order of the tire position.
                                                     The fuel economy calculation can be reset to 0.
Resetting average speed
                                                     Press the TRIP button for more than approxi-      Tire pressure rises and falls depending on the
The average speed calculation can be reset to 0.     mately 2 seconds.                                 heat caused by the vehicle’s operation and the
Press the TRIP button for more than approxi-                                                           outside temperature.
mately 2 seconds.


4-4 Display screen, heater, air conditioner, audio and phone systems




                                                                                 ੬ REVIEW COPY—2008 Quest (van)
                                                                                 Owners Manual—USA_English (nna)
                                                                                 06/29/07—debbie ੭
In case of low tire pressure, a message “LOW   Clock Adjust MINUTES → Units → Lang → MP3              Clock operation
PRESSURE” or “CHECK ALL TIRES” is dis-         Disp Type (if so equipped) → Audio or OFF →
played on the screen:                          Backlight                                              The digital clock displays time when the ignition
                                                                                                      key is in ACC or ON.
LOW PRESSURE — CHECK ALL TIRES.                Backlight
                                                                                                      If the power supply is disconnected, the
                                               To turn off the screen, select “OFF” of the Back-      clock will not indicate the correct time.
                  WARNING
                                               light mode by pressing the TUNE button.                Readjust the time.
● When a spare tire is mounted or a wheel
                                               The message “Press SETTINGS to resume” will            Clock adjust hours
  is replaced, tire pressure will not be
                                               display for approximately 5 seconds then the
  indicated, the Tire Pressure Monitoring                                                             Press the SETTING button until Clock Adjust
                                               screen will turn off.
  System (TPMS) will not function and
                                                                                                      HOURS is shown in the display. Press the TUNE
  the low tire pressure warning light will     To turn on the screen, press the SETTING button
                                                                                                      button up or down to adjust the hour.
  flash for approximately 1 minute. The        and select “ON” by pressing the TUNE button.
  light will remain on after 1 minute. Con-                                                           Clock adjust minutes
  tact your NISSAN dealer as soon as           When any button besides SETTING is pressed
  possible for tire replacement and/or         with the screen off, the screen turns on for further   Press the SETTING button again Clock Adjust
  system resetting.                            operation. The screen will turn off automatically      Minutes is shown in the display. Press the TUNE
                                               after the operation is finished.                       button up or down to adjust the minutes.
● Replacing tires with those not originally
  specified by NISSAN could affect the         Day mode brightness                                    To exit the clock adjustment, press the SETTING
  proper operation of the TPMS.                The brightness of the screen during the day can        button repeatedly. The screen will return to the
                                               be changed by pressing the TUNE button.                audio display if the audio is on. If the audio is not
HOW TO USE THE SETTING                                                                                on, the screen will return to a blank display.
BUTTON                                         For additional information, see “           button”
                                               later in this section.                                 Units
Pressing the SETTING button will change the
settings menu as follows:                      Night mode brightness                                  To change the units press the TUNE button to
                                                                                                      select “ENGLISH” or “METRIC”.
Backlight → Day Mode Brightness → Night        The brightness of the screen during the night can
Mode Brightness → Clock Adjust HOURS →         be changed by pressing the TUNE button.                Unit: US — MI, °F, MPG
                                                                                                            Metric — km, °C, L/100 km
                                               For additional information, see “           button”
                                               later in this section.
                                                                Display screen, heater, air conditioner, audio and phone systems 4-5




                                                                              ੬ REVIEW COPY—2008 Quest (van)
                                                                              Owners Manual—USA_English (nna)
                                                                              06/29/07—debbie ੭
Language                                             Pressing the button with the headlights on will
                                                     prompt the “BRIGHTNESS DAY (MANUAL)” or
The language can be changed to “ENGLISH” or          “BRIGHTNESS AUTOMATIC”. If “BRIGHT-
“FRANÇAIS” by pressing the TUNE button.              NESS DAY (MANUAL)” is selected the bright-
MP3 display type (if so equipped)                    ness of the screen will not be affected by the
                                                     headlight operation. The brightness of the screen
To change how MP3 discs are displayed, press         will be dependent on the settings in the Day
the TUNE button to select “DISC NUMBER” or           Mode Brightness, described earlier in this sec-
“FOLDER NUMBER”.                                     tion.
Disc number mode will display the file number in
the disc.
Folder number mode will display the file number
in the current folder.
                                                                                                                                                 LHA0643
For additional information, see “Audio System”
later in this section.                                                                                   DOOR WARNING
       BUTTON                                                                                            The DOOR OPEN screen will be automatically
                                                                                                         displayed as shown when both of the following
To change the display brightness, press                                                                  conditions are met:
the          button. Pressing the button with the
headlights off will prompt the “BRIGHTNESS                                                                ● The vehicle is driven with a door(s) open for
NIGHT (MANUAL)” or “BRIGHTNESS AUTO-                                                                        longer than 2.5 seconds.
MATIC”. If “BRIGHTNESS NIGHT (MANUAL)” is                                                                 ● The vehicle speed is greater than 3 MPH (5
selected, the brightness of the screen will not be                                                          km/h).
affected by the headlight operation. The bright-
ness of the screen will be dependent on the                                                              Beeping will occur during the door warning; to
settings in the Night Mode Brightness, described                                                         disable the beeping press any button. If a change
earlier in this section.                                                                                 in any door condition occurs during the time the
                                                                                                         beep is cancelled, a warning will return.


4-6 Display screen, heater, air conditioner, audio and phone systems




                                                                                  ੬ REVIEW COPY—2008 Quest (van)
                                                                                  Owners Manual—USA_English (nna)
                                                                                  06/29/07—debbie ੭
CONTROL PANEL BUTTONS — COLOR
SCREEN WITHOUT NAVIGATION
SYSTEM (if so equipped)
                                                                                           Reference symbols:
                                                                                           ENTER button — This is a button on the control
                                                                                           panel. By pressing this button you can select the
                                                                                           item or perform this action.
                                                                                           “Display” key — This is a select key on the screen.
                                                                                           By selecting this key you can proceed to the next
                                                                                           function.
                                                                                           HOW TO USE THE JOYSTICK AND
                                                                                           ENTER BUTTON
                                                                                           Use the joystick to choose an item on the display
                                                                                           screen. Move the joystick up, down, left or right to
                                                                                           highlight an item. Then press the ENTER button
                                                                                           to select the item or perform the action.
                                                                                           HOW TO USE THE BACK BUTTON
                                                                                           This button has two functions.
                                                                                            ● Go back to the previous display (cancel).
                                                                                           If you press the BACK button during setup, the
                                                                                           setup will be canceled and/or the display will
                                                                               LHA0621     return to the previous screen.
                           Display screen without navigation                                ● Finish setup.
1.   TRIP button (P. 4-8)                    5.   SETTING button (P. 4-11)
                                                                                           In some screens pressing the BACK button ac-
2.   BACK (previous) button (P. 4-7)         If you use the system with the engine not     cepts the changes made during setup.
3.   Joystick and ENTER button (P. 4-7)      running (ignition ON or ACC) for a long
4.          brightness control button        time, it will use up all the battery power,
     (P. 4-16)                               and the engine will not start.

                                                           Display screen, heater, air conditioner, audio and phone systems 4-7




                                                                      ੬ REVIEW COPY—2008 Quest (van)
                                                                      Owners Manual—USA_English (nna)
                                                                      06/29/07—cathy ੭
● Average Speed - Average speed driven
                                                      (MPH or km/h) since the last reset.
                                                   Resetting trip 1 and trip 2
                                                   Each trip screen can be reset to 0. Press the TRIP
                                                   button to select the TRIP screen to be reset.
                                                    ● Select the “Reset” key on screen by press-
                                                      ing the ENTER button, or
                                                    ● Press the TRIP button for more than approxi-
                                                      mately 1.5 seconds.



                                       LHA0552                                                                                               LHA0553

HOW TO USE THE TRIP BUTTON                                                                              Fuel economy
When the TRIP button is pressed, the following                                                          Press the TRIP button to display Average Fuel
modes will display on the screen.                                                                       Economy and Distance To Empty.
Warning message (if any) → TRIP 1 → TRIP 2 →                                                            Average fuel economy (MPG or L/100 km)
FUEL ECONOMY → MAINTENANCE → Audio
or OFF → TRIP 1                                                                                         The Average Fuel Economy is calculated based
                                                                                                        on fuel consumption since the last reset. The
Each trip display tracks an independent trip and                                                        display is updated every 30 seconds and 1/3
displays the following:                                                                                 mile (500 m). After a reset or connecting the
 ● Elapsed Time - Journey time since the last                                                           battery cables, the display will show (**.*).
   reset up to a maximum of 99 hours and 59
   minutes.
 ● Driving Distance - Distance driven (mile or
   km) since the last reset.
4-8 Display screen, heater, air conditioner, audio and phone systems




                                                                                 ੬ REVIEW COPY—2008 Quest (van)
                                                                                 Owners Manual—USA_English (nna)
                                                                                 06/29/07—debbie ੭
Resetting fuel economy
The average fuel economy calculation can be
reset to 0. Press the TRIP button repeatedly until
the FUEL ECONOMY menu is shown, then ei-
ther:
 ● Select the “Reset” key on screen by press-
   ing the ENTER button, or
 ● Press the TRIP button for more than approxi-
   mately 1.5 seconds.
Distance to empty (MI or km)
The Distance To Empty (DTE) mode provides you
with an estimation of the distance that can be
                                                                                                LHA0554                                                  LHA0555
driven before refueling. The DTE is constantly
calculated based on the amount of fuel in the fuel   Maintenance items                                       Changing the maintenance interval
tank and the actual fuel consumption. The display                                                            Select the “Engine Oil” or “Tire Rotation” key
is updated every 30 seconds. When the fuel level     Press the TRIP button to display maintenance
                                                     information or set maintenance intervals for the        using the joystick and press the ENTER button to
is low, the DTE display will change to (*).                                                                  display the screen to change the maintenance
                                                     following:
                                                                                                             interval.
NOTE:                                                 ● Engine Oil
                                                                                                             Select the “Maintenance Schedule” key using the
 ● If the amount of fuel added while the ignition     ● Tire Rotation                                        joystick and move the joystick to right or left to set
   switch is OFF is small, the display just before                                                           the maintenance interval.
   the ignition switch is turned OFF may con-         ● Tire Pressure (if so equipped)
   tinue to be displayed.                            For setting the Tire Pressure display, refer to “Tire
 ● When driving uphill or rounding curves, the       pressure information” later in this section.
   fuel in the tank shifts, which may momentarily
   change the display.


                                                                      Display screen, heater, air conditioner, audio and phone systems 4-9




                                                                                    ੬ REVIEW COPY—2008 Quest (van)
                                                                                    Owners Manual—USA_English (nna)
                                                                                    06/29/07—debbie ੭
● The ignition key is turned ON the next time
                                                                                                          the vehicle will be driven.
                                                                                                       To return to the previous display after the MAIN-
                                                                                                       TENANCE NOTICE screen is displayed, press
                                                                                                       the BACK button.
                                                                                                       The MAINTENANCE NOTICE screen displays
                                                                                                       each time the key is turned ON until one of the
                                                                                                       following conditions are met:
                                                                                                        ● “Reset” key is selected.
                                                                                                        ● “Display Maintenance Notification” is set
                                                                                                          OFF.
                                                                                                        ● The maintenance interval is set again.
                                       LHA0556                                             LHA0483
Resetting the maintenance interval                 Displaying the maintenance notice re-
The ENGINE OIL and TIRE ROTATION mainte-           minder
nance intervals can be reset to 0 miles (kilome-   Select the “Display Maintenance Notification”
ters).                                             key and press the ENTER button to display the
Select the “Reset” key using the joystick and      MAINTENANCE INFORMATION automatically
press the ENTER button.                            at the set maintenance interval.
                                                   The MAINTENANCE NOTICE screen (ENGINE
                                                   OIL and TIRE ROTATION) will be automatically
                                                   displayed as shown when both of the following
                                                   conditions are met:
                                                    ● The vehicle is driven the set distance and the
                                                      ignition key is turned OFF.


4-10 Display screen, heater, air conditioner, audio and phone systems




                                                                                ੬ REVIEW COPY—2008 Quest (van)
                                                                                Owners Manual—USA_English (nna)
                                                                                06/29/07—debbie ੭
Tire pressure rises and falls depending on the
                                                       heat caused by the vehicle’s operation and the
                                                       outside temperature.
                                                       In case of low tire pressure, a message is dis-
                                                       played on the screen:
                                                       LOW PRESSURE — Check All Tires.

                                                                          WARNING
                                                       ● When a spare tire is mounted or a wheel
                                                         is replaced, tire pressure will not be
                                                         indicated, the Tire Pressure Monitoring
                                                         System (TPMS) will not function and
                                                         the low tire pressure warning light will
                                          LHA0557                                                                                               LHA0599
                                                         flash for approximately 1 minute. The
Tire pressure information                                light will remain on after 1 minute. Con-       HOW TO USE THE SETTING
                                                         tact your NISSAN dealer as soon as              BUTTON
To display tire pressure information, press the          possible for tire replacement and/or
TRIP button repeatedly until the MAINTENANCE             system resetting.                               When the SETTING button is pressed, the SET-
screen is displayed. Select the “Tire Pressure”                                                          TINGS screen will appear on the display. You can
key using the joystick and press the ENTER but-        ● Replacing tires with those not originally       select and/or adjust several functions, features
ton.                                                     specified by NISSAN could affect the            and modes that are available for your vehicle.
                                                         proper operation of the TPMS.                   Move the joystick and press the ENTER button to
Pressure indication in ** psi on the screen indi-                                                        select each item to be set.
cates that the pressure is being measured. After
a few driving trips, the pressure for each tire will
be displayed randomly.
The order of tire pressure figures displayed on
the screen does not correspond with the actual
order of the tire position.

                                                                     Display screen, heater, air conditioner, audio and phone systems 4-11




                                                                                   ੬ REVIEW COPY—2008 Quest (van)
                                                                                   Owners Manual—USA_English (nna)
                                                                                   06/29/07—debbie ੭
LHA0622                                             LHA0625                                               LHA0642
Display settings                               Brightness/contrast/screen background:                Display off:
Select the “Display” key and press the ENTER   Select the “Brightness/Contrast/Screen Back-          Select the “Display Off” key. The indicator of the
button. The DISPLAY SETTINGS screen will ap-   ground” key to adjust the brightness and contrast     “Display Off” turns amber and the message
pear.                                          of the screen. Use the joystick to select and         above will be displayed briefly. When the audio,
                                               adjust the brightness to darker or brighter and the   HVAC (Heater and air conditioner), or any mode
                                               contrast to lower or higher.                          button on the control panel is operated, the dis-
                                                                                                     play turns on for that operation. If one of the
                                               Use the joystick to select the “Screen Back-
                                                                                                     control panel buttons is pressed, the display will
                                               ground” key. Press the ENTER button or move
                                                                                                     not automatically turn off until that operation is
                                               the joystick right or left to choose a “Dark” or
                                                                                                     finished. Otherwise, the screen turns off auto-
                                               “Bright” screen background.
                                                                                                     matically after 5 seconds.
                                               The new settings are automatically saved when
                                               you exit the setting screen by pressing the BACK
                                               button or any other mode button.


4-12 Display screen, heater, air conditioner, audio and phone systems




                                                                             ੬ REVIEW COPY—2008 Quest (van)
                                                                             Owners Manual—USA_English (nna)
                                                                             06/29/07—debbie ੭
To turn the screen on,
 ● Press the SETTING button and select the
   “Display” key and then select the “Display
   Off” key. Then set the screen to on by press-
   ing the ENTER button, or
 ● Hold the         button for approximately 2
   seconds and the message “resuming dis-
   play” will appear and the “Display Off” key
   will be automatically turned on (no amber
   indicator).



                                                                                           LHA0622                                            LHA0651
                                                   Lower display setting:                              Any time audio information is shown on the main
                                                                                                       part of the screen, HVAC information will be
                                                   You can choose to display the audio or HVAC
                                                                                                       displayed on the lower part of the screen. HVAC
                                                   (Heater and air conditioner) functions on the
                                                                                                       information will be shown even if “Audio” is se-
                                                   lower part of the display. Select the “Lower Dis-
                                                                                                       lected to be displayed on the lower part of the
                                                   play Setting” key by using the joystick. Then se-
                                                                                                       screen.
                                                   lect the “Audio” or “HVAC” key using the joystick
                                                   or by pressing the ENTER button.
                                                   The new settings are automatically saved when
                                                   you exit the setting screen by pressing the BACK
                                                   button or any other mode button.




                                                                 Display screen, heater, air conditioner, audio and phone systems 4-13




                                                                                ੬ REVIEW COPY—2008 Quest (van)
                                                                                Owners Manual—USA_English (nna)
                                                                                06/29/07—debbie ੭
LHA0559                                               LHA0564                                                LHA0565

Vehicle electronic systems                            Adjust driver seat when exiting vehicle: Se-            NOTE:
                                                      lect so the driver’s seat automatically moves back
Select the “Vehicle Electronic Systems” key by                                                                If you change the horn beep or the lamp
                                                      and returns to the original position for ease of exit
using the joystick and pressing the ENTER but-                                                                flash feature with the keyfob, the display
                                                      and entry.
ton. The VEHICLE ELECTRONIC SYSTEMS                                                                           screen will not show the current mode. Use
screen will be displayed.                             Remote unlock driver’s door first: Select to            the keyfob to return to the previous mode
                                                      change which doors will unlock first during an          and re-enable the display screen control.
You can set the following operating conditions by     unlocking operation:
selecting the desired item using the joystick, then                                                           Keyless remote response — lights: Select to
pressing the ENTER button. The indicator light,       Only the driver’s door ←→ All the doors                 turn on or turn off the hazard indicator flash mode
box at the left of the selected item, alternately                                                             used when the LOCK or UNLOCK button on the
                                                      Keyless remote response — horn: Select to
turns on and off each time the ENTER button is                                                                keyfob is pressed.
                                                      turn on or turn off the horn chirp mode used when
pressed.                                              the LOCK or UNLOCK button on the keyfob is
Indicator light is illuminated — ON                   pressed.
Indicator light is not illuminated — OFF

4-14 Display screen, heater, air conditioner, audio and phone systems




                                                                                     ੬ REVIEW COPY—2008 Quest (van)
                                                                                     Owners Manual—USA_English (nna)
                                                                                     06/29/07—debbie ੭
NOTE:                                                                                                 You can select the language and unit using the
                                                                                                      joystick or pressing the ENTER button.
If you change the horn beep or the lamp
flash feature with the keyfob, the mode will                                                          The settings are automatically saved when you
not be changed with the display. Use the                                                              exit the menu by pressing the BACK button or
keyfob to return to the previous mode and                                                             any other mode button.
re-enable the display control.
Auto re-lock time: Select to set the length of
time before doors automatically re-lock.
Sensitivity of automatic headlights: Select
to change the sensitivity setting of the automatic
headlights:
 ● Lower: less sensitive, automatic headlights
   will take longer to come on when the head-                                             LHA0561
   light sensor senses less ambient light.           System settings
 ● Higher: more sensitive, automatic headlights
                                                     Select the “System Settings” key by using the
   will come on quicker when the headlight
                                                     joystick and pressing the ENTER button. The
   sensor senses less ambient light.
                                                     SYSTEM SETTINGS menu will be displayed.
Automatic headlights off delay: Select to
change the setting for the length of time the        Language/unit
automatic headlights remain on after exiting the     The LANGUAGE/UNIT screen will appear when
vehicle.                                             selecting the “Language/Unit” key and pressing
Speed dependent wiper: Select to turn on or          the ENTER button.
turn off the driving speed dependent intermittent    Language: English or French
wiper function.
                                                     Unit: US — mile, °F, MPG
Return all settings to default: Select to
                                                           Metric — km, °C, L/100 km
change all VEHICLE ELECTRONICS SYSTEMS
to their default settings.
                                                                  Display screen, heater, air conditioner, audio and phone systems 4-15




                                                                                   ੬ REVIEW COPY—2008 Quest (van)
                                                                                   Owners Manual—USA_English (nna)
                                                                                   06/29/07—debbie ੭
BUTTON
                                                    To change the display brightness, press
                                                    the         button. Pressing the button again will
                                                    change the display to “DAY” or “NIGHT” display.
                                                    Then, adjust the brightness by moving the joy-
                                                    stick right or left.
                                                    If no operation is done within 10 seconds, or if the
                                                    BACK button is pressed, the display will return to
                                                    the previous display.




                                        LHA0600
Clock
Adjusting the time:
Select the “Hours” or “Minutes” key and move the
joystick to the right or left to adjust the time.
The time will change step by step.
The new settings are automatically saved when
you exit the setting screen by pressing the BACK
or any other mode button.
Beep setting
With this option ON, a beep will sound if any
audio button is pressed.


4-16 Display screen, heater, air conditioner, audio and phone systems




                                                                                   ੬ REVIEW COPY—2008 Quest (van)
                                                                                   Owners Manual—USA_English (nna)
                                                                                   06/29/07—debbie ੭
CONTROL PANEL BUTTONS —
COLOR SCREEN WITH NAVIGATION
SYSTEM (if so equipped)
                                                                                        10.          brightness control button
                                                                                              (P. 4-28)
                                                                                        11.   TRIP button (P. 4-18)
                                                                                        *For Navigation system control buttons, refer to
                                                                                        the separate Navigation System Owner’s
                                                                                        Manual.
                                                                                        If you use the system with the engine not
                                                                                        running (ignition ON or ACC) for a long
                                                                                        time, it will use up all the battery power,
                                                                                        and the engine will not start.
                                                                                        Reference symbols:
                                                                                        ENTER button — This is a button on the control
                                                                                        panel. By pressing this button you can select the
                                                                                        item or perform the action.
                                                                                        “Display” key — This is a select key on the screen.
                                                                                        By selecting this key you can proceed to the next
                                                                                        function.
                                                                                        HOW TO USE THE JOYSTICK AND
                                                                                        ENTER BUTTON
                                                                              LHA0631   Use the joystick to choose an item on the display
                            Display screen with navigation                              screen. Move the joystick up, down, left or right to
1.   ROUTE button*                          6.   Joystick and ENTER button (P. 4-17)    highlight an item. Then press the ENTER button
2.   DEST button*                           7.          zoom in button*                 to select the item or perform the action.
3.   MAP button*                            8.   VOICE button*
4.   BACK (previous) button (P. 4-18)       9.   SETTING button (P. 4-22)
5.        zoom out button*

                                                         Display screen, heater, air conditioner, audio and phone systems 4-17




                                                                     ੬ REVIEW COPY—2008 Quest (van)
                                                                     Owners Manual—USA_English (nna)
                                                                     06/29/07—cathy ੭
HOW TO USE THE BACK BUTTON                                                                               ● Average Speed - Average speed driven
                                                                                                           (MPH or km/h) since the last reset.
This button has two functions.
                                                                                                        Resetting trip 1 and trip 2
 ● Go back to the previous display (cancel).
                                                                                                        Each trip screen can be reset to 0. Press the TRIP
If you press the BACK button during setup, the
                                                                                                        button to select the TRIP screen to be reset.
setup will be canceled and/or the display will
return to the previous screen.                                                                           ● Select the “Reset” key on screen by press-
                                                                                                           ing the ENTER button, or
 ● Finish setup.
                                                                                                         ● Press the TRIP button for more than approxi-
In some screens pressing the BACK button ac-
                                                                                                           mately 1.5 seconds.
cepts the changes made during setup.
SETTING UP THE START-UP
SCREEN                                                                                      LHA0552
When you turn the ignition key to ACC or ON, the     HOW TO USE THE TRIP BUTTON
system start-up warning is displayed on the
screen. Read the warning and select the “OK”         When the TRIP button is pressed, the following
key by pressing the ENTER button.                    modes will display on the screen.
If you do not press the ENTER button, the Navi-      Warning message (if any) → TRIP 1 → TRIP 2 →
gation system will not proceed to the next step in   FUEL ECONOMY → MAINTENANCE → Audio
the Navigation display.                              or OFF → TRIP 1
If you do not touch a button or screen key for       Each trip display tracks an independent trip and
more than 1 minute on the system start-up warn-      displays the following:
ing screen, the screen will change to the audio
                                                      ● Elapsed Time - Journey time since the last
screen automatically.
                                                        reset up to a maximum of 99 hours and 59
To proceed to the next step, refer to the separate      minutes.
Navigation System Owner’s Manual.
                                                      ● Driving Distance - Distance driven (mile or
                                                        km) since the last reset.
4-18 Display screen, heater, air conditioner, audio and phone systems




                                                                                 ੬ REVIEW COPY—2008 Quest (van)
                                                                                 Owners Manual—USA_English (nna)
                                                                                 06/29/07—debbie ੭
Resetting fuel economy
                                                The average fuel economy calculation can be
                                                reset to 0. Press the TRIP button repeatedly until
                                                the FUEL ECONOMY menu is shown, then ei-
                                                ther:
                                                 ● Select the “Reset” key on screen by press-
                                                   ing the ENTER button, or
                                                 ● Press the TRIP button for more than approxi-
                                                   mately 1.5 seconds.
                                                Distance to empty (MI or km)
                                                The Distance To Empty (DTE) mode provides you
                                                with an estimation of the distance that can be
                                     LHA0553                                                                                                    LHA0554
                                                driven before refueling. The DTE is constantly
Fuel economy                                    calculated based on the amount of fuel in the fuel   Maintenance items
                                                tank and the actual fuel consumption. The display
Press the TRIP button to display Average Fuel   is updated every 30 seconds. When the fuel level     Press the TRIP button to display maintenance
Economy and Distance To Empty.                  is low, the DTE display will change to (*).          information or set maintenance intervals for the
                                                                                                     following:
Average fuel economy (MPG or L/100 km)
                                                NOTE:                                                 ● Engine Oil
The Average Fuel Economy is calculated based
                                                 ● If the amount of fuel added while the ignition     ● Tire Rotation
on fuel consumption since the last reset. The
                                                   switch is OFF is small, the display just before
display is updated every 30 seconds and 1/3                                                           ● Tire Pressure (if so equipped)
                                                   the ignition switch is turned OFF may con-
mile (500 m). After a reset or connecting the      tinue to be displayed.
battery cables, the display will show (**.*).                                                        For setting the Tire Pressure display, refer to “Tire
                                                 ● When driving uphill or rounding curves, the       pressure information” later in this section.
                                                   fuel in the tank shifts, which may momentarily
                                                   change the display.


                                                              Display screen, heater, air conditioner, audio and phone systems 4-19




                                                                              ੬ REVIEW COPY—2008 Quest (van)
                                                                              Owners Manual—USA_English (nna)
                                                                              06/29/07—debbie ੭
LHA0555                                             LHA0556                                             LHA0483
Changing the maintenance interval                        Resetting the maintenance interval                 Displaying the maintenance notice re-
Select the “Engine Oil” or “Tire Rotation” key           The ENGINE OIL and TIRE ROTATION mainte-           minder
using the joystick and press the ENTER button to         nance intervals can be reset to 0 miles (kilome-   Select the “Display Maintenance Notification”
display the screen to change the maintenance             ters).                                             key and press the ENTER button to display the
interval.                                                                                                   MAINTENANCE INFORMATION automatically
                                                         Select the “Reset” key using the joystick and
Select the “Maintenance Schedule” key using the          press the ENTER button.                            at the set maintenance interval.
joystick and move the joystick to right or left to set                                                      The MAINTENANCE NOTICE screen (ENGINE
the maintenance interval.                                                                                   OIL and TIRE ROTATION) will be automatically
                                                                                                            displayed as shown when both of the following
                                                                                                            conditions are met:
                                                                                                             ● The vehicle is driven the set distance and the
                                                                                                               ignition key is turned OFF.


4-20 Display screen, heater, air conditioner, audio and phone systems




                                                                                     ੬ REVIEW COPY—2008 Quest (van)
                                                                                     Owners Manual—USA_English (nna)
                                                                                     06/29/07—debbie ੭
● The ignition key is turned ON the next time                                                             Tire pressure rises and falls depending on the
   the vehicle will be driven.                                                                             heat caused by the vehicle’s operation and the
                                                                                                           outside temperature.
To return to the previous display after the MAIN-
TENANCE NOTICE screen is displayed, press                                                                  In case of low tire pressure, a message is dis-
the BACK button.                                                                                           played on the screen:
The MAINTENANCE NOTICE screen displays                                                                     LOW PRESSURE — Check All Tires.
each time the key is turned ON until one of the
following conditions are met:                                                                                                 WARNING
 ● “Reset” key is selected.                                                                                ● When a spare tire is mounted or a wheel
                                                                                                             is replaced, tire pressure will not be
 ● “Display Maintenance Notification” is set to
                                                                                                             indicated, the Tire Pressure Monitoring
   OFF.
                                                                                                             System (TPMS) will not function and
 ● The maintenance interval is set again.                                                                    the low tire pressure warning light will
                                                                                              LHA0557
                                                                                                             flash for approximately 1 minute. The
                                                    Tire pressure information                                light will remain on after 1 minute. Con-
                                                                                                             tact your NISSAN dealer as soon as
                                                    To display tire pressure information, press the          possible for tire replacement and/or
                                                    TRIP button repeatedly until the MAINTENANCE             system resetting.
                                                    screen is displayed. Select the “Tire Pressure”
                                                    key using the joystick and press the ENTER but-        ● Replacing tires with those not originally
                                                    ton.                                                     specified by NISSAN could affect the
                                                                                                             proper operation of the TPMS.
                                                    Pressure indication in ** psi on the screen indi-
                                                    cates that the pressure is being measured. After
                                                    a few driving trips, the pressure for each tire will
                                                    be displayed randomly.
                                                    The order of tire pressure figures displayed on
                                                    the screen does not correspond with the actual
                                                    order of the tire position.

                                                                   Display screen, heater, air conditioner, audio and phone systems 4-21




                                                                                   ੬ REVIEW COPY—2008 Quest (van)
                                                                                   Owners Manual—USA_English (nna)
                                                                                   06/29/07—debbie ੭
LHA0558                                        WHA0715                                             WHA0716
HOW TO USE THE SETTING                             Display settings                               Brightness/contrast:
BUTTON                                             Select the “Display” key and press the ENTER   Select the “Brightness/Contrast” key to adjust
When the SETTING button is pressed, the SET-       button. The DISPLAY SETTINGS screen will ap-   the brightness and contrast of the map back-
TINGS screen will appear on the display. You can   pear.                                          ground. Use the joystick to adjust the brightness
select and/or adjust several functions, features                                                  to darker or brighter and the contrast to lower or
and modes that are available for your vehicle.                                                    higher.
Move the joystick and press the ENTER button to                                                   The new settings are automatically saved when
select each item to be set.                                                                       you exit the setting screen by pressing the BACK
                                                                                                  button or any other mode button.




4-22 Display screen, heater, air conditioner, audio and phone systems




                                                                             ੬ REVIEW COPY—2008 Quest (van)
                                                                             Owners Manual—USA_English (nna)
                                                                             06/29/07—debbie ੭
To turn the screen on,
                                                      ● Press the SETTING button and select the
                                                        “Display” key and then select the “Display
                                                        Off” key. Then set the screen to on by press-
                                                        ing the ENTER button, or
                                                      ● Hold the         button for approximately 2
                                                        seconds and the message “resuming dis-
                                                        play” will appear and the “Display Off” key
                                                        will be automatically turned on (no amber
                                                        indicator).



                                         LHA0642                                                                                               WHA0715
Display off:                                                                                            Lower display setting:
Select the “Display Off” key. The indicator of the                                                      You can choose to display the audio or HVAC
“Display Off” turns amber and the message                                                               (Heater and air conditioner) functions on the
above will be displayed briefly. When the audio,                                                        lower part of the display. Select the “Lower Dis-
HVAC (Heater and air conditioner), or any mode                                                          play Setting” key by using the joystick. Then se-
button on the control panel is operated, the dis-                                                       lect the “Audio” or “HVAC” key using the joystick
play turns on for that operation. If one of the                                                         or by pressing the ENTER button.
control panel buttons is pressed, the display will
                                                                                                        The new settings are automatically saved when
not automatically turn off until that operation is
                                                                                                        you exit the setting screen by pressing the BACK
finished. Otherwise, the screen turns off auto-
                                                                                                        button or any other mode button.
matically after 5 seconds.




                                                                   Display screen, heater, air conditioner, audio and phone systems 4-23




                                                                                 ੬ REVIEW COPY—2008 Quest (van)
                                                                                 Owners Manual—USA_English (nna)
                                                                                 06/29/07—debbie ੭
LHA0651                                                LHA0559                                               LHA0564
Any time audio information is shown on the main    Vehicle electronic systems                            Adjust driver seat when exiting vehicle: Se-
part of the screen, HVAC information will be                                                             lect so the driver’s seat automatically moves back
displayed on the lower part of the screen. HVAC    Select the “Vehicle Electronic Systems” key by        and returns to the original position for ease of exit
information will be shown even if “Audio” is se-   using the joystick and pressing the ENTER but-        and entry.
lected to be displayed on the lower part of the    ton. The VEHICLE ELECTRONIC SYSTEMS
screen.                                            screen will be displayed.                             Remote unlock driver’s door first: Select to
                                                                                                         change which doors will unlock first during an
                                                   You can set the following operating conditions by     unlocking operation:
                                                   selecting the desired item using the joystick, then
                                                   pressing the ENTER button. The indicator light,       Only the driver’s door ←→ All the doors
                                                   box at the left of the selected item, alternately     Keyless remote response — horn: Select to
                                                   turns on and off each time the ENTER button is        turn on or turn off the horn chirp mode used when
                                                   pressed.                                              the LOCK button on the keyfob is pressed.
                                                   Indicator light is illuminated — ON
                                                   Indicator light is not illuminated — OFF

4-24 Display screen, heater, air conditioner, audio and phone systems




                                                                                 ੬ REVIEW COPY—2008 Quest (van)
                                                                                 Owners Manual—USA_English (nna)
                                                                                 06/29/07—debbie ੭
NOTE:                                                  ● Higher: more sensitive, automatic headlights
                                                         will come on quicker when the headlight
If you change the horn beep or the lamp
                                                         sensor senses less ambient light.
flash feature with the keyfob, the display
screen will not show the current mode. Use            Automatic headlights off delay: Select to
the keyfob to return to the previous mode             change the setting for the length of time the
and re-enable the display screen control.             automatic headlights remain on after exiting the
                                                      vehicle.
Keyless remote response — lights: Select to
turn on or turn off the hazard indicator flash mode   Speed dependent wiper: Select to turn on or
used when the LOCK or UNLOCK button on the            turn off the driving speed dependent intermittent
keyfob is pressed.                                    wiper function.

NOTE:                                                 Return all settings to default: Select to
                                                      change all VEHICLE ELECTRONICS SYSTEMS
If you change the horn beep or the lamp               to their default settings.
flash feature with the keyfob, the mode will                                                                                                   LHA0561
not be changed with the display. Use the                                                                  System settings
keyfob to return to the previous mode and
re-enable the display control.                                                                            Select the “System Settings” key by using the
                                                                                                          joystick and pressing the ENTER button. The
Auto re-lock time: Select to set the length of                                                            SYSTEM SETTINGS screen will be displayed.
time before doors automatically re-lock.
                                                                                                          Language/unit
Sensitivity of automatic headlights: Select
to change the sensitivity setting of the automatic                                                        The LANGUAGE/UNIT screen will appear when
headlights:                                                                                               selecting the “Language/Unit” key and pressing
 ● Lower: less sensitive, automatic headlights                                                            the ENTER button.
   will take longer to come on when the head-                                                             Language: English or French
   light sensor senses less ambient light.
                                                                                                          Unit: US — mile, °F, MPG
                                                                                                                Metric — km, °C, L/100 km


                                                                    Display screen, heater, air conditioner, audio and phone systems 4-25




                                                                                   ੬ REVIEW COPY—2008 Quest (van)
                                                                                   Owners Manual—USA_English (nna)
                                                                                   06/29/07—debbie ੭
You can select the language and unit using the
joystick or pressing the ENTER button.
The settings are automatically saved when you
exit the menu by pressing the BACK button or
any other mode button.




                                                                                         LHA0562                                            LHA0566
                                                 Clock                                               Setting daylight savings time:
                                                 Adjusting the time:                                 Use the “Daylight Saving Time” key to adjust the
                                                                                                     clock to daylight savings time.
                                                 Select the “Hours” or “Minutes” key and move the
                                                 joystick to the right or left to adjust the time.   ON: Automatically adjusts for daylight savings
                                                                                                     time.
                                                 The time will change step by step.
                                                                                                     OFF: The current time is displayed.
                                                 The new settings are automatically saved when
                                                 you exit the setting screen by pressing the BACK
                                                 button or any other mode button.




4-26 Display screen, heater, air conditioner, audio and phone systems




                                                                              ੬ REVIEW COPY—2008 Quest (van)
                                                                              Owners Manual—USA_English (nna)
                                                                              06/29/07—debbie ੭
LHA0567                                            LHA0568                                        LHA0563
Adjusting the time to the GPS:                      Selecting the time zone:                            2. Select one of the following zones, depend-
Select the “Auto Adjust” key.                        1. Select the “Select Time Zone” key.                 ing on the current location.

The time will be reset to the GPS time.             The TIME ZONE screen will appear.                      ● Pacific zone
                                                                                                           ● Mountain zone
                                                                                                           ● Central zone
                                                                                                           ● Eastern zone
                                                                                                           ● Atlantic zone
                                                                                                           ● Newfoundland zone
                                                                                                       After selection, the CLOCK SETTINGS screen
                                                                                                       will appear.


                                                                 Display screen, heater, air conditioner, audio and phone systems 4-27




                                                                               ੬ REVIEW COPY—2008 Quest (van)
                                                                               Owners Manual—USA_English (nna)
                                                                               06/29/07—debbie ੭
REARVIEW MONITOR (if so
                                                       equipped)

The GPS time (manual time) corresponding to            When the shift selector lever is shifted into the R   ● When washing the vehicle with high-
the selected zone will be displayed. Pacific zone      (Reverse) position, the monitor display shows the       pressure water, be sure not to spray it
has been set as the initial (default) setting.         view directly to the rear of the vehicle.               around the camera. Otherwise, water
Beep setting                                                                                                   may enter the camera unit causing wa-
                                                                            WARNING                            ter condensation on the lens, a mal-
With this option ON, a beep will sound if any                                                                  function, fire or an electric shock.
audio button is pressed.                               ● The system is designed as an aid to the
                                                         driver in detecting large stationary ob-            ● Do not strike the camera. It is a preci-
Navigation settings                                      jects to help avoid damaging the ve-                  sion instrument. Otherwise, it may mal-
Refer to the separate Navigation System Own-             hicle. The system will not detect small               function or cause damage resulting in a
er’s Manual for information regarding these set-         objects below the bumper, and may not                 fire or an electric shock.
tings.                                                   detect objects close to the bumper or
                                                         on the ground.                                                         CAUTION
Guidance voice settings
                                                       ● The rearview camera is a convenience                There is a plastic cover over the camera.
Refer to the separate Navigation System Own-             but it is not a substitute for proper back-         Do not scratch the cover when cleaning
er’s Manual for information regarding these set-         ing. Always turn and check that it is safe          dirt or snow from the cover.
tings.                                                   to do so before backing up. Always
       BUTTON
                                                         back up slowly.                                     HOW TO READ THE DISPLAYED
                                                       ● Objects viewed in the rearview monitor              LINES
To change the display brightness, press                  differ from actual distance because a
the         button. Pressing the button again will                                                           Lines which indicate the vehicle clearance and
                                                         wide-angle lens is used.
change the display to “DAY” or “NIGHT” display.                                                              distances to objects with reference to the
Then, adjust the brightness by moving the joy-         ● Make sure that the lift gate is securely            bumper line ᭺ are displayed on the monitor.
                                                                                                                         A
stick right or left.                                     closed when backing up.

If no operation is done within 10 seconds, or if the   ● Do not put anything on the rearview
BACK button is pressed, the display will return to       camera. The rearview camera is in-
the previous display.                                    stalled beside the license plate light.




4-28 Display screen, heater, air conditioner, audio and phone systems




                                                                                     ੬ REVIEW COPY—2008 Quest (van)
                                                                                     Owners Manual—USA_English (nna)
                                                                                     06/29/07—debbie ੭
ADJUSTING THE SCREEN                                 ● When the temperature is extremely high or
                                                                                                            low, the screen may not clearly display ob-
                                                     To adjust the quality of the screen, refer to “HOW     jects. This is not a malfunction.
                                                     TO USE THE SETTING BUTTON” in this section.
                                                                                                          ● When strong light directly enters the cam-
                                                      ● When it is difficult to see in the rearward
                                                                                                            era, objects may not be displayed clearly.
                                                        direction due to shady conditions, press the
                                                        ENTER button to make objects in the moni-         ● Vertical lines may be seen in objects on the
                                                        tor brighter.                                       screen. This is due to strong reflected light
                                                      ● To change the brightness, press the ENTER           from the bumper. This is not a malfunction.
                                                        button again, turn the key switch OFF or shift    ● The screen may flicker under fluorescent
                                                        to R (Reverse) and wait for 10 seconds.             light. This is not a malfunction.
                                                     OPERATING TIPS                                       ● The colors of objects on the rearview moni-
                                                      ● When the selector lever is shifted to R (Re-        tor may differ somewhat from those of the
                                         LHA0437
                                                        verse), the monitor screen automatically            actual object.
They are indicated as reference distances to
objects. The lines and colors in the display indi-      changes to the rearview monitor mode.             ● When the contrast of objects is low at night,
cate distances from the back bumper line ᭺ inA          However, the radio can be heard.                    pressing the ENTER button may not change
the illustration.                                     ● It may take some time until the rearview            the brightness.
                                                        monitor is displayed after the selector lever
᭺
1   1.5 ft (0.5 m) red
                                                        has been shifted to R (Reverse). Objects
                                                                                                          ● Objects on the monitor may not be clear in a
                                                                                                            dark place or at night.
᭺
2   3 ft (1 m) yellow                                   may be distorted momentarily until the rear-
                                                        view monitor screen is displayed completely.      ● If dirt, rain or snow attaches to the camera,
᭺
3   7 ft (2 m) green
                                                        When the selector lever is returned to a            the rearview monitor may not display ob-
᭺
4   10 ft (3 m) green                                   position other than R (Reverse), it may take        jects. Clean the camera.
                                                        some time until the screen changes. Objects
The vehicle clearance lines are wider than                                                                ● Do not use alcohol, benzine or thinner to
                                                        on the screen may be distorted until they are
the actual clearance.                                                                                       clean the camera. This will cause discolora-
                                                        completely displayed.
                                                                                                            tion. To clean the camera, wipe with a cloth
                                                                                                            dampened with a diluted mild cleaning agent
                                                                                                            and then wipe with a dry cloth.
                                                                   Display screen, heater, air conditioner, audio and phone systems 4-29




                                                                                   ੬ REVIEW COPY—2008 Quest (van)
                                                                                   Owners Manual—USA_English (nna)
                                                                                   06/29/07—debbie ੭
VENTILATORS


 ● Do not damage the camera as the monitor
   screen may be adversely affected.
 ● Do not use body wax on the camera window.
   Wipe off the wax with a clean cloth damp-
   ened with mild detergent diluted with water.




                                                                                                                 WHA0626
                                                  Adjust air flow direction for the driver and pas-
                                                  senger side᭺, center ᭺, and rear passenger
                                                                1          2
                                                  ᭺ ventilators by moving the ventilator slide
                                                   3
                                                  and/or ventilator assemblies.




4-30 Display screen, heater, air conditioner, audio and phone systems




                                                                               ੬ REVIEW COPY—2008 Quest (van)
                                                                               Owners Manual—USA_English (nna)
                                                                               06/29/07—debbie ੭
HEATER AND AIR CONDITIONER
(manual)

                 WARNING
● The air conditioner cooling function op-
  erates only when the engine is running.
● Do not leave children or adults who
  would normally require the assistance
  of others alone in your vehicle. Pets
  should also not be left alone. They
  could accidentally injure themselves or
  others through inadvertent operation of
  the vehicle. Also, on hot, sunny days,
  temperatures in a closed vehicle could
  quickly become high enough to cause
  severe or possibly fatal injuries to
  people or animals.                                                                                                                      LHA0627

● Do not use the recirculation mode for       1.   Fan speed control dial                          Air flow control buttons
  long periods as it may cause the interior   2.   Air conditioner button
                                                                                                   The air flow control buttons allow you to select
  air to become stale and the windows to      3.   Front window defrost/defog button
                                                                                                   the air flow outlets.
  fog up.                                     4.   Rear window defroster switch
                                              5.   Air recirculation button                                — Air flows from center and side
                                              6.   Temperature control dial                                  ventilators.
                                              7.   Air flow control buttons                                — Air flows from center and side
                                                                                                             ventilators and the front and rear
                                              CONTROLS                                                       floor outlets.
                                              Fan control dial                                             — Air flows mainly from the front and
                                                                                                             rear floor outlets.
                                              The fan control dial turns the fan on and off, and
                                                                                                           — Air flows from defroster outlets
                                              controls fan speed.
                                                                                                             and the front and rear floor
                                                                                                             outlets.

                                                            Display screen, heater, air conditioner, audio and phone systems 4-31




                                                                            ੬ REVIEW COPY—2008 Quest (van)
                                                                            Owners Manual—USA_English (nna)
                                                                            06/29/07—debbie ੭
— Air flows from defroster outlets                       Air conditioner button                       3. Turn the fan control dial to the desired posi-
Temperature control dial                                                                                         tion.
                                                       Start the engine, turn the fan control dial to the     4. Turn the temperature control dial to the de-
The temperature control dial allows you to adjust      desired position and push the            button to        sired position between the middle and the
the temperature of the outlet air. To lower the        turn on the air conditioner. A/C will appear on the       hot position.
temperature, turn the dial to the left. To increase    display when the air conditioner is operating. To
the temperature, turn the dial to the right.           turn off the air conditioner, push the      button    Ventilation
           Air recirculation button                    again, the display will show A/C OFF.                 This mode directs outside air to the side and
                                                       The air conditioner cooling function oper-            center ventilators.
ON position:                                           ates only when the engine is running.                  1. Push the      button to the OFF position
Push the          button to recirculate air inside
                                                       Rear window defroster switch                              (      shown on display).
the vehicle.
                                                       For more information about the rear window de-         2. Press the air flow control button.
Push the         button to the on position when:
                                                       froster switch, see “Rear window defroster             3. Turn the fan control dial to the desired posi-
 ● driving on a dusty road.                            switch” in the “Instruments and controls” section         tion.
 ● to prevent traffic fumes from entering pas-         of this manual.
                                                                                                              4. Turn the temperature control dial to the de-
   senger compartment.                                 HEATER OPERATION                                          sired position.
 ● for maximum cooling when using the air con-
   ditioner.                                           Heating                                               Defrosting or defogging
                                                       This mode is used to direct heated air to the foot    This mode directs the air to the defrost outlets to
OFF position:
                                                       outlets. Some air also flows from the defrost         defrost/defog the windows.
Push the         button again to turn air recircula-
tion off. Outside air is drawn into the passenger      outlets.                                               1. Press the defrost/defog button           .
compartment and distributed through the se-             1. Push the        button to the OFF position         2. Turn the fan control dial to the desired posi-
lected outlet.                                             for normal heating (        shown on dis-             tion.
Use the off position for normal heater or air con-         play).
                                                                                                              3. Turn the temperature control dial to the de-
ditioner operation.                                     2. Press the          air flow control button.           sired position between the middle and the
                                                                                                                 hot position.
4-32 Display screen, heater, air conditioner, audio and phone systems




                                                                                     ੬ REVIEW COPY—2008 Quest (van)
                                                                                     Owners Manual—USA_English (nna)
                                                                                     06/29/07—debbie ੭
● To quickly remove ice or fog from the win-          4. Turn the temperature control dial to the de-      Operating tips
   dows, turn the fan control dial to the highest         sired position.
   setting and the temperature control to the                                                               Clear snow and ice from the wiper blades
   full HOT position.                                 Heating and defogging                                 and air inlet in front of the windshield. This
                                                                                                            improves heater operation.
 ● When the           position is selected, the air   This mode heats the interior and defogs the wind-
   conditioner automatically turns on (however,       shield.                                               AIR CONDITIONER OPERATION
   A/C will not appear on the display) if the          1. Press the         air flow control button.        Start the engine, turn the fan control dial to the
   outside temperature is more than 36°F                                                                    desired position, and push in the       button to
   (2°C). The air conditioning system will con-        2. Turn the fan control dial to the desired posi-    activate the air conditioner. When the air condi-
   tinue to operate until the fan control dial is         tion.                                             tioner is on, cooling and dehumidifying functions
   turned to OFF or the vehicle is shut off, even      3. Turn the temperature control dial to the de-      are added to the heater operation.
   if an air flow control button other than               sired position between the middle and the         The air conditioner cooling function oper-
   is selected. This dehumidifies the air which           hot position.                                     ates only when the engine is running.
   helps defog the windshield. The
   mode automatically turns off, allowing out-         ● When the           position is selected, the air   Cooling
   side air to be drawn into the passenger               conditioner automatically turns on (however,
                                                         A/C will not appear on the display) if the         This mode is used to cool and dehumidify the air.
   compartment to further improve the defog-
   ging performance.                                     outside temperature is more than 36°F               1. Push the         button to the OFF position.
                                                         (2°C). The air conditioning system will con-
Bi-level heating                                         tinue to operate until the fan control dial is      2. Press the         air flow control button.
                                                         turned to OFF or the vehicle is shut off, even      3. Turn the fan control dial to the desired posi-
The bi-level mode directs warmed air to the side
                                                         if an air flow control button other than               tion.
and center vents and to the front and rear floor
                                                         is selected. This dehumidifies the air which
outlets.                                                                                                     4. Push the          button. A/C will appear on
                                                         helps defog the windshield. The
                                                                                                                the display.
 1. Push the      button to the OFF position             mode automatically turns off, allowing out-
    (      shown on display).                            side air to be drawn into the passenger             5. Turn the temperature control dial to the de-
                                                         compartment to further improve the defog-              sired position.
 2. Press the         air flow control button.
                                                         ging performance.
 3. Turn the fan control dial to the desired posi-
    tion.
                                                                      Display screen, heater, air conditioner, audio and phone systems 4-33




                                                                                    ੬ REVIEW COPY—2008 Quest (van)
                                                                                    Owners Manual—USA_English (nna)
                                                                                    06/29/07—debbie ੭
● For quick cooling when the outside tem-           Operating tips                                       AIR FLOW CHARTS
   perature is high, push the        button to
   the ON position (        shown on display).        ● Keep the windows closed while the air con-        The following charts show the button and dial
   Be sure to return the       to the OFF po-           ditioner is in operation.                         positions for MAXIMUM AND QUICK heating,
   sition for normal cooling (      shown on                                                              cooling or defrosting. For additional information
                                                      ● After parking in the sun, drive for 2 or 3
   display).                                                                                              on heating and cooling see “Heater and air con-
                                                        minutes with the windows open to vent hot
                                                                                                          ditioner” in this section.The air recirculation
Dehumidified heating                                    air from the passenger compartment. Then,
                                                                                                          (       ) button should always be in the OFF
                                                        close the windows. This allows the air con-
                                                                                                          position for heating and defrosting.
This mode is used to heat and dehumidify the air.       ditioner to cool the interior more quickly.
 1. Push the      button to the OFF position          ● The air conditioning system should be
    (      shown on display).                           operated for approximately 10 minutes
                                                        at least once a month. This helps pre-
 2. Press the         air flow control button.
                                                        vent damage to the system due to lack
 3. Turn the fan control dial to the desired posi-      of lubrication.
    tion.
                                                      ● A visible mist may be seen coming from the
 4. Push the          button. The display shows         ventilators in hot, humid conditions as the air
    A/C.                                                is cooled rapidly. This does not indicate a
                                                        malfunction.
 5. Turn the temperature control dial to the de-
    sired position.                                   ● If the engine coolant temperature
                                                        gauge indicates engine coolant tem-
                                                        perature over the normal range, turn
                                                        the air conditioner off. See “If your
                                                        vehicle overheats” in the “In case of
                                                        emergency” section of this manual.




4-34 Display screen, heater, air conditioner, audio and phone systems




                                                                                  ੬ REVIEW COPY—2008 Quest (van)
                                                                                  Owners Manual—USA_English (nna)
                                                                                  06/29/07—debbie ੭
WHA0644                                                       WHA0645

 Display screen, heater, air conditioner, audio and phone systems 4-35




            ੬ REVIEW COPY—2008 Quest (van)
            Owners Manual—USA_English (nna)
            06/29/07—debbie ੭
WHA0646                                        WHA0647

4-36 Display screen, heater, air conditioner, audio and phone systems




                                                                 ੬ REVIEW COPY—2008 Quest (van)
                                                                 Owners Manual—USA_English (nna)
                                                                 06/29/07—debbie ੭
WHA0648

 Display screen, heater, air conditioner, audio and phone systems 4-37




            ੬ REVIEW COPY—2008 Quest (van)
            Owners Manual—USA_English (nna)
            06/29/07—debbie ੭
WHA0649

4-38 Display screen, heater, air conditioner, audio and phone systems




                                                                 ੬ REVIEW COPY—2008 Quest (van)
                                                                 Owners Manual—USA_English (nna)
                                                                 06/29/07—debbie ੭
WHA0650

Display screen, heater, air conditioner, audio and phone systems 4-39




           ੬ REVIEW COPY—2008 Quest (van)
           Owners Manual—USA_English (nna)
           06/29/07—debbie ੭
HEATER AND AIR CONDITIONER
(automatic) (if so equipped)

                                                                                       ● Do not use the recirculation mode for
                                                                                         long periods as it may cause the interior
                                                                                         air to become stale and the windows to
                                                                                         fog up.
                                                                                       Start the engine and operate the controls to
                                                                                       activate the air conditioner.
                                                                                       AUTOMATIC OPERATION
                                                                                       Cooling or heating (auto)
                                                                                       This mode may be normally used all year round as
                                                                                       the system automatically works to keep a con-
                                                                                       stant temperature. Air flow distribution and fan
                                                                            LHA0629    speed are also controlled automatically.
1.  Driver temperature control dial/                       WARNING                      1. Push the AUTO button on. (AUTO will be
    AUTO button                                                                            displayed.)
                                          ● The air conditioner cooling function op-
2. A/C ON/OFF button
                                            erates only when the engine is running.     2. Turn the driver’s side temperature control
3. Fan speed control (decrease)
4. Front window defroster button          ● Do not leave children or adults who            dial to the left or right to set the desired
                                            would normally require the assistance          temperature. Driver and passenger tem-
5. System off button
                                            of others alone in your vehicle. Pets          peratures can be set independently. Press
6. Rear window defroster button
                                            should also not be left alone. They            DUAL or turn the passenger temperature
7. Fan speed control (increase)             could accidentally injure themselves or        control dial to the left or right to activate dual
8. Air recirculation button                 others through inadvertent operation of        climate control functions. Turn the passen-
9. Passenger temperature control dial/      the vehicle. Also, on hot, sunny days,         ger’s side temperature control dial to the left
    DUAL button                             temperatures in a closed vehicle could         or right to set the desired passenger’s tem-
10. Air flow/MODE buttons                   quickly become high enough to cause            perature.
                                            severe or possibly fatal injuries to
                                                                                        ● Adjust the temperature dial to about 75°F
                                            people or animals.
                                                                                          (24°C) for normal operation.
4-40 Display screen, heater, air conditioner, audio and phone systems




                                                                   ੬ REVIEW COPY—2008 Quest (van)
                                                                   Owners Manual—USA_English (nna)
                                                                   06/29/07—cathy ੭
● The temperature of the passenger compart-             button is used to turn off the compressor        Air flow control
   ment will be maintained automatically. Air            even if an air flow MODE button other
   flow distribution, fan speed and A/C on/off           than          is selected. This dehumidifies     Pushing the MODE button manually controls air
   are also controlled automatically.                    the air which helps defog the windshield.        flow and selects the air outlet:
                                                         The air recirculation mode automatically                — Air flows from center and side
 ● A visible mist may be seen coming from the
                                                         turns off, allowing outside air to be drawn               ventilators.
   ventilators in hot, humid conditions as the air
                                                         into the passenger compartment to further               — Air flows from center and side
   is cooled rapidly. This does not indicate a
                                                         improve the defogging performance.                        ventilators and foot outlets.
   malfunction.
                                                     MANUAL OPERATION                                            — Air flows mainly from foot outlets.
Dehumidified defrosting or defogging                                                                             — Air flows from defroster and foot
 1. Push the defroster control button          to    Fan speed control buttons                                     outlets.
    turn the system on. The display will show the    Press the fan speed control buttons         +/–             — Air flows from defroster outlets.
    defrost icon.                                    to manually control the fan speed.                   To turn system off
 2. Turn the temperature dial to the left or right   Press OFF to turn the system off.                    Press the OFF button.
    to set the desired temperature.
                                                     Push the AUTO button to return to automatic          OPERATING TIPS
 ● To quickly remove ice from the outside of the     control of the fan speed.
   windows, press and hold the           + but-                                                            ● When the engine coolant temperature and
   ton to set the fan speed to maximum.              Air recirculation                                       outside air temperature are low, the air flow
                                                                                                             from the foot outlets may not operate for a
 ● As soon as possible after the windshield is       The         mode automatically turns off, allowing      maximum of 150 seconds. However, this is
   clean, push the AUTO button to return to the      outside air to be drawn into the passenger com-         not a malfunction. After the coolant tempera-
   auto mode.                                        partment to prevent fogging.                            ture warms up, air flow from the foot outlets
 ● When the DEF control             is activated,                                                            will operate normally.
                                                     Push the air recirculation button        to recir-
   the air conditioner will automatically be
                                                     culate interior air inside the vehicle. Push the
   turned on at outside temperatures above
                                                     AUTO button to return to automatic mode.
   36°F (2°C). If in defrost mode for more than
   one minute, the air conditioning system will      The air recirculation button will not be activated
   continue to operate until the fan control is      when the air conditioner is in DEF mode.
   turned OFF, the vehicle is shut off, or the A/C
                                                                   Display screen, heater, air conditioner, audio and phone systems 4-41




                                                                                   ੬ REVIEW COPY—2008 Quest (van)
                                                                                   Owners Manual—USA_English (nna)
                                                                                   06/29/07—debbie ੭
REAR SEAT AIR CONDITIONER




                                        LIC0954                                                  LHA0676                                             LHA0628
The sunload sensor ᭺, located on the top center
                     1                             Rear seat temperature and fan speed can be                  1.   Rear fan speed control dial.
of the instrument panel, helps the system main-    controlled from both the front seat overhead con-           2.   Rear temperature control dial.
tain a constant temperature. Do not put anything   sole controls ᭺ or the rear seat overhead con-
                                                                  A
on or around this sensor.                          sole controls ᭺.
                                                                  B

                                                   Press the REAR CTRL button to transfer control
                                                   of the rear climate functions to the rear passen-
                                                   ger’s.
                                                   To operate the rear air conditioner, the engine
                                                   must be running.
                                                   If the rear seat fan control dial is set to (0), the air
                                                   conditioner is turned off. If it is set to any of the fan
                                                   speed positions, air is discharged from the rear
                                                   vents at the corresponding speed.


4-42 Display screen, heater, air conditioner, audio and phone systems




                                                                                     ੬ REVIEW COPY—2008 Quest (van)
                                                                                     Owners Manual—USA_English (nna)
                                                                                     06/29/07—debbie ੭
SERVICING AIR CONDITIONER                           AUDIO SYSTEM


                                                      The air conditioner system in your NISSAN ve-       RADIO
                                                      hicle is charged with a refrigerant designed with
                                                      the environment in mind.                            Turn the ignition key to the ACC or ON position
                                                                                                          and press the POWER/VOLUME control knob to
                                                      This refrigerant does not harm the earth’s          turn the radio on. If you listen to the radio with the
                                                      ozone layer.                                        engine not running, the key should be turned to
                                                      Special charging equipment and lubricant is re-     the ACC position.
                                                      quired when servicing your NISSAN air condi-
                                                                                                          Radio reception is affected by station signal
                                                      tioner. Using improper refrigerants or lubricants
                                                      will cause severe damage to your air conditioner    strength, distance from radio transmitter, build-
                                                      system. See “Air conditioner system refrigerant     ings, bridges, mountains and other external influ-
                                                      and lubricant recommendations” in the “Techni-      ences. Intermittent changes in reception quality
                                                      cal and consumer information” section of this       normally are caused by these external influences.
                                                      manual.                                             Using a cellular phone in or near the ve-
                                         WHA0630
                                                      A NISSAN dealer is able to service your “environ-   hicle may influence radio reception quality.
CONTROLS                                              mentally friendly” air conditioning system.
                                                                                                          Radio reception
Fan control dial                                                          WARNING                         Your NISSAN radio system is equipped with
The fan control dial turns the rear vent fan on and   The air conditioner system contains re-             state-of-the-art electronic circuits to enhance ra-
off, and controls fan speed.                          frigerant under high pressure. To avoid             dio reception. These circuits are designed to
                                                      personal injury, any air conditioner ser-           extend reception range, and to enhance the qual-
Temperature control dial                              vice should be done only by an experi-              ity of that reception.
The temperature control dial allows rear passen-      enced technician with proper equipment.             However there are some general characteristics
gers to adjust the temperature of the outlet air.                                                         of both FM and AM radio signals that can affect
                                                                                                          radio reception quality in a moving vehicle, even
                                                                                                          when the finest equipment is used. These char-
                                                                                                          acteristics are completely normal in a given re-
                                                                                                          ception area, and do not indicate any malfunction
                                                                                                          in your NISSAN radio system.

                                                                    Display screen, heater, air conditioner, audio and phone systems 4-43




                                                                                   ੬ REVIEW COPY—2008 Quest (van)
                                                                                   Owners Manual—USA_English (nna)
                                                                                   06/29/07—debbie ੭
Reception conditions will constantly change be-        Static and flutter: During signal interference from    SATELLITE RADIO RECEPTION (if so
cause of vehicle movement. Buildings, terrain,         buildings, large hills or due to antenna position      equipped)
signal distance and interference from other ve-        (usually in conjunction with increased distance
hicles can work against ideal reception. De-           from the station transmitter) static or flutter can    When the satellite radio is first installed or the
scribed below are some of the factors that can         be heard. This can be reduced by adjusting the         battery has been replaced, the satellite radio may
affect your radio reception.                           treble control to reduce treble response.              not work properly. This is not a malfunction. Wait
                                                                                                              more than 10 minutes with satellite radio ON and
Some cellular phones or other devices may              Multipath reception: Because of the reflective         the vehicle outside of any metal or large building
cause interference or a buzzing noise to come          characteristics of FM signals, direct and reflected    for satellite radio to receive all of the necessary
from the audio system speakers. Storing the de-        signals reach the receiver at the same time. The       data.
vice in a different location may reduce or elimi-      signals may cancel each other, resulting in mo-
nate the noise.                                        mentary flutter or loss of sound.                      No satellite radio reception is available and “NO
                                                                                                              SAT” is displayed when the SAT band option is
FM RADIO RECEPTION                                     AM RADIO RECEPTION                                     selected unless optional satellite receiver and
Range: FM range is normally limited to 25 – 30 mi      AM signals, because of their low frequency, can        antenna are installed and an XMா satellite radio
(40 – 48 km), with monaural (single channel) FM        bend around objects and skip along the ground.         service subscription is active. Satellite radio is
having slightly more range than stereo FM. Exter-      In addition, the signals can be bounced off the        not available in Alaska, Hawaii and Guam.
nal influences may sometimes interfere with FM         ionosphere and bent back to earth. Because of          Satellite radio performance may be affected if
station reception even if the FM station is within     these characteristics, AM signals are also sub-        cargo carried on the roof blocks the satellite radio
25 mi (40 km). The strength of the FM signal is        ject to interference as they travel from transmitter   signal.
directly related to the distance between the           to receiver.
transmitter and receiver. FM signals follow a line-                                                           If possible, do not put cargo over the satellite
                                                       Fading: Occurs while the vehicle is passing            antenna.
of-sight path, exhibiting many of the same char-
                                                       through freeway underpasses or in areas with
acteristics as light. For example, they will reflect                                                          A build up of ice on the satellite radio antenna can
                                                       many tall buildings. It can also occur for several
off objects.                                                                                                  affect satellite radio performance. Remove the
                                                       seconds during ionospheric turbulence even in
Fade and drift: As your vehicle moves away from        areas where no obstacles exist.                        ice to restore satellite radio reception
a station transmitter, the signals will tend to fade
                                                       Static: Caused by thunderstorms, electrical
and/or drift.
                                                       power lines, electric signs and even traffic lights.



4-44 Display screen, heater, air conditioner, audio and phone systems




                                                                                      ੬ REVIEW COPY—2008 Quest (van)
                                                                                      Owners Manual—USA_English (nna)
                                                                                      06/29/07—debbie ੭
Compact disc (CD) player                      ● Do not expose the CD to direct sun-
                                                                                light.
                                                  CAUTION                     ● CDs that are in poor condition or are
                                ● Do not force a compact disc into the CD       dirty, scratched or covered with finger-
                                  insert slot. This could damage the CD         prints may not work properly.
                                  and/or CD changer/player.                   ● The following CDs may not work prop-
                                ● Trying to load a CD with the CD door          erly:
                                  closed could damage the CD and/or CD          ● Copy control compact discs (CCCD)
                                  changer.
                                                                                ● Recordable compact discs (CD-R)
                                ● Only one CD can be loaded into the CD
                                  player at a time.                             ● Rewritable compact discs (CD-RW)

                                 ● Only use high quality 4.7 inches (12 cm)   ● Do not use the following CDs as they
                                   round discs that have the “COMPACT           may cause the CD player to malfunc-
                                   disc DIGITAL AUDIO” logo on the disc         tion:
                                   or packaging.                                ● 3.1 in (8 cm) discs with an adapter
                                 ● During cold weather or rainy days, the       ● CDs that are not round
                                   player may malfunction due to the hu-
                                                                                ● CDs with a paper label
                                   midity. If this occurs, remove the CD
                                   and dehumidify or ventilate the player       ● CDs that are warped, scratched, or
                                   completely.                                    have abnormal edges
                      LHA0099
                                 ● The player may skip while driving on       ● This audio system can only play pre-
AUDIO OPERATION PRECAUTIONS        rough roads.                                 recorded CDs. It has no capability to
                                                                                record or burn CDs.
                                 ● The CD player sometimes cannot func-
                                   tion when the compartment tempera-         ● If the CD cannot be played, one of the
                                   ture is extremely high or low.               following messages will be displayed.
                                   Decrease/increase the temperature
                                   before use.
                                            Display screen, heater, air conditioner, audio and phone systems 4-45




                                                         ੬ REVIEW COPY—2008 Quest (van)
                                                         Owners Manual—USA_English (nna)
                                                         06/29/07—debbie ੭
CHECK DISC:                                          virtually no perceptible loss in quality. MP3
                                                         compression removes the redundant and
    ● Confirm that the CD is inserted cor-               irrelevant parts of a sound signal that the
      rectly (the label side is facing up,               human ear doesn’t hear.
      etc.).
                                                      ● Bit rate — Bit rate denotes the number of
    ● Confirm that the CD is not bent or                bits per second used by a digital music file.
      warped and it is free of scratches.               The size and quality of a compressed digital
    PRESS EJECT:                                        audio file is determined by the bit rate used
                                                        when encoding the file.
    This is an error due to excessive tem-
                                                      ● Sampling frequency — Sampling frequency
    perature inside the player. Remove the
                                                        is the rate at which the samples of a signal
    CD by pressing the EJECT button. After
                                                        are converted from analog to digital (A/D
    a short time, reinsert the CD. The CD
                                                        conversion) per second.
    can be played when the temperature of
    the player returns to normal.                     ● ID3 tag — The ID3 tag is the part of the
                                                        encoded MP3 file that contains information
    UNPLAYABLE:
                                                        about the digital music file such as song title,
    The file is unplayable in this audio sys-           artist, album title, encoding bit rate, track
    tem (only MP3 CD).                                  time duration, etc. ID3 tag information is
                                                        displayed on the Album/Artist/Track title line
Compact Disc with MP3                                   on the display.
Terms:
                                                                                                                                               WHA1090
 ● MP3 — MP3 is short for Moving Pictures
   Experts Group Audio Layer 3. MP3 is the                                                                           Playback order chart
   most well-known compressed digital audio                                                                Playback order:
   file format. This format allows for near “CD                                                            Playback order of the CD with compressed files
   quality” sound, but at a fraction of the size of                                                        (MP3) is as illustrated.
   normal audio files. MP3 conversion of an
   audio track from CD-ROM can reduce the                                                                   ● The names of folders not containing MP3
   file size by approximately a 10:1 ratio with                                                               files are not shown in the display.
4-46 Display screen, heater, air conditioner, audio and phone systems




                                                                                   ੬ REVIEW COPY—2008 Quest (van)
                                                                                   Owners Manual—USA_English (nna)
                                                                                   06/29/07—debbie ੭
● If there is a file in the top level of the disc,
  “ROOT” is displayed.
● The playback order is the order in which the
  files were written by the writing software.
  Therefore, the files might not play in the
  desired order.




                                                     Display screen, heater, air conditioner, audio and phone systems 4-47




                                                                ੬ REVIEW COPY—2008 Quest (van)
                                                                Owners Manual—USA_English (nna)
                                                                06/29/07—debbie ੭
Specification chart:

 Supported media                                    CD, CD-R, CD-RW
 Supported file systems                             ISO9660 LEVEL1, ISO9660 LEVEL2, Apple ISO, Romeo, Joliet * ISO9660 Level 3 (packet writing) is not supported.
                               Version              MPEG1, MPEG2, MPEG2.5
 Supported
                   MP3         Sampling frequency   8 kHz - 48 kHz
 versions*
                               Bit rate             8 kbps - 320 kbps, VBR
 Tag information                                    ID3 tag VER1.0, VER1.1, VER2.2, VER2.3 (MP3 only)
 Folder levels                                      Folder levels: 8, Max folders: 255 (including root folder), Files: 512
 Text character number limitation                   31 characters
                                                    01: ASCII, 02: ISO-8859-1, 03: UNICODE (UTF-16 BOM Big Endian), 04: UNICODE (UTF-16 Non-BOM Big Endian), 05:
 Displayable character codes
                                                    (UTF-8), 06: UNICODE (Non-UTF-16 BOM Little Endian)

*Files created with a combination of 48 kHz sampling frequency and 64 kbps bit rate cannot be played.




4-48 Display screen, heater, air conditioner, audio and phone systems




                                                                                                 ੬ REVIEW COPY—2008 Quest (van)
                                                                                                 Owners Manual—USA_English (nna)
                                                                                                 06/29/07—debbie ੭
Troubleshooting guide:

Symptom                                                                                          Cause and Countermeasure
                                  Check if the disc was inserted correctly.
                                  Check if the disc is scratched or dirty.
                                  Check if there is condensation inside the player. If there is, wait until the condensation is gone (about 1 hour) before using the player.
Cannot play
                                  If there is a temperature increase error, the CD player will play correctly after it returns to the normal temperature.
                                  Files with extensions other than “.MP3”, “.mp3” or “.wma” cannot be played. In addition, the character codes and number of characters for folder names
                                  and file names should be in compliance with the specifications.
                                  Check if the disc is scratched or dirty.
Poor sound quality
                                  Bit rate may be too low.
It takes a relatively long time   If there are many folders or file levels on the MP3 disc, or if it is a multisession disc, some time may be required before the music starts playing.
before the music starts
playing.
                                  The writing software and hardware combination might not match, or the writing speed, writing depth, writing width, etc., might not match the
Music cuts off or skips
                                  specifications. Try using the slowest writing speed.
Skipping with high bit rate       Skipping may occur with large quantities of data, such as for high bit rate data.
files
Moves immediately to the          When a non-MP3 file has been given an extension of “.MP3” or “.mp3”, or when play is prohibited by copyright protection, there will be approximately 5
next song when playing            seconds of no sound and then the player will skip to the next song.
Songs do not play back in         The playback order is the order in which the files were written by the writing software. Therefore, the files might not play in the desired order.
the desired order




                                                                                     Display screen, heater, air conditioner, audio and phone systems 4-49




                                                                                                       ੬ REVIEW COPY—2008 Quest (van)
                                                                                                       Owners Manual—USA_English (nna)
                                                                                                       06/29/07—debbie ੭
13. AUDIO button [BASS, MID, TREBLE,
                                                                                            FADE, BALANCE and SSV (if so
                                                                                            equipped)]
                                                                                        14.       CD eject button
                                                                                        15. AUX jack
                                                                                        16. CD insert slot

                                                                                             *No satellite radio reception is available
                                                                                             and “NO SAT” is displayed when the
                                                                                             SAT button is pressed unless optional
                                                                                             satellite receiver and antenna are
                                                                                             installed, and an XMா satellite radio
                                                                                             service subscription is active. Satellite
                                                                                             radio not available in Alaska, Hawaii and
                                                                                             Guam.
                                                                                        FM/AM/SAT RADIO WITH
                                                                                        COMPACT DISC (CD) PLAYER
                                                                                        For all operation precautions, see ЉAudio opera-
                                                                                        tion precautionsЉ earlier in this section.
                                                                              LHA0634   No satellite radio reception is available and “NO
1.   SEEK/TRACK button                   7.    AUX button                               SAT” is displayed when the SAT button is
                                                                                        pressed unless optional satellite receiver and
2.   PRESET A·B·C button                 8.    TUNE/CAT button
                                                                                        antenna are installed, and an XMா satellite radio
3.   CD/DVD button                       9.    DISP button
                                                                                        service subscription is active. Satellite radio not
4.   Station select (1 - 6) buttons      10.   FM·AM/SAT (satellite) radio button*      available in Alaska, Hawaii and Guam.
5.   POWER/VOLUME control knob           11.   SCAN/RPT button
6.   REAR CTRL button                    12.        Rear speaker control button
4-50 Display screen, heater, air conditioner, audio and phone systems




                                                                    ੬ REVIEW COPY—2008 Quest (van)
                                                                    Owners Manual—USA_English (nna)
                                                                    06/29/07—debbie ੭
Audio main operation                                  sound level between the front and rear speakers        MP3 display mode
                                                      and Balance adjusts the sound between the right
Power/Volume control:                                                                                        To change the text displayed when listening to an
                                                      and left speakers.
                                                                                                             MP3 with MP3 text (when CD with text is being
Turn the ignition key to ACC or ON, and then          To change the SSV mode to OFF, LOW, MID or             used), press the DISP button. The DISP button
press the POWER/VOLUME control knob while             HIGH, press the TUNE button.                           will scroll through the CD text as follows: Folder,
the system is off to call up the mode (radio or CD)                                                          Artist and Track title ←→ Folder title ←→ Artist
which was playing immediately before the system       Once you have adjusted the sound quality to the
                                                                                                             title → Track title.
was turned off.                                       desired level, press the AUDIO button repeatedly
                                                      until the radio or CD display reappears. Other-        To change the default display mode, press the
To turn the system off,               press    the    wise, the radio or CD display will automatically       SETTING button repeatedly until MP3 Disp Type
POWER/VOLUME control knob.                            reappear after about 10 seconds.                       appears on the display, then press the TUNE
Turn the POWER/VOLUME control knob to ad-                                                                    button to select the following display modes:
                                                      DISP (display) button:
just the volume.                                                                                             Folder number ←→ Disc number.
                                                      This DISP (display) button will show text about
This vehicle may be equipped with Speed Sen-                                                                 Once a display mode is selected, press the SET-
                                                      MP3 (if so equipped), CD or SAT information in
sitive Volume (SSV) for audio. The audio volume                                                              TING button again to store the setting.
                                                      the audio display.
changes as the driving speed changes.
                                                                                                              ● Folder number mode displays the folder
                                                      CD display mode
AUDIO button (BASS, MID, TREBLE, FADE,                                                                          number and the file number of the folder
BALANCE and SSV if so equipped):                      To change the text displayed while playing a CD           currently being played.
                                                      with text, press the DISP button. The DISP button
Press the AUDIO button to change the mode as                                                                  ● Disc number mode displays the number se-
                                                      will allow you to scroll through CD text as follows:
follows:                                                                                                        lected disc and the track that is currently
                                                      Track number ←→ Disc title ←→ Track title.
                                                                                                                being played.
BASS → MID → TREBLE → FADE → BALANCE
                                                       ● Track title mode displays the title of the se-
→ SSV (if so equipped)                                                                                       Display satellite radio display mode (if so
                                                         lected CD track.
                                                                                                             equipped)
To adjust Bass, Mid, Treble, Fade and Balance,
                                                       ● Disc title mode displays the title of the CD
press the AUDIO button until the desired mode                                                                To change the text displayed when listening to
                                                         being played.
appears in the display. Press the TUNE button to                                                             satellite radio (if so equipped) press the DISP
adjust Bass, Mid and Treble to the desired level.      ● Track number mode displays the number               button. The DISP button will scroll through the
You can also use the TUNE Button to adjust               selected disc and the track that is currently       broadcast information as follows: Name ←→
Fader and Balance modes. Fader adjusts the               being played on the disc.                           Title ←→ Current display mode.
                                                                     Display screen, heater, air conditioner, audio and phone systems 4-51




                                                                                     ੬ REVIEW COPY—2008 Quest (van)
                                                                                     Owners Manual—USA_English (nna)
                                                                                     06/29/07—debbie ੭
To change the default display mode press the        When FM·AM or SAT* radio select button is                                  SEEK tuning:
AUDIO button to display mode and press the          pressed while the ignition switch is in the ACC or
TUNE button to select the following display         ON, the radio will come on at the station last        Press the SEEK/TRACK button              or
modes: Channel number ←→ Channel name               played.
                                                                                                          for less than 1.5 seconds to tune from high to low
←→ Name ←→ Title. Once the display mode is          The last station played will also come on when        or low to high frequencies and stop at the next
selected press the AUDIO button again to store      the POWER/VOLUME control knob is pressed              broadcasting station.
the setting. If the AUDIO button is not pressed     ON.                                                   SCAN RPT tuning:
after 8 seconds the display will refresh with the
last selected display mode setting.                 *No satellite radio reception is available and “NO    Press the SCAN RPT button for more than 1.5
                                                    SAT” is displayed when the SAT button is              seconds to stop at each broadcasting station
 ● Channel number mode displays the channel         pressed unless optional satellite receiver and        (AM, FM or SAT if so equipped) for 5 seconds.
   number of the selected satellite radio sta-      antenna are installed, and an XMா satellite radio     Pressing the button again during this 5 second
   tion.                                            service subscription is active. Satellite radio is    period will stop SCAN tuning and the radio will
                                                    not available in Alaska, Hawaii and Guam.             remain tuned to that station. If the SCAN RPT
 ● Channel name mode displays the channel
   name of the selected satellite radio station.    If a compact disc is playing when the FM·AM or        button is not pressed within 5 seconds, SCAN
                                                    SAT* radio select button is pressed, the compact      tuning moves to the next station.
 ● Name mode displays the name of the artist,       disc will automatically be turned off and the last    Station memory operations:
   host or weather condition of the selected        radio station played will come on.
   satellite radio station.                                                                               18 stations can be set for the FM, AM and SAT
                                                    The FM stereo indicator ST will glow during FM        radio to the A, B and C preset button in any
 ● Title mode displays the song title, show         stereo reception. When the stereo broadcast           combination of AM, FM or SAT* stations.
   name, or temperature of the selected satel-      signal is weak, the radio will automatically change
   lite radio station.                              from stereo to monaural reception.                     1. Press the PRESET A·B·C button to change
                                                                                                              between storage banks. The radio displays
FM/AM/SAT radio operation                                                TUNE (Tuning):                       the icon A, B or C to indicate which set of
                                                                                                              presets are active.
FM/AM/SAT band select:
                                                    To manually tune the radio, press the TUNE
                                                                                                           2. Tune to the desired station using manual,
Pressing the FM·AM or SAT (satellite - if so        button      or      .
                                                                                                              SEEK or SCAN tuning. Press and hold any
equipped) radio select button will change the
                                                    To move quickly through the channels, hold either         of the desired station memory buttons (1 –
band as follows:
                                                    the       or        button down for more than             6) until a beep sound is heard. (The radio
AM ←→ FM or SAT*                                    1.5 seconds.                                              mutes when the select button is pressed).
4-52 Display screen, heater, air conditioner, audio and phone systems




                                                                                  ੬ REVIEW COPY—2008 Quest (van)
                                                                                  Owners Manual—USA_English (nna)
                                                                                  06/29/07—cathy ੭
3. The channel indicator will then come on and        If the system has been turned off while the com-      several times to skip back through tracks. The
    the sound will resume. Memorizing is now           pact disc was playing, pressing the                   compact disc will go back the number of times
    complete.                                          POWER/VOLUME control knob will start the              the button is pressed.
                                                       compact disc.
 4. Other buttons can be set in the same man-                                                                When the          button is pressed for less than
    ner.                                               CD/DVD button:                                        1.5 seconds while a compact disc is playing, the
                                                                                                             next track will start to play from its beginning.
* SAT presets are only available on SAT equipped       When the CD/DVD button is pressed with the
                                                                                                             Press several times to skip through tracks. The
vehicles.                                              system off and the compact disc loaded, the
                                                                                                             compact disc will advance the number of times
                                                       system will turn on and the compact disc will start
If the battery cable is disconnected, or if the fuse                                                         the button is pressed. (When the last track on the
                                                       to play.
opens, the radio memory will be canceled. In that                                                            compact disc is skipped through, the first track
case, reset the desired stations.                      When the CD/DVD button is pressed with the            will be played.)
                                                       compact disc loaded but the radio playing, the
Radio data system (RDS):                                                                                     When the        or       button is pressed for
                                                       radio will automatically be turned off and the
                                                                                                             more than 1.5 seconds, the CD will fast forward
RDS stands for Radio Data System, and is a data        compact disc will start to play.
                                                                                                             or rewind.
information service transmitted by some radio
                                                                             SEEK/TRACK (Fast For-
stations on the FM band (not AM band) and/or                                                                 SCAN/RPT:
                                                                             ward and Rewind):
SAT radio encoded within a regular radio broad-
                                                                                                             When the SCAN/RPT button is pressed while
cast. Currently, most RDS stations are in large        When the SEEK/TRACK button is pressed for
                                                                                                             the compact disc is being played, the play pattern
cities, but many stations are now considering          more than 1.5 seconds,            (fast forward)
                                                                                                             can be changed as follows:
broadcasting RDS data.                                 or       (rewind) while the compact disc is be-
                                                       ing played, the compact disc will play while fast     1 DISC RPT → 1 TRACK RPT → 1 DISC RDM
Compact disc (CD) player operation                     forwarding or rewinding. When the button is re-
                                                                                                             1 DISC RPT: The disc that is currently playing will
Turn the ignition key to the ACC or ON position        leased, the compact disc will return to normal
                                                                                                             be repeated
and insert the compact disc into the slot with the     play speed.
                                                                                                             1 TRACK RPT: The track that is currently playing
label side facing up. The compact disc will be                               SEEK/TRACK:                     will be repeated.
guided automatically into the slot and start play-
                                                                                                             1 DISC RDM: Tracks from the disc that is cur-
ing.
                                                       When the         button is pressed for less than      rently playing will be played randomly.
If the radio is already operating, it will automati-   1.5 seconds while a compact disc is playing, the
cally turn off and the compact disc will play.         track being played returns to its beginning. Press
                                                                      Display screen, heater, air conditioner, audio and phone systems 4-53




                                                                                     ੬ REVIEW COPY—2008 Quest (van)
                                                                                     Owners Manual—USA_English (nna)
                                                                                     06/29/07—debbie ੭
REAR CTRL:                                           When          button is pressed while the com-
                                                     pact disc is being played, the compact disc will
Pressing the REAR CTRL button turns the rear         eject and the system will turn off.
seat audio controller on. REAR CTRL ON will
display. Pressing it again will turn the rear seat   CD IN indicator:
audio controller off. REAR CTRL OFF will display.    CD IN indicator appears on the display when the
If the vehicle is not equipped with a rear seat      CD is loaded with the system on.
audio controller, the display will show “REAR AV
N/A”.
AUX (Auxiliary) button:
The AUX jack is located on the CD player. The
AUX audio input jack accepts any standard ana-
log audio input such as from a portable cassette
tape/CD player, MP3 player or a laptop com-
puter.
Press the AUX button to play a compatible device
when it is plugged into the AUX jack.
          (SPEAKER CONTROL) button:

Press this       button to turn the rear speakers
off and the headphones on. Press this
button again to turn rear seat speakers back on
and the headphones off.
          CD EJECT:

When the       button is pressed with the com-
pact disc loaded, the compact disc will be
ejected.
4-54 Display screen, heater, air conditioner, audio and phone systems




                                                                                 ੬ REVIEW COPY—2008 Quest (van)
                                                                                 Owners Manual—USA_English (nna)
                                                                                 06/29/07—debbie ੭
11. SCAN/RPT button
                                                                                                12.       Rear speaker control button
                                                                                                13. AUDIO button [BASS, MID, TREBLE,
                                                                                                    FADE, BALANCE and SSV (if so
                                                                                                    equipped)]
                                                                                                14.       CD load button
                                                                                                15.       CD eject button
                                                                                                16. CD insert slot
                                                                                                17. AUX jack

                                                                                                    *No satellite radio reception is available
                                                                                                    and “NO SAT” is displayed when the
                                                                                                    SAT button is pressed unless optional
                                                                                                    satellite receiver and antenna are
                                                                                                    installed, and an XMா satellite radio
                                                                                                    service subscription is active. Satellite
                                                                                                    radio not available in Alaska, Hawaii and
                                                                                                    Guam.


                                                                                      LHA0635
                                             Type A
1.   SEEK/TRACK button                           6.    REAR CTRL button
2.   PRESET A·B·C button                         7.    AUX button
3.   CD/DVD button                               8.    TUNE/FLDR·CAT button
4.   Station and CD select (1 - 6) buttons       9.    DISP button
5.   POWER/VOLUME control knob                   10.   FM·AM/SAT (satellite) radio button*

                                                               Display screen, heater, air conditioner, audio and phone systems 4-55




                                                                            ੬ REVIEW COPY—2008 Quest (van)
                                                                            Owners Manual—USA_English (nna)
                                                                            06/29/07—debbie ੭
11. FM·AM/SAT (satellite) radio select
                                                                                             button*
                                                                                         12.       Rear speaker control button
                                                                                         13. RPT·RDM button
                                                                                         14. AUDIO button [BASS, MID, TREBLE,
                                                                                             FADE, BALANCE and SSV (if so
                                                                                             equipped)]
                                                                                         15.       CD load button
                                                                                         16.       CD eject button
                                                                                         17. CD insert slot
                                                                                         18. AUX jack

                                                                                              *No satellite radio reception is available
                                                                                              and “NO SAT” is displayed when the
                                                                                              SAT button is pressed unless optional
                                                                                              satellite receiver and antenna are
                                                                                              installed, and an XMா satellite radio
                                                                                              service subscription is active. Satellite
                                                                                              radio not available in Alaska, Hawaii and
                                                                                              Guam.
                                                                               LHA0636   FM/AM/SAT RADIO WITH
                                             Type B                                      COMPACT DISC (CD) CHANGER
1.   SEEK/TRACK button                           6.    REAR CTRL button                  (Type A and B) (if so equipped)
2.   PRESET A·B·C button                         7.    AUX button
3.   CD/DVD button                               8.    TUNE/FLDR·CAT button              For all operation precautions, see ЉAudio opera-
4.   Station and CD select (1 - 6) buttons       9.    DISP button                       tion precautionsЉ earlier in this section.
5.   POWER/VOLUME control knob                   10.   SCAN button

4-56 Display screen, heater, air conditioner, audio and phone systems




                                                                         ੬ REVIEW COPY—2008 Quest (van)
                                                                         Owners Manual—USA_English (nna)
                                                                         06/29/07—cathy ੭
No satellite radio reception is available and “NO     To adjust Bass, Mid, Treble, Fade and Balance,          ● Disc title mode displays the title of the CD
SAT” is displayed when the SAT button is              press the AUDIO button until the desired mode             being played.
pressed unless optional satellite receiver and        appears in the display. Press the TUNE button to
                                                                                                              ● Track number mode displays the number
antenna are installed, and an XMா satellite radio     adjust Bass, Mid and Treble to the desired level.
                                                                                                                selected disc and the track that is currently
service subscription is active. Satellite radio not   You can also use the TUNE Button to adjust
                                                                                                                being played on the disc.
available in Alaska, Hawaii and Guam.                 Fader and Balance modes. Fader adjusts the
                                                      sound level between the front and rear speakers        MP3 display mode (if so equipped)
Audio main operation                                  and Balance adjusts the sound between the right
                                                                                                             To change the text displayed when listening to an
Power/Volume control:                                 and left speakers.
                                                                                                             MP3 with MP3 text (when CD with text is being
Turn the ignition key to ACC or ON, and then          To change the SSV mode to OFF, LOW, MID or             used), press the DISP button. The DISP button
press the POWER/VOLUME control knob while             HIGH, press the TUNE button.                           will scroll through the CD text as follows: Folder,
the system is off to call up the mode (radio or CD)                                                          Artist and Track title ←→ Folder title ←→ Artist
                                                      Once you have adjusted the sound quality to the
which was playing immediately before the system                                                              title → Track title.
                                                      desired level, press the AUDIO button repeatedly
was turned off.
                                                      until the radio or CD display reappears. Other-        To change the default display mode, press the
To turn the system off,               press    the    wise, the radio or CD display will automatically       AUDIO button repeatedly until DISPLAY MODE
POWER/VOLUME control knob.                            reappear after about 10 seconds.                       appears on the display, then press the TUNE
Turn the POWER/VOLUME control knob to ad-             DISP (display) button:                                 button to select the following display modes:
just the volume.                                                                                             Folder number ←→ Disc number.
                                                      This DISP (display) button will show text about
This vehicle may be equipped with Speed Sen-          MP3 (if so equipped), CD or SAT information in         Once a display mode is selected, press the AU-
sitive Volume (SSV) for audio. The audio volume       the audio display.                                     DIO button again to store the setting.
changes as the driving speed changes.                                                                         ● Folder number mode displays the folder
                                                      CD display mode
AUDIO button (BASS, MID, TREBLE, FADE,                                                                          number and the file number of the folder
                                                      To change the text displayed while playing a CD           currently being played.
BALANCE and SSV if so equipped):
                                                      with text, press the DISP button. The DISP button
Press the AUDIO button to change the mode as          will allow you to scroll through CD text as follows:    ● Disc number mode displays the number se-
follows:                                              Track number ←→ Disc title ←→ Track title.                lected disc and the track that is currently
                                                                                                                being played.
BASS → MID → TREBLE → FADE → BALANCE                   ● Track title mode displays the title of the se-
→ SSV (if so equipped)                                   lected CD track.
                                                                     Display screen, heater, air conditioner, audio and phone systems 4-57




                                                                                     ੬ REVIEW COPY—2008 Quest (van)
                                                                                     Owners Manual—USA_English (nna)
                                                                                     06/29/07—debbie ੭
Display satellite radio display mode (if so         FM/AM/SAT radio operation                                                  TUNE (Tuning):
equipped)
                                                    FM/AM/SAT band select:
To change the text displayed when listening to                                                            To manually tune the radio, press the
satellite radio (if so equipped) press the DISP     Pressing the FM·AM or SAT (satellite - if so          TUNE/FLDR·CAT button           or       .
                                                    equipped) radio select button will change the
button. The DISP button will scroll through the                                                           To move quickly through the channels, hold either
                                                    band as follows:
broadcast information as follows: Name ←→                                                                 the       or        button down for more than
Title ←→ Current display mode.                      AM ←→ FM or SAT*                                      1.5 seconds.
To change the default display mode press the        When FM·AM or SAT* radio select button is                                 SEEK tuning:
AUDIO button to display mode and press the          pressed while the ignition switch is in the ACC or
TUNE button to select the following display         ON, the radio will come on at the station last        Press the SEEK/TRACK button              or
modes: Channel number ←→ Channel name               played.                                               for less than 1.5 seconds to tune from high to low
←→ Name ←→ Title. Once the display mode is          The last station played will also come on when        or low to high frequencies and stop at the next
selected press the AUDIO button again to store      the POWER/VOLUME control knob is pressed              broadcasting station.
the setting. If the AUDIO button is not pressed     ON.                                                   SCAN RPT tuning (Type A only):
after 8 seconds the display will refresh with the
                                                    *No satellite radio reception is available and “NO    Press the SCAN RPT button for more than 1.5
last selected display mode setting.
                                                    SAT” is displayed when the SAT button is              seconds to stop at each broadcasting station
 ● Channel number mode displays the channel         pressed unless optional satellite receiver and        (AM, FM or SAT if so equipped) for 5 seconds.
   number of the selected satellite radio sta-      antenna are installed, and an XMா satellite radio     Pressing the button again during this 5 second
   tion.                                            service subscription is active. Satellite radio is    period will stop SCAN tuning and the radio will
                                                    not available in Alaska, Hawaii and Guam.             remain tuned to that station. If the SCAN RPT
 ● Channel name mode displays the channel
                                                    If a compact disc is playing when the FM·AM or        button is not pressed within 5 seconds, SCAN
   name of the selected satellite radio station.                                                          tuning moves to the next station.
                                                    SAT* radio select button is pressed, the compact
 ● Name mode displays the name of the artist,       disc will automatically be turned off and the last    SCAN tuning (Type B only):
   host or weather condition of the selected        radio station played will come on.
   satellite radio station.                                                                               Press the SCAN button for more than 1.5 sec-
                                                    The FM stereo indicator ST will glow during FM        onds to stop at each broadcasting station for 5
 ● Title mode displays the song title, show         stereo reception. When the stereo broadcast           seconds. Pressing the button again during this 5
   name, or temperature of the selected satel-      signal is weak, the radio will automatically change   second period will stop SCAN tuning and the
   lite radio station.                              from stereo to monaural reception.                    radio will remain tuned to that station. If the
4-58 Display screen, heater, air conditioner, audio and phone systems




                                                                                  ੬ REVIEW COPY—2008 Quest (van)
                                                                                  Owners Manual—USA_English (nna)
                                                                                  06/29/07—cathy ੭
SCAN button is not pressed within 5 seconds,           Radio data system (RDS):                               To insert 6 CDs to the CD changer, press
SCAN tuning moves to the next station.                                                                        the       load button for more than 1.5 seconds.
                                                       RDS stands for Radio Data System, and is a data
Station memory operations:                             information service transmitted by some radio          The slot numbers (1 – 6) will illuminate on the
                                                       stations on the FM band (not AM band) and/or           display when CDs are loaded into the changer.
18 stations can be set for the FM, AM and SAT
                                                       SAT radio encoded within a regular radio broad-
radio to the A, B and C preset button in any                                                                  CD/DVD button:
                                                       cast. Currently, most RDS stations are in large
combination of AM, FM or SAT* stations.
                                                       cities, but many stations are now considering          When the CD/DVD button is pressed with the
 1. Press the PRESET A·B·C button to change            broadcasting RDS data.                                 system off and the compact disc loaded, the
    between storage banks. The radio displays                                                                 system will turn on and the compact disc will start
    the icon A, B or C to indicate which set of        Compact disc (CD) changer operation                    to play.
    presets are active.                                Turn the ignition key to the ACC or ON position.       When the CD/DVD button is pressed with the
 2. Tune to the desired station using manual,          To insert the disc, first press the LOAD button.       compact disc loaded with the radio playing, the
    SEEK or SCAN tuning. Press and hold any            Insert the compact disc into the slot with the label   radio will automatically be turned off and the
    of the desired station memory buttons (1 –         side facing up. The compact disc will be guided        compact disc will start to play.
    6) until a beep sound is heard. (The radio         automatically into the slot and start playing.
                                                                                                                                    SEEK/TRACK:
    mutes when the select button is pressed).          If the radio is already operating, it will automati-
 3. The channel indicator will then come on and        cally turn off and the compact disc will play.         When the           button is pressed while a com-
    the sound will resume. Memorizing is now           If the system has been turned off while the com-       pact disc is playing, the track being played re-
    complete.                                          pact disc was playing, pressing the                    turns to its beginning. Press several times to skip
 4. Other buttons can be set in the same man-          POWER/VOLUME control knob will start the               back through tracks. The compact disc will go
    ner.                                               compact disc.                                          back the number of times the button is pressed.

* SAT presets are only available on SAT equipped                  CD LOAD button:                             When the           button is pressed while the
vehicles.                                                                                                     compact disc is playing, the next track will start to
                                                       To insert a CD in the CD changer, press                play from its beginning. Press several times to
If the battery cable is disconnected, or if the fuse   the        load button for less than 1.5 seconds.      skip through tracks. The compact disc will ad-
opens, the radio memory will be canceled. In that      Select the loading slot by pressing the CD insert      vance the number of times the button is pressed.
case, reset the desired stations.                      select button (1 – 6), then insert the CD.             (When the last track on the compact disc is
                                                                                                              skipped through, the first track will be played.)
                                                                      Display screen, heater, air conditioner, audio and phone systems 4-59




                                                                                      ੬ REVIEW COPY—2008 Quest (van)
                                                                                      Owners Manual—USA_English (nna)
                                                                                      06/29/07—debbie ੭
TUNE/FLDR·CAT                   1 TRACK REPEAT: The track that is currently                       (SPEAKER CONTROL) button:
                     (Folder·Catalog):               playing will be repeated.
                                                     ALL DISC RANDOM: Tracks from all discs will be       Press this       button to turn the rear speakers
While    playing     an    MP3,  press    the        played randomly.
TUNE/FLDR·CAT button          or      to scan                                                             off and the headphones on. Press this
                                                     1 DISC RANDOM: Tracks from the disc that is          button again to turn rear seat speakers back on
through available folders.                           currently playing will be played randomly.           and the headphones off.
                     TUNE/FLDR·CAT (Fast             RPT·RDM button (Type B only):
                     Forward and Rewind):                                                                              CD EJECT:
                                                     When the RPT·RDM button is pressed while the
When the TUNE/FLDR·CAT button is pressed for         compact disc is played, the play pattern can be
more than 1.5 seconds,            (fast forward)                                                          Current/Selected disc:
                                                     changed as follows:
or       (rewind) while the compact disc is be-                                                            ● Press the         button, then press the slot
ing played, the compact disc will play while fast    1 DISC REPEAT→ 1 TRACK REPEAT → ALL                     number (1 – 6) for the desired disc. The
forwarding or rewinding . When the button is         DISC RANDOM → 1 DISC RANDOM                             compact disc will be ejected. If no slot num-
released, the compact disc will return to normal                                                             ber (1 – 6) is pressed, the current loaded
                                                     1 DISC REPEAT: The disc that is currently play-
play speed.                                                                                                  disc will be ejected. Also, if the ejected disc
                                                     ing will be repeated.
CD select buttons:                                   1 TRACK REPEAT: The track that is currently             is not removed within 15 seconds, the disc
                                                     playing will be repeated.                               will reload.
To play another CD that has been loaded, press a     ALL DISC RANDOM: Tracks from all discs will be
CD select button (1 – 6).                            played randomly.                                     All discs:
SCAN/RPT (Type A only):                              1 DISC RANDOM: Tracks from the disc that is           ● Press and hold the          button for more
                                                     currently playing will be played randomly.              than 1.5 seconds. The compact discs will be
When the SCAN/RPT button is pressed while
the compact disc is being played, the play pattern   REAR CTRL:                                              ejected one by one. If a disc is not removed
can be changed as follows:                                                                                   within 15 seconds, or the           button is
                                                     Pressing the REAR CTRL button turns the rear            pressed again during the eject sequence,
1 DISC REPEAT → 1 TRACK REPEAT → ALL                 seat audio controller on. REAR CTRL ON will             the entire disc eject sequence will be can-
DISC RANDOM → 1 DISC RANDOM                          display. Pressing it again will turn the rear seat      celed.
                                                     audio controller off. REAR CTRL OFF will display.
1 DISC REPEAT: The disc that is currently play-      If the vehicle is not equipped with a rear seat      When this button is pressed while the compact
ing will be repeated                                 audio controller, the display will show “REAR AV     disc is being played, the compact disc will eject
                                                     N/A”.                                                and the last source will be played.
4-60 Display screen, heater, air conditioner, audio and phone systems




                                                                                   ੬ REVIEW COPY—2008 Quest (van)
                                                                                   Owners Manual—USA_English (nna)
                                                                                   06/29/07—cathy ੭
CD IN indicator:                                                                                    ● A new disc may be rough on the inner and
                                                                                                      outer edges. Remove the rough edges by
The slot numbers (1 – 6) will illuminate if CDs
                                                                                                      rubbing the inner and outer edges with the
have been loaded into the changer in CD mode
                                                                                                      side of a pen or pencil as illustrated.
only.
AUX (Auxiliary) button:
The AUX jack is located on the CD player. The
AUX audio input jack accepts any standard ana-
log audio input such as from a portable cassette
tape/CD player, MP3 player or a laptop com-
puter.
Press the AUX button to play a compatible device
when it is plugged into the AUX jack.
                                                                                        LHA0049
                                                   CD CARE AND CLEANING
                                                   ● Handle a CD by its edges. Do not bend the
                                                     disc. Never touch the surface of the disc.
                                                   ● Always place the discs in the storage case
                                                     when they are not being used.
                                                   ● To clean a disc, wipe the surface from the
                                                     center to the outer edge using a clean, soft
                                                     cloth. Do not wipe the disc using a circular
                                                     motion.
                                                   ● Do not use a conventional record cleaner or
                                                     alcohol intended for industrial use.



                                                               Display screen, heater, air conditioner, audio and phone systems 4-61




                                                                              ੬ REVIEW COPY—2008 Quest (van)
                                                                              Owners Manual—USA_English (nna)
                                                                              06/29/07—debbie ੭
If you have the Type B switch, with the ignition key
                                                                                         turned to the ACC or ON position, push the
                                                                                         MODE switch to turn the audio system on.
                                                                                         MODE select switch
                                                                                         Push the MODE select switch to change the
                                                                                         mode in the following sequence: PRESET A →
                                                                                         PRESET B → PRESET C → CD → DVD (if so
                                                                                         equipped) → AUX.
                                                                                         While in one of the preset radio station banks (A,
                                                                                         B or C), use the tuning switch         or       to
                                                                                         select one of the preset radio stations (1-6).
                              WHA0640                                       WHA0637      Volume control switch
                  Type A                                   Type B                        Push the volume control switch up or down to
1.   Volume control switch               1.   Volume control switch                      increase or decrease the volume.
2.   MODE select switch                  2.   Phone operation switch
3.   POWER on/off switch                 3.   POWER on and MODE select switch                                  Tuning
4.   Tuning switch                       4.   Tuning switch                              Memory change (radio):
                                         STEERING WHEEL SWITCH FOR
                                                                                         While in one of the preset radio station banks (A,
                                         AUDIO CONTROL                                   B or C), push the tuning switch          or
                                         The audio system can be operated using the      for less than 1.5 seconds to change to the next
                                         controls on the steering wheel.                 preset station in memory.
                                         POWER on/off switch                             Seek tuning (radio):
                                         With the ignition key turned to the ACC or ON   Push the tuning switch      or       for more
                                         position, push the POWER switch to turn the     than 1.5 seconds to seek the next or previous
                                         audio system on or off.                         radio station.
4-62 Display screen, heater, air conditioner, audio and phone systems




                                                                    ੬ REVIEW COPY—2008 Quest (van)
                                                                    Owners Manual—USA_English (nna)
                                                                    06/29/07—debbie ੭
Next/Previous track (CD):
Push the tuning switch          or        for less
than 1.5 seconds to return to the beginning of the
present track or skip to the next track. Push
several times to skip back or skip through tracks.
This system searches for the blank intervals be-
tween selections. If there is a blank interval within
1 program or there is no interval between pro-
grams, the system may not stop in the desired or
expected location.
Change disc (CD) (if so equipped):
Push the SEEK tuning switch    or        for
more than 1.5 seconds to change the playing
disc up or down.




                                                                                                                                       LHA0322
                                                        1.   VOL (volume) control button          7.   Infrared headphone transmitter lens*
                                                        2.   MODE select button
                                                        3.        speaker control button               *Red transmitters will be visible when
                                                        4.   NEXT button                               infrared headphones are on.
                                                        5.   SEEK button
                                                        6.   Headphone jacks
                                                                    Display screen, heater, air conditioner, audio and phone systems 4-63




                                                                                 ੬ REVIEW COPY—2008 Quest (van)
                                                                                 Owners Manual—USA_English (nna)
                                                                                 06/29/07—debbie ੭
REAR AUDIO CONTROLS (if so                            VOL (volume) button:                                   NOTE:
equipped)                                             The VOL button allows the rear passengers to           The AUX jack can only be turned on by the
                                                      adjust the headphone volume level. The vehicle         front control panel.
Press the REAR CTRL button on the front radio
control panel to turn the rear controls on. Press     volume can also be changed if the REAR CTRL is         For additional information on the AUX jack, see
the button again to turn the rear controls off.       enabled and the rear audio mode is the same as         “AUX (Axiliary) button” earlier in this section.
                                                      the front.
The headphones symbol illuminates on the front                                                               SEEK button:
display when the rear audio controls are on. Two                 (SPEAKER CONTROL) button:
                                                                                                             In AM or FM mode, the SEEK button allows the
headphone jacks are provided so two rear seat                                                                rear seat passengers to find the next radio station
passengers may listen to the audio system pri-        Press this      button to turn the rear speakers       up or down the station band frequency.
vately.                                               off and headphones on. Press this         button
                                                      again to turn rear seat speakers back on and           In CD mode, the SEEK button allows the rear
The rear volume controls can only increase the        headphones off.                                        passengers to find the next or previous selection
volume to the level at which the front radio volume                                                          on the CD.
control is set.                                       MODE button (Type A only):                             NEXT button:
One or two (if so equipped) infrared headphones       The MODE button allows the rear passengers to          When the NEXT button is pressed while in AM,
are included if the vehicle is equipped with the      change between AM, FM, CD, DVD, AUX jack               FM or SAT mode (if so equipped), the radio will
DVD entertainment system. Most portable radio         and AUX(SAT) (if so equipped). The media op-           change to the next preset.
headphones work with the rear audio controls.         tions are listed on the face plate of the rear audio
                                                      controls. When a source of media is selected, the      When playing a CD in the CD changer (if so
For vehicles equipped with the FM/AM/SAT radio                                                               equipped), press the NEXT button to change
with compact disc player, if the rear passengers      media label will be illuminated.
                                                                                                             between discs when multiple discs are loaded.
turn off the rear speakers and are using head-        MODE button (Type B and C):
phones they may choose to listen to a different                                                              The NEXT button does not function while playing
media than the front passengers. The rear pas-        The MODE button allows the rear passengers to          a DVD or single CD.
sengers can listen to the radio along with the        change between AM, FM, CD, DVD and AUX-
front passengers or they can listen to a CD or        (SAT) (is so equipped). The media options are
SAT radio (if so equipped).                           listed on the face plate of the rear audio controls.
                                                      When a source of media is selected, the media
                                                      label will be illuminated.
4-64 Display screen, heater, air conditioner, audio and phone systems




                                                                                     ੬ REVIEW COPY—2008 Quest (van)
                                                                                     Owners Manual—USA_English (nna)
                                                                                     06/29/07—debbie ੭
DVD ENTERTAINMENT SYSTEM (if so
                                                 equipped)

ANTENNA                                                                                                           CAUTION
Window antenna
                                                                                               ● The glass screen on the liquid crystal
The antenna pattern is printed inside the rear                                                   display may break if hit with a hard or
passenger and driver side windows.                                                               sharp object. If the glass breaks, do not
                                                                                                 touch the liquid crystalline material,
                   CAUTION                                                                       which contains a small amount of mer-
                                                                                                 cury. In case of contact with skin, wash
● Do not place metalized film near the                                                           immediately with soap and water.
  rear driver or passenger side window
  glass or attach any metal parts to it. This                                                  ● Use a damp, soft cloth when cleaning
  may cause poor reception or noise.                                                             the DVD Entertainment System compo-
                                                                                                 nents. Do not use solvents or cleaning
● When cleaning the inside of the rear                                                           solutions.
  driver or passenger side window, be
  careful not to scratch or damage the                                              LHA0641    ● To avoid discharging the vehicle bat-
  window antenna. Lightly wipe along the                                                         tery, do not operate the system more
  antenna with a dampened soft cloth.                             WARNING                        than 15 minutes without starting the
                                                                                                 engine.
                                                 ● The DVD Entertainment System is de-
                                                   signed for rear seat passenger viewing      Do not attempt to use the system in extreme
                                                   only.                                       temperature conditions [below -4°F (-20°C) or
                                                 ● The driver must not attempt to operate      above 158°F (70°C)]
                                                   the DVD Entertainment System while
                                                   the vehicle is in motion so that full at-
                                                   tention may be given to vehicle
                                                   operation.




                                                             Display screen, heater, air conditioner, audio and phone systems 4-65




                                                                           ੬ REVIEW COPY—2008 Quest (van)
                                                                           Owners Manual—USA_English (nna)
                                                                           06/29/07—debbie ੭
LHA0316
1.    EJECT button                       DIGITAL VIDEO DISC (DVD) PLAYER
2.    DVD slot                           CONTROLS
3.    ENTER button
                                         Refer to “Playing a digital video disc (DVD)” later
4.    POWER on/off button
                                         in this section for the function of each button.
5.    MODE button
6.    Input jacks
7.    STOP button
8.    PLAY/PAUSE button                                                                                                     LHA0317
9.    MENU button                                                                              1.   POWER button
10.   DISPLAY button                                                                           2.   STOP button
11.   NAVIGATION keys                                                                          3.   NEXT TRACK/CHAPTER and
                                                                                                    PREVIOUS TRACK/CHAPTER button
                                                                                               4.   TITLE button
                                                                                               5.   ENTER button
4-66 Display screen, heater, air conditioner, audio and phone systems




                                                                       ੬ REVIEW COPY—2008 Quest (van)
                                                                       Owners Manual—USA_English (nna)
                                                                       06/29/07—cathy ੭
6.    DISPLAY button                                                                                                       CAUTION
7.    MODE button
8.    SUBTITLE button                                                                                    ● The glass screen on the liquid crystal
                                                                                                           display may break if hit with a hard or
9.    AUDIO button
                                                                                                           sharp object. If the glass breaks, do not
10.   ANGLE button                                                                                         touch the liquid crystalline material,
11.   CLEAR button                                                                                         which contains a small amount of mer-
12.   PAUSE button                                                                                         cury. In case of contact with skin, wash
13.   PLAY button                                                                                          immediately with soap and water.
14.   FAST FORWARD/FAST REVERSE                                                                          ● The screen rotates down to view and up
      button                                                                                               into the housing to store when not in
15.   MENU button                                                                                          use. Ensure that the screen is latched
16.   NAVIGATION keys                                                                                      securely into the housing when stored.
17.   BACK button
                                                                                             LHA0315
18.   NUMERIC KEYPAD
REMOTE CONTROL                                        FLIP-DOWN SCREEN
Refer to “Playing a digital video disc (DVD)” later   The flip-down screen has a wireless remote con-
in this section for the function of each button.      trol receiver ᭺ located at the bottom of the
                                                                    1
                                                      screen.
                                                      On vehicles equipped with 2 screens for second
                                                      and third row passengers, both screens will have
                                                      a remote control receiver.




                                                                    Display screen, heater, air conditioner, audio and phone systems 4-67




                                                                                  ੬ REVIEW COPY—2008 Quest (van)
                                                                                  Owners Manual—USA_English (nna)
                                                                                  06/29/07—debbie ੭
PLAYING A DIGITAL VIDEO DISC
                                                                                                  (DVD)
                                                                                                                     CAUTION
                                                                                                  ● Only operate the DVD while the vehicle
                                                                                                    engine is running. Operating the DVD
                                                                                                    for extended periods of time with the
                                                                                                    engine OFF can discharge the vehicle
                                                                                                    battery.
                                                                                                  ● Do not allow the system to get wet.
                                                                                                    Excessive moisture such as spilled liq-
                                                                                                    uids may cause the system to
                                                                                                    malfunction.
                                      SAA0720                                         SAA0721
                                                                                                  ● The driver must not attempt to wear the
Headphones                                        NOTE:
                                                                                                    headphones while the vehicle is in mo-
Power ON/OFF:                                     For optimum infrared headphone perfor-            tion so that full attention may be given
                                                  mance, increase the volume on the rear            to vehicle operation.
Press the power button to turn the headphones     seat controller to the maximum level and
                                                                                                  ● While playing video CD media, this DVD
on or off.                                        adjust the infrared headphone volume us-
                                                                                                    player does not guarantee complete
                                                  ing the volume control on the headphones.
Volume control:                                                                                     functionality of all video CD formats.
                                                  Using a lower volume setting on the rear
Turn the volume control knob to adjust the vol-   seat controller can cause static noise in the   With the DVD player, you can hear DVD videos,
ume.                                              infrared headphones.                            video CDs and CDs using headphones. Passen-
                                                                                                  gers in the rear seat can enjoy the sound inde-
The headphones will automatically be turned off
                                                                                                  pendently of the front seat.
in 30 seconds if there is no sound during that
period. To prevent the battery from being dis-                                                    Press the CD/DVD button located on the front
charged, keep the power supply turned off when                                                    controls to hear the sound of the DVD player
not in use.                                                                                       through the speakers.

4-68 Display screen, heater, air conditioner, audio and phone systems




                                                                             ੬ REVIEW COPY—2008 Quest (van)
                                                                             Owners Manual—USA_English (nna)
                                                                             06/29/07—debbie ੭
Pressing the        button on the front controls      on the faceplate, Red = right channel audio input,                        NEXT CHAPTER/
turns the rear speakers on and off.                   White = left channel audio input, and Yellow =                            PREVIOUS CHAPTER
                                                      Video input).                                                             (Remote control only):
It is possible to operate the DVD player by remote
control.                                              The display will show the “AUX” in the upper left    When the           (NEXT CHAPTER) button is
                                                      corner of the display for 4 seconds once the         pressed while the DVD is being played, the pro-
Headphones are a wireless type and no cables
                                                      Mode is changed to AUX.                              gram next to the present one will start to play from
are necessary. You can use them in almost all the
                                                                                                           its beginning. Press several times to skip through
ranges in the rear seat. (It is not possible to use   To use the input jacks, refer to “Auxiliary input
                                                                                                           programs. The DVD will advance the number of
the headphones in the front seat.)                    jacks” in this section.
                                                                                                           times the button is pressed. When the
POWER on/off button:                                            or            PLAY:                        (PREVIOUS CHAPTER) button is pressed, the
                                                                                                           program being played returns to its beginning.
With the ignition switch turned to the ACC or ON
                                                      When the PLAY/PAUSE button on the player or          Press several times to skip back through pro-
position, press the POWER button to turn the
                                                      the PLAY button on the remote control is             grams. The DVD will go back the number of times
DVD player on or off.
                                                      pressed, the player will play.                       the button is pressed.
Insert the DVD into the slot with the label side
                                                      In play mode, the display will briefly show                     or            PAUSE:
facing up. The DVD will be guided automatically
into the slot.                                        on the upper left corner of the display.
                                                                                                           When the PLAY/PAUSE button on the player or
If the DVD player is off and a DVD is inserted, the                       FF (Fast Forward), REW
                                                                                                           the PAUSE button on the remote control is
DVD player will automatically turn on.                                    (Remote control only):
                                                                                                           pressed, the player will pause playing of the
                                                      Press FAST FORWARD/FAST REVERSE but-                 media. In pause mode, the player will show
                     CAUTION                          tons to carry out the fast forward or fast reverse   on the upper left corner of the display until the
Do not force the compact disc into the                presentation at 5 times normal play speed.           player is changed to another mode.
slot. This could damage the player.                   Press FAST FORWARD/FAST REVERSE but-                            STOP:
MODE select button:                                   tons again or PLAY button to resume the normal
                                                      play speed.                                          Press the STOP button once to stop playing the
Press the MODE button to select Audio/Video                                                                media. The display will show         in the upper
source between DVD and AUX input (input jacks                                                              left corner of the display for 4 seconds, and the
                                                                                                           last disc position will be stored. When the PLAY

                                                                     Display screen, heater, air conditioner, audio and phone systems 4-69




                                                                                    ੬ REVIEW COPY—2008 Quest (van)
                                                                                    Owners Manual—USA_English (nna)
                                                                                    06/29/07—cathy ੭
button is pressed again, it will resume at the            ● Use NAVIGATION KEYS to navigate within              forward, and the display will show       ,
stored disc track and time position.                        the display menu, and use ENTER to select           and a forward arrow symbol respectively in the
                                                            the item.                                           upper left corner of the display for 4 seconds.
If the STOP button is pressed again when the
player is already in Stop mode, it will reinitialize                                                            (Faceplate feature only)
                                                          ● Holding the DISPLAY control on the face-
the pointer to the beginning of the disc. In effect it      plate for longer than approximately 2 sec-          If media is in activated MENU mode, the NAVI-
will ignore the last stored disc position and upon          onds while in the display menu will reset the       GATION KEYS will be used to navigate Up,
receipt of the next play message it will begin at           display characteristics to their nominal val-       Down, Left, and Right within the menu.
the Title Menu, or at “the beginning of the disc”.          ues. (Faceplate feature only)
                                                                                                                If display control menu is on, the NAVIGATION
           EJECT:                                        If the DISPLAY control button on the faceplate is      KEYS will be used to navigate Up, Down, Left,
                                                         pressed for more than 2 seconds, the media             and Right within the menu.
When the EJECT button is pressed with the DVD            track/time information will be displayed along the
loaded, it will be ejected.                                                                                     ENTER:
                                                         bottom of the display. Pressing the DISPLAY
The display will show the EJECT symbol           in      control for more than 2 seconds will remove the        In MENU mode, press the ENTER button to se-
the upper left corner of the display for 4 seconds       media track/time information from the display.         lect MENU items.
once the EJECT button is pressed.                        (Faceplate feature only)
                                                                                                                In the display menu, press the ENTER button to
If the DVD is not loaded, the display will show          NAVIGATION KEYS:                                       select items for modification, as per the on-
“NO DISC”.                                                                                                      screen instructions.
                                                         If media is in PLAY mode, activation of the NAVI-
If the DVD comes out and is not removed within           GATION KEYS (Up, Down, Left, and Right) will           MENU:
25 seconds, it will be pulled back into the slot to      perform      the    following    functions:     next
protect it.                                              chapter/track, previous chapter/track, fast re-        If the media is in PLAY mode and the MENU
                                                         verse and fast forward, and the display will           button is pressed, the DVD menu will appear on
DISPLAY:                                                                                                        the screen. Use Navigation Keys to navigate
                                                         show           ,        ,       and         respec-
If the DISPLAY control is pressed for less than 2        tively in the upper left corner of the display for 4   within the menu, and use ENTER to select the
seconds, the display menu will appear on the             seconds. (Faceplate feature only)                      item.
screen.
                                                         If media is in PAUSE mode, activation of the           Press the MENU button again to return to PLAY
 ● The display menu will remain on the screen            NAVIGATION KEYS (Up, Down and Right) will              mode.
   for 10 seconds if no subsequent control               perform    the    following   functions:  next
   activations occur.                                    chapter/track, previous chapter/track and slow
4-70 Display screen, heater, air conditioner, audio and phone systems




                                                                                        ੬ REVIEW COPY—2008 Quest (van)
                                                                                        Owners Manual—USA_English (nna)
                                                                                        06/29/07—debbie ੭
TITLE (Remote control only):                         CLEAR (Remote control only):                           Auxiliary input jacks
Press TITLE button to return the DVD media to        Press the CLEAR button to clear all numeric            The auxiliary input jacks are located on the control
the “title” of the DVD.                              inputs, if actuated prior to expiration of the         panel. Compatible devices such as video games,
                                                     3-second timer.                                        camcorders and portable video players can be
Press TITLE button again to return to the previous
stop point and play.                                 NUMERIC KEYPAD (0–9 & ≥10) (Remote                     connected to the auxiliary jacks.
                                                     control only):                                         The auxiliary jacks are color coded for identifica-
BACK (Remote control only):
                                                     Press the NUMERIC KEYPAD to directly access            tion purposes.
Press the BACK button to exit the current active
                                                     disc chapters, titles or tracks by inputting their      ● Yellow - video input
menu and return to the previous menu.
                                                     numeric value.
SUBTITLE (Remote control only):                                                                              ● White - left channel audio input
                                                     The “≥10” button input numbers greater than or
Press the SUBTITLE button to call up subtitle        equal to 10, allowing up three digits to be input       ● Red - right channel audio input
selection menu.                                      for selecting chapter/title/track number.              CARE AND MAINTENANCE
Repeatedly press the SUBTITLE button to cycle        The subsequent actuation of numeric buttons will       Use a lightly dampened, lint free cloth to clean the
through each available subtitle.                     continuously shift the previously input number to      surfaces of your DVD Entertainment System.
                                                     the “left”.                                            (DVD player face, screen, remote control, etc.)
AUDIO (Remote control only):
                                                     The chapter/title/track number will be automati-
Press the AUDIO button to call up audio menu.                                                                                     CAUTION
                                                     cally selected (if valid, based on media content) if
Repeatedly press the AUDIO button to cycle           3 seconds expire without any keypad inputs.            ● Do not use any solvents or cleaning
through each available audio track.                                                                           solutions when cleaning the video
                                                     The operator can cancel the input
ANGLE (Remote control only):                         chapter/title/track number by actuating the              system.
                                                     CLEAR control prior to the expiration of the           ● Do not use excessive force on the moni-
Press the ANGLE button to call up camera angle
                                                     3-second timer.                                          tor screen.
menu.
                                                     These functions can be used only for the DVD           ● Avoid touching or scratching the moni-
Repeatedly press the ANGLE button to cycle                                                                    tor screen as it may become dirty or
                                                     discs which correspond to them.
through each available angle.                                                                                 damaged.


                                                                    Display screen, heater, air conditioner, audio and phone systems 4-71




                                                                                    ੬ REVIEW COPY—2008 Quest (van)
                                                                                    Owners Manual—USA_English (nna)
                                                                                    06/29/07—debbie ੭
Do not attempt to use the system in extreme                                                    ● A new disc may be rough on its inner
temperature conditions [below -4°F (-20°C) or                                                    and outer edges. Remove the rough
above 158°F (70°C)]                                                                              edges using the side of a pen or pencil
Do not attempt to operate the system in extreme                                                  as illustrated.
humidity conditions (less than 10% or more than                                                ● Never attempt to use a DVD that has
75%).                                                                                            been cracked, deformed, or repaired
                                                                                                 using adhesive. Doing so may cause
                                                                                                 damage to the equipment.
                                                                                               ● Handle the DVD carefully to avoid contami-
                                                                                                 nation or flaws. Otherwise, signals may not
                                                                                                 be read properly.
                                                                                               ● Do not write, draw or attach anything on any
                                                                                    LHA0049      side of the DVD.
                                                  HOW TO HANDLE THE DVD                        ● Do not store the DVD in locations with direct
                                                                                                 sunlight or in high temperatures or humidity.
                                                                   CAUTION                     ● Always place discs in the storage case when
                                                  ● Handle a DVD by its edges. Never touch       they are not being used.
                                                    the surface of the disc.                   ● Do not put on any sticker or write anything
                                                  ● To clean a disc, wipe the surface from       on either surface of the DVD.
                                                    the center to the outer edge using a
                                                    clean, soft cloth. Do not wipe the disc
                                                    using a circular motion.
                                                  ● Do not use a conventional record
                                                    cleaner, benzine, thinner or alcohol in-
                                                    tended for industrial use.



4-72 Display screen, heater, air conditioner, audio and phone systems




                                                                           ੬ REVIEW COPY—2008 Quest (van)
                                                                           Owners Manual—USA_English (nna)
                                                                           06/29/07—debbie ੭
● DVDs with a region code other than           5. If the disc cannot be ejected see your
                                                “1”. The region code ᭺ is displayed in
                                                                     A                          NISSAN dealer for further assistance.
                                                a small symbol printed on the top of         6. Re-program the radio presets.
                                                the DVD ᭺.B

                                              ● DVDs that are not round.
                                              ● DVDs with a paper label.
                                              ● DVDs that are warped, scratched, or
                                                have unequal edges.
                                              ● Recordable      digital     video   discs
                                                (DVD+R).
                                              ● Rewritable      digital    video    discs
                                                (DVD+RW).
                                             If a DVD with a paper label is used and
                                             becomes jammed, you may be able to reset
                                             the unit and eject the jammed disc with the
                                             following procedure:
                                              1. Record the radio presets.
                                              2. Disconnect the negative terminal from
                                   LHA0484       the battery for five minutes.
DVD player operation precautions              3. Reconnect the negative battery termi-
                                                 nal.
Do not use the following DVDs as they may
cause the DVD player to malfunction:          4. Check to see if the jammed DVD has
                                                 been ejected. If it has not, try to eject
 ● 3.1 in (8 cm) discs with an adapter.
                                                 the DVD by pushing the eject button.

                                                          Display screen, heater, air conditioner, audio and phone systems 4-73




                                                                          ੬ REVIEW COPY—2008 Quest (van)
                                                                          Owners Manual—USA_English (nna)
                                                                          06/29/07—debbie ੭
● When changing batteries, do not let dust or
                                                                                                         oil get on the remote control and head-
                                                                                                         phones.
                                                                                                      FCC Notice:
                                                                                                      Changes or modifications not expressly ap-
                                                                                                      proved by the party responsible for compli-
                                                                                                      ance could void the user’s authority to op-
                                                                                                      erate the equipment. This device complies
                                                                                                      with Part 15 of the FCC Rules and RSS-210
                                                                                                      of Industry Canada. Operation is subject to
                                                                                                      the following two conditions: (1) This de-
                                                                                                      vice may not cause harmful interference,
                                                                                                      and (2) this device must accept any inter-
                                       LHA0318                                           SAA0723      ference received, including interference
                                                 If the battery is removed for any reason             that may cause undesired operation of the
Remote control and headphones                                                                         device.
battery replacement                              other than replacement, close the lid se-
                                                 curely.
Replace the battery as follows:
                                                  ● If you will not be using the remote control for
 1. Open the lid.                                   long periods of time, remove the batteries.
 2. Replace batteries with new ones.              ● Replacement of the batteries is needed
                                                    when the remote control only functions at
 ● Size AA (remote control)
                                                    extremely close distances to the DVD player
 ● Size AAA (headphones)                            or not at all.
Make sure that the       and       ends on        ● Be careful not to touch the battery terminal.
the batteries match the markings inside the
                                                  ● An improperly disposed battery can harm
compartment.
                                                    the environment. Always confirm local regu-
 3. Close the lid securely.                         lations for battery disposal.
4-74 Display screen, heater, air conditioner, audio and phone systems




                                                                              ੬ REVIEW COPY—2008 Quest (van)
                                                                              Owners Manual—USA_English (nna)
                                                                              06/29/07—debbie ੭
CAR PHONE OR CB RADIO                                                                         BLUETOOTHா HANDS-FREE PHONE
                                                                                              SYSTEM (if so equipped)

When installing a CB, ham radio or car phone in
                                                                   CAUTION                                      WARNING
your NISSAN, be sure to observe the following
precautions, otherwise the new equipment may      ● Keep the antenna as far away as pos-      ● Use a phone after stopping your vehicle
adversely affect the engine control system and      sible from the electronic control           in a safe location. If you have to use a
other electronic parts.                             modules.                                    phone while driving, exercise extreme
                                                                                                caution at all times so full attention may
                                                  ● Keep the antenna wire more than 8 in
                   WARNING                                                                      be given to vehicle operation.
                                                    (20 cm) away from the electronic con-
● A cellular telephone should not be used           trol system harnesses. Do not route the   ● If you are unable to devote full attention
  while driving so full attention may be            antenna wire next to any harness.           to vehicle operation while talking on
  given to vehicle operation. Some juris-                                                       the phone, pull off the road to a safe
                                                  ● Adjust the antenna standing-wave ratio
  dictions prohibit the use of cellular tele-                                                   location and stop your vehicle.
                                                    as recommended by the manufacturer.
  phones while driving.
                                                  ● Connect the ground wire from the CB                         CAUTION
● If you must make a call while your ve-            radio chassis to the body.
  hicle is in motion, the hands free cellu-                                                   To avoid discharging the vehicle battery,
  lar phone operational mode (if so               ● For details, consult a NISSAN dealer.     use a phone after starting the engine.
  equipped) is highly recommended. Ex-
  ercise extreme caution at all times so
  full attention may be given to vehicle
  operation.
● If a conversation in a moving vehicle
  requires you to take notes, pull off the
  road to a safe location and stop your
  vehicle before doing so.




                                                              Display screen, heater, air conditioner, audio and phone systems 4-75




                                                                          ੬ REVIEW COPY—2008 Quest (van)
                                                                          Owners Manual—USA_English (nna)
                                                                          06/29/07—debbie ੭
module when the ignition switch is turned to the
                                                                                                     ON position with the paired cellular phone turned
                                                                                                     on and carried in the vehicle.
                                                                                                     You can register up to 5 different Bluetoothா
                                                                                                     cellular phones to the in-vehicle phone module.
                                                                                                     However, you can talk on only one cellular phone
                                                                                                     at a time.
                                                                                                     Before using the Bluetoothா Hands-Free Phone
                                                                                                     System, refer to the following notes.
                                                                                                      ● Set up the wireless connection between a
                                                                                                        cellular phone and the in-vehicle phone
                                                                                                        module before using the hands-free phone
                                                                                                        system.
                                                                                                      ● Some Bluetoothா enabled cellular phones
                                                                                                        may not be recognized by the in-vehicle
                                                                                                        phone     module.        Please      visit
                                                                                                        www.nissanusa.com/bluetooth for a recom-
                                                                                                        mended phone list and pairing.
                                                                                                      ● You will not be able to use a hands-free
                                                                                                        phone under the following conditions:
                                                                                         LHA0638
                                                                                                         – Your vehicle is outside of the cellular ser-
Your NISSAN is equipped with the Bluetoothா       make or receive a hands-free telephone call with         vice area.
Hands-Free Phone System. If you have an ap-       your cellular phone in the vehicle.
proved Bluetoothா enabled cellular phone, you                                                            – Your vehicle is in an area where it is
                                                  Once your cellular phone is paired to the in-            difficult to receive a cellular signal; such
can set up the wireless connection between your
                                                  vehicle phone module, no other phone connect-            as in a tunnel, in an underground parking
cellular phone and the in-vehicle phone module.
                                                  ing procedure is required. Your phone is auto-           garage, near a tall building or in a moun-
With Bluetoothா wireless technology, you can
                                                  matically connected with the in-vehicle phone            tainous area.
4-76 Display screen, heater, air conditioner, audio and phone systems




                                                                              ੬ REVIEW COPY—2008 Quest (van)
                                                                              Owners Manual—USA_English (nna)
                                                                              06/29/07—debbie ੭
– Your cellular phone is locked to prevent it     ● Refer to the cellular phone Owner’s Manual        Initialization
     from being dialed.                                regarding the telephone charges, cellular
                                                       phone antenna and body, etc.                      When the ignition switch is turned to the ON
● When the radio wave condition is not ideal                                                             position, NISSAN Voice Recognition is initialized,
  or ambient sound is too loud, it may be           This device complies with Part 15 of the             which takes a few seconds. When completed,
  difficult to hear the other person’s voice dur-   FCC Rules. Operation is subject to the fol-          the amber light on the overhead console illumi-
  ing a call.                                       lowing two conditions: (1) this device may           nates and the system is ready to accept voice
                                                    not cause harmful interference, and (2) this         commands. If the          button is pressed before
● Do not place the cellular phone in an area
                                                    device must accept any interference re-              the initialization completes, the system will an-
  surrounded by metal or far away from the
                                                    ceived, including interference that may              nounce “Hands-free phone system not ready”
  in-vehicle phone module to prevent tone
                                                    cause undesired operation.                           and will not react to voice commands.
  quality degradation and wireless connection
  disruption.                                       FCC Radiation Exposure Statement:                    Operating tips
● While a cellular phone is connected through       This equipment complies with FCC radiation ex-       To get the best performance out of the NISSAN
  the Bluetoothா wireless connection, the bat-      posure limits set forth for an uncontrolled envi-    Voice Recognition system, observe the following:
  tery power of the cellular phone may dis-         ronment. This equipment should be installed and
  charge quicker than usual. The Bluetoothா         operated with minimum distance of 8 inches (20        ● Keep the interior of the vehicle as quiet as
  Hands-Free Phone System cannot charge             cm) between the radiator and your body. This            possible. Close the windows to eliminate
  cellular phones.                                  Transmitter must not be co-located or operating         surrounding noises (traffic noises, vibration
                                                    in conjunction with any other antenna or transmit-      sounds, etc.), which may prevent the system
● If the hands-free phone system seems to be                                                                from recognizing voice commands correctly.
                                                    ter.
  malfunctioning, see “Troubleshooting guide”
  later in this section. You can also visit         USING THE SYSTEM                                      ● Wait until the tone sounds before speaking a
  www.nissanusa.com/bluetooth for trouble-                                                                  command. Otherwise, the command will not
  shooting help.                                    The NISSAN Voice Recognition system allows              be received properly.
                                                    hands-free operation of the Bluetoothா Phone
● Some cellular phones or other devices may         System.                                               ● Start speaking a command within 5 seconds
  cause interference or a buzzing noise to                                                                  after the tone sounds.
  come from the audio system speakers. Stor-        If the vehicle is in motion, some commands may
                                                    not be available so full attention may be given to    ● Speak in a natural voice without pausing
  ing the device in a different location may                                                                between words.
  reduce or eliminate the noise.                    vehicle operation.

                                                                  Display screen, heater, air conditioner, audio and phone systems 4-77




                                                                                  ੬ REVIEW COPY—2008 Quest (van)
                                                                                  Owners Manual—USA_English (nna)
                                                                                  06/29/07—debbie ੭
Giving voice commands                                ● If you want to adjust the volume of the voice         – “One eight hundred six six two six two oh
                                                       feedback, press the volume control switches             oh”,
To operate NISSAN Voice Recognition, press             (+ or -) on the steering wheel while being            – NOT “One eight hundred six six two sixty
and release the          button located on the         provided with feedback. You can also use                two hundred, and
steering wheel. The light on the overhead con-         the radio volume control knob.
sole flashes to signal you have entered a voice                                                              – NOT “One eight oh oh six six two sixty two
recognition (VR) session. After the tone sounds,     ● In most cases you can interrupt the voice feed-         hundred.
speak a command.                                       back to speak the next command by pressing
                                                                                                          ● Numbers can be spoken in small groups.
                                                       the        button on the steering wheel.
The command given is picked up by the micro-                                                                The system will prompt you to continue en-
phone, and voice feedback is given when the          ● To speed the operation you can say multiple          tering digits, if desired.
command is accepted.                                   commands. For example, press the
                                                                                                             Example: 1-800-662-6200
                                                       button then say “Phonebook, New entry”
 ● If you need to hear the available commands          rather than “Phonebook.” Wait for the voice           – “One eight oh oh”
   for the current menu again, say “Help” and          feedback prompt then say “New entry”.                 The system repeats the numbers and
   the system will repeat them.
                                                    How to say numbers                                       prompts you to enter more.
 ● If a command is not recognized, the system                                                                – “six six two”
   announces, “Command not recognized.              NISSAN Voice Recognition requires a certain
   Please try again.” Repeat the command in a       way to speak numbers in voice commands. Refer            The system repeats the numbers and
   clear voice.                                     to the following rules and examples.                     prompts you to enter more.
                                                                                                             – “six two oh oh”
 ● If you want to go back to the previous com-       ● Either “zero” or “oh” can be used for “0”.
   mand, you can say “Go back” or “Correction”                                                            ● You can say “Star” for * and “Pound” for # at
                                                        Example: 1-800-662-6200
   any time the system is waiting for a response.                                                           any time in any position of the phone number.
                                                        – “One eight oh oh six six two six two oh           Example: 1-555-1212 *123
 ● You can cancel a command when the sys-                 oh”, or
   tem is waiting for a response by saying,                                                                 – “One five five five one two one two star
   “Cancel” or “Quit.” The system announces             – “One eight zero zero six six two six two oh          one two three”
   “Cancel” and ends the VR session. You can              oh”
   also press the        button on the steering                                                          NOTE:
                                                     ● Words can be used for the first 4 digits
   wheel at any time. Whenever the VR session
                                                       places only.                                      For best results, say phone numbers as
   is cancelled, a double beep is played to
                                                                                                         single digits.
   indicate you have exited the system.                 Example: 1-800-662-6200
4-78 Display screen, heater, air conditioner, audio and phone systems




                                                                                 ੬ REVIEW COPY—2008 Quest (van)
                                                                                 Owners Manual—USA_English (nna)
                                                                                 06/29/07—debbie ੭
4. The system announces the current language
                                                        PHONE/END                                          and gives you the option to change the lan-
                                                        Press the       button to cancel a VR              guage to Spanish (in Spanish) or French (in
                                                                                                           French). Use the following chart to select
                                                        session or end a call.
                                                                                                           the language.
                                                   GETTING STARTED
                                                                                                       NOTE:
                                                   The following procedures will help you get
                                                   started using the Bluetoothா Hands-Free Phone       You must press the         button or
                                                   System with NISSAN Voice Recognition. For ad-       the       button within 5 seconds to
                                                   ditional command options, refer to “List of voice   change the language.
                                                   commands” later in this section.
                                                                                                                         Press            Press
                                                                                                           Current
                                                   Choosing a language                                    language
                                                                                                                       (PHONE/SEND)      (PHONE/END)
                                                                                                                           to select        to select
                                                   You can interact with the Bluetoothா Hands-Free
                                       LHA0639                                                            English         Spanish           French
                                                   Phone System using English, Spanish or French.
CONTROL BUTTONS                                                                                           Spanish          English          French
                                                   To change the language, perform the following.
                                                                                                           French          English          Spanish
The control buttons for the Bluetoothா Hands-
                                                    1. Press and hold the          button for more
Free Phone System are located on the steering          than 5 seconds.                                  5. If you decide not to change the language, do
wheel.                                                                                                     not press either button. After 5 seconds, the
     PHONE/SEND                                     2. The system announces: “Press the                    VR session will end, and the language will
                                                       PHONE/SEND (          ) button for the              not be changed.
     Press the      button to initiate a VR            hands-free phone system to enter the
     session or answer an incoming call.               speaker adaptation mode or press the
                                                       PHONE/END (        ) button to select a dif-
     You can also use the          button to           ferent language.”
     skip through system feedback and to            3. Press the        button.
     enter commands during a call. See “List
     of voice commands” and “During a call”            For information on speaker adaptation, see
                                                       “Speaker adaptation (SA) mode” later in this
     later in this section for more information.       section.
                                                                   Display screen, heater, air conditioner, audio and phone systems 4-79




                                                                                  ੬ REVIEW COPY—2008 Quest (van)
                                                                                  Owners Manual—USA_English (nna)
                                                                                  06/29/07—debbie ੭
Pairing procedure                                4. Say: “New phone” ᭺. The system acknowl-
                                                                       C                           6. The system asks you to assign a priority level
                                                    edges the command and asks you to initiate        ᭺. The priority level determines which
                                                                                                       F
NOTE:                                               pairing from the phone handset ᭺.
                                                                                   D                  phone is active when more than one paired
                                                                                                      Bluetoothா phone is in the vehicle. Follow
The pairing procedure must be performed             The pairing procedure of the cellular phone
                                                                                                      the instructions provided by the system or
when the vehicle is stationary. If the vehicle      varies according to each cellular phone
                                                                                                      refer to “Setup” later in this section for more
starts moving during the procedure, the             model. See the cellular phone Owner’s
                                                                                                      information on changing priorities.
procedure will be cancelled.                        Manual for details. You can also visit
                                                    www.nissanusa.com/bluetooth for instruc-       7. The system will ask if you would like to select
  Main Menu                                         tions on pairing NISSAN recommended cel-          a custom ring tone ᭺. Follow the instruc-
                                                                                                                             G
   “Setup” ᭺
           A                                        lular phones.                                     tions provided by the system or refer to
     “Pair phone” ᭺
                  B                                                                                   “Setup” later in this section for more infor-
                                                    When prompted for a Passkey code, enter
                                                                                                      mation on selecting ringtones.
        “New phone” ᭺
                    C                               “1234” from the handset. The Passkey code
          Initiate from handset ᭺
                                D                   “1234” has been assigned by NISSAN and        Making a call by entering a phone
                                                    cannot be changed.                            number
               Name phone ᭺
                          E
                                                 5. The system asks you to say a name for the
                 Assign priority ᭺
                                 F
                                                    phone ᭺.
                                                           E
                   Choose ringtone ᭺
                                   G                                                               Main Menu
                                                    If the name is too long or too short, the
 1. Press the        button on the steering                                                            “Call” ᭺
                                                                                                              A
                                                    system tells you, then prompts you for a
    wheel. The system announces the available       name again.                                             Number (speak digits) ᭺
                                                                                                                                  B
    commands.                                                                                                     “Dial” ᭺
                                                                                                                         C
                                                    Also, if more than one phone is paired and
 2. Say: “Setup” ᭺. The system acknowledges
                 A                                  the name sounds too much like a name           1. Press the        button on steering wheel. A
    the command and announces the next set of       already used, the system tells you, then          tone will sound.
    available commands.                             prompts you for a name again.
                                                                                                   2. Say: “Call” ᭺. The system acknowledges
                                                                                                                   A
 3. Say: “Pair phone” ᭺. The system acknowl-
                         B
                                                                                                      the command and announces the next set of
    edges the command and announces the                                                               available commands.
    next set of available commands.

4-80 Display screen, heater, air conditioner, audio and phone systems




                                                                            ੬ REVIEW COPY—2008 Quest (van)
                                                                            Owners Manual—USA_English (nna)
                                                                            06/29/07—debbie ੭
3. Say the number you wish to call ᭺. For
                                       B          LIST OF VOICE COMMANDS                                When you get used to the menus in the system,
    example, 555-1212 can be said as “five five                                                         you can talk ahead by saying more than one
    five one two one two.” See “How to say                                                              command at a time. For example, say, “Call five
    numbers” earlier in this section for more       Main Menu                                           five five one two one two” or “Memo pad record.”
    information.
                                                             “Call”                                     Also, when you get used to the system re-
 4. When you have finished speaking the phone                “Phone Book”                               sponses, you can skip ahead to the tone by
    number, the system repeats it back and an-                                                          pressing the        button on the steering wheel.
    nounces the available commands.                          “Memo Pad”
                                                                                                        However, if you press the        button when the
                                                             “Setup”
 5. Say: “Dial” ᭺. The system acknowledges
                C                                                                                       system is waiting for a response from you it will
    the command and makes the call.               When you press and release the    button on           end the VR session.
For additional command options, see “List of      the steering wheel, you can choose from the           “Call”
voice commands” later in this section.            commands on the Main Menu. The following
                                                  pages describe these commands and the com-
Receiving a call                                  mands in each sub-menu.
                                                                                                          Main Menu
When you hear the ring tone, press the            Remember to wait for the tone before                            “Call”
button on the steering wheel.                     speaking.
                                                                                                                        Name (speak name) ᭺
                                                                                                                                          A
Once the call has ended, press the       button   You can say “Help” to hear the list of commands
                                                                                                                        Number (speak digits) ᭺
                                                                                                                                              B
on the steering wheel.                            currently available any time the system is waiting
                                                  for a response.                                                       “Redial” ᭺
                                                                                                                                 C
NOTE:                                                                                                                   “Call Back” ᭺
                                                                                                                                    D
                                                  If you want to end an action without completing it,
If you do not wish to take the call when you      you can say “Cancel” or “Quit” at any time the        Name (speak name) ᭺
                                                                                                                          A
hear the ring tone, press the         button      system is waiting for a response. The system will
on the steering wheel.                            end the VR session. Whenever the VR session is        If you have stored entries in the Phone Book, you
                                                  cancelled, a double beep is played to indicate        can dial a number associated with a name and
For additional command options, see “List of
                                                  you have exited the system.                           location.
voice commands” later in this section.
                                                  If you want to go back to the previous command,       See “Phone book” later in this section to learn
                                                  you can say “Go back” or “Correction” any time        how to store entries.
                                                  the system is waiting for a response.
                                                                 Display screen, heater, air conditioner, audio and phone systems 4-81




                                                                                ੬ REVIEW COPY—2008 Quest (van)
                                                                                Owners Manual—USA_English (nna)
                                                                                06/29/07—debbie ੭
When prompted by the system, say the name of          “Call back” ᭺
                                                                  D                                           The system acknowledges the command
the phone book entry you wish to call. The system                                                             and sends the tones associated with the
                                                      Use the Call Back command to dial the number of         numbers. The system then ends the VR ses-
acknowledges the name.
                                                      the last incoming call within the vehicle.              sion and returns to the call.
If there are multiple locations associated with the
                                                      The system acknowledges the command, re-             ● “Transfer call” — Use the Transfer Call com-
name, the system asks you to choose the loca-
                                                      peats the number and begins dialing.                   mand to transfer the call from the Bluetoothா
tion.
                                                      If a call back number does not exist, the system       Hands-Free Phone System to the cellular
Once you have confirmed the name and location,        announces, “There is no number to call back” and       phone when privacy is desired.
the system begins the call.                           ends the VR session.                                    The system announces, “Transfer call. Call
Number (speak digits) ᭺
                      B                               During a call                                           transferred to privacy mode.” The system
                                                                                                              then ends the VR session.
When prompted by the system, say the number           During a call there are several command options
you wish to call. Refer to “How to say numbers”       available. Press the       button on the steering       You can also issue the Transfer Call com-
and “Making a call by entering a phone number”        wheel to mute the receiving voice and enter com-        mand again to return to a hands-free call
earlier in this section for more details.             mands.                                                  through the vehicle.
“Redial” ᭺
         C                                             ● “Help” — The system announces the avail-          ● “Mute” — Use the Mute command to mute
                                                         able commands.                                      your voice so the other party cannot hear it.
Use the Redial command to call the last number                                                               Use the mute command again to unmute
that was dialed within the vehicle.                    ● “Go back/Correction” — The system an-               your voice.
                                                         nounces “Go back,” ends the VR session
NOTE:                                                    and returns to the call.                         NOTE:
The system will not redial the last number             ● “Cancel/Quit” — The system announces             If a call is ended or the cellular phone
dialed by the handset keypad.                            “Cancel,” ends the VR session and returns        network connection is lost while the Mute
                                                         to the call.                                     feature is on, the Mute feature will be reset
The system acknowledges the command, re-                                                                  to “off” for the next call so the other party
peats the number and begins dialing.                   ● “Send/Enter/Call/Dial” — Use the Send
                                                         command to enter numbers during a call. For      can hear your voice.
If a redial number does not exist, the system            example, if you were directed to dial an ex-
announces, “There is no number to redial” and            tension by an automated system:
ends the VR session.
                                                          Say: “Send one two three four.”
4-82 Display screen, heater, air conditioner, audio and phone systems




                                                                                   ੬ REVIEW COPY—2008 Quest (van)
                                                                                   Owners Manual—USA_English (nna)
                                                                                   06/29/07—debbie ੭
“Phone book”                                    When prompted by the system, say the name you           number will be transferred from the cellular
                                                would like to give the new entry.                       phone via the Bluetoothா communication link.
NOTE:                                                For example, say: “Mary.”                          The transfer procedure varies according to each
Phone book commands are not available           If the name is too long or too short, the system        cellular phone. See the cellular phone Owner’s
when the vehicle is moving.                     tells you, then prompts you for a name again.           Manual for details. You can also visit
                                                                                                        www.nissanusa.com/bluetooth for instructions
  Main Menu                                     Also, if the name sounds too much like a name
                                                                                                        on transferring phone numbers from NISSAN
                                                already stored, the system tells you, then prompts
         “Phone Book”                                                                                   recommended cellular phones.
                                                you for a name again.
              “New Entry” ᭺
                          A                                                                             The system repeats the number and prompts you
                                                Once the system accepts the name and you
              “Edit” ᭺
                     B
                                                confirm it is correct, the system asks for a location
                                                                                                        for the next command. When you have finished
              “Delete” ᭺                                                                                entering numbers or transferring an entry, choose
                       C                        (Home, Office, Mobile or Other).
                                                                                                        “Store.”
              ЉList Names” ᭺
                           D                         For example, say: “Home.”
                                                                                                        The system confirms the name, location and
The Phone Book stores up to 40 names for each   The system acknowledges the location.
                                                                                                        number. The system then asks if you would like to
phone paired with the system. Each name can     The system will ask you to say a phone number or        store another location for the same name. If you
have up to 4 locations/phone numbers associ-    to transfer a phone number stored in the cellular       do not wish to store another location, the system
ated with it.                                   phone’s memory.                                         ends the VR session.
NOTE:                                           Enter a phone number by voice command:                  “Edit” ᭺
                                                                                                               B

Each phone has its own separate phone           For example, say: “five five five one two one two.”     Use the Edit command to alter an existing phone
book. You cannot access Phone A’s phone         See “How to say numbers” earlier in this section        book entry or to add a 2nd, 3rd or 4th phone
book if you are currently connected with        for more information.                                   number to an existing entry.
Phone B.                                        To transfer a phone number stored in the cellular       When prompted by the system, say the name of
“New entry” ᭺
            A                                   phone’s memory:                                         the entry you wish to edit.
Use the New Entry command to store a new        Say ЉTransfer entry.Љ The system acknowledges           The system acknowledges the name and asks
name in the system.                             the command and asks you to initiate the transfer       you for the location you would like to edit.
                                                from the phone handset. The new contact phone
                                                                                                        Say the name of the location.
                                                               Display screen, heater, air conditioner, audio and phone systems 4-83




                                                                               ੬ REVIEW COPY—2008 Quest (van)
                                                                               Owners Manual—USA_English (nna)
                                                                               06/29/07—debbie ੭
The system acknowledges the location.                “Delete” ᭺
                                                              C                                              You can stop the playback of the list at any time
                                                                                                             by pressing the        button on the steering
The system will ask you to say a phone number or     Use the Delete command to erase one entry from
                                                                                                             wheel. The system ends the VR session.
to transfer a phone number stored in the cellular    the phone book, all entries from the phone book,
phone’s memory.                                      the current redial number or the current call back      “Memo pad”
                                                     number.
Enter a phone number by voice command:
                                                     To delete entries from the phone book, say a
For example, say: “five five five one two one two.                                                             Main Menu
” See “How to say numbers” earlier in this section   name or “All entries” when prompted by the sys-
                                                     tem.                                                               “Memo Pad”
for more information.
                                                     The system acknowledges the command and                                  “Record” ᭺
                                                                                                                                       A
To transfer a phone number stored in the cellular
phone’s memory:                                      asks you to confirm the deletion.                                        “Play” ᭺
                                                                                                                                     B

                                                     To delete the current redial number or call back                         “Delete” ᭺
                                                                                                                                       C
Say ЉTransfer entry.Љ The system acknowledges
the command and asks you to initiate the transfer    number, say “redial number” or “call back num-          The Memo Pad records a maximum of 6 voice
from the phone handset. The new contact phone        ber” when prompted by the system.                       memos, each up to 20 seconds long.
number will be transferred from the cellular
                                                     If a redial number or a call back number exists, the    “Record” ᭺
                                                                                                                      A
phone via the Bluetoothா communication link.
                                                     system deletes them without asking for confirma-
The transfer procedure varies according to each      tion.                                                   The system announces “Recording” and a tone
cellular phone. See the cellular phone Owner’s                                                               sounds, signaling you to begin.
                                                     If there is no number for the entry you are trying to
Manual for details. You can also visit
                                                     delete, the system says so and ends the VR              Speak the information you wish to record clearly.
www.nissanusa.com/bluetooth for instructions
                                                     session.                                                When you are done, press the           or
on transferring phone numbers from NISSAN
recommended cellular phones.                         “List names” ᭺
                                                                  D                                          button on the steering wheel.

The system repeats the number and prompts you        Use the List Names command to hear all the              A tone sounds and the system announces
for the next command. When you have finished         names and locations in the phone book.                  “Memo recorded.” Another tone sounds to end
entering numbers, choose “Store.”                                                                            the VR session.
                                                     The system recites the phone book entries but
The system confirms the name, location and           does not include the actual phone numbers.              If the memo pad is full, the system asks if you wish
number, then announces that the entry has been       When the playback of the list is complete, the          to record over the oldest memo.
stored. The system then ends the VR session.         system goes back to the main menu.
4-84 Display screen, heater, air conditioner, audio and phone systems




                                                                                    ੬ REVIEW COPY—2008 Quest (van)
                                                                                    Owners Manual—USA_English (nna)
                                                                                    06/29/07—debbie ੭
“Play” ᭺
       B                                           Use the Setup command to change options as-           ● “Replace phone” — The system announces
                                                   sociated with the Bluetoothா Hands-Free Phone           the names of the phones already paired and
The system plays back all the memos in the order
                                                   System.                                                 asks which you would like to replace.
of newest to oldest. The system ends the VR
session.                                           “Pair phone” ᭺
                                                                A                                           Once you say the name of the phone you
                                                                                                            wish to replace, the pairing procedure will
If there are no memos recorded, the system an-     Use the Pair Phone command to pair a phone to
                                                                                                            begin. Refer to “Pairing procedure” earlier in
nounces “No messages to play.” The system          the Bluetoothா Hands-Free Phone System.
                                                                                                            this section.
ends the VR session.
                                                   NOTE:                                                 ● “List phone” – See the description below.
“Delete” ᭺
         C
                                                   The pairing procedure must be performed              “List phone” ᭺
                                                                                                                     B
The Delete command erases all memos. The           when the vehicle is stationary. If the vehicle
system asks you to confirm this action before      starts moving during the procedure, the              Use the List Phone command to hear the names
deleting all memos.                                procedure will be cancelled. Also, see               of the phones currently paired. If no phones are
                                                   “Pairing procedure” earlier in this section          paired, the system announces, “No paired
“Setup”                                                                                                 phones to list.” The system then ends the VR
                                                   for additional information.
                                                                                                        session.
                                                   Up to 5 phones can be paired. If you try to pair a
  Main Menu                                        sixth phone, the system announces that you must      “Select phone” ᭺
                                                                                                                       C

          “Setup”                                  first delete one phone or replace an existing        Use the Select Phone command to select a
               “Pair Phone” ᭺
                            A                      phone.                                               phone of lesser priority when two or more phones
               “List Phone” ᭺
                            B                      If you try to pair a phone that has already been     paired with Bluetoothா Hands-Free Phone Sys-
                                                   paired to your vehicle’s system, the system an-      tem are in the vehicle at the same time.
               “Select Phone” ᭺ C
                                                   nounces the name the phone is already using.         The system asks you to name the phone and
               “Change Priority” ᭺
                                 D
                                                   The pairing procedure will then be cancelled.        confirm the selection.
               “Delete Phone” ᭺
                              E
                                                   When prompted by the system, choose from the         Once the selection is confirmed, the selected
               “Select Ringtone” ᭺
                                 F
                                                   following commands:                                  phone remains active until the ignition switch is
               “Bluetooth Off” ᭺
                               G                                                                        turned OFF or you select a new phone.
                                                    ● “New phone” — Refer to “Pairing a phone”
                                                      earlier in this section.

                                                                 Display screen, heater, air conditioner, audio and phone systems 4-85




                                                                                 ੬ REVIEW COPY—2008 Quest (van)
                                                                                 Owners Manual—USA_English (nna)
                                                                                 06/29/07—debbie ੭
“Change priority” ᭺
                  D                                    The system announces the names of the phones           “Bluetooth off” ᭺
                                                                                                                              G
                                                       already paired with the system and their priority
Use the Change Priority command to change the                                                                 Use the Bluetooth Off command to turn off the
                                                       level. The system then gives you the option to         Bluetoothா Hands-Free Phone System.
priority level of the active phone.
                                                       delete a specific phone, all phones or listen to the
The priority level determines which phone is ac-       list again.                                            When the Bluetoothா Hands-Free Phone Sys-
tive when more than one paired Bluetoothா                                                                     tem is off, you will not be able to make or receive
                                                       Once you choose to delete a phone or all phones,       calls using NISSAN Voice Recognition. Also, you
phone is in the vehicle.
                                                       the system asks you to confirm this action.            will not have access to the Phone Book.
The system states the priority level of the active
phone and asks for a new priority level (1, 2, 3, 4,   NOTE:                                                  You can still use the Memo Pad and access
5).                                                                                                           Setup.
                                                       When you delete a phone, the associated
If the new priority level is already being used for    phone book for that phone will also be                 SPEAKER ADAPTATION (SA) MODE
another phone, the two phones will swap priority       deleted.                                               Speaker Adaptation allows up to two out-of-
levels.                                                “Select ringtone” ᭺
                                                                         F                                    dialect users to train the system to improve rec-
For example, if the current priority levels are:                                                              ognition accuracy. By repeating a number of
                                                       Use the Select Ringtone command to select the          commands, the users can create a voice model of
    Priority Level 1 = Phone A                         tone heard in the vehicle when an incoming call is     their own voice that is stored in the system. The
    Priority Level 2 = Phone B                         received.                                              system is capable of storing a different speaker
    Priority Level 3 = Phone C                                                                                adaptation model for memory A and memory B.
                                                       The system announces the name of the active
and you change the priority level of Phone C to        phone and asks you to choose from the following        If memory A is available, the system will use
Level 1, then:                                         commands:                                              memory A to store the model. If memory A is in
                                                                                                              use and memory B is available, the system will
    Priority Level 1 = Phone C                          ● “Ringtone” — The system plays a ringtone
                                                                                                              use memory B to store the model. If both of the
    Priority Level 2 = Phone B                            and asks if you would like to select that tone.
                                                                                                              memory locations are in use, the system will ask
    Priority Level 3 = Phone A                            If you say “No”, the system plays the next
                                                                                                              the user to select which memory location should
                                                          ringtone available and continues to cycle
                                                                                                              be overwritten.
“Delete phone” ᭺
               E                                          through the ringtones until you select one or
                                                          quit.
Use the Delete Phone command to delete a
specific phone or all phones from the Bluetoothா        ● “Silent” — The system asks you to confirm
Hands-Free Phone System.                                  your wish to disable the ringtone.
4-86 Display screen, heater, air conditioner, audio and phone systems




                                                                                      ੬ REVIEW COPY—2008 Quest (van)
                                                                                      Owners Manual—USA_English (nna)
                                                                                      06/29/07—debbie ੭
Training procedure                                   8. The SA mode will be explained. Follow the         ● setup pair phone
                                                        instructions provided by the system.
The procedure for training a voice is as follows.                                                         ● memo pad play
                                                     9. When training is finished, the system will tell
 1. Position the vehicle in a reasonably quiet                                                            ● eight pause nine three two pause seven
                                                        you an adequate number of phrases have
    outdoor location.                                   been recorded.                                    ● delete all entries
 2. Sit in the driver’s seat with the engine run-   10. The system will ask you to say your name.         ● call seven two four zero nine
    ning, the parking brake on, and the transmis-       Follow the instructions to register your
    sion in P (Park).                                                                                     ● phone book delete entry
                                                        name.
 3. Press and hold the           button for more                                                          ● memo pad record
                                                    11. The system will announce that speaker ad-
    than 5 seconds.                                     aptation has been completed and the sys-          ● dial star two one seven oh
 4. The system announces: “Press the                    tem is ready.
                                                                                                          ● Yes
    PHONE/SEND (          ) button for the          The SA mode will stop if:
    hands-free phone system to enter the                                                                  ● No
    speaker adaptation mode or press the             ● The       button is pressed for more than 5
                                                                                                          ● select ring tone
    PHONE/END (        ) button to select a dif-       seconds in SA mode.
    ferent language.”                                                                                     ● dial eight five six nine two
                                                     ● The vehicle begins moving during SA mode.
 5. Press the         button.                                                                             ● Bluetooth on
                                                     ● The ignition switch is turned to the OFF or
    For information on selecting a different lan-      LOCK position.                                     ● setup change priority
    guage, see “Choosing a language” earlier in
    this section.                                   Training phrases                                      ● call three one nine oh two
 6. Voice memory A or memory B is selected          During the SA mode, the system instructs the          ● nine seven pause pause three oh eight
    automatically. If both memory locations are     trainer to say the following phrases. (The system     ● Cancel
    already in use, the system will prompt you to   will prompt you for each phrase.)
    overwrite one. Follow the instructions pro-                                                           ● call back number
                                                     ● phone book new entry
    vided by the system.
                                                                                                          ● call star two zero nine five
                                                     ● dial three oh four two nine
 7. When preparation is complete and you are
    ready to begin, the press the    button.         ● delete call back number                            ● delete phone

                                                                  Display screen, heater, air conditioner, audio and phone systems 4-87




                                                                                  ੬ REVIEW COPY—2008 Quest (van)
                                                                                  Owners Manual—USA_English (nna)
                                                                                  06/29/07—debbie ੭
● dial eight three zero five one
 ● Home
 ● four three pause two nine pause zero
 ● delete redial number
 ● phone book list names
 ● call eight oh five four one
 ● Correction
 ● setup change ring tone
 ● dial seven four oh one eight
 ● setup main menu
 ● Delete
 ● dial nine seven two six six
 ● memo pad delete
 ● call seven six three oh one
 ● go back
 ● call five six two eight zero
 ● dial six six four three seven




4-88 Display screen, heater, air conditioner, audio and phone systems




                                                                 ੬ REVIEW COPY—2008 Quest (van)
                                                                 Owners Manual—USA_English (nna)
                                                                 06/29/07—debbie ੭
TROUBLESHOOTING GUIDE
The system should respond correctly to all voice
commands without difficulty. If problems are en-
countered, try the following solutions.
Where the solutions are listed by number, try
each solution in turn, starting with number 1, until
the problem is resolved.
 Symptom                                                    Solution
                                                            1. Ensure that the command is valid. See “List of voice commands” earlier in this section.
                                                            2. Ensure that the command is spoken after the tone.
                                                            3. Speak clearly without pausing between words and at a level appropriate to the ambient noise level in the vehicle.

 System fails to interpret the command correctly.           4. Ensure that the ambient noise level is not excessive (for example, windows open or defroster on). NOTE: If it is too
                                                            noisy to use the phone, it is likely that the voice commands will not be recognized.
                                                            5. If more than one command was said at a time, try saying the commands separately.
                                                            6. If the system consistently fails to recognize commands, the voice training procedure should be carried out to im-
                                                            prove the recognition response for the speaker. See “Speaker adaptation (SA) mode” earlier in this section.
                                                            1. Ensure that the phone book entry name requested matches what was originally stored. This can be confirmed by
 The system consistently selects the wrong entry from the   using the “List Names” command. See “Phone book” earlier in this section.
 phone book.
                                                            2. Replace one of the names being confused with a new name.




                                                                           Display screen, heater, air conditioner, audio and phone systems 4-89




                                                                                             ੬ REVIEW COPY—2008 Quest (van)
                                                                                             Owners Manual—USA_English (nna)
                                                                                             06/29/07—debbie ੭
MEMO




4-90 Display screen, heater, air conditioner, audio and phone systems
5 Starting and driving


Precautions when starting and driving. . . . . . . . . . . . . . . . 5-2                       Increasing fuel economy. . . . . . . . . . . . . . . . . . . . . . . . . . . 5-15
   Exhaust gas (carbon monoxide) . . . . . . . . . . . . . . . . . . 5-2                       Parking/parking on hills. . . . . . . . . . . . . . . . . . . . . . . . . . . . 5-16
   Three-way catalyst. . . . . . . . . . . . . . . . . . . . . . . . . . . . . . 5-2           Power steering . . . . . . . . . . . . . . . . . . . . . . . . . . . . . . . . . . . 5-17
   Tire Pressure Monitoring System (TPMS). . . . . . . . . . 5-3                               Brake system . . . . . . . . . . . . . . . . . . . . . . . . . . . . . . . . . . . . 5-17
   Avoiding collision and rollover . . . . . . . . . . . . . . . . . . . . 5-5                      Brake precautions . . . . . . . . . . . . . . . . . . . . . . . . . . . . . 5-17
   Drinking alcohol/drugs and driving. . . . . . . . . . . . . . . . 5-5                            Anti-lock Braking System (ABS). . . . . . . . . . . . . . . . . 5-18
Ignition switch. . . . . . . . . . . . . . . . . . . . . . . . . . . . . . . . . . . . . 5-6   Traction Control System (TCS). . . . . . . . . . . . . . . . . . . . . 5-19
   Automatic transmission. . . . . . . . . . . . . . . . . . . . . . . . . . 5-6               Vehicle Dynamic Control (VDC) system
   Key positions . . . . . . . . . . . . . . . . . . . . . . . . . . . . . . . . . . 5-7       (if so equipped) . . . . . . . . . . . . . . . . . . . . . . . . . . . . . . . . . . 5-20
   Nissan vehicle immobilizer system . . . . . . . . . . . . . . . . 5-7                       Rear sonar system (if so equipped) . . . . . . . . . . . . . . . . . 5-21
Before starting the engine . . . . . . . . . . . . . . . . . . . . . . . . . . 5-7             Cold weather driving . . . . . . . . . . . . . . . . . . . . . . . . . . . . . . 5-22
Starting the engine . . . . . . . . . . . . . . . . . . . . . . . . . . . . . . . . 5-8             Freeing a frozen door lock . . . . . . . . . . . . . . . . . . . . . . 5-22
Driving the vehicle . . . . . . . . . . . . . . . . . . . . . . . . . . . . . . . . . 5-8           Anti-freeze . . . . . . . . . . . . . . . . . . . . . . . . . . . . . . . . . . . . 5-22
   Automatic transmission. . . . . . . . . . . . . . . . . . . . . . . . . . 5-8                    Battery . . . . . . . . . . . . . . . . . . . . . . . . . . . . . . . . . . . . . . . 5-22
Parking brake . . . . . . . . . . . . . . . . . . . . . . . . . . . . . . . . . . . . 5-12          Draining of coolant water . . . . . . . . . . . . . . . . . . . . . . . 5-23
Cruise control . . . . . . . . . . . . . . . . . . . . . . . . . . . . . . . . . . . . 5-13         Tire equipment . . . . . . . . . . . . . . . . . . . . . . . . . . . . . . . . 5-23
   Precautions on cruise control . . . . . . . . . . . . . . . . . . . 5-13                         Special winter equipment. . . . . . . . . . . . . . . . . . . . . . . 5-23
   Cruise control operations. . . . . . . . . . . . . . . . . . . . . . . 5-13                      Driving on snow or ice . . . . . . . . . . . . . . . . . . . . . . . . . 5-23
Break-in schedule . . . . . . . . . . . . . . . . . . . . . . . . . . . . . . . . 5-14              Engine block heater (if so equipped) . . . . . . . . . . . . . 5-24




                                                                                                ੬ REVIEW COPY—2008 Quest (van)
                                                                                                Owners Manual—USA_English (nna)
                                                                                                06/29/07—debbie ੭
PRECAUTIONS WHEN STARTING
AND DRIVING

                 WARNING                      ● If you suspect that exhaust fumes are          a. The vehicle is raised for service.
                                                entering the vehicle, drive with all win-
● Do not leave children or adults who                                                          b. You suspect that exhaust fumes are
                                                dows fully open, and have the vehicle
  would normally require the assistance                                                           entering  into    the   passenger
                                                inspected immediately.
  of others alone in your vehicle. Pets                                                           compartment.
  should also not be left alone. They         ● Do not run the engine in closed spaces
                                                                                               c. You notice a change in the sound of
  could accidentally injure themselves or       such as a garage.
                                                                                                  the exhaust system.
  others through inadvertent operation of     ● Do not park the vehicle with the engine
  the vehicle. Also, on hot, sunny days,                                                       d. You have had an accident involving
                                                running for any extended length of time.
  temperatures in a closed vehicle could                                                          damage to the exhaust system, un-
  quickly become high enough to cause         ● Keep the lift gate and rear vent windows          derbody, or rear of the vehicle.
  severe or possibly fatal injuries to          closed while driving, otherwise exhaust
  people or animals.                            gases could be drawn into the passen-       THREE-WAY CATALYST
                                                ger compartment. If you must drive with
● Properly secure all cargo with ropes or                                                   The three-way catalyst is an emission control
                                                the lift gate or rear vent windows open,
  straps to help prevent it from sliding or     follow these precautions:                   device installed in the exhaust system. Exhaust
  shifting. Do not place cargo higher than                                                  gases in the three-way catalyst are burned at
  the seatbacks. In a sudden stop or col-       1. Open all the windows.                    high temperatures to help reduce pollutants.
  lision, unsecured cargo could cause           2. Set the         air recirculation but-
  personal injury.                                 ton to off and the fan control dial to                      WARNING
                                                   high to circulate the air.               ● The exhaust gas and the exhaust sys-
EXHAUST GAS (carbon monoxide)
                                              ● If electrical wiring or other cable con-      tem are very hot. Keep people, animals
                                                nections must pass to a trailer through       or flammable materials away from the
                 WARNING
                                                the seal on the lift gate or the body,        exhaust system components.
● Do not breathe exhaust gases; they            follow the manufacturer’s recommen-         ● Do not stop or park the vehicle over
  contain colorless and odorless carbon         dation to prevent carbon monoxide en-         flammable materials such as dry grass,
  monoxide. Carbon monoxide is danger-          try into the vehicle.                         waste paper or rags. They may ignite
  ous. It can cause unconsciousness or
                                              ● The exhaust system and body should be         and cause a fire.
  death.
                                                inspected by a qualified mechanic
                                                whenever:

5-2 Starting and driving




                                                                        ੬ REVIEW COPY—2008 Quest (van)
                                                                        Owners Manual—USA_English (nna)
                                                                        06/29/07—debbie ੭
CAUTION                     TIRE PRESSURE MONITORING                                   Your vehicle has also been equipped with a
                                              SYSTEM (TPMS)                                              TPMS malfunction indicator to indicate when the
● Do not use leaded gasoline. Deposits                                                                   system is not operating properly. The TPMS mal-
  from leaded gasoline will seriously re-     Each tire, including the spare (if provided),              function indicator is combined with the low tire
  duce the three-way catalyst’s ability to    should be checked monthly when cold and in-                pressure telltale. When the system detects a
  help reduce exhaust pollutants.             flated to the inflation pressure recommended by            malfunction, the telltale will flash for approxi-
● Keep your engine tuned up. Malfunc-         the vehicle manufacturer on the vehicle placard            mately one minute and then remain continuously
  tions in the ignition, fuel injection, or   or tire inflation pressure label. (If your vehicle has     illuminated. This sequence will continue upon
  electrical systems can cause overrich       tires of a different size than the size indicated on       subsequent vehicle start-ups as long as the mal-
  fuel flow into the three-way catalyst,      the vehicle placard or tire inflation pressure label,      function exists. When the malfunction indicator is
  causing it to overheat. Do not keep driv-   you should determine the proper tire inflation             illuminated, the system may not be able to detect
  ing if the engine misfires, or if notice-   pressure for those tires.)                                 or signal low tire pressure as intended. TPMS
  able loss of performance or other un-                                                                  malfunctions may occur for a variety of reasons,
                                              As an added safety feature, your vehicle has been
  usual     operating    conditions     are                                                              including the installation of replacement or alter-
                                              equipped with a Tire Pressure Monitoring System
  detected. Have the vehicle inspected                                                                   nate tires or wheels on the vehicle that prevent
                                              (TPMS) that illuminates a low tire pressure telltale
  promptly by a NISSAN dealer.                                                                           the TPMS from functioning properly. Always
                                              when one or more of your tires is significantly under-
● Avoid driving with an extremely low fuel    inflated. Accordingly, when the low tire pressure          check the TPMS malfunction telltale after replac-
  level. Running out of fuel could cause      telltale illuminates, you should stop and check your       ing one or more tires or wheels on your vehicle to
  the engine to misfire, damaging the         tires as soon as possible, and inflate them to the         ensure that the replacement or alternate tires and
  three-way catalyst.                         proper pressure. Driving on a significantly under-         wheels allow the TPMS to continue to function
                                              inflated tire causes the tire to overheat and can lead     properly.
● Do not race the engine while warming it
                                              to tire failure. Under-inflation also reduces fuel effi-
  up.                                                                                                    Additional information:
                                              ciency and tire tread life, and may affect the vehi-
● Do not push or tow your vehicle to start    cle’s handling and stopping ability.                        ● The TPMS does not monitor the tire pres-
  the engine.                                                                                               sure of the spare tire.
                                              Please note that the TPMS is not a substitute for
                                              proper tire maintenance, and it is the driver’s             ● The TPMS will activate only when the vehicle
                                              responsibility to maintain correct tire pressure,             is driven at speeds above 16 MPH (25
                                              even if under-inflation has not reached the level to          km/h). Also, this system may not detect a
                                              trigger illumination of the TPMS low tire pressure            sudden drop in tire pressure (for example a
                                              telltale.                                                     flat tire while driving).
                                                                                                                           Starting and driving 5-3




                                                                               ੬ REVIEW COPY—2008 Quest (van)
                                                                               Owners Manual—USA_English (nna)
                                                                               06/29/07—debbie ੭
● The low tire pressure warning light does not      For additional information, see “Low tire pressure   ● When a spare tire is mounted or a wheel
   automatically turn off when the tire pressure     warning light” in the “Instruments and controls”       is replaced, tire pressure will not be
   is adjusted. After the tire is inflated to the    section and “Tire Pressure Monitoring System           indicated, the TPMS will not function
   recommended pressure, the vehicle must be         (TPMS)” in the “In case of emergency” section.         and the low tire pressure warning light
   driven at speeds above 16 MPH (25 km/h)                                                                  will flash for approximately 1 minute.
   to activate the TPMS and turn off the low tire                        WARNING                            The light will remain on after 1 minute.
   pressure warning light. Use a tire pressure                                                              Contact your NISSAN dealer as soon as
   gauge to check the tire pressure.                 ● If the low tire pressure warning light
                                                       illuminates while driving, avoid sudden              possible for tire replacement and/or
 ● Tire pressure rises and falls depending on          steering maneuvers or abrupt braking,                system resetting.
   the heat caused by the vehicle’s operation          reduce vehicle speed, pull off the road            ● Replacing tires with those not originally
   and the outside temperature. Low outside            to a safe location and stop the vehicle              specified by NISSAN could affect the
   temperature can lower the temperature of            as soon as possible. Driving with under-             proper operation of the TPMS.
   the air inside the tire which can cause a           inflated tires may permanently damage
   lower tire inflation pressure. This may cause       the tires and increase the likelihood of           ● Do not inject any tire liquid or aerosol
   the low tire pressure warning light to illumi-      tire failure. Serious vehicle damage                 tire sealant into the tires, as this may
   nate. If the warning light illuminates in low       could occur and may lead to an acci-                 cause a malfunction of the tire pressure
   ambient temperature, check the tire pres-           dent and could result in serious per-                sensors.
   sure for all four tires.                            sonal injury. Check the tire pressure for
                                                       all four tires. Adjust the tire pressure to                             CAUTION
 ● You can also check the pressure of all tires
   (except the spare tire) on the display screen.      the recommended COLD tire pressure                 Do not place metalized film or any metal
   The order of the tire pressure figures dis-         shown on the Tire and Loading Informa-             parts (antenna, etc.) on the windows. This
   played on the screen does not correspond            tion label to turn the low tire pressure           may cause poor reception of the signals
   with the actual order of the tire position. See     warning light OFF. If you have a flat tire,        from the tire pressure sensors, and the
   “Tire pressure information” in the “Display         replace it with a spare tire as soon as            TPMS will not function properly.
   screen, heater, air conditioner and audio and       possible. (See “Flat tire” in the “In case
   phone systems” section.                             of emergency” section for changing a               Some devices and transmitters may temporarily
                                                       flat tire.)                                        interfere with the operation of the TPMS and
                                                                                                          cause the low tire pressure warning light to illu-
                                                                                                          minate.


5-4 Starting and driving




                                                                                   ੬ REVIEW COPY—2008 Quest (van)
                                                                                   Owners Manual—USA_English (nna)
                                                                                   06/29/07—debbie ੭
Some examples are:                                     AVOIDING COLLISION AND                                    DRINKING ALCOHOL/DRUGS AND
– Facilities or electric devices using similar radio   ROLLOVER                                                  DRIVING
  frequencies are near the vehicle.
                                                                             WARNING                                                  WARNING
– If a transmitter set to similar frequencies is
  being used in or near the vehicle.                   Failure to operate this vehicle in a safe                 Never drive under the influence of alcohol
                                                       and prudent manner may result in loss of                  or drugs. Alcohol in the bloodstream re-
– If a computer (or similar equipment) or a                                                                      duces coordination, delays reaction time
                                                       control or an accident.
  DC/AC converter is being used in or near the                                                                   and impairs judgement. Driving after
  vehicle.                                             Be alert and drive defensively at all times. Obey         drinking alcohol increases the likelihood
FCC Notice:                                            all traffic regulations. Avoid excessive speed,           of being involved in an accident injuring
                                                       high speed cornering, or sudden steering ma-              yourself and others. Additionally, if you
Changes or modifications not expressly ap-             neuvers, because these driving practices could            are injured in an accident, alcohol can
proved by the party responsible for compli-            cause you to lose control of your vehicle. As with        increase the severity of the injury.
ance could void the user’s authority to op-            any vehicle, loss of control could result in a
erate the equipment.                                   collision with other vehicles or objects, or              NISSAN is committed to safe driving. However,
                                                       cause the vehicle to roll over, particularly if           you must choose not to drive under the influence
This device complies with Part 15 of the
                                                       the loss of control causes the vehicle to                 of alcohol. Every year thousands of people are
FCC Rules and RSS-210 of Industry
                                                       slide sideways. Be attentive at all times, and            injured or killed in alcohol-related accidents. Al-
Canada.
                                                       avoid driving when tired. Never drive when under          though the local laws vary on what is considered
Operation is subject to the following two              the influence of alcohol or drugs (including pre-         to be legally intoxicated, the fact is that alcohol
conditions: (1) This device may not cause              scription or over-the-counter drugs which may             affects all people differently and most people
harmful interference, and (2) this device              cause drowsiness). Always wear your seat belt as          underestimate the effects of alcohol.
must accept any interference received, in-             outlined in the “Safety – Seats, seat belts and           Remember, drinking and driving don’t mix! And
cluding interference that may cause undes-             supplemental restraint system” section of this            that is true for drugs, too (over-the-counter, pre-
ired operation of the device.                          manual, and also instruct your passengers to do so.       scription, and illegal drugs). Don’t drive if your
                                                       Seat belts help reduce the risk of injury in collisions   ability to operate your vehicle is impaired by alco-
                                                       and rollovers. In a rollover crash, an unbelted           hol, drugs, or some other physical condition.
                                                       or improperly belted person is significantly
                                                       more likely to be injured or killed than a
                                                       person properly wearing a seat belt.
                                                                                                                                    Starting and driving 5-5




                                                                                        ੬ REVIEW COPY—2008 Quest (van)
                                                                                        Owners Manual—USA_English (nna)
                                                                                        06/29/07—debbie ੭
IGNITION SWITCH


                                                                                                     1. Move the shift selector lever into the P (Park)
                  WARNING
                                                                                                        position.
Never remove or turn the key to the LOCK
position while driving. The steering wheel                                                           2. Turn the ignition key slightly toward the ON
will lock. This may cause the driver to lose                                                            position.
control of the vehicle and could result in                                                           3. Turn the key to the LOCK position.
serious vehicle damage or personal injury.
                                                                                                     4. Remove the key.
                                                                                                    The shift selector lever is designed so it cannot
                                                                                                    be moved out of P (Park) and into any of the other
                                                                                                    gear positions if the ignition key is turned to OFF
                                                                                                    position or if the key is removed from the switch.
                                                                                                    The shift selector lever can be moved if the
                                                                                                    ignition switch is in the ON position and the
                                                                                       WSD0041
                                                                                                    foot brake pedal is depressed.
                                               AUTOMATIC TRANSMISSION                               There is an OFF position between the
                                               The ignition lock is designed so the key cannot be   LOCK and ACC positions. The OFF position
                                               turned to the LOCK position and removed until        is indicated by a “1” on the key cylinder.
                                               the shift selector lever is moved to the P (Park)    When the ignition is in the OFF position,
                                               position.                                            the steering wheel is not locked.

                                               When removing the key from the ignition, make        In order for the steering wheel to be locked, it
                                               sure the shift selector lever is in the P (Park)     must be turned about 1/8 of a turn clockwise
                                                                                                    from the straight up position.
                                               position.
                                                                                                    To lock the steering wheel, turn the key to
                                               If the selector lever is not returned to P (Park)
                                                                                                    the LOCK position. Remove the key. To
                                               position, the key cannot be moved to the LOCK        unlock the steering wheel, insert the key
                                               position.                                            and turn it gently while rotating the steer-
                                               When the key cannot be turned to the LOCK            ing wheel slightly right and left.
                                               position, proceed as follows to remove the key.
5-6 Starting and driving




                                                                             ੬ REVIEW COPY—2008 Quest (van)
                                                                             Owners Manual—USA_English (nna)
                                                                             06/29/07—debbie ੭
BEFORE STARTING THE ENGINE


KEY POSITIONS                                          1. Leave the ignition switch in the ON position   ● Make sure the area around the vehicle is
                                                          for approximately 5 seconds.                     clear.
LOCK: Normal parking position (0)
                                                       2. Turn the ignition switch to the OFF or LOCK    ● Check fluid levels such as engine oil, cool-
OFF: (Not used) (1)                                       position, and wait approximately 10 sec-         ant, brake fluid, and window washer fluid as
ACC: (Accessories) (2)                                    onds.                                            frequently as possible, or at least whenever
                                                                                                           you refuel.
                                                       3. Repeat steps 1 and 2.
This position activates electrical accessories
                                                                                                         ● Check that all windows and lights are clean.
such as the radio when the engine is not running.      4. Restart the engine while holding the device
                                                          (which may have caused the interference)       ● Visually inspect tires for their appearance
ON: Normal operating position (3)                         separate from the registered key.                and condition. Also check tires for proper
This position turns on the ignition system and the                                                         inflation.
                                                      If the no start condition re-occurs, NISSAN rec-
electrical accessories.                               ommends placing the registered key on a sepa-      ● Lock all doors.
START: (4)                                            rate key ring to avoid interference from other
                                                                                                         ● Position seat and adjust head restraints.
                                                      devices.
This position starts the engine. As soon as the                                                          ● Adjust inside and outside mirrors.
engine has started, release the key. It automati-
cally returns to the ON position.                                                                        ● Fasten seat belts and ask all passengers to
                                                                                                           do likewise.
NISSAN VEHICLE IMMOBILIZER                                                                               ● Check the operation of warning lights when
SYSTEM                                                                                                     the key is turned to the ON (3) position. See
                                                                                                           “Warning/indicator lights and audible re-
The NISSAN Vehicle Immobilizer System will not
                                                                                                           minders” in the “Instruments and controls”
allow the engine to start without the use of the
                                                                                                           section of this manual.
registered key.
If the engine fails to start using a registered key
(for example, when interference is caused by
another registered key, an automated toll road
device or automatic payment device on the key
ring), restart the engine using the following pro-
cedures:
                                                                                                                         Starting and driving 5-7




                                                                                  ੬ REVIEW COPY—2008 Quest (van)
                                                                                  Owners Manual—USA_English (nna)
                                                                                  06/29/07—debbie ੭
STARTING THE ENGINE                                                                                          DRIVING THE VEHICLE


 1. Apply the parking brake.                                  cranking the engine, release the accel-        AUTOMATIC TRANSMISSION
                                                              erator pedal. Crank the engine with your
 2. Move the shift selector lever to P (Park) or N            foot off the accelerator pedal by turn-
    (Neutral). P (Park) is recommended.                                                                                        WARNING
                                                              ing the ignition key to START. Release the
    The shift selector lever cannot be                        key when the engine starts. If the engine      ● Do not depress the accelerator pedal
                                                              starts, but fails to run, repeat the above       while shifting from P (Park) or N (Neu-
    moved out of P (Park) and into any of
                                                              procedure.                                       tral) to R (Reverse), or L (Low). Always
    the other gear positions if the ignition
                                                                                                               depress the brake pedal until shifting is
    key is turned to the OFF position or if
                                                                            CAUTION                            completed. Failure to do so could cause
    the key is removed from the ignition
                                                                                                               you to lose control and have an
    switch.                                             Do not operate the starter for more than               accident.
    The starter is designed not to operate if           15 seconds at a time. If the engine does
                                                        not start, turn the key off and wait 10              ● Cold engine idle speed is high, so use
    the shift selector lever is in any of the                                                                  caution when shifting into a forward or
    driving positions.                                  seconds before cranking again, otherwise
                                                        the starter could be damaged.                          reverse gear before the engine has
 3. Crank the engine with your foot off the                                                                    warmed up.
    accelerator pedal by turning the ignition           4. Allow the engine to idle for at least 30 sec-
                                                                                                             ● Never shift to P (Park) or R (Reverse)
    key to START. Release the key when the                 onds after starting. Do not race the engine
                                                                                                               while the vehicle is moving. This could
    engine starts. If the engine starts, but fails to      while warming it up. Drive at moderate
                                                                                                               cause an accident.
    run, repeat the above procedure.                       speed for a short distance first, especially in
                                                           cold weather.
    ● If the engine is very hard to start in ex-                                                                                CAUTION
      tremely cold weather or when restarting,             In cold weather, keep the engine running for
                                                           a minimum of 2–3 minutes before shutting it       ● When stopping the vehicle on an uphill
      depress the accelerator pedal a little (ap-
                                                           off. Starting and stopping the engine over a        grade, do not hold the vehicle by de-
      proximately 1/3 to the floor) and hold it
                                                           short period of time may make the vehicle           pressing the accelerator pedal. The foot
      and then crank the engine. Release the
                                                           more difficult to start.                            brake should be used for this purpose.
      key and the accelerator pedal when the
      engine starts.                                                                                         ● Do not downshift abruptly on slippery
                                                                                                               roads. This may cause a loss of control.
    ● If the engine is very hard to start because
      it is flooded, depress the accelerator                                                                 The automatic transmission in your vehicle is
      pedal all the way to the floor and hold it.                                                            electronically controlled to produce maximum
      Crank the engine for 5-6 seconds. After                                                                power and smooth operation.
5-8 Starting and driving




                                                                                     ੬ REVIEW COPY—2008 Quest (van)
                                                                                     Owners Manual—USA_English (nna)
                                                                                     06/29/07—debbie ੭
The recommended operating procedures for this
                                                                                                                                WARNING
transmission are shown on the following pages.
Follow these procedures for maximum vehicle                                                                Apply the parking brake if the selector
performance and driving enjoyment.                                                                         lever is in any position while the engine is
                                                                                                           not running. Failure to do so could cause
Starting the vehicle                                                                                       the vehicle to move unexpectedly or roll
 1. After starting the engine, fully depress the                                                           away and result in serious personal injury
    foot brake pedal before moving the shift                                                               or property damage.
    selector lever out of the P (Park) position.                                                           If the key is turned to the OFF or ACC position for
 2. Keep the foot brake pedal depressed and                                                                any reason while the vehicle is in N (Neutral), or
    move the shift selector lever into a driving                                                           any D (Drive) position, the shift selector lever
    gear.                                                                                                  cannot be moved to P (Park). Additionally, the key
 3. Release the foot brake, then gradually start                                                           cannot be turned to the LOCK position and be
    the vehicle in motion.                                                                      WSD0161    removed from the ignition switch. If this occurs,
                                                                                                           perform the following steps:
The automatic transmission is designed so          To move the selector lever:
the foot brake pedal MUST be depressed                                                                      1. Apply the parking brake when the vehicle is
                                                              Push the button while depressing the brake
before shifting from P (Park) to any drive                    pedal
                                                                                                               stopped.
position while the ignition switch is in the                  Push the button to shift                      2. Turn the key to the ON position.
ON position.
                                                              Shift without pushing button                  3. Depress the foot brake pedal.
The shift selector lever cannot be moved
out of P (Park) and into any of the other          Shifting
gear positions if the ignition key is turned
to the LOCK, OFF or ACC position or if the         After starting the engine, fully depress the brake
key is removed.                                    pedal and move the shift selector lever out of the
                                                   P (Park) position.




                                                                                                                             Starting and driving 5-9




                                                                                         ੬ REVIEW COPY—2008 Quest (van)
                                                                                         Owners Manual—USA_English (nna)
                                                                                         06/29/07—debbie ੭
4. Move the shift selector lever to P (Park) or N      Use the R (Reverse) position to back up. Make
    (Neutral) to restart the vehicle (P is pre-         sure the vehicle is completely stopped before
    ferred). Move the shift selector lever to P         selecting the R (Reverse) position. The brake
    (Park) to park the vehicle and turn the igni-       pedal must be depressed to move the se-
    tion key to the LOCK position to remove the         lector lever from P (Park), N (Neutral) or
    key.                                                any drive position to R (Reverse).
P (Park):                                               N (Neutral):
                                                        Neither forward nor reverse gear is engaged. The
                      CAUTION                           engine can be started in this position. You may
Use the P (Park) position only when the                 shift to N (Neutral) and restart a stalled engine
vehicle is completely stopped.                          while the vehicle is moving.
Use the P (Park) selector position when the ve-         D (Drive):
hicle is parked or when starting the engine. Make       Use this position for all normal forward driving.                                               WSD0162
sure the vehicle is completely stopped. The
brake pedal should be depressed to move                 L (Low gear):                                        Shift lock release
the selector lever from N (Neutral) or any              Use this position when climbing steep hills slowly   If the battery is discharged, the shift selector lever
drive position to P (Park). Apply the parking           or slow driving through deep snow, sand or mud,      may not be moved from the P (Park) position even
brake. When parking on a hill, apply the parking        or for maximum engine braking on steep downhill      with the brake pedal depressed.
brake first, then shift the selector lever into the P   grades.
(Park) position.                                                                                             To move the shift selector lever, release the shift
                                                        Do not shift into the L position at speeds above     lock. The shift selector lever can be moved to N
R (Reverse):                                            65 MPH (105 km/h). Do not exceed 65 MPH              (Neutral). However, the steering wheel will be
                                                        (105 km/h) in the L position.                        locked unless the ignition switch is turned to the
                      CAUTION                                                                                ON position. This allows the vehicle to be moved
Use the R (Reverse) position only when                                                                       if the battery is discharged.
the vehicle is completely stopped.




5-10 Starting and driving




                                                                                      ੬ REVIEW COPY—2008 Quest (van)
                                                                                      Owners Manual—USA_English (nna)
                                                                                      06/29/07—debbie ੭
To push the shift lock release, complete the fol-    Accelerator downshift
lowing procedure:                                    — in D position —
 1. Turn the ignition key to the LOCK position       For passing or hill climbing, depress the accel-
    and remove the key                               erator pedal to the floor. This shifts the transmis-
 2. Apply the parking brake.                         sion down into a lower gear, depending on the
                                                     vehicle speed.
 3. Remove the shift lock release cover as
    shown.                                           Fail-safe
 4. Insert a small screwdriver in the shift lock     When the fail-safe operation occurs, please note
    release slot and push down.                      that the transmission will be locked in any of the
                                                     forward gears according to the condition.
 5. Move the shift selector lever to the N (Neu-
    tral) position while holding down the shift      If the vehicle is driven under extreme con-
                                                     ditions, such as excessive wheel spinning
    lock release.                                                                                                                                  WSD0163
                                                     and subsequent hard braking, the fail-safe
 6. Turn the key to the ON position to unlock the    system may be activated. This will occur               Overdrive switch
    steering wheel. Now the vehicle may be           even if all electrical circuits are functioning
                                                     properly. In this case, turn the ignition key          Each time your vehicle is started, the transmis-
    moved to the desired location.
                                                     OFF and wait for 3 seconds. Then turn the              sion is automatically “reset” to overdrive ON.
If the shift selector lever cannot be moved out of   key back to the ON position. The vehicle               ON:      With the engine running and the
P (Park), have a NISSAN dealer check the auto-       should return to its normal operating con-                      shift selector lever in the D (Drive)
matic transmission system as soon as possible.       dition. If it does not return to its normal                     position, the transmission upshifts
                                                     operating condition, have a NISSAN dealer
                    WARNING                                                                                          into Overdrive as vehicle speed
                                                     check the transmission and repair it if nec-
                                                     essary.                                                         increases.
If the selector lever cannot be moved from
the P (Park) position while the engine is                                                                   Overdrive does not engage until the engine
running and the brake pedal is depressed,                                                                   has reached operating temperature.
the stop lights may not work. Malfunction-
ing stop lights could cause an accident
injuring yourself and others.

                                                                                                                            Starting and driving 5-11




                                                                                    ੬ REVIEW COPY—2008 Quest (van)
                                                                                    Owners Manual—USA_English (nna)
                                                                                    06/29/07—debbie ੭
PARKING BRAKE


OFF:     For driving up and down long                                WARNING
         slopes where engine braking is nec-
         essary push the Overdrive switch           ● Be sure the parking brake is fully re-
                                                      leased before driving. Failure to do so
         once. The O/D OFF indicator light            can cause brake failure and lead to an
         in the instrument panel comes on at          accident.
         this time.
                                                    ● Do not release the parking brake from
When cruising at a low speed or climbing a            outside the vehicle.
gentle slope, you may feel uncomfortable shift
shocks as the transmission shifts into and out of   ● Do not use the gear shift in place of the
Overdrive repeatedly. In this case, depress the       parking brake. When parking, be sure
Overdrive switch to turn the Overdrive off. The       the parking brake is fully engaged.
O/D OFF indicator light in the instrument panel     ● Do not leave children unattended in a
comes on at this time.                                vehicle. They could release the parking
When driving conditions change, depress the           brake and cause an accident.                                                        LSD0158
Overdrive switch to turn the Overdrive on.                                                        To engage: Firmly depress the parking brake.
Remember not to drive at high speeds for ex-                                                      To release:
tended periods of time with the Overdrive off.
                                                                                                   1. Firmly apply the foot brake.
This reduces fuel economy.
                                                                                                   2. Move the shift selector lever to the P (Park)
                                                                                                      position.
                                                                                                   3. Firmly depress the parking brake pedal and it
                                                                                                      will release.
                                                                                                   4. Before driving, be sure the brake warning
                                                                                                      light goes out.




5-12 Starting and driving




                                                                              ੬ REVIEW COPY—2008 Quest (van)
                                                                              Owners Manual—USA_English (nna)
                                                                              06/29/07—debbie ੭
CRUISE CONTROL


                                                    ● The SET indicator light may blink when the       To set cruising speed, accelerate the vehicle to
                                                      cruise control switch is turned ON while         the desired speed, push the COAST/SET switch
                                                      pushing the ACCEL/RES, COAST/SET, or             and release it. The SET indicator light in the
                                                      CANCEL switch. To properly set the cruise        instrument panel comes on. Take your foot off the
                                                      control system, use the following proce-         accelerator pedal. Your vehicle maintains the set
                                                      dures.                                           speed.
                                                                                                        ● To pass another vehicle, depress the ac-
                                                                       WARNING
                                                                                                          celerator pedal. When you release the
                                                   Do not use the cruise control when driving             pedal, the vehicle returns to the previously
                                                   under the following conditions:                        set speed.
                                                   ● When it is not possible to keep the                ● The vehicle may not maintain the set speed
                                                     vehicle at a set speed.                              when going up or down steep hills. If this
                                                   ● In heavy traffic or in traffic that varies in        happens, drive without the cruise control.
                                       LSD0159
                                                     speed.                                            To cancel the preset speed, use one of the
1.   ACCEL/RES switch                                                                                  following three methods.
                                                   ● On winding or hilly roads.
2.   COAST/SET switch
                                                   ● On slippery roads (rain, snow, ice, etc.).         ● Push the CANCEL button; the SET indicator
3.   CANCEL switch
                                                                                                          light in the instrument panel goes out.
4.   ON·OFF switch                                 ● In very windy areas.
                                                                                                        ● Tap the brake pedal; the SET indicator light
PRECAUTIONS ON CRUISE                              Doing so could cause a loss of vehicle                 goes out.
CONTROL                                            control and result in an accident.
                                                                                                        ● Turn the main switch off. Both the CRUISE
 ● If the cruise control system malfunctions, it   CRUISE CONTROL OPERATIONS                              indicator light and SET indicator light in the
   cancels automatically. The SET indicator                                                               instrument panel go out.
                                                   The cruise control allows driving at a speed be-
   light in the instrument panel then blinks to
                                                   tween 25 - 89 MPH (40 - 144 km/h) without           The cruise control is automatically canceled and
   warn the driver.                                keeping your foot on the accelerator pedal.         the SET light in the instrument panel goes out if:
 ● If the SET indicator light blinks, turn the     To turn on the cruise control, push the main         ● you depress the brake pedal while pushing
   cruise control switch off and have the sys-     switch. The CRUISE indicator light in the instru-      the ACCEL/RES or SET/COAST switch.
   tem checked by a NISSAN dealer.                 ment panel comes on.                                   The preset speed is deleted from memory.
                                                                                                                       Starting and driving 5-13




                                                                                ੬ REVIEW COPY—2008 Quest (van)
                                                                                Owners Manual—USA_English (nna)
                                                                                06/29/07—debbie ੭
BREAK-IN SCHEDULE


 ● the vehicle slows down more than 8 MPH         To resume the preset speed, push and re-
                                                                                                                      CAUTION
   (13 km/h) below the set speed.                 lease the ACCEL/RES switch. The vehicle re-
                                                  turns to the last set cruising speed when the   During the first 1,200 miles (2,000 km),
 ● you move the shift selector lever to N (Neu-   vehicle speed is over 25 MPH (40 km/h).         follow these recommendations to obtain
   tral).                                                                                         maximum engine performance and en-
To reset at a faster cruising speed, use one                                                      sure the future reliability and economy of
of the following three methods.                                                                   your new vehicle. Failure to follow these
                                                                                                  recommendations may result in short-
 ● Depress the accelerator pedal. When the                                                        ened engine life and reduced engine
   vehicle attains the desired speed, push and                                                    performance.
   release the COAST/SET switch.
                                                                                                  ● Avoid driving for long periods at constant
 ● Push and hold the ACCEL/RES switch.                                                              speed, either fast or slow, and do not run the
   When the vehicle attains the speed you de-                                                       engine over 4,000 rpm.
   sire, release the switch.                                                                      ● Do not accelerate at full throttle in any gear.
 ● Push and release the ACCEL/RES switch.                                                         ● Avoid quick starts.
   Each time you do this, the set speed in-
   creases by about 1 MPH (1.6 km/h).                                                             ● Avoid hard braking as much as possible.
To reset at a slower cruising speed, use one                                                      ● Do not tow a trailer for the first 500 miles
of the following three methods.                                                                     (800 km). Your engine, axle or other parts
                                                                                                    could be damaged.
 ● Lightly tap the brake pedal. When the ve-
   hicle attains the desired speed, push the
   COAST/SET switch and release it.
 ● Push and hold the COAST/SET switch. Re-
   lease the switch when the vehicle slows to
   the desired speed.
 ● Push and release the COAST/SET switch.
   Each time you do this, the set speed de-
   creases by about 1 MPH (1.6 km/h).
5-14 Starting and driving




                                                                             ੬ REVIEW COPY—2008 Quest (van)
                                                                             Owners Manual—USA_English (nna)
                                                                             06/29/07—debbie ੭
INCREASING FUEL ECONOMY


● Accelerate slowly and smoothly. Maintain       ● When cruising at highway speeds, it is more
  cruising speeds with a constant accelerator      economical to use the air conditioner and
  position.                                        leave the windows closed to reduce drag.
● Drive at moderate speeds on the highway.       ● Use the recommended viscosity engine oil.
  Driving at high speed lowers fuel economy.       See “Engine oil and oil filter recommenda-
                                                   tion” in “Technical and consumer informa-
● Avoid unnecessary stopping and braking.
                                                   tion” later in this manual.
  Maintain a safe distance behind other ve-
  hicles.
● Use a proper gear range which suits road
  conditions. On level roads, shift into high
  gear as soon as possible.
● Avoid unnecessary engine idling.
● Keep your engine tuned up.
● Follow the recommended periodic mainte-
  nance schedule.
● Keep the tires inflated to the correct pres-
  sure. Low tire pressure increases tire wear
  and lowers fuel economy.
● Keep the wheels in correct alignment. Im-
  proper alignment increases tire wear and
  lowers fuel economy.
● Air conditioner operation lowers fuel
  economy. Use the air conditioner only when
  necessary.



                                                                                                    Starting and driving 5-15




                                                                           ੬ REVIEW COPY—2008 Quest (van)
                                                                           Owners Manual—USA_English (nna)
                                                                           06/29/07—debbie ੭
PARKING/PARKING ON HILLS


                                                                                                  ● HEADED DOWNHILL WITH CURB: ᭺
                                                                                                                               A

                                                                                                     Turn the wheels into the curb and move the
                                                                                                     vehicle forward until the curb side wheel
                                                                                                     gently touches the curb.
                                                                                                  ● HEADED UPHILL WITH CURB: ᭺
                                                                                                                             B

                                                                                                     Turn the wheels away from the curb and
                                                                                                     move the vehicle back until the curb side
                                                                                                     wheel gently touches the curb.
                                                                                                  ● HEADED UPHILL OR DOWNHILL, NO
                                                                                                    CURB: ᭺
                                                                                                          C

                                                                                                     Turn the wheels toward the side of the road
                                                                                                     so the vehicle will move away from the cen-
                                                                                     WSD0050
                                                                                                     ter of the road if it moves.
                 WARNING                     ● Never leave the engine running while               4. Turn the ignition key to the LOCK position
                                               the vehicle is unattended.                            and remove the key.
● Do not stop or park the vehicle over
  flammable materials such as dry grass,     ● Do not leave children unattended inside
  waste paper or rags. They may ignite         the vehicle. They could unknowingly ac-
  and cause a fire.                            tivate switches or controls. Unattended
                                               children could become involved in seri-
● Safe parking procedures require that         ous accidents.
  both the parking brake be set and the
  transmission placed into P (Park). Fail-   1. Firmly apply the parking brake.
  ure to do so could cause the vehicle to
                                             2. Move the shift selector lever to the P (Park)
  move unexpectedly or roll away and re-
  sult in an accident. Make sure the shift      position.
  lever has been pushed as far forward as    3. To help prevent the vehicle from rolling into
  it can go and cannot be moved without         traffic when parked on an incline, it is a good
  depressing the foot brake pedal.              practice to turn the wheels as illustrated.
5-16 Starting and driving




                                                                          ੬ REVIEW COPY—2008 Quest (van)
                                                                          Owners Manual—USA_English (nna)
                                                                          06/29/07—debbie ੭
POWER STEERING                                       BRAKE SYSTEM


The power assisted steering uses a hydraulic         The brake system has two separate hydraulic
                                                                                                                                  WARNING
pump, driven by the engine, to assist steering.      circuits. If one circuit malfunctions, you will still
                                                     have braking at two wheels.                             ● While driving on a slippery surface, be
If the engine stops or the drive belt breaks, you                                                              careful when braking, accelerating or
will still have control of the vehicle. However,     BRAKE PRECAUTIONS                                         downshifting. Abrupt braking or accel-
much greater steering effort is needed, especially                                                             erating could cause the wheels to skid
in sharp turns and at low speeds.                    Vacuum assisted brakes                                    and result in an accident.
                    WARNING                          The brake booster aids braking by using engine          ● If the engine is not running or is turned
                                                     vacuum. If the engine stops, you can stop the             off while driving, the power assist for
If the engine is not running or is turned off        vehicle by depressing the brake pedal. However,           the brakes will not work. Braking will be
while driving, the power assist for the              greater foot pressure on the brake pedal will be          harder.
steering will not work. Steering will be             required to stop the vehicle and stopping dis-
harder to operate.                                   tance will be longer.                                   Wet brakes
                                                     Using the brakes                                        When the vehicle is washed or driven through
                                                                                                             water, the brakes may get wet. As a result, your
                                                     Avoid resting your foot on the brake pedal while        braking distance will be longer and the vehicle
                                                     driving. This will overheat the brakes, wear out the    may pull to one side during braking.
                                                     brake pads faster, and reduce gas mileage.
                                                                                                             To dry the brakes, drive the vehicle at a safe
                                                     To help reduce brake wear and to prevent the            speed while lightly pressing the brake pedal to
                                                     brakes from overheating, reduce speed and               heat up the brakes. Do this until the brakes return
                                                     downshift to a lower gear before going down a           to normal. Avoid driving the vehicle at high
                                                     slope or long grade. Overheated brakes may              speeds until the brakes function correctly.
                                                     reduce braking performance and could result in
                                                     loss of vehicle control.                                Parking brake break-in
                                                                                                             Break-in the parking brake shoes whenever the
                                                                                                             stopping effect of the parking brake is weakened
                                                                                                             or whenever the parking brake shoes and/or
                                                                                                             drum/rotors are replaced, in order to assure the
                                                                                                             best brake performance.
                                                                                                                              Starting and driving 5-17




                                                                                    ੬ REVIEW COPY—2008 Quest (van)
                                                                                    Owners Manual—USA_English (nna)
                                                                                    06/29/07—debbie ੭
This procedure is described in the vehicle service      – When installing a spare tire, make                                  WARNING
manual and can be performed by a NISSAN                   sure that it is the proper size and type
dealer.                                                   as specified on the Tire and Loading           Do not pump the brake pedal. Doing so
                                                          Information label. See “Tire and               may result in increased stopping
ANTI-LOCK BRAKING SYSTEM                                  Loading Information label” in the              distances.
(ABS)                                                     “Technical and consumer informa-               Normal operation
                                                          tion” section of this manual.
                    WARNING                                                                              The ABS operates at speeds above 3 - 6 MPH (5
                                                        – For detailed information, see
● The Anti-lock Braking System (ABS) is a                 “Wheels and tires” in the “Mainte-             - 10 km/h).
  sophisticated device, but it cannot pre-                nance and do-it-yourself” section of           When the ABS senses that one or more wheels
  vent accidents resulting from careless                  this manual.                                   are close to locking up, the system electronically
  or dangerous driving techniques. It can
                                                     The Anti-lock Braking System (ABS) controls the     controls the pressure applied to each brake.
  help maintain vehicle control during
  braking on slippery surfaces. Remem-               brakes so the wheels do not lock during hard        This action is similar to pumping the brakes very
  ber that stopping distances on slippery            braking or when braking on slippery surfaces.       quickly. You may feel a pulsation in the brake
  surfaces will be longer than on normal             The system detects the rotation speed at each       pedal and hear a noise from under the hood or
  surfaces even with ABS. Stopping dis-              wheel and varies the brake fluid pressure to pre-   feel a vibration from the actuator when it is oper-
  tances may also be longer on rough,                vent each wheel from locking and sliding. By        ating. This is normal and indicates that the ABS is
  gravel or snow covered roads, or if you            preventing each wheel from locking, the system      operating properly. However, the pulsation may
  are using tire chains. Always maintain a           helps the driver maintain steering control and      indicate that road conditions are hazardous and
  safe distance from the vehicle in front            helps to minimize swerving and spinning on slip-    extra care is required while driving.
  of you. Ultimately, the driver is respon-          pery surfaces.
  sible for safety.                                                                                      Self-test feature
● Tire type and condition may also affect            Using the system
                                                                                                         The ABS includes electronic sensors, electric
  braking effectiveness.                             Depress the brake pedal and hold it down. De-       pumps, hydraulic solenoids and a computer. The
   – When replacing tires, install the               press the brake pedal with firm steady pressure,    computer has a built-in diagnostic feature that
     specified size of tires on all four             but do not pump the brakes. The ABS will oper-      tests the system each time you start the engine
     wheels.                                         ate to prevent the wheels from locking up. Steer    and move the vehicle at a low speed in forward or
                                                     the vehicle to avoid obstacles.                     reverse. When the self-test occurs, you may hear
                                                                                                         a “clunk” noise and/or feel a pulsation in the brake
5-18 Starting and driving




                                                                                  ੬ REVIEW COPY—2008 Quest (van)
                                                                                  Owners Manual—USA_English (nna)
                                                                                  06/29/07—debbie ੭
TRACTION CONTROL SYSTEM (TCS)


pedal. This is normal and does not indicate a       When accelerating on slippery surfaces the tire
                                                                                                                            WARNING
malfunction. If the computer senses a malfunc-      may spin or slip. With the vehicle Traction Control
tion, it switches the ABS off and illuminates the   System (TCS), sensors detect these movements           ● The Traction Control System is de-
ABS warning light on the instrument panel. The      and control the braking and engine output to help        signed to help improve driving stability
brake system then operates normally, but without    improve vehicle stability while accelerating.            but does not prevent accidents due to
anti-lock assistance.                                                                                        abrupt steering operation at high
                                                     ● When the traction control system is operat-           speeds or by careless or dangerous
If the ABS warning light illuminates during the        ing, the        indicator in the instrument           driving techniques. Reduce vehicle
self-test or while driving, have the vehicle           panel blinks.                                         speed and be especially careful when
checked by a NISSAN dealer.                                                                                  driving and cornering on slippery sur-
                                                     ● If the           indicator blinks, the vehicle is
                                                                                                             faces and always drive carefully.
                                                       under slippery conditions. Be sure to drive
                                                       carefully. See “Slip indicator light” and “Trac-    ● If brake related parts such as brake
                                                       tion Control System (TCS) off indicator               pads, rotors and calipers are not stan-
                                                       light” in the “Instruments and controls” sec-         dard equipment or are extremely dete-
                                                       tion of this manual.                                  riorated, the Traction Control System
                                                                                                             may not operate properly and the
                                                     ● If a malfunction occurs in the system,                indicator light may come on.
                                                       the           and         indicator lights
                                                                                                           ● Do not modify the vehicle’s suspension.
                                                       come on in the instrument panel.
                                                                                                             If suspension parts such as shock ab-
                                                    As long as these lights are on, the traction control     sorbers, struts, springs, bushings and
                                                    function is canceled. The vehicle will behave like       wheels are not standard equipment or
                                                    a vehicle without the system.                            are extremely deteriorated, the Traction
                                                                                                             Control System may not operate prop-
                                                                                                             erly and the        indicator light may
                                                                                                             come on.




                                                                                                                        Starting and driving 5-19




                                                                                   ੬ REVIEW COPY—2008 Quest (van)
                                                                                   Owners Manual—USA_English (nna)
                                                                                   06/29/07—debbie ੭
VEHICLE DYNAMIC CONTROL (VDC)
                                               SYSTEM (if so equipped)

● When driving on extremely inclined sur-      When accelerating or driving on slippery sur-          When the VDC system is operating, you may feel
  faces such as higher banked corners,         faces, the tires may spin or slide. With the Vehicle   a pulsation in the brake pedal and hear a noise or
  the Traction Control System may not          Dynamic Control (VDC) system, sensors detect           vibration from under the hood. This is normal and
  operate properly and the        indica-      these movements and control the braking and            indicates that the VDC system is working prop-
  tor light may come on. Do not drive on       engine output to help improve vehicle stability.       erly.
  these types of roads.                         ● When the Vehicle Dynamic Control (VDC)              The computer has a built in diagnostic feature
● If wheels or tires other than the recom-        system is operating, the SLIP indicator in          that tests the system each time you start the
  mended ones are used, the Traction              the instrument panel blinks.                        engine and move the vehicle forward or in reverse
  Control System may not operate prop-                                                                at a slow speed. When the self-test occurs, you
  erly and the         indicator light may      ● If the SLIP indicator blinks, the road condi-
                                                                                                      may hear a clunk noise and/or feel a pulsation in
  come on.                                        tions are slippery. Be sure to adjust your
                                                                                                      the brake pedal. This is normal and is not an
                                                  speed and driving to these conditions. See
● The Traction Control System is not a                                                                indication of a malfunction.
                                                  “Slip indicator light”, and “Vehicle Dynamic
  substitute for winter tires or tire chains      Control (VDC) off indicator light” in the “In-
  on a snow covered road.                                                                                                 WARNING
                                                  struments and controls” section.
                                                                                                      ● The Vehicle Dynamic Control system is
                                                ● Indicator light                                       designed to help improve driving stabil-
                                                  If a malfunction occurs in the system, the            ity but does not prevent accidents due
                                                  SLIP and          indicator lights come on in         to abrupt steering operation at high
                                                  the instrument panel.                                 speeds or by careless or dangerous
                                                  As long as these indicator lights are on, the         driving techniques. Reduce vehicle
                                                  traction control function is canceled.                speed and be especially careful when
                                                                                                        driving and cornering on slippery sur-
                                               If the vehicle is operated with the Vehicle Dy-
                                                                                                        faces and always drive carefully.
                                               namic Control system OFF using the VDC OFF
                                               switch, VDC functions will be turned off. The
                                               VDC system will still try to transfer power from a
                                               slipping drive wheel to one with more traction
                                               when the VDC system switch is OFF. The SLIP
                                               indicator will flash if wheel spin is detected. The
                                               ABS will still operate with the VDC system off.
5-20 Starting and driving




                                                                              ੬ REVIEW COPY—2008 Quest (van)
                                                                              Owners Manual—USA_English (nna)
                                                                              06/29/07—debbie ੭
REAR SONAR SYSTEM (if so
                                                                                             equipped)

● If brake related parts such as brake         ● If wheels or tires other than the recom-
  pads, rotors and calipers are not stan-        mended ones are used, the Vehicle Dy-
  dard equipment or are extremely dete-          namic Control system may not operate
  riorated, the Vehicle Dynamic Control          properly and the Vehicle Dynamic Con-
  system may not operate properly and            trol off indicator light may come on.
  the Vehicle Dynamic Control off indica-
                                               ● The Vehicle Dynamic Control system is
  tor light may come on.
                                                 not a substitute for winter tires or tire
● Do not modify the vehicle’s suspension.        chains on a snow covered road.
  If suspension parts such as shock ab-
  sorbers, struts, springs, stabilizer bars,
  bushings and wheels are not NISSAN
  approved for your vehicle or are ex-
  tremely deteriorated the Vehicle Dy-
  namic Control system may not operate                                                                                         LSD0088
  properly. This could adversely affect ve-
  hicle handling performance, and the                                                                        WARNING
  VDC OFF indicator light may come on.
                                                                                             ● Always turn and look back before back-
● When driving on extremely inclined sur-                                                      ing up. The RSS is not a substitute for
  faces such as higher banked corners,                                                         proper backing procedures.
  the Vehicle Dynamic Control system
  may not operate properly and the VDC                                                       ● Read and understand the limitations of
  OFF indicator light may come on. Do                                                          the rear sonar system as contained in
  not drive on these types of roads.                                                           this section. Inclement weather may af-
                                                                                               fect the function of the RSS; this may
● When driving on an unstable surface                                                          include reduced performance or a false
  such as a turntable, ferry, elevator or                                                      activation.
  ramp, the Vehicle Dynamic Control off
  indicator light may illuminate. This is                                                    ● This system is not designed to prevent
  not a malfunction. Restart the engine                                                        contact with small or moving objects.
  after driving onto a stable surface.

                                                                                                          Starting and driving 5-21




                                                                         ੬ REVIEW COPY—2008 Quest (van)
                                                                         Owners Manual—USA_English (nna)
                                                                         06/29/07—debbie ੭
COLD WEATHER DRIVING


● The system is designed as an aid to the            will sound for only three seconds. Once the sys-        FREEING A FROZEN DOOR LOCK
  driver in detecting large stationary ob-           tem detects an object approaching, the tone will
                                                     sound again.                                            To prevent a door lock from freezing, apply de-
  jects to help avoid damaging the ve-                                                                       icer through the key hole. If the lock becomes
  hicle. The system will not detect small            The RSS automatically turns on when the shift           frozen, heat the key before inserting it into the key
  objects below the bumper, and may not              selector lever is placed in R (Reverse) and the         hole or use the remote keyless entry keyfob (if so
  detect objects close to the bumper or              ignition is ON. The RSS OFF switch on the               equipped).
  on the ground.                                     instrument panel allows the driver to turn the RSS
● If your vehicle sustains damage to the             on and off. To turn the RSS off, the ignition must      ANTI-FREEZE
  rear bumper fascia, leaving it mis-                be ON, and the shift selector lever in R (Reverse).
                                                                                                             In the winter when it is anticipated that the tem-
  aligned or bent, the sensing zone may              An indicator light on the switch will illuminate
                                                                                                             perature will drop below 32°F (0°C), check the
  be altered causing inaccurate measure-             when the system is turned off. If the indicator light
                                                                                                             anti-freeze to assure proper winter protection.
  ment of obstacles or false alarms.                 illuminates when the RSS is not turned off, it may
                                                                                                             For details, see “Engine cooling system” in the
                                                     indicate a failure in the RSS.
                                                                                                             “Maintenance and do-it-yourself” section of this
The Rear Sonar System (RSS) sounds a tone to                                                                 manual.
                                                     Keep the RSS sensors (located on the rear
warn the driver of obstacles near the rear bumper    bumper fascia) free from snow, ice and large
when the shift selector is in R (Reverse). The       accumulations of dirt (do not clean the sensors         BATTERY
system may not detect objects at speeds above 3      with sharp objects). If the sensors are covered, it     If the battery is not fully charged during extremely
mph (5 km/h) and may not detect certain angular      will affect the accuracy of the RSS.                    cold weather conditions, the battery fluid may
or moving objects.                                                                                           freeze and damage the battery. To maintain maxi-
The RSS detects obstacles up to 6 feet (1.8 m)                                                               mum efficiency, the battery should be checked
from the rear bumper with a decreased coverage                                                               regularly. For details, see “Battery” in the “Main-
area at the outer corners of the bumper, (refer to                                                           tenance and do-it-yourself” section of this
the illustration for approximate zone coverage                                                               manual.
areas). As you move closer to the obstacle, the
rate of the tone increases. When the obstacle is
less than 10 inches (25.0 cm) away, the tone will
sound continuously. If the RSS detects a station-
ary or receding object further than 10 inches
(25.0 cm) from the side of the vehicle, the tone

5-22 Starting and driving




                                                                                    ੬ REVIEW COPY—2008 Quest (van)
                                                                                    Owners Manual—USA_English (nna)
                                                                                    06/29/07—debbie ੭
DRAINING OF COOLANT WATER                             3. Tire chains may be used. For details see        ● Whatever the condition, drive with cau-
                                                         “Tire chains” in the “Maintenance and do-it-      tion. Accelerate and slow down with
If the vehicle is to be left outside without anti-       yourself” section of this manual.                 care. If accelerating or downshifting too
freeze, drain the cooling system, including the
                                                                                                           fast, the drive wheels will lose even
engine block. Refill before operating the vehicle.   SPECIAL WINTER EQUIPMENT                              more traction.
For details, see “Changing engine coolant” in the
                                                     It is recommended that the following items be       ● Allow more stopping distance under
“Maintenance and do-it-yourself” section of this
                                                     carried in the vehicle during winter:                 these conditions. Braking should be
manual.
                                                      ● A scraper and stiff-bristled brush to remove       started sooner than on dry pavement.
TIRE EQUIPMENT                                          ice and snow from the windows and wiper          ● Allow greater following distances on
 1. SUMMER tires have a tread designed to               blades.                                            slippery roads.
    provide superior performance on dry pave-         ● A sturdy, flat board to be placed under the      ● Watch for slippery spots (glare ice).
    ment. However, the performance of these             jack to give it firm support.                      These may appear on an otherwise
    tires will be substantially reduced in snowy                                                           clear road in shaded areas. If a patch of
    and icy conditions. If you operate your ve-       ● A shovel to dig the vehicle out of snowdrifts.     ice is seen ahead, brake before reach-
    hicle on snowy or icy roads, NISSAN recom-        ● Extra window washer fluid to refill the reser-     ing it. Try not to brake while on the ice,
    mends the use of MUD & SNOW or ALL                  voir tank.                                         and avoid any sudden steering
    SEASON TIRES on all four wheels. Please                                                                maneuvers.
    consult a NISSAN dealer for the tire type,       DRIVING ON SNOW OR ICE                              ● Do not use the cruise control on slip-
    size, speed rating and availability informa-                                                           pery roads.
    tion.                                                                WARNING
                                                                                                         ● Snow can trap dangerous exhaust
 2. For additional traction on icy roads, studded    ● Wet ice (32°F, 0°C and freezing rain),              gases under your vehicle. Keep snow
    tires may be used. However, some U.S.              very cold snow or ice can be slick and              clear of the exhaust pipe and from
    states and Canadian provinces prohibit their       very hard to drive on. The vehicle will             around your vehicle.
    use. Check local, state and provincial laws        have much less traction or “grip” under
    before installing studded tires.                   these conditions. Try to avoid driving on
                                                       wet ice until the road is salted or
Skid and traction capabilities of studded              sanded.
snow tires on wet or dry surfaces may be
poorer than that of non-studded snow tires.
                                                                                                                       Starting and driving 5-23




                                                                                  ੬ REVIEW COPY—2008 Quest (van)
                                                                                  Owners Manual—USA_English (nna)
                                                                                  06/29/07—debbie ੭
ENGINE BLOCK HEATER (if so                         To use the engine block heater:
equipped)                                           1. Turn the engine off.
                                                    2. Open the hood and unwrap the engine block
                   WARNING
                                                       heater cord.
● Do not use your engine block heater
                                                    3. Plug the engine block heater cord into a
  with an ungrounded electrical system
                                                       grounded 3 wire, 3 pronged extension cord.
  or a 2-pronged adapter. You can be se-
  riously injured by an electrical shock if         4. Plug the extension cord into a Ground Fault
  you use an ungrounded connection.                    Interrupt (GFI) protected, grounded 110-
● Disconnect and properly store the en-                volt AC (VAC) outlet.
  gine block heater cord before starting            5. The engine block heater must be plugged in
  the engine. Damage to the cord could                 for at least 2 - 4 hours, depending on outside
  result in an electrical shock and can                temperatures, to properly warm the engine
  cause serious injury.                                coolant. Use an appropriate timer to turn the
● Use a heavy-duty 3-wire, 3-pronged ex-               engine block heater on.
  tension cord rated for at least 10 A. Plug        6. Before starting the engine, unplug and prop-
  the extension cord into a Ground Fault               erly store the cord to keep it away from
  Interrupt (GFI) protected, grounded                  moving parts.
  110-VAC outlet. Failure to use the
  proper extension cord or a grounded
  outlet can result in a fire or electrical
  shock and cause serious personal
  injury.
Engine block heaters are available through
NISSAN dealers to assist in cold temperature
starting. The engine block heater should be used
when the outside temperature is 20° F (-7° C) or
lower.

5-24 Starting and driving




                                                                                ੬ REVIEW COPY—2008 Quest (van)
                                                                                Owners Manual—USA_English (nna)
                                                                                06/29/07—debbie ੭
6 In case of emergency


Flat tire . . . . . . . . . . . . . . . . . . . . . . . . . . . . . . . . . . . . . . . . . . . 6-2   If your vehicle overheats . . . . . . . . . . . . . . . . . . . . . . . . . . . . 6-9
    Tire Pressure Monitoring System (TPMS). . . . . . . . . . 6-2                                     Towing your vehicle . . . . . . . . . . . . . . . . . . . . . . . . . . . . . . . 6-10
    Changing a flat tire . . . . . . . . . . . . . . . . . . . . . . . . . . . . . 6-2                    Towing recommended by NISSAN . . . . . . . . . . . . . . 6-11
Jump starting . . . . . . . . . . . . . . . . . . . . . . . . . . . . . . . . . . . . . 6-7               Vehicle recovery (freeing a stuck vehicle) . . . . . . . . . 6-12
Push starting. . . . . . . . . . . . . . . . . . . . . . . . . . . . . . . . . . . . . . 6-9




                                                                                                       ੬ REVIEW COPY—2008 Quest (van)
                                                                                                       Owners Manual—USA_English (nna)
                                                                                                       06/29/07—debbie ੭
FLAT TIRE


TIRE PRESSURE MONITORING                                               WARNING                       ● Replacing tires with those not originally
SYSTEM (TPMS)                                        ● If the low tire pressure warning light
                                                                                                       specified by NISSAN could affect the
                                                                                                       proper operation of the TPMS.
This vehicle is equipped with the Tire Pressure        illuminates while driving, avoid sudden
Monitoring System (TPMS). It monitors tire pres-       steering maneuvers or abrupt braking,         ● Do not inject any tire liquid or aerosol
sure of all tires except the spare. When the low       reduce vehicle speed, pull off the road         tire sealant into the tires, as this may
tire pressure warning light is lit, one or more of     to a safe location and stop the vehicle         cause a malfunction of the tire pressure
your tires is significantly under-inflated. If         as soon as possible. Driving with under-        sensors.
equipped, the system also displays pressure of         inflated tires may permanently damage
                                                       the tires and increase the likelihood of      CHANGING A FLAT TIRE
all tires (except the spare tire) on the display
                                                       tire failure. Serious vehicle damage          If you have a flat tire, follow the instructions be-
screen by sending a signal from a sensor that is
                                                       could occur and may lead to an acci-
installed in each wheel. If the vehicle is being                                                     low.
                                                       dent and could result in serious per-
driven with low tire pressure, the TPMS will acti-     sonal injury. Check the tire pressure for
vate and warn you of it by the low tire pressure                                                     Stopping the vehicle
                                                       all four tires. Adjust the tire pressure to
warning light. This system will activate only when     the recommended COLD tire pressure             1. Safely move the vehicle off the road and
the vehicle is driven at speeds above 16 MPH           shown on the Tire and Loading Informa-            away from traffic.
(25 km/h). For more details, refer to                  tion label to turn the low tire pressure
“Warning/indicator lights and audible reminders”                                                      2. Turn on the hazard warning flashers.
                                                       warning light OFF. If you have a flat tire,
in the “Instruments and controls” section, “Tire       replace it with a spare tire as soon as        3. Park on a level surface and apply the parking
pressure information” in the “Display screen,          possible.                                         brake. Move the shift selector lever to P
heater, air conditioner and audio systems” sec-                                                          (Park).
                                                     ● When a spare tire is mounted or a wheel
tion and “Tire Pressure Monitoring System              is replaced, tire pressure will not be
(TPMS)” in the “Starting and driving” section.                                                        4. Turn off the engine.
                                                       indicated, the TPMS will not function
                                                       and the low tire pressure warning light        5. Raise the hood to warn other traffic and to
                                                       will flash for approximately 1 minute.            signal professional road assistance person-
                                                       The light will remain on after 1 minute.          nel that you need assistance.
                                                       Contact your NISSAN dealer as soon as
                                                                                                      6. Have all passengers get out of the vehicle
                                                       possible for tire replacement and/or
                                                       system resetting.                                 and stand in a safe place, away from traffic
                                                                                                         and clear of the vehicle.

6-2 In case of emergency




                                                                                ੬ REVIEW COPY—2008 Quest (van)
                                                                                Owners Manual—USA_English (nna)
                                                                                06/29/07—debbie ੭
WARNING
● Make sure the parking brake is securely
  applied and the automatic transmission
  is shifted into P (Park).
● Never change tires when the vehicle is
  on a slope, ice or slippery areas. This is
  hazardous.
● Never change tires if oncoming traffic is
  close to your vehicle. Wait for profes-
  sional road assistance.


                                                                                        WCE0044                                                 LCE0078
                                               Blocking wheels                                       Getting the spare tire and tools
                                               Place suitable blocks ᭺ at both the front and
                                                                      1                               1. Tip up the passenger side second row cap-
                                               back of the wheel diagonally opposite the flat tire       tain’s chair. Refer to “Tip up for easy entry to
                                               ᭺ to prevent the vehicle from moving when it is
                                                2                                                        3rd row” in the “Safety — seats, seat belts
                                               jacked up.                                                and supplemental restraint system” section
                                                                                                         of this owner’s manual.
                                                                    WARNING                           2. Lift up the floor carpeting and remove the
                                               Be sure to block the wheel as the vehicle                 jack.
                                               may move and result in personal injury.




                                                                                                                     In case of emergency 6-3




                                                                             ੬ REVIEW COPY—2008 Quest (van)
                                                                             Owners Manual—USA_English (nna)
                                                                             06/29/07—debbie ੭
6. Turn the retainer counterclockwise and re-
                                                       move the spare tire.
                                                   Removing wheel cover (if so
                                                   equipped)
                                                                      CAUTION
                                                   Do not use your hands to pry off wheel
                                                   caps or wheel covers. Doing so could re-
                                                   sult in personal injury.
                                                   Use caution not to scratch the wheel cover or
                                                   wheel surface.

                                                                                                                                        WSD0085

                                                                                                    Jacking up vehicle and removing the
                                                                                                    damaged tire
                                                                                                                      WARNING
                                                                                                    ● Never get under the vehicle while it is
                                                                                                      supported only by the jack. If it is nec-
                                                                                                      essary to work under the vehicle, sup-
                                        LCE0079
                                                                                                      port it with safety stands.
 3. Stow the center tray table (if so equipped).
                                                                                                    ● Use only the jack provided with your
 4. Move both front seats as forward as pos-                                                          vehicle to lift the vehicle. Do not use the
    sible.                                                                                            jack provided with your vehicle on other
                                                                                                      vehicles. The jack is designed for lifting
 5. Lift up the floor carpeting ᭺. Remove the
                                1
                                                                                                      only your vehicle during a tire change.
    spare tire cover ᭺ and jack tool kit.
                      2


6-4 In case of emergency




                                                                              ੬ REVIEW COPY—2008 Quest (van)
                                                                              Owners Manual—USA_English (nna)
                                                                              06/29/07—debbie ੭
● Use the correct jack-up points. Never
  use any other part of the vehicle for jack
  support.
● Never jack up the vehicle more than
  necessary.
● Never use blocks on or under the jack.
● Do not start or     run the engine while
  vehicle is on the   jack. It may cause the
  vehicle to move.    This is especially true
  for    vehicles      with    limited    slip
  differentials.
● Do not allow passengers to stay in the
  vehicle while it is on the jack.                                                                                                           WCE0081

● Never run the engine with a wheel(s) off       Always refer to the proper illustrations for the   2. Place the jack directly under the jack-up
  the ground. It may cause the vehicle to        correct placement and jack-up points for your         point as illustrated so the top of the jack
  move.                                          specific vehicle model and jack type.                 contacts the vehicle at the jack-up point.
                                                                                                       Align the jack head between the two
                                                 Carefully read the caution label attached to          notches in the front or the rear as shown.
                                                 the jack body and the following instruc-              Also fit the groove of the jack head between
                                                 tions.                                                the notches as shown.
                                                  1. Loosen each wheel nut one or two turns by         The jack should be used on firm and
                                                     turning counterclockwise with the wheel nut       level ground.
                                                     wrench. Do not remove the wheel nuts
                                                                                                    3. To lift the vehicle, securely hold the jack lever
                                                     until the tire is off the ground.
                                                                                                       and rod with both hands. Carefully raise the
                                                                                                       vehicle until the tire clears the ground. Re-
                                                                                                       move the wheel nuts, and then remove the
                                                                                                       tire.

                                                                                                                    In case of emergency 6-5




                                                                             ੬ REVIEW COPY—2008 Quest (van)
                                                                             Owners Manual—USA_English (nna)
                                                                             06/29/07—debbie ੭
4. Lower the vehicle slowly until the tire       Adjust tire pressure to the COLD pressure.
                                                           touches the ground. Then, with the wheel
                                                                                                         COLD pressure: After vehicle has been
                                                           nut wrench, tighten the wheel nuts securely
                                                                                                         parked for three hours or more or driven
                                                           in the sequence illustrated (᭺, ᭺, ᭺, ᭺,
                                                                                        A B C D
                                                                                                         less than 1 mile (1.6 km).
                                                           ᭺). Lower the vehicle completely.
                                                            E
                                                                                                         COLD tire pressures are shown on the Tire
                                                                          WARNING                        and Loading Information label affixed to
                                                       ● Incorrect wheel nuts or improperly              the driver side center pillar.
                                                         tightened wheel nuts can cause the              After adjusting tire pressure to the COLD
                                                         wheel to become loose or come off.              tire pressure, the display of the tire pres-
                                                         This could cause an accident.                   sure information may show higher pres-
                                                       ● Do not use oil or grease on the wheel           sure than the COLD tire pressure after the
                                                         studs or nuts. This could cause the nuts        vehicle has been driven more than 1 mile
                                          WCE0056        to become loose.                                (1.6 km). This is because the tire pressure
Installing the spare tire                                                                                increases as the tire temperature rises.
                                                       ● Retighten the wheel nuts when the ve-
                                                         hicle has been driven for 600 miles             This does not indicate a system malfunc-
The spare tire is designed for emergency                 (1,000 km) (also in cases of a flat tire,       tion.
use. See specific instructions under the                 etc.).                                           5. Securely store the flat tire and jacking equip-
heading “Wheels and tires” in the “Mainte-
                                                                                                             ment in the vehicle.
nance and do-it-yourself” section of this              As soon as possible, tighten the wheel nuts
manual.                                                to the specified torque with a torque
                                                       wrench.
                                                                                                                             WARNING
 1. Clean any mud or dirt from the surface be-
                                                                                                         ● Always make sure that the spare tire
    tween the wheel and hub.                           Wheel nut tightening torque:                        and jacking equipment are properly se-
 2. Carefully put the spare tire on and tighten           83 ft-lb (112 N·m)                               cured after use. Such items can become
    the wheel nuts finger tight.                                                                           dangerous projectiles in an accident or
                                                       The wheel nuts must be kept tightened to            sudden stop.
 3. With the wheel nut wrench, tighten wheel           specification at all times. It is recom-
    nuts alternately and evenly as illustrated until   mended that wheel nuts be tightened to
    they are tight.                                    specifications at each lubrication interval.
6-6 In case of emergency




                                                                                   ੬ REVIEW COPY—2008 Quest (van)
                                                                                   Owners Manual—USA_English (nna)
                                                                                   06/29/07—debbie ੭
JUMP STARTING


● The spare tire is designed for emer-       To start your engine with a booster battery, the   ● Whenever working on or near a battery,
  gency use. See specific instructions un-   instructions and precautions below must be fol-      always wear suitable eye protectors (for
  der the heading “Wheels and tires” in      lowed.                                               example, goggles or industrial safety
  the “Maintenance and do-it-yourself”                                                            spectacles) and remove rings, metal
  section of this manual.                                       WARNING                           bands, or any other jewelry. Do not lean
                                             ● If done incorrectly, jump starting can             over the battery when jump starting.
                                               lead to a battery explosion, resulting in        ● Do not attempt to jump start a frozen
                                               severe injury or death. It could also              battery. It could explode and cause se-
                                               damage your vehicle.                               rious injury.
                                             ● Explosive hydrogen gas is always                 ● Your vehicle has an automatic engine
                                               present in the vicinity of the battery.            cooling fan. It could come on at any
                                               Keep all sparks and flames away from               time. Keep hands and other objects
                                               the battery.                                       away from it.
                                             ● Do not allow battery fluid to come into
                                               contact with eyes, skin, clothing or
                                               painted surfaces. Battery fluid is a cor-
                                               rosive sulfuric acid solution which can
                                               cause severe burns. If the fluid should
                                               come into contact with anything, imme-
                                               diately flush the contacted area with
                                               water.
                                             ● Keep battery out of the reach of
                                               children.
                                             ● The booster battery must be rated at 12
                                               volts. Use of an improperly rated battery
                                               can damage your vehicle.



                                                                                                             In case of emergency 6-7




                                                                         ੬ REVIEW COPY—2008 Quest (van)
                                                                         Owners Manual—USA_English (nna)
                                                                         06/29/07—debbie ੭
● Make sure the jumper cables do not
                                                                                                       touch moving parts in the engine com-
                                                                                                       partment and that the cable clamps do
                                                                                                       not contact any other metal.
                                                                                                     5. Start the engine of the booster vehicle and
                                                                                                        let it run for a few minutes.
                                                                                                     6. Keep the engine speed of the booster ve-
                                                                                                        hicle at about 2,000 rpm, and start the en-
                                                                                                        gine of the vehicle being jump started.

                                                                                                                        CAUTION
                                                                                                     Do not keep the starter motor engaged for
                                                                                         WCE0054     more than 10 seconds. If the engine does
                                                      3. Remove vent caps on the battery (if so      not start right away, turn the key off and
                    WARNING                                                                          wait 3 to 4 seconds before trying again.
                                                         equipped). Cover the battery with an old
Always follow the instructions below.                    cloth to reduce explosion hazard.           7. After starting the engine, carefully discon-
Failure to do so could result in damage to                                                              nect the negative cable and then the positive
the charging system and cause personal                4. Connect jumper cables in the sequence il-
                                                                                                        cable.
injury.                                                  lustrated (᭺, ᭺, ᭺, ᭺).
                                                                    A B C D
                                                                                                     8. Replace the vent caps (if so equipped). Be
 1. If the booster battery is in another vehicle,                       CAUTION                         sure to dispose of the cloth used to cover
    position the two vehicles to bring their bat-                                                       the vent holes as it may be contaminated
                                                      ● Always connect positive (ϩ) to positive
    teries near each other.                                                                             with corrosive acid.
                                                        (ϩ) and negative (Ϫ) to body ground (for
    Do not allow the two vehicles to touch.             example, strut mounting bolt, engine
                                                        lift bracket, etc.) — not to the battery.
 2. Apply the parking brake. Move the shift se-
    lector lever to P (Park). Switch off all unnec-
    essary electrical systems (lights, heater, air
    conditioner, etc.).
6-8 In case of emergency




                                                                                ੬ REVIEW COPY—2008 Quest (van)
                                                                                Owners Manual—USA_English (nna)
                                                                                06/29/07—debbie ੭
PUSH STARTING                              IF YOUR VEHICLE OVERHEATS


                                           If your vehicle is overheating (indicated by an     3. Get out of the vehicle. Look and listen for
                CAUTION
                                           extremely high temperature gauge reading), or if       steam or coolant escaping from the radiator
Automatic transmission models cannot       you feel a lack of engine power, detect abnormal       before opening the hood. (If steam or cool-
be push-started or tow-started. Attempt-   noise, etc. take the following steps.                  ant is escaping, turn off the engine.) Do not
ing to do so may cause transmission                                                               open the hood further until no steam or
damage.                                                        WARNING                            coolant can be seen.
                                           ● Do not continue to drive if your vehicle          4. Open the engine hood.
                                             overheats. Doing so could cause engine
                                             damage or a vehicle fire.                                            WARNING
                                           ● To avoid the danger of being scalded,             If steam or water is coming from the en-
                                             never remove the radiator cap while the           gine, stand clear to prevent getting
                                             engine is still hot. When the radiator            burned.
                                             cap is removed, pressurized hot water
                                             will spurt out, possibly causing serious          5. Visually check drive belts for damage or
                                             injury.                                              looseness. Also check if the cooling fan is
                                           ● Do not open the hood if steam is com-                running. The radiator hoses and radiator
                                             ing out.                                             should not leak water. If coolant is leaking,
                                                                                                  the water pump belt is missing or loose, or
                                            1. Move the vehicle safely off the road, apply        the cooling fan does not run, stop the en-
                                               the parking brake and move the shift lever to      gine.
                                               P (Park).
                                                                                                                  WARNING
                                               Do not stop the engine.
                                                                                               Be careful not to allow your hands, hair,
                                            2. Turn off the air conditioner. Open all the      jewelry or clothing to come into contact
                                               windows, move the heater or air conditioner     with, or get caught in, engine belts or the
                                               temperature control to maximum hot and fan      engine cooling fan. The engine cooling
                                               control to high speed.                          fan can start at any time.



                                                                                                             In case of emergency 6-9




                                                                        ੬ REVIEW COPY—2008 Quest (van)
                                                                        Owners Manual—USA_English (nna)
                                                                        06/29/07—debbie ੭
TOWING YOUR VEHICLE


 6. After the engine cools down, check the cool-     When towing your vehicle, all State (Provincial in     For information about towing your vehicle behind
    ant level in the engine coolant reservoir tank   Canada) and local regulations for towing must be       a recreational vehicle (RV), refer to “Flat towing”
    with the engine running. Add coolant to the      followed. Incorrect towing equipment could dam-        in the “Technical and consumer information” sec-
    engine coolant reservoir tank if necessary.      age your vehicle. Towing instructions are avail-       tion of this manual.
    Have your vehicle repaired at a NISSAN           able from a NISSAN dealer. Local service opera-
    dealer.                                          tors are generally familiar with the applicable laws
                                                     and procedures for towing. To assure proper
                                                     towing and to prevent accidental damage to your
                                                     vehicle, NISSAN recommends having a service
                                                     operator tow your vehicle. It is advisable to have
                                                     the service operator carefully read the following
                                                     precautions:

                                                                          WARNING
                                                     ● Never ride in a vehicle that is being
                                                       towed.
                                                     ● Never get under your vehicle after it has
                                                       been lifted by a tow truck.

                                                                           CAUTION
                                                     ● When towing, make sure that the trans-
                                                       mission, axles, steering system and
                                                       powertrain are in working condition. If
                                                       any unit is damaged, dollies must be
                                                       used.
                                                     ● Always attach safety chains before
                                                       towing.


6-10 In case of emergency




                                                                                    ੬ REVIEW COPY—2008 Quest (van)
                                                                                    Owners Manual—USA_English (nna)
                                                                                    06/29/07—debbie ੭
– Turn the ignition key to the OFF po-
                                                                                                        sition, and secure the steering wheel
                                                                                                        in a straight-ahead position with a
                                                                                                        rope or similar device. Never secure
                                                                                                        the steering wheel by turning the ig-
                                                                                                        nition key to the LOCK position. This
                                                                                                        may damage the steering lock
                                                                                                        mechanism.
                                                                                                      – Move the gearshift lever to the N
                                                                                                        (Neutral) position.
                                                                                                    ● When towing automatic with the rear
                                                                                                      wheels on the ground (if you do not use
                                                                                                      towing dollies): Always release the
                                                                                         WSD0087      parking brake.
                                                                         CAUTION
                                                        ● Never tow automatic transmission
                                                          models with the front wheels on the
                                                          ground or four wheels on the ground
                                                          (forward or backward), as this may
                                                          cause serious and expensive damage to
                                                          the transmission. If it is necessary to
                                          WSD0086         tow the vehicle with the rear wheels
TOWING RECOMMENDED BY                                     raised always use towing dollies under
NISSAN                                                    the front wheels.
                                                        ● When towing with the front wheels on
NISSAN recommends that your vehicle be towed
                                                          towing dollies:
with the driving (front) wheels off the ground or
place the vehicle on a flat bed truck as illustrated.

                                                                                                               In case of emergency 6-11




                                                                                ੬ REVIEW COPY—2008 Quest (van)
                                                                                Owners Manual—USA_English (nna)
                                                                                06/29/07—debbie ੭
3. Turn the steering wheel right and left to clear
                                                                   CAUTION
                                                                                                      an area around the front tires.
                                              ● Tow chains or cables must be attached
                                                only to the main structural members of             4. Slowly rock the vehicle forward and back-
                                                the vehicle or the towing hooks (if so                ward.
                                                equipped). Otherwise, the vehicle body                ● Shift back and forth between R (Reverse)
                                                will be damaged.                                        and D (Drive).
                                              ● Do not use the vehicle tie downs to free              ● Apply the accelerator as little as possible
                                                a vehicle stuck in sand, snow, mud, etc.                to maintain the rocking motion.
                                                Never tow the vehicle using the vehicle
                                                tie downs or recovery hooks.                          ● Release the accelerator pedal before
                                                                                                        shifting between R (Reverse) and D
                                              ● Always pull the cable straight out from                 (Drive).
                                                the front or rear of the vehicle. Never
                                                pull the vehicle at an angle.                         ● Do not spin the tires above 35 mph (55
                                    WCE0120
                                                                                                        km/h).
VEHICLE RECOVERY (freeing a stuck             ● Pulling devices should be routed so
                                                they do not touch any part of the sus-             5. If the vehicle can not be freed after a few
vehicle)                                        pension, steering, brake or cooling                   tries, contact a professional towing service
                                                systems.                                              to remove the vehicle.
Front
                                              ● Pulling devices such as ropes or canvas
                 WARNING                        straps are not recommended for use in
                                                vehicle towing or recovery.
● Stand clear of a stuck vehicle.
● Do not spin your tires at high speed.       If your vehicle is stuck in sand, snow, mud, etc.,
  This could cause them to explode and        use the following procedure:
  result in serious injury. Parts of your      1. Turn off the Vehicle Dynamic Control System
  vehicle could also overheat and be              (if so equipped).
  damaged.
                                               2. Make sure the area in front and behind the
                                                  vehicle is clear of obstructions.

6-12 In case of emergency




                                                                            ੬ REVIEW COPY—2008 Quest (van)
                                                                            Owners Manual—USA_English (nna)
                                                                            06/29/07—debbie ੭
7 Appearance and care


Cleaning exterior . . . . . . . . . . . . . . . . . . . . . . . . . . . . . . . . . . 7-2        Cleaning interior. . . . . . . . . . . . . . . . . . . . . . . . . . . . . . . . . . . 7-4
   Washing . . . . . . . . . . . . . . . . . . . . . . . . . . . . . . . . . . . . . . 7-2          Floor mats . . . . . . . . . . . . . . . . . . . . . . . . . . . . . . . . . . . . . 7-4
   Waxing . . . . . . . . . . . . . . . . . . . . . . . . . . . . . . . . . . . . . . . . 7-2       Seat belts . . . . . . . . . . . . . . . . . . . . . . . . . . . . . . . . . . . . . 7-5
   Removing spots . . . . . . . . . . . . . . . . . . . . . . . . . . . . . . . . 7-3            Corrosion protection . . . . . . . . . . . . . . . . . . . . . . . . . . . . . . . 7-5
   Underbody . . . . . . . . . . . . . . . . . . . . . . . . . . . . . . . . . . . . 7-3            Most common factors contributing to vehicle
   Glass . . . . . . . . . . . . . . . . . . . . . . . . . . . . . . . . . . . . . . . . . 7-3      corrosion . . . . . . . . . . . . . . . . . . . . . . . . . . . . . . . . . . . . . . 7-5
   Aluminum alloy wheels . . . . . . . . . . . . . . . . . . . . . . . . . . 7-3                    Environmental factors influence the rate of
   Chrome parts . . . . . . . . . . . . . . . . . . . . . . . . . . . . . . . . . . 7-3             corrosion . . . . . . . . . . . . . . . . . . . . . . . . . . . . . . . . . . . . . . 7-5
   Tire dressings . . . . . . . . . . . . . . . . . . . . . . . . . . . . . . . . . . 7-3           To protect your vehicle from corrosion . . . . . . . . . . . . 7-5




                                                                                                  ੬ REVIEW COPY—2008 Quest (van)
                                                                                                  Owners Manual—USA_English (nna)
                                                                                                  06/29/07—debbie ੭
CLEANING EXTERIOR


In order to maintain the appearance of your ve-                                                         the effects of road salt. Therefore, these areas
                                                                        CAUTION
hicle, it is important to take proper care of it.                                                       must be cleaned regularly. Take care that the
                                                    ● Do not use car washes that use acid in            drain holes in the lower edge of the door are
To protect the paint surfaces, please wash your       the detergent. Some car washes, espe-             open. Spray water under the body and in the
vehicle as soon as you can:                           cially brushless ones, use some acid for          wheel wells to loosen the dirt and wash away
 ● after a rainfall to prevent possible damage        cleaning. The acid may react with some            road salt.
   from acid rain.                                    plastic vehicle components, causing
                                                      them to crack. This could affect their            A damp chamois can be used to dry the vehicle to
 ● after driving on coastal roads.                    appearance, and also could cause them             avoid water spots.
                                                      not to function properly. Always check            WAXING
 ● when contaminants such as soot, bird drop-
                                                      with your car wash to confirm that acid
   pings, tree sap, metal particles or bugs get       is not used.                                      Regular waxing protects the paint surface and
   on the paint surface.                                                                                helps retain new vehicle appearance. Polishing is
                                                    ● Do not wash the vehicle with strong               recommended to remove built-up wax residue
 ● when dust or mud builds up on the surface.         household soap, strong chemical deter-            and to avoid a weathered appearance before
Whenever possible, store or park your vehicle         gents, gasoline or solvents.                      re-applying wax.
inside a garage or in a covered area.               ● Do not wash the vehicle in direct sun-            A NISSAN dealer can assist you in choosing the
                                                      light or while the vehicle body is hot, as        proper product.
When it is necessary to park outside, park in a
                                                      the surface may become water-spotted.
shady area or protect the vehicle with a body                                                            ● Wax your vehicle only after a thorough wash-
cover.                                              ● Avoid using tight-napped or rough
                                                                                                           ing. Follow the instructions supplied with the
                                                      cloths, such as washing mitts. Care
Be careful not to scratch the paint surface                                                                wax.
                                                      must be taken when removing
when putting on or removing the body                  caked-on dirt or other foreign sub-                ● Do not use a wax containing any abrasives,
cover.                                                stances so the paint surface is not                  cutting compounds or cleaners that may
                                                      scratched or damaged.                                damage the vehicle finish.
WASHING
                                                    Rinse the vehicle thoroughly with plenty of clean   Machine compounding or aggressive polishing
Wash dirt off with a wet sponge and plenty of
                                                    water.                                              on a base coat/clear coat paint finish may dull the
water. Clean the vehicle thoroughly using a mild
                                                                                                        finish or leave swirl marks.
soap, a special vehicle soap or general purpose     Inside flanges, seams and folds on the doors,
dishwashing liquid mixed with clean, lukewarm       hatches and hood are particularly vulnerable to
(never hot) water.
7-2 Appearance and care




                                                                                 ੬ REVIEW COPY—2008 Quest (van)
                                                                                 Owners Manual—USA_English (nna)
                                                                                 06/29/07—debbie ੭
REMOVING SPOTS                                                             CAUTION                         CHROME PARTS
Remove tar and oil spots, industrial dust, insects,   When cleaning the inside of the windows,             Clean all chrome parts regularly with a non-
and tree sap as quickly as possible from the          do not use sharp-edged tools, abrasive               abrasive chrome polish to maintain the finish.
surface of the paint to avoid lasting damage or       cleaners or chlorine-based disinfectant              TIRE DRESSINGS
staining. Special cleaning products are available     cleaners. They could damage the electri-
at a NISSAN dealer or any automotive accessory        cal conductors, radio antenna elements or            NISSAN does not recommend the use of tire
store.                                                rear window defroster elements.                      dressings. Tire manufacturers apply a coating to
                                                                                                           the tires to help reduce discoloration of the rub-
UNDERBODY                                             ALUMINUM ALLOY WHEELS                                ber. If a tire dressing is applied to the tires, it may
                                                                                                           react with the coating and form a compound. This
In areas where road salt is used in winter, it is     Wash the wheels regularly with a sponge damp-
                                                                                                           compound may come off the tire while driving and
necessary to clean the underbody regularly in         ened in a mild soap solution, especially during      stain the vehicle paint.
order to prevent dirt and salt from building up and   winter months in areas where road salt is used. If
causing the acceleration of corrosion on the un-      not removed, road salt can discolor the wheels.      If you choose to use a tire dressing, take the
derbody and suspension. Before the winter pe-                                                              following precautions:
riod and again in the spring, the underseal must                           CAUTION                          ● Use a water-based tire dressing. The coat-
be checked and, if necessary, retreated.              Follow the directions below to avoid                    ing on the tire dissolves more easily with an
                                                      staining or discoloring the wheels:                     oil-based tire dressing.
GLASS
                                                      ● Do not use a cleaner that uses strong               ● Apply a light coat of tire dressing to help
Use glass cleaner to remove smoke and dust film                                                               prevent it from entering the tire
                                                        acid or alkali contents to clean the
from the glass surfaces. It is normal for glass to                                                            tread/grooves (where it would be difficult to
                                                        wheels.
become coated with a film after the vehicle is                                                                remove).
parked in the hot sun. Glass cleaner and a soft       ● Do not apply wheel cleaners to the
cloth will easily remove this film.                     wheels when they are hot. The wheel                 ● Wipe off excess tire dressing using a dry
                                                        temperature should be the same as am-                 towel. Make sure the tire dressing is com-
                                                        bient temperature.                                    pletely removed from the tire tread/grooves.
                                                      ● Rinse the wheel to completely remove                ● Allow the tire dressing to dry as recom-
                                                        the cleaner within 15 minutes after the               mended by tire dressing manufacturer.
                                                        cleaner is applied.

                                                                                                                             Appearance and care 7-3




                                                                                    ੬ REVIEW COPY—2008 Quest (van)
                                                                                    Owners Manual—USA_English (nna)
                                                                                    06/29/07—debbie ੭
CLEANING INTERIOR


Occasionally remove loose dust from the interior     ● Never use fabric protectors unless rec-
trim, plastic parts and seats using a vacuum           ommended by the manufacturer.
cleaner or soft bristled brush. Wipe the vinyl and
leather surfaces with a clean, soft cloth damp-      ● Do not use glass or plastic cleaner on
ened in mild soap solution, then wipe clean with a     meter or gauge lens covers. It may dam-
dry, soft cloth.                                       age the lens cover.

Regular care and cleaning is required in order to    FLOOR MATS
maintain the appearance of the leather.              The use of genuine NISSAN floor mats can ex-
Before using any fabric protector, read the manu-    tend the life of your vehicle carpet and make it
facturer’s recommendations. Some fabric pro-         easier to clean the interior. No matter what
tectors contain chemicals that may stain or          mats are used, be sure they are fitted for
bleach the seat material.                            your vehicle and are properly positioned in
                                                     the footwell to prevent interference with
Use a cloth dampened only with water to clean        pedal operation. Mats should be maintained                                                  WAI0006
the meter and gauge lens.                            with regular cleaning and replaced if they be-     Floor mat positioning aid (driver’s side
                                                     come excessively worn.
                     CAUTION
                                                                                                        only)
● Never use benzine, thinner or any simi-                                                               This vehicle includes a front floor mat bracket to
  lar material.                                                                                         act as a floor mat positioning aid. NISSAN floor
                                                                                                        mats have been specially designed for your ve-
● Small dirt particles can be abrasive and                                                              hicle model. The driver’s side floor mat has a
  damaging to leather surfaces and                                                                      grommet hole incorporated in it. Position the mat
  should be removed promptly. Do not                                                                    by placing the floor mat bracket hook through the
  use saddle soap, car waxes, polishes,                                                                 floor mat grommet hole while centering the mat in
  oils, cleaning fluids, solvents, deter-                                                               the footwell.
  gents or ammonia-based cleaners as
  they may damage the leather’s natural                                                                 Periodically check to make certain the mats are
  finish.                                                                                               properly positioned.



7-4 Appearance and care




                                                                                 ੬ REVIEW COPY—2008 Quest (van)
                                                                                 Owners Manual—USA_English (nna)
                                                                                 06/29/07—debbie ੭
CORROSION PROTECTION


SEAT BELTS                                          MOST COMMON FACTORS                                  Temperature
The seat belts can be cleaned by wiping them        CONTRIBUTING TO VEHICLE                              High temperatures accelerate the rate of corro-
with a sponge dampened in a mild soap solution.     CORROSION                                            sion to those parts which are not well ventilated.
Allow the belts to dry completely in the shade
before using them. See “Seat belt maintenance”       ● The accumulation of moisture-retaining dirt       Air pollution
in the “Safety – Seats, seat belts and supplemen-      and debris in body panel sections, cavities,
                                                       and other areas.                                  Industrial pollution, the presence of salt in the air
tal restraint system” section of this manual.                                                            in coastal areas, or heavy road salt use acceler-
                                                     ● Damage to paint and other protective coat-        ates the corrosion process. Road salt also accel-
                    WARNING                            ings caused by gravel and stone chips or          erates the disintegration of paint surfaces.
Do not allow wet seat belts to roll up in the          minor traffic accidents.
                                                                                                         TO PROTECT YOUR VEHICLE
retractor. NEVER use bleach, dye or
chemical solvents to clean the seat belts,
                                                    ENVIRONMENTAL FACTORS                                FROM CORROSION
since these materials may severely                  INFLUENCE THE RATE OF                                 ● Wash and wax your vehicle often to keep the
weaken the seat belt webbing.                       CORROSION                                               vehicle clean.
                                                    Moisture                                              ● Always check for minor damage to the paint
                                                                                                            and repair it as soon as possible.
                                                    Accumulation of sand, dirt and water on the ve-
                                                    hicle body underside can accelerate corrosion.        ● Keep drain holes at the bottom of the doors
                                                    Wet floor coverings will not dry completely inside      open to avoid water accumulation.
                                                    the vehicle, and should be removed for drying to      ● Check the underbody for accumulation of
                                                    avoid floor panel corrosion.                            sand, dirt or salt. If present, wash with water
                                                                                                            as soon as possible.
                                                    Relative humidity
                                                    Corrosion will be accelerated in areas of high
                                                    relative humidity, especially those areas where
                                                    the temperatures stay above freezing and where
                                                    atmospheric pollution exists and road salt is
                                                    used.

                                                                                                                          Appearance and care 7-5




                                                                                  ੬ REVIEW COPY—2008 Quest (van)
                                                                                  Owners Manual—USA_English (nna)
                                                                                  06/29/07—debbie ੭
CAUTION
● NEVER remove dirt, sand or other de-
  bris from the passenger compartment
  by washing it out with a hose. Remove
  dirt with a vacuum cleaner or broom.
● Never allow water or other liquids to
  come in contact with electronic compo-
  nents inside the vehicle as this may
  damage them.
Chemicals used for road surface de-icing are
extremely corrosive. They accelerate corrosion
and deterioration of underbody components
such as the exhaust system, fuel and brake lines,
brake cables, floor pan and fenders.
In winter, the underbody must be cleaned
periodically.
For additional protection against rust and corro-
sion, which may be required in some areas, con-
sult a NISSAN dealer.




7-6 Appearance and care




                                                    ੬ REVIEW COPY—2008 Quest (van)
                                                    Owners Manual—USA_English (nna)
                                                    06/29/07—debbie ੭
8 Maintenance and do-it-yourself


Maintenance requirements. . . . . . . . . . . . . . . . . . . . . . . . . . 8-2                    Air cleaner . . . . . . . . . . . . . . . . . . . . . . . . . . . . . . . . . . . . . . . 8-16
General maintenance . . . . . . . . . . . . . . . . . . . . . . . . . . . . . . 8-2                    In-cabin microfilter . . . . . . . . . . . . . . . . . . . . . . . . . . . . . 8-16
   Explanation of general maintenance items . . . . . . . . . 8-2                                  Windshield wiper blades . . . . . . . . . . . . . . . . . . . . . . . . . . 8-17
Maintenance precautions . . . . . . . . . . . . . . . . . . . . . . . . . . . 8-5                      Cleaning . . . . . . . . . . . . . . . . . . . . . . . . . . . . . . . . . . . . . 8-17
Engine compartment check locations . . . . . . . . . . . . . . . . 8-6                                 Replacing . . . . . . . . . . . . . . . . . . . . . . . . . . . . . . . . . . . . 8-17
Engine cooling system . . . . . . . . . . . . . . . . . . . . . . . . . . . . . 8-7                Brakes . . . . . . . . . . . . . . . . . . . . . . . . . . . . . . . . . . . . . . . . . . 8-20
   Checking engine coolant level . . . . . . . . . . . . . . . . . . . 8-7                             Self-adjusting brakes . . . . . . . . . . . . . . . . . . . . . . . . . . 8-20
   Changing engine coolant . . . . . . . . . . . . . . . . . . . . . . . . 8-8                         Brake pad wear indicators . . . . . . . . . . . . . . . . . . . . . . 8-20
Engine oil. . . . . . . . . . . . . . . . . . . . . . . . . . . . . . . . . . . . . . . . . 8-8    Fuses . . . . . . . . . . . . . . . . . . . . . . . . . . . . . . . . . . . . . . . . . . . 8-20
   Checking engine oil level . . . . . . . . . . . . . . . . . . . . . . . . 8-8                       Engine compartment . . . . . . . . . . . . . . . . . . . . . . . . . . . 8-20
   Changing engine oil . . . . . . . . . . . . . . . . . . . . . . . . . . . . 8-9                     Passenger compartment . . . . . . . . . . . . . . . . . . . . . . . 8-21
   Changing engine oil filter . . . . . . . . . . . . . . . . . . . . . . . 8-10                   Battery replacement . . . . . . . . . . . . . . . . . . . . . . . . . . . . . . 8-23
5-speed automatic transmission fluid . . . . . . . . . . . . . . . 8-11                                Keyfob . . . . . . . . . . . . . . . . . . . . . . . . . . . . . . . . . . . . . . . 8-23
Power steering fluid. . . . . . . . . . . . . . . . . . . . . . . . . . . . . . . 8-11             Lights . . . . . . . . . . . . . . . . . . . . . . . . . . . . . . . . . . . . . . . . . . . 8-24
Brake fluid . . . . . . . . . . . . . . . . . . . . . . . . . . . . . . . . . . . . . . . 8-11         Headlights . . . . . . . . . . . . . . . . . . . . . . . . . . . . . . . . . . . . 8-24
   Brake fluid . . . . . . . . . . . . . . . . . . . . . . . . . . . . . . . . . . . . 8-12            Fog lights (if so equipped) . . . . . . . . . . . . . . . . . . . . . . 8-25
Window washer fluid . . . . . . . . . . . . . . . . . . . . . . . . . . . . . 8-12                     Exterior and interior lights. . . . . . . . . . . . . . . . . . . . . . . 8-26
   Window washer fluid reservoir . . . . . . . . . . . . . . . . . . 8-12                          Wheels and tires . . . . . . . . . . . . . . . . . . . . . . . . . . . . . . . . . 8-30
Battery . . . . . . . . . . . . . . . . . . . . . . . . . . . . . . . . . . . . . . . . . . 8-13       Tire pressure. . . . . . . . . . . . . . . . . . . . . . . . . . . . . . . . . . 8-30
   Jump starting . . . . . . . . . . . . . . . . . . . . . . . . . . . . . . . . . 8-14                Tire labeling. . . . . . . . . . . . . . . . . . . . . . . . . . . . . . . . . . . 8-33
Drive belt . . . . . . . . . . . . . . . . . . . . . . . . . . . . . . . . . . . . . . . . 8-14        Types of tires. . . . . . . . . . . . . . . . . . . . . . . . . . . . . . . . . . 8-36
Spark plugs. . . . . . . . . . . . . . . . . . . . . . . . . . . . . . . . . . . . . . 8-15            Tire chains . . . . . . . . . . . . . . . . . . . . . . . . . . . . . . . . . . . . 8-37
   Replacing spark plugs . . . . . . . . . . . . . . . . . . . . . . . . . 8-15                        Changing wheels and tires . . . . . . . . . . . . . . . . . . . . . 8-37




                                                                                                    ੬ REVIEW COPY—2008 Quest (van)
                                                                                                    Owners Manual—USA_English (nna)
                                                                                                    06/29/07—debbie ੭
MAINTENANCE REQUIREMENTS                                                                                    GENERAL MAINTENANCE


Your new NISSAN has been designed to have             Performing general maintenance checks requires        During the normal day-to-day operation of the
minimum maintenance requirements with long            minimal mechanical skill and only a few general       vehicle, general maintenance should be per-
service intervals to save you both time and           automotive tools.                                     formed regularly as prescribed in this section. If
money. However, some day-to-day and regular           These checks or inspections can be done by you,       you detect any unusual sounds, vibrations or
maintenance is essential to maintain your NIS-        a qualified technician, or, if you prefer, a NISSAN   smells, be sure to check for the cause or have a
SAN’s good mechanical condition, as well as its       dealer.                                               NISSAN dealer do it promptly. In addition, you
emission and engine performance.                                                                            should notify a NISSAN dealer if you think that
                                                      Where to go for service                               repairs are required.
It is the owner’s responsibility to make sure that
the scheduled maintenance, as well as general         If maintenance service is required or your vehicle    When performing any checks or maintenance
maintenance, is performed.                            appears to malfunction, have the systems              work, closely observe the “Maintenance precau-
                                                      checked and corrected by a NISSAN dealer.
                                                                                                            tions” later in this section.
As the vehicle owner, you are the only one who
                                                      NISSAN technicians are well-trained specialists
can ensure that your vehicle receives proper
                                                      who are kept up-to-date with the latest service       EXPLANATION OF GENERAL
maintenance. You are a vital link in the mainte-      information through technical bulletins, service      MAINTENANCE ITEMS
nance chain.                                          tips, and in-dealership training programs. They
                                                      are completely qualified to work on NISSAN ve-        Additional information on the following
Scheduled maintenance                                                                                       items with “*” is found later in this section.
                                                      hicles before they work on your vehicle, rather
For your convenience, both required and optional      than after they have worked on it.
scheduled maintenance items are described and
                                                                                                            Outside the vehicle
listed in your “NISSAN Service and Maintenance        You can be confident that a NISSAN dealer’s
                                                                                                            The maintenance items listed here should be
Guide.” You must refer to that guide to ensure        service department performs the best job to meet
                                                                                                            performed from time to time, unless otherwise
                                                      the maintenance requirements on your vehicle —
that necessary maintenance is performed on your                                                             specified.
                                                      in a reliable and economical way.
NISSAN at regular intervals.
                                                                                                            Doors and engine hood Check that the doors
General maintenance                                                                                         and engine hood operate properly. Also ensure
General maintenance includes those items which                                                              that all latches lock securely. Lubricate hinges,
should be checked during normal day-to-day op-                                                              latches, latch pins, rollers and links as necessary.
eration. They are essential for proper vehicle op-                                                          Make sure that the secondary latch keeps the
eration. It is your responsibility to perform these                                                         hood from opening when the primary latch is
maintenance procedures regularly as prescribed.                                                             released.

8-2 Maintenance and do-it-yourself




                                                                                    ੬ REVIEW COPY—2008 Quest (van)
                                                                                    Owners Manual—USA_English (nna)
                                                                                    06/29/07—debbie ੭
When driving in areas using road salt or other          alignment. If the steering wheel or seat vibrates at   Automatic transmission P (Park) position
corrosive materials, check lubrication frequently.      normal highway speeds, wheel balancing may be          mechanism On a fairly steep hill check that your
                                                        needed.                                                vehicle is held securely with the selector lever in
Lights* Clean the headlights on a regular basis.
                                                                                                               the P (Park) position without applying any brakes.
Make sure that the headlights, stop lights, tail         ● For additional information regarding tires,
lights, turn signal lights, and other lights are all       refer to “Important Tire Safety Information”        Brake pedal Check the pedal for smooth opera-
operating properly and installed securely. Also            (US) or “Tire Safety Information” (Canada) in       tion. If the brake pedal suddenly goes down fur-
check headlight aim.                                       the Warranty Information Booklet .                  ther than normal, the pedal feels spongy or the
                                                                                                               vehicle seems to take longer to stop, see a
Road wheel nuts (lug nuts)* When checking               Windshield Clean the windshield on a regular
                                                                                                               NISSAN dealer immediately. Keep the floor mat
the tires, make sure no wheel nuts are missing,         basis. Check the windshield at least every six
                                                                                                               away from the pedal.
and check for any loose wheel nuts. Tighten if          months for cracks or other damage. Have a dam-
necessary.                                              aged windshield repaired by a qualified repair         Brakes Check that the brakes do not pull the
                                                        facility.                                              vehicle to one side when applied.
Tire rotation* Tires should be rotated every
7,500 miles (12,000 km).                                Windshield wiper blades* Check for cracks or           Parking brake Check the parking brake opera-
                                                        wear if they do not wipe properly.                     tion regularly. The vehicle should be securely held
Tires* Check the pressure with a gauge often
                                                                                                               on a fairly steep hill with only the parking brake
and always prior to long distance trips. If neces-      Inside the vehicle                                     applied. If the parking brake needs adjustment,
sary, adjust the pressure in all tires, including the
                                                        The maintenance items listed here should be            see a NISSAN dealer.
spare, to the pressure specified. Check carefully
for damage, cuts or excessive wear.                     checked on a regular basis, such as when per-          Seats Check seat position controls such as seat
                                                        forming periodic maintenance, cleaning the ve-         adjusters, seatback recliner, etc. to ensure they
Tire Pressure Monitoring System (TPMS)                  hicle, etc.                                            operate smoothly and all latches lock securely in
transmitter components Replace the grom-                                                                       every position. Check that the head restraints
met seal, valve core and cap of the transmitter in      Additional information on the following
                                                                                                               move up and down smoothly and the locks (if so
vehicles equipped with TPMS at tire replacement         items with an “*” is found later in this sec-
                                                                                                               equipped) hold securely in all latched positions.
when reaching the wear limit of the tires.              tion.
                                                                                                               Seat belts Check that all parts of the seat belt
Wheel alignment and balance If the vehicle              Accelerator pedal Check the pedal for smooth           system (for example, buckles, anchors, adjusters
should pull to either side while driving on a           operation and make sure the pedal does not bind        and retractors) operate properly and smoothly,
straight and level road, or if you detect uneven or     or require uneven effort. Keep the floor mat away      and are installed securely. Check the belt web-
abnormal tire wear, there may be a need for wheel       from the pedal.                                        bing for cuts, fraying, wear or damage.
                                                                                                                   Maintenance and do-it-yourself 8-3




                                                                                       ੬ REVIEW COPY—2008 Quest (van)
                                                                                       Owners Manual—USA_English (nna)
                                                                                       06/29/07—debbie ੭
Steering wheel Check for changes in the steer-       Engine drive belts* Make sure the drive belts         etc., that may have accumulated. Make sure the
ing system, such as excessive freeplay, hard         are not frayed, worn, cracked or oily.                hoses have no cracks, deformation, rot or loose
steering or strange noises.                                                                                connections.
                                                     Engine oil level* Check the level after parking
Warning lights and chimes Make sure all              the vehicle on a level surface with the engine off.   Underbody The underbody is frequently ex-
warning lights and chimes are operating properly.    Wait more than 10 minutes for the oil to drain        posed to corrosive substances such as those
                                                     back into the oil pan.                                used on icy roads or to control dust. It is very
Windshield wiper and washer* Check that                                                                    important to remove these substances from the
the wipers and washer operate properly and that      Exhaust system Make sure there are no loose           underbody, otherwise rust may form on the floor
the wipers do not streak.                            supports, cracks or holes. If the sound of the        pan, frame, fuel lines and exhaust system. At the
                                                     exhaust seems unusual or there is a smell of          end of winter, the underbody should be thor-
Windshield defroster Check that the air
                                                     exhaust fumes, immediately have the exhaust           oughly flushed with plain water, in those areas
comes out of the defroster outlets properly and in
                                                     system inspected by a NISSAN dealer. See the          where mud and dirt may have accumulated. See
sufficient quantity when operating the heater or                                                           the “Appearance and care” section of this
                                                     carbon monoxide warning in the “Starting and
air conditioner.                                                                                           manual.
                                                     driving” section of this manual.
Under the hood and vehicle                           Fluid leaks Check under the vehicle for fuel, oil,    Windshield washer fluid* Check that there is
                                                     water or other fluid leaks after the vehicle has      adequate fluid in the reservoir.
The maintenance items listed here should be
checked periodically (for example, each time you     been parked for a while. Water dripping from the
check the engine oil or refuel).                     air conditioner after use is normal. If you should
                                                     notice any leaks or if gasoline fumes are evident,
Battery* Check the fluid level in each cell. It      check for the cause and have it corrected imme-
should be between the MAX and MIN lines. Ve-         diately.
hicles operated in high temperatures or under
severe conditions require frequent checks of the     Power steering fluid level* and lines Check
battery fluid level.                                 the level when the fluid is cold, with the engine
                                                     off. Check the lines for proper attachment, leaks,
Brake fluid levels* Make sure that the brake         cracks, etc.
fluid level is between the MIN and MAX lines on
the reservoir.                                       Radiator and hoses Check the front of the
                                                     radiator and clean off any dirt, insects, leaves,
Engine coolant level* Check the coolant level
when the engine is cold.
8-4 Maintenance and do-it-yourself




                                                                                   ੬ REVIEW COPY—2008 Quest (van)
                                                                                   Owners Manual—USA_English (nna)
                                                                                   06/29/07—debbie ੭
MAINTENANCE PRECAUTIONS


When performing any inspection or maintenance        ● Your vehicle is equipped with an auto-                            CAUTION
work on your vehicle, always take care to prevent      matic engine cooling fan. It may come
serious accidental injury to yourself or damage to     on at any time without warning, even if      ● Do not work under the hood while the
the vehicle. The following are general precau-         the ignition key is in the OFF position        engine is hot. Turn the engine off and
tions which should be closely observed.                and the engine is not running. To avoid        wait until it cools down.
                                                       injury, always disconnect the negative       ● Avoid contact with used engine oil and
                    WARNING                            battery cable before working near the          coolant. Improperly disposed engine
                                                       fan.                                           oil, engine coolant and/or other vehicle
● Park the vehicle on a level surface, ap-                                                            fluids can damage the environment. Al-
  ply the parking brake securely and                 ● If you must run the engine in an en-           ways conform to local regulations for
  block the wheels to prevent the vehicle              closed space such as a garage, be sure         disposal of vehicle fluid.
  from moving. Move the shift selector                 there is proper ventilation for exhaust      ● Never leave the engine or automatic
  lever to P (Park).                                   gases to escape.                               transmission related component har-
● Be sure the ignition key is in the OFF or          ● Never get under the vehicle while it is        nesses disconnected while the ignition
  LOCK position when performing any                    supported only by a jack. If it is neces-      switch is in the ON position.
  parts replacement or repairs.                        sary to work under the vehicle, support      ● Never connect or disconnect the battery
● If you must work with the engine run-                it with safety stands.                         or any transistorized component while
  ning, keep your hands, clothing, hair              ● Keep smoking materials, flame and              the ignition switch is in the ON position.
  and tools away from moving fans, belts               sparks away from the fuel tank and           This “Maintenance and do-it-yourself” section
  and any other moving parts.                          battery.                                     gives instructions regarding only those items
● It is advisable to secure or remove any            ● On gasoline engine models, the fuel          which are relatively easy for an owner to perform.
  loose clothing and remove any jewelry,               filter or fuel lines should be serviced by   A genuine NISSAN service manual is also avail-
  such as rings, watches, etc. before                  a NISSAN dealer because the fuel lines       able. See “Owner’s Manual/Service Manual or-
  working on your vehicle.                             are under high pressure even when the        der information” in the “Technical and consumer
● Always wear eye protection whenever                  engine is off.                               information” section of this manual.
  you work on your vehicle.                                                                         You should be aware that incomplete or improper
                                                                                                    servicing may result in operating difficulties or
                                                                                                    excessive emissions, and could affect warranty
                                                                                                    coverage. If in doubt about any servicing,
                                                                                                    have it done by a NISSAN dealer.
                                                                                                       Maintenance and do-it-yourself 8-5




                                                                               ੬ REVIEW COPY—2008 Quest (van)
                                                                               Owners Manual—USA_English (nna)
                                                                               06/29/07—debbie ੭
ENGINE COMPARTMENT CHECK
LOCATIONS

                                                     1.    Power steering fluid reservoir
                                                     2.    Engine oil filler cap
                                                     3.    Air cleaner
                                                     4.    Brake fluid reservoir
                                                     5.    Battery
                                                     6.    Fuse/fusible link box
                                                     7.    Transmission dipstick
                                                     8.    Engine oil dipstick
                                                     9.    Radiator cap
                                                     10.   Drive belt location
                                                     11.   Fuse block
                                                     12.   Windshield washer fluid reservoir
                                                     13.   Engine coolant reservoir
                                                     NOTE:
                                                     Engine cover removed for clarity.




                                           WDI0515

8-6 Maintenance and do-it-yourself




                                     ੬ REVIEW COPY—2008 Quest (van)
                                     Owners Manual—USA_English (nna)
                                     06/29/07—debbie ੭
ENGINE COOLING SYSTEM


The engine cooling system is filled at the factory
                                                                           CAUTION
with     Genuine     NISSAN         Long      Life
Antifreeze/Coolant to provide year-round anti-       When adding or replacing coolant, be sure
freeze and coolant protection. The anti-freeze       to use only a Genuine NISSAN Long Life
solution contains rust and corrosion inhibitors.     Antifreeze/Coolant (green) or equivalent
Additional engine cooling system additives are       with the proper mixture ratio of 50% anti-
not necessary.                                       freeze and 50% demineralized or distilled
                                                     water. The use of other types of coolant
                                                     solutions or coolant colors, such as or-
                    WARNING
                                                     ange, may damage the engine cooling
● Never remove the radiator or coolant               system.
  reservoir cap when the engine is hot.
  Wait until the engine and radiator cool              Outside temperature     Genuine      Demineral-
  down. Serious burns could be caused                        down to           NISSAN       ized or dis-
  by high pressure fluid escaping from                                        Long Life     tilled water
                                                                              Antifreeze/                                                                LDI0350
  the radiator. See precautions in “If your              °C           °F
  vehicle overheats” found in the “In case                                    Coolant or                   CHECKING ENGINE COOLANT
                                                                              equivalent
  of emergency” section of this manual.                                                                    LEVEL
                                                        -35          -30         50%           50%
● The radiator is equipped with a pres-                                                                    Check the coolant level in the reservoir when
  sure type radiator cap. To prevent en-                                                                   the engine is cold. If the coolant level is below
  gine damage, use only a genuine                                                                          the MIN level, add coolant to the MAX level. If the
  NISSAN radiator cap.                                                                                     reservoir is empty, check the coolant level in the
                                                                                                           radiator when the engine is cold. If there is
                                                                                                           insufficient coolant in the radiator, fill the radiator
                                                                                                           with coolant up to the filler opening and also add
                                                                                                           it to the reservoir up to the MAX level.
                                                                                                           If the cooling system frequently requires
                                                                                                           coolant, have it checked by a NISSAN
                                                                                                           dealer.


                                                                                                               Maintenance and do-it-yourself 8-7




                                                                                  ੬ REVIEW COPY—2008 Quest (van)
                                                                                  Owners Manual—USA_English (nna)
                                                                                  06/29/07—debbie ੭
ENGINE OIL


CHANGING ENGINE COOLANT
A NISSAN dealer can change the engine coolant.
The service procedure can be found in the
NISSAN Service Manual.
Improper servicing can result in reduced
heater performance and engine overheat-
ing.

                   WARNING
● To avoid the danger of being scalded,
  never change the coolant when the en-
  gine is hot.
● Never remove the radiator cap when the                                                    LDI0351                                                WDI0175
  engine is hot. Serious burns could be          CHECKING ENGINE OIL LEVEL                               5. Remove the dipstick again and check the oil
  caused by high pressure fluid escaping                                                                    level. It should be between the H (High) and
  from the radiator.                             1. Park the vehicle on a level surface and apply           L (Low) marks ᭺. This is the normal oper-
                                                                                                                              B
                                                    the parking brake.
● Avoid direct skin contact with used                                                                       ating oil level range. If the oil level is below
  coolant. If skin contact is made, wash         2. Start the engine and let it idle until it reaches       the L (Low) mark ᭺, remove the oil filler cap
                                                                                                                                A
  thoroughly with soap or hand cleaner              operating temperature.                                  and pour recommended oil through the
  as soon as possible.
                                                 3. Turn off the engine. Wait more than 10                  opening. Do not overfill ᭺.   C

● Keep coolant out of the reach of chil-            minutes for the oil to drain back into               6. Recheck oil level with the dipstick.
  dren and pets.                                    the oil pan.
                                                                                                        It is normal to add some oil between oil
Engine coolant must be disposed of properly.     4. Remove the dipstick and wipe it clean. Re-          maintenance intervals or during the
Check your local regulations.                       insert it all the way.                              break-in period, depending on the severity
                                                                                                        of operating conditions.



8-8 Maintenance and do-it-yourself




                                                                               ੬ REVIEW COPY—2008 Quest (van)
                                                                               Owners Manual—USA_English (nna)
                                                                               06/29/07—debbie ੭
If the oil filter is to be changed, remove and
                 CAUTION
                                                                                                       replace it at this time. See “Changing engine
Oil level should be checked regularly. Op-                                                             oil filter” later in this section.
erating the engine with an insufficient
amount of oil can damage the engine, and                                                                               WARNING
such damage is not covered by warranty.
                                                                                                    ● Prolonged and repeated contact with
                                                                                                      used engine oil may cause skin cancer.
                                                                                                    ● Try to avoid direct skin contact with
                                                                                                      used oil. If skin contact is made, wash
                                                                                                      thoroughly with soap or hand cleaner
                                                                                                      as soon as possible.
                                                                                                    ● Keep used engine oil out of reach of
                                                                                                      children.
                                                                                       WDI0493

                                             CHANGING ENGINE OIL                                                       CAUTION
                                             1. Park the vehicle on a level surface and apply       Be careful not to burn yourself. The engine
                                                the parking brake.                                  oil may be hot.
                                             2. Start the engine and let it idle until it reaches   ● Waste oil must be disposed of prop-
                                                operating temperature, then turn it off.              erly.
                                             3. Remove the oil filler cap ᭺ by turning it
                                                                          A                         ● Check your local regulations.
                                                counterclockwise.
                                                                                                    6. Clean and reinstall the drain plug and a new
                                             4. Place a large drain pan under the drain plug           washer. Securely tighten the drain plug with
                                                ᭺.
                                                 B                                                     a wrench. Do not use excessive force.
                                             5. Remove the drain plug ᭺ with a wrench by
                                                                        B                              Drain plug tightening torque:
                                                turning it counterclockwise and completely                22 - 29 ft-lb (29 - 39 N·m)
                                                drain the oil.

                                                                                                      Maintenance and do-it-yourself 8-9




                                                                           ੬ REVIEW COPY—2008 Quest (van)
                                                                           Owners Manual—USA_English (nna)
                                                                           06/29/07—debbie ੭
7. Refill engine with recommended oil through                                                                 5. Wipe the engine oil filter sealing surface with
    the oil filler opening, then install the oil filler                                                           a clean rag.
    cap securely.
                                                                                                                                    CAUTION
    See “Capacities and recommended
    fuel/lubricants” in the “Technical and con-                                                                Be sure to remove any old gasket material
    sumer information” section of this manual for                                                              remaining on the sealing surface of the
    drain and refill capacity.                                                                                 engine. Failure to do so could lead to
                                                                                                               engine failure.
    The drain and refill capacity depends on the
    oil temperature and drain time. Use these                                                                  6. Coat the gasket on the new filter with clean
    specifications for reference only. Always use                                                                 engine oil.
    the dipstick to determine when the proper
    amount of oil is in the engine.                                                                            7. Screw on the oil filter until a slight resistance
                                                                                                                  is felt, then tighten an additional 2/3 turn.
 8. Start the engine. Check for leakage around
    the drain plug and oil filter. Correct as re-                                                 WDI0495      8. Start the engine and check for leakage
                                                                                                                  around the oil filter. Correct as required.
    quired.                                               CHANGING ENGINE OIL FILTER
 9. Turn the engine off and wait more than 10                                                                  9. Turn the engine off and wait more than 10
                                                          1. Park the vehicle on a level surface and apply        minutes. Check the oil level. Add engine oil if
    minutes. Check the oil level with the dipstick.          the parking brake.
    Add engine oil if necessary.                                                                                  necessary.
                                                          2. Turn the engine off.
                                                          3. Place a large drain pan under the oil filter ᭺.
                                                                                                          A

                                                          4. Loosen the oil filter ᭺ with an oil filter
                                                                                       A
                                                             wrench by turning it counterclockwise. Then
                                                             remove the oil filter by turning it by hand.

                                                                              CAUTION
                                                          Be careful not to burn yourself. The engine
                                                          oil may be hot.

8-10 Maintenance and do-it-yourself




                                                                                       ੬ REVIEW COPY—2008 Quest (van)
                                                                                       Owners Manual—USA_English (nna)
                                                                                       06/29/07—debbie ੭
5-SPEED AUTOMATIC                                    POWER STEERING FLUID                               BRAKE FLUID
TRANSMISSION FLUID

When checking or replacement is required, we                                                            For further brake fluid specification information,
recommend your NISSAN dealer for servicing.                                                             refer to “Capacities and recommended
                                                                                                        fuel/lubricants” in the “Technical and consumer
                     CAUTION                                                                            information” section of this manual.
● Use only Genuine NISSAN Matic K ATF.
  Do not mix with other fluids.
                                                                                                                            WARNING
                                                                                                        ● Use only new fluid from a sealed con-
● Using automatic transmission fluid
                                                                                                          tainer. Old, inferior or contaminated
  other than Genuine NISSAN Matic K
                                                                                                          fluid may damage the brake system.
  ATF will cause deterioration in drive-
                                                                                                          The use of improper fluids can damage
  ability and automatic transmission du-
                                                                                                          the brake system and affect the vehi-
  rability, and may damage the automatic
                                                                                                          cle’s stopping ability.
  transmission, which is not covered by
  the NISSAN new vehicle limited                                                                        ● Be sure to clean the filler cap before
  warranty.                                                                                 WDI0256       removing.
The specified automatic transmission fluid is also   The fluid level should be checked using the HOT
described on caution labels located in the engine    MAX range on the power steering fluid reservoir                         CAUTION
compartment.                                         at fluid temperatures of 122° - 176°F (50° -       Do not spill the fluid on any painted sur-
                                                     80°C) or using the COLD MAX range on the           faces. This will damage the paint. If fluid is
                                                     power steering fluid reservoir at fluid tempera-   spilled, immediately wash the surface
                                                     tures of 32° - 86°F (0° - 30°C).                   with water.
                                                     If the fluid is below the MIN line, add Genuine
                                                     NISSAN PSF. Remove the cap and fill through
                                                     the opening.

                                                                         CAUTION
                                                     ● DO NOT OVERFILL.
                                                     ● Recommended     fluid  is          Genuine
                                                       NISSAN PSF or equivalent.

                                                                                                          Maintenance and do-it-yourself 8-11




                                                                                 ੬ REVIEW COPY—2008 Quest (van)
                                                                                 Owners Manual—USA_English (nna)
                                                                                 06/29/07—debbie ੭
WINDOW WASHER FLUID


                                                                                                              Refill the reservoir more frequently when driving
                                                                                                              conditions require an increased amount of win-
                                                                                                              dow washer fluid.
                                                                                                              Recommended fluid is Genuine NISSAN Wind-
                                                                                                              shield Washer Concentrate Cleaner & Anti-
                                                                                                              freeze or equivalent.

                                                                                                                                  CAUTION
                                                                                                              ● Do not substitute engine anti-freeze
                                                                                                                coolant for window washer solution.
                                                                                                                This may result in damage to the paint.
                                                                                                              ● Do not fill the window washer reservoir
                                                                                                                tank with washer fluid concentrates at
                                          WDI0512                                                 LDI0355
                                                                                                                full strength. Some methyl alcohol
BRAKE FLUID                                            WINDOW WASHER FLUID                                      based washer fluid concentrates may
                                                       RESERVOIR                                                permanently stain the grille if spilled
Check the brake fluid level in the reservoir. If the                                                            while filling the window washer reser-
fluid level is below the MIN line or the brake         Fill the window washer fluid reservoir periodically.     voir tank.
warning light comes on, add Genuine NISSAN             Add window washer fluid when the low window
Super Heavy Duty Brake Fluid or equivalent DOT                                                                ● Pre-mix washer fluid concentrates with
                                                       washer fluid warning light comes on.                     water to the manufacturer’s recom-
3 fluid up to the MAX line. If fluid must be added
frequently, the system should be checked by a          To fill the window washer fluid reservoir, lift the      mended levels before pouring the fluid
NISSAN dealer.                                         cap off the reservoir tank and pour the window           into the window washer reservoir tank.
                                                       washer fluid into the tank opening.                      Do not use the window washer reservoir
                                                                                                                tank to mix the washer fluid concen-
                                                       Add a washer solvent to the washer for better            trate and water.
                                                       cleaning. In the winter season, add a windshield
                                                       washer antifreeze. Follow the manufacturer’s in-
                                                       structions for the mixture ratio.


8-12 Maintenance and do-it-yourself




                                                                                      ੬ REVIEW COPY—2008 Quest (van)
                                                                                      Owners Manual—USA_English (nna)
                                                                                      06/29/07—debbie ੭
BATTERY


● Keep the battery surface clean and dry.           ● When working on or near a battery, al-
  Clean the battery with a solution of baking         ways wear suitable eye protection and
  soda and water.                                     remove all jewelry.
● Make certain the terminal connections are         ● Battery posts, terminals and related ac-
  clean and securely tightened.                       cessories contain lead and lead com-
                                                      pounds. Wash hands after handling.
● If the vehicle is not to be used for 30 days or
  longer, disconnect the negative (-) battery       ● Keep battery out of the reach of
  terminal cable to prevent discharge.                children.

                   WARNING
● Do not expose the battery to flames or
  electrical sparks. Hydrogen gas gener-
  ated by the battery is explosive. Do not                                                                                             WDI0224
  allow battery fluid to contact your skin,
                                                                                                 1. Remove the battery caps with a screwdriver
  eyes, fabrics or painted surfaces. After
                                                                                                    as shown. Use a cloth to protect the battery
  touching a battery or battery cap, do not
                                                                                                    case.
  touch or rub your eyes. Thoroughly
  wash your hands. If the acid contacts
  your eyes, skin or clothing, immediately
  flush with water for at least 15 minutes
  and seek medical attention.
● Do not operate the vehicle if the fluid in
  the battery is low. Low battery fluid can
  cause a higher load on the battery
  which can generate heat, reduce bat-
  tery life, and in some cases lead to an
  explosion.


                                                                                                 Maintenance and do-it-yourself 8-13




                                                                             ੬ REVIEW COPY—2008 Quest (van)
                                                                             Owners Manual—USA_English (nna)
                                                                             06/29/07—debbie ੭
DRIVE BELT


                                                   Vehicles operated in high temperatures or under
                                                   severe conditions require frequent checks of the
                                                   battery fluid level.
                                                   JUMP STARTING
                                                   If jump starting is necessary, see “Jump starting”
                                                   in the “In case of emergency” section of this
                                                   manual. If the engine does not start by jump
                                                   starting, the battery may have to be replaced.
                                                   Contact a NISSAN dealer.




                                                                                                                                                  WDI0644
                                                                                                        1.   Power steering fluid pump
                                                                                                        2.   Crankshaft
                                                                                                        3.   Idler pulley
                                                                                                        4.   Generator
                                                                                                        5.   Air conditioner
                                                                                                                             WARNING
                                        LDI0302                                                         Be sure the ignition key is in the OFF or
 2. Check the fluid level in each cell. If it is                                                        LOCK position before servicing drive belt.
    necessary to add fluid, add only distilled                                                          The engine could rotate unexpectedly.
    water to bring the level up to the bottom of
                                                                                                         1. Visually inspect the belt for signs of unusual
    the filler opening. Do not overfill.
                                                                                                            wear, cuts, fraying or looseness. If the belt is
                                                                                                            in poor condition or is loose, have it replaced
                                                                                                            or adjusted by a NISSAN dealer.
8-14 Maintenance and do-it-yourself




                                                                                 ੬ REVIEW COPY—2008 Quest (van)
                                                                                 Owners Manual—USA_English (nna)
                                                                                 06/29/07—debbie ੭
SPARK PLUGS


2. Have the belt checked regularly for condi-
                                                                                                                    WARNING
   tion and tension in accordance with the
   maintenance schedule found in the                                                               Be sure the engine and ignition switch are
   “NISSAN Service and Maintenance Guide”.                                                         off and that the parking brake is engaged
                                                                                                   securely.

                                                                                                                     CAUTION
                                                                                                   Be sure to use the correct socket to re-
                                                                                                   move the spark plugs. An incorrect socket
                                                                                                   can damage the spark plugs.
                                                                                                   If replacement is required, see your NISSAN
                                                                                                   dealer for assistance.

                                                                                        SDI1895

                                                REPLACING SPARK PLUGS
                                                Platinum-tipped spark plugs
                                                It is not necessary to replace platinum-tipped ᭺
                                                                                               A
                                                spark plugs as frequently as conventional type
                                                spark plugs because they last much longer. Fol-
                                                low the maintenance log shown in the “NISSAN
                                                Service and Maintenance Guide”. Do not service
                                                platinum-tipped spark plugs by cleaning or re-
                                                gapping.
                                                 ● Always replace spark plugs with rec-
                                                   ommended or equivalent ones.



                                                                                                    Maintenance and do-it-yourself 8-15




                                                                            ੬ REVIEW COPY—2008 Quest (van)
                                                                            Owners Manual—USA_English (nna)
                                                                            06/29/07—debbie ੭
AIR CLEANER


                                                                         WARNING
                                                    ● Operating the engine with the air
                                                      cleaner removed can cause you or oth-
                                                      ers to be burned. The air cleaner not
                                                      only cleans the air, it stops the flame if
                                                      the engine backfires. If it isn’t there, and
                                                      the engine backfires, you could be
                                                      burned. Do not drive with the air cleaner
                                                      removed, and be careful when working
                                                      on the engine with the air cleaner
                                                      removed.
                                                    ● Never pour fuel into the throttle body or
                                                      attempt to start the engine with the air
                                         LDI0357      cleaner removed. Doing so could result
The air cleaner filter should not be cleaned and      in serious injury.
reused. Replace it according to the maintenance
log shown in the “NISSAN Service and Mainte-
                                                    IN-CABIN MICROFILTER
nance Guide.” When replacing the filter, wipe the   The in-cabin microfilter restricts the entry of air-
inside of the air cleaner filter housing and the    borne dust and pollen particles and reduces
cover with a damp cloth.                            some objectionable outside odors. The filter is
                                                    located behind the glove box. Refer to the
To remove the air cleaner filter:                   “NISSAN Service and Maintenance Guide” for
᭺
1   Loosen the screw.                               change intervals.

᭺
2   Disconnect the electrical connector.            If replacement is required, see your NISSAN
                                                    dealer.
᭺
3   Unlatch the clips and remove the air cleaner
    cover. Remove the air cleaner filter.



8-16 Maintenance and do-it-yourself




                                                                                   ੬ REVIEW COPY—2008 Quest (van)
                                                                                   Owners Manual—USA_English (nna)
                                                                                   06/29/07—debbie ੭
WINDSHIELD WIPER BLADES




                                                                                                                                             WDI0194

CLEANING                                                                                                 4. Insert the new wiper blade onto the wiper
                                                                          CAUTION
                                                                                                            arm until it clicks into place.
If your windshield is not clear after using the       Worn windshield wiper blades can dam-
windshield washer or if a wiper blade chatters        age the windshield and impair driver                                CAUTION
when running, wax or other material may be on         vision.
the blade or windshield.                                                                                 ● After wiper blade replacement, return
                                                      REPLACING                                            the wiper arm to its original position;
Clean the outside of the windshield with a washer                                                          otherwise it may be damaged when the
solution or a mild detergent. Your windshield is      Replace the wiper blades if they are worn.           hood is opened.
clean if beads do not form when rinsing with clear
water.                                                ᭺
                                                      1   Lift the wiper arm away from the windshield.   ● Make sure the wiper blades contact the
                                                                                                           glass; otherwise the arms may be dam-
Clean each blade by wiping it with a cloth soaked     ᭺
                                                      2   Push the release tab, then move the wiper        aged from wind pressure.
in a washer solution or a mild detergent. Then            blade down the wiper arm to remove.
rinse the blades with clear water. If your wind-
shield is still not clear after cleaning the blades
                                                      ᭺
                                                      3   Remove the wiper blade.
and using the wiper, replace the blades.
                                                                                                          Maintenance and do-it-yourself 8-17




                                                                                  ੬ REVIEW COPY—2008 Quest (van)
                                                                                  Owners Manual—USA_English (nna)
                                                                                  06/29/07—debbie ੭
WDI0337
Be careful not to let anything get into the washer
nozzle ᭺. This may cause clogging or improper
        A
windshield washer operation. If something gets
into the nozzle, remove it with a needle or small
pin ᭺.
     B



8-18 Maintenance and do-it-yourself




                                                     ੬ REVIEW COPY—2008 Quest (van)
                                                     Owners Manual—USA_English (nna)
                                                     06/29/07—debbie ੭
LDI0356
Rear window wiper blade
᭺
1   Lift the wiper arm away from the rear win-
    dow.
᭺
2   Push the wiper blade in and pivot until the
    blade becomes free.
᭺
3   Insert a new blade onto the wiper arm and
    snap into place.




                                                                  Maintenance and do-it-yourself 8-19




                                                  ੬ REVIEW COPY—2008 Quest (van)
                                                  Owners Manual—USA_English (nna)
                                                  06/29/07—debbie ੭
BRAKES                                                                                                FUSES


If the brakes do not operate properly, have the      Proper brake inspection intervals should
brakes checked by a NISSAN dealer.                   be followed. For more information regarding
                                                     brake inspections, see the appropriate mainte-
SELF-ADJUSTING BRAKES                                nance schedule information in the “NISSAN Ser-
Your vehicle is equipped with self-adjusting         vice and Maintenance Guide”.
brakes.
The front and rear disc-type brakes self-adjust
every time the brake pedal is applied.

                    WARNING
See a NISSAN dealer for a brake system
check if the brake pedal height does not
return to normal.
                                                                                                                                               LDI0358
BRAKE PAD WEAR INDICATORS                                                                             ENGINE COMPARTMENT
The disc brake pads on your vehicle have audible
wear indicators. When a brake pad requires re-                                                                            CAUTION
placement, a high pitched scraping or screech-                                                        Never use a fuse of a higher or lower
ing sound will be heard when the vehicle is in                                                        amperage rating than specified on the
motion. The noise will be heard whether or not the                                                    fuse box cover. This could damage the
brake pedal is depressed. Have the brakes                                                             electrical system or cause a fire.
checked as soon as possible if the wear indicator
                                                                                                      If any electrical equipment does not come on,
sound is heard.
                                                                                                      check for an open fuse.
Under some driving or climate conditions, occa-
                                                                                                       1. Be sure the ignition switch and the headlight
sional brake squeak, squeal or other noise may
                                                                                                          switch are OFF.
be heard. Occasional brake noise during light to
moderate stops is normal and does not affect the                                                       2. Open the engine hood.
function or performance of the brake system.
8-20 Maintenance and do-it-yourself




                                                                                ੬ REVIEW COPY—2008 Quest (van)
                                                                                Owners Manual—USA_English (nna)
                                                                                06/29/07—debbie ੭
3. Remove the fuse box cover by pushing the
   tab and lifting the cover up.
4. Remove the fuse with the fuse puller. The
   fuse puller is located in the center of the fuse
   block in the passenger compartment.




                                                                                              WDI0452                                              LDI0516
                                                       5. If the fuse is open ᭺, replace it with a new
                                                                              A                           PASSENGER COMPARTMENT
                                                          fuse ᭺.B

                                                       6. If a new fuse also opens, have the electrical                       CAUTION
                                                          system checked and repaired by a NISSAN         Never use a fuse of a higher or lower
                                                          dealer.                                         amperage rating than specified on the
                                                      Fusible links                                       fuse box cover. This could damage the
                                                                                                          electrical system or cause a fire.
                                                      If the electrical equipment does not operate and
                                                      fuses are in good condition, check the fusible      If any electrical equipment does not operate,
                                                      links. If any of these fusible links are melted,    check for an open fuse.
                                                      replace with only genuine NISSAN parts.              1. Be sure the ignition switch and the headlight
                                                                                                              switch are OFF.



                                                                                                            Maintenance and do-it-yourself 8-21




                                                                                   ੬ REVIEW COPY—2008 Quest (van)
                                                                                   Owners Manual—USA_English (nna)
                                                                                   06/29/07—debbie ੭
2. Pull the sunglasses holder down to open ᭺.
                                            1

 3. Pull up on the sunglasses holder ᭺ and
                                     2
    remove to expose the fuse panel.
 4. Remove the fuse with the fuse puller.




                                                                                          WDI0452                LDI0456
                                                                    Type A                              Type B
                                                 5. If the fuse is open ᭺, replace it with an
                                                                         A
                                                    equivalent good fuse ᭺.
                                                                          B

                                                 6. Push the fuse box cover to install.
                                                 7. If a new fuse also opens, have the electrical
                                                    system checked and repaired by a NISSAN
                                                    dealer.




8-22 Maintenance and do-it-yourself




                                                                             ੬ REVIEW COPY—2008 Quest (van)
                                                                             Owners Manual—USA_English (nna)
                                                                             06/29/07—debbie ੭
BATTERY REPLACEMENT


                  CAUTION
Be careful not to allow children to swallow
the battery and removed parts.




                                                                                                                                        LDI0484

                                              KEYFOB                                          ᭺
                                                                                              3    Install a new battery   ᭺ with the “+” facing
                                                                                                                           C
                                                                                                   down.
                                              Replace the battery in the keyfob as follows:
                                                                                              ● Hold the battery by the edges. Holding the
                                              ᭺
                                              1   Open the lid using a coin ᭺.
                                                                            A                   battery across the contact points will seri-
                                              ᭺
                                              2   Remove the battery ᭺.
                                                                     B                          ously deplete the storage capacity.


                                                                                                  Maintenance and do-it-yourself 8-23




                                                                           ੬ REVIEW COPY—2008 Quest (van)
                                                                           Owners Manual—USA_English (nna)
                                                                           06/29/07—debbie ੭
LIGHTS


 ● Do not touch the internal circuit and electric   This device complies with Part 15 of the     HEADLIGHTS
   terminals as it could cause a malfunction.       FCC Rules and RSS-210 of Industry            Replacing the halogen headlight bulb
                                                    Canada.
Recommended battery: CR2025 or equivalent.                                                       The headlight is a semi-sealed beam type which
                                                    Operation is subject to the following two
᭺
4   Close the lid securely.                         conditions: (1) This device may not cause    uses a replaceable headlight (halogen) bulb. If
                                                    harmful interference, and (2) this device    replacement is required, see your NISSAN
 5. Press the           button, then the                                                         dealer.
    button two or three times to check the key-     must accept any interference received, in-
    fob operation.                                  cluding interference that may cause undes-
                                                    ired operation of the device.                                   CAUTION
If the battery is removed for any reason                                                         ● High pressure halogen gas is sealed
other than replacement, perform step 5.                                                            inside the halogen bulb. The bulb may
 ● An improperly disposed battery can                                                              break if the glass envelope is scratched
   hurt the environment. Always confirm                                                            or the bulb is dropped.
   local regulations for battery disposal.                                                       ● When handling the bulb, do not touch
                                                                                                   the glass envelope.
 ● The k
2008 QUEST OWNER'S MANUAL
2008 QUEST OWNER'S MANUAL
2008 QUEST OWNER'S MANUAL
2008 QUEST OWNER'S MANUAL
2008 QUEST OWNER'S MANUAL
2008 QUEST OWNER'S MANUAL
2008 QUEST OWNER'S MANUAL
2008 QUEST OWNER'S MANUAL
2008 QUEST OWNER'S MANUAL
2008 QUEST OWNER'S MANUAL
2008 QUEST OWNER'S MANUAL
2008 QUEST OWNER'S MANUAL
2008 QUEST OWNER'S MANUAL
2008 QUEST OWNER'S MANUAL
2008 QUEST OWNER'S MANUAL
2008 QUEST OWNER'S MANUAL
2008 QUEST OWNER'S MANUAL
2008 QUEST OWNER'S MANUAL
2008 QUEST OWNER'S MANUAL
2008 QUEST OWNER'S MANUAL
2008 QUEST OWNER'S MANUAL
2008 QUEST OWNER'S MANUAL
2008 QUEST OWNER'S MANUAL
2008 QUEST OWNER'S MANUAL
2008 QUEST OWNER'S MANUAL
2008 QUEST OWNER'S MANUAL
2008 QUEST OWNER'S MANUAL
2008 QUEST OWNER'S MANUAL
2008 QUEST OWNER'S MANUAL
2008 QUEST OWNER'S MANUAL
2008 QUEST OWNER'S MANUAL
2008 QUEST OWNER'S MANUAL
2008 QUEST OWNER'S MANUAL
2008 QUEST OWNER'S MANUAL
2008 QUEST OWNER'S MANUAL
2008 QUEST OWNER'S MANUAL
2008 QUEST OWNER'S MANUAL
2008 QUEST OWNER'S MANUAL
2008 QUEST OWNER'S MANUAL
2008 QUEST OWNER'S MANUAL
2008 QUEST OWNER'S MANUAL
2008 QUEST OWNER'S MANUAL
2008 QUEST OWNER'S MANUAL
2008 QUEST OWNER'S MANUAL
2008 QUEST OWNER'S MANUAL
2008 QUEST OWNER'S MANUAL
2008 QUEST OWNER'S MANUAL
2008 QUEST OWNER'S MANUAL
2008 QUEST OWNER'S MANUAL
2008 QUEST OWNER'S MANUAL
2008 QUEST OWNER'S MANUAL
2008 QUEST OWNER'S MANUAL
2008 QUEST OWNER'S MANUAL
2008 QUEST OWNER'S MANUAL
2008 QUEST OWNER'S MANUAL
2008 QUEST OWNER'S MANUAL
2008 QUEST OWNER'S MANUAL
2008 QUEST OWNER'S MANUAL

2008 QUEST OWNER'S MANUAL

  • 2.
    FOREWORD READ FIRST—THEN DRIVE SAFELY Welcome to the growing family of new NISSAN Before driving your vehicle please read this Own- ● ALWAYS review this Owner’s Manual owners. This vehicle is delivered to you with er’s Manual carefully. This will ensure familiarity for important safety information. confidence. It was produced using the latest with controls and maintenance requirements, as- techniques and strict quality control. sisting you in the safe operation of your vehicle. MODIFICATION OF YOUR VEHICLE This manual was prepared to help you under- This vehicle should not be modified. stand the operation and maintenance of your WARNING Modification could affect its vehicle so that you may enjoy many miles (kilome- IMPORTANT SAFETY INFORMATION RE- performance, safety or durability, and ters) of driving pleasure. Please read through this MINDERS FOR SAFETY! may even violate governmental manual before operating your vehicle. regulations. In addition, damage or per- Follow these important driving rules to A separate Warranty Information Booklet help ensure a safe and complete trip for formance problems resulting from modi- explains details about the warranties cov- you and your passengers! fications may not be covered under ering your vehicle. The “NISSAN Service NISSAN warranties. ● NEVER drive under the influence of al- and Maintenance Guide” explains details cohol or drugs. about maintaining and servicing your ve- hicle. Additionally, a separate Customer ● ALWAYS observe posted speed limits Care/Lemon Law Booklet (U.S. only) will and never drive too fast for conditions. explain how to resolve any concerns you ● ALWAYS give your full attention to driv- may have with your vehicle, as well as ing and avoid using vehicle features or clarify your rights under your state’s lemon taking other actions that could distract law. you. Your NISSAN dealership knows your vehicle ● ALWAYS use your seat belts and appro- best. When you require any service or have any priate child restraint systems. Preteen questions, they will be glad to assist you with the children should be seated in the rear extensive resources available to them. seat. ● ALWAYS provide information about the proper use of vehicle safety features to all occupants of the vehicle. ੬ REVIEW COPY—2008 Quest (van) Owners Manual—USA_English (nna) 06/29/07—debbie ੭
  • 3.
    WHEN READING THEMANUAL This manual includes information for all options CALIFORNIA PROPOSITION 65 available on this model. Therefore, you may find WARNING some information that does not apply to your vehicle. WARNING All information, specifications and illustrations in Engine exhaust, some of its constituents, this manual are those in effect at the time of and certain vehicle components contain printing. NISSAN reserves the right to change or emit chemicals known to the State of specifications or design without notice and with- California to cause cancer and birth de- out obligation. fects or other reproductive harm. In addi- IMPORTANT INFORMATION ABOUT tion, certain fluids contained in vehicles THIS MANUAL and certain products of component wear contain or emit chemicals known to the You will see various symbols in this manual. They State of California to cause cancer and are used in the following ways: APD1005 birth defects or other reproductive harm. If you see this symbol, it means “Do not do this” WARNING or “Do not let this happen.” This is used to indicate the presence of a hazard that could cause death or serious personal injury. To avoid or reduce the If you see a symbol similar to these in an illustra- risk, the procedures must be followed tion, it means the arrow points to the front of the precisely. vehicle. CAUTION This is used to indicate the presence of a Arrows in an illustration that are similar to these hazard that could cause minor or moder- indicate movement or action. ate personal injury or damage to your ve- hicle. To avoid or reduce the risk, the pro- cedures must be followed carefully. Arrows in an illustration that are similar to these call attention to an item in the illustration. ੬ REVIEW COPY—2008 Quest (van) Owners Manual—USA_English (nna) 06/29/07—debbie ੭
  • 4.
    CALIFORNIA PERCHLORATE ADVISORY Some vehicleparts, such as lithium batter- ies, may contain perchlorate material. The following advisory is provided: “Perchlorate Material – special handling may apply, See www.dtsc.ca.gov/hazardouswaste/perchlorate.” BLUETOOTH௡ is a trademark owned by Bluetooth SIG, Inc., U.S.A. and licensed to Xanavi Informatics Corporation. © 2007 NISSAN NORTH AMERICA, INC. All rights reserved. No part of this Owner’s Manual may be reproduced or stored in a retrieval system, or transmitted in any form, or by any means, electronic, mechanical, photocopying, recording or otherwise, without the prior written permission of Nissan North America, Inc. ੬ REVIEW COPY—2008 Quest (van) Owners Manual—USA_English (nna) 06/29/07—debbie ੭
  • 5.
    NISSAN CUSTOMER CAREPROGRAM NISSAN CARES . . . Both NISSAN and your NISSAN dealer are dedicated to serving all your automotive needs. Your satisfaction with your vehicle and your NISSAN dealer are our primary concerns. Your NISSAN dealer is always available to assist you with all your automobile sales and service needs. However, if there is something that your NISSAN The Consumer Affairs Department will ask for the You can write to NISSAN with the information at: dealer cannot assist you with or you would like to following information: For U.S. customers provide NISSAN directly with comments or – Your name, address, and telephone number Nissan North America, Inc. questions, please contact the NISSAN Con- – Vehicle identification number (attached to the Consumer Affairs Department sumer Affairs Department using our toll-free top of the instrument panel on the driver’s P.O. Box 685003 number: side) Franklin, TN 37068-5003 For U.S. customers – Date of purchase For Canadian customers 1-800-NISSAN-1 Nissan Canada Inc. (1-800-647-7261) – Current odometer reading 5290 Orbitor Drive For Canadian customers – Your NISSAN dealer’s name Mississauga, Ontario L4W 4Z5 1-800-387-0122 – Your comments or questions OR We appreciate your interest in NISSAN and thank you for buying a quality NISSAN vehicle. ੬ REVIEW COPY—2008 Quest (van) Owners Manual—USA_English (nna) 06/29/07—debbie ੭
  • 6.
    Table of Illustrated table of contents 0 Contents Safety—Seats, seat belts and supplemental restraint system 1 Instruments and controls 2 Pre-driving checks and adjustments 3 Display screen, heater, air conditioner, audio and phone systems 4 Starting and driving 5 In case of emergency 6 Appearance and care 7 Maintenance and do-it-yourself 8 Technical and consumer information 9 Index 10
  • 7.
    ੬ REVIEW COPY—2008Quest (van) Owners Manual—USA_English (nna) 06/29/07—debbie ੭
  • 8.
    0 Illustrated tableof contents Airbags, seat belts and child restraints . . . . . . . . . . . . . . . 0-2 Instrument panel. . . . . . . . . . . . . . . . . . . . . . . . . . . . . . . . . . . 0-6 Exterior front . . . . . . . . . . . . . . . . . . . . . . . . . . . . . . . . . . . . . . 0-3 Engine compartment check locations . . . . . . . . . . . . . . . . 0-8 Exterior rear. . . . . . . . . . . . . . . . . . . . . . . . . . . . . . . . . . . . . . . 0-4 Warning/indicator lights . . . . . . . . . . . . . . . . . . . . . . . . . . . . 0-9 Passenger compartment . . . . . . . . . . . . . . . . . . . . . . . . . . . 0-5 ੬ REVIEW COPY—2008 Quest (van) Owners Manual—USA_English (nna) 06/29/07—debbie ੭
  • 9.
    AIRBAGS, SEAT BELTSAND CHILD RESTRAINTS 1. 3rd row bench center seat belt (P. 1-15) 2. 3rd row bench seat belts (P. 1-15) 3. Top tether strap anchor points (P. 1-30) 4. 2nd row captain’s chair seat belts (P. 1-15) 5. Front seat belts (P. 1-15) 6. Roof mounted curtain side-impact air bag (P. 1-52) 7. Supplemental front-impact air bags (if so equipped) (P. 1-52) 8. Seats (P. 1-2) 9. Occupant classification sensor (pressure sensor) (P.1-59) 10. Seat belt with pretensioners (P. 1-64) 11. Top tether strap anchor for vehicles without 2nd or 3rd row seats (P. 1-31) 12. Front seat-mounted side-impact supplemental air bags (P. 1-52) 13. LATCH (Lower Anchors and Tethers for CHildren) (P. 1-28) See the page number indicated in paren- theses for operating details. LII0073 0-2 Illustrated table of contents ੬ REVIEW COPY—2008 Quest (van) Owners Manual—USA_English (nna) 06/29/07—cathy ੭
  • 10.
    EXTERIOR FRONT 1. Engine hood (P. 3-14) 2. Headlight and turn signal switch (P. 2-18) 3. Replacing bulbs (P. 8-27) 4. Windshield wiper and washer switch (P. 2-16) 5. Windshield (P. 8-17) 6. Power windows (P. 2-36) 7. Door locks, keyfob, keys (P. 3-3, 3-9, 3-2) 8. Mirrors (P. 3-23) 9. Tire pressure (P. 9-11) 10. Flat tire (P. 6-2) 11. Tire chains (P. 8-37) 12. Fog light switch (P. 2-22) 13. Tie down/towing hooks (P. 6-12) See the page number indicated in paren- theses for operating details. LII0074 Illustrated table of contents 0-3 ੬ REVIEW COPY—2008 Quest (van) Owners Manual—USA_English (nna) 06/29/07—debbie ੭
  • 11.
    EXTERIOR REAR 1. Rear window defroster switch (P. 2-18) 2. Vehicle loading (P. 9-12) 3. Lift gate (P. 3-14) 4. Lift gate release (P. 3-18) 5. Rear view monitor (if so equipped) (P.4-28) 6. Replacing bulbs (P. 8-27) 7. Fuel-filler cap, fuel recommendation (P. 3-19, P. 9-3) 8. Fuel-filler door (P. 3-19) 9. Sliding doors (P. 3-5, P. 3-6) See the page number indicated in paren- theses for operating details. LII0075 0-4 Illustrated table of contents ੬ REVIEW COPY—2008 Quest (van) Owners Manual—USA_English (nna) 06/29/07—debbie ੭
  • 12.
    PASSENGER COMPARTMENT 1. DVD entertainment system (if so equipped) (P. 4-65) 2. Personal lights (P. 2-42) 3. Skyview roof (if so equipped) (P. 2-39) 4. Moonroof (if so equipped) (P. 2-40) 5. Map lights (P. 2-43), Console light P.2-44) 6. Sun visors (P. 3-22) 7. HomeLinkா (if so equipped) (P. 2-44) 8. Glove box (P. 2-30) 9. Seats (P. 1-2) 10. Center tray table (if so equipped) (P. 2-29) 11. Armrest (P.1-9) See the page number indicated in paren- theses for operating details. LII0076 Illustrated table of contents 0-5 ੬ REVIEW COPY—2008 Quest (van) Owners Manual—USA_English (nna) 06/29/07—cathy ੭
  • 13.
    INSTRUMENT PANEL 1. Ventilators (P. 4-30) 2. Headlight/fog light (if so equipped)/turn signal switch (P. 2-18) 3. Steering wheel switch for audio control/Bluetoothா hands-free phone system (if so equipped) (P. 4-62) 4. Driver supplemental air bag/horn (P. 1-52, P. 2-24) 5. Meters and gauges (P. 2-3) 6. Cruise control main/set switches (P. 5-13) 7. Windshield wiper/washer switch and rear window wiper/washer switch (P. 2-16, 2-17) 8. Display screen/Navigation system* (P. 4-2, P. 4-7, P. 4-17) 9. Front passenger supplemental air bag (P. 1-52) 10. Glove box (P. 2-30) 11. Front passenger air bag status light (P. 1-60) 12. Hazard warning flasher switch (P. 2-23) 13. Climate controls (P. 4-31, 4-40) 14. Audio system controls (P. 4-43) 15. Display screen/Navigation system* controls (P. 4-2, P. 4-7, P. 4-17) LIC0928 16. Power outlets (P. 2-26) 0-6 Illustrated table of contents ੬ REVIEW COPY—2008 Quest (van) Owners Manual—USA_English (nna) 06/29/07—debbie ੭
  • 14.
    17. Shift selector lever (P. 5-8) 18. Ignition switch (P. 5-6) 19. Tilt steering wheel control (P. 3-21) 20. Rear sonar system off switch (if so equipped) (P. 2-25) 21. Vehicle Dynamic Control (VDC) off switch (if so equipped) or Traction Control System (TCS) off switch (if so equipped) (P. 2-25, P. 2-25) 22. Lights on demand switch (P. 2-41) *: Refer to the separate Navigation System Own- er’s Manual (if so equipped). See the page number indicated in paren- theses for operating details. Illustrated table of contents 0-7 ੬ REVIEW COPY—2008 Quest (van) Owners Manual—USA_English (nna) 06/29/07—debbie ੭
  • 15.
    ENGINE COMPARTMENT CHECK LOCATIONS 1. Power steering fluid reservoir (P. 8-11) 2. Engine oil filler cap (P. 8-8) 3. Air cleaner (P. 8-16) 4. Brake fluid reservoir (P. 8-12) 5. Battery (P. 8-13) 6. Fuse/fusible link box (P. 8-20) 7. Transmission dipstick (P. 8-11) 8. Engine oil dipstick (P. 8-8) 9. Radiator cap (P. 8-7) 10. Drive belt location (P. 8-14) 11. Fuse block (P. 8-20) 12. Windshield washer fluid reservoir (P. 8-12) 13. Engine coolant reservoir (P. 8-7) See the page number indicated in paren- theses for operating details. WDI0515 0-8 Illustrated table of contents ੬ REVIEW COPY—2008 Quest (van) Owners Manual—USA_English (nna) 06/29/07—debbie ੭
  • 16.
    WARNING/INDICATOR LIGHTS Warning Name Page Warning Name Page Indicator Name Page light light light Anti-lock Braking 2-8 Low windshield 2-10 Malfunction Indica- 2-11 or System (ABS) warn- washer fluid warning tor Light (MIL) ing light light Overdrive off indica- 2-11 Seat belt warning 2-10 tor light Brake warning light 2-8 light and chime Front passenger air 2-11 or Supplemental air 2-10 bag status light bag warning light Security indicator 2-12 light Charge warning 2-8 light Indicator Name Page light Slip indicator light 2-12 Door open warning 2-8 light Automatic transmis- 2-11 sion position indica- Traction Control 2-12 tor light System off indicator Engine oil pressure 2-9 light (if so equipped) warning light Cruise main switch 2-11 indicator light Turn signal/hazard 2-13 Low fuel warning 2-9 indicator lights light Cruise set switch 2-11 indicator light Vehicle Dynamic 2-13 Low tire pressure 2-9 Control off indicator warning light High beam indicator 2-11 light (if so equipped) light (blue) Illustrated table of contents 0-9 ੬ REVIEW COPY—2008 Quest (van) Owners Manual—USA_English (nna) 06/29/07—debbie ੭
  • 17.
  • 18.
    1 Safety—Seats, seatbelts and supplemental restraint system Seats . . . . . . . . . . . . . . . . . . . . . . . . . . . . . . . . . . . . . . . . . . . . 1-2 Seat belt maintenance . . . . . . . . . . . . . . . . . . . . . . . . . 1-25 Front manual seat adjustment Child restraints . . . . . . . . . . . . . . . . . . . . . . . . . . . . . . . . . . . 1-26 (if so equipped) . . . . . . . . . . . . . . . . . . . . . . . . . . . . . . . . 1-2 Precautions on child restraints . . . . . . . . . . . . . . . . . . 1-26 Front power seat adjustment Lower Anchors and Tethers for CHildren (if so equipped) . . . . . . . . . . . . . . . . . . . . . . . . . . . . . . . . 1-4 SYSTEM (LATCH) . . . . . . . . . . . . . . . . . . . . . . . . . . . . . 1-28 2nd row captain’s chair adjustment . . . . . . . . . . . . . . . 1-6 Top tether strap child restraint . . . . . . . . . . . . . . . . . . 1-30 3rd row bench seat adjustment . . . . . . . . . . . . . . . . . . 1-7 Child restraint installation using LATCH- Front-Seat Active Head Restraints 2nd row captain’s chairs (if so equipped). . . . . . . . . 1-33 (if so equipped) . . . . . . . . . . . . . . . . . . . . . . . . . . . . . . . . 1-7 Child restraint installation using LATCH- 3rd row bench seat (if so equipped) . . . . . . . . . . . . . 1-36 Head restraint adjustment . . . . . . . . . . . . . . . . . . . . . . . 1-8 Child restraint installation using the seat Armrests . . . . . . . . . . . . . . . . . . . . . . . . . . . . . . . . . . . . . . 1-9 belts . . . . . . . . . . . . . . . . . . . . . . . . . . . . . . . . . . . . . . . . . 1-41 Flexible seating. . . . . . . . . . . . . . . . . . . . . . . . . . . . . . . . . 1-9 Booster seats . . . . . . . . . . . . . . . . . . . . . . . . . . . . . . . . . . . . 1-47 Seat belts . . . . . . . . . . . . . . . . . . . . . . . . . . . . . . . . . . . . . . . 1-15 Precautions on booster seats . . . . . . . . . . . . . . . . . . . 1-47 Precautions on seat belt usage. . . . . . . . . . . . . . . . . . 1-15 Booster seat installation . . . . . . . . . . . . . . . . . . . . . . . . 1-49 Child safety . . . . . . . . . . . . . . . . . . . . . . . . . . . . . . . . . . . 1-17 Supplemental restraint system . . . . . . . . . . . . . . . . . . . . . 1-52 Pregnant women . . . . . . . . . . . . . . . . . . . . . . . . . . . . . . 1-19 Precautions on supplemental restraint Injured persons. . . . . . . . . . . . . . . . . . . . . . . . . . . . . . . . 1-19 system . . . . . . . . . . . . . . . . . . . . . . . . . . . . . . . . . . . . . . . 1-52 Three-point type seat belt with retractor . . . . . . . . . . 1-19 Supplemental air bag warning labels . . . . . . . . . . . . . 1-66 Seat belt extenders . . . . . . . . . . . . . . . . . . . . . . . . . . . . 1-25 Supplemental air bag warning light . . . . . . . . . . . . . . 1-66 ੬ REVIEW COPY—2008 Quest (van) Owners Manual—USA_English (nna) 06/29/07—cathy ੭
  • 19.
    SEATS Seat Fold/Adjust Summary Position: Operation/page: 1st row All (P. 1-2) Forward/backward adjust (P. 1-6) Recline (P. 1-6) 2nd row Tip-up for 3rd row entry (P. 1-7) Folding for cargo (P. 1-10) Recline (P. 1-7) 3rd row Folding (P.1-12) Stow (P.1-12) FRONT MANUAL SEAT ADJUSTMENT (if so equipped) ARS1152 WARNING ● For the most effective protection when the vehicle is in motion, the seat should ● Do not ride in a moving vehicle when be upright. Always sit well back in the the seatback is reclined. This can be seat with both feet on the floor and dangerous. The shoulder belt will not adjust the seat properly. See “Precau- be against your body. In an accident, tions on Seat Belt Usage” later in this you could be thrown into it and receive section. neck or other serious injuries. You could also slide under the lap belt and ● After adjustment, gently rock in the seat receive serious internal injuries. to make sure it is securely locked. ● Do not leave children unattended inside the vehicle. They could unknowingly ac- tivate switches or controls. Unattended children could become involved in seri- ous accidents. 1-2 Safety—Seats, seat belts and supplemental restraint system ੬ REVIEW COPY—2008 Quest (van) Owners Manual—USA_English (nna) 06/29/07—debbie ੭
  • 20.
    WRS0520 WRS0521 WRS0131 Forward and backward Reclining Seat lifter (if so equipped for driver’s Pull the lever up and hold it while you slide the To recline the seatback, pull the lever up and lean seat) seat forward or backward to the desired position. back. To bring the seatback forward, pull the lever Turn either dial to adjust the angle and height of Release the lever to lock the seat in position. up and lean your body forward. Release the lever the seat cushion to the desired position. to lock the seatback in position. The reclining feature allows adjustment of the seatback for occupants of different sizes for added comfort and to help obtain proper seat belt fit. See “Precautions on seat belt usage” later in this section. Also, the seatback can be reclined to allow occupants to rest when the vehicle is stopped and the transmission is in P (Park). Safety—Seats, seat belts and supplemental restraint system 1-3 ੬ REVIEW COPY—2008 Quest (van) Owners Manual—USA_English (nna) 06/29/07—debbie ੭
  • 21.
    WRS0518 WRS0522 Lumbar support (driver’s seat) FRONT POWER SEAT Forward and backward The lumbar support feature provides lower back ADJUSTMENT (if so equipped) Moving the switch forward or backward will slide support to the driver. Move the lever up or down the seat forward or backward to the desired to adjust the seat lumbar area. Operating tips position. ● The power seat motor has an auto-reset overload protection circuit. If the motor Reclining stops during operation, wait 30 seconds, Move the recline switch backward until the de- then reactivate the switch. sired angle is obtained. To bring the seatback ● Do not operate the power seat switch for a forward again, move the switch forward and long period of time when the engine is off. move your body forward. The seatback will move This will discharge the battery. forward. See “Automatic drive positioner (if so equipped)” in “Pre-driving checks and adjustments” for auto- matic drive positioner operation. 1-4 Safety—Seats, seat belts and supplemental restraint system ੬ REVIEW COPY—2008 Quest (van) Owners Manual—USA_English (nna) 06/29/07—debbie ੭
  • 22.
    The reclining featureallows adjustment of the seatback for occupants of different sizes for added comfort and to help obtain proper seat belt fit (see “Precautions on seat belt usage” later in this section). Also, the seatback can be re- clined to allow occupants to rest when the ve- hicle is stopped and the transmission is in P (Park). WRS0523 WRS0518 Seat lifter (if so equipped for driver’s Lumbar support (driver’s seat) seat) The lumbar support feature provides lower back Push the front or rear end of the switch up or support to the driver. Move the lever up or down down to adjust the angle and height of the seat to adjust the seat lumbar area. cushion. Safety—Seats, seat belts and supplemental restraint system 1-5 ੬ REVIEW COPY—2008 Quest (van) Owners Manual—USA_English (nna) 06/29/07—debbie ੭
  • 23.
    While seated, pullthe lever᭺and hold it while 1 you slide᭺ the seat forward or backward to the 2 desired position. Release the lever to lock the seat in position. WRS0705 LRS0625 2ND ROW CAPTAIN’S CHAIR Reclining ADJUSTMENT To recline the seatback, pull up on the lever and lean back. Forward and backward The recline feature allows adjustment of the seat WARNING back for occupants of different sizes for added comfort and to help obtain proper seat belt fit ● The 2nd row seats are heavy. Be careful (see “Precautions on seat belt usage” later in this when folding and unfolding. section). Also, the seatback can be reclined to ● To avoid injury to yourself and others, allow occupants to rest when the vehicle is keep hands and body clear when stopped. folding. 1-6 Safety—Seats, seat belts and supplemental restraint system ੬ REVIEW COPY—2008 Quest (van) Owners Manual—USA_English (nna) 06/29/07—debbie ੭
  • 24.
    LRS0626 LRS0320 SPA1025 Tip up for easy entry to the 3rd row 3RD ROW BENCH SEAT FRONT-SEAT ACTIVE HEAD The 2nd row captain’s chairs can be tipped for- ADJUSTMENT RESTRAINTS (if so equipped) ward for easy entry or exit from the 3rd row bench Reclining seat. To enter the 3rd row bench seat , lift up on WARNING the lever located on the lower base of the 2nd Lift up on the latch in the center of the seatback to ● Always adjust the head restraints prop- row captain’s chair to tip the seat forward. To exit adjust the back of the seat. Release the latch to erly as specified in this section. Failure the 3rd row bench seat, pull back on the lever on lock the seatback into position. to do so can reduce the effectiveness of the lower base of the 2nd row captain’s chair and the Active Head Restraint. push the seat forward. ● Active Head Restraints are designed to supplement other safety systems. Al- ways wear seat belts. No system can prevent all injuries in any accident. Safety—Seats, seat belts and supplemental restraint system 1-7 ੬ REVIEW COPY—2008 Quest (van) Owners Manual—USA_English (nna) 06/29/07—debbie ੭
  • 25.
    ● Do notattach anything to the head re- straint stalks. Doing so could impair Active Head Restraint function. The Active Head Restraint moves forward utiliz- ing the force that the seatback receives from the occupant in a rear-end collision. The movement of the head restraint helps support the occu- pant’s head by reducing its backward movement and helping absorb some of the forces that may lead to whiplash type injuries. Active Head Restraints are effective for collisions at low to medium speeds in which it is said that whiplash injury occurs most. LRS0286 LRS0678 Active Head Restraints operate only in certain Type A — Front Type B — 2nd row rear-end collisions. After the collision, the head restraints return to their original positions. HEAD RESTRAINT ADJUSTMENT WARNING Properly adjust the Active Head Restraints as To raise the head restraint, pull it up. To lower, Head restraints should be adjusted prop- described in this section. push and hold the lock knob and push the head erly as they may provide significant pro- restraint down. tection against injury in an accident. Do not remove them. Check the adjustment To adjust the head restraint forward or backward after someone else uses the seat. (Type B only), push it in the direction required. The front seats and 2nd row captain’s chairs head restraints are removable. See “Head re- straint storage” in the “Instrument and controls” section. The 3rd row bench seat head restraints are not removable. 1-8 Safety—Seats, seat belts and supplemental restraint system ੬ REVIEW COPY—2008 Quest (van) Owners Manual—USA_English (nna) 06/29/07—debbie ੭
  • 26.
    armrest to thestowed position, then pull it to the resting position and adjust to the desired height. FLEXIBLE SEATING WARNING ● Never allow anyone to ride in the cargo area or on the rear seats when they are in the fold-down position. In a collision, people riding in these areas without proper restraints are more likely to be seriously injured or killed. ● Do not allow people to ride in any area WRS0134 WRS0531 of your vehicle that is not equipped with seats and seat belts. Be sure everyone Adjust the head restraint so the center is level ARMRESTS in your vehicle is in a seat and using a with the center of your ears. seat belt properly. To use the armrests, pull them down to the rest- ing position. ● Do not fold down the rear seats when occupants are in the rear seat area or ᭺ A Resting position any luggage is on the rear seats. ᭺ B Stowed position ● Head restraints should be adjusted Adjustable front seat armrest’s (if so properly as they may provide significant protection against injury in an accident. equipped) Always replace and adjust them prop- To use the adjustable seat armrest, pull it down to erly if they have been removed for any the resting position. Adjust the armrest to the reason. desired position by raising the armrest to the desired height and releasing the armrest. To re- adjust the armrest to a lower position, raise the Safety—Seats, seat belts and supplemental restraint system 1-9 ੬ REVIEW COPY—2008 Quest (van) Owners Manual—USA_English (nna) 06/29/07—debbie ੭
  • 27.
    ● If thehead restraints are removed for any reason, they should be securely stored to prevent them from causing injury to passengers or damage to the vehicle in case of sudden braking or an accident. ● When returning the seatbacks to the upright position, be certain they are completely secured in the latched posi- tion. If they are not completely secured, passengers may be injured in an acci- dent or sudden stop. ● Properly secure all cargo to help pre- vent it from sliding or shifting. Do not LRS0627 LRS0628 place cargo higher than the seatbacks. Folding Folding the 2nd row captain’s chair In a sudden stop or collision, unsecured cargo could cause personal injury. To fold the seatback forward, for cargo hauling, ᭺ 1 Fold the 2nd row captain’s chairs to the floor lift up on the recline lever and fold the seatback for maximum cargo hauling, move the head over the seat base. restraints forward before folding. ᭺ 2 Lift up on the recline lever to fold the seat- back forward on the seat base. 1-10 Safety—Seats, seat belts and supplemental restraint system ੬ REVIEW COPY—2008 Quest (van) Owners Manual—USA_English (nna) 06/29/07—debbie ੭
  • 28.
    LRS0702 LRS0629 LRS0630 ᭺ 3 Push down on the small knob on the back of ᭺ 4 Then fold the entire seat forward into the the seat to release the base of the seat. stowed position in the floor. ᭺ 5 Reverse this process to return the 2nd row captain’s chairs to a seating position. Safety—Seats, seat belts and supplemental restraint system 1-11 ੬ REVIEW COPY—2008 Quest (van) Owners Manual—USA_English (nna) 06/29/07—debbie ੭
  • 29.
    2. To foldthe 3rd row bench seat flat into the floor, for maximum cargo hauling, pull the strap on the seatback to allow all three head restraints to fold forward. If the head re- straints are in the folded position, the seat may not be latched into the floor. LRS0675 LRS0676 Folding Folding the 3rd row bench seat To fold the seatback forward, for cargo hauling, lift up on the latch in the center of the seatback to WARNING fold the seatback over the seat base. ● The 3rd row bench seat is heavy. Be careful when folding and unfolding. ● To avoid injury to yourself or others, keep hands and body clear of floor opening when folding. 1. Disconnect and secure the center seat belt and tongues into the retractor base. See “Stowing the 3rd row center seat belt” later in this section. 1-12 Safety—Seats, seat belts and supplemental restraint system ੬ REVIEW COPY—2008 Quest (van) Owners Manual—USA_English (nna) 06/29/07—debbie ੭
  • 30.
    LRS0677 WRS0706 WRS0707 3. Pull back on the pull strap to release the 4. Pull up on the lever located on the back of 5. The entire seat will rotate toward you and back of the seat. Rotate the seatback toward the seat base. This will fold the seat base stow in the floor. the back of the vehicle. toward the back of the vehicle. Safety—Seats, seat belts and supplemental restraint system 1-13 ੬ REVIEW COPY—2008 Quest (van) Owners Manual—USA_English (nna) 06/29/07—debbie ੭
  • 31.
    WARNING ● Do not unfasten the rear center seat belt connector except when folding down the rear seat. ● When attaching the rear center seat belt connector, be certain that the seat- backs are completely secured in the latched position and the rear center seat belt connector is completely secured. ● If the rear center seat belt connector and the seatbacks are not secured in WRS0708 LRS0703 the correct position, serious personal injury may result in an accident or sud- 6. The rear seat anchors are spring loaded and 7. Reverse this process to return the bench den stop. can be folded into the side panels to maxi- seat to a seating position. Make sure to mize cargo space. The anchors are held in properly return the head restraints to ● When returning the seatbacks, be sure the folded position by the items in the cargo the upright position, push the bench to attach the rear center seat belt area. When the load is removed from the seat down into the floor, and pull back connector. cargo area, the rear seat anchors automati- on the seatback until they latch into cally return to the unfolded position. place. 1-14 Safety—Seats, seat belts and supplemental restraint system ੬ REVIEW COPY—2008 Quest (van) Owners Manual—USA_English (nna) 06/29/07—debbie ੭
  • 32.
    SEAT BELTS SSS0136 PRECAUTIONS ON SEAT BELT USAGE If you are wearing your seat belt properly ad- justed and you are sitting upright and well back in your seat with both feet on the floor, your chances of being injured or killed in an accident and/or the severity of injury may be greatly reduced. NISSAN strongly encourages you and all of your passengers to buckle up every time you drive, even if your seating position includes a supple- mental air bag. Most U.S. states and Canadian provinces or territories specify that seat belts be worn at all times when a vehicle is being driven. Safety—Seats, seat belts and supplemental restraint system 1-15 ੬ REVIEW COPY—2008 Quest (van) Owners Manual—USA_English (nna) 06/29/07—debbie ੭
  • 33.
    SSS0134 SSS0016 WARNING WARNING ● Every person who drives or rides in this ● The seat belt should be properly ad- vehicle should use a seat belt at all justed to a snug fit. Failure to do so may times. Children should be properly re- reduce the effectiveness of the entire strained in the rear seat and, if appro- restraint system and increase the priate, in a child restraint. chance or severity of injury in an acci- dent. Serious injury or death can occur if the seat belt is not worn properly. 1-16 Safety—Seats, seat belts and supplemental restraint system ੬ REVIEW COPY—2008 Quest (van) Owners Manual—USA_English (nna) 06/29/07—debbie ੭
  • 34.
    ● Be surethe seat belt tongue is securely ● All seat belt assemblies, including re- fastened to the proper buckle. tractors and attaching hardware, should be inspected after any collision ● Do not wear the seat belt inside out or by a NISSAN dealer. NISSAN recom- twisted. Doing so may reduce its mends that all seat belt assemblies in effectiveness. use during a collision be replaced un- ● Do not allow more than one person to less the collision was minor and the use the same seat belt. belts show no damage and continue to ● Never carry more people in the vehicle operate properly. Seat belt assemblies than there are seat belts. not in use during a collision should also be inspected and replaced if either ● If the seat belt warning light glows con- damage or improper operation is noted. tinuously while the ignition is turned ON with all doors closed and all seat ● All child restraints and attaching hard- SSS0014 belts fastened, it may indicate a mal- ware should be inspected after any col- function in the system. Have the system lision. Always follow the restraint WARNING checked by a NISSAN dealer. manufacturer’s inspection instructions and replacement recommendations. ● Always route the shoulder belt over ● Once a seat belt pretensioner has acti- The child restraints should be replaced your shoulder and across your chest. vated, it cannot be reused and must be if they are damaged. Never run the belt behind your back, replaced together with the retractor. under your arm or across your neck. The See your NISSAN dealer. CHILD SAFETY belt should be away from your face and neck, but not falling off your shoulder. ● Removal and installation of preten- Children need adults to help protect them. sioner system components should be They need to be properly restrained. ● Position the lap belt as low and snug as done by a NISSAN dealer. possible AROUND THE HIPS, NOT THE In addition to the general information in this WAIST. A lap belt worn too high could manual, child safety information is available from increase the risk of internal injuries in many other sources, including doctors, teachers, an accident. government traffic safety offices, and community organizations. Every child is different, so be sure to learn the best way to transport your child. Safety—Seats, seat belts and supplemental restraint system 1-17 ੬ REVIEW COPY—2008 Quest (van) Owners Manual—USA_English (nna) 06/29/07—debbie ੭
  • 35.
    There are threebasic types of child restraint for infants and small children. See “Child Re- facing child restraint. Refer to the manufacturer’s systems: straints” later in this section. instructions for minimum and maximum weight and height recommendations. NISSAN recom- ● Rear facing child restraint Also, there are other types of child restraints mends that small children be placed in child available for larger children for additional protec- ● Front facing child restraint restraints that comply with Federal Motor Vehicle tion. Safety Standards or Canadian Motor Vehicle ● Booster seat NISSAN recommends that all pre-teens Safety Standards. You should choose a child The proper restraint depends on the child’s size. and children be restrained in the rear seat. restraint that fits your vehicle and always follow Generally, infants up to about 1 year and less According to accident statistics, children the manufacturer’s instructions for installation than 20 pounds (9 kg) should be placed in rear are safer when properly restrained in the and use. facing child restraints. Front facing child re- rear seat than in the front seat. straints are available for children who outgrow Larger children This is especially important because your rear facing child restraints and are at least 1 year vehicle has a supplemental restraint sys- Children who are too large for child restraints old. Booster seats are used to help position a tem (Air bag system) for the front passen- should be seated and restrained by the seat belts vehicle lap/shoulder belt on a child who can no ger. See “Supplemental restraint system” which are provided. The seat belt may not fit longer use a front facing child restraint. later in this section. properly if the child is less than 4 feet 9 inches (142.5 cm) tall and weighs between 40 lbs (18 WARNING Infants kg) and 80 lbs (36 kg). A booster seat should be Infants up to at least 1 year old should be placed used to obtain proper seat belt fit. Infants and children need special protec- tion. The vehicle’s seat belts may not fit in a rear facing child restraint. NISSAN recom- NISSAN recommends that a child be placed in a them properly. The shoulder belt may mends that infants be placed in child restraints commercially available booster seat if the shoul- come too close to the face or neck. The that comply with Federal Motor Vehicle Safety der belt in the child’s seating position fits close to lap belt may not fit over their small hip Standards or Canadian Motor Vehicle Safety the face or neck or if the lap portion of the seat bones. In an accident, an improperly fit- Standards. You should choose a child restraint belt goes across the abdomen. The booster seat ting seat belt could cause serious or fatal that fits your vehicle and always follow the manu- should raise the child so that the shoulder belt is injury. Always use appropriate child facturer’s instructions for installation and use. properly positioned across the top, middle por- restraints. tion of the shoulder and the lap belt is low on the Small Children hips. A booster seat can only be used in seating All U.S. states and Canadian provinces or terri- Children that are over one year old and weigh at positions that have a three-point type seat belt. tories require the use of approved child restraints least 20 lbs (9 kg) can be placed in a forward The booster seat should fit the vehicle seat and 1-18 Safety—Seats, seat belts and supplemental restraint system ੬ REVIEW COPY—2008 Quest (van) Owners Manual—USA_English (nna) 06/29/07—debbie ੭
  • 36.
    have a labelcertifying that it complies with Fed- THREE-POINT TYPE SEAT BELT eral Motor Vehicle Safety Standards or Canadian WITH RETRACTOR Motor Vehicle Safety Standards. Once the child has grown so the shoulder belt is no longer on or WARNING near the face and neck, use the shoulder belt without the booster seat. ● Every person who drives or rides in this vehicle should use a seat belt at all WARNING times. Never let a child stand or kneel on any ● Do not ride in a moving vehicle when seat and do not allow a child in the cargo the seatback is reclined. This can be areas while the vehicle is moving. The dangerous. The shoulder belt will not child could be seriously injured or killed in be against your body. In an accident, an accident or sudden stop. you could be thrown into it and receive neck or other serious injuries. You PREGNANT WOMEN could also slide under the lap belt and LRS0607 receive serious internal injuries. Power front seat shown NISSAN recommends that pregnant women use seat belts. The seat belt should be worn snug, ● For the most effective protection when Fastening the seat belts and always position the lap belt as low as pos- the vehicle is in motion, the seat should 1. Adjust the seat. See “Seats” earlier in this sible around the hips, not the waist. Place the be upright. Always sit well back in the section. shoulder belt over your shoulder and across your seat with both feet on the floor and chest. Never run the lap/shoulder belt over your adjust the seat belt properly. abdominal area. Contact your doctor for specific recommendations. INJURED PERSONS NISSAN recommends that injured persons use seat belts. Check with your doctor for specific recommendations. Safety—Seats, seat belts and supplemental restraint system 1-19 ੬ REVIEW COPY—2008 Quest (van) Owners Manual—USA_English (nna) 06/29/07—debbie ੭
  • 37.
    The Emergency LockingRetractor (ELR) mode allows the seat belt to extend and retract to allow the driver and passengers some freedom of movement in the seat. The ELR locks the seat belt when the vehicle slows down rapidly or during certain impacts. The Automatic Locking Retractor (ALR) mode (child restraint mode) locks the seat belt for child restraint installation. When the ALR mode is activated, the seat belt cannot be extended again until the seat belt tongue is detached from the buckle and fully retracted. The seat belt returns to the ELR mode WRS0137 WRS0138 after the seat belt fully retracts. See “Child re- ᭺ 2 Slowly pull the seat belt out of the retractor ᭺ 3 Position the lap belt portion low and snug straints” later in this section for more information. and insert the tongue into the buckle until on the hips as shown. you hear and feel the latch engage. The ALR mode should be used only for ᭺ 4 Pull the shoulder belt portion toward the child restraint installation. During normal ● The retractor is designed to lock during retractor to take up extra slack. Be sure the seat belt use by a passenger, the ALR mode a sudden stop or on impact. A slow shoulder belt is routed over your shoulder should not be activated. If it is activated it pulling motion permits the seat belt to and across your chest. move, and allows you some freedom of may cause uncomfortable seat belt ten- The front passenger seat, 2nd row captain’s sion. It can also change the operation of movement in the seat. chairs and the rear bench seat three-point seat the front passenger air bag. See “Front ● If the seat belt cannot be pulled from belts have two modes of operation: passenger air bag and status light” later in its fully retracted position, firmly pull this section. ● Emergency Locking Retractor (ELR) the belt and release it. Then smoothly pull the belt out of the retractor. ● Automatic Locking Retractor (ALR) 1-20 Safety—Seats, seat belts and supplemental restraint system ੬ REVIEW COPY—2008 Quest (van) Owners Manual—USA_English (nna) 06/29/07—debbie ੭
  • 38.
    To increase yourconfidence in the seat belts, WARNING check the operation as follows. When fastening the seat belts, be certain that the seatbacks are completely se- ● Grasp the shoulder belt and pull forward cured in the latched position. If they are quickly. The retractor should lock and re- not completely secured, passengers may strict further belt movement. be injured in an accident or sudden stop. If the retractor does not lock during this check or if you have any questions about seat belt opera- tion, see a NISSAN dealer. WRS0139 Unfastening the seat belts ᭺ 1 To unfasten the seat belt, press the button on the buckle. The seat belt automatically re- tracts. Checking seat belt operation Seat belt retractors are designed to lock seat belt movement by two separate methods: ● When the seat belt is pulled quickly from the retractor. ● When the vehicle slows down rapidly. Safety—Seats, seat belts and supplemental restraint system 1-21 ੬ REVIEW COPY—2008 Quest (van) Owners Manual—USA_English (nna) 06/29/07—debbie ੭
  • 39.
    SSS0240 SSS0241 Center of the 3rd row bench seat WARNING The 3rd row center seat belt has a connector ● Always fasten the connector tongue tongue ᭺ and a seat belt tongue ᭺ . Both the 1 2 and the seat belt in the order shown. connector tongue and the seat belt tongue must be securely latched for proper seat belt opera- ● Always make sure both the connector tion. tongue and the seat belt tongue are secured when using the seat belt. Do not use it with only the seat belt tongue attached. This could result in serious personal injury in case of an accident or a sudden stop. LRS0432 1-22 Safety—Seats, seat belts and supplemental restraint system ੬ REVIEW COPY—2008 Quest (van) Owners Manual—USA_English (nna) 06/29/07—debbie ੭
  • 40.
    Stowing the 3rdrow center seat belt ● If the rear center seat belt connector When folding down the 3rd row seat, the 3rd row and the seatbacks are not secured in center seat belt can be retracted into a stowed the correct position, serious personal position as follows: injury may result in an accident or sud- den stop. ᭺ 1 Hold the connector tongue so that the seat belt does not retract suddenly when the tongue is released from the connector buckle. Release the connector tongue by inserting a suitable tool such as a key into the connector buckle ᭺. A ᭺ 2 Retract the seat belt up to the retractor base. ᭺ 3 Insert the seat belt tongue into the fabric sleeve so it will lay flat. Then secure the connector tongue into the retractor base. WARNING ● Do not unfasten the rear center seat belt connector except when folding down the rear seat. ● When attaching the rear center seat belt connector, be certain that the seat- backs are completely secured in the latched position and the rear center seat belt connector is completely secured. LRS0433 Safety—Seats, seat belts and supplemental restraint system 1-23 ੬ REVIEW COPY—2008 Quest (van) Owners Manual—USA_English (nna) 06/29/07—debbie ੭
  • 41.
    Attaching the 3rdrow center seat belt WARNING Always be sure the 3rd row center seat belt ● Do not unfasten the rear center seat connector tongue and connector buckle are at- belt connector except when folding tached. Disconnect only when folding down the down the rear seat. rear seat. ● When attaching the rear center seat To connect the buckle: belt connector, be certain that the seat- ᭺ 1 Pull out the connector tongue from the re- backs are completely secured in the tractor base. latched position and the rear center seat belt connector is completely ᭺ 2 Pull out the seat belt tongue from the fabric secured. sleeve. ● If the rear center seat belt connector ᭺ 3 Pull the seat belt and secure the receiver and the seatbacks are not secured in buckle until it clicks. the correct position, serious personal LRS0294 The center seat belt connector tongue and re- injury may result in an accident or sud- Front seats ceiver buckle are indicated by the > and < mark. den stop. Shoulder belt height adjustment (Front The center seat belt connector tongue can be and 2nd row seats) attached only into the rear center seat belt con- nector buckle. The shoulder belt anchor height should be ad- justed to the position best for you. (See “Precau- To fasten the seat belt, see “Fastening the seat tions on seat belt usage” earlier in this section.) belt” earlier in this section. To adjust, push or pull out᭺ the adjustment 1 button and move the shoulder belt anchor᭺to 2 the desired position, so the belt passes over the center of the shoulder. The belt should be away from your face and neck, but not falling off your shoulder. Release the adjustment button to lock the shoulder belt anchor into position. 1-24 Safety—Seats, seat belts and supplemental restraint system ੬ REVIEW COPY—2008 Quest (van) Owners Manual—USA_English (nna) 06/29/07—debbie ੭
  • 42.
    SEAT BELT EXTENDERS SEAT BELT MAINTENANCE If, because of body size or driving position, it is ● To clean the seat belt webbing, apply a not possible to properly fit the lap-shoulder belt mild soap solution or any solution recom- and fasten it, an extender is available which is mended for cleaning upholstery or carpet. compatible with the installed seat belts. The ex- Then wipe with a cloth and allow the seat tender adds approximately 8 in (200 mm) of belts to dry in the shade. Do not allow the length and may be used for either the driver or seat belts to retract until they are completely front passenger seating position. See a NISSAN dry. dealer for assistance if an extender is required. ● If dirt builds up in the shoulder belt guide of the seat belt anchors, the seat WARNING belts may retract slowly. Wipe the shoulder ● Only NISSAN seat belt extenders, made belt guide with a clean, dry cloth. by the same company which made the ● Periodically check to see that the seat LRS0242 original equipment seat belts, should belt and the metal components, such as 2nd row seats be used with NISSAN seat belts. buckles, tongues, retractors, flexible wires WARNING ● Adults and children who can use the and anchors, work properly. If loose parts, standard seat belt should not use an deterioration, cuts or other damage on the ● After adjustment, release the adjust- extender. Such unnecessary use could webbing is found, the entire seat belt as- ment button and try to move the shoul- result in serious personal injury in the sembly should be replaced. der belt anchor up and down to make event of an accident. sure it is securely fixed in position. ● Never use seat belt extenders to install ● The shoulder belt anchor height should child restraints. If the child restraint is be adjusted to the position best for you. not secured properly, the child could be Failure to do so may reduce the effec- seriously injured in a collision or a sud- tiveness of the entire restraint system den stop. and increase the chance or severity of injury in an accident. Safety—Seats, seat belts and supplemental restraint system 1-25 ੬ REVIEW COPY—2008 Quest (van) Owners Manual—USA_English (nna) 06/29/07—debbie ੭
  • 43.
    CHILD RESTRAINTS ● Even with the NISSAN Advanced Air Bag System, never install a rear-facing child restraint in the front seat. An in- flating front air bag could seriously in- jure or kill your child. A rear-facing child restraint must only be used in the rear seat. ● NISSAN recommends that the child re- straint be installed in the rear seat. Ac- cording to accident statistics, children are safer when properly restrained in the rear seat than in the front seat. If you must install a front facing child re- ARS1098 WRS0256 straint in the front seat, see “Child re- straint installation using the seat belts” PRECAUTIONS ON CHILD WARNING later in this section. RESTRAINTS ● Improper use or improper installation ● Infants and small children should al- ways be placed in an appropriate child of a child restraint can increase the risk restraint while riding in the vehicle. or severity of injury for both the child Failure to use a child restraint can re- and other occupants of the vehicle and sult in serious injury or death. can lead to serious injury or death in an accident. ● Infants and small children should never be carried on your lap. It is not possible ● Follow all of the child restraint manu- for even the strongest adult to resist the facturer’s instructions for installation forces of a severe accident. The child and use. When purchasing a child re- could be crushed between the adult and straint, be sure to select one which will parts of the vehicle. Also, do not put the fit your child and vehicle. It may not be same seat belt around both your child possible to properly install some types and yourself. of child restraints in your vehicle. 1-26 Safety—Seats, seat belts and supplemental restraint system ੬ REVIEW COPY—2008 Quest (van) Owners Manual—USA_English (nna) 06/29/07—debbie ੭
  • 44.
    ● If thechild restraint is not anchored ● When your child restraint is not in use, Several manufacturers offer child restraints for properly, the risk of a child being in- keep it secured with the LATCH System infants and small children of various sizes. When jured in a collision or a sudden stop or a seat belt to prevent it from being selecting any child restraint, keep the following greatly increases. thrown around in case of a sudden stop points in mind: or accident. ● Choose only a restraint with a label certifying ● Child restraint anchor points are de- signed to withstand only those loads that it complies with Federal Motor Vehicle imposed by correctly fitted child re- CAUTION Safety Standard 213 or Canadian Motor straints. Under no circumstances are Vehicle Safety Standard 213. Remember that a child restraint left in a they to be used for adult seat belts or closed vehicle can become very hot. ● Check the child restraint in your vehicle to be harnesses. Check the seating surface and buckles sure it is compatible with the vehicle’s seat ● Adjustable seatbacks should be posi- before placing your child in the child and seat belt system. tioned to fit the child restraint, but as restraint. ● If the child restraint is compatible with your upright as possible. vehicle, place your child in the child restraint This vehicle is equipped with a universal child ● After attaching the child restraint, test it restraint lower anchor system, referred to as the and check the various adjustments to be before you place the child in it. Push it Lower Anchors and Tethers for CHildren System sure the child restraint is compatible with from side to side while holding the seat or LATCH. Some child restraints include two rigid your child. Choose a child restraint that is near the LATCH attachment or by the designed for your child’s height and weight. or webbing-mounted attachments that can be seat belt path. Try to tug it forward and Always follow all recommended procedures. connected to these lower anchors. For details, check to see if the belt holds the re- see the “Lower Anchors and Tethers for CHildren All U.S. states and Canadian provinces or straint in place. The child restraint System (LATCH)” later in this section. territories require that infants and small should not move more than 1 inch (25 children be restrained in an approved child mm). If the restraint is not secure, If you do not have a LATCH compatible child restraint at all times while the vehicle is tighten the belt as necessary, or put the restraint, the vehicle seat belts can be used. See being operated. restraint in another seat and test it “Child restraint installation using the seat belts” again. You may need to try a different later in this section. In general, child restraints are child restraint. Not all child restraints fit also designed to be installed with the lap portion in all types of vehicles. of a lap/shoulder seat belt. Safety—Seats, seat belts and supplemental restraint system 1-27 ੬ REVIEW COPY—2008 Quest (van) Owners Manual—USA_English (nna) 06/29/07—debbie ੭
  • 45.
    WRS0315 LRS0631 WRS0691 LATCH system anchor locations LATCH label locations 2nd row captain’s LATCH label locations 3rd row bench (if so LOWER ANCHORS AND TETHERS chairs (if so equipped) equipped) FOR CHILDREN SYSTEM (LATCH) LATCH lower anchor point locations WARNING Your vehicle is equipped with special anchor The LATCH anchors are located at the rear of the ● Attach LATCH compatible child re- points that are used with Lower Anchors and seat cushion near the seatback. A label is at- straints only at the locations shown in Tethers for CHildren System (LATCH) compat- tached to the seatback to help you locate the the illustration. If a child restraint is not ible child restraints. LATCH anchors. secured properly, your child could be seriously injured or killed in an The LATCH anchor points are provided to install accident. child restraints in the following positions only: ● 2nd row captain’s chairs (if so equipped). ● 3rd row bench seat center position only (if so equipped). 1-28 Safety—Seats, seat belts and supplemental restraint system ੬ REVIEW COPY—2008 Quest (van) Owners Manual—USA_English (nna) 06/29/07—debbie ੭
  • 46.
    WRS0700 LRS0661 LRS0662 LATCH lower anchor location LATCH webbing-mounted attachment LATCH rigid-mounted attachment ● Child restraint anchor points are de- Installing child restraint LATCH anchor turer. If you have such a child restraint, refer to the signed to withstand only those loads attachments illustration for the seating positions equipped imposed by correctly fitted child re- with LATCH system anchors which can be used LATCH compatible child restraints include two to secure the child restraint. straints. Under no circumstance are rigid or webbing-mounted attachments that can they to be used for adult seat belts or LATCH child restraints generally require the use be connected to two anchors located at certain harnesses. of a top tether strap. See “Top tether strap child seating positions in your vehicle. This system is known as the LATCH system. This system may restraint” later in this section for installation in- also be referred to as the ISOFIX or ISOFIX structions. compatible system. With this system, you do not When installing a child restraint, carefully read have to use a vehicle seat belt to secure the child restraint. Check your child restraint for a label and follow the instructions in this manual and stating that it is compatible with the LATCH sys- those supplied with the child restraint. See “Child tem. This information may also be in the instruc- restraint installation using LATCH on 2nd row tions provided by the child restraint manufac- captain’s chairs (if so equipped)” or “Child re- Safety—Seats, seat belts and supplemental restraint system 1-29 ੬ REVIEW COPY—2008 Quest (van) Owners Manual—USA_English (nna) 06/29/07—debbie ੭
  • 47.
    straint installation usingLATCH on 3rd row Top Tether Anchor Point Locations bench seat (if so equipped)” in this section. Anchor points are located in the following loca- TOP TETHER STRAP CHILD tions: RESTRAINT ● On the floor behind the front passenger seat If the manufacturer of your child restraint requires (2–passenger cargo van only) as shown. the use of a top tether strap, it must be secured to ● On the back of the 2nd row captain’s chairs the anchor point. (if so equipped) as shown. ● On the back of the 3rd row center seating WARNING position (if so equipped) as shown. ● Child restraint anchor points are de- If you have any questions when installing a signed to withstand only those loads top tether strap child restraint on the rear imposed by correctly fitted child re- seat, consult your NISSAN dealer for de- WRS0210 straints. Under no circumstances are tails. Label they to be used for adult seat belts or harnesses. The front passenger seat and 2nd row captain’s ● Do not allow cargo to contact the top chair anchor point locations are marked with the tether strap when it is attached to the label shown. top tether anchor. Properly secure the Installing top tether strap cargo so it does not contact the top tether strap. Cargo that is not properly First, secure the child restraint with the LATCH secured or cargo that contacts the top system (2nd row captain’s seating positions and tether strap may damage it during a center seating position only of the 3rd row bench collision. Your child could be seriously seat) or the seat belt, as applicable. injured or killed in a collision if the top tether strap is damaged. 1-30 Safety—Seats, seat belts and supplemental restraint system ੬ REVIEW COPY—2008 Quest (van) Owners Manual—USA_English (nna) 06/29/07—debbie ੭
  • 48.
    4. Tighten thetether strap according to the manufacturer’s instructions to remove any slack. For best child restraint fit, see the child restraint installation instructions in this section and the child restraint manufacturer’s instructions. LRS0322 LRS0307 Front passenger seat (2 passenger cargo 2nd row captain’s chairs (if so equipped) van only) 1. Top tether strap For the front passenger seat in the 2 passenger 2. Anchor point cargo van only, install the top tether strap as follows: For the 2nd row captain’s chairs (if so equipped), install the top tether strap as follows: 1. Adjust the head restraint to its highest posi- tion. 1. Remove the head restraint. Store it in a secure location. 2. Route the top tether strap between the head restraint and the top of the seatback. 2. Position the top tether strap over the top of the seatback. 3. Secure the tether strap to the tether anchor point on the floor directly behind the seat. 3. Secure the tether strap to the tether anchor point on the seat directly behind the child restraint. Safety—Seats, seat belts and supplemental restraint system 1-31 ੬ REVIEW COPY—2008 Quest (van) Owners Manual—USA_English (nna) 06/29/07—debbie ੭
  • 49.
    4. Tighten thetether strap according to the manufacturer’s instructions to remove any slack. For best child restraint fit, see the child restraint installation instructions in this section and the child restraint manufacturer’s instructions. WRS0687 WRS0688 Type A Type B 3rd row bench seat (if so equipped) The center position of the 3rd row bench seat is the seating position that can use a top tether 1. Top tether strap strap. 2. Anchor point For the 3rd row bench seat (if so equipped), install the top tether strap as follows: WARNING 1. Position the top tether strap under the head In the 3rd row bench seat, a child restraint with a top tether strap can only be used in restraint (TYPE A) or position the top tether the center position. Do not place in an strap around the side of the head restraint outboard seating position and attempt to (TYPE B). angle the tether strap to the center 2. Secure the tether strap to the tether anchor position. point on the seat directly behind the child restraint. 1-32 Safety—Seats, seat belts and supplemental restraint system ੬ REVIEW COPY—2008 Quest (van) Owners Manual—USA_English (nna) 06/29/07—debbie ੭
  • 50.
    3. Tighten thetether strap according to the ● Inspect the lower anchors by inserting manufacturer’s instructions to remove any your fingers into the lower anchor area slack. and feeling to make sure there are no For best child restraint fit, see the child restraint obstructions over the LATCH anchors, installation instructions in this section and the such as seat belt webbing or seat cush- child restraint manufacturer’s instructions. ion material. The child restraint will not be secured properly if the LATCH an- CHILD RESTRAINT INSTALLATION chors are obstructed. USING LATCH-2ND ROW Front-facing CAPTAIN’S CHAIRS (if so equipped) Follow these steps to install a front-facing child restraint in the 2nd row captain’s chairs using WARNING LATCH: ● Attach LATCH compatible child re- straints only at the locations shown. For 1. Recline the seatback if the seatback is ad- LRS0663 the LATCH lower anchor locations, see justable to assist in attaching the child re- Front facing web-mounted – step 3 “Lower Anchors and Tethers for CHil- straint to the lower anchors. 3. Secure the child restraint anchor attach- dren System (LATCH)” in this section. If 2. Position the child restraint on the seat. Al- ments to the LATCH lower anchors. Check a child restraint is not secured properly, ways follow the child restraint manufactur- to make sure the LATCH attachment is prop- your child could be seriously injured or er’s instructions. erly attached to the lower anchors. killed in an accident. 4. Return the seatback to its normal upright ● The LATCH anchors are designed to and locked position. withstand only those loads imposed by correctly fitted child restraints. Under The back of the child restraint should be secured no circumstance are they to be used for against the vehicle seatback. If necessary, adjust adult seat belts or harnesses. or remove the head restraint to obtain the correct child restraint fit. See “Head restraint adjust- ment” in this section. If the head restraint is re- moved, store it in a secure place. Be sure to install the head restraint when the child restraint Safety—Seats, seat belts and supplemental restraint system 1-33 ੬ REVIEW COPY—2008 Quest (van) Owners Manual—USA_English (nna) 06/29/07—debbie ੭
  • 51.
    LRS0664 LRS0671 WRS0697 Front facing rigid-mounted – step 3 Front facing – step 5 Front facing – step 7 is removed. If the seating position does not have 5. For child restraints that are equipped with 7. Before placing the child in the child restraint, an adjustable head restraint and it is interfering webbing mounted attachments, remove any hold the child restraint near the LATCH at- with the proper child restraint fit, try another additional slack from the anchor attach- tachment and use force to push the child seating position or a different child restraint. ments. Press downward and rearward firmly restraint from side to side, and tug it forward in the center of the child restraint with your to make sure that it is securely held in place. knee to compress the vehicle seat cushion It should not move more than 1 in (25 mm). If and seatback while tightening the webbing it does move more than 1 in (25 mm), pull of the anchor attachments. again on the anchor attachments to further 6. If the child restraint is equipped with a top tighten the child restraint. If you are unable to tether strap, route the top tether strap and properly secure the restraint, move the re- secure the tether strap to the tether anchor straint to another seating position and try point. See “Top tether strap child restraint” in again, or try a different child restraint. Not all this section. child restraints fit in all types of vehicles. 1-34 Safety—Seats, seat belts and supplemental restraint system ੬ REVIEW COPY—2008 Quest (van) Owners Manual—USA_English (nna) 06/29/07—debbie ੭
  • 52.
    8. Check tomake sure the child restraint is properly secured prior to each use. If the child restraint is loose, repeat steps 4 through 7. Rear-facing Follow these steps to install a rear-facing child restraint in the 2nd row captain’s chairs using LATCH: 1. Recline the seatback if the seatback is ad- justable to assist in attaching the child re- straint to the lower anchors. 2. Position the child restraint on the seat. Al- ways follow the child restraint manufactur- LRS0665 LRS0666 er’s instructions. Rear facing web-mounted – step 3 Rear facing rigid-mounted – step 3 3. Secure the child restraint anchor attach- ments to the LATCH lower anchors. Check to make sure the LATCH attachment is prop- erly attached to the lower anchors. 4. Return the seatback to its normal upright and locked position. Safety—Seats, seat belts and supplemental restraint system 1-35 ੬ REVIEW COPY—2008 Quest (van) Owners Manual—USA_English (nna) 06/29/07—debbie ੭
  • 53.
    7. Check tomake sure the child restraint is properly secured prior to each use. If the child restraint is loose, repeat steps 3 through 6. CHILD RESTRAINT INSTALLATION USING LATCH-3RD ROW BENCH SEAT (if so equipped) WARNING ● Attach LATCH compatible child re- straints only at the locations shown. For the LATCH lower anchor locations, see LRS0673 LRS0674 “Lower Anchors and Tethers for CHil- Front facing – step 5 Front facing – step 6 dren System (LATCH)” in this section. If 5. For child restraints that are equipped with a child restraint is not secured properly, 6. Before placing the child in the child restraint, webbing mounted attachments, remove any your child could be seriously injured or hold the child restraint near the LATCH at- additional slack from the anchor attach- killed in an accident. tachment and use force to push the child ments. Press downward and rearward firmly restraint from side to side, and tug it forward ● The LATCH anchors are designed to in the center of the child restraint with your to make sure that it is securely held in place. withstand only those loads imposed by knee to compress the vehicle seat cushion It should not move more than 1 in (25 mm). If correctly fitted child restraints. Under and seatback while tightening the webbing it does move more than 1 in (25 mm), pull no circumstance are they to be used for of the anchor attachments. again on the anchor attachments to further adult seat belts or harnesses. tighten the child restraint. If you are unable to properly secure the restraint, move the re- straint to another seating position and try again, or try a different child restraint. Not all child restraints fit in all types of vehicles. 1-36 Safety—Seats, seat belts and supplemental restraint system ੬ REVIEW COPY—2008 Quest (van) Owners Manual—USA_English (nna) 06/29/07—debbie ੭
  • 54.
    ● Inspect thelower anchors by inserting your fingers into the lower anchor area and feeling to make sure there are no obstructions over the LATCH anchors, such as seat belt webbing or seat cush- ion material. The child restraint will not be secured properly if the LATCH an- chors are obstructed. Front-facing Follow these steps to install a front-facing child restraint in the 3rd row bench seats using LATCH: 1. Recline the seatback if the seatback is ad- WRS0685 WRS0686 justable to assist in attaching the child re- Front facing web-mounted – step 3 Front facing rigid-mounted – step 3 straint to the lower anchors. 3. Secure the child restraint anchor attach- 2. Position the child restraint on the seat. Al- ments to the LATCH lower anchors. Check ways follow the child restraint manufactur- to make sure the LATCH attachment is prop- er’s instructions. erly attached to the lower anchors. 4. Return the seatback to its normal upright and locked position. The back of the child restraint should be secured against the vehicle seatback. If the seating posi- tion does not have an adjustable head restraint and it is interfering with the proper child restraint fit, try another seating position or a different child restraint. Safety—Seats, seat belts and supplemental restraint system 1-37 ੬ REVIEW COPY—2008 Quest (van) Owners Manual—USA_English (nna) 06/29/07—debbie ੭
  • 55.
    6. If thechild restraint is equipped with a top tether strap, route the top tether strap and secure the tether strap to the tether anchor point. See “Top tether strap child restraint” in this section. Do not install child restraints that require the use of the top tether strap to seating positions that do not have a top tether anchor. LRS0671 LRS0672 Front facing – step 5 Front facing – step 7 5. For child restraints that are equipped with 7. Before placing the child in the child restraint, webbing mounted attachments, remove any hold the child restraint near the LATCH at- additional slack from the anchor attach- tachment and use force to push the child ments. Press downward and rearward firmly restraint from side to side, and tug it forward in the center of the child restraint with your to make sure that it is securely held in place. knee to compress the vehicle seat cushion It should not move more than 1 in (25 mm). If and seatback while tightening the webbing it does move more than 1 in (25 mm), pull of the anchor attachments again on the anchor attachments to further tighten the child restraint. If you are unable to properly secure the restraint, move the re- straint to another seating position and try again, or try a different child restraint. Not all child restraints fit in all types of vehicles. 1-38 Safety—Seats, seat belts and supplemental restraint system ੬ REVIEW COPY—2008 Quest (van) Owners Manual—USA_English (nna) 06/29/07—debbie ੭
  • 56.
    8. Check tomake sure the child restraint is properly secured prior to each use. If the child restraint is loose, repeat steps 3 through 8. Rear-facing Follow these steps to install a rear-facing child restraint in the 3rd row bench seats using LATCH: 1. Recline the seatback in vehicles with adjust- able seatbacks to assist in attaching the child restraint to the lower anchors. 2. Position the child restraint on the seat. Al- ways follow the child restraint manufactur- WRS0689 WRS0690 er’s instructions. Rear facing web-mounted – step 3 Rear facing rigid-mounted – step 3 3. Secure the child restraint anchor attach- ments to the LATCH lower anchors. Check to make sure that the LATCH attachment is properly attached to the lower anchors. 4. Return the seatback to its normal upright and locked position. Safety—Seats, seat belts and supplemental restraint system 1-39 ੬ REVIEW COPY—2008 Quest (van) Owners Manual—USA_English (nna) 06/29/07—debbie ੭
  • 57.
    7. Check tomake sure the child restraint is properly secured prior to each use. If the child restraint is loose, repeat steps 3 through 6. LRS0673 LRS0674 Front facing – step 5 Front facing – step 6 5. For child restraints that are equipped with 6. Before placing the child in the child restraint, webbing mounted attachments, remove any hold the child restraint near the LATCH at- additional slack from the anchor attach- tachment and use force to push the child ments. Press downward and rearward firmly restraint from side to side, and tug it forward in the center of the child restraint with your to make sure that it is securely held in place. hand to compress the vehicle seat cushion It should not move more than 1 in (25 mm). If and seatback while tightening the webbing it does move more than 1 in (25 mm), pull of the anchor attachments. again on the anchor attachments to further tighten the child restraint. If you are unable to properly secure the restraint, move the re- straint to another seating position and try again, or try a different child restraint. Not all child restraints fit in all types of vehicles. 1-40 Safety—Seats, seat belts and supplemental restraint system ੬ REVIEW COPY—2008 Quest (van) Owners Manual—USA_English (nna) 06/29/07—debbie ੭
  • 58.
    ● NISSAN recommendsthat child re- ● When installing a child restraint system straints be installed in the rear seat. in the rear center position, both the However, if you must install a forward center seat belt connector tongue and facing child restraint in the front pas- buckle tongue must be secured. See senger seat, move the passenger seat “Attaching the 3rd row center seat belt” to the rearmost position. Also, be sure earlier in this section. the front passenger air bag status light ● A child restraint with a top tether strap is illuminated to indicate the passenger should not be used in the front passen- air bag is OFF. See “Front passenger air ger seat except for the 2-passenger bag and status light” later in this sec- cargo van. tion for details. ● Front-facing child restraints can be in- ● The three-point seat belt in your vehicle stalled in all 3rd row bench seat posi- is equipped with an Automatic Locking tions. However, front-facing child re- Retractor (ALR) which must be used WRS0256 straints that require the use of a top when installing a child restraint. CHILD RESTRAINT INSTALLATION tether strap can be installed in the cen- ● Failure to use the ALR mode will result ter 3rd row position only. Do not install USING THE SEAT BELTS in the child restraint not being properly a child restraint requiring a top tether secured. The restraint could tip over or strap in an outboard position and at- WARNING otherwise be unsecured and cause in- tempt to angle the tether to the 3rd row ● Even with the NISSAN Advanced Air jury to the child in a sudden stop or center anchor. Bag System, never install a rear-facing collision. Also, it can change the opera- tion of the front passenger air bag. See The instructions in this section apply to child child restraint in the front passenger restraint installation using the vehicle seat belts in seat. Front air bags inflate with great “Front passenger air bag and status light” later in this section. the rear seats or the front passenger seat. force. A rear-facing child restraint could be struck by the front air bag in a crash and could seriously injure or kill your child. Safety—Seats, seat belts and supplemental restraint system 1-41 ੬ REVIEW COPY—2008 Quest (van) Owners Manual—USA_English (nna) 06/29/07—debbie ੭
  • 59.
    2. Position thechild restraint on the seat. Al- ways follow the child restraint manufactur- er’s instructions The back of the child restraint should be secured against the vehicle seatback. If necessary, adjust or remove the head restraint to obtain the correct child restraint fit. See “Head restraint adjust- ment” in this section. If the head restraint is removed, store it in a secure place. Be sure to install the head restraint when the child restraint is removed. If the seating position does not have an adjustable head re- straint and it is interfering with the proper child WRS0699 restraint fit, try another seating position or a dif- WRS0680 Front-facing (front passenger seat) – step 1 ferent child restraint. Front facing – step 3 Front-facing 3. Route the seat belt tongue through the child restraint and insert it into the buckle until you Follow these steps to install a front-facing child hear and feel the latch engage. Be sure to restraint using the vehicle seat belt in the rear follow the child restraint manufacturer’s in- seats or in the front passenger seat: structions for belt routing. 1. If you must install a child restraint in the front seat, it should be placed in a front-facing direction only. Move the seat to the rearmost position. Child restraints for infants must be used in the rear-facing direction and therefore must not be used in the front seat. 1-42 Safety—Seats, seat belts and supplemental restraint system ੬ REVIEW COPY—2008 Quest (van) Owners Manual—USA_English (nna) 06/29/07—debbie ੭
  • 60.
    LRS0667 LRS0668 WRS0681 Front facing – step 4 Front facing – step 5 Front facing – step 6 4. Pull the shoulder belt until the belt is fully 5. Allow the seat belt to retract. Pull up on the 6. Remove any additional slack from the seat extended. At this time, the seat belt retractor shoulder belt to remove any slack in the belt. belt; press downward and rearward firmly in is in the Automatic Locking Retractor (ALR) the center of the child restraint with your mode (child restraint mode). It reverts to the knee to compress the vehicle seat cushion Emergency Locking Retractor (ELR) mode and seatback while pulling up on the seat when the seat belt is fully retracted. belt. Safety—Seats, seat belts and supplemental restraint system 1-43 ੬ REVIEW COPY—2008 Quest (van) Owners Manual—USA_English (nna) 06/29/07—debbie ੭
  • 61.
    8. Before placingthe child in the child restraint, hold the child restraint near the seat belt path and use force to push the child restraint from side to side, and tug it forward to make sure that it is securely held in place. It should not move more than 1 in (25 mm). If it does move more than 1 in (25 mm), pull again on the shoulder belt to further tighten the child restraint. If you are unable to properly secure the restraint, move the restraint to another seating position and try again, or try a differ- ent child restraint. Not all child restraints fit in all types of vehicles. 9. Check that the retractor is in the ALR mode WRS0698 WRS0475 by trying to pull more seat belt out of the Front facing – step 7 retractor. If you cannot pull any more belt Front facing – step 11 7. If the child restraint is equipped with a top webbing out of the retractor, the retractor is 11. If the child restraint is installed in the front tether strap, route the top tether strap and in the ALR mode. passenger seat, turn the ignition switch to secure the tether strap to the tether anchor the ON position. The front passenger air bag 10. Check to make sure the child restraint is status light should illuminate. If this point. See “Top tether strap child restraint” in properly secured prior to each use. If the light is not illuminated see ЉFront passenger this section. Do not install child restraints seat belt is not locked, repeat steps 3 that require the use of a top tether strap to air bag and status lightЉ in this section. through 8. Move the child restraint to another seating positions that do not have a top tether anchor. seating position. Have the system checked by a NISSAN dealer. After the child restraint is removed and the seat belt is fully retracted, the ALR mode (child re- straint mode) is canceled. 1-44 Safety—Seats, seat belts and supplemental restraint system ੬ REVIEW COPY—2008 Quest (van) Owners Manual—USA_English (nna) 06/29/07—debbie ੭
  • 62.
    WRS0256 WRS0761 LRS0669 Rear-facing – step 1 Rear facing – step 2 Rear facing – step 3 Rear-facing 2. Route the seat belt tongue through the child 3. Pull the shoulder belt until the belt is fully restraint and insert it into the buckle until you extended. At this time, the seat belt retractor Follow these steps to install a rear-facing child hear and feel the latch engage. Be sure to is in the Automatic Locking Retractor (ALR) restraint using the vehicle seat belt in the rear follow the child restraint manufacturer’s in- mode (child restraint mode). It reverts to the seats: structions for belt routing. Emergency Locking Retractor (ELR) mode 1. Child restraints for infants must be when the seat belt is fully retracted. used in the rear-facing direction and therefore must not be used in the front seat. Position the child restraint on the seat. Always follow the restraint manufacturer’s instructions. Safety—Seats, seat belts and supplemental restraint system 1-45 ੬ REVIEW COPY—2008 Quest (van) Owners Manual—USA_English (nna) 06/29/07—debbie ੭
  • 63.
    LRS0670 WRS0762 WRS0763 Rear facing – step 4 Rear facing – step 5 Rear facing – step 6 4. Allow the seat belt to retract. Pull up on the 5. Remove any additional slack from the child 6. Before placing the child in the child restraint, shoulder belt to remove any slack in the belt. restraint; press downward and rearward hold the child restraint near the seat belt firmly in the center of the child restraint to path and use force to push the child restraint compress the vehicle seat cushion and seat- from side to side, and tug it forward to make back while pulling up on the seat belt. sure that it is securely held in place. It should not move more than 1 in (25 mm). If it does move more than 1 in (25 mm), pull again on the shoulder belt to further tighten the child restraint. If you are unable to properly secure the restraint, move the restraint to another rear seating position and try again, or try a different child restraint. Not all child re- straints fit in all types of vehicles. 1-46 Safety—Seats, seat belts and supplemental restraint system ੬ REVIEW COPY—2008 Quest (van) Owners Manual—USA_English (nna) 06/29/07—debbie ੭
  • 64.
    BOOSTER SEATS 7.Check that the retractor is in the ALR mode ● Infants and small children should never by trying to pull more seat belt out of the be carried on your lap. It is not possible retractor. If you cannot pull any more seat for even the strongest adult to resist the belt webbing out of the retractor, the retrac- forces of a severe accident. The child tor is in the ALR mode. could be crushed between the adult and 8. Check to make sure that the child restraint is parts of the vehicle. Also, do not put the properly secured prior to each use. If the belt same seat belt around both your child is not locked, repeat steps 3 through 7. and yourself. After the child restraint is removed and the seat ● NISSAN recommends that the booster belt fully retracted, the ALR mode (child restraint seat be installed in the rear seat. Ac- mode) is canceled. cording to accident statistics, children are safer when properly restrained in the rear seat than in the front seat. If ARS1098 you must install a booster seat in the front seat, see “Booster seat installa- PRECAUTIONS ON BOOSTER tion” in this section. SEATS ● A booster seat must only be installed in a seating position that has a WARNING lap/shoulder belt. Failure to use a ● Infants and small children should al- three-point type seat belt with a ways be placed in an appropriate child booster seat can result in a serious in- restraint while riding in the vehicle. jury in sudden stop or collision. Failure to use a child restraint or ● Improper use or improper installation booster seat can result in serious injury of a booster seat can increase the risk or death. or severity of injury for both the child and other occupants of the vehicle and can lead to serious injury or death in an accident. Safety—Seats, seat belts and supplemental restraint system 1-47 ੬ REVIEW COPY—2008 Quest (van) Owners Manual—USA_English (nna) 06/29/07—debbie ੭
  • 65.
    ● Do notuse towels, books, pillows or ● After placing the child in the booster other items in place of a booster seat. seat and fastening the seat belt, make Items such as these may move during sure the shoulder portion of the belt is normal driving or a collision and result away from the child’s face and neck and in serious injury or death. Booster seats the lap portion of the belt does not are designed to be used with a cross the abdomen. lap/shoulder belt. Booster seats are de- ● Do not put the shoulder belt behind the signed to properly route the lap and child or under the child’s arm. If you shoulder portions of the seat belt over must install a booster seat in the front the strongest portions of a child’s body seat, see “Booster seat installation” to provide the maximum protection dur- later in this section. ing a collision. ● When your booster seat is not in use, ● Follow all of the booster seat manufac- keep it secured with a seat belt to pre- turer’s instructions for installation and vent it from being thrown around in LRS0455 use. When purchasing a booster seat, case of a sudden stop or accident. Booster seats of various sizes are offered by be sure to select one which will fit your child and vehicle. It may not be possible several manufacturers. When selecting any to properly install some types of CAUTION booster seat, keep the following points in mind: booster seats in your vehicle. Remember that a booster seat left in a ● Choose only a booster seat with a label ● If the booster seat and seat belt is not closed vehicle can become very hot. certifying that it complies with Federal Motor used properly, the risk of a child being Check the seating surface and buckles Vehicle Safety Standard 213 or Canadian injured in a collision or a sudden stop before placing your child in the booster Motor Vehicle Safety Standard 213. greatly increases. seat. ● Check the booster seat in your vehicle to be ● Adjustable seatbacks should be posi- sure it is compatible with the vehicle’s seat tioned to fit the booster seat, but as and seat belt system. upright as possible. 1-48 Safety—Seats, seat belts and supplemental restraint system ੬ REVIEW COPY—2008 Quest (van) Owners Manual—USA_English (nna) 06/29/07—debbie ੭
  • 66.
    BOOSTER SEAT INSTALLATION WARNING NISSAN recommends that booster seats be installed in the rear seat. However, if you must install a booster seat in the front passenger seat, move the passenger’s seat to the rearmost position. CAUTION Do not use the lap/shoulder belt Auto- matic Locking Retractor mode when using a booster seat with the seat belts. LRS0453 LRS0512 ● Make sure the child’s head will be properly All U.S. states and Canadian provinces or Follow these steps to install a booster seat in the territories require that infants and small rear seat or in the front passenger seat: supported by the booster seat or vehicle seat. The seat back must be at or above the children be restrained in an approved child center of the child’s ears. For example, if a restraint at all times while the vehicle is low back booster seat ᭺ is chosen, the 1 being operated. vehicle seat back must be at or above the The instructions in this section apply to booster center of the child’s ears. If the seat back is seat installation in the rear seats or the front lower than the center of the child’s ears, a passenger seat. high back booster seat ᭺ should be used. 2 ● If the booster seat is compatible with your vehicle, place your child in the booster seat and check the various adjustments to be sure the booster seat is compatible with your child. Always follow all recommended pro- cedures. Safety—Seats, seat belts and supplemental restraint system 1-49 ੬ REVIEW COPY—2008 Quest (van) Owners Manual—USA_English (nna) 06/29/07—debbie ੭
  • 67.
    WRS0699 LRS0513 LRS0512 1. If you must install a booster seat in the Rear center position Rear outboard position front seat, move the seat to the rear- 3. The booster seat should be positioned on most position. the vehicle seat so that it is stable. If neces- 2. Position the booster seat on the seat. Only sary, adjust or remove the head restraint to place it in a front facing direction. Always obtain the correct booster seat fit. See follow the booster seat manufacturer’s in- “Head restraint adjustment” earlier in this structions. section. If the head restraint is removed, store it in a secure place. Be sure to install the head restraint when the booster seat is removed. If the seating position does not have an adjustable head restraint and it is interfering with the proper booster seat fit, try another seating position or a different booster seat. 1-50 Safety—Seats, seat belts and supplemental restraint system ੬ REVIEW COPY—2008 Quest (van) Owners Manual—USA_English (nna) 06/29/07—debbie ੭
  • 68.
    4. Position thelap portion of the seat belt low and snug on the child’s hips. Be sure to follow the booster seat manufacturer’s in- structions for adjusting the belt routing. 5. Pull the shoulder belt portion of the seat belt toward the retractor to take up extra slack. Be sure the shoulder belt is positioned across the top, middle portion of the child’s shoulder. Be sure to follow the booster seat manufacturer’s instructions for adjusting the belt routing. LRS0454 WRS0475 Front passenger position 7. If the booster seat is installed in the front 6. Follow the warnings, cautions and instruc- passenger seat, turn the ignition switch to tions for properly fastening a seat belt the ON position. The front passenger air bag shown in the “Three-point seat belt with status light may or may not illuminate, retractor” earlier in this section. depending on the size of the child and the type of booster seat being used. See “Front passenger air bag and status light” later in this section. Safety—Seats, seat belts and supplemental restraint system 1-51 ੬ REVIEW COPY—2008 Quest (van) Owners Manual—USA_English (nna) 06/29/07—debbie ੭
  • 69.
    SUPPLEMENTAL RESTRAINT SYSTEM PRECAUTIONS ON Roof-mounted curtain side-impact supple- SUPPLEMENTAL RESTRAINT mental air bag system: This system can help cushion the impact force to the head of occu- SYSTEM pants in front and rear outboard seating positions This Supplemental Restraint System (SRS) sec- in certain side impact collisions. The curtain air tion contains important information concerning bags are designed to inflate on the side where the following systems: the vehicle is impacted. These supplemental restraint systems are de- ● Driver and passenger supplemental front- signed to supplement the crash protection pro- impact air bag (NISSAN Advanced Air Bag vided by the seat belts and are not a substitute System) for them. Seat belts should always be correctly ● Front seat-mounted side-impact supple- worn and the occupant seated a suitable dis- mental air bag tance away from the steering wheel, instrument panel and door finishers. See “Seat belts” earlier ● Roof-mounted curtain side-impact supple- in this section for instructions and precautions on mental air bag seat belt usage. ● Seat belt with pretensioner The supplemental air bags operate only when the ignition switch is in the ON or Supplemental front-impact air bag system: START position. The NISSAN Advanced Air Bag System can help cushion the impact force to the head and chest of After turning the ignition key to the ON the driver and front passenger in certain frontal position, the supplemental air bag warning collisions. light illuminates. The supplemental air bag warning light will turn off after about 7 Front seat-mounted side-impact supple- seconds if the system is operational. mental air bag system: This system can help cushion the impact force to the chest area of the driver and front passenger in certain side impact collisions. The side air bags are designed to inflate on the side where the vehicle is impacted. 1-52 Safety—Seats, seat belts and supplemental restraint system ੬ REVIEW COPY—2008 Quest (van) Owners Manual—USA_English (nna) 06/29/07—debbie ੭
  • 70.
    ● The driverand front passenger seat belt buckles are equipped with sensors that detect if the seat belts are fastened. The Advanced Air Bag System monitors the severity of a collision and seat belt us- age then inflates the air bags. Failure to properly wear seat belts can increase the risk or severity of injury in an accident. ● The front passenger seat is equipped with an occupant classification sensor (pressure sensor) that turns the front passenger air bag OFF under some WRS0031 conditions. This sensor is only used in this seat. Failure to be properly seated WARNING ● The seat belts and the front air bags are and wearing the seat belt can increase most effective when you are sitting well the risk or severity of injury in an acci- ● The front air bags ordinarily will not back and upright in the seat. The front dent. See “Front passenger air bag and inflate in the event of a side impact, rear air bags inflate with great force. Even status light” later in this section. impact, rollover, or lower severity fron- with the NISSAN Advanced Air Bag Sys- tal collision. Always wear your seat ● Keep hands on the outside of the steer- tem, if you are unrestrained, leaning belts to help reduce the risk or severity ing wheel. Placing them inside the forward, sitting sideways or out of posi- of injury in various kinds of accidents. steering wheel rim could increase the tion in any way, you are at greater risk of risk that they are injured when the front ● The front passenger air bag will not injury or death in a crash. You may also air bag inflates. inflate if the passenger air bag status receive serious or fatal injuries from the light is lit or if the front passenger seat front air bag if you are up against it is unoccupied. See “Front passenger air when it inflates. Always sit back against bag and status light” later in this the seatback and as far away as practi- section. cal from the steering wheel or instru- ment panel. Always use the seat belts. Safety—Seats, seat belts and supplemental restraint system 1-53 ੬ REVIEW COPY—2008 Quest (van) Owners Manual—USA_English (nna) 06/29/07—debbie ੭
  • 71.
    ARS1133 ARS1041 WARNING ● Never let children ride unrestrained or extend their hands or face out of the window. Do not attempt to hold them in your lap or arms. Some examples of dangerous riding positions are shown in the illustrations. 1-54 Safety—Seats, seat belts and supplemental restraint system ੬ REVIEW COPY—2008 Quest (van) Owners Manual—USA_English (nna) 06/29/07—debbie ੭
  • 72.
    ARS1042 ARS1043 ARS1044 WARNING ● Children may be severely injured or killed when the front air bags, side air bags or curtain air bags inflate if they are not properly restrained. Pre-teens and children should be properly re- strained in the rear seat, if possible. Safety—Seats, seat belts and supplemental restraint system 1-55 ੬ REVIEW COPY—2008 Quest (van) Owners Manual—USA_English (nna) 06/29/07—debbie ੭
  • 73.
    ARS1045 WRS0256 WRS0431 Do not lean against the door. WARNING WARNING ● Even with the NISSAN Advanced Air Bag System, never install a rear-facing Front seat-mounted side-impact supple- child restraint in the front seat. An in- mental air bags and roof-mounted curtain flating front air bag could seriously in- side-impact supplemental air bags: jure or kill your child. See “Child re- ● The side air bags and curtain air bags straints” earlier in this section for ordinarily will not inflate in the event of details. a frontal impact, rear impact, rollover or lower severity side collision. Always wear your seat belts to help reduce the risk or severity of injury in various kinds of accidents. 1-56 Safety—Seats, seat belts and supplemental restraint system ੬ REVIEW COPY—2008 Quest (van) Owners Manual—USA_English (nna) 06/29/07—debbie ੭
  • 74.
    WARNING ● The seat belts, the side air bags and curtain air bags are most effective when you are sitting well back and upright in the seat with both feet on the floor. The side air bag and curtain air bag inflate with great force. Do not allow anyone to place their hand, leg or face near the side air bag on the side of the seatback of the front seat or near the side roof rails. Do not allow anyone sitting in the front seats or rear outboard seats to extend their hand out of the window or SSS0162 lean against the door. Some examples WRS0306 of dangerous riding positions are shown in the previous illustrations. WARNING ● When sitting in the 2nd row rear seat, do not hold onto the seatback of the front seat. If the side air bag inflates, you may be seriously injured. Be especially care- ful with children, who should always be properly restrained. Some examples of dangerous riding positions are shown in the illustrations. ● Do not use seat covers on the front seatbacks. They may interfere with side air bag inflation. Safety—Seats, seat belts and supplemental restraint system 1-57 ੬ REVIEW COPY—2008 Quest (van) Owners Manual—USA_English (nna) 06/29/07—debbie ੭
  • 75.
    SSS0159 LRS0679 1. Roof-mounted curtain side-impact 4. Supplemental front-impact air bag supplemental air bag inflators modules 2. Roof-mounted curtain side-impact 5. Crash zone sensor supplemental air bag (driver’s side) 6. Air bag Control Unit (ACU) 3. Seat belt buckle switches 7. Occupant classification system control unit 1-58 Safety—Seats, seat belts and supplemental restraint system ੬ REVIEW COPY—2008 Quest (van) Owners Manual—USA_English (nna) 06/29/07—cathy ੭
  • 76.
    8. Occupantclassification sensor Vehicle damage (or lack of it) is not always an dealer. If you are considering modification of your (pressure sensor) indication of proper front air bag system opera- vehicle due to a disability, you may also contact 9. Seat belt with pretensioner tion. NISSAN. Contact information is contained in the 10. Satellite sensors front of this Owner’s Manual. The NISSAN Advanced Air Bag System has dual 11. Front seat-mounted side-impact stage inflators. It also monitors information from When a front air bag inflates, a fairly loud noise supplemental air bag modules the crash zone sensor, the Air bag Control Unit may be heard, followed by the release of smoke. 12. Roof-mounted curtain side-impact (ACU), seat belt buckle sensors, occupant clas- This smoke is not harmful and does not indicate a supplemental air bag (passenger’s side) sification sensor (pressure sensor) and passen- fire. Care should be taken to not inhale it, as it may ger seat belt tension sensor. Inflator operation is cause irritation and choking. Those with a history NISSAN Advanced Air Bag System based on the severity of a collision and seat belt of a breathing condition should get fresh air (front seats) usage for the driver. For the front passenger, it promptly. additionally monitors the weight of an occupant This vehicle is equipped with the NISSAN Ad- Front air bags, along with the use of seat belts, or object on the seat and seat belt tension. Based vanced Air Bag System for the driver and front help to cushion the impact force on the face and on information from the sensors, only one front air passenger seats. This system is designed to chest of the front occupants. They can help save bag may inflate in a crash, depending on the meet certification requirements under U.S. regu- lives and reduce serious injuries. However, an crash severity and whether the front occupants lations. It is also permitted in Canada. However, inflating front air bag may cause facial abrasions are belted or unbelted. Additionally, the front all of the information, cautions and warn- or other injuries. Front air bags do not provide passenger air bag may be automatically turned ings in this manual still apply and must be restraint to the lower body. OFF under some conditions, depending on the followed. weight detected on the passenger seat and how Even with the NISSAN Advanced Air Bag Sys- The driver supplemental front-impact air bag is the seat belt is used. If the front passenger air bag tem, seat belts should be correctly worn and the is OFF, the passenger air bag status light will be driver and passenger seated upright as far as located in the center of the steering wheel. The illuminated (if the seat is unoccupied, the light will practical away from the steering wheel or instru- passenger supplemental front-impact air bag is not be illuminated, but the air bag will be off). See ment panel. The front air bags inflate quickly in mounted in the dashboard above the glove box. “Front passenger air bag and status light” later in order to help protect the front occupants. Be- The front air bags are designed to inflate in higher this section for further details. One front air bag cause of this, the force of the front air bag inflating severity frontal collisions, although they may in- inflating does not indicate improper performance can increase the risk of injury if the occupant is flate if the forces in another type of collision are of the system. too close to, or is against, the front air bag module similar to those of a higher severity frontal impact. during inflation. They may not inflate in certain frontal collisions. If you have any questions about your air bag system, please contact NISSAN or your NISSAN The front air bags deflate quickly after a collision. Safety—Seats, seat belts and supplemental restraint system 1-59 ੬ REVIEW COPY—2008 Quest (van) Owners Manual—USA_English (nna) 06/29/07—cathy ੭
  • 77.
    The front airbags operate only when the Status light ignition switch is in the ON or START posi- tion. The front passenger air bag status light is located near the climate controls in the center of After turning the ignition key to the ON the instrument panel. The light operates as fol- position, the supplemental air bag warning lows: light illuminates. The supplemental air bag warning light will turn off after about 7 ● Unoccupied passenger’s seat: The is seconds if the system is operational. OFF and the front passenger air bag is OFF and will not inflate in a crash. ● Passenger’s seat occupied by a small adult, child or child restraint as outlined in this section: The illuminates to indicate that the front passenger air bag is OFF and WRS0475 will not inflate in a crash. Front passenger air bag and status light ● Occupied passenger seat and the passen- ger meets the conditions outlined in this WARNING section: The light is OFF to indicate The front passenger air bag is designed to that the front passenger air bag is opera- automatically turn OFF under some con- tional. ditions. Read this section carefully to Front passenger air bag learn how it operates. Proper use of the seat, seat belt and child restraints is nec- The front passenger air bag is designed to auto- essary for most effective protection. Fail- matically turn OFF when the vehicle is operated ure to follow all instructions in this under some conditions as described below in manual concerning the use of seats, seat accordance with U.S. regulations. If the front belts and child restraints can increase the passenger air bag is OFF, it will not inflate in a risk or severity of injury in an accident. crash. The driver air bag and other air bags in your vehicle are not part of this system. 1-60 Safety—Seats, seat belts and supplemental restraint system ੬ REVIEW COPY—2008 Quest (van) Owners Manual—USA_English (nna) 06/29/07—debbie ੭
  • 78.
    The purpose ofthe regulation is to help reduce air bag should be automatically turned OFF as crash instead of being OFF. See “Child re- the risk of injury or death from an inflating air bag required by the regulations. straints” earlier in this section for proper use and to certain front passenger seat occupants, such installation. Front passenger seat adult occupants who are as children, by requiring the air bag to be auto- properly seated and using the seat belt as out- If the front passenger seat is not occupied the matically turned OFF. Certain sensors are used lined in this manual should not cause the passen- passenger air bag is designed not to inflate in a to meet the requirements. ger air bag to be automatically turned OFF. For crash. However, heavy objects placed on the One sensor used is the occupant classification small adults it may be turned OFF, however if the seat could result in air bag inflation, because of sensor (pressure sensor). It is in the bottom of the occupant takes his/her weight off the seat cush- the object’s weight detected by the occupant front passenger seat cushion and is designed to ion (for example, by not sitting upright, by sitting classification sensor. Other conditions could also detect an occupant and objects on the seat by on an edge of the seat, or by otherwise being out result in air bag inflation, such as if a child is weight. It works together with seat belt sensors of position), this could cause the sensor to turn standing on the seat, or if two children are on the described later. For example, if a child is in the the air bag OFF. In addition, if the occupant seat, contrary to the instructions in this manual. front passenger seat, the Advanced Air Bag Sys- improperly uses the seat belt in the ALR mode, Always be sure that you and all vehicle occupants tem is designed to turn the passenger air bag this could cause the air bag to be turned OFF. are seated and restrained properly. OFF in accordance with the regulations. Also, if a Always be sure to be seated and wearing the seat Using the passenger air bag status light, you can child restraint of the type specified in the regula- belt properly for the most effective protection by monitor when the front passenger air bag is au- tions is on the seat, its weight and the child’s the seat belt and supplemental air bag. tomatically turned OFF with the seat occupied. weight can be detected and cause the air bag to NISSAN recommends that pre-teens and chil- The light will not illuminate when the front pas- turn OFF. Occupant classification sensor opera- dren be properly restrained in a rear seat. senger seat is unoccupied. tion can vary depending on the front passenger NISSAN also recommends that appropriate child seat belt sensors. If an adult occupant is in the seat but the passen- restraints and booster seats be properly installed ger air bag status light is illuminated (indicating The front passenger seat belt sensors are de- in a rear seat. If this is not possible, the occupant that the air bag is OFF), it could be that the signed to detect if the seat belt is buckled and the classification sensor and seat belt sensors are person is a small adult, or is not sitting on the seat amount of tension on the seat belt, such as when designed to operate as described above to turn properly or not using the seat belt properly. it is in the Automatic Locking Retractor (ALR) the front passenger air bag OFF for specified mode (child restraint mode). Based on the child restraints as required by the regulations. If a child restraint must be used in the front seat, weight on the seat detected by the occupant Failing to properly secure child restraints and to the passenger air bag status light may or may not classification sensor and the belt tension de- use the ALR mode may allow the restraint to tip or be illuminated, depending on the size of the child tected on the seat belt, the Advanced Air Bag move in an accident or sudden stop. This can and the type of child restraint being used. If the air System determines whether the front passenger also result in the passenger air bag inflating in a bag status light is not illuminated (indicating that Safety—Seats, seat belts and supplemental restraint system 1-61 ੬ REVIEW COPY—2008 Quest (van) Owners Manual—USA_English (nna) 06/29/07—debbie ੭
  • 79.
    the air bagmight inflate in a crash), it could be in the center of the instrument panel, will blink. ● Do not make unauthorized changes to that the child restraint or seat belt is not being Have the system checked by a NISSAN dealer. your vehicle’s electrical system, sus- used properly. Make sure that the child restraint is pension system or front end structure. Other supplemental front-impact air bag installed properly, the seat belt is used properly This could affect proper operation of precautions and the occupant is positioned properly. If the air the front air bag system. bag status light is not illuminated, reposition the WARNING ● Tampering with the front air bag system occupant or child restraint in a rear seat. ● Do not place any objects on the steer- may result in serious personal injury. If the passenger air bag status light will not illu- ing wheel pad or on the instrument Tampering includes changes to the minate even though you believe that the child panel. Also, do not place any objects steering wheel and the instrument restraint, the seat belts and the occupant are between any occupant and the steering panel assembly by placing material properly positioned, the system may be sensing wheel or instrument panel. Such ob- over the steering wheel pad and above an unoccupied seat (in which case the air bag is jects may become dangerous projec- the instrument panel or by installing OFF). Your NISSAN dealer can check that the tiles and cause injury if the front air bag additional trim material around the air system is OFF by using a special tool. However, inflates. bag system. until you have confirmed with your dealer that ● Modifying or tampering with the front ● Immediately after inflation, several your air bag is working properly, reposition the front air bag system components will be passenger seat may result in serious occupant or child restraint in a rear seat. hot. Do not touch them; you may se- personal injury. For example, do not verely burn yourself. change the front seats by placing mate- The air bag system and passenger air bag status rial on the seat cushion or by installing light will take a few seconds to register a change ● No unauthorized changes should be additional trim material, such as seat in the passenger seat status. For example, if a made to any components or wiring of covers, on the seat that are not specifi- large adult who is sitting in the front passenger the supplemental air bag system. This is cally designed to assure proper air bag seat exits the vehicle, the passenger air bag to prevent accidental inflation of the operation. Additionally, do not stow any status light will go from OFF to ON for a few supplemental air bag or damage to the objects under the front passenger seat seconds and then to OFF. This is normal system supplemental air bag system. or the seat cushion and seatback. Such operation and does not indicate a malfunction. objects may interfere with the proper operation of the occupant classifica- If a malfunction occurs in the front passenger air tion sensor (pressure sensor). bag system, the supplemental air bag warning light , located in the meter and gauges area 1-62 Safety—Seats, seat belts and supplemental restraint system ੬ REVIEW COPY—2008 Quest (van) Owners Manual—USA_English (nna) 06/29/07—debbie ੭
  • 80.
    ● No unauthorizedchanges should be inflate if the forces in another type of collision are made to any components or wiring of similar to those of a higher severity side impact. the seat belt system. This may affect the They are designed to inflate on the side where the front air bag system. Tampering with vehicle is impacted. They may not inflate in cer- the seat belt system may result in seri- tain side collisions. ous personal injury. Vehicle damage (or lack of it) is not always an ● Work on and around the front air bag indication of proper side air bag and curtain air system should be done by a NISSAN bag operation. dealer. Installation of electrical equip- When the side air bags and curtain air bags ment should also be done by a NISSAN inflate, a fairly loud noise may be heard, followed dealer. The Supplemental Restraint by release of smoke. This smoke is not harmful System (SRS) wiring should not be and does not indicate a fire. Care should be taken modified or disconnected. Unautho- not to inhale it, as it may cause irritation and rized electrical test equipment and WRS0532 choking. Those with a history of a breathing con- probing devices should not be used on Front seat-mounted side-impact dition should get fresh air promptly. the air bag system. ● A cracked windshield should be re- supplemental air bag and roof- Side air bags, along with the use of seat belts, placed immediately by a qualified re- mounted curtain side-impact help to cushion the impact force on the chest of the front occupants. Curtain air bags help to pair facility. A cracked windshield could supplemental air bag systems cushion the impact force to the head of occu- affect the function of the supplemental air bag system. The side air bags are located in the outside of the pants in the front and rear outboard seating po- seatback of the front seats. The curtain air bags sitions. They can help save lives and reduce ● The SRS wiring harness connectors are are located in the side roof rails. These systems serious injuries. However, an inflating side air bag yellow and orange for easy and curtain air bag may cause abrasions or other are designed to meet voluntary guidelines to help identification. injuries. Side air bags and curtain air bags do not reduce the risk of injury to out-of-position occu- provide restraint to the lower body. When selling your vehicle, we request that you pants. However, all of the information, cau- inform the buyer about the front air bag system tions and warnings in this manual still ap- The seat belts should be correctly worn and the and guide the buyer to the appropriate sections ply and must be followed. The side air bags driver and passenger seated upright as far as in this Owner’s Manual. and curtain air bags are designed to inflate in practical away from the side air bag. Rear seat higher severity side collisions, although they may passengers should be seated as far away as Safety—Seats, seat belts and supplemental restraint system 1-63 ੬ REVIEW COPY—2008 Quest (van) Owners Manual—USA_English (nna) 06/29/07—debbie ੭
  • 81.
    practical from thedoor finishers and side roof ● Right after inflation, several side air bag ● Work around and on the side air bag rails. The side air bags and curtain air bags inflate and curtain air bag system components and curtain air bag systems should be quickly in order to help protect the front and rear will be hot. Do not touch them; you may done by a NISSAN dealer. Installation outboard occupants. Because of this, the force of severely burn yourself. of electrical equipment should also be the side air bag and curtain air bag inflating can done by a NISSAN dealer. The SRS wir- increase the risk of injury if the occupant is too ● No unauthorized changes should be ing harnesses* should not be modified made to any components or wiring of close to, or is against, these air bag modules or disconnected. Unauthorized electri- the side air bag and curtain air bag during inflation. The side air bag and curtain air cal test equipment and probing devices systems. This is to prevent damage to or bag will deflate quickly after the collision is over. should not be used on the side air bag accidental inflation of the side air bag system. The side air bags and curtain air bags op- and curtain air bag systems. erate only when the ignition switch is in the ● Do not make unauthorized changes to * The SRS wiring harness connectors are ON or START position. your vehicle’s electrical system, sus- yellow and orange for easy identification. After turning the ignition key to the ON pension system or side panel. This When selling your vehicle, we request that you position, the supplemental air bag warning could affect proper operation of the inform the buyer about the side air bag and side air bag and curtain air bag systems. light illuminates. The supplemental air bag curtain air bag systems and guide the buyer to warning light will turn off after about 7 ● Tampering with the side air bags may the appropriate sections in this Owner’s Manual. seconds if the system is operational. result in serious personal injury. For example, do not change the front seats Seat belts with pretensioners (Front WARNING by placing material near the seatbacks seats) or by installing additional trim material, ● Do not place any objects near the seat- such as seat covers, around the side air back of the front seats. Also, do not WARNING bag. place any objects (an umbrella, bag, ● The pretensioners cannot be reused af- etc.) between the front door finisher ter activation. They must be replaced and the front seat. Such objects may together with the retractor and buckle become dangerous projectiles and as a unit. cause injury if a side air bag inflates. 1-64 Safety—Seats, seat belts and supplemental restraint system ੬ REVIEW COPY—2008 Quest (van) Owners Manual—USA_English (nna) 06/29/07—debbie ੭
  • 82.
    ● If thevehicle becomes involved in a The pretensioner system activates in conjunction system may not function properly. They must be frontal collision but a pretensioner is with the front air bag system. The pretensioner checked and repaired. Take your vehicle to the not activated, be sure to have the pre- system also activates with curtain and rollover air nearest NISSAN dealer. tensioner system checked and, if nec- bags in certain types of rollover collisions or near When selling your vehicle, we request that you essary, replaced by your NISSAN rollovers. Working with the seat belt retractor, it inform the buyer about the pretensioner system dealer. helps tighten the seat belt when the vehicle be- and guide the buyer to the appropriate sections comes involved in certain types of collisions, in this Owner’s Manual. ● No unauthorized changes should be helping to restrain front seat occupants. made to any components or wiring of the pretensioner system. This is to pre- The pretensioner is encased with the seat belt vent damage to or accidental activation retractor. These seat belts are used the same way of the pretensioners. Tampering with as conventional seat belts. the pretensioner system may result in serious personal injury. When a pretensioner activates, smoke is re- leased and a loud noise may be heard. This ● Work around and on the pretensioner smoke is not harmful and does not indicate a fire. system should be done by a NISSAN Care should be taken not to inhale it, as it may dealer. Installation of electrical equip- cause irritation and choking. Those with a history ment should also be done by a NISSAN dealer. Unauthorized electrical test of a breathing condition should get fresh air equipment and probing devices should promptly. not be used on the pretensioner system. After pretensioner activation, load limiters allow ● If you need to dispose of a pretensioner the seat belt to release webbing (if necessary) to or scrap the vehicle, contact a NISSAN reduce forces against the chest. dealer. Correct pretensioner disposal If any abnormality occurs in the pretensioner sys- procedures are set forth in the appropri- tem, the supplemental air bag warning ate NISSAN Service Manual. Incorrect light will not come on, will flash intermit- disposal procedures could cause per- sonal injury. tently or will turn on for 7 seconds and remain on after the ignition key has been turned to the ON or START position. In this case, the pretensioner Safety—Seats, seat belts and supplemental restraint system 1-65 ੬ REVIEW COPY—2008 Quest (van) Owners Manual—USA_English (nna) 06/29/07—debbie ੭
  • 83.
    When the ignitionkey is in the ON or START position, the supplemental air bag warning light illuminates for about 7 seconds and then turns off. This means the system is operational. If any of the following conditions occur, the front air bag, side air bag, curtain air bag and preten- sioner systems need servicing: ● The supplemental air bag warning light re- mains on after approximately 7 seconds. ● The supplemental air bag warning light flashes intermittently. ● The supplemental air bag warning light does LRS0318 LRS0100 not come on at all. 1. SRS Front Air Bag Warning Labels SUPPLEMENTAL AIR BAG 2. SRS Front Seat-Mounted Side-Impact Under these conditions, the front air bags, side WARNING LIGHT air bags, curtain air bags or pretensioners may Supplemental Air Bag Warning Label The supplemental air bag warning light, not operate properly. They must be checked and SUPPLEMENTAL AIR BAG displaying in the instrument panel, moni- repaired. Take your vehicle to the nearest WARNING LABELS tors the circuits of the supplemental front-impact NISSAN dealer. Warning labels about the supplemental front- air bag, front seat-mounted side-impact supple- impact air bag, front seat-mounted side-impact mental air bag, roof-mounted curtain side-impact WARNING supplemental air bag, and roof-mounted curtain supplemental air bag and seat belt pretensioner If the supplemental air bag warning light side-impact supplemental air bag systems are systems. The monitored circuits include the Air is on, it could mean that the front air bag, placed in the vehicle as shown in the illustration. bag Control Unit (ACU), crash zone sensor, sat- side air bags, curtain air bag and/or pre- ellite sensors, side air bag modules, curtain air tensioner systems will not operate in an bag modules, pretensioners and all related wir- accident. To help avoid injury to yourself ing. or others, have your vehicle checked by a NISSAN dealer as soon as possible. 1-66 Safety—Seats, seat belts and supplemental restraint system ੬ REVIEW COPY—2008 Quest (van) Owners Manual—USA_English (nna) 06/29/07—debbie ੭
  • 84.
    Repair and replacementprocedure ● The front air bag, side air bag, curtain The front air bags, side air bags, curtain air bags air bag systems, and the pretensioner system should be inspected by a and pretensioners are designed to inflate on a NISSAN dealer if there is any damage to one-time-only basis. As a reminder, unless it is the front end or side portion of the damaged, the supplemental air bag warning light vehicle. remains illuminated after inflation has occurred. Repair and replacement of these supplemental ● If you need to dispose of a supplemen- air bag systems should be done only by a tal air bag or pretensioner or scrap the NISSAN dealer. vehicle, contact a NISSAN dealer. Cor- rect supplemental air bag and preten- When maintenance work is required on the ve- sioner disposal procedures are set forth hicle, the front air bags, side air bags, curtain air in the appropriate NISSAN Service bags, pretensioners and related parts should be Manual. Incorrect disposal procedures pointed out to the person performing the mainte- could cause personal injury. nance. The ignition switch should always be in the LOCK position when working under the hood or inside the vehicle. WARNING ● Once a front air bag, side air bag, or curtain air bag has inflated, the air bag module will not function again and must be replaced. Additionally, if any of the front air bags inflate, the activated pretensioners must also be replaced. The air bag module and pretensioners should be replaced by a NISSAN dealer. The air bag module and pretensioners cannot be repaired. Safety—Seats, seat belts and supplemental restraint system 1-67 ੬ REVIEW COPY—2008 Quest (van) Owners Manual—USA_English (nna) 06/29/07—debbie ੭
  • 85.
    2 Instruments andcontrols Instrument panel. . . . . . . . . . . . . . . . . . . . . . . . . . . . . . . . . . . 2-2 Turn signal switch . . . . . . . . . . . . . . . . . . . . . . . . . . . . . 2-22 Meters and gauges . . . . . . . . . . . . . . . . . . . . . . . . . . . . . . . . 2-3 Fog light switch (if so equipped) . . . . . . . . . . . . . . . . 2-22 Speedometer and odometer . . . . . . . . . . . . . . . . . . . . . 2-4 Cornering light . . . . . . . . . . . . . . . . . . . . . . . . . . . . . . . . 2-23 Tachometer . . . . . . . . . . . . . . . . . . . . . . . . . . . . . . . . . . . . 2-5 Hazard warning flasher switch . . . . . . . . . . . . . . . . . . . . . 2-23 Engine coolant temperature gauge . . . . . . . . . . . . . . . 2-5 Horn . . . . . . . . . . . . . . . . . . . . . . . . . . . . . . . . . . . . . . . . . . . . 2-24 Fuel gauge . . . . . . . . . . . . . . . . . . . . . . . . . . . . . . . . . . . . 2-6 Heated seat (if so equipped). . . . . . . . . . . . . . . . . . . . . . . 2-24 Warning/indicator lights and audible reminders . . . . . . . 2-7 Traction Control System (TCS) off switch Checking bulbs . . . . . . . . . . . . . . . . . . . . . . . . . . . . . . . . 2-7 (if so equipped) . . . . . . . . . . . . . . . . . . . . . . . . . . . . . . . . . . 2-25 Warning lights . . . . . . . . . . . . . . . . . . . . . . . . . . . . . . . . . 2-8 Vehicle Dynamic Control (VDC) off switch Indicator lights . . . . . . . . . . . . . . . . . . . . . . . . . . . . . . . . 2-11 (if so equipped) . . . . . . . . . . . . . . . . . . . . . . . . . . . . . . . . . . 2-25 Audible reminders . . . . . . . . . . . . . . . . . . . . . . . . . . . . . 2-13 Rear sonar system off switch (if so equipped). . . . . . . . 2-25 Security systems . . . . . . . . . . . . . . . . . . . . . . . . . . . . . . . . . 2-14 Power outlet . . . . . . . . . . . . . . . . . . . . . . . . . . . . . . . . . . . . . 2-26 Vehicle security system. . . . . . . . . . . . . . . . . . . . . . . . . 2-14 Storage . . . . . . . . . . . . . . . . . . . . . . . . . . . . . . . . . . . . . . . . . 2-27 NISSAN vehicle immobilizer system . . . . . . . . . . . . . 2-15 Sunglasses holder . . . . . . . . . . . . . . . . . . . . . . . . . . . . . 2-27 Windshield wiper and washer switch . . . . . . . . . . . . . . . 2-16 Instrument panel storage . . . . . . . . . . . . . . . . . . . . . . . 2-27 Switch operation . . . . . . . . . . . . . . . . . . . . . . . . . . . . . . 2-16 Console box (if so equipped) . . . . . . . . . . . . . . . . . . . 2-28 Rear window wiper and washer switch. . . . . . . . . . . . . . 2-17 Center tray table (if so equipped). . . . . . . . . . . . . . . . 2-29 Rear window and outside mirror (if so equipped) Glove box . . . . . . . . . . . . . . . . . . . . . . . . . . . . . . . . . . . . 2-30 defroster switch . . . . . . . . . . . . . . . . . . . . . . . . . . . . . . . . . . 2-18 Map pockets . . . . . . . . . . . . . . . . . . . . . . . . . . . . . . . . . . 2-30 Headlight and turn signal switch. . . . . . . . . . . . . . . . . . . . 2-18 Seatback pockets . . . . . . . . . . . . . . . . . . . . . . . . . . . . . 2-31 Headlight control switch. . . . . . . . . . . . . . . . . . . . . . . . 2-18 Grocery hooks . . . . . . . . . . . . . . . . . . . . . . . . . . . . . . . . 2-31 Daytime running light system (Canada only) . . . . . . 2-20 Cargo net (if so equipped). . . . . . . . . . . . . . . . . . . . . . 2-31 Instrument brightness control . . . . . . . . . . . . . . . . . . . 2-21 Overhead console . . . . . . . . . . . . . . . . . . . . . . . . . . . . . 2-32 ੬ REVIEW COPY—2008 Quest (van) Owners Manual—USA_English (nna) 06/29/07—debbie ੭
  • 86.
    Cup holders .. . . . . . . . . . . . . . . . . . . . . . . . . . . . . . . . . 2-32 Personal lights . . . . . . . . . . . . . . . . . . . . . . . . . . . . . . . . . . . 2-42 Cargo organizer (if so equipped) . . . . . . . . . . . . . . . . 2-34 Map lights . . . . . . . . . . . . . . . . . . . . . . . . . . . . . . . . . . . . . . . 2-43 3rd row armrest bin . . . . . . . . . . . . . . . . . . . . . . . . . . . . 2-35 Console light. . . . . . . . . . . . . . . . . . . . . . . . . . . . . . . . . . 2-44 Cargo area storage bin. . . . . . . . . . . . . . . . . . . . . . . . . 2-35 HomeLinkா universal transceiver (if so equipped). . . . . 2-44 Garment hook. . . . . . . . . . . . . . . . . . . . . . . . . . . . . . . . . 2-35 Programming HomeLinkா. . . . . . . . . . . . . . . . . . . . . . . 2-45 Roof rack (if so equipped) . . . . . . . . . . . . . . . . . . . . . . 2-36 Programming HomeLinkா for Canadian Windows . . . . . . . . . . . . . . . . . . . . . . . . . . . . . . . . . . . . . . . . 2-36 customers . . . . . . . . . . . . . . . . . . . . . . . . . . . . . . . . . . . . 2-46 Power windows . . . . . . . . . . . . . . . . . . . . . . . . . . . . . . . 2-36 Operating the HomeLinkா universal Power vent windows (if so equipped) . . . . . . . . . . . . 2-38 transceiver. . . . . . . . . . . . . . . . . . . . . . . . . . . . . . . . . . . . 2-46 Manual vent windows (if so equipped) . . . . . . . . . . . 2-39 Programming trouble-diagnosis . . . . . . . . . . . . . . . . . 2-46 SkyView™ glass-paneled roof (if so equipped) . . . . . . . 2-39 Clearing the programmed information . . . . . . . . . . . . 2-47 Moonroof (if so equipped) . . . . . . . . . . . . . . . . . . . . . . . . . 2-40 Reprogramming a single HomeLinkா button . . . . . . 2-47 Automatic moonroof . . . . . . . . . . . . . . . . . . . . . . . . . . . 2-40 If your vehicle is stolen . . . . . . . . . . . . . . . . . . . . . . . . . 2-47 Lights on demand switch . . . . . . . . . . . . . . . . . . . . . . . . . . 2-41 ੬ REVIEW COPY—2008 Quest (van) Owners Manual—USA_English (nna) 06/29/07—debbie ੭
  • 87.
    INSTRUMENT PANEL 1. Ventilators (P. 4-30) 2. Headlight/fog light (if so equipped)/turn signal switch (P. 2-18) 3. Steering wheel switch for audio control/Bluetoothா hands-free phone system (if so equipped) (P. 4-62) 4. Driver supplemental air bag/horn (P. 1-52, P. 2-24) 5. Meters and gauges (P. 2-3) 6. Cruise control main/set switches (P. 5-13) 7. Windshield wiper/washer switch and rear window wiper/washer switch (P. 2-16, 2-17) 8. Display screen/Navigation system* (P. 4-2, P. 4-7, P. 4-17) 9. Front passenger supplemental air bag (P. 1-52) 10. Glove box (P. 2-30) 11. Front passenger air bag status light (P. 1-60) 12. Hazard warning flasher switch (P. 2-23) 13. Climate controls (P. 4-31, 4-40) 14. Audio system controls (P. 4-43) 15. Display screen/Navigation system* controls (P. 4-2, P. 4-7, P. 4-17) LIC0928 16. Power outlets (P. 2-26) 2-2 Instruments and controls ੬ REVIEW COPY—2008 Quest (van) Owners Manual—USA_English (nna) 06/29/07—debbie ੭
  • 88.
    METERS AND GAUGES 17. Shift selector lever (P. 5-8) 18. Ignition switch (P. 5-6) 19. Tilt steering wheel control (P. 3-21) 20. Rear sonar system off switch (if so equipped) (P. 2-25) 21. Vehicle Dynamic Control (VDC) off switch (if so equipped) or Traction Control System (TCS) off switch (if so equipped) (P. 2-25, P. 2-25) 22. Lights on demand switch (P. 2-41) *: Refer to the separate Navigation System Own- er’s Manual (if so equipped). See the page number indicated in paren- theses for operating details. LIC0929 1. Tachometer 2. Warning/indicator lights 3. Speedometer 4. Engine coolant temperature gauge 5. Fuel gauge 6. Odometer/Twin trip odometer Instruments and controls 2-3 ੬ REVIEW COPY—2008 Quest (van) Owners Manual—USA_English (nna) 06/29/07—debbie ੭
  • 89.
    The twin tripodometer records the distance of individual trips. LIC0930 LIC0953 1. Speedometer Changing the display: 2. Odometer Pushing the change button changes the display 3. Change button as follows: SPEEDOMETER AND ODOMETER Trip → Trip → Trip Speedometer Resetting the trip odometer: The speedometer indicates vehicle speed. Pushing the change button for more than 1 sec- ond resets the trip odometer to zero. Odometer/Twin trip odometer Elapsed time, driving distance and average The odometer/twin trip odometer is displayed speed information is also available. Refer to when the ignition switch is in the ON position. “Control panel buttons” in the “Display screen, heater, air conditioner, audio and phone systems” The odometer records the total distance the ve- section later in this manual. hicle has been driven. 2-4 Instruments and controls ੬ REVIEW COPY—2008 Quest (van) Owners Manual—USA_English (nna) 06/29/07—debbie ੭
  • 90.
    CAUTION If the gauge indicates coolant tempera- ture near the hot (H) end of the normal range, reduce vehicle speed to decrease temperature. If the gauge is over the nor- mal range, stop the vehicle as soon as safely possible. If the engine is over- heated, continued operation of the ve- hicle may seriously damage the engine. See “If your vehicle overheats” in the “In case of emergency” section for immediate action required. LIC0931 LIC0932 TACHOMETER ENGINE COOLANT TEMPERATURE The tachometer indicates engine speed in revo- GAUGE lutions per minute (rpm). Do not rev the engine The gauge indicates the engine coolant tempera- into the red zone ᭺. 1 ture. The engine coolant temperature is within the normal range ᭺ when the gauge needle points 1 CAUTION within the zone shown in the illustration. When engine speed approaches the red The engine coolant temperature varies with the zone, shift to a higher gear or reduce en- gine speed. Operating the engine in the outside air temperature and driving conditions. red zone may cause serious engine damage. Instruments and controls 2-5 ੬ REVIEW COPY—2008 Quest (van) Owners Manual—USA_English (nna) 06/29/07—debbie ੭
  • 91.
    The indicates that the fuel-filler door is located on the driver’s side of the vehicle. CAUTION ● If the vehicle runs out of fuel, the Malfunction Indicator Light (MIL) may come on. Refuel as soon as possible. After a few driving trips, the light should turn off. If the light remains on after a few driving trips, have the vehicle inspected by a NISSAN dealer. LIC0933 ● For additional information, see “Mal- FUEL GAUGE function Indicator Light (MIL)” later in this section. The gauge indicates the approximate fuel level in the tank. The gauge may move slightly during braking, turning, acceleration, or going up or down hills. The gauge needle returns to E (Empty) after the ignition key is turned to OFF. The low fuel warning light comes on when the amount of fuel in the tank is getting low. Refill the fuel tank before the gauge regis- ters E (Empty). 2-6 Instruments and controls ੬ REVIEW COPY—2008 Quest (van) Owners Manual—USA_English (nna) 06/29/07—debbie ੭
  • 92.
    WARNING/INDICATOR LIGHTS AND AUDIBLEREMINDERS or Anti-lock Braking System (ABS) Seat belt warning light and chime Front passenger air bag status light warning light or Brake warning light Supplemental air bag warning light Security indicator light Charge warning light Automatic transmission position indicator light Slip indicator light Door open warning light Cruise main switch indicator light Traction control system off indicator light (if so equipped) Engine oil pressure warning light Cruise set switch indicator light Turn signal/hazard indicator lights Low fuel warning light High beam indicator light (Blue) Vehicle dynamic control off indicator light (if so equipped) Low tire pressure warning light Malfunction indicator light (MIL) Low windshield washer fluid warning light Overdrive off indicator light CHECKING BULBS The following lights come on briefly and then go If any light fails to come on, it may indicate off: a burned-out bulb or an open circuit in the With all doors closed, apply the parking brake electrical system. Have the system repaired and turn the ignition key to the ON position or , , , , , , promptly. without starting the engine. The following lights will come on: , or , , , Instruments and controls 2-7 ੬ REVIEW COPY—2008 Quest (van) Owners Manual—USA_English (nna) 06/29/07—debbie ੭
  • 93.
    WARNING LIGHTS Low brake fluid warning light ● If the brake fluid level is below the or Anti-lock Braking When the ignition key is in the ON position, the MINIMUM or MIN mark on the brake System (ABS) light warns of a low brake fluid level. If the light fluid reservoir, do not drive until the comes on while the engine is running with the brake system has been checked at a warning light NISSAN dealer. parking brake not applied, stop the vehicle and When the ignition switch is in the ON position, perform the following: the Anti-lock Braking System (ABS) warning light Charge warning light illuminates and then turns off. This indicates the 1. Check the brake fluid level. Add brake fluid ABS is operational. as necessary. See “Brake fluid” in the “Main- If this light comes on while the engine is running, tenance and do-it-yourself” section of this it may indicate the charging system is not func- If the ABS warning light illuminates while the manual. tioning properly. Turn the engine off and check engine is running, or while driving, it may indicate the generator belt. If the belt is loose, broken, the ABS is not functioning properly. Have the 2. If the brake fluid level is correct, have the missing, or if the light remains on, see a NISSAN system checked by a NISSAN dealer. warning system checked by a NISSAN dealer immediately. dealer. If an ABS malfunction occurs, the anti-lock func- CAUTION tion is turned off. The brake system then operates WARNING normally, but without anti-lock assistance. See Do not continue driving if the generator ЉBrake systemЉ in the ЉStarting and drivingЉ sec- ● Your brake system may not be working belt is loose, broken or missing. properly if the warning light is on. Driv- tion. ing could be dangerous. If you judge it Door open warning light or Brake warning light to be safe, drive carefully to the nearest service station for repairs. Otherwise, This light comes on when any of the doors are not have your vehicle towed because driv- closed securely while the ignition key is in the ON This light functions for both the parking brake and ing it could be dangerous. position. the foot brake systems. ● Pressing the brake pedal with the en- Parking brake indicator gine stopped and/or a low brake fluid When the ignition key is in the ON position, the level may increase your stopping dis- light comes on when the parking brake is applied. tance and braking will require greater pedal effort as well as pedal travel. 2-8 Instruments and controls ੬ REVIEW COPY—2008 Quest (van) Owners Manual—USA_English (nna) 06/29/07—debbie ੭
  • 94.
    Refuel as soonas it is convenient, preferably The low tire pressure warning light does not Engine oil pressure warning before the fuel gauge reaches E (Empty). There automatically turn off when the tire pressure is light will be a small reserve of fuel in the tank adjusted. After the tire is inflated to the recom- This light warns of low engine oil pressure. If the when the fuel gauge needle reaches E mended pressure, the vehicle must be driven at light flickers or comes on during normal driving, (Empty). speeds above 16 MPH (25 km/h) to activate the pull off the road in a safe area, stop the engine TPMS and turn off the low tire pressure warning Low tire pressure warning light. Use a tire pressure gauge to check the tire immediately and call a NISSAN dealer or other authorized repair shop. light pressure. The engine oil pressure warning light is not Your vehicle is equipped with a Tire Pressure For additional information, see “Tire Pressure designed to indicate a low oil level. Use the Monitoring System (TPMS) that monitors the tire Monitoring System (TPMS)” in the “Starting and pressure of all tires except the spare. driving” section and in the “In case of emergency” dipstick to check the oil level. See “Engine oil” in section. the “Maintenance and do-it-yourself” section of The low tire pressure warning light warns of low this manual. tire pressure or indicates that the TPMS is not TPMS malfunction: functioning properly. If the TPMS is not functioning properly, the low CAUTION After the ignition switch is placed in the ON tire pressure warning light will flash for approxi- Running the engine with the engine oil position, this light illuminates for about 1 second mately 1 minute when the ignition switch is pressure warning light on could cause se- and turns off. placed in the ON position. The light will remain on rious damage to the engine almost imme- after the 1 minute. Have the system checked by a Low tire pressure warning: diately. Such damage is not covered by NISSAN dealer. warranty. Turn off the engine as soon as it If the vehicle is being driven with low tire pres- For additional information, see “Tire Pressure is safe to do so. sure, the warning light will illuminate. If you select Monitoring System (TPMS)” in the “Starting and the tire pressure information in the display (if so Low fuel warning light driving” section. equipped), the LOW PRESSURE warning mes- sage will be displayed. The tire pressure for each tire will also be displayed. WARNING This light comes on when the fuel level in the fuel tank is getting low. The low fuel warning chime When the low tire pressure warning light illumi- ● If the light does not illuminate with the will also sound under certain conditions. See nates, you should stop and adjust the tire pres- ignition switch in the ON position, have “Low fuel warning chime” later in this section. sure to the recommended COLD tire pressure the vehicle checked by a NISSAN dealer shown on the Tire and Loading Information label. as soon as possible. Instruments and controls 2-9 ੬ REVIEW COPY—2008 Quest (van) Owners Manual—USA_English (nna) 06/29/07—cathy ੭
  • 95.
    ● If thelight illuminates while driving, ● Replacing tires with those not originally is fastened. At the same time, the chime sounds avoid sudden steering maneuvers or specified by NISSAN could affect the for about 6 seconds unless the driver’s seat belt abrupt braking, reduce vehicle speed, proper operation of the TPMS. is securely fastened. pull off the road to a safe location and The seat belt warning light may also illuminate if stop the vehicle as soon as possible. CAUTION the front passenger’s seat belt is not fastened Driving with under-inflated tires may when the front passenger’s seat is occupied . For permanently damage the tires and in- ● The TPMS is not a substitute for the regular tire pressure check. Be sure to 7 seconds after the ignition switch is in the ON crease the likelihood of tire failure. Se- check the tire pressure regularly. position, the system does not activate the warn- rious vehicle damage could occur and may lead to an accident and could re- ing light for the front passenger. ● If the vehicle is being driven at speeds sult in serious personal injury. Check of less than 16 MPH (25 km/h), the Refer to “Seat belts” in the “Safety—Seats, seat the tire pressure for all four tires. Adjust TPMS may not operate correctly. belts and supplemental restraint system” section the tire pressure to the recommended for precautions on seat belt usage. COLD tire pressure shown on the Tire ● Be sure to install the specified size of and Loading Information label to turn tires to the 4 wheels correctly. Supplemental air bag warning the low tire pressure warning light OFF. light If the light still comes on while driving Low windshield washer fluid after adjusting the tire pressure, a tire warning light When the ignition key is in the ON or START may be flat. If you have a flat tire, re- position, the supplemental air bag warning light This light comes on when the windshield washer place it with a spare tire as soon as illuminates for about 7 seconds and then turns fluid is at a low level. Add windshield washer fluid possible. off. This means the system is operational. as necessary. See “Window washer fluid” in the ● When a spare tire is mounted or a wheel “Maintenance and do-it-yourself” section of this If any of the following conditions occur, the front is replaced, tire pressure will not be manual. air bag, side air bag, curtain air bag and preten- indicated, the TPMS will not function sioner systems need servicing and your vehicle and the low tire pressure warning light Seat belt warning light and must be taken to a NISSAN dealer: will flash for approximately 1 minute. chime The light will remain on after 1 minute. ● The supplemental air bag warning light re- The light and chime remind you to fasten your mains on after approximately 7 seconds. Contact your NISSAN dealer as soon as seat belts. The light illuminates whenever the possible for tire replacement and/or ignition key is turned to the ON or START position ● The supplemental air bag warning light system resetting. and remains illuminated until the driver’s seat belt flashes intermittently. 2-10 Instruments and controls ੬ REVIEW COPY—2008 Quest (van) Owners Manual—USA_English (nna) 06/29/07—cathy ੭
  • 96.
    ● The supplementalair bag warning light does Cruise main switch indicator High beam indicator light not come on at all. light (blue) Unless checked and repaired, the supplemental restraint systems (air bag system) and/or the The light comes on when the cruise control main This blue light comes on when the headlight high pretensioners may not function properly. For ad- switch is pushed. The light goes out when the beams are on and goes out when the low beams ditional details see “Supplemental restraint sys- main switch is pushed again. When the cruise are selected. tem” in the “Safety—Seats, seat belts and main switch indicator light comes on, the cruise The high beam indicator light also comes on supplemental restraint system” section of this control system is operational. when the passing signal is activated. manual. Cruise set switch indicator Malfunction Indicator Light light (MIL) WARNING If the supplemental air bag warning light The light comes on while the vehicle speed is If this indicator light comes on steady or blinks is on, it could mean that the front air bags, controlled by the cruise control system. If the light while the engine is running, it may indicate a side air bags, curtain air bags and/or pre- blinks while the engine is running, it may indicate potential emission control malfunction. tensioners will not operate in an accident. the cruise control system is not functioning prop- To help avoid injury to yourself or others, erly. Have the system checked by a NISSAN The Malfunction Indicator Light may also come have your vehicle checked by a NISSAN dealer. on steady if the fuel-filler cap is loose or missing, dealer as soon as possible. or if the vehicle runs out of fuel. Check to make Front passenger air bag sure the fuel-filler cap is installed and closed INDICATOR LIGHTS status light tightly, and that the vehicle has at least 3 gallons (11.4 liters) of fuel in the fuel tank. Automatic transmission The front passenger air bag status light ( ) will be lit and the passenger front air bag will be After a few driving trips, the light should position indicator light turn off if no other potential emission control OFF depending on how the front passenger seat When the ignition key is turned to the ON posi- is being used. system malfunction exists. tion, the indicator in the tachometer shows the If this indicator light comes on steady for 20 For front passenger air bag status light operation, automatic transmission selector lever position. seconds and then blinks for 10 seconds when see “Front passenger air bag and status light” in See “Driving the vehicle” in the “Starting and the engine is not running, it indicates that the the “Safety — Seats, seat belts and supplemental driving” section of this manual. vehicle is not ready for an emission control sys- restraint system” section of this manual. tem inspection/maintenance test. See “Readi- Instruments and controls 2-11 ੬ REVIEW COPY—2008 Quest (van) Owners Manual—USA_English (nna) 06/29/07—debbie ੭
  • 97.
    ness for inspection/maintenance(I/M) test” in the – if possible, reduce the amount of cargo Security indicator light “Technical and consumer information” section of being hauled or towed. this manual. This light blinks whenever the ignition switch is in The Malfunction Indicator Light may stop blinking Operation and come on steady. Have the vehicle inspected the LOCK, OFF or ACC position. This function by a NISSAN dealer. You do not need to have indicates the security system equipped on the The Malfunction Indicator Light will come on in vehicle is operational. your vehicle towed to the dealer. one of two ways: For additional information, see “Security sys- ● Malfunction Indicator Light on steady — An CAUTION tems” later in this section. emission control system malfunction has Continued vehicle operation without hav- been detected. Check the fuel-filler cap. If ing the emission control system checked Slip indicator light the fuel-filler cap is loose or missing, tighten and repaired as necessary could lead to or install the cap and continue to drive the poor driveability, reduced fuel economy, This indicator light will blink when the traction vehicle. The light should turn off after and possible damage to the emission con- control system is limiting wheel spin. Slippery a few driving trips. If the light does not trol system. road conditions may exist if the slip indicator turn off after a few driving trips, have the blinks on. If this happens, adjust your driving vehicle inspected by a NISSAN dealer. You Overdrive off indicator light accordingly. do not need to have your vehicle towed to The slip indicator light also comes on when you the dealer. This light comes on when the overdrive function turn the ignition key to the ON position. The light ● Malfunction Indicator Light blinking — An is OFF. will turn off after about 2 seconds if the system is engine misfire has been detected which may The automatic transmission overdrive function is operational. If the light does not come on or does damage the emission control system. To re- controlled by the overdrive switch. not go off, have the traction control system duce or avoid emission control system dam- checked by a NISSAN dealer. age: See “Driving the vehicle” in the “Starting and driving” section of this manual. Traction Control System off – do not drive at speeds above 45 MPH indicator light (if so equipped) (72 km/h). This indicator light comes on when the traction – avoid hard acceleration or deceleration. control off switch is pushed to OFF. This indi- cates the Traction Control System is not operat- – avoid steep uphill grades. ing. 2-12 Instruments and controls ੬ REVIEW COPY—2008 Quest (van) Owners Manual—USA_English (nna) 06/29/07—debbie ੭
  • 98.
    Push the tractioncontrol off switch again or re- Vehicle Dynamic Control off AUDIBLE REMINDERS start the engine and the system will operate nor- indicator light (if so equipped) Brake pad wear warning mally. See “Traction Control System (TCS)” in the “Starting and driving” section of this manual. This indicator light comes on when the Vehicle The disc brake pads have audible wear warnings. Dynamic Control off switch is pushed to OFF. When a disc brake pad requires replacement, it The traction control light also comes on when you This indicates the Vehicle Dynamic Control sys- makes a high pitched scraping sound when the turn the ignition key to the ON position. The light tem is not operating. vehicle is in motion, whether or not the brake will turn off after about 2 seconds if the Traction pedal is depressed. Have the brakes checked as Control System (TCS) is operational. If the light Push the Vehicle Dynamic Control off switch soon as possible if the warning sound is heard. again or restart the engine and the system will stays on or comes on along with the SLIP indica- tor light while you are driving, have the Traction operate normally. See “Vehicle Dynamic Control Key reminder chime (VDC) system” in the “Starting and driving” sec- Control System checked by a NISSAN dealer. tion of this manual. A chime sounds if the driver’s door is opened While the Traction Control System is operating, while the key is left in the ignition switch. Remove The Vehicle Dynamic Control light also comes on the key and take it with you when leaving the you might feel slight vibration or hear the system when you turn the ignition key to the ON position. vehicle. working when starting the vehicle or accelerat- The light will turn off after about 2 seconds if the ing, but this is normal. system is operational. If the light stays on or Light reminder chime comes on along with the SLIP indicator light Turn signal/hazard indicator while you are driving, have the Vehicle Dynamic With the ignition switch in the OFF position, a lights chime sounds when the driver’s door is opened if Control system checked by a NISSAN dealer. the headlights or parking lights are on. The appropriate light flashes when the turn signal While the Vehicle Dynamic Control system is Turn the headlight control switch off before leav- switch is activated. operating, you might feel slight vibration or hear ing the vehicle. the system working when starting the vehicle or Both lights flash when the hazard switch is turned accelerating, but this is normal. on. Instruments and controls 2-13 ੬ REVIEW COPY—2008 Quest (van) Owners Manual—USA_English (nna) 06/29/07—debbie ੭
  • 99.
    SECURITY SYSTEMS brief period. Never leave your keys in the ignition, twice and the horn beeps once as a re- and always lock the vehicle when unattended. Be minder that the doors are already locked. aware of your surroundings, and park in secure, The horn may or may not beep. For vehicles well-lit areas whenever possible. with monochrome screen, refer to “Silenc- Many devices offering additional protection, such ing the horn beep feature” in the “Pre-driving as component locks, identification markers, and checks and adjustments” section later in this tracking systems, are available at auto supply manual. For vehicles with color screen, refer stores and specialty shops. Your NISSAN dealer to “Vehicle electronic systems” in the “Dis- may also offer such equipment. Check with your play screen, heater, air conditioner, audio insurance company to see if you may be eligible and phone systems” section later in this for discounts for various theft protection features. manual. How to arm the vehicle security 4. Confirm that the indicator light comes system on. The light stays on for about 30 WIC0834 seconds. The vehicle security system is now Your vehicle has two types of security systems: 1. Close all windows. (The system can be pre-armed. After about 30 seconds the ve- ● Vehicle security system armed even if the windows are open.) hicle security system automatically shifts 2. Remove the key from the ignition switch. into the armed phase. The light begins ● NISSAN Vehicle Immobilizer System to flash once every 3 seconds. If, during the 3. Close all doors. Lock all doors. The doors 30-second pre-arm time period, the driver’s VEHICLE SECURITY SYSTEM can be locked with the key, power door lock door is unlocked by the key or the keyfob, or The vehicle security system provides visual and switch or with the keyfob. the ignition key is turned to ACC or ON, the audible alarm signals if someone opens the doors system will not arm. Keyfob operation: when the system is armed. It is not, however, a ● If the key is turned slowly when locking motion detection type system that activates when ● Push the button on the keyfob. the driver’s door, the system may not a vehicle is moved or when a vibration occurs. All doors lock. The hazard lights flash arm. Furthermore, if the key is turned twice and the horn beeps once to indicate The system helps deter vehicle theft but cannot beyond the vertical position toward the all doors are locked. prevent it, nor can it prevent the theft of interior or unlock position to remove the key, the exterior vehicle components in all situations. Al- ● When the button is pushed with system may be disarmed when the key ways secure your vehicle even if parking for a all doors locked, the hazard lights flash is removed. If the indicator light fails to 2-14 Instruments and controls ੬ REVIEW COPY—2008 Quest (van) Owners Manual—USA_English (nna) 06/29/07—debbie ੭
  • 100.
    glow for 30seconds, unlock the driv- How to stop an activated alarm If the no start condition re-occurs, NISSAN rec- er’s door once and lock it again. ommends placing the registered key on a sepa- The alarm stops only by unlocking the driver’s rate key ring to avoid interference from other ● Even when the driver and/or passen- door with the key, or by pressing the but- devices. gers are in the vehicle, the system will ton on the keyfob. arm with all doors closed and locked Statement related to Section 15 of FCC with the ignition key in the OFF posi- NISSAN VEHICLE IMMOBILIZER Rules for NISSAN Vehicle Immobilizer Sys- tion. SYSTEM tem (CONT ASSY — IMMOBILIZER, ANT ASSY — IMMOBILIZER) Vehicle security system activation The NISSAN Vehicle Immobilizer System will not This device complies with part 15 of the allow the engine to start without the use of a The vehicle security system will give the following FCC Rules and RSS-210 of Industry registered key. Canada. Operation is subject to the follow- alarm: If the engine fails to start using a registered key ing two conditions; ● The headlights blink and the horn sounds (for example, when interference is caused by intermittently. (1) This device may not cause harmful in- another registered key, an automated toll road terference, and (2) this device must accept ● The alarm automatically turns off after ap- device or automatic payment device on the key any interference received, including inter- proximately 50 seconds. However, the alarm ring), restart the engine using the following pro- ference that may cause undesired opera- reactivates if the vehicle is tampered with cedures: tion of the device. again. The alarm can be shut off by unlocking 1. Leave the ignition switch in the ON position CHANGES OR MODIFICATIONS NOT EX- the driver’s door with the key, or by pressing for approximately 5 seconds. PRESSLY APPROVED BY THE PARTY RE- the button on the keyfob. SPONSIBLE FOR COMPLIANCE COULD 2. Turn the ignition switch to the OFF or LOCK VOID THE USER’S AUTHORITY TO OPER- The alarm is activated by: position, and wait approximately 10 sec- ATE THE EQUIPMENT. ● opening a door without using the key or onds. keyfob (even if the door is unlocked by using 3. Repeat steps 1 and 2. the inside lock knob or the power door lock switch). 4. Restart the engine while holding the device (which may have caused the interference) separate from the registered key. Instruments and controls 2-15 ੬ REVIEW COPY—2008 Quest (van) Owners Manual—USA_English (nna) 06/29/07—debbie ੭
  • 101.
    WINDSHIELD WIPER ANDWASHER SWITCH NOTE: You can turn on or turn off the driving speed dependent intermittent wiper func- tion for vehicles with color display screen. Refer to “Vehicle electronic systems” in the “Display screen, heater, air conditioner, au- dio and phone systems” section later in this manual. ᭺ 2 Low (LO) — continuous low speed operation ᭺ 3 High (HI) — continuous high speed opera- tion Push the lever up ᭺ to have one sweep opera- 4 LIC0474 WIC0843 tion (MIST) of the wiper. Security indicator light SWITCH OPERATION Pull the lever toward you ᭺ to operate the 5 washer. The wiper will also operate several times. The security indicator light blinks whenever the The windshield wiper and washer operates when ignition switch is in the LOCK, OFF or ACC the ignition switch is in the ON position. WARNING position. This function indicates the NISSAN Ve- hicle Immobilizer System is operational. Push the lever down to operate the wiper at the In freezing temperatures the washer solu- following speed: tion may freeze on the windshield and If the NISSAN Vehicle Immobilizer System is mal- obscure your vision which may lead to an functioning, the light will remain on while the ᭺ 1 Intermittent (INT) — intermittent operation accident. Warm the windshield with the ignition key is in the ON position. can be adjusted by turning the knob toward defroster before you wash the windshield. If the light still remains on and/or the en- ᭺ (Slower) or ᭺ (Faster). Also, the inter- A B mittent operation speed varies in accor- gine will not start, see a NISSAN dealer for dance with the vehicle speed. (For example, NISSAN Vehicle Immobilizer System ser- when the vehicle speed is high, the intermit- vice as soon as possible. Please bring all tent operation speed will be faster.) registered keys that you have when visiting your NISSAN dealer for service. 2-16 Instruments and controls ੬ REVIEW COPY—2008 Quest (van) Owners Manual—USA_English (nna) 06/29/07—debbie ੭
  • 102.
    REAR WINDOW WIPERAND WASHER SWITCH CAUTION WARNING ● Do not operate the washer continu- In freezing temperatures the washer solu- ously for more than 30 seconds. tion may freeze on the window and ob- scure your vision. Warm the rear window ● Do not operate the washer if the reser- with the defroster before you wash the voir tank is empty. rear window. ● Do not fill the window washer reservoir tank with washer fluid concentrates at CAUTION full strength. Some methyl alcohol based washer fluid concentrates may ● Do not operate the washer continu- permanently stain the grille if spilled ously for more than 30 seconds. while filling the window washer reser- ● Do not operate the washer if the reser- voir tank. voir tank is empty. ● Pre-mix washer fluid concentrates with WIC0844 ● Do not fill the window washer reservoir water to the manufacturer’s recom- The rear window wiper and washer operate when tank with washer fluid concentrates at mended levels before pouring the fluid the ignition switch is in the ON position. full strength. Some methyl alcohol into the window washer reservoir tank. based washer fluid concentrates may Do not use the window washer reservoir Turn the switch clockwise from the OFF position permanently stain the grille if spilled tank to mix the washer fluid concen- to operate the wiper. while filling the window washer reser- trate and water. ᭺ 1 Intermittent (INT) – intermittent operation voir tank. (not adjustable) ● Pre-mix washer fluid concentrates with water to the manufacturer’s recom- ᭺ 2 ON – continuous low speed operation mended levels before pouring the fluid Push the switch forward ᭺ to operate the 3 into the window washer reservoir tank. washer. The wiper will also operate several times. Do not use the window washer reservoir tank to mix the washer fluid concen- trate and water. Instruments and controls 2-17 ੬ REVIEW COPY—2008 Quest (van) Owners Manual—USA_English (nna) 06/29/07—debbie ੭
  • 103.
    REAR WINDOW ANDOUTSIDE HEADLIGHT AND TURN SIGNAL MIRROR (if so equipped) SWITCH DEFROSTER SWITCH WIC0934 WIC0935 LIC0560 Type A Type B Type A To defrost the rear window glass and outside HEADLIGHT CONTROL SWITCH mirrors (if so equipped), start the engine and push the rear window defroster switch on. The Lighting rear window defroster indicator light comes on. Push the switch again to turn the defroster off. ᭺ 1 When turning the switch to the posi- tion, the front parking, tail, license plate and The rear window defroster automatically turns off instrument panel lights come on. after approximately 15 minutes. ᭺ 2 When turning the switch to the posi- CAUTION tion, the headlights come on and all the other lights remain on. When cleaning the inner side of the rear window, be careful not to scratch or dam- age the rear window defroster. 2-18 Instruments and controls ੬ REVIEW COPY—2008 Quest (van) Owners Manual—USA_English (nna) 06/29/07—debbie ੭
  • 104.
    NOTE: Autolight activation sensitivity and the time delay for autolight shutoff is adjust- able for vehicles with color display screen. See “Vehicle electronic systems” in the “Display screen, heater, air conditioner, au- dio and phone systems” section later in this manual. To turn on the autolight system: 1. Turn the headlight switch to the AUTO posi- tion ᭺. 1 2. Turn the ignition key to ON. LIC0687 LIC0561 3. The autolight system automatically turns the Type B Autolight system (if so equipped) headlights on and off. CAUTION The autolight system allows the headlights to be Initially, if the ignition switch is turned OFF and a Use the headlights with the engine run- set so they turn on and off automatically. The door is opened and left open, the headlights ning to avoid discharging the vehicle autolight system can: remain on for 5 minutes. During that 5 minutes: battery. ● if all doors are closed, the headlights remain ● Turn on the headlights, front parking, tail, license plate and instrument panel lights au- on for 45 seconds, then turn off. tomatically when it is dark. ● if another door is opened, then the 5 minute timer is reset. ● Turn off all the lights when it is light. To turn the autolight system off, turn the switch to ● Keep all the lights on for 45 seconds after the OFF, , or position. you turn the key to OFF and all doors are closed. Instruments and controls 2-19 ੬ REVIEW COPY—2008 Quest (van) Owners Manual—USA_English (nna) 06/29/07—debbie ੭
  • 105.
    After the headlightsautomatically turn off with the headlight switch in the or position, the headlights will illuminate again for 5 minutes if the headlight switch is moved to the OFF position and then turned to the or position. CAUTION Even though the battery saver feature au- tomatically turns off the headlights after a period of time, you should turn the head- light switch to the OFF position when the engine is not running to avoid discharging the vehicle battery. LIC0954 LIC0390 DAYTIME RUNNING LIGHT SYSTEM Be sure you do not put anything on top of Headlight beam select (Canada only) the autolight sensor ᭺ located on top of 1 the instrument panel. The autolight sensor ᭺ 1 To select the high beam function, push the The headlights automatically illuminate at a re- controls the autolight; if it is covered, the lever forward. The high beam lights come on duced intensity when the engine is started with autolight sensor reacts as if it is dark out and the light illuminates. the parking brake released. The daytime running and the headlights will illuminate. If this lights operate with the headlight switch in the occurs while parked with the engine off ᭺ 2 Pull the lever back to select the low beam. OFF position or in the position. Turn the and the key in the ON position, your vehi- ᭺ 3 Pulling and releasing the lever flashes the headlight switch to the position for full cle’s battery could become discharged. headlight high beams on and off. illumination when driving at night. Battery saver system If the parking brake is applied before the engine is started, the daytime running lights do not illumi- If the ignition switch is turned OFF while the nate. The daytime running lights illuminate when headlight switch is in the or posi- the parking brake is released. The daytime run- tion, the headlights will turn off after 5 minutes. ning lights will remain on until the ignition switch is turned off. 2-20 Instruments and controls ੬ REVIEW COPY—2008 Quest (van) Owners Manual—USA_English (nna) 06/29/07—debbie ੭
  • 106.
    The instrument brightnesscontrol will not adjust WARNING the brightness when the headlights or parking When the daytime running light system is lights are off. active, tail lights on your vehicle are not on. It is necessary at dusk to turn on your headlights. Failure to do so could cause an accident injuring yourself and others. LIC0936 INSTRUMENT BRIGHTNESS CONTROL The instrument brightness control operates when the headlight control switch is in the , or AUTO position (with auto- lights activated). Turn the control ᭺ to adjust the brightness of the 1 instrument panel lights when driving at night. The brightness indicator ᭺ will illuminate in the 2 odometer when the control is turned. The indica- tor will turn off a few seconds after the control is released. Instruments and controls 2-21 ੬ REVIEW COPY—2008 Quest (van) Owners Manual—USA_English (nna) 06/29/07—debbie ੭
  • 107.
    The headlights mustbe on and the low beams selected for the fog lights to operate. The fog lights automatically turn off when the high beam headlights are selected. LIC0563 LIC0393 TURN SIGNAL SWITCH FOG LIGHT SWITCH (if so equipped) Turn signal To turn the fog lights on, turn the headlight switch to the position, then turn the fog light ᭺ 1 Move the lever up or down to signal the switch to the position. turning direction. When the turn is com- pleted, the turn signals cancel automatically. To turn the fog lights on with the headlight switch in the AUTO position (if so equipped), the head- Lane change signal lights must be on, then turn the fog light switch to the position. ᭺ 2 To signal a lane change, move the lever up or down to the point where the indicator light To turn the fog lights off, turn the fog light switch begins to flash, but the lever does not latch. to the OFF position. 2-22 Instruments and controls ੬ REVIEW COPY—2008 Quest (van) Owners Manual—USA_English (nna) 06/29/07—debbie ੭
  • 108.
    HAZARD WARNING FLASHER SWITCH The flashers will operate with the ignition switch in any position. Some state laws may prohibit the use of the hazard warning flasher switch while driving. AIC0102 LIC0394 CORNERING LIGHT Push the switch on to warn other drivers when you must stop or park under emergency condi- The cornering light provides additional illumina- tions. All turn signal lights flash. tion toward the turning direction. The cornering light will illuminate on the turning direction side WARNING when a turn is signaled with the headlights on. ● If stopping for an emergency, be sure to move the vehicle well off the road. ● Do not use the hazard warning flashers while moving on the highway unless unusual circumstances force you to drive so slowly that your vehicle might become a hazard to other traffic. ● Turn signals do not work when the haz- ard warning flasher lights are on. Instruments and controls 2-23 ੬ REVIEW COPY—2008 Quest (van) Owners Manual—USA_English (nna) 06/29/07—debbie ੭
  • 109.
    HORN HEATED SEAT (if so equipped) 3. When the seat is warmed or before you leave the vehicle, be sure to turn the switch off. CAUTION ● Do not use the seat heater for extended periods or when no one is using the seat. ● Do not put anything on the seat which insulates heat, such as a blanket, cush- ion, seat cover, etc. Otherwise, the seat may become overheated. ● Do not place anything hard or heavy on the seat or pierce it with a pin or similar object. This may result in damage to the LIC0395 WIC0905 heater. To sound the horn, push the center pad area of The front seats are warmed by built-in heaters (if ● Any liquid spilled on the heated seat the steering wheel. so equipped). The switches are located at the should be removed immediately with a sides of the seats. dry cloth. WARNING ● When cleaning the seat, never use Do not disassemble the horn. Doing so 1. Start the engine. gasoline, benzine, thinner, or any simi- could affect proper operation of the lar materials. 2. Push the (low) or (high) posi- supplemental front air bag system. Tam- tion of the switch, as desired, depending on ● If any abnormalities are found or the pering with the supplemental front air bag system may result in serious personal the temperature. The indicator light in the heated seat does not operate, turn the injury. switch will illuminate. switch off and have the system checked The heater is controlled by a thermostat, by your NISSAN dealer. automatically turning the heater on and off. ● The battery could run down if the seat The indicator light will remain on as long as heater is operated while the engine is the switch is on. not running. 2-24 Instruments and controls ੬ REVIEW COPY—2008 Quest (van) Owners Manual—USA_English (nna) 06/29/07—debbie ੭
  • 110.
    TRACTION CONTROL SYSTEM(TCS) VEHICLE DYNAMIC CONTROL (VDC) REAR SONAR SYSTEM OFF SWITCH OFF SWITCH (if so equipped) OFF SWITCH (if so equipped) (if so equipped) LIC0451 WIC0534 LIC0471 The vehicle should be driven with the Traction The vehicle should be driven with the Vehicle WARNING Control System (TCS) on for most driving condi- Dynamic Control (VDC) system on for most driv- tions. ing conditions. The rear sonar system is a convenience but it is not a substitute for proper back- If the vehicle is stuck in mud or snow, the TCS If the vehicle is stuck in mud or snow, the VDC ing. Always turn and check that it is safe to reduces the engine output to reduce wheel spin. system reduces the engine output to reduce do so before backing up. Always back up The engine speed will be reduced even if the wheel spin. The engine speed will be reduced slowly. accelerator is depressed to the floor. If maximum even if the accelerator is depressed to the floor. If engine power is needed to free a stuck vehicle, maximum engine power is needed to free a stuck The rear sonar system (if so equipped) is active turn the TCS off. vehicle, turn the VDC system off. when the ignition is in the ON position and the shift selector lever is in R (Reverse). To turn off the TCS, push the TCS OFF switch. To turn off the VDC system, push the VDC OFF The indicator will come on. switch. The indicator will come on. When sensors detect obstacles within 6 ft (1.8 m) of the rear bumper, a beeping tone is emitted. Push the TCS OFF switch again or restart the en- Push the VDC OFF switch again or restart the engine gine to turn ON the system. See “Traction Control to turn on the system. See “Vehicle Dynamic Control System (TCS)” in the “Starting and driving” section. (VDC) system” in the “Starting and driving” section. Instruments and controls 2-25 ੬ REVIEW COPY—2008 Quest (van) Owners Manual—USA_English (nna) 06/29/07—debbie ੭
  • 111.
    POWER OUTLET The rearsonar system can be disabled by push- ing the OFF switch. When the system is disabled, the indicator light on the switch will illuminate. The system will automatically reset the next time the ignition switch is turned on. See “Rear sonar system” in the “Starting and driving” section. LIC0937 WIC0938 1st row 2nd row The power outlets are for powering electrical CAUTION accessories such as cellular telephones. ● The outlet and plug may be hot during The power outlets located in the 1st and 2nd or immediately after use. rows are powered only when the ignition key is in the ACC or ON position. ● This power outlet is not designed for use with a cigarette lighter unit. The power outlet located in the cargo area is powered directly by the vehicle’s battery. ● Do not use with accessories that ex- ceed a 12 volt, 120W (10A) power draw. Open the cap to use a power outlet. Do not use double adapters or more than one electrical accessory. ● Use power outlets with the engine run- ning to avoid discharging the vehicle battery. 2-26 Instruments and controls ੬ REVIEW COPY—2008 Quest (van) Owners Manual—USA_English (nna) 06/29/07—debbie ੭
  • 112.
    STORAGE WIC0939 LIC0945 LIC0940 Cargo area SUNGLASSES HOLDER Below CD insert slot (if so equipped) ● Avoid using power outlets when the air Pull the lid down to open the sunglasses holder. conditioner, headlights or rear window INSTRUMENT PANEL STORAGE defroster is on. WARNING ● Before inserting or disconnecting a plug, be sure the electrical accessory Keep the sunglasses holder closed while being used is turned OFF. driving to prevent an accident. ● Push the plug in as far as it will go. If good contact is not made, the plug may CAUTION overheat or the internal temperature ● Do not use for anything other than fuse may open. sunglasses. ● When not in use, be sure to close the ● Do not leave sunglasses in the sunglasses cap. Do not allow water to contact the holder while parking in direct sunlight. outlet. The heat may damage the sunglasses. Instruments and controls 2-27 ੬ REVIEW COPY—2008 Quest (van) Owners Manual—USA_English (nna) 06/29/07—debbie ੭
  • 113.
    LIC0941 WIC1037 LIC0943 Below power outlets CONSOLE BOX (if so equipped) Pull up on the lever to access the front storage bin on the console box. Push the corresponding button ᭺ to open the 1 small storage compartments. Press the front portion of the lid ᭺ down from the 2 handle area until it stops. While keeping the downward force applied, push the lid rearward ᭺ to the desired opening 3 amount. The CD/DVD tray is removable. 2-28 Instruments and controls ੬ REVIEW COPY—2008 Quest (van) Owners Manual—USA_English (nna) 06/29/07—debbie ੭
  • 114.
    LIC0894 LIC0895 CENTER TRAY TABLE (if so To store the tray table, pull the lever located equipped) beneath the tray table up ᭺ and gently lower the A tray table to its original position. To use the center tray table, raise it up until it locks into the upright position. To access the small storage compartment on the top of the tray table, raise the lid. CAUTION To avoid damaging it, do not apply a total load of more than 50 lbs (23 kg) to the center tray table. Instruments and controls 2-29 ੬ REVIEW COPY—2008 Quest (van) Owners Manual—USA_English (nna) 06/29/07—debbie ੭
  • 115.
    LIC0944 WIC0946 LIC0520 GLOVE BOX Front door Sliding door MAP POCKETS Open the glove box by pulling the handle. Use the master key when locking ᭺ or unlocking ᭺ the 1 2 glove box. The valet key cannot be used to lock or unlock the glove box. WARNING Keep glove box lid closed while driving to help prevent injury in an accident or a sudden stop. 2-30 Instruments and controls ੬ REVIEW COPY—2008 Quest (van) Owners Manual—USA_English (nna) 06/29/07—debbie ੭
  • 116.
    LIC0503 LIC0504 WIC0878 SEATBACK POCKETS GROCERY HOOKS CARGO NET (if so equipped) The seatback pockets are located on the back of The grocery hooks allow for standard size plastic The net located on the back of the driver’s seat the driver’s and passenger’s seats. The pockets grocery bags to hang side by side. can be used to hold small objects. can be used to store maps. CAUTION WARNING Do not apply a total load of more than 18 ● Do not place sharp objects in the net. lbs (8 kg) to a single grocery hook. Such objects may become dangerous projectiles and cause injury when the vehicle is moving or if the vehicle is involved in a collision. ● The cargo restrained in the net must not exceed 18 lb (8 kg) or the net may not stay secured. Instruments and controls 2-31 ੬ REVIEW COPY—2008 Quest (van) Owners Manual—USA_English (nna) 06/29/07—debbie ੭
  • 117.
    WIC0959 LIC0512 LIC0955 OVERHEAD CONSOLE Small storage bin Type A Front Push the button to open the small storage bin. WARNING Push the lid up to close. Keep storage bins closed while driving to help prevent injury in an accident or a CUP HOLDERS sudden stop. Large storage bin CAUTION ● Avoid abrupt starting and braking when Push the button to open the storage bin. the cup holder is being used to prevent Push the lid up to close. spilling the drink. If the liquid is hot, it can scald you or your passenger. ● Use only soft cups in the cup holder. Hard objects can injure you in an accident. 2-32 Instruments and controls ੬ REVIEW COPY—2008 Quest (van) Owners Manual—USA_English (nna) 06/29/07—debbie ੭
  • 118.
    LIC0896 LIC0509 WIC0947 Type B 2nd row 3rd row To use the cup holders, raise the center tray table. Refer to “Center tray table” earlier in this section. Instruments and controls 2-33 ੬ REVIEW COPY—2008 Quest (van) Owners Manual—USA_English (nna) 06/29/07—debbie ੭
  • 119.
    To access thecargo organizer: 1. Move both front seats as forward as pos- sible. Refer to ЉSeatsЉ in the ЉSafety – seats, seat belts and supplemental restraint sys- temЉ section earlier in this manual. 2. Stow the center tray table (if so equipped). Refer to “Center tray table” earlier in this section. 3. Lift up the floor carpeting and the removable floor board ᭺. A LIC0521 Sliding door bottle holder Soft bottle holder CAUTION ● Do not use bottle holder for any other objects that could be thrown about in the vehicle and possibly injure people during sudden braking or an accident. WIC0893 ● Do not use bottle holder for open liquid CARGO ORGANIZER (if so containers. equipped) 2-34 Instruments and controls ੬ REVIEW COPY—2008 Quest (van) Owners Manual—USA_English (nna) 06/29/07—debbie ੭
  • 120.
    WIC0948 LIC0514 WIC0831 3RD ROW ARMREST BIN CARGO AREA STORAGE BIN GARMENT HOOK Raise the lid to open the 3rd row armrest bin. To open the cargo area storage bin, turn the knob To store garments, pull the garment hook down to counterclockwise ᭺. The lid can be removed. 1 the use position. To close, replace the lid and turn the knob clock- wise ᭺. 2 CAUTION Do not apply a total load of more than 55 lbs (25 kg) to the hook. Instruments and controls 2-35 ੬ REVIEW COPY—2008 Quest (van) Owners Manual—USA_English (nna) 06/29/07—debbie ੭
  • 121.
    WINDOWS WARNING POWER WINDOWS ● Drive extra carefully when the vehicle is WARNING loaded at or near the cargo carrying capacity, especially if the significant ● Make sure that all passengers have portion of that load is carried on the their hands, etc. inside the vehicle while roof rack. it is in motion and before closing the windows. Use the window lock switch ● Heavy loading of the roof rack has the to prevent unexpected use of the power potential to affect the vehicle stability windows. and handling during sudden or abnor- mal handling maneuvers. ● Do not leave children unattended inside the vehicle. They could unknowingly ac- ● Roof rack load should be evenly tivate switches or controls and become distributed. trapped in a window. Unattended chil- WIC0949 ● Do not exceed maximum roof rack load dren could become involved in serious ROOF RACK (if so equipped) weight capacity. accidents. ● Properly secure all cargo with ropes or Always distribute the luggage evenly on the roof straps to help prevent it from sliding or rack. Do not load more than 125 lb (56 kg). Be shifting. In a sudden stop or collision, careful that your vehicle does not exceed the unsecured cargo could cause personal Gross Vehicle Weight Rating (GVWR) or its injury. Gross Axle Weight Rating (GAWR front and rear). The GVWR and GAWR are located on the CAUTION F.M.V.S.S. label (located on the driver’s door pillar). For more information regarding GVWR Use care when placing or removing items and GAWR, refer to “Vehicle loading information” from the roof rack. If you cannot comfort- in the “Technical and consumer information” sec- ably lift the items onto the roof rack from tion later in this manual. the ground, use a ladder or stool. 2-36 Instruments and controls ੬ REVIEW COPY—2008 Quest (van) Owners Manual—USA_English (nna) 06/29/07—debbie ੭
  • 122.
    Driver’s side powerwindow switch The driver’s side control panel is equipped with switches to open or close all of the windows. The power windows operate when the ignition switch is in the ON position, or for about 45 seconds after the ignition switch is turned to the OFF position. If the driver’s or passenger’s door is opened during this period of about 45 sec- onds, power to the windows is canceled. To open a window, push the switch and hold it down. To close a window, pull the switch and hold it up. To stop the opening or closing function at any time, simply release the switch. WIC0950 WIC0951 1. Window lock button Front passenger’s power window 2. Power door lock switch switch 3. Front passenger’s side automatic The passenger’s window switch operates only switch the corresponding passenger’s window. To open 4. Right rear power vent window switch the window, push the switch and hold it down ᭺. 1 (if so equipped) To close the window, pull the switch up ᭺.2 5. Left rear power vent window switch (if so equipped) Locking passengers’ windows 6. Driver’s side automatic switch When the window lock button is depressed, only the driver’s side window can be opened or closed. Push it again to cancel the window lock function. Instruments and controls 2-37 ੬ REVIEW COPY—2008 Quest (van) Owners Manual—USA_English (nna) 06/29/07—cathy ੭
  • 123.
    Auto-reverse function The auto-reverse function can be activated when a window is closed by automatic operation. Depending on the environment or driving conditions, the auto-reverse function may be activated if an impact or load similar to something being caught in the window oc- curs. WARNING There are some small distances immedi- ately before the closed position which LIC0410 cannot be detected. Make sure that all LIC0523 passengers have their hands, etc., inside Automatic operation the vehicle before closing the window. POWER VENT WINDOWS (if so To fully open a window equipped with automatic equipped) If the control unit detects something caught in a operation, press the window switch down (only window equipped with automatic operation as it Use the vent window switches on the driver’s driver’s side shown) to the second detent and is closing, the window will be immediately low- side window controls to open and close the release it; it need not be held. The window auto- ered. power vent windows. matically opens all the way. To stop the window, To open a power vent window, press the switch lift the switch up while the window is opening. down ᭺. 1 To fully close a window equipped with automatic To close the window, lift the switch up ᭺. 2 operation, pull the switch up to the second detent and release it; it need not be held. To stop the window, press the switch down while the window is closing. 2-38 Instruments and controls ੬ REVIEW COPY—2008 Quest (van) Owners Manual—USA_English (nna) 06/29/07—debbie ੭
  • 124.
    SKYVIEW™ GLASS-PANELED ROOF (if so equipped) The power vent windows operate when the igni- tion key is in the ON position, or for 45 seconds after the ignition key is turned to the OFF position. If the driver’s or passenger’s door is opened during this 45 second period, power to the vent windows is cancelled. LIC0524 LIC0525 MANUAL VENT WINDOWS (if so To close the SkyView roof sunshade, pull the tab equipped) to draw out the shade. Lock the shade in place by positioning the rod on the holder. To open a manual vent window, pull the latch handle toward you until it releases. To open the shade, lift the rod from the holder and ease the shade back into its stored position. To lock the window in the open position, push the latch handle rearward until it locks. CAUTION To close a manual vent window, pull the latch Do not pull the SkyView roof sunshade handle toward you and push the rear portion of straight down. This can damage the the latch toward the rear of the vehicle until it shade. locks. Instruments and controls 2-39 ੬ REVIEW COPY—2008 Quest (van) Owners Manual—USA_English (nna) 06/29/07—debbie ੭
  • 125.
    MOONROOF (if soequipped) To fully close the moonroof, push the switch Auto reverse function (when closing or toward the close position ᭺. 4 tilting down the moonroof) To open or close the moonroof part way, push the The auto reverse function can be activated when switch in any direction ᭺ while the roof is sliding 5 the moonroof is closed or tilted down by auto- open or closed to stop it in the desired position. matic operation when the ignition key is in the ON Tilting the moonroof position or for about 45 seconds after the ignition key is turned to the OFF position. To tilt the moonroof up, push the tilt switch to- Depending on the environment or driving ward the up position ᭺. When the moonroof is 1 conditions, the auto reverse function may open, it will automatically close and then tilt up. be activated if an impact or load similar to To tilt the moonroof down, push the tilt switch something being caught in the moonroof toward the down position ᭺. 2 occurs. WIC0812 Resetting the moonroof sliding switch WARNING AUTOMATIC MOONROOF The sliding switch will become inoperable after There are some small distances immedi- The moonroof will only operate when the ignition the battery terminal is disconnected, the electri- ately before the closed position which switch is in the ON position. The automatic cal supply interrupted and/or some abnormality cannot be detected. Make sure that all moonroof is operational for about 45 seconds, detected. Use the following reset procedure to passengers have their hands, etc., inside even if the ignition switch is turned to the ACC or return moonroof operation to normal. the vehicle before closing the moonroof. OFF position. If the driver’s door or the front When closing: 1. If the moonroof lid is open, push the tilting passenger’s door is opened during this period of switch repeatedly toward the down position If the control unit detects something caught in the about 45 seconds, power to the moonroof is canceled. ᭺ to fully close the lid. 2 moonroof as it moves to the front, the moonroof 2. Push and hold the tilting switch for more will immediately open backward. Sliding the moonroof than 2 seconds toward the down position When tilting down: To fully open the moonroof, push the switch to- ᭺ to reestablish the lid’s home position. 2 If the control unit detects something caught in the ward the open position ᭺. 3 The moonroof should now operate normally. moonroof as it tilts down, the moonroof will im- mediately tilt up. 2-40 Instruments and controls ੬ REVIEW COPY—2008 Quest (van) Owners Manual—USA_English (nna) 06/29/07—debbie ੭
  • 126.
    LIGHTS ON DEMANDSWITCH If the auto reverse function malfunctions and re- If the moonroof does not close peats opening or tilting up the moonroof, keep pushing the tilt down switch within 5 seconds Have your NISSAN dealer check and repair the after it happens; the moonroof will fully close moonroof. gradually. Make sure nothing is caught in the moonroof. WARNING ● In an accident you could be thrown from the vehicle through an open moonroof. Always use seat belts and child restraints. ● Do not allow anyone to stand up or extend any portion of their body out of LIC0472 the moonroof opening while the vehicle The lights on demand switch allows the driver to is in motion or while the moonroof is select one of three lighting modes for the interior closing. lights. The lights on demand switch operates regardless of ignition switch position. CAUTION : The interior lights illuminate. The lights will ● Remove water drops, snow, ice or sand turn off automatically after 30 minutes to prevent from the moonroof before opening. the battery from becoming discharged. ● Do not place heavy objects on the OFF: The interior lights do not illuminate. moonroof or surrounding area. : The interior lights illuminate when a door Sunshade is opened. Open and close the sunshade by sliding it for- If the lights on demand switch is in the ward or backward. position, the lights will stay on for about 30 sec- onds when: Instruments and controls 2-41 ੬ REVIEW COPY—2008 Quest (van) Owners Manual—USA_English (nna) 06/29/07—debbie ੭
  • 127.
    PERSONAL LIGHTS ●The doors are unlocked by the keyfob, a key NOTE: or the power door lock switch while all doors The footwell and door step lights illuminate are closed and the ignition switch is in the when the driver and passenger doors are OFF position. open regardless of the lights on demand ● The driver’s door is opened and then closed switch position. These lights will turn off while the key is removed from the ignition automatically after 30 minutes while doors switch. are open to prevent the battery from be- coming discharged. ● The key is removed from the ignition switch while all doors are closed. CAUTION The interior lights will turn off while the 30 second Do not use for extended periods of time timer is activated when: with the engine stopped. This could result in a discharged battery. ● The driver’s door is locked by the keyfob, a LIC0492 key, or the power door lock switch. Type A ● The ignition switch is turned ON. The rear seating positions have personal lights The lights will turn off automatically after 30 min- located on the headliner or on the overhead con- utes while doors are open to prevent the battery sole. There is also a light above the cargo area on from becoming discharged. the overhead trim. To operate a personal light located on the head- liner (Type A), push the light. 2-42 Instruments and controls ੬ REVIEW COPY—2008 Quest (van) Owners Manual—USA_English (nna) 06/29/07—debbie ੭
  • 128.
    MAP LIGHTS LIC0493 LIC0492 WIC0952 Type B Type C To turn the map lights on, press the switches. To The personal lights on the overhead console The cargo light on the overhead trim (Type C) has turn them off, press the switches again. (Type B) can be swiveled 360 degrees. To turn on a three-position switch. To operate, push the the light, press the button. Press the button again light. CAUTION to turn off the light. On: The light is illuminated Do not use for extended periods of time with the engine stopped. This could result Normal: The light illuminates when any door is in a discharged battery. opened or unlocked by the keyfob. The light turns off after 30 seconds or when all doors are closed. Off: The light does not illluminate, regardless of door position or lock status. Instruments and controls 2-43 ੬ REVIEW COPY—2008 Quest (van) Owners Manual—USA_English (nna) 06/29/07—debbie ੭
  • 129.
    HOMELINKா UNIVERSAL TRANSCEIVER (if so equipped) The HomeLinkா Universal Transceiver provides a WARNING convenient way to consolidate the functions of up to three individual hand-held transmitters into ● Do not use the HomeLinkா Universal one built-in device. Transceiver with any garage door opener that lacks safety stop and re- HomeLinkா Universal Transceiver: verse features as required by federal ● Will operate most Radio Frequency (RF) safety standards. (These standards be- devices such as garage doors, gates, home came effective for opener models manufactured after April 1, 1982). A ga- and office lighting, entry door locks and se- rage door opener which cannot detect curity systems. an object in the path of a closing garage ● Is powered by your vehicle’s battery. No door and then automatically stop and separate batteries are required. If the vehi- reverse, does not meet current federal cle’s battery is discharged or is discon- safety standards. Using a garage door LIC0956 nected, HomeLinkா will retain all program- opener without these features in- ming. creases the risk of serious injury or CONSOLE LIGHT death. The console light ᭺ will turn on whenever the 1 Once the HomeLinkா Universal Transceiver ● During the programming procedure parking lights or headlights are illuminated. is programmed, retain the original trans- your garage door or security gate will mitter for future programming procedures The console light brightness can be adjusted (if open and close (if the transmitter is (Example: new vehicle purchases). Upon within range). Make sure that people or so equipped) with the illumination brightness sale of the vehicle, the programmed control. objects are clear of the garage door, HomeLinkா Universal Transceiver buttons gate, etc. that you are programming. should be erased for security purposes. For additional information refer to “Program- ● Your vehicle’s engine should be turned ming HomeLinkா” later in this section. off while programming the HomeLinkா Universal Transceiver. 2-44 Instruments and controls ੬ REVIEW COPY—2008 Quest (van) Owners Manual—USA_English (nna) 06/29/07—debbie ੭
  • 130.
    4. Hold downboth buttons until the indicator light on the HomeLinkா flashes, changing from a “slow blink” to a “rapidly flashing blink”. This could take up to 90 seconds. When the indicator light flashes rapidly, both buttons may be released. The rapidly flash- ing light indicates successful programming. To activate the garage door or other pro- grammed device, press and hold the pro- grammed HomeLinkா button — releasing when the device begins to activate. 5. If the indicator light on the HomeLinkா blinks rapidly for 2 seconds and then turns solid, WIC0986 WIC0987 HomeLinkா has picked up a “rolling code” PROGRAMMING HOMELINKா 3. Using both hands, simultaneously press and garage door opener signal. You will need to hold both the HomeLinkா button you want to proceed with the next steps to train the 1. To begin, press and hold the two outer program and the hand-held transmitter but- HomeLinkா to complete the programming HomeLinkா buttons (to clear the memory) which may require a ladder and another per- ton. until the indicator light ᭺ blinks (after 20 1 son for convenience. seconds). Release both buttons. DO NOT release the buttons until step 4 has been completed. 6. Press and release the “smart” or “learn” pro- 2. Position the end of the hand-held transmitter gram button located on the garage door 1 - 3 inches (26 - 76 mm) away from the opener’s motor to activate the “training HomeLinkா surface. mode”. This button is usually located near the antenna wire that hangs down from the motor. If the wire originates from under a light lens, you will need to remove the lens to access the program button. Instruments and controls 2-45 ੬ REVIEW COPY—2008 Quest (van) Owners Manual—USA_English (nna) 06/29/07—debbie ੭
  • 131.
    NOTE: PROGRAMMING HOMELINKா FOR PROGRAMMING TROUBLE- Once you have pressed and released the CANADIAN CUSTOMERS DIAGNOSIS program button on the garage door open- Prior to 1992, D.O.C. regulations required hand- If the HomeLinkா does not quickly learn the hand- er’s motor and the “training light” is lit, you held transmitters to stop transmitting after 2 sec- held transmitter information: have 30 seconds in which to perform step 7. onds. To program your hand-held transmitter to Use the help of a second person for conve- ● replace the hand-held transmitter batteries HomeLinkா, continue to press and hold the nience to assist when performing this step. with new batteries. HomeLinkா button (note steps 2 - 4 under “Pro- 7. Within 30 seconds of pressing and releas- gramming HomeLinkா”) while you press and re- ● position the hand-held transmitter with its ing the garage door opener program button, press (“cycle”) your hand-held transmitters every battery area facing away from the quickly and firmly press and release the 2 seconds until the indicator light flashes rapidly HomeLinkா surface. HomeLinkா button you’ve just programmed. (indicating successful programming). ● press and hold both the HomeLinkா and Press and release the HomeLinkா button up NOTE: hand-held transmitter buttons without inter- to 3 times to complete the training. ruption. 8. Your HomeLinkா button should now be pro- When programming a garage door opener, etc., it is advised to unplug the device dur- ● position the hand-held transmitter 1 - 3 grammed. (To program the remaining ing the “cycling” process to prevent pos- inches (26 - 76 mm) away from the HomeLinkா buttons for additional door or sible damage to the garage door opener HomeLinkா surface. Hold the transmitter in gate openers, follow steps 2-4 only.) components. that position for up to 15 seconds. If HomeLinkா is not programmed within that NOTE: OPERATING THE HOMELINKா time, try holding the transmitter in another Do not repeat step 1 unless you want to UNIVERSAL TRANSCEIVER position – keeping the indicator light in view “clear” all previously programmed at all times. HomeLinkா buttons. The HomeLinkா Universal Transceiver (once pro- grammed) may now be used to activate the ga- If you continue to have programming difficulties, If you have any questions or are having difficulty rage door, etc. To operate, simply press the ap- please contact the NISSAN Consumer Affairs programming your HomeLinkா buttons, refer to propriate programmed HomeLinkா Universal Department. The phone numbers are located in the HomeLinkா web site at: www.homelink.com Transceiver button. The red indicator light will the Foreword of this manual. or call 1-800-355-3515. illuminate while the signal is being transmitted. 2-46 Instruments and controls ੬ REVIEW COPY—2008 Quest (van) Owners Manual—USA_English (nna) 06/29/07—debbie ੭
  • 132.
    CLEARING THE PROGRAMMED The HomeLinkா Universal Transceiver button has This transmitter has been tested and com- INFORMATION now been reprogrammed. The new device can plies with FCC and DOC/MDC rules. be activated by pushing the HomeLinkா button Changes or modifications not expressly ap- Individual buttons cannot be cleared. However, that was just programmed. This procedure will proved by the party responsible for compli- to clear all programming, press and hold the two not affect any other programmed HomeLinkா ance could void the user’s authority to op- outside buttons and release when the indicator buttons. erate the equipment. light begins to flash (approximately 20 seconds). DOC: ISTC 1763K1313 IF YOUR VEHICLE IS STOLEN REPROGRAMMING A SINGLE FCC I.D. CV2V67690 HOMELINKா BUTTON If your vehicle is stolen, you should change the codes of any non-rolling code device that has To reprogram a HomeLinkா Universal Transceiver been programmed into HomeLinkா. Consult the button, complete the following. Owner’s Manual of each device or call the manu- 1. Press and hold the desired HomeLinkா but- facturer or dealer of those devices for additional ton. Do not release the button until step 4 information. has been completed. When your vehicle is recovered, you will 2. When the indicator light begins to flash need to reprogram the HomeLinkா Univer- slowly (after 20 seconds), position the sal Transceiver with your new transmitter hand-held transmitter 1 - 3 inches (26 - 76 information. mm) away from the HomeLinkா surface. FCC Notice: 3. Press and hold the hand-held transmitter button. This device complies with FCC rules part 15 and RSS-210 of Industry Canada. Opera- 4. The HomeLinkா indicator light will flash, first tion is subject to the following two condi- slowly and then rapidly. When the indicator tions: light begins to flash rapidly, release both buttons. (1) This device may not cause harmful in- terference and (2) This device must accept any interference that may be received, in- cluding interference that may cause undes- ired operation. Instruments and controls 2-47 ੬ REVIEW COPY—2008 Quest (van) Owners Manual—USA_English (nna) 06/29/07—debbie ੭
  • 133.
  • 134.
    3 Pre-driving checksand adjustments Keys . . . . . . . . . . . . . . . . . . . . . . . . . . . . . . . . . . . . . . . . . . . . . 3-2 Operating the power lift gate NISSAN vehicle immobilizer system keys . . . . . . . . . . 3-2 (if so equipped) . . . . . . . . . . . . . . . . . . . . . . . . . . . . . . . 3-16 Doors . . . . . . . . . . . . . . . . . . . . . . . . . . . . . . . . . . . . . . . . . . . . 3-3 Lift gate release . . . . . . . . . . . . . . . . . . . . . . . . . . . . . . . 3-18 Locking with key. . . . . . . . . . . . . . . . . . . . . . . . . . . . . . . . 3-3 Fuel-filler door . . . . . . . . . . . . . . . . . . . . . . . . . . . . . . . . . . . 3-19 Locking with inside lock knob . . . . . . . . . . . . . . . . . . . . 3-4 Opener operation. . . . . . . . . . . . . . . . . . . . . . . . . . . . . . 3-19 Locking with power door lock switch . . . . . . . . . . . . . 3-5 Fuel-filler cap . . . . . . . . . . . . . . . . . . . . . . . . . . . . . . . . . 3-19 Operating the manual sliding door Steering wheel . . . . . . . . . . . . . . . . . . . . . . . . . . . . . . . . . . . 3-21 (if so equipped) . . . . . . . . . . . . . . . . . . . . . . . . . . . . . . . . 3-5 Tilt operation . . . . . . . . . . . . . . . . . . . . . . . . . . . . . . . . . . 3-21 Using the main ON/OFF switch for the Pedal position adjustment (if so equipped) . . . . . . . . . . 3-21 power sliding door (if so equipped) . . . . . . . . . . . . . . . 3-6 Sun visors . . . . . . . . . . . . . . . . . . . . . . . . . . . . . . . . . . . . . . . 3-22 Operating the power sliding door Vanity mirrors . . . . . . . . . . . . . . . . . . . . . . . . . . . . . . . . . 3-22 (if so equipped) . . . . . . . . . . . . . . . . . . . . . . . . . . . . . . . . 3-6 Mirrors . . . . . . . . . . . . . . . . . . . . . . . . . . . . . . . . . . . . . . . . . . 3-23 Child safety sliding door lock . . . . . . . . . . . . . . . . . . . . 3-9 Rearview mirror (if so equipped). . . . . . . . . . . . . . . . . 3-23 Remote keyless entry system . . . . . . . . . . . . . . . . . . . . . . . 3-9 Automatic anti-glare rearview mirror How to use remote keyless entry system . . . . . . . . . 3-10 (if so equipped) . . . . . . . . . . . . . . . . . . . . . . . . . . . . . . . 3-23 Hood . . . . . . . . . . . . . . . . . . . . . . . . . . . . . . . . . . . . . . . . . . . 3-14 Outside mirrors . . . . . . . . . . . . . . . . . . . . . . . . . . . . . . . 3-24 Lift gate . . . . . . . . . . . . . . . . . . . . . . . . . . . . . . . . . . . . . . . . . 3-14 Automatic drive positioner (if so equipped) . . . . . . . . . . 3-25 Operating the manual lift gate . . . . . . . . . . . . . . . . . . . 3-15 Memory storage function . . . . . . . . . . . . . . . . . . . . . . . 3-26 Using the main ON/OFF switch for the Entry/exit function . . . . . . . . . . . . . . . . . . . . . . . . . . . . . 3-27 power lift gate (if so equipped) . . . . . . . . . . . . . . . . . . 3-15 System operation. . . . . . . . . . . . . . . . . . . . . . . . . . . . . . 3-27 ੬ REVIEW COPY—2008 Quest (van) Owners Manual—USA_English (nna) 06/29/07—debbie ੭
  • 135.
    KEYS A key number is only necessary when you have cause the registration process will erase the lost all keys and do not have one to duplicate memory of all key codes previously registered from. If you still have a key, your NISSAN dealer into the NISSAN Vehicle Immobilizer System. can duplicate it. After the registration process, these components will only recognize keys coded into the NISSAN NISSAN VEHICLE IMMOBILIZER Vehicle Immobilizer System during registration. SYSTEM KEYS Any key that is not given to your dealer at the time of registration will no longer be able to start your You can only drive your vehicle using the master vehicle. or valet keys which are registered to the NISSAN Vehicle Immobilizer System components in your Do not allow the immobilizer system key, which vehicle. These keys have a transponder chip in contains an electrical transponder, to come into contact with salt water. This could affect system the key head. function. The master key can be used for all the locks. WPD0128 1. Two master keys (black) with transpon- The valet key cannot be used for the glove box lock. der chip and chrome NISSAN brand symbol on one side To protect belongings when you leave a key with 2. Valet key (black) with transponder chip someone, give them the valet key only. 3. Key number plate Never leave these keys in the vehicle. 4. Transponder chip Additional or replacement keys: A key number plate is supplied with your keys. Record the key number and keep it in a safe place If you still have a key, the key number is not (such as your wallet), not in the vehicle. If you lose necessary when you need extra NISSAN Vehicle your keys, see a NISSAN dealer for duplicates by Immobilizer System keys. Your dealer can dupli- using the key number. NISSAN does not record cate your existing key. As many as five NISSAN key numbers so it is very important to keep track Vehicle Immobilizer System keys can be used of your key number plate. with one vehicle. You should bring all NISSAN Vehicle Immobilizer System keys that you have to your NISSAN dealer for registration. This is be- 3-2 Pre-driving checks and adjustments ੬ REVIEW COPY—2008 Quest (van) Owners Manual—USA_English (nna) 06/29/07—debbie ੭
  • 136.
    DOORS WARNING CAUTION ● Always have the doors locked while ● Always use the door handle to open or driving. Along with the use of seat belts, close a sliding door. Do not attempt to this provides greater safety in the event open or close the doors by merely plac- of an accident by helping to prevent ing your hand on the door edge or door persons from being thrown from the slide roller, as this may cause injury. vehicle. This also helps keep children ● When opening a sliding door on a slope, and others from unintentionally open- ensure that it is fully open and that it ing the doors, and will help keep out does not close by itself. intruders. ● Before opening any door, always look for and avoid oncoming traffic. ● Do not leave children unattended inside LPD0181 the vehicle. They could unknowingly ac- Driver’s side tivate switches or controls. Unattended children could become involved in seri- LOCKING WITH KEY ous accidents. The power door lock system allows you to lock or ● Always be sure that hands and feet are unlock all doors at the same time. clear of the door frame to avoid injury while closing a sliding door. Turning the key toward the front ᭺ of the vehicle 1 locks all doors. Turning the key one time toward the rear ᭺ of the 2 vehicle unlocks that door. From that position, returning the key to neutral ᭺ (where the key can 3 only be removed and inserted) and turning it toward the rear again within 5 seconds unlocks all doors ᭺. 4 Pre-driving checks and adjustments 3-3 ੬ REVIEW COPY—2008 Quest (van) Owners Manual—USA_English (nna) 06/29/07—debbie ੭
  • 137.
    Opening and closingwindows The driver’s door key operation allows you to open and close windows equipped with auto- matic operation at the same time. ● To open the windows, turn the driver’s door key toward the rear of the vehicle for longer than 1 second after the door is unlocked. ● To close the windows, turn the driver’s door key to the front of the vehicle for longer than 1 second after the door is locked. Windows stop when the key cylinder is released. LPD0208 LPD0224 Inside lock for front doors Inside lock for sliding doors LOCKING WITH INSIDE LOCK KNOB To lock the door without the key, move the inside lock knob to the lock position ᭺, then close the 1 door. To unlock the door without the key, move the inside lock knob to the unlock position ᭺. 2 3-4 Pre-driving checks and adjustments ੬ REVIEW COPY—2008 Quest (van) Owners Manual—USA_English (nna) 06/29/07—debbie ੭
  • 138.
    Lockout protection When the power door lock switch (driver’s or front passenger’s side) is moved to the lock position with the key in the ignition and any door open, all doors will lock and then unlock auto- matically. This helps to prevent the keys from being accidently locked inside the vehicle. WPD0381 LPD0233 Door lock switch OPERATING THE MANUAL SLIDING LOCKING WITH POWER DOOR DOOR (if so equipped) LOCK SWITCH The manual sliding door can be opened from the To lock all the doors without a key, push the door inside or the outside. lock switch (driver’s or front passenger’s side), to To open a sliding door from the inside, push the the lock position ᭺. When locking the door this 1 button ᭺ and pull the handle toward the rear of 1 way, be certain not to leave the key inside the the vehicle. vehicle. To open a sliding door from the outside, pull out To unlock all the doors without a key, push the the outside handle. door lock switch (driver’s or front passenger’s The driver side sliding door cannot be opened side) to the unlock position ᭺. 2 fully when the fuel-filler door is open. Pre-driving checks and adjustments 3-5 ੬ REVIEW COPY—2008 Quest (van) Owners Manual—USA_English (nna) 06/29/07—debbie ੭
  • 139.
    When the switchis in the OFF position, the sliding door can still be opened with the keyfob or overhead console switch. The sliding door can also be opened manually with the inside or out- side handle. NOTE: If the child safety lock is in the lock posi- tion, the door pillar switch will not operate the sliding door regardless of the main ON/OFF switch position. WPD0334 LPD0225 USING THE MAIN ON/OFF SWITCH Door pillar switch FOR THE POWER SLIDING DOOR OPERATING THE POWER SLIDING (if so equipped) DOOR (if so equipped) The main ON/OFF switch is located in the over- NOTE: head console. To open, close or reverse a power sliding Push the switch ON to enable the door pillar door, the ignition switch must be OFF, or, if switches and the power assist feature. An indica- the ignition switch is ON, the shift selector tor light will illuminate when the switch is in the lever must be in P (Park). Also, the power ON position. sliding doors will not operate if battery voltage is low. Push the switch OFF to disable the door pillar switches and the power assist feature. An indica- tor light will illuminate when the switch is in the OFF position. 3-6 Pre-driving checks and adjustments ੬ REVIEW COPY—2008 Quest (van) Owners Manual—USA_English (nna) 06/29/07—debbie ੭
  • 140.
    ● A slidingdoor can be opened by the over- feature can be activated by the switches on the head console switch and the keyfob even if keyfob, the overhead console and the door pillar. the vehicle is locked. The door will individu- ● If the inside or outside handle is activated ally unlock and open. When the sliding door while the cinching motor is engaged, the is closed, it will remain unlocked. The vehicle cinching motor will disengage and release must be re-locked to lock the door. the latch. ● The keyfob button must be held for 0.5 sec- ● The keyfob button must be held for 0.5 sec- ond before the door opens. ond before the door closes. ● The switch on the door pillar can only be ● The switch on the door pillar can only be used to open the door if the main ON/OFF used to close the door if the main ON/OFF switch is ON, the door is unlocked and the switch is ON. child lockout switch is not set. Reverse: WPD0335 A warning chime will sound if the shift selector The door will reverse direction immediately dur- Overhead console switch lever is moved out of P (Park) during a power ing power open or power close if the keyfob, Power Assist: open operation. overhead console or door pillar switch is If the main on/off switch is ON and a sliding door The driver’s side power sliding door cannot be pressed. A chime will sound to announce the is unlocked and manually moved toward the open power opened when the fuel lid door is open. A reversal. or close position using the inside or outside warning chime will sound if an open operation is handle, the power assist feature will be activated Auto Reverse: attempted. The door can be opened manually and the door will complete its motion automati- If an obstacle is detected during power open or part way. cally. power close, a warning chime will sound and the Power Close: door will reverse direction and return to the full Power Open: The door automatically moves from the fully open open or full close position. If a second obstacle is The door automatically moves from the fully position to the secondary position. When the detected, the door motion will stop and the clutch closed position to the fully open position in ap- sliding door reaches the secondary position, the mode will be engaged. proximately 3 – 6 seconds. The power open cinching motor engages and pulls the door to its feature can be activated by the switches on the primary latch position. Power close takes ap- keyfob, the overhead console and the door pillar. proximately 4 – 7 seconds. The power close Pre-driving checks and adjustments 3-7 ੬ REVIEW COPY—2008 Quest (van) Owners Manual—USA_English (nna) 06/29/07—debbie ੭
  • 141.
    4. Press andhold the power sliding door WARNING switch on the overhead console until the There are some small distances immedi- door closes. ately before the closed position which cannot be detected. Make sure that all 5. Release the switch. passengers have their hands, etc., inside 6. Press and hold the power sliding door the vehicle before closing the door. switch on the overhead console until the door opens as far as it can. Clutch Mode: To help prevent unexpected slams due to gravity, 7. Release the switch. the clutch mode is engaged intermittently for 8. Press and hold the power sliding door approximately 5 – 8 seconds when power open switch on the overhead console until the or close is interrupted due to multiple obstacles, door closes. low battery voltage or the main ON/OFF switch turned to OFF. The door must then be opened or 9. Release the switch. closed manually. The power sliding door should now work prop- erly. Restarting the power sliding door Some power sliding door functions will become NOTE: disabled after the battery terminal is discon- The restarting procedure must be com- nected and/or the electrical supply is interrupted. pleted for both the left-hand and right- hand power sliding doors (if so equipped). The following procedure must be used to restart each power sliding door so that all functions are enabled. 1. Turn the main on/off switch to OFF. 2. Manually open the power sliding door to its fully open position. 3. Turn the main on/off switch to ON. 3-8 Pre-driving checks and adjustments ੬ REVIEW COPY—2008 Quest (van) Owners Manual—USA_English (nna) 06/29/07—debbie ੭
  • 142.
    REMOTE KEYLESS ENTRYSYSTEM It is possible to lock/unlock all doors, turn on the interior lights and puddle lamps (if so equipped), and activate the panic alarm by using the keyfob from outside the vehicle. Some settings for the keyfob, such as horn beep, can be adjusted. For vehicles with monochrome screen, refer to “Silencing the horn beep feature” later in this section. For vehicles with color screen, refer to “Vehicle electronic systems” in the “Display screen, heater, air conditioner, audio and phone systems” section later in this manual. Be sure to remove the key from the vehicle before locking the doors. The keyfob can operate at a distance of approxi- mately 33 ft (10 m) from the vehicle. The effective distance depends upon the conditions around the vehicle. As many as 5 keyfobs can be used with one vehicle. For information concerning the purchase and use of additional keyfobs, contact a NISSAN dealer. WPD0437 The keyfob will not function when: CHILD SAFETY SLIDING DOOR The child safety lock levers are located on the edge of the sliding doors. ● the battery is discharged LOCK When the lever is in the lock position, the ● the distance between the vehicle and the The child safety lock helps prevent the sliding keyfob is over 33 ft (10 m) door can be opened only from the outside, door from being opened accidentally, especially by the overhead console switch or using The panic alarm will not activate when the when small children are in the vehicle. the keyfob. key is in the ignition switch. Pre-driving checks and adjustments 3-9 ੬ REVIEW COPY—2008 Quest (van) Owners Manual—USA_English (nna) 06/29/07—debbie ੭
  • 143.
    ● When the button is pushed with all CAUTION doors locked, the hazard warning lights flash Listed below are conditions or occur- twice and the horn beeps once as a re- rences which will damage the keyfob: minder that the doors are already locked. ● Do not allow the keyfob to become wet. ● If a door is open and you push the ● Do not drop the keyfob. button, the doors will lock but the horn will not beep and the hazard warning lights will ● Do not strike the keyfob sharply against not flash. another object. The horn may or may not beep. For vehicles with ● Do not place the keyfob for an extended monochrome screen, refer to “Silencing the horn period in an area where temperatures beep feature” later in this section. For vehicles exceed 140°F (60°C). with color screen, refer to “Vehicle electronic If a keyfob is lost or stolen, NISSAN rec- systems” in the “Display screen, heater, air con- ommends erasing the ID code of that key- LPD0209 ditioner, audio and phone systems” section later fob. This will prevent the keyfob from un- in this manual. HOW TO USE REMOTE KEYLESS authorized use to unlock the vehicle. For information regarding the erasing proce- ENTRY SYSTEM NOTE: dure, please contact a NISSAN dealer. Locking doors If you use the keyfob to change the horn beep and lamp flash feature for vehicles 1. Close all windows. with color screen, the display will not show 2. Remove the key from the ignition switch. the current mode and cannot be used to change the mode. Use the keyfob to return 3. Close the hood and all doors. to the previous mode and re-enable the 4. Push the button on the keyfob. All display screen control. Refer to “Vehicle the doors lock. The hazard warning lights electronic systems” in the “Display screen, flash twice and the horn beeps once to heater, air conditioner, audio and phone indicate all doors are locked. systems” section for additional informa- tion. 3-10 Pre-driving checks and adjustments ੬ REVIEW COPY—2008 Quest (van) Owners Manual—USA_English (nna) 06/29/07—debbie ੭
  • 144.
    Push the button on the keyfob again within Opening windows 5 seconds. The keyfob allows you to open windows ● All doors unlock. equipped with automatic operation simulta- ● The hazard indicator flashes once if all doors neously. are completely closed. ● To open the windows, press the but- The interior lights and puddle lamps (if so ton on the keyfob for longer than 3 sec- equipped) can be turned off without waiting 30 onds after all doors are unlocked. seconds by inserting the key into the ignition and The door windows will open while pressing turning to the ON or START position, locking the the button on the keyfob. doors with the keyfob or pushing the interior light switch to the OFF position. The door windows cannot be closed by using the keyfob. Auto relock LPD0210 Linking the keyfob to automatic drive When the button on the keyfob is pushed, positioner memory Unlocking doors all doors will lock automatically within 1 minute unless one of the following operations is per- If the vehicle is equipped with automatic drive Push the button on the keyfob once. formed: positioner, the keyfob can be linked to a memory ● Only the driver’s door unlocks. setting. ● Any door is opened. ● The hazard indicator flashes once if all doors See “Automatic drive positioner” later in this sec- ● A key is inserted into the ignition switch and tion. are completely closed with the ignition key in the key is turned from OFF to ON. any position except the ON position. ● The interior lights and puddle lamps (if so equipped) turn on and the light timer acti- vates for 30 seconds when the lights on demand switch is in the position with the ignition key in any position except the ON position. Pre-driving checks and adjustments 3-11 ੬ REVIEW COPY—2008 Quest (van) Owners Manual—USA_English (nna) 06/29/07—debbie ੭
  • 145.
    WPD0336 WPD0337 LPD0211 Operating the power sliding door (if so Operating the power lift gate (if so Using the panic alarm equipped) equipped) If you are near your vehicle and feel threatened, Push and hold the button on the keyfob for about Push and hold the button on the keyfob for about you may activate the panic alarm to call attention 0.5 second to open or close the power sliding 0.5 second to open or close the lift gate. The by pushing and holding the button on the door. hazard warning lights flash and a chime sounds keyfob for longer than 0.5 second. to indicate the power open or power close se- The panic alarm and headlights will stay on for 25 The door will reverse direction immediately dur- quence has started. seconds. ing power open or power close if the keyfob button is pressed. A chime will sound to an- The lift gate will reverse direction immediately The panic alarm stops when: nounce the reversal. during power open or power close if the keyfob button is pressed. A chime will sound to an- ● it has run for 25 seconds, or For more information, see “Operating the power nounce the reversal. ● any button is pushed on the keyfob. sliding door” earlier in this section. For more information, see “Lift gate” later in this section. 3-12 Pre-driving checks and adjustments ੬ REVIEW COPY—2008 Quest (van) Owners Manual—USA_English (nna) 06/29/07—debbie ੭
  • 146.
    NOTE: Using the interior lights If you use the keyfob to change the horn Push the button on the keyfob once to turn beep and lamp flash feature for vehicles on the interior lights and puddle lamps (if so with color screen, the display will not show equipped). the current mode and cannot be used to For additional information, refer to “Lights on change the mode. Use the keyfob to return demand switch” in the “Instruments and controls” to the previous mode and re-enable the section earlier in this manual. display screen control. Refer to “Vehicle electronic systems” in the “Display screen, heater, air conditioner, audio and phone systems” section for additional informa- tion. To deactivate: Press and hold the LPD0262 and buttons for at least 2 seconds. Silencing the horn beep feature The hazard warning lights will flash three times to If desired, the horn beep feature can be deacti- confirm that the horn beep feature has been vated using the keyfob. deactivated. To activate: Press and hold the and buttons for at least 2 seconds once more. The hazard warning lights will flash once and the horn will sound once to confirm that the horn beep feature has been reactivated. Deactivating the horn beep feature does not si- lence the horn if the alarm is triggered. Pre-driving checks and adjustments 3-13 ੬ REVIEW COPY—2008 Quest (van) Owners Manual—USA_English (nna) 06/29/07—debbie ੭
  • 147.
    HOOD LIFT GATE WARNING ● Always be sure the lift gate has been closed securely to prevent it from open- ing while driving. ● Do not drive with the lift gate open. This could allow dangerous exhaust gases to be drawn into the vehicle. See “Ex- haust gas” in the “Starting and driving” section of this manual. ● Do not leave children unattended inside the vehicle. They could unknowingly ac- tivate switches or controls. Unattended WPD0338 children could become involved in seri- ous accidents. ᭺ 1 Pull the hood lock release handle located WARNING below the driver’s side instrument panel. The ● Always be sure that hands and feet are hood will spring up slightly. ● Make sure the hood is completely clear of the door frame to avoid injury closed and latched before driving. Fail- while closing the lift gate. ᭺ 2 Push the lever at the front of the hood to the ure to do so could cause the hood to fly side as illustrated with your fingertips and open and result in an accident. raise the hood. ● If you see steam or smoke coming from ᭺ 3 Insert the support rod into the slot on the the engine compartment, to avoid injury underside of the hood. do not open the hood. When closing the hood, lower it slowly and make sure it locks into place. 3-14 Pre-driving checks and adjustments ੬ REVIEW COPY—2008 Quest (van) Owners Manual—USA_English (nna) 06/29/07—debbie ੭
  • 148.
    OFF while thelift gate is opening or closing will cancel the operation and the lift gate will go to manual mode. When the switch is in the OFF position, the lift gate can still be opened with the keyfob or over- head console switch. The lift gate can also be opened manually with the outside handle if the lift gate is unlocked. LPD0221 WPD0334 OPERATING THE MANUAL LIFT USING THE MAIN ON/OFF SWITCH GATE FOR THE POWER LIFT GATE (if so The power door lock system allows you to lock or equipped) unlock all doors including the lift gate simulta- The main ON/OFF switch is located in the over- neously. head console. To open the lift gate, depress the opener handle Push the switch ON to enable the rear pillar and lift up. switch. An indicator light will illuminate when the To close, lower and push the lift gate down se- switch is in the ON position. curely. Push the switch OFF to disable the rear pillar switch. An indicator light will illuminate when the switch is in the OFF position. Pushing the switch Pre-driving checks and adjustments 3-15 ੬ REVIEW COPY—2008 Quest (van) Owners Manual—USA_English (nna) 06/29/07—debbie ੭
  • 149.
    ● The liftgate must be unlocked to open it with the outside opener handle. ● The switch on the rear pillar cannot be used to open the lift gate. A warning chime will sound if the shift selector lever is moved out of P (Park) during a power open operation. Power Close: The power lift gate automatically moves from the fully open position to the secondary position. When the lift gate reaches the secondary posi- tion, the cinching motor engages and pulls the lift WPD0339 WPD0340 gate to its primary latch position. Power close Rear pillar switch Overhead console switch takes approximately 7 – 10 seconds. The power close feature can be activated by the switch on OPERATING THE POWER LIFT keyfob and the overhead console and by the the keyfob, the overhead console and the rear GATE (if so equipped) outside opener handle. The hazard lights flash pillar. The hazard lights flash and a chime sounds and a chime sounds to indicate the power open to indicate the power close sequence has been NOTE: sequence has been started. started. To open, close or reverse the power lift ● The lift gate can be opened by the overhead ● If the outside opener handle is activated gate, the shift selector lever must be in P console switch and the keyfob even if the while the cinching motor is engaged, the (Park). Also, the power lift gate will not vehicle is locked. The lift gate will individually cinching motor will disengage and release operate if battery voltage is low. unlock and open. Once the lift gate is the latch. closed, its lock will align to the vehicle’s lock Power Open: ● The keyfob button must be held for 0.5 sec- or unlock status. ond before the lift gate closes. The power lift gate automatically moves from the fully closed position to the fully open position in ● The keyfob button must be held for 0.5 sec- ● The switch on the rear pillar can only be used approximately 5 – 8 seconds. The power open ond before the lift gate opens. to close the lift gate if the main ON/OFF feature can be activated by the switch on the switch is ON. 3-16 Pre-driving checks and adjustments ੬ REVIEW COPY—2008 Quest (van) Owners Manual—USA_English (nna) 06/29/07—debbie ੭
  • 150.
    Reverse: NOTE: The power lift gate will reverse direction immedi- If the pinch strip is damaged or removed, ately during power open or power close if the the power close function will not operate. keyfob, overhead console or rear pillar switch is pressed. A chime will sound to announce the WARNING reversal. There are some small distances immedi- Auto Reverse: ately before the closed position which If an obstacle is detected during power open or cannot be detected. Make sure that all power close, a warning chime will sound and the passengers have their hands, etc., inside lift gate will reverse direction and return to the full the vehicle before closing the lift gate. open or full close position. If a second obstacle is detected, the lift gate motion will stop and the Manual Mode: drive motor will disengage. The lift gate will enter If power operation is not available, the lift gate may be operated manually. Power operation may manual mode. LPD0238 not be available if the main ON/OFF switch is in A pinch strip is mounted on each side of the lift the OFF position, if multiple obstacles have been Safe Mode: gate. If an obstacle is detected by a pinch strip detected in a single power cycle, or if battery If the lift gate gas stays ᭺ lose pressure, the 1 during power close, the lift gate will reverse di- voltage is low. power lift gate safe mode is activated. When the rection and return to the full open position. safe mode is activated, the lift gate slowly closes. A continuous warning chime sounds until the lift gate is in the fully down position. Then the lift gate will be pulled to the closed and latched position by a motor. The power lift gate cannot be opened using the switches at any time in the safe mode. The auto reverse function remains active while the lift gate is closing in the safe mode. Do not operate the lift gate again until it is checked by your NISSAN dealer. Pre-driving checks and adjustments 3-17 ੬ REVIEW COPY—2008 Quest (van) Owners Manual—USA_English (nna) 06/29/07—debbie ੭
  • 151.
    CAUTION CAUTION ● If the power lift gate does not stay open ● If the power lift gate does not stay open or if the lift gate unexpectedly closes at or if the lift gate unexpectedly closes at any time while a continuous warning any time while a continuous warning chime sounds, do not operate the lift chime sounds, do not operate the lift gate. There may be a pressure loss in gate. There may be a pressure loss in one or both of the lift gate gas stays. one or both of the lift gate gas stays. Have the lift gate inspected by a Have the lift gate inspected by a NISSAN dealer. NISSAN dealer. ● Do not activate the power lift gate if one ● Do not activate the power lift gate if one or both of the lift gate gas stays are or both of the lift gate gas stays are removed. Damage to the lift gate or removed. Damage to the lift gate or power lift gate mechanisms may occur. power lift gate mechanisms may occur. LPD0230 LIFT GATE RELEASE Manual release Manual lift gate (if so equipped) WARNING If the lift gate cannot be locked or unlocked with ● Always be sure the lift gate has been the door lock switch or the keyfob due to a closed securely to prevent it from open- discharged battery, follow these steps: ing while driving. 1. Remove the cover on the inside of the lift ● Do not drive with the lift gate open. This gate. could allow dangerous exhaust gases to be drawn into the vehicle. See “Ex- 2. Move the lever down to lock or up to unlock. haust gas” in the “Starting and driving” section of this manual. 3-18 Pre-driving checks and adjustments ੬ REVIEW COPY—2008 Quest (van) Owners Manual—USA_English (nna) 06/29/07—debbie ੭
  • 152.
    FUEL-FILLER DOOR LPD0236 WPD0341 LPD0232 Power release OPENER OPERATION FUEL-FILLER CAP Power lift gate (if so equipped) The fuel-filler door release is located on the driv- The fuel-filler cap is a ratcheting type. Turn the If the lift gate cannot be opened with the door er’s door. To open the fuel-filler door, push the cap counterclockwise to remove. To tighten, turn lock switch or keyfob due to a discharged battery, release. To lock, close the fuel-filler door se- the cap clockwise until ratcheting clicks are follow these steps: curely. heard. 1. Remove the cover on the inside of the lift Put the fuel-filler cap on the cap holder ᭺ while 1 gate. refueling. 2. Move the lever up to open the lift gate. Pre-driving checks and adjustments 3-19 ੬ REVIEW COPY—2008 Quest (van) Owners Manual—USA_English (nna) 06/29/07—debbie ੭
  • 153.
    WARNING ● Do not fill a portable fuel container in CAUTION the vehicle or trailer. Static electricity ● Gasoline is extremely flammable and can cause an explosion of flammable ● If fuel is spilled on the vehicle body, highly explosive under certain condi- liquid, vapor or gas in any vehicle or flush it away with water to avoid paint tions. You could be burned or seriously trailer. To reduce the risk of serious damage. injured if it is misused or mishandled. injury or death when filling portable fuel ● Tighten until the fuel-filler cap clicks. Always stop the engine and do not containers: Failure to tighten the fuel-filler cap smoke or allow open flames or sparks near the vehicle when refueling. – Always place the container on the properly may cause the Mal- ground when filling. function Indicator Light (MIL) to illumi- ● Do not attempt to top off the fuel tank after the fuel pump nozzle shuts off – Do not use electronic devices when nate. If the light illuminates be- automatically. Continued refueling may filling. cause the fuel-filler cap is loose or cause fuel overflow, resulting in fuel – Keep the pump nozzle in contact missing, tighten or install the cap and spray and possibly a fire. with the container while you are fill- continue to drive the vehicle. ● Use only an original equipment type ing it. The light should turn off after a fuel-filler cap as a replacement. It has a – Use only approved portable fuel con- built-in safety valve needed for proper few driving trips. If the light tainers for flammable liquid. operation of the fuel system and emis- does not turn off after a few driving sion control system. An incorrect cap trips, have the vehicle inspected by a can result in a serious malfunction and NISSAN dealer. possible injury. It could also cause the ● For additional information, see the malfunction indicator light to come on. “Malfunction Indicator Light (MIL)” in ● Never pour fuel into the throttle body to the “Instruments and Controls” section attempt to start your vehicle. earlier in this manual. 3-20 Pre-driving checks and adjustments ੬ REVIEW COPY—2008 Quest (van) Owners Manual—USA_English (nna) 06/29/07—debbie ੭
  • 154.
    STEERING WHEEL PEDAL POSITION ADJUSTMENT (if so equipped) CAUTION Do not adjust the pedal position with your foot on the pedal. WPD0342 WPD0357 TILT OPERATION The accelerator and brake pedals can be ad- justed for driving comfort. Pull the lock lever forward and adjust the steering wheel up or down to the desired position. Use the pedal adjusting switch to adjust the brake and accelerator pedal position forward ᭺ 1 Push the lock lever back to lock the steering or backward ᭺. Pedal adjustment can only be 2 wheel in place. performed when: WARNING ● Ignition switch is in the OFF or ACC position Do not adjust the steering wheel while ● Ignition switch is ON and the selector lever driving. You could lose control of your is in the P (Park) position vehicle and cause an accident. The brake and accelerator pedals cannot be ad- justed separately. Pre-driving checks and adjustments 3-21 ੬ REVIEW COPY—2008 Quest (van) Owners Manual—USA_English (nna) 06/29/07—debbie ੭
  • 155.
    SUN VISORS ᭺ 1 To block glare from the front, swing down the main sun visor. ᭺ 2 To block glare from the side, remove the main sun visor from the center mount and swing the visor to the side. ᭺ 3 Slide the sun visor in or out as needed. WPD0345 VANITY MIRRORS To access the vanity mirror, pull the sun visor down and flip open the mirror cover. The vanity mirror will illuminate when the mirror cover is open. WPD0344 3-22 Pre-driving checks and adjustments ੬ REVIEW COPY—2008 Quest (van) Owners Manual—USA_English (nna) 06/29/07—debbie ੭
  • 156.
    MIRRORS For information on HomeLinkா Universal Trans- ceiver operation, see the “HomeLinkா Universal Transceiver” in the “Instrument and controls” sec- tion of this manual. WPD0126 WPD0329 REARVIEW MIRROR (if so equipped) AUTOMATIC ANTI-GLARE The night position ᭺ reduces glare from the 1 REARVIEW MIRROR (if so equipped) headlights of vehicles behind you at night. The inside mirror is designed so that it automati- Use the day position ᭺ when driving in daylight 2 cally changes reflection according to the intensity hours. of the headlights of the vehicle following you. The indicator light ᭺ will illuminate when the 1 WARNING automatic anti-glare feature is on. Use the night position only when neces- sary, because it reduces rear view clarity. To turn off the automatic anti-glare feature, press the O button. To turn on the automatic anti-glare feature, press the | button. Pre-driving checks and adjustments 3-23 ੬ REVIEW COPY—2008 Quest (van) Owners Manual—USA_English (nna) 06/29/07—debbie ੭
  • 157.
    Rotate the controllever to select the right or left Heated mirrors (if so equipped) mirror. Adjust the mirror to the desired position by moving the control lever. Some outside mirrors can be heated to defrost, defog, or de-ice for improved visibility. For addi- Automatic anti-glare outside mirrors (if tional information, see “Rear window and outside so equipped) mirror (if so equipped) defroster switch” in the “Instrument and controls” section of this manual. The outside mirrors will automatically dim during nighttime conditions to reduce the glare from the headlights of trailing vehicles. The automatic anti- glare feature operates only when the ignition switch is in the ON position. The automatic anti-glare feature will be on when starting the vehicle. The indicator light on the LPD0346 automatic anti-glare rearview mirror will illuminate OUTSIDE MIRRORS when the automatic anti-glare feature is on. To turn off the automatic anti-glare feature, press WARNING the O button on the rearview mirror. Objects viewed in the outside mirror on the passenger side are closer than they The indicator light will turn off. appear. Be careful when moving to the To turn on the automatic anti-glare feature again, right. Using only this mirror could cause press the | button on the rearview mirror an accident. Use the inside mirror or glance over your shoulder to properly The indicator light will turn on. judge distances to other objects. For information on the automatic anti-glare rear- The outside mirror remote control only operates view mirror, see “Automatic anti-glare rearview when the ignition switch is in the ACC or ON mirror” earlier in this section. position. 3-24 Pre-driving checks and adjustments ੬ REVIEW COPY—2008 Quest (van) Owners Manual—USA_English (nna) 06/29/07—debbie ੭
  • 158.
    AUTOMATIC DRIVE POSITIONER(if so equipped) Move the shift selector lever to R (Reverse). The The automatic drive positioner system has two selected mirror will turn downward. features: The selected mirror surface will return to its origi- ● Memory storage function nal position when any of the following have oc- ● Entry/exit function curred: ● The shift selector lever is moved to any po- sition other than R (Reverse). ● The outside mirror control switch is set to the N (Neutral) position. ● The ignition switch is turned OFF. NOTE: MPA0008 If the outside mirror control switch is in the Foldable outside mirrors neutral position, neither mirror will turn downward when the shift selector lever is Push the mirrors backward to fold them. moved to R (Reverse). Reverse tilt-down feature (if so For more information regarding this feature, refer equipped) to “Automatic drive positioner” later in this sec- tion. The reverse tilt-down feature will turn the se- lected outside mirror surface downward to pro- vide better rear visibility close to the vehicle. When the ignition switch is in the ON position, turn the outside mirror control switch to the left or right position. Only one mirror can be selected at a time. Pre-driving checks and adjustments 3-25 ੬ REVIEW COPY—2008 Quest (van) Owners Manual—USA_English (nna) 06/29/07—debbie ੭
  • 159.
    3. Adjust thedriver’s seat, accelerator and 1. Follow the steps for storing a memory posi- brake pedals, and outside mirrors to the tion. desired positions by manually operating 2. While the indicator light for the memory each adjusting switch. For additional infor- switch being set is illuminated for 5 sec- mation, see “Seats” in the “Safety—Seats, onds, press the button on the keyfob. seat belts and supplemental restraint sys- The indicator light will blink. After the indica- tem” section and “Pedal position adjust- tor light goes off, the keyfob is linked to that ment” and “Outside mirrors” earlier in this memory setting. section. With the key removed from the ignition switch, During this step, do not turn the ignition to press the button on the keyfob. The driv- any position other than ON. er’s seat, accelerator and brake pedals, and out- side mirrors will move to the memorized position. 4. Push the SET switch and, within 5 seconds, push the memory switch (1 or 2) fully for at NOTE: WPD0347 least 1 second. MEMORY STORAGE FUNCTION If a new memory position is saved to the The indicator light for the pushed memory memory switch, the keyfob automatically Two positions for the driver’s seat, accelerator switch will come on and stay on for approxi- re-links. and brake pedals, and outside mirrors can be mately 5 seconds after pushing the switch. stored in the automatic drive positioner memory. After the indicator light goes off, the se- Confirming memory storage Follow these procedures to use the memory sys- lected positions are stored in the selected ● Turn the ignition ON and push the SET tem. memory (1 or 2). switch. If the main memory has not been 1. Set the automatic transmission selector le- If a new memory is stored in the same memory stored, the indicator light will come on for ver to the P (Park) position. switch, the previous memory will be deleted. approximately 0.5 seconds. When the memory has stored the position, the indica- 2. Turn the ignition ON. Linking a keyfob to a stored memory tor light will stay on for approximately 5 sec- position onds. Each keyfob can be linked to a stored memory ● If the battery cable is disconnected, or if the position (memory switch 1 or 2) with the follow- fuse opens, the memory storage function will ing procedure. be canceled and must be restarted before a 3-26 Pre-driving checks and adjustments ੬ REVIEW COPY—2008 Quest (van) Owners Manual—USA_English (nna) 06/29/07—debbie ੭
  • 160.
    stored memory positioncan be set again. ENTRY/EXIT FUNCTION Restarting the entry/exit function Drive the vehicle over 25 MPH (40 km/h) to restart the memory storage function. You This system is designed so that the driver’s seat If the battery cable is disconnected or if the fuse can also restart the memory storage function will automatically move when the shift selector opens, the entry/exit function will be disabled. using the following procedure. lever is in the P (Park) position. This allows the Drive the vehicle over 25 MPH (40 km/h) to driver to get into and out of the driver’s seat more restart the entry/exit function. You can also restart 1. Connect the battery cable or replace the easily. the entry/exit function using the following proce- fuse. dure. The driver’s seat will slide backward: 2. Open and close the driver’s door more than two times with the ignition key in the LOCK 1. Connect the battery cable or replace the ● When the key is removed from the ignition position. fuse. switch and the driver’s door is opened. Once the memory storage function has been 2. Open and close the driver’s door more than ● When the driver’s door is opened with the restarted, you can store a memory position. two times with the ignition key in the LOCK key turned to LOCK. See “Memory storage function” earlier in this position. section. ● When the key is turned from ACC to LOCK The entry/exit function should now work properly. with the driver’s door open. Selecting the memorized position SYSTEM OPERATION The driver’s seat will return to previous position: Set the shift selector lever to the P (Park) posi- ● When the key is inserted into the ignition The automatic drive positioner system will not tion, then: switch and the driver’s door is closed. work or will stop operating under the following ● Within 45 seconds of opening the driver’s conditions: door, push the memory switch (1 or 2) fully ● When the driver’s door is closed with the key for at least 1 second, or turned to LOCK. ● When the vehicle speed is above 4 MPH (7 km/h). ● Turn the ignition switch to the ON position ● When the key is turned from ACC to ON and push the memory switch (1 or 2) fully for while the shift selector lever is in the P (Park) ● When any of the memory switches are at least 1 second. position. pushed while the automatic drive positioner is operating. The driver’s seat, accelerator and brake pedals, The entry/exit function can be adjusted or can- and outside mirrors will move to the memorized celed. See “Vehicle electronic systems” in the ● When the adjusting switch for the driver’s position with the indicator light blinking, and then “Display screen, heater, air conditioner, audio seat is turned on while the automatic drive the light will stay on for approximately 5 seconds. and phone systems” section of this manual. positioner is operating. Pre-driving checks and adjustments 3-27 ੬ REVIEW COPY—2008 Quest (van) Owners Manual—USA_English (nna) 06/29/07—debbie ੭
  • 161.
    ● When thememory switch (1 or 2) is not pushed and held for at least 1 second. ● When the seat has been already moved to the memorized position. ● When no seat position is stored in the memory switch. ● When the shift selector lever is moved from P (Park) to any other position. ● When the driver’s door remains open more than 45 seconds and the ignition switch is not in the ON position. The automatic drive positioner system can be adjusted and canceled. See “Vehicle electronic systems” in the “Display screen, heater, air con- ditioner, audio and phone systems” section of this manual. 3-28 Pre-driving checks and adjustments ੬ REVIEW COPY—2008 Quest (van) Owners Manual—USA_English (nna) 06/29/07—debbie ੭
  • 162.
    MEMO Pre-driving checks and adjustments 3-29
  • 163.
    4 Display screen,heater, air conditioner, audio and phone systems Control panel buttons — with monochrome screen . . . . 4-2 Operating tips. . . . . . . . . . . . . . . . . . . . . . . . . . . . . . . . . 4-29 How to use the TRIP button . . . . . . . . . . . . . . . . . . . . . 4-3 Ventilators . . . . . . . . . . . . . . . . . . . . . . . . . . . . . . . . . . . . . . . 4-30 How to use the SETTING button . . . . . . . . . . . . . . . . . 4-5 Heater and air conditioner (manual). . . . . . . . . . . . . . . . . 4-31 button. . . . . . . . . . . . . . . . . . . . . . . . . . . . . . . . . . . 4-6 Controls . . . . . . . . . . . . . . . . . . . . . . . . . . . . . . . . . . . . . . 4-31 Door warning . . . . . . . . . . . . . . . . . . . . . . . . . . . . . . . . . . 4-6 Heater operation . . . . . . . . . . . . . . . . . . . . . . . . . . . . . . 4-32 Control panel buttons — color screen without Air conditioner operation . . . . . . . . . . . . . . . . . . . . . . . 4-33 Navigation System (if so equipped) . . . . . . . . . . . . . . . . . . 4-7 Air flow charts. . . . . . . . . . . . . . . . . . . . . . . . . . . . . . . . . 4-34 How to use the joystick and ENTER button . . . . . . . . 4-7 Heater and air conditioner (automatic) How to use the BACK button . . . . . . . . . . . . . . . . . . . . 4-7 (if so equipped) . . . . . . . . . . . . . . . . . . . . . . . . . . . . . . . . . . 4-40 How to use the TRIP button . . . . . . . . . . . . . . . . . . . . . 4-8 Automatic operation . . . . . . . . . . . . . . . . . . . . . . . . . . . 4-40 How to use the SETTING button . . . . . . . . . . . . . . . . 4-11 Manual operation . . . . . . . . . . . . . . . . . . . . . . . . . . . . . . 4-41 button. . . . . . . . . . . . . . . . . . . . . . . . . . . . . . . . . . 4-16 Operating tips. . . . . . . . . . . . . . . . . . . . . . . . . . . . . . . . . 4-41 Control panel buttons — color screen with Rear seat air conditioner . . . . . . . . . . . . . . . . . . . . . . . . . . 4-42 Navigation System (if so equipped) . . . . . . . . . . . . . . . . . 4-17 Controls . . . . . . . . . . . . . . . . . . . . . . . . . . . . . . . . . . . . . . 4-43 How to use the joystick and ENTER button . . . . . . . 4-17 Servicing air conditioner. . . . . . . . . . . . . . . . . . . . . . . . . . . 4-43 How to use the BACK button . . . . . . . . . . . . . . . . . . . 4-18 Audio system . . . . . . . . . . . . . . . . . . . . . . . . . . . . . . . . . . . . 4-43 Setting up the start-up screen . . . . . . . . . . . . . . . . . . 4-18 Radio . . . . . . . . . . . . . . . . . . . . . . . . . . . . . . . . . . . . . . . . 4-43 How to use the TRIP button . . . . . . . . . . . . . . . . . . . . 4-18 FM radio reception . . . . . . . . . . . . . . . . . . . . . . . . . . . . 4-44 How to use the SETTING button . . . . . . . . . . . . . . . . 4-22 AM radio reception . . . . . . . . . . . . . . . . . . . . . . . . . . . . 4-44 button. . . . . . . . . . . . . . . . . . . . . . . . . . . . . . . . . . 4-28 Satellite radio reception (if so equipped) . . . . . . . . . 4-44 Rearview monitor (if so equipped) . . . . . . . . . . . . . . . . . . 4-28 Audio operation precautions . . . . . . . . . . . . . . . . . . . . 4-45 How to read the displayed lines . . . . . . . . . . . . . . . . . 4-28 FM/AM/SAT radio with compact disc (CD) Adjusting the screen . . . . . . . . . . . . . . . . . . . . . . . . . . . 4-29 player . . . . . . . . . . . . . . . . . . . . . . . . . . . . . . . . . . . . . . . . 4-50 ੬ REVIEW COPY—2008 Quest (van) Owners Manual—USA_English (nna) 06/29/07—debbie ੭
  • 164.
    FM/AM/SAT radio withcompact disc (CD) Care and maintenance . . . . . . . . . . . . . . . . . . . . . . . . . 4-71 changer (Type A and B) (if so equipped) . . . . . . . . . 4-56 How to handle the DVD . . . . . . . . . . . . . . . . . . . . . . . . 4-72 CD care and cleaning . . . . . . . . . . . . . . . . . . . . . . . . . . 4-61 Car phone or CB radio . . . . . . . . . . . . . . . . . . . . . . . . . . . . 4-75 Steering wheel switch for audio control . . . . . . . . . . 4-62 Bluetoothா Hands-Free Phone System Rear audio controls (if so equipped) . . . . . . . . . . . . . 4-64 (if so equipped) . . . . . . . . . . . . . . . . . . . . . . . . . . . . . . . . . . 4-75 Antenna . . . . . . . . . . . . . . . . . . . . . . . . . . . . . . . . . . . . . . 4-65 Using the system . . . . . . . . . . . . . . . . . . . . . . . . . . . . . . 4-77 DVD entertainment system (if so equipped). . . . . . . . . . 4-65 Control buttons . . . . . . . . . . . . . . . . . . . . . . . . . . . . . . . 4-79 Digital video disc (DVD) player controls . . . . . . . . . . 4-66 Getting started . . . . . . . . . . . . . . . . . . . . . . . . . . . . . . . . 4-79 Remote control. . . . . . . . . . . . . . . . . . . . . . . . . . . . . . . . 4-67 List of voice commands . . . . . . . . . . . . . . . . . . . . . . . . 4-81 Flip-down screen . . . . . . . . . . . . . . . . . . . . . . . . . . . . . . 4-67 Speaker adaptation (SA) mode. . . . . . . . . . . . . . . . . . 4-86 Playing a digital video disc (DVD) . . . . . . . . . . . . . . . 4-68 Troubleshooting guide . . . . . . . . . . . . . . . . . . . . . . . . . 4-89 ੬ REVIEW COPY—2008 Quest (van) Owners Manual—USA_English (nna) 06/29/07—debbie ੭
  • 165.
    CONTROL PANEL BUTTONS— WITH MONOCHROME SCREEN WARNING ● Do not disassemble or modify this sys- tem. If you do, it may result in accidents, fire, or electrical shock. ● Do not use this system if you notice any abnormality, such as a frozen screen or lack of sound. Continued use of the system may result in accident, fire or electric shock. ● In case you notice any foreign object in the system hardware, spill liquid on it, or notice smoke or smell coming from it, stop using the system immediately and contact your nearest NISSAN dealer. Ignoring such conditions may lead to accidents, fire or electrical shock. LHA0616 1. TRIP button (P. 4-3) If you use the system with the engine not 2. brightness control button running (ignition ON or ACC) for a long (P. 4-6) time, it will use up all the battery power, and the engine will not start. 3. SETTING button (P. 4-5) When you use this system, make sure the engine is running. 4-2 Display screen, heater, air conditioner, audio and phone systems ੬ REVIEW COPY—2008 Quest (van) Owners Manual—USA_English (nna) 06/29/07—cathy ੭
  • 166.
    Reference symbols: ● When driving uphill or rounding curves, the fuel in the tank shifts, which may momentarily TRIP button — This is a button on the control change the display. panel. By pressing this button you can select the item or perform this action. HOW TO USE THE TRIP BUTTON When the TRIP button is pressed, the following modes will display on the screen. Dist. to Empty → Average Speed → Fuel Economy → Tire Pressure → Audio or OFF → Dist. to Empty LHA0617 Distance to empty (MI or km) The Distance To Empty (DTE) mode provides you with an estimation of the distance that can be driven before refueling. The DTE is constantly calculated based on the amount of fuel in the fuel tank and the actual fuel consumption. The display is updated every 30 seconds. When the fuel level is low, the DTE display will change to — . NOTE: ● If the amount of fuel added while the ignition switch is OFF is small, the display just before the ignition switch is turned OFF may con- tinue to be displayed. Display screen, heater, air conditioner, audio and phone systems 4-3 ੬ REVIEW COPY—2008 Quest (van) Owners Manual—USA_English (nna) 06/29/07—debbie ੭
  • 167.
    LHA0618 LHA0619 LHA0620 Average speed (MPH or km/h) Fuel economy (MPG or L/100 km) Tire pressure information The Average Speed mode shows the average The Fuel Economy mode shows the average fuel Pressure indication in **psi on the screen indi- speed since the last reset. To calculate the aver- economy since the last reset. cates that the pressure is being measured. After age speed, driving distance is divided by driving a few driving trips, the pressure for each tire will For approximately the first 30 seconds and 1/3 time. be displayed randomly. mile (500 m) after a reset or connecting the For approximately the first 30 seconds after a battery cables, the display will show —. The order of the tire pressure figures displayed reset or reconnecting the battery cables, the on the screen does not correspond with the Resetting fuel economy display will show —. actual order of the tire position. The fuel economy calculation can be reset to 0. Resetting average speed Press the TRIP button for more than approxi- Tire pressure rises and falls depending on the The average speed calculation can be reset to 0. mately 2 seconds. heat caused by the vehicle’s operation and the Press the TRIP button for more than approxi- outside temperature. mately 2 seconds. 4-4 Display screen, heater, air conditioner, audio and phone systems ੬ REVIEW COPY—2008 Quest (van) Owners Manual—USA_English (nna) 06/29/07—debbie ੭
  • 168.
    In case oflow tire pressure, a message “LOW Clock Adjust MINUTES → Units → Lang → MP3 Clock operation PRESSURE” or “CHECK ALL TIRES” is dis- Disp Type (if so equipped) → Audio or OFF → played on the screen: Backlight The digital clock displays time when the ignition key is in ACC or ON. LOW PRESSURE — CHECK ALL TIRES. Backlight If the power supply is disconnected, the To turn off the screen, select “OFF” of the Back- clock will not indicate the correct time. WARNING light mode by pressing the TUNE button. Readjust the time. ● When a spare tire is mounted or a wheel The message “Press SETTINGS to resume” will Clock adjust hours is replaced, tire pressure will not be display for approximately 5 seconds then the indicated, the Tire Pressure Monitoring Press the SETTING button until Clock Adjust screen will turn off. System (TPMS) will not function and HOURS is shown in the display. Press the TUNE the low tire pressure warning light will To turn on the screen, press the SETTING button button up or down to adjust the hour. flash for approximately 1 minute. The and select “ON” by pressing the TUNE button. light will remain on after 1 minute. Con- Clock adjust minutes tact your NISSAN dealer as soon as When any button besides SETTING is pressed possible for tire replacement and/or with the screen off, the screen turns on for further Press the SETTING button again Clock Adjust system resetting. operation. The screen will turn off automatically Minutes is shown in the display. Press the TUNE after the operation is finished. button up or down to adjust the minutes. ● Replacing tires with those not originally specified by NISSAN could affect the Day mode brightness To exit the clock adjustment, press the SETTING proper operation of the TPMS. The brightness of the screen during the day can button repeatedly. The screen will return to the be changed by pressing the TUNE button. audio display if the audio is on. If the audio is not HOW TO USE THE SETTING on, the screen will return to a blank display. BUTTON For additional information, see “ button” later in this section. Units Pressing the SETTING button will change the settings menu as follows: Night mode brightness To change the units press the TUNE button to select “ENGLISH” or “METRIC”. Backlight → Day Mode Brightness → Night The brightness of the screen during the night can Mode Brightness → Clock Adjust HOURS → be changed by pressing the TUNE button. Unit: US — MI, °F, MPG Metric — km, °C, L/100 km For additional information, see “ button” later in this section. Display screen, heater, air conditioner, audio and phone systems 4-5 ੬ REVIEW COPY—2008 Quest (van) Owners Manual—USA_English (nna) 06/29/07—debbie ੭
  • 169.
    Language Pressing the button with the headlights on will prompt the “BRIGHTNESS DAY (MANUAL)” or The language can be changed to “ENGLISH” or “BRIGHTNESS AUTOMATIC”. If “BRIGHT- “FRANÇAIS” by pressing the TUNE button. NESS DAY (MANUAL)” is selected the bright- MP3 display type (if so equipped) ness of the screen will not be affected by the headlight operation. The brightness of the screen To change how MP3 discs are displayed, press will be dependent on the settings in the Day the TUNE button to select “DISC NUMBER” or Mode Brightness, described earlier in this sec- “FOLDER NUMBER”. tion. Disc number mode will display the file number in the disc. Folder number mode will display the file number in the current folder. LHA0643 For additional information, see “Audio System” later in this section. DOOR WARNING BUTTON The DOOR OPEN screen will be automatically displayed as shown when both of the following To change the display brightness, press conditions are met: the button. Pressing the button with the headlights off will prompt the “BRIGHTNESS ● The vehicle is driven with a door(s) open for NIGHT (MANUAL)” or “BRIGHTNESS AUTO- longer than 2.5 seconds. MATIC”. If “BRIGHTNESS NIGHT (MANUAL)” is ● The vehicle speed is greater than 3 MPH (5 selected, the brightness of the screen will not be km/h). affected by the headlight operation. The bright- ness of the screen will be dependent on the Beeping will occur during the door warning; to settings in the Night Mode Brightness, described disable the beeping press any button. If a change earlier in this section. in any door condition occurs during the time the beep is cancelled, a warning will return. 4-6 Display screen, heater, air conditioner, audio and phone systems ੬ REVIEW COPY—2008 Quest (van) Owners Manual—USA_English (nna) 06/29/07—debbie ੭
  • 170.
    CONTROL PANEL BUTTONS— COLOR SCREEN WITHOUT NAVIGATION SYSTEM (if so equipped) Reference symbols: ENTER button — This is a button on the control panel. By pressing this button you can select the item or perform this action. “Display” key — This is a select key on the screen. By selecting this key you can proceed to the next function. HOW TO USE THE JOYSTICK AND ENTER BUTTON Use the joystick to choose an item on the display screen. Move the joystick up, down, left or right to highlight an item. Then press the ENTER button to select the item or perform the action. HOW TO USE THE BACK BUTTON This button has two functions. ● Go back to the previous display (cancel). If you press the BACK button during setup, the setup will be canceled and/or the display will LHA0621 return to the previous screen. Display screen without navigation ● Finish setup. 1. TRIP button (P. 4-8) 5. SETTING button (P. 4-11) In some screens pressing the BACK button ac- 2. BACK (previous) button (P. 4-7) If you use the system with the engine not cepts the changes made during setup. 3. Joystick and ENTER button (P. 4-7) running (ignition ON or ACC) for a long 4. brightness control button time, it will use up all the battery power, (P. 4-16) and the engine will not start. Display screen, heater, air conditioner, audio and phone systems 4-7 ੬ REVIEW COPY—2008 Quest (van) Owners Manual—USA_English (nna) 06/29/07—cathy ੭
  • 171.
    ● Average Speed- Average speed driven (MPH or km/h) since the last reset. Resetting trip 1 and trip 2 Each trip screen can be reset to 0. Press the TRIP button to select the TRIP screen to be reset. ● Select the “Reset” key on screen by press- ing the ENTER button, or ● Press the TRIP button for more than approxi- mately 1.5 seconds. LHA0552 LHA0553 HOW TO USE THE TRIP BUTTON Fuel economy When the TRIP button is pressed, the following Press the TRIP button to display Average Fuel modes will display on the screen. Economy and Distance To Empty. Warning message (if any) → TRIP 1 → TRIP 2 → Average fuel economy (MPG or L/100 km) FUEL ECONOMY → MAINTENANCE → Audio or OFF → TRIP 1 The Average Fuel Economy is calculated based on fuel consumption since the last reset. The Each trip display tracks an independent trip and display is updated every 30 seconds and 1/3 displays the following: mile (500 m). After a reset or connecting the ● Elapsed Time - Journey time since the last battery cables, the display will show (**.*). reset up to a maximum of 99 hours and 59 minutes. ● Driving Distance - Distance driven (mile or km) since the last reset. 4-8 Display screen, heater, air conditioner, audio and phone systems ੬ REVIEW COPY—2008 Quest (van) Owners Manual—USA_English (nna) 06/29/07—debbie ੭
  • 172.
    Resetting fuel economy Theaverage fuel economy calculation can be reset to 0. Press the TRIP button repeatedly until the FUEL ECONOMY menu is shown, then ei- ther: ● Select the “Reset” key on screen by press- ing the ENTER button, or ● Press the TRIP button for more than approxi- mately 1.5 seconds. Distance to empty (MI or km) The Distance To Empty (DTE) mode provides you with an estimation of the distance that can be LHA0554 LHA0555 driven before refueling. The DTE is constantly calculated based on the amount of fuel in the fuel Maintenance items Changing the maintenance interval tank and the actual fuel consumption. The display Select the “Engine Oil” or “Tire Rotation” key is updated every 30 seconds. When the fuel level Press the TRIP button to display maintenance information or set maintenance intervals for the using the joystick and press the ENTER button to is low, the DTE display will change to (*). display the screen to change the maintenance following: interval. NOTE: ● Engine Oil Select the “Maintenance Schedule” key using the ● If the amount of fuel added while the ignition ● Tire Rotation joystick and move the joystick to right or left to set switch is OFF is small, the display just before the maintenance interval. the ignition switch is turned OFF may con- ● Tire Pressure (if so equipped) tinue to be displayed. For setting the Tire Pressure display, refer to “Tire ● When driving uphill or rounding curves, the pressure information” later in this section. fuel in the tank shifts, which may momentarily change the display. Display screen, heater, air conditioner, audio and phone systems 4-9 ੬ REVIEW COPY—2008 Quest (van) Owners Manual—USA_English (nna) 06/29/07—debbie ੭
  • 173.
    ● The ignitionkey is turned ON the next time the vehicle will be driven. To return to the previous display after the MAIN- TENANCE NOTICE screen is displayed, press the BACK button. The MAINTENANCE NOTICE screen displays each time the key is turned ON until one of the following conditions are met: ● “Reset” key is selected. ● “Display Maintenance Notification” is set OFF. ● The maintenance interval is set again. LHA0556 LHA0483 Resetting the maintenance interval Displaying the maintenance notice re- The ENGINE OIL and TIRE ROTATION mainte- minder nance intervals can be reset to 0 miles (kilome- Select the “Display Maintenance Notification” ters). key and press the ENTER button to display the Select the “Reset” key using the joystick and MAINTENANCE INFORMATION automatically press the ENTER button. at the set maintenance interval. The MAINTENANCE NOTICE screen (ENGINE OIL and TIRE ROTATION) will be automatically displayed as shown when both of the following conditions are met: ● The vehicle is driven the set distance and the ignition key is turned OFF. 4-10 Display screen, heater, air conditioner, audio and phone systems ੬ REVIEW COPY—2008 Quest (van) Owners Manual—USA_English (nna) 06/29/07—debbie ੭
  • 174.
    Tire pressure risesand falls depending on the heat caused by the vehicle’s operation and the outside temperature. In case of low tire pressure, a message is dis- played on the screen: LOW PRESSURE — Check All Tires. WARNING ● When a spare tire is mounted or a wheel is replaced, tire pressure will not be indicated, the Tire Pressure Monitoring System (TPMS) will not function and the low tire pressure warning light will LHA0557 LHA0599 flash for approximately 1 minute. The Tire pressure information light will remain on after 1 minute. Con- HOW TO USE THE SETTING tact your NISSAN dealer as soon as BUTTON To display tire pressure information, press the possible for tire replacement and/or TRIP button repeatedly until the MAINTENANCE system resetting. When the SETTING button is pressed, the SET- screen is displayed. Select the “Tire Pressure” TINGS screen will appear on the display. You can key using the joystick and press the ENTER but- ● Replacing tires with those not originally select and/or adjust several functions, features ton. specified by NISSAN could affect the and modes that are available for your vehicle. proper operation of the TPMS. Move the joystick and press the ENTER button to Pressure indication in ** psi on the screen indi- select each item to be set. cates that the pressure is being measured. After a few driving trips, the pressure for each tire will be displayed randomly. The order of tire pressure figures displayed on the screen does not correspond with the actual order of the tire position. Display screen, heater, air conditioner, audio and phone systems 4-11 ੬ REVIEW COPY—2008 Quest (van) Owners Manual—USA_English (nna) 06/29/07—debbie ੭
  • 175.
    LHA0622 LHA0625 LHA0642 Display settings Brightness/contrast/screen background: Display off: Select the “Display” key and press the ENTER Select the “Brightness/Contrast/Screen Back- Select the “Display Off” key. The indicator of the button. The DISPLAY SETTINGS screen will ap- ground” key to adjust the brightness and contrast “Display Off” turns amber and the message pear. of the screen. Use the joystick to select and above will be displayed briefly. When the audio, adjust the brightness to darker or brighter and the HVAC (Heater and air conditioner), or any mode contrast to lower or higher. button on the control panel is operated, the dis- play turns on for that operation. If one of the Use the joystick to select the “Screen Back- control panel buttons is pressed, the display will ground” key. Press the ENTER button or move not automatically turn off until that operation is the joystick right or left to choose a “Dark” or finished. Otherwise, the screen turns off auto- “Bright” screen background. matically after 5 seconds. The new settings are automatically saved when you exit the setting screen by pressing the BACK button or any other mode button. 4-12 Display screen, heater, air conditioner, audio and phone systems ੬ REVIEW COPY—2008 Quest (van) Owners Manual—USA_English (nna) 06/29/07—debbie ੭
  • 176.
    To turn thescreen on, ● Press the SETTING button and select the “Display” key and then select the “Display Off” key. Then set the screen to on by press- ing the ENTER button, or ● Hold the button for approximately 2 seconds and the message “resuming dis- play” will appear and the “Display Off” key will be automatically turned on (no amber indicator). LHA0622 LHA0651 Lower display setting: Any time audio information is shown on the main part of the screen, HVAC information will be You can choose to display the audio or HVAC displayed on the lower part of the screen. HVAC (Heater and air conditioner) functions on the information will be shown even if “Audio” is se- lower part of the display. Select the “Lower Dis- lected to be displayed on the lower part of the play Setting” key by using the joystick. Then se- screen. lect the “Audio” or “HVAC” key using the joystick or by pressing the ENTER button. The new settings are automatically saved when you exit the setting screen by pressing the BACK button or any other mode button. Display screen, heater, air conditioner, audio and phone systems 4-13 ੬ REVIEW COPY—2008 Quest (van) Owners Manual—USA_English (nna) 06/29/07—debbie ੭
  • 177.
    LHA0559 LHA0564 LHA0565 Vehicle electronic systems Adjust driver seat when exiting vehicle: Se- NOTE: lect so the driver’s seat automatically moves back Select the “Vehicle Electronic Systems” key by If you change the horn beep or the lamp and returns to the original position for ease of exit using the joystick and pressing the ENTER but- flash feature with the keyfob, the display and entry. ton. The VEHICLE ELECTRONIC SYSTEMS screen will not show the current mode. Use screen will be displayed. Remote unlock driver’s door first: Select to the keyfob to return to the previous mode change which doors will unlock first during an and re-enable the display screen control. You can set the following operating conditions by unlocking operation: selecting the desired item using the joystick, then Keyless remote response — lights: Select to pressing the ENTER button. The indicator light, Only the driver’s door ←→ All the doors turn on or turn off the hazard indicator flash mode box at the left of the selected item, alternately used when the LOCK or UNLOCK button on the Keyless remote response — horn: Select to turns on and off each time the ENTER button is keyfob is pressed. turn on or turn off the horn chirp mode used when pressed. the LOCK or UNLOCK button on the keyfob is Indicator light is illuminated — ON pressed. Indicator light is not illuminated — OFF 4-14 Display screen, heater, air conditioner, audio and phone systems ੬ REVIEW COPY—2008 Quest (van) Owners Manual—USA_English (nna) 06/29/07—debbie ੭
  • 178.
    NOTE: You can select the language and unit using the joystick or pressing the ENTER button. If you change the horn beep or the lamp flash feature with the keyfob, the mode will The settings are automatically saved when you not be changed with the display. Use the exit the menu by pressing the BACK button or keyfob to return to the previous mode and any other mode button. re-enable the display control. Auto re-lock time: Select to set the length of time before doors automatically re-lock. Sensitivity of automatic headlights: Select to change the sensitivity setting of the automatic headlights: ● Lower: less sensitive, automatic headlights will take longer to come on when the head- LHA0561 light sensor senses less ambient light. System settings ● Higher: more sensitive, automatic headlights Select the “System Settings” key by using the will come on quicker when the headlight joystick and pressing the ENTER button. The sensor senses less ambient light. SYSTEM SETTINGS menu will be displayed. Automatic headlights off delay: Select to change the setting for the length of time the Language/unit automatic headlights remain on after exiting the The LANGUAGE/UNIT screen will appear when vehicle. selecting the “Language/Unit” key and pressing Speed dependent wiper: Select to turn on or the ENTER button. turn off the driving speed dependent intermittent Language: English or French wiper function. Unit: US — mile, °F, MPG Return all settings to default: Select to Metric — km, °C, L/100 km change all VEHICLE ELECTRONICS SYSTEMS to their default settings. Display screen, heater, air conditioner, audio and phone systems 4-15 ੬ REVIEW COPY—2008 Quest (van) Owners Manual—USA_English (nna) 06/29/07—debbie ੭
  • 179.
    BUTTON To change the display brightness, press the button. Pressing the button again will change the display to “DAY” or “NIGHT” display. Then, adjust the brightness by moving the joy- stick right or left. If no operation is done within 10 seconds, or if the BACK button is pressed, the display will return to the previous display. LHA0600 Clock Adjusting the time: Select the “Hours” or “Minutes” key and move the joystick to the right or left to adjust the time. The time will change step by step. The new settings are automatically saved when you exit the setting screen by pressing the BACK or any other mode button. Beep setting With this option ON, a beep will sound if any audio button is pressed. 4-16 Display screen, heater, air conditioner, audio and phone systems ੬ REVIEW COPY—2008 Quest (van) Owners Manual—USA_English (nna) 06/29/07—debbie ੭
  • 180.
    CONTROL PANEL BUTTONS— COLOR SCREEN WITH NAVIGATION SYSTEM (if so equipped) 10. brightness control button (P. 4-28) 11. TRIP button (P. 4-18) *For Navigation system control buttons, refer to the separate Navigation System Owner’s Manual. If you use the system with the engine not running (ignition ON or ACC) for a long time, it will use up all the battery power, and the engine will not start. Reference symbols: ENTER button — This is a button on the control panel. By pressing this button you can select the item or perform the action. “Display” key — This is a select key on the screen. By selecting this key you can proceed to the next function. HOW TO USE THE JOYSTICK AND ENTER BUTTON LHA0631 Use the joystick to choose an item on the display Display screen with navigation screen. Move the joystick up, down, left or right to 1. ROUTE button* 6. Joystick and ENTER button (P. 4-17) highlight an item. Then press the ENTER button 2. DEST button* 7. zoom in button* to select the item or perform the action. 3. MAP button* 8. VOICE button* 4. BACK (previous) button (P. 4-18) 9. SETTING button (P. 4-22) 5. zoom out button* Display screen, heater, air conditioner, audio and phone systems 4-17 ੬ REVIEW COPY—2008 Quest (van) Owners Manual—USA_English (nna) 06/29/07—cathy ੭
  • 181.
    HOW TO USETHE BACK BUTTON ● Average Speed - Average speed driven (MPH or km/h) since the last reset. This button has two functions. Resetting trip 1 and trip 2 ● Go back to the previous display (cancel). Each trip screen can be reset to 0. Press the TRIP If you press the BACK button during setup, the button to select the TRIP screen to be reset. setup will be canceled and/or the display will return to the previous screen. ● Select the “Reset” key on screen by press- ing the ENTER button, or ● Finish setup. ● Press the TRIP button for more than approxi- In some screens pressing the BACK button ac- mately 1.5 seconds. cepts the changes made during setup. SETTING UP THE START-UP SCREEN LHA0552 When you turn the ignition key to ACC or ON, the HOW TO USE THE TRIP BUTTON system start-up warning is displayed on the screen. Read the warning and select the “OK” When the TRIP button is pressed, the following key by pressing the ENTER button. modes will display on the screen. If you do not press the ENTER button, the Navi- Warning message (if any) → TRIP 1 → TRIP 2 → gation system will not proceed to the next step in FUEL ECONOMY → MAINTENANCE → Audio the Navigation display. or OFF → TRIP 1 If you do not touch a button or screen key for Each trip display tracks an independent trip and more than 1 minute on the system start-up warn- displays the following: ing screen, the screen will change to the audio ● Elapsed Time - Journey time since the last screen automatically. reset up to a maximum of 99 hours and 59 To proceed to the next step, refer to the separate minutes. Navigation System Owner’s Manual. ● Driving Distance - Distance driven (mile or km) since the last reset. 4-18 Display screen, heater, air conditioner, audio and phone systems ੬ REVIEW COPY—2008 Quest (van) Owners Manual—USA_English (nna) 06/29/07—debbie ੭
  • 182.
    Resetting fuel economy The average fuel economy calculation can be reset to 0. Press the TRIP button repeatedly until the FUEL ECONOMY menu is shown, then ei- ther: ● Select the “Reset” key on screen by press- ing the ENTER button, or ● Press the TRIP button for more than approxi- mately 1.5 seconds. Distance to empty (MI or km) The Distance To Empty (DTE) mode provides you with an estimation of the distance that can be LHA0553 LHA0554 driven before refueling. The DTE is constantly Fuel economy calculated based on the amount of fuel in the fuel Maintenance items tank and the actual fuel consumption. The display Press the TRIP button to display Average Fuel is updated every 30 seconds. When the fuel level Press the TRIP button to display maintenance Economy and Distance To Empty. is low, the DTE display will change to (*). information or set maintenance intervals for the following: Average fuel economy (MPG or L/100 km) NOTE: ● Engine Oil The Average Fuel Economy is calculated based ● If the amount of fuel added while the ignition ● Tire Rotation on fuel consumption since the last reset. The switch is OFF is small, the display just before display is updated every 30 seconds and 1/3 ● Tire Pressure (if so equipped) the ignition switch is turned OFF may con- mile (500 m). After a reset or connecting the tinue to be displayed. battery cables, the display will show (**.*). For setting the Tire Pressure display, refer to “Tire ● When driving uphill or rounding curves, the pressure information” later in this section. fuel in the tank shifts, which may momentarily change the display. Display screen, heater, air conditioner, audio and phone systems 4-19 ੬ REVIEW COPY—2008 Quest (van) Owners Manual—USA_English (nna) 06/29/07—debbie ੭
  • 183.
    LHA0555 LHA0556 LHA0483 Changing the maintenance interval Resetting the maintenance interval Displaying the maintenance notice re- Select the “Engine Oil” or “Tire Rotation” key The ENGINE OIL and TIRE ROTATION mainte- minder using the joystick and press the ENTER button to nance intervals can be reset to 0 miles (kilome- Select the “Display Maintenance Notification” display the screen to change the maintenance ters). key and press the ENTER button to display the interval. MAINTENANCE INFORMATION automatically Select the “Reset” key using the joystick and Select the “Maintenance Schedule” key using the press the ENTER button. at the set maintenance interval. joystick and move the joystick to right or left to set The MAINTENANCE NOTICE screen (ENGINE the maintenance interval. OIL and TIRE ROTATION) will be automatically displayed as shown when both of the following conditions are met: ● The vehicle is driven the set distance and the ignition key is turned OFF. 4-20 Display screen, heater, air conditioner, audio and phone systems ੬ REVIEW COPY—2008 Quest (van) Owners Manual—USA_English (nna) 06/29/07—debbie ੭
  • 184.
    ● The ignitionkey is turned ON the next time Tire pressure rises and falls depending on the the vehicle will be driven. heat caused by the vehicle’s operation and the outside temperature. To return to the previous display after the MAIN- TENANCE NOTICE screen is displayed, press In case of low tire pressure, a message is dis- the BACK button. played on the screen: The MAINTENANCE NOTICE screen displays LOW PRESSURE — Check All Tires. each time the key is turned ON until one of the following conditions are met: WARNING ● “Reset” key is selected. ● When a spare tire is mounted or a wheel is replaced, tire pressure will not be ● “Display Maintenance Notification” is set to indicated, the Tire Pressure Monitoring OFF. System (TPMS) will not function and ● The maintenance interval is set again. the low tire pressure warning light will LHA0557 flash for approximately 1 minute. The Tire pressure information light will remain on after 1 minute. Con- tact your NISSAN dealer as soon as To display tire pressure information, press the possible for tire replacement and/or TRIP button repeatedly until the MAINTENANCE system resetting. screen is displayed. Select the “Tire Pressure” key using the joystick and press the ENTER but- ● Replacing tires with those not originally ton. specified by NISSAN could affect the proper operation of the TPMS. Pressure indication in ** psi on the screen indi- cates that the pressure is being measured. After a few driving trips, the pressure for each tire will be displayed randomly. The order of tire pressure figures displayed on the screen does not correspond with the actual order of the tire position. Display screen, heater, air conditioner, audio and phone systems 4-21 ੬ REVIEW COPY—2008 Quest (van) Owners Manual—USA_English (nna) 06/29/07—debbie ੭
  • 185.
    LHA0558 WHA0715 WHA0716 HOW TO USE THE SETTING Display settings Brightness/contrast: BUTTON Select the “Display” key and press the ENTER Select the “Brightness/Contrast” key to adjust When the SETTING button is pressed, the SET- button. The DISPLAY SETTINGS screen will ap- the brightness and contrast of the map back- TINGS screen will appear on the display. You can pear. ground. Use the joystick to adjust the brightness select and/or adjust several functions, features to darker or brighter and the contrast to lower or and modes that are available for your vehicle. higher. Move the joystick and press the ENTER button to The new settings are automatically saved when select each item to be set. you exit the setting screen by pressing the BACK button or any other mode button. 4-22 Display screen, heater, air conditioner, audio and phone systems ੬ REVIEW COPY—2008 Quest (van) Owners Manual—USA_English (nna) 06/29/07—debbie ੭
  • 186.
    To turn thescreen on, ● Press the SETTING button and select the “Display” key and then select the “Display Off” key. Then set the screen to on by press- ing the ENTER button, or ● Hold the button for approximately 2 seconds and the message “resuming dis- play” will appear and the “Display Off” key will be automatically turned on (no amber indicator). LHA0642 WHA0715 Display off: Lower display setting: Select the “Display Off” key. The indicator of the You can choose to display the audio or HVAC “Display Off” turns amber and the message (Heater and air conditioner) functions on the above will be displayed briefly. When the audio, lower part of the display. Select the “Lower Dis- HVAC (Heater and air conditioner), or any mode play Setting” key by using the joystick. Then se- button on the control panel is operated, the dis- lect the “Audio” or “HVAC” key using the joystick play turns on for that operation. If one of the or by pressing the ENTER button. control panel buttons is pressed, the display will The new settings are automatically saved when not automatically turn off until that operation is you exit the setting screen by pressing the BACK finished. Otherwise, the screen turns off auto- button or any other mode button. matically after 5 seconds. Display screen, heater, air conditioner, audio and phone systems 4-23 ੬ REVIEW COPY—2008 Quest (van) Owners Manual—USA_English (nna) 06/29/07—debbie ੭
  • 187.
    LHA0651 LHA0559 LHA0564 Any time audio information is shown on the main Vehicle electronic systems Adjust driver seat when exiting vehicle: Se- part of the screen, HVAC information will be lect so the driver’s seat automatically moves back displayed on the lower part of the screen. HVAC Select the “Vehicle Electronic Systems” key by and returns to the original position for ease of exit information will be shown even if “Audio” is se- using the joystick and pressing the ENTER but- and entry. lected to be displayed on the lower part of the ton. The VEHICLE ELECTRONIC SYSTEMS screen. screen will be displayed. Remote unlock driver’s door first: Select to change which doors will unlock first during an You can set the following operating conditions by unlocking operation: selecting the desired item using the joystick, then pressing the ENTER button. The indicator light, Only the driver’s door ←→ All the doors box at the left of the selected item, alternately Keyless remote response — horn: Select to turns on and off each time the ENTER button is turn on or turn off the horn chirp mode used when pressed. the LOCK button on the keyfob is pressed. Indicator light is illuminated — ON Indicator light is not illuminated — OFF 4-24 Display screen, heater, air conditioner, audio and phone systems ੬ REVIEW COPY—2008 Quest (van) Owners Manual—USA_English (nna) 06/29/07—debbie ੭
  • 188.
    NOTE: ● Higher: more sensitive, automatic headlights will come on quicker when the headlight If you change the horn beep or the lamp sensor senses less ambient light. flash feature with the keyfob, the display screen will not show the current mode. Use Automatic headlights off delay: Select to the keyfob to return to the previous mode change the setting for the length of time the and re-enable the display screen control. automatic headlights remain on after exiting the vehicle. Keyless remote response — lights: Select to turn on or turn off the hazard indicator flash mode Speed dependent wiper: Select to turn on or used when the LOCK or UNLOCK button on the turn off the driving speed dependent intermittent keyfob is pressed. wiper function. NOTE: Return all settings to default: Select to change all VEHICLE ELECTRONICS SYSTEMS If you change the horn beep or the lamp to their default settings. flash feature with the keyfob, the mode will LHA0561 not be changed with the display. Use the System settings keyfob to return to the previous mode and re-enable the display control. Select the “System Settings” key by using the joystick and pressing the ENTER button. The Auto re-lock time: Select to set the length of SYSTEM SETTINGS screen will be displayed. time before doors automatically re-lock. Language/unit Sensitivity of automatic headlights: Select to change the sensitivity setting of the automatic The LANGUAGE/UNIT screen will appear when headlights: selecting the “Language/Unit” key and pressing ● Lower: less sensitive, automatic headlights the ENTER button. will take longer to come on when the head- Language: English or French light sensor senses less ambient light. Unit: US — mile, °F, MPG Metric — km, °C, L/100 km Display screen, heater, air conditioner, audio and phone systems 4-25 ੬ REVIEW COPY—2008 Quest (van) Owners Manual—USA_English (nna) 06/29/07—debbie ੭
  • 189.
    You can selectthe language and unit using the joystick or pressing the ENTER button. The settings are automatically saved when you exit the menu by pressing the BACK button or any other mode button. LHA0562 LHA0566 Clock Setting daylight savings time: Adjusting the time: Use the “Daylight Saving Time” key to adjust the clock to daylight savings time. Select the “Hours” or “Minutes” key and move the joystick to the right or left to adjust the time. ON: Automatically adjusts for daylight savings time. The time will change step by step. OFF: The current time is displayed. The new settings are automatically saved when you exit the setting screen by pressing the BACK button or any other mode button. 4-26 Display screen, heater, air conditioner, audio and phone systems ੬ REVIEW COPY—2008 Quest (van) Owners Manual—USA_English (nna) 06/29/07—debbie ੭
  • 190.
    LHA0567 LHA0568 LHA0563 Adjusting the time to the GPS: Selecting the time zone: 2. Select one of the following zones, depend- Select the “Auto Adjust” key. 1. Select the “Select Time Zone” key. ing on the current location. The time will be reset to the GPS time. The TIME ZONE screen will appear. ● Pacific zone ● Mountain zone ● Central zone ● Eastern zone ● Atlantic zone ● Newfoundland zone After selection, the CLOCK SETTINGS screen will appear. Display screen, heater, air conditioner, audio and phone systems 4-27 ੬ REVIEW COPY—2008 Quest (van) Owners Manual—USA_English (nna) 06/29/07—debbie ੭
  • 191.
    REARVIEW MONITOR (ifso equipped) The GPS time (manual time) corresponding to When the shift selector lever is shifted into the R ● When washing the vehicle with high- the selected zone will be displayed. Pacific zone (Reverse) position, the monitor display shows the pressure water, be sure not to spray it has been set as the initial (default) setting. view directly to the rear of the vehicle. around the camera. Otherwise, water Beep setting may enter the camera unit causing wa- WARNING ter condensation on the lens, a mal- With this option ON, a beep will sound if any function, fire or an electric shock. audio button is pressed. ● The system is designed as an aid to the driver in detecting large stationary ob- ● Do not strike the camera. It is a preci- Navigation settings jects to help avoid damaging the ve- sion instrument. Otherwise, it may mal- Refer to the separate Navigation System Own- hicle. The system will not detect small function or cause damage resulting in a er’s Manual for information regarding these set- objects below the bumper, and may not fire or an electric shock. tings. detect objects close to the bumper or on the ground. CAUTION Guidance voice settings ● The rearview camera is a convenience There is a plastic cover over the camera. Refer to the separate Navigation System Own- but it is not a substitute for proper back- Do not scratch the cover when cleaning er’s Manual for information regarding these set- ing. Always turn and check that it is safe dirt or snow from the cover. tings. to do so before backing up. Always BUTTON back up slowly. HOW TO READ THE DISPLAYED ● Objects viewed in the rearview monitor LINES To change the display brightness, press differ from actual distance because a the button. Pressing the button again will Lines which indicate the vehicle clearance and wide-angle lens is used. change the display to “DAY” or “NIGHT” display. distances to objects with reference to the Then, adjust the brightness by moving the joy- ● Make sure that the lift gate is securely bumper line ᭺ are displayed on the monitor. A stick right or left. closed when backing up. If no operation is done within 10 seconds, or if the ● Do not put anything on the rearview BACK button is pressed, the display will return to camera. The rearview camera is in- the previous display. stalled beside the license plate light. 4-28 Display screen, heater, air conditioner, audio and phone systems ੬ REVIEW COPY—2008 Quest (van) Owners Manual—USA_English (nna) 06/29/07—debbie ੭
  • 192.
    ADJUSTING THE SCREEN ● When the temperature is extremely high or low, the screen may not clearly display ob- To adjust the quality of the screen, refer to “HOW jects. This is not a malfunction. TO USE THE SETTING BUTTON” in this section. ● When strong light directly enters the cam- ● When it is difficult to see in the rearward era, objects may not be displayed clearly. direction due to shady conditions, press the ENTER button to make objects in the moni- ● Vertical lines may be seen in objects on the tor brighter. screen. This is due to strong reflected light ● To change the brightness, press the ENTER from the bumper. This is not a malfunction. button again, turn the key switch OFF or shift ● The screen may flicker under fluorescent to R (Reverse) and wait for 10 seconds. light. This is not a malfunction. OPERATING TIPS ● The colors of objects on the rearview moni- ● When the selector lever is shifted to R (Re- tor may differ somewhat from those of the LHA0437 verse), the monitor screen automatically actual object. They are indicated as reference distances to objects. The lines and colors in the display indi- changes to the rearview monitor mode. ● When the contrast of objects is low at night, cate distances from the back bumper line ᭺ inA However, the radio can be heard. pressing the ENTER button may not change the illustration. ● It may take some time until the rearview the brightness. monitor is displayed after the selector lever ᭺ 1 1.5 ft (0.5 m) red has been shifted to R (Reverse). Objects ● Objects on the monitor may not be clear in a dark place or at night. ᭺ 2 3 ft (1 m) yellow may be distorted momentarily until the rear- view monitor screen is displayed completely. ● If dirt, rain or snow attaches to the camera, ᭺ 3 7 ft (2 m) green When the selector lever is returned to a the rearview monitor may not display ob- ᭺ 4 10 ft (3 m) green position other than R (Reverse), it may take jects. Clean the camera. some time until the screen changes. Objects The vehicle clearance lines are wider than ● Do not use alcohol, benzine or thinner to on the screen may be distorted until they are the actual clearance. clean the camera. This will cause discolora- completely displayed. tion. To clean the camera, wipe with a cloth dampened with a diluted mild cleaning agent and then wipe with a dry cloth. Display screen, heater, air conditioner, audio and phone systems 4-29 ੬ REVIEW COPY—2008 Quest (van) Owners Manual—USA_English (nna) 06/29/07—debbie ੭
  • 193.
    VENTILATORS ● Donot damage the camera as the monitor screen may be adversely affected. ● Do not use body wax on the camera window. Wipe off the wax with a clean cloth damp- ened with mild detergent diluted with water. WHA0626 Adjust air flow direction for the driver and pas- senger side᭺, center ᭺, and rear passenger 1 2 ᭺ ventilators by moving the ventilator slide 3 and/or ventilator assemblies. 4-30 Display screen, heater, air conditioner, audio and phone systems ੬ REVIEW COPY—2008 Quest (van) Owners Manual—USA_English (nna) 06/29/07—debbie ੭
  • 194.
    HEATER AND AIRCONDITIONER (manual) WARNING ● The air conditioner cooling function op- erates only when the engine is running. ● Do not leave children or adults who would normally require the assistance of others alone in your vehicle. Pets should also not be left alone. They could accidentally injure themselves or others through inadvertent operation of the vehicle. Also, on hot, sunny days, temperatures in a closed vehicle could quickly become high enough to cause severe or possibly fatal injuries to people or animals. LHA0627 ● Do not use the recirculation mode for 1. Fan speed control dial Air flow control buttons long periods as it may cause the interior 2. Air conditioner button The air flow control buttons allow you to select air to become stale and the windows to 3. Front window defrost/defog button the air flow outlets. fog up. 4. Rear window defroster switch 5. Air recirculation button — Air flows from center and side 6. Temperature control dial ventilators. 7. Air flow control buttons — Air flows from center and side ventilators and the front and rear CONTROLS floor outlets. Fan control dial — Air flows mainly from the front and rear floor outlets. The fan control dial turns the fan on and off, and — Air flows from defroster outlets controls fan speed. and the front and rear floor outlets. Display screen, heater, air conditioner, audio and phone systems 4-31 ੬ REVIEW COPY—2008 Quest (van) Owners Manual—USA_English (nna) 06/29/07—debbie ੭
  • 195.
    — Air flowsfrom defroster outlets Air conditioner button 3. Turn the fan control dial to the desired posi- Temperature control dial tion. Start the engine, turn the fan control dial to the 4. Turn the temperature control dial to the de- The temperature control dial allows you to adjust desired position and push the button to sired position between the middle and the the temperature of the outlet air. To lower the turn on the air conditioner. A/C will appear on the hot position. temperature, turn the dial to the left. To increase display when the air conditioner is operating. To the temperature, turn the dial to the right. turn off the air conditioner, push the button Ventilation Air recirculation button again, the display will show A/C OFF. This mode directs outside air to the side and The air conditioner cooling function oper- center ventilators. ON position: ates only when the engine is running. 1. Push the button to the OFF position Push the button to recirculate air inside Rear window defroster switch ( shown on display). the vehicle. For more information about the rear window de- 2. Press the air flow control button. Push the button to the on position when: froster switch, see “Rear window defroster 3. Turn the fan control dial to the desired posi- ● driving on a dusty road. switch” in the “Instruments and controls” section tion. ● to prevent traffic fumes from entering pas- of this manual. 4. Turn the temperature control dial to the de- senger compartment. HEATER OPERATION sired position. ● for maximum cooling when using the air con- ditioner. Heating Defrosting or defogging This mode is used to direct heated air to the foot This mode directs the air to the defrost outlets to OFF position: outlets. Some air also flows from the defrost defrost/defog the windows. Push the button again to turn air recircula- tion off. Outside air is drawn into the passenger outlets. 1. Press the defrost/defog button . compartment and distributed through the se- 1. Push the button to the OFF position 2. Turn the fan control dial to the desired posi- lected outlet. for normal heating ( shown on dis- tion. Use the off position for normal heater or air con- play). 3. Turn the temperature control dial to the de- ditioner operation. 2. Press the air flow control button. sired position between the middle and the hot position. 4-32 Display screen, heater, air conditioner, audio and phone systems ੬ REVIEW COPY—2008 Quest (van) Owners Manual—USA_English (nna) 06/29/07—debbie ੭
  • 196.
    ● To quicklyremove ice or fog from the win- 4. Turn the temperature control dial to the de- Operating tips dows, turn the fan control dial to the highest sired position. setting and the temperature control to the Clear snow and ice from the wiper blades full HOT position. Heating and defogging and air inlet in front of the windshield. This improves heater operation. ● When the position is selected, the air This mode heats the interior and defogs the wind- conditioner automatically turns on (however, shield. AIR CONDITIONER OPERATION A/C will not appear on the display) if the 1. Press the air flow control button. Start the engine, turn the fan control dial to the outside temperature is more than 36°F desired position, and push in the button to (2°C). The air conditioning system will con- 2. Turn the fan control dial to the desired posi- activate the air conditioner. When the air condi- tinue to operate until the fan control dial is tion. tioner is on, cooling and dehumidifying functions turned to OFF or the vehicle is shut off, even 3. Turn the temperature control dial to the de- are added to the heater operation. if an air flow control button other than sired position between the middle and the The air conditioner cooling function oper- is selected. This dehumidifies the air which hot position. ates only when the engine is running. helps defog the windshield. The mode automatically turns off, allowing out- ● When the position is selected, the air Cooling side air to be drawn into the passenger conditioner automatically turns on (however, A/C will not appear on the display) if the This mode is used to cool and dehumidify the air. compartment to further improve the defog- ging performance. outside temperature is more than 36°F 1. Push the button to the OFF position. (2°C). The air conditioning system will con- Bi-level heating tinue to operate until the fan control dial is 2. Press the air flow control button. turned to OFF or the vehicle is shut off, even 3. Turn the fan control dial to the desired posi- The bi-level mode directs warmed air to the side if an air flow control button other than tion. and center vents and to the front and rear floor is selected. This dehumidifies the air which outlets. 4. Push the button. A/C will appear on helps defog the windshield. The the display. 1. Push the button to the OFF position mode automatically turns off, allowing out- ( shown on display). side air to be drawn into the passenger 5. Turn the temperature control dial to the de- compartment to further improve the defog- sired position. 2. Press the air flow control button. ging performance. 3. Turn the fan control dial to the desired posi- tion. Display screen, heater, air conditioner, audio and phone systems 4-33 ੬ REVIEW COPY—2008 Quest (van) Owners Manual—USA_English (nna) 06/29/07—debbie ੭
  • 197.
    ● For quickcooling when the outside tem- Operating tips AIR FLOW CHARTS perature is high, push the button to the ON position ( shown on display). ● Keep the windows closed while the air con- The following charts show the button and dial Be sure to return the to the OFF po- ditioner is in operation. positions for MAXIMUM AND QUICK heating, sition for normal cooling ( shown on cooling or defrosting. For additional information ● After parking in the sun, drive for 2 or 3 display). on heating and cooling see “Heater and air con- minutes with the windows open to vent hot ditioner” in this section.The air recirculation Dehumidified heating air from the passenger compartment. Then, ( ) button should always be in the OFF close the windows. This allows the air con- position for heating and defrosting. This mode is used to heat and dehumidify the air. ditioner to cool the interior more quickly. 1. Push the button to the OFF position ● The air conditioning system should be ( shown on display). operated for approximately 10 minutes at least once a month. This helps pre- 2. Press the air flow control button. vent damage to the system due to lack 3. Turn the fan control dial to the desired posi- of lubrication. tion. ● A visible mist may be seen coming from the 4. Push the button. The display shows ventilators in hot, humid conditions as the air A/C. is cooled rapidly. This does not indicate a malfunction. 5. Turn the temperature control dial to the de- sired position. ● If the engine coolant temperature gauge indicates engine coolant tem- perature over the normal range, turn the air conditioner off. See “If your vehicle overheats” in the “In case of emergency” section of this manual. 4-34 Display screen, heater, air conditioner, audio and phone systems ੬ REVIEW COPY—2008 Quest (van) Owners Manual—USA_English (nna) 06/29/07—debbie ੭
  • 198.
    WHA0644 WHA0645 Display screen, heater, air conditioner, audio and phone systems 4-35 ੬ REVIEW COPY—2008 Quest (van) Owners Manual—USA_English (nna) 06/29/07—debbie ੭
  • 199.
    WHA0646 WHA0647 4-36 Display screen, heater, air conditioner, audio and phone systems ੬ REVIEW COPY—2008 Quest (van) Owners Manual—USA_English (nna) 06/29/07—debbie ੭
  • 200.
    WHA0648 Display screen,heater, air conditioner, audio and phone systems 4-37 ੬ REVIEW COPY—2008 Quest (van) Owners Manual—USA_English (nna) 06/29/07—debbie ੭
  • 201.
    WHA0649 4-38 Display screen,heater, air conditioner, audio and phone systems ੬ REVIEW COPY—2008 Quest (van) Owners Manual—USA_English (nna) 06/29/07—debbie ੭
  • 202.
    WHA0650 Display screen, heater,air conditioner, audio and phone systems 4-39 ੬ REVIEW COPY—2008 Quest (van) Owners Manual—USA_English (nna) 06/29/07—debbie ੭
  • 203.
    HEATER AND AIRCONDITIONER (automatic) (if so equipped) ● Do not use the recirculation mode for long periods as it may cause the interior air to become stale and the windows to fog up. Start the engine and operate the controls to activate the air conditioner. AUTOMATIC OPERATION Cooling or heating (auto) This mode may be normally used all year round as the system automatically works to keep a con- stant temperature. Air flow distribution and fan LHA0629 speed are also controlled automatically. 1. Driver temperature control dial/ WARNING 1. Push the AUTO button on. (AUTO will be AUTO button displayed.) ● The air conditioner cooling function op- 2. A/C ON/OFF button erates only when the engine is running. 2. Turn the driver’s side temperature control 3. Fan speed control (decrease) 4. Front window defroster button ● Do not leave children or adults who dial to the left or right to set the desired would normally require the assistance temperature. Driver and passenger tem- 5. System off button of others alone in your vehicle. Pets peratures can be set independently. Press 6. Rear window defroster button should also not be left alone. They DUAL or turn the passenger temperature 7. Fan speed control (increase) could accidentally injure themselves or control dial to the left or right to activate dual 8. Air recirculation button others through inadvertent operation of climate control functions. Turn the passen- 9. Passenger temperature control dial/ the vehicle. Also, on hot, sunny days, ger’s side temperature control dial to the left DUAL button temperatures in a closed vehicle could or right to set the desired passenger’s tem- 10. Air flow/MODE buttons quickly become high enough to cause perature. severe or possibly fatal injuries to ● Adjust the temperature dial to about 75°F people or animals. (24°C) for normal operation. 4-40 Display screen, heater, air conditioner, audio and phone systems ੬ REVIEW COPY—2008 Quest (van) Owners Manual—USA_English (nna) 06/29/07—cathy ੭
  • 204.
    ● The temperatureof the passenger compart- button is used to turn off the compressor Air flow control ment will be maintained automatically. Air even if an air flow MODE button other flow distribution, fan speed and A/C on/off than is selected. This dehumidifies Pushing the MODE button manually controls air are also controlled automatically. the air which helps defog the windshield. flow and selects the air outlet: The air recirculation mode automatically — Air flows from center and side ● A visible mist may be seen coming from the turns off, allowing outside air to be drawn ventilators. ventilators in hot, humid conditions as the air into the passenger compartment to further — Air flows from center and side is cooled rapidly. This does not indicate a improve the defogging performance. ventilators and foot outlets. malfunction. MANUAL OPERATION — Air flows mainly from foot outlets. Dehumidified defrosting or defogging — Air flows from defroster and foot 1. Push the defroster control button to Fan speed control buttons outlets. turn the system on. The display will show the Press the fan speed control buttons +/– — Air flows from defroster outlets. defrost icon. to manually control the fan speed. To turn system off 2. Turn the temperature dial to the left or right Press OFF to turn the system off. Press the OFF button. to set the desired temperature. Push the AUTO button to return to automatic OPERATING TIPS ● To quickly remove ice from the outside of the control of the fan speed. windows, press and hold the + but- ● When the engine coolant temperature and ton to set the fan speed to maximum. Air recirculation outside air temperature are low, the air flow from the foot outlets may not operate for a ● As soon as possible after the windshield is The mode automatically turns off, allowing maximum of 150 seconds. However, this is clean, push the AUTO button to return to the outside air to be drawn into the passenger com- not a malfunction. After the coolant tempera- auto mode. partment to prevent fogging. ture warms up, air flow from the foot outlets ● When the DEF control is activated, will operate normally. Push the air recirculation button to recir- the air conditioner will automatically be culate interior air inside the vehicle. Push the turned on at outside temperatures above AUTO button to return to automatic mode. 36°F (2°C). If in defrost mode for more than one minute, the air conditioning system will The air recirculation button will not be activated continue to operate until the fan control is when the air conditioner is in DEF mode. turned OFF, the vehicle is shut off, or the A/C Display screen, heater, air conditioner, audio and phone systems 4-41 ੬ REVIEW COPY—2008 Quest (van) Owners Manual—USA_English (nna) 06/29/07—debbie ੭
  • 205.
    REAR SEAT AIRCONDITIONER LIC0954 LHA0676 LHA0628 The sunload sensor ᭺, located on the top center 1 Rear seat temperature and fan speed can be 1. Rear fan speed control dial. of the instrument panel, helps the system main- controlled from both the front seat overhead con- 2. Rear temperature control dial. tain a constant temperature. Do not put anything sole controls ᭺ or the rear seat overhead con- A on or around this sensor. sole controls ᭺. B Press the REAR CTRL button to transfer control of the rear climate functions to the rear passen- ger’s. To operate the rear air conditioner, the engine must be running. If the rear seat fan control dial is set to (0), the air conditioner is turned off. If it is set to any of the fan speed positions, air is discharged from the rear vents at the corresponding speed. 4-42 Display screen, heater, air conditioner, audio and phone systems ੬ REVIEW COPY—2008 Quest (van) Owners Manual—USA_English (nna) 06/29/07—debbie ੭
  • 206.
    SERVICING AIR CONDITIONER AUDIO SYSTEM The air conditioner system in your NISSAN ve- RADIO hicle is charged with a refrigerant designed with the environment in mind. Turn the ignition key to the ACC or ON position and press the POWER/VOLUME control knob to This refrigerant does not harm the earth’s turn the radio on. If you listen to the radio with the ozone layer. engine not running, the key should be turned to Special charging equipment and lubricant is re- the ACC position. quired when servicing your NISSAN air condi- Radio reception is affected by station signal tioner. Using improper refrigerants or lubricants will cause severe damage to your air conditioner strength, distance from radio transmitter, build- system. See “Air conditioner system refrigerant ings, bridges, mountains and other external influ- and lubricant recommendations” in the “Techni- ences. Intermittent changes in reception quality cal and consumer information” section of this normally are caused by these external influences. manual. Using a cellular phone in or near the ve- WHA0630 A NISSAN dealer is able to service your “environ- hicle may influence radio reception quality. CONTROLS mentally friendly” air conditioning system. Radio reception Fan control dial WARNING Your NISSAN radio system is equipped with The fan control dial turns the rear vent fan on and The air conditioner system contains re- state-of-the-art electronic circuits to enhance ra- off, and controls fan speed. frigerant under high pressure. To avoid dio reception. These circuits are designed to personal injury, any air conditioner ser- extend reception range, and to enhance the qual- Temperature control dial vice should be done only by an experi- ity of that reception. The temperature control dial allows rear passen- enced technician with proper equipment. However there are some general characteristics gers to adjust the temperature of the outlet air. of both FM and AM radio signals that can affect radio reception quality in a moving vehicle, even when the finest equipment is used. These char- acteristics are completely normal in a given re- ception area, and do not indicate any malfunction in your NISSAN radio system. Display screen, heater, air conditioner, audio and phone systems 4-43 ੬ REVIEW COPY—2008 Quest (van) Owners Manual—USA_English (nna) 06/29/07—debbie ੭
  • 207.
    Reception conditions willconstantly change be- Static and flutter: During signal interference from SATELLITE RADIO RECEPTION (if so cause of vehicle movement. Buildings, terrain, buildings, large hills or due to antenna position equipped) signal distance and interference from other ve- (usually in conjunction with increased distance hicles can work against ideal reception. De- from the station transmitter) static or flutter can When the satellite radio is first installed or the scribed below are some of the factors that can be heard. This can be reduced by adjusting the battery has been replaced, the satellite radio may affect your radio reception. treble control to reduce treble response. not work properly. This is not a malfunction. Wait more than 10 minutes with satellite radio ON and Some cellular phones or other devices may Multipath reception: Because of the reflective the vehicle outside of any metal or large building cause interference or a buzzing noise to come characteristics of FM signals, direct and reflected for satellite radio to receive all of the necessary from the audio system speakers. Storing the de- signals reach the receiver at the same time. The data. vice in a different location may reduce or elimi- signals may cancel each other, resulting in mo- nate the noise. mentary flutter or loss of sound. No satellite radio reception is available and “NO SAT” is displayed when the SAT band option is FM RADIO RECEPTION AM RADIO RECEPTION selected unless optional satellite receiver and Range: FM range is normally limited to 25 – 30 mi AM signals, because of their low frequency, can antenna are installed and an XMா satellite radio (40 – 48 km), with monaural (single channel) FM bend around objects and skip along the ground. service subscription is active. Satellite radio is having slightly more range than stereo FM. Exter- In addition, the signals can be bounced off the not available in Alaska, Hawaii and Guam. nal influences may sometimes interfere with FM ionosphere and bent back to earth. Because of Satellite radio performance may be affected if station reception even if the FM station is within these characteristics, AM signals are also sub- cargo carried on the roof blocks the satellite radio 25 mi (40 km). The strength of the FM signal is ject to interference as they travel from transmitter signal. directly related to the distance between the to receiver. transmitter and receiver. FM signals follow a line- If possible, do not put cargo over the satellite Fading: Occurs while the vehicle is passing antenna. of-sight path, exhibiting many of the same char- through freeway underpasses or in areas with acteristics as light. For example, they will reflect A build up of ice on the satellite radio antenna can many tall buildings. It can also occur for several off objects. affect satellite radio performance. Remove the seconds during ionospheric turbulence even in Fade and drift: As your vehicle moves away from areas where no obstacles exist. ice to restore satellite radio reception a station transmitter, the signals will tend to fade Static: Caused by thunderstorms, electrical and/or drift. power lines, electric signs and even traffic lights. 4-44 Display screen, heater, air conditioner, audio and phone systems ੬ REVIEW COPY—2008 Quest (van) Owners Manual—USA_English (nna) 06/29/07—debbie ੭
  • 208.
    Compact disc (CD)player ● Do not expose the CD to direct sun- light. CAUTION ● CDs that are in poor condition or are ● Do not force a compact disc into the CD dirty, scratched or covered with finger- insert slot. This could damage the CD prints may not work properly. and/or CD changer/player. ● The following CDs may not work prop- ● Trying to load a CD with the CD door erly: closed could damage the CD and/or CD ● Copy control compact discs (CCCD) changer. ● Recordable compact discs (CD-R) ● Only one CD can be loaded into the CD player at a time. ● Rewritable compact discs (CD-RW) ● Only use high quality 4.7 inches (12 cm) ● Do not use the following CDs as they round discs that have the “COMPACT may cause the CD player to malfunc- disc DIGITAL AUDIO” logo on the disc tion: or packaging. ● 3.1 in (8 cm) discs with an adapter ● During cold weather or rainy days, the ● CDs that are not round player may malfunction due to the hu- ● CDs with a paper label midity. If this occurs, remove the CD and dehumidify or ventilate the player ● CDs that are warped, scratched, or completely. have abnormal edges LHA0099 ● The player may skip while driving on ● This audio system can only play pre- AUDIO OPERATION PRECAUTIONS rough roads. recorded CDs. It has no capability to record or burn CDs. ● The CD player sometimes cannot func- tion when the compartment tempera- ● If the CD cannot be played, one of the ture is extremely high or low. following messages will be displayed. Decrease/increase the temperature before use. Display screen, heater, air conditioner, audio and phone systems 4-45 ੬ REVIEW COPY—2008 Quest (van) Owners Manual—USA_English (nna) 06/29/07—debbie ੭
  • 209.
    CHECK DISC: virtually no perceptible loss in quality. MP3 compression removes the redundant and ● Confirm that the CD is inserted cor- irrelevant parts of a sound signal that the rectly (the label side is facing up, human ear doesn’t hear. etc.). ● Bit rate — Bit rate denotes the number of ● Confirm that the CD is not bent or bits per second used by a digital music file. warped and it is free of scratches. The size and quality of a compressed digital PRESS EJECT: audio file is determined by the bit rate used when encoding the file. This is an error due to excessive tem- ● Sampling frequency — Sampling frequency perature inside the player. Remove the is the rate at which the samples of a signal CD by pressing the EJECT button. After are converted from analog to digital (A/D a short time, reinsert the CD. The CD conversion) per second. can be played when the temperature of the player returns to normal. ● ID3 tag — The ID3 tag is the part of the encoded MP3 file that contains information UNPLAYABLE: about the digital music file such as song title, The file is unplayable in this audio sys- artist, album title, encoding bit rate, track tem (only MP3 CD). time duration, etc. ID3 tag information is displayed on the Album/Artist/Track title line Compact Disc with MP3 on the display. Terms: WHA1090 ● MP3 — MP3 is short for Moving Pictures Experts Group Audio Layer 3. MP3 is the Playback order chart most well-known compressed digital audio Playback order: file format. This format allows for near “CD Playback order of the CD with compressed files quality” sound, but at a fraction of the size of (MP3) is as illustrated. normal audio files. MP3 conversion of an audio track from CD-ROM can reduce the ● The names of folders not containing MP3 file size by approximately a 10:1 ratio with files are not shown in the display. 4-46 Display screen, heater, air conditioner, audio and phone systems ੬ REVIEW COPY—2008 Quest (van) Owners Manual—USA_English (nna) 06/29/07—debbie ੭
  • 210.
    ● If thereis a file in the top level of the disc, “ROOT” is displayed. ● The playback order is the order in which the files were written by the writing software. Therefore, the files might not play in the desired order. Display screen, heater, air conditioner, audio and phone systems 4-47 ੬ REVIEW COPY—2008 Quest (van) Owners Manual—USA_English (nna) 06/29/07—debbie ੭
  • 211.
    Specification chart: Supportedmedia CD, CD-R, CD-RW Supported file systems ISO9660 LEVEL1, ISO9660 LEVEL2, Apple ISO, Romeo, Joliet * ISO9660 Level 3 (packet writing) is not supported. Version MPEG1, MPEG2, MPEG2.5 Supported MP3 Sampling frequency 8 kHz - 48 kHz versions* Bit rate 8 kbps - 320 kbps, VBR Tag information ID3 tag VER1.0, VER1.1, VER2.2, VER2.3 (MP3 only) Folder levels Folder levels: 8, Max folders: 255 (including root folder), Files: 512 Text character number limitation 31 characters 01: ASCII, 02: ISO-8859-1, 03: UNICODE (UTF-16 BOM Big Endian), 04: UNICODE (UTF-16 Non-BOM Big Endian), 05: Displayable character codes (UTF-8), 06: UNICODE (Non-UTF-16 BOM Little Endian) *Files created with a combination of 48 kHz sampling frequency and 64 kbps bit rate cannot be played. 4-48 Display screen, heater, air conditioner, audio and phone systems ੬ REVIEW COPY—2008 Quest (van) Owners Manual—USA_English (nna) 06/29/07—debbie ੭
  • 212.
    Troubleshooting guide: Symptom Cause and Countermeasure Check if the disc was inserted correctly. Check if the disc is scratched or dirty. Check if there is condensation inside the player. If there is, wait until the condensation is gone (about 1 hour) before using the player. Cannot play If there is a temperature increase error, the CD player will play correctly after it returns to the normal temperature. Files with extensions other than “.MP3”, “.mp3” or “.wma” cannot be played. In addition, the character codes and number of characters for folder names and file names should be in compliance with the specifications. Check if the disc is scratched or dirty. Poor sound quality Bit rate may be too low. It takes a relatively long time If there are many folders or file levels on the MP3 disc, or if it is a multisession disc, some time may be required before the music starts playing. before the music starts playing. The writing software and hardware combination might not match, or the writing speed, writing depth, writing width, etc., might not match the Music cuts off or skips specifications. Try using the slowest writing speed. Skipping with high bit rate Skipping may occur with large quantities of data, such as for high bit rate data. files Moves immediately to the When a non-MP3 file has been given an extension of “.MP3” or “.mp3”, or when play is prohibited by copyright protection, there will be approximately 5 next song when playing seconds of no sound and then the player will skip to the next song. Songs do not play back in The playback order is the order in which the files were written by the writing software. Therefore, the files might not play in the desired order. the desired order Display screen, heater, air conditioner, audio and phone systems 4-49 ੬ REVIEW COPY—2008 Quest (van) Owners Manual—USA_English (nna) 06/29/07—debbie ੭
  • 213.
    13. AUDIO button[BASS, MID, TREBLE, FADE, BALANCE and SSV (if so equipped)] 14. CD eject button 15. AUX jack 16. CD insert slot *No satellite radio reception is available and “NO SAT” is displayed when the SAT button is pressed unless optional satellite receiver and antenna are installed, and an XMா satellite radio service subscription is active. Satellite radio not available in Alaska, Hawaii and Guam. FM/AM/SAT RADIO WITH COMPACT DISC (CD) PLAYER For all operation precautions, see ЉAudio opera- tion precautionsЉ earlier in this section. LHA0634 No satellite radio reception is available and “NO 1. SEEK/TRACK button 7. AUX button SAT” is displayed when the SAT button is pressed unless optional satellite receiver and 2. PRESET A·B·C button 8. TUNE/CAT button antenna are installed, and an XMா satellite radio 3. CD/DVD button 9. DISP button service subscription is active. Satellite radio not 4. Station select (1 - 6) buttons 10. FM·AM/SAT (satellite) radio button* available in Alaska, Hawaii and Guam. 5. POWER/VOLUME control knob 11. SCAN/RPT button 6. REAR CTRL button 12. Rear speaker control button 4-50 Display screen, heater, air conditioner, audio and phone systems ੬ REVIEW COPY—2008 Quest (van) Owners Manual—USA_English (nna) 06/29/07—debbie ੭
  • 214.
    Audio main operation sound level between the front and rear speakers MP3 display mode and Balance adjusts the sound between the right Power/Volume control: To change the text displayed when listening to an and left speakers. MP3 with MP3 text (when CD with text is being Turn the ignition key to ACC or ON, and then To change the SSV mode to OFF, LOW, MID or used), press the DISP button. The DISP button press the POWER/VOLUME control knob while HIGH, press the TUNE button. will scroll through the CD text as follows: Folder, the system is off to call up the mode (radio or CD) Artist and Track title ←→ Folder title ←→ Artist which was playing immediately before the system Once you have adjusted the sound quality to the title → Track title. was turned off. desired level, press the AUDIO button repeatedly until the radio or CD display reappears. Other- To change the default display mode, press the To turn the system off, press the wise, the radio or CD display will automatically SETTING button repeatedly until MP3 Disp Type POWER/VOLUME control knob. reappear after about 10 seconds. appears on the display, then press the TUNE Turn the POWER/VOLUME control knob to ad- button to select the following display modes: DISP (display) button: just the volume. Folder number ←→ Disc number. This DISP (display) button will show text about This vehicle may be equipped with Speed Sen- Once a display mode is selected, press the SET- MP3 (if so equipped), CD or SAT information in sitive Volume (SSV) for audio. The audio volume TING button again to store the setting. the audio display. changes as the driving speed changes. ● Folder number mode displays the folder CD display mode AUDIO button (BASS, MID, TREBLE, FADE, number and the file number of the folder BALANCE and SSV if so equipped): To change the text displayed while playing a CD currently being played. with text, press the DISP button. The DISP button Press the AUDIO button to change the mode as ● Disc number mode displays the number se- will allow you to scroll through CD text as follows: follows: lected disc and the track that is currently Track number ←→ Disc title ←→ Track title. being played. BASS → MID → TREBLE → FADE → BALANCE ● Track title mode displays the title of the se- → SSV (if so equipped) Display satellite radio display mode (if so lected CD track. equipped) To adjust Bass, Mid, Treble, Fade and Balance, ● Disc title mode displays the title of the CD press the AUDIO button until the desired mode To change the text displayed when listening to being played. appears in the display. Press the TUNE button to satellite radio (if so equipped) press the DISP adjust Bass, Mid and Treble to the desired level. ● Track number mode displays the number button. The DISP button will scroll through the You can also use the TUNE Button to adjust selected disc and the track that is currently broadcast information as follows: Name ←→ Fader and Balance modes. Fader adjusts the being played on the disc. Title ←→ Current display mode. Display screen, heater, air conditioner, audio and phone systems 4-51 ੬ REVIEW COPY—2008 Quest (van) Owners Manual—USA_English (nna) 06/29/07—debbie ੭
  • 215.
    To change thedefault display mode press the When FM·AM or SAT* radio select button is SEEK tuning: AUDIO button to display mode and press the pressed while the ignition switch is in the ACC or TUNE button to select the following display ON, the radio will come on at the station last Press the SEEK/TRACK button or modes: Channel number ←→ Channel name played. for less than 1.5 seconds to tune from high to low ←→ Name ←→ Title. Once the display mode is The last station played will also come on when or low to high frequencies and stop at the next selected press the AUDIO button again to store the POWER/VOLUME control knob is pressed broadcasting station. the setting. If the AUDIO button is not pressed ON. SCAN RPT tuning: after 8 seconds the display will refresh with the last selected display mode setting. *No satellite radio reception is available and “NO Press the SCAN RPT button for more than 1.5 SAT” is displayed when the SAT button is seconds to stop at each broadcasting station ● Channel number mode displays the channel pressed unless optional satellite receiver and (AM, FM or SAT if so equipped) for 5 seconds. number of the selected satellite radio sta- antenna are installed, and an XMா satellite radio Pressing the button again during this 5 second tion. service subscription is active. Satellite radio is period will stop SCAN tuning and the radio will not available in Alaska, Hawaii and Guam. remain tuned to that station. If the SCAN RPT ● Channel name mode displays the channel name of the selected satellite radio station. If a compact disc is playing when the FM·AM or button is not pressed within 5 seconds, SCAN SAT* radio select button is pressed, the compact tuning moves to the next station. ● Name mode displays the name of the artist, disc will automatically be turned off and the last Station memory operations: host or weather condition of the selected radio station played will come on. satellite radio station. 18 stations can be set for the FM, AM and SAT The FM stereo indicator ST will glow during FM radio to the A, B and C preset button in any ● Title mode displays the song title, show stereo reception. When the stereo broadcast combination of AM, FM or SAT* stations. name, or temperature of the selected satel- signal is weak, the radio will automatically change lite radio station. from stereo to monaural reception. 1. Press the PRESET A·B·C button to change between storage banks. The radio displays FM/AM/SAT radio operation TUNE (Tuning): the icon A, B or C to indicate which set of presets are active. FM/AM/SAT band select: To manually tune the radio, press the TUNE 2. Tune to the desired station using manual, Pressing the FM·AM or SAT (satellite - if so button or . SEEK or SCAN tuning. Press and hold any equipped) radio select button will change the To move quickly through the channels, hold either of the desired station memory buttons (1 – band as follows: the or button down for more than 6) until a beep sound is heard. (The radio AM ←→ FM or SAT* 1.5 seconds. mutes when the select button is pressed). 4-52 Display screen, heater, air conditioner, audio and phone systems ੬ REVIEW COPY—2008 Quest (van) Owners Manual—USA_English (nna) 06/29/07—cathy ੭
  • 216.
    3. The channelindicator will then come on and If the system has been turned off while the com- several times to skip back through tracks. The the sound will resume. Memorizing is now pact disc was playing, pressing the compact disc will go back the number of times complete. POWER/VOLUME control knob will start the the button is pressed. compact disc. 4. Other buttons can be set in the same man- When the button is pressed for less than ner. CD/DVD button: 1.5 seconds while a compact disc is playing, the next track will start to play from its beginning. * SAT presets are only available on SAT equipped When the CD/DVD button is pressed with the Press several times to skip through tracks. The vehicles. system off and the compact disc loaded, the compact disc will advance the number of times system will turn on and the compact disc will start If the battery cable is disconnected, or if the fuse the button is pressed. (When the last track on the to play. opens, the radio memory will be canceled. In that compact disc is skipped through, the first track case, reset the desired stations. When the CD/DVD button is pressed with the will be played.) compact disc loaded but the radio playing, the Radio data system (RDS): When the or button is pressed for radio will automatically be turned off and the more than 1.5 seconds, the CD will fast forward RDS stands for Radio Data System, and is a data compact disc will start to play. or rewind. information service transmitted by some radio SEEK/TRACK (Fast For- stations on the FM band (not AM band) and/or SCAN/RPT: ward and Rewind): SAT radio encoded within a regular radio broad- When the SCAN/RPT button is pressed while cast. Currently, most RDS stations are in large When the SEEK/TRACK button is pressed for the compact disc is being played, the play pattern cities, but many stations are now considering more than 1.5 seconds, (fast forward) can be changed as follows: broadcasting RDS data. or (rewind) while the compact disc is be- ing played, the compact disc will play while fast 1 DISC RPT → 1 TRACK RPT → 1 DISC RDM Compact disc (CD) player operation forwarding or rewinding. When the button is re- 1 DISC RPT: The disc that is currently playing will Turn the ignition key to the ACC or ON position leased, the compact disc will return to normal be repeated and insert the compact disc into the slot with the play speed. 1 TRACK RPT: The track that is currently playing label side facing up. The compact disc will be SEEK/TRACK: will be repeated. guided automatically into the slot and start play- 1 DISC RDM: Tracks from the disc that is cur- ing. When the button is pressed for less than rently playing will be played randomly. If the radio is already operating, it will automati- 1.5 seconds while a compact disc is playing, the cally turn off and the compact disc will play. track being played returns to its beginning. Press Display screen, heater, air conditioner, audio and phone systems 4-53 ੬ REVIEW COPY—2008 Quest (van) Owners Manual—USA_English (nna) 06/29/07—debbie ੭
  • 217.
    REAR CTRL: When button is pressed while the com- pact disc is being played, the compact disc will Pressing the REAR CTRL button turns the rear eject and the system will turn off. seat audio controller on. REAR CTRL ON will display. Pressing it again will turn the rear seat CD IN indicator: audio controller off. REAR CTRL OFF will display. CD IN indicator appears on the display when the If the vehicle is not equipped with a rear seat CD is loaded with the system on. audio controller, the display will show “REAR AV N/A”. AUX (Auxiliary) button: The AUX jack is located on the CD player. The AUX audio input jack accepts any standard ana- log audio input such as from a portable cassette tape/CD player, MP3 player or a laptop com- puter. Press the AUX button to play a compatible device when it is plugged into the AUX jack. (SPEAKER CONTROL) button: Press this button to turn the rear speakers off and the headphones on. Press this button again to turn rear seat speakers back on and the headphones off. CD EJECT: When the button is pressed with the com- pact disc loaded, the compact disc will be ejected. 4-54 Display screen, heater, air conditioner, audio and phone systems ੬ REVIEW COPY—2008 Quest (van) Owners Manual—USA_English (nna) 06/29/07—debbie ੭
  • 218.
    11. SCAN/RPT button 12. Rear speaker control button 13. AUDIO button [BASS, MID, TREBLE, FADE, BALANCE and SSV (if so equipped)] 14. CD load button 15. CD eject button 16. CD insert slot 17. AUX jack *No satellite radio reception is available and “NO SAT” is displayed when the SAT button is pressed unless optional satellite receiver and antenna are installed, and an XMா satellite radio service subscription is active. Satellite radio not available in Alaska, Hawaii and Guam. LHA0635 Type A 1. SEEK/TRACK button 6. REAR CTRL button 2. PRESET A·B·C button 7. AUX button 3. CD/DVD button 8. TUNE/FLDR·CAT button 4. Station and CD select (1 - 6) buttons 9. DISP button 5. POWER/VOLUME control knob 10. FM·AM/SAT (satellite) radio button* Display screen, heater, air conditioner, audio and phone systems 4-55 ੬ REVIEW COPY—2008 Quest (van) Owners Manual—USA_English (nna) 06/29/07—debbie ੭
  • 219.
    11. FM·AM/SAT (satellite)radio select button* 12. Rear speaker control button 13. RPT·RDM button 14. AUDIO button [BASS, MID, TREBLE, FADE, BALANCE and SSV (if so equipped)] 15. CD load button 16. CD eject button 17. CD insert slot 18. AUX jack *No satellite radio reception is available and “NO SAT” is displayed when the SAT button is pressed unless optional satellite receiver and antenna are installed, and an XMா satellite radio service subscription is active. Satellite radio not available in Alaska, Hawaii and Guam. LHA0636 FM/AM/SAT RADIO WITH Type B COMPACT DISC (CD) CHANGER 1. SEEK/TRACK button 6. REAR CTRL button (Type A and B) (if so equipped) 2. PRESET A·B·C button 7. AUX button 3. CD/DVD button 8. TUNE/FLDR·CAT button For all operation precautions, see ЉAudio opera- 4. Station and CD select (1 - 6) buttons 9. DISP button tion precautionsЉ earlier in this section. 5. POWER/VOLUME control knob 10. SCAN button 4-56 Display screen, heater, air conditioner, audio and phone systems ੬ REVIEW COPY—2008 Quest (van) Owners Manual—USA_English (nna) 06/29/07—cathy ੭
  • 220.
    No satellite radioreception is available and “NO To adjust Bass, Mid, Treble, Fade and Balance, ● Disc title mode displays the title of the CD SAT” is displayed when the SAT button is press the AUDIO button until the desired mode being played. pressed unless optional satellite receiver and appears in the display. Press the TUNE button to ● Track number mode displays the number antenna are installed, and an XMா satellite radio adjust Bass, Mid and Treble to the desired level. selected disc and the track that is currently service subscription is active. Satellite radio not You can also use the TUNE Button to adjust being played on the disc. available in Alaska, Hawaii and Guam. Fader and Balance modes. Fader adjusts the sound level between the front and rear speakers MP3 display mode (if so equipped) Audio main operation and Balance adjusts the sound between the right To change the text displayed when listening to an Power/Volume control: and left speakers. MP3 with MP3 text (when CD with text is being Turn the ignition key to ACC or ON, and then To change the SSV mode to OFF, LOW, MID or used), press the DISP button. The DISP button press the POWER/VOLUME control knob while HIGH, press the TUNE button. will scroll through the CD text as follows: Folder, the system is off to call up the mode (radio or CD) Artist and Track title ←→ Folder title ←→ Artist Once you have adjusted the sound quality to the which was playing immediately before the system title → Track title. desired level, press the AUDIO button repeatedly was turned off. until the radio or CD display reappears. Other- To change the default display mode, press the To turn the system off, press the wise, the radio or CD display will automatically AUDIO button repeatedly until DISPLAY MODE POWER/VOLUME control knob. reappear after about 10 seconds. appears on the display, then press the TUNE Turn the POWER/VOLUME control knob to ad- DISP (display) button: button to select the following display modes: just the volume. Folder number ←→ Disc number. This DISP (display) button will show text about This vehicle may be equipped with Speed Sen- MP3 (if so equipped), CD or SAT information in Once a display mode is selected, press the AU- sitive Volume (SSV) for audio. The audio volume the audio display. DIO button again to store the setting. changes as the driving speed changes. ● Folder number mode displays the folder CD display mode AUDIO button (BASS, MID, TREBLE, FADE, number and the file number of the folder To change the text displayed while playing a CD currently being played. BALANCE and SSV if so equipped): with text, press the DISP button. The DISP button Press the AUDIO button to change the mode as will allow you to scroll through CD text as follows: ● Disc number mode displays the number se- follows: Track number ←→ Disc title ←→ Track title. lected disc and the track that is currently being played. BASS → MID → TREBLE → FADE → BALANCE ● Track title mode displays the title of the se- → SSV (if so equipped) lected CD track. Display screen, heater, air conditioner, audio and phone systems 4-57 ੬ REVIEW COPY—2008 Quest (van) Owners Manual—USA_English (nna) 06/29/07—debbie ੭
  • 221.
    Display satellite radiodisplay mode (if so FM/AM/SAT radio operation TUNE (Tuning): equipped) FM/AM/SAT band select: To change the text displayed when listening to To manually tune the radio, press the satellite radio (if so equipped) press the DISP Pressing the FM·AM or SAT (satellite - if so TUNE/FLDR·CAT button or . equipped) radio select button will change the button. The DISP button will scroll through the To move quickly through the channels, hold either band as follows: broadcast information as follows: Name ←→ the or button down for more than Title ←→ Current display mode. AM ←→ FM or SAT* 1.5 seconds. To change the default display mode press the When FM·AM or SAT* radio select button is SEEK tuning: AUDIO button to display mode and press the pressed while the ignition switch is in the ACC or TUNE button to select the following display ON, the radio will come on at the station last Press the SEEK/TRACK button or modes: Channel number ←→ Channel name played. for less than 1.5 seconds to tune from high to low ←→ Name ←→ Title. Once the display mode is The last station played will also come on when or low to high frequencies and stop at the next selected press the AUDIO button again to store the POWER/VOLUME control knob is pressed broadcasting station. the setting. If the AUDIO button is not pressed ON. SCAN RPT tuning (Type A only): after 8 seconds the display will refresh with the *No satellite radio reception is available and “NO Press the SCAN RPT button for more than 1.5 last selected display mode setting. SAT” is displayed when the SAT button is seconds to stop at each broadcasting station ● Channel number mode displays the channel pressed unless optional satellite receiver and (AM, FM or SAT if so equipped) for 5 seconds. number of the selected satellite radio sta- antenna are installed, and an XMா satellite radio Pressing the button again during this 5 second tion. service subscription is active. Satellite radio is period will stop SCAN tuning and the radio will not available in Alaska, Hawaii and Guam. remain tuned to that station. If the SCAN RPT ● Channel name mode displays the channel If a compact disc is playing when the FM·AM or button is not pressed within 5 seconds, SCAN name of the selected satellite radio station. tuning moves to the next station. SAT* radio select button is pressed, the compact ● Name mode displays the name of the artist, disc will automatically be turned off and the last SCAN tuning (Type B only): host or weather condition of the selected radio station played will come on. satellite radio station. Press the SCAN button for more than 1.5 sec- The FM stereo indicator ST will glow during FM onds to stop at each broadcasting station for 5 ● Title mode displays the song title, show stereo reception. When the stereo broadcast seconds. Pressing the button again during this 5 name, or temperature of the selected satel- signal is weak, the radio will automatically change second period will stop SCAN tuning and the lite radio station. from stereo to monaural reception. radio will remain tuned to that station. If the 4-58 Display screen, heater, air conditioner, audio and phone systems ੬ REVIEW COPY—2008 Quest (van) Owners Manual—USA_English (nna) 06/29/07—cathy ੭
  • 222.
    SCAN button isnot pressed within 5 seconds, Radio data system (RDS): To insert 6 CDs to the CD changer, press SCAN tuning moves to the next station. the load button for more than 1.5 seconds. RDS stands for Radio Data System, and is a data Station memory operations: information service transmitted by some radio The slot numbers (1 – 6) will illuminate on the stations on the FM band (not AM band) and/or display when CDs are loaded into the changer. 18 stations can be set for the FM, AM and SAT SAT radio encoded within a regular radio broad- radio to the A, B and C preset button in any CD/DVD button: cast. Currently, most RDS stations are in large combination of AM, FM or SAT* stations. cities, but many stations are now considering When the CD/DVD button is pressed with the 1. Press the PRESET A·B·C button to change broadcasting RDS data. system off and the compact disc loaded, the between storage banks. The radio displays system will turn on and the compact disc will start the icon A, B or C to indicate which set of Compact disc (CD) changer operation to play. presets are active. Turn the ignition key to the ACC or ON position. When the CD/DVD button is pressed with the 2. Tune to the desired station using manual, To insert the disc, first press the LOAD button. compact disc loaded with the radio playing, the SEEK or SCAN tuning. Press and hold any Insert the compact disc into the slot with the label radio will automatically be turned off and the of the desired station memory buttons (1 – side facing up. The compact disc will be guided compact disc will start to play. 6) until a beep sound is heard. (The radio automatically into the slot and start playing. SEEK/TRACK: mutes when the select button is pressed). If the radio is already operating, it will automati- 3. The channel indicator will then come on and cally turn off and the compact disc will play. When the button is pressed while a com- the sound will resume. Memorizing is now If the system has been turned off while the com- pact disc is playing, the track being played re- complete. pact disc was playing, pressing the turns to its beginning. Press several times to skip 4. Other buttons can be set in the same man- POWER/VOLUME control knob will start the back through tracks. The compact disc will go ner. compact disc. back the number of times the button is pressed. * SAT presets are only available on SAT equipped CD LOAD button: When the button is pressed while the vehicles. compact disc is playing, the next track will start to To insert a CD in the CD changer, press play from its beginning. Press several times to If the battery cable is disconnected, or if the fuse the load button for less than 1.5 seconds. skip through tracks. The compact disc will ad- opens, the radio memory will be canceled. In that Select the loading slot by pressing the CD insert vance the number of times the button is pressed. case, reset the desired stations. select button (1 – 6), then insert the CD. (When the last track on the compact disc is skipped through, the first track will be played.) Display screen, heater, air conditioner, audio and phone systems 4-59 ੬ REVIEW COPY—2008 Quest (van) Owners Manual—USA_English (nna) 06/29/07—debbie ੭
  • 223.
    TUNE/FLDR·CAT 1 TRACK REPEAT: The track that is currently (SPEAKER CONTROL) button: (Folder·Catalog): playing will be repeated. ALL DISC RANDOM: Tracks from all discs will be Press this button to turn the rear speakers While playing an MP3, press the played randomly. TUNE/FLDR·CAT button or to scan off and the headphones on. Press this 1 DISC RANDOM: Tracks from the disc that is button again to turn rear seat speakers back on through available folders. currently playing will be played randomly. and the headphones off. TUNE/FLDR·CAT (Fast RPT·RDM button (Type B only): Forward and Rewind): CD EJECT: When the RPT·RDM button is pressed while the When the TUNE/FLDR·CAT button is pressed for compact disc is played, the play pattern can be more than 1.5 seconds, (fast forward) Current/Selected disc: changed as follows: or (rewind) while the compact disc is be- ● Press the button, then press the slot ing played, the compact disc will play while fast 1 DISC REPEAT→ 1 TRACK REPEAT → ALL number (1 – 6) for the desired disc. The forwarding or rewinding . When the button is DISC RANDOM → 1 DISC RANDOM compact disc will be ejected. If no slot num- released, the compact disc will return to normal ber (1 – 6) is pressed, the current loaded 1 DISC REPEAT: The disc that is currently play- play speed. disc will be ejected. Also, if the ejected disc ing will be repeated. CD select buttons: 1 TRACK REPEAT: The track that is currently is not removed within 15 seconds, the disc playing will be repeated. will reload. To play another CD that has been loaded, press a ALL DISC RANDOM: Tracks from all discs will be CD select button (1 – 6). played randomly. All discs: SCAN/RPT (Type A only): 1 DISC RANDOM: Tracks from the disc that is ● Press and hold the button for more currently playing will be played randomly. than 1.5 seconds. The compact discs will be When the SCAN/RPT button is pressed while the compact disc is being played, the play pattern REAR CTRL: ejected one by one. If a disc is not removed can be changed as follows: within 15 seconds, or the button is Pressing the REAR CTRL button turns the rear pressed again during the eject sequence, 1 DISC REPEAT → 1 TRACK REPEAT → ALL seat audio controller on. REAR CTRL ON will the entire disc eject sequence will be can- DISC RANDOM → 1 DISC RANDOM display. Pressing it again will turn the rear seat celed. audio controller off. REAR CTRL OFF will display. 1 DISC REPEAT: The disc that is currently play- If the vehicle is not equipped with a rear seat When this button is pressed while the compact ing will be repeated audio controller, the display will show “REAR AV disc is being played, the compact disc will eject N/A”. and the last source will be played. 4-60 Display screen, heater, air conditioner, audio and phone systems ੬ REVIEW COPY—2008 Quest (van) Owners Manual—USA_English (nna) 06/29/07—cathy ੭
  • 224.
    CD IN indicator: ● A new disc may be rough on the inner and outer edges. Remove the rough edges by The slot numbers (1 – 6) will illuminate if CDs rubbing the inner and outer edges with the have been loaded into the changer in CD mode side of a pen or pencil as illustrated. only. AUX (Auxiliary) button: The AUX jack is located on the CD player. The AUX audio input jack accepts any standard ana- log audio input such as from a portable cassette tape/CD player, MP3 player or a laptop com- puter. Press the AUX button to play a compatible device when it is plugged into the AUX jack. LHA0049 CD CARE AND CLEANING ● Handle a CD by its edges. Do not bend the disc. Never touch the surface of the disc. ● Always place the discs in the storage case when they are not being used. ● To clean a disc, wipe the surface from the center to the outer edge using a clean, soft cloth. Do not wipe the disc using a circular motion. ● Do not use a conventional record cleaner or alcohol intended for industrial use. Display screen, heater, air conditioner, audio and phone systems 4-61 ੬ REVIEW COPY—2008 Quest (van) Owners Manual—USA_English (nna) 06/29/07—debbie ੭
  • 225.
    If you havethe Type B switch, with the ignition key turned to the ACC or ON position, push the MODE switch to turn the audio system on. MODE select switch Push the MODE select switch to change the mode in the following sequence: PRESET A → PRESET B → PRESET C → CD → DVD (if so equipped) → AUX. While in one of the preset radio station banks (A, B or C), use the tuning switch or to select one of the preset radio stations (1-6). WHA0640 WHA0637 Volume control switch Type A Type B Push the volume control switch up or down to 1. Volume control switch 1. Volume control switch increase or decrease the volume. 2. MODE select switch 2. Phone operation switch 3. POWER on/off switch 3. POWER on and MODE select switch Tuning 4. Tuning switch 4. Tuning switch Memory change (radio): STEERING WHEEL SWITCH FOR While in one of the preset radio station banks (A, AUDIO CONTROL B or C), push the tuning switch or The audio system can be operated using the for less than 1.5 seconds to change to the next controls on the steering wheel. preset station in memory. POWER on/off switch Seek tuning (radio): With the ignition key turned to the ACC or ON Push the tuning switch or for more position, push the POWER switch to turn the than 1.5 seconds to seek the next or previous audio system on or off. radio station. 4-62 Display screen, heater, air conditioner, audio and phone systems ੬ REVIEW COPY—2008 Quest (van) Owners Manual—USA_English (nna) 06/29/07—debbie ੭
  • 226.
    Next/Previous track (CD): Pushthe tuning switch or for less than 1.5 seconds to return to the beginning of the present track or skip to the next track. Push several times to skip back or skip through tracks. This system searches for the blank intervals be- tween selections. If there is a blank interval within 1 program or there is no interval between pro- grams, the system may not stop in the desired or expected location. Change disc (CD) (if so equipped): Push the SEEK tuning switch or for more than 1.5 seconds to change the playing disc up or down. LHA0322 1. VOL (volume) control button 7. Infrared headphone transmitter lens* 2. MODE select button 3. speaker control button *Red transmitters will be visible when 4. NEXT button infrared headphones are on. 5. SEEK button 6. Headphone jacks Display screen, heater, air conditioner, audio and phone systems 4-63 ੬ REVIEW COPY—2008 Quest (van) Owners Manual—USA_English (nna) 06/29/07—debbie ੭
  • 227.
    REAR AUDIO CONTROLS(if so VOL (volume) button: NOTE: equipped) The VOL button allows the rear passengers to The AUX jack can only be turned on by the adjust the headphone volume level. The vehicle front control panel. Press the REAR CTRL button on the front radio control panel to turn the rear controls on. Press volume can also be changed if the REAR CTRL is For additional information on the AUX jack, see the button again to turn the rear controls off. enabled and the rear audio mode is the same as “AUX (Axiliary) button” earlier in this section. the front. The headphones symbol illuminates on the front SEEK button: display when the rear audio controls are on. Two (SPEAKER CONTROL) button: In AM or FM mode, the SEEK button allows the headphone jacks are provided so two rear seat rear seat passengers to find the next radio station passengers may listen to the audio system pri- Press this button to turn the rear speakers up or down the station band frequency. vately. off and headphones on. Press this button again to turn rear seat speakers back on and In CD mode, the SEEK button allows the rear The rear volume controls can only increase the headphones off. passengers to find the next or previous selection volume to the level at which the front radio volume on the CD. control is set. MODE button (Type A only): NEXT button: One or two (if so equipped) infrared headphones The MODE button allows the rear passengers to When the NEXT button is pressed while in AM, are included if the vehicle is equipped with the change between AM, FM, CD, DVD, AUX jack FM or SAT mode (if so equipped), the radio will DVD entertainment system. Most portable radio and AUX(SAT) (if so equipped). The media op- change to the next preset. headphones work with the rear audio controls. tions are listed on the face plate of the rear audio controls. When a source of media is selected, the When playing a CD in the CD changer (if so For vehicles equipped with the FM/AM/SAT radio equipped), press the NEXT button to change with compact disc player, if the rear passengers media label will be illuminated. between discs when multiple discs are loaded. turn off the rear speakers and are using head- MODE button (Type B and C): phones they may choose to listen to a different The NEXT button does not function while playing media than the front passengers. The rear pas- The MODE button allows the rear passengers to a DVD or single CD. sengers can listen to the radio along with the change between AM, FM, CD, DVD and AUX- front passengers or they can listen to a CD or (SAT) (is so equipped). The media options are SAT radio (if so equipped). listed on the face plate of the rear audio controls. When a source of media is selected, the media label will be illuminated. 4-64 Display screen, heater, air conditioner, audio and phone systems ੬ REVIEW COPY—2008 Quest (van) Owners Manual—USA_English (nna) 06/29/07—debbie ੭
  • 228.
    DVD ENTERTAINMENT SYSTEM(if so equipped) ANTENNA CAUTION Window antenna ● The glass screen on the liquid crystal The antenna pattern is printed inside the rear display may break if hit with a hard or passenger and driver side windows. sharp object. If the glass breaks, do not touch the liquid crystalline material, CAUTION which contains a small amount of mer- cury. In case of contact with skin, wash ● Do not place metalized film near the immediately with soap and water. rear driver or passenger side window glass or attach any metal parts to it. This ● Use a damp, soft cloth when cleaning may cause poor reception or noise. the DVD Entertainment System compo- nents. Do not use solvents or cleaning ● When cleaning the inside of the rear solutions. driver or passenger side window, be careful not to scratch or damage the LHA0641 ● To avoid discharging the vehicle bat- window antenna. Lightly wipe along the tery, do not operate the system more antenna with a dampened soft cloth. WARNING than 15 minutes without starting the engine. ● The DVD Entertainment System is de- signed for rear seat passenger viewing Do not attempt to use the system in extreme only. temperature conditions [below -4°F (-20°C) or ● The driver must not attempt to operate above 158°F (70°C)] the DVD Entertainment System while the vehicle is in motion so that full at- tention may be given to vehicle operation. Display screen, heater, air conditioner, audio and phone systems 4-65 ੬ REVIEW COPY—2008 Quest (van) Owners Manual—USA_English (nna) 06/29/07—debbie ੭
  • 229.
    LHA0316 1. EJECT button DIGITAL VIDEO DISC (DVD) PLAYER 2. DVD slot CONTROLS 3. ENTER button Refer to “Playing a digital video disc (DVD)” later 4. POWER on/off button in this section for the function of each button. 5. MODE button 6. Input jacks 7. STOP button 8. PLAY/PAUSE button LHA0317 9. MENU button 1. POWER button 10. DISPLAY button 2. STOP button 11. NAVIGATION keys 3. NEXT TRACK/CHAPTER and PREVIOUS TRACK/CHAPTER button 4. TITLE button 5. ENTER button 4-66 Display screen, heater, air conditioner, audio and phone systems ੬ REVIEW COPY—2008 Quest (van) Owners Manual—USA_English (nna) 06/29/07—cathy ੭
  • 230.
    6. DISPLAY button CAUTION 7. MODE button 8. SUBTITLE button ● The glass screen on the liquid crystal display may break if hit with a hard or 9. AUDIO button sharp object. If the glass breaks, do not 10. ANGLE button touch the liquid crystalline material, 11. CLEAR button which contains a small amount of mer- 12. PAUSE button cury. In case of contact with skin, wash 13. PLAY button immediately with soap and water. 14. FAST FORWARD/FAST REVERSE ● The screen rotates down to view and up button into the housing to store when not in 15. MENU button use. Ensure that the screen is latched 16. NAVIGATION keys securely into the housing when stored. 17. BACK button LHA0315 18. NUMERIC KEYPAD REMOTE CONTROL FLIP-DOWN SCREEN Refer to “Playing a digital video disc (DVD)” later The flip-down screen has a wireless remote con- in this section for the function of each button. trol receiver ᭺ located at the bottom of the 1 screen. On vehicles equipped with 2 screens for second and third row passengers, both screens will have a remote control receiver. Display screen, heater, air conditioner, audio and phone systems 4-67 ੬ REVIEW COPY—2008 Quest (van) Owners Manual—USA_English (nna) 06/29/07—debbie ੭
  • 231.
    PLAYING A DIGITALVIDEO DISC (DVD) CAUTION ● Only operate the DVD while the vehicle engine is running. Operating the DVD for extended periods of time with the engine OFF can discharge the vehicle battery. ● Do not allow the system to get wet. Excessive moisture such as spilled liq- uids may cause the system to malfunction. SAA0720 SAA0721 ● The driver must not attempt to wear the Headphones NOTE: headphones while the vehicle is in mo- Power ON/OFF: For optimum infrared headphone perfor- tion so that full attention may be given mance, increase the volume on the rear to vehicle operation. Press the power button to turn the headphones seat controller to the maximum level and ● While playing video CD media, this DVD on or off. adjust the infrared headphone volume us- player does not guarantee complete ing the volume control on the headphones. Volume control: functionality of all video CD formats. Using a lower volume setting on the rear Turn the volume control knob to adjust the vol- seat controller can cause static noise in the With the DVD player, you can hear DVD videos, ume. infrared headphones. video CDs and CDs using headphones. Passen- gers in the rear seat can enjoy the sound inde- The headphones will automatically be turned off pendently of the front seat. in 30 seconds if there is no sound during that period. To prevent the battery from being dis- Press the CD/DVD button located on the front charged, keep the power supply turned off when controls to hear the sound of the DVD player not in use. through the speakers. 4-68 Display screen, heater, air conditioner, audio and phone systems ੬ REVIEW COPY—2008 Quest (van) Owners Manual—USA_English (nna) 06/29/07—debbie ੭
  • 232.
    Pressing the button on the front controls on the faceplate, Red = right channel audio input, NEXT CHAPTER/ turns the rear speakers on and off. White = left channel audio input, and Yellow = PREVIOUS CHAPTER Video input). (Remote control only): It is possible to operate the DVD player by remote control. The display will show the “AUX” in the upper left When the (NEXT CHAPTER) button is corner of the display for 4 seconds once the pressed while the DVD is being played, the pro- Headphones are a wireless type and no cables Mode is changed to AUX. gram next to the present one will start to play from are necessary. You can use them in almost all the its beginning. Press several times to skip through ranges in the rear seat. (It is not possible to use To use the input jacks, refer to “Auxiliary input programs. The DVD will advance the number of the headphones in the front seat.) jacks” in this section. times the button is pressed. When the POWER on/off button: or PLAY: (PREVIOUS CHAPTER) button is pressed, the program being played returns to its beginning. With the ignition switch turned to the ACC or ON When the PLAY/PAUSE button on the player or Press several times to skip back through pro- position, press the POWER button to turn the the PLAY button on the remote control is grams. The DVD will go back the number of times DVD player on or off. pressed, the player will play. the button is pressed. Insert the DVD into the slot with the label side In play mode, the display will briefly show or PAUSE: facing up. The DVD will be guided automatically into the slot. on the upper left corner of the display. When the PLAY/PAUSE button on the player or If the DVD player is off and a DVD is inserted, the FF (Fast Forward), REW the PAUSE button on the remote control is DVD player will automatically turn on. (Remote control only): pressed, the player will pause playing of the Press FAST FORWARD/FAST REVERSE but- media. In pause mode, the player will show CAUTION tons to carry out the fast forward or fast reverse on the upper left corner of the display until the Do not force the compact disc into the presentation at 5 times normal play speed. player is changed to another mode. slot. This could damage the player. Press FAST FORWARD/FAST REVERSE but- STOP: MODE select button: tons again or PLAY button to resume the normal play speed. Press the STOP button once to stop playing the Press the MODE button to select Audio/Video media. The display will show in the upper source between DVD and AUX input (input jacks left corner of the display for 4 seconds, and the last disc position will be stored. When the PLAY Display screen, heater, air conditioner, audio and phone systems 4-69 ੬ REVIEW COPY—2008 Quest (van) Owners Manual—USA_English (nna) 06/29/07—cathy ੭
  • 233.
    button is pressedagain, it will resume at the ● Use NAVIGATION KEYS to navigate within forward, and the display will show , stored disc track and time position. the display menu, and use ENTER to select and a forward arrow symbol respectively in the the item. upper left corner of the display for 4 seconds. If the STOP button is pressed again when the player is already in Stop mode, it will reinitialize (Faceplate feature only) ● Holding the DISPLAY control on the face- the pointer to the beginning of the disc. In effect it plate for longer than approximately 2 sec- If media is in activated MENU mode, the NAVI- will ignore the last stored disc position and upon onds while in the display menu will reset the GATION KEYS will be used to navigate Up, receipt of the next play message it will begin at display characteristics to their nominal val- Down, Left, and Right within the menu. the Title Menu, or at “the beginning of the disc”. ues. (Faceplate feature only) If display control menu is on, the NAVIGATION EJECT: If the DISPLAY control button on the faceplate is KEYS will be used to navigate Up, Down, Left, pressed for more than 2 seconds, the media and Right within the menu. When the EJECT button is pressed with the DVD track/time information will be displayed along the loaded, it will be ejected. ENTER: bottom of the display. Pressing the DISPLAY The display will show the EJECT symbol in control for more than 2 seconds will remove the In MENU mode, press the ENTER button to se- the upper left corner of the display for 4 seconds media track/time information from the display. lect MENU items. once the EJECT button is pressed. (Faceplate feature only) In the display menu, press the ENTER button to If the DVD is not loaded, the display will show NAVIGATION KEYS: select items for modification, as per the on- “NO DISC”. screen instructions. If media is in PLAY mode, activation of the NAVI- If the DVD comes out and is not removed within GATION KEYS (Up, Down, Left, and Right) will MENU: 25 seconds, it will be pulled back into the slot to perform the following functions: next protect it. chapter/track, previous chapter/track, fast re- If the media is in PLAY mode and the MENU verse and fast forward, and the display will button is pressed, the DVD menu will appear on DISPLAY: the screen. Use Navigation Keys to navigate show , , and respec- If the DISPLAY control is pressed for less than 2 tively in the upper left corner of the display for 4 within the menu, and use ENTER to select the seconds, the display menu will appear on the seconds. (Faceplate feature only) item. screen. If media is in PAUSE mode, activation of the Press the MENU button again to return to PLAY ● The display menu will remain on the screen NAVIGATION KEYS (Up, Down and Right) will mode. for 10 seconds if no subsequent control perform the following functions: next activations occur. chapter/track, previous chapter/track and slow 4-70 Display screen, heater, air conditioner, audio and phone systems ੬ REVIEW COPY—2008 Quest (van) Owners Manual—USA_English (nna) 06/29/07—debbie ੭
  • 234.
    TITLE (Remote controlonly): CLEAR (Remote control only): Auxiliary input jacks Press TITLE button to return the DVD media to Press the CLEAR button to clear all numeric The auxiliary input jacks are located on the control the “title” of the DVD. inputs, if actuated prior to expiration of the panel. Compatible devices such as video games, 3-second timer. camcorders and portable video players can be Press TITLE button again to return to the previous stop point and play. NUMERIC KEYPAD (0–9 & ≥10) (Remote connected to the auxiliary jacks. control only): The auxiliary jacks are color coded for identifica- BACK (Remote control only): Press the NUMERIC KEYPAD to directly access tion purposes. Press the BACK button to exit the current active disc chapters, titles or tracks by inputting their ● Yellow - video input menu and return to the previous menu. numeric value. SUBTITLE (Remote control only): ● White - left channel audio input The “≥10” button input numbers greater than or Press the SUBTITLE button to call up subtitle equal to 10, allowing up three digits to be input ● Red - right channel audio input selection menu. for selecting chapter/title/track number. CARE AND MAINTENANCE Repeatedly press the SUBTITLE button to cycle The subsequent actuation of numeric buttons will Use a lightly dampened, lint free cloth to clean the through each available subtitle. continuously shift the previously input number to surfaces of your DVD Entertainment System. the “left”. (DVD player face, screen, remote control, etc.) AUDIO (Remote control only): The chapter/title/track number will be automati- Press the AUDIO button to call up audio menu. CAUTION cally selected (if valid, based on media content) if Repeatedly press the AUDIO button to cycle 3 seconds expire without any keypad inputs. ● Do not use any solvents or cleaning through each available audio track. solutions when cleaning the video The operator can cancel the input ANGLE (Remote control only): chapter/title/track number by actuating the system. CLEAR control prior to the expiration of the ● Do not use excessive force on the moni- Press the ANGLE button to call up camera angle 3-second timer. tor screen. menu. These functions can be used only for the DVD ● Avoid touching or scratching the moni- Repeatedly press the ANGLE button to cycle tor screen as it may become dirty or discs which correspond to them. through each available angle. damaged. Display screen, heater, air conditioner, audio and phone systems 4-71 ੬ REVIEW COPY—2008 Quest (van) Owners Manual—USA_English (nna) 06/29/07—debbie ੭
  • 235.
    Do not attemptto use the system in extreme ● A new disc may be rough on its inner temperature conditions [below -4°F (-20°C) or and outer edges. Remove the rough above 158°F (70°C)] edges using the side of a pen or pencil Do not attempt to operate the system in extreme as illustrated. humidity conditions (less than 10% or more than ● Never attempt to use a DVD that has 75%). been cracked, deformed, or repaired using adhesive. Doing so may cause damage to the equipment. ● Handle the DVD carefully to avoid contami- nation or flaws. Otherwise, signals may not be read properly. ● Do not write, draw or attach anything on any LHA0049 side of the DVD. HOW TO HANDLE THE DVD ● Do not store the DVD in locations with direct sunlight or in high temperatures or humidity. CAUTION ● Always place discs in the storage case when ● Handle a DVD by its edges. Never touch they are not being used. the surface of the disc. ● Do not put on any sticker or write anything ● To clean a disc, wipe the surface from on either surface of the DVD. the center to the outer edge using a clean, soft cloth. Do not wipe the disc using a circular motion. ● Do not use a conventional record cleaner, benzine, thinner or alcohol in- tended for industrial use. 4-72 Display screen, heater, air conditioner, audio and phone systems ੬ REVIEW COPY—2008 Quest (van) Owners Manual—USA_English (nna) 06/29/07—debbie ੭
  • 236.
    ● DVDs witha region code other than 5. If the disc cannot be ejected see your “1”. The region code ᭺ is displayed in A NISSAN dealer for further assistance. a small symbol printed on the top of 6. Re-program the radio presets. the DVD ᭺.B ● DVDs that are not round. ● DVDs with a paper label. ● DVDs that are warped, scratched, or have unequal edges. ● Recordable digital video discs (DVD+R). ● Rewritable digital video discs (DVD+RW). If a DVD with a paper label is used and becomes jammed, you may be able to reset the unit and eject the jammed disc with the following procedure: 1. Record the radio presets. 2. Disconnect the negative terminal from LHA0484 the battery for five minutes. DVD player operation precautions 3. Reconnect the negative battery termi- nal. Do not use the following DVDs as they may cause the DVD player to malfunction: 4. Check to see if the jammed DVD has been ejected. If it has not, try to eject ● 3.1 in (8 cm) discs with an adapter. the DVD by pushing the eject button. Display screen, heater, air conditioner, audio and phone systems 4-73 ੬ REVIEW COPY—2008 Quest (van) Owners Manual—USA_English (nna) 06/29/07—debbie ੭
  • 237.
    ● When changingbatteries, do not let dust or oil get on the remote control and head- phones. FCC Notice: Changes or modifications not expressly ap- proved by the party responsible for compli- ance could void the user’s authority to op- erate the equipment. This device complies with Part 15 of the FCC Rules and RSS-210 of Industry Canada. Operation is subject to the following two conditions: (1) This de- vice may not cause harmful interference, and (2) this device must accept any inter- LHA0318 SAA0723 ference received, including interference If the battery is removed for any reason that may cause undesired operation of the Remote control and headphones device. battery replacement other than replacement, close the lid se- curely. Replace the battery as follows: ● If you will not be using the remote control for 1. Open the lid. long periods of time, remove the batteries. 2. Replace batteries with new ones. ● Replacement of the batteries is needed when the remote control only functions at ● Size AA (remote control) extremely close distances to the DVD player ● Size AAA (headphones) or not at all. Make sure that the and ends on ● Be careful not to touch the battery terminal. the batteries match the markings inside the ● An improperly disposed battery can harm compartment. the environment. Always confirm local regu- 3. Close the lid securely. lations for battery disposal. 4-74 Display screen, heater, air conditioner, audio and phone systems ੬ REVIEW COPY—2008 Quest (van) Owners Manual—USA_English (nna) 06/29/07—debbie ੭
  • 238.
    CAR PHONE ORCB RADIO BLUETOOTHா HANDS-FREE PHONE SYSTEM (if so equipped) When installing a CB, ham radio or car phone in CAUTION WARNING your NISSAN, be sure to observe the following precautions, otherwise the new equipment may ● Keep the antenna as far away as pos- ● Use a phone after stopping your vehicle adversely affect the engine control system and sible from the electronic control in a safe location. If you have to use a other electronic parts. modules. phone while driving, exercise extreme caution at all times so full attention may ● Keep the antenna wire more than 8 in WARNING be given to vehicle operation. (20 cm) away from the electronic con- ● A cellular telephone should not be used trol system harnesses. Do not route the ● If you are unable to devote full attention while driving so full attention may be antenna wire next to any harness. to vehicle operation while talking on given to vehicle operation. Some juris- the phone, pull off the road to a safe ● Adjust the antenna standing-wave ratio dictions prohibit the use of cellular tele- location and stop your vehicle. as recommended by the manufacturer. phones while driving. ● Connect the ground wire from the CB CAUTION ● If you must make a call while your ve- radio chassis to the body. hicle is in motion, the hands free cellu- To avoid discharging the vehicle battery, lar phone operational mode (if so ● For details, consult a NISSAN dealer. use a phone after starting the engine. equipped) is highly recommended. Ex- ercise extreme caution at all times so full attention may be given to vehicle operation. ● If a conversation in a moving vehicle requires you to take notes, pull off the road to a safe location and stop your vehicle before doing so. Display screen, heater, air conditioner, audio and phone systems 4-75 ੬ REVIEW COPY—2008 Quest (van) Owners Manual—USA_English (nna) 06/29/07—debbie ੭
  • 239.
    module when theignition switch is turned to the ON position with the paired cellular phone turned on and carried in the vehicle. You can register up to 5 different Bluetoothா cellular phones to the in-vehicle phone module. However, you can talk on only one cellular phone at a time. Before using the Bluetoothா Hands-Free Phone System, refer to the following notes. ● Set up the wireless connection between a cellular phone and the in-vehicle phone module before using the hands-free phone system. ● Some Bluetoothா enabled cellular phones may not be recognized by the in-vehicle phone module. Please visit www.nissanusa.com/bluetooth for a recom- mended phone list and pairing. ● You will not be able to use a hands-free phone under the following conditions: LHA0638 – Your vehicle is outside of the cellular ser- Your NISSAN is equipped with the Bluetoothா make or receive a hands-free telephone call with vice area. Hands-Free Phone System. If you have an ap- your cellular phone in the vehicle. proved Bluetoothா enabled cellular phone, you – Your vehicle is in an area where it is Once your cellular phone is paired to the in- difficult to receive a cellular signal; such can set up the wireless connection between your vehicle phone module, no other phone connect- as in a tunnel, in an underground parking cellular phone and the in-vehicle phone module. ing procedure is required. Your phone is auto- garage, near a tall building or in a moun- With Bluetoothா wireless technology, you can matically connected with the in-vehicle phone tainous area. 4-76 Display screen, heater, air conditioner, audio and phone systems ੬ REVIEW COPY—2008 Quest (van) Owners Manual—USA_English (nna) 06/29/07—debbie ੭
  • 240.
    – Your cellularphone is locked to prevent it ● Refer to the cellular phone Owner’s Manual Initialization from being dialed. regarding the telephone charges, cellular phone antenna and body, etc. When the ignition switch is turned to the ON ● When the radio wave condition is not ideal position, NISSAN Voice Recognition is initialized, or ambient sound is too loud, it may be This device complies with Part 15 of the which takes a few seconds. When completed, difficult to hear the other person’s voice dur- FCC Rules. Operation is subject to the fol- the amber light on the overhead console illumi- ing a call. lowing two conditions: (1) this device may nates and the system is ready to accept voice not cause harmful interference, and (2) this commands. If the button is pressed before ● Do not place the cellular phone in an area device must accept any interference re- the initialization completes, the system will an- surrounded by metal or far away from the ceived, including interference that may nounce “Hands-free phone system not ready” in-vehicle phone module to prevent tone cause undesired operation. and will not react to voice commands. quality degradation and wireless connection disruption. FCC Radiation Exposure Statement: Operating tips ● While a cellular phone is connected through This equipment complies with FCC radiation ex- To get the best performance out of the NISSAN the Bluetoothா wireless connection, the bat- posure limits set forth for an uncontrolled envi- Voice Recognition system, observe the following: tery power of the cellular phone may dis- ronment. This equipment should be installed and charge quicker than usual. The Bluetoothா operated with minimum distance of 8 inches (20 ● Keep the interior of the vehicle as quiet as Hands-Free Phone System cannot charge cm) between the radiator and your body. This possible. Close the windows to eliminate cellular phones. Transmitter must not be co-located or operating surrounding noises (traffic noises, vibration in conjunction with any other antenna or transmit- sounds, etc.), which may prevent the system ● If the hands-free phone system seems to be from recognizing voice commands correctly. ter. malfunctioning, see “Troubleshooting guide” later in this section. You can also visit USING THE SYSTEM ● Wait until the tone sounds before speaking a www.nissanusa.com/bluetooth for trouble- command. Otherwise, the command will not shooting help. The NISSAN Voice Recognition system allows be received properly. hands-free operation of the Bluetoothா Phone ● Some cellular phones or other devices may System. ● Start speaking a command within 5 seconds cause interference or a buzzing noise to after the tone sounds. come from the audio system speakers. Stor- If the vehicle is in motion, some commands may not be available so full attention may be given to ● Speak in a natural voice without pausing ing the device in a different location may between words. reduce or eliminate the noise. vehicle operation. Display screen, heater, air conditioner, audio and phone systems 4-77 ੬ REVIEW COPY—2008 Quest (van) Owners Manual—USA_English (nna) 06/29/07—debbie ੭
  • 241.
    Giving voice commands ● If you want to adjust the volume of the voice – “One eight hundred six six two six two oh feedback, press the volume control switches oh”, To operate NISSAN Voice Recognition, press (+ or -) on the steering wheel while being – NOT “One eight hundred six six two sixty and release the button located on the provided with feedback. You can also use two hundred, and steering wheel. The light on the overhead con- the radio volume control knob. sole flashes to signal you have entered a voice – NOT “One eight oh oh six six two sixty two recognition (VR) session. After the tone sounds, ● In most cases you can interrupt the voice feed- hundred. speak a command. back to speak the next command by pressing ● Numbers can be spoken in small groups. the button on the steering wheel. The command given is picked up by the micro- The system will prompt you to continue en- phone, and voice feedback is given when the ● To speed the operation you can say multiple tering digits, if desired. command is accepted. commands. For example, press the Example: 1-800-662-6200 button then say “Phonebook, New entry” ● If you need to hear the available commands rather than “Phonebook.” Wait for the voice – “One eight oh oh” for the current menu again, say “Help” and feedback prompt then say “New entry”. The system repeats the numbers and the system will repeat them. How to say numbers prompts you to enter more. ● If a command is not recognized, the system – “six six two” announces, “Command not recognized. NISSAN Voice Recognition requires a certain Please try again.” Repeat the command in a way to speak numbers in voice commands. Refer The system repeats the numbers and clear voice. to the following rules and examples. prompts you to enter more. – “six two oh oh” ● If you want to go back to the previous com- ● Either “zero” or “oh” can be used for “0”. mand, you can say “Go back” or “Correction” ● You can say “Star” for * and “Pound” for # at Example: 1-800-662-6200 any time the system is waiting for a response. any time in any position of the phone number. – “One eight oh oh six six two six two oh Example: 1-555-1212 *123 ● You can cancel a command when the sys- oh”, or tem is waiting for a response by saying, – “One five five five one two one two star “Cancel” or “Quit.” The system announces – “One eight zero zero six six two six two oh one two three” “Cancel” and ends the VR session. You can oh” also press the button on the steering NOTE: ● Words can be used for the first 4 digits wheel at any time. Whenever the VR session places only. For best results, say phone numbers as is cancelled, a double beep is played to single digits. indicate you have exited the system. Example: 1-800-662-6200 4-78 Display screen, heater, air conditioner, audio and phone systems ੬ REVIEW COPY—2008 Quest (van) Owners Manual—USA_English (nna) 06/29/07—debbie ੭
  • 242.
    4. The systemannounces the current language PHONE/END and gives you the option to change the lan- Press the button to cancel a VR guage to Spanish (in Spanish) or French (in French). Use the following chart to select session or end a call. the language. GETTING STARTED NOTE: The following procedures will help you get started using the Bluetoothா Hands-Free Phone You must press the button or System with NISSAN Voice Recognition. For ad- the button within 5 seconds to ditional command options, refer to “List of voice change the language. commands” later in this section. Press Press Current Choosing a language language (PHONE/SEND) (PHONE/END) to select to select You can interact with the Bluetoothா Hands-Free LHA0639 English Spanish French Phone System using English, Spanish or French. CONTROL BUTTONS Spanish English French To change the language, perform the following. French English Spanish The control buttons for the Bluetoothா Hands- 1. Press and hold the button for more Free Phone System are located on the steering than 5 seconds. 5. If you decide not to change the language, do wheel. not press either button. After 5 seconds, the PHONE/SEND 2. The system announces: “Press the VR session will end, and the language will PHONE/SEND ( ) button for the not be changed. Press the button to initiate a VR hands-free phone system to enter the session or answer an incoming call. speaker adaptation mode or press the PHONE/END ( ) button to select a dif- You can also use the button to ferent language.” skip through system feedback and to 3. Press the button. enter commands during a call. See “List of voice commands” and “During a call” For information on speaker adaptation, see “Speaker adaptation (SA) mode” later in this later in this section for more information. section. Display screen, heater, air conditioner, audio and phone systems 4-79 ੬ REVIEW COPY—2008 Quest (van) Owners Manual—USA_English (nna) 06/29/07—debbie ੭
  • 243.
    Pairing procedure 4. Say: “New phone” ᭺. The system acknowl- C 6. The system asks you to assign a priority level edges the command and asks you to initiate ᭺. The priority level determines which F NOTE: pairing from the phone handset ᭺. D phone is active when more than one paired Bluetoothா phone is in the vehicle. Follow The pairing procedure must be performed The pairing procedure of the cellular phone the instructions provided by the system or when the vehicle is stationary. If the vehicle varies according to each cellular phone refer to “Setup” later in this section for more starts moving during the procedure, the model. See the cellular phone Owner’s information on changing priorities. procedure will be cancelled. Manual for details. You can also visit www.nissanusa.com/bluetooth for instruc- 7. The system will ask if you would like to select Main Menu tions on pairing NISSAN recommended cel- a custom ring tone ᭺. Follow the instruc- G “Setup” ᭺ A lular phones. tions provided by the system or refer to “Pair phone” ᭺ B “Setup” later in this section for more infor- When prompted for a Passkey code, enter mation on selecting ringtones. “New phone” ᭺ C “1234” from the handset. The Passkey code Initiate from handset ᭺ D “1234” has been assigned by NISSAN and Making a call by entering a phone cannot be changed. number Name phone ᭺ E 5. The system asks you to say a name for the Assign priority ᭺ F phone ᭺. E Choose ringtone ᭺ G Main Menu If the name is too long or too short, the 1. Press the button on the steering “Call” ᭺ A system tells you, then prompts you for a wheel. The system announces the available name again. Number (speak digits) ᭺ B commands. “Dial” ᭺ C Also, if more than one phone is paired and 2. Say: “Setup” ᭺. The system acknowledges A the name sounds too much like a name 1. Press the button on steering wheel. A the command and announces the next set of already used, the system tells you, then tone will sound. available commands. prompts you for a name again. 2. Say: “Call” ᭺. The system acknowledges A 3. Say: “Pair phone” ᭺. The system acknowl- B the command and announces the next set of edges the command and announces the available commands. next set of available commands. 4-80 Display screen, heater, air conditioner, audio and phone systems ੬ REVIEW COPY—2008 Quest (van) Owners Manual—USA_English (nna) 06/29/07—debbie ੭
  • 244.
    3. Say thenumber you wish to call ᭺. For B LIST OF VOICE COMMANDS When you get used to the menus in the system, example, 555-1212 can be said as “five five you can talk ahead by saying more than one five one two one two.” See “How to say command at a time. For example, say, “Call five numbers” earlier in this section for more Main Menu five five one two one two” or “Memo pad record.” information. “Call” Also, when you get used to the system re- 4. When you have finished speaking the phone “Phone Book” sponses, you can skip ahead to the tone by number, the system repeats it back and an- pressing the button on the steering wheel. nounces the available commands. “Memo Pad” However, if you press the button when the “Setup” 5. Say: “Dial” ᭺. The system acknowledges C system is waiting for a response from you it will the command and makes the call. When you press and release the button on end the VR session. For additional command options, see “List of the steering wheel, you can choose from the “Call” voice commands” later in this section. commands on the Main Menu. The following pages describe these commands and the com- Receiving a call mands in each sub-menu. Main Menu When you hear the ring tone, press the Remember to wait for the tone before “Call” button on the steering wheel. speaking. Name (speak name) ᭺ A Once the call has ended, press the button You can say “Help” to hear the list of commands Number (speak digits) ᭺ B on the steering wheel. currently available any time the system is waiting for a response. “Redial” ᭺ C NOTE: “Call Back” ᭺ D If you want to end an action without completing it, If you do not wish to take the call when you you can say “Cancel” or “Quit” at any time the Name (speak name) ᭺ A hear the ring tone, press the button system is waiting for a response. The system will on the steering wheel. end the VR session. Whenever the VR session is If you have stored entries in the Phone Book, you cancelled, a double beep is played to indicate can dial a number associated with a name and For additional command options, see “List of you have exited the system. location. voice commands” later in this section. If you want to go back to the previous command, See “Phone book” later in this section to learn you can say “Go back” or “Correction” any time how to store entries. the system is waiting for a response. Display screen, heater, air conditioner, audio and phone systems 4-81 ੬ REVIEW COPY—2008 Quest (van) Owners Manual—USA_English (nna) 06/29/07—debbie ੭
  • 245.
    When prompted bythe system, say the name of “Call back” ᭺ D The system acknowledges the command the phone book entry you wish to call. The system and sends the tones associated with the Use the Call Back command to dial the number of numbers. The system then ends the VR ses- acknowledges the name. the last incoming call within the vehicle. sion and returns to the call. If there are multiple locations associated with the The system acknowledges the command, re- ● “Transfer call” — Use the Transfer Call com- name, the system asks you to choose the loca- peats the number and begins dialing. mand to transfer the call from the Bluetoothா tion. If a call back number does not exist, the system Hands-Free Phone System to the cellular Once you have confirmed the name and location, announces, “There is no number to call back” and phone when privacy is desired. the system begins the call. ends the VR session. The system announces, “Transfer call. Call Number (speak digits) ᭺ B During a call transferred to privacy mode.” The system then ends the VR session. When prompted by the system, say the number During a call there are several command options you wish to call. Refer to “How to say numbers” available. Press the button on the steering You can also issue the Transfer Call com- and “Making a call by entering a phone number” wheel to mute the receiving voice and enter com- mand again to return to a hands-free call earlier in this section for more details. mands. through the vehicle. “Redial” ᭺ C ● “Help” — The system announces the avail- ● “Mute” — Use the Mute command to mute able commands. your voice so the other party cannot hear it. Use the Redial command to call the last number Use the mute command again to unmute that was dialed within the vehicle. ● “Go back/Correction” — The system an- your voice. nounces “Go back,” ends the VR session NOTE: and returns to the call. NOTE: The system will not redial the last number ● “Cancel/Quit” — The system announces If a call is ended or the cellular phone dialed by the handset keypad. “Cancel,” ends the VR session and returns network connection is lost while the Mute to the call. feature is on, the Mute feature will be reset The system acknowledges the command, re- to “off” for the next call so the other party peats the number and begins dialing. ● “Send/Enter/Call/Dial” — Use the Send command to enter numbers during a call. For can hear your voice. If a redial number does not exist, the system example, if you were directed to dial an ex- announces, “There is no number to redial” and tension by an automated system: ends the VR session. Say: “Send one two three four.” 4-82 Display screen, heater, air conditioner, audio and phone systems ੬ REVIEW COPY—2008 Quest (van) Owners Manual—USA_English (nna) 06/29/07—debbie ੭
  • 246.
    “Phone book” When prompted by the system, say the name you number will be transferred from the cellular would like to give the new entry. phone via the Bluetoothா communication link. NOTE: For example, say: “Mary.” The transfer procedure varies according to each Phone book commands are not available If the name is too long or too short, the system cellular phone. See the cellular phone Owner’s when the vehicle is moving. tells you, then prompts you for a name again. Manual for details. You can also visit www.nissanusa.com/bluetooth for instructions Main Menu Also, if the name sounds too much like a name on transferring phone numbers from NISSAN already stored, the system tells you, then prompts “Phone Book” recommended cellular phones. you for a name again. “New Entry” ᭺ A The system repeats the number and prompts you Once the system accepts the name and you “Edit” ᭺ B confirm it is correct, the system asks for a location for the next command. When you have finished “Delete” ᭺ entering numbers or transferring an entry, choose C (Home, Office, Mobile or Other). “Store.” ЉList Names” ᭺ D For example, say: “Home.” The system confirms the name, location and The Phone Book stores up to 40 names for each The system acknowledges the location. number. The system then asks if you would like to phone paired with the system. Each name can The system will ask you to say a phone number or store another location for the same name. If you have up to 4 locations/phone numbers associ- to transfer a phone number stored in the cellular do not wish to store another location, the system ated with it. phone’s memory. ends the VR session. NOTE: Enter a phone number by voice command: “Edit” ᭺ B Each phone has its own separate phone For example, say: “five five five one two one two.” Use the Edit command to alter an existing phone book. You cannot access Phone A’s phone See “How to say numbers” earlier in this section book entry or to add a 2nd, 3rd or 4th phone book if you are currently connected with for more information. number to an existing entry. Phone B. To transfer a phone number stored in the cellular When prompted by the system, say the name of “New entry” ᭺ A phone’s memory: the entry you wish to edit. Use the New Entry command to store a new Say ЉTransfer entry.Љ The system acknowledges The system acknowledges the name and asks name in the system. the command and asks you to initiate the transfer you for the location you would like to edit. from the phone handset. The new contact phone Say the name of the location. Display screen, heater, air conditioner, audio and phone systems 4-83 ੬ REVIEW COPY—2008 Quest (van) Owners Manual—USA_English (nna) 06/29/07—debbie ੭
  • 247.
    The system acknowledgesthe location. “Delete” ᭺ C You can stop the playback of the list at any time by pressing the button on the steering The system will ask you to say a phone number or Use the Delete command to erase one entry from wheel. The system ends the VR session. to transfer a phone number stored in the cellular the phone book, all entries from the phone book, phone’s memory. the current redial number or the current call back “Memo pad” number. Enter a phone number by voice command: To delete entries from the phone book, say a For example, say: “five five five one two one two. Main Menu ” See “How to say numbers” earlier in this section name or “All entries” when prompted by the sys- tem. “Memo Pad” for more information. The system acknowledges the command and “Record” ᭺ A To transfer a phone number stored in the cellular phone’s memory: asks you to confirm the deletion. “Play” ᭺ B To delete the current redial number or call back “Delete” ᭺ C Say ЉTransfer entry.Љ The system acknowledges the command and asks you to initiate the transfer number, say “redial number” or “call back num- The Memo Pad records a maximum of 6 voice from the phone handset. The new contact phone ber” when prompted by the system. memos, each up to 20 seconds long. number will be transferred from the cellular If a redial number or a call back number exists, the “Record” ᭺ A phone via the Bluetoothா communication link. system deletes them without asking for confirma- The transfer procedure varies according to each tion. The system announces “Recording” and a tone cellular phone. See the cellular phone Owner’s sounds, signaling you to begin. If there is no number for the entry you are trying to Manual for details. You can also visit delete, the system says so and ends the VR Speak the information you wish to record clearly. www.nissanusa.com/bluetooth for instructions session. When you are done, press the or on transferring phone numbers from NISSAN recommended cellular phones. “List names” ᭺ D button on the steering wheel. The system repeats the number and prompts you Use the List Names command to hear all the A tone sounds and the system announces for the next command. When you have finished names and locations in the phone book. “Memo recorded.” Another tone sounds to end entering numbers, choose “Store.” the VR session. The system recites the phone book entries but The system confirms the name, location and does not include the actual phone numbers. If the memo pad is full, the system asks if you wish number, then announces that the entry has been When the playback of the list is complete, the to record over the oldest memo. stored. The system then ends the VR session. system goes back to the main menu. 4-84 Display screen, heater, air conditioner, audio and phone systems ੬ REVIEW COPY—2008 Quest (van) Owners Manual—USA_English (nna) 06/29/07—debbie ੭
  • 248.
    “Play” ᭺ B Use the Setup command to change options as- ● “Replace phone” — The system announces sociated with the Bluetoothா Hands-Free Phone the names of the phones already paired and The system plays back all the memos in the order System. asks which you would like to replace. of newest to oldest. The system ends the VR session. “Pair phone” ᭺ A Once you say the name of the phone you wish to replace, the pairing procedure will If there are no memos recorded, the system an- Use the Pair Phone command to pair a phone to begin. Refer to “Pairing procedure” earlier in nounces “No messages to play.” The system the Bluetoothா Hands-Free Phone System. this section. ends the VR session. NOTE: ● “List phone” – See the description below. “Delete” ᭺ C The pairing procedure must be performed “List phone” ᭺ B The Delete command erases all memos. The when the vehicle is stationary. If the vehicle system asks you to confirm this action before starts moving during the procedure, the Use the List Phone command to hear the names deleting all memos. procedure will be cancelled. Also, see of the phones currently paired. If no phones are “Pairing procedure” earlier in this section paired, the system announces, “No paired “Setup” phones to list.” The system then ends the VR for additional information. session. Up to 5 phones can be paired. If you try to pair a Main Menu sixth phone, the system announces that you must “Select phone” ᭺ C “Setup” first delete one phone or replace an existing Use the Select Phone command to select a “Pair Phone” ᭺ A phone. phone of lesser priority when two or more phones “List Phone” ᭺ B If you try to pair a phone that has already been paired with Bluetoothா Hands-Free Phone Sys- paired to your vehicle’s system, the system an- tem are in the vehicle at the same time. “Select Phone” ᭺ C nounces the name the phone is already using. The system asks you to name the phone and “Change Priority” ᭺ D The pairing procedure will then be cancelled. confirm the selection. “Delete Phone” ᭺ E When prompted by the system, choose from the Once the selection is confirmed, the selected “Select Ringtone” ᭺ F following commands: phone remains active until the ignition switch is “Bluetooth Off” ᭺ G turned OFF or you select a new phone. ● “New phone” — Refer to “Pairing a phone” earlier in this section. Display screen, heater, air conditioner, audio and phone systems 4-85 ੬ REVIEW COPY—2008 Quest (van) Owners Manual—USA_English (nna) 06/29/07—debbie ੭
  • 249.
    “Change priority” ᭺ D The system announces the names of the phones “Bluetooth off” ᭺ G already paired with the system and their priority Use the Change Priority command to change the Use the Bluetooth Off command to turn off the level. The system then gives you the option to Bluetoothா Hands-Free Phone System. priority level of the active phone. delete a specific phone, all phones or listen to the The priority level determines which phone is ac- list again. When the Bluetoothா Hands-Free Phone Sys- tive when more than one paired Bluetoothா tem is off, you will not be able to make or receive Once you choose to delete a phone or all phones, calls using NISSAN Voice Recognition. Also, you phone is in the vehicle. the system asks you to confirm this action. will not have access to the Phone Book. The system states the priority level of the active phone and asks for a new priority level (1, 2, 3, 4, NOTE: You can still use the Memo Pad and access 5). Setup. When you delete a phone, the associated If the new priority level is already being used for phone book for that phone will also be SPEAKER ADAPTATION (SA) MODE another phone, the two phones will swap priority deleted. Speaker Adaptation allows up to two out-of- levels. “Select ringtone” ᭺ F dialect users to train the system to improve rec- For example, if the current priority levels are: ognition accuracy. By repeating a number of Use the Select Ringtone command to select the commands, the users can create a voice model of Priority Level 1 = Phone A tone heard in the vehicle when an incoming call is their own voice that is stored in the system. The Priority Level 2 = Phone B received. system is capable of storing a different speaker Priority Level 3 = Phone C adaptation model for memory A and memory B. The system announces the name of the active and you change the priority level of Phone C to phone and asks you to choose from the following If memory A is available, the system will use Level 1, then: commands: memory A to store the model. If memory A is in use and memory B is available, the system will Priority Level 1 = Phone C ● “Ringtone” — The system plays a ringtone use memory B to store the model. If both of the Priority Level 2 = Phone B and asks if you would like to select that tone. memory locations are in use, the system will ask Priority Level 3 = Phone A If you say “No”, the system plays the next the user to select which memory location should ringtone available and continues to cycle be overwritten. “Delete phone” ᭺ E through the ringtones until you select one or quit. Use the Delete Phone command to delete a specific phone or all phones from the Bluetoothா ● “Silent” — The system asks you to confirm Hands-Free Phone System. your wish to disable the ringtone. 4-86 Display screen, heater, air conditioner, audio and phone systems ੬ REVIEW COPY—2008 Quest (van) Owners Manual—USA_English (nna) 06/29/07—debbie ੭
  • 250.
    Training procedure 8. The SA mode will be explained. Follow the ● setup pair phone instructions provided by the system. The procedure for training a voice is as follows. ● memo pad play 9. When training is finished, the system will tell 1. Position the vehicle in a reasonably quiet ● eight pause nine three two pause seven you an adequate number of phrases have outdoor location. been recorded. ● delete all entries 2. Sit in the driver’s seat with the engine run- 10. The system will ask you to say your name. ● call seven two four zero nine ning, the parking brake on, and the transmis- Follow the instructions to register your sion in P (Park). ● phone book delete entry name. 3. Press and hold the button for more ● memo pad record 11. The system will announce that speaker ad- than 5 seconds. aptation has been completed and the sys- ● dial star two one seven oh 4. The system announces: “Press the tem is ready. ● Yes PHONE/SEND ( ) button for the The SA mode will stop if: hands-free phone system to enter the ● No speaker adaptation mode or press the ● The button is pressed for more than 5 ● select ring tone PHONE/END ( ) button to select a dif- seconds in SA mode. ferent language.” ● dial eight five six nine two ● The vehicle begins moving during SA mode. 5. Press the button. ● Bluetooth on ● The ignition switch is turned to the OFF or For information on selecting a different lan- LOCK position. ● setup change priority guage, see “Choosing a language” earlier in this section. Training phrases ● call three one nine oh two 6. Voice memory A or memory B is selected During the SA mode, the system instructs the ● nine seven pause pause three oh eight automatically. If both memory locations are trainer to say the following phrases. (The system ● Cancel already in use, the system will prompt you to will prompt you for each phrase.) overwrite one. Follow the instructions pro- ● call back number ● phone book new entry vided by the system. ● call star two zero nine five ● dial three oh four two nine 7. When preparation is complete and you are ready to begin, the press the button. ● delete call back number ● delete phone Display screen, heater, air conditioner, audio and phone systems 4-87 ੬ REVIEW COPY—2008 Quest (van) Owners Manual—USA_English (nna) 06/29/07—debbie ੭
  • 251.
    ● dial eightthree zero five one ● Home ● four three pause two nine pause zero ● delete redial number ● phone book list names ● call eight oh five four one ● Correction ● setup change ring tone ● dial seven four oh one eight ● setup main menu ● Delete ● dial nine seven two six six ● memo pad delete ● call seven six three oh one ● go back ● call five six two eight zero ● dial six six four three seven 4-88 Display screen, heater, air conditioner, audio and phone systems ੬ REVIEW COPY—2008 Quest (van) Owners Manual—USA_English (nna) 06/29/07—debbie ੭
  • 252.
    TROUBLESHOOTING GUIDE The systemshould respond correctly to all voice commands without difficulty. If problems are en- countered, try the following solutions. Where the solutions are listed by number, try each solution in turn, starting with number 1, until the problem is resolved. Symptom Solution 1. Ensure that the command is valid. See “List of voice commands” earlier in this section. 2. Ensure that the command is spoken after the tone. 3. Speak clearly without pausing between words and at a level appropriate to the ambient noise level in the vehicle. System fails to interpret the command correctly. 4. Ensure that the ambient noise level is not excessive (for example, windows open or defroster on). NOTE: If it is too noisy to use the phone, it is likely that the voice commands will not be recognized. 5. If more than one command was said at a time, try saying the commands separately. 6. If the system consistently fails to recognize commands, the voice training procedure should be carried out to im- prove the recognition response for the speaker. See “Speaker adaptation (SA) mode” earlier in this section. 1. Ensure that the phone book entry name requested matches what was originally stored. This can be confirmed by The system consistently selects the wrong entry from the using the “List Names” command. See “Phone book” earlier in this section. phone book. 2. Replace one of the names being confused with a new name. Display screen, heater, air conditioner, audio and phone systems 4-89 ੬ REVIEW COPY—2008 Quest (van) Owners Manual—USA_English (nna) 06/29/07—debbie ੭
  • 253.
    MEMO 4-90 Display screen,heater, air conditioner, audio and phone systems
  • 254.
    5 Starting anddriving Precautions when starting and driving. . . . . . . . . . . . . . . . 5-2 Increasing fuel economy. . . . . . . . . . . . . . . . . . . . . . . . . . . 5-15 Exhaust gas (carbon monoxide) . . . . . . . . . . . . . . . . . . 5-2 Parking/parking on hills. . . . . . . . . . . . . . . . . . . . . . . . . . . . 5-16 Three-way catalyst. . . . . . . . . . . . . . . . . . . . . . . . . . . . . . 5-2 Power steering . . . . . . . . . . . . . . . . . . . . . . . . . . . . . . . . . . . 5-17 Tire Pressure Monitoring System (TPMS). . . . . . . . . . 5-3 Brake system . . . . . . . . . . . . . . . . . . . . . . . . . . . . . . . . . . . . 5-17 Avoiding collision and rollover . . . . . . . . . . . . . . . . . . . . 5-5 Brake precautions . . . . . . . . . . . . . . . . . . . . . . . . . . . . . 5-17 Drinking alcohol/drugs and driving. . . . . . . . . . . . . . . . 5-5 Anti-lock Braking System (ABS). . . . . . . . . . . . . . . . . 5-18 Ignition switch. . . . . . . . . . . . . . . . . . . . . . . . . . . . . . . . . . . . . 5-6 Traction Control System (TCS). . . . . . . . . . . . . . . . . . . . . 5-19 Automatic transmission. . . . . . . . . . . . . . . . . . . . . . . . . . 5-6 Vehicle Dynamic Control (VDC) system Key positions . . . . . . . . . . . . . . . . . . . . . . . . . . . . . . . . . . 5-7 (if so equipped) . . . . . . . . . . . . . . . . . . . . . . . . . . . . . . . . . . 5-20 Nissan vehicle immobilizer system . . . . . . . . . . . . . . . . 5-7 Rear sonar system (if so equipped) . . . . . . . . . . . . . . . . . 5-21 Before starting the engine . . . . . . . . . . . . . . . . . . . . . . . . . . 5-7 Cold weather driving . . . . . . . . . . . . . . . . . . . . . . . . . . . . . . 5-22 Starting the engine . . . . . . . . . . . . . . . . . . . . . . . . . . . . . . . . 5-8 Freeing a frozen door lock . . . . . . . . . . . . . . . . . . . . . . 5-22 Driving the vehicle . . . . . . . . . . . . . . . . . . . . . . . . . . . . . . . . . 5-8 Anti-freeze . . . . . . . . . . . . . . . . . . . . . . . . . . . . . . . . . . . . 5-22 Automatic transmission. . . . . . . . . . . . . . . . . . . . . . . . . . 5-8 Battery . . . . . . . . . . . . . . . . . . . . . . . . . . . . . . . . . . . . . . . 5-22 Parking brake . . . . . . . . . . . . . . . . . . . . . . . . . . . . . . . . . . . . 5-12 Draining of coolant water . . . . . . . . . . . . . . . . . . . . . . . 5-23 Cruise control . . . . . . . . . . . . . . . . . . . . . . . . . . . . . . . . . . . . 5-13 Tire equipment . . . . . . . . . . . . . . . . . . . . . . . . . . . . . . . . 5-23 Precautions on cruise control . . . . . . . . . . . . . . . . . . . 5-13 Special winter equipment. . . . . . . . . . . . . . . . . . . . . . . 5-23 Cruise control operations. . . . . . . . . . . . . . . . . . . . . . . 5-13 Driving on snow or ice . . . . . . . . . . . . . . . . . . . . . . . . . 5-23 Break-in schedule . . . . . . . . . . . . . . . . . . . . . . . . . . . . . . . . 5-14 Engine block heater (if so equipped) . . . . . . . . . . . . . 5-24 ੬ REVIEW COPY—2008 Quest (van) Owners Manual—USA_English (nna) 06/29/07—debbie ੭
  • 255.
    PRECAUTIONS WHEN STARTING ANDDRIVING WARNING ● If you suspect that exhaust fumes are a. The vehicle is raised for service. entering the vehicle, drive with all win- ● Do not leave children or adults who b. You suspect that exhaust fumes are dows fully open, and have the vehicle would normally require the assistance entering into the passenger inspected immediately. of others alone in your vehicle. Pets compartment. should also not be left alone. They ● Do not run the engine in closed spaces c. You notice a change in the sound of could accidentally injure themselves or such as a garage. the exhaust system. others through inadvertent operation of ● Do not park the vehicle with the engine the vehicle. Also, on hot, sunny days, d. You have had an accident involving running for any extended length of time. temperatures in a closed vehicle could damage to the exhaust system, un- quickly become high enough to cause ● Keep the lift gate and rear vent windows derbody, or rear of the vehicle. severe or possibly fatal injuries to closed while driving, otherwise exhaust people or animals. gases could be drawn into the passen- THREE-WAY CATALYST ger compartment. If you must drive with ● Properly secure all cargo with ropes or The three-way catalyst is an emission control the lift gate or rear vent windows open, straps to help prevent it from sliding or follow these precautions: device installed in the exhaust system. Exhaust shifting. Do not place cargo higher than gases in the three-way catalyst are burned at the seatbacks. In a sudden stop or col- 1. Open all the windows. high temperatures to help reduce pollutants. lision, unsecured cargo could cause 2. Set the air recirculation but- personal injury. ton to off and the fan control dial to WARNING high to circulate the air. ● The exhaust gas and the exhaust sys- EXHAUST GAS (carbon monoxide) ● If electrical wiring or other cable con- tem are very hot. Keep people, animals nections must pass to a trailer through or flammable materials away from the WARNING the seal on the lift gate or the body, exhaust system components. ● Do not breathe exhaust gases; they follow the manufacturer’s recommen- ● Do not stop or park the vehicle over contain colorless and odorless carbon dation to prevent carbon monoxide en- flammable materials such as dry grass, monoxide. Carbon monoxide is danger- try into the vehicle. waste paper or rags. They may ignite ous. It can cause unconsciousness or ● The exhaust system and body should be and cause a fire. death. inspected by a qualified mechanic whenever: 5-2 Starting and driving ੬ REVIEW COPY—2008 Quest (van) Owners Manual—USA_English (nna) 06/29/07—debbie ੭
  • 256.
    CAUTION TIRE PRESSURE MONITORING Your vehicle has also been equipped with a SYSTEM (TPMS) TPMS malfunction indicator to indicate when the ● Do not use leaded gasoline. Deposits system is not operating properly. The TPMS mal- from leaded gasoline will seriously re- Each tire, including the spare (if provided), function indicator is combined with the low tire duce the three-way catalyst’s ability to should be checked monthly when cold and in- pressure telltale. When the system detects a help reduce exhaust pollutants. flated to the inflation pressure recommended by malfunction, the telltale will flash for approxi- ● Keep your engine tuned up. Malfunc- the vehicle manufacturer on the vehicle placard mately one minute and then remain continuously tions in the ignition, fuel injection, or or tire inflation pressure label. (If your vehicle has illuminated. This sequence will continue upon electrical systems can cause overrich tires of a different size than the size indicated on subsequent vehicle start-ups as long as the mal- fuel flow into the three-way catalyst, the vehicle placard or tire inflation pressure label, function exists. When the malfunction indicator is causing it to overheat. Do not keep driv- you should determine the proper tire inflation illuminated, the system may not be able to detect ing if the engine misfires, or if notice- pressure for those tires.) or signal low tire pressure as intended. TPMS able loss of performance or other un- malfunctions may occur for a variety of reasons, As an added safety feature, your vehicle has been usual operating conditions are including the installation of replacement or alter- equipped with a Tire Pressure Monitoring System detected. Have the vehicle inspected nate tires or wheels on the vehicle that prevent (TPMS) that illuminates a low tire pressure telltale promptly by a NISSAN dealer. the TPMS from functioning properly. Always when one or more of your tires is significantly under- ● Avoid driving with an extremely low fuel inflated. Accordingly, when the low tire pressure check the TPMS malfunction telltale after replac- level. Running out of fuel could cause telltale illuminates, you should stop and check your ing one or more tires or wheels on your vehicle to the engine to misfire, damaging the tires as soon as possible, and inflate them to the ensure that the replacement or alternate tires and three-way catalyst. proper pressure. Driving on a significantly under- wheels allow the TPMS to continue to function inflated tire causes the tire to overheat and can lead properly. ● Do not race the engine while warming it to tire failure. Under-inflation also reduces fuel effi- up. Additional information: ciency and tire tread life, and may affect the vehi- ● Do not push or tow your vehicle to start cle’s handling and stopping ability. ● The TPMS does not monitor the tire pres- the engine. sure of the spare tire. Please note that the TPMS is not a substitute for proper tire maintenance, and it is the driver’s ● The TPMS will activate only when the vehicle responsibility to maintain correct tire pressure, is driven at speeds above 16 MPH (25 even if under-inflation has not reached the level to km/h). Also, this system may not detect a trigger illumination of the TPMS low tire pressure sudden drop in tire pressure (for example a telltale. flat tire while driving). Starting and driving 5-3 ੬ REVIEW COPY—2008 Quest (van) Owners Manual—USA_English (nna) 06/29/07—debbie ੭
  • 257.
    ● The lowtire pressure warning light does not For additional information, see “Low tire pressure ● When a spare tire is mounted or a wheel automatically turn off when the tire pressure warning light” in the “Instruments and controls” is replaced, tire pressure will not be is adjusted. After the tire is inflated to the section and “Tire Pressure Monitoring System indicated, the TPMS will not function recommended pressure, the vehicle must be (TPMS)” in the “In case of emergency” section. and the low tire pressure warning light driven at speeds above 16 MPH (25 km/h) will flash for approximately 1 minute. to activate the TPMS and turn off the low tire WARNING The light will remain on after 1 minute. pressure warning light. Use a tire pressure Contact your NISSAN dealer as soon as gauge to check the tire pressure. ● If the low tire pressure warning light illuminates while driving, avoid sudden possible for tire replacement and/or ● Tire pressure rises and falls depending on steering maneuvers or abrupt braking, system resetting. the heat caused by the vehicle’s operation reduce vehicle speed, pull off the road ● Replacing tires with those not originally and the outside temperature. Low outside to a safe location and stop the vehicle specified by NISSAN could affect the temperature can lower the temperature of as soon as possible. Driving with under- proper operation of the TPMS. the air inside the tire which can cause a inflated tires may permanently damage lower tire inflation pressure. This may cause the tires and increase the likelihood of ● Do not inject any tire liquid or aerosol the low tire pressure warning light to illumi- tire failure. Serious vehicle damage tire sealant into the tires, as this may nate. If the warning light illuminates in low could occur and may lead to an acci- cause a malfunction of the tire pressure ambient temperature, check the tire pres- dent and could result in serious per- sensors. sure for all four tires. sonal injury. Check the tire pressure for all four tires. Adjust the tire pressure to CAUTION ● You can also check the pressure of all tires (except the spare tire) on the display screen. the recommended COLD tire pressure Do not place metalized film or any metal The order of the tire pressure figures dis- shown on the Tire and Loading Informa- parts (antenna, etc.) on the windows. This played on the screen does not correspond tion label to turn the low tire pressure may cause poor reception of the signals with the actual order of the tire position. See warning light OFF. If you have a flat tire, from the tire pressure sensors, and the “Tire pressure information” in the “Display replace it with a spare tire as soon as TPMS will not function properly. screen, heater, air conditioner and audio and possible. (See “Flat tire” in the “In case phone systems” section. of emergency” section for changing a Some devices and transmitters may temporarily flat tire.) interfere with the operation of the TPMS and cause the low tire pressure warning light to illu- minate. 5-4 Starting and driving ੬ REVIEW COPY—2008 Quest (van) Owners Manual—USA_English (nna) 06/29/07—debbie ੭
  • 258.
    Some examples are: AVOIDING COLLISION AND DRINKING ALCOHOL/DRUGS AND – Facilities or electric devices using similar radio ROLLOVER DRIVING frequencies are near the vehicle. WARNING WARNING – If a transmitter set to similar frequencies is being used in or near the vehicle. Failure to operate this vehicle in a safe Never drive under the influence of alcohol and prudent manner may result in loss of or drugs. Alcohol in the bloodstream re- – If a computer (or similar equipment) or a duces coordination, delays reaction time control or an accident. DC/AC converter is being used in or near the and impairs judgement. Driving after vehicle. Be alert and drive defensively at all times. Obey drinking alcohol increases the likelihood FCC Notice: all traffic regulations. Avoid excessive speed, of being involved in an accident injuring high speed cornering, or sudden steering ma- yourself and others. Additionally, if you Changes or modifications not expressly ap- neuvers, because these driving practices could are injured in an accident, alcohol can proved by the party responsible for compli- cause you to lose control of your vehicle. As with increase the severity of the injury. ance could void the user’s authority to op- any vehicle, loss of control could result in a erate the equipment. collision with other vehicles or objects, or NISSAN is committed to safe driving. However, cause the vehicle to roll over, particularly if you must choose not to drive under the influence This device complies with Part 15 of the the loss of control causes the vehicle to of alcohol. Every year thousands of people are FCC Rules and RSS-210 of Industry slide sideways. Be attentive at all times, and injured or killed in alcohol-related accidents. Al- Canada. avoid driving when tired. Never drive when under though the local laws vary on what is considered Operation is subject to the following two the influence of alcohol or drugs (including pre- to be legally intoxicated, the fact is that alcohol conditions: (1) This device may not cause scription or over-the-counter drugs which may affects all people differently and most people harmful interference, and (2) this device cause drowsiness). Always wear your seat belt as underestimate the effects of alcohol. must accept any interference received, in- outlined in the “Safety – Seats, seat belts and Remember, drinking and driving don’t mix! And cluding interference that may cause undes- supplemental restraint system” section of this that is true for drugs, too (over-the-counter, pre- ired operation of the device. manual, and also instruct your passengers to do so. scription, and illegal drugs). Don’t drive if your Seat belts help reduce the risk of injury in collisions ability to operate your vehicle is impaired by alco- and rollovers. In a rollover crash, an unbelted hol, drugs, or some other physical condition. or improperly belted person is significantly more likely to be injured or killed than a person properly wearing a seat belt. Starting and driving 5-5 ੬ REVIEW COPY—2008 Quest (van) Owners Manual—USA_English (nna) 06/29/07—debbie ੭
  • 259.
    IGNITION SWITCH 1. Move the shift selector lever into the P (Park) WARNING position. Never remove or turn the key to the LOCK position while driving. The steering wheel 2. Turn the ignition key slightly toward the ON will lock. This may cause the driver to lose position. control of the vehicle and could result in 3. Turn the key to the LOCK position. serious vehicle damage or personal injury. 4. Remove the key. The shift selector lever is designed so it cannot be moved out of P (Park) and into any of the other gear positions if the ignition key is turned to OFF position or if the key is removed from the switch. The shift selector lever can be moved if the ignition switch is in the ON position and the WSD0041 foot brake pedal is depressed. AUTOMATIC TRANSMISSION There is an OFF position between the The ignition lock is designed so the key cannot be LOCK and ACC positions. The OFF position turned to the LOCK position and removed until is indicated by a “1” on the key cylinder. the shift selector lever is moved to the P (Park) When the ignition is in the OFF position, position. the steering wheel is not locked. When removing the key from the ignition, make In order for the steering wheel to be locked, it sure the shift selector lever is in the P (Park) must be turned about 1/8 of a turn clockwise from the straight up position. position. To lock the steering wheel, turn the key to If the selector lever is not returned to P (Park) the LOCK position. Remove the key. To position, the key cannot be moved to the LOCK unlock the steering wheel, insert the key position. and turn it gently while rotating the steer- When the key cannot be turned to the LOCK ing wheel slightly right and left. position, proceed as follows to remove the key. 5-6 Starting and driving ੬ REVIEW COPY—2008 Quest (van) Owners Manual—USA_English (nna) 06/29/07—debbie ੭
  • 260.
    BEFORE STARTING THEENGINE KEY POSITIONS 1. Leave the ignition switch in the ON position ● Make sure the area around the vehicle is for approximately 5 seconds. clear. LOCK: Normal parking position (0) 2. Turn the ignition switch to the OFF or LOCK ● Check fluid levels such as engine oil, cool- OFF: (Not used) (1) position, and wait approximately 10 sec- ant, brake fluid, and window washer fluid as ACC: (Accessories) (2) onds. frequently as possible, or at least whenever you refuel. 3. Repeat steps 1 and 2. This position activates electrical accessories ● Check that all windows and lights are clean. such as the radio when the engine is not running. 4. Restart the engine while holding the device (which may have caused the interference) ● Visually inspect tires for their appearance ON: Normal operating position (3) separate from the registered key. and condition. Also check tires for proper This position turns on the ignition system and the inflation. If the no start condition re-occurs, NISSAN rec- electrical accessories. ommends placing the registered key on a sepa- ● Lock all doors. START: (4) rate key ring to avoid interference from other ● Position seat and adjust head restraints. devices. This position starts the engine. As soon as the ● Adjust inside and outside mirrors. engine has started, release the key. It automati- cally returns to the ON position. ● Fasten seat belts and ask all passengers to do likewise. NISSAN VEHICLE IMMOBILIZER ● Check the operation of warning lights when SYSTEM the key is turned to the ON (3) position. See “Warning/indicator lights and audible re- The NISSAN Vehicle Immobilizer System will not minders” in the “Instruments and controls” allow the engine to start without the use of the section of this manual. registered key. If the engine fails to start using a registered key (for example, when interference is caused by another registered key, an automated toll road device or automatic payment device on the key ring), restart the engine using the following pro- cedures: Starting and driving 5-7 ੬ REVIEW COPY—2008 Quest (van) Owners Manual—USA_English (nna) 06/29/07—debbie ੭
  • 261.
    STARTING THE ENGINE DRIVING THE VEHICLE 1. Apply the parking brake. cranking the engine, release the accel- AUTOMATIC TRANSMISSION erator pedal. Crank the engine with your 2. Move the shift selector lever to P (Park) or N foot off the accelerator pedal by turn- (Neutral). P (Park) is recommended. WARNING ing the ignition key to START. Release the The shift selector lever cannot be key when the engine starts. If the engine ● Do not depress the accelerator pedal starts, but fails to run, repeat the above while shifting from P (Park) or N (Neu- moved out of P (Park) and into any of procedure. tral) to R (Reverse), or L (Low). Always the other gear positions if the ignition depress the brake pedal until shifting is key is turned to the OFF position or if CAUTION completed. Failure to do so could cause the key is removed from the ignition you to lose control and have an switch. Do not operate the starter for more than accident. The starter is designed not to operate if 15 seconds at a time. If the engine does not start, turn the key off and wait 10 ● Cold engine idle speed is high, so use the shift selector lever is in any of the caution when shifting into a forward or driving positions. seconds before cranking again, otherwise the starter could be damaged. reverse gear before the engine has 3. Crank the engine with your foot off the warmed up. accelerator pedal by turning the ignition 4. Allow the engine to idle for at least 30 sec- ● Never shift to P (Park) or R (Reverse) key to START. Release the key when the onds after starting. Do not race the engine while the vehicle is moving. This could engine starts. If the engine starts, but fails to while warming it up. Drive at moderate cause an accident. run, repeat the above procedure. speed for a short distance first, especially in cold weather. ● If the engine is very hard to start in ex- CAUTION tremely cold weather or when restarting, In cold weather, keep the engine running for a minimum of 2–3 minutes before shutting it ● When stopping the vehicle on an uphill depress the accelerator pedal a little (ap- off. Starting and stopping the engine over a grade, do not hold the vehicle by de- proximately 1/3 to the floor) and hold it short period of time may make the vehicle pressing the accelerator pedal. The foot and then crank the engine. Release the more difficult to start. brake should be used for this purpose. key and the accelerator pedal when the engine starts. ● Do not downshift abruptly on slippery roads. This may cause a loss of control. ● If the engine is very hard to start because it is flooded, depress the accelerator The automatic transmission in your vehicle is pedal all the way to the floor and hold it. electronically controlled to produce maximum Crank the engine for 5-6 seconds. After power and smooth operation. 5-8 Starting and driving ੬ REVIEW COPY—2008 Quest (van) Owners Manual—USA_English (nna) 06/29/07—debbie ੭
  • 262.
    The recommended operatingprocedures for this WARNING transmission are shown on the following pages. Follow these procedures for maximum vehicle Apply the parking brake if the selector performance and driving enjoyment. lever is in any position while the engine is not running. Failure to do so could cause Starting the vehicle the vehicle to move unexpectedly or roll 1. After starting the engine, fully depress the away and result in serious personal injury foot brake pedal before moving the shift or property damage. selector lever out of the P (Park) position. If the key is turned to the OFF or ACC position for 2. Keep the foot brake pedal depressed and any reason while the vehicle is in N (Neutral), or move the shift selector lever into a driving any D (Drive) position, the shift selector lever gear. cannot be moved to P (Park). Additionally, the key 3. Release the foot brake, then gradually start cannot be turned to the LOCK position and be the vehicle in motion. WSD0161 removed from the ignition switch. If this occurs, perform the following steps: The automatic transmission is designed so To move the selector lever: the foot brake pedal MUST be depressed 1. Apply the parking brake when the vehicle is Push the button while depressing the brake before shifting from P (Park) to any drive pedal stopped. position while the ignition switch is in the Push the button to shift 2. Turn the key to the ON position. ON position. Shift without pushing button 3. Depress the foot brake pedal. The shift selector lever cannot be moved out of P (Park) and into any of the other Shifting gear positions if the ignition key is turned to the LOCK, OFF or ACC position or if the After starting the engine, fully depress the brake key is removed. pedal and move the shift selector lever out of the P (Park) position. Starting and driving 5-9 ੬ REVIEW COPY—2008 Quest (van) Owners Manual—USA_English (nna) 06/29/07—debbie ੭
  • 263.
    4. Move theshift selector lever to P (Park) or N Use the R (Reverse) position to back up. Make (Neutral) to restart the vehicle (P is pre- sure the vehicle is completely stopped before ferred). Move the shift selector lever to P selecting the R (Reverse) position. The brake (Park) to park the vehicle and turn the igni- pedal must be depressed to move the se- tion key to the LOCK position to remove the lector lever from P (Park), N (Neutral) or key. any drive position to R (Reverse). P (Park): N (Neutral): Neither forward nor reverse gear is engaged. The CAUTION engine can be started in this position. You may Use the P (Park) position only when the shift to N (Neutral) and restart a stalled engine vehicle is completely stopped. while the vehicle is moving. Use the P (Park) selector position when the ve- D (Drive): hicle is parked or when starting the engine. Make Use this position for all normal forward driving. WSD0162 sure the vehicle is completely stopped. The brake pedal should be depressed to move L (Low gear): Shift lock release the selector lever from N (Neutral) or any Use this position when climbing steep hills slowly If the battery is discharged, the shift selector lever drive position to P (Park). Apply the parking or slow driving through deep snow, sand or mud, may not be moved from the P (Park) position even brake. When parking on a hill, apply the parking or for maximum engine braking on steep downhill with the brake pedal depressed. brake first, then shift the selector lever into the P grades. (Park) position. To move the shift selector lever, release the shift Do not shift into the L position at speeds above lock. The shift selector lever can be moved to N R (Reverse): 65 MPH (105 km/h). Do not exceed 65 MPH (Neutral). However, the steering wheel will be (105 km/h) in the L position. locked unless the ignition switch is turned to the CAUTION ON position. This allows the vehicle to be moved Use the R (Reverse) position only when if the battery is discharged. the vehicle is completely stopped. 5-10 Starting and driving ੬ REVIEW COPY—2008 Quest (van) Owners Manual—USA_English (nna) 06/29/07—debbie ੭
  • 264.
    To push theshift lock release, complete the fol- Accelerator downshift lowing procedure: — in D position — 1. Turn the ignition key to the LOCK position For passing or hill climbing, depress the accel- and remove the key erator pedal to the floor. This shifts the transmis- 2. Apply the parking brake. sion down into a lower gear, depending on the vehicle speed. 3. Remove the shift lock release cover as shown. Fail-safe 4. Insert a small screwdriver in the shift lock When the fail-safe operation occurs, please note release slot and push down. that the transmission will be locked in any of the forward gears according to the condition. 5. Move the shift selector lever to the N (Neu- tral) position while holding down the shift If the vehicle is driven under extreme con- ditions, such as excessive wheel spinning lock release. WSD0163 and subsequent hard braking, the fail-safe 6. Turn the key to the ON position to unlock the system may be activated. This will occur Overdrive switch steering wheel. Now the vehicle may be even if all electrical circuits are functioning properly. In this case, turn the ignition key Each time your vehicle is started, the transmis- moved to the desired location. OFF and wait for 3 seconds. Then turn the sion is automatically “reset” to overdrive ON. If the shift selector lever cannot be moved out of key back to the ON position. The vehicle ON: With the engine running and the P (Park), have a NISSAN dealer check the auto- should return to its normal operating con- shift selector lever in the D (Drive) matic transmission system as soon as possible. dition. If it does not return to its normal position, the transmission upshifts operating condition, have a NISSAN dealer WARNING into Overdrive as vehicle speed check the transmission and repair it if nec- essary. increases. If the selector lever cannot be moved from the P (Park) position while the engine is Overdrive does not engage until the engine running and the brake pedal is depressed, has reached operating temperature. the stop lights may not work. Malfunction- ing stop lights could cause an accident injuring yourself and others. Starting and driving 5-11 ੬ REVIEW COPY—2008 Quest (van) Owners Manual—USA_English (nna) 06/29/07—debbie ੭
  • 265.
    PARKING BRAKE OFF: For driving up and down long WARNING slopes where engine braking is nec- essary push the Overdrive switch ● Be sure the parking brake is fully re- leased before driving. Failure to do so once. The O/D OFF indicator light can cause brake failure and lead to an in the instrument panel comes on at accident. this time. ● Do not release the parking brake from When cruising at a low speed or climbing a outside the vehicle. gentle slope, you may feel uncomfortable shift shocks as the transmission shifts into and out of ● Do not use the gear shift in place of the Overdrive repeatedly. In this case, depress the parking brake. When parking, be sure Overdrive switch to turn the Overdrive off. The the parking brake is fully engaged. O/D OFF indicator light in the instrument panel ● Do not leave children unattended in a comes on at this time. vehicle. They could release the parking When driving conditions change, depress the brake and cause an accident. LSD0158 Overdrive switch to turn the Overdrive on. To engage: Firmly depress the parking brake. Remember not to drive at high speeds for ex- To release: tended periods of time with the Overdrive off. 1. Firmly apply the foot brake. This reduces fuel economy. 2. Move the shift selector lever to the P (Park) position. 3. Firmly depress the parking brake pedal and it will release. 4. Before driving, be sure the brake warning light goes out. 5-12 Starting and driving ੬ REVIEW COPY—2008 Quest (van) Owners Manual—USA_English (nna) 06/29/07—debbie ੭
  • 266.
    CRUISE CONTROL ● The SET indicator light may blink when the To set cruising speed, accelerate the vehicle to cruise control switch is turned ON while the desired speed, push the COAST/SET switch pushing the ACCEL/RES, COAST/SET, or and release it. The SET indicator light in the CANCEL switch. To properly set the cruise instrument panel comes on. Take your foot off the control system, use the following proce- accelerator pedal. Your vehicle maintains the set dures. speed. ● To pass another vehicle, depress the ac- WARNING celerator pedal. When you release the Do not use the cruise control when driving pedal, the vehicle returns to the previously under the following conditions: set speed. ● When it is not possible to keep the ● The vehicle may not maintain the set speed vehicle at a set speed. when going up or down steep hills. If this ● In heavy traffic or in traffic that varies in happens, drive without the cruise control. LSD0159 speed. To cancel the preset speed, use one of the 1. ACCEL/RES switch following three methods. ● On winding or hilly roads. 2. COAST/SET switch ● On slippery roads (rain, snow, ice, etc.). ● Push the CANCEL button; the SET indicator 3. CANCEL switch light in the instrument panel goes out. 4. ON·OFF switch ● In very windy areas. ● Tap the brake pedal; the SET indicator light PRECAUTIONS ON CRUISE Doing so could cause a loss of vehicle goes out. CONTROL control and result in an accident. ● Turn the main switch off. Both the CRUISE ● If the cruise control system malfunctions, it CRUISE CONTROL OPERATIONS indicator light and SET indicator light in the cancels automatically. The SET indicator instrument panel go out. The cruise control allows driving at a speed be- light in the instrument panel then blinks to tween 25 - 89 MPH (40 - 144 km/h) without The cruise control is automatically canceled and warn the driver. keeping your foot on the accelerator pedal. the SET light in the instrument panel goes out if: ● If the SET indicator light blinks, turn the To turn on the cruise control, push the main ● you depress the brake pedal while pushing cruise control switch off and have the sys- switch. The CRUISE indicator light in the instru- the ACCEL/RES or SET/COAST switch. tem checked by a NISSAN dealer. ment panel comes on. The preset speed is deleted from memory. Starting and driving 5-13 ੬ REVIEW COPY—2008 Quest (van) Owners Manual—USA_English (nna) 06/29/07—debbie ੭
  • 267.
    BREAK-IN SCHEDULE ●the vehicle slows down more than 8 MPH To resume the preset speed, push and re- CAUTION (13 km/h) below the set speed. lease the ACCEL/RES switch. The vehicle re- turns to the last set cruising speed when the During the first 1,200 miles (2,000 km), ● you move the shift selector lever to N (Neu- vehicle speed is over 25 MPH (40 km/h). follow these recommendations to obtain tral). maximum engine performance and en- To reset at a faster cruising speed, use one sure the future reliability and economy of of the following three methods. your new vehicle. Failure to follow these recommendations may result in short- ● Depress the accelerator pedal. When the ened engine life and reduced engine vehicle attains the desired speed, push and performance. release the COAST/SET switch. ● Avoid driving for long periods at constant ● Push and hold the ACCEL/RES switch. speed, either fast or slow, and do not run the When the vehicle attains the speed you de- engine over 4,000 rpm. sire, release the switch. ● Do not accelerate at full throttle in any gear. ● Push and release the ACCEL/RES switch. ● Avoid quick starts. Each time you do this, the set speed in- creases by about 1 MPH (1.6 km/h). ● Avoid hard braking as much as possible. To reset at a slower cruising speed, use one ● Do not tow a trailer for the first 500 miles of the following three methods. (800 km). Your engine, axle or other parts could be damaged. ● Lightly tap the brake pedal. When the ve- hicle attains the desired speed, push the COAST/SET switch and release it. ● Push and hold the COAST/SET switch. Re- lease the switch when the vehicle slows to the desired speed. ● Push and release the COAST/SET switch. Each time you do this, the set speed de- creases by about 1 MPH (1.6 km/h). 5-14 Starting and driving ੬ REVIEW COPY—2008 Quest (van) Owners Manual—USA_English (nna) 06/29/07—debbie ੭
  • 268.
    INCREASING FUEL ECONOMY ●Accelerate slowly and smoothly. Maintain ● When cruising at highway speeds, it is more cruising speeds with a constant accelerator economical to use the air conditioner and position. leave the windows closed to reduce drag. ● Drive at moderate speeds on the highway. ● Use the recommended viscosity engine oil. Driving at high speed lowers fuel economy. See “Engine oil and oil filter recommenda- tion” in “Technical and consumer informa- ● Avoid unnecessary stopping and braking. tion” later in this manual. Maintain a safe distance behind other ve- hicles. ● Use a proper gear range which suits road conditions. On level roads, shift into high gear as soon as possible. ● Avoid unnecessary engine idling. ● Keep your engine tuned up. ● Follow the recommended periodic mainte- nance schedule. ● Keep the tires inflated to the correct pres- sure. Low tire pressure increases tire wear and lowers fuel economy. ● Keep the wheels in correct alignment. Im- proper alignment increases tire wear and lowers fuel economy. ● Air conditioner operation lowers fuel economy. Use the air conditioner only when necessary. Starting and driving 5-15 ੬ REVIEW COPY—2008 Quest (van) Owners Manual—USA_English (nna) 06/29/07—debbie ੭
  • 269.
    PARKING/PARKING ON HILLS ● HEADED DOWNHILL WITH CURB: ᭺ A Turn the wheels into the curb and move the vehicle forward until the curb side wheel gently touches the curb. ● HEADED UPHILL WITH CURB: ᭺ B Turn the wheels away from the curb and move the vehicle back until the curb side wheel gently touches the curb. ● HEADED UPHILL OR DOWNHILL, NO CURB: ᭺ C Turn the wheels toward the side of the road so the vehicle will move away from the cen- WSD0050 ter of the road if it moves. WARNING ● Never leave the engine running while 4. Turn the ignition key to the LOCK position the vehicle is unattended. and remove the key. ● Do not stop or park the vehicle over flammable materials such as dry grass, ● Do not leave children unattended inside waste paper or rags. They may ignite the vehicle. They could unknowingly ac- and cause a fire. tivate switches or controls. Unattended children could become involved in seri- ● Safe parking procedures require that ous accidents. both the parking brake be set and the transmission placed into P (Park). Fail- 1. Firmly apply the parking brake. ure to do so could cause the vehicle to 2. Move the shift selector lever to the P (Park) move unexpectedly or roll away and re- sult in an accident. Make sure the shift position. lever has been pushed as far forward as 3. To help prevent the vehicle from rolling into it can go and cannot be moved without traffic when parked on an incline, it is a good depressing the foot brake pedal. practice to turn the wheels as illustrated. 5-16 Starting and driving ੬ REVIEW COPY—2008 Quest (van) Owners Manual—USA_English (nna) 06/29/07—debbie ੭
  • 270.
    POWER STEERING BRAKE SYSTEM The power assisted steering uses a hydraulic The brake system has two separate hydraulic WARNING pump, driven by the engine, to assist steering. circuits. If one circuit malfunctions, you will still have braking at two wheels. ● While driving on a slippery surface, be If the engine stops or the drive belt breaks, you careful when braking, accelerating or will still have control of the vehicle. However, BRAKE PRECAUTIONS downshifting. Abrupt braking or accel- much greater steering effort is needed, especially erating could cause the wheels to skid in sharp turns and at low speeds. Vacuum assisted brakes and result in an accident. WARNING The brake booster aids braking by using engine ● If the engine is not running or is turned vacuum. If the engine stops, you can stop the off while driving, the power assist for If the engine is not running or is turned off vehicle by depressing the brake pedal. However, the brakes will not work. Braking will be while driving, the power assist for the greater foot pressure on the brake pedal will be harder. steering will not work. Steering will be required to stop the vehicle and stopping dis- harder to operate. tance will be longer. Wet brakes Using the brakes When the vehicle is washed or driven through water, the brakes may get wet. As a result, your Avoid resting your foot on the brake pedal while braking distance will be longer and the vehicle driving. This will overheat the brakes, wear out the may pull to one side during braking. brake pads faster, and reduce gas mileage. To dry the brakes, drive the vehicle at a safe To help reduce brake wear and to prevent the speed while lightly pressing the brake pedal to brakes from overheating, reduce speed and heat up the brakes. Do this until the brakes return downshift to a lower gear before going down a to normal. Avoid driving the vehicle at high slope or long grade. Overheated brakes may speeds until the brakes function correctly. reduce braking performance and could result in loss of vehicle control. Parking brake break-in Break-in the parking brake shoes whenever the stopping effect of the parking brake is weakened or whenever the parking brake shoes and/or drum/rotors are replaced, in order to assure the best brake performance. Starting and driving 5-17 ੬ REVIEW COPY—2008 Quest (van) Owners Manual—USA_English (nna) 06/29/07—debbie ੭
  • 271.
    This procedure isdescribed in the vehicle service – When installing a spare tire, make WARNING manual and can be performed by a NISSAN sure that it is the proper size and type dealer. as specified on the Tire and Loading Do not pump the brake pedal. Doing so Information label. See “Tire and may result in increased stopping ANTI-LOCK BRAKING SYSTEM Loading Information label” in the distances. (ABS) “Technical and consumer informa- Normal operation tion” section of this manual. WARNING The ABS operates at speeds above 3 - 6 MPH (5 – For detailed information, see ● The Anti-lock Braking System (ABS) is a “Wheels and tires” in the “Mainte- - 10 km/h). sophisticated device, but it cannot pre- nance and do-it-yourself” section of When the ABS senses that one or more wheels vent accidents resulting from careless this manual. are close to locking up, the system electronically or dangerous driving techniques. It can The Anti-lock Braking System (ABS) controls the controls the pressure applied to each brake. help maintain vehicle control during braking on slippery surfaces. Remem- brakes so the wheels do not lock during hard This action is similar to pumping the brakes very ber that stopping distances on slippery braking or when braking on slippery surfaces. quickly. You may feel a pulsation in the brake surfaces will be longer than on normal The system detects the rotation speed at each pedal and hear a noise from under the hood or surfaces even with ABS. Stopping dis- wheel and varies the brake fluid pressure to pre- feel a vibration from the actuator when it is oper- tances may also be longer on rough, vent each wheel from locking and sliding. By ating. This is normal and indicates that the ABS is gravel or snow covered roads, or if you preventing each wheel from locking, the system operating properly. However, the pulsation may are using tire chains. Always maintain a helps the driver maintain steering control and indicate that road conditions are hazardous and safe distance from the vehicle in front helps to minimize swerving and spinning on slip- extra care is required while driving. of you. Ultimately, the driver is respon- pery surfaces. sible for safety. Self-test feature ● Tire type and condition may also affect Using the system The ABS includes electronic sensors, electric braking effectiveness. Depress the brake pedal and hold it down. De- pumps, hydraulic solenoids and a computer. The – When replacing tires, install the press the brake pedal with firm steady pressure, computer has a built-in diagnostic feature that specified size of tires on all four but do not pump the brakes. The ABS will oper- tests the system each time you start the engine wheels. ate to prevent the wheels from locking up. Steer and move the vehicle at a low speed in forward or the vehicle to avoid obstacles. reverse. When the self-test occurs, you may hear a “clunk” noise and/or feel a pulsation in the brake 5-18 Starting and driving ੬ REVIEW COPY—2008 Quest (van) Owners Manual—USA_English (nna) 06/29/07—debbie ੭
  • 272.
    TRACTION CONTROL SYSTEM(TCS) pedal. This is normal and does not indicate a When accelerating on slippery surfaces the tire WARNING malfunction. If the computer senses a malfunc- may spin or slip. With the vehicle Traction Control tion, it switches the ABS off and illuminates the System (TCS), sensors detect these movements ● The Traction Control System is de- ABS warning light on the instrument panel. The and control the braking and engine output to help signed to help improve driving stability brake system then operates normally, but without improve vehicle stability while accelerating. but does not prevent accidents due to anti-lock assistance. abrupt steering operation at high ● When the traction control system is operat- speeds or by careless or dangerous If the ABS warning light illuminates during the ing, the indicator in the instrument driving techniques. Reduce vehicle self-test or while driving, have the vehicle panel blinks. speed and be especially careful when checked by a NISSAN dealer. driving and cornering on slippery sur- ● If the indicator blinks, the vehicle is faces and always drive carefully. under slippery conditions. Be sure to drive carefully. See “Slip indicator light” and “Trac- ● If brake related parts such as brake tion Control System (TCS) off indicator pads, rotors and calipers are not stan- light” in the “Instruments and controls” sec- dard equipment or are extremely dete- tion of this manual. riorated, the Traction Control System may not operate properly and the ● If a malfunction occurs in the system, indicator light may come on. the and indicator lights ● Do not modify the vehicle’s suspension. come on in the instrument panel. If suspension parts such as shock ab- As long as these lights are on, the traction control sorbers, struts, springs, bushings and function is canceled. The vehicle will behave like wheels are not standard equipment or a vehicle without the system. are extremely deteriorated, the Traction Control System may not operate prop- erly and the indicator light may come on. Starting and driving 5-19 ੬ REVIEW COPY—2008 Quest (van) Owners Manual—USA_English (nna) 06/29/07—debbie ੭
  • 273.
    VEHICLE DYNAMIC CONTROL(VDC) SYSTEM (if so equipped) ● When driving on extremely inclined sur- When accelerating or driving on slippery sur- When the VDC system is operating, you may feel faces such as higher banked corners, faces, the tires may spin or slide. With the Vehicle a pulsation in the brake pedal and hear a noise or the Traction Control System may not Dynamic Control (VDC) system, sensors detect vibration from under the hood. This is normal and operate properly and the indica- these movements and control the braking and indicates that the VDC system is working prop- tor light may come on. Do not drive on engine output to help improve vehicle stability. erly. these types of roads. ● When the Vehicle Dynamic Control (VDC) The computer has a built in diagnostic feature ● If wheels or tires other than the recom- system is operating, the SLIP indicator in that tests the system each time you start the mended ones are used, the Traction the instrument panel blinks. engine and move the vehicle forward or in reverse Control System may not operate prop- at a slow speed. When the self-test occurs, you erly and the indicator light may ● If the SLIP indicator blinks, the road condi- may hear a clunk noise and/or feel a pulsation in come on. tions are slippery. Be sure to adjust your the brake pedal. This is normal and is not an speed and driving to these conditions. See ● The Traction Control System is not a indication of a malfunction. “Slip indicator light”, and “Vehicle Dynamic substitute for winter tires or tire chains Control (VDC) off indicator light” in the “In- on a snow covered road. WARNING struments and controls” section. ● The Vehicle Dynamic Control system is ● Indicator light designed to help improve driving stabil- If a malfunction occurs in the system, the ity but does not prevent accidents due SLIP and indicator lights come on in to abrupt steering operation at high the instrument panel. speeds or by careless or dangerous As long as these indicator lights are on, the driving techniques. Reduce vehicle traction control function is canceled. speed and be especially careful when driving and cornering on slippery sur- If the vehicle is operated with the Vehicle Dy- faces and always drive carefully. namic Control system OFF using the VDC OFF switch, VDC functions will be turned off. The VDC system will still try to transfer power from a slipping drive wheel to one with more traction when the VDC system switch is OFF. The SLIP indicator will flash if wheel spin is detected. The ABS will still operate with the VDC system off. 5-20 Starting and driving ੬ REVIEW COPY—2008 Quest (van) Owners Manual—USA_English (nna) 06/29/07—debbie ੭
  • 274.
    REAR SONAR SYSTEM(if so equipped) ● If brake related parts such as brake ● If wheels or tires other than the recom- pads, rotors and calipers are not stan- mended ones are used, the Vehicle Dy- dard equipment or are extremely dete- namic Control system may not operate riorated, the Vehicle Dynamic Control properly and the Vehicle Dynamic Con- system may not operate properly and trol off indicator light may come on. the Vehicle Dynamic Control off indica- ● The Vehicle Dynamic Control system is tor light may come on. not a substitute for winter tires or tire ● Do not modify the vehicle’s suspension. chains on a snow covered road. If suspension parts such as shock ab- sorbers, struts, springs, stabilizer bars, bushings and wheels are not NISSAN approved for your vehicle or are ex- tremely deteriorated the Vehicle Dy- namic Control system may not operate LSD0088 properly. This could adversely affect ve- hicle handling performance, and the WARNING VDC OFF indicator light may come on. ● Always turn and look back before back- ● When driving on extremely inclined sur- ing up. The RSS is not a substitute for faces such as higher banked corners, proper backing procedures. the Vehicle Dynamic Control system may not operate properly and the VDC ● Read and understand the limitations of OFF indicator light may come on. Do the rear sonar system as contained in not drive on these types of roads. this section. Inclement weather may af- fect the function of the RSS; this may ● When driving on an unstable surface include reduced performance or a false such as a turntable, ferry, elevator or activation. ramp, the Vehicle Dynamic Control off indicator light may illuminate. This is ● This system is not designed to prevent not a malfunction. Restart the engine contact with small or moving objects. after driving onto a stable surface. Starting and driving 5-21 ੬ REVIEW COPY—2008 Quest (van) Owners Manual—USA_English (nna) 06/29/07—debbie ੭
  • 275.
    COLD WEATHER DRIVING ●The system is designed as an aid to the will sound for only three seconds. Once the sys- FREEING A FROZEN DOOR LOCK driver in detecting large stationary ob- tem detects an object approaching, the tone will sound again. To prevent a door lock from freezing, apply de- jects to help avoid damaging the ve- icer through the key hole. If the lock becomes hicle. The system will not detect small The RSS automatically turns on when the shift frozen, heat the key before inserting it into the key objects below the bumper, and may not selector lever is placed in R (Reverse) and the hole or use the remote keyless entry keyfob (if so detect objects close to the bumper or ignition is ON. The RSS OFF switch on the equipped). on the ground. instrument panel allows the driver to turn the RSS ● If your vehicle sustains damage to the on and off. To turn the RSS off, the ignition must ANTI-FREEZE rear bumper fascia, leaving it mis- be ON, and the shift selector lever in R (Reverse). In the winter when it is anticipated that the tem- aligned or bent, the sensing zone may An indicator light on the switch will illuminate perature will drop below 32°F (0°C), check the be altered causing inaccurate measure- when the system is turned off. If the indicator light anti-freeze to assure proper winter protection. ment of obstacles or false alarms. illuminates when the RSS is not turned off, it may For details, see “Engine cooling system” in the indicate a failure in the RSS. “Maintenance and do-it-yourself” section of this The Rear Sonar System (RSS) sounds a tone to manual. Keep the RSS sensors (located on the rear warn the driver of obstacles near the rear bumper bumper fascia) free from snow, ice and large when the shift selector is in R (Reverse). The accumulations of dirt (do not clean the sensors BATTERY system may not detect objects at speeds above 3 with sharp objects). If the sensors are covered, it If the battery is not fully charged during extremely mph (5 km/h) and may not detect certain angular will affect the accuracy of the RSS. cold weather conditions, the battery fluid may or moving objects. freeze and damage the battery. To maintain maxi- The RSS detects obstacles up to 6 feet (1.8 m) mum efficiency, the battery should be checked from the rear bumper with a decreased coverage regularly. For details, see “Battery” in the “Main- area at the outer corners of the bumper, (refer to tenance and do-it-yourself” section of this the illustration for approximate zone coverage manual. areas). As you move closer to the obstacle, the rate of the tone increases. When the obstacle is less than 10 inches (25.0 cm) away, the tone will sound continuously. If the RSS detects a station- ary or receding object further than 10 inches (25.0 cm) from the side of the vehicle, the tone 5-22 Starting and driving ੬ REVIEW COPY—2008 Quest (van) Owners Manual—USA_English (nna) 06/29/07—debbie ੭
  • 276.
    DRAINING OF COOLANTWATER 3. Tire chains may be used. For details see ● Whatever the condition, drive with cau- “Tire chains” in the “Maintenance and do-it- tion. Accelerate and slow down with If the vehicle is to be left outside without anti- yourself” section of this manual. care. If accelerating or downshifting too freeze, drain the cooling system, including the fast, the drive wheels will lose even engine block. Refill before operating the vehicle. SPECIAL WINTER EQUIPMENT more traction. For details, see “Changing engine coolant” in the It is recommended that the following items be ● Allow more stopping distance under “Maintenance and do-it-yourself” section of this carried in the vehicle during winter: these conditions. Braking should be manual. ● A scraper and stiff-bristled brush to remove started sooner than on dry pavement. TIRE EQUIPMENT ice and snow from the windows and wiper ● Allow greater following distances on 1. SUMMER tires have a tread designed to blades. slippery roads. provide superior performance on dry pave- ● A sturdy, flat board to be placed under the ● Watch for slippery spots (glare ice). ment. However, the performance of these jack to give it firm support. These may appear on an otherwise tires will be substantially reduced in snowy clear road in shaded areas. If a patch of and icy conditions. If you operate your ve- ● A shovel to dig the vehicle out of snowdrifts. ice is seen ahead, brake before reach- hicle on snowy or icy roads, NISSAN recom- ● Extra window washer fluid to refill the reser- ing it. Try not to brake while on the ice, mends the use of MUD & SNOW or ALL voir tank. and avoid any sudden steering SEASON TIRES on all four wheels. Please maneuvers. consult a NISSAN dealer for the tire type, DRIVING ON SNOW OR ICE ● Do not use the cruise control on slip- size, speed rating and availability informa- pery roads. tion. WARNING ● Snow can trap dangerous exhaust 2. For additional traction on icy roads, studded ● Wet ice (32°F, 0°C and freezing rain), gases under your vehicle. Keep snow tires may be used. However, some U.S. very cold snow or ice can be slick and clear of the exhaust pipe and from states and Canadian provinces prohibit their very hard to drive on. The vehicle will around your vehicle. use. Check local, state and provincial laws have much less traction or “grip” under before installing studded tires. these conditions. Try to avoid driving on wet ice until the road is salted or Skid and traction capabilities of studded sanded. snow tires on wet or dry surfaces may be poorer than that of non-studded snow tires. Starting and driving 5-23 ੬ REVIEW COPY—2008 Quest (van) Owners Manual—USA_English (nna) 06/29/07—debbie ੭
  • 277.
    ENGINE BLOCK HEATER(if so To use the engine block heater: equipped) 1. Turn the engine off. 2. Open the hood and unwrap the engine block WARNING heater cord. ● Do not use your engine block heater 3. Plug the engine block heater cord into a with an ungrounded electrical system grounded 3 wire, 3 pronged extension cord. or a 2-pronged adapter. You can be se- riously injured by an electrical shock if 4. Plug the extension cord into a Ground Fault you use an ungrounded connection. Interrupt (GFI) protected, grounded 110- ● Disconnect and properly store the en- volt AC (VAC) outlet. gine block heater cord before starting 5. The engine block heater must be plugged in the engine. Damage to the cord could for at least 2 - 4 hours, depending on outside result in an electrical shock and can temperatures, to properly warm the engine cause serious injury. coolant. Use an appropriate timer to turn the ● Use a heavy-duty 3-wire, 3-pronged ex- engine block heater on. tension cord rated for at least 10 A. Plug 6. Before starting the engine, unplug and prop- the extension cord into a Ground Fault erly store the cord to keep it away from Interrupt (GFI) protected, grounded moving parts. 110-VAC outlet. Failure to use the proper extension cord or a grounded outlet can result in a fire or electrical shock and cause serious personal injury. Engine block heaters are available through NISSAN dealers to assist in cold temperature starting. The engine block heater should be used when the outside temperature is 20° F (-7° C) or lower. 5-24 Starting and driving ੬ REVIEW COPY—2008 Quest (van) Owners Manual—USA_English (nna) 06/29/07—debbie ੭
  • 278.
    6 In caseof emergency Flat tire . . . . . . . . . . . . . . . . . . . . . . . . . . . . . . . . . . . . . . . . . . . 6-2 If your vehicle overheats . . . . . . . . . . . . . . . . . . . . . . . . . . . . 6-9 Tire Pressure Monitoring System (TPMS). . . . . . . . . . 6-2 Towing your vehicle . . . . . . . . . . . . . . . . . . . . . . . . . . . . . . . 6-10 Changing a flat tire . . . . . . . . . . . . . . . . . . . . . . . . . . . . . 6-2 Towing recommended by NISSAN . . . . . . . . . . . . . . 6-11 Jump starting . . . . . . . . . . . . . . . . . . . . . . . . . . . . . . . . . . . . . 6-7 Vehicle recovery (freeing a stuck vehicle) . . . . . . . . . 6-12 Push starting. . . . . . . . . . . . . . . . . . . . . . . . . . . . . . . . . . . . . . 6-9 ੬ REVIEW COPY—2008 Quest (van) Owners Manual—USA_English (nna) 06/29/07—debbie ੭
  • 279.
    FLAT TIRE TIRE PRESSUREMONITORING WARNING ● Replacing tires with those not originally SYSTEM (TPMS) ● If the low tire pressure warning light specified by NISSAN could affect the proper operation of the TPMS. This vehicle is equipped with the Tire Pressure illuminates while driving, avoid sudden Monitoring System (TPMS). It monitors tire pres- steering maneuvers or abrupt braking, ● Do not inject any tire liquid or aerosol sure of all tires except the spare. When the low reduce vehicle speed, pull off the road tire sealant into the tires, as this may tire pressure warning light is lit, one or more of to a safe location and stop the vehicle cause a malfunction of the tire pressure your tires is significantly under-inflated. If as soon as possible. Driving with under- sensors. equipped, the system also displays pressure of inflated tires may permanently damage the tires and increase the likelihood of CHANGING A FLAT TIRE all tires (except the spare tire) on the display tire failure. Serious vehicle damage If you have a flat tire, follow the instructions be- screen by sending a signal from a sensor that is could occur and may lead to an acci- installed in each wheel. If the vehicle is being low. dent and could result in serious per- driven with low tire pressure, the TPMS will acti- sonal injury. Check the tire pressure for vate and warn you of it by the low tire pressure Stopping the vehicle all four tires. Adjust the tire pressure to warning light. This system will activate only when the recommended COLD tire pressure 1. Safely move the vehicle off the road and the vehicle is driven at speeds above 16 MPH shown on the Tire and Loading Informa- away from traffic. (25 km/h). For more details, refer to tion label to turn the low tire pressure “Warning/indicator lights and audible reminders” 2. Turn on the hazard warning flashers. warning light OFF. If you have a flat tire, in the “Instruments and controls” section, “Tire replace it with a spare tire as soon as 3. Park on a level surface and apply the parking pressure information” in the “Display screen, possible. brake. Move the shift selector lever to P heater, air conditioner and audio systems” sec- (Park). ● When a spare tire is mounted or a wheel tion and “Tire Pressure Monitoring System is replaced, tire pressure will not be (TPMS)” in the “Starting and driving” section. 4. Turn off the engine. indicated, the TPMS will not function and the low tire pressure warning light 5. Raise the hood to warn other traffic and to will flash for approximately 1 minute. signal professional road assistance person- The light will remain on after 1 minute. nel that you need assistance. Contact your NISSAN dealer as soon as 6. Have all passengers get out of the vehicle possible for tire replacement and/or system resetting. and stand in a safe place, away from traffic and clear of the vehicle. 6-2 In case of emergency ੬ REVIEW COPY—2008 Quest (van) Owners Manual—USA_English (nna) 06/29/07—debbie ੭
  • 280.
    WARNING ● Make surethe parking brake is securely applied and the automatic transmission is shifted into P (Park). ● Never change tires when the vehicle is on a slope, ice or slippery areas. This is hazardous. ● Never change tires if oncoming traffic is close to your vehicle. Wait for profes- sional road assistance. WCE0044 LCE0078 Blocking wheels Getting the spare tire and tools Place suitable blocks ᭺ at both the front and 1 1. Tip up the passenger side second row cap- back of the wheel diagonally opposite the flat tire tain’s chair. Refer to “Tip up for easy entry to ᭺ to prevent the vehicle from moving when it is 2 3rd row” in the “Safety — seats, seat belts jacked up. and supplemental restraint system” section of this owner’s manual. WARNING 2. Lift up the floor carpeting and remove the Be sure to block the wheel as the vehicle jack. may move and result in personal injury. In case of emergency 6-3 ੬ REVIEW COPY—2008 Quest (van) Owners Manual—USA_English (nna) 06/29/07—debbie ੭
  • 281.
    6. Turn theretainer counterclockwise and re- move the spare tire. Removing wheel cover (if so equipped) CAUTION Do not use your hands to pry off wheel caps or wheel covers. Doing so could re- sult in personal injury. Use caution not to scratch the wheel cover or wheel surface. WSD0085 Jacking up vehicle and removing the damaged tire WARNING ● Never get under the vehicle while it is supported only by the jack. If it is nec- essary to work under the vehicle, sup- LCE0079 port it with safety stands. 3. Stow the center tray table (if so equipped). ● Use only the jack provided with your 4. Move both front seats as forward as pos- vehicle to lift the vehicle. Do not use the sible. jack provided with your vehicle on other vehicles. The jack is designed for lifting 5. Lift up the floor carpeting ᭺. Remove the 1 only your vehicle during a tire change. spare tire cover ᭺ and jack tool kit. 2 6-4 In case of emergency ੬ REVIEW COPY—2008 Quest (van) Owners Manual—USA_English (nna) 06/29/07—debbie ੭
  • 282.
    ● Use thecorrect jack-up points. Never use any other part of the vehicle for jack support. ● Never jack up the vehicle more than necessary. ● Never use blocks on or under the jack. ● Do not start or run the engine while vehicle is on the jack. It may cause the vehicle to move. This is especially true for vehicles with limited slip differentials. ● Do not allow passengers to stay in the vehicle while it is on the jack. WCE0081 ● Never run the engine with a wheel(s) off Always refer to the proper illustrations for the 2. Place the jack directly under the jack-up the ground. It may cause the vehicle to correct placement and jack-up points for your point as illustrated so the top of the jack move. specific vehicle model and jack type. contacts the vehicle at the jack-up point. Align the jack head between the two Carefully read the caution label attached to notches in the front or the rear as shown. the jack body and the following instruc- Also fit the groove of the jack head between tions. the notches as shown. 1. Loosen each wheel nut one or two turns by The jack should be used on firm and turning counterclockwise with the wheel nut level ground. wrench. Do not remove the wheel nuts 3. To lift the vehicle, securely hold the jack lever until the tire is off the ground. and rod with both hands. Carefully raise the vehicle until the tire clears the ground. Re- move the wheel nuts, and then remove the tire. In case of emergency 6-5 ੬ REVIEW COPY—2008 Quest (van) Owners Manual—USA_English (nna) 06/29/07—debbie ੭
  • 283.
    4. Lower thevehicle slowly until the tire Adjust tire pressure to the COLD pressure. touches the ground. Then, with the wheel COLD pressure: After vehicle has been nut wrench, tighten the wheel nuts securely parked for three hours or more or driven in the sequence illustrated (᭺, ᭺, ᭺, ᭺, A B C D less than 1 mile (1.6 km). ᭺). Lower the vehicle completely. E COLD tire pressures are shown on the Tire WARNING and Loading Information label affixed to ● Incorrect wheel nuts or improperly the driver side center pillar. tightened wheel nuts can cause the After adjusting tire pressure to the COLD wheel to become loose or come off. tire pressure, the display of the tire pres- This could cause an accident. sure information may show higher pres- ● Do not use oil or grease on the wheel sure than the COLD tire pressure after the studs or nuts. This could cause the nuts vehicle has been driven more than 1 mile WCE0056 to become loose. (1.6 km). This is because the tire pressure Installing the spare tire increases as the tire temperature rises. ● Retighten the wheel nuts when the ve- hicle has been driven for 600 miles This does not indicate a system malfunc- The spare tire is designed for emergency (1,000 km) (also in cases of a flat tire, tion. use. See specific instructions under the etc.). 5. Securely store the flat tire and jacking equip- heading “Wheels and tires” in the “Mainte- ment in the vehicle. nance and do-it-yourself” section of this As soon as possible, tighten the wheel nuts manual. to the specified torque with a torque wrench. WARNING 1. Clean any mud or dirt from the surface be- ● Always make sure that the spare tire tween the wheel and hub. Wheel nut tightening torque: and jacking equipment are properly se- 2. Carefully put the spare tire on and tighten 83 ft-lb (112 N·m) cured after use. Such items can become the wheel nuts finger tight. dangerous projectiles in an accident or The wheel nuts must be kept tightened to sudden stop. 3. With the wheel nut wrench, tighten wheel specification at all times. It is recom- nuts alternately and evenly as illustrated until mended that wheel nuts be tightened to they are tight. specifications at each lubrication interval. 6-6 In case of emergency ੬ REVIEW COPY—2008 Quest (van) Owners Manual—USA_English (nna) 06/29/07—debbie ੭
  • 284.
    JUMP STARTING ● Thespare tire is designed for emer- To start your engine with a booster battery, the ● Whenever working on or near a battery, gency use. See specific instructions un- instructions and precautions below must be fol- always wear suitable eye protectors (for der the heading “Wheels and tires” in lowed. example, goggles or industrial safety the “Maintenance and do-it-yourself” spectacles) and remove rings, metal section of this manual. WARNING bands, or any other jewelry. Do not lean ● If done incorrectly, jump starting can over the battery when jump starting. lead to a battery explosion, resulting in ● Do not attempt to jump start a frozen severe injury or death. It could also battery. It could explode and cause se- damage your vehicle. rious injury. ● Explosive hydrogen gas is always ● Your vehicle has an automatic engine present in the vicinity of the battery. cooling fan. It could come on at any Keep all sparks and flames away from time. Keep hands and other objects the battery. away from it. ● Do not allow battery fluid to come into contact with eyes, skin, clothing or painted surfaces. Battery fluid is a cor- rosive sulfuric acid solution which can cause severe burns. If the fluid should come into contact with anything, imme- diately flush the contacted area with water. ● Keep battery out of the reach of children. ● The booster battery must be rated at 12 volts. Use of an improperly rated battery can damage your vehicle. In case of emergency 6-7 ੬ REVIEW COPY—2008 Quest (van) Owners Manual—USA_English (nna) 06/29/07—debbie ੭
  • 285.
    ● Make surethe jumper cables do not touch moving parts in the engine com- partment and that the cable clamps do not contact any other metal. 5. Start the engine of the booster vehicle and let it run for a few minutes. 6. Keep the engine speed of the booster ve- hicle at about 2,000 rpm, and start the en- gine of the vehicle being jump started. CAUTION Do not keep the starter motor engaged for WCE0054 more than 10 seconds. If the engine does 3. Remove vent caps on the battery (if so not start right away, turn the key off and WARNING wait 3 to 4 seconds before trying again. equipped). Cover the battery with an old Always follow the instructions below. cloth to reduce explosion hazard. 7. After starting the engine, carefully discon- Failure to do so could result in damage to nect the negative cable and then the positive the charging system and cause personal 4. Connect jumper cables in the sequence il- cable. injury. lustrated (᭺, ᭺, ᭺, ᭺). A B C D 8. Replace the vent caps (if so equipped). Be 1. If the booster battery is in another vehicle, CAUTION sure to dispose of the cloth used to cover position the two vehicles to bring their bat- the vent holes as it may be contaminated ● Always connect positive (ϩ) to positive teries near each other. with corrosive acid. (ϩ) and negative (Ϫ) to body ground (for Do not allow the two vehicles to touch. example, strut mounting bolt, engine lift bracket, etc.) — not to the battery. 2. Apply the parking brake. Move the shift se- lector lever to P (Park). Switch off all unnec- essary electrical systems (lights, heater, air conditioner, etc.). 6-8 In case of emergency ੬ REVIEW COPY—2008 Quest (van) Owners Manual—USA_English (nna) 06/29/07—debbie ੭
  • 286.
    PUSH STARTING IF YOUR VEHICLE OVERHEATS If your vehicle is overheating (indicated by an 3. Get out of the vehicle. Look and listen for CAUTION extremely high temperature gauge reading), or if steam or coolant escaping from the radiator Automatic transmission models cannot you feel a lack of engine power, detect abnormal before opening the hood. (If steam or cool- be push-started or tow-started. Attempt- noise, etc. take the following steps. ant is escaping, turn off the engine.) Do not ing to do so may cause transmission open the hood further until no steam or damage. WARNING coolant can be seen. ● Do not continue to drive if your vehicle 4. Open the engine hood. overheats. Doing so could cause engine damage or a vehicle fire. WARNING ● To avoid the danger of being scalded, If steam or water is coming from the en- never remove the radiator cap while the gine, stand clear to prevent getting engine is still hot. When the radiator burned. cap is removed, pressurized hot water will spurt out, possibly causing serious 5. Visually check drive belts for damage or injury. looseness. Also check if the cooling fan is ● Do not open the hood if steam is com- running. The radiator hoses and radiator ing out. should not leak water. If coolant is leaking, the water pump belt is missing or loose, or 1. Move the vehicle safely off the road, apply the cooling fan does not run, stop the en- the parking brake and move the shift lever to gine. P (Park). WARNING Do not stop the engine. Be careful not to allow your hands, hair, 2. Turn off the air conditioner. Open all the jewelry or clothing to come into contact windows, move the heater or air conditioner with, or get caught in, engine belts or the temperature control to maximum hot and fan engine cooling fan. The engine cooling control to high speed. fan can start at any time. In case of emergency 6-9 ੬ REVIEW COPY—2008 Quest (van) Owners Manual—USA_English (nna) 06/29/07—debbie ੭
  • 287.
    TOWING YOUR VEHICLE 6. After the engine cools down, check the cool- When towing your vehicle, all State (Provincial in For information about towing your vehicle behind ant level in the engine coolant reservoir tank Canada) and local regulations for towing must be a recreational vehicle (RV), refer to “Flat towing” with the engine running. Add coolant to the followed. Incorrect towing equipment could dam- in the “Technical and consumer information” sec- engine coolant reservoir tank if necessary. age your vehicle. Towing instructions are avail- tion of this manual. Have your vehicle repaired at a NISSAN able from a NISSAN dealer. Local service opera- dealer. tors are generally familiar with the applicable laws and procedures for towing. To assure proper towing and to prevent accidental damage to your vehicle, NISSAN recommends having a service operator tow your vehicle. It is advisable to have the service operator carefully read the following precautions: WARNING ● Never ride in a vehicle that is being towed. ● Never get under your vehicle after it has been lifted by a tow truck. CAUTION ● When towing, make sure that the trans- mission, axles, steering system and powertrain are in working condition. If any unit is damaged, dollies must be used. ● Always attach safety chains before towing. 6-10 In case of emergency ੬ REVIEW COPY—2008 Quest (van) Owners Manual—USA_English (nna) 06/29/07—debbie ੭
  • 288.
    – Turn theignition key to the OFF po- sition, and secure the steering wheel in a straight-ahead position with a rope or similar device. Never secure the steering wheel by turning the ig- nition key to the LOCK position. This may damage the steering lock mechanism. – Move the gearshift lever to the N (Neutral) position. ● When towing automatic with the rear wheels on the ground (if you do not use towing dollies): Always release the WSD0087 parking brake. CAUTION ● Never tow automatic transmission models with the front wheels on the ground or four wheels on the ground (forward or backward), as this may cause serious and expensive damage to the transmission. If it is necessary to WSD0086 tow the vehicle with the rear wheels TOWING RECOMMENDED BY raised always use towing dollies under NISSAN the front wheels. ● When towing with the front wheels on NISSAN recommends that your vehicle be towed towing dollies: with the driving (front) wheels off the ground or place the vehicle on a flat bed truck as illustrated. In case of emergency 6-11 ੬ REVIEW COPY—2008 Quest (van) Owners Manual—USA_English (nna) 06/29/07—debbie ੭
  • 289.
    3. Turn thesteering wheel right and left to clear CAUTION an area around the front tires. ● Tow chains or cables must be attached only to the main structural members of 4. Slowly rock the vehicle forward and back- the vehicle or the towing hooks (if so ward. equipped). Otherwise, the vehicle body ● Shift back and forth between R (Reverse) will be damaged. and D (Drive). ● Do not use the vehicle tie downs to free ● Apply the accelerator as little as possible a vehicle stuck in sand, snow, mud, etc. to maintain the rocking motion. Never tow the vehicle using the vehicle tie downs or recovery hooks. ● Release the accelerator pedal before shifting between R (Reverse) and D ● Always pull the cable straight out from (Drive). the front or rear of the vehicle. Never pull the vehicle at an angle. ● Do not spin the tires above 35 mph (55 WCE0120 km/h). VEHICLE RECOVERY (freeing a stuck ● Pulling devices should be routed so they do not touch any part of the sus- 5. If the vehicle can not be freed after a few vehicle) pension, steering, brake or cooling tries, contact a professional towing service systems. to remove the vehicle. Front ● Pulling devices such as ropes or canvas WARNING straps are not recommended for use in vehicle towing or recovery. ● Stand clear of a stuck vehicle. ● Do not spin your tires at high speed. If your vehicle is stuck in sand, snow, mud, etc., This could cause them to explode and use the following procedure: result in serious injury. Parts of your 1. Turn off the Vehicle Dynamic Control System vehicle could also overheat and be (if so equipped). damaged. 2. Make sure the area in front and behind the vehicle is clear of obstructions. 6-12 In case of emergency ੬ REVIEW COPY—2008 Quest (van) Owners Manual—USA_English (nna) 06/29/07—debbie ੭
  • 290.
    7 Appearance andcare Cleaning exterior . . . . . . . . . . . . . . . . . . . . . . . . . . . . . . . . . . 7-2 Cleaning interior. . . . . . . . . . . . . . . . . . . . . . . . . . . . . . . . . . . 7-4 Washing . . . . . . . . . . . . . . . . . . . . . . . . . . . . . . . . . . . . . . 7-2 Floor mats . . . . . . . . . . . . . . . . . . . . . . . . . . . . . . . . . . . . . 7-4 Waxing . . . . . . . . . . . . . . . . . . . . . . . . . . . . . . . . . . . . . . . . 7-2 Seat belts . . . . . . . . . . . . . . . . . . . . . . . . . . . . . . . . . . . . . 7-5 Removing spots . . . . . . . . . . . . . . . . . . . . . . . . . . . . . . . . 7-3 Corrosion protection . . . . . . . . . . . . . . . . . . . . . . . . . . . . . . . 7-5 Underbody . . . . . . . . . . . . . . . . . . . . . . . . . . . . . . . . . . . . 7-3 Most common factors contributing to vehicle Glass . . . . . . . . . . . . . . . . . . . . . . . . . . . . . . . . . . . . . . . . . 7-3 corrosion . . . . . . . . . . . . . . . . . . . . . . . . . . . . . . . . . . . . . . 7-5 Aluminum alloy wheels . . . . . . . . . . . . . . . . . . . . . . . . . . 7-3 Environmental factors influence the rate of Chrome parts . . . . . . . . . . . . . . . . . . . . . . . . . . . . . . . . . . 7-3 corrosion . . . . . . . . . . . . . . . . . . . . . . . . . . . . . . . . . . . . . . 7-5 Tire dressings . . . . . . . . . . . . . . . . . . . . . . . . . . . . . . . . . . 7-3 To protect your vehicle from corrosion . . . . . . . . . . . . 7-5 ੬ REVIEW COPY—2008 Quest (van) Owners Manual—USA_English (nna) 06/29/07—debbie ੭
  • 291.
    CLEANING EXTERIOR In orderto maintain the appearance of your ve- the effects of road salt. Therefore, these areas CAUTION hicle, it is important to take proper care of it. must be cleaned regularly. Take care that the ● Do not use car washes that use acid in drain holes in the lower edge of the door are To protect the paint surfaces, please wash your the detergent. Some car washes, espe- open. Spray water under the body and in the vehicle as soon as you can: cially brushless ones, use some acid for wheel wells to loosen the dirt and wash away ● after a rainfall to prevent possible damage cleaning. The acid may react with some road salt. from acid rain. plastic vehicle components, causing them to crack. This could affect their A damp chamois can be used to dry the vehicle to ● after driving on coastal roads. appearance, and also could cause them avoid water spots. not to function properly. Always check WAXING ● when contaminants such as soot, bird drop- with your car wash to confirm that acid pings, tree sap, metal particles or bugs get is not used. Regular waxing protects the paint surface and on the paint surface. helps retain new vehicle appearance. Polishing is ● Do not wash the vehicle with strong recommended to remove built-up wax residue ● when dust or mud builds up on the surface. household soap, strong chemical deter- and to avoid a weathered appearance before Whenever possible, store or park your vehicle gents, gasoline or solvents. re-applying wax. inside a garage or in a covered area. ● Do not wash the vehicle in direct sun- A NISSAN dealer can assist you in choosing the light or while the vehicle body is hot, as proper product. When it is necessary to park outside, park in a the surface may become water-spotted. shady area or protect the vehicle with a body ● Wax your vehicle only after a thorough wash- cover. ● Avoid using tight-napped or rough ing. Follow the instructions supplied with the cloths, such as washing mitts. Care Be careful not to scratch the paint surface wax. must be taken when removing when putting on or removing the body caked-on dirt or other foreign sub- ● Do not use a wax containing any abrasives, cover. stances so the paint surface is not cutting compounds or cleaners that may scratched or damaged. damage the vehicle finish. WASHING Rinse the vehicle thoroughly with plenty of clean Machine compounding or aggressive polishing Wash dirt off with a wet sponge and plenty of water. on a base coat/clear coat paint finish may dull the water. Clean the vehicle thoroughly using a mild finish or leave swirl marks. soap, a special vehicle soap or general purpose Inside flanges, seams and folds on the doors, dishwashing liquid mixed with clean, lukewarm hatches and hood are particularly vulnerable to (never hot) water. 7-2 Appearance and care ੬ REVIEW COPY—2008 Quest (van) Owners Manual—USA_English (nna) 06/29/07—debbie ੭
  • 292.
    REMOVING SPOTS CAUTION CHROME PARTS Remove tar and oil spots, industrial dust, insects, When cleaning the inside of the windows, Clean all chrome parts regularly with a non- and tree sap as quickly as possible from the do not use sharp-edged tools, abrasive abrasive chrome polish to maintain the finish. surface of the paint to avoid lasting damage or cleaners or chlorine-based disinfectant TIRE DRESSINGS staining. Special cleaning products are available cleaners. They could damage the electri- at a NISSAN dealer or any automotive accessory cal conductors, radio antenna elements or NISSAN does not recommend the use of tire store. rear window defroster elements. dressings. Tire manufacturers apply a coating to the tires to help reduce discoloration of the rub- UNDERBODY ALUMINUM ALLOY WHEELS ber. If a tire dressing is applied to the tires, it may react with the coating and form a compound. This In areas where road salt is used in winter, it is Wash the wheels regularly with a sponge damp- compound may come off the tire while driving and necessary to clean the underbody regularly in ened in a mild soap solution, especially during stain the vehicle paint. order to prevent dirt and salt from building up and winter months in areas where road salt is used. If causing the acceleration of corrosion on the un- not removed, road salt can discolor the wheels. If you choose to use a tire dressing, take the derbody and suspension. Before the winter pe- following precautions: riod and again in the spring, the underseal must CAUTION ● Use a water-based tire dressing. The coat- be checked and, if necessary, retreated. Follow the directions below to avoid ing on the tire dissolves more easily with an staining or discoloring the wheels: oil-based tire dressing. GLASS ● Do not use a cleaner that uses strong ● Apply a light coat of tire dressing to help Use glass cleaner to remove smoke and dust film prevent it from entering the tire acid or alkali contents to clean the from the glass surfaces. It is normal for glass to tread/grooves (where it would be difficult to wheels. become coated with a film after the vehicle is remove). parked in the hot sun. Glass cleaner and a soft ● Do not apply wheel cleaners to the cloth will easily remove this film. wheels when they are hot. The wheel ● Wipe off excess tire dressing using a dry temperature should be the same as am- towel. Make sure the tire dressing is com- bient temperature. pletely removed from the tire tread/grooves. ● Rinse the wheel to completely remove ● Allow the tire dressing to dry as recom- the cleaner within 15 minutes after the mended by tire dressing manufacturer. cleaner is applied. Appearance and care 7-3 ੬ REVIEW COPY—2008 Quest (van) Owners Manual—USA_English (nna) 06/29/07—debbie ੭
  • 293.
    CLEANING INTERIOR Occasionally removeloose dust from the interior ● Never use fabric protectors unless rec- trim, plastic parts and seats using a vacuum ommended by the manufacturer. cleaner or soft bristled brush. Wipe the vinyl and leather surfaces with a clean, soft cloth damp- ● Do not use glass or plastic cleaner on ened in mild soap solution, then wipe clean with a meter or gauge lens covers. It may dam- dry, soft cloth. age the lens cover. Regular care and cleaning is required in order to FLOOR MATS maintain the appearance of the leather. The use of genuine NISSAN floor mats can ex- Before using any fabric protector, read the manu- tend the life of your vehicle carpet and make it facturer’s recommendations. Some fabric pro- easier to clean the interior. No matter what tectors contain chemicals that may stain or mats are used, be sure they are fitted for bleach the seat material. your vehicle and are properly positioned in the footwell to prevent interference with Use a cloth dampened only with water to clean pedal operation. Mats should be maintained WAI0006 the meter and gauge lens. with regular cleaning and replaced if they be- Floor mat positioning aid (driver’s side come excessively worn. CAUTION only) ● Never use benzine, thinner or any simi- This vehicle includes a front floor mat bracket to lar material. act as a floor mat positioning aid. NISSAN floor mats have been specially designed for your ve- ● Small dirt particles can be abrasive and hicle model. The driver’s side floor mat has a damaging to leather surfaces and grommet hole incorporated in it. Position the mat should be removed promptly. Do not by placing the floor mat bracket hook through the use saddle soap, car waxes, polishes, floor mat grommet hole while centering the mat in oils, cleaning fluids, solvents, deter- the footwell. gents or ammonia-based cleaners as they may damage the leather’s natural Periodically check to make certain the mats are finish. properly positioned. 7-4 Appearance and care ੬ REVIEW COPY—2008 Quest (van) Owners Manual—USA_English (nna) 06/29/07—debbie ੭
  • 294.
    CORROSION PROTECTION SEAT BELTS MOST COMMON FACTORS Temperature The seat belts can be cleaned by wiping them CONTRIBUTING TO VEHICLE High temperatures accelerate the rate of corro- with a sponge dampened in a mild soap solution. CORROSION sion to those parts which are not well ventilated. Allow the belts to dry completely in the shade before using them. See “Seat belt maintenance” ● The accumulation of moisture-retaining dirt Air pollution in the “Safety – Seats, seat belts and supplemen- and debris in body panel sections, cavities, and other areas. Industrial pollution, the presence of salt in the air tal restraint system” section of this manual. in coastal areas, or heavy road salt use acceler- ● Damage to paint and other protective coat- ates the corrosion process. Road salt also accel- WARNING ings caused by gravel and stone chips or erates the disintegration of paint surfaces. Do not allow wet seat belts to roll up in the minor traffic accidents. TO PROTECT YOUR VEHICLE retractor. NEVER use bleach, dye or chemical solvents to clean the seat belts, ENVIRONMENTAL FACTORS FROM CORROSION since these materials may severely INFLUENCE THE RATE OF ● Wash and wax your vehicle often to keep the weaken the seat belt webbing. CORROSION vehicle clean. Moisture ● Always check for minor damage to the paint and repair it as soon as possible. Accumulation of sand, dirt and water on the ve- hicle body underside can accelerate corrosion. ● Keep drain holes at the bottom of the doors Wet floor coverings will not dry completely inside open to avoid water accumulation. the vehicle, and should be removed for drying to ● Check the underbody for accumulation of avoid floor panel corrosion. sand, dirt or salt. If present, wash with water as soon as possible. Relative humidity Corrosion will be accelerated in areas of high relative humidity, especially those areas where the temperatures stay above freezing and where atmospheric pollution exists and road salt is used. Appearance and care 7-5 ੬ REVIEW COPY—2008 Quest (van) Owners Manual—USA_English (nna) 06/29/07—debbie ੭
  • 295.
    CAUTION ● NEVER removedirt, sand or other de- bris from the passenger compartment by washing it out with a hose. Remove dirt with a vacuum cleaner or broom. ● Never allow water or other liquids to come in contact with electronic compo- nents inside the vehicle as this may damage them. Chemicals used for road surface de-icing are extremely corrosive. They accelerate corrosion and deterioration of underbody components such as the exhaust system, fuel and brake lines, brake cables, floor pan and fenders. In winter, the underbody must be cleaned periodically. For additional protection against rust and corro- sion, which may be required in some areas, con- sult a NISSAN dealer. 7-6 Appearance and care ੬ REVIEW COPY—2008 Quest (van) Owners Manual—USA_English (nna) 06/29/07—debbie ੭
  • 296.
    8 Maintenance anddo-it-yourself Maintenance requirements. . . . . . . . . . . . . . . . . . . . . . . . . . 8-2 Air cleaner . . . . . . . . . . . . . . . . . . . . . . . . . . . . . . . . . . . . . . . 8-16 General maintenance . . . . . . . . . . . . . . . . . . . . . . . . . . . . . . 8-2 In-cabin microfilter . . . . . . . . . . . . . . . . . . . . . . . . . . . . . 8-16 Explanation of general maintenance items . . . . . . . . . 8-2 Windshield wiper blades . . . . . . . . . . . . . . . . . . . . . . . . . . 8-17 Maintenance precautions . . . . . . . . . . . . . . . . . . . . . . . . . . . 8-5 Cleaning . . . . . . . . . . . . . . . . . . . . . . . . . . . . . . . . . . . . . 8-17 Engine compartment check locations . . . . . . . . . . . . . . . . 8-6 Replacing . . . . . . . . . . . . . . . . . . . . . . . . . . . . . . . . . . . . 8-17 Engine cooling system . . . . . . . . . . . . . . . . . . . . . . . . . . . . . 8-7 Brakes . . . . . . . . . . . . . . . . . . . . . . . . . . . . . . . . . . . . . . . . . . 8-20 Checking engine coolant level . . . . . . . . . . . . . . . . . . . 8-7 Self-adjusting brakes . . . . . . . . . . . . . . . . . . . . . . . . . . 8-20 Changing engine coolant . . . . . . . . . . . . . . . . . . . . . . . . 8-8 Brake pad wear indicators . . . . . . . . . . . . . . . . . . . . . . 8-20 Engine oil. . . . . . . . . . . . . . . . . . . . . . . . . . . . . . . . . . . . . . . . . 8-8 Fuses . . . . . . . . . . . . . . . . . . . . . . . . . . . . . . . . . . . . . . . . . . . 8-20 Checking engine oil level . . . . . . . . . . . . . . . . . . . . . . . . 8-8 Engine compartment . . . . . . . . . . . . . . . . . . . . . . . . . . . 8-20 Changing engine oil . . . . . . . . . . . . . . . . . . . . . . . . . . . . 8-9 Passenger compartment . . . . . . . . . . . . . . . . . . . . . . . 8-21 Changing engine oil filter . . . . . . . . . . . . . . . . . . . . . . . 8-10 Battery replacement . . . . . . . . . . . . . . . . . . . . . . . . . . . . . . 8-23 5-speed automatic transmission fluid . . . . . . . . . . . . . . . 8-11 Keyfob . . . . . . . . . . . . . . . . . . . . . . . . . . . . . . . . . . . . . . . 8-23 Power steering fluid. . . . . . . . . . . . . . . . . . . . . . . . . . . . . . . 8-11 Lights . . . . . . . . . . . . . . . . . . . . . . . . . . . . . . . . . . . . . . . . . . . 8-24 Brake fluid . . . . . . . . . . . . . . . . . . . . . . . . . . . . . . . . . . . . . . . 8-11 Headlights . . . . . . . . . . . . . . . . . . . . . . . . . . . . . . . . . . . . 8-24 Brake fluid . . . . . . . . . . . . . . . . . . . . . . . . . . . . . . . . . . . . 8-12 Fog lights (if so equipped) . . . . . . . . . . . . . . . . . . . . . . 8-25 Window washer fluid . . . . . . . . . . . . . . . . . . . . . . . . . . . . . 8-12 Exterior and interior lights. . . . . . . . . . . . . . . . . . . . . . . 8-26 Window washer fluid reservoir . . . . . . . . . . . . . . . . . . 8-12 Wheels and tires . . . . . . . . . . . . . . . . . . . . . . . . . . . . . . . . . 8-30 Battery . . . . . . . . . . . . . . . . . . . . . . . . . . . . . . . . . . . . . . . . . . 8-13 Tire pressure. . . . . . . . . . . . . . . . . . . . . . . . . . . . . . . . . . 8-30 Jump starting . . . . . . . . . . . . . . . . . . . . . . . . . . . . . . . . . 8-14 Tire labeling. . . . . . . . . . . . . . . . . . . . . . . . . . . . . . . . . . . 8-33 Drive belt . . . . . . . . . . . . . . . . . . . . . . . . . . . . . . . . . . . . . . . . 8-14 Types of tires. . . . . . . . . . . . . . . . . . . . . . . . . . . . . . . . . . 8-36 Spark plugs. . . . . . . . . . . . . . . . . . . . . . . . . . . . . . . . . . . . . . 8-15 Tire chains . . . . . . . . . . . . . . . . . . . . . . . . . . . . . . . . . . . . 8-37 Replacing spark plugs . . . . . . . . . . . . . . . . . . . . . . . . . 8-15 Changing wheels and tires . . . . . . . . . . . . . . . . . . . . . 8-37 ੬ REVIEW COPY—2008 Quest (van) Owners Manual—USA_English (nna) 06/29/07—debbie ੭
  • 297.
    MAINTENANCE REQUIREMENTS GENERAL MAINTENANCE Your new NISSAN has been designed to have Performing general maintenance checks requires During the normal day-to-day operation of the minimum maintenance requirements with long minimal mechanical skill and only a few general vehicle, general maintenance should be per- service intervals to save you both time and automotive tools. formed regularly as prescribed in this section. If money. However, some day-to-day and regular These checks or inspections can be done by you, you detect any unusual sounds, vibrations or maintenance is essential to maintain your NIS- a qualified technician, or, if you prefer, a NISSAN smells, be sure to check for the cause or have a SAN’s good mechanical condition, as well as its dealer. NISSAN dealer do it promptly. In addition, you emission and engine performance. should notify a NISSAN dealer if you think that Where to go for service repairs are required. It is the owner’s responsibility to make sure that the scheduled maintenance, as well as general If maintenance service is required or your vehicle When performing any checks or maintenance maintenance, is performed. appears to malfunction, have the systems work, closely observe the “Maintenance precau- checked and corrected by a NISSAN dealer. tions” later in this section. As the vehicle owner, you are the only one who NISSAN technicians are well-trained specialists can ensure that your vehicle receives proper who are kept up-to-date with the latest service EXPLANATION OF GENERAL maintenance. You are a vital link in the mainte- information through technical bulletins, service MAINTENANCE ITEMS nance chain. tips, and in-dealership training programs. They are completely qualified to work on NISSAN ve- Additional information on the following Scheduled maintenance items with “*” is found later in this section. hicles before they work on your vehicle, rather For your convenience, both required and optional than after they have worked on it. scheduled maintenance items are described and Outside the vehicle listed in your “NISSAN Service and Maintenance You can be confident that a NISSAN dealer’s The maintenance items listed here should be Guide.” You must refer to that guide to ensure service department performs the best job to meet performed from time to time, unless otherwise the maintenance requirements on your vehicle — that necessary maintenance is performed on your specified. in a reliable and economical way. NISSAN at regular intervals. Doors and engine hood Check that the doors General maintenance and engine hood operate properly. Also ensure General maintenance includes those items which that all latches lock securely. Lubricate hinges, should be checked during normal day-to-day op- latches, latch pins, rollers and links as necessary. eration. They are essential for proper vehicle op- Make sure that the secondary latch keeps the eration. It is your responsibility to perform these hood from opening when the primary latch is maintenance procedures regularly as prescribed. released. 8-2 Maintenance and do-it-yourself ੬ REVIEW COPY—2008 Quest (van) Owners Manual—USA_English (nna) 06/29/07—debbie ੭
  • 298.
    When driving inareas using road salt or other alignment. If the steering wheel or seat vibrates at Automatic transmission P (Park) position corrosive materials, check lubrication frequently. normal highway speeds, wheel balancing may be mechanism On a fairly steep hill check that your needed. vehicle is held securely with the selector lever in Lights* Clean the headlights on a regular basis. the P (Park) position without applying any brakes. Make sure that the headlights, stop lights, tail ● For additional information regarding tires, lights, turn signal lights, and other lights are all refer to “Important Tire Safety Information” Brake pedal Check the pedal for smooth opera- operating properly and installed securely. Also (US) or “Tire Safety Information” (Canada) in tion. If the brake pedal suddenly goes down fur- check headlight aim. the Warranty Information Booklet . ther than normal, the pedal feels spongy or the vehicle seems to take longer to stop, see a Road wheel nuts (lug nuts)* When checking Windshield Clean the windshield on a regular NISSAN dealer immediately. Keep the floor mat the tires, make sure no wheel nuts are missing, basis. Check the windshield at least every six away from the pedal. and check for any loose wheel nuts. Tighten if months for cracks or other damage. Have a dam- necessary. aged windshield repaired by a qualified repair Brakes Check that the brakes do not pull the facility. vehicle to one side when applied. Tire rotation* Tires should be rotated every 7,500 miles (12,000 km). Windshield wiper blades* Check for cracks or Parking brake Check the parking brake opera- wear if they do not wipe properly. tion regularly. The vehicle should be securely held Tires* Check the pressure with a gauge often on a fairly steep hill with only the parking brake and always prior to long distance trips. If neces- Inside the vehicle applied. If the parking brake needs adjustment, sary, adjust the pressure in all tires, including the The maintenance items listed here should be see a NISSAN dealer. spare, to the pressure specified. Check carefully for damage, cuts or excessive wear. checked on a regular basis, such as when per- Seats Check seat position controls such as seat forming periodic maintenance, cleaning the ve- adjusters, seatback recliner, etc. to ensure they Tire Pressure Monitoring System (TPMS) hicle, etc. operate smoothly and all latches lock securely in transmitter components Replace the grom- every position. Check that the head restraints met seal, valve core and cap of the transmitter in Additional information on the following move up and down smoothly and the locks (if so vehicles equipped with TPMS at tire replacement items with an “*” is found later in this sec- equipped) hold securely in all latched positions. when reaching the wear limit of the tires. tion. Seat belts Check that all parts of the seat belt Wheel alignment and balance If the vehicle Accelerator pedal Check the pedal for smooth system (for example, buckles, anchors, adjusters should pull to either side while driving on a operation and make sure the pedal does not bind and retractors) operate properly and smoothly, straight and level road, or if you detect uneven or or require uneven effort. Keep the floor mat away and are installed securely. Check the belt web- abnormal tire wear, there may be a need for wheel from the pedal. bing for cuts, fraying, wear or damage. Maintenance and do-it-yourself 8-3 ੬ REVIEW COPY—2008 Quest (van) Owners Manual—USA_English (nna) 06/29/07—debbie ੭
  • 299.
    Steering wheel Checkfor changes in the steer- Engine drive belts* Make sure the drive belts etc., that may have accumulated. Make sure the ing system, such as excessive freeplay, hard are not frayed, worn, cracked or oily. hoses have no cracks, deformation, rot or loose steering or strange noises. connections. Engine oil level* Check the level after parking Warning lights and chimes Make sure all the vehicle on a level surface with the engine off. Underbody The underbody is frequently ex- warning lights and chimes are operating properly. Wait more than 10 minutes for the oil to drain posed to corrosive substances such as those back into the oil pan. used on icy roads or to control dust. It is very Windshield wiper and washer* Check that important to remove these substances from the the wipers and washer operate properly and that Exhaust system Make sure there are no loose underbody, otherwise rust may form on the floor the wipers do not streak. supports, cracks or holes. If the sound of the pan, frame, fuel lines and exhaust system. At the exhaust seems unusual or there is a smell of end of winter, the underbody should be thor- Windshield defroster Check that the air exhaust fumes, immediately have the exhaust oughly flushed with plain water, in those areas comes out of the defroster outlets properly and in system inspected by a NISSAN dealer. See the where mud and dirt may have accumulated. See sufficient quantity when operating the heater or the “Appearance and care” section of this carbon monoxide warning in the “Starting and air conditioner. manual. driving” section of this manual. Under the hood and vehicle Fluid leaks Check under the vehicle for fuel, oil, Windshield washer fluid* Check that there is water or other fluid leaks after the vehicle has adequate fluid in the reservoir. The maintenance items listed here should be checked periodically (for example, each time you been parked for a while. Water dripping from the check the engine oil or refuel). air conditioner after use is normal. If you should notice any leaks or if gasoline fumes are evident, Battery* Check the fluid level in each cell. It check for the cause and have it corrected imme- should be between the MAX and MIN lines. Ve- diately. hicles operated in high temperatures or under severe conditions require frequent checks of the Power steering fluid level* and lines Check battery fluid level. the level when the fluid is cold, with the engine off. Check the lines for proper attachment, leaks, Brake fluid levels* Make sure that the brake cracks, etc. fluid level is between the MIN and MAX lines on the reservoir. Radiator and hoses Check the front of the radiator and clean off any dirt, insects, leaves, Engine coolant level* Check the coolant level when the engine is cold. 8-4 Maintenance and do-it-yourself ੬ REVIEW COPY—2008 Quest (van) Owners Manual—USA_English (nna) 06/29/07—debbie ੭
  • 300.
    MAINTENANCE PRECAUTIONS When performingany inspection or maintenance ● Your vehicle is equipped with an auto- CAUTION work on your vehicle, always take care to prevent matic engine cooling fan. It may come serious accidental injury to yourself or damage to on at any time without warning, even if ● Do not work under the hood while the the vehicle. The following are general precau- the ignition key is in the OFF position engine is hot. Turn the engine off and tions which should be closely observed. and the engine is not running. To avoid wait until it cools down. injury, always disconnect the negative ● Avoid contact with used engine oil and WARNING battery cable before working near the coolant. Improperly disposed engine fan. oil, engine coolant and/or other vehicle ● Park the vehicle on a level surface, ap- fluids can damage the environment. Al- ply the parking brake securely and ● If you must run the engine in an en- ways conform to local regulations for block the wheels to prevent the vehicle closed space such as a garage, be sure disposal of vehicle fluid. from moving. Move the shift selector there is proper ventilation for exhaust ● Never leave the engine or automatic lever to P (Park). gases to escape. transmission related component har- ● Be sure the ignition key is in the OFF or ● Never get under the vehicle while it is nesses disconnected while the ignition LOCK position when performing any supported only by a jack. If it is neces- switch is in the ON position. parts replacement or repairs. sary to work under the vehicle, support ● Never connect or disconnect the battery ● If you must work with the engine run- it with safety stands. or any transistorized component while ning, keep your hands, clothing, hair ● Keep smoking materials, flame and the ignition switch is in the ON position. and tools away from moving fans, belts sparks away from the fuel tank and This “Maintenance and do-it-yourself” section and any other moving parts. battery. gives instructions regarding only those items ● It is advisable to secure or remove any ● On gasoline engine models, the fuel which are relatively easy for an owner to perform. loose clothing and remove any jewelry, filter or fuel lines should be serviced by A genuine NISSAN service manual is also avail- such as rings, watches, etc. before a NISSAN dealer because the fuel lines able. See “Owner’s Manual/Service Manual or- working on your vehicle. are under high pressure even when the der information” in the “Technical and consumer ● Always wear eye protection whenever engine is off. information” section of this manual. you work on your vehicle. You should be aware that incomplete or improper servicing may result in operating difficulties or excessive emissions, and could affect warranty coverage. If in doubt about any servicing, have it done by a NISSAN dealer. Maintenance and do-it-yourself 8-5 ੬ REVIEW COPY—2008 Quest (van) Owners Manual—USA_English (nna) 06/29/07—debbie ੭
  • 301.
    ENGINE COMPARTMENT CHECK LOCATIONS 1. Power steering fluid reservoir 2. Engine oil filler cap 3. Air cleaner 4. Brake fluid reservoir 5. Battery 6. Fuse/fusible link box 7. Transmission dipstick 8. Engine oil dipstick 9. Radiator cap 10. Drive belt location 11. Fuse block 12. Windshield washer fluid reservoir 13. Engine coolant reservoir NOTE: Engine cover removed for clarity. WDI0515 8-6 Maintenance and do-it-yourself ੬ REVIEW COPY—2008 Quest (van) Owners Manual—USA_English (nna) 06/29/07—debbie ੭
  • 302.
    ENGINE COOLING SYSTEM Theengine cooling system is filled at the factory CAUTION with Genuine NISSAN Long Life Antifreeze/Coolant to provide year-round anti- When adding or replacing coolant, be sure freeze and coolant protection. The anti-freeze to use only a Genuine NISSAN Long Life solution contains rust and corrosion inhibitors. Antifreeze/Coolant (green) or equivalent Additional engine cooling system additives are with the proper mixture ratio of 50% anti- not necessary. freeze and 50% demineralized or distilled water. The use of other types of coolant solutions or coolant colors, such as or- WARNING ange, may damage the engine cooling ● Never remove the radiator or coolant system. reservoir cap when the engine is hot. Wait until the engine and radiator cool Outside temperature Genuine Demineral- down. Serious burns could be caused down to NISSAN ized or dis- by high pressure fluid escaping from Long Life tilled water Antifreeze/ LDI0350 the radiator. See precautions in “If your °C °F vehicle overheats” found in the “In case Coolant or CHECKING ENGINE COOLANT equivalent of emergency” section of this manual. LEVEL -35 -30 50% 50% ● The radiator is equipped with a pres- Check the coolant level in the reservoir when sure type radiator cap. To prevent en- the engine is cold. If the coolant level is below gine damage, use only a genuine the MIN level, add coolant to the MAX level. If the NISSAN radiator cap. reservoir is empty, check the coolant level in the radiator when the engine is cold. If there is insufficient coolant in the radiator, fill the radiator with coolant up to the filler opening and also add it to the reservoir up to the MAX level. If the cooling system frequently requires coolant, have it checked by a NISSAN dealer. Maintenance and do-it-yourself 8-7 ੬ REVIEW COPY—2008 Quest (van) Owners Manual—USA_English (nna) 06/29/07—debbie ੭
  • 303.
    ENGINE OIL CHANGING ENGINECOOLANT A NISSAN dealer can change the engine coolant. The service procedure can be found in the NISSAN Service Manual. Improper servicing can result in reduced heater performance and engine overheat- ing. WARNING ● To avoid the danger of being scalded, never change the coolant when the en- gine is hot. ● Never remove the radiator cap when the LDI0351 WDI0175 engine is hot. Serious burns could be CHECKING ENGINE OIL LEVEL 5. Remove the dipstick again and check the oil caused by high pressure fluid escaping level. It should be between the H (High) and from the radiator. 1. Park the vehicle on a level surface and apply L (Low) marks ᭺. This is the normal oper- B the parking brake. ● Avoid direct skin contact with used ating oil level range. If the oil level is below coolant. If skin contact is made, wash 2. Start the engine and let it idle until it reaches the L (Low) mark ᭺, remove the oil filler cap A thoroughly with soap or hand cleaner operating temperature. and pour recommended oil through the as soon as possible. 3. Turn off the engine. Wait more than 10 opening. Do not overfill ᭺. C ● Keep coolant out of the reach of chil- minutes for the oil to drain back into 6. Recheck oil level with the dipstick. dren and pets. the oil pan. It is normal to add some oil between oil Engine coolant must be disposed of properly. 4. Remove the dipstick and wipe it clean. Re- maintenance intervals or during the Check your local regulations. insert it all the way. break-in period, depending on the severity of operating conditions. 8-8 Maintenance and do-it-yourself ੬ REVIEW COPY—2008 Quest (van) Owners Manual—USA_English (nna) 06/29/07—debbie ੭
  • 304.
    If the oilfilter is to be changed, remove and CAUTION replace it at this time. See “Changing engine Oil level should be checked regularly. Op- oil filter” later in this section. erating the engine with an insufficient amount of oil can damage the engine, and WARNING such damage is not covered by warranty. ● Prolonged and repeated contact with used engine oil may cause skin cancer. ● Try to avoid direct skin contact with used oil. If skin contact is made, wash thoroughly with soap or hand cleaner as soon as possible. ● Keep used engine oil out of reach of children. WDI0493 CHANGING ENGINE OIL CAUTION 1. Park the vehicle on a level surface and apply Be careful not to burn yourself. The engine the parking brake. oil may be hot. 2. Start the engine and let it idle until it reaches ● Waste oil must be disposed of prop- operating temperature, then turn it off. erly. 3. Remove the oil filler cap ᭺ by turning it A ● Check your local regulations. counterclockwise. 6. Clean and reinstall the drain plug and a new 4. Place a large drain pan under the drain plug washer. Securely tighten the drain plug with ᭺. B a wrench. Do not use excessive force. 5. Remove the drain plug ᭺ with a wrench by B Drain plug tightening torque: turning it counterclockwise and completely 22 - 29 ft-lb (29 - 39 N·m) drain the oil. Maintenance and do-it-yourself 8-9 ੬ REVIEW COPY—2008 Quest (van) Owners Manual—USA_English (nna) 06/29/07—debbie ੭
  • 305.
    7. Refill enginewith recommended oil through 5. Wipe the engine oil filter sealing surface with the oil filler opening, then install the oil filler a clean rag. cap securely. CAUTION See “Capacities and recommended fuel/lubricants” in the “Technical and con- Be sure to remove any old gasket material sumer information” section of this manual for remaining on the sealing surface of the drain and refill capacity. engine. Failure to do so could lead to engine failure. The drain and refill capacity depends on the oil temperature and drain time. Use these 6. Coat the gasket on the new filter with clean specifications for reference only. Always use engine oil. the dipstick to determine when the proper amount of oil is in the engine. 7. Screw on the oil filter until a slight resistance is felt, then tighten an additional 2/3 turn. 8. Start the engine. Check for leakage around the drain plug and oil filter. Correct as re- WDI0495 8. Start the engine and check for leakage around the oil filter. Correct as required. quired. CHANGING ENGINE OIL FILTER 9. Turn the engine off and wait more than 10 9. Turn the engine off and wait more than 10 1. Park the vehicle on a level surface and apply minutes. Check the oil level. Add engine oil if minutes. Check the oil level with the dipstick. the parking brake. Add engine oil if necessary. necessary. 2. Turn the engine off. 3. Place a large drain pan under the oil filter ᭺. A 4. Loosen the oil filter ᭺ with an oil filter A wrench by turning it counterclockwise. Then remove the oil filter by turning it by hand. CAUTION Be careful not to burn yourself. The engine oil may be hot. 8-10 Maintenance and do-it-yourself ੬ REVIEW COPY—2008 Quest (van) Owners Manual—USA_English (nna) 06/29/07—debbie ੭
  • 306.
    5-SPEED AUTOMATIC POWER STEERING FLUID BRAKE FLUID TRANSMISSION FLUID When checking or replacement is required, we For further brake fluid specification information, recommend your NISSAN dealer for servicing. refer to “Capacities and recommended fuel/lubricants” in the “Technical and consumer CAUTION information” section of this manual. ● Use only Genuine NISSAN Matic K ATF. Do not mix with other fluids. WARNING ● Use only new fluid from a sealed con- ● Using automatic transmission fluid tainer. Old, inferior or contaminated other than Genuine NISSAN Matic K fluid may damage the brake system. ATF will cause deterioration in drive- The use of improper fluids can damage ability and automatic transmission du- the brake system and affect the vehi- rability, and may damage the automatic cle’s stopping ability. transmission, which is not covered by the NISSAN new vehicle limited ● Be sure to clean the filler cap before warranty. WDI0256 removing. The specified automatic transmission fluid is also The fluid level should be checked using the HOT described on caution labels located in the engine MAX range on the power steering fluid reservoir CAUTION compartment. at fluid temperatures of 122° - 176°F (50° - Do not spill the fluid on any painted sur- 80°C) or using the COLD MAX range on the faces. This will damage the paint. If fluid is power steering fluid reservoir at fluid tempera- spilled, immediately wash the surface tures of 32° - 86°F (0° - 30°C). with water. If the fluid is below the MIN line, add Genuine NISSAN PSF. Remove the cap and fill through the opening. CAUTION ● DO NOT OVERFILL. ● Recommended fluid is Genuine NISSAN PSF or equivalent. Maintenance and do-it-yourself 8-11 ੬ REVIEW COPY—2008 Quest (van) Owners Manual—USA_English (nna) 06/29/07—debbie ੭
  • 307.
    WINDOW WASHER FLUID Refill the reservoir more frequently when driving conditions require an increased amount of win- dow washer fluid. Recommended fluid is Genuine NISSAN Wind- shield Washer Concentrate Cleaner & Anti- freeze or equivalent. CAUTION ● Do not substitute engine anti-freeze coolant for window washer solution. This may result in damage to the paint. ● Do not fill the window washer reservoir tank with washer fluid concentrates at WDI0512 LDI0355 full strength. Some methyl alcohol BRAKE FLUID WINDOW WASHER FLUID based washer fluid concentrates may RESERVOIR permanently stain the grille if spilled Check the brake fluid level in the reservoir. If the while filling the window washer reser- fluid level is below the MIN line or the brake Fill the window washer fluid reservoir periodically. voir tank. warning light comes on, add Genuine NISSAN Add window washer fluid when the low window Super Heavy Duty Brake Fluid or equivalent DOT ● Pre-mix washer fluid concentrates with washer fluid warning light comes on. water to the manufacturer’s recom- 3 fluid up to the MAX line. If fluid must be added frequently, the system should be checked by a To fill the window washer fluid reservoir, lift the mended levels before pouring the fluid NISSAN dealer. cap off the reservoir tank and pour the window into the window washer reservoir tank. washer fluid into the tank opening. Do not use the window washer reservoir tank to mix the washer fluid concen- Add a washer solvent to the washer for better trate and water. cleaning. In the winter season, add a windshield washer antifreeze. Follow the manufacturer’s in- structions for the mixture ratio. 8-12 Maintenance and do-it-yourself ੬ REVIEW COPY—2008 Quest (van) Owners Manual—USA_English (nna) 06/29/07—debbie ੭
  • 308.
    BATTERY ● Keep thebattery surface clean and dry. ● When working on or near a battery, al- Clean the battery with a solution of baking ways wear suitable eye protection and soda and water. remove all jewelry. ● Make certain the terminal connections are ● Battery posts, terminals and related ac- clean and securely tightened. cessories contain lead and lead com- pounds. Wash hands after handling. ● If the vehicle is not to be used for 30 days or longer, disconnect the negative (-) battery ● Keep battery out of the reach of terminal cable to prevent discharge. children. WARNING ● Do not expose the battery to flames or electrical sparks. Hydrogen gas gener- ated by the battery is explosive. Do not WDI0224 allow battery fluid to contact your skin, 1. Remove the battery caps with a screwdriver eyes, fabrics or painted surfaces. After as shown. Use a cloth to protect the battery touching a battery or battery cap, do not case. touch or rub your eyes. Thoroughly wash your hands. If the acid contacts your eyes, skin or clothing, immediately flush with water for at least 15 minutes and seek medical attention. ● Do not operate the vehicle if the fluid in the battery is low. Low battery fluid can cause a higher load on the battery which can generate heat, reduce bat- tery life, and in some cases lead to an explosion. Maintenance and do-it-yourself 8-13 ੬ REVIEW COPY—2008 Quest (van) Owners Manual—USA_English (nna) 06/29/07—debbie ੭
  • 309.
    DRIVE BELT Vehicles operated in high temperatures or under severe conditions require frequent checks of the battery fluid level. JUMP STARTING If jump starting is necessary, see “Jump starting” in the “In case of emergency” section of this manual. If the engine does not start by jump starting, the battery may have to be replaced. Contact a NISSAN dealer. WDI0644 1. Power steering fluid pump 2. Crankshaft 3. Idler pulley 4. Generator 5. Air conditioner WARNING LDI0302 Be sure the ignition key is in the OFF or 2. Check the fluid level in each cell. If it is LOCK position before servicing drive belt. necessary to add fluid, add only distilled The engine could rotate unexpectedly. water to bring the level up to the bottom of 1. Visually inspect the belt for signs of unusual the filler opening. Do not overfill. wear, cuts, fraying or looseness. If the belt is in poor condition or is loose, have it replaced or adjusted by a NISSAN dealer. 8-14 Maintenance and do-it-yourself ੬ REVIEW COPY—2008 Quest (van) Owners Manual—USA_English (nna) 06/29/07—debbie ੭
  • 310.
    SPARK PLUGS 2. Havethe belt checked regularly for condi- WARNING tion and tension in accordance with the maintenance schedule found in the Be sure the engine and ignition switch are “NISSAN Service and Maintenance Guide”. off and that the parking brake is engaged securely. CAUTION Be sure to use the correct socket to re- move the spark plugs. An incorrect socket can damage the spark plugs. If replacement is required, see your NISSAN dealer for assistance. SDI1895 REPLACING SPARK PLUGS Platinum-tipped spark plugs It is not necessary to replace platinum-tipped ᭺ A spark plugs as frequently as conventional type spark plugs because they last much longer. Fol- low the maintenance log shown in the “NISSAN Service and Maintenance Guide”. Do not service platinum-tipped spark plugs by cleaning or re- gapping. ● Always replace spark plugs with rec- ommended or equivalent ones. Maintenance and do-it-yourself 8-15 ੬ REVIEW COPY—2008 Quest (van) Owners Manual—USA_English (nna) 06/29/07—debbie ੭
  • 311.
    AIR CLEANER WARNING ● Operating the engine with the air cleaner removed can cause you or oth- ers to be burned. The air cleaner not only cleans the air, it stops the flame if the engine backfires. If it isn’t there, and the engine backfires, you could be burned. Do not drive with the air cleaner removed, and be careful when working on the engine with the air cleaner removed. ● Never pour fuel into the throttle body or attempt to start the engine with the air LDI0357 cleaner removed. Doing so could result The air cleaner filter should not be cleaned and in serious injury. reused. Replace it according to the maintenance log shown in the “NISSAN Service and Mainte- IN-CABIN MICROFILTER nance Guide.” When replacing the filter, wipe the The in-cabin microfilter restricts the entry of air- inside of the air cleaner filter housing and the borne dust and pollen particles and reduces cover with a damp cloth. some objectionable outside odors. The filter is located behind the glove box. Refer to the To remove the air cleaner filter: “NISSAN Service and Maintenance Guide” for ᭺ 1 Loosen the screw. change intervals. ᭺ 2 Disconnect the electrical connector. If replacement is required, see your NISSAN dealer. ᭺ 3 Unlatch the clips and remove the air cleaner cover. Remove the air cleaner filter. 8-16 Maintenance and do-it-yourself ੬ REVIEW COPY—2008 Quest (van) Owners Manual—USA_English (nna) 06/29/07—debbie ੭
  • 312.
    WINDSHIELD WIPER BLADES WDI0194 CLEANING 4. Insert the new wiper blade onto the wiper CAUTION arm until it clicks into place. If your windshield is not clear after using the Worn windshield wiper blades can dam- windshield washer or if a wiper blade chatters age the windshield and impair driver CAUTION when running, wax or other material may be on vision. the blade or windshield. ● After wiper blade replacement, return REPLACING the wiper arm to its original position; Clean the outside of the windshield with a washer otherwise it may be damaged when the solution or a mild detergent. Your windshield is Replace the wiper blades if they are worn. hood is opened. clean if beads do not form when rinsing with clear water. ᭺ 1 Lift the wiper arm away from the windshield. ● Make sure the wiper blades contact the glass; otherwise the arms may be dam- Clean each blade by wiping it with a cloth soaked ᭺ 2 Push the release tab, then move the wiper aged from wind pressure. in a washer solution or a mild detergent. Then blade down the wiper arm to remove. rinse the blades with clear water. If your wind- shield is still not clear after cleaning the blades ᭺ 3 Remove the wiper blade. and using the wiper, replace the blades. Maintenance and do-it-yourself 8-17 ੬ REVIEW COPY—2008 Quest (van) Owners Manual—USA_English (nna) 06/29/07—debbie ੭
  • 313.
    WDI0337 Be careful notto let anything get into the washer nozzle ᭺. This may cause clogging or improper A windshield washer operation. If something gets into the nozzle, remove it with a needle or small pin ᭺. B 8-18 Maintenance and do-it-yourself ੬ REVIEW COPY—2008 Quest (van) Owners Manual—USA_English (nna) 06/29/07—debbie ੭
  • 314.
    LDI0356 Rear window wiperblade ᭺ 1 Lift the wiper arm away from the rear win- dow. ᭺ 2 Push the wiper blade in and pivot until the blade becomes free. ᭺ 3 Insert a new blade onto the wiper arm and snap into place. Maintenance and do-it-yourself 8-19 ੬ REVIEW COPY—2008 Quest (van) Owners Manual—USA_English (nna) 06/29/07—debbie ੭
  • 315.
    BRAKES FUSES If the brakes do not operate properly, have the Proper brake inspection intervals should brakes checked by a NISSAN dealer. be followed. For more information regarding brake inspections, see the appropriate mainte- SELF-ADJUSTING BRAKES nance schedule information in the “NISSAN Ser- Your vehicle is equipped with self-adjusting vice and Maintenance Guide”. brakes. The front and rear disc-type brakes self-adjust every time the brake pedal is applied. WARNING See a NISSAN dealer for a brake system check if the brake pedal height does not return to normal. LDI0358 BRAKE PAD WEAR INDICATORS ENGINE COMPARTMENT The disc brake pads on your vehicle have audible wear indicators. When a brake pad requires re- CAUTION placement, a high pitched scraping or screech- Never use a fuse of a higher or lower ing sound will be heard when the vehicle is in amperage rating than specified on the motion. The noise will be heard whether or not the fuse box cover. This could damage the brake pedal is depressed. Have the brakes electrical system or cause a fire. checked as soon as possible if the wear indicator If any electrical equipment does not come on, sound is heard. check for an open fuse. Under some driving or climate conditions, occa- 1. Be sure the ignition switch and the headlight sional brake squeak, squeal or other noise may switch are OFF. be heard. Occasional brake noise during light to moderate stops is normal and does not affect the 2. Open the engine hood. function or performance of the brake system. 8-20 Maintenance and do-it-yourself ੬ REVIEW COPY—2008 Quest (van) Owners Manual—USA_English (nna) 06/29/07—debbie ੭
  • 316.
    3. Remove thefuse box cover by pushing the tab and lifting the cover up. 4. Remove the fuse with the fuse puller. The fuse puller is located in the center of the fuse block in the passenger compartment. WDI0452 LDI0516 5. If the fuse is open ᭺, replace it with a new A PASSENGER COMPARTMENT fuse ᭺.B 6. If a new fuse also opens, have the electrical CAUTION system checked and repaired by a NISSAN Never use a fuse of a higher or lower dealer. amperage rating than specified on the Fusible links fuse box cover. This could damage the electrical system or cause a fire. If the electrical equipment does not operate and fuses are in good condition, check the fusible If any electrical equipment does not operate, links. If any of these fusible links are melted, check for an open fuse. replace with only genuine NISSAN parts. 1. Be sure the ignition switch and the headlight switch are OFF. Maintenance and do-it-yourself 8-21 ੬ REVIEW COPY—2008 Quest (van) Owners Manual—USA_English (nna) 06/29/07—debbie ੭
  • 317.
    2. Pull thesunglasses holder down to open ᭺. 1 3. Pull up on the sunglasses holder ᭺ and 2 remove to expose the fuse panel. 4. Remove the fuse with the fuse puller. WDI0452 LDI0456 Type A Type B 5. If the fuse is open ᭺, replace it with an A equivalent good fuse ᭺. B 6. Push the fuse box cover to install. 7. If a new fuse also opens, have the electrical system checked and repaired by a NISSAN dealer. 8-22 Maintenance and do-it-yourself ੬ REVIEW COPY—2008 Quest (van) Owners Manual—USA_English (nna) 06/29/07—debbie ੭
  • 318.
    BATTERY REPLACEMENT CAUTION Be careful not to allow children to swallow the battery and removed parts. LDI0484 KEYFOB ᭺ 3 Install a new battery ᭺ with the “+” facing C down. Replace the battery in the keyfob as follows: ● Hold the battery by the edges. Holding the ᭺ 1 Open the lid using a coin ᭺. A battery across the contact points will seri- ᭺ 2 Remove the battery ᭺. B ously deplete the storage capacity. Maintenance and do-it-yourself 8-23 ੬ REVIEW COPY—2008 Quest (van) Owners Manual—USA_English (nna) 06/29/07—debbie ੭
  • 319.
    LIGHTS ● Donot touch the internal circuit and electric This device complies with Part 15 of the HEADLIGHTS terminals as it could cause a malfunction. FCC Rules and RSS-210 of Industry Replacing the halogen headlight bulb Canada. Recommended battery: CR2025 or equivalent. The headlight is a semi-sealed beam type which Operation is subject to the following two ᭺ 4 Close the lid securely. conditions: (1) This device may not cause uses a replaceable headlight (halogen) bulb. If harmful interference, and (2) this device replacement is required, see your NISSAN 5. Press the button, then the dealer. button two or three times to check the key- must accept any interference received, in- fob operation. cluding interference that may cause undes- ired operation of the device. CAUTION If the battery is removed for any reason ● High pressure halogen gas is sealed other than replacement, perform step 5. inside the halogen bulb. The bulb may ● An improperly disposed battery can break if the glass envelope is scratched hurt the environment. Always confirm or the bulb is dropped. local regulations for battery disposal. ● When handling the bulb, do not touch the glass envelope. ● The k