UNIT 3
CAD STANDARDS
Content
• Standards for computer graphics
• Graphical Kernal System (GKS)
• Standards for exchange image
• Open Graphics Library (open GL)
• Data exchange standards
• IGES, STEP, CALS, etc
• Communication standards
Purpose of CAD standard
• The transfer of data between dissimilar CAD/Cam system must
embrace the complete description of a product stored in its
database.
• Four types of modeling data make up this description
Shape data – consists of geometrical and topological data
Non-shape data – include shaded image and measuring units of data
base
Design data – FEM/FEA, engineering analysis
Manufacturing data – include tolerencing and bill of materials
Types of translators
i) Direct Translators
It entails translating the modeling
data directly from one native
format to another. It require a
knowledge of both native
formats
Direct translator convert data
directly in one step.
Types of translators
i) Indirect Translators
It converts the modeling data directly
from one native format to neutral
format that all CAD/Cam system can
interpret and understand.
Each translation system has its own
pair of translator to translate data to
and from the neutral format
Organization of a typical CAD/CAM
structure with graphics standards
DATABASE MANAGEMENT
• Database is a collection of data at a single location to be used by
various people for different applications.
OBJECTIVES OF DATABASE
• It provides security
• It shares the data among users
• It incorporates the changes quickly and effectively
• It improves accuracy and integrity of data
• It reduces the cost of storage and retrieval of data
• It reduces or eliminates the redundant data
STANDARDS FOR COMPUTER
GRAPHICS
• Need for graphic standards
• There is a need for portability of the geometric model among different
hardware platforms.
• Where there is a situation to exchange drawing database among software
packages.
• There is a need for exchanging graphic data between different computer
systems.
CLASSIFICATION OF CAD
STANDARDS
• Graphic and computing standards
• Data exchange standards
• Communication standards
GRAPHIC AND COMPUTING
STANDARDS
• Aim for graphics standardisation
• To allow the transfer of graphic data between two or more different companies
which may have completely different CAD systems.
• To control all types of graphic devices such as plotters and display devices in a
consistent manner.
• To be small enough for a variety of programs.
GKS (GRAPHICS KERNEL SYSTEM)
• Series of commands used for graphical operations.
• Number of elements that may be drawn in an image is known as
graphical primitives.
Representation of levels in graphics standards
CAD entities
Graphics
primitives
Image bitmap
CAD data exchange
standards – IGES,
STEP
Device independent
picture description –
Metafile, e.g, CGM
Bitmap standards –
e.g, GIF, TIFF
CAD representation Level Equivalent standards
STANDARDS FOR EXCHANGE
IMAGES
• The purpose of GKS and other similar standards is to allow graphics
to be drawn on a display device by an application program.
• The model is converted by the series of graphics primitives, and these
are then displayed on the screen using the graphics procedures,
typically by setting the values of the pixels in a rectangular raster
array.
• The raster array is represented by a region of computer memory is
known as bitmap.
OPEN GRAPHICS LIBRARY
• Silicon Graphics Inc., developed the software interface for
graphics hardware known as Open Graphics Language (Open GL).
• Open GL Comprises a set of several hundred procedures and
function that allow a programmer to specify the objects and
operations involved in the production of colour graphical image .
• OpenGL (Open Graphics Library)is a cross-language, multi-
platform application programming interface (application program
interface-API) for rendering2D and 3D vector graphics. The API is
typically used to interact with a graphics processing unit (GPU), to
achieve hardware-accelerated rendering.
• Open GL does not require high performance display hardware to be
present, but it require a frame buffer memory that stores the raster
display bitmap.
• Open GL draws directly in to the frame buffer but also allows the use
of multiple buffer where for e.g., one buffer is displyed while second
is being updated.
Data exchange standards
• CAD data exchange involves a number of software technologies and
methods to translate data from one Computer-aided design system
to another CAD file format.
• The recent decades, the data transfer of data between the system
has been made possible by the neutral format of data exchange.
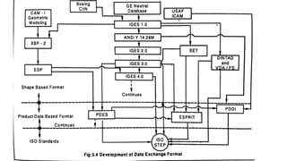
Development of Data Exchange Format
• The significant work in data exchange was started in 1979 of an Initial
Graphics Exchange Specification (IGES) which was supported by US
national Bureau of standards.
• Boeing and GE were chosen due to their prior experience in
developing data exchange formats – Boeing with its CIIN (CAD
Integrated Information Network)
• IGES owned very good support among the CAD users and vendors.
IGES has three types of entity:
• Geometric – it defines the product shape and include curves, surface
and solids
• Annotation – it included various types of dimensions (linear, angular,
ordinate), centre line , notes, general labels, symbols and cross
hatching
• Structure – it includes views, drawing , attributes( such as line and
text fonts, colors and layers), properties (mass), subfigures and
external cross reference entities (for surface and assemblies)
IGES
Error handling
• While importing IGES file, error handling is very important
• There are two major error sources when processing IGES files
Program errors in the processors
Misinterpretation of the IGES standard itself.
• The way an IGES processor report error is – the processor should
report the entity type, number of unprocessed entries, reason for un-
processing and other relevant database information of these
unprocessed entities.
• IGES should also report any invalid or missing data encountered in
reading IGES files especially those that were edited.
STEP
• STEP ( standard for Exchange of Product Data) is an exchange for
product data in support of industrial automation
CALS
• Continuous Acquisition and Life cycle support is CALS.
• CALS was originally called Computer Aided Acquisition and Logistics
Support.
COMMUNICATION STANDARDS
• Data exchange depends not only on the compatibility of the
applications data formats between the communicating systems.
• LAN (Local area networks)
• WAN (Wide area networks)
LAN
WAN

UNIT III CAD STANDARDS

  • 1.
  • 2.
    Content • Standards forcomputer graphics • Graphical Kernal System (GKS) • Standards for exchange image • Open Graphics Library (open GL) • Data exchange standards • IGES, STEP, CALS, etc • Communication standards
  • 3.
    Purpose of CADstandard • The transfer of data between dissimilar CAD/Cam system must embrace the complete description of a product stored in its database. • Four types of modeling data make up this description Shape data – consists of geometrical and topological data Non-shape data – include shaded image and measuring units of data base Design data – FEM/FEA, engineering analysis Manufacturing data – include tolerencing and bill of materials
  • 4.
    Types of translators i)Direct Translators It entails translating the modeling data directly from one native format to another. It require a knowledge of both native formats Direct translator convert data directly in one step.
  • 5.
    Types of translators i)Indirect Translators It converts the modeling data directly from one native format to neutral format that all CAD/Cam system can interpret and understand. Each translation system has its own pair of translator to translate data to and from the neutral format
  • 7.
    Organization of atypical CAD/CAM structure with graphics standards
  • 8.
    DATABASE MANAGEMENT • Databaseis a collection of data at a single location to be used by various people for different applications.
  • 9.
    OBJECTIVES OF DATABASE •It provides security • It shares the data among users • It incorporates the changes quickly and effectively • It improves accuracy and integrity of data • It reduces the cost of storage and retrieval of data • It reduces or eliminates the redundant data
  • 12.
    STANDARDS FOR COMPUTER GRAPHICS •Need for graphic standards • There is a need for portability of the geometric model among different hardware platforms. • Where there is a situation to exchange drawing database among software packages. • There is a need for exchanging graphic data between different computer systems.
  • 13.
    CLASSIFICATION OF CAD STANDARDS •Graphic and computing standards • Data exchange standards • Communication standards
  • 14.
    GRAPHIC AND COMPUTING STANDARDS •Aim for graphics standardisation • To allow the transfer of graphic data between two or more different companies which may have completely different CAD systems. • To control all types of graphic devices such as plotters and display devices in a consistent manner. • To be small enough for a variety of programs.
  • 15.
    GKS (GRAPHICS KERNELSYSTEM) • Series of commands used for graphical operations. • Number of elements that may be drawn in an image is known as graphical primitives.
  • 16.
    Representation of levelsin graphics standards CAD entities Graphics primitives Image bitmap CAD data exchange standards – IGES, STEP Device independent picture description – Metafile, e.g, CGM Bitmap standards – e.g, GIF, TIFF CAD representation Level Equivalent standards
  • 21.
    STANDARDS FOR EXCHANGE IMAGES •The purpose of GKS and other similar standards is to allow graphics to be drawn on a display device by an application program. • The model is converted by the series of graphics primitives, and these are then displayed on the screen using the graphics procedures, typically by setting the values of the pixels in a rectangular raster array. • The raster array is represented by a region of computer memory is known as bitmap.
  • 24.
    OPEN GRAPHICS LIBRARY •Silicon Graphics Inc., developed the software interface for graphics hardware known as Open Graphics Language (Open GL). • Open GL Comprises a set of several hundred procedures and function that allow a programmer to specify the objects and operations involved in the production of colour graphical image . • OpenGL (Open Graphics Library)is a cross-language, multi- platform application programming interface (application program interface-API) for rendering2D and 3D vector graphics. The API is typically used to interact with a graphics processing unit (GPU), to achieve hardware-accelerated rendering.
  • 25.
    • Open GLdoes not require high performance display hardware to be present, but it require a frame buffer memory that stores the raster display bitmap. • Open GL draws directly in to the frame buffer but also allows the use of multiple buffer where for e.g., one buffer is displyed while second is being updated.
  • 26.
    Data exchange standards •CAD data exchange involves a number of software technologies and methods to translate data from one Computer-aided design system to another CAD file format. • The recent decades, the data transfer of data between the system has been made possible by the neutral format of data exchange.
  • 28.
    Development of DataExchange Format • The significant work in data exchange was started in 1979 of an Initial Graphics Exchange Specification (IGES) which was supported by US national Bureau of standards. • Boeing and GE were chosen due to their prior experience in developing data exchange formats – Boeing with its CIIN (CAD Integrated Information Network) • IGES owned very good support among the CAD users and vendors.
  • 30.
    IGES has threetypes of entity: • Geometric – it defines the product shape and include curves, surface and solids • Annotation – it included various types of dimensions (linear, angular, ordinate), centre line , notes, general labels, symbols and cross hatching • Structure – it includes views, drawing , attributes( such as line and text fonts, colors and layers), properties (mass), subfigures and external cross reference entities (for surface and assemblies)
  • 34.
  • 37.
    Error handling • Whileimporting IGES file, error handling is very important • There are two major error sources when processing IGES files Program errors in the processors Misinterpretation of the IGES standard itself. • The way an IGES processor report error is – the processor should report the entity type, number of unprocessed entries, reason for un- processing and other relevant database information of these unprocessed entities. • IGES should also report any invalid or missing data encountered in reading IGES files especially those that were edited.
  • 38.
    STEP • STEP (standard for Exchange of Product Data) is an exchange for product data in support of industrial automation
  • 41.
    CALS • Continuous Acquisitionand Life cycle support is CALS. • CALS was originally called Computer Aided Acquisition and Logistics Support.
  • 42.
    COMMUNICATION STANDARDS • Dataexchange depends not only on the compatibility of the applications data formats between the communicating systems. • LAN (Local area networks) • WAN (Wide area networks)
  • 43.
  • 44.