The Internet-of-Things based hand gestures using wearable sensors
for human machine interaction
Abstract:
Gesture recognition has significantly attracted the research community as it has a wide range of
practical applications such as natural human computer interaction, ubiquitous computing, sign
language, user authentication and daily activity assistance. For example, the interaction between
human and tiny mobile computers such as wearable or the Internet of Things (IoT) devices that is
infeasible to be incorporated with screens or keyboards. This leads to the user’s gestures can be
one of the effective interaction methods between human and smart devices. Moreover,
interacting with human gestures might allow the user to perform their gestures and interact with
devices in natural and unobtrusive manners. Several investigations have demonstrated the
feasibility of human hand gestures for new verification authentication scheme for mobile devices
and ambient environments, while other gestures combined with activity recognition framework
can towards for situated services to help the elderly under diversity contexts.
Hand gestures for human machine interaction using wearable sensors have more potentiality than
ambient sensing thanks to its low-cost, light weight and mostly scalability everywhere at any
time. Despite the fact of existing works on human hand gestures using wearable sensors, each
focuses on a specific application and difficult to be generalized. In addition, it still lacks an
available benchmark of hand gestures in the context of human machine interaction. This paper
introduces a new human hand gesture dataset which could be suitable for controlling wheel
chair. Internet of Things (IoT) device which is currently embedded with accelerometer and
gyroscope sensors.
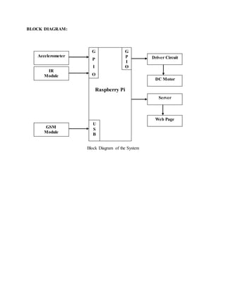
The Movement of the chair can be controlled by the accelerometer sensor which given as a
gesture for forward, backward, left, right and stop. GSM/GPRS is used to locate the machine and
post the coordinates to the gateway so, that we can track the user. IR Module is used to detect
object if an object is detected wheel will be stopped automatically.
Software Requirements:
Operating System : Linux (Raspbian)
Software’s: - gcc compiler
Server: MySql
Hardware Component:
Power Supply : +12V, 1A and +5V Regulated Power Supply
 Raspberry Pi 3
 GSM Module
 Accelerometer
 L293D Driver Circuit
 DC Motor
BLOCK DIAGRAM:
Block Diagram of the System
Raspberry Pi
GSM
Module
Server
Accelerometer
U
S
B
G
P
I
O
G
P
I
O
Driver Circuit
DC Motor
Web Page
IR
Module

The Internet-of-Things based hand gestures using wearable sensors for human machine interaction

  • 1.
    The Internet-of-Things basedhand gestures using wearable sensors for human machine interaction Abstract: Gesture recognition has significantly attracted the research community as it has a wide range of practical applications such as natural human computer interaction, ubiquitous computing, sign language, user authentication and daily activity assistance. For example, the interaction between human and tiny mobile computers such as wearable or the Internet of Things (IoT) devices that is infeasible to be incorporated with screens or keyboards. This leads to the user’s gestures can be one of the effective interaction methods between human and smart devices. Moreover, interacting with human gestures might allow the user to perform their gestures and interact with devices in natural and unobtrusive manners. Several investigations have demonstrated the feasibility of human hand gestures for new verification authentication scheme for mobile devices and ambient environments, while other gestures combined with activity recognition framework can towards for situated services to help the elderly under diversity contexts. Hand gestures for human machine interaction using wearable sensors have more potentiality than ambient sensing thanks to its low-cost, light weight and mostly scalability everywhere at any time. Despite the fact of existing works on human hand gestures using wearable sensors, each focuses on a specific application and difficult to be generalized. In addition, it still lacks an available benchmark of hand gestures in the context of human machine interaction. This paper introduces a new human hand gesture dataset which could be suitable for controlling wheel chair. Internet of Things (IoT) device which is currently embedded with accelerometer and gyroscope sensors. The Movement of the chair can be controlled by the accelerometer sensor which given as a gesture for forward, backward, left, right and stop. GSM/GPRS is used to locate the machine and post the coordinates to the gateway so, that we can track the user. IR Module is used to detect object if an object is detected wheel will be stopped automatically.
  • 2.
    Software Requirements: Operating System: Linux (Raspbian) Software’s: - gcc compiler Server: MySql Hardware Component: Power Supply : +12V, 1A and +5V Regulated Power Supply  Raspberry Pi 3  GSM Module  Accelerometer  L293D Driver Circuit  DC Motor
  • 3.
    BLOCK DIAGRAM: Block Diagramof the System Raspberry Pi GSM Module Server Accelerometer U S B G P I O G P I O Driver Circuit DC Motor Web Page IR Module