THELATARDEDIN ULOTTUUNTOUS 20170289332A1
(19)United States
(12)Patent Application Publication (10)Pub.No.:US2017/0289332 A1
Lavian et al. (43) Pub. Date: Oct. 5, 2017
)(54) SYSTEMSAND METHODS FOR VISUAL
PRESENTATION AND SELECTION OF IVR
MENU
U.S. CI.
CPC .... H04M 1/72519 (2013.01); H04M 3/4938
(2013.01)
(71) Applicants:TalLavian, Sunnyvale, CA (US);Zvi
Or-Bach, San Jose,CA (US)
(72) Inventors: TalLavian, Sunnyvale, CA (US);Zvi
Or-Bach, San Jose, CA (US)
(21) Appl.No.: 15/084,505
(57) ABSTRACT
Embodiments of the invention provide a system for gener
ating an Interactive Voice Response (IVR ) database, the
system comprising a processor and amemory coupled to the
processor. Thememory comprising a list of telephonenum
bers associated with one ormore destinations implementing
IVR menus, wherein the one or more destinations are
grouped based on a plurality of categoriesofthe IVR menus.
Furtherthememory includes instructions executableby said
processor for automatically communicating with the one of
more destinations, and receiving at least one customization
record from said at least one destination to store in the IVR
database.
(22) Filed: Mar. 30, 2016
Publication Classification
(51) Int. Cl.
H04M 1/725 (2006.01)
H04M 3/493 (2006.01)
Devica
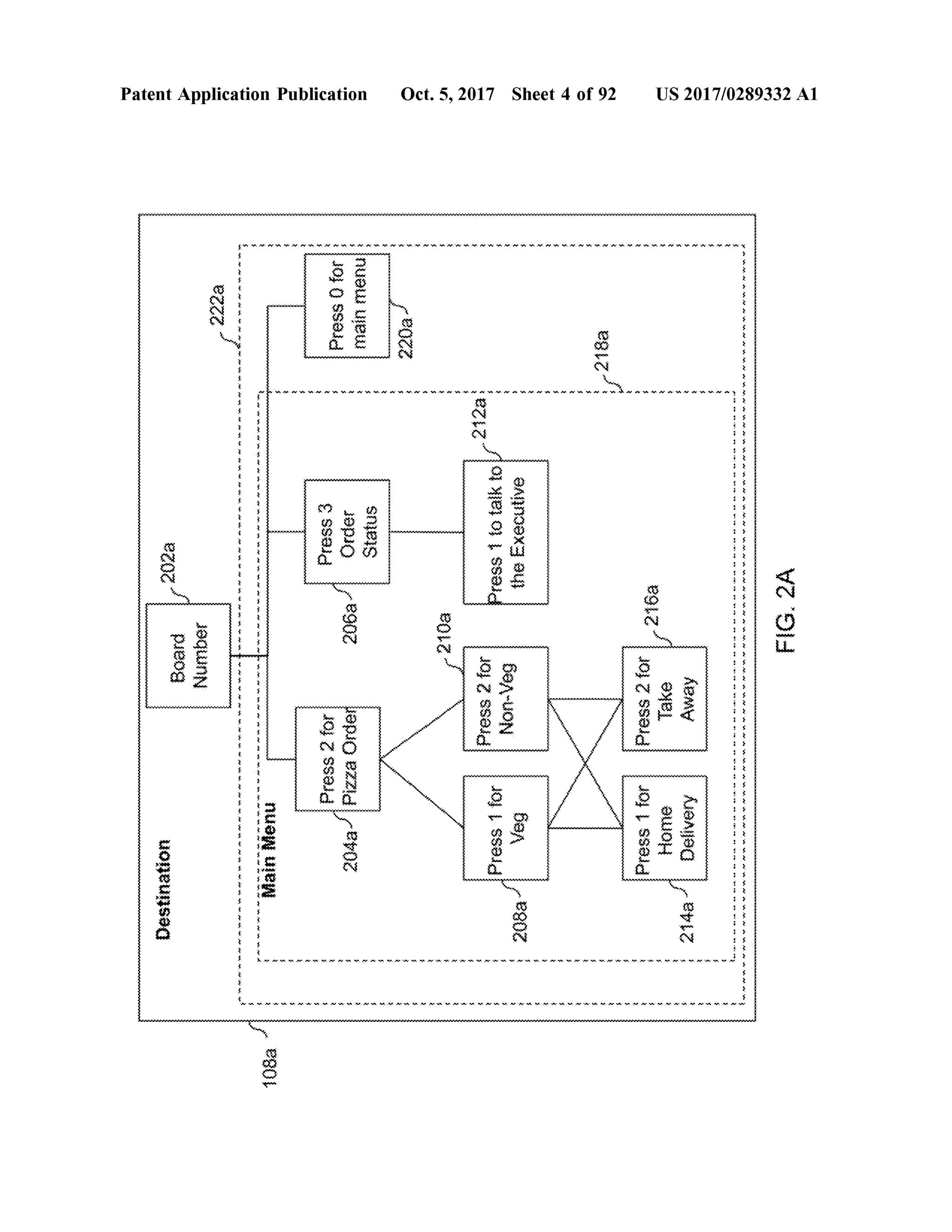
108aLESSLYYYYYYYYYYYYYYYYYYYYYYYvvvvvvvvvvvvvvvvvvvvvvvvvvvv
Destination/ 2020Board?.???????????????????????
Oumber
????????????????????????????????
PizzaOrder
20401 21
{}{?r Statu PSTN?
?
?
?
?
?
?
??
?
2100?
?
?
?
Talk to 7
Executive
2120
HOO?
?
Vog Non-Veg?
?
?
20letoutthere 146 Gateway?
?
?
?
- - - - - - - - - - - - - - - -
??
?
?
?
??
?
?
?
?
?
} {4} ^ {?
?
Home
Delivery
21401
?
??
Away
2?
?
????????
MYYYYYYYYYYYYYYYYYYYYYYYY. . . . * * * *
2220
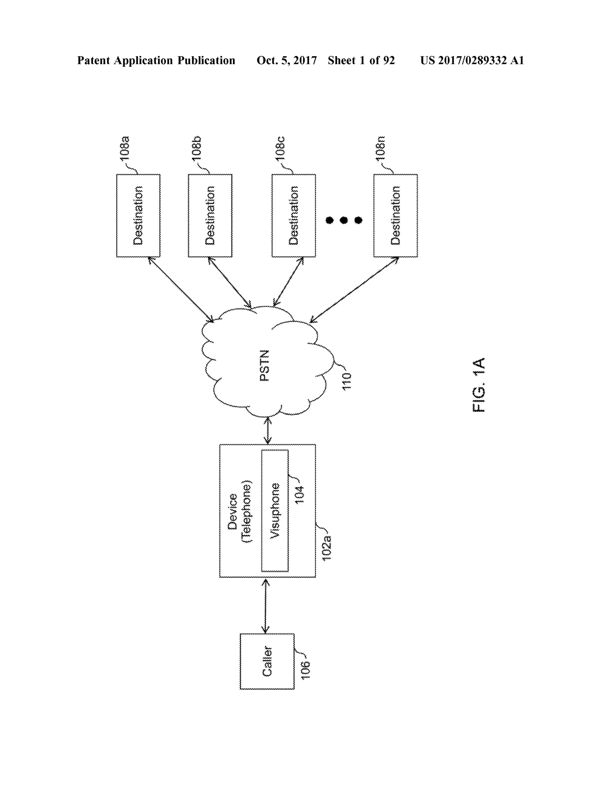
108a
Destination
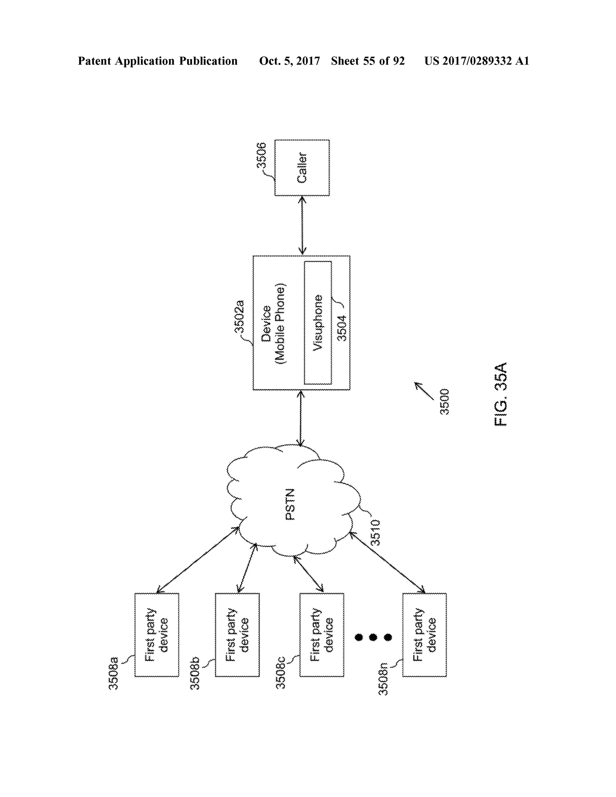
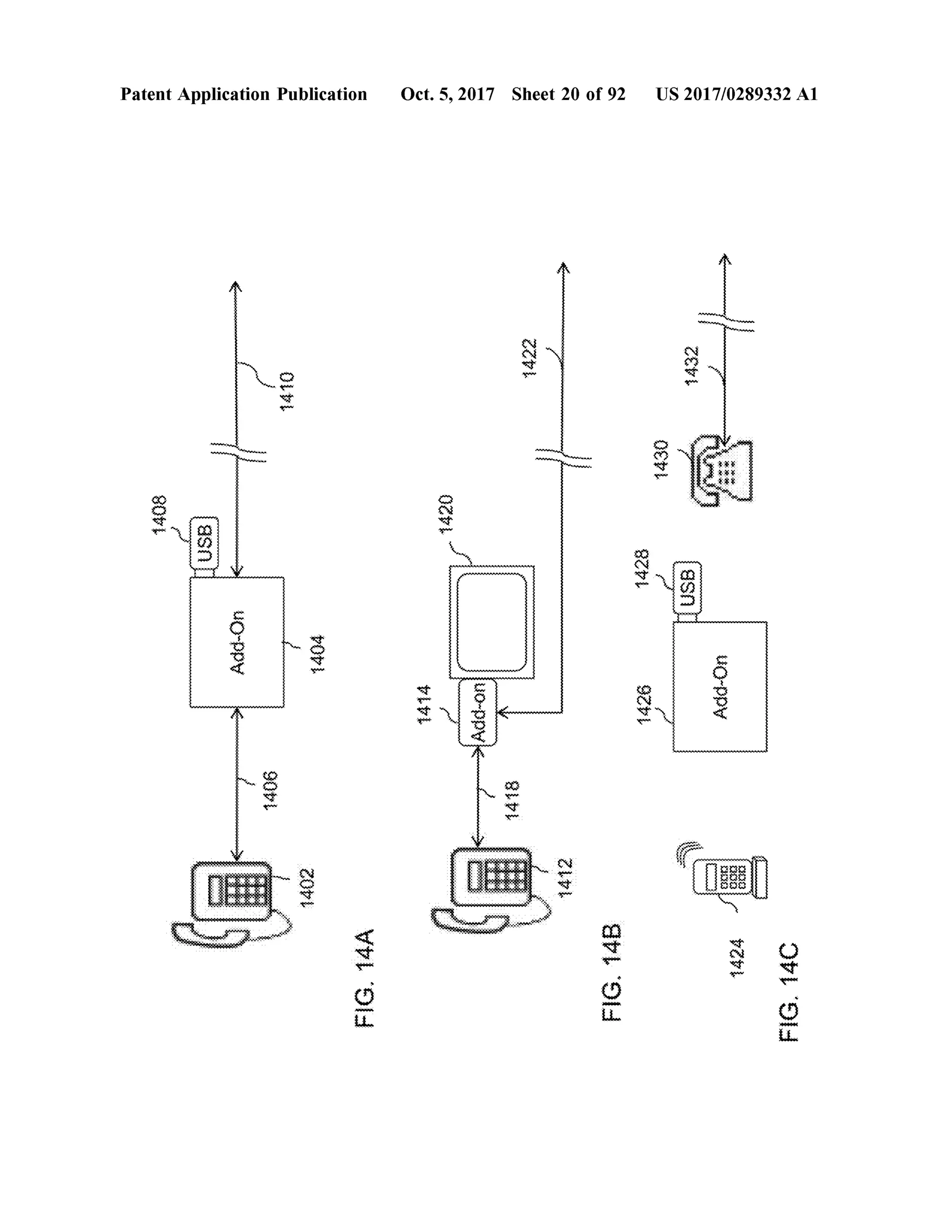
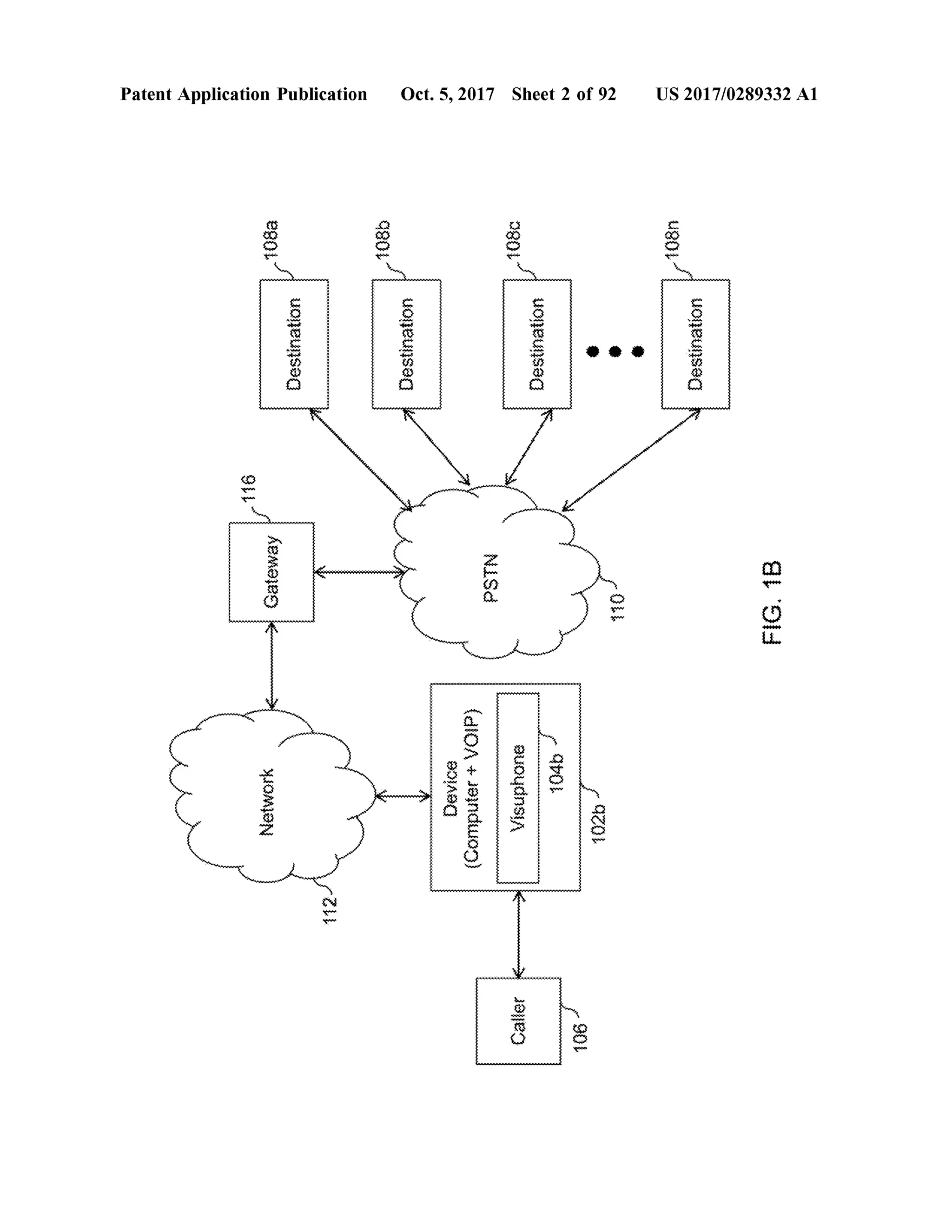
PatentApplication Publication
******************
1-1086
i
Destination
f
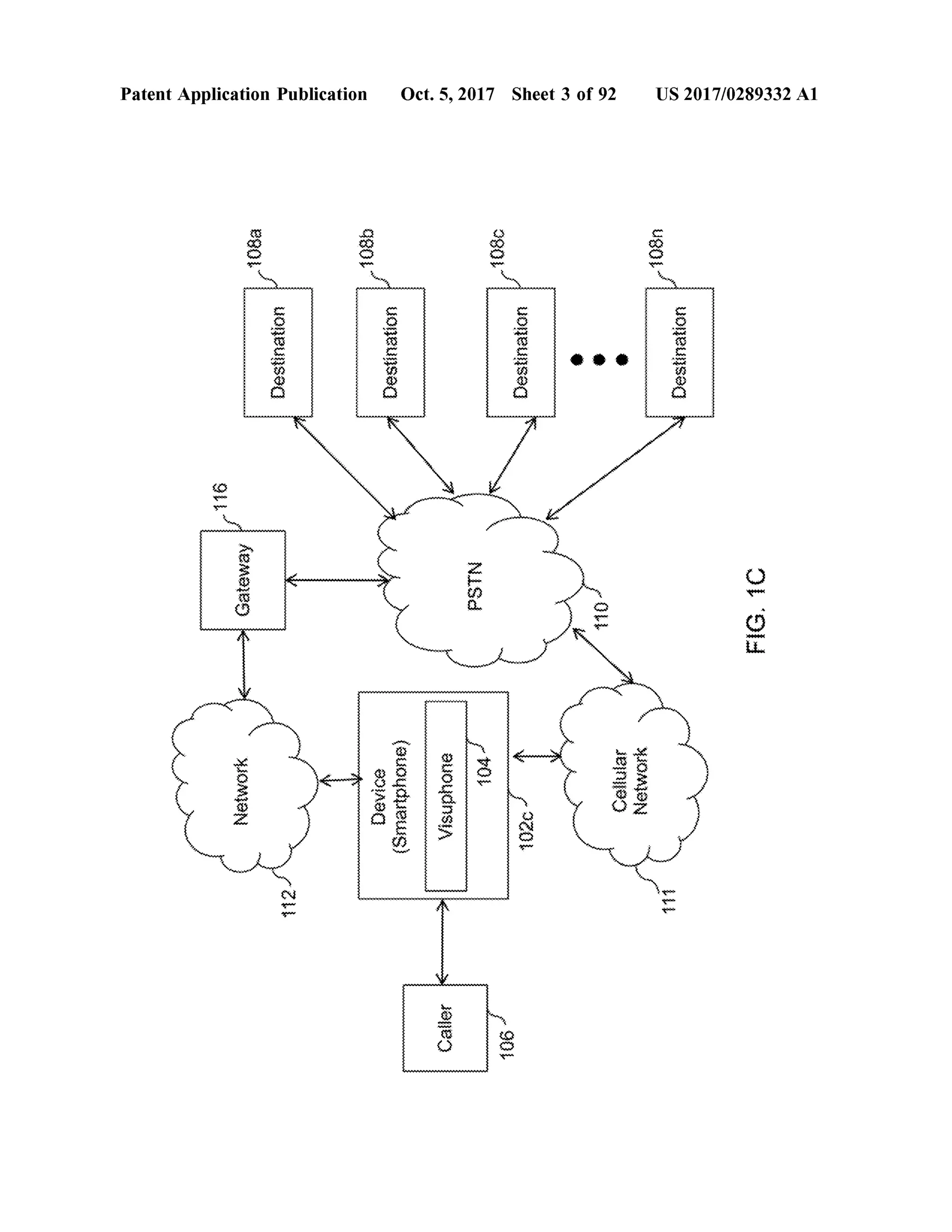
Device(Telephone)
Caller
Awang
PSTN
Visuphone
-108c
104
Destination
helpedthetimpul
106
102a
Oct.5,2017 Sheet 1 of 92
1-1080
Destination
FIG,1A
US 2017/0289332 A1
|116
PatentApplication Publication
Network
Gateway
1088
Destination
112
Lllllllllllll
1086
S
Destination
Device(Computer+VOIP)
PSTN
Caller
fimum
Visuphone
|1080
Oct.5,2017 Sheet 2 of 92
Destination
1046
WWWWWWWWWWWW444
106
w
wwwwww
wwwwwww
1026
10.
108n
Destination wwwwwwwwwwwwwwwwwwwwwwwwwww
US 2017/0289332 A1
FIG.1B
116
Network
Gateway
108a
PatentApplication Publication
Destination
++++++++++++++++++++++++++++++
++++++++++++++++++++
9801
L
Device(Smartphone)
Destination
wwwwwwwwwwww
Caller
lllllllllllllllllll
Visuphone104
PSTN
106
080L
wwwwwwwwwwwwwwwww102c
Oct.5,2017 Sheet 3 of 92
Destinationredheidpolepenipu
CellularNetwork
***
****
****************
*********
USOL
Destination
US 2017/0289332 A1
FIG.1C
WWWWWWWWWWWWWWWWWWWWWWWWWWWWWWWWWWWWWWWWWWWWWWWWWWWWWWWWWWWWWWWWWWWWWWWWWWWWWWWWWWWWWWWWWWWWWWWWWWWWWWWWWWWWWWWWW
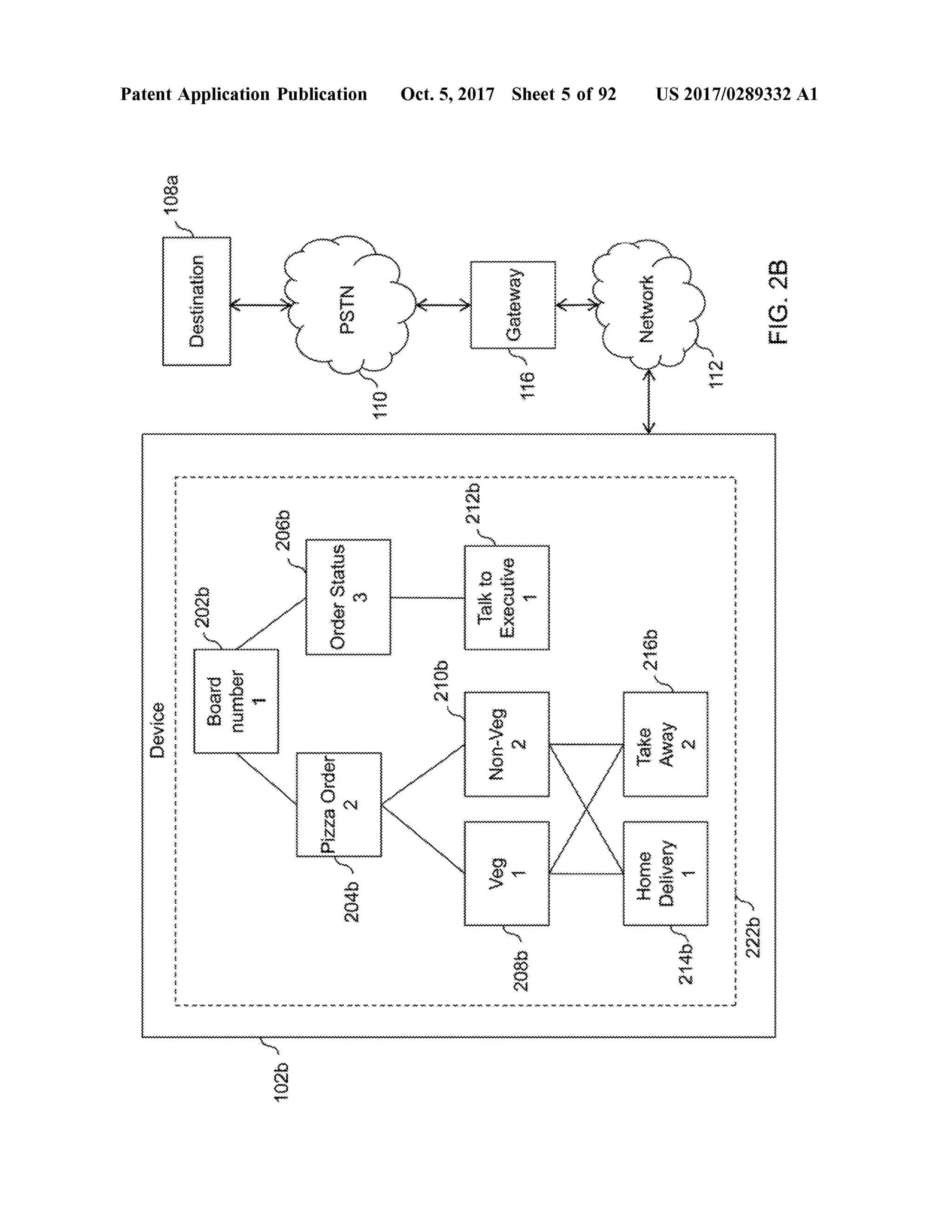
Destination
|-202a
E{{{
Number
-2220
*
*
*
*
*
*
*
**
*
*
**
*
*
*
*
*
*
*
*
*
*
*
*
*
*
*
*
*
*
*
*
*
*
*
*
*
*
*
*
*
*
*
*
*
PatentApplication Publication
* *
44.wwww
wwwwww...
***
**
2801
....
**
.**.
*********************
*
**
*.*.*-*www
.s*ww
*.**
wwwwww
wwwwwwwwwwwwwwwwwwwwwwwwwwwwwwwwwwwwwwwwwwwwwwwwwwwwwwwwwwwwwwwwwwwwwwwwwwwwwwwwwwwwwwwwwwwwwwwwwwwwwwwwwwwww
WAVUVAJAVAAAAAAAA
MainMenu
*
www.
*
* *
*
*
* * *
Press2for
204a_PizzaOrder
*
206a
Press3
OrderStatus
Press0for
mainmenu
* *
* *
*
* *
220a
*
**
*
*
AWWWWWWWWWWWWWWWWWWWWWWWWWWWWWWWWWWWWW}
*
210a
*
*
*
*
*
*
*
**
*
*
**
212a
* *
*
Press2forNon-Veg
MWWWWWWWWWWWWWWWWWWW 'ww .www . Mwan
*
wwwwwwwwwwwwwwwwwwwwwwwwwwwwwwwwwwwwwwwwwwwwwwwwwwwwwwwwwwwwwwwwwwwwwwwwwwwwwwwwwwwwwwwwwwwwwwwwwwwwwwwwwwww
*
Press1forVeg
*
zapuntata==
EE
Press1totalkto
theExecutive
*
wwwwwwwwwwwwwww
208a
*
Oct.5,2017 Sheet 4 of 92
*
*
*
*
*
*
* *
*
* *
** *
* *
*
*
*
2182
*
* *
* *
** *
Press2for
*
wwwwwwwwwwwwwwwwww
216a
*
*
Press1for
homeDelivery
*
Take
*
wwwwwww.MUNAN.
* * *
214a-
Away
*
** *
*
*
*
*
*
**
!
*
US 2017/0289332 A1
*
mm.tomymomwwwmmmmmmmmmmmmmmmmmmmmmmmmmmmmmmmmmmmmmmmmmmmm
mmmmmmmmmm
mmm
mm
mm
mm
mm
FIG.2A
FIG.2B
US 2017/0289332 A1
972
vimmingwiwinwwwwww.visitinwwwwwwwwwwwwwwww**mimi
*
112
*
1/
12
REMY
*
Network
9912
KjenijedBWOH
Take
*
ddddddddddddddddddddddddddddder
ddddddddddddddel/////
****
WWWWWWWWWWWWWWWWWWWWWWWWWW
WAMU WAMWAMUNAV. MAN WAWAWNINN.
WWWWWWWWWWWWWWWWWWWW
Oct.5,2017 Sheet 5 of 92
*** * * * * * * * * * * * *
116
Gateway
19807
Dangan
D?O
baA-UON
ben
Talkto
*
1212b
********
110-1
ws
***
PSTN
*
204b
AWAN.A
*
OrderStatus
*
PizzaOrder
******
2060
102b
***
PatentApplication Publication
.AWNAWNWWW.N
**
jaqunuDIBOA
*
777
**
Ozoz
*
uoneulised
*
* * * *
*
*
*
??
?
??????
?
?
?
?
?
??
?
??
?
??
?
?
?
??
?
?
?
?
?
??
?
???.?
?
?
?
?
?
??
?
?
?
?
?
?
?
?
?
??
?
?
??
?
?
?
??
?
??
?
108a
180
PatentApplication Publication Oct.5,2017 Sheet6 of 92 US 2017/0289332 A1
1084
Destination NIS Gateway Network FIG.2C
112116
110
* * * * * * * * * * * * * * * * * * * * * * * * * * * * * * * * * * * * * * * * * * * * * * * * * * * * * * * * * * * * * * * * * * * * * * * * * * * * * * * * * * * * * * * * * * * * * * * * * * * * * *
VA . V V V V V W XV. WWW. V . . Vw ww V . . . V . . .
ya
2060
2020 OrderStatus 01el
Executive Yeyeyeyeyeyeyeyer
121602100????JoqunuDevice 7
www.uniminmewwwwwwwwwwwwwwwwwwwwwwwwwwwwwwwwwwww
bA-UON
WWW.
WWWWWWWWWWWWWWWWWW We'ded.He'de'deHeHeHeHeHeHeHeHe'' TakeAway
wwwwwwwwwwwwwwwwwwwwwwwwwwxYununuWWWWANNWYNNWY.W
2
PizzaOrderA
ben WWWWWWWWWWWWW 'e''-''-'-'-'-'-'-'-'-'HeHeHeHeHeHeHe'de'de
BWOHDelivery2040
208011 2220
2140" Unavinnunniwwwny WWWWMWWWWWWWAWVWuWu NA WWW .AWY W WAMWWWWWWW
SSSSSSSSSSSSSSSSSSSSSSSSSSSSSSSSSSSSSSSSSSSSSSSSSSSSSSSSSSSSSSSSSSSSSSSSSSSSSSSS
10201
Device
4.**-4.
WWWWWWWWWWWWWWWW-*
WWW-WWWWWWWWWWWWW
102b
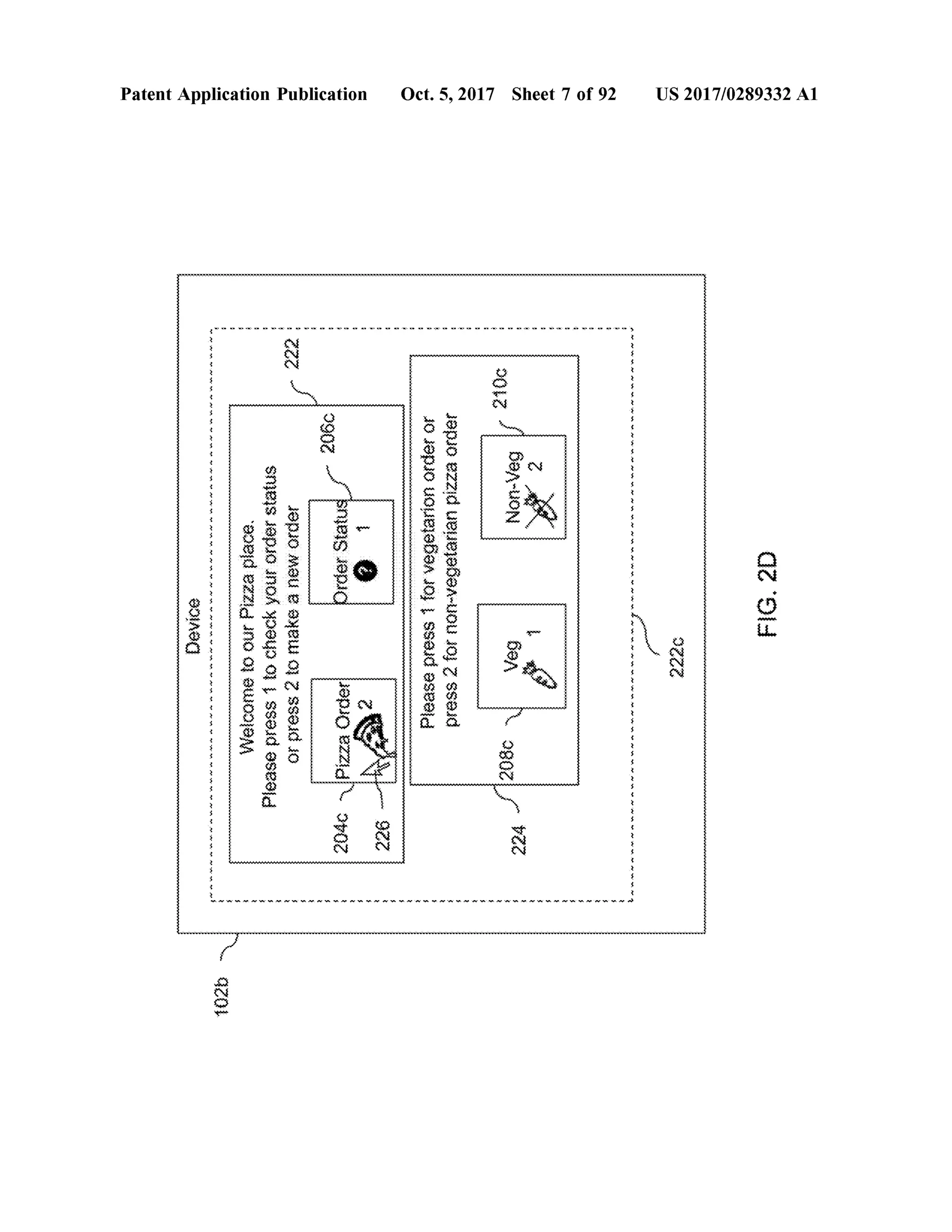
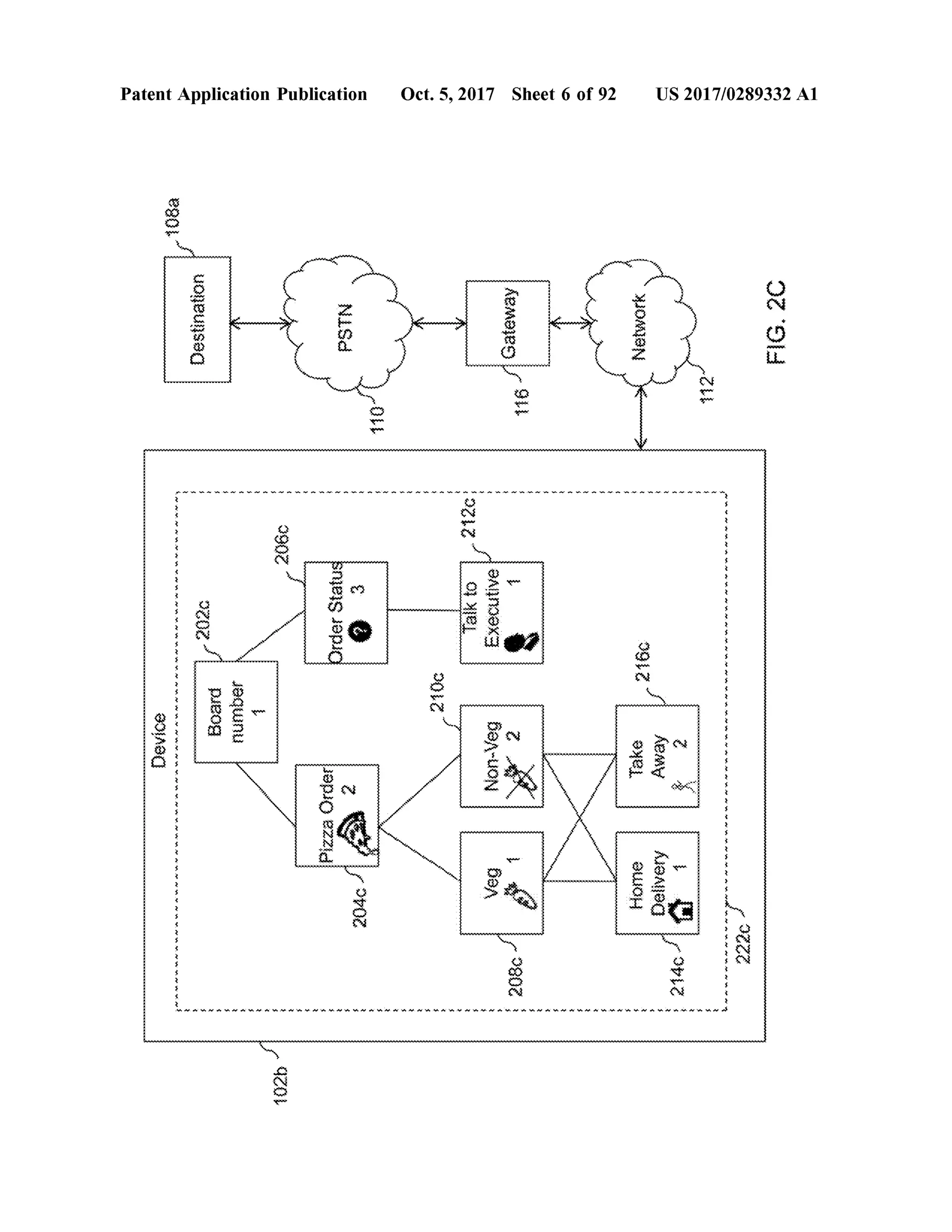
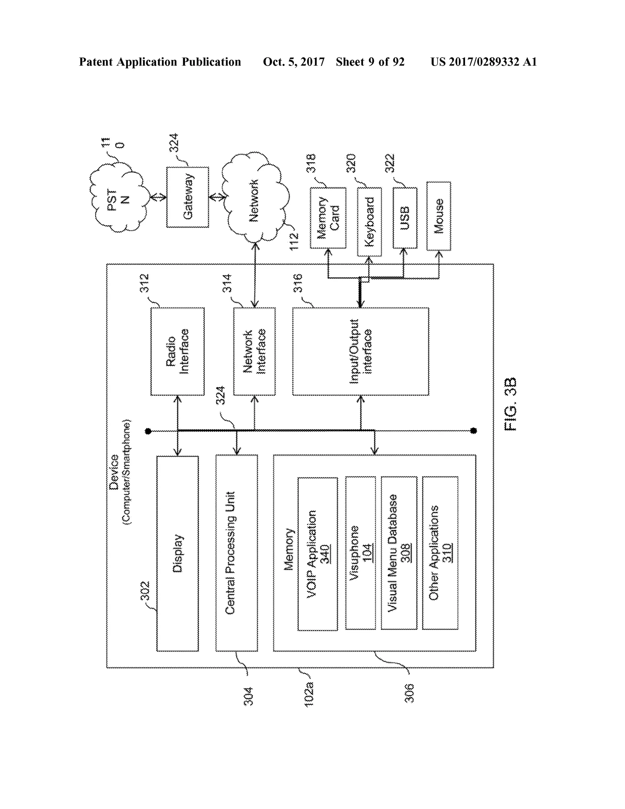
WelcometoourPizzaplace.Pleasepress1tocheckyourorderstatusorpress2tomakeaneworder
PatentApplication Publication
222
206c
2040
PizzaOrder
OrderStatus
.
wwwwwwwwwwwwwwwwwwwwwwwwwwwwwwwwwwwwwwwwwwwwwwwwwwwwwwwwwwwwwwwwwwwwwwwwwwwwwwwwwwwwwwwwwwwwwwwwwwwwwwwwwwwwwwwwwwwwwwwwwwwwwwwwwwwwwwwwwwwwwwwwwwwwwwwwwwwwwwwwwwwwwwwwwwwwwww
pleasepress1forvegetarionorderorpress2fornon-vegetarianpizzaorder
wwwwww
324
208CV
Veg
210c
Non-Veg
Oct.5,2017 Sheet 7 of 92
NAWANAWANAMWOMWWW.WANNOWNWW.WANAWAAV 2220
US 2017/0289332 A1
FIG.2D
PST
Device(ComputerSmartphone)
302
where
1312
PatentApplication Publication
Display
Radio{{rface
326
Gateway
*****************************************************************
30%
IIIIIIIIIIIIIIIIIIIIIIIIIIIII
************************
- - - - - - - - - - - - - - - -
CentralProcessingUnit
www .
NetworkInterface
Network
my
324
enerode
112
JumaW10
1316
102a
318
Memory
MemoryCard
Oct.5,2017 Sheet 8 of 92
320a
M
Visuphone104
InputOutputinterface
Keyboard
mmmmmmmmmmmmmmmmmmmmmmmmmwwwwwwwwwwwwwwwwwwwwwwwwwwwwwwwwwwwwwwwwwwwwwwwwwwwwwwwwwwwwwwwwwwwwwwwwwwwwwVisualMenuDatabase308
320b
Mouse
***
**
***
**
***
******
***
******
***
******
***
******
***
******
**
**********************************************************************
hehehetett
OtherApplications310
{JSE
USB1322
Wwwwwwwwwwwwwwwwwwww
*
*
*
*
*
*
*
*
*
*
*
*
*
*
*
*
*
*
US 2017/0289332 A1
FIG.3A
FIG.3B
US 2017/0289332 A1
310
Mouse
SUObBddy@yo
wwwwwwwwwwwwwwwwwwwwwwwwwwwwwwwwwwwwwwwwwwwwwwwwwwwwwwwwwwwwwwwwwwwwwwwwwwwwwwwwwwwwwwwwwwwwwwwwwwWWWWWWWWWW
90€
308
VisualMenuDatabase
27€
Keyboard
104
BoeuoluIndinoandul
??
df
Oct.5,2017 Sheet 9 of 92
wwwwwwwwwwwwwwnnnnnnnnnnnnnnn
CardSlowen
Ot€
1318
VOIPApplication
102a
1316112
Memory
Interface
.
.......!!!!!!!!
XIOMION
Muoman
304when
CentralProcessingUnit
324
Gateway
324
sewajuioipeg
Kejdsio
PatentApplication Publication
CLAU
302
N
(ouoyduelusuuenduo)
011
PST
Device
FIG.4
US 2017/0289332 A1
wwwwwwwwwwwwwwwwwwwwwwwwwwwwwwwwwwwwwwwwwwwwwwwwwwwwwwwwww
oze
pua0629megOODE2
VAHAVAYAVAYAVAHY
YNAYAN?YAYAYAYY
MA
AYAYA
W-Y-Yun
***
*
**
*
*
AuedwooZAXQHodonpoidMON,
LANO
Oct.5,2017 Sheet 10 of 92
801
102c1
WWW . VAYAW
YAYAY.Y.YAYAYAYAYAY.YAYAYAYAYAY.Y.YAYAYAYAYAYAY.YAYAYAYAYAY.YAYAYAYAYAY.YAYAYAYAYAYYAYAY
UAVAVAJI WAVAVAVAJAVA AVALAVAVAVAVAWANA
-406
* .***.* * ..
davc1**C
-Ayv
123-456-7890
PatentApplication Publication
402
*******************************************************
AVNAVAVAVAVAVATAVAVAVAVNAVVAVAVAVAVAAVAVAVAVAVAVAVAVAVAVAVAVAVAVAV.
X
(BLOUCLEUS)aqlad
wwwwwwwwwwwwwwwwwwwwwwwwwwwwwwwwwwwwwwwwwwwwwwwwwwwwwwwwwwwwwwwwwww
O
-116
smaintenant
5121
DisplayDisplay
Network
matunayandGateway
PSTN,
112
PatentApplication Publication
Deviceandwoo)
1026
Displayinterface
-514
5021
Network{??rfa??
518
504
CentralProcessingUnit
esNowwwwwwwwwwwwwwwwwwww
Oac
???????
Keyboard
anduiandinoavevaju
Oct.5,2017 Sheet 11 of 92
uoydnsya
522
Speaker
WWWWWWWWW
WWWWWWWWWWVisualMenuDatabase
524
Camera
5061
80€
LLLLLLLLLLLLLLLLLLLLLL
OtherApplications
EZS
019
ouoydopiw
yeyeyeyeyeyeyeyeyeyeyeyeyeyeyeyeyeyeyeyeyeyeyeyeyeyeyeyeyeyeyeyeyeyeyeyeyeyeyeyeyeyeyeyeyeyeyeyeyeyeyeyeyeyeyeyeyeyeyeyeyeyeyeyeye
US 2017/0289332 A1
weweweweweweweweweweweweweweweweweweweweweweweweweweweweweweweweweweweweweeenYYYYYYYYYYYYYYYYYYYYYYYYYYYYYYYYYYYYYYYYYYYYYYYYYYYYYYYYYYYYYYYYYYYYYYYYYYYYYYYYYYYYYYYYYYYYYYYYYYYYYYYYYYYYYYYYYYYYYYYYYYYYYYYYYYYYYYYYYYYYYYYYYYYYYY
9913
Device
File
Edit
View
PatentApplication Publication
t
123-456-7890
610
T*
T*
***
**
****
**
**********
*
**
***
*
22.1******
******
****
mm
123-456-7890
23
VAVAVAVNAVAVAVAVAAGAVAVAVAVAVAVAVAVAVA
* * . .
102b
3
|604
512
*
WAWAHANAVAVAWATAN ' AVAVAVAVAVAVAVAVAVAVAA ' A ' AVAVAVAWATAN
AYAVAA.VAVAVAAVAAYAYAYAYAYAYAW
608
.**.
Oct.5,2017 Sheet 12 of 92
*
.*
.
*
*
*
.**v*v*v*VA
U
VA
YAYAYAY
"NewproductPORbyXYZcompany
--------
-J-J-J-----/-/-----/-/-/---/-/-/-/---/
US 2017/0289332 A1
FIG.6
PatentApplication Publication Oct.5,2017 Sheet 13 of 92 US 2017/0289332 A1
itxitxitxitxitxity
yyyyyyyyyyyyyyyyyyyyyyyyyyyyyyyyyyyyDevice Browser obedaan Connect
wwwwwwwwwwwwwwwwwwwwwwwwwwwwwwwwwwwwwwwwwwwwwwwwwwwwwwwwwwwwwwwwwwwwwwwwwwwww wwwwwwwwwwwwwwwwwwwwwwwwwwwwwwwwwwwwwwwwwwwwwwwwwwwwwwwwwwwwwwwwwwwwwwwwwwwwwwwwwwwwwwwwwwwwwwwwwwwwwww ddddddddddddddddddddddddddddddddddddddddddddddddddddddddddddddddddddddddddddddddddddddddddddddddddddddddddddddddddddddddddddddddddddddddddddddddddddddddddddddddddddddddddddddddddddddddddddddddddddddddddddddddddddd. FIG.7
7041
7021
102b
11111111111llllll
1808
PatentApplication Publication
?{}}{{{{
OtherApplications
104104
44444444444444444444444444444444444444444444444444444444444444444444444444444444444444
9091
OperatingSystem
wwwwwwwwwwwwwwwwwwwwwwwwwwwwwwwwwwwwwwwwwwwwwwwwwwwwwwwwwwwwwwwwwwwwwwwwwwwwwwwwwwwww
|804
Drivers
|802
Hardware
Oct.5,2017 Sheet 14 of 92
800
FIG.8
US 2017/0289332 A1
Visuphone
1-902
DetectionModule
walikuwa
lilililililililililililililililililililililililililililililililililililili
PatentApplication Publication
1-904
SearchModule
vvvvvvvvvvVAVAVAVAVAVAVAVA
ervv
V
1-906
DisplayModule
|-908
ConnectionModule
104
1-910
VoiceModule
Oct.5,2017 Sheet 15 of 92
wwwwwwwwwwwwwwwwwwwwwwwwwwwwwwwwwwwwwwwwwwwwwwwwwwwwwwwwwww
wwwwwwwwwwwwwwwwwwwwwwwwwwwwwwwwwww
wwwwwwwwwwwwwwwwwwwwwwwwwwwwwwwwwwwwwwwwwwwwwwwwwwwwwwwww
wwwwwwwwwwwwwwww
1-912
AdvertisementModule
wwwwwwwwwwwwwwwwwwwwwwwwwwwwwwwwwwwwwwwwwwwwwwwwwwwwwwwwwww
wwwwwwwwwwwwwwwwwwwwwwwwwwwwwwwwww
22222222222222222222222222222222222222222222222222222
1914
UpdateModule
9161
CustomizationModule
V-DDDDDDDDDDDDDDDDDDDDDDDDDDDDDDDDDDDDDDDDDDDDDDDDDDDDDDD
wwwwwwwwwwwwwwwwwwwwwwwwwwwwwwwww
US 2017/0289332 A1
FIG.9
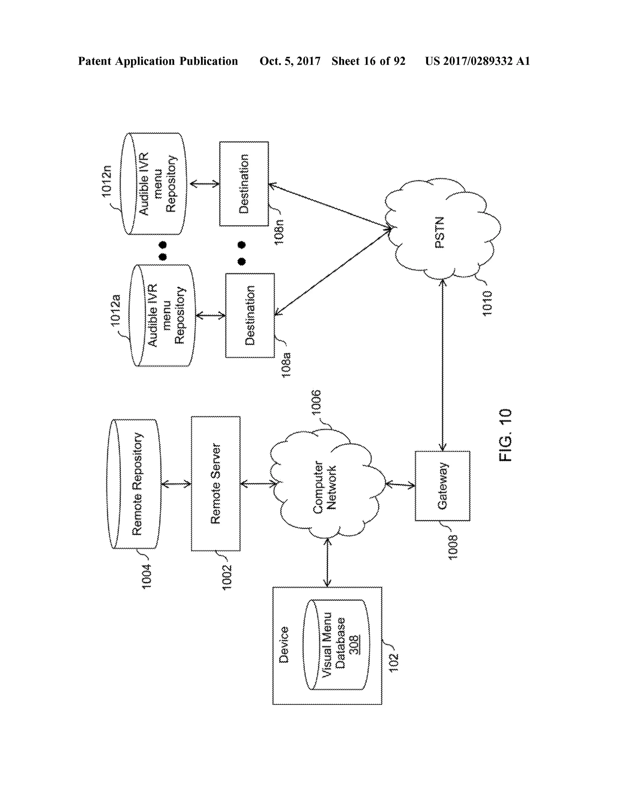
102
308VisualMenuWwwwwwwDevice
YYYYYYYYYYYYYYYYYYYYYYYYYYYYYYYYYYYYYYYYYYYYYYYYYY wwwwwwwwwwwwwwwwwww
100210041 mmmmmly 1009
GatewayNetworkComputerRemoteServerRemoteRepositorywwwevernwwwwwwwwwwwwwww
FIG.10
wwwwwwwwww
1006
108a
--'-'-'-'-'-'-'-'-'-'-'-'-'-'-'-'-'-'-'-'-'-'e'
Weare
Destination}}
RepositoryAudibleVR 10101012a
Winter
PSTN108n
14
DestinationRepositorymenuAudibleIVRwww1012n
.
US 2017/0289332 A1Oct.5,2017 Sheet 16 of 92PatentApplication Publication
Device
108a
1.Connectto108a
1102
PatentApplication Publication
Destination
102
Visuphone104
withinthisthi
1104
5.Sen
wwwmooooooooooooooooo
2.Forwardto1086
1108
At3.SendaudibleIVRmenu
w we
mm1080
Oct.5,2017 Sheet 17 of 92
4.Connectto108b
Destination
FIG.11
US 2017/0289332 A1
1218
NJONJONGatewayPSTN
BOZI
1202
1210Hinweshaning
FIG.12wepowWapow
VOC*
Awwwwwwwwwwwwwwww
9021
12161212
WWWWWWWWWWWWWWWWWWWWWWWWWWWWWWWWWWWWWWWWWWWWWWWWWWWWWWWWWWWWWWWWW****************
IVTEE6870/LIOZSN76JO8Tf??ySLIOT'S'POuopje!iqnduogesyddyjuard
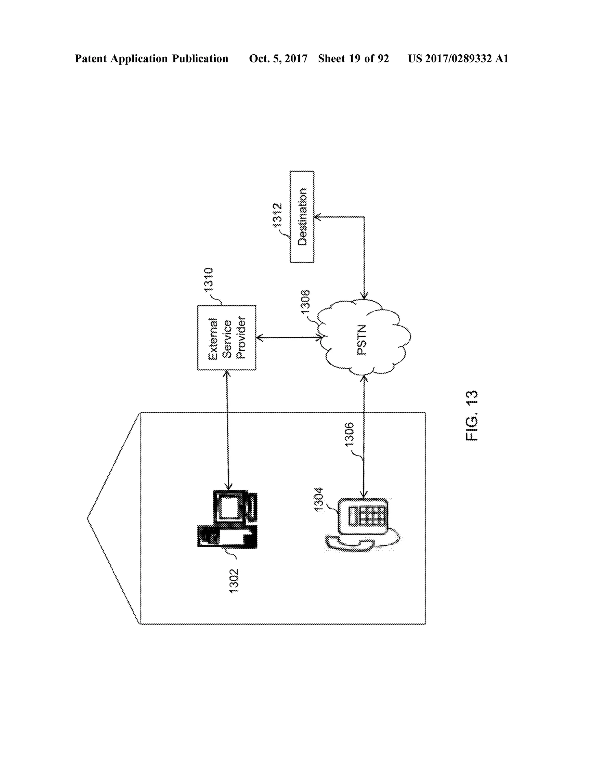
PatentApplication Publication Oct.5,2017 Sheet 19 of 92 US 2017/0289332 A1
1312 WWW
Destination WWWWWWWWWWWWWWWWW-OLEL
enexternalServiceaploldWWW havemoretime PSTN
www
www**
FIG.13
1306
1304
1302
???? -??????
-
?
???????????
Patent Application Publication
2
FIG.4A
??
??
??
|Core_
Oct. 5, 2017 Sheet 20of 92
+++++++++++++++++++++
22
MYWWWWHHHHHH-NAM
ESSANYWWWWW
2
FG.148
426
28
130
??
22
??
????
[?]
US 2017/0289332A1
MMMMMM
FIG.140
PatentApplication Publication Oct.5,2017 Sheet 21 of 92 US 2017/0289332 A1
( StartStart
1502
Detectphonenumber ofa destination dialed from a device
1504 Search for IVR information in visualmenu database on the
devicewwwwwwwwwwwwwwwwwwwwwwwwwwwwwwwwwwwwwwwwwwwwwwwwwwwwwwwwwwwwwwwwwww
F kYes
1506
s a visual
menu fordestination available
in visualmenu
database ?
menufordestination available NOA
Yeswww
1500 Display the visualmenu and associated
information Ko
1510wwwww
Detectinputfrom caller on the visualmenuwwwwwwwwwwwwwwwwwwwwwwwwwwwwwwwwwwwwwwwwwwwwwwwwwww
1512 Connectto the destination basedon inputs
from the caller
WWWWWWWWWWWWWWWWWWWWWWWWWWWWWWWWW 1514 NoIs the visual
menu correct? NOBwwwwwwwwwww
1516 Yes
wwwwwwwwwwwwwwwwwwwww wwwwwwwwwww
Maintain the connection till calerordestination disconnects
FIG . 15A
PatentApplication Publication Oct.5,2017 Sheet 22 of 92 US 2017/0289332 A1
1518
O -ta remotamekoConnectthe device to a remote
repositorywwwwwwwwwwwwwwww*************wwwwwwwwwwwwwww
1520
wwwwwww
Is the visualmenu
available in
emote repository ?
Yes
A99999999999999999999999999999999999999999999999999999
1522 Update the visualmenu database from
remote repository
1524
Is the visualmenu
available in
updated visual
menu database?
15200 UpdatetheremoterepositoryUpdate the remote repository
K @
Stop
FIG . 15B
PatentApplication Publication Oct.5,2017 Sheet 23 of 92 US 2017/0289332 A1
Anymenu selection
detected on the
device?
Yes
1530 Provide the dialed numberas a
destination to remote repository
Stop
FIG . 15C
PatentApplication Publication Oct.5,2017 Sheet 24 of 92 US 2017/0289332 A1
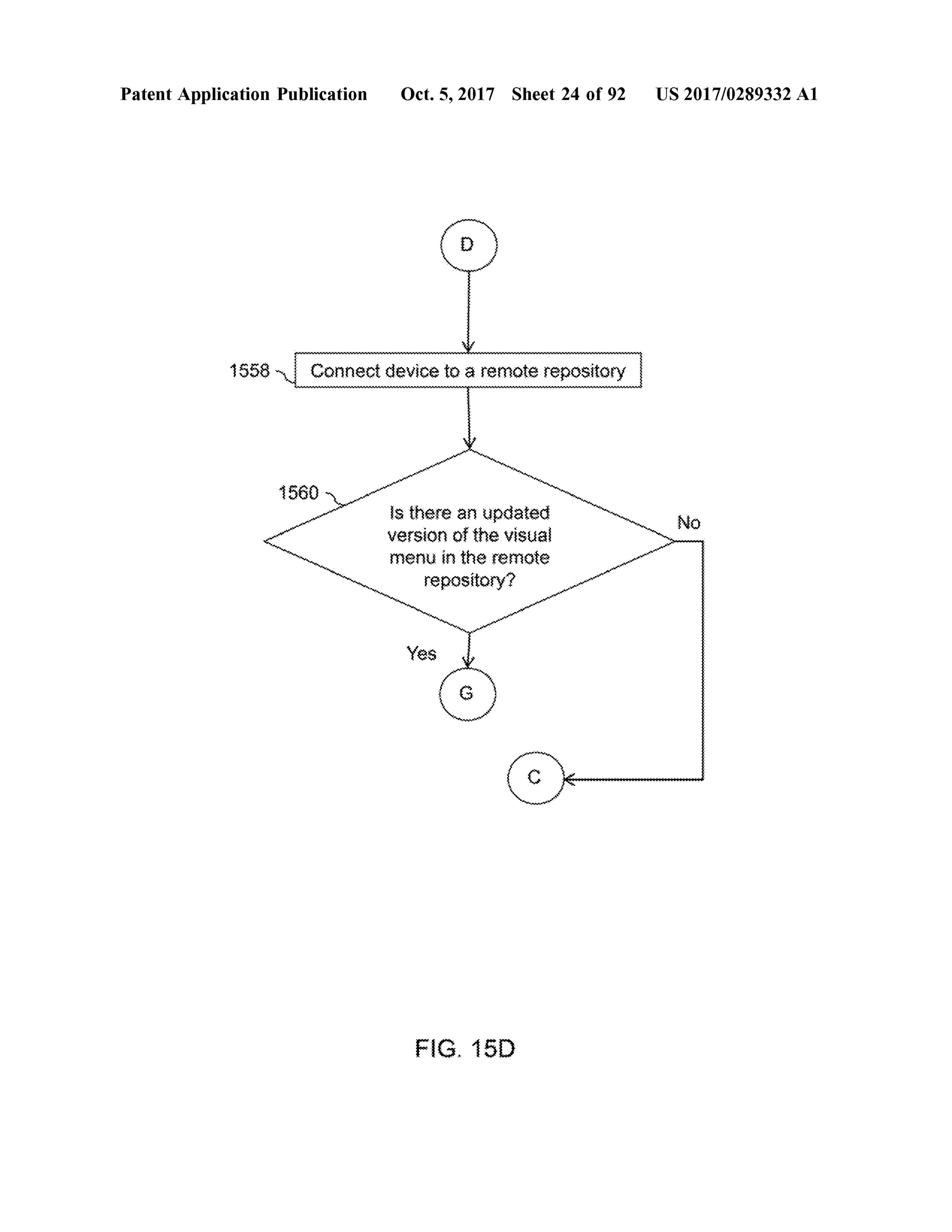
1558 Connectdevice to a remote repository
560 -
NoIs there an updated
version of the visual
menu in the remote
repository ?
FIG . 15D
1620a
1618
Device
Destination
Memory
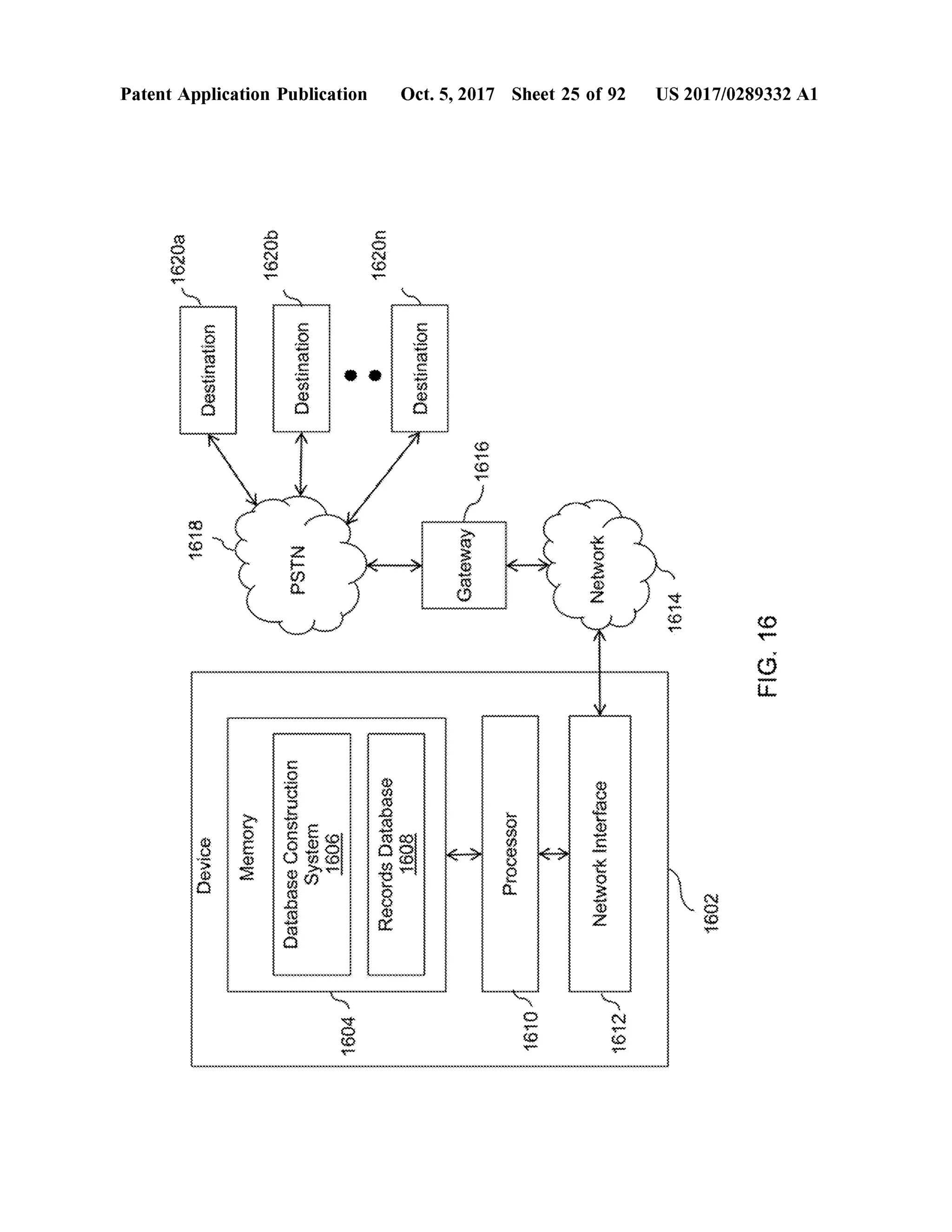
PatentApplication Publication
16206
PSTN
DatabaseConstructionSystem1606
Destination
1604
wwwwwwwwwwwwwwww
wwwwwwwWWW.
RecordsDatabase
1620n
Destinationapapapapapapapapapapapapapapa
Cateway
1616
Processor
Oct.5,2017 Sheet 25 of 92
1610L
wwwwwwwwwwwwwwwwwwwwwwwwwwwwwwwwwww
wwwwwwwwwwwwwwwwwwwwwwwwwwwwwwwwwwwwww NetworkInterface
Network
1612
1614
1602
US 2017/0289332 A1
FIG.16
rrrrrrrrrrrrrrrrrrrrrrrrrrrrrrrrrrrrrrrr
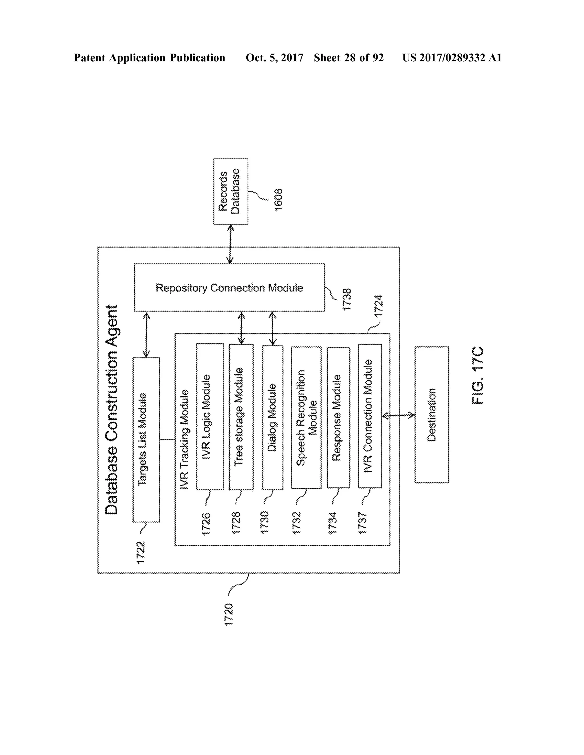
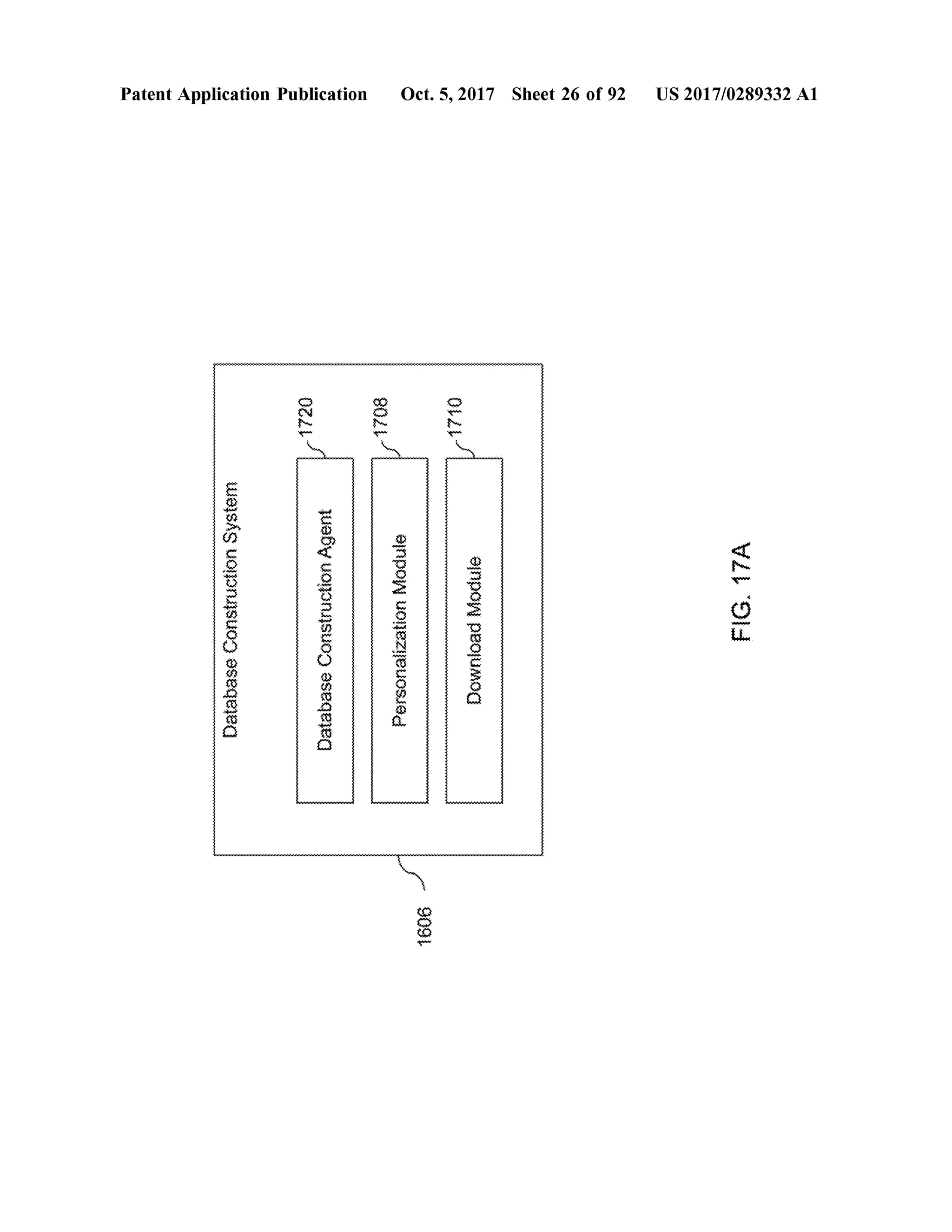
DatabaseConstructionSystem
PatentApplication Publication
11720
DatabaseConstructionAgent
??????????????????????????????????????????????????????????????????????????????????????????????????????
11708
PersonalizationModule
1606
wwwwwwwwwwwwwwwwwwwwwwwwwwwwwwwwwwwwwwwwwwwwwwwwwwwwwwwwwwwwwwwwwwwwwwwwwwwwwwwwwwwwwwwwwwwwwwwwwwwwwwww????????????????????????????????????????????????????????????????????????????????????????????????
1710
{pad{
{?
wwwwwwwwwwwwwwwwwwwwwwwwwwwwwwwwwwwwwwwwwwwwwwwwwwwwwwwwwwwwwwww
wwwwwwwwwwwwwwwwwwwwwwwwwwwwwwwwwwwwww
Oct.5,2017 Sheet 26 of 92
FIG.17A
US 2017/0289332 A1
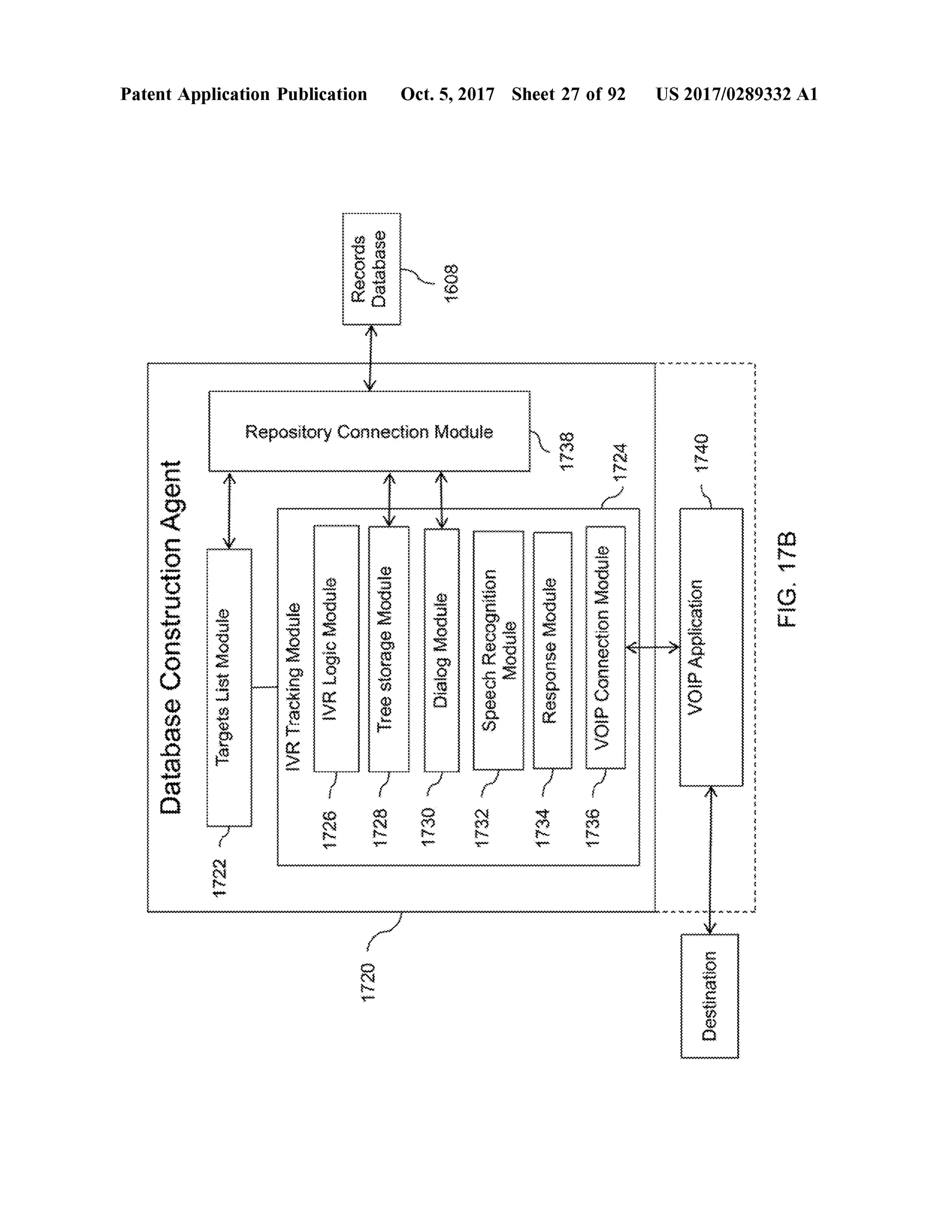
DatabaseConstructionAgent
1722yTargetsListModule
PatentApplication Publication
IVRTrackingModule
1726
IVRLogicModule
1720mm
wwwwwww
wwwwwwwwwwwwww
Repository Connection Module
1728
RecordsDatabase
TreestorageModule
1730wasyou
DialogModule
1111111111111111111111
1608
4444444444444444444
SpeechRecognitionModule
wwwwwwwwwwwwwwwwwwwwwwwwwwwwwwwwwwwwww
Oct.5,2017 Sheet 27 of 92
1734-
wwwwwwwwwwwwwwwwwwwwwwwwwwwwwwwwwwwwwwwwwwwwwwwwwwwwwwwwwwwy
ResponseModule VOIPConnectionModule
(1724
nowwwwwwwwwwwwwwwwwwwwwwwwwwwwwwwwwwwwwwwwwwwwwwwwwwwwwwww
WMMMMMM
Am when we wa mwimwisu wwwwww
VOIPApplication
Destination
m1740
yem . mm.
www
teller
US 2017/0289332 A1
wwwwwwwwwwwwwwwwwwwwwwwwwwwwwwwwww
*
*
.*
*
*
*
*
*
*
*
*
*
*
*
*
*
**
*
*
*
*
*
*
*
*
*
*
*
*
*
*
****
*
*
FIG.17B
FIG.17C
US 2017/0289332 A1
Destination
wwwwwwwwwww
wwwwwwwwwwwwwwwwwwwwwwwwwwwwwwwwwww
w
*24
IVRConnectionModule
1737
1738
ResponseModule
f.€21
YYY
-----wwwwwwwwwwwwwwww
Oct.5,2017 Sheet 28 of 92
ModuleSpeechRecognition
1608
ainpowbolelo
-OELL
anpowbelojsDall
177
????qESpooed
Repository ComectionModule
1720
w
iiiiiiiiiiiVRLogicModule
1726
IVRTrackingModule
PPPPPPPPPPPPPPPPPPPPPPPP
PatentApplication Publication
19999999999999999999999999999999999999999999
TargetsListModule
1722
DatabaseConstructionAgent********
************
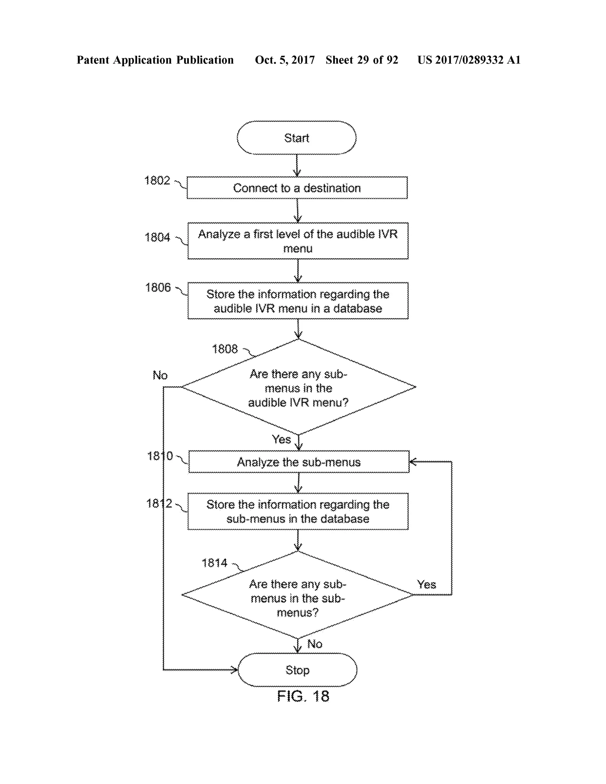
PatentApplication Publication Oct.5,2017 Sheet 29 of 92 US 2017/0289332 A1
StartStart
1802 Connectto a destination
1804 Analyze a firstleveloftheaudible IVR
menu
AAAAAAAAAAA 44WWWWWWWWWWWWWWAAAAAA
1806 Store the information regarding the
audible VR menu in a database
1808
Are there any sub
menus in the
audible IVR menu ?
Yesy
180 Analyze the sub-menus144444444444444444444444444444444444444444444 4 44444444444444444444444444444444444444444444444
www . . .- ----- - - - - - - - 111111111
1812 Store the information regarding the
sub -menus in the database247247+7+7 +7+7 7 7+7+7 7+7+7+7+7+7+7+7+7+7+7 7+7+7+7+7+7+7+7+ +7+7 7+7+7+7+7+7+7+7 7+7+7+7+
1814
YesAre there any sub.
menus in the sub.
menus ?
No
Stop
FIG . 18
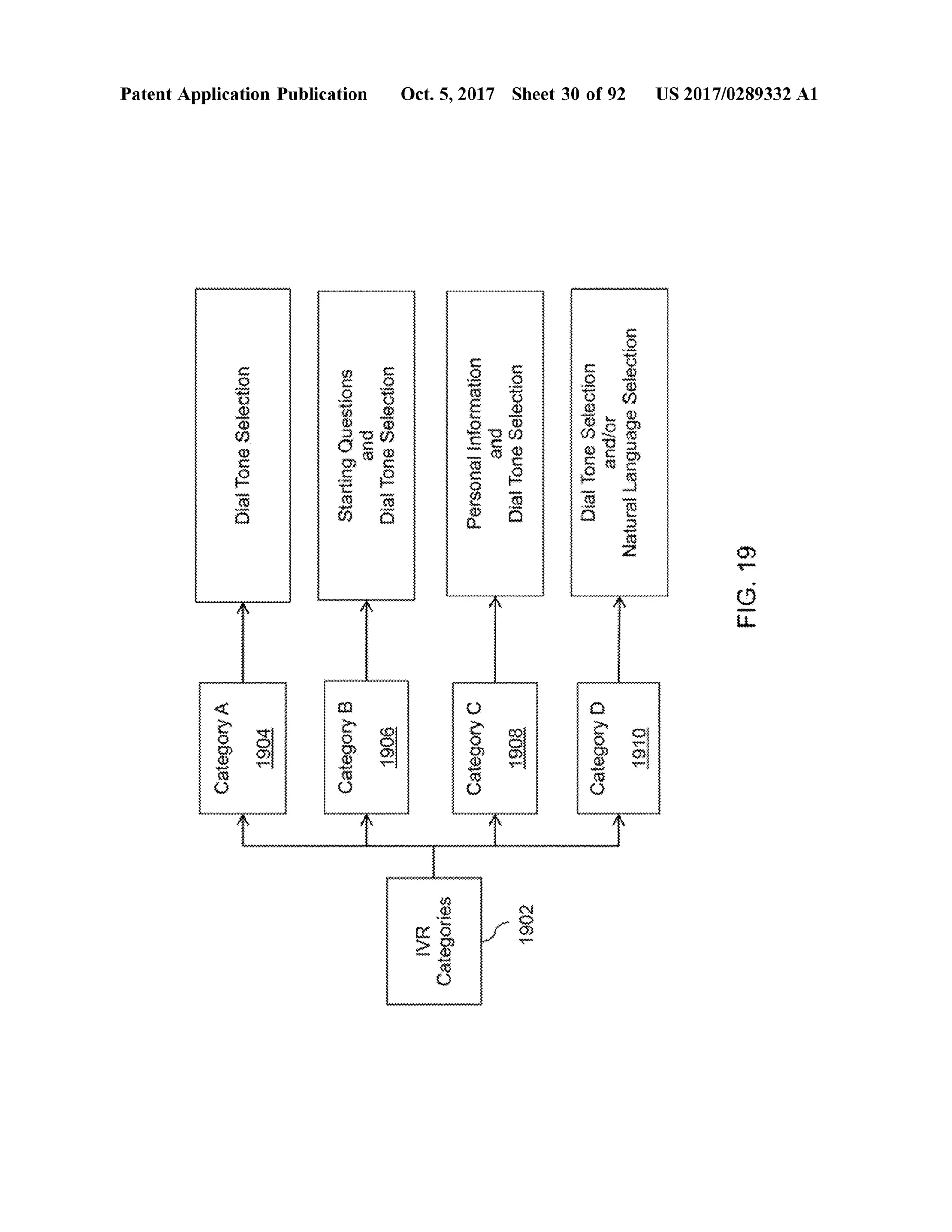
CategoryA
DialToneSelection
PatentApplication Publication
1904 CategoryB
V
*** **
StartingQuestionsand
DialToneSelection
1906
IVACategories
CategoryC
PersonalInformationand
DialToneSelection
'''''''''''
1908
Oct.5,2017 Sheet 30 of 92
1902
??????????????????????????????????????????????????????????????????????????????
CategoryD
DialToneSelection????{
NaturalLanguageSelection
1910
FIG.19
US 2017/0289332 A1
PatentApplication Publication Oct.5,2017 Sheet 31 of 92 US 2017/0289332 A1
Record Database Content
lllllllllllll lllllllllllllll
Please enter invoice number
2004 o
wwwwwwwwwwwwwwwwwwwwwwwwwwwwwwwwww w
Please enter the payment amount
2006a and ???????????????????????????????????????????????????????????????????????????????????????????
Please choose yourpayment card :
2008a mm Press 1 forVISA or2 forMasterCard
Please sayor enter your
Credit Card number2010a
Please enter yourCredit Card
expiry date2012 nowman
mmmmmmmmmmmmmmmmmmmmmmmmmmmmmmmmmmm
FIG .20A
PatentApplication Publication Oct.5,2017 Sheet 32 of 92 US 2017/0289332 A1
PaymentForm forABC - 2014*********
. . . . . . . . . . . . - - - - - - - - - - - - - - - - - - . . . . . - -
VAXY Please enterinvoice number:
AMANANYeniWWWWWWWWWWWWWWWWWWWWWWWWWWWWWWWWWWWWWWWWWW $
we het moment when wewere to w w w w w w w Wino www www miw i li wawmW or mo w whom ww w w w w w w w w }
Please enter the paymentamount
Yen ette **************************************************************************************************************************************
20066 ni 3
Av . XANX YUXY * XYXYSAVAVAW ~ * * . * Y * * . »
* * m * mm * m . Vn. min . * wmmmmmmmm
Amnewmv Please choose yourpaymentcard :
O VISA O MasterCard2008b * v * * * . . . . . . . . . . . . .
wwwwwwwwwwwwwwwwwwwwwwwwww.WMWAMUANunumwwww.?
*********
with the World W i de Web w w ww w him with who want to have
Please enter your CreditCard number
wwwwwwwww????????????????????????
wwwwwwwwwwwwwwwwwwwwwwwwwwwwwwwwwwwwwwwwwwwwwwwwwww
20106 *
** * . * . N . N .N . N .N . N .N O W ~ ~ ~ ~ ~
mom mom momwwww m m . . .im mo. . . . mm . m . m m. m mm m . mm
uni*
Please enteryourCreditCard expiry date
2012b S. WWW WWWWWWWWWWWWAAAM W . w w w w w wWw
++
+++
*
2016 y Submitwwwwwwwwwww
FIG .20B
FIG.21
US 2017/0289332 A1
+++++++++++++++++++++++++++++++++++++++++++++++++++++++++++++++++++++++++++++++++++++++++++++++++++++++++++++++++++++++++++++++++++++++++
ww
w
.
**************
UÁlladold
Ukwadold
llllllllllllll
1744744444444444444
€Kuedold
&Apodold
* * * * * *
Property2Property1
LIHProperty2Property1
wwwwwwwwww
UZOVZ)
UBOTUQgeusan
vogeufsen
Oct.5,2017 Sheet 33 of 92
2102b
********
700
***
USER
wpomim
* **
Propertyn
o
uKuadoid
***
hindipandudon
** ***
OLA
* *
Property3Property2Property1
wiiiiiiiiiiiiiiiiiiiiiii
Property3Property2
* * * ****
Auedodd
* **** *
1080.
Destination|SUTH**
Destination
* *
PatentApplication Publication
** **
21020
2102a
***** * *
33180
* *
wwwwwwwwwwwwwwwwwwwwwwwwwwwwwwwwwwwwwwwwwwwwwwwwwwwwwwwwwwwwwwwwwwwwwwwwwwwwwwwww
PatentApplication Publication Oct.5,2017 Sheet 34 of 92 US 2017/0289332 A1
FIG.22
?
* * * ** * * * ** * * ** ** ** * ** * * ** * * ** * * * * * * ** ** * ** * *
?
??
?
?
??
?
7-2208?
ExecutiveN22141?
?
?
??
MAMMMMMmmmmmmmmmmmmmmmmll Orderstatus?
VOZC 444444444444444444444444444444 OfXel
Yeyeyeyeyeyeyeyeyeyeyeyeyeyeyeyeyeyeyeyeyeyeyeyeyeyeyeyeye?
??
?
-?
8127?
?
?
MAMMMMMMMMMMM ?
?
?
Board 2212?
Jaqunu?
?
Wod.Weded?
3180 ,,,,,,,,
?
a?
Non-Veg W-HOW..We
WWWWWWWWWWWWWWWWWWWWWWWWWWWWWWWWWWWWW?
Take3-1
leny
wwwwwwwwwwwwwwwwwwwwwwwwwwwwwwwwwwwwwwwwwwwwwwwwwwwwwwwwwwwwwwwwwwwwwwwwwwwwwwwwwwwwwwwwwwwwwwwwwwwwwwwwwwwwwwwwwwwwwwwwwwwwwwwwwwwwwwwwwwwwwwwwwwwwwwwwwwwwwwwwwwwwwwwwwwwwwwww?
,
?
??
wwwwwwwwwwwwwwwww biogg. puedpidgadpineap?
?
?
???
?
?
?
PizzaOrder
220692???
?
.Det?
yyyyyyyyyyyyyyyyyyyyyyyyyyyyyyyyVeg?
vyyyyyyyyyyyyyyyyyyyyyyyyyyyy wwwro
BWOHAlanlad?
?
Wed:H-W:D:D:D:D:HV?
?
?
?
2202?
?
??
??
2210?
?
?
* * AXYAYAYAY * * A * * * * * * * * * * * * * * * * * * * * * * * ~ * * ~ * YAWA Y * *
wwwwwwwwwwwwwwwwwwwwwwwwwwwwwwwwwwwwwwwwwwwwwwwwwwwwwwwwwwwwwwwwwwwwwwwwwww
102a
PatentApplication Publication Oct.5,2017 Sheet 35 of 92 US 2017/0289332 A1
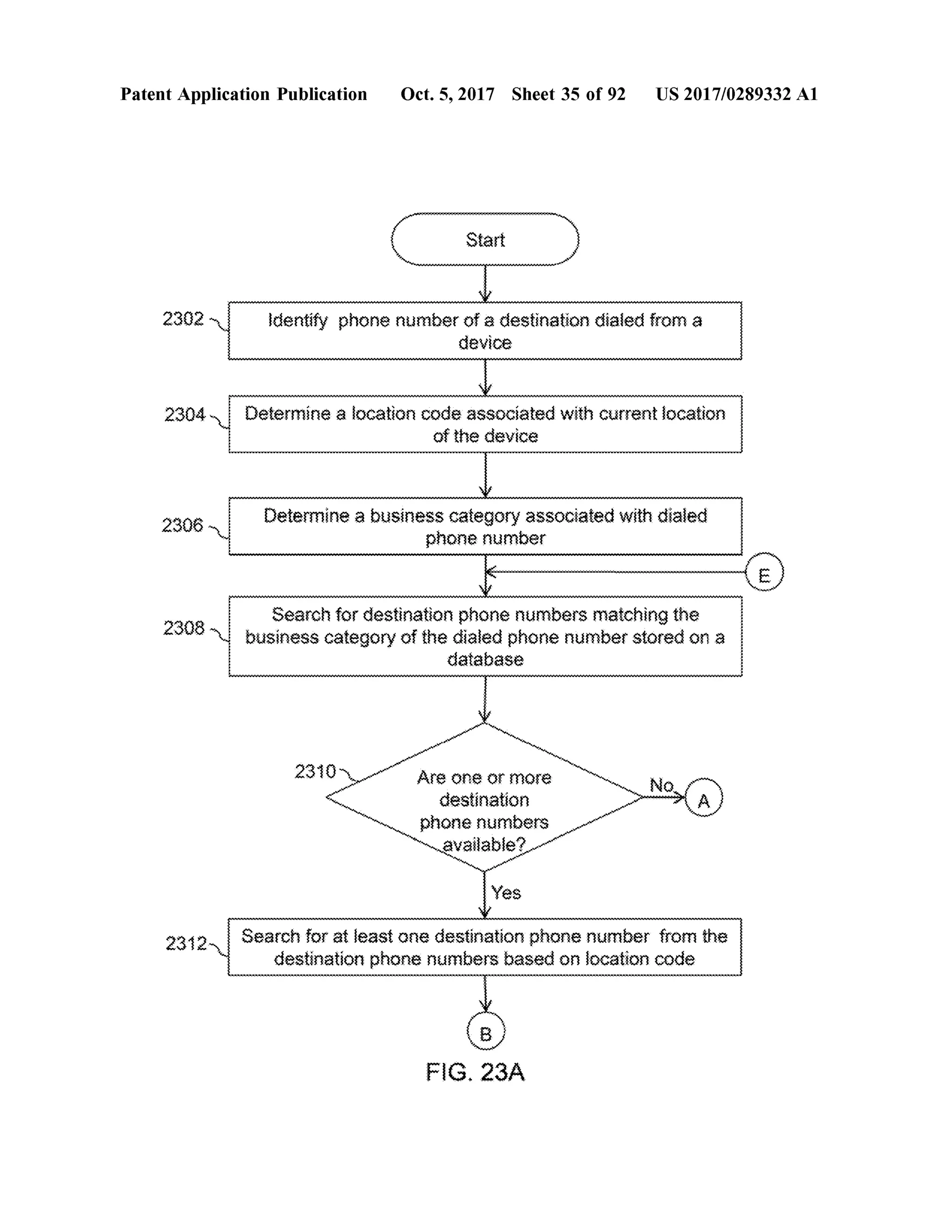
Start
wwwwwwwwwwwwwwwwwwwww
2302 Identify phonenumberofa destination dialed from a
device
2304 Determine a location code associated with currentlocation
ofthe device Wielelalelelalele
2306 Determine a business category associated with dialed
phone number elvelevalvalveH
wwwwwwwwwwwwwwwwwwwwwwwwwwwwwwwwwwwwwwwwwwwwwwwwwwwwwwwwwwwwwwwwwwwwwwwwwang
2308 Search fordestination phone numbersmatching the
business category of the dialed phone number stored on a
| t # #k????
2310 mm
NOYA)
Are one ormore
destinatiQ
phone numbers
available ?
Yes
nananananananananananannnnnnnnnnnnnnnnnnnnnnnnnnnnnnnnnnnnnnnnnnnnnnnnnnn** * * * * * * * * * * * * * *** * * * * * * * * * * * * *** *** * * * * * * * * * * * * * *** * * * * * * * * * * * *
Search for atleastone destination phone number from the
destination phone numbers based on location code
FIG . 23A
PatentApplication Publication Oct.5,2017 Sheet 36 of 92 US 2017/0289332 A1
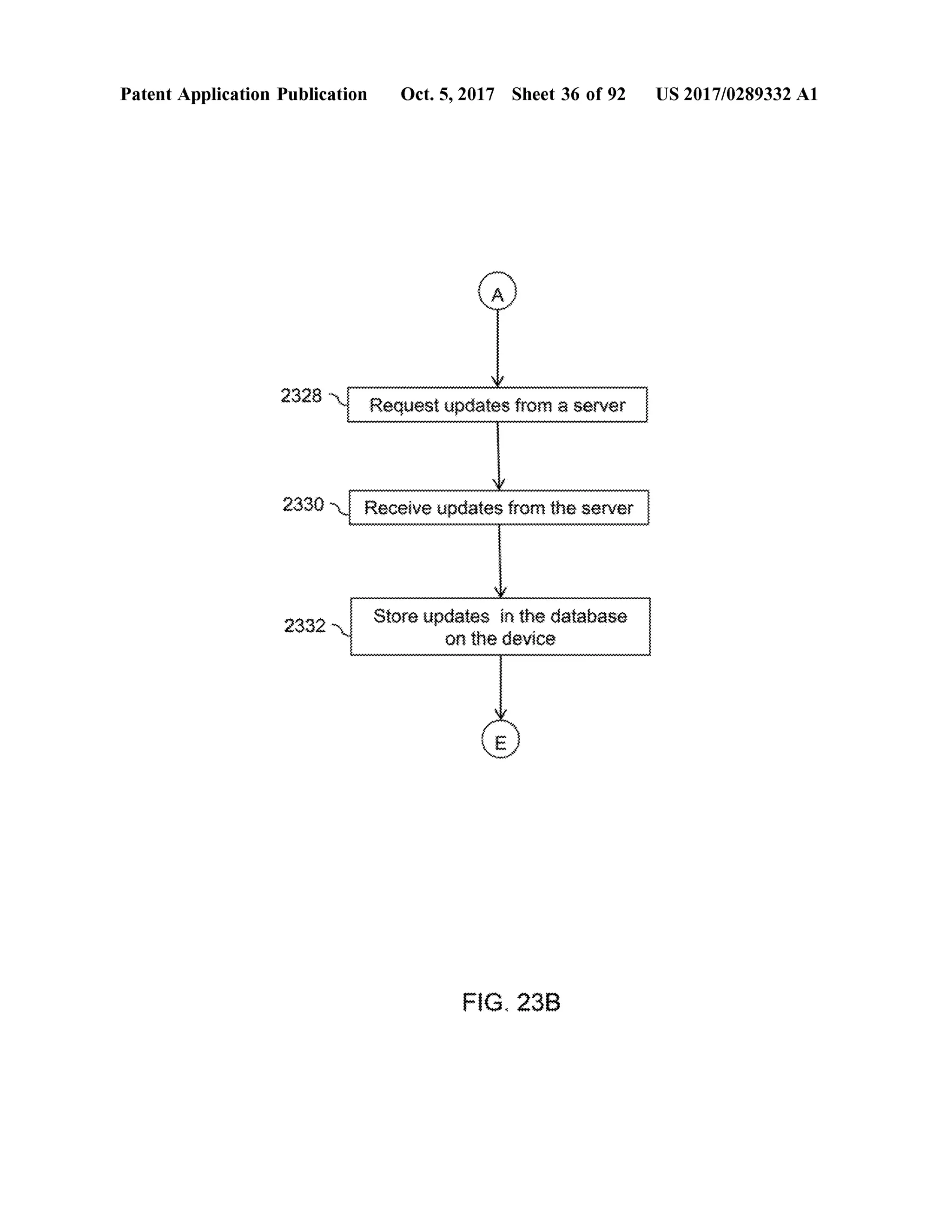
2328 y Requestupdates from a server
2330 Receive updates from the server????????????????????????????????????????????????????????????????
2332 Store updates in thedatabase
on the device
FIG .23B
PatentApplication Publication Oct.5,2017 Sheet 37 of 92 US 2017/0289332 A1
2314
Nois atleast one
destination
phonenumber
available ?
2326
Yes
Display a visual VR
menu of the dialed
destination phone
number* wwwwwwwwwwwwwwwww
2316 Display the atleastone destination
phone numberand associated
properties
2318 Select a destination phone number,* * * * * * * * * * * * * * * * * * * * * * * * * * * * * * * * * * * * * * * * * * * * *
iele44444444447
W
?Display a visualIVR menu of the
selecteddestination
2322 Select an option from the visual VR
menu
2324 Connect to the selected option ofthe
destination
wwwwwwwwwwwwwwwwwwwwwwwwwwwwwwwwwwwwwwwwwwwwwwwwwwwwwwwwwwwwwwwwwwwwwwwwwwwwwwwwwwww
C StopStop
FIG .230
PatentApplication Publication Oct.5,2017 Sheet 38 of 92 US 2017/0289332 A1
StartStart
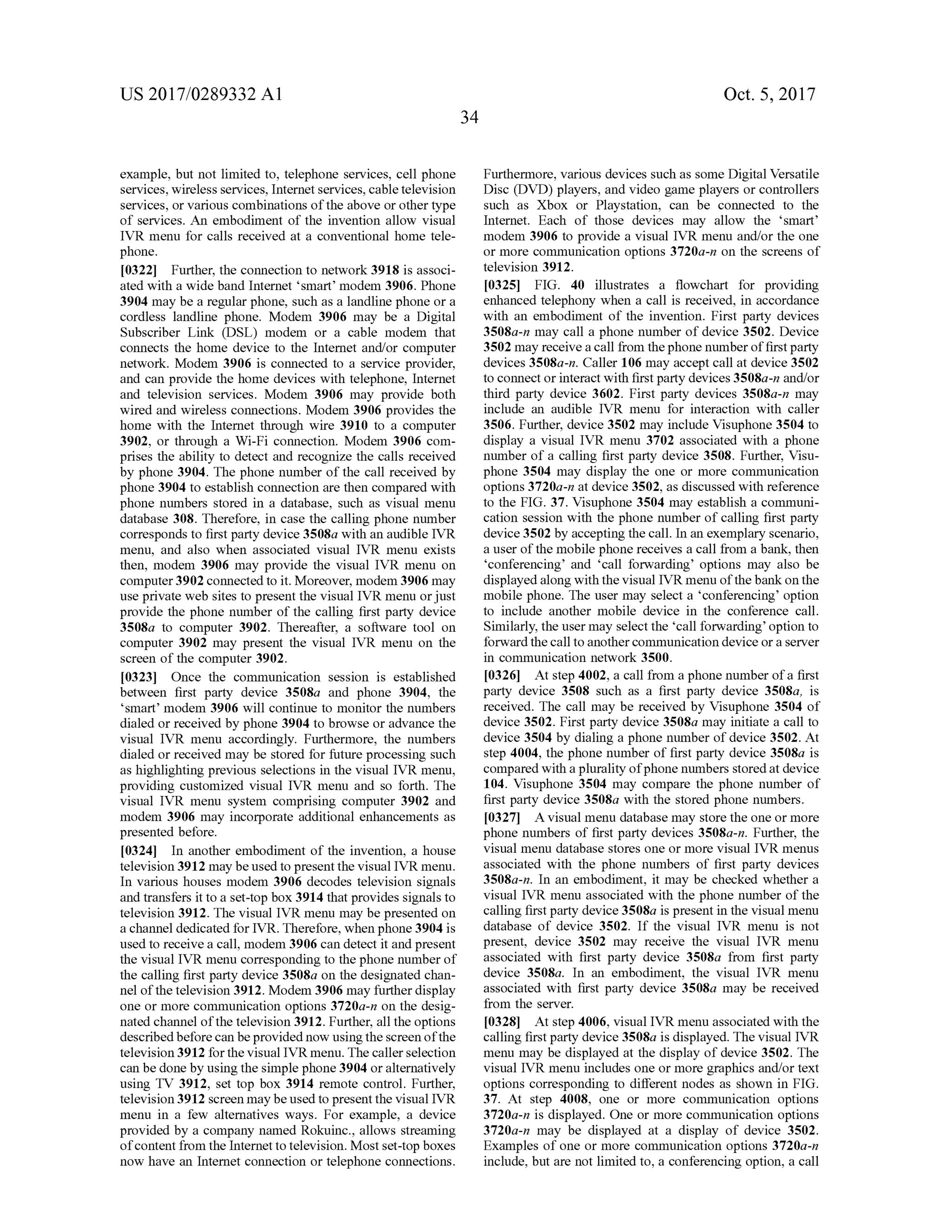
2402 Identify a numberof destination dialed by a callerofthe
device
2404 weweweweeeeeeeeeeeeeeeeeeeeee
Search for an advertisement associated with the number in
a database
2406 wwwwwwwwwwwwwwwwwwwwwwwwwwwwwwwwwwwwww
Display the advertisementon the device
Y
wiiiiiiiiiiiiiiiiiiiiiiiiiiiiiiiiiiiiiiiiiiiiiiiii VVV
VV
V
V
2408
VVVVVVVVVVVVVVVVVVVVY
Yes
s a selection of
advertisement
by the caller
?
( StopStop
FIG .24
US 2017/0289332 A1
FIG.25A
Oct.5,2017 Sheet 39 of 92
PIOMssedlauaaseeld
YYYYYYYYYYYYYYYYYYYYYY
2506a
*****************************************************************
diubojjejeeseeld
25040
*******
PatentApplication Publication
RecordDatabaseContent
2502Y
wwwwwwwwwwwwwwwwwwwwwwwwwwwwwww
LoginFormforXYZ.
PatentApplication Publication
v
«
*
*
*
**
*
*
*
*
*
*
*
*
*
*
*
Pleaseenterloginidentity(ID)
2510
M
25046
3wew.ww
whowawww.
N*
**We
wel
&
§
WMNAWANYNAMNAMUNAWN
thatthe
otherwhowasthe
onetha
t
wehad
oneinthe
waterthanotherswe
S.
wewewanttry
.
Pleaseenterpassword
2506b
Wwwwwwwwwwwwwwwwwwwwwwwwwwwwwwwwwwwwwwwwwwwwwwwwwwwwwwwwwwwwwwwwwwwwwwwwwwwwwwwwwwwwwwwwwwwwwwwwwwwwwwwwwwwwwwww.
.
.
.
..
.
.
..
..
*
*
*
*
*
*
*
*
*
*
*
*
2508
Oct.5,2017 Sheet 40 of 92
Submit
wwwwwwwwwwwwwwwwwwwwwwwwww
ww
wwwwwwwwwwwwwwwwwwwwwwwwwwwwwwwwwwwwwwwwwwwwwwwwwwwwwwwwwwwwwwwwwwwwwwwwwwwwwwwwwwwwwwwwwwwwwwwwwwwwwwwwwwwwwwwwwwwwwwwwww FIG.25B
US 2017/0289332 A1
PatentApplication Publication Oct.5,2017 Sheet 41 of 92 US 2017/0289332 A1
MMMMMMM
StartStart ), , , , , , , , , , , , , ,
2602 Dial a phone number of a destination
2604 Displaya visual IVR menu corresponding to the dialed
number on callerdevice
Selectan option from the displayed visualIVR menu
2608 Display a form indicating the information required by the
VR of the destination
Fill the information in the displayed for** * * * * * * * * *** * * * * *** * * *** * ***** * *** * * * * * *** * * ** * * *** * * * * * *** * * *** * * *** * ***** * *** * * * * * * * * * * *
wwwwwwwwwwwwwwwwwwwwwwwwwwwwwwwwwwwwwwww*******WWWWWAAAAAA
establish a connection between the destination and the
caller device
StopStop
???????????????????????????????????
FIG . 26
PatentApplication Publication Oct.5,2017 Sheet 42 of 92 US 2017/0289332 A1
2702wwwvwwwvwny.WWMWW 'A ' WmnWAAMWAMWWW. A .V V .AAAAA
******************
2720
Scheduling{{y}
2708 V1LZ
2704 OrderStatus Talkto
ExecutiveThermometerst
ANNA.nuwwwwwwwwwwwwwwwwwwwwwwwww.NAANuuuuwwwwwwwwwwwwwwwwwwwwwwwwwwwwwww.
4w.W
{}
180unuOlao
NAUNAMUNAANNNNNXUNAWWAA.UNAUUNAWWANAUWHANNAANNWWNNW.
VNAwvWWWNWANAWANNA
TakeAway12718 FIG.27
beA-UON
birth*
PizzaOrder
2706A2 OWOHKanijad
27101 LLC
www . v . . v . v * * * * * * * ww w . W www . * * * *
detsammestandartlarabarabarandanmerasakansemasaberadaparasamasmababasamasmababanamama amarbetarmed wasmababaantarasatusama
OOLZ
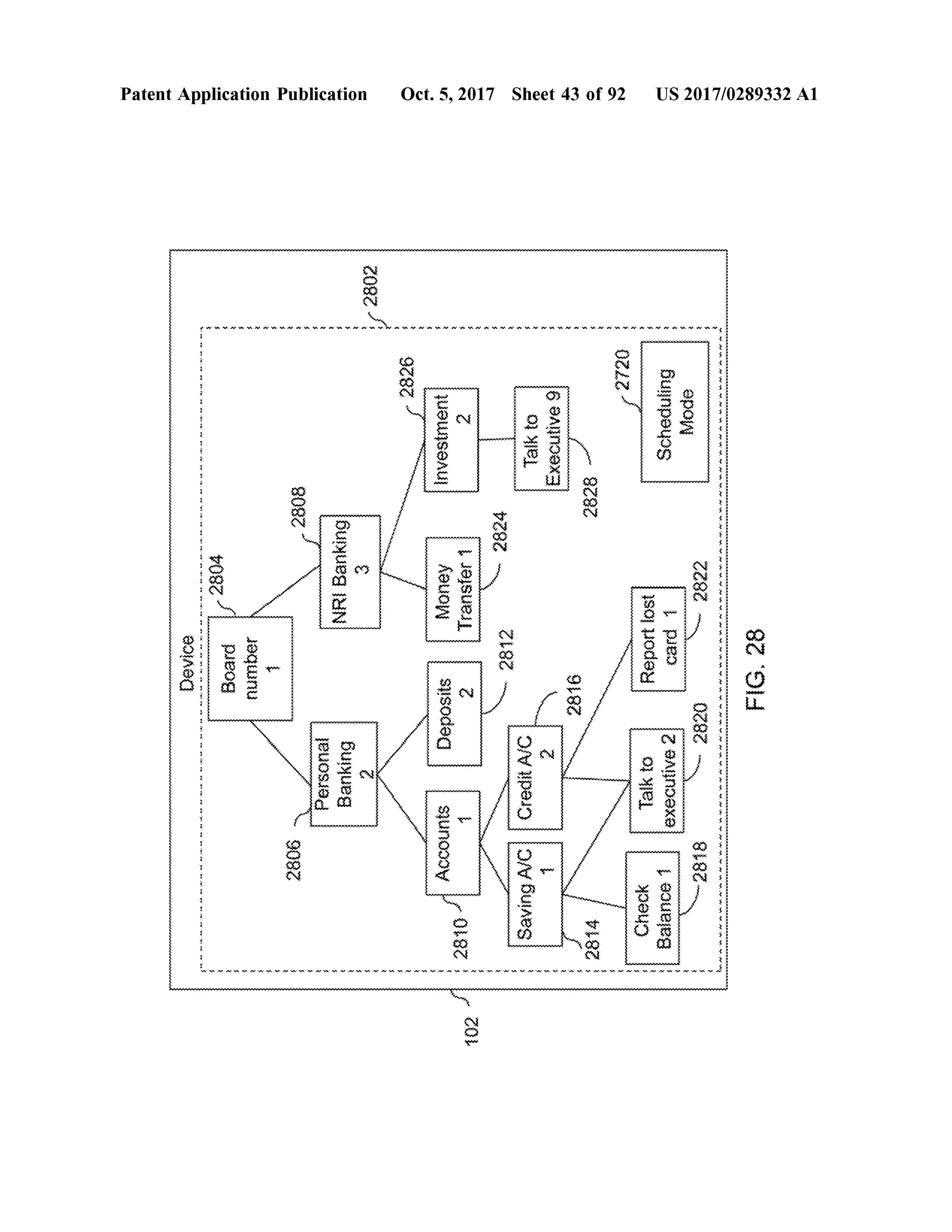
PatentApplication Publication Oct.5,2017 Sheet 43 of 92 US 2017/0289332 A1
2082WYWANAWYWYWNYNAYAMVNYNAYNANAY MAAAWAYNAYAWAYN
2826 OCLC
2
Investment TalktoExecutive91 Scheduling&??
wwwwwwwwwwwwwwwwwwwwwwwwwwwwwwwwwwwwwwwwwwwwwwwwwwwwwwwwwwwwww2808 2828
-2824
2804 NRIBanking LauowTransfer1 TZ8C
Device 2812 Reportlostcard1
Dikog180wnu
YYAAYYYYYYYYYAAYAAAYYYYYYYYYYYYYYNAYAAYYYYYAAYAAYAAYYYYYYYYNAYAAYYYFIG.28
Z
Siisodao 9182W
**
Buosadbuixuea ONpao
OZBT
CanoaxaTalkto
YYYYYY
2806 Accounts *********
*
*
8187mm*
ONDuides *
**************
CheckBalance1*
2810 2814* * ~ ~ ~ * * YAY . . » XXV. * * * * * * * * * * * * * * ** * * * * * * * *
wv samasmababakameranararamdamanmonteradearbetarmedbaretrademarksaboutmoreabouttobemaderadelamaderamasmababakamerasaberadadalambadan
102
*
*
*
*
*
*
*
*
Device
WWW.V.XVWWW.W.WWW..*WWWWWWWWWWWWWWWWWWWWWWWWWWWWWWWW
www . * **
2904
PatentApplication Publication
. * www.annnn
March2011 WedThu
Sun
MonTue
Fri
Sat
YLLLL
**
em * nn * . * *
2902
5 12 19
Reparameterovermoremoderneermegetmerematerialevemademememememememememememememememememememememememememememememememememememememememememememememememememememedont
6 13 20 27
7 14 21 28
8
15 22 29
9 16 23 30
10 17 24 31
11 18 25
102
* * *
w
w
wwwwwwwwwwwwwwwwwwwwwwwwwwwww
* * * * *
Oct.5,2017 Sheet 44 of 92
2906
Time
* * * * n wiruwanNnnn * ww.
MH
MM
SS0
AM
0
2900
wwwwwwwwwwwwwwwwwwwwwwwwwwwwwwwwwwwwwwwwwwwwwwwwwwwwwwwww
US 2017/0289332 A1
FIG.29
PatentApplication Publication Oct.5,2017 Sheet 45 of 92 US 2017/0289332 A1
StartStart
* * * * * * * * ** * * * ** *
3002 4 Diala phonenumber ofa destination from adevice
3004
3004y veDisplay a schedulingmode option and a visualInteractive
Voice Response (IVR )menu associated with the dialed
destination
soon
BUVO Switch the device to a schedulingmode
3008 Save a selection information including one ormore options
of the visual VR menu
3010 Save a call schedule including a date and timeinformationwwwwwwwwwwwwwwwwwwwwwwwwwwwwwwwwwwwwwwwwwwwwwwwwwwwwww
wwwwwwwwwwww
3012
+ as thg da{? nd
time for the call
schedule arrived ?
44444444444444Wait for the call
schedule's date
and time
3014
FIG . 30A
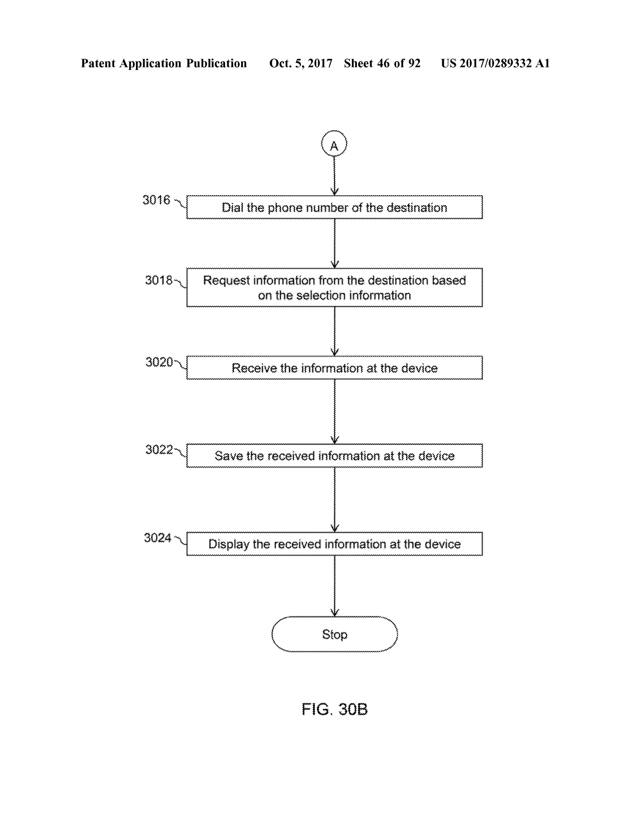
PatentApplication Publication Oct.5,2017 Sheet 46 of 92 US 2017/0289332 A1
WWW
2010 Dialthe phone numberof the destination
ourne dedansenwwwwwwwwwwwwwwwwwwwwwwwwwwwwwwwwwwwwwwwwwwwwwwwwwwwwwwwwwwwwwwwwwwwwwwwwwwwwwwwwwwwwwwwwwwwwwwwwwwwwwwwwwwwwwwwwwwwwwwwwwwwwwwwww
3018 Requestinformation from thedestination based
on the selection informationV IVIETTVV V V V V V V V V V V VVVVVVVVVVVVVVVVVVVVVVVVVYYYYYYYYYYYYYYYYYY Y
Receive the information at the device
Receivethe
322 Save the received information at the deviceWytyytyvyytytytytytytytyty tytytytytytytyttyy
*WW * Display the received information at the device
FIG . 30B
PatentApplication Publication Oct.5,2017 Sheet 47 of 92 US 2017/0289332 A1
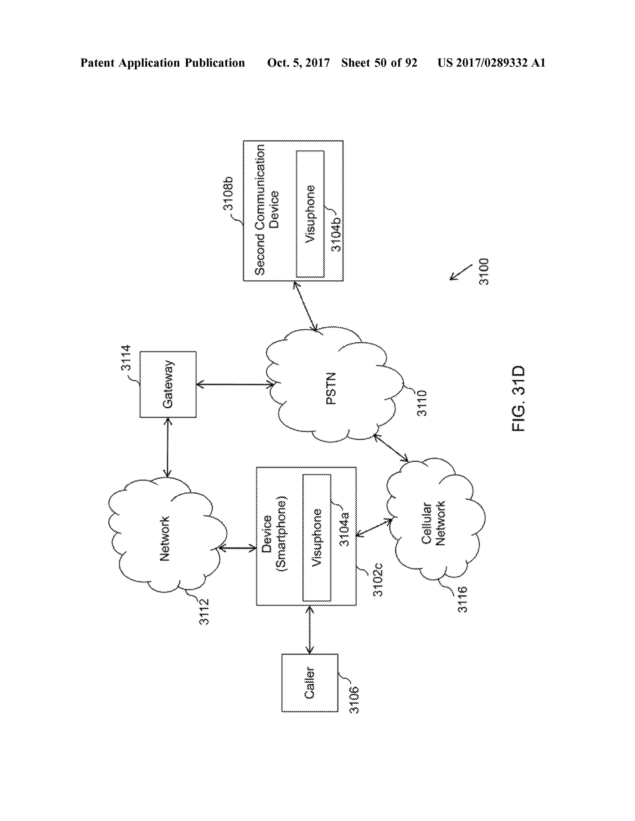
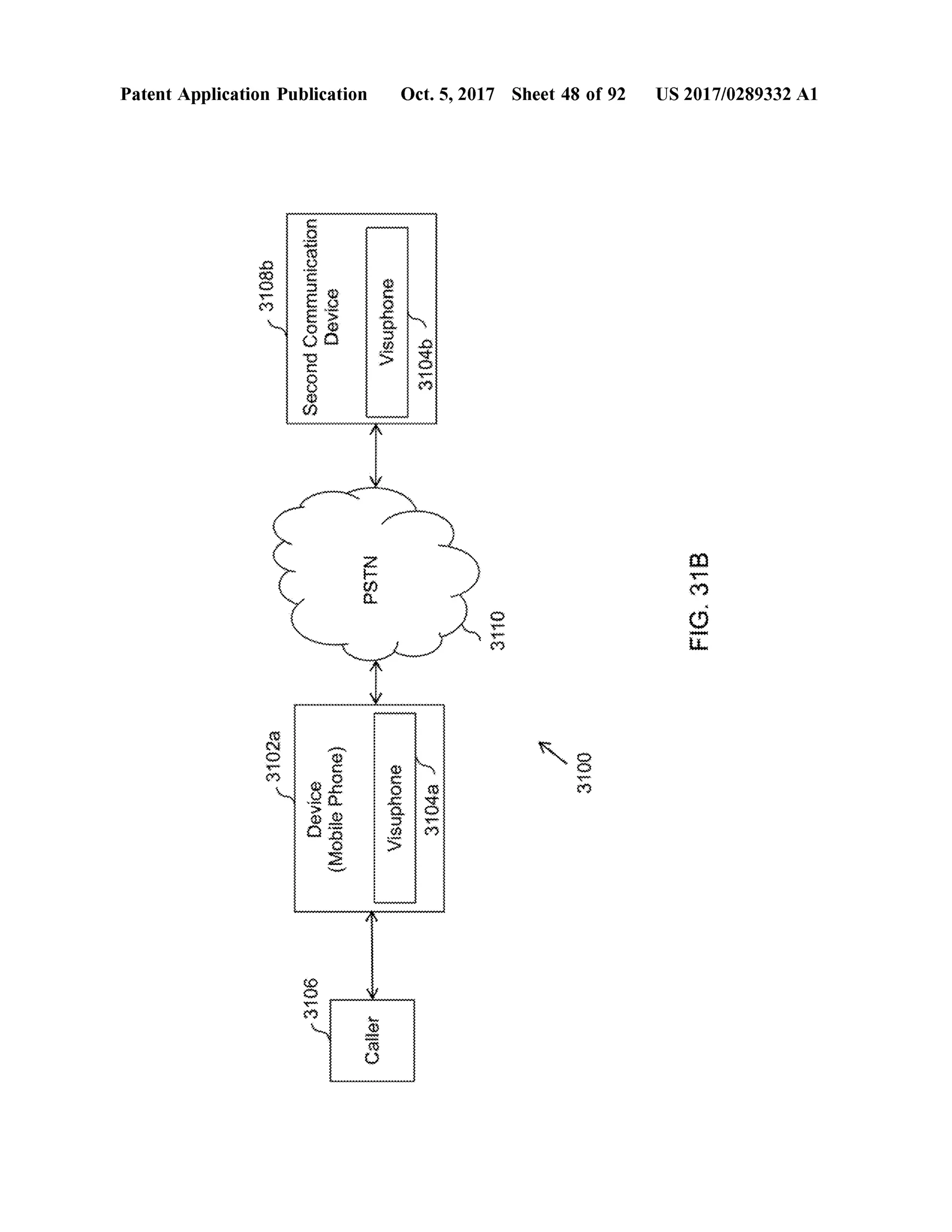
3108a
S?CQnduQibunWom0120
NISA 3110 FIG.31A
3102a 3100
Device(MobilePhone) Visuphone3104a
*** * * * * * * * * * * * * * * * * * *
901
Caller
PatentApplication Publication
3102a
31086
3106
Device(MobilePhone)
SecondCommunicationDevice
!
Caller
STNPSTNK
Visuphone
Visuphone31040
3104a
berjalan
Oct.5,2017 Sheet 48 of 92
3100
FIG.31B
US 2017/0289332 A1
PatentApplication Publication Oct.5,2017 Sheet 49 of 92 US 2017/0289332 A1
31080
SecondCommunication010 Buoydnsis3104b
Withhhhhhhhhhhhhhhhhhhhhhh
3114
ABMOIBO NISH FIG.31C
3110
QZOLEwww
WOMAN Device(DIOA+Joindwoo) Visuphone3104a 3100
3106
Jeo
FIG.31D
US 2017/0289332 A1
00LC
3116
WOMENjeine
3102c
7777777777777
777-777777777
3106
Oct.5,2017 Sheet 50 of 92
WWW
m501€
NIS
31046Visuphone
Visuphone
CallerKuwwwww
aglam
(ouoydueus)Bond
SecondCommunication
***********
**************
731086
3112
** * * * *** *
PatentApplication Publication
Gateway
* * * * *
WONION
** **
3114
US 2017/0289332 A1
Z€91
Oct.5,2017 Sheet 51 of 92
?
ZOZEwollentojuipuogas
ECOCEvojewojuISI
? ??? ? ?
***
***
**
***
***
**
**
****
**
**
*
*
**
***
***
**
**
***
**
**
**
*
wwwwwwwwwwwwwwwwwwwwwwwwwwwwwwwwwwwwwwwwwwwwwwwwwwwwwwwwwwwwwwwwwwwwwwwwwwwwwwwwwwwwwwwwwwwwwwwwwwwwwwwwwwwwwwwwwwwwwwwwwwwwwwwwwwwwwwwwwwwwwwwwwwwwwwwwwwwwwwwwwwwwwwwwwwwwwwwwwwwwwwwwwwwwwwwwwwwwwwwwwwwwwwwwwwwwwwwwwwwwwwwwwwwwwwwwwwwwwwwwwwwwwwwwwwwwZOZE
PatentApplication Publication
FlowLabel
PacketVersion3302
TrafficClass3304
PatentApplication Publication
PayloadLength3308
sotaT
NextHeaderheposter3310
HopLimit3312
**************************************************************
*******
*
SourceAddress3314
Oct.5,2017 Sheet 52 of 92
DestinationAddress
wwwwwwwwwwwwwwwwwwwwwwwwwwwwwwwwwwwwwwwwwwwwwwwwwwwwwwwwwwwwwwwwwwwwwwwwwwwwwwwwwwwwwwwwwwwwwwwwwwwwwwwwwwwwwwwwwwwwwwwwwwwwwwwwwwwwwwwwwwwwwwwwwwwwwwwwwwwwwwwwwwwwwwwwwwwwwwwwwwwwwwwwwwwwwwwwwwwwwwwwwwwwwwwwwwwwwwwwwwwwwwwwwwwwwwwwwwwwwwwwwwwwwwwwwwwwwwwwwwwww3202a
FIG.33
US 2017/0289332 A1
PatentApplication Publication Oct.5,2017 Sheet 53 of 92 US 2017/0289332 A1
StartStart )
3402 V Search ,at a first communication device, for a
data network
3404
Is data network
available ?
3406
Send a first section of a packet
to the second communication
device asDual-ToneMulti
freq????cy si???nals
Yes
3408 Send a firstsection of the packetcomprising first
information to the second communication device
YYYYYYYYYYYYYYYYYYYYYYYYmmmmmmmmmm mmmmmmm
3410
Is Visuphone
available atsecond
communication
device ?
FIG.34A
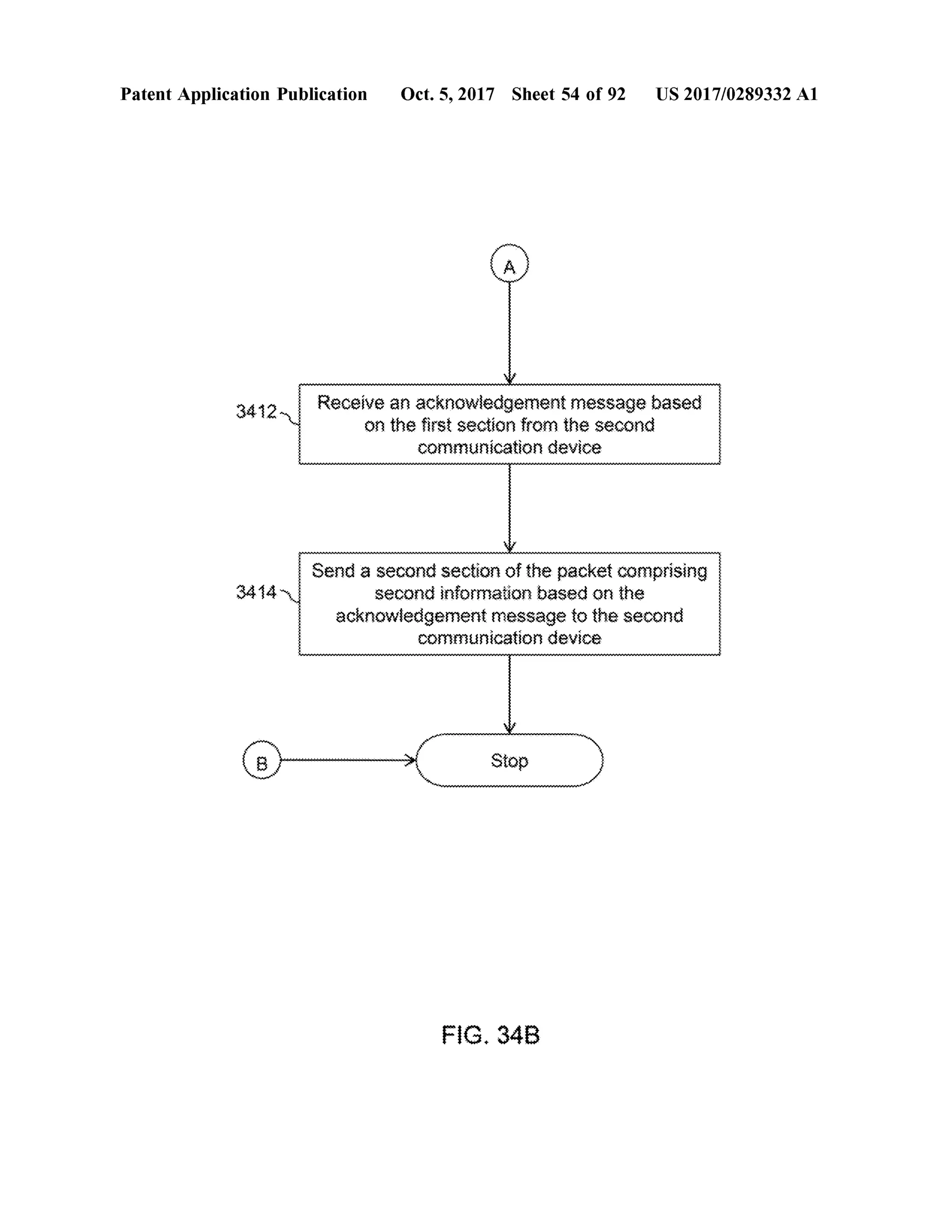
PatentApplication Publication Oct.5,2017 Sheet 54 of 92 US 2017/0289332 A1
wewe
3412 Receive an acknowledgementmessage based
on the firstsection from the second
communication device
3414
Send a second section ofthe packetcomprising
Second information based on the
acknowledgementmessage to the second
communication device
Autwawatoteket kellettkelebek bebekmellettem wwwwwwwwww
Stop
FIG . 34B
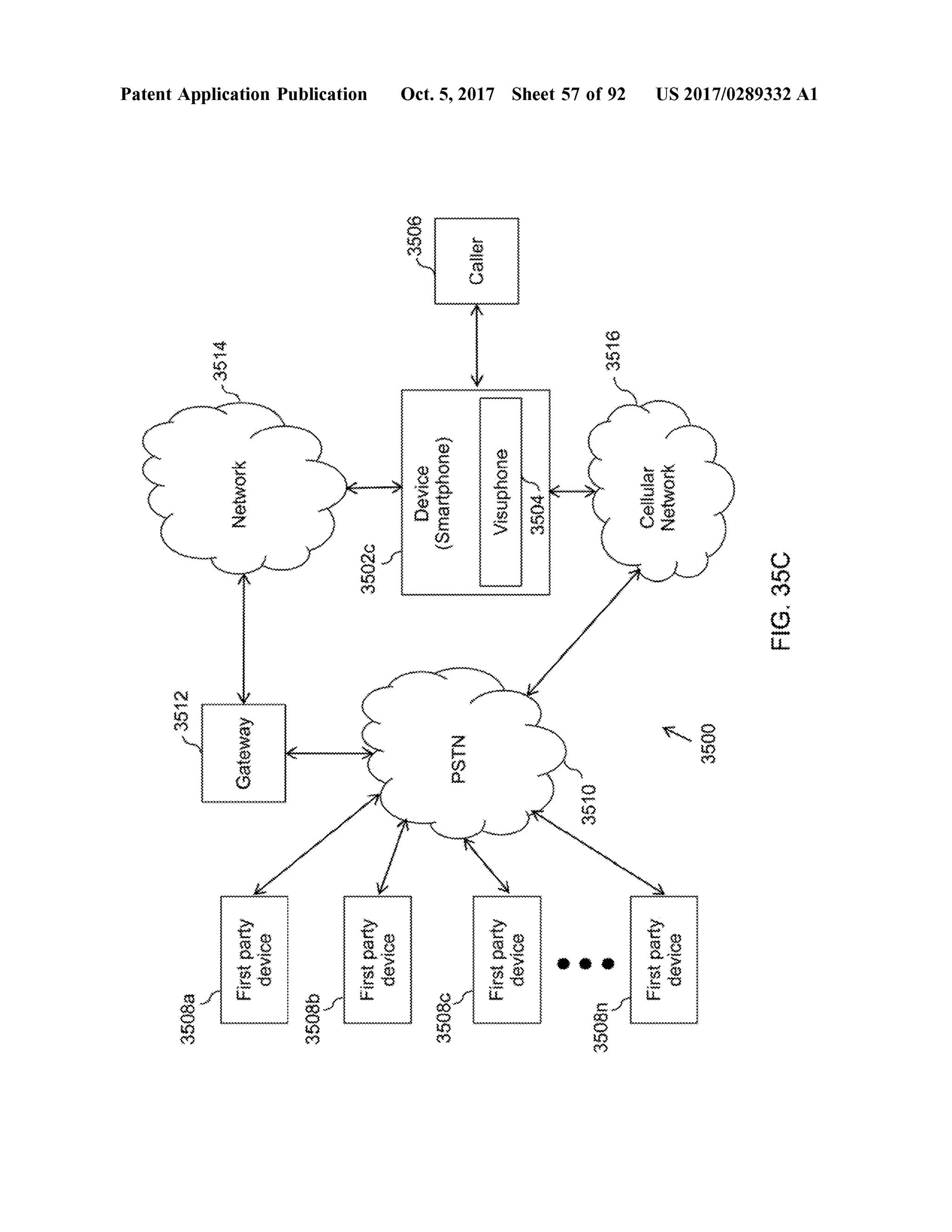
35080
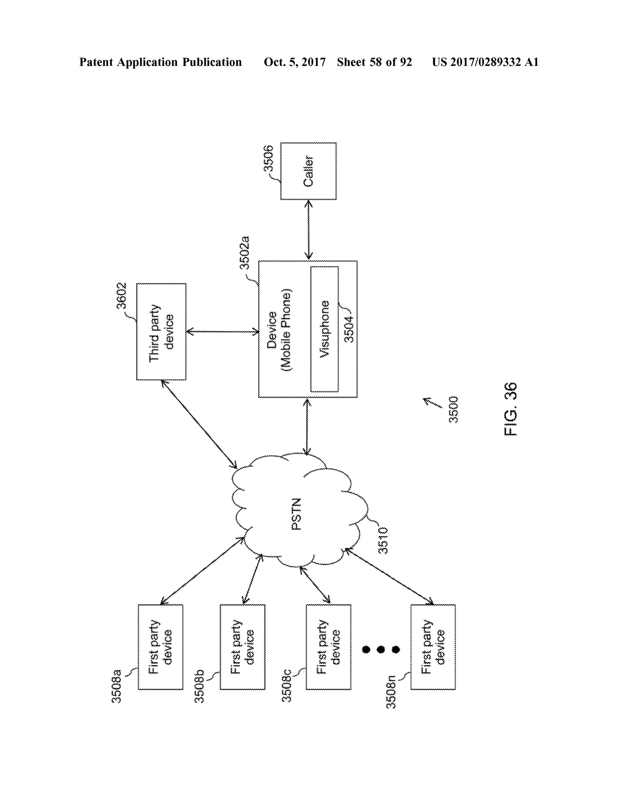
.
,,,,
Firstpartyd??
PatentApplication Publication
3508b
Firstpartydevice
3502a
3506
?vCE(MobilePhone)
35080
PSTN
Caller
Firstpartydevice
Visuphone3504
Oct.5,2017 Sheet 55 of 92
35101
3508n
firstpartydevice
3500
US 2017/0289332 A1
FIG.35A
3508a
yu3512
w
Gateway
On
Firstpartydevice
www
PatentApplication Publication
3508b
w
3502b
Firstpartydevice
knippidede
LLLLLLLLLLLLLLLLLLLLLLL
Device(Computer*VOIP)
3508c
POSTN
Caller
Firstpartydace
Visuphone3504/
Oct.5,2017 Sheet 56 of 92
3510
3508n
WWWWWWWWWWWWWWWWWWWWWWWWFirstpartydevice
3500
US 2017/0289332 A1
FIG.35B
3508a
3512
MYYYYYYYYYY
3514
Gateway
Network
Firstpartydevice
PatentApplication Publication
3508b
Firstpartydevice
35026
wwwwwwwwww
-3506
35080
Device(Smartphone)
PSTN
Caller
Firstpartydevice
Visuphone3504
Oct.5,2017 Sheet 57 of 92
3510
35080
3516
*
wwwwwwwwwwwwwwwwwwwwwwwwwwwwwwwwww* * *
Firstpartydevice
CellularNetwork
* * * * *
3500
US 2017/0289332 A1
FIG.35C
FIG.36
US 2017/0289332 A1
3500
deviceFirstparty
3508n
3510
Oct.5,2017 Sheet 58 of 92
3504fsuphan??
BapFirstparty
*
**
***
*
*
**
*
*
**************************
*
*
Caller
Awwwwwwwwwwwwwwwwwwwwwwwwwwwwwwwwwwwwwhattttttttttttttwwwwwwwwwwwwwww
NIS
(BuoydIQOW)
35080
Device
3502a
deviceFirstparty
elde ettiereyeyeyeye
tent
3508b
WWWWWWWWWW
*******
PatentApplication Publication
???????Kuedpill
D1AopAuedsila
-3602
3508a
PatentApplication Publication Oct.5,2017 Sheet 59 of 92 US 2017/0289332 A1
ZOLEY 4 v 4 4 4 4 4 4 4 4 4 4 4 4 4 4 4 4 4 4 4 4 4
3720a 37200 UOGLE
Communicationuodo .
Communicationuodo voneolunuwoVondo
3708 3714
POLE
3
OrderStatus ofwel
ExecutiveoynadPertelstels
ini..nimmmmmmmmmmmmmmmmmmmmmmwm..mmmmmmmmmmmmmmmmmmmmmmmmmmmmmmmmmmmm
e
l
3712
UN'
UMANWANNAMNANNANNW.MANAVNAAMWWW.NAMUNAUNAUNNUNANNYAWNWW.UN*NNANNAMNAUDuBos180wng TakeAway,3718 L€'915
2
62A-UON
PizzaOrder
37061A2 |Bat
BWOHDelivery
371001 3716* * .- * * WW W . . . * * * * * * * * * * * * * *
Wamelambalamabarabartamoderaatorilordelamaterialeletabakaleramaterialelorabemaderadalambeberabearabaramalamatelemallamadredelen PPPPPP +++++ 444444444444444444444444444444
3502
Yrrrrrrrrrrrrrrrrrrrrrrrrrrrrrr
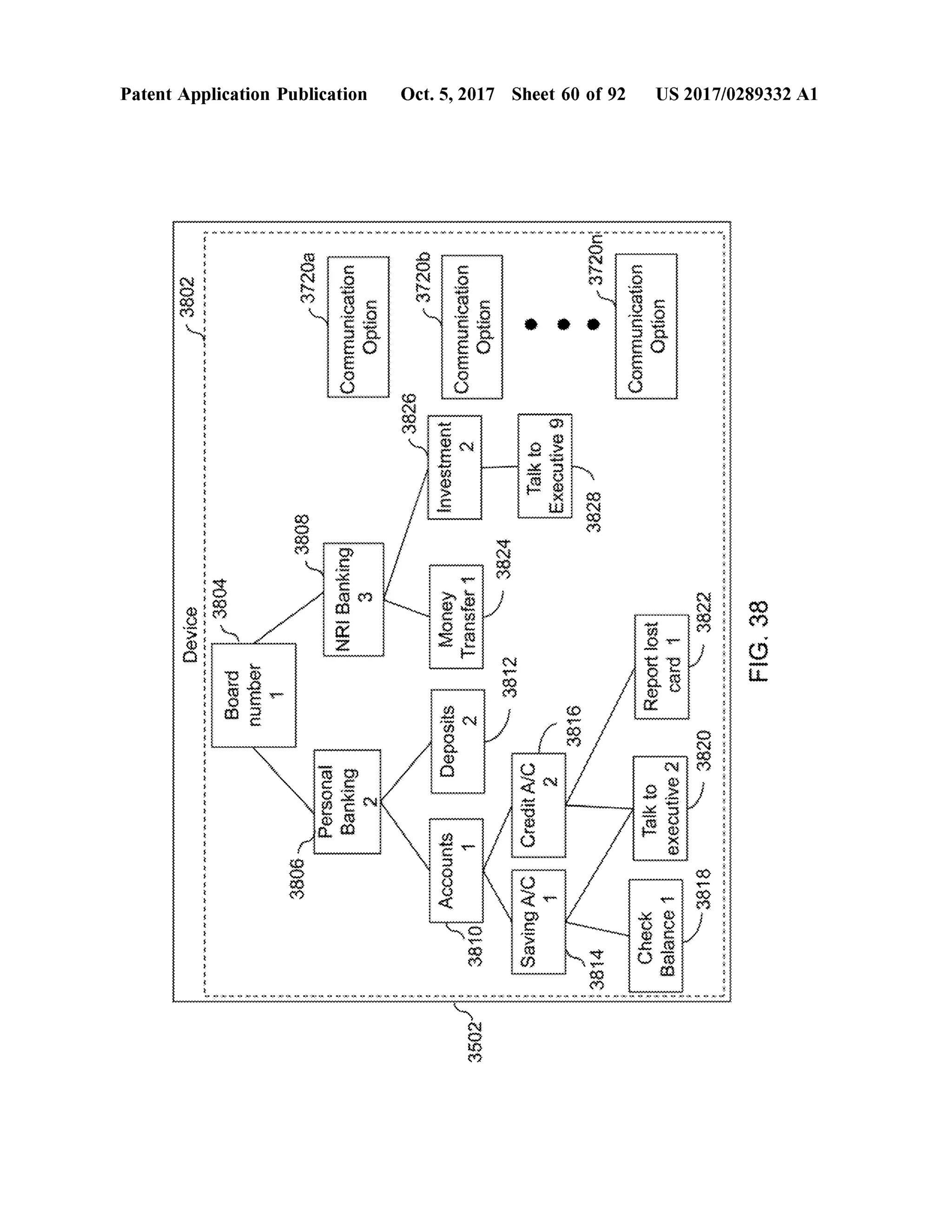
3802
www.
mimyrwyrwyywywyn
m
rwym.wm.wwwww..Ymm.imm...
mmm..
.
mwenyemv.m.-iwy.Y.WYN
**
?
--------------*******
**
??
Device13804
Boardnumber
?
***
??
PatentApplication Publication
?
*
? ? ? ? ?
3806
*
3808
3720a
??
**
?
**
? ??
PersonalBanking
NRIBankingoen
?
*
?
***
? ? ?
wwwwwwwwwwwwwwwwwwwwwwwwww
?
veesure
**
? ?
CommunicationOption
3826
Investment
CommunicationOption
?
37200
? ? ? ?
Accounts
35023810L
Depails2
MoneyTra?????
wwwwwwwwwwwwwwwwwwwwwwwwwwwwwwwwwwwwwwwwwwwwwwwwwwwwwwwwwwwwwwwwwwwwwwwwwwwwwwwwwwwwwwwwwwwwwwwwwwwwwwwwwwwwwwwwwwwwwwwwwwwwwwwwwwwwwwwwwwwwwwwwwwwwwwwwwwwwwwwwwwwwwwwwwwwwwwwwwwwwwwwwwwwwwwwwwwwwwwwwwwwwwwwwwwwwwwwwwwwwwwww
?
***
? ?
*
?
**
?
am3812
??
3824
?
SavingA/C
??
CreditA/C
Oct.5,2017 Sheet60 of 92
?
*
TalktoExecutive9
ove
? ??
............
.........
?
3816
??
3814
3820
3720n
? ?
***
??
* **
?
CommunicationQption
*
CheckBalance1
? ??
***
?
Talkto executive2W3820
Reportlostcard1
mm3822
??
en
wwwwwwwwwwwwwww
?
3818
*
? ??
????
????
?
??
?
?
??
?
?
??
?
?
??
?
??
?
?
??
?
?
??
?
?
??
?
????
?
??
?
?
??
?
??
?
??
?
?
??
?
?
??
?
?
?
??
?
??
?
??
?
?
????
?
??
?
??
??
??
?
?
??
?
?
US 2017/0289332 A1
FIG.38
PatentApplication Publication Oct.5,2017 Sheet61 of 92 US 2017/0289332 A1
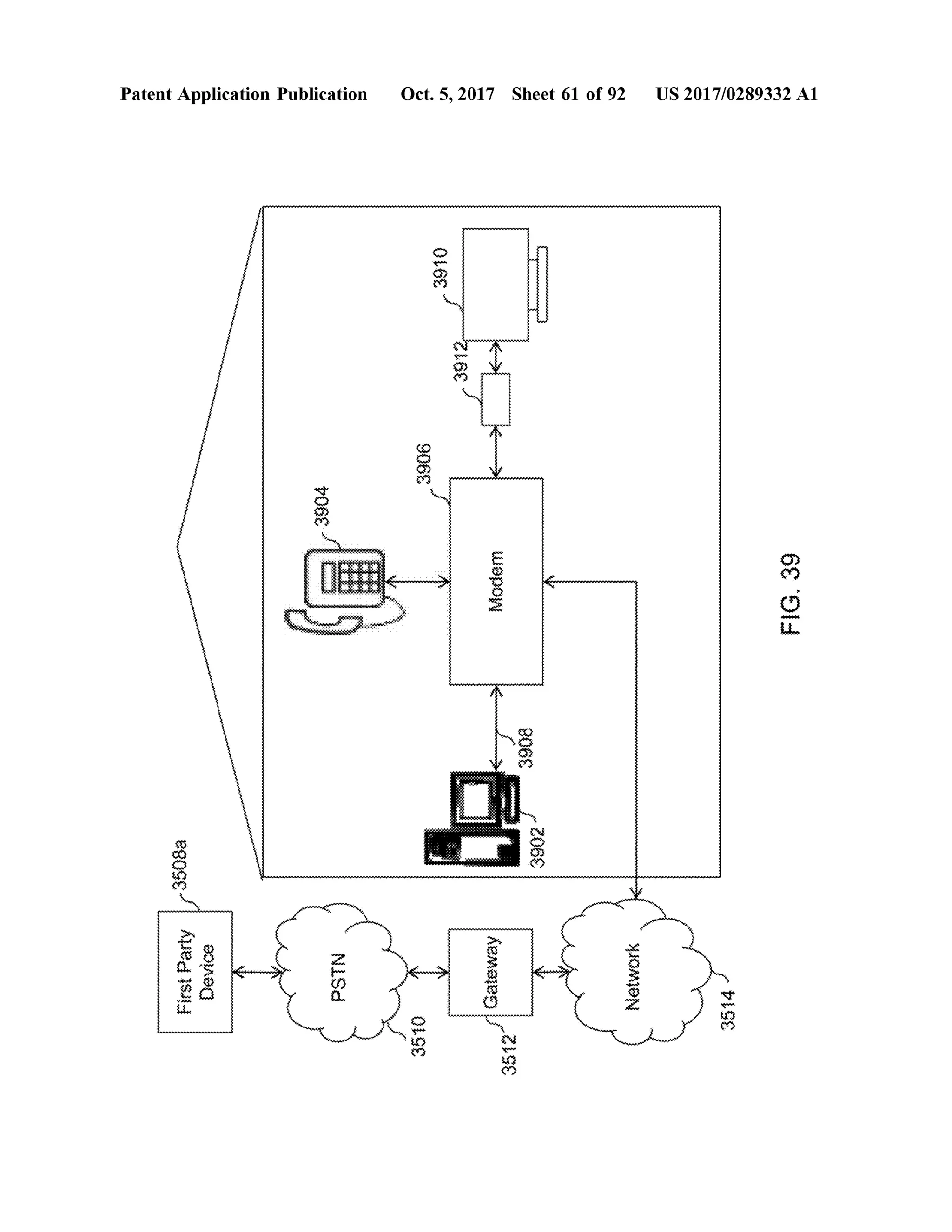
3910 ************
3912.
3906
5000
Wapow FIG.39
wienie
3902390835082 y yyyy wwwwwwwwwwwwwwww
FirstParty
1-DIDGateway Network 3514
3510 3512
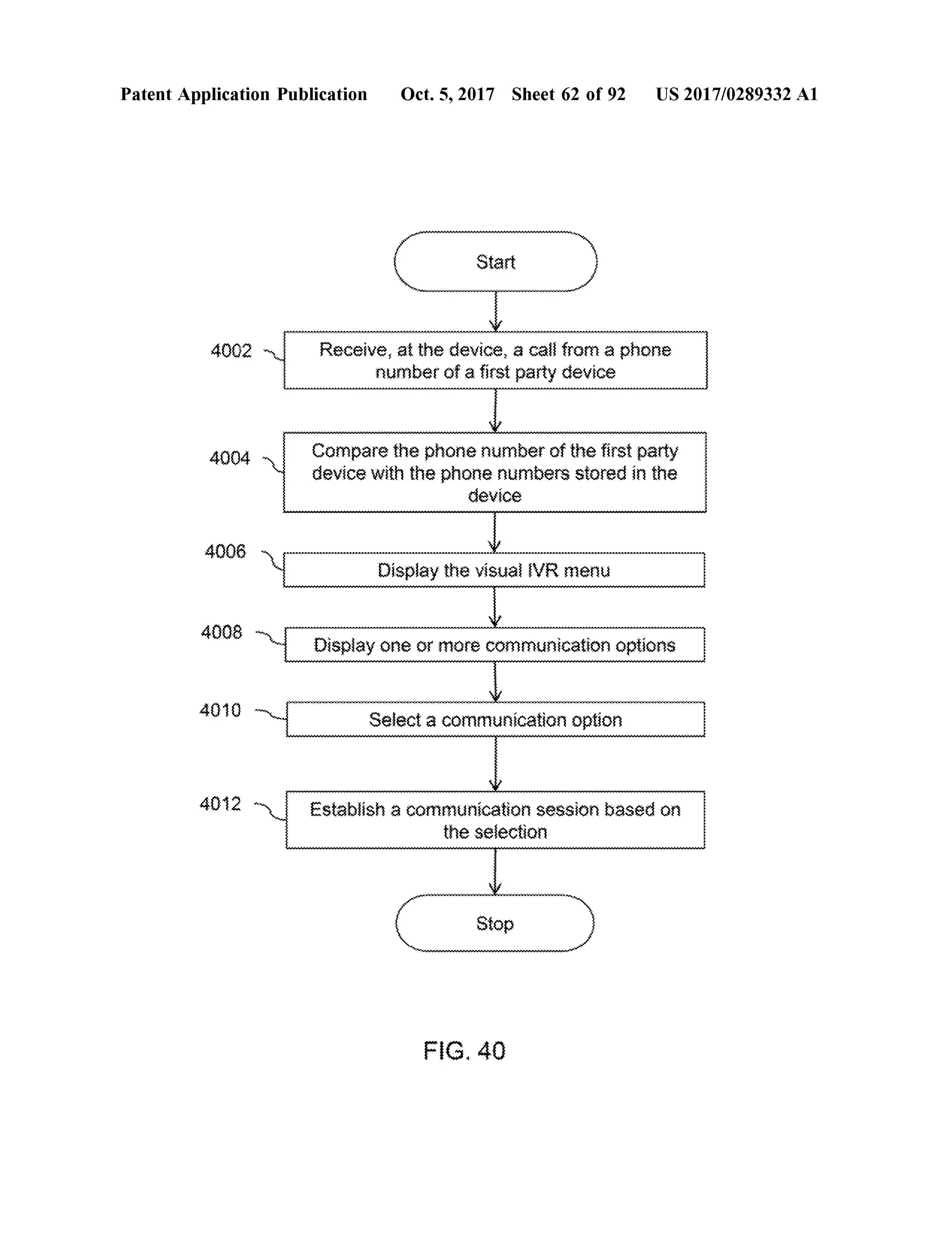
PatentApplication Publication Oct.5,2017 Sheet62 of 92 US 2017/0289332 A1
Start
4002 Receive at the device, a call from a phone
number ofa firstparty device
4004 Compare the phone number of the firstparty
device with the phone numbers stored in the
device
4006
Display the visual VR menu
4008 Limited
Display one ormore communication options
4070 Selecta communication optionwwwwwwwwwwwwwwwwwwwwwwwwwwwwwwwwwwwwwwww
4012 - establish a communication session based on
the selection wwwwwwwwwwwwwwwwwwwwww
StopStop
FIG . 40
FIG.41
US 2017/0289332 A1
100
DeviceBwax
41060
Oct.5,2017 Sheet63 of 92
4102
201120jeux
1,41060
wwww
VOL
suouonsisaalgenod
Device
******************************************************
lewex
990
PatentApplication Publication
Bora
4106a
PatentApplication Publication Oct.5,2017 Sheet64 of 92 US 2017/0289332 A1
4206
4102a
Wernerne
FIG.42
4204
4202
PatentApplication Publication Oct.5,2017 Sheet65 of 92 US 2017/0289332 A1
4102a
FIG.43
Laptop
WWWWWWWWWWWWWWWWWWWWWWWWWWWWWWWWWWWWWWWWWWWWWWWWWWAvivava
wwwwwwwwwwwwwwwwwwwwwwwwwwwwwwwwwwwwwwwwwwwwwwwwwwwwwwwwwwwwwwwwwwwwwwwwwwww4302
PatentApplication Publication Oct.5,2017 Sheet66 of 92 US 2017/0289332 A1
4102a
** ** ****** ******** ********* ** ****** ******** *********** ****** ******************** ***** ************* ******** ***** ************ ********** *** * *** ** **** *** ** *** **********
FIG.44
LargeLODScreen
4402
PatentApplication Publication Oct.5,2017 Sheet67 of 92 US 2017/0289332 A1
wwwwwwwwwwwwwwwwwwwwwwwww
Fri1yyyyyyyyyyyyyyyyyyyyyyyyyyy
4102a
FIG.45
UOISASOL
4502
PatentApplication Publication Oct.5,2017 Sheet68 of 92 US 2017/0289332 A1
Ver 4444444444444444444
4102a
FIG.46
W * * * * * * * * * * * * *
miniiniiiiiiiiiiiiii PictureFrame Wwwwwww
4602
PatentApplication Publication Oct.5,2017 Sheet69 of 92 US 2017/0289332 A1
4102a
FIG.47
wwwwwwwwwww
0
0
GPSscreen 0
4702
PatentApplication Publication Oct.5,2017 Sheet 70 of 92 US 2017/0289332 A1
+ + ++ + + +
WWWWWW
khe he heh e
4102a
-Display FIG.48
Projector
4802naming
4804
---------------========............................................................................................
SnW * WwWMWMW.Win. * * WW.HMMWWMWMN.WAV.NA WW * WW * * *
*
*
YYYYY
VX
Veg*
*
*
*
PizzaOrder
*
2
WwwwwwwwwwwwwwwwwwwwwwwwwwwwwwwwwwwwwwwwNon-Veg4902 numberBoard****
wwwwwwwwwwwwwwwwwwwwwwwwwwwwwwwwww
**
Largedisplayscreen
*
**
*
*
ExecutiveTalkto
ondersteunOrderStatus
*
*
**
*
??????????????????????????????????????????????? FIG.49
4904b
OGÁ2.
4102
4904a
US 2017/0289332 A1Oct.5,2017 Sheet 71 of 92PatentApplication Publication
PortableDevice
-5016
5002
Radio{?{erface
PatentApplication Publication
Display
PSTN
EnsembunyiPSTN
yyyyyyyyyyyyyyyyyyyyyyyyyyyyyyyyyy
ProcessorConnectionManager
wwwwwwwwwwwww
50045004
5020
5014
*
*******************
**
***
***
*******
******
4102
*****
Network{???YaE
Network
5006
Oct.5,2017 Sheet 72 of 92
WWWWWWWWWWWWWWWWWWWW
Memory
5018
wwwwwwwwwwwwwwwwwwwwwwwwwwwwwwwwwwwwwwwwwwwwwwwwwwwwwwwwwwwwwwwwwwwwwwwwwwwwwwwwwwwwwwwwwwwwwwwwwwwwwwwwwwwwwwwwwwwwwwwwwwwwwwwwwwwwwwwwwwwwwwwOperatingSystem1010
'''''''''''''''''''
*
********
**
****
******
**********
*
US 2017/0289332 A1
FIG.50
PatentApplication Publication Oct.5,2017 Sheet 73 of 92 US 2017/0289332 A1
5016
PSTN WirelessNetwork 5102
eleleztelezteletteleztelezteletetlepleztelettel telelalelelalelelalelelalelelalelelalelelalelelalelepleztelettel ' le ' ' ' 'ellele ' l ' ' l 'ele ' l ' le ' ' ' ' ' ' ' ' ' ' ' ' ' ' ' ' ' ' ' ' ' ' ' ' ' ' ' ' ' ' ' ' ' ' ' ' ' ' ' ' ' ' ' ' 'elele
5012 5014
RadioInterface Network{{erfac?
PortableDevice 5020 FIG.51
??????????????
Display ProcessorConnectionManager5008 5106 Memory OperatingSystem5010Hell
Awwwwwwwwwwwwwwwwwwwwwwwwwwwwwwwwwwwwwwwwwwwwwwwwwwwwwwwwwwwwwwwwww5002
5004
4102
77777777777777777
5206a
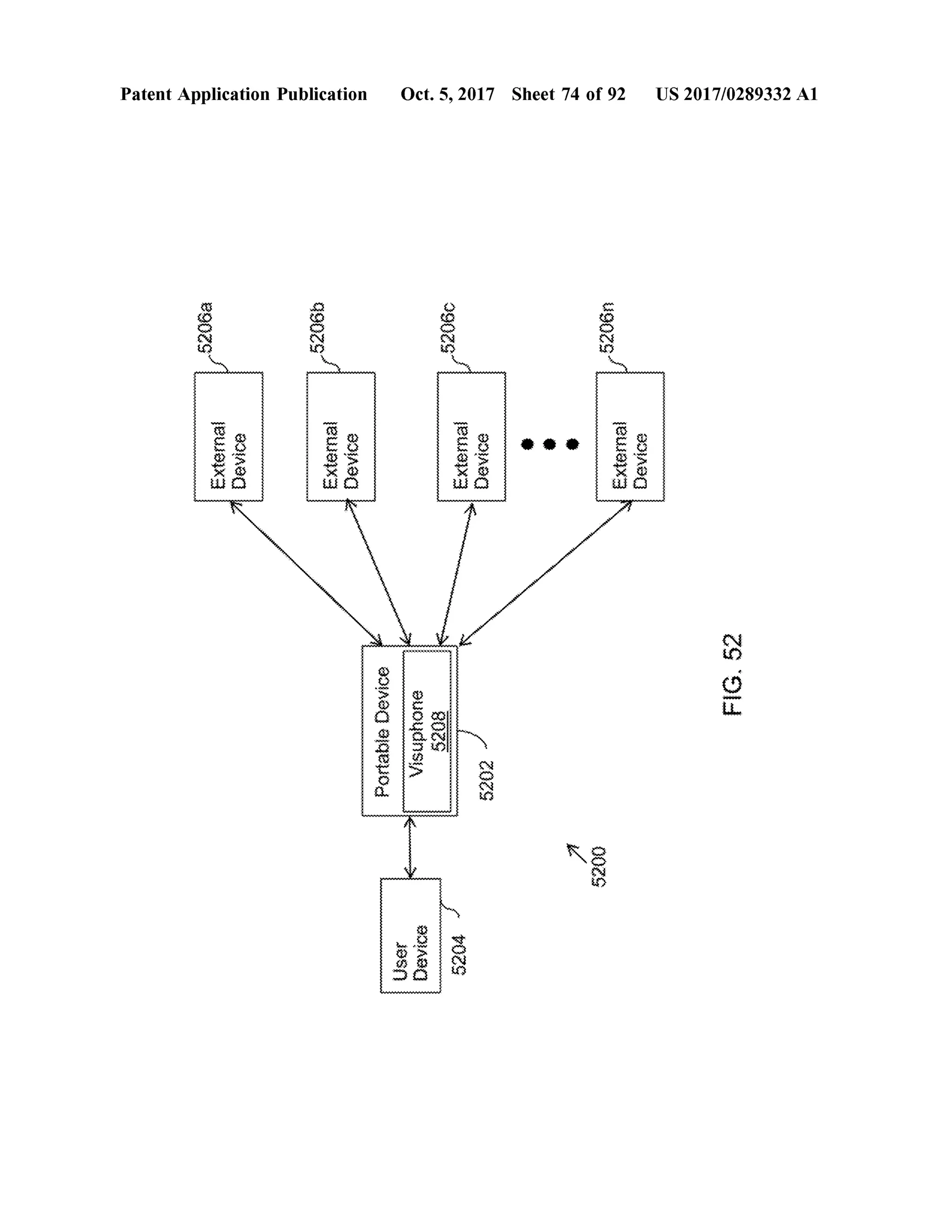
ExternalDevice
PatentApplication Publication
52060
externalDevice
PortableDevice
UserDevice
Visuphone
**
****************************
5206c
meneri
5204
mden
externalDevice
5202
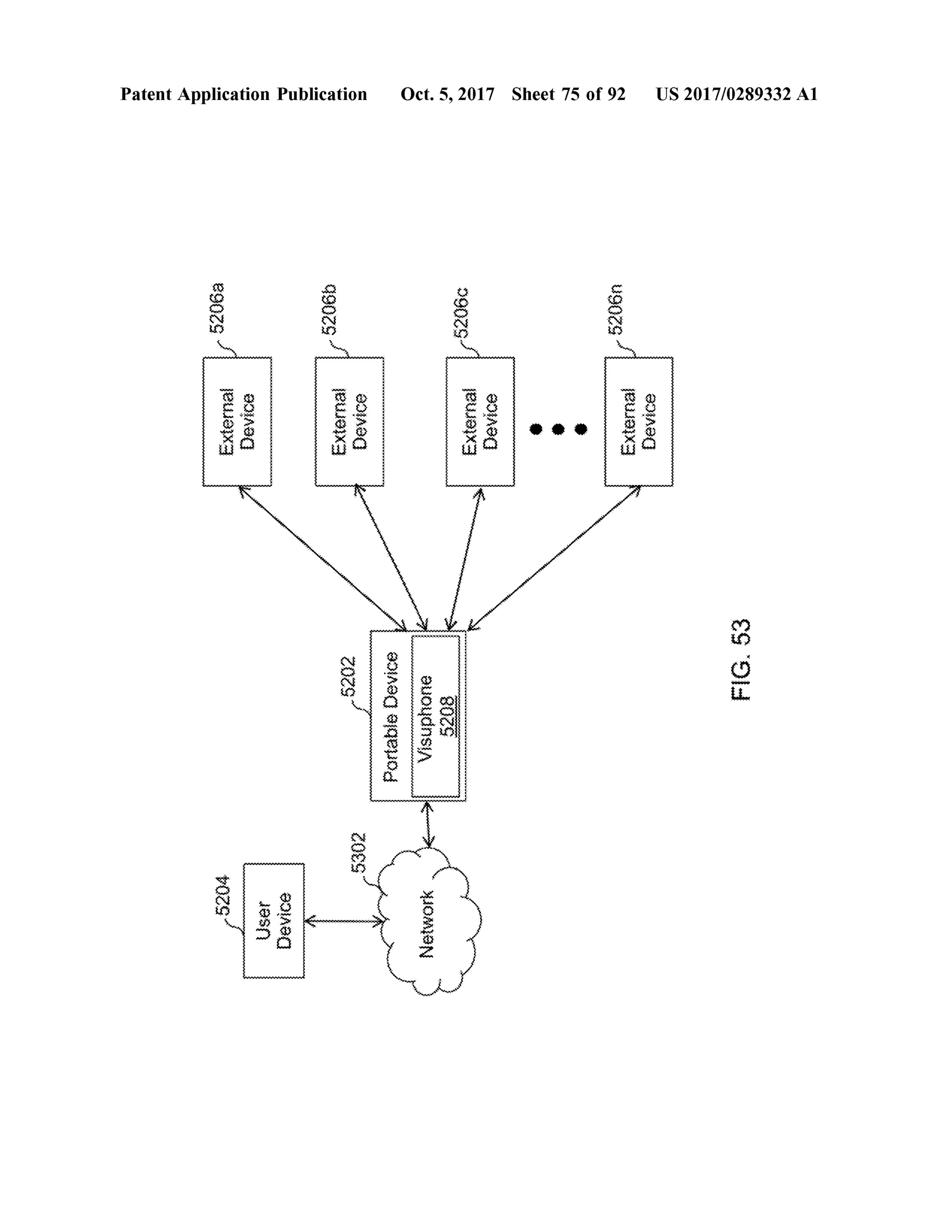
Oct.5,2017 Sheet 74 of 92
5200
5206n
ExtemalDevice
wwwwwwwwwwwwwwww
FIG.52
US 2017/0289332 A1
5204
5206a
ExternalDevice
Patent Application Publication
Device
152060
-5202
ExternalDevico
PortableDevice
Network
Visuphone5208
52060
externalDevice
Oct. 5, 2017 Sheet 75 of 92
15206n
externalDevice 44444444444444444444444444444
FIG.53
US 2017/0289332 A1
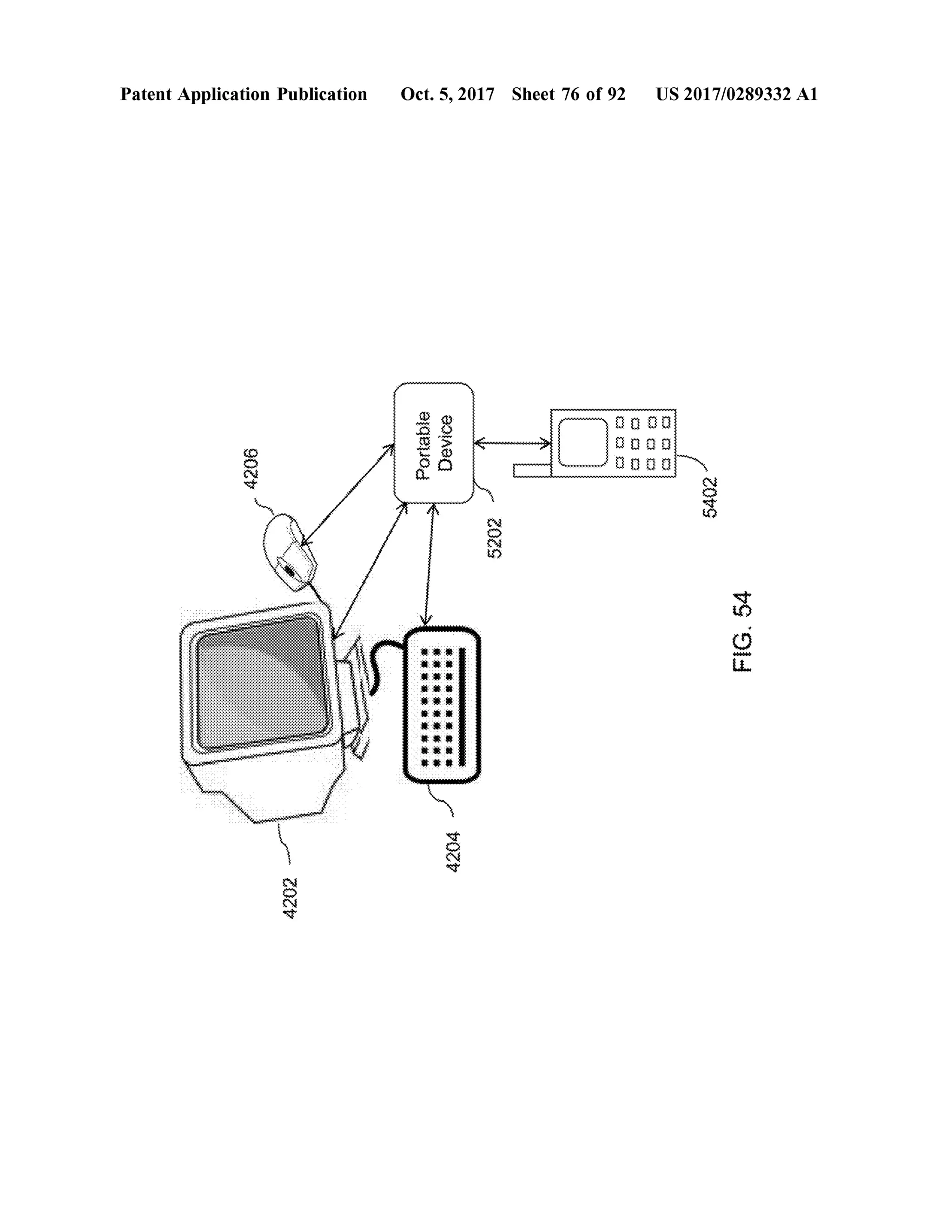
Patent Application Publication Oct. 5, 2017 Sheet 76 of 92 US 2017/0289332A1
???????????? ,
??
Portable??? ???
???
TS**
AurativerationErawretterHairitutentPedreate FG,54*
-ITFFFF||||||FFFFFFFFFFFFFFFFFFFFFFFFFFFFFFF
*
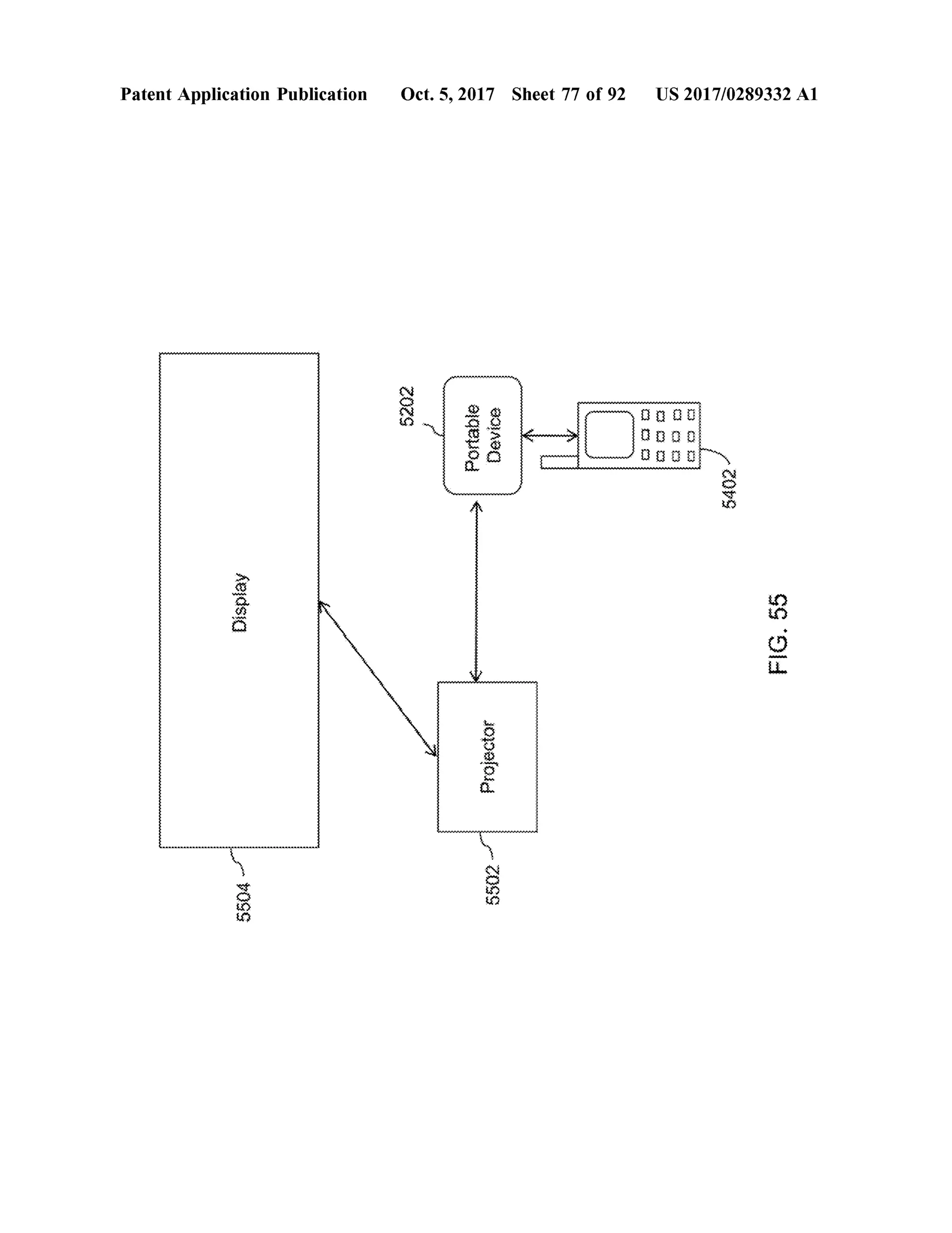
PatentApplication Publication Oct.5,2017 Sheet 77 of 92 US 2017/0289332 A1
5202
ortableDevice
3 ?? ?? ??
0000
0 0 0 0
5402
Display FIG.55
Projector YYYYYYYYYYYYYYYYYYYYYYYYYYYYYYYYYYYYYYYYYYYYYYYYY5504min 5502
PatentApplication Publication Oct.5,2017 Sheet 78 of 92 US 2017/0289332 A1
Oqevod
Device
0 000
Wu 0
0 0 0 0
5402/
5202
FIG.56
201?bienScreen
4402
PatentApplication Publication Oct.5,2017 Sheet 79 of 92 US 2017/0289332 A1
weinimiiiiiiiiiiiiiialqerod301190
0 0 0 0
?
man 0 0 0 0JUUUUUUUUUUUUUUUUUUUUUUUUUUUU
54025202
FIG.57
4502
PatentApplication Publication Oct.5,2017 Sheet 80 of 92 US 2017/0289332 A1
tyytytytytytttttttttttty
?? ?? ?? 3}{
Device{}
0000
000 wwwwwwW
54025202WWWWWWW
4
444 FIG.58
AAAAAAAAAAAAAAAAA wwwwwwwwwwwwwwwww
wwwwwwwwwwwwwwwwwwwwwwwwwwwwwwwwwwwwwwww A
wwwwwwwwwwwwwwwwwwwwwwwwwwwwwwwwwwwwwwwww. Laptop
AMMAAAAAAAAAAAAA
wwwwwwwwwwwwwwwwwww
4302
PatentApplication Publication Oct.5,2017 Sheet 81 of 92 US 2017/0289332 A1
}{
Device{}
5202
FIG.59
w
VAAAAAAAAAAAAAAAAAAAAAAAAAAA PictureFrame ??????????????????????????????????????????????????
4602
PatentApplication Publication Oct.5,2017 Sheet 82 of 92 US 2017/0289332 A1
LLLLLLLL
{{?{
Device 4444
OO DO
?? ?? ??
00000 000
5402
ZOZS
FIG.60
0
0
GPSscreen 0
4702
6102
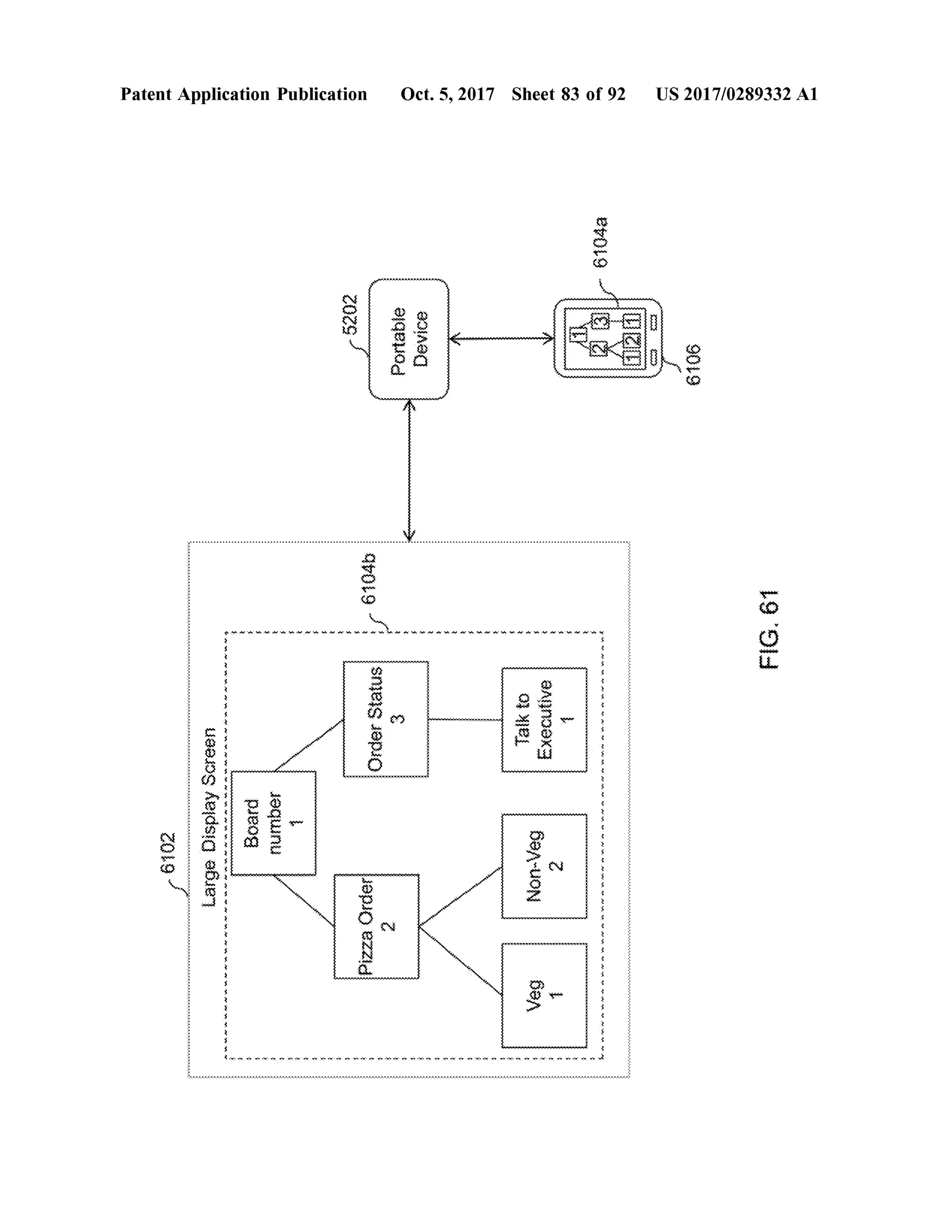
LargeDisplayScreen
Wewwwwwwwwwwwwwwwwwwwwwwwwwindwwwwwwwwwwwwwwwwwwwwwwww
MVVVVVVVVVVVVVVVVVVVVVVVVVVVVVVVVBoardnumber
PatentApplication Publication
5202
PizzaOrder
OrderStatus
6104b
*VVVVI
tyttivi
4VH -4 WHYVVV WWWWWWWWWWWWWWWWWWWWWWWWWWWWWWW
PortableDevice
wwwwwwwwwwwwwwja}
sondern62A-UON
en
Talkto
executive
Oct.5,2017 Sheet 83 of 92
have
wwwwwwwwwwwwwwwwwwwwwww
YYYYYYYYYYY
WednedeWeedWe
W.WEWEWEWEHAVENewWebde
WWE
WWW
.VV.
V
6104a
6106
US 2017/0289332 A1
FIG.61
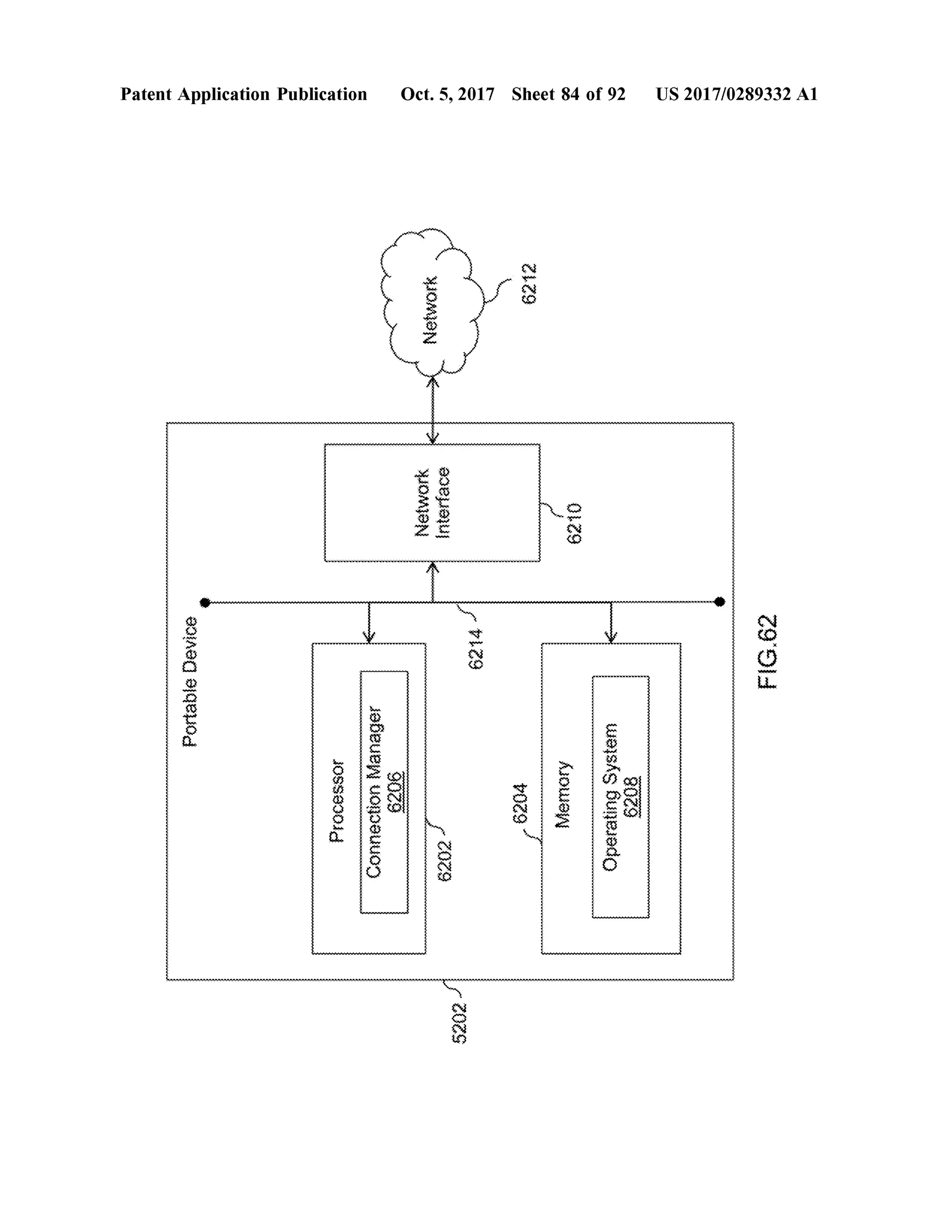
PatentApplication Publication Oct.5,2017 Sheet 84 of 92 US 2017/0289332 A1
6212
Network
www
W * * * * * * * * * * * * * * * * * * * * * * * * * * * * * * * * * * * * * * * * * * * * * * * * * * * * * * * * * * * * * * * *
tuture
Network{terfacé 6210
WWW11SVV V V ' ' ' ' '
62141
PortableDevice
FIG.62
wwwwwwwwwwwwwwwwwwwwwwwwwwwwwwwwwwwwwwwwwwwwwwwwwwwwwwwwwwwwwwwwwwwwwwwwwwwwwwwwwwwwwwwwwwwwwwwwwwwwwwProcessorConnectionManager6206 ya6204 Memory OperatingSystem6208
didadididadididididididadididadididadididididididadididadididadidididadididadididadididadidididadidi6202
52021
PatentApplication Publication Oct.5,2017 Sheet 85 of 92 US 2017/0289332 A1
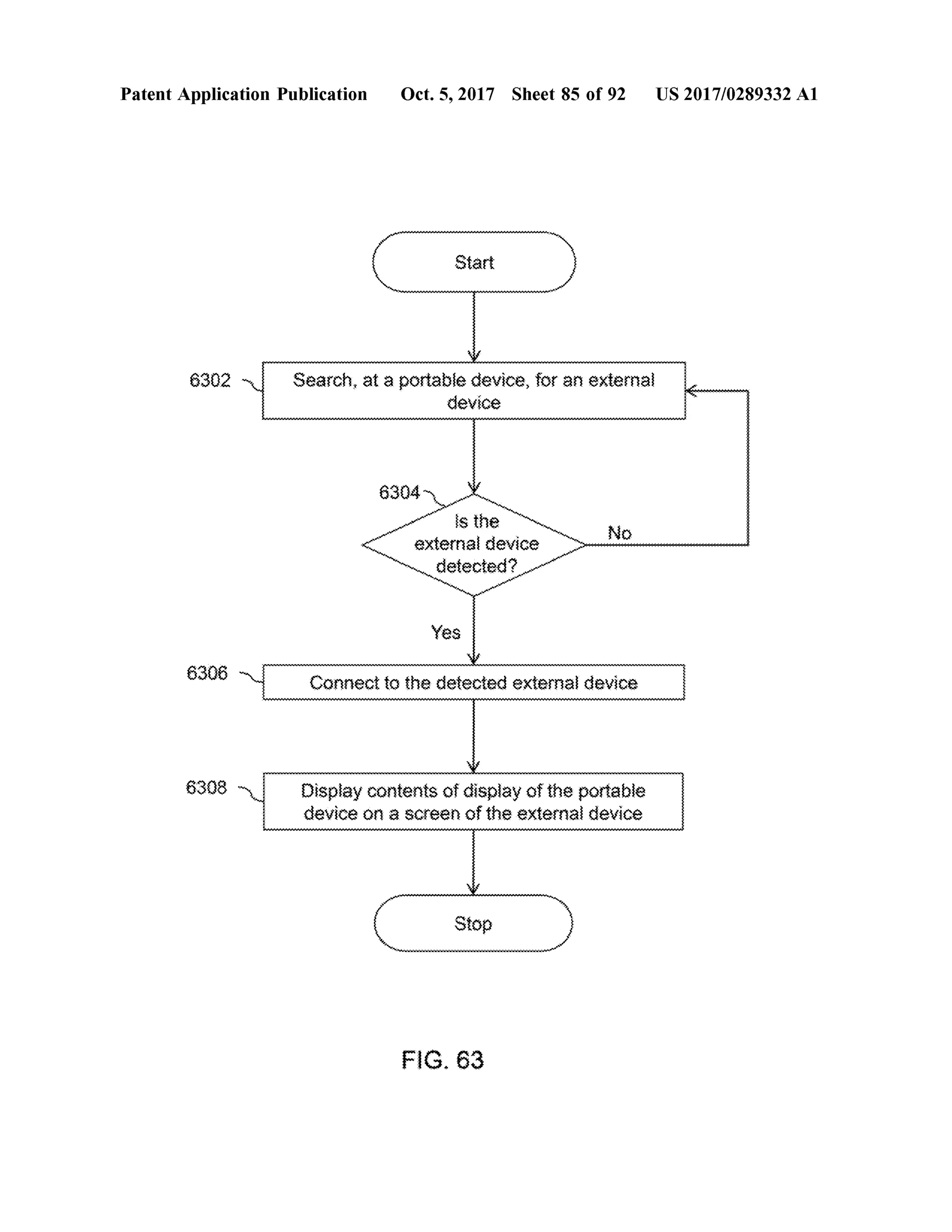
WWW
Start
wer
6302 Search, at a portable device, for an external
deviceAMMMMMMMMMMMMMMMMMMMWWWWWWWWWWWWWWWWWAAAAAAAAAAAAAA
6304
s the
=xtena} device
detected?
Notele
Yes
* *
Connect to the detected extemaldevice
Display contents ofdisplayofthe portable
device on a screen ofthe externaldevice
Stop
FIG .63
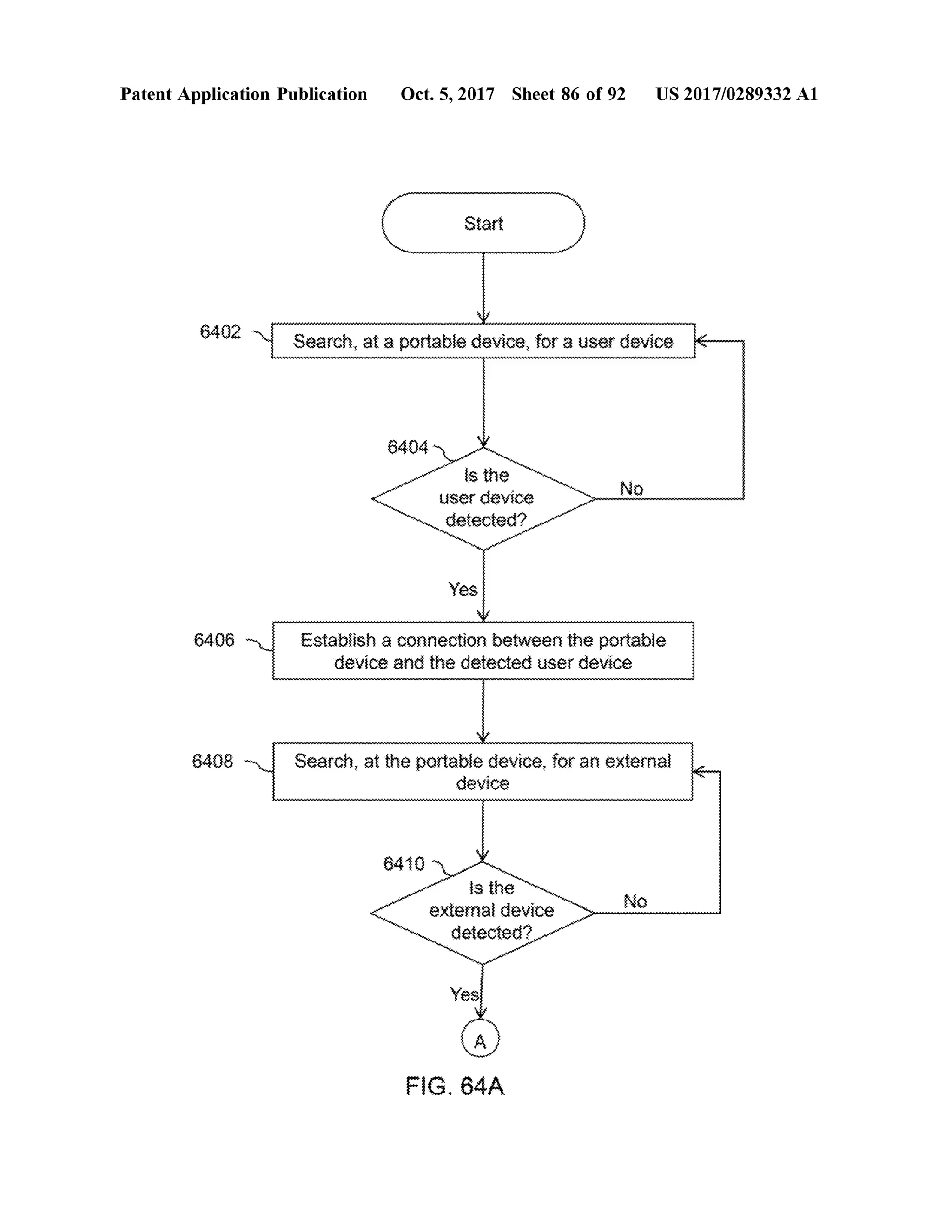
PatentApplication Publication Oct.5,2017 Sheet 86 of 92 US 2017/0289332 A1
C StartStart )
le
Who Search at a portable device, for a user device
6404
is the
user device
detected?
No
Yes
wwwwwwwwwwwwwwwww
6406 Establish a connection between the portable
device and the detected user device
6408 Search , at the portable device , for an extemal
device wwwwwwwwwwwwwwwwwwwwwwwwwwwwwwwwwwwwwwwwwwwwww
6410
Is the
externaldevice
detected?
. No
FIG .64A
PatentApplication Publication Oct.5,2017 Sheet 87 of 92 US 2017/0289332 A1
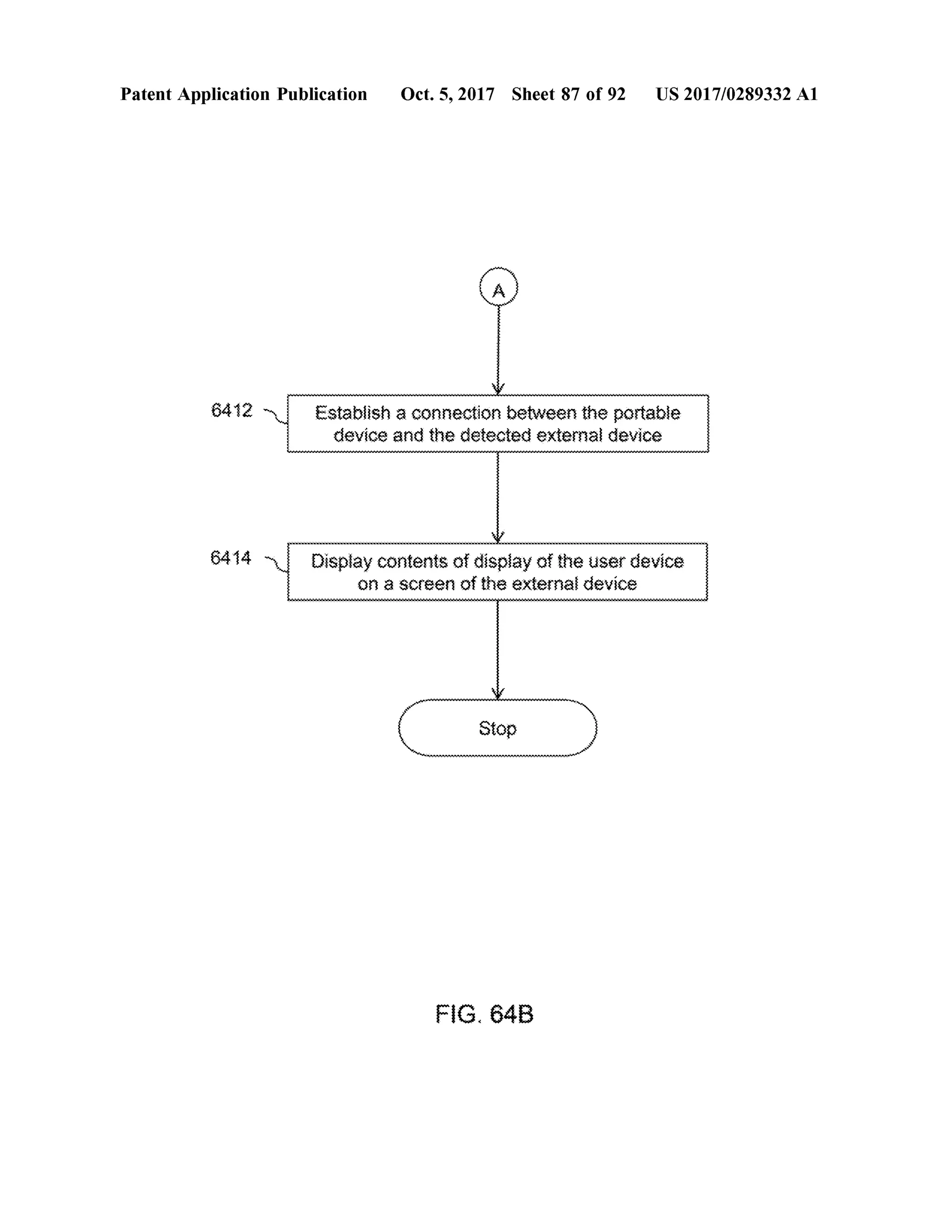
6412 Establish a connection between the portable
device and the detected extemaldeviceWherehhhhhhhhhhhhhhhhhhhhhhhhhhhhhhhhhhhhhhhhhhhhhhh
wwwwwwwwwwwwwwwwwwwww
6414 Display contents ofdisplay of the user device
on a screen ofthe externaldevice
Displayconten
wwwwwwwwwwwwwwwwwwwwwwwwwwww
StopStop )
FIG .64B
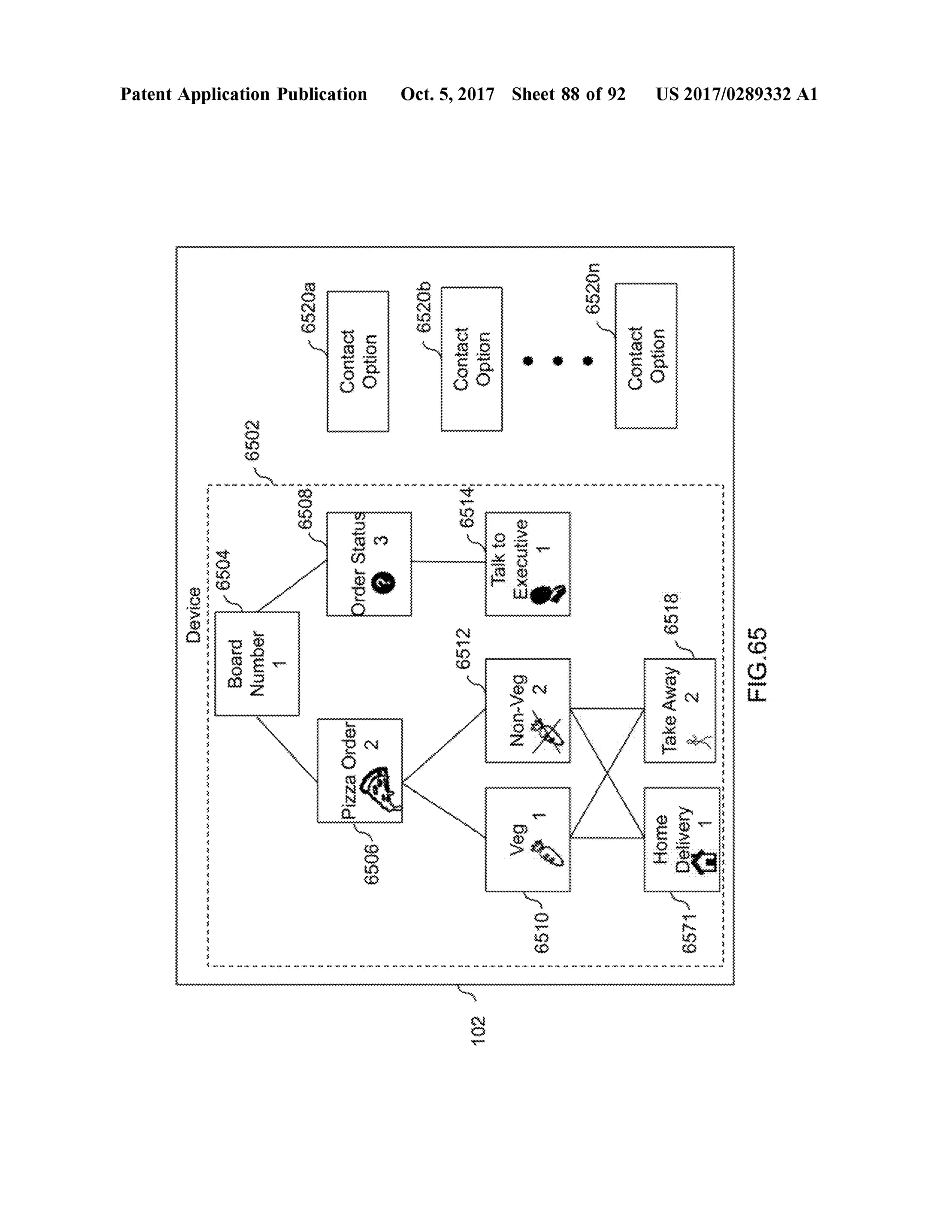
?vice
AUnNuuuwwwwwwwwwV.NW.Nov.Hannewwwwwwwwwwwwwwwwwwwwwwwwwww
16504
BoardNumber
6502
PatentApplication Publication
6502
6508
6520a
PizzaOrder
65062osoanother
OrderStatusperson
ContactOption
3
65205
**
**
102-
6512
ContactOption
WWWWWWWWWWWWWWWWWWWWWWWWW
6514 Talkto1
Executive
Non-Veg
Veg
1
Oct.5,2017 Sheet 88 of 92
65101
---
6520n
ContactOption
HomeDelivery
TakeAway,6518
6571 WWW.*
'wwWw..
.
******************
'www.
4uHYAUWAWA'
WWWWWWWWWWWWWW
US 2017/0289332 A1
FIG.65
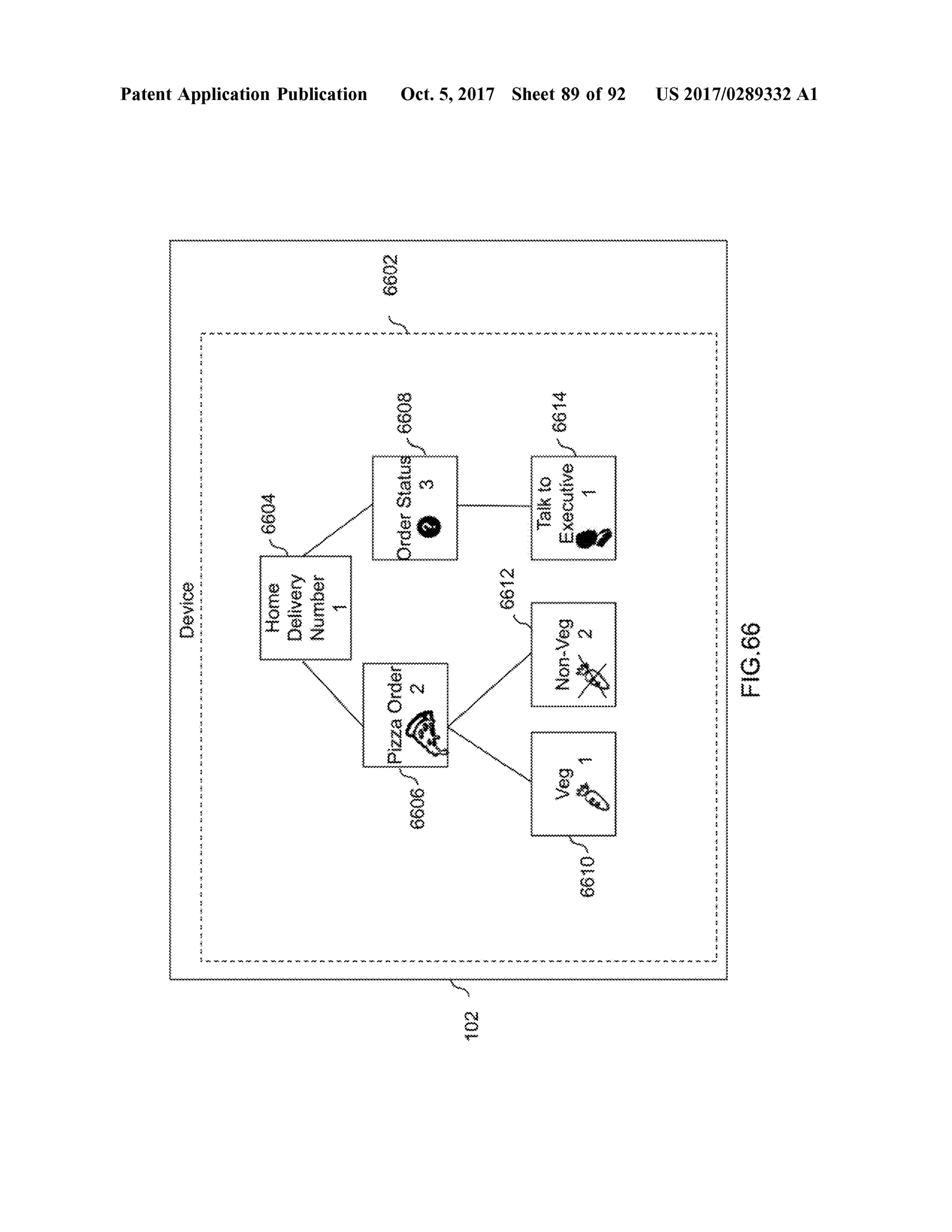
PatentApplication Publication Oct.5,2017 Sheet 89 of 92 US 2017/0289332 A1
6602
iswith wh o m with you . th th th th T. Vymy ' n wyth . . th . Yh
non
OrderStatus6608 Executive/6614
4099 01Nel
}}
WON}}=1
6612Device flerede
60A-UON
99999999999999999999999999999999999999999999999999999999999999999999999999999999999999999999999999999999999999999999999999999999999999999999999999999999999999999999999999999999999999999999999999999999999FIG.66
PizzaOrder
66062 ban
V21"
inww.rnww.minmwww . m . .mmmmmmww.muni .w . w w . mini * .
???????????? ?????????????????????????????????????????????????????????????????????????????????????????????????????????????????????????????????????????????????????????????????????????????????????????????????????????????????????????????
102
20}Aeo
*
*
*
*
*
*
*
**
*
*
**
*
*
*
*
*
*
*
*
***
*
the
with
*
wwwhhohhehehehehehehehehehehehehehehehehhhhhhhhhhhw
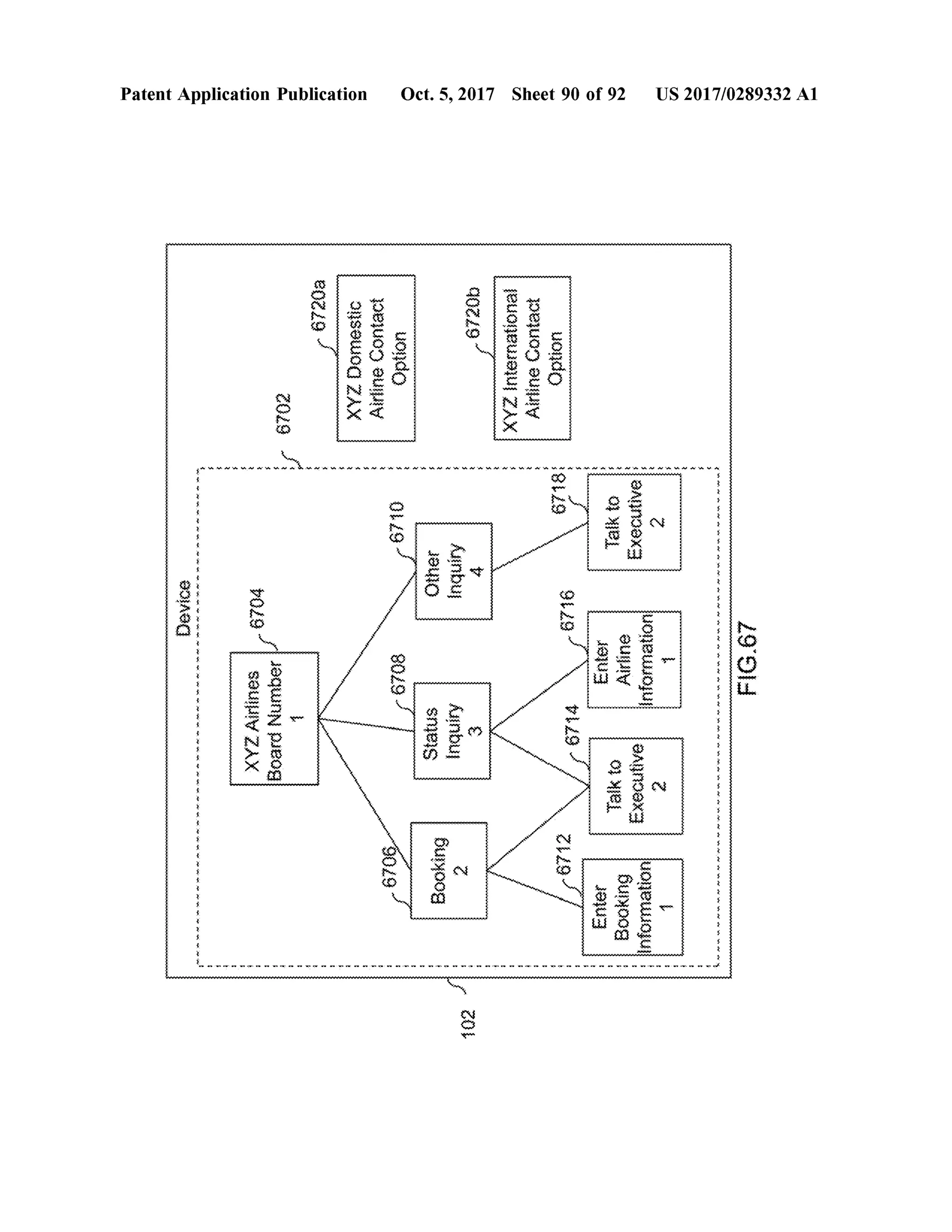
XYZAirlinesBoardNumber
6704
Patent Application Publication
6702
wwwwwwwwwwwwwwwwwwwwwwwwwwwwwwwwwwwwwwwwwwwwwwwwwwwwwwwwwwwwwwwwwwwwwwwwwwwwwwwwwwwwwwwwwwwwwwwwwwwwwwwwwwwwwwww
w
6720a
Qis?WOOZAX
* * * * * * * * * * * * * * * * * * * * *
6706
8029
AirlineContactOption
wwwwwwwwwwwwwwwwwwwwwwwwwwwwwwwwwwwwwwwwwwwwwwwwwwwwwwwwwwwwwwwwwwwwwwwwwwwww
6710
Status
www.wwwww wwwwwwwwwwwwwwwwwwwwwwwwwwwwwwwwwwwwwwwwwwwwwwwwwwwwww
???ak{{}
OtherInquiry
Ainbui
102
00219
w
BumBewaluZAXAirlineContact
Oct. 5, 2017 Sheet 90 of 92
6712
6718
vondo
enterBooking
wwwwwwwwwwwwwwwwwwwwwwwwwwwwwwwwwwwwwwwwwwwwwwwwwwwwwwwwwwwwwwwwwwwwwwwwwwwwwwwwwwwwwwwwwwwww
wwwwwwwwwwwwwww
67146716 EnterAirlineInformation
Talkto
ofyel
anna
uojewout
ExecutiveZ
www
*
**
*
*
*
*
**
*
*
**
**
*
*
*
*
**
*
*
*
*
*
*
*
*
*
*
*
*
*
**
**
*
**
**
*
*
FIG.67
US 2017/0289332 A1
FIG.68
US 2017/0289332 A1
*******************************************************************************************************************
*******************************************************************************************************
*
*
**
*
*
**
**
*
*
*
*
*
*
*
*
*
*
*
**
*
*
*
*
**
**
**
**
*
*
*
*
**
*
*
*
**
*
*
**
*
*
*
*
*
*
*
.www. ww
uonewout
ExecutiveTalkto
ExecutiveTalkto
EnterAirline
uogewojubuixoog1913
whom
6818
w .www .www.www
6814
6812***********************
Oct. 5, 2017 Sheet 91 of 92
Added
. * .
***********
****************
102
*
andmoreAanbuavo
Kumbujsmesoncon
buixoonoutros
??????????????????????????????????????????????????????????????????????????????????????????????????????????????????????????????????????????????????????????????????????????????????????????????????????????????????????????????????????????????????????????????????????????????????????
Wi th
2089
OL89
8089
9089
Wuuuu
AirlinesNumberXYZDomestic
Patent Application Publication
wwwwwwwwwwwwwwwwwww.neww. *
Yth the with the
6804
minnnnMYNTYNUYOWNnnnnnnnnnnnnnnnnnnnnnnnnnnnnn...mmmmm
????g
PatentApplication Publication Oct.5,2017 Sheet 92 of 92 US 2017/0289332 A1
StartStart
YMMMMMMMMMMMMMMMMMMMMMMMM innawawwwwwwwwwwwwwwwwwwwwwwwwwwwwwwwwwwwwwwna
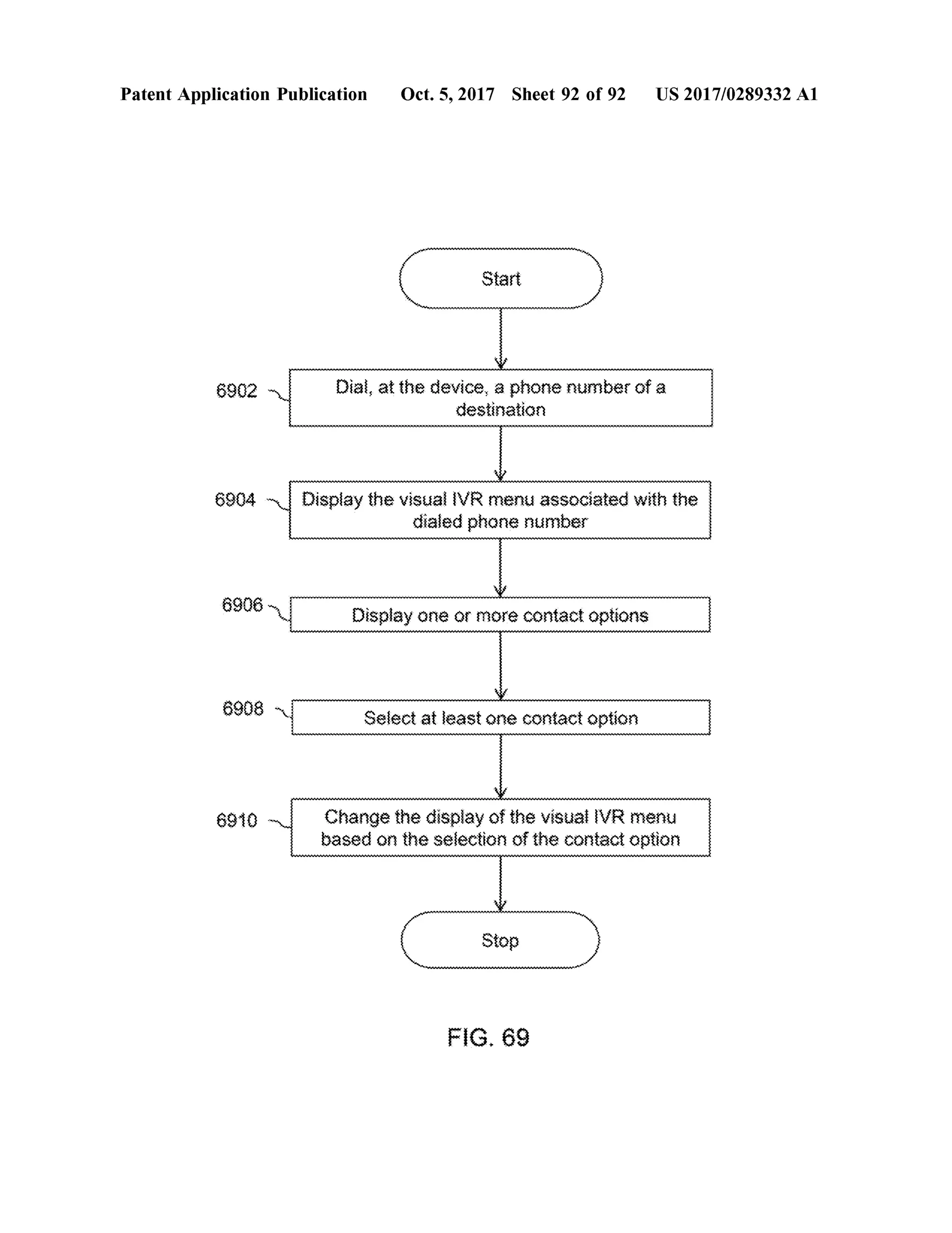
6902 Dial, at the device a phone numberofa
destination
6904
6904 Display the visual IVR menu associated with the
dialed phone numberDisplaythevisualedph
wwwwwwwwwwwwwwwwww w ww
0900 Display one ormore contactoptionswwwwwww wwwwwwwwwwwww
wwwwwwwwwwwwwwwwww
6908 Selectatleastone contactoption
6910 Change the display ofthe visual IVR menu
based on the selection of the contactoption
Stop
FIG .69
US 2017/0289332 A1 Oct. 5,2017
SYSTEMSAND METHODS FOR VISUAL
PRESENTATION AND SELECTION OF IVR
MENU
CROSS REFERENCE TO RELATED
APPLICATIONS
[0001] This application is a Continuation In Part (CIP ) of
U .S . Non-provisional application Ser. No. 14/568,120
entitled 'SYSTEMS AND METHODS FOR VISUAL PRE
SENTATION AND SELECTION OF IVR MENU ' which
was filed on Dec. 12,2014. U .S. Non -provisional applica
tion Ser. No. 14/568,120 is a Continuation of U .S. Non
provisional application Ser. No. 13/934,248 entitled 'SYS
TEMS AND METHODS FOR VISUAL PRESENTATION
AND SELECTION OF IVRMENU ' which was filed on Jul.
3 , 2013. U .S . Non -provisional application Ser. No. 13/934,
248 which is a Continuation of U .S .Non-Provisional appli
cation Ser. No. 13/186,984 entitled 'SYSTEMS AND
METHODS FOR VISUAL PRESENTATION AND
SELECTION OF IVR MENU ' which was filed on Jul. 20 ,
2011, and is now a Patenthaving U .S . Pat. No. 8,903,073.
FIELD OF THE INVENTION
[0002] The invention relatesto InteractiveVoiceResponse
(IVR) system and more specifically the invention relates to
visual selection of IVR option from a caller device.
BACKGROUND OF THE INVENTION
[0003] Interactive Voice Response (IVR) technology is
generally used to detectvoice and key inputs from a caller.
The adventofInteractive Voice Response (IVR)systemshas
reduced operating costs for many types of businesses for
providing services.Generally, the IVR systemsallow a user
to interactwith an audio or visual response system . The IVR
systems can provide prompts to a user and receive touch
tone and/orspoken responses on theprompts from theuser.
Through such IVR dialogue the system collects sufficient
information about the user to direct the call to the most
appropriate resource, information processing system or the
like.
[0004] Generally,when the callercalls a destination,such
as a bank , an automated audio IVR menu is played. The
audio IVR menu can contain instructionsto provide instant
services such as accountbalance inquiry when the destina
tion is a bank . Further, audio menu can provide options for
the caller to connect to a desired end inside the destination.
For example, themenu may directthecallerto press various
keys on a telephone to connect to a particular department or
agent. The audio IVR menu is designed specific to a
destination. Therefore, each destination or organization may
have different audio IVR menus. Further, the IVR menu in
an organization can be based on the type of departments,
type of services, customer care executives or agents and so
forth . For example, an IVR menu of a bank may include
options related to the account details ofthe caller, while an
IVR menu of a pizzeria may contain options to order or
select a pizza.
[0005] Typically, the caller calling the destination may
have to listen and follow instructions on themenu to get a
desired response or a function performed. Therefore, the
process can be timeconsuming.Moreover, in case the caller
provides an incorrect input, the complete processmay have
to be repeated. Furthermore, the IVR menu for an organi-
zation may be updated or changed regularly. For example,
extension numbers inside an organization may be changed
and correspondingly, the extension numbers associated with
the IVR menu may be updated. As a result, a frequent caller
may not be able to reach a desired end by remembering a
combination of numbers. Furthermore, the dialed destina
tion may notinclude the information desired by the user. In
such a case, the usermay have to call the destination again
for retrieving the desired information. Therefore, the user
may become frustrated with the IVR systems.
10006) Usually, the IVR menus are samefor all the users.
Therefore, the customerhasto listen them carefully to select
the appropriate option. The usermay have to wait for long
time for receiving information while interacting with the
IVR systems.Moreover, sometimes the requested informa
tion mightnotbeavailable atthe timewhen theuser callsthe
destination. Therefore, the usermay have to eitherwait for
long time or call again later. For example, the user may
desire to talk to a customer care executive of thedestination ,
who is busy at the time ofthe call. Therefore, the call ofthe
user may be put on hold or hemay be asked to call later.
[0007] Some prior art try to address this problem by
providing visual form of IVR. These prior arts display the
IVR menu graphically on a caller device. U.S. Pat. No.
7,215,743 assigned to InternationalBusinessMachines Cor
poration and a published U .S. patent application with Ser.
No. 11/957,605, filed Dec. 17, 2007 and assigned to
Motorola Inc.,provides the IVR menu of the destination in
a visual form to the caller. The caller can select the options
from the IVR menu without listening to the complete audio
IVR menu. However, the IVR menu displayed on the caller
device is stored on an IVR server at the destination end. As
a result, the visual IVR menu is specific to the destination
and only the IVR of the destination dialed is displayed.
These techniques therefore, require each destination to set
up hardware,software and other facilities to be deployed for
providing visual IVR servers.
10008] A U .S. Pat. No. 7,460,652, assigned to AT & T
Intellectual Property I, L .P., discloses techniques for call
routing and communication with a call originator. The call
may be received at an automated call handling system .
Thereafter, the call is evaluated based on a set ofbusiness
rules and routed to an interactive voice response unit based
on the evaluation. Further, the interactive voice response
unit automatically schedules and sends an email to the
originator of the call. However, the scheduling of the email
is performed after establishing a communication with the
automated callhandling system .Moreover, the scheduling is
performed at the automated call handling system .
[0009] Another existing technique as disclosed in U .S.
Pat. No. 6,560,320 assigned to International Business
Machines Corporation enables an operator of the IVR to
send customized signals to the caller for generating and
displaying graphical elements on the device of the caller.
Thereafter, the caller can respond by selecting options
through touch -screen interface of the device. Dual Tone
Multi frequency (DTMF) signals ofthe IVR .However, this
technique requires a specifically configured device to inter
pret the codes sent as Dual Tone Multi frequency (DTMF)
signals for generating the graphics.Moreover, an operator is
required to present the graphics to the caller. Furthermore,
specialized software andhardware are required at theopera
tor to design and generate DTMF codes. Therefore, the
technique faces various practicallimitations.
US 2017/0289332 A1 Oct. 5, 2017
[0010] Generally, the IVR menus of the organizationsare
in form ofaudiblemenu.Moreover,there are a largenumber
oforganizations that use IVR menus. Therefore, converting
the audible menus to visual IVR menus can be time con
suming. An existing technique, as disclosed in U .S. Pat.No.
6,920,425 assigned to Nortel Networks Limited, discloses
an automated scriptto convert the audible menus scripts to
visual IVR menu scripts. However, the audible menus
scripts must be available in a particular format to enable the
conversion. Furthermore, the audio menu scripts must be
available or downloadable for the program to function.As a
result,only the audio menus scripts that are available can be
converted to visual IVR menu scripts. Furthermore, the
device of the caller must be designed or programmed to
understand the visual IVR menu scripts.
[0011] Various organizations encourage the customers to
call them for information on their products or services, or for
helping existing customers.Generally, a contact number is
provided by the organizations on their website as a button .
Therefore, when the customer presses the button a form is
displayed. The customer then enters his contact number
where an executive from the organization may call. How
ever, thismay be time consuming for the customer.More
over, the customermay be notbeing able to talk to another
executiveduring the call in case the on-line executive is not
able to satisfy the customer.U .S.patent application with Ser.
No. 12/049,021, filedMar. 14,2008 and assigned to Harprit
Singh,providesmethods and systemsfor displaying an IVR
menu,when the caller clicks a link on a webpage provided
by the organization. However, the customer is still required
to request the webpage with embedded information from a
server of the organization. Moreover, the methods and
systems are limited to the organizations that provide the
required webpage to the customers. Other technologies
include U .S . patent application with Ser. No. 11/877,952
filed Oct. 24, 2007 and assigned to International Business
Machine Corporation.
[0012] The effectiveness of providing the IVR in visual
form is discussed in a technicalpapertitled,“The Benefits of
Augmenting Telephone Voice Menu Navigation with Visual
Browsing and Search 'by Min Yin et al. The paper discusses
a setup where visualcontentofthe IVR is sentfrom a service
provider to a computer connected to a mobile phone. How
ever, the technique discussed in the paper is limited to the
visual content provided by the service provider's end, after
the connection is established .Moreover, the providers are
required to individually setup thehardware and services for
providing visual content.
[0013] As discussed above the existing technologies have
various limitations. Hence, techniques are desired for pro
viding enhanced telephony.
means forestablishing a connection with a destination ofthe
dialed number based on the selection of the one or more
options.
[0015] An enhanced telephone system is provided. The
telephone system comprises a database comprising one or
more phonenumbers and oneormoremenus corresponding
to thephonenumbers,wherein themenus comprises one or
more options for selection; means for comparing the a
received number ofa received call to thephone numbers in
thedatabase;means for displaying amenubased on a result
of the comparison; and means for enabling selection of the
one ormore options from the displayed menu.
[0016] Further, a method for providing enhanced tele
phony is provided. The method comprising identifying a
number dialed from a telephone system ; comparing the
dialed number to one or more phone numbers stored in a
database, wherein the database comprises one or more
menus corresponding to thephonenumbers, and wherein the
menus comprises one or more options for selection, and
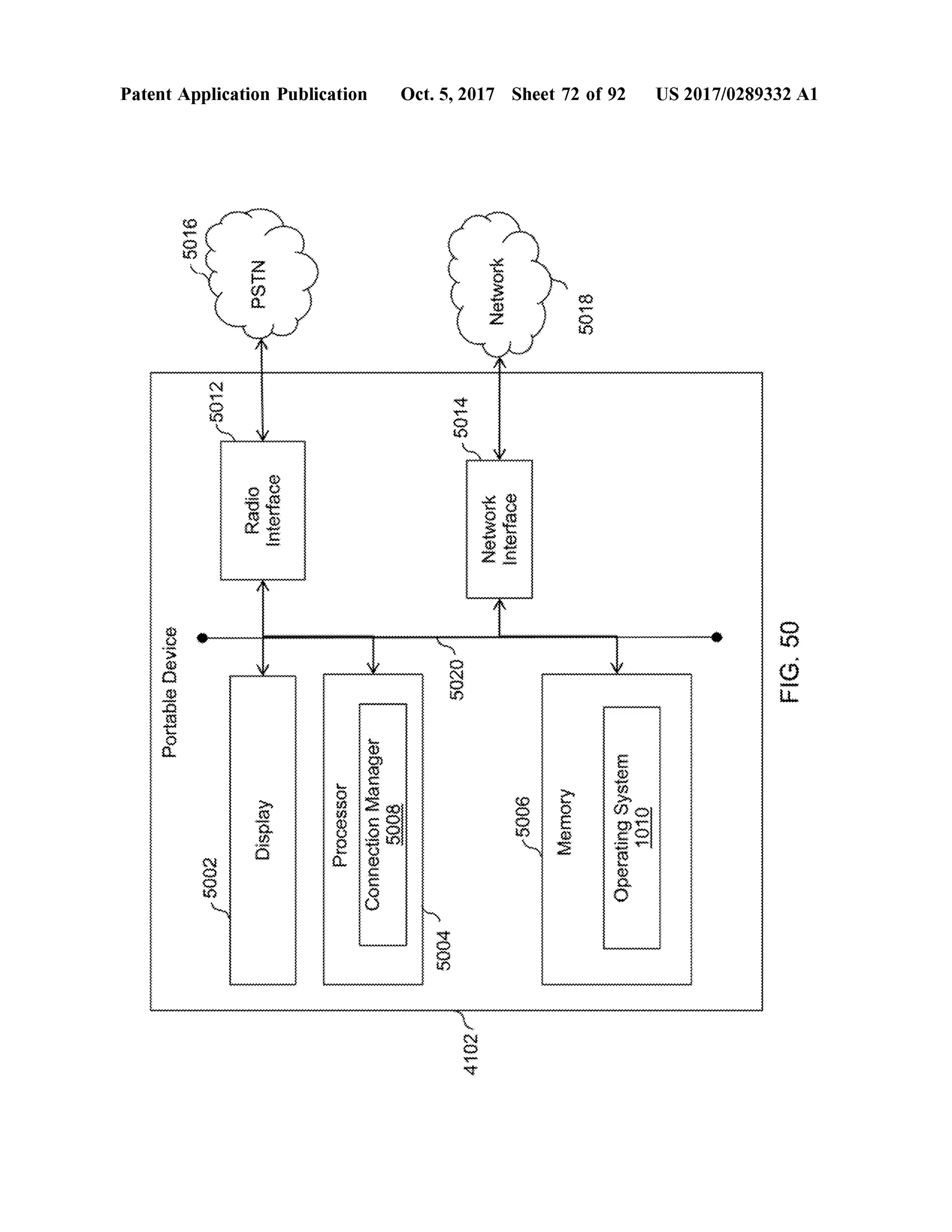
displaying on the telephone system a menu from the data
base based on a result of the comparison.
10017] A callermay dial or select a phone number from a
device of a destination. The phone number is detected by a
Visuphone implemented on the device to display a visual
IVR menu corresponding to the audible IVR menu of the
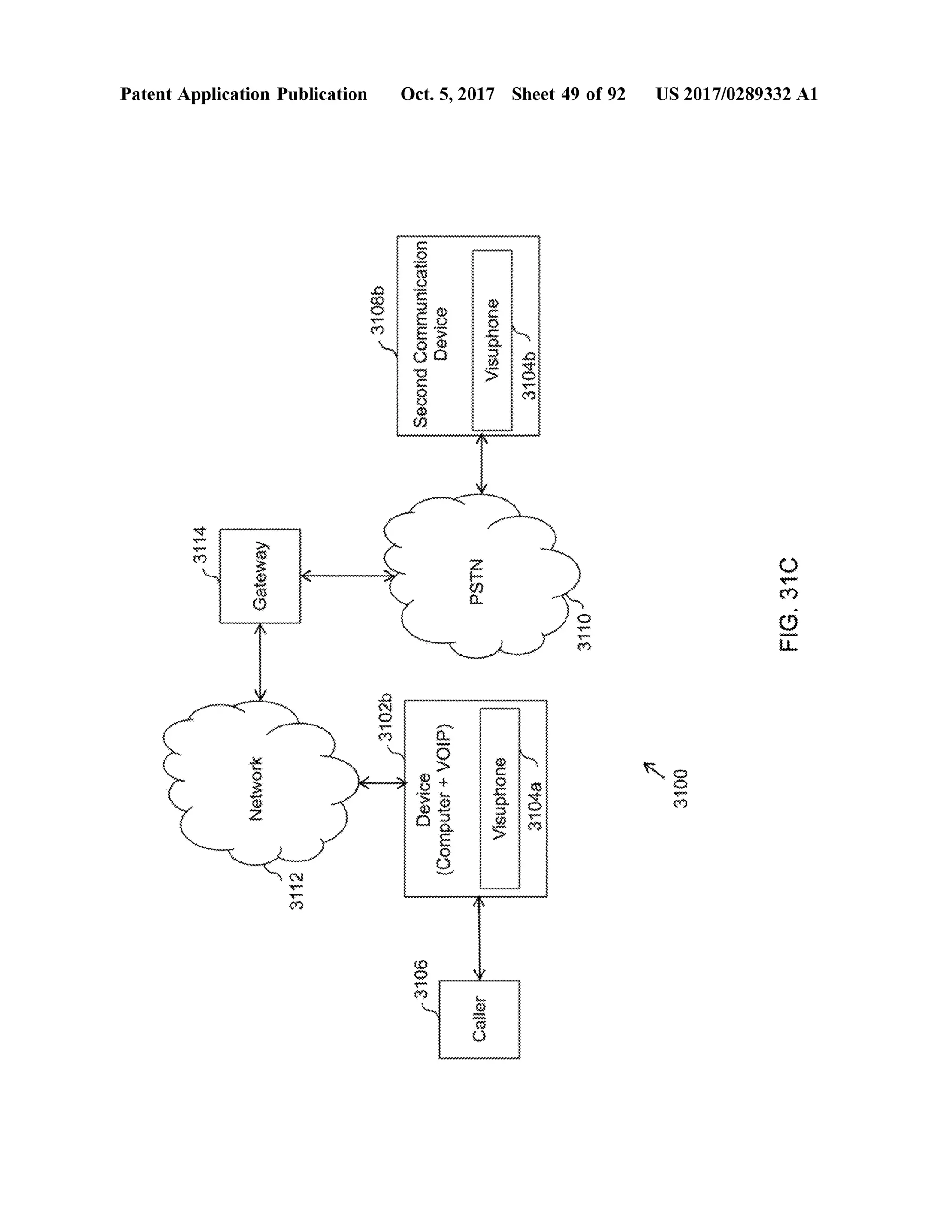
destination. Visuphone may be hardware, an application
stored as a software or firmware on the device, or a com
bination thereof. Visuphonemay include a databaseofvisual
IVR menuscorrespondingto audible IVR menus for various
destinations. Thereafter, the caller may interact with the
visual IVR menu displayed on the device to establish a
connection with the destination . Furthermore, Visuphone
may detect and launch a VOIP application for establishing
the connection. Moreover, Visuphone may provide pre
recorded or computer synthesized audio responseson behalf
of the caller to the destination.
[0018] An aspect ofthe invention is to generate a database
ofvisualIVR menus. The database generation could be done
by successive calling the IVR and combined with voice
recognition. Calling the IVR systems can be done manually
by operators thatwill listen to options of the IVR and enter
these options into the database. In this manual mode, the
operator will dial IVR numbers from a list and for each of
them will follow all the options in several levels and in each
level, enter themenu entries into the database. This can be
done to many different IVR phone numbers, by one or
multiple operators. The voice menu can be recorded to for
analyzing in a different process or a different time.
[0019]. Another aspect of the invention is to generate a
database of visual IVR menus by a computer system .
Combination ofhardware and software that is connected to
phone system and automatically dials the IVR phone num
bers, record the differentoptions ofthe voicemenu, analyze
the voice menu and generate and enter the different entries
into the database. The system will generate the voice tone
that simulates the relevant touchtone of a phone number
pressed. This process will be done in several levels until
covering all the entries in all the levels of the specific IVR
system . This process is done for all the IVR phone number
in the list.
[0020] Additionalalternative is to accessthe IVR internal
database and download themenu. This approach requires the
collaboration with the IVR maker and at least permission
from the IVR owner. Having both a system could be build
SUMMARY
[0014] An enhanced telephone system is provided. The
telephone system comprises a database that comprises one
ormore phone numbersand one ormoremenuscorrespond
ing to the phone numbers, wherein themenus comprise one
or more options for selection. The telephone system com
prises means for comparing a dialed number to the phone
numbers in the database ;means for displaying a menu based
on a result of the comparison ;means for enabling selection
ofthe one ormore options from the displayed menu; and
US 2017/0289332 A1 Oct. 5, 2017
to access IVR using their maintenance port,which is often
connected to the Internet. Accordingly, the system would
access the IVR and once authorized by the IVR owner itwill
download the internal file representing the IVR menu,which
could be called the IVR customization record . The down
loaded file would then be converted to visualIVR menu by
utility that could be design according to the format,which
could be provided by the IVR maker.
[0021] Another aspect of the invention is to provide to a
caller using a device a visual IVR menu corresponding to an
audible IVR menu of a destination.
[0022] Another aspect of the invention is to enable the
caller to directly interact with the visual IVR menu without
listening to the audible IVR menu ofthe destination.
[0023] Another aspect of the invention is to provide the
visual IVR menu to the caller before establishing a connec
tion of the device with the destination .
[0024] Another aspect ofthe invention is to provide adver
tisements related to the destination or function of the des
tination dialed by the caller.
10025]. Yet anotheraspect of the invention is to provide a
visualIVR menu of a destination according to the location
of the communication device of a caller and/or a location of
thedialed destination phone number.
[0026 ] Embodiments of the invention provide an
enhanced communication device. The enhanced communi
cation device comprises a processor and a memory coupled
to the processor. Thememory comprises a databaseinclud
ing one ormore destination phone numbers and at leastone
property associated with the destination phone numbers
Further, the memory comprises instructions executable by
the processor for identifying a dialed phone number of a
destination, determining a location code associated with a
current location of the communication device, comparing
the dialed phonenumber to one ormore destination phone
numbers stored in a database, and displaying at least one
property associated with the oneormore destination phone
numbers based on the comparison.
[0027] Embodiments of the invention provide an
enhanced communication device. The enhanced communi
cation device comprises a database including one or more
destination phone numbers and at least one property asso
ciated with the destination phone numbers. Further, the
enhanced communication device comprisesmeans for iden
tifying a dialed phone number of a destination, means for
determining a location code associated with a current loca
tion of the communication device,means for comparing the
dialed phone number to one or more destination phone
numbers stored in a database, and means for displaying at
least one property associated with the one ormore destina
tion phone numbers based on the comparison.
[0028] Embodiments of the invention provide a method
for providing enhanced telephony. The method includes
identifying a phone number of a destination dialed from a
communication device; determining a location code associ
ated with a current location of the communication device;
and comparing the dialed phone number to one or more
destination phone numbers stored in a database. The data
base may include at least one property associated with the
destination phone numbers. Further, the method includes
displaying the at least one property associated with the one
ormore destination phone numbers based on the compari
[0029] Embodiments of the invention provide an
enhanced device. The enhanced device comprises a proces
sor and a memory coupled to the processor. The memory
comprises a database including one or more destination
phone numbers and at least one property associated with the
destination phone numbers Further, the memory comprises
instructions executable by the processor for identifying a
dialed phonenumber of a destination, determining a location
code associated with a current location of the device, com
paring the dialed phonenumberto one ormore destination
phone numbers stored in a database, and displaying at least
one property associated with the one or more destination
phone numbers based on the comparison .
(0030) Embodiments of the invention provide an
enhanced device. Theenhanced device comprises a database
including one or more destination phone numbers and at
least one property associated with the destination phone
numbers. Further, the enhanced device comprises means for
identifying a dialed phone number of a destination,means
for determining a location code associated with a current
location of the device, means for comparing the dialed
phone number to one or more destination phone numbers
stored in a database,and means for displaying at least one
property associated with the one ormore destination phone
numbers based on the comparison.
[0031] Embodiments of the invention provide a method
for providing enhanced telephony. Themethod includes
identifying a phone numberof a destination dialed from a
device; determining a location code associated with a cur
rentlocation ofthe device;and comparing the dialed phone
numberto one ormore destination phonenumbers stored in
a database. The databasemay include at least one property
associated with the destination phone numbers. Further,the
method includes displaying the at least one property asso
ciated with the one or more destination phone numbers
based on the comparison.
[0032] Embodiments of the invention provide a device
comprising a database comprising a plurality ofvisual IVR
menusassociated with a plurality ofdestinations. Thedevice
further comprises means for dialing a phone number of a
destination,means for comparing the dialed phone number
with phone numbers stored in the database, and means for
displaying a form based on the comparison, wherein the
form comprises one ormoredata request fields correspond
ing to a visual IVR menu associated with the dialed desti
nation.
[0033] Embodiments of the invention provide a device
comprising a processor. Further, the device comprises a
memory comprising a database. The database comprises a
plurality of visual IVR menusassociated with a plurality of
destinations. Further, the memory comprises instructions
executable by the processor for dialing a phone number of
a destination, comparing the dialed phone number with
phone numbers stored in the database, and displaying a form
based on the comparison,wherein the form comprisesoneor
more data request fields corresponding to a visualIVR menu
associated with the dialed destination.
[0034] Further, a method for providing enhanced tele
phony is disclosed. The method comprises dialing, at a
device, a phonenumber of a destination. The device com
prises a plurality of visual IVR menus associated with a
plurality of destinations. Further, the method comprises
comparing the dialed phone number with phone numbers
stored in the device. Furthermore, the method comprisesson .
US 2017/0289332 A1 Oct. 5, 2017
displaying, at the device, a form based on the comparison,
wherein the form comprises one or more data request fields
corresponding to a visual IVR menu associated with the
dialed destination.
[0035) Embodiments ofthe invention provide a device for
scheduling a call to a destination based on predefined calling
information. Thedevice comprises a database comprising at
leastone visualIVR menu associated with each of a plurality
ofdestinations.Thedevicealso comprisesmeansfordialing
a phone number of a destination ofthe plurality ofdestina
tions based on the predefined calling information, wherein
the predefined calling information is selected from a visual
IVR menu associated with the destination ,means forreceiv
ing information from the dialed destination based on the
predefined calling information;andmeans for displaying the
received information.
00361 Embodiments of the invention disclose a method
for providing scheduling a call to a destination based on
predefined calling information. Themethod comprises dial
ing a phone number of a destination of a plurality of
destinations based on the predefined calling information,
wherein the predefined calling information is selected from
a visual IVR menu associated with the destination . Further,
themethod comprisesreceiving information from the dialed
destination based on the predefined calling information.
Furthermore, themethod comprises displaying the received
information.
[0037] Embodiments of the present invention provide a
device. The device comprises a processor. Further, the
device comprises a memory coupled to the processor. The
memory comprises a database comprising at least one IVR
menu associated with at least one IVR system . Further, the
memory comprises instructions executable by the processor
for sending a first section of a data packet to a second
communication device. The first section comprising first
information is sent based on a visualIVR menu associated
with the secondcommunication device.Further,thememory
comprises instructions executable by the processor for
receiving an acknowledgementmessage from the second
communication device based on the first section of the data
packet. Furthermore, the memory includes instructions
executable by the processor for sending a second section of
the data packet to the second communication device based
on the acknowledgementmessage. Thesecond section com
prises second information .
[0038] Embodiments of the present invention provide a
method for communicating among a plurality of communi
cation devices. Themethod comprises sending,by a device,
a first section ofa data packet to a second communication
device. The first section comprising first information is sent
based on a visual Interactive Voice Response (IVR )menu
associatedwith atleastoneIVR system .Further, themethod
comprises receiving, at the device, an acknowledgement
message from the second communication device based on
the first section ofthe data packet. Furthermore, themethod
comprises sending, by the device, a second section of the
data packet to the second communication device based on
the acknowledgement message. The second section com
prises second information.
[0039] Embodiments of the invention provide a method
for establishing a communication session in a communica
tion network. Themethod comprises dialling,by a device, a
phone number of a second communication device. The
second communication device comprises an IVR system .
Further, themethod comprises detecting, by the device, a
data network .Furthermore, themethod comprises sending,
by the device, a first section of a data packet to the dialled
second communication device when the data network is
detected. The first section comprises first information.
[0040] Embodiments of the invention provide a commu
nication device comprising a database comprisinga plurality
of visual Interactive Voice Response (IVR )menus associ
ated with a plurality of destinations. The communication
device further comprisesmeans fordialing a phone number
of a destination , means for comparing the dialed phone
number with phone numbers stored in the database, and
means for displaying a form based on the comparison,
wherein the form comprises one ormore data request fields
corresponding to a visual IVR menu associated with the
dialed destination .
[0041] A method for providing enhanced telephony is
disclosed. The method comprises dialing, at a communica
tion device, a phone number of a destination. The commu
nication device comprises a plurality of visual IVR menus
associated with a plurality of destinations. Further, the
method comprises comparing the dialed phonenumber with
phone numbers stored in the communication device. Fur
thermore, themethod comprises displaying, atthe commu
nication device, a form based on the comparison, wherein
the form comprises one or more data request fields corre
sponding to a visual IVR menu associated with the dialed
destination .
[0042] An aspectofthe invention is to provideupdates to
the visual IVR menus stored in the device.
[0043] An aspect of the invention is to provide the visual
IVR menu when the call is forwarded from one destination
to another.
[0044] Another aspectof the present invention is to pro
vide amethod for displaying, ata device, a visual IVR menu
associated with a phonenumberofa calling device.Further,
themethod displays one ormore communication options at
thedevice.
[0045] Another aspectofthe invention is to enable a user
at the device to interact with the visual IVR menu of the
calling firstparty devicewithoutlisteningto the audible IVR
menu of the first party device.
[0046] Yet another aspect of the invention is to enable a
portable device or device to connect to an external device
with better display capabilities.
10047 . Further aspect of the invention is to provide the
visual IVR menu of a first party device to a user of a device
before establishing a communication session between the
device and the first party device.
10048] Additional aspect of the invention is an automatic
learningofcaller choice anduses that forassisting the caller
in his future calls.
BRIEF DESCRIPTION OF THE DRAWINGS
[0049] Having thus described the invention in general
terms, reference will now be made to the accompanying
drawings, which are not necessarily drawn to scale, and
wherein :
[0050] FIG . IA illustrates an exemplary environment
where various embodiments ofthe invention may function ;
f0051] FIG . 1B illustrates another exemplary environment
where various embodiments of the invention may function;
US 2017/0289332 A1 Oct. 5, 2017
[0052] FIG . IC illustrates yet another exemplary environ-
ment where various embodiments of the invention may
function;
[0053] FIG . 2A illustrates an exemplary audible Interac
tive VoiceResponse (IVR )menu at a destination, in accor
dance with an embodiment of the invention;
[0054] FIG . 2B illustrates an exemplary visual IVR menu
at a device corresponding to the audible IVR menu of the
destination, in accordancewith an embodiment ofthe inven
tion;
[0055] FIG . 2C illustrate an exemplary visual IVR menu
thatdisplay graphics for each option, in accordancewith an
embodiment of the invention;
[0056] FIG . 2D illustrate an exemplary visual IVR menu
that display tooltip when a curser is hovering an option for
more than certain timewithout action , in accordance with an
embodiment of the invention;
[0057] FIGS.3A and 3B illustratesexemplarycomponents
of the device for implementing a Visuphone, in accordance
with an embodimentof the invention ;
[0058] FIG . 4 illustrates an exemplary display of the
visual IVR menu on the device, in accordance with an
embodiment of the invention;
[0059] FIG . 5 illustrates exemplary components of the
device for implementing the Visuphone, in accordance with
another embodimentof the invention;
[0060] FIG . 6 illustrates an exemplary display of the
visual IVR menu on the device, in accordance with another
embodiment of the invention ;
[0061] FIG . 7 illustrates a webpage displayed on the
device that may be used to initiate a connection to the
destination, in accordance with an embodimentofthe inven
tion;
[0062] FIG . 8 illustrates an exemplary software architec
ture ofVisuphone, in accordance with an embodimentofthe
invention;
[0063] FIG . 9 illustrates exemplary components of the
Visuphone, in accordance with an embodimentofthe inven
tion;
10064) FIG . 10 illustrates an exemplary remote server for
storing information required by the Visuphone, in accor
dance with an embodiment of the invention;
[0065] FIG . 11 illustrates presentation of a visual IVR
menu in case of call forwarding, in accordance with an
embodiment of the invention ;
10066] FIG . 12 illustrates the presentation of the visual
IVR menu when a phone connection is associated with a
wide band internet “smart'modem ;
[0067] FIG . 13 illustrates the presentation of the visual
IVR menu when a telephone connection is established
through an externaltelephone service by using a computer;
[0068] FIGS. 14A , 14B , and 14C illustrate a Visu -add-on
that provides the features and functionality of the Visu
phone;
0069] FIGS. 15A, 153, 15C and 15D illustrate a flow
chart diagram for presentation, selection and update of
visual IVR menus, in accordancewith an embodimentof the
invention;
[0070] FIG . 16 illustrates exemplary components of a
device for implementing a database construction system , in
accordance with an embodiment of the invention;
[0071] FIGS. 17A, 17B, and 17C illustrate exemplary
components of the database construction system , in accor
dance with an embodiment of the invention;
[0072] FIG . 18 illustrates a flowchart diagram for creating
a database for visual IVR menus, in accordance with an
embodiment of the invention ;
[0073] FIG . 19 illustrates an exemplary set of IVR cat
egories;
[0074] FIG .20A illustrates an exemplary information pro
cess stored in a database;
[0075 ] FIG . 20B illustrates an exemplary web form gen
erated for the information process ofFIG . 20A;
10076) FIG . 21 illustrates an exemplary display of repre
sentations of destinations on the device, in accordance with
an embodiment of the invention;
[0077) FIG . 22 illustrates an exemplary visual IVR menu
of the selected destination with added graphics at a device,
in accordance with an embodiment of the invention;
[0078] FIGS. 23A, 23B , and 23C illustrate a flowchart
diagram forproviding representation ofdestinationsbased
on position, in accordance with an embodiment of the
invention ;
[0079] FIG . 24 illustrates flowchart for presenting adver
tisement along with the visual IVR menu on the device, in
accordance with an embodiment of the invention;
[0080] FIG . 25A illustrates an exemplary information pro
cess for an IVR menu stored in records database, in accor
dance with an embodiment of the invention ;
10081] FIG . 25B illustrates an exemplary web form gen
erated for the information process of FIG . 25A, in accor
dance with an embodiment of the invention ;
[0082] FIG . 26 illustrates a flowchart for submitting per
sonalinformation of a caller by Visuphone, in accordance
with an embodimentofthe invention;
[0083] FIG . 27 illustrates an exemplary representation of
a visual IVR menu associated with thedialed phonenumber
ofthe destination along with a schedulingmodeoption,in
accordance with an embodiment of the invention ;
100841. FIG . 28 illustrates another exemplary representa
tion of a visual IVR menu associated with the dialed phone
number of the destination along with a scheduling mode
option, in accordance with an embodimentof the invention;
10085 ] FIG . 29 illustrates an exemplary display at the
device after switching to a schedulingmode, in accordance
with an embodiment of the invention;
0086 ) FIGS. 30A and 30B illustrates a flowchart for
providing enhanced telephony by presenting a scheduling
mode option to the caller, in accordance with an embodiment
of the invention;
f0087] FIGS. 31A , 31B , 31C and 31D illustrates exem
plary environments where communication device may
exchange one ormoremessages/data packets for establish
ing communication session , in accordance with various
embodiments of the invention;
[0088] FIG . 32 illustrates an exemplary packet sent from
a device to a second communication device, in accordance
with an embodiment of the invention;
[0089] FIG . 33 illustrates an exemplary structure of a first
section of the packet sent to the second communication
device, in accordance with an embodimentofthe invention ;
10090 ) FIGS. 34A and 34B illustrates a flowchart for
communicating among a plurality of communication
devices,in accordancewith an embodimentofthe invention;
[0091] FIGS.35A, 35B,and 35C illustratesan exemplary
communication network where a call is received at a device
from a firstparty device, in accordance with various embodi
ments of the invention function ;
US 2017/0289332 A1 Oct.5,2017
10092] FIG . 36 illustrates yet another exemplary commu
nication network in which an IVR is displayed when a call
is received at a device, in accordance with an embodiment
of the invention;
[0093] FIG .37 illustrates an exemplary visual IVR menu
along with one ormore communication options at a device,
in accordance with an embodimentof the invention;
[0094] FIG . 38 illustrates another exemplary visual IVR
menu along with one or more communication options at a
device, in accordance with an embodiment ofthe invention;
[0095] FIG . 39 illustrates the presentation of the visual
IVR menu when a phone connection is associated with a
wide band internet ‘smart’modem ;
0096 ] FIG . 40 illustrates a flowchart for providing
enhanced telephony when a call is received, in accordance
with an embodiment of the invention;
00971. FIG . 41 illustrates an environmentwhere a device
may be connected to an external device, according to an
embodiment of the invention;
[0098] FIG . 42 illustrates exemplary functioning of the
device (portable device) in the environment of FIG . 41, in
accordance with an embodiment of the invention;
[0099] FIG . 43 illustrates exemplary functioning of the
portable device such as a smart phone connected to a laptop
in the environmentofFIG . 41, in accordance with another
embodiment of
[0100] FIG . 44 illustrates exemplary functioning of the
portable device connected to a large display screen in the
environmentofFIG .41,in accordancewith another embodi
ment of the invention ;
[0101] FIG . 45 illustrates exemplary functioning of the
portable device such as the smart phone connected to a
television screen in the environment of FIG . 41, in accor
dance with another embodiment of the invention;
[0102] FIG . 46 illustrates exemplary functioning of the
portable device connected to a picture frame in the envi
ronmentofFIG .41, in accordancewith another embodiment
of the invention;
[0103] FIG . 47 illustrates exemplary functioning of the
portable device connected to a Global Positioning System
(GPS) navigation system in the environment of FIG . 41, in
accordance with another embodiment of the invention;
[0104] FIG . 48 illustrates exemplary functioning of the
portable device such as the smart phone connected to a
projector in the environment ofFIG .41, in accordance with
another embodimentof the invention;
[0105] FIG . 49 illustrates exemplary display of an Inter
active VoiceResponse (IVR )menu on a large display screen
connected to a portable device such as the smart phone, in
accordance with an embodiment of the invention;
[0106] FIG . 50 illustrates block diagram of the portable
device, in accordance with an embodimentofthe invention;
[0107] FIG . 51 illustrates another block diagram of the
portable device, in accordance with an embodiment of the
invention;
[0108] FIG .52illustratesan environmentwherea portable
device may be connected to a user device, in accordance
with an embodiment of the invention;
[0109] FIG .53 illustratesan environmentwhere a portable
device may be connected to a user device, in accordance
with another embodiment of the invention ;
[0110] FIG . 54 illustrates exemplary functioning of the
portable device connected to a mobile phone in the envi-
ronment of FIG . 52 or FIG . 53, in accordance with an
embodimentof the invention;
10111] FIG . 55 illustrates exemplary functioning of the
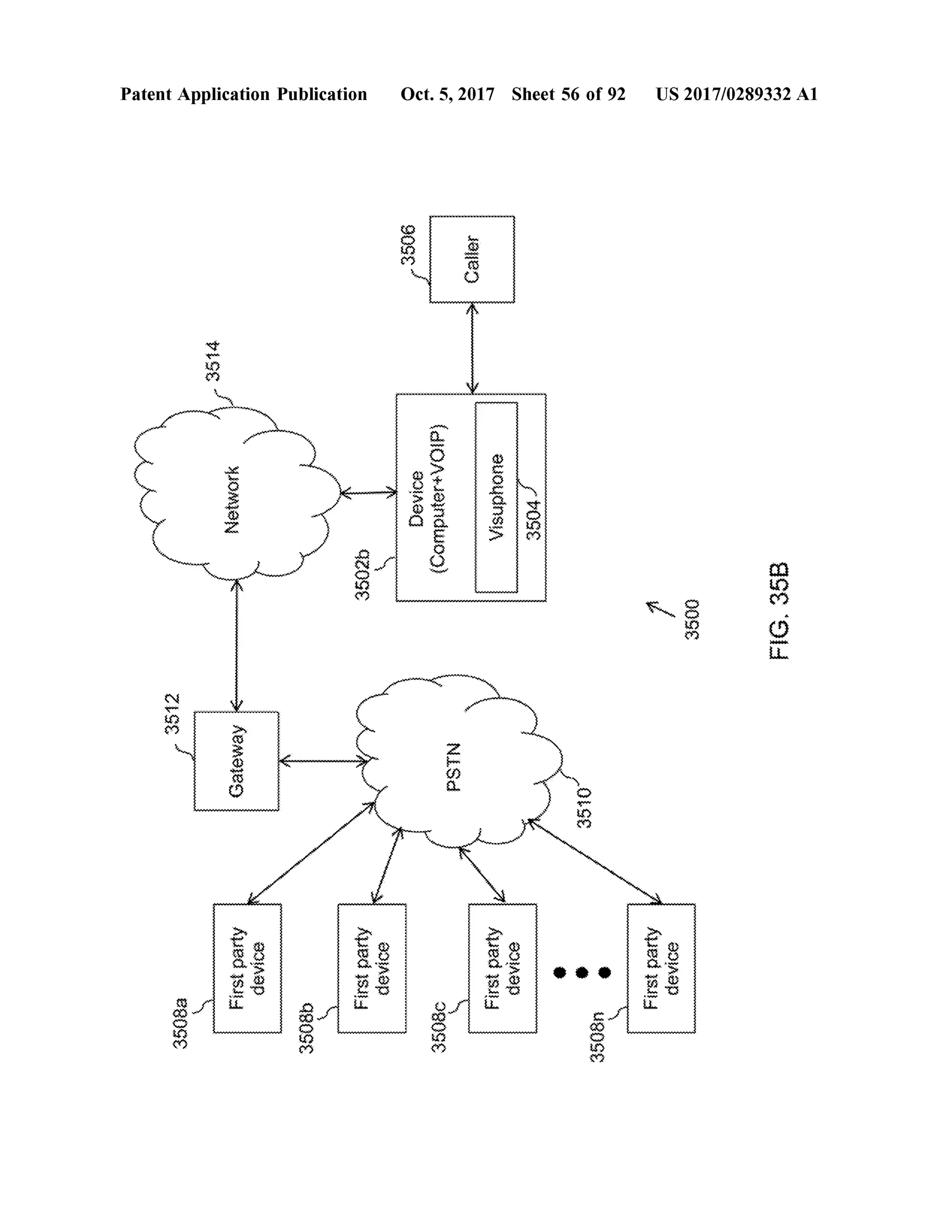
portable device connected to a mobile phone and a projector
in theenvironment ofFIG .52orFIG .53,in accordancewith
another embodiment of the invention;
[0112] FIG . 56 illustrates another exemplary functioning
of the portable device connected to a mobile phone and a
large screen in the environment of FIG . 52 or FIG . 53, in
accordance with another embodiment ofthe invention ;
10113] FIG . 57 illustrates another exemplary functioning
of the portable device connected to a mobile phone and a
television in the environment of FIG . 52 or FIG . 53, in
accordance with another embodiment of the invention ;
[0114 ] FIG . 58 illustrates exemplary functioning of the
portable device connected to amobilephone and a laptop in
the environment of FIG . 52 or FIG . 53, in accordance with
another embodimentof the invention;
[0115 ]. FIG . 59 illustrates another exemplary functioning
of the portable device connected to a picture frame and a
wired telephone in the environmentof FIG . 52 or FIG . 53,
in accordance with another embodimentof the invention;
[0116 ] FIG . 60 illustrates exemplary functioning of the
portable device connected to a mobile phone and a GPS
navigation system in the environmentofFIG .52 or FIG .53,
in accordance with another embodimentof the invention ;
[0117]. FIG . 61 illustrates an exemplary display of an
Interactive Voice Response menu (IVR) on a large display
screen connected to a portable device and a user device such
as smart phone, in accordance with an embodiment of the
invention ;
[0118] FIG . 62 illustrates a block diagram of portable
device 5202, in accordance with an embodiment of the
invention ;
01191 FIG .63 is a flowchart illustrating the functioning of
portable device4102,m accordance with an embodimentof
the invention;
0120] FIGS. 64A and 64B illustrates a flowchart for
implementing the portable device in the environment of
FIG . 52 and FIG . 53, in accordance with an embodimentof
the invention;
[0121] FIG . 65 illustrates an exemplary functioning of
Visuphone for displaying one ormore contact options at a
device, in accordance with an embodimentofthe invention;
[0122] FIG .66 illustrates change ofdisplay at user device
102,when a user selects a contact option, in accordancewith
an embodiment of the invention;
(0123] FIG . 67 illustrates an exemplary functioning of
Visuphone for displaying one ormore contact options at a
device, in accordance with another embodiment of the
invention;
[0124] FIG .68 illustrates change in display at device 102
based on selection of a contact option by a user of device
102, in accordance with an embodiment of the invention;
and
0125 ] FIG . 69 illustrates a flow diagram illustrating an
exemplary functioning ofthe Visuphone for displaying one
ormore contact options at a device, in accordance with an
embodiment of the invention.
DETAILED DESCRIPTION OF THE
INVENTION
[0126] Illustrative embodiments of the invention now will
be described more fully hereinafter with reference to the
US 2017/0289332 A1 Oct. 5, 2017
accompanying drawings, in which some,butnotall embodi
ments ofthe invention are shown. Indeed, theinventionmay
be embodied in many different forms and should not be
construed as limited to the embodiments set forth herein ;
rather, these embodiments are provided so thatthis disclo
sure will satisfy applicable legal requirements. Like num
bers refer to like elements throughout.
[0127] FIG . IA illustrates an exemplary environment
where various embodiments ofthe invention may function .
A device 102a can be used by a caller 106 for connecting to
destinations 108a-n. Device 102a can be a telecommunica
tion device that can connect directly to a Public Switched
Telephone Network (PSTN ) 110. A person skilled in the art
will appreciate, that device 102a can also connect to a
private telephone exchange. Examples of device 102a
include, but not limited to, a mobile phone, a Smartphone,
a telephone, or any other device capable of voice or data
communication. Each of destinations 108a-n may include
one or more Interactive Voice Response (IVR ) menus.
Further,each ofdestinations 108a-n may haveone ormore
associated phone numbers. When caller 106 dials a phone
number of a destination and connects to any destination
from destinations 108a-n, an audible IVR menu may be
played to caller 106.Each ofdestinations 108a-n can have
different and more than one audible IVR menus. For
example, IVR menus ofbank may be completely different
from that of a hospital. Typically, the audible IVR menu
provided by destinations 108a-n comprises audible options
or instructions. Caller 106 maybe required to select various
options from the audible IVR menu to obtain the required
information or resource or service from the dialed destina
tion. Various typesofdestinations 108a-n thatimplementthe
audible IVR menu include, for example, banks, hotels,
fast-food outlets,utility services providers, corporateoffices,
and so forth .
[0128] In an embodiment, device 102a includes a Visu
phone 104 that can display a visual IVR menu on device
102a corresponding to the audible IVR menu based on a
phone numberof the destination to be connected.Visuphone
104 may be hardware, an application stored as software, a
firmware on device 102a, or a combination thereof. There
after, caller 106 can select the options of the audible IVR
menu from the visual display without the requirement to
listen to the audible instructions. Further, Visuphone 104
may display one or more options based on the dialed
destination. Exemplary audible IVR menu at destination
108a and a corresponding visualIVR menu are explained in
detail in conjunction with FIGS. 2A and 2B .
[0129] In an embodiment of the invention, device 102a
can request for updates from a server through a communi
cation network . The servermay maintain the updated infor
mation of destinations and their associated properties. This
may happen in a case when requested information is not
available on the dialed destination. The communication
network can include more than one device. Examples of the
communication network include, but are not limited to, the
Network, PSTN , Local Area Network (LAN ), Wide Area
Network (WAN), and so forth .
[0130] FIG . 1B illustrates another exemplary environment
where various embodiments ofthe invention may function .
As shown, device 102b can be a device that can be con
nected directly to a network 112. Examplesofdevice 102b
include,but arenotlimited to , a personal computer, a laptop,
amobile phone,a smart-phone,a fixed linetelephone, Voice
Over Internet Protocol (VOIP ) phone or other devices
capable ofvoice or data communication.Device 102b may
include various applications or computer programs that
enable caller 106 to use device 102b for connecting to any
ofdestinations 108a-n through PSTN 110 overnetwork 112.
For example, the applications may be VOIP applications,
such asbutnotlimited to, Skype, Magic Jack ,Google Talk
and so forth . A gateway 116 can be used to interconnect
PSTN 110 and network 112.Network 112may include any
wired or wireless network. Examples of network 112
include,butare notlimited to, aLocalAreaNetwork (LAN),
a Wide AreaNetwork (WAN ), a Wi-Finetwork,andso forth .
As discussed with reference to FIG . IA , destinations 108a-n
can present the audible IVR to caller 106. Device 1025
includes Visuphone 104b that displays a visual IVR menu on
device 102b corresponding to the audible IVR menu based
on a phone number of the destination to be connected.
Further, Visuphone 104may display one ormore options for
communication on device 102b.
[0131] FIG . IC illustrates yet another exemplary environ
ment where various embodiments of the invention may
function.Asshown,device 102c can be connected to PSTN
110 through network 112 or through the cellular network
111. Various service providers providemultiple or overlap
ping services to customers. For example, cable television
service providermay also provide phone and Internet ser
vice, optical Internet provider may also provide phone or
television services, WiMax service providers that provide
phoneservice,and so forth .Network 112maybeany service
provider that provides such services, for example, but not
limited to , cell phone services, wireless services, Internet
services, cable television services, or various combinations
of the above or other type of services. As discussed with
reference to FIG . IA , destinations 108a-n presents the
audible IVR to caller 106 .Device 102c includes Visuphone
104 that displays a visual IVR menu on device 102b
corresponding to the audible IVR menu based on a phone
number of the destination to be connected. Further, Visu
phone 104 may display other communication options to
caller 106.
[0132] In an embodimentof the invention, Visuphone 104
may call the dialed destination based on the predefined
calling information automatically. In an embodiment, Visu
phone 104may keep on callingto the dialed destination until
therequested information is received. In an embodiment, the
dialed destination may requestthe information requested by
Visuphone 104 of device 102c (or 102a or 102b ), from a
server of the communication network. Thereafter, the dialed
destination may send the information received from the
server to Visuphone 104 ofdevice 102c. Further, Visuphone
104 may save and/or display the received information at
device 102c.
f0133] FIG . 2A illustrates an exemplary audible IVR
menu 222a at destination 108a, in accordance with an
embodimentofan invention. A person skilled in the artwill
appreciate that audible IVR menu 222a is an exemplary
graphical representation of the audible instructions pre
sented by destination 108a for the sake of explanation and
is notan actual graphical display. Forexplanation, assuming
that destination 108a is a pizzeria that provides home
delivery and takes away services. Caller 106 connects to
destination 108a by dialing a board phone number 202a.
Subsequently, various optionsof audible IVR menu 222a are
played to caller 106. Thevarious options include an option
Systems and Methods for Visual Presentation and Selection of IVR Menu
Systems and Methods for Visual Presentation and Selection of IVR Menu
Systems and Methods for Visual Presentation and Selection of IVR Menu
Systems and Methods for Visual Presentation and Selection of IVR Menu
Systems and Methods for Visual Presentation and Selection of IVR Menu
Systems and Methods for Visual Presentation and Selection of IVR Menu
Systems and Methods for Visual Presentation and Selection of IVR Menu
Systems and Methods for Visual Presentation and Selection of IVR Menu
Systems and Methods for Visual Presentation and Selection of IVR Menu
Systems and Methods for Visual Presentation and Selection of IVR Menu
Systems and Methods for Visual Presentation and Selection of IVR Menu
Systems and Methods for Visual Presentation and Selection of IVR Menu
Systems and Methods for Visual Presentation and Selection of IVR Menu
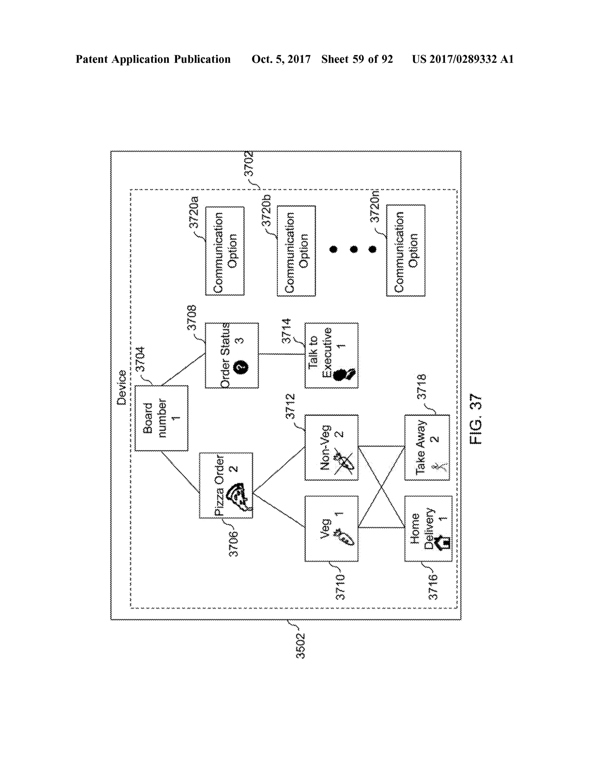
Systems and Methods for Visual Presentation and Selection of IVR Menu
Systems and Methods for Visual Presentation and Selection of IVR Menu
Systems and Methods for Visual Presentation and Selection of IVR Menu
Systems and Methods for Visual Presentation and Selection of IVR Menu
Systems and Methods for Visual Presentation and Selection of IVR Menu
Systems and Methods for Visual Presentation and Selection of IVR Menu
Systems and Methods for Visual Presentation and Selection of IVR Menu
Systems and Methods for Visual Presentation and Selection of IVR Menu
Systems and Methods for Visual Presentation and Selection of IVR Menu
Systems and Methods for Visual Presentation and Selection of IVR Menu
Systems and Methods for Visual Presentation and Selection of IVR Menu
Systems and Methods for Visual Presentation and Selection of IVR Menu
Systems and Methods for Visual Presentation and Selection of IVR Menu
Systems and Methods for Visual Presentation and Selection of IVR Menu
Systems and Methods for Visual Presentation and Selection of IVR Menu
Systems and Methods for Visual Presentation and Selection of IVR Menu
Systems and Methods for Visual Presentation and Selection of IVR Menu
Systems and Methods for Visual Presentation and Selection of IVR Menu
Systems and Methods for Visual Presentation and Selection of IVR Menu
Systems and Methods for Visual Presentation and Selection of IVR Menu
Systems and Methods for Visual Presentation and Selection of IVR Menu
Systems and Methods for Visual Presentation and Selection of IVR Menu

Systems and Methods for Visual Presentation and Selection of IVR Menu

  • 1.
    THELATARDEDIN ULOTTUUNTOUS 20170289332A1 (19)UnitedStates (12)Patent Application Publication (10)Pub.No.:US2017/0289332 A1 Lavian et al. (43) Pub. Date: Oct. 5, 2017 )(54) SYSTEMSAND METHODS FOR VISUAL PRESENTATION AND SELECTION OF IVR MENU U.S. CI. CPC .... H04M 1/72519 (2013.01); H04M 3/4938 (2013.01) (71) Applicants:TalLavian, Sunnyvale, CA (US);Zvi Or-Bach, San Jose,CA (US) (72) Inventors: TalLavian, Sunnyvale, CA (US);Zvi Or-Bach, San Jose, CA (US) (21) Appl.No.: 15/084,505 (57) ABSTRACT Embodiments of the invention provide a system for gener ating an Interactive Voice Response (IVR ) database, the system comprising a processor and amemory coupled to the processor. Thememory comprising a list of telephonenum bers associated with one ormore destinations implementing IVR menus, wherein the one or more destinations are grouped based on a plurality of categoriesofthe IVR menus. Furtherthememory includes instructions executableby said processor for automatically communicating with the one of more destinations, and receiving at least one customization record from said at least one destination to store in the IVR database. (22) Filed: Mar. 30, 2016 Publication Classification (51) Int. Cl. H04M 1/725 (2006.01) H04M 3/493 (2006.01) Devica 108aLESSLYYYYYYYYYYYYYYYYYYYYYYYvvvvvvvvvvvvvvvvvvvvvvvvvvvv Destination/ 2020Board?.??????????????????????? Oumber ???????????????????????????????? PizzaOrder 20401 21 {}{?r Statu PSTN? ? ? ? ? ? ? ?? ? 2100? ? ? ? Talk to 7 Executive 2120 HOO? ? Vog Non-Veg? ? ? 20letoutthere 146 Gateway? ? ? ? - - - - - - - - - - - - - - - - ?? ? ? ? ?? ? ? ? ? ? } {4} ^ {? ? Home Delivery 21401 ? ?? Away 2? ? ???????? MYYYYYYYYYYYYYYYYYYYYYYYY. . . . * * * * 2220
  • 2.
  • 3.
    |116 PatentApplication Publication Network Gateway 1088 Destination 112 Lllllllllllll 1086 S Destination Device(Computer+VOIP) PSTN Caller fimum Visuphone |1080 Oct.5,2017 Sheet2 of 92 Destination 1046 WWWWWWWWWWWW444 106 w wwwwww wwwwwww 1026 10. 108n Destination wwwwwwwwwwwwwwwwwwwwwwwwwww US 2017/0289332 A1 FIG.1B
  • 4.
  • 5.
    WWWWWWWWWWWWWWWWWWWWWWWWWWWWWWWWWWWWWWWWWWWWWWWWWWWWWWWWWWWWWWWWWWWWWWWWWWWWWWWWWWWWWWWWWWWWWWWWWWWWWWWWWWWWWWWWW Destination |-202a E{{{ Number -2220 * * * * * * * ** * * ** * * * * * * * * * * * * * * * * * * * * * * * * * * * * * * * * * PatentApplication Publication * * 44.wwww wwwwww... *** ** 2801 .... ** .**. ********************* * ** *.*.*-*www .s*ww *.** wwwwww wwwwwwwwwwwwwwwwwwwwwwwwwwwwwwwwwwwwwwwwwwwwwwwwwwwwwwwwwwwwwwwwwwwwwwwwwwwwwwwwwwwwwwwwwwwwwwwwwwwwwwwwwwwww WAVUVAJAVAAAAAAAA MainMenu * www. * ** * * * * * Press2for 204a_PizzaOrder * 206a Press3 OrderStatus Press0for mainmenu * * * * * * * 220a * ** * * AWWWWWWWWWWWWWWWWWWWWWWWWWWWWWWWWWWWWW} * 210a * * * * * * * ** * * ** 212a * * * Press2forNon-Veg MWWWWWWWWWWWWWWWWWWW 'ww .www . Mwan * wwwwwwwwwwwwwwwwwwwwwwwwwwwwwwwwwwwwwwwwwwwwwwwwwwwwwwwwwwwwwwwwwwwwwwwwwwwwwwwwwwwwwwwwwwwwwwwwwwwwwwwwwwww * Press1forVeg * zapuntata== EE Press1totalkto theExecutive * wwwwwwwwwwwwwww 208a * Oct.5,2017 Sheet 4 of 92 * * * * * * * * * * * ** * * * * * * 2182 * * * * * ** * Press2for * wwwwwwwwwwwwwwwwww 216a * * Press1for homeDelivery * Take * wwwwwww.MUNAN. * * * 214a- Away * ** * * * * * * ** ! * US 2017/0289332 A1 * mm.tomymomwwwmmmmmmmmmmmmmmmmmmmmmmmmmmmmmmmmmmmmmmmmmmmm mmmmmmmmmm mmm mm mm mm mm FIG.2A
  • 6.
    FIG.2B US 2017/0289332 A1 972 vimmingwiwinwwwwww.visitinwwwwwwwwwwwwwwww**mimi * 112 * 1/ 12 REMY * Network 9912 KjenijedBWOH Take * ddddddddddddddddddddddddddddder ddddddddddddddel///// **** WWWWWWWWWWWWWWWWWWWWWWWWWW WAMUWAMWAMUNAV. MAN WAWAWNINN. WWWWWWWWWWWWWWWWWWWW Oct.5,2017 Sheet 5 of 92 *** * * * * * * * * * * * * 116 Gateway 19807 Dangan D?O baA-UON ben Talkto * 1212b ******** 110-1 ws *** PSTN * 204b AWAN.A * OrderStatus * PizzaOrder ****** 2060 102b *** PatentApplication Publication .AWNAWNWWW.N ** jaqunuDIBOA * 777 ** Ozoz * uoneulised * * * * * * * * ?? ? ?????? ? ? ? ? ? ?? ? ?? ? ?? ? ? ? ?? ? ? ? ? ? ?? ? ???.? ? ? ? ? ? ?? ? ? ? ? ? ? ? ? ? ?? ? ? ?? ? ? ? ?? ? ?? ? 108a 180
  • 7.
    PatentApplication Publication Oct.5,2017Sheet6 of 92 US 2017/0289332 A1 1084 Destination NIS Gateway Network FIG.2C 112116 110 * * * * * * * * * * * * * * * * * * * * * * * * * * * * * * * * * * * * * * * * * * * * * * * * * * * * * * * * * * * * * * * * * * * * * * * * * * * * * * * * * * * * * * * * * * * * * * * * * * * * * * VA . V V V V V W XV. WWW. V . . Vw ww V . . . V . . . ya 2060 2020 OrderStatus 01el Executive Yeyeyeyeyeyeyeyer 121602100????JoqunuDevice 7 www.uniminmewwwwwwwwwwwwwwwwwwwwwwwwwwwwwwwwwwww bA-UON WWW. WWWWWWWWWWWWWWWWWW We'ded.He'de'deHeHeHeHeHeHeHeHe'' TakeAway wwwwwwwwwwwwwwwwwwwwwwwwwwxYununuWWWWANNWYNNWY.W 2 PizzaOrderA ben WWWWWWWWWWWWW 'e''-''-'-'-'-'-'-'-'-'HeHeHeHeHeHeHe'de'de BWOHDelivery2040 208011 2220 2140" Unavinnunniwwwny WWWWMWWWWWWWAWVWuWu NA WWW .AWY W WAMWWWWWWW SSSSSSSSSSSSSSSSSSSSSSSSSSSSSSSSSSSSSSSSSSSSSSSSSSSSSSSSSSSSSSSSSSSSSSSSSSSSSSSS 10201
  • 8.
  • 9.
    PST Device(ComputerSmartphone) 302 where 1312 PatentApplication Publication Display Radio{{rface 326 Gateway ***************************************************************** 30% IIIIIIIIIIIIIIIIIIIIIIIIIIIII ************************ - -- - - - - - - - - - - - - - CentralProcessingUnit www . NetworkInterface Network my 324 enerode 112 JumaW10 1316 102a 318 Memory MemoryCard Oct.5,2017 Sheet 8 of 92 320a M Visuphone104 InputOutputinterface Keyboard mmmmmmmmmmmmmmmmmmmmmmmmmwwwwwwwwwwwwwwwwwwwwwwwwwwwwwwwwwwwwwwwwwwwwwwwwwwwwwwwwwwwwwwwwwwwwwwwwwwwwwVisualMenuDatabase308 320b Mouse *** ** *** ** *** ****** *** ****** *** ****** *** ****** *** ****** ** ********************************************************************** hehehetett OtherApplications310 {JSE USB1322 Wwwwwwwwwwwwwwwwwwww * * * * * * * * * * * * * * * * * * US 2017/0289332 A1 FIG.3A
  • 10.
    FIG.3B US 2017/0289332 A1 310 Mouse SUObBddy@yo wwwwwwwwwwwwwwwwwwwwwwwwwwwwwwwwwwwwwwwwwwwwwwwwwwwwwwwwwwwwwwwwwwwwwwwwwwwwwwwwwwwwwwwwwwwwwwwwwwWWWWWWWWWW 90€ 308 VisualMenuDatabase 27€ Keyboard 104 BoeuoluIndinoandul ?? df Oct.5,2017Sheet 9 of 92 wwwwwwwwwwwwwwnnnnnnnnnnnnnnn CardSlowen Ot€ 1318 VOIPApplication 102a 1316112 Memory Interface . .......!!!!!!!! XIOMION Muoman 304when CentralProcessingUnit 324 Gateway 324 sewajuioipeg Kejdsio PatentApplication Publication CLAU 302 N (ouoyduelusuuenduo) 011 PST Device
  • 11.
    FIG.4 US 2017/0289332 A1 wwwwwwwwwwwwwwwwwwwwwwwwwwwwwwwwwwwwwwwwwwwwwwwwwwwwwwwwww oze pua0629megOODE2 VAHAVAYAVAYAVAHY YNAYAN?YAYAYAYY MA AYAYA W-Y-Yun *** * ** * * AuedwooZAXQHodonpoidMON, LANO Oct.5,2017Sheet 10 of 92 801 102c1 WWW . VAYAW YAYAY.Y.YAYAYAYAYAY.YAYAYAYAYAY.Y.YAYAYAYAYAYAY.YAYAYAYAYAY.YAYAYAYAYAY.YAYAYAYAYAYYAYAY UAVAVAJI WAVAVAVAJAVA AVALAVAVAVAVAWANA -406 * .***.* * .. davc1**C -Ayv 123-456-7890 PatentApplication Publication 402 ******************************************************* AVNAVAVAVAVAVATAVAVAVAVNAVVAVAVAVAVAAVAVAVAVAVAVAVAVAVAVAVAVAVAVAV. X (BLOUCLEUS)aqlad wwwwwwwwwwwwwwwwwwwwwwwwwwwwwwwwwwwwwwwwwwwwwwwwwwwwwwwwwwwwwwwwwww
  • 12.
    O -116 smaintenant 5121 DisplayDisplay Network matunayandGateway PSTN, 112 PatentApplication Publication Deviceandwoo) 1026 Displayinterface -514 5021 Network{??rfa?? 518 504 CentralProcessingUnit esNowwwwwwwwwwwwwwwwwwww Oac ??????? Keyboard anduiandinoavevaju Oct.5,2017 Sheet11 of 92 uoydnsya 522 Speaker WWWWWWWWW WWWWWWWWWWVisualMenuDatabase 524 Camera 5061 80€ LLLLLLLLLLLLLLLLLLLLLL OtherApplications EZS 019 ouoydopiw yeyeyeyeyeyeyeyeyeyeyeyeyeyeyeyeyeyeyeyeyeyeyeyeyeyeyeyeyeyeyeyeyeyeyeyeyeyeyeyeyeyeyeyeyeyeyeyeyeyeyeyeyeyeyeyeyeyeyeyeyeyeyeyeye US 2017/0289332 A1 weweweweweweweweweweweweweweweweweweweweweweweweweweweweweweweweweweweweweeenYYYYYYYYYYYYYYYYYYYYYYYYYYYYYYYYYYYYYYYYYYYYYYYYYYYYYYYYYYYYYYYYYYYYYYYYYYYYYYYYYYYYYYYYYYYYYYYYYYYYYYYYYYYYYYYYYYYYYYYYYYYYYYYYYYYYYYYYYYYYYYYYYYYYYY 9913
  • 13.
    Device File Edit View PatentApplication Publication t 123-456-7890 610 T* T* *** ** **** ** ********** * ** *** * 22.1****** ****** **** mm 123-456-7890 23 VAVAVAVNAVAVAVAVAAGAVAVAVAVAVAVAVAVAVA * *. . 102b 3 |604 512 * WAWAHANAVAVAWATAN ' AVAVAVAVAVAVAVAVAVAVAA ' A ' AVAVAVAWATAN AYAVAA.VAVAVAAVAAYAYAYAYAYAYAW 608 .**. Oct.5,2017 Sheet 12 of 92 * .* . * * * .**v*v*v*VA U VA YAYAYAY "NewproductPORbyXYZcompany -------- -J-J-J-----/-/-----/-/-/---/-/-/-/---/ US 2017/0289332 A1 FIG.6
  • 14.
    PatentApplication Publication Oct.5,2017Sheet 13 of 92 US 2017/0289332 A1 itxitxitxitxitxity yyyyyyyyyyyyyyyyyyyyyyyyyyyyyyyyyyyyDevice Browser obedaan Connect wwwwwwwwwwwwwwwwwwwwwwwwwwwwwwwwwwwwwwwwwwwwwwwwwwwwwwwwwwwwwwwwwwwwwwwwwwwww wwwwwwwwwwwwwwwwwwwwwwwwwwwwwwwwwwwwwwwwwwwwwwwwwwwwwwwwwwwwwwwwwwwwwwwwwwwwwwwwwwwwwwwwwwwwwwwwwwwwwww ddddddddddddddddddddddddddddddddddddddddddddddddddddddddddddddddddddddddddddddddddddddddddddddddddddddddddddddddddddddddddddddddddddddddddddddddddddddddddddddddddddddddddddddddddddddddddddddddddddddddddddddddddddd. FIG.7 7041 7021 102b
  • 15.
  • 16.
    Visuphone 1-902 DetectionModule walikuwa lilililililililililililililililililililililililililililililililililililili PatentApplication Publication 1-904 SearchModule vvvvvvvvvvVAVAVAVAVAVAVAVA ervv V 1-906 DisplayModule |-908 ConnectionModule 104 1-910 VoiceModule Oct.5,2017 Sheet15 of 92 wwwwwwwwwwwwwwwwwwwwwwwwwwwwwwwwwwwwwwwwwwwwwwwwwwwwwwwwwww wwwwwwwwwwwwwwwwwwwwwwwwwwwwwwwwwww wwwwwwwwwwwwwwwwwwwwwwwwwwwwwwwwwwwwwwwwwwwwwwwwwwwwwwwww wwwwwwwwwwwwwwww 1-912 AdvertisementModule wwwwwwwwwwwwwwwwwwwwwwwwwwwwwwwwwwwwwwwwwwwwwwwwwwwwwwwwwww wwwwwwwwwwwwwwwwwwwwwwwwwwwwwwwwww 22222222222222222222222222222222222222222222222222222 1914 UpdateModule 9161 CustomizationModule V-DDDDDDDDDDDDDDDDDDDDDDDDDDDDDDDDDDDDDDDDDDDDDDDDDDDDDDD wwwwwwwwwwwwwwwwwwwwwwwwwwwwwwwww US 2017/0289332 A1 FIG.9
  • 17.
    102 308VisualMenuWwwwwwwDevice YYYYYYYYYYYYYYYYYYYYYYYYYYYYYYYYYYYYYYYYYYYYYYYYYY wwwwwwwwwwwwwwwwwww 100210041 mmmmmly1009 GatewayNetworkComputerRemoteServerRemoteRepositorywwwevernwwwwwwwwwwwwwww FIG.10 wwwwwwwwww 1006 108a --'-'-'-'-'-'-'-'-'-'-'-'-'-'-'-'-'-'-'-'-'-'e' Weare Destination}} RepositoryAudibleVR 10101012a Winter PSTN108n 14 DestinationRepositorymenuAudibleIVRwww1012n . US 2017/0289332 A1Oct.5,2017 Sheet 16 of 92PatentApplication Publication
  • 18.
  • 19.
  • 20.
    PatentApplication Publication Oct.5,2017Sheet 19 of 92 US 2017/0289332 A1 1312 WWW Destination WWWWWWWWWWWWWWWWW-OLEL enexternalServiceaploldWWW havemoretime PSTN www www** FIG.13 1306 1304 1302
  • 21.
    ???? -?????? - ? ??????????? Patent ApplicationPublication 2 FIG.4A ?? ?? ?? |Core_ Oct. 5, 2017 Sheet 20of 92 +++++++++++++++++++++ 22 MYWWWWHHHHHH-NAM ESSANYWWWWW 2 FG.148 426 28 130 ?? 22 ?? ???? [?] US 2017/0289332A1 MMMMMM FIG.140
  • 22.
    PatentApplication Publication Oct.5,2017Sheet 21 of 92 US 2017/0289332 A1 ( StartStart 1502 Detectphonenumber ofa destination dialed from a device 1504 Search for IVR information in visualmenu database on the devicewwwwwwwwwwwwwwwwwwwwwwwwwwwwwwwwwwwwwwwwwwwwwwwwwwwwwwwwwwwwwwwwwww F kYes 1506 s a visual menu fordestination available in visualmenu database ? menufordestination available NOA Yeswww 1500 Display the visualmenu and associated information Ko 1510wwwww Detectinputfrom caller on the visualmenuwwwwwwwwwwwwwwwwwwwwwwwwwwwwwwwwwwwwwwwwwwwwwwwwwww 1512 Connectto the destination basedon inputs from the caller WWWWWWWWWWWWWWWWWWWWWWWWWWWWWWWWW 1514 NoIs the visual menu correct? NOBwwwwwwwwwww 1516 Yes wwwwwwwwwwwwwwwwwwwww wwwwwwwwwww Maintain the connection till calerordestination disconnects FIG . 15A
  • 23.
    PatentApplication Publication Oct.5,2017Sheet 22 of 92 US 2017/0289332 A1 1518 O -ta remotamekoConnectthe device to a remote repositorywwwwwwwwwwwwwwww*************wwwwwwwwwwwwwww 1520 wwwwwww Is the visualmenu available in emote repository ? Yes A99999999999999999999999999999999999999999999999999999 1522 Update the visualmenu database from remote repository 1524 Is the visualmenu available in updated visual menu database? 15200 UpdatetheremoterepositoryUpdate the remote repository K @ Stop FIG . 15B
  • 24.
    PatentApplication Publication Oct.5,2017Sheet 23 of 92 US 2017/0289332 A1 Anymenu selection detected on the device? Yes 1530 Provide the dialed numberas a destination to remote repository Stop FIG . 15C
  • 25.
    PatentApplication Publication Oct.5,2017Sheet 24 of 92 US 2017/0289332 A1 1558 Connectdevice to a remote repository 560 - NoIs there an updated version of the visual menu in the remote repository ? FIG . 15D
  • 26.
  • 27.
  • 28.
    DatabaseConstructionAgent 1722yTargetsListModule PatentApplication Publication IVRTrackingModule 1726 IVRLogicModule 1720mm wwwwwww wwwwwwwwwwwwww Repository ConnectionModule 1728 RecordsDatabase TreestorageModule 1730wasyou DialogModule 1111111111111111111111 1608 4444444444444444444 SpeechRecognitionModule wwwwwwwwwwwwwwwwwwwwwwwwwwwwwwwwwwwwww Oct.5,2017 Sheet 27 of 92 1734- wwwwwwwwwwwwwwwwwwwwwwwwwwwwwwwwwwwwwwwwwwwwwwwwwwwwwwwwwwwy ResponseModule VOIPConnectionModule (1724 nowwwwwwwwwwwwwwwwwwwwwwwwwwwwwwwwwwwwwwwwwwwwwwwwwwwwwwww WMMMMMM Am when we wa mwimwisu wwwwww VOIPApplication Destination m1740 yem . mm. www teller US 2017/0289332 A1 wwwwwwwwwwwwwwwwwwwwwwwwwwwwwwwwww * * .* * * * * * * * * * * * * * ** * * * * * * * * * * * * * * **** * * FIG.17B
  • 29.
    FIG.17C US 2017/0289332 A1 Destination wwwwwwwwwww wwwwwwwwwwwwwwwwwwwwwwwwwwwwwwwwwww w *24 IVRConnectionModule 1737 1738 ResponseModule f.€21 YYY -----wwwwwwwwwwwwwwww Oct.5,2017Sheet 28 of 92 ModuleSpeechRecognition 1608 ainpowbolelo -OELL anpowbelojsDall 177 ????qESpooed Repository ComectionModule 1720 w iiiiiiiiiiiVRLogicModule 1726 IVRTrackingModule PPPPPPPPPPPPPPPPPPPPPPPP PatentApplication Publication 19999999999999999999999999999999999999999999 TargetsListModule 1722 DatabaseConstructionAgent******** ************
  • 30.
    PatentApplication Publication Oct.5,2017Sheet 29 of 92 US 2017/0289332 A1 StartStart 1802 Connectto a destination 1804 Analyze a firstleveloftheaudible IVR menu AAAAAAAAAAA 44WWWWWWWWWWWWWWAAAAAA 1806 Store the information regarding the audible VR menu in a database 1808 Are there any sub menus in the audible IVR menu ? Yesy 180 Analyze the sub-menus144444444444444444444444444444444444444444444 4 44444444444444444444444444444444444444444444444 www . . .- ----- - - - - - - - 111111111 1812 Store the information regarding the sub -menus in the database247247+7+7 +7+7 7 7+7+7 7+7+7+7+7+7+7+7+7+7+7 7+7+7+7+7+7+7+7+ +7+7 7+7+7+7+7+7+7+7 7+7+7+7+ 1814 YesAre there any sub. menus in the sub. menus ? No Stop FIG . 18
  • 31.
    CategoryA DialToneSelection PatentApplication Publication 1904 CategoryB V ***** StartingQuestionsand DialToneSelection 1906 IVACategories CategoryC PersonalInformationand DialToneSelection ''''''''''' 1908 Oct.5,2017 Sheet 30 of 92 1902 ?????????????????????????????????????????????????????????????????????????????? CategoryD DialToneSelection????{ NaturalLanguageSelection 1910 FIG.19 US 2017/0289332 A1
  • 32.
    PatentApplication Publication Oct.5,2017Sheet 31 of 92 US 2017/0289332 A1 Record Database Content lllllllllllll lllllllllllllll Please enter invoice number 2004 o wwwwwwwwwwwwwwwwwwwwwwwwwwwwwwwwww w Please enter the payment amount 2006a and ??????????????????????????????????????????????????????????????????????????????????????????? Please choose yourpayment card : 2008a mm Press 1 forVISA or2 forMasterCard Please sayor enter your Credit Card number2010a Please enter yourCredit Card expiry date2012 nowman mmmmmmmmmmmmmmmmmmmmmmmmmmmmmmmmmmm FIG .20A
  • 33.
    PatentApplication Publication Oct.5,2017Sheet 32 of 92 US 2017/0289332 A1 PaymentForm forABC - 2014********* . . . . . . . . . . . . - - - - - - - - - - - - - - - - - - . . . . . - - VAXY Please enterinvoice number: AMANANYeniWWWWWWWWWWWWWWWWWWWWWWWWWWWWWWWWWWWWWWWWWW $ we het moment when wewere to w w w w w w w Wino www www miw i li wawmW or mo w whom ww w w w w w w w w } Please enter the paymentamount Yen ette ************************************************************************************************************************************** 20066 ni 3 Av . XANX YUXY * XYXYSAVAVAW ~ * * . * Y * * . » * * m * mm * m . Vn. min . * wmmmmmmmm Amnewmv Please choose yourpaymentcard : O VISA O MasterCard2008b * v * * * . . . . . . . . . . . . . wwwwwwwwwwwwwwwwwwwwwwwwww.WMWAMUANunumwwww.? ********* with the World W i de Web w w ww w him with who want to have Please enter your CreditCard number wwwwwwwww???????????????????????? wwwwwwwwwwwwwwwwwwwwwwwwwwwwwwwwwwwwwwwwwwwwwwwwwww 20106 * ** * . * . N . N .N . N .N . N .N O W ~ ~ ~ ~ ~ mom mom momwwww m m . . .im mo. . . . mm . m . m m. m mm m . mm uni* Please enteryourCreditCard expiry date 2012b S. WWW WWWWWWWWWWWWAAAM W . w w w w w wWw ++ +++ * 2016 y Submitwwwwwwwwwww FIG .20B
  • 34.
    FIG.21 US 2017/0289332 A1 +++++++++++++++++++++++++++++++++++++++++++++++++++++++++++++++++++++++++++++++++++++++++++++++++++++++++++++++++++++++++++++++++++++++++ ww w . ************** UÁlladold Ukwadold llllllllllllll 1744744444444444444 €Kuedold &Apodold ** * * * * Property2Property1 LIHProperty2Property1 wwwwwwwwww UZOVZ) UBOTUQgeusan vogeufsen Oct.5,2017 Sheet 33 of 92 2102b ******** 700 *** USER wpomim * ** Propertyn o uKuadoid *** hindipandudon ** *** OLA * * Property3Property2Property1 wiiiiiiiiiiiiiiiiiiiiiii Property3Property2 * * * **** Auedodd * **** * 1080. Destination|SUTH** Destination * * PatentApplication Publication ** ** 21020 2102a ***** * * 33180 * * wwwwwwwwwwwwwwwwwwwwwwwwwwwwwwwwwwwwwwwwwwwwwwwwwwwwwwwwwwwwwwwwwwwwwwwwwwwwwwwww
  • 35.
    PatentApplication Publication Oct.5,2017Sheet 34 of 92 US 2017/0289332 A1 FIG.22 ? * * * ** * * * ** * * ** ** ** * ** * * ** * * ** * * * * * * ** ** * ** * * ? ?? ? ? ?? ? 7-2208? ExecutiveN22141? ? ? ?? MAMMMMMmmmmmmmmmmmmmmmmll Orderstatus? VOZC 444444444444444444444444444444 OfXel Yeyeyeyeyeyeyeyeyeyeyeyeyeyeyeyeyeyeyeyeyeyeyeyeyeyeyeyeye? ?? ? -? 8127? ? ? MAMMMMMMMMMMM ? ? ? Board 2212? Jaqunu? ? Wod.Weded? 3180 ,,,,,,,, ? a? Non-Veg W-HOW..We WWWWWWWWWWWWWWWWWWWWWWWWWWWWWWWWWWWWW? Take3-1 leny wwwwwwwwwwwwwwwwwwwwwwwwwwwwwwwwwwwwwwwwwwwwwwwwwwwwwwwwwwwwwwwwwwwwwwwwwwwwwwwwwwwwwwwwwwwwwwwwwwwwwwwwwwwwwwwwwwwwwwwwwwwwwwwwwwwwwwwwwwwwwwwwwwwwwwwwwwwwwwwwwwwwwwwwwwwwwwww? , ? ?? wwwwwwwwwwwwwwwww biogg. puedpidgadpineap? ? ? ??? ? ? ? PizzaOrder 220692??? ? .Det? yyyyyyyyyyyyyyyyyyyyyyyyyyyyyyyyVeg? vyyyyyyyyyyyyyyyyyyyyyyyyyyyy wwwro BWOHAlanlad? ? Wed:H-W:D:D:D:D:HV? ? ? ? 2202? ? ?? ?? 2210? ? ? * * AXYAYAYAY * * A * * * * * * * * * * * * * * * * * * * * * * * ~ * * ~ * YAWA Y * * wwwwwwwwwwwwwwwwwwwwwwwwwwwwwwwwwwwwwwwwwwwwwwwwwwwwwwwwwwwwwwwwwwwwwwwwwww 102a
  • 36.
    PatentApplication Publication Oct.5,2017Sheet 35 of 92 US 2017/0289332 A1 Start wwwwwwwwwwwwwwwwwwwww 2302 Identify phonenumberofa destination dialed from a device 2304 Determine a location code associated with currentlocation ofthe device Wielelalelelalele 2306 Determine a business category associated with dialed phone number elvelevalvalveH wwwwwwwwwwwwwwwwwwwwwwwwwwwwwwwwwwwwwwwwwwwwwwwwwwwwwwwwwwwwwwwwwwwwwwwwwang 2308 Search fordestination phone numbersmatching the business category of the dialed phone number stored on a | t # #k???? 2310 mm NOYA) Are one ormore destinatiQ phone numbers available ? Yes nananananananananananannnnnnnnnnnnnnnnnnnnnnnnnnnnnnnnnnnnnnnnnnnnnnnnnnn** * * * * * * * * * * * * * *** * * * * * * * * * * * * *** *** * * * * * * * * * * * * * *** * * * * * * * * * * * * Search for atleastone destination phone number from the destination phone numbers based on location code FIG . 23A
  • 37.
    PatentApplication Publication Oct.5,2017Sheet 36 of 92 US 2017/0289332 A1 2328 y Requestupdates from a server 2330 Receive updates from the server???????????????????????????????????????????????????????????????? 2332 Store updates in thedatabase on the device FIG .23B
  • 38.
    PatentApplication Publication Oct.5,2017Sheet 37 of 92 US 2017/0289332 A1 2314 Nois atleast one destination phonenumber available ? 2326 Yes Display a visual VR menu of the dialed destination phone number* wwwwwwwwwwwwwwwww 2316 Display the atleastone destination phone numberand associated properties 2318 Select a destination phone number,* * * * * * * * * * * * * * * * * * * * * * * * * * * * * * * * * * * * * * * * * * * * * iele44444444447 W ?Display a visualIVR menu of the selecteddestination 2322 Select an option from the visual VR menu 2324 Connect to the selected option ofthe destination wwwwwwwwwwwwwwwwwwwwwwwwwwwwwwwwwwwwwwwwwwwwwwwwwwwwwwwwwwwwwwwwwwwwwwwwwwwwwwwwwwww C StopStop FIG .230
  • 39.
    PatentApplication Publication Oct.5,2017Sheet 38 of 92 US 2017/0289332 A1 StartStart 2402 Identify a numberof destination dialed by a callerofthe device 2404 weweweweeeeeeeeeeeeeeeeeeeeee Search for an advertisement associated with the number in a database 2406 wwwwwwwwwwwwwwwwwwwwwwwwwwwwwwwwwwwwww Display the advertisementon the device Y wiiiiiiiiiiiiiiiiiiiiiiiiiiiiiiiiiiiiiiiiiiiiiiiii VVV VV V V 2408 VVVVVVVVVVVVVVVVVVVVY Yes s a selection of advertisement by the caller ? ( StopStop FIG .24
  • 40.
    US 2017/0289332 A1 FIG.25A Oct.5,2017Sheet 39 of 92 PIOMssedlauaaseeld YYYYYYYYYYYYYYYYYYYYYY 2506a ***************************************************************** diubojjejeeseeld 25040 ******* PatentApplication Publication RecordDatabaseContent 2502Y wwwwwwwwwwwwwwwwwwwwwwwwwwwwwww
  • 41.
  • 42.
    PatentApplication Publication Oct.5,2017Sheet 41 of 92 US 2017/0289332 A1 MMMMMMM StartStart ), , , , , , , , , , , , , , 2602 Dial a phone number of a destination 2604 Displaya visual IVR menu corresponding to the dialed number on callerdevice Selectan option from the displayed visualIVR menu 2608 Display a form indicating the information required by the VR of the destination Fill the information in the displayed for** * * * * * * * * *** * * * * *** * * *** * ***** * *** * * * * * *** * * ** * * *** * * * * * *** * * *** * * *** * ***** * *** * * * * * * * * * * * wwwwwwwwwwwwwwwwwwwwwwwwwwwwwwwwwwwwwwww*******WWWWWAAAAAA establish a connection between the destination and the caller device StopStop ??????????????????????????????????? FIG . 26
  • 43.
    PatentApplication Publication Oct.5,2017Sheet 42 of 92 US 2017/0289332 A1 2702wwwvwwwvwny.WWMWW 'A ' WmnWAAMWAMWWW. A .V V .AAAAA ****************** 2720 Scheduling{{y} 2708 V1LZ 2704 OrderStatus Talkto ExecutiveThermometerst ANNA.nuwwwwwwwwwwwwwwwwwwwwwwwww.NAANuuuuwwwwwwwwwwwwwwwwwwwwwwwwwwwwwww. 4w.W {} 180unuOlao NAUNAMUNAANNNNNXUNAWWAA.UNAUUNAWWANAUWHANNAANNWWNNW. VNAwvWWWNWANAWANNA TakeAway12718 FIG.27 beA-UON birth* PizzaOrder 2706A2 OWOHKanijad 27101 LLC www . v . . v . v * * * * * * * ww w . W www . * * * * detsammestandartlarabarabarandanmerasakansemasaberadaparasamasmababasamasmababanamama amarbetarmed wasmababaantarasatusama OOLZ
  • 44.
    PatentApplication Publication Oct.5,2017Sheet 43 of 92 US 2017/0289332 A1 2082WYWANAWYWYWNYNAYAMVNYNAYNANAY MAAAWAYNAYAWAYN 2826 OCLC 2 Investment TalktoExecutive91 Scheduling&?? wwwwwwwwwwwwwwwwwwwwwwwwwwwwwwwwwwwwwwwwwwwwwwwwwwwwwwwwwwwwww2808 2828 -2824 2804 NRIBanking LauowTransfer1 TZ8C Device 2812 Reportlostcard1 Dikog180wnu YYAAYYYYYYYYYAAYAAAYYYYYYYYYYYYYYNAYAAYYYYYAAYAAYAAYYYYYYYYNAYAAYYYFIG.28 Z Siisodao 9182W ** Buosadbuixuea ONpao OZBT CanoaxaTalkto YYYYYY 2806 Accounts ********* * * 8187mm* ONDuides * ************** CheckBalance1* 2810 2814* * ~ ~ ~ * * YAY . . » XXV. * * * * * * * * * * * * * * ** * * * * * * * * wv samasmababakameranararamdamanmonteradearbetarmedbaretrademarksaboutmoreabouttobemaderadelamaderamasmababakamerasaberadadalambadan 102
  • 45.
    * * * * * * * * Device WWW.V.XVWWW.W.WWW..*WWWWWWWWWWWWWWWWWWWWWWWWWWWWWWWW www . *** 2904 PatentApplication Publication . * www.annnn March2011 WedThu Sun MonTue Fri Sat YLLLL ** em * nn * . * * 2902 5 12 19 Reparameterovermoremoderneermegetmerematerialevemademememememememememememememememememememememememememememememememememememememememememememememememememememedont 6 13 20 27 7 14 21 28 8 15 22 29 9 16 23 30 10 17 24 31 11 18 25 102 * * * w w wwwwwwwwwwwwwwwwwwwwwwwwwwwww * * * * * Oct.5,2017 Sheet 44 of 92 2906 Time * * * * n wiruwanNnnn * ww. MH MM SS0 AM 0 2900 wwwwwwwwwwwwwwwwwwwwwwwwwwwwwwwwwwwwwwwwwwwwwwwwwwwwwwwww US 2017/0289332 A1 FIG.29
  • 46.
    PatentApplication Publication Oct.5,2017Sheet 45 of 92 US 2017/0289332 A1 StartStart * * * * * * * * ** * * * ** * 3002 4 Diala phonenumber ofa destination from adevice 3004 3004y veDisplay a schedulingmode option and a visualInteractive Voice Response (IVR )menu associated with the dialed destination soon BUVO Switch the device to a schedulingmode 3008 Save a selection information including one ormore options of the visual VR menu 3010 Save a call schedule including a date and timeinformationwwwwwwwwwwwwwwwwwwwwwwwwwwwwwwwwwwwwwwwwwwwwwwwwwwwwww wwwwwwwwwwww 3012 + as thg da{? nd time for the call schedule arrived ? 44444444444444Wait for the call schedule's date and time 3014 FIG . 30A
  • 47.
    PatentApplication Publication Oct.5,2017Sheet 46 of 92 US 2017/0289332 A1 WWW 2010 Dialthe phone numberof the destination ourne dedansenwwwwwwwwwwwwwwwwwwwwwwwwwwwwwwwwwwwwwwwwwwwwwwwwwwwwwwwwwwwwwwwwwwwwwwwwwwwwwwwwwwwwwwwwwwwwwwwwwwwwwwwwwwwwwwwwwwwwwwwwwwwwwwwww 3018 Requestinformation from thedestination based on the selection informationV IVIETTVV V V V V V V V V V V VVVVVVVVVVVVVVVVVVVVVVVVVYYYYYYYYYYYYYYYYYY Y Receive the information at the device Receivethe 322 Save the received information at the deviceWytyytyvyytytytytytytytyty tytytytytytytyttyy *WW * Display the received information at the device FIG . 30B
  • 48.
    PatentApplication Publication Oct.5,2017Sheet 47 of 92 US 2017/0289332 A1 3108a S?CQnduQibunWom0120 NISA 3110 FIG.31A 3102a 3100 Device(MobilePhone) Visuphone3104a *** * * * * * * * * * * * * * * * * * * 901 Caller
  • 49.
  • 50.
    PatentApplication Publication Oct.5,2017Sheet 49 of 92 US 2017/0289332 A1 31080 SecondCommunication010 Buoydnsis3104b Withhhhhhhhhhhhhhhhhhhhhhh 3114 ABMOIBO NISH FIG.31C 3110 QZOLEwww WOMAN Device(DIOA+Joindwoo) Visuphone3104a 3100 3106 Jeo
  • 51.
    FIG.31D US 2017/0289332 A1 00LC 3116 WOMENjeine 3102c 7777777777777 777-777777777 3106 Oct.5,2017Sheet 50 of 92 WWW m501€ NIS 31046Visuphone Visuphone CallerKuwwwww aglam (ouoydueus)Bond SecondCommunication *********** ************** 731086 3112 ** * * * *** * PatentApplication Publication Gateway * * * * * WONION ** ** 3114
  • 52.
    US 2017/0289332 A1 Z€91 Oct.5,2017Sheet 51 of 92 ? ZOZEwollentojuipuogas ECOCEvojewojuISI ? ??? ? ? *** *** ** *** *** ** ** **** ** ** * * ** *** *** ** ** *** ** ** ** * wwwwwwwwwwwwwwwwwwwwwwwwwwwwwwwwwwwwwwwwwwwwwwwwwwwwwwwwwwwwwwwwwwwwwwwwwwwwwwwwwwwwwwwwwwwwwwwwwwwwwwwwwwwwwwwwwwwwwwwwwwwwwwwwwwwwwwwwwwwwwwwwwwwwwwwwwwwwwwwwwwwwwwwwwwwwwwwwwwwwwwwwwwwwwwwwwwwwwwwwwwwwwwwwwwwwwwwwwwwwwwwwwwwwwwwwwwwwwwwwwwwwwwwwwwwwZOZE PatentApplication Publication
  • 53.
    FlowLabel PacketVersion3302 TrafficClass3304 PatentApplication Publication PayloadLength3308 sotaT NextHeaderheposter3310 HopLimit3312 ************************************************************** ******* * SourceAddress3314 Oct.5,2017 Sheet52 of 92 DestinationAddress wwwwwwwwwwwwwwwwwwwwwwwwwwwwwwwwwwwwwwwwwwwwwwwwwwwwwwwwwwwwwwwwwwwwwwwwwwwwwwwwwwwwwwwwwwwwwwwwwwwwwwwwwwwwwwwwwwwwwwwwwwwwwwwwwwwwwwwwwwwwwwwwwwwwwwwwwwwwwwwwwwwwwwwwwwwwwwwwwwwwwwwwwwwwwwwwwwwwwwwwwwwwwwwwwwwwwwwwwwwwwwwwwwwwwwwwwwwwwwwwwwwwwwwwwwwwwwwwwwwww3202a FIG.33 US 2017/0289332 A1
  • 54.
    PatentApplication Publication Oct.5,2017Sheet 53 of 92 US 2017/0289332 A1 StartStart ) 3402 V Search ,at a first communication device, for a data network 3404 Is data network available ? 3406 Send a first section of a packet to the second communication device asDual-ToneMulti freq????cy si???nals Yes 3408 Send a firstsection of the packetcomprising first information to the second communication device YYYYYYYYYYYYYYYYYYYYYYYYmmmmmmmmmm mmmmmmm 3410 Is Visuphone available atsecond communication device ? FIG.34A
  • 55.
    PatentApplication Publication Oct.5,2017Sheet 54 of 92 US 2017/0289332 A1 wewe 3412 Receive an acknowledgementmessage based on the firstsection from the second communication device 3414 Send a second section ofthe packetcomprising Second information based on the acknowledgementmessage to the second communication device Autwawatoteket kellettkelebek bebekmellettem wwwwwwwwww Stop FIG . 34B
  • 56.
  • 57.
  • 58.
  • 59.
    FIG.36 US 2017/0289332 A1 3500 deviceFirstparty 3508n 3510 Oct.5,2017Sheet 58 of 92 3504fsuphan?? BapFirstparty * ** *** * * ** * * ************************** * * Caller Awwwwwwwwwwwwwwwwwwwwwwwwwwwwwwwwwwwwwhattttttttttttttwwwwwwwwwwwwwww NIS (BuoydIQOW) 35080 Device 3502a deviceFirstparty elde ettiereyeyeyeye tent 3508b WWWWWWWWWW ******* PatentApplication Publication ???????Kuedpill D1AopAuedsila -3602 3508a
  • 60.
    PatentApplication Publication Oct.5,2017Sheet 59 of 92 US 2017/0289332 A1 ZOLEY 4 v 4 4 4 4 4 4 4 4 4 4 4 4 4 4 4 4 4 4 4 4 4 3720a 37200 UOGLE Communicationuodo . Communicationuodo voneolunuwoVondo 3708 3714 POLE 3 OrderStatus ofwel ExecutiveoynadPertelstels ini..nimmmmmmmmmmmmmmmmmmmmmmwm..mmmmmmmmmmmmmmmmmmmmmmmmmmmmmmmmmmmm e l 3712 UN' UMANWANNAMNANNANNW.MANAVNAAMWWW.NAMUNAUNAUNNUNANNYAWNWW.UN*NNANNAMNAUDuBos180wng TakeAway,3718 L€'915 2 62A-UON PizzaOrder 37061A2 |Bat BWOHDelivery 371001 3716* * .- * * WW W . . . * * * * * * * * * * * * * * Wamelambalamabarabartamoderaatorilordelamaterialeletabakaleramaterialelorabemaderadalambeberabearabaramalamatelemallamadredelen PPPPPP +++++ 444444444444444444444444444444 3502
  • 61.
    Yrrrrrrrrrrrrrrrrrrrrrrrrrrrrrr 3802 www. mimyrwyrwyywywyn m rwym.wm.wwwww..Ymm.imm... mmm.. . mwenyemv.m.-iwy.Y.WYN ** ? --------------******* ** ?? Device13804 Boardnumber ? *** ?? PatentApplication Publication ? * ? ?? ? ? 3806 * 3808 3720a ?? ** ? ** ? ?? PersonalBanking NRIBankingoen ? * ? *** ? ? ? wwwwwwwwwwwwwwwwwwwwwwwwww ? veesure ** ? ? CommunicationOption 3826 Investment CommunicationOption ? 37200 ? ? ? ? Accounts 35023810L Depails2 MoneyTra????? wwwwwwwwwwwwwwwwwwwwwwwwwwwwwwwwwwwwwwwwwwwwwwwwwwwwwwwwwwwwwwwwwwwwwwwwwwwwwwwwwwwwwwwwwwwwwwwwwwwwwwwwwwwwwwwwwwwwwwwwwwwwwwwwwwwwwwwwwwwwwwwwwwwwwwwwwwwwwwwwwwwwwwwwwwwwwwwwwwwwwwwwwwwwwwwwwwwwwwwwwwwwwwwwwwwwwwwwwwwwwwww ? *** ? ? * ? ** ? am3812 ?? 3824 ? SavingA/C ?? CreditA/C Oct.5,2017 Sheet60 of 92 ? * TalktoExecutive9 ove ? ?? ............ ......... ? 3816 ?? 3814 3820 3720n ? ? *** ?? * ** ? CommunicationQption * CheckBalance1 ? ?? *** ? Talkto executive2W3820 Reportlostcard1 mm3822 ?? en wwwwwwwwwwwwwww ? 3818 * ? ?? ???? ???? ? ?? ? ? ?? ? ? ?? ? ? ?? ? ?? ? ? ?? ? ? ?? ? ? ?? ? ???? ? ?? ? ? ?? ? ?? ? ?? ? ? ?? ? ? ?? ? ? ? ?? ? ?? ? ?? ? ? ???? ? ?? ? ?? ?? ?? ? ? ?? ? ? US 2017/0289332 A1 FIG.38
  • 62.
    PatentApplication Publication Oct.5,2017Sheet61 of 92 US 2017/0289332 A1 3910 ************ 3912. 3906 5000 Wapow FIG.39 wienie 3902390835082 y yyyy wwwwwwwwwwwwwwww FirstParty 1-DIDGateway Network 3514 3510 3512
  • 63.
    PatentApplication Publication Oct.5,2017Sheet62 of 92 US 2017/0289332 A1 Start 4002 Receive at the device, a call from a phone number ofa firstparty device 4004 Compare the phone number of the firstparty device with the phone numbers stored in the device 4006 Display the visual VR menu 4008 Limited Display one ormore communication options 4070 Selecta communication optionwwwwwwwwwwwwwwwwwwwwwwwwwwwwwwwwwwwwwwww 4012 - establish a communication session based on the selection wwwwwwwwwwwwwwwwwwwwww StopStop FIG . 40
  • 64.
    FIG.41 US 2017/0289332 A1 100 DeviceBwax 41060 Oct.5,2017Sheet63 of 92 4102 201120jeux 1,41060 wwww VOL suouonsisaalgenod Device ****************************************************** lewex 990 PatentApplication Publication Bora 4106a
  • 65.
    PatentApplication Publication Oct.5,2017Sheet64 of 92 US 2017/0289332 A1 4206 4102a Wernerne FIG.42 4204 4202
  • 66.
    PatentApplication Publication Oct.5,2017Sheet65 of 92 US 2017/0289332 A1 4102a FIG.43 Laptop WWWWWWWWWWWWWWWWWWWWWWWWWWWWWWWWWWWWWWWWWWWWWWWWWWAvivava wwwwwwwwwwwwwwwwwwwwwwwwwwwwwwwwwwwwwwwwwwwwwwwwwwwwwwwwwwwwwwwwwwwwwwwwwwww4302
  • 67.
    PatentApplication Publication Oct.5,2017Sheet66 of 92 US 2017/0289332 A1 4102a ** ** ****** ******** ********* ** ****** ******** *********** ****** ******************** ***** ************* ******** ***** ************ ********** *** * *** ** **** *** ** *** ********** FIG.44 LargeLODScreen 4402
  • 68.
    PatentApplication Publication Oct.5,2017Sheet67 of 92 US 2017/0289332 A1 wwwwwwwwwwwwwwwwwwwwwwwww Fri1yyyyyyyyyyyyyyyyyyyyyyyyyyy 4102a FIG.45 UOISASOL 4502
  • 69.
    PatentApplication Publication Oct.5,2017Sheet68 of 92 US 2017/0289332 A1 Ver 4444444444444444444 4102a FIG.46 W * * * * * * * * * * * * * miniiniiiiiiiiiiiiii PictureFrame Wwwwwww 4602
  • 70.
    PatentApplication Publication Oct.5,2017Sheet69 of 92 US 2017/0289332 A1 4102a FIG.47 wwwwwwwwwww 0 0 GPSscreen 0 4702
  • 71.
    PatentApplication Publication Oct.5,2017Sheet 70 of 92 US 2017/0289332 A1 + + ++ + + + WWWWWW khe he heh e 4102a -Display FIG.48 Projector 4802naming 4804
  • 72.
    ---------------========............................................................................................ SnW * WwWMWMW.Win.* * WW.HMMWWMWMN.WAV.NA WW * WW * * * * * YYYYY VX Veg* * * * PizzaOrder * 2 WwwwwwwwwwwwwwwwwwwwwwwwwwwwwwwwwwwwwwwwNon-Veg4902 numberBoard**** wwwwwwwwwwwwwwwwwwwwwwwwwwwwwwwwww ** Largedisplayscreen * ** * * ExecutiveTalkto ondersteunOrderStatus * * ** * ??????????????????????????????????????????????? FIG.49 4904b OGÁ2. 4102 4904a US 2017/0289332 A1Oct.5,2017 Sheet 71 of 92PatentApplication Publication
  • 73.
    PortableDevice -5016 5002 Radio{?{erface PatentApplication Publication Display PSTN EnsembunyiPSTN yyyyyyyyyyyyyyyyyyyyyyyyyyyyyyyyyy ProcessorConnectionManager wwwwwwwwwwwww 50045004 5020 5014 * ******************* ** *** *** ******* ****** 4102 ***** Network{???YaE Network 5006 Oct.5,2017 Sheet72 of 92 WWWWWWWWWWWWWWWWWWWW Memory 5018 wwwwwwwwwwwwwwwwwwwwwwwwwwwwwwwwwwwwwwwwwwwwwwwwwwwwwwwwwwwwwwwwwwwwwwwwwwwwwwwwwwwwwwwwwwwwwwwwwwwwwwwwwwwwwwwwwwwwwwwwwwwwwwwwwwwwwwwwwwwwwwwOperatingSystem1010 ''''''''''''''''''' * ******** ** **** ****** ********** * US 2017/0289332 A1 FIG.50
  • 74.
    PatentApplication Publication Oct.5,2017Sheet 73 of 92 US 2017/0289332 A1 5016 PSTN WirelessNetwork 5102 eleleztelezteletteleztelezteletetlepleztelettel telelalelelalelelalelelalelelalelelalelelalelelalelepleztelettel ' le ' ' ' 'ellele ' l ' ' l 'ele ' l ' le ' ' ' ' ' ' ' ' ' ' ' ' ' ' ' ' ' ' ' ' ' ' ' ' ' ' ' ' ' ' ' ' ' ' ' ' ' ' ' ' ' ' ' ' 'elele 5012 5014 RadioInterface Network{{erfac? PortableDevice 5020 FIG.51 ?????????????? Display ProcessorConnectionManager5008 5106 Memory OperatingSystem5010Hell Awwwwwwwwwwwwwwwwwwwwwwwwwwwwwwwwwwwwwwwwwwwwwwwwwwwwwwwwwwwwwwwwww5002 5004 4102
  • 75.
  • 76.
  • 77.
    Patent Application PublicationOct. 5, 2017 Sheet 76 of 92 US 2017/0289332A1 ???????????? , ?? Portable??? ??? ??? TS** AurativerationErawretterHairitutentPedreate FG,54* -ITFFFF||||||FFFFFFFFFFFFFFFFFFFFFFFFFFFFFFF *
  • 78.
    PatentApplication Publication Oct.5,2017Sheet 77 of 92 US 2017/0289332 A1 5202 ortableDevice 3 ?? ?? ?? 0000 0 0 0 0 5402 Display FIG.55 Projector YYYYYYYYYYYYYYYYYYYYYYYYYYYYYYYYYYYYYYYYYYYYYYYYY5504min 5502
  • 79.
    PatentApplication Publication Oct.5,2017Sheet 78 of 92 US 2017/0289332 A1 Oqevod Device 0 000 Wu 0 0 0 0 0 5402/ 5202 FIG.56 201?bienScreen 4402
  • 80.
    PatentApplication Publication Oct.5,2017Sheet 79 of 92 US 2017/0289332 A1 weinimiiiiiiiiiiiiiialqerod301190 0 0 0 0 ? man 0 0 0 0JUUUUUUUUUUUUUUUUUUUUUUUUUUUU 54025202 FIG.57 4502
  • 81.
    PatentApplication Publication Oct.5,2017Sheet 80 of 92 US 2017/0289332 A1 tyytytytytytttttttttttty ?? ?? ?? 3}{ Device{} 0000 000 wwwwwwW 54025202WWWWWWW 4 444 FIG.58 AAAAAAAAAAAAAAAAA wwwwwwwwwwwwwwwww wwwwwwwwwwwwwwwwwwwwwwwwwwwwwwwwwwwwwwww A wwwwwwwwwwwwwwwwwwwwwwwwwwwwwwwwwwwwwwwww. Laptop AMMAAAAAAAAAAAAA wwwwwwwwwwwwwwwwwww 4302
  • 82.
    PatentApplication Publication Oct.5,2017Sheet 81 of 92 US 2017/0289332 A1 }{ Device{} 5202 FIG.59 w VAAAAAAAAAAAAAAAAAAAAAAAAAAA PictureFrame ?????????????????????????????????????????????????? 4602
  • 83.
    PatentApplication Publication Oct.5,2017Sheet 82 of 92 US 2017/0289332 A1 LLLLLLLL {{?{ Device 4444 OO DO ?? ?? ?? 00000 000 5402 ZOZS FIG.60 0 0 GPSscreen 0 4702
  • 84.
    6102 LargeDisplayScreen Wewwwwwwwwwwwwwwwwwwwwwwwwwindwwwwwwwwwwwwwwwwwwwwwwww MVVVVVVVVVVVVVVVVVVVVVVVVVVVVVVVVBoardnumber PatentApplication Publication 5202 PizzaOrder OrderStatus 6104b *VVVVI tyttivi 4VH -4WHYVVV WWWWWWWWWWWWWWWWWWWWWWWWWWWWWWW PortableDevice wwwwwwwwwwwwwwja} sondern62A-UON en Talkto executive Oct.5,2017 Sheet 83 of 92 have wwwwwwwwwwwwwwwwwwwwwww YYYYYYYYYYY WednedeWeedWe W.WEWEWEWEHAVENewWebde WWE WWW .VV. V 6104a 6106 US 2017/0289332 A1 FIG.61
  • 85.
    PatentApplication Publication Oct.5,2017Sheet 84 of 92 US 2017/0289332 A1 6212 Network www W * * * * * * * * * * * * * * * * * * * * * * * * * * * * * * * * * * * * * * * * * * * * * * * * * * * * * * * * * * * * * * * * tuture Network{terfacé 6210 WWW11SVV V V ' ' ' ' ' 62141 PortableDevice FIG.62 wwwwwwwwwwwwwwwwwwwwwwwwwwwwwwwwwwwwwwwwwwwwwwwwwwwwwwwwwwwwwwwwwwwwwwwwwwwwwwwwwwwwwwwwwwwwwwwwwwwwwwProcessorConnectionManager6206 ya6204 Memory OperatingSystem6208 didadididadididididididadididadididadididididididadididadididadidididadididadididadididadidididadidi6202 52021
  • 86.
    PatentApplication Publication Oct.5,2017Sheet 85 of 92 US 2017/0289332 A1 WWW Start wer 6302 Search, at a portable device, for an external deviceAMMMMMMMMMMMMMMMMMMMWWWWWWWWWWWWWWWWWAAAAAAAAAAAAAA 6304 s the =xtena} device detected? Notele Yes * * Connect to the detected extemaldevice Display contents ofdisplayofthe portable device on a screen ofthe externaldevice Stop FIG .63
  • 87.
    PatentApplication Publication Oct.5,2017Sheet 86 of 92 US 2017/0289332 A1 C StartStart ) le Who Search at a portable device, for a user device 6404 is the user device detected? No Yes wwwwwwwwwwwwwwwww 6406 Establish a connection between the portable device and the detected user device 6408 Search , at the portable device , for an extemal device wwwwwwwwwwwwwwwwwwwwwwwwwwwwwwwwwwwwwwwwwwwwww 6410 Is the externaldevice detected? . No FIG .64A
  • 88.
    PatentApplication Publication Oct.5,2017Sheet 87 of 92 US 2017/0289332 A1 6412 Establish a connection between the portable device and the detected extemaldeviceWherehhhhhhhhhhhhhhhhhhhhhhhhhhhhhhhhhhhhhhhhhhhhhhh wwwwwwwwwwwwwwwwwwwww 6414 Display contents ofdisplay of the user device on a screen ofthe externaldevice Displayconten wwwwwwwwwwwwwwwwwwwwwwwwwwww StopStop ) FIG .64B
  • 89.
  • 90.
    PatentApplication Publication Oct.5,2017Sheet 89 of 92 US 2017/0289332 A1 6602 iswith wh o m with you . th th th th T. Vymy ' n wyth . . th . Yh non OrderStatus6608 Executive/6614 4099 01Nel }} WON}}=1 6612Device flerede 60A-UON 99999999999999999999999999999999999999999999999999999999999999999999999999999999999999999999999999999999999999999999999999999999999999999999999999999999999999999999999999999999999999999999999999999999999FIG.66 PizzaOrder 66062 ban V21" inww.rnww.minmwww . m . .mmmmmmww.muni .w . w w . mini * . ???????????? ????????????????????????????????????????????????????????????????????????????????????????????????????????????????????????????????????????????????????????????????????????????????????????????????????????????????????????????? 102
  • 91.
    20}Aeo * * * * * * * ** * * ** * * * * * * * * *** * the with * wwwhhohhehehehehehehehehehehehehehehehehhhhhhhhhhhw XYZAirlinesBoardNumber 6704 Patent Application Publication 6702 wwwwwwwwwwwwwwwwwwwwwwwwwwwwwwwwwwwwwwwwwwwwwwwwwwwwwwwwwwwwwwwwwwwwwwwwwwwwwwwwwwwwwwwwwwwwwwwwwwwwwwwwwwwwwwww w 6720a Qis?WOOZAX ** * * * * * * * * * * * * * * * * * * * 6706 8029 AirlineContactOption wwwwwwwwwwwwwwwwwwwwwwwwwwwwwwwwwwwwwwwwwwwwwwwwwwwwwwwwwwwwwwwwwwwwwwwwwwwww 6710 Status www.wwwww wwwwwwwwwwwwwwwwwwwwwwwwwwwwwwwwwwwwwwwwwwwwwwwwwwwwww ???ak{{} OtherInquiry Ainbui 102 00219 w BumBewaluZAXAirlineContact Oct. 5, 2017 Sheet 90 of 92 6712 6718 vondo enterBooking wwwwwwwwwwwwwwwwwwwwwwwwwwwwwwwwwwwwwwwwwwwwwwwwwwwwwwwwwwwwwwwwwwwwwwwwwwwwwwwwwwwwwwwwwwwww wwwwwwwwwwwwwww 67146716 EnterAirlineInformation Talkto ofyel anna uojewout ExecutiveZ www * ** * * * * ** * * ** ** * * * * ** * * * * * * * * * * * * * ** ** * ** ** * * FIG.67 US 2017/0289332 A1
  • 92.
    FIG.68 US 2017/0289332 A1 ******************************************************************************************************************* ******************************************************************************************************* * * ** * * ** ** * * * * * * * * * * * ** * * * * ** ** ** ** * * * * ** * * * ** * * ** * * * * * * * .www.ww uonewout ExecutiveTalkto ExecutiveTalkto EnterAirline uogewojubuixoog1913 whom 6818 w .www .www.www 6814 6812*********************** Oct. 5, 2017 Sheet 91 of 92 Added . * . *********** **************** 102 * andmoreAanbuavo Kumbujsmesoncon buixoonoutros ?????????????????????????????????????????????????????????????????????????????????????????????????????????????????????????????????????????????????????????????????????????????????????????????????????????????????????????????????????????????????????????????????????????????????????? Wi th 2089 OL89 8089 9089 Wuuuu AirlinesNumberXYZDomestic Patent Application Publication wwwwwwwwwwwwwwwwwww.neww. * Yth the with the 6804 minnnnMYNTYNUYOWNnnnnnnnnnnnnnnnnnnnnnnnnnnnnn...mmmmm ????g
  • 93.
    PatentApplication Publication Oct.5,2017Sheet 92 of 92 US 2017/0289332 A1 StartStart YMMMMMMMMMMMMMMMMMMMMMMMM innawawwwwwwwwwwwwwwwwwwwwwwwwwwwwwwwwwwwwwwna 6902 Dial, at the device a phone numberofa destination 6904 6904 Display the visual IVR menu associated with the dialed phone numberDisplaythevisualedph wwwwwwwwwwwwwwwwww w ww 0900 Display one ormore contactoptionswwwwwww wwwwwwwwwwwww wwwwwwwwwwwwwwwwww 6908 Selectatleastone contactoption 6910 Change the display ofthe visual IVR menu based on the selection of the contactoption Stop FIG .69
  • 94.
    US 2017/0289332 A1Oct. 5,2017 SYSTEMSAND METHODS FOR VISUAL PRESENTATION AND SELECTION OF IVR MENU CROSS REFERENCE TO RELATED APPLICATIONS [0001] This application is a Continuation In Part (CIP ) of U .S . Non-provisional application Ser. No. 14/568,120 entitled 'SYSTEMS AND METHODS FOR VISUAL PRE SENTATION AND SELECTION OF IVR MENU ' which was filed on Dec. 12,2014. U .S. Non -provisional applica tion Ser. No. 14/568,120 is a Continuation of U .S. Non provisional application Ser. No. 13/934,248 entitled 'SYS TEMS AND METHODS FOR VISUAL PRESENTATION AND SELECTION OF IVRMENU ' which was filed on Jul. 3 , 2013. U .S . Non -provisional application Ser. No. 13/934, 248 which is a Continuation of U .S .Non-Provisional appli cation Ser. No. 13/186,984 entitled 'SYSTEMS AND METHODS FOR VISUAL PRESENTATION AND SELECTION OF IVR MENU ' which was filed on Jul. 20 , 2011, and is now a Patenthaving U .S . Pat. No. 8,903,073. FIELD OF THE INVENTION [0002] The invention relatesto InteractiveVoiceResponse (IVR) system and more specifically the invention relates to visual selection of IVR option from a caller device. BACKGROUND OF THE INVENTION [0003] Interactive Voice Response (IVR) technology is generally used to detectvoice and key inputs from a caller. The adventofInteractive Voice Response (IVR)systemshas reduced operating costs for many types of businesses for providing services.Generally, the IVR systemsallow a user to interactwith an audio or visual response system . The IVR systems can provide prompts to a user and receive touch tone and/orspoken responses on theprompts from theuser. Through such IVR dialogue the system collects sufficient information about the user to direct the call to the most appropriate resource, information processing system or the like. [0004] Generally,when the callercalls a destination,such as a bank , an automated audio IVR menu is played. The audio IVR menu can contain instructionsto provide instant services such as accountbalance inquiry when the destina tion is a bank . Further, audio menu can provide options for the caller to connect to a desired end inside the destination. For example, themenu may directthecallerto press various keys on a telephone to connect to a particular department or agent. The audio IVR menu is designed specific to a destination. Therefore, each destination or organization may have different audio IVR menus. Further, the IVR menu in an organization can be based on the type of departments, type of services, customer care executives or agents and so forth . For example, an IVR menu of a bank may include options related to the account details ofthe caller, while an IVR menu of a pizzeria may contain options to order or select a pizza. [0005] Typically, the caller calling the destination may have to listen and follow instructions on themenu to get a desired response or a function performed. Therefore, the process can be timeconsuming.Moreover, in case the caller provides an incorrect input, the complete processmay have to be repeated. Furthermore, the IVR menu for an organi- zation may be updated or changed regularly. For example, extension numbers inside an organization may be changed and correspondingly, the extension numbers associated with the IVR menu may be updated. As a result, a frequent caller may not be able to reach a desired end by remembering a combination of numbers. Furthermore, the dialed destina tion may notinclude the information desired by the user. In such a case, the usermay have to call the destination again for retrieving the desired information. Therefore, the user may become frustrated with the IVR systems. 10006) Usually, the IVR menus are samefor all the users. Therefore, the customerhasto listen them carefully to select the appropriate option. The usermay have to wait for long time for receiving information while interacting with the IVR systems.Moreover, sometimes the requested informa tion mightnotbeavailable atthe timewhen theuser callsthe destination. Therefore, the usermay have to eitherwait for long time or call again later. For example, the user may desire to talk to a customer care executive of thedestination , who is busy at the time ofthe call. Therefore, the call ofthe user may be put on hold or hemay be asked to call later. [0007] Some prior art try to address this problem by providing visual form of IVR. These prior arts display the IVR menu graphically on a caller device. U.S. Pat. No. 7,215,743 assigned to InternationalBusinessMachines Cor poration and a published U .S. patent application with Ser. No. 11/957,605, filed Dec. 17, 2007 and assigned to Motorola Inc.,provides the IVR menu of the destination in a visual form to the caller. The caller can select the options from the IVR menu without listening to the complete audio IVR menu. However, the IVR menu displayed on the caller device is stored on an IVR server at the destination end. As a result, the visual IVR menu is specific to the destination and only the IVR of the destination dialed is displayed. These techniques therefore, require each destination to set up hardware,software and other facilities to be deployed for providing visual IVR servers. 10008] A U .S. Pat. No. 7,460,652, assigned to AT & T Intellectual Property I, L .P., discloses techniques for call routing and communication with a call originator. The call may be received at an automated call handling system . Thereafter, the call is evaluated based on a set ofbusiness rules and routed to an interactive voice response unit based on the evaluation. Further, the interactive voice response unit automatically schedules and sends an email to the originator of the call. However, the scheduling of the email is performed after establishing a communication with the automated callhandling system .Moreover, the scheduling is performed at the automated call handling system . [0009] Another existing technique as disclosed in U .S. Pat. No. 6,560,320 assigned to International Business Machines Corporation enables an operator of the IVR to send customized signals to the caller for generating and displaying graphical elements on the device of the caller. Thereafter, the caller can respond by selecting options through touch -screen interface of the device. Dual Tone Multi frequency (DTMF) signals ofthe IVR .However, this technique requires a specifically configured device to inter pret the codes sent as Dual Tone Multi frequency (DTMF) signals for generating the graphics.Moreover, an operator is required to present the graphics to the caller. Furthermore, specialized software andhardware are required at theopera tor to design and generate DTMF codes. Therefore, the technique faces various practicallimitations.
  • 95.
    US 2017/0289332 A1Oct. 5, 2017 [0010] Generally, the IVR menus of the organizationsare in form ofaudiblemenu.Moreover,there are a largenumber oforganizations that use IVR menus. Therefore, converting the audible menus to visual IVR menus can be time con suming. An existing technique, as disclosed in U .S. Pat.No. 6,920,425 assigned to Nortel Networks Limited, discloses an automated scriptto convert the audible menus scripts to visual IVR menu scripts. However, the audible menus scripts must be available in a particular format to enable the conversion. Furthermore, the audio menu scripts must be available or downloadable for the program to function.As a result,only the audio menus scripts that are available can be converted to visual IVR menu scripts. Furthermore, the device of the caller must be designed or programmed to understand the visual IVR menu scripts. [0011] Various organizations encourage the customers to call them for information on their products or services, or for helping existing customers.Generally, a contact number is provided by the organizations on their website as a button . Therefore, when the customer presses the button a form is displayed. The customer then enters his contact number where an executive from the organization may call. How ever, thismay be time consuming for the customer.More over, the customermay be notbeing able to talk to another executiveduring the call in case the on-line executive is not able to satisfy the customer.U .S.patent application with Ser. No. 12/049,021, filedMar. 14,2008 and assigned to Harprit Singh,providesmethods and systemsfor displaying an IVR menu,when the caller clicks a link on a webpage provided by the organization. However, the customer is still required to request the webpage with embedded information from a server of the organization. Moreover, the methods and systems are limited to the organizations that provide the required webpage to the customers. Other technologies include U .S . patent application with Ser. No. 11/877,952 filed Oct. 24, 2007 and assigned to International Business Machine Corporation. [0012] The effectiveness of providing the IVR in visual form is discussed in a technicalpapertitled,“The Benefits of Augmenting Telephone Voice Menu Navigation with Visual Browsing and Search 'by Min Yin et al. The paper discusses a setup where visualcontentofthe IVR is sentfrom a service provider to a computer connected to a mobile phone. How ever, the technique discussed in the paper is limited to the visual content provided by the service provider's end, after the connection is established .Moreover, the providers are required to individually setup thehardware and services for providing visual content. [0013] As discussed above the existing technologies have various limitations. Hence, techniques are desired for pro viding enhanced telephony. means forestablishing a connection with a destination ofthe dialed number based on the selection of the one or more options. [0015] An enhanced telephone system is provided. The telephone system comprises a database comprising one or more phonenumbers and oneormoremenus corresponding to thephonenumbers,wherein themenus comprises one or more options for selection; means for comparing the a received number ofa received call to thephone numbers in thedatabase;means for displaying amenubased on a result of the comparison; and means for enabling selection of the one ormore options from the displayed menu. [0016] Further, a method for providing enhanced tele phony is provided. The method comprising identifying a number dialed from a telephone system ; comparing the dialed number to one or more phone numbers stored in a database, wherein the database comprises one or more menus corresponding to thephonenumbers, and wherein the menus comprises one or more options for selection, and displaying on the telephone system a menu from the data base based on a result of the comparison. 10017] A callermay dial or select a phone number from a device of a destination. The phone number is detected by a Visuphone implemented on the device to display a visual IVR menu corresponding to the audible IVR menu of the destination. Visuphone may be hardware, an application stored as a software or firmware on the device, or a com bination thereof. Visuphonemay include a databaseofvisual IVR menuscorrespondingto audible IVR menus for various destinations. Thereafter, the caller may interact with the visual IVR menu displayed on the device to establish a connection with the destination . Furthermore, Visuphone may detect and launch a VOIP application for establishing the connection. Moreover, Visuphone may provide pre recorded or computer synthesized audio responseson behalf of the caller to the destination. [0018] An aspect ofthe invention is to generate a database ofvisualIVR menus. The database generation could be done by successive calling the IVR and combined with voice recognition. Calling the IVR systems can be done manually by operators thatwill listen to options of the IVR and enter these options into the database. In this manual mode, the operator will dial IVR numbers from a list and for each of them will follow all the options in several levels and in each level, enter themenu entries into the database. This can be done to many different IVR phone numbers, by one or multiple operators. The voice menu can be recorded to for analyzing in a different process or a different time. [0019]. Another aspect of the invention is to generate a database of visual IVR menus by a computer system . Combination ofhardware and software that is connected to phone system and automatically dials the IVR phone num bers, record the differentoptions ofthe voicemenu, analyze the voice menu and generate and enter the different entries into the database. The system will generate the voice tone that simulates the relevant touchtone of a phone number pressed. This process will be done in several levels until covering all the entries in all the levels of the specific IVR system . This process is done for all the IVR phone number in the list. [0020] Additionalalternative is to accessthe IVR internal database and download themenu. This approach requires the collaboration with the IVR maker and at least permission from the IVR owner. Having both a system could be build SUMMARY [0014] An enhanced telephone system is provided. The telephone system comprises a database that comprises one ormore phone numbersand one ormoremenuscorrespond ing to the phone numbers, wherein themenus comprise one or more options for selection. The telephone system com prises means for comparing a dialed number to the phone numbers in the database ;means for displaying a menu based on a result of the comparison ;means for enabling selection ofthe one ormore options from the displayed menu; and
  • 96.
    US 2017/0289332 A1Oct. 5, 2017 to access IVR using their maintenance port,which is often connected to the Internet. Accordingly, the system would access the IVR and once authorized by the IVR owner itwill download the internal file representing the IVR menu,which could be called the IVR customization record . The down loaded file would then be converted to visualIVR menu by utility that could be design according to the format,which could be provided by the IVR maker. [0021] Another aspect of the invention is to provide to a caller using a device a visual IVR menu corresponding to an audible IVR menu of a destination. [0022] Another aspect of the invention is to enable the caller to directly interact with the visual IVR menu without listening to the audible IVR menu ofthe destination. [0023] Another aspect of the invention is to provide the visual IVR menu to the caller before establishing a connec tion of the device with the destination . [0024] Another aspect ofthe invention is to provide adver tisements related to the destination or function of the des tination dialed by the caller. 10025]. Yet anotheraspect of the invention is to provide a visualIVR menu of a destination according to the location of the communication device of a caller and/or a location of thedialed destination phone number. [0026 ] Embodiments of the invention provide an enhanced communication device. The enhanced communi cation device comprises a processor and a memory coupled to the processor. Thememory comprises a databaseinclud ing one ormore destination phone numbers and at leastone property associated with the destination phone numbers Further, the memory comprises instructions executable by the processor for identifying a dialed phone number of a destination, determining a location code associated with a current location of the communication device, comparing the dialed phonenumber to one ormore destination phone numbers stored in a database, and displaying at least one property associated with the oneormore destination phone numbers based on the comparison. [0027] Embodiments of the invention provide an enhanced communication device. The enhanced communi cation device comprises a database including one or more destination phone numbers and at least one property asso ciated with the destination phone numbers. Further, the enhanced communication device comprisesmeans for iden tifying a dialed phone number of a destination, means for determining a location code associated with a current loca tion of the communication device,means for comparing the dialed phone number to one or more destination phone numbers stored in a database, and means for displaying at least one property associated with the one ormore destina tion phone numbers based on the comparison. [0028] Embodiments of the invention provide a method for providing enhanced telephony. The method includes identifying a phone number of a destination dialed from a communication device; determining a location code associ ated with a current location of the communication device; and comparing the dialed phone number to one or more destination phone numbers stored in a database. The data base may include at least one property associated with the destination phone numbers. Further, the method includes displaying the at least one property associated with the one ormore destination phone numbers based on the compari [0029] Embodiments of the invention provide an enhanced device. The enhanced device comprises a proces sor and a memory coupled to the processor. The memory comprises a database including one or more destination phone numbers and at least one property associated with the destination phone numbers Further, the memory comprises instructions executable by the processor for identifying a dialed phonenumber of a destination, determining a location code associated with a current location of the device, com paring the dialed phonenumberto one ormore destination phone numbers stored in a database, and displaying at least one property associated with the one or more destination phone numbers based on the comparison . (0030) Embodiments of the invention provide an enhanced device. Theenhanced device comprises a database including one or more destination phone numbers and at least one property associated with the destination phone numbers. Further, the enhanced device comprises means for identifying a dialed phone number of a destination,means for determining a location code associated with a current location of the device, means for comparing the dialed phone number to one or more destination phone numbers stored in a database,and means for displaying at least one property associated with the one ormore destination phone numbers based on the comparison. [0031] Embodiments of the invention provide a method for providing enhanced telephony. Themethod includes identifying a phone numberof a destination dialed from a device; determining a location code associated with a cur rentlocation ofthe device;and comparing the dialed phone numberto one ormore destination phonenumbers stored in a database. The databasemay include at least one property associated with the destination phone numbers. Further,the method includes displaying the at least one property asso ciated with the one or more destination phone numbers based on the comparison. [0032] Embodiments of the invention provide a device comprising a database comprising a plurality ofvisual IVR menusassociated with a plurality ofdestinations. Thedevice further comprises means for dialing a phone number of a destination,means for comparing the dialed phone number with phone numbers stored in the database, and means for displaying a form based on the comparison, wherein the form comprises one ormoredata request fields correspond ing to a visual IVR menu associated with the dialed desti nation. [0033] Embodiments of the invention provide a device comprising a processor. Further, the device comprises a memory comprising a database. The database comprises a plurality of visual IVR menusassociated with a plurality of destinations. Further, the memory comprises instructions executable by the processor for dialing a phone number of a destination, comparing the dialed phone number with phone numbers stored in the database, and displaying a form based on the comparison,wherein the form comprisesoneor more data request fields corresponding to a visualIVR menu associated with the dialed destination. [0034] Further, a method for providing enhanced tele phony is disclosed. The method comprises dialing, at a device, a phonenumber of a destination. The device com prises a plurality of visual IVR menus associated with a plurality of destinations. Further, the method comprises comparing the dialed phone number with phone numbers stored in the device. Furthermore, the method comprisesson .
  • 97.
    US 2017/0289332 A1Oct. 5, 2017 displaying, at the device, a form based on the comparison, wherein the form comprises one or more data request fields corresponding to a visual IVR menu associated with the dialed destination. [0035) Embodiments ofthe invention provide a device for scheduling a call to a destination based on predefined calling information. Thedevice comprises a database comprising at leastone visualIVR menu associated with each of a plurality ofdestinations.Thedevicealso comprisesmeansfordialing a phone number of a destination ofthe plurality ofdestina tions based on the predefined calling information, wherein the predefined calling information is selected from a visual IVR menu associated with the destination ,means forreceiv ing information from the dialed destination based on the predefined calling information;andmeans for displaying the received information. 00361 Embodiments of the invention disclose a method for providing scheduling a call to a destination based on predefined calling information. Themethod comprises dial ing a phone number of a destination of a plurality of destinations based on the predefined calling information, wherein the predefined calling information is selected from a visual IVR menu associated with the destination . Further, themethod comprisesreceiving information from the dialed destination based on the predefined calling information. Furthermore, themethod comprises displaying the received information. [0037] Embodiments of the present invention provide a device. The device comprises a processor. Further, the device comprises a memory coupled to the processor. The memory comprises a database comprising at least one IVR menu associated with at least one IVR system . Further, the memory comprises instructions executable by the processor for sending a first section of a data packet to a second communication device. The first section comprising first information is sent based on a visualIVR menu associated with the secondcommunication device.Further,thememory comprises instructions executable by the processor for receiving an acknowledgementmessage from the second communication device based on the first section of the data packet. Furthermore, the memory includes instructions executable by the processor for sending a second section of the data packet to the second communication device based on the acknowledgementmessage. Thesecond section com prises second information . [0038] Embodiments of the present invention provide a method for communicating among a plurality of communi cation devices. Themethod comprises sending,by a device, a first section ofa data packet to a second communication device. The first section comprising first information is sent based on a visual Interactive Voice Response (IVR )menu associatedwith atleastoneIVR system .Further, themethod comprises receiving, at the device, an acknowledgement message from the second communication device based on the first section ofthe data packet. Furthermore, themethod comprises sending, by the device, a second section of the data packet to the second communication device based on the acknowledgement message. The second section com prises second information. [0039] Embodiments of the invention provide a method for establishing a communication session in a communica tion network. Themethod comprises dialling,by a device, a phone number of a second communication device. The second communication device comprises an IVR system . Further, themethod comprises detecting, by the device, a data network .Furthermore, themethod comprises sending, by the device, a first section of a data packet to the dialled second communication device when the data network is detected. The first section comprises first information. [0040] Embodiments of the invention provide a commu nication device comprising a database comprisinga plurality of visual Interactive Voice Response (IVR )menus associ ated with a plurality of destinations. The communication device further comprisesmeans fordialing a phone number of a destination , means for comparing the dialed phone number with phone numbers stored in the database, and means for displaying a form based on the comparison, wherein the form comprises one ormore data request fields corresponding to a visual IVR menu associated with the dialed destination . [0041] A method for providing enhanced telephony is disclosed. The method comprises dialing, at a communica tion device, a phone number of a destination. The commu nication device comprises a plurality of visual IVR menus associated with a plurality of destinations. Further, the method comprises comparing the dialed phonenumber with phone numbers stored in the communication device. Fur thermore, themethod comprises displaying, atthe commu nication device, a form based on the comparison, wherein the form comprises one or more data request fields corre sponding to a visual IVR menu associated with the dialed destination . [0042] An aspectofthe invention is to provideupdates to the visual IVR menus stored in the device. [0043] An aspect of the invention is to provide the visual IVR menu when the call is forwarded from one destination to another. [0044] Another aspectof the present invention is to pro vide amethod for displaying, ata device, a visual IVR menu associated with a phonenumberofa calling device.Further, themethod displays one ormore communication options at thedevice. [0045] Another aspectofthe invention is to enable a user at the device to interact with the visual IVR menu of the calling firstparty devicewithoutlisteningto the audible IVR menu of the first party device. [0046] Yet another aspect of the invention is to enable a portable device or device to connect to an external device with better display capabilities. 10047 . Further aspect of the invention is to provide the visual IVR menu of a first party device to a user of a device before establishing a communication session between the device and the first party device. 10048] Additional aspect of the invention is an automatic learningofcaller choice anduses that forassisting the caller in his future calls. BRIEF DESCRIPTION OF THE DRAWINGS [0049] Having thus described the invention in general terms, reference will now be made to the accompanying drawings, which are not necessarily drawn to scale, and wherein : [0050] FIG . IA illustrates an exemplary environment where various embodiments ofthe invention may function ; f0051] FIG . 1B illustrates another exemplary environment where various embodiments of the invention may function;
  • 98.
    US 2017/0289332 A1Oct. 5, 2017 [0052] FIG . IC illustrates yet another exemplary environ- ment where various embodiments of the invention may function; [0053] FIG . 2A illustrates an exemplary audible Interac tive VoiceResponse (IVR )menu at a destination, in accor dance with an embodiment of the invention; [0054] FIG . 2B illustrates an exemplary visual IVR menu at a device corresponding to the audible IVR menu of the destination, in accordancewith an embodiment ofthe inven tion; [0055] FIG . 2C illustrate an exemplary visual IVR menu thatdisplay graphics for each option, in accordancewith an embodiment of the invention; [0056] FIG . 2D illustrate an exemplary visual IVR menu that display tooltip when a curser is hovering an option for more than certain timewithout action , in accordance with an embodiment of the invention; [0057] FIGS.3A and 3B illustratesexemplarycomponents of the device for implementing a Visuphone, in accordance with an embodimentof the invention ; [0058] FIG . 4 illustrates an exemplary display of the visual IVR menu on the device, in accordance with an embodiment of the invention; [0059] FIG . 5 illustrates exemplary components of the device for implementing the Visuphone, in accordance with another embodimentof the invention; [0060] FIG . 6 illustrates an exemplary display of the visual IVR menu on the device, in accordance with another embodiment of the invention ; [0061] FIG . 7 illustrates a webpage displayed on the device that may be used to initiate a connection to the destination, in accordance with an embodimentofthe inven tion; [0062] FIG . 8 illustrates an exemplary software architec ture ofVisuphone, in accordance with an embodimentofthe invention; [0063] FIG . 9 illustrates exemplary components of the Visuphone, in accordance with an embodimentofthe inven tion; 10064) FIG . 10 illustrates an exemplary remote server for storing information required by the Visuphone, in accor dance with an embodiment of the invention; [0065] FIG . 11 illustrates presentation of a visual IVR menu in case of call forwarding, in accordance with an embodiment of the invention ; 10066] FIG . 12 illustrates the presentation of the visual IVR menu when a phone connection is associated with a wide band internet “smart'modem ; [0067] FIG . 13 illustrates the presentation of the visual IVR menu when a telephone connection is established through an externaltelephone service by using a computer; [0068] FIGS. 14A , 14B , and 14C illustrate a Visu -add-on that provides the features and functionality of the Visu phone; 0069] FIGS. 15A, 153, 15C and 15D illustrate a flow chart diagram for presentation, selection and update of visual IVR menus, in accordancewith an embodimentof the invention; [0070] FIG . 16 illustrates exemplary components of a device for implementing a database construction system , in accordance with an embodiment of the invention; [0071] FIGS. 17A, 17B, and 17C illustrate exemplary components of the database construction system , in accor dance with an embodiment of the invention; [0072] FIG . 18 illustrates a flowchart diagram for creating a database for visual IVR menus, in accordance with an embodiment of the invention ; [0073] FIG . 19 illustrates an exemplary set of IVR cat egories; [0074] FIG .20A illustrates an exemplary information pro cess stored in a database; [0075 ] FIG . 20B illustrates an exemplary web form gen erated for the information process ofFIG . 20A; 10076) FIG . 21 illustrates an exemplary display of repre sentations of destinations on the device, in accordance with an embodiment of the invention; [0077) FIG . 22 illustrates an exemplary visual IVR menu of the selected destination with added graphics at a device, in accordance with an embodiment of the invention; [0078] FIGS. 23A, 23B , and 23C illustrate a flowchart diagram forproviding representation ofdestinationsbased on position, in accordance with an embodiment of the invention ; [0079] FIG . 24 illustrates flowchart for presenting adver tisement along with the visual IVR menu on the device, in accordance with an embodiment of the invention; [0080] FIG . 25A illustrates an exemplary information pro cess for an IVR menu stored in records database, in accor dance with an embodiment of the invention ; 10081] FIG . 25B illustrates an exemplary web form gen erated for the information process of FIG . 25A, in accor dance with an embodiment of the invention ; [0082] FIG . 26 illustrates a flowchart for submitting per sonalinformation of a caller by Visuphone, in accordance with an embodimentofthe invention; [0083] FIG . 27 illustrates an exemplary representation of a visual IVR menu associated with thedialed phonenumber ofthe destination along with a schedulingmodeoption,in accordance with an embodiment of the invention ; 100841. FIG . 28 illustrates another exemplary representa tion of a visual IVR menu associated with the dialed phone number of the destination along with a scheduling mode option, in accordance with an embodimentof the invention; 10085 ] FIG . 29 illustrates an exemplary display at the device after switching to a schedulingmode, in accordance with an embodiment of the invention; 0086 ) FIGS. 30A and 30B illustrates a flowchart for providing enhanced telephony by presenting a scheduling mode option to the caller, in accordance with an embodiment of the invention; f0087] FIGS. 31A , 31B , 31C and 31D illustrates exem plary environments where communication device may exchange one ormoremessages/data packets for establish ing communication session , in accordance with various embodiments of the invention; [0088] FIG . 32 illustrates an exemplary packet sent from a device to a second communication device, in accordance with an embodiment of the invention; [0089] FIG . 33 illustrates an exemplary structure of a first section of the packet sent to the second communication device, in accordance with an embodimentofthe invention ; 10090 ) FIGS. 34A and 34B illustrates a flowchart for communicating among a plurality of communication devices,in accordancewith an embodimentofthe invention; [0091] FIGS.35A, 35B,and 35C illustratesan exemplary communication network where a call is received at a device from a firstparty device, in accordance with various embodi ments of the invention function ;
  • 99.
    US 2017/0289332 A1Oct.5,2017 10092] FIG . 36 illustrates yet another exemplary commu nication network in which an IVR is displayed when a call is received at a device, in accordance with an embodiment of the invention; [0093] FIG .37 illustrates an exemplary visual IVR menu along with one ormore communication options at a device, in accordance with an embodimentof the invention; [0094] FIG . 38 illustrates another exemplary visual IVR menu along with one or more communication options at a device, in accordance with an embodiment ofthe invention; [0095] FIG . 39 illustrates the presentation of the visual IVR menu when a phone connection is associated with a wide band internet ‘smart’modem ; 0096 ] FIG . 40 illustrates a flowchart for providing enhanced telephony when a call is received, in accordance with an embodiment of the invention; 00971. FIG . 41 illustrates an environmentwhere a device may be connected to an external device, according to an embodiment of the invention; [0098] FIG . 42 illustrates exemplary functioning of the device (portable device) in the environment of FIG . 41, in accordance with an embodiment of the invention; [0099] FIG . 43 illustrates exemplary functioning of the portable device such as a smart phone connected to a laptop in the environmentofFIG . 41, in accordance with another embodiment of [0100] FIG . 44 illustrates exemplary functioning of the portable device connected to a large display screen in the environmentofFIG .41,in accordancewith another embodi ment of the invention ; [0101] FIG . 45 illustrates exemplary functioning of the portable device such as the smart phone connected to a television screen in the environment of FIG . 41, in accor dance with another embodiment of the invention; [0102] FIG . 46 illustrates exemplary functioning of the portable device connected to a picture frame in the envi ronmentofFIG .41, in accordancewith another embodiment of the invention; [0103] FIG . 47 illustrates exemplary functioning of the portable device connected to a Global Positioning System (GPS) navigation system in the environment of FIG . 41, in accordance with another embodiment of the invention; [0104] FIG . 48 illustrates exemplary functioning of the portable device such as the smart phone connected to a projector in the environment ofFIG .41, in accordance with another embodimentof the invention; [0105] FIG . 49 illustrates exemplary display of an Inter active VoiceResponse (IVR )menu on a large display screen connected to a portable device such as the smart phone, in accordance with an embodiment of the invention; [0106] FIG . 50 illustrates block diagram of the portable device, in accordance with an embodimentofthe invention; [0107] FIG . 51 illustrates another block diagram of the portable device, in accordance with an embodiment of the invention; [0108] FIG .52illustratesan environmentwherea portable device may be connected to a user device, in accordance with an embodiment of the invention; [0109] FIG .53 illustratesan environmentwhere a portable device may be connected to a user device, in accordance with another embodiment of the invention ; [0110] FIG . 54 illustrates exemplary functioning of the portable device connected to a mobile phone in the envi- ronment of FIG . 52 or FIG . 53, in accordance with an embodimentof the invention; 10111] FIG . 55 illustrates exemplary functioning of the portable device connected to a mobile phone and a projector in theenvironment ofFIG .52orFIG .53,in accordancewith another embodiment of the invention; [0112] FIG . 56 illustrates another exemplary functioning of the portable device connected to a mobile phone and a large screen in the environment of FIG . 52 or FIG . 53, in accordance with another embodiment ofthe invention ; 10113] FIG . 57 illustrates another exemplary functioning of the portable device connected to a mobile phone and a television in the environment of FIG . 52 or FIG . 53, in accordance with another embodiment of the invention ; [0114 ] FIG . 58 illustrates exemplary functioning of the portable device connected to amobilephone and a laptop in the environment of FIG . 52 or FIG . 53, in accordance with another embodimentof the invention; [0115 ]. FIG . 59 illustrates another exemplary functioning of the portable device connected to a picture frame and a wired telephone in the environmentof FIG . 52 or FIG . 53, in accordance with another embodimentof the invention; [0116 ] FIG . 60 illustrates exemplary functioning of the portable device connected to a mobile phone and a GPS navigation system in the environmentofFIG .52 or FIG .53, in accordance with another embodimentof the invention ; [0117]. FIG . 61 illustrates an exemplary display of an Interactive Voice Response menu (IVR) on a large display screen connected to a portable device and a user device such as smart phone, in accordance with an embodiment of the invention ; [0118] FIG . 62 illustrates a block diagram of portable device 5202, in accordance with an embodiment of the invention ; 01191 FIG .63 is a flowchart illustrating the functioning of portable device4102,m accordance with an embodimentof the invention; 0120] FIGS. 64A and 64B illustrates a flowchart for implementing the portable device in the environment of FIG . 52 and FIG . 53, in accordance with an embodimentof the invention; [0121] FIG . 65 illustrates an exemplary functioning of Visuphone for displaying one ormore contact options at a device, in accordance with an embodimentofthe invention; [0122] FIG .66 illustrates change ofdisplay at user device 102,when a user selects a contact option, in accordancewith an embodiment of the invention; (0123] FIG . 67 illustrates an exemplary functioning of Visuphone for displaying one ormore contact options at a device, in accordance with another embodiment of the invention; [0124] FIG .68 illustrates change in display at device 102 based on selection of a contact option by a user of device 102, in accordance with an embodiment of the invention; and 0125 ] FIG . 69 illustrates a flow diagram illustrating an exemplary functioning ofthe Visuphone for displaying one ormore contact options at a device, in accordance with an embodiment of the invention. DETAILED DESCRIPTION OF THE INVENTION [0126] Illustrative embodiments of the invention now will be described more fully hereinafter with reference to the
  • 100.
    US 2017/0289332 A1Oct. 5, 2017 accompanying drawings, in which some,butnotall embodi ments ofthe invention are shown. Indeed, theinventionmay be embodied in many different forms and should not be construed as limited to the embodiments set forth herein ; rather, these embodiments are provided so thatthis disclo sure will satisfy applicable legal requirements. Like num bers refer to like elements throughout. [0127] FIG . IA illustrates an exemplary environment where various embodiments ofthe invention may function . A device 102a can be used by a caller 106 for connecting to destinations 108a-n. Device 102a can be a telecommunica tion device that can connect directly to a Public Switched Telephone Network (PSTN ) 110. A person skilled in the art will appreciate, that device 102a can also connect to a private telephone exchange. Examples of device 102a include, but not limited to, a mobile phone, a Smartphone, a telephone, or any other device capable of voice or data communication. Each of destinations 108a-n may include one or more Interactive Voice Response (IVR ) menus. Further,each ofdestinations 108a-n may haveone ormore associated phone numbers. When caller 106 dials a phone number of a destination and connects to any destination from destinations 108a-n, an audible IVR menu may be played to caller 106.Each ofdestinations 108a-n can have different and more than one audible IVR menus. For example, IVR menus ofbank may be completely different from that of a hospital. Typically, the audible IVR menu provided by destinations 108a-n comprises audible options or instructions. Caller 106 maybe required to select various options from the audible IVR menu to obtain the required information or resource or service from the dialed destina tion. Various typesofdestinations 108a-n thatimplementthe audible IVR menu include, for example, banks, hotels, fast-food outlets,utility services providers, corporateoffices, and so forth . [0128] In an embodiment, device 102a includes a Visu phone 104 that can display a visual IVR menu on device 102a corresponding to the audible IVR menu based on a phone numberof the destination to be connected.Visuphone 104 may be hardware, an application stored as software, a firmware on device 102a, or a combination thereof. There after, caller 106 can select the options of the audible IVR menu from the visual display without the requirement to listen to the audible instructions. Further, Visuphone 104 may display one or more options based on the dialed destination. Exemplary audible IVR menu at destination 108a and a corresponding visualIVR menu are explained in detail in conjunction with FIGS. 2A and 2B . [0129] In an embodiment of the invention, device 102a can request for updates from a server through a communi cation network . The servermay maintain the updated infor mation of destinations and their associated properties. This may happen in a case when requested information is not available on the dialed destination. The communication network can include more than one device. Examples of the communication network include, but are not limited to, the Network, PSTN , Local Area Network (LAN ), Wide Area Network (WAN), and so forth . [0130] FIG . 1B illustrates another exemplary environment where various embodiments ofthe invention may function . As shown, device 102b can be a device that can be con nected directly to a network 112. Examplesofdevice 102b include,but arenotlimited to , a personal computer, a laptop, amobile phone,a smart-phone,a fixed linetelephone, Voice Over Internet Protocol (VOIP ) phone or other devices capable ofvoice or data communication.Device 102b may include various applications or computer programs that enable caller 106 to use device 102b for connecting to any ofdestinations 108a-n through PSTN 110 overnetwork 112. For example, the applications may be VOIP applications, such asbutnotlimited to, Skype, Magic Jack ,Google Talk and so forth . A gateway 116 can be used to interconnect PSTN 110 and network 112.Network 112may include any wired or wireless network. Examples of network 112 include,butare notlimited to, aLocalAreaNetwork (LAN), a Wide AreaNetwork (WAN ), a Wi-Finetwork,andso forth . As discussed with reference to FIG . IA , destinations 108a-n can present the audible IVR to caller 106. Device 1025 includes Visuphone 104b that displays a visual IVR menu on device 102b corresponding to the audible IVR menu based on a phone number of the destination to be connected. Further, Visuphone 104may display one ormore options for communication on device 102b. [0131] FIG . IC illustrates yet another exemplary environ ment where various embodiments of the invention may function.Asshown,device 102c can be connected to PSTN 110 through network 112 or through the cellular network 111. Various service providers providemultiple or overlap ping services to customers. For example, cable television service providermay also provide phone and Internet ser vice, optical Internet provider may also provide phone or television services, WiMax service providers that provide phoneservice,and so forth .Network 112maybeany service provider that provides such services, for example, but not limited to , cell phone services, wireless services, Internet services, cable television services, or various combinations of the above or other type of services. As discussed with reference to FIG . IA , destinations 108a-n presents the audible IVR to caller 106 .Device 102c includes Visuphone 104 that displays a visual IVR menu on device 102b corresponding to the audible IVR menu based on a phone number of the destination to be connected. Further, Visu phone 104 may display other communication options to caller 106. [0132] In an embodimentof the invention, Visuphone 104 may call the dialed destination based on the predefined calling information automatically. In an embodiment, Visu phone 104may keep on callingto the dialed destination until therequested information is received. In an embodiment, the dialed destination may requestthe information requested by Visuphone 104 of device 102c (or 102a or 102b ), from a server of the communication network. Thereafter, the dialed destination may send the information received from the server to Visuphone 104 ofdevice 102c. Further, Visuphone 104 may save and/or display the received information at device 102c. f0133] FIG . 2A illustrates an exemplary audible IVR menu 222a at destination 108a, in accordance with an embodimentofan invention. A person skilled in the artwill appreciate that audible IVR menu 222a is an exemplary graphical representation of the audible instructions pre sented by destination 108a for the sake of explanation and is notan actual graphical display. Forexplanation, assuming that destination 108a is a pizzeria that provides home delivery and takes away services. Caller 106 connects to destination 108a by dialing a board phone number 202a. Subsequently, various optionsof audible IVR menu 222a are played to caller 106. Thevarious options include an option