MAIMUUNMUNTANTULMUTLU ONA TIUS009831881B2
(12)United States Patent
Josefsberg et al.
(10) Patent No.: US 9,831,881 B2
(45) Date ofPatent: Nov.28,2017
(54) RADAR TARGET DETECTION SYSTEM FOR
AUTONOMOUS VEHICLES WITH
ULTRA -LOW PHASE NOISE FREQUENCY
SYNTHESIZER
(58) Field of Classification Search
CPC . HO3L 7 /085; HO3L 7 /02; HO3L 7 /099; HO3L
7 /113; HO3L 7 /185 ; HO3L 7 /20; HO3L
7 /23; HO3L 7 /24; HO3L 7 /00; HO3L 7/06;
GO1S 7/031; G01S 12/931; G01S 13/931
USPC ...... . 342/128, 70, 99- 104; 327/145, 105,
327/147–159; 701/301; 455/90.1
See application file for complete search history.
(71) Applicants:Yekutiel Josefsberg,Netanya (IL ); Tal
Lavian, Sunnyvale, CA (US)
(72) Inventors: Yekutiel Josefsberg, Netanya (IL ); Tal
Lavian, Sunnyvale, CA (US)
Subject to any disclaimer,the term ofthis
patent is extended or adjusted under 35
U .S.C. 154(b) by 0 days.
(56 ) References Cited
U.S. PATENT DOCUMENTS
6,085,151 A * 7/2000 Farmer .............
(21) Appl.No.: 15/640,904 7,737,880 B2 *
GO1S 7/023
342/70
GOIS 7/023
342/100
6/2010 Vacanti
(22) Filed: Jul. 3,2017 (Continued)
(65) Primary Examiner — Dinh T LePrior Publication Data
US 2017/0302282 A1 Oct. 19, 2017
Related U .S. Application Data
(63) Continuation-in-part of application No. 15/379,860,
filed on Dec. 15, 2016, now Pat. No. 9,729,158,
(Continued)
(51) Int. CI.
GOIS 13/524 (2006.01)
HO3L 7/085 (2006.01)
HO3L 77099 (2006 .01)
HOZL 7/07 (2006.01)
HO3L 7/23 (2006.01)
(Continued)
(52) U.S.CI.
CPC ............. HO3L 7/085 (2013.01); GOIS 7/023
(2013.01); HO3L 7/07 (2013.01); HO3L 77099
(2013.01); HO3L 7/113 (2013.01); HO3L 7/185
(2013.01);HO3L 7/20 (2013.01); HO3L 7/23
(2013.01);HO3L 7/24 (2013.01);GOIS 13/931
(2013.01)
(57) ABSTRACT
An object detection system for autonomous vehicle, com
prising a radar unit and at least oneultra-low phase noise
frequency synthesizer, is provided. The radar unitconfigured
fordetecting the presence and characteristics ofone ormore
objects in various directions. The radar unit may include a
transmitter for transmitting at least one radio signal, and a
receiver forreceiving the at least one radio signalreturned
from the one or more objects. The ultra -low phase noise
frequency synthesizer may utilize Clocking device, Sam
pling Reference PLL, at least one fixed frequency divider,
DDS and main PLL to reduce phase noise from the returned
radio signal. This proposed system overcomes deficiencies
of current generation state of the art Radar Systems by
providing much lower level of phase noise which would
result in improved performanceofthe radar system in terms
of target detection , characterization etc. Further, a method
for autonomous vehicle is also disclosed.
20 Claims, 40 Drawing Sheets
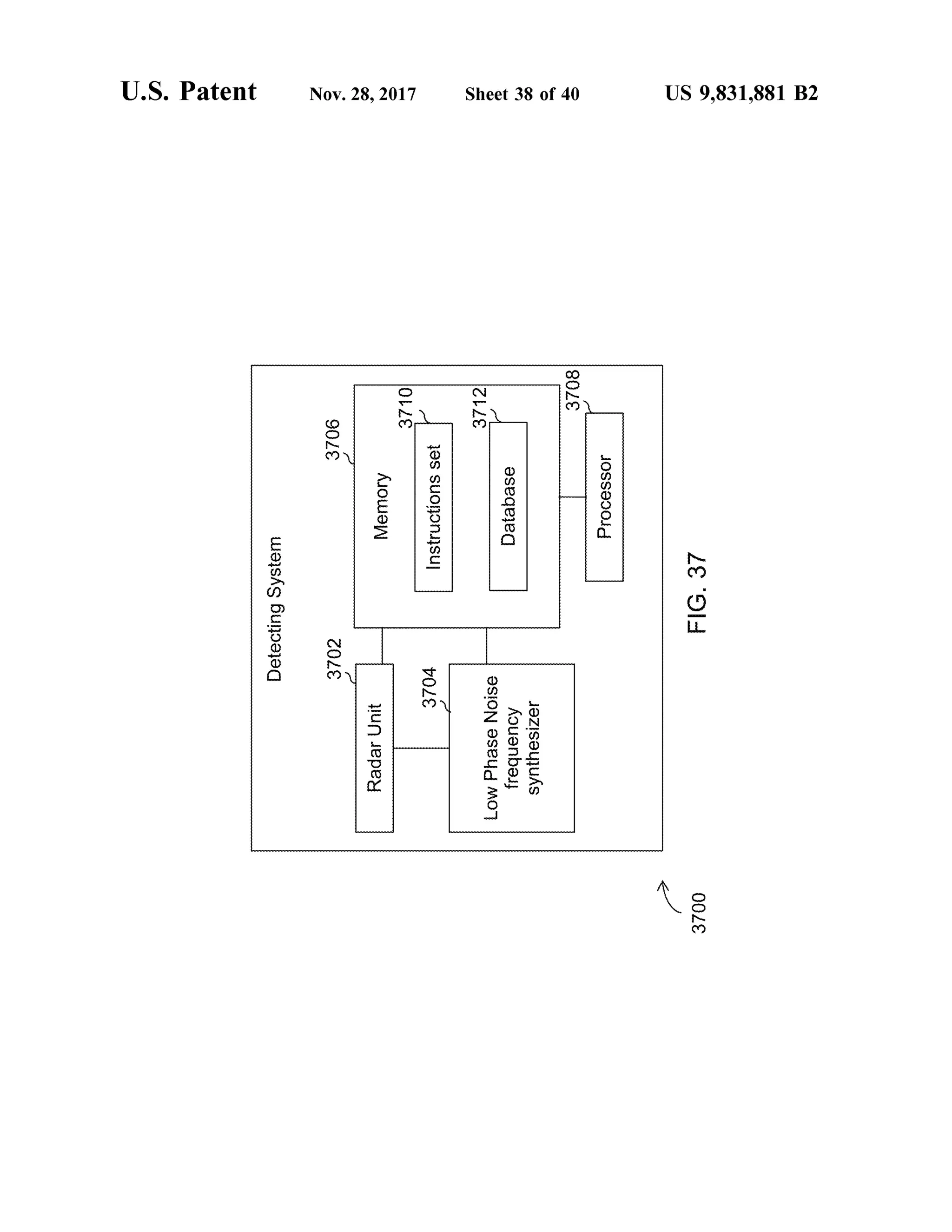
DetectingSystem
3702 3706
RadarUnit Memory
3710
3704 Instructions set
3712
Low Phase Noise
frequency
synthesizer
Database
Processor
3700
US 9,831,881B2Page 2
Related U .S. Application Data
which is a continuation of application No. 15/229,
915, filed on Aug.5, 2016 ,now Pat.No. 9,705,511.
(60) Provisional application No.62/181,221, filed on Jun.
18, 2015.
(51) Int. Cl.
HOZL 7/20
HO3L 7/185
HO3L 7/113
HO3L 7/24
GOIS 7/02
GOIS 13/93
(2006 .01)
(2006 .01)
(2006 .01)
(2006 .01)
(2006.01)
(2006 .01)
(56 ) References Cited
U.S.PATENTDOCUMENTS
8 ,049,656 B2* 11/2011 Shani G01S 77021
342/13
9 ,470,784 B2 * 10/2016 Kishigami .............. GO1S 13/91
9,689,983 B2 * 6/2017 Cao ....................... G018 13/931
* cited by examiner
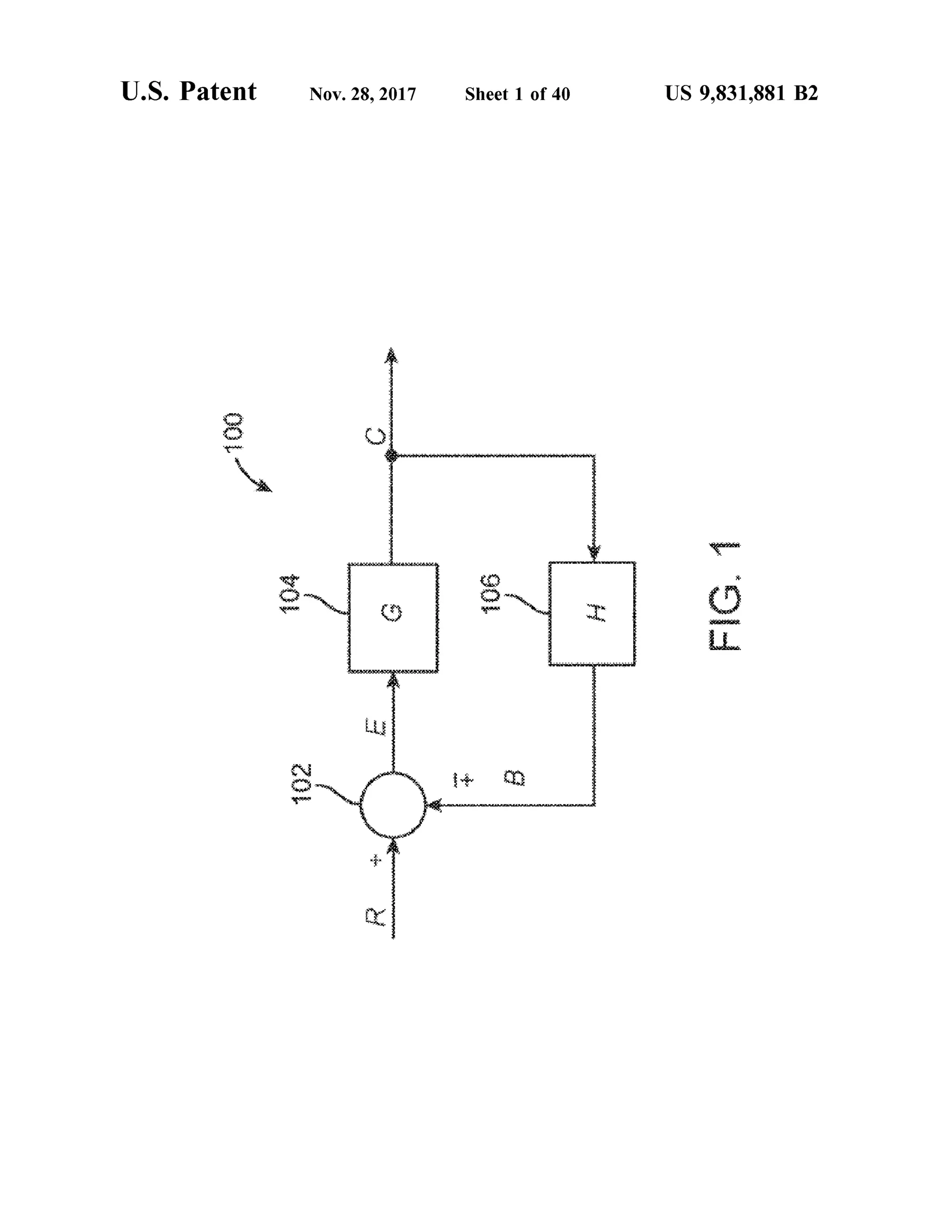
U. S . Patent Nov.28,2017 Sheet 1 of40 US 9,831,881 B2
-10 ??
MAMAHA
???????????
??AXO NAL_MACHANE
06
???????????????????? ?? FIG.1
2 ?
ARACLE:ZHEJAPAPANYREAL
???
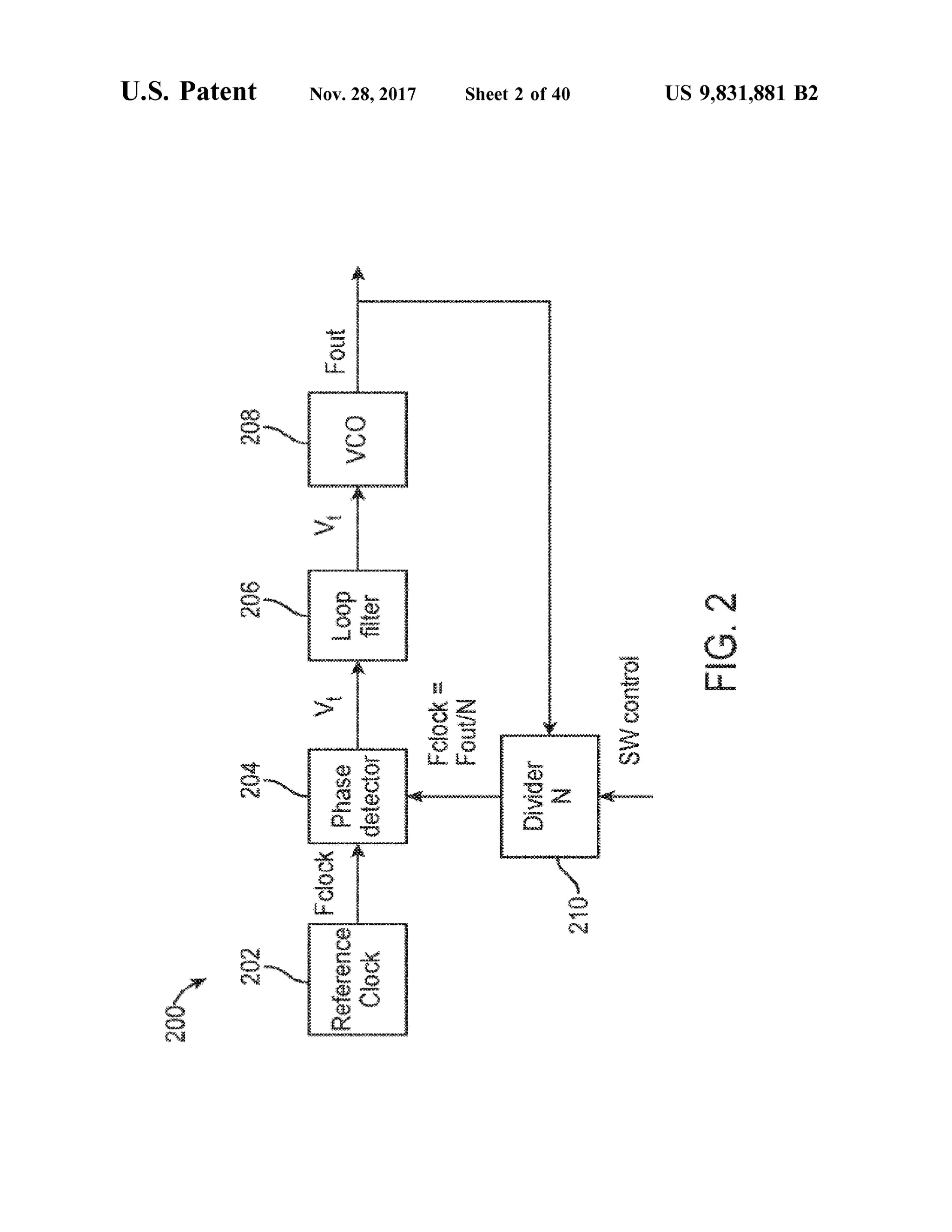
200
**
***
U .S . Patent
202
204
206
208
TOWWWWWY*XXXYYIK
IWAYAXWXY
Mtiivi
Fout
Loop
MerrnHTROOK
Fclock
Reference
Phase
Clock
detector
www
VA
VCOWYKYKYMYAYISYYTY
W
TRAB
HXHEY
filter
Nov.28,2017
VP????????????????????
WAMI
PETENSI
Fclock-
WARY Divider
Sheet 2 of40
+*
A49265917
W
W9144447714727WW949*407472999697989649W
210
N
WOWYWIwMTY244AYAAVANI
SWcontrol
FIG.2
US 9,831,881 B2
U .S . Patent
300
******
304
Nov.28,2017
YNAYYNAMYYYYYYYYY
Fclock
PED
AVVAvYW4V
VREMSANNSYANVAR
VANNY
TYTYYYYYSTAWY
FoutN
TYWYYTYYTYVYYTYYTY
YMYWYYNY
*wm
Sheet 3 of 40
VALOXBLLOK
U
SUWOWEN FIG.3
US 9,831,881 B2
U .S. Patent Nov. 28, 2017 Sheet 4 of 40 US 9,831,881 B2
FREE
THAAAAAAAAWITHHANA
PROPHOT
CeLALALA
|402129F
AHA
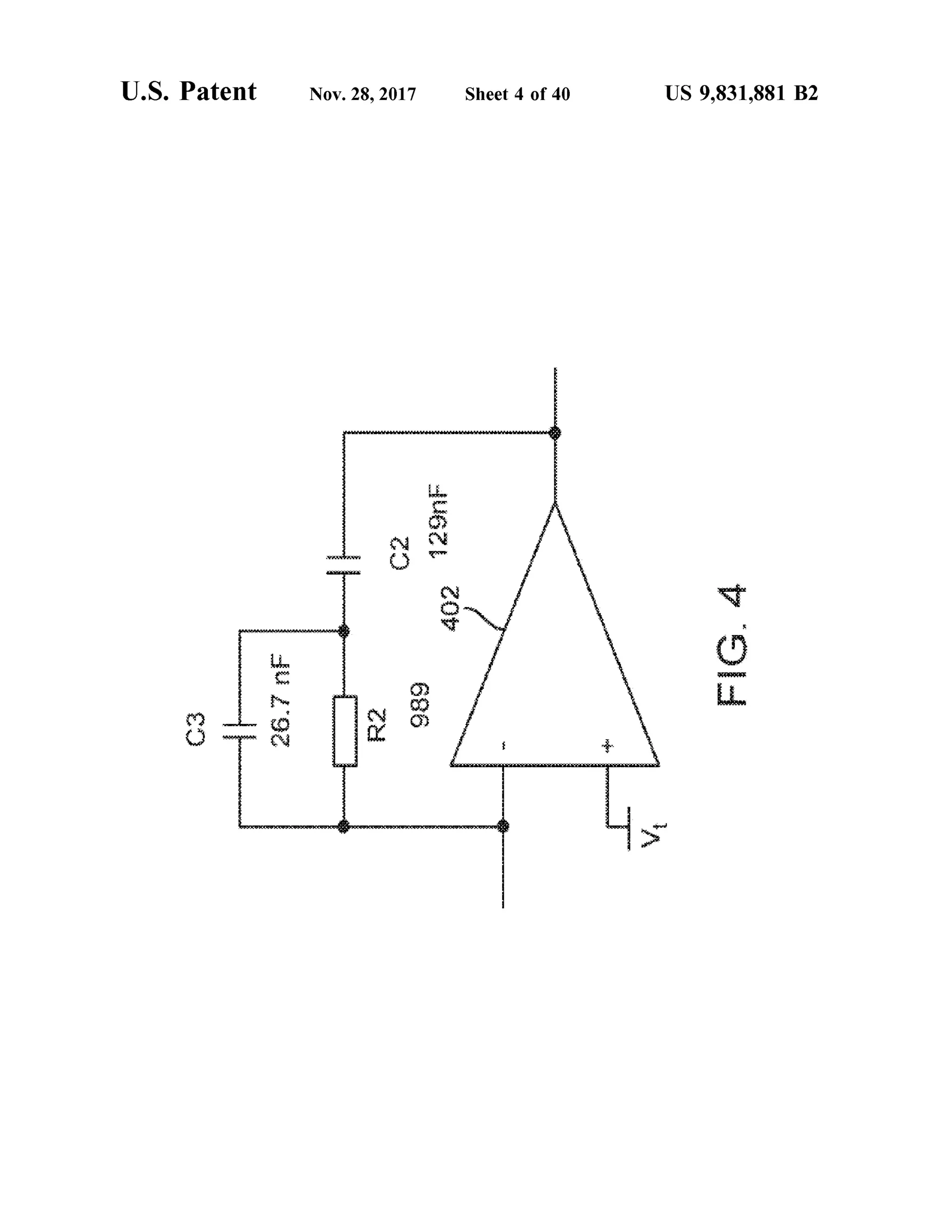
FIG.4
/
C3 989REATA
ALLEAL
TANIAAAAAAAAAA NONEW
U .S . Patent Nov.28,2017 Sheet 5 of40 US 9,831,881 B2
OUTPUTfilmikriitiderke wwwww
* * ** * ** w.w *** w * * * * * * * *** *Wi
SAMPLECONTROLC
distrimit watuOmano FIG.5
OUTPUTINPUT
wwwmums itininiai w*
CH
har *** * * ** *** ** * *** *** * ** *** ** *** * ** ** * * * * ** * *** *** *
wwwminiwmiwa SAMPLECONTROLwwwwwwwwwwx INPUT
U .S . Patent
PRATTUT
TON
TO
T
win
ZUTA
VAMZAWAYLYLLAHA
604.
602RF
ERRORVOLTAGE
Nov.28,2017
20
WWW:MRM
00MHZ
INPUT
SRD
**
INPUTYA
ALLAH
7
YYRYYYYYYYYYYY
WE
606
}
Sheet6 of 40
UWAUAWASAVYOWAWEANSross
YO
+ WA
FIG.6
US 9,831,881 B2
U .S . Patent Nov.28,2017 Sheet 7 of40 US 9,831,881 B2
?
-
--
Sunwind IN
d -------
im
-
Flapper
nasprotiobuna ata cancelamentoensinomasselfoongtaon sercise
nestiw
*+-*+-
w
.
d A
VV
.
wwwwww FIG.7
par ?
d
restierikw tym w hanguiniffinitions thisinformasi **
weitefrana ***
broodfrom finansnetton
past
wantfor
theroom
wesentlo ngbansasenseofse vese scenes
bebas
U .S . Patent Nov.28,2017 Sheet 8 of40 US 9,831,881 B2
eurde
Phasenoise 208
***
WAXWXR O VLADARAKAVA PARANAVARRARANDARARAMDARBAROS PAUKSONAYSEXY FIG.8
r
****
800
U .S . Patent Nov.28,2017 Sheet 9 of40 US 9,831,881 B2
OSIONOSOud
006.
A
904 prisiprie
pupuna
FIG.9
sesinaisestiXXXXXX
00ADuringandSONSed **************
*********
Hier4 ***
902istiyotlight *** ***************
PhaseNoise
US 9,831,881 B2
?000
?
???????????
?
?
?
?
?
? ?
????
? ? ???????
? ? ???
? ?
?
???????????????????
????????????????
?????????
??????????
???????
??????
????
?
1006?
????????????.
???
? ??
?
???????????????????????
?
?
??
? ? ?
? ? ? ??
????????
?
?
???
?
???
?
? ? ? ?
???
?..
??.?
??????
?????
Sheet 10Of 40
?
,
?????????????????????????
?
? ?
?
??
XXX-XXx ??
? ?
????? -
?
FIG, 10
? ? ??? ?
.
? ? ?
??????.?
?????????
??
??
???
? ?
????????????????
????????????????
? ? ? ? ?
?
???
?????????
?
?.???
?
??
:*????????8%??????????????
?
????????????????????????????????
???
? ? ?
?????
???????
???
??
? ? ? ?
? ?? ???????? ! ' ????
{{004
??
???
???
?
??
??????
_
,;tterriir?
?????????
?
? ? ? ? ?
?
???????????:???:??:mmif
?
?
?-
? ? ?
?????????????????????????????????
??????
???????
;.????????
?
??????????
??????
???????????
??????
?????
??? ? ?? ?
????????.
1002
Nov.28, 2017
?
?
??????????!
wv-******
*
***
*
**
**
****
**
?
3
3?_
_
. ?
?
?????}??83..
?????????????????????????????????????????:?????????:?.:::::???:?????.;
?
'
??????????XX?}}'?????????????????
U,S, Patent
atent Nov. 28, 2017 Sheet 11 of 40 US 9,831,881 B2
MOBO
soydBanks
osvendoocon
Q Www
**
**
INN('ncaoz
FIG.11**
*****
1102 1104
aniood******** :.
1100 wwwwwwwwwwwww
U .S. Patent Nov.28,2017 Sheet 12 of 40 US 9,831,881 B2
MOZW
send
Singlesidebandphasenoise FIG.12
1200
U .S. Patent Nov.28,2017 Sheet 13 of 40 US 9,831,881 B2
312*
13041304
1302
W210) 1316
1310
GY62 FIG.13
edor
1308 ***** * ****
13181306 **
*
1300
U .S . Patent
1400 1402
Nov.28,2017
1404
14061406
1408
1410
robecareestepersonwithlongcomoCamping
TCXO
movieLoopiter
the
Vco
erater
toget
wwwwwwwwwwwwwww
Sheet 14 of 40
FIG.14
US 9,831,881 B2
U .S. Patent Nov.28,2017 Sheet 15 of 40 US 9,831,881 B2
1504
DOGLUWWW
min
1508 VBULSEWÁN
GENERATOR 1502 we
who FIG.15
1506
1500
RelativeOutputPower(dB)
1600 ********
12
wwwwwwwwwwwwwwwwwwwwwwwwwwwwwwwwwwwwwwwwwwwwww
wwwwwwwwwwwwwwwwwwwwwwwwwwwwwwwwwwwwwwwwwwwwwwwwwwwwwww
UVUVIBIOS
**WW*XXXX****************************
wwwwwwwwwwwwwwwwwwwwwwwwwwwwwwwwwwwwwwwwwwwwwwwwwanini.
wwwwwwwwwwwwwwwwwww
WWW*
wwwwwwwwwwwwwwwwwwww
www.
wwwwww
wwwwwwwwwwwwwwwwwwwwwwwwwwwwwwwwwwwwwwwwwww*.
wwwwwwwwwwwww
FIG.16
Frequency(GH?)
to1214161820222426283034363840wwwwwwwwwwww
www.
*********************************************
Wwwwww
wwwwwwwwwwwwww
**********************************
wwwwww
wwwwwwwwwwwwwww
wwwwwwwwww
Wwwwwww
ta188198?6SNODJO91J??YSLIOT‘87‘AONJU?jd'S'n
U .S . Patent
1700
1702
1704
1706
1708
ons
170417081798thenex-Manipulad1716
X8mm
wiiiiiii
O
Nov.28,2017
1710
1716716
3
wwwwwwwwwwwwwwwwwwwwwwwwwwwww
1714
1712
anno1720
SwingVoce
Sheet 17 of 40
en1718
«««««««««
SamplingPull
1724
1722
FIG.17
US 9,831,881 B2
U .S . Patent
1800
1804
***
*
*
*
*
*
*
*
*
1802
1810
1814
1806
Synthesizer
**...* *
Nov.28,2017
W
CXO
wwwwww
X8
W*
Detecto
* *
1812
wwwW
******
wwwwwww
*
1816
** **
**
*
*
*
**
**
****
Sheet 18 of 40
wwwwwwwwwwwwwwwww
SampoVale
1818
1820S
1822
ingul
WWWWWWWWWWWWWWFIG.18
US 9,831,881 B2
U .S . Patent
1900
1916
Nov.28,2017
1902
III-ILLILILI-II-II-ILLILI-LII.
fas
1904
SamplingPL
comb
Comb
GamingVSDCswitchLoopL
M135
generator
Olter
détector
CXOLO
www
VCO
19081910
1906
1912
Sheet 19 of 40
DigitalPLL
0000000000000000000000000000000000000OCCA
DigialphraseFrequencyDetector
1918
1914 FIG.19
US 9,831,881 B2
U .S. Patent Nov.28,2017 Sheet 20 of 40 US 9,831,881 B2
2006 2008 OLOZ*2012
Ver
Rioolwou W.2004
www
W
wwwwwwwwwwwwwwwwwwwwwwwwwwww
2001FREQUENCYOFFSET(MX}
FIG.20
BOL1
00
wwwww
wwwwwwwwwwwwwwww
OL
2000 PHASENOISE(dBc/M2)
2002
US 9,831,881 B2
Col4?
504/
??????????????XM??'0?}_
??
???
?
_
fi
f
}}ff
???
ff;
.?????????
????
?"
"?
?"??
?
??????
?????
????.????
????:??????
?
?
?
???
.
??
??
,:;;:?
????
?????..?
?
???.??:;
???????
????
????;.:??.?
??????????::.;.;;;:?
????????????????
???????
??????;;_
??????
y++C
??
???
????????:;";?
?
?
?????
m ?
?.?
Sheet 21 Of 40
?
??.
?
????.?
????
?
3%8k
??.?.:??:???
??????????
????????
??????
?
???????
*??
???????+8%???????????????????
CLLC
??
???????????????????????????????,
?????
?????????
???:;???
?????????????:4???????????
???..?????.??..?.??????
??????????????
?????????
????:__.;????:???::;?3?
???????????????;????????
?????????.????:;
*
***.???????????
;:??????
????????.????
??ct
A
??????????
.????
???????
?**
C00/
XIX;
3 ?
? ?
???????????????
??????:;
???????
??
?????????
?????????
??
?
???
? ? ?
??
??
?
-...…
??
?
?
?
0LLC??]80?90
???????;:
?????:::?
??
??
?
? ? ? ?
?
???????
??????????????
???????
??????????????4
??
?
?
?
?
????
???
?
??????
???
?????
????????
???:;?
???????..??
...?...
XXX
3 $
?
?
c
?
?
?
?
?
?
?
?
X
??????????
????.?????????????
.????
?????????????????:;:,?
?????????.???????????.?
??
?.??????
?
?
??????;3??
?????????
????????
?.?????????.???
?_:'????
?????????
?????????
???????
????????
?????????
??????????
?????????????
????????
???'??
???????????????
???
?
3????
?????????
????????????????
???????
??
?????
'..?????
??????
??%
???????
????
?????????.
?.????f"
?
?
.
Nov.28, 2017
??????????????
::::3:
??????
????&?.?
???
?.??????
???????
???????
?
?
?
??
?
????
????
?;??
???
???
?
??????
3
?
??????????????????? ?
??
??????????????????????????????????
????????????????????.???
??.?????
????????3
:.????????????????|;.?????;:
???????:_
??????????????}???????????????????;:
???????????????????????????:,?????????????.????????????
??????????????????????????????????????????????????????????????????????????????????????????????????????????????????????????????????????????????????????????????????????????
??.???
---
_
?
"?'
?
333333333831
001/
U, S, Patent
US 9,831,881 B2
2003?88?????????24
????8}
???FH
?
?
??
}}
}?
?
??
?
????y????
?
?
0>?0
?»:«:?
???
?????
?
??????????-]iwtwyrywr»«?????????????www????????????
?????????????????????????????????????????????
????:::??
???????????????
???????.???????????????????
?..????:;..?????????????????
????????;???????????????;:";?
?????????????????????????????-???????????????????
????????????????????
??????????
..?????????????????????-??????????
????}}}
????????
???????????????????????????????.?.?????
???????????
???????????
:????????
???????
??????????
??????
?
?
????????????????
????????????????
?
????????
??:;;;:?????????4
?????;?????
?????????????
???????
?????LC+0
Sheet 22 of 40
?
??????
???
?
Z0ZZ
802/
Khán gi? 48048
??????????
??????
???????
????????
?????????
????????????????
**;
.?.??
90Z2
??.?..???.?.??
??
?
?? ??????????????????????????
?
?
???
????????????????????
?????
?????
????}???????????
?
?????????????????????????????
????????????????????????
?????????????????????????:??????"??>?.??????????...|..
??????????????????????????
?????????
????????????????????????????
???????????????????????????????????';????????????????.????|???????????????????
???????..????????????????????????
?'??
??????---
?
;..?..--
?
Nov.28, 2017
-
?.???
?
??
??
.?
???????.
???????
?
??????
?
?
?
??
???
[???%
83%?
Ftcgi/
XXXV?????
00Z
U,S, Patent
US 9,831,881 B2
£/'lH
50£Z
????.??
???
?
?
?
?
???
?
?
???????
?XXX?
? ?
?
??
??????
?
?
?
?
?
?
???
?
?
??
zte/
?
???????
?
??????????????????????
???????????????????????????????????????????????;????????????
?????????????????????????????????????????
?????
?
????
?
??????
?
?
??
???
?? ?????????
?
Sheet 23 0f 40
?
?
??
???
?????
?
????
?
????????????
?
?
?
?????????????????
???
?
??0££Z
???????
?
?..?
??
.C08/
?
??????????????????????????????
????????????????????
??
???
????????????????????????????
?????????????
????
??????
$f1
??????
??
.?
?
??.
?
?
???
???
?
????
??????????
?
??????????????
??????????????
????????
??????????????????.??????????
??????????
?
?
???????????????
????????????????..??????????
???????????????
?
?
??
?
???????????.?????????????????
????????.:'??????????
????;
???????
?
?
?
?
???
????:
?
???
?.???
?
?
??
'
Nov.28, 2017
..,.
??;:;:?
????????;.??????
????????????????????????.???????????????????????????????????????????????????????????????.?????????
???????
???;:;??
??????
????????????????????????????????????????????????
????????????????????????????????????
????
???.?:??
???????
??????
????::??
?????:?????????????????????????????????????????;
????????????????
?????
?????????????????????
? ? ? ?
,.?
?
??.?.?
??
?
??
??
??
?
???
006/
U, S, Patent
US 9,831,881 B2
Cols
PO'z
,??'fxffXVA
/
$
ry
+++?
:
1
???
?
?
??
??
??
-28
?
??
???
?
?
?
???
?
?
?
?
?
?
?
?
....
..
.
.
.
.....
........
.
..
...
..
...
i.
.1
N4324
?
??;:??
?
?
???
?_
?
?????
?????
?????;!???
??
??
?
????????????????
?????????
??????
37086
?????????
?
?
?
?
?????
??
?
?????::??
?Z++0
4 ?
Sheet 24 of 40
????????
C0FC
.
???????????
? ;'
fxssgoix?&fc£4z
? ? ?
? ? ?
..?????????????????
.?????????????????????.?????????????????????????????????*??.????????????????
????????????*??????
??????????????
?.????????
????????????????????????.
??????????????????????????????????.???????????????
?????:;?;
*???????
???????????????
??????:;??????
???????
?????????????????????????????????
??
?????????,?????????????
?????????????????????????????????????????????
?????????????
?????????????;
????????????
???????????.?
???????
?
???????????????????
.?.????
?????????.?????????????;:?????i'
;;_;??????????????????????????:?
????????????????.???????????.????????
?????????????????????..????????:?
83?
????????
????????????????????????????????????
?8
??????????????????????????????
?.?????????
????????????
???????????????????????????????????????
??????Z'90
?'
?
? ?
???
?
? ?
??
??
Nov.28, 2017
???
?
???
? ? ? ?
?.????????????????????????.??????????.?
?
??????????????????????????????
?????????????????
??????
VACA'
f
48F%
83%
88A?
??????????????????
00Z
U, S, Patent
US 9,831,881 B2
SCOld
f0g/
??8*2322%4f4
?
?
??
?
?
?
??
?
?
?
????
??????
????????????????
?????????????????????????????
?????????????????????????????????????????????????
?
???
??
????
?
???????
?????????????
????????
??????????????
???????????????????????????????????
?
????
?
?
???
?????????
????????????;???????????????????????????
?????????????????
???
??
???
?
??
?
!0
Sheet 25 of 40
?????????
??
?????????
?
???????????
??????????????????
???????
??
???
???
????????????????
?????}
}}8
??|.?|.
????????
????????
??
C09/
??
??
?????
??
?.?.'.?
90s/
???????????????????????????
?????????????
??????.
??????????????????????????
??????????????
??????????????????????????
?????????????
??
??????
?????
??????????????????????????
??????????????
????????
??
??
????????????????????????????
???
??
???
??????
?
??????
????
?
??
????
?
?
?
?????
?
?
????
?????
????????
?
????
??????????
????????????????????
????
?..-..-
444
Nov.28, 2017
????????
???????????????????????
????
????????
????.
??
???????.?.;.???
?
??????????????????????????????????????8
88??????????
?????????????????????????????????????????????????????
????
?
009/
U, S, Patent
US 9,831,881 B2
FIG.26
2604
k&ffi;
&
?????????????????????????
?
?
????
??
;lf*€
?}
'!}
**£
HH
{
JJ?
?
???
?????
???
?
???
??
?
4
????
:;????????:*
??
???
?????????????
??????:;_
????????
??:?!:;
?????*.
;.;??????
???
?????
?????????:?
?
??
?
??
???????
???????
??
??
?????
?
???4
>219
?????|???????
?????????
?????
?
??????????????
??????
??
* . . * - * -"?
??:;"?
???????
;;.;
????????°
?????????
???
?
??
??
?
?????????
?
?
??????????????
??:???
2610?
???????
?????
???????
?????????
???????????
??
??
?:??
???????
????????
???
Sheet 26 of 40
?
2602
?
?
?
??
?
?
809/:
???
????:;
;
-.. ???.-.--;.? ???
82%2&?%82%8K8%82%XX
444444
'???????????????:?
??????
????????????
;
:'??
????
?
??
?
?
?
??????
* * *
?
?
!
i;
?
?????
????????????????????????????????????????????????rnioqu
????..????
?
?
2606???
???
?
?
?
???????
?
?
????
????
?
??
?
????
??????????
????.
?????:?????????
?????????????????
??????????????????
?
????
??
??
?
;
?
???
?
?;.:!
?
??
??
??
???????????????
?????
??
???
??
?
?????
?? . * . " . * * *
??
????????
?????????
??
????????
???????
??
?
???????
??????
???...-??-.- ???4????????.
???????
????????
??4????
???????
?
??????????.
?_.??????
???????
;
?
??..????????
?
??
?
???*??
????:?'
?
?
??
?
..?
??
??
???
??
?°?
??????
??????
??
?
?
??????
???
?
????????
??????
?????
?
??:;
?
?
?
?
??k??
???-?
??
?????????3
?
?
Nov.28, 2017
?
?????.??????
????????
????????
?
??????????
????
%
AMM
-
A
?
????
???
????
;.*.????????????????
????????
%
A4%
8
?
}$
--???????????
????????
$$$$$$$;
??
??
citt%
?
??????
?????
?????:..
=
4
&
???
?f
??
?:4
???????????????????????????????
?????
4
}}
9C
C4%
suoinquuooOSIONIV
?????
??????
???????????????????????????????????????
?????
2600
U,S, Patent
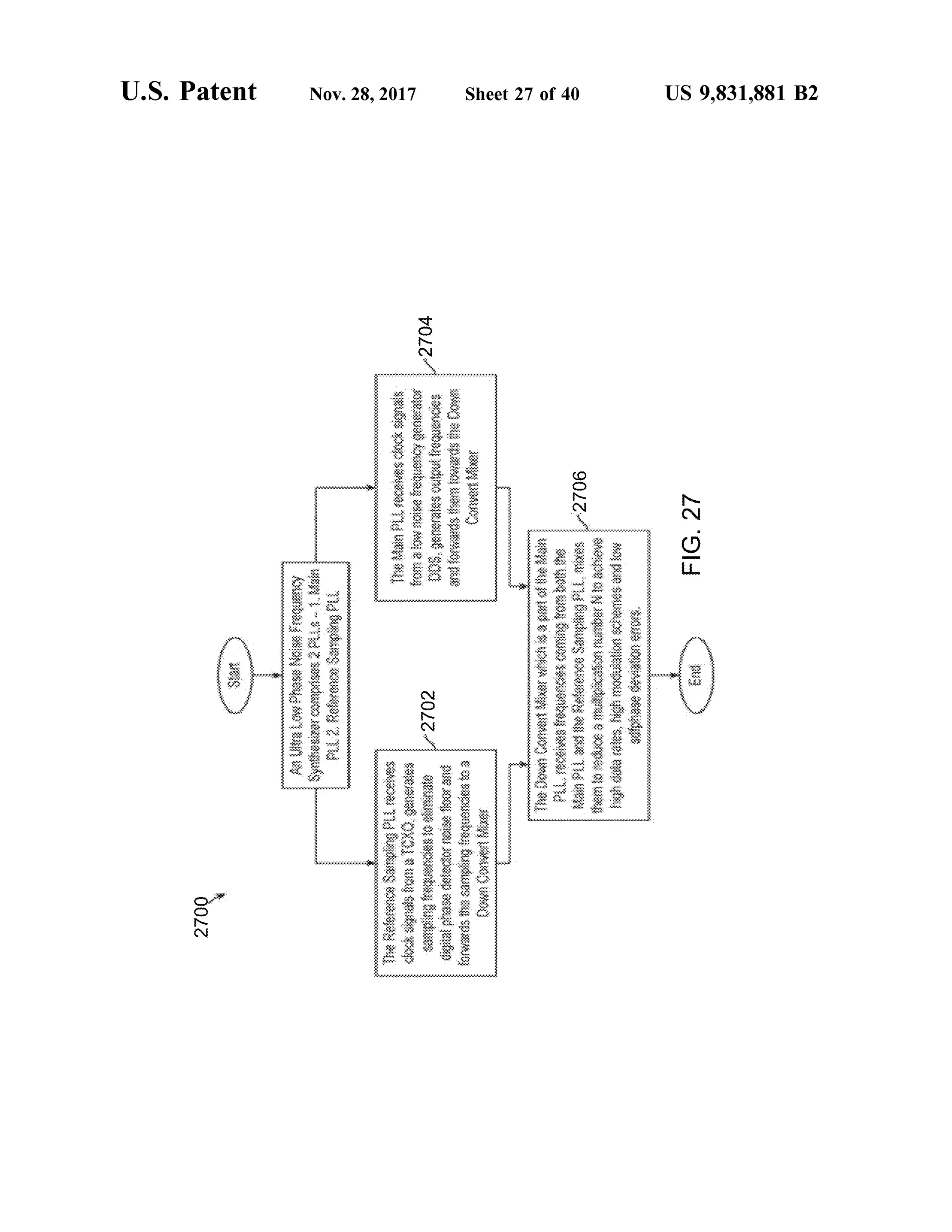
U .S . Patent Nov.28,2017 Sheet 27 of 40 US 9,831,881 B2
DOLZ
WWW
o
are
SoSOSIALlontaKouko WooSoxmasesamo
also900
9026 - . 7. . .7 . 7 . . . . . .
wwwwwwwww 27913***************
08-STKS
Matag216
SongMoSanRIam
KOONB
umesShoesB
QBORCERDD
S
YOUTUS MOBORE SOWIEDESS
oogooe. DOO wwwwwwwwwwwwwwwwwwwwwwwwwwwwwwwwwwwwwwwwwwwwwwwwwww*
*
w
www F *. * *. *. *. * *. * *. * *. * *. *. * *. * *. * *. *. *. * *. *. * *. * *. *. *.
wwwwwwwwwwww
SOMI
SOLOOXOL100
DUODONQ
MARIEOMX
dues
80,Spo
eX
DOLZ
US 9,831,881 B2
87913
*
W
X
WooLogoON
WOWON
on
*44
9087.
S
WWWWWWWWW
Sheet 28 of 40
www
LOW
OSOS
B
OXwwwwwwwwwwwwwwwwww
001SEOS
1087
2087
M
ay
Nov.28,2017
www
MUSEOOmau
U .S. Patent
0082
US 9,831,881 B2
FIG.29
EndtEnd
cher
-LULLILLLLL112-414144-141-LU.
LUI-L114.114.1144471114_WJ.LIIJ.LUJJ1111111119
2906
"$Quouogelapasoodso
Puesowadsuogompowyousoleselep
YouOne0:192SousXoU90091SON3:20.Moeunuejocenas
OURROUBOVadnow01116oulddiessyvumBeppesino2007
Sheet 29 of 40
-----
-2
-2
-2
2
----
--
--2
--------2----2-----
SRUusYoonDUSLUCOUuwasaidnou35oujeopjelugepuleseulisyogp
OLSanaazooalad984dOujduasy
1062
wwwwwwwwwwwwwwwwww121*1
*
311424413623.41.41
:21:22
:14.233.242
:1-24
Nov.28,2017
2067
ZMNOSZOZHW000SOGUEROUNDSQUMOjosiaubisxpopsouboucoOXOLY
2900
U .S. Patent
U .S . Patent Nov.28,2017 Sheet 30 of 40 US 9,831,881 B2
*
*
.
LIDAR"Deadzone" FIG.30A(PriorArt)
U .S . Patent Nov.28,2017 Sheet 31 of 40 US 9,831,881 B2
* * * * * *
institutions
wwwwww MODO**
LIDARunitabovecar FIG.30B(PriorArt)www
W
*
*
VAR*!
wwwwww
w
ét
wa wwwww
wwwwwwwwwww
US 9,831,881 B2
(wyjoud)LE'91
*
#################################################
#
####################*
suoppb?f?sparuemun
Sheet 32 of 40
*****
****
*
**
**
??????-?SAHAPE
od
-
-
-
--
---
Nov.28,2017
*****
*
****
*
*
wy.
U .S. Patent
U .S. Patent Nov.28,2017 Sheet 33 of 40 US 9,831,881 B2
entransmit
ContinuousRadarContinuousRadar
receive
FIG.32 (PriorArt)
arebooks10ftblindadvancementat65mph
U .S . Patent Nov.28,2017 Sheet 34 of 40 US 9,831,881 B2
::
RadarNotlimitedbylight camerelimitedLightedArea Notvisiblefor
CamerasFIG.33
Radarbehindplasticparts
U .S. Patent Nov.28,2017 Sheet 35 of 40 US 9,831,881 B2
FastMovingObject
??????"Skirts
SlowmovingObject
A FIG.34(PriorArt)
Pulescompressed"returnsignal
U .S. Patent
********
*
??
?S
Nov.28,2017
0.6
Sheet 36 of 40
wa FIG.35(PriorArt)
US 9,831,881 B2
U .S . Patent
Phasenoise"Skirt
ElevatedSNRduetoPrase Noise
Weaksignalsobscuredby?????
Nov.28,2017
MoltipleReturnSignals
Sheet 37 of 40
FIG.36 (PriorArt)
US 9,831,881 B2
U .S . Patent
DetectingSystem
3702
3706
Nov.28,2017
RadarUnit
Memory
3710
3704
Instructionsset
3712
LowPhaseNoisefrequencysynthesizer
Database
Sheet 38 of 40
3708
Processor
3700
FIG.37
US 9,831,881 B2
U .S . Patent Nov.28,2017 Sheet 39 of 40 US 9,831,881 B2
-3804
3802
FIG.38
****
.
bitrate
3800
U .S. Patent
3900
3902
detectingapresenceofoneormoreobjectsinoneormoredirectionsbyaradarunit
Nov.28,2017
3904
Utilizingatleastoneultra-lowphasenoisefrequencysynthesizerforrefiningtransmittedandreceivedradarsignalsoftheradarunit
3906
Processingtherefinedreceivedradarsignalstodetermineoneormorecharacteristicsoftheobjects
Sheet 40 of 40
3908
2
Enableautonomousvehicletoadoptoneormoreactionsbasedonthedeterminedcharacteristicsoftheobjects FIG.39
US 9,831,881 B2
US 9,831,881 B2
RADAR TARGET DETECTION SYSTEM FOR
AUTONOMOUS VEHICLES WITH
ULTRA-LOW PHASE NOISE FREQUENCY
SYNTHESIZER
inputs. For autonomous cars and other autonomousvehicles,
the human sensesmustbe replaced with electronic sensors
and the cognitive capabilities by electronic computing
power. Themost common sensor technologies are as fol
5 lows:
CROSS-REFERENCE TO RELATED LIDAR (Light Detection and Ranging)—
APPLICATIONS is a technology thatmeasures distance by illuminating its
surroundingswith laser light and receiving the reflections.
This application is a continuation-in -part of U .S . appli- However, themaximum power of the laser lightneeds to be
cation Ser. No. 15/379,860 filed on Dec. 15, 2016, is a 10 keptlimited to make them safe for eyes,as the laser lightcan
continuation of U .S. application Ser.No. 15/229,915 filed on easily be absorbed by eyes. Such LIDAR systems are
Aug. 5, 2016,now U .S. Pat. No. 9,705,511,which claims usually quite large,expensive and donotblend inwellwith
priority to U .S. ProvisionalPatent Application No.62/181, the overall design of a car/vehicle. The weight of such
221 filed on Jun. 18, 2015,the disclosure ofwhich is hereby systemscan be as high as tens ofkilogramsand thecostcan
incorporated by reference in its entirety. 13 be expensive and in some cases high up to $100,000.
This patent application relates to the following co-as Radar (Radio Detection and Ranging)
signed applicationsthatare each incorporated by reference: These days Radar systemscan be found as a single chip
International Patent Application number PCT/IB2016 / solution thatis lightweight and cost effective. These systems
054790 filed on Aug. 9, 2016. U .S. Pat. No. 9,660,655 work verywellregardless oflighting orweather conditions
granted May 23, 2017, based on U .S.application Ser. No. 20 and have satisfying accuracy in determining the speed of
15/379,915 filed on Dec. 15, 2016 . objects around the vehicle. Having said the above, mainly
because of phase uncertainties the resolution of RadarFIELD systems is usually not sufficient.
Ultrasonic Sensors
Embodiments of the present disclosure are generally 25 These sensors use sound waves and measure their reflec
related to sensors for autonomous vehicles (for example, tions from objects surrounding the vehicle. These sensorsSelf-Driving Cars) and in particularto systemsthatprovide are very accurate and work in every type of lighting condi
ultra-low phasenoise frequency generation forRadar Appli tions.Ultrasonic sensors are also smalland cheap andwork
cation for autonomous vehicles. well in almost any kind ofweather,but that is because of
their very short range of a few meters.BACKGROUND Passive Visual Sensing
This type of sensinguses cameras and image recognitionAutonomous Cars: algorithms. This sensor technology has one advantage that
Levels of Autonomous Cars: none of the previous sensor technologies have colour andAccording to the Society ofAutomotiveEngineers (SAE) 35 contrastrecognition .Aswith any camera based systems,thecars and vehicles in general are classified into 5 different performance ofthese systemsdegradeswith bad lightingorclassifications: adverse weather conditions.
Level 0: Automated system has no vehicle control, but The table below is designed to provide a better undermay issue warnings. standing ofthe advantages and disadvantages ofthedifferent
Level1:Drivermustbe ready to take controlat any time. 40 currentsensortechnologiesand their overall contribution toAutomated system may include features such asAdap an autonomous vehicle:tive Cruise Control (ACC), Parking Assistance with The following tables scores the different sensors on aautomated steering, and Lane Keeping Assistance scale of 1 to 3, where 3 is the best score:(LKA) Type II in any combination.
Level 2: The driver is obliged to detect objects and events 45
and respond if the automated system fails to respondto respond ItemItem LIDAR RADAR Ultrasonic Camera
properly. The automated system executes accelerating,
braking, and steering. The automated system can deac Proximity Detection
tivate immediately upon takeover by the driver. Range
Resolution
Level 3: Within known, limited environments (such as 50 Operation in darkness
freeways), the driver can safely turn their attention Operation in light
away from driving tasks,butmust stillbe prepared to Operation in adverse WeatherIdentifies colour or contrast
take control when needed. Speed measurement
Level 4: The automated system can controlthe vehicle in Size
all but a few environments such as severe weather. The 55 Cost
drivermust enable the automated system only when it Total 18 24 22is safe to do so.When enabled, driver attention is not 21
required.
Level5 : Otherthan setting the destination and starting the The above presentation of the state of the technology
system , no human intervention is required . The auto - 60 proved a high-level view of the advantages and disad
matic system can driveto any location where it is legal vantages of the technologies from different perspec
to drive and make its own decisions.
Sensor Technologies: Drawbacks of Current Sensors:
Simple cars and other types of vehicles are operated by As shown in the table above, the available sensors for
humans and these humansrely on their sensessuch as sight 65 existing autonomous vehicles are LIDAR, Sonar, passive
and sound to understand their environment and use their vision (cameras), and radar. Many of these sensors come
cognitive capabilities to make decisions according to these with significant drawbacks, while radar systems do not
??????
ENENWWNN wwwwwwANN ??????????????????????|
???????????
tives.
US 9,831,881 B2
experience most of the drawbacks and thus better among needs to be handled in realtimeand thusrequire expensive
other sensors, based on the table shown above: and complicated computation capabilities,while Radarsys
For example,LIDAR systemshave a “dead zone” in their tems create much less data that is easier to handle. Passive
immediate surroundings (as shown in FIG . 30A ), while a visual systems cannot see “ through ” objects while Radar
Radar system will be able to cover the immediate surround- 5 can, which is useful in determining if there are hazards
ings of a vehicle as well as long range with enhanced behind vegetation forinstance such aswildlife thatis aboutaccuracy. to cross the road .
In order to eliminate the “dead zone” asmuch as possible Further, it is easily understandable that in order to cover
LIDARs are mounted tall above the vehicle (as shown in allpossible scenarios all (ormost) of these sensors need toFIG . 30B). These limits the options of using parking 10 work together as a well-tuned orchestra. But even if that isgarages, causes difficulty in the use of roof top accessories the case,underadverse lighting and weather condition someand finally also makesthe vehicle lessmarketable since such sensor types suffer from performance degradation while thea tower does notblend in well with the design of a vehicle.
TypicalLIDAR systemsgenerate enormous amounts of Radarperformance stayspractically stable under all of these
datawhich require expensive and complicated computation 15 conmplicated computation 15 conditions. The practical conclusion is that Radar perfor
capabilities,while Radar systems generate only a fraction of mance is notdriven by environmentalfactors asmuch asby
this data and reduce the cost and complication of on board its own technology deficiencies, or a specific deficiency of
computation systemssignificantly.For example,sometypes one ofits internal components thatthe invention here will
of LIDAR systems generate amounts of 1-Gb/s data that solve.
require substantial amount of computation by strong com - 20 Summarizing all of the advantages and disadvantages
puters to process such high mount of data. In some cases, mentioned above it is clear that Radar systemsare efficient
thesemassive computations require additional computation in termsof cost, weight, size and computing power. Radar
and correlation of information from other sensors and systems are also very reliable under adverse weather con
sources of information. In some cases, the source for addi- ditions and all possible lighting scenarios. Further, SAR
tional computations is based on detailed road information 25 Radar Systems may be implemented to create a detailed
collected over time in databases or in enhanced maps. picture of the surroundings and even distinguish between
Computations and correlations can be performed against different types ofmaterial.
past information and data collected over time. However, the drawback ofexisting Radarsensors was the
Typical LIDAR systemsare sensitiveto adverse weather impact on their accuracy due to the phase noise of its
such as rain , fog and snow while Radar sensors are not. A 30 frequency source,the synthesizer. Thus, an enhanced system
radar system will stay reliable and accurate in adverse is required (for purposes such as for autonomous vehicles)
weather conditions (as shown in FIG . 31). LIDAR systems that may utilize benefits of Radar system by mitigating
use mechanical rotation mechanisms that are prone to fail- eliminating the corresponding existing drawbacks. For
ure,Radars are solid state and do nothavemovingparts and example, the required enhanced system , in addition to
as such have a minimal rate of failures. 35 improving common existing Radar systems, should also
TypicalLIDAR systemsrely on a rotation speed ofaround improve bistatic or multistatic Radar designs that use the
5 -15 Hz. Thismeans thatif a vehicle moves at a speed of65 sameplatform or differentplatformsto transmit and receive
mph, the distance the vehicle travels between “ looks” is for reducing the phase ambiguity that is created by the
about 10 ft. Radar sensor systems are able to continuously distance of the transmitting antenna from the receiving
scan their surroundings especially when these systemsuse 40 antenna by a significant amount.
one transmitting and onereceiving antenna (Bistatic system ) Essentially, a signalthatis sentoutto cover objects (here:
(as depicted in FIG . 32). Further, LIDAR systems are not Radar Signal) is not completely spectrally clean butsentout
accurate in determining speed and autonomous vehicles rely accompanied by phase noise in the shape of "skirt” in the
on Radar for accurate speed detection. frequency domain ,and will meet similar one in the receiver
Sonar: 45 signal processing once it is received back . In a very basic
Sonar sensors are very accurate, but can cover only the target detection systems, fastmoving objects will shift the
immediate surroundings of a vehicle, their range is limited frequency to far enough distance from the carrier so that the
to severalmeters only. The Radar system disclosed in this weak signal that is being received will be outside of this
patent is capable ofcovering these immediate surroundings phase noise " skirt”. Slow moving objects,however, such as
as well and with similar accuracy. Further, Sonar sensors 50 cars, pedestrians, bicycles, animals, etc . might create a
cannot be hidden behind cars' plastic parts which poses a received signal that is closer to the carrier and weaker than
design problem , Radars can easily be hidden behind these thephasenoiseand this signalwillbeburied under this noise
parts withoutbeing noticed. and practically willbe non -detectable or non-recognizable.
Passive VisualSensing (Cameras): More advanced systemsuse modulated signals (such as
Passive visual sensing uses the available light to deter- 55 FMCW ) but the same challenge to identify slow moving
mine the surroundings of an autonomous vehicle. In poor objects remains. The determination of two physically close
lighting condition theperformance ofpassive visualsensing objects vs. one larger object is also being challenged by
systemsdegrades significantly and ismany times depending phase noise.
on the light thatthe vehicle itselfprovides and assuch does Another advanced Radar System worth mentioning is
not provide any benefit over the human eye. Radar systems, 60 Synthetic aperture Radar (or SAR ) that is described in a
on the other hand, are completely agnostic to lighting different section ofthis disclosure.
conditions and perform the same regardless of light (as Many algorithms and methods have been developed to
shown in FIG . 33). filter out inaccuracies ofRadarbased imaging,detection and
Passive visual sensing is very limited in adverse weather other result processing.Somearemore computationalinten
conditions such as heavy rain , fog or snow ; Radar systems 65 sive while others are not. The common to all ofthem is that
aremuch more capable ofhandling these situations. Passive they are not able to filter out the inherent phase noise of the
visual systemscreate great amounts of data as well which Radar system itself.
US 9,831,881 B2
This is crucial since a lot of the information a Radar expects to a receive signalthatis lowerin powerbutatthe
system relies on, is in the phase of the returning signal. One same frequency when it hits an object. If this object is
simple example for this phenomenon iswhen a Radar signal moving, then this received signal will be subject to the
hits a wall that is perpendicular to the ground or a wall that Doppler effectand in reality, thereceived signalwill notbe
has an angle that is not 90 degree relative to the surface, the 5 received at the same frequency as the frequency of the
phasesofthe return signals willbeslightly differentand this transmit signal. The challenge here is that these frequency
information could be "buried” under the phase noise ofthe errors canbevery subtleand could beobscured by thephase
Radar system . noise of the system (as shown in FIG . 34). The obvious
drawback is that vital information about the velocity of anFurther, speckle noiseis a phenomenon where a received
Radar signal includes “ granular” noise. Basically, thesede 10 object gets lost only because of phase noise (see figure
granular dots are created by the sum ofall information that below ). The above is especially right when dealing with
is scattered back from within a “resolution cell” .Allofthese objects thatmove slower than airplanes and missiles,such as
signals can add up constructively, destructively or cancel cars,bicycles,pedestrians, etc.
each other out. Elaborate filters and methods have been Modulated Signals—
developed,butall ofthem function betterandwith less effort Newer Radar systems use modulated signals that are
when the signals have a better spectral purity, or in other broadly called FMCW (Frequency Modulated Continuous
wave), but they can come in all forms and shapes such aswords better phase noise. One of thesemethods, just as an
example, is the “multiple look” method. When implement NLCW , PMCW , chirps, etc. (Nonlinear Continuous Wave
and Phase Modulated Continuous Wave). The main reasoningthis, each “ look” happensfrom a slightly differentpoint
so that the backscatter also looks a bit different. These 20se 20 for the use ofmodulated signals is that old fashionedRadars
backscatters are then averaged and used for the final imag need to transmit a lotofpower to receive and echoback from
a target while modulated signals and smart receive teching. The downside of this is that themore “looks” are taken
niques can do thatwith much lower transmit power.the more averaging happens and information is lostas with Another big advantage ofFMCW based Radar systemsisany averaging.
As additionalbackground forthis invention there are fewere are few 25 that the distance of a target can be calculated based on Af25 from the instantaneous carrier signal rather than travel time.phenomena thatneed to be laid outhere:
Doppler Effect: However, herein also lies the problem — to be able to cal
culate and determine the characteristics of a target accuThe Doppler Effect is the change in frequency or wave rately a spectrally clean signalwith ultra-low phase noise aslength of a wave for an observer moving relative to its
source. This is true for sound waves, electromagneticwaves 30 low as technically possible providesmany advantages.
and any other periodic event.Mostpeople know about the Usually modulated Radar signals are processed with the
Doppler Effect from their own experience when they hear a help of FFT utilizing signal processing windows and pulse
carthatis sounding a siren approaching,passingby andthen compression algorithms. While these methods are good
receding. During the approach the sound waves get phase noisestill remains oneofthemajorcontributors,ifnot
“pushed” to a higher frequency and thus the siren seemstoomsto 35 to say the largest contributorto errors and inaccuracies.
havea higherpitch,andwhen the vehicle gains distance this The spectral picture of a processed signal looks like the
FIG . 35. As one can see the spectral picture contains alsopitch gets lowersince the sound frequency isbeing “pushed”
to a lower frequency. unwanted sidelobes.Onemajor contributor to the sidelobes
The physical andmathematicalmodelofthis phenomena is the phase noise of the Radar system . Phase noise (or
sometimes also called Phase Jitter or simply Jitter) respondsis described in the following formula :
to 20 log (integrated phase noise in rad). This spectral
regrowth of side lobes can cause errors in the determination
of the actual distance of a target, and can obscure a small
target that is close to a larger target. It can also cause errors
45 in target velocity estimation .
Another use of Radar that is sensitive to phase noise
Where fo is thecenter frequencyofthe signal,c is thespeed includesSynthetic ApertureRadar (SAR ) ofall kinds.These
of light, V, is the velocity of the receiver relative to the Radars are beingused in countlessapplicationsranging fromsound/radiation source, v , is the velocity ofthe sound source space exploration through earth 's surface mapping,Ice pack
to the receiver and I is the frequency shift that is 50 measuring,forest coverage, variousmilitary applications tobeing created. urban imaging and archaeological surveys.However, all the
After simplifying the equation,we will get: Radar applications have a common drawback ofbearing
phase noise that leads to depletion of the quality of the
end-result or failure in achieving the desired outcome. For
Af =4256 55 example,whetherwerefer to Interferometric SAR (InSAR )
or Polarimetric SAR (POISAR ) or a combination of these
methods or any othertype of SAR or Radar in general, all
Where Av is the relative velocity ofthe sound source to the of them are suspectto phase noise effects regardless of the
receiver and Af is the frequency shift created by the velocity type ofwaveform /chirp used. Considering the shift in fre
difference. It can easily be seen that when the velocity is 60 quency and the low signal strength there is a probability that
positive (the objects get closer to each other) the frequency the received Radar signal will be buried under the phase
shiftwill be up.When the relative velocity is 0 ,therewillbe noise skirt,and the slowertheobject this probability grows.
no frequency shift at all, and when the relative velocity is Again, the determination oftwo close objects vs. one large
negative (the objects gain a distance from one another) the one is a challenge here. SAR Radars create images of their
frequency shift is down. 65 surroundings and the accuracy of the images depends also
In old fashioned Radars the Doppler effect gets a little on the phase noise of the signal. Some of these radars can
more complicated since a Radar is sending outa signaland also determine electromagnetic characteristicsoftheir target
f=letVello
US 9,831,881 B2
such as the dielectric constant,loss tangentetc. The accuracy and obscuring object. Thus the system may be able to find
here again depends on the signal quality which is largely a human behind a billboard or wildlife behind a bush or
determined by thesidelobes created during the utilization of determinethat these are only 2 bush one behind the other.
theFFT algorithm mentioned above which in turn stem from Accordingto an embodimentofthepresentdisclosure,an
the phase noise of the system . 5 objectdetection system forautonomous vehicles. The object
Further,in FIG .36,the sidelobeshave been simplified to detection system may includea radar unit coupled to atleast
only a wideoverlappingarea. This is also very close to what oneultra-low phasenoise frequency synthesizer, configured
happens in reality because of the way the signalprocessing for detecting the presence of one ormore objects in one or
algorithmswork . As can be easily seen in the figure above, more directions, the radar unit comprising: a transmitter for
weaker return signals can getobscured in the sidelobes of a 10 transmitting at least one radio signal to the one or more
stronger signal and the overall available and crucial SNR objects; and a receiver for receiving the at least one radio
decreasesbecause every return signal carries sidelobes with signal returned from the one or more objects. Further, the
object detection system may include the at least one ultra
Thus, the Radar systems are challenged when dealing low phase noise frequency synthesizer thatmay be utilized
with slow moving objects such as cars,bicycles and pedes- 15 in conjunction with the radar unit, for refining both the
trians. Furthermore, these traditional Radar systems, transmitted and the received signals, and thus determining
whether using a modulated or non-modulated signal, have the phase noise and maintaining the quality ofthe transmit
difficulties identifying objects that are very close to each ted and thereceived radio signals, wherein the at least one
other since one of them willbe obscured by the phase noise ultra-low phasenoise frequency synthesizer comprises: (i)at
of the system . 20 least one clocking device configured to generate at least one
Based on the aforementioned, there is a need ofa radar first clock signalofat least one first clock frequency; (ii)at
system that can effectively be utilized for autonomous cars least one sampling Phase Locked Loop (PLL ), wherein the
by canceling or reducing the phase noise of the received at least one sampling PLL comprises: (a ) at least one
Radar signal.For example, the system should be capable of sampling phase detector configured to receive the at least
determining surroundings (such as by detecting objects 25 one first clock signal and a single reference frequency to
therein )with cost effectiveness and without significant inter- generate at least one first analog control voltage; and (b ) at
nal phase noise affecting performance. least one reference Voltage Controlled Oscillator (VCO)
The system should be able to add as lessaspossiblephase configured to receive the at least one analog control voltage
noise to the received Radar signal. Further, the system to generate thesingle reference frequency; and (c) a Digital
should be able ofdetecting and analyzing thereceived signal 30 Phase/Frequency detectorconfigured to receive the at least
without being affected by the internal receiver phase noise one first clock signal and a single reference frequency to
therefrom . Furthermore, the system should be capable of generate at least a second analog controlvoltage; and (d ) a
implementing artificialintelligence to make smart decisions two-way DC switch in communication with the Digital
based on the determined surrounding information.Addition- Phase/Frequency detector and the sampling phase detector;
ally, the system should be capable to overcomethe short- 35 (iii) at least one first fixed frequency divider configured to
comings of the existing systems and technologies. receive the atleast onereference frequency and to divide the
atleast one reference frequency by a first predefined factor
SUMMARY to generate at least one clock signal for at least one high
frequency low phase noise DirectDigitalSynthesizer (DDS)
Someof the Benefits ofthe Invention: 40 clock signal; (iv) atleastone high frequency low phase noise
The present invention emphasizes that by incorporating DDS configured to receive the atleast oneDDS clock signal
the ultra-low phase noise synthesizer in existing Radar and to generate at least one second clock signal of at least
system , the performance of the Radar system will be one second clock frequency; and (v ) atleastonemain Phase
improved substantially in terms of target detection accuracy Locked Loop (PLL ).
and resolution and because of this it can become the domi- 45 Hereinabove, themain PLL may include: (a ) at least one
nantsensor for the handling of autonomous cars.Herein , the high frequency Digital Phase/Frequency detector configured
Synthesizer drastically reduces the phase noise of Radar to receive and compare the at least one second clock
signals so that such Radar sensor will be able to replace frequency and at leastone feedback frequency to generate at
current sensor systems at very low cost and with reliability least one second analog control voltage and at least one
at all lighting and adverse weather conditions. 50 digitalcontrolvoltage;(b ) atleastonemain VCO configured
A system thatutilizes an ultra low phase noise synthesizer to receive the at least one first analog controlvoltage or the
willbe able to provide data to a processor that can determine at least one second analog control voltage and generate at
the electromagnetic characteristics of an object with suffi- least one output signal of at least one output frequency,
cient accuracy so that the system is able to determine if the wherein the at least one digital control voltage controls
object is a living object such as a human being or an animal 55 which of the at least one first analog control voltage or the
or if it is inanimate. It will also be able to provide data that at leastone second analog control voltage is received by the
is accurate enough to differentiate between the material atleast onemain VCO; (c) at least one down convertmixer
objects are made of such as differentiating between wood configured to mix the at least one output frequency and the
and stone for example. reference frequency to generate at least one intermediate
Further as a derivative of the capability to determine the 60 frequency; and (d ) at least one second fixed frequency
material an object is made of combined with the electro - divider configured to receive and divide the at least one
magnetic waves capability to penetrate through many mate- intermediate frequency by a second predefined factor to
rials an object detection system utilizing an ultra low phase generate the at least one feedback frequency.
noise synthesizer will provide data thatwill enable a pro- Herein , the radar unit determines a distance and a direc
cessing unit (such as a specialized processor of the object 65 tion of each of one or more objects. Further, the radar unit
detection system ) to find objects that are visually obscured determines one ormore characteristics, of two close objects
by anotherobjectand determine thematerialofthe obscured irrespective ofsize ofthe oneormore objects.Again further,
US 9,831,881 B2
the radarunit differentiatesbetween two ormore typesof the one main VCO configured to receive the at least one first
objectswhen one object is visually obscuringanother object. analog control voltage or the at least one second analog
Additionally, the radar unit utilizes a modulated or non - controlvoltage and generate at least one output signal ofat
modulated radio signal, to determine presence of a slow least one output frequency, wherein the at least one digital
moving target despite the very small Doppler frequency 5 controlvoltage controls which ofthe at least one first analog
shift. Also, the radar unit utilizes a modulated or non - control voltage or the at least one second analog control
modulated radio signal, to determine presence of a close voltage is received by the at leastonemain VCO ; (C ) at least
range target despite the very short signaltravel time. one down convert mixer configured to mix the at least one
The object detection system may further include at least output frequency and thereference frequency to generate at
one additional sensor system , available on the autonomous 10 least one intermediate frequency ; and (d ) at least one second
vehicle, in conjunction with the radar unit. Further, the at fixed frequency divider configured to receive and divide the
leastone ultra-low phase noise frequency synthesizer further at least one intermediate frequency by a second predefined
comprises at leastone fixed frequency multiplier configured factor to generate the at least one feedback frequency.
to receive and multiply the at least one output signal Herein ,themethodmay further includevarioussteps such
generated by the at least one main PLL by a predefined 15 as receiving and multiplying, by ultra-low phase noise
factor to generate at least one final output signal of at least frequency synthesizer, the at least one output signal by a
one final output frequency. The at least one ultra-low phase predefined factor to generate atleast one final outputsignal
noise frequency synthesizer is implemented on the same of at least one final output frequency. Further, the method
electronic circuitry or on a separate electronic circuitry. may generatetheup converting ordown convertingsignalof
Further, the ultra-low phase noise frequency synthesizer 20 the radar unit. Furthermore, the method may determine
may be used to generate the up ordown converting signal of presence of a slow moving target despite the very small
the radar unit. Doppler frequency shift. Again further, the method may
Further,according to another embodiment ofthe present include determiningpresence ofa close range targetdespite
disclosure, a method for autonomous vehicles is disclosed the very short signal travel time. Additionally, the method
Themethod may include (but is not limited to ): detecting a 25 may determine a distance and a direction ofeach ofthe one
presence ofone ormore objects in one ormore directionsby or more objects. Furthermore, the method may determine a
a radarunit.Herein, the radar unit comprising: a transmitter type ofmaterial an object is made up of. Also, themethod
for transmitting at least one radio signal to the one ormore may include a step of activating one or more additional
objects; and a receiver for receiving the at least one radio sensors for operation thereof in conjunction with the radar
signal returned from the one or more objects. Further, the 30 unit. Themethodmay determinecharacteristicsoftwo close
method may include performing, by at least one ultra-low objects irrespective of size of the objects. Further, the
phase noise frequency synthesizer for refining the transmit method may differentiate between two ormore types ofthe
ted and the received signals , and thereby determining a objects when one object is visually obscuringanother object.
phase noise andmaintaining quality ofthe transmitted and According to an embodimentofthe presentdisclosure,a
the received radio signals. 35 system is a detection system that comprises a radar unit,
Hereinabove, the at least one ultra-low phase noise fre - communicably coupled to at leastone ultra-low phase noise
quency synthesizer comprises: (i) at least one clocking frequency synthesizer,is provided. Theradarunit configured
device configured to generate at least one first clock signal for detecting the presence ofone or more objects in one or
ofatleastonefirstclock frequency;(ii)atleastonesampling more directions.Herein, the radarunit comprising: a trans
Phase Locked Loop (PLL ), wherein the at least one sam - 40 mitter for transmitting at least one radio signal; and a
pling PLL comprises: (a ) at least one sampling phase detec- receiver forreceiving atleast oneradio signal returned from
tor configured to receive the at least one first clock signal one or more objects/targets. Further, the detection system
and a single reference frequency to generate at leastone first may include at least one ultra-low phase noise frequency
analog controlvoltage;and (b) at leastonereference Voltage synthesizer thatmaybe configured forrefining thereturning
Controlled Oscillator (VCO ) configured to receive the at 45 theat least one radio signal to reduce phase noise therefrom .
least one analog control voltage to generate the single Herein,theultra-low phase noisefrequency synthesizer is
reference frequency; and (c ) a Digital Phase/Frequency a critical part of a System , regardless of how it is imple
detector configured to receive the at least one first clock mented . The ultra-low phase noise frequency synthesizer
signaland a single reference frequency to generate at least comprises one main PLL (Phase Lock Loop) and one
a second analog control voltage; and (d ) a two-way DC 50 reference sampling PLL. The main PLL comprises one high
switch in communication with the Digital Phase/Frequency frequency DDS (Direct Digital Synthesizer), one Digital
detector and the sampling phase detector; (iii) at least one Phase Frequency Detector, one main VCO (Voltage Con
first fixed frequency divider configured to receive the at least trolled Oscillator), one internal frequency divider, one out
one reference frequency and to divide the at least one put frequency divider or multiplier and one down convert
reference frequency by a first predefined factorto generate 55 mixer. Thereference sampling PLL comprises onereference
at least one clock signal for at leastone high frequency low clock, one sampling phase detector, and one reference VCO .
phase noise Direct Digital Synthesizer (DDS) clock signal; This embodimentprovides vast and critical improvement in
(iv) at least one high frequency low phase noise DDS the overall system output phase noise. The synthesizer
configured to receive the at least oneDDS clock signaland design is based on the following technical approaches— a)
to generate at least one second clock signal of at least one 60 using of dual loop approach to reduce frequency multipli
second clock frequency; and (v ) at least one main Phase cation number, b ) using of sampling PLL as the reference
Locked Loop (PLL ), wherein the at least one main PLL PLL to make its noise contribution negligible, c ) using of
comprises: (a) at least one high frequency Digital Phase/ DDS to provide high frequency input to the main PLL and
Frequency detectorconfigured to receive and compare theatd )usingofhigh frequency DigitalPhase Frequency Detector
least one second clock frequency and at least one feedback 65 in the main PLL.
frequency to generate at least one second analog control According to an embodiment of the present disclosure a
voltage and at least one digital control voltage; (b) at least detection system comprising a radar unit and an ultra-low
US 9,831,881 B2
12
a
phasenoise frequency synthesizer isprovided. The system is The preceding is a simplified summary to provide an
made up of System on Chip (SOC) module. The radar unit understanding of someaspects of embodiments of the pres
configured for detecting the presence ofone ormore objects ent disclosure. This summary is neither an extensive nor
in one or more directions. The radar unit comprising: a exhaustive overview of thepresentdisclosureand itsvarious
transmitter fortransmitting at least one radio signal; and a 5 embodiments. The summary presents selected concepts of
receiver for receiving the atleast one radio signal returned the embodiments of the present disclosure in a simplified
from the one ormore objects/targets. In an embodiment, the form as an introduction to the more detailed description
Transmit and receive signal frequenciesmightbe equal.For presentedbelow.Aswillbe appreciated,other embodiments
example, if there is no Doppler effect,the signal frequencies ofthe presentdisclosure are possible utilizing, alone or in
may be equal. In an embodiment the transmit and receive " combination, one ormore ofthe features set forth above or
frequencies might also be different, for example in cases described in detail below .
where the Doppler Effect is present. The ultra-low phase
noise frequency synthesizer comprises onemain PLL (Phase BRIEF DESCRIPTION OF THE DRAWINGS
Lock Loop) and one reference samplingPLL. Themain PLL 16
further comprises one Fractional-N Synthesizer chip, one The above and still further features and advantages of
primaryVCO (Voltage Controlled Oscillator)and onedown embodiments ofthe present invention willbecomeapparent
convert mixer. The Fractional-N Synthesizer chip includes upon consideration ofthe following detailed description of
one Digital Phase Detector and one software controllable embodiments thereof, especially when taken in conjunction
variable frequency divider. The reference sampling PLL 20 with the accompanying drawings, and wherein :
comprises one sampling PLL,and one reference VCO. This FIG . 1 illustrates a general block diagram of a negative
embodiment provides multiple improvements in system feedback system ;
output which are based on the following technical FIG . 2 illustrates a general block diagram of a standard
approaches — a) using of dual loop approach to reduce Phase Lock Loop (PLL);
frequency multiplication number, b) usingofsampling PLL 25 FIG . 3 illustrates a simplified drawing of a digital phasel
to make its noise contribution negligible, and c) using of a frequency detector;
high frequency Fractional-N Synthesizer chip in the main FIG .4 illustrates an example ofan active filter as applied
PLL. to a general PLL;
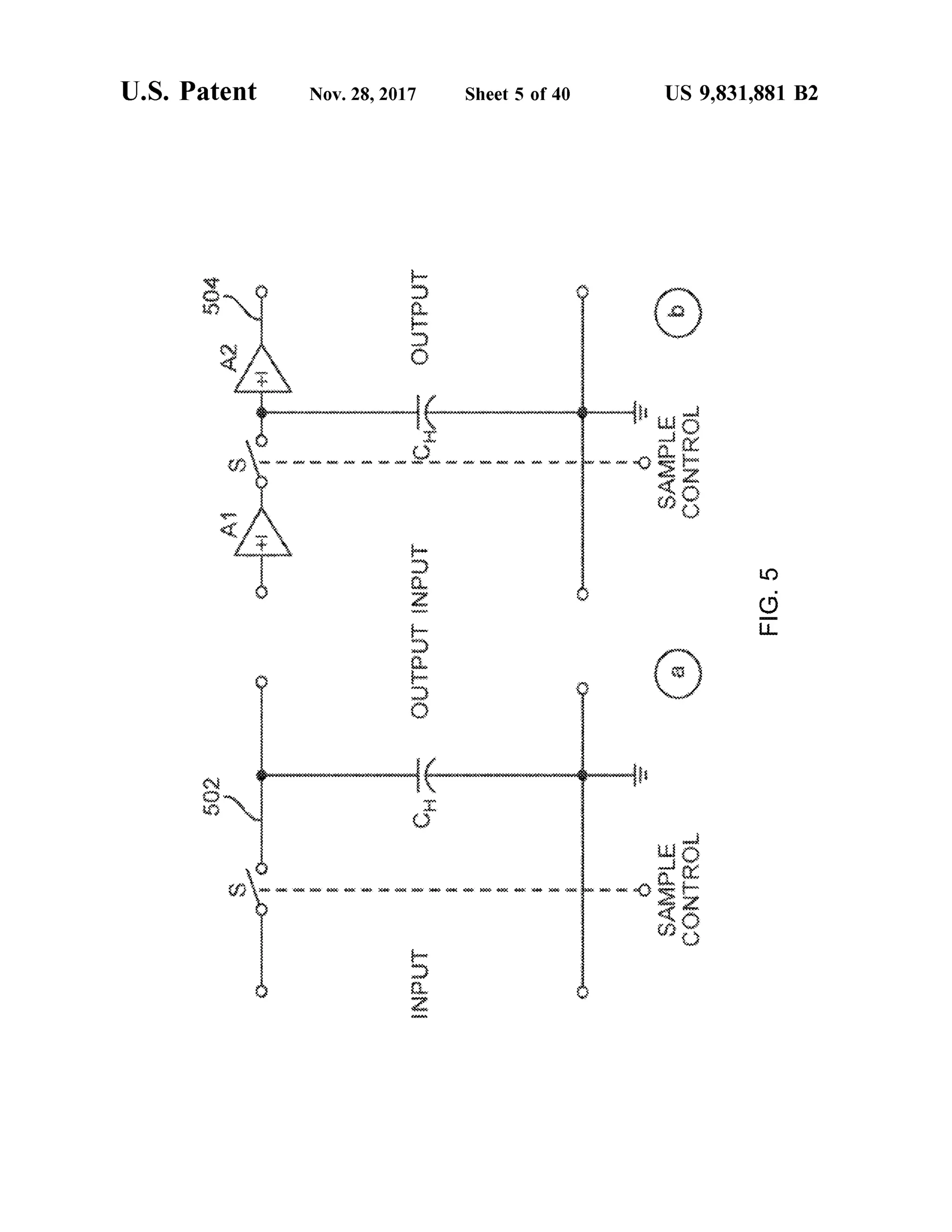
In an additionalembodimentof the present disclosure, a FIG . 5 illustrates the principle ofsample -and-holdmecha
vehiclehaving a detection system is disclosed. Thedetection 30 nism :
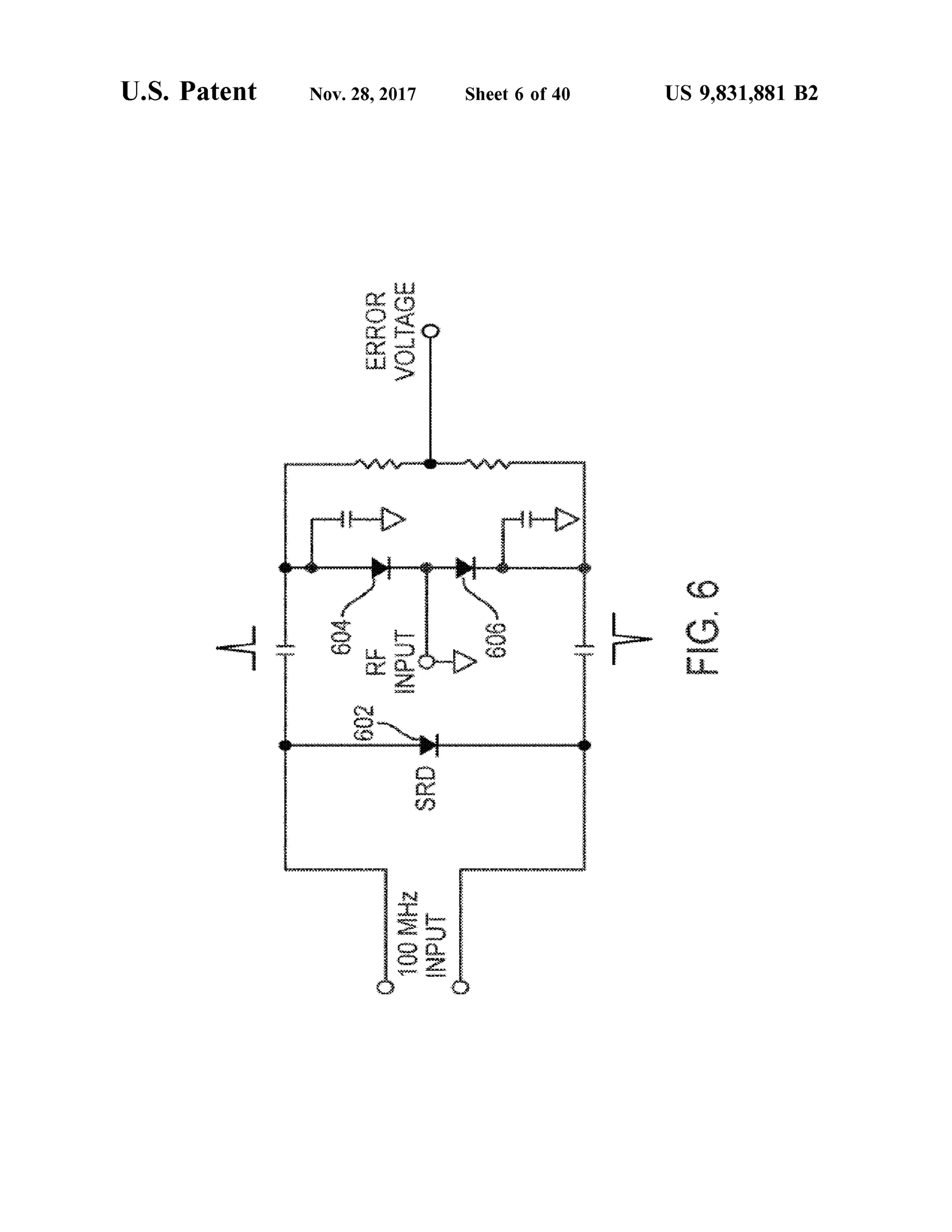
system may be implemented for detecting information cor FIG .6 illustrates a schematic ofthe step recovery dioderesponding to one ormore objects, the detection unit com as comb generator feeding the dual schottky diode thatacts
prising: a radar unit fortransmitting radio signals and further as phase detector;
for receiving the returned radio signal(s) from one ormore FIG . 7 illustrates a complete example schematic of theobjects/targets; and at least one ultra-low phase noise fre - 35
comb generator and sampling phase detector with RF prequency synthesizer for refining the returned signals to
reduce the effectofphase noise in thereturned radio signals. amplifier and two DC buffers following the phase detector;
Further, the detection unit comprises a processor for pro FIG . 8 illustrates a phase noise plot of an example free
cessing the refined signals to determine one ormore char running Voltage ControlOscillator (VCO ) in the frequency
acteristics corresponding to the one or more objects, the 40 domain (spectrum analyzer),withoutbeinglocked in a PLL,
processordetermining one ormore actionsbased on one or FIG . 9 illustrates a phase noiseplotofan example Voltage
more factors and the one ormore characteristics correspond Control Oscillator (VCO) in the frequency domain (spec
ing to the one or more objects. The processor further may trum analyzer), compensated by being locked in a PLL;
determine one or more actions being adoptable by the FIG . 10 illustrates two plots: (a ) a simulation of phase
vehicle based on one or more characteristics that may 45 noise of an example PLL ,and (b) isan actualmeasurement;
originate from the radar system and/or in conjunction with FIG . 11 illustrates a phasenoise plotof a closed loop PLL ,
information originated from another sensor. The vehicle showing clearly the effectofthe phase detectormultiplica
further includes one or more components communicably tion number 20*LOG (N ) within loop bandwidth ;
coupled to the processor for performing the determined one FIG . 12 illustrates a plot ofmeasurement terms ofphase
or more actions. 50 noise in 1 Hz bandwidth at a Afoffset frequency from the
The detection system may further include amemory for carrier.
storing information and characteristicscorresponding to the FIG . 13 illustratesa generalblock diagram ofan example
one ormore objects; and actions performed by the vehicle. dualloop PLL;
Hereinabove, the at least one ultra-low phase noise fre FIG .14 illustratesa generalblock diagram ofan example
quency synthesizer may be implemented in any manner as 55 dual sampling PLL;
described further in the detailed description of this disclo FIG . 15 illustrates how impulse or “comb” generator
sure. Further, the radar unit comprises at least one of: changes a wave shape ofa signal from sine wave to pulses;
traditional single antenna radar, dual ormulti antenna radar, FIG . 16 illustratesan example outputofa comb generator
synthetic aperture radar, and one or more other radars. in the frequency domain ;
Further, in an embodiment, the processor may determine 60 FIG . 17 illustrates a block diagram of an ultra-low phase
phase shift in frequencies of the transmitted radio signals noise frequency synthesizer as suggested in a first embodi
and the returned radio signals. Such phase shift (difference ment;
in phase noise frequency)may further be analyzed in light FIG . 18 illustrates a block diagram ofan ultra-low phase
of a frequency of the refined radio signal to self-evaluate noise frequency synthesizer as suggested in a second
overall performance of the detection system (or specific 65 embodiment;
performanceof the ultra-low phase noise frequency synthe- FIG . 19 illustrates a block diagram of the sampling PLL
sizer). system ;
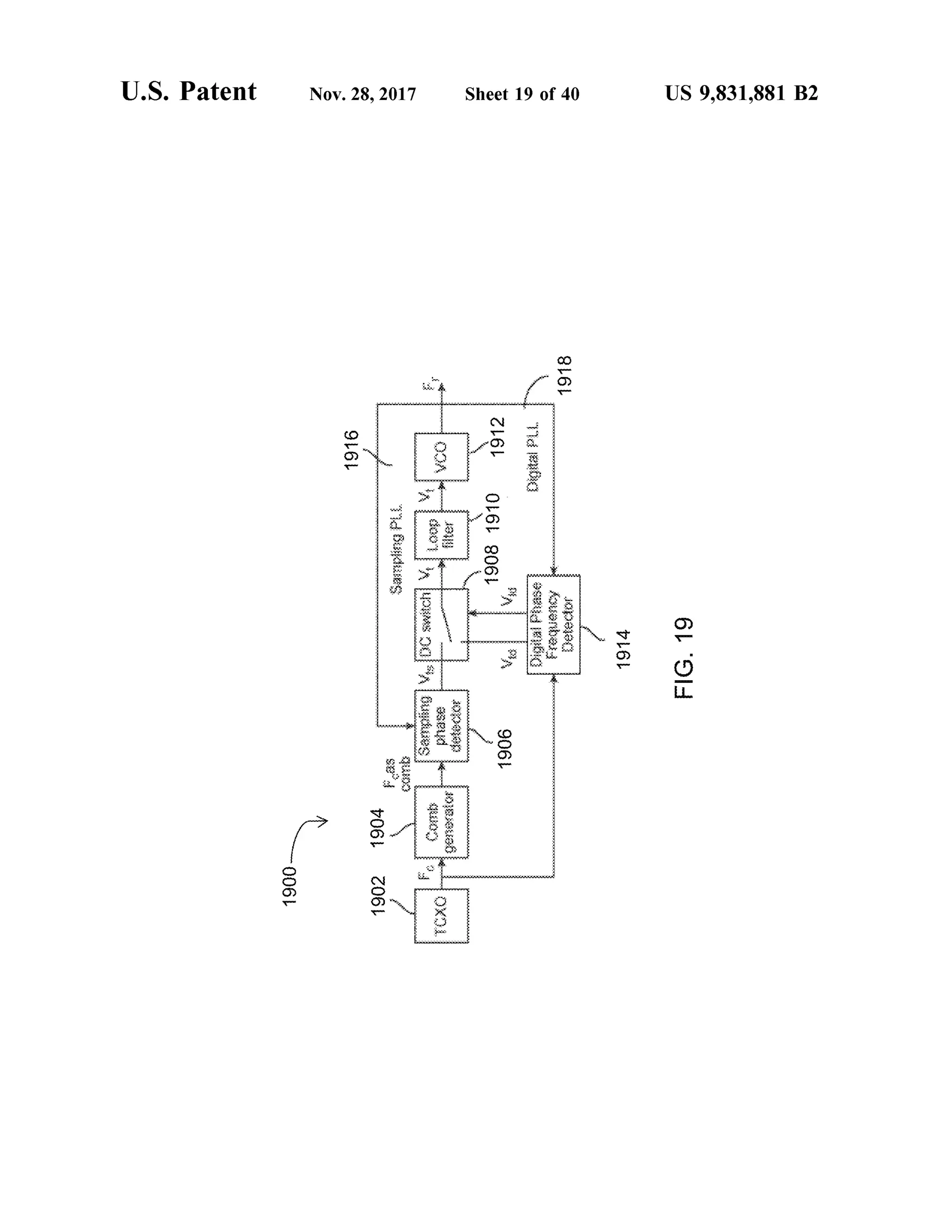
fre
14
US 9,831,881 B2
13
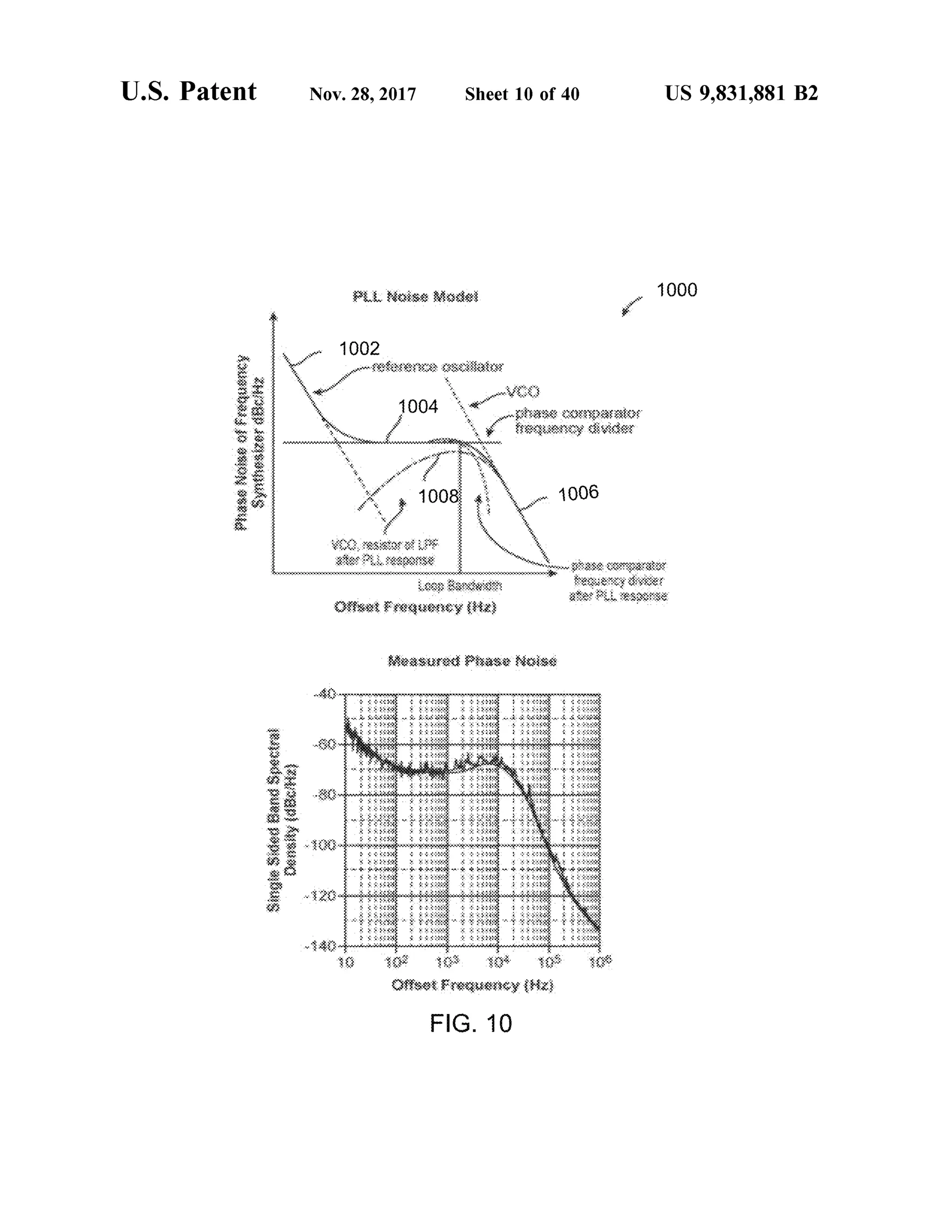
FIG .20 illustrates a phase noise simulation plot contrib- to be noted that the terms" comprising”, “including”, and
uted by a DDS chip in accordance with the first embodiment “having" can be used interchangeably.
of the presentdisclosure; The term “automatic” and variations thereof, as used
FIG . 21 illustrates a phase noise simulation plotcontrib - herein, refers to any process or operation done without
uted by amain PLL in accordance with the firstembodiment 5 material human input when the process or operation is
of the present disclosure; performed.However, a process or operation can be auto
FIG . 22 illustrates a phase noise simulation plot contrib matic, even though performance of theprocess or operation
uted by a reference samplingPLL having the TCXO clock uses material or immaterial human input, if the input is
(or any other reference Clock ) generating input frequencies received before performance of the process or operation.
of 100 MHz in accordance with the first embodimentofthe 10 Human input is deemed to be material if such input influ
present disclosure; ences how the process or operation will be performed.
FIG . 23 illustrates a phase noise simulation plot contrib - Human inputthat consents to the performance oftheprocess
uted by a reference sampling PLL having the TCXO clock or operation is notdeemed to be “material” .
(or any other reference Clock ) generating input frequencies The present disclosure includes implementation of an
of250 MHzin accordance with the first embodimentofthe 15 upgraded Radar unit by incorporating an ultra -low phase
present disclosure; noise frequency synthesizer to make the radar functioning
FIG . 24 illustrates a phase noise simulation plot contrib effective by transmitting radio signals with much lower
uted by a main PLL in accordance with the second embodi- phase noise than what is found in traditional Radar systems
ment ofthe present disclosure; on the transmit side.On thereceive sideof the Radarsystem
FIG . 25 illustrates a phase noise simulation plot contrib- 20 the ultra-low phase noise synthesizer adds only a very small
uted by a reference sampling PLLhaving the TCXO clock amountofphase noise to the signal.More specifically, in an
(or any other referenceClock) generating input frequencies embodiment, the upgraded radar unit generates a very low
of 100 MHz in accordance with the second embodiment of amountof phase noise and thus minimizing the impact of
the present disclosure; phase noise on the transmitted and the received signal. The
FIG . 26 illustrates a phase noise simulation plot contrib - 25 Radar unit may include a Synthetic Aperture Radar, or any
uted by a reference sampling PLL having the TCXO clock other kind of Radar, for determining information corre
(or any other reference Clock) generating input frequencies sponding to targets. Further, the present disclosure may
of 250 MHz in accordance with the second embodimentof utilizemodulated signalsuch as Frequency Modulated Con
the present disclosure; tinuous Wave (FMCW ) of any type or any othermodulated
FIG . 27 illustrates a flow chart depicting the operational 30 signalforthe RadarUnit.Asmentioned above FMCW based
method steps of the first embodiment; Radar are advantageous in termsofpower savingFurther, in
FIG . 28 illustrates a flow chart depicting the operational FMCW based Radar unit, various factors such as distance
method steps of the second embodiment; and velocities may be determined based on frequency dif
FIG . 29 illustrates a flow chart depicting the operational ferences from the instantaneous transmitted signal rather
method steps of the sampling PLL; 35 than travel time. In most cases FMCW Radar signals are
FIGS. 30-36 correspond to prior arts and existing tech processed with the help ofFFT utilizing signal processing
nologies; windows and pulse compression algorithms. While these
FIG . 37 illustrates a detection system , in accordancewith methods are good, phase noise of the system still remains
various embodiments of the present invention; important since it is a statistical phenomenon thatmay be
FIG . 38 illustrates an exemplary vehicle implementing 40 measured and calculated as an average, but instantaneous
detection system , in accordance with an embodimentofthe value thereof cannotbe determined, thus it cannotbemiti
present invention; and gated easily with existing algorithms.However,its influence
FIG .39 illustratesan exemplary method flow diagram for on system performancewilldrastically be reduced with the
autonomous vehicle, in accordance with an embodimentof collaboration of ultra-low phase noise frequency synthe
the present invention . 45 sizer. As a result, the overall system capability ofaccuracy
To facilitate understanding, like referencenumerals have and target detection willbe vastly improved
been used,where possible, to designate like elements com FIG . 1 illustrates a general block diagram ofa negative
mon to the figures. feedback system 100. Thenegative feedback system 100has
an input R and an output C , a summer/comparator 102, a
DETAILED DESCRIPTION 50 forward path function G 104 and a feedback path function H
106. Thesummer/comparator 102 compares theinputR with
As used throughout this application, the word “may” is a sample B ofthe output C fed back through function H 106,
used in a permissive sense (i.e.,meaning having the poten- to produce an error signal E that is relative to the difference
tialto), ratherthan themandatory sense (i.e.,meaningmust). between the input R and the feedback sample B . This error
Similarly, the words " include”, “ including”, and “ includes” 55 signal E is fed to the main element G function 104 in the
mean including butnot limited to. forward path. If the output signal C tends to drift upwards,
The phrases "at least one", " one ormore” , and “and/or” the error signal E pushes itback downwards and vice versa.
are open -ended expressions that are both conjunctive and Thus, thenegative feedback system 100 stabilizes theoutput
disjunctive in operation. For example, each of the expres- signal C . The negative feedback system 100 finds applica
sions “at least one of A , B and C ”,“ at leastone of A , B,or 60 tions in many systems for stabilizing frequency, output
C ” , “ one ormore of A , B , and C ”, “one ormore of A , B , or power, and many other functions.
C ” and “ A , B , and/or C” means A alone, B alone, C alone, FIG . 2 illustrates a generalblock diagram of a standard
A and B together,A and C together, B and C together, or A , Phase Lock Loop (PLL) 200. The PLL 200 is a frequency
B and C together. feedback system comprising areference clock 202, a digital
The term “ a” or“an” entity refers to one ormore ofthat 65 phase/frequency detector (PFD) 204, a loop filter 206, a
entity. As such , the terms “ a” (or " an" ), " one ormore” and Voltage Controlled Oscillator (VCO ) 208, and a frequency
“ at least one” can beused interchangeably herein. It isalso divider 210.
bove
15
US 9,831,881 B2
16
The VCO 208 is the main output block in the forward a step. In an example, if the reference clock 202 generates
path, and is tuned to produce a frequency as set by a tuned a frequency 1 MHz, then every time the division number N
circuit. The VCO 208 has a frequency output Fout that can changesby steps of 1,the output frequency Foutchanges by
be changed by a control voltage Vt over a pre-setrange of equal steps of 1MHz.
frequencies. 5 Like all negative feedback systems, the PLL 200 has a
The phase detector 204 is a comparator for both theclock loop bandwidth set by the component parameters and the
inputFclock and the feedback sample from the output Fout loop filter206. In otherwords,thePLL 200 is a sophisticateddividedby divider N 210. Thephase detector 204 compares frequency multiplier with a built-in narrowband,automatithe two input frequencies Fclock and Fout/N .When thetwo cally tuned band-pass filter as the output frequency Fout isinput frequencies are not equal, the device 204 acts as a 10 basically Fclock multiplied by the number N . The loopfrequency discriminator and produces either a negative or bandwidth is also responsible directly for how fast thepositive voltage,depending on thepolarity of the frequency
difference between the two inputs. When the two input output frequency ofPLL 200 may changebetween different
frequencies are the device produces an error voltage Vt frequencies. ThePLL 200 is a devicewherethe VCO 208 is
relative to the phase difference between the two equal 15 locked to a single clock reference signalwhich is very low
frequencies. butalso very clean and very stable and theoutputfrequency
The loop filter 206 filters and integrates the error signal can be changed by equivalent steps by controlling the
produced by the phase detector 204 and feeds it to the VCO frequency divider 210 in the feedback loop.
208. The loop filter 206 is usually based on passive com FIG . 3 illustrates a simplified drawing of a digital phase/
ponents likeresistors and capacitors, but also in somecases 20 frequency detector 204.A phasedetectororphase compara
it is a combination of active devices like operationalampli- tor is a frequency mixer, analog multiplier or logic circuit
fier and passive components. that generates a voltage signalwhich represents the differ
The reference clock 202 is in general a low frequency ence in phasebetween two signal inputs. It is an essential
crystal oscillator signalsource that feeds Fclock to the phase element of the phase-locked loop (PLL ). A specialized
detector 204, and to which the output signal Fout is 25 variant that additionally detects frequency is referred as
“locked”. The reference clock 202 is set at some frequency Phase Frequency Detector (PFD ). A phase -frequency detec
for example a standard frequency 10 MHz. The locking tor is an asynchronoussequential logic circuitwhich deter
"mechanism ” transfers someof the qualities of the reference mineswhich ofthetwo signalshas azero -crossing earlier orclock 202 to themain output signal Fout. Its main features more often.When used in a PLL application, lock can beusually are: a) frequency stability over temperaturegen - 30 achieved even when it is off frequency.Such a detectorhaserally in the range of 0.1-5 ppm (parts per million), b ) the advantage ofproducing an output even when the twoaccuracy - Can be tuned to very high accuracy, c ) very low
phase noise - Its phase noise is transferred to the output signals being compared differ not only in phase but in
frequency.
signalmultiplied by the ratio of20*LOG (N )where N is the
ratio between the output frequency and the clock frequency 35 The phase/frequency detector 204 compares two input
applied to the phase detector 204. frequencies Fclock and Fout/N . When the two input fre
The frequency divider 210 is based on digitaldevices like quencies are not equal, it acts as a frequency detector and
gatesand flip-flops,through which the inputfrequency Fout produces one or zeros to produce a voltage control Vt that
is divided by a number N to produce Fout/N which is fed to pushes corresponding VCO 208 in the direction of the
the other inputof thephase detector 204. This number N is 40 reference. In other words, if the VCO 208 is above the
software controllable. The control signal comes usually reference then the voltage control Vt is high to push the
from a micro controller or from a PC or from anywhere that VCO 208 down and vice versa. When the two input fre
basically will send software controlto the frequency divider quencies are the same and a frequency lock is achieved, the
210 to change the division number N . The target of the phase detector 204 acts as a phase detectorand compares the
division number N is to enable the output frequency of the 45 two phases, and continues to produce an error voltage to
frequency divider 210 to be equal to the clock frequency of control the frequency and phase of the output device.
thereference clock 202. FIG . 4 illustrates an example ofan active filter as applied
The entire operational procedures of a standard Phase to a generalPLL 400. Thekind of loop filter i.e.passive filter
Lock Loop (PLL) 200 is as follows: If an input clock signal or active filter can be chosen on the basis of specific
Fclock is applied, usually by a reference clock 202, the 50 requirement. A passive loop filter is based on resistors and
phase detector 204 compares the phase and frequency of the capacitors only, while an active loop filter is based on an
inputsignalFclock with that ofthe VCO 208 divided by N , amplifier and a capacitor-resistor network in the feedback
and generates an error voltage Vt that is related to the system . A passive filter is preferred in cases where, a
difference in the two signals. The error voltage Vt is then reference PLL is ofa single frequency and will need only a
filtered and applied to the controlofthe VCO 208, thereby 55 single voltage in order to stay in thatsingle frequency. The
varying the VCO 208 frequency in a direction thatreduces other reasons being simplicity, cost and most advanta
thefrequency difference between thetwo signals.When the geously no addition ofnoise, as active devices tend to add
frequencies ofthetwo signalsbecome sufficiently close,the additional noise in the system . However, active filters find
feedback nature ofthe system causes thesystem to lock with more acceptancesbecause of the possibility of amplification
the incoming signal. Once in lock the VCO 208 frequency 60 of the input signal. Amplification is made possible by an
dividedby N is identicalwith the inputsignalFclock, except operational amplifier employed in the active filter.
for a finite phase difference which is necessary to generate The loop filter 206 , of FIG . 2, is an active filter that
the corrective error voltage Vt to shift the VCO 208 fre- includes an operational amplifier 402 and a capacitor-resis
quency to the input signal frequency Fclock, thus keeping tornetwork 404 in the feedback loop. In someinstances, the
the system in lock . 65 phase detector 204 ofthe PLL 200 may produce voltage up
Any time, the division number N is changed, say for to 5 volts but the corresponding VCO 208 may need a
example by 1, theoutput frequency Foutjumps exactly by voltage of above 5 volts,say, forexample, up to 18 volts in
US 9,831,881 B2
17
order to reach its complete range, so the active filter 206 a positive feedback on the loop filter itself. While the loop
facilitates notonly filtering butalso provides the capability is not locked, the loop filter acts as a very low frequency
to go to higher voltages. oscillator that drives the VCO back and forth across the
FIG .5 illustratestheprinciple ofsample-and-hold mecha frequency range. When it passes close enough to thehar
nism 500. The first sample and hold circuit 502 includes a 5 monic of the clock, it will lock and stay locked. A nice
switch S and a hold capacitor CH . The operation of the feature of this mechanism is that it turns off automatically
switch S is controlled by the sample control. When the when the loop locks. This happens because of the nature of
switch S is closed, a voltage sample ofthe input frequency the loop as a negative feedback system .
is sampled and when the switch is opened, the voltage However, this type of search mechanism suffers from
sample is held on thehold capacitor CH . 10 many problems, its operation is subject to temperature
The second sample and hold circuit 504 includes two changes and itmakes this product difficult to produce, tune
buffers A1 and A2 with unity gain for isolation purposes, in and sell successfully.
addition to the switch S and the hold capacitor CH . The FIG . 8 illustrates a phase noise plot 800 of an example
buffer A2 is preferably an electronic buffer, so that the hold free running Voltage Control Oscillator (VCO ) in the fre
capacitor CH doesnot discharge parasitically between con- 15 quency domain (spectrum analyzer),withoutbeing locked in
secutive samples. In other words, the hold capacitor CH a PLL.Assaid before, Phase noise is a key element in many
holds the voltage between samples. RF and radio communicationssystemsas it can significantly
FIG . 6 illustrates an example of practical implementation affect the performance of systems. Phase noise is the fre
of a comb generator and sampling phase detector. The quency domain representation of rapid, short-term , random
schematic shows a Step Recovery Diode (SRD) as comb 20 fluctuations in the phase of a waveform , caused by time
generator feeding thedual schottky diode that acts as phase domain instabilities also referred to as “ jitter”.
detector. The implementation circuit 600 including a Step For example, in frequency domain , where the scales are
Recovery Diode (SRD) 602 as a comb generator and the amplitude vs. frequency, ideally a frequency of 100 MHz
dual schottky diodes 604 and 606 as a phase detector. may look like a single line staying at exactly 100 MHz.
The inputto the circuit600 in this example is a clock input 25 However, practically with modern equipment in the labora
of 100 MHzsinewave. TheSRD 602 is a specialdevice that tory, amplitude vs frequency may not look like a single line
turns the 100 MHz sinewave input into a very narrow pulse but it will look like a single line with a " skirt” 802 which
train of the same frequency, so it acts as a comb generator. goes wider and wider as we go down. The phase noise plot
The two schottky diodes604,606 act as switches and act as 800 looks like the skirt 802 on the left and the right ofthe
sampling switches. The RF voltage (output from corre - 30 exactdesired frequency fo. The quality, height, width of the
sponding VCO) to be sampled is connected to a point skirt 802 determines how the phase noise may affect the
between the two diodes 604 and 606 . The SRD 602 creates system or the performance ofthe system . So, it is desirable
an output ofpositive and negative pulses. The positive and to minimize phase noise asmuch as possible is to improve
negative pulses act as control signals to the diodes 604 and the system performance.
606 that act like switches. The sampled voltage output is an 35 Phase noise is another term to describe short-term fre
error DC voltagewhich is created by sampling theRF input quency stability. The signalgenerated by a frequency source
through the dualschottky diodes604 and 606 . The outputof is neverpractically “ clean”. Its frequency is never absolutely
theRF signal is sampled whenever the diodes604 and 606 stable at the desired value. It has “Phase Noise” which is
are opened by the narrow pulses coming from the SRD 602. frequency shifting, i.e. small frequency shifts at different
The voltage sample isheld on the capacitors C following the 40 rates and different amplitudes of the main frequency. It
diodes 604 and 606 . changes around the center set frequency fo at different rates
FIG . 7 illustrates a schematic of the comb generator and and amplitudes. In time domain, the phase noise may be
sampling phase detectorwith a clock pre-amplifier and two referred to as jitter.Long term frequency stability is drift of
DC buffers following the phase detector. The voltage the center frequency over timeor over temperature.
samples are held on two very small capacitors (which are 45 FIG . 9 illustrates a phase noise plot 900 of an example
basically the input capacitance of the voltage buffers, no Voltage ControlOscillator (VCO ) in the frequency domain
need for external capacitors) on both sides ofthe dual diode (spectrum analyzer), compensated bybeing locked in a PLL .
pair, so as not to enable the whole capacitor to discharge The upper line 904 is the free running VCO phase noise,
parasitically between the samples. These capacitors are before it is locked in a PLL, and the lower line 902 is the
buffered by a couple ofultra-low inputbias currentbuffers 50 shaped VCO phase noise. In the PLL , the principle of
to prevent discharge between samples. The two voltages are locking the VCO to a reference frequency attenuates the
summed, fed to a loop filter, whereby the clean Vt is fed to phase noise of the VCO , in an amount related to the loop
the VCO to controlthe frequency. bandwidth . Outside the loop bandwidth, the VCO noise
This implementation of sampling phase detector creates remains almost same as the phase noise without the PLL,
an analogphase detector,very similar to amixer. The analog 55 while inside loop bandwidth it is attenuated more andmore
sampling phase detector has a certain defined locking space as offset frequency from themain carrier is reduced. Atvery
or locking distance, and it doesnot lock from any frequency high frequency, i.e. above the loop bandwidth , the locking
difference like the phase/frequency digital detector. It has almost has no effect, as the phase detector correction signal
some locking range and only within that locking range, the is notfast enough to reach the VCO forvery fast changes or
VCO locksby itself on thereference.In a sampling PLL , the 60 very fast disturbances. However, inside the loop bandwidth
VCO does not lock on the reference, but on the Nth or at low frequencies, the compensated phase noise of the
harmonic ofthe reference. In other words, one can lock a 9 VCO is much lower than that of the free running VCO . All
GHzon the 90th harmonicofthe 100 Megahertz clock. This the frequencies thatis closeto thecenterofthe frequency fo
is doneas the input frequency is sampled every 100 cycles, are easy to detect and compensate.
notevery cycle. 65 FIG . 10 illustrates two plots 1000: (a ) a simulation of
This type of product may contain some " search mecha- phase noise of an example PLL, and (b ) an actualmeasure
nism ” tohelp lock thePLL . Themost common one involves ment. FIG . 10 (a ) illustrates a simulation graph of phase
19
funds
Sphics)=(180).72.Slapdf
Sulf)= V2.SLCF).fadf
Sy(8)=(Sport)
US 9,831,881 B2
20
noise of an example PLL. The simulation graph showsthe noise from one offset frequency to another one. Following
overall phase noise of the example PLL and includes the are four different equations and terms to define integrated
contribution of all the components that contribute to the phase noise:
phase noise. The simulation graph illustrates first, second
and third regions 1002, 1004 and 1006 of the phase noise. 5
The first region 1002 which is very close to the carrier
depicts a steep line which basically comes from the refer
ence clock such as the Temperature Controlled Crystal
Oscillator (TCXO ,or any other reference clock device). The
firstregion depicts thenoise ofthe TCXO ,multipliedby 20
log N ,where N is the ratio of output frequency to the clock
frequency. The second region 1004 depicts a flatphase noise
which isbasically thenoise floorofthe digitalphase detector
multiplied by thesame ratio of 20 log N . The third region 15
1006 depicts a steep line which is the inherent VCO phase Where the first equation describes single sideband phase
noise not affected by the loop bandwidth and locking phe noise [dBc]
nomenon. The dashed line 1008 depicts the VCO “cor- The 2nd equation describes the spectral density of phase
rected” phase noise inside loop bandwidth . Below the flat modulation, also known as RMS phase error (degrees)
area, the compensated VCO phase noise doesnotaffect the 20 The 3rd equation describes the spectraldensity offrequency
overall result because it is way below the noise floorof the fluctuations,also knownasRMS frequency error orresidual
phase detectormultiplied by that ratio. The actualmeasure- FM (Hz)
mentof phase noise ofan example PLL is illustrated in FIG . The 4th equation describes the spectral density of fractional
10 (b). One can see clearly the similarity between the two
curves. 25 For example, the firstequation defines the PhaseNoise in
FIG . 10 illustratesa phase noiseplot1100ofa closed loop dBc. It can be translated by the 2nd equation to degrees
PLL , showing clearly the effect of the phase detector mul (relevant in respectoflearningmodulation schemes). Asper
tiplication number 20*LOG (N )within loopbandwidth . The further equations,the phase noise can also be translated inphase noise plot800 illustratesphase noiseson both sides of termsof Hz and timedomain phase jitter seconds.the carrier frequency fo,where the left side is a mirrored 30 FIG . 13 illustrates a general block diagram 1300 of animage of the rightside. The phase noises on both sides ofthe example dual loop PLL . The main target of the dual loopcarrier fo looks like it is passing through a band-pass filter. design is to reduce themultiplication number N in themainAs illustrated , on both sides, the in -band phase noise
PLL.inside the loop bandwidth is flat in shape and is equal to the
phase detectorand/orthe referenceclock noisemultiplied by 35 The dual loop PLL 1300 includes an upper PLL 1302,
20 log N . Atthepoint of the loop bandwidth , thephase noise referred to as a main PLL 1302, and a lower PLL 1304,
goes up before going down again. This is due to addition of referred to as a referencePLL 1304,a TCXO 1306 operating
3 dB due to a combination ofphase noiseofthe free running as a master clock, feeding a clock signal Fc to both the
VCO and the phase detector. The upper straightline 1102 primary PLL 1302 and the reference PLL 1304.
depictsa phase noise contributed by the phase detector atN1 40 The reference PLL 1304 includes a first phase detector
and the lower straight line 1104 depicts a phase noise 1314,and a single frequency first VCO 1316 thatoperatesat
contributed by thephase detector at N2. It can be seen that, a reference frequency Fr. The reference frequency Fris fed to
there is difference in phase noise in the flat area, due to two a first input of a down convertmixer 1312.
different “ N ” numbers. The phase detector contributes a The main PLL 1302 includes a second phase detector
higher in-band phase noise at a higher value of N . 45 1308 and a second VCO 1310 that generates an output
Thus, in order to achieve low phase noise, it is essential frequency range F1to F2. A sample ofthe output frequency
to: a ) choose components such as phase detector and refer range F1to F2 is fed to thesecond inputofthe down convert
ence clock with the lowest inherent phase noise possible, mixer 1312 andmixed with a single reference frequency Fr.and b ) lower the ratio number N asmuch as possible. The output from the down convertmixer 1312 is at a much
FIG . 11 illustrates plot 12902200 ofmeasurement terms 50 10lower frequency (F1 to F2)-Fr. This lowered frequency isof phase noise in 1 Hzbandwidth at a Afoffset frequency fed back to the second phase detector 1308 through afrom the carrier. The phase noise expression is usually in
frequency divider 1318 of value N1.dBc, i.e. dB relative to the carrier c power levelPs, in other
words how low it is compared to the carrier per Hz, in a Therefore: a )Withoutthe down convertmixer 1412: F1to
bandwidth of 1Hz. That is basically theterm thatisused for 55 F5 F2= NxFc, b ) With the down convert mixer 1312: (F1 to
phase noise,dBc per Hertz (dBc/Hz) ata certain Affrom the F2)-Fr=N1xFc. As a result there is a reduction in the
carrier. number N : N1/N = ((F1 to F2) - Fr)/ (F1 to F2).
Asan example for themeasurementmethod, suppose AF The N1 number is basically the division number that the
is 10 KHz, the phase noise power level Pss is measured at frequency divider 1318 will use to divide the outputof the
the level of -70 dBm on the spectrum analyzer, and the 60 mixer 1312 and feed to the second phasedetector 1308. The
carrier power level Ps is measured at the level of 10 dBm , value ofN1 is set as minimal, as the output from the mixer
the ratio between the Ps 10 dBm and the PssB -70 dBm at 1312 is ata much lower frequency than original frequency
10 KHz from the carrier is therefore 80 dB , so the phase range F1 to F2.
noise at 10 KHz offset from carrier and is - 80 dBc/Hz. To give an example: a ) Suppose Fc= 1 MHz, b ) Suppose
Formany systems, the important parameter to evaluate 65 F1to F2= 10,000 to 11,000 MHz. Then N = 10,000 to 11,000.
performance is not the phase noise measured at a single Now If Fr= 9000 MHz, then ((F1 -F2)- Fr)= 1000 to 1900
frequency offset from the carrier, but the integrated phase MHz. Then N1=1000 to 1900. Thus, the value of N is
US 9,831,881 B2
21
reduced from 11,000 to 1900. In dB, it is a ratio of 15 dB. one clock signalFc2 of variable frequency range by taking
This means, thatthe phase noise is reduced by a factor of 15 input from atleast onesoftware controllable instructionsand
dB. at leastone DDS clock signal. The frequency of the atleast
The disadvantageofthe example dualloop design is that one clock signal Fc2 is always lower than the frequency of
while nicely reducing the number N in the main PLL , the 5 the at least one DDS clock signal. The at least one DDS
reference PLL,containing adigitalphase/frequency detector clock signal is generated by a first fixed frequency divider
becomes themain factor contributing to the overall output 1714. The high frequency low noise DDS 1702 forwardsthephase noise. generated at leastone clock signalFc2ofvariable frequencyFIG . 14 illustrates a general block diagram 1400 of an range towards a DigitalPhase Frequency Detector 1704.example sampling PLL. The sampling PLL 1400 includes a 10
TCXO 1402, a comb generator 1404, a sampling phase The Digital Phase Frequency Detector 1704 compares
two signals coming from two directions and generates atdetector 1406, a loop filter 1408, and a VCO 1410. The
samplingPLL 1400doesnot include digitalphase/frequency least one signal. One signal is the at least one clock signal
Fc2 of variable frequency range generated by the highdetector and frequency divider. Thus, no digital noise floor
is generated thatcan bemultiplied andaffectperformanceof 15 frequency low noiseDDS 1702. The second signal is atleast
the system . one signalof frequency Fif/N1 generated by a second fixed
The TCXO 1402 feeds the clock signal Fclock to the frequency divider 1712. The Digital Phase Frequency
comb generator 1404. The comb generator1404 is a device Detector 1704 compares these two signals and generates at
thatchanges the inputsinewave signalat frequency Fclock leastone firstcontrolvoltage Vt1 and forwardsittowards a
to an output signal of very narrow pulses at the same 20 primary Voltage Control Oscillator (VCO ) 1706 . The pri
frequency as the input sine wave signal. mary Voltage ControlOscillator (VCO ) 1706 generates at
Thepulse output from the combgenerator 1404 isused as least one output signalof frequency Fout from thereceived
a control signal to the sampling phase detector 1406. The at least one first control voltage Vt1. The main PLL 1710
sampling phase detector 1406 receives an RF signal of further comprises a down convertmixer 1716.
frequency Fout from the VCO 1410, and includes two 25 The primary role of the reference PLL 1718 is to help the
diodesactingas switchesto sample theRF signalby opening main PLL 1710 in reducing the phase noise presentin the at
and closing the diodes based on thenarrow pulses from the least one output signal Fout. The reference PLL 1718
comb generator 1404. The sampled voltage Vtproduced is comprises a reference clock (for example a Temperature“held ” on capacitors and buffered until the next sample Compensated Crystal Oscillator (TCXO)) 1724 to generate
period. The voltage samples are always atthe samelevel, 30level, 30 at leastone firstclock signalofa fixed single frequency Fc1.thus a DC voltage Vt is generated by the sampling phase Further, the reference PPL comprises a sampling phasedetector 1406. The loop filter 1408 cleans and filters the DC
voltage Vt,and provides it to the VCO 1410 to controlthe detector 1722 (that includes the comb generator and the
VCO frequency Fout. Fout= Fclock * N , where N is the Nth sampling phase detector) to generate at least one second
spectralharmonic line in the " comb" spectrum . 25 controlvoltage Vt2 and a reference Voltage Control Oscil
FIG . 15 illustrates block diagram 1500 depicts how the
impulse or“comb” generator 1404 changes awave shapeof Oneimportantthing to noticehere isthat unlikeotherdual
a signal from sine wave 1502 to narrow pulses 1504. A loop designs, the reference PLL 1718 uses the sampling
frequency source 1506 generates the input sine wave 1502 phase detector 1722. The reference PLL 1718 does notuse
of frequency F1 and time period T1. 40 any kind digital devices like the Digital Phase Frequency
The comb generator 1404 turns the input sine wave 1502 Detector 1704, or the first fixed frequency dividerN1 1714.
to a seriesofvery narrow pulses 1504 with same timeperiod Simultaneously the reference clock 1724 present in the
T1, and a pulse bandwidth as tp in the time domain . For sampling PLL 1718 is also a very low noise generating
example, if the frequency of input sine wave 1502 is 100 device.Due to these reasons the contribution ofphase noise
MHz, then the impulse train generator 1508 generates a 45 from thereference PLL 1718 to themain PLL 1710becomes
series of very sharp narrow pulses 1504 ofthe same fre - close to negligible. The reference VoltageControlOscillator
quency. (VCO) 1720 generates at least one reference signal Fr and
FIG . 16 illustrates an example output 1600 of a comb forwards it towards the down convert mixer 1716 . The
generator 1404 in the frequency domain. In the frequency reference PLL 1718 plays a major part in all relevant
domain (spectrum analyzer screen ), the output 1600 of the 50 communications and similar systemsby being part of vari
comb generator 1404 looks like a “ comb”, i.e. a row of lines ous frequency synthesizers, and also as a standalone fre
extending up to very high frequency. In theory, if the quency source for all the systemsofup and down conversion
bandwidth ofthe clock pulse is infinitesimal,the row oflines processes in the same equipment.
appear with equal amplitude to infinity. The output 1600 The down convert mixer 1716 receives at least one
looks like a series of lines, with the spacing between the 55 reference signal of frequencies Fr and at least one output
lines sameas the initial frequency. In an example, if the signal of frequency Fout and generates at least one inter
initial frequency is 1 GHz, the spectrum of lines is 1 GHz mediate signal of frequency Fif and forwards it towards a
apart. second fixed frequency divider 1712. The second fixed
FIG . 17 illustrates a block diagram 1700 of an ultra-low frequency divider 1712 generates at least one signal of
phase noise frequency synthesizer as suggested in a first 60 frequencies Fif/N1 by dividing the incoming at least one
embodiment. The ultra-low phase noise frequency synthe- signal of frequency Fif by a predefined factor. The second
sizer 1700 includes two Phase Lock Loops (PLLs). One is fixed frequency divider 1712 forwards the generated at least
a main PLL 1710 and the other one is a reference PLL 1718. one signal of frequencies Fif/N1 towards the Digital Phase
Themain PLL 1710 comprises of a high frequency low Frequency Detector 1704.The primary VCO 1706 forwards
noise DirectDigital Synthesizer (DDS) 1702 to generate at 65 the atleastoneoutput signalFout towards a fixed frequency
leastone clock signal Fc2 of variable frequency range. The multiplier 1708 to generate at least one final output signal
high frequency low noise DDS 1702 generates the at least Fout final.
23
US 9,831,881 B2
24
It is important to notice that frequency divider 1712 is The reduction in the ratio of the frequencies leads to a
optional and the main PLL can operate without division of reduction in a phase noise of the final output signal Fout
Fif. final. The comparison frequency is much lower, so that the
To explain the above disclosed disclosures with an number N by which thenoise ismultiplied inside themain
example let's say the reference clock 1724 generates the at 5 PLL 1710 is much lower. In an example,theeven ifthe ratio
least one first clock signal of a fixed single frequency Fc1 ofsecond fixed frequency divider =2 reduces thephasenoise
100 MHz. Thesampling phasedetector 1722 generates the ofthe finaloutputsignal Fout finalby a factorof20-40 dB
second controlvoltage Vt2by sampling the at leastone first compared to a single PLL design. For example, phase noise
at 100 KHz Af from the carrier with standard PLL syntheclock signal of a fixed single frequency Fc1 100MHz and
forwards the sampled values ofthe at least one first clock1 10 sizers is approximately –106 dBc/Hz. With the proposed
frequency synthesizer 1700, the phase noise at 100 KHz Afsignalofa fixed single frequency Fc1 100MHz towards the from the carrier could be in the range of - 130-135 dBc/Hz,
reference Voltage Control Oscillator (VCO ) 1720. Theref causing a significant improvement of 24-29 dB .
erence Voltage ControlOscillator (VCO) 1720 generates the To summarize, the drastic improvements achieved in
at least one reference signalFrand forwards it towards theowardsthe 15 reducing phasenoise in the ultra-low phase noise frequency
down convertmixer 1716. In an example, the reference synthesizer 1700 isbased on the following: a) use ofDual
VCO 1720 generates frequency of 9.4 GHz. PLL approach to reduce the multiplication number N2, b )
In the example, the first frequency divider 1714 divides use ofsamplingPLL 1718 asthe reference PLL, tomake its
the generated reference signal of frequency 9.4 GHzby a noise contribution andreferencePLL phase noise negligible,
predefined factorof3 to generate the at least one DDS clock 20 c) use of DDS 1702 to provide low noise,high frequency
signal. The high frequency low noise DDS 1702 receives the input to the main PLL 1710, and d ) use of high frequency
at least oneDDS clock signal, and based on the atleast one Digital Phase Frequency Detector 1704 in the main PLL
software controllable instructions, generates the at least one 1710.
clock signal Fc2 of variable frequency range from 0.1 GHz In this embodiment the ultra-low phase noise frequency
to 0.225 GHz. 25 synthesizer 1700 is implemented in form of a module. In
In the example, the primary VCO 1706 generates the at another form of this embodiment, this design ofthe ultra
least one outputsignalof frequency Fout ranging from 9.5 low phase noise frequency synthesizer 1700 can be imple
GHz to 9.625GHz. The down convertmixer 1716 mixes the mented not only as a part of big module , but also as an
atleast one output signaloffrequency Fout ranging from 9.5 independent, separate chip, which can become a part of the
to 9.625 GHz with the reference signal Fr at frequency 9.4 30 front end module of a radar transceiver. The synthesizer can
GHz to generate the at least one intermediate signal Fif be implemented in an advanced technology for examplebut
having frequency ranges from 0.1GHzto 0.225 GHz.Since notlimited to, like SiGeor GaAs.
the at least one clock signal Fc2 ranges from 0.0.1 GHzto FIG . 19 illustrates a block diagram 1800 of an ultra-low
0.225GHz, thesecond fixed frequency divider 1712 is set to phase noise frequency synthesizer as suggested in a second
dividethe at least one intermediate signal Fifby a predefined 35 embodiment. The low phase noise frequency synthesizer
factor of 1, (which means practically no divider needed in 1800 includes two Phase Lock Loops (PLLs). One is a main
this case) to generate the atleast one signalof frequencies PLL 1812 and the other one is a reference PLL 1818. In this
Fif/2 ranging from 0.1 GHz to 0.225GHz. embodiment, the ultra-low phase noise frequency synthe
The fixed frequencymultiplier1708multiplies theatleast sizer 1800 comprises one single reference clock (for
one output signal Fout ranging from 9.4 GHZ to 9.625 GHz 40 example a Temperature Compensated Crystal Oscillator)
by a predefined factor of 8 to generate the at leastone final 1802 which provides input clock signals to both the main
output signal Fout final ranging from 76 GHz to 77 GHz. It PLL 1812 and the reference PLL 1818.
is easier and relatively inexpensive to implement the chip The main PLL 1812 comprisesofa Fractional-N synthe
design ofthe frequency synthesizer 1700 for output frequen- sizer chip 1804, a primary Voltage Controlled Oscillator
cies 9.4 GHZ to 9.625 GHz, and then multiply the at least 45 (VCO ) 1810 and a down convert mixer 1816 . The Frac
one output signal Foutby 8 to generate the at least one final tional-N synthesizer chip 1804 includes a high frequency
output signal Fout final in the range of 76 GHz-77 GHz. Digital Phase Detector 1806 and a software controllable
Thedown convertmixer 1716 lowers the frequencyofthe variable frequency divider N1 1808.
at least one output signal Fout, to reduce ratio of the The reference clock 1802 forwards the generated at least
frequencies of the second clock signal and the feedback 50 one clock signal of fixed frequency Fc towards the high
signal. Instead of feeding the atleast one output signal Fout frequency Digital Phase Detector 1806 which is located
directly to the Digital Phase Frequency Detector 1704, it is inside the Fractional-N synthesizer chip 1804. On one hand
mixed down to create at least one signal with much lower thehigh frequency Digital Phase Detector 1806 receivesthe
frequency, and obtain a much lower value of the second atleast one clock signalof fixed frequency Fc.On the other
fixed frequency divider 1712 or it is not needed as in this 55 hand the high frequency Digital Phase Detector 1806
example. receives atleast onesignalof frequency Fif/N1 generated by
As theprimary phase noisepresentin the ultra-low phase the software controllable variable frequency divider N1
noise frequency synthesizer 1700 is dueto the productofthe 1808. The high frequency Digital Phase Detector 1806
noise present in the high frequency DDS 1702 and the compares these two signals, generates at least one first
second fixed frequency divider 1712, themore less the value 60 control voltage Vt1 and then forwards the generated at least
ofthe second fixed frequency divider 1712will be, themore one firstcontrolvoltageVt1towards the primary VCO 1810.
less will be the generated phase noise in the ultra -low phase The primary VCO 1810 generatesat least one output signal
noise frequency synthesizer 1700. Therefore when the sec- offrequency Fout from the received atleast one firstcontrol
ond fixed frequency divider 1712 is equal to 1, the DDS voltage Vt1.
signalnoise ismultiplied by thenumber 1 which means it is 65 The primary role ofthereference PLL 1818 is to help the
transferred as is to the output and this achieves a very main PLL 1812 to reduce the phase noise present in the at
ultra-low noise. least one output signal Fout. The reference PLL 1818
US 9,831,881 B2
25 26
comprises a sampling phase detector 1822 and a reference tiply the output frequencies by 8 in frequency multiplier
Voltage Control Oscillator (VCO ) 191820. 1814 to obtain the finaloutputfrequencies in the range of76
Oneimportant thingto noticehereisthe application ofthe GHz-77GHz.
sampling phase detector 1822. ThesamplingPLL 1818 does The downconvertmixer 1816 lowers thefrequency ofthe
not use any kind digital devices like the Digital Phase 5 output signal Fout, to reduce a ratio of frequencies of the
Detector 1806, or the software controllable variable fre - second clock signal and the feedback signal. Instead of
quency divider N 1808. Due to these reasons the contribu feeding the output frequency Fout directly to the Digital
tion ofphase noise from the sampling PLL 1818 to themain Phase Detector 1806, it is mixed down to create a much
PLL 1812 becomes close to negligible. lower frequency, and thus a much lower value ofN1. A
The sampling phase detector 1822 receives the same at 10 reduction in the ratio of the at least one clock signal of
leastone clock signal of fixed frequency Fc generated by the frequency Fc and the at least one feedback signal of fre
reference clock 1802, generates at least one second control quency Ff leadsto a reduction in a phase noise of the final
voltage Vt2 and forwards it towards the reference VCO outputsignal Fout final. The feedback frequency is lowered
191820. The reference VCO 191820 generates at leastone down, so that the number N1 by which thenoise is multi
reference signal Frand forwards it towards the downconvert 15 plied inside themain PLL 1812 is also lowered down. If the
mixer 1816 . outputfrequency Fout is in the range of 9.5 GHz, and it has
The down convertmixer 1816 based on the received at to be compared with a clock of 100 MHz, the ratio N of 9.5
leastonereference signaloffrequency Fr and the at leastone GHz and 100 MHz isaround 95,butifthe outputfrequency
output signal of frequency Fout generates at least one fout is mixed down to about 0.2 GHzby the down convert
intermediate signalof frequency Fifand forwards it towards 20 mixer 1816, then theratio Nl'of0 .2GHzand 100 MHzmay
the software controllable variable frequency divider N1 be only 2 instead of 95 thereby significantly reducing the
1808 located inside the Fractional-N synthesizerchip 1804. phase noise ofthe low phase noise frequency synthesizer
The software controllable variable frequency divider N1 1800.
1808 generates atleast one signaloffrequenciesFif/N1by The improvement in the phase noise of the low phase
dividing the incoming at least one intermediate signal of 25 noise frequency synthesizer 1800 is based on following: a )
frequency Fif by at least one variable value of N1. The use of dual PLL to reduce themultiplication number N ,b )
Fractional-N synthesizer chip 1804 varies thevalueofN1by use of sampling PLL 1818 asthe referencePLL to make its
executing appropriate software instructions. The software noise contribution negligible, c ) use ofhigh frequency low
controllable variable frequency divider N1 1808 then for noise reference clock 1802 to provide high frequency input
wards the generated at least one signal of frequency Fif/N1 30 to themain PLL 1812, d )use ofhigh frequency Fractional-N
towards the Digital Phase Detector 1806. synthesizer 1814 in the primary PLL 1806.
The primary VCO 1810 forwards the at least one output In this second embodiment, the ultra -low phase noise
signal Fout towards a first fixed frequency multiplier 1814 frequency synthesizer 1800 is implemented in form of a
and generate at least one final output signal Fout finalby module. In another form ofthis embodiment, this design of
multiplying the at least one output signal Fout by a pre- 35 the ultra-low phase noise frequency synthesizer 1800 can be
defined factor. implementednotonly as a partofbigmodule,butalso as an
To explain the second embodimentwith an example let's independent, separate chip ,which can becomea part of the
say the reference 1802 generates the at least one clock signal frontend module ofa transceiver. The ultra-low phase noise
of fixed frequency Fc 100 MHzto Both themain PLL 1812 frequency synthesizer 1800 can also be implemented in
and the reference PLL 1818. The phase noise of the refer- 40 advanced technology for example like SiGeor GaAs.
ence PLL 1818 is generally very low due to the principle of FIG . 19 illustrates a block diagram 1900 ofthe sampling
sampling and also to the presence of the input reference Phase Lock Loop (PLL ) system as suggested in a third
clock 1802 which is itself a very low noise generating embodiment. The sampling PLL system 1900 includes a
device. Temperature Compensated CrystalOscillator (TCXO) 1902
The sampling phase detector 1822 generates the second 45 as an example ofreference clock , a comb generator 1904, a
controlvoltage Vt2 based on the at leastone clock signalof sampling phase detector 1906,a two-way DC switch 1908,
fixed frequency Fc 100 MHz and forwards the second a loop filter 1910, a Voltage Controlled Oscillator (VCO )
controlvoltage Vt2 towardsthereference VCO 191820.The 1912, and a Digital Phase Frequency Detector 1914. The
reference VCO 191820 generates at least one reference TCXO 1902 is configured to generate at least one clock
signal Fr and forwards it towards the down convertmixer 50 signalof frequency Fc z,which is applied to both of the
1816. In an example, the reference VCO 191820 generates comb generator 1904 and the Digital Phase Frequency
reference signals of frequency 9.4 GHz. Detector 1914. The sampling PLL system 1900 contains two
In the example, the primary VCO 1810 generates the at PLL loops.One is a Sampling PLL loop 1916 and the other
least oneoutput signalofa frequency Foutranging from 9.5 is a Digital PLL loop 1918.
GHz to 9.6257 GHz. The down convert mixer 1816 mixes 55 The principle of operation in this embodiment is this:
the at least one output signaloffrequency Foutranging from Initially the two-wayDC switch 1908 remaining closed with
9.5 GHzto 9.625GHzwith thereference signaloffrequency theDigital Phase Frequency Detector 1914. Due to this only
9.4 GHz to generate the at least at least one intermediate the Digital PLL loop 1918 is remains operational and the
signal of frequency Fifranging from 0.1GHz to 0.225GHz. VCO 1912 gets locked to the at least one clock signal of
Based on the at least one clock signalof fixed frequency 60 frequency Fc generated by the reference clock TCXO 1902.
Fc, the Fractional-N synthesizer chip 1704 determines the The Digital Phase Frequency Detector 1914 also generates
valueofthe software controllable variable frequency divider at least one lock detect signal Vid.
N 1708, so as to generate at least one feedback signal of Once VCO 1912 gets locked to the at least one clock
frequency Ff=Fif/N1. signal of frequency Fc generated by the reference clock
The frequency range 9.5 GHz to 9.625 GHz easier and 65 TCXO 1902, the atleast one lock detectsignal Vid generated
relatively inexpensive to implement the chip design of the by the Digital Phase Frequency Detector 1914 changes the
low phase noise frequency synthesizer 1800, and then mul two-way DC switch 1908 to the Sampling PLL loop 1916.
US 9,831,881 B2
27 28
Due to this the SamplingPLL loop 1916 gets closed and the which are repeating at the same frequency Fc which is the
DigitalPLL loop 1918 gets opened. Since the VCO 1912 is frequency of the at least one clock signal generated by the
already locked at the correct frequency,the Sampling PLL TCXO 1902. The samplingphase detector 1906 after receiv
loop 1916 will remain closed. One importantthing to notice ing the at least one comb signal Fcomb generates a second
here is that the loop filter 1910 is common to both the 5 DC output signal Vtsbased on the at leastone comb signal
Sampling PLL loop 1916 and the Digital PLL loop 1918. As Fcomb. Theloop filter 1910 generatesthe controlvoltage Vt
theloop filter 1910 ismade up ofa plurality ofresistors and based on the second DC outputsignalVts and the VCO 1912
capacitors which are charged to the righttuning voltage Vt remains locked at the output frequency Fr based on thewhich is applied to the VCO 1912.When the Sampling PLL control voltage Vt.loop 1916 gets closed and the Digital PLL loop 1918 gets 10 Atthe execution of lock by the Digital Phase Frequencyopened, the plurality of resistors and capacitors present in Detector 1914, the firstDC output signalVtd becomes equalthe loop filter 1910 do not change their tuning voltages in to the second DC output signal Vts. Further, the loop filterthat step. In other words, the DigitalPLL loop 1918 is used
to lock the VCO 1912 with the exact right frequency 1910 is common to the sampling PLL loop 1916 and the
generated by the TCXO 1902 and the Sampling PLL loop 15 Digital PLL loop 1918 so as to maintain a similar control
1916 is used to achieve low phase noise. voltage Vts while switchingfrom the DigitalPLL loop 1918
The two-way DC switch 1908 is configured to be to the sampling PLL loop 1916 and vice versa.
switched between the sampling phasedetector 1906 and the Another featureis that ifbyany chance,the sampling PLL
DigitalPhase Frequency Detector 1914 based on a status of loop 1910 loses a lock with thephase ofthe clock signal, the
the lock detect signal Vid generated by the Digital Phase 20 lock detect signal Vld , which is still active, turns low to
Frequency Detector 1914. For example, the two-way DC re-connect the two-wayDC switch 1908 to the Digital Phase
switch 1908 is configured to be connected to the Digital FrequencyDetector 1914 to enable re-locking ofthe Digital
Phase Frequency Detector 1914 when the lock detect signal PLL loop 1918 to the clock signal.
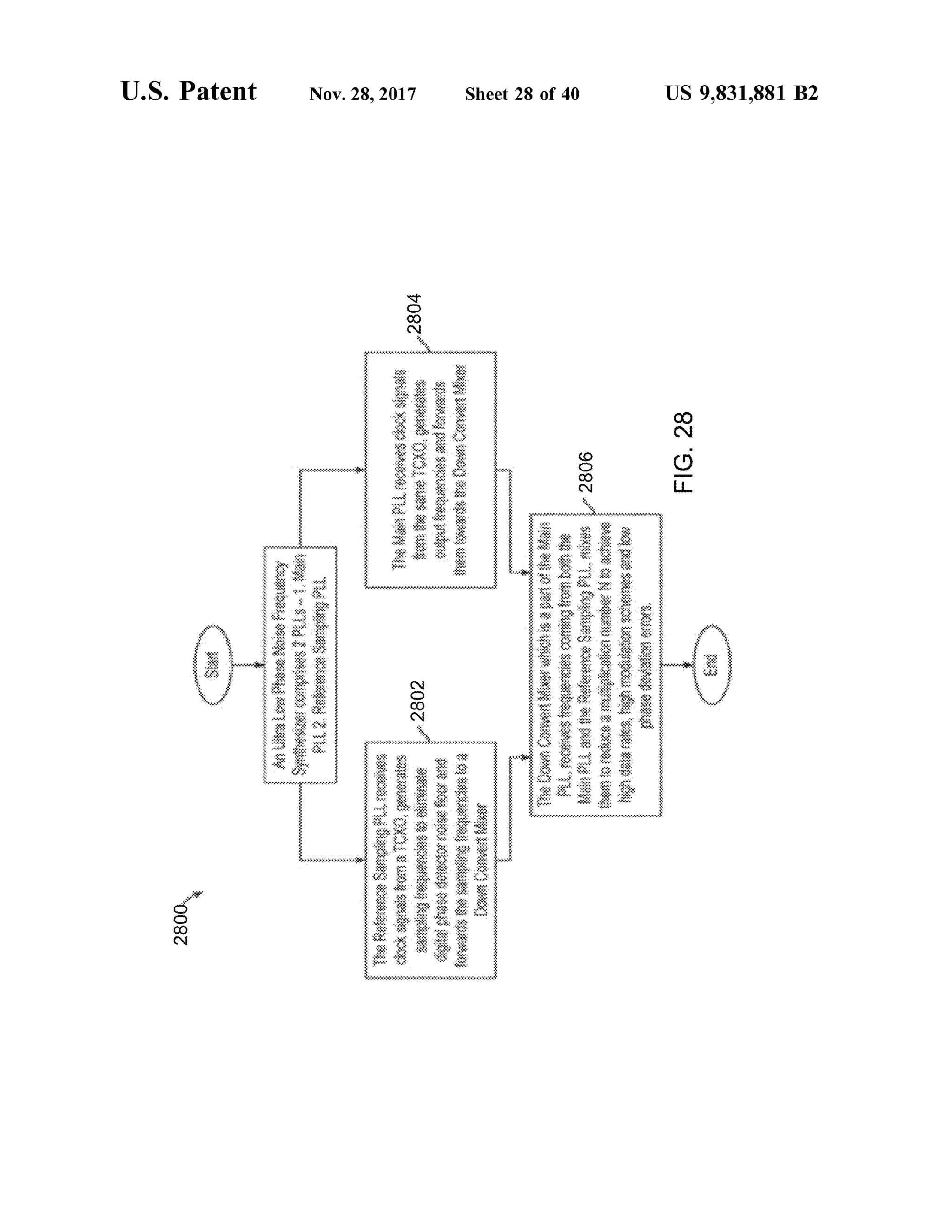
Vld is low , and configured to be connected to the sampling In this embodiment, the sampling PLL system 1900 is
phase detector 1906 when thelock detect signal Vld is high. 25 implemented in an independent chip form , with digital
In the third embodiment,when the lock detect signal Vld circuits replacing analog functions. The sampling PLL sys
is low, the two-way DC switch 1908,theloop filter 1910, the tem 1900 may also be implemented as a block on a system
VCO 1912 and the Digital Phase Frequency Detector 1914, on chip (SoC) or as a partof amodule. The sampling PLLforms a Digital PLL loop 1918. Whereas, when the lock system 1900may also be used in the ultra-low phase noisedetect signal Vld is high, the comb generator 1904, the 30 fifrequency synthesizers 1700 and 1900.sampling phase detector1906,thetwo-way DC switch 1908, In this embodiment, the Digital PLL loop 1918 alwaysthe loop filter 1910, and the VCO 1912 forms a sampling locks at the correct frequency as the Digital PLL loop 1918PLL loop 1916.
As said, initially, the two-way DC switch 1908 is con is software controlled to lock at a right frequency. The
nected to theDigital PhaseFrequency Detector 1914,asthe 35 Dighe 25 Digital Phase Frequency Detector 1914 is always able to
lock detect signalVld is low due unlock state. In the Digital lock from any distanceregardless ofhow far away initially
PLL loop 1918,the Digital Phase Frequency Detector 1914 thethe VCO 1912 is from the reference clock Fc. Thus, use of
generates a firstDC output signalVtd based on a comparison theDigitalPLL loop 1918 in the sampling PLL system 1900
of the at least one clock signalof frequency Fc, and at least overcomes the problem of the sampling PLL loop 1916 not
oneoutputsignalof frequency Fr,the loop filter 1910 filters 40 being able to lock outside the lock range. The DigitalPLL
the first DC output signal Vtd and generates the control loop 1918 is used to lock the VCO 1912 on the right
voltage Vt, and the VCO 1912 generates the output signal frequency and then switch to the sampling PLL loop 1916 to
frequency based on the control voltage Vt. In an example, achieve the low noise. It also enables thesystem to operate
the VCO 1912 is configured to generate either an output with a wideband RF VCO 1912 with assurance that it will
signal of frequency Fr of 11.75 GHzor 12.75 GHz chosen 45 lock at the correct frequency. It eliminates the unreliable
by software control to the Digital PLL loop 1918. search mechanism and assures lock under all conditions and
As soon as the Digital PLL loop 1918 is locked at the temperature conditionsby providing true lock detect indi
output frequency Fr, the lock detect signal Vld turnshigh, cation. The presence ofDigital Phase Frequency Detector
the two-way DC switch 1908 disconnects from the Digital 1914 enables the use of wideband VCO 1912 in the sam
Phase Frequency Detector 1914 and connects to the sam - 50 pling PLL loop 1916 ,as the DigitalPhase Frequency Detec
pling phase detector 1906, forming the sampling PLL loop tor 1914 is able to lock the VCO 1912 at any desired
1916. frequency. The sampling PLL system 1900 offers a signifi
So once locked, the lock detector signal Vid from the cantimprovement over other products and is highly useful
Digital Phase Frequency Detector 1914 controls the two- as one of themost importantbuilding blocks forultra-low
way DC switch 1908 to switch to the sampling PLL 1916. 55 noise synthesizers.
The loop filter 1910 contains plurality of capacitors and in the sampling PLL loop 1916, there is no digitalnoise
resistors that are already charged to the correct tuning floor and thereference clock Fcdetermines theoverallphase
voltage Vt of the VCO 1912, and since voltage on the noise,as this is theonly factorthatis translated to the output
plurality of capacitors and resistors cannot change in a frequency by 20 log N .
" jump" , there would notbe any transient, and the VCO 1912 60 Advantages of the sampling PLL system 1900: a ) It
may continue receiving the same control voltage Vtd . The enables the sampling PLL 1916 to operate with a wideband
sampling PLL system 1900 remains locked at the same RF VCO with assurance that it will lock at the correct
frequency but now through the sampling phase mechanism . frequency, b ) It eliminates the unreliable search mechanism
In the Sampling PLL loop 1916 , the comb generator 1904 and assures lock under all offset and temperature conditions,
receives the at least one clock signal of frequency Fc and 65 c) It provides true lock detect indication, d) Reliable
generates at least one comb signal Fcomb. The at least one improved operation and performance of the sampling PLL
comb signal Fcomb is basically a plurality ofnarrow pulses, 1916 ,e )Ultra-low noise, f)Highly reliable, g)Having vastly
US 9,831,881 B2
29 30
improved performance, h ) Easy to manufacture and use, i) clock (or any other reference clock ) generates input frequen
Operational in a broadband RF range, and j) Implementable c ies of 100MHzin accordance with the first embodimentof
in a chip form . the present disclosure.
FIG . 20 illustrates a phase noise simulation plot 2000 The two dimensional phase noise simulation plot
contributed by a DDS chip in accordance with the first 5 2902200 comprises of an ordinate (vertical axis) disclosing
embodimentof the present invention. The two dimensional Phase Noise (dBc/Hz) 2202 and one abscissa (horizontal
phase noise simulation plot 2000 comprises of an ordinate axis) disclosing Frequency (Hz) 2204. The phase noise
(verticalaxis) disclosing Phase Noise (dBc/Hz) 211002 and simulation plot2902200 discloses the phase noise contrib
one abscissa (horizontal axis) disclosing Frequency (Hz) uted by thereference sampling PLL 1718 as disclosed in the
2004. The phase noise simulation plot 2000 discloses four 10 first embodiment of the present disclosure in FIG . 17. It is
phase noise plots corresponding to four input frequencies evidently visible that the phase noise simulation plot
which are 1396 MHz 2006, 696 MHz 2008, 427 MHz 2010 2902200 hasmultiple contributors. The two most important
and 171 MHz 2012 generated by the single DDS chip. contributors of phase noise in the phase noise simulation
In the first embodiment of the present disclosure as plot 2902200 are the reference VCO 1720 and the reference
disclosed above in FIG . 17, theDDS 1702 elementgenerates 15 clock TCXO 1724 as discussed in FIG . 17.
atleast one clock signal Fc2 ofa variable frequency range A phase noise plot 2208 is the contribution of the refer
of 0.1 GHz to 0.225 GHz. Correlating this variable fre ence VCO 1720 in the phase noise simulation plot 2902200.
quency range of0.1GHz to 0.225GHzapplicable in the first Thereference sampling PLL 1718 attenuates the phasenoise
embodiment of the present disclosure with the DDS phase plot 2208 coming from the primary VCO 1706 to quite an
noise simulation plot 2000, it becomes evidently clear that 20 extent. This attenuation is clearly visible in the phase noise
even in worst case scenario the DDS phase noise contribu simulation plot 2902200.
tion in the first embodiment of the presentdisclosure stays The other primary contributor in thephase noise simula
in between the 427MHz2110 and the 171MHz2012which tion plot 2902200 is the phase noise coming from the
is in between - 125 dBc/Hzand - 120 dBc/Hzwhich is still reference clock TCXO 1724 present in the first embodiment
very much negligible. 25 of the present disclosure. A phase noise plot 2210 is the
FIG . 21 illustrates a phase noise simulation plot 2100 contribution ofthe TCXO 1724 into thereference sampling
contributed by the main PLL 1710 in accordance with the PLL 1718. The phase noise plot 2210 is titled as XTAL in
first embodimentofthe present disclosure. The two dimen - the phase noise simulation plot 2902200. This phase noise
sional phase noise simulation plot 2100 comprises of an plot 2210 is the contribution of the TCXO 1724 in the
ordinate (vertical axis) disclosing Phase Noise (dBc/Hz) 30 reference sampling PLL 1718, when the TCXO 1724 is
21102 and one abscissa (horizontal axis) disclosing Fre- generating input frequencies of 100 MHz.
quency (Hz) 2104. The phase noise simulation plot 2100 Thereference samplingPLL 1718 forwards the generated
discloses the phase noise contributed by themain PLL 1710 sampling reference frequency of 9 .4 GHz towards the down
asdisclosed in the firstembodimentofthe present disclosure convert mixer 1716. The down convertmixer 1716 mixes
in FIG . 17. It is evidently visible that the phase noise 35 this generated sampling reference frequency of 9.4 GHz
simulation plot 2100 has multiple contributors. The two with the incoming frequencies of 9.5 GHz-9 .625 GHz to
most important contributors of phase noise in the phase generate a attenuated intermediate frequenciesof 0. 1GHz to
noise simulation plot 2100 are the primary VCO 1706 and 0.225 GHz. This attenuation procedure itself reduces the
the DDS 1702 as discussed in FIG . 17. phase noise contributions coming from the reference VCO
A phase noise plot 2108 is the contribution oftheprimary 40 1720 and the TCXO 1724.
VCO 1706 in the phase noise simulation plot 2100.As the FIG . 23 illustrates a phase noise simulation plot 2300
primary VCO 1706 belongs to themain PLL 1710, themain contributed by a reference sampling PLL when a TCXO
PLL 1710 attenuates the phase noise 2108 coming from the clock (or any other reference clock ) generates input frequen
primary VCO 1706 to quite an extent. This attenuation is ciesof250MHz in accordancewith the first embodimentof
clearly visible in the phase noise simulation plot 2100. 45 the present disclosure.
The other primary contributor in the phase noise simula - The two dimensional phase noise simulation plot 2300
tion plot 2100 is the phasenoise coming from the DDS 1702 comprises of an ordinate (vertical axis) disclosing Phase
presentin the first embodimentofthe presentdisclosure. A Noise (dBc/Hz) 2302 and one abscissa (horizontal axis)
phase noise plot 2112 is the contribution of the DDS 1702 disclosing Frequency (Hz)2304. The phase noise simulation
into themain PLL 1710. The phase noise plot 2112 is titled 50 plot 2300 discloses the phase noise contributed by the
asXTAL in the phase noise simulation plot2100. This phase reference sampling PLL 1718 as disclosed in the first
noise plot 2112 is the contribution of the DDS 1702 in the embodiment of the present disclosure in FIG . 17. It is
main PLL 1710 at a worst point of an output frequency of evidently visible that the phase noise simulation plot 2300
1000 MHz. hasmultiple contributors. The twomost important contribu
The main PLL 1710 forwards the primary VCO 1706 55 tors of phasenoise in the phase noise simulation plot2300
generated output frequencies of 9.5 GHz-9.625 GHz are the reference VCO 1720 and the TCXO 1724 as dis
towards the down convert mixer 1716. The down convert cussed in FIG . 17.
mixer 1716 mixes incoming theprimary VCO 1706 gener A phase noise plot2308 is the contribution ofthe refer
ated output frequencies of 9 .5 GHz- 9.6257 GHz with the ence VCO 1720 in thephase noise simulation plot 2300. The
sampling reference frequency of 9.4 GHz and generates 60 reference samplingPLL 1718 attenuates the phase noise plot
attenuated intermediate frequencies of 0 .1 GHz to 0 .225 2308 coming from theprimary VCO 1706 to quite an extent.
GHz. This attenuation procedure itself reduces the phase This attenuation is clearly visible in the phase noise simu
noise contributionscoming from theprimary VCO 1706 and lation plot 2300.
the DDS 1702. It can be further note that a phase detector The other primary contributor in the phase noise simula
noise floor plot 2114 is negligible. 65 tion plot2300 is the phase noise coming from the TCXO
FIG . 22 illustrates a phase noise simulation plot 2902200 1724 present in the first embodiment of the present inven
contributed by a reference sampling PLL when a TCXO tion . A phase noise plot 2310 is the contribution of the
US 9,831,881 B2
32
TCXO 1724 into the reference sampling PLL 1718. The convertmixer 1716. The down convertmixer 1816 mixes
phase noise plot 2310 is titled asXTAL in the phase noise this generated sampling reference frequency of 9.4 GHz
simulation plot 2300. This phase noise plot 2310 is the with the incoming frequencies of 9.5 GHz-9.625 GHz to
contribution of the TCXO 1724 in the reference sampling generate attenuated intermediate frequencies of 0.1GHz to
PLL 1718, when the TCXO 1724 is generating input fre - 5 0.225 GHz.
quencies of 250 MHz. FIG . 26 illustrates a phase noise simulation plot 2600
Thereference sampling PLL 1718 forwards the generated contributed by a reference sampling PLL having the TCXO
sampling reference frequency of 9.4 GHztowards the down clock (or any other reference clock ) generating input fre
convertmixer 1716. The down convertmixer 1716 mixes quencies of 250 MHz in accordance with the second
this generated sampling reference frequency of 9 .4 GHz 10 embodiment of the present disclosure.
with the incoming frequencies of 9.5 GHz-9.625 GHz to The two dimensional phase noise simulation plot 2600
generate attenuated intermediate frequencies of 0 .1 GHz to comprises of an ordinate (vertical axis) disclosing Phase
0.225 GHz. This attenuation procedure itself reduces the Noise (dBc/Hz) 2502 and one abscissa (horizontal axis)
phase noise contributions coming from the reference VCO disclosing Frequency (Hz) 2504. The phase noise simulation
1720 and the TCXO 1724. 15 plot 2600 discloses the phase noise contributed by the
FIG . 24 illustrates a phase noise simulation plot 2400 reference sampling PLL 1818 as disclosed in the second
contributed by a main PLL in accordance with the second embodiment of the present disclosure in FIG . 18.
embodiment ofthepresentdisclosure. The two dimensional Theprimary contributor in thephasenoise simulation plot
phase noise simulation plot 2400 comprises of an ordinate 2600 is the phase noise coming from the TCXO 1802
(vertical axis ) disclosing Phase Noise (dBc/Hz) 2402 and 20 present in the second embodiment ofthe presentdisclosure .
one abscissa (horizontal axis) disclosing Frequency (Hz) A phase noise plot 2610 is the contribution ofthe TCXO
2404. The phase noise simulation plot 2400 discloses the 1802 into the reference samplingPLL 1818. Thephasenoise
phase noise contributed by the main PLL 1812 as disclosed plot 2610 is titled as XTAL in the phase noise simulation
in the second embodiment of the present disclosure in FIG . plot 2600. This phase noise plot 2610 is the contribution of
18. The primary difference between the phase noise simu- 25 the TCXO 1802 in the reference sampling PLL 1818, when
lation plot 2400 and the above plots of FIGS. 21, 22 and 23 the TCXO 1802 is generating input frequencies of250 MHz.
is thatthere is no DDS present in the second embodimentof Thereferencesampling PLL 1818 forwards the generated
the present disclosure. The most important contributor of sampling reference frequency of 9.4 GHz towards the down
phase noise in the phase noise simulation plot 2400 is the convert mixer 1716 . The down convert mixer 1816 mixes
TCXO 1802 as discussed in FIG . 18. 30 this generated sampling reference frequency of 9.4 GHz
A phase noise plot2412 is the contribution ofthe TCXO with the incoming frequencies of 9.5 GHz-9.625 GHz to
1802 into themain PLL 1810. The phasenoise plot 2412 is generate a attenuated intermediate frequencies of0.1GHzto
titled as XTAL in the phase noise simulation plot 2400. Due 0.225 GHz.
to theabsence ofany DDS in the second embodiment ofthe FIG . 27 illustrates a flow chart 2700 depicting the opera
present invention, a phase detector plot 2410 becomes a 35 tionalmethods of the first embodimentin accordance with
major factor. the presentdisclosure.Atstep 2702,theReference Sampling
The main PLL 1812 forwards the primary VCO 1810 PLL receives clock signals from a TCXO, generates sam
generated output frequencies of 9.5 GHz-9.625 GHz pling frequencies to eliminate digital noise floor and for
towards the down convertmixer 1816. The down convert wards the sampling frequencies towards a Down Convert
mixer 1816 mixes incoming the primary VCO 1810 gener- 40 Mixer.
ated output frequencies of 9.5 GHz-9.625 GHz with the At step 2704, theMain PLL receives clock signals from
sampling reference frequency of 9.4 GHz and generates a low noise frequency generator DDS, generates the output
attenuated intermediate frequencies of 0.1 GHz to 0 .225 frequencies and forwards them towards the Down Convert
GHz. This attenuation procedure itself reduces the phase Mixer.
noise contributions coming from the TCXO 1802. 45 Atstep 2706, theDown Convert Mixer which is a part of
FIG . 25 illustrates a phase noise simulation plot 2500 the Main PLL receives frequencies coming from both the
contributed by a reference sampling PLL having the TCXO Main PLL and the Reference Sampling PLL, mixes them to
clock generating input frequencies of 100 MHz in accor- reduce a multiplication number N to achievehigh data rate,
dance with thesecond embodimentof thepresentdisclosure. high modulation schemes and low phase deviation errors.
The two dimensional phase noise simulation plot 2500 50 FIG . 28 illustrates a flow chart2800 depicting the opera
comprises of an ordinate (vertical axis) disclosing Phase tional methods of the second embodiment in accordance
Noise (dBc/Hz) 2502 and one abscissa (horizontal axis) with the present disclosure. At step 2802, the Reference
disclosing Frequency (Hz) 2504. The phasenoise simulation Sampling PLL receives clock signals from a TCXO (or any
plot 2500 discloses the phase noise contributed by the other reference clock ), generates sampling frequencies to
reference sampling PLL 1818 as disclosed in the second 55 eliminate digital noise floor and forwards the sampling
embodiment of the present disclosure in FIG . 18. frequencies towards a Down Convert Mixer.
The primary contributor in the phase noise simulation plot Atstep 2804, the Main PLL receives clock signals from
2500 is the phase noise coming from the TCXO 1802 the same TCXO, generates the output frequencies and
present in the second embodimentofthe presentdisclosure. forwards them towards the Down ConvertMixer.
A phase noise plot 2510 is the contribution of the TCXO 60 Atstep 2806, theDown Convert Mixer which is a part of
1802 into thereference samplingPLL 1818. Thephase noise theMain PLL receives frequencies coming from both the
plot 2510 is titled as XTAL in the phase noise simulation Main PLL and the Reference Sampling PLL, mixes them to
plot 2500. This phase noise plot 2510 is the contribution of reduce amultiplication number N to achieve high data rate,
the TCXO 1802 in the reference sampling PLL 1818, when high modulation schemes and low phase deviation errors.
the TCXO 1802 is generating input frequenciesof 100 MHz. 65 FIG . 29 illustrates a flow chart 2900 depicting the opera
The reference sampling PLL 1818 forwards the generated tionalmethods ofthe third embodiment in accordance with
sampling reference frequency of9.4 GHz towardsthedown the present disclosure. At step 2902, a TCXO generates
US 9,831,881 B2
33 34
clock signal of low noise of one frequency that can be fortraditional Radarsystemsand thus,accordingly a correct
anywhere between 100 MHz to 250 MHz. decisionmaybe taken based on execution of the instructions
Atstep 2904, a Sampling Phase Detector receives the set by the processor 3708.
clock signals and eliminates digital noise floor. Further, in case of a Radar unit, the received signal (i.e.,
At step 2906, a Digital PLL is added with the Sampling 5 received from hitting an object and returning as echo ) will
PLLto improve performance and reliability ofan Ultra-low be subject to the Doppler effect. A system implemented in
Phase Noise Frequency Synthesizer to achieve high data autonomous vehicles that utilizes the characteristicsof the
rates, high modulation schemes and low phase deviation Doppler effect, potential slow moving targets will create a
errors. very small Doppler frequency shift that is very hard to
FIG . 37 illustrates a detection system 3700,in accordance 10 impossible to identify with traditionalRadarsystemsthatdo
with various embodiments of the present invention. The not implement an ultra -low noise synthesizer. As a result of
the much improved phase noise at low -offset frequencies
detection system 3700 may be implemented in an autono from the carrier, such signals have a significantly better
mous vehicles that may enable tracking of one or more chance to be detected and analyzed correctly. Further, the
objects in and around the path. Thus, the detection system 15 traditionalmethod of analysis does notneed to change and
3700 may interchangeably be referred to as an 'object should also not change the amountofdata produced by theshould also not cha
detection system 3700'. The detection system includes,but analysis, itwill however improve the accuracy of the infor
not limited to, a radar unit 3702, an ultra-low phase noise
frequency synthesizer 3704 (coupled to the radarunit 3702), The memory 3706 may include instructions set 3710
amemory 3706 and a specialized processor 3708. Theradar 20 having one ormore specialized instructions and a database
unit 3702 may be configured for detecting the presence of 3712. The specialized instructionsmay be executableby the
one or more objects/targets in one or more directions by specialized processor 3708. The detection system 3700 may
transmitting radio signals in the one or more directions. In receive an input from an external source (notshown). Such
an embodiment,the radarunit 3702 may be comprised of at inputmay beprovided to activate the detection system 3700.
least one of or combination of: a traditional Radar system , 25 The inputmay be a command thatmay be provided through
a synthetic aperture radar, or any type of Radar with any an input source such as keyboard or a switch. Further, the
number of Radar subsystems and antennas. Further, the inputmay be provided remotely to the detection system
radar unitmay include a transmitter for transmitting at least 3700 that may be processed by the processor 3708 in
one radio signal to one or more objects and a receiver for accordance with the instructions set 3710. In an embodi
receiving the at least one radio signal returned from one or 3030 ment, once the input is received by the system 3700, the
transmitter of the radar unit 3702 may initiate transmittingmore objects. the radio waves in multiple directions. For example , theThe ultra-low phase noise frequency synthesizer 3704 radio wavesmay be transmitted everywhere in 360 degree to
(hereinafter may interchangeably be referred to as 'fre determine the presence of one ormore objects.
quency synthesizer 3704') may be providing the needed 35 In an embodiment, the radar unit 3702 (in conjunctioncarrier frequency, or a multiple or a fraction ofthe needed with the specialized processor, such as the processor3708)
carrier (orup-conversion) frequency fortheRadar transmit determines a distance and a direction of each of oneormore
ter section. The ultra-low noise frequency synthesizer 3704 objects. Further, the radar unit determines one or more
may also be providing the needed carrier (or down-conver- characteristics, of two close objects irrespective of size of
sion) frequency, or a multiple or a fraction of the needed 40 the one or more objects. Again further, the radar unit
carrier frequency for the Radar receiver section. For some differentiatesbetween two ormore typesof the objects when
Radars thetransmit signalis used as carrier frequency forthe oneobject is visually obscuringanother object.Additionally,
receive section, this does not alter the principle of this the radar unit utilizes a modulated or non-modulated radio
invention and is merely another form of implementation. signal, to determine presence of a slow moving target
Theterm "carrier” may be used interchangeably referring to 45 despite the very small Doppler frequency shift. Also, the
an up-conversion or down-conversion signal. radar unit utilizes a modulated or non-modulated radio
The outputofthe frequency synthesizer 3704may include signal, to determine presence of a close rangetargetdespite
a continuous wave signal with ultra-low phase noise. The the very short signal travel time.Further, in an embodiment,
received radio signalmay be down-converted with the help the detection system 3700 may include additional one or
of frequency synthesizer 3704 and analyzed to determine 50 more sensors thatmay be activated for utilization thereofin
information and/or characteristics corresponding to the one conjunction with the radar unit 3702. Such additional sen
or more objects. Such information may include (but not sors may include, but are not limited to, one or more
limited to ) velocity, distance, frequency and type(s) of the cameras, ultrasonic sensor,sonar, sensor for image process
object(s). The distance may be determined between the ing etc.
object and the radar unit 3702. Accordingly, an action may 55 In an embodiment, the radar unit 3702 of the detection
be adopted by the system 3700 based on the information system 3700may be placed above the vehicle, or anywhere
received from the analysis of the synthesized radio signal. else in or on the vehicle, to transmit the radio signals in
For example, ifthe detection system 3700 is implemented in various directions and further to receive the returned radio
a vehicle,the radar unit3702may transmit theradio signals, signals as returned from the object(s) (after hitting the
that in this case will carry ultra -low or negligible phase 60 object(s )).
noise,and following thatthereceived return signalwillcarry Further, the specialized instruction on execution by the
ultra-low ornegligible phasenoise aswell.Thereturn signal specialized processor gathers information corresponding to
willbe analyzed to determine the presence of the objects and the one or more objects and surroundings corresponding
their locations with respect to the vehicle . The fact that an thereto , the information being gathered based on the
ultra-low phase noise synthesizer is used practically guar- 65 returned radio signal. Specifically, the information corre
antees thatthe information corresponding to the oneormore spondingto theobjectmay be gathered from theradio signal
objectsmay be determined in a more accurate fashion than thatis returned from theobject(s). The information gathered
US 9,831,881 B2
35 36
may include,but is not limited to,surrounding information position,frequency and type(s)ofthe object(s).The distance
oftheobject(s)such asroad structure,traffic in frontofthose may be determined between the object and the radar unit
objects, trafficbehavior,response ofthe oneormore objects 3802 and accordingly the expectedtimebywhich the object
based on the traffic behavior. Further, based on analysis of may reach near the vehicle and vice versa may also be
these, the system may determine probable nextmove cor- 5 determined. Herein, the one or more factors may include
responding to the one or more objects and perform pre- (but not limited to at least one of one or more input
planning corresponding to probable moves thatmay be instructions,analysis of past history, and current situation.required in near future. Such intelligent planning of the
Further, a suitable action may be determined by thedetection system may determine probable events on the detection system 3700 (for example, by the processorroad. This further ensures safety on theroad. Further, the 10 thereof) based on analysis oftherefined radio signal. Suchinformation corresponding to the objects and surrounding determined suitable action may then be performed by the
may be stored in the database 3712 for future reference and vehicle 3800.For example, the processor (asshownin FIG .planning. Furthermore , the information may be provided to
37) may provide signals for actuation of one or morean outputdevice (not shown) such as a display. The infor
mationmay also be transferred to a Database outside of the 15 components ofthe vehicle to perform one ormore actionsmationmay alsobe transferred to a Database outside ofthe 15 components of
autonomous vehicle such as, but not limited to, a cloud based on the one ormore input instructions. In an embodi
based database. ment, the detection system 3700 may include an inputunit
With the implementation of the ultra-low phase noise for receiving oneormore input instructions from an external
frequency synthesizers 3704, the improved phase noise source (such as a user or device). Such instructionsmay be
translated to degrees is better than 0.04 degrees. The detec- 20 stored in a memory (as shown in FIG . 37) of the detection
tion system is further explained with an illustration in system .
conjunction with the following figure(s) (i.e., FIG . 38 ). In an embodiment, the objects, such as other vehicles,
FIG . 38 illustrates an exemplary vehicle 3800 implement- may also implement the detection system . Further, through
ing a detection system (such as the detection system 3700), the radar unit, each object (such as, but not limited to
in accordance with an embodiment of thepresent invention . 25 vehicle) may be able to interact/communicate with other
The radar unit 3802 ofthedetection system may be config- objects through radar signals eitherbyutilizing Radar sig
ured anywhere inside or outside the vehicle 3800. For n als generated by other objects or any other form of inter
example,asdepicted , the radar unit 3802 is placed on the top action . Furthermore, the detection system may enable deter
of the vehicle to detect the presence of one ormore objects mining location and more characteristics of other objects
in one ormore directions. Such objects may include, but is 30 (such as vehicle) having the detection system therein.
notlimited to, other vehicles,human,animal, flying objects In an embodiment, the detection system may further be
or other types of objects in the surroundings. Further, the equipped with one or more components and/or sensors to
objects may be of varying size and type and may have enable additional functioning corresponding thereto. For
differentcharacteristics thatmay bedetermined through the example,cameras, image processing andadditionallow cost
radar unit.Herein , the characteristics ofobjectsmay include, 35 sensors may be utilized to create a 3D mapping of the
but not limited to , shape, size, running speed, maximum surroundings Further, the object such as a vehicle (having
possible speed (for example, based on the type of the the detection system ,may receive instructions from external
vehicle) and so on. In an embodiment, the radar unit 3802 source thatmay be processed effectively by implementing
may be positioned at any other place such as outside or thedetection system .For example, if the vehicle (having the
inside the vehicle. 40 detection system ) receives instructions to reach to a particu
Further, the radar unit 3802may include a transmitter for lar place at a remote location. The detection system in
transmitting radio signals created in conjunction with an combination with GPS may enable the vehicle to reach to
implementation ofan ultra-low phase noise synthesizer. This such particular place. In an embodiment, the detection
signal is transmitted with the goal to be echoed back system may further utilize one or more cameras thatmay
(returned radio signal) from one ormore objects that may 45 provide additional information regarding the environment
be available in the surrounding or other nearareas). Further, and the objects therein ) to the detection system . Advanta
the radar unit 3802may include a receiver for receiving the geously, this enables self-driving of the vehicle without
returned radio signal generated by its paired transmitter or external guidance from a person (such as driver).
any other transmitter from the one or more objects. As FIG . 39 illustrates an exemplary method 3900 flow dia
depicted, signals 3804 may be transmitted and received by 50 gram for autonomous vehicle, in accordance with an
theradar unit 3802. embodiment of the present invention. The method 3900
In an embodiment, the ultra-low phase noise frequency corresponds to functional steps for implementation of an
synthesizer (hereinafter may interchangeably be referred to object detection system , such as the detection system 3700.
as 'frequency synthesizer 3704 ') may be configured inside The order in which method is performed isnot construed as
the vehicle 3800 thatmay be coupled to the radar unit 3802 55 limiting forthe present invention. Further,various additional
positioned on outside surface ofthe vehicle. In an alternate steps may be added in light of the scope of the present
embodiment, the frequency synthesizer 3704may be con- invention.
figured on outside surface ofthevehiclealong with the radar Themethod 3900 may include various steps such as (but
unit. are not limited to ): at step 3902, the method may detect a
Further,the detection system may include a processor for 60 presence ofone ormore objects in one ormore directionsby
processing of the refined radio signals thatmay further be a radarunit.Herein , the radar unit comprising: a transmitter
analyzed to determine information corresponding to the one for transmitting at least one radio signalto the one ormore
or more objects. Further, the processor may determine objects; and a receiver for receiving the at least one radio
additional information corresponding to the one or more signal returned from the one or more objects. Further, the
objects based on the determined information and one or 65 method may include, utilizing (step 3904) at least one
more factors. Such information and additional information ultra-low phase noise frequency synthesizer for refining the
may include (but is not limited to) velocity,distance,angular transmitted and the received signals of the radar unit, and
37
US 9,831,881 B2
38
thereby determining a phase noise andmaintaining quality Additionally, the method may include a step of activating
of the transmitted and the received radio signals. one or more additional sensors for operation thereof in
Hereinabove, the at least one ultra-low phase noise fre conjunction with theradarunit. Themethod may determine
quency synthesizer comprises: (i) at least one clocking characteristicsoftwo close objects irrespectiveofsizeofthe
device configured to generate at least one first clock signal 5 objects. Further, the method may differentiate between two
of atleast one firstclock frequency; (ii)at leastonesampling or more types of the objects when one object is visually
Phase Locked Loop (PLL ), wherein the at least one sam - obscuring another object.
pling PLL comprises: (a ) at least one sampling phase detec- Based on the gathered information (such as the charac
tor configured to receive the at least one first clock signal teristics) corresponding to the objects, the method (at step
and a single reference frequency to generate at leastone first 10 3908 ) may enable an autonomous vehicle to adopt one or
analog controlvoltage;and (b ) atleastone reference Voltage more actions based on the determined characteristics of the
Controlled Oscillator (VCO) configured to receive the at objects.In an embodiment,such actionsmay be suggested
least one analog control voltage to generate the single by the specialized processor to the autonomous vehicle (or
reference frequency; and (c) a Digital Phase/Frequency components thereof).
detector configured to receive the at least one first clock 15 Advantageously, thepresentinvention emphasizesthatby
signal and a single reference frequency to generate at least incorporating the ultra-low phase noise synthesizer in exist
a second analog control voltage; and (d ) a two-way DC ing Radar system , the performance oftheRadar system will
switch in communication with the Digital Phase/Frequency be improved substantially in termsof targetdetection accu
detector and the sampling phase detector; (iii) at least one racy and resolution and because of this it can become the
first fixed frequency divider configured to receivethe at least 20 dominant sensor for the handling of autonomous cars.
one reference frequency and to divide the at least one Herein , the Synthesizer drastically reduces the phase noise
reference frequency by a first predefined factor to generate ofRadar signals so that such Radar sensorwill be able to
atleastone clock signal for atleastonehigh frequency low replace current sensor systems at very low cost and with
phase noise Direct Digital Synthesizer (DDS) clock signal; reliability atall lighting and adverse weather conditions.
(iv ) at least one high frequency low phase noise DDS 25 Further, the Radar unitmay utilize modulated or unmodu
configured to receive the at least one DDS clock signal and lated waveforms to determine the electromagnetic charac
to generate at least one second clock signal ofat least one teristics such as, butnot limited to, dielectric constants of
second clock frequency; and (v ) at least one main Phase targets with significantly better accuracy. Furthermore, for
Locked Loop (PLL), wherein the at least onemain PLL theRadar unit(as disclosed herein this disclosure) thatmay
comprises: (a ) at least one high frequency Digital Phasel 30 utilize modulated or unmodulated waveforms, the process
Frequency detectorconfigured to receive and compare the at ing speed of the main decision making unit is significantly
least one second clock frequency and at least one feedback improved because the much lower phase noise enables the
frequency to generate at least one second analog control Radar to provide more accurate data with less data than a
voltage and at least one digital controlvoltage; (b ) at least LIDAR sensor for example. Accordingly, the detection
one main VCO configured to receive the at least one first 35 system (such as the detection system 3700) may determine
analog control voltage or the at least one second analog the type ofmaterial of a target object with high accuracy.
control voltage and generate at least one output signalofat Furthermore, the detection system may utilize one ormore
least one output frequency, wherein the at least one digital of: a camera, image processing and additional low cost
control voltage controlswhich oftheatleastone first analog sensors for replacing the need for LADAR /LiDAR .More
control voltage or the at least one second analog control 40 over, in an embodimentofthe presentdisclosure, the Radar
voltage is received by the atleast onemain VCO ; (c )atleast unit (thatmay use modulated or unmodulated waveforms)
one down convert mixer configured to mix the at least one may be utilized in conjunction with LIDAR, Camera, image
output frequency and the reference frequency to generate at processing used to create a 3D mapping of the surroundings.
leastone intermediate frequency;and (d ) atleast one second Additionally, the Radar unit (that may use modulated or
fixed frequency divider configured to receive and divide the 45 unmodulated waveforms) may be used in SAR applications
at least one intermediate frequency by a second predefined or anyother Radarapplication.Herein ,when used in bistatic
factor to generate the at least one feedback frequency. or multistatic scenarios the phase correlation between the
Herein, themethodmay further include various steps such separate transmitters and receivers may be kept between 10
as receiving and multiplying, by ultra-low phase noise to 1000 times better than with traditional Radar systems.
frequency synthesizer, the at least one output signal by a 50 Further, the detection unitmay determine probable events of
predefined factor to generate atleast one final outputsignal objects (such as other vehiclesin traffic area) through Radar
of at least one final output frequency. Further, the method unit andby reducing thephase noise through the phase noise
may generate theup converting or down converting signalof frequency synthesizer. Accordingly, thedetection unit may
the radar unit, by utilizing the ultra-low phase noise fre- pre-plan any eventbased on the determination ofprobable
quency synthesizer. 55 events and may ensure safety on the road, especially during
Themethod 3900 (atstep 3906)may process thereturned traffic time.
(received) signals that are refined (such as down converted) In an embodiment, the vehicle 3800 may include a
by theultra-low phase noise frequency synthesizer to deter- detection system (such as the detection system 3700) having
mine one ormore characteristics of the one or more objects a radar unit (such as the radar unit 3802) thatmay utilize a
(from where the radar signals are returned ). For example, the 60 non -modulated pulse to determine presence of a slow mov
method may determine presence of a slow moving target ing target despite the very small doppler frequency shift.
despite the very small Doppler frequency shift. Further, the Further, the radar unit utilizes a non-modulated pulse to
methodmay include determining presence of a close range determinepresenceof a close range target despite the very
targetdespite the very short signal travel time. Furthermore, short travel time of the signal. Further, in an embodiment,
themethodmay determine a distance and a direction ofeach 65 the radar unit utilizes at least one of: a modulated waveform
of the one ormore objects. Again further,the method may and/or a non -modulated waveform to determine at least one
determine a type of material an object is made up of of: the distance and more characteristics ofany target, one
39
US 9,831,881 B2
40
ormore characteristics of two close targets when both are a transmitter fortransmitting atleast one radio signal to
the same size or one target is smaller than the other target. the one ormore objects; and
Further, the detection system determines a type ofmaterial a receiver for receiving the at least one radio signal
a target ismade up of. returned from the one ormore objects, and
Further,in an embodiment, the radar unit utilizes modu- 5 the at least one ultra-low phase noise frequency synthe
lated or unmodulated waveforms wherein when used in sizer performing as a Local Oscillator (LO) for the
conjunction with targets that utilize Radar signalmodulators radar unit, both the transmitted and the received sig
can identify the modulation. Further, the detection system nals, and thus determining the phase noise and the
may utilize modulated or unmodulated waveforms in radar quality of the transmitted and the received radio sig
unit in conjunction with at least one of: Cameras, image 10 nals, wherein the at least one ultra-low phase noise
processing and additional low cost sensors to create a 3D frequency synthesizer comprises:
mapping of the surroundings. (i) atleast one clocking device configured to generate
While the invention has been described in detail,modi atleast one first clock signalofatleastone firstclock
fications within the spiritand scope ofthe invention willbe frequency;
readily apparent to those ofskill in the art.Such modifica- 15 (ii) at least one sampling Phase Locked Loop (PLL),
tions are also to be considered as part of the present wherein the at least one sampling PLL comprises:
disclosure. In view of the foregoing discussion, relevant (a)atleastone sampling phase detector configured to
knowledge in the artand referencesor information discussed receive the at least one first clock signal and a
above in connection with the Background, which are all single reference frequency to generate atleast one
incorporated herein by reference, further description is 20 first analog control voltage; and
deemed unnecessary. In addition, it should be understood (b ) at least one reference Voltage Controlled Oscil
thataspects of the invention and portionsof various embodi lator (VCO) configured to receive the atleast one
mentsmay be combined or interchanged either in whole or analog control voltage to generate the single ref
in part. Furthermore, those of ordinary skill in the art will erence frequency; and
appreciate that the foregoing description is by way of 25 (c) a DigitalPhase/Frequency detector configured to
example only, and is not intended to limit the invention. receive the at least one first clock signal and a
The foregoing discussion of the present disclosure has single reference frequency to generate at least a
been presented for purposes of illustration and description. second analog control voltage; and
It is not intended to limit the present disclosure to the form (d ) a two-way DC switch in communication with the
or formsdisclosedherein . In theforegoing Detailed Descrip - 30 Digital Phase/Frequency detector and the sam
tion, for example, various features of the present disclosure pling phase detector;
are grouped together in one ormore embodiments, configu (iii)atleastone first fixed frequency dividerconfigured
rations, or aspects for the purpose of streamlining the to receive the at least one reference frequency and to
disclosure. Thefeaturesoftheembodiments,configurations, divide the at least one reference frequency by a first
or aspects may be combined in alternate embodiments, 35 predefined factorto generate at leastone clock signal
configurations, or aspects other than those discussed above. for at least one high frequency low phase noise
This method ofdisclosure is not to be interpreted as reflect DirectDigitalSynthesizer (DDS) clock signal;
ing an intention thepresentdisclosure requiresmore features (iv) at least one high frequency low phase noise DDS
than are expressly recited in each claim . Rather, as the configured to receive the at least one DDS clock
following claimsreflect, inventive aspects lie in less than all 40 signal and to generate at least one second clock
features of a single foregoing disclosed embodiment, con signal ofat least one second clock frequency; and
figuration, or aspect. Thus, the following claimsare hereby (v) at least one main Phase Locked Loop (PLL),
incorporated into this Detailed Description, with each claim wherein the atleast one main PLL comprises:
standing on its own as a separate embodiment ofthepresent (a) at least one high frequency Digital Phase/Fre
disclosure. 45 quency detector configured to receive and com
Moreover,though thedescription ofthepresentdisclosure pare the atleast onesecond clock frequency and at
has included description of one or more embodiments, least one feedback frequency to generate at least
configurations, or aspects and certain variations and modi one second analog controlvoltage and at least one
fications, other variations, combinations, and modifications digital control voltage;
are within the scope of the present disclosure, e.g., asmay 50 (b) at least onemain VCO configured to receivethe
be within the skill and knowledge of those in the art, after at least one first analog control voltage or the at
understanding the presentdisclosure. It is intended to obtain least one second analog controlvoltage and gen
rights which include alternative embodiments, configura erate at least one output signal of at least one
tions, oraspects to the extent permitted, including alternate, output frequency,wherein the at leastone digital
interchangeable and/or equivalent structures, functions, 55 control voltage controls which of the at least one
ranges or steps to those claimed, whether or not such first analog control voltage or the at least one
alternate, interchangeable and/or equivalentstructures, func second analog controlvoltage is receivedby the at
tions, ranges or steps are disclosed herein, and without least onemain VCO ;
intending to publicly dedicate any patentable subjectmatter. (c) at least one down convertmixer configured to
60 mix the at least one output frequency and the
The invention claimed is: reference frequency to generate at least one inter
1. An object detection system for autonomousvehicles, mediate frequency; and
comprising: (d ) at least one second fixed frequency divider con
a radarunit coupled to at least one ultra-low phase noise figured to receive and divide the at least one
frequency synthesizer, configured for detecting the 65 intermediate frequency by a second predefined
presence ofone ormore objects in one ormore direc factor to generate the at least one feedback fre
tions, the radar unit comprising: quency.
42
20
30
US 9,831,881 B2
41
2. The object detection system of claim 1,wherein the (d) a two-way DC switch in communication with the
radar unit determines a distance and a direction of each of Digital Phase/Frequency detector and the sam
one ormore objects. pling phase detector;
3. The object detection system of claim 1,wherein the (iii) at leastone first fixed frequency divider configured
radar unit determines one ormore characteristics, of two 5 to receive theatleastonereference frequency and to
close objects irrespectiveofsize ofthe oneormoreobjects. divide the at leastone reference frequency by a first
4 . The object detection system of claim 1 further com predefined factorto generate atleastone clock signal
prising atleast oneadditional sensorsystem ,available on the for at least one high frequency low phase noise
autonomous vehicle, in conjunction with the radar unit. Direct Digital Synthesizer (DDS) clock signal;
5. The object detection system of claim 1, wherein the (iv ) at least onehigh frequency low phase noiseDDS
radar unit differentiatesbetween two or more types of the configured to receive the at least one DDS clock
objectswhen one object is visually obscuring another object. signal and to generate at least one second clock
6 . The objectdetection system of claim 1, wherein the at signal of at least one second clock frequency; and
leastoneultra-low phasenoise frequency synthesizer further 15 (v) at least one main Phase Locked Loop (PLL),
comprises at least one fixed frequency multiplier configured wherein the at least one main PLL comprises:
to receive and multiply the at least one output signal (a) at least one high frequency Digital Phase/Fre
generated by the at least one main PLL by a predefined quency detector configured to receive and com
factor to generate at least one final output signal of at least pare theatleastone second clock frequency and at
one final output frequency. least one feedback frequency to generate at least
7. The object detection system ofclaim 1, wherein the at one second analogcontrol voltage and at leastone
least one ultra-low phase noise frequency synthesizer is digital control voltage;
implemented on the sameelectronic circuitry or on a sepa (b) at least one main VCO configured to receivethe
rate electronic circuitry. at least one first analog controlvoltage or the at
8. The object detection system of claim 1, wherein the 25 leastone second analog controlvoltage and gen
ultra-low phase noise frequency synthesizermay be used to erate at least one output signal of at least one
generate the up or down converting signal ofthe radar unit. output frequency, wherein the at least one digital
9. The object detection system of claim 1, wherein the controlvoltage controlswhich of theatleast one
radar unit utilizes a modulated or non-modulated radio first analog control voltage or the at least one
signal, to determine presence of a slow moving targets second analog controlvoltage is received by the at
despite the very small Doppler frequency shift. least one main VCO ;
10. The object detection system of claim 1,wherein the (c) at least one down convertmixer configured to
radar unit utilizes a modulated or non -modulated radio mix the at least one output frequency and the
signal, to determine presence of a close range targetdespite 25 reference frequency to generate at least one inter
the very short signal traveltime. mediate frequency; and
11. A method for autonomous vehicles, comprising: (d) at least one second fixed frequency divider con
detecting a presence ofoneormoreobjects in oneormore figured to receive and divide the at least one
directions by a radar unit, the radar unit comprising: intermediate frequency by a second predefined
a transmitter for transmittingatleastoneradio signal to 40 factor to generate the at least one feedback fre
the one or more objects; and quency.
a receiver for receiving the at least one radio signal 12. Themethod of claim 11 further comprisingreceiving
returned from the one ormore objects; and and multiplying, by ultra-low phase noise frequency syn
performing, by at least one ultra-low phase noise fre thesizer,the atleastone outputsignalby a predefined factor
quency synthesizer, as a Local Oscillator (LO ) for the 45 to generate atleast one final outputsignalofat leastone final
radar unit, both the transmitted and the received sig- output frequency.
nals,and thereby determining a phase noise and quality 13. Themethodofclaim 11 further comprisinggenerating
of the transmitted and the received radio signals, the up converting or down converting signal of the radar
wherein the at least one ultra -low phase noise fre unit.quency synthesizer comprises: 30 14. The methodof claim 11 furthercomprising determin(i) at least one clocking device configured to generate ing presence ofa slow moving targetdespite thevery smallat leastone firstclock signalofat leastone firstclock Doppler frequency shift.frequency;
15. Themethod of claim 11 further comprising determin(ii) at least one sampling Phase Locked Loop (PLL),
wherein theatleastone sampling PLL comprises: 55 "sing presence of a close range target despite the very short
(a ) atleast one sampling phase detectorconfigured to signal travel time.
receive the at least one first clock signal and a 16. Themethodofclaim 11 further comprising determin
single reference frequency to generate atleastone ing a distance and a direction of each of the one ormoreing a distance and a direction of each of the one or more
first analog control voltage; and objects.
(b) at least one reference Voltage Controlled Oscil- 60 17. Themethod of claim 11 further comprisingdetermin
lator (VCO ) configured to receive the at least one ing a type ofmaterial an object is made up of.
analog control voltage to generate the single ref- 18. Themethod ofclaim 11 further comprising activating
erence frequency; and one or more additional sensors for operation thereof in
(c) a Digital Phase/Frequency detector configured to conjunction with the radar unit.
receive the at least one first clock signal and a 65 19. Themethod of claim 11 further comprising determin
single reference frequency to generate at least a ingcharacteristicsoftwo close objects irrespectiveofsizeof
second analog control voltage; and the objects.
US 9,831,881 B2
43 44
20. The method of claim 11 further comprising differen
tiatingbetween two ormore types ofthe objects when one
object is visually obscuring another object.
* *

Radar target detection system for autonomous vehicles with ultra-low phase noise frequency synthesizer

  • 1.
    MAIMUUNMUNTANTULMUTLU ONA TIUS009831881B2 (12)UnitedStates Patent Josefsberg et al. (10) Patent No.: US 9,831,881 B2 (45) Date ofPatent: Nov.28,2017 (54) RADAR TARGET DETECTION SYSTEM FOR AUTONOMOUS VEHICLES WITH ULTRA -LOW PHASE NOISE FREQUENCY SYNTHESIZER (58) Field of Classification Search CPC . HO3L 7 /085; HO3L 7 /02; HO3L 7 /099; HO3L 7 /113; HO3L 7 /185 ; HO3L 7 /20; HO3L 7 /23; HO3L 7 /24; HO3L 7 /00; HO3L 7/06; GO1S 7/031; G01S 12/931; G01S 13/931 USPC ...... . 342/128, 70, 99- 104; 327/145, 105, 327/147–159; 701/301; 455/90.1 See application file for complete search history. (71) Applicants:Yekutiel Josefsberg,Netanya (IL ); Tal Lavian, Sunnyvale, CA (US) (72) Inventors: Yekutiel Josefsberg, Netanya (IL ); Tal Lavian, Sunnyvale, CA (US) Subject to any disclaimer,the term ofthis patent is extended or adjusted under 35 U .S.C. 154(b) by 0 days. (56 ) References Cited U.S. PATENT DOCUMENTS 6,085,151 A * 7/2000 Farmer ............. (21) Appl.No.: 15/640,904 7,737,880 B2 * GO1S 7/023 342/70 GOIS 7/023 342/100 6/2010 Vacanti (22) Filed: Jul. 3,2017 (Continued) (65) Primary Examiner — Dinh T LePrior Publication Data US 2017/0302282 A1 Oct. 19, 2017 Related U .S. Application Data (63) Continuation-in-part of application No. 15/379,860, filed on Dec. 15, 2016, now Pat. No. 9,729,158, (Continued) (51) Int. CI. GOIS 13/524 (2006.01) HO3L 7/085 (2006.01) HO3L 77099 (2006 .01) HOZL 7/07 (2006.01) HO3L 7/23 (2006.01) (Continued) (52) U.S.CI. CPC ............. HO3L 7/085 (2013.01); GOIS 7/023 (2013.01); HO3L 7/07 (2013.01); HO3L 77099 (2013.01); HO3L 7/113 (2013.01); HO3L 7/185 (2013.01);HO3L 7/20 (2013.01); HO3L 7/23 (2013.01);HO3L 7/24 (2013.01);GOIS 13/931 (2013.01) (57) ABSTRACT An object detection system for autonomous vehicle, com prising a radar unit and at least oneultra-low phase noise frequency synthesizer, is provided. The radar unitconfigured fordetecting the presence and characteristics ofone ormore objects in various directions. The radar unit may include a transmitter for transmitting at least one radio signal, and a receiver forreceiving the at least one radio signalreturned from the one or more objects. The ultra -low phase noise frequency synthesizer may utilize Clocking device, Sam pling Reference PLL, at least one fixed frequency divider, DDS and main PLL to reduce phase noise from the returned radio signal. This proposed system overcomes deficiencies of current generation state of the art Radar Systems by providing much lower level of phase noise which would result in improved performanceofthe radar system in terms of target detection , characterization etc. Further, a method for autonomous vehicle is also disclosed. 20 Claims, 40 Drawing Sheets DetectingSystem 3702 3706 RadarUnit Memory 3710 3704 Instructions set 3712 Low Phase Noise frequency synthesizer Database Processor 3700
  • 2.
    US 9,831,881B2Page 2 RelatedU .S. Application Data which is a continuation of application No. 15/229, 915, filed on Aug.5, 2016 ,now Pat.No. 9,705,511. (60) Provisional application No.62/181,221, filed on Jun. 18, 2015. (51) Int. Cl. HOZL 7/20 HO3L 7/185 HO3L 7/113 HO3L 7/24 GOIS 7/02 GOIS 13/93 (2006 .01) (2006 .01) (2006 .01) (2006 .01) (2006.01) (2006 .01) (56 ) References Cited U.S.PATENTDOCUMENTS 8 ,049,656 B2* 11/2011 Shani G01S 77021 342/13 9 ,470,784 B2 * 10/2016 Kishigami .............. GO1S 13/91 9,689,983 B2 * 6/2017 Cao ....................... G018 13/931 * cited by examiner
  • 3.
    U. S .Patent Nov.28,2017 Sheet 1 of40 US 9,831,881 B2 -10 ?? MAMAHA ??????????? ??AXO NAL_MACHANE 06 ???????????????????? ?? FIG.1 2 ? ARACLE:ZHEJAPAPANYREAL ???
  • 4.
    200 ** *** U .S .Patent 202 204 206 208 TOWWWWWY*XXXYYIK IWAYAXWXY Mtiivi Fout Loop MerrnHTROOK Fclock Reference Phase Clock detector www VA VCOWYKYKYMYAYISYYTY W TRAB HXHEY filter Nov.28,2017 VP???????????????????? WAMI PETENSI Fclock- WARY Divider Sheet 2 of40 +* A49265917 W W9144447714727WW949*407472999697989649W 210 N WOWYWIwMTY244AYAAVANI SWcontrol FIG.2 US 9,831,881 B2
  • 5.
    U .S .Patent 300 ****** 304 Nov.28,2017 YNAYYNAMYYYYYYYYY Fclock PED AVVAvYW4V VREMSANNSYANVAR VANNY TYTYYYYYSTAWY FoutN TYWYYTYYTYVYYTYYTY YMYWYYNY *wm Sheet 3 of 40 VALOXBLLOK U SUWOWEN FIG.3 US 9,831,881 B2
  • 6.
    U .S. PatentNov. 28, 2017 Sheet 4 of 40 US 9,831,881 B2 FREE THAAAAAAAAWITHHANA PROPHOT CeLALALA |402129F AHA FIG.4 / C3 989REATA ALLEAL TANIAAAAAAAAAA NONEW
  • 7.
    U .S .Patent Nov.28,2017 Sheet 5 of40 US 9,831,881 B2 OUTPUTfilmikriitiderke wwwww * * ** * ** w.w *** w * * * * * * * *** *Wi SAMPLECONTROLC distrimit watuOmano FIG.5 OUTPUTINPUT wwwmums itininiai w* CH har *** * * ** *** ** * *** *** * ** *** ** *** * ** ** * * * * ** * *** *** * wwwminiwmiwa SAMPLECONTROLwwwwwwwwwwx INPUT
  • 8.
    U .S .Patent PRATTUT TON TO T win ZUTA VAMZAWAYLYLLAHA 604. 602RF ERRORVOLTAGE Nov.28,2017 20 WWW:MRM 00MHZ INPUT SRD ** INPUTYA ALLAH 7 YYRYYYYYYYYYYY WE 606 } Sheet6 of 40 UWAUAWASAVYOWAWEANSross YO + WA FIG.6 US 9,831,881 B2
  • 9.
    U .S .Patent Nov.28,2017 Sheet 7 of40 US 9,831,881 B2 ? - -- Sunwind IN d ------- im - Flapper nasprotiobuna ata cancelamentoensinomasselfoongtaon sercise nestiw *+-*+- w . d A VV . wwwwww FIG.7 par ? d restierikw tym w hanguiniffinitions thisinformasi ** weitefrana *** broodfrom finansnetton past wantfor theroom wesentlo ngbansasenseofse vese scenes bebas
  • 10.
    U .S .Patent Nov.28,2017 Sheet 8 of40 US 9,831,881 B2 eurde Phasenoise 208 *** WAXWXR O VLADARAKAVA PARANAVARRARANDARARAMDARBAROS PAUKSONAYSEXY FIG.8 r **** 800
  • 11.
    U .S .Patent Nov.28,2017 Sheet 9 of40 US 9,831,881 B2 OSIONOSOud 006. A 904 prisiprie pupuna FIG.9 sesinaisestiXXXXXX 00ADuringandSONSed ************** ********* Hier4 *** 902istiyotlight *** *************** PhaseNoise
  • 12.
    US 9,831,881 B2 ?000 ? ??????????? ? ? ? ? ? ?? ???? ? ? ??????? ? ? ??? ? ? ? ??????????????????? ???????????????? ????????? ?????????? ??????? ?????? ???? ? 1006? ????????????. ??? ? ?? ? ??????????????????????? ? ? ?? ? ? ? ? ? ? ?? ???????? ? ? ??? ? ??? ? ? ? ? ? ??? ?.. ??.? ?????? ????? Sheet 10Of 40 ? , ????????????????????????? ? ? ? ? ?? XXX-XXx ?? ? ? ????? - ? FIG, 10 ? ? ??? ? . ? ? ? ??????.? ????????? ?? ?? ??? ? ? ???????????????? ???????????????? ? ? ? ? ? ? ??? ????????? ? ?.??? ? ?? :*????????8%?????????????? ? ???????????????????????????????? ??? ? ? ? ????? ??????? ??? ?? ? ? ? ? ? ?? ???????? ! ' ???? {{004 ?? ??? ??? ? ?? ?????? _ ,;tterriir? ????????? ? ? ? ? ? ? ? ???????????:???:??:mmif ? ? ?- ? ? ? ????????????????????????????????? ?????? ??????? ;.???????? ? ?????????? ?????? ??????????? ?????? ????? ??? ? ?? ? ????????. 1002 Nov.28, 2017 ? ? ??????????! wv-****** * *** * ** ** **** ** ? 3 3?_ _ . ? ? ?????}??83.. ?????????????????????????????????????????:?????????:?.:::::???:?????.; ? ' ??????????XX?}}'????????????????? U,S, Patent
  • 13.
    atent Nov. 28,2017 Sheet 11 of 40 US 9,831,881 B2 MOBO soydBanks osvendoocon Q Www ** ** INN('ncaoz FIG.11** ***** 1102 1104 aniood******** :. 1100 wwwwwwwwwwwww
  • 14.
    U .S. PatentNov.28,2017 Sheet 12 of 40 US 9,831,881 B2 MOZW send Singlesidebandphasenoise FIG.12 1200
  • 15.
    U .S. PatentNov.28,2017 Sheet 13 of 40 US 9,831,881 B2 312* 13041304 1302 W210) 1316 1310 GY62 FIG.13 edor 1308 ***** * **** 13181306 ** * 1300
  • 16.
    U .S .Patent 1400 1402 Nov.28,2017 1404 14061406 1408 1410 robecareestepersonwithlongcomoCamping TCXO movieLoopiter the Vco erater toget wwwwwwwwwwwwwww Sheet 14 of 40 FIG.14 US 9,831,881 B2
  • 17.
    U .S. PatentNov.28,2017 Sheet 15 of 40 US 9,831,881 B2 1504 DOGLUWWW min 1508 VBULSEWÁN GENERATOR 1502 we who FIG.15 1506 1500
  • 18.
  • 19.
    U .S .Patent 1700 1702 1704 1706 1708 ons 170417081798thenex-Manipulad1716 X8mm wiiiiiii O Nov.28,2017 1710 1716716 3 wwwwwwwwwwwwwwwwwwwwwwwwwwwww 1714 1712 anno1720 SwingVoce Sheet 17 of 40 en1718 ««««««««« SamplingPull 1724 1722 FIG.17 US 9,831,881 B2
  • 20.
    U .S .Patent 1800 1804 *** * * * * * * * * 1802 1810 1814 1806 Synthesizer **...* * Nov.28,2017 W CXO wwwwww X8 W* Detecto * * 1812 wwwW ****** wwwwwww * 1816 ** ** ** * * * ** ** **** Sheet 18 of 40 wwwwwwwwwwwwwwwww SampoVale 1818 1820S 1822 ingul WWWWWWWWWWWWWWFIG.18 US 9,831,881 B2
  • 21.
    U .S .Patent 1900 1916 Nov.28,2017 1902 III-ILLILILI-II-II-ILLILI-LII. fas 1904 SamplingPL comb Comb GamingVSDCswitchLoopL M135 generator Olter détector CXOLO www VCO 19081910 1906 1912 Sheet 19 of 40 DigitalPLL 0000000000000000000000000000000000000OCCA DigialphraseFrequencyDetector 1918 1914 FIG.19 US 9,831,881 B2
  • 22.
    U .S. PatentNov.28,2017 Sheet 20 of 40 US 9,831,881 B2 2006 2008 OLOZ*2012 Ver Rioolwou W.2004 www W wwwwwwwwwwwwwwwwwwwwwwwwwwww 2001FREQUENCYOFFSET(MX} FIG.20 BOL1 00 wwwww wwwwwwwwwwwwwwww OL 2000 PHASENOISE(dBc/M2) 2002
  • 23.
    US 9,831,881 B2 Col4? 504/ ??????????????XM??'0?}_ ?? ??? ? _ fi f }}ff ??? ff; .????????? ???? ?" "? ?"?? ? ?????? ????? ????.???? ????:?????? ? ? ? ??? . ?? ?? ,:;;:? ???? ?????..? ? ???.??:; ??????? ???? ????;.:??.? ??????????::.;.;;;:? ???????????????? ??????? ??????;;_ ?????? y++C ?? ??? ????????:;";? ? ? ????? m? ?.? Sheet 21 Of 40 ? ??. ? ????.? ???? ? 3%8k ??.?.:??:??? ?????????? ???????? ?????? ? ??????? *?? ???????+8%??????????????????? CLLC ?? ???????????????????????????????, ????? ????????? ???:;??? ?????????????:4??????????? ???..?????.??..?.?????? ?????????????? ????????? ????:__.;????:???::;?3? ???????????????;???????? ?????????.????:; * ***.??????????? ;:?????? ????????.???? ??ct A ?????????? .???? ??????? ?** C00/ XIX; 3 ? ? ? ??????????????? ??????:; ??????? ?? ????????? ????????? ?? ? ??? ? ? ? ?? ?? ? -...… ?? ? ? ? 0LLC??]80?90 ???????;: ?????:::? ?? ?? ? ? ? ? ? ? ??????? ?????????????? ??????? ??????????????4 ?? ? ? ? ? ???? ??? ? ?????? ??? ????? ???????? ???:;? ???????..?? ...?... XXX 3 $ ? ? c ? ? ? ? ? ? ? ? X ?????????? ????.????????????? .???? ?????????????????:;:,? ?????????.???????????.? ?? ?.?????? ? ? ??????;3?? ????????? ???????? ?.?????????.??? ?_:'???? ????????? ????????? ??????? ???????? ????????? ?????????? ????????????? ???????? ???'?? ??????????????? ??? ? 3???? ????????? ???????????????? ??????? ?? ????? '..????? ?????? ??% ??????? ???? ?????????. ?.????f" ? ? . Nov.28, 2017 ?????????????? ::::3: ?????? ????&?.? ??? ?.?????? ??????? ??????? ? ? ? ?? ? ???? ???? ?;?? ??? ??? ? ?????? 3 ? ??????????????????? ? ?? ?????????????????????????????????? ????????????????????.??? ??.????? ????????3 :.????????????????|;.?????;: ???????:_ ??????????????}???????????????????;: ???????????????????????????:,?????????????.???????????? ?????????????????????????????????????????????????????????????????????????????????????????????????????????????????????????????????????????????????????????????????????????? ??.??? --- _ ? "?' ? 333333333831 001/ U, S, Patent
  • 24.
    US 9,831,881 B2 2003?88?????????24 ????8} ???FH ? ? ?? }} }? ? ?? ? ????y???? ? ? 0>?0 ?»:«:? ??? ????? ? ??????????-]iwtwyrywr»«?????????????www???????????? ????????????????????????????????????????????? ????:::?? ??????????????? ???????.??????????????????? ?..????:;..????????????????? ????????;???????????????;:";? ?????????????????????????????-??????????????????? ???????????????????? ?????????? ..?????????????????????-?????????? ????}}} ???????? ???????????????????????????????.?.????? ??????????? ??????????? :???????? ??????? ?????????? ?????? ? ? ???????????????? ???????????????? ? ???????? ??:;;;:?????????4 ?????;????? ????????????? ??????? ?????LC+0 Sheet22 of 40 ? ?????? ??? ? Z0ZZ 802/ Khán gi? 48048 ?????????? ?????? ??????? ???????? ????????? ???????????????? **; .?.?? 90Z2 ??.?..???.?.?? ?? ? ?? ?????????????????????????? ? ? ??? ???????????????????? ????? ????? ????}??????????? ? ????????????????????????????? ???????????????????????? ?????????????????????????:??????"??>?.??????????...|.. ?????????????????????????? ????????? ???????????????????????????? ???????????????????????????????????';????????????????.????|??????????????????? ???????..???????????????????????? ?'?? ??????--- ? ;..?..-- ? Nov.28, 2017 - ?.??? ? ?? ?? .? ???????. ??????? ? ?????? ? ? ? ?? ??? [???% 83%? Ftcgi/ XXXV????? 00Z U,S, Patent
  • 25.
    US 9,831,881 B2 £/'lH 50£Z ????.?? ??? ? ? ? ? ??? ? ? ??????? ?XXX? ?? ? ?? ?????? ? ? ? ? ? ? ??? ? ? ?? zte/ ? ??????? ? ?????????????????????? ???????????????????????????????????????????????;???????????? ????????????????????????????????????????? ????? ? ???? ? ?????? ? ? ?? ??? ?? ????????? ? Sheet 23 0f 40 ? ? ?? ??? ????? ? ???? ? ???????????? ? ? ? ????????????????? ??? ? ??0££Z ??????? ? ?..? ?? .C08/ ? ?????????????????????????????? ???????????????????? ?? ??? ???????????????????????????? ????????????? ???? ?????? $f1 ?????? ?? .? ? ??. ? ? ??? ??? ? ???? ?????????? ? ?????????????? ?????????????? ???????? ??????????????????.?????????? ?????????? ? ? ??????????????? ????????????????..?????????? ??????????????? ? ? ?? ? ???????????.????????????????? ????????.:'?????????? ????; ??????? ? ? ? ? ??? ????: ? ??? ?.??? ? ? ?? ' Nov.28, 2017 ..,. ??;:;:? ????????;.?????? ????????????????????????.???????????????????????????????????????????????????????????????.????????? ??????? ???;:;?? ?????? ???????????????????????????????????????????????? ???????????????????????????????????? ???? ???.?:?? ??????? ?????? ????::?? ?????:?????????????????????????????????????????; ???????????????? ????? ????????????????????? ? ? ? ? ,.? ? ??.?.? ?? ? ?? ?? ?? ? ??? 006/ U, S, Patent
  • 26.
    US 9,831,881 B2 Cols PO'z ,??'fxffXVA / $ ry +++? : 1 ??? ? ? ?? ?? ?? -28 ? ?? ??? ? ? ? ??? ? ? ? ? ? ? ? ? .... .. . . . ..... ........ . .. ... .. ... i. .1 N4324 ? ??;:?? ? ? ??? ?_ ? ????? ????? ?????;!??? ?? ?? ? ???????????????? ????????? ?????? 37086 ????????? ? ? ? ? ????? ?? ? ?????::?? ?Z++0 4? Sheet 24 of 40 ???????? C0FC . ??????????? ? ;' fxssgoix?&fc£4z ? ? ? ? ? ? ..????????????????? .?????????????????????.?????????????????????????????????*??.???????????????? ????????????*?????? ?????????????? ?.???????? ????????????????????????. ??????????????????????????????????.??????????????? ?????:;?; *??????? ??????????????? ??????:;?????? ??????? ????????????????????????????????? ?? ?????????,????????????? ????????????????????????????????????????????? ????????????? ?????????????; ???????????? ???????????.? ??????? ? ??????????????????? .?.???? ?????????.?????????????;:?????i' ;;_;??????????????????????????:? ????????????????.???????????.???????? ?????????????????????..????????:? 83? ???????? ???????????????????????????????????? ?8 ?????????????????????????????? ?.????????? ???????????? ??????????????????????????????????????? ??????Z'90 ?' ? ? ? ??? ? ? ? ?? ?? Nov.28, 2017 ??? ? ??? ? ? ? ? ?.????????????????????????.??????????.? ? ?????????????????????????????? ????????????????? ?????? VACA' f 48F% 83% 88A? ?????????????????? 00Z U, S, Patent
  • 27.
    US 9,831,881 B2 SCOld f0g/ ??8*2322%4f4 ? ? ?? ? ? ? ?? ? ? ? ???? ?????? ???????????????? ????????????????????????????? ????????????????????????????????????????????????? ? ??? ?? ???? ? ??????? ????????????? ???????? ?????????????? ??????????????????????????????????? ? ???? ? ? ??? ????????? ????????????;??????????????????????????? ????????????????? ??? ?? ??? ? ?? ? !0 Sheet25 of 40 ????????? ?? ????????? ? ??????????? ?????????????????? ??????? ?? ??? ??? ???????????????? ?????} }}8 ??|.?|. ???????? ???????? ?? C09/ ?? ?? ????? ?? ?.?.'.? 90s/ ??????????????????????????? ????????????? ??????. ?????????????????????????? ?????????????? ?????????????????????????? ????????????? ?? ?????? ????? ?????????????????????????? ?????????????? ???????? ?? ?? ???????????????????????????? ??? ?? ??? ?????? ? ?????? ???? ? ?? ???? ? ? ? ????? ? ? ???? ????? ???????? ? ???? ?????????? ???????????????????? ???? ?..-..- 444 Nov.28, 2017 ???????? ??????????????????????? ???? ???????? ????. ?? ???????.?.;.??? ? ??????????????????????????????????????8 88?????????? ????????????????????????????????????????????????????? ???? ? 009/ U, S, Patent
  • 28.
    US 9,831,881 B2 FIG.26 2604 k&ffi; & ????????????????????????? ? ? ???? ?? ;lf*€ ?} '!} **£ HH { JJ? ? ??? ????? ??? ? ??? ?? ? 4 ???? :;????????:* ?? ??? ????????????? ??????:;_ ???????? ??:?!:; ?????*. ;.;?????? ??? ????? ?????????:? ? ?? ? ?? ??????? ??????? ?? ?? ????? ? ???4 >219 ?????|??????? ????????? ????? ? ?????????????? ?????? ?? *. . * - * -"? ??:;"? ??????? ;;.; ????????° ????????? ??? ? ?? ?? ? ????????? ? ? ?????????????? ??:??? 2610? ??????? ????? ??????? ????????? ??????????? ?? ?? ?:?? ??????? ???????? ??? Sheet 26 of 40 ? 2602 ? ? ? ?? ? ? 809/: ??? ????:; ; -.. ???.-.--;.? ??? 82%2&?%82%8K8%82%XX 444444 '???????????????:? ?????? ???????????? ; :'?? ???? ? ?? ? ? ? ?????? * * * ? ? ! i; ? ????? ????????????????????????????????????????????????rnioqu ????..???? ? ? 2606??? ??? ? ? ? ??????? ? ? ???? ???? ? ?? ? ???? ?????????? ????. ?????:????????? ????????????????? ?????????????????? ? ???? ?? ?? ? ; ? ??? ? ?;.:! ? ?? ?? ?? ??????????????? ????? ?? ??? ?? ? ????? ?? . * . " . * * * ?? ???????? ????????? ?? ???????? ??????? ?? ? ??????? ?????? ???...-??-.- ???4????????. ??????? ???????? ??4???? ??????? ? ??????????. ?_.?????? ??????? ; ? ??..???????? ? ?? ? ???*?? ????:?' ? ? ?? ? ..? ?? ?? ??? ?? ?°? ?????? ?????? ?? ? ? ?????? ??? ? ???????? ?????? ????? ? ??:; ? ? ? ? ??k?? ???-? ?? ?????????3 ? ? Nov.28, 2017 ? ?????.?????? ???????? ???????? ? ?????????? ???? % AMM - A ? ???? ??? ???? ;.*.???????????????? ???????? % A4% 8 ? }$ --??????????? ???????? $$$$$$$; ?? ?? citt% ? ?????? ????? ?????:.. = 4 & ??? ?f ?? ?:4 ??????????????????????????????? ????? 4 }} 9C C4% suoinquuooOSIONIV ????? ?????? ??????????????????????????????????????? ????? 2600 U,S, Patent
  • 29.
    U .S .Patent Nov.28,2017 Sheet 27 of 40 US 9,831,881 B2 DOLZ WWW o are SoSOSIALlontaKouko WooSoxmasesamo also900 9026 - . 7. . .7 . 7 . . . . . . wwwwwwwww 27913*************** 08-STKS Matag216 SongMoSanRIam KOONB umesShoesB QBORCERDD S YOUTUS MOBORE SOWIEDESS oogooe. DOO wwwwwwwwwwwwwwwwwwwwwwwwwwwwwwwwwwwwwwwwwwwwwwwwwww* * w www F *. * *. *. *. * *. * *. * *. * *. *. * *. * *. * *. *. *. * *. *. * *. * *. *. *. wwwwwwwwwwww SOMI SOLOOXOL100 DUODONQ MARIEOMX dues 80,Spo eX DOLZ
  • 30.
    US 9,831,881 B2 87913 * W X WooLogoON WOWON on *44 9087. S WWWWWWWWW Sheet28 of 40 www LOW OSOS B OXwwwwwwwwwwwwwwwwww 001SEOS 1087 2087 M ay Nov.28,2017 www MUSEOOmau U .S. Patent 0082
  • 31.
    US 9,831,881 B2 FIG.29 EndtEnd cher -LULLILLLLL112-414144-141-LU. LUI-L114.114.1144471114_WJ.LIIJ.LUJJ1111111119 2906 "$Quouogelapasoodso Puesowadsuogompowyousoleselep YouOne0:192SousXoU90091SON3:20.Moeunuejocenas OURROUBOVadnow01116oulddiessyvumBeppesino2007 Sheet29 of 40 ----- -2 -2 -2 2 ---- -- --2 --------2----2----- SRUusYoonDUSLUCOUuwasaidnou35oujeopjelugepuleseulisyogp OLSanaazooalad984dOujduasy 1062 wwwwwwwwwwwwwwwwww121*1 * 311424413623.41.41 :21:22 :14.233.242 :1-24 Nov.28,2017 2067 ZMNOSZOZHW000SOGUEROUNDSQUMOjosiaubisxpopsouboucoOXOLY 2900 U .S. Patent
  • 32.
    U .S .Patent Nov.28,2017 Sheet 30 of 40 US 9,831,881 B2 * * . LIDAR"Deadzone" FIG.30A(PriorArt)
  • 33.
    U .S .Patent Nov.28,2017 Sheet 31 of 40 US 9,831,881 B2 * * * * * * institutions wwwwww MODO** LIDARunitabovecar FIG.30B(PriorArt)www W * * VAR*! wwwwww w ét wa wwwww wwwwwwwwwww
  • 34.
    US 9,831,881 B2 (wyjoud)LE'91 * ################################################# # ####################* suoppb?f?sparuemun Sheet32 of 40 ***** **** * ** ** ??????-?SAHAPE od - - - -- --- Nov.28,2017 ***** * **** * * wy. U .S. Patent
  • 35.
    U .S. PatentNov.28,2017 Sheet 33 of 40 US 9,831,881 B2 entransmit ContinuousRadarContinuousRadar receive FIG.32 (PriorArt) arebooks10ftblindadvancementat65mph
  • 36.
    U .S .Patent Nov.28,2017 Sheet 34 of 40 US 9,831,881 B2 :: RadarNotlimitedbylight camerelimitedLightedArea Notvisiblefor CamerasFIG.33 Radarbehindplasticparts
  • 37.
    U .S. PatentNov.28,2017 Sheet 35 of 40 US 9,831,881 B2 FastMovingObject ??????"Skirts SlowmovingObject A FIG.34(PriorArt)
  • 38.
  • 39.
    U .S .Patent Phasenoise"Skirt ElevatedSNRduetoPrase Noise Weaksignalsobscuredby????? Nov.28,2017 MoltipleReturnSignals Sheet 37 of 40 FIG.36 (PriorArt) US 9,831,881 B2
  • 40.
    U .S .Patent DetectingSystem 3702 3706 Nov.28,2017 RadarUnit Memory 3710 3704 Instructionsset 3712 LowPhaseNoisefrequencysynthesizer Database Sheet 38 of 40 3708 Processor 3700 FIG.37 US 9,831,881 B2
  • 41.
    U .S .Patent Nov.28,2017 Sheet 39 of 40 US 9,831,881 B2 -3804 3802 FIG.38 **** . bitrate 3800
  • 42.
  • 43.
    US 9,831,881 B2 RADARTARGET DETECTION SYSTEM FOR AUTONOMOUS VEHICLES WITH ULTRA-LOW PHASE NOISE FREQUENCY SYNTHESIZER inputs. For autonomous cars and other autonomousvehicles, the human sensesmustbe replaced with electronic sensors and the cognitive capabilities by electronic computing power. Themost common sensor technologies are as fol 5 lows: CROSS-REFERENCE TO RELATED LIDAR (Light Detection and Ranging)— APPLICATIONS is a technology thatmeasures distance by illuminating its surroundingswith laser light and receiving the reflections. This application is a continuation-in -part of U .S . appli- However, themaximum power of the laser lightneeds to be cation Ser. No. 15/379,860 filed on Dec. 15, 2016, is a 10 keptlimited to make them safe for eyes,as the laser lightcan continuation of U .S. application Ser.No. 15/229,915 filed on easily be absorbed by eyes. Such LIDAR systems are Aug. 5, 2016,now U .S. Pat. No. 9,705,511,which claims usually quite large,expensive and donotblend inwellwith priority to U .S. ProvisionalPatent Application No.62/181, the overall design of a car/vehicle. The weight of such 221 filed on Jun. 18, 2015,the disclosure ofwhich is hereby systemscan be as high as tens ofkilogramsand thecostcan incorporated by reference in its entirety. 13 be expensive and in some cases high up to $100,000. This patent application relates to the following co-as Radar (Radio Detection and Ranging) signed applicationsthatare each incorporated by reference: These days Radar systemscan be found as a single chip International Patent Application number PCT/IB2016 / solution thatis lightweight and cost effective. These systems 054790 filed on Aug. 9, 2016. U .S. Pat. No. 9,660,655 work verywellregardless oflighting orweather conditions granted May 23, 2017, based on U .S.application Ser. No. 20 and have satisfying accuracy in determining the speed of 15/379,915 filed on Dec. 15, 2016 . objects around the vehicle. Having said the above, mainly because of phase uncertainties the resolution of RadarFIELD systems is usually not sufficient. Ultrasonic Sensors Embodiments of the present disclosure are generally 25 These sensors use sound waves and measure their reflec related to sensors for autonomous vehicles (for example, tions from objects surrounding the vehicle. These sensorsSelf-Driving Cars) and in particularto systemsthatprovide are very accurate and work in every type of lighting condi ultra-low phasenoise frequency generation forRadar Appli tions.Ultrasonic sensors are also smalland cheap andwork cation for autonomous vehicles. well in almost any kind ofweather,but that is because of their very short range of a few meters.BACKGROUND Passive Visual Sensing This type of sensinguses cameras and image recognitionAutonomous Cars: algorithms. This sensor technology has one advantage that Levels of Autonomous Cars: none of the previous sensor technologies have colour andAccording to the Society ofAutomotiveEngineers (SAE) 35 contrastrecognition .Aswith any camera based systems,thecars and vehicles in general are classified into 5 different performance ofthese systemsdegradeswith bad lightingorclassifications: adverse weather conditions. Level 0: Automated system has no vehicle control, but The table below is designed to provide a better undermay issue warnings. standing ofthe advantages and disadvantages ofthedifferent Level1:Drivermustbe ready to take controlat any time. 40 currentsensortechnologiesand their overall contribution toAutomated system may include features such asAdap an autonomous vehicle:tive Cruise Control (ACC), Parking Assistance with The following tables scores the different sensors on aautomated steering, and Lane Keeping Assistance scale of 1 to 3, where 3 is the best score:(LKA) Type II in any combination. Level 2: The driver is obliged to detect objects and events 45 and respond if the automated system fails to respondto respond ItemItem LIDAR RADAR Ultrasonic Camera properly. The automated system executes accelerating, braking, and steering. The automated system can deac Proximity Detection tivate immediately upon takeover by the driver. Range Resolution Level 3: Within known, limited environments (such as 50 Operation in darkness freeways), the driver can safely turn their attention Operation in light away from driving tasks,butmust stillbe prepared to Operation in adverse WeatherIdentifies colour or contrast take control when needed. Speed measurement Level 4: The automated system can controlthe vehicle in Size all but a few environments such as severe weather. The 55 Cost drivermust enable the automated system only when it Total 18 24 22is safe to do so.When enabled, driver attention is not 21 required. Level5 : Otherthan setting the destination and starting the The above presentation of the state of the technology system , no human intervention is required . The auto - 60 proved a high-level view of the advantages and disad matic system can driveto any location where it is legal vantages of the technologies from different perspec to drive and make its own decisions. Sensor Technologies: Drawbacks of Current Sensors: Simple cars and other types of vehicles are operated by As shown in the table above, the available sensors for humans and these humansrely on their sensessuch as sight 65 existing autonomous vehicles are LIDAR, Sonar, passive and sound to understand their environment and use their vision (cameras), and radar. Many of these sensors come cognitive capabilities to make decisions according to these with significant drawbacks, while radar systems do not ?????? ENENWWNN wwwwwwANN ??????????????????????| ??????????? tives.
  • 44.
    US 9,831,881 B2 experiencemost of the drawbacks and thus better among needs to be handled in realtimeand thusrequire expensive other sensors, based on the table shown above: and complicated computation capabilities,while Radarsys For example,LIDAR systemshave a “dead zone” in their tems create much less data that is easier to handle. Passive immediate surroundings (as shown in FIG . 30A ), while a visual systems cannot see “ through ” objects while Radar Radar system will be able to cover the immediate surround- 5 can, which is useful in determining if there are hazards ings of a vehicle as well as long range with enhanced behind vegetation forinstance such aswildlife thatis aboutaccuracy. to cross the road . In order to eliminate the “dead zone” asmuch as possible Further, it is easily understandable that in order to cover LIDARs are mounted tall above the vehicle (as shown in allpossible scenarios all (ormost) of these sensors need toFIG . 30B). These limits the options of using parking 10 work together as a well-tuned orchestra. But even if that isgarages, causes difficulty in the use of roof top accessories the case,underadverse lighting and weather condition someand finally also makesthe vehicle lessmarketable since such sensor types suffer from performance degradation while thea tower does notblend in well with the design of a vehicle. TypicalLIDAR systemsgenerate enormous amounts of Radarperformance stayspractically stable under all of these datawhich require expensive and complicated computation 15 conmplicated computation 15 conditions. The practical conclusion is that Radar perfor capabilities,while Radar systems generate only a fraction of mance is notdriven by environmentalfactors asmuch asby this data and reduce the cost and complication of on board its own technology deficiencies, or a specific deficiency of computation systemssignificantly.For example,sometypes one ofits internal components thatthe invention here will of LIDAR systems generate amounts of 1-Gb/s data that solve. require substantial amount of computation by strong com - 20 Summarizing all of the advantages and disadvantages puters to process such high mount of data. In some cases, mentioned above it is clear that Radar systemsare efficient thesemassive computations require additional computation in termsof cost, weight, size and computing power. Radar and correlation of information from other sensors and systems are also very reliable under adverse weather con sources of information. In some cases, the source for addi- ditions and all possible lighting scenarios. Further, SAR tional computations is based on detailed road information 25 Radar Systems may be implemented to create a detailed collected over time in databases or in enhanced maps. picture of the surroundings and even distinguish between Computations and correlations can be performed against different types ofmaterial. past information and data collected over time. However, the drawback ofexisting Radarsensors was the Typical LIDAR systemsare sensitiveto adverse weather impact on their accuracy due to the phase noise of its such as rain , fog and snow while Radar sensors are not. A 30 frequency source,the synthesizer. Thus, an enhanced system radar system will stay reliable and accurate in adverse is required (for purposes such as for autonomous vehicles) weather conditions (as shown in FIG . 31). LIDAR systems that may utilize benefits of Radar system by mitigating use mechanical rotation mechanisms that are prone to fail- eliminating the corresponding existing drawbacks. For ure,Radars are solid state and do nothavemovingparts and example, the required enhanced system , in addition to as such have a minimal rate of failures. 35 improving common existing Radar systems, should also TypicalLIDAR systemsrely on a rotation speed ofaround improve bistatic or multistatic Radar designs that use the 5 -15 Hz. Thismeans thatif a vehicle moves at a speed of65 sameplatform or differentplatformsto transmit and receive mph, the distance the vehicle travels between “ looks” is for reducing the phase ambiguity that is created by the about 10 ft. Radar sensor systems are able to continuously distance of the transmitting antenna from the receiving scan their surroundings especially when these systemsuse 40 antenna by a significant amount. one transmitting and onereceiving antenna (Bistatic system ) Essentially, a signalthatis sentoutto cover objects (here: (as depicted in FIG . 32). Further, LIDAR systems are not Radar Signal) is not completely spectrally clean butsentout accurate in determining speed and autonomous vehicles rely accompanied by phase noise in the shape of "skirt” in the on Radar for accurate speed detection. frequency domain ,and will meet similar one in the receiver Sonar: 45 signal processing once it is received back . In a very basic Sonar sensors are very accurate, but can cover only the target detection systems, fastmoving objects will shift the immediate surroundings of a vehicle, their range is limited frequency to far enough distance from the carrier so that the to severalmeters only. The Radar system disclosed in this weak signal that is being received will be outside of this patent is capable ofcovering these immediate surroundings phase noise " skirt”. Slow moving objects,however, such as as well and with similar accuracy. Further, Sonar sensors 50 cars, pedestrians, bicycles, animals, etc . might create a cannot be hidden behind cars' plastic parts which poses a received signal that is closer to the carrier and weaker than design problem , Radars can easily be hidden behind these thephasenoiseand this signalwillbeburied under this noise parts withoutbeing noticed. and practically willbe non -detectable or non-recognizable. Passive VisualSensing (Cameras): More advanced systemsuse modulated signals (such as Passive visual sensing uses the available light to deter- 55 FMCW ) but the same challenge to identify slow moving mine the surroundings of an autonomous vehicle. In poor objects remains. The determination of two physically close lighting condition theperformance ofpassive visualsensing objects vs. one larger object is also being challenged by systemsdegrades significantly and ismany times depending phase noise. on the light thatthe vehicle itselfprovides and assuch does Another advanced Radar System worth mentioning is not provide any benefit over the human eye. Radar systems, 60 Synthetic aperture Radar (or SAR ) that is described in a on the other hand, are completely agnostic to lighting different section ofthis disclosure. conditions and perform the same regardless of light (as Many algorithms and methods have been developed to shown in FIG . 33). filter out inaccuracies ofRadarbased imaging,detection and Passive visual sensing is very limited in adverse weather other result processing.Somearemore computationalinten conditions such as heavy rain , fog or snow ; Radar systems 65 sive while others are not. The common to all ofthem is that aremuch more capable ofhandling these situations. Passive they are not able to filter out the inherent phase noise of the visual systemscreate great amounts of data as well which Radar system itself.
  • 45.
    US 9,831,881 B2 Thisis crucial since a lot of the information a Radar expects to a receive signalthatis lowerin powerbutatthe system relies on, is in the phase of the returning signal. One same frequency when it hits an object. If this object is simple example for this phenomenon iswhen a Radar signal moving, then this received signal will be subject to the hits a wall that is perpendicular to the ground or a wall that Doppler effectand in reality, thereceived signalwill notbe has an angle that is not 90 degree relative to the surface, the 5 received at the same frequency as the frequency of the phasesofthe return signals willbeslightly differentand this transmit signal. The challenge here is that these frequency information could be "buried” under the phase noise ofthe errors canbevery subtleand could beobscured by thephase Radar system . noise of the system (as shown in FIG . 34). The obvious drawback is that vital information about the velocity of anFurther, speckle noiseis a phenomenon where a received Radar signal includes “ granular” noise. Basically, thesede 10 object gets lost only because of phase noise (see figure granular dots are created by the sum ofall information that below ). The above is especially right when dealing with is scattered back from within a “resolution cell” .Allofthese objects thatmove slower than airplanes and missiles,such as signals can add up constructively, destructively or cancel cars,bicycles,pedestrians, etc. each other out. Elaborate filters and methods have been Modulated Signals— developed,butall ofthem function betterandwith less effort Newer Radar systems use modulated signals that are when the signals have a better spectral purity, or in other broadly called FMCW (Frequency Modulated Continuous wave), but they can come in all forms and shapes such aswords better phase noise. One of thesemethods, just as an example, is the “multiple look” method. When implement NLCW , PMCW , chirps, etc. (Nonlinear Continuous Wave and Phase Modulated Continuous Wave). The main reasoningthis, each “ look” happensfrom a slightly differentpoint so that the backscatter also looks a bit different. These 20se 20 for the use ofmodulated signals is that old fashionedRadars backscatters are then averaged and used for the final imag need to transmit a lotofpower to receive and echoback from a target while modulated signals and smart receive teching. The downside of this is that themore “looks” are taken niques can do thatwith much lower transmit power.the more averaging happens and information is lostas with Another big advantage ofFMCW based Radar systemsisany averaging. As additionalbackground forthis invention there are fewere are few 25 that the distance of a target can be calculated based on Af25 from the instantaneous carrier signal rather than travel time.phenomena thatneed to be laid outhere: Doppler Effect: However, herein also lies the problem — to be able to cal culate and determine the characteristics of a target accuThe Doppler Effect is the change in frequency or wave rately a spectrally clean signalwith ultra-low phase noise aslength of a wave for an observer moving relative to its source. This is true for sound waves, electromagneticwaves 30 low as technically possible providesmany advantages. and any other periodic event.Mostpeople know about the Usually modulated Radar signals are processed with the Doppler Effect from their own experience when they hear a help of FFT utilizing signal processing windows and pulse carthatis sounding a siren approaching,passingby andthen compression algorithms. While these methods are good receding. During the approach the sound waves get phase noisestill remains oneofthemajorcontributors,ifnot “pushed” to a higher frequency and thus the siren seemstoomsto 35 to say the largest contributorto errors and inaccuracies. havea higherpitch,andwhen the vehicle gains distance this The spectral picture of a processed signal looks like the FIG . 35. As one can see the spectral picture contains alsopitch gets lowersince the sound frequency isbeing “pushed” to a lower frequency. unwanted sidelobes.Onemajor contributor to the sidelobes The physical andmathematicalmodelofthis phenomena is the phase noise of the Radar system . Phase noise (or sometimes also called Phase Jitter or simply Jitter) respondsis described in the following formula : to 20 log (integrated phase noise in rad). This spectral regrowth of side lobes can cause errors in the determination of the actual distance of a target, and can obscure a small target that is close to a larger target. It can also cause errors 45 in target velocity estimation . Another use of Radar that is sensitive to phase noise Where fo is thecenter frequencyofthe signal,c is thespeed includesSynthetic ApertureRadar (SAR ) ofall kinds.These of light, V, is the velocity of the receiver relative to the Radars are beingused in countlessapplicationsranging fromsound/radiation source, v , is the velocity ofthe sound source space exploration through earth 's surface mapping,Ice pack to the receiver and I is the frequency shift that is 50 measuring,forest coverage, variousmilitary applications tobeing created. urban imaging and archaeological surveys.However, all the After simplifying the equation,we will get: Radar applications have a common drawback ofbearing phase noise that leads to depletion of the quality of the end-result or failure in achieving the desired outcome. For Af =4256 55 example,whetherwerefer to Interferometric SAR (InSAR ) or Polarimetric SAR (POISAR ) or a combination of these methods or any othertype of SAR or Radar in general, all Where Av is the relative velocity ofthe sound source to the of them are suspectto phase noise effects regardless of the receiver and Af is the frequency shift created by the velocity type ofwaveform /chirp used. Considering the shift in fre difference. It can easily be seen that when the velocity is 60 quency and the low signal strength there is a probability that positive (the objects get closer to each other) the frequency the received Radar signal will be buried under the phase shiftwill be up.When the relative velocity is 0 ,therewillbe noise skirt,and the slowertheobject this probability grows. no frequency shift at all, and when the relative velocity is Again, the determination oftwo close objects vs. one large negative (the objects gain a distance from one another) the one is a challenge here. SAR Radars create images of their frequency shift is down. 65 surroundings and the accuracy of the images depends also In old fashioned Radars the Doppler effect gets a little on the phase noise of the signal. Some of these radars can more complicated since a Radar is sending outa signaland also determine electromagnetic characteristicsoftheir target f=letVello
  • 46.
    US 9,831,881 B2 suchas the dielectric constant,loss tangentetc. The accuracy and obscuring object. Thus the system may be able to find here again depends on the signal quality which is largely a human behind a billboard or wildlife behind a bush or determined by thesidelobes created during the utilization of determinethat these are only 2 bush one behind the other. theFFT algorithm mentioned above which in turn stem from Accordingto an embodimentofthepresentdisclosure,an the phase noise of the system . 5 objectdetection system forautonomous vehicles. The object Further,in FIG .36,the sidelobeshave been simplified to detection system may includea radar unit coupled to atleast only a wideoverlappingarea. This is also very close to what oneultra-low phasenoise frequency synthesizer, configured happens in reality because of the way the signalprocessing for detecting the presence of one ormore objects in one or algorithmswork . As can be easily seen in the figure above, more directions, the radar unit comprising: a transmitter for weaker return signals can getobscured in the sidelobes of a 10 transmitting at least one radio signal to the one or more stronger signal and the overall available and crucial SNR objects; and a receiver for receiving the at least one radio decreasesbecause every return signal carries sidelobes with signal returned from the one or more objects. Further, the object detection system may include the at least one ultra Thus, the Radar systems are challenged when dealing low phase noise frequency synthesizer thatmay be utilized with slow moving objects such as cars,bicycles and pedes- 15 in conjunction with the radar unit, for refining both the trians. Furthermore, these traditional Radar systems, transmitted and the received signals, and thus determining whether using a modulated or non-modulated signal, have the phase noise and maintaining the quality ofthe transmit difficulties identifying objects that are very close to each ted and thereceived radio signals, wherein the at least one other since one of them willbe obscured by the phase noise ultra-low phasenoise frequency synthesizer comprises: (i)at of the system . 20 least one clocking device configured to generate at least one Based on the aforementioned, there is a need ofa radar first clock signalofat least one first clock frequency; (ii)at system that can effectively be utilized for autonomous cars least one sampling Phase Locked Loop (PLL ), wherein the by canceling or reducing the phase noise of the received at least one sampling PLL comprises: (a ) at least one Radar signal.For example, the system should be capable of sampling phase detector configured to receive the at least determining surroundings (such as by detecting objects 25 one first clock signal and a single reference frequency to therein )with cost effectiveness and without significant inter- generate at least one first analog control voltage; and (b ) at nal phase noise affecting performance. least one reference Voltage Controlled Oscillator (VCO) The system should be able to add as lessaspossiblephase configured to receive the at least one analog control voltage noise to the received Radar signal. Further, the system to generate thesingle reference frequency; and (c) a Digital should be able ofdetecting and analyzing thereceived signal 30 Phase/Frequency detectorconfigured to receive the at least without being affected by the internal receiver phase noise one first clock signal and a single reference frequency to therefrom . Furthermore, the system should be capable of generate at least a second analog controlvoltage; and (d ) a implementing artificialintelligence to make smart decisions two-way DC switch in communication with the Digital based on the determined surrounding information.Addition- Phase/Frequency detector and the sampling phase detector; ally, the system should be capable to overcomethe short- 35 (iii) at least one first fixed frequency divider configured to comings of the existing systems and technologies. receive the atleast onereference frequency and to divide the atleast one reference frequency by a first predefined factor SUMMARY to generate at least one clock signal for at least one high frequency low phase noise DirectDigitalSynthesizer (DDS) Someof the Benefits ofthe Invention: 40 clock signal; (iv) atleastone high frequency low phase noise The present invention emphasizes that by incorporating DDS configured to receive the atleast oneDDS clock signal the ultra-low phase noise synthesizer in existing Radar and to generate at least one second clock signal of at least system , the performance of the Radar system will be one second clock frequency; and (v ) atleastonemain Phase improved substantially in terms of target detection accuracy Locked Loop (PLL ). and resolution and because of this it can become the domi- 45 Hereinabove, themain PLL may include: (a ) at least one nantsensor for the handling of autonomous cars.Herein , the high frequency Digital Phase/Frequency detector configured Synthesizer drastically reduces the phase noise of Radar to receive and compare the at least one second clock signals so that such Radar sensor will be able to replace frequency and at leastone feedback frequency to generate at current sensor systems at very low cost and with reliability least one second analog control voltage and at least one at all lighting and adverse weather conditions. 50 digitalcontrolvoltage;(b ) atleastonemain VCO configured A system thatutilizes an ultra low phase noise synthesizer to receive the at least one first analog controlvoltage or the willbe able to provide data to a processor that can determine at least one second analog control voltage and generate at the electromagnetic characteristics of an object with suffi- least one output signal of at least one output frequency, cient accuracy so that the system is able to determine if the wherein the at least one digital control voltage controls object is a living object such as a human being or an animal 55 which of the at least one first analog control voltage or the or if it is inanimate. It will also be able to provide data that at leastone second analog control voltage is received by the is accurate enough to differentiate between the material atleast onemain VCO; (c) at least one down convertmixer objects are made of such as differentiating between wood configured to mix the at least one output frequency and the and stone for example. reference frequency to generate at least one intermediate Further as a derivative of the capability to determine the 60 frequency; and (d ) at least one second fixed frequency material an object is made of combined with the electro - divider configured to receive and divide the at least one magnetic waves capability to penetrate through many mate- intermediate frequency by a second predefined factor to rials an object detection system utilizing an ultra low phase generate the at least one feedback frequency. noise synthesizer will provide data thatwill enable a pro- Herein , the radar unit determines a distance and a direc cessing unit (such as a specialized processor of the object 65 tion of each of one or more objects. Further, the radar unit detection system ) to find objects that are visually obscured determines one ormore characteristics, of two close objects by anotherobjectand determine thematerialofthe obscured irrespective ofsize ofthe oneormore objects.Again further,
  • 47.
    US 9,831,881 B2 theradarunit differentiatesbetween two ormore typesof the one main VCO configured to receive the at least one first objectswhen one object is visually obscuringanother object. analog control voltage or the at least one second analog Additionally, the radar unit utilizes a modulated or non - controlvoltage and generate at least one output signal ofat modulated radio signal, to determine presence of a slow least one output frequency, wherein the at least one digital moving target despite the very small Doppler frequency 5 controlvoltage controls which ofthe at least one first analog shift. Also, the radar unit utilizes a modulated or non - control voltage or the at least one second analog control modulated radio signal, to determine presence of a close voltage is received by the at leastonemain VCO ; (C ) at least range target despite the very short signaltravel time. one down convert mixer configured to mix the at least one The object detection system may further include at least output frequency and thereference frequency to generate at one additional sensor system , available on the autonomous 10 least one intermediate frequency ; and (d ) at least one second vehicle, in conjunction with the radar unit. Further, the at fixed frequency divider configured to receive and divide the leastone ultra-low phase noise frequency synthesizer further at least one intermediate frequency by a second predefined comprises at leastone fixed frequency multiplier configured factor to generate the at least one feedback frequency. to receive and multiply the at least one output signal Herein ,themethodmay further includevarioussteps such generated by the at least one main PLL by a predefined 15 as receiving and multiplying, by ultra-low phase noise factor to generate at least one final output signal of at least frequency synthesizer, the at least one output signal by a one final output frequency. The at least one ultra-low phase predefined factor to generate atleast one final outputsignal noise frequency synthesizer is implemented on the same of at least one final output frequency. Further, the method electronic circuitry or on a separate electronic circuitry. may generatetheup converting ordown convertingsignalof Further, the ultra-low phase noise frequency synthesizer 20 the radar unit. Furthermore, the method may determine may be used to generate the up ordown converting signal of presence of a slow moving target despite the very small the radar unit. Doppler frequency shift. Again further, the method may Further,according to another embodiment ofthe present include determiningpresence ofa close range targetdespite disclosure, a method for autonomous vehicles is disclosed the very short signal travel time. Additionally, the method Themethod may include (but is not limited to ): detecting a 25 may determine a distance and a direction ofeach ofthe one presence ofone ormore objects in one ormore directionsby or more objects. Furthermore, the method may determine a a radarunit.Herein, the radar unit comprising: a transmitter type ofmaterial an object is made up of. Also, themethod for transmitting at least one radio signal to the one ormore may include a step of activating one or more additional objects; and a receiver for receiving the at least one radio sensors for operation thereof in conjunction with the radar signal returned from the one or more objects. Further, the 30 unit. Themethodmay determinecharacteristicsoftwo close method may include performing, by at least one ultra-low objects irrespective of size of the objects. Further, the phase noise frequency synthesizer for refining the transmit method may differentiate between two ormore types ofthe ted and the received signals , and thereby determining a objects when one object is visually obscuringanother object. phase noise andmaintaining quality ofthe transmitted and According to an embodimentofthe presentdisclosure,a the received radio signals. 35 system is a detection system that comprises a radar unit, Hereinabove, the at least one ultra-low phase noise fre - communicably coupled to at leastone ultra-low phase noise quency synthesizer comprises: (i) at least one clocking frequency synthesizer,is provided. Theradarunit configured device configured to generate at least one first clock signal for detecting the presence ofone or more objects in one or ofatleastonefirstclock frequency;(ii)atleastonesampling more directions.Herein, the radarunit comprising: a trans Phase Locked Loop (PLL ), wherein the at least one sam - 40 mitter for transmitting at least one radio signal; and a pling PLL comprises: (a ) at least one sampling phase detec- receiver forreceiving atleast oneradio signal returned from tor configured to receive the at least one first clock signal one or more objects/targets. Further, the detection system and a single reference frequency to generate at leastone first may include at least one ultra-low phase noise frequency analog controlvoltage;and (b) at leastonereference Voltage synthesizer thatmaybe configured forrefining thereturning Controlled Oscillator (VCO ) configured to receive the at 45 theat least one radio signal to reduce phase noise therefrom . least one analog control voltage to generate the single Herein,theultra-low phase noisefrequency synthesizer is reference frequency; and (c ) a Digital Phase/Frequency a critical part of a System , regardless of how it is imple detector configured to receive the at least one first clock mented . The ultra-low phase noise frequency synthesizer signaland a single reference frequency to generate at least comprises one main PLL (Phase Lock Loop) and one a second analog control voltage; and (d ) a two-way DC 50 reference sampling PLL. The main PLL comprises one high switch in communication with the Digital Phase/Frequency frequency DDS (Direct Digital Synthesizer), one Digital detector and the sampling phase detector; (iii) at least one Phase Frequency Detector, one main VCO (Voltage Con first fixed frequency divider configured to receive the at least trolled Oscillator), one internal frequency divider, one out one reference frequency and to divide the at least one put frequency divider or multiplier and one down convert reference frequency by a first predefined factorto generate 55 mixer. Thereference sampling PLL comprises onereference at least one clock signal for at leastone high frequency low clock, one sampling phase detector, and one reference VCO . phase noise Direct Digital Synthesizer (DDS) clock signal; This embodimentprovides vast and critical improvement in (iv) at least one high frequency low phase noise DDS the overall system output phase noise. The synthesizer configured to receive the at least oneDDS clock signaland design is based on the following technical approaches— a) to generate at least one second clock signal of at least one 60 using of dual loop approach to reduce frequency multipli second clock frequency; and (v ) at least one main Phase cation number, b ) using of sampling PLL as the reference Locked Loop (PLL ), wherein the at least one main PLL PLL to make its noise contribution negligible, c ) using of comprises: (a) at least one high frequency Digital Phase/ DDS to provide high frequency input to the main PLL and Frequency detectorconfigured to receive and compare theatd )usingofhigh frequency DigitalPhase Frequency Detector least one second clock frequency and at least one feedback 65 in the main PLL. frequency to generate at least one second analog control According to an embodiment of the present disclosure a voltage and at least one digital control voltage; (b) at least detection system comprising a radar unit and an ultra-low
  • 48.
    US 9,831,881 B2 12 a phasenoisefrequency synthesizer isprovided. The system is The preceding is a simplified summary to provide an made up of System on Chip (SOC) module. The radar unit understanding of someaspects of embodiments of the pres configured for detecting the presence ofone ormore objects ent disclosure. This summary is neither an extensive nor in one or more directions. The radar unit comprising: a exhaustive overview of thepresentdisclosureand itsvarious transmitter fortransmitting at least one radio signal; and a 5 embodiments. The summary presents selected concepts of receiver for receiving the atleast one radio signal returned the embodiments of the present disclosure in a simplified from the one ormore objects/targets. In an embodiment, the form as an introduction to the more detailed description Transmit and receive signal frequenciesmightbe equal.For presentedbelow.Aswillbe appreciated,other embodiments example, if there is no Doppler effect,the signal frequencies ofthe presentdisclosure are possible utilizing, alone or in may be equal. In an embodiment the transmit and receive " combination, one ormore ofthe features set forth above or frequencies might also be different, for example in cases described in detail below . where the Doppler Effect is present. The ultra-low phase noise frequency synthesizer comprises onemain PLL (Phase BRIEF DESCRIPTION OF THE DRAWINGS Lock Loop) and one reference samplingPLL. Themain PLL 16 further comprises one Fractional-N Synthesizer chip, one The above and still further features and advantages of primaryVCO (Voltage Controlled Oscillator)and onedown embodiments ofthe present invention willbecomeapparent convert mixer. The Fractional-N Synthesizer chip includes upon consideration ofthe following detailed description of one Digital Phase Detector and one software controllable embodiments thereof, especially when taken in conjunction variable frequency divider. The reference sampling PLL 20 with the accompanying drawings, and wherein : comprises one sampling PLL,and one reference VCO. This FIG . 1 illustrates a general block diagram of a negative embodiment provides multiple improvements in system feedback system ; output which are based on the following technical FIG . 2 illustrates a general block diagram of a standard approaches — a) using of dual loop approach to reduce Phase Lock Loop (PLL); frequency multiplication number, b) usingofsampling PLL 25 FIG . 3 illustrates a simplified drawing of a digital phasel to make its noise contribution negligible, and c) using of a frequency detector; high frequency Fractional-N Synthesizer chip in the main FIG .4 illustrates an example ofan active filter as applied PLL. to a general PLL; In an additionalembodimentof the present disclosure, a FIG . 5 illustrates the principle ofsample -and-holdmecha vehiclehaving a detection system is disclosed. Thedetection 30 nism : system may be implemented for detecting information cor FIG .6 illustrates a schematic ofthe step recovery dioderesponding to one ormore objects, the detection unit com as comb generator feeding the dual schottky diode thatacts prising: a radar unit fortransmitting radio signals and further as phase detector; for receiving the returned radio signal(s) from one ormore FIG . 7 illustrates a complete example schematic of theobjects/targets; and at least one ultra-low phase noise fre - 35 comb generator and sampling phase detector with RF prequency synthesizer for refining the returned signals to reduce the effectofphase noise in thereturned radio signals. amplifier and two DC buffers following the phase detector; Further, the detection unit comprises a processor for pro FIG . 8 illustrates a phase noise plot of an example free cessing the refined signals to determine one ormore char running Voltage ControlOscillator (VCO ) in the frequency acteristics corresponding to the one or more objects, the 40 domain (spectrum analyzer),withoutbeinglocked in a PLL, processordetermining one ormore actionsbased on one or FIG . 9 illustrates a phase noiseplotofan example Voltage more factors and the one ormore characteristics correspond Control Oscillator (VCO) in the frequency domain (spec ing to the one or more objects. The processor further may trum analyzer), compensated by being locked in a PLL; determine one or more actions being adoptable by the FIG . 10 illustrates two plots: (a ) a simulation of phase vehicle based on one or more characteristics that may 45 noise of an example PLL ,and (b) isan actualmeasurement; originate from the radar system and/or in conjunction with FIG . 11 illustrates a phasenoise plotof a closed loop PLL , information originated from another sensor. The vehicle showing clearly the effectofthe phase detectormultiplica further includes one or more components communicably tion number 20*LOG (N ) within loop bandwidth ; coupled to the processor for performing the determined one FIG . 12 illustrates a plot ofmeasurement terms ofphase or more actions. 50 noise in 1 Hz bandwidth at a Afoffset frequency from the The detection system may further include amemory for carrier. storing information and characteristicscorresponding to the FIG . 13 illustratesa generalblock diagram ofan example one ormore objects; and actions performed by the vehicle. dualloop PLL; Hereinabove, the at least one ultra-low phase noise fre FIG .14 illustratesa generalblock diagram ofan example quency synthesizer may be implemented in any manner as 55 dual sampling PLL; described further in the detailed description of this disclo FIG . 15 illustrates how impulse or “comb” generator sure. Further, the radar unit comprises at least one of: changes a wave shape ofa signal from sine wave to pulses; traditional single antenna radar, dual ormulti antenna radar, FIG . 16 illustratesan example outputofa comb generator synthetic aperture radar, and one or more other radars. in the frequency domain ; Further, in an embodiment, the processor may determine 60 FIG . 17 illustrates a block diagram of an ultra-low phase phase shift in frequencies of the transmitted radio signals noise frequency synthesizer as suggested in a first embodi and the returned radio signals. Such phase shift (difference ment; in phase noise frequency)may further be analyzed in light FIG . 18 illustrates a block diagram ofan ultra-low phase of a frequency of the refined radio signal to self-evaluate noise frequency synthesizer as suggested in a second overall performance of the detection system (or specific 65 embodiment; performanceof the ultra-low phase noise frequency synthe- FIG . 19 illustrates a block diagram of the sampling PLL sizer). system ; fre
  • 49.
    14 US 9,831,881 B2 13 FIG.20 illustrates a phase noise simulation plot contrib- to be noted that the terms" comprising”, “including”, and uted by a DDS chip in accordance with the first embodiment “having" can be used interchangeably. of the presentdisclosure; The term “automatic” and variations thereof, as used FIG . 21 illustrates a phase noise simulation plotcontrib - herein, refers to any process or operation done without uted by amain PLL in accordance with the firstembodiment 5 material human input when the process or operation is of the present disclosure; performed.However, a process or operation can be auto FIG . 22 illustrates a phase noise simulation plot contrib matic, even though performance of theprocess or operation uted by a reference samplingPLL having the TCXO clock uses material or immaterial human input, if the input is (or any other reference Clock ) generating input frequencies received before performance of the process or operation. of 100 MHz in accordance with the first embodimentofthe 10 Human input is deemed to be material if such input influ present disclosure; ences how the process or operation will be performed. FIG . 23 illustrates a phase noise simulation plot contrib - Human inputthat consents to the performance oftheprocess uted by a reference sampling PLL having the TCXO clock or operation is notdeemed to be “material” . (or any other reference Clock ) generating input frequencies The present disclosure includes implementation of an of250 MHzin accordance with the first embodimentofthe 15 upgraded Radar unit by incorporating an ultra -low phase present disclosure; noise frequency synthesizer to make the radar functioning FIG . 24 illustrates a phase noise simulation plot contrib effective by transmitting radio signals with much lower uted by a main PLL in accordance with the second embodi- phase noise than what is found in traditional Radar systems ment ofthe present disclosure; on the transmit side.On thereceive sideof the Radarsystem FIG . 25 illustrates a phase noise simulation plot contrib- 20 the ultra-low phase noise synthesizer adds only a very small uted by a reference sampling PLLhaving the TCXO clock amountofphase noise to the signal.More specifically, in an (or any other referenceClock) generating input frequencies embodiment, the upgraded radar unit generates a very low of 100 MHz in accordance with the second embodiment of amountof phase noise and thus minimizing the impact of the present disclosure; phase noise on the transmitted and the received signal. The FIG . 26 illustrates a phase noise simulation plot contrib - 25 Radar unit may include a Synthetic Aperture Radar, or any uted by a reference sampling PLL having the TCXO clock other kind of Radar, for determining information corre (or any other reference Clock) generating input frequencies sponding to targets. Further, the present disclosure may of 250 MHz in accordance with the second embodimentof utilizemodulated signalsuch as Frequency Modulated Con the present disclosure; tinuous Wave (FMCW ) of any type or any othermodulated FIG . 27 illustrates a flow chart depicting the operational 30 signalforthe RadarUnit.Asmentioned above FMCW based method steps of the first embodiment; Radar are advantageous in termsofpower savingFurther, in FIG . 28 illustrates a flow chart depicting the operational FMCW based Radar unit, various factors such as distance method steps of the second embodiment; and velocities may be determined based on frequency dif FIG . 29 illustrates a flow chart depicting the operational ferences from the instantaneous transmitted signal rather method steps of the sampling PLL; 35 than travel time. In most cases FMCW Radar signals are FIGS. 30-36 correspond to prior arts and existing tech processed with the help ofFFT utilizing signal processing nologies; windows and pulse compression algorithms. While these FIG . 37 illustrates a detection system , in accordancewith methods are good, phase noise of the system still remains various embodiments of the present invention; important since it is a statistical phenomenon thatmay be FIG . 38 illustrates an exemplary vehicle implementing 40 measured and calculated as an average, but instantaneous detection system , in accordance with an embodimentofthe value thereof cannotbe determined, thus it cannotbemiti present invention; and gated easily with existing algorithms.However,its influence FIG .39 illustratesan exemplary method flow diagram for on system performancewilldrastically be reduced with the autonomous vehicle, in accordance with an embodimentof collaboration of ultra-low phase noise frequency synthe the present invention . 45 sizer. As a result, the overall system capability ofaccuracy To facilitate understanding, like referencenumerals have and target detection willbe vastly improved been used,where possible, to designate like elements com FIG . 1 illustrates a general block diagram ofa negative mon to the figures. feedback system 100. Thenegative feedback system 100has an input R and an output C , a summer/comparator 102, a DETAILED DESCRIPTION 50 forward path function G 104 and a feedback path function H 106. Thesummer/comparator 102 compares theinputR with As used throughout this application, the word “may” is a sample B ofthe output C fed back through function H 106, used in a permissive sense (i.e.,meaning having the poten- to produce an error signal E that is relative to the difference tialto), ratherthan themandatory sense (i.e.,meaningmust). between the input R and the feedback sample B . This error Similarly, the words " include”, “ including”, and “ includes” 55 signal E is fed to the main element G function 104 in the mean including butnot limited to. forward path. If the output signal C tends to drift upwards, The phrases "at least one", " one ormore” , and “and/or” the error signal E pushes itback downwards and vice versa. are open -ended expressions that are both conjunctive and Thus, thenegative feedback system 100 stabilizes theoutput disjunctive in operation. For example, each of the expres- signal C . The negative feedback system 100 finds applica sions “at least one of A , B and C ”,“ at leastone of A , B,or 60 tions in many systems for stabilizing frequency, output C ” , “ one ormore of A , B , and C ”, “one ormore of A , B , or power, and many other functions. C ” and “ A , B , and/or C” means A alone, B alone, C alone, FIG . 2 illustrates a generalblock diagram of a standard A and B together,A and C together, B and C together, or A , Phase Lock Loop (PLL) 200. The PLL 200 is a frequency B and C together. feedback system comprising areference clock 202, a digital The term “ a” or“an” entity refers to one ormore ofthat 65 phase/frequency detector (PFD) 204, a loop filter 206, a entity. As such , the terms “ a” (or " an" ), " one ormore” and Voltage Controlled Oscillator (VCO ) 208, and a frequency “ at least one” can beused interchangeably herein. It isalso divider 210. bove
  • 50.
    15 US 9,831,881 B2 16 TheVCO 208 is the main output block in the forward a step. In an example, if the reference clock 202 generates path, and is tuned to produce a frequency as set by a tuned a frequency 1 MHz, then every time the division number N circuit. The VCO 208 has a frequency output Fout that can changesby steps of 1,the output frequency Foutchanges by be changed by a control voltage Vt over a pre-setrange of equal steps of 1MHz. frequencies. 5 Like all negative feedback systems, the PLL 200 has a The phase detector 204 is a comparator for both theclock loop bandwidth set by the component parameters and the inputFclock and the feedback sample from the output Fout loop filter206. In otherwords,thePLL 200 is a sophisticateddividedby divider N 210. Thephase detector 204 compares frequency multiplier with a built-in narrowband,automatithe two input frequencies Fclock and Fout/N .When thetwo cally tuned band-pass filter as the output frequency Fout isinput frequencies are not equal, the device 204 acts as a 10 basically Fclock multiplied by the number N . The loopfrequency discriminator and produces either a negative or bandwidth is also responsible directly for how fast thepositive voltage,depending on thepolarity of the frequency difference between the two inputs. When the two input output frequency ofPLL 200 may changebetween different frequencies are the device produces an error voltage Vt frequencies. ThePLL 200 is a devicewherethe VCO 208 is relative to the phase difference between the two equal 15 locked to a single clock reference signalwhich is very low frequencies. butalso very clean and very stable and theoutputfrequency The loop filter 206 filters and integrates the error signal can be changed by equivalent steps by controlling the produced by the phase detector 204 and feeds it to the VCO frequency divider 210 in the feedback loop. 208. The loop filter 206 is usually based on passive com FIG . 3 illustrates a simplified drawing of a digital phase/ ponents likeresistors and capacitors, but also in somecases 20 frequency detector 204.A phasedetectororphase compara it is a combination of active devices like operationalampli- tor is a frequency mixer, analog multiplier or logic circuit fier and passive components. that generates a voltage signalwhich represents the differ The reference clock 202 is in general a low frequency ence in phasebetween two signal inputs. It is an essential crystal oscillator signalsource that feeds Fclock to the phase element of the phase-locked loop (PLL ). A specialized detector 204, and to which the output signal Fout is 25 variant that additionally detects frequency is referred as “locked”. The reference clock 202 is set at some frequency Phase Frequency Detector (PFD ). A phase -frequency detec for example a standard frequency 10 MHz. The locking tor is an asynchronoussequential logic circuitwhich deter "mechanism ” transfers someof the qualities of the reference mineswhich ofthetwo signalshas azero -crossing earlier orclock 202 to themain output signal Fout. Its main features more often.When used in a PLL application, lock can beusually are: a) frequency stability over temperaturegen - 30 achieved even when it is off frequency.Such a detectorhaserally in the range of 0.1-5 ppm (parts per million), b ) the advantage ofproducing an output even when the twoaccuracy - Can be tuned to very high accuracy, c ) very low phase noise - Its phase noise is transferred to the output signals being compared differ not only in phase but in frequency. signalmultiplied by the ratio of20*LOG (N )where N is the ratio between the output frequency and the clock frequency 35 The phase/frequency detector 204 compares two input applied to the phase detector 204. frequencies Fclock and Fout/N . When the two input fre The frequency divider 210 is based on digitaldevices like quencies are not equal, it acts as a frequency detector and gatesand flip-flops,through which the inputfrequency Fout produces one or zeros to produce a voltage control Vt that is divided by a number N to produce Fout/N which is fed to pushes corresponding VCO 208 in the direction of the the other inputof thephase detector 204. This number N is 40 reference. In other words, if the VCO 208 is above the software controllable. The control signal comes usually reference then the voltage control Vt is high to push the from a micro controller or from a PC or from anywhere that VCO 208 down and vice versa. When the two input fre basically will send software controlto the frequency divider quencies are the same and a frequency lock is achieved, the 210 to change the division number N . The target of the phase detector 204 acts as a phase detectorand compares the division number N is to enable the output frequency of the 45 two phases, and continues to produce an error voltage to frequency divider 210 to be equal to the clock frequency of control the frequency and phase of the output device. thereference clock 202. FIG . 4 illustrates an example ofan active filter as applied The entire operational procedures of a standard Phase to a generalPLL 400. Thekind of loop filter i.e.passive filter Lock Loop (PLL) 200 is as follows: If an input clock signal or active filter can be chosen on the basis of specific Fclock is applied, usually by a reference clock 202, the 50 requirement. A passive loop filter is based on resistors and phase detector 204 compares the phase and frequency of the capacitors only, while an active loop filter is based on an inputsignalFclock with that ofthe VCO 208 divided by N , amplifier and a capacitor-resistor network in the feedback and generates an error voltage Vt that is related to the system . A passive filter is preferred in cases where, a difference in the two signals. The error voltage Vt is then reference PLL is ofa single frequency and will need only a filtered and applied to the controlofthe VCO 208, thereby 55 single voltage in order to stay in thatsingle frequency. The varying the VCO 208 frequency in a direction thatreduces other reasons being simplicity, cost and most advanta thefrequency difference between thetwo signals.When the geously no addition ofnoise, as active devices tend to add frequencies ofthetwo signalsbecome sufficiently close,the additional noise in the system . However, active filters find feedback nature ofthe system causes thesystem to lock with more acceptancesbecause of the possibility of amplification the incoming signal. Once in lock the VCO 208 frequency 60 of the input signal. Amplification is made possible by an dividedby N is identicalwith the inputsignalFclock, except operational amplifier employed in the active filter. for a finite phase difference which is necessary to generate The loop filter 206 , of FIG . 2, is an active filter that the corrective error voltage Vt to shift the VCO 208 fre- includes an operational amplifier 402 and a capacitor-resis quency to the input signal frequency Fclock, thus keeping tornetwork 404 in the feedback loop. In someinstances, the the system in lock . 65 phase detector 204 ofthe PLL 200 may produce voltage up Any time, the division number N is changed, say for to 5 volts but the corresponding VCO 208 may need a example by 1, theoutput frequency Foutjumps exactly by voltage of above 5 volts,say, forexample, up to 18 volts in
  • 51.
    US 9,831,881 B2 17 orderto reach its complete range, so the active filter 206 a positive feedback on the loop filter itself. While the loop facilitates notonly filtering butalso provides the capability is not locked, the loop filter acts as a very low frequency to go to higher voltages. oscillator that drives the VCO back and forth across the FIG .5 illustratestheprinciple ofsample-and-hold mecha frequency range. When it passes close enough to thehar nism 500. The first sample and hold circuit 502 includes a 5 monic of the clock, it will lock and stay locked. A nice switch S and a hold capacitor CH . The operation of the feature of this mechanism is that it turns off automatically switch S is controlled by the sample control. When the when the loop locks. This happens because of the nature of switch S is closed, a voltage sample ofthe input frequency the loop as a negative feedback system . is sampled and when the switch is opened, the voltage However, this type of search mechanism suffers from sample is held on thehold capacitor CH . 10 many problems, its operation is subject to temperature The second sample and hold circuit 504 includes two changes and itmakes this product difficult to produce, tune buffers A1 and A2 with unity gain for isolation purposes, in and sell successfully. addition to the switch S and the hold capacitor CH . The FIG . 8 illustrates a phase noise plot 800 of an example buffer A2 is preferably an electronic buffer, so that the hold free running Voltage Control Oscillator (VCO ) in the fre capacitor CH doesnot discharge parasitically between con- 15 quency domain (spectrum analyzer),withoutbeing locked in secutive samples. In other words, the hold capacitor CH a PLL.Assaid before, Phase noise is a key element in many holds the voltage between samples. RF and radio communicationssystemsas it can significantly FIG . 6 illustrates an example of practical implementation affect the performance of systems. Phase noise is the fre of a comb generator and sampling phase detector. The quency domain representation of rapid, short-term , random schematic shows a Step Recovery Diode (SRD) as comb 20 fluctuations in the phase of a waveform , caused by time generator feeding thedual schottky diode that acts as phase domain instabilities also referred to as “ jitter”. detector. The implementation circuit 600 including a Step For example, in frequency domain , where the scales are Recovery Diode (SRD) 602 as a comb generator and the amplitude vs. frequency, ideally a frequency of 100 MHz dual schottky diodes 604 and 606 as a phase detector. may look like a single line staying at exactly 100 MHz. The inputto the circuit600 in this example is a clock input 25 However, practically with modern equipment in the labora of 100 MHzsinewave. TheSRD 602 is a specialdevice that tory, amplitude vs frequency may not look like a single line turns the 100 MHz sinewave input into a very narrow pulse but it will look like a single line with a " skirt” 802 which train of the same frequency, so it acts as a comb generator. goes wider and wider as we go down. The phase noise plot The two schottky diodes604,606 act as switches and act as 800 looks like the skirt 802 on the left and the right ofthe sampling switches. The RF voltage (output from corre - 30 exactdesired frequency fo. The quality, height, width of the sponding VCO) to be sampled is connected to a point skirt 802 determines how the phase noise may affect the between the two diodes 604 and 606 . The SRD 602 creates system or the performance ofthe system . So, it is desirable an output ofpositive and negative pulses. The positive and to minimize phase noise asmuch as possible is to improve negative pulses act as control signals to the diodes 604 and the system performance. 606 that act like switches. The sampled voltage output is an 35 Phase noise is another term to describe short-term fre error DC voltagewhich is created by sampling theRF input quency stability. The signalgenerated by a frequency source through the dualschottky diodes604 and 606 . The outputof is neverpractically “ clean”. Its frequency is never absolutely theRF signal is sampled whenever the diodes604 and 606 stable at the desired value. It has “Phase Noise” which is are opened by the narrow pulses coming from the SRD 602. frequency shifting, i.e. small frequency shifts at different The voltage sample isheld on the capacitors C following the 40 rates and different amplitudes of the main frequency. It diodes 604 and 606 . changes around the center set frequency fo at different rates FIG . 7 illustrates a schematic of the comb generator and and amplitudes. In time domain, the phase noise may be sampling phase detectorwith a clock pre-amplifier and two referred to as jitter.Long term frequency stability is drift of DC buffers following the phase detector. The voltage the center frequency over timeor over temperature. samples are held on two very small capacitors (which are 45 FIG . 9 illustrates a phase noise plot 900 of an example basically the input capacitance of the voltage buffers, no Voltage ControlOscillator (VCO ) in the frequency domain need for external capacitors) on both sides ofthe dual diode (spectrum analyzer), compensated bybeing locked in a PLL . pair, so as not to enable the whole capacitor to discharge The upper line 904 is the free running VCO phase noise, parasitically between the samples. These capacitors are before it is locked in a PLL, and the lower line 902 is the buffered by a couple ofultra-low inputbias currentbuffers 50 shaped VCO phase noise. In the PLL , the principle of to prevent discharge between samples. The two voltages are locking the VCO to a reference frequency attenuates the summed, fed to a loop filter, whereby the clean Vt is fed to phase noise of the VCO , in an amount related to the loop the VCO to controlthe frequency. bandwidth . Outside the loop bandwidth, the VCO noise This implementation of sampling phase detector creates remains almost same as the phase noise without the PLL, an analogphase detector,very similar to amixer. The analog 55 while inside loop bandwidth it is attenuated more andmore sampling phase detector has a certain defined locking space as offset frequency from themain carrier is reduced. Atvery or locking distance, and it doesnot lock from any frequency high frequency, i.e. above the loop bandwidth , the locking difference like the phase/frequency digital detector. It has almost has no effect, as the phase detector correction signal some locking range and only within that locking range, the is notfast enough to reach the VCO forvery fast changes or VCO locksby itself on thereference.In a sampling PLL , the 60 very fast disturbances. However, inside the loop bandwidth VCO does not lock on the reference, but on the Nth or at low frequencies, the compensated phase noise of the harmonic ofthe reference. In other words, one can lock a 9 VCO is much lower than that of the free running VCO . All GHzon the 90th harmonicofthe 100 Megahertz clock. This the frequencies thatis closeto thecenterofthe frequency fo is doneas the input frequency is sampled every 100 cycles, are easy to detect and compensate. notevery cycle. 65 FIG . 10 illustrates two plots 1000: (a ) a simulation of This type of product may contain some " search mecha- phase noise of an example PLL, and (b ) an actualmeasure nism ” tohelp lock thePLL . Themost common one involves ment. FIG . 10 (a ) illustrates a simulation graph of phase
  • 52.
    19 funds Sphics)=(180).72.Slapdf Sulf)= V2.SLCF).fadf Sy(8)=(Sport) US 9,831,881B2 20 noise of an example PLL. The simulation graph showsthe noise from one offset frequency to another one. Following overall phase noise of the example PLL and includes the are four different equations and terms to define integrated contribution of all the components that contribute to the phase noise: phase noise. The simulation graph illustrates first, second and third regions 1002, 1004 and 1006 of the phase noise. 5 The first region 1002 which is very close to the carrier depicts a steep line which basically comes from the refer ence clock such as the Temperature Controlled Crystal Oscillator (TCXO ,or any other reference clock device). The firstregion depicts thenoise ofthe TCXO ,multipliedby 20 log N ,where N is the ratio of output frequency to the clock frequency. The second region 1004 depicts a flatphase noise which isbasically thenoise floorofthe digitalphase detector multiplied by thesame ratio of 20 log N . The third region 15 1006 depicts a steep line which is the inherent VCO phase Where the first equation describes single sideband phase noise not affected by the loop bandwidth and locking phe noise [dBc] nomenon. The dashed line 1008 depicts the VCO “cor- The 2nd equation describes the spectral density of phase rected” phase noise inside loop bandwidth . Below the flat modulation, also known as RMS phase error (degrees) area, the compensated VCO phase noise doesnotaffect the 20 The 3rd equation describes the spectraldensity offrequency overall result because it is way below the noise floorof the fluctuations,also knownasRMS frequency error orresidual phase detectormultiplied by that ratio. The actualmeasure- FM (Hz) mentof phase noise ofan example PLL is illustrated in FIG . The 4th equation describes the spectral density of fractional 10 (b). One can see clearly the similarity between the two curves. 25 For example, the firstequation defines the PhaseNoise in FIG . 10 illustratesa phase noiseplot1100ofa closed loop dBc. It can be translated by the 2nd equation to degrees PLL , showing clearly the effect of the phase detector mul (relevant in respectoflearningmodulation schemes). Asper tiplication number 20*LOG (N )within loopbandwidth . The further equations,the phase noise can also be translated inphase noise plot800 illustratesphase noiseson both sides of termsof Hz and timedomain phase jitter seconds.the carrier frequency fo,where the left side is a mirrored 30 FIG . 13 illustrates a general block diagram 1300 of animage of the rightside. The phase noises on both sides ofthe example dual loop PLL . The main target of the dual loopcarrier fo looks like it is passing through a band-pass filter. design is to reduce themultiplication number N in themainAs illustrated , on both sides, the in -band phase noise PLL.inside the loop bandwidth is flat in shape and is equal to the phase detectorand/orthe referenceclock noisemultiplied by 35 The dual loop PLL 1300 includes an upper PLL 1302, 20 log N . Atthepoint of the loop bandwidth , thephase noise referred to as a main PLL 1302, and a lower PLL 1304, goes up before going down again. This is due to addition of referred to as a referencePLL 1304,a TCXO 1306 operating 3 dB due to a combination ofphase noiseofthe free running as a master clock, feeding a clock signal Fc to both the VCO and the phase detector. The upper straightline 1102 primary PLL 1302 and the reference PLL 1304. depictsa phase noise contributed by the phase detector atN1 40 The reference PLL 1304 includes a first phase detector and the lower straight line 1104 depicts a phase noise 1314,and a single frequency first VCO 1316 thatoperatesat contributed by thephase detector at N2. It can be seen that, a reference frequency Fr. The reference frequency Fris fed to there is difference in phase noise in the flat area, due to two a first input of a down convertmixer 1312. different “ N ” numbers. The phase detector contributes a The main PLL 1302 includes a second phase detector higher in-band phase noise at a higher value of N . 45 1308 and a second VCO 1310 that generates an output Thus, in order to achieve low phase noise, it is essential frequency range F1to F2. A sample ofthe output frequency to: a ) choose components such as phase detector and refer range F1to F2 is fed to thesecond inputofthe down convert ence clock with the lowest inherent phase noise possible, mixer 1312 andmixed with a single reference frequency Fr.and b ) lower the ratio number N asmuch as possible. The output from the down convertmixer 1312 is at a much FIG . 11 illustrates plot 12902200 ofmeasurement terms 50 10lower frequency (F1 to F2)-Fr. This lowered frequency isof phase noise in 1 Hzbandwidth at a Afoffset frequency fed back to the second phase detector 1308 through afrom the carrier. The phase noise expression is usually in frequency divider 1318 of value N1.dBc, i.e. dB relative to the carrier c power levelPs, in other words how low it is compared to the carrier per Hz, in a Therefore: a )Withoutthe down convertmixer 1412: F1to bandwidth of 1Hz. That is basically theterm thatisused for 55 F5 F2= NxFc, b ) With the down convert mixer 1312: (F1 to phase noise,dBc per Hertz (dBc/Hz) ata certain Affrom the F2)-Fr=N1xFc. As a result there is a reduction in the carrier. number N : N1/N = ((F1 to F2) - Fr)/ (F1 to F2). Asan example for themeasurementmethod, suppose AF The N1 number is basically the division number that the is 10 KHz, the phase noise power level Pss is measured at frequency divider 1318 will use to divide the outputof the the level of -70 dBm on the spectrum analyzer, and the 60 mixer 1312 and feed to the second phasedetector 1308. The carrier power level Ps is measured at the level of 10 dBm , value ofN1 is set as minimal, as the output from the mixer the ratio between the Ps 10 dBm and the PssB -70 dBm at 1312 is ata much lower frequency than original frequency 10 KHz from the carrier is therefore 80 dB , so the phase range F1 to F2. noise at 10 KHz offset from carrier and is - 80 dBc/Hz. To give an example: a ) Suppose Fc= 1 MHz, b ) Suppose Formany systems, the important parameter to evaluate 65 F1to F2= 10,000 to 11,000 MHz. Then N = 10,000 to 11,000. performance is not the phase noise measured at a single Now If Fr= 9000 MHz, then ((F1 -F2)- Fr)= 1000 to 1900 frequency offset from the carrier, but the integrated phase MHz. Then N1=1000 to 1900. Thus, the value of N is
  • 53.
    US 9,831,881 B2 21 reducedfrom 11,000 to 1900. In dB, it is a ratio of 15 dB. one clock signalFc2 of variable frequency range by taking This means, thatthe phase noise is reduced by a factor of 15 input from atleast onesoftware controllable instructionsand dB. at leastone DDS clock signal. The frequency of the atleast The disadvantageofthe example dualloop design is that one clock signal Fc2 is always lower than the frequency of while nicely reducing the number N in the main PLL , the 5 the at least one DDS clock signal. The at least one DDS reference PLL,containing adigitalphase/frequency detector clock signal is generated by a first fixed frequency divider becomes themain factor contributing to the overall output 1714. The high frequency low noise DDS 1702 forwardsthephase noise. generated at leastone clock signalFc2ofvariable frequencyFIG . 14 illustrates a general block diagram 1400 of an range towards a DigitalPhase Frequency Detector 1704.example sampling PLL. The sampling PLL 1400 includes a 10 TCXO 1402, a comb generator 1404, a sampling phase The Digital Phase Frequency Detector 1704 compares two signals coming from two directions and generates atdetector 1406, a loop filter 1408, and a VCO 1410. The samplingPLL 1400doesnot include digitalphase/frequency least one signal. One signal is the at least one clock signal Fc2 of variable frequency range generated by the highdetector and frequency divider. Thus, no digital noise floor is generated thatcan bemultiplied andaffectperformanceof 15 frequency low noiseDDS 1702. The second signal is atleast the system . one signalof frequency Fif/N1 generated by a second fixed The TCXO 1402 feeds the clock signal Fclock to the frequency divider 1712. The Digital Phase Frequency comb generator 1404. The comb generator1404 is a device Detector 1704 compares these two signals and generates at thatchanges the inputsinewave signalat frequency Fclock leastone firstcontrolvoltage Vt1 and forwardsittowards a to an output signal of very narrow pulses at the same 20 primary Voltage Control Oscillator (VCO ) 1706 . The pri frequency as the input sine wave signal. mary Voltage ControlOscillator (VCO ) 1706 generates at Thepulse output from the combgenerator 1404 isused as least one output signalof frequency Fout from thereceived a control signal to the sampling phase detector 1406. The at least one first control voltage Vt1. The main PLL 1710 sampling phase detector 1406 receives an RF signal of further comprises a down convertmixer 1716. frequency Fout from the VCO 1410, and includes two 25 The primary role of the reference PLL 1718 is to help the diodesactingas switchesto sample theRF signalby opening main PLL 1710 in reducing the phase noise presentin the at and closing the diodes based on thenarrow pulses from the least one output signal Fout. The reference PLL 1718 comb generator 1404. The sampled voltage Vtproduced is comprises a reference clock (for example a Temperature“held ” on capacitors and buffered until the next sample Compensated Crystal Oscillator (TCXO)) 1724 to generate period. The voltage samples are always atthe samelevel, 30level, 30 at leastone firstclock signalofa fixed single frequency Fc1.thus a DC voltage Vt is generated by the sampling phase Further, the reference PPL comprises a sampling phasedetector 1406. The loop filter 1408 cleans and filters the DC voltage Vt,and provides it to the VCO 1410 to controlthe detector 1722 (that includes the comb generator and the VCO frequency Fout. Fout= Fclock * N , where N is the Nth sampling phase detector) to generate at least one second spectralharmonic line in the " comb" spectrum . 25 controlvoltage Vt2 and a reference Voltage Control Oscil FIG . 15 illustrates block diagram 1500 depicts how the impulse or“comb” generator 1404 changes awave shapeof Oneimportantthing to noticehere isthat unlikeotherdual a signal from sine wave 1502 to narrow pulses 1504. A loop designs, the reference PLL 1718 uses the sampling frequency source 1506 generates the input sine wave 1502 phase detector 1722. The reference PLL 1718 does notuse of frequency F1 and time period T1. 40 any kind digital devices like the Digital Phase Frequency The comb generator 1404 turns the input sine wave 1502 Detector 1704, or the first fixed frequency dividerN1 1714. to a seriesofvery narrow pulses 1504 with same timeperiod Simultaneously the reference clock 1724 present in the T1, and a pulse bandwidth as tp in the time domain . For sampling PLL 1718 is also a very low noise generating example, if the frequency of input sine wave 1502 is 100 device.Due to these reasons the contribution ofphase noise MHz, then the impulse train generator 1508 generates a 45 from thereference PLL 1718 to themain PLL 1710becomes series of very sharp narrow pulses 1504 ofthe same fre - close to negligible. The reference VoltageControlOscillator quency. (VCO) 1720 generates at least one reference signal Fr and FIG . 16 illustrates an example output 1600 of a comb forwards it towards the down convert mixer 1716 . The generator 1404 in the frequency domain. In the frequency reference PLL 1718 plays a major part in all relevant domain (spectrum analyzer screen ), the output 1600 of the 50 communications and similar systemsby being part of vari comb generator 1404 looks like a “ comb”, i.e. a row of lines ous frequency synthesizers, and also as a standalone fre extending up to very high frequency. In theory, if the quency source for all the systemsofup and down conversion bandwidth ofthe clock pulse is infinitesimal,the row oflines processes in the same equipment. appear with equal amplitude to infinity. The output 1600 The down convert mixer 1716 receives at least one looks like a series of lines, with the spacing between the 55 reference signal of frequencies Fr and at least one output lines sameas the initial frequency. In an example, if the signal of frequency Fout and generates at least one inter initial frequency is 1 GHz, the spectrum of lines is 1 GHz mediate signal of frequency Fif and forwards it towards a apart. second fixed frequency divider 1712. The second fixed FIG . 17 illustrates a block diagram 1700 of an ultra-low frequency divider 1712 generates at least one signal of phase noise frequency synthesizer as suggested in a first 60 frequencies Fif/N1 by dividing the incoming at least one embodiment. The ultra-low phase noise frequency synthe- signal of frequency Fif by a predefined factor. The second sizer 1700 includes two Phase Lock Loops (PLLs). One is fixed frequency divider 1712 forwards the generated at least a main PLL 1710 and the other one is a reference PLL 1718. one signal of frequencies Fif/N1 towards the Digital Phase Themain PLL 1710 comprises of a high frequency low Frequency Detector 1704.The primary VCO 1706 forwards noise DirectDigital Synthesizer (DDS) 1702 to generate at 65 the atleastoneoutput signalFout towards a fixed frequency leastone clock signal Fc2 of variable frequency range. The multiplier 1708 to generate at least one final output signal high frequency low noise DDS 1702 generates the at least Fout final.
  • 54.
    23 US 9,831,881 B2 24 Itis important to notice that frequency divider 1712 is The reduction in the ratio of the frequencies leads to a optional and the main PLL can operate without division of reduction in a phase noise of the final output signal Fout Fif. final. The comparison frequency is much lower, so that the To explain the above disclosed disclosures with an number N by which thenoise ismultiplied inside themain example let's say the reference clock 1724 generates the at 5 PLL 1710 is much lower. In an example,theeven ifthe ratio least one first clock signal of a fixed single frequency Fc1 ofsecond fixed frequency divider =2 reduces thephasenoise 100 MHz. Thesampling phasedetector 1722 generates the ofthe finaloutputsignal Fout finalby a factorof20-40 dB second controlvoltage Vt2by sampling the at leastone first compared to a single PLL design. For example, phase noise at 100 KHz Af from the carrier with standard PLL syntheclock signal of a fixed single frequency Fc1 100MHz and forwards the sampled values ofthe at least one first clock1 10 sizers is approximately –106 dBc/Hz. With the proposed frequency synthesizer 1700, the phase noise at 100 KHz Afsignalofa fixed single frequency Fc1 100MHz towards the from the carrier could be in the range of - 130-135 dBc/Hz, reference Voltage Control Oscillator (VCO ) 1720. Theref causing a significant improvement of 24-29 dB . erence Voltage ControlOscillator (VCO) 1720 generates the To summarize, the drastic improvements achieved in at least one reference signalFrand forwards it towards theowardsthe 15 reducing phasenoise in the ultra-low phase noise frequency down convertmixer 1716. In an example, the reference synthesizer 1700 isbased on the following: a) use ofDual VCO 1720 generates frequency of 9.4 GHz. PLL approach to reduce the multiplication number N2, b ) In the example, the first frequency divider 1714 divides use ofsamplingPLL 1718 asthe reference PLL, tomake its the generated reference signal of frequency 9.4 GHzby a noise contribution andreferencePLL phase noise negligible, predefined factorof3 to generate the at least one DDS clock 20 c) use of DDS 1702 to provide low noise,high frequency signal. The high frequency low noise DDS 1702 receives the input to the main PLL 1710, and d ) use of high frequency at least oneDDS clock signal, and based on the atleast one Digital Phase Frequency Detector 1704 in the main PLL software controllable instructions, generates the at least one 1710. clock signal Fc2 of variable frequency range from 0.1 GHz In this embodiment the ultra-low phase noise frequency to 0.225 GHz. 25 synthesizer 1700 is implemented in form of a module. In In the example, the primary VCO 1706 generates the at another form of this embodiment, this design ofthe ultra least one outputsignalof frequency Fout ranging from 9.5 low phase noise frequency synthesizer 1700 can be imple GHz to 9.625GHz. The down convertmixer 1716 mixes the mented not only as a part of big module , but also as an atleast one output signaloffrequency Fout ranging from 9.5 independent, separate chip, which can become a part of the to 9.625 GHz with the reference signal Fr at frequency 9.4 30 front end module of a radar transceiver. The synthesizer can GHz to generate the at least one intermediate signal Fif be implemented in an advanced technology for examplebut having frequency ranges from 0.1GHzto 0.225 GHz.Since notlimited to, like SiGeor GaAs. the at least one clock signal Fc2 ranges from 0.0.1 GHzto FIG . 19 illustrates a block diagram 1800 of an ultra-low 0.225GHz, thesecond fixed frequency divider 1712 is set to phase noise frequency synthesizer as suggested in a second dividethe at least one intermediate signal Fifby a predefined 35 embodiment. The low phase noise frequency synthesizer factor of 1, (which means practically no divider needed in 1800 includes two Phase Lock Loops (PLLs). One is a main this case) to generate the atleast one signalof frequencies PLL 1812 and the other one is a reference PLL 1818. In this Fif/2 ranging from 0.1 GHz to 0.225GHz. embodiment, the ultra-low phase noise frequency synthe The fixed frequencymultiplier1708multiplies theatleast sizer 1800 comprises one single reference clock (for one output signal Fout ranging from 9.4 GHZ to 9.625 GHz 40 example a Temperature Compensated Crystal Oscillator) by a predefined factor of 8 to generate the at leastone final 1802 which provides input clock signals to both the main output signal Fout final ranging from 76 GHz to 77 GHz. It PLL 1812 and the reference PLL 1818. is easier and relatively inexpensive to implement the chip The main PLL 1812 comprisesofa Fractional-N synthe design ofthe frequency synthesizer 1700 for output frequen- sizer chip 1804, a primary Voltage Controlled Oscillator cies 9.4 GHZ to 9.625 GHz, and then multiply the at least 45 (VCO ) 1810 and a down convert mixer 1816 . The Frac one output signal Foutby 8 to generate the at least one final tional-N synthesizer chip 1804 includes a high frequency output signal Fout final in the range of 76 GHz-77 GHz. Digital Phase Detector 1806 and a software controllable Thedown convertmixer 1716 lowers the frequencyofthe variable frequency divider N1 1808. at least one output signal Fout, to reduce ratio of the The reference clock 1802 forwards the generated at least frequencies of the second clock signal and the feedback 50 one clock signal of fixed frequency Fc towards the high signal. Instead of feeding the atleast one output signal Fout frequency Digital Phase Detector 1806 which is located directly to the Digital Phase Frequency Detector 1704, it is inside the Fractional-N synthesizer chip 1804. On one hand mixed down to create at least one signal with much lower thehigh frequency Digital Phase Detector 1806 receivesthe frequency, and obtain a much lower value of the second atleast one clock signalof fixed frequency Fc.On the other fixed frequency divider 1712 or it is not needed as in this 55 hand the high frequency Digital Phase Detector 1806 example. receives atleast onesignalof frequency Fif/N1 generated by As theprimary phase noisepresentin the ultra-low phase the software controllable variable frequency divider N1 noise frequency synthesizer 1700 is dueto the productofthe 1808. The high frequency Digital Phase Detector 1806 noise present in the high frequency DDS 1702 and the compares these two signals, generates at least one first second fixed frequency divider 1712, themore less the value 60 control voltage Vt1 and then forwards the generated at least ofthe second fixed frequency divider 1712will be, themore one firstcontrolvoltageVt1towards the primary VCO 1810. less will be the generated phase noise in the ultra -low phase The primary VCO 1810 generatesat least one output signal noise frequency synthesizer 1700. Therefore when the sec- offrequency Fout from the received atleast one firstcontrol ond fixed frequency divider 1712 is equal to 1, the DDS voltage Vt1. signalnoise ismultiplied by thenumber 1 which means it is 65 The primary role ofthereference PLL 1818 is to help the transferred as is to the output and this achieves a very main PLL 1812 to reduce the phase noise present in the at ultra-low noise. least one output signal Fout. The reference PLL 1818
  • 55.
    US 9,831,881 B2 2526 comprises a sampling phase detector 1822 and a reference tiply the output frequencies by 8 in frequency multiplier Voltage Control Oscillator (VCO ) 191820. 1814 to obtain the finaloutputfrequencies in the range of76 Oneimportant thingto noticehereisthe application ofthe GHz-77GHz. sampling phase detector 1822. ThesamplingPLL 1818 does The downconvertmixer 1816 lowers thefrequency ofthe not use any kind digital devices like the Digital Phase 5 output signal Fout, to reduce a ratio of frequencies of the Detector 1806, or the software controllable variable fre - second clock signal and the feedback signal. Instead of quency divider N 1808. Due to these reasons the contribu feeding the output frequency Fout directly to the Digital tion ofphase noise from the sampling PLL 1818 to themain Phase Detector 1806, it is mixed down to create a much PLL 1812 becomes close to negligible. lower frequency, and thus a much lower value ofN1. A The sampling phase detector 1822 receives the same at 10 reduction in the ratio of the at least one clock signal of leastone clock signal of fixed frequency Fc generated by the frequency Fc and the at least one feedback signal of fre reference clock 1802, generates at least one second control quency Ff leadsto a reduction in a phase noise of the final voltage Vt2 and forwards it towards the reference VCO outputsignal Fout final. The feedback frequency is lowered 191820. The reference VCO 191820 generates at leastone down, so that the number N1 by which thenoise is multi reference signal Frand forwards it towards the downconvert 15 plied inside themain PLL 1812 is also lowered down. If the mixer 1816 . outputfrequency Fout is in the range of 9.5 GHz, and it has The down convertmixer 1816 based on the received at to be compared with a clock of 100 MHz, the ratio N of 9.5 leastonereference signaloffrequency Fr and the at leastone GHz and 100 MHz isaround 95,butifthe outputfrequency output signal of frequency Fout generates at least one fout is mixed down to about 0.2 GHzby the down convert intermediate signalof frequency Fifand forwards it towards 20 mixer 1816, then theratio Nl'of0 .2GHzand 100 MHzmay the software controllable variable frequency divider N1 be only 2 instead of 95 thereby significantly reducing the 1808 located inside the Fractional-N synthesizerchip 1804. phase noise ofthe low phase noise frequency synthesizer The software controllable variable frequency divider N1 1800. 1808 generates atleast one signaloffrequenciesFif/N1by The improvement in the phase noise of the low phase dividing the incoming at least one intermediate signal of 25 noise frequency synthesizer 1800 is based on following: a ) frequency Fif by at least one variable value of N1. The use of dual PLL to reduce themultiplication number N ,b ) Fractional-N synthesizer chip 1804 varies thevalueofN1by use of sampling PLL 1818 asthe referencePLL to make its executing appropriate software instructions. The software noise contribution negligible, c ) use ofhigh frequency low controllable variable frequency divider N1 1808 then for noise reference clock 1802 to provide high frequency input wards the generated at least one signal of frequency Fif/N1 30 to themain PLL 1812, d )use ofhigh frequency Fractional-N towards the Digital Phase Detector 1806. synthesizer 1814 in the primary PLL 1806. The primary VCO 1810 forwards the at least one output In this second embodiment, the ultra -low phase noise signal Fout towards a first fixed frequency multiplier 1814 frequency synthesizer 1800 is implemented in form of a and generate at least one final output signal Fout finalby module. In another form ofthis embodiment, this design of multiplying the at least one output signal Fout by a pre- 35 the ultra-low phase noise frequency synthesizer 1800 can be defined factor. implementednotonly as a partofbigmodule,butalso as an To explain the second embodimentwith an example let's independent, separate chip ,which can becomea part of the say the reference 1802 generates the at least one clock signal frontend module ofa transceiver. The ultra-low phase noise of fixed frequency Fc 100 MHzto Both themain PLL 1812 frequency synthesizer 1800 can also be implemented in and the reference PLL 1818. The phase noise of the refer- 40 advanced technology for example like SiGeor GaAs. ence PLL 1818 is generally very low due to the principle of FIG . 19 illustrates a block diagram 1900 ofthe sampling sampling and also to the presence of the input reference Phase Lock Loop (PLL ) system as suggested in a third clock 1802 which is itself a very low noise generating embodiment. The sampling PLL system 1900 includes a device. Temperature Compensated CrystalOscillator (TCXO) 1902 The sampling phase detector 1822 generates the second 45 as an example ofreference clock , a comb generator 1904, a controlvoltage Vt2 based on the at leastone clock signalof sampling phase detector 1906,a two-way DC switch 1908, fixed frequency Fc 100 MHz and forwards the second a loop filter 1910, a Voltage Controlled Oscillator (VCO ) controlvoltage Vt2 towardsthereference VCO 191820.The 1912, and a Digital Phase Frequency Detector 1914. The reference VCO 191820 generates at least one reference TCXO 1902 is configured to generate at least one clock signal Fr and forwards it towards the down convertmixer 50 signalof frequency Fc z,which is applied to both of the 1816. In an example, the reference VCO 191820 generates comb generator 1904 and the Digital Phase Frequency reference signals of frequency 9.4 GHz. Detector 1914. The sampling PLL system 1900 contains two In the example, the primary VCO 1810 generates the at PLL loops.One is a Sampling PLL loop 1916 and the other least oneoutput signalofa frequency Foutranging from 9.5 is a Digital PLL loop 1918. GHz to 9.6257 GHz. The down convert mixer 1816 mixes 55 The principle of operation in this embodiment is this: the at least one output signaloffrequency Foutranging from Initially the two-wayDC switch 1908 remaining closed with 9.5 GHzto 9.625GHzwith thereference signaloffrequency theDigital Phase Frequency Detector 1914. Due to this only 9.4 GHz to generate the at least at least one intermediate the Digital PLL loop 1918 is remains operational and the signal of frequency Fifranging from 0.1GHz to 0.225GHz. VCO 1912 gets locked to the at least one clock signal of Based on the at least one clock signalof fixed frequency 60 frequency Fc generated by the reference clock TCXO 1902. Fc, the Fractional-N synthesizer chip 1704 determines the The Digital Phase Frequency Detector 1914 also generates valueofthe software controllable variable frequency divider at least one lock detect signal Vid. N 1708, so as to generate at least one feedback signal of Once VCO 1912 gets locked to the at least one clock frequency Ff=Fif/N1. signal of frequency Fc generated by the reference clock The frequency range 9.5 GHz to 9.625 GHz easier and 65 TCXO 1902, the atleast one lock detectsignal Vid generated relatively inexpensive to implement the chip design of the by the Digital Phase Frequency Detector 1914 changes the low phase noise frequency synthesizer 1800, and then mul two-way DC switch 1908 to the Sampling PLL loop 1916.
  • 56.
    US 9,831,881 B2 2728 Due to this the SamplingPLL loop 1916 gets closed and the which are repeating at the same frequency Fc which is the DigitalPLL loop 1918 gets opened. Since the VCO 1912 is frequency of the at least one clock signal generated by the already locked at the correct frequency,the Sampling PLL TCXO 1902. The samplingphase detector 1906 after receiv loop 1916 will remain closed. One importantthing to notice ing the at least one comb signal Fcomb generates a second here is that the loop filter 1910 is common to both the 5 DC output signal Vtsbased on the at leastone comb signal Sampling PLL loop 1916 and the Digital PLL loop 1918. As Fcomb. Theloop filter 1910 generatesthe controlvoltage Vt theloop filter 1910 ismade up ofa plurality ofresistors and based on the second DC outputsignalVts and the VCO 1912 capacitors which are charged to the righttuning voltage Vt remains locked at the output frequency Fr based on thewhich is applied to the VCO 1912.When the Sampling PLL control voltage Vt.loop 1916 gets closed and the Digital PLL loop 1918 gets 10 Atthe execution of lock by the Digital Phase Frequencyopened, the plurality of resistors and capacitors present in Detector 1914, the firstDC output signalVtd becomes equalthe loop filter 1910 do not change their tuning voltages in to the second DC output signal Vts. Further, the loop filterthat step. In other words, the DigitalPLL loop 1918 is used to lock the VCO 1912 with the exact right frequency 1910 is common to the sampling PLL loop 1916 and the generated by the TCXO 1902 and the Sampling PLL loop 15 Digital PLL loop 1918 so as to maintain a similar control 1916 is used to achieve low phase noise. voltage Vts while switchingfrom the DigitalPLL loop 1918 The two-way DC switch 1908 is configured to be to the sampling PLL loop 1916 and vice versa. switched between the sampling phasedetector 1906 and the Another featureis that ifbyany chance,the sampling PLL DigitalPhase Frequency Detector 1914 based on a status of loop 1910 loses a lock with thephase ofthe clock signal, the the lock detect signal Vid generated by the Digital Phase 20 lock detect signal Vld , which is still active, turns low to Frequency Detector 1914. For example, the two-way DC re-connect the two-wayDC switch 1908 to the Digital Phase switch 1908 is configured to be connected to the Digital FrequencyDetector 1914 to enable re-locking ofthe Digital Phase Frequency Detector 1914 when the lock detect signal PLL loop 1918 to the clock signal. Vld is low , and configured to be connected to the sampling In this embodiment, the sampling PLL system 1900 is phase detector 1906 when thelock detect signal Vld is high. 25 implemented in an independent chip form , with digital In the third embodiment,when the lock detect signal Vld circuits replacing analog functions. The sampling PLL sys is low, the two-way DC switch 1908,theloop filter 1910, the tem 1900 may also be implemented as a block on a system VCO 1912 and the Digital Phase Frequency Detector 1914, on chip (SoC) or as a partof amodule. The sampling PLLforms a Digital PLL loop 1918. Whereas, when the lock system 1900may also be used in the ultra-low phase noisedetect signal Vld is high, the comb generator 1904, the 30 fifrequency synthesizers 1700 and 1900.sampling phase detector1906,thetwo-way DC switch 1908, In this embodiment, the Digital PLL loop 1918 alwaysthe loop filter 1910, and the VCO 1912 forms a sampling locks at the correct frequency as the Digital PLL loop 1918PLL loop 1916. As said, initially, the two-way DC switch 1908 is con is software controlled to lock at a right frequency. The nected to theDigital PhaseFrequency Detector 1914,asthe 35 Dighe 25 Digital Phase Frequency Detector 1914 is always able to lock detect signalVld is low due unlock state. In the Digital lock from any distanceregardless ofhow far away initially PLL loop 1918,the Digital Phase Frequency Detector 1914 thethe VCO 1912 is from the reference clock Fc. Thus, use of generates a firstDC output signalVtd based on a comparison theDigitalPLL loop 1918 in the sampling PLL system 1900 of the at least one clock signalof frequency Fc, and at least overcomes the problem of the sampling PLL loop 1916 not oneoutputsignalof frequency Fr,the loop filter 1910 filters 40 being able to lock outside the lock range. The DigitalPLL the first DC output signal Vtd and generates the control loop 1918 is used to lock the VCO 1912 on the right voltage Vt, and the VCO 1912 generates the output signal frequency and then switch to the sampling PLL loop 1916 to frequency based on the control voltage Vt. In an example, achieve the low noise. It also enables thesystem to operate the VCO 1912 is configured to generate either an output with a wideband RF VCO 1912 with assurance that it will signal of frequency Fr of 11.75 GHzor 12.75 GHz chosen 45 lock at the correct frequency. It eliminates the unreliable by software control to the Digital PLL loop 1918. search mechanism and assures lock under all conditions and As soon as the Digital PLL loop 1918 is locked at the temperature conditionsby providing true lock detect indi output frequency Fr, the lock detect signal Vld turnshigh, cation. The presence ofDigital Phase Frequency Detector the two-way DC switch 1908 disconnects from the Digital 1914 enables the use of wideband VCO 1912 in the sam Phase Frequency Detector 1914 and connects to the sam - 50 pling PLL loop 1916 ,as the DigitalPhase Frequency Detec pling phase detector 1906, forming the sampling PLL loop tor 1914 is able to lock the VCO 1912 at any desired 1916. frequency. The sampling PLL system 1900 offers a signifi So once locked, the lock detector signal Vid from the cantimprovement over other products and is highly useful Digital Phase Frequency Detector 1914 controls the two- as one of themost importantbuilding blocks forultra-low way DC switch 1908 to switch to the sampling PLL 1916. 55 noise synthesizers. The loop filter 1910 contains plurality of capacitors and in the sampling PLL loop 1916, there is no digitalnoise resistors that are already charged to the correct tuning floor and thereference clock Fcdetermines theoverallphase voltage Vt of the VCO 1912, and since voltage on the noise,as this is theonly factorthatis translated to the output plurality of capacitors and resistors cannot change in a frequency by 20 log N . " jump" , there would notbe any transient, and the VCO 1912 60 Advantages of the sampling PLL system 1900: a ) It may continue receiving the same control voltage Vtd . The enables the sampling PLL 1916 to operate with a wideband sampling PLL system 1900 remains locked at the same RF VCO with assurance that it will lock at the correct frequency but now through the sampling phase mechanism . frequency, b ) It eliminates the unreliable search mechanism In the Sampling PLL loop 1916 , the comb generator 1904 and assures lock under all offset and temperature conditions, receives the at least one clock signal of frequency Fc and 65 c) It provides true lock detect indication, d) Reliable generates at least one comb signal Fcomb. The at least one improved operation and performance of the sampling PLL comb signal Fcomb is basically a plurality ofnarrow pulses, 1916 ,e )Ultra-low noise, f)Highly reliable, g)Having vastly
  • 57.
    US 9,831,881 B2 2930 improved performance, h ) Easy to manufacture and use, i) clock (or any other reference clock ) generates input frequen Operational in a broadband RF range, and j) Implementable c ies of 100MHzin accordance with the first embodimentof in a chip form . the present disclosure. FIG . 20 illustrates a phase noise simulation plot 2000 The two dimensional phase noise simulation plot contributed by a DDS chip in accordance with the first 5 2902200 comprises of an ordinate (vertical axis) disclosing embodimentof the present invention. The two dimensional Phase Noise (dBc/Hz) 2202 and one abscissa (horizontal phase noise simulation plot 2000 comprises of an ordinate axis) disclosing Frequency (Hz) 2204. The phase noise (verticalaxis) disclosing Phase Noise (dBc/Hz) 211002 and simulation plot2902200 discloses the phase noise contrib one abscissa (horizontal axis) disclosing Frequency (Hz) uted by thereference sampling PLL 1718 as disclosed in the 2004. The phase noise simulation plot 2000 discloses four 10 first embodiment of the present disclosure in FIG . 17. It is phase noise plots corresponding to four input frequencies evidently visible that the phase noise simulation plot which are 1396 MHz 2006, 696 MHz 2008, 427 MHz 2010 2902200 hasmultiple contributors. The two most important and 171 MHz 2012 generated by the single DDS chip. contributors of phase noise in the phase noise simulation In the first embodiment of the present disclosure as plot 2902200 are the reference VCO 1720 and the reference disclosed above in FIG . 17, theDDS 1702 elementgenerates 15 clock TCXO 1724 as discussed in FIG . 17. atleast one clock signal Fc2 ofa variable frequency range A phase noise plot 2208 is the contribution of the refer of 0.1 GHz to 0.225 GHz. Correlating this variable fre ence VCO 1720 in the phase noise simulation plot 2902200. quency range of0.1GHz to 0.225GHzapplicable in the first Thereference sampling PLL 1718 attenuates the phasenoise embodiment of the present disclosure with the DDS phase plot 2208 coming from the primary VCO 1706 to quite an noise simulation plot 2000, it becomes evidently clear that 20 extent. This attenuation is clearly visible in the phase noise even in worst case scenario the DDS phase noise contribu simulation plot 2902200. tion in the first embodiment of the presentdisclosure stays The other primary contributor in thephase noise simula in between the 427MHz2110 and the 171MHz2012which tion plot 2902200 is the phase noise coming from the is in between - 125 dBc/Hzand - 120 dBc/Hzwhich is still reference clock TCXO 1724 present in the first embodiment very much negligible. 25 of the present disclosure. A phase noise plot 2210 is the FIG . 21 illustrates a phase noise simulation plot 2100 contribution ofthe TCXO 1724 into thereference sampling contributed by the main PLL 1710 in accordance with the PLL 1718. The phase noise plot 2210 is titled as XTAL in first embodimentofthe present disclosure. The two dimen - the phase noise simulation plot 2902200. This phase noise sional phase noise simulation plot 2100 comprises of an plot 2210 is the contribution of the TCXO 1724 in the ordinate (vertical axis) disclosing Phase Noise (dBc/Hz) 30 reference sampling PLL 1718, when the TCXO 1724 is 21102 and one abscissa (horizontal axis) disclosing Fre- generating input frequencies of 100 MHz. quency (Hz) 2104. The phase noise simulation plot 2100 Thereference samplingPLL 1718 forwards the generated discloses the phase noise contributed by themain PLL 1710 sampling reference frequency of 9 .4 GHz towards the down asdisclosed in the firstembodimentofthe present disclosure convert mixer 1716. The down convertmixer 1716 mixes in FIG . 17. It is evidently visible that the phase noise 35 this generated sampling reference frequency of 9.4 GHz simulation plot 2100 has multiple contributors. The two with the incoming frequencies of 9.5 GHz-9 .625 GHz to most important contributors of phase noise in the phase generate a attenuated intermediate frequenciesof 0. 1GHz to noise simulation plot 2100 are the primary VCO 1706 and 0.225 GHz. This attenuation procedure itself reduces the the DDS 1702 as discussed in FIG . 17. phase noise contributions coming from the reference VCO A phase noise plot 2108 is the contribution oftheprimary 40 1720 and the TCXO 1724. VCO 1706 in the phase noise simulation plot 2100.As the FIG . 23 illustrates a phase noise simulation plot 2300 primary VCO 1706 belongs to themain PLL 1710, themain contributed by a reference sampling PLL when a TCXO PLL 1710 attenuates the phase noise 2108 coming from the clock (or any other reference clock ) generates input frequen primary VCO 1706 to quite an extent. This attenuation is ciesof250MHz in accordancewith the first embodimentof clearly visible in the phase noise simulation plot 2100. 45 the present disclosure. The other primary contributor in the phase noise simula - The two dimensional phase noise simulation plot 2300 tion plot 2100 is the phasenoise coming from the DDS 1702 comprises of an ordinate (vertical axis) disclosing Phase presentin the first embodimentofthe presentdisclosure. A Noise (dBc/Hz) 2302 and one abscissa (horizontal axis) phase noise plot 2112 is the contribution of the DDS 1702 disclosing Frequency (Hz)2304. The phase noise simulation into themain PLL 1710. The phase noise plot 2112 is titled 50 plot 2300 discloses the phase noise contributed by the asXTAL in the phase noise simulation plot2100. This phase reference sampling PLL 1718 as disclosed in the first noise plot 2112 is the contribution of the DDS 1702 in the embodiment of the present disclosure in FIG . 17. It is main PLL 1710 at a worst point of an output frequency of evidently visible that the phase noise simulation plot 2300 1000 MHz. hasmultiple contributors. The twomost important contribu The main PLL 1710 forwards the primary VCO 1706 55 tors of phasenoise in the phase noise simulation plot2300 generated output frequencies of 9.5 GHz-9.625 GHz are the reference VCO 1720 and the TCXO 1724 as dis towards the down convert mixer 1716. The down convert cussed in FIG . 17. mixer 1716 mixes incoming theprimary VCO 1706 gener A phase noise plot2308 is the contribution ofthe refer ated output frequencies of 9 .5 GHz- 9.6257 GHz with the ence VCO 1720 in thephase noise simulation plot 2300. The sampling reference frequency of 9.4 GHz and generates 60 reference samplingPLL 1718 attenuates the phase noise plot attenuated intermediate frequencies of 0 .1 GHz to 0 .225 2308 coming from theprimary VCO 1706 to quite an extent. GHz. This attenuation procedure itself reduces the phase This attenuation is clearly visible in the phase noise simu noise contributionscoming from theprimary VCO 1706 and lation plot 2300. the DDS 1702. It can be further note that a phase detector The other primary contributor in the phase noise simula noise floor plot 2114 is negligible. 65 tion plot2300 is the phase noise coming from the TCXO FIG . 22 illustrates a phase noise simulation plot 2902200 1724 present in the first embodiment of the present inven contributed by a reference sampling PLL when a TCXO tion . A phase noise plot 2310 is the contribution of the
  • 58.
    US 9,831,881 B2 32 TCXO1724 into the reference sampling PLL 1718. The convertmixer 1716. The down convertmixer 1816 mixes phase noise plot 2310 is titled asXTAL in the phase noise this generated sampling reference frequency of 9.4 GHz simulation plot 2300. This phase noise plot 2310 is the with the incoming frequencies of 9.5 GHz-9.625 GHz to contribution of the TCXO 1724 in the reference sampling generate attenuated intermediate frequencies of 0.1GHz to PLL 1718, when the TCXO 1724 is generating input fre - 5 0.225 GHz. quencies of 250 MHz. FIG . 26 illustrates a phase noise simulation plot 2600 Thereference sampling PLL 1718 forwards the generated contributed by a reference sampling PLL having the TCXO sampling reference frequency of 9.4 GHztowards the down clock (or any other reference clock ) generating input fre convertmixer 1716. The down convertmixer 1716 mixes quencies of 250 MHz in accordance with the second this generated sampling reference frequency of 9 .4 GHz 10 embodiment of the present disclosure. with the incoming frequencies of 9.5 GHz-9.625 GHz to The two dimensional phase noise simulation plot 2600 generate attenuated intermediate frequencies of 0 .1 GHz to comprises of an ordinate (vertical axis) disclosing Phase 0.225 GHz. This attenuation procedure itself reduces the Noise (dBc/Hz) 2502 and one abscissa (horizontal axis) phase noise contributions coming from the reference VCO disclosing Frequency (Hz) 2504. The phase noise simulation 1720 and the TCXO 1724. 15 plot 2600 discloses the phase noise contributed by the FIG . 24 illustrates a phase noise simulation plot 2400 reference sampling PLL 1818 as disclosed in the second contributed by a main PLL in accordance with the second embodiment of the present disclosure in FIG . 18. embodiment ofthepresentdisclosure. The two dimensional Theprimary contributor in thephasenoise simulation plot phase noise simulation plot 2400 comprises of an ordinate 2600 is the phase noise coming from the TCXO 1802 (vertical axis ) disclosing Phase Noise (dBc/Hz) 2402 and 20 present in the second embodiment ofthe presentdisclosure . one abscissa (horizontal axis) disclosing Frequency (Hz) A phase noise plot 2610 is the contribution ofthe TCXO 2404. The phase noise simulation plot 2400 discloses the 1802 into the reference samplingPLL 1818. Thephasenoise phase noise contributed by the main PLL 1812 as disclosed plot 2610 is titled as XTAL in the phase noise simulation in the second embodiment of the present disclosure in FIG . plot 2600. This phase noise plot 2610 is the contribution of 18. The primary difference between the phase noise simu- 25 the TCXO 1802 in the reference sampling PLL 1818, when lation plot 2400 and the above plots of FIGS. 21, 22 and 23 the TCXO 1802 is generating input frequencies of250 MHz. is thatthere is no DDS present in the second embodimentof Thereferencesampling PLL 1818 forwards the generated the present disclosure. The most important contributor of sampling reference frequency of 9.4 GHz towards the down phase noise in the phase noise simulation plot 2400 is the convert mixer 1716 . The down convert mixer 1816 mixes TCXO 1802 as discussed in FIG . 18. 30 this generated sampling reference frequency of 9.4 GHz A phase noise plot2412 is the contribution ofthe TCXO with the incoming frequencies of 9.5 GHz-9.625 GHz to 1802 into themain PLL 1810. The phasenoise plot 2412 is generate a attenuated intermediate frequencies of0.1GHzto titled as XTAL in the phase noise simulation plot 2400. Due 0.225 GHz. to theabsence ofany DDS in the second embodiment ofthe FIG . 27 illustrates a flow chart 2700 depicting the opera present invention, a phase detector plot 2410 becomes a 35 tionalmethods of the first embodimentin accordance with major factor. the presentdisclosure.Atstep 2702,theReference Sampling The main PLL 1812 forwards the primary VCO 1810 PLL receives clock signals from a TCXO, generates sam generated output frequencies of 9.5 GHz-9.625 GHz pling frequencies to eliminate digital noise floor and for towards the down convertmixer 1816. The down convert wards the sampling frequencies towards a Down Convert mixer 1816 mixes incoming the primary VCO 1810 gener- 40 Mixer. ated output frequencies of 9.5 GHz-9.625 GHz with the At step 2704, theMain PLL receives clock signals from sampling reference frequency of 9.4 GHz and generates a low noise frequency generator DDS, generates the output attenuated intermediate frequencies of 0.1 GHz to 0 .225 frequencies and forwards them towards the Down Convert GHz. This attenuation procedure itself reduces the phase Mixer. noise contributions coming from the TCXO 1802. 45 Atstep 2706, theDown Convert Mixer which is a part of FIG . 25 illustrates a phase noise simulation plot 2500 the Main PLL receives frequencies coming from both the contributed by a reference sampling PLL having the TCXO Main PLL and the Reference Sampling PLL, mixes them to clock generating input frequencies of 100 MHz in accor- reduce a multiplication number N to achievehigh data rate, dance with thesecond embodimentof thepresentdisclosure. high modulation schemes and low phase deviation errors. The two dimensional phase noise simulation plot 2500 50 FIG . 28 illustrates a flow chart2800 depicting the opera comprises of an ordinate (vertical axis) disclosing Phase tional methods of the second embodiment in accordance Noise (dBc/Hz) 2502 and one abscissa (horizontal axis) with the present disclosure. At step 2802, the Reference disclosing Frequency (Hz) 2504. The phasenoise simulation Sampling PLL receives clock signals from a TCXO (or any plot 2500 discloses the phase noise contributed by the other reference clock ), generates sampling frequencies to reference sampling PLL 1818 as disclosed in the second 55 eliminate digital noise floor and forwards the sampling embodiment of the present disclosure in FIG . 18. frequencies towards a Down Convert Mixer. The primary contributor in the phase noise simulation plot Atstep 2804, the Main PLL receives clock signals from 2500 is the phase noise coming from the TCXO 1802 the same TCXO, generates the output frequencies and present in the second embodimentofthe presentdisclosure. forwards them towards the Down ConvertMixer. A phase noise plot 2510 is the contribution of the TCXO 60 Atstep 2806, theDown Convert Mixer which is a part of 1802 into thereference samplingPLL 1818. Thephase noise theMain PLL receives frequencies coming from both the plot 2510 is titled as XTAL in the phase noise simulation Main PLL and the Reference Sampling PLL, mixes them to plot 2500. This phase noise plot 2510 is the contribution of reduce amultiplication number N to achieve high data rate, the TCXO 1802 in the reference sampling PLL 1818, when high modulation schemes and low phase deviation errors. the TCXO 1802 is generating input frequenciesof 100 MHz. 65 FIG . 29 illustrates a flow chart 2900 depicting the opera The reference sampling PLL 1818 forwards the generated tionalmethods ofthe third embodiment in accordance with sampling reference frequency of9.4 GHz towardsthedown the present disclosure. At step 2902, a TCXO generates
  • 59.
    US 9,831,881 B2 3334 clock signal of low noise of one frequency that can be fortraditional Radarsystemsand thus,accordingly a correct anywhere between 100 MHz to 250 MHz. decisionmaybe taken based on execution of the instructions Atstep 2904, a Sampling Phase Detector receives the set by the processor 3708. clock signals and eliminates digital noise floor. Further, in case of a Radar unit, the received signal (i.e., At step 2906, a Digital PLL is added with the Sampling 5 received from hitting an object and returning as echo ) will PLLto improve performance and reliability ofan Ultra-low be subject to the Doppler effect. A system implemented in Phase Noise Frequency Synthesizer to achieve high data autonomous vehicles that utilizes the characteristicsof the rates, high modulation schemes and low phase deviation Doppler effect, potential slow moving targets will create a errors. very small Doppler frequency shift that is very hard to FIG . 37 illustrates a detection system 3700,in accordance 10 impossible to identify with traditionalRadarsystemsthatdo with various embodiments of the present invention. The not implement an ultra -low noise synthesizer. As a result of the much improved phase noise at low -offset frequencies detection system 3700 may be implemented in an autono from the carrier, such signals have a significantly better mous vehicles that may enable tracking of one or more chance to be detected and analyzed correctly. Further, the objects in and around the path. Thus, the detection system 15 traditionalmethod of analysis does notneed to change and 3700 may interchangeably be referred to as an 'object should also not change the amountofdata produced by theshould also not cha detection system 3700'. The detection system includes,but analysis, itwill however improve the accuracy of the infor not limited to, a radar unit 3702, an ultra-low phase noise frequency synthesizer 3704 (coupled to the radarunit 3702), The memory 3706 may include instructions set 3710 amemory 3706 and a specialized processor 3708. Theradar 20 having one ormore specialized instructions and a database unit 3702 may be configured for detecting the presence of 3712. The specialized instructionsmay be executableby the one or more objects/targets in one or more directions by specialized processor 3708. The detection system 3700 may transmitting radio signals in the one or more directions. In receive an input from an external source (notshown). Such an embodiment,the radarunit 3702 may be comprised of at inputmay beprovided to activate the detection system 3700. least one of or combination of: a traditional Radar system , 25 The inputmay be a command thatmay be provided through a synthetic aperture radar, or any type of Radar with any an input source such as keyboard or a switch. Further, the number of Radar subsystems and antennas. Further, the inputmay be provided remotely to the detection system radar unitmay include a transmitter for transmitting at least 3700 that may be processed by the processor 3708 in one radio signal to one or more objects and a receiver for accordance with the instructions set 3710. In an embodi receiving the at least one radio signal returned from one or 3030 ment, once the input is received by the system 3700, the transmitter of the radar unit 3702 may initiate transmittingmore objects. the radio waves in multiple directions. For example , theThe ultra-low phase noise frequency synthesizer 3704 radio wavesmay be transmitted everywhere in 360 degree to (hereinafter may interchangeably be referred to as 'fre determine the presence of one ormore objects. quency synthesizer 3704') may be providing the needed 35 In an embodiment, the radar unit 3702 (in conjunctioncarrier frequency, or a multiple or a fraction ofthe needed with the specialized processor, such as the processor3708) carrier (orup-conversion) frequency fortheRadar transmit determines a distance and a direction of each of oneormore ter section. The ultra-low noise frequency synthesizer 3704 objects. Further, the radar unit determines one or more may also be providing the needed carrier (or down-conver- characteristics, of two close objects irrespective of size of sion) frequency, or a multiple or a fraction of the needed 40 the one or more objects. Again further, the radar unit carrier frequency for the Radar receiver section. For some differentiatesbetween two ormore typesof the objects when Radars thetransmit signalis used as carrier frequency forthe oneobject is visually obscuringanother object.Additionally, receive section, this does not alter the principle of this the radar unit utilizes a modulated or non-modulated radio invention and is merely another form of implementation. signal, to determine presence of a slow moving target Theterm "carrier” may be used interchangeably referring to 45 despite the very small Doppler frequency shift. Also, the an up-conversion or down-conversion signal. radar unit utilizes a modulated or non-modulated radio The outputofthe frequency synthesizer 3704may include signal, to determine presence of a close rangetargetdespite a continuous wave signal with ultra-low phase noise. The the very short signal travel time.Further, in an embodiment, received radio signalmay be down-converted with the help the detection system 3700 may include additional one or of frequency synthesizer 3704 and analyzed to determine 50 more sensors thatmay be activated for utilization thereofin information and/or characteristics corresponding to the one conjunction with the radar unit 3702. Such additional sen or more objects. Such information may include (but not sors may include, but are not limited to, one or more limited to ) velocity, distance, frequency and type(s) of the cameras, ultrasonic sensor,sonar, sensor for image process object(s). The distance may be determined between the ing etc. object and the radar unit 3702. Accordingly, an action may 55 In an embodiment, the radar unit 3702 of the detection be adopted by the system 3700 based on the information system 3700may be placed above the vehicle, or anywhere received from the analysis of the synthesized radio signal. else in or on the vehicle, to transmit the radio signals in For example, ifthe detection system 3700 is implemented in various directions and further to receive the returned radio a vehicle,the radar unit3702may transmit theradio signals, signals as returned from the object(s) (after hitting the that in this case will carry ultra -low or negligible phase 60 object(s )). noise,and following thatthereceived return signalwillcarry Further, the specialized instruction on execution by the ultra-low ornegligible phasenoise aswell.Thereturn signal specialized processor gathers information corresponding to willbe analyzed to determine the presence of the objects and the one or more objects and surroundings corresponding their locations with respect to the vehicle . The fact that an thereto , the information being gathered based on the ultra-low phase noise synthesizer is used practically guar- 65 returned radio signal. Specifically, the information corre antees thatthe information corresponding to the oneormore spondingto theobjectmay be gathered from theradio signal objectsmay be determined in a more accurate fashion than thatis returned from theobject(s). The information gathered
  • 60.
    US 9,831,881 B2 3536 may include,but is not limited to,surrounding information position,frequency and type(s)ofthe object(s).The distance oftheobject(s)such asroad structure,traffic in frontofthose may be determined between the object and the radar unit objects, trafficbehavior,response ofthe oneormore objects 3802 and accordingly the expectedtimebywhich the object based on the traffic behavior. Further, based on analysis of may reach near the vehicle and vice versa may also be these, the system may determine probable nextmove cor- 5 determined. Herein, the one or more factors may include responding to the one or more objects and perform pre- (but not limited to at least one of one or more input planning corresponding to probable moves thatmay be instructions,analysis of past history, and current situation.required in near future. Such intelligent planning of the Further, a suitable action may be determined by thedetection system may determine probable events on the detection system 3700 (for example, by the processorroad. This further ensures safety on theroad. Further, the 10 thereof) based on analysis oftherefined radio signal. Suchinformation corresponding to the objects and surrounding determined suitable action may then be performed by the may be stored in the database 3712 for future reference and vehicle 3800.For example, the processor (asshownin FIG .planning. Furthermore , the information may be provided to 37) may provide signals for actuation of one or morean outputdevice (not shown) such as a display. The infor mationmay also be transferred to a Database outside of the 15 components ofthe vehicle to perform one ormore actionsmationmay alsobe transferred to a Database outside ofthe 15 components of autonomous vehicle such as, but not limited to, a cloud based on the one ormore input instructions. In an embodi based database. ment, the detection system 3700 may include an inputunit With the implementation of the ultra-low phase noise for receiving oneormore input instructions from an external frequency synthesizers 3704, the improved phase noise source (such as a user or device). Such instructionsmay be translated to degrees is better than 0.04 degrees. The detec- 20 stored in a memory (as shown in FIG . 37) of the detection tion system is further explained with an illustration in system . conjunction with the following figure(s) (i.e., FIG . 38 ). In an embodiment, the objects, such as other vehicles, FIG . 38 illustrates an exemplary vehicle 3800 implement- may also implement the detection system . Further, through ing a detection system (such as the detection system 3700), the radar unit, each object (such as, but not limited to in accordance with an embodiment of thepresent invention . 25 vehicle) may be able to interact/communicate with other The radar unit 3802 ofthedetection system may be config- objects through radar signals eitherbyutilizing Radar sig ured anywhere inside or outside the vehicle 3800. For n als generated by other objects or any other form of inter example,asdepicted , the radar unit 3802 is placed on the top action . Furthermore, the detection system may enable deter of the vehicle to detect the presence of one ormore objects mining location and more characteristics of other objects in one ormore directions. Such objects may include, but is 30 (such as vehicle) having the detection system therein. notlimited to, other vehicles,human,animal, flying objects In an embodiment, the detection system may further be or other types of objects in the surroundings. Further, the equipped with one or more components and/or sensors to objects may be of varying size and type and may have enable additional functioning corresponding thereto. For differentcharacteristics thatmay bedetermined through the example,cameras, image processing andadditionallow cost radar unit.Herein , the characteristics ofobjectsmay include, 35 sensors may be utilized to create a 3D mapping of the but not limited to , shape, size, running speed, maximum surroundings Further, the object such as a vehicle (having possible speed (for example, based on the type of the the detection system ,may receive instructions from external vehicle) and so on. In an embodiment, the radar unit 3802 source thatmay be processed effectively by implementing may be positioned at any other place such as outside or thedetection system .For example, if the vehicle (having the inside the vehicle. 40 detection system ) receives instructions to reach to a particu Further, the radar unit 3802may include a transmitter for lar place at a remote location. The detection system in transmitting radio signals created in conjunction with an combination with GPS may enable the vehicle to reach to implementation ofan ultra-low phase noise synthesizer. This such particular place. In an embodiment, the detection signal is transmitted with the goal to be echoed back system may further utilize one or more cameras thatmay (returned radio signal) from one ormore objects that may 45 provide additional information regarding the environment be available in the surrounding or other nearareas). Further, and the objects therein ) to the detection system . Advanta the radar unit 3802may include a receiver for receiving the geously, this enables self-driving of the vehicle without returned radio signal generated by its paired transmitter or external guidance from a person (such as driver). any other transmitter from the one or more objects. As FIG . 39 illustrates an exemplary method 3900 flow dia depicted, signals 3804 may be transmitted and received by 50 gram for autonomous vehicle, in accordance with an theradar unit 3802. embodiment of the present invention. The method 3900 In an embodiment, the ultra-low phase noise frequency corresponds to functional steps for implementation of an synthesizer (hereinafter may interchangeably be referred to object detection system , such as the detection system 3700. as 'frequency synthesizer 3704 ') may be configured inside The order in which method is performed isnot construed as the vehicle 3800 thatmay be coupled to the radar unit 3802 55 limiting forthe present invention. Further,various additional positioned on outside surface ofthe vehicle. In an alternate steps may be added in light of the scope of the present embodiment, the frequency synthesizer 3704may be con- invention. figured on outside surface ofthevehiclealong with the radar Themethod 3900 may include various steps such as (but unit. are not limited to ): at step 3902, the method may detect a Further,the detection system may include a processor for 60 presence ofone ormore objects in one ormore directionsby processing of the refined radio signals thatmay further be a radarunit.Herein , the radar unit comprising: a transmitter analyzed to determine information corresponding to the one for transmitting at least one radio signalto the one ormore or more objects. Further, the processor may determine objects; and a receiver for receiving the at least one radio additional information corresponding to the one or more signal returned from the one or more objects. Further, the objects based on the determined information and one or 65 method may include, utilizing (step 3904) at least one more factors. Such information and additional information ultra-low phase noise frequency synthesizer for refining the may include (but is not limited to) velocity,distance,angular transmitted and the received signals of the radar unit, and
  • 61.
    37 US 9,831,881 B2 38 therebydetermining a phase noise andmaintaining quality Additionally, the method may include a step of activating of the transmitted and the received radio signals. one or more additional sensors for operation thereof in Hereinabove, the at least one ultra-low phase noise fre conjunction with theradarunit. Themethod may determine quency synthesizer comprises: (i) at least one clocking characteristicsoftwo close objects irrespectiveofsizeofthe device configured to generate at least one first clock signal 5 objects. Further, the method may differentiate between two of atleast one firstclock frequency; (ii)at leastonesampling or more types of the objects when one object is visually Phase Locked Loop (PLL ), wherein the at least one sam - obscuring another object. pling PLL comprises: (a ) at least one sampling phase detec- Based on the gathered information (such as the charac tor configured to receive the at least one first clock signal teristics) corresponding to the objects, the method (at step and a single reference frequency to generate at leastone first 10 3908 ) may enable an autonomous vehicle to adopt one or analog controlvoltage;and (b ) atleastone reference Voltage more actions based on the determined characteristics of the Controlled Oscillator (VCO) configured to receive the at objects.In an embodiment,such actionsmay be suggested least one analog control voltage to generate the single by the specialized processor to the autonomous vehicle (or reference frequency; and (c) a Digital Phase/Frequency components thereof). detector configured to receive the at least one first clock 15 Advantageously, thepresentinvention emphasizesthatby signal and a single reference frequency to generate at least incorporating the ultra-low phase noise synthesizer in exist a second analog control voltage; and (d ) a two-way DC ing Radar system , the performance oftheRadar system will switch in communication with the Digital Phase/Frequency be improved substantially in termsof targetdetection accu detector and the sampling phase detector; (iii) at least one racy and resolution and because of this it can become the first fixed frequency divider configured to receivethe at least 20 dominant sensor for the handling of autonomous cars. one reference frequency and to divide the at least one Herein , the Synthesizer drastically reduces the phase noise reference frequency by a first predefined factor to generate ofRadar signals so that such Radar sensorwill be able to atleastone clock signal for atleastonehigh frequency low replace current sensor systems at very low cost and with phase noise Direct Digital Synthesizer (DDS) clock signal; reliability atall lighting and adverse weather conditions. (iv ) at least one high frequency low phase noise DDS 25 Further, the Radar unitmay utilize modulated or unmodu configured to receive the at least one DDS clock signal and lated waveforms to determine the electromagnetic charac to generate at least one second clock signal ofat least one teristics such as, butnot limited to, dielectric constants of second clock frequency; and (v ) at least one main Phase targets with significantly better accuracy. Furthermore, for Locked Loop (PLL), wherein the at least onemain PLL theRadar unit(as disclosed herein this disclosure) thatmay comprises: (a ) at least one high frequency Digital Phasel 30 utilize modulated or unmodulated waveforms, the process Frequency detectorconfigured to receive and compare the at ing speed of the main decision making unit is significantly least one second clock frequency and at least one feedback improved because the much lower phase noise enables the frequency to generate at least one second analog control Radar to provide more accurate data with less data than a voltage and at least one digital controlvoltage; (b ) at least LIDAR sensor for example. Accordingly, the detection one main VCO configured to receive the at least one first 35 system (such as the detection system 3700) may determine analog control voltage or the at least one second analog the type ofmaterial of a target object with high accuracy. control voltage and generate at least one output signalofat Furthermore, the detection system may utilize one ormore least one output frequency, wherein the at least one digital of: a camera, image processing and additional low cost control voltage controlswhich oftheatleastone first analog sensors for replacing the need for LADAR /LiDAR .More control voltage or the at least one second analog control 40 over, in an embodimentofthe presentdisclosure, the Radar voltage is received by the atleast onemain VCO ; (c )atleast unit (thatmay use modulated or unmodulated waveforms) one down convert mixer configured to mix the at least one may be utilized in conjunction with LIDAR, Camera, image output frequency and the reference frequency to generate at processing used to create a 3D mapping of the surroundings. leastone intermediate frequency;and (d ) atleast one second Additionally, the Radar unit (that may use modulated or fixed frequency divider configured to receive and divide the 45 unmodulated waveforms) may be used in SAR applications at least one intermediate frequency by a second predefined or anyother Radarapplication.Herein ,when used in bistatic factor to generate the at least one feedback frequency. or multistatic scenarios the phase correlation between the Herein, themethodmay further include various steps such separate transmitters and receivers may be kept between 10 as receiving and multiplying, by ultra-low phase noise to 1000 times better than with traditional Radar systems. frequency synthesizer, the at least one output signal by a 50 Further, the detection unitmay determine probable events of predefined factor to generate atleast one final outputsignal objects (such as other vehiclesin traffic area) through Radar of at least one final output frequency. Further, the method unit andby reducing thephase noise through the phase noise may generate theup converting or down converting signalof frequency synthesizer. Accordingly, thedetection unit may the radar unit, by utilizing the ultra-low phase noise fre- pre-plan any eventbased on the determination ofprobable quency synthesizer. 55 events and may ensure safety on the road, especially during Themethod 3900 (atstep 3906)may process thereturned traffic time. (received) signals that are refined (such as down converted) In an embodiment, the vehicle 3800 may include a by theultra-low phase noise frequency synthesizer to deter- detection system (such as the detection system 3700) having mine one ormore characteristics of the one or more objects a radar unit (such as the radar unit 3802) thatmay utilize a (from where the radar signals are returned ). For example, the 60 non -modulated pulse to determine presence of a slow mov method may determine presence of a slow moving target ing target despite the very small doppler frequency shift. despite the very small Doppler frequency shift. Further, the Further, the radar unit utilizes a non-modulated pulse to methodmay include determining presence of a close range determinepresenceof a close range target despite the very targetdespite the very short signal travel time. Furthermore, short travel time of the signal. Further, in an embodiment, themethodmay determine a distance and a direction ofeach 65 the radar unit utilizes at least one of: a modulated waveform of the one ormore objects. Again further,the method may and/or a non -modulated waveform to determine at least one determine a type of material an object is made up of of: the distance and more characteristics ofany target, one
  • 62.
    39 US 9,831,881 B2 40 ormorecharacteristics of two close targets when both are a transmitter fortransmitting atleast one radio signal to the same size or one target is smaller than the other target. the one ormore objects; and Further, the detection system determines a type ofmaterial a receiver for receiving the at least one radio signal a target ismade up of. returned from the one ormore objects, and Further,in an embodiment, the radar unit utilizes modu- 5 the at least one ultra-low phase noise frequency synthe lated or unmodulated waveforms wherein when used in sizer performing as a Local Oscillator (LO) for the conjunction with targets that utilize Radar signalmodulators radar unit, both the transmitted and the received sig can identify the modulation. Further, the detection system nals, and thus determining the phase noise and the may utilize modulated or unmodulated waveforms in radar quality of the transmitted and the received radio sig unit in conjunction with at least one of: Cameras, image 10 nals, wherein the at least one ultra-low phase noise processing and additional low cost sensors to create a 3D frequency synthesizer comprises: mapping of the surroundings. (i) atleast one clocking device configured to generate While the invention has been described in detail,modi atleast one first clock signalofatleastone firstclock fications within the spiritand scope ofthe invention willbe frequency; readily apparent to those ofskill in the art.Such modifica- 15 (ii) at least one sampling Phase Locked Loop (PLL), tions are also to be considered as part of the present wherein the at least one sampling PLL comprises: disclosure. In view of the foregoing discussion, relevant (a)atleastone sampling phase detector configured to knowledge in the artand referencesor information discussed receive the at least one first clock signal and a above in connection with the Background, which are all single reference frequency to generate atleast one incorporated herein by reference, further description is 20 first analog control voltage; and deemed unnecessary. In addition, it should be understood (b ) at least one reference Voltage Controlled Oscil thataspects of the invention and portionsof various embodi lator (VCO) configured to receive the atleast one mentsmay be combined or interchanged either in whole or analog control voltage to generate the single ref in part. Furthermore, those of ordinary skill in the art will erence frequency; and appreciate that the foregoing description is by way of 25 (c) a DigitalPhase/Frequency detector configured to example only, and is not intended to limit the invention. receive the at least one first clock signal and a The foregoing discussion of the present disclosure has single reference frequency to generate at least a been presented for purposes of illustration and description. second analog control voltage; and It is not intended to limit the present disclosure to the form (d ) a two-way DC switch in communication with the or formsdisclosedherein . In theforegoing Detailed Descrip - 30 Digital Phase/Frequency detector and the sam tion, for example, various features of the present disclosure pling phase detector; are grouped together in one ormore embodiments, configu (iii)atleastone first fixed frequency dividerconfigured rations, or aspects for the purpose of streamlining the to receive the at least one reference frequency and to disclosure. Thefeaturesoftheembodiments,configurations, divide the at least one reference frequency by a first or aspects may be combined in alternate embodiments, 35 predefined factorto generate at leastone clock signal configurations, or aspects other than those discussed above. for at least one high frequency low phase noise This method ofdisclosure is not to be interpreted as reflect DirectDigitalSynthesizer (DDS) clock signal; ing an intention thepresentdisclosure requiresmore features (iv) at least one high frequency low phase noise DDS than are expressly recited in each claim . Rather, as the configured to receive the at least one DDS clock following claimsreflect, inventive aspects lie in less than all 40 signal and to generate at least one second clock features of a single foregoing disclosed embodiment, con signal ofat least one second clock frequency; and figuration, or aspect. Thus, the following claimsare hereby (v) at least one main Phase Locked Loop (PLL), incorporated into this Detailed Description, with each claim wherein the atleast one main PLL comprises: standing on its own as a separate embodiment ofthepresent (a) at least one high frequency Digital Phase/Fre disclosure. 45 quency detector configured to receive and com Moreover,though thedescription ofthepresentdisclosure pare the atleast onesecond clock frequency and at has included description of one or more embodiments, least one feedback frequency to generate at least configurations, or aspects and certain variations and modi one second analog controlvoltage and at least one fications, other variations, combinations, and modifications digital control voltage; are within the scope of the present disclosure, e.g., asmay 50 (b) at least onemain VCO configured to receivethe be within the skill and knowledge of those in the art, after at least one first analog control voltage or the at understanding the presentdisclosure. It is intended to obtain least one second analog controlvoltage and gen rights which include alternative embodiments, configura erate at least one output signal of at least one tions, oraspects to the extent permitted, including alternate, output frequency,wherein the at leastone digital interchangeable and/or equivalent structures, functions, 55 control voltage controls which of the at least one ranges or steps to those claimed, whether or not such first analog control voltage or the at least one alternate, interchangeable and/or equivalentstructures, func second analog controlvoltage is receivedby the at tions, ranges or steps are disclosed herein, and without least onemain VCO ; intending to publicly dedicate any patentable subjectmatter. (c) at least one down convertmixer configured to 60 mix the at least one output frequency and the The invention claimed is: reference frequency to generate at least one inter 1. An object detection system for autonomousvehicles, mediate frequency; and comprising: (d ) at least one second fixed frequency divider con a radarunit coupled to at least one ultra-low phase noise figured to receive and divide the at least one frequency synthesizer, configured for detecting the 65 intermediate frequency by a second predefined presence ofone ormore objects in one ormore direc factor to generate the at least one feedback fre tions, the radar unit comprising: quency.
  • 63.
    42 20 30 US 9,831,881 B2 41 2.The object detection system of claim 1,wherein the (d) a two-way DC switch in communication with the radar unit determines a distance and a direction of each of Digital Phase/Frequency detector and the sam one ormore objects. pling phase detector; 3. The object detection system of claim 1,wherein the (iii) at leastone first fixed frequency divider configured radar unit determines one ormore characteristics, of two 5 to receive theatleastonereference frequency and to close objects irrespectiveofsize ofthe oneormoreobjects. divide the at leastone reference frequency by a first 4 . The object detection system of claim 1 further com predefined factorto generate atleastone clock signal prising atleast oneadditional sensorsystem ,available on the for at least one high frequency low phase noise autonomous vehicle, in conjunction with the radar unit. Direct Digital Synthesizer (DDS) clock signal; 5. The object detection system of claim 1, wherein the (iv ) at least onehigh frequency low phase noiseDDS radar unit differentiatesbetween two or more types of the configured to receive the at least one DDS clock objectswhen one object is visually obscuring another object. signal and to generate at least one second clock 6 . The objectdetection system of claim 1, wherein the at signal of at least one second clock frequency; and leastoneultra-low phasenoise frequency synthesizer further 15 (v) at least one main Phase Locked Loop (PLL), comprises at least one fixed frequency multiplier configured wherein the at least one main PLL comprises: to receive and multiply the at least one output signal (a) at least one high frequency Digital Phase/Fre generated by the at least one main PLL by a predefined quency detector configured to receive and com factor to generate at least one final output signal of at least pare theatleastone second clock frequency and at one final output frequency. least one feedback frequency to generate at least 7. The object detection system ofclaim 1, wherein the at one second analogcontrol voltage and at leastone least one ultra-low phase noise frequency synthesizer is digital control voltage; implemented on the sameelectronic circuitry or on a sepa (b) at least one main VCO configured to receivethe rate electronic circuitry. at least one first analog controlvoltage or the at 8. The object detection system of claim 1, wherein the 25 leastone second analog controlvoltage and gen ultra-low phase noise frequency synthesizermay be used to erate at least one output signal of at least one generate the up or down converting signal ofthe radar unit. output frequency, wherein the at least one digital 9. The object detection system of claim 1, wherein the controlvoltage controlswhich of theatleast one radar unit utilizes a modulated or non-modulated radio first analog control voltage or the at least one signal, to determine presence of a slow moving targets second analog controlvoltage is received by the at despite the very small Doppler frequency shift. least one main VCO ; 10. The object detection system of claim 1,wherein the (c) at least one down convertmixer configured to radar unit utilizes a modulated or non -modulated radio mix the at least one output frequency and the signal, to determine presence of a close range targetdespite 25 reference frequency to generate at least one inter the very short signal traveltime. mediate frequency; and 11. A method for autonomous vehicles, comprising: (d) at least one second fixed frequency divider con detecting a presence ofoneormoreobjects in oneormore figured to receive and divide the at least one directions by a radar unit, the radar unit comprising: intermediate frequency by a second predefined a transmitter for transmittingatleastoneradio signal to 40 factor to generate the at least one feedback fre the one or more objects; and quency. a receiver for receiving the at least one radio signal 12. Themethod of claim 11 further comprisingreceiving returned from the one ormore objects; and and multiplying, by ultra-low phase noise frequency syn performing, by at least one ultra-low phase noise fre thesizer,the atleastone outputsignalby a predefined factor quency synthesizer, as a Local Oscillator (LO ) for the 45 to generate atleast one final outputsignalofat leastone final radar unit, both the transmitted and the received sig- output frequency. nals,and thereby determining a phase noise and quality 13. Themethodofclaim 11 further comprisinggenerating of the transmitted and the received radio signals, the up converting or down converting signal of the radar wherein the at least one ultra -low phase noise fre unit.quency synthesizer comprises: 30 14. The methodof claim 11 furthercomprising determin(i) at least one clocking device configured to generate ing presence ofa slow moving targetdespite thevery smallat leastone firstclock signalofat leastone firstclock Doppler frequency shift.frequency; 15. Themethod of claim 11 further comprising determin(ii) at least one sampling Phase Locked Loop (PLL), wherein theatleastone sampling PLL comprises: 55 "sing presence of a close range target despite the very short (a ) atleast one sampling phase detectorconfigured to signal travel time. receive the at least one first clock signal and a 16. Themethodofclaim 11 further comprising determin single reference frequency to generate atleastone ing a distance and a direction of each of the one ormoreing a distance and a direction of each of the one or more first analog control voltage; and objects. (b) at least one reference Voltage Controlled Oscil- 60 17. Themethod of claim 11 further comprisingdetermin lator (VCO ) configured to receive the at least one ing a type ofmaterial an object is made up of. analog control voltage to generate the single ref- 18. Themethod ofclaim 11 further comprising activating erence frequency; and one or more additional sensors for operation thereof in (c) a Digital Phase/Frequency detector configured to conjunction with the radar unit. receive the at least one first clock signal and a 65 19. Themethod of claim 11 further comprising determin single reference frequency to generate at least a ingcharacteristicsoftwo close objects irrespectiveofsizeof second analog control voltage; and the objects.
  • 64.
    US 9,831,881 B2 4344 20. The method of claim 11 further comprising differen tiatingbetween two ormore types ofthe objects when one object is visually obscuring another object. * *