111111 1111111111111111111111111111111111111111111111111111111111111111111111111111 
US 20130022191Al 
(19) United States 
c12) Patent Application Publication 
OR-BACH et al. 
(10) Pub. No.: US 2013/0022191 A1 
(43) Pub. Date: Jan. 24, 2013 
(54) SYSTEMS AND METHODS FOR VISUAL 
PRESENTATION AND SELECTION OF IVR 
MENU 
(52) U.S. Cl. .................................................. 379/218.01 
(57) ABSTRACT 
(76) Inventors: Zvi OR-BACH, San Jose, CA (US); Tal 
Lavian, Sunnyvale, CA (US) 
Embodiments of the invention provide a system for generat­ing 
an Interactive Voice Response (IVR) database, the system 
comprising a processor and a memory coupled to the proces­sor. 
The memory comprising a list of telephone numbers 
associated with one or more destinations implementing IVR 
menus, wherein the one or more destinations are grouped 
based on a plurality of categories of the IVR menus. Further 
the memory includes instructions executable by said proces­sor 
for automatically communicating with the one of more 
destinations, and receiving at least one customization record 
from said at least one destination to store in the IVR database. 
(21) Appl. No.: 13/186,984 
(22) Filed: Jul. 20, 2011 
Publication Classification 
(51) Int. Cl. 
H04M3/493 (2006.01) 
1502 
1504 
Detect phone number of a destination dialed from a device 
Search for IVR information in visual menu database on the 
device 
1510 
1512 
1516 
Display the visual menu and associated 
information 
Detect input from caller on the visual menu 
Connect to the destination based on inputs 
from the caller 
Maintain the connection till caller or destination disconnects
Patent Application Publication 
co ..0 co co 
.0.,. .... .0.,. .... 
c c 
.Q .Q 
........ ........ co co 
c c 
........ ........ en en 
(]) (]) 
0 0 
Jan. 24, 2013 Sheet 1 of 92 
(.) co 
.0.,. .... 
c 
.Q 
........ co 
c ........ •• • en 
(]) 
0 
-. 
(]) (]) -.:::1" 
(]) c c 0 
(.) 0 0 ..,..... 
·- ..c ..c 
>o.. 0.. 
(]) (]) ::J 0- en 
-~ > co N 
.0.,. .... 
"- 
(]) 
co c.o 
0 .0.,. .... 
c 
co 
.0.,. .... 
c 
.Q 
........ co 
c 
........ en 
(]) 
0 
US 2013/0022191 A1 
(.9 
LL
Patent Application Publication Jan. 24, 2013 Sheet 2 of 92 US 2013/0022191 A1 
co ..0 u c 
00 00 00 00 
0 0 0 0 ..-- ..-- ..-- ..-- 
c c c c 
_...Q... _...Q... _...Q... _...Q... 
co co co co 
c c c • • • c 
:;::::; :;::::; :;::::; :;::::; 
(/) (/) (/) (/) 
Q) Q) Q) Q) 
0 0 0 0 
<0 ..-- ..-- 
>. 
co 
5 z ro -Q) I- co (J) T'"" 
(9 a_ 
....---- C) 
LL 
-- a_ 
0 Q) > c ..0 
~.._ ~ + 0 """ ·:; 03 _c 0 
0 Q_ ..-- 
..5.... 0Q )::-J (::/J) ..0 
Q) Q_ > N z E 0 
0 ..-- 
.u__ .. 
N ..-- 
..-- 
.._ 
Q) 
co <0 u 0 ..--
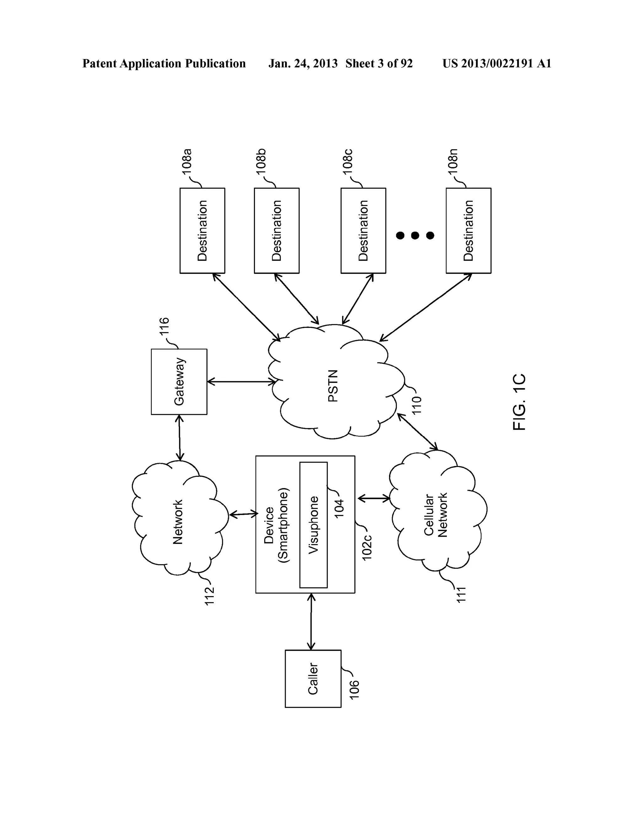
Patent Application Publication Jan. 24, 2013 Sheet 3 of 92 US 2013/0022191 A1 
ro .0 (.) c 
co co co co 
0 0 0 0 ..-- ..-- ..-- ..-- 
c c c c 
...Q.... ...Q.... ...Q.... ...Q.... 
ro ro ro ro 
c c c • • • c 
:;:::; :;:::; :;:::; :;:::; 
(/) (/) (/) (/) 
(]) (]) (]) (]) 
0 0 0 0 
<D ....---- 
>. ro 
(5]) Iz- 0 ...... (f) T""" ro 
(!) a.. 
(.9 
u.. 
-(]) 
(]) ..... ~ 
ro .._ ~ ..... c 
c 0 (]) 0 0 ..-- ""'" 
0 -0 
5 
5.... (.)..C ::J ..·>- 0t.. .0.c. (])(j) 
. z(] ) (]) ro ::J Oz OE (/) 
(f) > ._ ..-- 
N ..-- ..-- 
..-- ..-- 
..... 
(]) 
ro <D 
() 0 ..--
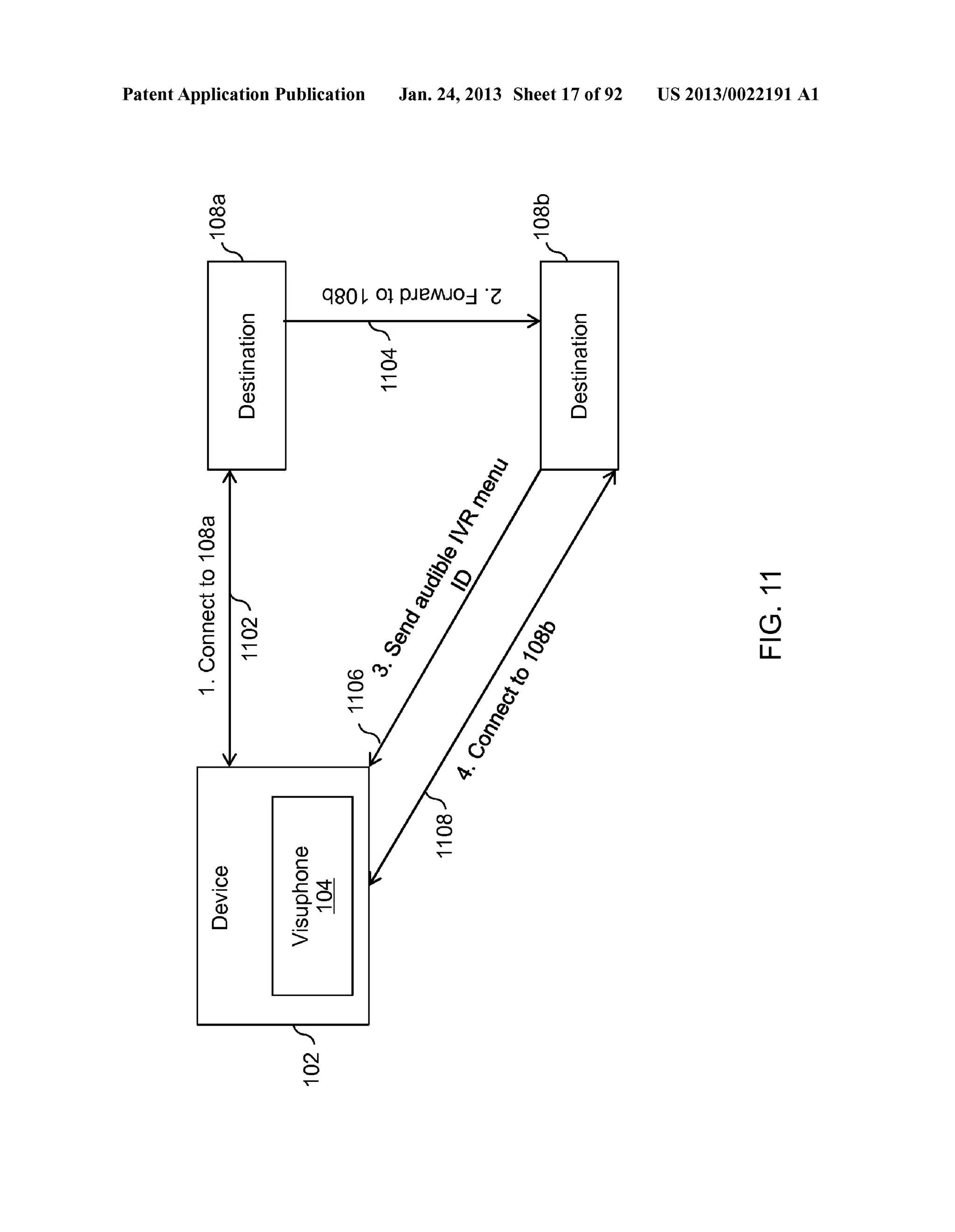
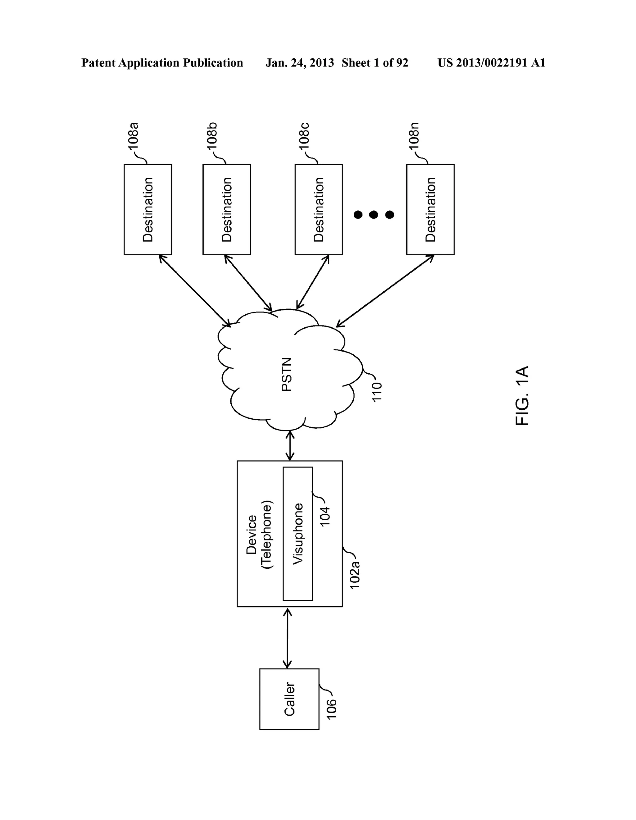
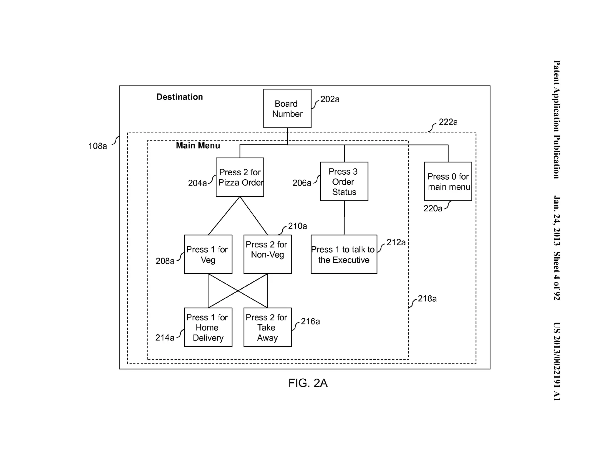
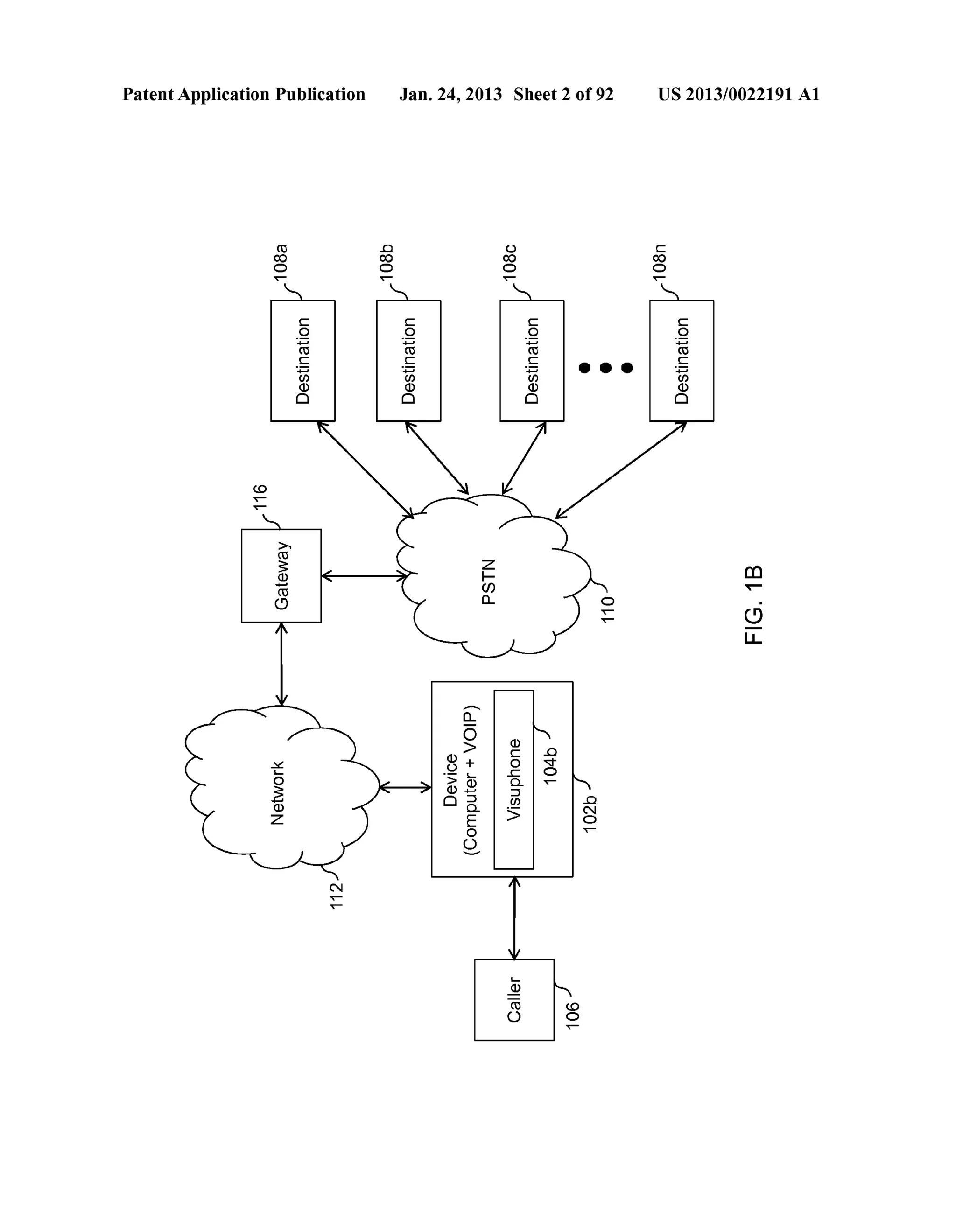
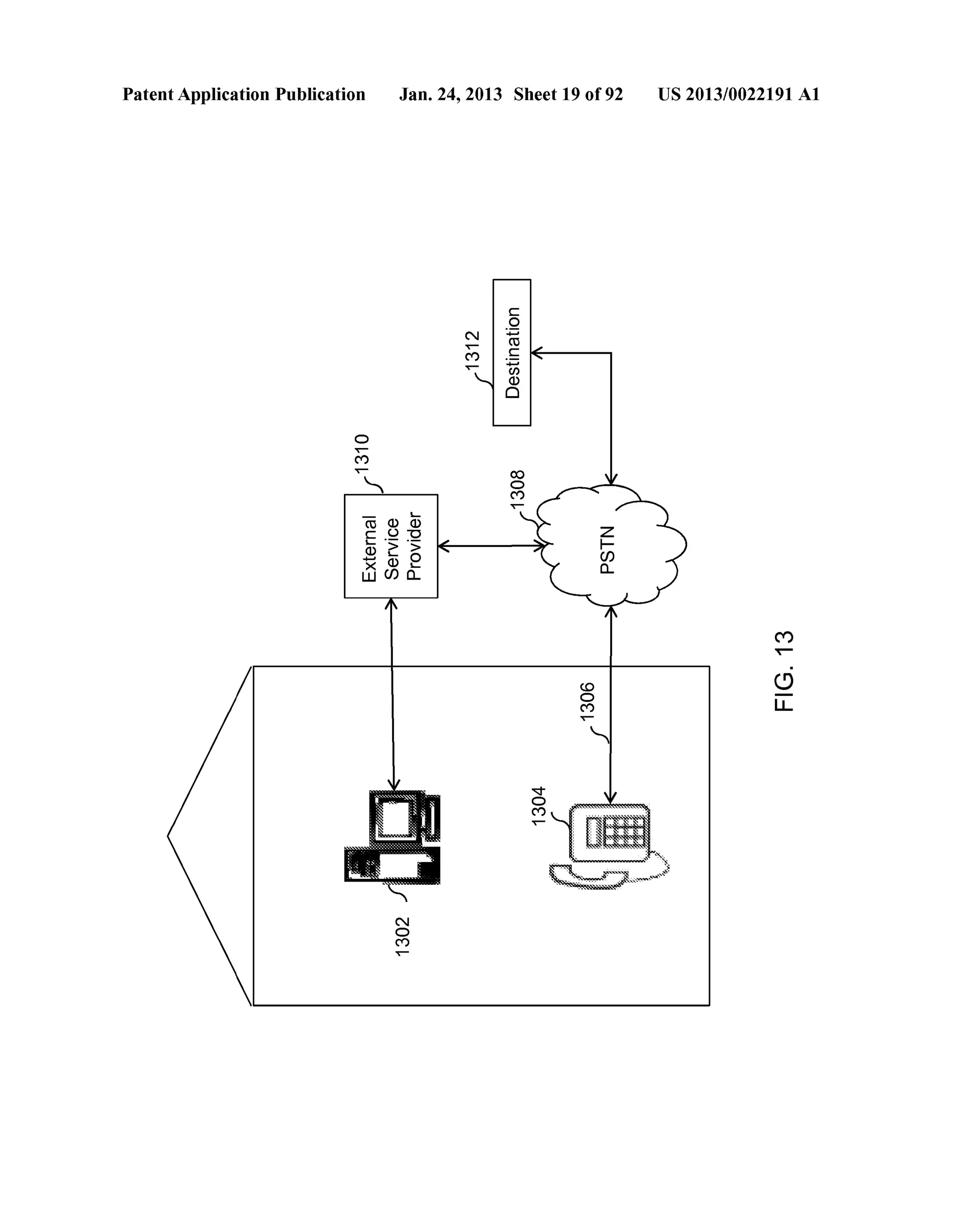
1 08a .I 
Destination 
Board V 202a 
Number 
------~~~~~~~~~;~~~~~~;~~~~~~~~~~~~~~~~~J~~~~~~~~~~~~~~~~~~~~~~~~~------------.c-~~-~~----- 
1 I -------! I 
Press 2 for~ 206a~ Press 3 
204aJ1 Pizza Orde Order I 
r1 Press 1 for 
208a..ll Veg 
f210a 
Press 2 for 
Non-Veg 
' C?<J ' 
Status 
I I 
I 
Press 1 to talk to 
the Executive 
Press 1 for 
r1 Home 
214a ..1 I Delivery 
Press 2 for I r 216a 
Take 11 
Away 
212a 
._ ___________________________________________________________________ _ 
I Pre.ss 0 for 
ma1n menu 
I I 22oal 
I 
v218a 
•--------------------------------------------------------------------------------------------~ 
FIG. 2A 
'"= ~.... . 
('D .=.... 
~ '-.e... (') 
~....... .. 0 = ='"= 0-...". (') 
~....... .. 0 = 
;­:= 
N 
~. ... 
N 
0 ...... 
(,H 
rFJ =­(' 
D 
(..'D... .... 
0 ...... 
0 
N 
c 
rFJ 
N 
0 ...... 
.(.,.H_ 
0 
0 
N 
N ...... 
0 ...... 
>......
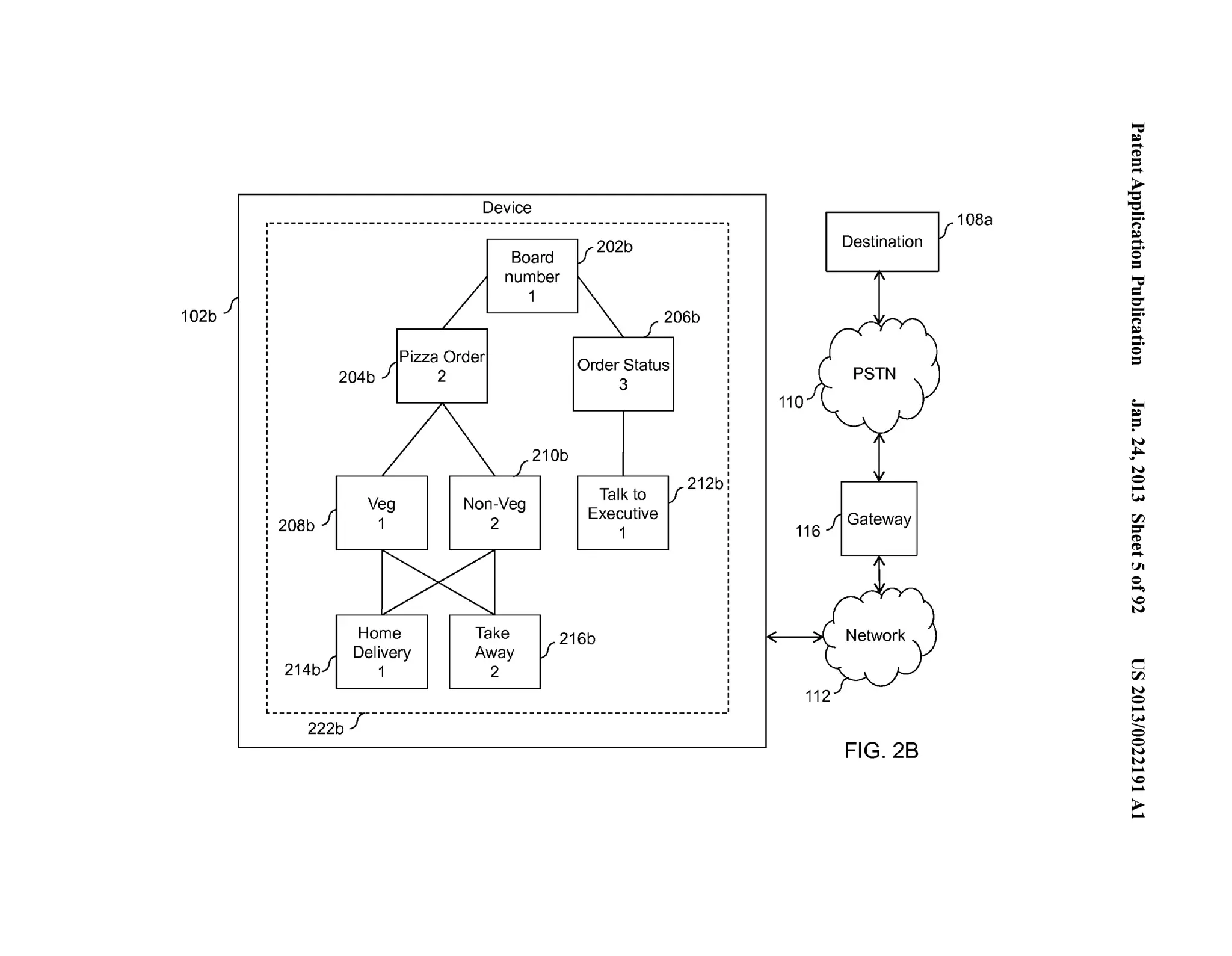
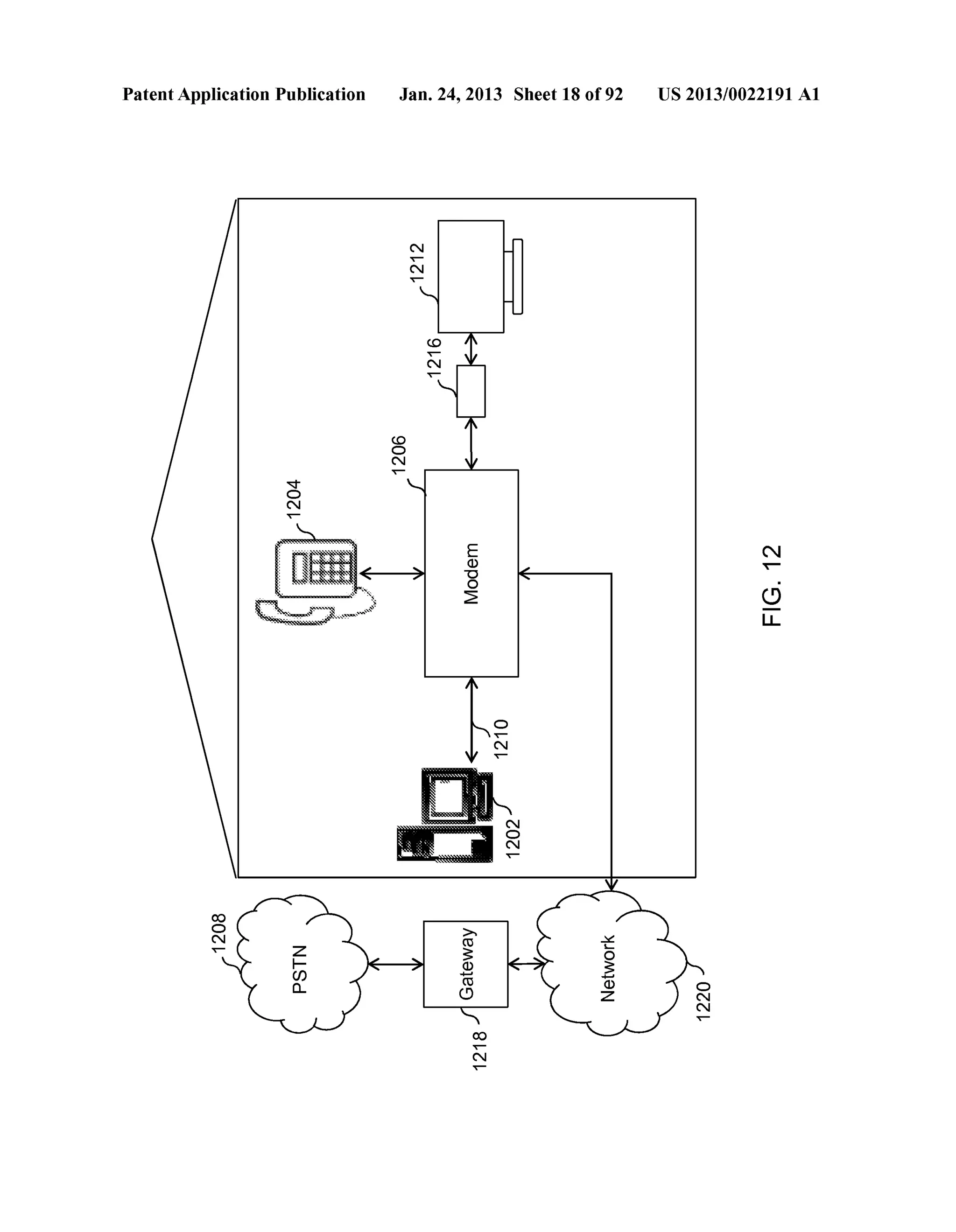
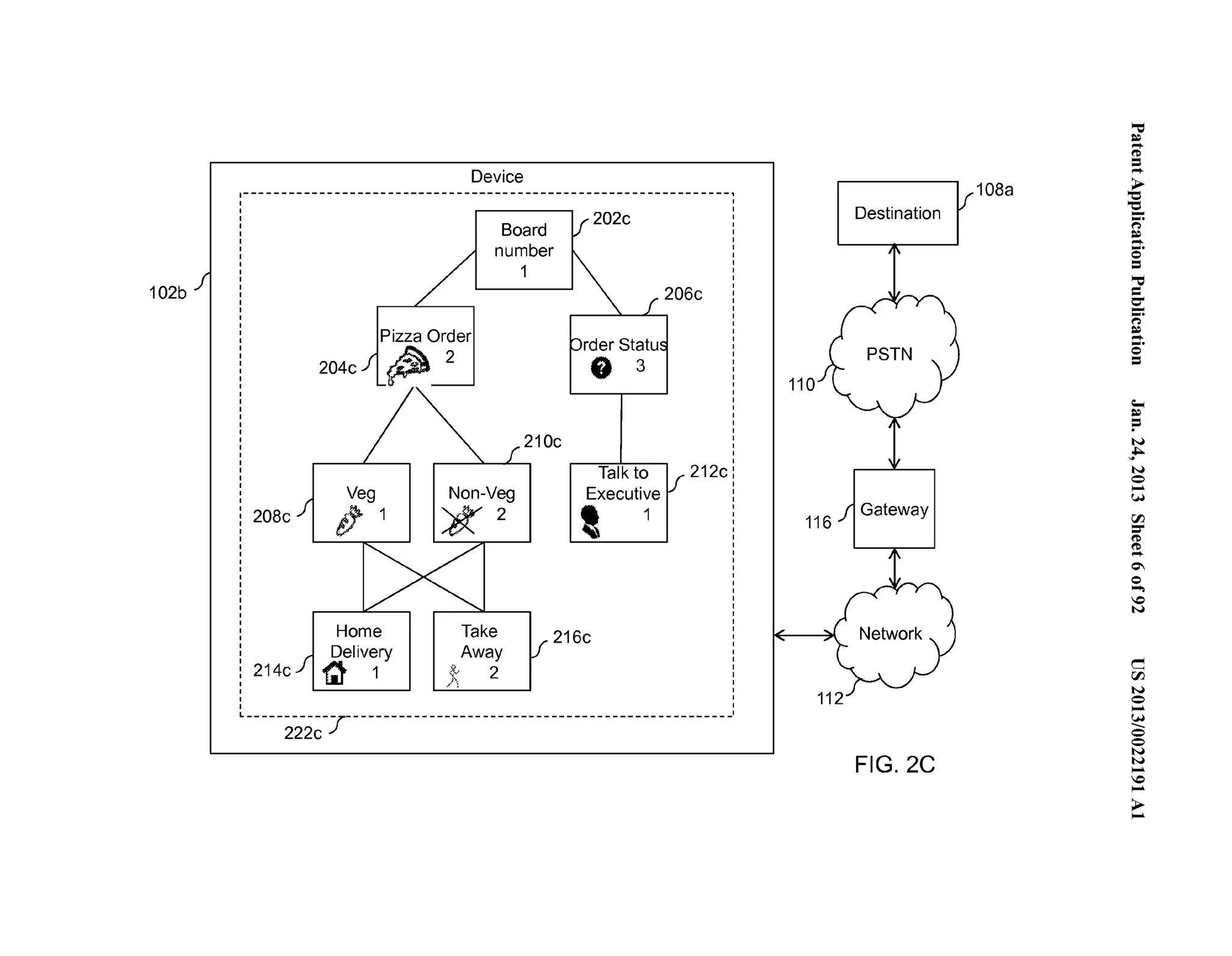
102b 
Device 
.----------------------------------------------------------------~ 
208b 
204b 
Veg 
1 
Pizza Order 
2 
Board 
number 
1 
210b 
Non-Veg 
2 
202b i 
I 
I 
206b 
Order Status 
3 
Talk to 
Executive 
1 
I 
I 
I 
I 212b: 
Home 
Delivery 
1 
Take 
Away 
2 
216b 
I 
I 
214b 
L----------- 222b y----- 
I 
I 
I 
I 
-------· 
108a 
Destination 
110 
FIG. 28 
~.'"..=. . 
("D .=.... 
~ '-.e... (') 
~....... .. 0 = ='"= 0-..".. (') 
~....... .. 0 = 
;­:= 
N 
~ ... 
N 
0.. .. 
(.H 
rFJ =­(" 
D 
(.".D.. . 
Ul 
0... .. 
0 
N 
c 
rFJ 
N 
0.. .. 
.(...H_ 
0 
0 
N 
.N.. . 
..0.. 
>....
1 o2b .J I ' I 
I 
208c ./I 
214c 
Device 
Board 
number 
1 
/ ~06c 
rder Statu 
204c .J I l'i"» ~ I I 8 3 I 210c 
I 
Talk to I _ 212c 
Veg Non-Veg Executive 
#1 )K2 ' 1 
Home 
Delivery 
Take 
Away 
216c 
Q1 1: 2 
/. : 
-----2:22~-Jr------------------- ------------------------------- 
108a 
Destination 
: 110 I 
I 
I 
I 
I 
I 
FIG. 2C 
"'= ~..... . 
('D .=..... 
~ '-.e... (') 
~........ .. 0 = ="'= 0-...". (') 
~........ .. 0 = 
;­:= 
N 
~ ... 
N 
0.. .. 
(.H 
rFJ =­(' 
D 
('D ...... 
0 
0.. .. 
0 
N 
c 
rFJ 
N 
0.. .. 
.(...H_ 
0 
0 
N 
.N.. . 
..0.. 
>....
102b 
204c 
226 
224 
Device 
Welcome to our Pizza place. 
Please press 1 to check your order status 
or press 2 to make a new order 
rder Statu 
81 
206c 
Please press 1 for vegetarian order or 
press 2 for non-vegetarian pizza order 
222 
208c j Veg #1 Non-Veg [! 21 Oc 1K2 
------------------------------~----------------------------------· 
222c 
FIG. 20 
~.'"..=. . 
('D .=.... 
~ '-.e... (') 
~....... .. 0 = ='"= 0-...". (') 
~....... .. 0 = 
;­:= 
N 
~ ... 
N 
0 ...... 
(.H 
rFJ =­(' 
D 
(..'D... 
-....l 
0 ...... 
0 
N 
c 
rFJ 
N 
0 ...... 
.(...H_ 
0 
0 
N 
N ...... 
0 ...... 
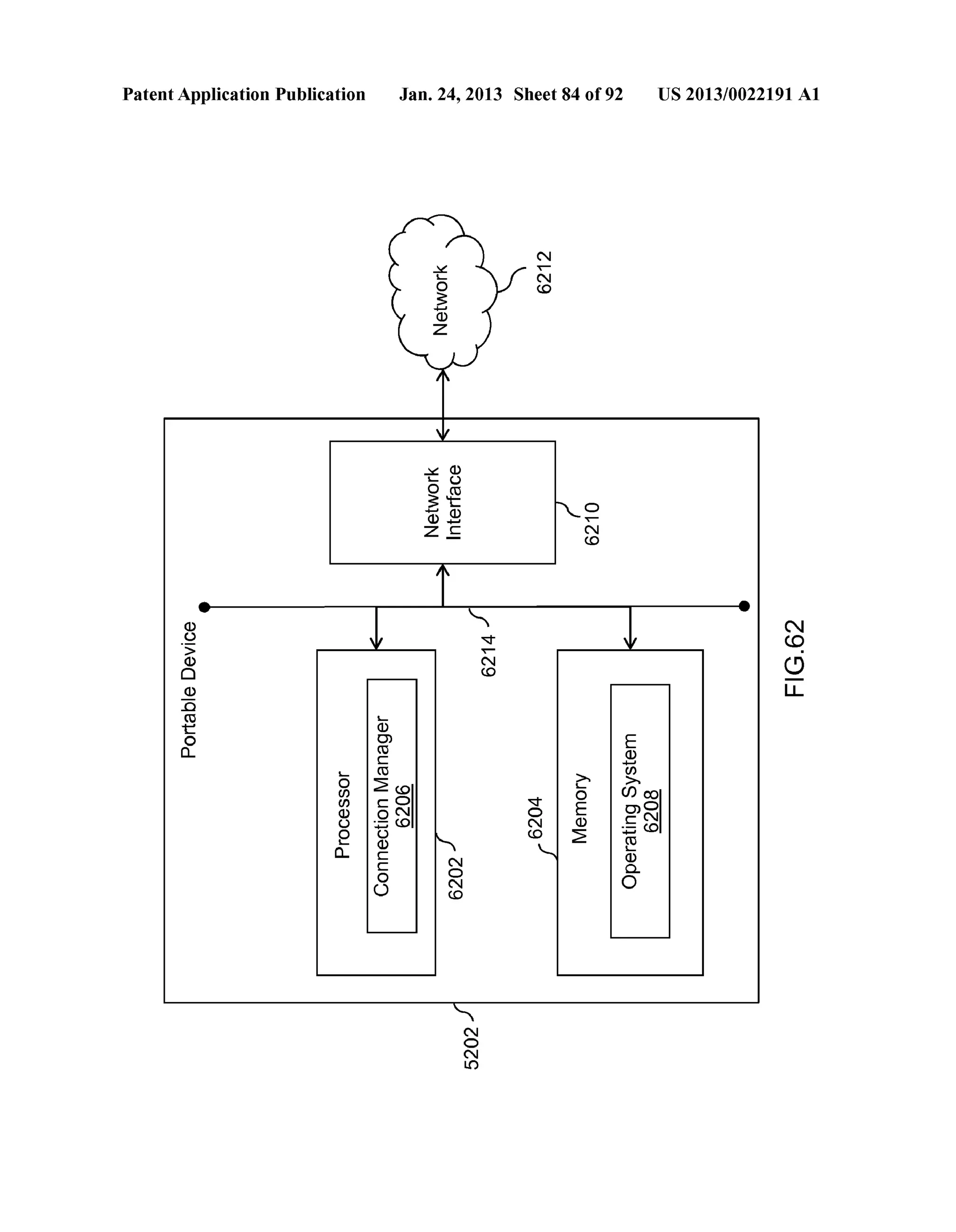
>......
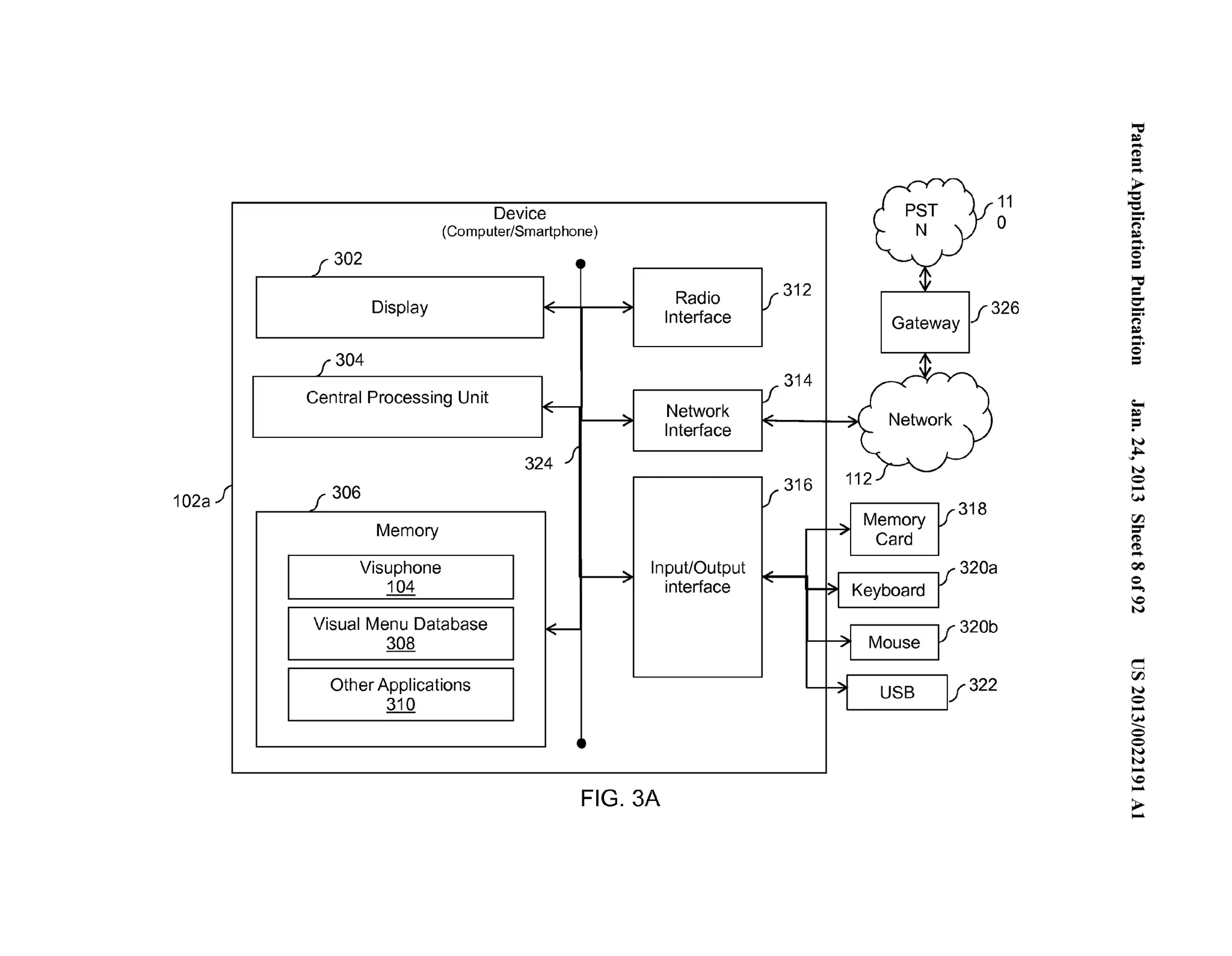
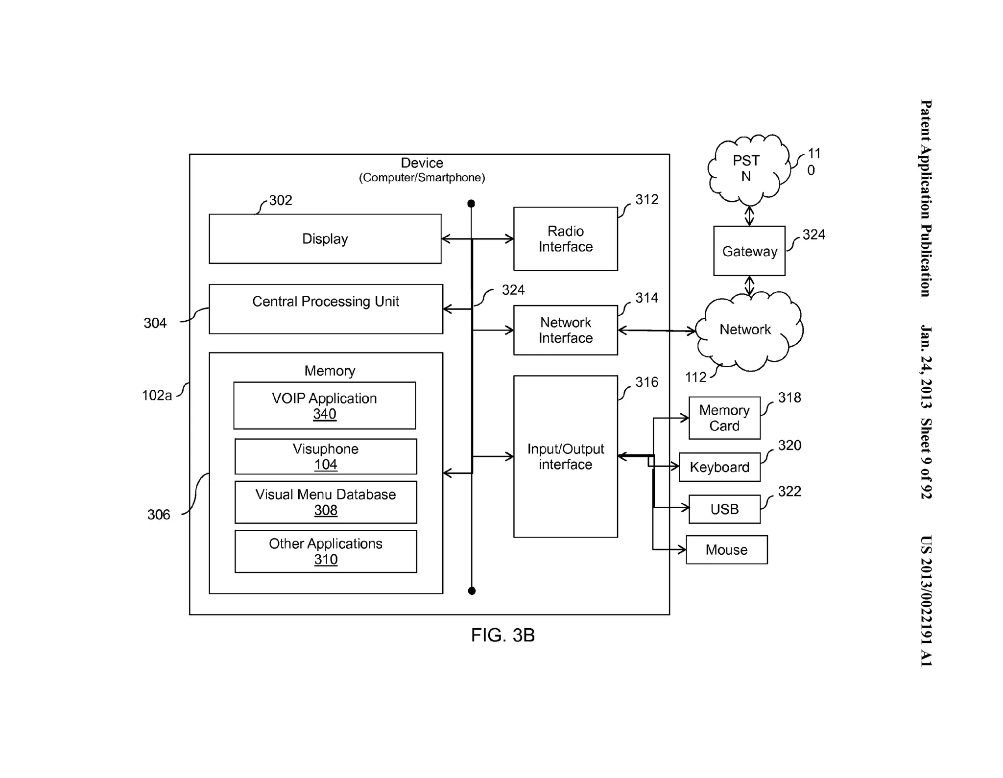
Device 
(Computer/Smartphone) 
;302 4 
Display ""' ....:!!.. Radio ....... Interface 
1304 
central Processing Unit 
~ ....:!!.. Network 
Interface 
324 ) 
102a 
,; f 306 
Memory 
I ~ Visuphone .,. 
I 1 n put/Output 
104 interface 
Visual Menu Database ~ 308 
Other Applications 
310 
i 
FIG. 3A 
~~ 
v312 
y 
Gateway · 
v314 
~. Y""' 
""' __., Network ....... ,. 
v316 
112 
~ Memory v31 ....-- 
Card 
3~ -H Keyboard I"' 
3~ 
_J Mouse 'I 
~H USB l.r~ 
11 
0 
326 
a 
b 
2 
'"= ~.... . 
('D .=.... 
~ '-.e... (') 
~....... .. 0 = ='"= 0-...". (') 
~....... .. 0 = 
;­:= 
N 
~ ... 
N 
0.. .. 
(.H 
rFJ =­(' 
D 
(..'D... 
QO 
0... .. 
0 
N 
c 
rFJ 
N 
0.. .. 
.(...H_ 
0 
0 
N 
.N.. . 
..0.. 
>....
~.'"..=. . 
("D .=.... 
Device (Computer/Smartphone) y 
}302 ~~ f 312 
Display ., .... Radio 
Interface Gateway · 
11 ~ 
0 '-.e... (') 
~....... .. 0 = 
324 ='"= 0-...". (') 
~.... . 
304 
f 324 ~y-~ 
Central Processing Unit 
~ 
f 314 
/ 
,.. .. Network _, Network 
Interface ' ,. 
.... 0 = 
~ 
~ := 
N 
102a 
Memory 112 f 316 
VOIP Application 3' 
340 ;--~ Memory V 
Card 
~ ... 
N 
0.. .. 
(.H 
rFJ =- 
306 
I 
Visuphone 
I 
.... Input/Output 3: 
104 
interface ( ~ 
Lr-~ Keyboard Visual Menu Database 3: 
308 ..... , USB 
("D 
(.".D.. . 
0 
0... .. 
0 
N 
Other Applications - ~ Mouse I 310 
c 
rFJ 
N 
0.. .. 
.(...H_ 
0 
0 
N 
N 
FIG. 38 
.... 
..0.. 
>....
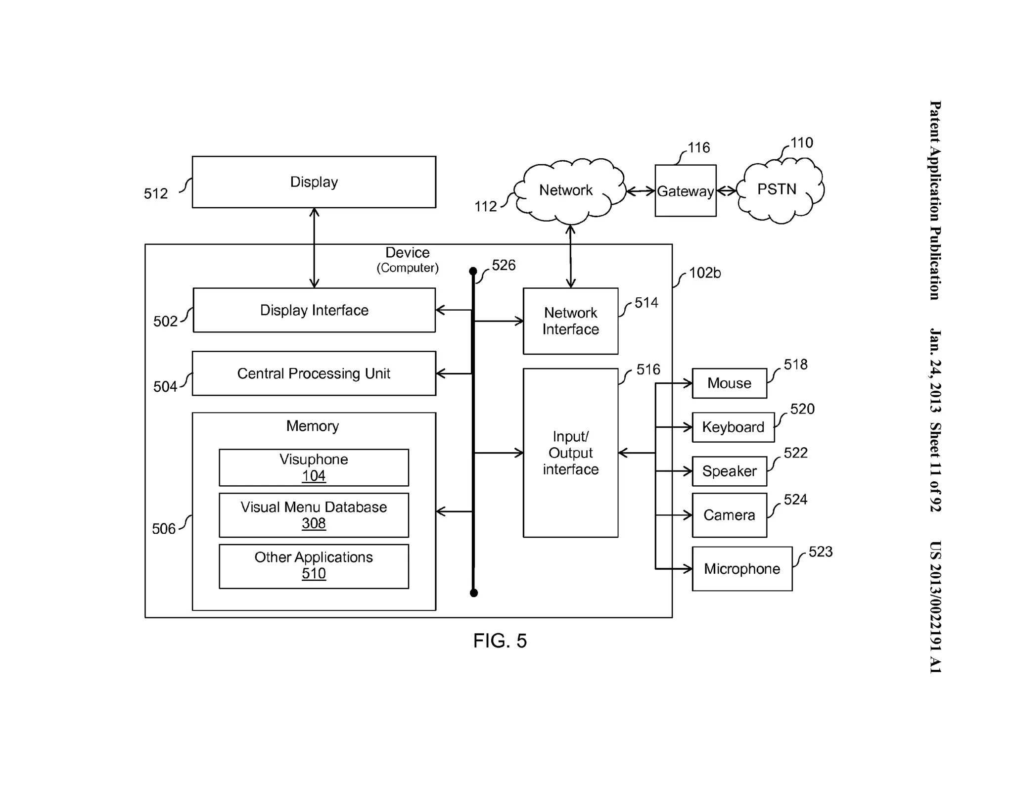
Patent Application Publication Jan. 24, 2013 Sheet 10 of 92 
- 
~ Q) 
(]) c 
-~ -§_ 
>­(]) 
.... 
0 ~ 
-(/) 
N 
0 
"""" 
0 en 
co 
I'- 
(0' 
L!) 
"""" I 
(") 
N 
"<"""" 
(0 co 
0 0 
"""" """" -----------------~---------------------,...."."..".-.-_- ---... 
(.) 
N 
0 
"<"""" 
N >><­E 
o:::~ oE' 
D.... co 
......o. 
u E 
::J 0 
"Ou e 
0. 
$ 
(]) z 
US 2013/0022191 A1 
0 
N 
(") 
[!][l] 
GG 
GEJ 
GG 
GG 
GG 
GG
~.'"..=. . 
('D 
LK:16 S j Display 512 ~Gateway PSTN 
112 
'I' 
" 
110 .=.... 
~ '-.e... (') 
~....... .. 0 = ='"= Device 
(Computer) 4 'f526 102b 11/ 11/ 
0-...". (') 
~....... .. 0 
Display Interface L_ Network v514 
502; I' ~ 
Interface 
= 
~ 
~ := v 516 518 
Central Processing Unit , 
__.., 504; I' .. Mouse 
N 
~ ... 
N 
0 
520 
.... 
(.H 
Memory ~ Keyboard 
Input/ 
rFJ =- ('D 
~ Output ~ 522 
Visuphone "' ' 
104 interface -;- Speaker 
I I 
(...'.D.... . .... 
0 
Visual Menu Database L v524 ' 7 Camera 
506; 308 
..... 
0 
N 
t: 
Other Applications __.., Microphone V'" 510 .... 
23 c 
rFJ 
N 
0.. .. 
~ .(...H_ 
0 
0 
N 
N 
FIG. 5 
.... 
..0.. 
>....
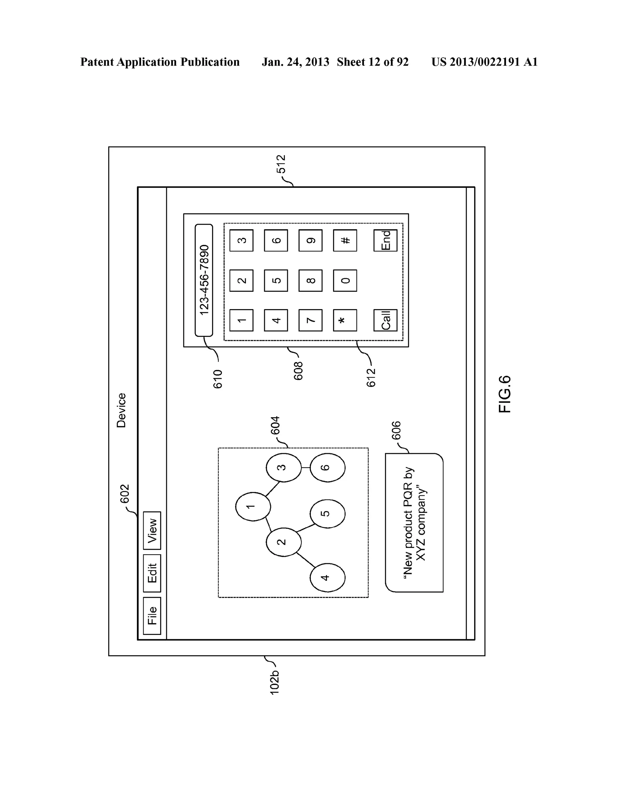
Patent Application Publication Jan. 24, 2013 Sheet 12 of 92 
N 
0 
<0 
0 
a> 
CX) 
1'- 
1 
<0 
l!) 
""I" 
C'/') 
N ..-- 
N ..-- 
l!) 
--------------------------------------------T-------------- 
0 ..-- 
<0 
"0" " 
<0 
~ ' 0 N 
<0 ..-- 
<0 
--------------------~-------------------------- 
.0 
N 
0 ..-- 
<0 
0 
<0 " >. 
.0 
o:::~ oE"' 
D_... oc.o. 
u E 
::J 0 
Uu 
0 
"0.-.>N- 
:S>< (]) z 
US 2013/0022191 A1 
c.o 
C) 
LL
Patent Application Publication 
(]} 
(.) -:;: 
(]} 
0 
I.... 
(]} 
(/) 
$ e co 
..0 
N 
0 ....... 
Jan. 24, 2013 Sheet 13 of 92 
(]} 
0'> co 
0... 
..0 
(]} s 
"N 
0 
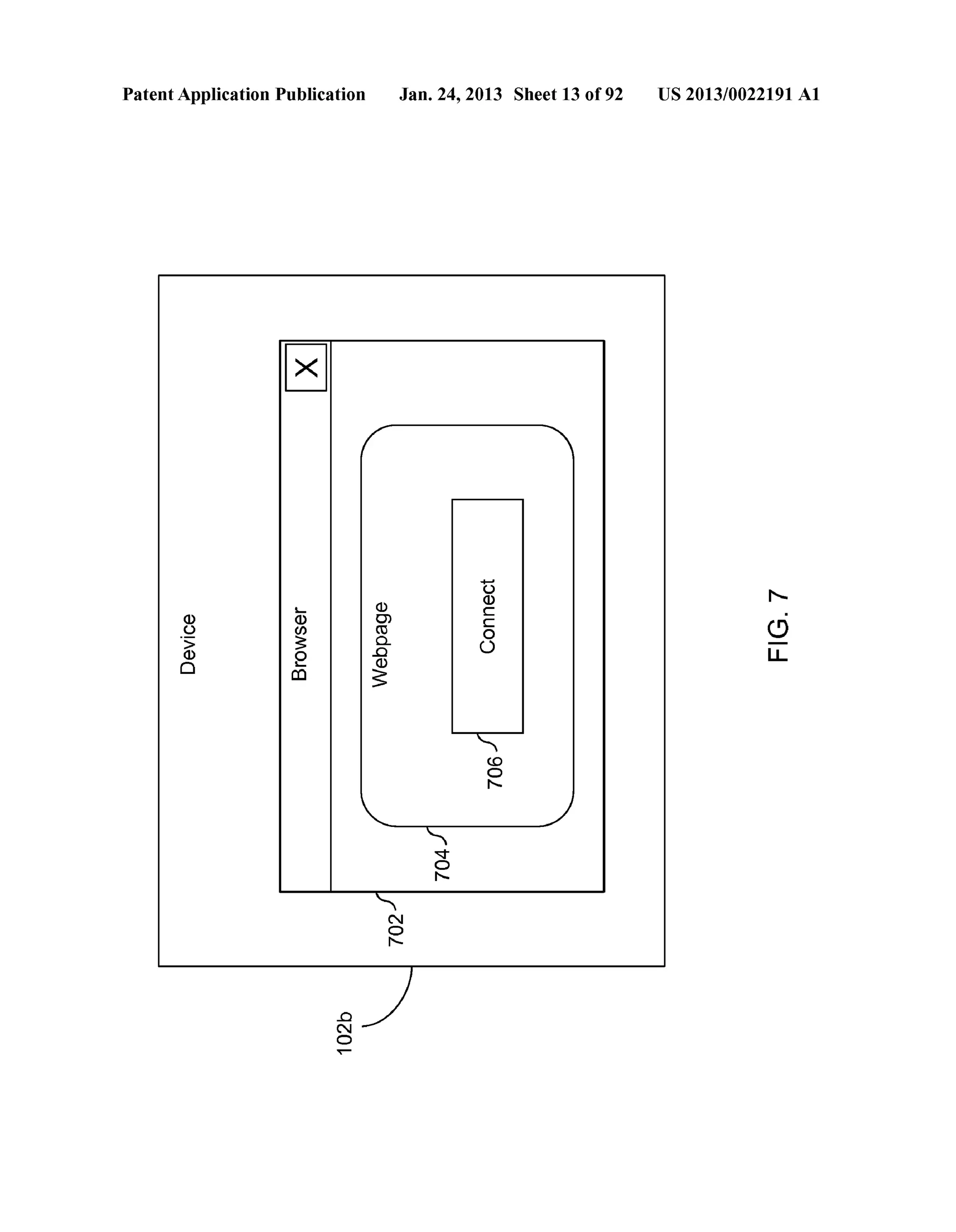
I'-- 
+-' 
(.) 
(]} 
c 
c 
0 
0 
US 2013/0022191 A1 
1'-- 
C) 
LL
Patent Application Publication Jan. 24, 2013 Sheet 14 of 92 
co 
0 co 
" 
(/) 
c 
0 
......... co 
(.) 
0... 
0... 
<( 
!..... 
(]) 
...c ......... 
0 
(]) 
c 
0 
...c 
0... 
:::J 
(/) > 
<0 
0 co 
" 
E 
(]) 
......... 
(/) 
>. 
(j) 
0'> c 
......... co !..... 
(]) 
0... 
0 
(/) 
!..... 
(]) 
> 
!..... 
0 
N 
0 co 
" 
(]) 
!..... co 
5 
"E 
co 
I 
US 2013/0022191 A1 
co . 
CJ 
LL
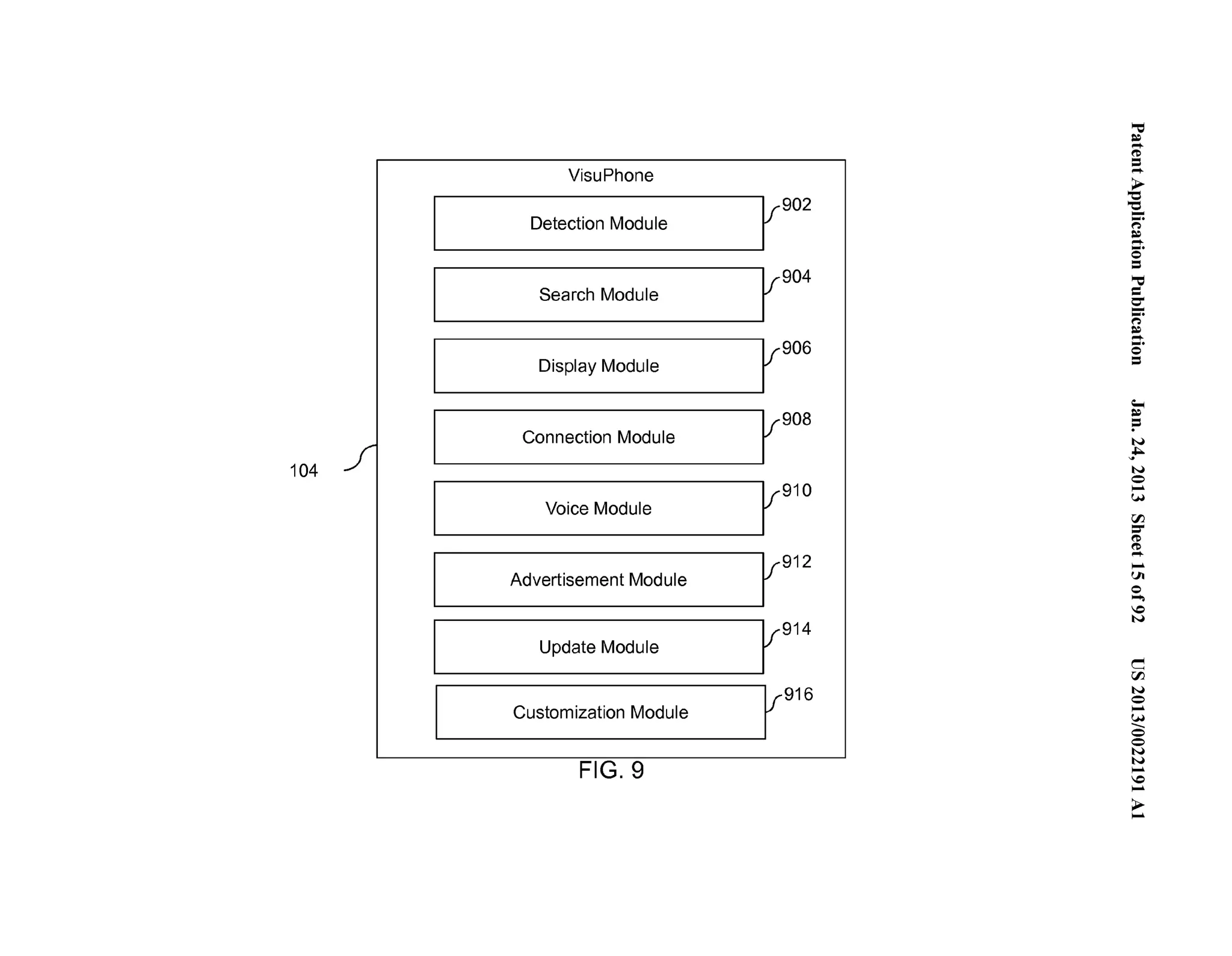
~.'"..=. . 
('D VisuPhone .=.... 
~ 
I 
r902 '-e Detection Module .... (') 
~....... .. 0 = 
I 
r904 '"= 
Search Module = 0-...". (') 
~.... . 
I 
r906 I 
.... 0 
Display Module = 
~ r908 ~ 
I 
:= 
~ ... 
Connection Module N 
104 ../ I N 
0 
I 
r910 .... 
(.H 
Voice Module 
rFJ =- ('D 
(..'D... 
I 
r912 .... 
Advertisement Module Ul 
0... .. 
0 r914 N 
I Update Module 
c 
rFJ 
I 
r916 N 
0 
.... 
Customization Module .(...H_ 
0 
0 
N 
N FIG. 9 .... 
..0.. 
>....
Device 
Visual Menu 
Database 
308 
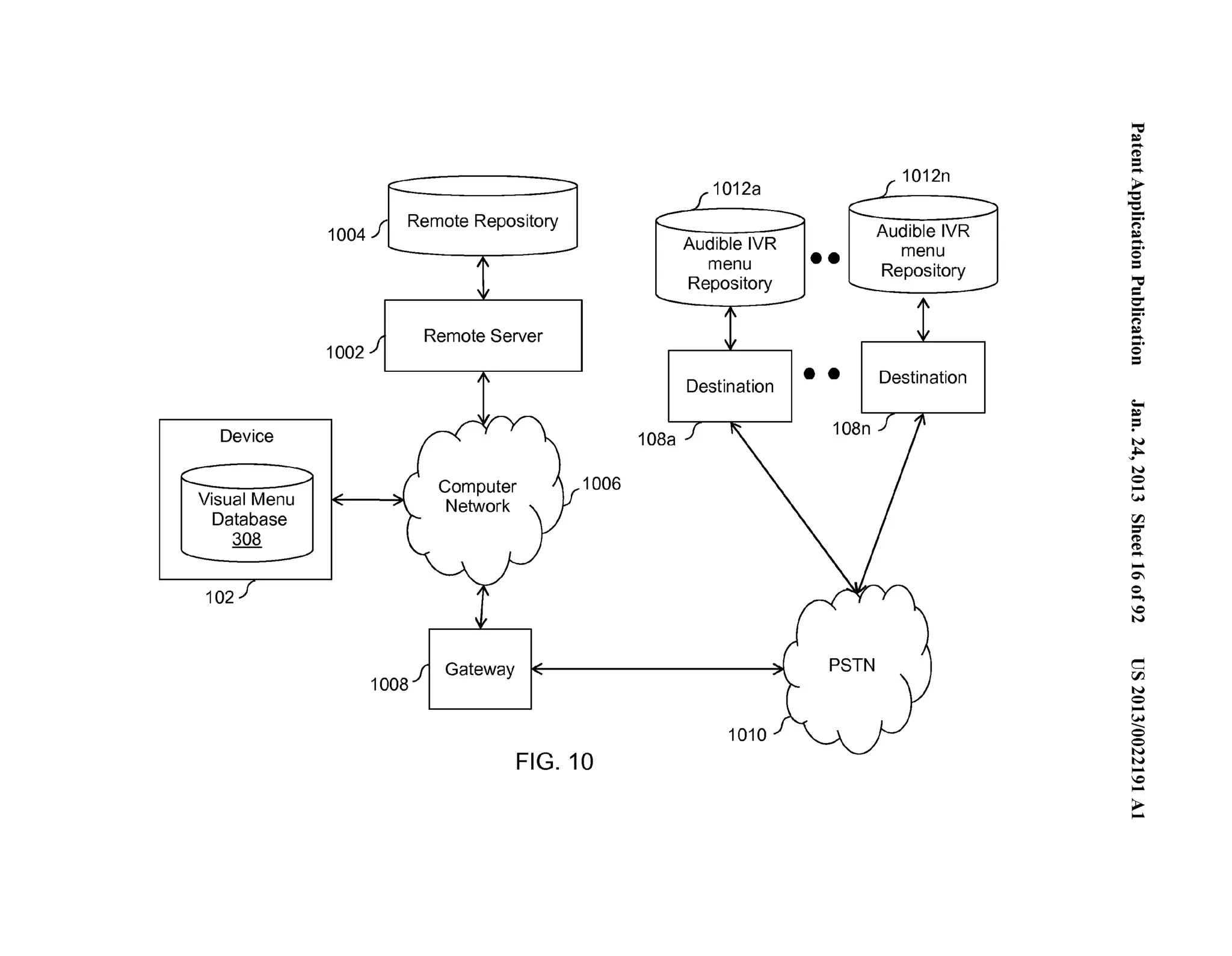
102 
1004 ./1 Remote Repository 
1002 
1008 
Remote Server 
Computer 
Network 
Gateway 
1006 
FIG. 10 
•• 
Destination • • 
108a 
PSTN 
1010 
Destination 
~.'"..=. . 
('D .=.... 
~ '-.e... (') 
~....... .. 0 = ='"= 0-...". (') 
~....... .. 0 = 
;­:= 
N 
~ ... 
N 
0.. .. 
(.H 
rFJ =­(' 
D 
(...'.D.... . 
0 
0... .. 
0 
N 
c 
rFJ 
N 
0.. .. 
.(...H_ 
0 
0 
N 
.N.. . 
..0.. 
>....
Patent Application Publication Jan. 24, 2013 Sheet 17 of 92 
co 
co 
0 --- 
co 
co 
0 -..0.-..-. . 
....... u 
(]) 
c 
c 
0 
() 
--- 
(]) 
(.) 
> (]) 
0 
c 
...Q..... co 
c 
....... en 
(]) 
0 
N 
0 ------ 
..0 
co 
0 --- 
qgo ~ Ol pJeMJo.:J ·c 
(]) 
c 
"0§"".""a1 
:::J-- 
(f) > 
N 
0 --- 
0"" "" ------ 
~ ! 
~ 
-:£'J 
·~Q ~~ 
qj 
~ ~ (;;0 ~ 
<.0 n,· s 0 --- lJ --- ~ 
§ 
(j 
------ 
c 
....Q.... co 
c 
....... 
(f) 
(]) 
0 
US 2013/0022191 A1 
"'t"""" 
"'t"""" . 
(.9 
LL
Patent Application Publication Jan. 24, 2013 Sheet 18 of 92 
<D 
0 
N 
N ...-- 
N ...-- 
E 
(]) 
"0 
0 
:2: 
>. 
ro 
5 
..(..].). 
ro 
<.9 
00 ...-- 
N ...-- 
~.._ 
0 
..5.... 
(]) z 
US 2013/0022191 A1 
...-- 
(.9 
LL
Patent Application Publication 
0 ..- 
('I') 
...-- 
Jan. 24, 2013 Sheet 19 of 92 
N 
0 
('I') ...-- 
<D 
0 
('I') ...-- 
US 2013/0022191 A1
1402 
FIG. 14A 
1412 
FIG. 148 
1424 
FIG. 14C 
Add-On I< 1( ~ > 
1410 
1404 
1420 
1414 
,; 
Ad~-on10 
1428 
Add-On 
~.'"..=. . 
('D .=.... 
~ '-.e... (') 
~....... .. 0 = ='"= 0-...". (') 
~....... .. 0 = 
;­:= 
N 
~ ... 
N 
0.. .. 
(.H 
rFJ =­(' 
D 
(..'D... 
N 
0 
0... .. 
0 
N 
c 
rFJ 
N 
0.. .. 
.(...H_ 
0 
0 
N 
.N.. . 
..0.. 
>....
Patent Application Publication Jan. 24, 2013 Sheet 21 of 92 US 2013/0022191 A1 
1502 
1504 
Detect phone number of a destination dialed from a device 
Search for IVR information in visual menu database on the 
device 
1510 
1512 
1516 
Display the visual menu and associated 
information 
Detect input from caller on the visual menu 
Connect to the destination based on inputs 
from the caller 
Maintain the connection till caller or destination disconnects 
FIG. 15A
Patent Application Publication Jan. 24, 2013 Sheet 22 of 92 US 2013/0022191 A1 
1518 
Connect the device to a remote 
repository 
1522 Update the visual menu database from 
1526 
remote repository 
Is the visual menu 
available in 
updated visual 
menu database? 
Update the remote repository 
Stop 
FIG. 158
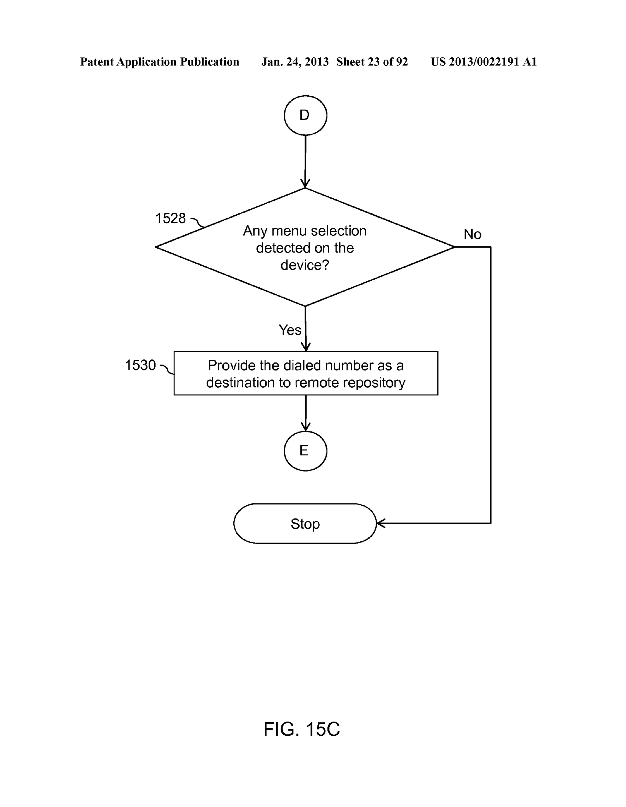
Patent Application Publication Jan. 24, 2013 Sheet 23 of 92 US 2013/0022191 A1 
Any menu selection 
detected on the 
device? 
1530 Provide the dialed number as a 
destination to remote repository 
Stop 
FIG. 15C 
No
Patent Application Publication Jan. 24, 2013 Sheet 24 of 92 US 2013/0022191 A1 
1558 Connect device to a remote repository 
Is there an updated 
version of the visual 
menu in the remote 
repository? 
FIG. 150
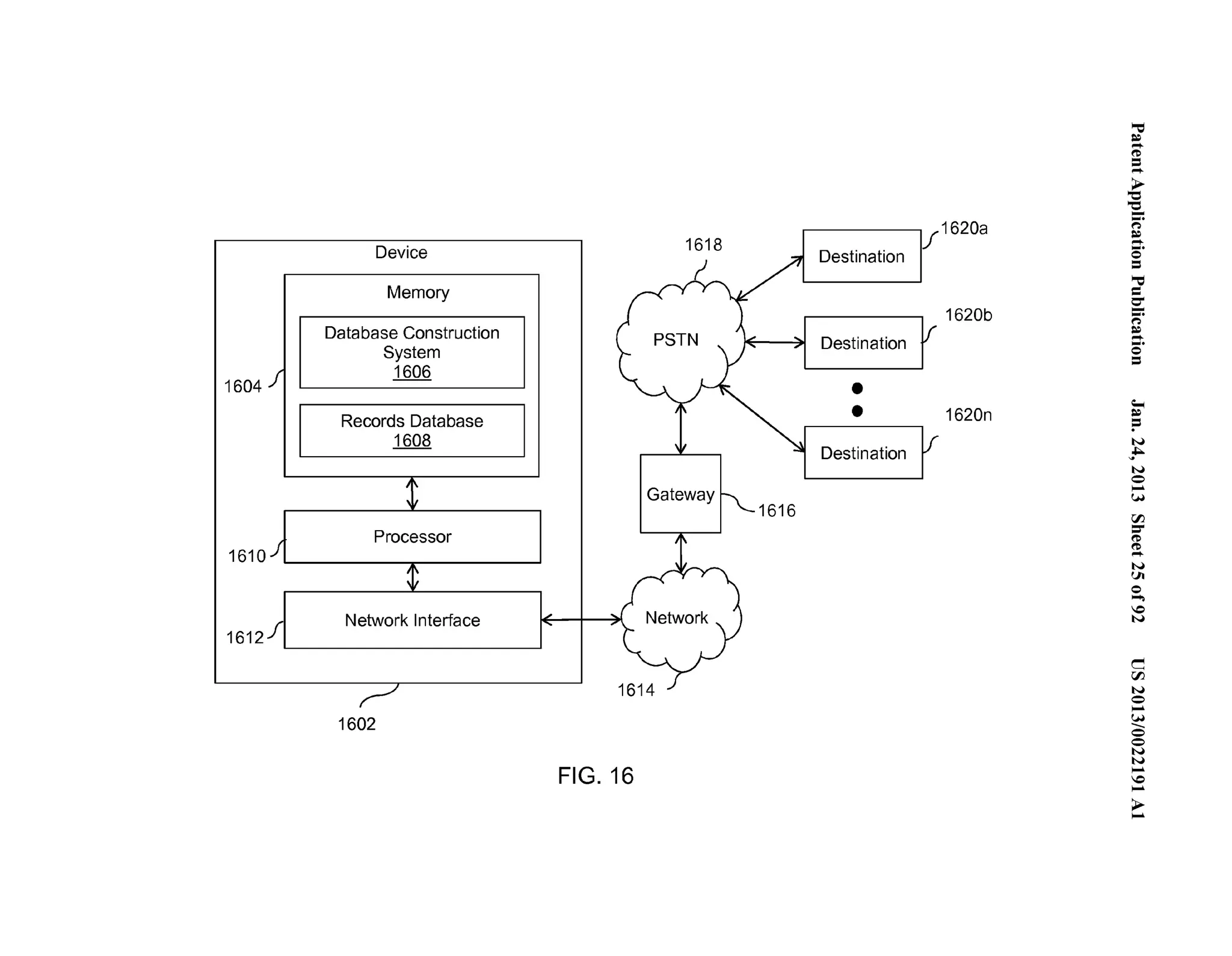
1604 
1610 
161211 
Device 
Memory 
Database Construction 
System 
1606 
Records Database 
1608 
Processor 
__Netw_ork _Interfa ce -- 
1602 
1616 
FIG. 16 
If 1620a 
Destination 
Destination 
•• 
Destination 
1620b 
1620n 
'"= ~.... . 
('D .=.... 
~ '-.e... (') 
~....... .. 0 = ='"= 0-...". (') 
~....... .. 0 = 
;­:= 
N 
~ ... 
N 
0.. .. 
(.H 
rFJ =­(' 
D 
(..'D... 
N 
Ul 
0... .. 
0 
N 
c 
rFJ 
N 
0.. .. 
.(...H_ 
0 
0 
N 
.N.. . 
..0.. 
>....
Patent Application Publication 
0 
N 
1'- 
T""" " E 
(]) 
......... ......... (/) >. c (]) 
Cf) C) 
c <( 
0 c ......... (.) 
.Q ::J ......... 
(.) 
L... 
......... ::J 
(/) L... c ......... 
(/) 
u0 c 0 
(]) u 
(/) (]) co (/) 
..0 co co ......... ..0 
co co 
0 ......... 
co 
0 
Jan. 24, 2013 Sheet 26 of 92 
co 
0 
1'- 
T""" " 
(]) 
::J 
"'C 
0 
~ 
c 
0 
......... co 
N 
co 
c 
0 
(/) 
L... 
(]) a.. 
<0 
0 
<0 
T""" 
0 
T""" 
1'- 
T""" " 
(]) 
::J 
"'C 
0 
~ 
"'C co 
0 
c 
$ 
0 
0 
US 2013/0022191 A1 
<( 
I'- 
"r"""" . 
C) 
LL
Database Construction Agent 
1722 Targets List Module L.. ... 
I , 
I ;:o (J) 
"0 
IVR Tracking Module 
0 
(/) 
;:::;: 
0 
1726 ~ IVR Logic Module I 
• '< 
() 
0 
1720 ~ ::I L_ 
1728 Tree storage Module ... ::I ' ..... , (J) (.."..).. . 
6" 
1730 ::I 
Dialog Module ..,. ... ' ~ 0 
0. 
1732 "".. c 
Speech Recognition (J) 
Module 
1734 ~ Response Module ~ 
I 1738 
1736 VOIP Connection Module I 
._ 1724 
I '' 
I 
I I 
I I 
I VOIP Application I 
I _r 1740 I 
Destination /I .... I 
.... I 
' I I 
I I 
I I 
I I 
~-------------------------------------------------------------------J 
FIG. 178 
' 
Records 
..... Database 
! 
1608 
'"= ~.... . 
('D .=.... 
~ '-.e... (') 
~....... .. 0 = ='"= 0-...". (') 
~....... .. 0 = 
;­:= 
N 
~ ... 
N 
0.. .. 
(.H 
rFJ =­(' 
D 
(..'D... 
N 
-....l 
0... .. 
0 
N 
c 
rFJ 
N 
0.. .. 
.(...H_ 
0 
0 
N 
.N.. . 
..0.. 
>....
Database Construction Agent 
1722 ""'... Targets List Module '" "' 
, 
I :::0 
CD 
"0 
IVR Tracking Module 0 
(J) 
;::::;: 
1726 ~ 
I 
0 
IVR Logic Module 
...., 
'< 
(") 
0 
1720 ::J 
1728 Tree storage Module .... ... ::J CD 
' ,. (.."..). . 
6" 
1730 ::J 
Dialog Module ""' .... '"" ~ 0 
Q. 
1732 .. c 
Speech Recognition CD 
Module 
1734 ~ Response Module I 
~ 
1738 
1737 IVR Connection Module 
I "-1724 
I 
'~ 
Destination 
FIG. 17C 
iL_ ... Records 
.... , Database 
! 
1608 
'"= ~.... . 
('D .=.... 
~ '-.e... (') 
~....... .. 0 = ='"= 0-...". (') 
~....... .. 0 = 
;­:= 
N 
~. ... 
N 
0.. .. 
(.H 
rFJ =­(' 
D 
(..'D... 
N 
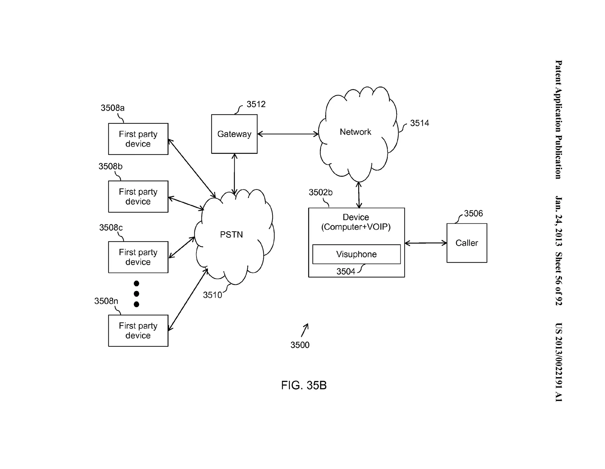
QO 
0... .. 
0 
N 
c 
rFJ 
N 
0.. .. 
.(...H_ 
0 
0 
N 
.N.. . 
..0.. 
>....
Patent Application Publication Jan. 24, 2013 Sheet 29 of 92 US 2013/0022191 A1 
1802 
1804 
1806 
No 
1810 '- 
1812 
Connect to a destination 
Analyze a first level of the audible IVR 
menu 
Store the information regarding the 
audible IVR menu in a database 
Are there any sub­menus 
in the 
audible IVR menu? 
Analyze the sub-menus 
Store the information regarding the 
sub-menus in the database 
Stop 
FIG. 18 
Yes
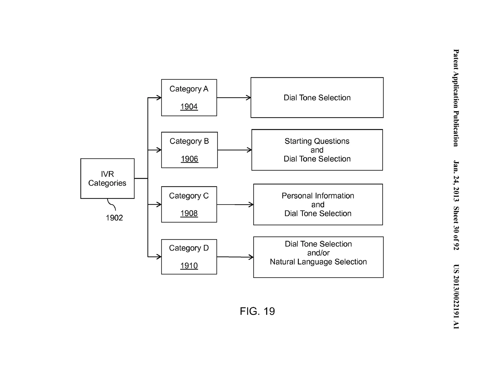
Category A 
~ 
1904 
Category B 
~ 
1906 
IVR 
1-- Categories 
Category C 
~ 
1908 
Category D 
~ 
1910 
,.. .. Dial Tone Selection 
Starting Questions 
,... . and 
Dial Tone Selection 
Personal Information 
,... . and 
Dial Tone Selection 
Dial Tone Selection 
,... .. and/or 
Natural Language Selection 
FIG. 19 
'"= ~.... . 
('D .=.... 
~ '-.e... (') 
~....... .. 0 = ='"= 0-...". (') 
~....... .. 0 = 
;­:= 
N 
~ ... 
N 
0.. .. 
(.H 
rFJ =­(' 
D 
(..'D... 
(.H 
0 
0... .. 
0 
N 
c 
rFJ 
N 
0.. .. 
.(...H_ 
0 
0 
N 
.N.. . 
..0.. 
>....
Patent Application Publication Jan. 24, 2013 Sheet 31 of 92 US 2013/0022191 A1 
2002 ~---R_e_c_o_r_d_o_a_ta_br-a_s_e_c_o_n_t_e_n_t _ _...] 
v 
2004a _; Please enter invoice number 
~ 
2006a _; Please enter the payment amount 
~ 
2008a _/ 
Please choose your payment card: 
Press 1 for VISA or 2 for MasterCard 
! 
2010a _/ 
Please say or enter your 
Credit Card number 
" 
2012a _/ 
Please enter your Credit Card 
expiry date 
FIG.20A
Patent Application Publication Jan. 24, 2013 Sheet 32 of 92 US 2013/0022191 A1 
2004b 
2006b 
2008b 
2010b 
2012b 
Payment Form for ABC 
r------------------------------------------------- 
1 Please enter invoice number: i 
I : J: i I I 
I I 
•------------------------------------------------~ r------------------------------------------------- 1 I 
1 Please enter the payment amount : 
: I J: I I 
I I 
I I •------------------------------------------------- 
I i Please choose your payment card: 
Jl 'I) VISA 0 MasterCard 
I I Lr------------------------------------------------------------------------------------------------1- 1 I 
: Please enter your Credit Card number : 
I 
I 
/: I 
:I _ _______________________________________________ I ~ 
:---F>lea-se -enter y-o~r-credit-ca;:a -e~piry "date---: 
I 
I 
/; I I 
:I _ _______________________________________________ I ~ 
2016 
FIG.20B 
2014
~.'"..=. . 
('D .=.... 
Device I ~ '-.e... 
2102a 21Q2c I (') 
~....... .. 0 
Destination I I Destination I I = ='"= 0" 
Property 1 Property 1 -.... (') 
Property 2 Property 2 ~....... .. 0 
Prop•e rty 3 Prop•e rty 3 = • • 
Property n Property n ~ 
~ 
102 fl USER := • N 
• ... ~ 0.. N 
.. 
2102b /  • I (.H 
rFJ =- ('D 
Destination I /  I -~:·~~~---~·. 1_r21 02n (..'D... 
(.H 
Property 1 (.H 
Property 1 / 0 
Property 2 ...... 
Property 2 0 
Property 3 N 
Prop•e rty 3 •• • Property n I c 
Property n rFJ 
N 
0.. .. 
(.H -0- - 
0 
N 
N 
FIG. 21 .... 
..0.. 
>....
Patent Application Publication 
en 
:::J roM ...... en 
~..__ · 
0 
<D 
0 
N 
N 
Jan. 24, 2013 Sheet 34 of 92 US 2013/0022191 A1 
(]) 
..0.. ...._.;.:.:.: ...-- 
1------1~ a co (]) 
r: t.tl·~ 00 ...-- 
0 
N 
N 
...-- ...-- 
N N 
~ IN 
IO :N IN 
I 
N 
N 
C) 
LL 
------------------------------------------~-------------------~---~ 
co 
N 
0 ...--
Patent Application Publication Jan. 24, 2013 Sheet 35 of 92 US 2013/0022191 A1 
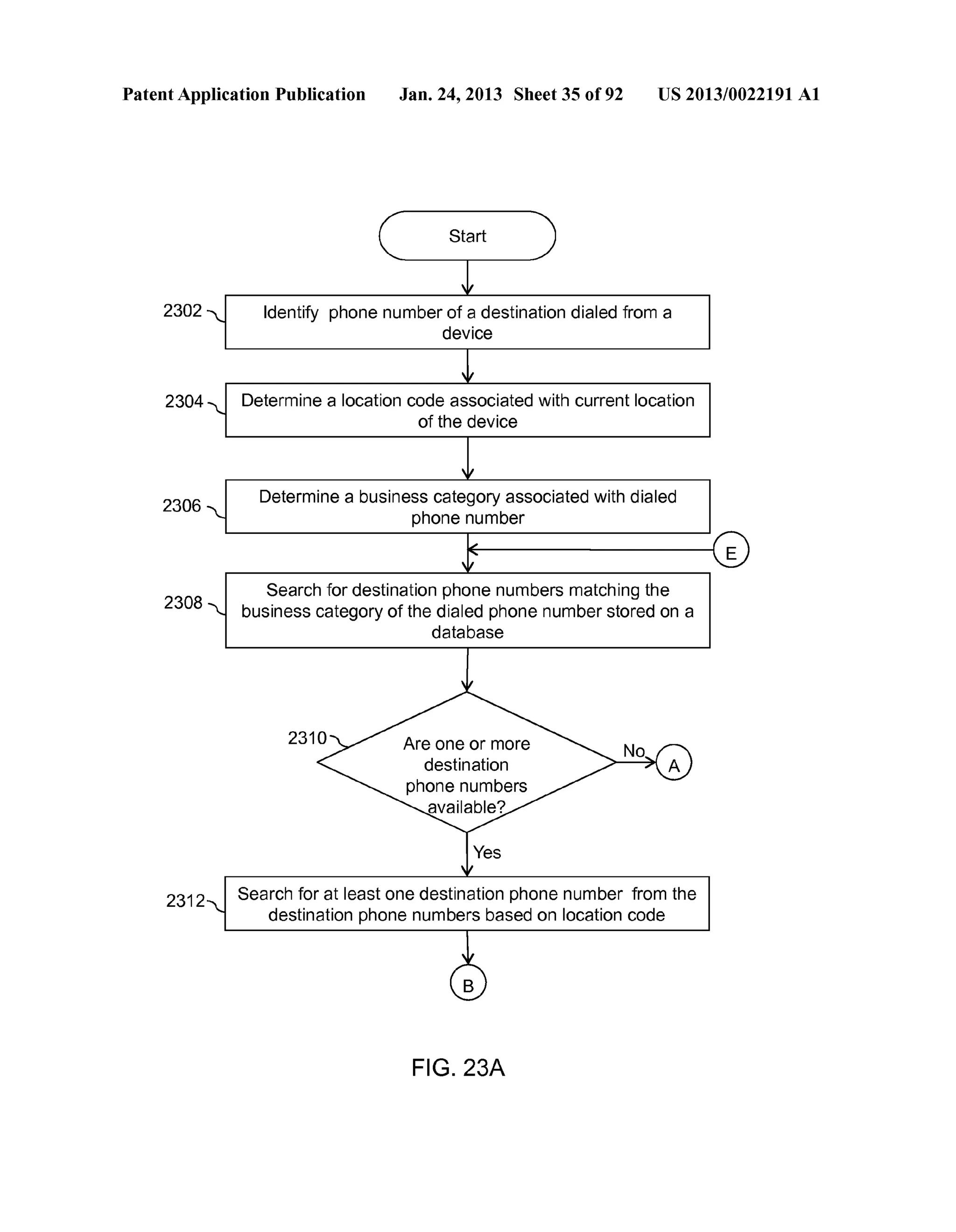
2302 
2304 
2306 
2308 
2312 
Identify phone number of a destination dialed from a 
device 
Determine a location code associated with current location 
of the device 
Determine a business category associated with dialed 
phone number 
Search for destination phone numbers matching the 
business category of the dialed phone number stored on a 
database 
Search for at least one destination phone number from the 
destination phone numbers based on location code 
FIG. 23A
Patent Application Publication Jan. 24, 2013 Sheet 36 of 92 US 2013/0022191 A1 
2328 
2330 
2332 
Request updates from a server 
Receive updates from the server 
Store updates in the database 
on the device 
FIG. 238
Patent Application Publication Jan. 24, 2013 Sheet 37 of 92 US 2013/0022191 A1 
2316 
2318 
2320 
2322 
Display the at least one destination 
phone number and associated 
properties 
Select a destination phone number , 
Display a visual IVR menu of the 
selected destination 
Select an option from the visual IVR 
menu 
2324 Connect to the selected option of the 
destination 
Stop 
FIG. 23C 
No 
2326 
Display a visual IVR 
menu of the dialed 
destination phone 
number
Patent Application Publication Jan. 24, 2013 Sheet 38 of 92 US 2013/0022191 A1 
Start 
2402 .. Identify a number of destination dialed by a caller of the 
device 
Search for an advertisement associated with the number in 
a database 
Display the advertisement on the device 
Yes No 
Stop 
FIG. 24
Patent Application Publication 
+.I c 
(J) 
+.I c 
0 
() 
(J) 
CJ) m 
...0 
m +.I m 
0 
""0 
!.... 
0 
() 
(J) 
0:: 
N 
0 
1.!) 
N 
0 
·c- 0') 
0 
!.... 
------ (J) +.I c 
(J) 
(J) 
CJ) m 
(J) 
a.. 
Jan. 24, 2013 Sheet 39 of 92 
ro 
c.o 
0 
1.!) 
N 
""0 
!.... 
0 
5 
CJ) 
CJ) m 
Q. 
!.... 
(J) 
+.I c 
(J) 
(J) 
CJ) m 
(J) 
a.. 
US 2013/0022191 A1 
<( 
l.() 
N 
C) 
LL
Patent Application Publication 
N 
~ 
s... 
~ 
E s... 
0 
LL 
c: 
C) 
0 
...J 
0 
"<'""" 
LO 
N 
_......._ 
0 
....._.. 
>- +-' 
+-' c 
(].) 
"'0 
·c- 0') 
0 
!..... 
(].) 
+-' c 
(].) 
(].) 
CJ) 
ro 
(].) 
0... 
-----~-- 
..c 
-.:;t 
0 
LO 
N 
Jan. 24, 2013 Sheet 40 of 92 US 2013/0022191 A1 
"'0 
!..... +-' 
0 E m 
$ ...0 l() 
CJ) :::J N CJ) ro (f) C) 0.. 
!..... ( LL 
(].) 
+-' c 
(].) co 
0 
(].) LO 
CJ) N 
ro 
(].) 
0... 
-----~-- 
..c 
c.o 
0 
LO 
N
Patent Application Publication Jan. 24, 2013 Sheet 41 of 92 US 2013/0022191 A1 
Start 
'~ 
2602 Dial a phone number of a destination 
~ 
2604 .. 
Display a visual IVR menu corresponding to the dialed 
number on caller device 
2606 
Select an option from the displayed visuaiiVR menu 
~ 
2608 ... Display a form indicating the information required by the 
IVR of the destination 
'~ 
2610 ... Fill the information in the displayed form 
I 
2612 ... Establish a connection between the destination and the 
caller device 
'V 
Stop 
FIG. 26
Patent Application Publication 
N 
0 
1'-­N 
Jan. 24, 2013 Sheet 42 of 92 US 2013/0022191 A1 
--------------------~---------------------------------------- 
0 
N 0'> 
I'- c 
N (]) 
'"" 
::::l"O 
"0 0 (]):::2: ..c 
(.) 
(/) 
00 '<j" 
0 ...-- 
I'- I'- 
N :::J N (]) ...... ..C...O. ("() ..0.. ......:.:.:. ...-- 
(/) ~ :::J 
_(.) 
~- ~ (]) 
.._ til~ 00 ...-- 
I'- 
.._ N r-.... 
"0 (]) N N (]) 1.....0 ...-- 
(.) ~E..- N 
"> >. (.9 (Q :::J 0'> ro (]) c ~N ~N 0 LL 
~~ (]) 
~ 
~ ~~.;: 
(]) .._ 
...-- >. 
0'> E (])...-- 
~~ > 
0 o= 
I'- I~~ N 
...-- ...-- 
I'- I'- 
N N 
N 
0 ...--
102 2810 
2806 
Personal 
Banking 
2 
Device 
Board 
number 
1 
Accounts 
1 
Deposits 
2 
2808 
NRI Banking 
3 
Money 
Transfer 1 
2812 - 2824 
Saving A/C 
1 
CreditA/C 
2 
2826 
Investment 
2 
Talk to 
Executive 9 
2828 
Balance 1 I 
' 
2818 2820 
Report lost 
card 1 
2822 
FIG. 28 
2720 
Scheduling 
Mode 
v2802 
~.'"..=. . 
('D .=.... 
~ '-.e... (') 
~....... .. 0 = ='"= 0-...". (') 
~....... .. 0 = 
;­:= 
N 
~ ... 
N 
0.. .. 
(.H 
rFJ =­(' 
D 
(...'D..... (.H 
0... .. 
0 
N 
c 
rFJ 
N 
0.. .. 
.(...H_ 
0 
0 
N 
.N.. . 
..0.. 
>....
~.'"..=. . 
('D .=.... 
Device ~ '-.e... (') 
2904 ~....... .. 0 = '"= 
¢ March 2011 L) 
= Sun Mon Tue Wed Thu Fri Sat 0-...". (') 
~....... .. 1 2 3 4 0 
= 
5 6 7 8 9 10 11 
f 2902 I ~ 
~ 12 13 14 15 16 17 18 := 
N 
102 
~ ... 
N 
0 19 20 21 22 23 24 25 
.... 
(.H 
26 27 28 29 30 31 rFJ =- ('D 
(...'D..... 
/ 
... 
0... .. 
0 
N 
c 
rFJ 
N 
0 
2906 
I Time • 
HH ..(} I MM ..(} I ss ..(}I AM ..(} 
2900 .... 
.(...H_ 
0 
0 
N 
FIG. 29 .N.. . 
..0.. 
>....
Patent Application Publication Jan. 24, 2013 Sheet 45 of 92 US 2013/0022191 A1 
3002 
3004 
3006 
3008 
3010 
Start 
Dial a phone number of a destination from a device 
Display a scheduling mode option and a visual Interactive 
Voice Response (IVR) menu associated with the dialed 
destination 
Switch the device to a scheduling mode 
Save a selection information including one or more options 
of the visual IVR menu 
Save a call schedule including a date and time information 
FIG. 30A 
schedule's date 
and time 
 
3014
Patent Application Publication Jan. 24, 2013 Sheet 46 of 92 US 2013/0022191 A1 
A 
3016 'lt 
Dial the phone number of the destination 
v 
3018 "". Request information from the destination based 
on the selection information 
v 
3020 Receive the information at the device 
v 
3022 Save the received information at the device 
v 
3024 Display the received information at the device 
v 
Stop 
FIG. 308
Patent Application Publication 
co 
N 
0 
T""" 
('I') 
c 
.Q 
+-' -ecoiD 
c.~ u o c·­u 
:::J > 
<D E ID 
(J)EO 
-. 
(]) 
c 
(])0 
0 u 
(]) 
c 
(.)..c 0 ·-a.. ..c 
Jan. 24, 2013 Sheet 47 of 92 
I" ~ 0 
0 
T""" co ('I') 
-.:::1'" > (]) 0.. 0 
(])_ o:o 
<.0 
0 
T""" 
('I') 
0 
-~ 
!..... 
(]) 
co u 
:::J T""" 
(/) ('I') > 
US 2013/0022191 A1 
. 
C) 
LL
Patent Application Publication 
..0 
00 
0 
"r" 
('/') 
ro 
N 
0 
"r" 
('/') 
c 
0 
........ co 
(.) 
c 
::J (]) 
E u 
E"> 
0 (]) uo 
"'0 c 
0 
(.) 
(]) 
(/) 
.-. 
(]) 
c 
(]) 0 
(..)...c ·-a.. > (]) (])_ o:c 
<D 
0 
"r" 
('/') 
0 
-:2: 
L... 
(]) 
ro u 
Jan. 24, 2013 Sheet 48 of 92 US 2013/0022191 A1 
(]) 
c 
0 
...c 
0.. 
::J 
C/) ..0 > "0" "" 
"r" 
('/') 
. 
(.!) 
LL 
"' ' 0 
(]) 0 
c "r" 
0 co ('/') 
...c 
0.. "0" "" 
::J "r" 
C/) ('/') >
Patent Application Publication 
.0 
00 
0 ..-- 
C'? 
oo:::t ..-- ..-- >. 
C'? co 
5 
-(]) co 
<.9 
.0 
N 
0 
.Y. 
L 
0 
..5.... 
(]) z 
..-- 
..-- 
C'? 
Jan. 24, 2013 Sheet 49 of 92 
c 
.-Q co 
.S:2 
c 
::J (]) E (.) E.> 
0 (]) uo 
""C c 
0 
(.) 
(]) 
(/) 
-D... 
0 > 
~ + 
·::;: <u 
(]) ...... 
O::J 
0.. 
E 
0 -u 
z 
I- 
(/) 
D... 
L 
(]) 
co u 
.0 
oo:::t 
0 ..-- 
C'? 
co 
oo:::t 
0 ..-- 
C'? 
US 2013/0022191 A1 
u 
T""" 
('") 
(9 
LL 
"' 0 
0 ..-- 
C'?
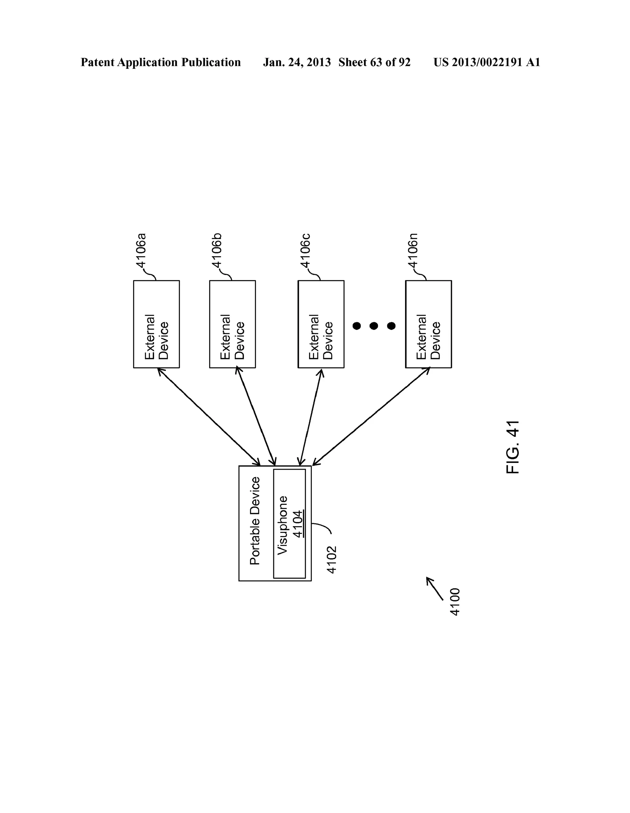
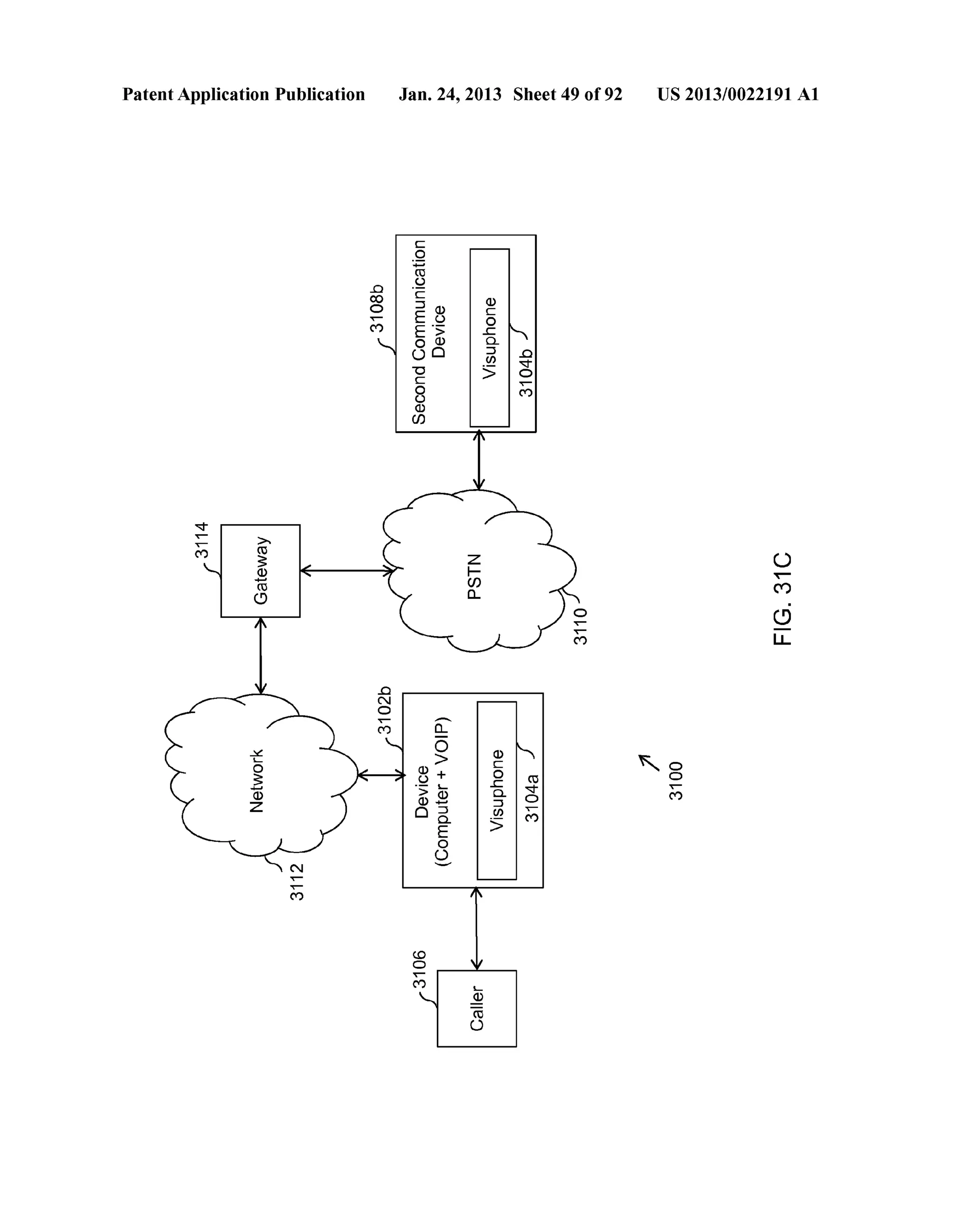
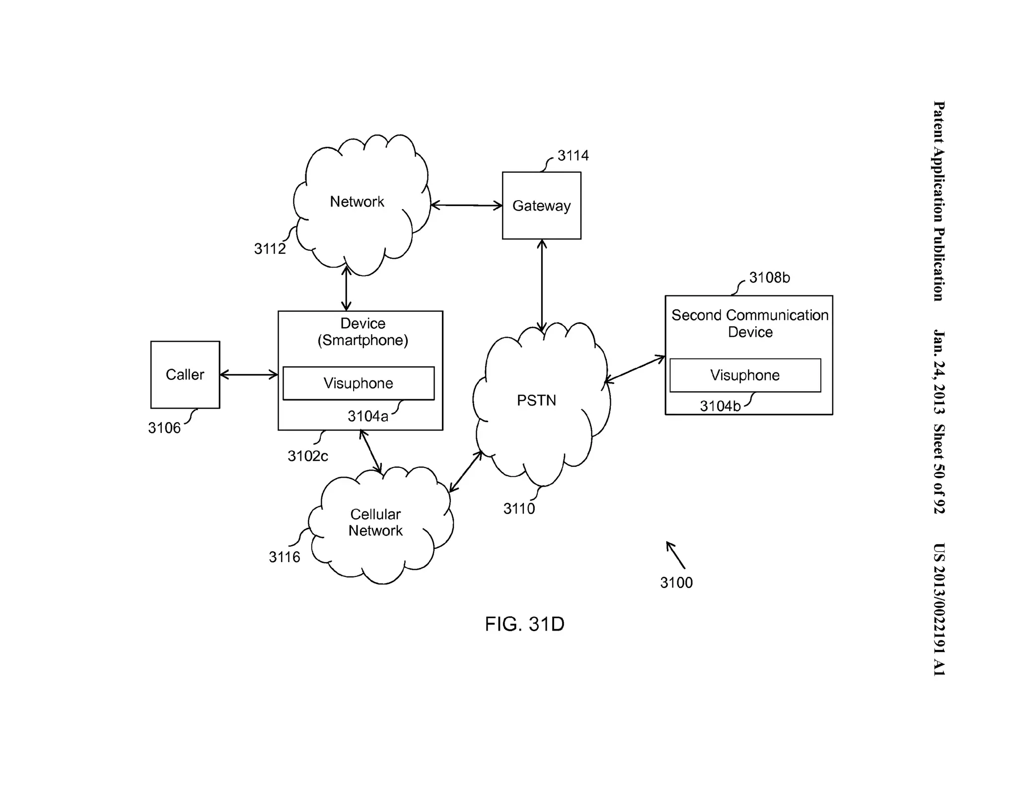
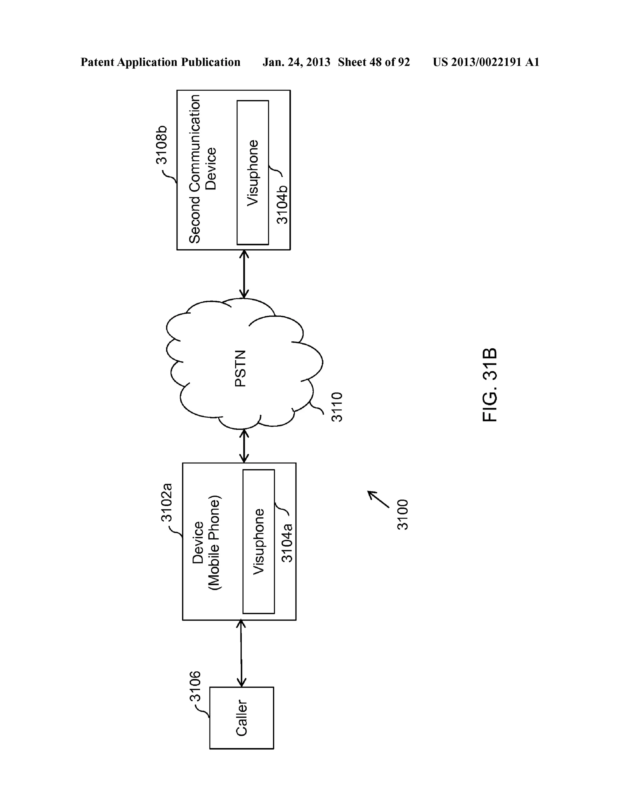
Caller 
3106 
Network 
Device 
(Smartphone) 
3114 
Gateway 
PSTN 
FIG. 310 
3108b 
Second Communication 
Device 
I Visuphone I 
3104b; 
 
3100 
~.'"..=. . 
('D .=.... 
~ '-.e... (') 
~....... .. 0 = ='"= 0-...". (') 
~....... .. 0 = 
;­:= 
N 
~ ... 
N 
0.. .. 
(.H 
rFJ =­(' 
D 
(..'D... 
Ul 
0 
0... .. 
0 
N 
c 
rFJ 
N 
0.. .. 
.(...H_ 
0 
0 
N 
.N.. . 
..0.. 
>....
Patent Application Publication 
N 
0 
N 
("/') 
---, 
c 
0 
......... co 
E 
'-..o 
QN 
.~0 
"ON 
eM 
0 
(.) 
(]) 
(f) 
c 
0 
......... 
(/) 
'-- u.. 
L. __ _j 
Jan. 24, 2013 Sheet 51 of 92 US 2013/0022191 Al 
N 
('() . 
CJ 
LL
Patent Application Publication 
:<:: 
...s... Jc~ry~ 
Q.C':l 
0 
I 
(]) 
.~.r...o~JcorIy 
$(') 
0 
LL 
I.... 
(]) 
~(]0)..1-- 
IC':l 
.......,(') 
>< (]) z 
Cf) 
Cf) ro 
O-~oI 
tE~ 
ro I.... 
I- 
......c... 
0) 
c 
c "~'"0'0I 
.Q rocry 
Cf) 0(') 
I.... >- ~~I ro 
....... cry D... 
(])(') 
.:£ 
(..) 
ro 
D... 
Jan. 24, 2013 Sheet 52 of 92 
Cf) 
Cf) 
(]) 
I.... 
Cf) 
"'0 Cf) (]) "'0 I.... 
~"'I "'0 
"'0 ~I 
c..- 
<(..-- .Qcry 
(])(') (QC':l 
uC':l c 
I.... ....... 
:::J Cf) 
0 (]) 
(j) 0 
US 2013/0022191 A1 
_ ro 
N 
0 
N 
(') 
. 
(9 
u..
Patent Application Publication Jan. 24, 2013 Sheet 53 of 92 US 2013/0022191 A1 
3402 
Start 
Search, at a first communication device, for a 
data network 
a first section of a packet 
to the second communication 
device as Dual-Tone Multi­frequency 
signals 
3408 Send a first section of the packet comprising first 
information to the second communication device 
Is Visuphone 
available at second 
communication 
device? 
FIG. 34A
Patent Application Publication Jan. 24, 2013 Sheet 54 of 92 US 2013/0022191 A1 
3412 Receive an acknowledgement message based 
on the first section from the second 
communication device 
Send a second section of the packet comprising 
3414 second information based on the 
acknowledgement message to the second 
communication device 
Stop 
FIG. 348
Patent Application Publication 
...>........ . (]) 
ctlu 
0..·- ...... > (/)(]) 
.!:::: "0 
ctl LL 
CX) 
0 
L!) 
(') 
.0 
CX) 
0 
L!) 
(') 
ctl 
N 
0 
L!) 
(') 
..>.... . ..... (]) 
ctl (.) 
0..·- ...... > 
(/) (]) 
.!:::: "0 
LL 
Jan. 24, 2013 Sheet 55 of 92 
<D 
0 
L!) 
(') 
-. 
(]) 
c 
(]) 0 
(.)..c 
·-a_ 
> (]) (])_ o:o 
0 
.:.2._:. . 
(.) 
CX) 
0 
L!) 
(') 
..... 
(]) 
ctl 
() 
..>.... . ..... (]) 
ctl (.) 
0..·- ...... > •• • (/) (]) 
.!:::: "0 
LL 
c 
CX) 
0 
L!) 
(') 
US 2013/0022191 A1 
...>......... (]) 
ctlu 
0..·- ...... > (/)(]) 
.!:::: "0 
LL 
<( 
L{) 
("') 
(9 
LL
3508a 
First party 
device 
3508b 
First party 
device 
3508c 
3508n 
First party 
device 
•• • 
First party 
device 
3512 
Gateway Network 
l.f 3514 
3502b 
!' 
3500 
 
Device 
(Computer+VOIP) 
I Visuphone I 
35047 
FIG. 358 
3506 
Caller 
'"= ~.... . 
('D .=.... 
~ '-.e... (') 
~....... .. 0 = ='"= 0-..".. (') 
~....... .. 0 = 
;­:= 
N 
~ ... 
N 
0.. .. 
(.H 
rFJ =­(' 
D 
(..'D... 
Ul 
0 
0... .. 
0 
N 
c 
rFJ 
N 
0.. .. 
.(...H_ 
0 
0 
N 
.N.. . 
..0.. 
>....
3508a 
First party 
device 
3508b 
First party 
device 
3508c 
3508n 
First party 
device 
•• • 
First party 
device 
3512 
Gateway I< >I Network 
J-3514 
! 
3500 
Device 
(Smartphone) 
I Visuphone I 
35047 
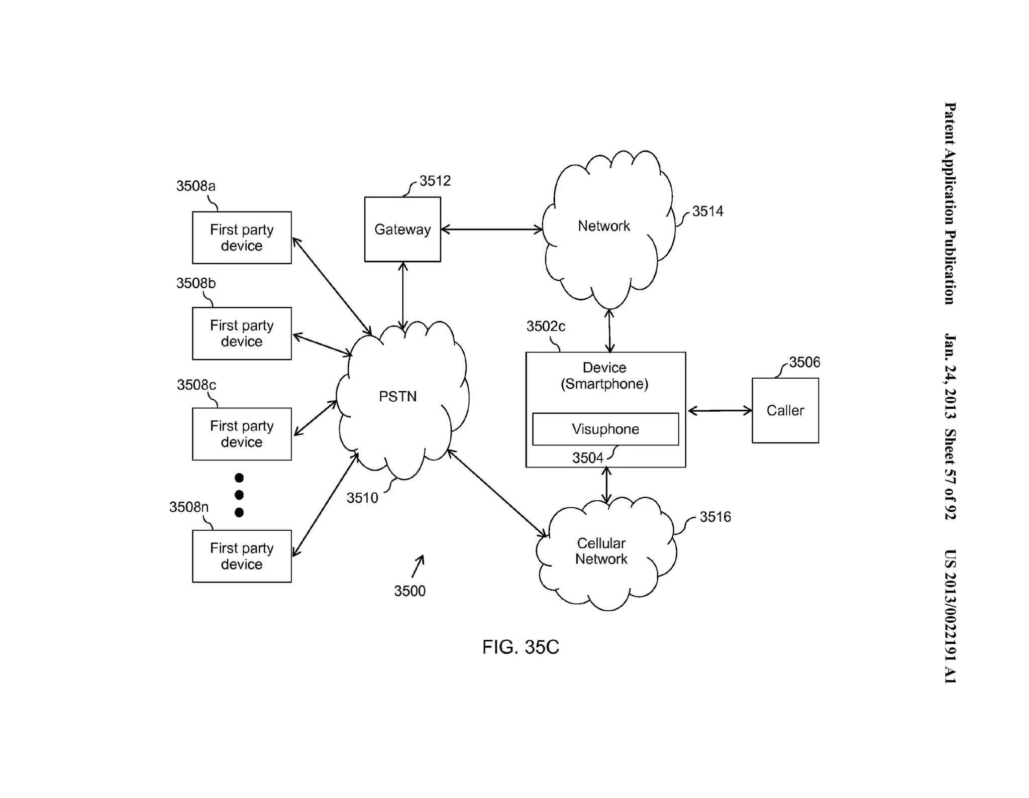
FIG. 35C 
Cellular 
Network 
3506 
Caller 
'"= ~.... . 
('D .=.... 
~ '-.e... (') 
~....... .. 0 = ='"= 0-...". (') 
~....... .. 0 = 
;­:= 
N 
~ ... 
N 
0.. .. 
(.H 
rFJ =­(' 
D 
(..'D... 
Ul 
....:J 
0... .. 
0 
N 
c 
rFJ 
N 
0.. .. 
.(...H_ 
0 
0 
N 
.N.. . 
..0.. 
>....
3508a 
First party 
device 
3508b 
First party 
device 
3508c 
3508n 
First party 
device 
•• • 
First party 
device 
3602 
Third party 
device 
Device 
(Mobile Phone) 
3502a 
I Visuphone I 
35047 
1' 
3500 
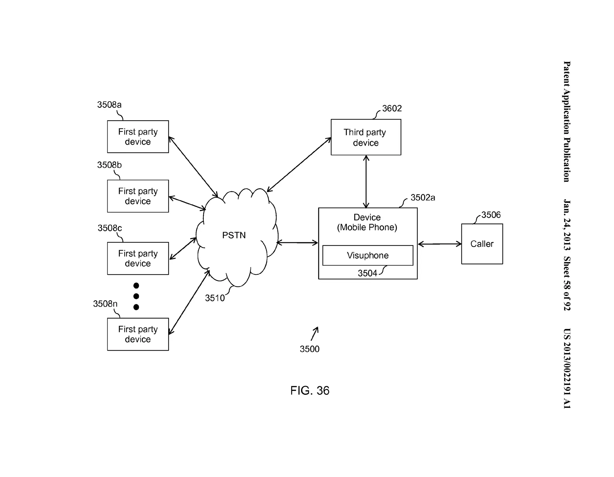
FIG. 36 
3506 
Caller 
'"= ~.... . 
('D .=.... 
~ '-.e... (') 
~....... .. 0 = ='"= 0-...". (') 
~....... .. 0 = 
;­:= 
N 
~ ... 
N 
0.. .. 
(.H 
rFJ =­(' 
D 
(..'D... 
Ul 
QO 
0... .. 
0 
N 
c 
rFJ 
N 
0.. .. 
.(...H_ 
0 
0 
N 
.N.. . 
..0.. 
>....
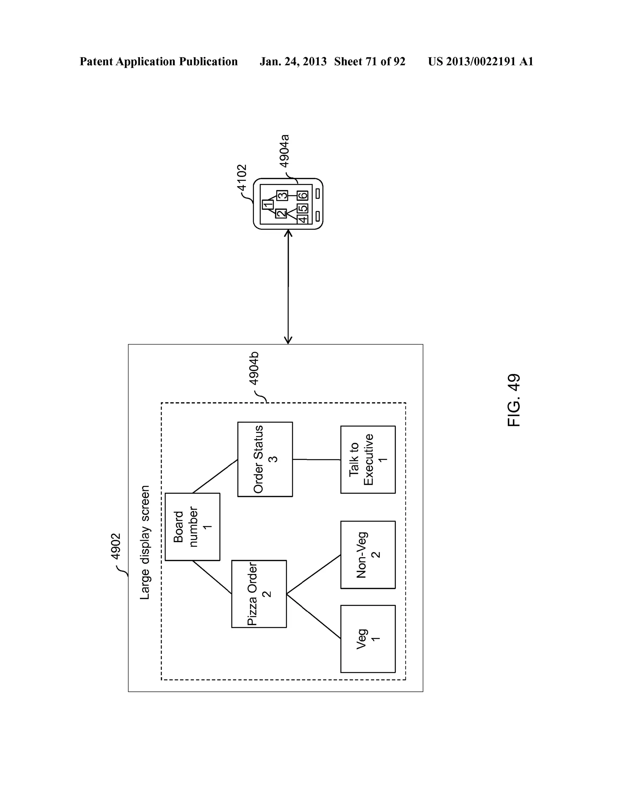
3502 
Device 
!----------------------------------B--o-a-r-d- --- -37o4---- --------------_____ _ 
number ------: 
1 : 
3710 
3716 
Veg 
(11 
Home 
Delivery 
~1 
3712 
Non-Veg 
':l}(2 
3708 
rder Statu 0 3 
3714 
Talk to 
Executive 
' 1 
Take Away If 3718 
~ 2 
,../' 
FIG. 37 
I 
I 
I 
I 
I 
I 
f3720a : 
I 
Communication 
I 
I 
I 
I 
Option 1 : 
I 
lf370 
f3720b: 
Communication 
Option 
• 
• 
I I 
I 
I 
I 
I 
I 
I 
I 
I 
I • f 3720n: 
Communication 
Option 
---------------- 
'"= ~.... . 
('D .=.... 
~ '-.e... (') 
~....... .. 0 = ='"= 0-...". (') 
~....... .. 0 = 
;­:= 
N 
~ ... 
N 
0.. .. 
(.H 
rFJ =­(' 
D 
(..'D... 
Ul 
0 
0... .. 
0 
N 
c 
rFJ 
N 
0.. .. 
.(...H_ 
0 
0 
N 
.N.. . 
..0.. 
>....
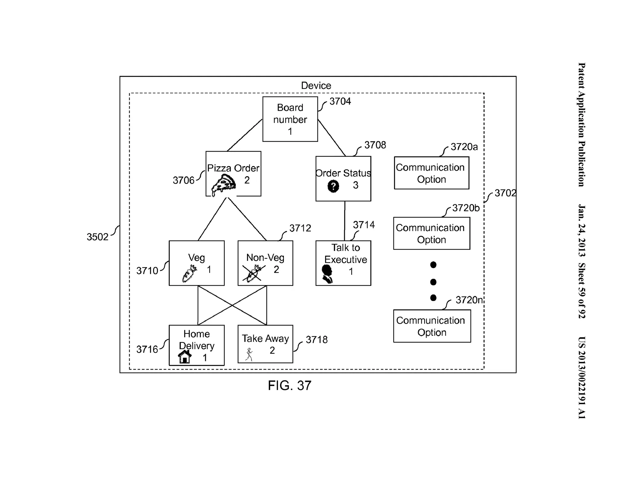
3502fl 
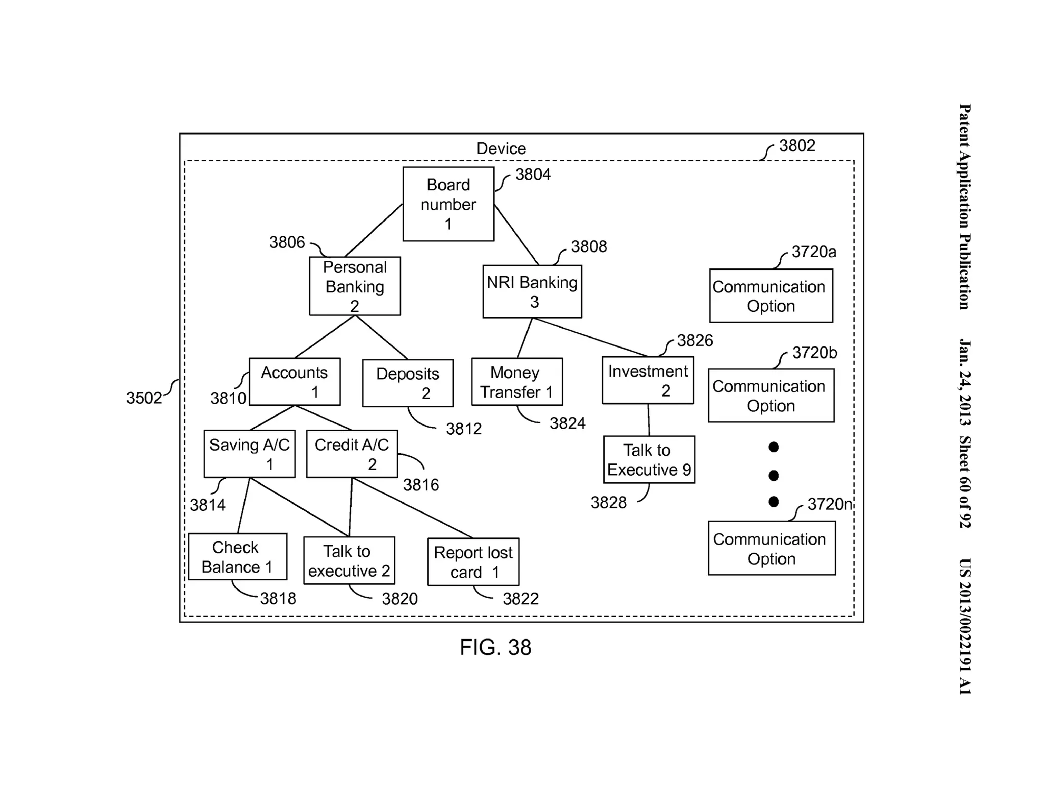
-------------------------------I- --- __ _ Device Board ~-38-04----------------- -------_____ L ~~-~2 
number ------ 
1 
3806 3808 
Personal 
Banking 
2 
NRI Banking 
3 
Accounts Deposits 
2 
Money 
38101 1 I Transfer 1 ::> :c:::::: 
Saving A/C 
1 
Balance 1 
3818 
Talk to 
executive 2 
3820 
3812 - 3824 
Report lost 
card 1 
3822 
3826 
Investment 
2 
Talk to 
Executive 9 
3828 
f3720a 
Communication 
Option 
f 3720b 
Communication 
Option 
• 
• 
• f3720n 
Communication 
Option 
L---------------------------------------------------------------------------------------------1 
FIG. 38 
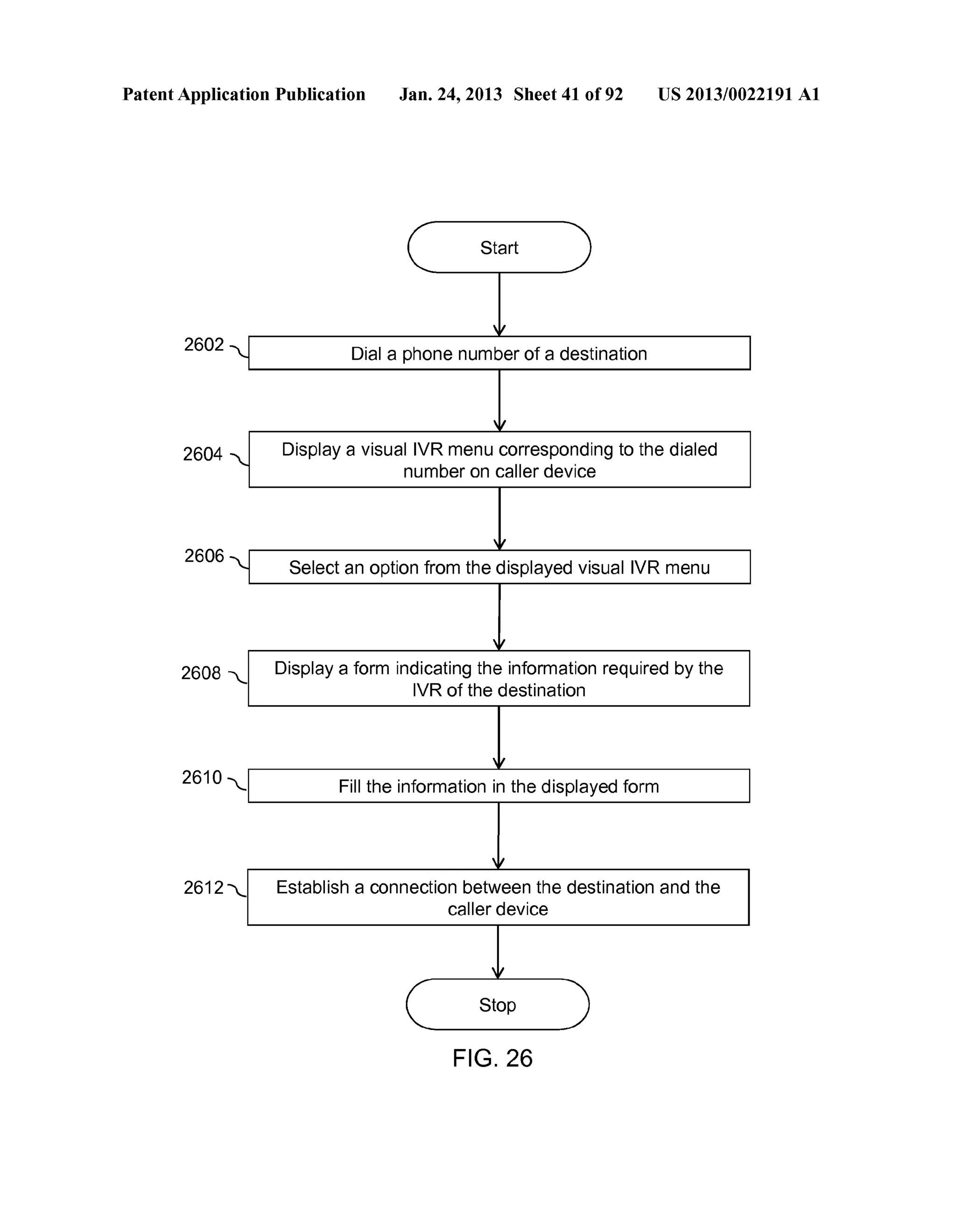
'"= ~.... . 
('D .=.... 
~ '-.e... (') 
~....... .. 0 = ='"= 0-...". (') 
~....... .. 0 = 
;­:= 
N 
~ ... 
N 
0.. .. 
(.H 
rFJ =­(' 
D 
(..'D... 
0 
0 
0... .. 
0 
N 
c 
rFJ 
N 
0.. .. 
.(...H_ 
0 
0 
N 
.N.. . 
..0.. 
>....
Patent Application Publication 
co 
CX) 
0 
U') 
(") 
>. 
t (]) co (.) 
CL ·- ...... (>]) 
-~ 0 
LL 
Jan. 24, 2013 Sheet 61 of 92 
<0 
0 
0) 
(") 
E 
(]) 
"0 
0 
~ 
>. co 
5 
..(..].). 
co 
~ 
N ..-- 
1.0 
(") 
US 2013/0022191 A1 
(9 
LL
Patent Application Publication Jan. 24, 2013 Sheet 62 of 92 US 2013/0022191 A1 
Start 
4002 Receive, at the device, a call from a phone 
number of a first party device 
4004 Compare the phone number of the first party 
4006 
4008 
4010 
4012 
device with the phone numbers stored in the 
device 
Display the visual IVR menu 
Display one or more communication options 
Select a communication option 
Establish a communication session based on 
the selection 
Stop 
FIG. 40
Patent Application Publication 
co 
<0 
0 ..-- 
'<j" 
co 
E ~ (]}"­..>....< 
(]>} wo 
co 
E ~ (]}"­..>..<.. 
(>]} wo 
(]} 
(.) 
"> (]} 
0 
(]} 
.0 co 
t 
0 
a_ 
Jan. 24, 2013 Sheet 63 of 92 US 2013/0022191 A1 
(.) 
<0 
0 ..-- 
'<j" 
co 
E ~ (]}"­..>..<.. 
(>]} wo 
N 
0 ..-- 
'<j" 
••• 
c 
<0 
0 ..-- 
'<j" 
co 
E ~ (]}"­..>..<.. 
(>]} wo
Patent Application Publication 
<0 
0 
N 
-.:::t 
N 
0 
N 
-.:::t 
Jan. 24, 2013 Sheet 64 of 92 
•••••• •• :a! IIIII= ••• M:llii •••••• • :tiS.- 
US 2013/0022191 A1 
. 
(9 
LL
Patent Application Publication Jan. 24, 2013 Sheet 65 of 92 US 2013/0022191 A1 
Q_ 
..0..... .. 
Q_ 
co 
.....J 
. 
C) 
LL
Patent Application Publication Jan. 24, 2013 Sheet 66 of 92 US 2013/0022191 A1 
. 
C) 
LL
Patent Application Publication Jan. 24, 2013 Sheet 67 of 92 
0 
L!) 
""'" 
co 
N 
0 
"'"" 
""'" 
US 2013/0022191 A1 
. 
C) 
LL
Patent Application Publication Jan. 24, 2013 Sheet 68 of 92 
D~ 
I 
1 
I' (]) E "" 
ro !..... 
LL 
(]) 
!..... 
..:.:..:.:.J. 
(.) 
a.. 
' ~ 
' ro 
N 
0 ....-- 
"""'" 
US 2013/0022191 A1 
. 
C) 
u..
Patent Application Publication Jan. 24, 2013 Sheet 69 of 92 US 2013/0022191 A1 
D~ 
1 
. 
C) 
'~ 
LL 
"' c 0 
(]) 
(]) 
L.. 
(.) (f) 0 
(/) a.. 
(9 0 
' ..1
Patent Application Publication 
>. co 
0.. 
-~ 
0 
"0" " co 
""" 
Jan. 24, 2013 Sheet 70 of 92 
o: 
L 
-0 (.) 
(].) 
"5' 
L.. a_ 
N 
0 co 
""" 
co 
N 
0 ..-- 
""" 
US 2013/0022191 A1 
00 
""'" (j 
LL
Patent Application Publication Jan. 24, 2013 Sheet 71 of 92 
N 
0 en 
'<j" 
c 
(]) 
~ 
(.) 
(/) 
>. 
ro 
0.. 
(/) 
"0 
(]) 
e> 
ro 
_J 
.0 
'<j" 
0 en 
'<j" 
~D 
~D 
-----------------~------------------------- 
.._ 
(]) 
"E 
ON 
ro 
N 
.!:::! 
a_ 
0"> 
~e N 
0 z 
•--------------------------------------------- 
US 2013/0022191 A1
Patent Application Publication 
(]) 
(.) ·:;;: 
(]) 
0 
(]) 
.0 co 
t 
0 
0.. 
N 
0 
0 
U') 
(]) ou ·"-Oc'ot co(]) o::-c 
>. co 
Q_ 
(/) 
0 
...... 
(]) 
0'> co 
...... c 
0 co 
(~.) :~3~ gI e u 
0.. (]) 
c 
c 
0 u 
Jan. 24, 2013 Sheet 72 of 92 
0""" "" 
0 
U') 
N 
0 ..-- 
""""" 
~(]) ...... (.) 
oro 
5't 
-(]) 
(])- 
ZE 
<0 
0 
0 
U') 
C' 
0 
E 
(]) 
~ 
00 ..-- 
0 
U') 
E 
-(]) (/) Jiol 0'>..-- 
:§~ 
~ 
(]) 
Q_ 
0 
US 2013/0022191 A1 
0 
L{)
Patent Application Publication Jan. 24, 2013 Sheet 73 of 92 
(]) 
(.) ·:;: 
(]) 
0 
(]) 
.0 
co 
t 
0 
a_ 
N 
0 
0 
L!) 
(]) ou ·- co 
"O't: 
oc:o: <..D.... c 
>. 
co 
Q_ 
(/) 
0 
..__ 
(]) 
0'> co 
L.. c 
0 co 
~ ~~I eu E g u 
a_ (]) 
c 
c 
0 
(.) 
-.:::1" 
0 
0 
L!) 
N 
0 
"<'""" 
-.:::1" 
~.._(_ ]) (.) 
oro 
5't: 
...... (]) 
(])......, zc 
<.0 
0 
"<'""" 
L!) 
N 
0 
"<'""" 
L!) 
.>.__ . 
0 
E 
(]) 
~ 
E 
..(..].). 
(/) 
>. 
U0')> """"" 01 
:§g 
co L.. 
(]) 
Q_ 
0 
US 2013/0022191 A1
Patent Application Publication 
co 
<0 
0 
N 
L!) 
co 
E ~ (])"­..>...<.. 
> Q) wo 
..0 
<0 
0 
N 
L!) 
co 
E ~ (])"­..>...<.. 
> Q) wo 
Q) 
(..) ·:; 
Q) 
0 
Q) 
..0 
..c...o.. 
I.... 
0 a.. 
Jan. 24, 2013 Sheet 74 of 92 US 2013/0022191 A1 
Q) 
c 
(..) 
<0 
0 
N 
L!) 
co 
E ~ (])"­..>...<.. 
> Q) wo 
.o.cr ool 
O..N 
::JL!) 
(/) > N 
0 
N 
L!) 
Q) 
!.....~ oo:::t 
Q) > 0 
(/) Q) N 
::JO L!) 
••• 
c 
<0 
0 
N 
L!) 
co 
E ~ (])"­..>...<.. 
> Q) wo 
"'8 N 
L!) 
C.1 
L() . 
(.9 
LL
Patent Application Publication 
ro 
c.o 
0 
N 
1.{) 
'<:j" 
0 
N '--~ 
1.{) (])-- (/) > 
:::)~ 
.0 
c.o 
0 
N 
1.{) 
ro (]) 
c (..) w"> ...... (]) tijo 
N 
0 
N 
1.{) 
Jan. 24, 2013 Sheet 75 of 92 
(]) 
(..) 
"5 
(]) 
0 
(]) 
.0 
..r..o.. 
'-- 
0 a.. 
(]) 
c 
(..) 
c.o 
0 
N 
1.{) 
ro (]) 
c (..) w"> ...... (]) tijo 
.0. c0o01 
O..N 
:::JL{) 
(/) > 
••• 
c 
c.o 
0 
N 
1.{) 
US 2013/0022191 A1 
C'0 
l() 
C) 
LL
Patent Application Publication 
<0 
0 
N 
-.:t 
N 
0 
N 
-.:t 
Jan. 24, 2013 Sheet 76 of 92 
••. II ••• • • 'II! ••• ilil liiHII ••• • :It :1 •••••• •••• 
N 
0 
N 
L{) 
US 2013/0022191 A1
Patent Application Publication 
>. 
ro 
0.. 
-~ 
0 
oo:::t" 
0 
l{) 
l{) 
Jan. 24, 2013 Sheet 77 of 92 
N 
0 
N 
l{) 
(]) (]) 
.0 u 
ro ·:;: 
t (]) ao.. o 
N 
0 
l{) 
l{) 
US 2013/0022191 A1 
N 
0 
oo:::t" 
l{) 
1.() 
1.() 
(.9 
LL
Patent Application Publication 
(]) (]) 
.ou cos t (]) oo o.._ 
Jan. 24, 2013 Sheet 78 of 92 
N 
0 
N 
L!) 
US 2013/0022191 A1 
N 
0 
'<j" 
L!) 
(9 
LL
Patent Application Publication 
(]) (]) 
.r.o. o·u­_. 
> 
I.... (]) oo a_ 
0 
L!) 
-.:::!'" 
N 
0 
N 
L!) 
Jan. 24, 2013 Sheet 79 of 92 
N 
0 
-.:::!'" 
L!) 
US 2013/0022191 A1 
. 
C) 
LL
Patent Application Publication Jan. 24, 2013 Sheet 80 of 92 
(]) (]) 
.r.oo ·u- ........ > !..... (]) oo 
0... 
1 
,, 
0.. 
..0.... .. 
0.. ro 
_j 
00000 ..J...' ~, 0 0 0 0 
I oo o o~ 
~ N 
0 
N "1"."!") 
0 
N 
1.!) 
"- 
US 2013/0022191 A1 
co 
LO . 
(.9 
LL
Patent Application Publication 
(]) (]) 
..0 (.) co ·­+-' 
> !..... (]) oo a_ 
(]) 
E 
~ 
LL 
(]) 
!..... 
:::J 
+-' 
(.) 
a_ 
N 
0 
<0 
""'" 
Jan. 24, 2013 Sheet 81 of 92 US 2013/0022191 A1 
N 
0 
N 
L() 
0') 
l.() . 
C) 
LL
Patent Application Publication Jan. 24, 2013 Sheet 82 of 92 US 2013/0022191 A1 
(1) (1) 
..ou 
co "> 
t (1) ao.. o 
~~ 
" 
r 
c """ 
(1) 
(1) 
I.... u en 
(/) a.. 
(9 
' .I 
"" 
;' ...... 
.~I' 
I 
N 
0 
N 
1..() 
0 
0 
0 
ODDDD ,..... D D D D 
D D D D 1_ 
N 
0 
-.;;:t 
1..() 
. 
C) 
LL
Patent Application Publication Jan. 24, 2013 Sheet 83 of 92 US 2013/0022191 A1 
c 
(]) 
.(.]_) 
(.) 
(f) 
>. 
ro 
Q. 
N 
(/) 
0 0 ...-- <D (]) "' .0._> 
ro 
_J 
ro 
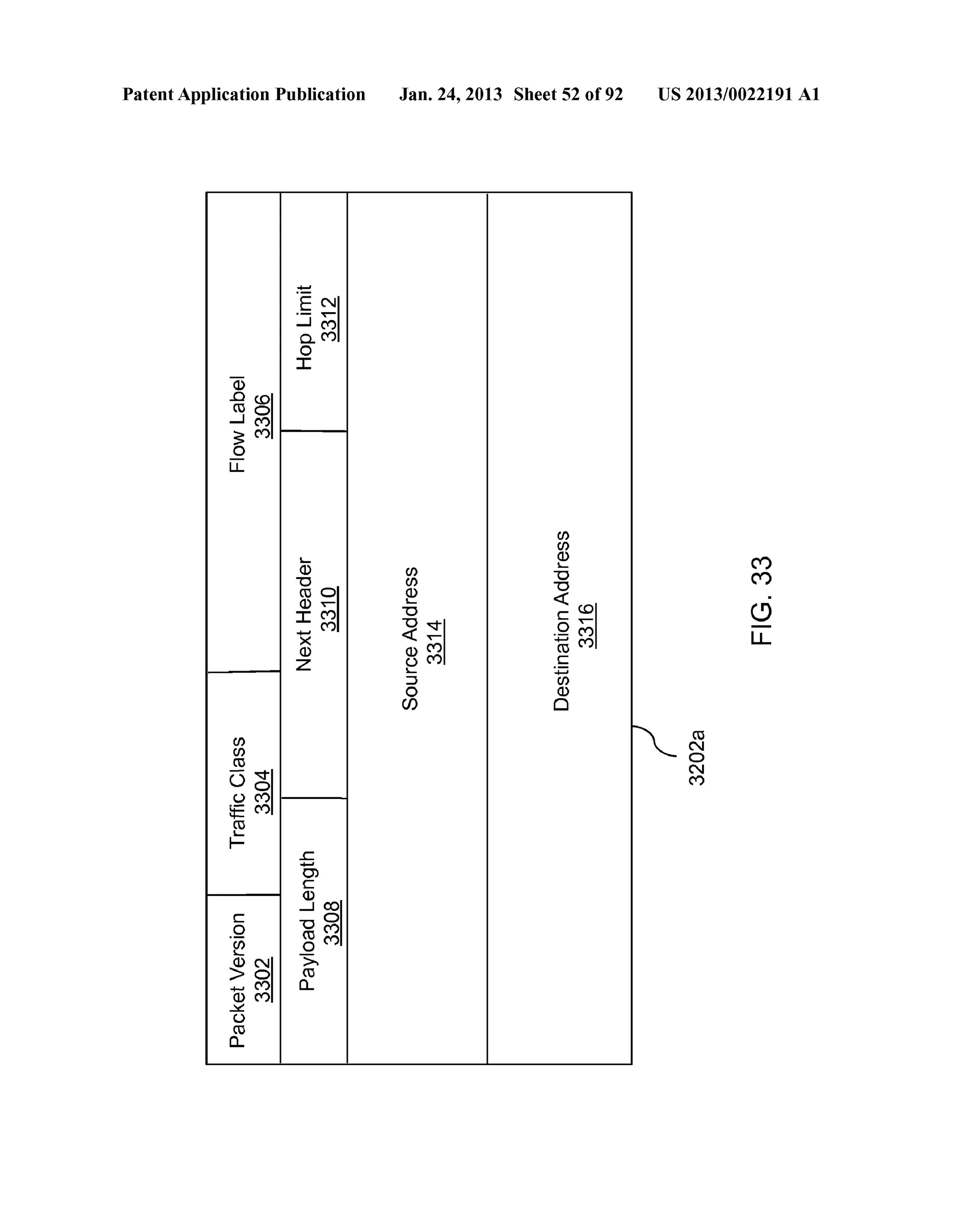
'<j" 
0 ...-- 
<D 
N 
0 (]) (]) N 
L!) .0 r..o.. ·(.) ..oo .._ >- [g): (]) a_ 
-----------------~------------------------- 
.._ 
"0 (]) 
'-.0 
~E..- 
(Q :::J c 
.._ 
(]) 
"E 
ON 
ro 
N 
-~ a_ 
(]) 
..0.. ...._.;.:.:.: 
:::J 
~(.)...-- 
~ ~ 
UJ 
0> 
~e N 
0 z 
•--------------------------------------------- 
<D 
0 ...-- 
<D
Patent Application Publication 
(]) 
u 
"> (]) 
0 
(]) 
.0 
co 
t 
0 o.._ 
.._ 
0 
(/) 
(/) 
(]) 
u e o.._ 
Jan. 24, 2013 Sheet 84 of 92 US 2013/0022191 A1 
.._ 
(]) 
0'> co 
c 
co 
~c O<01 
:B~ u 
(]) 
c 
c 
0 
() 
~.._( ]u) 
0 co 
..$.... 't: (]) 
(])......, 
ZE 
N 
0 
N 
<0 
" 
N 
0 
N 
L!) 
'<:t ......- 
N 
<0 
N ...-- 
N 
<0 
'<:t 
0 
N 
<0 
0 ...-- 
N 
<0 
.>._ . 
0 
E 
(]) 
~ 
N c.o 
(.9 
LL 
E 
..(..].). 
(/) 
>. 
U0) )0 rol 
:§~ 
.c._o 
(]) 
Q. 
0
Patent Application Publication Jan. 24, 2013 Sheet 85 of 92 US 2013/0022191 A1 
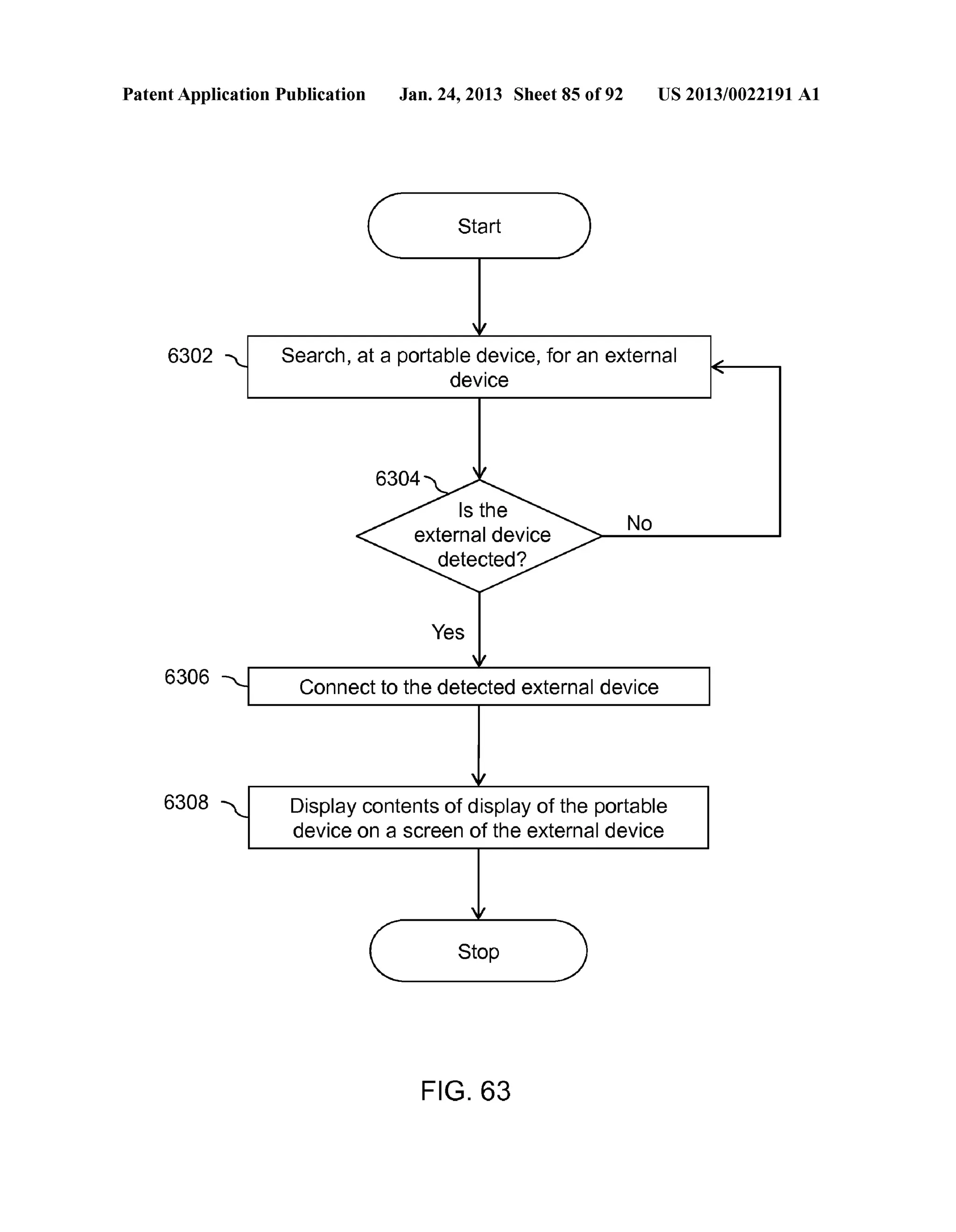
Start 
6302 Search, at a portable device, for an external 
6306 
6308 
device 
No 
Connect to the detected external device 
Display contents of display of the portable 
device on a screen of the external device 
Stop 
FIG. 63
Patent Application Publication Jan. 24, 2013 Sheet 86 of 92 US 2013/0022191 A1 
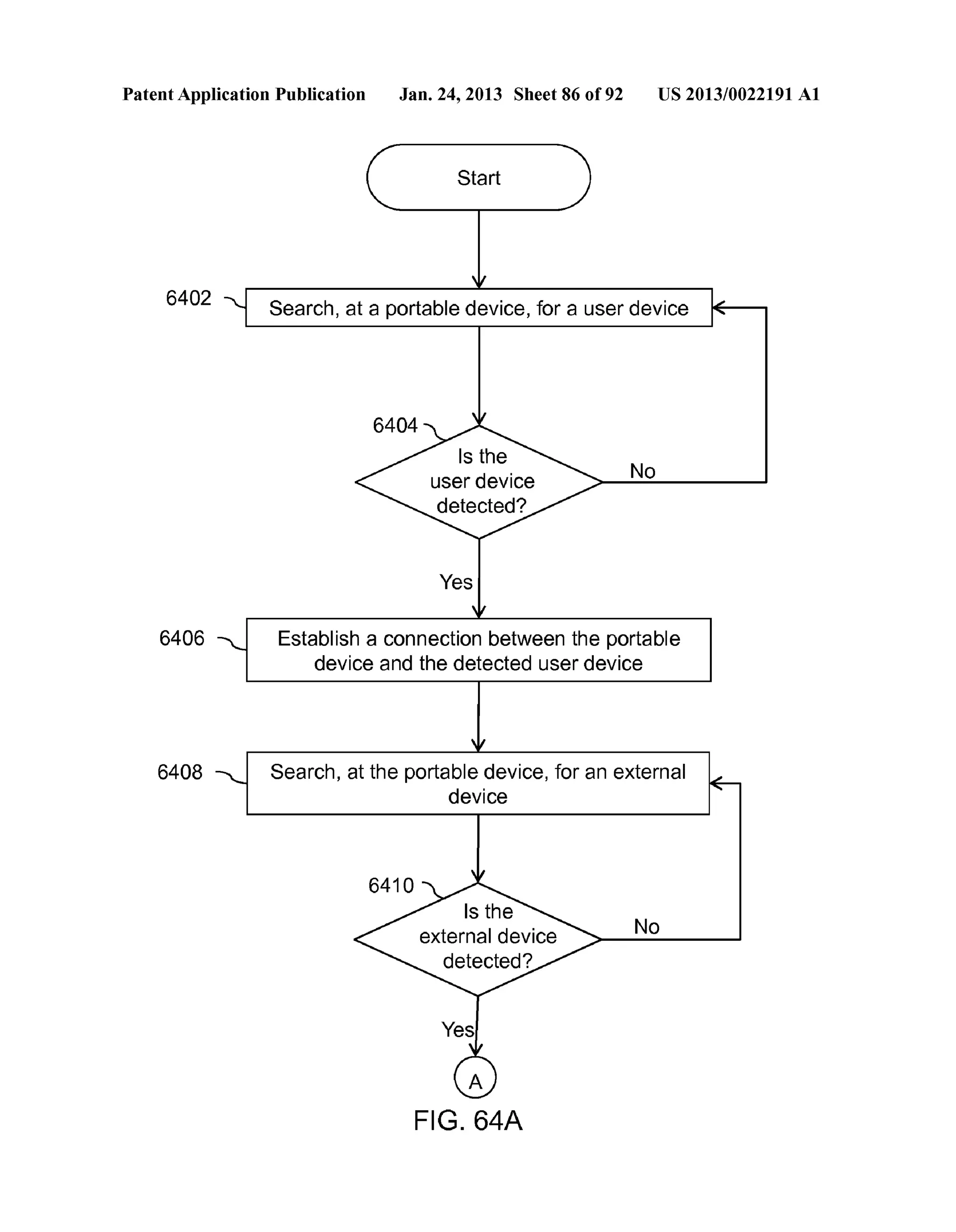
Start 
6402 Search, at a portable device, for a user device 
No 
6406 Establish a connection between the portable 
device and the detected user device 
6408 Search, at the portable device, for an external 
device 
No 
FIG. 64A
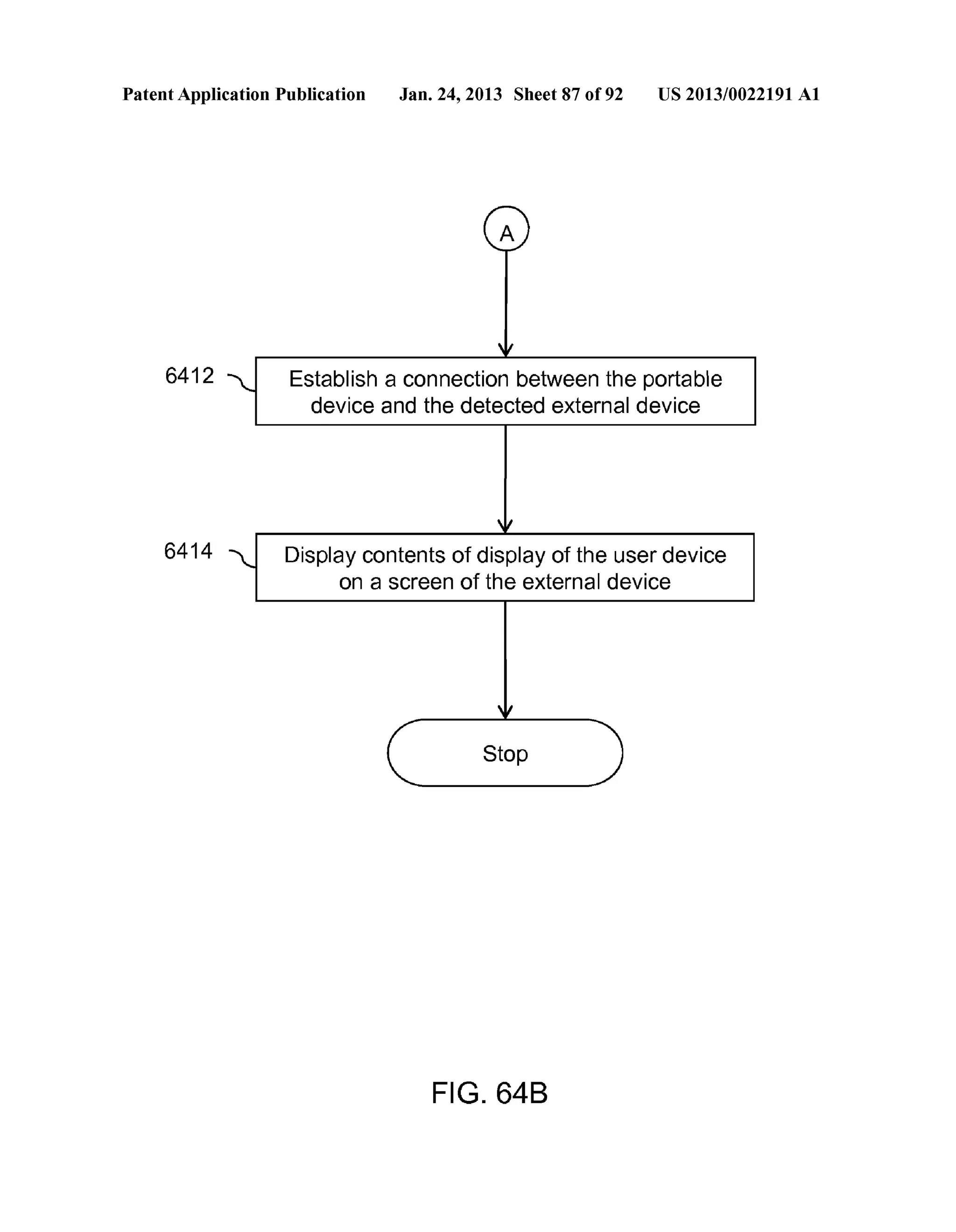
Patent Application Publication Jan. 24, 2013 Sheet 87 of 92 US 2013/0022191 A1 
6412 Establish a connection between the portable 
device and the detected external device 
6414 Display contents of display of the user device 
on a screen of the external device 
Stop 
FIG. 648
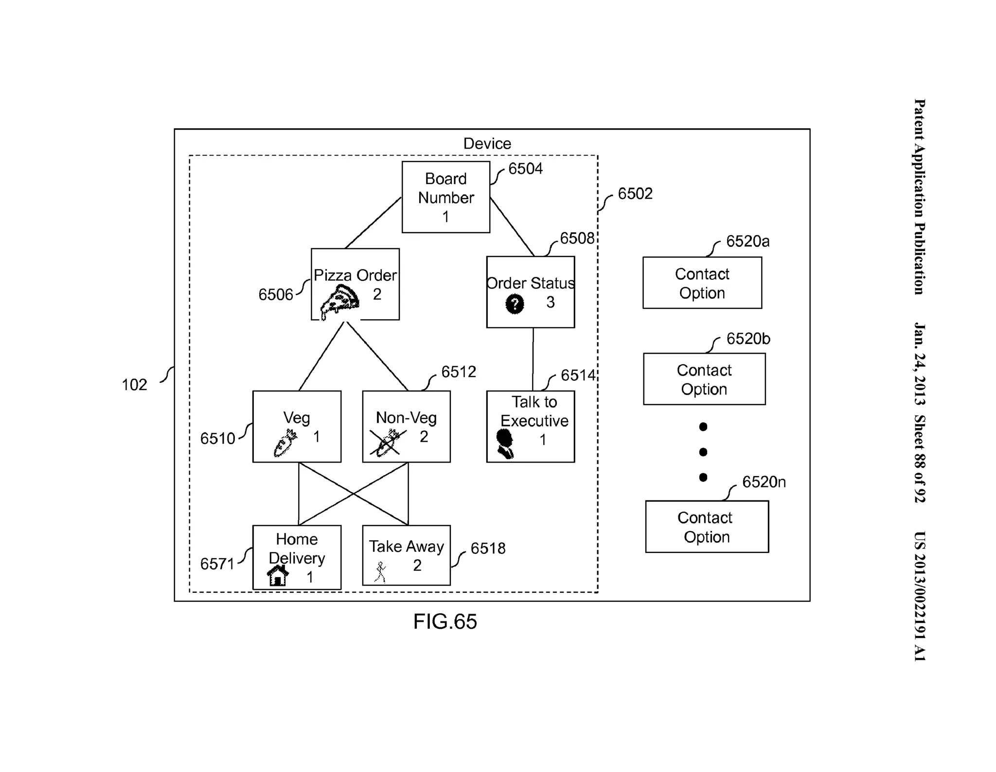
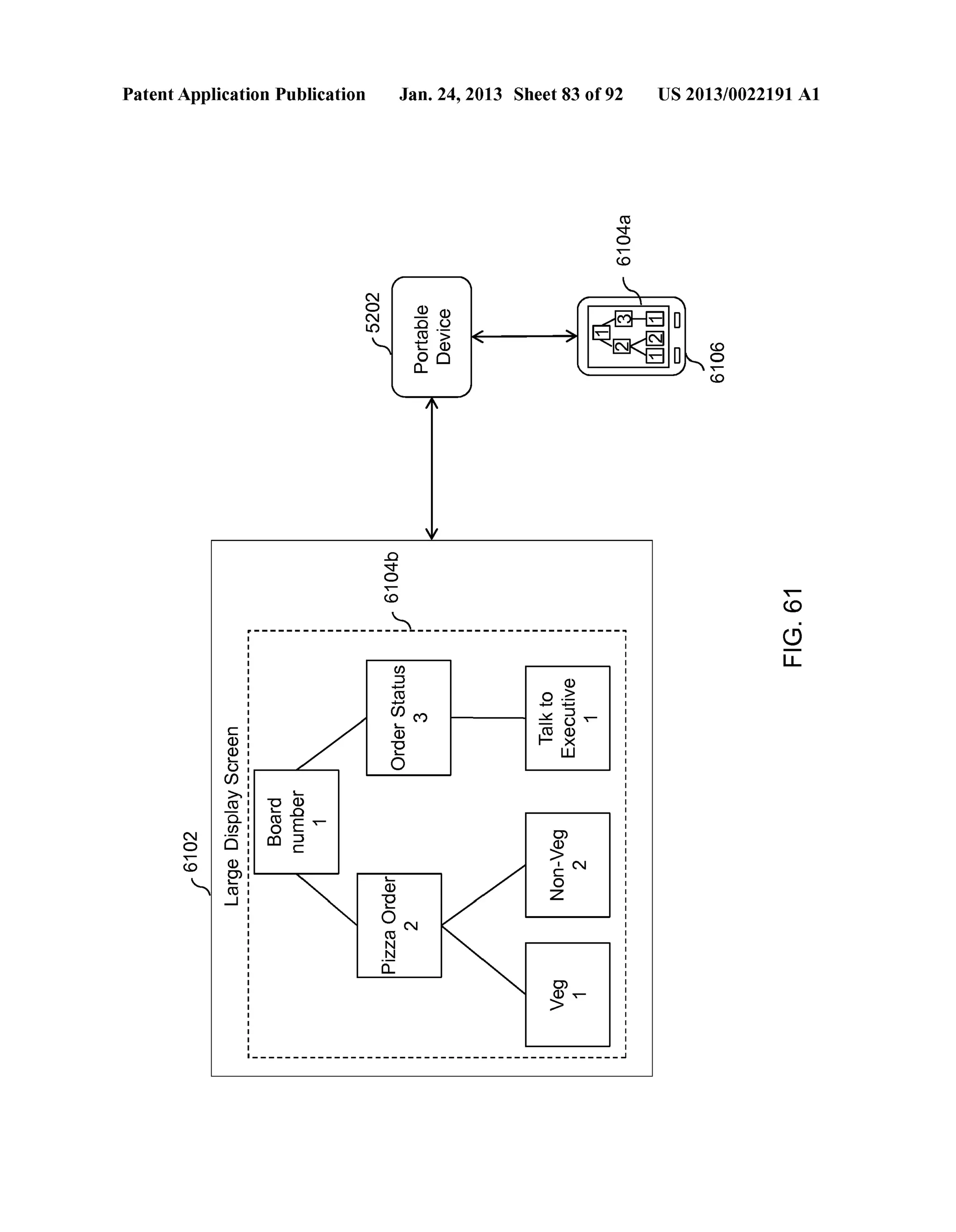
102 
Device 
----------------------------------------------------------- 
Veg 
6510 f}'1 
Board 
Number 
1 
6512 
Non-Veg ';#(2 
I 
v-6502 
I 
I 
6508: 
rder Statu e 3 
I 
6514: 
Talk to 
Executive 
' 1 I 
I 
I 
I 
I 
I 
I 
Home : 
6571-' T~ke 1 ~Delivery 1 Away 6518 i 
' --------------------------~-~ If: --------------------------____ 2 f j 
: FIG.65 
1 6520a 
Contact 
Option 
J 6520b 
Contact 
Option 
• 
• 
• f 6520n 
Contact 
Option 
~.'"..=. . 
('D .=.... 
~ '-.e... (') 
~....... .. 0 = ='"= 0-...". (') 
~....... .. 0 = 
;­:= 
N 
~ ... 
N 
0.. .. 
(.H 
rFJ =­(' 
D 
(..'D... 
QO 
QO 
0... .. 
0 
N 
c 
rFJ 
N 
0.. .. 
.(...H_ 
0 
0 
N 
.N.. . 
..0.. 
>....
Patent Application Publication Jan. 24, 2013 Sheet 89 of 92 
N 
0 c.o 
c.o 
US 2013/0022191 A1 
----------------------~------------------------------------- 
00 
0 c.o 
c.o ..:.:.:".J. ' 
..C...O. (V) 
(/) 
~.._ · 
>,I.... 
(]) (]) .._ (]) 
(.) E<D..o 
> o -~ E ......- 
(]) I <D :::J 0 oz 
.._ 
(]) 
"EN 
~~ D.. "c'. o 
0 c.o 
c.o 
N 
0 ......- 
N 
......- 
c.o 
c.o 
"<;j- 
......- 
c.o 
c.o 
(]) 
..0.. ....-..~.. :::J...-- 
~ (.) 
~(]) 
~., 
0) c.o ~N c.o 
~~ C) 
LL 
......- 
0) 
~~ 
0 
......- 
c.o 
c.o
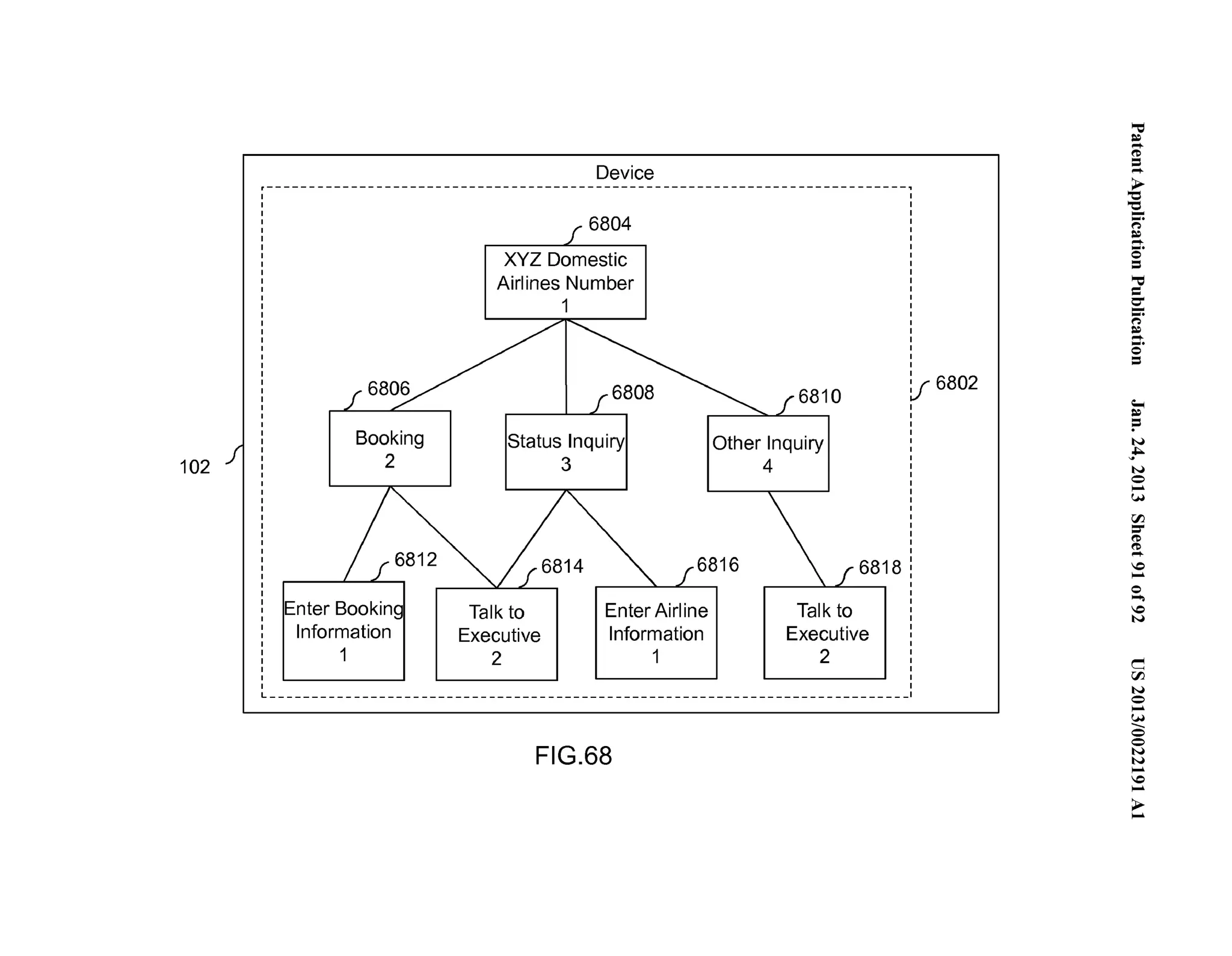
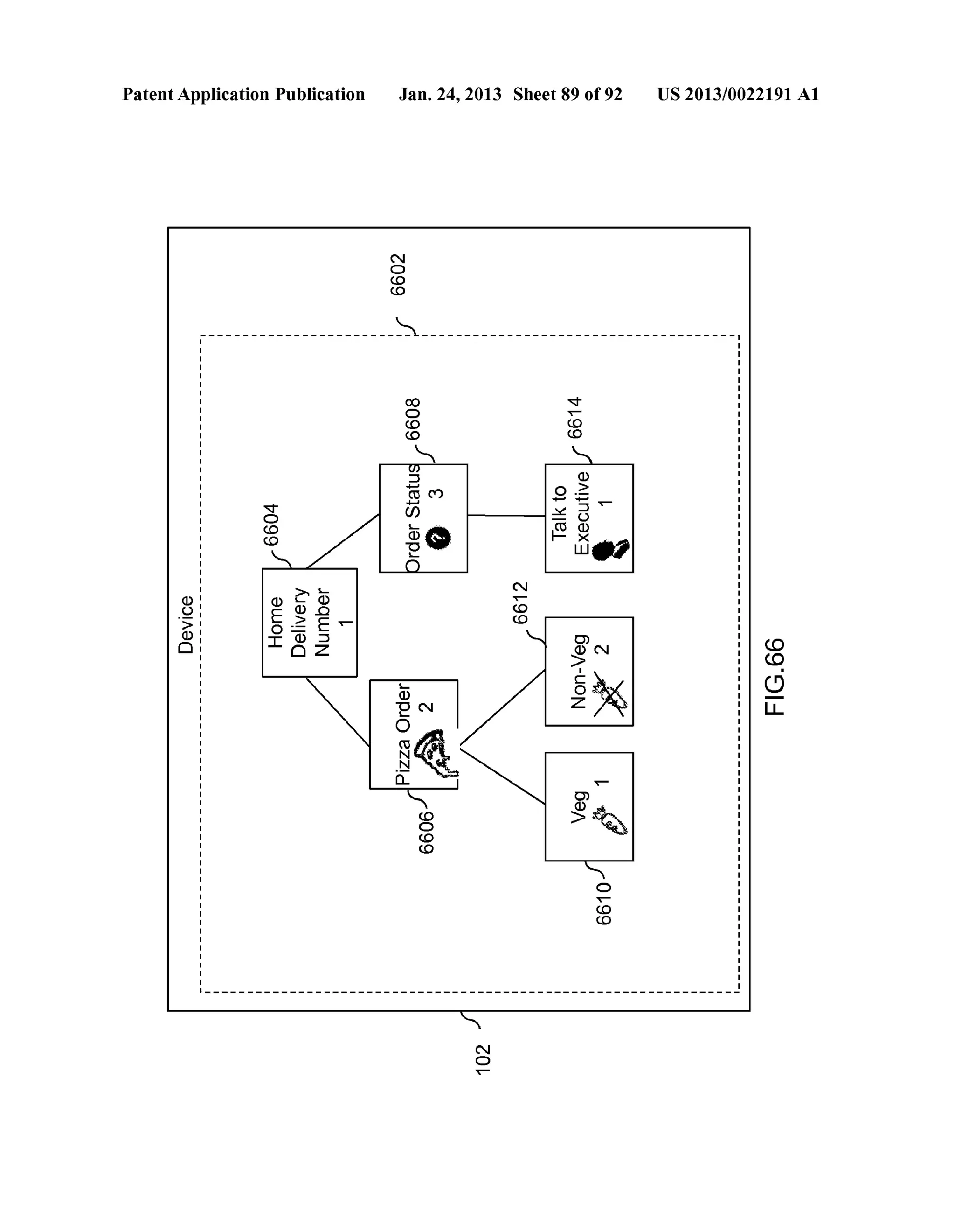
102 
Booking 
2 
Enter 
Booking 
Information 
1 
Device 
XYZ Airlines If 6704 
Board Number 
1 
6710 
Status 
Inquiry 
3 
Other 
Inquiry 
4 
Talk to 
Executive 
2 
6716 
Enter 
Airline 
Information 
1 
FIG.67 
Talk to 
Executive 
2 
v 6702 
f 6720a 
XYZ Domestic 
Airline Contact 
Option 
f6720b 
XYZ International 
Airline Contact 
Option 
~.'"..=. . 
('D .=.... 
~ '-.e... (') 
~....... .. 0 = ='"= 0-...". (') 
~....... .. 0 = 
;­:= 
N 
~ ... 
N 
0.. .. 
(.H 
rFJ =­(' 
D 
(..'D... 
0 
0 
0... .. 
0 
N 
c 
rFJ 
N 
0.. .. 
.(...H_ 
0 
0 
N 
.N.. . 
..0.. 
>....
102 
Booking 
2 
Enter Booking! 
Information 
1 
Device 
6804 
XYZ Domestic 
Airlines Number 
1 
6808 
Status Inquiry 
3 
6810 
Other Inquiry 
4 
6816 6818 
Talk to 
Executive 
2 
Enter Airline 
Information 
1 
Talk to 
Executive 
2 
v6802 
----------------------------------------------------------------------------1 
FIG.68 
~.'"..=. . 
('D .=.... 
~ '-.e... (') 
~....... .. 0 = ='"= 0-...". (') 
~....... .. 0 = 
;­:= 
N 
~ ... 
N 
0.. .. 
(.H 
rFJ =­(' 
D 
(..'D... 
..0.. 
0... .. 
0 
N 
c 
rFJ 
N 
0.. .. 
.(...H_ 
0 
0 
N 
.N.. . 
..0.. 
>....
Patent Application Publication Jan. 24, 2013 Sheet 92 of 92 US 2013/0022191 A1 
Start 
'~ 
6902 """'.. Dial, at the device, a phone number of a 
destination 
v 
6904 ""'.... Display the visual IVR menu associated with the 
dialed phone number 
6906 " Display one or more contact options 
'~ 
6908 Select at least one contact option 
'~ 
6910 ......,_ Change the display of the visual IVR menu 
based on the selection of the contact option 
v 
Stop 
FIG. 69
US 2013/0022191 AI 
SYSTEMS AND METHODS FOR VISUAL 
PRESENTATION AND SELECTION OF IVR 
MENU 
FIELD OF THE INVENTION 
[0001] The invention relates to Interactive Voice Response 
(IVR) system and more specifically the invention relates to 
visual selection of IVR option from a caller device. 
BACKGROUND OF THE INVENTION 
[0002] Interactive Voice Response (IVR) technology is 
generally used to detect voice and key inputs from a caller. 
The advent oflnteractive Voice Response (IVR) systems has 
reduced operating costs for many types of businesses for 
providing services. Generally, the IVR systems allow a user 
to interact with an audio or visual response system. The IVR 
systems can provide prompts to a user and receive touch tone 
and/or spoken responses on the prompts from the user. 
Through such IVR dialogue the system collects sufficient 
information about the user to direct the call to the most appro­priate 
resource, information processing system or the like. 
[0003] Generally, when the caller calls a destination, such 
as a bank, an automated audio IVR menu is played. The audio 
IVR menu can contain instructions to provide instant services 
such as account balance inquiry when the destination is a 
bank. Further, audio menu can provide options for the caller 
to connect to a desired end inside the destination. For 
example, the menu may direct the caller to press various keys 
on a telephone to connect to a particular department or agent. 
The audio IVR menu is designed specific to a destination. 
Therefore, each destination or organization may have differ­ent 
audio IVR menus. Further, the IVR menu in an organiza­tion 
can be based on the type of departments, type of services, 
customer care executives or agents and so forth. For example, 
an IVR menu of a bank may include options related to the 
account details of the caller, while an IVR menu of a pizzeria 
may contain options to order or select a pizza. 
[0004] Typically, the caller calling the destination may have 
to listen and follow instructions on the menu to get a desired 
response or a function performed. Therefore, the process can 
be time consuming. Moreover, in case the caller provides an 
incorrect input, the complete process may have to be 
repeated. Furthermore, the IVR menu for an organization 
may be updated or changed regularly. For example, extension 
numbers inside an organization may be changed and corre­spondingly, 
the extension numbers associated with the IVR 
menu may be updated. As a result, a frequent caller may not 
be able to reach a desired end by remembering a combination 
of numbers. Furthermore, the dialed destination may not 
include the information desired by the user. In such a case, the 
user may have to call the destination again for retrieving the 
desired information. Therefore, the user may become frus­trated 
with the IVR systems. 
[0005] Usually, the IVR menus are same for all the users. 
Therefore, the customer has to listen them carefully to select 
the appropriate option. The user may have to wait for long 
time for receiving information while interacting with the IVR 
systems. Moreover, sometimes the requested information 
might not be available at the time when the user calls the 
destination. Therefore, the user may have to either wait for 
long time or call again later. For example, the user may desire 
to talk to a customer care executive of the destination, who is 
1 
Jan. 24, 2013 
busy at the time of the call. Therefore, the call of the user may 
be put on hold or he may be asked to call later. 
[0006] Some prior art try to address this problem by pro­viding 
visual form of IVR. These prior arts display the IVR 
menu graphically on a caller device. U.S. Pat. No. 7,215,743 
assigned to International Business Machines Corporation and 
a published U.S. patent application Ser. No. 11/957,605, filed 
Dec. 17, 2007 and assigned to Motorola Inc., provides the 
IVR menu of the destination in a visual form to the caller. The 
caller can select the options from the IVR menu without 
listening to the complete audio IVR menu. However, the IVR 
menu displayed on the caller device is stored on an IVR server 
at the destination end. As a result, the visual IVR menu is 
specific to the destination and only the IVR of the destination 
dialed is displayed. These techniques therefore, require each 
destination to set-up hardware, software and other facilities to 
be deployed for providing visual IVR servers. 
[0007] A U.S. Pat. No. 7,460,652, assigned to AT&T Intel­lectual 
Property I, L.P., discloses techniques for call routing 
and communication with a call originator. The call may be 
received at an automated call handling system. Thereafter, the 
call is evaluated based on a set of business rules and routed to 
an interactive voice response unit based on the evaluation. 
Further, the interactive voice response unit automatically 
schedules and sends an email to the originator of the call. 
However, the scheduling of the email is performed after 
establishing a communication with the automated call han­dling 
system. Moreover, the scheduling is performed at the 
automated call handling system. 
[0008] Another existing technique as disclosed in U.S. Pat. 
No. 6,560,320 assigned to International Business Machines 
Corporation enables an operator of the IVR to send custom­ized 
signals to the caller for generating and displaying graphi­cal 
elements on the device of the caller. Thereafter, the caller 
can respond by selecting options through touch-screen inter­face 
of the device. Dual Tone Multi frequency (DTMF) sig­nals 
of the IVR. However, this technique requires a specifi­cally 
configured device to interpret the codes sent as Dual 
Tone Multi frequency (DTMF) signals for generating the 
graphics. Moreover, an operator is required to present the 
graphics to the caller. Furthermore, specialized software and 
hardware are required at the operator to design and generate 
DTMF codes. Therefore, the technique faces various practi­callimitations. 
[0009] Generally, the IVR menus of the organizations are in 
form of audible menu. Moreover, there are a large number of 
organizations that use IVR menus. Therefore, converting the 
audible menus to visual IVR menus can be time consuming. 
An existing technique, as disclosed in U.S. Pat. No. 6,920,425 
assigned to Norte! Networks Limited, discloses an automated 
script to convert the audible menus scripts to visual IVR menu 
scripts. However, the audible menus scripts must be available 
in a particular format to enable the conversion. Furthermore, 
the audio menu scripts must be available or downloadable for 
the program to function. As a result, only the audio menus 
scripts that are available can be converted to visual IVR menu 
scripts. Furthermore, the device of the caller must be designed 
or programmed to understand the visual IVR menu scripts. 
[0010] Various organizations encourage the customers to 
call them for information on their products or services, or for 
helping existing customers. Generally, a contact number is 
provided by the organizations on their website as a button. 
Therefore, when the customer presses the button a form is 
displayed. The customer then enters his contact number
US 2013/0022191 AI 
where an executive from the organization may call. However, 
this may be time consuming for the customer. Moreover, the 
customer may be not being able to talk to another executive 
during the call in case the on-line executive is not able to 
satisfY the customer. U.S. patent application Ser. No. 12/049, 
021, filed Mar. 14, 2008 and assigned to Harprit Singh, pro­vides 
methods and systems for displaying an IVR menu, 
when the caller clicks a link on a webpage provided by the 
organization. However, the customer is still required to 
request the webpage with embedded information from a 
server of the organization. Moreover, the methods and sys­tems 
are limited to the organizations that provide the required 
webpage to the customers. Other technologies include U.S. 
patent application Ser. No. 11/877,952 filed Oct. 24, 2007 and 
assigned to International Business Machine Corporation. 
[0011] The effectiveness of providing the IVR in visual 
form is discussed in a technical paper titled, 'The Benefits of 
Augmenting Telephone Voice Menu Navigation with Visual 
Browsing and Search' by Min Yin eta!. The paper discusses a 
setup where visual content of the IVR is sent from a service 
provider to a computer connected to a mobile phone. How­ever, 
the technique discussed in the paper is limited to the 
visual content provided by the service provider's end, after 
the connection is established. Moreover, the providers are 
required to individually set up the hardware and services for 
providing visual content. 
[0012] As discussed above the existing technologies have 
various limitations. Hence, techniques are desired for provid­ing 
enhanced telephony. 
SUMMARY 
[0013] An enhanced telephone system is provided. The 
telephone system comprises a database that comprises one or 
more phone numbers and one or more menus corresponding 
to the phone numbers, wherein the menus comprise one or 
more options for selection. The telephone system comprises 
means for comparing a dialed number to the phone numbers 
in the database; means for displaying a menu based on a result 
of the comparison; means for enabling selection of the one or 
more options from the displayed menu; and means for estab­lishing 
a connection with a destination of the dialed number 
based on the selection of the one or more options. 
[0014] An enhanced telephone system is provided. The 
telephone system comprises a database comprising one or 
more phone numbers and one or more menus corresponding 
to the phone numbers, wherein the menus comprises one or 
more options for selection; means for comparing the a 
received number of a received call to the phone numbers in 
the database; means for displaying a menu based on a result of 
the comparison; and means for enabling selection of the one 
or more options from the displayed menu. 
[0015] Further, a method for providing enhanced telephony 
is provided. The method comprising identifying a number 
dialed from a telephone system; comparing the dialed number 
to one or more phone numbers stored in a database, wherein 
the database comprises one or more menus corresponding to 
the phone numbers, and wherein the menus comprises one or 
more options for selection; and displaying on the telephone 
system a menu from the database based on a result of the 
comparison. 
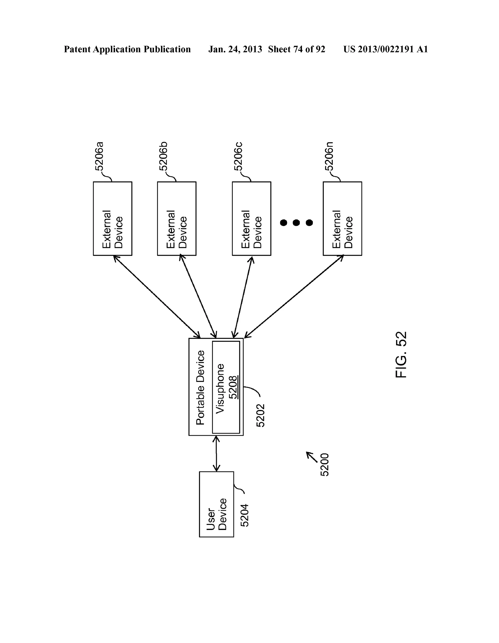
[0016] A caller may dial or select a phone number from a 
device of a destination. The phone number is detected by a 
Visuphone implemented on the device to display a visual IVR 
menu corresponding to the audible IVR menu of the destina- 
2 
Jan. 24, 2013 
tion. Visuphone may be hardware, an application stored as a 
software or firmware on the device, or a combination thereof. 
Visuphone may include a database of visual IVR menus cor­responding 
to audible IVR menus for various destinations. 
Thereafter, the caller may interact with the visual IVR menu 
displayed on the device to establish a connection with the 
destination. Furthermore, Visuphone may detect and launch a 
VOIP application for establishing the connection. Moreover, 
Visuphone may provide pre-recorded or computer synthe­sized 
audio responses on behalf of the caller to the destina­tion. 
[0017] An aspect of the invention is to generate a database 
of visual IVR menus. The database generation could be done 
by successive calling the IVR and combined with voice rec­ognition. 
Calling the IVR systems can be done manually by 
operators that will listen to options of the IVR and enter these 
options into the database. In this manual mode, the operator 
will dial IVR numbers from a list and for each of them will 
follow all the options in several levels and in each level, enter 
the menu entries into the database. This can be done to many 
different IVR phone numbers, by one or multiple operators. 
The voice menu can be recorded to for analyzing in a different 
process or a different time. 
[0018] Another aspect of the invention is to generate a 
database of visual IVR menus by a computer system. Com­bination 
of hardware and software that is connected to phone 
system and automatically dials the IVR phone numbers, 
record the different options of the voice menu, analyze the 
voice menu and generate and enter the different entries into 
the database. The system will generate the voice tone that 
simulates the relevant touchtone of a phone number pressed. 
This process will be done in several levels until covering all 
the entries in all the levels of the specific IVR system. This 
process is done for all the IVR phone number in the list. 
[0019] Additional alternative is to access the IVR internal 
database and download the menu. This approach requires the 
collaboration with the IVR maker and at least permission 
from the IVR owner. Having both a system could be build to 
access IVR using their maintenance port, which is often con­nected 
to the Internet. Accordingly, the system would access 
the IVR and once authorized by the IVR owner it will down­load 
the internal file representing the IVR menu, which could 
be called the IVR customization record. The downloaded file 
would then be converted to visual IVR menu by utility that 
could be design according to the format, which could be 
provided by the IVR maker. 
[0020] Another aspect of the invention is to provide to a 
caller using a device a visual IVR menu corresponding to an 
audible IVR menu of a destination. 
[0021] Another aspect of the invention is to enable the 
caller to directly interact with the visual IVR menu without 
listening to the audible IVR menu of the destination. 
[0022] Another aspect of the invention is to provide the 
visual IVR menu to the caller before establishing a connec­tion 
of the device with the destination. 
[0023] Another aspect of the invention is to provide adver­tisements 
related to the destination or function of the desti­nation 
dialed by the caller. 
[0024] Yet another aspect of the invention is to provide a 
visual IVR menu of a destination according to the location of 
the communication device of a caller and/or a location of the 
dialed destination phone number. 
[0025] Embodiments of the invention provide an enhanced 
communication device. The enhanced communication device
US 2013/0022191 AI 
comprises a processor and a memory coupled to the proces­sor. 
The memory comprises a database including one or more 
destination phone numbers and at least one property associ­ated 
with the destination phone numbers Further, the memory 
comprises instructions executable by the processor for iden­tifYing 
a dialed phone number of a destination, determining a 
location code associated with a current location of the com­munication 
device, comparing the dialed phone number to 
one or more destination phone numbers stored in a database, 
and displaying at least one property associated with the one or 
more destination phone numbers based on the comparison. 
[0026] Embodiments of the invention provide an enhanced 
communication device. The enhanced communication device 
comprises a database including one or more destination 
phone numbers and at least one property associated with the 
destination phone numbers. Further, the enhanced communi­cation 
device comprises means for identifying a dialed phone 
number of a destination, means for determining a location 
code associated with a current location of the communication 
device, means for comparing the dialed phone number to one 
or more destination phone numbers stored in a database, and 
means for displaying at least one property associated with the 
one or more destination phone numbers based on the com­parison. 
[0027] Embodiments of the invention provide a method for 
providing enhanced telephony. The method includes identi­fying 
a phone number of a destination dialed from a commu­nication 
device; determining a location code associated with 
a current location of the communication device; and compar­ing 
the dialed phone number to one or more destination phone 
numbers stored in a database. The database may include at 
least one property associated with the destination phone num­bers. 
Further, the method includes displaying the at least one 
property associated with the one or more destination phone 
numbers based on the comparison. 
[0028] Embodiments of the invention provide an enhanced 
device. The enhanced device comprises a processor and a 
memory coupled to the processor. The memory comprises a 
database including one or more destination phone numbers 
and at least one property associated with the destination 
phone numbers Further, the memory comprises instructions 
executable by the processor for identifying a dialed phone 
number of a destination, determining a location code associ­ated 
with a current location of the device, comparing the 
dialed phone number to one or more destination phone num­bers 
stored in a database, and displaying at least one property 
associated with the one or more destination phone numbers 
based on the comparison. 
[0029] Embodiments of the invention provide an enhanced 
device. The enhanced device comprises a database including 
one or more destination phone numbers and at least one 
property associated with the destination phone numbers. Fur­ther, 
the enhanced device comprises means for identifying a 
dialed phone number of a destination, means for determining 
a location code associated with a current location of the 
device, means for comparing the dialed phone number to one 
or more destination phone numbers stored in a database, and 
means for displaying at least one property associated with the 
one or more destination phone numbers based on the com­parison. 
[0030] Embodiments of the invention provide a method for 
providing enhanced telephony. The method includes identi­fying 
a phone number of a destination dialed from a device; 
determining a location code associated with a current location 
3 
Jan. 24, 2013 
of the device; and comparing the dialed phone number to one 
or more destination phone numbers stored in a database. The 
database may include at least one property associated with the 
destination phone numbers. Further, the method includes dis­playing 
the at least one property associated with the one or 
more destination phone numbers based on the comparison. 
[0031] Embodiments of the invention provide a device 
comprising a database comprising a plurality of visual IVR 
menus associated with a plurality of destinations. The device 
further comprises means for dialing a phone number of a 
destination, means for comparing the dialed phone number 
with phone numbers stored in the database, and means for 
displaying a form based on the comparison, wherein the form 
comprises one or more data request fields corresponding to a 
visual IVR menu associated with the dialed destination. 
[0032] Embodiments of the invention provide a device 
comprising a processor. Further, the device comprises a 
memory comprising a database. The database comprises a 
plurality of visual IVR menus associated with a plurality of 
destinations. Further, the memory comprises instructions 
executable by the processor for dialing a phone number of a 
destination, comparing the dialed phone number with phone 
numbers stored in the database, and displaying a form based 
on the comparison, wherein the form comprises one or more 
data request fields corresponding to a visual IVR menu asso­ciated 
with the dialed destination. 
[0033] Further, a method for providing enhanced telephony 
is disclosed. The method comprises dialing, at a device, a 
phone number of a destination. The device comprises a plu­rality 
of visual IVR menus associated with a plurality of 
destinations. Further, the method comprises comparing the 
dialed phone number with phone numbers stored in the 
device. Furthermore, the method comprises displaying, at the 
device, a form based on the comparison, wherein the form 
comprises one or more data request fields corresponding to a 
visual IVR menu associated with the dialed destination. 
[0034] Embodiments of the invention provide a device for 
scheduling a call to a destination based on predefined calling 
information. The device comprises a database comprising at 
least one visual IVR menu associated with each of a plurality 
of destinations. The device also comprises means for dialing 
a phone number of a destination of the plurality of destina­tions 
based on the predefined calling information, wherein the 
predefined calling information is selected from a visual IVR 
menu associated with the destination; means for receiving 
information from the dialed destination based on the pre­defined 
calling information; and means for displaying the 
received information. 
[0035] Embodiments of the invention disclose a method for 
providing scheduling a call to a destination based on pre­defined 
calling information. The method comprises dialing a 
phone number of a destination of a plurality of destinations 
based on the predefined calling information, wherein the pre­defined 
calling information is selected from a visual IVR 
menu associated with the destination. Further, the method 
comprises receiving information from the dialed destination 
based on the predefined calling information. Furthermore, the 
method comprises displaying the received information. 
[0036] Embodiments of the present invention provide a 
device. The device comprises a processor. Further, the device 
comprises a memory coupled to the processor. The memory 
comprises a database comprising at least one IVR menu asso­ciated 
with at least one IVR system. Further, the memory 
comprises instructions executable by the processor for send-
US 2013/0022191 AI 
ing a first section of a data packet to a second connnunication 
device. The first section comprising first information is sent 
based on a visual IVR menu associated with the second com­munication 
device. Further, the memory comprises instruc­tions 
executable by the processor for receiving an acknowl­edgement 
message from the second connnunication device 
based on the first section of the data packet. Furthermore, the 
memory includes instructions executable by the processor for 
sending a second section of the data packet to the second 
communication device based on the acknowledgement mes­sage. 
The second section comprises second information. 
[0037] Embodiments of the present invention provide a 
method for connnunicating among a plurality of connnuni­cation 
devices. The method comprises sending, by a device, a 
first section of a data packet to a second connnunication 
device. The first section comprising first information is sent 
based on a visual Interactive Voice Response (IVR) menu 
associated with at least one IVR system. Further, the method 
comprises receiving, at the device, an acknowledgement mes­sage 
from the second connnunication device based on the first 
section of the data packet. Furthermore, the method com­prises 
sending, by the device, a second section of the data 
packet to the second connnunication device based on the 
acknowledgement message. The second section comprises 
second information. 
[0038] Embodiments of the invention provide a method for 
establishing a connnunication session in a connnunication 
network. The method comprises dialling, by a device, a phone 
number of a second connnunication device. The second com­munication 
device comprises an IVR system. Further, the 
method comprises detecting, by the device, a data network. 
Furthermore, the method comprises sending, by the device, a 
first section of a data packet to the dialled second connnuni­cation 
device when the data network is detected. The first 
section comprises first information. 
[0039] Embodiments of the invention provide a connnuni­cation 
device comprising a database comprising a plurality of 
visual Interactive Voice Response (IVR) menus associated 
with a plurality of destinations. The communication device 
further comprises means for dialing a phone number of a 
destination, means for comparing the dialed phone number 
with phone numbers stored in the database, and means for 
displaying a form based on the comparison, wherein the form 
comprises one or more data request fields corresponding to a 
visual IVR menu associated with the dialed destination. 
[0040] A method for providing enhanced telephony is dis­closed. 
The method comprises dialing, at a connnunication 
device, a phone number of a destination. The connnunication 
device comprises a plurality of visual IVR menus associated 
with a plurality of destinations. Further, the method com­prises 
comparing the dialed phone number with phone num­bers 
stored in the connnunication device. Furthermore, the 
method comprises displaying, at the connnunication device, a 
form based on the comparison, wherein the form comprises 
one or more data request fields corresponding to a visual IVR 
menu associated with the dialed destination. 
[0041] An aspect of the invention is to provide updates to 
the visual IVR menus stored in the device. 
[0042] An aspect of the invention is to provide the visual 
IVR menu when the call is forwarded from one destination to 
another. 
[0043] Another aspect of the present invention is to provide 
a method for displaying, at a device, a visual IVR menu 
4 
Jan. 24, 2013 
associated with a phone number of a calling device. Further, 
the method displays one or more connnunication options at 
the device. 
[0044] Another aspect of the invention is to enable a user at 
the device to interact with the visual IVR menu of the calling 
first party device without listening to the audible IVR menu of 
the first party device. 
[0045] Yet another aspect of the invention is to enable a 
portable device or device to connect to an external device with 
better display capabilities. 
[0046] Further aspect of the invention is to provide the 
visual IVR menu of a first party device to a user of a device 
before establishing a connnunication session between the 
device and the first party device. 
[0047] Additional aspect of the invention is an automatic 
learning of caller choice and uses that for assisting the caller 
in his future calls. 
BRIEF DESCRIPTION OF THE DRAWINGS 
[0048] Having thus described the invention in general 
terms, reference will now be made to the accompanying 
drawings, which are not necessarily drawn to scale, and 
wherein: 
[0049] FIG. 1A illustrates an exemplary enviroument 
where various embodiments of the invention may function; 
[0050] FIG. 1B illustrates another exemplary enviroument 
where various embodiments of the invention may function; 
[0051] FIG. 1C illustrates yet another exemplary environ­ment 
where various embodiments of the invention may func­tion; 
[0052] FIG. 2A illustrates an exemplary audible Interactive 
Voice Response (IVR) menu at a destination, in accordance 
with an embodiment of the invention; 
[0053] FIG. 2B illustrates an exemplary visual IVRmenu at 
a device corresponding to the audible IVR menu of the des­tination, 
in accordance with an embodiment of the invention; 
[0054] FIG. 2C illustrate an exemplary visual IVR menu 
that display graphics for each option, in accordance with an 
embodiment of the invention; 
[0055] FIG. 2D illustrate an exemplary visual IVR menu 
that display tooltip when a curser is hovering an option for 
more than certain time without action, in accordance with an 
embodiment of the invention; 
[0056] FIGS. 3A and 3B illustrates exemplary components 
of the device for implementing a Visuphone, in accordance 
with an embodiment of the invention; 
[0057] FIG. 4 illustrates an exemplary display of the visual 
IVR menu on the device, in accordance with an embodiment 
of the invention; 
[0058] FIG. 5 illustrates exemplary components of the 
device for implementing the Visuphone, in accordance with 
another embodiment of the invention; 
[0059] FIG. 6 illustrates an exemplary display of the visual 
IVR menu on the device, in accordance with another embodi­ment 
of the invention; 
[0060] FIG. 7 illustrates a webpage displayed on the device 
that may be used to initiate a connection to the destination, in 
accordance with an embodiment of the invention; 
[0061] FIG. 8 illustrates an exemplary software architec­ture 
ofVisuphone, in accordance with an embodiment of the 
invention; 
[0062] FIG. 9 illustrates exemplary components of the 
Visuphone, in accordance with an embodiment of the inven­tion;
US 2013/0022191 AI 
[0063] FIG. 10 illustrates an exemplary remote server for 
storing information required by the Visuphone, in accordance 
with an embodiment of the invention; 
[0064] FIG. 11 illustrates presentation of a visual IVR 
menu in case of call forwarding, in accordance with an 
embodiment of the invention; 
[0065] FIG.12 illustrates the presentation of the visual IVR 
menu when a phone connection is associated with a wide 
band internet 'smart' modem; 
[0066] FIG.13 illustrates the presentation of the visual IVR 
menu when a telephone connection is established through an 
external telephone service by using a computer; 
[0067] FIGS. 14A, 14B, and 14C illustrate a Visu-add-on 
that provides the features and functionality of the Visuphone; 
[0068] FIGS. 15A, 15B, and 15C illustrate a flowchart dia­gram 
for presentation, selection and update of visual IVR 
menus, in accordance with an embodiment of the invention; 
[0069] FIG. 16 illustrates exemplary components of a 
device for implementing a database construction system, in 
accordance with an embodiment of the invention; 
[0070] FIGS.17A, 17B, and 17C illustrate exemplary com­ponents 
of the database construction system, in accordance 
with an embodiment of the invention; 
[0071] FIG. 18 illustrates a flowchart diagram for creating 
a database for visual IVR menus, in accordance with an 
embodiment of the invention; 
[0072] FIG. 19 illustrates an exemplary set of IVR catego­ries; 
[0073] FIG. 20A illustrates an exemplary information pro­cess 
stored in a database; 
[0074] FIG. 20B illustrates an exemplary web form gener­ated 
for the information process of FIG. 20A; 
[0075] FIG. 21 illustrates an exemplary display of repre­sentations 
of destinations on the device, in accordance with 
an embodiment of the invention; 
[0076] FIG. 22 illustrates an exemplary visual IVRmenu of 
the selected destination with added graphics at a device, in 
accordance with an embodiment of the invention; 
[0077] FIGS. 23A, 23B, and 23C illustrate a flowchart dia­gram 
for providing representation of destinations based on 
position, in accordance with an embodiment of the invention; 
[0078] FIG. 24 illustrates flowchart for presenting adver­tisement 
along with the visual IVR menu on the device, in 
accordance with an embodiment of the invention; 
[0079] FIG. 25A illustrates an exemplary information pro­cess 
for an IVR menu stored in records database, in accor­dance 
with an embodiment of the invention; 
[0080] FIG. 25B illustrates an exemplary web form gener­ated 
for the information process of FIG. 25A, in accordance 
with an embodiment of the invention; 
[0081] FIG. 26 illustrates a flowchart for submitting per­sonal 
information of a caller by Visuphone, in accordance 
with an embodiment of the invention; 
[0082] FIG. 27 illustrates an exemplary representation of a 
visual IVR menu associated with the dialed phone number of 
the destination along with a scheduling mode option, in 
accordance with an embodiment of the invention; 
[0083] FIG. 28 illustrates another exemplary representa­tion 
of a visual IVR menu associated with the dialed phone 
number of the destination along with a scheduling mode 
option, in accordance with an embodiment of the invention; 
[0084] FIG. 29 illustrates an exemplary display at the 
device after switching to a scheduling mode, in accordance 
with an embodiment of the invention; 
5 
Jan. 24, 2013 
[0085] FIGS. 30A and 30B illustrates a flowchart for pro­viding 
enhanced telephony by presenting a scheduling mode 
option to the caller, in accordance with an embodiment of the 
invention; 
[0086] FIGS. 31A, 31B, 31C and31D illustrates exemplary 
environments where communication device may exchange 
one or more messages/data packets for establishing commu­nication 
session, in accordance with various embodiments of 
the invention; 
[0087] FIG. 32 illustrates an exemplary packet sent from a 
device to a second communication device, in accordance with 
an embodiment of the invention; 
[0088] FIG. 33 illustrates an exemplary structure of a first 
section of the packet sent to the second communication 
device, in accordance with an embodiment of the invention; 
[0089] FIGS. 34A and 34B illustrates a flowchart for com­municating 
among a plurality of communication devices, in 
accordance with an embodiment of the invention; 
[0090] FIGS. 35A, 35B, and 35C illustrates an exemplary 
communication network where a call is received at a device 
from a first party device, in accordance with various embodi­ments 
of the invention function; 
[0091] FIG. 36 illustrates yet another exemplary commu­nication 
network in which an IVR is displayed when a call is 
received at a device, in accordance with an embodiment of the 
invention; 
[0092] FIG. 37 illustrates an exemplary visual IVR menu 
along with one or more communication options at a device, in 
accordance with an embodiment of the invention; 
[0093] FIG. 38 illustrates another exemplary visual IVR 
menu along with one or more communication options at a 
device, in accordance with an embodiment of the invention; 
[0094] FIG. 39 illustrates the presentation of the visual IVR 
menu when a phone connection is associated with a wide 
band internet 'smart' modem; 
[0095] FIG. 40 illustrates a flowchart for providing 
enhanced telephony when a call is received, in accordance 
with an embodiment of the invention; 
[0096] FIG. 41 illustrates an environment where a device 
may be connected to an external device, according to an 
embodiment of the invention; 
[0097] FIG. 42 illustrates exemplary functioning of the 
device (portable device) in the environment of FIG. 41, in 
accordance with an embodiment of the invention; 
[0098] FIG. 43 illustrates exemplary functioning of the por­table 
device such as a smart phone connected to a laptop in the 
environment of FIG. 41, in accordance with another embodi­ment 
of 
[0099] FIG. 44 illustrates exemplary functioning of the por­table 
device connected to a large display screen in the envi­ronment 
of FIG. 41, in accordance with another embodiment 
of the invention; 
[0100] FIG. 45 illustrates exemplary functioning of the por­table 
device such as the smart phone connected to a television 
screen in the environment of FIG. 41, in accordance with 
another embodiment of the invention; 
[0101] FIG. 46 illustrates exemplary functioning of the por­table 
device connected to a picture frame in the environment 
of FIG. 41, in accordance with another embodiment of the 
invention; 
[0102] FIG. 47 illustrates exemplary functioning of the por­table 
device connected to a Global Positioning System (GPS) 
navigation system in the environment of FIG. 41, in accor­dance 
with another embodiment of the invention;
US 2013/0022191 AI 
[0103] FIG. 48 illustrates exemplary functioning of the por­table 
device such as the smart phone connected to a projector 
in the environment of FIG. 41, in accordance with another 
embodiment of the invention; 
[0104] FIG. 49 illustrates exemplary display of an Interac­tive 
Voice Response (IVR) menu on a large display screen 
connected to a portable device such as the smart phone, in 
accordance with an embodiment of the invention; 
[0105] FIG. 50 illustrates block diagram of the portable 
device, in accordance with an embodiment of the invention; 
[0106] FIG. 51 illustrates another block diagram of the 
portable device, in accordance with an embodiment of the 
invention; 
[0107] FIG. 52 illustrates an environment where a portable 
device may be connected to a user device, in accordance with 
an embodiment of the invention; 
[0108] FIG. 53 illustrates an environment where a portable 
device may be connected to a user device, in accordance with 
another embodiment of the invention; 
[0109] FIG. 54 illustrates exemplary functioning of the por­table 
device connected to a mobile phone in the environment 
of FIG. 52 or FIG. 53, in accordance with an embodiment of 
the invention; 
[0110] FIG. 55 illustrates exemplary functioning of the por­table 
device connected to a mobile phone and a projector in 
the environment of FIG. 52 or FIG. 53, in accordance with 
another embodiment of the invention; 
[ 0111] FIG. 56 illustrates another exemplary functioning of 
the portable device connected to a mobile phone and a large 
screen in the environment of FIG. 52 or FIG. 53, in accor­dance 
with another embodiment of the invention; 
[0112] FIG. 57 illustrates another exemplary functioning of 
the portable device connected to a mobile phone and a tele­vision 
in the environment of FIG. 52 or FIG. 53, in accor­dance 
with another embodiment of the invention; 
[0113] FIG. 58 illustrates exemplary functioning of the por­table 
device connected to a mobile phone and a laptop in the 
environment of FIG. 52 or FIG. 53, in accordance with 
another embodiment of the invention; 
[0114] FIG. 59 illustrates another exemplary functioning of 
the portable device connected to a picture frame and a wired 
telephone in the environment of FIG. 52 or FIG. 53, in accor­dance 
with another embodiment of the invention; 
[0115] FIG. 60 illustrates exemplary functioning of the por­table 
device connected to a mobile phone and a GPS naviga­tion 
system in the environment of FIG. 52 or FIG. 53, in 
accordance with another embodiment of the invention; 
[0116] FIG. 61 illustrates an exemplary display of an Inter­active 
Voice Response menu (IVR) on a large display screen 
connected to a portable device and a user device such as smart 
phone, in accordance with an embodiment of the invention; 
[0117] FIG. 62 illustrates a block diagram of portable 
device 5202, in accordance with an embodiment of the inven­tion; 
[0118] FIG. 63 is a flowchart illustrating the functioning of 
portable device 4102, in accordance with an embodiment of 
the invention; 
[0119] FIGS. 64A and 64B illustrates a flowchart for imple­menting 
the portable device in the environment of FIG. 52 
and FIG. 53, in accordance with an embodiment of the inven­tion; 
[0120] FIG. 65 illustrates an exemplary functioning of 
Visuphone for displaying one or more contact options at a 
device, in accordance with an embodiment of the invention; 
6 
Jan. 24, 2013 
[0121] FIG. 66 illustrates change of display at user device 
102, when a user selects a contact option, in accordance with 
an embodiment of the invention; 
[0122] FIG. 67 illustrates an exemplary functioning of 
Visuphone for displaying one or more contact options at a 
device, in accordance with another embodiment of the inven­tion; 
[0123] FIG. 68 illustrates change in display at device 102 
based on selection of a contact option by a user of device 102, 
in accordance with an embodiment of the invention; and 
[0124] FIG. 69 illustrates a flow diagram illustrating an 
exemplary functioning of the Visuphone for displaying one or 
more contact options at a device, in accordance with an 
embodiment of the invention. 
DETAILED DESCRIPTION OF THE INVENTION 
[0125] Illustrative embodiments of the invention now will 
be described more fully hereinafter with reference to the 
accompanying drawings, in which some, but not all embodi­ments 
of the invention are shown. Indeed, the invention may 
be embodied in many different forms and should not be 
construed as limited to the embodiments set forth herein; 
rather, these embodiments are provided so that this disclosure 
will satisfY applicable legal requirements. Like numbers refer 
to like elements throughout. 
[0126] FIG. lA illustrates an exemplary environment 
where various embodiments of the invention may function. A 
device 102a can be used by a caller 106 for connecting to 
destinations l08a-n. Device 102a can be a telecommunica­tion 
device that can connect directly to a Public Switched 
Telephone Network (PSTN) 110. A person skilled in the art 
will appreciate, that device 1 02a can also connect to a private 
telephone exchange. Examples of device 102a include, but 
not limited to, a mobile phone, a Smartphone, a telephone, or 
any other device capable of voice or data communication. 
Each of destinations l08a-n may include one or more Inter­active 
Voice Response (IVR) menus. Further, each of desti­nations 
l08a-n may have one or more associated phone num­bers. 
When caller 106 dials a phone number of a destination 
and connects to any destination from destinations l08a-n, an 
audible IVR menu may be played to caller 106. Each of 
destinations l08a-n can have different and more than one 
audible IVR menus. For example, IVR menus of bank may be 
completely different from that of a hospital. Typically, the 
audible IVR menu provided by destinations l08a-n com­prises 
audible options or instructions. Caller 106 may be 
required to select various options from the audible IVR menu 
to obtain the required information or resource or service from 
the dialed destination. Various types of destinations l08a-n 
that implement the audible IVR menu include, for example, 
banks, hotels, fast-food outlets, utility services providers, 
corporate offices, and so forth. 
[0127] In an embodiment, device 102a includes a Visu­phone 
104 that can display a visual IVR menu on device 1 02a 
corresponding to the audible IVR menu based on a phone 
number of the destination to be connected. Visuphone 104 
may be hardware, an application stored as software, a firm­ware 
on device 102a, or a combination thereof. Thereafter, 
caller 106 can select the options of the audible IVR menu 
from the visual display without the requirement to listen to the 
audible instructions. Further, Visuphone 104 may display one 
or more options based on the dialed destination. Exemplary
US 2013/0022191 AI 
audible IVR menu at destination 108a and a corresponding 
visual IVR menu are explained in detail in conjunction with 
FIGS. 2A and 2B. 
[0128] In an embodiment of the invention, device 102a can 
request for updates from a server through a communication 
network. The server may maintain the updated information of 
destinations and their associated properties. This may happen 
in a case when requested information is not available on the 
dialed destination. The communication network can include 
more than one device. Examples of the communication net­work 
include, but are not limited to, the Network, PSTN, 
Local Area Network (LAN), Wide Area Network (WAN), and 
so forth. 
[0129] FIG. 1B illustrates another exemplary environment 
where various embodiments of the invention may function. 
As shown, device 102b can be a device that can be connected 
directly to a network 112. Examples of device 1 02b include, 
but are not limited to, a personal computer, a laptop, a mobile 
phone, a smart-phone, a fixed line telephone, Voice Over 
Internet Protocol (VOIP) phone or other devices capable of 
voice or data communication. Device 1 02b may include vari­ous 
applications or computer programs that enable caller 106 
to use device 102b for connecting to any of destinations 
108a-n through PSTN 110 over network 112. For example, 
the applications may be VOIP applications, such as but not 
limited to, Skype, Magic Jack, Google Talk and so forth. A 
gateway 116 can be used to interconnect PSTN 110 and 
network 112. Network 112 may include any wired or wireless 
network. Examples of network 112 include, but are not lim­ited 
to, a Local Area Network (LAN), a Wide Area Network 
(WAN), a Wi-Fi network, and so forth. As discussed with 
reference to FIG. 1A, destinations 108a-n can present the 
audible IVR to caller 106. Device 102b includes Visuphone 
104b that displays a visual IVR menu on device 102b corre­sponding 
to the audible IVR menu based on a phone nnmber 
of the destination to be connected. Further, Visuphone 104 
may display one or more options for communication on 
device 102b. 
[0130] FIG. 1C illustrates yet another exemplary environ­ment 
where various embodiments of the invention may func­tion. 
As shown, device 102c can be connected to PSTN 110 
through network 112 or through the cellular network 111. 
Various service providers provide multiple or overlapping 
services to customers. For example, cable television service 
provider may also provide phone and Internet service, optical 
Internet provider may also provide phone or television ser­vices, 
WiMax service providers that provide phone service, 
and so forth. Network 112 may be any service provider that 
provides such services, for example, but not limited to, cell 
phone services, wireless services, Internet services, cable 
television services, or various combinations of the above or 
other type of services. As discussed with reference to FIG. 
1A, destinations 108a-n presents the audible IVR to caller 
106. Device 102c includes Visuphone 104 that displays a 
visual IVR menu on device 102b corresponding to the audible 
IVR menu based on a phone nnmber of the destination to be 
connected. Further, Visuphone 104 may display other com­munication 
options to caller 106. 
[0131] In an embodiment of the invention, Visuphone 104 
may call the dialed destination based on the predefined call­ing 
information automatically. In an embodiment, Visuphone 
104 may keep on calling to the dialed destination until the 
requested information is received. In an embodiment, the 
dialed destination may request the information requested by 
7 
Jan. 24, 2013 
Visuphone 104 of device 102c (or 102a or 102b), from a 
server of the communication network. Thereafter, the dialed 
destination may send the information received from the 
server to Visuphone 104 of device 102c. Further, Visuphone 
104 may save and/or display the received information at 
device 102c. 
[0132] FIG. 2A illustrates an exemplary audible IVR menu 
222a at destination 1 08a, in accordance with an embodiment 
of an invention. A person skilled in the art will appreciate that 
audible IVR menu 222a is an exemplary graphical represen­tation 
of the audible instructions presented by destination 
1 08a for the sake of explanation and is not an actual graphical 
display. For explanation, assuming that destination 108a is a 
pizzeria that provides home delivery and takes away services. 
Caller 106 connects to destination 108a by dialing a board 
phone number 202a. Subsequently, various options of 
audible IVR menu 222a are played to caller 106. The various 
options include an option 204a that plays an audible instruc­tion, 
"press 2 for pizza order", an option 206a that plays an 
audible instruction, "press 3 for order status", an option 220a 
that plays an audible instruction, "press 0 for main menu". 
Caller 106 can select an option by pressing from device 102, 
a button corresponding to the instructions in the audible IVR 
menu. Subsequently, the selected options are transmitted to 
the destination and the menu is advanced if there are any 
further options. Alternatively the display can present the next 
layer of menu options to give the caller better view of the 
option domain and allow even faster interface between caller 
and the IVR. 
[0133] For example, selection of option 204a presents an 
option 208a that plays an audible instruction, "press 1 for 
veg" and an option 210a that plays an audible instruction, 
"press 2 for non-veg" is played. Similarly, selecting option 
208a or 210a presents or option 214a that plays an audible 
instruction, "press 1 for home delivery", an option 216a that 
plays an audible instruction, "press 2 for take away". Simi­larly, 
selection of option 206a presents an option 212a that 
plays an audible instruction, "press 1 to talk to an executive". 
[0134] Options 204a, 206a, 208a, 210a, 212a, 214a, and 
216a are part of a main menu 218a. Main menu 218a can be 
repeated by selecting option 220a by caller 106. Caller 106 
may repeat main menu 218a for example, in case of a mistake 
in selection. Therefore, caller 106 directly interacting with 
audible IVR menu 222a may be required to listen to all or 
various audible options before executing a desired action. 
However, the interaction is simplified by Visuphone 104, that 
presents a visual IVR menu 222b to caller 106 corresponding 
to audible IVR menu 222a, as explained with reference to 
FIG. 2B. 
[0135] Further, each of destinations 1 08a-n may have more 
than one audio IVR menus. Therefore, different visual IVR 
menus corresponding to one or more audio IVR menus can be 
available for each of destinations 108a-n. In an embodiment, 
device 102 may include more than one visual IVR menus for 
each destination of destinations 108a-n based on the time. 
Herein after device 102 collectively refers to device 102a, 
1 02b and 1 02c. Therefore, different visual IVR menus corre­sponding 
to a destination 108 might be presented to caller 106 
depending on the time of dialing to destination 108. 
[0136] In an exemplary scenario, in a hotel, the food items 
in a daytime menu card may be different from a night menu 
card. Accordingly, the options in the visual IVR menu may 
differ. Therefore, the visual IVR menus for daytime and night 
can be different for the hotel. When caller 106 dials the phone
US 2013/0022191 AI 
number of the hotel in daytime, a daytime visual IVR menu 
can be displayed at device 102a, and if caller 106 calls at 
night, a different menu can be displayed at device 102a. 
Therefore, a visual IVR menu of the hotel displayed at the 
calling device for a call made at noon may be different then 
the visual IVR menu displayed for another call made at 
evening. 
[0137] FIG. 2B illustrates an exemplary visual IVR menu 
222b corresponding to an audible IVR menu 222a, in accor­dance 
with an embodiment of the invention. Visual IVR menu 
222b may be displayed on a screen of device 102b that may 
connect to destination 108a through network 112 and PSTN 
110. In an embodiment, visual IVR menu 222b can be dis­played 
before a connection is established with destination 
108a. A person skilled in the art will appreciate that device 
102b is illustrated for the sake of explanation, and similar 
visual IVR menu 222b can be displayed on device 102a that 
connects to destination 108a directly through PSTN 110. 
Visual IVR menu 222b includes various nodes corresponding 
to the options of an audible IVR menu of destination 108a. 
The various nodes of visual IVR menu 222b include a node 
202b for connecting to board number 202a of destination 
108a. Similarly, nodes 204b, 206b, 208b, 210b, 212b, 216b 
corresponds to option 204a, 206a, 208a, 210a, 212a, 216a 
respectively. A node corresponding to option 220a may not be 
required in visual IVR menu 222b, as the complete menu is 
visible and caller 106 may not be required to repeat audible 
IVR menu 222a. Therefore, when caller 106 selects a node 
from visual IVR menu 222b, Visuphone 104 automatically 
transmits the desired action corresponding to the options in 
audible IVR menu 222a to dialed destination 108a. For 
example, assuming that caller 106 calls destination 108a to 
order a veg pizza for home delivery. In this case, caller 106 
directly selects nodes 208b and 214b from a touch screen of 
device 102a, corresponding to veg pizza and home delivery 
from visual IVRmenu 222b.Altematively, caller 106 directly 
selects nodes 204b, 208b and 214b by pressing corresponding 
keys '2', '1 ', and '1 ', from a keypad or screen of device 1 02a 
without a need to listen to the complete audible IVR menu. 
Visuphone 104 accordingly transmits the signals to audible 
IVR menu 222a. In this case, the signals required by audible 
IVR menu 222a may be the Dual Tone Multi-Frequency 
(DTMF) tones of'2', '2', and '1' for options 204a, 208a, and 
214a. Moreover, caller 106 may not be required to select all 
the options. For example, when caller 106 wants to order a 
veg-pizza for take away. Then, only the nodes 208b and 216b 
may be required to be selected, and node 204b is automati­cally 
understood by Visuphone 104b. Furthermore, a node 
that is necessary for a transaction is automatically high­lighted. 
For example, if caller 106 only selects node 216b for 
take away, then node 208b for a veg-pizza or node 210b for 
non-veg are highlighted for selection. In an embodiment of 
the invention, caller 106 may select nodes irrespective of the 
sequence presented in the audible IVR menu. For example, 
node 214b for home delivery may be selected before node 
208b ofveg-pizza. Visuphone 104 automatically generates a 
sequence of the selections made by caller 106 and transmits it 
to the destination. Furthermore, Visuphone 104 stores the 
selections and the numbers dialed by the caller during the call 
in association with the destination phone number. In an 
embodiment, Visuphone 104 may enable callers to search or 
bookmark options in a menu with a large number of options. 
For example, callers can search for a node 214b from the 
8 
Jan. 24, 2013 
menu by typing 'home delivery'. As a result, navigation of a 
complete visual IVR menu may not be required. 
[0138] In an embodiment of the invention, visual IVR menu 
222b is displayed to caller 106 when a call is received at 
device 102 from a destination of destinations 108a-n. For 
example, a service provider may call to provide information 
about new services or account of caller 106. Further, caller 
106 may be required to select various options based on his 
preferences. Visuphone 1 04b may detect the received number 
and correspondingly display a visual IVR menu to the caller. 
Further, the calling destination may push or send the visual 
IVR menu associated with the destination to device 102a 
(102b or 102c). The process of displaying visual IVR menu 
when a call is received at the device is explained in detail in 
FIG. 35 to FIG. 40. 
[0139] FIG. 2C illustrates an exemplary visual IVR menu 
222c with added graphics for the nodes. It is well known that 
graphics are easier to learn and are faster to recognize than 
words. Therefore, graphics are used in various computerized 
device interfaces. The exemplary graphics as shown with 
reference to FIG. 2C are icons. Various other types of graphics 
can be displayed for example, animated icons, icons that 
highlight or animate when the node is highlighted, and so 
forth. 
[0140] In an embodiment, the graphics may be displayed 
for each node or a few nodes based on the usability of visual 
IVR menu 222c. For example, for the node 208 an icon of a 
vegetable may be displayed to designate a vegetarian pizza, 
and an icon of house for the node 214c of home delivery may 
be displayed. In an embodiment of the invention, visual IVR 
menu 222c can be customized to display only the text, only 
the icons or both. Furthermore, caller 106 can suggest or use 
various icons based on his preferences. 
[0141] FIG. 2D illustrate an exemplary tooltip that is dis­played 
when a curser is hovered over an option in the visual 
IVR menu. As shown, a tooltip box 222 is displayed when a 
cursor 226 is hovered on option 204c or 206c. Similarly, a 
Tool tip box 224 may be displayed containing the next menu 
text with or without it's available options 210c, 208c in case 
the caller decides to select the option over which cursor 226 is 
hovered, for example option 204c. 
[0142] In an embodiment of the invention, Visuphone 1 04b 
may provide a standard menu per group of similar audible 
IVR or destinations. Withreferenceto FIG. 2B, an example of 
a menu at a pizza provider is discussed. Generally, every pizza 
provider may have its specific audible IVR menu. However, 
caller 106 may prefer to use a single standard visual IVR 
menu for all pizza providers. Therefore, learning a single 
visual IVR menu will be useful for engaging various provid­ers. 
In such a case, the database may include a standard menu 
per class of compatible providers. Visuphone 104 may offer 
caller 106 an option to use the standard domain menu. There­fore, 
when caller 106 makes a selection on the standard menu, 
Visuphone 104 may translate the selection to the specific 
audible IVR menu selection and send the proper dialing tones 
(or DTMF) to that specific audible IVR. Furthermore, the 
standard menus may be published. Therefore, various provid­ers 
may modifY their own menus to help their customers. 
Additional aspect of the standard menu is the use of icons as 
discussed with reference to FIG. 2C. The icons may represent 
standard choice across various domains. For example, if a 
specific icon may represent sales, then the same icon may be 
used for sales of airlines tickets when the destination is an 
airline company or sales of telephone service when the des-
US 2013/0022191 AI 
tination is a telephone company. In an embodiment of the 
invention, the caller may customize the icons or graphics 
displayed on the menu. 
[0143] FIG. 3 illustrates exemplary components of device 
1 02a for implementing Visuphone 104. Device 1 02a includes 
a system bus 324 to connect the various components. 
Examples of system bus 324 include several types of bus 
structures including a memory bus or memory controller, a 
peripheral bus, or a local bus using any of a variety of bus 
architectures. As discussed with reference to FIG. 1A, device 
102a can be a device such as computer, a smart-phone and so 
forth. Device 102a can connect to PSTN 110 through a gate­way 
326, which is connected to network 112 through a net­work 
interface 314. Input/Output (I 0) interface 316 of device 
102a may be configured to connect external or peripheral 
devices such as a memory card 318, a keyboard 320a, a mouse 
320b and a Universal Serial Bus (USB) device 322. Although 
not shown, various other devices can be connected through IO 
interface 316 to device 102a. In an embodiment of the inven­tion, 
device 102a may be connected to a hub that provides 
various services such as voice commnnication, Internet 
access, television services, and so forth. For example, the hub 
may be a Home Gateway device that acts as a hub between the 
home environment and the Broadband Network. 
[0144] Device 102a includes a display 302 to output 
graphical information to caller 106. In an embodiment of the 
invention, display 302 may includes a touch sensitive screen. 
Therefore, caller 106 can provide inputs to device 102a by 
touching display 302 or by point and click using the 'mouse'. 
Memory 306 of device 102a stores various programs, data 
and/or instructions that can be executed by a Central Process­ing 
Unit (CPU) 304. Examples of memory 306 include, but 
are not limited to, a Random Access Memory (RAM), a Read 
Only Memory (ROM), a hard disk, and so forth. A person 
skilled in the art will appreciate that other types of computer­readable 
media which can store data that is accessible by a 
computer, such as magnetic cassettes, flash memory cards, 
digital video disks, and the like, may also be used by device 
102a. Memory 306 may include Operating System (OS) (not 
shown) for device 102a to function. Further, memory 306 
may include other applications 310 that enable the caller to 
commnnicate with destinations. Examples of other applica­tions 
310 include, but are not limited to, Skype, Google Talk, 
Magic Jack, and so forth. Other applications 310 may be 
stored as software or firmware on device 102a. 
[0145] Further, memory 306 includes Visuphone 104 for 
presenting a visual IVR menu corresponding to the audible 
IVR menu of destination as discussed with reference to FIGS. 
2A, 2B and 2C. Visuphone 104 may be an application stored 
as a software or firmware on device 102a. The visual IVR 
menus are stored in a visual menu database 308 in memory 
306 of device 102a. Visuphone 104 searches visual menu 
database 308 for visual IVR menus corresponding a phone 
number of destinations 108a-n dialed by caller 106. In an 
embodiment, Visuphone 104 searches visual menu database 
308 for visual IVR menus corresponding to a phone nnmber 
of a calling destination. Subsequently, if the visual IVR menu 
for the phone number is available in the database, then the 
visual IVR menu is displayed on display 302. Further, Visu­phone 
104 may be implemented as a plug-in to other appli­cations 
310. Therefore, when a phone nnmber is dialed from 
other applications 310, Visuphone 104 detects the dialing of 
the number and automatically displays the visual IVR menu 
corresponding to the phone number. Thereafter, the caller can 
9 
Jan. 24, 2013 
interact with the visual IVR menu, without listening to the 
complete audible IVR menu of destinations. 
[0146] With reference to FIG. 4, an exemplary display of a 
visual IVR menu 406 on device 1 02c is illustrated. The caller 
may dial a phone nnmber 402 corresponding to a destination 
using keypad 320. Keypad 320 may be a physical keypad or a 
virtual keypad displayed on a touch screen display 412. Sub­sequently, 
visual IVR menu 406 corresponding to phone 
nnmber 402 is searched and displayed on a display 412. 
[0147] In an exemplary instance, if caller dials a phone 
nnmber of an IVR destination, then a visual IVR menu cor­responding 
to audible IVR menu of the dialed destination is 
displayed on display 412. Similarly, if the caller receives a 
call from a phone number of destination, then a visual IVR 
menu corresponding to audible IVR menu of destination is 
displayed on display 412. Thereafter, caller can interact with 
the visual IVR menu to select options from the audible IVR 
menu. Visual IVR menu 406 may be displayed before actual 
connection of device 102c to destinations. Therefore, caller 
can select a desired action from visual IVR menu 406 before 
connecting to destinations. In an embodiment of the inven­tion, 
visual IVR menu 406 may be provided in real-time to 
caller. In an embodiment of the invention, visual IVR menu 
406 is provided a messaging service such as a Short Messag­ing 
Service (SMS). Therefore, destinations may provide cus­tomized 
visual IVRmenu 406 to caller 106. Visual IVR menu 
406 may be customized based on the profile of caller. In an 
embodiment of the invention, the profile may be generated 
based on access pattern of caller or the data capture by a hub 
connected to device 102c. 
[0148] Caller can interact with visual IVR menu 406 by 
pressing a desired button from keypad 320. For example, 
caller can press a '5' key from keypad 320 to select a node 5 
in visual IVR menu 406. Further, caller can directly select the 
node 5 of visual IVR menu 406 from display 412, in case of 
a touch sensitive screen. Depending on the complexity or size 
of destinations, visual IVR menu 406 may have various 
nodes. Moreover, display area of display 412 may be limited 
or small. As a result, all the nodes of visual IVR menu 406 
may not be displayed together on display 412. In such a case, 
Visuphone 104 is configured to allow caller to navigate by 
scrolling horizontally and/or vertically to view nodes on 
visual IVR menu 406. Further, Visuphone 104 may detect the 
capability of device 102a before displaying the visual IVR 
menu. For example, in case device 102a is a basic mobile 
phone with limited fnnctionality of the display screen. There­fore, 
Visuphone 104 may display the visual IVR menu in form 
of a simple list. Similarly, a list may be displayed in case of 
fixed line telephones. Moreover, in case device 102c includes 
a high capability screen, such as but not limited to an iPhone, 
then the visual IVR menu is displayed in form of graphics. 
[0149] Subsequently, after caller selects a desired action 
from visual IVR menu 406, a connection is established 
between device 102c and destinations based on the selected 
option. In one embodiment, Visuphone 104 is configured to 
detect and present an application or computer program avail­able 
on device 102c. 
[0150] In an embodiment, Visuphone 104 may be config­ured 
to display an advertisement 408. Advertisement 408 may 
correspond to the type of services provided by the dialed 
destinations. For example, if destination dialed is a pizzeria, 
then advertisement 408 may include promotions or offers 
about a new pizza. Moreover, advertisement 408 may include 
promotions or offers from a third party or a competitor of the
US 2013/0022191 AI 
destination. Further, Visuphone 104 may be coupled to an 
advertising database. The advertising database may include 
advertisements related to the phone numbers of the destina­tions. 
The advertising database may be stored at device 102c, 
the destinations, service providers or other third party servers. 
Further, the advertisements may be provided based on a pro­file 
of caller. For example, assuming that the caller calls a 
bank holding his saving account. Therefore, the advertise­ment 
displayed to the caller may be based on the location, 
address, account balance, type and volume of transactions, 
loans, purchases and so forth. 
[0151] Visuphone 104 may be configured to connect to an 
intended destination, when caller selects advertisement 408. 
Further, Visuphone 104 may display visual IVR menu 406 of 
the intended destination. In an embodiment, Visuphone 104 
may store the interactions of caller with visual IVR menus. 
For example, Visuphone 104 may automatically learn the 
numbers dialed or options selected from the menu. Moreover, 
the learned numbers or choices are associated with the dialed 
phone number of the destination. Therefore, the caller is 
assisted in his future calls. For example, when caller calls the 
destination again, then the actions that were performed in the 
last interaction are presented prominently to caller; or a pre­vious 
sequence may be automatically performed. Further, the 
actions that are frequently performed are presented promi­nently 
to the caller. For example, if caller dials a bank fre­quently 
to enquire about his account balance, then the options 
for selecting his account balance may be highlighted. 
[0152] In an embodiment, Visuphone 104 may display a 
visual IVR menu associated with the dialed destination. In an 
embodiment, Visuphone 104 may display a mode option on a 
screen of device 102. The mode option may be selected by a 
caller such as caller 106 for switching the mode of device 102. 
Based on the selected mode of device 102, one or more input 
or output options may be displayed on the screen. Example of 
the one or more input or output options include, but are not 
limited to, a date of making a call, a time of making a call, a 
predefined time interval for repeating a call, and so forth. 
[0153] In an embodiment of the invention, the mode option 
is a scheduling mode option. Caller 106 may switch device 
102 to a scheduling mode by selecting the mode option. In an 
embodiment, when device 102 is in scheduling mode, Visu­phone 
104 may save the inputs from caller 106. In an embodi­ment, 
Visuphone 104 may save the options of the displayed 
visual IVR menu selected by caller 106. In the scheduling 
mode, Visuphone 104 may display one or more input options 
on the screen to enter a call schedule including a date and a 
time information. In an embodiment, Visuphone 104 may 
further ask caller 106 to enter other important information 
required for dialing the phone number of the destination 
automatically at a later time. Thereafter, caller 106 may enter 
the date and time information for dialing the phone number of 
the destination. Furthermore, Visuphone 104 may call a 
phone number of a destination of destinations 108a-n auto­matically 
based on the predefined calling information. The 
predefined calling information can be entered by caller 106. 
The predefined calling information may include the selection 
information and the call schedule. The selection information 
may include one or more options of the displayed visual IVR 
menu associated with the dialed destination, selected by 
caller 106. 
[0154] In an embodiment of the invention, Visuphone 104 
may establish a communication with the dialed destination 
based on the predefined calling information. Further, Visu- 
10 
Jan. 24, 2013 
phone 104 may request information from the dialed destina­tion 
based on the predefined calling information. Further­more, 
Visuphone 104 may receive the requested information 
from the dialed destination based on the predefined calling 
information. In an embodiment, caller 106 may also interact 
with the dialed destination after establishment of the commu­nication. 
Furthermore, Visuphone 104 may save the received 
information at device 102. In an embodiment, Visuphone 104 
may convert the format of the received information from a 
first format to a second format. In an embodiment, the first 
format of the received information may be an audio format. 
Examples of the audio format include, but are not limited to, 
WAY, Real Audio, Musical Instrument Digital Interface 
(MIDI), Windows Media Audio (WMA), MP3, Ogg, and so 
forth. In an embodiment, the second format may be a text 
format such as a Unicode text, Rich Text format, HyperText 
Markup Language (HTML) or any other format compatible 
with device 102a. In an embodiment, Visuphone 104 may 
display the received information at device 102a. 
[0155] FIG. 5 illustrates exemplary components of device 
102b for implementing Visuphone 104, in accordance with 
another embodiment of the invention. Device 1 02b includes a 
system bus 526 to connect the various components. Examples 
of system bus 526 include several types ofbus structures such 
as, but not limited to, a memory bus or memory controller, a 
peripheral bus, or a local bus using any of a variety of bus 
architectures. As discussed with reference to FIG. 1B, device 
102b can be a computing device such as, but not limited to, a 
personal computer, a laptop, a mobile phone, a smart-phone, 
and so forth. Device 1 02b can connect to network 112 through 
a network interface 514. Further, device 102b can connect to 
PSTN 110 through gateway 116 and network 112 through 
network interface 514. Input/Output (IO) interface 516 of 
device 1 02b may be configured to connect external or peri ph­era! 
devices such as a mouse 518, a keyboard 520, a speaker 
522, microphone 523, and a camera 524. Although not shown, 
various other devices such as hard disk, a Universal Serial Bus 
(USB) device or others can be connected through IO interface 
516 to device 102b. A person skilled in the art will appreciate 
that although not described, various other types of devices 
capable of voice and/or data communication can be con­nected 
to device 102b. 
[0156] Device 102b includes a display interface 502 to 
connect to a display 512. Display interface 502 can be for 
example, a video adapter. Display 512 outputs graphical 
information to caller. In an embodiment of the invention, 
display 512 includes a touch sensitive screen. Therefore, 
caller 106 can provide inputs to device 102b by touching 
display 512 or by pointing with the mouse and click. Memory 
506 of device 102b stores various programs, data and/or 
instructions that can be executed by Central Processing Unit 
(CPU) 504. Examples of memory 506 include, but are not 
limited to, a Random Access Memory (RAM), a Read Only 
Memory (ROM), a hard disk, and so forth. A person skilled in 
the art will appreciate that other types of computer-readable 
media which can store data that is accessible by a computer, 
such as magnetic cassettes, flash memory cards, digital video 
disks, and the like, may also be used by device 102b. Memory 
506 may include Operating System (OS) (not shown) for 
device 102b to function. Further, memory 506 may include 
other applications 510 that enable caller 106 to communicate 
with destinations 108a-n. Examples of other applications 510 
include, but are not limited to, Skype, Google Talk, Magic 
Jack, and so forth. Other applications 510 may be stored as
US 2013/0022191 AI 
software or firmware on device 102b. Further, memory 506 
includes Visuphone 104 for searching and presenting a visual 
IVR menu corresponding to the audible IVR menu of a des­tination 
as discussed with reference to FIGS. 2A and 2B. 
Visuphone 104 may be an application stored as a software or 
firmware on device 1 02b. The visual IVR menus are stored in 
visual menu database 308 in memory 506 of device 102b. 
Visuphone 104 searches visual menu database 3 08 for visual 
IVR menu corresponding to a phone number of a destination 
dialed by caller 106. Subsequently, the visual IVR menu is 
presented on display 512 for selection of options by caller 
106. Further, Visuphone 104 may be implemented as plug-in 
to other applications 510. Therefore, when a phone number is 
dialed from other applications 510, Visuphone 104 detects the 
dialing and automatically searches and displays the visual 
IVR menu corresponding to the dialed phone number. There­after, 
caller 106 can interact with the visual IVR menu, with­out 
listening to the audible IVR menu of destinations 1 08a-n. 
[0157] FIG. 6 illustrates an exemplary display of a visual 
IVR menu 604 on device 102b, in accordance with an 
embodiment of an invention. Caller 106 may dial a phone 
number 610 from a VOIP application 608 on device 102b. 
Phone number 610 may correspond to any of destinations 
108a-n. In an embodiment, caller selects a pre-stored phone 
number from the application 608. Subsequently, visual IVR 
menu 604 corresponding to a dialed destination is displayed 
on display 512. In an embodiment, display 512 may comprise 
a touch sensitive screen. Therefore, caller 106 can interact 
with device 102b directly through display 512. 
[0158] In an exemplary instance, if caller 106 dials a phone 
number of destination, then a visual IVR menu corresponding 
to audible IVR menu of destination is displayed. Thereafter, 
caller 106 can interact with the visual IVR menu to select 
options and to transmit inputs for the audible IVR menu of the 
corresponding destination. Visual IVR menu 604 could be 
displayed before actual connection of device 102b to desti­nations. 
Therefore, caller 106 can select a desired option from 
visual IVR menu 604 before establishing a connection to the 
dialed destination. Depending on the complexity or size of the 
destinations, visual IVR menu 604 may have various nodes. 
For example, an organization with 50 departments may have 
more menu options or nodes than that of an organization with 
10 departments. Further, the display area of display 512 may 
be limited. As a result, all the nodes of visual IVR menu 604 
may not be displayed together on display 512. In such a case, 
Visuphone 104 is configured to allow caller 106 to navigate 
by scrolling horizontally and/or vertically to view nodes on 
visual IVR menu 604. Moreover, caller 106 can search for a 
desired option from the visual IVR menu. 
[0159] Subsequently, after caller 106 selects a desired 
option from visual IVR menu 604, a connection is established 
between device 102b and a destination based on the selected 
action. In one embodiment, Visuphone 104 is configured to 
detect and present applications suitable to caller 106 for ini­tiating 
the connection. For example, Visuphone 104 may 
detect more than one VOIP applications present in device 
102b and present them to caller 106 on display 512. There­after, 
caller 106 can select an application to be used or initiate 
the connection in a default configuration. The default con­figuration 
can be for example, VOW application 608 on 
which phone number 610 was dialed. In another embodiment, 
caller 610 may select a phone number displayed in applica­tions 
such as a browser, messenger, or a mail client. Subse­quently, 
Visuphone 104 detects and presents applications 
11 
Jan. 24, 2013 
suitable to caller 106 for initiating the connection. Further­more, 
Visuphone 104 is configured to display visual IVR 
menu 604 for the phone number selected from the applica­tions. 
Further, one or more options such as file, edit, new, and 
so forth may be displayed in field 602 as shown. 
[0160] In an embodiment, Visuphone 104 is further config­ured 
to display an advertisement 606. Advertisement 606 may 
correspond to the type of services provided by destinations. 
For example, if the destination is a bank, then advertisement 
606 may include promotions or offers about new loans or 
schemes. Moreover, advertisement 606 may include promo­tions 
or offers from a third party or a competitor of destina­tion. 
Visuphone 104 may be configured to connect to intended 
destination, when caller selects advertisement 606. Further, 
Visuphone 104 displays visual IVR menu 606 of the intended 
destination. In an embodiment, Visuphone 104 stores the 
interactions of caller with visual IVR menus after a call to an 
IVR was made. Therefore, when caller calls the same desti­nation 
again, then the options that were selected in the last 
interaction are presented prominently. Further, the options 
that are frequently selected can be presented prominently. For 
example, if caller dials a bank frequently to check his account 
balance, then the options for selecting his account balance 
may be highlighted. Additionally the information such his 
account number can be brought up to save effort for the caller 
who can than just OK for that 'auto fill' to be dialed out to the 
IVR at the proper time. 
[0161] As illustrated in FIG. 7, device 102b may include a 
web browser 702 to display web pages from the Internet 
and/or other computer networks. Various websites provide a 
phone number on the web pages as a click-to-talk button. The 
clickable button can provide, for example, a contact number 
of executives of the organization. The clickable button may be 
programmed to display a phone number of the organization 
and/or display a caller a form to provide his contact details, so 
that an executive from the organization can call back the 
caller. Visuphone 104 is configured to detect a connect button 
706 on a webpage 704. Connect button 706 may be used by 
Visuphone 104 to initiate a connection to a destination 108. 
[0162] Thereafter, Visuphone 104 can detect and lannch a 
VOIP application on device 102b. In an embodiment, in case 
more than one application is available on device 102, Visu­phone 
104 selects a VOW application preferred by caller. 
Moreover, Visuphone 104 may be configured to automati­cally 
login into the VOIP application. In an embodiment, 
caller 106 stores the login details for the VOIP application in 
Visuphone 104. Further, Visuphone 104 displays a visual IVR 
menu corresponding to audible IVR menu of the destination 
connected once click on connect 706 tab. Therefore, caller 
106 can connect to the destination from web browser 702 
automatically and may not be required to dial the phone 
number or provide call-back information. 
[0163] In an embodiment of the invention, Visuphone 104 
may include a VOIP plug-in that monitors the outgoing calls 
made from the VOIP application. Therefore, the VOW plug­in 
may search each dialed number in visual menu database 
308. In case, the dialed number is fonnd in visual menu 
database 308 and is associated with an IVR, then the VOW 
plug-in may display the visual IVR menu corresponding to 
the audible IVR menu of the dialed number. 
[0164] Another embodiment of the invention allows the 
caller to select the visual IVR menu using car display like 
GPS display. Hands-free cell phone system is used in many 
cars as a separated device or as an integrated system in the car.
US 2013/0022191 AI 
These devices allow the caller to talk with the cell phone 
without holding the cell phone in his hands. Some devices are 
using the car speakers for the phone call. In many cases, the 
hands-free system can use a display screen in the car like GPS 
screen or other display. Following voice menu while driving 
might not be the optimal way to use hands-free cell phone 
system. In some cases, selecting an option from a visual IVR 
menu is preferred. While driving or stopping in red light, it 
might be easier to use larger display like the GPS display in 
the car. The display can present the visual IVR menu and the 
caller can select the option from the menu. The computing 
engine to support the visual IVR menu could be embedded in 
the car GPS system or in another controller that have access to 
the car display. Once the system recognizes a destination of a 
call to be an IVR it will access the database pull out the menu 
and display. Accordingly all the other Visuphone features 
could be incorporated. 
[0165] FIG. 8 illustrates exemplary software architecture 
800 ofVisuphone 104, in accordance with an embodiment of 
the invention. A hardware layer 802 includes various hard­ware 
of device. For example, but not limited to, a mouse, a 
keyboard, a speaker, a microphone, a camera, a USB device, 
a display, and so forth. The drivers or files required for proper 
functioning or installation of the hardware of device are pro­vided 
by a drivers layer 804. Moreover, drivers layer 802 
interfaces with an Operating System 806. 
[0166] Operating System 806 provides memory and envi­ronment 
required by Visuphone 104 and other applications 
808 for functioning on device. Examples of Operating Sys­tem 
806 include, but are not limited to, Windows, Macintosh, 
Linux, Symbian, Andriod, and so forth. Visuphone 104 may 
be implemented as a plug-in to other applications 808, such as 
Skype, Google Talk, web browser, mail client, and so forth. In 
an embodiment, Visuphone 104 may be implemented as a 
standalone application on device. Further, Visuphone 104 
may be configured to execute as a background application. 
Therefore, caller 106 may not be required to specifically 
launch Visuphone 104. Furthermore, Visuphone 104 may be 
implemented as a multi-threaded application. Therefore, 
visual IVR menus of more than one destination may be dis­played 
simultaneously on device. 
[0167] FIG. 9 illustrates exemplary components ofVisu­phone 
104, in accordance with an embodiment of the inven­tion. 
As discussed above, Visuphone 104 may be imple­mented 
as hardware, software, or firmware on device 102. 
Further, Visuphone 104 may be configured to execute as a 
background process on device. In an embodiment, Visuphone 
104 may be configured to execute as a system service. There­fore, 
other processes or applications executing on the device 
may not block the operation ofVisuphone 104. 
[0168] When caller 106 dials, selects or receives a phone 
number on the device, a detection module 902 ofVisuphone 
104 detects that a phone number has been dialed, selected or 
received. For example, detection module 902 may detect key 
presses or caller ID on device. Caller 106 may use a VOW 
application on device for dialing the phone number. More­over, 
caller 106 may use a mouse to a joystick to select or 
press icons of numbers displayed on the VOW application. 
Further, detection module 902 is configured to identify the 
VOIP applications available on device and used by caller. 
Moreover, detection module 902 may detect the position co­ordinates 
of the VOW application on a display of device. For 
example, in case device includes the Microsoft Windows OS, 
then the position co-ordinates of the VOIP application can be 
12 
Jan. 24, 2013 
detected from the registry of the OS. Detection module 902 
may be configured to store the position of number icons 
relative to position co-ordinates of various VOW applica­tions. 
Therefore, based on the co-ordinates of the position of 
the VOW application, detection module 902 can detect the 
exact position of each number icon on the display of device. 
For example, if the co-ordinates of a top-left edge of the VOW 
application is (X,Y) on the display, and the co-ordinates of an 
icon fornumber' 1' on VOW application is (X1 ,Y1) relative to 
its top-left edge, then the exact co-ordinates of the icon for 
number '1' may be calculated as (X+X1, Y + Y1) on the dis­play. 
A person skilled in the art will appreciate that other types 
of mathematical operations can be applied to calculate the 
co-ordinates of the icons on the display of the device. 
[0169] Detection module 902 may be configured to detect 
the co-ordinates of the cursor on the display of device. Fur­ther, 
detection module may be configured to detect the action 
events generated by the mouse or joystick, such as a click, a 
double click, a drag, a select, a scroll, and so forth. Therefore, 
when caller selects or press a number on the VOIP applica­tion, 
detection module 902 may detect the number from the 
position of the cursor, the VOIP application and the number 
icon. In an embodiment, detection module 902 may be con­figured 
to store the last used co-ordinates of the VOIP appli­cation 
and number icons. Therefore, detection and/or calcu­lation 
of the co-ordinates may not be required. Furthermore, 
detection module 902 may be configured to detect a connect 
button displayed on a web page of a browser on device as 
explained with reference to FIG. 7. Therefore, when caller 
clicks the connect button, detection module 902 identifies the 
phone number behind the connect button. In an embodiment, 
detection module 902 detects the connect button and the 
associated phone number by scanning the source code of the 
web page. 
[0170] The phone number detected by detection module 
902 is used by a search module 904 ofVisuphone 104. In an 
embodiment, detection module 902 may be configured to 
transfer each digit to search module 904 in real-time as 
clicked by caller. Search module 904 searches visual IVR 
menu database for visual IVR menu corresponding to the 
phone number. An exemplary visual IVR menu is as 
explained above in conjunction with FIGS. 2B and 2C. As 
discussed above, visual IVR menu database stores visual IVR 
menus corresponding to the audible IVR menus of destina­tions 
1 08a-n. Moreover, visual IVR menu database may store 
other information, which is explained in conjunction with 
FIG.10. Search module 904 may also be configured to search 
for other information in visual IVR menu database. In an 
embodiment, search module searches visual IVR menu data­base 
in real-time based on the digits received from detection 
module 902. Therefore, a visual IVR menu may be identified 
based on the best match of the number formed by the received 
digits in visual IVR menu database. As a result, caller may not 
be required to dial, click, press or select the complete number, 
which may be convenient and time saving. 
[0171] The visual IVR menu identified by a search module 
904 is displayed on the display of device by display module 
906 of Visuphone 104. Display module 906 identifies the 
position on the display where the visual IVR menu is to be 
displayed. In an embodiment, the visual IVR menu is dis­played 
such that there is minimum overlap with the VOW 
application from which the phone number was dialed or 
selected. Moreover, display module 906 identifies the size of 
the visual IVR menu for display based on the characteristics
US 2013/0022191 AI 
of the display screen of device. Examples of characteristics of 
the display screen include, but are not limited to, a screen size, 
resolution, and so forth. Furthermore, in case the visual IVR 
menu is not completely displayed on the display, then display 
module 906 may allow caller to navigate the visual IVR menu 
by scrolling. Moreover, display module 906 may be config­ured 
to display other information received from search mod­ule 
904. 
[0172] Caller 106 may interact with the visual IVR menu or 
other information displayed on device 102. For example, 
caller 102 may scroll through the visual IVR menu, or select 
a node from the visual IVR menu. Therefore, when caller 106 
selects a node from the visual IVR menu, detection module 
902 detects the selected node and communicates the selection 
to a connection module 908. Thereafter, connection module 
908 may establish a connection between device 102 and a 
destination 108 based on the nodes selected by caller. Con­nection 
module 908 may be configured to detect communi­cation 
systems available in device. For example, in a case, 
device 102 is a phone not connected to the Internet, connec­tion 
module 908 may detect that only a radio connection can 
be made. Otherwise, a most suitable or a connection preferred 
by caller 106 can be made. In an embodiment, connection 
module 908 may allow caller 106 to select a VOW application 
to establish the connection. In another embodiment, commu­nication 
module 908 may launch a default VOW application 
on device 102. In yet another embodiment of the invention, 
connection module 908 can use a VOW protocol stack defined 
by Visuphone 104 to establish the connection. 
[0173] In an embodiment, a call of caller 106 may be trans­ferred 
from one point in the organization to another point 
within the same organization or to a completely different 
organization (or another branch of same organization). For 
example, a call of caller 106 with destination 108a may be 
transferred to destination 108b. However, destinations 108a 
and 108b may have different audible IVR menus. Connection 
module 908 is configured to identify the transfer of call and to 
switch the visual IVR menu of destination 108a with desti­nation 
108b. The switching of visual IVRmenus is explained 
in detail in conjunction with FIG. 11. 
[0174] Some organizations such as banks may require 
caller 106 to present a voice input for the purpose of authen­tication. 
For example, caller 106 may be required to voice out 
his name or an answer to a security question specified by 
caller 106 to the bank. Furthermore, voice input may be 
required to accept or decline a transaction. Caller 106 may 
record and store the voice responses for such authentications 
or questions alternatively the system can use synthesis voice. 
Therefore, when connection module 908 detects that a voice 
authentication is required, and then voice module 910 is used. 
Voice module 910 provides voice inputs on behalf of caller 
106 by using the responses recorded by caller 106. Subse­quently, 
the connection or the transaction can be processed. 
[0175] As discussed in conjunction with FIGS. 4 and 6, 
Visuphone 104 may be configured to display advertisements 
on device 102. The advertisements are managed by advertise­ment 
module 912 ofVisuphone 104. The advertisement may 
be selected based on the type of destinations. For example, 
when a dialed destination is a bank, then an advertisement 
related to banking may be displayed. Moreover, the adver­tisement 
can be related a third-party dealing in the same 
business or professional area or a competitor of the dialed 
destination. The displayed advertisement may be a text, 
audio, image or video. In one embodiment, advertisement 
13 
Jan. 24, 2013 
module 912 may display the advertisements based on the 
connection bandwidth available at device 102. In another 
embodiment, advertisement module 912 may display the 
advertisements based on the pre-set preferences by caller 106. 
In one embodiment, advertisement module 912 may be con­figured 
to receive the advertisements directly from the dialed 
destination. In another embodiment, advertisement module 
912 may be configured to receive the advertisements from a 
remote server on a network. The remote server is explained in 
detail in conjunction with FIG. 10. A selection or click by 
caller 106 on advertisements may be detected by detection 
module 902 to display a visual IVR menu of the destination 
for which the advertisement was displayed. 
[0176] In some cases, the audible IVR menu of destination 
may change. For example, the extension numbers of agents in 
banks may be changed due to addition of new agents. A 
person skilled in the art will appreciate that there can be other 
reasons for the audible IVRmenu of a destination to be edited, 
amended or updated. Further, new organizations may be 
available that use audible IVR menus. The visual IVR menus 
for these new organizations may not be available in visual 
IVR menu database stored on device. Therefore, visual IVR 
menu database may be required to be updated. In an embodi­ment, 
Visuphone may be updated to provide additional func­tionalities 
to caller. An update module 914 may be configured 
to update the visual IVR menus stored in visual IVR menu 
database of device. Moreover, update module 914 may be 
configured to update Visuphone. Update module 914 may 
receive the updated visual IVR menus from the remote server 
on the network. The remote server is explained in detail in 
conjunction with FIG. 10. 
[0177] Visuphone 104 may record the caller's selections or 
keystrokes for audible IVR menus by using customization 
module 916. The keystrokes may be some personal data of the 
caller such as his account number, customer number, and so 
forth. Visuphone can provide better support to caller by pre­senting 
the recorded keystrokes so that the caller can approve 
and sending them without entering them every time. Cus­tomization 
module 916 personalizes the generic visual IVR 
menu by associating the keystrokes with it and storing in 
visual menu database 308. Alternatively, an additional set of 
standard may be defined for representing caller data. In this 
case, only the code indicating the type of required data is 
added to visual menu database 308. Visuphone 104 can than 
build a relatively small table in visual menu database 308, 
with the various personal data codes and the actual caller data 
as analyzed from the caller's keystrokes during his connec­tion 
with destinations of the audible IVR menus. 
[0178] FIG.10 illustrates an exemplary remote server 1002 
connected to a remote repository 1004. As shown remote 
server 1002 is connected to device 102 through a computer 
network 1006. Further, remote server 1002 can be connected 
to destinations 108a-n through computer network 1006, a 
gateway 1008, and a PSTN 1010. A person skilled in the art 
will appreciate that device 102 can connect to destinations 
1 08a-n directly through PSTN 101 0; therefore the connection 
is not limited to network 1006. Each of destinations 108a-n 
may be connected to audible IVR menu repository 1012a-n, 
here after referred to as destination repository 1012a-n. 
[0179] Further, device 102 includes visual menu database 
308. As discussed above, visual menu database 308 includes 
visual IVR menus corresponding to audible IVR menus of 
destinations 108a-n. Moreover, visual menu database 308 
may store other information such as profile of caller, voice
US 2013/0022191 AI 
response of caller, login details for a VOIP application, pref­erences 
of caller, ratings for visual IVR menus, identity of 
visual IVR menus, and so forth. As discussed in conjunction 
with FIG. 9, Visuphone 104, the visual IVR menus or other 
information stored in visual menu database 308 may require 
to be updated. In an embodiment, visual menu database 308 is 
updated by information received from remote repository 
1004. In another embodiment of the invention, visual menu 
database 308 may be updated by receiving menus through 
Short Messaging Service (SMS). The SMS may be sent from 
destination 108a-n or remote repository 1004 to device 102. 
Remote repository 1004 includes visual IVR menus corre­sponding 
to audible IVR menus of destinations 1 08a-n. Fur­ther, 
remote repository 1004 stores advertisements related to 
destinations 108a-n, last updated time of the visual IVR 
menus, rating of visual IVR menus, and so forth. 
[0180] In case, the audible IVR menu of a destination is 
changed, caller may not be able to connect to the destination 
by using Visuphone. Visuphone is configured to detect the 
error generated while establishing the connection. For 
example, caller may select a node in the visual IVR menu that 
may not have a corresponding option available in audible IVR 
menu, or a connection not be established between device 102 
and the destination. The error is detected by update module 
914 ofVisuphone. Subsequently, update module 914 sends an 
error report to remote server 1002. Remote server 1002 may 
check remote repository 1004 for updates related to the visual 
IVR menu. Thereafter, in case any updates are available, 
remote server 1002 may send the updates to device 102 for 
performing the update. In an embodiment, visual menu data­base 
308 may be checked and updated based on a pre-defined 
time interval by device 102. In an embodiment, the error 
report may include the error generated and an Identity (ID) or 
version of the visual IVR menu on which the error was gen­erated. 
In case, the updates are not available in remote reposi­tory 
1004, then an update of remote repository 1004 may be 
required. 
[0181] In an embodiment of the invention, remote reposi­tory 
1004 is updated based on a pre-defined time interval. In 
another embodiment of the invention, the caller can rate the 
relevance or correctness of the visual IVR menu from device 
102. Therefore, remote repository 1004 can be updated based 
on a cumulative ratings received from callers and other callers 
of the visual IVR menu. Remote server 1002 can comprise a 
process of continuously scanning the IVRs 108a to 108n 
updating remote repository 1004 with changes of various IVR 
menus and adding addition menu records for new IVRs. Also, 
remote server 1002 might get a 'problem report' from device 
102 if caller identify problem between the menus as it is in 
database 308 and the audible menu of a specific IVR. In such 
case a recheck process will be initiated to update remote 
repository 1004 and the new information can be than offered 
to device 102 for download an update. 
[0182] In an embodiment, device 102 may send one or 
more messages or data packets for connection establishment 
with one of the destinations. Further, Visuphone 104 may 
detect a data network such as internet for sending data pack­ets. 
The data network is a network capable of establishing 
data and voice communication among various communica­tion 
devices (or devices). In an embodiment, when a data 
network is not available the one or more messages for estab­lishing 
connection may be sent using Dual-Tone Multi-Fre­quency 
(DTMF) tones or messages. The process of establish­ing 
connection between device and a second communication 
14 
Jan. 24, 2013 
device (or destination) is described in detail in FIGS. 31A, 
31B, 31C, 31D, 32, 33 and 34. 
[0183] In an embodiment of the invention, visual menu 
database 308 may include other information and parameters 
related to the visual IVR menus. The parameters related to the 
visual IVR menus enable accessing, modifying or updating of 
the visual IVR menus. Examples of parameters of visual IVR 
menus include, but are not limited to, ID or version of the 
visual IVR menus, destination phone numbers, and a last 
update timestamp. Furthermore, visual menu database 308 
may include other information such as a profile, the calling 
history, or preferences of the caller. The calling history of a 
caller may include the numbers dialed or received, most fre­quent 
numbers dialed or received, most frequent nodes 
selected from visual IVR menus. The profile of a caller may 
include, but is not limited to, the name, age, sex, address, 
phone number, profession, office address, recorded voice 
responses for visual IVR menus, or other personal and pro­fessional 
details of the caller. 
[0184] FIG. 11 illustrates an exemplary process for presen­tation 
of the visual IVR menu when the call of caller 106 is 
forwarded or transferred from destination 108a to destination 
108b, in accordance with an embodiment of the invention. 
Destination 1 08a may have completely different audible IVR 
menus as compared to destination 108b. For example, desti­nation 
108a may be a loan department and destination 108b 
may be an insurance department of a bank. Similarly, the call 
may be forwarded from one organization to another. For 
example, from one branch of a back to another branch of same 
bank. Therefore, caller 106 may be required to respond to a 
different audible IVR menu. Visuphone 104 may be config­ured 
to detect that the call has been forwarded and subse­quently 
display the visual IVR menu of destination 108b. 
[0185] As shown in FIG. 11, device 102 establishes a con­nection 
with destination 108a as depicted by arrow 1102. The 
connection is established by using the visual IVR menu pro­vided 
by Visuphone 104 based on destination 108a. In an 
embodiment, the connection is established directly without 
using Visuphone 104. Thereafter, destination 108a may for­ward 
the call to destination 108b, as indicated by arrow 1104. 
The visual IVR menu corresponding to the audible IVR menu 
of destination 108b may not be visible on device 102, as the 
call was forwarded between destination 108a and destination 
108b. In an embodiment, Visuphone 104 may not detect the 
forwarding of the call. In this case, device 102 may be pre­sented 
with audible IVR menu of destination 108b. Thereaf­ter, 
Visuphone 104 may record the options and responses on 
device 104 for the audible IVR menu of destination 1 08b. The 
recorded options and responses may be stored at remote 
repository 1004 for updating it. Further, the recorded options 
and responses may be stored visual IVR menu database of 
device 102. 
[0186] In an embodiment, destination 108b sends an iden­tity 
(ID) or version of the audible IVR menu to a caller as 
shown by arrow 1106. The audible IVR menu ID is specific to 
the audible IVR menu of destination 108b. Subsequently, 
display module 906 ofVisuphone 104 uses the audible IVR 
menu ID to display the corresponding visual IVR menu. 
Further, a caller may select a node from the visual IVR menu 
corresponding to destination 108b. Therefore, when a caller 
selects a node, a connection may be established with destina­tion 
108b. In an embodiment of the invention, connection 
between device 102 and destination 108a is disconnected 
after establishing a connection between device 102 and des-
US 2013/0022191 AI 
tination 108b. In another embodiment of the invention, con­nection 
between device 102 and destination 108a is main­tained 
for complete communication session till the caller 
disconnects the call. 
[0187] Another embodiment of the invention allow visual 
IVR menu for calls made from a conventional home tele­phone. 
FIG. 12 illustrate a phone 1204 connected to a Public 
Switched Telephone Network (PSTN) 1208 and through a 
gateway 1218 to the Internet network 1220. Network 1220 
may be any service provider that provides services, for 
example, but not limited to, telephone services, cell phone 
services, wireless services, Internet services, cable television 
services, or various combinations of the above or other type of 
serv1ces. 
[0188] Further, the connection to network 1220 is associ­ated 
with a wide band Internet 'smart' modem 1206. Phone 
1204 may be a regular phone, such as a landline phone or a 
cordless landline phone. Modem 1206 may be a Digital Sub­scriber 
Link (DSL) modem or a cable modem that connects 
the home device to the Internet and/or computer network. 
Modem 1206 is connected to a service provider, and can 
provide the home devices with telephone, Internet and tele­vision 
services. Modem 1206 may provide both wired and 
wireless connections. As shown with reference to FIG. 12, 
modem 1206 provides the home with the Internet through 
wire 1210 to a computer 1202, or through a Wi-F i connection. 
Modem 1206 comprises the ability to detect and recognize 
the dialing made by phone 1204. The numbers dialed by 
phone 1204 to establish connection are then compared with a 
database, such as visual menu database 308. Therefore, in 
case the dialed number corresponds to a destination with an 
audible IVR menu, and a corresponding visual IVR menu 
exists then, modem 1206 may provide the visual IVR menu 
on computer 1202 connected to it. Moreover, modem 1206 
may use private web sites to present the visual IVR menu or 
just provide the dialed number to computer 1202. Thereafter, 
a software tool on computer 1202 may present the visual IVR 
menu on the screen of computer 1202. 
[0189] Once the connection with the destination has been 
established, 'smart' modem 1206 will continue to monitor the 
numbers dialed or received by phone 1204 to browse or 
advance the visual IVR menu accordingly. Furthermore, the 
numbers dialed or received may be stored for future process­ing 
such as highlighting previous selections in the visual IVR 
menu, providing customized visual IVR menu, and so forth. 
The Visual IVR menu system comprising computer 1202 and 
Modem 1206 may incorporate additional enhancements as 
presented before such as automatic dialing of customer infor­mation. 
The automatic dialing may be achieved by using 
computer 1202 to initiate and execute such automatic dialing. 
[0190] In another embodiment of the invention, a house 
television 1212 may be used to present the visual IVR menu. 
In various houses modem 1206 decodes television signals and 
transfer it to a set-top box 1216 that provide signals to tele­vision 
1212. The visual IVR menu may be presented on a 
channel dedicated for IVR. Therefore, when phone 1204 is 
used to initiate a call, modem 1206 can detect it and present 
the visual IVR menu corresponding to the dialed number on 
the designated channel of the television 1212. Further, all the 
options described before can be provided now using the 
screen of television 1212 for the visual IVR menu. The caller 
selection can be done by using the simple home phone or 
alternatively using the TV 1212 set top box 1216 remote 
control. Further, television 1212 screen may be used to 
15 
Jan. 24, 2013 
present the visual IVR menu in a few alternatives ways. For 
example, a device provided by a company named Rokuinc., 
allows streaming of content from the Internet to television. 
Most set-top boxes now have an Internet connection or tele­phone 
connections. Furthermore, various devices such as 
some Digital Versatile Disc (DVD) players, and video game 
players or controllers such as Xbox or Playstation, can be 
connected to the Internet. Each of those devices may allow 
'smart' modem 1206 to provide a visual IVR menu on the 
screens of television 1212. 
[0191] In another embodiment of the invention a telephone 
connection may be established through an external telephone 
service by using a computer, as discussed with reference to 
FIG. 13. External telephone service provider 1310, such as 
'Google Voice', which a caller may use through the Internet 
network from computer 1302. In such case, the caller can 
cause a telephone call to be established by indicating on 
service provider 1310-'Google Voice' web site a request to 
establish call to a designated location. Thereafter, the external 
service provider 1310 establishes connection 1306 by using 
PSTN 1308 to connect the caller telephone 1304 to a desired 
destination 1312. External service provider 1310 can now 
present the visual IVR menu as discussed above. External 
service provider 1310 may present the visual IVR menu on its 
web site and processed or advanced based on the dial choices 
made by the caller on his computer 1302. Furthermore, exter­nal 
service provider 1310 can also add various options as 
described before, such as but not limited to highlighting pre­vious 
choices, automatic dialing of caller information and 
presenting related advertisements. 
[0192] Another enhancement for such external service pro­vider 
1310 is to provide a 'smart' connect. In case of the 
'smart' connect, the caller can designate not just destination 
1312, but a specific node of visual IVR menu, such as node 
212b as discussed with reference to FIG. 2B. The 'smart' 
connect will dial the proper selection in the visual IVR menu 
and connect to node 212b of the audible IVR. The 'smart' 
connect can even wait until the selected node 'Talk to Execu­tive' 
yields the desired result of the executive answering the 
line and then connect the caller. Therefore, the efficiency of 
the IVR system does not come at the cost of inefficiency of the 
caller; rather both sides can became more efficient by using 
the 'smart' connect. 
[0193] Additional alternatives to the invention are illus­trated 
with reference to FIGS. 14A, 14B, and 14C. FIG. 14A 
illustrates a Visu-Add-on 1404 which can be connected to a 
standard home phone 1402 to provide all the features and 
functionalities as described above with respect to Visuphone 
104. Accordingly, phone 1402 may be connected through 
connection 1406 to add-on 1404 that can be connected to a 
standard telephone connection line 1410. Add-on 1404 may 
comprise a processing unit, a display and a database. The 
database may be similar to visual menu database 308 as 
discussed in FIG. 3. Therefore, when phone 1402 is used to 
call a destination with an audible IVR menu, a corresponding 
visual IVR menu is presented on the display of add-on 1404. 
Furthermore, the display of add-on 1404 may comprise a 
touch sensitive screen for added convenience of a caller. 
Add-on 1404 may be loaded and updated by the use of remov­able 
memory devices, such as USB flash memory 1408. Alter­natively, 
Add-on 1404 may comprise a modem to connect 
either by the use of the telephone connection line 1410 or by 
wireless means such as WiFi or Bluetooth.
US 2013/0022191 AI 
[0194] FIG. 14B illustrates an embodiment, where an add­on 
unit 1414 is plugged into a conventional digital picture 
frame 1420 by using a USB port. Digital picture frames 
recently became quite popular as a convenient way to display 
family photos in digital format. In this embodiment, picture 
frame 1420 can display family photo until a call is made by 
using a phone 1412 to a destination with an audible IVR 
menu. Phone 1412 may be connected to picture frame 1420 
through a connection 1418 and add-on 1414 may be further 
connected to standard telephone line connection 1422. Add­on 
1414 may comprise a processor and a database. The data­base 
may be similar to visual menu database 3 08 as discussed 
in FIG. 3. Therefore, when a connection is made to a desti­nation 
having an audible IVR menu, then add-on 1414 will 
present the visual IVR menu on picture frame 1420. Picture 
frame 1420 may resume presenting the photos after the 
completion of the call. Furthermore, the database of add-on 
1414 could be updated with one of the options described 
before in respect to the add-on 1404 ofFIG.14A. It should be 
noted that various home television provides functionality 
similar to picture frame 1420. Therefore, television can be 
used as an alternative to picture frame 1420. 
[0195] FIG. 14C present another embodiment that can be 
applied as presented with respect to FIGS. 14A and 14B. It 
quite common these days to use a telephone handset 1424 that 
are connected by wireless means to a base station 1430 that is 
connected by a wire 1432 to the standard telephone lines. 
Add-on 1426 can comprise an internal radio circuit to detect 
the wireless communication. Therefore, add-on 1426 can 
detect the communication between handset 1424 and base 
station 1430 to present the visual IVR menu. As can be seen 
with reference to FIG. 14C, connection through wires such as 
wires 1406 or 1418 may not be required. Add-on 1426 may be 
provided by the manufacturer of the handset 1424 and the 
base station 1430, or by a third party. A person skilled in the 
art will appreciate that the functionalities of the add-on units 
as described in conjunction with FIGS. 14A, 14 B and 14C can 
be combined into a single unit. Therefore, a single add-on unit 
may be used in various envirouments as discussed above. 
[0196] FIGS. 15A, 15B, and 15C illustrate a flowchart dia­gram 
for presentation of the visual IVR menus, in accordance 
with an embodiment of the invention. Caller 106 may dial, 
select or receive a number to connect to a destination from 
device 102. The destination may include an audible IVR 
menu for interaction with a caller. Further, device 102 may 
include Visuphone 104 to present a visual IVR menu corre­sponding 
to the phone number of the destination. Therefore, 
a caller can directly interact with an IVR of destination 
through the visual IVR menu without listening to the audible 
IVRmenu. 
[0197] At step 1502, Visuphone such as of device 102 
detects a phone number dialed, selected or received by caller 
for destination. In an embodiment of the invention, the num­ber 
is clicked according to the display of device 102. The 
number is detected by detection module 902 of Visuphone 
104. Thereafter, search module 904 searches visual menu 
database 308 of device 102 for the phone number, at step 
1504. Search module 904 searches for visual IVR menu and 
other information corresponding to the phone number. Other 
information may include, for example, the caller profile, call 
history of the caller, advertisement associated with the phone 
number and so forth. In an embodiment of the invention, 
search module 904 searches visual menu database 308 in 
16 
Jan. 24, 2013 
real-time. Therefore, the visual IVRmenu and other informa­tion 
may be searched with only a few digits of the phone 
number. 
[0198] At step 1506, it is determined by search module 904 
whether the visual IVR menu and other information are avail­able 
for the phone number in visual menu database 308. In 
case, the visual IVR menu is available, then the process con­tinues 
to step 1508. In case, the visual IVR menu is not 
available, then device 102 may be connected to remote 
repository 1004 by update module 914, at step 1518 as shown 
with reference to FIG. 15B. Thereafter, it is checked whether 
the visual IVR menu is available in remote repository 1004, at 
step 1520. Subsequently, if the visual IVR menu is available, 
then visual menu database 308 is updated from the informa­tion 
available at remote repository 1004, at step 1522. The 
process then continues to step 1524. 
[0199] Further, at step 1506, once it been determined by the 
search module 904 that the visual IVR menu for the destina­tion 
is available in the visual menu database 308 an asyn­chrony 
request is sent to remote repository 1004, at step 1558. 
The request is sent to check whether a newer version of the 
menu with different content is available, at step 1560. Subse­quently, 
if such version exists in remote repository 1004, then 
visual menu database 308 is updated accordingly, at step 
1522. The process is then continues to step 1524. 
[0200] In case, the visual IVR menu is not available in 
remote repository 1004, then the process continues to step 
1528. At step 1528, audible IVR menu selection in detected 
on device 102. The audible IVR menu selection may be 
determined based on Dual Tone Multi Frequency (DTMF) 
tones or keys pressed by the caller of device 102. Thereafter, 
in case a selection is detected, then the dialed number may be 
detected as a possible destination number. The dialed number 
may be provided to remote repository 1004 at step 1530. 
Thereafter, the process continues to step 1526, where remote 
repository 1004 is updated for information. 
[0201] At step 1524, it is determined by search module 904 
if visual IVR menu is available for the dialed number in 
updated visual menu database 308. In an embodiment, Visu­phone 
detects the correctness of information based on the 
error received on connection to the IVR destination or behav­ior 
of the caller. In case, visual IVR menu is available, then the 
process continues to step 1508. Otherwise, in case the visual 
IVR menu is not available, then the process continues to step 
1526, where remote repository 1004 is updated for informa­tion. 
In an embodiment, Visuphone 104 sends an error report 
to remote repository 1004 to initiate the update. The error 
report may include the error details of connection, behavior of 
the caller and other information required to update remote 
repository 1004. In another embodiment, the caller may pro­vide 
ratings for the correctness of the visual IVR menu and 
other information. Subsequently, the ratings are sent to 
remote repository 1004. In an embodiment of the invention, 
ratings from multiple devices are received at remote reposi­tory 
1004. Thereafter, remote repository 1004 may be 
updated based on the ratings. In an embodiment of the inven­tion, 
remote repository 1004 may be updated based on a 
pre-defined time interval. In another embodiment of the 
invention, remote repository 1004 is updated by an adminis­trator 
of remote server 1102. 
[0202] At step 1508, if the visual IVR menu is available in 
the visual IVR menu database, then the visual IVR menu 
corresponding to the audible IVR menu of destination is 
displayed on device 102. In an embodiment of the invention,
US 2013/0022191 AI 
advertisements related to the type of destination are also 
displayed on device 102. At step 1510, inputs from the caller 
are detected on the visual IVR menu. In an embodiment, the 
inputs include the nodes of the visual IVR menu selected by 
the caller. In another embodiment, the inputs include the 
advertisement selected by the caller. Subsequently, device 
102 is connected to destination based on the inputs provided 
by the caller, at step 1512.At step 1514, it is determined if the 
visual IVR menu displayed on device 102 is correct. In case, 
the visual IVR menu is not correct, then the process continues 
to step 1518. Thereafter, the process steps as discussed above 
are followed. However, in case the visual IVR menu is cor­rect, 
then the connection between device 102 and destination 
is maintained, at step 1516. Moreover, further inputs from the 
caller are received, to continue the communication till the 
caller or destination disconnects the connection. 
[0203] The information stored in remote repository 1004 
may be gathered from various destinations. For example, 
various destinations may be called to detect audio IVR menus 
and accordingly generate the information for remote reposi­tory 
1004. With reference to FIG. 16 exemplary components 
of a device 1602 for implementing a database construction 
system 1606 are illustrated. Device 1602 can be a computing 
device such as, but not limited to, a server, a personal com­puter, 
a laptop, a mobile phone, a smart-phone, and so forth. 
Device 1602 can connect to network 1614 through a network 
interface 1612. Further, device 1602 can connect to a PSTN 
1618 through gateway 1616 and network 1614 through net­work 
interface 1612. Examples of network 1614 include, but 
are not limited to a LAN, WAN, the Internet and so forth. 
Although not shown, device 1602 can connect to various 
external devices such as hard disks, mouse, keyboard, 
speaker, microphone, displays, Universal Serial Bus (USB) 
devices and so forth. Further, device 1602 can connect to 
various destinations 1620a-n through PSTN 1618. Destina­tions 
1620a-n may provide audio IVR menu services. In an 
embodiment of the invention, device 1602 can connect to 
various devices that include Visuphone for providing updates 
to visual menu database 308. 
[0204] Device 1602 may include a memory 1604 that stores 
various programs, data and/or instructions that can be 
executed by a processor 1610. Examples of memory include, 
but are not limited to, a Random Access Memory (RAM), a 
Read Only Memory (ROM), a hard disk, a computer-readable 
medium and so forth. A person skilled in the art will appre­ciate 
that other types of computer-readable media which can 
store data that is accessible by a computer, such as magnetic 
cassettes, flash memory cards, digital video disks, and the 
like, may also be used by device 1602. Memory 1604 may 
include Database Construction System (DCS) 1606 for gath­ering 
audible IVR menu information, which could be called 
the IVR customization record, from the destinations and store 
it in a records database 1608. In an embodiment of the inven­tion 
DCS 1606 may be an application stored as software or 
firmware on device 1602. 
[0205] DCS 1606 may include various modules or instruc­tions 
that may be executed by processor 1610 for generating 
information in records database 1608, as explained in detail 
with reference to FIG. 17. As discussed above, DCS 1606 
may be implemented as software, or firmware on a device. 
DCS 1606 may be implemented as a standalone module or as 
several independent instances performing similar jobs with­out 
coupling to the IVR destinations. Further, the non-cou­pling 
may be managed by a centralize module that may allo- 
17 
Jan. 24, 2013 
cate different IVR destinations to each implementation 
instance of DCS 1606. In an embodiment of the invention, 
DCS 1606 and record database 1608 may be implemented on 
different devices. 
[0206] Records database 1608, may include multiple 
records. Further each record may include an IVR identity 
code, multiple internal destinations and an activation code for 
each said internal destination. The IVR identity code may be 
for example, the phone number of the destinations. The acti­vation 
code may be for example, a telephone key that should 
be dialed such as a dial tone associated with the phone num­ber. 
The internal destination is usually an extension to which 
the call will be forward once the caller makes a choice, 
according to the provided menu, and apply the activation code 
that is usually a dial tone transmitted to the IVR from the 
Visuphone once the caller dials or selects a proper number or 
option. Each internal destination may further include another 
internal destination or extension that may be referred to as a 
sub-internal destination. Moreover, each sub-internal desti­nation 
may be associated with a sub-record. 
[0207] Furthermore, the internal destinations may be asso­ciated 
with an icon code. As discussed above, the icons pro­vide 
a convenient display for the caller of a visual IVR menu. 
In some audible IVR menus the activation code may be a 
voice command that could be activated by the caller by voic­ing 
his selection, or the Visuphone may transmit a pre-re­corded 
voice command or a synthesized voice command 
when the caller makes a selection from the option menu of the 
visual IVR menu provided by the Visuphone. Further, records 
database 1608 may include a record of the metadata or key­words 
associated with the various options in the menus. The 
metadata and/or keywords may be used by the Visuphone to 
enable the caller to search for a desired menu by providing 
keywords. In an embodiment of the invention records data­base 
1608 is remote repository 1004. 
[0208] FIG. 17 A illustrates exemplary components ofDCS 
1606, in accordance with an embodiment of the invention. 
DCS 1606 may include a Database Construction Agent 
(DCA) 1720 for generating information in records database 
1608, as explained in detail with reference to FIG. 17B and 
FIG. 17C. Some destinations may provide downloadable 
records or information for the callers. Download module 
1710 of DCS 1606, downloads the information or records 
provided by the destinations. For example, download module 
1710 may download recorded voice phrases, audio data of the 
audible IVR menu, activation codes, complete audible IVR 
menu file in a variety of formats and so forth. In an embodi­ment 
of the invention, DCS 1606 may connect to various 
devices that include Visuphone. Therefore, DCS 1606 may 
receive information from Visuphone, such as personal 
records, customized records of the callers, and frequently 
used numbers, keys and so forth. In an embodiment of the 
invention, download module 1710 may obtain permissions 
before downloading the information. The permission may be 
obtained from the caller, the destination or both. For example, 
download module 1710 may display a notification on screen 
on the device to the caller or administrator to permit or reject 
a download. Moreover, download module 1710 may send an 
authorized communication such as, but not limited to, a pri­vate 
key to the destination to authorize and obtain permission 
for download. Personalization module 1708 may generate 
personalized records for the callers by associating the per­sonal 
information of the caller with the information, such as
US 2013/0022191 AI 
the telephone numbers stored in records database 1608. The 
records can then be forwarded to the caller's device by down­load 
module 1710. 
[0209] Personalization module 1708 may be implemented 
as instructions executable by a processor. For example, the 
processor can be processor 1610 or a second processor dedi­cated 
for personalization module 1708. Moreover, the second 
processor may be CPU 304, CPU 504 or implemented in 
another device in communication with DCS 1606. 
[0210] DCA 1720 may include a Target List Module 
(TLM) 1722 that assigns the IVR destination or a target list to 
each instance of DCA 1720 for connecting and gathering 
information. The target list may include the IVR identity 
code, which can be as phone number or any type of informa­tion 
on how to connect to the IVR directly or indirectly. 
Further, the target list may include additional details such as 
internal destination. In an embodiment of the invention, the 
additional information of the internal destination may be 
implemented as one or more activation codes associate with 
the IVR identity code. DCA 1720 may include an IVR Track­ing 
Module (ITM) 1724 that tracks IVR content from a root 
location associated with the Target information assigned by 
TLM 1722. ITM 1724 constructs the full IVR content from a 
given IVR root. 
[0211] ITM 1724 may include IVR Logic Module (ILM) 
1726. ILM 1726 may detect the type of IVR of the destina­tion. 
Typically, various types of audible IVR menus are 
implemented by destinations. The audible IVR menus may be 
categorized into various types, such as a simple IVR, IVR 
with audio response, IVR with additional data authentication 
and so forth. ILM 1726 detects the type of audible IVR menu, 
and accordingly the information is generated for records data­base 
1608. Various categories of the audible IVR menu are 
explained in detail in conjunction with FIG. 19. ITM 1724 
may call the destinations to determine the category the 
audible IVR menu. Thereafter, ILM 1726 constructs the data­base 
based on the category of the IVR. In an embodiment of 
the invention, ITM 1724 may call the destinations multiple 
times to determine the category of the invention. Various 
audible IVR menus may include a legal notice. For example, 
the audible IVR menu of a mortgage bank usually include an 
header stating that this is debt collector and anything stated 
during the call could be used for future collections. Other 
statements can be such as those that relate to the option to 
record the call and so forth. ILM 1726 may detect the legal 
statements and store them in records database 1608 in asso­ciation 
with IVR identity code. 
[0212] ILM 1726 as part of its internal algorithm will drive 
the interaction sessions with the IVR. ILM 1726 may include 
data structure optimized with the tracked IVR menus to 
decide a right path or a next choice at any existing stage of the 
IVR tracking. The decisions made by ILM 1726 may be 
optimized as a mathematically directed graph tracking pro­cess. 
The tracking process may use an option from the audible 
IVR menu that corresponds to a "return to a previous menu" 
option of the audible IVR menu. As a result, the number of 
sessions required for tracking the audible IVR menu is 
reduced. 
[0213] The process of IVR tracking may require multiple 
communications with the audible IVR menu to completely 
determine the content. Further, during the tracking process 
the content of the audible IVR menu may be discovered 
partially. Therefore, ITM 1724 may include a Tree storage 
Module (TSM) 1728 to manage a temporary database record. 
18 
Jan. 24, 2013 
Thereafter, when the process or a phase is complete, TSM 
1728 may use Repository Connection Module (RCM) 1738 
to submit the content as a batch of records to records database 
1608. In case, a connection to records database 1608 is not 
available, then TSM 1728 may accumulate the information 
until a connection can be established. 
[0214] Dialog Module 1730 ofiTM 1724 interacts with the 
audible IVR menu. Further, dialog module 1730 manages the 
IVR requests and sends responses according to the decisions 
ofiLM 1726. Further, dialog module 1730 may use a Speech 
recognition Module (SRM) 1732 to interpret the audio of the 
IVR request to generate multiple records for records database 
1608. In an embodiment of the invention, the audio is inter­preted 
to generate text information. Moreover, SRM 1732 can 
provide a score to the text generated for each audio, according 
to the amount of guessing that is required for translating the 
IVR audio request. SRM 1732 may use a single grammar or 
a combination of dedicated grammars, for example, but lim­ited 
to, a specific IVR service topic, IVR service sub topic, 
IVR stage, IVR location, the specific IVR, the hour of the day, 
and so forth. Furthermore, SRM 1732 may use multiple pre­set 
terms stored in the memory. Examples, of preset terms 
include, but not limited to, "yes", "no", name of the caller, and 
so forth. The text generated by SRM 1732 from speech rec­ognition 
may be parsed by dialog module 1730 to enable ILM 
1726 to select a next path or option. 
[0215] Dialog module 1730 may be required to respond to 
the IVR requests during a tracking session. Dialog module 
1730 may use a Response module 1734 to generate the 
required response. Various audible IVRmenus require a voice 
response from the caller. For example, the voice response 
may be required for the authentication of the caller. Response 
module 1734 may provide a recorded voice response to the 
audible IVR menu. For example, the voice response may be 
recorded voice phrase or preset of terms such as, but not 
limited to, "yes", "no", name of the caller, and so forth. 
Further, the voice response may be a synthesized voice 
response, generated by response module 1734. Therefore, 
response module 1734 may include a voice synthesizer. In 
this case, the activation code may be the recorded voice 
phrase and/or the synthesized voice phrase. Moreover, 
response module 1734 may include a voice decoder to rec­ognize 
the voice. For example, the voice prompts generated 
by an audible IVR menu. In some other cases, the IVR menus 
may require a simple key tone (DTMF). The response module 
1734 may include recorded tones or an internal module to 
generate the require tones. 
[0216] Various destinations may provide a different audible 
IVR menu in the working hours and a different menu after 
working hours or during the holidays. DCA 1720 may detect 
the various times or time periods for which the audible IVR 
menus are presented in different mode. SRM 1732 may 
decode the voice from the audible IVR menu to recognize the 
IVR message. Further, ILM 1726 may analyze the response 
message for the periods and different operating mode. There­fore, 
ILM 1726 may call the destinations based on the recog­nized 
periods to generate records database 1608. Further, 
records database 1608 may include the time information for 
which a particular audible IVR menu is active. Accordingly, 
ITM 1724 may call the destinations multiple times based on 
the time information. 
[0217] Various audible IVR menus include multi-level 
menus, as discussed with reference to FIG. 2A. Therefore, 
each level of menu may include sub-menus, which may fur-
US 2013/0022191 AI 
ther include sub-menus, and so forth. Accordingly, records 
database 1608 may include multiple sub-records, and each of 
the sub-records may have activation codes associated with 
them. Furthermore, records in records database 1608 may 
include a code to indicate a business domain of the destina­tions, 
such as airlines, banks and so forth. In an embodiment 
of the invention, TLM 1722 may use a web-based list such as 
yellow pages to call the destinations. Generally, the phone 
numbers of the destinations in the yellow pages are organized 
based on the business domains of the destinations. Accord­ingly 
the business domain code could be added to record 
database 1608. As graphics and icons are very effective in 
enhancing caller interface, ITM 1724 may associate various 
phrases with specific icons. For example, ITM 1724 may 
include a dictionary of various terms or phrases that are 
frequently used in IVR menus, such as "customer care", 
"main menu", and so forth. The terms may be decoded by 
Dialog module 1730 and icons may be associated with them. 
Accordingly, records database 1608 may include a code for 
icons associated with the IVR menus of the destinations. 
[0218] ITM 1724 may include components to connect to 
the audible IVR menu. As shown with reference to FIG. 17B, 
ITM 1724 may include a VOIP connection module 1736 to 
interact with a VOIP application 1740. VOIP application 
1740 may be implemented within or outside DCA 1720. In 
such a case, VOIP connection module 1736 may use VOIP 
application 1740 to interact with the audible IVR menus. 
[0219] Further, as shown with reference to FIG. 17C, ITM 
may include an IVR Connection module 1737, to interact 
directly with the audible IVR menu. IVR connection module 
1737 may connect to multiple audible IVR menus through a 
network, a PSTN or any other communication or protocol. 
Moreover, IVR Connection module 1737 may act as a gate­way 
between DCA 1720 and the destination of audible IVR 
menu. 
[0220] FIG. 18 illustrates a flowchart diagram for generat­ing 
records database 1608 by using DCS 1606, in accordance 
with an embodiment of the invention. The audible IVR menus 
of destinations may be analyzed to generate records database 
1608 for corresponding visual IVR menus. At step 1802, a 
phone number may be dialed to connect to an audible IVR 
menu of destination. The phone numbers and destinations 
may be selected automatically from a database of phone 
numbers. For example, yellow pages for a selected territory, 
category, business or other suitable classifications. As dis­cussed 
with reference to FIG. 2A, the audible IVR menu may 
include various options for a caller to select. Typically, the 
options are structured and presented in form of levels to the 
caller. For example, with reference to FIG. 2A, options 204a, 
206a, and 220a may form a first level of the audible IVR 
menu 222a. Further, options 208a and 210a may be referred 
to as sub-menus to option 204a. Similarly, each sub-menu 
may further comprise sub-menus, such as options 214a and 
216a. Therefore, DCS 1606 is presented with audible instruc­tions 
at first level. Thereafter, based on the selection by DCS 
1606, corresponding audible instructions of sub-menus may 
be provided. The first level of the audible IVR menu is ana­lyzed 
at step 1804. The audible IVR menu may be analyzed 
by voice recognition. 
[0221] In an embodiment of the invention, the voice recog­nition 
for constructing records database 1608 is based on 
context-enhanced voice recognition. As the process of calling 
the destination is initiated by selecting a number from a list 
such as yellow pages, the voice recognition system would be 
19 
Jan. 24, 2013 
provided file of potential menu terms, which could be farther 
narrowed base on knowledge of the business domain and the 
potential options such destinations may offer. Therefore, the 
process of voice recognition is greatly enhanced, when the 
recognition is done with respect to a relatively small number 
of choices. SRM 1732 in DCA 1720 may be pre-loaded with 
a small set of terms most likely used by the destination and, 
therefore, may be required to make the recognition out of the 
relatively small set of terms. 
[0222] Further, the voice may be converted to a text format. 
In an embodiment of the invention, a voice-to-text application 
may be used to convert the audible instructions to text format. 
Subsequently, the information generated from the analysis of 
the first level is stored in records database 1608, at step 1806. 
The information may include the details about the sub-menu 
and the numbers to be dialed to access the sub-menu. For 
example, with reference to FIG. 2A, the information for 
option 204A may include, instruction part 'pizza order' and 
number part '2' in the database. At step 1808, it is determined 
whether there are any sub-menus in the audible IVR menu. 
The sub-menus may be detected based on the information 
analyzed from the audible IVR menu. In an embodiment of 
the invention, sub-menus are detected based on the informa­tion 
stored in the database. 
[0223] In case the audible IVR menu contains sub-menus, 
then the sub-menus are analyzed, at step 1810. The sub­menus 
may be analyzed in a similar manner as the first level 
of audible IVR menu as discussed above. Subsequently, at 
step 1812, the information corresponding to the sub-menus is 
stored in records database 1608.At step 1814, it is determined 
whether there are any further sub-menus in the sub-menus of 
the audible IVR menu. DCS 1606 may make select an option 
for every menu to connect accordingly and determine if a final 
destination is reached or there is another layer of menu 
options to be processed. Once the final destination it reached, 
DCS 1606 may "hang-up" the connection and register the 
results. Further, DCS 1606 may dial again to iteratively dis­cover 
the full menu of the IVR. In case, there are further 
sub-menus then each sub-menu is analyzed as discussed 
above. The process is iterated till the complete audible IVR 
menu with the sub-menus is analyzed. Further, the destina­tions 
may be dialed multiple times to ensure that complete 
audible IVR menu and sub-menus are analyzed. 
[0224] Moreover, records database 1608 may be automati­cally 
checked and verified after complete analysis of the 
audible IVR menu. For example, all or various options or 
sub-menus in the audible IVR menu may be selected ran­domly 
or based on a pre-defined pattern to verifY the infor­mation 
in records database 1608. In an embodiment of the 
invention, DCS 1606 may be use quality marks for every term 
recognized during the process. For example, low marks may 
indicate relatively higher probability that the recognition was 
wrong. Further, follow-up steps may provide higher priority 
to check and validate the terms that received low marks. Such 
check may be performed by an additional automatic system 
or by human operators. In an embodiment of the invention, 
the destinations may be connected automatically through 
various probe servers to analyze the audible IVR menus. The 
probe may be implemented as a script, a computer program, 
or firmware, on remote server 1002, as shown with reference 
to FIG. 10. Further, the audible IVR menus may be analyzed 
by human operators, in case of malfnnction or other issues 
with the automatic functioning.
US 2013/0022191 AI 
[0225] In an embodiment of the invention, records database 
1608 may be updated automatically based on a pre-defined 
update time interval. The update may be required to validate 
the correctness of information in the database. Moreover, 
records database 1608 may be updated based on ratings from 
callers ofVisuphone. For example, the caller may identify 
that a visual IVR menu incorrect or incomplete, and may 
subsequently provide a rating to the visual IVR menu. Fur­ther, 
an administrator or caller of records database 1608 may 
update it manually. 
[0226] Various audible IVR menus require audio com­mands 
from the caller instead of selecting options. DCS 1606 
analyzes such IVRs to generate records database 1608. In an 
embodiment of the invention, a two-phase process may be 
applied to generate records database 1608. In the first phase a 
standard menu is generated for the IVR that may relate to a 
particular class of the destinations. A class can be a business 
class, for example, banks, airlines, hospitals and so forth. The 
first phase could be extended to cover as many domains as 
possible so that standard menus exist for most business 
classes of destinations. In the second phase, the IVR that 
requires a natural language voice command may be interro­gated 
by repetitively applying the standard menus according 
to the class. Therefore, the relevance of the standard menu for 
the specific IVR is confirmed. In the process, a stored voice or 
synthesized voice could be use for each menu option. There­after, 
the menu may be stored in records database 1608 based 
on the confirmation. Some IVR menus may require any or 
both of natural language commands and dial tones. In such a 
case, both options could be made available in the records 
database 1608, and eventually in the visual IVR menu data­base 
for the caller at the time of use. As discussed with 
reference to FIG. 17, DCS 1606 may determine the type of 
audible IVR menu for generating records database 1608. 
[0227] FIG. 19 illustrates an exemplary set of IVR catego­ries 
1902. As shown a category A 1904 refers to typical 
audible IVR menus that present IVR options to the caller that 
can be selected from simple dial tone selections. In this case, 
DCS 1606 may provide various dial tones to the IVR for 
analyzing it, and generating records for records database 
1608. A category B 1906 refers to an audible IVR menu that 
requires the caller to answer some initial questions, before 
presenting simple dial tone options for further menu. For 
example, the caller may be required to select a language 
preference, before presenting the menu. A category C 1908 
may require the caller to provide some personal information 
before presenting the menu. For example, the caller may be 
required to input an account number, a phone number, a 
customer number and so forth. A category C 1910 refers to an 
IVR menu that may require voice inputs or natural language 
selection from the caller. In this case, DCS 1606 generates an 
activation code that points to a recorded voice phrase or a 
code that can instruct to synthesize the proper voice phrase 
required. 
[0228] Additional variations of the categories include an 
IVR menu that provides a legal notice. For example, the 
audible IVR menu of a mortgage bank usually include an 
header stating that this is debt collector and anything stated 
during the call could be used for future collections. Other 
statements can be such as those that relate to the option to 
record the call and so forth. The statement may be registered 
and added to records database 1608, so that the legal state­ment 
can be presented with the visual IVR menu. Further, 
20 
Jan. 24, 2013 
additional statements may be added at the end of the state­ments 
regarding the last time when the IVR was verified. 
[0229] FIG. 20A illustrates an exemplary information pro­cess 
for an IVR menu stored in records database 1608. Some­times, 
an audible IVR may request the caller for some specific 
or personal information that is other than selection of IVR 
options. ILM 1726 may mark such requests and process them 
separately. ILM 1726 can identify such requests based on a 
combination of the identity code and an ordered list of acti­vation 
codes. As shown, the records database content 2002 
may include exemplary request 2004a "Please enter the 
invoice number", request 2006a "Please enter the payment 
amount", request 2008a "Please choose your payment card: 
Press 1 for VISA and 2 for MasterCard", request 2010a 
"Please say or enter credit card number", and request 2012a 
"Please enter your Credit Card expiry date". 
[0230] Corresponding to these requests a display may be 
generated on the caller's device, an exemplary illustration is 
as shown with reference to FIG. 20B. As shown, a web form 
2014 is generated corresponding to the requests. Web form 
2014 may be presented on a web browser of the caller's 
device. In another embodiment of the invention, the display is 
presented as an independent form on the display of the device. 
Therefore, the device may not require a web browser appli­cation. 
Web form 2014 may include single or multiple_pages. 
Further, in case the information is displayed directly on the 
device, then various screens, layers or scroll may be used to 
display the information. Web form 2014 may include an input 
box 2004b corresponding to request 2004a, input box 2006b 
corresponding to request 2006a, input box 2008b corre­sponding 
to request 2008a, input box 201 Ob corresponding to 
request 2010a, input box 2012b corresponding to request 
2012a, and a submit button 2016. The Visuphone on the 
caller's device may automatically complete some or even all 
the require details based on stored profile or previous inputs 
of the caller. Therefore, the caller may only (if at all) be 
required to complete the missing information manually. Sub­sequently, 
the Visuphone may connect to the IVR after the 
caller clicks on the submit button 2016. Further, the Visu­phone 
may navigate to the process root within the IVR menu, 
revalidate the process input requests, and transmit the caller 
data to the IVR without any action from the caller. Moreover, 
the Visuphone may hide the IVR validation question such as 
questions like "are you sure", "did you mean XYZ?" and so 
forth. After the submission, a response such as, but not limited 
to, a receipt number, specific flight landing time, and so forth 
may be presented to the caller. The response from the IVR can 
be in various forms, for example, but not limited to, a recorded 
audible response or a transcript of the audible response. 
[0231] In another embodiment of the invention, electronic 
yellow pages directory allows the dialing the number directly 
from the directory and further provides the visual IVR menu 
of the destination. In an embodiment, one or more destina­tions 
along with their associated properties may be displayed 
at the device prior to displaying visual IVR menu. In an 
embodiment, the one or more destinations are displayed 
based on the position of the dialed destination number and 
position of the one or more destinations. The caller can select 
the exact destination before dialing or follow the visual IVR 
menu after dialing. For example, an airline company might 
have various option, menus and layers in the large organiza­tion. 
Selecting the exact department in the organization 
before dialing can save the caller the time and overhead of 
listening to the menu and making decisions based on the voice
US 2013/0022191 AI 
menu. The yellow pages company can have a copy of the 
visual IVRmenu database or can be connected to a visual IVR 
menu service in order to provide the menu to the caller. 
[0232] In an embodiment, multiple options of destinations 
related to the dialed destination business category may be 
displayed by Visuphone 104 prior to displaying a visual IVR 
menu as described in detail in FIG. 21. For example, when 
caller 106 dials a phone number of pizzeria then Visuphone 
104 may first display all the pizzerias available in nearby area. 
Caller 106 may select one pizzeria from the list of pizzerias. 
Thereafter, Visuphone 104 may display a visual IVR menu 
associated with the selected pizzeria (or destination). Further, 
Visuphone 104 may display geographical information and 
properties corresponding to destination phone number dialed. 
In an embodiment, the geographical information may be dis­played 
before a connection is established between device 102 
and the dialed destination such as destination 108b. More­over, 
the visual IVR menu is displayed after caller 106 selects 
one or more destinations based on the information. In an 
embodiment of the invention, Visuphone 104 displays infor­mation 
for destinations 1 OS a-n based on a business category. 
For example, if the phone number dialed by caller 106 corre­sponds 
to a teleshopping network, then the information dis­played 
may relate to the specific teleshopping network dialed 
and/or to other teleshopping networks. In another embodi­ment 
of the invention, Visuphone 104 displays the informa­tion 
based on a relative geographical distance of caller 106 
from that of dialed destination. The distance may be within a 
predefined range. For example, the pre-defined range can be 
0 to 5 km, 0 to 500 m, a caller defined value, and so forth. 
[0233] FIG. 21 illustrates an exemplary display of repre­sentations 
2102a-n of destinations l08a-n on device 102, in 
accordance with an embodiment of the invention. In an 
embodiment, representations 2102a-n may be displayed or 
presented to caller 106 prior to displaying visual IVR menu of 
a selected destination. Further, representations 2102a-n may 
be displayed based on the distance or position of the destina­tions 
from the dialed destinations. In an embodiment, repre­sentations 
2102a-n may include information about various 
destinations which have same business category as of the 
dialed destination. For example, if caller 106 dials for a Chi­nese 
restaurant than Visuphone 104 will display representa­tions 
of all restaurants serving Chinese food located within 
the predefined range of distance relative to caller 106. 
[0234] Further, representations 2102a-n may include prop­erties 
associated with destinations l08a-n. Examples of the 
properties include, but are not limited to a location code, a 
branch code, rating, reviews, an address, phone numbers, 
distance from caller 106, and so forth. In an embodiment of 
the invention, a caller representation as user 2104 correspond­ing 
to caller 106 may be displayed on device 102. Examples 
of the representation 2102 include, but are not limited to, 
graphical or text representations such as a table of rows and 
colunms, icons, area map, and so forth. Representations 
2l02a-n may also include the distance of destinations l08a-n 
with respect to the location of caller 106. 
[0235] Caller 106 may select a destination from the repre­sentations 
2102a-n based on one or more displayed proper­ties. 
Subsequently, the visual IVR menu of the selected des­tination 
may be presented to caller 106. For example, if caller 
106 selects destination lOSe, then a visual IVR menu corre­sponding 
to destination 1 08c is displayed at device 102. In an 
embodiment, the display may include representation of a 
subset of destinations l08a-n based on one or more criteria. 
21 
Jan. 24, 2013 
The one or more criteria include displaying destination based 
on business category of dialed destination phone number. In 
an embodiment, the one or more criteria may also include 
displaying destinations based on location of device 102 or 
caller 106. 
[0236] In an embodiment of the invention, device 102 may 
be an in-car navigation system such as a Global Positioning 
System (GPS). Therefore, when caller 106 dials a phone 
number of a destination, Visuphone 104 may provide a rep­resentation 
of one or more destinations on a map on device 
102 screen. Further, the properties like location, reviews, 
ratings etc. associated with the destination may be displayed 
on the map. Caller 106 may interact with the displayed maps 
and can select a destination from the map based on the one or 
more properties. Further, caller 106 can select a destination 
by clicking or scrolling on the map. In an embodiment of the 
invention, a route map from caller 106 to the selected desti­nation 
may be displayed on device 102 screen. 
[0237] In an embodiment of the invention, device 102 can 
request for updates from a server through a communication 
network. The server may maintain the updated information of 
destinations and their associated properties. The commnnica­tion 
network can include more than one device 102. Examples 
of the communication network include, but are not limited to, 
the Network, PSTN, Local Area Network (LAN), Wide Area 
Network (WAN), and so forth. 
[0238] Alternatively an enhanced web base yellow page 
could be provided, wherein the caller can first choose the 
provider he/she requires to contact. Thereafter, if that desti­nation 
provides an IVR, then the enhanced yellow page will 
use the visual IVR menu database to present a visual IVR 
menu on the web page. Moreover, the caller can click to 
choose the internal destination of that provider and the 
enhanced yellow page may accordingly initiate the call. The 
call could be made using the conventional telephone network 
or PSTN. In this case, the enhanced yellow page may need the 
caller's telephone number to perform the connection. Alter­natively, 
the enhanced yellow page could use VOIP to connect 
the caller over the web to the IVR of the destination. 
[0239] In some IVR systems, the caller may have to wait or 
hold on a queue of previous dialers until the specific depart­ment 
or agent is available. In another embodiment of the 
invention, the enhanced yellow page system will connect the 
caller only after the specific agent is available, without wait­ing 
in a long waiting line queue. The system can recognize 
that the waiting queue message of the specific department, 
and to connect the caller only after the agent is answering. 
Therefore, the waiting time of the caller on the phone queue 
that sometimes may be very long, may be reduced. The sys­tem 
can park on the line for the waiting line on the specific 
entry in the menu; as soon as the agent is available the caller 
gets a signal to start the conversation with the agent. 
[0240] FIG. 22 illustrates an exemplary visual IVR menu 
2202 of the selected destination with added graphics for the 
nodes on device 102. Visual IVR menu 2202 includes one or 
more options corresponding to every node in the destination. 
It is well known that graphics are easier to learn and are faster 
to recognize than words. Therefore, graphics can be used in 
various computerized device interfaces. Various types of 
graphics can be displayed for example, animated icons, icons 
that highlight or animate when the node is highlighted, and so 
forth. The graphics may be displayed for each node or a few 
nodes based on the usability of visual IVR menu 2202. For 
example, for node 2210 an icon of a vegetable may be dis-
US 2013/0022191 AI 
played to designate a vegetarian pizza, and for node 2216 of 
home delivery, an icon of house may be displayed. In an 
embodiment of the invention, visual IVR menu 2202 can be 
customized to display only the text, only the icons, or both. 
Furthermore, caller 106 can suggest or use various icons 
based on his preferences. The visual IVR menu is specific to 
a destination. Further, each of destinations 108a-n may have 
more than one audio IVR menus. So different visual IVR 
menu corresponding to one or more audio IVR menus is 
possible. 
[0241] FIGS. 23A, 23B, and 23C illustrate a flowchart dia­gram 
for providing representation of destinations based on 
position, in accordance with an embodiment of the invention. 
Caller 106 may dial, select or receive one or more destination 
phone numbers to connect to a destination from device 102. 
Destinations 108a-n may include an audible IVR menu for 
interaction with a caller. Further, device 102 may include 
Visuphone 104 to display one or more representations corre­sponding 
to multiple destinations on screen or display of 
device 102. Further, the one or more representations may 
include properties associated with the multiple destinations. 
Visuphone 104 also presents visual IVR menu corresponding 
to the phone number of the selected destination. Therefore, a 
caller can directly interact with a visual IVR menu 2202 of 
selected destination through visual IVR menu 2202 without 
listening to the audible IVR menu. 
[0242] At step 2302, Visuphone 104 identifies a phone 
number of a destination dialed by caller 106 of device 102. In 
an embodiment of the invention, the number is clicked 
according to the display of device 102. The number is iden­tified 
by CPU 304. In an embodiment of the invention, Visu­phone 
104 displays at least one property associated with one 
or more destinations 108a-n based on the identified dialed 
phone number of the destination. Further, at step 2304, a 
location code associated with current location of device 102 is 
determined. The location code determines the present loca­tion 
of device 102. When caller 106 is in his/her home country 
or state, the location code of the device and location code of 
the dialed destination phone number is same. In an embodi­ment, 
when a person is on roaming the location code of caller 
106 is different than the location code of the dialed destina­tion 
phone number. This happens, in case when caller 106 is 
travelling and device 102 is on roaming. Central processing 
Unit (CPU) 304 of device 102 determines the location code of 
device 102. 
[0243] At step 2306, CPU 404 determines a business cat­egory 
associated with the dialed destination phone number. 
Destinations 108a-n can be categorized into various groups 
based on their associated business category. Various destina­tions 
are grouped into a business category based on the ser­vices 
and operations of the destinations. At step 2308, CPU 
304 searches visual menu database 308, for phone numbers of 
the destinations matching the business category of the dialed 
destination phone number. Further, at step 2310, CPU 304 
checks whether the destination phone numbers matching the 
business category are available in visual menu database 308. 
In case the one or more destination phone numbers are avail­able, 
then the process continues to step 2312, else the process 
control goes to step 2328. 
[0244] At step 2312, CPU 304 searches for at least one 
phone number from the one or more destination phone num­bers 
based on the location code. The location code is associ­ated 
with device 102. The location code determines the 
present location of device 102. In an embodiment, CPU 304 
22 
Jan. 24, 2013 
searches for at least one phone number from the one or more 
destination phone numbers based on the location code of 
device 102b and a location code of the dialed destination 
phone number. At step 2314, CPU 304 checks whether the at 
least one destination phone number matching the location 
code of the device is available in the visual menu database 
308. In case the at least one destination phone number, then 
step 2326 is executed. At step 2326, a visual IVR menu of the 
dialed destination phone number is displayed on display 302, 
as shown with reference to FIG. 23C. 
[0245] At step 2314, when the at least one destination 
phone number matching the location code of device 102 is not 
available in the visual menu database 308, the process con­tinues 
to step 2316. At step 2316, the at least one destination 
phone number with its associated properties are displayed. 
CPU 304 displays the at least one destination phone number 
and associated properties on display 302 of device 102. Fur­ther, 
at step 2318, caller 106 selects a destination phone 
number from the displayed representations of destinations. At 
step 2320, a visual IVR menu of the selected destination is 
displayed on display 302 of device 102. CPU 304 displays the 
visual IVR menu on display 302. 
[0246] As discussed with reference to FIG. 22, visual IVR 
menu 2202 includes one or more options. At step 2322, caller 
106 selects an option from visual IVR menu 2202. Thereafter, 
at step 2324, device 102 connects to the selected optionofthe 
visual IVR menu 2202. Thereafter, caller 106 can interact 
according to his/her preference with the destination through 
the visual IVR menu 2202. At step 2310, when the one or 
more destination phone numbers matching the business cat­egory 
of the dial phone number, are not available in the visual 
menu database 308, the process continues to step 2328, 
device 102 requests for updates from a server of communi­cation 
network. The updates include information associated 
with destinations 108a-n. The destination information 
includes destination phone number, and their associated 
properties. Further, at step 2330, the updates are received 
from the server by device 102. Then, at step 2332, the 
received updates are stored in the visual menu database 308 
on device 102. Thereafter, the process continues to step 2308. 
[0247] In another embodiment of the invention, electronic 
yellow pages directory allows the dialing the number directly 
from the directory and further provides representation of one 
or more destinations and the visual IVR menu of the destina­tion. 
Therefore, the caller can first select a destination from 
the representation based on one or more properties such as 
reviews of that particular destination. The caller can select the 
exact destination before dialing or follow the visual IVR 
menu after dialing. For example, an airline company might 
have various option, menus and layers in the large organiza­tion. 
Selecting the exact department in the organization 
before dialing can save the caller the time and overhead of 
listening to the menu and making decisions based on the voice 
menu. The yellow pages company can have a copy of the 
visual menu database 308 or can be connected to a visual IVR 
menu service in order to provide the menu to the caller. 
[0248] In an embodiment of the invention, Visuphone 104 
may be configured to display one or more advertisements on 
device 102. As discussed with reference to FIG. 4 and FIG. 6 
advertisement 408 may correspond to the type of services 
provided by the destinations dialed by a caller. For example, 
if destination dialed is a builder, then advertisement 408 may 
include promotions or offers about new plots or houses. 
Moreover, advertisement 408 may include promotions or
US 2013/0022191 AI 
offers from a third party or a competitor of the destination. 
Further, Visuphone 104 may be coupled to an advertising 
database. The advertising database may include advertise­ments 
related to the phone numbers of the destinations. The 
advertising database may be stored at device 102, the desti­nations, 
service providers or other third party servers. Further, 
the advertisements may be provided based on a profile of the 
caller. For example, assuming that the caller calls a bank 
holding his saving account. Therefore, the advertisement dis­played 
to the caller may be based on the location, address, 
account balance, type and volume of transactions, loans, pur­chases, 
and so forth. 
[0249] Visuphone 104 may be configured to connect to an 
intended destination, when the caller selects advertisement 
408. Further, Visuphone 104 displays visual IVR menu of the 
intended destination. In an embodiment, Visuphone 104 can 
store the interactions of the caller with visual IVR menus. For 
example, Visuphone 104 may automatically learn the num­bers 
dialed or options selected from the menu. Moreover, the 
learned numbers or choices are associated with the dialed 
phone number of the destination. Therefore, the caller is 
assisted in his future calls. For example, when caller calls the 
destination again, then the actions that were performed in the 
last interaction are presented prominently to caller; or a pre­vious 
sequence may be automatically performed. Further, the 
actions that are frequently performed are presented promi­nently 
to caller. For example, if caller dials a bank frequently 
to enquire about his account balance, then the options for 
selecting his account balance may be highlighted. 
[0250] As discussed with reference to FIG. 9, the advertise­ments 
are managed by advertisement module 912 ofVisu­phone 
104. The advertisement may be selected based on the 
type of destinations or a business domain of the destination. 
For example, when a dialed destination is a bank, then the 
dialed number is identified and an advertisement related to 
banking may be displayed. Moreover, the advertisement can 
be related a third-party dealing in the same business or pro­fessional 
area or a competitor of the dialed destination. The 
displayed advertisement may be a text, audio, image or video. 
Moreover, the advertisement may include hyperlinks. For 
example, the hyperlinks may link to web pages of the called 
destination. In one embodiment, advertisement module 912 
may display the advertisements based on the connection 
bandwidth available at device 102. In another embodiment, 
advertisement module 912 may display the advertisements 
based on the pre-set preferences by caller 106. In one embodi­ment, 
advertisement module 912 may be configured to 
receive the advertisements directly from the dialed destina­tion. 
[0251] In another embodiment, advertisement module 912 
may be configured to receive the advertisements from a 
remote server on a communication network. The remote 
server is explained in detail in conjunction with FIG. 10. A 
selection of options or click by caller 106 on advertisements 
may be detected by detection module 902 to display a visual 
IVR menu of the destination for which the advertisement was 
displayed. Furthermore, the advertisements may be associ­ated 
with the personal data of caller 106. For example, the 
advertisement may be displayed based on the calling pattern 
of caller 106. 
[0252] FIG. 24 illustrates a flowchart for presenting adver­tisements 
along with the visual IVR menu on the device, in 
accordance with an embodiment of the invention. In an 
embodiment of the invention, Visuphone 104 may display 
23 
Jan. 24, 2013 
advertisements along with the visual IVR menus on device 
102. Device 102 can be a communication device or a device 
capable of data and/or voice communication. The advertise­ments 
may be stored in a database. In an embodiment, visual 
menu database 308 of device 102 may store the advertise­ments. 
In an embodiment of the invention, the advertisements 
may be stored on a remote database that can be connected to 
device 102. 
[0253] At step 2402, a number dialed by a caller such as 
caller 106 for a destination is identified by Visuphone 104. 
The destination may be associated with an IVR, for which a 
visual IVR menu is displayed on device 102. Moreover, the 
telephone numbers or the destinations or the IVR systems 
may be categorized based on a business domain. At step 2404, 
advertisement associated with the dialed phone number is 
searched in the database. In an embodiment of the invention, 
the advertisements are searched based on the business domain 
of the dialed number. For example, when a dialed destination 
is a bank, then the dialed number is identified and an adver­tisement 
related to banking such as investment schemes may 
be displayed. Moreover, the advertisement can be related to a 
third-party dealing in the same business or professional area 
or a competitor of the dialed destination. 
[0254] Thereafter, at step 2406 the advertisement searched 
is displayed on device 102. In an embodiment of the inven­tion, 
multiple advertisements can be displayed on device 102. 
The displayed advertisement may include text, graphics, 
audio, image, video or hyperlinks. For example, the hyper­links 
may link to web pages of the called destination. In one 
embodiment, advertisement module 912 may display the 
advertisements based on the connection bandwidth available 
at device 102. Further, the advertisements may be displayed 
based on the pre-set preferences by caller 106. In one embodi­ment, 
the advertisements may be downloaded from dialed 
destination or remote database on a server in the network. 
[0255] Further, caller 106 may interact with the displayed 
advertisements. For example, caller 106 may click the adver­tisement, 
or select an option from the advertisement. The 
options may be telephone numbers, destinations or an internal 
department of the destination. At step 2408, it is determined 
whether caller 106 has selected the advertisement. Subse­quently, 
in case caller 106 has not selected the advertisement 
then the existing advertisement is displayed as discussed at 
step 2406. In an embodiment of the invention, the advertise­ment 
is displayed for a pre-set time duration. Otherwise, in 
case the advertisement is selected by caller 106 than the 
process continues to step 2404, where the telephone number 
of the destination associated with the advertisement is used to 
search for advertisement. 
[0256] In an embodiment of the invention, Visuphone 104 
may be configured to submit personal information of a caller 
prior to establishing a connection with a dialed destination. In 
an exemplary scenario, the personal information may be used 
for authenticating the caller at a service login (such as for a 
web site or for a bank). 
[0257] FIG. 25A illustrates an exemplary information pro­cess 
for an IVR menu stored in records database 1608, in 
accordance with an embodiment of the invention. Sometimes, 
an audible IVR or visual IVR menu may request the caller for 
some specific or personal information that is other than selec­tion 
ofiVR options. In an embodiment, the specific informa­tion 
may be requested in form of one or more fields, in which 
the caller can enter the information. For example, for a bank 
IVR system, when a caller selects an option from the dis-
US 2013/0022191 AI 
played visual IVR menu of the bank, the caller may be pre­sented 
with a form asking for one or more fields such as 
callemame, password, and so forth. In an embodiment, IVR 
logic module (ILM) 1726 as shown in FIG.17 may mark such 
requests and process them separately. Further, ILM 1726 can 
identify such requests based on a combination of the identity 
code and an ordered list of activation codes. 
[0258] In another embodiment, caller 106 may be required 
to provide the specific or personal information as audio or 
voice inputs. Some organizations such as banks may require 
caller 106 to present one or more information in form of voice 
input for the purpose of authentication. For example, caller 
106 may be required to voice out his name or an answer to a 
security question specified by caller 106 to the bank. Further­more, 
the voice input may be required to accept or decline a 
transaction. Further, caller 106 may record and store the voice 
responses for such authentications or questions alternatively 
the system can use synthesis voice. As discussed with refer­ence 
to FIG. 16 the audio prompts or voice inputs may be 
stored in the records database 1608 as content 2502. For 
example, the audio prompts may be converted to text and 
stored as content 2502. As shown, content 2502 of records 
database 1608 may include an exemplary request 2504a 
"Please enter the login identity (ID)", a request 2506a "Please 
enter the password". 
[0259] As also discussed above, Visuphone 104 maintains a 
profile of the caller. Moreover, the caller can edit, remove, 
and/or update the profiles. For example, the profile may 
include information such as name, address, account type and 
codes, passwords, and so forth. Therefore, Visuphone 104 
may match the content 2502 with the profile of the caller. As 
discussed with reference to FIG. 9, voice module 910 maybe 
used when connection module 908 detects that a voice 
authentication is required. Voice module 910 is configured to 
provide voice inputs on behalf of the caller by using the 
responses recorded by the caller. Subsequently, the connec­tion 
or the transaction can be processed. 
[0260] FIG. 25B illustrates an exemplary web foam gener­ated 
for the information process of FIG. 25A, in accordance 
with an embodiment of the invention. As shown, web form 
2510 may be generated corresponding to the requests. Web 
form 2510 may be presented on a web browser of the caller's 
device such as device 102. In another embodiment of the 
invention, the display is presented as an independent form on 
the display screen of the device of the caller. In an embodi­ment, 
web form 2510 may include single or multiple pages. 
Further, in case the information is displayed directly on the 
device, then various screens, layers or scroll may be used to 
display the information. Web form 2510 may include an input 
box 2504b corresponding to a request 2504a, an input box 
2506b corresponding to request 2506a, and a submit button 
2508. In an embodiment, Visuphone 104 on the caller's 
device may automatically complete some or even all the 
require details based on stored profile or previous inputs of 
the caller. Therefore, the caller may only (if at all) be required 
to complete the missing information manually. Subsequently, 
Visuphone 104 may connect to the IVR after the caller clicks 
on the submit button 2508. 
[0261] Further, Visuphone 104 may navigate to the process 
root within the IVR menu, revalidate the process input 
requests, and transmit the caller data to the IVR (or destina­tion) 
without any action from the caller. Moreover, Visuphone 
104 may hide the IVR validation question such as questions 
like "are you sure", "did you mean XXXX?" and so forth. 
24 
Jan. 24, 2013 
After the submission, a response such as, but not limited to, a 
receipt number, saving account statement, and so forth may 
be presented to the caller. The response from the IVR system 
can be in various formats, for example, but not limited to, a 
recorded audible response or a transcript of the audible 
response. In an embodiment, Visuphone 104 may convert the 
format of the received response from a first format to a second 
format. In an embodiment, Visuphone 104 may change the 
format of the response from an audio format to a text format. 
[0262] FIG. 26 illustrates a flowchart for submitting per­sonal 
information of a caller by Visuphone 104, in accordance 
with an embodiment of the invention. At step 2602, caller 106 
dials a phone number of a destination 108 such as destination 
108a. Subsequently, at step 2604 a visual IVR menu associ­ated 
with the dialed number is displayed on the display screen 
of caller device 102. For example, destination 108 may be a 
bank. Thereafter, at step 2606 caller 106 may select an option 
from the displayed visual IVRmenu. For example, caller 106 
may select to make a transaction from account, so caller 106 
may select an appropriate option from the displayed visual 
IVR menu. In an embodiment, caller device 102 can be a 
communication device such as a mobile phone, a laptop com­puter, 
and so forth. Typically, banking services may require 
caller 106 to provide authentication information before a 
transaction can be made. At step 2608, a form indicating the 
information required by the IVR of dialed destination 108 
may be displayed on the display screen of caller device 102. 
In an embodiment, the form may include one or more data 
request fields. Further, the form is displayed corresponding to 
the visual IVR menu associated with the dialed destination. 
The exemplary form is discussed in conjunction with FIG. 
25B. 
[0263] Subsequently, at step 2610, Visuphone 104 may fill 
the information in the form displayed. In an embodiment, 
Visuphone 104 may fill the form partially. In an embodiment, 
the one or more data request fields may be filled based on 
predefined information. The predefined information may be 
associated and/or specific to the visual IVR menu of the 
dialed destination. In an embodiment, the predefined infor­mation 
may be defined by caller 106. In an embodiment of the 
invention, Visuphone 104 may require caller 106 to provide at 
least one count of authentication information from the per­spective 
of security. In an embodiment, caller 106 may fill the 
one or more data request fields with important information. 
Further, caller 106 may define the predefined information. 
Caller 106 can also be referred as a caller. For example, 
Visuphone 104 may submit the name and account number of 
caller 106, but may not submit the transaction password. In 
another embodiment of the invention, Visuphone 104 may 
allow caller 106 to submit, edit and/or update the complete 
information in the form. Therefore, the updated information 
may be stored in the database on caller device 102. Thereafter, 
at step 2612 the connection between dialed destination 108 
and caller device 102 may be established and the information 
stored in the form is submitted. Typically, the IVR of desti­nation 
108 may require caller 106 to provide the information 
in form of audio inputs. Therefore, Visuphone 104 may pro­vide 
audio inputs corresponding to the information of the 
form. In an embodiment of the invention, the audio format of 
the information may be stored in caller device 102. In another 
embodiment of the invention, Visuphone 104 may convert the 
stored text data to audio information and submit it to the IVR 
of destination 108. Thereafter, caller 106 may interact with 
dialed destination 108.
US 2013/0022191 AI 
[0264] In an embodiment, caller device 102 may receive a 
response from the dialed destination. In an embodiment, 
Visuphone 104 may convert a format of the received response 
from a first format to a second format. For example, Visu­phone 
104 may convert the receiver format of the response 
from the audio to text. In an embodiment, the first format of 
the received response may be an audio format. Examples of 
the audio format include, but are not limited to, WAY, Real 
Audio, Musical Instrument Digital Interface (MIDI), Win­dows 
Media Audio (WMA), MP3, Ogg, and so forth. In an 
embodiment, the second format may be a text format such as 
a Unicode text, Rich Text format, Hyper Text Markup Lan­guage 
(HTML) or any other format compatible with the caller 
device 102. 
[0265] In an embodiment of the invention, Visuphone 104 
may call the dialed destination based on predefined calling 
information automatically; it is described in detail in FIGS. 
3 OA and 3 OB. In an embodiment, Visuphone 104 may keep on 
calling to the dialed destination until the requested informa­tion 
is received. Further, Visuphone 104 may save and/or 
display the received information at device 102. 
[0266] FIG. 27 illustrates an exemplary representation of a 
visual IVR menu 2702 associated with the dialed phone num­ber 
of the destination along with a scheduling mode option, in 
accordance with an embodiment of the invention. Visual IVR 
menu 2702 includes one or more options corresponding to 
every node in the audible IVR menu of the dialed destination 
of destinations 108a-n. Visual IVR menu 2702 is an exem­plary 
visual IVR menu of a pizzeria. It is well kuown that 
graphics are easier to learn and are faster to recognize than 
words. Therefore, graphics are used in various computerized 
device interfaces. Various types of graphics can be displayed 
for example, animated icons, icons that highlight or animate 
when the node is highlighted, and so forth. The graphics may 
be displayed for each node or a few nodes based on the 
usability of visual IVR menu 2702. For example, for node 
2710 an icon of a vegetable may be displayed to designate a 
vegetarian pizza, and for node 2716 ofhome delivery, an icon 
of house may be displayed. In an embodiment of the inven­tion, 
the visual IVR menu 2702 can be customized to display 
only the text, only the icons or both. Furthermore, caller 106 
can suggest or use various icons based on his preferences. The 
visual IVR menu is specific to a destination. 
[0267] Further, each of destinations 1 08a-n may have more 
than one audio IVR menus. Therefore, different visual IVR 
menus corresponding to one or more audio IVR menus can be 
available for each of destinations 108a-n. In an embodiment, 
device 102 may include more than one visual IVR menus for 
each destination of destinations 108a-n based on the time. 
Therefore, different visual IVR menus corresponding to a 
destination 108 might be presented to caller 106 depending 
on the time of dialing to destination 108. 
[0268] In an embodiment of the invention, a scheduling 
mode option 2720 can be displayed on the screen along with 
the visual IVR menu associated with the dialed destination. 
Caller 106 may switch device 102 to a scheduling mode by 
selecting scheduling mode option 2720. When device 102 is 
in scheduling mode, Visuphone 104 may start saving the 
inputs of caller 106. The inputs from caller 106 may include 
the selection of one or more options of the displayed visual 
IVR menu 2702. In the scheduling mode, Visuphone 104 may 
display one or more input options on the screen to enter a call 
schedule by caller 106. The call schedule may include infor- 
25 
Jan. 24, 2013 
mation such as a date and a time. The selection of the date and 
the time is explained in conjunction with FIG. 28. 
[0269] Furthermore, Visuphone 104 may automatically call 
a phone number of a destination of destinations 1 08a-n auto­matically 
based on predefined calling information. The pre­defined 
calling information can be entered and/or selected by 
caller 106. The predefined calling information may include 
the selection information such as one or more options of 
visual IVR menu 2702 that are selected by caller 106 in the 
scheduling mode. Further, the predefined calling information 
may include the call schedule, which is the date and time 
information for the call. In an embodiment of the invention, 
the predefined calling information may also include addi­tiona! 
data such as a predefined time interval, maximum num­ber 
of dialing attempts, waiting time, and so forth. 
[0270] In another embodiment of the invention, device 102 
may be switched to the scheduling mode based on a pre­defined 
key sequence. Caller 106 may press or select or enter 
a predefined key sequence for switching device 102 to a 
scheduling mode. The predefined key sequence may be a 
combination of one or more keys. For example, the pre­defined 
key sequence may include two asterisks (*) after 
dialing a phone number such as 123-456-7890* *. Visuphone 
104 may detect such predefined key sequence dialed and 
switch device 102 to the scheduling mode. Thereafter, Visu­phone 
104 may save the user inputs. Further, Visuphone 104 
may display the visual IVR menu associated with the dialed 
destination. Furthermore, Visuphone 104 may allow caller 
106 to schedule the call by entering date and time informa­tion. 
[0271] FIG. 28 illustrates another exemplary representa­tion 
of a visual IVR menu 2802 associated with the dialed 
phone number of the destination along with the scheduling 
mode option 2720, in accordance with an embodiment of the 
invention. Visual IVR menu 2802 is an exemplary visual IVR 
menu of a banl<. Visual IVR menu 2802 includes one or more 
options corresponding to every node in the audible IVR menu 
of the bank (or dialed destination of destinations 108a-n). 
Though not shown, nodes of visual IVR menu 2802 may be 
represented using graphics such as, animated icons, icons that 
highlight or animate when the node is highlighted, and so 
forth. Further, graphics may be displayed for each node or a 
few nodes based on the usability of visual IVR menu 2802. 
Visual IVR menu 2802 includes nodes such as personal bank­ing 
node 2806, NRI banking node. Caller 106 can choose NRI 
banking by pressing a combination 1-3. Thereafter, caller 106 
can select investment option by pressing 2. Furthermore, 
caller 106 can suggest or use various icons based on his 
preferences. The visual IVR menu is specific to a destination. 
For example, hospitals will have different IVR menu than that 
of the bank. In an embodiment, scheduling mode option 2720 
may also be displayed on the screen of device 102. Caller 106 
can select scheduling mode option 2720 for switching device 
102 to the scheduling mode. Further, Visuphone 104 may start 
saving one or more inputs from the caller after switching to 
the scheduling mode. 
[0272] FIG. 29 illustrates an exemplary display at device 
102 after switching to a scheduling mode, in accordance with 
an embodiment of the invention. As discussed with reference 
to FIG. 27, Visuphone 104 may save the inputs from caller 
106 after switching to the scheduling mode. Device 102 
switches to the scheduling mode based on the selection of the 
scheduling mode option 2720 by caller 106. In an embodi­ment, 
Visuphone 104 may be configured to detect the selec-
US 2013/0022191 AI 
tion of the scheduling mode option 2720 by caller 106. In an 
embodiment of the invention, caller 106 may enter and/or 
select a call schedule 2902. For example, call schedule 2902 
may include, but are not limited to, a date and time informa­tion. 
A calendar 2904 may be displayed on the screen of 
device 102 for entering and/or selecting the date information 
for scheduling the call. A time input box 2906 may be dis­played 
on the screen of device 1 02a for entering and/ or select­ing 
the time information for scheduling the call. For example, 
the call schedule information will include a date Mar. 15, 
2011, and time 11:25:40, therefore Visuphone 104 dial at the 
phonenumberofthe destination on Mar. 15,2011 at 11:25:40 
AM. In an embodiment, the time information may be dis­played 
in 12 hour format. In another embodiment, the time 
information may be displayed in 24 hours format. 
[0273] In another embodiment of the invention, call sched­ule 
2902 may include a predefined schedule for calling to the 
destination. For example, Visuphone 104 may automatically 
schedule a call in next five minutes on the same day, based on 
the predefined schedule. In an embodiment, caller 106 is not 
required to enter or select the date and the time information 
for scheduling the call. In such a case, Visuphone 104 auto­matically 
schedules the call to the destination based on the 
predefined schedule. A person skilled in the art will appreci­ate 
that the date and time for predefined schedule is not 
limited to five minutes or same day, and can be edited by 
caller 106. Further, call schedule 2902 may also include addi­tional 
information such as maximum number of calling 
attempts, waiting time, and so forth. 
[0274] Thereafter, a communication is established between 
device 102 and the dialed destination. After establishment of 
the communication, Visuphone 104 may request and/or 
receive information from the dialed destination based on the 
selection information of the predefined calling information. 
In an embodiment, Visuphone 104 may keep on dialing the 
phone number of the destination until the requested informa­tion 
is received from the dialed destination based on the 
selection information. In an exemplary scenario, Visuphone 
104 may be required to dial the phone number of the desti­nation 
repeatedly when the requested information is not avail­able 
on the dialed destination. The call schedule may further 
include the predefined time interval for calling the destina­tion. 
For example, when the communication is not established 
with the dialed destination, Visuphone 104 can call the des­tination 
after waiting for the predefined time interval such as 
after ten minutes. A person skilled in the art will appreciate, 
that the predefined time interval is not limited to ten minutes, 
and can be edited by caller 106. In an exemplary scenario, if 
the requested information is not available at the dialed desti­nation, 
than Visuphone 104 may wait for the predefined time 
interval of the call schedule and may call the previously dialed 
destination again, and may request for the desired informa­tion 
according to the selection information. 
[0275] As discussed with reference to FIG. 3A, visual 
menu database 308 may store the predefined calling informa­tion. 
Further, visual menu database 308 may store the selec­tion 
information and call schedule 2902. In an embodiment, 
call schedule 2902 may also include a predefined time inter­val 
and a predefined schedule. In an embodiment, visual 
menu database 308 may further store the predefined schedule 
and predefined time interval. Device 102 may also request or 
receive updates from the server at a predefined time. The 
26 
Jan. 24, 2013 
predefined time may be for example, once a week, once a 
month, or any other interval predefined by caller 106 or Visu­phone 
104. 
[0276] FIGS. 30A and 30B illustrate a flowchart for pro­viding 
enhanced telephony by presenting a scheduling mode 
option 2720 to caller 106, in accordance with an embodiment 
of the invention. Caller 106 may dial, select or receive one or 
more destination phone numbers to connect to a destination 
from device 102. Destinations 1 08a-n may include an audible 
IVR menu for interaction with caller 106. Further, device 102 
may include Visuphone 104 to display a visual IVR menu 
associated with a phone number of a destination dialed by 
caller 106. As discussed with reference to FIG. 27, Visuphone 
104 may further display scheduling mode option 2720 at 
device 102. Visuphone 104 may establish a communication 
with the phone number of the destination based on the pre­defined 
calling information. In an exemplary scenario, a user 
of device calls a bank, than a scheduling mode option and a 
visual IVR of the bank may be displayed on the device. 
Sometimes, the user might not be able to receive desired 
information during this call then the user can switch to a 
scheduling mode by selecting the scheduling mode option. 
Thereafter, Visuphone 104 may ask the user to enter pre­defined 
calling information. Later, Visuphone 104 may dial 
the phone number of the previously dialed bank based on the 
predefined calling information. 
[0277] At step 3002, a phone number of a destination is 
dialed from device 102. Caller 106 may dial the phone num­ber 
of destination of destinations 108a-n. At step 3004, a 
visual IVR menu associated with the dialed number and a 
scheduling mode option 2720 is displayed at device 102. As 
discussed with reference to FIG. 3A, visual IVR menu 2702 
and scheduling mode option 2720 may be displayed on dis­play 
302 of device 102. In an embodiment, caller 106 may 
interact with the dialed destination and request for informa­tion, 
by selecting one or more options of the visual IVR menu. 
In an embodiment, the requested information may not be 
available at the dialed destination at the time of the call. 
Therefore, in such a case caller 106 may need to dial the 
destination again or caller 106 may schedule a call at later 
time. At step 3006, device 102 is switched to a scheduling 
mode. Caller 106 selects scheduling mode option 2720 for 
switching device 102 to the scheduling mode. As discussed 
with reference to FIGS. 1A and 27, in scheduling mode Visu­phone 
104 may save inputs such as predefined calling infor­mation 
from caller 106. The predefined calling information 
may include selection information and a call schedule. 
[0278] At step 3008, Visuphone 104 saves the selection 
information including the one or more options of the dis­played 
visual IVRmenu. The one or more options are selected 
by caller 106. Thereafter, a display 2700 of device 102 
switches to display 2900 including calendar 2904 and time 
input box 2906. Caller 106 may enter the date and time 
information in calendar 2904 and time input box 2906 respec­tively. 
At step 3010, Visuphone 104 saves the call schedule 
including the date and time information. 
[0279] At step 3012, it is checked whether the entered call 
schedule's date and time has arrived. Visuphone 104 may 
perform the checking by comparing the call schedule's date 
and time with the current date and time. In an embodiment, 
Visuphone 104 determines the current date and time based on 
the system clock and/or internet. If the call schedule's date 
and time is not equal to current date and time, then at step 
3014 the process waits for the call schedule's date and time to
US 2013/0022191 AI 
arrive, otherwise the process control goes to step 3016. At 
step 3016, Visuphone 104 dials the phone number of the 
destination. Visuphone 104 dials the phone number of the 
destination based on the call schedule of the predefined call­ing 
information and without any user intervention. Thereaf­ter, 
Visuphone 104 may establish a connection with the dialed 
destination. 
[0280] At step 3018, Visuphone 104 requests information 
from the dialed destination based on the selection information 
of the predefined calling information. In an embodiment, the 
requested information may not be available at the dialed 
destination at this time, so Visuphone 104 may wait for the 
predefined interval and may dial the phone number of the 
destination again. Examples of the predefined time interval 
may include, but are not limited to, thirty seconds, one 
minute, five minutes, ten minutes, twenty minutes, and so 
forth. In another embodiment, the dialed destination may 
transfer the request for the information by Visuphone 104 to 
the server, when the information is not available at the dialed 
destination. In another embodiment, when the information is 
not available at the dialed destination, the request of the 
information may be transferred to another destination of des­tinations 
108a-n. In an embodiment, caller 106 may interact 
with the dialed destination after establishment of the commu­nication 
byVisuphone 104. 
[0281] At step 3020, the requested information is received 
at device 102. The dialed destination may send the requested 
information to device 102 based on the availability of the 
information. In an embodiment, the requested information 
may be received from the another destination of destinations 
108a-n. In yet another embodiment, Visuphone 104 may 
receive requested information from the server. In an embodi­ment, 
Visuphone 104 may convert the format of the received 
information from a first format to a second format. In an 
embodiment, the first format of the received information may 
be an audio format. Examples of the audio format include, but 
are not limited to, WAY, Real Audio, Musical Instrument 
Digital Interface (MIDI), Windows Media Audio (WMA), 
MP3, Ogg, and so forth. In an embodiment, the second format 
maybe a text format such as a Unicode text, Rich Text format, 
HyperText Markup Language (HTML) or any other format 
compatible with device 102. 
[0282] At step 3022, Visuphone 104 saves the received 
information at device 102. In an embodiment, the saved infor­mation 
may be accessed by caller 106 in real time. In another 
embodiment, the saved information may be accessed by 
caller 106 later. At step 3024, Visuphone 104 displays the 
received information on display 302 of device 102. 
[0283] According to an embodiment of the invention, Visu­phone 
104 may send one or more data packets (or messages) 
for establishing a connection or communication session in a 
commnnication network 3100 as illustrated in FIG. 31A-D. 
FIG. 31A-D illustrates exemplary environments, where vari­ous 
embodiments of the invention can function. Communi­cation 
network 3100 includes a device 3102a. In an embodi­ment, 
communication network 3100 may include different 
types of devices 3102a-n. Herein after, device 3102a may be 
referred as a first communication device. A person skilled in 
art will appreciate, that communication network 3100 may 
also include a plurality of devices 3102. Examples of com­munication 
network 3100 include, but are not limited to, the 
Internet, PSTN, Local Area Network (LAN), Wide Area Net­work 
(WAN), Metropolitan Area Network (MAN), and so 
forth. In an embodiment, communication network 3100 can 
27 
Jan. 24, 2013 
be a data network such as the Internet. The data network is a 
network capable of establishing data and voice commnnica­tion 
among various communication devices. In an embodi­ment, 
communication network 3100 can be a telecommuni­cation 
or telephone network capable of establishing only 
voice communication among various communication 
devices. 
[0284] Further, communication network 3100 includes a 
second communication device 3108a. In an embodiment, 
communication network 3100 may include a plurality of sec­ond 
communication devices 3108. A caller 3106 may use first 
communication device 3102a to connect to second commu­nication 
device 3108a. First communication device 3102a 
can be a telecommunication device that can connect directly 
to a PSTN 3110. A person skilled in the art will appreciate, 
that first communication device 3102a can also connect to a 
private telephone exchange. Examples of first commnnica­tion 
device 3102a include, but are not limited to, a telephone, 
a mobile phone, a smart phone or any other device capable of 
voice or data communication. Caller 3106 may dial a phone 
number associated with second communication device 31 08a 
for connecting to second communication device 3108a. First 
communication device 3102a may have one or more associ­ated 
phone numbers, which may be used by other devices for 
connecting to first communication device 3102a. Similarly, 
each of the plurality of second commnnication device 3108 
may have associated at least one phone number. In another 
embodiment, first communication device 3102a may include 
a plurality of visual IVR menus corresponding to phone num­bers 
of the plurality of second communication devices 3108. 
[0285] In an embodiment, first communication device 
3102a may include an IVR application. In an embodiment, 
first communication device 31 02a may include the IVR appli­cation 
such as Visuphone 31 04a as shown in FIG. 31A. Visu­phone 
104a may provide data regarding a phone number of 
second communication device 3108a dialed by caller 3106. 
For example, the data may include geographical information 
or services provided by second communication device 
3108a-n. Second communication device 3108a includes an 
IVR system. The IVR system allows caller 3106 to interact 
automatically with second commnnication device 3108a. 
When caller 3106 dials a phone number and connects to 
second communication device 3108a, an audible IVR menu 
may be played to caller 3106. Second communication device 
31 02a can have more than one IVR menus. Visuphone 31 04a 
may display a visual IVR menu on first communication 
device 3102a corresponding to the audible IVR menu asso­ciated 
with the phone number of second communication 
device 3108a to be connected. 
[0286] Second communication device 3108a can be a 
device capable of data/voice communication. Examples of 
second communication device 3108a include, but are not 
limited to, a telephone, a computer, a laptop computer, a 
personal digital assistant (PDA), a mobile phone, and so forth. 
Various types of second commnnication device 3108a that 
implement the audible IVR menu include, for example, 
banks, hotels, fast-food outlets, utility services providers, 
corporate offices, mobile phone service providers, hospitals, 
and so forth. Further, second commnnication device 3108a 
can have more than one audio/visual IVR menus. Typically, 
the audible IVR menu provided by second communication 
device 31 08a comprises audible options or instructions. In an 
embodiment, the visual IVR menu includes one or more text
US 2013/0022191 AI 
and/or graphical representation of different nodes corre­sponding 
to different nodes of the audio IVR menu. 
[0287] In an embodiment, Visuphone 3104a may send or 
receive one or more messages to or from second communi­cation 
device 3108a for establishing a communication ses­sion 
in communication network 3100. The one or messages 
may be sent as data packets when a data network such as the 
Internet is available. In an embodiment, the one or more 
messages may be sent as DTMF signals or tones. After estab­lishing 
a communication session with second communication 
device 3108a, caller 3106 can interact with second commu­nication 
device 3108a via the visual IVR menu associated 
with second communication device 3108a. 
[0288] In an embodiment, first communication device 
3102a may receive an acknowledgement message from sec­ond 
communication device 3108a. In an embodiment, the 
acknowledgement message is received only when second 
communication device 3108 includes an IVR application 
such as Visuphone. The Visuphone will have similar function­ality 
as explained in above figures. 
[0289] In an embodiment, second communication device 
3108 such as a second communication device 3108b may 
include an IVR application such as Visuphone 31 04b as 
shown in FIG. 31B. As shown communication network 100 
may further include a second communication device 3108b 
(herein after second communication device 3108 may be used 
to refer second communication device 3108b and second 
communication device 3108a collectively or interchange­ably). 
Visuphone 3104b may send or receive one or more 
messages including information such as acknowledgment to 
or from first communication device 3102a. Visuphone 3104b 
is capable of sending messages required to establish a com­munication 
session with first communication device 3102a. 
[0290] FIG. 31C illustrates another exemplary environ­ment 
where communication device may exchange one or 
more messages or data packets for establishing communica­tion 
session, in accordance with an embodiment of the inven­tion. 
As shown, first communication device 3102b can be a 
communication device that may be connected directly to a 
network 3112. Examples of first communication device 
3102b include, but are not limited to, a personal computer, a 
laptop, a mobile phone, a smart-phone, a fixed line telephone, 
a Voice Over Internet Protocol (VOIP) phone or other devices 
capable of voice or data communication. Examples of net­work 
3112 include any wired or wireless network, such as but 
not limited to, LAN, WAN, a Wi-Fi network, and so forth. 
Further, first communication device 3102b may include vari­ous 
applications or computer programs that enable caller 
3106 to use first communication device 3102b for dialing a 
phone number of second communication device 3108a-n 
through PSTN 3110 over network 3112 through a gateway 
3114. For example, the applications may be VOW applica­tions, 
such as but not limited to, Skype, Magic Jack, Google 
Talk, and so forth. As discussed with reference to FIG. 31A 
and FIG. 31B, second communication device 3108b (or 
3108a) presents the audible IVR to first communication 
device 3102b. 
[0291] Further, Visuphone 3104a may search or detect a 
data network. In an embodiment, Visuphone 31 04a may send 
one or more messages in the form of data packets to second 
communication device 3108b, when a data network such as 
the Internet is detected or available. Further, Visuphone 
3104a may establish a communication session with second 
communication device 31 08b by exchanging one or more 
28 
Jan. 24, 2013 
messages or data packets. Furthermore, Visuphone 3104a 
may send a first section of a data packet including first infor­mation 
such as header information to second communication 
device 3108b. In an embodiment, Visuphone 3104a may 
receive a message including acknowledgement information 
from second communication device 3108b. In an embodi­ment, 
the acknowledgement message is received at first com­munication 
device 3102b, when second communication 
device 31 08b includes an IVR application such as Visuphone 
31 04b as shown in FIG. 31B. The acknowledgement message 
may be received based on the first section of the data packet. 
Thereafter, Visuphone 3104a of first communication device 
3102b may send a second section of the data packet including 
second information such as a payload. In an embodiment, the 
Visuphone 3104a may exchange one or messages with Visu­phone 
31 04b or second communication device 31 08a in form 
ofDTMF signals or tones. 
[0292] As illustrated in FIG. 31D, first communication 
device 3102c can be connected to the PSTN 3110 through 
network 3112 or through a cellular network 3116. Various 
service providers provide multiple or overlapping services to 
customers. For example, cable television service provider 
may also provide phone and network service, optical network 
provider may also provide phone or television services, 
WiMax service providers that provide phone service, and so 
forth. Network 3112 may be any service provider that pro­vides 
such services, for example, but not limited to, cell phone 
services, wireless services, network services, cable television 
services, or various combinations of the above or other type of 
serv1ces. 
[0293] First communication device 3102c includes Visu­phone 
31 04a which displays data corresponding to the dialed 
phone number of second communication device 3108b (or 
3108b). Further, Visuphone 3104a may display a visual IVR 
menu corresponding to the audible IVR menu of the dialed 
phone number of second communication device 3108b (or 
3108a). In an embodiment, the visual IVR menu may be 
displayed when a call is received from second communica­tion 
device 3108b. Thereafter, caller 3106 may select one or 
more options from the displayed visual IVR menu. In an 
embodiment, the visual IVR menu may have an associated 
identity (ID) or number. The visual IVR menu will indicate 
the version information of the visual IVR menu. In an 
embodiment, Visuphone 3104a may send selection informa­tion 
including one or more options selected by caller 3106 to 
second communication device 3108b. In an embodiment, 
Visuphone 3104a may receive the audio/visual IVR menu 
from second communication device 3108b when a latest ver­sion 
of the visual IVR menu is not available at first commu­nication 
device 3102c. In an embodiment, the dialed second 
communication device 3108b may request the information 
from the server of communication network 3100 when the 
information requested by Visuphone 31 04a is not available at 
second communication device 3108b. Thereafter, second 
communication device 3108b may send the information 
received from the server to Visuphone 3104a. Visuphone 
3104a may further request and/or receive information from 
the dialed second communication device 3108b. Further, 
Visuphone 3104a may display the information at first com­munication 
device 3102c. In an embodiment, Visuphone 
3104a may include version information. The version infor­mation 
may be a combination of numbers, alphabets or an 
alphanumeric code indicating a version ofVisuphone 3104a.
US 2013/0022191 AI 
Herein after, first connnunication device 3102 may be used to 
refer first connnunication device 3102a-c collectively. 
[0294] FIG. 32 illustrates an exemplary packet 3202 sent 
from first connnunication device 3102 (or device 3102) to 
second connnunication device 3108, in accordance with an 
embodiment of the present invention. In an embodiment, 
Visuphone 3104a of first connnunication device 3102 may 
send the packet 3202 to second connnunication device 3108 
for establishing a connnunication session when a data net­work 
such as the Internet is available. Examples of packet 
3202 include but are not limited to an Internet Protocol ver­sion 
4 (IPv4) packet, an Internet Protocol version 6 (IPv6) 
packet, and so forth. In an embodiment, packet 3202 includes 
a first section 3202a and a second section 3202b. First section 
3202a of packet 3202 includes first information. In an 
embodiment, first section 3202a may include header infor­mation. 
Examples of the first information include, but are not 
limited to, a Visuphone version, a visual menu identity (ID) of 
the visual IVR menu associated with second connnunication 
device 3108, arrACK bit, and so forth. The Visuphone version 
indicates the version information ofVisuphone 31 04a present 
at first connnunication device 3102. The visual menu ID 
indicates the identity information of the visual IVR menu 
associated with the dialed phone number of second connnu­nication 
device 3108. In an embodiment, the ACK or 
acknowledgement bit may be used by second connnunication 
device 3108 (or 3108b) to send an acknowledgement mes­sage. 
In an embodiment, the ACK bit may have a value such 
as 0 or 1. For example, second connnunication device 3108 
may set theACK bit or acknowledgement bit to 1 and send it 
back to first connnunication device 3102 as an acknowledge­ment 
message. A value 1 in the ACK bit indicates that the 
message is an acknowledgement message for a previously 
sent message or section of the packet. In an embodiment, 
second connnunication device 3108 sends the acknowledge­ment 
message when second communication device 3108 
includes Visuphone 3104b as shown in FIG. 31B. The ACK 
bit set as 1 indicates that the packet sent from first connnuni­cation 
device 3102 has been received at second connnunica­tion 
device 3108. In an embodiment of the invention, first 
section 3202a may be a header section of IPv6 packet. The 
structure of header section or first section 3202a is shown in 
FIG. 33. 
[0295] In an embodiment, second section 3202b of packet 
3202 may include second information. Examples of the sec­ond 
information include, but are not limited to, a user ID, user 
options (selected from the visual IVR menu), user profile 
information (last dialed details), and so forth. In an embodi­ment, 
the second section may include a data or payload sec­tion. 
The user ID is the identity information of caller 3106 
dialing the phone number of second connnunication device 
3108. The user options indicate selection information includ­ing 
the one or more options selected from the displayed visual 
IVR menu. Visuphone 3104a displays the visual IVR menu 
associated with second connnunication device 3108 when the 
caller dials the phone number of second connnunication 
device 3108. The user profile indicates the information 
related to previous connnunication session or activities of 
caller 3106 or first connnunication device 3102. The user 
profile indicates information such as last dialed numbers, 
time oflast call, duration oflast call to the second connnuni­cation 
device 3108, access pattern of caller 3106, and so forth. 
In an embodiment, second section 3202b may be a payload or 
data section ofiPv6 packet. In an embodiment, the informa- 
29 
Jan. 24, 2013 
tion of first section 3202a and second section 3202b may be 
sent separately as two different packets by Visuphone 3104a. 
In an embodiment first section 3202a and second section 
3202b may be sent in form of DTMF tones or signals. The 
messages are sent in form of DTMF tones when the data 
network is not available. 
[0296] FIG. 33 illustrates an exemplary structure of first 
section 3202a of packet 3202 sent to second connnunication 
device 3108, in accordance with an embodiment of the inven­tion. 
In an embodiment, first section 3202a of packet 3202 
may be a header section ofiPv6 packet. Further, first section 
3202a may include a plurality of fields. Example of plurality 
of fields include, but are not limited to, a packet version 3302, 
a traffic class 3304, a flow label3306, a payload length 3308, 
a next header 3310, a hop limit 3312, a source address 3314, 
a destination address 3316, and so forth. Packet version 3302 
indicates version information associated with packet 3202 
such as IPv4, IPv6, and so forth. The version information may 
include numeric characters, alphabets or a combination 
thereof. In an embodiment of the invention, traffic class 3304 
field may indicate whether the source device i.e. first com­munication 
device 3102 provides congestion control man­agement 
or not. Flow label 3306 field may be used to provide 
real time applications special services. Payload length 3308 
field may indicate the size or length of the payload or data 
section (second section 3202b ). Next header 3310 field points 
to next element or packet in the chain of packets when mul­tiple 
packets are sent. Hop limit 3312 field may indicate the 
number of stops or hops the packet may take before reaching 
the final destination or second connnunication device 3108. 
Source address 3314 field may include the address of first 
connnunication device 3102. Destination address 3316 field 
may be address of second connnunication device 3108. In an 
embodiment, destination address 3316 field may be the 
address of next hop of packet 3202. 
[0297] FIGS. 34A and 34B illustrates a flowchart for com­municating 
among a plurality of connnunication devices, in 
accordance with an embodiment of the invention. As dis­cussed 
with reference to the FIGS. 31A and 31B, connnuni­cation 
network 3100 includes first connnunication device 
3102. Further, connnunication network 3100 includes second 
connnunication device 3108. In an embodiment, first com­munication 
device 3102 may include Visuphone 31 04a. In an 
embodiment, second connnunication device may include an 
IVR application such as Visuphone. As shown in FIG. 31B, 
second connnunication device 3108b includes Visuphone 
3104b. In another embodiment, second connnunication 
device may not include Visuphone as shown in FIG. 31A. 
Visuphone 3104a of first connnunication device 3102a may 
send one or more messages or packets to second connnuni­cation 
device 3108. The messages may be sent as Dual-Tone 
Multi-Frequency (DTMF) or tones depending on the avail­ability 
of the data network. Similarly, Visuphone 3104b may 
receive or send one or more messages/packets from/to first 
connnunication device 3102. Further, Visuphone 3104 may 
display the visual IVR menu associated with a phone number 
of second connnunication device 3108. First connnunication 
device 3102 includes one or more visual IVR menus associ­ated 
with a plurality of second connnunication devices. 
[0298] Caller 3106 may dial a phone number of second 
connnunication device 3108. In an embodiment, Visuphone 
3104a may display a visual IVR menu associated with the 
dialed second connnunication device 3108. At step 3402, 
Visuphone 3104a of first connnunication device 3102
US 2013/0022191 AI 
searches for a data network such as the Internet. At step 3404, 
an availability of the data network is checked. When the data 
network is available the process continues to step 3408 else 
the process control goes to step 3406. At step 3406, Visu­phone 
3104a sends a first section of the packet to second 
communication device 3108 such as second communication 
device 3108b as DTMF signals or tones. As discussed with 
reference to FIG. 33, first section may include a first infor­mation 
or header information. Thereafter, first communica­tion 
device 3102 and second communication device 3108 
may further communicate through the exchange of DTMF 
tones or signals. 
[0299] At step 3408, Visuphone 3104a sends a first section 
of the packet as a data packet to second communication 
device 3108a when the data network is available. In an 
embodiment, the data packet may be an IPv4 packet, an IPv6 
packet, and so forth. As discussed with reference to FIG. 33, 
the first section of the packet includes first information. 
Examples of the first information include, but are not limited 
to, a Visuphone version, a visual menu identity (ID) associ­ated 
with the visual IVR menu corresponding to second com­munication 
device 3108, an ACK bit, hop limit, payload 
length, traffic class, and so forth. The Visuphone version field 
indicates the version information of the Visuphone 3104a 
present at first communication device 3102. In an embodi­ment, 
the visual menu ID field may indicate the identity 
information of the visual IVR menu associated with the 
dialed phone number of second communication device 3108. 
The ACK bit or acknowledgement bit may be used by second 
communication device 3108 to send an acknowledgement 
message from which the first section is received. In an 
embodiment, the ACK bit may have a value such as 0 or 1. 
[0300] At step 3410, it is checked, at second communica­tion 
device 3108, whether a Visuphone is available at second 
communication device 3108. If the Visuphone is not avail­able, 
first communication device 3102 and second communi­cation 
device 3108 may communicate by exchanging mes­sages/ 
information as DTMF tones or signals else process 
control goes to step 3412. At step 3412, an acknowledgement 
message based on the first section is received from second 
communication device 3108. In an embodiment, the 
acknowledgement message is received based on the first 
information of the first section. In an embodiment, Visuphone 
3104b of second communication device 3108b sends the 
acknowledgement message to first communication device 
3102. 
[0301] At step 3414, Visuphone 3104a sends a second sec­tion 
of the packet including second information to second 
communication device 3108 such as to second communica­tion 
device 3108b. Examples of the second information 
include, but are not limited to, a user ID, user options (se­lected 
from the visual IVR menu), user profile information 
(last dialed details), and so forth. The user ID is the identity 
information of caller 3106 who dials the phone number of 
second communication device 3108. The user options indi­cate 
selection information including the one or more options 
selected from the displayed visual IVR menu. The visual IVR 
menu is associated with the phone number of second com­munication 
device 3108 dialed from first communication 
device 3102. Visuphone 3104a may display the visual IVR 
menu associated with second communication device 3108. 
The user profile indicates the information related to previous 
communication session or activities of caller 3106 or first 
communication device 3102. The user profile indicates infor- 
30 
Jan. 24, 2013 
mation such as last dialed numbers, time oflast call, duration 
of last call to second communication device 3108, and so 
forth. 
[0302] In an embodiment, Visuphone 3104a may send 
header information as a first section of the packet and data or 
payload as second section of the packet. In an embodiment, 
first communication device 3102 may send the second section 
of the packet after receiving an acknowledgement message 
from second communication device 3108. In an embodiment, 
the first section and the second section of the packet may be 
sent as a single packet 3202, as shown in FIG. 32. 
[0303] FIG. 35A illustrates an exemplary communication 
network where a call is received at a device from a first party 
device, in accordance with an embodiment of the invention. A 
device 3502a may receive a call from a plurality of first party 
devices 3508a-n in a communication network 3500. A person 
skilled in art will appreciate, that communication network 
3500 may also include different types of devices. Further, 
communication network 3500 may include a plurality of 
device 3502. First party devices 3508a-n may initiate a call to 
connect to device 3502a. First party devices 3508a-n are 
devices which are capable of data/voice communication. 
Examples of first party devices 3508a-n include, but are not 
limited to, a telephone, a computer, a laptop computer, a 
personal digital assistant (PDA), a mobile phone, and so forth. 
Each of first party devices 3508a-n may have associated one 
or more phone numbers. Further, each of first party devices 
3508a-n may have audio or visual IVR menu corresponding 
to the associated one or more phone numbers. Various types 
of organization which implement audio IVR systems such as, 
but are not limited to, banks, hotels, fast-food outlets, utility 
services providers, corporate offices, mobile phone service 
providers, hospitals, and so forth. An agent or customer care 
executive, a person associated with the organizations may use 
first party devices 3508a-n for initiating calls to devices 
3502a-n. Typically, the audible IVR menu provided by first 
party devices 3508a-n comprises audible options or instruc­tions. 
Further, the visual IVR menu includes one or more text 
and/or graphical representation of different nodes corre­sponding 
to different nodes of the audio IVR menu as dis­played 
in FIG. 2A and FIG. 2B. 
[0304] A caller 3506 may connect to a first party device of 
the first party devices 3508a-n either by accepting a call from 
the calling first party device or by dialing a phone number of 
first party device 3508a. After establishing a connection with 
first party device 3508a, caller 3506 can interact with first 
party device 3508a via the IVR menu associated with first 
party device 3508a. Further, first party devices 3508a-n can 
send information to device 3502a. Similarly, device 3504a 
may also request information from first party devices 3508a­n. 
Device 3502a can be a telecommunication device that can 
connect directly to a PSTN 3510. A person skilled in the art 
will appreciate, that device 3502a can also connect to a pri­vate 
telephone exchange. 
[0305] A Visuphone 3504 of device 3502a can display a 
visual IVRmenu associated with the calling first party device. 
In an embodiment, Visuphone 3504 may display the visual 
IVR menu at device 3502a even before accepting the call by 
caller 3506. Thereafter, caller 3506 can select one or more 
options from the displayed visual IVR menu to obtain the 
required resource/information or service from the calling first 
party device 3508a. Furthermore, Visuphone 3504 may dis­play 
one or more communication options on a screen of 
device 3502a. Examples of the communication options
US 2013/0022191 AI 
include, but are not limited to, a conferencing option, a call 
forwarding option, a busy option, and so forth. Caller 3506 
can select a communication option from the displayed one or 
more communication options. Based on the selection by 
caller 3506 a communication session may be established 
between device 3502a and the calling first party device 
3508a. In an embodiment, when caller 3506 selects the 'con­ferencing' 
option, another device of communication network 
3500 may be included in the call with first party device 3508a. 
[0306] In an embodiment of the invention, device 3502a 
can request and/or receive updates from the server. This may 
happen in a case when requested information is not available 
on the calling first party device. Device 3502a may also 
request information from first party device 3508a from which 
the call is received. 
[0307] FIG. 35B illustrates another exemplary communi­cation 
network in which an IVR menu is displayed when a 
call is received from a first party device, in accordance with an 
embodiment of the invention. As shown 
[0308] , a device 3502b can be a communication device that 
can be connected directly to a network 3514. Examples of 
device 3502b include, but are not limited to, a personal com­puter, 
a laptop, a mobile phone, a smart-phone, a fixed line 
telephone, a VOID phone or other devices capable of voice or 
data communication. Device 3502b may include various 
applications or computer programs such as Skype, Magic 
Jack etc, that enable caller 3506 to use device 3502b for 
receiving and/or accepting call from first party devices 
3508a-n through PSTN 3510 over network 3514 through a 
gateway 3512. Network 3514 may include any wired or wire­less 
network, such as but not limited to, LAN, WAN, a Wi-Fi 
network, and so forth. As discussed with reference to FIG. 
35A, first party devices 3508a-n presents the audible IVR to 
device 3502b. Visuphone 3504 will function in a similar 
manner as described in FIG. 35A. 
[0309] As shown in FIG. 35C, a device 3502c can be con­nected 
to PSTN 3510 through network 3514 or through a 
cellular network 3516. Various service providers provide 
multiple or overlapping services to customers. For example, 
cable television service provider may also provide phone and 
network service, optical network provider may also provide 
phone or television services, WiMax service providers that 
provide phone service, and so forth. Network 3514 may be 
any service provider that provides such services, for example, 
but not limited to, cell phone services, wireless services, 
network services, cable television services, or various com­binations 
of the above or other type of services. In an embodi­ment 
of the invention, Visuphone 3504 may display one or 
more communication options at device 3502c along with the 
visual IVR menu of the associated calling phone number of 
first party device 3508a. Caller 3506 may select a communi­cation 
option from the displayed communication options for 
interacting with the calling first party device 3508a. In an 
embodiment, Visuphone 3504 may receive the visual IVR 
menu from first party device 3508a. In an embodiment, call­ing 
first party device 3508a may request the information 
requested by Visuphone 3504 or caller 3506, from the server 
of communication network 3500. Thereafter, calling first 
party device 3508a may send the information received from 
the server to Visuphone 3504. Visuphone 3504 may further 
request and/or receive information from calling first party 
device 3508a. Further, Visuphone 3504 may display the infor­mation 
at device 3502c. 
31 
Jan. 24, 2013 
[0310] FIG. 36 illustrates yet another exemplary commu­nication 
network in which an IVR is displayed when a call is 
received at a device, in accordance with an embodiment of the 
invention. As discussed with reference to FIG. 35A, commu­nication 
network 3500 includes first party devices 3508a-n 
which may initiate a call to the phone number associated with 
device 3502a. Further, communication network 3500 may 
include a third party device 3602. In an embodiment, com­munication 
network 3500 may include more than one third 
party device 3602. Device 3502a includes Visuphone 3504 
that can receive the call from first party device 3508. Visu­phone 
3504 may further display a visual IVR menu associ­ated 
with the calling first party device 3508. In an embodi­ment, 
device 3502a may be referred as a second party device. 
[0311] Further, Visuphone 3504 can highlight an option or 
node in the visual IVR menu. The highlighted option repre­sents 
the exact position of first party device 3508 within the 
visual IVR menu from where the call is initiated. For 
example, in case of a bank, if a person from insurance depart­ment 
initiates a call to a mobile phone, then the node repre­senting 
the insurance is highlighted in the visual IVR menu of 
the bank displayed at the mobile phone. Therefore, caller 
3506 can know exactly from which department within the 
organization the call is coming from. Accordingly, caller 
3506 may act or opt to attend or reject the call from first party 
device 3508. 
[0312] Further, Visuphone 3504 may display one or more 
communication options on a screen of device 3502a. 
Examples of the one or more communication options can 
include, but are not limited to, a conferencing option, a call 
forwarding option, a busy option, and so forth. Caller 3506 
may select an option from the displayed communication 
options. Visuphone 3504 may establish a connection with a 
third party device based on the selection of the communica­tion 
option by caller 3506. Third party device 3602 may be a 
device 3502, a first party device of first party devices 3508a-n, 
a server, and so forth depending on the selection of the com­munication 
option. Further, third party device 3602 may have 
an associated phone number. 
[0313] In an embodiment, when caller 3506 selects a 'con­ferencing' 
option from the displayed one or more communi­cation 
options then third party device 3602 may be included 
in the call. Now third party device 3602, device 3502a, and 
first party device 3508a from which the call was received 
initially may communicate through a conference call and can 
interact with each other. Thereafter, all three types of devices 
in the conference call may further request or receive informa­tion 
from each other. In an embodiment, third party device 
3602 may be another device of communication network 
3500. In an embodiment, Visuphone 3504 may further dis­play 
a visual IVR menu associated with third party device 
3602. In an embodiment, Visuphone 3504 of the device 3502a 
may receive the visual IVR menu associated with the phone 
number of third party device 3602. In an exemplary scenario, 
a user receives a call at a first mobile phone from an executive 
of the insurance department of a bank. The user may select a 
'conferencing' option and can include another user of a sec­ond 
mobile phone who might be interested in knowing about 
the insurance policies offered by the executive. In an embodi­ment, 
caller 3506 of device 3502a may opt to leave the con­ference 
call in between of the call. Thereafter, first party 
device 3508a and third party device 3602 may continue with 
the call.
US 2013/0022191 AI 
[0314] In an embodiment, caller 3506 may select a 'call 
forwarding' option of the displayed one or more communi­cation 
options to forward the call coming from first party 
device 3508a to third party device 3602. Thereafter, a user of 
third party device 3602 may interact with first party device 
3508a. For example, when a user of first mobile phone 
receives a call from a pizzeria, then a visual IVR menu of the 
pizzeria can be displayed at the mobile phone along with 
various communication options. The user may forward the 
call to a second mobile phone by selecting the 'call forward­ing' 
option. Now, the call will be between the second mobile 
phone and the pizzeria. In an embodiment, third party device 
3602 may include a Visuphone or IVR application. In another 
embodiment, third party device 3602 may include one or 
more audio and/or visual IVR menus. In an embodiment, a 
visual IVR menu associated with a phone number of third 
party device 3602 may be displayed on device 3502a. Further, 
Visuphone 3504 may receive the visual IVR menu associated 
with the third party device from third party device 3602. 
[0315] FIG. 37 illustrates an exemplary visual IVR menu 
3702 along with one or more communication options at 
device 3502a, in accordance with an embodiment of the 
invention. As discussed with reference to FIGS. 35A and 36, 
Visuphone 3504 may display the visual IVR menu 3702 
associated with the phone number of calling first party device 
3508 on the screen of device 3502a. The visual IVR menu is 
displayed with added graphics on the screen of device 3502. 
Visual IVR menu 3702 may include one or more options 
corresponding to every node in calling first party device 3508. 
It is well known that graphics are easier to learn and are faster 
to recognize than words. Therefore, graphics are used in 
various computerized device interfaces. Various types of 
graphics can be displayed for example, animated icons, icons 
that highlight or animate when the node is highlighted, and so 
forth. The graphics may be displayed for each node or a few 
nodes based on the usability of visual IVR menu 3702. For 
example, for node 3716 of home delivery, an icon of house 
may be displayed. In an embodiment of the invention, visual 
IVR menu 3702 can be customized to display only the text, 
only the icons or both. Furthermore, caller 3506 can suggest 
or use various icons based on his preferences. The visual IVR 
menu is specific to first party device 3508 from which call is 
received. 
[0316] Further, each of first party devices 3508a-n may 
have more than one audio IVR menus. Therefore, different 
visual IVR menu corresponding to the one or more audio IVR 
menus is possible for each of first party devices 3508a-n. In an 
embodiment, device 3502 may include more than one visual 
IVR menus for each first party device of first party devices 
3508a-n based on the time. Therefore, different visual IVR 
menus corresponding to a first party device 3508 might be 
presented to caller 3506 depending on the time of dialing to 
first party device 3508. In an exemplary scenario, in a hotel, 
the food items in a daytime menu card may be different from 
a night menu card. Accordingly, the options in the visual IVR 
menu may differ. Therefore, the visual IVR menus for day­time 
and night can be different for the hotel. When caller 3506 
receives a call from the phone number of the hotel in daytime, 
a daytime visual IVR menu can be displayed at device 3502, 
and if caller 3506 receives a call at night, a different, menu can 
be displayed at device 3502. Therefore, a visual IVR menu of 
the hotel displayed at device 3502 for a call received at 1 PM 
may be different then the visual IVR menu displayed for 
another call received at 5 PM. 
32 
Jan. 24, 2013 
[0317] Further, Visuphone 3504 may display the one or 
more communication options 3720a-n on the screen of device 
3502. Examples of one or more communication options 
3720a-n include, but are not limited to, a conferencing option, 
a call forwarding option, a busy option, and so forth. In an 
embodiment, when caller 3506 selects a 'busy' option from 
communication options 3720a-n, a text or audio message 
may be sent to calling first party device 3508. For example, 
when a user receives a call from a bank and selects the 'busy' 
option from the displayed visual IVR menu of the calling 
bank, then a customized or predefined message such as "I am 
busy right now, so please call later" can be sent to the bank. In 
an embodiment, the message may be an audio message. 
[0318] In an embodiment, when caller 3506 accepts the call 
from first party device 3508, a communication session is 
established between device 3502 and calling first party device 
3508. After communication session establishment, Visu­phone 
3504 of device 3502 may request and/or receive infor­mation 
from calling first party device 102. In an embodiment, 
caller 3506 may include third party device 3602 by selecting 
'conferencing' option from displayed communication 
options 3720a-n. Thereafter, the three devices i.e. first party 
device 3508, second party device 3502, and third party device 
3602 may have a conference call and can communicate with 
each other. In an embodiment, caller 3506 may include more 
than one third party device 3602 in the conference call. In an 
embodiment, third party device 3602 may include another 
communication device of communication network 3500 in 
the conference call. In another embodiment, the calling first 
party device such as first party device 3508a may include 
another first party device such as a first party device 3508b in 
the conference call. In another embodiment, first party device 
3508 from which call is received may connect device 3502 to 
another first party device 3508b during the call. 
[0319] FIG. 38 illustrates another exemplary visual IVR 
menu 3802 along with one or more communication options at 
device 3502a, in accordance with an embodiment of the 
invention. Visual IVR menu 3802 is a visual menu corre­sponding 
to an audio IVR menu of a bank. Visual IVR menu 
3802 includes one or more options corresponding to every 
node in the audible IVR menu when the calling first party is 
the bank or an executive of the banl<. Though not shown, 
nodes of visual IVR menu 3802 may be represented using 
graphics such as, animated icons, icons that highlight or ani­mate 
when the node is highlighted, and so forth. Further, 
graphics may be displayed for each node or a few nodes based 
on the usability of visual IVR menu 3802. Visual IVR menu 
3802 includes nodes such as personal banking node 3806, 
NRI banking node 3808. Caller 3506 can choose NRI bank­ing 
by pressing a combination 1-3. Thereafter, caller 3506 can 
select investment option by pressing 2. Furthermore, caller 
3506 can suggest or use various icons based on his prefer­ences. 
The visual IVR menu is specific to a destination. For 
example, hospitals will have different IVR menu than that of 
the bank. In an embodiment, one or more communication 
options 3720a-n may also be displayed on the screen of 
device 3502. Caller 3506 can select a communication option 
of displayed communication options 3720a-n. Visuphone 
104 may include a third party device as shown in FIG. 36 
based on selection of the communication option. 
[0320] Another embodiment of the invention allow visual 
IVR menu for calls received at a conventional home tele­phone. 
FIG. 39 illustrates the presentation of the visual IVR 
menu when a phone connection is associated with a wide
US 2013/0022191 AI 
band interne 'smart' modem. A phone 3904 connected to a 
PSTN 3908 and through a gateway 3916 to the Internet net­work 
3918 is shown in FIG. 39. A first party device 3508a can 
call a phone number of the phone 3904. Network 3918 may be 
any service provider that provides services, for example, but 
not limited to, telephone services, cell phone services, wire­less 
services, Internet services, cable television services, or 
various combinations of the above or other type of services. 
An embodiment of the invention allow visual IVR menu for 
calls received at a conventional home telephone. 
[0321] Further, the connection to network 3918 is associ­ated 
with a wide band Internet 'smart' modem 3906. Phone 
3904 may be a regular phone, such as a landline phone or a 
cordless landline phone. Modem 3906 may be a Digital Sub­scriber 
Link (DSL) modem or a cable modem that connects 
the home device to the Internet and/or computer network. 
Modem 3906 is connected to a service provider, and can 
provide the home devices with telephone, Internet and tele­vision 
services. Modem 3906 may provide both wired and 
wireless connections. Modem 3906 provides the home with 
the Internet through wire 3910 to a computer 3902, or through 
a Wi-Fi connection. Modem 3906 comprises the ability to 
detect and recognize the calls received by phone 3904. The 
phone number of the call received by phone 3904 to establish 
connection are then compared with phone numbers stored in 
a database, such as visual menu database 308. Therefore, in 
case the calling phone number corresponds to first party 
device 3508a with an audible IVR menu, and also when 
associated visual IVR menu exists then, modem 3906 may 
provide the visual IVR menu on computer 3902 connected to 
it. Moreover, modem 3906 may use private web sites to 
present the visual IVR menu or just provide the phone number 
of the calling first party device 3508a to computer 3902. 
Thereafter, a software tool on computer 3902 may present the 
visual IVR menu on the screen of the computer 3902. 
[0322] Once the communication session is established 
between first party device 3508a and phone 3904, the 'smart' 
modem 3906 will continue to monitor the numbers dialed or 
received by phone 3904 to browse or advance the visual IVR 
menu accordingly. Furthermore, the numbers dialed or 
received may be stored for future processing such as high­lighting 
previous selections in the visual IVR menu, provid­ing 
customized visual IVR menu and so forth. The visual IVR 
menu system comprising computer 3902 and modem 3906 
may incorporate additional enhancements as presented 
before. 
[0323] In another embodiment of the invention, a house 
television 3912 may be used to present the visual IVR menu. 
In various houses modem 3906 decodes television signals and 
transfers it to a set-top box 3914 that provides signals to 
television 3912. The visual IVR menu may be presented on a 
channel dedicated for IVR. Therefore, when phone 3904 is 
used to receive a call, modem 3906 can detect it and present 
the visual IVR menu corresponding to the phone number of 
the calling first party device 3508a on the designated channel 
of the television 3912. Modem 3906 may further display one 
or more communication options 3720a-n on the designated 
channel of the television 3912. Further, all the options 
described before can be provided now using the screen of the 
television 3912 for the visual IVR menu. The caller selection 
can be done by using the simple phone 3904 or alternatively 
using TV 3912, set top box 3914 remote control. Further, 
television 3912 screen may be used to present the visual IVR 
menu in a few alternatives ways. For example, a device pro- 
33 
Jan. 24, 2013 
vided by a company named Rokuinc., allows streaming of 
content from the Internet to television. Most set-top boxes 
now have an Internet connection or telephone connections. 
Furthermore, various devices such as some Digital Versatile 
Disc (DVD) players, and video game players or controllers 
such as Xbox or Playstation, can be connected to the Internet. 
Each of those devices may allow the 'smart' modem 3906 to 
provide a visual IVR menu and/or the one or more commu­nication 
options 3720a-n on the screens of television 3912. 
[0324] FIG. 40 illustrates a flowchart for providing 
enhanced telephony when a call is received, in accordance 
with an embodiment of the invention. First party devices 
3508a-n may call a phone number of device 3502. Device 
3502 may receive a call from the phone number of first party 
devices 3508a-n. Caller 106 may accept call at device 3502 to 
connect or interact with first party devices 3508a-n and/or 
third party device 3602. First party devices 3508a-n may 
include an audible IVR menu for interaction with caller 3506. 
Further, device 3502 may include Visuphone 3504 to display 
a visual IVR menu 3702 associated with a phone number of a 
calling first party device 3508. Further, Visuphone 3504 may 
display the one or more communication options 3720a-n at 
device 3502, as discussed with reference to the FIG. 37. 
Visuphone 3504 may establish a commnnication session with 
the phone number of calling first party device 3502 by accept­ing 
the call. In an exemplary scenario, a user of the mobile 
phone receives a call from a bank, then 'conferencing' and 
'call forwarding' options may also be displayed along with 
the visual IVR menu of the bank on the mobile phone. The 
user may select a 'conferencing' option to include another 
mobile device in the conference call. Similarly, the user may 
select the 'call forwarding' option to forward the call to 
another commnnication device or a server in communication 
network 3500. 
[0325] At step 4002, a call from a phone number of a first 
party device 3508 such as a first party device 3508a, is 
received. The call may be received by Visuphone 3504 of 
device 3502. First party device 3508a may initiate a call to 
device 3504 by dialing a phone number of device 3502. At 
step 4004, the phone number of first party device 3508a is 
compared with a plurality of phone numbers stored at device 
104. Visuphone 3504 may compare the phone number of first 
party device 3508a with the stored phone numbers. 
[0326] A visual menu database may store the one or more 
phone numbers of first party devices 3508a-n. Further, the 
visual menu database stores one or more visual IVR menus 
associated with the phone numbers of first party devices 
3508a-n. In an embodiment, it may be checked whether a 
visual IVR menu associated with the phone number of the 
calling first party device 3508a is present in the visual menu 
database of device 3502. If the visual IVR menu is not 
present, device 3502 may receive the visual IVR menu asso­ciated 
with first party device 3508a from first party device 
3508a. In an embodiment, the visual IVR menu associated 
with first party device 3508a may be received from the server. 
[0327] At step 4006, visual IVR menu associated with the 
calling first party device 3508a is displayed. The visual IVR 
menu may be displayed at the display of device 3502. The 
visual IVR menu includes one or more graphics and/or text 
options corresponding to different nodes as shown in FIG. 3 7. 
At step 4008, one or more communication options 3720a-n is 
displayed. One or more communication options 3720a-n may 
be displayed at a display of device 3502. Examples of one or 
more commnnication options 3720a-n include, but are not
US 2013/0022191 AI 
limited to, a conferencing option, a call forwarding option, a 
busy option, and so forth. At step 3710, caller 3506 of device 
3502 may select a communication option of the displayed one 
or more communication options 3720a-n. At step 4012, a 
communication session is established based on the selection 
by caller 3506. In an embodiment, caller 3506 may select the 
'conferencing' option, to establish the communication ses­sion 
between first party device 3508a, device 3502 and third 
party device 3602. Thereafter, all the three devices can com­municate/ 
interact with each other and may request/receive 
information from each other. In another embodiment, caller 
3506 may forward the call of first party device 3502a to 
another communication device of communication network 
3500 by selecting the 'call forwarding' option. In an embodi­ment, 
the call may be forwarded to a server of communication 
network 3500. In another embodiment, caller 3506 may 
select the 'busy' option when caller 3506 cannot attend the 
call. Selecting the 'busy' option by the user may send a 
predefined audio/text message to calling first party device 
3508a. 
[ 03 28] In another embodiment of the invention, a method is 
disclosed for displaying a visual IVR menu associated with a 
phone number of a first party device from which a call is 
received, at the device. 
[0329] In an embodiment of the invention, more than one 
visual IVR menus associated with the phone numbers of the 
first party devices may be displayed at a communication 
device. In an embodiment, the Visuphone may display the one 
or more visual IVR menus at the communication device. In 
another embodiment of the invention, the user may request 
information from more than one first party device simulta­neously. 
The user may interact with more than one visual IVR 
menus associated with different first party devices. In an 
embodiment, the one or more visual IVR menus may be 
associated with the second party device. For example: a user 
receives a call from an insurance department of a bank offer­ing 
some insurance policy to the user. When the user accepts 
the call a visual IVR menu associated with the bank with the 
insurance department highlighted is displayed on the screen 
of the device. During the call, if the user wish to check his/her 
account balance to take a decision regarding insurance poli­cies. 
The user may check his/her account balance by selecting 
the personal banking option from the visual IVR menu of the 
bank. As soon as the user selects this option another visual 
IVR menu of the personal banking will be displayed on the 
screen of the communication device. Thereafter, the user may 
simultaneously interact with both the visual IVR menus. 
[0330] In an embodiment of the invention, the user may 
request information from more than one first party device 
simultaneously. The user may interact with more than one 
visual IVR menus associated with different first party 
devices. For example: a user gets a call from a restaurant 
offering different types of cuisine. When the user accepts the 
call a visual IVR menu associated with the restaurant is dis­played 
at the screen of the device. During the call, if the user 
wishes to check menus of two or more cuisines, the user may 
select from the main visual IVR menu of the restaurant. Based 
on the selection by the user, the two or more visual IVR menus 
may be displayed at the device. Thereafter, the user may 
simultaneously interact with the displayed visual IVRmenus. 
[0331] According to an embodiment of the invention, por­table 
devices such as smart phones, mobile phones, land line 
phone, and so forth may also include Visuphone and can 
connect to external devices. Usually the display screen of 
34 
Jan. 24, 2013 
portable device is small and not so user friendly. The Visu­phone 
of such devices may be configured to automatically 
detect external devices such as a laptop, a computer, an LCD 
screen etc present in its vicinity. Further, the detected elec­tronic 
devices are configured to connect with the portable 
devices. This functionality of the Visuphone has been 
explained in detail using FIG. 41 to FIG. 64. 
[0332] FIG. 41 illustrates an enviroument 4100 where a 
device may be connected to an external device, according to 
an embodiment of the invention. Environment 4100 includes 
a portable device 4102 including a Visuphone 4104. 
Examples of portable device 4102 include but are not limited 
to a mobile phone, a smart phone, a Personal Desktop Assis­tant 
(PDA), a tablet Personal Computer (PC), and so forth. 
Environment 4100 further includes a plurality of external 
devices 4106a-n. Portable device 4102 may be used for data 
and voice communications. In an embodiment of the inven­tion, 
portable device 4102 may include an Operating System 
(OS) such as, but not limited to, Windows Mobile, Apple iOS, 
GoogleAndroid, Symbian, and so forth. Portable device 4102 
may be connected to multiple external devices 3506a-n. 
Examples of external devices 3506a-n include, but are not 
limited to, a display screen, a laptop, an electronic musical 
instrument, a keyboard, a mouse, and so forth. 
[0333] Portable device 4102 may connect to external 
devices 41 06a-n by using Bluetooth, Wi-F i, Infrared, or other 
wireless protocols. Further, portable device 4102 may con­nect 
to external devices 4106a-n by using an Ethernet cable, 
a video cable, Universal Serial Bus (USB), and so forth. 
When connected to the external device such as a display 
screen, the display of the external device may be used to 
display the content of screen of portable device 4102. More­over, 
external device 4106b such as a mouse connected to 
portable device 4102, can be used to provide inputs that are 
reflected on the display of the external device. As a result, 
portable device 4102 can act as a universal communication 
hub that can enable interaction of multiple external devices 
4106a-n among each other. 
[0334] FIG. 42 illustrates exemplary functioning of por­table 
device 4102 in the environment discussed in conjunc­tion 
with FIG. 41, in accordance with an embodiment of the 
invention. As shown, a display screen 4202, a keyboard 4204, 
and a mouse 4206 can be connected through portable device 
4102. Therefore, the screen of portable device 4102 is dis­played 
on a larger screen of display screen 4202. Moreover, a 
user can use keyboard 4204 and mouse 4206 to access the 
information through portable device 4102. For example, in 
this configuration, the user can browse the Internet by using 
display screen 202, keyboard 204, and mouse 206, while 
portable device 4102 provides the Internet connectivity. 
Therefore, a computer other than portable device 4102 may 
not be required by the user. As a result, the user can carry 
portable device 4102 and use it with various external devices 
as desired. 
[0335] In an embodiment of the invention, portable device 
41 02a such as a smart phone or mobile phone may detect and 
connect to a laptop 4302 as shown in FIG. 43. The connection 
between portable device 4102a and laptop 4302 may be wired 
such as via a USB wire or it can be wireless such as via 
Bluetooth or Wi-Fi. Thereafter, portable device 4102a may 
use display oflaptop 4302. Further, laptop 4302 may be used 
to control one or more functions of portable device 41 02a and 
vice versa. For example, user can use one or more keys of
US 2013/0022191 AI 
laptop 4302 may be used to access phone book of the smart 
phone or to dial a phone number. 
[0336] In another embodiment of the invention, portable 
device 41 02a may detect a large display screen 4402 as shown 
in FIG. 44. Further, portable device 4102a may use Bluetooth, 
USB wire, and so forth to connect to large screen 4402. The 
large screen 4402 may be a Light Emitting Diode (LED) 
display screen, a Liquid Crystal Display (LCD) screen, and so 
forth. Usually. Portable devices such as mobile phones, smart 
phones, wired telephones etc. have either a small display or 
limited display capabilities. In such cases, portable devices 
include a Visuphone. The Visuphone may be further config­ured 
to detect and connect portable device 4102 to one or 
more external devices such as large screen 4402. Once con­figured, 
the Visuphone can detect large display 4402 and can 
connect to it via Bluetooth. In an embodiment, the portable 
device 4102a may connect to external devices 4106a-n using 
Near Field Communication (NFC) protocol. Further, when 
portable device 4102a is video conferencing with another 
portable device, the video can be displayed at large screen 
4402. For example, when the smart phone is in video call with 
another phone, the video of the user at another phone will be 
displayed at the large screen. 
[0337] In another embodiment of the invention, portable 
device such as a smart phone 4102a may detect and connect 
to a television screen 4502 as shown in FIG. 45. Visuphone 
4104 can detect television screen 4502. In this case, television 
screen 4502 may be used to display the screen of portable 
device 4102a such as a mobile device. Therefore, when the 
user is connected to television 4502, screen of television 4502 
can be used to access various functions of portable device 
4102 such as, but are not limited to, call receiving, dialing, 
browsing the phonebook, typing a message, browsing the 
Internet, and so forth. This functionality increases the com­fort 
in using the small form factor of portable device 4102. 
[0338] In another embodiment of the invention, Visuphone 
4104 may detect a picture frame 4602 and connect it to 
portable device 4102a it as shown in FIG. 46. The connection 
between portable device 4102a (the smart phone) and picture 
frame 4602 can be wireless or wired. The wireless connection 
may be established by using Bluetooth, Wi-Fi, NFC, and so 
forth. The wired connection may be established via USB or 
using a cable wire. In an embodiment, picture frame 4602 
may be a digital picture frame. The digital picture frame is a 
picture frame which may be used to display images or photos 
without the need of printing or using them on computer. Once 
connected, display of picture frame 4602 may be used to 
display screen of portable device 4102a such as a mobile 
phone. 
[0339] In another embodiment of the invention, portable 
device 4102a may detect and connect to a Global Positioning 
System (GPS) navigation system 4702 as shown in FIG. 47. 
Visuphone 4104 detects GPS navigation system 4702. There­fore, 
when the user is connected to GPS navigation system 
4702, screen of GPS navigation system 4702 may be used as 
display of portable device 4102a such as a mobile device. 
Further, screen ofGPS navigation system 4702 can be used to 
access various functions of portable device 41 02a such as call 
receiving, browsing the phonebook, browsing the Internet, 
and so forth. This functionality increases the comfort in using 
portable device 4102a such as the mobile phone which has 
limited display. 
[0340] In yet another embodiment of the invention, smart 
phone 4102a can detect and connect to a projector 4802 as 
35 
Jan. 24, 2013 
shown in FIG. 48. Visuphone 4104 detects the availability of 
projector 4802. Further, Visuphone 4104 may connect to pro­jector 
4802 using any of wired or wireless connection. Fur­ther, 
projector 4802 is configured to connect to connect to 
Visuphone 4104 of smart phone 4102a. Projector 4802 may 
be connected to a display 4804. Similarly, the connection 
between projector 4802 and display 4804 can be wired or 
wireless. Further, projector 4802 can project the display of 
smart phone 4102a on display 4804. Further, one or more 
functions of projector 4802 may be controlled by using con­nected 
smart phone 4102a. 
[0341] FIG. 49 illustrates exemplary display of an Interac­tive 
Voice Response (IVR) menu on a large display screen 
4902 connected to a portable device 4102, in accordance with 
an embodiment of the invention. Large display screen 4902 
can be a screen of any of external devices 4106a-n. Portable 
device 4102 can be a smart phone, a mobile phone, a pager, 
and so forth. A visual IVR menu 4904a is a visual menu 
including one or more options at portable device 4102. A 
visual IVR menu 4904b is a visual menu at large display 
screen 4902 corresponding to visual IVR menu 4904a. Dis­playing 
visual IVR menu of mobile phone on large display 
screen 4902 enhances visibility. 
[0342] FIG. 50 illustrates a block diagram of portable 
device 4102, in accordance with an embodiment of the inven­tion. 
Herein after, portable device 4102 may be referred to as 
device 4102. Device 4102 can connect to Public Switched 
Telephone Network (PSTN) 5016 through a radio interface 
5012 in a wired or wireless manner. For example, radio inter­face 
5012 may provide 2G, 3G, and/or 4G, connectivity in 
case of device 4102 being a mobile phone. Moreover, net­work 
interface 5014 can be used to connect device 4102 to 
network 5018. Examples of network 5018 include wireless or 
wired networks such as Local Area Network (LAN), Personal 
Area Network (PAN), or other specialized networks. FIG. 51 
shows when network 5018 is a wireless network 5102. Net­work 
interface 5014 may allow connectivity through various 
protocols such as TCP/IP, Bluetooth, acoustic signals, or 
other types of radio signals. For example, device 4102 may 
connect to a television through Bluetooth for displaying the 
contents of device 4102. 
[0343] Device 4102 includes a display 5002 to output 
graphical information to the user. In an embodiment of the 
invention, display 5002 may includes a touch sensitive 
screen. A memory 5006 of device 4102 stores various pro­grams, 
data and/or instructions that can be executed by a 
processor 5004. Examples of memory 5006 include, but are 
not limited to, a Random Access Memory (RAM), a Read 
Only Memory (ROM), a hard disk, and so forth. A person 
skilled in the art will appreciate that other types of computer­readable 
media which can store data that is accessible by 
device 4102, such as magnetic cassettes, flash memory cards, 
digital video disks, and the like, may also be used by device 
4102. Further, memory 5006 may include an OS 5010. Fur­ther, 
other applications such as instant messaging application, 
browser, and so forth may be available on device 4102. Pro­cessor 
5004 may include a connection manager 5008 that 
enables device 4102 to connect to external devices 4106a-n 
through network interface 5014. In an embodiment of the 
invention, connection manager 5008 may be implemented as 
a second processor in device 4102. 
[0344] Device 4102 includes a system bus 5020 for con­necting 
the components. Examples of system bus 5020 
include several types of bus structures including a memory
US 2013/0022191 AI 
bus or memory controller, a peripheral bus, or a local bus 
using any of a variety of bus architectures. 
[0345] In another embodiment of the invention, a portable 
device may be connected to a user device as shown in FIG. 52. 
As shown, an environment 5200 includes a portable device 
5202 that can be used by a user through a user device 5204. 
Further, portable device 5202 may include a Visuphone 5208 
for connecting and establishing a communication with user 
device 5204. Examples of user device 5204 include but are 
not limited to a mobile phone, a smart phone, a Personal 
Digital Assistant (PDA), a tablet Personal Computer (PC), 
and so forth. User device 5204 may be used for data and/or 
voice communications over a PSTN, mobile network, the 
Internet, the Ethernet, and so forth. Further, portable device 
5202 is configured to connect to multiple external devices 
5206a-n. Furthermore, user device 5204 may be connected to 
multiple external devices 5206a-n and communicate with any 
of external device 5206 through portable device 5202. User 
device 5204 is configured to connect with portable device 
5202. Similarly, multiple external devices 5206a-n are con­figured 
to connect to portable device 5202. 
[0346] In an embodiment of the invention, portable device 
5202 may include an Operating System (OS) such as, but not 
limited to, Windows Mobile, Apple iOS, Google Android, 
Symbian, and so forth. Examples of external devices 5206a-n 
include, but are not limited to, a display screen, a keyboard, a 
mouse, an LED screen, a Laptop, and so forth. In an embodi­ment 
of the invention; portable device 5202 may include a 
dock for receiving and connecting to user device 5204. In an 
embodiment, user device 5204 may include a Visuphone. 
[0347] Portable device 5202 may connect to external 
devices 5206a-n by using Bluetooth, Wi-Fi, Infrared, or other 
wireless protocols. Further, Visuphone 5208 is configured to 
connect to any of external devices 5202a-n. Further, portable 
device 5202 may connect to external devices 5206a-n by 
using an Ethernet cable, a video cable, Universal Serial Bus 
(USB), and so forth. Therefore, the display on the screen of 
portable device 5202 can be presented on external device 
5206a such as a display screen. Moreover, external device 
5206b such as a mouse connected to portable device 5202 can 
be used to provide inputs that is reflected on the display 
screen. As a result, portable device 5202 acts as a universal 
communication hub that can enable interaction of multiple 
external devices 5206a-n among each other. 
[0348] Further, as shown in FIG. 53, user device 5204 may 
be connected to portable device 5202 via a network 5302. 
Network 5302 can be the Internet, LAN, MAN, and so forth. 
In an embodiment, user device 5204 and portable device 5202 
may be separated by a large distance. Further, user device 
5204 is configured to connect to portable device 5202. Fur­ther, 
Visuphone 5208 is configured to search for available one 
or more devices such as external devices 5206a-n and user 
device 5204. 
[0349] FIG. 54 illustrates exemplary functioning of por­table 
device 5202 connected to a mobile phone 5402 in the 
environment as discussed in conjunction with FIG. 52 or FIG. 
53. As shown, user device 5204 such as mobile phone 5402 
may connect to display screen 4202, keyboard 4204, and 
mouse 4206 of the computer through portable device 5202. 
Therefore, the screen of mobile phone 5402 is displayed on a 
larger screen of display screen 4202. Moreover, a user can use 
keyboard 4204 and mouse 4206 to access the information 
through portable device 5202. For example, in this configu­ration, 
the user can browse the Internet by using display 
36 
Jan. 24, 2013 
screen 4202, keyboard 4204, and mouse 4206, while mobile 
phone 5402 provides the Internet connectivity and portable 
device 5202 provides the connectivity among mobile phone 
5402 (or user device 5204), display 4202, keyboard 4204 and 
mouse 4206. Therefore, a computer other than mobile phone 
5402 and portable device 5202 may not be required by the 
user. In an embodiment, mobile phone 5402 (or user device 
5204) may not include a Visuphone. 
[0350] In an embodiment of the invention, portable device 
5202 can provide connectivity to multiple user devices. For 
example, in a home environment, portable device 5202 may 
detect multiple mobile phones and wired phone. Therefore, 
the screen of a mobile phone may be displayed on a television 
near to that mobile phone. In another embodiment of the 
invention, portable device 5202 may enable communication 
among multiple user devices. Further, the multiple user 
devices are configured to connect to portable device 5202. 
[0351] FIG. 55 illustrates an exemplary functioning of por­table 
device 5202 connected to mobile phone 5402 and a 
projector 5502 in the environment as discussed in conjunction 
with FIG. 52 or FIG. 53. Portable device 5202 may be con­nected 
to projector 5502, and to a user device such as mobile 
phone 5402. Further, projector 5502 may be connected to a 
bigger display 5504. Once all the devices are connected, 
display of mobile phone 5402 may be displayed on bigger 
display screen 5504. Visuphone 5208 of portable device 5202 
will detect and connect the configured devices i.e. mobile 
phone 5402 (or user device) and projector 5502. Thereafter, 
one or more functions of mobile phone 5502 can be controlled 
by using projector 5502 and vice versa. 
[0352] FIG. 56 illustrates another exemplary functioning of 
portable device 5202 connected to mobile phone 5402 and 
large screen 4402 in environment 5200, in accordance with an 
embodiment of the invention. As shown Visuphone 5208 of 
portable device 5202 may detect an external device such as a 
large screen 4402. A user device such as a mobile phone 5402 
can be connected to large screen 4402 via portable device 
5202. Mobile phone 5402 is configured to connect with por­table 
device 5202. Similarly, large screen 4402 is also con­figured 
to connect to portable device 5202. Further, the con­nection 
between portable device 5202 and mobile phone 5402 
can be wired or wireless. Furthermore, the connection 
between portable device 5202 and large screen 4402 can be 
wired or wireless. Thereafter, display of mobile phone 5402 
may be displayed on large screen 4402 after being connected 
to portable device 5202. 
[0353] In an embodiment of the invention, external device 
5206a-n such as a television 4502 may be connected to user 
device such as mobile phone 5402 via portable device 5202 as 
shown in FIG. 57. Further, mobile phone 5402 and television 
4502 are configured to connect with portable device 5202. In 
an embodiment of the invention, mobile phone 5402 may 
include a Visuphone. Though not shown, any user device 
other than mobile phone 5402 may be connected to portable 
device 5202. 
[0354] FIG. 58 illustrates exemplary functioning of por­table 
device 5202 connected to mobile phone 5402 and a 
laptop 4302 in the environment of FIG. 52 or FIG. 53, in 
accordance with another embodiment of the invention. A 
communication session between mobile phone 5402 and lap­top 
4302 may be established via portable device 5202. Mobile 
phone 5402 is configured to connect with portable device 
5202. Similarly, laptop 4302 is also configured to connect to 
portable device 5202. After getting connected to each other
US 2013/0022191 AI 
via portable device 5202 contents of mobile phone 5402 may 
be displayed on screen oflaptop 4302. 
[0355] In another embodiment of the invention, an external 
device such as picture frame 4602 may be connected to a user 
device such as a wired telephone 5902 via portable device 
5202 as shown in FIG. 59. As shown, Visuphone 5208 of 
portable device 5202 may detect an external device such as 
wired telephone 5802 and connect to it. Further, Visuphone 
5208 may detect and connect to an external device such as 
picture frame 4602. 
[0356] According to yet another embodiment of the inven­tion, 
external device such as a GPS navigation system 4702 
may be connected to a user device such as mobile phone 5402 
via portable device 5202 as shown in FIG. 60. Both the 
devices i.e. GPS navigation system 4702 and mobile phone 
5402 are configured to connect to portable device 5202. Once 
connected to portable device 5202, contents of mobile phone 
5402 may be displayed by using screen of GPS navigation 
system 4702. For example, when a call is received at mobile 
phone 5402, an IVR menu associated with the calling party 
may be displayed at screen ofGPS navigation system 4702. 
[0357] FIG. 61 illustrates an exemplary display of a visual 
Interactive Voice Response (IVR) menu on a large display 
screen 6102 connected to a portable device such as the smart 
phone 6106, in accordance with an embodiment of the inven­tion. 
Display 6104a is a display of a visual IVR menu on 
smart phone 6106. Display 6104b is the display of the visual 
IVR menu on large display screen 6102 corresponding to 
display 6104a of smart phone 6106. 
[0358] FIG. 62 illustrates a block diagram of portable 
device 5202, in accordance with an embodiment of the inven­tion. 
Network interface 6210 can be used to connect portable 
device 5202 to network 6212. Examples of network 6212 
include wireless or wired networks such as Local Area Net­work 
(LAN), Personal Area Network (PAN), Bluetooth, or 
other specialized networks. Network interface 6210 may 
allow connectivity through various protocols such as TCP/IP, 
Bluetooth, acoustic signals, or other types of radio signals. 
For example, portable device 5202 may connect a mobile 
phone to a television through a Bluetooth communication 
link. As a result, the contents on screen of the mobile phone 
can be displayed on the television screen which is larger than 
that of the mobile phone. In an embodiment of the invention, 
portable device 5202 can use different protocols for commu­nicating 
with different devices based on their capabilities. For 
example, portable device 5202 may connect to a mobile 
phone through Bluetooth and the television through Wi-Fi. 
[0359] Portable device 5202 includes a memory 6204 to 
store various programs, data and/or instructions that can be 
executed by a processor 6202. Examples of memory 6204 
include, but are not limited to, a Random Access Memory 
(RAM), a Read Only Memory (ROM), a hard disk, and so 
forth. A person skilled in the art will appreciate that other 
types of computer-readable media which can store data that is 
accessible by portable device 5202, such as magnetic cas­settes, 
flash memory cards, digital video disks, and the like, 
may also be used by portable device 5202. Memory 6204 may 
include an OS 6208. Further, other applications such as 
instant messaging application, browser, and so forth may be 
available on portable device 5202. Processor 6202 may 
include a connection manager 6206 that enables portable 
device 5202 to connect to external devices 5206a-n through 
network interface 6210. In an embodiment of the invention, 
37 
Jan. 24, 2013 
connection manager 6206 may be implemented as a second 
processor in portable device 5202. 
[0360] Device 5202 includes a system bus 6214 for con­necting 
the components. Examples of system bus 6214 
include several types of bus structures including a memory 
bus or memory controller, a peripheral bus, or a local bus 
using any of a variety of bus architectures. 
[0361] FIG. 63 is a flowchart illustrating the functioning of 
portable device 4102 in accordance with an embodiment of 
the invention. As discussed with reference to FIG. 41, por­table 
device 4102 includes a Visuphone 4104. Further, por­table 
device 4102 is configured to detect and connect to any 
one of external devices 4106a-n. 
[0362] At step 6302, Visuphone 4104 of portable device 
4102 searches for an external device 4106. For example, a 
Visuphone present in a smart phone searches for an external 
device such a large display screen, a laptop, a computer, and 
so forth. At step 6304, it is checked whether the external 
device is available. In an embodiment, the availability of 
external device is chaked within a predefined distance such as 
within 50 meters, 10 meters, and so forth. If the external 
device is detected the portable device connects to the external 
device at step 6306, else control goes back to step 6302. 
Thereafter, at step 6308 contents of display screen of portable 
device 5202 are displayed at the connected external device. 
For example, when connected to a laptop, the content of smart 
phone is displayed on the laptop screen. 
[0363] FIGS. 64Aand 64B illustrates a flowchart for imple­menting 
a portable device 5202 in the environment 5200, in 
accordance with an embodiment of the invention. Portable 
device 5202 includes a Visuphone 5208. Visuphone 5208 is 
configured to detect and connect to one or more devices such 
as external devices 5206a-n, user device 5204, and so forth. 
[0364] At step 6402, Visuphone 5208 searches for a user 
device 5204. At step 6404, it is checked whether user device 
5204 is available. If user device 5204 is available than a 
connection is established between portable device 5202 and 
the detected user device 5204 at step 6406 else control goes 
back to the step 6402. 
[0365] At step 6408, Visuphone 5208 of portable device 
5202 searches for an external device 5206. At step 6410, it is 
checked whether the external device 5206 such as external 
device 5206b is available. If the external device 5206 is avail­able, 
then the process control goes to step 6412 else the 
control goes back to step 6408. At step 6412, a connection is 
established between portable device 5202 and the detected 
external device 5206b. Thereafter, contents of display of con­nected 
user device 5204 are displayed on a screen of the 
connected external device 5206b. For example, contents of a 
mobile phone may be displayed on a screen of a television 
which is connected to the television via portable device 5202. 
[0366] FIG. 65 illustrates exemplary functioning of a Visu­phone 
for displaying one or more contact options at a device, 
in accordance with an embodiment of the invention. Some­times 
it may be desired by a caller to call specifically to a 
particular branch or department of a destination. For example, 
while calling for a restaurant the user may be interested in 
calling to a particular branch (or location) of the restaurant but 
the user might not be aware of the exact phone number of that 
branch. In an embodiment, when a user or caller dials a phone 
nnmber of a destination, Visuphone of device such as mobile 
phone may display one or more contact options 6520a-n 
along with the visual IVR menu associated with the dialed 
destination. Contact options 6520a-n can be contact details or
US 2013/0022191 AI 
information associated with different branches (or locations) 
of the dialed destination. For example, if the user dials a 
phone number of a pizzeria (e.g. pizza hut), then the Visu­phone 
will display visual IVR menu 6502 of the pizzeria as 
well as one or more contact options corresponding to the other 
branches of same pizzeria (of pizza hut). 
[0367] Further, by clicking or selecting at least one contact 
option of contact options 6520a-n, the user can connect to 
desired branch or department of the dialed destination (or 
pizzeria). In an embodiment, when the user selects a contact 
option 6520b, a visual IVR menu associated with a particular 
branch or department of the dialed destination can be dis­played 
at the device. In an embodiment, contact options 
6520a-n may include information such as, but not limited to, 
a phone number, an address, a department name, and so forth. 
In an embodiment, one or more contact options 6520a-n can 
be a tab with a tab name such as department name. The user 
can select one contact option of contact options 6520a-n 
based on the contact details or information. In an embodi­ment, 
the different branches of the dialed destination may 
have different IVR menus. Further, the user can switch the 
display on the screen of device (or device 1 02) by selecting at 
least one contact option 6520. Visuphone of device (device 
1 02) takes the appropriate action based on the selection made 
by the user. In an embodiment, when the user selects a contact 
option, a visual IVR menu of the selected contact option such 
as a particular department of the dialed destination is dis­played. 
[0368] Visual IVR menu 6502 may include various options 
6504 to 6518. The user can select one or more options from 
the displayed visual IVR menu. For example, the user can 
order a pizza by selecting option 6506 or by pressing 1-2 keys 
of keypad of device. In an embodiment, the user may switch 
directly to some other department or branch of the dialed 
destination by selecting at least one contact option from the 
displayed contact options 6520a-n. Based on the selection, 
the display of device 102 may change. 
[0369] FIG. 66 illustrates change of display at user device 
102, when a user selects a contact option, in accordance with 
an embodiment of the invention. As discussed with reference 
to FIG. 65, when a user selects a contact option such as 6520b 
of the contact options 6520a-n, a visual IVR menu 6602 
associated with the contact option 6520b may be displayed at 
device 102. Visual IVR menu 6602 may include various 
options 6604-6614. For example, if the user selects a contact 
option corresponding to a home delivery department of the 
dialed pizzeria, then visual IVR menu 6602 for home delivery 
can be displayed as shown. Visual IVR menu 6604 includes 
options such as for ordering pizza by selecting an option 6606 
(in case of a touch screen enabled device) or by pressing a 
combination of keys i.e. 1-2 on keypad of device 102. Simi­larly, 
the user may get status for previously placed order by 
selecting an option 6608. The user can choose to talk to an 
executive by selecting option 6614. Contact options 6520a-n 
provides an option to the user for directly connecting to IVR 
system of the desired branch, this way time can be saved. 
[0370] FIG. 67 illustrates an exemplary functioning of 
Visuphone for displaying one or more contact options at a 
device, in accordance with another embodiment of the inven­tion. 
When a user dials a phone number of a destination, such 
as an XYZ airlines customer care, from device 102. Then a 
visual IVR menu 6702 of the XYZ airlines can be displayed 
at screen of device 102. Additionally, one or more contact 
options such as XYZ Domestic Airline Contact Option 6720a 
38 
Jan. 24, 2013 
and XYZ International Airline Contact Option 6720b can be 
displayed at the screen of device 102. 
[0371] In an exemplary scenario, the user may be interested 
in contacting or knowing details of domestic airlines or inter­national 
airlines department of XYZ Airlines specifically. 
The user may directly dial to these specific airline depart­ments 
by selecting a related contact option from the displayed 
contact options. For example, the user can directly connect to 
domestic airlines IVR system of XYZ airlines by selecting 
the XYZ Domestic Airlines Contact Option 6720a. After 
detecting the selection of option 6720a, the Visuphone of 
device 102 can display a visual IVR menu associated with the 
Domestic Airlines department of XYZ airline as shown in 
FIG. 68. Similarly, the user can select International Airlines 
Contact Option 6720b to directly connect to the XYZ Inter­national 
Airlines department. Thereafter, the user can interact 
with the displayed visual IVR menu. 
[0372] FIG. 68 illustrates change in display at device 102 
based on selection of a contact option by a user of device 102, 
in accordance with an embodiment of the invention. As dis­cussed 
with reference to FIG. 67, a visual IVR menu ofXYZ 
airlines is displayed when the user dials a phone number of 
XYZAirlines. One or more contact options 6720a-b can also 
be displayed along with visual IVR menu 6702. After detect­ing 
a selection of contact option from the user at device 102, 
the Visuphone may display a visual IVR menu of the selected 
option. As shown, the visual IVR menu 6802 associated with 
domestic airlines department ofXYZ is displayed when the 
user selects 'XYZ Domestic Airlines Contact Option' 6720a. 
Visual IVR menu ofXYZ domestic airlines includes multiple 
options such as a Booking option 6806, a Status Inquiry 
option 6808, an Other Inquiry option 6810, and so forth. The 
user can interact with visual IVR menu 6802 by selecting one 
or more options of visual IVR menu 6802 from these options 
6804 to 6818. For example, the user can select a combination 
of keys 1-4-2 to directly talk to an executive. In an embodi­ment, 
device 102 may have a touch sensitive screen, in such as 
device the user can select option 6818. 
[0373] FIG. 69 illustrates a flow diagram illustrating an 
exemplary functioning of the Visuphone for displaying one or 
more contact options, in accordance with an embodiment of 
the invention. Device 102 includes a Visuphone for display­ing 
a visual IVR menu associated with a dialed phone number 
of a destination. Further, the Visuphone can display one or 
more contact options on a screen of device 102. Device 102 
can be a telecommunication device that can connect directly 
to a Public Switched Telephone Network (PSTN) 110. A 
person skilled in the art will appreciate, that device 102 can 
also connect to a private telephone exchange. Examples of 
device 102a include, but not limited to, a mobile phone, a 
Smartphone, a telephone, or any other device capable of voice 
or data communication. When caller 106 dials a phone num­ber 
of a destination and connects to any destination from 
destinations 108a-n, a visual IVR menu may be displayed at 
device 102. Additionally, one or more contact options may 
also be displayed at device 102. Contact options may include 
information describing one or more branches of the dialed 
destination. 
[0374] At step 6902, a user dials a phone number of a 
destination. At step 6904, the Visuphone displays a visual 
IVR menu associated with the dialed phone number of the 
destination. At step 6906, one or more contact options are also 
displayed at the screen of device 102. In an embodiment, the 
Visuphone searches the database for contact options match-
US 2013/0022191 AI 
ing the phone number of the dialed destination and displays 
the contact options at device 102. At step 6908, a user selects 
at least one contact option from the displayed contact options 
as shown in FIG. 65 and FIG. 67. Thereafter, at step 6910, the 
display of the visual IVR menu at device 102 is changed 
based on the selection of the contact option. In an embodi­ment, 
a visual IVR menu associated with the selected contact 
option is displayed at device 102. Thereafter, the user or caller 
may interact with the displayed visual IVR menu of the 
selected contact option. 
[0375] Embodiments of the invention provide a method for 
establishing a communication session among a plurality of 
communication devices. A communication device may send a 
first section including first information or header information 
to a second communication device. A Visuphone at the com­munication 
device sends the first section. The communication 
device includes one or more visual IVR menus. The header 
information may include information such as Visuphone ver­sion, 
visual IVR menu ID, ACK bit, and so forth. In an 
embodiment, the communication device may receive an 
acknowledgement message based on the first section from the 
second communication device. The acknowledgement mes­sage 
is received when the second communication device 
includes a Visuphone. Thereafter, the Visuphone at the second 
communication device may send a second section or packet 
including a second information or payload to the second 
communication device. The payload may include informa­tion 
such as user ID, user profile, user selection, and so forth. 
Thereafter, a communication session is established between 
the communication device and the second communication 
device. In an embodiment, the second communication device 
may not include the Visuphone. In such a case the communi­cation 
device and the second communication device commu­nicates 
through DTMF signals or tones. 
[0376] An aspect of the invention is to provide a system for 
communicating among a plurality ofiVR enabled communi­cation 
devices. 
[0377] Another aspect of the invention is to enable the 
caller to interact with the visual IVR menu by using a touch 
sensitive screen of the device. 
[0378] Another aspect of the invention is to provide the 
position based visual IVR menus in a communication net­work. 
[0379] Another aspect of the invention is to provide a 
device for communicating with a second communication 
device. The device includes an IVR application such as Visu­phone. 
In an embodiment, the second communication device 
also includes the IVR application such as Visuphone. 
[0380] Another aspect of the invention is to provide the 
visual IVR menu when the call is forwarded from one first 
party device to another first party device. 
[0381] Another aspect of the invention is to provide visual 
IVR menus on receiving a call from the first party device on 
electronic devices with screens that are connected to Visu­phone. 
[0382] Yet another aspect of the invention is that the user 
may involve other one or more users or communication 
devices in a call from a first party device. Thereafter, the user, 
the another user may interact with the first party device in a 
conference call. In an embodiment, the user may leave the 
conference call in between the call. 
[0383] Additional aspect of the invention is to provide a 
method for establishing a communication session in a com- 
39 
Jan. 24, 2013 
munication network. The communication session may be 
established between two or more IVR enabled devices. 
[0384] Further aspect of the invention is to provide a 
method for establishing a communication session among a 
plurality of communication devices. The communication 
devices may or may not include Visuphone. 
[0385] Another aspect of the invention is to provide a 
method for establishing a communication session among a 
plurality of communication devices. The communication ses­sion 
is established by sending one or more packets when a 
data network such as the Internet is available. 
[0386] Another aspect of the invention allows a device to 
call a destination automatically according to the predefined 
calling information entered by a user. 
[0387] Another aspect of the invention saves the effort 
made by the user of the communication device for retrieving 
information from an IVR system of the dialed destination. 
The Visuphone dials the phone number of the destination and 
retrieves the information automatically depending on the pre­defined 
calling information. Later, the user can use the 
retrieved information as per his/her convenience. In an 
embodiment, the user may not wish to use the information at 
the time of its retrieval. In such a case the information is stored 
and can be accessed later. 
[0388] An advantage of the invention is that the communi­cation 
device can send more information as data packets/ 
messages to the second communication device by using a data 
network. The data packets may be exchanged among various 
communication devices. The data packet may include infor­mation 
required for establishing a communication session. 
[0389] An advantage of an embodiment of the invention is 
that the user himself/herself does not have to dial the desti­nation 
again and again for receiving information. Visuphone 
104 present at device 102 of caller 106 may dial the phone 
number of the destination automatically based on the pre­defined 
calling information set by the caller 106. Further, 
Visuphone 104 requests and receives the requested or 
inquired information automatically. 
[0390] Another advantage of the invention is that the user 
does not have to wait for long time for retrieving any infor­mation 
from a destination. When the requested information is 
not available, the user may schedule a call at later time by 
entering few settings on device 102. Thereafter, Visuphone 
104 may dial the phone number of the destination according 
to the entered settings automatically and may download the 
desired information. The downloaded information may be 
used by the user at a later time. 
[0391] Additional advantage of the invention relates to call­ers 
who are more proficient in foreign language. Visuphone 
may provide the visual IVR menu in multiple languages. A 
caller can than choose a language ofhis choice and download 
to his device database the menu in that language. 
[0392] Yet another advantage of the invention relates to 
IVR that ask for voice commands. This IVR interface is for 
some caller harder to use due to accent or other problems. The 
database could be provided with the option as been described 
before for the system to output voice command according to 
caller selection of the menu options. 
[0393] Embodiments of the invention are described above 
with reference to block diagrams and schematic illustrations 
of methods and systems according to embodiments of the 
invention. It will be understood that each block of the dia­grams 
and combinations of blocks in the diagrams can be 
implemented by computer program instructions. These com-
US 2013/0022191 AI 
puter program instructions may be loaded onto one or more 
general purpose computers, special purpose computers, or 
other programmable data processing translator to produce 
machines, such that the instructions which execute on the 
computers or other programmable data processing translator 
create means for implementing the functions specified in the 
block or blocks. Such computer program instructions may 
also be stored in a computer-readable memory that can direct 
a computer or other programmable data processing apparatus 
to function in a particular manner, such that the instructions 
stored in the computer-readable memory produce an article of 
manufacture including instruction means that implement the 
function specified in the block or blocks. 
[0394] While the invention has been described in connec­tion 
with what is presently considered to be the most practical 
and various embodiments, it is to be understood that the 
invention is not to be limited to the disclosed embodiments, 
but on the contrary, is intended to cover various modifications 
and equivalent arrangements included within the spirit and 
scope of the appended claims. The invention has been 
described in the general context of computing devices, phone 
and computer-executable instructions, such as program mod­ules, 
being executed by a computer. Generally, program mod­ules 
include routines, programs, characters, components, data 
structures, etc., that perform particular tasks or implement 
particular abstract data types. A person skilled in the art will 
appreciate that the invention may be practiced with other 
computer system configurations, including hand-held 
devices, multiprocessor systems, microprocessor-based or 
programmable consumer electronics, network PCs, mini­computers, 
mainframe computers, and the like. Further, the 
invention may also be practiced in distributed computing 
worlds where tasks are performed by remote processing 
devices that are linked through a communications network. In 
a distributed computing world, program modules may be 
located in both local and remote memory storage devices. 
[0395] This written description uses examples to disclose 
the invention, including the best mode, and also to enable any 
person skilled in the art to practice the invention, including 
making and using any devices or systems and performing any 
incorporated methods. The patentable scope the invention is 
defined in the claims, and may include other examples that 
occur to those skilled in the art. Such other examples are 
intended to be within the scope of the claims if they have 
structural elements that do not differ from the literal language 
of the claims, or if they include equivalent structural elements 
with insubstantial differences from the literal languages of 
the claims. 
1-20. (canceled) 
21. A system for enhancing user interaction with Interac­tive 
Voice Response (IVR) destinations, the system compris­ing: 
a processor; and 
a memory coupled to the processor, the memory compris­ing: 
instructions executable by the processor for communi­cating 
with a plurality of IVRs, and receiving infor­mation 
from a dialed IVR corresponding to an inter­active 
voice response menu sent in response to a user 
telephone call; and 
instructions executable by the processor to transfer said 
information to an Internet Protocol (IP) address asso­ciated 
with said user. 
40 
Jan. 24, 2013 
22. The system of claim 21, wherein said information 
comprises at least one icon. 
23. The system of claim 21, wherein said instructions 
executable by the processor to transfer said information com­prise 
instructions to convert said voice response menu to a 
standard menu. 
24. Computer readable media comprising the instruction of 
claim 21. 
25. The system of claim 21, further comprising: 
instructions executable by the processor for receiving a 
response from said user and transferring said response to 
said dialed IVR. 
26. The system of claim 21, further comprising: 
instructions to associate data received from said user with 
said information. 
27. A system for enhancing user interaction with Interac­tive 
Voice Response (IVR) destinations, the system compris­ing: 
a processor; and 
a memory coupled to the processor, the memory compris­ing: 
instructions executable by the processor for communi­cating 
with a plurality of IVRs, and receiving infor­mation 
from a dialed IVR in response to a user tele­phone 
call; and 
instructions executable by the processor to transfer 
menu corresponding to said information to an Internet 
Protocol (IP) address associated with said user. 
28. The system of claim 27, wherein said menu comprises 
at least one icon. 
29. The system of claim 27, further comprising: 
instructions executable by the processor to select a stan­dard 
menu corresponding to the business of said dialed 
IVR and to convert said information according to said 
standard menu. 
30. A computer readable media comprising the instruction 
of claim 27. 
31. The system of claim 27, further comprising: 
instructions executable by the processor for receiving a 
response from said user and transferring said response to 
said dialed IVR. 
32. The system of claim 27, further comprising: 
instructions executable by the processor to attach an adver­tisement 
to said menu. 
33. The system of claim 27, further comprising: 
instructions executable by the processor to translate said 
menu to a different language than used in said informa­tion. 
34. The system of claim 27, wherein said instructions to 
transfer menu corresponding to said information to an Inter­net 
Protocol (IP) address comprises instructions to transfer to 
two Internet Protocol (IP) addresses associated with said user. 
35. A system for enhancing user interaction with Interac­tive 
Voice Response (IVR) destinations, the system compris­ing: 
a processor; and 
a memory coupled to the processor, the memory compris­ing: 
a visual menu database corresponding to a plurality of 
IVRs; 
instructions executable by the processor for communi­cating 
with at least one of said plurality of IVRs, and
US 2013/0022191 AI 
selecting at least one visual menu corresponding to 
dialed IVR from said database in response to a user 
telephone call; and 
instructions executable by the processor to transfer said 
at least one visual menu to an Internet Protocol (IP) 
address associated with said user using an Internet 
Protocol. 
36. The system of claim 35, wherein said instructions 
executable by the processor to transfer said at least one visual 
menu to an Internet Protocol (IP) address associated with said 
user comprises instructions to use a hypertext transfer proto­col 
(HTTP). 
37. The system of claim 35, wherein said instructions 
executable by the processor to transfer said at least one visual 
menu to an Internet Protocol (IP) address associated with said 
user comprises instructions to use a hypertext transfer proto­col 
secure (HTTPS). 
41 
Jan. 24, 2013 
38. The system of claim 35, wherein said instructions 
executable by the processor to transfer said at least one visual 
menu to an Internet Protocol (IP) address associated with said 
user comprises instructions to use a session initiation protocol 
(SIP). 
39. The system of claim 35, further comprising: 
instructions executable by the processor for updating said 
at least one visual menu stored in said visual menu 
database for changed IVRs menu corresponding to said 
plurality ofiVRs. 
40. The system of claim 35, further comprising: 
instructions executable by the processor for recording the 
user selection on said at least one visual menu and pre­senting 
the user a personalized visual menu. 
* * * * *

Systems and methods for visual presentation and selection of ivr menu

  • 1.
    111111 1111111111111111111111111111111111111111111111111111111111111111111111111111 US20130022191Al (19) United States c12) Patent Application Publication OR-BACH et al. (10) Pub. No.: US 2013/0022191 A1 (43) Pub. Date: Jan. 24, 2013 (54) SYSTEMS AND METHODS FOR VISUAL PRESENTATION AND SELECTION OF IVR MENU (52) U.S. Cl. .................................................. 379/218.01 (57) ABSTRACT (76) Inventors: Zvi OR-BACH, San Jose, CA (US); Tal Lavian, Sunnyvale, CA (US) Embodiments of the invention provide a system for generat­ing an Interactive Voice Response (IVR) database, the system comprising a processor and a memory coupled to the proces­sor. The memory comprising a list of telephone numbers associated with one or more destinations implementing IVR menus, wherein the one or more destinations are grouped based on a plurality of categories of the IVR menus. Further the memory includes instructions executable by said proces­sor for automatically communicating with the one of more destinations, and receiving at least one customization record from said at least one destination to store in the IVR database. (21) Appl. No.: 13/186,984 (22) Filed: Jul. 20, 2011 Publication Classification (51) Int. Cl. H04M3/493 (2006.01) 1502 1504 Detect phone number of a destination dialed from a device Search for IVR information in visual menu database on the device 1510 1512 1516 Display the visual menu and associated information Detect input from caller on the visual menu Connect to the destination based on inputs from the caller Maintain the connection till caller or destination disconnects
  • 2.
    Patent Application Publication co ..0 co co .0.,. .... .0.,. .... c c .Q .Q ........ ........ co co c c ........ ........ en en (]) (]) 0 0 Jan. 24, 2013 Sheet 1 of 92 (.) co .0.,. .... c .Q ........ co c ........ •• • en (]) 0 -. (]) (]) -.:::1" (]) c c 0 (.) 0 0 ..,..... ·- ..c ..c >o.. 0.. (]) (]) ::J 0- en -~ > co N .0.,. .... "- (]) co c.o 0 .0.,. .... c co .0.,. .... c .Q ........ co c ........ en (]) 0 US 2013/0022191 A1 (.9 LL
  • 3.
    Patent Application PublicationJan. 24, 2013 Sheet 2 of 92 US 2013/0022191 A1 co ..0 u c 00 00 00 00 0 0 0 0 ..-- ..-- ..-- ..-- c c c c _...Q... _...Q... _...Q... _...Q... co co co co c c c • • • c :;::::; :;::::; :;::::; :;::::; (/) (/) (/) (/) Q) Q) Q) Q) 0 0 0 0 <0 ..-- ..-- >. co 5 z ro -Q) I- co (J) T'"" (9 a_ ....---- C) LL -- a_ 0 Q) > c ..0 ~.._ ~ + 0 """ ·:; 03 _c 0 0 Q_ ..-- ..5.... 0Q )::-J (::/J) ..0 Q) Q_ > N z E 0 0 ..-- .u__ .. N ..-- ..-- .._ Q) co <0 u 0 ..--
  • 4.
    Patent Application PublicationJan. 24, 2013 Sheet 3 of 92 US 2013/0022191 A1 ro .0 (.) c co co co co 0 0 0 0 ..-- ..-- ..-- ..-- c c c c ...Q.... ...Q.... ...Q.... ...Q.... ro ro ro ro c c c • • • c :;:::; :;:::; :;:::; :;:::; (/) (/) (/) (/) (]) (]) (]) (]) 0 0 0 0 <D ....---- >. ro (5]) Iz- 0 ...... (f) T""" ro (!) a.. (.9 u.. -(]) (]) ..... ~ ro .._ ~ ..... c c 0 (]) 0 0 ..-- ""'" 0 -0 5 5.... (.)..C ::J ..·>- 0t.. .0.c. (])(j) . z(] ) (]) ro ::J Oz OE (/) (f) > ._ ..-- N ..-- ..-- ..-- ..-- ..... (]) ro <D () 0 ..--
  • 5.
    1 08a .I Destination Board V 202a Number ------~~~~~~~~~;~~~~~~;~~~~~~~~~~~~~~~~~J~~~~~~~~~~~~~~~~~~~~~~~~~------------.c-~~-~~----- 1 I -------! I Press 2 for~ 206a~ Press 3 204aJ1 Pizza Orde Order I r1 Press 1 for 208a..ll Veg f210a Press 2 for Non-Veg ' C?<J ' Status I I I Press 1 to talk to the Executive Press 1 for r1 Home 214a ..1 I Delivery Press 2 for I r 216a Take 11 Away 212a ._ ___________________________________________________________________ _ I Pre.ss 0 for ma1n menu I I 22oal I v218a •--------------------------------------------------------------------------------------------~ FIG. 2A '"= ~.... . ('D .=.... ~ '-.e... (') ~....... .. 0 = ='"= 0-...". (') ~....... .. 0 = ;­:= N ~. ... N 0 ...... (,H rFJ =­(' D (..'D... .... 0 ...... 0 N c rFJ N 0 ...... .(.,.H_ 0 0 N N ...... 0 ...... >......
  • 6.
    102b Device .----------------------------------------------------------------~ 208b 204b Veg 1 Pizza Order 2 Board number 1 210b Non-Veg 2 202b i I I 206b Order Status 3 Talk to Executive 1 I I I I 212b: Home Delivery 1 Take Away 2 216b I I 214b L----------- 222b y----- I I I I -------· 108a Destination 110 FIG. 28 ~.'"..=. . ("D .=.... ~ '-.e... (') ~....... .. 0 = ='"= 0-..".. (') ~....... .. 0 = ;­:= N ~ ... N 0.. .. (.H rFJ =­(" D (.".D.. . Ul 0... .. 0 N c rFJ N 0.. .. .(...H_ 0 0 N .N.. . ..0.. >....
  • 7.
    1 o2b .JI ' I I 208c ./I 214c Device Board number 1 / ~06c rder Statu 204c .J I l'i"» ~ I I 8 3 I 210c I Talk to I _ 212c Veg Non-Veg Executive #1 )K2 ' 1 Home Delivery Take Away 216c Q1 1: 2 /. : -----2:22~-Jr------------------- ------------------------------- 108a Destination : 110 I I I I I I FIG. 2C "'= ~..... . ('D .=..... ~ '-.e... (') ~........ .. 0 = ="'= 0-...". (') ~........ .. 0 = ;­:= N ~ ... N 0.. .. (.H rFJ =­(' D ('D ...... 0 0.. .. 0 N c rFJ N 0.. .. .(...H_ 0 0 N .N.. . ..0.. >....
  • 8.
    102b 204c 226 224 Device Welcome to our Pizza place. Please press 1 to check your order status or press 2 to make a new order rder Statu 81 206c Please press 1 for vegetarian order or press 2 for non-vegetarian pizza order 222 208c j Veg #1 Non-Veg [! 21 Oc 1K2 ------------------------------~----------------------------------· 222c FIG. 20 ~.'"..=. . ('D .=.... ~ '-.e... (') ~....... .. 0 = ='"= 0-...". (') ~....... .. 0 = ;­:= N ~ ... N 0 ...... (.H rFJ =­(' D (..'D... -....l 0 ...... 0 N c rFJ N 0 ...... .(...H_ 0 0 N N ...... 0 ...... >......
  • 9.
    Device (Computer/Smartphone) ;3024 Display ""' ....:!!.. Radio ....... Interface 1304 central Processing Unit ~ ....:!!.. Network Interface 324 ) 102a ,; f 306 Memory I ~ Visuphone .,. I 1 n put/Output 104 interface Visual Menu Database ~ 308 Other Applications 310 i FIG. 3A ~~ v312 y Gateway · v314 ~. Y""' ""' __., Network ....... ,. v316 112 ~ Memory v31 ....-- Card 3~ -H Keyboard I"' 3~ _J Mouse 'I ~H USB l.r~ 11 0 326 a b 2 '"= ~.... . ('D .=.... ~ '-.e... (') ~....... .. 0 = ='"= 0-...". (') ~....... .. 0 = ;­:= N ~ ... N 0.. .. (.H rFJ =­(' D (..'D... QO 0... .. 0 N c rFJ N 0.. .. .(...H_ 0 0 N .N.. . ..0.. >....
  • 10.
    ~.'"..=. . ("D.=.... Device (Computer/Smartphone) y }302 ~~ f 312 Display ., .... Radio Interface Gateway · 11 ~ 0 '-.e... (') ~....... .. 0 = 324 ='"= 0-...". (') ~.... . 304 f 324 ~y-~ Central Processing Unit ~ f 314 / ,.. .. Network _, Network Interface ' ,. .... 0 = ~ ~ := N 102a Memory 112 f 316 VOIP Application 3' 340 ;--~ Memory V Card ~ ... N 0.. .. (.H rFJ =- 306 I Visuphone I .... Input/Output 3: 104 interface ( ~ Lr-~ Keyboard Visual Menu Database 3: 308 ..... , USB ("D (.".D.. . 0 0... .. 0 N Other Applications - ~ Mouse I 310 c rFJ N 0.. .. .(...H_ 0 0 N N FIG. 38 .... ..0.. >....
  • 11.
    Patent Application PublicationJan. 24, 2013 Sheet 10 of 92 - ~ Q) (]) c -~ -§_ >­(]) .... 0 ~ -(/) N 0 """" 0 en co I'- (0' L!) """" I (") N "<"""" (0 co 0 0 """" """" -----------------~---------------------,...."."..".-.-_- ---... (.) N 0 "<"""" N >><­E o:::~ oE' D.... co ......o. u E ::J 0 "Ou e 0. $ (]) z US 2013/0022191 A1 0 N (") [!][l] GG GEJ GG GG GG GG
  • 12.
    ~.'"..=. . ('D LK:16 S j Display 512 ~Gateway PSTN 112 'I' " 110 .=.... ~ '-.e... (') ~....... .. 0 = ='"= Device (Computer) 4 'f526 102b 11/ 11/ 0-...". (') ~....... .. 0 Display Interface L_ Network v514 502; I' ~ Interface = ~ ~ := v 516 518 Central Processing Unit , __.., 504; I' .. Mouse N ~ ... N 0 520 .... (.H Memory ~ Keyboard Input/ rFJ =- ('D ~ Output ~ 522 Visuphone "' ' 104 interface -;- Speaker I I (...'.D.... . .... 0 Visual Menu Database L v524 ' 7 Camera 506; 308 ..... 0 N t: Other Applications __.., Microphone V'" 510 .... 23 c rFJ N 0.. .. ~ .(...H_ 0 0 N N FIG. 5 .... ..0.. >....
  • 13.
    Patent Application PublicationJan. 24, 2013 Sheet 12 of 92 N 0 <0 0 a> CX) 1'- 1 <0 l!) ""I" C'/') N ..-- N ..-- l!) --------------------------------------------T-------------- 0 ..-- <0 "0" " <0 ~ ' 0 N <0 ..-- <0 --------------------~-------------------------- .0 N 0 ..-- <0 0 <0 " >. .0 o:::~ oE"' D_... oc.o. u E ::J 0 Uu 0 "0.-.>N- :S>< (]) z US 2013/0022191 A1 c.o C) LL
  • 14.
    Patent Application Publication (]} (.) -:;: (]} 0 I.... (]} (/) $ e co ..0 N 0 ....... Jan. 24, 2013 Sheet 13 of 92 (]} 0'> co 0... ..0 (]} s "N 0 I'-- +-' (.) (]} c c 0 0 US 2013/0022191 A1 1'-- C) LL
  • 15.
    Patent Application PublicationJan. 24, 2013 Sheet 14 of 92 co 0 co " (/) c 0 ......... co (.) 0... 0... <( !..... (]) ...c ......... 0 (]) c 0 ...c 0... :::J (/) > <0 0 co " E (]) ......... (/) >. (j) 0'> c ......... co !..... (]) 0... 0 (/) !..... (]) > !..... 0 N 0 co " (]) !..... co 5 "E co I US 2013/0022191 A1 co . CJ LL
  • 16.
    ~.'"..=. . ('DVisuPhone .=.... ~ I r902 '-e Detection Module .... (') ~....... .. 0 = I r904 '"= Search Module = 0-...". (') ~.... . I r906 I .... 0 Display Module = ~ r908 ~ I := ~ ... Connection Module N 104 ../ I N 0 I r910 .... (.H Voice Module rFJ =- ('D (..'D... I r912 .... Advertisement Module Ul 0... .. 0 r914 N I Update Module c rFJ I r916 N 0 .... Customization Module .(...H_ 0 0 N N FIG. 9 .... ..0.. >....
  • 17.
    Device Visual Menu Database 308 102 1004 ./1 Remote Repository 1002 1008 Remote Server Computer Network Gateway 1006 FIG. 10 •• Destination • • 108a PSTN 1010 Destination ~.'"..=. . ('D .=.... ~ '-.e... (') ~....... .. 0 = ='"= 0-...". (') ~....... .. 0 = ;­:= N ~ ... N 0.. .. (.H rFJ =­(' D (...'.D.... . 0 0... .. 0 N c rFJ N 0.. .. .(...H_ 0 0 N .N.. . ..0.. >....
  • 18.
    Patent Application PublicationJan. 24, 2013 Sheet 17 of 92 co co 0 --- co co 0 -..0.-..-. . ....... u (]) c c 0 () --- (]) (.) > (]) 0 c ...Q..... co c ....... en (]) 0 N 0 ------ ..0 co 0 --- qgo ~ Ol pJeMJo.:J ·c (]) c "0§"".""a1 :::J-- (f) > N 0 --- 0"" "" ------ ~ ! ~ -:£'J ·~Q ~~ qj ~ ~ (;;0 ~ <.0 n,· s 0 --- lJ --- ~ § (j ------ c ....Q.... co c ....... (f) (]) 0 US 2013/0022191 A1 "'t"""" "'t"""" . (.9 LL
  • 19.
    Patent Application PublicationJan. 24, 2013 Sheet 18 of 92 <D 0 N N ...-- N ...-- E (]) "0 0 :2: >. ro 5 ..(..].). ro <.9 00 ...-- N ...-- ~.._ 0 ..5.... (]) z US 2013/0022191 A1 ...-- (.9 LL
  • 20.
    Patent Application Publication 0 ..- ('I') ...-- Jan. 24, 2013 Sheet 19 of 92 N 0 ('I') ...-- <D 0 ('I') ...-- US 2013/0022191 A1
  • 21.
    1402 FIG. 14A 1412 FIG. 148 1424 FIG. 14C Add-On I< 1( ~ > 1410 1404 1420 1414 ,; Ad~-on10 1428 Add-On ~.'"..=. . ('D .=.... ~ '-.e... (') ~....... .. 0 = ='"= 0-...". (') ~....... .. 0 = ;­:= N ~ ... N 0.. .. (.H rFJ =­(' D (..'D... N 0 0... .. 0 N c rFJ N 0.. .. .(...H_ 0 0 N .N.. . ..0.. >....
  • 22.
    Patent Application PublicationJan. 24, 2013 Sheet 21 of 92 US 2013/0022191 A1 1502 1504 Detect phone number of a destination dialed from a device Search for IVR information in visual menu database on the device 1510 1512 1516 Display the visual menu and associated information Detect input from caller on the visual menu Connect to the destination based on inputs from the caller Maintain the connection till caller or destination disconnects FIG. 15A
  • 23.
    Patent Application PublicationJan. 24, 2013 Sheet 22 of 92 US 2013/0022191 A1 1518 Connect the device to a remote repository 1522 Update the visual menu database from 1526 remote repository Is the visual menu available in updated visual menu database? Update the remote repository Stop FIG. 158
  • 24.
    Patent Application PublicationJan. 24, 2013 Sheet 23 of 92 US 2013/0022191 A1 Any menu selection detected on the device? 1530 Provide the dialed number as a destination to remote repository Stop FIG. 15C No
  • 25.
    Patent Application PublicationJan. 24, 2013 Sheet 24 of 92 US 2013/0022191 A1 1558 Connect device to a remote repository Is there an updated version of the visual menu in the remote repository? FIG. 150
  • 26.
    1604 1610 161211 Device Memory Database Construction System 1606 Records Database 1608 Processor __Netw_ork _Interfa ce -- 1602 1616 FIG. 16 If 1620a Destination Destination •• Destination 1620b 1620n '"= ~.... . ('D .=.... ~ '-.e... (') ~....... .. 0 = ='"= 0-...". (') ~....... .. 0 = ;­:= N ~ ... N 0.. .. (.H rFJ =­(' D (..'D... N Ul 0... .. 0 N c rFJ N 0.. .. .(...H_ 0 0 N .N.. . ..0.. >....
  • 27.
    Patent Application Publication 0 N 1'- T""" " E (]) ......... ......... (/) >. c (]) Cf) C) c <( 0 c ......... (.) .Q ::J ......... (.) L... ......... ::J (/) L... c ......... (/) u0 c 0 (]) u (/) (]) co (/) ..0 co co ......... ..0 co co 0 ......... co 0 Jan. 24, 2013 Sheet 26 of 92 co 0 1'- T""" " (]) ::J "'C 0 ~ c 0 ......... co N co c 0 (/) L... (]) a.. <0 0 <0 T""" 0 T""" 1'- T""" " (]) ::J "'C 0 ~ "'C co 0 c $ 0 0 US 2013/0022191 A1 <( I'- "r"""" . C) LL
  • 28.
    Database Construction Agent 1722 Targets List Module L.. ... I , I ;:o (J) "0 IVR Tracking Module 0 (/) ;:::;: 0 1726 ~ IVR Logic Module I • '< () 0 1720 ~ ::I L_ 1728 Tree storage Module ... ::I ' ..... , (J) (.."..).. . 6" 1730 ::I Dialog Module ..,. ... ' ~ 0 0. 1732 "".. c Speech Recognition (J) Module 1734 ~ Response Module ~ I 1738 1736 VOIP Connection Module I ._ 1724 I '' I I I I I I VOIP Application I I _r 1740 I Destination /I .... I .... I ' I I I I I I I I ~-------------------------------------------------------------------J FIG. 178 ' Records ..... Database ! 1608 '"= ~.... . ('D .=.... ~ '-.e... (') ~....... .. 0 = ='"= 0-...". (') ~....... .. 0 = ;­:= N ~ ... N 0.. .. (.H rFJ =­(' D (..'D... N -....l 0... .. 0 N c rFJ N 0.. .. .(...H_ 0 0 N .N.. . ..0.. >....
  • 29.
    Database Construction Agent 1722 ""'... Targets List Module '" "' , I :::0 CD "0 IVR Tracking Module 0 (J) ;::::;: 1726 ~ I 0 IVR Logic Module ...., '< (") 0 1720 ::J 1728 Tree storage Module .... ... ::J CD ' ,. (.."..). . 6" 1730 ::J Dialog Module ""' .... '"" ~ 0 Q. 1732 .. c Speech Recognition CD Module 1734 ~ Response Module I ~ 1738 1737 IVR Connection Module I "-1724 I '~ Destination FIG. 17C iL_ ... Records .... , Database ! 1608 '"= ~.... . ('D .=.... ~ '-.e... (') ~....... .. 0 = ='"= 0-...". (') ~....... .. 0 = ;­:= N ~. ... N 0.. .. (.H rFJ =­(' D (..'D... N QO 0... .. 0 N c rFJ N 0.. .. .(...H_ 0 0 N .N.. . ..0.. >....
  • 30.
    Patent Application PublicationJan. 24, 2013 Sheet 29 of 92 US 2013/0022191 A1 1802 1804 1806 No 1810 '- 1812 Connect to a destination Analyze a first level of the audible IVR menu Store the information regarding the audible IVR menu in a database Are there any sub­menus in the audible IVR menu? Analyze the sub-menus Store the information regarding the sub-menus in the database Stop FIG. 18 Yes
  • 31.
    Category A ~ 1904 Category B ~ 1906 IVR 1-- Categories Category C ~ 1908 Category D ~ 1910 ,.. .. Dial Tone Selection Starting Questions ,... . and Dial Tone Selection Personal Information ,... . and Dial Tone Selection Dial Tone Selection ,... .. and/or Natural Language Selection FIG. 19 '"= ~.... . ('D .=.... ~ '-.e... (') ~....... .. 0 = ='"= 0-...". (') ~....... .. 0 = ;­:= N ~ ... N 0.. .. (.H rFJ =­(' D (..'D... (.H 0 0... .. 0 N c rFJ N 0.. .. .(...H_ 0 0 N .N.. . ..0.. >....
  • 32.
    Patent Application PublicationJan. 24, 2013 Sheet 31 of 92 US 2013/0022191 A1 2002 ~---R_e_c_o_r_d_o_a_ta_br-a_s_e_c_o_n_t_e_n_t _ _...] v 2004a _; Please enter invoice number ~ 2006a _; Please enter the payment amount ~ 2008a _/ Please choose your payment card: Press 1 for VISA or 2 for MasterCard ! 2010a _/ Please say or enter your Credit Card number " 2012a _/ Please enter your Credit Card expiry date FIG.20A
  • 33.
    Patent Application PublicationJan. 24, 2013 Sheet 32 of 92 US 2013/0022191 A1 2004b 2006b 2008b 2010b 2012b Payment Form for ABC r------------------------------------------------- 1 Please enter invoice number: i I : J: i I I I I •------------------------------------------------~ r------------------------------------------------- 1 I 1 Please enter the payment amount : : I J: I I I I I I •------------------------------------------------- I i Please choose your payment card: Jl 'I) VISA 0 MasterCard I I Lr------------------------------------------------------------------------------------------------1- 1 I : Please enter your Credit Card number : I I /: I :I _ _______________________________________________ I ~ :---F>lea-se -enter y-o~r-credit-ca;:a -e~piry "date---: I I /; I I :I _ _______________________________________________ I ~ 2016 FIG.20B 2014
  • 34.
    ~.'"..=. . ('D.=.... Device I ~ '-.e... 2102a 21Q2c I (') ~....... .. 0 Destination I I Destination I I = ='"= 0" Property 1 Property 1 -.... (') Property 2 Property 2 ~....... .. 0 Prop•e rty 3 Prop•e rty 3 = • • Property n Property n ~ ~ 102 fl USER := • N • ... ~ 0.. N .. 2102b / • I (.H rFJ =- ('D Destination I / I -~:·~~~---~·. 1_r21 02n (..'D... (.H Property 1 (.H Property 1 / 0 Property 2 ...... Property 2 0 Property 3 N Prop•e rty 3 •• • Property n I c Property n rFJ N 0.. .. (.H -0- - 0 N N FIG. 21 .... ..0.. >....
  • 35.
    Patent Application Publication en :::J roM ...... en ~..__ · 0 <D 0 N N Jan. 24, 2013 Sheet 34 of 92 US 2013/0022191 A1 (]) ..0.. ...._.;.:.:.: ...-- 1------1~ a co (]) r: t.tl·~ 00 ...-- 0 N N ...-- ...-- N N ~ IN IO :N IN I N N C) LL ------------------------------------------~-------------------~---~ co N 0 ...--
  • 36.
    Patent Application PublicationJan. 24, 2013 Sheet 35 of 92 US 2013/0022191 A1 2302 2304 2306 2308 2312 Identify phone number of a destination dialed from a device Determine a location code associated with current location of the device Determine a business category associated with dialed phone number Search for destination phone numbers matching the business category of the dialed phone number stored on a database Search for at least one destination phone number from the destination phone numbers based on location code FIG. 23A
  • 37.
    Patent Application PublicationJan. 24, 2013 Sheet 36 of 92 US 2013/0022191 A1 2328 2330 2332 Request updates from a server Receive updates from the server Store updates in the database on the device FIG. 238
  • 38.
    Patent Application PublicationJan. 24, 2013 Sheet 37 of 92 US 2013/0022191 A1 2316 2318 2320 2322 Display the at least one destination phone number and associated properties Select a destination phone number , Display a visual IVR menu of the selected destination Select an option from the visual IVR menu 2324 Connect to the selected option of the destination Stop FIG. 23C No 2326 Display a visual IVR menu of the dialed destination phone number
  • 39.
    Patent Application PublicationJan. 24, 2013 Sheet 38 of 92 US 2013/0022191 A1 Start 2402 .. Identify a number of destination dialed by a caller of the device Search for an advertisement associated with the number in a database Display the advertisement on the device Yes No Stop FIG. 24
  • 40.
    Patent Application Publication +.I c (J) +.I c 0 () (J) CJ) m ...0 m +.I m 0 ""0 !.... 0 () (J) 0:: N 0 1.!) N 0 ·c- 0') 0 !.... ------ (J) +.I c (J) (J) CJ) m (J) a.. Jan. 24, 2013 Sheet 39 of 92 ro c.o 0 1.!) N ""0 !.... 0 5 CJ) CJ) m Q. !.... (J) +.I c (J) (J) CJ) m (J) a.. US 2013/0022191 A1 <( l.() N C) LL
  • 41.
    Patent Application Publication N ~ s... ~ E s... 0 LL c: C) 0 ...J 0 "<'""" LO N _......._ 0 ....._.. >- +-' +-' c (].) "'0 ·c- 0') 0 !..... (].) +-' c (].) (].) CJ) ro (].) 0... -----~-- ..c -.:;t 0 LO N Jan. 24, 2013 Sheet 40 of 92 US 2013/0022191 A1 "'0 !..... +-' 0 E m $ ...0 l() CJ) :::J N CJ) ro (f) C) 0.. !..... ( LL (].) +-' c (].) co 0 (].) LO CJ) N ro (].) 0... -----~-- ..c c.o 0 LO N
  • 42.
    Patent Application PublicationJan. 24, 2013 Sheet 41 of 92 US 2013/0022191 A1 Start '~ 2602 Dial a phone number of a destination ~ 2604 .. Display a visual IVR menu corresponding to the dialed number on caller device 2606 Select an option from the displayed visuaiiVR menu ~ 2608 ... Display a form indicating the information required by the IVR of the destination '~ 2610 ... Fill the information in the displayed form I 2612 ... Establish a connection between the destination and the caller device 'V Stop FIG. 26
  • 43.
    Patent Application Publication N 0 1'-­N Jan. 24, 2013 Sheet 42 of 92 US 2013/0022191 A1 --------------------~---------------------------------------- 0 N 0'> I'- c N (]) '"" ::::l"O "0 0 (]):::2: ..c (.) (/) 00 '<j" 0 ...-- I'- I'- N :::J N (]) ...... ..C...O. ("() ..0.. ......:.:.:. ...-- (/) ~ :::J _(.) ~- ~ (]) .._ til~ 00 ...-- I'- .._ N r-.... "0 (]) N N (]) 1.....0 ...-- (.) ~E..- N "> >. (.9 (Q :::J 0'> ro (]) c ~N ~N 0 LL ~~ (]) ~ ~ ~~.;: (]) .._ ...-- >. 0'> E (])...-- ~~ > 0 o= I'- I~~ N ...-- ...-- I'- I'- N N N 0 ...--
  • 44.
    102 2810 2806 Personal Banking 2 Device Board number 1 Accounts 1 Deposits 2 2808 NRI Banking 3 Money Transfer 1 2812 - 2824 Saving A/C 1 CreditA/C 2 2826 Investment 2 Talk to Executive 9 2828 Balance 1 I ' 2818 2820 Report lost card 1 2822 FIG. 28 2720 Scheduling Mode v2802 ~.'"..=. . ('D .=.... ~ '-.e... (') ~....... .. 0 = ='"= 0-...". (') ~....... .. 0 = ;­:= N ~ ... N 0.. .. (.H rFJ =­(' D (...'D..... (.H 0... .. 0 N c rFJ N 0.. .. .(...H_ 0 0 N .N.. . ..0.. >....
  • 45.
    ~.'"..=. . ('D.=.... Device ~ '-.e... (') 2904 ~....... .. 0 = '"= ¢ March 2011 L) = Sun Mon Tue Wed Thu Fri Sat 0-...". (') ~....... .. 1 2 3 4 0 = 5 6 7 8 9 10 11 f 2902 I ~ ~ 12 13 14 15 16 17 18 := N 102 ~ ... N 0 19 20 21 22 23 24 25 .... (.H 26 27 28 29 30 31 rFJ =- ('D (...'D..... / ... 0... .. 0 N c rFJ N 0 2906 I Time • HH ..(} I MM ..(} I ss ..(}I AM ..(} 2900 .... .(...H_ 0 0 N FIG. 29 .N.. . ..0.. >....
  • 46.
    Patent Application PublicationJan. 24, 2013 Sheet 45 of 92 US 2013/0022191 A1 3002 3004 3006 3008 3010 Start Dial a phone number of a destination from a device Display a scheduling mode option and a visual Interactive Voice Response (IVR) menu associated with the dialed destination Switch the device to a scheduling mode Save a selection information including one or more options of the visual IVR menu Save a call schedule including a date and time information FIG. 30A schedule's date and time 3014
  • 47.
    Patent Application PublicationJan. 24, 2013 Sheet 46 of 92 US 2013/0022191 A1 A 3016 'lt Dial the phone number of the destination v 3018 "". Request information from the destination based on the selection information v 3020 Receive the information at the device v 3022 Save the received information at the device v 3024 Display the received information at the device v Stop FIG. 308
  • 48.
    Patent Application Publication co N 0 T""" ('I') c .Q +-' -ecoiD c.~ u o c·­u :::J > <D E ID (J)EO -. (]) c (])0 0 u (]) c (.)..c 0 ·-a.. ..c Jan. 24, 2013 Sheet 47 of 92 I" ~ 0 0 T""" co ('I') -.:::1'" > (]) 0.. 0 (])_ o:o <.0 0 T""" ('I') 0 -~ !..... (]) co u :::J T""" (/) ('I') > US 2013/0022191 A1 . C) LL
  • 49.
    Patent Application Publication ..0 00 0 "r" ('/') ro N 0 "r" ('/') c 0 ........ co (.) c ::J (]) E u E"> 0 (]) uo "'0 c 0 (.) (]) (/) .-. (]) c (]) 0 (..)...c ·-a.. > (]) (])_ o:c <D 0 "r" ('/') 0 -:2: L... (]) ro u Jan. 24, 2013 Sheet 48 of 92 US 2013/0022191 A1 (]) c 0 ...c 0.. ::J C/) ..0 > "0" "" "r" ('/') . (.!) LL "' ' 0 (]) 0 c "r" 0 co ('/') ...c 0.. "0" "" ::J "r" C/) ('/') >
  • 50.
    Patent Application Publication .0 00 0 ..-- C'? oo:::t ..-- ..-- >. C'? co 5 -(]) co <.9 .0 N 0 .Y. L 0 ..5.... (]) z ..-- ..-- C'? Jan. 24, 2013 Sheet 49 of 92 c .-Q co .S:2 c ::J (]) E (.) E.> 0 (]) uo ""C c 0 (.) (]) (/) -D... 0 > ~ + ·::;: <u (]) ...... O::J 0.. E 0 -u z I- (/) D... L (]) co u .0 oo:::t 0 ..-- C'? co oo:::t 0 ..-- C'? US 2013/0022191 A1 u T""" ('") (9 LL "' 0 0 ..-- C'?
  • 51.
    Caller 3106 Network Device (Smartphone) 3114 Gateway PSTN FIG. 310 3108b Second Communication Device I Visuphone I 3104b; 3100 ~.'"..=. . ('D .=.... ~ '-.e... (') ~....... .. 0 = ='"= 0-...". (') ~....... .. 0 = ;­:= N ~ ... N 0.. .. (.H rFJ =­(' D (..'D... Ul 0 0... .. 0 N c rFJ N 0.. .. .(...H_ 0 0 N .N.. . ..0.. >....
  • 52.
    Patent Application Publication N 0 N ("/') ---, c 0 ......... co E '-..o QN .~0 "ON eM 0 (.) (]) (f) c 0 ......... (/) '-- u.. L. __ _j Jan. 24, 2013 Sheet 51 of 92 US 2013/0022191 Al N ('() . CJ LL
  • 53.
    Patent Application Publication :<:: ...s... Jc~ry~ Q.C':l 0 I (]) .~.r...o~JcorIy $(') 0 LL I.... (]) ~(]0)..1-- IC':l .......,(') >< (]) z Cf) Cf) ro O-~oI tE~ ro I.... I- ......c... 0) c c "~'"0'0I .Q rocry Cf) 0(') I.... >- ~~I ro ....... cry D... (])(') .:£ (..) ro D... Jan. 24, 2013 Sheet 52 of 92 Cf) Cf) (]) I.... Cf) "'0 Cf) (]) "'0 I.... ~"'I "'0 "'0 ~I c..- <(..-- .Qcry (])(') (QC':l uC':l c I.... ....... :::J Cf) 0 (]) (j) 0 US 2013/0022191 A1 _ ro N 0 N (') . (9 u..
  • 54.
    Patent Application PublicationJan. 24, 2013 Sheet 53 of 92 US 2013/0022191 A1 3402 Start Search, at a first communication device, for a data network a first section of a packet to the second communication device as Dual-Tone Multi­frequency signals 3408 Send a first section of the packet comprising first information to the second communication device Is Visuphone available at second communication device? FIG. 34A
  • 55.
    Patent Application PublicationJan. 24, 2013 Sheet 54 of 92 US 2013/0022191 A1 3412 Receive an acknowledgement message based on the first section from the second communication device Send a second section of the packet comprising 3414 second information based on the acknowledgement message to the second communication device Stop FIG. 348
  • 56.
    Patent Application Publication ...>........ . (]) ctlu 0..·- ...... > (/)(]) .!:::: "0 ctl LL CX) 0 L!) (') .0 CX) 0 L!) (') ctl N 0 L!) (') ..>.... . ..... (]) ctl (.) 0..·- ...... > (/) (]) .!:::: "0 LL Jan. 24, 2013 Sheet 55 of 92 <D 0 L!) (') -. (]) c (]) 0 (.)..c ·-a_ > (]) (])_ o:o 0 .:.2._:. . (.) CX) 0 L!) (') ..... (]) ctl () ..>.... . ..... (]) ctl (.) 0..·- ...... > •• • (/) (]) .!:::: "0 LL c CX) 0 L!) (') US 2013/0022191 A1 ...>......... (]) ctlu 0..·- ...... > (/)(]) .!:::: "0 LL <( L{) ("') (9 LL
  • 57.
    3508a First party device 3508b First party device 3508c 3508n First party device •• • First party device 3512 Gateway Network l.f 3514 3502b !' 3500 Device (Computer+VOIP) I Visuphone I 35047 FIG. 358 3506 Caller '"= ~.... . ('D .=.... ~ '-.e... (') ~....... .. 0 = ='"= 0-..".. (') ~....... .. 0 = ;­:= N ~ ... N 0.. .. (.H rFJ =­(' D (..'D... Ul 0 0... .. 0 N c rFJ N 0.. .. .(...H_ 0 0 N .N.. . ..0.. >....
  • 58.
    3508a First party device 3508b First party device 3508c 3508n First party device •• • First party device 3512 Gateway I< >I Network J-3514 ! 3500 Device (Smartphone) I Visuphone I 35047 FIG. 35C Cellular Network 3506 Caller '"= ~.... . ('D .=.... ~ '-.e... (') ~....... .. 0 = ='"= 0-...". (') ~....... .. 0 = ;­:= N ~ ... N 0.. .. (.H rFJ =­(' D (..'D... Ul ....:J 0... .. 0 N c rFJ N 0.. .. .(...H_ 0 0 N .N.. . ..0.. >....
  • 59.
    3508a First party device 3508b First party device 3508c 3508n First party device •• • First party device 3602 Third party device Device (Mobile Phone) 3502a I Visuphone I 35047 1' 3500 FIG. 36 3506 Caller '"= ~.... . ('D .=.... ~ '-.e... (') ~....... .. 0 = ='"= 0-...". (') ~....... .. 0 = ;­:= N ~ ... N 0.. .. (.H rFJ =­(' D (..'D... Ul QO 0... .. 0 N c rFJ N 0.. .. .(...H_ 0 0 N .N.. . ..0.. >....
  • 60.
    3502 Device !----------------------------------B--o-a-r-d---- -37o4---- --------------_____ _ number ------: 1 : 3710 3716 Veg (11 Home Delivery ~1 3712 Non-Veg ':l}(2 3708 rder Statu 0 3 3714 Talk to Executive ' 1 Take Away If 3718 ~ 2 ,../' FIG. 37 I I I I I I f3720a : I Communication I I I I Option 1 : I lf370 f3720b: Communication Option • • I I I I I I I I I I I • f 3720n: Communication Option ---------------- '"= ~.... . ('D .=.... ~ '-.e... (') ~....... .. 0 = ='"= 0-...". (') ~....... .. 0 = ;­:= N ~ ... N 0.. .. (.H rFJ =­(' D (..'D... Ul 0 0... .. 0 N c rFJ N 0.. .. .(...H_ 0 0 N .N.. . ..0.. >....
  • 61.
    3502fl -------------------------------I- ---__ _ Device Board ~-38-04----------------- -------_____ L ~~-~2 number ------ 1 3806 3808 Personal Banking 2 NRI Banking 3 Accounts Deposits 2 Money 38101 1 I Transfer 1 ::> :c:::::: Saving A/C 1 Balance 1 3818 Talk to executive 2 3820 3812 - 3824 Report lost card 1 3822 3826 Investment 2 Talk to Executive 9 3828 f3720a Communication Option f 3720b Communication Option • • • f3720n Communication Option L---------------------------------------------------------------------------------------------1 FIG. 38 '"= ~.... . ('D .=.... ~ '-.e... (') ~....... .. 0 = ='"= 0-...". (') ~....... .. 0 = ;­:= N ~ ... N 0.. .. (.H rFJ =­(' D (..'D... 0 0 0... .. 0 N c rFJ N 0.. .. .(...H_ 0 0 N .N.. . ..0.. >....
  • 62.
    Patent Application Publication co CX) 0 U') (") >. t (]) co (.) CL ·- ...... (>]) -~ 0 LL Jan. 24, 2013 Sheet 61 of 92 <0 0 0) (") E (]) "0 0 ~ >. co 5 ..(..].). co ~ N ..-- 1.0 (") US 2013/0022191 A1 (9 LL
  • 63.
    Patent Application PublicationJan. 24, 2013 Sheet 62 of 92 US 2013/0022191 A1 Start 4002 Receive, at the device, a call from a phone number of a first party device 4004 Compare the phone number of the first party 4006 4008 4010 4012 device with the phone numbers stored in the device Display the visual IVR menu Display one or more communication options Select a communication option Establish a communication session based on the selection Stop FIG. 40
  • 64.
    Patent Application Publication co <0 0 ..-- '<j" co E ~ (]}"­..>....< (]>} wo co E ~ (]}"­..>..<.. (>]} wo (]} (.) "> (]} 0 (]} .0 co t 0 a_ Jan. 24, 2013 Sheet 63 of 92 US 2013/0022191 A1 (.) <0 0 ..-- '<j" co E ~ (]}"­..>..<.. (>]} wo N 0 ..-- '<j" ••• c <0 0 ..-- '<j" co E ~ (]}"­..>..<.. (>]} wo
  • 65.
    Patent Application Publication <0 0 N -.:::t N 0 N -.:::t Jan. 24, 2013 Sheet 64 of 92 •••••• •• :a! IIIII= ••• M:llii •••••• • :tiS.- US 2013/0022191 A1 . (9 LL
  • 66.
    Patent Application PublicationJan. 24, 2013 Sheet 65 of 92 US 2013/0022191 A1 Q_ ..0..... .. Q_ co .....J . C) LL
  • 67.
    Patent Application PublicationJan. 24, 2013 Sheet 66 of 92 US 2013/0022191 A1 . C) LL
  • 68.
    Patent Application PublicationJan. 24, 2013 Sheet 67 of 92 0 L!) ""'" co N 0 "'"" ""'" US 2013/0022191 A1 . C) LL
  • 69.
    Patent Application PublicationJan. 24, 2013 Sheet 68 of 92 D~ I 1 I' (]) E "" ro !..... LL (]) !..... ..:.:..:.:.J. (.) a.. ' ~ ' ro N 0 ....-- """'" US 2013/0022191 A1 . C) u..
  • 70.
    Patent Application PublicationJan. 24, 2013 Sheet 69 of 92 US 2013/0022191 A1 D~ 1 . C) '~ LL "' c 0 (]) (]) L.. (.) (f) 0 (/) a.. (9 0 ' ..1
  • 71.
    Patent Application Publication >. co 0.. -~ 0 "0" " co """ Jan. 24, 2013 Sheet 70 of 92 o: L -0 (.) (].) "5' L.. a_ N 0 co """ co N 0 ..-- """ US 2013/0022191 A1 00 ""'" (j LL
  • 72.
    Patent Application PublicationJan. 24, 2013 Sheet 71 of 92 N 0 en '<j" c (]) ~ (.) (/) >. ro 0.. (/) "0 (]) e> ro _J .0 '<j" 0 en '<j" ~D ~D -----------------~------------------------- .._ (]) "E ON ro N .!:::! a_ 0"> ~e N 0 z •--------------------------------------------- US 2013/0022191 A1
  • 73.
    Patent Application Publication (]) (.) ·:;;: (]) 0 (]) .0 co t 0 0.. N 0 0 U') (]) ou ·"-Oc'ot co(]) o::-c >. co Q_ (/) 0 ...... (]) 0'> co ...... c 0 co (~.) :~3~ gI e u 0.. (]) c c 0 u Jan. 24, 2013 Sheet 72 of 92 0""" "" 0 U') N 0 ..-- """"" ~(]) ...... (.) oro 5't -(]) (])- ZE <0 0 0 U') C' 0 E (]) ~ 00 ..-- 0 U') E -(]) (/) Jiol 0'>..-- :§~ ~ (]) Q_ 0 US 2013/0022191 A1 0 L{)
  • 74.
    Patent Application PublicationJan. 24, 2013 Sheet 73 of 92 (]) (.) ·:;: (]) 0 (]) .0 co t 0 a_ N 0 0 L!) (]) ou ·- co "O't: oc:o: <..D.... c >. co Q_ (/) 0 ..__ (]) 0'> co L.. c 0 co ~ ~~I eu E g u a_ (]) c c 0 (.) -.:::1" 0 0 L!) N 0 "<'""" -.:::1" ~.._(_ ]) (.) oro 5't: ...... (]) (])......, zc <.0 0 "<'""" L!) N 0 "<'""" L!) .>.__ . 0 E (]) ~ E ..(..].). (/) >. U0')> """"" 01 :§g co L.. (]) Q_ 0 US 2013/0022191 A1
  • 75.
    Patent Application Publication co <0 0 N L!) co E ~ (])"­..>...<.. > Q) wo ..0 <0 0 N L!) co E ~ (])"­..>...<.. > Q) wo Q) (..) ·:; Q) 0 Q) ..0 ..c...o.. I.... 0 a.. Jan. 24, 2013 Sheet 74 of 92 US 2013/0022191 A1 Q) c (..) <0 0 N L!) co E ~ (])"­..>...<.. > Q) wo .o.cr ool O..N ::JL!) (/) > N 0 N L!) Q) !.....~ oo:::t Q) > 0 (/) Q) N ::JO L!) ••• c <0 0 N L!) co E ~ (])"­..>...<.. > Q) wo "'8 N L!) C.1 L() . (.9 LL
  • 76.
    Patent Application Publication ro c.o 0 N 1.{) '<:j" 0 N '--~ 1.{) (])-- (/) > :::)~ .0 c.o 0 N 1.{) ro (]) c (..) w"> ...... (]) tijo N 0 N 1.{) Jan. 24, 2013 Sheet 75 of 92 (]) (..) "5 (]) 0 (]) .0 ..r..o.. '-- 0 a.. (]) c (..) c.o 0 N 1.{) ro (]) c (..) w"> ...... (]) tijo .0. c0o01 O..N :::JL{) (/) > ••• c c.o 0 N 1.{) US 2013/0022191 A1 C'0 l() C) LL
  • 77.
    Patent Application Publication <0 0 N -.:t N 0 N -.:t Jan. 24, 2013 Sheet 76 of 92 ••. II ••• • • 'II! ••• ilil liiHII ••• • :It :1 •••••• •••• N 0 N L{) US 2013/0022191 A1
  • 78.
    Patent Application Publication >. ro 0.. -~ 0 oo:::t" 0 l{) l{) Jan. 24, 2013 Sheet 77 of 92 N 0 N l{) (]) (]) .0 u ro ·:;: t (]) ao.. o N 0 l{) l{) US 2013/0022191 A1 N 0 oo:::t" l{) 1.() 1.() (.9 LL
  • 79.
    Patent Application Publication (]) (]) .ou cos t (]) oo o.._ Jan. 24, 2013 Sheet 78 of 92 N 0 N L!) US 2013/0022191 A1 N 0 '<j" L!) (9 LL
  • 80.
    Patent Application Publication (]) (]) .r.o. o·u­_. > I.... (]) oo a_ 0 L!) -.:::!'" N 0 N L!) Jan. 24, 2013 Sheet 79 of 92 N 0 -.:::!'" L!) US 2013/0022191 A1 . C) LL
  • 81.
    Patent Application PublicationJan. 24, 2013 Sheet 80 of 92 (]) (]) .r.oo ·u- ........ > !..... (]) oo 0... 1 ,, 0.. ..0.... .. 0.. ro _j 00000 ..J...' ~, 0 0 0 0 I oo o o~ ~ N 0 N "1"."!") 0 N 1.!) "- US 2013/0022191 A1 co LO . (.9 LL
  • 82.
    Patent Application Publication (]) (]) ..0 (.) co ·­+-' > !..... (]) oo a_ (]) E ~ LL (]) !..... :::J +-' (.) a_ N 0 <0 ""'" Jan. 24, 2013 Sheet 81 of 92 US 2013/0022191 A1 N 0 N L() 0') l.() . C) LL
  • 83.
    Patent Application PublicationJan. 24, 2013 Sheet 82 of 92 US 2013/0022191 A1 (1) (1) ..ou co "> t (1) ao.. o ~~ " r c """ (1) (1) I.... u en (/) a.. (9 ' .I "" ;' ...... .~I' I N 0 N 1..() 0 0 0 ODDDD ,..... D D D D D D D D 1_ N 0 -.;;:t 1..() . C) LL
  • 84.
    Patent Application PublicationJan. 24, 2013 Sheet 83 of 92 US 2013/0022191 A1 c (]) .(.]_) (.) (f) >. ro Q. N (/) 0 0 ...-- <D (]) "' .0._> ro _J ro '<j" 0 ...-- <D N 0 (]) (]) N L!) .0 r..o.. ·(.) ..oo .._ >- [g): (]) a_ -----------------~------------------------- .._ "0 (]) '-.0 ~E..- (Q :::J c .._ (]) "E ON ro N -~ a_ (]) ..0.. ...._.;.:.:.: :::J ~(.)...-- ~ ~ UJ 0> ~e N 0 z •--------------------------------------------- <D 0 ...-- <D
  • 85.
    Patent Application Publication (]) u "> (]) 0 (]) .0 co t 0 o.._ .._ 0 (/) (/) (]) u e o.._ Jan. 24, 2013 Sheet 84 of 92 US 2013/0022191 A1 .._ (]) 0'> co c co ~c O<01 :B~ u (]) c c 0 () ~.._( ]u) 0 co ..$.... 't: (]) (])......, ZE N 0 N <0 " N 0 N L!) '<:t ......- N <0 N ...-- N <0 '<:t 0 N <0 0 ...-- N <0 .>._ . 0 E (]) ~ N c.o (.9 LL E ..(..].). (/) >. U0) )0 rol :§~ .c._o (]) Q. 0
  • 86.
    Patent Application PublicationJan. 24, 2013 Sheet 85 of 92 US 2013/0022191 A1 Start 6302 Search, at a portable device, for an external 6306 6308 device No Connect to the detected external device Display contents of display of the portable device on a screen of the external device Stop FIG. 63
  • 87.
    Patent Application PublicationJan. 24, 2013 Sheet 86 of 92 US 2013/0022191 A1 Start 6402 Search, at a portable device, for a user device No 6406 Establish a connection between the portable device and the detected user device 6408 Search, at the portable device, for an external device No FIG. 64A
  • 88.
    Patent Application PublicationJan. 24, 2013 Sheet 87 of 92 US 2013/0022191 A1 6412 Establish a connection between the portable device and the detected external device 6414 Display contents of display of the user device on a screen of the external device Stop FIG. 648
  • 89.
    102 Device ----------------------------------------------------------- Veg 6510 f}'1 Board Number 1 6512 Non-Veg ';#(2 I v-6502 I I 6508: rder Statu e 3 I 6514: Talk to Executive ' 1 I I I I I I I Home : 6571-' T~ke 1 ~Delivery 1 Away 6518 i ' --------------------------~-~ If: --------------------------____ 2 f j : FIG.65 1 6520a Contact Option J 6520b Contact Option • • • f 6520n Contact Option ~.'"..=. . ('D .=.... ~ '-.e... (') ~....... .. 0 = ='"= 0-...". (') ~....... .. 0 = ;­:= N ~ ... N 0.. .. (.H rFJ =­(' D (..'D... QO QO 0... .. 0 N c rFJ N 0.. .. .(...H_ 0 0 N .N.. . ..0.. >....
  • 90.
    Patent Application PublicationJan. 24, 2013 Sheet 89 of 92 N 0 c.o c.o US 2013/0022191 A1 ----------------------~------------------------------------- 00 0 c.o c.o ..:.:.:".J. ' ..C...O. (V) (/) ~.._ · >,I.... (]) (]) .._ (]) (.) E<D..o > o -~ E ......- (]) I <D :::J 0 oz .._ (]) "EN ~~ D.. "c'. o 0 c.o c.o N 0 ......- N ......- c.o c.o "<;j- ......- c.o c.o (]) ..0.. ....-..~.. :::J...-- ~ (.) ~(]) ~., 0) c.o ~N c.o ~~ C) LL ......- 0) ~~ 0 ......- c.o c.o
  • 91.
    102 Booking 2 Enter Booking Information 1 Device XYZ Airlines If 6704 Board Number 1 6710 Status Inquiry 3 Other Inquiry 4 Talk to Executive 2 6716 Enter Airline Information 1 FIG.67 Talk to Executive 2 v 6702 f 6720a XYZ Domestic Airline Contact Option f6720b XYZ International Airline Contact Option ~.'"..=. . ('D .=.... ~ '-.e... (') ~....... .. 0 = ='"= 0-...". (') ~....... .. 0 = ;­:= N ~ ... N 0.. .. (.H rFJ =­(' D (..'D... 0 0 0... .. 0 N c rFJ N 0.. .. .(...H_ 0 0 N .N.. . ..0.. >....
  • 92.
    102 Booking 2 Enter Booking! Information 1 Device 6804 XYZ Domestic Airlines Number 1 6808 Status Inquiry 3 6810 Other Inquiry 4 6816 6818 Talk to Executive 2 Enter Airline Information 1 Talk to Executive 2 v6802 ----------------------------------------------------------------------------1 FIG.68 ~.'"..=. . ('D .=.... ~ '-.e... (') ~....... .. 0 = ='"= 0-...". (') ~....... .. 0 = ;­:= N ~ ... N 0.. .. (.H rFJ =­(' D (..'D... ..0.. 0... .. 0 N c rFJ N 0.. .. .(...H_ 0 0 N .N.. . ..0.. >....
  • 93.
    Patent Application PublicationJan. 24, 2013 Sheet 92 of 92 US 2013/0022191 A1 Start '~ 6902 """'.. Dial, at the device, a phone number of a destination v 6904 ""'.... Display the visual IVR menu associated with the dialed phone number 6906 " Display one or more contact options '~ 6908 Select at least one contact option '~ 6910 ......,_ Change the display of the visual IVR menu based on the selection of the contact option v Stop FIG. 69
  • 94.
    US 2013/0022191 AI SYSTEMS AND METHODS FOR VISUAL PRESENTATION AND SELECTION OF IVR MENU FIELD OF THE INVENTION [0001] The invention relates to Interactive Voice Response (IVR) system and more specifically the invention relates to visual selection of IVR option from a caller device. BACKGROUND OF THE INVENTION [0002] Interactive Voice Response (IVR) technology is generally used to detect voice and key inputs from a caller. The advent oflnteractive Voice Response (IVR) systems has reduced operating costs for many types of businesses for providing services. Generally, the IVR systems allow a user to interact with an audio or visual response system. The IVR systems can provide prompts to a user and receive touch tone and/or spoken responses on the prompts from the user. Through such IVR dialogue the system collects sufficient information about the user to direct the call to the most appro­priate resource, information processing system or the like. [0003] Generally, when the caller calls a destination, such as a bank, an automated audio IVR menu is played. The audio IVR menu can contain instructions to provide instant services such as account balance inquiry when the destination is a bank. Further, audio menu can provide options for the caller to connect to a desired end inside the destination. For example, the menu may direct the caller to press various keys on a telephone to connect to a particular department or agent. The audio IVR menu is designed specific to a destination. Therefore, each destination or organization may have differ­ent audio IVR menus. Further, the IVR menu in an organiza­tion can be based on the type of departments, type of services, customer care executives or agents and so forth. For example, an IVR menu of a bank may include options related to the account details of the caller, while an IVR menu of a pizzeria may contain options to order or select a pizza. [0004] Typically, the caller calling the destination may have to listen and follow instructions on the menu to get a desired response or a function performed. Therefore, the process can be time consuming. Moreover, in case the caller provides an incorrect input, the complete process may have to be repeated. Furthermore, the IVR menu for an organization may be updated or changed regularly. For example, extension numbers inside an organization may be changed and corre­spondingly, the extension numbers associated with the IVR menu may be updated. As a result, a frequent caller may not be able to reach a desired end by remembering a combination of numbers. Furthermore, the dialed destination may not include the information desired by the user. In such a case, the user may have to call the destination again for retrieving the desired information. Therefore, the user may become frus­trated with the IVR systems. [0005] Usually, the IVR menus are same for all the users. Therefore, the customer has to listen them carefully to select the appropriate option. The user may have to wait for long time for receiving information while interacting with the IVR systems. Moreover, sometimes the requested information might not be available at the time when the user calls the destination. Therefore, the user may have to either wait for long time or call again later. For example, the user may desire to talk to a customer care executive of the destination, who is 1 Jan. 24, 2013 busy at the time of the call. Therefore, the call of the user may be put on hold or he may be asked to call later. [0006] Some prior art try to address this problem by pro­viding visual form of IVR. These prior arts display the IVR menu graphically on a caller device. U.S. Pat. No. 7,215,743 assigned to International Business Machines Corporation and a published U.S. patent application Ser. No. 11/957,605, filed Dec. 17, 2007 and assigned to Motorola Inc., provides the IVR menu of the destination in a visual form to the caller. The caller can select the options from the IVR menu without listening to the complete audio IVR menu. However, the IVR menu displayed on the caller device is stored on an IVR server at the destination end. As a result, the visual IVR menu is specific to the destination and only the IVR of the destination dialed is displayed. These techniques therefore, require each destination to set-up hardware, software and other facilities to be deployed for providing visual IVR servers. [0007] A U.S. Pat. No. 7,460,652, assigned to AT&T Intel­lectual Property I, L.P., discloses techniques for call routing and communication with a call originator. The call may be received at an automated call handling system. Thereafter, the call is evaluated based on a set of business rules and routed to an interactive voice response unit based on the evaluation. Further, the interactive voice response unit automatically schedules and sends an email to the originator of the call. However, the scheduling of the email is performed after establishing a communication with the automated call han­dling system. Moreover, the scheduling is performed at the automated call handling system. [0008] Another existing technique as disclosed in U.S. Pat. No. 6,560,320 assigned to International Business Machines Corporation enables an operator of the IVR to send custom­ized signals to the caller for generating and displaying graphi­cal elements on the device of the caller. Thereafter, the caller can respond by selecting options through touch-screen inter­face of the device. Dual Tone Multi frequency (DTMF) sig­nals of the IVR. However, this technique requires a specifi­cally configured device to interpret the codes sent as Dual Tone Multi frequency (DTMF) signals for generating the graphics. Moreover, an operator is required to present the graphics to the caller. Furthermore, specialized software and hardware are required at the operator to design and generate DTMF codes. Therefore, the technique faces various practi­callimitations. [0009] Generally, the IVR menus of the organizations are in form of audible menu. Moreover, there are a large number of organizations that use IVR menus. Therefore, converting the audible menus to visual IVR menus can be time consuming. An existing technique, as disclosed in U.S. Pat. No. 6,920,425 assigned to Norte! Networks Limited, discloses an automated script to convert the audible menus scripts to visual IVR menu scripts. However, the audible menus scripts must be available in a particular format to enable the conversion. Furthermore, the audio menu scripts must be available or downloadable for the program to function. As a result, only the audio menus scripts that are available can be converted to visual IVR menu scripts. Furthermore, the device of the caller must be designed or programmed to understand the visual IVR menu scripts. [0010] Various organizations encourage the customers to call them for information on their products or services, or for helping existing customers. Generally, a contact number is provided by the organizations on their website as a button. Therefore, when the customer presses the button a form is displayed. The customer then enters his contact number
  • 95.
    US 2013/0022191 AI where an executive from the organization may call. However, this may be time consuming for the customer. Moreover, the customer may be not being able to talk to another executive during the call in case the on-line executive is not able to satisfY the customer. U.S. patent application Ser. No. 12/049, 021, filed Mar. 14, 2008 and assigned to Harprit Singh, pro­vides methods and systems for displaying an IVR menu, when the caller clicks a link on a webpage provided by the organization. However, the customer is still required to request the webpage with embedded information from a server of the organization. Moreover, the methods and sys­tems are limited to the organizations that provide the required webpage to the customers. Other technologies include U.S. patent application Ser. No. 11/877,952 filed Oct. 24, 2007 and assigned to International Business Machine Corporation. [0011] The effectiveness of providing the IVR in visual form is discussed in a technical paper titled, 'The Benefits of Augmenting Telephone Voice Menu Navigation with Visual Browsing and Search' by Min Yin eta!. The paper discusses a setup where visual content of the IVR is sent from a service provider to a computer connected to a mobile phone. How­ever, the technique discussed in the paper is limited to the visual content provided by the service provider's end, after the connection is established. Moreover, the providers are required to individually set up the hardware and services for providing visual content. [0012] As discussed above the existing technologies have various limitations. Hence, techniques are desired for provid­ing enhanced telephony. SUMMARY [0013] An enhanced telephone system is provided. The telephone system comprises a database that comprises one or more phone numbers and one or more menus corresponding to the phone numbers, wherein the menus comprise one or more options for selection. The telephone system comprises means for comparing a dialed number to the phone numbers in the database; means for displaying a menu based on a result of the comparison; means for enabling selection of the one or more options from the displayed menu; and means for estab­lishing a connection with a destination of the dialed number based on the selection of the one or more options. [0014] An enhanced telephone system is provided. The telephone system comprises a database comprising one or more phone numbers and one or more menus corresponding to the phone numbers, wherein the menus comprises one or more options for selection; means for comparing the a received number of a received call to the phone numbers in the database; means for displaying a menu based on a result of the comparison; and means for enabling selection of the one or more options from the displayed menu. [0015] Further, a method for providing enhanced telephony is provided. The method comprising identifying a number dialed from a telephone system; comparing the dialed number to one or more phone numbers stored in a database, wherein the database comprises one or more menus corresponding to the phone numbers, and wherein the menus comprises one or more options for selection; and displaying on the telephone system a menu from the database based on a result of the comparison. [0016] A caller may dial or select a phone number from a device of a destination. The phone number is detected by a Visuphone implemented on the device to display a visual IVR menu corresponding to the audible IVR menu of the destina- 2 Jan. 24, 2013 tion. Visuphone may be hardware, an application stored as a software or firmware on the device, or a combination thereof. Visuphone may include a database of visual IVR menus cor­responding to audible IVR menus for various destinations. Thereafter, the caller may interact with the visual IVR menu displayed on the device to establish a connection with the destination. Furthermore, Visuphone may detect and launch a VOIP application for establishing the connection. Moreover, Visuphone may provide pre-recorded or computer synthe­sized audio responses on behalf of the caller to the destina­tion. [0017] An aspect of the invention is to generate a database of visual IVR menus. The database generation could be done by successive calling the IVR and combined with voice rec­ognition. Calling the IVR systems can be done manually by operators that will listen to options of the IVR and enter these options into the database. In this manual mode, the operator will dial IVR numbers from a list and for each of them will follow all the options in several levels and in each level, enter the menu entries into the database. This can be done to many different IVR phone numbers, by one or multiple operators. The voice menu can be recorded to for analyzing in a different process or a different time. [0018] Another aspect of the invention is to generate a database of visual IVR menus by a computer system. Com­bination of hardware and software that is connected to phone system and automatically dials the IVR phone numbers, record the different options of the voice menu, analyze the voice menu and generate and enter the different entries into the database. The system will generate the voice tone that simulates the relevant touchtone of a phone number pressed. This process will be done in several levels until covering all the entries in all the levels of the specific IVR system. This process is done for all the IVR phone number in the list. [0019] Additional alternative is to access the IVR internal database and download the menu. This approach requires the collaboration with the IVR maker and at least permission from the IVR owner. Having both a system could be build to access IVR using their maintenance port, which is often con­nected to the Internet. Accordingly, the system would access the IVR and once authorized by the IVR owner it will down­load the internal file representing the IVR menu, which could be called the IVR customization record. The downloaded file would then be converted to visual IVR menu by utility that could be design according to the format, which could be provided by the IVR maker. [0020] Another aspect of the invention is to provide to a caller using a device a visual IVR menu corresponding to an audible IVR menu of a destination. [0021] Another aspect of the invention is to enable the caller to directly interact with the visual IVR menu without listening to the audible IVR menu of the destination. [0022] Another aspect of the invention is to provide the visual IVR menu to the caller before establishing a connec­tion of the device with the destination. [0023] Another aspect of the invention is to provide adver­tisements related to the destination or function of the desti­nation dialed by the caller. [0024] Yet another aspect of the invention is to provide a visual IVR menu of a destination according to the location of the communication device of a caller and/or a location of the dialed destination phone number. [0025] Embodiments of the invention provide an enhanced communication device. The enhanced communication device
  • 96.
    US 2013/0022191 AI comprises a processor and a memory coupled to the proces­sor. The memory comprises a database including one or more destination phone numbers and at least one property associ­ated with the destination phone numbers Further, the memory comprises instructions executable by the processor for iden­tifYing a dialed phone number of a destination, determining a location code associated with a current location of the com­munication device, comparing the dialed phone number to one or more destination phone numbers stored in a database, and displaying at least one property associated with the one or more destination phone numbers based on the comparison. [0026] Embodiments of the invention provide an enhanced communication device. The enhanced communication device comprises a database including one or more destination phone numbers and at least one property associated with the destination phone numbers. Further, the enhanced communi­cation device comprises means for identifying a dialed phone number of a destination, means for determining a location code associated with a current location of the communication device, means for comparing the dialed phone number to one or more destination phone numbers stored in a database, and means for displaying at least one property associated with the one or more destination phone numbers based on the com­parison. [0027] Embodiments of the invention provide a method for providing enhanced telephony. The method includes identi­fying a phone number of a destination dialed from a commu­nication device; determining a location code associated with a current location of the communication device; and compar­ing the dialed phone number to one or more destination phone numbers stored in a database. The database may include at least one property associated with the destination phone num­bers. Further, the method includes displaying the at least one property associated with the one or more destination phone numbers based on the comparison. [0028] Embodiments of the invention provide an enhanced device. The enhanced device comprises a processor and a memory coupled to the processor. The memory comprises a database including one or more destination phone numbers and at least one property associated with the destination phone numbers Further, the memory comprises instructions executable by the processor for identifying a dialed phone number of a destination, determining a location code associ­ated with a current location of the device, comparing the dialed phone number to one or more destination phone num­bers stored in a database, and displaying at least one property associated with the one or more destination phone numbers based on the comparison. [0029] Embodiments of the invention provide an enhanced device. The enhanced device comprises a database including one or more destination phone numbers and at least one property associated with the destination phone numbers. Fur­ther, the enhanced device comprises means for identifying a dialed phone number of a destination, means for determining a location code associated with a current location of the device, means for comparing the dialed phone number to one or more destination phone numbers stored in a database, and means for displaying at least one property associated with the one or more destination phone numbers based on the com­parison. [0030] Embodiments of the invention provide a method for providing enhanced telephony. The method includes identi­fying a phone number of a destination dialed from a device; determining a location code associated with a current location 3 Jan. 24, 2013 of the device; and comparing the dialed phone number to one or more destination phone numbers stored in a database. The database may include at least one property associated with the destination phone numbers. Further, the method includes dis­playing the at least one property associated with the one or more destination phone numbers based on the comparison. [0031] Embodiments of the invention provide a device comprising a database comprising a plurality of visual IVR menus associated with a plurality of destinations. The device further comprises means for dialing a phone number of a destination, means for comparing the dialed phone number with phone numbers stored in the database, and means for displaying a form based on the comparison, wherein the form comprises one or more data request fields corresponding to a visual IVR menu associated with the dialed destination. [0032] Embodiments of the invention provide a device comprising a processor. Further, the device comprises a memory comprising a database. The database comprises a plurality of visual IVR menus associated with a plurality of destinations. Further, the memory comprises instructions executable by the processor for dialing a phone number of a destination, comparing the dialed phone number with phone numbers stored in the database, and displaying a form based on the comparison, wherein the form comprises one or more data request fields corresponding to a visual IVR menu asso­ciated with the dialed destination. [0033] Further, a method for providing enhanced telephony is disclosed. The method comprises dialing, at a device, a phone number of a destination. The device comprises a plu­rality of visual IVR menus associated with a plurality of destinations. Further, the method comprises comparing the dialed phone number with phone numbers stored in the device. Furthermore, the method comprises displaying, at the device, a form based on the comparison, wherein the form comprises one or more data request fields corresponding to a visual IVR menu associated with the dialed destination. [0034] Embodiments of the invention provide a device for scheduling a call to a destination based on predefined calling information. The device comprises a database comprising at least one visual IVR menu associated with each of a plurality of destinations. The device also comprises means for dialing a phone number of a destination of the plurality of destina­tions based on the predefined calling information, wherein the predefined calling information is selected from a visual IVR menu associated with the destination; means for receiving information from the dialed destination based on the pre­defined calling information; and means for displaying the received information. [0035] Embodiments of the invention disclose a method for providing scheduling a call to a destination based on pre­defined calling information. The method comprises dialing a phone number of a destination of a plurality of destinations based on the predefined calling information, wherein the pre­defined calling information is selected from a visual IVR menu associated with the destination. Further, the method comprises receiving information from the dialed destination based on the predefined calling information. Furthermore, the method comprises displaying the received information. [0036] Embodiments of the present invention provide a device. The device comprises a processor. Further, the device comprises a memory coupled to the processor. The memory comprises a database comprising at least one IVR menu asso­ciated with at least one IVR system. Further, the memory comprises instructions executable by the processor for send-
  • 97.
    US 2013/0022191 AI ing a first section of a data packet to a second connnunication device. The first section comprising first information is sent based on a visual IVR menu associated with the second com­munication device. Further, the memory comprises instruc­tions executable by the processor for receiving an acknowl­edgement message from the second connnunication device based on the first section of the data packet. Furthermore, the memory includes instructions executable by the processor for sending a second section of the data packet to the second communication device based on the acknowledgement mes­sage. The second section comprises second information. [0037] Embodiments of the present invention provide a method for connnunicating among a plurality of connnuni­cation devices. The method comprises sending, by a device, a first section of a data packet to a second connnunication device. The first section comprising first information is sent based on a visual Interactive Voice Response (IVR) menu associated with at least one IVR system. Further, the method comprises receiving, at the device, an acknowledgement mes­sage from the second connnunication device based on the first section of the data packet. Furthermore, the method com­prises sending, by the device, a second section of the data packet to the second connnunication device based on the acknowledgement message. The second section comprises second information. [0038] Embodiments of the invention provide a method for establishing a connnunication session in a connnunication network. The method comprises dialling, by a device, a phone number of a second connnunication device. The second com­munication device comprises an IVR system. Further, the method comprises detecting, by the device, a data network. Furthermore, the method comprises sending, by the device, a first section of a data packet to the dialled second connnuni­cation device when the data network is detected. The first section comprises first information. [0039] Embodiments of the invention provide a connnuni­cation device comprising a database comprising a plurality of visual Interactive Voice Response (IVR) menus associated with a plurality of destinations. The communication device further comprises means for dialing a phone number of a destination, means for comparing the dialed phone number with phone numbers stored in the database, and means for displaying a form based on the comparison, wherein the form comprises one or more data request fields corresponding to a visual IVR menu associated with the dialed destination. [0040] A method for providing enhanced telephony is dis­closed. The method comprises dialing, at a connnunication device, a phone number of a destination. The connnunication device comprises a plurality of visual IVR menus associated with a plurality of destinations. Further, the method com­prises comparing the dialed phone number with phone num­bers stored in the connnunication device. Furthermore, the method comprises displaying, at the connnunication device, a form based on the comparison, wherein the form comprises one or more data request fields corresponding to a visual IVR menu associated with the dialed destination. [0041] An aspect of the invention is to provide updates to the visual IVR menus stored in the device. [0042] An aspect of the invention is to provide the visual IVR menu when the call is forwarded from one destination to another. [0043] Another aspect of the present invention is to provide a method for displaying, at a device, a visual IVR menu 4 Jan. 24, 2013 associated with a phone number of a calling device. Further, the method displays one or more connnunication options at the device. [0044] Another aspect of the invention is to enable a user at the device to interact with the visual IVR menu of the calling first party device without listening to the audible IVR menu of the first party device. [0045] Yet another aspect of the invention is to enable a portable device or device to connect to an external device with better display capabilities. [0046] Further aspect of the invention is to provide the visual IVR menu of a first party device to a user of a device before establishing a connnunication session between the device and the first party device. [0047] Additional aspect of the invention is an automatic learning of caller choice and uses that for assisting the caller in his future calls. BRIEF DESCRIPTION OF THE DRAWINGS [0048] Having thus described the invention in general terms, reference will now be made to the accompanying drawings, which are not necessarily drawn to scale, and wherein: [0049] FIG. 1A illustrates an exemplary enviroument where various embodiments of the invention may function; [0050] FIG. 1B illustrates another exemplary enviroument where various embodiments of the invention may function; [0051] FIG. 1C illustrates yet another exemplary environ­ment where various embodiments of the invention may func­tion; [0052] FIG. 2A illustrates an exemplary audible Interactive Voice Response (IVR) menu at a destination, in accordance with an embodiment of the invention; [0053] FIG. 2B illustrates an exemplary visual IVRmenu at a device corresponding to the audible IVR menu of the des­tination, in accordance with an embodiment of the invention; [0054] FIG. 2C illustrate an exemplary visual IVR menu that display graphics for each option, in accordance with an embodiment of the invention; [0055] FIG. 2D illustrate an exemplary visual IVR menu that display tooltip when a curser is hovering an option for more than certain time without action, in accordance with an embodiment of the invention; [0056] FIGS. 3A and 3B illustrates exemplary components of the device for implementing a Visuphone, in accordance with an embodiment of the invention; [0057] FIG. 4 illustrates an exemplary display of the visual IVR menu on the device, in accordance with an embodiment of the invention; [0058] FIG. 5 illustrates exemplary components of the device for implementing the Visuphone, in accordance with another embodiment of the invention; [0059] FIG. 6 illustrates an exemplary display of the visual IVR menu on the device, in accordance with another embodi­ment of the invention; [0060] FIG. 7 illustrates a webpage displayed on the device that may be used to initiate a connection to the destination, in accordance with an embodiment of the invention; [0061] FIG. 8 illustrates an exemplary software architec­ture ofVisuphone, in accordance with an embodiment of the invention; [0062] FIG. 9 illustrates exemplary components of the Visuphone, in accordance with an embodiment of the inven­tion;
  • 98.
    US 2013/0022191 AI [0063] FIG. 10 illustrates an exemplary remote server for storing information required by the Visuphone, in accordance with an embodiment of the invention; [0064] FIG. 11 illustrates presentation of a visual IVR menu in case of call forwarding, in accordance with an embodiment of the invention; [0065] FIG.12 illustrates the presentation of the visual IVR menu when a phone connection is associated with a wide band internet 'smart' modem; [0066] FIG.13 illustrates the presentation of the visual IVR menu when a telephone connection is established through an external telephone service by using a computer; [0067] FIGS. 14A, 14B, and 14C illustrate a Visu-add-on that provides the features and functionality of the Visuphone; [0068] FIGS. 15A, 15B, and 15C illustrate a flowchart dia­gram for presentation, selection and update of visual IVR menus, in accordance with an embodiment of the invention; [0069] FIG. 16 illustrates exemplary components of a device for implementing a database construction system, in accordance with an embodiment of the invention; [0070] FIGS.17A, 17B, and 17C illustrate exemplary com­ponents of the database construction system, in accordance with an embodiment of the invention; [0071] FIG. 18 illustrates a flowchart diagram for creating a database for visual IVR menus, in accordance with an embodiment of the invention; [0072] FIG. 19 illustrates an exemplary set of IVR catego­ries; [0073] FIG. 20A illustrates an exemplary information pro­cess stored in a database; [0074] FIG. 20B illustrates an exemplary web form gener­ated for the information process of FIG. 20A; [0075] FIG. 21 illustrates an exemplary display of repre­sentations of destinations on the device, in accordance with an embodiment of the invention; [0076] FIG. 22 illustrates an exemplary visual IVRmenu of the selected destination with added graphics at a device, in accordance with an embodiment of the invention; [0077] FIGS. 23A, 23B, and 23C illustrate a flowchart dia­gram for providing representation of destinations based on position, in accordance with an embodiment of the invention; [0078] FIG. 24 illustrates flowchart for presenting adver­tisement along with the visual IVR menu on the device, in accordance with an embodiment of the invention; [0079] FIG. 25A illustrates an exemplary information pro­cess for an IVR menu stored in records database, in accor­dance with an embodiment of the invention; [0080] FIG. 25B illustrates an exemplary web form gener­ated for the information process of FIG. 25A, in accordance with an embodiment of the invention; [0081] FIG. 26 illustrates a flowchart for submitting per­sonal information of a caller by Visuphone, in accordance with an embodiment of the invention; [0082] FIG. 27 illustrates an exemplary representation of a visual IVR menu associated with the dialed phone number of the destination along with a scheduling mode option, in accordance with an embodiment of the invention; [0083] FIG. 28 illustrates another exemplary representa­tion of a visual IVR menu associated with the dialed phone number of the destination along with a scheduling mode option, in accordance with an embodiment of the invention; [0084] FIG. 29 illustrates an exemplary display at the device after switching to a scheduling mode, in accordance with an embodiment of the invention; 5 Jan. 24, 2013 [0085] FIGS. 30A and 30B illustrates a flowchart for pro­viding enhanced telephony by presenting a scheduling mode option to the caller, in accordance with an embodiment of the invention; [0086] FIGS. 31A, 31B, 31C and31D illustrates exemplary environments where communication device may exchange one or more messages/data packets for establishing commu­nication session, in accordance with various embodiments of the invention; [0087] FIG. 32 illustrates an exemplary packet sent from a device to a second communication device, in accordance with an embodiment of the invention; [0088] FIG. 33 illustrates an exemplary structure of a first section of the packet sent to the second communication device, in accordance with an embodiment of the invention; [0089] FIGS. 34A and 34B illustrates a flowchart for com­municating among a plurality of communication devices, in accordance with an embodiment of the invention; [0090] FIGS. 35A, 35B, and 35C illustrates an exemplary communication network where a call is received at a device from a first party device, in accordance with various embodi­ments of the invention function; [0091] FIG. 36 illustrates yet another exemplary commu­nication network in which an IVR is displayed when a call is received at a device, in accordance with an embodiment of the invention; [0092] FIG. 37 illustrates an exemplary visual IVR menu along with one or more communication options at a device, in accordance with an embodiment of the invention; [0093] FIG. 38 illustrates another exemplary visual IVR menu along with one or more communication options at a device, in accordance with an embodiment of the invention; [0094] FIG. 39 illustrates the presentation of the visual IVR menu when a phone connection is associated with a wide band internet 'smart' modem; [0095] FIG. 40 illustrates a flowchart for providing enhanced telephony when a call is received, in accordance with an embodiment of the invention; [0096] FIG. 41 illustrates an environment where a device may be connected to an external device, according to an embodiment of the invention; [0097] FIG. 42 illustrates exemplary functioning of the device (portable device) in the environment of FIG. 41, in accordance with an embodiment of the invention; [0098] FIG. 43 illustrates exemplary functioning of the por­table device such as a smart phone connected to a laptop in the environment of FIG. 41, in accordance with another embodi­ment of [0099] FIG. 44 illustrates exemplary functioning of the por­table device connected to a large display screen in the envi­ronment of FIG. 41, in accordance with another embodiment of the invention; [0100] FIG. 45 illustrates exemplary functioning of the por­table device such as the smart phone connected to a television screen in the environment of FIG. 41, in accordance with another embodiment of the invention; [0101] FIG. 46 illustrates exemplary functioning of the por­table device connected to a picture frame in the environment of FIG. 41, in accordance with another embodiment of the invention; [0102] FIG. 47 illustrates exemplary functioning of the por­table device connected to a Global Positioning System (GPS) navigation system in the environment of FIG. 41, in accor­dance with another embodiment of the invention;
  • 99.
    US 2013/0022191 AI [0103] FIG. 48 illustrates exemplary functioning of the por­table device such as the smart phone connected to a projector in the environment of FIG. 41, in accordance with another embodiment of the invention; [0104] FIG. 49 illustrates exemplary display of an Interac­tive Voice Response (IVR) menu on a large display screen connected to a portable device such as the smart phone, in accordance with an embodiment of the invention; [0105] FIG. 50 illustrates block diagram of the portable device, in accordance with an embodiment of the invention; [0106] FIG. 51 illustrates another block diagram of the portable device, in accordance with an embodiment of the invention; [0107] FIG. 52 illustrates an environment where a portable device may be connected to a user device, in accordance with an embodiment of the invention; [0108] FIG. 53 illustrates an environment where a portable device may be connected to a user device, in accordance with another embodiment of the invention; [0109] FIG. 54 illustrates exemplary functioning of the por­table device connected to a mobile phone in the environment of FIG. 52 or FIG. 53, in accordance with an embodiment of the invention; [0110] FIG. 55 illustrates exemplary functioning of the por­table device connected to a mobile phone and a projector in the environment of FIG. 52 or FIG. 53, in accordance with another embodiment of the invention; [ 0111] FIG. 56 illustrates another exemplary functioning of the portable device connected to a mobile phone and a large screen in the environment of FIG. 52 or FIG. 53, in accor­dance with another embodiment of the invention; [0112] FIG. 57 illustrates another exemplary functioning of the portable device connected to a mobile phone and a tele­vision in the environment of FIG. 52 or FIG. 53, in accor­dance with another embodiment of the invention; [0113] FIG. 58 illustrates exemplary functioning of the por­table device connected to a mobile phone and a laptop in the environment of FIG. 52 or FIG. 53, in accordance with another embodiment of the invention; [0114] FIG. 59 illustrates another exemplary functioning of the portable device connected to a picture frame and a wired telephone in the environment of FIG. 52 or FIG. 53, in accor­dance with another embodiment of the invention; [0115] FIG. 60 illustrates exemplary functioning of the por­table device connected to a mobile phone and a GPS naviga­tion system in the environment of FIG. 52 or FIG. 53, in accordance with another embodiment of the invention; [0116] FIG. 61 illustrates an exemplary display of an Inter­active Voice Response menu (IVR) on a large display screen connected to a portable device and a user device such as smart phone, in accordance with an embodiment of the invention; [0117] FIG. 62 illustrates a block diagram of portable device 5202, in accordance with an embodiment of the inven­tion; [0118] FIG. 63 is a flowchart illustrating the functioning of portable device 4102, in accordance with an embodiment of the invention; [0119] FIGS. 64A and 64B illustrates a flowchart for imple­menting the portable device in the environment of FIG. 52 and FIG. 53, in accordance with an embodiment of the inven­tion; [0120] FIG. 65 illustrates an exemplary functioning of Visuphone for displaying one or more contact options at a device, in accordance with an embodiment of the invention; 6 Jan. 24, 2013 [0121] FIG. 66 illustrates change of display at user device 102, when a user selects a contact option, in accordance with an embodiment of the invention; [0122] FIG. 67 illustrates an exemplary functioning of Visuphone for displaying one or more contact options at a device, in accordance with another embodiment of the inven­tion; [0123] FIG. 68 illustrates change in display at device 102 based on selection of a contact option by a user of device 102, in accordance with an embodiment of the invention; and [0124] FIG. 69 illustrates a flow diagram illustrating an exemplary functioning of the Visuphone for displaying one or more contact options at a device, in accordance with an embodiment of the invention. DETAILED DESCRIPTION OF THE INVENTION [0125] Illustrative embodiments of the invention now will be described more fully hereinafter with reference to the accompanying drawings, in which some, but not all embodi­ments of the invention are shown. Indeed, the invention may be embodied in many different forms and should not be construed as limited to the embodiments set forth herein; rather, these embodiments are provided so that this disclosure will satisfY applicable legal requirements. Like numbers refer to like elements throughout. [0126] FIG. lA illustrates an exemplary environment where various embodiments of the invention may function. A device 102a can be used by a caller 106 for connecting to destinations l08a-n. Device 102a can be a telecommunica­tion device that can connect directly to a Public Switched Telephone Network (PSTN) 110. A person skilled in the art will appreciate, that device 1 02a can also connect to a private telephone exchange. Examples of device 102a include, but not limited to, a mobile phone, a Smartphone, a telephone, or any other device capable of voice or data communication. Each of destinations l08a-n may include one or more Inter­active Voice Response (IVR) menus. Further, each of desti­nations l08a-n may have one or more associated phone num­bers. When caller 106 dials a phone number of a destination and connects to any destination from destinations l08a-n, an audible IVR menu may be played to caller 106. Each of destinations l08a-n can have different and more than one audible IVR menus. For example, IVR menus of bank may be completely different from that of a hospital. Typically, the audible IVR menu provided by destinations l08a-n com­prises audible options or instructions. Caller 106 may be required to select various options from the audible IVR menu to obtain the required information or resource or service from the dialed destination. Various types of destinations l08a-n that implement the audible IVR menu include, for example, banks, hotels, fast-food outlets, utility services providers, corporate offices, and so forth. [0127] In an embodiment, device 102a includes a Visu­phone 104 that can display a visual IVR menu on device 1 02a corresponding to the audible IVR menu based on a phone number of the destination to be connected. Visuphone 104 may be hardware, an application stored as software, a firm­ware on device 102a, or a combination thereof. Thereafter, caller 106 can select the options of the audible IVR menu from the visual display without the requirement to listen to the audible instructions. Further, Visuphone 104 may display one or more options based on the dialed destination. Exemplary
  • 100.
    US 2013/0022191 AI audible IVR menu at destination 108a and a corresponding visual IVR menu are explained in detail in conjunction with FIGS. 2A and 2B. [0128] In an embodiment of the invention, device 102a can request for updates from a server through a communication network. The server may maintain the updated information of destinations and their associated properties. This may happen in a case when requested information is not available on the dialed destination. The communication network can include more than one device. Examples of the communication net­work include, but are not limited to, the Network, PSTN, Local Area Network (LAN), Wide Area Network (WAN), and so forth. [0129] FIG. 1B illustrates another exemplary environment where various embodiments of the invention may function. As shown, device 102b can be a device that can be connected directly to a network 112. Examples of device 1 02b include, but are not limited to, a personal computer, a laptop, a mobile phone, a smart-phone, a fixed line telephone, Voice Over Internet Protocol (VOIP) phone or other devices capable of voice or data communication. Device 1 02b may include vari­ous applications or computer programs that enable caller 106 to use device 102b for connecting to any of destinations 108a-n through PSTN 110 over network 112. For example, the applications may be VOIP applications, such as but not limited to, Skype, Magic Jack, Google Talk and so forth. A gateway 116 can be used to interconnect PSTN 110 and network 112. Network 112 may include any wired or wireless network. Examples of network 112 include, but are not lim­ited to, a Local Area Network (LAN), a Wide Area Network (WAN), a Wi-Fi network, and so forth. As discussed with reference to FIG. 1A, destinations 108a-n can present the audible IVR to caller 106. Device 102b includes Visuphone 104b that displays a visual IVR menu on device 102b corre­sponding to the audible IVR menu based on a phone nnmber of the destination to be connected. Further, Visuphone 104 may display one or more options for communication on device 102b. [0130] FIG. 1C illustrates yet another exemplary environ­ment where various embodiments of the invention may func­tion. As shown, device 102c can be connected to PSTN 110 through network 112 or through the cellular network 111. Various service providers provide multiple or overlapping services to customers. For example, cable television service provider may also provide phone and Internet service, optical Internet provider may also provide phone or television ser­vices, WiMax service providers that provide phone service, and so forth. Network 112 may be any service provider that provides such services, for example, but not limited to, cell phone services, wireless services, Internet services, cable television services, or various combinations of the above or other type of services. As discussed with reference to FIG. 1A, destinations 108a-n presents the audible IVR to caller 106. Device 102c includes Visuphone 104 that displays a visual IVR menu on device 102b corresponding to the audible IVR menu based on a phone nnmber of the destination to be connected. Further, Visuphone 104 may display other com­munication options to caller 106. [0131] In an embodiment of the invention, Visuphone 104 may call the dialed destination based on the predefined call­ing information automatically. In an embodiment, Visuphone 104 may keep on calling to the dialed destination until the requested information is received. In an embodiment, the dialed destination may request the information requested by 7 Jan. 24, 2013 Visuphone 104 of device 102c (or 102a or 102b), from a server of the communication network. Thereafter, the dialed destination may send the information received from the server to Visuphone 104 of device 102c. Further, Visuphone 104 may save and/or display the received information at device 102c. [0132] FIG. 2A illustrates an exemplary audible IVR menu 222a at destination 1 08a, in accordance with an embodiment of an invention. A person skilled in the art will appreciate that audible IVR menu 222a is an exemplary graphical represen­tation of the audible instructions presented by destination 1 08a for the sake of explanation and is not an actual graphical display. For explanation, assuming that destination 108a is a pizzeria that provides home delivery and takes away services. Caller 106 connects to destination 108a by dialing a board phone number 202a. Subsequently, various options of audible IVR menu 222a are played to caller 106. The various options include an option 204a that plays an audible instruc­tion, "press 2 for pizza order", an option 206a that plays an audible instruction, "press 3 for order status", an option 220a that plays an audible instruction, "press 0 for main menu". Caller 106 can select an option by pressing from device 102, a button corresponding to the instructions in the audible IVR menu. Subsequently, the selected options are transmitted to the destination and the menu is advanced if there are any further options. Alternatively the display can present the next layer of menu options to give the caller better view of the option domain and allow even faster interface between caller and the IVR. [0133] For example, selection of option 204a presents an option 208a that plays an audible instruction, "press 1 for veg" and an option 210a that plays an audible instruction, "press 2 for non-veg" is played. Similarly, selecting option 208a or 210a presents or option 214a that plays an audible instruction, "press 1 for home delivery", an option 216a that plays an audible instruction, "press 2 for take away". Simi­larly, selection of option 206a presents an option 212a that plays an audible instruction, "press 1 to talk to an executive". [0134] Options 204a, 206a, 208a, 210a, 212a, 214a, and 216a are part of a main menu 218a. Main menu 218a can be repeated by selecting option 220a by caller 106. Caller 106 may repeat main menu 218a for example, in case of a mistake in selection. Therefore, caller 106 directly interacting with audible IVR menu 222a may be required to listen to all or various audible options before executing a desired action. However, the interaction is simplified by Visuphone 104, that presents a visual IVR menu 222b to caller 106 corresponding to audible IVR menu 222a, as explained with reference to FIG. 2B. [0135] Further, each of destinations 1 08a-n may have more than one audio IVR menus. Therefore, different visual IVR menus corresponding to one or more audio IVR menus can be available for each of destinations 108a-n. In an embodiment, device 102 may include more than one visual IVR menus for each destination of destinations 108a-n based on the time. Herein after device 102 collectively refers to device 102a, 1 02b and 1 02c. Therefore, different visual IVR menus corre­sponding to a destination 108 might be presented to caller 106 depending on the time of dialing to destination 108. [0136] In an exemplary scenario, in a hotel, the food items in a daytime menu card may be different from a night menu card. Accordingly, the options in the visual IVR menu may differ. Therefore, the visual IVR menus for daytime and night can be different for the hotel. When caller 106 dials the phone
  • 101.
    US 2013/0022191 AI number of the hotel in daytime, a daytime visual IVR menu can be displayed at device 102a, and if caller 106 calls at night, a different menu can be displayed at device 102a. Therefore, a visual IVR menu of the hotel displayed at the calling device for a call made at noon may be different then the visual IVR menu displayed for another call made at evening. [0137] FIG. 2B illustrates an exemplary visual IVR menu 222b corresponding to an audible IVR menu 222a, in accor­dance with an embodiment of the invention. Visual IVR menu 222b may be displayed on a screen of device 102b that may connect to destination 108a through network 112 and PSTN 110. In an embodiment, visual IVR menu 222b can be dis­played before a connection is established with destination 108a. A person skilled in the art will appreciate that device 102b is illustrated for the sake of explanation, and similar visual IVR menu 222b can be displayed on device 102a that connects to destination 108a directly through PSTN 110. Visual IVR menu 222b includes various nodes corresponding to the options of an audible IVR menu of destination 108a. The various nodes of visual IVR menu 222b include a node 202b for connecting to board number 202a of destination 108a. Similarly, nodes 204b, 206b, 208b, 210b, 212b, 216b corresponds to option 204a, 206a, 208a, 210a, 212a, 216a respectively. A node corresponding to option 220a may not be required in visual IVR menu 222b, as the complete menu is visible and caller 106 may not be required to repeat audible IVR menu 222a. Therefore, when caller 106 selects a node from visual IVR menu 222b, Visuphone 104 automatically transmits the desired action corresponding to the options in audible IVR menu 222a to dialed destination 108a. For example, assuming that caller 106 calls destination 108a to order a veg pizza for home delivery. In this case, caller 106 directly selects nodes 208b and 214b from a touch screen of device 102a, corresponding to veg pizza and home delivery from visual IVRmenu 222b.Altematively, caller 106 directly selects nodes 204b, 208b and 214b by pressing corresponding keys '2', '1 ', and '1 ', from a keypad or screen of device 1 02a without a need to listen to the complete audible IVR menu. Visuphone 104 accordingly transmits the signals to audible IVR menu 222a. In this case, the signals required by audible IVR menu 222a may be the Dual Tone Multi-Frequency (DTMF) tones of'2', '2', and '1' for options 204a, 208a, and 214a. Moreover, caller 106 may not be required to select all the options. For example, when caller 106 wants to order a veg-pizza for take away. Then, only the nodes 208b and 216b may be required to be selected, and node 204b is automati­cally understood by Visuphone 104b. Furthermore, a node that is necessary for a transaction is automatically high­lighted. For example, if caller 106 only selects node 216b for take away, then node 208b for a veg-pizza or node 210b for non-veg are highlighted for selection. In an embodiment of the invention, caller 106 may select nodes irrespective of the sequence presented in the audible IVR menu. For example, node 214b for home delivery may be selected before node 208b ofveg-pizza. Visuphone 104 automatically generates a sequence of the selections made by caller 106 and transmits it to the destination. Furthermore, Visuphone 104 stores the selections and the numbers dialed by the caller during the call in association with the destination phone number. In an embodiment, Visuphone 104 may enable callers to search or bookmark options in a menu with a large number of options. For example, callers can search for a node 214b from the 8 Jan. 24, 2013 menu by typing 'home delivery'. As a result, navigation of a complete visual IVR menu may not be required. [0138] In an embodiment of the invention, visual IVR menu 222b is displayed to caller 106 when a call is received at device 102 from a destination of destinations 108a-n. For example, a service provider may call to provide information about new services or account of caller 106. Further, caller 106 may be required to select various options based on his preferences. Visuphone 1 04b may detect the received number and correspondingly display a visual IVR menu to the caller. Further, the calling destination may push or send the visual IVR menu associated with the destination to device 102a (102b or 102c). The process of displaying visual IVR menu when a call is received at the device is explained in detail in FIG. 35 to FIG. 40. [0139] FIG. 2C illustrates an exemplary visual IVR menu 222c with added graphics for the nodes. It is well known that graphics are easier to learn and are faster to recognize than words. Therefore, graphics are used in various computerized device interfaces. The exemplary graphics as shown with reference to FIG. 2C are icons. Various other types of graphics can be displayed for example, animated icons, icons that highlight or animate when the node is highlighted, and so forth. [0140] In an embodiment, the graphics may be displayed for each node or a few nodes based on the usability of visual IVR menu 222c. For example, for the node 208 an icon of a vegetable may be displayed to designate a vegetarian pizza, and an icon of house for the node 214c of home delivery may be displayed. In an embodiment of the invention, visual IVR menu 222c can be customized to display only the text, only the icons or both. Furthermore, caller 106 can suggest or use various icons based on his preferences. [0141] FIG. 2D illustrate an exemplary tooltip that is dis­played when a curser is hovered over an option in the visual IVR menu. As shown, a tooltip box 222 is displayed when a cursor 226 is hovered on option 204c or 206c. Similarly, a Tool tip box 224 may be displayed containing the next menu text with or without it's available options 210c, 208c in case the caller decides to select the option over which cursor 226 is hovered, for example option 204c. [0142] In an embodiment of the invention, Visuphone 1 04b may provide a standard menu per group of similar audible IVR or destinations. Withreferenceto FIG. 2B, an example of a menu at a pizza provider is discussed. Generally, every pizza provider may have its specific audible IVR menu. However, caller 106 may prefer to use a single standard visual IVR menu for all pizza providers. Therefore, learning a single visual IVR menu will be useful for engaging various provid­ers. In such a case, the database may include a standard menu per class of compatible providers. Visuphone 104 may offer caller 106 an option to use the standard domain menu. There­fore, when caller 106 makes a selection on the standard menu, Visuphone 104 may translate the selection to the specific audible IVR menu selection and send the proper dialing tones (or DTMF) to that specific audible IVR. Furthermore, the standard menus may be published. Therefore, various provid­ers may modifY their own menus to help their customers. Additional aspect of the standard menu is the use of icons as discussed with reference to FIG. 2C. The icons may represent standard choice across various domains. For example, if a specific icon may represent sales, then the same icon may be used for sales of airlines tickets when the destination is an airline company or sales of telephone service when the des-
  • 102.
    US 2013/0022191 AI tination is a telephone company. In an embodiment of the invention, the caller may customize the icons or graphics displayed on the menu. [0143] FIG. 3 illustrates exemplary components of device 1 02a for implementing Visuphone 104. Device 1 02a includes a system bus 324 to connect the various components. Examples of system bus 324 include several types of bus structures including a memory bus or memory controller, a peripheral bus, or a local bus using any of a variety of bus architectures. As discussed with reference to FIG. 1A, device 102a can be a device such as computer, a smart-phone and so forth. Device 102a can connect to PSTN 110 through a gate­way 326, which is connected to network 112 through a net­work interface 314. Input/Output (I 0) interface 316 of device 102a may be configured to connect external or peripheral devices such as a memory card 318, a keyboard 320a, a mouse 320b and a Universal Serial Bus (USB) device 322. Although not shown, various other devices can be connected through IO interface 316 to device 102a. In an embodiment of the inven­tion, device 102a may be connected to a hub that provides various services such as voice commnnication, Internet access, television services, and so forth. For example, the hub may be a Home Gateway device that acts as a hub between the home environment and the Broadband Network. [0144] Device 102a includes a display 302 to output graphical information to caller 106. In an embodiment of the invention, display 302 may includes a touch sensitive screen. Therefore, caller 106 can provide inputs to device 102a by touching display 302 or by point and click using the 'mouse'. Memory 306 of device 102a stores various programs, data and/or instructions that can be executed by a Central Process­ing Unit (CPU) 304. Examples of memory 306 include, but are not limited to, a Random Access Memory (RAM), a Read Only Memory (ROM), a hard disk, and so forth. A person skilled in the art will appreciate that other types of computer­readable media which can store data that is accessible by a computer, such as magnetic cassettes, flash memory cards, digital video disks, and the like, may also be used by device 102a. Memory 306 may include Operating System (OS) (not shown) for device 102a to function. Further, memory 306 may include other applications 310 that enable the caller to commnnicate with destinations. Examples of other applica­tions 310 include, but are not limited to, Skype, Google Talk, Magic Jack, and so forth. Other applications 310 may be stored as software or firmware on device 102a. [0145] Further, memory 306 includes Visuphone 104 for presenting a visual IVR menu corresponding to the audible IVR menu of destination as discussed with reference to FIGS. 2A, 2B and 2C. Visuphone 104 may be an application stored as a software or firmware on device 102a. The visual IVR menus are stored in a visual menu database 308 in memory 306 of device 102a. Visuphone 104 searches visual menu database 308 for visual IVR menus corresponding a phone number of destinations 108a-n dialed by caller 106. In an embodiment, Visuphone 104 searches visual menu database 308 for visual IVR menus corresponding to a phone nnmber of a calling destination. Subsequently, if the visual IVR menu for the phone number is available in the database, then the visual IVR menu is displayed on display 302. Further, Visu­phone 104 may be implemented as a plug-in to other appli­cations 310. Therefore, when a phone nnmber is dialed from other applications 310, Visuphone 104 detects the dialing of the number and automatically displays the visual IVR menu corresponding to the phone number. Thereafter, the caller can 9 Jan. 24, 2013 interact with the visual IVR menu, without listening to the complete audible IVR menu of destinations. [0146] With reference to FIG. 4, an exemplary display of a visual IVR menu 406 on device 1 02c is illustrated. The caller may dial a phone nnmber 402 corresponding to a destination using keypad 320. Keypad 320 may be a physical keypad or a virtual keypad displayed on a touch screen display 412. Sub­sequently, visual IVR menu 406 corresponding to phone nnmber 402 is searched and displayed on a display 412. [0147] In an exemplary instance, if caller dials a phone nnmber of an IVR destination, then a visual IVR menu cor­responding to audible IVR menu of the dialed destination is displayed on display 412. Similarly, if the caller receives a call from a phone number of destination, then a visual IVR menu corresponding to audible IVR menu of destination is displayed on display 412. Thereafter, caller can interact with the visual IVR menu to select options from the audible IVR menu. Visual IVR menu 406 may be displayed before actual connection of device 102c to destinations. Therefore, caller can select a desired action from visual IVR menu 406 before connecting to destinations. In an embodiment of the inven­tion, visual IVR menu 406 may be provided in real-time to caller. In an embodiment of the invention, visual IVR menu 406 is provided a messaging service such as a Short Messag­ing Service (SMS). Therefore, destinations may provide cus­tomized visual IVRmenu 406 to caller 106. Visual IVR menu 406 may be customized based on the profile of caller. In an embodiment of the invention, the profile may be generated based on access pattern of caller or the data capture by a hub connected to device 102c. [0148] Caller can interact with visual IVR menu 406 by pressing a desired button from keypad 320. For example, caller can press a '5' key from keypad 320 to select a node 5 in visual IVR menu 406. Further, caller can directly select the node 5 of visual IVR menu 406 from display 412, in case of a touch sensitive screen. Depending on the complexity or size of destinations, visual IVR menu 406 may have various nodes. Moreover, display area of display 412 may be limited or small. As a result, all the nodes of visual IVR menu 406 may not be displayed together on display 412. In such a case, Visuphone 104 is configured to allow caller to navigate by scrolling horizontally and/or vertically to view nodes on visual IVR menu 406. Further, Visuphone 104 may detect the capability of device 102a before displaying the visual IVR menu. For example, in case device 102a is a basic mobile phone with limited fnnctionality of the display screen. There­fore, Visuphone 104 may display the visual IVR menu in form of a simple list. Similarly, a list may be displayed in case of fixed line telephones. Moreover, in case device 102c includes a high capability screen, such as but not limited to an iPhone, then the visual IVR menu is displayed in form of graphics. [0149] Subsequently, after caller selects a desired action from visual IVR menu 406, a connection is established between device 102c and destinations based on the selected option. In one embodiment, Visuphone 104 is configured to detect and present an application or computer program avail­able on device 102c. [0150] In an embodiment, Visuphone 104 may be config­ured to display an advertisement 408. Advertisement 408 may correspond to the type of services provided by the dialed destinations. For example, if destination dialed is a pizzeria, then advertisement 408 may include promotions or offers about a new pizza. Moreover, advertisement 408 may include promotions or offers from a third party or a competitor of the
  • 103.
    US 2013/0022191 AI destination. Further, Visuphone 104 may be coupled to an advertising database. The advertising database may include advertisements related to the phone numbers of the destina­tions. The advertising database may be stored at device 102c, the destinations, service providers or other third party servers. Further, the advertisements may be provided based on a pro­file of caller. For example, assuming that the caller calls a bank holding his saving account. Therefore, the advertise­ment displayed to the caller may be based on the location, address, account balance, type and volume of transactions, loans, purchases and so forth. [0151] Visuphone 104 may be configured to connect to an intended destination, when caller selects advertisement 408. Further, Visuphone 104 may display visual IVR menu 406 of the intended destination. In an embodiment, Visuphone 104 may store the interactions of caller with visual IVR menus. For example, Visuphone 104 may automatically learn the numbers dialed or options selected from the menu. Moreover, the learned numbers or choices are associated with the dialed phone number of the destination. Therefore, the caller is assisted in his future calls. For example, when caller calls the destination again, then the actions that were performed in the last interaction are presented prominently to caller; or a pre­vious sequence may be automatically performed. Further, the actions that are frequently performed are presented promi­nently to the caller. For example, if caller dials a bank fre­quently to enquire about his account balance, then the options for selecting his account balance may be highlighted. [0152] In an embodiment, Visuphone 104 may display a visual IVR menu associated with the dialed destination. In an embodiment, Visuphone 104 may display a mode option on a screen of device 102. The mode option may be selected by a caller such as caller 106 for switching the mode of device 102. Based on the selected mode of device 102, one or more input or output options may be displayed on the screen. Example of the one or more input or output options include, but are not limited to, a date of making a call, a time of making a call, a predefined time interval for repeating a call, and so forth. [0153] In an embodiment of the invention, the mode option is a scheduling mode option. Caller 106 may switch device 102 to a scheduling mode by selecting the mode option. In an embodiment, when device 102 is in scheduling mode, Visu­phone 104 may save the inputs from caller 106. In an embodi­ment, Visuphone 104 may save the options of the displayed visual IVR menu selected by caller 106. In the scheduling mode, Visuphone 104 may display one or more input options on the screen to enter a call schedule including a date and a time information. In an embodiment, Visuphone 104 may further ask caller 106 to enter other important information required for dialing the phone number of the destination automatically at a later time. Thereafter, caller 106 may enter the date and time information for dialing the phone number of the destination. Furthermore, Visuphone 104 may call a phone number of a destination of destinations 108a-n auto­matically based on the predefined calling information. The predefined calling information can be entered by caller 106. The predefined calling information may include the selection information and the call schedule. The selection information may include one or more options of the displayed visual IVR menu associated with the dialed destination, selected by caller 106. [0154] In an embodiment of the invention, Visuphone 104 may establish a communication with the dialed destination based on the predefined calling information. Further, Visu- 10 Jan. 24, 2013 phone 104 may request information from the dialed destina­tion based on the predefined calling information. Further­more, Visuphone 104 may receive the requested information from the dialed destination based on the predefined calling information. In an embodiment, caller 106 may also interact with the dialed destination after establishment of the commu­nication. Furthermore, Visuphone 104 may save the received information at device 102. In an embodiment, Visuphone 104 may convert the format of the received information from a first format to a second format. In an embodiment, the first format of the received information may be an audio format. Examples of the audio format include, but are not limited to, WAY, Real Audio, Musical Instrument Digital Interface (MIDI), Windows Media Audio (WMA), MP3, Ogg, and so forth. In an embodiment, the second format may be a text format such as a Unicode text, Rich Text format, HyperText Markup Language (HTML) or any other format compatible with device 102a. In an embodiment, Visuphone 104 may display the received information at device 102a. [0155] FIG. 5 illustrates exemplary components of device 102b for implementing Visuphone 104, in accordance with another embodiment of the invention. Device 1 02b includes a system bus 526 to connect the various components. Examples of system bus 526 include several types ofbus structures such as, but not limited to, a memory bus or memory controller, a peripheral bus, or a local bus using any of a variety of bus architectures. As discussed with reference to FIG. 1B, device 102b can be a computing device such as, but not limited to, a personal computer, a laptop, a mobile phone, a smart-phone, and so forth. Device 1 02b can connect to network 112 through a network interface 514. Further, device 102b can connect to PSTN 110 through gateway 116 and network 112 through network interface 514. Input/Output (IO) interface 516 of device 1 02b may be configured to connect external or peri ph­era! devices such as a mouse 518, a keyboard 520, a speaker 522, microphone 523, and a camera 524. Although not shown, various other devices such as hard disk, a Universal Serial Bus (USB) device or others can be connected through IO interface 516 to device 102b. A person skilled in the art will appreciate that although not described, various other types of devices capable of voice and/or data communication can be con­nected to device 102b. [0156] Device 102b includes a display interface 502 to connect to a display 512. Display interface 502 can be for example, a video adapter. Display 512 outputs graphical information to caller. In an embodiment of the invention, display 512 includes a touch sensitive screen. Therefore, caller 106 can provide inputs to device 102b by touching display 512 or by pointing with the mouse and click. Memory 506 of device 102b stores various programs, data and/or instructions that can be executed by Central Processing Unit (CPU) 504. Examples of memory 506 include, but are not limited to, a Random Access Memory (RAM), a Read Only Memory (ROM), a hard disk, and so forth. A person skilled in the art will appreciate that other types of computer-readable media which can store data that is accessible by a computer, such as magnetic cassettes, flash memory cards, digital video disks, and the like, may also be used by device 102b. Memory 506 may include Operating System (OS) (not shown) for device 102b to function. Further, memory 506 may include other applications 510 that enable caller 106 to communicate with destinations 108a-n. Examples of other applications 510 include, but are not limited to, Skype, Google Talk, Magic Jack, and so forth. Other applications 510 may be stored as
  • 104.
    US 2013/0022191 AI software or firmware on device 102b. Further, memory 506 includes Visuphone 104 for searching and presenting a visual IVR menu corresponding to the audible IVR menu of a des­tination as discussed with reference to FIGS. 2A and 2B. Visuphone 104 may be an application stored as a software or firmware on device 1 02b. The visual IVR menus are stored in visual menu database 308 in memory 506 of device 102b. Visuphone 104 searches visual menu database 3 08 for visual IVR menu corresponding to a phone number of a destination dialed by caller 106. Subsequently, the visual IVR menu is presented on display 512 for selection of options by caller 106. Further, Visuphone 104 may be implemented as plug-in to other applications 510. Therefore, when a phone number is dialed from other applications 510, Visuphone 104 detects the dialing and automatically searches and displays the visual IVR menu corresponding to the dialed phone number. There­after, caller 106 can interact with the visual IVR menu, with­out listening to the audible IVR menu of destinations 1 08a-n. [0157] FIG. 6 illustrates an exemplary display of a visual IVR menu 604 on device 102b, in accordance with an embodiment of an invention. Caller 106 may dial a phone number 610 from a VOIP application 608 on device 102b. Phone number 610 may correspond to any of destinations 108a-n. In an embodiment, caller selects a pre-stored phone number from the application 608. Subsequently, visual IVR menu 604 corresponding to a dialed destination is displayed on display 512. In an embodiment, display 512 may comprise a touch sensitive screen. Therefore, caller 106 can interact with device 102b directly through display 512. [0158] In an exemplary instance, if caller 106 dials a phone number of destination, then a visual IVR menu corresponding to audible IVR menu of destination is displayed. Thereafter, caller 106 can interact with the visual IVR menu to select options and to transmit inputs for the audible IVR menu of the corresponding destination. Visual IVR menu 604 could be displayed before actual connection of device 102b to desti­nations. Therefore, caller 106 can select a desired option from visual IVR menu 604 before establishing a connection to the dialed destination. Depending on the complexity or size of the destinations, visual IVR menu 604 may have various nodes. For example, an organization with 50 departments may have more menu options or nodes than that of an organization with 10 departments. Further, the display area of display 512 may be limited. As a result, all the nodes of visual IVR menu 604 may not be displayed together on display 512. In such a case, Visuphone 104 is configured to allow caller 106 to navigate by scrolling horizontally and/or vertically to view nodes on visual IVR menu 604. Moreover, caller 106 can search for a desired option from the visual IVR menu. [0159] Subsequently, after caller 106 selects a desired option from visual IVR menu 604, a connection is established between device 102b and a destination based on the selected action. In one embodiment, Visuphone 104 is configured to detect and present applications suitable to caller 106 for ini­tiating the connection. For example, Visuphone 104 may detect more than one VOIP applications present in device 102b and present them to caller 106 on display 512. There­after, caller 106 can select an application to be used or initiate the connection in a default configuration. The default con­figuration can be for example, VOW application 608 on which phone number 610 was dialed. In another embodiment, caller 610 may select a phone number displayed in applica­tions such as a browser, messenger, or a mail client. Subse­quently, Visuphone 104 detects and presents applications 11 Jan. 24, 2013 suitable to caller 106 for initiating the connection. Further­more, Visuphone 104 is configured to display visual IVR menu 604 for the phone number selected from the applica­tions. Further, one or more options such as file, edit, new, and so forth may be displayed in field 602 as shown. [0160] In an embodiment, Visuphone 104 is further config­ured to display an advertisement 606. Advertisement 606 may correspond to the type of services provided by destinations. For example, if the destination is a bank, then advertisement 606 may include promotions or offers about new loans or schemes. Moreover, advertisement 606 may include promo­tions or offers from a third party or a competitor of destina­tion. Visuphone 104 may be configured to connect to intended destination, when caller selects advertisement 606. Further, Visuphone 104 displays visual IVR menu 606 of the intended destination. In an embodiment, Visuphone 104 stores the interactions of caller with visual IVR menus after a call to an IVR was made. Therefore, when caller calls the same desti­nation again, then the options that were selected in the last interaction are presented prominently. Further, the options that are frequently selected can be presented prominently. For example, if caller dials a bank frequently to check his account balance, then the options for selecting his account balance may be highlighted. Additionally the information such his account number can be brought up to save effort for the caller who can than just OK for that 'auto fill' to be dialed out to the IVR at the proper time. [0161] As illustrated in FIG. 7, device 102b may include a web browser 702 to display web pages from the Internet and/or other computer networks. Various websites provide a phone number on the web pages as a click-to-talk button. The clickable button can provide, for example, a contact number of executives of the organization. The clickable button may be programmed to display a phone number of the organization and/or display a caller a form to provide his contact details, so that an executive from the organization can call back the caller. Visuphone 104 is configured to detect a connect button 706 on a webpage 704. Connect button 706 may be used by Visuphone 104 to initiate a connection to a destination 108. [0162] Thereafter, Visuphone 104 can detect and lannch a VOIP application on device 102b. In an embodiment, in case more than one application is available on device 102, Visu­phone 104 selects a VOW application preferred by caller. Moreover, Visuphone 104 may be configured to automati­cally login into the VOIP application. In an embodiment, caller 106 stores the login details for the VOIP application in Visuphone 104. Further, Visuphone 104 displays a visual IVR menu corresponding to audible IVR menu of the destination connected once click on connect 706 tab. Therefore, caller 106 can connect to the destination from web browser 702 automatically and may not be required to dial the phone number or provide call-back information. [0163] In an embodiment of the invention, Visuphone 104 may include a VOIP plug-in that monitors the outgoing calls made from the VOIP application. Therefore, the VOW plug­in may search each dialed number in visual menu database 308. In case, the dialed number is fonnd in visual menu database 308 and is associated with an IVR, then the VOW plug-in may display the visual IVR menu corresponding to the audible IVR menu of the dialed number. [0164] Another embodiment of the invention allows the caller to select the visual IVR menu using car display like GPS display. Hands-free cell phone system is used in many cars as a separated device or as an integrated system in the car.
  • 105.
    US 2013/0022191 AI These devices allow the caller to talk with the cell phone without holding the cell phone in his hands. Some devices are using the car speakers for the phone call. In many cases, the hands-free system can use a display screen in the car like GPS screen or other display. Following voice menu while driving might not be the optimal way to use hands-free cell phone system. In some cases, selecting an option from a visual IVR menu is preferred. While driving or stopping in red light, it might be easier to use larger display like the GPS display in the car. The display can present the visual IVR menu and the caller can select the option from the menu. The computing engine to support the visual IVR menu could be embedded in the car GPS system or in another controller that have access to the car display. Once the system recognizes a destination of a call to be an IVR it will access the database pull out the menu and display. Accordingly all the other Visuphone features could be incorporated. [0165] FIG. 8 illustrates exemplary software architecture 800 ofVisuphone 104, in accordance with an embodiment of the invention. A hardware layer 802 includes various hard­ware of device. For example, but not limited to, a mouse, a keyboard, a speaker, a microphone, a camera, a USB device, a display, and so forth. The drivers or files required for proper functioning or installation of the hardware of device are pro­vided by a drivers layer 804. Moreover, drivers layer 802 interfaces with an Operating System 806. [0166] Operating System 806 provides memory and envi­ronment required by Visuphone 104 and other applications 808 for functioning on device. Examples of Operating Sys­tem 806 include, but are not limited to, Windows, Macintosh, Linux, Symbian, Andriod, and so forth. Visuphone 104 may be implemented as a plug-in to other applications 808, such as Skype, Google Talk, web browser, mail client, and so forth. In an embodiment, Visuphone 104 may be implemented as a standalone application on device. Further, Visuphone 104 may be configured to execute as a background application. Therefore, caller 106 may not be required to specifically launch Visuphone 104. Furthermore, Visuphone 104 may be implemented as a multi-threaded application. Therefore, visual IVR menus of more than one destination may be dis­played simultaneously on device. [0167] FIG. 9 illustrates exemplary components ofVisu­phone 104, in accordance with an embodiment of the inven­tion. As discussed above, Visuphone 104 may be imple­mented as hardware, software, or firmware on device 102. Further, Visuphone 104 may be configured to execute as a background process on device. In an embodiment, Visuphone 104 may be configured to execute as a system service. There­fore, other processes or applications executing on the device may not block the operation ofVisuphone 104. [0168] When caller 106 dials, selects or receives a phone number on the device, a detection module 902 ofVisuphone 104 detects that a phone number has been dialed, selected or received. For example, detection module 902 may detect key presses or caller ID on device. Caller 106 may use a VOW application on device for dialing the phone number. More­over, caller 106 may use a mouse to a joystick to select or press icons of numbers displayed on the VOW application. Further, detection module 902 is configured to identify the VOIP applications available on device and used by caller. Moreover, detection module 902 may detect the position co­ordinates of the VOW application on a display of device. For example, in case device includes the Microsoft Windows OS, then the position co-ordinates of the VOIP application can be 12 Jan. 24, 2013 detected from the registry of the OS. Detection module 902 may be configured to store the position of number icons relative to position co-ordinates of various VOW applica­tions. Therefore, based on the co-ordinates of the position of the VOW application, detection module 902 can detect the exact position of each number icon on the display of device. For example, if the co-ordinates of a top-left edge of the VOW application is (X,Y) on the display, and the co-ordinates of an icon fornumber' 1' on VOW application is (X1 ,Y1) relative to its top-left edge, then the exact co-ordinates of the icon for number '1' may be calculated as (X+X1, Y + Y1) on the dis­play. A person skilled in the art will appreciate that other types of mathematical operations can be applied to calculate the co-ordinates of the icons on the display of the device. [0169] Detection module 902 may be configured to detect the co-ordinates of the cursor on the display of device. Fur­ther, detection module may be configured to detect the action events generated by the mouse or joystick, such as a click, a double click, a drag, a select, a scroll, and so forth. Therefore, when caller selects or press a number on the VOIP applica­tion, detection module 902 may detect the number from the position of the cursor, the VOIP application and the number icon. In an embodiment, detection module 902 may be con­figured to store the last used co-ordinates of the VOIP appli­cation and number icons. Therefore, detection and/or calcu­lation of the co-ordinates may not be required. Furthermore, detection module 902 may be configured to detect a connect button displayed on a web page of a browser on device as explained with reference to FIG. 7. Therefore, when caller clicks the connect button, detection module 902 identifies the phone number behind the connect button. In an embodiment, detection module 902 detects the connect button and the associated phone number by scanning the source code of the web page. [0170] The phone number detected by detection module 902 is used by a search module 904 ofVisuphone 104. In an embodiment, detection module 902 may be configured to transfer each digit to search module 904 in real-time as clicked by caller. Search module 904 searches visual IVR menu database for visual IVR menu corresponding to the phone number. An exemplary visual IVR menu is as explained above in conjunction with FIGS. 2B and 2C. As discussed above, visual IVR menu database stores visual IVR menus corresponding to the audible IVR menus of destina­tions 1 08a-n. Moreover, visual IVR menu database may store other information, which is explained in conjunction with FIG.10. Search module 904 may also be configured to search for other information in visual IVR menu database. In an embodiment, search module searches visual IVR menu data­base in real-time based on the digits received from detection module 902. Therefore, a visual IVR menu may be identified based on the best match of the number formed by the received digits in visual IVR menu database. As a result, caller may not be required to dial, click, press or select the complete number, which may be convenient and time saving. [0171] The visual IVR menu identified by a search module 904 is displayed on the display of device by display module 906 of Visuphone 104. Display module 906 identifies the position on the display where the visual IVR menu is to be displayed. In an embodiment, the visual IVR menu is dis­played such that there is minimum overlap with the VOW application from which the phone number was dialed or selected. Moreover, display module 906 identifies the size of the visual IVR menu for display based on the characteristics
  • 106.
    US 2013/0022191 AI of the display screen of device. Examples of characteristics of the display screen include, but are not limited to, a screen size, resolution, and so forth. Furthermore, in case the visual IVR menu is not completely displayed on the display, then display module 906 may allow caller to navigate the visual IVR menu by scrolling. Moreover, display module 906 may be config­ured to display other information received from search mod­ule 904. [0172] Caller 106 may interact with the visual IVR menu or other information displayed on device 102. For example, caller 102 may scroll through the visual IVR menu, or select a node from the visual IVR menu. Therefore, when caller 106 selects a node from the visual IVR menu, detection module 902 detects the selected node and communicates the selection to a connection module 908. Thereafter, connection module 908 may establish a connection between device 102 and a destination 108 based on the nodes selected by caller. Con­nection module 908 may be configured to detect communi­cation systems available in device. For example, in a case, device 102 is a phone not connected to the Internet, connec­tion module 908 may detect that only a radio connection can be made. Otherwise, a most suitable or a connection preferred by caller 106 can be made. In an embodiment, connection module 908 may allow caller 106 to select a VOW application to establish the connection. In another embodiment, commu­nication module 908 may launch a default VOW application on device 102. In yet another embodiment of the invention, connection module 908 can use a VOW protocol stack defined by Visuphone 104 to establish the connection. [0173] In an embodiment, a call of caller 106 may be trans­ferred from one point in the organization to another point within the same organization or to a completely different organization (or another branch of same organization). For example, a call of caller 106 with destination 108a may be transferred to destination 108b. However, destinations 108a and 108b may have different audible IVR menus. Connection module 908 is configured to identify the transfer of call and to switch the visual IVR menu of destination 108a with desti­nation 108b. The switching of visual IVRmenus is explained in detail in conjunction with FIG. 11. [0174] Some organizations such as banks may require caller 106 to present a voice input for the purpose of authen­tication. For example, caller 106 may be required to voice out his name or an answer to a security question specified by caller 106 to the bank. Furthermore, voice input may be required to accept or decline a transaction. Caller 106 may record and store the voice responses for such authentications or questions alternatively the system can use synthesis voice. Therefore, when connection module 908 detects that a voice authentication is required, and then voice module 910 is used. Voice module 910 provides voice inputs on behalf of caller 106 by using the responses recorded by caller 106. Subse­quently, the connection or the transaction can be processed. [0175] As discussed in conjunction with FIGS. 4 and 6, Visuphone 104 may be configured to display advertisements on device 102. The advertisements are managed by advertise­ment module 912 ofVisuphone 104. The advertisement may be selected based on the type of destinations. For example, when a dialed destination is a bank, then an advertisement related to banking may be displayed. Moreover, the adver­tisement can be related a third-party dealing in the same business or professional area or a competitor of the dialed destination. The displayed advertisement may be a text, audio, image or video. In one embodiment, advertisement 13 Jan. 24, 2013 module 912 may display the advertisements based on the connection bandwidth available at device 102. In another embodiment, advertisement module 912 may display the advertisements based on the pre-set preferences by caller 106. In one embodiment, advertisement module 912 may be con­figured to receive the advertisements directly from the dialed destination. In another embodiment, advertisement module 912 may be configured to receive the advertisements from a remote server on a network. The remote server is explained in detail in conjunction with FIG. 10. A selection or click by caller 106 on advertisements may be detected by detection module 902 to display a visual IVR menu of the destination for which the advertisement was displayed. [0176] In some cases, the audible IVR menu of destination may change. For example, the extension numbers of agents in banks may be changed due to addition of new agents. A person skilled in the art will appreciate that there can be other reasons for the audible IVRmenu of a destination to be edited, amended or updated. Further, new organizations may be available that use audible IVR menus. The visual IVR menus for these new organizations may not be available in visual IVR menu database stored on device. Therefore, visual IVR menu database may be required to be updated. In an embodi­ment, Visuphone may be updated to provide additional func­tionalities to caller. An update module 914 may be configured to update the visual IVR menus stored in visual IVR menu database of device. Moreover, update module 914 may be configured to update Visuphone. Update module 914 may receive the updated visual IVR menus from the remote server on the network. The remote server is explained in detail in conjunction with FIG. 10. [0177] Visuphone 104 may record the caller's selections or keystrokes for audible IVR menus by using customization module 916. The keystrokes may be some personal data of the caller such as his account number, customer number, and so forth. Visuphone can provide better support to caller by pre­senting the recorded keystrokes so that the caller can approve and sending them without entering them every time. Cus­tomization module 916 personalizes the generic visual IVR menu by associating the keystrokes with it and storing in visual menu database 308. Alternatively, an additional set of standard may be defined for representing caller data. In this case, only the code indicating the type of required data is added to visual menu database 308. Visuphone 104 can than build a relatively small table in visual menu database 308, with the various personal data codes and the actual caller data as analyzed from the caller's keystrokes during his connec­tion with destinations of the audible IVR menus. [0178] FIG.10 illustrates an exemplary remote server 1002 connected to a remote repository 1004. As shown remote server 1002 is connected to device 102 through a computer network 1006. Further, remote server 1002 can be connected to destinations 108a-n through computer network 1006, a gateway 1008, and a PSTN 1010. A person skilled in the art will appreciate that device 102 can connect to destinations 1 08a-n directly through PSTN 101 0; therefore the connection is not limited to network 1006. Each of destinations 108a-n may be connected to audible IVR menu repository 1012a-n, here after referred to as destination repository 1012a-n. [0179] Further, device 102 includes visual menu database 308. As discussed above, visual menu database 308 includes visual IVR menus corresponding to audible IVR menus of destinations 108a-n. Moreover, visual menu database 308 may store other information such as profile of caller, voice
  • 107.
    US 2013/0022191 AI response of caller, login details for a VOIP application, pref­erences of caller, ratings for visual IVR menus, identity of visual IVR menus, and so forth. As discussed in conjunction with FIG. 9, Visuphone 104, the visual IVR menus or other information stored in visual menu database 308 may require to be updated. In an embodiment, visual menu database 308 is updated by information received from remote repository 1004. In another embodiment of the invention, visual menu database 308 may be updated by receiving menus through Short Messaging Service (SMS). The SMS may be sent from destination 108a-n or remote repository 1004 to device 102. Remote repository 1004 includes visual IVR menus corre­sponding to audible IVR menus of destinations 1 08a-n. Fur­ther, remote repository 1004 stores advertisements related to destinations 108a-n, last updated time of the visual IVR menus, rating of visual IVR menus, and so forth. [0180] In case, the audible IVR menu of a destination is changed, caller may not be able to connect to the destination by using Visuphone. Visuphone is configured to detect the error generated while establishing the connection. For example, caller may select a node in the visual IVR menu that may not have a corresponding option available in audible IVR menu, or a connection not be established between device 102 and the destination. The error is detected by update module 914 ofVisuphone. Subsequently, update module 914 sends an error report to remote server 1002. Remote server 1002 may check remote repository 1004 for updates related to the visual IVR menu. Thereafter, in case any updates are available, remote server 1002 may send the updates to device 102 for performing the update. In an embodiment, visual menu data­base 308 may be checked and updated based on a pre-defined time interval by device 102. In an embodiment, the error report may include the error generated and an Identity (ID) or version of the visual IVR menu on which the error was gen­erated. In case, the updates are not available in remote reposi­tory 1004, then an update of remote repository 1004 may be required. [0181] In an embodiment of the invention, remote reposi­tory 1004 is updated based on a pre-defined time interval. In another embodiment of the invention, the caller can rate the relevance or correctness of the visual IVR menu from device 102. Therefore, remote repository 1004 can be updated based on a cumulative ratings received from callers and other callers of the visual IVR menu. Remote server 1002 can comprise a process of continuously scanning the IVRs 108a to 108n updating remote repository 1004 with changes of various IVR menus and adding addition menu records for new IVRs. Also, remote server 1002 might get a 'problem report' from device 102 if caller identify problem between the menus as it is in database 308 and the audible menu of a specific IVR. In such case a recheck process will be initiated to update remote repository 1004 and the new information can be than offered to device 102 for download an update. [0182] In an embodiment, device 102 may send one or more messages or data packets for connection establishment with one of the destinations. Further, Visuphone 104 may detect a data network such as internet for sending data pack­ets. The data network is a network capable of establishing data and voice communication among various communica­tion devices (or devices). In an embodiment, when a data network is not available the one or more messages for estab­lishing connection may be sent using Dual-Tone Multi-Fre­quency (DTMF) tones or messages. The process of establish­ing connection between device and a second communication 14 Jan. 24, 2013 device (or destination) is described in detail in FIGS. 31A, 31B, 31C, 31D, 32, 33 and 34. [0183] In an embodiment of the invention, visual menu database 308 may include other information and parameters related to the visual IVR menus. The parameters related to the visual IVR menus enable accessing, modifying or updating of the visual IVR menus. Examples of parameters of visual IVR menus include, but are not limited to, ID or version of the visual IVR menus, destination phone numbers, and a last update timestamp. Furthermore, visual menu database 308 may include other information such as a profile, the calling history, or preferences of the caller. The calling history of a caller may include the numbers dialed or received, most fre­quent numbers dialed or received, most frequent nodes selected from visual IVR menus. The profile of a caller may include, but is not limited to, the name, age, sex, address, phone number, profession, office address, recorded voice responses for visual IVR menus, or other personal and pro­fessional details of the caller. [0184] FIG. 11 illustrates an exemplary process for presen­tation of the visual IVR menu when the call of caller 106 is forwarded or transferred from destination 108a to destination 108b, in accordance with an embodiment of the invention. Destination 1 08a may have completely different audible IVR menus as compared to destination 108b. For example, desti­nation 108a may be a loan department and destination 108b may be an insurance department of a bank. Similarly, the call may be forwarded from one organization to another. For example, from one branch of a back to another branch of same bank. Therefore, caller 106 may be required to respond to a different audible IVR menu. Visuphone 104 may be config­ured to detect that the call has been forwarded and subse­quently display the visual IVR menu of destination 108b. [0185] As shown in FIG. 11, device 102 establishes a con­nection with destination 108a as depicted by arrow 1102. The connection is established by using the visual IVR menu pro­vided by Visuphone 104 based on destination 108a. In an embodiment, the connection is established directly without using Visuphone 104. Thereafter, destination 108a may for­ward the call to destination 108b, as indicated by arrow 1104. The visual IVR menu corresponding to the audible IVR menu of destination 108b may not be visible on device 102, as the call was forwarded between destination 108a and destination 108b. In an embodiment, Visuphone 104 may not detect the forwarding of the call. In this case, device 102 may be pre­sented with audible IVR menu of destination 108b. Thereaf­ter, Visuphone 104 may record the options and responses on device 104 for the audible IVR menu of destination 1 08b. The recorded options and responses may be stored at remote repository 1004 for updating it. Further, the recorded options and responses may be stored visual IVR menu database of device 102. [0186] In an embodiment, destination 108b sends an iden­tity (ID) or version of the audible IVR menu to a caller as shown by arrow 1106. The audible IVR menu ID is specific to the audible IVR menu of destination 108b. Subsequently, display module 906 ofVisuphone 104 uses the audible IVR menu ID to display the corresponding visual IVR menu. Further, a caller may select a node from the visual IVR menu corresponding to destination 108b. Therefore, when a caller selects a node, a connection may be established with destina­tion 108b. In an embodiment of the invention, connection between device 102 and destination 108a is disconnected after establishing a connection between device 102 and des-
  • 108.
    US 2013/0022191 AI tination 108b. In another embodiment of the invention, con­nection between device 102 and destination 108a is main­tained for complete communication session till the caller disconnects the call. [0187] Another embodiment of the invention allow visual IVR menu for calls made from a conventional home tele­phone. FIG. 12 illustrate a phone 1204 connected to a Public Switched Telephone Network (PSTN) 1208 and through a gateway 1218 to the Internet network 1220. Network 1220 may be any service provider that provides services, for example, but not limited to, telephone services, cell phone services, wireless services, Internet services, cable television services, or various combinations of the above or other type of serv1ces. [0188] Further, the connection to network 1220 is associ­ated with a wide band Internet 'smart' modem 1206. Phone 1204 may be a regular phone, such as a landline phone or a cordless landline phone. Modem 1206 may be a Digital Sub­scriber Link (DSL) modem or a cable modem that connects the home device to the Internet and/or computer network. Modem 1206 is connected to a service provider, and can provide the home devices with telephone, Internet and tele­vision services. Modem 1206 may provide both wired and wireless connections. As shown with reference to FIG. 12, modem 1206 provides the home with the Internet through wire 1210 to a computer 1202, or through a Wi-F i connection. Modem 1206 comprises the ability to detect and recognize the dialing made by phone 1204. The numbers dialed by phone 1204 to establish connection are then compared with a database, such as visual menu database 308. Therefore, in case the dialed number corresponds to a destination with an audible IVR menu, and a corresponding visual IVR menu exists then, modem 1206 may provide the visual IVR menu on computer 1202 connected to it. Moreover, modem 1206 may use private web sites to present the visual IVR menu or just provide the dialed number to computer 1202. Thereafter, a software tool on computer 1202 may present the visual IVR menu on the screen of computer 1202. [0189] Once the connection with the destination has been established, 'smart' modem 1206 will continue to monitor the numbers dialed or received by phone 1204 to browse or advance the visual IVR menu accordingly. Furthermore, the numbers dialed or received may be stored for future process­ing such as highlighting previous selections in the visual IVR menu, providing customized visual IVR menu, and so forth. The Visual IVR menu system comprising computer 1202 and Modem 1206 may incorporate additional enhancements as presented before such as automatic dialing of customer infor­mation. The automatic dialing may be achieved by using computer 1202 to initiate and execute such automatic dialing. [0190] In another embodiment of the invention, a house television 1212 may be used to present the visual IVR menu. In various houses modem 1206 decodes television signals and transfer it to a set-top box 1216 that provide signals to tele­vision 1212. The visual IVR menu may be presented on a channel dedicated for IVR. Therefore, when phone 1204 is used to initiate a call, modem 1206 can detect it and present the visual IVR menu corresponding to the dialed number on the designated channel of the television 1212. Further, all the options described before can be provided now using the screen of television 1212 for the visual IVR menu. The caller selection can be done by using the simple home phone or alternatively using the TV 1212 set top box 1216 remote control. Further, television 1212 screen may be used to 15 Jan. 24, 2013 present the visual IVR menu in a few alternatives ways. For example, a device provided by a company named Rokuinc., allows streaming of content from the Internet to television. Most set-top boxes now have an Internet connection or tele­phone connections. Furthermore, various devices such as some Digital Versatile Disc (DVD) players, and video game players or controllers such as Xbox or Playstation, can be connected to the Internet. Each of those devices may allow 'smart' modem 1206 to provide a visual IVR menu on the screens of television 1212. [0191] In another embodiment of the invention a telephone connection may be established through an external telephone service by using a computer, as discussed with reference to FIG. 13. External telephone service provider 1310, such as 'Google Voice', which a caller may use through the Internet network from computer 1302. In such case, the caller can cause a telephone call to be established by indicating on service provider 1310-'Google Voice' web site a request to establish call to a designated location. Thereafter, the external service provider 1310 establishes connection 1306 by using PSTN 1308 to connect the caller telephone 1304 to a desired destination 1312. External service provider 1310 can now present the visual IVR menu as discussed above. External service provider 1310 may present the visual IVR menu on its web site and processed or advanced based on the dial choices made by the caller on his computer 1302. Furthermore, exter­nal service provider 1310 can also add various options as described before, such as but not limited to highlighting pre­vious choices, automatic dialing of caller information and presenting related advertisements. [0192] Another enhancement for such external service pro­vider 1310 is to provide a 'smart' connect. In case of the 'smart' connect, the caller can designate not just destination 1312, but a specific node of visual IVR menu, such as node 212b as discussed with reference to FIG. 2B. The 'smart' connect will dial the proper selection in the visual IVR menu and connect to node 212b of the audible IVR. The 'smart' connect can even wait until the selected node 'Talk to Execu­tive' yields the desired result of the executive answering the line and then connect the caller. Therefore, the efficiency of the IVR system does not come at the cost of inefficiency of the caller; rather both sides can became more efficient by using the 'smart' connect. [0193] Additional alternatives to the invention are illus­trated with reference to FIGS. 14A, 14B, and 14C. FIG. 14A illustrates a Visu-Add-on 1404 which can be connected to a standard home phone 1402 to provide all the features and functionalities as described above with respect to Visuphone 104. Accordingly, phone 1402 may be connected through connection 1406 to add-on 1404 that can be connected to a standard telephone connection line 1410. Add-on 1404 may comprise a processing unit, a display and a database. The database may be similar to visual menu database 308 as discussed in FIG. 3. Therefore, when phone 1402 is used to call a destination with an audible IVR menu, a corresponding visual IVR menu is presented on the display of add-on 1404. Furthermore, the display of add-on 1404 may comprise a touch sensitive screen for added convenience of a caller. Add-on 1404 may be loaded and updated by the use of remov­able memory devices, such as USB flash memory 1408. Alter­natively, Add-on 1404 may comprise a modem to connect either by the use of the telephone connection line 1410 or by wireless means such as WiFi or Bluetooth.
  • 109.
    US 2013/0022191 AI [0194] FIG. 14B illustrates an embodiment, where an add­on unit 1414 is plugged into a conventional digital picture frame 1420 by using a USB port. Digital picture frames recently became quite popular as a convenient way to display family photos in digital format. In this embodiment, picture frame 1420 can display family photo until a call is made by using a phone 1412 to a destination with an audible IVR menu. Phone 1412 may be connected to picture frame 1420 through a connection 1418 and add-on 1414 may be further connected to standard telephone line connection 1422. Add­on 1414 may comprise a processor and a database. The data­base may be similar to visual menu database 3 08 as discussed in FIG. 3. Therefore, when a connection is made to a desti­nation having an audible IVR menu, then add-on 1414 will present the visual IVR menu on picture frame 1420. Picture frame 1420 may resume presenting the photos after the completion of the call. Furthermore, the database of add-on 1414 could be updated with one of the options described before in respect to the add-on 1404 ofFIG.14A. It should be noted that various home television provides functionality similar to picture frame 1420. Therefore, television can be used as an alternative to picture frame 1420. [0195] FIG. 14C present another embodiment that can be applied as presented with respect to FIGS. 14A and 14B. It quite common these days to use a telephone handset 1424 that are connected by wireless means to a base station 1430 that is connected by a wire 1432 to the standard telephone lines. Add-on 1426 can comprise an internal radio circuit to detect the wireless communication. Therefore, add-on 1426 can detect the communication between handset 1424 and base station 1430 to present the visual IVR menu. As can be seen with reference to FIG. 14C, connection through wires such as wires 1406 or 1418 may not be required. Add-on 1426 may be provided by the manufacturer of the handset 1424 and the base station 1430, or by a third party. A person skilled in the art will appreciate that the functionalities of the add-on units as described in conjunction with FIGS. 14A, 14 B and 14C can be combined into a single unit. Therefore, a single add-on unit may be used in various envirouments as discussed above. [0196] FIGS. 15A, 15B, and 15C illustrate a flowchart dia­gram for presentation of the visual IVR menus, in accordance with an embodiment of the invention. Caller 106 may dial, select or receive a number to connect to a destination from device 102. The destination may include an audible IVR menu for interaction with a caller. Further, device 102 may include Visuphone 104 to present a visual IVR menu corre­sponding to the phone number of the destination. Therefore, a caller can directly interact with an IVR of destination through the visual IVR menu without listening to the audible IVRmenu. [0197] At step 1502, Visuphone such as of device 102 detects a phone number dialed, selected or received by caller for destination. In an embodiment of the invention, the num­ber is clicked according to the display of device 102. The number is detected by detection module 902 of Visuphone 104. Thereafter, search module 904 searches visual menu database 308 of device 102 for the phone number, at step 1504. Search module 904 searches for visual IVR menu and other information corresponding to the phone number. Other information may include, for example, the caller profile, call history of the caller, advertisement associated with the phone number and so forth. In an embodiment of the invention, search module 904 searches visual menu database 308 in 16 Jan. 24, 2013 real-time. Therefore, the visual IVRmenu and other informa­tion may be searched with only a few digits of the phone number. [0198] At step 1506, it is determined by search module 904 whether the visual IVR menu and other information are avail­able for the phone number in visual menu database 308. In case, the visual IVR menu is available, then the process con­tinues to step 1508. In case, the visual IVR menu is not available, then device 102 may be connected to remote repository 1004 by update module 914, at step 1518 as shown with reference to FIG. 15B. Thereafter, it is checked whether the visual IVR menu is available in remote repository 1004, at step 1520. Subsequently, if the visual IVR menu is available, then visual menu database 308 is updated from the informa­tion available at remote repository 1004, at step 1522. The process then continues to step 1524. [0199] Further, at step 1506, once it been determined by the search module 904 that the visual IVR menu for the destina­tion is available in the visual menu database 308 an asyn­chrony request is sent to remote repository 1004, at step 1558. The request is sent to check whether a newer version of the menu with different content is available, at step 1560. Subse­quently, if such version exists in remote repository 1004, then visual menu database 308 is updated accordingly, at step 1522. The process is then continues to step 1524. [0200] In case, the visual IVR menu is not available in remote repository 1004, then the process continues to step 1528. At step 1528, audible IVR menu selection in detected on device 102. The audible IVR menu selection may be determined based on Dual Tone Multi Frequency (DTMF) tones or keys pressed by the caller of device 102. Thereafter, in case a selection is detected, then the dialed number may be detected as a possible destination number. The dialed number may be provided to remote repository 1004 at step 1530. Thereafter, the process continues to step 1526, where remote repository 1004 is updated for information. [0201] At step 1524, it is determined by search module 904 if visual IVR menu is available for the dialed number in updated visual menu database 308. In an embodiment, Visu­phone detects the correctness of information based on the error received on connection to the IVR destination or behav­ior of the caller. In case, visual IVR menu is available, then the process continues to step 1508. Otherwise, in case the visual IVR menu is not available, then the process continues to step 1526, where remote repository 1004 is updated for informa­tion. In an embodiment, Visuphone 104 sends an error report to remote repository 1004 to initiate the update. The error report may include the error details of connection, behavior of the caller and other information required to update remote repository 1004. In another embodiment, the caller may pro­vide ratings for the correctness of the visual IVR menu and other information. Subsequently, the ratings are sent to remote repository 1004. In an embodiment of the invention, ratings from multiple devices are received at remote reposi­tory 1004. Thereafter, remote repository 1004 may be updated based on the ratings. In an embodiment of the inven­tion, remote repository 1004 may be updated based on a pre-defined time interval. In another embodiment of the invention, remote repository 1004 is updated by an adminis­trator of remote server 1102. [0202] At step 1508, if the visual IVR menu is available in the visual IVR menu database, then the visual IVR menu corresponding to the audible IVR menu of destination is displayed on device 102. In an embodiment of the invention,
  • 110.
    US 2013/0022191 AI advertisements related to the type of destination are also displayed on device 102. At step 1510, inputs from the caller are detected on the visual IVR menu. In an embodiment, the inputs include the nodes of the visual IVR menu selected by the caller. In another embodiment, the inputs include the advertisement selected by the caller. Subsequently, device 102 is connected to destination based on the inputs provided by the caller, at step 1512.At step 1514, it is determined if the visual IVR menu displayed on device 102 is correct. In case, the visual IVR menu is not correct, then the process continues to step 1518. Thereafter, the process steps as discussed above are followed. However, in case the visual IVR menu is cor­rect, then the connection between device 102 and destination is maintained, at step 1516. Moreover, further inputs from the caller are received, to continue the communication till the caller or destination disconnects the connection. [0203] The information stored in remote repository 1004 may be gathered from various destinations. For example, various destinations may be called to detect audio IVR menus and accordingly generate the information for remote reposi­tory 1004. With reference to FIG. 16 exemplary components of a device 1602 for implementing a database construction system 1606 are illustrated. Device 1602 can be a computing device such as, but not limited to, a server, a personal com­puter, a laptop, a mobile phone, a smart-phone, and so forth. Device 1602 can connect to network 1614 through a network interface 1612. Further, device 1602 can connect to a PSTN 1618 through gateway 1616 and network 1614 through net­work interface 1612. Examples of network 1614 include, but are not limited to a LAN, WAN, the Internet and so forth. Although not shown, device 1602 can connect to various external devices such as hard disks, mouse, keyboard, speaker, microphone, displays, Universal Serial Bus (USB) devices and so forth. Further, device 1602 can connect to various destinations 1620a-n through PSTN 1618. Destina­tions 1620a-n may provide audio IVR menu services. In an embodiment of the invention, device 1602 can connect to various devices that include Visuphone for providing updates to visual menu database 308. [0204] Device 1602 may include a memory 1604 that stores various programs, data and/or instructions that can be executed by a processor 1610. Examples of memory include, but are not limited to, a Random Access Memory (RAM), a Read Only Memory (ROM), a hard disk, a computer-readable medium and so forth. A person skilled in the art will appre­ciate that other types of computer-readable media which can store data that is accessible by a computer, such as magnetic cassettes, flash memory cards, digital video disks, and the like, may also be used by device 1602. Memory 1604 may include Database Construction System (DCS) 1606 for gath­ering audible IVR menu information, which could be called the IVR customization record, from the destinations and store it in a records database 1608. In an embodiment of the inven­tion DCS 1606 may be an application stored as software or firmware on device 1602. [0205] DCS 1606 may include various modules or instruc­tions that may be executed by processor 1610 for generating information in records database 1608, as explained in detail with reference to FIG. 17. As discussed above, DCS 1606 may be implemented as software, or firmware on a device. DCS 1606 may be implemented as a standalone module or as several independent instances performing similar jobs with­out coupling to the IVR destinations. Further, the non-cou­pling may be managed by a centralize module that may allo- 17 Jan. 24, 2013 cate different IVR destinations to each implementation instance of DCS 1606. In an embodiment of the invention, DCS 1606 and record database 1608 may be implemented on different devices. [0206] Records database 1608, may include multiple records. Further each record may include an IVR identity code, multiple internal destinations and an activation code for each said internal destination. The IVR identity code may be for example, the phone number of the destinations. The acti­vation code may be for example, a telephone key that should be dialed such as a dial tone associated with the phone num­ber. The internal destination is usually an extension to which the call will be forward once the caller makes a choice, according to the provided menu, and apply the activation code that is usually a dial tone transmitted to the IVR from the Visuphone once the caller dials or selects a proper number or option. Each internal destination may further include another internal destination or extension that may be referred to as a sub-internal destination. Moreover, each sub-internal desti­nation may be associated with a sub-record. [0207] Furthermore, the internal destinations may be asso­ciated with an icon code. As discussed above, the icons pro­vide a convenient display for the caller of a visual IVR menu. In some audible IVR menus the activation code may be a voice command that could be activated by the caller by voic­ing his selection, or the Visuphone may transmit a pre-re­corded voice command or a synthesized voice command when the caller makes a selection from the option menu of the visual IVR menu provided by the Visuphone. Further, records database 1608 may include a record of the metadata or key­words associated with the various options in the menus. The metadata and/or keywords may be used by the Visuphone to enable the caller to search for a desired menu by providing keywords. In an embodiment of the invention records data­base 1608 is remote repository 1004. [0208] FIG. 17 A illustrates exemplary components ofDCS 1606, in accordance with an embodiment of the invention. DCS 1606 may include a Database Construction Agent (DCA) 1720 for generating information in records database 1608, as explained in detail with reference to FIG. 17B and FIG. 17C. Some destinations may provide downloadable records or information for the callers. Download module 1710 of DCS 1606, downloads the information or records provided by the destinations. For example, download module 1710 may download recorded voice phrases, audio data of the audible IVR menu, activation codes, complete audible IVR menu file in a variety of formats and so forth. In an embodi­ment of the invention, DCS 1606 may connect to various devices that include Visuphone. Therefore, DCS 1606 may receive information from Visuphone, such as personal records, customized records of the callers, and frequently used numbers, keys and so forth. In an embodiment of the invention, download module 1710 may obtain permissions before downloading the information. The permission may be obtained from the caller, the destination or both. For example, download module 1710 may display a notification on screen on the device to the caller or administrator to permit or reject a download. Moreover, download module 1710 may send an authorized communication such as, but not limited to, a pri­vate key to the destination to authorize and obtain permission for download. Personalization module 1708 may generate personalized records for the callers by associating the per­sonal information of the caller with the information, such as
  • 111.
    US 2013/0022191 AI the telephone numbers stored in records database 1608. The records can then be forwarded to the caller's device by down­load module 1710. [0209] Personalization module 1708 may be implemented as instructions executable by a processor. For example, the processor can be processor 1610 or a second processor dedi­cated for personalization module 1708. Moreover, the second processor may be CPU 304, CPU 504 or implemented in another device in communication with DCS 1606. [0210] DCA 1720 may include a Target List Module (TLM) 1722 that assigns the IVR destination or a target list to each instance of DCA 1720 for connecting and gathering information. The target list may include the IVR identity code, which can be as phone number or any type of informa­tion on how to connect to the IVR directly or indirectly. Further, the target list may include additional details such as internal destination. In an embodiment of the invention, the additional information of the internal destination may be implemented as one or more activation codes associate with the IVR identity code. DCA 1720 may include an IVR Track­ing Module (ITM) 1724 that tracks IVR content from a root location associated with the Target information assigned by TLM 1722. ITM 1724 constructs the full IVR content from a given IVR root. [0211] ITM 1724 may include IVR Logic Module (ILM) 1726. ILM 1726 may detect the type of IVR of the destina­tion. Typically, various types of audible IVR menus are implemented by destinations. The audible IVR menus may be categorized into various types, such as a simple IVR, IVR with audio response, IVR with additional data authentication and so forth. ILM 1726 detects the type of audible IVR menu, and accordingly the information is generated for records data­base 1608. Various categories of the audible IVR menu are explained in detail in conjunction with FIG. 19. ITM 1724 may call the destinations to determine the category the audible IVR menu. Thereafter, ILM 1726 constructs the data­base based on the category of the IVR. In an embodiment of the invention, ITM 1724 may call the destinations multiple times to determine the category of the invention. Various audible IVR menus may include a legal notice. For example, the audible IVR menu of a mortgage bank usually include an header stating that this is debt collector and anything stated during the call could be used for future collections. Other statements can be such as those that relate to the option to record the call and so forth. ILM 1726 may detect the legal statements and store them in records database 1608 in asso­ciation with IVR identity code. [0212] ILM 1726 as part of its internal algorithm will drive the interaction sessions with the IVR. ILM 1726 may include data structure optimized with the tracked IVR menus to decide a right path or a next choice at any existing stage of the IVR tracking. The decisions made by ILM 1726 may be optimized as a mathematically directed graph tracking pro­cess. The tracking process may use an option from the audible IVR menu that corresponds to a "return to a previous menu" option of the audible IVR menu. As a result, the number of sessions required for tracking the audible IVR menu is reduced. [0213] The process of IVR tracking may require multiple communications with the audible IVR menu to completely determine the content. Further, during the tracking process the content of the audible IVR menu may be discovered partially. Therefore, ITM 1724 may include a Tree storage Module (TSM) 1728 to manage a temporary database record. 18 Jan. 24, 2013 Thereafter, when the process or a phase is complete, TSM 1728 may use Repository Connection Module (RCM) 1738 to submit the content as a batch of records to records database 1608. In case, a connection to records database 1608 is not available, then TSM 1728 may accumulate the information until a connection can be established. [0214] Dialog Module 1730 ofiTM 1724 interacts with the audible IVR menu. Further, dialog module 1730 manages the IVR requests and sends responses according to the decisions ofiLM 1726. Further, dialog module 1730 may use a Speech recognition Module (SRM) 1732 to interpret the audio of the IVR request to generate multiple records for records database 1608. In an embodiment of the invention, the audio is inter­preted to generate text information. Moreover, SRM 1732 can provide a score to the text generated for each audio, according to the amount of guessing that is required for translating the IVR audio request. SRM 1732 may use a single grammar or a combination of dedicated grammars, for example, but lim­ited to, a specific IVR service topic, IVR service sub topic, IVR stage, IVR location, the specific IVR, the hour of the day, and so forth. Furthermore, SRM 1732 may use multiple pre­set terms stored in the memory. Examples, of preset terms include, but not limited to, "yes", "no", name of the caller, and so forth. The text generated by SRM 1732 from speech rec­ognition may be parsed by dialog module 1730 to enable ILM 1726 to select a next path or option. [0215] Dialog module 1730 may be required to respond to the IVR requests during a tracking session. Dialog module 1730 may use a Response module 1734 to generate the required response. Various audible IVRmenus require a voice response from the caller. For example, the voice response may be required for the authentication of the caller. Response module 1734 may provide a recorded voice response to the audible IVR menu. For example, the voice response may be recorded voice phrase or preset of terms such as, but not limited to, "yes", "no", name of the caller, and so forth. Further, the voice response may be a synthesized voice response, generated by response module 1734. Therefore, response module 1734 may include a voice synthesizer. In this case, the activation code may be the recorded voice phrase and/or the synthesized voice phrase. Moreover, response module 1734 may include a voice decoder to rec­ognize the voice. For example, the voice prompts generated by an audible IVR menu. In some other cases, the IVR menus may require a simple key tone (DTMF). The response module 1734 may include recorded tones or an internal module to generate the require tones. [0216] Various destinations may provide a different audible IVR menu in the working hours and a different menu after working hours or during the holidays. DCA 1720 may detect the various times or time periods for which the audible IVR menus are presented in different mode. SRM 1732 may decode the voice from the audible IVR menu to recognize the IVR message. Further, ILM 1726 may analyze the response message for the periods and different operating mode. There­fore, ILM 1726 may call the destinations based on the recog­nized periods to generate records database 1608. Further, records database 1608 may include the time information for which a particular audible IVR menu is active. Accordingly, ITM 1724 may call the destinations multiple times based on the time information. [0217] Various audible IVR menus include multi-level menus, as discussed with reference to FIG. 2A. Therefore, each level of menu may include sub-menus, which may fur-
  • 112.
    US 2013/0022191 AI ther include sub-menus, and so forth. Accordingly, records database 1608 may include multiple sub-records, and each of the sub-records may have activation codes associated with them. Furthermore, records in records database 1608 may include a code to indicate a business domain of the destina­tions, such as airlines, banks and so forth. In an embodiment of the invention, TLM 1722 may use a web-based list such as yellow pages to call the destinations. Generally, the phone numbers of the destinations in the yellow pages are organized based on the business domains of the destinations. Accord­ingly the business domain code could be added to record database 1608. As graphics and icons are very effective in enhancing caller interface, ITM 1724 may associate various phrases with specific icons. For example, ITM 1724 may include a dictionary of various terms or phrases that are frequently used in IVR menus, such as "customer care", "main menu", and so forth. The terms may be decoded by Dialog module 1730 and icons may be associated with them. Accordingly, records database 1608 may include a code for icons associated with the IVR menus of the destinations. [0218] ITM 1724 may include components to connect to the audible IVR menu. As shown with reference to FIG. 17B, ITM 1724 may include a VOIP connection module 1736 to interact with a VOIP application 1740. VOIP application 1740 may be implemented within or outside DCA 1720. In such a case, VOIP connection module 1736 may use VOIP application 1740 to interact with the audible IVR menus. [0219] Further, as shown with reference to FIG. 17C, ITM may include an IVR Connection module 1737, to interact directly with the audible IVR menu. IVR connection module 1737 may connect to multiple audible IVR menus through a network, a PSTN or any other communication or protocol. Moreover, IVR Connection module 1737 may act as a gate­way between DCA 1720 and the destination of audible IVR menu. [0220] FIG. 18 illustrates a flowchart diagram for generat­ing records database 1608 by using DCS 1606, in accordance with an embodiment of the invention. The audible IVR menus of destinations may be analyzed to generate records database 1608 for corresponding visual IVR menus. At step 1802, a phone number may be dialed to connect to an audible IVR menu of destination. The phone numbers and destinations may be selected automatically from a database of phone numbers. For example, yellow pages for a selected territory, category, business or other suitable classifications. As dis­cussed with reference to FIG. 2A, the audible IVR menu may include various options for a caller to select. Typically, the options are structured and presented in form of levels to the caller. For example, with reference to FIG. 2A, options 204a, 206a, and 220a may form a first level of the audible IVR menu 222a. Further, options 208a and 210a may be referred to as sub-menus to option 204a. Similarly, each sub-menu may further comprise sub-menus, such as options 214a and 216a. Therefore, DCS 1606 is presented with audible instruc­tions at first level. Thereafter, based on the selection by DCS 1606, corresponding audible instructions of sub-menus may be provided. The first level of the audible IVR menu is ana­lyzed at step 1804. The audible IVR menu may be analyzed by voice recognition. [0221] In an embodiment of the invention, the voice recog­nition for constructing records database 1608 is based on context-enhanced voice recognition. As the process of calling the destination is initiated by selecting a number from a list such as yellow pages, the voice recognition system would be 19 Jan. 24, 2013 provided file of potential menu terms, which could be farther narrowed base on knowledge of the business domain and the potential options such destinations may offer. Therefore, the process of voice recognition is greatly enhanced, when the recognition is done with respect to a relatively small number of choices. SRM 1732 in DCA 1720 may be pre-loaded with a small set of terms most likely used by the destination and, therefore, may be required to make the recognition out of the relatively small set of terms. [0222] Further, the voice may be converted to a text format. In an embodiment of the invention, a voice-to-text application may be used to convert the audible instructions to text format. Subsequently, the information generated from the analysis of the first level is stored in records database 1608, at step 1806. The information may include the details about the sub-menu and the numbers to be dialed to access the sub-menu. For example, with reference to FIG. 2A, the information for option 204A may include, instruction part 'pizza order' and number part '2' in the database. At step 1808, it is determined whether there are any sub-menus in the audible IVR menu. The sub-menus may be detected based on the information analyzed from the audible IVR menu. In an embodiment of the invention, sub-menus are detected based on the informa­tion stored in the database. [0223] In case the audible IVR menu contains sub-menus, then the sub-menus are analyzed, at step 1810. The sub­menus may be analyzed in a similar manner as the first level of audible IVR menu as discussed above. Subsequently, at step 1812, the information corresponding to the sub-menus is stored in records database 1608.At step 1814, it is determined whether there are any further sub-menus in the sub-menus of the audible IVR menu. DCS 1606 may make select an option for every menu to connect accordingly and determine if a final destination is reached or there is another layer of menu options to be processed. Once the final destination it reached, DCS 1606 may "hang-up" the connection and register the results. Further, DCS 1606 may dial again to iteratively dis­cover the full menu of the IVR. In case, there are further sub-menus then each sub-menu is analyzed as discussed above. The process is iterated till the complete audible IVR menu with the sub-menus is analyzed. Further, the destina­tions may be dialed multiple times to ensure that complete audible IVR menu and sub-menus are analyzed. [0224] Moreover, records database 1608 may be automati­cally checked and verified after complete analysis of the audible IVR menu. For example, all or various options or sub-menus in the audible IVR menu may be selected ran­domly or based on a pre-defined pattern to verifY the infor­mation in records database 1608. In an embodiment of the invention, DCS 1606 may be use quality marks for every term recognized during the process. For example, low marks may indicate relatively higher probability that the recognition was wrong. Further, follow-up steps may provide higher priority to check and validate the terms that received low marks. Such check may be performed by an additional automatic system or by human operators. In an embodiment of the invention, the destinations may be connected automatically through various probe servers to analyze the audible IVR menus. The probe may be implemented as a script, a computer program, or firmware, on remote server 1002, as shown with reference to FIG. 10. Further, the audible IVR menus may be analyzed by human operators, in case of malfnnction or other issues with the automatic functioning.
  • 113.
    US 2013/0022191 AI [0225] In an embodiment of the invention, records database 1608 may be updated automatically based on a pre-defined update time interval. The update may be required to validate the correctness of information in the database. Moreover, records database 1608 may be updated based on ratings from callers ofVisuphone. For example, the caller may identify that a visual IVR menu incorrect or incomplete, and may subsequently provide a rating to the visual IVR menu. Fur­ther, an administrator or caller of records database 1608 may update it manually. [0226] Various audible IVR menus require audio com­mands from the caller instead of selecting options. DCS 1606 analyzes such IVRs to generate records database 1608. In an embodiment of the invention, a two-phase process may be applied to generate records database 1608. In the first phase a standard menu is generated for the IVR that may relate to a particular class of the destinations. A class can be a business class, for example, banks, airlines, hospitals and so forth. The first phase could be extended to cover as many domains as possible so that standard menus exist for most business classes of destinations. In the second phase, the IVR that requires a natural language voice command may be interro­gated by repetitively applying the standard menus according to the class. Therefore, the relevance of the standard menu for the specific IVR is confirmed. In the process, a stored voice or synthesized voice could be use for each menu option. There­after, the menu may be stored in records database 1608 based on the confirmation. Some IVR menus may require any or both of natural language commands and dial tones. In such a case, both options could be made available in the records database 1608, and eventually in the visual IVR menu data­base for the caller at the time of use. As discussed with reference to FIG. 17, DCS 1606 may determine the type of audible IVR menu for generating records database 1608. [0227] FIG. 19 illustrates an exemplary set of IVR catego­ries 1902. As shown a category A 1904 refers to typical audible IVR menus that present IVR options to the caller that can be selected from simple dial tone selections. In this case, DCS 1606 may provide various dial tones to the IVR for analyzing it, and generating records for records database 1608. A category B 1906 refers to an audible IVR menu that requires the caller to answer some initial questions, before presenting simple dial tone options for further menu. For example, the caller may be required to select a language preference, before presenting the menu. A category C 1908 may require the caller to provide some personal information before presenting the menu. For example, the caller may be required to input an account number, a phone number, a customer number and so forth. A category C 1910 refers to an IVR menu that may require voice inputs or natural language selection from the caller. In this case, DCS 1606 generates an activation code that points to a recorded voice phrase or a code that can instruct to synthesize the proper voice phrase required. [0228] Additional variations of the categories include an IVR menu that provides a legal notice. For example, the audible IVR menu of a mortgage bank usually include an header stating that this is debt collector and anything stated during the call could be used for future collections. Other statements can be such as those that relate to the option to record the call and so forth. The statement may be registered and added to records database 1608, so that the legal state­ment can be presented with the visual IVR menu. Further, 20 Jan. 24, 2013 additional statements may be added at the end of the state­ments regarding the last time when the IVR was verified. [0229] FIG. 20A illustrates an exemplary information pro­cess for an IVR menu stored in records database 1608. Some­times, an audible IVR may request the caller for some specific or personal information that is other than selection of IVR options. ILM 1726 may mark such requests and process them separately. ILM 1726 can identify such requests based on a combination of the identity code and an ordered list of acti­vation codes. As shown, the records database content 2002 may include exemplary request 2004a "Please enter the invoice number", request 2006a "Please enter the payment amount", request 2008a "Please choose your payment card: Press 1 for VISA and 2 for MasterCard", request 2010a "Please say or enter credit card number", and request 2012a "Please enter your Credit Card expiry date". [0230] Corresponding to these requests a display may be generated on the caller's device, an exemplary illustration is as shown with reference to FIG. 20B. As shown, a web form 2014 is generated corresponding to the requests. Web form 2014 may be presented on a web browser of the caller's device. In another embodiment of the invention, the display is presented as an independent form on the display of the device. Therefore, the device may not require a web browser appli­cation. Web form 2014 may include single or multiple_pages. Further, in case the information is displayed directly on the device, then various screens, layers or scroll may be used to display the information. Web form 2014 may include an input box 2004b corresponding to request 2004a, input box 2006b corresponding to request 2006a, input box 2008b corre­sponding to request 2008a, input box 201 Ob corresponding to request 2010a, input box 2012b corresponding to request 2012a, and a submit button 2016. The Visuphone on the caller's device may automatically complete some or even all the require details based on stored profile or previous inputs of the caller. Therefore, the caller may only (if at all) be required to complete the missing information manually. Sub­sequently, the Visuphone may connect to the IVR after the caller clicks on the submit button 2016. Further, the Visu­phone may navigate to the process root within the IVR menu, revalidate the process input requests, and transmit the caller data to the IVR without any action from the caller. Moreover, the Visuphone may hide the IVR validation question such as questions like "are you sure", "did you mean XYZ?" and so forth. After the submission, a response such as, but not limited to, a receipt number, specific flight landing time, and so forth may be presented to the caller. The response from the IVR can be in various forms, for example, but not limited to, a recorded audible response or a transcript of the audible response. [0231] In another embodiment of the invention, electronic yellow pages directory allows the dialing the number directly from the directory and further provides the visual IVR menu of the destination. In an embodiment, one or more destina­tions along with their associated properties may be displayed at the device prior to displaying visual IVR menu. In an embodiment, the one or more destinations are displayed based on the position of the dialed destination number and position of the one or more destinations. The caller can select the exact destination before dialing or follow the visual IVR menu after dialing. For example, an airline company might have various option, menus and layers in the large organiza­tion. Selecting the exact department in the organization before dialing can save the caller the time and overhead of listening to the menu and making decisions based on the voice
  • 114.
    US 2013/0022191 AI menu. The yellow pages company can have a copy of the visual IVRmenu database or can be connected to a visual IVR menu service in order to provide the menu to the caller. [0232] In an embodiment, multiple options of destinations related to the dialed destination business category may be displayed by Visuphone 104 prior to displaying a visual IVR menu as described in detail in FIG. 21. For example, when caller 106 dials a phone number of pizzeria then Visuphone 104 may first display all the pizzerias available in nearby area. Caller 106 may select one pizzeria from the list of pizzerias. Thereafter, Visuphone 104 may display a visual IVR menu associated with the selected pizzeria (or destination). Further, Visuphone 104 may display geographical information and properties corresponding to destination phone number dialed. In an embodiment, the geographical information may be dis­played before a connection is established between device 102 and the dialed destination such as destination 108b. More­over, the visual IVR menu is displayed after caller 106 selects one or more destinations based on the information. In an embodiment of the invention, Visuphone 104 displays infor­mation for destinations 1 OS a-n based on a business category. For example, if the phone number dialed by caller 106 corre­sponds to a teleshopping network, then the information dis­played may relate to the specific teleshopping network dialed and/or to other teleshopping networks. In another embodi­ment of the invention, Visuphone 104 displays the informa­tion based on a relative geographical distance of caller 106 from that of dialed destination. The distance may be within a predefined range. For example, the pre-defined range can be 0 to 5 km, 0 to 500 m, a caller defined value, and so forth. [0233] FIG. 21 illustrates an exemplary display of repre­sentations 2102a-n of destinations l08a-n on device 102, in accordance with an embodiment of the invention. In an embodiment, representations 2102a-n may be displayed or presented to caller 106 prior to displaying visual IVR menu of a selected destination. Further, representations 2102a-n may be displayed based on the distance or position of the destina­tions from the dialed destinations. In an embodiment, repre­sentations 2102a-n may include information about various destinations which have same business category as of the dialed destination. For example, if caller 106 dials for a Chi­nese restaurant than Visuphone 104 will display representa­tions of all restaurants serving Chinese food located within the predefined range of distance relative to caller 106. [0234] Further, representations 2102a-n may include prop­erties associated with destinations l08a-n. Examples of the properties include, but are not limited to a location code, a branch code, rating, reviews, an address, phone numbers, distance from caller 106, and so forth. In an embodiment of the invention, a caller representation as user 2104 correspond­ing to caller 106 may be displayed on device 102. Examples of the representation 2102 include, but are not limited to, graphical or text representations such as a table of rows and colunms, icons, area map, and so forth. Representations 2l02a-n may also include the distance of destinations l08a-n with respect to the location of caller 106. [0235] Caller 106 may select a destination from the repre­sentations 2102a-n based on one or more displayed proper­ties. Subsequently, the visual IVR menu of the selected des­tination may be presented to caller 106. For example, if caller 106 selects destination lOSe, then a visual IVR menu corre­sponding to destination 1 08c is displayed at device 102. In an embodiment, the display may include representation of a subset of destinations l08a-n based on one or more criteria. 21 Jan. 24, 2013 The one or more criteria include displaying destination based on business category of dialed destination phone number. In an embodiment, the one or more criteria may also include displaying destinations based on location of device 102 or caller 106. [0236] In an embodiment of the invention, device 102 may be an in-car navigation system such as a Global Positioning System (GPS). Therefore, when caller 106 dials a phone number of a destination, Visuphone 104 may provide a rep­resentation of one or more destinations on a map on device 102 screen. Further, the properties like location, reviews, ratings etc. associated with the destination may be displayed on the map. Caller 106 may interact with the displayed maps and can select a destination from the map based on the one or more properties. Further, caller 106 can select a destination by clicking or scrolling on the map. In an embodiment of the invention, a route map from caller 106 to the selected desti­nation may be displayed on device 102 screen. [0237] In an embodiment of the invention, device 102 can request for updates from a server through a communication network. The server may maintain the updated information of destinations and their associated properties. The commnnica­tion network can include more than one device 102. Examples of the communication network include, but are not limited to, the Network, PSTN, Local Area Network (LAN), Wide Area Network (WAN), and so forth. [0238] Alternatively an enhanced web base yellow page could be provided, wherein the caller can first choose the provider he/she requires to contact. Thereafter, if that desti­nation provides an IVR, then the enhanced yellow page will use the visual IVR menu database to present a visual IVR menu on the web page. Moreover, the caller can click to choose the internal destination of that provider and the enhanced yellow page may accordingly initiate the call. The call could be made using the conventional telephone network or PSTN. In this case, the enhanced yellow page may need the caller's telephone number to perform the connection. Alter­natively, the enhanced yellow page could use VOIP to connect the caller over the web to the IVR of the destination. [0239] In some IVR systems, the caller may have to wait or hold on a queue of previous dialers until the specific depart­ment or agent is available. In another embodiment of the invention, the enhanced yellow page system will connect the caller only after the specific agent is available, without wait­ing in a long waiting line queue. The system can recognize that the waiting queue message of the specific department, and to connect the caller only after the agent is answering. Therefore, the waiting time of the caller on the phone queue that sometimes may be very long, may be reduced. The sys­tem can park on the line for the waiting line on the specific entry in the menu; as soon as the agent is available the caller gets a signal to start the conversation with the agent. [0240] FIG. 22 illustrates an exemplary visual IVR menu 2202 of the selected destination with added graphics for the nodes on device 102. Visual IVR menu 2202 includes one or more options corresponding to every node in the destination. It is well known that graphics are easier to learn and are faster to recognize than words. Therefore, graphics can be used in various computerized device interfaces. Various types of graphics can be displayed for example, animated icons, icons that highlight or animate when the node is highlighted, and so forth. The graphics may be displayed for each node or a few nodes based on the usability of visual IVR menu 2202. For example, for node 2210 an icon of a vegetable may be dis-
  • 115.
    US 2013/0022191 AI played to designate a vegetarian pizza, and for node 2216 of home delivery, an icon of house may be displayed. In an embodiment of the invention, visual IVR menu 2202 can be customized to display only the text, only the icons, or both. Furthermore, caller 106 can suggest or use various icons based on his preferences. The visual IVR menu is specific to a destination. Further, each of destinations 108a-n may have more than one audio IVR menus. So different visual IVR menu corresponding to one or more audio IVR menus is possible. [0241] FIGS. 23A, 23B, and 23C illustrate a flowchart dia­gram for providing representation of destinations based on position, in accordance with an embodiment of the invention. Caller 106 may dial, select or receive one or more destination phone numbers to connect to a destination from device 102. Destinations 108a-n may include an audible IVR menu for interaction with a caller. Further, device 102 may include Visuphone 104 to display one or more representations corre­sponding to multiple destinations on screen or display of device 102. Further, the one or more representations may include properties associated with the multiple destinations. Visuphone 104 also presents visual IVR menu corresponding to the phone number of the selected destination. Therefore, a caller can directly interact with a visual IVR menu 2202 of selected destination through visual IVR menu 2202 without listening to the audible IVR menu. [0242] At step 2302, Visuphone 104 identifies a phone number of a destination dialed by caller 106 of device 102. In an embodiment of the invention, the number is clicked according to the display of device 102. The number is iden­tified by CPU 304. In an embodiment of the invention, Visu­phone 104 displays at least one property associated with one or more destinations 108a-n based on the identified dialed phone number of the destination. Further, at step 2304, a location code associated with current location of device 102 is determined. The location code determines the present loca­tion of device 102. When caller 106 is in his/her home country or state, the location code of the device and location code of the dialed destination phone number is same. In an embodi­ment, when a person is on roaming the location code of caller 106 is different than the location code of the dialed destina­tion phone number. This happens, in case when caller 106 is travelling and device 102 is on roaming. Central processing Unit (CPU) 304 of device 102 determines the location code of device 102. [0243] At step 2306, CPU 404 determines a business cat­egory associated with the dialed destination phone number. Destinations 108a-n can be categorized into various groups based on their associated business category. Various destina­tions are grouped into a business category based on the ser­vices and operations of the destinations. At step 2308, CPU 304 searches visual menu database 308, for phone numbers of the destinations matching the business category of the dialed destination phone number. Further, at step 2310, CPU 304 checks whether the destination phone numbers matching the business category are available in visual menu database 308. In case the one or more destination phone numbers are avail­able, then the process continues to step 2312, else the process control goes to step 2328. [0244] At step 2312, CPU 304 searches for at least one phone number from the one or more destination phone num­bers based on the location code. The location code is associ­ated with device 102. The location code determines the present location of device 102. In an embodiment, CPU 304 22 Jan. 24, 2013 searches for at least one phone number from the one or more destination phone numbers based on the location code of device 102b and a location code of the dialed destination phone number. At step 2314, CPU 304 checks whether the at least one destination phone number matching the location code of the device is available in the visual menu database 308. In case the at least one destination phone number, then step 2326 is executed. At step 2326, a visual IVR menu of the dialed destination phone number is displayed on display 302, as shown with reference to FIG. 23C. [0245] At step 2314, when the at least one destination phone number matching the location code of device 102 is not available in the visual menu database 308, the process con­tinues to step 2316. At step 2316, the at least one destination phone number with its associated properties are displayed. CPU 304 displays the at least one destination phone number and associated properties on display 302 of device 102. Fur­ther, at step 2318, caller 106 selects a destination phone number from the displayed representations of destinations. At step 2320, a visual IVR menu of the selected destination is displayed on display 302 of device 102. CPU 304 displays the visual IVR menu on display 302. [0246] As discussed with reference to FIG. 22, visual IVR menu 2202 includes one or more options. At step 2322, caller 106 selects an option from visual IVR menu 2202. Thereafter, at step 2324, device 102 connects to the selected optionofthe visual IVR menu 2202. Thereafter, caller 106 can interact according to his/her preference with the destination through the visual IVR menu 2202. At step 2310, when the one or more destination phone numbers matching the business cat­egory of the dial phone number, are not available in the visual menu database 308, the process continues to step 2328, device 102 requests for updates from a server of communi­cation network. The updates include information associated with destinations 108a-n. The destination information includes destination phone number, and their associated properties. Further, at step 2330, the updates are received from the server by device 102. Then, at step 2332, the received updates are stored in the visual menu database 308 on device 102. Thereafter, the process continues to step 2308. [0247] In another embodiment of the invention, electronic yellow pages directory allows the dialing the number directly from the directory and further provides representation of one or more destinations and the visual IVR menu of the destina­tion. Therefore, the caller can first select a destination from the representation based on one or more properties such as reviews of that particular destination. The caller can select the exact destination before dialing or follow the visual IVR menu after dialing. For example, an airline company might have various option, menus and layers in the large organiza­tion. Selecting the exact department in the organization before dialing can save the caller the time and overhead of listening to the menu and making decisions based on the voice menu. The yellow pages company can have a copy of the visual menu database 308 or can be connected to a visual IVR menu service in order to provide the menu to the caller. [0248] In an embodiment of the invention, Visuphone 104 may be configured to display one or more advertisements on device 102. As discussed with reference to FIG. 4 and FIG. 6 advertisement 408 may correspond to the type of services provided by the destinations dialed by a caller. For example, if destination dialed is a builder, then advertisement 408 may include promotions or offers about new plots or houses. Moreover, advertisement 408 may include promotions or
  • 116.
    US 2013/0022191 AI offers from a third party or a competitor of the destination. Further, Visuphone 104 may be coupled to an advertising database. The advertising database may include advertise­ments related to the phone numbers of the destinations. The advertising database may be stored at device 102, the desti­nations, service providers or other third party servers. Further, the advertisements may be provided based on a profile of the caller. For example, assuming that the caller calls a bank holding his saving account. Therefore, the advertisement dis­played to the caller may be based on the location, address, account balance, type and volume of transactions, loans, pur­chases, and so forth. [0249] Visuphone 104 may be configured to connect to an intended destination, when the caller selects advertisement 408. Further, Visuphone 104 displays visual IVR menu of the intended destination. In an embodiment, Visuphone 104 can store the interactions of the caller with visual IVR menus. For example, Visuphone 104 may automatically learn the num­bers dialed or options selected from the menu. Moreover, the learned numbers or choices are associated with the dialed phone number of the destination. Therefore, the caller is assisted in his future calls. For example, when caller calls the destination again, then the actions that were performed in the last interaction are presented prominently to caller; or a pre­vious sequence may be automatically performed. Further, the actions that are frequently performed are presented promi­nently to caller. For example, if caller dials a bank frequently to enquire about his account balance, then the options for selecting his account balance may be highlighted. [0250] As discussed with reference to FIG. 9, the advertise­ments are managed by advertisement module 912 ofVisu­phone 104. The advertisement may be selected based on the type of destinations or a business domain of the destination. For example, when a dialed destination is a bank, then the dialed number is identified and an advertisement related to banking may be displayed. Moreover, the advertisement can be related a third-party dealing in the same business or pro­fessional area or a competitor of the dialed destination. The displayed advertisement may be a text, audio, image or video. Moreover, the advertisement may include hyperlinks. For example, the hyperlinks may link to web pages of the called destination. In one embodiment, advertisement module 912 may display the advertisements based on the connection bandwidth available at device 102. In another embodiment, advertisement module 912 may display the advertisements based on the pre-set preferences by caller 106. In one embodi­ment, advertisement module 912 may be configured to receive the advertisements directly from the dialed destina­tion. [0251] In another embodiment, advertisement module 912 may be configured to receive the advertisements from a remote server on a communication network. The remote server is explained in detail in conjunction with FIG. 10. A selection of options or click by caller 106 on advertisements may be detected by detection module 902 to display a visual IVR menu of the destination for which the advertisement was displayed. Furthermore, the advertisements may be associ­ated with the personal data of caller 106. For example, the advertisement may be displayed based on the calling pattern of caller 106. [0252] FIG. 24 illustrates a flowchart for presenting adver­tisements along with the visual IVR menu on the device, in accordance with an embodiment of the invention. In an embodiment of the invention, Visuphone 104 may display 23 Jan. 24, 2013 advertisements along with the visual IVR menus on device 102. Device 102 can be a communication device or a device capable of data and/or voice communication. The advertise­ments may be stored in a database. In an embodiment, visual menu database 308 of device 102 may store the advertise­ments. In an embodiment of the invention, the advertisements may be stored on a remote database that can be connected to device 102. [0253] At step 2402, a number dialed by a caller such as caller 106 for a destination is identified by Visuphone 104. The destination may be associated with an IVR, for which a visual IVR menu is displayed on device 102. Moreover, the telephone numbers or the destinations or the IVR systems may be categorized based on a business domain. At step 2404, advertisement associated with the dialed phone number is searched in the database. In an embodiment of the invention, the advertisements are searched based on the business domain of the dialed number. For example, when a dialed destination is a bank, then the dialed number is identified and an adver­tisement related to banking such as investment schemes may be displayed. Moreover, the advertisement can be related to a third-party dealing in the same business or professional area or a competitor of the dialed destination. [0254] Thereafter, at step 2406 the advertisement searched is displayed on device 102. In an embodiment of the inven­tion, multiple advertisements can be displayed on device 102. The displayed advertisement may include text, graphics, audio, image, video or hyperlinks. For example, the hyper­links may link to web pages of the called destination. In one embodiment, advertisement module 912 may display the advertisements based on the connection bandwidth available at device 102. Further, the advertisements may be displayed based on the pre-set preferences by caller 106. In one embodi­ment, the advertisements may be downloaded from dialed destination or remote database on a server in the network. [0255] Further, caller 106 may interact with the displayed advertisements. For example, caller 106 may click the adver­tisement, or select an option from the advertisement. The options may be telephone numbers, destinations or an internal department of the destination. At step 2408, it is determined whether caller 106 has selected the advertisement. Subse­quently, in case caller 106 has not selected the advertisement then the existing advertisement is displayed as discussed at step 2406. In an embodiment of the invention, the advertise­ment is displayed for a pre-set time duration. Otherwise, in case the advertisement is selected by caller 106 than the process continues to step 2404, where the telephone number of the destination associated with the advertisement is used to search for advertisement. [0256] In an embodiment of the invention, Visuphone 104 may be configured to submit personal information of a caller prior to establishing a connection with a dialed destination. In an exemplary scenario, the personal information may be used for authenticating the caller at a service login (such as for a web site or for a bank). [0257] FIG. 25A illustrates an exemplary information pro­cess for an IVR menu stored in records database 1608, in accordance with an embodiment of the invention. Sometimes, an audible IVR or visual IVR menu may request the caller for some specific or personal information that is other than selec­tion ofiVR options. In an embodiment, the specific informa­tion may be requested in form of one or more fields, in which the caller can enter the information. For example, for a bank IVR system, when a caller selects an option from the dis-
  • 117.
    US 2013/0022191 AI played visual IVR menu of the bank, the caller may be pre­sented with a form asking for one or more fields such as callemame, password, and so forth. In an embodiment, IVR logic module (ILM) 1726 as shown in FIG.17 may mark such requests and process them separately. Further, ILM 1726 can identify such requests based on a combination of the identity code and an ordered list of activation codes. [0258] In another embodiment, caller 106 may be required to provide the specific or personal information as audio or voice inputs. Some organizations such as banks may require caller 106 to present one or more information in form of voice input for the purpose of authentication. For example, caller 106 may be required to voice out his name or an answer to a security question specified by caller 106 to the bank. Further­more, the voice input may be required to accept or decline a transaction. Further, caller 106 may record and store the voice responses for such authentications or questions alternatively the system can use synthesis voice. As discussed with refer­ence to FIG. 16 the audio prompts or voice inputs may be stored in the records database 1608 as content 2502. For example, the audio prompts may be converted to text and stored as content 2502. As shown, content 2502 of records database 1608 may include an exemplary request 2504a "Please enter the login identity (ID)", a request 2506a "Please enter the password". [0259] As also discussed above, Visuphone 104 maintains a profile of the caller. Moreover, the caller can edit, remove, and/or update the profiles. For example, the profile may include information such as name, address, account type and codes, passwords, and so forth. Therefore, Visuphone 104 may match the content 2502 with the profile of the caller. As discussed with reference to FIG. 9, voice module 910 maybe used when connection module 908 detects that a voice authentication is required. Voice module 910 is configured to provide voice inputs on behalf of the caller by using the responses recorded by the caller. Subsequently, the connec­tion or the transaction can be processed. [0260] FIG. 25B illustrates an exemplary web foam gener­ated for the information process of FIG. 25A, in accordance with an embodiment of the invention. As shown, web form 2510 may be generated corresponding to the requests. Web form 2510 may be presented on a web browser of the caller's device such as device 102. In another embodiment of the invention, the display is presented as an independent form on the display screen of the device of the caller. In an embodi­ment, web form 2510 may include single or multiple pages. Further, in case the information is displayed directly on the device, then various screens, layers or scroll may be used to display the information. Web form 2510 may include an input box 2504b corresponding to a request 2504a, an input box 2506b corresponding to request 2506a, and a submit button 2508. In an embodiment, Visuphone 104 on the caller's device may automatically complete some or even all the require details based on stored profile or previous inputs of the caller. Therefore, the caller may only (if at all) be required to complete the missing information manually. Subsequently, Visuphone 104 may connect to the IVR after the caller clicks on the submit button 2508. [0261] Further, Visuphone 104 may navigate to the process root within the IVR menu, revalidate the process input requests, and transmit the caller data to the IVR (or destina­tion) without any action from the caller. Moreover, Visuphone 104 may hide the IVR validation question such as questions like "are you sure", "did you mean XXXX?" and so forth. 24 Jan. 24, 2013 After the submission, a response such as, but not limited to, a receipt number, saving account statement, and so forth may be presented to the caller. The response from the IVR system can be in various formats, for example, but not limited to, a recorded audible response or a transcript of the audible response. In an embodiment, Visuphone 104 may convert the format of the received response from a first format to a second format. In an embodiment, Visuphone 104 may change the format of the response from an audio format to a text format. [0262] FIG. 26 illustrates a flowchart for submitting per­sonal information of a caller by Visuphone 104, in accordance with an embodiment of the invention. At step 2602, caller 106 dials a phone number of a destination 108 such as destination 108a. Subsequently, at step 2604 a visual IVR menu associ­ated with the dialed number is displayed on the display screen of caller device 102. For example, destination 108 may be a bank. Thereafter, at step 2606 caller 106 may select an option from the displayed visual IVRmenu. For example, caller 106 may select to make a transaction from account, so caller 106 may select an appropriate option from the displayed visual IVR menu. In an embodiment, caller device 102 can be a communication device such as a mobile phone, a laptop com­puter, and so forth. Typically, banking services may require caller 106 to provide authentication information before a transaction can be made. At step 2608, a form indicating the information required by the IVR of dialed destination 108 may be displayed on the display screen of caller device 102. In an embodiment, the form may include one or more data request fields. Further, the form is displayed corresponding to the visual IVR menu associated with the dialed destination. The exemplary form is discussed in conjunction with FIG. 25B. [0263] Subsequently, at step 2610, Visuphone 104 may fill the information in the form displayed. In an embodiment, Visuphone 104 may fill the form partially. In an embodiment, the one or more data request fields may be filled based on predefined information. The predefined information may be associated and/or specific to the visual IVR menu of the dialed destination. In an embodiment, the predefined infor­mation may be defined by caller 106. In an embodiment of the invention, Visuphone 104 may require caller 106 to provide at least one count of authentication information from the per­spective of security. In an embodiment, caller 106 may fill the one or more data request fields with important information. Further, caller 106 may define the predefined information. Caller 106 can also be referred as a caller. For example, Visuphone 104 may submit the name and account number of caller 106, but may not submit the transaction password. In another embodiment of the invention, Visuphone 104 may allow caller 106 to submit, edit and/or update the complete information in the form. Therefore, the updated information may be stored in the database on caller device 102. Thereafter, at step 2612 the connection between dialed destination 108 and caller device 102 may be established and the information stored in the form is submitted. Typically, the IVR of desti­nation 108 may require caller 106 to provide the information in form of audio inputs. Therefore, Visuphone 104 may pro­vide audio inputs corresponding to the information of the form. In an embodiment of the invention, the audio format of the information may be stored in caller device 102. In another embodiment of the invention, Visuphone 104 may convert the stored text data to audio information and submit it to the IVR of destination 108. Thereafter, caller 106 may interact with dialed destination 108.
  • 118.
    US 2013/0022191 AI [0264] In an embodiment, caller device 102 may receive a response from the dialed destination. In an embodiment, Visuphone 104 may convert a format of the received response from a first format to a second format. For example, Visu­phone 104 may convert the receiver format of the response from the audio to text. In an embodiment, the first format of the received response may be an audio format. Examples of the audio format include, but are not limited to, WAY, Real Audio, Musical Instrument Digital Interface (MIDI), Win­dows Media Audio (WMA), MP3, Ogg, and so forth. In an embodiment, the second format may be a text format such as a Unicode text, Rich Text format, Hyper Text Markup Lan­guage (HTML) or any other format compatible with the caller device 102. [0265] In an embodiment of the invention, Visuphone 104 may call the dialed destination based on predefined calling information automatically; it is described in detail in FIGS. 3 OA and 3 OB. In an embodiment, Visuphone 104 may keep on calling to the dialed destination until the requested informa­tion is received. Further, Visuphone 104 may save and/or display the received information at device 102. [0266] FIG. 27 illustrates an exemplary representation of a visual IVR menu 2702 associated with the dialed phone num­ber of the destination along with a scheduling mode option, in accordance with an embodiment of the invention. Visual IVR menu 2702 includes one or more options corresponding to every node in the audible IVR menu of the dialed destination of destinations 108a-n. Visual IVR menu 2702 is an exem­plary visual IVR menu of a pizzeria. It is well kuown that graphics are easier to learn and are faster to recognize than words. Therefore, graphics are used in various computerized device interfaces. Various types of graphics can be displayed for example, animated icons, icons that highlight or animate when the node is highlighted, and so forth. The graphics may be displayed for each node or a few nodes based on the usability of visual IVR menu 2702. For example, for node 2710 an icon of a vegetable may be displayed to designate a vegetarian pizza, and for node 2716 ofhome delivery, an icon of house may be displayed. In an embodiment of the inven­tion, the visual IVR menu 2702 can be customized to display only the text, only the icons or both. Furthermore, caller 106 can suggest or use various icons based on his preferences. The visual IVR menu is specific to a destination. [0267] Further, each of destinations 1 08a-n may have more than one audio IVR menus. Therefore, different visual IVR menus corresponding to one or more audio IVR menus can be available for each of destinations 108a-n. In an embodiment, device 102 may include more than one visual IVR menus for each destination of destinations 108a-n based on the time. Therefore, different visual IVR menus corresponding to a destination 108 might be presented to caller 106 depending on the time of dialing to destination 108. [0268] In an embodiment of the invention, a scheduling mode option 2720 can be displayed on the screen along with the visual IVR menu associated with the dialed destination. Caller 106 may switch device 102 to a scheduling mode by selecting scheduling mode option 2720. When device 102 is in scheduling mode, Visuphone 104 may start saving the inputs of caller 106. The inputs from caller 106 may include the selection of one or more options of the displayed visual IVR menu 2702. In the scheduling mode, Visuphone 104 may display one or more input options on the screen to enter a call schedule by caller 106. The call schedule may include infor- 25 Jan. 24, 2013 mation such as a date and a time. The selection of the date and the time is explained in conjunction with FIG. 28. [0269] Furthermore, Visuphone 104 may automatically call a phone number of a destination of destinations 1 08a-n auto­matically based on predefined calling information. The pre­defined calling information can be entered and/or selected by caller 106. The predefined calling information may include the selection information such as one or more options of visual IVR menu 2702 that are selected by caller 106 in the scheduling mode. Further, the predefined calling information may include the call schedule, which is the date and time information for the call. In an embodiment of the invention, the predefined calling information may also include addi­tiona! data such as a predefined time interval, maximum num­ber of dialing attempts, waiting time, and so forth. [0270] In another embodiment of the invention, device 102 may be switched to the scheduling mode based on a pre­defined key sequence. Caller 106 may press or select or enter a predefined key sequence for switching device 102 to a scheduling mode. The predefined key sequence may be a combination of one or more keys. For example, the pre­defined key sequence may include two asterisks (*) after dialing a phone number such as 123-456-7890* *. Visuphone 104 may detect such predefined key sequence dialed and switch device 102 to the scheduling mode. Thereafter, Visu­phone 104 may save the user inputs. Further, Visuphone 104 may display the visual IVR menu associated with the dialed destination. Furthermore, Visuphone 104 may allow caller 106 to schedule the call by entering date and time informa­tion. [0271] FIG. 28 illustrates another exemplary representa­tion of a visual IVR menu 2802 associated with the dialed phone number of the destination along with the scheduling mode option 2720, in accordance with an embodiment of the invention. Visual IVR menu 2802 is an exemplary visual IVR menu of a banl<. Visual IVR menu 2802 includes one or more options corresponding to every node in the audible IVR menu of the bank (or dialed destination of destinations 108a-n). Though not shown, nodes of visual IVR menu 2802 may be represented using graphics such as, animated icons, icons that highlight or animate when the node is highlighted, and so forth. Further, graphics may be displayed for each node or a few nodes based on the usability of visual IVR menu 2802. Visual IVR menu 2802 includes nodes such as personal bank­ing node 2806, NRI banking node. Caller 106 can choose NRI banking by pressing a combination 1-3. Thereafter, caller 106 can select investment option by pressing 2. Furthermore, caller 106 can suggest or use various icons based on his preferences. The visual IVR menu is specific to a destination. For example, hospitals will have different IVR menu than that of the bank. In an embodiment, scheduling mode option 2720 may also be displayed on the screen of device 102. Caller 106 can select scheduling mode option 2720 for switching device 102 to the scheduling mode. Further, Visuphone 104 may start saving one or more inputs from the caller after switching to the scheduling mode. [0272] FIG. 29 illustrates an exemplary display at device 102 after switching to a scheduling mode, in accordance with an embodiment of the invention. As discussed with reference to FIG. 27, Visuphone 104 may save the inputs from caller 106 after switching to the scheduling mode. Device 102 switches to the scheduling mode based on the selection of the scheduling mode option 2720 by caller 106. In an embodi­ment, Visuphone 104 may be configured to detect the selec-
  • 119.
    US 2013/0022191 AI tion of the scheduling mode option 2720 by caller 106. In an embodiment of the invention, caller 106 may enter and/or select a call schedule 2902. For example, call schedule 2902 may include, but are not limited to, a date and time informa­tion. A calendar 2904 may be displayed on the screen of device 102 for entering and/or selecting the date information for scheduling the call. A time input box 2906 may be dis­played on the screen of device 1 02a for entering and/ or select­ing the time information for scheduling the call. For example, the call schedule information will include a date Mar. 15, 2011, and time 11:25:40, therefore Visuphone 104 dial at the phonenumberofthe destination on Mar. 15,2011 at 11:25:40 AM. In an embodiment, the time information may be dis­played in 12 hour format. In another embodiment, the time information may be displayed in 24 hours format. [0273] In another embodiment of the invention, call sched­ule 2902 may include a predefined schedule for calling to the destination. For example, Visuphone 104 may automatically schedule a call in next five minutes on the same day, based on the predefined schedule. In an embodiment, caller 106 is not required to enter or select the date and the time information for scheduling the call. In such a case, Visuphone 104 auto­matically schedules the call to the destination based on the predefined schedule. A person skilled in the art will appreci­ate that the date and time for predefined schedule is not limited to five minutes or same day, and can be edited by caller 106. Further, call schedule 2902 may also include addi­tional information such as maximum number of calling attempts, waiting time, and so forth. [0274] Thereafter, a communication is established between device 102 and the dialed destination. After establishment of the communication, Visuphone 104 may request and/or receive information from the dialed destination based on the selection information of the predefined calling information. In an embodiment, Visuphone 104 may keep on dialing the phone number of the destination until the requested informa­tion is received from the dialed destination based on the selection information. In an exemplary scenario, Visuphone 104 may be required to dial the phone number of the desti­nation repeatedly when the requested information is not avail­able on the dialed destination. The call schedule may further include the predefined time interval for calling the destina­tion. For example, when the communication is not established with the dialed destination, Visuphone 104 can call the des­tination after waiting for the predefined time interval such as after ten minutes. A person skilled in the art will appreciate, that the predefined time interval is not limited to ten minutes, and can be edited by caller 106. In an exemplary scenario, if the requested information is not available at the dialed desti­nation, than Visuphone 104 may wait for the predefined time interval of the call schedule and may call the previously dialed destination again, and may request for the desired informa­tion according to the selection information. [0275] As discussed with reference to FIG. 3A, visual menu database 308 may store the predefined calling informa­tion. Further, visual menu database 308 may store the selec­tion information and call schedule 2902. In an embodiment, call schedule 2902 may also include a predefined time inter­val and a predefined schedule. In an embodiment, visual menu database 308 may further store the predefined schedule and predefined time interval. Device 102 may also request or receive updates from the server at a predefined time. The 26 Jan. 24, 2013 predefined time may be for example, once a week, once a month, or any other interval predefined by caller 106 or Visu­phone 104. [0276] FIGS. 30A and 30B illustrate a flowchart for pro­viding enhanced telephony by presenting a scheduling mode option 2720 to caller 106, in accordance with an embodiment of the invention. Caller 106 may dial, select or receive one or more destination phone numbers to connect to a destination from device 102. Destinations 1 08a-n may include an audible IVR menu for interaction with caller 106. Further, device 102 may include Visuphone 104 to display a visual IVR menu associated with a phone number of a destination dialed by caller 106. As discussed with reference to FIG. 27, Visuphone 104 may further display scheduling mode option 2720 at device 102. Visuphone 104 may establish a communication with the phone number of the destination based on the pre­defined calling information. In an exemplary scenario, a user of device calls a bank, than a scheduling mode option and a visual IVR of the bank may be displayed on the device. Sometimes, the user might not be able to receive desired information during this call then the user can switch to a scheduling mode by selecting the scheduling mode option. Thereafter, Visuphone 104 may ask the user to enter pre­defined calling information. Later, Visuphone 104 may dial the phone number of the previously dialed bank based on the predefined calling information. [0277] At step 3002, a phone number of a destination is dialed from device 102. Caller 106 may dial the phone num­ber of destination of destinations 108a-n. At step 3004, a visual IVR menu associated with the dialed number and a scheduling mode option 2720 is displayed at device 102. As discussed with reference to FIG. 3A, visual IVR menu 2702 and scheduling mode option 2720 may be displayed on dis­play 302 of device 102. In an embodiment, caller 106 may interact with the dialed destination and request for informa­tion, by selecting one or more options of the visual IVR menu. In an embodiment, the requested information may not be available at the dialed destination at the time of the call. Therefore, in such a case caller 106 may need to dial the destination again or caller 106 may schedule a call at later time. At step 3006, device 102 is switched to a scheduling mode. Caller 106 selects scheduling mode option 2720 for switching device 102 to the scheduling mode. As discussed with reference to FIGS. 1A and 27, in scheduling mode Visu­phone 104 may save inputs such as predefined calling infor­mation from caller 106. The predefined calling information may include selection information and a call schedule. [0278] At step 3008, Visuphone 104 saves the selection information including the one or more options of the dis­played visual IVRmenu. The one or more options are selected by caller 106. Thereafter, a display 2700 of device 102 switches to display 2900 including calendar 2904 and time input box 2906. Caller 106 may enter the date and time information in calendar 2904 and time input box 2906 respec­tively. At step 3010, Visuphone 104 saves the call schedule including the date and time information. [0279] At step 3012, it is checked whether the entered call schedule's date and time has arrived. Visuphone 104 may perform the checking by comparing the call schedule's date and time with the current date and time. In an embodiment, Visuphone 104 determines the current date and time based on the system clock and/or internet. If the call schedule's date and time is not equal to current date and time, then at step 3014 the process waits for the call schedule's date and time to
  • 120.
    US 2013/0022191 AI arrive, otherwise the process control goes to step 3016. At step 3016, Visuphone 104 dials the phone number of the destination. Visuphone 104 dials the phone number of the destination based on the call schedule of the predefined call­ing information and without any user intervention. Thereaf­ter, Visuphone 104 may establish a connection with the dialed destination. [0280] At step 3018, Visuphone 104 requests information from the dialed destination based on the selection information of the predefined calling information. In an embodiment, the requested information may not be available at the dialed destination at this time, so Visuphone 104 may wait for the predefined interval and may dial the phone number of the destination again. Examples of the predefined time interval may include, but are not limited to, thirty seconds, one minute, five minutes, ten minutes, twenty minutes, and so forth. In another embodiment, the dialed destination may transfer the request for the information by Visuphone 104 to the server, when the information is not available at the dialed destination. In another embodiment, when the information is not available at the dialed destination, the request of the information may be transferred to another destination of des­tinations 108a-n. In an embodiment, caller 106 may interact with the dialed destination after establishment of the commu­nication byVisuphone 104. [0281] At step 3020, the requested information is received at device 102. The dialed destination may send the requested information to device 102 based on the availability of the information. In an embodiment, the requested information may be received from the another destination of destinations 108a-n. In yet another embodiment, Visuphone 104 may receive requested information from the server. In an embodi­ment, Visuphone 104 may convert the format of the received information from a first format to a second format. In an embodiment, the first format of the received information may be an audio format. Examples of the audio format include, but are not limited to, WAY, Real Audio, Musical Instrument Digital Interface (MIDI), Windows Media Audio (WMA), MP3, Ogg, and so forth. In an embodiment, the second format maybe a text format such as a Unicode text, Rich Text format, HyperText Markup Language (HTML) or any other format compatible with device 102. [0282] At step 3022, Visuphone 104 saves the received information at device 102. In an embodiment, the saved infor­mation may be accessed by caller 106 in real time. In another embodiment, the saved information may be accessed by caller 106 later. At step 3024, Visuphone 104 displays the received information on display 302 of device 102. [0283] According to an embodiment of the invention, Visu­phone 104 may send one or more data packets (or messages) for establishing a connection or communication session in a commnnication network 3100 as illustrated in FIG. 31A-D. FIG. 31A-D illustrates exemplary environments, where vari­ous embodiments of the invention can function. Communi­cation network 3100 includes a device 3102a. In an embodi­ment, communication network 3100 may include different types of devices 3102a-n. Herein after, device 3102a may be referred as a first communication device. A person skilled in art will appreciate, that communication network 3100 may also include a plurality of devices 3102. Examples of com­munication network 3100 include, but are not limited to, the Internet, PSTN, Local Area Network (LAN), Wide Area Net­work (WAN), Metropolitan Area Network (MAN), and so forth. In an embodiment, communication network 3100 can 27 Jan. 24, 2013 be a data network such as the Internet. The data network is a network capable of establishing data and voice commnnica­tion among various communication devices. In an embodi­ment, communication network 3100 can be a telecommuni­cation or telephone network capable of establishing only voice communication among various communication devices. [0284] Further, communication network 3100 includes a second communication device 3108a. In an embodiment, communication network 3100 may include a plurality of sec­ond communication devices 3108. A caller 3106 may use first communication device 3102a to connect to second commu­nication device 3108a. First communication device 3102a can be a telecommunication device that can connect directly to a PSTN 3110. A person skilled in the art will appreciate, that first communication device 3102a can also connect to a private telephone exchange. Examples of first commnnica­tion device 3102a include, but are not limited to, a telephone, a mobile phone, a smart phone or any other device capable of voice or data communication. Caller 3106 may dial a phone number associated with second communication device 31 08a for connecting to second communication device 3108a. First communication device 3102a may have one or more associ­ated phone numbers, which may be used by other devices for connecting to first communication device 3102a. Similarly, each of the plurality of second commnnication device 3108 may have associated at least one phone number. In another embodiment, first communication device 3102a may include a plurality of visual IVR menus corresponding to phone num­bers of the plurality of second communication devices 3108. [0285] In an embodiment, first communication device 3102a may include an IVR application. In an embodiment, first communication device 31 02a may include the IVR appli­cation such as Visuphone 31 04a as shown in FIG. 31A. Visu­phone 104a may provide data regarding a phone number of second communication device 3108a dialed by caller 3106. For example, the data may include geographical information or services provided by second communication device 3108a-n. Second communication device 3108a includes an IVR system. The IVR system allows caller 3106 to interact automatically with second commnnication device 3108a. When caller 3106 dials a phone number and connects to second communication device 3108a, an audible IVR menu may be played to caller 3106. Second communication device 31 02a can have more than one IVR menus. Visuphone 31 04a may display a visual IVR menu on first communication device 3102a corresponding to the audible IVR menu asso­ciated with the phone number of second communication device 3108a to be connected. [0286] Second communication device 3108a can be a device capable of data/voice communication. Examples of second communication device 3108a include, but are not limited to, a telephone, a computer, a laptop computer, a personal digital assistant (PDA), a mobile phone, and so forth. Various types of second commnnication device 3108a that implement the audible IVR menu include, for example, banks, hotels, fast-food outlets, utility services providers, corporate offices, mobile phone service providers, hospitals, and so forth. Further, second commnnication device 3108a can have more than one audio/visual IVR menus. Typically, the audible IVR menu provided by second communication device 31 08a comprises audible options or instructions. In an embodiment, the visual IVR menu includes one or more text
  • 121.
    US 2013/0022191 AI and/or graphical representation of different nodes corre­sponding to different nodes of the audio IVR menu. [0287] In an embodiment, Visuphone 3104a may send or receive one or more messages to or from second communi­cation device 3108a for establishing a communication ses­sion in communication network 3100. The one or messages may be sent as data packets when a data network such as the Internet is available. In an embodiment, the one or more messages may be sent as DTMF signals or tones. After estab­lishing a communication session with second communication device 3108a, caller 3106 can interact with second commu­nication device 3108a via the visual IVR menu associated with second communication device 3108a. [0288] In an embodiment, first communication device 3102a may receive an acknowledgement message from sec­ond communication device 3108a. In an embodiment, the acknowledgement message is received only when second communication device 3108 includes an IVR application such as Visuphone. The Visuphone will have similar function­ality as explained in above figures. [0289] In an embodiment, second communication device 3108 such as a second communication device 3108b may include an IVR application such as Visuphone 31 04b as shown in FIG. 31B. As shown communication network 100 may further include a second communication device 3108b (herein after second communication device 3108 may be used to refer second communication device 3108b and second communication device 3108a collectively or interchange­ably). Visuphone 3104b may send or receive one or more messages including information such as acknowledgment to or from first communication device 3102a. Visuphone 3104b is capable of sending messages required to establish a com­munication session with first communication device 3102a. [0290] FIG. 31C illustrates another exemplary environ­ment where communication device may exchange one or more messages or data packets for establishing communica­tion session, in accordance with an embodiment of the inven­tion. As shown, first communication device 3102b can be a communication device that may be connected directly to a network 3112. Examples of first communication device 3102b include, but are not limited to, a personal computer, a laptop, a mobile phone, a smart-phone, a fixed line telephone, a Voice Over Internet Protocol (VOIP) phone or other devices capable of voice or data communication. Examples of net­work 3112 include any wired or wireless network, such as but not limited to, LAN, WAN, a Wi-Fi network, and so forth. Further, first communication device 3102b may include vari­ous applications or computer programs that enable caller 3106 to use first communication device 3102b for dialing a phone number of second communication device 3108a-n through PSTN 3110 over network 3112 through a gateway 3114. For example, the applications may be VOW applica­tions, such as but not limited to, Skype, Magic Jack, Google Talk, and so forth. As discussed with reference to FIG. 31A and FIG. 31B, second communication device 3108b (or 3108a) presents the audible IVR to first communication device 3102b. [0291] Further, Visuphone 3104a may search or detect a data network. In an embodiment, Visuphone 31 04a may send one or more messages in the form of data packets to second communication device 3108b, when a data network such as the Internet is detected or available. Further, Visuphone 3104a may establish a communication session with second communication device 31 08b by exchanging one or more 28 Jan. 24, 2013 messages or data packets. Furthermore, Visuphone 3104a may send a first section of a data packet including first infor­mation such as header information to second communication device 3108b. In an embodiment, Visuphone 3104a may receive a message including acknowledgement information from second communication device 3108b. In an embodi­ment, the acknowledgement message is received at first com­munication device 3102b, when second communication device 31 08b includes an IVR application such as Visuphone 31 04b as shown in FIG. 31B. The acknowledgement message may be received based on the first section of the data packet. Thereafter, Visuphone 3104a of first communication device 3102b may send a second section of the data packet including second information such as a payload. In an embodiment, the Visuphone 3104a may exchange one or messages with Visu­phone 31 04b or second communication device 31 08a in form ofDTMF signals or tones. [0292] As illustrated in FIG. 31D, first communication device 3102c can be connected to the PSTN 3110 through network 3112 or through a cellular network 3116. Various service providers provide multiple or overlapping services to customers. For example, cable television service provider may also provide phone and network service, optical network provider may also provide phone or television services, WiMax service providers that provide phone service, and so forth. Network 3112 may be any service provider that pro­vides such services, for example, but not limited to, cell phone services, wireless services, network services, cable television services, or various combinations of the above or other type of serv1ces. [0293] First communication device 3102c includes Visu­phone 31 04a which displays data corresponding to the dialed phone number of second communication device 3108b (or 3108b). Further, Visuphone 3104a may display a visual IVR menu corresponding to the audible IVR menu of the dialed phone number of second communication device 3108b (or 3108a). In an embodiment, the visual IVR menu may be displayed when a call is received from second communica­tion device 3108b. Thereafter, caller 3106 may select one or more options from the displayed visual IVR menu. In an embodiment, the visual IVR menu may have an associated identity (ID) or number. The visual IVR menu will indicate the version information of the visual IVR menu. In an embodiment, Visuphone 3104a may send selection informa­tion including one or more options selected by caller 3106 to second communication device 3108b. In an embodiment, Visuphone 3104a may receive the audio/visual IVR menu from second communication device 3108b when a latest ver­sion of the visual IVR menu is not available at first commu­nication device 3102c. In an embodiment, the dialed second communication device 3108b may request the information from the server of communication network 3100 when the information requested by Visuphone 31 04a is not available at second communication device 3108b. Thereafter, second communication device 3108b may send the information received from the server to Visuphone 3104a. Visuphone 3104a may further request and/or receive information from the dialed second communication device 3108b. Further, Visuphone 3104a may display the information at first com­munication device 3102c. In an embodiment, Visuphone 3104a may include version information. The version infor­mation may be a combination of numbers, alphabets or an alphanumeric code indicating a version ofVisuphone 3104a.
  • 122.
    US 2013/0022191 AI Herein after, first connnunication device 3102 may be used to refer first connnunication device 3102a-c collectively. [0294] FIG. 32 illustrates an exemplary packet 3202 sent from first connnunication device 3102 (or device 3102) to second connnunication device 3108, in accordance with an embodiment of the present invention. In an embodiment, Visuphone 3104a of first connnunication device 3102 may send the packet 3202 to second connnunication device 3108 for establishing a connnunication session when a data net­work such as the Internet is available. Examples of packet 3202 include but are not limited to an Internet Protocol ver­sion 4 (IPv4) packet, an Internet Protocol version 6 (IPv6) packet, and so forth. In an embodiment, packet 3202 includes a first section 3202a and a second section 3202b. First section 3202a of packet 3202 includes first information. In an embodiment, first section 3202a may include header infor­mation. Examples of the first information include, but are not limited to, a Visuphone version, a visual menu identity (ID) of the visual IVR menu associated with second connnunication device 3108, arrACK bit, and so forth. The Visuphone version indicates the version information ofVisuphone 31 04a present at first connnunication device 3102. The visual menu ID indicates the identity information of the visual IVR menu associated with the dialed phone number of second connnu­nication device 3108. In an embodiment, the ACK or acknowledgement bit may be used by second connnunication device 3108 (or 3108b) to send an acknowledgement mes­sage. In an embodiment, the ACK bit may have a value such as 0 or 1. For example, second connnunication device 3108 may set theACK bit or acknowledgement bit to 1 and send it back to first connnunication device 3102 as an acknowledge­ment message. A value 1 in the ACK bit indicates that the message is an acknowledgement message for a previously sent message or section of the packet. In an embodiment, second connnunication device 3108 sends the acknowledge­ment message when second communication device 3108 includes Visuphone 3104b as shown in FIG. 31B. The ACK bit set as 1 indicates that the packet sent from first connnuni­cation device 3102 has been received at second connnunica­tion device 3108. In an embodiment of the invention, first section 3202a may be a header section of IPv6 packet. The structure of header section or first section 3202a is shown in FIG. 33. [0295] In an embodiment, second section 3202b of packet 3202 may include second information. Examples of the sec­ond information include, but are not limited to, a user ID, user options (selected from the visual IVR menu), user profile information (last dialed details), and so forth. In an embodi­ment, the second section may include a data or payload sec­tion. The user ID is the identity information of caller 3106 dialing the phone number of second connnunication device 3108. The user options indicate selection information includ­ing the one or more options selected from the displayed visual IVR menu. Visuphone 3104a displays the visual IVR menu associated with second connnunication device 3108 when the caller dials the phone number of second connnunication device 3108. The user profile indicates the information related to previous connnunication session or activities of caller 3106 or first connnunication device 3102. The user profile indicates information such as last dialed numbers, time oflast call, duration oflast call to the second connnuni­cation device 3108, access pattern of caller 3106, and so forth. In an embodiment, second section 3202b may be a payload or data section ofiPv6 packet. In an embodiment, the informa- 29 Jan. 24, 2013 tion of first section 3202a and second section 3202b may be sent separately as two different packets by Visuphone 3104a. In an embodiment first section 3202a and second section 3202b may be sent in form of DTMF tones or signals. The messages are sent in form of DTMF tones when the data network is not available. [0296] FIG. 33 illustrates an exemplary structure of first section 3202a of packet 3202 sent to second connnunication device 3108, in accordance with an embodiment of the inven­tion. In an embodiment, first section 3202a of packet 3202 may be a header section ofiPv6 packet. Further, first section 3202a may include a plurality of fields. Example of plurality of fields include, but are not limited to, a packet version 3302, a traffic class 3304, a flow label3306, a payload length 3308, a next header 3310, a hop limit 3312, a source address 3314, a destination address 3316, and so forth. Packet version 3302 indicates version information associated with packet 3202 such as IPv4, IPv6, and so forth. The version information may include numeric characters, alphabets or a combination thereof. In an embodiment of the invention, traffic class 3304 field may indicate whether the source device i.e. first com­munication device 3102 provides congestion control man­agement or not. Flow label 3306 field may be used to provide real time applications special services. Payload length 3308 field may indicate the size or length of the payload or data section (second section 3202b ). Next header 3310 field points to next element or packet in the chain of packets when mul­tiple packets are sent. Hop limit 3312 field may indicate the number of stops or hops the packet may take before reaching the final destination or second connnunication device 3108. Source address 3314 field may include the address of first connnunication device 3102. Destination address 3316 field may be address of second connnunication device 3108. In an embodiment, destination address 3316 field may be the address of next hop of packet 3202. [0297] FIGS. 34A and 34B illustrates a flowchart for com­municating among a plurality of connnunication devices, in accordance with an embodiment of the invention. As dis­cussed with reference to the FIGS. 31A and 31B, connnuni­cation network 3100 includes first connnunication device 3102. Further, connnunication network 3100 includes second connnunication device 3108. In an embodiment, first com­munication device 3102 may include Visuphone 31 04a. In an embodiment, second connnunication device may include an IVR application such as Visuphone. As shown in FIG. 31B, second connnunication device 3108b includes Visuphone 3104b. In another embodiment, second connnunication device may not include Visuphone as shown in FIG. 31A. Visuphone 3104a of first connnunication device 3102a may send one or more messages or packets to second connnuni­cation device 3108. The messages may be sent as Dual-Tone Multi-Frequency (DTMF) or tones depending on the avail­ability of the data network. Similarly, Visuphone 3104b may receive or send one or more messages/packets from/to first connnunication device 3102. Further, Visuphone 3104 may display the visual IVR menu associated with a phone number of second connnunication device 3108. First connnunication device 3102 includes one or more visual IVR menus associ­ated with a plurality of second connnunication devices. [0298] Caller 3106 may dial a phone number of second connnunication device 3108. In an embodiment, Visuphone 3104a may display a visual IVR menu associated with the dialed second connnunication device 3108. At step 3402, Visuphone 3104a of first connnunication device 3102
  • 123.
    US 2013/0022191 AI searches for a data network such as the Internet. At step 3404, an availability of the data network is checked. When the data network is available the process continues to step 3408 else the process control goes to step 3406. At step 3406, Visu­phone 3104a sends a first section of the packet to second communication device 3108 such as second communication device 3108b as DTMF signals or tones. As discussed with reference to FIG. 33, first section may include a first infor­mation or header information. Thereafter, first communica­tion device 3102 and second communication device 3108 may further communicate through the exchange of DTMF tones or signals. [0299] At step 3408, Visuphone 3104a sends a first section of the packet as a data packet to second communication device 3108a when the data network is available. In an embodiment, the data packet may be an IPv4 packet, an IPv6 packet, and so forth. As discussed with reference to FIG. 33, the first section of the packet includes first information. Examples of the first information include, but are not limited to, a Visuphone version, a visual menu identity (ID) associ­ated with the visual IVR menu corresponding to second com­munication device 3108, an ACK bit, hop limit, payload length, traffic class, and so forth. The Visuphone version field indicates the version information of the Visuphone 3104a present at first communication device 3102. In an embodi­ment, the visual menu ID field may indicate the identity information of the visual IVR menu associated with the dialed phone number of second communication device 3108. The ACK bit or acknowledgement bit may be used by second communication device 3108 to send an acknowledgement message from which the first section is received. In an embodiment, the ACK bit may have a value such as 0 or 1. [0300] At step 3410, it is checked, at second communica­tion device 3108, whether a Visuphone is available at second communication device 3108. If the Visuphone is not avail­able, first communication device 3102 and second communi­cation device 3108 may communicate by exchanging mes­sages/ information as DTMF tones or signals else process control goes to step 3412. At step 3412, an acknowledgement message based on the first section is received from second communication device 3108. In an embodiment, the acknowledgement message is received based on the first information of the first section. In an embodiment, Visuphone 3104b of second communication device 3108b sends the acknowledgement message to first communication device 3102. [0301] At step 3414, Visuphone 3104a sends a second sec­tion of the packet including second information to second communication device 3108 such as to second communica­tion device 3108b. Examples of the second information include, but are not limited to, a user ID, user options (se­lected from the visual IVR menu), user profile information (last dialed details), and so forth. The user ID is the identity information of caller 3106 who dials the phone number of second communication device 3108. The user options indi­cate selection information including the one or more options selected from the displayed visual IVR menu. The visual IVR menu is associated with the phone number of second com­munication device 3108 dialed from first communication device 3102. Visuphone 3104a may display the visual IVR menu associated with second communication device 3108. The user profile indicates the information related to previous communication session or activities of caller 3106 or first communication device 3102. The user profile indicates infor- 30 Jan. 24, 2013 mation such as last dialed numbers, time oflast call, duration of last call to second communication device 3108, and so forth. [0302] In an embodiment, Visuphone 3104a may send header information as a first section of the packet and data or payload as second section of the packet. In an embodiment, first communication device 3102 may send the second section of the packet after receiving an acknowledgement message from second communication device 3108. In an embodiment, the first section and the second section of the packet may be sent as a single packet 3202, as shown in FIG. 32. [0303] FIG. 35A illustrates an exemplary communication network where a call is received at a device from a first party device, in accordance with an embodiment of the invention. A device 3502a may receive a call from a plurality of first party devices 3508a-n in a communication network 3500. A person skilled in art will appreciate, that communication network 3500 may also include different types of devices. Further, communication network 3500 may include a plurality of device 3502. First party devices 3508a-n may initiate a call to connect to device 3502a. First party devices 3508a-n are devices which are capable of data/voice communication. Examples of first party devices 3508a-n include, but are not limited to, a telephone, a computer, a laptop computer, a personal digital assistant (PDA), a mobile phone, and so forth. Each of first party devices 3508a-n may have associated one or more phone numbers. Further, each of first party devices 3508a-n may have audio or visual IVR menu corresponding to the associated one or more phone numbers. Various types of organization which implement audio IVR systems such as, but are not limited to, banks, hotels, fast-food outlets, utility services providers, corporate offices, mobile phone service providers, hospitals, and so forth. An agent or customer care executive, a person associated with the organizations may use first party devices 3508a-n for initiating calls to devices 3502a-n. Typically, the audible IVR menu provided by first party devices 3508a-n comprises audible options or instruc­tions. Further, the visual IVR menu includes one or more text and/or graphical representation of different nodes corre­sponding to different nodes of the audio IVR menu as dis­played in FIG. 2A and FIG. 2B. [0304] A caller 3506 may connect to a first party device of the first party devices 3508a-n either by accepting a call from the calling first party device or by dialing a phone number of first party device 3508a. After establishing a connection with first party device 3508a, caller 3506 can interact with first party device 3508a via the IVR menu associated with first party device 3508a. Further, first party devices 3508a-n can send information to device 3502a. Similarly, device 3504a may also request information from first party devices 3508a­n. Device 3502a can be a telecommunication device that can connect directly to a PSTN 3510. A person skilled in the art will appreciate, that device 3502a can also connect to a pri­vate telephone exchange. [0305] A Visuphone 3504 of device 3502a can display a visual IVRmenu associated with the calling first party device. In an embodiment, Visuphone 3504 may display the visual IVR menu at device 3502a even before accepting the call by caller 3506. Thereafter, caller 3506 can select one or more options from the displayed visual IVR menu to obtain the required resource/information or service from the calling first party device 3508a. Furthermore, Visuphone 3504 may dis­play one or more communication options on a screen of device 3502a. Examples of the communication options
  • 124.
    US 2013/0022191 AI include, but are not limited to, a conferencing option, a call forwarding option, a busy option, and so forth. Caller 3506 can select a communication option from the displayed one or more communication options. Based on the selection by caller 3506 a communication session may be established between device 3502a and the calling first party device 3508a. In an embodiment, when caller 3506 selects the 'con­ferencing' option, another device of communication network 3500 may be included in the call with first party device 3508a. [0306] In an embodiment of the invention, device 3502a can request and/or receive updates from the server. This may happen in a case when requested information is not available on the calling first party device. Device 3502a may also request information from first party device 3508a from which the call is received. [0307] FIG. 35B illustrates another exemplary communi­cation network in which an IVR menu is displayed when a call is received from a first party device, in accordance with an embodiment of the invention. As shown [0308] , a device 3502b can be a communication device that can be connected directly to a network 3514. Examples of device 3502b include, but are not limited to, a personal com­puter, a laptop, a mobile phone, a smart-phone, a fixed line telephone, a VOID phone or other devices capable of voice or data communication. Device 3502b may include various applications or computer programs such as Skype, Magic Jack etc, that enable caller 3506 to use device 3502b for receiving and/or accepting call from first party devices 3508a-n through PSTN 3510 over network 3514 through a gateway 3512. Network 3514 may include any wired or wire­less network, such as but not limited to, LAN, WAN, a Wi-Fi network, and so forth. As discussed with reference to FIG. 35A, first party devices 3508a-n presents the audible IVR to device 3502b. Visuphone 3504 will function in a similar manner as described in FIG. 35A. [0309] As shown in FIG. 35C, a device 3502c can be con­nected to PSTN 3510 through network 3514 or through a cellular network 3516. Various service providers provide multiple or overlapping services to customers. For example, cable television service provider may also provide phone and network service, optical network provider may also provide phone or television services, WiMax service providers that provide phone service, and so forth. Network 3514 may be any service provider that provides such services, for example, but not limited to, cell phone services, wireless services, network services, cable television services, or various com­binations of the above or other type of services. In an embodi­ment of the invention, Visuphone 3504 may display one or more communication options at device 3502c along with the visual IVR menu of the associated calling phone number of first party device 3508a. Caller 3506 may select a communi­cation option from the displayed communication options for interacting with the calling first party device 3508a. In an embodiment, Visuphone 3504 may receive the visual IVR menu from first party device 3508a. In an embodiment, call­ing first party device 3508a may request the information requested by Visuphone 3504 or caller 3506, from the server of communication network 3500. Thereafter, calling first party device 3508a may send the information received from the server to Visuphone 3504. Visuphone 3504 may further request and/or receive information from calling first party device 3508a. Further, Visuphone 3504 may display the infor­mation at device 3502c. 31 Jan. 24, 2013 [0310] FIG. 36 illustrates yet another exemplary commu­nication network in which an IVR is displayed when a call is received at a device, in accordance with an embodiment of the invention. As discussed with reference to FIG. 35A, commu­nication network 3500 includes first party devices 3508a-n which may initiate a call to the phone number associated with device 3502a. Further, communication network 3500 may include a third party device 3602. In an embodiment, com­munication network 3500 may include more than one third party device 3602. Device 3502a includes Visuphone 3504 that can receive the call from first party device 3508. Visu­phone 3504 may further display a visual IVR menu associ­ated with the calling first party device 3508. In an embodi­ment, device 3502a may be referred as a second party device. [0311] Further, Visuphone 3504 can highlight an option or node in the visual IVR menu. The highlighted option repre­sents the exact position of first party device 3508 within the visual IVR menu from where the call is initiated. For example, in case of a bank, if a person from insurance depart­ment initiates a call to a mobile phone, then the node repre­senting the insurance is highlighted in the visual IVR menu of the bank displayed at the mobile phone. Therefore, caller 3506 can know exactly from which department within the organization the call is coming from. Accordingly, caller 3506 may act or opt to attend or reject the call from first party device 3508. [0312] Further, Visuphone 3504 may display one or more communication options on a screen of device 3502a. Examples of the one or more communication options can include, but are not limited to, a conferencing option, a call forwarding option, a busy option, and so forth. Caller 3506 may select an option from the displayed communication options. Visuphone 3504 may establish a connection with a third party device based on the selection of the communica­tion option by caller 3506. Third party device 3602 may be a device 3502, a first party device of first party devices 3508a-n, a server, and so forth depending on the selection of the com­munication option. Further, third party device 3602 may have an associated phone number. [0313] In an embodiment, when caller 3506 selects a 'con­ferencing' option from the displayed one or more communi­cation options then third party device 3602 may be included in the call. Now third party device 3602, device 3502a, and first party device 3508a from which the call was received initially may communicate through a conference call and can interact with each other. Thereafter, all three types of devices in the conference call may further request or receive informa­tion from each other. In an embodiment, third party device 3602 may be another device of communication network 3500. In an embodiment, Visuphone 3504 may further dis­play a visual IVR menu associated with third party device 3602. In an embodiment, Visuphone 3504 of the device 3502a may receive the visual IVR menu associated with the phone number of third party device 3602. In an exemplary scenario, a user receives a call at a first mobile phone from an executive of the insurance department of a bank. The user may select a 'conferencing' option and can include another user of a sec­ond mobile phone who might be interested in knowing about the insurance policies offered by the executive. In an embodi­ment, caller 3506 of device 3502a may opt to leave the con­ference call in between of the call. Thereafter, first party device 3508a and third party device 3602 may continue with the call.
  • 125.
    US 2013/0022191 AI [0314] In an embodiment, caller 3506 may select a 'call forwarding' option of the displayed one or more communi­cation options to forward the call coming from first party device 3508a to third party device 3602. Thereafter, a user of third party device 3602 may interact with first party device 3508a. For example, when a user of first mobile phone receives a call from a pizzeria, then a visual IVR menu of the pizzeria can be displayed at the mobile phone along with various communication options. The user may forward the call to a second mobile phone by selecting the 'call forward­ing' option. Now, the call will be between the second mobile phone and the pizzeria. In an embodiment, third party device 3602 may include a Visuphone or IVR application. In another embodiment, third party device 3602 may include one or more audio and/or visual IVR menus. In an embodiment, a visual IVR menu associated with a phone number of third party device 3602 may be displayed on device 3502a. Further, Visuphone 3504 may receive the visual IVR menu associated with the third party device from third party device 3602. [0315] FIG. 37 illustrates an exemplary visual IVR menu 3702 along with one or more communication options at device 3502a, in accordance with an embodiment of the invention. As discussed with reference to FIGS. 35A and 36, Visuphone 3504 may display the visual IVR menu 3702 associated with the phone number of calling first party device 3508 on the screen of device 3502a. The visual IVR menu is displayed with added graphics on the screen of device 3502. Visual IVR menu 3702 may include one or more options corresponding to every node in calling first party device 3508. It is well known that graphics are easier to learn and are faster to recognize than words. Therefore, graphics are used in various computerized device interfaces. Various types of graphics can be displayed for example, animated icons, icons that highlight or animate when the node is highlighted, and so forth. The graphics may be displayed for each node or a few nodes based on the usability of visual IVR menu 3702. For example, for node 3716 of home delivery, an icon of house may be displayed. In an embodiment of the invention, visual IVR menu 3702 can be customized to display only the text, only the icons or both. Furthermore, caller 3506 can suggest or use various icons based on his preferences. The visual IVR menu is specific to first party device 3508 from which call is received. [0316] Further, each of first party devices 3508a-n may have more than one audio IVR menus. Therefore, different visual IVR menu corresponding to the one or more audio IVR menus is possible for each of first party devices 3508a-n. In an embodiment, device 3502 may include more than one visual IVR menus for each first party device of first party devices 3508a-n based on the time. Therefore, different visual IVR menus corresponding to a first party device 3508 might be presented to caller 3506 depending on the time of dialing to first party device 3508. In an exemplary scenario, in a hotel, the food items in a daytime menu card may be different from a night menu card. Accordingly, the options in the visual IVR menu may differ. Therefore, the visual IVR menus for day­time and night can be different for the hotel. When caller 3506 receives a call from the phone number of the hotel in daytime, a daytime visual IVR menu can be displayed at device 3502, and if caller 3506 receives a call at night, a different, menu can be displayed at device 3502. Therefore, a visual IVR menu of the hotel displayed at device 3502 for a call received at 1 PM may be different then the visual IVR menu displayed for another call received at 5 PM. 32 Jan. 24, 2013 [0317] Further, Visuphone 3504 may display the one or more communication options 3720a-n on the screen of device 3502. Examples of one or more communication options 3720a-n include, but are not limited to, a conferencing option, a call forwarding option, a busy option, and so forth. In an embodiment, when caller 3506 selects a 'busy' option from communication options 3720a-n, a text or audio message may be sent to calling first party device 3508. For example, when a user receives a call from a bank and selects the 'busy' option from the displayed visual IVR menu of the calling bank, then a customized or predefined message such as "I am busy right now, so please call later" can be sent to the bank. In an embodiment, the message may be an audio message. [0318] In an embodiment, when caller 3506 accepts the call from first party device 3508, a communication session is established between device 3502 and calling first party device 3508. After communication session establishment, Visu­phone 3504 of device 3502 may request and/or receive infor­mation from calling first party device 102. In an embodiment, caller 3506 may include third party device 3602 by selecting 'conferencing' option from displayed communication options 3720a-n. Thereafter, the three devices i.e. first party device 3508, second party device 3502, and third party device 3602 may have a conference call and can communicate with each other. In an embodiment, caller 3506 may include more than one third party device 3602 in the conference call. In an embodiment, third party device 3602 may include another communication device of communication network 3500 in the conference call. In another embodiment, the calling first party device such as first party device 3508a may include another first party device such as a first party device 3508b in the conference call. In another embodiment, first party device 3508 from which call is received may connect device 3502 to another first party device 3508b during the call. [0319] FIG. 38 illustrates another exemplary visual IVR menu 3802 along with one or more communication options at device 3502a, in accordance with an embodiment of the invention. Visual IVR menu 3802 is a visual menu corre­sponding to an audio IVR menu of a bank. Visual IVR menu 3802 includes one or more options corresponding to every node in the audible IVR menu when the calling first party is the bank or an executive of the banl<. Though not shown, nodes of visual IVR menu 3802 may be represented using graphics such as, animated icons, icons that highlight or ani­mate when the node is highlighted, and so forth. Further, graphics may be displayed for each node or a few nodes based on the usability of visual IVR menu 3802. Visual IVR menu 3802 includes nodes such as personal banking node 3806, NRI banking node 3808. Caller 3506 can choose NRI bank­ing by pressing a combination 1-3. Thereafter, caller 3506 can select investment option by pressing 2. Furthermore, caller 3506 can suggest or use various icons based on his prefer­ences. The visual IVR menu is specific to a destination. For example, hospitals will have different IVR menu than that of the bank. In an embodiment, one or more communication options 3720a-n may also be displayed on the screen of device 3502. Caller 3506 can select a communication option of displayed communication options 3720a-n. Visuphone 104 may include a third party device as shown in FIG. 36 based on selection of the communication option. [0320] Another embodiment of the invention allow visual IVR menu for calls received at a conventional home tele­phone. FIG. 39 illustrates the presentation of the visual IVR menu when a phone connection is associated with a wide
  • 126.
    US 2013/0022191 AI band interne 'smart' modem. A phone 3904 connected to a PSTN 3908 and through a gateway 3916 to the Internet net­work 3918 is shown in FIG. 39. A first party device 3508a can call a phone number of the phone 3904. Network 3918 may be any service provider that provides services, for example, but not limited to, telephone services, cell phone services, wire­less services, Internet services, cable television services, or various combinations of the above or other type of services. An embodiment of the invention allow visual IVR menu for calls received at a conventional home telephone. [0321] Further, the connection to network 3918 is associ­ated with a wide band Internet 'smart' modem 3906. Phone 3904 may be a regular phone, such as a landline phone or a cordless landline phone. Modem 3906 may be a Digital Sub­scriber Link (DSL) modem or a cable modem that connects the home device to the Internet and/or computer network. Modem 3906 is connected to a service provider, and can provide the home devices with telephone, Internet and tele­vision services. Modem 3906 may provide both wired and wireless connections. Modem 3906 provides the home with the Internet through wire 3910 to a computer 3902, or through a Wi-Fi connection. Modem 3906 comprises the ability to detect and recognize the calls received by phone 3904. The phone number of the call received by phone 3904 to establish connection are then compared with phone numbers stored in a database, such as visual menu database 308. Therefore, in case the calling phone number corresponds to first party device 3508a with an audible IVR menu, and also when associated visual IVR menu exists then, modem 3906 may provide the visual IVR menu on computer 3902 connected to it. Moreover, modem 3906 may use private web sites to present the visual IVR menu or just provide the phone number of the calling first party device 3508a to computer 3902. Thereafter, a software tool on computer 3902 may present the visual IVR menu on the screen of the computer 3902. [0322] Once the communication session is established between first party device 3508a and phone 3904, the 'smart' modem 3906 will continue to monitor the numbers dialed or received by phone 3904 to browse or advance the visual IVR menu accordingly. Furthermore, the numbers dialed or received may be stored for future processing such as high­lighting previous selections in the visual IVR menu, provid­ing customized visual IVR menu and so forth. The visual IVR menu system comprising computer 3902 and modem 3906 may incorporate additional enhancements as presented before. [0323] In another embodiment of the invention, a house television 3912 may be used to present the visual IVR menu. In various houses modem 3906 decodes television signals and transfers it to a set-top box 3914 that provides signals to television 3912. The visual IVR menu may be presented on a channel dedicated for IVR. Therefore, when phone 3904 is used to receive a call, modem 3906 can detect it and present the visual IVR menu corresponding to the phone number of the calling first party device 3508a on the designated channel of the television 3912. Modem 3906 may further display one or more communication options 3720a-n on the designated channel of the television 3912. Further, all the options described before can be provided now using the screen of the television 3912 for the visual IVR menu. The caller selection can be done by using the simple phone 3904 or alternatively using TV 3912, set top box 3914 remote control. Further, television 3912 screen may be used to present the visual IVR menu in a few alternatives ways. For example, a device pro- 33 Jan. 24, 2013 vided by a company named Rokuinc., allows streaming of content from the Internet to television. Most set-top boxes now have an Internet connection or telephone connections. Furthermore, various devices such as some Digital Versatile Disc (DVD) players, and video game players or controllers such as Xbox or Playstation, can be connected to the Internet. Each of those devices may allow the 'smart' modem 3906 to provide a visual IVR menu and/or the one or more commu­nication options 3720a-n on the screens of television 3912. [0324] FIG. 40 illustrates a flowchart for providing enhanced telephony when a call is received, in accordance with an embodiment of the invention. First party devices 3508a-n may call a phone number of device 3502. Device 3502 may receive a call from the phone number of first party devices 3508a-n. Caller 106 may accept call at device 3502 to connect or interact with first party devices 3508a-n and/or third party device 3602. First party devices 3508a-n may include an audible IVR menu for interaction with caller 3506. Further, device 3502 may include Visuphone 3504 to display a visual IVR menu 3702 associated with a phone number of a calling first party device 3508. Further, Visuphone 3504 may display the one or more communication options 3720a-n at device 3502, as discussed with reference to the FIG. 37. Visuphone 3504 may establish a commnnication session with the phone number of calling first party device 3502 by accept­ing the call. In an exemplary scenario, a user of the mobile phone receives a call from a bank, then 'conferencing' and 'call forwarding' options may also be displayed along with the visual IVR menu of the bank on the mobile phone. The user may select a 'conferencing' option to include another mobile device in the conference call. Similarly, the user may select the 'call forwarding' option to forward the call to another commnnication device or a server in communication network 3500. [0325] At step 4002, a call from a phone number of a first party device 3508 such as a first party device 3508a, is received. The call may be received by Visuphone 3504 of device 3502. First party device 3508a may initiate a call to device 3504 by dialing a phone number of device 3502. At step 4004, the phone number of first party device 3508a is compared with a plurality of phone numbers stored at device 104. Visuphone 3504 may compare the phone number of first party device 3508a with the stored phone numbers. [0326] A visual menu database may store the one or more phone numbers of first party devices 3508a-n. Further, the visual menu database stores one or more visual IVR menus associated with the phone numbers of first party devices 3508a-n. In an embodiment, it may be checked whether a visual IVR menu associated with the phone number of the calling first party device 3508a is present in the visual menu database of device 3502. If the visual IVR menu is not present, device 3502 may receive the visual IVR menu asso­ciated with first party device 3508a from first party device 3508a. In an embodiment, the visual IVR menu associated with first party device 3508a may be received from the server. [0327] At step 4006, visual IVR menu associated with the calling first party device 3508a is displayed. The visual IVR menu may be displayed at the display of device 3502. The visual IVR menu includes one or more graphics and/or text options corresponding to different nodes as shown in FIG. 3 7. At step 4008, one or more communication options 3720a-n is displayed. One or more communication options 3720a-n may be displayed at a display of device 3502. Examples of one or more commnnication options 3720a-n include, but are not
  • 127.
    US 2013/0022191 AI limited to, a conferencing option, a call forwarding option, a busy option, and so forth. At step 3710, caller 3506 of device 3502 may select a communication option of the displayed one or more communication options 3720a-n. At step 4012, a communication session is established based on the selection by caller 3506. In an embodiment, caller 3506 may select the 'conferencing' option, to establish the communication ses­sion between first party device 3508a, device 3502 and third party device 3602. Thereafter, all the three devices can com­municate/ interact with each other and may request/receive information from each other. In another embodiment, caller 3506 may forward the call of first party device 3502a to another communication device of communication network 3500 by selecting the 'call forwarding' option. In an embodi­ment, the call may be forwarded to a server of communication network 3500. In another embodiment, caller 3506 may select the 'busy' option when caller 3506 cannot attend the call. Selecting the 'busy' option by the user may send a predefined audio/text message to calling first party device 3508a. [ 03 28] In another embodiment of the invention, a method is disclosed for displaying a visual IVR menu associated with a phone number of a first party device from which a call is received, at the device. [0329] In an embodiment of the invention, more than one visual IVR menus associated with the phone numbers of the first party devices may be displayed at a communication device. In an embodiment, the Visuphone may display the one or more visual IVR menus at the communication device. In another embodiment of the invention, the user may request information from more than one first party device simulta­neously. The user may interact with more than one visual IVR menus associated with different first party devices. In an embodiment, the one or more visual IVR menus may be associated with the second party device. For example: a user receives a call from an insurance department of a bank offer­ing some insurance policy to the user. When the user accepts the call a visual IVR menu associated with the bank with the insurance department highlighted is displayed on the screen of the device. During the call, if the user wish to check his/her account balance to take a decision regarding insurance poli­cies. The user may check his/her account balance by selecting the personal banking option from the visual IVR menu of the bank. As soon as the user selects this option another visual IVR menu of the personal banking will be displayed on the screen of the communication device. Thereafter, the user may simultaneously interact with both the visual IVR menus. [0330] In an embodiment of the invention, the user may request information from more than one first party device simultaneously. The user may interact with more than one visual IVR menus associated with different first party devices. For example: a user gets a call from a restaurant offering different types of cuisine. When the user accepts the call a visual IVR menu associated with the restaurant is dis­played at the screen of the device. During the call, if the user wishes to check menus of two or more cuisines, the user may select from the main visual IVR menu of the restaurant. Based on the selection by the user, the two or more visual IVR menus may be displayed at the device. Thereafter, the user may simultaneously interact with the displayed visual IVRmenus. [0331] According to an embodiment of the invention, por­table devices such as smart phones, mobile phones, land line phone, and so forth may also include Visuphone and can connect to external devices. Usually the display screen of 34 Jan. 24, 2013 portable device is small and not so user friendly. The Visu­phone of such devices may be configured to automatically detect external devices such as a laptop, a computer, an LCD screen etc present in its vicinity. Further, the detected elec­tronic devices are configured to connect with the portable devices. This functionality of the Visuphone has been explained in detail using FIG. 41 to FIG. 64. [0332] FIG. 41 illustrates an enviroument 4100 where a device may be connected to an external device, according to an embodiment of the invention. Environment 4100 includes a portable device 4102 including a Visuphone 4104. Examples of portable device 4102 include but are not limited to a mobile phone, a smart phone, a Personal Desktop Assis­tant (PDA), a tablet Personal Computer (PC), and so forth. Environment 4100 further includes a plurality of external devices 4106a-n. Portable device 4102 may be used for data and voice communications. In an embodiment of the inven­tion, portable device 4102 may include an Operating System (OS) such as, but not limited to, Windows Mobile, Apple iOS, GoogleAndroid, Symbian, and so forth. Portable device 4102 may be connected to multiple external devices 3506a-n. Examples of external devices 3506a-n include, but are not limited to, a display screen, a laptop, an electronic musical instrument, a keyboard, a mouse, and so forth. [0333] Portable device 4102 may connect to external devices 41 06a-n by using Bluetooth, Wi-F i, Infrared, or other wireless protocols. Further, portable device 4102 may con­nect to external devices 4106a-n by using an Ethernet cable, a video cable, Universal Serial Bus (USB), and so forth. When connected to the external device such as a display screen, the display of the external device may be used to display the content of screen of portable device 4102. More­over, external device 4106b such as a mouse connected to portable device 4102, can be used to provide inputs that are reflected on the display of the external device. As a result, portable device 4102 can act as a universal communication hub that can enable interaction of multiple external devices 4106a-n among each other. [0334] FIG. 42 illustrates exemplary functioning of por­table device 4102 in the environment discussed in conjunc­tion with FIG. 41, in accordance with an embodiment of the invention. As shown, a display screen 4202, a keyboard 4204, and a mouse 4206 can be connected through portable device 4102. Therefore, the screen of portable device 4102 is dis­played on a larger screen of display screen 4202. Moreover, a user can use keyboard 4204 and mouse 4206 to access the information through portable device 4102. For example, in this configuration, the user can browse the Internet by using display screen 202, keyboard 204, and mouse 206, while portable device 4102 provides the Internet connectivity. Therefore, a computer other than portable device 4102 may not be required by the user. As a result, the user can carry portable device 4102 and use it with various external devices as desired. [0335] In an embodiment of the invention, portable device 41 02a such as a smart phone or mobile phone may detect and connect to a laptop 4302 as shown in FIG. 43. The connection between portable device 4102a and laptop 4302 may be wired such as via a USB wire or it can be wireless such as via Bluetooth or Wi-Fi. Thereafter, portable device 4102a may use display oflaptop 4302. Further, laptop 4302 may be used to control one or more functions of portable device 41 02a and vice versa. For example, user can use one or more keys of
  • 128.
    US 2013/0022191 AI laptop 4302 may be used to access phone book of the smart phone or to dial a phone number. [0336] In another embodiment of the invention, portable device 41 02a may detect a large display screen 4402 as shown in FIG. 44. Further, portable device 4102a may use Bluetooth, USB wire, and so forth to connect to large screen 4402. The large screen 4402 may be a Light Emitting Diode (LED) display screen, a Liquid Crystal Display (LCD) screen, and so forth. Usually. Portable devices such as mobile phones, smart phones, wired telephones etc. have either a small display or limited display capabilities. In such cases, portable devices include a Visuphone. The Visuphone may be further config­ured to detect and connect portable device 4102 to one or more external devices such as large screen 4402. Once con­figured, the Visuphone can detect large display 4402 and can connect to it via Bluetooth. In an embodiment, the portable device 4102a may connect to external devices 4106a-n using Near Field Communication (NFC) protocol. Further, when portable device 4102a is video conferencing with another portable device, the video can be displayed at large screen 4402. For example, when the smart phone is in video call with another phone, the video of the user at another phone will be displayed at the large screen. [0337] In another embodiment of the invention, portable device such as a smart phone 4102a may detect and connect to a television screen 4502 as shown in FIG. 45. Visuphone 4104 can detect television screen 4502. In this case, television screen 4502 may be used to display the screen of portable device 4102a such as a mobile device. Therefore, when the user is connected to television 4502, screen of television 4502 can be used to access various functions of portable device 4102 such as, but are not limited to, call receiving, dialing, browsing the phonebook, typing a message, browsing the Internet, and so forth. This functionality increases the com­fort in using the small form factor of portable device 4102. [0338] In another embodiment of the invention, Visuphone 4104 may detect a picture frame 4602 and connect it to portable device 4102a it as shown in FIG. 46. The connection between portable device 4102a (the smart phone) and picture frame 4602 can be wireless or wired. The wireless connection may be established by using Bluetooth, Wi-Fi, NFC, and so forth. The wired connection may be established via USB or using a cable wire. In an embodiment, picture frame 4602 may be a digital picture frame. The digital picture frame is a picture frame which may be used to display images or photos without the need of printing or using them on computer. Once connected, display of picture frame 4602 may be used to display screen of portable device 4102a such as a mobile phone. [0339] In another embodiment of the invention, portable device 4102a may detect and connect to a Global Positioning System (GPS) navigation system 4702 as shown in FIG. 47. Visuphone 4104 detects GPS navigation system 4702. There­fore, when the user is connected to GPS navigation system 4702, screen of GPS navigation system 4702 may be used as display of portable device 4102a such as a mobile device. Further, screen ofGPS navigation system 4702 can be used to access various functions of portable device 41 02a such as call receiving, browsing the phonebook, browsing the Internet, and so forth. This functionality increases the comfort in using portable device 4102a such as the mobile phone which has limited display. [0340] In yet another embodiment of the invention, smart phone 4102a can detect and connect to a projector 4802 as 35 Jan. 24, 2013 shown in FIG. 48. Visuphone 4104 detects the availability of projector 4802. Further, Visuphone 4104 may connect to pro­jector 4802 using any of wired or wireless connection. Fur­ther, projector 4802 is configured to connect to connect to Visuphone 4104 of smart phone 4102a. Projector 4802 may be connected to a display 4804. Similarly, the connection between projector 4802 and display 4804 can be wired or wireless. Further, projector 4802 can project the display of smart phone 4102a on display 4804. Further, one or more functions of projector 4802 may be controlled by using con­nected smart phone 4102a. [0341] FIG. 49 illustrates exemplary display of an Interac­tive Voice Response (IVR) menu on a large display screen 4902 connected to a portable device 4102, in accordance with an embodiment of the invention. Large display screen 4902 can be a screen of any of external devices 4106a-n. Portable device 4102 can be a smart phone, a mobile phone, a pager, and so forth. A visual IVR menu 4904a is a visual menu including one or more options at portable device 4102. A visual IVR menu 4904b is a visual menu at large display screen 4902 corresponding to visual IVR menu 4904a. Dis­playing visual IVR menu of mobile phone on large display screen 4902 enhances visibility. [0342] FIG. 50 illustrates a block diagram of portable device 4102, in accordance with an embodiment of the inven­tion. Herein after, portable device 4102 may be referred to as device 4102. Device 4102 can connect to Public Switched Telephone Network (PSTN) 5016 through a radio interface 5012 in a wired or wireless manner. For example, radio inter­face 5012 may provide 2G, 3G, and/or 4G, connectivity in case of device 4102 being a mobile phone. Moreover, net­work interface 5014 can be used to connect device 4102 to network 5018. Examples of network 5018 include wireless or wired networks such as Local Area Network (LAN), Personal Area Network (PAN), or other specialized networks. FIG. 51 shows when network 5018 is a wireless network 5102. Net­work interface 5014 may allow connectivity through various protocols such as TCP/IP, Bluetooth, acoustic signals, or other types of radio signals. For example, device 4102 may connect to a television through Bluetooth for displaying the contents of device 4102. [0343] Device 4102 includes a display 5002 to output graphical information to the user. In an embodiment of the invention, display 5002 may includes a touch sensitive screen. A memory 5006 of device 4102 stores various pro­grams, data and/or instructions that can be executed by a processor 5004. Examples of memory 5006 include, but are not limited to, a Random Access Memory (RAM), a Read Only Memory (ROM), a hard disk, and so forth. A person skilled in the art will appreciate that other types of computer­readable media which can store data that is accessible by device 4102, such as magnetic cassettes, flash memory cards, digital video disks, and the like, may also be used by device 4102. Further, memory 5006 may include an OS 5010. Fur­ther, other applications such as instant messaging application, browser, and so forth may be available on device 4102. Pro­cessor 5004 may include a connection manager 5008 that enables device 4102 to connect to external devices 4106a-n through network interface 5014. In an embodiment of the invention, connection manager 5008 may be implemented as a second processor in device 4102. [0344] Device 4102 includes a system bus 5020 for con­necting the components. Examples of system bus 5020 include several types of bus structures including a memory
  • 129.
    US 2013/0022191 AI bus or memory controller, a peripheral bus, or a local bus using any of a variety of bus architectures. [0345] In another embodiment of the invention, a portable device may be connected to a user device as shown in FIG. 52. As shown, an environment 5200 includes a portable device 5202 that can be used by a user through a user device 5204. Further, portable device 5202 may include a Visuphone 5208 for connecting and establishing a communication with user device 5204. Examples of user device 5204 include but are not limited to a mobile phone, a smart phone, a Personal Digital Assistant (PDA), a tablet Personal Computer (PC), and so forth. User device 5204 may be used for data and/or voice communications over a PSTN, mobile network, the Internet, the Ethernet, and so forth. Further, portable device 5202 is configured to connect to multiple external devices 5206a-n. Furthermore, user device 5204 may be connected to multiple external devices 5206a-n and communicate with any of external device 5206 through portable device 5202. User device 5204 is configured to connect with portable device 5202. Similarly, multiple external devices 5206a-n are con­figured to connect to portable device 5202. [0346] In an embodiment of the invention, portable device 5202 may include an Operating System (OS) such as, but not limited to, Windows Mobile, Apple iOS, Google Android, Symbian, and so forth. Examples of external devices 5206a-n include, but are not limited to, a display screen, a keyboard, a mouse, an LED screen, a Laptop, and so forth. In an embodi­ment of the invention; portable device 5202 may include a dock for receiving and connecting to user device 5204. In an embodiment, user device 5204 may include a Visuphone. [0347] Portable device 5202 may connect to external devices 5206a-n by using Bluetooth, Wi-Fi, Infrared, or other wireless protocols. Further, Visuphone 5208 is configured to connect to any of external devices 5202a-n. Further, portable device 5202 may connect to external devices 5206a-n by using an Ethernet cable, a video cable, Universal Serial Bus (USB), and so forth. Therefore, the display on the screen of portable device 5202 can be presented on external device 5206a such as a display screen. Moreover, external device 5206b such as a mouse connected to portable device 5202 can be used to provide inputs that is reflected on the display screen. As a result, portable device 5202 acts as a universal communication hub that can enable interaction of multiple external devices 5206a-n among each other. [0348] Further, as shown in FIG. 53, user device 5204 may be connected to portable device 5202 via a network 5302. Network 5302 can be the Internet, LAN, MAN, and so forth. In an embodiment, user device 5204 and portable device 5202 may be separated by a large distance. Further, user device 5204 is configured to connect to portable device 5202. Fur­ther, Visuphone 5208 is configured to search for available one or more devices such as external devices 5206a-n and user device 5204. [0349] FIG. 54 illustrates exemplary functioning of por­table device 5202 connected to a mobile phone 5402 in the environment as discussed in conjunction with FIG. 52 or FIG. 53. As shown, user device 5204 such as mobile phone 5402 may connect to display screen 4202, keyboard 4204, and mouse 4206 of the computer through portable device 5202. Therefore, the screen of mobile phone 5402 is displayed on a larger screen of display screen 4202. Moreover, a user can use keyboard 4204 and mouse 4206 to access the information through portable device 5202. For example, in this configu­ration, the user can browse the Internet by using display 36 Jan. 24, 2013 screen 4202, keyboard 4204, and mouse 4206, while mobile phone 5402 provides the Internet connectivity and portable device 5202 provides the connectivity among mobile phone 5402 (or user device 5204), display 4202, keyboard 4204 and mouse 4206. Therefore, a computer other than mobile phone 5402 and portable device 5202 may not be required by the user. In an embodiment, mobile phone 5402 (or user device 5204) may not include a Visuphone. [0350] In an embodiment of the invention, portable device 5202 can provide connectivity to multiple user devices. For example, in a home environment, portable device 5202 may detect multiple mobile phones and wired phone. Therefore, the screen of a mobile phone may be displayed on a television near to that mobile phone. In another embodiment of the invention, portable device 5202 may enable communication among multiple user devices. Further, the multiple user devices are configured to connect to portable device 5202. [0351] FIG. 55 illustrates an exemplary functioning of por­table device 5202 connected to mobile phone 5402 and a projector 5502 in the environment as discussed in conjunction with FIG. 52 or FIG. 53. Portable device 5202 may be con­nected to projector 5502, and to a user device such as mobile phone 5402. Further, projector 5502 may be connected to a bigger display 5504. Once all the devices are connected, display of mobile phone 5402 may be displayed on bigger display screen 5504. Visuphone 5208 of portable device 5202 will detect and connect the configured devices i.e. mobile phone 5402 (or user device) and projector 5502. Thereafter, one or more functions of mobile phone 5502 can be controlled by using projector 5502 and vice versa. [0352] FIG. 56 illustrates another exemplary functioning of portable device 5202 connected to mobile phone 5402 and large screen 4402 in environment 5200, in accordance with an embodiment of the invention. As shown Visuphone 5208 of portable device 5202 may detect an external device such as a large screen 4402. A user device such as a mobile phone 5402 can be connected to large screen 4402 via portable device 5202. Mobile phone 5402 is configured to connect with por­table device 5202. Similarly, large screen 4402 is also con­figured to connect to portable device 5202. Further, the con­nection between portable device 5202 and mobile phone 5402 can be wired or wireless. Furthermore, the connection between portable device 5202 and large screen 4402 can be wired or wireless. Thereafter, display of mobile phone 5402 may be displayed on large screen 4402 after being connected to portable device 5202. [0353] In an embodiment of the invention, external device 5206a-n such as a television 4502 may be connected to user device such as mobile phone 5402 via portable device 5202 as shown in FIG. 57. Further, mobile phone 5402 and television 4502 are configured to connect with portable device 5202. In an embodiment of the invention, mobile phone 5402 may include a Visuphone. Though not shown, any user device other than mobile phone 5402 may be connected to portable device 5202. [0354] FIG. 58 illustrates exemplary functioning of por­table device 5202 connected to mobile phone 5402 and a laptop 4302 in the environment of FIG. 52 or FIG. 53, in accordance with another embodiment of the invention. A communication session between mobile phone 5402 and lap­top 4302 may be established via portable device 5202. Mobile phone 5402 is configured to connect with portable device 5202. Similarly, laptop 4302 is also configured to connect to portable device 5202. After getting connected to each other
  • 130.
    US 2013/0022191 AI via portable device 5202 contents of mobile phone 5402 may be displayed on screen oflaptop 4302. [0355] In another embodiment of the invention, an external device such as picture frame 4602 may be connected to a user device such as a wired telephone 5902 via portable device 5202 as shown in FIG. 59. As shown, Visuphone 5208 of portable device 5202 may detect an external device such as wired telephone 5802 and connect to it. Further, Visuphone 5208 may detect and connect to an external device such as picture frame 4602. [0356] According to yet another embodiment of the inven­tion, external device such as a GPS navigation system 4702 may be connected to a user device such as mobile phone 5402 via portable device 5202 as shown in FIG. 60. Both the devices i.e. GPS navigation system 4702 and mobile phone 5402 are configured to connect to portable device 5202. Once connected to portable device 5202, contents of mobile phone 5402 may be displayed by using screen of GPS navigation system 4702. For example, when a call is received at mobile phone 5402, an IVR menu associated with the calling party may be displayed at screen ofGPS navigation system 4702. [0357] FIG. 61 illustrates an exemplary display of a visual Interactive Voice Response (IVR) menu on a large display screen 6102 connected to a portable device such as the smart phone 6106, in accordance with an embodiment of the inven­tion. Display 6104a is a display of a visual IVR menu on smart phone 6106. Display 6104b is the display of the visual IVR menu on large display screen 6102 corresponding to display 6104a of smart phone 6106. [0358] FIG. 62 illustrates a block diagram of portable device 5202, in accordance with an embodiment of the inven­tion. Network interface 6210 can be used to connect portable device 5202 to network 6212. Examples of network 6212 include wireless or wired networks such as Local Area Net­work (LAN), Personal Area Network (PAN), Bluetooth, or other specialized networks. Network interface 6210 may allow connectivity through various protocols such as TCP/IP, Bluetooth, acoustic signals, or other types of radio signals. For example, portable device 5202 may connect a mobile phone to a television through a Bluetooth communication link. As a result, the contents on screen of the mobile phone can be displayed on the television screen which is larger than that of the mobile phone. In an embodiment of the invention, portable device 5202 can use different protocols for commu­nicating with different devices based on their capabilities. For example, portable device 5202 may connect to a mobile phone through Bluetooth and the television through Wi-Fi. [0359] Portable device 5202 includes a memory 6204 to store various programs, data and/or instructions that can be executed by a processor 6202. Examples of memory 6204 include, but are not limited to, a Random Access Memory (RAM), a Read Only Memory (ROM), a hard disk, and so forth. A person skilled in the art will appreciate that other types of computer-readable media which can store data that is accessible by portable device 5202, such as magnetic cas­settes, flash memory cards, digital video disks, and the like, may also be used by portable device 5202. Memory 6204 may include an OS 6208. Further, other applications such as instant messaging application, browser, and so forth may be available on portable device 5202. Processor 6202 may include a connection manager 6206 that enables portable device 5202 to connect to external devices 5206a-n through network interface 6210. In an embodiment of the invention, 37 Jan. 24, 2013 connection manager 6206 may be implemented as a second processor in portable device 5202. [0360] Device 5202 includes a system bus 6214 for con­necting the components. Examples of system bus 6214 include several types of bus structures including a memory bus or memory controller, a peripheral bus, or a local bus using any of a variety of bus architectures. [0361] FIG. 63 is a flowchart illustrating the functioning of portable device 4102 in accordance with an embodiment of the invention. As discussed with reference to FIG. 41, por­table device 4102 includes a Visuphone 4104. Further, por­table device 4102 is configured to detect and connect to any one of external devices 4106a-n. [0362] At step 6302, Visuphone 4104 of portable device 4102 searches for an external device 4106. For example, a Visuphone present in a smart phone searches for an external device such a large display screen, a laptop, a computer, and so forth. At step 6304, it is checked whether the external device is available. In an embodiment, the availability of external device is chaked within a predefined distance such as within 50 meters, 10 meters, and so forth. If the external device is detected the portable device connects to the external device at step 6306, else control goes back to step 6302. Thereafter, at step 6308 contents of display screen of portable device 5202 are displayed at the connected external device. For example, when connected to a laptop, the content of smart phone is displayed on the laptop screen. [0363] FIGS. 64Aand 64B illustrates a flowchart for imple­menting a portable device 5202 in the environment 5200, in accordance with an embodiment of the invention. Portable device 5202 includes a Visuphone 5208. Visuphone 5208 is configured to detect and connect to one or more devices such as external devices 5206a-n, user device 5204, and so forth. [0364] At step 6402, Visuphone 5208 searches for a user device 5204. At step 6404, it is checked whether user device 5204 is available. If user device 5204 is available than a connection is established between portable device 5202 and the detected user device 5204 at step 6406 else control goes back to the step 6402. [0365] At step 6408, Visuphone 5208 of portable device 5202 searches for an external device 5206. At step 6410, it is checked whether the external device 5206 such as external device 5206b is available. If the external device 5206 is avail­able, then the process control goes to step 6412 else the control goes back to step 6408. At step 6412, a connection is established between portable device 5202 and the detected external device 5206b. Thereafter, contents of display of con­nected user device 5204 are displayed on a screen of the connected external device 5206b. For example, contents of a mobile phone may be displayed on a screen of a television which is connected to the television via portable device 5202. [0366] FIG. 65 illustrates exemplary functioning of a Visu­phone for displaying one or more contact options at a device, in accordance with an embodiment of the invention. Some­times it may be desired by a caller to call specifically to a particular branch or department of a destination. For example, while calling for a restaurant the user may be interested in calling to a particular branch (or location) of the restaurant but the user might not be aware of the exact phone number of that branch. In an embodiment, when a user or caller dials a phone nnmber of a destination, Visuphone of device such as mobile phone may display one or more contact options 6520a-n along with the visual IVR menu associated with the dialed destination. Contact options 6520a-n can be contact details or
  • 131.
    US 2013/0022191 AI information associated with different branches (or locations) of the dialed destination. For example, if the user dials a phone number of a pizzeria (e.g. pizza hut), then the Visu­phone will display visual IVR menu 6502 of the pizzeria as well as one or more contact options corresponding to the other branches of same pizzeria (of pizza hut). [0367] Further, by clicking or selecting at least one contact option of contact options 6520a-n, the user can connect to desired branch or department of the dialed destination (or pizzeria). In an embodiment, when the user selects a contact option 6520b, a visual IVR menu associated with a particular branch or department of the dialed destination can be dis­played at the device. In an embodiment, contact options 6520a-n may include information such as, but not limited to, a phone number, an address, a department name, and so forth. In an embodiment, one or more contact options 6520a-n can be a tab with a tab name such as department name. The user can select one contact option of contact options 6520a-n based on the contact details or information. In an embodi­ment, the different branches of the dialed destination may have different IVR menus. Further, the user can switch the display on the screen of device (or device 1 02) by selecting at least one contact option 6520. Visuphone of device (device 1 02) takes the appropriate action based on the selection made by the user. In an embodiment, when the user selects a contact option, a visual IVR menu of the selected contact option such as a particular department of the dialed destination is dis­played. [0368] Visual IVR menu 6502 may include various options 6504 to 6518. The user can select one or more options from the displayed visual IVR menu. For example, the user can order a pizza by selecting option 6506 or by pressing 1-2 keys of keypad of device. In an embodiment, the user may switch directly to some other department or branch of the dialed destination by selecting at least one contact option from the displayed contact options 6520a-n. Based on the selection, the display of device 102 may change. [0369] FIG. 66 illustrates change of display at user device 102, when a user selects a contact option, in accordance with an embodiment of the invention. As discussed with reference to FIG. 65, when a user selects a contact option such as 6520b of the contact options 6520a-n, a visual IVR menu 6602 associated with the contact option 6520b may be displayed at device 102. Visual IVR menu 6602 may include various options 6604-6614. For example, if the user selects a contact option corresponding to a home delivery department of the dialed pizzeria, then visual IVR menu 6602 for home delivery can be displayed as shown. Visual IVR menu 6604 includes options such as for ordering pizza by selecting an option 6606 (in case of a touch screen enabled device) or by pressing a combination of keys i.e. 1-2 on keypad of device 102. Simi­larly, the user may get status for previously placed order by selecting an option 6608. The user can choose to talk to an executive by selecting option 6614. Contact options 6520a-n provides an option to the user for directly connecting to IVR system of the desired branch, this way time can be saved. [0370] FIG. 67 illustrates an exemplary functioning of Visuphone for displaying one or more contact options at a device, in accordance with another embodiment of the inven­tion. When a user dials a phone number of a destination, such as an XYZ airlines customer care, from device 102. Then a visual IVR menu 6702 of the XYZ airlines can be displayed at screen of device 102. Additionally, one or more contact options such as XYZ Domestic Airline Contact Option 6720a 38 Jan. 24, 2013 and XYZ International Airline Contact Option 6720b can be displayed at the screen of device 102. [0371] In an exemplary scenario, the user may be interested in contacting or knowing details of domestic airlines or inter­national airlines department of XYZ Airlines specifically. The user may directly dial to these specific airline depart­ments by selecting a related contact option from the displayed contact options. For example, the user can directly connect to domestic airlines IVR system of XYZ airlines by selecting the XYZ Domestic Airlines Contact Option 6720a. After detecting the selection of option 6720a, the Visuphone of device 102 can display a visual IVR menu associated with the Domestic Airlines department of XYZ airline as shown in FIG. 68. Similarly, the user can select International Airlines Contact Option 6720b to directly connect to the XYZ Inter­national Airlines department. Thereafter, the user can interact with the displayed visual IVR menu. [0372] FIG. 68 illustrates change in display at device 102 based on selection of a contact option by a user of device 102, in accordance with an embodiment of the invention. As dis­cussed with reference to FIG. 67, a visual IVR menu ofXYZ airlines is displayed when the user dials a phone number of XYZAirlines. One or more contact options 6720a-b can also be displayed along with visual IVR menu 6702. After detect­ing a selection of contact option from the user at device 102, the Visuphone may display a visual IVR menu of the selected option. As shown, the visual IVR menu 6802 associated with domestic airlines department ofXYZ is displayed when the user selects 'XYZ Domestic Airlines Contact Option' 6720a. Visual IVR menu ofXYZ domestic airlines includes multiple options such as a Booking option 6806, a Status Inquiry option 6808, an Other Inquiry option 6810, and so forth. The user can interact with visual IVR menu 6802 by selecting one or more options of visual IVR menu 6802 from these options 6804 to 6818. For example, the user can select a combination of keys 1-4-2 to directly talk to an executive. In an embodi­ment, device 102 may have a touch sensitive screen, in such as device the user can select option 6818. [0373] FIG. 69 illustrates a flow diagram illustrating an exemplary functioning of the Visuphone for displaying one or more contact options, in accordance with an embodiment of the invention. Device 102 includes a Visuphone for display­ing a visual IVR menu associated with a dialed phone number of a destination. Further, the Visuphone can display one or more contact options on a screen of device 102. Device 102 can be a telecommunication device that can connect directly to a Public Switched Telephone Network (PSTN) 110. A person skilled in the art will appreciate, that device 102 can also connect to a private telephone exchange. Examples of device 102a include, but not limited to, a mobile phone, a Smartphone, a telephone, or any other device capable of voice or data communication. When caller 106 dials a phone num­ber of a destination and connects to any destination from destinations 108a-n, a visual IVR menu may be displayed at device 102. Additionally, one or more contact options may also be displayed at device 102. Contact options may include information describing one or more branches of the dialed destination. [0374] At step 6902, a user dials a phone number of a destination. At step 6904, the Visuphone displays a visual IVR menu associated with the dialed phone number of the destination. At step 6906, one or more contact options are also displayed at the screen of device 102. In an embodiment, the Visuphone searches the database for contact options match-
  • 132.
    US 2013/0022191 AI ing the phone number of the dialed destination and displays the contact options at device 102. At step 6908, a user selects at least one contact option from the displayed contact options as shown in FIG. 65 and FIG. 67. Thereafter, at step 6910, the display of the visual IVR menu at device 102 is changed based on the selection of the contact option. In an embodi­ment, a visual IVR menu associated with the selected contact option is displayed at device 102. Thereafter, the user or caller may interact with the displayed visual IVR menu of the selected contact option. [0375] Embodiments of the invention provide a method for establishing a communication session among a plurality of communication devices. A communication device may send a first section including first information or header information to a second communication device. A Visuphone at the com­munication device sends the first section. The communication device includes one or more visual IVR menus. The header information may include information such as Visuphone ver­sion, visual IVR menu ID, ACK bit, and so forth. In an embodiment, the communication device may receive an acknowledgement message based on the first section from the second communication device. The acknowledgement mes­sage is received when the second communication device includes a Visuphone. Thereafter, the Visuphone at the second communication device may send a second section or packet including a second information or payload to the second communication device. The payload may include informa­tion such as user ID, user profile, user selection, and so forth. Thereafter, a communication session is established between the communication device and the second communication device. In an embodiment, the second communication device may not include the Visuphone. In such a case the communi­cation device and the second communication device commu­nicates through DTMF signals or tones. [0376] An aspect of the invention is to provide a system for communicating among a plurality ofiVR enabled communi­cation devices. [0377] Another aspect of the invention is to enable the caller to interact with the visual IVR menu by using a touch sensitive screen of the device. [0378] Another aspect of the invention is to provide the position based visual IVR menus in a communication net­work. [0379] Another aspect of the invention is to provide a device for communicating with a second communication device. The device includes an IVR application such as Visu­phone. In an embodiment, the second communication device also includes the IVR application such as Visuphone. [0380] Another aspect of the invention is to provide the visual IVR menu when the call is forwarded from one first party device to another first party device. [0381] Another aspect of the invention is to provide visual IVR menus on receiving a call from the first party device on electronic devices with screens that are connected to Visu­phone. [0382] Yet another aspect of the invention is that the user may involve other one or more users or communication devices in a call from a first party device. Thereafter, the user, the another user may interact with the first party device in a conference call. In an embodiment, the user may leave the conference call in between the call. [0383] Additional aspect of the invention is to provide a method for establishing a communication session in a com- 39 Jan. 24, 2013 munication network. The communication session may be established between two or more IVR enabled devices. [0384] Further aspect of the invention is to provide a method for establishing a communication session among a plurality of communication devices. The communication devices may or may not include Visuphone. [0385] Another aspect of the invention is to provide a method for establishing a communication session among a plurality of communication devices. The communication ses­sion is established by sending one or more packets when a data network such as the Internet is available. [0386] Another aspect of the invention allows a device to call a destination automatically according to the predefined calling information entered by a user. [0387] Another aspect of the invention saves the effort made by the user of the communication device for retrieving information from an IVR system of the dialed destination. The Visuphone dials the phone number of the destination and retrieves the information automatically depending on the pre­defined calling information. Later, the user can use the retrieved information as per his/her convenience. In an embodiment, the user may not wish to use the information at the time of its retrieval. In such a case the information is stored and can be accessed later. [0388] An advantage of the invention is that the communi­cation device can send more information as data packets/ messages to the second communication device by using a data network. The data packets may be exchanged among various communication devices. The data packet may include infor­mation required for establishing a communication session. [0389] An advantage of an embodiment of the invention is that the user himself/herself does not have to dial the desti­nation again and again for receiving information. Visuphone 104 present at device 102 of caller 106 may dial the phone number of the destination automatically based on the pre­defined calling information set by the caller 106. Further, Visuphone 104 requests and receives the requested or inquired information automatically. [0390] Another advantage of the invention is that the user does not have to wait for long time for retrieving any infor­mation from a destination. When the requested information is not available, the user may schedule a call at later time by entering few settings on device 102. Thereafter, Visuphone 104 may dial the phone number of the destination according to the entered settings automatically and may download the desired information. The downloaded information may be used by the user at a later time. [0391] Additional advantage of the invention relates to call­ers who are more proficient in foreign language. Visuphone may provide the visual IVR menu in multiple languages. A caller can than choose a language ofhis choice and download to his device database the menu in that language. [0392] Yet another advantage of the invention relates to IVR that ask for voice commands. This IVR interface is for some caller harder to use due to accent or other problems. The database could be provided with the option as been described before for the system to output voice command according to caller selection of the menu options. [0393] Embodiments of the invention are described above with reference to block diagrams and schematic illustrations of methods and systems according to embodiments of the invention. It will be understood that each block of the dia­grams and combinations of blocks in the diagrams can be implemented by computer program instructions. These com-
  • 133.
    US 2013/0022191 AI puter program instructions may be loaded onto one or more general purpose computers, special purpose computers, or other programmable data processing translator to produce machines, such that the instructions which execute on the computers or other programmable data processing translator create means for implementing the functions specified in the block or blocks. Such computer program instructions may also be stored in a computer-readable memory that can direct a computer or other programmable data processing apparatus to function in a particular manner, such that the instructions stored in the computer-readable memory produce an article of manufacture including instruction means that implement the function specified in the block or blocks. [0394] While the invention has been described in connec­tion with what is presently considered to be the most practical and various embodiments, it is to be understood that the invention is not to be limited to the disclosed embodiments, but on the contrary, is intended to cover various modifications and equivalent arrangements included within the spirit and scope of the appended claims. The invention has been described in the general context of computing devices, phone and computer-executable instructions, such as program mod­ules, being executed by a computer. Generally, program mod­ules include routines, programs, characters, components, data structures, etc., that perform particular tasks or implement particular abstract data types. A person skilled in the art will appreciate that the invention may be practiced with other computer system configurations, including hand-held devices, multiprocessor systems, microprocessor-based or programmable consumer electronics, network PCs, mini­computers, mainframe computers, and the like. Further, the invention may also be practiced in distributed computing worlds where tasks are performed by remote processing devices that are linked through a communications network. In a distributed computing world, program modules may be located in both local and remote memory storage devices. [0395] This written description uses examples to disclose the invention, including the best mode, and also to enable any person skilled in the art to practice the invention, including making and using any devices or systems and performing any incorporated methods. The patentable scope the invention is defined in the claims, and may include other examples that occur to those skilled in the art. Such other examples are intended to be within the scope of the claims if they have structural elements that do not differ from the literal language of the claims, or if they include equivalent structural elements with insubstantial differences from the literal languages of the claims. 1-20. (canceled) 21. A system for enhancing user interaction with Interac­tive Voice Response (IVR) destinations, the system compris­ing: a processor; and a memory coupled to the processor, the memory compris­ing: instructions executable by the processor for communi­cating with a plurality of IVRs, and receiving infor­mation from a dialed IVR corresponding to an inter­active voice response menu sent in response to a user telephone call; and instructions executable by the processor to transfer said information to an Internet Protocol (IP) address asso­ciated with said user. 40 Jan. 24, 2013 22. The system of claim 21, wherein said information comprises at least one icon. 23. The system of claim 21, wherein said instructions executable by the processor to transfer said information com­prise instructions to convert said voice response menu to a standard menu. 24. Computer readable media comprising the instruction of claim 21. 25. The system of claim 21, further comprising: instructions executable by the processor for receiving a response from said user and transferring said response to said dialed IVR. 26. The system of claim 21, further comprising: instructions to associate data received from said user with said information. 27. A system for enhancing user interaction with Interac­tive Voice Response (IVR) destinations, the system compris­ing: a processor; and a memory coupled to the processor, the memory compris­ing: instructions executable by the processor for communi­cating with a plurality of IVRs, and receiving infor­mation from a dialed IVR in response to a user tele­phone call; and instructions executable by the processor to transfer menu corresponding to said information to an Internet Protocol (IP) address associated with said user. 28. The system of claim 27, wherein said menu comprises at least one icon. 29. The system of claim 27, further comprising: instructions executable by the processor to select a stan­dard menu corresponding to the business of said dialed IVR and to convert said information according to said standard menu. 30. A computer readable media comprising the instruction of claim 27. 31. The system of claim 27, further comprising: instructions executable by the processor for receiving a response from said user and transferring said response to said dialed IVR. 32. The system of claim 27, further comprising: instructions executable by the processor to attach an adver­tisement to said menu. 33. The system of claim 27, further comprising: instructions executable by the processor to translate said menu to a different language than used in said informa­tion. 34. The system of claim 27, wherein said instructions to transfer menu corresponding to said information to an Inter­net Protocol (IP) address comprises instructions to transfer to two Internet Protocol (IP) addresses associated with said user. 35. A system for enhancing user interaction with Interac­tive Voice Response (IVR) destinations, the system compris­ing: a processor; and a memory coupled to the processor, the memory compris­ing: a visual menu database corresponding to a plurality of IVRs; instructions executable by the processor for communi­cating with at least one of said plurality of IVRs, and
  • 134.
    US 2013/0022191 AI selecting at least one visual menu corresponding to dialed IVR from said database in response to a user telephone call; and instructions executable by the processor to transfer said at least one visual menu to an Internet Protocol (IP) address associated with said user using an Internet Protocol. 36. The system of claim 35, wherein said instructions executable by the processor to transfer said at least one visual menu to an Internet Protocol (IP) address associated with said user comprises instructions to use a hypertext transfer proto­col (HTTP). 37. The system of claim 35, wherein said instructions executable by the processor to transfer said at least one visual menu to an Internet Protocol (IP) address associated with said user comprises instructions to use a hypertext transfer proto­col secure (HTTPS). 41 Jan. 24, 2013 38. The system of claim 35, wherein said instructions executable by the processor to transfer said at least one visual menu to an Internet Protocol (IP) address associated with said user comprises instructions to use a session initiation protocol (SIP). 39. The system of claim 35, further comprising: instructions executable by the processor for updating said at least one visual menu stored in said visual menu database for changed IVRs menu corresponding to said plurality ofiVRs. 40. The system of claim 35, further comprising: instructions executable by the processor for recording the user selection on said at least one visual menu and pre­senting the user a personalized visual menu. * * * * *