Embed presentation
Download to read offline















































































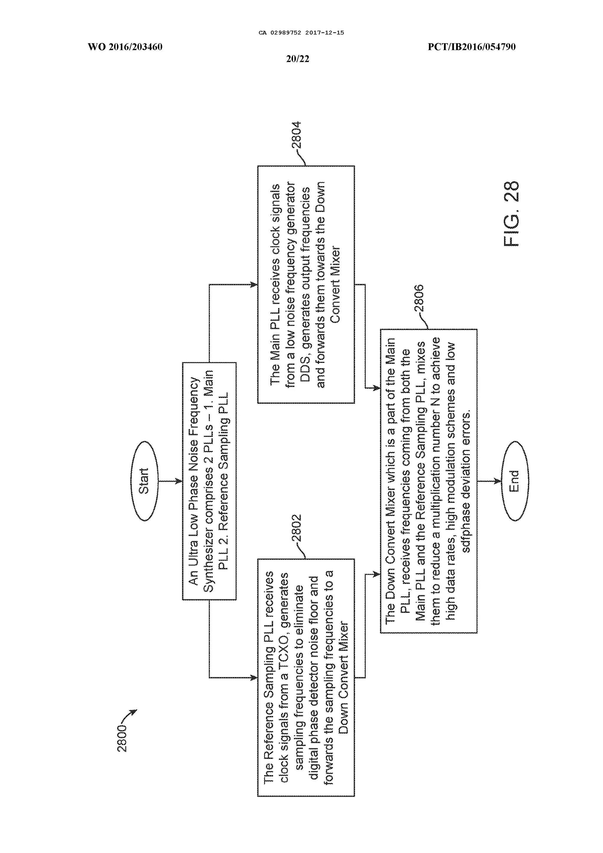
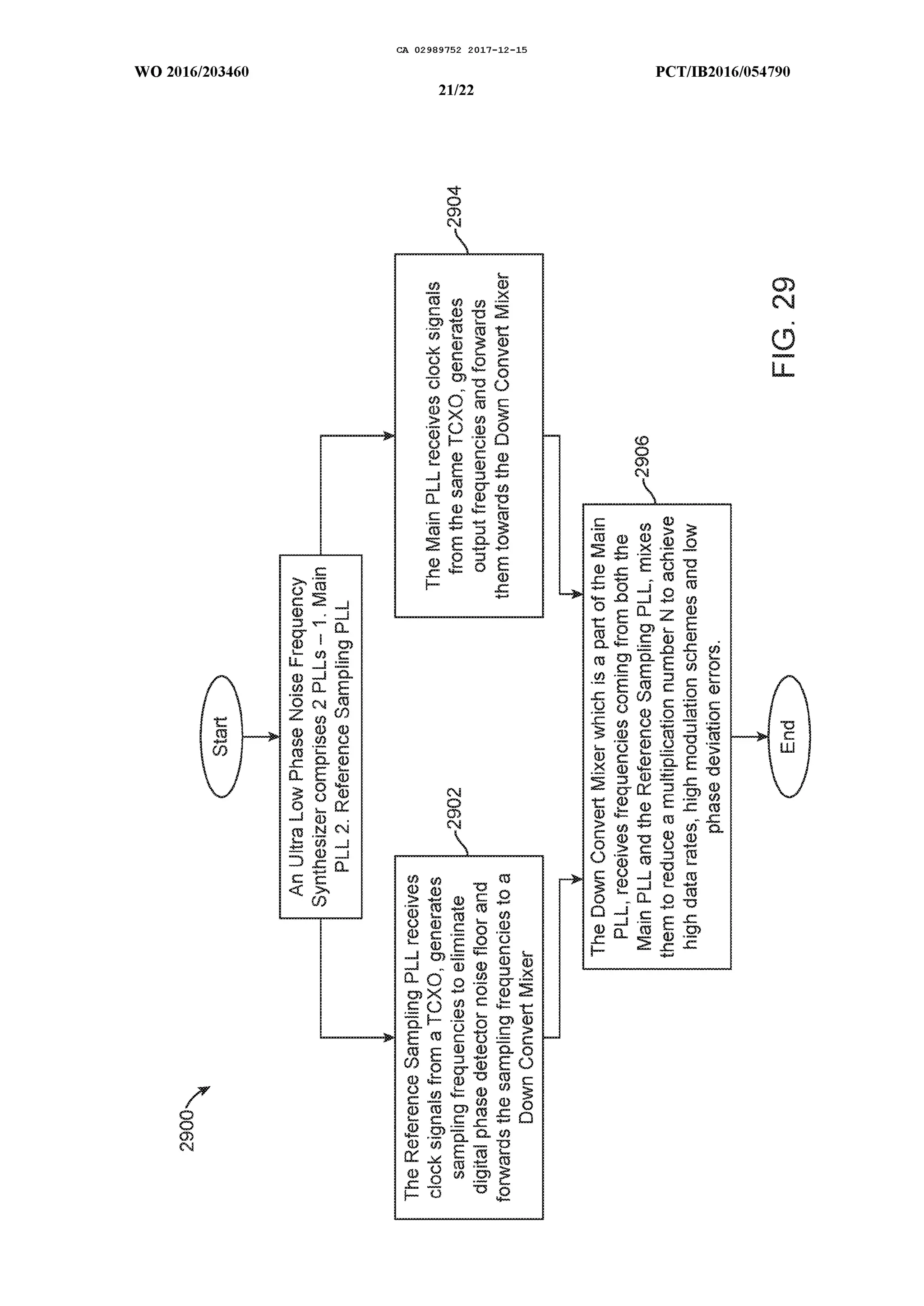
A system for providing ultra low phase noise frequency synthesizers using Fractional-N PLL (Phase Lock Loop), Sampling Reference PLL and DDS (Direct Digital Synthesizer). Modern day advanced communication systems comprise frequency synthesizers that provide a frequency output signal to other parts of the transmitter and receiver so as to enable the system to operate at the set frequency band. The performance of the frequency synthesizer determines the performance of the communication link. Current days advanced communication systems comprises single loop Frequency synthesizers which are not completely able to provide lower phase deviations for errors (For 256 QAM the practical phase deviation for no errors is 0.4-0.5°) which would enable users to receive high data rate. This proposed system overcomes deficiencies of current generation state of the art communication systems by providing much lower level of phase deviation error which would result in much higher modulation schemes and high data rate.













































































