Embed presentation
Downloaded 459 times







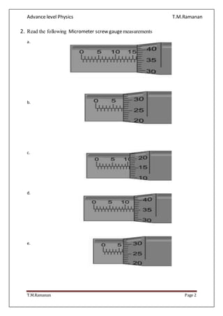
This document discusses the use of a micrometer screw gauge for measurements and contains exercises for calculating its least count and reading measurements taken with it. The exercises guide the student to determine the least count, read measurements indicated on the gauge, and calculate the reading for a given gauge.





