BEARINGS
Function AND TYPES


Bearings do these jobs:

    1. Support the moving part
    2. Reduce friction by reducing metal to metal contact
    3. Reduce wear
    4. Provide a replaceable wear surface.




                    Figure 1. Types of bearing used in modern machines

Bearings support moving parts by carrying radial and axial loads while holding the
parts in alignment.


Bearings reduce friction by providing either sliding contact (plain bearings) or rolling
contact (anti friction bearings). Bearings also reduce friction with a lubricant which will
dissipate heat.

Types of bearings
There are two basic types of bearings:
    Plain bearings (bushings)
    Anti-friction bearings
Split Bearing




     Ball Bearing      Roller Bearing        Needle Bearing
                                                                       PLAIN BEARINGS
           ANTIFRICTION BEARINGS
                                                                         (BUSHINGS)



                                          PLAIN BEARINGS
Plain or sleeve bearings are designed to support shafts that rotate,
oscillate, or reciprocate.
sleeve bearings are highly engineered components.

sleeve bearing lubrication is hydrodynamic; that is, during operation, the
shaft floats on a thin film of the lubricant.




                                        Some types of plain bearings
Types of plain bearings:

       Solid bearing or sleeve.
       Split bearings
       Thrust bearings
       Solid bearing
       Self-aligning bearing




LOADS ON PLAIN BEARINGS
Plain bearing can be used to withstand Loads in linear, reciprocating and rotational motions.
They can carry the following loads:



       Radial
       Thrust




Bearing designed for radial loads only




Thrust washers used with radial-load-type bearings
Some plain bearings are designed to carry both radial and thrust loads.
Notice the difference between radial and thrust split bearings.




       Figure 4. Bearings designed for both radial and thrust loads.



BEARING MATERIALS

Construction

Monometals. Bearings made from a solid bar or tubes of an aluminum or
bronze alloy have been
available for a number of years. They are generally used where loads are
not very high.

Bimetals. A bimetal bearing has a steel back, to which is bonded a liner
of Babbitt, copper-lead,
or aluminum. Babbitts are soft alloys of lead or tin, with additives such as
copper, antimony, and
arsenic.

Trimetals. In order to achieve the desirable surface properties of a
Babbitt bearing and the
strengths of harder materials, the trimetal bearing was developed for
heavy-duty applications.
MATERIALS IN PLAIN BEARINGS
Bearings are constructed of a variety of materials. Some of these are:
     wood
     plastic
     cast iron
     chilled cast iron
     sort steel
     hardened steel
     copper
     brass
     bronze
     copper-lead
     aluminum
     babbit
     sintered metal
     graphite
     nylon.


Requirements

Embeddability. The ability of a material to absorb foreign particles
circulating in the oil stream is
referred to as embeddability.

Conformability. The material also must be soft enough to creep or flow
slightly to compensate for
the minor geometric irregularities which are present in every assembly.

Fatigue Strength. This is the ability of a bearing material to withstand the
loads to which it is subjected
without cracking.

Temperature Strength. As operating temperatures increase, bearing
materials tend to lose strength.
This property indicates how well a material carries a load at elevated
temperatures, without breaking
up or flowing out of shape.
Thermal Conductivity. Shear of the oil film by the shaft generates
significant heat, most of which
is carried away by the oil.

Corrosion Resistance. Oils oxidize with use, and the products of this
degradation can be corrosive.

The material used in a bearing depends on :
     the space available
     the speed the shaft turns
     the amount of load it carries
     the type of lubricant used
     the cost of the installation


PREVENTIVE MAINTENANCE OF PLAIN BEARINGS

Lubricant Supply. Proper bearing design and material are necessary to
achieve long service life but are not by themselves sufficient.
Lubricant flow to the bearings is a function of the equipment design. Oil
pressure at specified speeds should be within the limits given by the
equipment builder. Lower values suggest worn bearings.

In this case, replacement should be made as soon as is feasible.

Excessive pressures indicate a blockage or restriction somewhere in the
system. This should be investigated immediately.

The oil level also should be checked on a routine basis to avoid pump
cavitation and subsequent oil starvation.

In non-pressurized lube systems, reservoirs should be checked on a
regular schedule to ensure that adequate oil is always present.

Cleanliness. Sleeve bearings simply cannot survive without adequate
lubrication. Once this is assured, the next most important consideration is
the cleanliness of the lubricant. Since minimum film thickness is so small,
the presence of oil-borne debris can greatly accelerate the wear process.
If foreign materials such as metal chips and abrasives are large and
numerous, bearing failure can

Lubricant Type. Ensuring an adequate flow of clean lubricant makes
long bearing life possible but does not guarantee it. The oil must be the
proper one for the application. From a bearing performance viewpoint,
lubricant viscosity is the most important parameter. Lower-viscosity (i.e.,
thinner) oils reduce oil film thickness.
This increases the wear rate and can possibly lead to failure.

It is critical that the equipment manufacturer’s lubricant recommendations
be followed.

In addition, the proper combination of oil additives is necessary to prevent
rapid breakdown, thickening, foaming, and sludging. All these effects can
lead to bearing failure, as well as to the damage of other components.




                A sampling of bearings, bushings, and thrust washers.
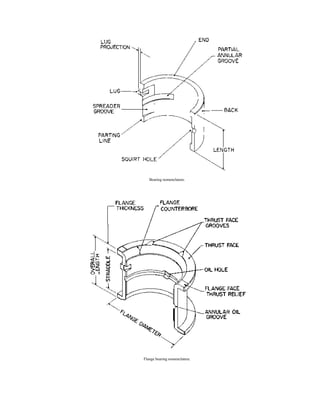
Bearing nomenclature.




Flange bearing nomenclature.
LUBRICATING PLAIN BEARINGS
Lubricants are used to reduce friction and wear in bearings. The less friction the less wear. Three

states of friction or lubrication may exist between sliding surfaces (As in Lubrication module in this

manual).


        Dry friction

        Boundary lubrication
        Full-film lubrication


How Lubricant Is Distributed To Bearings
The bearing must have these characteristics in order to perform well:

   1.   It must have a means of distributing the lubricant, (oil grooves).

   2.   Oil clearance must be correct to fit the shaft well.
   3.   The bearing surface must be compatible with the shaft, the lubricant, and the speed of
        rotation.

STATES OF LUBRICATION:
     Surfaces in contact
     Surfaces separated by lubricant
     Surfaces separated by hydrodynamic pressure (Hydrodynamic Journal Bearing)
METHODS OF LUBRICATION
Lubricants may be applied to plain bearings in many different ways

Two types of lubricants are most familiar:

       Oil
       Grease


They are applied by oil can and grease gun. The oil can used in different ways:

       Apply lubricant directly on the parts
       An oil cup attached to the bearing
       Oil bath splash system


Fluid Film Bearings
Fluid film bearings are classified according to the creation of their fluid film. Fluid film bearings
are:

       hydrostatic
       hydrodynamic
       squeeze film (damper)




                                    Fluid film creation is by:
  Externally Prusserized             High speed and                High frequency vibration
                                        inclination
   (a) Hydrostatic Bearing      (b) Hydrodynamic Bearing       ( c) Squeeze film bearing

                                        Types of fluid film bearings
ANTI-FRICTION BEARINGS
We are concerned with three basic types of anti-friction bearings (Figure 1).

      Ball bearings
      Roller bearings (cylindrical)
      Needle bearings
      Spherical
      Tapered




                 BALL        CYLINDRICAL     SPHERICAL         TAPERED          NEEDLE

                               ROLLER         ROLLER            ROLLER          ROLLER


                          Figure 1. Basic types of anti-friction bearings

Basic Parts
Most anti-friction bearings have similar parts (Figure 2):




                         Figure 2. Basic parts of anti-friction bearings
1. Two hardened-steel rings called races.
   2. Hardened-steel balls, rollers or needles which roll between the races.
   3. Optional separators or cages (made of steel, bronze or plastic) which space the rolling
      elements around the races.


BOUNDARY DIMENSIONS
In general, most ball, spherical roller, and cylindrical roller bearings made to metric boundary
dimensions have standardized boundary plans, dimensions, and tolerances according to the
International Standards Organization (ISO). Therefore, bearings from all subscribing
manufacturers throughout the world are dimensionally interchangeable.




                                   Radial ball bearing types.
Radial roller bearing types.




Roller bearing types for radial and axial loads combined.
Thrust bearings.
Tapered roller bearings, single-row, multiple-row, and thrust.
BEARING SERIES

For any given bore size, all types of metric rolling bearings are manufactured in several series
each for different severity of service. For instance, most ball bearings are made in three series:
light, medium, and heavy duty. These are designated as the 2-, 3-, and 4-diameter series
according to the boundary plan shown in Fig. 2.4. Spherical roller bearings are normally
available in eight different series, as shown in
Fig. 2.5. Taper roller bearings, both inch- and metric-dimensioned, have a larger number of
series or duty classifications, but all series are not necessarily available for every bore size (see
Fig. 2.6).




                        Metric rolling-bearing boundary dimension plan.




         Spherical roller bearings of different diameter series with common bore size.
Metric tapered roller-bearing diameter series with common bore size.


LOAD RATINGS

Basic rating life is the number of revolutions (or the number of operating hours at a given
constant speed) which the bearing is capable of enduring before the first sign of fatigue occurs
in one of its rings or rolling elements.
There are several other “bearing lives,” including service life and design or specification life.
Service life is the actual life achieved by a specific bearing before it becomes unserviceable.
Failure is not generally due to fatigue, but due to wear, corrosion, contamination, seal failure,
etc. The service life of a bearing depends to a large extent on operating conditions, but the
procedures used to mount and maintain it are equally important. Despite all recommended
precautions, a bearing can still experience premature failure. In this case it is vital that the
bearing be examined carefully to determine a reason for failure so that preventive action can be
taken. The service life can either be longer or shorter than the basic rating life. Specification
life is the required life specified by the equipment builder and is based on the hypothetical
load and speed data supplied by the builder and to which the bearing was selected. Many times
this required life is based on previous field or historical experiences.

SHAFT AND HOUSING FITS
It is a basic rule of design that one ring of a rolling-element bearing must be mounted on its
mating shaft or in its housing with an interference fit, since it is virtually impossible to prevent
rotation by clamping the ring axially. Generally, it is the rotating ring that is tight, but more
correctly stated, it is the ring that rotates relative to the load. In some special cases this is not
the rotating ring; for instance, in a vibrating unit where vibration is produced by eccentric
weights, the load rotates with the rotating ring, and it is best to have the stationary ring have
the tight fit. Except for special cases as mentioned above, the stationary ring normally can be
assembled with
the mating shaft or housing with a slip or loose fit. The magnitude of interference fit will vary
with the severity of duty, type of bearing, and different shaft and housing materials. Ball
bearings under normal load conditions will have approximately 0.00025 in interference per
inch of shaft when the inner ring is the tight fit. Roller bearings will have fits of approximately
0.0005 in per inch of shaft. Fits will be increased for heavy-duty service and decreased for light
duty. In general, when the outer ring is the tight fit, the interference is less than a
corresponding shaft fit. All bearing manufacturers show recommended fitting practices for
their bearings in their general catalogs. With the exception of inch-taper roller bearings, the
recommendations are normally expressed in ISO standards. ISO standards define the fit
tolerance between the bearing outside
diameter and the housing and utilize a designation system using a capital letter and a number
such as H7, J6, P6, and so on. Fit tolerances between the shaft and bore of the bearing are
designated by a lowercase letter and number such as g6, m5, r7, and so on. In the ISO system,
the letter indicates the class or type of fit, and the number indicates the tolerance range. The
diagram in Fig. 2.7 shows the relationship between the nominal diameters and the tolerance
grades. The crosshatched areas indicate the bearing bore diameter variation and the outside
diameter variation, respectively. The blackened rectangles show the range of tolerances for
shafts (lower half) and housings (upper half).




    ISO fit tolerances. Uppercase letters refer to housings; lowercase letters refer to shafts
Types of Bearing Races
The type of races in the bearing controls the load-carrying capacity, especially in ball
bearings. Ball bearings have a variety of races. Basically, ball bearings have four
race designs.
   1.  Conrad bearing
   2.  Full bearing
   3.  Split race bearing
   4.  Angular contact bearing


anti-friction bearings are normally used where:

       space is available
       the location is not readily accessible
       loads are heavy
       speeds are high
       less service is required
       cost is not the critical factor




Single Row          Single Row                   Double Row         Double Row Self Aligning
                                                                             Radial
  Radial          Radial & Thrust               Radial & Thrust




                                 Figure 4. Types of ball bearings
Single Direction                             Double Direction            Double Direction
  Thrust Bearing                                Thrust Bearing             Angular Contact

                                                                     Thrust Bearing

                               Figure 5. Thrust load ball bearings



ROLLER BEARINGS:
Where great loads are present, roller bearings are used instead of ball bearings,
Figure 6. Roller bearings are also designed for loads and applications similar to those of ball
bearings. As with ball bearings, roller bearings are precision made and must be handled with
care and kept clean.



The five basic types of roller bearings are:

      1. Radial load, straight roller
      2. Radial and thrust load, tapered roller
      3. Self aligning, radial and thrust load, spherical roller

      4. Self aligning, radial and thrust load, concave roller
      5. Thrust load
Cylindrical                Tapped                 Spherical         Double Cylindrical

  Radial                    Radial & Thrust       Radial & Thrust     Radial & Thrust




                          Figure 6. Basic types of roller bearings




                 Cylindrical Thrust Bearing           Tapped Thrust Beraing



                            Figure 7. Thrust load roller bearings

NEEDLE BEARINGS
Needle bearings have very small diameter rollers or needles, but high load carrying capacity
(Figure 8). They are most often used where space is limited, but they do not perform at high
speeds as well as roller or ball bearings. Also, they will not tolerate much misalignment.
Needle Radial              Self Aligning Needle        Needle Thrust

   with Inner Race             Radial without Inner Race




                         Figure 8. Basic types of needle bearings



There are two main types of needle bearings:

     1. Radial load bearings
     2. Thrust load bearings

MET 105 Bearings

  • 1.
    BEARINGS Function AND TYPES Bearingsdo these jobs: 1. Support the moving part 2. Reduce friction by reducing metal to metal contact 3. Reduce wear 4. Provide a replaceable wear surface. Figure 1. Types of bearing used in modern machines Bearings support moving parts by carrying radial and axial loads while holding the parts in alignment. Bearings reduce friction by providing either sliding contact (plain bearings) or rolling contact (anti friction bearings). Bearings also reduce friction with a lubricant which will dissipate heat. Types of bearings There are two basic types of bearings:  Plain bearings (bushings)  Anti-friction bearings
  • 2.
    Split Bearing Ball Bearing Roller Bearing Needle Bearing PLAIN BEARINGS ANTIFRICTION BEARINGS (BUSHINGS) PLAIN BEARINGS Plain or sleeve bearings are designed to support shafts that rotate, oscillate, or reciprocate. sleeve bearings are highly engineered components. sleeve bearing lubrication is hydrodynamic; that is, during operation, the shaft floats on a thin film of the lubricant. Some types of plain bearings
  • 3.
    Types of plainbearings: Solid bearing or sleeve. Split bearings Thrust bearings Solid bearing Self-aligning bearing LOADS ON PLAIN BEARINGS Plain bearing can be used to withstand Loads in linear, reciprocating and rotational motions. They can carry the following loads: Radial Thrust Bearing designed for radial loads only Thrust washers used with radial-load-type bearings
  • 4.
    Some plain bearingsare designed to carry both radial and thrust loads. Notice the difference between radial and thrust split bearings. Figure 4. Bearings designed for both radial and thrust loads. BEARING MATERIALS Construction Monometals. Bearings made from a solid bar or tubes of an aluminum or bronze alloy have been available for a number of years. They are generally used where loads are not very high. Bimetals. A bimetal bearing has a steel back, to which is bonded a liner of Babbitt, copper-lead, or aluminum. Babbitts are soft alloys of lead or tin, with additives such as copper, antimony, and arsenic. Trimetals. In order to achieve the desirable surface properties of a Babbitt bearing and the strengths of harder materials, the trimetal bearing was developed for heavy-duty applications.
  • 5.
    MATERIALS IN PLAINBEARINGS Bearings are constructed of a variety of materials. Some of these are: wood plastic cast iron chilled cast iron sort steel hardened steel copper brass bronze copper-lead aluminum babbit sintered metal graphite nylon. Requirements Embeddability. The ability of a material to absorb foreign particles circulating in the oil stream is referred to as embeddability. Conformability. The material also must be soft enough to creep or flow slightly to compensate for the minor geometric irregularities which are present in every assembly. Fatigue Strength. This is the ability of a bearing material to withstand the loads to which it is subjected without cracking. Temperature Strength. As operating temperatures increase, bearing materials tend to lose strength. This property indicates how well a material carries a load at elevated temperatures, without breaking up or flowing out of shape.
  • 6.
    Thermal Conductivity. Shearof the oil film by the shaft generates significant heat, most of which is carried away by the oil. Corrosion Resistance. Oils oxidize with use, and the products of this degradation can be corrosive. The material used in a bearing depends on : the space available the speed the shaft turns the amount of load it carries the type of lubricant used the cost of the installation PREVENTIVE MAINTENANCE OF PLAIN BEARINGS Lubricant Supply. Proper bearing design and material are necessary to achieve long service life but are not by themselves sufficient. Lubricant flow to the bearings is a function of the equipment design. Oil pressure at specified speeds should be within the limits given by the equipment builder. Lower values suggest worn bearings. In this case, replacement should be made as soon as is feasible. Excessive pressures indicate a blockage or restriction somewhere in the system. This should be investigated immediately. The oil level also should be checked on a routine basis to avoid pump cavitation and subsequent oil starvation. In non-pressurized lube systems, reservoirs should be checked on a regular schedule to ensure that adequate oil is always present. Cleanliness. Sleeve bearings simply cannot survive without adequate lubrication. Once this is assured, the next most important consideration is the cleanliness of the lubricant. Since minimum film thickness is so small, the presence of oil-borne debris can greatly accelerate the wear process.
  • 7.
    If foreign materialssuch as metal chips and abrasives are large and numerous, bearing failure can Lubricant Type. Ensuring an adequate flow of clean lubricant makes long bearing life possible but does not guarantee it. The oil must be the proper one for the application. From a bearing performance viewpoint, lubricant viscosity is the most important parameter. Lower-viscosity (i.e., thinner) oils reduce oil film thickness. This increases the wear rate and can possibly lead to failure. It is critical that the equipment manufacturer’s lubricant recommendations be followed. In addition, the proper combination of oil additives is necessary to prevent rapid breakdown, thickening, foaming, and sludging. All these effects can lead to bearing failure, as well as to the damage of other components. A sampling of bearings, bushings, and thrust washers.
  • 8.
  • 9.
    LUBRICATING PLAIN BEARINGS Lubricantsare used to reduce friction and wear in bearings. The less friction the less wear. Three states of friction or lubrication may exist between sliding surfaces (As in Lubrication module in this manual). Dry friction Boundary lubrication Full-film lubrication How Lubricant Is Distributed To Bearings The bearing must have these characteristics in order to perform well: 1. It must have a means of distributing the lubricant, (oil grooves). 2. Oil clearance must be correct to fit the shaft well. 3. The bearing surface must be compatible with the shaft, the lubricant, and the speed of rotation. STATES OF LUBRICATION:  Surfaces in contact  Surfaces separated by lubricant  Surfaces separated by hydrodynamic pressure (Hydrodynamic Journal Bearing)
  • 10.
    METHODS OF LUBRICATION Lubricantsmay be applied to plain bearings in many different ways Two types of lubricants are most familiar: Oil Grease They are applied by oil can and grease gun. The oil can used in different ways: Apply lubricant directly on the parts An oil cup attached to the bearing Oil bath splash system Fluid Film Bearings Fluid film bearings are classified according to the creation of their fluid film. Fluid film bearings are: hydrostatic hydrodynamic squeeze film (damper) Fluid film creation is by: Externally Prusserized High speed and High frequency vibration inclination (a) Hydrostatic Bearing (b) Hydrodynamic Bearing ( c) Squeeze film bearing Types of fluid film bearings
  • 11.
    ANTI-FRICTION BEARINGS We areconcerned with three basic types of anti-friction bearings (Figure 1).  Ball bearings  Roller bearings (cylindrical)  Needle bearings  Spherical  Tapered BALL CYLINDRICAL SPHERICAL TAPERED NEEDLE ROLLER ROLLER ROLLER ROLLER Figure 1. Basic types of anti-friction bearings Basic Parts Most anti-friction bearings have similar parts (Figure 2): Figure 2. Basic parts of anti-friction bearings
  • 12.
    1. Two hardened-steelrings called races. 2. Hardened-steel balls, rollers or needles which roll between the races. 3. Optional separators or cages (made of steel, bronze or plastic) which space the rolling elements around the races. BOUNDARY DIMENSIONS In general, most ball, spherical roller, and cylindrical roller bearings made to metric boundary dimensions have standardized boundary plans, dimensions, and tolerances according to the International Standards Organization (ISO). Therefore, bearings from all subscribing manufacturers throughout the world are dimensionally interchangeable. Radial ball bearing types.
  • 13.
    Radial roller bearingtypes. Roller bearing types for radial and axial loads combined.
  • 14.
  • 16.
    Tapered roller bearings,single-row, multiple-row, and thrust.
  • 17.
    BEARING SERIES For anygiven bore size, all types of metric rolling bearings are manufactured in several series each for different severity of service. For instance, most ball bearings are made in three series: light, medium, and heavy duty. These are designated as the 2-, 3-, and 4-diameter series according to the boundary plan shown in Fig. 2.4. Spherical roller bearings are normally available in eight different series, as shown in Fig. 2.5. Taper roller bearings, both inch- and metric-dimensioned, have a larger number of series or duty classifications, but all series are not necessarily available for every bore size (see Fig. 2.6). Metric rolling-bearing boundary dimension plan. Spherical roller bearings of different diameter series with common bore size.
  • 18.
    Metric tapered roller-bearingdiameter series with common bore size. LOAD RATINGS Basic rating life is the number of revolutions (or the number of operating hours at a given constant speed) which the bearing is capable of enduring before the first sign of fatigue occurs in one of its rings or rolling elements. There are several other “bearing lives,” including service life and design or specification life. Service life is the actual life achieved by a specific bearing before it becomes unserviceable. Failure is not generally due to fatigue, but due to wear, corrosion, contamination, seal failure, etc. The service life of a bearing depends to a large extent on operating conditions, but the procedures used to mount and maintain it are equally important. Despite all recommended precautions, a bearing can still experience premature failure. In this case it is vital that the bearing be examined carefully to determine a reason for failure so that preventive action can be taken. The service life can either be longer or shorter than the basic rating life. Specification life is the required life specified by the equipment builder and is based on the hypothetical load and speed data supplied by the builder and to which the bearing was selected. Many times this required life is based on previous field or historical experiences. SHAFT AND HOUSING FITS It is a basic rule of design that one ring of a rolling-element bearing must be mounted on its mating shaft or in its housing with an interference fit, since it is virtually impossible to prevent rotation by clamping the ring axially. Generally, it is the rotating ring that is tight, but more correctly stated, it is the ring that rotates relative to the load. In some special cases this is not the rotating ring; for instance, in a vibrating unit where vibration is produced by eccentric weights, the load rotates with the rotating ring, and it is best to have the stationary ring have the tight fit. Except for special cases as mentioned above, the stationary ring normally can be assembled with the mating shaft or housing with a slip or loose fit. The magnitude of interference fit will vary with the severity of duty, type of bearing, and different shaft and housing materials. Ball bearings under normal load conditions will have approximately 0.00025 in interference per inch of shaft when the inner ring is the tight fit. Roller bearings will have fits of approximately 0.0005 in per inch of shaft. Fits will be increased for heavy-duty service and decreased for light duty. In general, when the outer ring is the tight fit, the interference is less than a corresponding shaft fit. All bearing manufacturers show recommended fitting practices for
  • 19.
    their bearings intheir general catalogs. With the exception of inch-taper roller bearings, the recommendations are normally expressed in ISO standards. ISO standards define the fit tolerance between the bearing outside diameter and the housing and utilize a designation system using a capital letter and a number such as H7, J6, P6, and so on. Fit tolerances between the shaft and bore of the bearing are designated by a lowercase letter and number such as g6, m5, r7, and so on. In the ISO system, the letter indicates the class or type of fit, and the number indicates the tolerance range. The diagram in Fig. 2.7 shows the relationship between the nominal diameters and the tolerance grades. The crosshatched areas indicate the bearing bore diameter variation and the outside diameter variation, respectively. The blackened rectangles show the range of tolerances for shafts (lower half) and housings (upper half). ISO fit tolerances. Uppercase letters refer to housings; lowercase letters refer to shafts
  • 20.
    Types of BearingRaces The type of races in the bearing controls the load-carrying capacity, especially in ball bearings. Ball bearings have a variety of races. Basically, ball bearings have four race designs. 1. Conrad bearing 2. Full bearing 3. Split race bearing 4. Angular contact bearing anti-friction bearings are normally used where: space is available the location is not readily accessible loads are heavy speeds are high less service is required cost is not the critical factor Single Row Single Row Double Row Double Row Self Aligning Radial Radial Radial & Thrust Radial & Thrust Figure 4. Types of ball bearings
  • 21.
    Single Direction Double Direction Double Direction Thrust Bearing Thrust Bearing Angular Contact Thrust Bearing Figure 5. Thrust load ball bearings ROLLER BEARINGS: Where great loads are present, roller bearings are used instead of ball bearings, Figure 6. Roller bearings are also designed for loads and applications similar to those of ball bearings. As with ball bearings, roller bearings are precision made and must be handled with care and kept clean. The five basic types of roller bearings are: 1. Radial load, straight roller 2. Radial and thrust load, tapered roller 3. Self aligning, radial and thrust load, spherical roller 4. Self aligning, radial and thrust load, concave roller 5. Thrust load
  • 22.
    Cylindrical Tapped Spherical Double Cylindrical Radial Radial & Thrust Radial & Thrust Radial & Thrust Figure 6. Basic types of roller bearings Cylindrical Thrust Bearing Tapped Thrust Beraing Figure 7. Thrust load roller bearings NEEDLE BEARINGS Needle bearings have very small diameter rollers or needles, but high load carrying capacity (Figure 8). They are most often used where space is limited, but they do not perform at high speeds as well as roller or ball bearings. Also, they will not tolerate much misalignment.
  • 23.
    Needle Radial Self Aligning Needle Needle Thrust with Inner Race Radial without Inner Race Figure 8. Basic types of needle bearings There are two main types of needle bearings: 1. Radial load bearings 2. Thrust load bearings