Kubernetes on Openstack
@
Ashwin Raveendran
eBay Cloud Engineering
What is Kubernetes
A lean, portable, extensible platform for managing
cloud native applications
- container packaged
- dynamically scheduled
- declarative state
- microservices oriented
neutron keystone cinder nova swift
work streams
Networking
IAM
Storage
Cluster setup and Management
Container Registry
Networking
• Leverage cloud native networking solution
Pods needs cluster wide routable IPs
Each node requires a CIDR block
Performance and Manageability
• Neutron private networks within cluster
• Assign one neutron network/subnet per node
Networking: future
• Pure Layer 3 networking with BGP
• Policy based distributed firewall
• IPV6
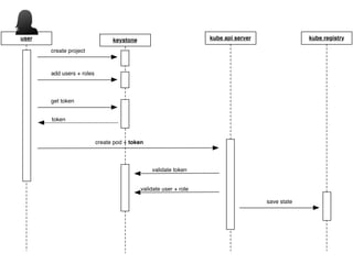
Kube APIs requires identity and access
management
• Leverage keystone as the IAM service
• map keystone projects == kube namespaces
• use keystone authentication and RBAC
IAM
ABAC policy based plugin
Integrate keystone into kubectl cli flow for
tokens
Offer a native IAM service for cloud native
applications
IAM: future
Storage
Stateful workload needs high performance
persistent storage
• leverage openstack cinder
• Storage plugin manages pod volume lifecycle
automatically
Storage: future
• Native distributed storage
• Swift based storage sidecars
Cluster Setup and Management
• openstack apis, custom scripts, cloud-init, salt
stack
• disk-image-builder based pipeline for building
compute images for minions
• swift for storing non-dockerized build artifacts
Cluster Setup and Mgmt: future
• multi cloud-provider cluster setup and
management using declarative state
• federated cluster management for hybrid
clouds patterns (cluster federation)
Container Registry
Container registry needs access control
• Keystone for ACLs
Container registry needs dependable storage
• Swift as backing storage
Container Registry: future
• Notary support
• Scale
thank you

Kubernetes on OpenStack @eBay

  • 1.
    Kubernetes on Openstack @ AshwinRaveendran eBay Cloud Engineering
  • 2.
    What is Kubernetes Alean, portable, extensible platform for managing cloud native applications - container packaged - dynamically scheduled - declarative state - microservices oriented
  • 4.
  • 5.
    work streams Networking IAM Storage Cluster setupand Management Container Registry
  • 6.
    Networking • Leverage cloudnative networking solution Pods needs cluster wide routable IPs Each node requires a CIDR block Performance and Manageability • Neutron private networks within cluster • Assign one neutron network/subnet per node
  • 8.
    Networking: future • PureLayer 3 networking with BGP • Policy based distributed firewall • IPV6
  • 9.
    Kube APIs requiresidentity and access management • Leverage keystone as the IAM service • map keystone projects == kube namespaces • use keystone authentication and RBAC IAM
  • 11.
    ABAC policy basedplugin Integrate keystone into kubectl cli flow for tokens Offer a native IAM service for cloud native applications IAM: future
  • 12.
    Storage Stateful workload needshigh performance persistent storage • leverage openstack cinder • Storage plugin manages pod volume lifecycle automatically
  • 14.
    Storage: future • Nativedistributed storage • Swift based storage sidecars
  • 15.
    Cluster Setup andManagement • openstack apis, custom scripts, cloud-init, salt stack • disk-image-builder based pipeline for building compute images for minions • swift for storing non-dockerized build artifacts
  • 16.
    Cluster Setup andMgmt: future • multi cloud-provider cluster setup and management using declarative state • federated cluster management for hybrid clouds patterns (cluster federation)
  • 17.
    Container Registry Container registryneeds access control • Keystone for ACLs Container registry needs dependable storage • Swift as backing storage
  • 18.
    Container Registry: future •Notary support • Scale
  • 19.

Editor's Notes

  • #2 Intro on name
  • #3 Container cluster platform, Abstracts infrastructure, scheduled , application failure and node failures are handled Containers Flexible Consistency Division of labor between dev and ops predictable performance
  • #6 Loadbalancer integration challenges
  • #7 Loadbalancer integration challenges
  • #9 Loadbalancer integration challenges