Pneumatically Driven Landing Gear
Final Report
Prepared for:
Cyrus Raoufi, Ph.D., P. Eng.
MECH 4490
Darlene Webb, MA
COMM 2269
Kevin Peffers
MECH 4490
Prepared by:
Gurveen Bath,
A00712200, Set D
Aaron Hufsmith
A00798178, Set D
Abhinav Bhardwaj
A00770290, Set F
18 May 2012
1
Executive Summary
The purpose of this design project was to develop a device to pneumatically control the
landing gear on a semi trailer chassis. Currently, all landing gears are raised and lowered
manually by the operator with use of a hand crank. The design used the trailer’s air brake
lines to power the pneumatic system which will raise and lower the landing gear with a
push of a button.
To understand the problem and develop the engineering specifications, the design team
completed benchmarking research and employed the use of a quality function deployment
(QFD) diagram. From this, the team concluded that the reason for the hand crank’s wide-
spread use is that it is a very simple and functional design while still being durable.
Therefore, the design must be also simple and be very durable, but also incorporate push
button operation for ease of use.
To amplify the torque produced by a pneumatic motor, the design team narrowed the
design to spur gear, planetary gear, and v belt systems. These design parameters led to
concept generation techniques such as morphology and design decision matrix to
determine the final design as a spur gear design. However, due to constraints placed on the
design with regards to a lack of pneumatic motors within a reasonable price range for the
project (that could output the minimum required torque before a gear reduction) the team
was forced to alter the design slightly by using a pneumatic air wrench and v-belt system
instead.
The design team started making a more detailed design and used a failure modes and effect
analysis (FMEA) to determine what the critical components of the design were. The failure
of torque transmission to the shaft, as well as the failure of the main shaft or the motor
mount failing were the biggest concerns. The team accounted for all of these factors by
using the tensioner pulley to ensure torque transfer as well as doing a shaft analysis for the
shaft and a FEA for the system mount.
A P-diagram was created and analyzed to find how the noise parameters would affect the
design. The largest noise factors the team found were extreme cold, sheave wear, and a
poor mounting on the leg. These factors are the responsibility of the operator to ensure
good, clean working conditions avoiding cold weather operation. The operator should also
to monitor the sheave and inspect for wear, as well as check the mount for damage before
operation.
2
After the design team had finalized the conceptual design involving the pneumatic air
wrench, the team created shop drawings to begin creating and assembling a working
prototype. The prototype was built and tested to ensure it met the objectives of the project.
The test results showed that the leg could be raised or lowered in less than 30 seconds, and
the tensioner pulley, when disengaged, allowed the shaft to be manually cranked, and when
engaged, provided the tension required for good torque transfer. The construction and
assembly of the proof of concept prototype was completed in time for the Mechanical
Design Expo on May 16th, 2012.
The cost of manufacturing the prototype came to approximately $575. This is well above a
reasonable marketable cost. One aspect of the future work of this project is to reduce the
cost of manufacturing. The other more important future work needed for this project is to
increase the efficiency of the system. This involves reducing the time required to raise or
lower the leg as well as minimizing the assembly of the device to make it as simple and easy
as possible.
3
Acknowledgement
During the long and arduous task of creating a project the design team of Aaron Hufsmith,
Abhinav Bhardwaj, and Gurveen Bath suffered many setbacks and challenges and would
have not been able to overcome them without the help and guidance of a select few.
First and foremost the design team would like to thank Mr. Kevin Peffers for his guidance in
helping to direct the project towards an achievable goal. Any time the team got stuck on
one problem or another Kevin was always there with some insight or to provide a new way
to view the problem. His suggestions always led to the design team finding a solution to the
problems encountered. Without Mr. Peffers’ wisdom and support the project could not
have met the goals set by the design team.
Another key supporter throughout the design process was Ms. Darlene Webb. Her role in
assisting the team in creating a balanced and well-structured technical document was
invaluable. Any editing issues or general knowledge regarding the layout of a technical
document Darlene was always more than happy to help with. As engineers are notorious
for their rudimentary English, Ms. Webb often facilitated the growth of the design team’s
skills as communicators (both written and verbally).
The final important supporter of the design team was Dr. Cyrus Raoufi. Cyrus was
responsible for laying the groundwork of the project both with respect to the planning and
designing stages, and of properly structuring the technical report and documentation.
The design team would like to acknowledge all the time and effort put into this project by
the aforementioned three key supporters, without whom this project could not have been
as successful as it was. The design team very graciously thanks them for everything they
have done in assistance to the team.
The design team would also like to acknowledge and thank Royal City Roadline for
providing the team with a working leg with which the team could use to construct and
assemble a prototype.
4
Table of Contents
List of Figures.........................................................................................................................................................6
List of Tables...........................................................................................................................................................7
Problem Statement...............................................................................................................................................8
Objectives.................................................................................................................................................................9
Scope and Boundaries...................................................................................................................................... 10
Quality Functional Deployment [QFD] ...................................................................................................... 11
QFD Analysis........................................................................................................................................................ 12
Benchmarking ..................................................................................................................................................... 14
Functional Decomposition Diagram........................................................................................................... 15
Functional Decomposition Analysis ........................................................................................................... 16
Morphology.......................................................................................................................................................... 17
Concept Selection............................................................................................................................................... 19
Concept Design Descriptions......................................................................................................................... 22
Decision Matrix................................................................................................................................................... 23
Geometric Layout............................................................................................................................................... 24
Interaction Chart................................................................................................................................................ 25
Resources.............................................................................................................................................................. 26
WBS ......................................................................................................................................................................... 27
Gantt Chart............................................................................................................................................................ 28
Budget and Risk Analysis................................................................................................................................ 29
FMEA....................................................................................................................................................................... 30
FMEA Recommended Action......................................................................................................................... 31
Cost Analysis........................................................................................................................................................ 32
5
CAD Models .......................................................................................................................................................... 35
Technical Calculation........................................................................................................................................ 37
P-diagram.............................................................................................................................................................. 38
P-diagram Analysis............................................................................................................................................ 39
Prototyping........................................................................................................................................................... 41
Tests, results, and discussion........................................................................................................................ 45
Conclusion............................................................................................................................................................. 46
Future Work......................................................................................................................................................... 47
Lessons Learned................................................................................................................................................. 48
Roles of Team Members.................................................................................................................................. 49
Works Cited.......................................................................................................................................................... 50
Appendix A- Shop Drawings.............................................................................................................................A
Appendix B- Patents.............................................................................................................................................B
Appendix C: V-Belt Tension Catalogue .........................................................................................................C
6
List of Figures
Figure 1- FDD...............................................................................................................................................15
Figure 2- Concept 1.....................................................................................................................................19
Figure 3- Concept 2.....................................................................................................................................20
Figure 4- Concept 3.....................................................................................................................................21
Figure 5- Geometric Layout ........................................................................................................................24
Figure 6 - Interaction Graph........................................................................................................................25
Figure 7- WBS..............................................................................................................................................27
Figure 8- Costs.............................................................................................................................................33
Figure 9- Technical Calculations..................................................................................................................37
Figure 10- P-Diagram ..................................................................................................................................38
Figure 11- Motor Mount.............................................................................................................................41
Figure 12- C-Channel...................................................................................................................................42
Figure 13- Tensioner Pulley Disengaged.....................................................................................................43
Figure 14- Proof of Concept........................................................................................................................44
7
List of Tables
Table 1- QFD................................................................................................................................................11
Table 2- Morphology...................................................................................................................................18
Table 3- Decision Matrix .............................................................................................................................23
Table 4- Gantt Chart....................................................................................................................................28
Table 5: FMEA .............................................................................................................................................30
Table 6: Cost Analysis Breakdown ..............................................................................................................34
8
Problem Statement
The landing gear on a semi-trailer or chassis is the part which keeps the trailer upright
while it is not connected to the truck. Currently available landing gears are operated with a
hand crank system. The design team proposes to design an add-on which will convert the
hand crank to a pneumatic system. All trailers currently have pneumatic lines running in
them for air brakes the proposed design will tap into these lines to power the pneumatic
system.
The current hand crank mechanism is a tedious procedure that can be easily simplified.
The hand cranking does not require tremendous physical exertion due to the two gear
speeds and torque arm available. However, if an operator wants the support leg extended
or retracted in minimal time, they would have to set it to the gear with the lowest
revolution and highest torque which requires much more physical exertion than the high
revolution and low torque setting.
Two design plans are proposed. The first one will create a system of gears powered by a
pneumatic motor (powered by the air brake lines) which will automatically rotate the gear
that extends/retracts the landing gear leg.
A second potential design plan is to design the automatic extension and retraction system
to be built into all new trailers. This alternate design would incorporate redesigning the
current internal gear system inside the support leg and is more tedious to design, and thus
a less viable option than the retrofit. The design team will carefully assess and evaluate
both of these plans before proceeding forward.
9
Objectives
The objective of this design project was to adapt the current hand- crank mechanism for
the landing gear of a semi-trailer to a pneumatic mechanism with push button interface.
This pneumatic add-on needed a failsafe mode which would activate in the case of a
malfunction such that the operator could attach the old hand crank and continue operation
of the landing gear. This add-on also needed to be easily installed. The air supply could not
compromise the air brakes of the trailer. The device also needed an automatic stop at the
top of its retraction and also at the bottom of extension.
The design the group implemented aimed to be minimalistic. The group wants to design the
system with maximum torque output with as few components as possible. The fewer the
number of components, the more time and detail can be spent on each component, thus
allowing more time for manufacturing the prototype. The sponsor will provide the group
with a chassis to install the working prototype which the group intends to make.
One objective that the group completed is the development of a working prototype. Many
previous projects have been successful because they had a completed prototype, working
or not, and this is also an overall objective of this design team.
10
Scope and Boundaries
The product has to safely tap into the current air lines in the trailer which power an
essential component (air brakes). The part used to split the air lines must be closed when
not operating the support leg mover. This is critical to the design because the air brakes
cannot be compromised.
The product must have a fail safe mode where, if the device does not work, it would still be
able to reattach to the hand crank and manually operate the landing gear.
The product must be able to be retrofitted on all trailers currently on the market. The
retrofit should install easily and allow for easy access for maintenance of the device.
The device needs to be able to stop upon full extension/retraction as to prevent any
damage to the gears or the support leg itself.
The design of the gears and shaft must incorporate a failsafe (ie shearing pin) to protect the
integral components of the design in the event of the device failing.
There are a few components of the design that fall outside the scope. This includes the
motor and the gears. We will specify the requirements for the pneumatic motor and order
the motor that meets our needs. The gear specifications will be designed by the team,
however the gears will also be ordered for the project.
11
Quality Functional Deployment [QFD]
1 9
9
1 3
1 1 3 9 3 3
Manufacturer
TruckingCompanies
Operators
Durability
Power
Flowrate
Speed(rpm)
MaterialStrength
OperationTime
Pressure
5 4 3 2 1
5 10 5 t q
5 10 15 9 1 q
5 10 5 3 1 3 q
20 5 2 3 3 t q
5 10 2 t q
10 15 10 3 9 1 1 t q
5 15 10 q t
Raise/Lower - 5 5 1 3 3 q t
Locking - 5 5 3 t q
15 - 1 3 9 t q
10 5 5 t q
10 5 5 9 9
10 5 10 9 q
32 10 11 1.7 22 1.1 12
27 17 6.1 2.8 1.7 3.3 8.3 q
33 12 5.6 2.8 1.7 2.8 6.7 t
97 30 4 5 42 14 12
60 45 0 4 60 13 0
90 30 5 8 60 15 15
80 40 3 5 40 12 10
WHAT
User Interface
WHO
Target (Delighted)
(Company)
(Operator)
Hand Crank
Pneumatic Motor
Maintenance
Operation (Switching Gears)
HOW
NOW
Hydraulic Crank
Durability
Power
Flow Rate
Importance (Manufacturer)
Failsafe Mode
Air Supply Connection
Assembly
Installation
Ease of Use
Surfacing
Operating |Temp.
Housing
HOW
Threshold (Disgusted)
Speed (rpm)
Material Strength
Operation Time
Pressure
Hydrualic Crank
Hand Crank
Table 1- QFD
12
QFD Analysis
The most important functions of the design process for the manufacturers are the assembly
and the surfacing of the parts. Manufacturers want a simple design that is easy to assemble.
They also do not want to have to perform any complicated procedures to prepare the parts
for assembly. The more simplistic the design, the more content manufacturers will be.
The key factors that the trucking companies are looking for in a product are low
maintenance, ease of operation, and easy installation. The companies do not want a
product that requires high maintenance (taking a chassis off the road for any reason is not
good). Also, the time required to operate the new product should be equal, or better yet,
lesser than, the current time to operate the hand crank. The product should also be as easy
to operate as the hand crank. The companies will want a product that requires minimal
installation time as to get the chassis back on the roads as quickly as possible.
The major design factors that the operators are looking for in the product are a reliable
failsafe mode and ease of use. The design of the pneumatic crank should minimize the
effort and time spent by the operators on working the hand crank. Additionally, the failsafe
mode is highly important because if any problems arise in the field, the operators will need
to deal with it.
The QFD, as shown in Table 1, enables the design team to compare the “who” with the
“what” of the proposed design. One of the biggest factors to consider in the design is the
overall durability of the design. The failsafe mode and the housing are two of the most
important aspects of the design that need the most durability. The failsafe mode requires
durability because it is the backup for the pneumatic motor. If the failsafe mode is
inoperable, then there is no way to operate the landing gear. The housing must be durable
because it protects the major components, namely the pneumatic motor and the gears.
Another customer requirement that has high importance is the operation time for the
crank. The product must be designed to minimize the operation time of both raising and
lowering the landing gear. The customers do not want a product that has an unreasonable
time to raise and lower the legs regardless of how easy it is to operate.
As shown in the “now” section of the QFD, the current method for operating the hand crank
is only moderately effective for operating time and durability but at the cost of high user
input. The physical strain placed on the operator is the major drawback of the current
system.
13
As shown in the “now” section of the QFD, the hydraulic motor available on the market
reduces the need for operator interface, but it is a high maintenance device. The hydraulic
motor also requires a long installation time and a large open location to store the bulky
device’s large housing.
14
Benchmarking
In the current market there is a device that manually retracts and extends the trailer
landing gear; however, the device requires a bulky hydraulic motor to operate. Even with
the aforementioned product readily available on the market, it is too impractical for
conventional use; almost all trailer truck drivers still use the hand crank.
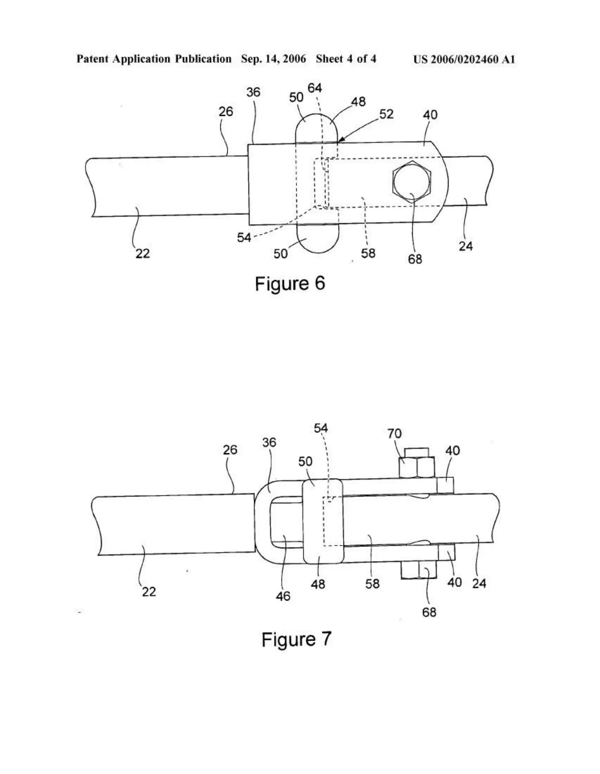
The available hand crank that is currently installed on the landing gears (Application
number: 11/076,674 Publication number: US 2006/0202460 A1 Filing date: Mar 10,
2005 Issued patent: US7311332 Issue date Dec 25, 2007) is the major benchmark with
which the design team can compare data. The hand crank has a fixed-length rod that can be
operated at two speeds. The “high speed” requires a low applied force and can be rotated at
a high frequency because it operates at a lower torque. Alternately the “low speed” is more
difficult to rotate because it puts out a much higher torque.
Refer to Appendix B-1
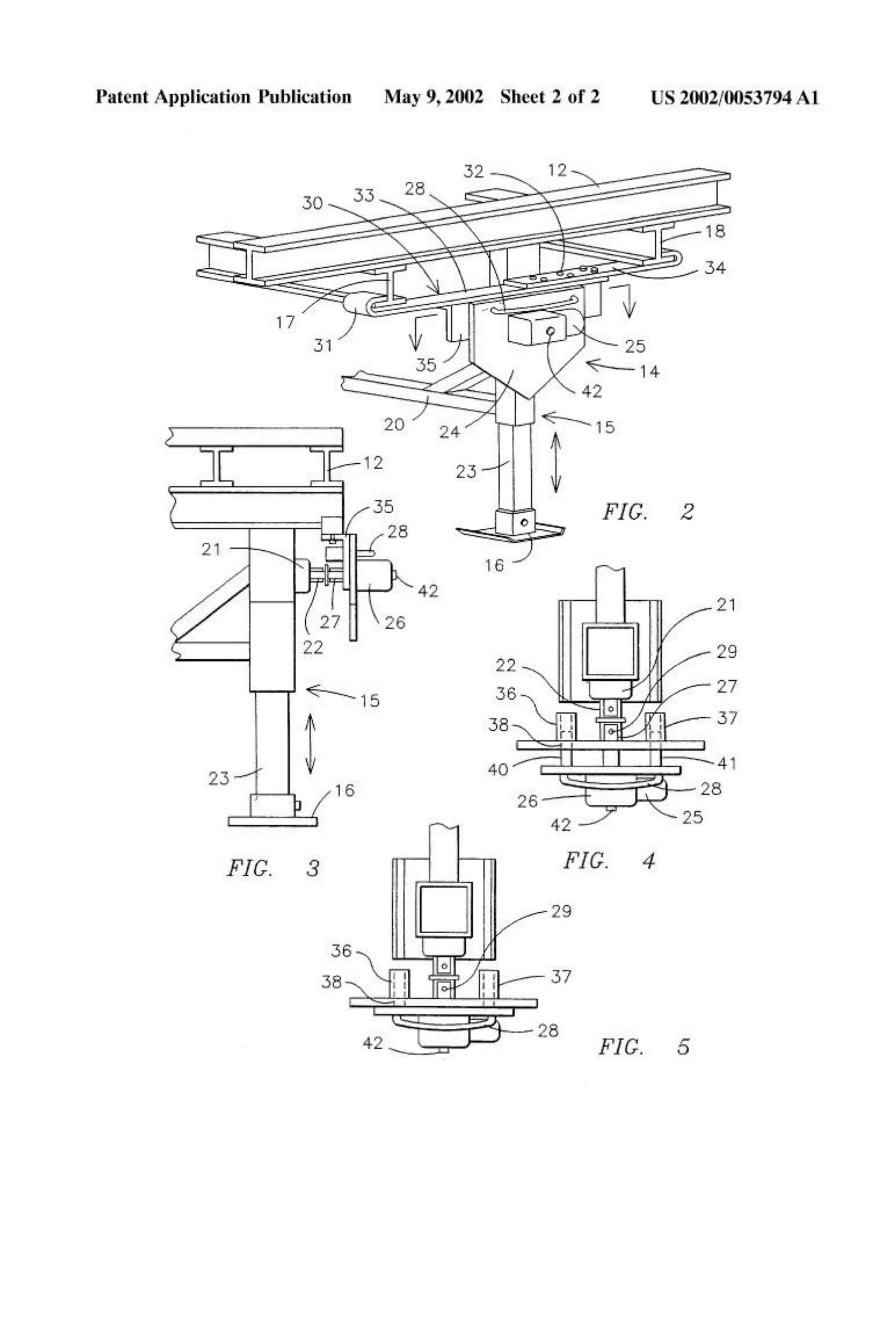
Another apparatus that was previously designed which the design team can use as a
benchmark for their design (Application number: 10/007,844 Publication number: US
2002/0053794 A1 Filing date: Nov 5, 2001) is a similar product compared to the final
design the team intends to create. However this alternate design is cranked using an
electric motor deriving power from a separate battery attached to the frame. Whereas, the
design the team is proposing will derive power from the airline going into the brakes. The
new design to be implemented by the design team is significantly distinguished from the
former design patent mentioned
Refer to Appendix B-2
15
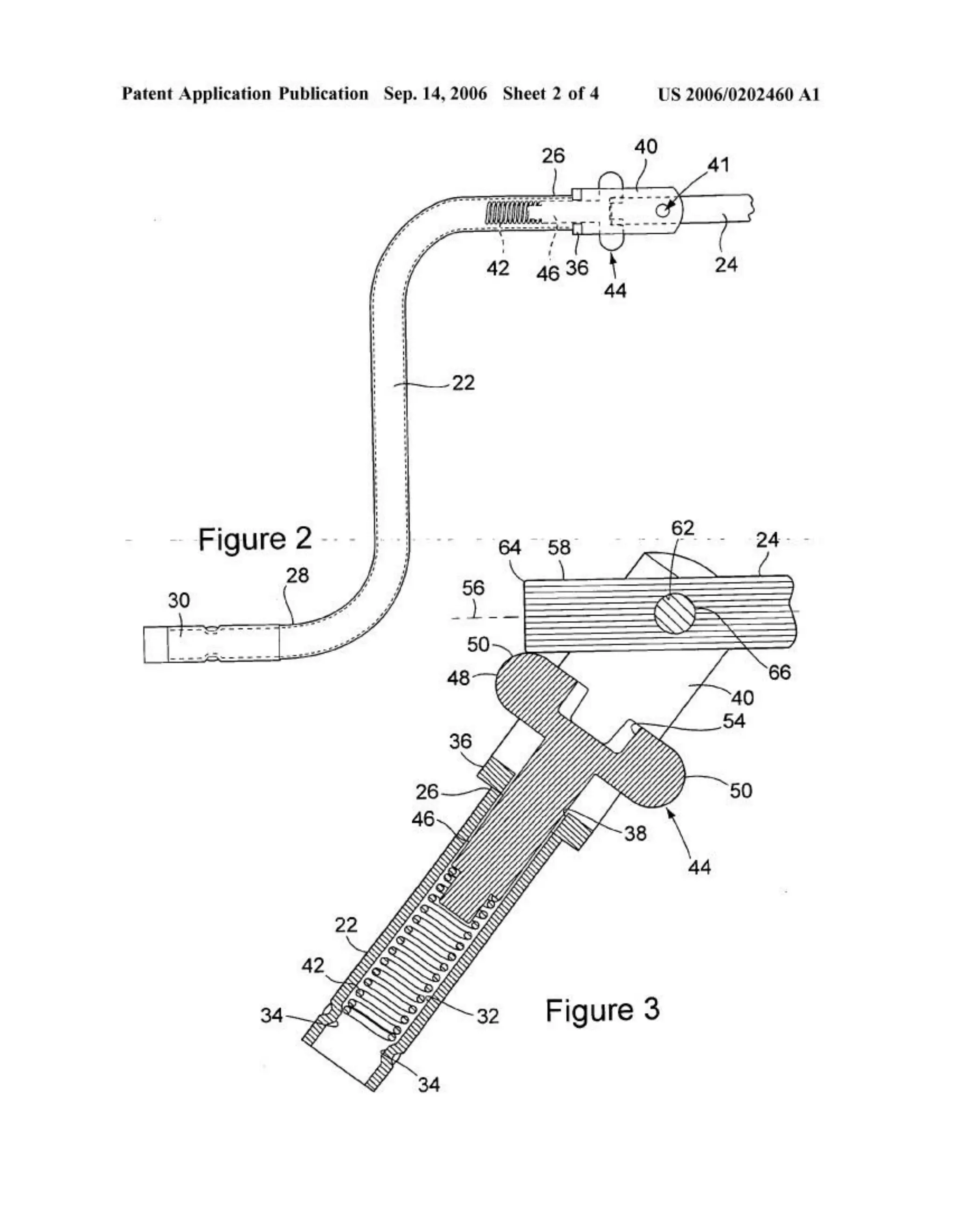
Functional Decomposition Diagram
Figure 1- FDD
Split air
supply
Air supply
through flow
control
Air supply to
wrench
Wrench
outputs
torque
System
Mount
Wrench
output shaft
to sheave
Sheave
attachment
to landing
gear shaft
Raise/lower
landing gear
16
Functional Decomposition Analysis
Analyzing the functional decomposition diagram reveals two distinct parts of the total
system. The first section relates to the air supply. As the air is split off the main line to the
air brakes the air flows through a simple 3-2 way valve which acts as both the flow control
and a shut-off valve. After the air has gone through the valve it enters the air wrench.
Powered pneumatically the air wrench outputs the torque to drive the system.
The other main system function defines the transfer of torque to drive the system. Mounted
to the leg system via housing and support structure the air wrench will output a torque into
a sheave attached on a shaft. This sheave will transfer the torque through the belt to the
second sheave. The second sheave is attached (via press fit and set screws) to the driving
shaft of the landing gear. With the activation of the air wrench these connections will cause
either the landing gear to raise or lower depending on the setting on the air wrench
(forward or reverse).
17
Morphology
18
Table 2- Morphology
19
Concept Selection
Concept 1:
 Air circuit 2
 Vane motor
 Housing concept 2
 Planetary gear system
 Design new hand crank
 Key seat
 Flexible coupling
Figure 2- Concept 1
20
Concept 2:
 Air circuit 1
 Vane motor
 Housing concept 1
 Spur gear system
 Reuse old hand crank
 Pinning
 Rigid coupling
Figure 3- Concept 2
21
Concept 3:
 Air circuit 1
 Piston motor
 V-belt system
 Housing concept 2
 Reuse hand crank
 Rigid coupling
 Pinning
Figure 4- Concept 3
22
Concept Design Descriptions
The first concept the design team created was a more complex way of transferring the
torque from the motor. The design included a complex planetary gear system designed to
maximize the torque increase from the motor output to the drive shaft. This design also
required the design team to design a new manual hand crank for the failsafe mode.
The second concept the design team created was much simpler than the first concept. In
place of the planetary gear system the design team intended to incorporate a spur gear
reducer system. This system allowed the design team to use the existing hand crank for the
failsafe mode.
The final concept the team came up with was to use a v-belt system to transfer torque. Very
similar in simplicity to the spur gear concept, the v-belt concept would also reuse the hand
crank for the failsafe mode.
All three designs incorporated a pneumatic motor mounted on the top of the leg of the
landing gear. However, once more research was done this proved impossible as the top of
the landing gear must be accessible for operators to perform maintenance on the legs. The
design team then created a side mount for the motor that would allow us to continue to use
a pneumatic motor for the project. Again once more research was done and it was
determined that the use of a pneumatic motor was no longer an option the design team
switched to a pneumatic wrench and modified the existing mount for the motor to be more
suitable for an air wrench. The completed detail drawings of the updated system are
viewable in Appendix A: Shop Drawings.
23
Decision Matrix
Weight
Concept1(planetary)
concept2(spur)
concept3(V-belt)
manufactubilty 0.2 4 8 7
ease of assembly/ installation 0.2 4 7 8
total mass 0.1 5 6 7
use of standard parts 0.2 5 8 8
simplicity 0.1 4 8 8
maintenance 0.1 4 7 7
durability 0.2 5 7 4
Total 4.4 7.5 7.05
Table 3- Decision Matrix
The above shows a decision matrix which assisted the group in judging the concepts and
deciding on which concept to proceed with.
The three concepts; namely the one containing planetary gear set, the spur gear set and the
v-belt gear set; were taken into account and were judged on the basis of manufacturability,
ease of assembly, and usage of standard parts. The mass of the equipment, simplicity of the
equipment, and maintenance were taken into account too, however the former group held
significantly more weight in the decision matrix.
The spur gear and v-belt were the potential concepts from the decision matrix, the design
group decided to work with spur gear concept, as the v-belt had limitations such as wear
and tear due to usage which made it less compatible with the purpose of the design.
24
Geometric Layout
Figure 5- Geometric Layout
25
Interaction Chart
Figure 6 - Interaction Graph
26
Resources
The BCIT faculty is one of the resources the design team has the support of. The faculty
includes specialized professors including Mick Andic, for assistance with the pneumatic
design part of the project; Kevin Peffers, for support of the machine design components;
and Ms. Darlene Webb, for guidance with the communication aspects of the project.
The design team is pleased to have the support of a Lower Mainland company, Royal City
Roadline. Some key facts about the company are:
 Been in business for over 25 years
 A Fleet of over 50 chassis
 A Fleet of 10 trucks
Through the company contact, Gurjeet Bath, the sponsor company would like a pneumatic
landing gear system installed on their chassis, which they will provide for the design team,
to increase the speed of the process of picking-up and dropping-off of chassis. Also
decrease the physical strain on the drivers and other operators of the landing gear.
The machine shop at BCIT is another resource the design team will utilize. While some
components of the project will be ordered, specifically the pneumatic motor and the gears,
other components will be manufactured by the design team in the shop.
27
WBS
Project Planning
Prototype
Specifications
System Level
Design
Detail Design
System Integration
and Testing
P1
Scope and
Boundaries
S1
Pneumatic Motor
Specifications
L1 Gear design D1 CAD design T1
Prototype
assembly
P2
Roles of team
members
S2
Gear reducer
specifications
L2 Shaft Design D2 FEA model T2
Prototype
installation
P3 Benchmarking S3
Pneumatic
Component
Selection
L3 Housing Design
P4 Timeline L4
Pneumatic Circuit
Design
Figure 7- WBS
28
Gantt Chart
Week 1st 2nd 3rd 4th 1st 2nd 3rd 4th 1st 2nd 3rd 4th
Start Finish
Progress Report 2 3/5/12 9/3/12
Proposal Presentation 24/2/12 2/3/12
Proposal Report 2/3/12 9/2/12
Progress Report 3 16/3/12 3/5/12
Project Presentation 23/4/12 27/4/12
Final Report 10/4/12 18/5/12
Pneumatic Motor Specifications 2/3/12 9/2/12
Gear Reducer Specifications 2/3/12 9/2/12
Pneumatic Component Selection 2/3/12 9/2/12
Gear System Design 2/3/12 9/2/12
Shaft Design 2/3/12 9/2/12
Housing Design 12/3/12 16/3/12
CAD Design 19/3/12 23/3/12
FEA 19/3/12 23/3/12
Prototype Development 26/3/12 13/4/12
Prototype Assembly 9/4/12 27/4/12
Prototype Testing 23/4/12 27/4/12
MAY
DocumentationDesignPrototyping
MARCH APRIL
Table 4- Gantt Chart
29
Budget and Risk Analysis
The design team plans to install the prototype on an existing landing gear which will be
provided by Royal City Roadline Inc., the group’s sponsor. The major devices contributing to the
cost of the project are the pneumatic motor and the gear reducer set. The design team is
expecting BCIT to finance the project. The group estimates the project at no more than $1000.
The group is trying to limit the cost of the gear reducers and vane motor to 400 dollars each.
The remaining $200 is to be spent on the manufacturing of the housing.
The risks regarding the equipment have been carefully monitored by the design team. In the
situation of a breakdown the team plans to design a hand crank which will replace the current
hand crank on the landing gears of the trailers in the market. This will allow for manual
operation in case of an emergency.
30
FMEA
Failure mode and effects analysis was performed by the design team to probe the
possible hazards in the design and the effects they have through injury or failure of the
component to work. Table 5 shown below shows the critical parts tested.
Parts Severity Occurrence Detection
Failure Effects S Causes O Control Tests D RPN Recommended
Action
Leak in
Pneumatic
air line
Can cause Air
brakes to fail
and the wrench
won’t work
7 Valves not connected
properly, pipe being
too weak.
2 Wrench output
meets minimum
7 98
Failure in
Power
transmission
though the
sheaves
Not enough
Torque
generated to
power the
landing gear
7 Improper fit, loose
connections, wear of
the sheaves.
4 None 6 168
Tensioner
failure
Fail-safe mode
would not
work
4 Improper fit. 2 None 6 48
Wear of
sheaves
Compromise in
Fail-safe mode
as well as
normal
function
3 Improper
maintenance,
Environmental
damage, fatigue
failure.
1 Landing gear
operates slower
than normal
7 21
Shaft of
landing gear
breaks
It’s the key
component for
landing gear to
work
8 Fatigue failure, too
much tension on the
shaft.
4 Deflection in the
beam.
9 288
Air wrench
mount fails
The system
could collapse.
9 Environmental
corrosion, improper
fit.
4 None 5 180
Table 5: FMEA
31
FMEA Recommended Action
Looking at the FMEA will show that there are a few critical components that have a
more significant impact on the overall operation of the design. These components are:
failure in power transmission through the sheaves (including the wear of the sheaves),
the shaft of the landing gear breaking, and the drill mount failing.
The recommended action for preventing the failure of the power transmission through
the sheaves is to ensure all calculations related to the position of the sheaves are
checked to guarantee they results are accurate. Misalignment between sheaves is also a
grave concern so care must be taken during installation to make certain the sheaves are
positioned according to the design.
The wear of the sheaves is not a major design concern because this will happen
regardless of actions taken to prevent it. However it is vital to the system because too
much wear will cause the sheaves to fail at transmitting torque. The only way to prevent
this failure is the responsibility of the operator to ensure the sheaves are in good
working condition and to replace them whenever necessary.
The recommended action for avoiding the near catastrophic failure of the shaft of the
landing gear failing is by doing a shaft analysis. By calculating the maximum deflection
allowed the design team can then determine the maximum force allowed. As long as the
downward force created by the tension of the v-belt is less than the maximum force the
shaft should not fail. These calculations though are not as accurate if there is any
existing damage to the shaft from strain or fatigue. Therefore before any installation of
the pneumatic landing gear system the shaft should be inspected for any existing
defects and replaced if need be.
The other recommended action to avoid the failure of the air wrench mount is to allow
for some variability in the design of the support. If all parts are welded in place the
design would be more rigid, however fatigue stress would contribute to deformation
and could cause a total collapse. To avoid this, the design team created a slotted C
channel to attach to the legs to create a bolted connection to the air wrench mount. The
bolted connection also allows for much easier replacement in case of failure.
32
Cost Analysis
En-route to the end of the project, the design team met a problem to order a motor
specific to their design. The motor either didn’t exist for the specifications the team
wanted or was too expensive (more than 1000 dollars).The team switched from motor
to a pneumatic drill and designed to install the drill to the trailers chassis. Griffin tool
had a similar product with a drill and a retrofit to the landing gear’s shaft which had a
cost of approximate 220$. The team divided the price for the entire system into prices
for Material, purchased parts, labor, tooling, overhead, selling expenses, profits and
discounts to compete with Griffin tool’s price of $220.
Material was one of the major components incurring to the cost. The frame of the
machine was made by sheet metal which was available in plenty at BCIT’s machine
shop. The cost of the sheet metal used for the production of the frame is estimated to be
within $100, but this was saved by the team due to raw materials present. Drill was
purchased at Lowes, it was a Kobalt drill and the team spent $54 on it. Small components
like the v-belt cost were bought from Maska and added another $9.17 for each of the
sheave to the cost.
Labor cost is predicted to be a bit higher, keeping in mind the time taken for the
machine to be built and the need of skilled labor. This cost is not covered for the project
as the design team holds responsibility for the manufacturing of a prototype. The team
targets to finish this within 30 hours of work.
Tooling and overhead costs are again covered and is nonexistent as the prototype is
made at BCIT’s machine shop, which provides us with all the necessary tools and small
components(for example, fasteners, nuts and bolts of standard sizes.)
The purpose of the design was to be more efficient than the Griffin tool’s idea and at the
same time it being price competitive according to the utility of the design; the above
mentioned falls below or at same level as the one already existing in the market.
Manufacturing the mechanism at a large scale would cover the selling expenses,
advertisements, profits and the design team forecasts that there might be some room
for discounts.
33
Figure 8: Costs
The above figure shows how the budget was allocated amongst various sectors of
expenditure.
If the pneumatically driven device was to be manufactured on a large scale, the
following Table 6 is an estimate of how much the mechanism will cost:
4.Tooling
2.Labor
4.Tooling
5.Purchased
Parts
1.Materials
34
Quantity Description Cost ($) Supplier
Material Material to build the
frame
100 Complete Metal
Makers
Purchased parts Pneumatic drill,
Sheaves etc.
72.34
Labor Skilled labor 10($/hr)x30(hr)=300
Tooling,
Over head
Machining, Wielding
etc
100
Selling Expenses Advertisements -N/A-
Profits Margin between
expense and revenue
-N/A-
Discounts To attract the
customers
-N/A-
Total 572.34
Table 6: Cost Analysis Breakdown
35
CAD Models
For this project, the design team used SolidWorks to create all drawings, part models,
and assemblies. Modeling the project proved instrumental in the design as it helped
show how small changes the design team thought would be good for the design could
have adverse effects.
Modelling the project in SolidWorks also made the transition from the pneumatic motor
system to the air wrench system much easier. By using basic drawings in the modelling,
parts only needed to be modified to use the air wrench system, rather than having to
design brand new components. This saved a lot of time for the design team.
The design team did a FEA for the system mount. Since the mount and support frame
was a major concern from the FMEA the team felt it necessary to prove it would support
more than enough weight. After a quick and basic test, the motor support had a high
enough safety factor for more weight than would ever be applied.
A Finite Element Analysis was also done on the shaft of the landing gear to see if the
shaft would fail under the tension created by the pulley. This test proved that the design
of the shaft was durable enough to withstand the tension force.
The team ultimately designed five components:
1. The C-Channel—a slotted channel that would be welded to the leg,
2. The angle iron support—the H shaped support that would hold all the
components and be bolted to the C-Channel,
3. The wrench mount—a small metal frame to hold the shaft bearing and motor,
4. The housing and cover plate—a box that would cover the entire system to
protect it from “noise” factors; and
5. The tensioner pulley, the system used to engage or disengage the failsafe mode.
The components that changed the most over the design process were the tensioner
pulley, the angle iron support and the C-Channel. The tensioner pulley was modified
two times based on the available materials and the positioning of the wheel that would
be in contact with the belt. Modelling allowed the design team to look at different
options using the materials that were accessible.
36
The C-Channel was added near the end of the design project when the team needed a
way to account for different leg heights. By welding the C-Channel to the leg instead of
the angle iron support it allowed for a lot more room for error. If a replacement v-belt
was a different size than the one used in the prototype the system could easily account
for the height difference.
With the addition of the C-Channel the angle iron support needed to be modified to
account for the extra width and the slots. The middle support piece was bulked up
slightly to account for the extra stress as well as any weaknesses created by drilling the
holes. The holes were used to bolt the angle iron support the C-Channel. Because the
bolting is not permanent it gave the design team an extra safety factor.
All of the shop drawings for these parts can be viewed in Appendix A.
37
Technical Calculation
The following calculations are for finding the required torque and tension in the v-belt.
Figure 9- Technical Calculations
38
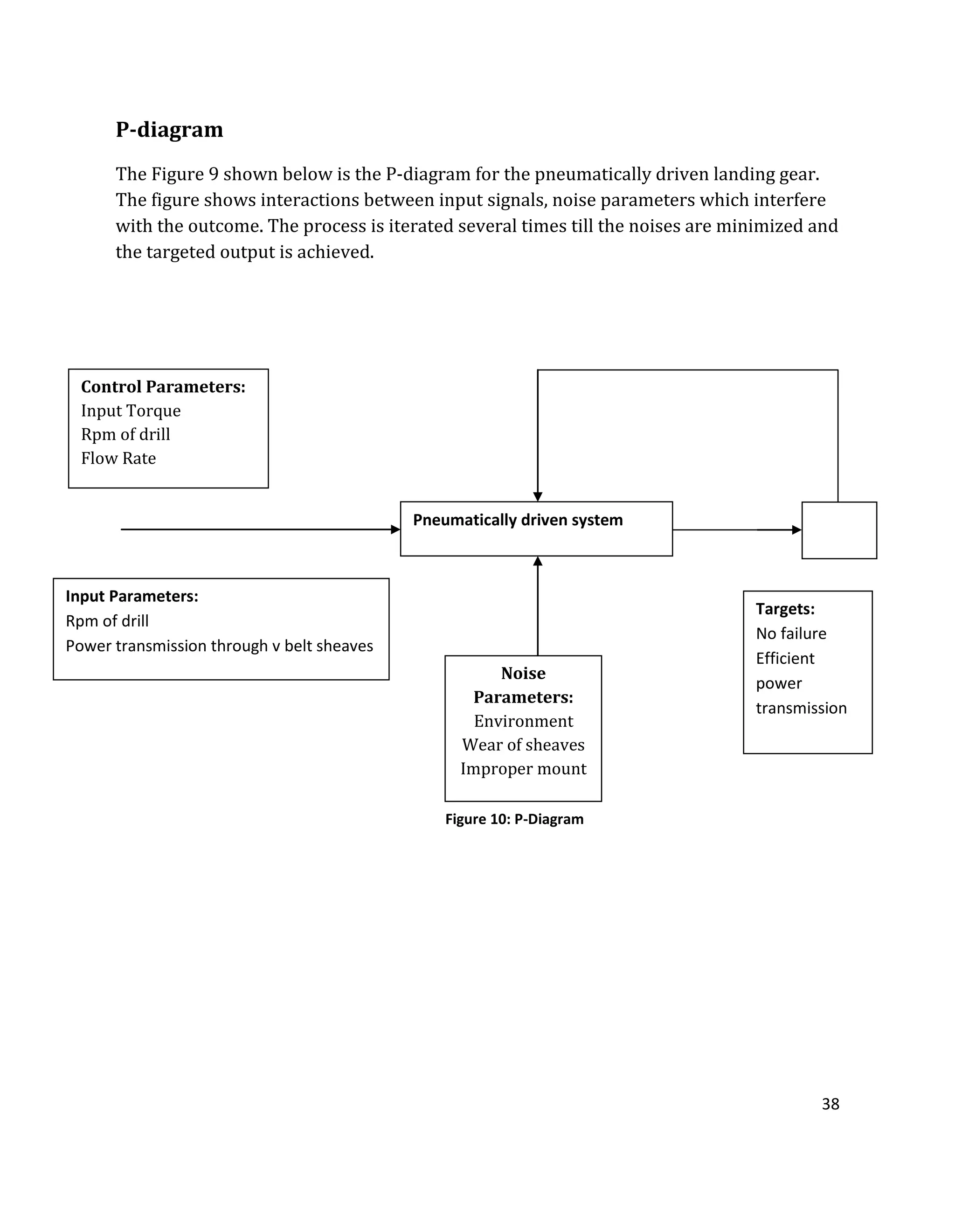
P-diagram
The Figure 9 shown below is the P-diagram for the pneumatically driven landing gear.
The figure shows interactions between input signals, noise parameters which interfere
with the outcome. The process is iterated several times till the noises are minimized and
the targeted output is achieved.
Pneumatically driven system
Targets:
No failure
Efficient
power
transmission
Noise
Parameters:
Environment
Wear of sheaves
Improper mount
Input Parameters:
Rpm of drill
Power transmission through v belt sheaves
Control Parameters:
Input Torque
Rpm of drill
Flow Rate
Figure 10: P-Diagram
39
P-diagram Analysis
Analyzing the P-diagram gives some insight into why the design team chose certain
aspects of the design over others. The most important information from the P-diagram
to analyze are the “Noise Parameters.” The “Noise Parameters” determine the most
significant external effects or conditions that could hamper the functionality of the
design. For this design, the biggest noise factors were the environment, the wear of the
sheaves and belt, and an improper mount.
The environment for this design that would most hamper the efficiency would be cold
temperatures and dirt and grime build up on the components. The dirt and grime is
greatly reduced as an issue with the incorporation of a solid, well-built housing for the
landing gear. However, the housing must have openings in it. These openings are to
allow for the air line, the landing gear shaft, the slot for the tensioner pulley, as well as
the opening plate to operate the forward and reverse functions on the air wrench. Dirt
and grime can get in through these openings and damage the contents of the housing,
most importantly, the air wrench and v-belt.
The cold temperature problem is not as easily rectified as the metal housing does little
to keep the cold out. The good news is that it will take a very cold temperature to cause
disturbances to affect the system. However, if the design is used in the extreme cold the
biggest problems that can arise are the shafts shrinking and the press fits of the sheaves
becoming loose, thus leading to a higher chance of slippage and a loss of torque transfer.
Another issue that could arise is an increase in stiffness of the v-belt. The best solution
for now for this problem is to recommend the product not be used in the extreme cold
(Northern BC during the winter or the Territories).
The wear of the sheaves and belt is another issue as it could lead to minimal torque
transfer resulting in the product no longer operating with the desired effect. The
solution for this problem is to ensure proper maintenance of the belt and sheaves to
avoid any issues altogether.
An improper mount could cause unwanted vibrations from the operation of the motor
that could lead to excessive wear in the v-belt as well as potentially damaging the air
wrench. The solution to this problem is to ensure that the design is properly installed
before any operation.
40
Both the wear of the sheaves and improper mount have a redundancy built into the
design in the form of the failsafe mode. As both of those parameters would hamper the
output from the air wrench the manual hand crank that could still be attached would be
able to overcome both of these issues in the event of a failure.
The two targets of the design are efficient power transmission and no failure. Both of
these can be met if the system is cared for by ensuring there is no dirt or grime in the
system during operation and extreme temperatures are avoided, as well as properly
maintaining the v-belt and air wrench.
41
Prototyping
As the team had little experience in the machine shop, prototyping for the project was
made easier by following the CAD drawings and the concept of reverse engineering.
However, the lack of shop experience altered some of the ways components were built.
Additionally, some components were not manufactured so that the design team could
display a proof of concept prototype by the project deadline.
Figure 10 shows how the pneumatic air wrench was mounted on the frame and how it
transmitted torque on to the v-belt sheave. The air wrench was connected to a socket
which acted as the shaft for the wrench. Due to vibrations and tension caused by the v-
belt, perpendicular to the shaft, the self-centered ball bearing was used, as shown in the
Figure 10 below. The bearing was bolted to the angle iron beam that supported the air
ratchet. Two additional metal pieces were welded on the base of the frame to lift the
motor so that the sheave has clearance with the bottom of the frame.
Figure 11: Motor Mount
42
Figure 11 shows a slotted C-channel (two were used, one welded on each side of the
leg). This allowed the design to be more generic so that it could be used for any leg as a
retrofit. Lock washers were used while bolting the support for the frame to the C-
channel, helping to eliminate any possible slippage.
Figure 12: C-Channel
43
Figure 13: Tensioner Pulley Disengaged
Figure 12 shows the tensioner pulley mounted onto the frame but disengaged. A slot
was made on the frame to allow the tensioner pulley to go through (see Appendix A). A
small socket was welded which pivots the tensioner. The tensioner pulley engages the
v-belt to get the required tension. The tensioner can be easily rotated when the failsafe
mode needs to be activated. The tensioner pulley rotates out of the way to allow for
manual rotation of the shaft using the hand crank.
44
Figure 14: Proof of Concept
Figure 13 represents a completed proof of concept prototype. The housing for the
system was left out due to time constrains and to showcase the mechanism for the Mech
Design Expo on 16th May, 2012.
45
Tests, results, and discussion
The proof of concept prototype was only tested minimally due to time constraints on
the project. The prototype was tested for forward and reverse functionality as well as
for how the tensioner pulley acted as a failsafe.
In the case of forward and reverse, the prototype functioned as expected. By changing
the air ratchet from forward to reverse, the leg would be either raised or lowered. The
time taken for the leg to fully extend or retract was just under 30 seconds on average.
However, this is from the air source in the machine shop which provides a constant
90psi of air. The prototype was not able to be tested using the air compressor found in a
standard semi truck.
The other test performed by the design team was to see how effective the tensioner
pulley is as a failsafe. When disengaged, the belt is able to relieve enough tension to
make manual cranking possible without locking the air wrench. However, there is still
considerable friction to overcome from the belt sitting in the sheaves.
Though the objectives were met with the current design, there are still things that can
be improved upon. These topics will be discussed in the Future Work section of this
report.
46
Conclusion
The objectives of the project were to create a functional prototype for a pneumatically
powered system that would replace the current hand crank on a semi trailer landing
gear. The device should be easily retrofitted and have a failsafe mode which would
allow for easily accessible manual cranking in case of an emergency.
The design team has met all objectives set for this project with the exception of the
device being easy to retrofit. With the design requiring the C-channels to be welded to
the leg, any consumer would need access to welding supplies or would have to have the
device installed for them. Aside from the small welds that are required for this version
of the prototype, the frame is easily mounted to the C-channels.
The design also kept with the scope and boundaries of the project. The design does not
require any extra power other than the power supplied by the air brake lines. It also
operates within the time limits of the air compressor tank in the semi trucks.
Overall, the design met the goals and specifications set by the design team and the
prototype that was manufactured is ready for the next stage of the design process.
47
Future Work
Two major areas of future work for this project are to design for ease of assembly and to
reduce the cost of the prototype.
To design for ease of assembly, the design team initially planned to make the design
generic, which was successful. The other objective would be to make the prototype easy
to install on the leg of the landing gear. To further improve on the prototype, the team
would like to reduce the number of welds used and to install the mechanism on the leg
of the landing gear. The leg of the landing gear was donated by Royal City Roadline.
To reduce the cost of manufacturing, the design team budgeted the system to be around
$250, but the cost came out to approximately $575. This was primarily due to lack of
shop experience of the team members.
The 30 labor hours used in the project to manufacture the prototype could have been
reduced to a more reasonable 7.5 actual working hours for manufacturing if more
experienced individuals were working in the shop. Many of the extra labor hours were
created from parts not turning out as initially specified. The reduction of labor hours
would bring the cost of a prototype from $575 to $275, and make it much more
marketable.
Though test results were achieved which met the objectives of the project, only the bare
minimum was met. The design team would like to further develop both the tensioner
pulley and the torque transfer to allow for faster raising and lowering of the legs. The
design team also would like to redesign the tensioner pulley in a way that creates more
tension when engaged, but allows for more slack in the belt when disengaged.
48
Lessons Learned
From January to May, the team dealt with many different engineering aspects with the
help of BCIT faculty and staff. Starting from the most recent work done, the
manufacturing of the prototype of the design taught the team many important lessons.
With little shop experience, the design team required a lot of guidance from the shop
instructors, relying on them for tips on processes like wielding or milling, which were
mostly only taught in lectures in previous years but which were never applied in a
practical way in the interim. The tips, suggestions, and guidance offered helped the team
to manufacture a fully functional prototype of the design.
While researching prices for gears, the first few quotes the design team got from
suppliers were well above $1000. However, after doing more research on what would
be acceptable for the design, the team was able to find v-belt sheaves for under $50.
This clearly showed the importance of communication and in-depth research in this
field of study. Not only is communication with manufacturers and faculty advisors
important, but it is also important among the team members. Effective communication
was instrumental to the design team completing all objectives in a timely manner.
After much deliberation and a formal request by Kevin Peffers (personal
communication, February 12, 2012), the design team dropped the idea of making an
underwater scuba scooter, one month into the term. The main reasons for the project
change were due to lack of knowledge of the systems involved, time constraints, and
inefficient handling of the project. The team then switched to the current project, the
pneumatically powered landing gear, and by learning from the mistakes made (mostly
with respect to time management and efficient project planning), completed the
objectives. The progress was due, in part, to proper management and regular team
meetings.
The most important lessons learned for the design team were to use the Gantt chart
effectively to properly manage the time required to complete the project and to ensure
that proper techniques have been taught when manufacturing any components for any
project.
49
Roles of Team Members
Gurveen Bath-Communications lead
The communications lead is responsible for the communications between the
sponsor and design team, also between the design team and the faculty support.
The communications lead has the final say in the layout of the reports, proposal
and final, and the presentations.
Aaron Hufsmith- Design lead
The design lead is responsible for the oversight of the design process, the
distribution of the design tasks, and the use of CAD. The design lead will have the
final say on which concepts are used and implemented in the final design.
Abhinav Bhardwaj- Technical lead
The technical lead is responsible for the inspection of the validity of the design
and any calculations included in the design process. The technical lead is also
responsible for the oversight and development of the manufacturing process.
Gurveen Bath Aaron Hufsmith Abhinav Bhardwaj
 Objectives
 Resources
 Team member roles
 FMEA
 P-diagram
 Prototyping
 WBS
 Problem Statement
 Scope
 QFD
 Concept sketches
 Morphology
 Acknowledgement
 Abstract
 Benchmarking
 Calculations
 FDD
 Design Matrix
 Future Work
 Lessons Learned
 Cost Analysis
50
Works Cited
Lowes. (2012). Retrieved Feb 2012, from Lowes: www.lowes.com
Hedges, C. S., & Womack, R. C. (1984). Industrial Fluid Power Volume 3. Dallas: Womack Educational
Publications.
juvinall, r. c. (2011). Fundamentals of machine components design. new york: the PRD Group INC.
Kobalt. (n.d.). 3/8 in. Air Ratchet Wrench. Retrieved April 3, 2012, from Kobalt Tools:
http://kobalttools.com/
Maska . (n.d.). Maska. Retrieved Feb 2012, from http://maskapulleys.com
Mott, R. (2005). applied fluid dynamics. new jersey: Prentice Hall.
Mott, R. L. (2003). Machine Elements in Mechanical Design (4th Edition). Charlottesville: Prentice
Hall.
Wong, K. (2008, 04). Mech 4440 Machine Design notes.
51
Appendix A- Shop Drawings
52
Appendix B- Patents
53
Appendix B-1 Patent Hand Crank
54
55
56
57
58
59
60
61
62
63
Appendix B-2 Patent Electric Motor
64
65
66
67
68
Appendix C: V-Belt Tension Catalogue

Final Report

  • 1.
    Pneumatically Driven LandingGear Final Report Prepared for: Cyrus Raoufi, Ph.D., P. Eng. MECH 4490 Darlene Webb, MA COMM 2269 Kevin Peffers MECH 4490 Prepared by: Gurveen Bath, A00712200, Set D Aaron Hufsmith A00798178, Set D Abhinav Bhardwaj A00770290, Set F 18 May 2012
  • 2.
    1 Executive Summary The purposeof this design project was to develop a device to pneumatically control the landing gear on a semi trailer chassis. Currently, all landing gears are raised and lowered manually by the operator with use of a hand crank. The design used the trailer’s air brake lines to power the pneumatic system which will raise and lower the landing gear with a push of a button. To understand the problem and develop the engineering specifications, the design team completed benchmarking research and employed the use of a quality function deployment (QFD) diagram. From this, the team concluded that the reason for the hand crank’s wide- spread use is that it is a very simple and functional design while still being durable. Therefore, the design must be also simple and be very durable, but also incorporate push button operation for ease of use. To amplify the torque produced by a pneumatic motor, the design team narrowed the design to spur gear, planetary gear, and v belt systems. These design parameters led to concept generation techniques such as morphology and design decision matrix to determine the final design as a spur gear design. However, due to constraints placed on the design with regards to a lack of pneumatic motors within a reasonable price range for the project (that could output the minimum required torque before a gear reduction) the team was forced to alter the design slightly by using a pneumatic air wrench and v-belt system instead. The design team started making a more detailed design and used a failure modes and effect analysis (FMEA) to determine what the critical components of the design were. The failure of torque transmission to the shaft, as well as the failure of the main shaft or the motor mount failing were the biggest concerns. The team accounted for all of these factors by using the tensioner pulley to ensure torque transfer as well as doing a shaft analysis for the shaft and a FEA for the system mount. A P-diagram was created and analyzed to find how the noise parameters would affect the design. The largest noise factors the team found were extreme cold, sheave wear, and a poor mounting on the leg. These factors are the responsibility of the operator to ensure good, clean working conditions avoiding cold weather operation. The operator should also to monitor the sheave and inspect for wear, as well as check the mount for damage before operation.
  • 3.
    2 After the designteam had finalized the conceptual design involving the pneumatic air wrench, the team created shop drawings to begin creating and assembling a working prototype. The prototype was built and tested to ensure it met the objectives of the project. The test results showed that the leg could be raised or lowered in less than 30 seconds, and the tensioner pulley, when disengaged, allowed the shaft to be manually cranked, and when engaged, provided the tension required for good torque transfer. The construction and assembly of the proof of concept prototype was completed in time for the Mechanical Design Expo on May 16th, 2012. The cost of manufacturing the prototype came to approximately $575. This is well above a reasonable marketable cost. One aspect of the future work of this project is to reduce the cost of manufacturing. The other more important future work needed for this project is to increase the efficiency of the system. This involves reducing the time required to raise or lower the leg as well as minimizing the assembly of the device to make it as simple and easy as possible.
  • 4.
    3 Acknowledgement During the longand arduous task of creating a project the design team of Aaron Hufsmith, Abhinav Bhardwaj, and Gurveen Bath suffered many setbacks and challenges and would have not been able to overcome them without the help and guidance of a select few. First and foremost the design team would like to thank Mr. Kevin Peffers for his guidance in helping to direct the project towards an achievable goal. Any time the team got stuck on one problem or another Kevin was always there with some insight or to provide a new way to view the problem. His suggestions always led to the design team finding a solution to the problems encountered. Without Mr. Peffers’ wisdom and support the project could not have met the goals set by the design team. Another key supporter throughout the design process was Ms. Darlene Webb. Her role in assisting the team in creating a balanced and well-structured technical document was invaluable. Any editing issues or general knowledge regarding the layout of a technical document Darlene was always more than happy to help with. As engineers are notorious for their rudimentary English, Ms. Webb often facilitated the growth of the design team’s skills as communicators (both written and verbally). The final important supporter of the design team was Dr. Cyrus Raoufi. Cyrus was responsible for laying the groundwork of the project both with respect to the planning and designing stages, and of properly structuring the technical report and documentation. The design team would like to acknowledge all the time and effort put into this project by the aforementioned three key supporters, without whom this project could not have been as successful as it was. The design team very graciously thanks them for everything they have done in assistance to the team. The design team would also like to acknowledge and thank Royal City Roadline for providing the team with a working leg with which the team could use to construct and assemble a prototype.
  • 5.
    4 Table of Contents Listof Figures.........................................................................................................................................................6 List of Tables...........................................................................................................................................................7 Problem Statement...............................................................................................................................................8 Objectives.................................................................................................................................................................9 Scope and Boundaries...................................................................................................................................... 10 Quality Functional Deployment [QFD] ...................................................................................................... 11 QFD Analysis........................................................................................................................................................ 12 Benchmarking ..................................................................................................................................................... 14 Functional Decomposition Diagram........................................................................................................... 15 Functional Decomposition Analysis ........................................................................................................... 16 Morphology.......................................................................................................................................................... 17 Concept Selection............................................................................................................................................... 19 Concept Design Descriptions......................................................................................................................... 22 Decision Matrix................................................................................................................................................... 23 Geometric Layout............................................................................................................................................... 24 Interaction Chart................................................................................................................................................ 25 Resources.............................................................................................................................................................. 26 WBS ......................................................................................................................................................................... 27 Gantt Chart............................................................................................................................................................ 28 Budget and Risk Analysis................................................................................................................................ 29 FMEA....................................................................................................................................................................... 30 FMEA Recommended Action......................................................................................................................... 31 Cost Analysis........................................................................................................................................................ 32
  • 6.
    5 CAD Models ..........................................................................................................................................................35 Technical Calculation........................................................................................................................................ 37 P-diagram.............................................................................................................................................................. 38 P-diagram Analysis............................................................................................................................................ 39 Prototyping........................................................................................................................................................... 41 Tests, results, and discussion........................................................................................................................ 45 Conclusion............................................................................................................................................................. 46 Future Work......................................................................................................................................................... 47 Lessons Learned................................................................................................................................................. 48 Roles of Team Members.................................................................................................................................. 49 Works Cited.......................................................................................................................................................... 50 Appendix A- Shop Drawings.............................................................................................................................A Appendix B- Patents.............................................................................................................................................B Appendix C: V-Belt Tension Catalogue .........................................................................................................C
  • 7.
    6 List of Figures Figure1- FDD...............................................................................................................................................15 Figure 2- Concept 1.....................................................................................................................................19 Figure 3- Concept 2.....................................................................................................................................20 Figure 4- Concept 3.....................................................................................................................................21 Figure 5- Geometric Layout ........................................................................................................................24 Figure 6 - Interaction Graph........................................................................................................................25 Figure 7- WBS..............................................................................................................................................27 Figure 8- Costs.............................................................................................................................................33 Figure 9- Technical Calculations..................................................................................................................37 Figure 10- P-Diagram ..................................................................................................................................38 Figure 11- Motor Mount.............................................................................................................................41 Figure 12- C-Channel...................................................................................................................................42 Figure 13- Tensioner Pulley Disengaged.....................................................................................................43 Figure 14- Proof of Concept........................................................................................................................44
  • 8.
    7 List of Tables Table1- QFD................................................................................................................................................11 Table 2- Morphology...................................................................................................................................18 Table 3- Decision Matrix .............................................................................................................................23 Table 4- Gantt Chart....................................................................................................................................28 Table 5: FMEA .............................................................................................................................................30 Table 6: Cost Analysis Breakdown ..............................................................................................................34
  • 9.
    8 Problem Statement The landinggear on a semi-trailer or chassis is the part which keeps the trailer upright while it is not connected to the truck. Currently available landing gears are operated with a hand crank system. The design team proposes to design an add-on which will convert the hand crank to a pneumatic system. All trailers currently have pneumatic lines running in them for air brakes the proposed design will tap into these lines to power the pneumatic system. The current hand crank mechanism is a tedious procedure that can be easily simplified. The hand cranking does not require tremendous physical exertion due to the two gear speeds and torque arm available. However, if an operator wants the support leg extended or retracted in minimal time, they would have to set it to the gear with the lowest revolution and highest torque which requires much more physical exertion than the high revolution and low torque setting. Two design plans are proposed. The first one will create a system of gears powered by a pneumatic motor (powered by the air brake lines) which will automatically rotate the gear that extends/retracts the landing gear leg. A second potential design plan is to design the automatic extension and retraction system to be built into all new trailers. This alternate design would incorporate redesigning the current internal gear system inside the support leg and is more tedious to design, and thus a less viable option than the retrofit. The design team will carefully assess and evaluate both of these plans before proceeding forward.
  • 10.
    9 Objectives The objective ofthis design project was to adapt the current hand- crank mechanism for the landing gear of a semi-trailer to a pneumatic mechanism with push button interface. This pneumatic add-on needed a failsafe mode which would activate in the case of a malfunction such that the operator could attach the old hand crank and continue operation of the landing gear. This add-on also needed to be easily installed. The air supply could not compromise the air brakes of the trailer. The device also needed an automatic stop at the top of its retraction and also at the bottom of extension. The design the group implemented aimed to be minimalistic. The group wants to design the system with maximum torque output with as few components as possible. The fewer the number of components, the more time and detail can be spent on each component, thus allowing more time for manufacturing the prototype. The sponsor will provide the group with a chassis to install the working prototype which the group intends to make. One objective that the group completed is the development of a working prototype. Many previous projects have been successful because they had a completed prototype, working or not, and this is also an overall objective of this design team.
  • 11.
    10 Scope and Boundaries Theproduct has to safely tap into the current air lines in the trailer which power an essential component (air brakes). The part used to split the air lines must be closed when not operating the support leg mover. This is critical to the design because the air brakes cannot be compromised. The product must have a fail safe mode where, if the device does not work, it would still be able to reattach to the hand crank and manually operate the landing gear. The product must be able to be retrofitted on all trailers currently on the market. The retrofit should install easily and allow for easy access for maintenance of the device. The device needs to be able to stop upon full extension/retraction as to prevent any damage to the gears or the support leg itself. The design of the gears and shaft must incorporate a failsafe (ie shearing pin) to protect the integral components of the design in the event of the device failing. There are a few components of the design that fall outside the scope. This includes the motor and the gears. We will specify the requirements for the pneumatic motor and order the motor that meets our needs. The gear specifications will be designed by the team, however the gears will also be ordered for the project.
  • 12.
    11 Quality Functional Deployment[QFD] 1 9 9 1 3 1 1 3 9 3 3 Manufacturer TruckingCompanies Operators Durability Power Flowrate Speed(rpm) MaterialStrength OperationTime Pressure 5 4 3 2 1 5 10 5 t q 5 10 15 9 1 q 5 10 5 3 1 3 q 20 5 2 3 3 t q 5 10 2 t q 10 15 10 3 9 1 1 t q 5 15 10 q t Raise/Lower - 5 5 1 3 3 q t Locking - 5 5 3 t q 15 - 1 3 9 t q 10 5 5 t q 10 5 5 9 9 10 5 10 9 q 32 10 11 1.7 22 1.1 12 27 17 6.1 2.8 1.7 3.3 8.3 q 33 12 5.6 2.8 1.7 2.8 6.7 t 97 30 4 5 42 14 12 60 45 0 4 60 13 0 90 30 5 8 60 15 15 80 40 3 5 40 12 10 WHAT User Interface WHO Target (Delighted) (Company) (Operator) Hand Crank Pneumatic Motor Maintenance Operation (Switching Gears) HOW NOW Hydraulic Crank Durability Power Flow Rate Importance (Manufacturer) Failsafe Mode Air Supply Connection Assembly Installation Ease of Use Surfacing Operating |Temp. Housing HOW Threshold (Disgusted) Speed (rpm) Material Strength Operation Time Pressure Hydrualic Crank Hand Crank Table 1- QFD
  • 13.
    12 QFD Analysis The mostimportant functions of the design process for the manufacturers are the assembly and the surfacing of the parts. Manufacturers want a simple design that is easy to assemble. They also do not want to have to perform any complicated procedures to prepare the parts for assembly. The more simplistic the design, the more content manufacturers will be. The key factors that the trucking companies are looking for in a product are low maintenance, ease of operation, and easy installation. The companies do not want a product that requires high maintenance (taking a chassis off the road for any reason is not good). Also, the time required to operate the new product should be equal, or better yet, lesser than, the current time to operate the hand crank. The product should also be as easy to operate as the hand crank. The companies will want a product that requires minimal installation time as to get the chassis back on the roads as quickly as possible. The major design factors that the operators are looking for in the product are a reliable failsafe mode and ease of use. The design of the pneumatic crank should minimize the effort and time spent by the operators on working the hand crank. Additionally, the failsafe mode is highly important because if any problems arise in the field, the operators will need to deal with it. The QFD, as shown in Table 1, enables the design team to compare the “who” with the “what” of the proposed design. One of the biggest factors to consider in the design is the overall durability of the design. The failsafe mode and the housing are two of the most important aspects of the design that need the most durability. The failsafe mode requires durability because it is the backup for the pneumatic motor. If the failsafe mode is inoperable, then there is no way to operate the landing gear. The housing must be durable because it protects the major components, namely the pneumatic motor and the gears. Another customer requirement that has high importance is the operation time for the crank. The product must be designed to minimize the operation time of both raising and lowering the landing gear. The customers do not want a product that has an unreasonable time to raise and lower the legs regardless of how easy it is to operate. As shown in the “now” section of the QFD, the current method for operating the hand crank is only moderately effective for operating time and durability but at the cost of high user input. The physical strain placed on the operator is the major drawback of the current system.
  • 14.
    13 As shown inthe “now” section of the QFD, the hydraulic motor available on the market reduces the need for operator interface, but it is a high maintenance device. The hydraulic motor also requires a long installation time and a large open location to store the bulky device’s large housing.
  • 15.
    14 Benchmarking In the currentmarket there is a device that manually retracts and extends the trailer landing gear; however, the device requires a bulky hydraulic motor to operate. Even with the aforementioned product readily available on the market, it is too impractical for conventional use; almost all trailer truck drivers still use the hand crank. The available hand crank that is currently installed on the landing gears (Application number: 11/076,674 Publication number: US 2006/0202460 A1 Filing date: Mar 10, 2005 Issued patent: US7311332 Issue date Dec 25, 2007) is the major benchmark with which the design team can compare data. The hand crank has a fixed-length rod that can be operated at two speeds. The “high speed” requires a low applied force and can be rotated at a high frequency because it operates at a lower torque. Alternately the “low speed” is more difficult to rotate because it puts out a much higher torque. Refer to Appendix B-1 Another apparatus that was previously designed which the design team can use as a benchmark for their design (Application number: 10/007,844 Publication number: US 2002/0053794 A1 Filing date: Nov 5, 2001) is a similar product compared to the final design the team intends to create. However this alternate design is cranked using an electric motor deriving power from a separate battery attached to the frame. Whereas, the design the team is proposing will derive power from the airline going into the brakes. The new design to be implemented by the design team is significantly distinguished from the former design patent mentioned Refer to Appendix B-2
  • 16.
    15 Functional Decomposition Diagram Figure1- FDD Split air supply Air supply through flow control Air supply to wrench Wrench outputs torque System Mount Wrench output shaft to sheave Sheave attachment to landing gear shaft Raise/lower landing gear
  • 17.
    16 Functional Decomposition Analysis Analyzingthe functional decomposition diagram reveals two distinct parts of the total system. The first section relates to the air supply. As the air is split off the main line to the air brakes the air flows through a simple 3-2 way valve which acts as both the flow control and a shut-off valve. After the air has gone through the valve it enters the air wrench. Powered pneumatically the air wrench outputs the torque to drive the system. The other main system function defines the transfer of torque to drive the system. Mounted to the leg system via housing and support structure the air wrench will output a torque into a sheave attached on a shaft. This sheave will transfer the torque through the belt to the second sheave. The second sheave is attached (via press fit and set screws) to the driving shaft of the landing gear. With the activation of the air wrench these connections will cause either the landing gear to raise or lower depending on the setting on the air wrench (forward or reverse).
  • 18.
  • 19.
  • 20.
    19 Concept Selection Concept 1: Air circuit 2  Vane motor  Housing concept 2  Planetary gear system  Design new hand crank  Key seat  Flexible coupling Figure 2- Concept 1
  • 21.
    20 Concept 2:  Aircircuit 1  Vane motor  Housing concept 1  Spur gear system  Reuse old hand crank  Pinning  Rigid coupling Figure 3- Concept 2
  • 22.
    21 Concept 3:  Aircircuit 1  Piston motor  V-belt system  Housing concept 2  Reuse hand crank  Rigid coupling  Pinning Figure 4- Concept 3
  • 23.
    22 Concept Design Descriptions Thefirst concept the design team created was a more complex way of transferring the torque from the motor. The design included a complex planetary gear system designed to maximize the torque increase from the motor output to the drive shaft. This design also required the design team to design a new manual hand crank for the failsafe mode. The second concept the design team created was much simpler than the first concept. In place of the planetary gear system the design team intended to incorporate a spur gear reducer system. This system allowed the design team to use the existing hand crank for the failsafe mode. The final concept the team came up with was to use a v-belt system to transfer torque. Very similar in simplicity to the spur gear concept, the v-belt concept would also reuse the hand crank for the failsafe mode. All three designs incorporated a pneumatic motor mounted on the top of the leg of the landing gear. However, once more research was done this proved impossible as the top of the landing gear must be accessible for operators to perform maintenance on the legs. The design team then created a side mount for the motor that would allow us to continue to use a pneumatic motor for the project. Again once more research was done and it was determined that the use of a pneumatic motor was no longer an option the design team switched to a pneumatic wrench and modified the existing mount for the motor to be more suitable for an air wrench. The completed detail drawings of the updated system are viewable in Appendix A: Shop Drawings.
  • 24.
    23 Decision Matrix Weight Concept1(planetary) concept2(spur) concept3(V-belt) manufactubilty 0.24 8 7 ease of assembly/ installation 0.2 4 7 8 total mass 0.1 5 6 7 use of standard parts 0.2 5 8 8 simplicity 0.1 4 8 8 maintenance 0.1 4 7 7 durability 0.2 5 7 4 Total 4.4 7.5 7.05 Table 3- Decision Matrix The above shows a decision matrix which assisted the group in judging the concepts and deciding on which concept to proceed with. The three concepts; namely the one containing planetary gear set, the spur gear set and the v-belt gear set; were taken into account and were judged on the basis of manufacturability, ease of assembly, and usage of standard parts. The mass of the equipment, simplicity of the equipment, and maintenance were taken into account too, however the former group held significantly more weight in the decision matrix. The spur gear and v-belt were the potential concepts from the decision matrix, the design group decided to work with spur gear concept, as the v-belt had limitations such as wear and tear due to usage which made it less compatible with the purpose of the design.
  • 25.
  • 26.
    25 Interaction Chart Figure 6- Interaction Graph
  • 27.
    26 Resources The BCIT facultyis one of the resources the design team has the support of. The faculty includes specialized professors including Mick Andic, for assistance with the pneumatic design part of the project; Kevin Peffers, for support of the machine design components; and Ms. Darlene Webb, for guidance with the communication aspects of the project. The design team is pleased to have the support of a Lower Mainland company, Royal City Roadline. Some key facts about the company are:  Been in business for over 25 years  A Fleet of over 50 chassis  A Fleet of 10 trucks Through the company contact, Gurjeet Bath, the sponsor company would like a pneumatic landing gear system installed on their chassis, which they will provide for the design team, to increase the speed of the process of picking-up and dropping-off of chassis. Also decrease the physical strain on the drivers and other operators of the landing gear. The machine shop at BCIT is another resource the design team will utilize. While some components of the project will be ordered, specifically the pneumatic motor and the gears, other components will be manufactured by the design team in the shop.
  • 28.
    27 WBS Project Planning Prototype Specifications System Level Design DetailDesign System Integration and Testing P1 Scope and Boundaries S1 Pneumatic Motor Specifications L1 Gear design D1 CAD design T1 Prototype assembly P2 Roles of team members S2 Gear reducer specifications L2 Shaft Design D2 FEA model T2 Prototype installation P3 Benchmarking S3 Pneumatic Component Selection L3 Housing Design P4 Timeline L4 Pneumatic Circuit Design Figure 7- WBS
  • 29.
    28 Gantt Chart Week 1st2nd 3rd 4th 1st 2nd 3rd 4th 1st 2nd 3rd 4th Start Finish Progress Report 2 3/5/12 9/3/12 Proposal Presentation 24/2/12 2/3/12 Proposal Report 2/3/12 9/2/12 Progress Report 3 16/3/12 3/5/12 Project Presentation 23/4/12 27/4/12 Final Report 10/4/12 18/5/12 Pneumatic Motor Specifications 2/3/12 9/2/12 Gear Reducer Specifications 2/3/12 9/2/12 Pneumatic Component Selection 2/3/12 9/2/12 Gear System Design 2/3/12 9/2/12 Shaft Design 2/3/12 9/2/12 Housing Design 12/3/12 16/3/12 CAD Design 19/3/12 23/3/12 FEA 19/3/12 23/3/12 Prototype Development 26/3/12 13/4/12 Prototype Assembly 9/4/12 27/4/12 Prototype Testing 23/4/12 27/4/12 MAY DocumentationDesignPrototyping MARCH APRIL Table 4- Gantt Chart
  • 30.
    29 Budget and RiskAnalysis The design team plans to install the prototype on an existing landing gear which will be provided by Royal City Roadline Inc., the group’s sponsor. The major devices contributing to the cost of the project are the pneumatic motor and the gear reducer set. The design team is expecting BCIT to finance the project. The group estimates the project at no more than $1000. The group is trying to limit the cost of the gear reducers and vane motor to 400 dollars each. The remaining $200 is to be spent on the manufacturing of the housing. The risks regarding the equipment have been carefully monitored by the design team. In the situation of a breakdown the team plans to design a hand crank which will replace the current hand crank on the landing gears of the trailers in the market. This will allow for manual operation in case of an emergency.
  • 31.
    30 FMEA Failure mode andeffects analysis was performed by the design team to probe the possible hazards in the design and the effects they have through injury or failure of the component to work. Table 5 shown below shows the critical parts tested. Parts Severity Occurrence Detection Failure Effects S Causes O Control Tests D RPN Recommended Action Leak in Pneumatic air line Can cause Air brakes to fail and the wrench won’t work 7 Valves not connected properly, pipe being too weak. 2 Wrench output meets minimum 7 98 Failure in Power transmission though the sheaves Not enough Torque generated to power the landing gear 7 Improper fit, loose connections, wear of the sheaves. 4 None 6 168 Tensioner failure Fail-safe mode would not work 4 Improper fit. 2 None 6 48 Wear of sheaves Compromise in Fail-safe mode as well as normal function 3 Improper maintenance, Environmental damage, fatigue failure. 1 Landing gear operates slower than normal 7 21 Shaft of landing gear breaks It’s the key component for landing gear to work 8 Fatigue failure, too much tension on the shaft. 4 Deflection in the beam. 9 288 Air wrench mount fails The system could collapse. 9 Environmental corrosion, improper fit. 4 None 5 180 Table 5: FMEA
  • 32.
    31 FMEA Recommended Action Lookingat the FMEA will show that there are a few critical components that have a more significant impact on the overall operation of the design. These components are: failure in power transmission through the sheaves (including the wear of the sheaves), the shaft of the landing gear breaking, and the drill mount failing. The recommended action for preventing the failure of the power transmission through the sheaves is to ensure all calculations related to the position of the sheaves are checked to guarantee they results are accurate. Misalignment between sheaves is also a grave concern so care must be taken during installation to make certain the sheaves are positioned according to the design. The wear of the sheaves is not a major design concern because this will happen regardless of actions taken to prevent it. However it is vital to the system because too much wear will cause the sheaves to fail at transmitting torque. The only way to prevent this failure is the responsibility of the operator to ensure the sheaves are in good working condition and to replace them whenever necessary. The recommended action for avoiding the near catastrophic failure of the shaft of the landing gear failing is by doing a shaft analysis. By calculating the maximum deflection allowed the design team can then determine the maximum force allowed. As long as the downward force created by the tension of the v-belt is less than the maximum force the shaft should not fail. These calculations though are not as accurate if there is any existing damage to the shaft from strain or fatigue. Therefore before any installation of the pneumatic landing gear system the shaft should be inspected for any existing defects and replaced if need be. The other recommended action to avoid the failure of the air wrench mount is to allow for some variability in the design of the support. If all parts are welded in place the design would be more rigid, however fatigue stress would contribute to deformation and could cause a total collapse. To avoid this, the design team created a slotted C channel to attach to the legs to create a bolted connection to the air wrench mount. The bolted connection also allows for much easier replacement in case of failure.
  • 33.
    32 Cost Analysis En-route tothe end of the project, the design team met a problem to order a motor specific to their design. The motor either didn’t exist for the specifications the team wanted or was too expensive (more than 1000 dollars).The team switched from motor to a pneumatic drill and designed to install the drill to the trailers chassis. Griffin tool had a similar product with a drill and a retrofit to the landing gear’s shaft which had a cost of approximate 220$. The team divided the price for the entire system into prices for Material, purchased parts, labor, tooling, overhead, selling expenses, profits and discounts to compete with Griffin tool’s price of $220. Material was one of the major components incurring to the cost. The frame of the machine was made by sheet metal which was available in plenty at BCIT’s machine shop. The cost of the sheet metal used for the production of the frame is estimated to be within $100, but this was saved by the team due to raw materials present. Drill was purchased at Lowes, it was a Kobalt drill and the team spent $54 on it. Small components like the v-belt cost were bought from Maska and added another $9.17 for each of the sheave to the cost. Labor cost is predicted to be a bit higher, keeping in mind the time taken for the machine to be built and the need of skilled labor. This cost is not covered for the project as the design team holds responsibility for the manufacturing of a prototype. The team targets to finish this within 30 hours of work. Tooling and overhead costs are again covered and is nonexistent as the prototype is made at BCIT’s machine shop, which provides us with all the necessary tools and small components(for example, fasteners, nuts and bolts of standard sizes.) The purpose of the design was to be more efficient than the Griffin tool’s idea and at the same time it being price competitive according to the utility of the design; the above mentioned falls below or at same level as the one already existing in the market. Manufacturing the mechanism at a large scale would cover the selling expenses, advertisements, profits and the design team forecasts that there might be some room for discounts.
  • 34.
    33 Figure 8: Costs Theabove figure shows how the budget was allocated amongst various sectors of expenditure. If the pneumatically driven device was to be manufactured on a large scale, the following Table 6 is an estimate of how much the mechanism will cost: 4.Tooling 2.Labor 4.Tooling 5.Purchased Parts 1.Materials
  • 35.
    34 Quantity Description Cost($) Supplier Material Material to build the frame 100 Complete Metal Makers Purchased parts Pneumatic drill, Sheaves etc. 72.34 Labor Skilled labor 10($/hr)x30(hr)=300 Tooling, Over head Machining, Wielding etc 100 Selling Expenses Advertisements -N/A- Profits Margin between expense and revenue -N/A- Discounts To attract the customers -N/A- Total 572.34 Table 6: Cost Analysis Breakdown
  • 36.
    35 CAD Models For thisproject, the design team used SolidWorks to create all drawings, part models, and assemblies. Modeling the project proved instrumental in the design as it helped show how small changes the design team thought would be good for the design could have adverse effects. Modelling the project in SolidWorks also made the transition from the pneumatic motor system to the air wrench system much easier. By using basic drawings in the modelling, parts only needed to be modified to use the air wrench system, rather than having to design brand new components. This saved a lot of time for the design team. The design team did a FEA for the system mount. Since the mount and support frame was a major concern from the FMEA the team felt it necessary to prove it would support more than enough weight. After a quick and basic test, the motor support had a high enough safety factor for more weight than would ever be applied. A Finite Element Analysis was also done on the shaft of the landing gear to see if the shaft would fail under the tension created by the pulley. This test proved that the design of the shaft was durable enough to withstand the tension force. The team ultimately designed five components: 1. The C-Channel—a slotted channel that would be welded to the leg, 2. The angle iron support—the H shaped support that would hold all the components and be bolted to the C-Channel, 3. The wrench mount—a small metal frame to hold the shaft bearing and motor, 4. The housing and cover plate—a box that would cover the entire system to protect it from “noise” factors; and 5. The tensioner pulley, the system used to engage or disengage the failsafe mode. The components that changed the most over the design process were the tensioner pulley, the angle iron support and the C-Channel. The tensioner pulley was modified two times based on the available materials and the positioning of the wheel that would be in contact with the belt. Modelling allowed the design team to look at different options using the materials that were accessible.
  • 37.
    36 The C-Channel wasadded near the end of the design project when the team needed a way to account for different leg heights. By welding the C-Channel to the leg instead of the angle iron support it allowed for a lot more room for error. If a replacement v-belt was a different size than the one used in the prototype the system could easily account for the height difference. With the addition of the C-Channel the angle iron support needed to be modified to account for the extra width and the slots. The middle support piece was bulked up slightly to account for the extra stress as well as any weaknesses created by drilling the holes. The holes were used to bolt the angle iron support the C-Channel. Because the bolting is not permanent it gave the design team an extra safety factor. All of the shop drawings for these parts can be viewed in Appendix A.
  • 38.
    37 Technical Calculation The followingcalculations are for finding the required torque and tension in the v-belt. Figure 9- Technical Calculations
  • 39.
    38 P-diagram The Figure 9shown below is the P-diagram for the pneumatically driven landing gear. The figure shows interactions between input signals, noise parameters which interfere with the outcome. The process is iterated several times till the noises are minimized and the targeted output is achieved. Pneumatically driven system Targets: No failure Efficient power transmission Noise Parameters: Environment Wear of sheaves Improper mount Input Parameters: Rpm of drill Power transmission through v belt sheaves Control Parameters: Input Torque Rpm of drill Flow Rate Figure 10: P-Diagram
  • 40.
    39 P-diagram Analysis Analyzing theP-diagram gives some insight into why the design team chose certain aspects of the design over others. The most important information from the P-diagram to analyze are the “Noise Parameters.” The “Noise Parameters” determine the most significant external effects or conditions that could hamper the functionality of the design. For this design, the biggest noise factors were the environment, the wear of the sheaves and belt, and an improper mount. The environment for this design that would most hamper the efficiency would be cold temperatures and dirt and grime build up on the components. The dirt and grime is greatly reduced as an issue with the incorporation of a solid, well-built housing for the landing gear. However, the housing must have openings in it. These openings are to allow for the air line, the landing gear shaft, the slot for the tensioner pulley, as well as the opening plate to operate the forward and reverse functions on the air wrench. Dirt and grime can get in through these openings and damage the contents of the housing, most importantly, the air wrench and v-belt. The cold temperature problem is not as easily rectified as the metal housing does little to keep the cold out. The good news is that it will take a very cold temperature to cause disturbances to affect the system. However, if the design is used in the extreme cold the biggest problems that can arise are the shafts shrinking and the press fits of the sheaves becoming loose, thus leading to a higher chance of slippage and a loss of torque transfer. Another issue that could arise is an increase in stiffness of the v-belt. The best solution for now for this problem is to recommend the product not be used in the extreme cold (Northern BC during the winter or the Territories). The wear of the sheaves and belt is another issue as it could lead to minimal torque transfer resulting in the product no longer operating with the desired effect. The solution for this problem is to ensure proper maintenance of the belt and sheaves to avoid any issues altogether. An improper mount could cause unwanted vibrations from the operation of the motor that could lead to excessive wear in the v-belt as well as potentially damaging the air wrench. The solution to this problem is to ensure that the design is properly installed before any operation.
  • 41.
    40 Both the wearof the sheaves and improper mount have a redundancy built into the design in the form of the failsafe mode. As both of those parameters would hamper the output from the air wrench the manual hand crank that could still be attached would be able to overcome both of these issues in the event of a failure. The two targets of the design are efficient power transmission and no failure. Both of these can be met if the system is cared for by ensuring there is no dirt or grime in the system during operation and extreme temperatures are avoided, as well as properly maintaining the v-belt and air wrench.
  • 42.
    41 Prototyping As the teamhad little experience in the machine shop, prototyping for the project was made easier by following the CAD drawings and the concept of reverse engineering. However, the lack of shop experience altered some of the ways components were built. Additionally, some components were not manufactured so that the design team could display a proof of concept prototype by the project deadline. Figure 10 shows how the pneumatic air wrench was mounted on the frame and how it transmitted torque on to the v-belt sheave. The air wrench was connected to a socket which acted as the shaft for the wrench. Due to vibrations and tension caused by the v- belt, perpendicular to the shaft, the self-centered ball bearing was used, as shown in the Figure 10 below. The bearing was bolted to the angle iron beam that supported the air ratchet. Two additional metal pieces were welded on the base of the frame to lift the motor so that the sheave has clearance with the bottom of the frame. Figure 11: Motor Mount
  • 43.
    42 Figure 11 showsa slotted C-channel (two were used, one welded on each side of the leg). This allowed the design to be more generic so that it could be used for any leg as a retrofit. Lock washers were used while bolting the support for the frame to the C- channel, helping to eliminate any possible slippage. Figure 12: C-Channel
  • 44.
    43 Figure 13: TensionerPulley Disengaged Figure 12 shows the tensioner pulley mounted onto the frame but disengaged. A slot was made on the frame to allow the tensioner pulley to go through (see Appendix A). A small socket was welded which pivots the tensioner. The tensioner pulley engages the v-belt to get the required tension. The tensioner can be easily rotated when the failsafe mode needs to be activated. The tensioner pulley rotates out of the way to allow for manual rotation of the shaft using the hand crank.
  • 45.
    44 Figure 14: Proofof Concept Figure 13 represents a completed proof of concept prototype. The housing for the system was left out due to time constrains and to showcase the mechanism for the Mech Design Expo on 16th May, 2012.
  • 46.
    45 Tests, results, anddiscussion The proof of concept prototype was only tested minimally due to time constraints on the project. The prototype was tested for forward and reverse functionality as well as for how the tensioner pulley acted as a failsafe. In the case of forward and reverse, the prototype functioned as expected. By changing the air ratchet from forward to reverse, the leg would be either raised or lowered. The time taken for the leg to fully extend or retract was just under 30 seconds on average. However, this is from the air source in the machine shop which provides a constant 90psi of air. The prototype was not able to be tested using the air compressor found in a standard semi truck. The other test performed by the design team was to see how effective the tensioner pulley is as a failsafe. When disengaged, the belt is able to relieve enough tension to make manual cranking possible without locking the air wrench. However, there is still considerable friction to overcome from the belt sitting in the sheaves. Though the objectives were met with the current design, there are still things that can be improved upon. These topics will be discussed in the Future Work section of this report.
  • 47.
    46 Conclusion The objectives ofthe project were to create a functional prototype for a pneumatically powered system that would replace the current hand crank on a semi trailer landing gear. The device should be easily retrofitted and have a failsafe mode which would allow for easily accessible manual cranking in case of an emergency. The design team has met all objectives set for this project with the exception of the device being easy to retrofit. With the design requiring the C-channels to be welded to the leg, any consumer would need access to welding supplies or would have to have the device installed for them. Aside from the small welds that are required for this version of the prototype, the frame is easily mounted to the C-channels. The design also kept with the scope and boundaries of the project. The design does not require any extra power other than the power supplied by the air brake lines. It also operates within the time limits of the air compressor tank in the semi trucks. Overall, the design met the goals and specifications set by the design team and the prototype that was manufactured is ready for the next stage of the design process.
  • 48.
    47 Future Work Two majorareas of future work for this project are to design for ease of assembly and to reduce the cost of the prototype. To design for ease of assembly, the design team initially planned to make the design generic, which was successful. The other objective would be to make the prototype easy to install on the leg of the landing gear. To further improve on the prototype, the team would like to reduce the number of welds used and to install the mechanism on the leg of the landing gear. The leg of the landing gear was donated by Royal City Roadline. To reduce the cost of manufacturing, the design team budgeted the system to be around $250, but the cost came out to approximately $575. This was primarily due to lack of shop experience of the team members. The 30 labor hours used in the project to manufacture the prototype could have been reduced to a more reasonable 7.5 actual working hours for manufacturing if more experienced individuals were working in the shop. Many of the extra labor hours were created from parts not turning out as initially specified. The reduction of labor hours would bring the cost of a prototype from $575 to $275, and make it much more marketable. Though test results were achieved which met the objectives of the project, only the bare minimum was met. The design team would like to further develop both the tensioner pulley and the torque transfer to allow for faster raising and lowering of the legs. The design team also would like to redesign the tensioner pulley in a way that creates more tension when engaged, but allows for more slack in the belt when disengaged.
  • 49.
    48 Lessons Learned From Januaryto May, the team dealt with many different engineering aspects with the help of BCIT faculty and staff. Starting from the most recent work done, the manufacturing of the prototype of the design taught the team many important lessons. With little shop experience, the design team required a lot of guidance from the shop instructors, relying on them for tips on processes like wielding or milling, which were mostly only taught in lectures in previous years but which were never applied in a practical way in the interim. The tips, suggestions, and guidance offered helped the team to manufacture a fully functional prototype of the design. While researching prices for gears, the first few quotes the design team got from suppliers were well above $1000. However, after doing more research on what would be acceptable for the design, the team was able to find v-belt sheaves for under $50. This clearly showed the importance of communication and in-depth research in this field of study. Not only is communication with manufacturers and faculty advisors important, but it is also important among the team members. Effective communication was instrumental to the design team completing all objectives in a timely manner. After much deliberation and a formal request by Kevin Peffers (personal communication, February 12, 2012), the design team dropped the idea of making an underwater scuba scooter, one month into the term. The main reasons for the project change were due to lack of knowledge of the systems involved, time constraints, and inefficient handling of the project. The team then switched to the current project, the pneumatically powered landing gear, and by learning from the mistakes made (mostly with respect to time management and efficient project planning), completed the objectives. The progress was due, in part, to proper management and regular team meetings. The most important lessons learned for the design team were to use the Gantt chart effectively to properly manage the time required to complete the project and to ensure that proper techniques have been taught when manufacturing any components for any project.
  • 50.
    49 Roles of TeamMembers Gurveen Bath-Communications lead The communications lead is responsible for the communications between the sponsor and design team, also between the design team and the faculty support. The communications lead has the final say in the layout of the reports, proposal and final, and the presentations. Aaron Hufsmith- Design lead The design lead is responsible for the oversight of the design process, the distribution of the design tasks, and the use of CAD. The design lead will have the final say on which concepts are used and implemented in the final design. Abhinav Bhardwaj- Technical lead The technical lead is responsible for the inspection of the validity of the design and any calculations included in the design process. The technical lead is also responsible for the oversight and development of the manufacturing process. Gurveen Bath Aaron Hufsmith Abhinav Bhardwaj  Objectives  Resources  Team member roles  FMEA  P-diagram  Prototyping  WBS  Problem Statement  Scope  QFD  Concept sketches  Morphology  Acknowledgement  Abstract  Benchmarking  Calculations  FDD  Design Matrix  Future Work  Lessons Learned  Cost Analysis
  • 51.
    50 Works Cited Lowes. (2012).Retrieved Feb 2012, from Lowes: www.lowes.com Hedges, C. S., & Womack, R. C. (1984). Industrial Fluid Power Volume 3. Dallas: Womack Educational Publications. juvinall, r. c. (2011). Fundamentals of machine components design. new york: the PRD Group INC. Kobalt. (n.d.). 3/8 in. Air Ratchet Wrench. Retrieved April 3, 2012, from Kobalt Tools: http://kobalttools.com/ Maska . (n.d.). Maska. Retrieved Feb 2012, from http://maskapulleys.com Mott, R. (2005). applied fluid dynamics. new jersey: Prentice Hall. Mott, R. L. (2003). Machine Elements in Mechanical Design (4th Edition). Charlottesville: Prentice Hall. Wong, K. (2008, 04). Mech 4440 Machine Design notes.
  • 52.
  • 53.
  • 54.
  • 55.
  • 56.
  • 57.
  • 58.
  • 59.
  • 60.
  • 61.
  • 62.
  • 63.
  • 64.
    63 Appendix B-2 PatentElectric Motor
  • 65.
  • 66.
  • 67.
  • 68.
  • 69.
    68 Appendix C: V-BeltTension Catalogue