UNIT – IIISyllabus(a) Projection of planes: Introduction, types of planes, projection of planes, projection of planes perpendicular to both the reference planes, perpendicular to one plane and parallel to the other plane, perpendicular to one plane and inclined to the other plane.
.(b) Projection of solids: Introduction, types of solids, projection of solids in simple position, projection of solids with axes inclined to both H.P. and V.P., section planes, types of sections, true shape of section, section of solids.
.3.1 Classification of PlanesPlanes can be broadly classified as :Principal planes andSecondary planes.3.2 Types of Secondary Planes             Plane perpendicular to both the HP and the VP.Plane perpendicular to the HP and parallel to the VP.Plane perpendicular to the VP and parallel to the HP
.Auxiliary planes. Two views of an object can be projected on two principal planes, H.P. and V.P. Sometimes either of these two views may not give the true shape of the surface of the object, inclined to the principal planes. Additional views called auxiliary views are therefore obtained by projecting the object on other planes known as auxiliary planes. These planes are inclined to one of the principal planes and perpendicular to the other.
.Types of Auxiliary PlanesAuxiliary vertical plane (A.V.P.)    It is perpendicular to the H.P but inclined to the V.P. Auxiliary inclined plane (A.I.P.)  It is perpendicular to the V.P.  but inclined to the H.P.
.Q. Explain profile plane.           S 09A.
.Q. What are different types of auxiliary       planes?                                       (S10)Q. Define auxiliary planes and classify.   (W07, W09) Q. Show by means of traces, each of the following planes:Perpendicular to HP and inclined at 30˚ to VP.Parallel to and 40 mm away from VP.
.Q. Why the projections of a plane are not drawn in second and fourth quadrants? (W09)
.3.1A regular pentagon of 30 mm side is resting on one of its edges on the HP which is inclined at 45˚ to the VP. Its surface is inclined at 30˚ to HP. Draw its projections.                                             (W06)
..
.3.2 A cube of 70 mm long edges has its horizontal faces equally inclined to the HP. It is cut by a sectional plane perpendicular to HP so that true shape of the section is a hexagon. Determine the inclination of the cutting plane with the VP and draw sectional front view and true shape of the section.               (W06) 
..
.3.3 A cone base 70 mm and axis length 80 mm is kept on HP on its base. It is cut by an AIP in such a way that the true shape of the section is a hyperbola of base 50 mm and altitude 60 mm. Draw front view, sectional top view and true shape of the section.                                                    (W07)
..
.3.4 A cone base diameter 70 mm and axis length 80 mm is kept on the HP on its base. It is cut by a section plane perpendicular to both HP and VP in such a way that the true shape of the section is hyperbola of altitude 50 mm. Draw front view, top view and true shape of the section.                                                           (W07)
..
.3.5 The base surface of a stand is a square of 90 cm sides and is on ground. The top surface of it is a circle of 30 cm diameter and is 70 mm above the ground. The lower ends of four legs which are equal in length and equally spaced in plan, and are connected to the corners of square in base while the top ends are on the circumference of the circle at top. Draw the projections of the stand when the four legs are equally inclined to front wall and find the length of legs and their inclination with ground.
..
.3.6 Draw the projections of a regular pentagon of 40 mm side, having its surface inclined at 30˚ to the HP and a side in the HP and inclined at an angle of 60˚ to the VP.                                             (W08)
..
.3.7 A hexagonal pyramid base 25 mm and axis 50 mm long has one of its triangular faces in the VP and edge of the base contained by that face makes angle of 30˚ with the HP. Draw its projections.                                             (W08)
..
.3.8 A cone diameter of base 50 mm long is resting on its base on the ground. It is cut by a section plane perpendicular to the VP inclined at 75˚ to the HP and passing through the apex. Draw its front view, sectional top view and true shape of the section.                                                    (W08)
..
.3.9 Draw the projections of a regular hexagon of 25 mm side, having one of its sides in the HP and inclined at 60˚ to the VP and its surface making an angle of 45˚ with the HP.                                                  (09)
..
.3.10 Draw the projections of a rhombus having diagonals 125 mm and 50 mm long the smaller diagonal of which is parallel to both the principal planes, the other is inclined at 30˚ to the HP.                         (09)
..
.3.11 A triangular prism, base 30 mm side and axis 50 mm long is lying on the HP on one of its rectangular faces with its axis inclined at 30˚ to the VP. It is cut by a horizontal section plane at a distance of 12 mm above ground. Draw its front view and sectional top view.                                     (S09, S10)
..
.3.12 The top view of a plate, the surface of which is perpendicular to the VP and inclined at 60˚ to the HP is a circle of 60 mm diameter. Find the true shape of the plate.                                             (W09)
..
..
.3.13 A cube of 25 mm edges, is resting on one of its faces on HP. It is cut by a plane in such a way that the true section available is a regular hexagon. Find the apparent and true section of the cube. Find the inclination of the sectional top view with HP and VP.                                                 (W09)
..
.3.14 A pentagonal pyramid of base side 30 mm and height 50 mm is resting on the ground on one of its base side in such a way that one of its triangular face is perpendicular to both HP and VP. Draw the projections.                                             (W09)
..
.3.15 An isosceles triangle PQR having the sides of 75 mm long and altitude 75 mm have its corners P, Q and R 25 mm, 50 mm and 75 mm respectively above the ground. Draw its projections.                          (S10)
..
.3.16 Draw the projections of a hexagonal pyramid base 30 mm side and axis 60 mm long, having the base on the H.P. and one of the edges of the base inclined at 45˚ to the V.P.                                                      (S10)Solution:
.
.3.17 Draw the projections of a circle of 50 mm diameter resting in the horizontal plane on a point A on the circumference, its plane inclined at 45˚ to the H.P. and the top view of the diameter AB making 30˚ angle with the V.P.                                                     (W02)Solution:
.3.18 A tetrahedron 40 mm long edge parallel to the H.P. and inclined at 45˚ to the V.P. while a face containing that edge is vertical. Draw its projections.                             (W02)Solution:
.3.19 A circular disc 80 mm diameter and of negligible thickness lies in a plane inclined at 30˚ to the HP and perpendicular to the VP. Its centre is 60 mm from horizontal trace of the inclined plane. Draw its top view, front view and side view. .                           (S07)
.3.20 A cylinder of base diameter 45 mm and height 65 mm rests on its base on HP. It is cut by a plane perpendicular to VP and inclined at 30˚ to HP and meets the axis at a distance of 30 mm from base.               (S07)
.

Eg3 n

  • 1.
    UNIT – IIISyllabus(a)Projection of planes: Introduction, types of planes, projection of planes, projection of planes perpendicular to both the reference planes, perpendicular to one plane and parallel to the other plane, perpendicular to one plane and inclined to the other plane.
  • 2.
    .(b) Projection ofsolids: Introduction, types of solids, projection of solids in simple position, projection of solids with axes inclined to both H.P. and V.P., section planes, types of sections, true shape of section, section of solids.
  • 3.
    .3.1 Classification ofPlanesPlanes can be broadly classified as :Principal planes andSecondary planes.3.2 Types of Secondary Planes Plane perpendicular to both the HP and the VP.Plane perpendicular to the HP and parallel to the VP.Plane perpendicular to the VP and parallel to the HP
  • 4.
    .Auxiliary planes. Twoviews of an object can be projected on two principal planes, H.P. and V.P. Sometimes either of these two views may not give the true shape of the surface of the object, inclined to the principal planes. Additional views called auxiliary views are therefore obtained by projecting the object on other planes known as auxiliary planes. These planes are inclined to one of the principal planes and perpendicular to the other.
  • 5.
    .Types of AuxiliaryPlanesAuxiliary vertical plane (A.V.P.) It is perpendicular to the H.P but inclined to the V.P. Auxiliary inclined plane (A.I.P.) It is perpendicular to the V.P. but inclined to the H.P.
  • 6.
    .Q. Explain profileplane. S 09A.
  • 7.
    .Q. What aredifferent types of auxiliary planes? (S10)Q. Define auxiliary planes and classify. (W07, W09) Q. Show by means of traces, each of the following planes:Perpendicular to HP and inclined at 30˚ to VP.Parallel to and 40 mm away from VP.
  • 8.
    .Q. Why theprojections of a plane are not drawn in second and fourth quadrants? (W09)
  • 9.
    .3.1A regular pentagonof 30 mm side is resting on one of its edges on the HP which is inclined at 45˚ to the VP. Its surface is inclined at 30˚ to HP. Draw its projections. (W06)
  • 10.
  • 11.
    .3.2 A cubeof 70 mm long edges has its horizontal faces equally inclined to the HP. It is cut by a sectional plane perpendicular to HP so that true shape of the section is a hexagon. Determine the inclination of the cutting plane with the VP and draw sectional front view and true shape of the section. (W06) 
  • 12.
  • 13.
    .3.3 A conebase 70 mm and axis length 80 mm is kept on HP on its base. It is cut by an AIP in such a way that the true shape of the section is a hyperbola of base 50 mm and altitude 60 mm. Draw front view, sectional top view and true shape of the section. (W07)
  • 14.
  • 15.
    .3.4 A conebase diameter 70 mm and axis length 80 mm is kept on the HP on its base. It is cut by a section plane perpendicular to both HP and VP in such a way that the true shape of the section is hyperbola of altitude 50 mm. Draw front view, top view and true shape of the section. (W07)
  • 16.
  • 17.
    .3.5 The basesurface of a stand is a square of 90 cm sides and is on ground. The top surface of it is a circle of 30 cm diameter and is 70 mm above the ground. The lower ends of four legs which are equal in length and equally spaced in plan, and are connected to the corners of square in base while the top ends are on the circumference of the circle at top. Draw the projections of the stand when the four legs are equally inclined to front wall and find the length of legs and their inclination with ground.
  • 18.
  • 19.
    .3.6 Draw theprojections of a regular pentagon of 40 mm side, having its surface inclined at 30˚ to the HP and a side in the HP and inclined at an angle of 60˚ to the VP. (W08)
  • 20.
  • 21.
    .3.7 A hexagonalpyramid base 25 mm and axis 50 mm long has one of its triangular faces in the VP and edge of the base contained by that face makes angle of 30˚ with the HP. Draw its projections. (W08)
  • 22.
  • 23.
    .3.8 A conediameter of base 50 mm long is resting on its base on the ground. It is cut by a section plane perpendicular to the VP inclined at 75˚ to the HP and passing through the apex. Draw its front view, sectional top view and true shape of the section. (W08)
  • 24.
  • 25.
    .3.9 Draw theprojections of a regular hexagon of 25 mm side, having one of its sides in the HP and inclined at 60˚ to the VP and its surface making an angle of 45˚ with the HP. (09)
  • 26.
  • 27.
    .3.10 Draw theprojections of a rhombus having diagonals 125 mm and 50 mm long the smaller diagonal of which is parallel to both the principal planes, the other is inclined at 30˚ to the HP. (09)
  • 28.
  • 29.
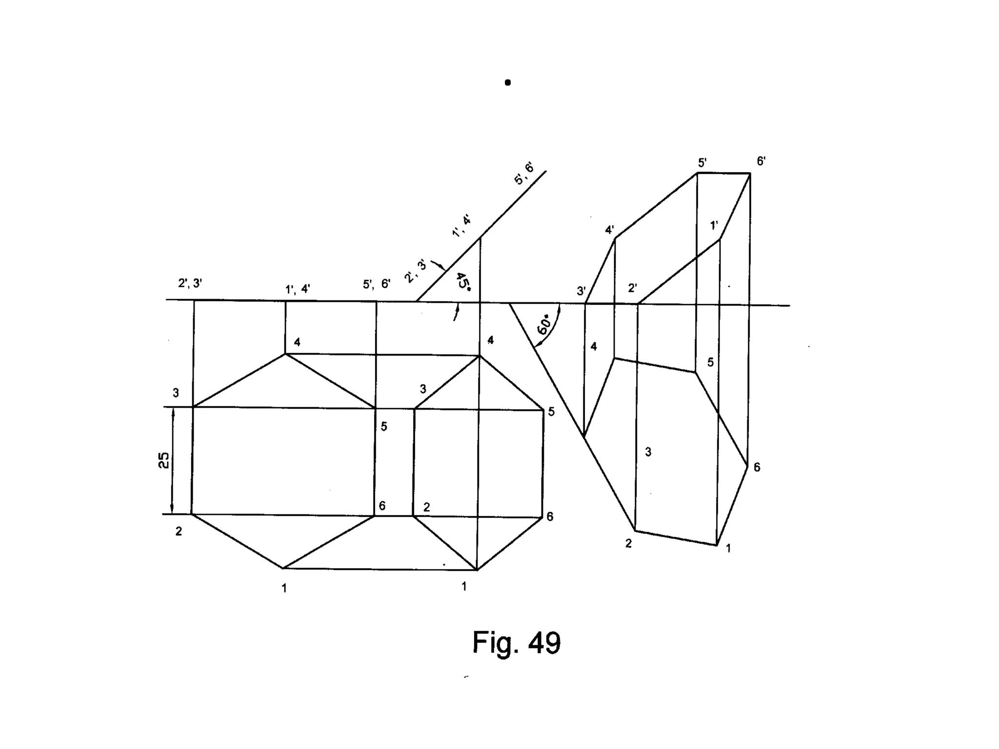
    .3.11 A triangularprism, base 30 mm side and axis 50 mm long is lying on the HP on one of its rectangular faces with its axis inclined at 30˚ to the VP. It is cut by a horizontal section plane at a distance of 12 mm above ground. Draw its front view and sectional top view. (S09, S10)
  • 30.
  • 31.
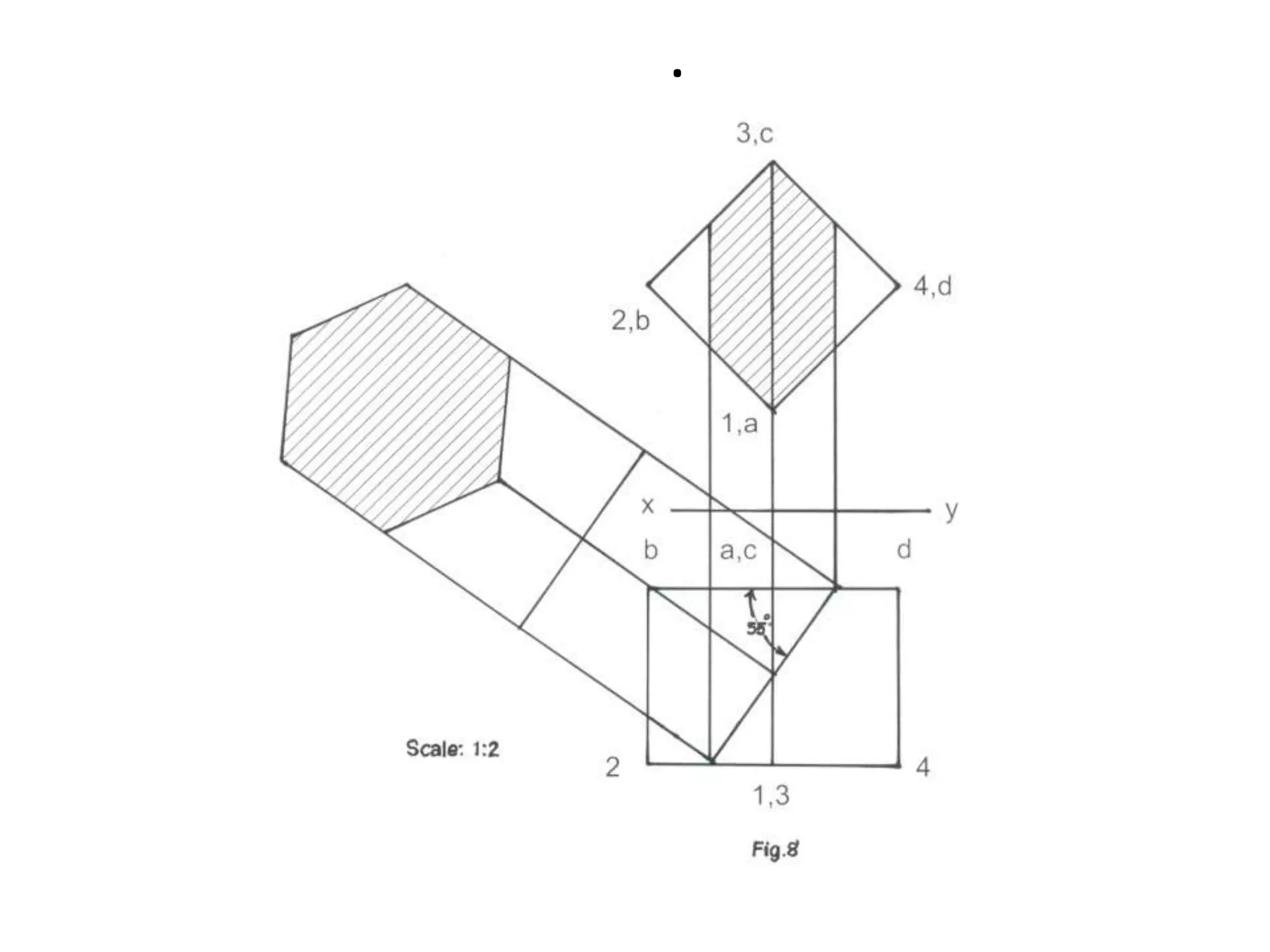
    .3.12 The topview of a plate, the surface of which is perpendicular to the VP and inclined at 60˚ to the HP is a circle of 60 mm diameter. Find the true shape of the plate. (W09)
  • 32.
  • 33.
  • 34.
    .3.13 A cubeof 25 mm edges, is resting on one of its faces on HP. It is cut by a plane in such a way that the true section available is a regular hexagon. Find the apparent and true section of the cube. Find the inclination of the sectional top view with HP and VP. (W09)
  • 35.
  • 36.
    .3.14 A pentagonalpyramid of base side 30 mm and height 50 mm is resting on the ground on one of its base side in such a way that one of its triangular face is perpendicular to both HP and VP. Draw the projections. (W09)
  • 37.
  • 38.
    .3.15 An isoscelestriangle PQR having the sides of 75 mm long and altitude 75 mm have its corners P, Q and R 25 mm, 50 mm and 75 mm respectively above the ground. Draw its projections. (S10)
  • 39.
  • 40.
    .3.16 Draw theprojections of a hexagonal pyramid base 30 mm side and axis 60 mm long, having the base on the H.P. and one of the edges of the base inclined at 45˚ to the V.P. (S10)Solution:
  • 41.
  • 42.
    .3.17 Draw theprojections of a circle of 50 mm diameter resting in the horizontal plane on a point A on the circumference, its plane inclined at 45˚ to the H.P. and the top view of the diameter AB making 30˚ angle with the V.P. (W02)Solution:
  • 43.
    .3.18 A tetrahedron40 mm long edge parallel to the H.P. and inclined at 45˚ to the V.P. while a face containing that edge is vertical. Draw its projections. (W02)Solution:
  • 44.
    .3.19 A circulardisc 80 mm diameter and of negligible thickness lies in a plane inclined at 30˚ to the HP and perpendicular to the VP. Its centre is 60 mm from horizontal trace of the inclined plane. Draw its top view, front view and side view. . (S07)
  • 46.
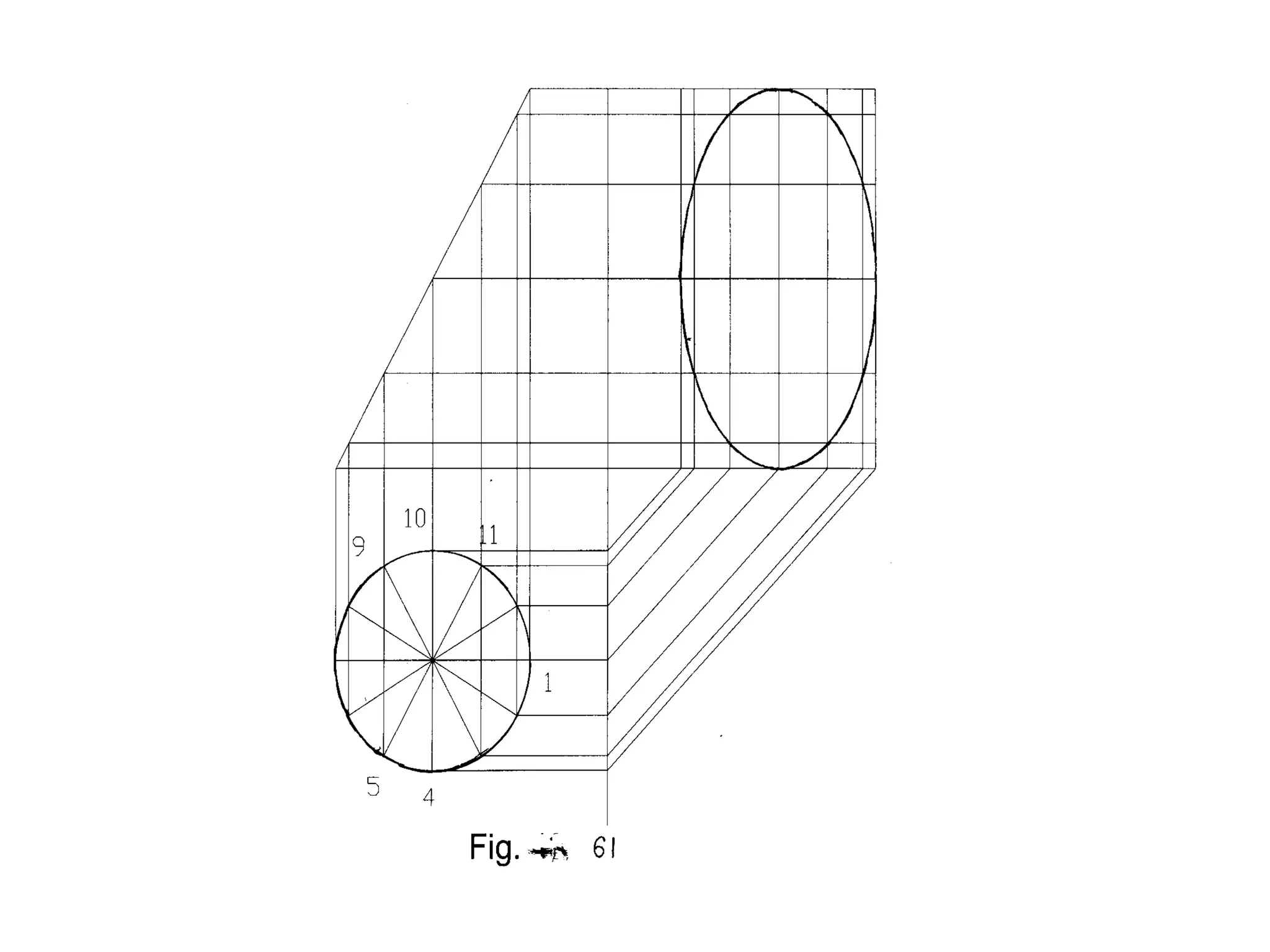
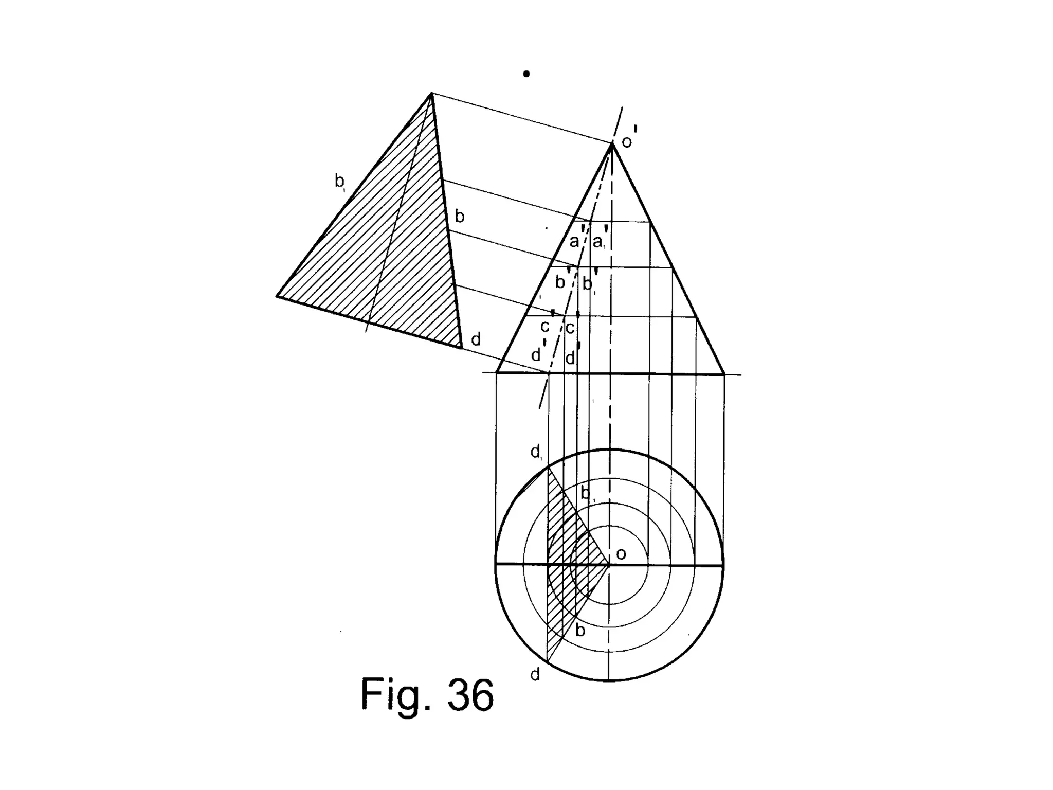
    .3.20 A cylinderof base diameter 45 mm and height 65 mm rests on its base on HP. It is cut by a plane perpendicular to VP and inclined at 30˚ to HP and meets the axis at a distance of 30 mm from base. (S07)
  • 47.