KPT 6044 – PEMBELAJARAN BERASASKAN ELEKTRONIK
                    DAN WEB




                  PENSYARAH :-

        PROF MADYA DR ABD LATIF HJ GAPOR




                  TUGASAN 3




                DISEDIAKAN OLEH :-

        NOOR ZUBAIDAH BT. HJ ZAINOL ABIDIN

                  (M20112001097)

      SARJANA (PEND) PENGURUSAN PERNIAGAAN
TAHAP KEMAHIRAN ICT DALAM KALANGAN PELAJAR SEMESTER 5 DAN 6 IJAZAH
SARJANA MUDA PENDIDIKAN EKONOMI UNIVERSITI PENDIDIKAN SULTAN IDRIS.



1.0    PENGENALAN

Walaupun Teknologi Maklumat dan Komunikasi atau Information Communication
Technology (ICT) telah lama bertapak namun ia masih boleh dianggap baru dalam kalangan
masyarakat Malaysia. Penggunaan ICT hampir meliputi seluruh urusan sesebuah Negara
seperti pengurusan pentadbiran kerajaan, pembangunan negara, meramal perkembangan
ekonomi negara dan sebagainya. Walaupun penggunaannya amat meluas,masih terdapat
segelintir masyarakat kita yang masih belum mendapat pendedahan tentang penggunaan
ICT dalam kehidupan harian dan ada juga yang masih sangsi dengankemajuan teknologi
sehinggakan masih mengamalkan corak konvensional dalam pengurusan aktiviti harian.
Sebagai sebuah negara yang sedang membangun sedang mengamalkan prinsip globalisasi,
sememangnya Malaysia perlu melengkapkan diri dengan pengetahuan ICT yang terkini
supaya tidak ketinggalan berbanding dengan negara-negara lain. Kemahiran ICT amat
penting untuk mencapai wawasan negara dalam melahirkan tenaga kerja yang
berkemahiran tinggi dan profesional (Megat Aman Zahiri Megat Zakaria, Baharudin Aris,
Jamalludin Harun, na). Justeru itu, pihak kerajaan memainkan peranan penting dalam
menyediakan platform serta kemudahan ICT kepada masyarakat dan memberi galakan
kepada penggunaan ICT secara menyeluruh.


Menerusi Rancangan Malaysia ke-9 (RMK-9, 2006), pihak kerajaan telah membuat
peruntukan yang besar terhadap pembangunan ICT Negara. Di antara perancangan yang
telah dibuat dalam pembangunan ICT negara adalah dengan memberikan peruntukan yang
besar dalam pembangunan ICT di peringkat sekolah. Natijahnya adalah untuk menyediakan
asas yang kukuh kepada masyarakat melalui pendidikan di sekolah. Antara yang terdapat di
dalam bantuan berikut adalah :-
1)     Menyediakan infrastruktur seperti makmal atau bilik komputer; perkakasan seperti
       komputer, komputer riba, projektor LCD dan pelayan (server),
2)     Membangunkan perisian khusus dan program TV pendidikan bagi membantu P & P,
3)     Melatih guru bagi meningkatkan kompetensi mengintegrasikan ICT dalam P & P, dan
4)     Melatih pentadbir sekolah menggunakan ICT dalam pengurusan.
Selain daripada RMK-9, kerajaan juga telah menggariskan perancangan dalam Pelan Induk
Pembangunan Pendidikan 2006-2010 serta memberikan dana yang besar untuk
membangunkan prasarana ICT di peringkat sekolah. Antara matlamat pelan tersebut adalah
untuk merapatkan jurang digital dengan menyediakan kemudahan ICT antara lokasi dan
meningkatkan kemahiran ICT di kalangan guru dan pelajar (Pelan Induk Pembangunan
Pendidikan 2006-2010, 2006). Sememangnya penggunaan ICT di peringkat sekolah lagi
banyak membantu menyediakan asas kepada pelajar terhadap kemudahan teknologi yang
ada dalam kehidupan. Di samping itu, penggunaan ICT banyak membantu dalam pengajaran
dan pembelajaran. Terdapat mata pelajaran khusus yang di ajar berkaitan ICT di peringkat
sekolah. Di samping itu, pengurusan dan pentadbiran sekolah juga telah banyak melibatkan
penggunaan ICT. Namun begitu, masih ramai guru yang tidak mahir menggunakan ICT di
dalam pengajaran dan pembelajaran (P&P). Justeru itu, institusi pendidikan telah
memberikan penekanan terhadap kemahiran ICT bagi bakal-bakal guru supaya apabila
keluar mengajar nanti, guru telah mempunyai kemahiran yang jitu dan dapat memberikan
sumbangan yang amat baik terhadap pendidikan negara. Universiti pendidikan dan maktab-
maktab perguruan turut menyediakan kursus wajib kepada bakal guru untuk mendalami
ilmu ICT dan memberikan opsyen kepada pelajar untuk mendalami ilmu tersebut melalui
subjek-subjek ICT yang ditawarkan. Kementerian pendidikan juga memperuntukkan supaya
guru-guru supaya menghadiri kursus yang berkaitan dengan ICT untuk memantapkan lagi di
dala ilmu tersebut.


1.1    LATAR BELAKANG KAJIAN


Kemahiran ICT di peringkat sekolah sememangnya tidak dapat disangkal kepentingannya
dalam sistem pendidikan negara masa kini. Untuk melahirkan generasi yang celik
IT, pendidikan ICT seharusnya dimulakan seawal pendidikan sekolah rendah dan berterusan
sehingga pelajar melanjutkan pelajaran ke peringkat yang tertinggi. Oleh itu, pengetahuan
ICT di kalangan guru adalah penting untuk memberikan maklumat dan informasi
kepada pelajar. Pendedahan kemahiran ICT kepada bakal pendidik adalah satu agenda
utamasetiap institusi pendidikan supaya bakal guru tidak janggal dengan peralatan ICT di
sekolah nanti dan dapat mengaplikasikannya dalam P&P mereka.
Pengetahuan ICT tidak hanya berkisar kepada kemahiran penggunaan komputer dan
aplikasinya sahaja. Kemahiran ICT turut meliputi penggunaan peralatan-peralatan lain
seperti penggunaan LCD projektor, mesin OHP, mesin pengimbas dan peralatan- peralatan
elektronik lain. Pada masa kini, kebanyakan pelajar telah didedahkan penggunaan alat ICT
secara tidak langsung sebelum menerima pendidikan formal disekolah. Misalnya
penggunaan telefon bimbit pada masa kini bukan sahaja untuk membuat dan menjawab
panggilan tetapi terdapat banyak lagi fungsi lain yang terdapat di dalam telefon bimbit pada
masa kini. Telefon bimbit boleh dikategorikan sebagai alat ICT. Jika ia digunakan dengan
betul, alat tersebut akan menjadi salah satu ABM dalam P&P. Hal ini membawa kepada
kreativiti seseorang guru itu untuk mengolah alat tersebut menjadi alat yang berguna di
dalam pembelajaran. Justeru itu, bakal-bakal pendidik perlu melengkapkan diri dengan
kemahiran ICT supaya tidak ketinggalan dan terbelakangdaripada pelajar. Bagi pelajar-
pelajar yang berada di pedalaman dan yang masih kurang terdedah kepada peralatan ICT,
menjadi tugas guru untuk memperkenalkannya dan membimbing pelajar untuk bersedia
menghadapi gelombang ICT apabila keluar dari populasi mereka itu.


1.2    PERNYATAAN MASALAH


Mengikut Heinich dan Robert (1996), kemahiran dalam penggunaan ICT merupakan suatu
keperluan untuk bakal guru yang berkhidmat di sekolah-sekolah. Terdapat beberapa kajian
yang menunjukkan penggunaan ICT dalam bidang pendidikan mendatangkan kesan positif,
mempertingkatkan kualiti dan pencapaian. Antara pengkaji yang melihat perbezaan antara
penggunaan ICT di dalam P&P ialah Howell (1971) di mana beliau melihat pelajar lebih
tertarik untuk mempelajari sesuatu subjek (bahasa Perancis) dengan menggunakan
komputer berbanding cara konvensional. Begitu juga dengan pengkaji- pengkaji lain yang
melihat alat bantu mengajar (ABM) dengan menggunakan ICT lebih banyak membantu
memberi pemahaman kepada pelajar berbanding penggunaan ABM yang tidak menarik.
Pada dasarnya, sesi P&P pada masa ini lebih tertumpu dengan alat bantu mengajar yang
bersifat teknologi seperti menggunakan komputer, OHP, pemancar LCD dan sebagainya.
Maka, bakal guru seharusnya peka terhadap perubahan situasi ini agar guru-guru tidak
ketinggalan dengan perubahan persekitaran di sekolah.
Pengkaji melihat masih ada segelintir bakal guru yang belum cukup ilmu teknikal
dalam mengendalikan peralatan yang bersifat teknologi apatah lagi peralatan seperti ini
sering kali digunakan di sekolah. Mengikut Norizan (2004), kegagalan guru dalam
menggunakan ICT adalah disebabkan oleh ketidakmahiran dalam menggunakan alat
dan perisian yang semakin meningkat keupayaannya. Hal ini mendorong pengkaji
untuk melihat secara mendalam mengenai situasi ini. Kementerian kini sedang giat
memperbaharui alat-alat bantu mengajar bagi memudahkan lagi guru melaksanakan tugas
mereka.   Ramai      yang   menganggap     bahawa    mempelajari     serba     sedikit   dalam
pengendalian peralatan ICT ini adalah perkara remeh. Mengikut kajian Zorinawati (1999),
guru yang tidak mahir dengan ICT adalah disebabkan oleh tiga faktor iaitu :-
1)     takut kepada komputer,
2      takut tidak mampu menangani perkembangan komputer dan
3)     takut jika mengetahui komputer, akan diberikan kerja yang banyak oleh pengetua /
       guru besar.
Sebagai seorang guru yang berwibawa seharusnya tahu dalam segala aspek mahu pundalam
bidang akademik, teknikal dan sebagainya. Guru harus mengambil inisiatif dan mengetahui
perkembangan semasa untuk menarik minat pelajar dalam mendalami ilmu yang
disampaikan.


       Kajian ini melihat sejauh mana pelajar semester 5 dan 6 program ekonomi
(guru pelatih) mahir dalam mengendalikan peralatan ICT. Guru yang tidak tahu
mengendalikan peralatan ini menyumbang kepada masalah yang akan wujud di sekolah
kelak. Oleh yang demikian, daripada kajian ini akan dapat mengenal pasti masalah yang
wujud dalam mengendalikan peralatan ICT bagi melicinkan proses P&P di dalam bilik darjah
seterusnya melihat keberkesanan pengajaran yang dijalankan.
1.3    OBJEKTIF KAJIAN


1.3.1 Objektif Umum


Kajian ini telah menetapkan objektif umum kajian dan juga beberapa objektif khusus untuk
melihat apa yang sebenarnya ingin dicapai dalam kajian ini. Secara umumnya, kajian ini
bertujuan untuk melihat gambaran tahap kemahiran penggunaan ICT dalam kalangan
pelajar semester 5 dan 6 Ijazah Sarjana Muda Pendidikan Ekonomi (ISMPE) di Universiti
Pendidikan Sultan Idris (UPSI) dalam proses P&P.


1.3.2 Objektif Khusus


Objektif khusus kajian yang dijalankan ini adalah bertujuan untuk :


1.3.2.1 Mengenal pasti tahap latihan ICT dalam kalangan pelajar semester 5 dan 6 ISMPE
       UPSI


1.3.2.2 Mengenal pasti tahap kekerapan pelajar semester 5 dan 6 ISMPE UPSI
       mengendalikan peralatan ICT.


1.3.2.3 Menganalisis tahap kesesuaian subjek ICT yang diajar semasa mengikuti latihan
       ISMPE di UPSI.




1.4    KEPENTINGAN KAJIAN
Antara kepentingan kajian adalah seperti berikut:


1.4.1 Mengaitkan dapatan kajian dengan teori-teori yang sediaada dan menambahbaikkan
       teori tersebut.


1.4.2 Memberi cadangan terhadap organisasi yang terlibat dalam merangka subjek ICT di
       UPSI untuk menambahbaikkan struktur subjek tersebut supaya sesuai dengan
       kehendak terkini.


1.5    LIMITASI KAJIAN


Dalam melaksanakan kajian ini, pengkaji telah mengambil kira beberapa perkara bagi
membatasi kajian. Kajian ini adalah merupakan kajian jangka masa pendek iaitu kurang
daripada satu bulan. Ianya disebabkan oleh sumber, tenaga dan masa yang terhad.
Ketepatan maklumat adalah bergantung kepada kefahaman, kerjasama, serta kejujuran
responden menjawab soalan-soalan yang terkandung dalam borang soal selidik.


       Kajian hanya dilakukan melalui soal selidik secara tertutup berdasarkan dua skala
iaitu tidak setuju dan setuju. Selain itu, kajian ini juga hanya melibatkan dua kelas pelajar
ISMPE iaitu sebanyak 36 orang pelajar sahaja yang terdiri daripada pelajar semester 5 dan 6.
Batasan ini dibuat bagi memudahkan pengkaji membuat kajianyang mempunyai skop kajian
yang khusus. Pengkhususan skala responden ini menyebabkan dapatan kajian tidak
menyeluruh kepada jumlah pelajar sebenar ISMPE yang berada di dalam UPSI. Oleh yang
demikian, dapatan kajian ini mungkin mempunyai ralat berikutan pendapat atau pandangan
yang tidak seimbang.




1.6    DEFINISI OPERASIONAL
Definisi konsep ada kalanya dirujuk sebagai definisi teori yang harus bersandarkan
padasesuatu teori atau telah diperkukuhkan oleh kajian-kajian lepas. Ia memberi maksud
yang lebih abstrak atau umum. Definisi operasional pula ialah definisi yang digunakan
oleh penyelidik untuk menjelaskan responden, pemboleh ubah yang hendak diuji atau
dimanipulasi dalam kajian. Ia memberi gambaran bagaimana konsep yang hendak dikaji
itu boleh diperhatikan atau dimanipulasikan. Definisi operasional menentukan prosedur
yang spesifik bagi melaksanakan kajian ke atas definisi konsep mengenai sesuatu, individu
atau objek. Dengan cara ini ia memberi peluang untuk mengkaji pemboleh ubah itu secara
empirik. Beberapa istilah yang digunakan dalam penulisan ini memerlukan definisi yang
terperinci. Definisi ini perlu kerana pengertian umum dengan pengertian dalam kajian ini
mungkin berbeza. Istilah-istilah tersebut ialah:


Teknologi Maklumat dan Komunikasi (ICT) - Teknologi yang digunakan oleh individu untuk
mengumpul data dan menganalisis data menjadi maklumat berguna dan bermakna, serta
untuk menghasilkan maklumat dalam pelbagai bentuk seperti teks, grafik, suara, animasi
dan maya. Teknologi komunikasi membolehkan individu atau kelompok individu bertukar
data dan maklumat dalam ruang waktu dan tempat yang tidak terbatas, dengan cepat dan
dalam masa yang sama (‘synchronous’) melalui rangkaian setempat atau global. Menurut
Paisley dan Chen (1982) dipetik daripada Brown (1997) maklumat bermaksud , "Information
can be defined both structurally and functionally. Structurally it is a system of encoding a
message so that it can be stored,retrieved and manipulated, and functionally it is something
that alters a person'scognitive organisation". Ia bermaksud maklumat dapat ditakrifkan dari
segi struktur dan dari segi fungsi. Dari segi struktur ia adalah satu sistem yang mengekod
pesanan supayaia boleh disimpan, dikembalikan dan dimanipulasikan dan berfungsi untuk
mengubah organisasi kognitif seseorang. Komunikasi mengikut Brown (1997), “The
interchange of information, and again may be viewed in terms of the structure of that
interchange or its function in affecting people's understanding and knowledge. Information
and communication are, therefore, inextricably linked”. Di sini dapat dirumuskan bahawa
komunikasi membawa maksud proses penukaran maklumat. Apabila digabungkan
maklumat dan komunikasi, maka istilahnya adalah seperti yang tertera di atas.


Bab 2 SOROTAN LITERATUR
2.0    PENGENALAN


Dalam bab ini penyelidik akan membincangkan dapatan daripada kajian yang terdahulu
mengenai penggunaan ICT dalam pendidikan. Kajian-kajian yang diambil berdasarkan
kepada kesesuaian dan hubung kait dengan tajuk yang dibincangkan.


2.1    INFORMATION COMMUNICATION TECHONOLOGY (ICT)


Teknologi Maklumat dan Komunikasi (ICT) merangkumi aspek teknologi maklumat dan
teknologi komunikasi. Teknologi maklumat ditakrifkan sebagai teknologi yang digunakan
oleh individu untuk mengumpul data dan menganalisis data menjadi maklumat bergunadan
bermakna, serta untuk menghasilkan maklumat dalam pelbagai bentuk seperti teks, grafik,
suara, animasi dan maya. Data dan maklumat sentiasa diperlukan untuk tujuan tertentu
seperti bagi tujuan peningkatan ilmu/pengetahuan, pengalaman, kemahiran dan
kemampuan. Teknologi komunikasi membolehkan individu atau kelompok individu bertukar
data dan maklumat dalam ruang waktu dan tempat yang tidak terbatas, dengan cepat dan
dalam masa yang sama melalui rangkaian setempat atau global (Rozina Jamaludin, 2000).


       Teknologi     Maklumat      atau     lebih    dikenali   dengan   singkatan      IT
(InformationTechnology) telah menjadi satu keperluan dalam kehidupan kita pada masa
kini. IT merupakan alat utama dalam era maklumat kerana IT menjadi teras dalam
komunikasi antara manusia dan pembekalan maklumat kepada masyarakat. Oleh itu,
pengetahuan tentang IT adalah penting bagi membentuk masyarakat yang bermaklumat.


       Kemajuan Teknologi Maklumat dan Komunikasi (ICT) seterusnya telah meningkatkan
penggunaan Internet, web dan jaringan (networking) dalam pendidikan. Perkembangan
baru ini telah mewujudkan persekitaran pembelajaran baru yang lebih fleksibel dari segi
masa, tempat, kaedah dan bahan pembelajaran, di samping mewujudkan lebih peluang
untuk proses kolaborasi yang lebih meluas dalam proses pendidikan (Jamalludin Harun &
Zaidatun Tasir, 2003). Perkembangan baru ini telah mengembangkan lagi konsep
pembelajaran kolaboratif melalui alat-alat konvensional seperti listserv, newsgroup, emel
dan “Internet Real-Chat ” (IRC) di samping penggunaan konferensi audio (audio
conferencing) dan konferensi video (video conferencing ).
Dalam kajian Kellah M. Edens (2008), beliau mengatakan bahawa kemajuan
teknologi maklumat seterusnya telah menyebabkan meningkatnya penggunaan web dan
Internet untuk tujuan pendidikan. Struktur maklumat dalam web yang berdasarkan kepada
kaedah hiperteks dan hipermedia yang mengandungi pelbagai maklumat dalam berbentuk
teks, grafik, animasi, audio dan video dihubungkan dan dipersembahkan dalam bentuk yang
tidak linear. Rangkaian maklumat ini membolehkan maklumat dikongsi bersama-sama
dalam pelbagai bentuk dan mengakibatkan berkembangnya kolaborasiantara manusia.
Situasi baru ini memberi peluang yang lebih meluas kepada pendidikan sains yang lebih
fleksibel dan terbuka dari segi masa dan kaedah serta meningkatnya interaksi sosial dalam
pendidikan.


2.2    KEMAHIRAN ICT


Kemahiran komputer sebenarnya berkait rapat dengan kemahiran ICT. Merujuk kepada
Simonson et al. (1987), setiap individu mampu menguasai kemahiran komputer sekiranya
mereka mempunyai sikap yang positif termasuk menghilangkan kegelisahan atau
menunjukkan minat yang mendalam dalam penggunaan komputer, dan kesedaran
akan bertanggungjawab terhadap komputer. Selain itu, kemampuan untuk menilai
tanggungjawab, memilih dan melaksanakan pelbagai kegunaan aplikasi computer
untuk menjadi lebih berguna dan efisien dalam sesuatu kerja. Pengetahuan yang
bersesuaian untuk menggunakan perkakasan dan perisian untuk aplikasi komputer.


       Kemahiran ICT dianggap sebagai pemangkin kepada individu untuk memaksimumkan
keupayaan teknologi digital. Pada peringkat tertinggi, kemahiran ICT dapat menggalak dan
melahirkan inovasi, transformasi individu dan perubahan masyarakat (Jamalludin Harun &
Zaidatun Tasir, 2003). Dupagne. M. (1992) pula menyentuh tentang latihan perguruan yang
mencukupi adalah penting untuk membina keyakinan dan kemahiran guru terhadap
penggunaan teknologi komputer dengan sepenuh masa di sekolah. Sebenarnya latihan
komputer dalam kalangan guru-guru tidak dapatdilaksanakan lagi kerana pendidikan
komputer di sekolah-sekolah sendiri menghadapimasalah kritikal. Perisian khas untuk kursus
dalam perkhidmatan serta bengkel perludibangunkan untuk memperbaiki kecekapan
pengaplikasian komputer dalam kalangan guru.
Kajian yang lepas oleh Jackson, Clements dan Jones (1984) yang bertujuan menilai
tahap kesedaran dan penggunaan IT di kalangan fakulti di Universiti Georgia. Hasilnya telah
menunjukkan sikap terhadap komputer dan kesedaran penggunaan komputer di universiti
tersebut adalah positif. Statistik menunjukkan 85% responden telah mengikuti aktiviti
kesedaran komputer seperti bengkel, seminar dan belajar bersendirian dan 86% responden
mempamerkan minat untuk belajar lebih mendalam lagi penggunaan IT. Manakala, dalam
satu kajian oleh Shields (1986) di Universiti Brown melaporkan lebih 80% daripada
responden mempunyai serba sedikit pengalaman menggunakan komputer. Hampir 75%
daripadanya menggambarkan pengalaman yang positif dan lebih 69% menyatakan mereka
berminat menggunakan komputer dengan lebih kerap.


       Dapatan    yang   diperoleh   oleh   Ranjit   Kaur   &   Chua    Lay   Siok   (2000)
menunjukkan bahawa tiada perhubungan yang signifikan antara jantina, umur, kelulusan
tertinggi dansaiz sekolah dengan sikap terhadap penggunaan komputer. Walau
bagaimanapun, terdapat hubungan yang signifikan terhadap penggunaan komputer antara
kemahiran dan pengetahuan komputer serta takut terhadap komputer. Kajian ini
menunjukkan tahap penggunaan komputer di sekolah sederhana tetapi mempunyai
kepakaran yang rendahuntuk membangunkan perisian komputer. Sikap terhadap
penggunaan komputer dipecahkan kepada empat bahagian iaitu keyakinan, kesukaan,
kebimbangan dan penggunaan dalam profesion. Keseluruhan kajian mendapati sikap
penggunaan komputer adalah positif tetapi penggunaannya dalam profesion di bawah
tahap purata. Dapatan kajian terhadap 60 orang guru pelatih Institut Bahasa Melayu
Malaysia (IBMM) didapati bahawa 70% daripada responden menyatakan tidak tahu
menggunakan komputer. Kajian- kajian ini menunjukkan masih terdapat jurang antara
harapan Kementerian Pendidikan dengan keadaan amalan sebenar yang wujud di sekolah.


       Kajian Agarwal & Day (1998) meninjau pengalaman fakulti di universiti atau kolej
yang pernah menggunakan ICT sebagai alat pembelajaran subjek ekonomi. Hasil kajian
beliau mendapati bahan kursus yang terdapat pada web mempunyai potensi untuk
meningkatkan tahap pembelajaran dari aspek persediaan kelas, menggalakkan penyertaan,
menarik perhatian, dan paling penting ialah meningkatkan interaksi antara pengajar dan
pelajar. Kajian Agarwal dan Day (1998) tentang kesan Internet/web terhadap pembelajaran
Ekonomi     melalui    Internet/web   mendapati       kemudahan   akses   maklumat      dengan
menggunakan Internet telah meningkatkan penggunaan data-data ekonomi. Penggunaan
data-data sebenar ini telah meningkatkan kefahaman teori ekonomi. Selain itu, kajian ini
mendapati pembelajaran melalui Internet/web telah meningkatkan komunikasi antara
pengajar dengan pelajar dan meningkatkan kualiti pembelajaran, dan juga mempunyai
kesake atas pengekalan (retention) dan persepsi pelajar terhadap pelajaran Ekonomi.


       Pengetahuan dan kemahiran dalam ICT tidak menjamin pengintegrasiannya dalam
kurikulum    dan      juga   pengajaran.   Justeru,    adalah   penting   bagi   guru    untuk
membuat persediaan yang mencukupi agar dapat memenuhi tuntutan dan jangkaan
masyarakat untuk menggabungkan ICT dalam pengajaran. Sikap serta keyakinan dan efikasi
yang tinggi membantu memudahkan proses peningkatan kemahiran dalam pelaksanaan ICT
dalam proses pengajaran dan pembelajaran. Rozina Jamaludin (2000) menyarankan bahawa
satu cara yang ideal untuk meningkatkan efikasi guru terhadap penggunaan ICT ialah
dengan menyediakan latihan kemahiran ICT kerana ia berupaya meningkatkan efikasi guru.
Menyokong pendapat Rozina Jamaludin (2000) ialah Roblyer. M. &Edwards. J. (2004) yang
menyatakan bahawa apabila guru menggunakan ICT untuk tujuan pengajaran, keyakinan diri
akan muncul sebagai petunjuk yang penting ke atas seseorang guru untuk mengajar ICT
dalam bilik darjah. Hal ini diperkukuhkan lagi oleh Yusni Abd Rahman & Wan Mohd Rani
Abdullah (2001) yang mengatakan bahawa penggunaan ICT dalam pengajaran adalah
bergantung kepada keyakinan diri guru untuk mengguna dan mengendali peralatan ICT.


2.3    ICT DALAM PENDIDIKAN


Rozina Jamaludin (2000) menyatakan bahawa guru merupakan aset sekolah, pelaksanaan
sebarang program pendidikan bergantung kepada kesediaan, kecekapan, sikap, komitmen,
pengetahuan, sokongan dan keterampilan guru, lebih-lebih lagi bidang yang memerlukan
kemahiran khusus seperti komputer dan teknologi. Para penyelidik telah membuat
kesimpulan bahawa latihan guru masa kini sepatutnya dapat membantu guru untuk
bersikap positif terhadap penggunaan komputer. Apabila komputer diperkenal di sekolah,
guru tidak berasa selesa dan cuba menolak penggunaan komputer dalam pengajaran dan
pembelajaran. Kajian mereka mendapati bahawa guru-guru beranggapan bahawa komputer
khususnya teknologi maklumat akan mengambil alih peranan mereka sebagai pengajar
kerana komputer berupaya membekalkan ilmu yang lebih meluas dan ini akan mencabar
profesion dan keupayaan guru.


       Penggunaan alat bantu mengajar ini dikatakan dapat meningkatkan minat serta
merangsang minda pelajar di zaman siber ini dan telah dianggap dan diakui
sebagai pemangkin proses pengajaran dan pembelajaran (Heinich et al, 1999). Proses
pengajaran- pembelajaran dapat dipertingkatkan mutunya dan dipelbagaikan penyampaian
dan penerimaannya melalui beberapa teknik seperti berbantukan komputer dan perisian,
melalui sistem rangkaian (networking), perisian dan pangkalan data atau maklumat
ataumelalui sistem Internet, perisian dan pangkalan data.


       Menurut Rozina Jamaludin (2000), dalam konteks pendidikan, teknologi maklumat
merupakan satu rangkaian elektronik untuk mencari, mengumpul, menyimpan, memproses,
menyalurkan dan menyampai maklumat secara efektif, pantas dan banyak untuk membantu
proses pengajaran dan pembelajaran. Manakala Halimahtun Saadiahdan Nor Azilah Ngah
(2003) pula mendapati kejayaan ICT dalam pendidikan bukan hanya terletak pada teknologi
tetapi juga faktor lain seperti pendekatan pedagogi, subjek yang diajar, jenis pelajar, tahap
pencapaian pelajar, keperluan pelajar, guru dan persekitaran bilik darjah. Dalam hal ini Irfan
Naufal Umar (2004) pula mendapati penggunaan ICT dalam proses P&P membolehkan bilik
darjah bertemu dengan dunianyata serta membolehkan pelajar sendiri mencari maklumat
dan bahan asal; memudahkan kolaboratif dan perbandingan global dan membolehkan
bahan-bahan multimedia diciptadan disebarkan dengan mudah. Selain daripada itu, Harris
(2000) pula mengkategorikan penggunaan ICT dalam P&P kepada tiga, iaitu :-
i.     Pertukaran interpersonal seperti penyertaan dalam kumpulan perbincangan
       eletronik, bilik darjah global yang melibatkan pelajar-pelajar bertukar pendapat
       tentang sesuatu topik dan hubungan elektronik dengan pakar.
ii.    Koleksi maklumat yang melibatkan pelajar-pelajar dan guru-guru berkongsi artikel,
       sumber pengajaran dan rancangan pengajaran atau berkongsi data untuk dianalisis.
iii.   Projek   yang    melibatkan    penyelesaian      masalah   yang     melibatkan     pelajar
       daripada pelbagai lokasi meninjau sesuatu dan kemudiannya berkongsi kaedah dan
       dapatankajian.    Di   samping    itu   pautan    hiperteks   dan     hipermedia     pula
       membolehkan pelajar menentukan sendiri arah tuju pembelajaran, kelajuan
       pembelajaran dan urutan pembelajaran.
Jamalludin Harun & Zaidatun Tasir (2003) pula mendapati penggunaan ICT dalam P&P
membolehkan pelajar bersifat aktif dalam pencarian maklumat dan membina pengetahuan
daripada maklumat yang diperolehnya serta berpeluang menghubungkaitkan pengetahuan
merentas mata pelajaran tanpa disekat oleh masa dan jarak. Mengikut Norhaniza Abdul
Kadir (1994), hasrat untuk mencapai penggunaan ICT secara menyeluruh dalam proses
pengajaran dan pembelajaran memerlukan dua jenis perubahan dalam kalangan guru.
Pertama, guru harus diyakinkan bahawa terdapat banyak kebaikan dan kepentingan
penggunaan ICT dalam P&P. Kedua, guru perlu diberikan kemahiran yang mencukupi untuk
menggunakan peralatan ICT secara cekap dan efektif.


       Baharudin Aris, Mohamad Bilal Ali, Jamalludin Harun & Zaidatun Tasir (2001) pula
mengatakan    bahawa     latihan   ICT     diperlukan   bukan   sahaja   untuk   melatih
kemahiran penggunaannya tetapi juga untuk meyakinkan penggunaannya dalam P&P dalam
kalangan guru. Malah Norizan (2003) dalam kajiannya mendapati wujud perhubungan yang
baik antara kemahiran ICT dengan amalan ICT dalam P&P. Manakala beliau mendapati guru-
guru masih tidak pasti akan keupayaan mereka untuk menggabungkan ICT dalam
pengajaran. Kebanyakan daripada mereka masih berada di tahap ‘perlu belajar’ untuk
meningkatkan pengetahuan dan kemahiran dalam ICT.


       Penggunaan ICT ini dalam bilik darjah tradisional mempunyai kesan positif keatas
proses pembelajaran. ICT ini dapat memperluaskan pembelajaran luar bilik darjah,
melibatkan pakar dari luar bidang pendidikan untuk mengimbangkan hubungan antaraguru
dan pelajar, meningkatkan tanggungjawab dan inisiatif pelajar, memudahkan pelajar-pelajar
mengakses sumber-sumber pembelajaran, dan meningkatkan penyertaandalam kelas
(Tengku Zawawi Bin Tengku Zainal, 2000).




2.4    KESIMPULAN
Berdasarkan sorotan kajian di atas jelaslah menunjukkan sudah ramai pengkaji sama
ada pengkaji tempatan dan barat membuat kajian tentang keberkesanan ICT dalam P&P.
Pembelajaran Berbantukan ICT merupakan kaedah pembelajaran yang paling interaktif dan
berinformasi serta mula diminati oleh guru dan pelajar (Yali Zhao, 2007). Hal ini jelas
menunjukkan bahawa tahap kemahiran dalam penggunaan ICT tersebut dapat membantu
mempertingkatkan keberkesanan dalam pengajaran dan pembelajaran. Namun begitu
kajian ilmiah tentang keberkesanan pembelajaran subjek ekonomi berbantukan ICT masih
terlalu kurang. Oleh itu diharapkan kajian ini akan menambahkan khazanah pembelajaran
ekonomi berbantukan ICT untuk rujukan pengkaji yang akan datang.




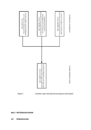
2.5    REKA BENTUK KONSEPTUAL


Reka bentuk konseptual merupakan gambaran kajian ini secara kasar. Ia ditunjukkan di
dalam bentuk gambar rajah. Dalam kajian ini, pengkaji ingin melihat faktor-faktor yang
memberi gambaran mengenai tahap kemahiran ICT dalam kalangan pelajar semester 5 dan
6 ISMPE UPSI. Terdapat tiga faktor yang ingin di lihat dan dijadikan sebagai objektif kajian.
Reka bentuk tersebut ditunjukkan seperti mana gambar rajah di bawah :
Rajah 1            : Gambar rajah reka bentuk konseptual untuk kajian




Bab 3 METODOLOGI KAJIAN


3.0   PENDAHULUAN
Metodologi kajian merujuk kepada cara yang paling berkesan bagi mendapatkan maklumat
yang berguna dengan kos yang minimum dalam mencapai sesuatu penyelidikan (Majid
Konting, 1990). Bagi memberi fokus khusus, bab ini akan menerangkan pemilihan
metodologi kajian yang sesuai untuk di aplikasi bagi mencapai tujuan kajian asal. Untuk
membincangkan metodologi kajian ini, beberapa aspek akan diberi penekanan iaitu reka
bentuk kajian, lokasi kajian, populasi dan sampel kajian, instrumen kajian, kajian rintis,
prosedur pengumpulan data dan seterusnya analisis data.


3.1    KAEDAH PENGUMPULAN DATA DAN REKABENTUK KAJIAN


Pada umumnya reka bentuk kajian bertujuan untuk membantu dan membimbing pengkaji
ke arah mendapatkan maklumat yang diperlukan di dalam kajian. Kaedah tinjauan
digunakan di dalam penyelidikan dengan cara pengumpulan data daripada kumpulanyang
dikaji dengan menggunakan satu set soalan soal selidik. Kajian yang dijalankan ini
merupakan satu penyelidikan yang berbentuk deskriptif. Pendekatan kuantitatif
diguna pakai bagi mendapatkan data yang diperlukan melalui instrumen kajian iaitu soal
selidik. Melalui kaedah ini, ianya dapat memudahkan pengkaji untuk mengumpul,
menganalisis dan menginterpretasikan data yang diperoleh. Semasa menjalankan kajian,
pengkaji menggunakan borang soal selidik dengan harapan dapat mengumpulkan maklumat
dengan cepat dan mendapat gambaran yang mendalam tentang permasalahan kajian.
Responden hanya perlu menyatakan keadaan sebenar berpandukan soalan yangdisediakan.




3.2    PROSEDUR KAJIAN


Setiap kajian yang dijalankan haruslah mempunyai langkah-langkah kajian seperti manayang
dirancang dan telah dijalankan. Begitu juga dengan kajian ini, pengkaji telah melakarkan
langkah-langkah yang telah dan akan dijalankan untuk melengkapkan kajian ini. Langkah-
langkah kajian ditafsirkan dalam bentuk gambar rajah seperti di bawah:




Rajah 2 : Gambar rajah yang menunjukkan langkah-langkah yang telah dan akandijalankan di
                                       dalam kajian ini
3.3    TEMPAT KAJIAN


Kajian ini telah dijalankan di Universiti Pendidikan Sultan Idris, Tanjong Malim, Perak.


3.4    PENSAMPELAN KAJIAN
Dalam kajian ini, populasi kajian terdiri daripada 30 orang pelajar semester 5 ISMPE.
Menurut Mohd Najib Abdul Ghafar (1999), sampel adalah sumber untuk mendapatkan data
kerana sampel sebenarnya mewakili keseluruhan populasi yang besar. Kesemua yang
menjadi sampel kajian ini adalah dipilih secara pensampelan sistematik. Oleh itu, seramai 15
orang pelajar semester 5 ISMPE telah dipilih dalam menjalankan kajian ini.


3.5    INSTRUMEN KAJIAN


Tujuan kajian ini adalah untuk mengenal pasti tahap kemahiran penggunaan ICT dalam
kalangan pelajar semester 5 dan 6 Pendidikan Ekonomi. Pengkaji menggunakan soal
selidik untuk tujuan mengumpulkan data kuantitatif responden. Instrumen berbentuk soal
selidik mudah ditadbir setelah dibina dengan baik dan data senang diproses untuk dianalisis.


       Instrumen kajian yang dijalankan terbahagi kepada empat bahagian iaitu Bahagian A
mengandungi 2 item tentang maklumat responden. Responden hanya perlu menandakan di
dalam petak-petak yang disediakan berkaitan dengan diri responden. Maklumat latar
belakang ini terdiri daripada jantina dan kelayakan masuk ke UPSI sahaja. Bahagian B
mengandungi 10 item yang mengukur tahap kemahiran responden terhadap penggunaan
ICT. Bahagian C pula terdiri daripada 14 item yang melihat tahap kekerapan responden
menggunakan ICT. Bahagian D terkandung 6 item yang menilai keberkesanan subjek ICT
yang ditawarkan kepada pelajar di Universiti Pendidikan Sultan Idris.




3.6    KAJIAN RINTIS


Menurut Polit et al (2001) kajian rintis merujuk kepada versi kajian kecil atau percubaan
yang dilakukan sebagai persediaan untuk kajian yang lebih besar atau utama. Kajian rintis
juga merupakan pra ujian untuk mencuba instrumen kajian khusus. Kelebihan kajian rintis
adalah dapat membantu pengkaji memperoleh petunjuk awal tentang item-item yang
mungkin tidak tepat atau gagal.


        Sebelum soal selidik ini dilaksanakan kepada responden sebenar, kajian rintis
dilaksanakan terlebih dahulu oleh pengkaji. Kajian rintis dilakukan bagi menentukan
kesahan serta kebolehpercayaan soal selidik di samping menguji kefahaman responden
terhadap item-item dalam soal selidik yang diberikan. Tujuan kajian rintis ini dilakukan
adalah untuk mengetahui tahap kebolehpercayaan item-item kajian supaya bila diulanguji
kepada responden yang sama atau responden yang mempunyai ciri-ciri yang sama akan
mempunyai nilai ketekalan yang setara.


        Selain daripada itu, ianya juga dilakukan untuk memastikan ketepatan pernyataan
item dari sudut nahu dan tatabahasanya sama ada dari segi penggunaan istilah dan struktur
ayat supaya mudah difahami oleh responden dan mengetahui tahap kemampuan
responden untuk memahami kehendak soal selidik. Dengan ini, responden dapat menjawab
persoalan tersebut dengan baik dan jawapan tersebut menggambarkan dirinya yang
sebenar.


        Pengkaji telah melaksanakan kajian rintis ini ke atas 15 orang pelajar semester 6
ISMPE. Responden yang dipilih bukan responden sebenar kajian. Hasil daripada kajian rintis
yang dilakukan, didapati bahawa responden tidak menghadapi masalah di dalam memahami
item-item soal selidik tersebut. Borang soal selidik yang telah diisi lengkapoleh responden
telah dianalisis dengan menggunakan Statistical Package For The Social Sciences Version
11.5 (SPSS). Dapatan analisis menunjukkan keseluruhan nilai-nilai alpha (α) untuk semua
item dalam soal selidik ialah 0.55. Nilai alpha kebolehpercayaan yang sesuai digunakan
dalam penyelidikan bagi sesuatu alat ukur ialah yang mempunyai nilai yang lebih daripada
0.70. Ini menunjukkan bahawa nilai dan tahap kebolehpercayaan item-item soal selidik
adalah tinggi dan boleh digunakan bagi tujuan penyelidikan sebenar.


3.7     PENGANALISIS DATA


Semua      maklumat    yang   terkumpul     dianalisis   dengan    menggunakan      program
Statistical Package for Social Science (SPSS) versi 11.0. Bagi tujuan analisis latar belakang
responden    pada    Bahagian      A,   kaedah   analisis   statistik   deskriptif   digunakan
untuk mendapatkan kekerapan dan peratusan. Data-data kemudiannya disusun dan
diterangkan dalam bentuk jadual.


3.8    KESIMPULAN


Secara keseluruhannya, bab ini menerangkan secara terperinci berkenaan metodologi kajian
yang merangkumi reka bentuk, kaedah pensampelan, prosedur kajian dan cara-
cara penganalisisan data. Dapatan kajian ini adalah berdasarkan analisis data yang telah
dijalankan dengan kaedah-kaedah yang telah dinyatakan untuk mendapatkan jawapan
kepada persoalan-persoalan kajian yang telah ditetapkan oleh pengkaji untuk tujuan kajian
ini. Metodologi kajian ini membantu pengkaji dalam mencapai objektif kajian.




RUJUKAN


Agarwal, R, & Day. A.E (1998). The Impact of The Internet on Economic Education.
Journal of Economic Education. 29 (2), Pg. 99-110.


Baharudin Aris, Mohamad Bilal Ali, Jamalludin Harun & Zaidatun Tasir. (2001).
Sistem komputer dan aplikasinya. Kuala Lumpur: Penerbit Venton Publishing.
Brown, A.L. (1997), "Transforming schools into communities of thinking and learningabout
serious matters", American Psychologist, vol.5, no.52, pp.399-413.


Dupagne. M. (1992). Teachers’ attitudes towards computers: A review of literature.
Journal of Research on Computing in Education. 24 (3): 142-158.


Gagne. R. M.(1987). Foundations of Instructional Technology. New York: LawrenceErlbaum.


Heinich, R, Molenda. M, & Russell. J. D. (1999).            Instructional Media and the
NewTechnologies of Instruction. New York: Macmillan.


Jackson. W. K, Clements D. G. and Jones. L. G. (1984). Computer Awareness and Use ata
Research University. Journal of Educational Technology Systems
.13(1): Pg. 47-56.


Jamalludin Harun & Zaidatun Tasir. (2003). Multimedia dalam pendidikan. Pahang: PTS
Publication & Distributors.


Kellah M. Edens. (2008). The Interaction of Pedagogical Approach, Gender, Self Regulation,
and Goal Orientation Using Student Responde System Technology. The Journal of Research
on Technology in Education. 41,2: Pg. 161.


Kerajaan Malaysia. (2006). Rancangan Malaysia Kesembilan 2006-2010. Kuala Lumpur
Percetakan Nasional Malaysia Berhad.


Megat Aman Zahiri Megat Zakaria, Baharudin Aris dan Jamalludin Harun. (na).
Kemahiran ICT di kalangan guru-guru pelatih UTM : Satu tinjauan. 1st International
Malaysian Educational Technology Convention. Universiti Teknologi Malaysia.


Milton Chen and William Paisley (1982). Children and Microcomputers. Beverly Hills: In
Search of Excellence. New York: Harper and Row.
Norhaniza    Abdul    Kadir     (1994).   Tahap    Penggunaan,       Kemahiran      Sikap   dan
Pengetahuan Pensyarah-pensyarah Pendidikan Vokasional di Kolej Menengah Vokasional
seluruh Semenanjung Tentang Komputer : Kajian Ilmiah, Ijazah Pendidikan UPM .


Norizan Ahmad (2003), Kemahiran dan Penggunaan Komputer dalam Pengajaran Sains di
Sekolah Menengah : Lebih Banyak Soalan Dari Jawapan, Maktab Perguruan Teknik Kuala
Lumpur.


Pelan     Induk    Pendidikan      2006-2010      (2006),   Online     diperolehi      daripada
http://www.moe.gov.my/ pada 31 Julai/2009.


Ranjit Kaur & Chua Lay Siok. (2000). Tinjauan penggunaan internet di kalangan guru pelatih
institut bahasa (IBMM) ke arah pembelajaran elektronik di Institut Bahasa Melayu Malaysia
Kuala Lumpur. Seminar Teknologi Maklumat dan Komunikasi Dalam Pendidikan, MPBL Kuala
Lumpur. 2 April.


Rozina Jamaludin. (2000). Asas-asas multimedia dalam pendidikan. Siri Pengajian dan
Pendidikan Utusan. Kuala Lumpur: Utusan Publication & Distributors Sdn Bhd.


Robiah Sidin & Nor Sakinah Mohamad (2007). ICT daalam Pendidikan: Prospek danCabaran
dalam Pembaharuan Pedagogi. Jurnal Pendidikan 32 (2007) 139 – 152.


Roblyer, M. D., & Edwards, J. (2004). Integrating educational technology into teaching. NJ:
Prentice-Hall.




Shields, M. (1986). Computing at Brown - An ongoing study. Perspectives In Computing . The
Journal of Research on Technology in Education. 6(2): Pg. 57-62.


Simonson, M. R., Maurer, M., Montag-Torardi, M. dan Whitaker, M. (1987). Development of
a Standardized Test of Computer Literacy and a Complex Anxiety Index. Journal of
Educational Computing Reseach. 3(2): 231-247.
Tengku Zawawi Bin Tengku Zainal (2000). Pembelajaran secara elektronik (atas talian).
http://www.kuwi.net.my/artikel/e-learning.htm.


Yali Zhao. (2007). Social Studies Teacher’ Perspective of Techonology Integration. The
Journal of Technology and Teacher Education. 15, 3: Academic research Library.Pg. 311.


Yusni Abd Rahman & Wan Mohd Rani Abdullah (2001). Mengukur kesediaan
GuruMenggunakan Komputer dalam Menajalankan Tugas Pentadbiran dan Pengajaran.
Kuala Lumpur: Utusan Publication & Distributors Sdn Bhd

Assignment 3

  • 1.
    KPT 6044 –PEMBELAJARAN BERASASKAN ELEKTRONIK DAN WEB PENSYARAH :- PROF MADYA DR ABD LATIF HJ GAPOR TUGASAN 3 DISEDIAKAN OLEH :- NOOR ZUBAIDAH BT. HJ ZAINOL ABIDIN (M20112001097) SARJANA (PEND) PENGURUSAN PERNIAGAAN
  • 2.
    TAHAP KEMAHIRAN ICTDALAM KALANGAN PELAJAR SEMESTER 5 DAN 6 IJAZAH SARJANA MUDA PENDIDIKAN EKONOMI UNIVERSITI PENDIDIKAN SULTAN IDRIS. 1.0 PENGENALAN Walaupun Teknologi Maklumat dan Komunikasi atau Information Communication Technology (ICT) telah lama bertapak namun ia masih boleh dianggap baru dalam kalangan masyarakat Malaysia. Penggunaan ICT hampir meliputi seluruh urusan sesebuah Negara seperti pengurusan pentadbiran kerajaan, pembangunan negara, meramal perkembangan ekonomi negara dan sebagainya. Walaupun penggunaannya amat meluas,masih terdapat segelintir masyarakat kita yang masih belum mendapat pendedahan tentang penggunaan ICT dalam kehidupan harian dan ada juga yang masih sangsi dengankemajuan teknologi sehinggakan masih mengamalkan corak konvensional dalam pengurusan aktiviti harian. Sebagai sebuah negara yang sedang membangun sedang mengamalkan prinsip globalisasi, sememangnya Malaysia perlu melengkapkan diri dengan pengetahuan ICT yang terkini supaya tidak ketinggalan berbanding dengan negara-negara lain. Kemahiran ICT amat penting untuk mencapai wawasan negara dalam melahirkan tenaga kerja yang berkemahiran tinggi dan profesional (Megat Aman Zahiri Megat Zakaria, Baharudin Aris, Jamalludin Harun, na). Justeru itu, pihak kerajaan memainkan peranan penting dalam menyediakan platform serta kemudahan ICT kepada masyarakat dan memberi galakan kepada penggunaan ICT secara menyeluruh. Menerusi Rancangan Malaysia ke-9 (RMK-9, 2006), pihak kerajaan telah membuat peruntukan yang besar terhadap pembangunan ICT Negara. Di antara perancangan yang telah dibuat dalam pembangunan ICT negara adalah dengan memberikan peruntukan yang besar dalam pembangunan ICT di peringkat sekolah. Natijahnya adalah untuk menyediakan asas yang kukuh kepada masyarakat melalui pendidikan di sekolah. Antara yang terdapat di dalam bantuan berikut adalah :- 1) Menyediakan infrastruktur seperti makmal atau bilik komputer; perkakasan seperti komputer, komputer riba, projektor LCD dan pelayan (server), 2) Membangunkan perisian khusus dan program TV pendidikan bagi membantu P & P, 3) Melatih guru bagi meningkatkan kompetensi mengintegrasikan ICT dalam P & P, dan 4) Melatih pentadbir sekolah menggunakan ICT dalam pengurusan.
  • 3.
    Selain daripada RMK-9,kerajaan juga telah menggariskan perancangan dalam Pelan Induk Pembangunan Pendidikan 2006-2010 serta memberikan dana yang besar untuk membangunkan prasarana ICT di peringkat sekolah. Antara matlamat pelan tersebut adalah untuk merapatkan jurang digital dengan menyediakan kemudahan ICT antara lokasi dan meningkatkan kemahiran ICT di kalangan guru dan pelajar (Pelan Induk Pembangunan Pendidikan 2006-2010, 2006). Sememangnya penggunaan ICT di peringkat sekolah lagi banyak membantu menyediakan asas kepada pelajar terhadap kemudahan teknologi yang ada dalam kehidupan. Di samping itu, penggunaan ICT banyak membantu dalam pengajaran dan pembelajaran. Terdapat mata pelajaran khusus yang di ajar berkaitan ICT di peringkat sekolah. Di samping itu, pengurusan dan pentadbiran sekolah juga telah banyak melibatkan penggunaan ICT. Namun begitu, masih ramai guru yang tidak mahir menggunakan ICT di dalam pengajaran dan pembelajaran (P&P). Justeru itu, institusi pendidikan telah memberikan penekanan terhadap kemahiran ICT bagi bakal-bakal guru supaya apabila keluar mengajar nanti, guru telah mempunyai kemahiran yang jitu dan dapat memberikan sumbangan yang amat baik terhadap pendidikan negara. Universiti pendidikan dan maktab- maktab perguruan turut menyediakan kursus wajib kepada bakal guru untuk mendalami ilmu ICT dan memberikan opsyen kepada pelajar untuk mendalami ilmu tersebut melalui subjek-subjek ICT yang ditawarkan. Kementerian pendidikan juga memperuntukkan supaya guru-guru supaya menghadiri kursus yang berkaitan dengan ICT untuk memantapkan lagi di dala ilmu tersebut. 1.1 LATAR BELAKANG KAJIAN Kemahiran ICT di peringkat sekolah sememangnya tidak dapat disangkal kepentingannya dalam sistem pendidikan negara masa kini. Untuk melahirkan generasi yang celik IT, pendidikan ICT seharusnya dimulakan seawal pendidikan sekolah rendah dan berterusan sehingga pelajar melanjutkan pelajaran ke peringkat yang tertinggi. Oleh itu, pengetahuan ICT di kalangan guru adalah penting untuk memberikan maklumat dan informasi kepada pelajar. Pendedahan kemahiran ICT kepada bakal pendidik adalah satu agenda utamasetiap institusi pendidikan supaya bakal guru tidak janggal dengan peralatan ICT di sekolah nanti dan dapat mengaplikasikannya dalam P&P mereka.
  • 4.
    Pengetahuan ICT tidakhanya berkisar kepada kemahiran penggunaan komputer dan aplikasinya sahaja. Kemahiran ICT turut meliputi penggunaan peralatan-peralatan lain seperti penggunaan LCD projektor, mesin OHP, mesin pengimbas dan peralatan- peralatan elektronik lain. Pada masa kini, kebanyakan pelajar telah didedahkan penggunaan alat ICT secara tidak langsung sebelum menerima pendidikan formal disekolah. Misalnya penggunaan telefon bimbit pada masa kini bukan sahaja untuk membuat dan menjawab panggilan tetapi terdapat banyak lagi fungsi lain yang terdapat di dalam telefon bimbit pada masa kini. Telefon bimbit boleh dikategorikan sebagai alat ICT. Jika ia digunakan dengan betul, alat tersebut akan menjadi salah satu ABM dalam P&P. Hal ini membawa kepada kreativiti seseorang guru itu untuk mengolah alat tersebut menjadi alat yang berguna di dalam pembelajaran. Justeru itu, bakal-bakal pendidik perlu melengkapkan diri dengan kemahiran ICT supaya tidak ketinggalan dan terbelakangdaripada pelajar. Bagi pelajar- pelajar yang berada di pedalaman dan yang masih kurang terdedah kepada peralatan ICT, menjadi tugas guru untuk memperkenalkannya dan membimbing pelajar untuk bersedia menghadapi gelombang ICT apabila keluar dari populasi mereka itu. 1.2 PERNYATAAN MASALAH Mengikut Heinich dan Robert (1996), kemahiran dalam penggunaan ICT merupakan suatu keperluan untuk bakal guru yang berkhidmat di sekolah-sekolah. Terdapat beberapa kajian yang menunjukkan penggunaan ICT dalam bidang pendidikan mendatangkan kesan positif, mempertingkatkan kualiti dan pencapaian. Antara pengkaji yang melihat perbezaan antara penggunaan ICT di dalam P&P ialah Howell (1971) di mana beliau melihat pelajar lebih tertarik untuk mempelajari sesuatu subjek (bahasa Perancis) dengan menggunakan komputer berbanding cara konvensional. Begitu juga dengan pengkaji- pengkaji lain yang melihat alat bantu mengajar (ABM) dengan menggunakan ICT lebih banyak membantu memberi pemahaman kepada pelajar berbanding penggunaan ABM yang tidak menarik. Pada dasarnya, sesi P&P pada masa ini lebih tertumpu dengan alat bantu mengajar yang bersifat teknologi seperti menggunakan komputer, OHP, pemancar LCD dan sebagainya. Maka, bakal guru seharusnya peka terhadap perubahan situasi ini agar guru-guru tidak ketinggalan dengan perubahan persekitaran di sekolah.
  • 5.
    Pengkaji melihat masihada segelintir bakal guru yang belum cukup ilmu teknikal dalam mengendalikan peralatan yang bersifat teknologi apatah lagi peralatan seperti ini sering kali digunakan di sekolah. Mengikut Norizan (2004), kegagalan guru dalam menggunakan ICT adalah disebabkan oleh ketidakmahiran dalam menggunakan alat dan perisian yang semakin meningkat keupayaannya. Hal ini mendorong pengkaji untuk melihat secara mendalam mengenai situasi ini. Kementerian kini sedang giat memperbaharui alat-alat bantu mengajar bagi memudahkan lagi guru melaksanakan tugas mereka. Ramai yang menganggap bahawa mempelajari serba sedikit dalam pengendalian peralatan ICT ini adalah perkara remeh. Mengikut kajian Zorinawati (1999), guru yang tidak mahir dengan ICT adalah disebabkan oleh tiga faktor iaitu :- 1) takut kepada komputer, 2 takut tidak mampu menangani perkembangan komputer dan 3) takut jika mengetahui komputer, akan diberikan kerja yang banyak oleh pengetua / guru besar. Sebagai seorang guru yang berwibawa seharusnya tahu dalam segala aspek mahu pundalam bidang akademik, teknikal dan sebagainya. Guru harus mengambil inisiatif dan mengetahui perkembangan semasa untuk menarik minat pelajar dalam mendalami ilmu yang disampaikan. Kajian ini melihat sejauh mana pelajar semester 5 dan 6 program ekonomi (guru pelatih) mahir dalam mengendalikan peralatan ICT. Guru yang tidak tahu mengendalikan peralatan ini menyumbang kepada masalah yang akan wujud di sekolah kelak. Oleh yang demikian, daripada kajian ini akan dapat mengenal pasti masalah yang wujud dalam mengendalikan peralatan ICT bagi melicinkan proses P&P di dalam bilik darjah seterusnya melihat keberkesanan pengajaran yang dijalankan.
  • 6.
    1.3 OBJEKTIF KAJIAN 1.3.1 Objektif Umum Kajian ini telah menetapkan objektif umum kajian dan juga beberapa objektif khusus untuk melihat apa yang sebenarnya ingin dicapai dalam kajian ini. Secara umumnya, kajian ini bertujuan untuk melihat gambaran tahap kemahiran penggunaan ICT dalam kalangan pelajar semester 5 dan 6 Ijazah Sarjana Muda Pendidikan Ekonomi (ISMPE) di Universiti Pendidikan Sultan Idris (UPSI) dalam proses P&P. 1.3.2 Objektif Khusus Objektif khusus kajian yang dijalankan ini adalah bertujuan untuk : 1.3.2.1 Mengenal pasti tahap latihan ICT dalam kalangan pelajar semester 5 dan 6 ISMPE UPSI 1.3.2.2 Mengenal pasti tahap kekerapan pelajar semester 5 dan 6 ISMPE UPSI mengendalikan peralatan ICT. 1.3.2.3 Menganalisis tahap kesesuaian subjek ICT yang diajar semasa mengikuti latihan ISMPE di UPSI. 1.4 KEPENTINGAN KAJIAN
  • 7.
    Antara kepentingan kajianadalah seperti berikut: 1.4.1 Mengaitkan dapatan kajian dengan teori-teori yang sediaada dan menambahbaikkan teori tersebut. 1.4.2 Memberi cadangan terhadap organisasi yang terlibat dalam merangka subjek ICT di UPSI untuk menambahbaikkan struktur subjek tersebut supaya sesuai dengan kehendak terkini. 1.5 LIMITASI KAJIAN Dalam melaksanakan kajian ini, pengkaji telah mengambil kira beberapa perkara bagi membatasi kajian. Kajian ini adalah merupakan kajian jangka masa pendek iaitu kurang daripada satu bulan. Ianya disebabkan oleh sumber, tenaga dan masa yang terhad. Ketepatan maklumat adalah bergantung kepada kefahaman, kerjasama, serta kejujuran responden menjawab soalan-soalan yang terkandung dalam borang soal selidik. Kajian hanya dilakukan melalui soal selidik secara tertutup berdasarkan dua skala iaitu tidak setuju dan setuju. Selain itu, kajian ini juga hanya melibatkan dua kelas pelajar ISMPE iaitu sebanyak 36 orang pelajar sahaja yang terdiri daripada pelajar semester 5 dan 6. Batasan ini dibuat bagi memudahkan pengkaji membuat kajianyang mempunyai skop kajian yang khusus. Pengkhususan skala responden ini menyebabkan dapatan kajian tidak menyeluruh kepada jumlah pelajar sebenar ISMPE yang berada di dalam UPSI. Oleh yang demikian, dapatan kajian ini mungkin mempunyai ralat berikutan pendapat atau pandangan yang tidak seimbang. 1.6 DEFINISI OPERASIONAL
  • 8.
    Definisi konsep adakalanya dirujuk sebagai definisi teori yang harus bersandarkan padasesuatu teori atau telah diperkukuhkan oleh kajian-kajian lepas. Ia memberi maksud yang lebih abstrak atau umum. Definisi operasional pula ialah definisi yang digunakan oleh penyelidik untuk menjelaskan responden, pemboleh ubah yang hendak diuji atau dimanipulasi dalam kajian. Ia memberi gambaran bagaimana konsep yang hendak dikaji itu boleh diperhatikan atau dimanipulasikan. Definisi operasional menentukan prosedur yang spesifik bagi melaksanakan kajian ke atas definisi konsep mengenai sesuatu, individu atau objek. Dengan cara ini ia memberi peluang untuk mengkaji pemboleh ubah itu secara empirik. Beberapa istilah yang digunakan dalam penulisan ini memerlukan definisi yang terperinci. Definisi ini perlu kerana pengertian umum dengan pengertian dalam kajian ini mungkin berbeza. Istilah-istilah tersebut ialah: Teknologi Maklumat dan Komunikasi (ICT) - Teknologi yang digunakan oleh individu untuk mengumpul data dan menganalisis data menjadi maklumat berguna dan bermakna, serta untuk menghasilkan maklumat dalam pelbagai bentuk seperti teks, grafik, suara, animasi dan maya. Teknologi komunikasi membolehkan individu atau kelompok individu bertukar data dan maklumat dalam ruang waktu dan tempat yang tidak terbatas, dengan cepat dan dalam masa yang sama (‘synchronous’) melalui rangkaian setempat atau global. Menurut Paisley dan Chen (1982) dipetik daripada Brown (1997) maklumat bermaksud , "Information can be defined both structurally and functionally. Structurally it is a system of encoding a message so that it can be stored,retrieved and manipulated, and functionally it is something that alters a person'scognitive organisation". Ia bermaksud maklumat dapat ditakrifkan dari segi struktur dan dari segi fungsi. Dari segi struktur ia adalah satu sistem yang mengekod pesanan supayaia boleh disimpan, dikembalikan dan dimanipulasikan dan berfungsi untuk mengubah organisasi kognitif seseorang. Komunikasi mengikut Brown (1997), “The interchange of information, and again may be viewed in terms of the structure of that interchange or its function in affecting people's understanding and knowledge. Information and communication are, therefore, inextricably linked”. Di sini dapat dirumuskan bahawa komunikasi membawa maksud proses penukaran maklumat. Apabila digabungkan maklumat dan komunikasi, maka istilahnya adalah seperti yang tertera di atas. Bab 2 SOROTAN LITERATUR
  • 9.
    2.0 PENGENALAN Dalam bab ini penyelidik akan membincangkan dapatan daripada kajian yang terdahulu mengenai penggunaan ICT dalam pendidikan. Kajian-kajian yang diambil berdasarkan kepada kesesuaian dan hubung kait dengan tajuk yang dibincangkan. 2.1 INFORMATION COMMUNICATION TECHONOLOGY (ICT) Teknologi Maklumat dan Komunikasi (ICT) merangkumi aspek teknologi maklumat dan teknologi komunikasi. Teknologi maklumat ditakrifkan sebagai teknologi yang digunakan oleh individu untuk mengumpul data dan menganalisis data menjadi maklumat bergunadan bermakna, serta untuk menghasilkan maklumat dalam pelbagai bentuk seperti teks, grafik, suara, animasi dan maya. Data dan maklumat sentiasa diperlukan untuk tujuan tertentu seperti bagi tujuan peningkatan ilmu/pengetahuan, pengalaman, kemahiran dan kemampuan. Teknologi komunikasi membolehkan individu atau kelompok individu bertukar data dan maklumat dalam ruang waktu dan tempat yang tidak terbatas, dengan cepat dan dalam masa yang sama melalui rangkaian setempat atau global (Rozina Jamaludin, 2000). Teknologi Maklumat atau lebih dikenali dengan singkatan IT (InformationTechnology) telah menjadi satu keperluan dalam kehidupan kita pada masa kini. IT merupakan alat utama dalam era maklumat kerana IT menjadi teras dalam komunikasi antara manusia dan pembekalan maklumat kepada masyarakat. Oleh itu, pengetahuan tentang IT adalah penting bagi membentuk masyarakat yang bermaklumat. Kemajuan Teknologi Maklumat dan Komunikasi (ICT) seterusnya telah meningkatkan penggunaan Internet, web dan jaringan (networking) dalam pendidikan. Perkembangan baru ini telah mewujudkan persekitaran pembelajaran baru yang lebih fleksibel dari segi masa, tempat, kaedah dan bahan pembelajaran, di samping mewujudkan lebih peluang untuk proses kolaborasi yang lebih meluas dalam proses pendidikan (Jamalludin Harun & Zaidatun Tasir, 2003). Perkembangan baru ini telah mengembangkan lagi konsep pembelajaran kolaboratif melalui alat-alat konvensional seperti listserv, newsgroup, emel dan “Internet Real-Chat ” (IRC) di samping penggunaan konferensi audio (audio conferencing) dan konferensi video (video conferencing ).
  • 10.
    Dalam kajian KellahM. Edens (2008), beliau mengatakan bahawa kemajuan teknologi maklumat seterusnya telah menyebabkan meningkatnya penggunaan web dan Internet untuk tujuan pendidikan. Struktur maklumat dalam web yang berdasarkan kepada kaedah hiperteks dan hipermedia yang mengandungi pelbagai maklumat dalam berbentuk teks, grafik, animasi, audio dan video dihubungkan dan dipersembahkan dalam bentuk yang tidak linear. Rangkaian maklumat ini membolehkan maklumat dikongsi bersama-sama dalam pelbagai bentuk dan mengakibatkan berkembangnya kolaborasiantara manusia. Situasi baru ini memberi peluang yang lebih meluas kepada pendidikan sains yang lebih fleksibel dan terbuka dari segi masa dan kaedah serta meningkatnya interaksi sosial dalam pendidikan. 2.2 KEMAHIRAN ICT Kemahiran komputer sebenarnya berkait rapat dengan kemahiran ICT. Merujuk kepada Simonson et al. (1987), setiap individu mampu menguasai kemahiran komputer sekiranya mereka mempunyai sikap yang positif termasuk menghilangkan kegelisahan atau menunjukkan minat yang mendalam dalam penggunaan komputer, dan kesedaran akan bertanggungjawab terhadap komputer. Selain itu, kemampuan untuk menilai tanggungjawab, memilih dan melaksanakan pelbagai kegunaan aplikasi computer untuk menjadi lebih berguna dan efisien dalam sesuatu kerja. Pengetahuan yang bersesuaian untuk menggunakan perkakasan dan perisian untuk aplikasi komputer. Kemahiran ICT dianggap sebagai pemangkin kepada individu untuk memaksimumkan keupayaan teknologi digital. Pada peringkat tertinggi, kemahiran ICT dapat menggalak dan melahirkan inovasi, transformasi individu dan perubahan masyarakat (Jamalludin Harun & Zaidatun Tasir, 2003). Dupagne. M. (1992) pula menyentuh tentang latihan perguruan yang mencukupi adalah penting untuk membina keyakinan dan kemahiran guru terhadap penggunaan teknologi komputer dengan sepenuh masa di sekolah. Sebenarnya latihan komputer dalam kalangan guru-guru tidak dapatdilaksanakan lagi kerana pendidikan komputer di sekolah-sekolah sendiri menghadapimasalah kritikal. Perisian khas untuk kursus dalam perkhidmatan serta bengkel perludibangunkan untuk memperbaiki kecekapan pengaplikasian komputer dalam kalangan guru.
  • 11.
    Kajian yang lepasoleh Jackson, Clements dan Jones (1984) yang bertujuan menilai tahap kesedaran dan penggunaan IT di kalangan fakulti di Universiti Georgia. Hasilnya telah menunjukkan sikap terhadap komputer dan kesedaran penggunaan komputer di universiti tersebut adalah positif. Statistik menunjukkan 85% responden telah mengikuti aktiviti kesedaran komputer seperti bengkel, seminar dan belajar bersendirian dan 86% responden mempamerkan minat untuk belajar lebih mendalam lagi penggunaan IT. Manakala, dalam satu kajian oleh Shields (1986) di Universiti Brown melaporkan lebih 80% daripada responden mempunyai serba sedikit pengalaman menggunakan komputer. Hampir 75% daripadanya menggambarkan pengalaman yang positif dan lebih 69% menyatakan mereka berminat menggunakan komputer dengan lebih kerap. Dapatan yang diperoleh oleh Ranjit Kaur & Chua Lay Siok (2000) menunjukkan bahawa tiada perhubungan yang signifikan antara jantina, umur, kelulusan tertinggi dansaiz sekolah dengan sikap terhadap penggunaan komputer. Walau bagaimanapun, terdapat hubungan yang signifikan terhadap penggunaan komputer antara kemahiran dan pengetahuan komputer serta takut terhadap komputer. Kajian ini menunjukkan tahap penggunaan komputer di sekolah sederhana tetapi mempunyai kepakaran yang rendahuntuk membangunkan perisian komputer. Sikap terhadap penggunaan komputer dipecahkan kepada empat bahagian iaitu keyakinan, kesukaan, kebimbangan dan penggunaan dalam profesion. Keseluruhan kajian mendapati sikap penggunaan komputer adalah positif tetapi penggunaannya dalam profesion di bawah tahap purata. Dapatan kajian terhadap 60 orang guru pelatih Institut Bahasa Melayu Malaysia (IBMM) didapati bahawa 70% daripada responden menyatakan tidak tahu menggunakan komputer. Kajian- kajian ini menunjukkan masih terdapat jurang antara harapan Kementerian Pendidikan dengan keadaan amalan sebenar yang wujud di sekolah. Kajian Agarwal & Day (1998) meninjau pengalaman fakulti di universiti atau kolej yang pernah menggunakan ICT sebagai alat pembelajaran subjek ekonomi. Hasil kajian beliau mendapati bahan kursus yang terdapat pada web mempunyai potensi untuk meningkatkan tahap pembelajaran dari aspek persediaan kelas, menggalakkan penyertaan, menarik perhatian, dan paling penting ialah meningkatkan interaksi antara pengajar dan pelajar. Kajian Agarwal dan Day (1998) tentang kesan Internet/web terhadap pembelajaran
  • 12.
    Ekonomi melalui Internet/web mendapati kemudahan akses maklumat dengan menggunakan Internet telah meningkatkan penggunaan data-data ekonomi. Penggunaan data-data sebenar ini telah meningkatkan kefahaman teori ekonomi. Selain itu, kajian ini mendapati pembelajaran melalui Internet/web telah meningkatkan komunikasi antara pengajar dengan pelajar dan meningkatkan kualiti pembelajaran, dan juga mempunyai kesake atas pengekalan (retention) dan persepsi pelajar terhadap pelajaran Ekonomi. Pengetahuan dan kemahiran dalam ICT tidak menjamin pengintegrasiannya dalam kurikulum dan juga pengajaran. Justeru, adalah penting bagi guru untuk membuat persediaan yang mencukupi agar dapat memenuhi tuntutan dan jangkaan masyarakat untuk menggabungkan ICT dalam pengajaran. Sikap serta keyakinan dan efikasi yang tinggi membantu memudahkan proses peningkatan kemahiran dalam pelaksanaan ICT dalam proses pengajaran dan pembelajaran. Rozina Jamaludin (2000) menyarankan bahawa satu cara yang ideal untuk meningkatkan efikasi guru terhadap penggunaan ICT ialah dengan menyediakan latihan kemahiran ICT kerana ia berupaya meningkatkan efikasi guru. Menyokong pendapat Rozina Jamaludin (2000) ialah Roblyer. M. &Edwards. J. (2004) yang menyatakan bahawa apabila guru menggunakan ICT untuk tujuan pengajaran, keyakinan diri akan muncul sebagai petunjuk yang penting ke atas seseorang guru untuk mengajar ICT dalam bilik darjah. Hal ini diperkukuhkan lagi oleh Yusni Abd Rahman & Wan Mohd Rani Abdullah (2001) yang mengatakan bahawa penggunaan ICT dalam pengajaran adalah bergantung kepada keyakinan diri guru untuk mengguna dan mengendali peralatan ICT. 2.3 ICT DALAM PENDIDIKAN Rozina Jamaludin (2000) menyatakan bahawa guru merupakan aset sekolah, pelaksanaan sebarang program pendidikan bergantung kepada kesediaan, kecekapan, sikap, komitmen, pengetahuan, sokongan dan keterampilan guru, lebih-lebih lagi bidang yang memerlukan kemahiran khusus seperti komputer dan teknologi. Para penyelidik telah membuat kesimpulan bahawa latihan guru masa kini sepatutnya dapat membantu guru untuk bersikap positif terhadap penggunaan komputer. Apabila komputer diperkenal di sekolah, guru tidak berasa selesa dan cuba menolak penggunaan komputer dalam pengajaran dan pembelajaran. Kajian mereka mendapati bahawa guru-guru beranggapan bahawa komputer khususnya teknologi maklumat akan mengambil alih peranan mereka sebagai pengajar
  • 13.
    kerana komputer berupayamembekalkan ilmu yang lebih meluas dan ini akan mencabar profesion dan keupayaan guru. Penggunaan alat bantu mengajar ini dikatakan dapat meningkatkan minat serta merangsang minda pelajar di zaman siber ini dan telah dianggap dan diakui sebagai pemangkin proses pengajaran dan pembelajaran (Heinich et al, 1999). Proses pengajaran- pembelajaran dapat dipertingkatkan mutunya dan dipelbagaikan penyampaian dan penerimaannya melalui beberapa teknik seperti berbantukan komputer dan perisian, melalui sistem rangkaian (networking), perisian dan pangkalan data atau maklumat ataumelalui sistem Internet, perisian dan pangkalan data. Menurut Rozina Jamaludin (2000), dalam konteks pendidikan, teknologi maklumat merupakan satu rangkaian elektronik untuk mencari, mengumpul, menyimpan, memproses, menyalurkan dan menyampai maklumat secara efektif, pantas dan banyak untuk membantu proses pengajaran dan pembelajaran. Manakala Halimahtun Saadiahdan Nor Azilah Ngah (2003) pula mendapati kejayaan ICT dalam pendidikan bukan hanya terletak pada teknologi tetapi juga faktor lain seperti pendekatan pedagogi, subjek yang diajar, jenis pelajar, tahap pencapaian pelajar, keperluan pelajar, guru dan persekitaran bilik darjah. Dalam hal ini Irfan Naufal Umar (2004) pula mendapati penggunaan ICT dalam proses P&P membolehkan bilik darjah bertemu dengan dunianyata serta membolehkan pelajar sendiri mencari maklumat dan bahan asal; memudahkan kolaboratif dan perbandingan global dan membolehkan bahan-bahan multimedia diciptadan disebarkan dengan mudah. Selain daripada itu, Harris (2000) pula mengkategorikan penggunaan ICT dalam P&P kepada tiga, iaitu :- i. Pertukaran interpersonal seperti penyertaan dalam kumpulan perbincangan eletronik, bilik darjah global yang melibatkan pelajar-pelajar bertukar pendapat tentang sesuatu topik dan hubungan elektronik dengan pakar. ii. Koleksi maklumat yang melibatkan pelajar-pelajar dan guru-guru berkongsi artikel, sumber pengajaran dan rancangan pengajaran atau berkongsi data untuk dianalisis. iii. Projek yang melibatkan penyelesaian masalah yang melibatkan pelajar daripada pelbagai lokasi meninjau sesuatu dan kemudiannya berkongsi kaedah dan dapatankajian. Di samping itu pautan hiperteks dan hipermedia pula membolehkan pelajar menentukan sendiri arah tuju pembelajaran, kelajuan pembelajaran dan urutan pembelajaran.
  • 14.
    Jamalludin Harun &Zaidatun Tasir (2003) pula mendapati penggunaan ICT dalam P&P membolehkan pelajar bersifat aktif dalam pencarian maklumat dan membina pengetahuan daripada maklumat yang diperolehnya serta berpeluang menghubungkaitkan pengetahuan merentas mata pelajaran tanpa disekat oleh masa dan jarak. Mengikut Norhaniza Abdul Kadir (1994), hasrat untuk mencapai penggunaan ICT secara menyeluruh dalam proses pengajaran dan pembelajaran memerlukan dua jenis perubahan dalam kalangan guru. Pertama, guru harus diyakinkan bahawa terdapat banyak kebaikan dan kepentingan penggunaan ICT dalam P&P. Kedua, guru perlu diberikan kemahiran yang mencukupi untuk menggunakan peralatan ICT secara cekap dan efektif. Baharudin Aris, Mohamad Bilal Ali, Jamalludin Harun & Zaidatun Tasir (2001) pula mengatakan bahawa latihan ICT diperlukan bukan sahaja untuk melatih kemahiran penggunaannya tetapi juga untuk meyakinkan penggunaannya dalam P&P dalam kalangan guru. Malah Norizan (2003) dalam kajiannya mendapati wujud perhubungan yang baik antara kemahiran ICT dengan amalan ICT dalam P&P. Manakala beliau mendapati guru- guru masih tidak pasti akan keupayaan mereka untuk menggabungkan ICT dalam pengajaran. Kebanyakan daripada mereka masih berada di tahap ‘perlu belajar’ untuk meningkatkan pengetahuan dan kemahiran dalam ICT. Penggunaan ICT ini dalam bilik darjah tradisional mempunyai kesan positif keatas proses pembelajaran. ICT ini dapat memperluaskan pembelajaran luar bilik darjah, melibatkan pakar dari luar bidang pendidikan untuk mengimbangkan hubungan antaraguru dan pelajar, meningkatkan tanggungjawab dan inisiatif pelajar, memudahkan pelajar-pelajar mengakses sumber-sumber pembelajaran, dan meningkatkan penyertaandalam kelas (Tengku Zawawi Bin Tengku Zainal, 2000). 2.4 KESIMPULAN
  • 15.
    Berdasarkan sorotan kajiandi atas jelaslah menunjukkan sudah ramai pengkaji sama ada pengkaji tempatan dan barat membuat kajian tentang keberkesanan ICT dalam P&P. Pembelajaran Berbantukan ICT merupakan kaedah pembelajaran yang paling interaktif dan berinformasi serta mula diminati oleh guru dan pelajar (Yali Zhao, 2007). Hal ini jelas menunjukkan bahawa tahap kemahiran dalam penggunaan ICT tersebut dapat membantu mempertingkatkan keberkesanan dalam pengajaran dan pembelajaran. Namun begitu kajian ilmiah tentang keberkesanan pembelajaran subjek ekonomi berbantukan ICT masih terlalu kurang. Oleh itu diharapkan kajian ini akan menambahkan khazanah pembelajaran ekonomi berbantukan ICT untuk rujukan pengkaji yang akan datang. 2.5 REKA BENTUK KONSEPTUAL Reka bentuk konseptual merupakan gambaran kajian ini secara kasar. Ia ditunjukkan di dalam bentuk gambar rajah. Dalam kajian ini, pengkaji ingin melihat faktor-faktor yang memberi gambaran mengenai tahap kemahiran ICT dalam kalangan pelajar semester 5 dan 6 ISMPE UPSI. Terdapat tiga faktor yang ingin di lihat dan dijadikan sebagai objektif kajian. Reka bentuk tersebut ditunjukkan seperti mana gambar rajah di bawah :
  • 16.
    Rajah 1 : Gambar rajah reka bentuk konseptual untuk kajian Bab 3 METODOLOGI KAJIAN 3.0 PENDAHULUAN
  • 17.
    Metodologi kajian merujukkepada cara yang paling berkesan bagi mendapatkan maklumat yang berguna dengan kos yang minimum dalam mencapai sesuatu penyelidikan (Majid Konting, 1990). Bagi memberi fokus khusus, bab ini akan menerangkan pemilihan metodologi kajian yang sesuai untuk di aplikasi bagi mencapai tujuan kajian asal. Untuk membincangkan metodologi kajian ini, beberapa aspek akan diberi penekanan iaitu reka bentuk kajian, lokasi kajian, populasi dan sampel kajian, instrumen kajian, kajian rintis, prosedur pengumpulan data dan seterusnya analisis data. 3.1 KAEDAH PENGUMPULAN DATA DAN REKABENTUK KAJIAN Pada umumnya reka bentuk kajian bertujuan untuk membantu dan membimbing pengkaji ke arah mendapatkan maklumat yang diperlukan di dalam kajian. Kaedah tinjauan digunakan di dalam penyelidikan dengan cara pengumpulan data daripada kumpulanyang dikaji dengan menggunakan satu set soalan soal selidik. Kajian yang dijalankan ini merupakan satu penyelidikan yang berbentuk deskriptif. Pendekatan kuantitatif diguna pakai bagi mendapatkan data yang diperlukan melalui instrumen kajian iaitu soal selidik. Melalui kaedah ini, ianya dapat memudahkan pengkaji untuk mengumpul, menganalisis dan menginterpretasikan data yang diperoleh. Semasa menjalankan kajian, pengkaji menggunakan borang soal selidik dengan harapan dapat mengumpulkan maklumat dengan cepat dan mendapat gambaran yang mendalam tentang permasalahan kajian. Responden hanya perlu menyatakan keadaan sebenar berpandukan soalan yangdisediakan. 3.2 PROSEDUR KAJIAN Setiap kajian yang dijalankan haruslah mempunyai langkah-langkah kajian seperti manayang dirancang dan telah dijalankan. Begitu juga dengan kajian ini, pengkaji telah melakarkan
  • 18.
    langkah-langkah yang telahdan akan dijalankan untuk melengkapkan kajian ini. Langkah- langkah kajian ditafsirkan dalam bentuk gambar rajah seperti di bawah: Rajah 2 : Gambar rajah yang menunjukkan langkah-langkah yang telah dan akandijalankan di dalam kajian ini 3.3 TEMPAT KAJIAN Kajian ini telah dijalankan di Universiti Pendidikan Sultan Idris, Tanjong Malim, Perak. 3.4 PENSAMPELAN KAJIAN
  • 19.
    Dalam kajian ini,populasi kajian terdiri daripada 30 orang pelajar semester 5 ISMPE. Menurut Mohd Najib Abdul Ghafar (1999), sampel adalah sumber untuk mendapatkan data kerana sampel sebenarnya mewakili keseluruhan populasi yang besar. Kesemua yang menjadi sampel kajian ini adalah dipilih secara pensampelan sistematik. Oleh itu, seramai 15 orang pelajar semester 5 ISMPE telah dipilih dalam menjalankan kajian ini. 3.5 INSTRUMEN KAJIAN Tujuan kajian ini adalah untuk mengenal pasti tahap kemahiran penggunaan ICT dalam kalangan pelajar semester 5 dan 6 Pendidikan Ekonomi. Pengkaji menggunakan soal selidik untuk tujuan mengumpulkan data kuantitatif responden. Instrumen berbentuk soal selidik mudah ditadbir setelah dibina dengan baik dan data senang diproses untuk dianalisis. Instrumen kajian yang dijalankan terbahagi kepada empat bahagian iaitu Bahagian A mengandungi 2 item tentang maklumat responden. Responden hanya perlu menandakan di dalam petak-petak yang disediakan berkaitan dengan diri responden. Maklumat latar belakang ini terdiri daripada jantina dan kelayakan masuk ke UPSI sahaja. Bahagian B mengandungi 10 item yang mengukur tahap kemahiran responden terhadap penggunaan ICT. Bahagian C pula terdiri daripada 14 item yang melihat tahap kekerapan responden menggunakan ICT. Bahagian D terkandung 6 item yang menilai keberkesanan subjek ICT yang ditawarkan kepada pelajar di Universiti Pendidikan Sultan Idris. 3.6 KAJIAN RINTIS Menurut Polit et al (2001) kajian rintis merujuk kepada versi kajian kecil atau percubaan yang dilakukan sebagai persediaan untuk kajian yang lebih besar atau utama. Kajian rintis juga merupakan pra ujian untuk mencuba instrumen kajian khusus. Kelebihan kajian rintis
  • 20.
    adalah dapat membantupengkaji memperoleh petunjuk awal tentang item-item yang mungkin tidak tepat atau gagal. Sebelum soal selidik ini dilaksanakan kepada responden sebenar, kajian rintis dilaksanakan terlebih dahulu oleh pengkaji. Kajian rintis dilakukan bagi menentukan kesahan serta kebolehpercayaan soal selidik di samping menguji kefahaman responden terhadap item-item dalam soal selidik yang diberikan. Tujuan kajian rintis ini dilakukan adalah untuk mengetahui tahap kebolehpercayaan item-item kajian supaya bila diulanguji kepada responden yang sama atau responden yang mempunyai ciri-ciri yang sama akan mempunyai nilai ketekalan yang setara. Selain daripada itu, ianya juga dilakukan untuk memastikan ketepatan pernyataan item dari sudut nahu dan tatabahasanya sama ada dari segi penggunaan istilah dan struktur ayat supaya mudah difahami oleh responden dan mengetahui tahap kemampuan responden untuk memahami kehendak soal selidik. Dengan ini, responden dapat menjawab persoalan tersebut dengan baik dan jawapan tersebut menggambarkan dirinya yang sebenar. Pengkaji telah melaksanakan kajian rintis ini ke atas 15 orang pelajar semester 6 ISMPE. Responden yang dipilih bukan responden sebenar kajian. Hasil daripada kajian rintis yang dilakukan, didapati bahawa responden tidak menghadapi masalah di dalam memahami item-item soal selidik tersebut. Borang soal selidik yang telah diisi lengkapoleh responden telah dianalisis dengan menggunakan Statistical Package For The Social Sciences Version 11.5 (SPSS). Dapatan analisis menunjukkan keseluruhan nilai-nilai alpha (α) untuk semua item dalam soal selidik ialah 0.55. Nilai alpha kebolehpercayaan yang sesuai digunakan dalam penyelidikan bagi sesuatu alat ukur ialah yang mempunyai nilai yang lebih daripada 0.70. Ini menunjukkan bahawa nilai dan tahap kebolehpercayaan item-item soal selidik adalah tinggi dan boleh digunakan bagi tujuan penyelidikan sebenar. 3.7 PENGANALISIS DATA Semua maklumat yang terkumpul dianalisis dengan menggunakan program Statistical Package for Social Science (SPSS) versi 11.0. Bagi tujuan analisis latar belakang
  • 21.
    responden pada Bahagian A, kaedah analisis statistik deskriptif digunakan untuk mendapatkan kekerapan dan peratusan. Data-data kemudiannya disusun dan diterangkan dalam bentuk jadual. 3.8 KESIMPULAN Secara keseluruhannya, bab ini menerangkan secara terperinci berkenaan metodologi kajian yang merangkumi reka bentuk, kaedah pensampelan, prosedur kajian dan cara- cara penganalisisan data. Dapatan kajian ini adalah berdasarkan analisis data yang telah dijalankan dengan kaedah-kaedah yang telah dinyatakan untuk mendapatkan jawapan kepada persoalan-persoalan kajian yang telah ditetapkan oleh pengkaji untuk tujuan kajian ini. Metodologi kajian ini membantu pengkaji dalam mencapai objektif kajian. RUJUKAN Agarwal, R, & Day. A.E (1998). The Impact of The Internet on Economic Education. Journal of Economic Education. 29 (2), Pg. 99-110. Baharudin Aris, Mohamad Bilal Ali, Jamalludin Harun & Zaidatun Tasir. (2001). Sistem komputer dan aplikasinya. Kuala Lumpur: Penerbit Venton Publishing.
  • 22.
    Brown, A.L. (1997),"Transforming schools into communities of thinking and learningabout serious matters", American Psychologist, vol.5, no.52, pp.399-413. Dupagne. M. (1992). Teachers’ attitudes towards computers: A review of literature. Journal of Research on Computing in Education. 24 (3): 142-158. Gagne. R. M.(1987). Foundations of Instructional Technology. New York: LawrenceErlbaum. Heinich, R, Molenda. M, & Russell. J. D. (1999). Instructional Media and the NewTechnologies of Instruction. New York: Macmillan. Jackson. W. K, Clements D. G. and Jones. L. G. (1984). Computer Awareness and Use ata Research University. Journal of Educational Technology Systems .13(1): Pg. 47-56. Jamalludin Harun & Zaidatun Tasir. (2003). Multimedia dalam pendidikan. Pahang: PTS Publication & Distributors. Kellah M. Edens. (2008). The Interaction of Pedagogical Approach, Gender, Self Regulation, and Goal Orientation Using Student Responde System Technology. The Journal of Research on Technology in Education. 41,2: Pg. 161. Kerajaan Malaysia. (2006). Rancangan Malaysia Kesembilan 2006-2010. Kuala Lumpur Percetakan Nasional Malaysia Berhad. Megat Aman Zahiri Megat Zakaria, Baharudin Aris dan Jamalludin Harun. (na). Kemahiran ICT di kalangan guru-guru pelatih UTM : Satu tinjauan. 1st International Malaysian Educational Technology Convention. Universiti Teknologi Malaysia. Milton Chen and William Paisley (1982). Children and Microcomputers. Beverly Hills: In Search of Excellence. New York: Harper and Row.
  • 23.
    Norhaniza Abdul Kadir (1994). Tahap Penggunaan, Kemahiran Sikap dan Pengetahuan Pensyarah-pensyarah Pendidikan Vokasional di Kolej Menengah Vokasional seluruh Semenanjung Tentang Komputer : Kajian Ilmiah, Ijazah Pendidikan UPM . Norizan Ahmad (2003), Kemahiran dan Penggunaan Komputer dalam Pengajaran Sains di Sekolah Menengah : Lebih Banyak Soalan Dari Jawapan, Maktab Perguruan Teknik Kuala Lumpur. Pelan Induk Pendidikan 2006-2010 (2006), Online diperolehi daripada http://www.moe.gov.my/ pada 31 Julai/2009. Ranjit Kaur & Chua Lay Siok. (2000). Tinjauan penggunaan internet di kalangan guru pelatih institut bahasa (IBMM) ke arah pembelajaran elektronik di Institut Bahasa Melayu Malaysia Kuala Lumpur. Seminar Teknologi Maklumat dan Komunikasi Dalam Pendidikan, MPBL Kuala Lumpur. 2 April. Rozina Jamaludin. (2000). Asas-asas multimedia dalam pendidikan. Siri Pengajian dan Pendidikan Utusan. Kuala Lumpur: Utusan Publication & Distributors Sdn Bhd. Robiah Sidin & Nor Sakinah Mohamad (2007). ICT daalam Pendidikan: Prospek danCabaran dalam Pembaharuan Pedagogi. Jurnal Pendidikan 32 (2007) 139 – 152. Roblyer, M. D., & Edwards, J. (2004). Integrating educational technology into teaching. NJ: Prentice-Hall. Shields, M. (1986). Computing at Brown - An ongoing study. Perspectives In Computing . The Journal of Research on Technology in Education. 6(2): Pg. 57-62. Simonson, M. R., Maurer, M., Montag-Torardi, M. dan Whitaker, M. (1987). Development of a Standardized Test of Computer Literacy and a Complex Anxiety Index. Journal of Educational Computing Reseach. 3(2): 231-247.
  • 24.
    Tengku Zawawi BinTengku Zainal (2000). Pembelajaran secara elektronik (atas talian). http://www.kuwi.net.my/artikel/e-learning.htm. Yali Zhao. (2007). Social Studies Teacher’ Perspective of Techonology Integration. The Journal of Technology and Teacher Education. 15, 3: Academic research Library.Pg. 311. Yusni Abd Rahman & Wan Mohd Rani Abdullah (2001). Mengukur kesediaan GuruMenggunakan Komputer dalam Menajalankan Tugas Pentadbiran dan Pengajaran. Kuala Lumpur: Utusan Publication & Distributors Sdn Bhd