РЕСПУБЛИКА КАЗАХСТАН
(19) KZ (13) A4 (11) 28440
(51) B60F 1/04 (2006.01)
КОМИТЕТ ПО ПРАВАМ
ИНТЕЛЛЕКТУАЛЬНОЙ СОБСТВЕННОСТИ
МИНИСТЕРСТВА ЮСТИЦИИ РЕСПУБЛИКИ КАЗАХСТАН
ОПИСАНИЕ ИЗОБРЕТЕНИЯ
К ИННОВАЦИОННОМУ ПАТЕНТУ
(21) 2013/1017.1
(22) 30.07.2013
(45) 15.05.2014, бюл. №5
(72) Нурмамбетов Серик Мусабаевич; Аскаров
Ерлан Сейткасымович; Ивановский Станислав
Викторович
(73) Нурмамбетов Серик Мусабаевич
(56) http://www.automzsa.ru/autofurgon.phpid=66
(54) ЛОКОМОБИЛЬ-ПОГРУЗЧИК
(57) Изобретение относится к области
железнодорожного транспорта, в частности к
транспортным средствам типа локомобиль, которые
имеют возможность перемещаться по
железнодорожным рельсам и обычной дороге.
Локомобиль- погрузчик состоящий из стандартного
погрузчика с железнодорожной автосцепкой,
отличающийся тем, что профиль двух ведущих
колес выполнен с прямоугольным пазом, расстояние
между внутренними сторонами пазов равно ширине
железнодорожной колеи, ширина паза должна быть
не меньше ширины головки рельса, а колея ведомых
колес выполнена меньше колеи железнодорожного
пути. Предлагаемый локомобиль-погрузчик
несомненно найдет применение при работе на
малых станциях, депо для перемещения небольших
групп вагонов, их разгрузки и загрузке.
(19)KZ(13)A4(11)28440
28440
2
Изобретение относится к области
железнодорожного транспорта, в частности к
транспортным средствам типа локомобиль, которые
имеют возможность перемещаться по
железнодорожным рельсам и обычной дороге.
Известен вагонотолкатель для перемещения
железнодорожных вагонов и платформа
вагонотолкателя для перемещения железнодорожных
вагонов (Патент России 2477694, МПК В61J 03/12,
публ. 10.08.2012) . Данное решение предназначено для
толкания небольших групп вагонов. Недостатком
данного решения является узкая специализация
вагонотолкателя. Он может только толкать вагоны и в
других областях применяться не может.
Известен локомобиль, принятый авторами за
прототип, на основе стандартного колесного
транспорта для перемещения по обычным дорогам
(http://www.automzsa.ru/autofurgons.php?id=66). Обычно
такой локомобиль создается из обычного грузовика
или погрузчика с установленной на нем
железнодорожной автосцепкой, на который
дополнительно устанавливаются выдвижные
железнодорожные колеса, которые выдвигаются на
время движения по рельсам и убираются при
движении по обычной дороге. Недостаток данного
решения является сложность установки
дополнительных колес, их выдвижение и уборка.
Задачей изобретения является упрощение
конструкции локомобиля - погрузчика для
выполнения операций толкания и вытягивания
железнодорожных вагонов с одновременным
выполнением операций погрузки и разгрузки вагонов.
Техническое решение достигается, тем что
локомобиль - погрузчик состоящий из стандартного
погрузчика с железнодорожной автосцепкой, имеет
профиль двух ведущих колес с прямоугольным пазом,
расстояние между внутренними сторонами пазов
равно ширине железнодорожной колеи, ширина паза
должна быть не меньше ширины головки рельса, а
колея ведомых колес выполнена меньше колеи
железнодорожного пути.
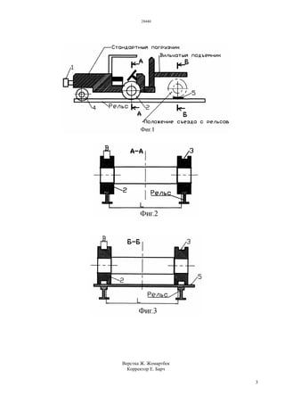
На Фиг.1. показано общий вид локомобиля-
погрузчика, на Фиг.2. разрез А-А его ведущих колес,
стоящих на рельсах, на Фиг.3 - разрез Б-Б его ведущих
колес, стоящих на вспомогательной плите при съезде с
рельсов.
Локомобиль - погрузчик состоит из следующих
частей. На стандартный типовой погрузчик со стороны
обратной размещения вильчатого подъемника
устанавливается железнодорожная автосцепка 1
(Фиг.1. и 2.). Профиль каждого ведущего колеса 2
выполняется с прямоугольным пазом 3, причем
расстояние L между внутренними краями пазов обоих
ведущих колес равно величине колеи
железнодорожного пути, по которой будет
перемещаться локомобиль - погрузчик. Можно
принять L= 1520 мм - стандартная колея, принятая в
странах СНГ. Ширина паза В равна ширине головки
рельса. Ведущее колесо должно быть сделано из
резины с эластичным наполнителем, например каучук.
Колея не приводных колес 4 локомобиля - погрузчика
должна быть меньше железнодорожной колеи.
Локомобиль - погрузчик работает следующим
образом. В режиме погрузчика он работает в обычном
режиме, используя все стандартные узлы. При
необходимости работы в качестве локомотива
локомобиль - погрузчик заезжает на рельсы. Пазы 3
его ведущих колес входят в контакт с рельсами. В
таком положении локомобиль свободно перемещается
по рельсам. Пазы 3 не дают колесам соскочить с
рельсов. Ведомые колеса 4 свободно перемещаются
между рельсами. Локомобиль - погрузчик входит в
зацепление с крайним вагоном своей автосцепкой 1 и
перемещает вагон или группу вагонов в указанное
место, причем локомобиль - погрузчик может толкать
и тянуть вагоны. Для съезда локомобиля- погрузчика с
рельс применяется вспомогательная плита 5
(Фиг.1. и 3.). Она устанавливается на рельсы,
локомобиль-погрузчик заезжает на нее своими
ведущими колесами 2, пазы 3 выходят из зацепления с
рельсами. Поворотом колес 2 или 4 локомобиль -
погрузчик съезжает с рельсов и работает в режиме
погрузчика.
Предлагаемый локомобиль - погрузчик по своей
конструкции значительно проще конструкции
прототипа. Здесь нет дополнительных колес,
механизма их установки и убирания. Переделка
стандартного погрузчика в локомобиль- погрузчик не
потребует много времени и средств. Необходимо
заменить профиль ведущих колес и сузить колею
ведомых колес. Предлагаемый локомобиль -
погрузчик несомненно найдет применение при работе
на малых станциях, депо для перемещения небольших
групп вагонов, их разгрузки и загрузке.
ФОРМУЛА ИЗОБРЕТЕНИЯ
Локомобиль-погрузчик, состоящий из
стандартного погрузчика с железнодорожной
автосцепкой, отличающийся тем, что профиль двух
ведущих колес выполнен с прямоугольным пазом,
расстояние между внутренними сторонами пазов
равно ширине железнодорожной колеи, ширина паза
должна быть не меньше ширины головки рельса, а
колея ведомых колес выполнена меньше колеи
железнодорожного пути.
28440
3
Верстка Ж. Жомартбек
Корректор Е. Барч

28440ip

  • 1.
    РЕСПУБЛИКА КАЗАХСТАН (19) KZ(13) A4 (11) 28440 (51) B60F 1/04 (2006.01) КОМИТЕТ ПО ПРАВАМ ИНТЕЛЛЕКТУАЛЬНОЙ СОБСТВЕННОСТИ МИНИСТЕРСТВА ЮСТИЦИИ РЕСПУБЛИКИ КАЗАХСТАН ОПИСАНИЕ ИЗОБРЕТЕНИЯ К ИННОВАЦИОННОМУ ПАТЕНТУ (21) 2013/1017.1 (22) 30.07.2013 (45) 15.05.2014, бюл. №5 (72) Нурмамбетов Серик Мусабаевич; Аскаров Ерлан Сейткасымович; Ивановский Станислав Викторович (73) Нурмамбетов Серик Мусабаевич (56) http://www.automzsa.ru/autofurgon.phpid=66 (54) ЛОКОМОБИЛЬ-ПОГРУЗЧИК (57) Изобретение относится к области железнодорожного транспорта, в частности к транспортным средствам типа локомобиль, которые имеют возможность перемещаться по железнодорожным рельсам и обычной дороге. Локомобиль- погрузчик состоящий из стандартного погрузчика с железнодорожной автосцепкой, отличающийся тем, что профиль двух ведущих колес выполнен с прямоугольным пазом, расстояние между внутренними сторонами пазов равно ширине железнодорожной колеи, ширина паза должна быть не меньше ширины головки рельса, а колея ведомых колес выполнена меньше колеи железнодорожного пути. Предлагаемый локомобиль-погрузчик несомненно найдет применение при работе на малых станциях, депо для перемещения небольших групп вагонов, их разгрузки и загрузке. (19)KZ(13)A4(11)28440
  • 2.
    28440 2 Изобретение относится кобласти железнодорожного транспорта, в частности к транспортным средствам типа локомобиль, которые имеют возможность перемещаться по железнодорожным рельсам и обычной дороге. Известен вагонотолкатель для перемещения железнодорожных вагонов и платформа вагонотолкателя для перемещения железнодорожных вагонов (Патент России 2477694, МПК В61J 03/12, публ. 10.08.2012) . Данное решение предназначено для толкания небольших групп вагонов. Недостатком данного решения является узкая специализация вагонотолкателя. Он может только толкать вагоны и в других областях применяться не может. Известен локомобиль, принятый авторами за прототип, на основе стандартного колесного транспорта для перемещения по обычным дорогам (http://www.automzsa.ru/autofurgons.php?id=66). Обычно такой локомобиль создается из обычного грузовика или погрузчика с установленной на нем железнодорожной автосцепкой, на который дополнительно устанавливаются выдвижные железнодорожные колеса, которые выдвигаются на время движения по рельсам и убираются при движении по обычной дороге. Недостаток данного решения является сложность установки дополнительных колес, их выдвижение и уборка. Задачей изобретения является упрощение конструкции локомобиля - погрузчика для выполнения операций толкания и вытягивания железнодорожных вагонов с одновременным выполнением операций погрузки и разгрузки вагонов. Техническое решение достигается, тем что локомобиль - погрузчик состоящий из стандартного погрузчика с железнодорожной автосцепкой, имеет профиль двух ведущих колес с прямоугольным пазом, расстояние между внутренними сторонами пазов равно ширине железнодорожной колеи, ширина паза должна быть не меньше ширины головки рельса, а колея ведомых колес выполнена меньше колеи железнодорожного пути. На Фиг.1. показано общий вид локомобиля- погрузчика, на Фиг.2. разрез А-А его ведущих колес, стоящих на рельсах, на Фиг.3 - разрез Б-Б его ведущих колес, стоящих на вспомогательной плите при съезде с рельсов. Локомобиль - погрузчик состоит из следующих частей. На стандартный типовой погрузчик со стороны обратной размещения вильчатого подъемника устанавливается железнодорожная автосцепка 1 (Фиг.1. и 2.). Профиль каждого ведущего колеса 2 выполняется с прямоугольным пазом 3, причем расстояние L между внутренними краями пазов обоих ведущих колес равно величине колеи железнодорожного пути, по которой будет перемещаться локомобиль - погрузчик. Можно принять L= 1520 мм - стандартная колея, принятая в странах СНГ. Ширина паза В равна ширине головки рельса. Ведущее колесо должно быть сделано из резины с эластичным наполнителем, например каучук. Колея не приводных колес 4 локомобиля - погрузчика должна быть меньше железнодорожной колеи. Локомобиль - погрузчик работает следующим образом. В режиме погрузчика он работает в обычном режиме, используя все стандартные узлы. При необходимости работы в качестве локомотива локомобиль - погрузчик заезжает на рельсы. Пазы 3 его ведущих колес входят в контакт с рельсами. В таком положении локомобиль свободно перемещается по рельсам. Пазы 3 не дают колесам соскочить с рельсов. Ведомые колеса 4 свободно перемещаются между рельсами. Локомобиль - погрузчик входит в зацепление с крайним вагоном своей автосцепкой 1 и перемещает вагон или группу вагонов в указанное место, причем локомобиль - погрузчик может толкать и тянуть вагоны. Для съезда локомобиля- погрузчика с рельс применяется вспомогательная плита 5 (Фиг.1. и 3.). Она устанавливается на рельсы, локомобиль-погрузчик заезжает на нее своими ведущими колесами 2, пазы 3 выходят из зацепления с рельсами. Поворотом колес 2 или 4 локомобиль - погрузчик съезжает с рельсов и работает в режиме погрузчика. Предлагаемый локомобиль - погрузчик по своей конструкции значительно проще конструкции прототипа. Здесь нет дополнительных колес, механизма их установки и убирания. Переделка стандартного погрузчика в локомобиль- погрузчик не потребует много времени и средств. Необходимо заменить профиль ведущих колес и сузить колею ведомых колес. Предлагаемый локомобиль - погрузчик несомненно найдет применение при работе на малых станциях, депо для перемещения небольших групп вагонов, их разгрузки и загрузке. ФОРМУЛА ИЗОБРЕТЕНИЯ Локомобиль-погрузчик, состоящий из стандартного погрузчика с железнодорожной автосцепкой, отличающийся тем, что профиль двух ведущих колес выполнен с прямоугольным пазом, расстояние между внутренними сторонами пазов равно ширине железнодорожной колеи, ширина паза должна быть не меньше ширины головки рельса, а колея ведомых колес выполнена меньше колеи железнодорожного пути.
  • 3.