С.А. ФАЛАЛЕЕВА
ОРГАНИЗАЦИЯ И ТЕХНОЛОГИЯ СТРОИТЕЛЬСТВА
ЖЕЛЕЗНЫХ ДОРОГ
Методическиеуказанияповыполнению практических работ
НОВОСИБИРСК 2010
ФИЛИАЛ ГОСУДАРСТВЕННОГО ОБРАЗОВАТЕЛЬНОГО УЧРЕЖДЕНИЯ
ВЫСШЕГО ПРОФЕССИОНАЛЬНОГО ОБРАЗОВАНИЯ «СИБИРСКИЙ
ГОСУДАРСТВЕННЫЙ УНИВЕРСИТЕТ ПУТЕЙ СООБЩЕНИЯ» —
ТОМСКИЙ ТЕХНИКУМ ЖЕЛЕЗНОДОРОЖНОГО ТРАНСПОРТА
УДК 625.1.002(076.5)
Ф19
Фалалеева С.А. Организация и технология строитель-
ства железных дорог: Метод. указ. по выполнению практичес-
ких работ. — Новосибирск: Изд-во СГУПСа, 2010. — 47 с.
Настоящие методические указания предназначены для студентов IV курса
дневной формы обучения специальности 270204 «Строительство железных
дорог, путь и путевое хозяйство», выполняющих практические работы по
дисциплине «Организация и технология строительства железных дорог».
Рассмотрено и рекомендовано к печати на заседании цикло-
вой комиссии в октябре 2010 г.
Р е ц е н з е н т
преп. ТТЖТ Т.П. Мельчаева
 Фалалеева С.А., 2010
 Сибирский государственный
университет путей сообщения, 2010
3
ПОЯСНИТЕЛЬНАЯ ЗАПИСКА
Методические указания по выполнению практических работ
по дисциплине«Организация и технология строительства желез-
ных дорог», предназначенные для студентов дневной формы
обучения специальности 270204 «Строительство железных до-
рог, путь и путевое хозяйство», разработаны в соответствии с
обязательным минимумом содержания основной профессиональ-
ной программы и раскрывают основные требования к знаниям и
умениям, которыми должны обладать студенты в результате
выполнения практических работ.
Практические работы проводятся после изучения теорети-
ческого материала соответствующей темы. Для их проведения
студенты должны быть обеспечены необходимыми справочны-
ми пособиями, СТНЦ-01–95, получить задание, содержащеенаи-
менование и цель работы, исходные данные, порядок выполне-
ния, содержание отчета.
Практическое занятие 1
Составление графика строительства сборной железнодорожной
трубы поточным методом
Цель: научиться составлять графики организации строитель-
ства, движения рабочей силы и потребности в машинах.
Исходные данные (табл. 1).
1. Объект строительства: сборная железобетонная труба ди-
аметром 2,0 м.
2. Количество труб.
3. Шаг частного потока.
4. Количество частных потоков n = 6.
4
5. Количество человек в бригадах.
6. Оснащение бригад машинами:
№ 1 — автомобили-самосвалы;
№ 2 — экскаватор, бульдозер;
№ 3 — кран на пневмоходу;
№ 4 — машины не требуются;
№ 5 — бетоновозы;
№ 6 — экскаватор, бульдозер, автомобили, самосвалы, пнев-
мокаток.
Таблица 1
Исходные данные
Количество человек в бригадах
Бригады
Вариант Количество
труб в потоке
Шаг частного
потока
№ 1 № 2 № 3 № 4 № 5 № 6
1 5 4 4 5 8 5 5 4
2 5 4 5 6 7 6 6 4
3 7 3 5 4 6 4 4 4
4 6 3 4 6 8 5 4 5
5 5 2 6 5 9 6 7 5
6 7 2 4 4 7 6 8 5
7 6 4 5 6 6 5 6 5
8 6 3 6 6 7 5 7 5
9 5 4 6 4 7 5 5 5
10 6 3 5 4 7 4 6 4
11 5 2 4 5 7 4 6 5
12 6 3 4 6 8 4 5 6
13 7 4 5 5 6 4 6 4
14 7 4 6 5 6 6 6 4
15 5 5 5 5 8 6 6 4
16 7 3 6 4 8 5 5 5
17 6 4 4 6 8 5 5 5
18 5 3 5 4 6 5 5 6
19 7 4 6 6 7 6 6 5
20 6 5 4 5 9 4 4 5
21 6 5 6 6 7 4 4 5
22 7 4 6 6 6 5 5 5
23 6 4 5 4 8 4 4 5
24 6 5 5 4 7 6 6 5
25 5 5 4 6 7 6 6 5
26 7 2 4 5 6 4 4 5
27 5 4 5 5 7 4 4 4
28 6 4 6 5 6 6 6 4
29 5 3 4 4 7 6 6 4
30 6 4 6 4 8 5 4 5
5
Т р ебу ется
1. Составить и вычертить график строительства сборных
железобетонных труб поточным методом (на миллиметровке
формата А4).
2. Вычертить графики движения рабочей силы и потребности
в машинах.
Порядок выполнения
Специализированный поток по сооружению сборных железо-
бетонных труб состоит из 6 частей строительных потоков.
Поток № 1. Подготовительные работы.
Поток № 2. Рытье котлована.
Поток № 3. Строительно-монтажные работы:
— устройство фундаментов;
— устройство лекальных блоков;
— монтаж звеньев трубы и оголовков.
Поток № 4. Нанесение обмазочной и оклеечной гидроизоля-
ции.
Поток № 5. Устройство лотков:
— песчано-гравийная подготовка;
— бетонирование лотков.
Поток № 6. Засыпка пазух и трубы на 0,5 м.
Работы каждого частного потока выполняет специализиро-
ванная бригада.
Общая продолжительность работ, дни, определяется по фор-
муле
T = nt + t(m – n), (1)
где n — количество частных потоков; t — шаг частного потока,
дни; m — количество труб.
Продолжительность строительства одной трубы, дни:
T1 = nt. (2)
Определив сроки строительства, вычертим календарный
план-график производства работ (рис. 1). Примем горизонталь-
ный масштаб времени: 0,5 см = 1 день. По вертикали проставим
номера труб. Далее условными знаками обозначим виды работ
каждого частного потока. Каждая бригада выполняет работы
частного потока за время t.
Построение графика начнем с нанесения частного потока
подготовительных работ. Выполнив подготовительные работы
6
на первой трубе, бригада переходит на вторую трубу и.т.д. Над
условными знаками работ первого частного потока проставим
количество рабочих в соответствующей бригаде.
Далее укажем работы по рытью котлована, затем монтажные
работы. После монтажных работ приступим к изоляционным,
следом выполняется бетонирование лотка и последний поток –
засыпка пазух и трубы.
Ниже вычертим график движения рабочей силы. Вначале
бригады одна за другой вступают в общий поток, и соответствен-
но количество рабочих ступенчато увеличивается, затем насту-
пает установившийся поток, когда количество рабочих достига-
ет максимума Rmax и сохраняется постоянным в течение некото-
рого времени Tуп. После того как первая бригада закончила свои
Рис. 1. График поточного метода строительства:
t – время постройки одного сооружения; Tуп – период
установившегося потока
7
работы на последнем объекте, она выходит из потока, и тогда
начинается период его свертывания. Количество рабочих сту-
пенчато уменьшается, причем время каждой «ступени» равно t.
Количество рабочих для каждой «ступени» определим суммиро-
вание по вертикали цифр, проставленных над условным знаком
цикла и означающих количество рабочих в бригаде. Вертикаль-
ный масштаб графика принимается самостоятельно.
График потребности в машинах вычерчивается под графиком
движения рабочей силы. Так как известно, какой машиной осна-
щается бригада для выполнения работ цикла, то, следовательно,
известно время работы машин. Это время определим по графику
поточного строительства.
Вывод о проделанной работе.
Практическое задание 2
Определение площадей поперечных сечений земляного полотна
Цель: научиться рассчитывать объемы земляных работ; стро-
ить графики попикетных и суммарных объемов и распределять
земляные массы.
Исходные данные
1. Категория линии.
2. Участок пути – однопутный.
3. Грунт.
4. Рабочие отметки (участок длиной 1 км).
5. Радиус кривой и место расположения.
Вариант № 1
Категория линий Грунт Радиус кривой,
R, м
Расположение
кривой
III Песок
гравелистый
2500 От ПК2 до ПК6
Рабочие отметки, м
ПК0 ПК1 ПК2 ПК3 ПК4 ПК5 ПК6 ПК7 ПК8 ПК9 ПК10
0 1,70 2,10 1,30 0 –1,80 –2,10 –3,00 –2,00 –1,20 0
8
Вариант № 2
Вариант № 3
Вариант № 4
Вариант № 5
Вариант № 6
Вариант № 7
Категория линий Грунт Радиус кривой,
R, м
Расположение
кривой
II Суглинок 1500 От ПК5 до ПК9
Рабочие отметки, м
ПК0 ПК1 ПК2 ПК3 ПК4 ПК5 ПК6 ПК7 ПК8 ПК9 ПК10
0 4,20 3,10 0 –3,70 –4,50 –3,10 0 2,90 1,20 0
Категория линии Грунт Радиус кривой,
R, м
Расположение
кривой
IV Песок мелкий 600 От ПК1 до ПК5
Рабочие отметки, м
ПК0 ПК1 ПК2 ПК3 ПК4 ПК5 ПК6 ПК7 ПК8 ПК9 ПК10
0 –1,50 –2,10 0 6,10 9,00 5,90 0 2,10 1,60 0
Категория линии Грунт Радиус кривой,
R, м
Расположение
кривой
III Глина 2500 От ПК2 до ПК6
Рабочие отметки, м
ПК0 ПК1 ПК2 ПК3 ПК4 ПК5 ПК6 ПК7 ПК8 ПК9 ПК10
0 3,50 4,20 2,80 0 –2,70 –3,50 –4,40 –3,70 м2,90 0
Категория линии Грунт Радиус кривой,
R, м
Расположение
кривой
Глина 3000 От ПК5 до ПК9
Рабочие отметки, м
ПК0 ПК1 ПК2 ПК3 ПК4 ПК5 ПК6 ПК7 ПК8 ПК9 ПК10
0 –1,70 –2,50 –1,60 0 3,10 5,20 0 –2,10 –3,00 0
Категория линии Грунт Радиус кривой,
R, м
Расположение
кривой
III Песок крупный 3000 От ПК2 до ПК6
Рабочие отметки, м
ПК0 ПК1 ПК2 ПК3 ПК4 ПК5 ПК6 ПК7 ПК8 ПК9 ПК10
0 4,30 5,20 3,70 0 –4,30 –5,10 –5,90 –4,70 –3,60 0
Категория линии Грунт Радиус кривой,
R, м
Расположение
кривой
IV Супесь 500 От ПК5 до ПК9
Рабочие отметки, м
ПК0 ПК1 ПК2 ПК3 ПК4 ПК5 ПК6 ПК7 ПК8 ПК9 ПК10
0 5,90 4,80 0 –6,70 –9,30 –6,20 0 5,70 4,70 0
9
Вариант № 8
Вариант № 9
Вариант № 10
Вариант № 11
Вариант № 12
Категория линии Грунт Радиус кривой,
R, м
Расположение
кривой
IV Песок крупный 2500 От ПК1 до ПК5
Рабочие отметки, м
ПК0 ПК1 ПК2 ПК3 ПК4 ПК5 ПК6 ПК7 ПК8 ПК9 ПК10
0 –4,70 –5,50 0 5,30 9,80 7,10 0 –4,20 –3,90 0
Категория линии Грунт Радиус кривой,
R, м
Расположение
кривой
III Суглинок 800 От ПК2 до ПК6
Рабочие отметки, м
ПК0 ПК1 ПК2 ПК3 ПК4 ПК5 ПК6 ПК7 ПК8 ПК9 ПК10
0 –6,30 –8,80 –5,10 0 4,10 5,40 6,70 4,90 3,80 0
Категория линии Грунт Радиус кривой,
R, м
Расположение
кривой
IV Супесь 3500 От ПК1 до ПК5
Рабочие отметки, м
ПК0 ПК1 ПК2 ПК3 ПК4 ПК5 ПК6 ПК7 ПК8 ПК9 ПК10
0 –1,50 –2,10 0 3,00 4,20 2,80 0 –1,80 –0,70 0
Категория линии Грунт Радиус кривой,
R, м
Расположение
кривой
II Глина 500 От ПК2 до ПК6
Рабочие отметки, м
ПК0 ПК1 ПК2 ПК3 ПК4 ПК5 ПК6 ПК7 ПК8 ПК9 ПК10
0 –1,70 –2,30 –1,50 0 1,30 1,70 2,20 1,60 0,70 0
Категория линии Грунт Радиус кривой,
R, м
Расположение
кривой
III Песок средней
крупности
4000 От ПК5 до ПК9
Рабочие отметки, м
ПК0 ПК1 ПК2 ПК3 ПК4 ПК5 ПК6 ПК7 ПК8 ПК9 ПК10
0 –1,80 –2,30 –1,70 0 5,00 5,60 0 –2,10 –2,80 0
10
Вариант № 13
Вариант № 14
Вариант № 15
Вариант № 16
Вариант № 17
Категория линии Грунт Радиус кривой,
R, м
Расположение
кривой
II Песок крупный 650 От ПК5 до ПК9
Рабочие отметки, м
ПК0 ПК1 ПК2 ПК3 ПК4 ПК5 ПК6 ПК7 ПК8 ПК9 ПК10
0 5,90 4,80 0 –6,70 –9,30 –6,20 0 5,70 4,70 0
Категория линии Грунт Радиус кривой,
R, м
Расположение
кривой
I Глина 500 От ПК2 до ПК6
Рабочие отметки, м
ПК0 ПК1 ПК2 ПК3 ПК4 ПК5 ПК6 ПК7 ПК8 ПК9 ПК10
0 2,10 2,80 1,70 0 –1,60 –2,20 –2,70 –2,50 –1,40 0
Категория линии Грунт Радиус кривой,
R, м
Расположение
кривой
I Супесь 2000 От ПК2 до ПК6
Рабочие отметки, м
ПК0 ПК1 ПК2 ПК3 ПК4 ПК5 ПК6 ПК7 ПК8 ПК9 ПК10
0 –4,50 –5,20 –3,00 0 2,20 3,30 4,40 3,50 2,30 0
Категория линии Грунт Радиус кривой,
R, м
Расположение
кривой
II Песок мелкий 650 От ПК2 до ПК6
Рабочие отметки, м
ПК0 ПК1 ПК2 ПК3 ПК4 ПК5 ПК6 ПК7 ПК8 ПК9 ПК10
0 1,80 2,20 1,50 0 –1,40 –2,20 –2,50 –2,00 –1,50 0
Категория линии Грунт Радиус кривой,
R, м
Расположение
кривой
IV Песок мелкий 1500 От ПК5 до ПК9
Рабочие отметки, м
ПК0 ПК1 ПК2 ПК3 ПК4 ПК5 ПК6 ПК7 ПК8 ПК9 ПК10
0 4,10 3,80 0 –4,20 –5,60 –4,00 0 3,50 3,40 0
11
Вариант № 18
Вариант № 19
Вариант № 20
Вариант № 21
Вариант № 22
Категория линии Грунт Радиус кривой,
R, м
Расположение
кривой
I Песок
гравелистый
2000 От ПК1 до ПК5
Рабочие отметки, м
ПК0 ПК1 ПК2 ПК3 ПК4 ПК5 ПК6 ПК7 ПК8 ПК9 ПК10
0 –3,20 –4,10 0 5,00 8,00 4,50 0 –3,40 –2,80 0
Категория линии Грунт Радиус кривой,
R, м
Расположение
кривой
I Супесь 1200 От ПК1 до ПК5
Рабочие отметки, м
ПК0 ПК1 ПК2 ПК3 ПК4 ПК5 ПК6 ПК7 ПК8 ПК9 ПК10
0 –1,60 –2,70 0 3,00 4,00 3,00 0 –2,60 –2,20 0
Категория линии Грунт Радиус кривой,
R, м
Расположение
кривой
I Песок
гравелистый
1500 От ПК5 до ПК9
Рабочие отметки, м
ПК0 ПК1 ПК2 ПК3 ПК4 ПК5 ПК6 ПК7 ПК8 ПК9 ПК10
0 5,90 4,80 0 –6,70 –9,30 –6,20 0 5,70 4,70 0
Категория линии Грунт Радиус кривой,
R, м
Расположение
кривой
IV Суглинок 650 От ПК5 до ПК9
Рабочие отметки, м
ПК0 ПК1 ПК2 ПК3 ПК4 ПК5 ПК6 ПК7 ПК8 ПК9 ПК10
0 –1,60 –3,30 –1,80 0 4,50 5,20 0 –1,60 –2,20 0
Категория линии Грунт Радиус кривой,
R, м
Расположение
кривой
II Песок мелкий 2000 От ПК2 до ПК6
Рабочие отметки, м
ПК0 ПК1 ПК2 ПК3 ПК4 ПК5 ПК6 ПК7 ПК8 ПК9 ПК10
0 4,30 5,20 3,80 0 –2,70 –3,60 –4,20 –3,30 –2,40 0
12
Вариант № 23
Вариант № 24
Вариант № 25
Вариант № 26
Вариант № 27
Категория линии Грунт Радиус кривой,
R, м
Расположение
кривой
II Супесь 1800 От ПК5 до ПК9
Рабочие отметки, м
ПК0 ПК1 ПК2 ПК3 ПК4 ПК5 ПК6 ПК7 ПК8 ПК9 ПК10
0 5,60 4,30 0 –4,70 –5,50 –3,80 0 2,30 1,90 0
Категория линии Грунт Радиус кривой,
R, м
Расположение
кривой
IV Песок средней
крупности
2000 От ПК2 до ПК6
Рабочие отметки, м
ПК0 ПК1 ПК2 ПК3 ПК4 ПК5 ПК6 ПК7 ПК8 ПК9 ПК10
0 –6,30 –8,80 –5,10 0 4,70 5,40 6,70 4,90 3,80 0
Категория линии Грунт Радиус кривой,
R, м
Расположение
кривой
I Супесь 800 От ПК4 до ПК8
Рабочие отметки, м
ПК0 ПК1 ПК2 ПК3 ПК4 ПК5 ПК6 ПК7 ПК8 ПК9 ПК10
0 –2,30 –4,20 –3,00 0 2,80 3,50 4,0 3,0 3,30 0
Категория линии Грунт Радиус кривой,
R, м
Расположение
кривой
II Песок мелкий 1500 От ПК2 до ПК6
Рабочие отметки, м
ПК0 ПК1 ПК2 ПК3 ПК4 ПК5 ПК6 ПК7 ПК8 ПК9 ПК10
0 2,80 4,20 3,50 0 –2,60 –2,00 –3,50 –2,00 –1,50 0
Категория линии Грунт Радиус кривой,
R, м
Расположение
кривой
IV Песок
гравелистый
1500 От ПК6 до ПК10
Рабочие отметки, м
ПК0 ПК1 ПК2 ПК3 ПК4 ПК5 ПК6 ПК7 ПК8 ПК9 ПК10
0 5,10 4,20 0 –3,80 –5,20 –4,20 0 2,50 3,50 0
13
Вариант № 28
Вариант № 29
Вариант № 30
Т р ебу ется
1. Вычертить на миллиметровой бумаге схематический про-
филь и план линии в масштабах горизонтальном — Мг 1:10000,
вертикальном — Мв 1:1000.
2. Определить попикетные объемы земляных работ.
3. Вычертить график попикетных объемов земляных работ в
масштабе 1 см — 5 000 м3
.
4. Определить рабочую кубатуру и вычертить график сум-
марных объемов земляных работ.
Порядок выполнения
1. Вычертить на миллиметровке схематический профиль и
план линии в масштабах горизонтальном — Мг 1:10000, верти-
кальном — Мв 1:1000 .
Рабочие отметки заданы в исходных данных (см. рис. 3).
2. Определить попикетные объемы земляных работ.
Категория линии Грунт Радиус кривой,
R, м
Расположение
кривой
I Песок
гравелистый
2500 От ПК1 до ПК5
Рабочие отметки, м
ПК0 ПК1 ПК2 ПК3 ПК4 ПК5 ПК6 ПК7 ПК8 ПК9 ПК10
0 –2,90 –3,60 0 4,90 6,00 4,50 0 –3,40 –2,80 0
Категория линии Грунт Радиус кривой,
R, м
Расположение
кривой
I Супесь 500 От ПК4 до ПК9
Рабочие отметки, м
ПК0 ПК1 ПК2 ПК3 ПК4 ПК5 ПК6 ПК7 ПК8 ПК9 ПК10
0 –1,60 –2,70 0 2,50 3,80 3,20 0 –2,80 –1,90 0
Категория линии Грунт Радиус кривой,
R, м
Расположение
кривой
I Песок
гравелистый
1500 От ПК5 до ПК9
Рабочие отметки, м
ПК0 ПК1 ПК2 ПК3 ПК4 ПК5 ПК6 ПК7 ПК8 ПК9 ПК10
0 6,10 5,20 0 –6,70 –8,60 –6,10 0 5,50 4,80 0
14
Трасса длиной 1 км разбивается на элементарные участки.
Границами участков являются пикеты. Расчет попикетных объе-
мов земляных работ будем производить в табличной форме
(табл. 4), рекомендуется производить на компьютере с исполь-
зованием электронных таблиц Exсel.
При этом необходимо учесть следующее (см. рис. 2):
— b — ширина основной площадки поверху, м (принимается
по табл. 2);
— m — показатель крутизны откоса, m = 1,5;
— 1 — площадь поперечного сечения сливной призмы, м2
,
,15,0
2
3,2
1
b

причем для насыпи 1 = +0,68 м2
, для выемки 1 = –0,68 м2
.
B — ширина выемки на уровне бровки полотна; В = b + 2k, м;
— k – ширина кювета поверху, k = 2,2 м;
— 2 — площадь кювета выемки, м2
,
;78,06,0
2
4,02,2
2 


 — уширение земляного полотна в кривой, м (см. табл. 3).
Таблица 2
Ширина земляного полона
Для уменьшения объемов расчетов призматоидальную по-
правку учитывать не будем.
Ширина основной площадки на прямых участках
пути, м, при использовании грунтов
Категория
железнодорож-
ных линий
Число
глав-
ных
путей
глинистых, крупнообломоч-
ных с глинистым заполните-
лем, скальных легковывет-
ривающихся и выветрива-
ющихся, песков недрени-
рующих, мелких и пылеватых
скальных слабовывет-
ривающихся, крупно-
обломочных с песча-
ным заполнителем и
песков дренирующих
(кроме мелких и
пылеватых)
Скоростные и
особогрузона-
пряженные, I
2 11,7 10,7
I и II 1 7,6 6,6
III 1 7,3 6,4
IV 1 7,1 6,2
15
Таблица 3
Уширение земляного полотна в кривой
Геометрической основной поперечника земляного полотна
является фигура трапеции (рис. 2), одной из сторон которой
является естественная поверхность местности.
Ведомость объемов земляных работ (см. табл. 4) заполняет-
ся и рассчитывается следующим образом.
Графа 1 – проставляются номера пикетов.
Графы 2 и 3 – выписываются земляные рабочие отметки
соответственно в графу «Насыпь» или «Выемка».
Графа 4 – определяются средние рабочие отметки на пике-
тах.
Для нашего примера (см. рис. 3)
;м25,2
2
50,50
10ПК ср 

 Н
.т.дим10,5
2
70,450,5
21ПК ср 

 Н
Графы 5 и 6 – определяем первое слагаемое в формуле
объема земляных работ, для чего предварительно записываем
постоянные величины нашего расчета b и B; умножаем на Нср и
записываем в соответствующую графу.
Радиусы кривых R, м Уширение земляного полотна , м
3000 и более 0,20
2500–1800 0,30
1500–700 0,40
600 и менее 0,50
Рис. 2. Площади поперечных сечений насыпи (а) и выемки (б) при
однопутном полотне железной дороги
16
Таблица4
Ведомостьобъемовземляныхработ
17
Для выемки, м:
.75,2425,20,110,1110ПК срср  НВН
Для насыпи, м:
86,1310,26,66,643ПК срср  НbН
и т.д.
Графа 7 – возводим в квадрат среднюю рабочую отметку, м:
ПК0–1 2,252
= 5,06.
ПК1–2 5,102
= 26,01.
Графа 8 – умножаем результаты графы 7 на показатель
уклона откосов — .2
срmН
В нашем случае m = 1,5,
тогда ПК0 – 1 и т.д.
Графа 9 и 10 – проставляются постоянные величины, опреде-
ленные ранее, причем объем сливной призмы обязательно со
знаком.
Графа 11 – на пикетах, на которых располагается кривая,
выписываем величину уширения земляного полотна в кривой.
В нашем примере:  = 0,4 м и кривая располагается ПК2–К5.
Графы 12 и 13 – дополнительный объем на уширение вычис-
ляется умножением графы 11 на графу 7.
Графа 14 – суммарная площадь поперечника.
Оп редел яется
Для насыпи – гр.14 = гр.5 + гр.8 + гр.9 + (гр.12)
Для выемки – гр.14 = гр.6 + гр.8 – гр.9 + гр.10 + (гр.13)
(гр.12 и гр.13) – только на участках уширения в кривой.
Графа 15 – проставляются длины участков. В нашем случае
длины всех участков – 100 м.
Графа 16 и 17 – объем земляных работ отдельно насыпи и
выемки: гр.16 (гр.17) = гр.14 · гр.15.
Суммированием по графе 16 и 17 определяются помассивные
объемы земляных работ и профильная кубатура.
Vпр = Vн + Vв, (3)
где Vн – сумма объемов насыпей, м3
; Vв – сумма объемов
выемок, м3
.
В нашем примере
Vпр = 25 632 + 33 530 = 59 162 м3
.
18
В общем случае рабочая кубатура на объекте равна
Vраб = Vв + Vрез + Vк, (4)
где Vв – сумма объемов выемки, м3
; Vрез – сумма объемов
резервов, м3
; Vк – сумма объемов карьеров, м3
.
В данной практической работе карьер не предусматривается.
В данном случае предусматриваем один резерв.
Тогда
Vраб = Vв + Vрез.
Возможны два случая: Vн < Vв.
Тогда Vраб = Vв, а объем кавальера Vкав = Vв – Vн.
Если Vн > Vв, то необходимо предусмотреть резерв:
Vрез = Vн – Vв, а рабочая кубатура Vраб = Vв + Vрез.
В нашем примере Vн = 25 632 < Vв = 33 530 м3
.
Объем кавальера: Vкав = 33 530 – 25 632 = 7898 м3
.
Графа 18 – определяются на каждом пикете координаты
графика суммарных объемов. Для этого производится алгебра-
ическое суммирование объемов земляных работ (графа 16 и 17)
с учетом знаков этих объемов: выемка (+) плюс, насыпь (–)
минус.
Так, в нашем примере координата на пикете 3 равна суммар-
ному объему первой выемки Vв = 16 862 м3
.
Далее идет насыпь, поэтому
ПК4: +16862 – 2205 = +14657 м3
,
ПК6: +5355 – 10958 = –5603 м3
и т.д.
На ПК10 координата равна +7898 м3
, что точно совпадает с
объемом кавальера, определенным ранее. Это является контро-
лем правильности расчета координат графика [контрольныециф-
ры (+7898 м3
) в табл. 3 взяты в скобки]. Для избежание ошибок
при вычерчивании графика суммарных объемов рекомендуем
рядом с графой 18 проставить номера пикетов, что, и сделано в
табл. 4.
3. Вычертить график попикетных объемов земляных работ.
График попикетных объемов вычерчивается под продольным
профилем в том же горизонтальном масштабе (см. рис. 3).
Вертикальный масштаб рекомендуется в пределах от 1 см —
1000 м3
, до 1 см — 5000 м3
.
19
Объемы насыпи и выемки (графы 16 и 17 табл. 4) изображают
в виде столбиков, высота которых равна объему земляных работ
на каждом элементарном участке. Столбики выемки отклады-
Рис. 3. График попикетных объемов
20
вают вверх, а насыпи — вниз от нулевой линии графика. У
каждого столбика подписывают попикетный объем выемки или
насыпи (см. рис. 3).
4. Определить рабочую кубатуру и вычертить график сум-
марных объемов земляных работ.
График суммарных объемов вычерчивают под графиком по-
пикетных объемов. Для построения кривой суммарных объемов
погоризонтальной оси отложим расстояния, а по вертикальной —
суммарные объемы грунта по всем элементам участка от его
начала (графа 18 табл. 4). На участках выемки кривая растет
вверх, на участках насыпи — вниз. Точки минимума и максиму-
ма должны соответствовать нулевым местам. Рекомендуемый
вертикальный масштаб графика: 1 см — 1000 м3
.
В нашем примере, отрезки k–с и m–р – выемки; с–m – насыпь.
Точки переломов графика (переход от подъема на спуск и обрат-
но) соответствуют нулевым местам на профиле (ПК3 и ПК7).
Каждая горизонтальная линия, проведенная на графике, отсе-
кает равновеликие объемы, т.е. объем выемки равен объему
насыпи. Это справедливо и для нулевой горизонтальной оси, на
которой проставлены номера пикетов. Объем выемки (ПК0 –
ПК3) и насыпи (ПК5 + 40 – ПК70) равны 8 770 м3
.
Эти равновеликие объемы в сумме должны составлять объем
насыпи:
16862 + 8770 = 25632 м3
(см. табл. 4 итог по графе 18).
Остаток второй выемки – 7 898 м3
будет отсыпан в кавальер.
Работы по сооружению земляного полотна можно выполнять
двумя способами:
— способом продольной возки, при котором выемка разраба-
тывается с отсыпкой насыпи;
— способом поперечной возки, при котором выемка разраба-
тывается в кавальер, а насыпь отсыпается из резерва или карь-
ера.
Первый способ – продольная возка – имеет преимущества по
сравнению с поперечным – дает минимальный объем рабочей
кубатуры, поэтому с него и начинают распределение земляных
масс и только если получаются слишком большие дальности
возки грунта, переходят на поперечный способ производства
работ.
21
В практической работе применяем способ производства зем-
ляных работ – продольной возкой.
Так как в общем случае объемы выемок и насыпей не равны
между собой, то в зависимости от соотношения их величин –
могут иметь место следующие варианты распределения земля-
ных масс.
1. Объем насыпи меньше объемов выемок Vн < Vв.
Насыпь отсыпается из выемок, а остаток одной из выемок
разрабатывается в кавальер (этот случай рассмотрен в приме-
ре).
2. Объем насыпи больше объема выемок Vн > Vв.
Продольной возкой выемки разрабатываются в насыпь, а
недостающий объем насыпи отсыпается из резерва.
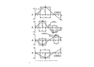
На рис. 4 приведены возможные графики суммарных объе-
мов.
Рис. 4.1. Здесь объем насыпи (отрезок b–d) больше объема
выемки (отрезок a–b). Нулевая горизонтальная ось отсекает
равновеликие объемы, т.е. грунтом выемки можно отсыпать
насыпь до точки с. Остаток насыпи – отрезок c–d будет отсыпан
из резерва объемом Vрез (место резерва показано на чертеже).
Следовательно, в этом случае рабочая кубатура:
Vраб = Vв + Vрез.
Рис. 4.2. Здесь две выемки (a–b) и (d–e) и одна насыпь –
(b–d), причем Vн > Vв.
На первой выемки насыпь будет отсыпана до точки с, из
второй – до точки k.
Прямая k–е проведена горизонтально (параллельно нулевой
оси) через точку е до пересечения с графиком в точке k и
отсекает равновеликие объемы (Vн = Vв). Остаток насыпи (отре-
зок с–k) будет отсыпан из резерва объемом Vрез. Следовательно,
рабочая кубатура
Vраб = Vв + Vрез.
Рис. 4.3. Здесь две насыпи – (a–b) и (d–e) и одна выемка,
причем Vв > Vн.
Выемка будет разрабатываться в левую насыпь на участке
графика (b–c), в правую насыпь — на участке (k–d); участок
выемки (c–k) будет разрабатываться в кавальер объемом Vкав.
22
Рис. 4.Возможные графики суммарных объемов
23
Рабочая кубатура Vраб = Vв.
На чертеже показано место кавальера.
Рис. 4.4. Здесь одна насыпь – (a–b) и одна выемка – (b–d),
причем Vв > Vн.
Выемка будет разрабатываться до точки с.
Выемка на отрезке (c–d) будет разрабатываться в кавальер
объемом Vкав.
Рабочая кубатура Vраб = Vв.
Вывод о проделанной работе.
Практическое занятие 3
Расчет заряда на «выброс»
Цель: научиться производить расчет массы заряда нормаль-
ного выброса;
определять необходимое количество зарядов и порядок их
расстановки для производства работ.
Исходные данные (табл. 5).
1. Группа грунта.
2. Длина и ширина участка.
3. Оптимальный показатель взрыва n = 2.
4. Глубина заложения заряда W, м.
Таблица 5
Исходные данные
Размеры участка, мВариант Группа
грунта
Глубина заложения
заряда W, м длина, lуч ширина
1 I 3,0 90 10
2 I 3,5 100 20
3 II 4,0 110 15
4 III 4,5 200 10
5 I 5,0 180 20
6 V 5,5 130 20
7 VI 6,0 120 10
8 VII 6,5 120 10
9 IX 7,0 100 15
10 X 7,5 90 15
11 XI 8,0 100 15
12 VIII 8,5 130 20
13 I 9,0 100 10
14 II 9,5 100 10
15 III 3,1 120 10
16 IV 4,2 120 15
24
Окончание табл. 5
Т р ебу ется
1. Рассчитать массу заряда нормального выброса.
2. Определить порядок размещения зарядов.
3. Определить количество всех зарядов и общую массу ВВ.
Порядок выполнения
1. Рассчитать массу заряда нормального выброса, кг, по
формуле
Q = KW 3
, (5)
где K — удельный расход взрывчатого вещества, кг/м3
, взорван-
ного грунта для зарядов нормального выброса; значениекоэффи-
циента K приведено в табл. 6; W – глубина заложения заряда, м.
Таблица 6
Значение коэффициента K
Радиус воронки взрыва r определяется, м
r = nW. (6)
2. Определить порядок размещения зарядов.
Группа грунтов по
ЕНИР
Значение
коэффициента K
Группа грунтов по
ЕНИР
Значение
коэффициента K
I–II 0,95 VIII 1,70
III 1,1 IX 1,80
IV–V 1,25 X 1,90
VI 1,40 XI 2,00
VII 1,50
Размеры участка, мВариант Группа
грунта
Глубина заложения
заряда W, м длина, lуч ширина
17 V 5,3 100 20
18 VI 6,4 90 10
19 VII 7,6 120 10
20 VIII 8,7 100 15
21 IX 9,8 100 25
22 X 3,9 120 15
23 XI 4,8 120 25
24 III 5,7 100 10
25 I 6,6 90 20
26 V 7,7 100 20
27 VI 8,8 150 15
28 VII 9,1 90 20
29 III 3,3 120 10
30 X 4,4 140 30
25
Эффект взрыва зависит от правильности расположения и
выбора рациональных расстояний a между зарядами в ряду и
расстояний b между рядами зарядов. При взрыве на выброс
нормальное сближение зарядов a будет иметь место при условии
полного взаимного перекрытия воронок выброса на величину
радиуса воронки r.
Для зарядов выбросов примем, м
.)1(5,0  nWa (7)
Расстояние между рядами зарядов b должно быть не больше
величины а, поэтому принимают b = 0,85a.
Количество зарядов в ряду определяется по формуле
.1чч

а
l
z (8)
3. Определить количество всех зарядов.
N = tz, (9)
где t – количество рядов, t = 2; z – количество зарядов в каждом
ряду.
Общая масса ВВ рассчитывается по формуле
Q = QN. (10)
Начертить план расстановки зарядов.
Вывод о проделанной работе.
Практическая работа 4
Составление ведомости объемов работ по строительству сборной
железобетонной трубы
Цель: углубить знания по теме «Строительство водопропуск-
ных труб»;
научиться рассчитывать объемы работ по каждому элементу
сооружения.
Исходные данные (табл. 7).
1. Категория линии.
2. Грунты.
3. Тип водопропускного сооружения.
4. Рабочая отметка.
26
Таблица 7
Исходные данные
Вари-
ант
Категория
ж.-д. линии Грунт
Тип водо-
пропускного
сооружения
Рабочая
отметка
1 2 3 4 5
Супесь ПЖБТ; 21,0 4,8
КЖБТ; 31,25 3,6
1 I
Суглинок
КЖБТ; 1,5 2,8
Крупнообломочный с песчаным
заполнителем
КЖБТ; 21,25 3,3
Песок мелкий ПЖБТ; 21,0 2,5
2 II
Песок мелкий КЖБТ; 32,0 3,2
Суглинок КЖБТ; 32,0 3,5
ПЖБТ; 21,0 2,6
3 III
Крупнообломочный с песчаным
заполнителем КЖБТ; 1,0 3,2
Крупнообломочный с глиняным
заполнителем
ПЖБТ; 1,0 4,2
Крупнообломочный с песчаным
заполнителем
ПЖБТ; 21,25 3,2
4 IV
Крупнообломочный с глиняным
заполнителем
КЖБТ; 21,0 2,6
Суглинок ПЖБТ; 1,5 2,8
КЖБТ; 31,0 2,0
5 II
Крупнообломочный с песчаным
заполнителем ПЖБТ; 22,0 4,3
Песок дренированный ПЖБТ; 2,0 3,9
Суглинок КЖБТ; 1,25 2,2
6 IV
Суглинок КЖБТ; 32,0 6,3
Песок дренированный ПЖБТ; 2,50 3,7
Суглинок КЖБТ; 21,25 2,4
7 I
Суглинок ПЖБТ; 23,0 4,6
Суглинок ПЖБТ; 22,50 7,4
КЖБТ; 31,25 5,4
8 I
Крупнообломочный с песчаным
заполнителем КЖБТ; 1,5 2,9
Крупнообломочный с песчаным
заполнителем
КЖБТ; 31,5 3,69 II
Песок мелкий ПЖБТ; 24,0 5,9
Суглинок КЖБТ; 1,0 3,4
КЖБТ; 32,0 4,9
10 IV
Крупнообломочный с песчаным
заполнителем ПЖБТ; 21,0 6,7
Крупнообломочный с глиняным
заполнителем
ПЖБТ; 23,0 6,9
Крупнообломочный с песчаным
заполнителем
КЖБТ; 31,5 3,5
11 I
Супесь КЖБТ; 2,5 4,2
27
Продолжение табл. 7
Вари-
ант
Категория
ж.-д. линии Грунт
Тип водо-
пропускного
сооружения
Рабочая
отметка
Супесь КЖБТ; 2,0 3,9
Суглинок ПЖБТ; 21,0 2,8
12 III
Суглинок КЖБТ; 32,0 6,3
Крупнообломочный с песчаным
заполнителем
КЖБТ; 32,50 7,8
Песок мелкий ПЖБТ; 21,0 2,3
13 II
Песок мелкий КЖБТ; 1,0 3,0
Суглинок ПЖБТ; 1,0 2,8
ПЖБТ; 21,25 2,5
14 II
Крупнообломочный с песчаным
заполнителем КЖБТ; 23,0 4,6
Песок дренированный ПЖБТ; 2,50 5,0
Суглинок КЖБТ; 21,25 2,6
15 I
Суглинок ПЖБТ; 23,0 5,9
Песок дренированный ПЖБТ; 22,50 5,4
Суглинок КЖБТ; 31,25 3,8
16 IV
Суглинок КЖБТ; 1,5 5,6
Суглинок КЖБТ; 31,5 4,2
ПЖБТ; 24,0 8,6
17 II
Крупнообломочный с песчаным
заполнителем ПЖБТ; 1,0 5,0
Песок дренированный КЖБТ; 31,0 4,2
Суглинок КЖБТ; 32,0 4,8
18 IV
Суглинок ПЖБТ; 23,0 6,0
Суглинок КЖБТ; 31,25 3,2
КЖБТ; 1,5 2,6
19 II
Крупнообломочный с песчаным
заполнителем КЖБТ; 21,25 2,8
Супесь ПЖБТ; 21,0 3,2
Суглинок КЖБТ; 32,0 4,5
20 III
Суглинок КЖБТ; 32,0 5,0
Крупнообломочный с глиняным
заполнителем
ПЖБТ; 21,0 2,3
Крупнообломочный с песчаным
заполнителем
КЖБТ; 1,0 2,5
21 III
Крупнообломочный с глиняным
заполнителем
ПЖБТ; 1,0 2,2
Супесь ПЖБТ; 21,25 2,9
Суглинок КЖБТ; 21,0 2,1
22 IV
Суглинок ПЖБТ; 1,5 3,5
28
Окончание табл. 7
Требуется:
1. Рассчитать длину труб.
2. Определить объемы основных работ.
Порядок выполнения
Определение объемов основных работ ведется в ведомостях
(табл. 8).
Для заполнения ведомости необходимы:
Вари-
ант
Категория
ж.-д. линии Грунт
Тип водо-
пропускного
сооружения
Рабочая
отметка
Крупнообломочный с песчаным
заполнителем
КЖБТ; 2,0 3,6
Песок мелкий ПЖБТ; 21,0 2,8
23 I
Песок мелкий КЖБТ; 32,0 3,6
Крупнообломочный с глиняным
заполнителем
КЖБТ; 1,0 4,2
Крупнообломочный с песчаным
заполнителем
КЖБТ; 32,0 4,8
24 I
Супесь ПЖБТ; 23,0 6,0
Супесь КЖБТ; 2,0 3,6
Суглинок ПЖБТ; 21,0 2,8
25 III
Суглинок КЖБТ; 32,0 3,6
Крупнообломочный с песчаным
заполнителем
ПЖБТ; 21,25 2,9
Песок мелкий КЖБТ; 21,0 2,1
26 II
Песок мелкий ПЖБТ; 1,5 3,5
Суглинок ПЖБТ; 1,0 2,8
ПЖБТ; 21,25 2,5
27 II
Крупнообломочный с песчаным
заполнителем КЖБТ; 23,0 4,6
Супесь КЖБТ; 31,25 3,2
Суглинок КЖБТ; 1,5 2,6
28 I
Суглинок КЖБТ; 21,25 2,8
Крупнообломочный с глиняным
заполнителем
ПЖБТ; 21,0 3,2
Крупнообломочный с песчаным
заполнителем
КЖБТ; 32,0 4,5
29 IV
Крупнообломочный с глиняным
заполнителем
КЖБТ; 32,0 5,0
Суглинок ПЖБТ; 21,0 2,3
КЖБТ; 1,0 2,5
30 II
Крупнообломочный с песчаным
заполнителем ПЖБТ; 1,0 2,2
29
1) тип водопропускных сооружений;
2) рабочие отметки земляного полотна (высота насыпи);
3) таблицы объемов работ по постройке малых водопропуск-
ных сооружений на 1 пог. м. длины трубы (табл. 10–13).
Длину трубы, м, определяем по формулам:
— при высоте насыпи до 6 м
 ,2 нт dHmbL  (11)
— при высоте насыпи более 6 м
   ,212 нвт dHmmmbL в  (12)
где b – ширина площадки земляного полотна, м, (табл. 2 практи-
ческая работа 2); mн, mв – показатели крутизны откосов соответ-
ственноверхней и нижнейчастей насыпи, принимаются потабл. 9;
d – внутренний диаметр круглой трубы или высота прямоуголь-
ной, м; H – высота насыпи, м.
Таблица 8
Ведомость объемов основных работ по строительству сборной
железобетонной трубы
Располо-
жение
трубы
Тип
трубы
Kол-во
очков
Высота
насыпи
Н, м
Длина
трубы
Lт
, м
Kотлован, м3
на 1
п.м
под
трубу
под
оголовки
всего
1 2 3 4 5 6 7 8 9
Продолжение табл. 8
Щебеночная подготовка, м3
Фундаменты, м3
на 1 п.м
под
трубу
под
оголовки
всего на 1 п.м
под
трубу
под
оголовки
всего
10 11 12 13 14 15 16 17
30
Продолжение табл. 8
Локальные
блоки, м3 Звенья, м3 Гидроизоляция, м3
на 1 п.м
под
трубу
на 1 п.м трубы
двух
ого-
ловков
на 1 п.м
на
трубу
ого-
ловков
всего
18 19 20 21 22 23 24 25 26
Окончание табл. 8
Засыпка пазух, м3
Засыпка
трубы, м3
Подготовка
под лотки,
м3
Бетониро-
вание
лотков, м3на 1 п.м на трубу оголовков всего
27 28 29 30 31 32 33
Таблица 9
Крутизна откосов насыпи
Крутизна откосов при высоте
насыпи
До 12 м
Вид используемых грунтов
До 6 м
В верхней
части вы-
сотой 6 м
В нижней
части от 6 до
12 м
Раздробленные скальные слабовыветрива-
ющиеся и выветривающиеся, крупнообло-
мочные и крупнообломочные с песчаным
заполнителем, пески гравелистые крупные
и средней крупности, металлургические
шлаки
1:1,5 1:1,5 1:1,5
Пески мелкие и пылеватые, глинистые
грунты (в том числе лёссовидные) твердой
и полутвердой консистенции, крупнообло-
мочные с глинистым заполнителем такой
же консистенции, раздробленные скаль-
ные, легковыветривающиеся
1:1,5 1:1,5 1:1,75
31
Окончание табл. 9
По табл. 10–13 определяем объемы работ по постройке труб
на 1 пог. м тела трубы и на два оголовка. Заполняем ведомость
объемов основных работ по строительству сборной железобе-
тонной трубы (см. табл. 8).
Вывод о проделанной работе.
Крутизна откосов при высоте
насыпи
До 12 м
Вид используемых грунтов
До 6 м
В верхней
части вы-
сотой 6 м
В верхней
части вы-
сотой 6 м
Глинистые грунты тугопластичной кон-
систенции и крупнообломочные грунты с
глинистым заполнителем
1:2
По индивидуальному
проекту
Глинистые и пылеватые грунты (в том
числе лёссовидные) в районах избыточного
увлажнения, а также пески однородные,
мелкие, пылеватые
1:1,75 1:1,75 1:2
Пески мелкие барханные в районах с
засушливым климатом
1:2 1:2 1:2
32
Таблица 10
Объемы работ по постройке прямоугольных железобетонных
водопропускных труб, на 1 пог. м тела трубы
Монтаж, м3
Гидроизоля
ция, м3
Отвер-
стие, м
Высота
насыпи,
м
Рытье
котло-
вана,
м3
Щебе-
ноч-
ная
под-
готов-
ка, м3
фун-
да-
мен-
та
звень-
ев
обма-
зоч-
ная
окле-
еч-
ная
Засып-
ка
трубы,
м3
Наиболь-
шая
масса
элемента,
т
До 3,0 2,5 0,1 1,1 0,7 2,3 2,6 1,3 1,4
3,1–7,0 2,6 0,1 1,1 0,7 2,4 2,6 1,3 1,61,0
7,1–19,0 2,7 0,1 1,1 0,8 2,5 2,6 1,4 1,6
До 3,0 3,7 0,2 1,9 1,3 2,3 3,8 1,9 1,4
3,1–7,0 3,8 0,2 1,9 1,4 2,4 3,8 1,9 1,6210
7,1–19,0 4,0 0,2 1,9 1,5 2,5 3,8 2,0 1,6
До 3,0 2,9 0,2 1,7 0,8 2,4 2,9 1,4 1,8
3,1–7,0 3,1 0,2 1,8 0,9 2,5 2,9 1,5 2,01,25
7,1–19,0 3,2 0,2 1,9 1,0 2,6 2,9 1,6 2,2
До 3,0 4,5 0,4 2,0 1,6 2,4 4,4 2,1 2,1
3,1–7,0 ,47 0,4 2,0 1,8 2,5 4,4 2,2 2,221,25
7,1–19,0 4,9 0,4 2,0 2,0 2,6 4,4 2,4 2,4
До 3,5 3,3 0,2 1,6 1,1 3,2 3,2 1,4 1,4
3,6–9,0 3,5 0,2 1,6 1,3 3,4 3,2 1,5 1,51,5
9,1–19,0 3,8 0,2 1,6 1,6 3,6 3,3 1,6 1,6
До 3,5 5,3 0,4 3,1 2,2 3,2 4,9 2,2 2,2
3,6–9,0 5,6 0,4 3,1 2,3 3,4 4,9 2,3 3,321,5
9,1–19,0 5,9 0,4 3,1 3,2 3,5 5,1 2,4 3,4
До 3,5 4,1 0,3 2,0 1,4 3,3 3,8 1,6 3,5
3,6–9,0 4,4 0,3 2,0 1,7 3,5 3,8 1,7 4,22,0
9,1–19,0 4,9 0,3 2,0 2,3 3,8 4,0 1,8 5,6
До 3,5 6,4 0,6 3,9 2,8 3,3 6,1 2,3 3,5
3,6–9,0 6,8 0,6 3,9 3,4 3,5 6,1 2,4 4,222,0
9,1–19,0 7,5 0,6 3,9 4,5 3,8 6,3 2,5 5,6
До 3,5 4,7 0,3 2,2 1,8 3,4 4,4 1,6 4,4
3,6–9,0 4,9 0,3 2,2 2,3 3,6 4,5 1,7 5,82,50
9,1–19,0 5,5 0,3 2,2 3,1 4,1 4,6 2,1 7,8
До 3,5 7,6 0,6 4,7 3,5 3,4 7,2 2,6 4,4
3,6–9,0 8,2 0,6 4,7 4,6 3,6 7,5 2,7 5,822,50
9,1–19,0 9,1 0,6 4,7 6,2 4,1 7,6 3,5 7,8
До 9,0 5,8 0,4 2,8 3,2 4,3 5,4 1,9 6,2
3,0
9,1–19,0 6,4 0,4 2,3 4,0 4,6 5,6 2,2 8,0
До 9,0 9,6 0,8 5,6 6,4 4,0 8,8, 2,8 6,2
23,0
9,1–19,0 10,5 0,8 5,7 8,0 4,6 9,1 3,0 8,0
До 9,0 7,1 0,5 3,6 4,0 4,0 6,4 2,0 9,1
4,0
9,1–19,0 8,2 0,5 3,7 5,4 4,6 7,2 2,4 10,0
До 9,0 12,0 0,1 7,2 8,0 4,3 10,8 3,7 9,1
24,0
9,1–19,0 13,9 0,1 7,5 10,9 4,6 11,8 3,8 10,0
33
Таблица 11
Объемы работ по постройке прямоугольных железобетонных
водопропускных труб, на два оголовка
Подготовка, м3
Монтаж, м3
Гидроизоляция,
м3
Отвер-
стие, м
Высота
насыпи, м
Рытье
котло-
вана, м3
Гравийно-
песчаная
Щебе-
ночная
Фунда-
мента
Над-
фунда-
ментной
части
Бетони-
рование
лотка,
пазух и
др., м3
обма-
зочная
оклееч-
ная
Засып-
ка
трубы,
м3
Наи-
большая
масса
элемен-
та, т
1 2 3 4 5 6 7 8 9 10 11 12
До 3,0 120 3,2 7,9 14,0 14,2 2,1 67 12,9 92 4,3
3,1–7,0 120 3,2 7,9 14,0 14,2 2,1 67 12,9 92 4,31,0
7,1–19,0 120 3,2 7,9 14,0 14,2 2,1 67 12,9 92 4,3
До 3,0 149 6,4 15,8 26,0 18,3 4,2 67 19,1 115 4,3
3,1–7,0 149 6,4 15,8 26,0 18,4 4,2 67 19,1 115 4,321,0
7,1–19,0 149 6,4 15,8 26,0 17,6 4,2 67 19,1 115 4,3
До 3,0 129 3,6 8,6 16,8 16,1 2,4 68 14,5 99 4,5
3,1–7,0 129 3,6 8,6 16,8 16,2 2,4 68 14,5 99 4,51,25
7,1–19,0 129 3,6 8,6 16,8 16,4 2,4 68 14,5 99 4,5
До 3,0 165 7,2 17,2 32,0 22 4,8 68 22,3 130 4,5
3,1–7,0 165 7,2 17,2 32,0 24 4,8 68 22,3 130 4,521,25
7,1–19,0 165 7,2 17,2 32,0 26 4,8 68 22,3 130 4,5
До 3,5 155 5,9 9,0 21,0 21,0 3,9 92 16,3 113 4,7
3,6–9,0 155 5,9 9,0 21,3 21,2 4,0 92 16,3 113 4,71,5
9,1–19,0 157 5,9 9,0 21,4 21,5 4,1 92 16,3 113 4,7
До 3,5 177 11,8 18,0 37,1 27,6 7,8 92 25,4 129 4,7
3,6–9,0 180 11,8 18,0 37,4 27,9 8,0 92 25,4 129 4,721,5
9,1–19,0 183 11,8 18,0 38,5 28,5 8,2 92 25,8 129 4,7
До 3,5 172 6,8 9,0 25,6 22,8 4,6 92 19,3 123 5,1
3,6–9,0 174 6,8 9,1 25,8 23,0 4,9 92 19,3 125 5,12,0
9,1–19,0 177 6,8 9,6 26,0 23,6 5,0 92 19,3 128 5,1
До 3,5 192 136 180 46,9 31,0 9,2 92 30,6 140 5,1
3,6–9,0 198 136 182 47,4 31,6 9,6 92 30,6 142 5,122,0
9,1–19,0 202 136 192 49,2 32,7 10,0 92 31 145 5,1
До 3,5 179 6,1 8,3 29,4 24,7 11,7 92 21,7 134 5,5
3,6–9,0 182 7,8 9,8 29,6 25,2 5,4 92 21,9 137 5,52,50
9,1–19,0 187 7,8 10,6 29,9 26,0 5,7 92 22,1 141 5,5
До 3,5 215 12,2 16,6 59,1 35,0 33,4 92 35,6 157 5,5
3,6–9,0 218 15,6 19,6 60,8 36,1 10,8 92 36,2 160 5,522,50
9,1–19,0 225 15,6 21,1 62,8 37,7 11,4 92 36,6 164 5,5
До 9,0 188 10,6 9,6 32,6 29,0 8,2 102 21,2 130 6,2
3,0
9,1–19,0 216 10,6 13,4 33,2 30,6 8,2 102 22,0 156 6,2
До 9,0 240 21,2 19,2 63,2 41,4 16,4 102 35,2 173 6,2
23,0
9,1–19,0 250 21,2 26,8 64,6 44,6 16,4 102 35,6 199 6,2
4,0 До 19,0 216 13,0 12,2 40,6 32,4 9,0 102 24,8 158 6,9
24,0 До 9,0 274 26,0 24,4 81,2 48,4 19,0 102 42,4 197 6,9
34
Таблица 12
Объемы работ по постройке круглых железобетонных
водопропускных труб, на 1 пог. м. тела трубы
Монтаж, м3
Гидроизоляция, м2
Отвер-
стие, м
Высота
насыпи, м
Рытье
котло-
вана, м3
Щебе-
ночная
подго-
товка,
м3
фунда-
мента
лекаль-
ных
блоков
звеньев
Бетони-
рование
пазух
многооч-
ковых
труб, м3
Обмазоч-
ная
Оклееч-
ная
Засып-
ка тру-
бы, м3
1 2 3 4 5 6 7 8 9 10 11
До 3,0 2,7 0,2 0,7 0,38 0,35 — 2,8 1,0 1,4
1,0
3,1–6,0 2,8 0,2 0,7 0,28 0,42 — 2,9 1,0 1,5
До 3,0 4,3 0,3 1,5 0,76 0,70 0,6 — 5,2 1,4
21,0
3,1–6,0 4,4 0,3 1,5 0,76 0,84 0,6 — 5,3 1,5
До 3,0 5,6 0,5 2,1 1,14 1,05 1,3 — 6,7 1,4
31,0
3,1–6,0 5,7 0,5 2,14 1,14 1,25 1,2 — 6,8 1,5
До 3,0 3,1 0,2 0,8 0,48 0,52 — 3,5 1,2 1,5
3,1–7,0 3,2 0,2 0,8 0,48 0,61 — 3,5 ,2 1,51,25
7,1–19,0 3,4 0,2 0,8 0,50 0,81 — 3,6 1,3 1,6
До 3,0 4,8 0,4 1,6 0,96 1,04 0,9 — 6,4 1,5
3,1–7,0 4,9 0,4 1,6 0,96 1,22 0,9 — 5,5 1,521,25
7,1–19,0 5,1 0,4 1,6 1,00 1,62 0,8 — 6,7 1,6
До 3,0 6,7 0,6 2,6 1,44 1,56 1,9 — 8,2 1,5
3,1–7,0 6,9 0,6 2,6 1,44 1,83 1,9 — 8,3 1,531,25
7,1–19,0 7,2 0,6 2,6 1,50 2,43 1,7 — 8,5 1,6
До 3 3,5 0,2 1,0 0,57 0,72 — 4,0 1,4 1,6
3,1–8,0 3,6 0,2 1,0 0,57 0,84 — 4,1 1,4 1,51,5
8,1–19,0 3,9 0,2 1,0 0,51 1,19 — 4,3 1,5 1,8
До 3 5,6 0,4 2,0 1,14 1,44 1,3 — 7,5 1,6
3,1–8,0 5,7 0,4 2,0 1,14 1,68 1,3 — 7,6 1,621,5
8,1–19,0 6,1 0,4 2,0 1,24 2,38 1,1 — 7,9 1,8
До 3 7,6 0,7 2,9 1,71 2,16 2,7 — 9,6 1,5
3,0–8,0 7,8 0,7 2,9 1,71 2,52 2,6 — 9,7 1,531,5
8,1–19,0 8,3 0,7 2,9 1,85 3,57 2,3 — 10,0 1,8
До 3 4,0 0,3 1,1 0,74 1,09 — 5,1 1,7 1,6
3,1–8,0 4,2 0,3 1,1 0,79 1,38 — 5,2 1,8 1,72,0
8,1–19,0 4,4 0,3 1,1 0,81 1,69 — 5,4 1,8 1,8
До 3 6,7 0,5 2,4 1,48 2,18 2,2 — 9,6 1,6
3,1–8,0 7,0 0,3 2,4 1,58 2,76 2,1 — 9,8 1,722,0
8,1–19,0 7,3 0,3 2,4 1,62 3,38 2,0 — 10,0 1,8
До 3 9,5 0,8 3,7 2,22 3,27 4,6 — 12,3 1,6
3,1–8,0 9,9 0,8 3,7 2,37 4,14 4,3 — 12,5 1,732,0
8,1–19,0 10,3 0,8 3,7 2,43 5,07 4,1 — 12,7 1,8
35
Таблица 13
Объемы работ по постройке круглых железобетонных
водопропускных труб, на два оголовка (типовой проект инв. № 101)
Практическая работа 5
Составление календарного графика строительства сборной
железобетонной трубы
Цель: научиться производить расчеты продолжительности
выполнения циклов работ на каждом сооружении;
составлять календарный план-график по постройке сборной
железобетонной трубы.
Исходные данные
1. Объемы работ по каждому элементу сооружений (табл. 8;
практическая работа 4).
Монтаж, м3
Гидроизоляция, м2
Отвер-
стие, м
Высота
насыпи, м
Рытье
котлова
на, м3
Щебе-
ночная
подго-
товка, м3
фунда-
мента
лекаль-
ных
блоков
звеньев
Бетониро-
вание
пазух
многооч-
ковых
труб, м3
Обмазоч-
ная
Оклееч-
ная
Засып-
ка
трубы,
м3
1 2 3 4 5 6 7 8 9 10 11
До 3,0 2,7 0,2 0,7 0,38 0,35 — 2,8 1,0 1,4
1,0
3,1–6,0 2,8 0,2 0,7 0,28 0,42 — 2,9 1,0 1,5
До 3,0 4,3 0,3 1,5 0,76 0,70 0,6 — 5,2 1,4
21,0
3,1–6,0 4,4 0,3 1,5 0,76 0,84 0,6 — 5,3 1,5
До 3,0 5,6 0,5 2,1 1,14 1,05 1,3 — 6,7 1,4
31,0
3,1–6,0 5,7 0,5 2,14 1,14 1,25 1,2 — 6,8 1,5
До 3,0 3,1 0,2 0,8 0,48 0,52 — 3,5 1,2 1,5
3,1–7,0 3,2 0,2 0,8 0,48 0,61 — 3,5 ,2 1,51,25
7,1–19,0 3,4 0,2 0,8 0,50 0,81 — 3,6 1,3 1,6
До 3,0 4,8 0,4 1,6 0,96 1,04 0,9 — 6,4 1,5
3,1–7,0 4,9 0,4 1,6 0,96 1,22 0,9 — 5,5 1,521,25
7,1–19,0 5,1 0,4 1,6 1,00 1,62 0,8 — 6,7 1,6
До 3,0 6,7 0,6 2,6 1,44 1,56 1,9 — 8,2 1,5
3,1–7,0 6,9 0,6 2,6 1,44 1,83 1,9 — 8,3 1,531,25
7,1–19,0 7,2 0,6 2,6 1,50 2,43 1,7 — 8,5 1,6
До 3 3,5 0,2 1,0 0,57 0,72 — 4,0 1,4 1,6
3,1–8,0 3,6 0,2 1,0 0,57 0,84 — 4,1 1,4 1,51,5
8,1–19,0 3,9 0,2 1,0 0,51 1,19 — 4,3 1,5 1,8
До 3 5,6 0,4 2,0 1,14 1,44 1,3 — 7,5 1,6
3,1–8,0 5,7 0,4 2,0 1,14 1,68 1,3 — 7,6 1,621,5
8,1–19,0 6,1 0,4 2,0 1,24 2,38 1,1 — 7,9 1,8
До 3 7,6 0,7 2,9 1,71 2,16 2,7 — 9,6 1,5
3,0–8,0 7,8 0,7 2,9 1,71 2,52 2,6 — 9,7 1,531,5
8,1–19,0 8,3 0,7 2,9 1,85 3,57 2,3 — 10,0 1,8
До 3 4,0 0,3 1,1 0,74 1,09 — 5,1 1,7 1,6
3,1–8,0 4,2 0,3 1,1 0,79 1,38 — 5,2 1,8 1,72,0
8,1–19,0 4,4 0,3 1,1 0,81 1,69 — 5,4 1,8 1,8
До 3 6,7 0,5 2,4 1,48 2,18 2,2 — 9,6 1,6
3,1–8,0 7,0 0,3 2,4 1,58 2,76 2,1 — 9,8 1,722,0
8,1–19,0 7,3 0,3 2,4 1,62 3,38 2,0 — 10,0 1,8
До 3 9,5 0,8 3,7 2,22 3,27 4,6 — 12,3 1,6
3,1–8,0 9,9 0,8 3,7 2,37 4,14 4,3 — 12,5 1,732,0
8,1–19,0 10,3 0,8 3,7 2,43 5,07 4,1 — 12,7 1,8
36
2. Нормы затрат труда рабочих-строителей Нвр, времени
работы машин. Принимаются по табл. 15–25.
3. Состав специализированных звеньев (практическая рабо-
та 1).
Порядок выполнения
Малые водопропускные сооружения возводятся в основном
поточным методом. Создают специализированные потоки. Для
этого определяют продолжительность выполнения работ на каж-
дом сооружении. Расчеты сводят в ведомость (табл. 14).
Порядок заполнения ведомости:
Графа 1 – порядковый номер цикла (частного потока).
Графа 2 – наименование частных строительных потоков.
Графа 3 – единица измерения объема выполняемых работ.
Графа 4 – объем работ, принимаемых по табл. 8 практической
работы 4.
Графа 5 – нормы затрат труда Нвр принимаем по табл. 15–25.
Графа 6 – трудоемкость работ, определяется по формуле
,
100
вр
р
ПНV
Т
i
 (13)
где Vi – соответствующего элемента трубы (графа 4); П –
показатель производительности труда; П = 120–130 %.
Графа 7 – численность человек в бригадах, принимается по
табл. 1 практической работы 1.
Графа 8 – количество смен, 1–2 смены.
Графа 9 – продолжительность отдельных элементарных час-
тных потоков в днях по водопропускным сооружениям
,
8
4,1
i
р
i
Rn
Т
t


 (14)
где Ri – численность рабочих в специализированном звене или
бригаде, чел. (графа 7); n – количество смен; 8 – количество
часов работы в смене; 1,4 – коэффициент, учитывающий выход-
ные и праздничные дни.
37
Таблица 14
Ведомость определения продолжительности циклов работ (частных
потоков) на каждой водопропускной трубе
Подготовительные работы включают в себя комплекс от-
дельных взаимосвязанных мероприятий, трудоемкость которых
по каждой трубе составляет 10 % от общей трудоемкости всех
работ. В комплекс работ по строительству труб входят также
транспортные и прочие работы, на которые приходится до 15 %
от общей трудоемкости.
Выполнив расчет продолжительности работ по постройке
трубы необходимо начертить календарный план-график по пост-
ройке круглой сборной железобетонной трубы (см. рис. 5–7).
Вывод о проделанной работе.
Трудоем-
кость, чел.-
дни
№
цик-
ла
Наименование работы Ед.
изм.
Объем
еди-
нич-
ная
пол-
ная
Состав
звена,
чел.
Кол-
во
смен
Продол-
житель-
ность,
дни
1 2 3 4 5 6 7 8 9
1. Круглая сборная железобетонная труба, отв. ….. ПК….+………
I
Подготовительные работы Чел.-
дни
10 %
Тр
II
Котлован:
1. Экскаватор (70 %)
2. Вручную (30 %)
3. Щебеночная подготовка
м3
м3
м3
III
Строительно-монтажные
работы:
1. Фундаменты
2. Лекальные блоки
3. Звенья трубы
4. Звенья оголовков
м3
м3
м3
м3
IV Гидроизоляция м2
V
Устройство лотков:
1. Песчано-гравийная
подготовка
2. Бетонирование лотков
м3
м3
VI
Засыпка грунтом:
1. Пазух
2. Трубы на 0,5 м
м3
м3
Транспортные и прочие работы 15 % Тр=
2. Круглая сборная железобетонная труба, отв. ….. ПК….+………
38
Рис.5.Календарныйплан-графикпопостройкекруглойсборнойжелезобетоннойтрубыотверстием1,5м
39
Рис.6.План-графикстроительствакруглойжелезобетоннойтрубыиграфикдвижениярабочейсилы
40
Условныеобозначениядлясоставлениякалендарногоплана-графика
Рис.7.Графикпотребностивмашинах
41
Затраты труда на постройку малых водопропускных сооружений
(выписка из СНиП 4.02-91 и 4.05-91. Сборник 30. «Мосты и трубы».
«Железобетонные и бетонные конструкции мостов и труб»)
Таблица 15
Устройство подушек под фундаменты (ед. изм. – 100 м3
подушки)
Таблица 16
Устройство сборных фундаментов (ед. изм. – 100 м3
сборных
конструкций)
Таблица 17
Укладка лекальных блоков под звенья железобетонных круглых
труб (ед. изм. – 1 м3
железобетонных блоков)
Таблица 18
Укладка звеньев одноочковых круглых труб (ед. изм. – 1 м3
железобетонных звеньев)
Наименование
элементов затрат
Ед.
изм.
Щебеночных
Песчаных из гра-
вия, дресвы или их
смеси
Песчано-
щебеночных
Затраты труда
рабочих-строителей
чел.-ч 199 194 256
Затраты труда
машинистов
чел.-ч 6,95 6,09 8,64
Наименование элементов затрат Ед. изм. Норма
Затраты труда рабочих-строителей чел.-ч 244
Затраты труда машинистов чел.-ч 82
Отверстие труб, м
Наименование элементов затрат Ед. изм. 1 2
Затраты труда рабочих-строителей чел.-ч 1,94 1,5
Затраты труда машинистов чел.-ч 0,73 0,56
Отверстие труб, м
1,25 1,5 2,0
Высота насыпи (на железных дорогах/на
автодорогах), м, до
Наименование
элементов затрат
Ед.
изм.
3/4 7/8 19/20 3/3 8/9 19/20 3/5 8/8 19/20
Затраты труда ра-
бочих-строителей
чел.-ч 6,41 5,5 4,16 5,46 4,76 3,38 4,55 3,58 2,95
Затраты труда
машинистов
чел.-ч 1,54 1,32 0,99 1,3 1,14 0,81 1,06 0,83 0,69
42
Таблица 19
Укладка звеньев двухочковых круглых труб (ед. изм. – 1 м3
железобетонных звеньев)
Таблица 20
Укладка звеньев трехочковых круглых труб (ед. изм. – 1 м3
железобетонных звеньев)
Таблица 21
Сооружение оголовков круглых железобетонных труб
Отверстие труб, м
21,25 21,5 22,0
Высота насыпи (на железных дорогах/на
автодорогах), м, до
Наименование
элементов затрат
Ед.
изм.
3/4 7/8 19/20 3/3 8/9 19/20 8/9 19/20
Затраты труда ра-
бочих-строителей
чел.-ч 8,66 7,4 5,36 7,74 6,78 4,55 7,08 4,52
Затраты труда
машинистов
чел.-ч 2,37 2,02 1,45 2,14 1,89 1,24 2,0 1,27
Отверстие труб, м
31,0 31,25 31,5 32,0
Высота насыпи (на железных дорогах/на автодорогах), м, до
Наименова-
ние элемен-
тов затрат
Ед.
изм.
3/4 6/7 3/3 7/8 19/20 3/3 8/9 19/20 3/5 8/8 19/20
Затраты труда
рабочих-стро-
ителей
чел.-ч 11 9,13 9,57 8,26 5,96 8,63 7,47 5,04 8,3 6,25 5,11
Затраты труда
машинистов
чел.-ч 3,12 2,55 2,71 2,32 1,66 2,47 2,14 1,41 2,44 1,82 1,48
Одноочко-
вых
Двухочковых Трехочковых
отверстием, м, до
Наименование
элементов затрат
Ед.
изм.
1–2 2(1,25–2) 31,25 3(1,5–2,0)
Затраты труда рабо-
чих-строителей
чел.-ч 2,79 3,45 3,82 3,7
Затраты труда
машинистов
чел.-ч 0,61 0,6 0,67 0,58
43
Таблица 22
Сооружение оголовков одноочковых и двухочковых прямоугольных
труб (ед. изм. – 1 м3
железобетона)
Таблица 23
Установка блоков стенок бетонных прямоугольных труб и
оголовков (ед. изм. – 1 м3
сборных конструкций)
Таблица 24
Устройство гидроизоляции проезжей части мостов (ед. изм. – 1 м3
изолируемой поверхности)
входных выходных
Входных и
выходных
отверстием, м, до
Наименование
элементов затрат
Ед.
изм.
1,25 2,0 2,5 1,25 2,0 2,5 3–4
Затраты труда
рабочих-строителей
чел.-ч 3,16 2,54 2,54 2,38 3,02 2,85 2,12
Затраты труда
машинистов
чел.-ч 0,77 0,62 0,6 0,6 0,79 0,7 0,5
одноочковых двухочковых
отверстие трубы, м, доНаименование элементов затрат
Ед.
изм.
3 6 3 6
Затраты труда рабочих-
строителей
чел.-ч 3,38 4,09 3,95 3,48
Затраты труда машинистов чел.-ч 0,51 0,51 0,51 0,34
Борные ж/б конструкции м3
1 1 1 1
Бетон гидротехничекий м3
0,13 0,51 0,18 0,46
Растворы готовые кладочные м3
0,18 0,18 0,17 0,12
Обмазочная
Битумной мастикой
Эпоксидной
мастикой
Наименование
элементов
затрат
Ед.
изм.
Оклеечная
(2 слоя)
двухслой-
ной
дополни-
тельный
слой
двухслой-
ной
дополни-
тельный
слой
Затраты труда
рабочих-строи-
телей
чел.-ч 91 60,5 17,3 73 12,7
Затраты труда
машинистов
чел.-ч 3,72 2,46 1,21
44
Таблица25
Укладказвеньеводноочковыхидвухочковыхпрямоугольныхтруб(ед.изм.–1м3
железобетонныхплитили
звеньев)
45
Библиографический список
1. Грицык В.И. Земляное полотно железных дорог. М.: Маршрут, 2005.
2. Кантор И.И., Гулецкий Б.В. Основы проектирования и строительства
железных дорог. М.: Транспорт, 1990.
3. Крейнис З.Л. Организация, технология и управление техническим обслу-
живанием железнодорожного пути. М.: Маршрут, 2004.
4. Крейнис З.Л., Федоров И.В. Железнодорожный путь. М.: Маршрут, 2000.
5. Пособие бригадиру пути / Под ред. Э.В. Воробьева. М.: Маршрут, 2005.
6. Призмазонов A.M., Спиридонов Э.С. Строительство железных дорог в
чрезвычайных ситуациях. М.: Маршрут, 2004.
7. Прокудин И.В., Грачев И.А., Колос А.Ф. Организация переустройства
железных дорог под скоростное движение поездов. М.: Маршрут, 2005.
8. Расчеты и проектирование железнодорожного пути / Под ред. В.В.
Виноградова, A.M. Никонова. М.: Маршрут, 2003.
9. Строительно-технические нормы МПС РФ. Железные дороги колеи 1520
мм / СТН Ц-01-95. М.: Транспорт, 1995.
10. Строительство железных дорог: Учеб. пособие для студентов железно-
дорожных вузов / В.И. Грицык, Г.Н. Жинкин, И.А. Грачев. М.: УМК МПС
России, 1999.
11. Сухих Р.Д. Путевые механизмы и инструменты. М: Маршрут, 2002.
12. Технология железнодорожного строительства / Под ред.
A.M. Призмазонова, Э.С. Спиридонова. М.: Маршрут, 2002.
13. Шабалина Л.А. Организация и технология строительства железных
дорог: Учеб. для техникумов и колледжей железнодорожного транспорта. М.:
УМК МПС России, 2001.
46
Оглавление
Пояснительная записка .................................................................................................. 3
Практическое занятие 1. Составление графика строительства сборной
железнодорожной трубы поточным методом ................................................... 3
Практическое задание 2. Определение площадей поперечных сечений земляного
полотна........................................................................................................................ 7
Практическое занятие 3. Расчет заряда на «выброс» .............................................. 23
Практическая работа 4. Составление ведомости объемов работ по строительству
сборной железобетонной трубы ........................................................................... 25
Практическая работа 5. Составление календарного графика строительства
сборной железобетонной трубы ........................................................................... 35
Затраты труда на постройку малых водопропускных сооружений (выписка из
СНиП 4.02–91 и 4.05–91. Сборник 30. «Мосты и трубы». «Железобетонные и
бетонные конструкции мостов и труб»).............................................................. 41
Библиографический список .......................................................................................45
Учебное издание
Фалалеева Светлана Анатольевна.
ОРГАНИЗАЦИЯ И ТЕХНОЛОГИЯ СТРОИТЕЛЬСТВА
ЖЕЛЕЗНЫХ ДОРОГ
Методические указания по выполнению практических работ
Редактор П.В. Грес
Компьютерная верстка Т.А. Соловьева
Изд. лиц. ЛР № 021277 от 06.04.98
Подписано в печать 20.12.10
3,0 печ. л. 2,8 уч.-изд. л. Тираж 100 экз. Заказ № 2316
Издательство Сибирского государственного университета путей сообщения
630049, Новосибирск, ул. Д. Ковальчук, 191
Тел. (383) 328-03-81. E-mail: press@stu.ru

581

  • 1.
    С.А. ФАЛАЛЕЕВА ОРГАНИЗАЦИЯ ИТЕХНОЛОГИЯ СТРОИТЕЛЬСТВА ЖЕЛЕЗНЫХ ДОРОГ Методическиеуказанияповыполнению практических работ НОВОСИБИРСК 2010 ФИЛИАЛ ГОСУДАРСТВЕННОГО ОБРАЗОВАТЕЛЬНОГО УЧРЕЖДЕНИЯ ВЫСШЕГО ПРОФЕССИОНАЛЬНОГО ОБРАЗОВАНИЯ «СИБИРСКИЙ ГОСУДАРСТВЕННЫЙ УНИВЕРСИТЕТ ПУТЕЙ СООБЩЕНИЯ» — ТОМСКИЙ ТЕХНИКУМ ЖЕЛЕЗНОДОРОЖНОГО ТРАНСПОРТА
  • 2.
    УДК 625.1.002(076.5) Ф19 Фалалеева С.А.Организация и технология строитель- ства железных дорог: Метод. указ. по выполнению практичес- ких работ. — Новосибирск: Изд-во СГУПСа, 2010. — 47 с. Настоящие методические указания предназначены для студентов IV курса дневной формы обучения специальности 270204 «Строительство железных дорог, путь и путевое хозяйство», выполняющих практические работы по дисциплине «Организация и технология строительства железных дорог». Рассмотрено и рекомендовано к печати на заседании цикло- вой комиссии в октябре 2010 г. Р е ц е н з е н т преп. ТТЖТ Т.П. Мельчаева  Фалалеева С.А., 2010  Сибирский государственный университет путей сообщения, 2010
  • 3.
    3 ПОЯСНИТЕЛЬНАЯ ЗАПИСКА Методические указанияпо выполнению практических работ по дисциплине«Организация и технология строительства желез- ных дорог», предназначенные для студентов дневной формы обучения специальности 270204 «Строительство железных до- рог, путь и путевое хозяйство», разработаны в соответствии с обязательным минимумом содержания основной профессиональ- ной программы и раскрывают основные требования к знаниям и умениям, которыми должны обладать студенты в результате выполнения практических работ. Практические работы проводятся после изучения теорети- ческого материала соответствующей темы. Для их проведения студенты должны быть обеспечены необходимыми справочны- ми пособиями, СТНЦ-01–95, получить задание, содержащеенаи- менование и цель работы, исходные данные, порядок выполне- ния, содержание отчета. Практическое занятие 1 Составление графика строительства сборной железнодорожной трубы поточным методом Цель: научиться составлять графики организации строитель- ства, движения рабочей силы и потребности в машинах. Исходные данные (табл. 1). 1. Объект строительства: сборная железобетонная труба ди- аметром 2,0 м. 2. Количество труб. 3. Шаг частного потока. 4. Количество частных потоков n = 6.
  • 4.
    4 5. Количество человекв бригадах. 6. Оснащение бригад машинами: № 1 — автомобили-самосвалы; № 2 — экскаватор, бульдозер; № 3 — кран на пневмоходу; № 4 — машины не требуются; № 5 — бетоновозы; № 6 — экскаватор, бульдозер, автомобили, самосвалы, пнев- мокаток. Таблица 1 Исходные данные Количество человек в бригадах Бригады Вариант Количество труб в потоке Шаг частного потока № 1 № 2 № 3 № 4 № 5 № 6 1 5 4 4 5 8 5 5 4 2 5 4 5 6 7 6 6 4 3 7 3 5 4 6 4 4 4 4 6 3 4 6 8 5 4 5 5 5 2 6 5 9 6 7 5 6 7 2 4 4 7 6 8 5 7 6 4 5 6 6 5 6 5 8 6 3 6 6 7 5 7 5 9 5 4 6 4 7 5 5 5 10 6 3 5 4 7 4 6 4 11 5 2 4 5 7 4 6 5 12 6 3 4 6 8 4 5 6 13 7 4 5 5 6 4 6 4 14 7 4 6 5 6 6 6 4 15 5 5 5 5 8 6 6 4 16 7 3 6 4 8 5 5 5 17 6 4 4 6 8 5 5 5 18 5 3 5 4 6 5 5 6 19 7 4 6 6 7 6 6 5 20 6 5 4 5 9 4 4 5 21 6 5 6 6 7 4 4 5 22 7 4 6 6 6 5 5 5 23 6 4 5 4 8 4 4 5 24 6 5 5 4 7 6 6 5 25 5 5 4 6 7 6 6 5 26 7 2 4 5 6 4 4 5 27 5 4 5 5 7 4 4 4 28 6 4 6 5 6 6 6 4 29 5 3 4 4 7 6 6 4 30 6 4 6 4 8 5 4 5
  • 5.
    5 Т р ебуется 1. Составить и вычертить график строительства сборных железобетонных труб поточным методом (на миллиметровке формата А4). 2. Вычертить графики движения рабочей силы и потребности в машинах. Порядок выполнения Специализированный поток по сооружению сборных железо- бетонных труб состоит из 6 частей строительных потоков. Поток № 1. Подготовительные работы. Поток № 2. Рытье котлована. Поток № 3. Строительно-монтажные работы: — устройство фундаментов; — устройство лекальных блоков; — монтаж звеньев трубы и оголовков. Поток № 4. Нанесение обмазочной и оклеечной гидроизоля- ции. Поток № 5. Устройство лотков: — песчано-гравийная подготовка; — бетонирование лотков. Поток № 6. Засыпка пазух и трубы на 0,5 м. Работы каждого частного потока выполняет специализиро- ванная бригада. Общая продолжительность работ, дни, определяется по фор- муле T = nt + t(m – n), (1) где n — количество частных потоков; t — шаг частного потока, дни; m — количество труб. Продолжительность строительства одной трубы, дни: T1 = nt. (2) Определив сроки строительства, вычертим календарный план-график производства работ (рис. 1). Примем горизонталь- ный масштаб времени: 0,5 см = 1 день. По вертикали проставим номера труб. Далее условными знаками обозначим виды работ каждого частного потока. Каждая бригада выполняет работы частного потока за время t. Построение графика начнем с нанесения частного потока подготовительных работ. Выполнив подготовительные работы
  • 6.
    6 на первой трубе,бригада переходит на вторую трубу и.т.д. Над условными знаками работ первого частного потока проставим количество рабочих в соответствующей бригаде. Далее укажем работы по рытью котлована, затем монтажные работы. После монтажных работ приступим к изоляционным, следом выполняется бетонирование лотка и последний поток – засыпка пазух и трубы. Ниже вычертим график движения рабочей силы. Вначале бригады одна за другой вступают в общий поток, и соответствен- но количество рабочих ступенчато увеличивается, затем насту- пает установившийся поток, когда количество рабочих достига- ет максимума Rmax и сохраняется постоянным в течение некото- рого времени Tуп. После того как первая бригада закончила свои Рис. 1. График поточного метода строительства: t – время постройки одного сооружения; Tуп – период установившегося потока
  • 7.
    7 работы на последнемобъекте, она выходит из потока, и тогда начинается период его свертывания. Количество рабочих сту- пенчато уменьшается, причем время каждой «ступени» равно t. Количество рабочих для каждой «ступени» определим суммиро- вание по вертикали цифр, проставленных над условным знаком цикла и означающих количество рабочих в бригаде. Вертикаль- ный масштаб графика принимается самостоятельно. График потребности в машинах вычерчивается под графиком движения рабочей силы. Так как известно, какой машиной осна- щается бригада для выполнения работ цикла, то, следовательно, известно время работы машин. Это время определим по графику поточного строительства. Вывод о проделанной работе. Практическое задание 2 Определение площадей поперечных сечений земляного полотна Цель: научиться рассчитывать объемы земляных работ; стро- ить графики попикетных и суммарных объемов и распределять земляные массы. Исходные данные 1. Категория линии. 2. Участок пути – однопутный. 3. Грунт. 4. Рабочие отметки (участок длиной 1 км). 5. Радиус кривой и место расположения. Вариант № 1 Категория линий Грунт Радиус кривой, R, м Расположение кривой III Песок гравелистый 2500 От ПК2 до ПК6 Рабочие отметки, м ПК0 ПК1 ПК2 ПК3 ПК4 ПК5 ПК6 ПК7 ПК8 ПК9 ПК10 0 1,70 2,10 1,30 0 –1,80 –2,10 –3,00 –2,00 –1,20 0
  • 8.
    8 Вариант № 2 Вариант№ 3 Вариант № 4 Вариант № 5 Вариант № 6 Вариант № 7 Категория линий Грунт Радиус кривой, R, м Расположение кривой II Суглинок 1500 От ПК5 до ПК9 Рабочие отметки, м ПК0 ПК1 ПК2 ПК3 ПК4 ПК5 ПК6 ПК7 ПК8 ПК9 ПК10 0 4,20 3,10 0 –3,70 –4,50 –3,10 0 2,90 1,20 0 Категория линии Грунт Радиус кривой, R, м Расположение кривой IV Песок мелкий 600 От ПК1 до ПК5 Рабочие отметки, м ПК0 ПК1 ПК2 ПК3 ПК4 ПК5 ПК6 ПК7 ПК8 ПК9 ПК10 0 –1,50 –2,10 0 6,10 9,00 5,90 0 2,10 1,60 0 Категория линии Грунт Радиус кривой, R, м Расположение кривой III Глина 2500 От ПК2 до ПК6 Рабочие отметки, м ПК0 ПК1 ПК2 ПК3 ПК4 ПК5 ПК6 ПК7 ПК8 ПК9 ПК10 0 3,50 4,20 2,80 0 –2,70 –3,50 –4,40 –3,70 м2,90 0 Категория линии Грунт Радиус кривой, R, м Расположение кривой Глина 3000 От ПК5 до ПК9 Рабочие отметки, м ПК0 ПК1 ПК2 ПК3 ПК4 ПК5 ПК6 ПК7 ПК8 ПК9 ПК10 0 –1,70 –2,50 –1,60 0 3,10 5,20 0 –2,10 –3,00 0 Категория линии Грунт Радиус кривой, R, м Расположение кривой III Песок крупный 3000 От ПК2 до ПК6 Рабочие отметки, м ПК0 ПК1 ПК2 ПК3 ПК4 ПК5 ПК6 ПК7 ПК8 ПК9 ПК10 0 4,30 5,20 3,70 0 –4,30 –5,10 –5,90 –4,70 –3,60 0 Категория линии Грунт Радиус кривой, R, м Расположение кривой IV Супесь 500 От ПК5 до ПК9 Рабочие отметки, м ПК0 ПК1 ПК2 ПК3 ПК4 ПК5 ПК6 ПК7 ПК8 ПК9 ПК10 0 5,90 4,80 0 –6,70 –9,30 –6,20 0 5,70 4,70 0
  • 9.
    9 Вариант № 8 Вариант№ 9 Вариант № 10 Вариант № 11 Вариант № 12 Категория линии Грунт Радиус кривой, R, м Расположение кривой IV Песок крупный 2500 От ПК1 до ПК5 Рабочие отметки, м ПК0 ПК1 ПК2 ПК3 ПК4 ПК5 ПК6 ПК7 ПК8 ПК9 ПК10 0 –4,70 –5,50 0 5,30 9,80 7,10 0 –4,20 –3,90 0 Категория линии Грунт Радиус кривой, R, м Расположение кривой III Суглинок 800 От ПК2 до ПК6 Рабочие отметки, м ПК0 ПК1 ПК2 ПК3 ПК4 ПК5 ПК6 ПК7 ПК8 ПК9 ПК10 0 –6,30 –8,80 –5,10 0 4,10 5,40 6,70 4,90 3,80 0 Категория линии Грунт Радиус кривой, R, м Расположение кривой IV Супесь 3500 От ПК1 до ПК5 Рабочие отметки, м ПК0 ПК1 ПК2 ПК3 ПК4 ПК5 ПК6 ПК7 ПК8 ПК9 ПК10 0 –1,50 –2,10 0 3,00 4,20 2,80 0 –1,80 –0,70 0 Категория линии Грунт Радиус кривой, R, м Расположение кривой II Глина 500 От ПК2 до ПК6 Рабочие отметки, м ПК0 ПК1 ПК2 ПК3 ПК4 ПК5 ПК6 ПК7 ПК8 ПК9 ПК10 0 –1,70 –2,30 –1,50 0 1,30 1,70 2,20 1,60 0,70 0 Категория линии Грунт Радиус кривой, R, м Расположение кривой III Песок средней крупности 4000 От ПК5 до ПК9 Рабочие отметки, м ПК0 ПК1 ПК2 ПК3 ПК4 ПК5 ПК6 ПК7 ПК8 ПК9 ПК10 0 –1,80 –2,30 –1,70 0 5,00 5,60 0 –2,10 –2,80 0
  • 10.
    10 Вариант № 13 Вариант№ 14 Вариант № 15 Вариант № 16 Вариант № 17 Категория линии Грунт Радиус кривой, R, м Расположение кривой II Песок крупный 650 От ПК5 до ПК9 Рабочие отметки, м ПК0 ПК1 ПК2 ПК3 ПК4 ПК5 ПК6 ПК7 ПК8 ПК9 ПК10 0 5,90 4,80 0 –6,70 –9,30 –6,20 0 5,70 4,70 0 Категория линии Грунт Радиус кривой, R, м Расположение кривой I Глина 500 От ПК2 до ПК6 Рабочие отметки, м ПК0 ПК1 ПК2 ПК3 ПК4 ПК5 ПК6 ПК7 ПК8 ПК9 ПК10 0 2,10 2,80 1,70 0 –1,60 –2,20 –2,70 –2,50 –1,40 0 Категория линии Грунт Радиус кривой, R, м Расположение кривой I Супесь 2000 От ПК2 до ПК6 Рабочие отметки, м ПК0 ПК1 ПК2 ПК3 ПК4 ПК5 ПК6 ПК7 ПК8 ПК9 ПК10 0 –4,50 –5,20 –3,00 0 2,20 3,30 4,40 3,50 2,30 0 Категория линии Грунт Радиус кривой, R, м Расположение кривой II Песок мелкий 650 От ПК2 до ПК6 Рабочие отметки, м ПК0 ПК1 ПК2 ПК3 ПК4 ПК5 ПК6 ПК7 ПК8 ПК9 ПК10 0 1,80 2,20 1,50 0 –1,40 –2,20 –2,50 –2,00 –1,50 0 Категория линии Грунт Радиус кривой, R, м Расположение кривой IV Песок мелкий 1500 От ПК5 до ПК9 Рабочие отметки, м ПК0 ПК1 ПК2 ПК3 ПК4 ПК5 ПК6 ПК7 ПК8 ПК9 ПК10 0 4,10 3,80 0 –4,20 –5,60 –4,00 0 3,50 3,40 0
  • 11.
    11 Вариант № 18 Вариант№ 19 Вариант № 20 Вариант № 21 Вариант № 22 Категория линии Грунт Радиус кривой, R, м Расположение кривой I Песок гравелистый 2000 От ПК1 до ПК5 Рабочие отметки, м ПК0 ПК1 ПК2 ПК3 ПК4 ПК5 ПК6 ПК7 ПК8 ПК9 ПК10 0 –3,20 –4,10 0 5,00 8,00 4,50 0 –3,40 –2,80 0 Категория линии Грунт Радиус кривой, R, м Расположение кривой I Супесь 1200 От ПК1 до ПК5 Рабочие отметки, м ПК0 ПК1 ПК2 ПК3 ПК4 ПК5 ПК6 ПК7 ПК8 ПК9 ПК10 0 –1,60 –2,70 0 3,00 4,00 3,00 0 –2,60 –2,20 0 Категория линии Грунт Радиус кривой, R, м Расположение кривой I Песок гравелистый 1500 От ПК5 до ПК9 Рабочие отметки, м ПК0 ПК1 ПК2 ПК3 ПК4 ПК5 ПК6 ПК7 ПК8 ПК9 ПК10 0 5,90 4,80 0 –6,70 –9,30 –6,20 0 5,70 4,70 0 Категория линии Грунт Радиус кривой, R, м Расположение кривой IV Суглинок 650 От ПК5 до ПК9 Рабочие отметки, м ПК0 ПК1 ПК2 ПК3 ПК4 ПК5 ПК6 ПК7 ПК8 ПК9 ПК10 0 –1,60 –3,30 –1,80 0 4,50 5,20 0 –1,60 –2,20 0 Категория линии Грунт Радиус кривой, R, м Расположение кривой II Песок мелкий 2000 От ПК2 до ПК6 Рабочие отметки, м ПК0 ПК1 ПК2 ПК3 ПК4 ПК5 ПК6 ПК7 ПК8 ПК9 ПК10 0 4,30 5,20 3,80 0 –2,70 –3,60 –4,20 –3,30 –2,40 0
  • 12.
    12 Вариант № 23 Вариант№ 24 Вариант № 25 Вариант № 26 Вариант № 27 Категория линии Грунт Радиус кривой, R, м Расположение кривой II Супесь 1800 От ПК5 до ПК9 Рабочие отметки, м ПК0 ПК1 ПК2 ПК3 ПК4 ПК5 ПК6 ПК7 ПК8 ПК9 ПК10 0 5,60 4,30 0 –4,70 –5,50 –3,80 0 2,30 1,90 0 Категория линии Грунт Радиус кривой, R, м Расположение кривой IV Песок средней крупности 2000 От ПК2 до ПК6 Рабочие отметки, м ПК0 ПК1 ПК2 ПК3 ПК4 ПК5 ПК6 ПК7 ПК8 ПК9 ПК10 0 –6,30 –8,80 –5,10 0 4,70 5,40 6,70 4,90 3,80 0 Категория линии Грунт Радиус кривой, R, м Расположение кривой I Супесь 800 От ПК4 до ПК8 Рабочие отметки, м ПК0 ПК1 ПК2 ПК3 ПК4 ПК5 ПК6 ПК7 ПК8 ПК9 ПК10 0 –2,30 –4,20 –3,00 0 2,80 3,50 4,0 3,0 3,30 0 Категория линии Грунт Радиус кривой, R, м Расположение кривой II Песок мелкий 1500 От ПК2 до ПК6 Рабочие отметки, м ПК0 ПК1 ПК2 ПК3 ПК4 ПК5 ПК6 ПК7 ПК8 ПК9 ПК10 0 2,80 4,20 3,50 0 –2,60 –2,00 –3,50 –2,00 –1,50 0 Категория линии Грунт Радиус кривой, R, м Расположение кривой IV Песок гравелистый 1500 От ПК6 до ПК10 Рабочие отметки, м ПК0 ПК1 ПК2 ПК3 ПК4 ПК5 ПК6 ПК7 ПК8 ПК9 ПК10 0 5,10 4,20 0 –3,80 –5,20 –4,20 0 2,50 3,50 0
  • 13.
    13 Вариант № 28 Вариант№ 29 Вариант № 30 Т р ебу ется 1. Вычертить на миллиметровой бумаге схематический про- филь и план линии в масштабах горизонтальном — Мг 1:10000, вертикальном — Мв 1:1000. 2. Определить попикетные объемы земляных работ. 3. Вычертить график попикетных объемов земляных работ в масштабе 1 см — 5 000 м3 . 4. Определить рабочую кубатуру и вычертить график сум- марных объемов земляных работ. Порядок выполнения 1. Вычертить на миллиметровке схематический профиль и план линии в масштабах горизонтальном — Мг 1:10000, верти- кальном — Мв 1:1000 . Рабочие отметки заданы в исходных данных (см. рис. 3). 2. Определить попикетные объемы земляных работ. Категория линии Грунт Радиус кривой, R, м Расположение кривой I Песок гравелистый 2500 От ПК1 до ПК5 Рабочие отметки, м ПК0 ПК1 ПК2 ПК3 ПК4 ПК5 ПК6 ПК7 ПК8 ПК9 ПК10 0 –2,90 –3,60 0 4,90 6,00 4,50 0 –3,40 –2,80 0 Категория линии Грунт Радиус кривой, R, м Расположение кривой I Супесь 500 От ПК4 до ПК9 Рабочие отметки, м ПК0 ПК1 ПК2 ПК3 ПК4 ПК5 ПК6 ПК7 ПК8 ПК9 ПК10 0 –1,60 –2,70 0 2,50 3,80 3,20 0 –2,80 –1,90 0 Категория линии Грунт Радиус кривой, R, м Расположение кривой I Песок гравелистый 1500 От ПК5 до ПК9 Рабочие отметки, м ПК0 ПК1 ПК2 ПК3 ПК4 ПК5 ПК6 ПК7 ПК8 ПК9 ПК10 0 6,10 5,20 0 –6,70 –8,60 –6,10 0 5,50 4,80 0
  • 14.
    14 Трасса длиной 1км разбивается на элементарные участки. Границами участков являются пикеты. Расчет попикетных объе- мов земляных работ будем производить в табличной форме (табл. 4), рекомендуется производить на компьютере с исполь- зованием электронных таблиц Exсel. При этом необходимо учесть следующее (см. рис. 2): — b — ширина основной площадки поверху, м (принимается по табл. 2); — m — показатель крутизны откоса, m = 1,5; — 1 — площадь поперечного сечения сливной призмы, м2 , ,15,0 2 3,2 1 b  причем для насыпи 1 = +0,68 м2 , для выемки 1 = –0,68 м2 . B — ширина выемки на уровне бровки полотна; В = b + 2k, м; — k – ширина кювета поверху, k = 2,2 м; — 2 — площадь кювета выемки, м2 , ;78,06,0 2 4,02,2 2     — уширение земляного полотна в кривой, м (см. табл. 3). Таблица 2 Ширина земляного полона Для уменьшения объемов расчетов призматоидальную по- правку учитывать не будем. Ширина основной площадки на прямых участках пути, м, при использовании грунтов Категория железнодорож- ных линий Число глав- ных путей глинистых, крупнообломоч- ных с глинистым заполните- лем, скальных легковывет- ривающихся и выветрива- ющихся, песков недрени- рующих, мелких и пылеватых скальных слабовывет- ривающихся, крупно- обломочных с песча- ным заполнителем и песков дренирующих (кроме мелких и пылеватых) Скоростные и особогрузона- пряженные, I 2 11,7 10,7 I и II 1 7,6 6,6 III 1 7,3 6,4 IV 1 7,1 6,2
  • 15.
    15 Таблица 3 Уширение земляногополотна в кривой Геометрической основной поперечника земляного полотна является фигура трапеции (рис. 2), одной из сторон которой является естественная поверхность местности. Ведомость объемов земляных работ (см. табл. 4) заполняет- ся и рассчитывается следующим образом. Графа 1 – проставляются номера пикетов. Графы 2 и 3 – выписываются земляные рабочие отметки соответственно в графу «Насыпь» или «Выемка». Графа 4 – определяются средние рабочие отметки на пике- тах. Для нашего примера (см. рис. 3) ;м25,2 2 50,50 10ПК ср    Н .т.дим10,5 2 70,450,5 21ПК ср    Н Графы 5 и 6 – определяем первое слагаемое в формуле объема земляных работ, для чего предварительно записываем постоянные величины нашего расчета b и B; умножаем на Нср и записываем в соответствующую графу. Радиусы кривых R, м Уширение земляного полотна , м 3000 и более 0,20 2500–1800 0,30 1500–700 0,40 600 и менее 0,50 Рис. 2. Площади поперечных сечений насыпи (а) и выемки (б) при однопутном полотне железной дороги
  • 16.
  • 17.
    17 Для выемки, м: .75,2425,20,110,1110ПКсрср  НВН Для насыпи, м: 86,1310,26,66,643ПК срср  НbН и т.д. Графа 7 – возводим в квадрат среднюю рабочую отметку, м: ПК0–1 2,252 = 5,06. ПК1–2 5,102 = 26,01. Графа 8 – умножаем результаты графы 7 на показатель уклона откосов — .2 срmН В нашем случае m = 1,5, тогда ПК0 – 1 и т.д. Графа 9 и 10 – проставляются постоянные величины, опреде- ленные ранее, причем объем сливной призмы обязательно со знаком. Графа 11 – на пикетах, на которых располагается кривая, выписываем величину уширения земляного полотна в кривой. В нашем примере:  = 0,4 м и кривая располагается ПК2–К5. Графы 12 и 13 – дополнительный объем на уширение вычис- ляется умножением графы 11 на графу 7. Графа 14 – суммарная площадь поперечника. Оп редел яется Для насыпи – гр.14 = гр.5 + гр.8 + гр.9 + (гр.12) Для выемки – гр.14 = гр.6 + гр.8 – гр.9 + гр.10 + (гр.13) (гр.12 и гр.13) – только на участках уширения в кривой. Графа 15 – проставляются длины участков. В нашем случае длины всех участков – 100 м. Графа 16 и 17 – объем земляных работ отдельно насыпи и выемки: гр.16 (гр.17) = гр.14 · гр.15. Суммированием по графе 16 и 17 определяются помассивные объемы земляных работ и профильная кубатура. Vпр = Vн + Vв, (3) где Vн – сумма объемов насыпей, м3 ; Vв – сумма объемов выемок, м3 . В нашем примере Vпр = 25 632 + 33 530 = 59 162 м3 .
  • 18.
    18 В общем случаерабочая кубатура на объекте равна Vраб = Vв + Vрез + Vк, (4) где Vв – сумма объемов выемки, м3 ; Vрез – сумма объемов резервов, м3 ; Vк – сумма объемов карьеров, м3 . В данной практической работе карьер не предусматривается. В данном случае предусматриваем один резерв. Тогда Vраб = Vв + Vрез. Возможны два случая: Vн < Vв. Тогда Vраб = Vв, а объем кавальера Vкав = Vв – Vн. Если Vн > Vв, то необходимо предусмотреть резерв: Vрез = Vн – Vв, а рабочая кубатура Vраб = Vв + Vрез. В нашем примере Vн = 25 632 < Vв = 33 530 м3 . Объем кавальера: Vкав = 33 530 – 25 632 = 7898 м3 . Графа 18 – определяются на каждом пикете координаты графика суммарных объемов. Для этого производится алгебра- ическое суммирование объемов земляных работ (графа 16 и 17) с учетом знаков этих объемов: выемка (+) плюс, насыпь (–) минус. Так, в нашем примере координата на пикете 3 равна суммар- ному объему первой выемки Vв = 16 862 м3 . Далее идет насыпь, поэтому ПК4: +16862 – 2205 = +14657 м3 , ПК6: +5355 – 10958 = –5603 м3 и т.д. На ПК10 координата равна +7898 м3 , что точно совпадает с объемом кавальера, определенным ранее. Это является контро- лем правильности расчета координат графика [контрольныециф- ры (+7898 м3 ) в табл. 3 взяты в скобки]. Для избежание ошибок при вычерчивании графика суммарных объемов рекомендуем рядом с графой 18 проставить номера пикетов, что, и сделано в табл. 4. 3. Вычертить график попикетных объемов земляных работ. График попикетных объемов вычерчивается под продольным профилем в том же горизонтальном масштабе (см. рис. 3). Вертикальный масштаб рекомендуется в пределах от 1 см — 1000 м3 , до 1 см — 5000 м3 .
  • 19.
    19 Объемы насыпи ивыемки (графы 16 и 17 табл. 4) изображают в виде столбиков, высота которых равна объему земляных работ на каждом элементарном участке. Столбики выемки отклады- Рис. 3. График попикетных объемов
  • 20.
    20 вают вверх, анасыпи — вниз от нулевой линии графика. У каждого столбика подписывают попикетный объем выемки или насыпи (см. рис. 3). 4. Определить рабочую кубатуру и вычертить график сум- марных объемов земляных работ. График суммарных объемов вычерчивают под графиком по- пикетных объемов. Для построения кривой суммарных объемов погоризонтальной оси отложим расстояния, а по вертикальной — суммарные объемы грунта по всем элементам участка от его начала (графа 18 табл. 4). На участках выемки кривая растет вверх, на участках насыпи — вниз. Точки минимума и максиму- ма должны соответствовать нулевым местам. Рекомендуемый вертикальный масштаб графика: 1 см — 1000 м3 . В нашем примере, отрезки k–с и m–р – выемки; с–m – насыпь. Точки переломов графика (переход от подъема на спуск и обрат- но) соответствуют нулевым местам на профиле (ПК3 и ПК7). Каждая горизонтальная линия, проведенная на графике, отсе- кает равновеликие объемы, т.е. объем выемки равен объему насыпи. Это справедливо и для нулевой горизонтальной оси, на которой проставлены номера пикетов. Объем выемки (ПК0 – ПК3) и насыпи (ПК5 + 40 – ПК70) равны 8 770 м3 . Эти равновеликие объемы в сумме должны составлять объем насыпи: 16862 + 8770 = 25632 м3 (см. табл. 4 итог по графе 18). Остаток второй выемки – 7 898 м3 будет отсыпан в кавальер. Работы по сооружению земляного полотна можно выполнять двумя способами: — способом продольной возки, при котором выемка разраба- тывается с отсыпкой насыпи; — способом поперечной возки, при котором выемка разраба- тывается в кавальер, а насыпь отсыпается из резерва или карь- ера. Первый способ – продольная возка – имеет преимущества по сравнению с поперечным – дает минимальный объем рабочей кубатуры, поэтому с него и начинают распределение земляных масс и только если получаются слишком большие дальности возки грунта, переходят на поперечный способ производства работ.
  • 21.
    21 В практической работеприменяем способ производства зем- ляных работ – продольной возкой. Так как в общем случае объемы выемок и насыпей не равны между собой, то в зависимости от соотношения их величин – могут иметь место следующие варианты распределения земля- ных масс. 1. Объем насыпи меньше объемов выемок Vн < Vв. Насыпь отсыпается из выемок, а остаток одной из выемок разрабатывается в кавальер (этот случай рассмотрен в приме- ре). 2. Объем насыпи больше объема выемок Vн > Vв. Продольной возкой выемки разрабатываются в насыпь, а недостающий объем насыпи отсыпается из резерва. На рис. 4 приведены возможные графики суммарных объе- мов. Рис. 4.1. Здесь объем насыпи (отрезок b–d) больше объема выемки (отрезок a–b). Нулевая горизонтальная ось отсекает равновеликие объемы, т.е. грунтом выемки можно отсыпать насыпь до точки с. Остаток насыпи – отрезок c–d будет отсыпан из резерва объемом Vрез (место резерва показано на чертеже). Следовательно, в этом случае рабочая кубатура: Vраб = Vв + Vрез. Рис. 4.2. Здесь две выемки (a–b) и (d–e) и одна насыпь – (b–d), причем Vн > Vв. На первой выемки насыпь будет отсыпана до точки с, из второй – до точки k. Прямая k–е проведена горизонтально (параллельно нулевой оси) через точку е до пересечения с графиком в точке k и отсекает равновеликие объемы (Vн = Vв). Остаток насыпи (отре- зок с–k) будет отсыпан из резерва объемом Vрез. Следовательно, рабочая кубатура Vраб = Vв + Vрез. Рис. 4.3. Здесь две насыпи – (a–b) и (d–e) и одна выемка, причем Vв > Vн. Выемка будет разрабатываться в левую насыпь на участке графика (b–c), в правую насыпь — на участке (k–d); участок выемки (c–k) будет разрабатываться в кавальер объемом Vкав.
  • 22.
    22 Рис. 4.Возможные графикисуммарных объемов
  • 23.
    23 Рабочая кубатура Vраб= Vв. На чертеже показано место кавальера. Рис. 4.4. Здесь одна насыпь – (a–b) и одна выемка – (b–d), причем Vв > Vн. Выемка будет разрабатываться до точки с. Выемка на отрезке (c–d) будет разрабатываться в кавальер объемом Vкав. Рабочая кубатура Vраб = Vв. Вывод о проделанной работе. Практическое занятие 3 Расчет заряда на «выброс» Цель: научиться производить расчет массы заряда нормаль- ного выброса; определять необходимое количество зарядов и порядок их расстановки для производства работ. Исходные данные (табл. 5). 1. Группа грунта. 2. Длина и ширина участка. 3. Оптимальный показатель взрыва n = 2. 4. Глубина заложения заряда W, м. Таблица 5 Исходные данные Размеры участка, мВариант Группа грунта Глубина заложения заряда W, м длина, lуч ширина 1 I 3,0 90 10 2 I 3,5 100 20 3 II 4,0 110 15 4 III 4,5 200 10 5 I 5,0 180 20 6 V 5,5 130 20 7 VI 6,0 120 10 8 VII 6,5 120 10 9 IX 7,0 100 15 10 X 7,5 90 15 11 XI 8,0 100 15 12 VIII 8,5 130 20 13 I 9,0 100 10 14 II 9,5 100 10 15 III 3,1 120 10 16 IV 4,2 120 15
  • 24.
    24 Окончание табл. 5 Тр ебу ется 1. Рассчитать массу заряда нормального выброса. 2. Определить порядок размещения зарядов. 3. Определить количество всех зарядов и общую массу ВВ. Порядок выполнения 1. Рассчитать массу заряда нормального выброса, кг, по формуле Q = KW 3 , (5) где K — удельный расход взрывчатого вещества, кг/м3 , взорван- ного грунта для зарядов нормального выброса; значениекоэффи- циента K приведено в табл. 6; W – глубина заложения заряда, м. Таблица 6 Значение коэффициента K Радиус воронки взрыва r определяется, м r = nW. (6) 2. Определить порядок размещения зарядов. Группа грунтов по ЕНИР Значение коэффициента K Группа грунтов по ЕНИР Значение коэффициента K I–II 0,95 VIII 1,70 III 1,1 IX 1,80 IV–V 1,25 X 1,90 VI 1,40 XI 2,00 VII 1,50 Размеры участка, мВариант Группа грунта Глубина заложения заряда W, м длина, lуч ширина 17 V 5,3 100 20 18 VI 6,4 90 10 19 VII 7,6 120 10 20 VIII 8,7 100 15 21 IX 9,8 100 25 22 X 3,9 120 15 23 XI 4,8 120 25 24 III 5,7 100 10 25 I 6,6 90 20 26 V 7,7 100 20 27 VI 8,8 150 15 28 VII 9,1 90 20 29 III 3,3 120 10 30 X 4,4 140 30
  • 25.
    25 Эффект взрыва зависитот правильности расположения и выбора рациональных расстояний a между зарядами в ряду и расстояний b между рядами зарядов. При взрыве на выброс нормальное сближение зарядов a будет иметь место при условии полного взаимного перекрытия воронок выброса на величину радиуса воронки r. Для зарядов выбросов примем, м .)1(5,0  nWa (7) Расстояние между рядами зарядов b должно быть не больше величины а, поэтому принимают b = 0,85a. Количество зарядов в ряду определяется по формуле .1чч  а l z (8) 3. Определить количество всех зарядов. N = tz, (9) где t – количество рядов, t = 2; z – количество зарядов в каждом ряду. Общая масса ВВ рассчитывается по формуле Q = QN. (10) Начертить план расстановки зарядов. Вывод о проделанной работе. Практическая работа 4 Составление ведомости объемов работ по строительству сборной железобетонной трубы Цель: углубить знания по теме «Строительство водопропуск- ных труб»; научиться рассчитывать объемы работ по каждому элементу сооружения. Исходные данные (табл. 7). 1. Категория линии. 2. Грунты. 3. Тип водопропускного сооружения. 4. Рабочая отметка.
  • 26.
    26 Таблица 7 Исходные данные Вари- ант Категория ж.-д.линии Грунт Тип водо- пропускного сооружения Рабочая отметка 1 2 3 4 5 Супесь ПЖБТ; 21,0 4,8 КЖБТ; 31,25 3,6 1 I Суглинок КЖБТ; 1,5 2,8 Крупнообломочный с песчаным заполнителем КЖБТ; 21,25 3,3 Песок мелкий ПЖБТ; 21,0 2,5 2 II Песок мелкий КЖБТ; 32,0 3,2 Суглинок КЖБТ; 32,0 3,5 ПЖБТ; 21,0 2,6 3 III Крупнообломочный с песчаным заполнителем КЖБТ; 1,0 3,2 Крупнообломочный с глиняным заполнителем ПЖБТ; 1,0 4,2 Крупнообломочный с песчаным заполнителем ПЖБТ; 21,25 3,2 4 IV Крупнообломочный с глиняным заполнителем КЖБТ; 21,0 2,6 Суглинок ПЖБТ; 1,5 2,8 КЖБТ; 31,0 2,0 5 II Крупнообломочный с песчаным заполнителем ПЖБТ; 22,0 4,3 Песок дренированный ПЖБТ; 2,0 3,9 Суглинок КЖБТ; 1,25 2,2 6 IV Суглинок КЖБТ; 32,0 6,3 Песок дренированный ПЖБТ; 2,50 3,7 Суглинок КЖБТ; 21,25 2,4 7 I Суглинок ПЖБТ; 23,0 4,6 Суглинок ПЖБТ; 22,50 7,4 КЖБТ; 31,25 5,4 8 I Крупнообломочный с песчаным заполнителем КЖБТ; 1,5 2,9 Крупнообломочный с песчаным заполнителем КЖБТ; 31,5 3,69 II Песок мелкий ПЖБТ; 24,0 5,9 Суглинок КЖБТ; 1,0 3,4 КЖБТ; 32,0 4,9 10 IV Крупнообломочный с песчаным заполнителем ПЖБТ; 21,0 6,7 Крупнообломочный с глиняным заполнителем ПЖБТ; 23,0 6,9 Крупнообломочный с песчаным заполнителем КЖБТ; 31,5 3,5 11 I Супесь КЖБТ; 2,5 4,2
  • 27.
    27 Продолжение табл. 7 Вари- ант Категория ж.-д.линии Грунт Тип водо- пропускного сооружения Рабочая отметка Супесь КЖБТ; 2,0 3,9 Суглинок ПЖБТ; 21,0 2,8 12 III Суглинок КЖБТ; 32,0 6,3 Крупнообломочный с песчаным заполнителем КЖБТ; 32,50 7,8 Песок мелкий ПЖБТ; 21,0 2,3 13 II Песок мелкий КЖБТ; 1,0 3,0 Суглинок ПЖБТ; 1,0 2,8 ПЖБТ; 21,25 2,5 14 II Крупнообломочный с песчаным заполнителем КЖБТ; 23,0 4,6 Песок дренированный ПЖБТ; 2,50 5,0 Суглинок КЖБТ; 21,25 2,6 15 I Суглинок ПЖБТ; 23,0 5,9 Песок дренированный ПЖБТ; 22,50 5,4 Суглинок КЖБТ; 31,25 3,8 16 IV Суглинок КЖБТ; 1,5 5,6 Суглинок КЖБТ; 31,5 4,2 ПЖБТ; 24,0 8,6 17 II Крупнообломочный с песчаным заполнителем ПЖБТ; 1,0 5,0 Песок дренированный КЖБТ; 31,0 4,2 Суглинок КЖБТ; 32,0 4,8 18 IV Суглинок ПЖБТ; 23,0 6,0 Суглинок КЖБТ; 31,25 3,2 КЖБТ; 1,5 2,6 19 II Крупнообломочный с песчаным заполнителем КЖБТ; 21,25 2,8 Супесь ПЖБТ; 21,0 3,2 Суглинок КЖБТ; 32,0 4,5 20 III Суглинок КЖБТ; 32,0 5,0 Крупнообломочный с глиняным заполнителем ПЖБТ; 21,0 2,3 Крупнообломочный с песчаным заполнителем КЖБТ; 1,0 2,5 21 III Крупнообломочный с глиняным заполнителем ПЖБТ; 1,0 2,2 Супесь ПЖБТ; 21,25 2,9 Суглинок КЖБТ; 21,0 2,1 22 IV Суглинок ПЖБТ; 1,5 3,5
  • 28.
    28 Окончание табл. 7 Требуется: 1.Рассчитать длину труб. 2. Определить объемы основных работ. Порядок выполнения Определение объемов основных работ ведется в ведомостях (табл. 8). Для заполнения ведомости необходимы: Вари- ант Категория ж.-д. линии Грунт Тип водо- пропускного сооружения Рабочая отметка Крупнообломочный с песчаным заполнителем КЖБТ; 2,0 3,6 Песок мелкий ПЖБТ; 21,0 2,8 23 I Песок мелкий КЖБТ; 32,0 3,6 Крупнообломочный с глиняным заполнителем КЖБТ; 1,0 4,2 Крупнообломочный с песчаным заполнителем КЖБТ; 32,0 4,8 24 I Супесь ПЖБТ; 23,0 6,0 Супесь КЖБТ; 2,0 3,6 Суглинок ПЖБТ; 21,0 2,8 25 III Суглинок КЖБТ; 32,0 3,6 Крупнообломочный с песчаным заполнителем ПЖБТ; 21,25 2,9 Песок мелкий КЖБТ; 21,0 2,1 26 II Песок мелкий ПЖБТ; 1,5 3,5 Суглинок ПЖБТ; 1,0 2,8 ПЖБТ; 21,25 2,5 27 II Крупнообломочный с песчаным заполнителем КЖБТ; 23,0 4,6 Супесь КЖБТ; 31,25 3,2 Суглинок КЖБТ; 1,5 2,6 28 I Суглинок КЖБТ; 21,25 2,8 Крупнообломочный с глиняным заполнителем ПЖБТ; 21,0 3,2 Крупнообломочный с песчаным заполнителем КЖБТ; 32,0 4,5 29 IV Крупнообломочный с глиняным заполнителем КЖБТ; 32,0 5,0 Суглинок ПЖБТ; 21,0 2,3 КЖБТ; 1,0 2,5 30 II Крупнообломочный с песчаным заполнителем ПЖБТ; 1,0 2,2
  • 29.
    29 1) тип водопропускныхсооружений; 2) рабочие отметки земляного полотна (высота насыпи); 3) таблицы объемов работ по постройке малых водопропуск- ных сооружений на 1 пог. м. длины трубы (табл. 10–13). Длину трубы, м, определяем по формулам: — при высоте насыпи до 6 м  ,2 нт dHmbL  (11) — при высоте насыпи более 6 м    ,212 нвт dHmmmbL в  (12) где b – ширина площадки земляного полотна, м, (табл. 2 практи- ческая работа 2); mн, mв – показатели крутизны откосов соответ- ственноверхней и нижнейчастей насыпи, принимаются потабл. 9; d – внутренний диаметр круглой трубы или высота прямоуголь- ной, м; H – высота насыпи, м. Таблица 8 Ведомость объемов основных работ по строительству сборной железобетонной трубы Располо- жение трубы Тип трубы Kол-во очков Высота насыпи Н, м Длина трубы Lт , м Kотлован, м3 на 1 п.м под трубу под оголовки всего 1 2 3 4 5 6 7 8 9 Продолжение табл. 8 Щебеночная подготовка, м3 Фундаменты, м3 на 1 п.м под трубу под оголовки всего на 1 п.м под трубу под оголовки всего 10 11 12 13 14 15 16 17
  • 30.
    30 Продолжение табл. 8 Локальные блоки,м3 Звенья, м3 Гидроизоляция, м3 на 1 п.м под трубу на 1 п.м трубы двух ого- ловков на 1 п.м на трубу ого- ловков всего 18 19 20 21 22 23 24 25 26 Окончание табл. 8 Засыпка пазух, м3 Засыпка трубы, м3 Подготовка под лотки, м3 Бетониро- вание лотков, м3на 1 п.м на трубу оголовков всего 27 28 29 30 31 32 33 Таблица 9 Крутизна откосов насыпи Крутизна откосов при высоте насыпи До 12 м Вид используемых грунтов До 6 м В верхней части вы- сотой 6 м В нижней части от 6 до 12 м Раздробленные скальные слабовыветрива- ющиеся и выветривающиеся, крупнообло- мочные и крупнообломочные с песчаным заполнителем, пески гравелистые крупные и средней крупности, металлургические шлаки 1:1,5 1:1,5 1:1,5 Пески мелкие и пылеватые, глинистые грунты (в том числе лёссовидные) твердой и полутвердой консистенции, крупнообло- мочные с глинистым заполнителем такой же консистенции, раздробленные скаль- ные, легковыветривающиеся 1:1,5 1:1,5 1:1,75
  • 31.
    31 Окончание табл. 9 Потабл. 10–13 определяем объемы работ по постройке труб на 1 пог. м тела трубы и на два оголовка. Заполняем ведомость объемов основных работ по строительству сборной железобе- тонной трубы (см. табл. 8). Вывод о проделанной работе. Крутизна откосов при высоте насыпи До 12 м Вид используемых грунтов До 6 м В верхней части вы- сотой 6 м В верхней части вы- сотой 6 м Глинистые грунты тугопластичной кон- систенции и крупнообломочные грунты с глинистым заполнителем 1:2 По индивидуальному проекту Глинистые и пылеватые грунты (в том числе лёссовидные) в районах избыточного увлажнения, а также пески однородные, мелкие, пылеватые 1:1,75 1:1,75 1:2 Пески мелкие барханные в районах с засушливым климатом 1:2 1:2 1:2
  • 32.
    32 Таблица 10 Объемы работпо постройке прямоугольных железобетонных водопропускных труб, на 1 пог. м тела трубы Монтаж, м3 Гидроизоля ция, м3 Отвер- стие, м Высота насыпи, м Рытье котло- вана, м3 Щебе- ноч- ная под- готов- ка, м3 фун- да- мен- та звень- ев обма- зоч- ная окле- еч- ная Засып- ка трубы, м3 Наиболь- шая масса элемента, т До 3,0 2,5 0,1 1,1 0,7 2,3 2,6 1,3 1,4 3,1–7,0 2,6 0,1 1,1 0,7 2,4 2,6 1,3 1,61,0 7,1–19,0 2,7 0,1 1,1 0,8 2,5 2,6 1,4 1,6 До 3,0 3,7 0,2 1,9 1,3 2,3 3,8 1,9 1,4 3,1–7,0 3,8 0,2 1,9 1,4 2,4 3,8 1,9 1,6210 7,1–19,0 4,0 0,2 1,9 1,5 2,5 3,8 2,0 1,6 До 3,0 2,9 0,2 1,7 0,8 2,4 2,9 1,4 1,8 3,1–7,0 3,1 0,2 1,8 0,9 2,5 2,9 1,5 2,01,25 7,1–19,0 3,2 0,2 1,9 1,0 2,6 2,9 1,6 2,2 До 3,0 4,5 0,4 2,0 1,6 2,4 4,4 2,1 2,1 3,1–7,0 ,47 0,4 2,0 1,8 2,5 4,4 2,2 2,221,25 7,1–19,0 4,9 0,4 2,0 2,0 2,6 4,4 2,4 2,4 До 3,5 3,3 0,2 1,6 1,1 3,2 3,2 1,4 1,4 3,6–9,0 3,5 0,2 1,6 1,3 3,4 3,2 1,5 1,51,5 9,1–19,0 3,8 0,2 1,6 1,6 3,6 3,3 1,6 1,6 До 3,5 5,3 0,4 3,1 2,2 3,2 4,9 2,2 2,2 3,6–9,0 5,6 0,4 3,1 2,3 3,4 4,9 2,3 3,321,5 9,1–19,0 5,9 0,4 3,1 3,2 3,5 5,1 2,4 3,4 До 3,5 4,1 0,3 2,0 1,4 3,3 3,8 1,6 3,5 3,6–9,0 4,4 0,3 2,0 1,7 3,5 3,8 1,7 4,22,0 9,1–19,0 4,9 0,3 2,0 2,3 3,8 4,0 1,8 5,6 До 3,5 6,4 0,6 3,9 2,8 3,3 6,1 2,3 3,5 3,6–9,0 6,8 0,6 3,9 3,4 3,5 6,1 2,4 4,222,0 9,1–19,0 7,5 0,6 3,9 4,5 3,8 6,3 2,5 5,6 До 3,5 4,7 0,3 2,2 1,8 3,4 4,4 1,6 4,4 3,6–9,0 4,9 0,3 2,2 2,3 3,6 4,5 1,7 5,82,50 9,1–19,0 5,5 0,3 2,2 3,1 4,1 4,6 2,1 7,8 До 3,5 7,6 0,6 4,7 3,5 3,4 7,2 2,6 4,4 3,6–9,0 8,2 0,6 4,7 4,6 3,6 7,5 2,7 5,822,50 9,1–19,0 9,1 0,6 4,7 6,2 4,1 7,6 3,5 7,8 До 9,0 5,8 0,4 2,8 3,2 4,3 5,4 1,9 6,2 3,0 9,1–19,0 6,4 0,4 2,3 4,0 4,6 5,6 2,2 8,0 До 9,0 9,6 0,8 5,6 6,4 4,0 8,8, 2,8 6,2 23,0 9,1–19,0 10,5 0,8 5,7 8,0 4,6 9,1 3,0 8,0 До 9,0 7,1 0,5 3,6 4,0 4,0 6,4 2,0 9,1 4,0 9,1–19,0 8,2 0,5 3,7 5,4 4,6 7,2 2,4 10,0 До 9,0 12,0 0,1 7,2 8,0 4,3 10,8 3,7 9,1 24,0 9,1–19,0 13,9 0,1 7,5 10,9 4,6 11,8 3,8 10,0
  • 33.
    33 Таблица 11 Объемы работпо постройке прямоугольных железобетонных водопропускных труб, на два оголовка Подготовка, м3 Монтаж, м3 Гидроизоляция, м3 Отвер- стие, м Высота насыпи, м Рытье котло- вана, м3 Гравийно- песчаная Щебе- ночная Фунда- мента Над- фунда- ментной части Бетони- рование лотка, пазух и др., м3 обма- зочная оклееч- ная Засып- ка трубы, м3 Наи- большая масса элемен- та, т 1 2 3 4 5 6 7 8 9 10 11 12 До 3,0 120 3,2 7,9 14,0 14,2 2,1 67 12,9 92 4,3 3,1–7,0 120 3,2 7,9 14,0 14,2 2,1 67 12,9 92 4,31,0 7,1–19,0 120 3,2 7,9 14,0 14,2 2,1 67 12,9 92 4,3 До 3,0 149 6,4 15,8 26,0 18,3 4,2 67 19,1 115 4,3 3,1–7,0 149 6,4 15,8 26,0 18,4 4,2 67 19,1 115 4,321,0 7,1–19,0 149 6,4 15,8 26,0 17,6 4,2 67 19,1 115 4,3 До 3,0 129 3,6 8,6 16,8 16,1 2,4 68 14,5 99 4,5 3,1–7,0 129 3,6 8,6 16,8 16,2 2,4 68 14,5 99 4,51,25 7,1–19,0 129 3,6 8,6 16,8 16,4 2,4 68 14,5 99 4,5 До 3,0 165 7,2 17,2 32,0 22 4,8 68 22,3 130 4,5 3,1–7,0 165 7,2 17,2 32,0 24 4,8 68 22,3 130 4,521,25 7,1–19,0 165 7,2 17,2 32,0 26 4,8 68 22,3 130 4,5 До 3,5 155 5,9 9,0 21,0 21,0 3,9 92 16,3 113 4,7 3,6–9,0 155 5,9 9,0 21,3 21,2 4,0 92 16,3 113 4,71,5 9,1–19,0 157 5,9 9,0 21,4 21,5 4,1 92 16,3 113 4,7 До 3,5 177 11,8 18,0 37,1 27,6 7,8 92 25,4 129 4,7 3,6–9,0 180 11,8 18,0 37,4 27,9 8,0 92 25,4 129 4,721,5 9,1–19,0 183 11,8 18,0 38,5 28,5 8,2 92 25,8 129 4,7 До 3,5 172 6,8 9,0 25,6 22,8 4,6 92 19,3 123 5,1 3,6–9,0 174 6,8 9,1 25,8 23,0 4,9 92 19,3 125 5,12,0 9,1–19,0 177 6,8 9,6 26,0 23,6 5,0 92 19,3 128 5,1 До 3,5 192 136 180 46,9 31,0 9,2 92 30,6 140 5,1 3,6–9,0 198 136 182 47,4 31,6 9,6 92 30,6 142 5,122,0 9,1–19,0 202 136 192 49,2 32,7 10,0 92 31 145 5,1 До 3,5 179 6,1 8,3 29,4 24,7 11,7 92 21,7 134 5,5 3,6–9,0 182 7,8 9,8 29,6 25,2 5,4 92 21,9 137 5,52,50 9,1–19,0 187 7,8 10,6 29,9 26,0 5,7 92 22,1 141 5,5 До 3,5 215 12,2 16,6 59,1 35,0 33,4 92 35,6 157 5,5 3,6–9,0 218 15,6 19,6 60,8 36,1 10,8 92 36,2 160 5,522,50 9,1–19,0 225 15,6 21,1 62,8 37,7 11,4 92 36,6 164 5,5 До 9,0 188 10,6 9,6 32,6 29,0 8,2 102 21,2 130 6,2 3,0 9,1–19,0 216 10,6 13,4 33,2 30,6 8,2 102 22,0 156 6,2 До 9,0 240 21,2 19,2 63,2 41,4 16,4 102 35,2 173 6,2 23,0 9,1–19,0 250 21,2 26,8 64,6 44,6 16,4 102 35,6 199 6,2 4,0 До 19,0 216 13,0 12,2 40,6 32,4 9,0 102 24,8 158 6,9 24,0 До 9,0 274 26,0 24,4 81,2 48,4 19,0 102 42,4 197 6,9
  • 34.
    34 Таблица 12 Объемы работпо постройке круглых железобетонных водопропускных труб, на 1 пог. м. тела трубы Монтаж, м3 Гидроизоляция, м2 Отвер- стие, м Высота насыпи, м Рытье котло- вана, м3 Щебе- ночная подго- товка, м3 фунда- мента лекаль- ных блоков звеньев Бетони- рование пазух многооч- ковых труб, м3 Обмазоч- ная Оклееч- ная Засып- ка тру- бы, м3 1 2 3 4 5 6 7 8 9 10 11 До 3,0 2,7 0,2 0,7 0,38 0,35 — 2,8 1,0 1,4 1,0 3,1–6,0 2,8 0,2 0,7 0,28 0,42 — 2,9 1,0 1,5 До 3,0 4,3 0,3 1,5 0,76 0,70 0,6 — 5,2 1,4 21,0 3,1–6,0 4,4 0,3 1,5 0,76 0,84 0,6 — 5,3 1,5 До 3,0 5,6 0,5 2,1 1,14 1,05 1,3 — 6,7 1,4 31,0 3,1–6,0 5,7 0,5 2,14 1,14 1,25 1,2 — 6,8 1,5 До 3,0 3,1 0,2 0,8 0,48 0,52 — 3,5 1,2 1,5 3,1–7,0 3,2 0,2 0,8 0,48 0,61 — 3,5 ,2 1,51,25 7,1–19,0 3,4 0,2 0,8 0,50 0,81 — 3,6 1,3 1,6 До 3,0 4,8 0,4 1,6 0,96 1,04 0,9 — 6,4 1,5 3,1–7,0 4,9 0,4 1,6 0,96 1,22 0,9 — 5,5 1,521,25 7,1–19,0 5,1 0,4 1,6 1,00 1,62 0,8 — 6,7 1,6 До 3,0 6,7 0,6 2,6 1,44 1,56 1,9 — 8,2 1,5 3,1–7,0 6,9 0,6 2,6 1,44 1,83 1,9 — 8,3 1,531,25 7,1–19,0 7,2 0,6 2,6 1,50 2,43 1,7 — 8,5 1,6 До 3 3,5 0,2 1,0 0,57 0,72 — 4,0 1,4 1,6 3,1–8,0 3,6 0,2 1,0 0,57 0,84 — 4,1 1,4 1,51,5 8,1–19,0 3,9 0,2 1,0 0,51 1,19 — 4,3 1,5 1,8 До 3 5,6 0,4 2,0 1,14 1,44 1,3 — 7,5 1,6 3,1–8,0 5,7 0,4 2,0 1,14 1,68 1,3 — 7,6 1,621,5 8,1–19,0 6,1 0,4 2,0 1,24 2,38 1,1 — 7,9 1,8 До 3 7,6 0,7 2,9 1,71 2,16 2,7 — 9,6 1,5 3,0–8,0 7,8 0,7 2,9 1,71 2,52 2,6 — 9,7 1,531,5 8,1–19,0 8,3 0,7 2,9 1,85 3,57 2,3 — 10,0 1,8 До 3 4,0 0,3 1,1 0,74 1,09 — 5,1 1,7 1,6 3,1–8,0 4,2 0,3 1,1 0,79 1,38 — 5,2 1,8 1,72,0 8,1–19,0 4,4 0,3 1,1 0,81 1,69 — 5,4 1,8 1,8 До 3 6,7 0,5 2,4 1,48 2,18 2,2 — 9,6 1,6 3,1–8,0 7,0 0,3 2,4 1,58 2,76 2,1 — 9,8 1,722,0 8,1–19,0 7,3 0,3 2,4 1,62 3,38 2,0 — 10,0 1,8 До 3 9,5 0,8 3,7 2,22 3,27 4,6 — 12,3 1,6 3,1–8,0 9,9 0,8 3,7 2,37 4,14 4,3 — 12,5 1,732,0 8,1–19,0 10,3 0,8 3,7 2,43 5,07 4,1 — 12,7 1,8
  • 35.
    35 Таблица 13 Объемы работпо постройке круглых железобетонных водопропускных труб, на два оголовка (типовой проект инв. № 101) Практическая работа 5 Составление календарного графика строительства сборной железобетонной трубы Цель: научиться производить расчеты продолжительности выполнения циклов работ на каждом сооружении; составлять календарный план-график по постройке сборной железобетонной трубы. Исходные данные 1. Объемы работ по каждому элементу сооружений (табл. 8; практическая работа 4). Монтаж, м3 Гидроизоляция, м2 Отвер- стие, м Высота насыпи, м Рытье котлова на, м3 Щебе- ночная подго- товка, м3 фунда- мента лекаль- ных блоков звеньев Бетониро- вание пазух многооч- ковых труб, м3 Обмазоч- ная Оклееч- ная Засып- ка трубы, м3 1 2 3 4 5 6 7 8 9 10 11 До 3,0 2,7 0,2 0,7 0,38 0,35 — 2,8 1,0 1,4 1,0 3,1–6,0 2,8 0,2 0,7 0,28 0,42 — 2,9 1,0 1,5 До 3,0 4,3 0,3 1,5 0,76 0,70 0,6 — 5,2 1,4 21,0 3,1–6,0 4,4 0,3 1,5 0,76 0,84 0,6 — 5,3 1,5 До 3,0 5,6 0,5 2,1 1,14 1,05 1,3 — 6,7 1,4 31,0 3,1–6,0 5,7 0,5 2,14 1,14 1,25 1,2 — 6,8 1,5 До 3,0 3,1 0,2 0,8 0,48 0,52 — 3,5 1,2 1,5 3,1–7,0 3,2 0,2 0,8 0,48 0,61 — 3,5 ,2 1,51,25 7,1–19,0 3,4 0,2 0,8 0,50 0,81 — 3,6 1,3 1,6 До 3,0 4,8 0,4 1,6 0,96 1,04 0,9 — 6,4 1,5 3,1–7,0 4,9 0,4 1,6 0,96 1,22 0,9 — 5,5 1,521,25 7,1–19,0 5,1 0,4 1,6 1,00 1,62 0,8 — 6,7 1,6 До 3,0 6,7 0,6 2,6 1,44 1,56 1,9 — 8,2 1,5 3,1–7,0 6,9 0,6 2,6 1,44 1,83 1,9 — 8,3 1,531,25 7,1–19,0 7,2 0,6 2,6 1,50 2,43 1,7 — 8,5 1,6 До 3 3,5 0,2 1,0 0,57 0,72 — 4,0 1,4 1,6 3,1–8,0 3,6 0,2 1,0 0,57 0,84 — 4,1 1,4 1,51,5 8,1–19,0 3,9 0,2 1,0 0,51 1,19 — 4,3 1,5 1,8 До 3 5,6 0,4 2,0 1,14 1,44 1,3 — 7,5 1,6 3,1–8,0 5,7 0,4 2,0 1,14 1,68 1,3 — 7,6 1,621,5 8,1–19,0 6,1 0,4 2,0 1,24 2,38 1,1 — 7,9 1,8 До 3 7,6 0,7 2,9 1,71 2,16 2,7 — 9,6 1,5 3,0–8,0 7,8 0,7 2,9 1,71 2,52 2,6 — 9,7 1,531,5 8,1–19,0 8,3 0,7 2,9 1,85 3,57 2,3 — 10,0 1,8 До 3 4,0 0,3 1,1 0,74 1,09 — 5,1 1,7 1,6 3,1–8,0 4,2 0,3 1,1 0,79 1,38 — 5,2 1,8 1,72,0 8,1–19,0 4,4 0,3 1,1 0,81 1,69 — 5,4 1,8 1,8 До 3 6,7 0,5 2,4 1,48 2,18 2,2 — 9,6 1,6 3,1–8,0 7,0 0,3 2,4 1,58 2,76 2,1 — 9,8 1,722,0 8,1–19,0 7,3 0,3 2,4 1,62 3,38 2,0 — 10,0 1,8 До 3 9,5 0,8 3,7 2,22 3,27 4,6 — 12,3 1,6 3,1–8,0 9,9 0,8 3,7 2,37 4,14 4,3 — 12,5 1,732,0 8,1–19,0 10,3 0,8 3,7 2,43 5,07 4,1 — 12,7 1,8
  • 36.
    36 2. Нормы затраттруда рабочих-строителей Нвр, времени работы машин. Принимаются по табл. 15–25. 3. Состав специализированных звеньев (практическая рабо- та 1). Порядок выполнения Малые водопропускные сооружения возводятся в основном поточным методом. Создают специализированные потоки. Для этого определяют продолжительность выполнения работ на каж- дом сооружении. Расчеты сводят в ведомость (табл. 14). Порядок заполнения ведомости: Графа 1 – порядковый номер цикла (частного потока). Графа 2 – наименование частных строительных потоков. Графа 3 – единица измерения объема выполняемых работ. Графа 4 – объем работ, принимаемых по табл. 8 практической работы 4. Графа 5 – нормы затрат труда Нвр принимаем по табл. 15–25. Графа 6 – трудоемкость работ, определяется по формуле , 100 вр р ПНV Т i  (13) где Vi – соответствующего элемента трубы (графа 4); П – показатель производительности труда; П = 120–130 %. Графа 7 – численность человек в бригадах, принимается по табл. 1 практической работы 1. Графа 8 – количество смен, 1–2 смены. Графа 9 – продолжительность отдельных элементарных час- тных потоков в днях по водопропускным сооружениям , 8 4,1 i р i Rn Т t    (14) где Ri – численность рабочих в специализированном звене или бригаде, чел. (графа 7); n – количество смен; 8 – количество часов работы в смене; 1,4 – коэффициент, учитывающий выход- ные и праздничные дни.
  • 37.
    37 Таблица 14 Ведомость определенияпродолжительности циклов работ (частных потоков) на каждой водопропускной трубе Подготовительные работы включают в себя комплекс от- дельных взаимосвязанных мероприятий, трудоемкость которых по каждой трубе составляет 10 % от общей трудоемкости всех работ. В комплекс работ по строительству труб входят также транспортные и прочие работы, на которые приходится до 15 % от общей трудоемкости. Выполнив расчет продолжительности работ по постройке трубы необходимо начертить календарный план-график по пост- ройке круглой сборной железобетонной трубы (см. рис. 5–7). Вывод о проделанной работе. Трудоем- кость, чел.- дни № цик- ла Наименование работы Ед. изм. Объем еди- нич- ная пол- ная Состав звена, чел. Кол- во смен Продол- житель- ность, дни 1 2 3 4 5 6 7 8 9 1. Круглая сборная железобетонная труба, отв. ….. ПК….+……… I Подготовительные работы Чел.- дни 10 % Тр II Котлован: 1. Экскаватор (70 %) 2. Вручную (30 %) 3. Щебеночная подготовка м3 м3 м3 III Строительно-монтажные работы: 1. Фундаменты 2. Лекальные блоки 3. Звенья трубы 4. Звенья оголовков м3 м3 м3 м3 IV Гидроизоляция м2 V Устройство лотков: 1. Песчано-гравийная подготовка 2. Бетонирование лотков м3 м3 VI Засыпка грунтом: 1. Пазух 2. Трубы на 0,5 м м3 м3 Транспортные и прочие работы 15 % Тр= 2. Круглая сборная железобетонная труба, отв. ….. ПК….+………
  • 38.
  • 39.
  • 40.
  • 41.
    41 Затраты труда напостройку малых водопропускных сооружений (выписка из СНиП 4.02-91 и 4.05-91. Сборник 30. «Мосты и трубы». «Железобетонные и бетонные конструкции мостов и труб») Таблица 15 Устройство подушек под фундаменты (ед. изм. – 100 м3 подушки) Таблица 16 Устройство сборных фундаментов (ед. изм. – 100 м3 сборных конструкций) Таблица 17 Укладка лекальных блоков под звенья железобетонных круглых труб (ед. изм. – 1 м3 железобетонных блоков) Таблица 18 Укладка звеньев одноочковых круглых труб (ед. изм. – 1 м3 железобетонных звеньев) Наименование элементов затрат Ед. изм. Щебеночных Песчаных из гра- вия, дресвы или их смеси Песчано- щебеночных Затраты труда рабочих-строителей чел.-ч 199 194 256 Затраты труда машинистов чел.-ч 6,95 6,09 8,64 Наименование элементов затрат Ед. изм. Норма Затраты труда рабочих-строителей чел.-ч 244 Затраты труда машинистов чел.-ч 82 Отверстие труб, м Наименование элементов затрат Ед. изм. 1 2 Затраты труда рабочих-строителей чел.-ч 1,94 1,5 Затраты труда машинистов чел.-ч 0,73 0,56 Отверстие труб, м 1,25 1,5 2,0 Высота насыпи (на железных дорогах/на автодорогах), м, до Наименование элементов затрат Ед. изм. 3/4 7/8 19/20 3/3 8/9 19/20 3/5 8/8 19/20 Затраты труда ра- бочих-строителей чел.-ч 6,41 5,5 4,16 5,46 4,76 3,38 4,55 3,58 2,95 Затраты труда машинистов чел.-ч 1,54 1,32 0,99 1,3 1,14 0,81 1,06 0,83 0,69
  • 42.
    42 Таблица 19 Укладка звеньевдвухочковых круглых труб (ед. изм. – 1 м3 железобетонных звеньев) Таблица 20 Укладка звеньев трехочковых круглых труб (ед. изм. – 1 м3 железобетонных звеньев) Таблица 21 Сооружение оголовков круглых железобетонных труб Отверстие труб, м 21,25 21,5 22,0 Высота насыпи (на железных дорогах/на автодорогах), м, до Наименование элементов затрат Ед. изм. 3/4 7/8 19/20 3/3 8/9 19/20 8/9 19/20 Затраты труда ра- бочих-строителей чел.-ч 8,66 7,4 5,36 7,74 6,78 4,55 7,08 4,52 Затраты труда машинистов чел.-ч 2,37 2,02 1,45 2,14 1,89 1,24 2,0 1,27 Отверстие труб, м 31,0 31,25 31,5 32,0 Высота насыпи (на железных дорогах/на автодорогах), м, до Наименова- ние элемен- тов затрат Ед. изм. 3/4 6/7 3/3 7/8 19/20 3/3 8/9 19/20 3/5 8/8 19/20 Затраты труда рабочих-стро- ителей чел.-ч 11 9,13 9,57 8,26 5,96 8,63 7,47 5,04 8,3 6,25 5,11 Затраты труда машинистов чел.-ч 3,12 2,55 2,71 2,32 1,66 2,47 2,14 1,41 2,44 1,82 1,48 Одноочко- вых Двухочковых Трехочковых отверстием, м, до Наименование элементов затрат Ед. изм. 1–2 2(1,25–2) 31,25 3(1,5–2,0) Затраты труда рабо- чих-строителей чел.-ч 2,79 3,45 3,82 3,7 Затраты труда машинистов чел.-ч 0,61 0,6 0,67 0,58
  • 43.
    43 Таблица 22 Сооружение оголовководноочковых и двухочковых прямоугольных труб (ед. изм. – 1 м3 железобетона) Таблица 23 Установка блоков стенок бетонных прямоугольных труб и оголовков (ед. изм. – 1 м3 сборных конструкций) Таблица 24 Устройство гидроизоляции проезжей части мостов (ед. изм. – 1 м3 изолируемой поверхности) входных выходных Входных и выходных отверстием, м, до Наименование элементов затрат Ед. изм. 1,25 2,0 2,5 1,25 2,0 2,5 3–4 Затраты труда рабочих-строителей чел.-ч 3,16 2,54 2,54 2,38 3,02 2,85 2,12 Затраты труда машинистов чел.-ч 0,77 0,62 0,6 0,6 0,79 0,7 0,5 одноочковых двухочковых отверстие трубы, м, доНаименование элементов затрат Ед. изм. 3 6 3 6 Затраты труда рабочих- строителей чел.-ч 3,38 4,09 3,95 3,48 Затраты труда машинистов чел.-ч 0,51 0,51 0,51 0,34 Борные ж/б конструкции м3 1 1 1 1 Бетон гидротехничекий м3 0,13 0,51 0,18 0,46 Растворы готовые кладочные м3 0,18 0,18 0,17 0,12 Обмазочная Битумной мастикой Эпоксидной мастикой Наименование элементов затрат Ед. изм. Оклеечная (2 слоя) двухслой- ной дополни- тельный слой двухслой- ной дополни- тельный слой Затраты труда рабочих-строи- телей чел.-ч 91 60,5 17,3 73 12,7 Затраты труда машинистов чел.-ч 3,72 2,46 1,21
  • 44.
  • 45.
    45 Библиографический список 1. ГрицыкВ.И. Земляное полотно железных дорог. М.: Маршрут, 2005. 2. Кантор И.И., Гулецкий Б.В. Основы проектирования и строительства железных дорог. М.: Транспорт, 1990. 3. Крейнис З.Л. Организация, технология и управление техническим обслу- живанием железнодорожного пути. М.: Маршрут, 2004. 4. Крейнис З.Л., Федоров И.В. Железнодорожный путь. М.: Маршрут, 2000. 5. Пособие бригадиру пути / Под ред. Э.В. Воробьева. М.: Маршрут, 2005. 6. Призмазонов A.M., Спиридонов Э.С. Строительство железных дорог в чрезвычайных ситуациях. М.: Маршрут, 2004. 7. Прокудин И.В., Грачев И.А., Колос А.Ф. Организация переустройства железных дорог под скоростное движение поездов. М.: Маршрут, 2005. 8. Расчеты и проектирование железнодорожного пути / Под ред. В.В. Виноградова, A.M. Никонова. М.: Маршрут, 2003. 9. Строительно-технические нормы МПС РФ. Железные дороги колеи 1520 мм / СТН Ц-01-95. М.: Транспорт, 1995. 10. Строительство железных дорог: Учеб. пособие для студентов железно- дорожных вузов / В.И. Грицык, Г.Н. Жинкин, И.А. Грачев. М.: УМК МПС России, 1999. 11. Сухих Р.Д. Путевые механизмы и инструменты. М: Маршрут, 2002. 12. Технология железнодорожного строительства / Под ред. A.M. Призмазонова, Э.С. Спиридонова. М.: Маршрут, 2002. 13. Шабалина Л.А. Организация и технология строительства железных дорог: Учеб. для техникумов и колледжей железнодорожного транспорта. М.: УМК МПС России, 2001.
  • 46.
    46 Оглавление Пояснительная записка ..................................................................................................3 Практическое занятие 1. Составление графика строительства сборной железнодорожной трубы поточным методом ................................................... 3 Практическое задание 2. Определение площадей поперечных сечений земляного полотна........................................................................................................................ 7 Практическое занятие 3. Расчет заряда на «выброс» .............................................. 23 Практическая работа 4. Составление ведомости объемов работ по строительству сборной железобетонной трубы ........................................................................... 25 Практическая работа 5. Составление календарного графика строительства сборной железобетонной трубы ........................................................................... 35 Затраты труда на постройку малых водопропускных сооружений (выписка из СНиП 4.02–91 и 4.05–91. Сборник 30. «Мосты и трубы». «Железобетонные и бетонные конструкции мостов и труб»).............................................................. 41 Библиографический список .......................................................................................45
  • 47.
    Учебное издание Фалалеева СветланаАнатольевна. ОРГАНИЗАЦИЯ И ТЕХНОЛОГИЯ СТРОИТЕЛЬСТВА ЖЕЛЕЗНЫХ ДОРОГ Методические указания по выполнению практических работ Редактор П.В. Грес Компьютерная верстка Т.А. Соловьева Изд. лиц. ЛР № 021277 от 06.04.98 Подписано в печать 20.12.10 3,0 печ. л. 2,8 уч.-изд. л. Тираж 100 экз. Заказ № 2316 Издательство Сибирского государственного университета путей сообщения 630049, Новосибирск, ул. Д. Ковальчук, 191 Тел. (383) 328-03-81. E-mail: press@stu.ru