10
ČESKOSLOVENS
49 1, 12 . vydáno 15. července 1881
Právo k využiti vynálezu přísluší státu podle 3 odst. 6 zák. . 84/1957.
inž. EDUARD KÖLLNER, FRANTIŠEK NovÁK, inž. JIŘÍ
HUGO a BRUNO SCHREIBER, všichni PRAHA
zařízení k spojování dutých kovových, zvláště rotačních, součástí
Patent závislý na patentu č. 97.582 · Přihlášeno . dubna 1960 PV 2329-60) . . . Platnost patentu
od . dubna 1960 . . . .
V
patentovém spise . 97 582 je popsán způsob spojování kovových předmětů lepením,
zvláště upevňování kovových součástí určených
· k obrábění. Podstata tohoto vynálezu záleží v tom, že mezi kovové před
měty, které se mají spojit, se vloží termoplastická fólie z materiálu s nízkým modulem pružnosti
a s vysokou tlumicí schopností, která působením mírného tlaku a teploty nepřesahující 200° C
přilne ke kovovým plochám a vytvoří tak po ochlazení pevný spoj. Popsaný způsob je zvlášt
vhodný pro spojování kovových součástí, které mají být velmi přesně obrobeny, a umožňuje
spojování takových kovových součástí bez nežádoucích deformací. -
Hlavním význakem vynálezu, tj. zařízení k provádění způsobu podle patentu č. 97 582, je
to, že zařízení sestává z trnu, na němž je ustředěn jak upínač s upínací plochou pro spojovací
termoplastickou fólii, tak i přítlačná deska pro upínanou součást, přičemž tato přítlačná
deska má ve svém středu vybrání pro kulovou plochu podložky k pře-
nosu přítlačné síly. ' - -
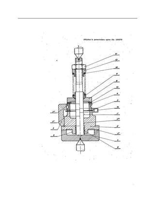
Jedno z možných provedení zařízení k provádění způsobu podle shora popsaného
vynálezu je schematicky znázorněno v řezu podlė osy souměrnosti na přiloženém
výkresu, kde část na levé straně od
osy je nakreslena s nasuhütým středicím króüžkem, část na pravé stra- .
vyloženo 15. ledna 1961 .
PATENTNÍ spis à
100279
70
ně od osy je nakreslena s nasunutou smyčkou, kterou se provede vyso
kofrekvenční ohřev.
kroužek valivého ; Ky zajištěņíş şprávné polohy upínače na trnu slouží dosedací
mezikružní plocha 2a válcová plocha 2, které jsou přesně na sebe kolmé. Upínač 2
může být opatřen vhodnými spojovacími orgány sloužícími k upevnění upínače se
součástí na obráběcí stroj. Upínač znázorněný na výkresu má prò tuto funkci určen
závit , zhotovený na straně protilehlé k upínací ploše. Tento závit slouží k našroubování
upínače na pracovní vřeteno brusky, kde je dále přesně středěn válcovou plochou . K.,
středění üpínané: součásti 4 na 2 slouží středící , který je středěn plochou 5 na upínači,
a válcový ,souştřednýplochou : Vęlikost válcového otvorů je vo
lenà tak, aby meżi upínanou součástí a válcovou plochou otvoru byla zachována nepatrná vůle,
čímž se vyloučí možnost deformace součásti během upínání. Pevný středicí kroužek 5 může
být nahrazeh izję středicími elementy, . : rozříznutým na způsob kleš
tin, takže funkční středící plöchy jsou odpružëny pöüžití též stře
dicích zařízeníhydraulických nebo pneumatičkých: ******** ·
K rovnoměrnému přitlačení součásti na fólii 3 a tím na upínač slouží přítlačná deska , na niž
působí přes kulovou plochu podložky 9 přítlačná síla, vyvozená näpř. pružinou 10:stlačovärioù
maticí 11 přės podložku 12. Přítlačná síla může být však vyvozena i jinými prostředky, např.
prieumaticky nebo hydraulicky, rovněž spadá do roz
Ke zmenšení tření mezi přítlačnou deskou 8 a součástí 4 slouží vložka :13 zimateriálu: s
nížkým koeficientém tření, näpř. z połýtetrafluorethylenu. Tím je umožněno vzájemné nepatrné
posouvání součásti 4 a desky 8 a vyloučí se možnost deformace součásti 4 při upínání.
Vlastní upevnění součásti ha upínač prostřednictvím termoplastické fólie se provede zahřátím spoje
na teplotu 100° až 200° C, při níž fólie změkne a pevně přilne k spojovaným plochám. Ohřev lze provádět
různými způsoby. V nejjednodušším případě se celý přípravek s upnutou součástí vloží do ohřívací pece.
Tento postup je však dosti zdlouhavý a jeho nevýhodou je, že se zahřeje celý přípravek a
tím se znesnadní manipulace. Mnohem výhodnější se jeví použití vysokofrekvenčního ohřevu.
Tento způsob ohřevu lze provádět např. tak, že po sejmutí středicího kroužku 5 nebo jiného
středicího elementu se do roviny spoje nasadí vysokofrekvenční smyčka 14. Během ohřevu se
pak upínačem nebo smyčkou otáčí. Dosáhne se tak rovnoměrného prohřátí součásti i upínače v
okolí spoje,
takže nedojde k nepravidelným deformacím v důsledku nerovnoměrné
tepelné dilatace. . . * . . .
Upevňování součásti na zařízení podle vynálezu se provádí tak, že na trn.1 se
nasune upínač 2, na něj se položí termoplastická fólie 3 a nasune se středicí kroužek .
Do otvoru středicího kroužku se
vsüne součást . Pak se pomocí vložky 13, desky , podložky , pružiny
10, další podložky 12 a matice 11 přitlačí součást 4 potřebným tlaken
na fólie 3 a upínač 2. Po sejmutí středicího kroužku 5 se provede ohřev
buď vysokofrekvenčně nasunutím smyčky 14, nebo se celý přípravek vloží do ohřívací,
pece. Při ohřívání, kdy nastává změknutí fólie, , je třeba přitlačovat součást
rovnoměrným tlakem, vyvozeným např. pružio nou. Po skoņčení, ohřevu sę zařízení
ochladí , teplotų, okolí. Tím ję celá upínací operace skončena a po vyjmutí ze zařízení,
je upínač s při
3 . . 100279
pevňovanou součástí připraven k dalším operacím, např. k našroubování na pracovní
vřeteno brusky apod. -
Předmět patentu
1. Zařízení k spojovánî dutých kovových, zvláště rotačních součástí . způsóbem podle patentu . 97
582, vyznačené tím, že sestává z trnu (1), na němž je ustředěn jak upínač (2) s upínací plochqu pro
spojovací termoplastickou fólii 3], tak i přítlačná deska 8] pro upínanou součást , přičemž tato přítlačná
deska (8) má ve svém středu vybrání pro kulovou plochu podložky (9) k přenosu přítlačné síly.
2. Zařízení podle bodu 1 vyznačené tím, že na upínači (2) je posuvně nasazen středicí kroužek (5) s
válcovým otvorem (5), dimensovaným vůči největšímu průměru upínané součásti (4) s vůlí.
3. Zařízení podle bodů 1 a 2 vyznačené tím, že mezi přítlačnou deskou (8) a upínanou součástí (4)
je vložka (13) z materiálu s nízkým koeficientem tření, na příklad z polytetrafluorethylenu.
4. Zařízení podle bodů 1 až 3 vyznačené tím, že je opatřeno vysokofrekvenční smyčkou (14),
umístěnou v rovině spoje, přičemž upínač 12] a smyčka (14) jsou buď v relativním klidu, nebo vzájemně
otočné.
Severografia, n. p, závod 03
Příloha k patentnímu spisu čís. 100279

100279

  • 2.
    10 ČESKOSLOVENS 49 1, 12. vydáno 15. července 1881 Právo k využiti vynálezu přísluší státu podle 3 odst. 6 zák. . 84/1957. inž. EDUARD KÖLLNER, FRANTIŠEK NovÁK, inž. JIŘÍ HUGO a BRUNO SCHREIBER, všichni PRAHA zařízení k spojování dutých kovových, zvláště rotačních, součástí Patent závislý na patentu č. 97.582 · Přihlášeno . dubna 1960 PV 2329-60) . . . Platnost patentu od . dubna 1960 . . . . V patentovém spise . 97 582 je popsán způsob spojování kovových předmětů lepením, zvláště upevňování kovových součástí určených · k obrábění. Podstata tohoto vynálezu záleží v tom, že mezi kovové před měty, které se mají spojit, se vloží termoplastická fólie z materiálu s nízkým modulem pružnosti a s vysokou tlumicí schopností, která působením mírného tlaku a teploty nepřesahující 200° C přilne ke kovovým plochám a vytvoří tak po ochlazení pevný spoj. Popsaný způsob je zvlášt vhodný pro spojování kovových součástí, které mají být velmi přesně obrobeny, a umožňuje spojování takových kovových součástí bez nežádoucích deformací. - Hlavním význakem vynálezu, tj. zařízení k provádění způsobu podle patentu č. 97 582, je to, že zařízení sestává z trnu, na němž je ustředěn jak upínač s upínací plochou pro spojovací termoplastickou fólii, tak i přítlačná deska pro upínanou součást, přičemž tato přítlačná deska má ve svém středu vybrání pro kulovou plochu podložky k pře- nosu přítlačné síly. ' - - Jedno z možných provedení zařízení k provádění způsobu podle shora popsaného vynálezu je schematicky znázorněno v řezu podlė osy souměrnosti na přiloženém výkresu, kde část na levé straně od osy je nakreslena s nasuhütým středicím króüžkem, část na pravé stra- . vyloženo 15. ledna 1961 .
  • 3.
  • 5.
    70 ně od osyje nakreslena s nasunutou smyčkou, kterou se provede vyso kofrekvenční ohřev. kroužek valivého ; Ky zajištěņíş şprávné polohy upínače na trnu slouží dosedací mezikružní plocha 2a válcová plocha 2, které jsou přesně na sebe kolmé. Upínač 2 může být opatřen vhodnými spojovacími orgány sloužícími k upevnění upínače se součástí na obráběcí stroj. Upínač znázorněný na výkresu má prò tuto funkci určen závit , zhotovený na straně protilehlé k upínací ploše. Tento závit slouží k našroubování upínače na pracovní vřeteno brusky, kde je dále přesně středěn válcovou plochou . K., středění üpínané: součásti 4 na 2 slouží středící , který je středěn plochou 5 na upínači, a válcový ,souştřednýplochou : Vęlikost válcového otvorů je vo lenà tak, aby meżi upínanou součástí a válcovou plochou otvoru byla zachována nepatrná vůle, čímž se vyloučí možnost deformace součásti během upínání. Pevný středicí kroužek 5 může být nahrazeh izję středicími elementy, . : rozříznutým na způsob kleš tin, takže funkční středící plöchy jsou odpružëny pöüžití též stře dicích zařízeníhydraulických nebo pneumatičkých: ******** · K rovnoměrnému přitlačení součásti na fólii 3 a tím na upínač slouží přítlačná deska , na niž působí přes kulovou plochu podložky 9 přítlačná síla, vyvozená näpř. pružinou 10:stlačovärioù maticí 11 přės podložku 12. Přítlačná síla může být však vyvozena i jinými prostředky, např. prieumaticky nebo hydraulicky, rovněž spadá do roz Ke zmenšení tření mezi přítlačnou deskou 8 a součástí 4 slouží vložka :13 zimateriálu: s nížkým koeficientém tření, näpř. z połýtetrafluorethylenu. Tím je umožněno vzájemné nepatrné posouvání součásti 4 a desky 8 a vyloučí se možnost deformace součásti 4 při upínání. Vlastní upevnění součásti ha upínač prostřednictvím termoplastické fólie se provede zahřátím spoje na teplotu 100° až 200° C, při níž fólie změkne a pevně přilne k spojovaným plochám. Ohřev lze provádět různými způsoby. V nejjednodušším případě se celý přípravek s upnutou součástí vloží do ohřívací pece. Tento postup je však dosti zdlouhavý a jeho nevýhodou je, že se zahřeje celý přípravek a tím se znesnadní manipulace. Mnohem výhodnější se jeví použití vysokofrekvenčního ohřevu. Tento způsob ohřevu lze provádět např. tak, že po sejmutí středicího kroužku 5 nebo jiného středicího elementu se do roviny spoje nasadí vysokofrekvenční smyčka 14. Během ohřevu se pak upínačem nebo smyčkou otáčí. Dosáhne se tak rovnoměrného prohřátí součásti i upínače v okolí spoje, takže nedojde k nepravidelným deformacím v důsledku nerovnoměrné tepelné dilatace. . . * . . . Upevňování součásti na zařízení podle vynálezu se provádí tak, že na trn.1 se nasune upínač 2, na něj se položí termoplastická fólie 3 a nasune se středicí kroužek . Do otvoru středicího kroužku se
  • 6.
    vsüne součást .Pak se pomocí vložky 13, desky , podložky , pružiny 10, další podložky 12 a matice 11 přitlačí součást 4 potřebným tlaken na fólie 3 a upínač 2. Po sejmutí středicího kroužku 5 se provede ohřev buď vysokofrekvenčně nasunutím smyčky 14, nebo se celý přípravek vloží do ohřívací, pece. Při ohřívání, kdy nastává změknutí fólie, , je třeba přitlačovat součást rovnoměrným tlakem, vyvozeným např. pružio nou. Po skoņčení, ohřevu sę zařízení ochladí , teplotų, okolí. Tím ję celá upínací operace skončena a po vyjmutí ze zařízení, je upínač s při
  • 8.
    3 . .100279 pevňovanou součástí připraven k dalším operacím, např. k našroubování na pracovní vřeteno brusky apod. - Předmět patentu 1. Zařízení k spojovánî dutých kovových, zvláště rotačních součástí . způsóbem podle patentu . 97 582, vyznačené tím, že sestává z trnu (1), na němž je ustředěn jak upínač (2) s upínací plochqu pro spojovací termoplastickou fólii 3], tak i přítlačná deska 8] pro upínanou součást , přičemž tato přítlačná deska (8) má ve svém středu vybrání pro kulovou plochu podložky (9) k přenosu přítlačné síly. 2. Zařízení podle bodu 1 vyznačené tím, že na upínači (2) je posuvně nasazen středicí kroužek (5) s válcovým otvorem (5), dimensovaným vůči největšímu průměru upínané součásti (4) s vůlí. 3. Zařízení podle bodů 1 a 2 vyznačené tím, že mezi přítlačnou deskou (8) a upínanou součástí (4) je vložka (13) z materiálu s nízkým koeficientem tření, na příklad z polytetrafluorethylenu. 4. Zařízení podle bodů 1 až 3 vyznačené tím, že je opatřeno vysokofrekvenční smyčkou (14), umístěnou v rovině spoje, přičemž upínač 12] a smyčka (14) jsou buď v relativním klidu, nebo vzájemně otočné. Severografia, n. p, závod 03
  • 10.
    Příloha k patentnímuspisu čís. 100279