A Seminar On  Practical Training Taken  At  Binani Cement Ltd. Binanigram, Sirohi (Raj.) Presented By:- KULDEEP SINGH RAO B-Tech,IV year, E.I.&CE
Content  CEMENT MANUFACTURING PROCESS INSTRUMENTATION IN CEMENT PLANT  VIBRATION METAL DETECTOR WEIGH FEEDER/ BELTWEIGHER PROXIMITY SWITCH CONTROL VALVE  POLLUTION CONTROL DCS (Distributed control system) SAFETY CONCLUSION
About Binani cement Ltd. NAME OF COMPANY :  BINANI CEMENT LTD. CONCERNED GROUP : BRAJ GROUP TURN OVER  : Rs 500 MILLION. POWER CONSUMPTION:- : 76 UNITS PER TON OF CEMENT : 678 K Cal /Kg of clinker PRODUCT : 43 GRADE CEMENT : 53 GRADE CEMENT  : POZZOLAND PORTLAND CEMENT
PROCESS OF CEMENT MANUFACTURING   The plant is divided into various sections according to the process.  Mines  Crusher  Stacker  Raclaimer  Row mill Per-heater  Kiln Coal mill Cooler  Cement mill Packing plant & dispatch
What is cement   Cement can be defined as any substance can join or unite two or more pieces of same other substance together to form a unit mass. Cement as used in construction, is a fine powder which when mixed with water and allowed to set and harden can join different component to give mechanically strong structures. Cement clinker are two products, when clinker grinned with gypsum gives ( O.P.C ) ordinary Portland cement
Raw material of cement  Lime stone  High grade lime stone  Bauxite  Blue dust  Silica Iron ore
Mines  There are two mines. The mines area spread at 9km^2. Which is rectangle of 1 km wide &  9 km length. Detail about mines:- Mineral dressing & size reduction  :- Removing unnecessary material like mud,  soil, & low grade lime stone. Mining  :- Before it lots of work done, Removing overburden in open cast mining.
Over burden Removal Bench marking  Drilling Blasting & Transportation of lime stone to crusher.
Crusher Crusher is size reduction unit. Single rotor, impact type in which lime stone is crushed about 6cm to 8cm. Dc power transmission is  given through v type belts. It has 6 blow bar . Each weight is 504 kg. There are  sieve (vibrating screen), which reject the lime muddy & heavy in weight .
Crusher  Type  : Single rotor impactor Capacity  :550 TPH RPM  :1000 Now the material from the crusher transferred through belt conveyor to stacker & reclaimer unit . The reclaimer futher reduced it size (90mm)and stacker makes it pile and futher transferred through belt conveyor to Hoppers
 
Row mill It is mixing the raw material using conveyor belt & weigh feeder. It is vertical roller mill equipped with magnetic separator & metal detector just before it. Water spray inside it to avoid much friction and abrasion.
 
Row Mill have following  part  Roller & table. Air hydraulic unit (Nitrogen). Lubricant unit . Gas chamber.   Magnetic separator  Metal detector Blending silo Bag house
Kiln Mill It has two part ,Pre-heater & Rotary kiln. PRE-HEATER:- Per-calcinations(67%) :- It also called per-heater.  The Per-calcinations technology is introduced in 1978 for reduced the length of kiln &to large energy was also save, in considerable amount.
KILN: kiln is heart of cement industry convert The per-calcinations  raw mix into the clinker. Kiln derived into three zone: Calcinations zone  Burning zone + coal entering  Cooling
 
 
Cement Mill Clinker from silo is comes into hopper from where it goes to weigh feeder .simultaneously gypsum is also added though another weigh feeder. Both material is proportionally mixed and fed into cement mill. The cement mill is a horizontal mill and another names is ball mill consist as grinding in the mill are ball. It consist of tow parts, initially the grinding is done by big ball and second section grinding is done by small ball  which result in fine to be checked by .for this tons per hour of martial passed to the cement  mill .
 
Packing Plant   Cement from the cement silo comes into automatic rotary packer. There are four packer, three are 12 spouts & one 16 spouts. worker put empty bags to the hook of packers 50 kg cement is automatically filled in this packs  as the packer  pack .The weight of cement is continuously displayed  and a weigh becomes 50kg.the pack get sealed  & transferred to conveyor belt. These packs are loaded automatically in trucks & in wagon (PLC programming over there )
Why we use 4-20mA current loop With 0-20 or 0-10 mA you can’t distinguish between min field value and connection break .Witth 4-20 mA ,internal circuit can distinguish between connection break of min value. Normally when the value is min the transmitter will give you 4 mA while in case of connection breakage it will give you 0 mA.
Instrumentation in cement plant   Bnani cement Ltd. is an automated plant. In any automated plant, instrumentation plays a very important role. All the parameters are to be measured at the site and have to be measured transmitted to control room where their values are checked and controlled (CCR).
Measured- Parameters Temperature :-RTD, Thermocouple, thermometer, pyrometer etc.  Level :-Ultrasonic level sensor, phola-phone, RADAR etc.
Proximity switches Limit switch ZSS (Zero speed switch) Pull cord switch  Separator  Metal detector  Magnetic separator Control valve:   Solenoid valve water spray valve.
Weigh feeder  WEIGHING SYSTEMS ARE ESSENTIAL NEED OF ANY PROCESS INDYSTRY WHERE ROW/ FINE MATERIAL HANDLING REQUIRED WITH AQURACY. MOST COMMON WEIGHING SYSTEMS THAT ARE USED IN PROCESS PLANTS ARE- WEIGH FEEDER BELT WEIGHER SOLID FLOW FEEDER/ METER ETC .
BLOCK DIAGRAM: W/F
PRINCIPLE OF OPERATION LOAD (Q) PER UNIT LENGTH MULTIPLIED BY THE SPEED (I) OF THE BELT / APPRON GIVES THE RATE OF TRANSFER IN UNIT TIME. THIS RATE (I) IS INTEGRATED W.R.T. TIME GIVES THE QUANTITY CONVEYED .  I= Q . V . 3600 WHERE I in Kg/hr Q in Kg/m V in m/s
COMPONENTS  OF WEIGH  SYSTEM WEIGH  FEEDER  SYSTEM  CONSIST  OF  : 1. LOAD  CELL 2. TACHO    LOAD CELL  STRAIN GAUGE BASED LOAD CELL IS EMPLOYED TO SENSE LOAD ACTING ON IT.  LOAD SENSING PRIMARY COLUMN IS MADE OF CORROSION RESISTANT SUPER TOUGH STEEL ALLOY OF HIGH TENSILE STRENGTH AND THE STRESS DEVELOPED DUE TO THE LOAD IS MEASURED WITH FOUR PRECISION FOIL TYPE STRAIN GAUGES BONDED TO THE SENSING ELEMENT. THE STRAIN GAUGE RESISTORS ARE CONNECTED TO FORM A  BALANCED WHEATSTONE BRIDGE NETWORK
TACHOGENERATOR  THE SPEED OF WEIGH FEEDER IS SENSED BY A TACHOGENERATOR, COUPLED TO THE SHAFT OF THE DRIVEN PULLY OF THE BELT WHICH ELEMINATES THE SMALL ERRORS CAUSED DUE TO BELT SLIP. DIGITAL TACHOMETER GIVES PULSES PROPORTIONAL TO ITS SPEED OF ROTATION IS COUPLED TO DRIVEN PULLY.
Pollution control BAG HOUSE JPF ESP
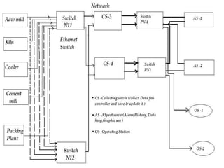
DCS Distributed control system (DCS) is widely used for automation in modern industry since a process industry is usually installed in wide area and has a large number of machine and process sections, hence to operate and control all the machinery suitable from one place i.e CCR ,one may install DCS. It has the capability to interface with external party software . The DCS system used in industry .I took my training has a supplied by the company ABB, hence the system is also know as ABB master.
 
 
 
 
Thank You

Training

  • 1.
    A Seminar On Practical Training Taken At Binani Cement Ltd. Binanigram, Sirohi (Raj.) Presented By:- KULDEEP SINGH RAO B-Tech,IV year, E.I.&CE
  • 2.
    Content CEMENTMANUFACTURING PROCESS INSTRUMENTATION IN CEMENT PLANT VIBRATION METAL DETECTOR WEIGH FEEDER/ BELTWEIGHER PROXIMITY SWITCH CONTROL VALVE POLLUTION CONTROL DCS (Distributed control system) SAFETY CONCLUSION
  • 3.
    About Binani cementLtd. NAME OF COMPANY : BINANI CEMENT LTD. CONCERNED GROUP : BRAJ GROUP TURN OVER : Rs 500 MILLION. POWER CONSUMPTION:- : 76 UNITS PER TON OF CEMENT : 678 K Cal /Kg of clinker PRODUCT : 43 GRADE CEMENT : 53 GRADE CEMENT : POZZOLAND PORTLAND CEMENT
  • 4.
    PROCESS OF CEMENTMANUFACTURING The plant is divided into various sections according to the process. Mines Crusher Stacker Raclaimer Row mill Per-heater Kiln Coal mill Cooler Cement mill Packing plant & dispatch
  • 5.
    What is cement Cement can be defined as any substance can join or unite two or more pieces of same other substance together to form a unit mass. Cement as used in construction, is a fine powder which when mixed with water and allowed to set and harden can join different component to give mechanically strong structures. Cement clinker are two products, when clinker grinned with gypsum gives ( O.P.C ) ordinary Portland cement
  • 6.
    Raw material ofcement Lime stone High grade lime stone Bauxite Blue dust Silica Iron ore
  • 7.
    Mines Thereare two mines. The mines area spread at 9km^2. Which is rectangle of 1 km wide & 9 km length. Detail about mines:- Mineral dressing & size reduction :- Removing unnecessary material like mud, soil, & low grade lime stone. Mining :- Before it lots of work done, Removing overburden in open cast mining.
  • 8.
    Over burden RemovalBench marking Drilling Blasting & Transportation of lime stone to crusher.
  • 9.
    Crusher Crusher issize reduction unit. Single rotor, impact type in which lime stone is crushed about 6cm to 8cm. Dc power transmission is given through v type belts. It has 6 blow bar . Each weight is 504 kg. There are sieve (vibrating screen), which reject the lime muddy & heavy in weight .
  • 10.
    Crusher Type : Single rotor impactor Capacity :550 TPH RPM :1000 Now the material from the crusher transferred through belt conveyor to stacker & reclaimer unit . The reclaimer futher reduced it size (90mm)and stacker makes it pile and futher transferred through belt conveyor to Hoppers
  • 11.
  • 12.
    Row mill Itis mixing the raw material using conveyor belt & weigh feeder. It is vertical roller mill equipped with magnetic separator & metal detector just before it. Water spray inside it to avoid much friction and abrasion.
  • 13.
  • 14.
    Row Mill havefollowing part Roller & table. Air hydraulic unit (Nitrogen). Lubricant unit . Gas chamber. Magnetic separator Metal detector Blending silo Bag house
  • 15.
    Kiln Mill Ithas two part ,Pre-heater & Rotary kiln. PRE-HEATER:- Per-calcinations(67%) :- It also called per-heater. The Per-calcinations technology is introduced in 1978 for reduced the length of kiln &to large energy was also save, in considerable amount.
  • 16.
    KILN: kiln isheart of cement industry convert The per-calcinations raw mix into the clinker. Kiln derived into three zone: Calcinations zone Burning zone + coal entering Cooling
  • 17.
  • 18.
  • 19.
    Cement Mill Clinkerfrom silo is comes into hopper from where it goes to weigh feeder .simultaneously gypsum is also added though another weigh feeder. Both material is proportionally mixed and fed into cement mill. The cement mill is a horizontal mill and another names is ball mill consist as grinding in the mill are ball. It consist of tow parts, initially the grinding is done by big ball and second section grinding is done by small ball which result in fine to be checked by .for this tons per hour of martial passed to the cement mill .
  • 20.
  • 21.
    Packing Plant Cement from the cement silo comes into automatic rotary packer. There are four packer, three are 12 spouts & one 16 spouts. worker put empty bags to the hook of packers 50 kg cement is automatically filled in this packs as the packer pack .The weight of cement is continuously displayed and a weigh becomes 50kg.the pack get sealed & transferred to conveyor belt. These packs are loaded automatically in trucks & in wagon (PLC programming over there )
  • 22.
    Why we use4-20mA current loop With 0-20 or 0-10 mA you can’t distinguish between min field value and connection break .Witth 4-20 mA ,internal circuit can distinguish between connection break of min value. Normally when the value is min the transmitter will give you 4 mA while in case of connection breakage it will give you 0 mA.
  • 23.
    Instrumentation in cementplant Bnani cement Ltd. is an automated plant. In any automated plant, instrumentation plays a very important role. All the parameters are to be measured at the site and have to be measured transmitted to control room where their values are checked and controlled (CCR).
  • 24.
    Measured- Parameters Temperature:-RTD, Thermocouple, thermometer, pyrometer etc. Level :-Ultrasonic level sensor, phola-phone, RADAR etc.
  • 25.
    Proximity switches Limitswitch ZSS (Zero speed switch) Pull cord switch Separator Metal detector Magnetic separator Control valve: Solenoid valve water spray valve.
  • 26.
    Weigh feeder WEIGHING SYSTEMS ARE ESSENTIAL NEED OF ANY PROCESS INDYSTRY WHERE ROW/ FINE MATERIAL HANDLING REQUIRED WITH AQURACY. MOST COMMON WEIGHING SYSTEMS THAT ARE USED IN PROCESS PLANTS ARE- WEIGH FEEDER BELT WEIGHER SOLID FLOW FEEDER/ METER ETC .
  • 27.
  • 28.
    PRINCIPLE OF OPERATIONLOAD (Q) PER UNIT LENGTH MULTIPLIED BY THE SPEED (I) OF THE BELT / APPRON GIVES THE RATE OF TRANSFER IN UNIT TIME. THIS RATE (I) IS INTEGRATED W.R.T. TIME GIVES THE QUANTITY CONVEYED . I= Q . V . 3600 WHERE I in Kg/hr Q in Kg/m V in m/s
  • 29.
    COMPONENTS OFWEIGH SYSTEM WEIGH FEEDER SYSTEM CONSIST OF : 1. LOAD CELL 2. TACHO LOAD CELL STRAIN GAUGE BASED LOAD CELL IS EMPLOYED TO SENSE LOAD ACTING ON IT. LOAD SENSING PRIMARY COLUMN IS MADE OF CORROSION RESISTANT SUPER TOUGH STEEL ALLOY OF HIGH TENSILE STRENGTH AND THE STRESS DEVELOPED DUE TO THE LOAD IS MEASURED WITH FOUR PRECISION FOIL TYPE STRAIN GAUGES BONDED TO THE SENSING ELEMENT. THE STRAIN GAUGE RESISTORS ARE CONNECTED TO FORM A BALANCED WHEATSTONE BRIDGE NETWORK
  • 30.
    TACHOGENERATOR THESPEED OF WEIGH FEEDER IS SENSED BY A TACHOGENERATOR, COUPLED TO THE SHAFT OF THE DRIVEN PULLY OF THE BELT WHICH ELEMINATES THE SMALL ERRORS CAUSED DUE TO BELT SLIP. DIGITAL TACHOMETER GIVES PULSES PROPORTIONAL TO ITS SPEED OF ROTATION IS COUPLED TO DRIVEN PULLY.
  • 31.
    Pollution control BAGHOUSE JPF ESP
  • 32.
    DCS Distributed controlsystem (DCS) is widely used for automation in modern industry since a process industry is usually installed in wide area and has a large number of machine and process sections, hence to operate and control all the machinery suitable from one place i.e CCR ,one may install DCS. It has the capability to interface with external party software . The DCS system used in industry .I took my training has a supplied by the company ABB, hence the system is also know as ABB master.
  • 33.
  • 34.
  • 35.
  • 36.
  • 37.