Pengenalan Mu’amalat Islam 1
BAHAGIAN
A
ASAS TAKAFUL DAN
TAKAFUL PERUBATAN &
KESIHATAN
2 Amalan Asas Takaful
Pengenalan Mu’amalat Islam 3
BAB A1
PENGENALAN MU’AMALAT ISLAM
PENGENALAN
Bermula dengan Nabi Adam a.s., risalah suci mengesakan Allah s.w.t.
telah diwahyukan dan seterusnya diperkembangkan sepanjang masa.
Nabi Muhammad s.a.w. sebagai Rasul terakhir telah menutup segala
kerasulan para anbiya’ dengan termaktubnya satu sistem hidup
dengan peraturan tertib Ilahi dengan penuh saksama lagi sempurna.
Dalam bahasa Arab, kata dasar bagi perkataan ‘Islam’ yang
bermaksud ‘berserah diri atau patuh’ menggambarkan penyerahan
sejati yang terkandung di dalamnya makna kata kerja ‘aslama’.
Agama Islam mencakupi satu sistem kesempurnaan hidup lagi
menyeluruh ke atas setiap aspek kehidupan manusia. Pada dasarnya,
Islam adalah ajaran tauhid yang sama telah diperturunkan wahyu Ilahi
kepada semua Nabi terdahulu, bermula dari Nabi Adam, Nuh,
Ibrahim, Ismail, Daud, Musa, Isa dan seterusnya Nabi akhir zaman,
Muhammad s.a.w.
Allah telah menyempurnakan agama Islam melalui junjungan besar
Nabi Muhammad s.a.w. sebagaimana firman Allah s.w.t. di dalam al-
Qur’an:“Pada hari ini, telah Ku sempurnakan bagimu agama kamu
dan telah Ku cukupkan nikmatKu kepada kamu dan telah Ku
redhai Islam itu menjadi agama untuk kamu” (Al-Qur’an, 5: 3).
A1.1 PENGENALAN SYARI’AH
1.1.1 Objektif Syari’ah
Syari’ah adalah intipati peraturan Islam, di mana makna asal Syari’ah
ialah “jalan ke sumber mata air”. Ia merangkumi keseluruhan
undang-undang dan peraturan yang mengawal aspek kehidupan
4 Amalan Asas Takaful
manusia yang melangkaui aspek-aspek perundangan, politik,
perniagaan, perbankan, keluarga dan juga masyarakat. Objektif
utama Syari’ah ialah untuk memastikan sekalian manusia
melaksanakan suruhanNya (kebaikan) serta menjauhi laranganNya
(kejahatan). Istilah ma’ruf (kebaikan) merujuk kepada semua kualiti
amalan kehidupan yang diterima baik oleh manusia sejagat,
sementara istilah munkar merujuk kepada semua kualiti amalan
kehidupan yang dianggap keji dan dikutuk masyarakat.
1.1.2 Konsep Ad–Deen (Syari’ah)
Sumber: Kitab Mughni al-Muhtaj (Imam Shafi’i); Kitab al-Mughni
(Imam Hanafi); Kitab Bidayat al-Mujtahi (Imam Malik)
Dilihat dari perspektif yang paling asas, konsep Islam merangkumi
tiga komponen utama iaitu Akidah (kepercayaan), Syari’ah (undang-
undang) dan Akhlak (kod moral/adab).
Akidah bermaksud suatu set kepercayaan atau pegangan. Melihat dari
perspektif Islam, Akidah bermaksud ketetapan hati secara pasti dan
ISLAM
SYARI’AHAKIDAH AKHLAK
IBADAT MU’AMALAT JINAYAT
POLITIK SOSIAL
MUNAKAHAT
EKONOMI
Pengenalan Mu’amalat Islam 5
iman yang teguh terhadap Allah s.w.t., para Malaikat, para Rasul,
Hari Kiamat, kitab-kitab dan percaya kepada Qada’ dan Qadar.
Syari’ah atau undang-undang Islam juga dikenali sebagai Fiqh. Fiqh
adalah perundangan Islam yang berkait rapat dengan hukum yang
ditetapkan oleh Allah s.w.t. mengenai cara hidup / amalan, moral /
adab dan perundangan sosial dalam Islam. Cabang ilmu Fiqh
termasuklah Ibadat, Mu’amalat, Munakahat and Jinayat;
 Fiqh Ibadat
Ibadah iaitu hukum-hakam yang berkaitan dengan hubungan
manusia dengan Allah. Ia merangkumi amalan / perbuatan
mensucikan diri seperti solat, haji, puasa, zakat, jihad dan bentuk-
bentuk ibadah lain. Kesemua aturan hubungan tersebut
memperjelaskan tanggungjawab individu dan komuniti terhadap
Allah s.w.t.
 Fiqh Mu’amalat
Bidang ini adalah berkaitan dengan aturan perhubungan sesama
manusia dalam urusan harta benda, kotrak / perjanjian, organisasi
perniagaan, sekuriti hutang dan kesolvenan, hak pemilikan,
pemberian / hadiah, warisan dan wakaf (pemberian sebahagian
harta seseorang atas dasar sukarela, kekal dan tidak boleh
dibatalkan, sama ada tanah atau barangan kepada jalan Allah).
 Fiqh Munakahat
Bidang ini menyentuh tentang ketentuan atau aturan yang
berkaitan dengan hubungan seseorang dalam keluarga seperti
perkahwinan, perceraian, pewarisan harta, hak penjagaan dan
perkara-perkara lain yang berkaitan dengannya. Secara
konvensionalnya, bidang ini mempunyai persamaan dengan
undang-undang persendirian.
6 Amalan Asas Takaful
 Fiqh Jinayat
Bidang ini adalah berkaitan dengan jenayah dan hukuman;
merangkumi jenayah persetubuhan tanpa nikah (zina), mencuri
(sariqah), merompak, lanun dan menyamun, dan jenayah-jenayah
lain yang tertakluk di bawah hukum hudud.
Dalam ilmu teologi dan falsafah Islam, akhlak merujuk kepada adat
kebiasaan, budi pekerti dan adab. Ia merangkumi perangai, resam,
tabiat, akhlak, moral atau sifat seseorang. Akhlak juga meliputi
tingkah laku, sikap dan etika kerja seseorang Muslim yang boleh
mempengaruhi segala tindakannya.
1.1.3 Hukum Mandatori (Hukum Taklifi)
Hukum Taklifi ialah ketentuan Allah s.w.t. yang menuntut seseorang
Muslim melakukan atau meninggalkan suatu perbuatan atau
berbentuk pilihan untuk melakukan atau tidak melakukan suatu
perbuatan. Mengikut ajaran Islam, setiap perbuatan seseorang Muslim
hendaklah berlandaskan lima rukun (al-Ahkam al-Khamsah) berikut:
 Wajib (Iijab)
Wajib bermaksud suatu perkara yang diperintahkan oleh syarak
secara keras kepada seseorang Muslim untuk melaksanakannya.
Contohnya: menunaikan solat dan berpuasa di bulan Ramadhan.
Dari sudut teknikal, ia merupakan perintah dari Allah s.w.t.
mengikut aturan dan tatacara yang tertentu.
 Sunat (Mandub)
Sunat adalah suatu perkara yang diperintahkan oleh Allah s.w.t.
kepada seseorang Muslim untuk mengerjakannya, namun tidak
dikenakan siksa bagi yang meninggalkannya. Ia bermaksud orang
yang melaksanakan perintahNya akan mendapat pahala dan
meninggalkannya tidak mendapat dosa. Contohnya: memberi
derma atau sedekah kepada mereka yang memerlukan.
Pengenalan Mu’amalat Islam 7
 Haram
Haram bermaksud perkara yang dituntut secara tegas oleh syarak
untuk tidak mengerjakannya, mengikut aturan dan tatacara yang
tertentu. Contoh perbuatan haram ialah menyalahgunakan harta
milik orang lain.
 Makruh
Makruh adalah perkara yang dituntut oleh syarak untuk
meninggalkannya namun tidak begitu keras. Dengan lain
perkataan, perkara yang dilarang melakukan tapi tidak disiksa
bagi yang mengerjakan. Contoh perbuatan makruh ialah
berhutang tanpa dokumen yang sah (tidak direkodkan).
 Harus (Mubah)
Mubah adalah perkara yang dibebaskan syarak untuk memilih
untuk mengerjakannya atau meninggalkannya, dan orang yang
melaksanakannya maupun yang meninggalkannya tidak mendapat
pahala atau dosa. Contohnya, semua bentuk kontrak / perjanjian
adalah dibenarkan kecuali ia dibuktikan sebaliknya.
1.1.4 Sumber-sumber Utama dan Sokongan Syari’ah
No. Sumber Utama Keterangan
i. Al-Qur’an Al-Qur’an adalah kata-kata dari Allah
s.w.t. yang diturunkan kepada Nabi
Muhammad s.a.w. dalam bentuk wahyu
untuk dijadikan pedoman kepada seluruh
umat manusia. Al-Qur’an merupakan
satu-satunya mukjizat tertinggi yang
menjadi sumber rujukan utama dalam
perundangan Islam dan masyarakat
Muslim seluruhnya. Al-Qur’an adalah
sumber lengkap dan muktamad dalam
8 Amalan Asas Takaful
menentukan sahnya setiap obligasi
udang-undang. Al-Qur’an dijadikan
sumber panduan yang lengkap dan
menyeluruh, dan ia hendaklah diterima
pakai dan dilaksanakan seluruhnya.
ii. Sunnah Sunnah secara harfiah bermaksud
“kaedah” yang merangkumi sesuatu
yang diriwayatkan oleh Rasulullah s.a.w.
berupa perkataan (qawl), perbuatan (fi’l)
dan ketetapan (taqrir).
Sebarang amalan yang datangnya dari
hasrat dan disandarkan kepada
Rasulullah s.a.w adalah juga merupakan
inspirasi dan ilham dari Allah s.w.t.
Istilah Sunnah perlu dibezakan dengan
Hadis, di mana hadis berupa kata-kata
atau ucapan Rasulullah s.a.w.
No. Sumber
Sokongan
Keterangan
i. Ijma’
(kesepakatan
pendapat)
Ijma’ ialah kesepakatan pendapat ulama
di kalangan masyarakat Islam di zaman
selepas kewafatan Rasulullah s.a.w,
dalam menyelesaikan masalah berkaitan
kedudukan perundangan Islam.
Dari sudut perlaksanaannya, Ijmak
merupakan persetujuan perundangan
oleh para ulama (mujtahid) apabila
kaedah penyelesaian masalah tidak
diperolehi melalui rujukan al-Qur’an dan
Sunah. Para ulama’ perlu mencapai kata
sepakat perundangan ketika sesuatu
permasalahan itu timbul.
Pengenalan Mu’amalat Islam 9
ii Qiyas
(kesimpulan
secara
perbandingan)
Qiyas bermaksud membandingkan dan
mencari persamaan dari sudut
perundangan atas perkara yang baru
terjadi, yang secara jelasnya tidak
terdapat dalam al-Qur’an ataupun Hadis.
Dengan lain perkataan, para ulama akan
merujuk kepada al-Qur’an dan Sunnah
perkara yang serupa dengan itu, dan
kemudiannya membuat kesimpulan /
ketetapan dengan membandingkan di
antara permasalahan yang baru terjadi
dengan perkara yang telah ada hukum
sebelumnya.
Secara amnya, Qiyas adalah lanjutan
kepada bidang Syari’ah berkaitan
permasalahan / kes terdahulu
dibandingkan dengan permasaalahan /
kes terbaru, disebabkan kes terbaru
mempunyai sebab dan akibat serta kesan
yang sama dengan kes terdahulu.
iii Maslahah
(kepentingan
umum)
Maslahah (pertimbangan kepentingan
umum) merupakan suatu konsep dalam
perundangan Islam tradisional yang
membolehkan atau menghalang sesuatu
hukum itu dibuat berasaskan kepada
matlamat sama ada ia adalah untuk
kebaikan dan menjaga kebajikan orang
ramai atau sebaliknya. Konsep Maslahah
berkait rapat dengan Istislah. Maslahah
bermaksud menjaga ‘pertimbangan
kepentingan umum’ sementara Istislah
bermaksud ‘mencari yang terbaik demi
menjaga kepentingan umum’ yang selain
dengan tujuan dan objektif syari’ah.
10 Amalan Asas Takaful
iv ‘Uruf (adat
resam atau
kebiasaan)
‘Uruf adalah merujuk kepada adat resam
atau ‘pengetahuan’ yang dimiliki oleh
sesuatu masyarakat yang menyebabkan
perubahan dalam perundangan Islam.
‘Uruf merupakan salah satu sumber
keputusan/ketetapan Syariat Islam
apabila tiada sebarang nas atau teks yang
dinyatakan dalam Al-Qur’an dan
Sunnah. Uruf juga boleh membuat
ketetapan atas sesuatu yang dinyatakan
secara umum di dalam al-Qur’an dan
Sunnah.
v Istishab
(andaian)
Istishab bermaksud penetapan hukum
tentang wujud atau tidaknya sesuatu
fakta kes. Ia digunakan apabila tiada
sebarang dalil atau bukti yang dapat
mengubah hukum tersebut. Istishab
menetapkan sesuatu berdasarkan
keadaan yang sudah berlaku
sebelumnya, sehingga ditemukan dalil
yang menunjukkan ada perubahan.
vi Istihsan
(mengutamakan
yang terbaik)
Istihsan bermaksud menetapka hukum
yang ‘lebih baik’. Pendokong beberapa
Mazhab menetapkan hukum yang
menjadi keutamaan bagi sesuatu masalah
dalam perundangan Islam, mengatasi
hokum-hukum lain yang sedia ada. Ia
merupakan salah satu prinsip dalam
penetapan undang-undang / hukuman
yang mengutamakan pentafsiran peribadi
atau ijtihad (menggunakan pertimbangan
akal).
Pengenalan Mu’amalat Islam 11
1.1.5 Objektif Syari’ah (Maqasid Syari’ah)
Maqasid adalah perkataan Arab yang membawa maksud matlamat
atau tujuan. Dalam konteks Islam, ia merujuk kepada objektif yang
ditetapkan oleh syarak dalam mensyariatkan hukum. Dalam ilmu
Maqasid Syari’ah, terdapat 5 perkara utama yang perlu dipelihara. 5
perkara utama tersebut ialah:-
Memelihara Keterangan / Catatan
Agama Syari’ah menuntut umatnya memelihara dan
melindungi agamanya (Ad-Deen) dalam apa jua
keadaan. Contohnya, mempertahankan pegangan
dan kesucian agama dari ancaman musuh-musuh
Islam.
Nyawa Syari’ah menuntut umatnya memelihara dan
melindungi keselamatan nyawa (Hifz al-Nafs)
dalam apa jua keadaan. Contohnya, dalam usaha
memelihara nyawa manusia, undang-undang telah
digubal untuk mengenakan hukuman yang setimpal
kepada mereka yang melakukan pembunuhan.
Dalam Islam, hukuman kepada mereka yang
membunuh manusia yang tidak berdosa ialah
hukuman mati mandatori.
Keturunan Syari’ah menuntut umatnya memelihara dan
melindungi keturunan masing-masing dalam apa
jua keadaan. Contohnya, Islam melarang umatnya
melakukan zina atau perbuatan-perbuatan lain tidak
bermoral agar kemuliaan keturunan tetap
terpelihara.
Akal Fikiran Syari’ah menuntut umatnya memelihara dan
melindungi kecerdasan akal fikiran (Hifz al-‘Aql)
dalam apa jua keadaan. Pemeliharaan akal
termasuk melindunginya dari perkara-perkara yang
12 Amalan Asas Takaful
boleh merosakkan dan menjejaskan fungsi serta
keupayaan berfikir. Contohnya, Islam telah
mengharamkan minuman keras dan benda-benda
yang memabukkan kerana ianya boleh
menyebabkan seseorang itu hilang pertimbangan
akal.
Harta Benda Syari’ah menuntut umatnya memelihara dan
melindungi harta yang dimiliki dalam apa jua
keadaan. Terdapat pelbagai cara mengumpulkan
harta secara tidak sah. Antaranya ialah
mengamalkan riba, menipu dalam urusan jual beli,
pecah amanah dalam urusan berkaitan harta,
mencuri harta milik orang lain dan penipuan harta
lain yang seumpamanya. Sesungguhnya, Islam
melarang keras perbuatan tersebut.
A1.2 ASAS MU’AMALAT
1.2.1 Pengenalan Mu’amalat
Mu’amalat dari sudut istilah bermaksud “perhubungan” dan peraturan
urusan jual beli, manakala secara teknikalnya Mu’amalat merupakan
sebarang bentuk peraturan perhubungan dan persetujuan bersama
antara manusia dalam menyelesaikan masaalah / keperluan harian,
terutamanya hal ehwal yang berkaitan dengan perdagangan dan
perniagaan. Mu’amalat adalah suatu bentuk hubungan sosial yang
membentuk pelbagai aktiviti ekonomi dan aktiviti bukan ekonomi.
Prinsip-Prinsip Asas Mu’amalat
Antara prinsip-prinsip asas yang memainkan peranan penting dalam
membentuk perundangan Syari’ah dalam bidang Mu’amalat ialah:
Pengenalan Mu’amalat Islam 13
 Kebebasan membentuk kontrak / perjanjian
Para Muslim bebas menetapkan sebarang terma dan syarat dalam
kontrak perjanjian, kecuali meletakkan syarat yang melarang
melakukan transaksi yang dibenarkan atau melakukan transaksi
yang dilarang.
 Status asal perkara berkenaan adalah dibolehkan
Kedudukan atau taraf semua perkara kecuali hal ehwal yang
berkaitan dengan adat resam adalah dibolehkan oleh syarak,
sehinggalah terdapat dalil atau bukti yang melarangnya.
 Dibolehkan oleh adat resam
Perumpamaan perundangan fiqh ada meyatakan “dikuatkuasakan
di bawah budaya dan adat resam”. Dalam kebanyakan kontrak
perdagangan Syari’ah, hampir semua perkara yang tidak
menyalahi budaya dan adat resam adalah dibenarkan.
1.2.2 Larangan dalam Mu’amalat
Semua kegiatan dan aktiviti ekonomi adalah dibenarkan selagi ia
tidak menyalahi atau bertentangan dengan tuntutan Syari’ah.
Sehubungan dengan itu, kesemua 4 mazhab utama (Hanafi, Maliki,
Syafi’i, dan Hanbali) bersepakat pendapat bahawa semua bentuk
urusan perniagaan yang bertentangan dengan tuntutan Syari’ah
dianggap batal dan tidak sah.
Prinsip-Prinsip Am:
 Tidak dibenarkan terlibat dalam kotrak jual beli barangan yang
ditegah dari hukum syarak seperti minuman keras dan lain-lain
produk yang dilarangan.
 Tidak dibenarkan terlibat dalam kontrak jual beli yang terdapat
unsur-unsur riba (bunga atau faedah).
14 Amalan Asas Takaful
 Kontrak yang melibatkan unsur-unsur perjudian adalah dilarang
dalam Syari’ah Islam.
 Kontrak yang melibatkan unsur-unsur ketidakpastian (gharar)
juga tidak dibenarkan. Kontrak boleh dibatalkan sekiranya
terdapat unsur gharar.
 Riba (bunga atau faedah)
Istilah riba dari sudut bahasa bermaksud ‘melebihkan’ atau
‘tambahan’ kepada sesuatu transaksi.
Larangan berkaitan riba adalah sepertimana firman Allah s.w.t.
yang bermaksud: “Wahai orang-orang yang beriman!, Janganlah
kamu makan atau mengambil riba dengan berlipat ganda, dan
hendaklah kamu bertaqwa kepada Allah supaya kamu berjaya”
(Al-Qur’an, 3: 130).
Dan Nabi Muhammad s.a.w. pernah bersabda, yang maksudnya,
“Apabila emas ditukar dengan emas, perak dengan perak, gandum
dengan gandum, tamar dengan tamar, garam dengan garam – ia
mestilah sama timbangan dan sukatannya, dan ditukar secara
terus (pada satu masa). Sekiranya berlainan jenis, maka berjual
belilah kamu sebagaimana disukai tetapi bayaran hendaklah
dibuat dengan segera” (Riwayat Muslim).
Dari Hadis yang dinyatakan di atas, emas dan perak adalah
mewakili wang ringgit; sementara gandum, barli, buah tamar dan
garam adalah mewakili barangan makanan. Kesemua barangan
berkenaan termasuk dalam jenis barangan ribawi.
Adalah jelas bahawa pengharaman boleh dibahagikan kepada 2
jenis yang berbeza. Riba yang pertama ialah larangan menambah
jumlah hutang (duyun) yang juga dikenali sebagai Riba al-Duyun
(Riba Hutang Piutang); sementara dalam urusan pertukaran
barangan ribawi yang sama jenis ditukar dengan kadar / nisbah
tukaran yang berbeza. Riba ini juga dikenali sebagai Riba al-
Pengenalan Mu’amalat Islam 15
Buyu’ (Riba Jual Beli). Secara ringkasnya, ia adalah seperti
berikut:
Riba al-Duyun (Riba Hutang Piutang) terbentuk melalui pinjaman
kewangan iaitu;
i. Riba al-Qard – di mana sejumlah tambahan (bunga atau
faedah) dari pinjaman pokok dikenakan dan dipersetujui
ketika kontrak dibuat.
ii. Riba al-Jahiliyah – di mana hutang yang dibayar melebihi
pinjaman pokok kerana si peminjam lewat atau tidak mampu
membayar hutangnya pada waktu yang ditetapkan.
Riba al-Buyu’ (Riba Jual Beli) terjadi melalui urusan pertukaran
barang; iaitu Riba al-Fadl (barangan ribawi sama sejenis tetapi tanpa
persamaan timbangan atau sukatan) dan Riba al-Nasi’ah
(penangguhan penyerahan atau penerimaan barangan ribawi).
Peraturan pertukaran barangan berikut digunakan dalam
menentukan sama ada transaksi berkenaan dikategorikan sebagai
Riba al-Fadl atau Riba al-Nasi’ah.
Peraturan 1:
Pertukaran barangan ribawi yang sama jenis (dan kadar atau
sukatan) hendaklah menggunakan kadar yang sama berat, sukatan
atau jumlah serta bayaran / penghantaran barangan hendaklah
dibuat pada waktu itu juga.
o Sekiranya pembayaran / penghantaran barangan dibuat
dengan serta merta tetapi kadar berat, sukatan atau jumlahnya
tidak sama, maka berlakulah Riba al-Fadl.
o Sekiranya pembayaran / penghantaran barangan
ditangguhkan tetapi kadar berat, sukatan atau jumlahnya
adalah sama, maka berlakulah Riba al-Nasi’ah.
16 Amalan Asas Takaful
Peraturan 2:
Bayaran dan penghantaran barangan ribawi dari jenis dan kadar
yang berbeza hendaklah dibuat pada waktu itu juga walaupun
mungkin dengan harga yang berbeza. Kadar berat, sukatan atau
jumlah barangan yang ditukar tidak menjadi keutamaan.
o Sekiranya pembayaran dan penghantaran barangan tidak
dibuat dengan segera (on the spot), maka Riba al-Nasi’ah
telah berlaku.
 Perjudian (Maisir)
Perjudian ialah sebarang aktiviti urus niaga yang di dalamnya
terdapat unsur-unsur permainan yang melibatkan pertaruhan atau
perjudian. Sesuatu kontrak yang melibatkan unsur-unsur
perjudian (maisir) adalah dianggap batal (batil). Judi boleh
ditakrifkan sebagai suatu pertaruhan atau mengenakan caj tertentu
yang mana bayaran tersebut akan lupus sekiranya seseorang itu
tidak berjaya memperolehi keuntungan / ganjaran yang
diharapkan. Ia juga dikenali sebagai “permainan dengan hasil
bersih sifar”, iaitu nilai ganjaran yang diterima oleh pemenang
pertaruhan dan mereka yang kalah pertaruhan adalah bersamaan
dengan sifar. Kemenangan yang diperolehi oleh satu pihak adalah
kerugian kepada pihak yang lain. Sekiranya sesuatu transaksi itu
melibatkan perkara yang menyalahi undang-undang dan
membawa keburukan atau kemusnahan harta benda, maka ia
boleh dianggap sebagai perjudian.
Allah s.w.t. berfirman yang maksudnya: “Mereka akan bertanya
kepadamu tentang minuman keras dan judi, katakanlah: pada
keduanya terdapat dosa besar dan manfaat bagi manusia. Tetapi
dosanya lebih besar dari pada manfaatnya…” (Al-Qur’an, 2:
219)
Pengenalan Mu’amalat Islam 17
 Ketidakpastian (Gharar)
Gharar atau ketidakpastian dalam sesuatu transaksi atau aktiviti
yang tidak berlandaskan Syari’ah, yang menyebabkan berlakunya
ketidakadilan kepada pihak-pihak yang terlibat. Ini adalah
disebabkan kuantiti dan kualiti barangan yang dinyatakan dalam
transaksi berkenaan tidak diketahui atau tidak ditetapkan nilainya.
Ayub (2007) mentakrifkan gharar sebagai sejenis permainan judi,
untung nasib, pertaruhan atau risiko. Gharar berlaku apabila
terdapat unsur-unsur ketidakpastian dalam transaksi dimana ciri-
ciri dan kewujudannya tidak dapat dipastikan secara tepat,
disebabkan sifatnya yang berisiko. Keadaan tersebut
menyebabkan kontrak berkenaan dianggap batal atau boleh
dibatalkan.
Rasulullah s.a.w. juga melarang umatnya terlibat dalam Gharar,
Al-Baji al-Andalusi menyatakan:
Nabi Muhammad s.a.w melarang urusan jual beli yang
melibatkan gharar dan boleh menyebabkan urusan tersebut tidak
sah. Jual beli melibatkan gharar bermaksud transaksi di mana
terdapat unsur-unsur gharar yang nyata dan jelas sehingga ia
boleh dikategorikan sebagai jual beli gharar. Para ulama’
bersependapat bahawa jual beli seperti ini adalah dilarang dan
tidak sah. Sebaliknya, gharar kecil tidak menyebabkan urusan
jual beli terbatal kerana para ulama berpendapat tiada kontrak
yang benar-benar bersih dari unsur-unsur gharar.
Gharar boleh dikategorikan kepada dua pecahan kecil iaitu
Gharar Kecil dan Gharar Besar;
(i) Gharar Kecil (Yasir)
Gharar Kecil diberi kelonggaran dan boleh dimaafkan kerana
ia tidak membatalkan kontrak jual beli, bermaksud unsur-
unsur gharar di dalamnya tidak mempengaruhi komponen
penting dan syarat-syarat utama kontrak (contohnya syarat-
18 Amalan Asas Takaful
syarat berkaitan aset, harga, bahasa yang digunakan dan
sebagainya).
(ii) Gharar Besar (Fahish)
Gharar yang menyebabkan kontrak tidak sah dikenali sebagai
Gharar Besar. Secara amnya, gharar besar mengandungi
ciri-ciri berikut;
 unsur-unsur ketidakpastian (gharar) terlalu nyata
sehingga ia tidak boleh diterima sebagai suatu kontrak
yang sah; atau ia terlalu kabur sehingga sukar untuk
dinilai dan difahami.
1.2.3 Konsep Kontrak dalam Mu’amalat
Al-Barbati dalam bukunya, Al-‘Inayah ‘ala Fath al-Qadir
mendefinisikan ‘aqad atau kontrak seperti berikut:
“Hubungan yang sah di sisi undang-undang tercipta melalui ikatan
dua pengisytiharan dan wujud kesan perundangan atas perkara pokok
yang dimaksudkan”.
‘Aqad dari sudut bahasa bermaksud “ikatan” atau “simpulan”. Dalam
bahasa Inggeris, ia dikenali sebagai ‘kontrak’. Kontrak juga boleh
didefinisikan sebagai “pernyataan persetujuan pertukaran hak milik
atas barangan / perkara pokok yang ditawarkan oleh penjual dan
pernyataan penerimaan barangan / perkara pokok oleh pembeli.
Kontrak yang lengkap perlu mengandungi perkara-perkara berikut:
Rukun Aqad Keterangan
‘Aqidain (pihak-
pihak yang
terikat dalam
kontrak)
Ia merupakan syarat utama yang menjadikan
kontrak tersebut sah dimana pihak-pihak yang
terlibat memenuhi syarat kelayakan mengikat
kontrak. Keupayaan memenuhi syarat
kelayakan menjadikan seseorang itu
Pengenalan Mu’amalat Islam 19
mempunyai hak dan layak untuk memikul
tanggungjawab yang diamanahkan.
Sighah
(pernyataan ijab
dan qabul)
Sighah ialah suatu bentuk kontrak yang
mengandungi ikrar ijab (lafaz penjual) dan
qabul (lafaz pembeli) atau tawaran dan
penerimaan. Tawaran yang dibuat oleh pihak
pertama dipanggil ijab kerana ia menawarkan
dan mengesahkan persetujuan penerimaan oleh
pihak kedua.
Ma’qud alaih
(barangan dan
harga jual beli)
Ia adalah perkara pokok atau barangan yang
dimaksudkan di dalam kontrak. Mengikut
perundangan Islam, terdapat beberapa syarat
yang perlu dipenuhi bagi barangan berkenaan
untuk menjadikan kontrak tersebut sah; iaitu
barangan tersebut hendaklah sah disisi undang-
undang, wujud (sedia ada) dan telah
dikenalpasti.
A1.3 PENERAPAN KONTRAK SYARI’AH DALAM
PERNIAGAAN TAKAFUL
Dalam perundangan Islam, kontrak boleh wujud dalam bentuk dua
keadaan iaitu kontrak dua pihak (bilateral) atau kontrak satu pihak
(unilateral). Kontrak didefinisikan sebagai hubungan antara tawaran
dan penerimaan yang menghasilkan persetujuan perundangan atas
perkara pokok kontrak. Sebarang urusan perjanjian yang melibatkan
harta benda perlu memenuhi beberapa keperluan asas kontrak yang
bersesuaian dengan tujuan urusniaga berkenaan.
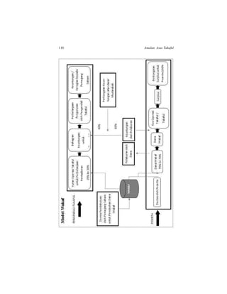
Secara amnya skim Takaful melibatkan dua pihak iaitu Pengendali
Takaful dan sekumpulan Peserta yang biasanya dikenali sebagai
pemegang polisi dalam insurans konvensional. Ringkasnya, kontrak
Takaful yang mewujudkan hubungan di antara Pengendali Takaful
dengan peserta boleh dikategorikan dalam beberapa bentuk iaitu
20 Amalan Asas Takaful
Tabarru’, Wakalah dan Mudharabah bergantung kepada kehendak
dan keperluan pihak-pihak yang terlibat. Keterangan lanjut mengenai
bentuk kontrak berkenaan adalah seperti berikut:
No. Keterangan Kontrak Keterangan Lanjut Kontrak
Takaful
i. Kafalah
Satu kontrak jaminan di
mana seseorang
mmenambah kepada
dirinya tanggungjawab
atau liability bagi pihak
orang lain.
Dalam perniagaan Takaful,
peserta menyumbang kepada
dana Takaful dengan persetujuan
bersama bahawa Pengendali
Takaful diamanahkan untuk
melaksanakan dalam
menguruskan dana takaful secara
berhemat dan membayar
manfaat Takaful kepada peserta
sekiranya ditimpa musibah.
Kontrak Kafalah yang wujud
dalam operasi sistem Takaful di
Malaysia dan seluruh dunia.
ii. Tabarru’
Bermaksud sumbangan
atau derma yang
diberikan oleh seseorang
yang kemudiannya
diberikan kepada orang
lain yang
memerlukannya, tanpa
mengharapkan apa-apa
balasan.
Dalam perniagaan Takaful,
peserta bersetuju untuk
menderma sejumlah wang ke
Dana Takaful berdasarkan
kontrak tabarru’. Kontrak
Tabarru’ merupakan elemen
utama dalam perniagaan Takaful
dan ianya bukan sahaja
diamalkan di Malaysia, malah ia
juga diamalkan diseluruh dunia.
Pengenalan Mu’amalat Islam 21
iii. Wakalah (wakil-mewakil)
Kontrak agensi wujud
apabila seseorang itu
mewakilkan individu lain
menjalankan tugas-tugas
perniagaan bagi pihaknya.
Individu yang menerima
tugas tersebut dipanggil
‘wakil’. Oleh yang
demikian, kedua-dua
pihak iaitu prinsipal dan
wakil sama-sama terikat
di bawah kontrak
wakalah.
Kafalah (menjamin atau
menjaga).
Dalam perniagaan Takaful,
peserta melantik Pengendali
Takaful sebagai wakilnya untuk
mengurus dana dan perlindungan
Takaful. Kontrak wakalah
diamalkan oleh semua
pengendali Takaful di Malaysia
dan juga sebahagian besar
pengendali Takaful di seluruh
dunia.
iv. Ju’alah
Kontrak menyewa bagi
perkhidmatan, di mana
satu pihak berjanji untuk
membayar amaun yang
dinyatakan wang bagi
perkhidmatan yang
diberikan selaras dengan
terma-terma yang
dirundingkan di antara
mereka.
Dalam perniagaan Takaful, para
peserta menyumbang sejumlah
wang kepada dana Takaful.
Pengendali Takaful adalah
diamanahkan untuk
menguruskan dana Takaful
secara berhemah dari segi
pelaburan dan pembayaran
manfaat Takaful kepada peserta
yang layak jika berlaku musibah.
Pengendali Takaful berhak
kepada fi untuk perkhidmatan
yang diberikan.
Kontrak Ju’alah diamanahkan
oleh semua Pengendali Takaful
di Malaysia manakala
22 Amalan Asas Takaful
kebanyakan Pengendali Takaful
di seluruh dunia beroperasi di
bawah model Wakalah.
v. Mudharabah
Amalan Mudharabah
(berkongsi keuntungan)
bermaksud suatu kontrak
kewangan di mana pihak
pertama yang dikenali
sebagai Rabb al-Mal
menyediakan dana kepada
pihak yang satu lagi yang
dipanggil Mudharib.
Mudharib kemudiannya
diberi tanggungjawab
mengurus dana berkenaan
melalui urusan pelaburan
atau perniagaan yang
boleh memberi
keuntungan. Kedua-dua
pihak akan berkongsi
keuntungan yang
diperolehi mengikut kadar
yang ditetapkan.
Dalam perniagaan Takaful,
peserta mencarum sejumlah
wang ke dana Takaful di mana
peserta bertindak sebagai Rabb
al-Mal, sementara Pengendali
Takaful menjadi Mudharib yang
bertindak sebagai pengurus dana
dan berusaha mencatat
keuntungan dari pelaburan yang
dibuat. Peserta dan Pengendali
Takaful akan berkongsi
keuntungan yang diperolehi
mengikut kadar yang
dipersetujui terlebih dahulu.
Kontrak Mudharabah diamalkan
oleh Syarikat Takaful Malaysia
Berhad ketika syarikat
berkenaan mula beroperasi.
Walau bagaimanapun,
sebahagian daripada Pengendali
Takaful yang beroperasi di
Malaysia mengamalkan kontrak
Mudharabah hanya pada
beberapa produk kewangan
sahaja.
vi. Musyarakah
Kontrak Shirkah
(perkongsian).
Musyarakah adalah satu
Dalam perniagaan Takaful, para
pemegang saham masing-masing
bersetuju bersama untuk
Pengenalan Mu’amalat Islam 23
perjanjian di antara dua
atau lebih pihak untuk
mengendalikan
perniagaan tertentu di
mana semua pihak
menyumbang kepada
modal untuk berkongsi
keuntungan. Dalam
urusan musyarakah, pihak
yang terlibat di sini
berkongsi liabiliti,
keuntungan dan juga
kerugian berdasarkan
kepada persetujuan
mereka.
menyumbang sejumlah wang
untuk memulakan perniagaan
Takaful. Ini adalah persejutuan
bersama di kalangan para
pemegang saham yang dipanggil
musyarakah.
Kontrak musyarakah diamalkan
di kalangan semua pemegang
saham semua Pengendali
Takaful di Malaysia dan
Pengendali Takaful di seluruh
dunia.
24 Amalan Asas Takaful
Konsep Risiko 25
BAB A2
KONSEP RISIKO
PENGENALAN
Risiko boleh ditakrifkan sebagai ketidakpastian tentang apa yang
akan berlaku pada masa hadapan. Istilah ‘risiko’ mempunyai pelbagai
pengertian dalam dunia perniagaan dan kehidupan harian. Risiko
secara umumnya bermaksud kemungkinan berlakunya kebinasaan,
kecederaan atau kerugian. Ia juga boleh ditafsirkan sebagai sebarang
situasi di mana terdapatnya ketidakpastian tentang apakah yang akan
berlaku dan kesan yang perlu ditanggung. Risiko biasanya dikaitkan
dengan kejadian atau kesan yang merugikan, sementara peluang
atau nasib dikaitkan dengan hasil atau keputusan yang
menggembirakan / menguntungkan. Contoh risiko ialah diagnosa
kanser paru-paru di kalangan para penghisap rokok di mana
ketidakpastian sentiasa wujud sama ada mereka pasti akan menghidap
kanser berkenaan ataupun tidak.
A2.1 KONSEP RISIKO
Oleh kerana tujuan perbincangan berkait rapat dengan risiko yang
boleh diTakafulkan, tumpuan akan diberikan kepada risiko yang
berkemungkinan boleh menyebabkan kerugian kewangan. Kerugian
kewangan didefinisikan sebagai kehilangan atau penurunan nilai
disebabkan berlakunya musibah atau kecelakaan.
Selain dari risiko ketidakpastian sama ada sesuatu musibah itu akan
menyebabkan kerugian atau tidak, risiko juga mempunyai kaitan
dengan kebarangkalian kekerapan (frequency) dan keterukan
(severity). Tahap risiko ditentukan melalui hubungan berkenaan.
Hubungan tersebut dijelaskan melalui Heinrich Triangle. Heinrich
Triangle menerangkan bahawa sekiranya kekerapan kejadian yang
berlaku itu adalah tinggi, maka tahap keterukan (severity) adalah
rendah. Manakala kejadian yang kurang kerap berlaku akan
26 Amalan Asas Takaful
menyebabkan tahap keterukan yang tinggi. Contohnya, kemalangan
di udara yang melibatkan kapalterbang jarang berlaku tetapi sekiranya
berlaku kemalangan berkenaan maka tahap keterukan – cedera parah
atau kematian – adalah tinggi.
2.1.1 Peril dan Bahaya
Konsep Keterangan Contoh
Peril Peril digunakan untuk
mengenal pasti sebab-sebab
kerugian. Sebarang
kerugian akibat
kemalangan disebabkan
oleh sesuatu peril adalah
tertakluk kepada tuntutan di
bawah polisi / pelan
perlindungan yang
berkaitan. Contoh-contoh
peril termasuklah
kebakaran, banjir,
pelanggaran, kemalangan,
gempa bumi, sakit dan
kematian.
 Kenderaan yang
dilindungi di bawah
polisi insurans motor
mengalami kerosakan
akibat kemalangan
(kemalangan adalah peril
yang dilindungi). Oleh
itu, tuntutan boleh dibuat
di bawah polisi ini
 Sekiranya sebuah
restoran musnah
disebabkan kebakaran
(kebakaran adalah peril
yang dilindungi), maka
tuntutan boleh dibuat di
bawah polisi insurans
kebakaran.
Bahaya Bermaksud sesuatu perlakuan atau keadaan yang
meningkatkan kebarangkalian berlaku kerugian. Bahaya
boleh dibahagikan kepada dua jenis iaitu:
1. Bahaya Fizikal -Merujuk
kepada ciri fizikal
perkara pokok insurans
yang boleh
meningkatkan
kemungkinan
berlakunya kerugian.
Kerja-kerja pendawaian
yang tidak sempurna dalam
sesebuah bangunan yang
boleh meningkatkan
kemungkinan berlakunya
kebakaran.
Konsep Risiko 27
2. Bahaya Moral –
Merujuk kepada sikap
seseorang yang
meningkatkan
kemungkinan
berlakunya kerugian.
Bahaya moral sukar
untuk diramal.
Seseorang itu dengan
sengaja membakar produk
yang tidak laku dijual tetapi
telah diinsuranskan untuk
menuntut ganti rugi dari
insurer; atau pemilik polisi
yang tidak jujur membuat
tuntutan yang melampau
dan sengaja diada-adakan.
2.1.2 Kategori Risiko
Risiko boleh dikelaskan kepada beberapa kategori utama iaitu:
Risiko Keterangan Contoh
Tulen Merujuk kepada kebarangkalian
terjadi kerugian ataupun tiada
sebarang kerugian. Risiko tulen
secara umumnya boleh dilindungi.
Kebakaran, petir,
banjir taufan,
kematian,
kemalangan,
kecurian dan
sebagainya.
Spekulatif Merujuk kepada kebarangkalian
berlaku kerugian, tiada kerugian
atau mengaut keuntungan. Tidak
dapat dipastikan sama ada sesuatu
kejadian itu boleh membawa
keuntungan, kerugian atau tiada
kerugian. Risiko spekulatif tidak
boleh dilindungi/diisuranskan
Pelaburan di
pasaran saham,
pasaran
matawang asing,
meneroka bidang
perniagaan baru
dan sebagainya.
28 Amalan Asas Takaful
2.1.3 Risiko Asas dan Risiko Khusus
Risiko Keterangan Contoh
Risiko
Asas
Risiko Asas akan memberi kesan
ekonomi yang menyeluruh
kepada masyarakat seluruhnya
atau kepada kumpulan individu
dalam masyarakat. Risiko Asas
adalah di luar kawalan mana-
mana individu.
Kerosakan harta
benda disebabkan
gempa bumi,
peperangan dan
sebagainya.
Risiko
Khusus
Risiko khusus akan hanya
memberi kesan kepada individu
tertentu dan bukannya keseluruhan
masyarakat dan risiko ini boleh
dikawal.
Kerosakan harta
benda disebabkan
kemalangan,
kecurian,
rompakan dan
sebagainya.
2.1.4 Jenis-Jenis Risiko Tulen
Risiko Tulen biasanya boleh diinsuranskan dan perbincangan
mengenai insurans dan Takaful akan memberi tumpuan kepada
risiko-risiko berkenaan.
Risiko Tulen boleh dikategorikan kepada tiga (3) jenis utama yang
kesemuanya boleh menyebabkan ketidakstabilan kewangan iaitu
Risiko Peribadi, Risiko Harta, dan Risiko Liabiliti.
Risiko Keterangan Contoh
Risiko
Peribadi
Merujuk kepada risiko yang memberi kesan
langsung kepada individu yang boleh
menyebabkan kemungkinan berlakunya kerugian
atau pendapatan semakin berkurangan,
Konsep Risiko 29
menanggung perbelanjaan tambahan dan nilai aset
yang semakin susut.
Risiko peribadi boleh dibahagikan kepada empat
(4) jenis iaitu:
Risiko Mati Awal Kematian ketua keluarga
atau pencari nafkah boleh
menyebabkan keluarga yang
ditinggalkan menghadapi
masaalah kewangan.
Risiko Simpanan
Tidak Mencukupi
ketika Persaraan.
Para pesara menghadapi
kemungkinan kehilangan
atau ketiadaan punca
pendapatan ketika bersara
sekiranya mereka tidak
mempunyai aset cair yang
mencukupi atau tiada
sumber-sumber pendapatan
lain ketika persaraan. Risiko
yang perlu ditanggung ialah
taraf dan gaya hidup yang
lebih rendah.
Risiko Kesihatan
yang semakin
Buruk.
Kemungkinan seseorang itu
perlu menanggung kos
perubatan yang amat tinggi
dan seterusnya kehilangan
pekerjaan / pendapatan.
Risiko Kehilangan
Pendapatan
Merupakan ancaman
kewangan yang terbesar
disebabkan perniagaan
menghadapi zaman
kesukaran, perubahan
ekonomi dan aplikasi
30 Amalan Asas Takaful
teknologi dan sebagainya.
Risiko Harta Merujuk kepada kebarangkalian berlakunya
kerugian disebabkan kerosakan harta akibat
kebakaran, banjir, gempa bumi atau bencana alam
lain. Terdapat dua (2) jenis risiko yang berkaitan
dengan harta benda:
Kerugian Langsung
Kerugian kewangan
yang berlaku atas
kerosakan fizikal
harta benda
disebabkan
kecurian atau
kemusnahan harta
tersebut.
Sebuah kilang mengalami
kerosakan disebabkan
kebakaran (kerosakan fizikal
kilang berkenaan merupakan
kerugian langsung).
Kerugian Tidak
Langsung atau
Kerugian Turutan
Kerugian kewangan
yang berlaku secara
tidak langsung atas
kerosakan fizikal
harta benda
disebabkan
kecurian atau
kemusnahan harta
tersebut.
Selain dari kerugian akibat
kerosakan fizikal kilang
berkenaan, pemilik kilang
juga kehilangan mata
pencarian / pendapatan
sepanjang tempoh kilang
tersebut menjalani kerja-kerja
baik pulih. Kehilangan
pendapatan adalah
merupakan kerugian tidak
langsung / kerugian turutan.
Konsep Risiko 31
Risiko
Liabiliti
Merujuk kepada
risiko kecederaan
badan pihak ketiga
atau kerosakan
harta. Pihak
mahkamah
mungkin
memerintahkan
pihak yang dituntut
membayar ganti
rugi atas
kecederaan anggota
badan pihak ketiga.
Organisasi atau firma
perniagaan terdedah kepada
tuntutan liabiliti disebabkan
kecacatan produk yang
dihasilkan. Produk tersebut
mungkin boleh menyebabkan
kecederaan anggota badan
atau kerosakan harta kepada
pengguna yang menggunakan
produk berkenaan.
2.1.5 Ciri-Ciri Risiko yang Boleh Diinsuranskan
Ciri-Ciri Keterangan
Mempunyai Nilai
Kewangan
Risiko berkait rapat dengan kerugian di mana
ganti rugi kewangan boleh dibayar setelah
berlaku sesuatu musibah umpamanya
kerosakan rumah kediaman disebabkan
kebakaran, kecurian kenderaan dan
sebagainya. Harta berkenaan mungkin
mempunyai nilai kewangan dan nilai peribadi,
tetapi ia hanya boleh diinsuranskan
berdasarkan nilai kewangan dan bukannya
nilai sentimental harta / perkara pokok
insurans.
Risiko
Pendedahan yang
Sama
Risiko yang hendak diinsuranskan mestilah
mempunyai persamaan ciri-ciri dan terdapat
jumlah yang banyak,
a) Penilaian risiko melalui analisa
kebarangkalian dan statistik amat
32 Amalan Asas Takaful
bergantung kepada pengalaman lepas
yang dianggap munasabah jumlahnya.
b) Sekiranya hanya terdapat 3 atau 4
pengalaman pendedahan, ia akan
menyebabkan kos perlindungan dan
bayaran premium yang tinggi serta tidak
kompetitif. Contohnya insurans
perlindungan sepasang kaki milik model /
peragawati terkenal.
Risiko Tulen Secara umumnya, hanya risiko tulen
(kerugian atau tiada kerugian) sahaja yang
boleh diinsuranskan kerana seseorang itu
tidak boleh meraih keuntungan dari insurans.
Risiko spekulatif memberi kemungkinan
berlaku kerugian, pulang modal (tiada
kerugian) atau meraih keuntungan, dan oleh
itu ia tidak boleh diinsuranskan.
Risiko Khusus Risiko khusus boleh dilindungi sekiranya ia
memenuhi kriteria risiko yang boleh
diinsuranskan.
Risiko asas biasanya tidak boleh
diinsuranskan, contohnya risiko peperangan
atau perubahan nilai budaya. Walau
bagaimanapun, mungkin terdapat risiko yang
boleh diberi perlindungan insurans tetapi ia
bergantung kepada lokasi geografi risiko
berkenaan.
Kerugian Tidak
Dijangka
Adalah tidak munasabah untuk
menginsuranskan risiko yang pasti akan
berlaku kerana ia bertentangan dengan salah
satu ciri-ciri risiko boleh diinsuranskan iaitu
kerugian tidak dijangka. Kekerapan dan
Konsep Risiko 33
ketenatan sesuatu risiko itu mestilah di luar
jangkaan, contohnya dalam insurans hayat –
bila / tarikh kematian adalah diluar
pengetahuan manusia untuk memastikannya.
Contoh risiko yang telah dijangka, dengan
niat dan disengajakan ialah bunuh diri.
Kepentingan
Boleh Lindung
Bermaksud suatu hak hubungan yang sah di
sisi undang-undang di antara diri yang
diinsuranskan dengan perkara pokok insurans.
Risiko yang hendak dilindungi mestilah
mempunyai kepentingan kewangan yang
diiktiraf oleh undang-undang. Diri yang
diinsuranskan merupakan individu yang akan
menanggung kerugian kewangan sekiranya
risiko yang dilindungi itu benar-benar terjadi.
Contohnya, pemilik rumah berhak
menginsuranskan rumah kediamannya.
A2.2 KONSEP RISIKO DALAM ISLAM
Terdapat sebilangan orang Islam yang terkeliru tentang konsep takdir
(Qada’ dan Qadar), yang mana mereka beranggapan takdir mereka
telah ditentukan oleh Allah s.w.t. sejak azali lagi dan dengan itu tidak
perlu berusaha. Hakikatnya, setiap manusia tetap berkewajipan untuk
berusaha dan berikhtiar kerana semua perkara ditentukan oleh Allah
tetapi manusia diberi pilihan untuk mencorakkan kesejahteraan
hidupnya sendiri. Allah s.w.t. berfirman yang maksudnya:
“Sesungguhnya Allah tidak akan mengubah nasib / keadaaan sesuatu
kaum sehingga mereka sendiri mengubah keadaan yang ada pada
diri mereka” (Al-Qur’an, 13:11)
34 Amalan Asas Takaful
Seterusnya, dalam satu riwayat, Nabi Muhammad s.a.w. bertanya
kepada seorang Badwi yang meninggalkan untanya tanpa ditambat,
“Mengapa kamu tidak menambat / mengikat unta kamu?” Orang
Badwi itu menjawab, “Aku serahkan takdir dan bertawakkal kepada
Allah s.w.t”. Nabi Muhammad kemudiannya menjawab, “Ikatkan
dahulu unta itu, kemudian barulah bertawakkal”.
Pengajaran dari peristiwa di atas mengukuhkan tanggapan bahawa
sesungguhnya umat Islam bukan sahaja perlu percaya pada Qada’ dan
Qadar Allah, tetapi juga menegaskan yang mereka perlu berusaha
dan bertawakal demi mengelakkan malapetaka atau mengurangkan
risiko menanggung kerugian.
Pengurusan risiko merupakan suatu konsep yang bukan sahaja
diterima oleh masyarakat Islam, malah mempercayainya sebagai
salah satu cara untuk mencapai objektif dan matlamat hidup, dan
seterusnya mencapai matlamat akhir ialah menikmati kehidupan yang
penuh keberkatan di dunia dan di akhirat kelak.
A2.3 RISIKO DAN TAKAFUL
Risiko-risiko yang perlu dihadapi dalam mengendalikaan operasi
perniagaan Takaful tidak terhad kepada perkara-perkara yang
dinyatakan di bawah:
Jenis-jenis
Risiko
Keterangan
Risiko Operasi Risiko menghadapi kerugian disebabkan
kegagalan proses kerja dalaman, sumber
manusia dan sistem kendalian atau pengaruh
luar antara lainnya seperti:
 Amalan dan keselamatan tempat kerja:
kerugian disebabkan cara bekerja yang tidak
selaras atau bertentangan dengan undang-
undang dan peraturan pekerjaan, kesihatan
dan keselamatan tempat kerja, sistem
ganjaran / upah.
Konsep Risiko 35
 Penipuan dalaman: kerugian disebabkan
tindakan pekerja yang berniat untuk menipu,
menyalahguna harta syarikat atau menyalahi
peraturan, undang-undang dan dasar syarikat,
amalan rasuah.
 Penipuan luaran: kerugian disebabkan
tindakan pihak ketiga / luar yang berniat
untuk menipu atau pemalsuan dokumen,
penyalahgunaan harta syarikat atau
menyalahi peraturan/undang-undang.
 Kerosakan harta: kerugian disebabkan
kerosakan atau kehilangan harta syarikat
akibat bencana alam atau tindakan lain
seperti keganasan, vandalisme dan
sebagainya.
 Gangguan perniagaan dan sistem pincang
tugas: kerugian disebabkan gangguan
bekalan utiliti, kegagalan perkakasan dan
perisian komputer.
 Proses pengurusan, perlaksanaan dan
penyampaian: kerugian akibat kegagalan
proses transaksi atau proses pengurusan,
kerugian yang berkaitan dengan urusan
dengan rakan niaga atau pembekal akibat
kesilapan kemasukan data, kesilapan akaun,
kegagalan menyiapkan laporan mandatori,
kerugian harta pelanggan disebabkan
kecuaian.
 Pelanggan, produk dan amalan perniagaan:
kerugian disebabkan gagal (tanpa niat atau
cuai) untuk memenuhi tanggungjawab
profesional terhadap pelanggan tertentu
(termasuk keperluan industri dan
kesesuaian), atau kerugian akibat kecacatan
reka bentuk atau ciri-ciri produk.
36 Amalan Asas Takaful
Risiko Undang-
undang
Risiko kerugian akibat tuntutan udang-undang
dari pihak ketiga.
Risiko Strategik Risiko kerugian akibat kesilapan membuat
keputusan atau strategi perniagaan yang
menimbulkan kesan negatif.
Risiko Reputasi Sebarang keraguan atau kesilapan dalam
membuat keputusan, aktiviti atau inisiatif boleh
mencemarkan nama dan reputasi syarikat
Pengendali Takaful.
Risiko
Pengunderaitan
Risiko sekiranya dana caruman / tabarru’ tidak
mencukupi untuk menampung bayaran tuntutan
dan rezab perbelanjaan penyelarasan kerugian
semasa tidak mencukupi.
Risiko Pelaburan Risiko dalam pelaburan ialah kerugian. Hampir
kesemua bentuk pelaburan mempunyai
risikonya tersendiri: harga saham jatuh; bon
atau sukuk tidak berfungsi sepatutnya, aset
sandaran pasaran derivatif tidak berfungsi
seperti yang dijangkakan.
Risiko Tadbir
Urus
Biasanya ia berkisar tentang aktiviti perniagaan
seperti tadbir urus korporat, pengurusan risiko
perusahaan dan pematuhan korporat dengan
peraturan dan undang-undang sedia ada.
Risiko
Meneruskan
Perniagaan
Iaitu merancang dan mengenal pasti pendedahan
organisasi terhadap ancaman dalaman dan
luaran serta penggemblengan kemahiran dan
aset bagi merangka tindakan pencegahan dan
pemulihan yang berkesan untuk organisasi,
mengekalkan kelebihan kompetitif dan nilai
integriti sistem untuk memastikan
kesinambungan dan daya maju syarikat.
Konsep Risiko 37
Risiko
Pematuhan
Syariah
Terdapat risiko kemungkinan operasi urus niaga
Takaful tidak mematuhi prinsip-prinsip Syariah.
Pengendali Takaful mungkin menghadapi risiko
tidak memperolehi pendapatan yang dijangka
serta risiko reputasi. Sebagai contoh, risiko yang
telah diterima mungkin tidak mematuhi prinsip-
prinsip Syariah dan oleh itu terpaksa ditolak dan
menyarankan agar kotrak dibatalkan atau
mendermakan pendapatan kepada badan-badan
kebajikan.
A2.4 KAEDAH MENANGANI RISIKO
Apabila sesuatu risiko itu telah dikenal pasti dan dinilai, semua teknik
pengawalan risiko boleh digunakan dan pada dasarnya terdapat empat
cara menangani risiko:
 Pengelakan risiko
 Pengawalan / pengurangan risiko
 Pengekalan risiko
 Pemindahan risiko
 Perkongsian risiko
2.4.1 Pengelakan Risiko
Menjauhi atau menghapuskan risiko - Sekiranya diputuskan bahawa
terdapat risiko yang tidak boleh diterima, maka organisasi boleh
memutuskan untuk tidak meneruskan aktiviti atau perniagaan yang
mengandungi risiko berkaitan. Jika keputusan ini dibuat, maka
individu atau organisasi telah memutuskan untuk mengelakkan risiko.
Pengelakan mungkin seolah-olah jawapan kepada semua risiko, tetapi
mengelakkan risiko juga bermakna kehilangan potensi keuntungan
sekiranya menerima (mengekalkan) risiko yang dibenarkan.
Keputusan untuk tidak meneruskan perniagaan bagi mengelakkan
risiko kerugian juga bererti mengelakkan kemungkinan memperolehi
keuntungan. Contohnya, tidak membeli harta atau memulakan
38 Amalan Asas Takaful
perniagaan kerana tidak mahu menanggung liabiliti yang terkandung
didalamnya.
2.4.2 Pengawalan atau Pengurangan Risiko
Ini adalah suatu tindakan yang diambil untuk memperbaiki risiko
demi mencapai tahap standard yang boleh diterima pakai. Proses
penilaian yang berterusan amat diperlukan untuk memastikan standard
yang diingini dapat dicapai. Ia melibatkan kaedah mengurangkan
keterukan / ketenatan kerugian atau kemungkinan dapat mencegah
dari berlakunya kerugian. Sebagai contoh, memasang sistem perenjis
air untuk memadamkan api bagi mengurangkan risiko kerugian
disebabkan kebakaran.
2.4.3 Pengekalan Risiko
Sekiranya tahap risiko semasa berada di tahap yang boleh diterima,
individu atau organisasi boleh memutuskan untuk mengekalkan risiko
berkenaan. Ia bererti berkesanggupan menerima kerugian sekiranya ia
benar-benar berlaku. Pengekalan risiko merupakan satu strategi yang
berdaya maju bagi risiko kecil di mana kos menginsuranskan risiko
berkenaan mungkin lebih besar dimasa akan datang berbanding
dengan jumlah kerugian yang dialami.
2.4.4 Pemindahan Risiko
Ia melibatkan proses pemindahan risiko kepada organisasi (insurer)
atau individu. Apabila risiko dipindahkan, kerugian akan dibayar oleh
organisasi atau individu kepada mereka yang memindahkan risiko
berkenaan. Terdapat dua cara untuk memindahkan risiko
Contoh Kotrak Insurans / Takaful: Pemilik rumah boleh
memindahkan risiko kerugian sekiranya rumah kediamannya musnah
dijilat api iaitu dengan membeli pelan Takaful kebakaran.
Contoh Kontrak Bukan Insurans / Takaful: Sesebuah pasar raya boleh
memindahkan risiko (liabiliti) yang timbul daripada penjualan produk
Konsep Risiko 39
yang megalami kecacatan dengan membuat kontrak perjanjian dengan
pengilang di mana pengilang bersetuju untuk membayar ganti rugi
kepada pasar raya dari liabiliti yang mungkin timbul daripada produk
yang rosak.
A2.4.5 Perkongsian Risiko
Islam tidak membenarkan risiko ditukar iaitu pemindahan secara
keseluruhan kerugian kewangan yang timbul daripada risiko. Ia tidak
diiktiraf sebagai adil kepada setiap pihak kerana ia boleh membawa
kepada beban lebih-tuntutan di luar niat asal syarikat insurans, atau
sebaliknya juga boleh mengakibatkan tahap premium yang tidak boleh
diterima oleh pihak yang dilindungi.
Sebagai alternatif, individu atau organisasi boleh berkongsi risiko
dengan orang lian yang mempunyai sifat risiko yang serupa. Amalan
ini dipanggil perlindungan Takaful.
A2.5 PENGURUSAN RISIKO
2.5.1 Mengenalpasti Risiko
Mengenalpasti risiko merupakan langkah yang paling penting dalam
proses pengurusan risiko. Ia perlu dilakukan untuk mengenal pasti
risiko-risiko yang boleh menjejaskan kewangan individu atau firma
sebelum suatu jalan penyelesaian boleh disediakan. Apabila risiko
telah dikenal pasti, ia hendaklah diukur dan dinilai secara individu
bagi menentukan kebarangkalian atau kemungkinan berlaku kerugian
dan kesan kewangan keatas individu atau firma terbabit.
Pengurusan risiko mengambil pandangan bahawa sesebuah firma
terdedah kepada risiko dalam pelbagai cara yang kesemuanya boleh
menyebabkan kerugian kewangan. Oleh itu, risiko dilihat dalam erti
kata yang seluas-luasnya, dan tidak terhad kepada risiko yang boleh
diinsuranskan. Tanggungjawab pengurus risiko ialah mengenal pasti
risiko yang berkemungkinan boleh menjejaskan perniagaan syarikat.
40 Amalan Asas Takaful
 Kaedah Mengenal pasti Risiko
 Pemeriksaan Fizikal
Membuat lawatan singkat ke loji adalah penting untuk
membantu memahami risiko berkaitan, yang kemudiannya
diikuti dengan proses formal mengenal pasti risiko secara
lebih menyeluruh.
 Carta Organisasi
Satu carta yang menunjukkan struktur organisasi syarikat dan
hubungan di antara kakitangan dan jabatan yang berlainan
dapat membantu mengenal pasti kelemahan struktur
organisasi.
 Carta Aliran Kerja
Satu carta yang menunjukkan bahan-bahan atau kerja
'berfungsi' melalui pelbagai peringkat proses di mana
bahagian yang lemah / tidak berfungsi boleh dikenal pasti.
 Senarai Semak
Suatu senarai soalan pertanyaan atau soal selidik yang
berkaitan dengan bidang-bidang utama aktiviti boleh
membantu mengenal pasti bahagian-bahagian yang
mempunyai risiko.
2.5.2 Pemeriksaan dan Penilaian Risiko
Pemeriksaan dan penilaian risiko adalah proses menentukan kesan
risiko atau potensi kerugian supaya tindakan sewajarnya dapat diambil
berdasarkan sumber-sumber yang sedia ada. Penilaian risiko
melibatkan anggaran kekerapan dan keterukan pendedahan risiko dan
menentukan tahap kedudukannya berdasarkan kepada perbandingan
Konsep Risiko 41
kepentingan. Risiko yang berpotensi tinggi menyebabkan kerugian
akan diberikan keutamaan dalam pelan pengurusan risiko.
 Kekerapan risiko merujuk kepada jumlah atau bilangan sesuatu
musibah itu berlaku yang mengakibatkan kerugian, dalam suatu
tempoh masa yang ditetapkan (kebarangkalian berlakunya).
 Keterukan risiko merujuk kepada kos atau jumlah kerugian dari
segi kewangan, yang terpaksa ditanggung akibat dari musibah
berkenaan.
Tidak semua risiko itu penting dan perlu dikendalikan atau
diinsuranskan / dilindungi. Bagi risiko yang lebih kecil, ia boleh
diabaikan walaupun terdapat kemungkinan yang ia boleh berlaku.
Walau bagaimanapun, saiz risiko sahaja tidak menentukan sama ada
ia perlu diberi keutamaan. Risiko yang mempunyai kemungkinan
yang sedikit untuk terjadi tetapi membawa kesan yang besar terhadap
kedudukan kewangan individu atau firma perlu diberi keutamaan.
Contoh: Dalam pelan pengurusan risiko, pendedahan kerugian yang
berpotensi untuk menyebabkan sesebuah firma itu muflis adalah jauh
lebih penting berbanding dengan pendedahan risiko yang berlaku
tetapi hanya melibatkan kos yang kecil.
2.5.3 Pembangunan Pelan Pengurusan Risiko
Apabila sesuatu risiko telah dinilai sepenuhnya, sudah tiba masanya
untuk memilih kaedah pengurangan risiko yang bersesuaian.
Pemilihan kaedah tersebut harus dibuat pada peringkat awal pelan
pembangunan dengan mengambilkira kos dan keberkesanannya.
Terdapat empat kaedah pengurangan risiko - Pengelakan Risiko;
Kawalan Risiko; Pembendungan Risiko dan Pemindahan Risiko.
2.5.4 Perlaksanaan Pelan Pengurusan Risiko
Sebaik sahaja pemilihan kaedah yang sesuai telah diputuskan, pelan
pengurusan risiko sudah bersedia untuk dilaksanakan. Dalam
melaksanakan langkah ini, risiko perlu dikenalpasti keutamaannya dan
42 Amalan Asas Takaful
disesuaikan dengan bentuk tindakan yang akan diambil. Salah satu
bentuk tindakan yang kerap diambil ialah dengan menginsuranskan /
melindungi risiko tersebut.
2.5.5 Kajian semula dan Pemantauan Pelan Pengurusan Risiko
 Kajian semula dan pemantauan adalah satu lagi langkah penting
dalam proses pengurusan risiko. Aktiviti-aktiviti ini melibatkan
kajian / penilaian semula secara berkala, memantau proses
perlaksanaan serta semakan progresif keatas pelan berkenaan
supaya ia selaras dengan perubahan dalam persekitaran
perniagaan dan ekonomi.
 Peringkat pemantauan dan kajian semula risiko termasuk
mengeluarkan buku panduan/ manual mengenai risiko , laporan
tuntutan, kajian pengalaman dan audit. Secara umumnya, risiko
yang berlainan memerlukan kaedah pemantauan yang berbeza,
khususnya risiko yang dilindungi yang perlu dipantau secara lebih
kerap dan melaporkan terus kepada pihak pengurusan.
 Penilaian semula secara berkala boleh membantu mengenal pasti
sebarang kekurangan atau pengubahsuaian, dan juga memastikan
objektif pelan pengurusan risiko boleh dicapai. Kajian / penilaian
semula perlu dilakukan sekurang-kurangnya sekali dalam setahun.
2.5.6 Komunikasi Pelan dan Objektif Pengurusan Risiko
 Sering diperkatakan bahawa bukan pelan yang penting, tetapi
ketelitian perancangan itu sendiri yang menjadi keutamaan. Ini
adalah sangat benar dimana komunikasi yang berkesan disemua
fasa perancangan pengurusan risiko amat diperlukan. Keperluan
komunikasi sering diabaikan dan akibatnya, fasa perlaksanaan dan
pemantauan tidak dititikberatkan sehingga mengakibatkan
objektif pelan pengurusan tidak dapat dicapai.
Konsep Risiko 43
 Petunjuk-petunjuk penting dari sumber dalaman atau luaran yang
berkaitan dengan pengurusan risiko perlu diambilkira. Kedua-dua
sumber berkenaan perlu dimasukkan ke dalam dasar pengurusan
risiko. Petunjuk-petunjuk utama ini boleh dipecahkan kepada
bidang pengkhususan risiko masing-masing.
 Pengurusan risiko perlu diintegrasikan ke dalam budaya korporat.
Dalam amalan pengurusan risiko yang moden, setiap individu
dalam syarikat bertanggungjawab untuk mencapai objektif
pengurusan risiko firma. Oleh itu, dalam semua fasa pengurusan
risiko, komunikasi antara pihak-pihak yang terlibat amatlah
penting.
44 Amalan Asas Takaful
Pengenalan Takaful 45
BAB A3
PENGENALAN TAKAFUL
PENGENALAN
Dalam zaman sebelum kedatangan Islam, adalah menjadi adat orang-
orang Arab pagan untuk membayar pampasan atau diyat, di mana
penjenayah perlu membayar ganti rugi berupa ‘Darah-Wang’ (diyat)
sebagai pampasan kepada ahli keluarga mangsa yang telah mati
dibunuh. Ia adalah menjadi hak keluarga si mati untuk menuntut
pampasan daripada suku atau keluarga pesalah / pembunuh. Adat
membayar diyat diamalkan bagi menggantikan adat primitif
sebelumnya iaitu ‘hutang darah dibayar darah’. Diyat diperkenalkan
bagi mengelakkan berlakunya balas dendam dan peperangan antara
puak. Sistem pampasan 'darah-wang' terus diamalkan walaupun
selepas kedatangan Islam kerana kebaikan dan manfaat berikut;
 Ia mengurangkan tragedi pertumpahan darah dan persengketaan.
 Menjadikan tanggungjawab individu sebagai tanggungjawab
kolektif.
 Mengurangkan beban kewangan individu yang terlibat.
 Memupuk semangat kerjasama dan persaudaraan dikalangan puak
masing-masing
Doktrin ini telah mendapat perkenan Junjungan Besar Nabi
Muhammad s.a.w. dan kemudiannya diwajibkan dalam tempoh
Khalifah kedua. Ini adalah doktrin asas yang diperkembangkan dalam
amalan insurans Islam hari ini.
Dalam Islam, semua aktiviti ekonomi adalah sah dan dibolehkan di
sisi undang-undang selagi ia lakukan dengan tidak melampaui batas
mana-mana rukun yang telah ditetapkan melalui dua sumber rasmi
undang-undang Syari’ah iaitu al-Qur’an dan Sunnah. Selaras dengan
ketetapan tersebut, kesemua empat aliran mazhab utama iaitu Hanafi,
46 Amalan Asas Takaful
Maliki, Shafi’i, dan Hanbali telah sebulat suara bersetuju bahawa
semua bentuk transaksi perniagaan yang mengandungi unsur faedah /
bunga (riba), ketidakpastian (gharar) dan perjudian (maisir) dianggap
tidak sah/haram.
Doktrin Maqasid Syari’ah menyatakan adalah menjadi
tanggungjawab semua umat Islam untuk melindungi aset ketara, harta
benda, kebajikan dan kesejahteraan ummah. Kaedah / bentuk
perlindungan yang diamalkan perlu mematuhi ketetapan Syari’ah dan
garis panduan undang-undang dan prinsip-prinsipnya. Malangnya,
hampir kesemua kaedah insurans konvensional adalah berpaksikan
amalan-amalan yang dilarang oleh Syari’ah.
A3.1 DEFINISI TAKAFUL
Perkataan ‘Takaful’ berasal dari kata kerja bahasa Arab kafala yang
bermaksud menjaga atau mejamin keperluan seseorang. Oleh itu,
permuafakatan antara sekurang-kurangnya dua pihak yang bersetuju
untuk saling jamin-menjamin antara satu sama lain sekiranya berlaku
kerugian disebabkan ditimpa bencana atau musibah, ia ditakrifkan
sebagai 'Takaful '.
Begitu juga, jaminan bersama yang mejadi nadi dalam konsep
Takaful boleh diterjemahkan dalam mengendalikan operasi
perniagaan atau transaksi komersil di sektor tijari atau sektor
perniagaan sebagai salah satu pemain kewangan Islam dalam pasaran
ekonomi. Dengan cara ini, seperti perbankan, Takaful bukan satu
alternative tetapi lebih kepada kewajipan kepada agama.
A3.2 KONSEP TAKAFUL
Majlis Akademik Liga Dunia Islam, selepas membuat
pengubahsuaian yang sewajarnya telah menyimpulkan bahawa bentuk
kerjasama insurans boleh diterima dan dianggap sebagai alternatif
kepada insurans. Sistem yang berfungsi selaras dengan rangka kerja
Islam perlu dirangka berasaskan konsep-konsep berikut:
Pengenalan Takaful 47
3.2.1 Takaful
 Para ulama telah sebulat suara bersetuju bahawa perlindungan
yang sesuai dengan kehendak Syari’ah hendaklah berdasarkan
konsep Takaful Islam. Takaful adalah kata nama yang berasal
dari kata kerja bahasa Arab, kafala, bermaksud untuk menjaga
dan menjamin keperluan seseorang. Takaful bermaksud gotong-
royong di kalangan kumpulan, iaitu setiap ahli kumpulan
berusaha untuk membantu orang-orang yang memerlukan
dikalangan kumpulan mereka. Konsep Takaful adalah
berdasarkan perpaduan, tanggungjawab bersama dan
persaudaraan di kalangan ahli. Takaful boleh ditakrifkan sebagai
tindakan sekumpulan individu yang berhasrat untuk saling
menjamin antara satu sama lain dalam kumpulan tersebut dari
kerugian atau kerosakan yang mungkin menimpa keatas salah
seorang daripada mereka.
 Ciri utama operasi Takaful adalah seperti berikut:
o Pihak syarikat atau pengendali Takaful bukanlah pihak yang
menanggung risiko, pesertalah yang saling menjamin dan
bersetuju melindungi antara satu sama lain.
o Syarikat bertindak sebagai pemegang amanah bagi pihak
peserta dalam usaha untuk menguruskan operasi perniagaan
Takaful.
o Semua sumbangan (premium) yang dibayar oleh peserta akan
dikumpulkan kedalam Kumpulan Wang Takaful bagi tujuan
pembayaran manfaat Takaful.
o Dana Takaful pada masa yang sama boleh dilaburkan dalam
mana-mana bidang pelaburan yang diluluskan oleh Majlis
Syari’ah.
3.2.2 Mudharabah (berkongsi keuntungan)
 Mudharabah boleh ditakrifkan sebagai kontrak perkongsian
keuntungan komersial di antara pembekal atau penyedia dana dan
usahawan yang menjalankan usaha perniagaan.
48 Amalan Asas Takaful
Mudharabah ialah permuafakatan berkongsi keuntungan di mana
satu pihak yang dikenali sebagai sahib al-mal (peserta)
menyediakan semua modal perniagaan. Pihak yang satu lagi,
yang dikenali sebagai mudharib atau usahawan (pengendali
Takaful), yang tidak memiliki modal tetapi memiliki kepakaran
untuk mengendalikan perniagaan. Semua keuntungan daripada
usaha niaga ini akan dikongsi di antara kedua-dua pihak
berdasarkan nisbah yang dipersetujui, umpamanya 50:50 atau
60:40 atau apa sahaja yang dipersetujui bersama.
 Untuk menjadikan kontrak Mudharabah sah mengikut hukum
syara', pelbagai elemen atau komponen perlu wujud, iaitu:
o Penyedia modal
o Usahawan
o Modal
o Aktiviti
o Nisbah Keuntungan
o Tawaran dan Penerimaan
 Ciri-ciri Utama Kontrak Mudharabah ialah;
o Sekiranya berlaku kerugian, adalah menjadi tanggungjawab
pemberi modal untuk menerima dan menanggung kerugian
tersebut.
o Sekiranya berlaku kerugian yang disebabkan oleh salah urus
Pengendali Takaful, maka pengendali Takaful perlu
menanggung kerugian tersebut.
o Sekiranya usaha niaga tersebut memperolehi keuntungan,
maka keuntungan akan dikongsi antara Pengendali Takaful
dan pemberi modal.
o kontrak berkenaan boleh dibatalkan dan semua modal
terkumpul serta keuntungan (perniagaan Takaful Keluarga
sahaja) hendaklah dikembalikan kepada pemberi modal,
setelah ditolak perbelanjaan pentadbiran.
Pengenalan Takaful 49
o pemberi modal perlu memberi persetujuan untuk melantik
usahawan (Pengendali Takaful) untuk mengendalikan usaha
niaga bagi pihaknya.
o pemberi modal tidak akan mengeluarkan arahan Pengendali
Takaful atau terlibat dalam pengurusan perniagaan Takaful.
3.2.3 Tabarru’
 Tabarru’ adalah perkataan Arab yang bermaksud derma atau
hadiah. Tabarru’ ialah dimana Peserta bersetuju untuk
melepaskan semua bahagian atau sebahagian derma atau
sumbangan bagi membolehkan ia memenuhi tanggungjawab
saling membantu dan saling menjamin.
 Dalam kontrak Takaful, apa yang dimaksudkan dengan tabarru’
ialah sejumlah tertentu derma ikhlas yang dibuat oleh peserta bagi
tujuan yang tertentu seperti yang dinyatakan dalam perjanjian atas
semangat persaudaraan dan saling berkerjasama. Dana ini akan
digunakan untuk membantu ahli yang ditimpa kesusahan.
 Tabarru’ kini telah mengIslamkan kontrak insurans dengan
membuang semua unsur-unsur yang bertentangan dengan
Syari’ah. Inilah perbezaan asas yang paling ketara antara insurans
yang mematuhi Syari’ah dengan insurans konvensional. Tanpa
konsep derma, urus niaga akan bersifat jual beli insurans iaitu
membeli janji bahawa beberapa bentuk manfaat akan dibayar
sekiranya peserta menghadapi nasib malang. Janji mungkin atau
tidak mungkin dipenuhi, bergantung kepada sama ada peristiwa
yang diinsuranskan itu berlaku atau tidak. Sekiranya tiada
sebarang tuntutan, penanggung insurans akan berpeluang
memperolehi kesemua premium yang dibayar.
 Walau bagaimanapun, semangat yang tertanam dalam konsep
tabarru’ ialah peserta tidak hanya memikirkan perlindungan diri
sendiri, malah dia juga memikirkan untuk membantu peserta lain.
Peserta mesti sedar bahawa sumbangan ikhlas yang dihulur bukan
sahaja membolehkan dirinya dan saudara-saudara seagamanya
50 Amalan Asas Takaful
yang lain diberi perlindungan, malah ia juga akan diberi ganjaran
di akhirat kelak. Ini berbeza dengan insurans konvensional di
mana seseorang membeli insurans perlindungan tertentu untuk
diri mereka sendiri sahaja.
 Apa yang membuatkan konsep tabarru' lebih menarik ialah
peserta mendapat dua kali ganda manfaat apabila menyertai skim
Takaful, pertamanya, mereka mendapat perlindungan insurans
yang halal dan kedua, pada masa yang sama ia mendapat ganjaran
pahala atas amalan baik yang dilakukannya.
3.2.4 Wakalah
 Istilah wakalah dalam Bahasa Arab ertinya wakil atau agensi.
Oleh itu di bawah struktur agensi, wakalah ialah hubungan agensi
yang dipersetujui bersama di antara dua pihak untuk menjalankan
aktiviti perniagaan tertentu. Berdasarkan premis ini, model yang
menggambarkan satu perjanjian agensi antara pengendali yang
bertindak sebagai ejen atau 'wakil' kepada peserta yang bertindak
sebagai prinsipal, untuk menguruskan penglibatan peserta dalam
pelbagai produk Takaful yang disediakan oleh pengendali.
 Sebagai balasan kepada perkhidmatan agensi yang diberi,
pengendali dibenarkan untuk mengenakan bayaran di bawah
perjanjian tersebut. Fi atau yuran perkhidmatan dibayar dari dana
sumbangan Takaful yang didermakan oleh peserta. Di bawah
model ini, perbelanjaan pengurusan boleh dikenakan kepada dana
Takaful sebagai bayaran pendahuluan.
A3.3 APLIKASI DAN MANFAAT TAKAFUL
 Aplikasi Takaful
Pakar perundangan memutuskan bahawa sistem insurans yang
mengamalkan etika rangka kerja Islam harus dirangka dengan
mengambil kira dasar-dasar berikut:
Pengenalan Takaful 51
 Ta’awun
Takaful adalah berdasarkan konsep Ta'awun yang bermakna
saling membantu. Peserta bersetuju untuk membantu antara
satu sama lain dalam aspek kewangan sekiranya timbul
keperluan (seperti yang dinyatakan dalam kontrak Takaful),
dengan menyumbang kepada dana bersama.
Firman Allah s.w.t. yang bermaksud: “Tolong-menolonglah
dalam perkara kebajikan dan bertakwa, dan janganlah kamu
tolong-menolong dalam perkara-perkara yang menimbulkan
permusuhan” (Al-Qur’an, 5: 2)
Hadis Rasulullah s.a.w. yang bermaksud: “Sesungguhnya
Allah akan sentiasa membantu hambaNya selagi dia
membantu orang lain” (Riwayat Imam Ahmad dan Imam
Abu Daud).
 Pemilikan
Di bawah prinsip Milkiyah (pemilikan), manfaat sijil ialah
pemilikan sempurna (Milkiyah) oleh peserta. Apabila peserta
meninggal dunia, manfaat akan diamanahkan kepada penama.
 Tanggungjawab Bersama dan Saling Menjamin
Sejajar dengan disiplin Syari’ah Takaful (yang bermaksud
tanggungjawab bersama dan saling menjamin), peserta saling
bersetuju untuk memberikan pampasan sekiranya berlaku
kejadian yang tidak diingini.
 Tanggungjawab dan Perlindungan Bersama
Peserta skim Takaful bersetuju untuk memikul
tanggungjawab bersama atau berkongsi tanggungjawab.
52 Amalan Asas Takaful
 Pampasan Bersama
Pengesahan tentang kewujudan konsep Takaful adalah
berasal dari adat resam (‘urf) orang-orang Arab yang
dipanggil Aqila. Ia merupakan suatu bentuk awal insurans
melalui perlindungan bersama dalam satu kumpulan individu
yang mengambil langkah-langkah untuk menampung
kerugian yang ditanggung. Peserta Skim Takaful kini
mengamalkan konsep bekerjasama dan saling membantu
antara satu sama lain.
 Masalih al-Mursalah (Kepentingan Awam)
Takaful juga antara lain adalah berasaskan kepada doktrin
Masalih al-Mursalah atau kepentingan awam. Tujuan utama
ialah untuk membantu meringankan beban ahli-ahli
masyarakat yang ditimpa musibah dan menanggung kerugian.
 Kontrak
Sijil Takaful mengikat pihak-pihak yang bersetuju dengan
tawaran dan penerimaan berdasarkan prinsip-prinsip kontrak.
Hubungan antara pengendali Takaful dan peserta adalah
tertakluk di bawah satu kontrak khas iaitu kontrak wakalah
atau kontrak mudharabah.
 Kelebihan Takaful
 Memenuhi tanggungjawab sosial terhadap masyarakat dan
keluarga
 Menghulurkan bantuan kewangan kepada mereka yang
kurang bernasib baik
 Menjauhi amalan riba (faedah), maisir (perjudian) dan
gharar (ketidakpastian) dan elemen-elemen lain yang
dilarang
 Menggalakkan nilai-nilai moral, etika dan ketelusan dalam
semua aktiviti dan operasi perniagaan.
Pengenalan Takaful 53
 Melalui derma kebajikan (tabarru') yang dihulur, ia
membolehkan peserta Takaful mengabdikan diri kepada
Allah s.w.t. dan mencapai ketenangan fikiran.
 Menggalakkan semangat perpaduan, gotong-royong dan
persaudaraan.
54 Amalan Asas Takaful
Perbandingan di antara Takaful dan Insurans 55
BAB A4
PERBANDINGAN DI ANTARA
TAKAFUL DAN INSURANS
PENGENALAN
Insurans menyediakan perlindungan kewangan akibat kerugian yang
timbul daripada berlakunya kejadian yang tidak diingini. Seseorang
boleh mendapatkan perlindungan ini dengan membayar premium
kepada syarikat insurans.
Dana wang diwujudkan melalui sumbangan yang dibuat oleh individu
yang memerlukan perlindungan diri dari pelbagai risiko kehidupan.
Premium dikumpul oleh syarikat-syarikat insurans yang juga
bertindak sebagai pemegang amanah kepada dana tersebut. Sebarang
kerugian yang dialami peserta disebabkan berlakunya kejadian yang
tidak diingini, syarikat insurans akan membayar pampasan dengan
menggunakan dana berkenaan.
Insurans berfungsi berdasarkan prinsip asas perkongsian risiko.
Kelebihan utama insurans adalah ia menyebarkan risiko yang
dihadapi oleh segelintir peserta kepada kumpulan besar individu yang
terdedah kepada risiko yang sama.
A4.1 DEFINISI DAN SEJARAH INSURANS
Insurans ditakrifkan sebagai kontrak di mana satu pihak yang dikenali
sebagai syarikat insurans, sebagai balasan untuk pertimbangan yang
dipersetujui yang dikenali sebagai premium, untuk dibayar kepada
individu lain yang dikenali sebagai pihak yang diinsuranskan,
sejumlah wang, sekiranya berlakunya peristiwa tertentu dalam
tempoh tertentu.
56 Amalan Asas Takaful
Oleh itu, dalam erti kata yang lebih mudah, kontrak insurans adalah
kontrak di antara dua pihak iaitu Penanggung Insurans dan Pihak
yang Diinsuranskan, dengan janji untuk membayar ganti rugi
sekiranya berlaku peristiwa yang tidak diingini sebagai balasan atas
sumbangan/bayaran premium.
Insurans telah wujud sejak berabad lamanya. Para sejarawan
mendakwa sejarah awal insurans telah bermula dari tahun 215 CE,
iaitu apabila kerajaan Romawi diminta oleh angkatan tenteranya agar
menanggung risiko kerosakan peralatan perang yang diangkut dengan
menggunakan kapal laut, disebabkan ancaman dan serangan musuh,
ribut, dan lain-lain bencana alam. (Omar Fisher, 2009). Bukti terawal
kontrak insurans bertarikh sekitar 2800 SM di mana Kod
Perundangan Babylon mencatatkan peraturan-peraturan mengenai
insurans. Pada asasnya, konsep insurans telah diperkenalkan untuk
menangani bencana yang dihadapi oleh pedagang dan peniaga-
peniaga di laut. Bentuk perlindungan adalah pelbagai, dari
perlindungan ke atas kargo dan barang-barang yang dibawa
sehinggalah kepada perlindungan insurans hayat kelasi dan pegawai-
pegawainya.
Dalam erti kata lain, terdapat satu keperluan bagi manusia untuk
bersiap sedia menghadapi kerugian atau kehilangan. Dan sejarah
insurans moden boleh dikesan seawal tahun 1600-an, apabila
pedagang British dan pemilik kapal berbincang mengenainya di kafe
berhampiran Lombard Street di London. Kafe itu dipanggil Llyod's.
Mereka mula merangka perjanjian untuk saling berkongsi keuntungan
dan juga kerugian dalam perniagaan dan pelayaran kapal laut. (Omar
Fisher, 2009).
Terdapat bukti yang menunjukkan bahawa amalan saling melindungi
juga tersebar luas di kalangan orang Cina, orang-orang Yunani dan
Eropah. Tarikh kes insurans hayat pertama dicatatkan di England
pada 1583 di mana kontrak bertempoh telah dikeluarkan atas nama
William Gybbon. Satu perkembangan penting dalam sejarah industri
insurans hayat adalah penciptaan jadual mortaliti oleh Edmund Halley
dalam tahun 1693. Walau bagaimanapun, hanya selepas satu abad
Perbandingan di antara Takaful dan Insurans 57
kemudian barulah terhasil jadual mortaliti yang lebih tepat dan
berwibawa.
Sejarah pengenalan insurans di Malaysia bermula sejak abad ke-18
dan ke-19 apabila terdapatnya firma-firma perdagangan dan rumah-
rumah agensi yang bertindak sebagai ejen bagi syarikat-syarikat
insurans dari United Kingdom. Setelah negara mencapai
kemerdekaan, terdapat usaha untuk menubuhkan syarikat insurans
tempatan. Awal 1960-an menyaksikan penubuhan beberapa syarikat
insurans hayat dan juga syarikat insurans am. Sebahagian daripada
syarikat insurans berkenaan beroperasi pada asas yang tidak kukuh
dengan garis panduan pengunderaitan yang tidak wajar.
Kerajaan kemudiannya bertindak campur tangan dan
memperkenalkan Akta Insurans, 1963. Di bawah Akta ini,
pengendalian dan pengawasan industri insurans diletakkan di bawah
kelolaan Ketua Pengarah Insurans, di bawah Kementerian Kewangan.
A4.2 ASAS-ASAS INSURANS
Insurans adalah satu proses di mana kerugian yang dialami oleh
segelintir individu diagihkan dan dikongsi bersama dikalangan
sekumpulan besar individu. Melihat kepada perkembangan industri
insurans masa kini, insurans dianggap sebagai satu saluran di mana
beban kewangan akibat ditimpa musibah dipindahkan dari pihak yang
diinsuranskan kepada Syarikat Insurans. Konsep di sebalik insurans
ialah sekumpulan individu yang terdedah kepada risiko yang serupa
saling bekerjasama dan memberi sumbangan ke arah pembentukan
dana insurans. Sekiranya terdapat individu yang menanggung risiko
kerugian, ia akan menerima pampasaan dari dana insurans berkenaan.
Sumbangan kepada dana insurans dibuat oleh sekumpulan individu
yang berkongsi risiko yang sama di mana sumbangan tersebut dikutip
oleh syarikat insurans dalam bentuk premium.
Secara amnya, mana-mana individu yang mempunyai hak dan
kepentingan kewangan di sisi undang-undang atas mana-mana harta,
maka ia boleh menginsuranskan harta berkenaan di bawah suatu
58 Amalan Asas Takaful
kontrak insurans dimana sekiranya berlaku kerosakan atau kehilangan
harta berkenaan, individu tersebut akan menanggung kerugian
kewangan. Kontrak insurans merupakan suatu ikatan perjanjian yang
sah dan dikuatkuasakan oleh undang-undang antara dua pihak yang
berkepentingan iaitu Penanggung Insurans dan Pihak yang
Diinsuranskan. Atas balasan yang diterima dalam bentuk bayaran
premium, penanggung insurans bersetuju bahawa dalam tempoh
tertentu, ia akan membayar ganti rugi / indemniti kepada pihak yang
diinsuranskan sejumlah amaun yang telah dipersetujui berdasarkan
nilai harta yang diinsuranskan, sekiranya harta berkenaan mengalami
kerosakan disebabkan peril yang dilindungi.
Kontrak insurans adalah kontrak indemniti (tidak termasuk insurans
hayat dan insurans kemalangan diri) berdasarkan kepada prinsip yang
diguna pakai iaitu untuk meletakkan pihak yang diinsuranskan dalam
kedudukan kewangan yang sama seperti sebelum beliau ditimpa
musibah. Jumlah yang diinsuranskan perlu ditetapkan di peringkat
permulaan perlindungan dan penanggung insurans bersetuju
menyediakan jumlah pampasan yang mencukupi sekiranya berlaku
kerugian. Untuk insurans hartanah, susut nilai sentiasa perlu diambil
kira. Kos insurans akan bergantung kepada skop perlindungan yang
diperlukan dan perlindungan tambahan memerlukan premium
tambahan. Secara amnya, hanya kerugian yang tidak dijangka dan
berlaku secara kebetulan sahaja yang boleh diinsuranskan. Oleh itu,
musibah atau kerugian yang boleh diramalkan secara umumnya tidak
boleh diinsuranskan (kecuali insurans hayat).
A4.3 JENIS-JENIS INSURANS
Seksyen 4 Akta Insurans 1996 memperuntukkan bahawa:
1. Bagi tujuan Akta ini, perniagaan insurans dibahagikan kepada
dua kelas utama iaitu;-
a) Perniagaan Insurans Hayat – iaitu selain dari perniagaan
polisi insurans hayat biasa, sebagai tambahan kepada semua
perniagaan insurans yang berkaitan dengan polisi insurans
Perbandingan di antara Takaful dan Insurans 59
hayat, ia hendaklah termasuk apa-apa jenis perniagaan
insurans yang ditawarkan sebagai produk sampingan sahaja
di bawah perniagaan penanggung insurans hayat; dan
b) Perniagaan Insurans Am – iaitu semua perniagaan insurans
yang bukan perniagaan insurans hayat.
2. Bagi tujuan Akta ini, insurans semula liabiliti di bawah sesuatu
polisi adalah dianggap sebagai perniagaan insurans di bawah
kelas dan perihalan yang berkaitan dengannya di mana polisi
tersebut telah pun dikeluarkan oleh penanggung insurans semula.
Perniagaan insurans dibahagikan kepada insurans hayat, insurans
am dan insurans semula.
A4.4 RESOLUSI SYARI’AH MENGENAI INSURANS
Konsep insurans konvensional masih belum mendapat persetujuan
menyeluruh daripada para ulama’ sama ada ia dibenarkan (halal) atau
dilarang (haram). Memandangkan insurans konvensional
sebagaimana yang diamalkan sekarang tidak wujud semasa zaman
Nabi Muhammad s.a.w., ijtihad atau pertimbangan menggunakan akal
digunakan untuk menentukan sama ada ia adalah halal atau
sebaliknya.
4.4.1 Fatwa mengenai Larangan Insurans
 Majlis Fatwa Kebangsaan
Majlis Fatwa Kebangsaan bagi Hal Ehwal Agama Islam dalam
mesyuaratnya pada 15 Jun 1972 telah membincangkan secara
mendalam mengenai perkara yang berkaitan dengan insurans
hayat.
60 Amalan Asas Takaful
Diputuskan:
Produk insurans hayat yang ditawarkan oleh syarikat-syarikat
insurans hari ini merupakan transaksi perniagaan yang boleh jadi
tidak sah kerana ia bercanggah dengan prinsip-prinsip perniagaan
Islam, dimana kontrak tersebut mengandungi unsur-unsur Gharar
(ketidakpastian), Maisir (perjudian) dan Riba (riba).
Oleh yang demikian, berdasarkan dari perspektif Syari’ah,
“insurans adalah haram”. Satu jawatankuasa yang dikenali
sebagai 'Badan Petugas Khas' telah dibentuk oleh kerajaan pada
tahun 1982 untuk mengkaji kemungkinan menubuhkan Insurans
Islam di Malaysia. Badan Petugas Khas telah membuat
kesimpulan bahawa kontrak insurans konvensional adalah fasid.
Walau bagaimanapun, bantahan itu tidak menentang penerapan
konsep insurans secara keseluruhan, tetapi terhadap kewujudan
kelemahan tertentu dalam kontrak insurans. Akta Takaful 1984
telah digubal dan seterusnya syarikat Takaful yang pertama iaitu
Syarikat Takaful Malaysia Bhd telah ditubuhkan pada tahun
1984.
 Akademi Fekah Islam, OIC
Akademi Fekah Islam yang diilhamkan penubuhannya oleh
Pertubuhan Persidangan Islam (OIC), telah mengadakan
mesyuarat Sesi Kedua di Jeddah, Arab Saudi, dari 22 himgga 28
Disember 1985. Selepas mengkaji semula laporan perbincangan
para ulama’ yang mengambil bahagian dalam sesi perbincangan
mengenai subjek ‘Insurans dan insurans semula’, dan selepas
dibincangkan bersama dan selepas meneliti semua jenis dan
bentuk insurans serta mendalami prinsip asas, objektif dan
matlamat, dan setelah meneliti pendapat / keputusan yang
dikeluarkan oleh Akademi Fekah dan badan-badan pemikir lain
mengenai perkara yang sama; para ulama’ mengambil ketetapan
berikut;
Perbandingan di antara Takaful dan Insurans 61
Diputuskan:
Kontrak Insurans Komersil dengan bayaran premium tetap
berkala yang biasanya dipasarkan oleh syarikat insurans komersil
adalah kontrak yang mengandungi unsur utama risiko terlarang
yang membatalkan kontrak dan oleh itu ia adalah dilarang
(Haram) dibawah Syari’ah Islam.
Kontrak alternatif yang mematuhi prinsip-prinsip urus niaga
Islam adalah kontrak koperasi insurans yang diasaskan atas dasar
kebajikan dan kerjasama. Begitu juga dengan urusniaga insurans
semula yang mengamalkan urusniaga berdasarkan prinsip-prinsip
koperasi insurans.
Pihak Akademi telah menjemput perwakilan dari negara-negara
Islam untuk bekerjasama mewujudkan institusi insurans koperasi
dan koperasi insurans semula. Ia adalah bertujuan untuk
membebaskan ekonomi Islam daripada dieksploitasi dan terang-
terangan melanggar hukum Allah yang dicipta untuk seluruh
umat manusia.
4.4.2 Elemen yang Diharamkan dalam Amalan Insurans
 Ketidakpastian (Gharar)
Gharar bermaksud tidak jelas terhadap perkara pokok yang
dilindungi oleh kontrak atau timbul ‘ketidakpastian’ di mana
kesan atau keputusan yang dihasilkan tidak diketahui atau
tersembunyi. Dari sudut perniagaan, ia bermaksud bersetuju
untuk melaksanakan sesuatu secara membuta tuli tanpa
pengetahuan yang mencukupi; atau mengambil risiko dengan
melakukan sesuatu tanpa mengetahui dengan tepat apakah hasil
yang akan diperolehi kelak.
62 Amalan Asas Takaful
o Justifikasi Larangan
 “Seseorang itu dilarang menjual sesuatu barangan tanpa
memberitahu dengan jelas keadaan sebenar barangan
tersebut, dan juga tidak dibenarkan seseorang yang
mengetahui kecacatan sesuatu barangan tetapi tidak
memberitahunya” - Al-Hakim dan Al-Bayhaqi.
 Ketidakpastian dalam kontrak insurans berlaku apabila
satu pihak mendapat apa yang dikehendaki tetapi pihak
yang satu lagi tidak menerima haknya - Ibn Taymiyah
o Jenis-jenis Gharar
 Al-Gharar al-Kathir: Gharar yang keterlaluan, dan
menyebabkan kontrak terbatal.
 Al-Gharar al-Yasir: Gharar yang remeh, boleh
dipertimbangkan dan dibenarkan.
 Al-Gharar al-Mutawassit: Gharar yang sederhana, iaitu
berada di antara keduanya.
o Gharar dalam amalan insurans:
 Kedua-dua pihak yang terikat dengan kontrak insurans
tidak tahu secara jelas apakah sebenarnya kewajipan dan
tanggungjawab mereka antara satu sama lain. Kedua-dua
pihak samada syarikat insurans atau pihak yang
diinsuranskan tidak mengetahui hasil atau kesan kontrak
tersebut.
 Pihak yang diinsuranskan tidak mengetahui jumlah
pampasan yang dibayar kepadanya sekiranya berlaku
kemalangan kerana dia sendiri tidak pasti samada akan
ada pampasan dibayar kepadanya kerana akibat atau
kesan kontrak insurans berkenaan juga tidak
diketahuinya.
 Syarikat insurans tidak mengetahui bilakah peril /
kecelakaan akan berlaku.
Perbandingan di antara Takaful dan Insurans 63
 Tidak ada keadilan dalam insurans kerana pihak yang
diinsuranskan perlu membayar premium tetapi sekiranya
peril yang dilindungi / kecelakaan tidak berlaku, tiada
sebarang bayaran yang akan dibuat.
 Insurans adalah kontrak janji untuk membayar pampasan
yang kadang-kadang dipenuhi dan kadang-kala tidak
dapat dipenuhi. Oleh kerana tiada kepastian mengenai
peril yang dilindungi ketika kontrak mula berkuat kuasa,
hasil atau manfaat yang diperolehi juga tidak dapat
dipastikan.
o Riba (faedah / bunga)
Perkataan riba secara literal bermaksud 'menaikkan' atau
'tambahan' kepada sesuatu. Islam melarang pinjaman wang
bagi mendapatkan keuntungan kerana ia akan menyusahkan
peminjam dan pada masa yang sama ia akan menjadikan
pemberi pinjaman sebagai seorang yang perengus dan dibenci
orang ramai.
o Justifikasi Larangan
“Wahai orang-orang yang beriman, janganlah kamu makan
riba sehingga berlipat ganda banyaknya. Hendaklah kamu
takut kepada Allah supaya kamu mendapat kejayaan” (Al-
Qur’an, 3: 130)
o Jenis-jenis Riba
 Riba al-Duyun (riba daripada hutang)
 Riba al-Qard - Iaitu sebarang manfaat tambahan yang
disyaratkan ke atas pinjaman pokok dan syarat ini dibuat
pada awal kontrak pinjaman.
 Riba al-Jahilliyah – iaitu kadar atau sebarang manfaat
tambahan lebih dari jumlah pokok akibat si peminjam
gagal atau lewat membayar pada tempoh yang telah
dipersetujui.
64 Amalan Asas Takaful
o Riba al-Buyu’ - muncul daripada jual beli barangan ribawi
 Riba al-Fadl – berbeza kadar berat dan kuantiti.
 Riba al-Nasi’ah – berbeza masa.
o Riba dalam amalan insurans;
 Syarikat insurans mengutip premium dan melaburkannya
dalam pelaburan yang mempunyai elemen faedah /
bunga.
 Syarikat insurans membayar faedah / bunga atas produk-
produknya.
 Syarikat insurans mengenakan kadar faedah akan datang
dalam pengiraan premiumnya.
 Kontrak insurans mengandungi unsur-unsur riba apabila
ia berjanji untuk membayar amaun yang lebih dari
premium yang dibayar.
 Kadar faedah dikenakan sekiranya premium lewat
dibayar.
 Kadar faedah dikenakan atas pinjaman polisi.
o Maisir (perjudian)
Perkataan Maisir bermaksud memperolehi sesuatu dengan
mudah atau memperolehi keuntungan tanpa usaha. Islam
melarang semua bentuk urusniaga di mana keuntungan
kewangan diperolehi hanya berdasarkan nasib atau spekulasi
dan bukannya dengan usaha gigih untuk mendapatkannya.
Tidak seperti gharar di mana terdapat beberapa kelonggaran
dan dibenarkan, maisir tidak dibenarkan sama sekali.
o Justifikasi Larangan
“Wahai orang-orang yang beriman, sesungguhnya minuman
keras, perjudian dan daging yang disembelih dengan batu
nusub dan ramalan nasib itu semua adalah perbuatan
Perbandingan di antara Takaful dan Insurans 65
syaitan. Oleh itu, jauhilah ia agar kamu mendapat kejayaan”
Al-Qur’an, 5: 90)
o Unsur Perjudian (Maisir) dalam Kontrak Insurans:
 Pihak yang diinsuranskan mendapat manfaat bayaran
yang tinggi berbanding dengan caruman (premium) yang
dibayar.
 Membayar premium tanpa mendapat sebarang pulangan.
 Syarikat insurans akan menanggung kerugian sekiranya
terlalu banyak tuntutan.
 Premium yang dikutip melebihi jumlah tuntutan dan
syarikat insurans memperolehi keuntungan besar.
A4.5 PERBEZAAN DI ANTARA TAKAFUL DAN
INSURANS
Item Isu-isu
Penting
Takaful Insurans
1. Intipati Niat Niat adalah untuk
mewujudkan
hubungan kerohanian
dan hubungan
undang-undang.
Niat adalah untuk
mewujudkan
hubungan undang-
undang sahaja
2. Formaliti Kontrak satu pihak
untuk Tabarru’ dan
kontrak dua belah
pihak untuk
Mudharabah dan
Wakalah.
Kontrak dua belah
pihak
3. Isu
Perakaunan
Untuk Takaful Am,
akaun yang
disediakan ialah
akaun Tabarru’
(derma). Untuk
Untuk Insurans
Am, bayaran
premium
dikreditkan ke
Akaun Insurans
66 Amalan Asas Takaful
Takaful Keluarga,
terdapat dua akaun
iaitu Akaun Peserta
yang diuruskan
mengikut prinsip
Mudharabah, dan
Akaun Khas Peserta
yang diuruskan
mengikut prinsip
Tabarru’.
Am. Untuk
Insurans Hayat,
premium
dikreditkaan ke
Akaun Insurans
Hayat.
4. Perkara
Pokok
Perkara pokok yang
akan dilindungi
hendaklah mematuhi
keperluan Syari’ah.
Perkara pokok
yang akan
dilindungi
hendaklah
mematuhi
keperluan undang-
undang lazim.
5 Jaminan Pengedali Takaful
hanya bertindak
sebagai pengurus
dana sahaja. Peserta
saling jamin
menjamin antara satu
sama lain.
Syarikat insurans
yang memberi
jaminan.
6. Dana Dana dimiliki oleh
para peserta dan
diuruskan oleh
pengendali Takaful.
Pengendali Takaful
dibayar yuran
perkhidmatan atas
perkhidmatan yang
diberikan
Dana adalah milik
syarikat insurans.
Terdapat
pengasingan dana
aset iaitu dana
pemegang saham
dan dana
pemegang polisi.
Perbandingan di antara Takaful dan Insurans 67
7. Bayaran
premium /
sumbangan
Bayaran (bahagian
caj Takaful) dianggap
sebagai derma
(Tabarru’).
Bayaran premium
dianggap sebagai
tanggungjawab
pemegang polisi
atas kontrak jual
beli.
8. Elemen
terlarang
Berlandaskan prinsip
Islam yang bebas dari
elemen yang
terlarang.
Polisi insurans
diresapi elemen-
elemen Gharar,
Riba dan Maisir.
9. Pengawasan
Syari’ah
Akta Takaful 1984
mewajibkan
pembentukan Majlis
Pengawasan Syari’ah.
Tiada keperluan
mewujudkan
Majlis Pegawasan
Syari’ah.
10. Keuntungan Keuntungan dikongsi
bersama di antara
peserta dan syarikat.
Pembahagian
keuntungan atas
budi bicara
syarikat.
11. Kontrak Gabungan antara
kontrak tabarru’
(derma) dan agensi
atau kontrak
berkongsi
keuntungan.
Kontrak
pertukaran (jual
beli) antara
syarikat dan
pemegang polisi.
12. Indemniti Bayaran indemniti
(ganti rugi) diperolehi
dari Dana Takaful.
Bayaran indemniti
(ganti rugi)
diperolehi dari
dana syarikat yang
disediakan oleh
syarikat insurans.
68 Amalan Asas Takaful
13. Prinsip-
prinsip
Operasi
Operasi perniagaan
adalah mematuhi
keperluan Syari’ah.
Operasi
perniagaan tidak
mematuhi
keperluan
Syari’ah.
14. Kawalan
Risiko
Konsep perkongsian
risiko dikalangan
peserta.
Konsep
perpindahan risiko
15. Percukaian Cukai dan zakat Cukai sahaja
16. Manfaat Dibayar dari dana
khas yang
diwujudkan secara
indemniti bersama di
kalangan peserta.
Dibayar dari dana
yang diwujudkan
secara sah oleh
syarikat insurans.
17. Keuntungan /
Bonus
Dinyatakan secara
jelas bagaimana
keuntungan akan
dikongsi bersama
antara peserta dan
syarikat.
Secara umum
syarikat
menyatakan
mungkin akan
membayar bonus
dan keuntungan
atas polisi
penyertaan sahaja.
18. Tanggungjaw
ab pemegang
polisi /
peserta
Peserta
menghulurkan derma
dan bersetuju untuk
saling menjamin di
bawah skim
perlindungan.
Pemegang polisi
membayar
premium dan
memindahkan
risiko kepada
syarikat.
19. Liabiliti
syarikat
Pengendali Takaful
bertindak sebagai
Syarikat insurans
bertanggungjawab
Perbandingan di antara Takaful dan Insurans 69
insurans /
Pengendali
Takaful
pentadbir skim
perlindungan dan
membayar manfaat
Takaful melalui dana
Takaful.
Sekiranya dana tidak
mencukupi,
Pengendali Takaful
akan menyalurkan
pinjaman tanpa
faedah demi
mengatasi masaalah
kekurangan tersebut.
membayar
manfaat polisi
seperti yang
dijanjikan dari aset
yang dimiliki
(dana insurans dan
dana pemegang
saham).
20. Pelaburan
dana
Dana aset dan dana
Takaful dilaburkan
dalam instrumen
pelaburan yang
mematuhi keperluan
Syari’ah.
Tiada keperluan
untuk mematuhi
keperluan Syari’ah
dalam aktiviti
pelaburan, asalkan
ia mematuhi
dasar-dasar
pelaburan syarikat.
70 Amalan Asas Takaful
Prinsip dan Modal Perniagaan Takaful 71
BAB A5
PRINSIP-PRINSIP DAN MODEL
PERNIAGAAN TAKAFUL
PENGENALAN
Kontrak Takaful tidak hanya tertakluk kepada prinsip-prinsip am
undang-undang kontrak tetapi juga prinsip undang-undang tertentu
yang telah termaktub dalam kontrak Takaful.
Berdasarkan kepada ketetapan perundangan konsep fekah, al-Asl fi
al-Ashya’ al-Ibahah, kontrak Takaful disesuaikan dengan prinsip-
prinsip insurans konvensional dalam amalan yang mendokong konsep
keadilan dalam urusniaga, seperti yang dijelaskan oleh Syariah.
Walau bagaimanapun, prinsip-prinsip tersebut mestilah tidak
bercanggah dengan Syari’ah.
Prinsip-prinsip khas undang-undang yang terkandung dalam
pembentukan kontrak Takaful adalah seperti berikut:
 Kepentingan Boleh Lindung;
 Penuh Percaya Mutlak;
 Indemniti;
 Subrogasi;
 Perkongsian Sama Rata;
 Sebab Terhampir;
 Tabarru’
 Waranti;
A5.1 PRINSIP-PRINSIP ASAS TAKAFUL
5.1.1 Prinsip Kepentingan Boleh Lindung
Kepentingan Boleh Lindung merujuk kepada hak di sisi undang-
undang untuk menyertai skim Takaful yang timbul daripada
72 Amalan Asas Takaful
hubungan kewangan yang diiktiraf di sisi undang-undang di antara
peserta dan perkara pokok Takaful, iaitu orang yang diberi
perlindungan.
Kepentingan Boleh Lindung wujud apabila terdapat hubungan antara
peserta dengan perkara pokok Takaful, yang biasanya timbul daripada
beberapa situasi seperti berikut:
 Pemilikan harta - pemilik harta akan menanggung kerugian
kewangan sekiranya harta benda miliknya rosak atau musnah.
 Potensi berhadapan dengan liabiliti undang-undang - Kepentingan
Boleh Lindung juga boleh wujud apabila berlaku kerugian
kewangan yang timbul daripada liabiliti undang-undang. Sebagai
contoh, majikan menanggung liabiliti undang-undang untuk
membayar pampasan kepada pekerja-pekerjanya sekiranya
berlaku kemalangan semasa bekerja.
 Hak perundangan - kepentingan boleh lindung boleh wujud
sekiranya terdapat peruntukan dalam kontrak yang menyatakan
seseorang itu mempunyai tanggungjawab kewangan atas apa-apa
kerugian atau kerosakan kepada harta dan liabiliti pihak ketiga.
Hubungan kewangan di antara peserta dengan perkara pokok insurans
perlu memperlihatkan yang peserta akan terus menikmati manfaat
ekonomi dan kewangan melalui kesinambungan, kekal kewujudan
dan keselamatan; atau sebaliknya akan menanggung kerugian
ekonomi & kewangan sekiranya berlaku kerosakan atau kehilangan
terhadap perkara pokok Takaful. Oleh yang demikian, kepentingan
boleh lindung mestilah mampu diukur atau dinilai dari sudut
kewangan bagi membolehkannya dilindungi oleh Takaful.
Di bawah kontrak Takaful am, kepentingan boleh lindung mesti
wujud pada awal dan pada masa berlakunya kerugian - jika tidak,
perlindungan Takaful dianggap tidak sah. Contoh: seseorang itu tidak
boleh/sah memiliki perlindungan Takaful motor untuk kenderaan
yang beluk dimilikinya.
Prinsip dan Modal Perniagaan Takaful 73
Walau bagaimanapun, peraturan ini tidak terpakai bagi Takaful
marin. Dalam Takaful Marin, peserta perlu mempunyai kepentingan
boleh lindung pada masa kerugian berlaku bagi membolehkannya
membentuk kontrak yang sah. Contoh: Berdasarkan dari keadaan dan
sifat perniagaan, pengimport barangan akan mendapatkan
perlindungan Takaful terhadap barang dagangan yang ia ada
kepentingan keatasnya, iaitu dengan menjadi pemilik kepada
barangan berkenaan sebelum bahaya / kerugian yang dilindungi
berlaku.
Di bawah Pelan Perlindungan Kemalangan Takaful, kepentingan
boleh lindung mesti wujud pada masa kontrak itu dikuatkuasakan dan
pada masa berlakunya kerugian.
Untuk Pelan Takaful Keluarga, kepentingan boleh lindung perlu
wujud pada peringkat awal sahaja. Peserta hanya perlu mempunyai
kepentingan boleh lindung pada masa kontrak Takaful keluarga itu
dikuatkuasakan.
Antara contoh seseorang yang mempunyai kepentingan boleh lindung
adalah seperti yang dinyatakan di bawah:-
a) Seorang individu mempunyai kepentingan boleh lindung yang
tidak boleh dipertikaikan terhadap anggota badan dan hayatnya
sendiri untuk apa-apa amaun yang difikirkan wajar. Kepentingan
tersebut tidak mampu dinilai dan sukar dibuktikan yang ianya
adalah perlu (Wainwright v. Bland [1835]).
b) Seseorang mempunyai kepentingan boleh lindung terhadap hayat
dan harta pasangannya (suami / isteri).
c) Seseorang itu mempunyai kepentingan boleh lindung terhadap
kanak-kanak atau bayi di bawah umur majoriti ketika
perlindungan Takaful mula berkuat kuasa, dan juga terhadap
sesiapa yang di bawah jagaannya sepenuh masa atau sebahagian
daripadanya.
d) Pemiutang mempunyai kepentingan boleh lindung terhadap hayat
si penghutang (setakat jumlah hutang) tetapi penghutang tidak
mempunyai kepentingan terhadap hayat si pemiutang.
74 Amalan Asas Takaful
e) Penjamin mempunyai kepentingan boleh lindung terhadap
peminjam. Pemberi pinjaman mungkin tidak berpuashati
sepenuhnya dengan jaminan cagaran yang ditawarkan oleh
peminjam, tetapi bersedia untuk menerima jaminan seorang
penjamin. Dengan memberi jaminan tersebut, penjamin
mempunyai kepentingan boleh lindung atas hayat peminjam.
f) Majikan, terhadap hayat pekerja-pekerjanya.
g) Pemilik / tuan punya (tunggal atau perkongsian), terhadap harta
miliknya.
h) Penggadai janji (peminjam) & pemegang gadai janji (pemberi
pinjam), masing-masing mempunyai kepentingan ke atas harta
berkenaan.
i) Penyewa & pemberi sewa juga mempunyai kepentingan ke atas
harta yang serupa.
j) Bailer – contohnya pemilik pajak gadai, pembawa atau tukang
membaiki jam mempunyai kepentingan atas barangan / harta
milik pelanggan (bailor) kerana harta berkenaan di bawah
tanggungjawab / jagaan mereka.
k) Ejen – Prinsipal (Pengendali Takaful) mempunyai kepentingan
boleh lindung ke atas ejen dan ia boleh menguatkuasakan pelan
perlindungan Takaful bagi pihak ejen.
l) Pemegang amanah – mempunyai kepentingan atau hak disisi
undang-undang ke atas harta yang diamanahkan kepadanya
sekiranya surat ikatan amanah membenarkan atau
mengarahkannya.
m) Pengendali Takaful dan Pengendali Takaful Semula – kedua-
duanya mempunyai kepentingan boleh lindung ke atas hayat
peserta-peserta yang menyertai pelan perlindungan Takaful.
5.1.2 Prinsip Tanggungjawab Penuh Percaya Mutlak
(Uberrima Fides)
Prinsip Penuh Percaya Mutlak boleh ditakrifkan sebagai kewajipan
positif secara sukarela mendedahkan dengan tepat dan sepenuhnya
semua fakta matan mengenai risiko yang dicadangkan, sama ada ia
diminta atau tidak.
Prinsip dan Modal Perniagaan Takaful 75
Kontrak Takaful Keluarga dan Takaful Am mengikat semua pihak
yang terlibat secara penuh percaya mutlak, yang bermaksud kedua-
dua pihak (peserta & pengendali Takaful) perlu mendedahkan semua
fakta-fakta yang berkaitan, sama ada diminta atau tidak, yang
dianggap penting kepada pihak yang satu lagi membuat keputusan
untuk terikat dengan kontrak. Kegagalan mendedahkan maklumat
penting walaupun tidak diminta, memberikan hak kepada pihak yang
terkilan untuk menganggap kontrak tersebut sebagai tidak sah dan
terbatal. Di bawah doktrin Penuh Percaya Mutlak, kedua-dua pihak
bertanggungjawab mendedahkan semua fakta matan dengan lengkap
dan benar.
Di bawah pelan Takaful kebakaran, antara contoh fakta matan adalah
kegunaan dan jenis bahan pembinaan. Sekiranya pencadang (peserta)
mengisytiharkan dalam borang cadangan bahawa bangunan itu
digunakan sebagai sebuah kedai runcit yang dibina daripada bahan
batu bata, dan kemudiannya didapati selepas berlaku kebakaran
bahawa premis itu sebenarnya adalah sebuah bangunan kayu yang
digunakan sebagai stor menyimpan bahan kimia. Ini secara jelas
bertentangan dengan doktrin Penuh Percaya Mutlak dan boleh
menyebabkan tuntutan ditolak. Begitu juga, dalam kes Takaful
keluarga, contoh-contoh fakta matan ialah umur, pekerjaan dan
keadaan kesihatan.
Doktrin Penuh Percaya Mutlak juga menuntut agar tiada
penyembunyian, salah nyata atau penipuan fakta matan. Prinsip
Penuh Percaya Mutlak ini perlu terus diamalkan sepanjang tempoh
perlindungan Takaful di mana peserta dikehendaki memberitahu dan
mendedahkan kepada Pengendali Takaful apa-apa perubahan fakta
material yang mungkin meningkatkan risiko. Pengendali Takaful
akan membuat keputusan sama ada sebarang peningkatan risiko boleh
dikenakan kadar caruman / sumbangan yang lebih tinggi,
menguatkuasakan syarat-syarat tambahan, atau menolak terus
cadangan berkenaan. Contoh: perubahan fungsi/kegunaan sesebuah
bangunan daripada sebuah kedai runcit kepada stor penyimpanan
bahan bunga api.
76 Amalan Asas Takaful
Walau bagaimanapun, pencadang atau peserta tidak perlu
memberitahu perkara-perkara berikut:
 Fakta-fakta yang mengurangkan risiko kepada Pengendali
Takaful. Sungguhpun demikian, peserta digalakkan untuk
memberitahu fakta berkenaan dengan harapan mendapat terma
dan syarat kontrak yang lebih baik atau mendapat diskaun
premium.
 Fakta yang menjadi pengetahuan umum. Umpamanya undang-
undang pematuhan dan keselamatan bangunan-bangunan
pencakar langit di Kuala Lumpur adalah terletak di bawah
pentadbiran Majlis Bandaraya Kuala Lumpur.
 Fakta-fakta dan sumber maklumat yang diperolehi dari peserta
yang boleh dibuat kesimpulan. Contohnya: peserta yang
mempunyai ketinggian 150 dan berat badan 100 kg boleh
disimpulkan sebagai obesiti dan akan tertakluk kepada
pengunderaitan perubatan.
 Fakta-fakta yang tidak diperlukan oleh Pengendali Takaful.
 Fakta-fakta yang tertakluk di bawah syarat-syarat dalam Sijil
Takaful.
Bagi tujuan penguatkuasaan sijil kontrak Takaful, pihak-pihak yang
terlibat perlu jujur dan mempunyai niat yang baik. Oleh itu, tindakan
tidak memberitahu fakta penting, penipuan, salah nyata atau memberi
kenyataan palsu adalah merupakan elemen-elemen yang boleh
membatalkan sijil Takaful.
Prinsip Penuh Percaya Mutlak tidak dipenuhi apabila pencadang
mengetahui atau sepatutnya mengetahui tentang fakta matan tetapi;
 gagal untuk memberitahu atau mendedahkan fakta material
berkenaan; atau
 menyalahnyatakan fakta penting.
Apabila peserta gagal memberitahu fakta material, pelanggaran
prinsip penuh percaya mutlak tersebut diklasifikasikan sebagai tidak
memberitahu / mendedahkan atau menyembunyikan fakta, iaitu
Prinsip dan Modal Perniagaan Takaful 77
penipuan kerana tidak memberitahu. Sekiranya peserta membuat
salah nyata fakta, kesalahan tersebut diklasifikasikan sebagai
salahnyata tanpa niat atau penipuan kerana salahnyata.
Apabila pelanggaran Prinsip Penuh Percaya Mutlak berlaku, kontrak
Takaful boleh terbatal tanpa mengira sama ada pelanggaran itu telah
dilakukan tanpa niat atau dengan niat untuk menipu.
Kontrak Takaful mengenakan tanggungjawab uberrima fides atau
Penuh Percaya Mutlak kepada pihak-pihak yang terlibat dengan
kontrak Takaful.
Oleh itu, adalah menjadi tanggungjawab peserta untuk memberitahu/
mendedahkan kepada pengendali Takaful tentang semua fakta
penting mengenai perkara pokok insurans dan keadaan yang
berkaitan dengannya.
Fakta matan adalah fakta yang boleh mempengaruhi pertimbangan
pengendali / syarikat insurans dalam menetapkan amaun premium /
sumbangan atau menentukan sama ada menerima atau menolak risiko
yang dicadangkan. (Rivaz v. Gerussi [1880] 6 QBD 222).
Sama ada sesuatu fakta itu adalah fakta matan atau sebaliknya, ia
bukanlah hak peserta untuk menentukannya. Hakikatnya, keputusan
muktamad hanya boleh ditetapkan oleh mahkamah.
Fakta matan termasuk perkara-perkara berikut:
 Fakta-fakta yang cenderung untuk menyebabkan risiko yang
dicadangkan menjadi lebih merbahaya daripada biasa. Kecacatan
fizikal seperti kehilangan deria penglihatan atau anggota badan
boleh meningkatkan risiko kemalangan dan memberi kesan
kepada kesihatan dan tempoh hayat pihak yang dilindungi.
Tabiat, aktiviti harian dan sejarah keluarga juga boleh
mempengaruhi risiko.
 Fakta yang difikirkan perlu untuk menjelaskan sifat-sifat luar
biasa risiko yang dicadangkan untuk perlindungan Takaful, di
78 Amalan Asas Takaful
mana tanpanya, pengendali Takaful menganggap ia adalah risiko
biasa. Contohnya, pekerjaan yang merbahaya.
 Fakta-fakta yang kelihatan mempunyai motif tertentu. Contohnya
perlindungan umum.
Adalah menjadi keperluan undang-undang untuk menyatakan dengan
jelas dan nyata di dalam borang cadangan akan perkara-perkara
berikut:
Mengikut peruntukan Seksyen 28, Akta Takaful 1984;
"Pencadang hendaklah memberitahu sepenuhnya dan dengan jujur
dalam borang cadangan akan semua fakta yang diketahui atau
sepatutnya diketahui, jika tidak, sijil yang dikeluarkan mungkin
menjadi tidak sah”.
Tanggungjawab memberitahu fakta matan adalah perlu ketika:-
 Ketika permulaan kuat kuasa sijil
Tugas memberitahu fakta matan dianggap selesai apabila
rundingan mengenai perlindungan dimuktamadkan. Walau
bagaimanapun, sebelum risiko diterima atau sekiranya peserta
masih perlu mendedahkan fakta-fakta tambahan, peserta
bertanggungjawab dan perlu memberitahu fakta-fakta tersebut.
 Ketika pembaharuan sijil
Tanggungjawab memberitahu memainkan pernanan sekali lagi
ketika rundingan memperbaharui sijil.
 Ketika sijil sedang berkuatkuasa
Peserta mempunyai tanggungjawab untuk memberitahu semua
fakta matan yang berkaitan dengan sebarang perubahan terhadap
risiko yang dilindungi.
Prinsip dan Modal Perniagaan Takaful 79
5.1.3 Prinsip Indemniti
Indemniti boleh ditakrifkan sebagai mekanisme yang digunakan oleh
pengendali Takaful membayar pampasan dalam usaha untuk
meletakkan peserta dalam kedudukan kewangan yang sama seperti
yang dinikmati sebelum berlakunya kerugian.
Kontrak Takaful mejanjikan perlindungan kepada peserta sekiranya
berlaku kerugian atau kerosakan. Apabila kerugian berlaku, jumlah
gantirugi yang boleh dituntut dikenali sebagai ‘ukuran ganti rugi’. Ia
bermaksud bayaran gantirugi disebabkan kecederaan atau kerugian
yang dialami. Prinsip indemniti memerlukan pengendali Takaful
mengembalikan peserta kepada kedudukan kewangan yang sama
sebagaimana yang dinikmati sebelum berlaku kerugian.
Semua perlindungan harta dan wang Takaful adalah merupakan
kontrak indemniti, iaitu sejumlah amaun yang perlu dibayar apabila
berlaku sesuatu kejadian yang dilindungi, terhad kepada setakat
amaun kerugian kewangan yang dialami oleh peserta. Oleh itu,
apabila berlaku kerugian, tanggungjawab pengendali Takaful adalah
meletakkan peserta dalam kedudukan kewangan yang sama
sebagaimana yang dinikmati sebelum berlakunya kerugian, tertakluk
kepada kecukupan jumlah perlindungan dan syarat-syarat polisi lain -
penggunaan prinsip purata (average), lebihan dan had.
Produk Takaful menyediakan pampasan kewangan untuk meletakkan
peserta dalam kedudukan kewangan yang sama sebagaimana yang
dinikmati sebelum berlaku kerugian. Ia memastikan peserta tidak
mendapat lebih daripada jumlah sebenar kerugian dan menghalang
peserta daripada membuat keuntungan daripada tuntutan itu. Semua
kontrak perlindungan harta dan liabiliti Takaful adalah tertakluk
kepada prinsip ini. Takaful Keluarga, termasuk pelan perlindungan
kesihatan dan kemalangan diri bukan kontrak indemniti kerana
kehilangan nyawa tidak boleh dinilai dan diganti dengan ganti rugi
kewangan.
80 Amalan Asas Takaful
Prinsip indemniti digunapakai dalam keadaan-keadaan berikut:
 Peserta perlu membuktikan bahawa mereka telah megalami
kerugian akibat kerosakan atau kehilangan perkara pokok (subject
matter) yang dilindungi di bawah pelan perlindungan Takaful dan
kerugian tersebut boleh dinilai dalam bentuk nilai kewangan.
 Jumlah pampasan yang dibayar adalah jumlah perlindungan
dibawah pelan Takaful di mana jumlah indemiti tidak boleh
melebihi jumlah perlindungan.
 Sekiranya peserta menerima jumlah pampasan yang melebihi
jumlah kerugian sebenar, Pengendali Takaful berhak untuk
mendapatkan semula amaun lebihan tersebut dari peserta. Begitu
juga sekiranya peserta menerima amaun yang melebihi dari
kerugian sebenar daripada pihak ketiga selepas ganti rugi
sepenuhnya diperolehi dari Pengendali Takaful, Pengendali
Takaful mempunyai hak di bawah prinsip Subrogasi untuk
mendapatkan kembali apa-apa amaun yang dibayar oleh pihak
ketiga.
 Perlu diingat bahawa amaun perlindungan bukanlah ukuran
sebenar indemniti tetapi hanya sebagai suatu penetapan had
amaun yang boleh dibayar. Amaun ganti rugi sebenar adalah
berdasarkan prinsip ‘jumlah perlindungan atau nilai pasaran yang
mana lebih rendah’.
Dalam amalan Takaful Am, peserta perlu memastikan bahawa dia
tidak menilai kurang daripada nilai sebenar perkara pokok insurans
semata-mata untuk membayar caruman yang lebih rendah dan
mengharapkan bayaran pampasan penuh atas kerugian yanag
ditanggung. Perbuatan ini dianggap hina di syarak kerana membuat
sumbangan yang tidak setimpal kepada dana Takaful serta
membebankan peserta lain. Dalam situasi seperti ini, ‘Klausa Purata’
akan digunakan. Sebagai contoh, peserta yang dilindungi di bawah
pelan Takaful motor sebanyak RM30,000 amaun perlindungan
mengetahui sepenuhnya bahawa nilai pasaran sebenarnya ialah
RM50,000. Apabila berlaku kerosakan akibat kemalangan dan kos
pembaikan ialah RM20,000 maka peserta akan menerima bayaran
Prinsip dan Modal Perniagaan Takaful 81
ganti rugi yang dikira berdasarkan formula 'Klausa Purata' seperti
berikut:
Amaun perlindungan X kerugian
Nilai pasaran
RM 30,000 X RM 20,000 = RM 12,000
RM 50,000
Berdasarkan contoh di atas, Pengendali Takaful hanya perlu
membayar RM12,000, sementara baki sebanyak RM8,000 perlu
ditanggung sendiri oleh peserta.
Peserta boleh membuat tuntutan ganti rugi atas kerugian kewangan
yang ditanggung, dan ia tidak termasuk kerugian emosi atau
kerugian-kerugian lain yang berkaitan dengannya. Selain dari itu,
peserta tidak boleh mengaut keuntungan dari musibah / kerugian yang
ditanggung. Sekiranya kerosakan yang berlaku adalah sebahagian
sahaja maka peserta tidak berhak menuntut jumlah penuh kerugian.
Tuntutan terhad kepada jumlah kerugian sebenar sahaja. Apabila
peserta telah menerima bayaran ganti rugi sepenuhnya, peserta
dikehendaki memindahkan hak tuntutan terhadap pihak ketiga kepada
Pengendali Takaful. Peserta tidak boleh mendapatkan ganti rugi lanjut
daripada pihak ketiga atas kerugian yang sama. (Ini berkaitan dengan
hak Subrogasi). Peserta tidak berhak memperolehi bayaran gantirugi
lebih daripada sekali, tanpa mengira berapa banyak sijil Takaful yang
dimiliki. Peserta tidak boleh menerima bayaran lebih daripada amaun
penuh kerugian dari lain-lain pengendali Takaful atas kerugian yang
sama. (Ini berkaitan dengan Prinsip Perkongsian Sama Rata).
Indemniti menetapkan amaun maksimum yang boleh dibayar di
bawah sesuatu pelan Takaful, tertakluk kepada had jumlah
perlindungan. Jumlah perlindungan adalah had liabiliti yang perlu
ditanggung oleh Pengendali Takaful.
Kontrak Takaful Am adalah kontrak indemniti dimana kepentingan
boleh lindung boleh diukur; contohnya harta benda, kontrak Takaful
82 Amalan Asas Takaful
kewangan dan liabiliti. Kontrak kemalangan diri dan Takaful keluarga
tidak tergolong dalam kontrak indemniti.
Ukuran indemniti bergantung kepada jenis-jenis perlindungan
Takaful. Secara umumnya, indemniti Takaful harta adalah
berdasarkan sama ada kos penggantian selepas ditolak susut nilai atau
nilai pasaran; sementara di bawah Takaful liabiliti, indemniti diukur
berdasarkan amaun award yang diputuskan oleh pihak mahkamah
atau amaun penyelesaian luar mahkamah, termasuk kos dan
perbelanjaan yang diluluskan. Indemniti dalam Takaful kewangan
diukur berdasarkan jumlah kerugian kewangan yang dialami oleh
peserta, sebagai contoh:
Skim Takaful Ukuran Indemniti
Harta benda Kos Penggantian ditolak susut nilai atau
nilai pasaran
Liabiliti Award mahkamah + Kos & Perbelanjaan
Kewangan Kerugian kewangan
5.1.4 Prinsip Subrogasi
Subrogasi boleh ditakrifkan sebagai hak Pengendali Takaful setelah
membayar indemniti di bawah obligasi undang-undang, bertindak
menggunakan hak dan remidi peserta, sama ada ia telah
dikuatkuasakan atau tidak.
Ini adalah turutan dari prinsip indemniti. Subrogasi adalah hak
Pengendali Takaful yang telah bersetuju membayar ganti rugi, dan
setelah bayaran dibuat maka pengendali mempunyai hak untuk
menuntut amaun yang sama dari pihak ketiga yang menyebabkan
kerugian berkenaan.
Prinsip subrogasi merujuk kepada hak Pengendali Takaful bertindak
di tempat peserta selepas penyelesaian tuntutan, untuk membuat
tuntutan balas daripada pihak ketiga. Hak subrogasi juga boleh
digunakan oleh Pengendali Takaful walaupun bayaran tuntutan belum
Prinsip dan Modal Perniagaan Takaful 83
lagi dibuat. Pada dasarnya, doktrin subrogasi digunakan dalam
perkara-perkara berikut:
 Ia adalah turutan dari prinsip indemniti bagi memastikan peserta
tidak meraih keuntungan dari musibah / kerugian yang berlaku.
 Hak ini boleh digunakan sungguhpun amaun gantirugi belum lagi
dibayar kepada peserta. Sekiranya sebahagian bayaran telah
dibuat oleh pihak ketiga, pengendali Takaful hanya perlu
membayar amaun bakinya sahaja.
 Amaun tuntutan subrogasi tidak boleh melebihi jumlah tuntutan
yang dibayar kepada peserta. Sekiranya Pengendali Takaful
menuntut amaun yang lebih tinggi dari apa yang dibayar kepada
peserta, lebihan bayaran hendaklah diserahkan kepada peserta.
 Prinsip ini tidak boleh digunapakai dalam kontrak Takaful
Keluarga dan Kemalangan Diri.
Prinsip subrogasi dijelaskan melalui contoh berikut:
Rumah kediaman milik peserta A telah musnah dijilat api yang
berpunca dari kebakaran disebabkan letupan dikilang berhampiran.
Peserta A mengemukakan tuntutan kepada pengendali Takaful
sebanyak RM500,000. Apabila pembayaran tuntutan telah dibuat,
pengendali Takaful diberikan hak subrogasi untuk menuntut jumlah
yang serupa dari pemilik kilang yang bertanggungjawab
menyebabkan kebakaran dan kerugian berkenaan.
Sebelum hak tersirat Subrogasi yang memihak kepada Pengendali
Takaful itu digunakan, dua syarat berikut perlu dipenuhi:-
i. Kontrak Takaful yang wujud hendaklah merupakan kontrak
indemniti. Oleh itu, subrogasi tidak boleh digunapakai untuk
kontrak bukan indemniti seperti kontrak Takaful Keluarga dan
Kemalangan Diri.
ii. Pengendali Takaful hendaklah menyelesaikan bayaran tuntutan
terlebih dahulu. Mengikut amalan biasa, pengendali Takaful
menyatakan hal ini dengan jelas di dalam sijil Takaful bagi
memperolehi hak subrogasi sebelum bayaran ganti rugi dibuat.
84 Amalan Asas Takaful
Subrogasi adalah hak seseorang untuk bertindak bagi pihak orang lain
dengan memiliki semua hak dan remedinya, sama ada ia telah berkuat
kuasa atau sebaliknya. (Burnard vs Rodocanachi). Prinsip ini
bermaksud setelah membayar indemniti, pengendali Takaful berhak
untuk menerima kembali apa-apa bayaran yang diterima daripada
mana-mana sumber atas tuntutan yang serupa
Hak subrogasi di bawah undang-undang lazim tidak diiktiraf selagi
Pengendali Takaful tidak memproses, meluluskan dan membayar
tuntutan. Disebabkan masaalah yang timbul dari prinsip ini,
Pengendali Takaful meletakkan syarat dalam sijil Takaful yang
memberikan diri mereka hak subrogasi sebelum bayaran tuntutan
dibuat (kecuali Takaful Marin), tetapi Pengendali Takaful perlu
bertindak atas nama peserta.
5.1.5 Prinsip Perkongsian Sama Rata
Prinsip ini boleh ditakrifkan sebagai hak Pengendali Takaful untuk
meminta Pengendali Takaful lain yang sama-sama menanggung risiko
berkenaan supaya membuat sumbangan (bayaran ganti rugi) mengikut
bahagian masing-masing.
Prinsip tersebut juga adalah satu lagi akibat turutan dari prinsip
indemniti. Ia merupakan syarat tersirat dalam kontrak indemniti di
mana sekiranya terdapat kontrak indemniti lain yang memberi
perlindungan atas perkara pokok dan risiko yang sama, jumlah
bayaran ganti rugi kepada peserta hendaklah dibahagikan di kalangan
semua pengendali mengikut nisbah masing-masing.
Prinsip Perkongsian Sama Rata digunakan di bawah kontrak Takaful
Am bagi mengelakkan peserta meraih keuntungan daripada tuntutan
berganda atas kerugian yang sama daripada Pengendali Takaful yang
berbeza. Di bawah prinsip ini, amaun kerugian hendaklah dikongsi
bersama antara Pengendali Takaful mengikut bahagian atau nisbah
masing-masing. Amalan ini dapat mengukuhkan prinsip indemniti.
Prinsip dan Modal Perniagaan Takaful 85
Penjelasan mengenai Prinsip Perkongsian Sama Rata adalah seperti
contoh berikut:
Peserta B mendapat perlindungan Takaful untuk rumahnya bernilai
RM1 juta dengan pengendali Takaful X, Y dan Z dengan harapan
untuk membuat keuntungan dengan membuat tuntutan daripada
semua Pengendali Takaful bagi jumlah sebanyak RM3 juta (RM1 juta
dari setiap pengendali Takaful) sekiranya rumah miliknya itu musah
akibat kebakaran. Apabila rumah tersebut musnah dijilat api, peserta
B mengemukakan tuntutan kepada semua Pengendali Takaful seperti
yang dirancang. Walau bagaimanapun, apabila hal tersebut telah
diketahui, setiap pengendali Takaful hanya akan membayar bahagian
masing-masing iaitu sebanyak RM333,333 untuk jumlah keseluruhan
RM1 juta.
Prinsip Perkongsian Sama Rata hanya boleh diguna pakai dalam
kontrak indemniti sahaja. Pengendali-Pengendali Takaful yang
terlibat mestilah telah memberi perlindungan kepada:
 Kepentingan yang sama (iaitu peserta yang sama, melindungi
kepentingan yang sama dengan lebih dari satu pengendali
Takaful).
 Perkara pokok yang sama (iaitu kesemua sijil Takaful yang
dikeluarkan melindungi perkara pokok yang sama)
 Peril yang sama (di mana prinsip perkongsian sama rata akan
digunakan sekiranya semua sijil melindungi peril yang sama yang
mengakibatkan berlakunya kerugian).
Dengan menyatakan syarat-syarat sumbangan secara terang dan nyata
di dalam sijil Takaful, pengendali tidak akan bertanggungjawab untuk
membayar atau menyumbang lebih daripada nisbah sepatutnya atas
jumlah keseluruhan bayaran pampasan.
Jika syarat ini tidak dinyatakan dalam sijil perlindungan, peserta
mempunyai hak untuk membuat tuntutan terhadap mana-mana
pengendali. Seterusnya, pengendali yang telah membayar ganti rugi
akan membuat tuntutan bahagiannya dari pengendali Takaful lain.
86 Amalan Asas Takaful
Di bawah undang-undang lazim, apabila peserta mempunyai lebih
daripada satu sijil Takaful, dia hanya boleh membuat tuntutan kepada
salah satu pengendali sahaja. Pengendali Takaful perlu membayar
gantirugi, terhad kepada jumlah liabilitinya sahaja, kemudian barulah
boleh menuntut sumbangan daripada pengendali lain selepas dia telah
membayar bahagiannya.
Prinsip Perkongsian Sama Rata boleh digunakan hanya apabila
syarat-syarat berikut dipenuhi. Sijil Takaful tidak semestinya
melindungi kepentingan, peril atau perkara pokok yang sama, tetapi
hendaklah terdapat pertindihan sijil di mana:
a) Terdapat dua atau lebih sijil indemniti yang berkuatkuasa.
b) Sijil-sijil berkenaan melindungi kepentingan yang sama.
c) Sijil-sijil tersebut melindungi peril yang sama yang menyebabkan
berlakunya kerugian.
d) Setiap sijil mestilah bertanggungjawab atas kerugian yang
berlaku.
Untuk mengatasi kesulitan ini, kebanyakan sijil Takaful Bukan Marin
mengandungi klausa perkongsian sama rata. Ia menyatakan bahawa
Pengendali Takaful hanya bertanggungjawab atas nisbah atau
bahagiannya sahaja.
Pengendali Takaful bertanggungjawab atas bahagiannya sahaja, dan
peserta boleh membuat tuntutan berasingan terhadap Pengendali-
Pengendali Takaful yang lain. Tujuan diadakan fasal sumbangan ini
adalah untuk menghalang peserta daripada membuat tuntutan
terhadap satu pengendali sahaja sehingga menyebabkan pengendali
tersebut terpaksa menanggung jumlah penuh kos tuntutan, walaupun
kemudiannya ia berhak meminta / menuntut pengendali lain membuat
sumbangan atas kerugian yang sama.
Pengendali Takaful bersetuju bahawa kaedah pengiraan kadar
sumbangan tidak tertakluk kepada klausa purata (average clause)
adalah seperti berikut:
Prinsip dan Modal Perniagaan Takaful 87
a.
Amaun perlindungan dari setiap
Pengendali Takaful
------------------------------------------- X kerugian = liabiliti
Amaun perlindungan dari semua
Pengendali Takaful
Contoh
A : RM6,000 x RM1,000 = RM600
B : RM4,000
Rugi : RM1,000
A bayar: RM6,000 x RM1,000 = RM600
RM10,000
B bayar: RM4,000 x RM1,000 = RM400
RM10,000
b. Perlindungan harta lain (kaedah lebih kerap digunakan)
Sekiranya sijil perlindungan tertakluk kepada fasal purata atau
had kerugian individu dikenakan atas amaun perlindungan,
kaedah “liabiliti bebas” akan digunakan. Liabiliti bebas ialah
jumlah ganti rugi yang perlu dibayar oleh pengendali sekiranya ia
adalah antara Pengendali Takaful yang menawarkan
perlindungan.
Liabiliti pengendali bebas x kerugian = pengendali bebas
Jumlah liabiliti dari semua
Pengendali Takaful
i) A : RM2,000.00
B : RM1,000.00
Rugi : RM 450.00
88 Amalan Asas Takaful
A bayar: RM2,000 x RM450 = RM200
RM4,500
B bayar: RM1,000 x RM450 = RM100
RM4,500
ii) Sekiranya A melindungi RM4,500
A bayar: RM4,500 x RM450 = RM450
RM4,500
B bayar: RM100 x RM450 = RM100
RM550 = RM550
======
Dalam kes ini, jumlah liabiliti pengendali bebas adalah melebihi
amaun kerugian dan nisbah pembayaran ialah:
A bayar : RM450 x RM450 = RM368.20
RM550
B bayar : RM100 x RM450 = RM 81.80
RM550 RM450.00
========
Prinsip ini tidak boleh digunakan di bawah kontrak Takaful
kemalangan diri. Oleh yang demikian, seseorang itu boleh menuntut
jumlah ganti rugi penuh di bawah beberapa sijil Takaful yang
dikeluarkan oleh Pengendali Takaful yang berbeza (kecuali
perbelanjaan perubatan). Walau bagaimanapun, semua pengendali
menetapkan peraturan agar pencadang memberitahu penanggung
akan polisi / sijil perlindungan kemalangan diri lain yang dimilikinya.
Terdapat Pengendali Takaful yang menetapkan syarat dalam sijil
perlindungan iaitu sijil Takaful akan terbatal sekiranya peserta
menguatkuasakan sijil Takaful yang baru tanpa kebenaran bertulis
dari Pengendali Takaful terdahulu.
Prinsip dan Modal Perniagaan Takaful 89
5.1.6 Prinsip Sebab Terhampir (Proximate Cause)
Ia ditakrifkan sebagai punca atau sebab paling efektif yang
mengungguli rantaian kejadian / peristiwa yang membawa kepada
kerugian, tanpa dicemari oleh mana-mana punca lain yang bermula
dan berfungsi secara aktif dari punca yang baru dan bebas. Pepatah
Latin menyebutnya sebagai sed causa Proxima non-remota
spectature (tumpukan kepada sebab hampiran dan bukan sebab
terpencil). Sebab-sebab berlakunya kerugian perlu dikenalpasti kerana
hanya risiko tertentu yang dilindungi sahaja (tidak dikecualikan risiko
seperti yang dinyatakan dalam sijil Takaful) yang boleh dibayar ganti
rugi. Kerugian yang berlaku mungkin bukan disebabkan dari peril
atau peristiwa tunggal. Mungkin ada sebab-sebab serentak atau
rantaian sebab-sebab yang mungkin berlaku dalam turutan peristiwa
atau dalam rantaian peristiwa yang berasingan.
Doktrin sebab terhampir boleh dijelaskan secara tepat dengan
merujuk kepada satu kes perundangan yang berlaku di United
Kingdom, di mana seorang pemegang polisi mengalami kecederaan
akibat kemalangan ketika memburu. Dia tidak dapat berjalan selepas
kemalangan dan terpaksa berbaring di atas tanah basah dan
menyebabkan dia mengalami radang paru-paru dan seterusnya
meninggal dunia. Terdapat rantaian sebab-sebab yang tidak putus-
putus yang menyebabkan kemalangan, kecederaan dan kematian.
Mahkamah memutuskan bahawa punca atau sebab terhampir yang
membawa kepada kematian adalah kemalangan, bukan sakit radang
paru-paru.
Beban untuk membuktikan kerugian ditanggung oleh peserta. Apabila
berlaku kerugian, tanggungjawab peserta ialah untuk membuktikan
bahawa kerugian yang membawa kepada tuntutan ganti rugi adalah
disebabkan oleh peril yang dilindungi. Sekiranya kerugian berlaku
berpunca dari satu sebab sahaja, tiada kesukaran yang timbul untuk
menentukan liabiliti.
90 Amalan Asas Takaful
5.1.6.1 Pengendali Takaful tidak bertanggungjawab atas peril
yang tidak dilindungi atau peril yang dikecualikan
Pengendali Takaful bertanggungjawab ke atas kerugian yang
disebabkan oleh peril atau bahaya yang dilindungi. Sebaliknya,
Pengendali Takaful tidak akan bertanggungjawab keatas kerugian
yang disebabkan peril yang tidak dilindungi atau peril yang
dikecualikan. Peril yang dilindungi ialah peril yang dinyatakan secara
jelas dalam sijil Takaful bahawa ia diberi perlindungan. Peril yang
tidak dilindungi ialah peril yang tidak dinyatakan dalam sijil dan oleh
itu tiada perlindungan diberikan, kecuali ia berlaku akibat dari peril
yang dilindungi. Contoh peril yang tidak dilindungi di bawah sijil
Takaful kebakaran ialah asap dan kerosakan disebabkan air. Peril
yang dikecualikan ialah peril yang dinyatakan secara jelas dalam sijil
bahawa ia tidak dilindungi.
Kerugian yang berlaku mungkin disebabkan oleh dua atau lebih
sebab-sebab yang terjadi serentak atau pun berturutan. Masalah
timbul apabila dua atau lebih sebab-sebab tersebut melibatkan peril
yang dilindungi dan juga peril yang dikecualikan. Dalam keadaan
yang sedemikian, ia menjadi sukar bagi peserta untuk menentukan
punca sebenar kerugian. Untuk menyelesaikan kesukaran ini, undang-
undang memperkenalkan doktrin Sebab Terhampir berdasarkan
perumpamaan Latin ‘maxim causa proxima non remota spectatur’
yang bermaksud tumpukan kepada sebab hampiran, bukan sebab
terpencil. Oleh itu, sekiranya kerugian berlaku disebabkan oleh
beberapa sebab hampiran, sebab yang paling unggul atau efektif perlu
dikenalpasti dan disahkan sebagai punca kepada kerugian.
Sebab Terhampir ialah punca atau sebab paling efektif dan berkesan
yang mengungguli rantaian kejadian / peristiwa yang membawa
kepada kerugian. Sekiranya Sebab Terhampir itu merupakan peril
yang dilindungi, maka ganti rugi akan dibayar. Tiada pampasan untuk
peril yang tidak dilindungi. Perlu diambil perhatian bahawa mesti ada
hubungan langsung antara sebab dan akibat, di mana ia mestilah
merupakan sebab hampiran yang paling efektif dan berkesan,
walaupun tidak pada masa berkenaan. Doktrin ini digunapakai
Prinsip dan Modal Perniagaan Takaful 91
terutamanya apabila kerugian berlaku disebabkan oleh sebab-sebab
yang berturutan.
5.1.6.2 Pengendali Takaful bertanggungjawab atas kerugian
akibat Sebab Terhampir bagi peril yang dilindungi
sahaja.
Dalam kes Pawsey & Company v Scottish Union & National
Insurance Company (1907), mahkamah mendefinisikan sebab
terhampir sebagai “sebab paling efektif dan berkesan yang
mengungguli rantaian kejadian / peristiwa yang membawa kepada
kerugian, tanpa dicemari oleh mana-mana punca lain yang bermula
dan berfungsi secara aktif dari punca yang baru dan bebas”.
Biasanya terdapat rantaian kejadian atau sebab-sebab yang membawa
kepada kerugian, bukan kerana satu sebab sahaja.
Sekiranya kerugian berlaku disebabkan secara langsung oleh peril
yang dilindungi maka tuntutan ganti rugi akan dibayar, dengan syarat
ia tidak melibatkan peril yang tidak dilindungi / dikecualikan yang
menjadi punca utama dalam rantaian peristiwa yang menggerakkan
peril yang dilindungi.
Doktrin ini sangat penting kerana lebih daripada satu sebab yang
boleh dikaitkan sehingga menyebabkan terjadinya keadaan yang
membawa kepada tuntutan kerugian. Oleh itu, perlu dikenalpasti
samada sebab efektif dan berkesan itu adalah peril yang dilindungi
atau dikecualikan dari kontrak perlindungan.
Contoh:-
1. Seorang peserta pelan Takaful yang menghidap penyakit batu
karang telah dirempuh oleh sebuah kereta dan kemudiannya
meninggal dunia. Penyakit batu karang yang dihidapinya tidak
menyebabkan kematian. Sebab kematian beliau tidak termasuk
peril seperti yang dinyatakan dalam polisi. (Louden v British
Merchants Ins. Co. Ltd [1961]).
92 Amalan Asas Takaful
2. Seorang peserta jatuh dari tangga dan patah kaki, dan
kemudiannya dibawa ke hospital. Di hospital, beliau dijangkiti
sakit kerongkong dari salah seorang pesakit di katil sebelah.
Peserta kemudiannya meninggal dunia. Kemalangan yang berlaku
tidak menyebabkan kematian. Sakit kerongkong bukanlah punca
yang menyebabkan patah kaki.
3. Sungguhpun demikian, sekiranya terdapat rantaian penyebab
kerugian yang tidak terputus, sebab yang paling awal adalah
merupakan sebab hampiran. Seorang peserta secara tidak sengaja
telah mencalarkan kakinya, menyebabkan erysipelas;
kemudiannya merebak menjadi septicemia, diikuti dengan septik
neumonia dan akhirnya meninggal dunia. Calar adalah sebab
hampiran yang membawa kematian. Setiap jenis penyakit yang
dialami adalah dianggap normal atau semulajadi, yang
berkemungkinan mempunyai kaitan / rantaian antara calar dan
kematian.(Mardorf v Accident Insurance Co [1903]).
Contoh-contoh lain ialah:
 Sekiranya peserta telah menghidap penyakit sebelum terlibat
dalam kemalangan, penyakit dan kemalangan itu dianggap
sebagai sebab yang berasingan dan bebas dari sebarang
pengaruh. Contohnya, sakit yang dihidapi oleh peserta tidak
menghalangnya untuk pergi ketempat kerja. Semasa dalam
perjalanan, peserta terlibat dalam kemalangan dan meninggal
dunia. Sebab kematian adalah kemalangan, bukan sakit
kerana sakit dianggap sebagai sebab yang berasingan.
 Sekiranya kesan dari kemalangan telah mendedahkan
kewujudan sesuatu penyakit yang merupakan punca tunggal /
awal yang mengakibatkan kematian atau hilang upaya,
peserta tidak dilindungi oleh sijil Takaful.
 Sekiranya selepas berlaku kemalangan, peserta membuat
tuntutan atas alasan kemalangan telah menyebabkan tulang
retak. Kemalangan tidak menyebabkan sebarang kecederaan,
Prinsip dan Modal Perniagaan Takaful 93
 Sekiranya seseorang itu didapati menghidap penyakit setelah
berlaku kemalangan, sebab hampiran tidak semestinya bebas
dan berasingan sehingga menyebabkan kematian atau hilang
upaya, walaupun mungkin sebab langsung kematian ialah
kerana penyakit, namun mungkin juga akibat semula jadi
disebabkan kemalangan - penyakit menjadi sebahagian dari
rantaian penyebab dan kemalangan menjadi sebab hampiran,
bukan sebab terpencil.
Oleh itu, kematian disebabkan sakit burut setelah jatuh akibat
“kemalangan” adalah menepati peruntukan yang dinyatakan
dalam sijil Takaful, kecuali sekiranya dinyatakan secara jelas
bahawa sakit burut tidak dilindungi.
Sekiranya berlaku kerugian, beban untuk membuktikan bahawa
kerugian yang berlaku disebabkan peril yang dilindungi adalah
ditanggung oleh peserta. Sebaliknya, beban untuk membuktikan
bahawa kerugian yang berlaku tidak dilindungi kerana terdapat
pengecualian tertentu adalah ditanggung oleh Pengendali Takaful.
5.1.7 Prinsip Tabarru’ (Derma)
Tabarru’ atau derma, bermaksud prinsip berkongsi tanggungjawab
dan saling menjamin antara satu sama lain yang secara jelas
menyatakan bahawa derma atau caruman yang dikutip akan
digunakan untuk membantu “peserta yang memerlukan bantuan
mengikut syarat-syarat yang dipersetujui selagi syarat-syarat tersebut
tidak bercanggah dengan Syariah”.
Dalam perniagaan Takaful Am dan Takaful Keluarga, tabarru'
(derma Takaful) adalah suatu kontrak di mana peserta bersetuju
menderma ke dana Takaful mengikut kadar tertentu, dan dana itu
digunakan untuk membantu peserta yang memerlukannya. Dengan
cara ini, peserta telah memenuhi tanggungjawab saling membantu dan
menjamin apabila peserta lain mengalami kerugian. Penerapan
konsep derma dapat menghapuskan unsur gharar dalam kontrak
Takaful.
94 Amalan Asas Takaful
Dengan mengambil kira konsep-konsep asas Takaful, pengamal
Takaful telah mengambil langkah kehadapan demi mengembangkan
model Takaful sedia ada ke model perniagaan yang lebih berdaya
maju dan bernilai komersil. Apabila seseorang itu membuat tuntutan
yang sah, pengendali akan membayar gantirugi dengan menggunakan
wang dari dana/derma terkumpul. Dalam masa yang sama, dana
terkumpul juga akan dilaburkan dalam portfolio pelaburan yang
mematuhi keperluan Syariah serta tidak mendedahkan pemegang
sijil/polisi kepada sebarang risiko yang merugikan. Agama Islam
menerima baik prinsip saling membantu dan menunaikan
tanggungjawab bersama.
5.1.8 Prinsip Waranti
Satu lagi prinsip yang digunapakai dalam urusniaga Takaful ialah
waranti. Waranti adalah “jaminan yang biasanya dibuat secara
bertulis tentang integriti sesuatu produk dan tanggungjawab pengeluar
untuk membaiki atau mengganti barangan yang rosak”.
Waranti yang terdapat dalam perlindungan Takaful ialah janji oleh
pihak peserta bahawa kenyataan yang menentukan kesahan sesuatu
kontrak itu adalah benar. Kebanyakan kontrak Takaful
mengkehendaki peserta membuat waranti tertentu. Contohnya, untuk
mendapatkan pelan perlindungan Takaful kesihatan, peserta mungkin
perlu memberi jaminan bahawa dia tidak menghidap sebarang
penyakit merbahaya. Jika jaminan atau waranti yang dibuat oleh
peserta ternyata tidak benar, Pengendali Takaful boleh membatalkan
sijil / pelan perlindungan dan menolak sebarang tuntutan.
Tidak semua salah nyata yang dibuat oleh peserta memberi hak
kepada Pengendali Takaful untuk membatalkan sijil atau
perlindungan Takaful atau menolak tuntutan. Hanya salahnyata
berkaitan syarat dan waranti dalam kontrak sahaja yang memberi hak
berkaitan kepada pengendali. Untuk melayakkannya menjadi suatu
syarat atau waranti, kenyataan hendaklah dibuat dengan jelas dan
dicatatkan dalam kontrak. Peruntukan syarat hendaklah secara jelas
menunjukkan semua pihak bersetuju bahawa hak-hak peserta dan
Prinsip dan Modal Perniagaan Takaful 95
pengendali adalah tertakluk kepada sejauhmana kebenaran kenyataan
yang dibuat. Waranti dalam kontrak Takaful boleh dibahagikan
kepada dua jenis iaitu:
 Perakuan; dan
 Akujanji
Jenis Waranti Keterangan
Waranti Perakuan Waranti perakuan ialah suatu kenyataan
pengakuan mengenai fakta yang dibuat
ketika kontrak dibuat. Waranti perakuan yang
tidak benar akan menjadikan kontrak Takaful
terbatal ketika perlindungan mula
berkuatkuasa.
Waranti Akujanji Waranti akujanji ialah suatu kenyataan
mengenai fakta masa akan datang atau fakta
yang akan terus kekal kebenarannya
sepanjang tempoh perlindungan.
Sebagai contoh, peserta membuat perakuan / waranti bahawa harta
miliknya yang dilindungi dibawah sijil Takaful kebakaran tidak akan
digunakan sebagai tempat menyimpan bahan letupan. Pengendali
Takaful boleh membatalkan perakuan itu jika peserta membuat
keputusan untuk memulakan aktiviti pencampuran bahan letupan
dipremis berkenaan. Peruntukan waranti perlu menggunakan bahasa
yang menyatakan secara jelas sama ada ia adalah Perakuan atau
Akujanji.
Kontrak Takaful adalah satu perjanjian yang menyatakan Pengendali
Takaful akan membayar ganti rugi kepada pemegang sijil atas
kerugian yang berlaku disebabkan oleh peril / bahaya yang
dilindungi. Sijil Takaful ‘tidak menjamin integriti produk’, seperti
rumah, kereta, bot dan sebagainya. Ia juga tidak menjamin bahawa
jika sesuatu yang buruk berlaku keatas harta berkenaan (atau kepada
96 Amalan Asas Takaful
peserta), ia akan dilindungi. Sijil Takaful menetapkan kategori khusus
apa yang dilindungi dan apa yang tidak dilindungi.
A5.2 DANA TAKAFUL
Pengendali Takaful dikehendaki mewujudkan dan mengurus tiga
kategori dana iaitu:
 Dana Takaful Am
 Dana Takaful Keluarga
 Dana Pemegang Saham
Peruntukan undang-undang berkaitan dana Takaful yang terdapat
dalam Akta Takaful 1984 adalah seperti yang dinyatakan di bawah:
Seksyen 16 – Penubuhan dan penyelenggaraan dana Takaful, dan
peruntukan surplus.
(1) Setiap pengendali yang didaftarkan di bawah Akta ini hendaklah
menubuhkan dan menyelenggara mengikut seksyen ini, suatu
kumpulan wang Takaful berkenaan dengan kelas atau setiap kelas
perniagaan Takaful yang dijalankan oleh pengendali di Malaysia,
sebagai perniagaan yang berkaitan dengan sijil Malaysia.
(2) Semua penerimaan (wang) pengendali yang boleh diagihkan
kepada perniagaan yang berkaitan dengan dana (termasuk
pendapatan dana) hendaklah dimasukkan ke dalam dana Takaful,
dan aset yang terkandung dalam dana itu hendaklah digunakan
hanya untuk memenuhi apa-apa bahagian liabiliti dan
perbelanjaan pengendali sebagaimana yang sepatutnya diagihkan.
A5.3 JENIS-JENIS MODEL TAKAFUL
Operasi kendalian Takaful dalam sektor tijari (komersil) boleh
dibahagikan kepada beberapa model perniagaan seperti yang
ditunjukkan dibawah:
Prinsip dan Modal Perniagaan Takaful 97
 Model Wakalah
 Model Mudharabah
 Model Mudharabah + Wakalah (model hibrid)
 Model Waqaf
Apa yang penting ialah teras pada mana-mana model seperti yang
dinyatakan dalam kontrak masing-masing adalah berdasarkan
Syariah. Pilihan model oleh Pengendali Takaful menunjukkan
fleksibiliti Syariah. Sesungguhnya, objektif yang perlu dicapai ialah
pencapaian umat manusia kearah kesempurnaan seperti yang
digariskan dalam Maqasid (objektif) Syari’ah.
5.3.1 Model Wakalah
Istilah wakalah dalam Bahasa Arab bermaksud agensi. Oleh itu, di
bawah struktur agensi, hubungan agensi telah dipersetujui antara dua
pihak untuk menjalankan perniagaan tertentu. Berdasarkan dari
pengertian tersebut, model ini menerangkan suatu perjanjian agensi
antara pengendali yang bertindak sebagai ejen atau 'wakil' kepada
peserta yang bertindak sebagai prinsipal, untuk menguruskan
penyertaan prinsipal dalam urus niaga pelbagai produk Takaful yang
disediakan oleh pengendali. Sebagai balasan atas perkhidmatan
agensi yang diberikan, pengendali dibenarkan untuk mengenakan
bayaran di bawah perjanjian itu. Bayaran diperolehi melalui
sumbangan Takaful yang didermakan oleh peserta. Di bawah model
ini, perbelanjaan pengurusan dikenakan atas dana Takaful sebagai
bayaran pendahuluan.
Melalui model ini, pengendali memperolehi pendapatan dari yuran
agensi dan juga keuntungan dari pelaburan dana pemegang saham.
Sungguhpun demikian, terdapat Pengendali Takaful yang
mengamalkan model perniagaan ini dengan mengenakan yuran
prestasi atas perkhidmatan dan peranan yang dimainkan dalam
mengurus pelaburan dana Takaful. Sekiranya berlaku pembatalan
atau penyerahan sijil, baki bersih sumbangan / derma (jika ada) akan
dipulangkan kepada peserta, selepas ditolak semua caj seperti yuran
wakalah dan perbelanjaan pengurusan lain.
98 Amalan Asas Takaful
 Carta Aliran Model Wakalah Takaful Am
Prinsip dan Modal Perniagaan Takaful 99
 Carta Aliran Model Wakalah Takaful Keluarga
100 Amalan Asas Takaful
5.3.2 Model Mudharabah
Pada asasnya, Mudharabah ditakrifkan sebagai satu prinsip
perkongsian keuntungan yang biasanya digunakan dalam perniagaan
atau kontrak komersial di antara pihak yang menyediakan dana /
modal dan pihak yang menguruskan perniagaan. Bagi Takaful, ia
bermaksud kontrak perkongsian keuntungan antara peserta-peserta
Takaful dan pengendali atas keuntungan (jika ada) perniagaan
Takaful. Di bawah perjanjian ini, kontrak perkongsian keuntungan
yang ditandatangani oleh pengendali, sebagai usahawan atau yang
dipanggil mudharib yang diamanahkan untuk mengurus perniagaan
Takaful dan para peserta sebagai pemodal, yang dipanggil sahib al-
mal - pihak yang bertanggungjawab membayar sumbangan / derma
Takaful sebagai modal atau ra'sul-mal. Kontrak yang ditandatangani
akan menentukan keuntungan perniagaan Takaful dan nisbah
keuntungan untuk dikongsi bersama di antara kedua-dua pihak seperti
50:50, 60:40 atau 70:30. Pada dasarnya, keuntungan dalam
perniagaan Takaful ditakrifkan sebagai pulangan keatas pelaburan
dan lebihan dari pengunderaitan yang berkaitan dengan dana Takaful
sahaja. Oleh itu, ia tidak termasuk keuntungan yang dicatatkan oleh
dana pemegang saham. Bagi perniagaan Takaful keluarga, ia
termasuk lebihan kemortalan (mortality) yang diperuntukkan kepada
peserta yang layak seperti yang diisytiharkan oleh penilaian aktuari
setiap akhir tahun kewangan. Walau bagaimanapun, tidak seperti
kontrak Mudharabah bagi produk perbankan Islam, perkongsian
keuntungan dalam Takaful akan hanya dilaksanakan selepas semua
obligasi Takaful telah diambil kira - obligasi terbesar ialah membayar
tuntutan. Sekiranya urus niaga mengalami kerugian atau dana Takaful
mengalami defisit, kerugian akan ditanggung sepenuhnya oleh peserta
sebagai pemberi modal.
Meskipun demikian, adalah menjadi tanggungjawab utama
pengendali untuk melindungi kepentingan peserta dalam usaha
memastikan perniagaan tidak akan terjejas oleh kerugian yang
mungkin menjejaskan kewibawaan dan keyakinan Takaful secara
keseluruhan. Atas sebab ini, amalan tadbir urus yang betul, berhemat
dan profesionalisme dalam menguruskan perniagaan adalah penting.
Prinsip dan Modal Perniagaan Takaful 101
Sekiranya perniagaan mencatatkan kerugian, ia adalah tanggungjawab
pengendali untuk mengatasinya, umpamanya dengan membuat
pinjaman (Qard) dari pemegang saham. Antara ciri-ciri penting di
bawah model Mudharabah yang perlu diberi perhatian ialah
perbelanjaan pengurusan tidak dikenakan keatas dana Takaful,
sebaliknya ia ditanggung oleh dana pemegang saham. Perolehan
pedapatan dana pemegang saham ialah dari sebahagian perkongsian
keuntungan daripada dana Takaful dengan peserta, dan semua
pulangan atas pelaburan para pemegang saham dana itu sendiri.
102 Amalan Asas Takaful
 Carta Aliran Model Mudharabah Takaful Am
Prinsip dan Modal Perniagaan Takaful 103
 Carta Aliran Model Mudharabah Takaful Keluarga
104 Amalan Asas Takaful
5.3.3 Model Hibrid
Seperti yang difahami melalui namanya, model perniagaan ini adalah
kombinasi kedua-dua model yang diterangkan sebelum ini. Di bawah
model hibrid ini, hubungan antara pengendali yang menggabungkan
peranan sebagai usahawan atau mudharib serta ejen atau wakil
kepada peserta; manakala peranan kedua ialah mempunyai kapasiti
sebagai pemberi modal atau sahib al-mal dan prinsipal kepada ejen.
Sebagai Pengendali Takaful melalui ketetapan ini, yuran agensi boleh
dibayar sebagai caj pendahuluan dari dana Takaful dan dalam masa
yang sama pengendali mempunyai hak untuk berkongsi keuntungan
pelaburan dana Takaful seperti yang dinyatakan dalam kontrak
Mudharabah.
Di bawah model ini, kontrak Mudharabah digunakan bagi tujuan
aktiviti pelaburan sahaja. Keuntungan dana diperolehi dari lebihan /
surplus pengunderaitan serta pulangan ke atas pelaburan secara
keseluruhan. Disamping bayaran yuran wakalah, model ini
membenarkan pengendali menggunakan budi bicara untuk
mengenakan yuran prestasi keatas lebihan dana Takaful, sebagai
balasan khidmat menguruskan perniagaan Takaful secara
keseluruhan.
Keseluruhannya, Pengendali Takaful mempunyai tiga sumber
pendapatan: yuran wakalah dan perkongsian keuntungan daripada
pulangan pelaburan dana Takaful; dan pulangan ke atas pelaburan
dana pemegang saham. Bagi peserta, mereka mempunyai hak untuk
berkongsi lebihan pengunderaitan bersih serta perkongsian
keuntungan pelaburan dana Takaful.
Model ini menyokong kerjasama perkongsian risiko yang diamalkan
di kalangan peserta manakala pengendali memperolehi bayaran atas
perkhidmatan yang diberikan sebagai ejen atau wakil kepada peserta.
Dalam erti kata lain, sebahagian dari pendapatan pengendali
diperolehi dari yuran pendahuluan atas caruman. Tidak seperti model
Mudharabah, model ini membolehkan pengendali yang menggunakan
sistem agensi mengenakan bayaran perkhidmatan kepada dana
Prinsip dan Modal Perniagaan Takaful 105
Takaful bagi menampung perbelanjaan pengurusan serta kos agensi.
Di samping itu, terdapat perkongsian keuntungan mudharabah atas
pelaburan dana Takaful, tetapi sebarang lebihan pengunderaitan dana
Takaful akan hanya dikongsi di kalangan peserta sahaja.
106 Amalan Asas Takaful
 Carta Aliran Model Hibrid Takaful Am
Prinsip dan Modal Perniagaan Takaful 107
 Carta Aliran Model Hibrid Takaful Keluarga
108 Amalan Asas Takaful
5.3.4 Model Wakaf
Istilah wakaf yang disebut untuk model ini menjelaskan kontrak
Takaful yang menggariskan perjanjian atau persetujuan peserta
bahawa sumbangan Takaful yang dibayar sebagai balasan untuk
menyertai produk Takaful dikreditkan oleh pengendali ke dalam dana
Takaful mengikut prinsip wakaf atau endowmen. Pengendali Takaful
perlu mewujudkan akaun wakaf dalam dana Takaful dan untuk
mengaktifkan akaun berkenaan, pengendali disyaratkan untuk
menyerahkan sesuatu (wang) sebagai wakaf bagi memperolehi
keberkatan akaun berkenaan. Akaun wakaf yang berfungsi di bawah
dana Takaful ini akan dilaburkan sama seperti pelaburan dalam
ketiga-tiga model perniagaan yang dibincangkan sebelum ini. Dana
Wakaf diwujudkan untuk mencapai objektif berikut:
a) untuk menyalurkan bantuan kewangan kepada peserta yang
ditimpa musibah atau kesusahan.
b) untuk menyediakan suatu bentuk manfaat / ganjaran kepada
peserta mengikut apa yang dinyatakan dalam surat ikatan wakaf.
Semua perbelanjaan yang berkaitan dengan pengunderaitan dan kos
operasi Takaful hendaklah dicaj kepada dana wakaf. Sebagai
pengurus, pengendali Takaful akan melaksanakan semua fungsi yang
diperlukan bagi operasi wakaf dengan yuran wakalah yang ditolak
dari sumbangan peserta. Sebagai Mudarib, pengendali akan
menguruskan pelaburan dana Takaful termasuk akaun wakaf dalam
portfolio pelaburan yang mematuhi keperluan Syariah dan akan
berkongsi pulangan pelaburan pada nisbah yang telah dipersetujui,
iaitu sama dengan struktur perkongsian keuntungan di bawah kontrak
Mudharabah.
Perlu ditegaskan bahawa prinsip-prinsip Syariah yang berbeza
digunakan dalam kontrak Takaful untuk mendapatkan persetujuan
peserta agar sumbangan mereka dimasukkan ke dalam dana Takaful
bagi tujuan melaksanakan konsep jaminan bersama sebagaimana yang
terkandung dalam kontrak Takaful. Berbeza dengan model wakaf,
tiga model lain menggunakan prinsip tabarru’ dalam kontrak mereka.
Prinsip dan Modal Perniagaan Takaful 109
Di antara ciri-ciri asas model perniagaan ialah dana wakaf akan
menggariskan peraturan pengagihan prosid kepada benefisiari dan
menentukan berapa banyak pampasan akan dibayar kepada peserta.
Di samping itu, wakaf berfungsi sebagai pemilik sumbangan dan
mempunyai hak untuk bertindak sebagai sebuah entiti yang sah dalam
menguruskan surplus atau lebihan. Pengendali Takaful, selain
mengurus dana wakaf, ia juga akan berfungsi sebagai pengurus dan
juga mudharib atau usahawan.
110 Amalan Asas Takaful
Perkembangan dan Pengawalan Industri Takaful di Malaysia 111
BAB A6
PERKEMBANGAN DAN PENGAWALAN
INDUSTRI TAKAFUL DI MALAYSIA
PENGENALAN
Pembangunan industri Takaful di Malaysia pada awal tahun 1980-an
didorong oleh keperluan semasa masyarakat Islam untuk mempunyai
alternatif insurans yang mematuhi keperluan Syari’ah selain dari
insurans konvensional, juga untuk melengkapkan operasi perbankan
Islam yang ditubuhkan pada tahun 1983.
Desakan ke arah perubahan ini semakin meningkat apabila dicetuskan
melalui fatwa dikeluarkan oleh Jawatankuasa Fatwa Kebangsaan
Malaysia, yang memutuskan bahawa kontrak insurans hayat yang ada
pada waktu itu adalah tidak sah (haram) disebabkan oleh kehadiran
unsur-unsur Gharar (ketidakpastian), Riba dan Maisir (perjudian).
Pada tahun 1982, sebuah jawatankuasa telah ditubuhkan oleh kerajaan
untuk mencari alternatif insurans yang mematuhi undang-undang
Islam. Jawatankuasa itu kemudiannya telah mengemukakan laporan
dan draf Akta Takaful, yang akhirnya telah diluluskan oleh Parlimen
pada tahun 1984. Akta Takaful 1984 adalah sumber undang-undang
Takaful di Malaysia di mana Akta Insurans 1963 menjadi asas kepada
Akta Takaful 1984. Akta Takaful 1984 (Akta) adalah Akta yang
memperuntukkan peraturan kawalselia perniagaan Takaful di
Malaysia dan tujuan-tujuan lain yang berkaitan dengan Takaful.
A6.1 SEPINTAS LALU INDUSTRI TAKAFUL DI
MALAYSIA
Perkembangan Industri Takaful di Malaysia 1984- 2010
112 Amalan Asas Takaful
Isu 1984 2010
Pengendali
Takaful
Satu pengendali komposit
dengan modal berbayar
RM10 juta, yang menjadi
asas kepada industri
Takaful.
Sembilan pengendali
komposit dengan modal
minimum RM100 juta
setiap pengendali, yang
menggalakkan
persaingan yang sihat
dalam industri.
Pelabur /
Pemegang
Saham
Bank Islam, Majlis
Agama Negeri dan
Yayasan Dakwah Islam.
Kumpulan Pelabur yang
terdiri dari pelabur
swasta, kumpulan
perbankan, insurer dan
reinsurer.
Produk Produk terhad, tumpuan
hanya kepada Takaful
motor, kebakaran dan
gadaijanji. Produk
Takaful am menguasai
63% pasaran (
sumbangan / premium
kasar)
Pelbagai pilihan produk
dengan ciri-ciri yang
lebih sofistikated.
Produk Takaful keluarga
menguasai 71% pasaran
(sumbangan/ premium
kasar).
Pelanggan Majoriti orang Islam Islam dan juga bukan
Islam, dengan jangkaan,
keutamaan, kehendak
dan keperluan yang
berbeza.
Saluran
Pengagihan
Cawangan-cawangan,
Pegawai Pemasaran dan
Meja Takaful.
Cawangan-cawangan,
Pegawai Pemasaran,
Anggota Agensi,
BankaTakaful, broker,
internet dan pakatan
kerjasama startegik.
Perkembangan dan Pengawalan Industri Takaful di Malaysia 113
Bentuk
Pelaburan
Terhad kepada deposit
Islam dan Sekuriti Islam
kerajaan.
Instrumen pelaburan
yang lebih luas yang
diterbitkan oleh kerajaan
dan sektor swasta.
Dalam usaha untuk membangunkan industri Takaful di Malaysia,
Bank Negara Malaysia telah memperkenalkan beberapa pendekatan
yang dibahagikan kepada tiga fasa:
 Fasa I (1984-1992)
Bermula dengan enakmen undang-undang kawalselia, iaitu Akta
Takaful 1984 dan penubuhan pengendali Takaful yang pertama
pada tahun 1984. Akta yang masih digunakan ini digubal untuk
mengawal tatacara urus niaga Takaful dan mewajibkan
pendaftaran setiap Pengendali Takaful. Akta juga
memperuntukkan peraturan penubuhan Jawatankuasa Syari’ah
bagi memastikan operasi perniagaan Pengendali Takaful
mematuhi prinsip-prinsip Syari’ah.
 Fasa II (1993-2000)
Mula memperlihatkan persaingan dalam industri Takaful dengan
kemunculan beberapa Pengendali Takaful yang mula memasuki
pasaran. Tempoh ini juga menyaksikan kerjasama yang lebih erat
di kalangan Pengendali Takaful di rantau ini termasuk
pembentukan Kumpulan Takaful ASEAN pada tahun 1995 dan
penubuhan ASEAN ReTakaful International (L) Ltd pada tahun
1997. Ini telah membantu urusan Takaful semula di kalangan
Pengendali Takaful di Malaysia dan di rantau Asean seperti
Brunei, Indonesia dan Singapura.
 Fasa III (2001-2010)
Bermula dengan pengenalan Pelan Induk Sektor Kewangan
(PISK) pada tahun 2001 yang antara lain objektifnya ialah untuk
114 Amalan Asas Takaful
meningkatkan keupayaan Pengendali Takaful dan mengukuhkan
rangka kerja undang-undang, Syari’ah dan peraturan kawalselia.
Seksyen PISK yang berkaitan dengan Perbankan Islam dan
Takaful ialah pelan tindakan ke arah merealisasikan aspirasi
menjadikan Malaysia sebagai sebuah pusat kewangan Islam
antarabangsa. Fasa ini juga telah menyaksikan kadar
pertumbuhan yang pesat dalam pembangunan industri Takaful,
dengan penubuhan Persatuan Takaful Malaysia (MTA) pada
tahun 2002, sebuah persatuan bagi Pengendali Takaful. MTA
bercita-cita untuk meningkatkan kawal selia diri dalam industri
melalui keseragaman dalam amalan pasaran dan menggalakkan
tahap kerjasama yang tinggi di kalangan pemain dalam usaha
membangunkan industri.
A6.2 PERKEMBANGAN KAWALAN PERATURAN
TAKAFUL
Seperti yang diterangkan sebelum ini, Takaful bukanlah suatu kontrak
pertukaran jual beli. Di bawah kontrak Takaful, risiko tidak
dipindahkan dan dilindungi oleh pengendali. Dari perspektif konsep
saling membantu dan berkerjasama, ia adalah satu persetujuan dan
jaminan bersama di kalangan peserta. Apabila ia diterjemahkan ke
dalam operasi praktikal, ia adalah suatu kontrak mudharabah,
wakalah, gabungan antara kedua-duanya atau wakaf, di antara peserta
dan pengendali.
Sebagai pemegang amanah peserta, Pengendali Takaful juga
bertindak sebagai pemegang amanah awam, di mana peserta
menyumbang dengan objektif dan kewajipan yang berbeza seperti
yang ditunjukkan dalam dana Takaful. Selaras dengan tanggungjawab
amanah ini, ia menjadi tanggugjawab Pengendali Takaful untuk
melindungi kepentingan orang ramai bagi memastikan operasi
perniagaan Takaful dikawalselia dan tadbir urus dengan baik.
Dalam hal ini, rangkakerja operasi dan kawal selia perniagaan
Takaful di Malaysia dikawal oleh peraturan-peraturan berikut:
Perkembangan dan Pengawalan Industri Takaful di Malaysia 115
 Akta Syarikat 1965
 Akta Takaful 1984
 Pertubuhan Perakaunan dan Pengauditan Institusi Kewangan
Islam (AAOIFI)
 Lembaga Perkhidmatan Kewangan Islam (IFSB)
 Akta Bank Negara Malaysia 2009
 Lembaga Standard Perakaunan Malaysia (MASB)
 Akta Cukai Pendapatan 1967
6.2.1 Akta Syarikat 1965
Di Malaysia, Pengendali Takaful haruslah merupakan entiti korporat
dengan liabiliti terhad dan modal berbayar yang telah ditetapkan.
Bagi tujuan ini, pengendali mestilah sebuah syarikat yang
diperbadankan di bawah Akta ini. Pengendali menjadi entiti yang sah
di sisi undang-undang untuk berurusan dengan ahli-ahli dan pegawai-
pegawai termasuk pengarah, seperti yang ditakrifkan dalam Akta, dan
perkara-perkara yang berkaitan dengan objektif, kuasa dan kuatkuasa.
6.2.2 Perjanjian Antara Pengendali Takaful (ITA)
Rangka kerja yang berkuat kuasa pada bulan Julai 2007 merupakan
suatu usaha industri yang bertujuan memperbaiki lagi amalan
penyelesaian premium insurans am dengan menumpukan usaha
menyelaraskan akaun, bayaran premium dan bayaran komisen antara
broker dan syarikat insurans atau Pengendali Takaful. Ia juga
memberi penegasan tentang penguatkuasaan yang lebih berkesan
terhadap syarat-syarat waranti premium bagi kelas tertentu insurans
dan Takaful bukan motor agar ia dapat mengurangkan risiko yang
ditanggung oleh penanggung insurans dan Pengendali Takaful bagi
polisi yang bayaran premiumnya masih belum diterima.
Perlaksanaan Perjanjian Antara Pengendali Takaful (ITA) oleh
Pengendali Takaful meningkatkan lagi tahap profesionalisme dalam
industri Takaful.
116 Amalan Asas Takaful
ITA memberi tumpuan kepada:-
 tatacara atau perlakuan para pengamal Takaful dan intermediari;
dan
 membantu penubuhan suatu mekanisma berpusat yang berfungsi:
 pendaftaran intermediari Takaful,
 mekanisma penguatkuasaan dan
 rangkakerja disiplin bagi memastikan ia dipatuhi oleh
ahlinya.
Pelaksanaan ITA akan menggalakkan etika kerja dan perlakuan yang
lebih teratur dan memastikan amalan pasaran yang lebih konsisten di
kalangan Pengendali Takaful, di samping menggalakkan persaingan
yang adil dikalangan penanggung insurans dan Pengendali Takaful.
6.2.3 Peraturan Insurans dan Pelaburan di Malaysia
Peraturan-Peraturan Insurans dan Pelaburan di Malaysia
diperkenalkan dan dikawalselia oleh Bank Negara Malaysia. Adalah
penting bagi para profesional perkhidmatan kewangan di Amerika
Syarikat dan di tempat-tempat lain untuk berhati-hati apabila
berurusan dengan pendatang atau warganegara Malaysia yang
berkaitan dengan kepentingan insurans dan pelaburan di Malaysia.
Umum perlu mengetahui bahawa Bank Negara Malaysia adalah bank
pusat bagi Malaysia. Bank Negara Malaysia berfungsi mengawal:
 Operasi Pelaburan dan Pasaran Kewangan
 Kawalselia Insurans dan Takaful
A6.3 RANGKA KERJA PERUNDANGAN INDUSTRI
TAKAFUL
Pada tahun 1982, sebuah jawatankuasa telah ditubuhkan oleh kerajaan
untuk mencari alternatif insurans yang mematuhi Syari’ah Islam.
Jawatankuasa ini telah mengemukakan laporan dan akhirnya Akta
Takaful telah diluluskan oleh Parlimen pada tahun 1984. Akta
Perkembangan dan Pengawalan Industri Takaful di Malaysia 117
Takaful 1984 adalah sumber undang-undang Takaful di Malaysia.
Akta Insurans 1963 menjadi asas kepada pembentukan Akta Takaful
1984. Seksyen 53A Akta Takaful 1984 mengkehendaki pengendali
Takaful membentuk Jawatankuasa Syari’ah masing-masing. Akta
Takaful 1984 (Akta) merupakan Akta yang menetapkan peruntukan
undang-undang perniagaan Takaful di Malaysia dan tujuan-tujuan
lain yang berkaitan dengan Takaful.
Undang-undang am yang mempengaruhi Takaful meliputi prinsip-
prinsip am kontrak di mana mesti ada ijab (tawaran) dan qabul
(penerimaan), dan juga pengeluaran nota perlindungan atau nota
perlindungan sementara (yang mana berkenaan) kerana sijil Takaful
adalah satu kontrak yang mengikat semua pihak. Pertimbangan atau
balasan yang wujud dalam kontrak ialah peserta membuat bayaran
premium atau sumbangan secara berkala, sementara pengendali
Takaful menjanjikan bayaran indemniti kepada peserta / pihak yang
diinsuranskan.
Perlaksanaan Akta Takaful dilengkapkan dengan pengenalan
Peraturan Takaful (Peraturan) dimana Bank Negara Malaysia (BNM)
menyatakan dengan terperinci tentang keperluan-keperluan mandatori
yang terkandung dalam peruntukan tertentu dibawah Akta berkenaan.
A6.4 MAJLIS PENASIHAT SYARI’AH DAN
JAWATANKUASA SYARI’AH
Majlis Penasihat Syari’ah untuk Perbankan Islam dan Takaful telah
ditubuhkan oleh Bank Negara Malaysia pada bulan Mei 1997.
Objektif penubuhan adalah untuk meneliti dan menimbangkan
sebarang keputusan Syari’ah mengenai perniagaan perbankan Islam
dan Takaful di bawah penyeliaan BNM. Majlis ini bertanggungjawab
untuk menyelaraskan pentafsiran Syari’ah bagi perkara-perkara yang
di bawah bidang kuasa mereka.
Akta BNM 1958 dan Akta Takaful 1984 telah dipinda pada tahun
2003 untuk mengukuhkan lagi peranan Majlis Penasihat Syari’ah.
Pindaan tersebut telah memberi pengiktirafan kepada majlis sebagai
118 Amalan Asas Takaful
sebuah badan yang berwibawa dan mempunyai hak ke atas perkara
Syari’ah yang berkaitan dengan kewangan Islam dan Takaful. Status
Majlis telah dinaiktaraf sebagai pusat rujukan bagi mahkamah
Malaysia untuk isu-isu berkaitan dengan kewangan Islam dan
Takaful.
6.4.1 Majlis Penasihat Syari’ah (SAC) – Bank Negara Malaysia
BNM telah meminda Akta Bank Negara Malaysia 1958 bertujuan
meningkatkan peranan dan fungsi SAC dalam hal berkaitan
Perbankan Islam dan Takaful. Pindaan ini telah mengiktiraf kuasa
SAC sebagai badan berkuasa tunggal Syari’ah berkaitan kewangan
Islam. Sebagai sebuah badan berkuasa tunggal Syari’ah, SAC akan
menjadi pusat rujukan bagi pertikaian melibatkan isu-isu perbankan
Islam, kewangan dan Takaful yang dirujuk oleh mahkamah atau
penimbang tara. Untuk menjadikannya sebagai sebuah badan yang
berkesan, SAC beroperasi sebagai sebuah badan bebas dengan tahap
integriti yang tinggi demi meraih keyakinan orang ramai. Dengan
cara ini, ia akan dapat merangsang perkembangan industri ketahap
yang lebih tinggi. Terdapat keperluan yang mendesak untuk
menentukan hubungan diantara SAC dan badan-badan Syari’ah lain
yang bertindak sebagai penasihat dalam industri. Sebuah badan
Syari’ah industri yang dikenali sebagai Majlis Penyeliaan Syari’ah
(SSC) telah diperkenalkan dan akan memainkan peranan sebagai
pelengkap dan sokongan kepada SAC.
Bank Negara Malaysia telah menyediakan satu garis panduan
pematuhan SSC bagi institusi kewangan Islam, di mana SSC akan
mengawal tadbir urus institusi Kewangan Islam. Objektif garis
panduan adalah untuk mencapai perkara-perkara berikut:-
 merangka peraturan, undang-undang dan prosedur penubuhan
SSC.
 menetapkan peranan, bidang tugas dan tanggungjawab SSC.
 menetapkan had hubungan dan kaedah perlaksanaan tugas SSC
dan SAC.
Perkembangan dan Pengawalan Industri Takaful di Malaysia 119
6.4.2 Jawatankuasa Syari’ah (SC) – Pengendali Takaful
Setiap Pengendali Takaful dikehendaki membentuk satu
jawatankuasa SSC, selaras dengan keperluan Akta Takaful 1984.
Keterangan lanjut garis panduan mengenai kawalselia SSC adalah
seperti berikut:
 Perlantikan ahli
Berdasarkan dari cadangan yang dikemukakan oleh Jawatankuasa
Penamaan, Lembaga Pengarah akan melantik SSC. Perlantikan
ahli SSC perlu mendapat persetujuan bertulis dari Bank Negara
Malaysia. Perlantikan ahli SSC adalah sah untuk tempoh dua
tahun dan keahlian boleh diperbaharui.
 Kelayakan
Nama yang dicadangkan untuk menjadi ahli lembaga SSC
mestilah mempunyai sijil kelayakan atau mempunyai
pengetahuan yang diperlukan, kepakaran atau pengalaman dalam
bidang perundangan Islam (Usul al-Fiqh) atau urus niaga
Islam/undang-undang komersil (Fiqh al-Mu'amalat). Walau
bagaimanapun, memiliki sijil kelayakan dalam bidang / mata
pelajaran yang dinyatakan diatas bukanlah syarat wajib, tetapi
calon perlu mempunyai kepakaran atau pengalaman yang
diperlukan dalam bidang berkaitan.
 Jumlah Keahlian
Jumlah keahlian dalam SSC hendaklah mengandungi sekurang-
kurangnya tiga (3) orang ahli. Sebagai tambahan, sekurang-
kurangnya seorang pegawai hendaklah dilantik, di mana calon
berkenaan perlu memiliki pengetahuan dalam bidang Syari’ah
dan akan bertugas di sekretariat SSC.
120 Amalan Asas Takaful
 Had Sekatan SSC
Selaras dengan peruntukan Seksyen 16B (6) Akta Bank Negara
Malaysia 1958, pengendali Takaful tidak dibenarkan melantik
mana-mana ahli Majlis Penasihat Syari’ah (SAC) dilantik sebagai
ahli SSC.
 Tugas dan Tanggungjawab SSC
Mestilah tidak terlibat dalam kumpulan pengurusan syarikat
Takaful. Tugas Pengurusan dan dasar syarikat adalah
tanggungjawab Lembaga Pengarah. Untuk memastikan kelicinan
perjalanan operasi pengendali Takaful, tugas dan tanggungjawab
SSC ditetapkan seperti berikut:
o mengemukakan laporan tahunan dan sijil perakuan
pematuhan syarikat terhadap keperluan Syari’ah, dalam
Mesyuarat Agung Tahunan Pemegang-Pemegang Saham.
o mengaudit dan menyelia aplikasi sebenar amalan operasi
kontrak agar ia selaras dengan semangat dan objektif fatwa.
o memberi maklum balas terhadap pertanyaan atau
kemusykilan syarikat berkaitan isu perundangan Islam dalam
Takaful. Keputusan hendaklah dibuat secara sebulat suara
(syura), bukan berdasarkan keputusan majoriti.
o mengemukakan pendapat / cadangan yang difikirkan wajar
serta memberi nasihat agar perkara berbangkit dirujuk ke
Majlis Penasihat Syari’ah.
A6.5 BANK NEGARA MALAYSIA
Bank Negara Malaysia sebagai badan pengawal dan penyelia industri
Takaful telah merangka dan memperkenalkan rangka kerja kawal
selia bagi mengimbangi objektif:
1. Pengawal
2. Pengendali
Perkembangan dan Pengawalan Industri Takaful di Malaysia 121
3. Pengguna
4. Pemegang saham tempatan dan antarabangsa
Tujuan utama rangka kerja adalah untuk memastikan agar pengantara
/ intermediari Takaful mendapat maklumat yang mencukupi
mengenai bakal peserta sebelum memberikan nasihat yang wajar dan
kesesuaian sesuatu produk Takaful keluarga kepada bakal peserta.
Garis panduan diperkenalkan untuk meningkatkan tahap
profesionalisme dan kebertanggungjawaban pengantara Takaful serta
melindungi kepentingan peserta dengan memastikan bahawa mereka
berada dalam kedudukan untuk membuat keputusan yang betul
apabila menyertai skim Takaful keluarga.
6.5.1 Objektif Penyeliaan
 Mengekalkan kestabilan industri Takaful
 Memupuk keyakinan orang ramai terhadap industri Takaful
 Menggalakkan standard kawal selia yang terbaik dalam
pengurusan pengendali Takaful
 Memastikan pengguna diberitahu sepenuhnya sebelum
membuat keputusan
 Mengintegrasikan usaha penyeliaan yang merentasi
sempadan dan sektor.
Bank Negara Malaysian memainkan peranan penting dalam:
 Memastikan pengendali Takaful melaksanakan urusniaga
dengan cara yang terbaik demi manfaat para peserta.
 Memastikan operasi pengendali Takaful mengikut keperluan
Syari’ah.
 Memupuk keyakinan orang ramai terhadap Takaful dan
kewangan Islam secara keseluruhannya.
 Menggalakkan amalan pemasaran yang baik serta
mengukuhkan tadbir urus korporat.
122 Amalan Asas Takaful
 Memastikan saluran sumber ekonomi yang berkesan dan
sesuai. Mengekalkan kestabilan sistem kewangan secara
keseluruhannya.
BNM sebagai badan pengawal dan penyelia industri Takaful telah
mengeluarkan beberapa surat pekeliling dan garis panduan seperti
yang termaktub dalam Perundangan Tadbir Urus yang disediakan
oleh senarai pekeliling dan garis panduan BNM (www.bnm.gov.my).
Untuk perkara-perkara yang berkaitan dengan Kelakuan Pasaran dan
Perlindungan Pengguna, Bank Negara Malaysia telah mengenal pasti
aspek-aspek berikut:
 Pendedahan kepada pengguna - Memastikan peserta
memperolehi akses kepada maklumat yang tepat, cepat dan
berkaitan.
 Kecekapan Pengantara - pengawasan yang lebih rapi amat
diperlukan bagi memastikan amalan jualan yang betul
memandangkan manfaat yang ditawarkan adalah tidak
dijamin.
 Pendidikan Pengguna - Memupuk kesedaran yang lebih
tinggi dan pemahaman tentang risiko serta hak-hak berkaitan
produk Insurans dan Takaful.
 Saluran Sedia ada - mekanisme penyelesaian pertikaian yang
menawarkan kaedah penyelesaian pertikaian dengan kadar
segera.
A6.6 AKTA TAKAFUL 1984
Akta Takaful 1984 adalah sumber perundangan Takaful di Malaysia.
Akta Insurans 1963 menjadi asas kepada pembentukan Akta Takaful
1984. Akta Takaful 1984 (Akta) merupakan Akta yang menetapkan
peruntukan undang-undang perniagaan Takaful di Malaysia dan
tujuan-tujuan lain yang berkaitan dengan Takaful.
Antara Peruntukan Utama yang terkandung dalam Akta Takaful 1984
ialah:
Perkembangan dan Pengawalan Industri Takaful di Malaysia 123
 Penubuhan anak syarikat (subsidiari) dan pembukaan pejabat
cawangan.
Peruntukan Akta mengkehendaki Pengendali Takaful
mendapatkan lesen kelulusan dari BNM terlebih dahulu sebelum
membuka pejabat dalam negeri atau luar negara.
 Dana Takaful dan Dana Pemegang Saham
Pengendali Takaful perlu menyelenggara dana berasingan untuk
urusniaga di Malaysia dan luar negara, serta urusniaga Takaful
Keluarga dan Takaful Am, di samping memastikan aset yang
mencukupi dalam dana Takaful bagi memenuhi liabiliti.
 Modal Berbayar Minimum
Peruntukan Akta mengkehendaki Pengendali Takaful yang
diperbadankan di Malaysia perlu mempunyai dan mengekalkan
modal berbayar minimum sebanyak:
 RM35 juta pada atau sebelum 31st
Dec 1998
 RM50 juta pada atau sebelum 31st
Dec 2000
 RM100 juta pada atau sebelum 30th
June 2001
 Margin Kesolvenan Minimum
Margin Kesolvenan yang bertindak sebagai penahan (cushion)
terhadap turun naik di luar jangkaan dalam tuntutan dan/atau
kerugian pelaburan. Peraturan telah menetapkan bahawa
Pengendali Takaful berlesen perlu mengekalkan margin
kesolvenan minimum. Jumlah minimum yang dikehendaki
dibawah Akta bagi setiap kelas perniagaan (Takaful Keluarga dan
Takaful Am) ialah:-
 RM40 juta, bermula dari 1 Januari 2000
 RM50 juta, bermula dari 1 Januar1 2001
124 Amalan Asas Takaful
 Arahan dan Kawalan terhadap Pengendali Takaful yang Ingkar
Satu sistem amaran awal disediakan bagi Pengendali Takaful
yang mematuhi margin kesolvenan minimum tetapi mencatatkan
pulangan perniagaan yang merugikan atau menghadapi
kekurangan margin kesolvenan.
 Kuasa memeriksa dan menyiasat oleh BNM, penggulungan
syarikat dan memindahkan lesen perniagaan.
Tugas penyeliaan urusniaga Takaful meliputi pemeriksaan
tatalaku urus niaga komersial, aktuari dan tatalaku pasaran
perniagaan Pengendali Takaful serta cawangannya. Pemeriksaan
juga meliputi kajian semula secara mendalam dan penilaian
Perolehan, Pengurusan, Aset dan Kesolvenan (Earning,
Management, Assets and Solvency - EMAS ).
 Penguatkuasaan Undang-undang oleh BNM terhadap
Kesalahan
Akta ini memberi kuasa kepada Gabenor BNM untuk
mengkompaun kesalahan di bawah Akta atau Peraturan, termasuk
mengenakan denda.
 Perkara-Perkara berkaitan Sijil / Polisi dan peruntukan-
peruntukan am lain.
Peraturan menyediakan peruntukan bagi mempercepatkan
bayaran manfaat polisi di bawah sijil Takaful Keluarga atau
kemalangan diri. Ia juga mewujudkan amanah bagi pihak penama
yang merupakan pasangan (suami atau isteri), anak atau ibu bapa.
 Mengendali aduan dan pertanyaan awam berkaitan isu Takaful
BNM telah menubuhkan Biro Perkhidmatan Pelanggan di bawah
Jabatan Kawalan Insurans dan Takaful. Biro Perantaraan Insurans
dan Takaful telah ditubuhkan pada 1992 yang berfungsi sebagai
Perkembangan dan Pengawalan Industri Takaful di Malaysia 125
saluran alternatif kepada orang ramai untuk mengendali aduan
mereka.
 Dana Skim Jaminan Insurans
BNM diberi kuasa untuk menubuhkan dan mengurus Dana Skim
Jaminan Takaful (Takaful Guarantee Scheme Fund - (TGSF)
yang berasingan untuk perniagaan Takaful Keluarga dan Takaful
Am, bagi polisi / sijil yang dikeluarkan di Malaysia. Penubuhan
TGSF bertujuan memenuhi liabiliti kesolvenan mana-mana
Pengendali Takaful. Dana ini dibiayai dari bayaran levi yang
dikenakan ke atas Pengendali Takaful berlesen.
A6.7 PERLINDUNGAN PENGGUNA
 Biro Perkhidmatan Pelanggan
Pada 1 Julai 1998, BNM telah menubuhkan Biro Perkhidmatan
Pelanggan (Customer Services Bureau - CSB) di bawah Jabatan
Kawalan Insurans, yang berfungsi sebagai pusat rujukan setempat
bagi semua aduan dan pertanyaan mengenai perkara-perkara
berkaitan insurans yang diterima daripada orang ramai.
Setiap pertanyaan atau aduan akan diserahkan kepada penyiasat
yang kemudiannya akan mengkaji kes tersebut bagi memastikan
syarikat insurans dan / atau pengendali yang terlibat telah
mematuhi semua keperluan statut insurans dan peraturan yang
berkenaan, serta pengguna telah dilayan secara adil. Ketika
mengendalikan kes berkaitan, penyiasat akan menghubungi
syarikat insurans / pengendali dan meminta mereka memberi
maklumbalas terhadap semua aspek aduan / pertanyaan. Setelah
siasatan dan kajian semula itu selesai, penyiasat akan
menyediakan dan menghantar laporan keputusan siasatan kepada
pengguna. Sekiranya difikirkan wajar, kes akan dirujuk kepada
Unit Penguatkuasaan untuk siasatan lanjut, yang mungkin boleh
mengenakan tindakan denda / penalti pentadbiran.
126 Amalan Asas Takaful
Kebanyakan aduan yang dibuat terhadap syarikat insurans
melibatkan:
 kelewatan menyelesaikan tuntutan
 pertikaian mengenai amaun tuntutan yang ditawarkan
 kelewatan dalam urusan surat menyurat
 menolak tuntutan / liabiliti disebabkan syarat-syarat polisi
 pembatalan polisi / sijil
 Biro Perantaraan Kewangan (Financial Mediation Bureau - FMB)
Bank Negara Malaysia telah menubuhkan beberapa agensi bagi
memenuhi keperluan pengguna melalui penubuhan Biro
Perantaraan Kewangan (Financial Mediation Bureau - FMB)
yang berfungsi sebagai alternatif kepada mahkamah, untuk
menyelesaikan pertikaian di antara pengguna dan penyedia
perkhidmatan kewangan. FMB adalah sebuah organisasi bebas -
organisasi tidak berorientasikan keuntungan, yang diperbadankan
sebagai sebuah syarikat berhad dengan jaminan, yang disokong
oleh ahli-ahlinya dengan levi tahunan, seperti yang ditentukan
oleh Lembaga Pengurusan bagi menampung semua perbelanjaan
Biro. Fungsi utama FMB ialah menyediakan saluran penyelesaian
pertikaian yang bebas, mudah, cekap dan percuma.
Perantaraan adalah satu alternatif kepada proses pendakwaan
mahkamah. Perantara menjadi pendamai kepada kedua-dua pihak
iaitu pengadu dan institusi terbabit, melalui proses meneliti dan /
atau menyiasat aduan yang diterima membabitkan isu dan pihak-
pihak yang terlibat. Perantara juga perlu meneliti tentang
keadaan, situasi dan isu-isu di luar amalan undang-undang dan
industri bagi setiap kes yang disiasat. Perantara boleh
membincangkan hasil siasatan dengan salah satu atau kedua-dua
belah pihak yang bertelagah apabila siasatan selesai. Sekiranya
kedua-dua pihak bersetuju dengan jalan penyelesaian yang
dicadangkan, perkara tersebut dianggap telah dapat diselesaikan.
Perkembangan dan Pengawalan Industri Takaful di Malaysia 127
Sekiranya kedua-dua pihak tidak mencapai jalan penyelesaian,
perantara akan membuat keputusan berdasarkan:
o hasil siasatan dan kajian mengenai kes berkenaan
o amalan dalam industri berkaitan serta undang-undang yang
berkaitan
o maklum balas yang diterima dari penyedia perkhidmatan
kewangan
o maklumat / dokumen yang disediakan oleh pengadu
o pemerhatian perantara keatas kes diluar ketetapan undang-
undang atau amalan industri bagi setiap aduan, tuntutan atau
pertikaian.
Keputusan yang dibuat oleh perantara akan mengikat pihak
institusi terbabit tetapi tidak ke atas pengadu. Pengadu
mempunyai pilihan sama ada menerima keputusan perantara atau
memanjangkan kesnya ke pihak lain (jika ada). Penubuhan biro
ini adalah sebahagian daripada Rangka Kerja Perlindungan
Pengguna Kebangsaan yang berperanan menyediakan
perkhidmatan perantaraan di bawah satu bumbung untuk
kemudahan dan keselesaan pengguna. FMB mempunyai
kakitangan yang berkelayakan, berpengalaman dan berdedikasi.
Bidang kuasa FMB telah diperluaskan kepada:
Aduan / pertikaian
Amaun tuntutan
Amaun
dipertingkatkan
Amaun terdahulu
Insurans/Takaful
Motor dan Kebakaran
Maksimum
RM200,000
Maksimum
RM100,000
Kerosakan Harta
Pihak Ketiga
Maksimum
RM5,000
-tiada-
Lain-lain Maksimum
RM100,000
- tiada-
128 Amalan Asas Takaful
 Pengecualian
FMB tidak akan memberi pertimbangan ke atas aduan, pertikaian
atau tuntutan yang berkaitan dengan:
 Harga produk
 Polisi-polisi berkaitan produk
 Perkhidmatan ahli
 Keputusan berkaitan kredit (diluluskan, ditolak &
penjadualan semula pinjaman)
 Kes penipuan (selain dari kes yang tidak melebihi
RM25,000.00)
 Kes yang mempunyai tempoh masa atau melebihi 6 tahun
 Kes yang akan / telah dirujukkan ke mahkamah dan / atau
timbang tara.
A6.8 PERSATUAN-PERSATUAN DALAM INDUSTRI
Persatuan-persatuan yang wujud dalam industri adalah merupakan
persatuan mandatori, yang dinyatakan secara khusus dalam Akta.
Syarikat Insurans dan Pengendali Takaful wajib menyertai atau
melanggan persatuan-persatuan mandatori berkaitan sebelum mereka
boleh memulakan aktiviti perniagaan. Jika pengendali tidak menyertai
persatuan, denda / penalti yang dikenakan ialah sebanyak RM80,000
dan RM16,000 setiap hari, seperti yang diperuntukkan di bawah
Seksyen 4(2) d dan 4(5) Akta Takaful, 1984.
Tujuan diwujudkan persatuan dalam industri adalah untuk
memudahkan proses kawal selia diri (self regulation) dikalangan
penggiat-penggiat industri. Ia juga memudahkan proses perantaraan
di antara pihak berkuasa dan industri. Ia akan menjadi platform utama
yang perlu diberi perhatian oleh pihak pengawal industri.
Perkembangan dan Pengawalan Industri Takaful di Malaysia 129
No. Nama Persatuan Objektif Utama
1. Persatuan Insurans
Am Malaysia
(PIAM)
 Menggalakkan pembentukan
struktur insurans yang kukuh di
Malaysia.
 Mengumpul dan menyebarkan
maklumat dan statistik yang
berkaitan dengan insurans am.
 Membuat peraturan, undang-
undang, tarif dan undang-undang
kecil setelah dibincangkan dan
mendapat persetujuan Ketua
Pengarah Insurans (DGI) untuk
dilaksanakan oleh ahli-ahli
persatuan.
 Mengendali ‘kumpulan motor tidak
berinsurans (unplaced motor pool)
dan Persatuan Perlindungan
Kebakaran.
 Membantu dengan apa cara
sekalipun yang termampu untuk
mengurangkan kadar kerugian dan /
atau kemalangan, dan mencegah
jenayah.
 Bekerjasama dengan persatuan
Takaful dalam usaha menggalakkan
perkembangan yang sihat dalam
industri insurans dan Takaful.
2. Persatuan Broker
Insurans dan
Takaful Malaysia
(Malaysian
Insurance and
Takaful Brokers
Association -
 Menggalakkan dan mewujudkan
suasana perniagaan pembrokeran
yang berdaya saing, dengan
kerjasama dan panduan dari Ketua
Pengarah Isurans.
 Menjaga dan mewakili kepentingan
ahli-ahli.
130 Amalan Asas Takaful
(MITBA)  Membuat catatan mengenai
peristiwa, kenyataan dan pendapat
orang ramai yang boleh memberi
kesan kepada ahli, dan
menasihatkan mereka agar
memperjuangkan kepentingan
mereka dengan mengemukakan
pendapat atau pandangan sekiranya
difikirkan wajar.
 Bekerjasama dengan Persatuan-
persatuan lain yang serupa
dengannya, di dalam atau di luar
negara.
 Bekerjasama dengan mana-mana
badan perundangan atau persatuan
atau mana-mana badan yang serupa
dengannya yang dilantik bagi tujuan
pertimbangan, latihan, pindaan atau
pengubahan mana-mana undang-
undang yang berkaitan dengan
insurans.
3. Persatuan
Penyelaras
Kerugian Malaysia
(Association of
Malaysian Loss
Adjusters - AMLA)
 Menggalak pembentukan struktur
penyelarasan kerugian yang
dinamik, dengan kerjasama dan
nasihat dari pihak berkuasa.
 Menjaga dan mewakili kepentingan
ahli dengan apa cara sekalipun,
selaras dengan undang-undang dan
perlembagaan Malaysia.
 Bekerjasama dengan lain-lain
persatuan yang serupa dengannya,
didalam atau diluar negara.
 Menyebarkan maklumat yang
bermanfaat kepada ahli, membuat
perbandingan statistik dan
menerbitkannya, menyiarkan mana-
Perkembangan dan Pengawalan Industri Takaful di Malaysia 131
mana maklumat penting yang
berkaitan dengan penyelarasan
kerugian.
 Bekerjasama dengan mana-mana
badan perundangan atau persatuan
atau mana-mana badan yang serupa
dengannya yang dilantik bagi tujuan
pertimbangan, latihan, pindaan atau
pengubahan mana-mana undang-
undang yang berkaitan dengan
penyelarasan kerugian.
4. Persatuan Insurans
Hayat Malaysia
(Life Insurance
Association of
Malaysia - LIAM)
 Menggalak dan mewakili
kepentingan ahli syarikat dan
industri insurans hayat.
 Memberi khidmat nasihat dan
bantuan sewajarnya kepada ahli
syarikat apabila diperlukan.
 Mengedarkan maklumat yang
memberi manfaat kepada ahli
syarikat, membuat perbandingan
statistik dan menerbitkannya,
menyiarkan mana-mana maklumat
penting yang berkaitan dengan
insurans hayat.
5. Persatuan
Kebangsaan
Penasihat Insurans
Hayat dan
Kewangan
Malaysia (National
Association of
Malaysian Life
Insurance and
Financial Advisors
(NAMLIFA)
 Ditubuhkan pada tahun 1978
 Sebuah persatuan untuk ejen-ejen
insurans hayat dan penasihat
kewangan Malaysia.
 Menitikberatkan dan menjaga
kepentingan ahli-ahli yang terlibat
dalam bidang penjualan insurans
hayat dan pengurusan penjualan.
 Menggalak dan meningkatkan tahap
profesionalisma dikalangan ahli-
132 Amalan Asas Takaful
ahlinya melalui kerjasama dengan
lain-lain organisasi yang serupa
dengannya.
6. Persatuan Aktuari
Malaysia (The
Actuarial Society
of Malaysia -
ASM)
 Menggalakkan pengajian dan
penyelidikan bidang aktuari dan
kaitannya dengan aspek-aspek
insurans hayat; manfaat persaraan
pekerja, kewangan dan pelaburan.
 Membantu pelajar yang ingin
mendalami pengajian aktuari.
 Menyediakan Jadual Kemortalan
berdasarkan pengalaman
kemortalan hayat yang
diinsuranskan di Malaysia.
7. Persatuan Insurans
Kebangsaan
Malaysia (National
Insurance
Association of
Malaysia - NIAM)
NIAM ditubuhkan pada 1973, terdiri
dari 45 ahli syarikat. Untuk
melayakkan diri menjadi ahli penuh,
syarikat insurans mestilah sekurang-
kurangnya 51% dimiliki oleh rakyat
Malaysia.
 Sisen (Cessions) dan Retrosisen
(Retrocession)
 Pelaburan dalam MNRB
 Statistik dan tindakan pembetulan
 Bidang baru dalam insurans
 Insurans hayat
 Kumpulan pertukaran insurans
semula
 Latihan dan pendidikan
8. Persatuan Takaful
Malaysia
(Malaysian Takaful
Association -MTA)
Persatuan Takaful Malaysia (MTA)
telah diperbadankan pada tahun 2003
dengan objektif utamanya untuk
memajukan struktur perniagaan
Perkembangan dan Pengawalan Industri Takaful di Malaysia 133
Takaful (insurans Islam) yang terbaik
di Malaysia dengan kerjasama dan
khidmat nasihat dari Ketua Pengarah
Takaful.
 Menjaga dan mewakili kepentingan
ahli syarikat dan industri Takaful.
 Memberi khidmat nasihat dan
bantuan sewajarnya kepada ahli
syarikat apabila diperlukan.
 Mengedarkan maklumat yang
memberi manfaat kepada ahli
syarikat, membuat perbandingan
statistik dan menerbitkannya,
menyiarkan mana-mana maklumat
penting yang berkaitan dengan
Takaful.
 Bekerjasama dengan persatuan-
persatuan lain, samada dalam negeri
atau luar negara, demi kepentingan
bersama.
9. Biro Insurer Motor
(Motor Insurers’
Bureau - MIB)
MIB telah ditubuhkan untuk
membentuk suatu dana berpusat yang
dikendalikan oleh penanggung
insurans dimana mangsa kemalangan
jalanraya mendapat bayaran pampasan
dari dana berkenaan, sekiranya ia
adalah mangsa ‘langgar lari’. Dalam
kes ini, mangsa dinafikan haknya
untuk mendapat bayaran pampasan
dari pemandu kenderaan terbabit
kerana:
 Pemandu tidak mempunyai
insurans
 Pemandu dan insuransnya tidak
dapat dikesan.
134 Amalan Asas Takaful
Walau bagaimanapun, mangsa perlu
mengemukakan bukti yang
memuaskan dan memenuhi keperluan
perundangan ketika membuat
tuntutan.
10. Institut Insurans
Malaysia (The
Malaysian
Insurance Institute
- MII)
MII adalah satu-satunya institut latihan
insurans sepenuh masa, yang
mengendalikan kursus dan
peperiksaan insurans peringkat asas
dan lanjutan kepada mereka yang
terlibat dalam industri insurans.
11. Institut Perbankan
dan Kewangan
Islam Malaysia
(IBFIM)
Merupakan Institut Latihan Kewangan
Islam sepenuh masa yang dilantik
sebagai institut milik industri,
menumpukan masa dan tenaga dalam
membentuk individu dan eksekutif
yang terlatih dan berkemahiran tinggi
serta memiliki kepakaran yang
diperlukan dalam industri kewangan
Islam.
12. International
Centre of
Excellence in
Islamic Finance
(INCEIF)
Strategi utama INCEIF ialah
membantu membangunkan industri
kewangan Islam melalui galakkan
kajian penyelidikan oleh pensyarah
dan juga pelajar. Bantuan penyelidikan
juga diberikan melalui peruntukan
kemudahan untuk menganalisa dan
membincangkan isu-isu yang dihadapi
oleh industri kewangan Islam.
13. Akademi
Penyelidikan
Syari’ah
Antarabangsa –
Penubuhan Akademi Penyelidikan
Syari’ah Antarabangsa (ISRA) –
kewangan Islam, bertujuan
menggalakkan kajian penyelidikan
Perkembangan dan Pengawalan Industri Takaful di Malaysia 135
The International
Syari`ah Research
Academy - ISRA)
gunaan dalam bidang Syari’ah dan
kewangan Islam.
Akademi ini juga disifatkan sebagai
gedung pengetahuan berkaitan fatwa
atau pandangan Syari’ah, di samping
menjalankan kajian mengenai isu-isu
kontemporari dalam industri kewangan
Islam. ISRA akan membantu dan
menyumbang ke arah memperkasa
pembangunan modal insan dalam
bidang Syari’ah, menyediakan
platform untuk penglibatan yang lebih
besar di kalangan para pengamal
kewangan, cendekiawan, pengawal
selia, ahli akademik melalui
penyelidikan dan dialog, dalam
persekitaran domestik dan juga
antarabangsa. Melalui penyelidikan
perintis dan dialog intelektual yang
mendalam, ISRA berhasrat untuk
menggalakkan inovasi dan
kedinamikan ke sempadan baru
kewangan Islam. Adalah diharapkan
melalui penyelidikan yang menyeluruh
serta dialog, sikap saling menghormati
dan memberi pengiktirafan akan
muncul dalam komuniti industri
kewangan Islam global.
14. Asean ReTakaful
International
Limited (ARIL)
Asean ReTakaful International (L)
Limited (ARIL) telah diperbadankan
pada 17hb Mei 1997 (10 Muharram
1418H) dan dilesenkan dibawah Akta
Insurans Luar Pesisir 1990 di Pusat
Kewangan Luar Pesisir Antarabangsa
Labuan (Labuan International Offshore
136 Amalan Asas Takaful
Financial Center - IOFC), Malaysia.
Penubuhan ARIL menandakan
kehadiran syarikat insurans semula
Islam yang pertama di rantau
berkenaan. Sejak dari itu, ia telah
berkembang menjadi pengendali
insurans semula yang memiliki
kepakaran dalam menyediakan
perkhidmatan insurans semula Takaful
am dan Takaful keluarga.
15. Pertubuhan
Perakaunan dan
Pengauditan untuk
Institusi Kewangan
Islam (Accounting
and Auditing
Organisation for
Islamic Financial
Institutions -
AAOFI)
Pertubuhan Perakaunan dan
Pengauditan untuk Institusi Kewangan
Islam (AAOIFI) merupakan sebuah
badan korporat autonomi Islam
antarabangsa yang tidak
berorientasikan keuntungan, yang
berfungsi menyediakan laporan
perakaunan, audit, pematuhan, etika
dan standard Syari’ah untuk institut
dan industri kewangan Islam. Program
kelayakan profesional (terutamanya
CIPA, -Shari`a Adviser and Auditor
“CSAA”, dan program pematuhan
korporat) kini dikendalikan oleh
AAOIFI dalam usaha untuk
meningkatkan asas modal insan dalam
industri dan struktur pematuhan.
AAOIFI telah ditubuhkan mengikut
Perjanjian Persatuan yang
ditandatangani oleh institusi kewangan
Islam pada 1 Safar, 1410H, bersamaan
dengan 26 Februari, 1990 di Algiers.
Kemudian, ia telah didaftarkan pada 11
Ramadhan 1411H, bersamaan dengan
Perkembangan dan Pengawalan Industri Takaful di Malaysia 137
27 Mac, 1991 di Bahrain.
Sebagai sebuah organisasi bebas
antarabangsa, AAOIFI disokong oleh
ahli-ahli institusi (200 ahli dari 45
buah negara) termasuk bank-bank
pusat, institusi kewangan Islam, dan
para peserta lain dari perbankan Islam
antarabangsa dan industri kewangan di
seluruh dunia.
16. Kumpulan Takaful
Global (Global
Takaful Group -
GTG)
Kumpulan Takaful Global (GTG) telah
diperbadankan pada 21 Mei 2007.
Sebelum ini, kumpulan Takaful global
hanyalah sebuah kumpulan tidak
formal pengendali Takaful dan
pengendali Takaful semula yang
bergerak dibawah nama Kumpulan
Takaful ASEAN (ASEAN Takaful
Group - ATG).
ATG dibentuk pada 28 Oktober 1995
dengan objektif untuk meningkatkan
kerjasama dikalangan pengendali
Takaful di Malaysia, Republik
Indonesia, Negara Brunei Darussalam
dan Republik Singapura, dimana ahli
asal terdiri dari Syarikat Takaful
Malaysia Berhad, Takaful Nasional
Sdn Bhd, PT Asuransi Takaful Umum,
PT Asuransi Takaful Keluarga,
Insurans Islam Taib Sendirian Berhad
dan Takaful IBB Berhad.
17. Lembaga
Perkhidmatan
Kewangan Islam
Organisasi penetapan piawaian
antarabangsa yang menggalak dan
meningkatkan kekukuhan dan
138 Amalan Asas Takaful
(Islamic Financial
Services Board -
IFSB)
kestabilan industri perkhidmatan
kewangan Islam telah mengeluarkan
piawaian berhemat global dan prinsip
panduan industri, yang juga meliputi
perkhidmatan perbankan, pasaran
modal dan sektor insurans. IFSB juga
menjalankan penyelidikan, menyelaras
inisiatif mengenai isu-isu berkaitan
industri serta menganjurkan
persidangan meja bulat, seminar dan
persidangan untuk pengawal selia dan
pihak berkepentingan industri.
Takaful Semula 139
BAB A7
TAKAFUL SEMULA
PENGENALAN
Takaful semula (Retakaful) merupakan satu prosedur atau mekanisme
melalui perjanjian yang membolehkan pengendali Takaful langsung
yang dipanggil ‘cedant’ memindahkan atau menyerahkan sebahagian
daripada risiko yang ditanggung kepada Pengendali Takaful atau
Pengendali Takaful Semula yang lain. Objektif utama Takaful semula
adalah untuk mengurangkan pendedahan risiko dan liabiliti cedant
sekiranya berlaku tuntutan. Konsep perkongsian ini akan
membolehkan pengagihan risiko yang lebih luas dan membolehkan
Pengendali Takaful memanfaatkan sepenuhnya kelebihan peraturan
bilangan jumlah besar. Kesimpulannya, Takaful semula berperanan
menyumbang kearah mengurangkan beban kewangan dana Takaful.
A7.1 DEFINISI TAKAFUL SEMULA
Takaful semula telah ditakrifkan di dalam pelbagai bentuk. Ia adalah
“satu kontrak di mana berdasarkan kepada suatu balasan, seseorang
itu bersetuju untuk membayar keseluruhan atau sebahagian pampasan
kepada pihak ketiga atas kerugian atau liabiliti risiko yang telah
dilindungi di bawah kontrak yang berasingan dan berlainan sebagai
pengendali pihak ketiga”. Oleh yang demikian, kontrak Takaful
semula adalah satu kaedah di mana pengendali mendapatkan pihak
ketiga untuk melindunginya daripada kerugian atau liabiliti
berdasarkan risiko sebenar perlindungan Takaful asal.
7.1.1 Pandangan Syari’ah terhadap Takaful Semula
Sejajar dengan resolusi ulama mengenai keharusan Takaful sebagai
satu sistem insurans Islam, Takaful Semula (Retakaful) juga telah
diputuskan sebagai telah mematuhi keperluan Syari’ah, berasaskan
penggunaan prinsip-prinsip Takaful yang sama. Resolusi Akademi
140 Amalan Asas Takaful
Fekah (Resolusi No.9 Disember 1985) OIC mengenai subjek ini
adalah sebagaimana berikut:
‘... kontrak insurans komersil yang biasa digunakan oleh syarikat
insurans komersial adalah kontrak yang mengandungi unsur-unsur
utama risiko yang dilarang mengikut hukum Syari’ah. Alternatif bagi
insurans dan insurans semula mestilah berasaskan kepada prinsip-
prinsip insurans koperasi...'
A7.2 PRINSIP-PRINSIP ASAS TAKAFUL SEMULA
Takaful semula adalah suatu aturan di mana sebuah syarikat iaitu
Pengendali Takaful Semula, bersetuju untuk membayar ganti rugi
kepada Pengendali Takaful iaitu syarikat pemberi (ceding company)
atas semua atau sebahagian risiko utama Takaful yang ditaja jamin
oleh syarikat pemberi di bawah satu atau lebih kontrak Takaful.
Walau bagaimanapun, Takaful semula tidak melepaskan syarikat
pemberi daripada liabilitinya terhadap peserta.
Dalam hal ini:
 Peserta asal (pemegang sijil) tidak mempunyai sebarang hak
terhadap Pengendali Takaful Semula dalam apa jua keadaan.
 Sekiranya Pengendali Takaful Semula menjadi tidak solven
(muflis), syarikat pemberi masih menanggung liabiliti di bawah
terma-terma kontrak.
 Sekiranya syarikat pemberi menjadi tidak solven (muflis),
Pengendali Takaful Semula juga masih menanggung liabiliti di
bawah terma-terma kontraknya.
 Pengendali Takaful Semula tidak mempunyai hak perundangan
terhadap apa-apa kesalahan yang dilakukan oleh peserta asal.
Berdasarkan dari definisi di atas, elemen-elemen penting Takaful
semula boleh diringkaskan seperti berikut:
 Takaful semula adalah sama seperti Takaful tetapi ia mempunyai
kontrak yang berbeza dan berasingan daripada kontrak Takaful
Takaful Semula 141
yang asal. Kontrak Takaful semula mengambil format kontrak
Takaful.
 Takaful semula boleh menanggung sebahagian daripada risiko,
tetapi tidak boleh lebih dari itu.
 Kontrak Takaful semula hendaklah melindungi risiko yang sama
seperti perlindungan Takaful yang asal.
 Kedua-dua sijil Takaful dan sijil Takaful semula hendaklah wujud
pada masa yang sama.
7.2.1 Keperluan Takaful Semula
Takaful semula adalah satu mekanisma pengurusan risiko yang
kritikal yang perlu dihadapi oleh Pengendali Takaful bagi mencapai
objektif berikut:
 Memastikan keberkesanan penyebaran risiko. Melalui proses ini,
pasaran Takaful dan Takaful semula akan dapat berkongsi
pembangunan dan pertumbuhan pasaran, dan dalam masa yang
sama ia melindungi pengendali Takaful daripada pendedahan
risiko yang melampau keatas liabiliti yang ditanggungnya.
 Menyediakan kapasiti tambahan bagi Pengendali Takaful
(penyerah) untuk menerima penyertaan risiko yang lebih besar
dan kompleks yang mungkin melebihi keupayaan kewangan dan
teknikal yang dimiliki.
 Takaful semula mempunyai kesan penstabilan atau melicinkan
aliran pendapatan dan kerugian sepanjang tempoh satu tahun,
iaitu suatu tempoh yang agak panjang untuk mewujudkan
kestabilan dan daya tahan kepada dana Takaful.
 Dengan kepelbagaian dan jumlah besar risiko yang ditanggung
dalam portfolio mereka, Pengendali Takaful Semula boleh
membuat analisa kajian penyelidikan kerana ia mempunyai
pengetahuan dan pengalaman luas mengenai risiko. Ia mampu
melihat dari perspektif yang berbeza dan lebih menyeluruh atau
perspektif makro, dan dalam kebanyakan kes ia mampu menilai
142 Amalan Asas Takaful
risiko merentasi beberapa bidang kuasa yang berbeza. Maklumat
yang unik ini boleh dikongsi dengan pengendali Takaful bagi
tujuan memastikan pengurusan risiko yang lebih cekap. Ini
seterusnya akan membantu Pengendali Takaful memanfaatkan
data yang ada bagi tujuan mereka-bentuk produk baru, penetapan
kadar sumbangan, dan yang lebih penting, mampu mewujudkan
amalan pengunderaitan yang lebih menyeluruh dan kompetitif.
 Dengan kemudahan penyelidikan dan pembangunan (R&D) yang
mereka miliki, Pengendali Takaful Semula mampu menyediakan
tenaga pakar dalam bidang pengunderaitan, reka bentuk risiko
kewangan, perkhidmatan aktuari, penyelesaian IT, mekanisma
pemindahan risiko alternatif (alternative risk transfer
mechanism), pengurusan tuntutan, pemasaran, dan lain-lain
kepada Pengendali Takaful.
 Demi menjaga amanah peserta, Pengendali Takaful bersedia
melindungi dan menjaga dana Takaful pada setiap masa dari
terdedah kepada risiko buruk /tuntutan yang merugikan. Kepada
peserta, keupayaan untuk membayar tuntutan oleh pengendali
adalah suatu jaminan. Pengendali Takaful perlu berusaha untuk
memenuhi janji seperti yang dinyatakan dalam sijil tentang
kesediaannya untuk berkongsi lebihan operasi Takaful.
Kemudahan dan kelebihan yang ada pada Takaful semula akan
membantu Pengendali Takaful berusaha ke arah mencapai
objektif berkenaan.
7.2.2 Bidang kuasa Syari’ah mengenai Takaful Semula dengan
Syarikat Insurans Semula
Insurans semula dalam perniagaan Takaful di bawah prinsip-prinsip
Islam dikenali sebagai Takaful semula, suatu konsep insurans semula
yang mematuhi dan diluluskan oleh Syari’ah. Pada peringkat awal
perniagaan Takaful, kemudahan insurans semula disediakan oleh
syarikat-syarikat insurans konvensional kerana:
Takaful Semula 143
 Pengendali Takaful memiliki keupayaan yang terhad.
 Pengendali Takaful tidak mempunyai sumber kewangan yang
mencukupi.
 Tiada kemudahan Takaful semula.
 Pengendali Takaful semula adalah terhad.
 Pengendali Takaful Semula kekurangan modal.
 Pengendali Takaful Semula bertaraf ‘A’ amat terhad.
7.2.3 Pepatah Undang-Undang (Legal Maxims) / Prinsip-
Prinsip Syari’ah
Antara Pepatah Undang-undang yang sesuai dan boleh digunakan
dalam urusniaga Takaful semula adalah seperti berikut:
Legal Maxims Keterangan
Al-Darurah Tubih al-
Mahzurah
Mengikut pendapat Ulama’, prinsip ini
boleh digunakan sebagai suatu
kelonggaran apabila wujud keadaan
yang mendesak (darurat). Prinsip ini
membenarkan umat Islam mengerjakan
perkara yang dilarang semasa waktu
biasa atau perbuatan yang menyalahi
hukum Syari’ah.
Al-Darurah Tuqaddaru
Biqadariha
Prinsip ini menyatakan bahawa
Pengendali Takaful boleh
menginsuranskan risiko yang
ditanggungnya dengan syarikat insurans
semula konvensional hanya pada
bahagian risiko yang tidak dapat
diTakafulkan dengan Pengendali
Takaful Semula.
Ma Ubiha lil-Darurah
Yataqaddaru
Biqadariha
Prinsip ini menyatakan bahawa setakat
mana had tindakan tersebut boleh
dilakukan. Ini bermaksud bahawa
144 Amalan Asas Takaful
walaupun Ulama’ membenarkan
melakukan perkara yang terlarang dalam
waktu darurat, tetapi ia hendaklah tidak
melampaui batas.
Ma Jaza Li Uzrin
Batala Bi Ziwallihi
Prinsip ini menyatakan bahawa perkara
yang dibolehkan disebabkan darurat
tidak lagi dibenarkan apabila keadaan
darurat telah tiada. Apabila tiada
darurat, undang-undang Syari’ah akan
kembali digunakan, yang bermaksud
`Takaful semula dengan syarikat
insurans konvensional tidak
dibenarkan’.
7.2.4 Garis Panduan untuk Pengendali Takaful Mengurus
Takaful Semula dengan Syarikat Insurans Semula
Konvensional
 Kerjasama dalam urusniaga insurans semula dengan penanggung
reinsurans konvensional tidak akan menjejaskan kedudukan
kewangan dan ketidakstabilan sistem kewangan negara-negara
Islam.
 Keutamaan hendaklah diberikan kepada Pengendali Takaful
Semula sekiranya ada kemudahan tersebut.
 Pakar-pakar Pengendali Takaful Semula perlu bertindak dengan
berhati-hati dalam menentukan kuantum liabiliti yang akan
dilindungi.
 Pengendali Takaful perlu mengkaji semula keperluan Takaful
semula setiap tahun dan berusaha seboleh mungkin
mengurangkan penggantungan dengan reinsurans konvensional.
 Pengendali Takaful hendaklah menyatakan secara jelas syarat-
syarat pengecualian dari membayar atau menerima sebarang
bayaran yang mengandungi elemen faedah / bunga dari reinsurans
konvensional.
Takaful Semula 145
 Apabila kedudukan rezab kewangan mengizinkan dan terdapat
Pengendali Takaful semula baru mula memasuki pasaran,
penggantungan kepada reinsurans konvensional hendaklah
ditamatkan.
 Gunakan perkhidmatan reinsurans konvensional hanya apabila
risiko yang dilindungi tidak diterima oleh Pengendali Takaful
atau Pengendali Takaful Semula.
 Gunakan perkhidmatan reinsurans konvensional hanya apabila
Pengendali Takaful atau Pengendali Takaful Semula tidak
mempunyai kedudukan kewangan yang kukuh untuk menerima
risiko berkenaan.
A7.3 JENIS-JENIS TAKAFUL SEMULA
Secara umumnya terdapat dua jenis Takaful semula iaitu fakultatif
dan triti. Takaful semula triti boleh dibahagikan kepada dua: Triti
Proposional dan Triti Bukan Proposional. Triti proposional boleh
dikategorikan kepada tiga jenis: kongsi kuota (quota-share), surplus
dan fakultatif obligatori. Begitu juga, triti bukan proposional boleh
dibahagikan kepada dua jenis; lebihan kerugian (excess of loss) dan
kerugian tersukat (stop loss).
Perniagaan Takaful semula dikategorikan mengikut jenis perniagaan
iaitu Takaful Semula Am dan Takaful Semula Keluarga. Dalam
Takaful Semula Am, terdapat pengendali yang hanya menyediakan
kemudahan Takaful semula untuk kelas tertentu sahaja. Sebagai
contoh, terdapat pengendali yang menawarkan Takaful semula triti
proposional, sementara pengendali lain menerima triti bukan
proposional sahaja. Di seluruh dunia, hanya terdapat beberapa
Pengendali Takaful Semula kerana ciri-ciri perniagaan yang begitu
khusus, di samping memerlukan modal yang besar untuk memulakan
perniagaan Takaful semula.
Pengendali Takaful Semula berkenaan menawarkan perkhidmatan
mereka mengikut pembahagian rantau tertentu di samping di
peringkat antarabangsa, dengan pejabat-pejabat yang terletak di
146 Amalan Asas Takaful
pusat-pusat perdagangan dan luar pesisir utama. Contohnya, sindiket
insurans Lloyds di London mempunyai keupayaan menyediakan
perkhidmatan Takaful semula untuk pasaran antarabangsa.
Satu lagi komponen penting dalam pasaran Takaful semula adalah
broker. Perkhidmatan broker profesional Takaful semula biasanya
digunakan untuk membantu pengendali Takaful mencari dan
merundingkan program Takaful semula yang paling efektif.
Gambar rajah berikut memberikan gambaran menyeluruh tentang
jenis-jenis Takaful semula yang terdapat dipasaran:
Carta Aliran Takaful Semula dan Insurans Semula
7.3.1 Takaful Semula Fakultatif
Fakultatif adalah satu bentuk Takaful semula di mana kontrak
dirundingkan bagi sijil Takaful atau perlindungan Takaful tertentu.
Takaful Semula / Insurans Semula
Fakultatif Triti
Proposional Bukan-Proposional
Surplus Kongsi Kuota
(Quota Share)
Lebihan
Kerugian
Kerugian Tersukat
(Stop Loss)
Takaful Semula 147
Kontrak ini biasanya memerlukan penyertaan kerana risiko atau
perlindungan adalah besar atau luar biasa, dan Pengendali Takaful
biasanya begitu berhati-hati berhadapan dengan pendedahan risiko
yang sedemikian rupa.
Syarikat mengesid (pengendali asal) boleh menawarkan kesemua atau
sebahagian dari risiko kepada mana-mana syarikat Takaful semula
dan syarikat Takaful semula tersebut bebas untuk memutuskan sama
ada untuk menerimanya atau tidak.
Takaful semula jenis ini biasanya akan digunakan bagi membolehkan
syarikat mengesid/memindahkan sebahagian besar risiko merbahaya
di mana skop perlindungannya diluar kemampuan kontrak triti.
Ini merujuk kepada kaedah di mana sesuatu risiko (kes demi kes)
diserahkan kepada Takaful semula dan sebahagian daripada
sumbangan Takaful yang asal akan dibayar kepada Takaful semula
mengikut peratusan pegangan. Biasanya komisen tertentu akan
dikenakan ke atas Pengendali Takaful Semula.
Pengendali Takaful Semula mempunyai pilihan untuk menerima atau
menolak tawaran risiko berkenaan.
Di bawah ini ialah ilustrasi penempatan risiko yang dibuat
menggunakan kaedah Takaful semula fakultatif:
 Pengendali Takaful X bercadang untuk menerima cadangan
perlindungan bernilai RM10 juta
 Pengendali Takaful X mengekalkan RM1 juta
 Baki yang perlu disidkan ialah RM9 juta
 Sumbangan (contribution) Takaful asal ialah RM10,000
148 Amalan Asas Takaful
Takaful / Takaful
Semula
Amaun
perlindungan /
Kongsi Risiko
(RM)
%
Pegangan
Pegangan
Sumbangan
(contribution)
(RM)
Pengendali
Takaful X 1,000,000 10% 1,000
Pengendali
Takaful Semula A 2,700,000 27% 2,700
Pengendali
Takaful Semula B 4,500,000 45% 4,500
Pengendali
Takaful Semula C 1,800,000 18% 1,800
Jumlah 10,000,000 100% 10,000
7.3.2 Takaful Semula Triti
Triti adalah suatu perjanjian tahunan yang dibuat secara bertulis di
antara Pengendali Takaful Langsung (pejabat pengesid) dan
Pengendali Takaful Semula (pejabat penerima), di mana Syarikat
Takaful Semula (penerima) secara automatik akan menerima apa-apa
penyerahan hak / bahagian perlindungan yang termasuk dalam syarat-
syarat perjanjian.
Sisen (cession) ialah sejumlah unit / amaun Takaful yang dipindahkan
kepada Pengendali Takaful Semula. Perjanjian (triti) ini akan
berkuatkuasa untuk tempoh masa tertentu dan tertakluk kepada
sekatan kepada jenis risiko atau nilai yang terlibat. Perjanjian itu
menyediakan kemudahan secara automatik, iaitu telah dipersetujui
lebih awal dan biasanya rundingan hanya perlu diadakan setiap tahun
pembaharuan.
Kaedah Takaful semula ini biasanya dikendalikan berasaskan
‘portfolio’, iaitu mana-mana nilai risiko yang melebihi had
bendungan (retention limit) Pengendali Takaful akan
memindahkannya (cede) kepada Pengendali Takaful Semula.
Biasanya dalam tempoh setahun perjanjian, semua risiko dalam
Takaful Semula 149
portfolio yang dipersetujui akan dipindahkan dan secara automatik
akan diterima oleh Pengendali Takaful Semula. Urusan perakaunan
yang berkaitan dengan portfolio ini akan disediakan dan dipersetujui
oleh pihak-pihak yang terlibat dengan perjanjian triti ini setiap suku
tahunan.
Perbezaan ketara antara fakultatif dan triti ialah dalam fakultatif,
risiko dipindahkan mengikut kes (case to case basis) sementara triti
pula merujuk kepada program Takaful semula secara pukal
(wholesale) yang disidkan dalam tempoh tertentu yang telah
dipersetujui. Takaful semula triti boleh dibahagikan kepada dua
bentuk iaitu proposional dan bukan proposional.
7.3.3 Triti Proposional
Dalam Takaful semula proposional, amaun yang dibendung dan
amaun yang disidkan mewakili nisbah tertentu jumlah perlindungan
asal yang diterima oleh pejabat mengesid dan sumbangan / premium
yang diterima oleh pejabat pengesid akan dikongsi dalam kadar yang
sama. Begitu juga, pembayaran tuntutan akan dikongsi bersama oleh
pejabat mengesid dan Pengendali Takaful Semula dalam kadar yang
sama.
a. Kongsi Kuota (Quota Share)
Merujuk kepada perjanjian triti di mana pejabat mengesid terikat
untuk memindahkan risiko dan Pengendali Takaful perlu
menerima bahagian yang ditetapkan bagi setiap risiko dalam
portfolio risiko yang dipersetujui oleh kedua-dua pihak.
Perjanjian ini ditetapkan dalam bentuk peratusan. Sebagai contoh,
sekiranya pejabat mengesid mengambil 20%, syarikat Takaful
Semula akan mengambil baki 80%. Caruman Takaful semula
dikongsi secara nisbah sumbangan Takaful asal dan setelah
mengambil kira kadar komisen yang dipersetujui. Begitu juga
dengan liabiliti tuntutan, ia akan dikongsi megikut bahagian
masing-masing.
150 Amalan Asas Takaful
Kaedah pengendalian seperti ini biasanya digunakan oleh
Pengendali Takaful baru yang tidak mempunyai rekod Takaful
semula atau mempunyai pengalaman tuntutan yang buruk.
Dengan cara ini, risiko yang baik dan risiko buruk dapat dikongsi
bersama bagi mengelakkan anti pemilihan.
Syarikat mengesid mesti memindahkan risiko dan Pengendali
Takaful Semula mesti menerima bahagian yang dipersetujui bagi
setiap risiko yang diambil oleh syarikat mengesid. Syarikat
mengesid tidak boleh membendung semua risiko, tidak kira
betapa kecil jumlah yang dilindungi.
Triti digunakan dalam keadaan berikut:
 apabila ia melibatkan perniagaan baru yang amat memerlukan
perlindungan Takaful semula pada tahun-tahun awal
perlindungan disebabkan kekurangan pengalaman dan
kedudukan kewangan tidak mengizinkan.
 apabila surplus/lebihan milik syarikat mengesid mengalami
kemerosotan yang ketara.
 untuk mencapai skala ekonomi sewajarnya dalam
pengendalian Takaful semula.
b. Surplus / Lebihan
Pengendali Takaful Semula Triti berhak untuk berkongsi apa-apa
risiko lebihan yang diterima oleh pejabat mengesid, iaitu surplus
yang melebihi had bendungan pejabat mengesid sehingga ke had
triti. Had kapasiti triti ditunjukkan dalam bentuk lini (lines),
dimana satu lini menandakan bendungan risiko syarikat
mengesid. Oleh itu, triti sepuluh lini bermaksud jumlah
keseluruhan kapasiti kasar syarikat mengesid ialah sebelas kali
ganda berbanding dengan amaun yang dibendung.
Melalui kaedah ini, Pengendali Takaful (cedant) akan
menyerahkan surplus/lebihan keseluruhan risiko yang melebihi
had bendungan kepada pengendali Takaful semula, sementara
Takaful Semula 151
pejabat mengesid hanya menanggung risiko dengan nilai yang
lebih kecil. Sumbangan Takaful semula yang diserahkan kepada
Pengendali Takaful Semula adalah seimbang dengan sumbangan
asal Takaful, setelah ditolak komisen untuk pejabat mengesid.
Bayaran komisen dikenakan untuk menampung kos
pengambilalihan oleh pejabat pengesid. Menggunakan kaedah
yang sama, liabiliti tuntutan dibayar mengikut bahagian masing-
masing. Di samping itu, perkongsian surplus yang digelar
‘komisen keuntungan’ dana Takaful semula juga dimasukkan
dalam triti.
7.3.4 Triti Bukan Proposional
Triti ini hanya akan berfungsi apabila amaun tuntutan melebihi had
yang ditetapkan oleh pejabat pengesid. Pejabat pengesid dan
Pengendali Takaful Semula tidak berkongsi setiap kerugian dalam
kadar yang tetap, malah mungkin sebahagian kerugian tidak dikongsi
sama sekali. Syarikat mengesid akan bertanggungjawab bagi semua
kerugian dibawah had amaun kerugian, sementara Pengendali Takaful
Semula akan bertanggungjawab membayar baki pampasan yang
melebihi had yang dinyatakan, biasanya untuk had kerugian tertinggi.
Ia merujuk kepada satu persetujuan di mana pejabat pengesid akan
menggunakan teknik lindung nilai yang meletakkan had tuntutan,
terutamanya terhadap kerugian akibat bencana. Tidak seperti triti
proposional, kaedah bukan proposional membolehkan pejabat
pengesid memindahkan (ceding) jumlah kerugian sahaja, berbanding
dengan mengesidkan risiko dibawah kaedah proposional. Kaedah ini
menjadi lebih berkesan apabila jumlah kerugian bersih yang
ditanggung oleh pejabat pengesid disebabkan oleh satu kes kerugian
besar atau beberapa siri kerugian yang melebihi had yang dipersetujui
dibawah triti. Caruman Takaful semula yang dipanggil Sumbangan
Deposit Minimum MDC) yang dikenakan di bawah Takaful semula
bukan proposional tidak berasaskan kepada sumbangan Takaful asal
tetapi berdasarkan kepada struktur penentuan harga yang mengambil
kira pengalaman kerugian dan anggaran jumlah sumbangan tahunan
bagi kelas perniagaan berkaitan untuk tempoh tiga tahun yang lalu.
152 Amalan Asas Takaful
Terdapat dua jenis triti bukan proposional iaitu:
a. Lebihan Kerugian
Pejabat pengesid membayar pampasan bagi setiap tuntutan dan
setiap risiko sehingga mencapai had yang ditetapkan, sementara
Pengendali Takaful Semula membayar jumlah tuntutan yang
melebihi had tersebut sehingga ke had jumlah tertentu. Urusan
Takaful semula dikendalikan dalam bentuk lapisan (layers)
dengan penetapan pelbagai had dan deduktibel. Ia mungkin boleh
diseleggarakan dalam bentuk akaun menyeluruh atau akaun
berasingan mengikut kelas perniagaan.
b. Kerugian Tersukat (Stop Loss)
Triti lebihan nisbah kerugian juga dikenali dengan nama triti stop
loss. Triti ini direka bentuk untuk menghalang turun naik yang
drastik dalam nisbah tuntutan portfolio tertentu dalam tempoh
satu tahun kewangan. Contohnya, jika akaun Takaful kebakaran
mencatatkan nisbah kerugian 60% untuk beberapa tahun yang
lalu dan pihak syarikat menetapkan objektif untuk menghalang
nisbah tersebut terus meningkat sehingga ke tahap 90% dalam
tahun-tahun tertentu, maka pihak syarikat akan membeli polisi
perlindungan lebihan nisbah kerugian pada tahap 90% sehingga
120%.
Perlindungan ini direka untuk menghalang turun naik dalam
nisbah tuntutan. Ia melindungi Pengendali Takaful terhadap
agregat jumlah tuntutan sepanjang tempoh tertentu yang biasanya
sepanjang tempoh perjanjian, agar tidak melebihi peratusan yang
ditetapkan berbanding dengan jumlah sumbangan Takaful.
Takaful semula lebihan nisbah kerugian tidak melindungi
tuntutan individu. Kaedah kawalan lebihan nisbah kerugian
melindungi pejabat pengesid dari kemungkinan jumlah
keseluruhan nisbah kerugian melebihi had amaun tertentu yang
telah ditetapkan atau peratusan tertentu jumlah sumbangan
Takaful dari kelas perniagaan tertentu. Sebagai contoh, sekiranya
Takaful Semula 153
nisbah kerugian portfolio perniagaan melebihi had yang
dipersetujui, katakan 120%, maka Takaful semula akan
membayar lebihan itu sehingga ke had lain yang dipersetujui,
katakan 160%. Pada dasarnya, Takaful semula lebihan nisbah
kerugian dirangka bagi tujuan melindungi Pengendali Takaful
dari pendedahan baki bersih terhadap pengalaman tuntutan yang
merugikan.
7.3.5 RetroTakaful
Risiko Takaful semula sama seperti risiko Takaful, iaitu ia perlu
diurus dan dilindungi oleh Pengendali Takaful Semula melalui
pelbagai mekanisma yang terdapat di pasaran. Dalam hal ini,
Pengendali Takaful Semula perlu mempunyai program retroTakaful
yang sesuai dengan kaedah proposional dan bukan proposional.
Berdasarkan dari perkembangan semasa dan disebabkan
ketidakcukupan kapasiti retroTakaful, sebahagian besar daripada
risiko retroTakaful dipindahkan ke pasaran konvensional, sehinggalah
apabila pasaran Takaful semula telah berkembang maju sepenuhnya
dan menyeluruh.
A7.4 FUNGSI TAKAFUL SEMULA
 Fleksibiliti
Tanpa Takaful semula, Pengendali Takaful hanya akan menerima
risiko dalam jumlah dan jenis yang mereka mampu
menanganinya berdasarkan dari sumber-sumber yang mereka ada.
Ini akan menghadkan perkhidmatan yang boleh disediakan
kepada orang ramai dan juga akan menimbulkan kesukaran
kepada pelanggan.
 Pengembangan
Takaful semula boleh menyediakan kepakaran tambahan kepada
pengendali dalam bidang di mana pengendali mempunyai
pengalaman, kepakaran atau pengetahuan yang terhad. Dengan
154 Amalan Asas Takaful
memberikan kemudahan ini dan menerima sebahagian atau
semua risiko, syarikat yang menerima risiko dapat membantu
pengendali memperkenalkan dan mengembangkan barisan
produk yang boleh ditawarkan kepada pelanggan.
 Penghimpunan
Pengendali tidak dapat menanggung kerugian atas beberapa risiko
yang berbeza yang terhasil daripada satu kejadian atau peristiwa.
Sebagai contoh, pengendali mungkin boleh melindungi
sekumpulan individu yang bekerja dibeberapa buah syarikat dan
lokasi tempat kerja yang berbeza pada satu-satu masa, dan
mungkin mereka menaiki kapal terbang yang sama. Jika kapal
terbang terhempas dan semua penumpang terbunuh, tuntutan
yang perlu dibayar mungkin jauh melebihi kerugian maksimum
yang telah ditentukan terlebih dahulu. Takaful semula membantu
pengendali menghadkan kerugian kepada suatu jumlah yang
mampu ditanggug oleh pengendali berkenaan.
A7.5 PENGURUSAN RISIKO DI BAWAH TAKAFUL
SEMULA
7.5.1 Rangka Kerja Kawalan Takaful Semula
(BNM/RH/GL/004-12)
Demi memastikan perniagaan Takaful semula dapat berkembang
maju sejajar dengan pertumbuhan perniagaan Takaful di Malaysia,
Bank Negara Malaysia (BNM) telah menggubal satu rangka kerja
kawal selia (Rangka Kerja Kawalan Takaful Semula
(BNM/RH/GL/004-12) untuk Pengendali Takaful Semula seperti
berikut:
Rangkakerja Kawalan
Pengendali Takaful Semula
Keterangan/Catatan
Kekukuhan kedudukan
kewangan dan Fleksibiliti
Kewangan
 Pemohon mesti mempunyai
kedudukan kewangan yang
kukuh, sokongan modal yang
Takaful Semula 155
memuaskan dan berupaya
mencatat rekod keuntungan
operasi yang menggalakkan
untuk memastikan
Pengendali Takaful semula
baru yang dicadangkan
mampu menyediakan
jaminan perlindungan dan
komitmen berterusan
terhadap operasi Takaful
semula di Malaysia;
 Pemohon perlu mempunyai
gabungan modal berbayar
dan lebihan sekurang-
kurangnya USD100 juta dan
mencapai taraf kedudukan
antarabangsa atau penarafan
yang baik dari agensi
penarafan yang diiktiraf.
Pengalaman dalam bidang
Takaful/Takaful semula
Pemohon perlu mempunyai
pengalaman mengendali
pelbagai jenis perniagaan
Takaful semula. Pertimbangan
sewajarnya akan diberikan
kepada pemohon yang
mempunyai kepakaran teknikal
tertentu yang boleh memberi
manfaat kepada pasaran Takaful
Malaysia dan rantau ini.
Kemampuan untuk
menyumbang ke arah agenda
nasional
 Pemohon mestilah dapat
menunjukkan bahawa
Pengendali Takaful Semula
yang dicadangkan boleh
menyumbang secara
156 Amalan Asas Takaful
berkesan kepada
pembangunan industri
Takaful dan seterusnya
menyokong usaha-usaha
yang diambil oleh Kerajaan
dan Bank untuk menjadikan
Malaysia sebagai pusat
kewangan Islam
antarabangsa. Pertimbangan
akan diberikan kepada
pemohon yang bercadang
untuk menubuhkan Takaful
semula di Malaysia dan
menjadikannya sebagai pusat
perniagaan Takaful semula
serantau atau antarabangsa;
dan
 Pemohon juga dikehendaki
menyediakan pelan
perancangan kearah
memindahkan pengetahuan
teknikal kepada pasaran
Takaful tempatan dan
mengoptimumkan bakat
tempatan dalam pengurusan
syarikat.
Daya maju operasi di Malaysia Pelan perniagaan Pengendali
Takaful Semula yang
dicadangkan penubuhannya di
Malaysia perlu menunjukkan
daya maju dalam tempoh 5
tahun berdasarkan unjuran yang
realistik.
Takaful Semula 157
7.5.2 Kapasiti Pembendungan (Retention Capacity)
Semua Pengendali Takaful mesti mempunyai had pembendungan
(retention limit) kerana adalah penting untuk menetapkan had liabiliti
demi melindungi modal, keuntungan, dan juga mampu terus
membayar dividen yang munasabah. Yang paling penting ialah dapat
menunjukkan pertumbuhan yang kukuh dalam aset bebas
(keuntungan modal dan keuntungan terkumpul) supaya dapat
menyokong pertambahan dalam sumbangan / premium.
Pembendungan ditakrifkan sebagai "had liabiliti yang biasanya
dinyatakan dalam bentuk amaun kewangan, yang ditanggung oleh
Pengendali Takaful dalam akaun bersih selepas Takaful semula". Ia
juga boleh ditakrifkan sebagai 'jumlah maksimum yang mampu
dibayar oleh Pengendali Takaful disebabkan kerugian atas sijil, risiko
atau kumpulan risiko. Oleh itu, pembendungan akan melibatkan
risiko tunggal atau siri risiko, atau kerugian tunggal atau siri kerugian.
 Proses penetapan had pembendungan melibatkan beberapa faktor.
Had pembendungan ditetapkan berdasarkan kelas perniagaan
secara berasingan (keluarga, kebakaran, kemalangan, marin,
penerbangan dan lain-lain) dan dalam setiap kelas perniagaan
terdapat beberapa sub-bahagiannya. Ia juga mungkin ditetapkan
berdasarkan jumlah pembendungan keseluruhan berbanding
dengan gabungan portfolio pelbagai kelas. Walaupun faktor-
faktor yang menentukan had pembendungan telah menjadi
pengetahuan umum, Pengendali Takaful boleh menggunakan
nilai yang berbeza bagi setiap faktor dan seterusnya menghasilkan
keputusan yang berbeza juga. Oleh itu, adalah penting untuk
menetapkan had pembendungan optimum untuk setiap
Pengendali Takaful, bukannya had pembendungan yang paling
tepat. Had pembendungan optimum boleh membantu Pengendali
Takaful meyediakan rangka kerja untuk mencapai objektif
tertentu korporat. Oleh itu, jika terdapat dua Pengendali Takaful
dengan portfolio yang sama tetapi mempunyai matlamat korporat
yang berbeza, besar kemungkinan mereka mempunyai had
pembendungan yang berbeza.
158 Amalan Asas Takaful
 Tujuan utama Pengendali Takaful menetapkan had
pembendungan adalah untuk mengawal keadaan turun naik
dalam: (a) nisbah kerugian, (b) pendapatan perniagaan, atau (c)
aliran tunai. Mana-mana Pengendali Takaful akan berhadapan
dengan pilihan pengunderaitan samada mengunderait sebanyak
mungkin risiko atau meminimumkan risiko. Dengan
mengunderait risiko yang lebih tinggi, pengendali akan
berhadapan dengan risiko yang lebih tinggi; tetapi jika pengendali
tidak berbuat demikian, ia mampu untuk mengunderait lebih
banyak kes. Oleh itu, pengendali mesti menetapkan tahap
pembendungan atau kapasiti pada tahap yang optimum.
Dalam usaha menentukan had keupayaan pembendungan bagi
setiap pengendali, perkara yang juga perlu diberi perhatian ialah
pengalaman tuntutan. Selain daripada memberi kesan kepada
jumlah pembendungan dan nisbah pendapatan caruman kasar, ia
juga akan memberi kesan kepada kos dan / atau amaun Takaful
semula yang Pengendali Takaful Semula bersedia untuk
menawarkannya. Juga, semakin kurang pengalaman tuntutan,
sepatutnya semakin konservatif polisi pembendungannya. Ini
adalah kerana tahap ketepatan yang boleh dicapai dalam
menganggarkan kos tuntutan masa depan mempunyai kaitan
langsung dengan jumlah data yang didapati mengenai kekerapan
dan ketenatan sesuatu tuntutan.
Cara termudah untuk mengukur pengalaman tuntutan ialah
melalui nisbah tuntutan, iaitu nisbah kos tuntutan yang dibayar
untuk tempoh tertentu dibahagikan dengan pendapatan
caruman/sumbangan bagi tempoh yang sama. Nisbah boleh
diukur sama ada untuk akaun kasar atau caruman Takaful semula
bersih dan mendapatkan kembali tuntutan. Dengan mengira
nisbah tuntutan kasar atau bersih, kita akan mendapati bahawa
tahap turun naik kos tuntutan berbanding dengan pendapatan dari
caruman / sumbangan, dan sejauh mana berkesannya pengendali
menguruskan Takaful semula untuk mengurangkan kadar turun
naik akaun pembendungan, berbanding dengan akaun kasar.
Takaful Semula 159
Menurut kajian yang dijalankan, ‘saiz relatif turun naik dalam
nisbah tuntutan kasar dari masa ke masa akan cenderung untuk
berubah dengan saiz akaun seperti yang diukur oleh pendapatan
premium (sumbangan)’. Ringkasnya, semakin kecil pendapatan
sumbangan / premium kasar, semakin rendah kapasiti
pembendungan.
Kesimpulannya, strategi korporat Pengendali Takaful memainkan
peranan penting dalam menentukan keupayaan pembendungan
pengendali. Pengurusan Pengendali Takaful berbeza dalam
falsafah, pandangan, pengalaman, pengetahuan dan juga sikap
terhadap risiko.
160 Amalan Asas Takaful
Pengantara Takaful 161
BAB A8
PENGANTARA TAKAFUL
PENGENALAN
Pengantara Takaful adalah seseorang yang menjalankan perniagaan
Takaful atau memujuk pelanggan berpotensi untuk menandatangani
kontrak Takaful dengan Pengendali Takaful. Mereka juga dikenali
sebagai ejen Takaful dan broker Takaful.
 Ejen merupakan wakil Pengendali Takaful dalam hubungan ejen-
prinsipal, yang dilantik mengikut kelaziman undang-undang.
Ikatan utama ejen ialah hubungannya dengan Pengendali Takaful,
bukan dengan peserta Takaful. Seorang ejen Takaful mewakili
Pengendali Takaful dan tugas utamanya ialah mempromosikan
pelan atau produk Takaful yang dikeluarkan oleh Pengendali
Takaful yang diwakilinya.
 Broker secara umumnya tidak mempunyai perjanjian kontrak
dengan Pengendali Takaful dan hubungannya bergantung kepada
kaedah umum / langsung bagi menyempurnakan urus niaga
dengan Pengendali Takaful. Ia memberi impak positif dan
bermanfaat terhadap rundingan perniagaan Takaful yang
diperolehi melalui broker. Broker Takaful menyediakan pelbagai
perkhidmatan profesional pembrokeran Takaful yang
komprehensif dalam membantu bakal pelanggan mengenai
bagaimana untuk menjadikan sumbangan / premium yang dibayar
lebih kos efektif dan dalam masa yang sama dapat menikmati
perlindungan maksimum. Berlainan dengan ejen, broker Takaful
mewakili pelanggan dan menasihati pelanggan tentang pelan
Takaful yang paling sesuai. Penasihat kewangan ialah pihak
bebas yang menyediakan perkhidmatan perancangan kewangan
kepada pelanggan berdasarkan keperluan kewangan pelanggan.
162 Amalan Asas Takaful
 Penasihat kewangan adalah seorang profesional yang
menawarkan perkhidmatan kewangan kepada individu,
perniagaan dan kerajaan. Ia mungkin melibatkan khidmat nasihat
pelaburan yang merangkumi perancangan persaraan, nasihat
mengenai pelan Takaful keluarga dan lain-lain seperti
perlindungan pendapatan, penyakit kritikal, dan / atau nasihat
mengenai gadai janji, kewangan serta kemudahan pinjaman.
 Perancang kewangan atau perancang kewangan peribadi adalah
seorang yang profesional dalam membantu orang ramai berurusan
dengan pelbagai isu-isu kewangan peribadi melalui perancangan
yang rapi dan meliputi bidang-bidang utama seperti pengurusan
aliran tunai, perancangan pendidikan, perancangan persaraan,
perancangan pelaburan, pengurusan risiko dan perancangan
Takaful, perancangan cukai dan zakat, perancangan harta dan
wakaf serta perancangan penerusan perniagaan (bagi pemilik
perniagaan).
Pengantara Takaful seperti ejen, broker atau perancang kewangan
perlu mempunyai kemahiran dan memiliki ciri-ciri berikut:
 Pengetahuan yang mendalam mengenai produk insurans dan/atau
produk Takaful.
 Memahami kehendak dan keperluan pelanggan.
 Memastikan pelanggan memahami apa yang dibeli atau sertai.
 Tidak mengamalkan jualan paksa atau membuat bermacam-
macam janji.
 Menjelaskan fakta, bukan memaksa atau mengugut.
 Memberi perkhidmatan berkualiti dan menepati masa.
A8.1 PERKEMBANGAN PENGANTARA TAKAFUL
Sistem Kewangan di Malaysia
Sistem perbankan yang terdiri dari bank perdagangan, bank pelaburan
dan bank-bank Islam adalah penggerak utama dana kewangan dan
sumber terpenting pembiayaan bagi menyokong aktiviti-aktiviti
Pengantara Takaful 163
ekonomi di Malaysia. Pengantara kewangan bukan bank seperti
institusi pembangunan kewangan, dana simpanan wang dan dana
persaraan syarikat-syarikat insurans / pengendali Takaful telah
membantu menyempurnakan peranan institusi perbankan dalam
menggerakkan fungsi dana simpanan serta memenuhi keperluan
kewangan dalam sistem ekonomi Malaysia.
Di dalam struktur monetari dan kewangan negara, Bank Negara
Malaysia (BNM) berada dikedudukan yang paling atas. Objektif
utama BNM adalah untuk menggalakkan kestabilan monetari dan
kewangan yang membantu kepada pertumbuhan mampan ekonomi
Malaysia. Fungsi utama BNM seperti yang termaktub dalam Akta
Bank Negara Malaysia 2009 yang baru dikuatkuasakan, antara lain
ialah:
 merangka dan melaksanakan dasar kewangan negara
 mengawal dan menyelia aktiviti institusi kewangan yang
tertakluk dibawah undang-undang yang dikuatkuasakan oleh
BNM
 menggalakkan pertumbuhan sistem kewangan yang kukuh,
progresif dan menyeluruh
 bertindak sebagai penasihat kewangan, penasihat bank dan ejen
kewangan kerajaan.
Untuk mencapai mandat yang diberikan, BNM diberi kuasa di bawah
pelbagai bidang perundangan untuk mengawal dan menyelia institusi
perbankan dan pengantara kewangan bukan-perbankan termasuk
aktiviti kewangan yang berkaitan dengan Takaful.
Lanjutan dari pengumuman yang dibuat pada April 2009 mengenai
langkah-langkah liberalisasi sektor perkhidmatan kewangan yang
merangkumi pengeluaran lesen baru dan peningkatan had ekuiti
asing, terdapat minat yang mendalam di kalangan institusi kewangan
antarabangsa untuk menjalankan operasi perniagaan mereka di
Malaysia. Langkah-langkah liberalisasi ini bertujuan
memperkukuhkan jalinan hubungan ekonomi Malaysia dengan sektor
ekonomi negara-negara lain, serta meningkatkan peranan sektor
164 Amalan Asas Takaful
kewangan sebagai penggerak utama dan pemangkin pertumbuhan
ekonomi negara.
Kewangan Islam merujuk kepada sistem kewangan yang meliputi
Perbankan Islam, Pasaran Wang Antara Bank Islam, Takaful dan
ReTakaful, Pasaran Modal Islam dan Pengurusan Harta Islam yang
kesemuanya mematuhi undang-undang Syariah. Prinsip-prinsip asas
yang mengawal kewangan Islam adalah perkongsian risiko dan
perkongsian keuntungan dikalangan pihak-pihak yang terlibat,
jaminan keadilan untuk semua dan semua transaksi adalah berasaskan
aktiviti perniagaan atau aset dasar.
Prinsip-prinsip ini disokong oleh nilai-nilai teras kewangan Islam di
mana aktiviti-aktiviti yang memupuk semangat keusahawanan,
perniagaan dan perdagangan serta usaha murni dalam membangunkan
masyarakat adalah digalakkan. Aktiviti-aktiviti yang melibatkan
faedah (riba), perjudian (maisir) dan dagangan spekulatif (gharar)
adalah dilarang.
A8.2 KEPENTINGAN PENGANTARA TAKAFUL
Ejen Takaful Keluarga menjalankan urusniaga produk Takaful
keluarga sementara ejen Takaful am mempromosikan produk Takaful
am. Semua ejen Takaful adalah mewakili prinsipalnya iaitu
pengendali Takaful dan fungsi tugas mereka ialah:
 Mempromosikan produk Takaful bagi pihak Pengendali Takaful;
 Menerangkan ciri-ciri produk / pelan Takaful kepada bakal
pelanggan; dan
 Memberi perkhidmatan berkaitan pengeluaran, pembaharuan atau
kesinambungan mana-mana sijil Takaful.
Broker Takaful dilantik oleh pelanggan untuk melaksanakan tugas-
tugas berikut:
 Membantu pelanggan mendapatkan dan memperbaharui
perlindungan Takaful dari pengendali Takaful; dan
Pengantara Takaful 165
 Memberi khidmat nasihat dan mencadangkan pelan / produk
perlindungan Takaful yang paling sesuai dan memenuhi
kehendak pelanggan serta memberitahu syarat-syarat yang
ditawarkan oleh pengendali Takaful.
Penasihat kewangan dilantik oleh pelanggan untuk melaksanakan
fungsi tugas berikut:
 Membantu pelanggan mengendali dan mengekalkan imbangan
pendapatan pelaburan, keuntungan modal dan tahap risiko yang
boleh diterima dengan menggunakan peruntukan aset yang betul.
 Menggunakan saham atau stok, sukuk dan bon, dana bersama,
amanah pelaburan hartanah (REIT), opsyen, niaga hadapan, nota,
dan produk Takaful untuk memenuhi keperluan pelanggan.
 Penasihat kewangan menerima bayaran komisen bagi pelbagai
produk kewangan yang mereka pasarkan walaupun bayaran
'berasaskan fi' semakin popular dalam industri perkhidmatan
kewangan.
Perancang kewangan dilantik oleh pelanggan untuk melakukan tugas-
tugas berikut:
 Tugas-tugas yang dilaksanakan oleh profesional ini lebih dikenali
sebagai perancangan kewangan peribadi.
 Ketika melaksanakan fungsi tugas perancangan, dia dipandu oleh
proses perancangan kewangan untuk mewujudkan satu pelan
kewangan; strategi terperinci yang disesuaikan dengan keperluan
unik pelanggan bagi memenuhi matlamat khusus yang telah
ditetapkan.
 Aspek utama penentu kejayaan perancang kewangan ialah
memikirkan semua soalan, maklumat dan bentuk nasihat kerana
ia akan memberi impak dan kesan keatas seluruh kehidupan dan
keadaan kewangan pelanggan.
Pengantara biasanya dibayar komisen atau yuran (seperti yuran
pembrokeran untuk broker dan yuran nasihat kewangan atau yuran
perancangan) atas setiap pelan / produk yang berjaya dipasarkan.
166 Amalan Asas Takaful
Bayaran komisen adalah dalam bentuk peratusan dari sumbangan /
tabarru’ yang dibuat oleh pelanggan-pelanggan yang juga dikenali
sebagai ‘peserta’.
A8.3 TANGGUNGJAWAB PENGANTARA TAKAFUL DI
BAWAH AKTA TAKAFUL 1984
Seksyen 36(1) Akta Takaful 1984
Seksyen ini menghendaki semua ejen atau pengantara yang
memasarkan atau memperkenalkan produk Takaful yang dikeluarkan
oleh pengendali Takaful, dikehendaki dibawah peruntukan Akta
untuk memberitahu kepada semua bakal pelanggannya bahawa ia
adalah ejen yang bertindak bagi pihak pengendali Takaful tertentu.
Seksyen 36(2) Akta Takaful 1984
Seksyen ini adalah merujuk kepada Seksyen 36(1) dan sekiranya
mana-mana ejen didapati tidak mematuhi seksyen ini, melakukan
suatu kesalahan dan apabila disabitkan, ejen boleh didenda tidak
melebihi RM4,000 atau dipenjarakan selama tempoh tidak melebihi
enam bulan atau kedua-duanya.
Seksyen 35(1) Akta Takaful 1984
Seksyen ini menyatakan bahawa tiada seorang pun boleh memasarkan
atau mempromosikan produk Takaful atau menjalankan perniagaan
sebagai ejen atau broker bagi seseorang atau pengendali selain dari
pengendali Takaful berlesen. Sekiranya seorang itu didapati tidak
mematuhi perutukan Akta dan jika disabitkan kesalahan, ia boleh
didenda tidak melebihi RM20,000 atau dipenjarakan selama tempoh
tidak melebihi dua belas bulan atau kedua-duanya.
Seksyen 35(2) subseksyen (3) Akta Takaful 1984
Seksyen ini menghendaki semua broker Takaful hendaklah
menjalankan transaksi perniagaan Takaful dengan pengendali Takaful
Pengantara Takaful 167
yang berlesen dan berkelayakan sahaja. Seksyen ini juga meyatakan
bahawa sekiranya terdapat mana-mana broker Takaful yang didapati
tidak mematuhi peruntukan-peruntukan dalam Akta dan jika
disabitkan kesalahan, broker Takaful boleh didenda tidak melebihi
RM8,000 atau dipenjarakan selama tempoh tidak melebihi enam
bulan atau kedua-duanya.
Seksyen 35(3) subseksyen (2) Akta Takaful 1984
Seksyen ini menyatakan bahawa kontrak seperti yang ditetapkan
dalam Akta hanyalah merujuk kepada perniagaan Takaful langsung
sahaja, dan bukannya perniagaan Takaful semula.
A8.4 PERLANTIKAN DAN TANGGUNGJAWAB
PENGANTARA TAKAFUL
Pengantara Takaful adalah seseorang yang menjalankan perniagaan
Takaful atau memujuk pelanggan berpotensi untuk menandatangani
kontrak Takaful dengan pengendali Takaful. Mereka juga dikenali
sebagai ejen Takaful dan broker Takaful.
Ejen Takaful mewakili pengendali Takaful dan tugas utamanya ialah
mempromosikan produk-produk Takaful yang dikeluarkan oleh
pengendali Takaful yang diwakilinya. Broker Takaful pula mewakili
pelanggan dan tugas utamanya ialah memberi khidmat nasihat kepada
pelanggan tentang pelan / produk Takaful yang paling sesuai dan
memenuhi keperluan. Penasihat kewangan merupakan seorang
penasihat bebas yang meyediakan perkhidmatan perancangan
kewangan kepada pelanggan berdasarkan keperluan kewangan
pelanggan.
 Ejen Takaful dilesenkan/berdaftar dengan Pendaftar Pengantara
Takaful – Persatuan Takaful Malaysia (Malaysian Takaful
Association - MTA).
 Broker Insurans / Takaful dilesenkan/berdaftar dengan Bank
Negara Malaysia (BNM).
168 Amalan Asas Takaful
 Penasihat kewangan dilesenkan / berdaftar dengan Bank Negara
Malaysia (BNM).
 Perancang Kewangan dilesenkan / berdaftar dengan Suruhanjaya
Sekuriti.
A8.5 PERATURAN PERILAKU PASARAN UNTUK
PENGANTARA TAKAFUL
 Penyeliaan dan Penguatkuasaan Perilaku Pasaran
Bank Negara Malaysia mengawal amalan perilaku pasaran
penyedia perkhidmatan kewangan dan mengambil langkah-
langkah pembetulan dan/atau penguatkuasaan terhadap sebarang
perlakuan yang melanggar peraturan perilaku pasaran.
 Piawaian minimum perkhidmatan
Pengantara Takaful dikehendaki memenuhi piawaian minimum
perkhidmatan yang ditetapkan sama ada oleh Bank Negara
Malaysia, Persatuan Takaful Malaysia (Malaysian Takaful
Association, MTA) atau Persatuan Broker-broker Insurans dan
Takaful Malaysia (Malaysian Insurance and Takaful Brokers
Association, MITBA). Piawaian minimum perkhidmatan ini
memastikan pengantara Takaful menjalankan urusan dengan
tingkat kebertanggungjawaban dan profesionalisme yang tinggi.
 Ejen Takaful am:
o tertakluk kepada Tataetika Pengantara Takaful, yang
ditetapkan oleh Persatuan Takaful Malaysia (MTA);
o dikehendaki lulus Peperiksaan Asas Takaful (Takaful Basic
Examination – TBA) dan memenuhi syarat minimum 20 jam
latihan setahun di bawah program Pembangunan Profesional
Berterusan (Continuous Professional Development - CPD);
dan
o perlu mematuhi piawaian minimum keperluan pendedahan
yang dikeluarkan oleh Bank Negara Malaysia, yang antara
Pengantara Takaful 169
lain menghendaki ejen semasa menawarkan produk,
memberikan penjelasan kepada bakal peserta tentang ciri-ciri
utama produk yang ingin disertai, butir lengkap komisen yang
dibayar, dan prosedur untuk membuat tuntutan dan aduan.
 Ejen Takaful keluarga:
o tertakluk kepada Tataetika untuk Pengantara Takaful yang
ditetapkan oleh Persatuan Takaful Malaysia (MTA);
o dikehendaki lulus Peperiksaan Asas Takaful (Takaful Basic
Examination – TBE) dan memenuhi syarat minimum 30 jam
latihan setahun dibawah program Pembangunan Profesional
Berterusan (Continuous Professional Development - CPD);
dan
o perlu mematuhi piawaian minimum nasihat yang wajar yang
dikeluarkan oleh Bank Negara Malaysia, yang menghendaki
ejen mendapatkan maklumat yang mencukupi tentang bakal
pelanggan. Ini bagi membolehkan ejen menganalisis keadaan
peribadi dan kewangan bakal pelanggan, dan mengenal pasti
keperluan kewangan dan keutamaannya supaya ejen dapat
mencadangkan produk Takaful yang bersesuaian dan mampu
disertai oleh pelanggan.
Sebagai tambahan, ejen Takaful perlu lulus Peperiksaan Asas
Takaful mengikut pilihan pengkhususan iaitu sama ada Takaful
Keluarga atau Takaful Am atau kedua-duanya.
 Broker Takaful:-
o tertakluk kepada Piagam Pelanggan berhubung dengan
Tataamalan Perniagaan yang Baik, dan Tataetika dan
Tatakelakuan yang ditetapkan oleh MITBA; dan
o mesti mematuhi peraturan yang ditetapkan dalam Akta
Takaful 1984.
Selain itu, pengurusan kanan dan ahli lembaga pengarah syarikat
broker Takaful mesti memenuhi kriteria ‘layak dan sesuai’ dan
170 Amalan Asas Takaful
kakitangannya juga perlu lulus Kursus Sijil Asas Pembrokeran
Insurans.
A8.6 TANGGUNGJAWAB PENGANTARA TAKAFUL
MEMPROMOSIKAN TAKAFUL
8.6.1 Kod etika asas pengantara Takaful
Pengantara Takaful perlu memiliki piawaian kod etika profesional
ketika berurusan dengan pelanggan. Pengantara Takaful hendaklah:
 menunjukkan Kad Kuasa Ejennya apabila diminta berbuat
demikian (berkaitan dengan ejen Takaful sahaja).
 ejen yang pendaftarannya telah diluluskan oleh Pendaftar
Pengantara Takaful, memiliki Kad Kuasa yang mengandungi
maklumat seperti nama pengendali Takaful yang diwakili oleh
ejen berkenaan, dan tempoh sah pendaftaran ejen berkenaan.
 ejen Takaful am boleh mewakili sebanyak dua pengendali
Takaful am sahaja, manakala seseorang ejen Takaful keluarga
hanya dibenarkan mewakili satu pengendali Takaful.
 ejen Takaful yang mempromosikan produk Takaful keluarga dan
juga Takaful am boleh menjadi wakil kepada satu pengendali
Takaful keluarga dan dua pengendali Takaful am sahaja.
 Seseorang broker Takaful perlu menjadi ahli MITBA dan
mempunyai lesen yang dikeluarkan oleh Bank Negara Malaysia.
 Lesen ini tertakluk kepada kajian semula setiap tahun;
memperlihatkan pengetahuan mendalam tentang produk dan
perkhidmatan yang ditawarkan oleh pengendali Takaful dan
pasaran Takaful;
 memahami keperluan pelanggan dan membantu mereka memilih
produk dan perkhidmatan Takaful yang bersesuaian;
 menerangkan dengan jelas kepada pelanggan tentang jenis
maklumat yang diperlukan dalam borang cadangan dan juga
tentang betapa mustahaknya untuk memahami fakta-fakta matan /
penting;
Pengantara Takaful 171
 menerangkan dengan jelas, syarat dan terma kontrak Takaful
yang dicadangkan untuk memastikan pelanggan benar-benar
faham tentang produk Takaful yang dipertimbangkan;
 menarik perhatian pelanggan kepada apa-apa sekatan dan
pengecualian yang berkenaan di bawah kontrak Takaful yang
dicadangkan;
 membuat tindakan susulan dan memberikan perkhidmatan yang
berterusan kepada pelanggan, seperti memperbaharui sijil
Takaful, dan memaklumkan pelanggan tentang maklumat produk-
produk baru yang berkaitan;
 membantu pelanggan membuat tuntutan terhadap pengendali
Takaful.
8.6.2 Kelas-kelas Ejen
Setiap ejen termasuk ke dalam salah satu daripada tiga kategori
berikut. Mereka dikelaskan mengikut kuasa yang diberi kepada
mereka:
 Ejen Khusus
Ejen khusus adalah ejen yang dilantik untuk melakukan tindakan
atau transaksi yang khusus, misalnya seseorang dilantik sebagai
proksi untuk menghadiri mesyuarat agung tahunan syarikat bagi
pihak pemegang saham.
 Ejen Am
Ejen am adalah ejen yang boleh berbuat apa sahaja bagi pihak
prinsipalnya di dalam had kuasa am yang diberikan kepadanya.
Misalnya, ejen insurans yang diberi kuasa untuk menguruskan
perniagaan baru tetapi tidak mempunyai kuasa untuk memberi
pinjaman atas sijil dan terikat kepada prinsipalnya.
 Ejen Universal
Ejen universal adalah ejen yang mempunyai kuasa tidak terbatas.
172 Amalan Asas Takaful
Dia boleh berbuat apa sahaja untuk prinsipalnya yang mana
prinsipal itu sendiri boleh melakukan tugas tersebut.
8.6.3 Tugas-tugas Ejen
Kontrak agensi antara prinsipal dan ejen biasanya dalam bentuk
bertulis. Walau bagaimanapun, ia mungkin dinyatakan secara lisan
sahaja. Ia mengandungi tempoh dan syarat yang berkaitan dengan
tataetika agensi dan kadar upah (komisen) yang boleh dibayar kepada
ejen.
 Tidak seperti pekerja pejabat, ejen adalah ahli perniagaan bebas
yang tidak memerlukannya terikat dengan masa kerja tertentu
bagi urusniaga yang telah berjaya dimuktamadkan. Biasanya,
sebahagian tertentu masa diperuntukkan untuk perniagaan agensi
di luar waktu kerja pejabat. Hak ejen yang paling utama ialah
mendapat bayaran dari perkhidmatan yang telah ditawarkan,
biasanya dalam bentuk komisen.
 Ejen juga layak menerima bayaran balik wangnya yang telah
dibelanjakannya dengan kuasa nyata dari prinsipalnya. Walau
bagaimanapun, perbelanjaan tersebut hendaklah munasabah dan
berpatutan serta tidak melebihi had yang difikirkan wajar.
 Ejen berhak menjalankan tanggungjawabnya dalam cara yang
difikirkan wajar dan sesuai. Dia boleh menolak sebarang usaha
yang dilakukan oleh prinsipalnya untuk mengawal cara ia
bekerja.
 Ejen bertanggungjawab melaksanakan kerjanya dengan teliti,
cekap dan tekun dan juga mematuhi syarat dan terma yang
terkandung dalam perjanjian agensinya.
 Antara tugas-tugas yang perlu dilaksanakan oleh ejen sebagai
tambahan kepada tanggungjawab kontraktual nyata adalah seperti
berikut:
Pengantara Takaful 173
o menyerahkan penyata akaun kepada prinsipal seperti yang
diminta.
o tidak membiarkan kepentingan diri bertentangan dengan
tanggungjawabnya kepada prinsipal.
o tidak membocorkan maklumat-maklumat sulit yang
diperolehi ketika melaksanakan tanggungjawabnya sebagai
ejen kepada pihak lain kecuali principal / syarikat pengendali.
o tidak membuat sebarang keuntungan rahsia atau mengambil
rasuah dari mana-mana pihak yang ia berurusan bagi pihak
prinsipal.
o tidak mewakilkan tanggungjawabnya kepada sub-ejen tanpa
kuasa nyata atau tersirat.
o mematuhi arahan prinsipal dan memberitahunya jika arahan
berkenaan tidak dapat dilaksanakan.
8.6.4 Hak-hak Ejen
Ejen layak menerima bayaran upah / komisen dan bayaran balik
(reimbursement).
 Hak paling utama bagi seorang ejen ialah menerima bayaran di
atas perkhidmatan yang diberikan, biasanya dalam bentuk
komisen atau yuran.
 Ejen juga layak menerima bayaran balik wangnya yang telah
dibelanjakan dalam had jumlah yang munasabah, setelah
mendapat kuasa nyata dari prinsipalnya.
 Ejen berhak menjalankan tanggungjawabnya dalam cara yang
difikirkan wajar dan sesuai. Dia boleh menolak sebarang usaha
yang dilakukan oleh prinsipalnya untuk mengawal cara ia
bekerja.
8.6.5 Tanggungjawab Prinsipal
Prinsipal mempunyai tanggungjawab berikut terhadap ejen-ejennya:
174 Amalan Asas Takaful
 membayar upah / komisen dan kos perbelanjaan seperti yang
dipersetujui: atau perjanjian yang gagal, sebagaimana kebiasaan,
atau melanggar kebiasaan, membayar apa yang difikirkan
munasabah.
 membayar ganti rugi kepada ejen akibat dari sebarang tindakan
yang dibuat mengikut undang-undang, yang tidak bercanggah
dengan kuasanya, bagi pihak prinsipal.
8.6.6 Penamatan Agensi
Hubungan diantara prinsipal dengan ejen boleh ditamatkan oleh
pihak-pihak yang terlibat atau melalui kuatkuasa undang-undang
seperti berikut:
 Melalui notis pembatalan yang diberi oleh prinsipal kepada ejen.
 Melalui notis pelepasan yang diberi kepada prinsipal oleh ejen.
 Dengan menyelesaikan transaksi di mana kuasa diberi untuk
transaksi itu sahaja.
 Dengan tamatnya tempoh seperti yang ditetapkan dalam
perjanjian agensi.
 Melalui persetujuan bersama.
 Pada umumnya, dengan sebab kematian, gila atau bankrap
samada kepada ejen atau prinsipal.
 Melalui kuatkuasa undang-undang yang menyebabkan kontrak
dengan ejen berkenaan menjadi tidak sah.
8.6.7 Ciri-ciri Ejen Takaful
Ciri-ciri penting bagi seorang ejen insurans ialah dia telah diberi
kuasa undang-undang untuk mewujudkan hubungan kontrak antara
pengendali Takaful dan peserta.
Hakikat bahawa majoriti ejen Takaful direkrut oleh penyelia atau
pengurus agensi yang terikat dengan kontrak agensi dengan
pengendali Takaful tidak mengubah ciri-ciri asas ini kerana
hakikatnya ejen Takaful memegang kontrak untuk memberi
Pengantara Takaful 175
perkhidmatan kepada pengendali Takaful dan bukan dengan orang
yang merekrutnya.
8.6.8 Ejen Siapa?
Pepatah undang-undang Latin yang terpakai kepada agensi ialah ‘qui
facit per alium facit per se’ yang bermaksud “Sesiapa yang
melakukan sesuatu melalui orang lain adalah dianggap disisi undang-
undang telah melakukannya sendiri”.
Oleh itu, ejen insurans yang telah dilantik dan bertindak dalam bidang
kuasanya telah mengikat prinsipalnya dengan tindakan-tindakan yang
diambil, seolah-olah prinsipal itu sendiri yang melakukan tindakan
tersebut. Oleh yang demikian, adalah amat penting bagi ejen untuk
membuat keputusan iaitu untuk siapakah ejen Takaful bertindak pada
masa yang berkaitan. Oleh itu, adalah tidak mustahil jika dilihat dari
sudut undang-undang dikatakan ejen pengendali Takaful dianggap
sebagai ejen peserta untuk perbuatan atau tindakan tertentu, dan
begitu juga sebaliknya.
8.6.9 Kutipan Sumbangan
Apabila pembayaran sumbangan / premium dibuat kepada ejen
Takaful yang diberi kuasa, bagi peserta pembayaran tersebut
disifatkan sebagai bayaran kepada pengendali. Oleh itu, walaupun
sekiranya ejen Takaful gagal mengemukakan sumbangan berkenaan
kepada pengendali, peserta masih akan dilindungi. Sebaliknya, jika
ejen tidak berdaftar menerima bayaran dari peserta atau orang ramai,
pengendali tidak bertanggungjawab ke atas salah laku ejen berkenaan.
Adalah penting bagi ejen untuk mengambil perhatian bahawa selagi ia
tidak mendepositkan wang sumbangan kepada pengendali Takaful,
dia akan terus bertanggungjawab kepada peserta terbabit.
8.6.10 Mewujudkan Hubungan
Hubungan antara penanggung insurans dan ejen boleh diwujudkan
melalui cara berikut:
176 Amalan Asas Takaful
 Melalui janji nyata.
 Melalui implikasi Undang-undang, yang mungkin timbul dari
i. tatacara atau perlakuan pihak yang terlibat, atau
ii. keperluan kes.
 Melalui pengesahan tindakan tidak diberi kuasa.
 Melalui statut (Seksyen 151, Akta Insurans 1996).
A8.7 PERKHIDMATAN SELEPAS JUALAN
Takaful tidak tertakluk dibawah kontrak jual beli mengikut perspektif
Syariah. Walau bagaimanapun, didalam kempen produk dan program
aktiviti kesedaran termasuk kolateral dan e-pemasaran dengan
harapan dapat mewujudkan lebih banyak pengkalan data pelanggan,
teknik penjualan dan perundingan memainkan peranan penting dalam
industri Takaful. Apabila penekanan diberikan kepada aspek jualan,
teknik jualan aggresif kerap digunakan untuk merangsang minat
pelanggan terhadap produk syarikat. Setelah pelanggan akhirnya
bersetuju untuk membeli produk Takaful melalui ejen atau broker,
mereka akan diberi sijil perlindungan Takaful yang mereka mungkin
tidak memahaminya, tidak memenuhi keperluan atau mereka tidak
mampu untuk membiayainya.
8.7.1 Produk Berorientasikan Pasaran Direka & Dipasarkan
demi Memenuhi Keperluan Pengguna
Melihat kepada perubahan besar yang berlaku dipersekitaran pasaran,
pengendali-pengendali Takaful mula mengubah perspektif menjadi
syarikat berorientasikan pasaran. Dalam industri Takaful
berorientasikan pasaran, peranan jabatan jualan dan pemasaran ialah
untuk menentukan keperluan pelanggan dan memenuhi keperluan ini
dengan mencipta dan memasarkan produk / sijil yang menepati
citarasa pasaran. Secara amnya, jabatan pemasaran syarikat Takaful
yang berorientasikan pasaran perlu menjalankan fungsi-fungsi
berikut:
Pengantara Takaful 177
 Harga
Ia melibatkan proses penetapan sumbangan dan bagaimana ia
harus dibayar.
 Pemilihan Saluran Pengedaran
Ia melibatkan proses mengenalpasti dan memilih saluran yang
paling sesuai untuk mengedarkan pelan / produk Takaful kepada
pelanggan. Saluran pegedaran yang digunakan oleh pengendali
mungkin termasuk ejen, broker, pekerja bergaji, mel umum,
mesin jualan, bank, syarikat kad kredit dan syarikat kad diskaun.
 Promosi
Ia melibatkan proses mengenal pasti dan memilih aktiviti promosi
yang paling sesuai termasuk pengiklanan, promosi jualan dan
jualan persendirian yang dapat membantu pengedaran produk.
Kesemua yang dinyatakan di atas adalah antara Fungsi Tugas
Jabatan Pemasaran.
8.7.2 Ejen Boleh Membantu Membangunkan Produk Yang
Memenuhi Keperluan Pelanggan
Ejen Takaful sering terlibat dengan beberapa aspek pemasaran. Ejen
boleh mempengaruhi reka bentuk produk kerana pandangan mereka
biasanya diperlukan oleh operator sebelum mereka memulakan proses
mereka bentuk produk baru pelan Takaful. Lebih ketara, ejen
membentuk saluran pengedaran yang paling penting. Walaupun lain-
lain faktor pemasaran (pelan pemasaran, mengenalpasti pasaran,
pembangunan produk, harga dan promosi) boleh mempengaruhi
berapa banyak pelan Takaful boleh dijual, ejen-ejen menjadi kuasa
utama di belakang kebanyakan insentif pemasaran Takaful. Oleh itu,
kejayaan usaha-usaha pemasaran pengendali Takaful bergantung
kepada sejauh mana ejen-ejen mengamalkan jualan berorientasikan
pasaran. Dalam erti kata lain, untuk memastikan kejayaan dalam
usaha pemasaran, pengendali Takaful yang berorientasikan
178 Amalan Asas Takaful
pemasaran mesti disokong oleh anggota agensi yang juga
berorientasikan pemasaran.
8.7.3. Khidmat “Selepas Menyertai”
Kejayaan memasarkan dan menjual produk Takaful kepada peserta
tidak menamatkan jalinan interaksi antara ejen dengan pelanggan-
pelanggannya. Malah, kontrak Takaful khususnya pelan Takaful
keluarga mungkin memerlukan ejen untuk memberi khidmat 'selepas
jualan' secara berterusan. Interaksi ini menjanjikan manfaat bersama.
Antara beberapa aspek di mana ejen atau broker, malah pengendali
sendiri boleh membantu termasuklah:
 Pertikaian mengenai tuntutan yang sah
 Kehilangan kad ahli atau kertas kerja
 Kos sumbangan
 Masaalah kutipan sumbangan
 Menngenalpasti polisi alternatif
 Pertanyaan mengenai manfaat sijil
 Pindaan sijil (penambahan nama ahli keluarga / ahli di bawah
jagaan, pertukaran alamat dan lain-lain).
 Perubahan keadaan / risiko
 Kemungkinan untuk polisi terbatal atau peserta menyertai
pengendali Takaful lain boleh dikurangkan.
 Keperluan baru pelanggan dapat dikenalpasti dan jualan produk
baru boleh dimuktamadkan, dan ini dapat meningkatkan
pencapaian perniagaan ejen; dan
 Reputasi pengendali Takaful / penanggung insurans sebagai
syarikat berorientasikan perkhidmatan dapat dipertingkatkan.
Dalam hal ini, perkhidmatan ejen amat diperlukan dalam situasi
berikut:
Pengantara Takaful 179
Situasi/Peristiwa Keterangan
Peringatan awal
kepada peserta
mengenai sumbangan
yang sepatutnya
dibayar
Sumbangan Takaful merupakan suatu
balasan dari peserta atas manfaat
perlindungan yang disediakan oleh
pengendali Takaful.
Untuk memastikan kontrak Takaful terus
berkuatkuasa, sumbangan hendaklah
dibayar mengikut mod bayaran yang dipilih
dan dibayar tepat pada masanya atau dalam
tempoh tenggang (grace period) yang
dibenarkan untuk bayaran lewat.
Atas sebab-sebab yang munasabah,
sebahagian dari peserta mungkin terlepas
pandang untuk membayar sumbangan
Takaful (premium) tepat pada waktunya.
Membantu pelanggan mengingati tarikh
bayaran adalah antara khidmat yang boleh
diberikan oleh ejen sepanjang tempoh pelan
perlindungan Takaful.
Kekerapan dan
Kaedah Bayaran
Selain dari sijil Takaful sumbangan
(premium) tunggal, peserta perlu membayar
sumbangan Takaful sama ada secara
tahunan, setengah tahunan, suku tahunan
dan bulanan. Ini dikenali sebagai kekerapan
bayaran.
Bayaran sumbangan yang dibuat secara
bulanan, suku tahunan dan setengah tahunan
adalah lebih tinggi berbanding dengan
bayaran secara tahunan kerana: Pertama,
kerja-kerja pentadbiran untuk mengutip
bayaran sumbangan akan bertambah dan
akibatnya kos perbelanjaan menjadi lebih
180 Amalan Asas Takaful
tinggi. Kedua, oleh kerana kadar
sumbangan dikira berdasarkan dari andaian
bahawa ia akan dibayar pada awal tahun
dan kutipan sumbangan akan segera
dilaburkan, pengendali Takaful akan
menanggung kerugian pendapatan
pelaburan apabila sumbangan dibayar selain
dari bayaran tahunan.
Biasanya, bayaran secara bulanan tidak
digalakkan, kecuali ia dibayar dengan
menggunakan kaedah arahan bank atau
skim potongan gaji. Kaedah bayaran
sumbangan secara bulanan ini adalah seperti
berikut:
 Arahan Bank atau Arahan Tetap
Melalui kaedah pembayaran sumbangan
ini, pemegang sijil memberi kuasa
kepada banknya untuk mengkreditkan
sejumlah amaun sumbangan kepada
pengendali, yang kemudiannya
didebitkan dari akaunnya. Pihak bank
akan mengenakan caj kepada pemegang
sijil untuk perkhidmatan ini. Jelas sekali,
pemegang sijil perlu memastikan bahawa
terdapat baki yang mencukupi di dalam
akaunnya untuk kiriman wang tetap yang
akan dibuat kepada pengendali Takaful.
 Perkhidmatan Rumah ke Rumah
Skim perkhidmatan rumah ke rumah
adalah berkaitan dengan perlindungan
Takaful keluarga perindustrian yang
biasanya menyediakan perlindungan bagi
Pengantara Takaful 181
orang-orang yang mampu untuk
mengambil perlindungan Takaful hanya
dalam jumlah yang rendah. Sumbangan
Takaful untuk Takaful keluarga
perindustrian dibayar secara mingguan,
dua minggu atau bulanan. Sumbangan
biasanya dikutip dirumah pemegang sijil
oleh pengutip wang yang diberi kuasa
yang boleh jadi ejen Takaful, tetapi
mungkin juga kakitangan pengendali
sendiri.
 Skim Potongan Gaji
Skim potongan gaji ini adalah
berdasarkan kepada perjanjian di antara
pengendali dan majikan peserta di mana
majikan memotong caruman dari gaji
pekerja yang menjadi ahli Takaful dan
membayar kepada pengendali setiap
bulan. Majikan hanya boleh membuat
potongan dengan keizinan (kebenaran)
bertulis dari pekerja.
Notis Bayaran
Sumbangan
Untuk memastikan pemegang sijil
membayar caruman tepat pada masanya,
pengendali biasanya akan menghantar notis
pemberitahuan tentang bayaran sumbangan
tiga atau empat minggu sebelum tarikh
tamat tempoh. Jika sumbangan masih tidak
diterima dua hingga tiga minggu selepas
tarikh tamat tempoh, notis peringatan akan
dihantar kepada peserta.
Ada masa-masa tertentu apabila peserta
membayar caruman selepas tamat tempoh
tangguh. Caruman sedemikian masih boleh
182 Amalan Asas Takaful
diterima di bawah keadaan-keadaan tertentu
(contohnya penyerahan borang Waranti
Kesihatan) dan bayaran lewat boleh
dikenakan denda. Walau bagaimanapun,
bayaran denda lewat itu tidak dikira dari
tarikh tamat tempoh, tetapi dari tarikh
sepatutnya ia dibayar.
Perlu difahami bahawa tindakan pengendali
mengeluarkan notis pemberitahuan adalah
semata-mata sebagai suatu khidmat
tambahan untuk mengingatkan peserta.
Hakikatnya, adalah menjadi obligasi
kontrak kepada peserta untuk membayar
caruman secara berkala dan tepat pada
masanya. Walau bagaimanapun, pengendali
juga mempunyai kepentingan untuk
mengeluarkan notis pemberitahuan
sumbangan kerana ia boleh membantu
secara aktif merealisasikan kutipan
sumbangan yang mencukupi. Oleh itu,
penghantaran notis ini telah menjadi suatu
amalan perniagaan.
Resit Bayaran Pengendali akan mengeluarkan resit rasmi
setelah menerima bayaran sumbangan. Resit
rasmi adalah sah apabila tertera tandatangan
bercetak Ketua Eksekutif atau pegawai-
pegawai lain yang diberi kuasa, dengan
disertai tandatangan juruwang kaunter dan
sebagainya. Resit rasmi merupakan bukti
pembayaran sumbangan.
Tempoh tangguh Adalah menjadi satu syarat kontrak bahawa
amaun sumbangan yang kena bayar
hendaklah dibayar pada tarikh yang
dinyatakan dalam perakuan itu. Walau
Pengantara Takaful 183
bagaimanapun, kebanyakan kontrak
memperuntukkan bahawa pembayaran itu
boleh dibuat dalam tempoh beberapa hari,
biasanya 30 hari dari tarikh tamat tempoh
yang dinyatakan. Tempoh ini dikenali
sebagai tempoh tangguh.
Terdapat dua faedah penting daripada
peruntukan ini. Pertama: sumbangan yang
lewat diterima tetapi masih dalam tempoh
tangguh tidak akan dikenakan caj faedah.
Kedua: dan yang lebih penting, jika peserta
meninggal dunia dalam tempoh tangguh ini
sedangkan sumbangan masih belum
dibayar, tuntutan mungkin boleh ditolak.
Adalah menjadi keperluan undang-undang
agar setiap pengendali mewujudkan dan
menyelenggara dengan mengemaskini buku
daftar semua sijil Takaful yang dikeluarkan,
dan tiada sijil-sijil yang boleh dipindahkan
atau dikeluarkan dari daftar ini selagi
pengendali masih bertanggungjawab ke atas
pelan Takaful tersebut.
Daftar sijil ini berfungsi sebagai rekod
rasmi sijil-sijil perlindungan yang
dikeluarkan oleh pengendali. Buku daftar
sijil mestilah menyatakan maklumat
minimum yang diperlukan untuk
dimasukkan oleh Akta dan Peraturan-
Peraturan. Daftar boleh disediakan sama ada
dalam bentuk kad atau lembaran lejer atau
dalam bentuk cetakan komputer. Akta tidak
menyatakan sebarang bentuk khusus bagi
tujuan di atas.
184 Amalan Asas Takaful
Amalan Profesional Sebagai tambahan kepada usaha untuk
memastikan penyelesaian tuntutan yang
segera dan adil sekiranya berlaku tuntutan,
tataetika Amalan Profesional harus
menyediakan jadual pemeriksaan
pengurusan risiko di mana pemeriksaan
boleh dijalankan, nasihat dan laporan
tuntutan dibincangkan dengan pelanggan
dalam usaha untuk menyediakan dan
memastikan situasi yang selesa kepada
pelanggan pada setiap masa. Tujuan
pemeriksaan tersebut adalah untuk
mengurangkan jumlah kos risiko
perniagaan, yang akhirnya membawa
kepada pengurangan kos pelan Takaful
yang disertai pelanggan.
Pengendali yang menerapkan Amalan
Profesional sedia maklum tentang semua
perkataan dan fasal yang terkandung dalam
sijil Takaful. Pengendali boleh membantu
peserta dengan membuat penilaian semula
pelan perlindungan Takaful secara percuma
di mana perlindungan sedia ada akan dikaji
secara terperinci dan menyediakan laporan
mengenai kesesuaian perlindungan tersebut
menghadapi risiko. Sekiranya terdapat
kekurangan dalam perlindungan sedia ada,
jabatan pengunderaitan akan menyediakan
laporan yang menonjolkan kekurangan
tersebut serta mencadangkan perlindungan
tambahan/lain yang bersesuaian.
Pengantara Takaful 185
A8.8 NASIHAT DAN AMALAN YANG WAJAR
8.8.1 Piawaian Syariah Pertubuhan Perakaunan dan
Pengauditan untuk Institusi Kewangan Islam (AAOIFI)
AAOIFI menyediakan garis panduan mengenai isu-isu Syariah
berkaitan operasi Takaful seperti berikut:
 Piawaian Syariah 26 – Takaful
 Piawaian Syariah 41 – Takaful Semula
8.8.2 Piawaian Perakaunan, Pengauditan dan Pematuhan
AAOIFI
Garis Panduan Perakaunan, Pengauditan dan Pematuhan AAOIFI
berkaitan operasi Takaful adalah seperti berikut:
 FAS 12 - Pembentangan dan Pendedahan Umum dalam
Penyata Kewangan Pengendali Takaful.
 FAS 13 - Pendedahan mengenai Asas bagi Menentukan dan
Memperuntukkan Surplus atau Defisit Pengendali Takaful
 FAS 14 – Pelaburan Dana
 FAS 15 – Peruntukan dan Rezab dalam Operasi Takaful
 FAS 19 – Sumbangan dalam Pengendali Takaful
8.8.3 Lembaga Perkhidmatan Kewangan Islam (IFSB)
Piawaian IFSB berkaitan operasi Takaful adalah seperti berikut:
i. IFSB 8 - Garis Panduan Prinsip-Prinsip Pematuhan Akujanji
Takaful
Skop dan Liputan
Prinsip-Prinsip panduan hendaklah diguna pakai dalam semua
urusan operasi perniagaan Takaful atau akujanji, tanpa mengira
status mereka di sisi undang-undang. Prinsip itu juga harus
186 Amalan Asas Takaful
diterapkan kepada semua model operasi yang diguna pakai oleh
akujanji Takaful. Akujanji Takaful digalakkan untuk
melaksanakan penggunaan amalan terbaik secara berterusan,
selaras dengan objektif yang ditetapkan oleh Prinsip Panduan ini,
dan menjelaskannya dengan membuat pendedahan yang
berkaitan. Matlamat mereka seharusnya mampu melaksanakan
struktur dan proses tadbir urus agar ia setanding dengan, jika
tidak lebih baik dari rakan konvensional mereka.
Prinsip-prinsip panduan telah digubal untuk digunakan dalam
akujanji Takaful am dan Takaful keluarga. Kesesuaian
penggunaannya kepada pengendali Takaful Semula agak terhad
kerana konsep operasi mereka yang berbeza dalam hal-hal
penting: contohnya, peserta reTakaful adalah pengendali Takaful
langsung (sebagai pejabat pengesid) berbanding dengan orang
ramai sebagai peserta Takaful. Oleh itu, isu-isu tadbir urus yang
timbul adalah agak berbeza. Satu kajian yang menyeluruh
mengenai model perniagaan pengendali Takaful semula adalah
diperlukan sebelum struktur dan proses tadbir urus yang baik
boleh disyorkan. Walau bagaimanapun, pengendali Takaful
Semula dan pihak berkuasa yang mengawal operasi Takaful
digalakkan untuk mempertimbangkan kebaikan prinsip-prinsip
panduan dalam usaha mereka mengukuhkan rangka kerja tadbir
urus dan menggunakannya sekiranya bersesuaian.
Pengendali Takaful mesti mematuhi sepenuhnya tanggungjawab
asas mereka kepada peserta, khususnya berhubung dengan
pematuhan dengan peraturan dan prinsip Syariah. Pematuhan
terhadap hukum-hukum Syariah perlu terus dikekalkan. Oleh
kerana ‘sebab-sebab kewujudan’ (raison d'être - bahasa Perancis)
Takaful ialah menawarkan produk perlindungan yang mematuhi
keperluan Syariah, prinsip-prinsip panduan hendaklah sentiasa
merujuk dan menyesuaikan cadangan dari prinsip-prinsip
panduan IFSB mengenai sistem tadbir urus Syariah berkaitan
dengan semua isu-isu pematuhan Syariah yang dihadapi oleh
pengendali Takaful.
Pengantara Takaful 187
Menyentuh tentang keperluan pendedahan untuk menggalakkan
amalan yang baik dan ketelusan dalam operasi Takaful, Prinsip-
Prinsip Panduan mengesyorkan agar menerapkan pendekatan 6 -
'mematuhi atau menerangkan'. Pendekatan ini membolehkan
perlaksanaan Prinsip Panduan untuk menangani kepelbagaian
rangka kerja undang-undang dalam bidang kuasa masing-masing
di mana Takaful beroperasi. Tambahan pula, ia akan
memudahkan penerapan rangka kerja tadbir urus yang seimbang
dengan saiz, kerumitan dan ciri-ciri setiap Takaful.
ii. IFSB 11 – Piawaian Keperluan Kesolvenan Akujanji Takaful
(Insurans Islam)
Objektif Utama
Objektif dasar dokumen ini adalah untuk mengemukakan prinsip-
prinsip utama kepada keperluan kesolvenan untuk Takaful. Ia
dirangka berdasarkan tujuan dan objektif berikut:
 Untuk meningkatkan kemungkinan bahawa Takaful akan
dapat memenuhi semua tanggungjawab kontraktual dan
komitmennya;
 Untuk bertindak sebagai sistem amaran awal bagi campur
tangan pengawalseliaan dan tindakan pembetulan dengan
serta-merta, dengan mengambil kira bahawa pihak berkuasa
penyeliaan kadang-kadang mungkin mempunyai akses hanya
kepada maklumat yang tidak lengkap, dan kemungkinan
tindakan pembetulan yang diambil akan mengambil masa
untuk menghasilkan impak yang diingini;
 Untuk menyediakan kaedah penampan supaya walaupun
peserta mengalami kerugian apabila berlaku kegagalan
dipihak Takaful, kesannya boleh dihadkan atau
dikurangkan, terutamanya kesan sistemik; dan
 Untuk memupuk keyakinan dikalangan orang ramai,
khususnya para peserta terhadap kestabilan kewangan dalam
industri Takaful.
188 Amalan Asas Takaful
Skop Penggunaan
Piawaian ini adalah terpakai kepada semua perniagaan Takaful
dan Takaful Semula. Walau bagaimanapun, pihak berkuasa
penyeliaan boleh, mengikut budi bicara mereka, melanjutkan
kesesuaian penggunaannya kepada ”jendela” operasi Takaful
yang berada dalam bidang kuasa mereka. Di Malaysia operasi
“jendela” tidak dibenarkan oleh pihak berkuasa.
Piawaian ini memberi tumpuan hanya kepada Takaful sebagai
satu entiti tunggal, sementara isu-isu penyeliaan seluruh
kumpulan tidak diliputi dalam piawaian ini. Persatuan Penyelia
Insurans Antarabangsa secara aktif telah menggubal piawaian dan
panduan dalam bidang ini. IFSB akan memantau perkembangan
ini dan boleh membuat cadangan-cadangan lanjut pada masa akan
datang.
Piawaian ini memberi penekanan yang lebih khusus terhadap
keperluan kesolvenan untuk 'Dana Risiko Peserta (PRF) atau
Akaun Khas Peserta (PSA) yang tertakluk kepada pengunderaitan
dan kadar sumbangan yang dibuat atas dasar Tabarru’.
Pertimbangan atas keperluan kesolvenan untuk perniagaan
Takaful keluarga yang mempunyai elemen simpanan dalam
akaun berasingan, yang dipanggil Dana Pelaburan Peserta (PIF)
atau Akaun Peserta (PA). Biasanya, dana akaun peserta tidak
mengambil kira sama ada keperluan kesolvenan Takaful telah
dipenuhi kerana dana ini tidak memiliki surplus dalam PIF atau
PA individu atau PA untuk memenuhi kekurangan dalam PRF
atau PSA. Di samping itu, PIF atau PA biasanya adalah dana
yang dikhususkan kepada pelaburan, dan risiko pelaburan yang
berkaitan adalah ditanggung sepenuhnya oleh peserta Takaful
tanpa perlu untuk sokongan modal dari pengendali Takaful dalam
bentuk Qard (pinjaman).
Pengantara Takaful 189
8.8.4 Garis Panduan Berkaitan untuk Takaful
Bank Negara Malaysia (Central Bank of Malaysia) di bawah bidang
kuasa Ketua Pengarah Takaful telah menyediakan garis panduan
tambahan bagi operasi Takaful yang merangkumi aspek
pengunderaitan, pelaburan dan memfailkan pulangan dan data
statistik (Penyerahan Statistik Pengendali Takaful - TOSS). BNM
juga mempunyai fungsi pemantauan iaitu dengan membuat
pemeriksaan audit ke atas pengendali Takaful.
Bagi Piawaian Perakaunan, Lembaga Piawaian Perakaunan Malaysia
(MASB) telah mengeluarkan piawaian perakaunan bagi operasi
perniagaan Takaful am dan Takaful keluarga. Piawaian ini adalah
selaras dengan yang Piawaian Laporan Kewangan Antarabangsa yang
terpakai bagi entiti kepentingan awam.
Akta Cukai Pendapatan Malaysia 1967 menyediakan garis panduan
percukaian untuk pengendali Takaful yang mengurus dana Takaful.
Terdapat beberapa aspek percukaian keatas beberapa perkara tertentu
yang tidak jelas atau meragukan kerana peruntukan percukaian
dirujuk kepada operasi insurans konvensional, sedangkan Takaful
beroperasi mengikut asas yang berbeza.
190 Amalan Asas Takaful
Pengenalan Takaful Perubatan dan Kesihatan 191
BAB A9
PENGENALAN TAKAFUL PERUBATAN
DAN KESIHATAN
PENDAHULUAN
Bab ini merupakan pengenalan kepada Takaful Perubatan dan
Kesihatan dan ianya akan dibincangkan di bawah tajuk-tajuk berikut:
 Pengenalan kepada Takaful Perubatan dan Kesihatan
 Prinsip dan Amalan Takaful Perubatan dan Kesihatan
 Perundangan dan Peraturan Takaful Perubatan dan Kesihatan
 Tanggungjawab Memberitahu
 Perlindungan Tidak Ditamatkan dengan Bayaran Tuntutan
 Risiko Meningkat mengikut Masa dalam Takaful Perubatan
dan Kesihatan
 Langkah-langkah Pembendungan Kos
 Kemasukan ke Hospital 'Tanpa Tunai’
A9.1 PENGENALAN KEPADA TAKAFUL PERUBATAN
DAN KESIHATAN
Berdasarkan dari statistik, seseorang itu besar kemungkinan
memerlukan beberapa jenis rawatan perubatan ketika hayatnya. Tiada
siapa yang boleh meramalkan apa dan berapakah bil-bil perubatan
yang akan mereka tanggung kelak. Sekiranya berlaku kemalangan
atau penyakit kritikal, kos perubatan boleh menjadi beban yang begitu
berat untuk ditanggung. Hanya segelintir individu yang mungkin
mampu menanggung kos perubatan. Takaful Perubatan dan Kesihatan
merupakan salah satu cara seseorang itu berupaya membayar kos
rawatan iaitu melalui pengumpulan sumber-sumber kewangan dari
peserta-peserta dan dikumpulkan dalam dana Takaful.
192 Amalan Asas Takaful
Orang ramai menyertai skim Takaful Perubatan dan Kesihatan atas
sebab yang sama seperti mereka menyertai lain-lain pelan Takaful
iaitu untuk melindungi risiko kewangan mereka. Dengan Takaful
Perubatan dan Kesihatan, mereka melindungi diri dan keluarga
mereka sekiranya mereka memerlukan rawatan perubatan yang boleh
menjadi sangat mahal harganya.
Perkara 4 dalam Garis Panduan perniagaan Takaful Perubatan dan
Kesihatan mendefinisikan perlindungan Takaful Perubatan dan
Kesihatan sebagai sijil Takaful yang menyediakan manfaat tertentu
seperti dinyatakan, terhadap risiko yang boleh menjadikan seseorang
itu hilang upaya sepenuhnya atau sebahagiannya, disebabkan sakit
atau lemah anggota badan. Manfaat mungkin ditawarkan dalam
bentuk bayaran balik perbelanjaan perubatan yang ditanggung oleh
peserta sama ada dalam bentuk bayaran sekaligus daripada jumlah
perlindungan atau bayaran elaun atau aliran pendapatan sepanjang
tempoh masa yang dinyatakan, sekiranya peserta mengalami hilang
upaya dan/atau dimasukkan ke hospital.
A9.2 PRINSIP-PRINSIP DAN AMALAN TAKAFUL
PERUBATAN DAN KESIHATAN
Prinsip-prinsip Takaful yang sama dalam Takaful bukan-perubatan
digunakan dalam Takaful perubatan dan kesihatan. Antaranya ialah:
1. Kepentingan Boleh Lindung
2. Penuh Percaya Mutlak
3. Sebab Terhampir
4. Indemniti
5. Perkongsian Sama Rata
6. Subrogasi
7. Tabarru’
8. Waranti
Pengenalan Takaful Perubatan dan Kesihatan 193
Amalan Takaful melibatkan proses berikut:
1. Pengunderaitan
2. Urus tadbir Tuntutan
A9.3 PERUNDANGAN DAN PERATURAN TAKAFUL
PERUBATAN DAN KESIHATAN
9.3.1 Garis Panduan Perniagaan Takaful Perubatan dan
Kesihatan
Industri Takaful telah mengalami pertumbuhan yang pesat dan
perniagaan Takaful Perubatan dan Kesihatan telah muncul sebagai
segmen perniagaan yang pesat berkembang dalam industri Takaful.
Selaras dengan pertumbuhan industri yang pesat, Bank Negara
Malaysia telah memperkenalkan Garis Panduan Perniagaan Takaful
Perubatan dan Kesihatan yang dikuatkuasakan untuk semua sijil
Perubatan dan Kesihatan Takaful yang dipasarkan atau diperbaharui
pada atau selepas 2 Januari 2008.
1. Objektif
Objektif garis panduan ini ialah:
a. Mengekalkan kewibawaan dan kepercayaan orang ramai
untuk memastikan industri ini berkembang dan tumbuh
dengan pesat dan teratur.
b. Untuk mewujudkan pasaran Takaful kesihatan swasta yang
cekap dan berkesan yang menyokong matlamat dasar awam
demi memperluaskan liputan Takaful kesihatan swasta dan
melengkapi sistem penjagaan kesihatan awam yang sedia ada.
Berdasarkan dari objektif tersebut, garis panduan ini telah
menetapkan piawaian minimum yang secara keseluruhan
bertujuan untuk mencapai matlamat berikut:-
194 Amalan Asas Takaful
a. Memenuhi keperluan individu agar mempunyai akses kepada
penjagaan kesihatan swasta mengikut kemampuan komersil
yang munasabah untuk penduduk berpendapatan sederhana.
b. Menetapkan tahap perlindungan yang sesuai untuk peserta.
c. Memastikan perniagaan yang mampan melalui
pengunderaitan yang munasabah dan dasar harga yang
berpatutan.
d. Menggalakkan persaingan yang sihat dalam industri bagi
membolehkan orang ramai mempunyai akses kepada pelbagai
pilihan perlindungan Takaful perubatan dan kesihatan yang
luas dan mampu dimiliki.
2. Skop Garis Panduan
Skop garis panduan ini meliputi syarat-syarat dan pengunderaitan
sijil Takaful Perubatan dan Kesihatan, had manfaat yang perlu
ditetapkan, penetapan harga dan rezab atas polisi / sijil,
pemberitahuan kepada pengguna dan keperluan untuk
memasarkan sijil perlindungan kumpulan tanpa menjejaskan
kepentingan Takaful.
Garis panduan ini harus dibaca bersama-sama dengan:-
a. Seksyen 25, 26, 27, 28, 35 dan 36 Akta Takaful 1984.
b. Garis Panduan Piawaian Minimum mengenai Pemberitahuan
Produk dan Ketelusan dalam Memasarkan Pelan Takaful
Perubatan dan Kesihatan.
c. Garis Panduan mengenai Larangan Terhadap Amalan yang
Tidak Adil dalam Perniagaan Takaful.
3. Penggunaan
Garis panduan ini adalah terpakai kepada semua jenis produk
Takaful Perubatan dan Kesihatan yang termasuk dalam takrif
umum di bawah Bahagian II, termasuk, tetapi tidak terhad kepada
yang berikut:-
Pengenalan Takaful Perubatan dan Kesihatan 195
a. Perbelanjaan Perubatan atau Hospital dan Takaful
Pembedahan;
b. Penyakit Kritikal atau Takaful Penyakit Merbahaya;
c. Takaful Penjagaan Jangka Panjang;
d. Takaful Pendapatan Hospital; dan
e. Takaful Pergigian
9.3.2 Piawaian Minimum mengenai Pemberitahuan Produk
dan Ketelusan dalam Memasarkan Pelan Takaful
Perubatan dan Kesihatan
Takaful Perubatan dan Kesihatan adalah satu pelan yang kompleks,
oleh itu adalah sangat penting bagi pengguna untuk mempunyai
kefahaman yang memuaskan sebelum membuat keputusan untuk
menyertai mana-mana pelan Takaful. Pengendali Takaful pula
mempunyai tanggungjawab untuk mendedahkan maklumat yang
mencukupi dan penting kepada bakal peserta untuk memastikan pelan
ini memenuhi keperluan dan kemampuan kewangan mereka.
Pemberitahuan Ini akan membantu mereka lebih memahami tentang
pelan perlindungan dan mengurangkan kemungkinan kes luput kerana
tidak membayar caruman / sumbangan.
Oleh yang demikian, surat pekeliling telah dikeluarkan untuk
menetapkan piawaian minimum bagi pendedahan produk dan
ketelusan dalam pemasaran pelan Takaful Perubatan dan Kesihatan.
Piawaian minimum menetapkan keperluan pendedahan bahawa
semua pengendali Takaful yang mengunderait perniagaan Takaful
Perubatan dan Kesihatan perlu mematuhi piawaian minimum
tersebut. Ia juga memberitahu kepada bakal peserta tentang beberapa
perspektif maklumat yang perlu didedahkan oleh pengendali Takaful
sebelum bakal peserta membuat komitmen untuk menyertai pelan
Takaful Perubatan dan Kesihatan.
1. Objektif
Objektif surat pekeliling ini ialah:-
196 Amalan Asas Takaful
a. Untuk memastikan peserta diberikan maklumat yang lengkap
dan jelas mengenai produk ketika dalam proses pemasaran,
bagi membolehkan mereka membuat keputusan dan
memastikan produk tersebut benar-benar telah memenuhi
keperluan mereka.
b. Untuk membantu secara konsisten dalam pendedahan
maklumat penting perniagaan Takaful Perubatan dan
Kesihatan.
c. Untuk meminimumkan kemungkinan berlakunya kesilapan
pemasaran pelan Takaful Perubatan dan Kesihatan.
2. Penggunaan
Piawaian Minimum ini adalah terpakai untuk semua jenis pelan
Takaful Perubatan dan Kesihatan individu, termasuk rider yang
disertakan dalam pelan Takaful individu. Untuk pelan Takaful
Perubatan dan Kesihatan berkumpulan, pengendali Takaful perlu
memastikan agar keperluan pemberitahuan dibuat kepada pemilik
sijil induk.
Piawaian minimum juga terpakai untuk semua saluran yang
digunakan untuk memasarkan pelan Takaful Perubatan dan
Kesihatan. Bagi maksud piawaian minimum ini, ‘bahan-bahan
pemasaran’ merujuk kepada semua bahan promosi dan apa-apa
bahan lain yang digunakan dalam proses penjualan. Sebarang
bentuk hebahan atau bahan pengiklanan mengenai pelan Takaful
Perubatan dan Kesihatan tidak tertakluk kepada piawaian
minimum. Hebahan atau iklan ini perlu memberikan maklumat
yang mencukupi kepada bakal peserta dan maklumat yang
diberikan hendaklah jelas, adil dan tidak mengelirukan.
3. Keperluan Pendedahan Khusus
Perkara 8 garis panduan piawaian minimum menyatakan bahawa
terdapat aspek-aspek tertentu didalam sijil Takaful Perubatan dan
Kesihatan berkaitan pelan dan ciri-ciri perlindungan yang
memerlukan penjelasan yang lebih teliti. Oleh itu, pengendali dan
Pengenalan Takaful Perubatan dan Kesihatan 197
pengantara Takaful perlu menyediakan butir-butir yang
mencukupi mengenai ciri-ciri penting pelan Takaful Perubatan
dan Kesihatan kepada bakal peserta. Ini bermakna bahawa bahan-
bahan pemasaran hendaklah mengandungi maklumat minimum
berikut;-
a. Maklumat mengenai Pengendali Takaful
Bahan-bahan pemasaran perlu menyatakan nama dan alamat
pengendali Takaful. Maklumat mengenai pengendali Takaful
hendaklah tepat dan terkini.
b. Keterangan Produk
Pengendali Takaful perlu menyertakan satu kenyataan
ringkas yang menerangkan tentang pelan, objektif utama dan
tujuan produk berkenaan.
c. Manfaat
Maklumat khusus mengenai manfaat pelan Takaful Perubatan
dan Kesihatan yang perlu dinyatakan adalah seperti berikut:-
 Bentuk dan amaun manfaat yang dibayar dibawah sijil
perlindungan; dan
 Keterangan lanjut mengenai peristiwa, kejadian atau
keadaan kecemasan yang membolehkan manfaat dibayar.
Sebarang perubahan yang ingin dilakukan terhadap manfaat
pelan Takaful Perubatan dan Kesihatan boleh dibuat hanya
pada ulang tahun pelan atau apabila pelan diperbaharui.
Semua perubahan terhadap manfaat kritikal pelan Takaful
Perubatan dan Kesihatan hendaklah menyatakan sebab-sebab
dilakukan perubahan dan perlu diberitahu kepada semua
pemegang sijil pelan terbabit secara bertulis, sekurang-
kurangnya satu bulan sebelum tarikh pertukaran. Ini adalah
untuk memastikan pemegang sijil menyedari tentang
198 Amalan Asas Takaful
perubahan yang akan dibuat dan memberi masa yang
mencukupi untuk menilai semula keperluan Takaful mereka
dan untuk mencari pelan alternatif, jika perlu.
d. Pengecualian dan batasan manfaat, pra-syarat sedia ada,
penyakit yang ditentukan dan tempoh kelayakan
Kebanyakan peserta tidak menyedari bahawa bayaran
manfaat Takaful Perubatan dan Kesihatan mungkin
dikecualikan atau terhad dibawah keadaan-keadaan tertentu
dan tertakluk kepada syarat-syarat sedia ada, penyakit-
penyakit yang dinyatakan dan tempoh kelayakan. Oleh itu,
maklumat mengenai pengecualian faedah dan batasan
sebagaimana yang ditakrifkan dalam Panduan Pengunderaitan
Takaful Perubatan dan Kesihatan mestilah didedahkan
secukupnya dan diterangkan dengan jelas kepada bakal
peserta. Semua kemungkinan pengecualian atau batasan
dalam bahan pemasaran hendaklah didedahkan atau
diberitahu. Pendedahan sekurang-kurangnya perlu meliputi
perkara-perkara berikut:-
 Sesuatu pernyataan untuk memberi amaran kepada bakal
peserta tentang fakta bahawa terdapat pengecualian dan
had batasan dalam manfaat pelan;
 Menyatakan pengecualian penting dan had batasan
manfaat serta keadaan dimana pengecualian dan had
batasan digunakan;
 Menyatakan syarat sedia ada yang penting, penyakit yang
dinyatakan dan tempoh kelayakan yang dikenakan;
 Menyatakan tempoh menunggu, deduktibel, pembayaran
balik, Takaful bersama, pemastautin tunggal diluar
negara, rawatan di luar negeri dan keadaan yang
membolehkan pengecualian dan pembatasan digunakan;
dan
 Suatu kenyataan untuk memberitahu bakal peserta
bahawa pengecualian dan pembatasan manfaat pelan
yang dinyatakan adalah tidak menyeluruh dan perlu
Pengenalan Takaful Perubatan dan Kesihatan 199
merujuk kepada sijil Takaful untuk mendapatkan
maklumat lanjut. Pengendali Takaful boleh menggunakan
contoh-contoh mudah untuk menggambarkan pendedahan
diatas.
e. Sumbangan
Maklumat khusus mengenai sumbangan pelan Takaful
Perubatan dan Kesihatan yang perlu didedahkan adalah
seperti berikut:-
 Jumlah, kekerapan dan tempoh sumbangan perlu dibayar
untuk mendapatkan manfaat pelan;
 Jadual kadar sumbangan yang menunjukkan kadar
sumbangan pelan untuk semua peringkat umur diawal
kemasukan;
 Keadaan-keadaan yang mungkin membawa kepada
senario berikut ketika pembaharuan sijil:-
 Sijil diperbaharui dengan sumbangan paras (level).
 Sijil diperbaharui dengan sumbangan meningkat.
 Sijil tidak boleh diperbaharui.
Suatu kenyataan juga perlu dibuat untuk memberi amaran
kepada bakal peserta bahawa syarat-syarat yang dinyatakan
adalah tidak menyeluruh dan kadar sumbangan mungkin akan
dikaji semula atau permohonan pembaharuan sijil ditolak atas
sebab-sebab yang wajar;
 Samada ia adalah sumbangan paras atau berbeza semasa
pembaharuan. Sekiranya sumbangan berbeza-beza
sebelum ini, statistik yang menunjukkan peningkatan
tahunan dan sumbangan purata untuk pelan berkaitan
dalam tempoh tiga tahun sebelumnya, untuk contoh umur
yang dipilih pada umur kemasukan 30, 40, 50 dan 60
hendaklah didedahkan. Juga hendaklah ada suatu
kenyataan peringatan yang memberitahu bakal peserta
bahawa aliran kadar sumbangan yang meningkat pada
200 Amalan Asas Takaful
tahun-tahun sebelumnya tidak semestinya menunjukkan
aliran yang serupa pada masa akan datang;
 Pengendali Takaful berhak untuk mengkaji semula kadar
sumbangan peserta ketika pembaharuan sijil; ;
 Implikasi sekiranya sumbangan tidak dibayar, khususnya
untuk sijil perlindungan yang bayaran sumbangan adalah
selain dari sumbangan tunggal; dan
 Apabila maklumat mengenai kelayakan mendapat
potongan cukai pendapatan atas sumbangan yang telah
dibayar dinyatakan dalam bahan pemasaran, pengendali
Takaful harus memastikan bahawa maklumat tersebut
adalah benar. Perubahan dalam sumbangan pelan Takaful
Perubatan dan Kesihatan boleh dibuat pada ulang tahun
sijil atau apabila pembaharuan sahaja. Semua perubahan
dalam sumbangan pelan Takaful Perubatan dan Kesihatan
serta sebab-sebab bagi perubahan perlu dimaklumkan
kepada peserta secara bertulis sekurang-kurangnya satu
bulan sebelum tarikh pembaharuan.
f. Lain-lain
pendedahan maklumat lain yang berkaitan dengan pelan
Takaful Perubatan dan Kesihatan adalah seperti berikut:-
 Peserta diberi ‘tempoh bebas melihat / tempoh bertenang’
selama 15 hari dari tarikh menerima sijil Takaful untuk
mengkaji semula kesesuaian pelan Takaful Perubatan dan
Kesihatan yang baru disertai. Pengendali perlu
menekankan bahawa peserta boleh mengembalikan sijil,
dan potongan perbelanjaan yang ditanggung untuk
pemeriksaan perubatan akan dibuat kepada caruman jika
sijil Takaful dikembalikan kepada pengendali Takaful
dalam tempoh berkenaan; dan
 Terdapat kemungkinan peserta akan beralih dari satu
jenis pelan Takaful Perubatan dan Kesihatan kepada
pelan yang lain atau dari satu pembekal kepada pembekal
yang lain. Peserta perlu diberitahu bahawa sekiranya
Pengenalan Takaful Perubatan dan Kesihatan 201
mereka bertindak menukar pelan perlindungan, mereka
tidak akan menerima bayaran penuh sebagaimana yang
dinyatakan di bawah manfaat Takaful Perubatan dan
Kesihatan.
4. Senarai semak
Senarai semak menunjukkan pengesahan bahawa pengantara
telah memberi penerangan dengan jelas mengenai maklumat-
maklumat penting produk kepada bakal peserta.
5. Melaporkan ke Bank Negara Malaysia mengenai Semua
Produk Takaful Perubatan dan Kesihatan.
Perkara 11, garis panduan piawaian menyatakan bahawa terma-
terma dan syarat-syarat, kadar caruman dan bahan-bahan
pemasaran semua pelan Takaful Perubatan dan Kesihatan mesti
diluluskan oleh aktuari yang dilantik dalam mana-mana
perniagaan Takaful Keluarga dan kelulusan aktuari berkelayakan
untuk perniagaan Takaful Am, serta melaporkannya kepada Bank
Negara Malaysia sekurang-kurangnya 30 hari sebelum ia
digunakan untuk memasarkan pelan Takaful Perubatan dan
Kesihatan.
9.3.4 JPI/GPI 28 – Garis Panduan Amalan Tidak Adil dalam
Perniagaan Takaful
Lanjutan dari Cadangan 4.27 Pelan Induk Sektor Kewangan, Bank
Negara Malaysia telah mengeluarkan Garis Panduan Amalan Tidak
Adil dalam Perniagaan Takaful. Ia bertujuan mengukuhkan peraturan
tingkah laku pasaran bagi menggalakkan layanan yang lebih adil dan
saksama kepada pengguna. Antara langkah-langkah yang
dilaksanakan di bawah garis panduan ini termasuklah menggalakkan
standard ketelusan, profesionalisme dan akauntabiliti yang lebih
tinggi semasa menjalankan perniagaan Takaful. Garis panduan ini
akan terus menyokong asas yang sedia kukuh bagi pembangunan
202 Amalan Asas Takaful
industri Takaful yang teratur dalam persekitaran yang semakin
kompetitif di sektor kewangan.
A9.4 PERLINDUNGAN TIDAK DITAMATKAN DENGAN
BAYARAN TUNTUTAN
Pelan Takaful Perubatan dan Kesihatan biasanya menyediakan
bayaran tuntutan sehingga ke had yang dinyatakan dalam sijil
Takaful. Had bayaran tersebut mungkin salah satu atau kombinasi
berikut:
1. Had bagi setiap hilang upaya (per disability limit):
Amaun maksimum manfaat yang disediakan untuk peserta bagi
setiap hilang upaya, umpamanya bagi setiap kemasukan ke
hospital.
2. Had tahunan keseluruhan (overall annual limit):
Amaun maksimum manfaat yang disediakan untuk peserta dalam
satu tahun sijil.
3. Had sepanjang hayat (lifetime limit):
Amaun maksimum manfaat yang disediakan untuk peserta
sepanjang hayatnya.
Bayaran tuntutan tidak akan menamatkan kuatkuasa sijil, kecuali
disebabkan tuntutan kematian.
A9.5 RISIKO MENINGKAT MENGIKUT MASA
Takaful Perubatan dan Kesihatan melibatkan morbiditi
(kebarangkalian hilang upaya akibat dari kemalangan atau penyakit).
Secara umumnya, risiko meningkat seiring dengan peningkatan usia.
Lain-lain faktor-faktor luaran seperti pekerjaan dan faktor-faktor alam
sekitar juga boleh mempengaruhi risiko.
Pengenalan Takaful Perubatan dan Kesihatan 203
A9.6 LANGKAH-LANGKAH MEMBENDUNG KOS
Kos penjagaan kesihatan terus meningkat menjadikan Takaful
Perubatan dan Kesihatan menjadi kurang menguntungkan. Bagi
membendung kos dan penyalahgunaan yang timbul daripada tuntutan
yang melambung, pelbagai kaedah digunakan oleh pengendali
Takaful, termasuk kaedah berikut:
1. Had kawalan dalaman
2. Jadual prosedur pembedahan
3. Tempoh maksimum pampasan
4. Tempoh masa kos perbelanjaan akan dibayar
5. Pembayaran bersama untuk menaik-taraf bilik
6. Deduktibel
7. Panel hospital
A9.7 KEMASUKAN KE HOSPITAL TANPA BAYARAN
TUNAI
Dibawah konsep kemasukan ke hospital tanpa bayaran tunai, apabila
pemegang sijil Takaful Perubatan dan Kesihatan dimasukkan ke
hospital, kemasukan ke wad hospital panel diuruskan dengan adanya
surat jaminan dan pihak hospital tidak lagi memerlukan bayaran
deposit. Apabila pemegang sijil mendaftar keluar dari hospital, ia
tidak perlu membayar bil rawatan. Semua faedah rawatan yang layak
diterima oleh pemegang sijil akan ditanggug oleh pengendali Takaful.
Pengendali Takaful yang diwakili oleh pentadbir pihak ketiga (Third
Party Administrator – TPA) akan berurusan dengan pihak hospital
dan menyelesaikan semua bayaran bil rawatan. Pemegang sijil hanya
perlu membayar caj yang tidak ditanggung oleh pengendali Takaful.
Perlu dinyatakan bahawa urusan kemasukan ke hospital tanpa
menggunakan wang tunai ini biasanya dibuat tanpa ikatan kontrak
tetap, kecuali sekiranya ia dinyatakan secara khusus dalam kontrak
Takaful. Kemudahan ini dianggap sebagai khidmat nilai tambah yang
disediakan oleh pengendali Takaful kepada pemegang sijil yang
layak.
204 Amalan Asas Takaful
1. Pentadbir Pihak Ketiga (Third Party Administrator – TPA)
Pentadbir Pihak Ketiga adalah wakil kepada pengendali Takaful,
yang bertanggungjawab menyelesaikan pembayaran balik
tuntutan dan tuntutan tanpa tunai. Pentadbir pihak ketiga juga
yang meluluskan permintaan pihak yang menuntut (pemegang
sijil) perkhidmatan tanpa tunai dan menyediakan perkhidmatan
tersebut. Fungsi tugas pentadbir pihak ketiga adalah seperti
berikut:
a. Perkhidmatan Tanpa Wang Tunai
Perkhidmatan tanpa wang tunai adalah salah satu fungsi
penting pentadbir pihak ketiga, yang bermaksud sekiranya
peserta dimasukkan ke hospital yang disenaraikan dalam
senarai panel pengendali Takaful, bil rawatan akan dibayar
secara langsung oleh pengendali Takaful dan peserta tidak
perlu membayar apa-apa.
b. Penyelesaian Tuntutan
Pentadbir pihak ketigalah yang bertanggungjawab
menguruskan hal ehwal tuntutan – dari menerima notis
pemberitahuan tuntutan, menasihati pelanggan mengenai
pilihan hospital panel, meluluskan tuntutan tanpa tunai dan
pembayaran balik, dan sehinggalah membayar tuntutan
kepada pelanggan.
c. Menyelenggara Pengkalan Data
Apabila sijil Takaful telah dikeluarkan, semua rekod
pemegang sijil akan disampaikan kepada pentadbir pihak
ketiga. Semua urusan komunikasi peserta adalah dengan
pentadbir pihak ketiga dan tidak dengan pengendali Takaful.
Adalah menjadi tanggungjawab pentadbir pihak ketiga untuk
menyelenggara pangkalan data peserta dan mengeluarkan kad
keahlian kepada mereka dengan nombor pengenalan yang
unik.
Jenis-Jenis Takaful Perubatan dan Kesihatan 205
BAB A10
JENIS-JENIS TAKAFUL PERUBATAN
DAN KESIHATAN
PENGENALAN
Bab ini akan membincangkan perkara-perkara berikut:
 Jenis-jenis pelan Takaful Perubatan dan Kesihatan
 Skop perlindungan
 Istilah-istilah penting yang digunakan dalam Takaful
Perubatan dan Kesihatan
A10.1 JENIS PELAN TAKAFUL PERUBATAN DAN
KESIHATAN
Pelan Takaful Perubatan dan Kesihatan mempunyai pelbagai jenis
dan syarat-syarat perlindungan. Ia boleh ditawarkan sebagai pelan
individu atau pelan berkumpulan. Untuk pelan individu,
sumbangan biasanya bergantung kepada umur dan akan meningkat
seiring dengan usia, sementara untuk pelan berkumpulan,
sumbangan dikira berdasarkan ciri-ciri kumpulan secara
keseluruhan, seperti umur purata dan tahap bahaya pekerjaan.
Secara amnya, pelan Takaful Perubatan dan Kesihatan meliputi
jenis-jenis berikut:
1. Takaful Perbelanjaan Perubatan iaitu termasuk Takaful
Penghospitalan & Pembedahan dan Takaful Perbelanjaan
Perubatan Utama.
2. Takaful Faedah Tunai Penghospitalan
3. Takaful Penyakit Kritikal
4. Takaful Pendapatan Hilang Upaya
206 Amalan Asas Takaful
Terdapat pengendali Takaful yang menawarkan pelan Takaful
perbelanjaan perubatan yang melindungi:
1. Perbelanjaan klinikal (rawatan pesakit luar)
2. Perbelanjaan pergigian
3. Perbelanjaan bersalin
A10.2 SKOP PERLINDUNGAN
1. Perbelanjaan Perubatan (Medical Expenses)
Skop perlindungan perbelanjaan perubatan ialah membiayai kos
rawatan penyakit dan kecederaan, tertakluk kepada had dan syarat-
syarat yang terkandung didalam sijil Takaful. Pelan perbelanjaan
perubatan biasanya melindungi amaun yang melebihi amaun
deduktibel yang telah dipersetujui lebih awal.
2. Penghospitalan dan Pembedahan (Hospitalization and
Surgical)
Perlindungan penghospitalan dan pembedahan meliputi
perbelanjaan berkaitan kos rawatan kemasukan ke hospital. Tujuan
utama pelan ini untuk menampung perbelanjaan pembedahan dan
penginapan hospital. Pilihan perlindungan dan kos pembiayaan
adalah berbeza-beza, bergantung kepada sijil tertentu. Walau
bagaimanapun, perlindungan pelan ini biasanya tidak menyeluruh
berbanding dengan pelan Takaful perubatan utama.
Secara amnya, manfaat yang disediakan di bawah pelan Takaful
penghospitalan dan pembedahan adalah seperti berikut:
• Bilik dan Penyediaan Makanan
• Unit Kawalan Rapi
• Perkhidmatan dan Bekalan Hospital
• Yuran Pakar Bius
• Yuran Pakar Bedah
• Bayaran Bilik Bedah
Jenis-Jenis Takaful Perubatan dan Kesihatan 207
• Lawatan Doktor Pakar di Hospital
• Ujian Diagnosa Sebelum Kemasukan Ke Hospital
• Khidmat Pakar Runding Sebelum Kemasukan Ke Hospital
• Rawatan Selepas Kemasukan Ke Hospital
• Rawatan Pesakit Luar Kecemasan / Kemalangan
• Bayaran Khidmat Ambulans
Terdapat juga pelan yang melindungi:
• Elaun Tunai Hospital
• Rawatan Kanser Pesakit Luar
• Rawatan Dialisis Buah Pinggang Pesakit Luar
• Pemindahan Organ
3. Perbelanjaan Perubatan Utama (Major Medical Expenses)
Perbelanjaan Perubatan Utama adalah sejenis pelan Takaful
perubatan dan kesihatan yang menyediakan manfaat untuk
kebanyakan perbelanjaan perubatan yang mungkin ditanggung
oleh peserta. Perbelanjaan perubatan utama menyediakan
perlindungan yang lebih meluas – termasuk perbelanjaan semasa
dimasukkan ke hospital dan selepas keluar dari hospital – dengan
manfaat individu yang lebih tinggi dan had maksimum sijil.
Perlindungan untuk caj rawatan perubatan adalah lebih meluas
dengan beberapa had dalaman dan manfaat maksimum
keseluruhan yang lebih tinggi, disediakan dalam pelan berikut:
a. Perbelanjaan Perubatan Utama Tambahan (Supplemental
Major Medical Expenses)
Apabila pelan Perbelanjaan Perubatan Utama Tambahan
disertakan, ia biasanya dianggap sebagai sokongan dan
memperkukuhkan pelan asas yang biasanya termasuk manfaat
hospital, pembedahan dan perlindungan perubatan bersama-sama
dengan pelan tambahan yang meliputi pelbagai perbelanjaan
perubatan yang lebih meluas. Secara amnya, pelan asas akan
208 Amalan Asas Takaful
menampung perbelanjaan yang tiada deduktibel sehingga ke had
sijil. Mana-mana amaun yang melebihi had itu, pelan tambahan
akan mula berfungsi iaitu beroperasi dengan cara yang sama
seperti pelan komprehensif yang tidak memberikan liputan ringgit
yang pertama. Secara mudahnya, apabila bayaran manfaat di
bawah pelan asas telah mencapai had maksimum, peserta perlu
menanggung amaun deduktibel, dan disinilah perlindungan
perubatan utama tambahan akan menampung perbelanjaan
tersebut. Oleh kerana deduktibel berlaku antara pelan asas dan
pelan tambahan, ia sering dirujuk sebagai koridor yang
dibenarkan. Sama seperti pelan Perubatan Utama Komprehensif,
pelan tambahan akan memasukkan had stop-loss dan had manfaat
sepanjang hayat maksimum.
Contoh:-
Puan Sakinah menyertai kedua-dua pelan perlindungan iaitu pelan
Takaful perubatan asas dan pelan perubatan utama tambahan.
Beliau telah dimasukkan ke hospital dan bil rawatan melebihi had
manfaat pelan asas.
Oleh kerana had manfaat pelan asas telah digunakan sepenuhnya,
pelan tambahan akan mula berfungsi. Pelan tambahan ini akan
membayar bil perubatan seperti yang dinyatakan dalam sijil,
selepas ditolak amaun deduktibel. Sebagai contoh, pelan
perlindungan akan membayar 80% dari jumlah keseluruhan
sementara Puan Sakinah membayar baki 20% bill rawatan.
b. Perbelanjaan Perubatan Utama Komprehensif
(Comprehensive Major Medical Expenses)
Pelan Perbelanjaan Perubatan Utama Komprehensif adalah pelan
perubatan dan kesihatan yang menyediakan perlindungan bagi
kebanyakan jenis perbelanjaan perubatan. Ia adalah serupa dengan
pelan Takaful Penghospitalan dan Pembedahan, tetapi pelan ini
mengenakan sejumlah amaun deduktibel. Kebanyakan pelan
perubatan utama akan membayar amaun yang melebihi amaun
Jenis-Jenis Takaful Perubatan dan Kesihatan 209
deduktibel sahaja. Peruntukan deduktibel dianggap telah dipenuhi
apabila peserta dapat menunjukkan bukti yang ia telah membayar
perbelanjaan yang sepatutnya di bawah tanggungannya.
Satu lagi ciri-ciri penting perlindungan perubatan utama ialah ia
menggunakan konsep Takaful bersama iaitu perkongsian antara
pengendali Takaful dan peserta untuk membayar apa-apa
perbelanjaan yang melebihi amaun deduktibel. Pengendali Takaful
akan menanggung sebahagian besar perbelanjaan, biasanya
membayar 80% manakala peserta bertanggungjawab untuk
membayar baki 20%. Nisbah-nisbah lain juga mungkin digunakan
seperti yang terkandung dalam sijil tertentu, umpamanya nisbah
75 : 25.
c. Perbelanjaan Perubatan Utama Lebihan (Excess Major
Medical Expenses)
Perbelanjaan Perubatan Utama Lebihan biasanya ditawarkan
sebagai amaun tambahan nilai (top-up) kepada pelan perubatan
utama. Apabila amaun tuntutan melebihi had pelan asas, pelan
perbelanjaan perubatan utama lebihan akan mula berfungsi.
• Asas Perlindungan Takaful
Pelan Takaful Penghospitalan dan Pembedahan Komprehensif
juga dikenali sebagai pelan 'Seperti yang Dikenakan'. Sijil
perlindungan biasanya melindungi jumlah sebenar yang
dikenakan oleh pihak hospital, selain dari perbelanjaan bilik
dan penyediaan makanan. Walau bagaimanapun, pengendali
Takaful mungkin mengenakan mekanisma kawalan dengan
meletakkan had pampasan bagi setiap manfaat. Antara bentuk
had sekatan yang dikenakan oleh pengendali Takaful ialah had
bagi setiap hilang upaya, had tahunan keseluruhan dan had
sepanjang hayat keseluruhan.
210 Amalan Asas Takaful
• Pelan Takaful Perubatan dan Kesihatan Berkumpulan
Pelan Takaful Perubatan dan Kesihatan Berkumpulan adalah
sama seperti pelan perubatan dan kesihatan individu. Ia
biasanya merupakan pelan perlindungan yang sumbangannya
ditanggung oleh majikan untuk melindungi pemilik
perniagaan, pekerja dan tanggungan pekerja. Kadar
sumbangan dibawah pelan ini dikira berdasarkan ciri-ciri
kumpulan secara keseluruhan, seperti umur purata dan tahap
bahaya pekerjaan; berbeza dengan pelan individu di mana
potensi risiko setiap orang dinilai.
Terdapat dua jenis pelan Perubatan dan Kesihatan
Berkumpulan iaitu:
a. Berasaskan sumbangan (contributory)
Dibawah pelan ini, pekerja perlu mencarum sebahagian
dari sumbangan kumpulan. Biasanya pelan ini
memerlukan sekurang-kurangnya 75% penyertaan pekerja
yang layak.
b. Berasaskan tanpa sumbangan (non-contributory)
Dibawah pelan jenis ini, tiada sumbangan dari pekerja
kerana majikan menanggung sepenuhnya bayaran
sumbangan. Walau bagaimanapun, pelan ini memerlukan
penyertaan 100% pekerja yang layak.
• Pelan Takaful Manfaat Tunai Penghospitalan
Pelan ini menyediakan manfaat tunai harian sekiranya peserta
dimasukkan ke hospital kerana semua sebab-sebab, tertakluk
kepada terma-terma dan syarat-syarat rider. Ia boleh
ditawarkan sebagai pelan perlindungan asas (stand-alone) atau
sebagai rider/manfaat sampingan yang disertakan pada pelan
Takaful Perubatan dan Kesihatan.
Jenis-Jenis Takaful Perubatan dan Kesihatan 211
• Pelan Takaful Penyakit Kritikal
Pelan ini menyediakan perlindungan terhadap sebarang
penyakit kritikal yang disenaraikan dalam sijil. Ia juga
dikenali sebagai pelan Takaful penyakit merbahaya. Apabila
peserta didiagnosa mengalami atau menghidap salah satu dari
penyakit kritikal seperti yang dinyatakan dalam sijil, pelan
Takaful ini akan membayar sejumlah amaun sekaligus kepada
peserta.
Pelan ini ditawarkan sebagai pelan asas atau sebagai rider
kepada sijil perlindungan Takaful keluarga.
• Pelan Takaful Pendapatan Hilang Upaya
Pelan ini melindungi pendapatan benefisiari dari risiko
ketidakupayaan untuk melakukan kerja dan oleh itu ia
kehilangan pendapatan. Manfaat yang diperolehi termasuklah
cuti sakit bergaji, manfaat hilang upaya jangka pendek dan
manfaat hilang upaya jangka panjang.
A10.3 ISTILAH-ISTILAH PENTING YANG DIGUNAKAN
DALAM TAKAFUL PERUBATAN DAN
KESIHATAN
Istilah Keterangan
Kemalangan Suatu peristiwa atau kejadian yang tidak
diduga dan tidak diingini.
Anti pemilihan Kecenderungan lebih kepada risiko yang
buruk berbanding dengan yang normal
untuk membeli atau mengekalkan
perlindungan Takaful, atau berbanding
dengan seseorang yang mempunyai
jangkaan kerugian ditahap biasa atau lebih
baik dari biasa.
212 Amalan Asas Takaful
Timbangtara Suatu bentuk pilihan penyelesaian
pertikaian di mana orang tengah yang tidak
berat sebelah atau panel memberikan
pendapat tentang tanggungjawab atau takat
kerugian.
Kenyataan Pakar
Perubatan
yang Merawat
(APS)
Lebih kerap disebut sebagai 'rekod
perubatan' yang biasanya diperlukan oleh
Takaful untuk menentukan keadaan
kesihatan pemohon ketika mengemukakan
permohonan perlindungan. Pemohon
membenarkan pengendali Takaful
menghubungi doktor untuk mendapatkan
rekod perubatan, sama ada sebelum
kelulusan perlindungan atau apabila sijil
perlindungan telah berkuatkuasa.
Had Manfaat Amaun maksimum yang layak diperolehi
untuk perkhidmatan semasa dilindungi
dibawah sijil Takaful.
Takaful Bersama Peruntukan di mana peserta yang dikenakan
nisbah bayaran lebih rendah dari peratusan
yang ditanggung oleh pengendali Takaful
akan menerima bayaran ganti rugi kurang
dari amaun sebenar; peruntukan yang
biasanya terdapat dalam Takaful perubatan,
dimana peserta dan pengendali Takaful
berkongsi kerugian yang dilindungi di
bawah sijil dalam nisbah yang ditetapkan,
sebagai contoh, 80% oleh pengendali
Takaful dan 20% oleh peserta.
Takaful
Perubatan
Utama
Komprehensif
Pelan Takaful yang direka untuk memberi
perlindungan yang ditawarkan di bawah
pelan asas dan pelan Takaful perubatan
utama.
Jenis-Jenis Takaful Perubatan dan Kesihatan 213
Pembaharuan
Bersyarat
Peruntukan penerusan sijil Takaful
kesihatan dimana pengendali Takaful tidak
boleh membatalkan sijil perlindungan
ketika ia masih berkuatkuasa, tetapi
pengendali boleh menolak permohonan
memperbaharui sijil di bawah syarat
tertentu yang dinyatakan dalam kontrak.
Sumbangan /
caruman
Pelan Takaful Berkumpulan yang
dikeluarkan kepada majikan di mana kedua-
dua belah pihak iaitu majikan dan pekerja
sama-sama membayar sumbangan /
caruman kos pelan berkenaan.
Perbelanjaan
yang dilindungi
Perbelanjaan hospital, perubatan, dan lain-
lain perbelanjaan penjagaan kesihatan yang
ditanggung oleh peserta, yang layak
menerima bayaran manfaat dibawah pelan
Takaful kesihatan.
Deduktibel Sejumlah bayaran yang perlu ditanggung
oleh peserta setiap tahun untuk menampung
perbelanjaan perubatan, sebelum pelan
Takaful membayar baki bil perbelanjaan
berkenaan.
Hilang Upaya Kelainan fizikal atau mental yang
menghadkan satu atau lebih aktiviti
kehidupan normal seseorang individu. Ia
mungkin sebahagian atau sepenuhnya.
Takaful
Kesihatan
Takaful terhadap kerugian kewangan akibat
penyakit atau kecederaan anggota badan
disebabkan kemalangan. Perlindungan yang
menyediakan pembayaran manfaat untuk
penyakit atau kecederaan yang dilindungi.
Pelbagai jenis Takaful dibawah
214 Amalan Asas Takaful
perlindungan ini ialah seperti Takaful
Kemalangan, Takaful Pendapatan Hilang
Upaya, Takaful Perbelanjaan Perubatan
dan Takaful Kematian Akibat Kemalangan.
Had Sepanjang
Hayat
Jumlah maksimum manfaat yang
disediakan kepada peserta untuk tempoh
sepanjang hayatnya.
Penjagaan
tempoh Jangka
Panjang
Perkhidmatan kesihatan dan penjagaan
kesihatan yang menyeluruh dan berterusan
kepada orang yang berpenyakit kronik,
hilang upaya atau terencat. Perkhidmatan
boleh diberikan kepada pesakit dalam
(kemudahan pemulihan, rumah penjagaan,
hospital sakit jiwa) pesakit luar atau
penjagaan di rumah.
Takaful
Perbelanjaan
Perubatan
Utama
Suatu bentuk Takaful kesihatan yang
menyediakan manfaat bagi kebanyakan
jenis perbelanjaan perubatan sehingga ke
had maksimum yang tinggi, umpamanya
RM250,000 atau lebih selepas deduktibel,
umpamanya RM500 atau lebih. Kontrak
berkenaan mungkin menetapkan had
dalaman dan biasanya tertakluk kepada
Takaful bersama.
Takaful
Perbelanjaan
Perubatan
Suatu bentuk Takaful kesihatan yang
menyediakan manfaat untuk perbelanjaan
yang ditanggung bagi rawatan perubatan.
Bentuk Takaful kesihatan ini memberi
manfaat perbelanjaan khidmat pakar
perubatan, hospital, kejururawatan,
perkhidmatan berkaitan kesihatan dan
pembekalan. Manfaat-manfaat ini mungkin
berkaitan dengan perbelanjaan sebenar,
Jenis-Jenis Takaful Perubatan dan Kesihatan 215
amaun yang dinyatakan atau perkhidmatan
yang diberikan. Perlidungan tersebut
kadang kala meliputi manfaat langkah
pencegahan, diagnosa serta rawatan.
Perbelanjaan
Pelbagai
Perbelanjaan berkaitan dengan Takaful
hospital, caj hospital (selain dari caj bilik
dan penyediaan makanan) seperti sinar-X,
ubat-ubatan, makmal dan caj-caj sampingan
lain. (Kadang-kadang dirujuk sebagai caj
sampingan).
Tanpa
Sumbangan
Istilah yang digunakan dalam pelan manfaat
pekerja di mana majikan menanggung
sepenuhnya kos pembiayaan manfaat untuk
pekerja. Seratus peratus daripada
kakitangan yang layak mesti menyertai
pelan perlidungan berkenaan.
Pesakit Luar Pesakit yang tidak dimasukkan ke hospital
dan menerima rawatan perubatan.
Keadaan Sedia
Ada
Keadaan fizikal dan / atau mental peserta
yang diperlihatkan (sedia ada) sebelum
pengeluaran sijil atau yang telah wujud
sebelum perlindungan dan rawatan
diterima. Keadaan fizikal yang wujud
sebelum tarikh perlindungan berkuatkuasa.
Tempoh
Menunggu
Suatu tempoh dari tarikh sijil dikeluarkan
sehingga ke tarikh tertentu, biasanya 180
hari, di mana dalam tempoh tersebut tiada
perlindungan penyakit disediakan. Syarat
ini diwujudkan bagi mengurangkan /
menghapuskan penyakit yang sebenarnya
telah wujud sebelum sijil perlidungan
berkuatkuasa.
216 Amalan Asas Takaful
Caj yang
Munasabah dan
mengikut
Kebiasaan
Caj penjagaan kesihatan yang sejajar
dengan kadar pasaran semasa atau caj bagi
kawasan geografi tertentu untuk
perkhidmatan yang sama atau serupa.
Bayaran Balik Pembayaran bil perbelanjaan yang
ditanggung akibat kemalangan atau
penyakit, tetapi tidak melebihi apa-apa
amaun yang dinyatakan dalam sijil Takaful.
Pengunderaitan Takaful Perubatan dan Kesihatan 217
BAB A11
PENGUNDERAITAN TAKAFUL
PERUBATAN DAN KESIHATAN
PENGENALAN
Pengunderaitan adalah salah satu fungsi terpenting dalam operasi
Takaful. Dalam bab ini, perbincangan akan ditumpukan kepada:
 Tujuan Pengunderaitan
 Borang Cadangan
 Anti Pemilihan
 Proses Pemilihan Risiko
 Pengunderaitan Perubatan
 Sumber Maklumat Pengunderaitan
 Keputusan Pengunderaitan
 Kecukupan Sumbangan
 Pengeluaran Sijil
 Bayaran Sumbangan
 Penamatan Sijil
A11.1 TUJUAN PENGUNDERAITAN
Pengunderaitan Takaful adalah proses pengkelasan, pengkadaran
dan pemilihan risiko. Secara mudahnya, ia adalah satu proses
pemilihan risiko. Proses pemilihan ini meliputi prosedur menilai
maklumat dan sumber-sumber untuk menentukan bagaimana
individu akan diklasifikasikan (sama ada sebagai risiko yang
standard atau sub-standard). Setelah prosedur pengkelasan selesai,
proses seterusnya ialah penetapan kadar sumbangan yang perlu
dibayar oleh pemohon. Sijil kemudiannya akan dikeluarkan dan
diserahkan kepada peserta.
218 Amalan Asas Takaful
Tujuan utama pengunderaitan adalah untuk menganalisa risiko,
menilai jenis pendedahan risiko yang akan ditanggug oleh
pengendali Takaful, dan mewujudkan satu dana sumbangan bagi
menampung risiko dan pendedahan berkenaan. Melalui proses
tersebut, pengunderait dapat merangka program Takaful yang
komprehensif dan memenuhi keperluan peserta pada harga yang
paling munasabah.
Setelah peserta diterima sebagai ahli pelan Takaful, mereka perlu
membayar sumbangan tetap. Sebahagian dari sumbangan akan
didermakan ke dana Tabarru’. Dana ini akan digunakan untuk
membayar pampasan atau gantirugi. Untuk memastikan dana
berkenaan mempunyai baki yang mencukupi bagi menampung
bayaran tuntutan, pengunderait perlu:
1. Melindungi atau berhati-hati dengan proses anti pemilihan;
2. Mengenakan kadar sumbangan yang sepadan dengan risiko
yang ditanggung.
A11.2 BORANG CADANGAN
Borang cadangan digunakan oleh pengendali Takaful untuk
menentukan sama ada risiko boleh diterima dan jika ya, berapakah
kadar sumbangan yang sepatutnya dikenakan. Borang cadangan
merupakan suatu keperluan yang paling asas untuk menjadikan
kontrak Takaful keluarga diantara peserta dan pengendali Takaful
berfungsi. Borang perlu diisi dengan lengkap oleh pencadang,
yang mungkin boleh meminta bantuan dari ejen Takaful keluarga
untuk melengkapkannya.
Borang cadangan diisi bagi tujuan mengumpulkan maklumat asas
diri pencadang. Ini termasuklah nama, umur, alamat, taraf
pendidikan dan butir-butir pekerjaan pencadang. Borang cadangan
juga mengumpulkan maklumat mengenai sejarah perubatan hayat
yang dilindungi (peserta). Disamping itu, terdapat soalan-soalan
yang berkaitan dengan sejarah kesihatan ahli keluarga hayat yang
dilindungi. Pencadang dan hayat yang dilindungi perlu
Pengunderaitan Takaful Perubatan dan Kesihatan 219
menyatakan sumber pendapatan mereka dalam borang cadangan
supaya pengendali Takaful dapat menilai keupayaan pencadang
membayar caruman / sumbangan.
Borang cadangan juga mengandungi soalan-soalan berkaitan
dengan Takaful / perlindungan yang disertai atas hayat pencadang
dan juga hayat yang dilindungi dari pengendali Takaful Keluarga
lain serta butir-butir sijil berkenaan. Hayat yang dilindungi perlu
memberitahu atau mendedahkan butiran mengenai tabiat yang
berkaitan dengan penggunaan tembakau dan minuman keras.
Selepas mengisi borang dan menjawab semua soalan di dalamnya,
pencadang perlu menandatangani borang tersebut. Sebarang
pindaan atau pembatalan pada borang cadangan perlu disahkan
dengan menandatangani pada setiap pindaan yang dibuat.
Pencadang boleh melampirkan helaian dokumen tambahan kepada
borang cadangan jika dia mahu berkongsi dengan pengendali
Takaful apa-apa maklumat yang tidak diminta, yang difikirkan
boleh membantu pengendali membuat keputusan yang betul. Ia
menjadi kepentingan pencadang untuk berkongsi maklumat yang
benar dengan pengendali Takaful keluarga agar ianya dapat
membantu pengendali Takaful untuk membuat keputusan yang
tepat dan berhemah.
Maklumat yang diperolehi akan digunakan oleh pengendali
Takaful untuk menentukan sama ada sijil boleh dikeluarkan atau
sebalikya. Pengunderait Takaful keluarga menggunakan maklumat
mengenai sejarah kesihatan dan keluarga hayat yang dilindungi
untuk menentukan kadar sumbangan yang akan dikenakan.
Pengendali Takaful memberikan salinan borang cadangan kepada
peserta, bersama-sama dengan dokumen sijil Takaful keluarga.
Peserta perlu membaca keseluruhan dokumen sijil dengan teliti
dan juga salinan borang cadangan Takaful Keluarga. Sebarang
percanggahan yang terdapat dalam salinan itu harus dibawa ke
pengetahuan pengendali Takaful untuk mengelakkan sebarang
penipuan.
220 Amalan Asas Takaful
A11.3 ANTI PEMILIHAN
Istilah anti pemilihan menerangkan keadaan di mana permintaan
individu untuk Takaful mempunyai kaitan yang positif dengan
risiko kerugian dan pengendali Takaful tidak membenarkan
korelasi ini dalam penentuan harga atau kadar sumbangan. Ini
mungkin kerana beberapa maklumat peribadi hanya diketahui oleh
individu berkenaan sahaja, atau kerana peraturan-peraturan atau
norma-norma sosial telah menghalang pengendali Takaful
menggunakan beberapa kategori maklumat yang diketahui untuk
menetapkan harga (contohnya pengendali Takaful mungkin
dilarang daripada menggunakan maklumat seperti jantina atau
asal-usul etnik atau keputusan ujian genetik). Senario halangan ini
kadang-kala dirujuk sebagai ‘kawalan anti pemilihan’.
Kecenderungan untuk terpengaruh dengan fenomena pemilihan
yang bertentangan (adverse) boleh digambarkan melalui hubungan
antara status merokok dan kemortalan. Secara amnya, individu
bukan perokok lebih berkemungkinan untuk hidup lebih lama,
manakala perokok pula dikatakan lebih berkemungkinan mati
ketika usia muda. Jika pengendali Takaful tidak membezakan
kadar harga / sumbangan pelan Takaful keluarga mengikut status /
tabiat, pengendali dilihat seolah-olah menggalakkan perokok
berbanding bukan perokok. Jadi, perokok mungkin lebih berminat
untuk menyertai Takaful atau cenderung untuk membeli
perlindungan yang lebih tinggi berbanding dengan bukan perokok.
Kadar kemortalan purata kumpulan pemilik sijil akan lebih tinggi
berbanding dengan mortaliti purata penduduk awam.
Dari sudut pandangan pengendali Takaful, kemortalan yang tinggi
dikalangan kumpulan yang ‘memilih’ untuk menyertai Takaful
adalah ‘bertentangan’ dengan objektif pemilihan. Pengendali
Takaful meningkatkan kadar harga / sumbangan Takaful dan
akibatnya, bukan perokok mungkin kurang berminat untuk
menyertai Takaful (atau membeli dengan nilai yang lebih kecil)
jumlah) berbanding dengan sekiranya mereka boleh menyertai
Takaful pada harga yang lebih rendah untuk mencerminkan risiko
Pengunderaitan Takaful Perubatan dan Kesihatan 221
mereka yang lebih rendah. Pengurangan bilangan peserta Takaful
dari kalangan bukan perokok adalah 'bertentangan' dari sudut
pandangan pengendali Takaful dan mungkin juga dari pandangan
awam.
A11.4 PROSES PEMILIHAN RISIKO
Pengunderaitan adalah kaedah yang digunakan untuk menilai
kelayakan semasa pencadang untuk diterima sebagai peserta pelan
Takaful. Dalam melalui proses penilaian ini, pengendali Takaful
menentukan jika cadangan itu adalah risiko yang baik untuk pelan
Takaful.
Apabila pengendali Takaful memilih untuk melibatkan diri dalam
pengunderaitan, terdapat dua kemungkinan yang dijangka akan
berlaku. Pertama, pengunderait menunjukkan keyakinan terhadap
cadangan tersebut. Kedua, dalam pengunderaitan cadangan
Takaful, pengunderait menjangkakan akan memperolehi pulangan
keatas pelaburan dimasa akan datang. Pulangan mungkin
diperolehi sebagai bayaran tambahan atau sebagai sekali gus pada
masa hadapan.
Takaful adalah satu contoh di mana bidang pengunderaitan
digunakan sepenuhnya sebagai teras operasi perniagaan.
Menyentuh tentang Takaful perubatan, pengunderait perlu
mengambil kira faktor-faktor berikut dalam proses pemilihan
risiko:
1. Faktor-faktor Kesihatan Semasa dan Masa Lampau
Pengunderait akan menilai dengan teliti keadaan kesihatan semasa
dan masa lampau pemohon, dalam lingkungan bidang yang
berkaitan. Dalam kes-kes tertentu, pengunderait mungkin
mempunyai beberapa keraguan berdasarkan penilaian sejarah
perubatan masa lampau, tetapi memilih untuk menawarkan
perlindungan kepadanya, dengan beberapa keadaan sedia ada
tidak dilindungi atau dikecualikan bagi tempoh masa tertentu.
222 Amalan Asas Takaful
Pada masa yang lain, sejarah perubatan mungkin menunjukkan
tahap risiko yang tidak diterima oleh pengendali Takaful, dan
pengunderait memilih untuk tidak menawarkan perlindungan
kesihatan. Melalui keputusan tidak menawarkan perlindungan
kepada bakal peserta sangat memerlukan Takaful perubatan
komprehensif untuk jangka masa panjang, pengunderait mampu
mengekalkan kestabilan asas kewangan syarikat dan terus
menyediakan perkhidmatan kepada pelanggan-pelanggan lain.
2. Faktor Kewangan
Pengunderait juga akan meneliti keadaan kewangan pencadang
secara keseluruhan. Adalah penting untuk mengkaji keadaan
kewangan keseluruhan pencadang untuk menentukan jumlah yang
sesuai dan tahap perlindungan yang diperlukan. Ini adalah untuk
menjaga kestabilan dana dari risiko tuntutan pendapatan hilang
upaya yang luar biasa tingginya. Terdapat kecenderungan di mana
sesetengah pemegang sijil berusaha untuk membuat keuntungan
daripada pampasan Takaful dengan melanjutkan tempoh kurang
upaya. Tindakan ini dikenali sebagai ‘berpura-pura sakit’
(malingering).
3. Faktor Pekerjaan
Pengunderait perlu mengkaji dan meneliti faktor-faktor berkaitan
pekerjaan kerana pekerjaan yang berlainan mempunyai tahap
bahaya yang berbeza. Semakin tinggi risiko bermakna semakin
tinggi kemungkinan tuntutan perbelanjaan perubatan akan berlaku.
Pekerjaan dengan risiko yang lebih tinggi seperti pekerjaan Kelas
3 (pekerja kilang) biasanya mempunyai nisbah tuntutan yang lebih
tinggi berbanding dengan pekerjaan Kelas 1 dan 2 (pekerja
pejabat).
4. Umur dan Jantina
Statistik menunjukkan bahawa umur dan jantina adalah antara
pertimbangan penting dalam pengunderaitan Takaful perubatan
Pengunderaitan Takaful Perubatan dan Kesihatan 223
dan kesihatan. Usia yang semakin meningkat biasanya
memperlihatkan kecenderungan untuk mengalami masalah
kesihatan. Jantina juga memainkan peranan yang penting kerana
lelaki dan perempuan mempunyai tahap kemortalan (kematian)
dan kemorbidan (penyakit) yang berbeza. Statistik telah
membuktikan bahawa umumnya kaum wanita akan hidup lebih
lama (kadar kemortalan yang rendah) berbanding dengan kaum
lelaki yang sama kumpulan umur. Walau bagaimanapun, di bawah
Takaful perubatan dan kesihatan, kadar sumbangan untuk peserta
wanita adalah lebih tinggi kerana kadar kemorbidan (penyakit)
adalah lebih tinggi berbanding dengan kaum lelaki.
A11.5 PENGUNDERAITAN PERUBATAN
Pengunderaitan perubatan adalah proses menyemak semula rekod
perubatan dan kesihatan pencadang Takaful dan menentukan tahap
risikonya. Oleh kerana pengendali Takaful mengetahui bahawa
pemohon yang berisiko (keadaan kesihatan yang tidak
menggalakkan) akan menyebabkan kos rawatan akan meningkat,
pengendali biasanya akan menolak permohonan berkenaan atau
mungkin menerima dengan mengenakan kadar sumbangan yang
tinggi. Sebagai sebahagian dari proses pengunderaitan, maklumat
kesihatan boleh digunakan untuk membuat dua keputusan yang
saling berkait:
1. Samada untuk menawarkan atau menaikkan perlindungan; dan
2. Berapakah kadar sumbangan yang perlu ditetapkan untuk sijil
Takaful berkenaan
Untuk melaksanakan pengunderaitan Takaful perubatan,
pengendali Takaful akan pertanyaan tentang keadaan kesihatan /
perubatan sedia ada. Pengendali Takaful dibenarkan untuk
bertanya soalan-soalan tentang sejarah perubatan seseorang untuk
memutuskan sama ada untuk menawarkan perlindungan atau
menolak permohonan, dan sekiranya diterima adakah caj
tambahan perlu dikenakan.
224 Amalan Asas Takaful
 Tujuan
Dari sudut pandangan pengendali Takaful, pengunderaitan
Takaful perubatan perlu dilakukan untuk menghalang orang
ramai menyertai Takaful perubatan dan kesihatan hanya
apabila mereka sakit, mengandung atau memerlukan rawatan
perubatan. Kecenderungan ini dipanggil ‘pemilihan
bertentangan’ atau anti pemilihan iaitu sistem yang menarik
minat pengguna berisiko tinggi menyertai Takaful tetapi tidak
menggalakkan pencadang berisiko rendah menyertainya.
Apabila ramai bakal pelanggan mengambil sikap menunggu
untuk mendapatkan perlindungan Takaful perubatan dan
kesihatan sehingga timbul keperluan mendesak untuk
mendapatkan perlindungan, ia akan mewujudkan kumpulan
peserta dengan ‘penggunaan yang tinggi’, yang kemudiannya
akan meningkatkan jumlah sumbangan kerana pengendali
Takaful mengenakan bayaran yang tinggi untuk membayar
tuntutan. Akhirnya, kadar sumbangan semakin tinggi tidak
menggalakkan peserta yang sihat mendapatkan perlindungan -
terutamanya apabila mereka menyedari bahawa mereka boleh
mendapatkan perlindungan apabila mereka benar-benar
memerlukan rawatan perubatan.
 Kesan
Pengunderaitan perubatan memastikan sumbangan Takaful
perubatan individu berada ditahap serendah yang mungkin.
Kritikan terhadap pengunderaitan perubatan menyatakan
bahawa adalah tidak adil bagi orang ramai dengan keadaan
kesihatan sedia ada yang tidak serius dan boleh dirawat,
dinafikan haknya untuk dilindungi dibawah Takaful
perubatan. Penyakit-penyakit yang menyebabkan seseorang
individu itu mempunyai risiko antaranya adalah kerana ia
menghidap sakit sendi tulang, barah, sakit jantung, dan juga
penyakit biasa seperti jerawat, berat badan 20 paun lebih atau
kurang dari berat badan normal, dan kecederaan lama kerana
aktiviti sukan.
Pengunderaitan Takaful Perubatan dan Kesihatan 225
Kriteria pengunderaitan adalah faktor-faktor yang boleh
dibuktikan bahawa ia mempunyai kaitan langsung dengan
risiko yang merugikan dan pengendali Takaful
menggunakannya untuk menilai keadaan kesihatan pemohon.
Kriteria ini bukan sahaja berbeza bagi setiap pelan Takaful,
malah ia juga berbeza-beza dari satu pengendali ke pengendali
yang lain.
11.5.1 Keadaan Fizikal Semasa
Pengendali Takaful mengkehendaki pemohon Takaful perubatan
untuk mengisi borang cadangan Takaful dan menyatakan butiran
lengkap mengenai sejarah perubatan dan keadaan fizikal setiap
pemohon. Perakuan pemohon didalam borang cadangan dan
laporan keputusan pemeriksaan perubatan (jika berkenaan) adalah
petunjuk pertama keadaan fizikal pemohon pada masa sekarang.
11.5.2 Sejarah Perubatan
Proses penilaian bermula dengan meneliti kenyataan pencadang
dalam borang cadangan. Pengendali Takaful akan bertanya soalan
dan sering meminta pengesahan mengenainya, sejarah perubatan
masa lampau pencadang. Rawatan dan diagnosis penyakit tertentu
selalunya boleh dikaitkan dengan statistik peningkatan risiko
kematian awal, berbanding dengan individu biasa yang tiada
masaalah kesihatan. Jika sejarah perubatan mengandungi data
yang relevan tentang sakit atau penyakit, ia akan membuat
pengendali Takaful percaya bahawa pencadang mempunyai risiko
yang meningkat. Kos pelan Takaful akan diselaraskan sewajarnya
untuk mengimbangi liabiliti kewangan yang lebih tinggi.
Pengendali Takaful mungkin perlu membuat siasatan lanjut
sekiranya terdapat sejarah perubatan yang disenaraikan dalam
borang cadangan. Contohnya, jika pemohon mengakui menerima
rawatan untuk tekanan darah tinggi, kenyataan doktor yang
merawat biasanya diperlukan. Laporan doktor ini biasanya
226 Amalan Asas Takaful
mengandungi maklumat fizikal seperti ketinggian, berat badan dan
tekanan darah, dan juga pengumpulan sampel darah dan air
kencing. Sebaliknya, jika terdapat kenyataan dalam borang
cadangan yang menyatakan menerima rawatan patah lengan dan
telah pulih sepenuhnya, tiada maklumat lanjut yang diperlukan.
Pengendali Takaful membuat semakan semula sejarah perubatan
dan kesihatan masa lampau untuk menentukan:
1. Kemungkinan ia akan berulang semula. Terdapat jenis
penyakit yang mempunyai kecenderungan untuk berulang
semula.
2. Kesan dan pengaruh sejarah perubatan silam terhadap
kesihatan am pemohon pada masa kini.
3. Komplikasi atau kerumitan yang mungkin timbul pada masa
hadapan.
4. Perkembangan normal berkaitan sebarang kelainan atau
penyakit yang boleh dianggap sebagai petunjuk kepada
kemungkinan besar akan berlaku perubahan kesihatan pada
masa hadapan. Contohnya menghidap obesiti, darah tinggi dan
sebagainya.
11.5.3 Sejarah Keluarga
Terdapat seksyen dalam borang cadangan Takaful yang
bertanyakan beberapa soalan tentang sejarah perubatan ahli
keluarga. Kaitan yang jelas perlu dilakukan antara keadaan
kesihatan masa kini yang boleh mengancam nyawa dengan
perkembangan genetik keluarga, dan pengendali Takaful akan
mempertimbangkan kemungkinan keadaan kesihatan saudara mara
pencadang sebagai petunjuk risiko yang dihadapi peserta sendiri.
Soalan-soalan meminta penjelasan lanjut tentang keadaan
kesihatan, tentang pembawa penyakit, dan jawapan yang diberikan
hanya yang berkaitan dengan perkembangan genetik keluarga dan
kaitannya dengan pencadang. Walau bagaimanapun, sejarah
keluarga mertua, ibu / bapa angkat, adik beradik angkat tidak perlu
dimasukkan dalam maklumat sejarah keluarga.
Pengunderaitan Takaful Perubatan dan Kesihatan 227
11.5.4 Faktor Kewangan
Pengunderait akan mengambil kira faktor-faktor kewangan dan
perlindungan yang diperlukan. Ini akan membantu untuk
menentukan sama ada pencadang memohon amaun perlindungan
yang bersesuaian. Proses penilaian cenderung untuk menapis
risiko-risiko kemungkinan peserta mendapati bayaran caruman
terlalu membebankan sehingga menyebabkan masalah dalam
kutipan sumbangan serta kemungkinan berlaku penipuan dalam
tuntutan.
11.5.5 Pekerjaan dan Hobi
Satu lagi faktor penting yang perlu diberi pertimbangan ialah
pekerjaan. Pekerjaan pencadang memainkan peranan penting
dalam menentukan apakah jenis perlindungan yang diperlukan dan
berapakah amaun sumbangan yang bersesuaian. Kadar
kemorbidan amat berbeza mengikut pekerjaan pencadang. Ia
memberi gambaran tentang bahaya yang wujud dalam pekerjaan,
kestabilan pekerjaan dan tempoh masa pemulihan yang diperlukan
oleh seseorang yang menyandang jawatan berkenaan dapat
meneruskan tugas-tugas biasa mereka. Sesetengah pekerjaan
melibatkan aktiviti-aktiviti berbahaya (misalnya, sektor
penerbangan, bekerja di tempat tinggi) atau bekerja di persekitaran
yang merbahaya (seperti sektor perlombongan). Jenis pekerjaan
seperti ini pastinya akan meningkatkan kadar sumbangan.
Kebanyakan pengendali Takaful enggan menawarkan
perlindungan kepada individu yang terlibat dalam pekerjaan yang
amat berbahaya seperti peninju profesional atau penyelam laut
dalam. Carta berikut menunjukkan jadual pengkelasan pekerjaan
yang biasa digunakan:
228 Amalan Asas Takaful
Kelas Pekerjaan Catatan
1. Doktor, Doktor Gigi,
Peguam, Akauntan,
Guru Sekolah, Aktuari
Pekerjaan yang paling kurang
risiko / bahaya, termasuk
mereka yang bekerja sebagai
eksekutif, bahagian
pentadbiran atau kerja-kerja
perkeranian. Biasanya, para
profesional tidak termasuk
dalam kelas pekerjaan ini
kerana mereka dianggap
sebagai `risiko yang
diutamakan` dan oleh itu layak
memperolehi perlindungan
yang lebih tinggi.
2. Pekerja kerana am,
juruwang bank,
jurujual dengan kerja
luar yang minimum,
kontraktor bangunan
(kerja-kerja pejabat
sahaja)
Pekerjaan yang memerlukan
lebih banyak aktiviti fizikal
berbanding dengan Kelas 1.
Sesetengah pekerjaan tidak
begitu merbahaya tetapi
pengalaman tuntutan tidak
sebaik Kelas 1.
3. Pelayan ditempat
minuman keras,
pelayan lelaki, pelayan
perempuan, pembantu
stesyen petrol, tukang
masak, jurujual
melakukan banyak
kerja luar, juruelektrik
Pekerjaan yang menggunakan
tenaga fizikal yang minimum
atau melibatkan kerja
kemahiran, termasuk
perusahaan kecil & sederhana
di mana pemilik mempunyai
kemahiran tertentu.
4. Pekerja binaan
jambatan, pekerja di
tapak pembinaan,
pemandu lori, pekerja
Pekerjaan yang memerlukan /
melibatkan tenaga fizikal
secara maksimum atau tugas-
tugas merbahaya.
Pengunderaitan Takaful Perubatan dan Kesihatan 229
/ penjaga kebersihan,
anggota bomba, polis
dan sebagainya.
Terdapat seksyen gaya hidup yang bertanyakan sama ada
pencadang melibatkan diri dalam sebarang aktiviti berisiko seperti
membuat lawatan ke luar negara, penerbangan, menyelam skuba,
mendaki gunung, meluncur udara dan sebagainya. Pengendali
Takaful menggunakan data yang dikumpul pada soal selidik untuk
menilai risiko. Soal selidik biasanya akan menentukan tahap
pemeriksaan fizikal yang diperlukan. Melibatkan diri dalam hobi
berbahaya seperti terjunan udara, penerbangan pesawat ringan atau
lumba kereta juga akan dikenakan kadar sumbangan yang tinggi.
11.5.6 Umur dan Jantina
Umur adalah antara faktor utama dalam menentukan sumbangan
dan selalunya akan menentukan tahap ketelitian proses
pengunderaitan yang akan dilakukan. Kadar sumbangan akan
meningkat mengikut usia dan banyak pengendali Takaful tidak
akan memberikan perlindungan selepas umur tertentu atau akan
menghadkan jumlah perlindungan. Pemohon yang lebih berusia
juga boleh dihadkan perlindungan kepada tempoh yang lebih
pendek, contohnya 5 atau 10 tahun. Pemohon berusia ini biasanya
perlu menjalani pemeriksaan doktor, ujian perubatan tambahan
seperti ECG atau ujian darah yang lebih khusus sebelum cadangan
itu boleh dipertimbangkan.
Faktor jantina menentukan pilihan jadual sumbangan yang perlu
digunakan. Oleh kerana kaum wanita dijangka hidup lebih lama,
mereka biasanya dikenakan kadar sumbangan yang lebih rendah
berbanding lelaki. Walau bagaimanapun, bagi Takaful Perubatan
dan Kesihatan, kadar sumbangan untuk wanita adalah lebih tinggi
kerana kadar kemorbidan (penyakit) adalah lebih tinggi
berbanding lelaki. Kaum wanita juga mungkin mempunyai faktor-
230 Amalan Asas Takaful
faktor risiko tambahan seperti hamil pada masa permohonan
Takaful dikemukakan.
A11.6 SUMBER MAKLUMAT PENGUNDERAITAN
11.6.1 Permohonan Takaful Keluarga
Borang permohonan Takaful Keluarga adalah sebahagian daripada
kontrak Takaful. Pencadang menandatangani borang permohonan
untuk mengesahkan bahawa semua maklumat yang diberikan
adalah benar dan betul sepanjang pengetahuan pencadang, dan
pengendali Takaful akan mengeluarkan sijil berdasarkan dari
maklumat diberikan.
Borang permohonan adalah satu dokumen yang amat penting
kerana ia biasanya dilampirkan dan dianggap sebagai sebahagian
daripada kontrak Takaful. Oleh itu, kedua-dua pihak mesti
mengambil langkah khas untuk memastikan ketepatan fakta demi
kepentingan pengendali Takaful dan pencadang.
Borang permohonan biasanya dibahagikan kepada beberapa
seksyen, dengan setiap seksyen direka khusus untuk mendapatkan
maklumat tertentu. Walaupun borang permohonan itu mungkin
berbeza dari satu syarikat ke syarikat lain, kebanyakannya
memerlukan pencadang mendedahkan maklumat-maklumat
berikut:
 Bahagian 1 – Maklumat am
 Bahagian 2 – Maklumat perubatan dan kesihatan
 Bahagian 3 – Kenyataan atau laporan ejen, dan
 Bahagian 4 – Tandatangan pihak-pihak yang terlibat.
Bahagian 1 – Maklumat Am
 Data peribadi
 Nama
 Alamat
Pengunderaitan Takaful Perubatan dan Kesihatan 231
 Tarikh lahir
 Pekerjaan
 No kad pengenalan
 Jantina
 Taraf perkahwinan
Bahagian 2 - Medical Information
 Sejarah perubatan
 Keadaan sedia ada
 Rawatan perubatan
Tanggungjawab ejen Takaful dalam proses mengemukakan
permohonan Takaful termasuklah:
 Memastikan borang permohonan diisi dengan lengkap dan
sepenuhnya
 Memastikan semua soalan dijawab dengan tepat
 Memastikan bayaran sumbangan diuruskan mengikut
prosedur yang betul
Bahagian 3 - Kenyataan Ejen
Kenyataan ejen merupakan sebahagian dari isi kandungan borang
permohonan dan mengkehendaki ejen Takaful menyediakan
maklumat tertentu mengenai pencadang. Ini secara amnya
termasuklah maklumat mengenai hubungan ejen dengan
pencadang, data tentang status kewangan pencadang, tabiat
pencadang, ciri-ciri atau sifat-sifat am pencadang dan maklumat-
maklumat lain yang berkaitan dengan risiko yang akan ditanggung
oleh pengendali Takaful.
Bahagian 4 - Laporan Perubatan
Sebelum sijil Takaful boleh dikeluarkan, pemeriksaan perubatan
hendaklah dilakukan dan laporannya diserahkan bersama-sama
dengan laporan sampel darah dan air kencing. Pemeriksaan
232 Amalan Asas Takaful
perubatan meliputi soalan mengenai sejarah perubatan pencadang,
ketinggian, berat badan, denyutan nadi dan tekanan darah.
Pemeriksa perubatan juga akan meminta nama dan alamat mana-
mana doktor yang telah merawat pencadang atau mana-mana
hospital yang pernah memberi rawatan kepadanya. Pemeriksa
perubatan akan bertanyakan tentang apa-apa penyakit yang
dihidapi, ubat-ubatan yang diambil dan rawatan-rawatan lain yang
sedang / telah dijalani oleh pencadang.
Maklumat dan keperluan tambahan mungkin diperlukan oleh
pengendali Takaful, sebagai tambahan kepada pemeriksaan
kesihatan dan ia meliputi perkara-perkara berikut:-
 Pemeriksaan doktor
 ECG semasa rehat
 Ujian tekanan Treadmill
 X-ray dada
11.6.2 Kenyataan Doktor yang Merawat (Attending
Physician’s Statement -APS)
Pengendali Takaful sering memerlukan maklumat perubatan dan
laporan dari doktor yang merawat untuk memudahkan proses
pengunderaitan permohonan Takaful. Kenyataan dari doktor yang
merawat ialah kenyataan yang disediakan oleh doktor yang
merawat individu yang ingin menyertai pelan Takaful. Huraian
yang diberikan dalam kenyataan tersebut (APS) adalah bukti risiko
kemortalan pencadang.
Doktor yang menyediakan laporan APS mungkin bukan doktor
yang merawat pesakit berkenaan. Sebagai contoh, jika seorang
pengunderait ingin mencari maklumat tentang pesakit yang pulih
dari sakit barah pankreas, besar kemungkinan pengunderait akan
meminta laporan APS dari doktor pakar yang merawat pesakit itu
sendiri, seperti seorang pakar bedah atau pakar radiologi.
Pengunderaitan Takaful Perubatan dan Kesihatan 233
11.6.3 Rekod Perubatan Hospital
Dengan menandatangani dan mengemukakan borang permohonan
Takaful, pencadang memberi hak kepada pengendali Takaful
untuk mendapatkan dan mengkaji rekod perubatan - sebelum dan
selepas menjadi peserta pelan Takaful perubatan dan kesihatan.
Rekod perubatan boleh diperolehi dari doktor semasa, doktor
terdahulu, farmasi dan pusat kemudahan rawatan. Dalam
kebanyakan borang cadangan, terdapat fasal penafian atas
permohonan Takaful yang membenarkan pengendali Takaful
mendapatkan maklumat perubatan dengan kebenaran dan
kelulusan pemohon.
A11.7 KEPUTUSAN PENGUNDERAITAN
Setiap pengendali Takaful mempunyai garis panduan
pengunderaitan sendiri dan standard kepada siapa mereka akan
memberi dan tidak akan memberi perlindungan. Proses
pengunderaitan adalah kaedah untuk menentukan yang pengendali
akan terus berfungsi dalam lingkungan bidang kuasa yang
dibenarkan.
Setelah analisa mengenai maklumat yang tersedia telah lengkap,
pengunderait pada dasarnya mempunyai tiga kategori keputusan
pengunderaitan;-
 Standard – dipersetujui mengikut apa yang dipohon
 Sub-standard / diubahsuai - dipersetujui dengan
menyertakan beberapa syarat
 Ditolak - permohonan ditolak
11.7.1 Standard – dipersetujui mengikut apa yang dipohon
Sekiranya pencadang dikategorikan sebagai mempunyai risiko
standard / biasa, pencadang akan dikenakan kadar sumbangan
standard tanpa sebarang pengecualian atau pengurangan manfaat.
234 Amalan Asas Takaful
11.7.2 Sub-Standard / diubahsuai – dipersetujui dengan
menyertakan beberapa syarat
Sekiranya pencadang mempunyai risiko yang mengatasi risiko
standard / biasa (mungkin mengalami tekanan darah tinggi,
menghisap rokok atau terlibat dengan aktiviti terjunan udara pada
hujung minggu), pencadang dikategorikan sebagai mempunyai
risiko yang meningkat dan dikenakan kadar sumbangan yang lebih
tinggi. Pengubahsuaian terhadap pelan perlindungan boleh dibuat
dalam bentuk:
 Pengecualian rider
 Tambahan kadar sumbangan
 Perubahan manfaat
 Kombinasi pilihan di atas
11.7.3 Ditolak - permohonan tidak diterima
Keputusan pengunderaitan yang dianggap paling drastik ialah
menolak permohonan perlindungan risiko. Sekiranya pencadang
dikategorikan sebagai risiko tidak dikehendaki (mungkin peserta
menghidap penyakit merbahaya atau terlibat dalam aktiviti atau
hobi yang merbahaya), pengendali akan menolak permohonan
berkenaan.
A11.8 KECUKUPAN SUMBANGAN
Takaful menjunjung konsep gotong-royong dan perpaduan dan
oleh itu, model Takaful perlu berusaha untuk berlaku adil. Ia perlu
memastikan bahawa sumbangan untuk menyertai pelan Takaful
ditetapkan pada tahap yang munasabah untuk memastikan
kecukupan, ekuiti dan keadilan di kalangan peserta. Pengunderait
Takaful perlu melaksanakan proses pengunderaitan demi
memastikan hanya risiko yang wajar dipilih dan kadar yang
dikenakan adalah sepadan dengan risiko yang ditanggung.
Pengendali Takaful akan mengenakan kadar sumbangan yang
Pengunderaitan Takaful Perubatan dan Kesihatan 235
setara dengan risiko yang dikongsi. Dalam erti kata lain,
pengendali Takaful akan mengenakan kadar sumbangan yang
lebih tinggi kepada pemohon yang mempunyai risiko yang lebih
tinggi dari kebarangkalian kerugian purata.
A11.9 PENGELUARAN SIJIL
11.9.1 Endorsemen Pengecualian
Endorsemen pengecualian digunakan oleh pengendali Takaful
sebagai satu cara untuk memberi perlindungan kepada individu
yang sepatutnya ditolak permohonannya. Dalam beberapa kes-kes
seperti darah tinggi atau tiroid, pengendali Takaful masih boleh
memberi perlindungan dengan pengecualian pada penyakit-
penyakit berkenaan.
11.9.2 Sumbangan Tambahan
Sumbangan tambahan ialah amaun tambahan kepada sumbangan
asas yang dikenakan oleh pengendali Takaful untuk menampung
perbelanjaan operasi dan mengendali perniagaan. Terdapat dua
bentuk sumbangan tambahan iaitu:
 Sumbangan tambahan dikenakan kepada peserta berdasarkan
risiko seperti yang dinilai oleh pengunderait pengendali
Takaful. Biasanya ia dikaitkan dengan sejarah perubatan yang
kurang baik, tabiat atau hobi yang berbahaya. Bagi peserta
yang merokok, pengendali Takaful mengambil kira bilangan
rokok yang dihisap setiap hari dan mengenalpasti risiko
seperti yang dinyatakan dalam amalan pengunderaitan.
 Sumbangan tambahan dikenakan kepada peserta berdasarkan
hubungan dengan pengalaman tuntutan. Dalam beberapa kes
penyakit sedia ada, sumbangan tambahan perlu dikenakan
kepada risiko yang dianggap lebih tinggi dari risiko biasa.
Pada amnya, ia dilakukan selaras dengan had yang ditentukan
atau parameter sumbangan tambahan yang difailkan oleh
pengendali Takaful dengan pihak berkuasa Takaful. Apabila
236 Amalan Asas Takaful
sijil diperbaharui dan terdapat tuntutan pada tahun
sebelumnya, kadar sumbangan akan dinaikkan selaras dengan
parameter dan pengiraan, seperti yang dinyatakan dalam sijil
Takaful. Sebagai kontrak tahunan dan sekiranya pengalaman
tuntutan tidak memuaskan, dasar bebanan berasaskan tuntutan
akan ditetapkan oleh pengendali Takaful mengikut budi bicara
mereka.
11.9.3 Manfaat yang Diubahsuai
Pengendali Takaful mungkin menawarkan manfaat Takaful yang
diubah suai kepada pemohon, umpamanya had tahunan yang lebih
rendah, amaun deduktibel yang lebih tinggi untuk perbelanjaan
perubatan, kadar sumbangan yang lebih tinggi atau pengecualian
rider. Pengendali Takaful akan mengambil keputusan ini apabila
terdapat beberapa faktor yang tidak meyakinkan dalam
keseluruhan risiko.
11.9.4 Pembaharuan Takaful Perubatan dan Kesihatan
Terdapat empat pilihan memperbaharui sijil yang diamalkan di
bawah pelan Takaful Perubatan dan Kesihatan:
1. Pembaharuan Tidak Boleh Batal dan Pembaharuan Dijamin
Pelan Takaful Perubatan dan Kesihatan berserta jaminan
pembaharuan menyediakan amaun perlindungan yang lebih
besar. Terdapat dua jenis jaminan:
a. Kadar sumbangan tidak akan dinaikkan.
b. Pengendali Takaful tidak akan menolak permohonan
pembaharuan perlindungan.
2. Pembaharuan Dijamin
Perbezaan asas diantara perlindungan pembaharuan tidak
boleh batal dan pembaharuan dijamin dengan perlindungan
Pengunderaitan Takaful Perubatan dan Kesihatan 237
yang hanya boleh diperbaharui bergantung kepada hak
pengendali Takaful untuk mengubah kadar sumbangan. Walau
bagaimanapun, pengendali Takaful tidak sepatutnya
menaikkan kadar sumbangan peserta hanya kerana
pengalaman tuntutan. Sebaliknya, pengendali Takaful boleh
menaikkan kadar sumbangan semua peserta dalam kumpulan
umur yang sama.
3. Pembaharuan Bersyarat
Peruntukan pembaharuan yang ketiga dikenali sebagai
pembaharuan bersyarat. Peruntukan pembaharuan bersyarat
memberi hak bersyarat kepada pemilik sijil untuk
memperbaharui sijil, tetapi pengendali Takaful berhak
menolak permohonan pembaharuan sijil peserta didalam kelas
tertentu, dan kenaikan kadar sumbangan juga tidak mustahil.
Selagi peserta memenuhi syarat-syarat pembaharuan dan
membayar amaun sumbangan yang dikenakan tepat pada
masanya, Pengendali Takaful menjamin tidak akan
membatalkan sijil Takaful. Peruntukan pembaharuan bersyarat
biasanya ditawarkan kepada peserta dalam pekerjaan yang
berisiko tinggi.
4. Pilihan Boleh Diperbaharui
Peruntukan pembaharuan yang keempat menawarkan jaminan
pembaharuan yang paling minimum kepada peserta dan hanya
sedikit permohonan perlindungan perubatan dan kesihatan
moden. Ia dikenali sebagai pilihan perlindungan boleh
diperbaharui. Di bawah peruntukan pilihan boleh
diperbaharui, kadar sumbangan mungkin akan dinaikkan dan
manfaat diubah suai berdasarkan kelas. Di samping itu,
Pengendali Takaful boleh membatalkan sijil individu, tetapi
hanya pada ulang tahun sijil atau pada tarikh jatuh bayaran
sijil.
238 Amalan Asas Takaful
A11.10 BAYARAN SUMBANGAN
Pembayaran sumbangan Takaful bergantung kepada jenis sijil.
Sesetengah sijil Takaful dikeluarkan berdasarkan ‘tunai-sebelum-
lindung’ (cash before cover), manakala sebahagian jenis sijil yang
lain sijil lain yang mungkin tertakluk kepada waranti sumbangan
60 hari.
Tempoh tenggang mungkin dibenarkan untuk sijil pembaharuan
dijamin, sijil pembaharuan bersyarat dan sijil tidak boleh
dibatalkan, bagi menyediakan kemudahan kepada pemilik sijil
untuk membuat bayaran sumbangan. Walau bagaimanapun,
sebarang tuntutan yang berlaku semasa tempoh tenggang tidak
akan dibayar walaupun pengendali Takaful tidak akan
membatalkan sijil. Sijil akan hanya dianggap batal sekiranya tiada
pembayaran sumbangan dibuat sebelum akhir tempoh tenggang.
A11.11 PENAMATAN PERLINDUNGAN
Apabila berlaku perkara-perkara di bawah, sijil Takaful perubatan
dan kesihatan secara automatik akan ditamatkan:
 Kematian peserta;
 Pada tarikh ulang tahun sijil sejurus selepas umur kelayakan
maksimum peserta;
 Jumlah manfaat yang dibayar di bawah sijil melebihi had
maksimum yang dinyatakan dalam jadual manfaat.
Pentadbiran Sijil Takaful Perubatan dan Kesihatan 239
BAB A12
PENTADBIRAN SIJIL TAKAFUL
PERUBATAN DAN KESIHATAN
PENGENALAN
Bab ini akan membincangkan isu-isu mengenai pentadbiran sijil
Takaful Perubatan dan Kesihatan yang meliputi tajuk-tajuk berikut:
 Pentadbiran Sijil Takaful Perubatan dan Kesihatan
 Pentadbiran Sijil Takaful
 Borang Cadangan
 Dokumen Sijil
 Endorsemen
 Notis Pembaharuan
 Dokumen untuk Pelepasan Cukai bagi Bayaran Sumbangan
Takaful Perubatan dan Kesihatan
A12.1 PENTADBIRAN SIJIL TAKAFUL PERUBATAN
DAN KESIHATAN
Pentadbiran sijil melibatkan pertukaran dan pengeluaran dokumen
sebagai bukti kewujudan kontrak Takaful yang sah. Dokumen
berkenaan termasuk perkara-perkara berikut:
1. Borang Cadangan
2. Sijil
3. Endorsemen
4. Notis Pembaharuan
5. Bukti bayaran sumbangan Takaful Perubatan dan Kesihatan
bagi tujuan pelepasan cukai
Seksyen 27 Akta Takaful 1984 menyatakan tentang kawalan dan
penghantaran borang cadangan, sijil dan risalah pengendali Takaful
240 Amalan Asas Takaful
kepada pihak Bank Negara Malaysia. Sebagai tambahan, Seksyen 27
Akta juga menyatakan bahawa Bank Negara Malaysia akan
menjelaskan tentang kod amalan terbaik mengenai diskripsi borang
cadangan, sijil dan risalah.
A12.2 BORANG CADANGAN
Borang cadangan pelan Takaful perubatan dan kesihatan merupakan
sebahagian dari kontrak Takaful. Pencadang menandatangani borang
cadangan sebagai mengesahkan bahawa semua maklumat yang
diberikan sepanjang pengetahuannya adalah benar dan betul, dan
pengendali Takaful mengeluarkan sijil berdasarkan dari maklumat
diatas.
Borang cadangan merupakan dokumen yang sangat penting kerana
biasanya ia dikepilkan bersama sijil dan menjadi sebahagian dari
kontrak Takaful. Oleh yang demikian, pengendali hendaklah
mengambil perhatian sepenuhnya terhadap ketepatan isi
kandungannya demi menjaga kepentingan kedua-dua belah pihak
iaitu pengendali Takaful dan peserta.
12.2.1 Tujuan Borang Cadangan
Tujuan diadakan borang cadangan ialah untuk membantu pengendali
Takaful mengumpulkan maklumat yang diperlukan bagi tujuan
pengunderaitan. Maklumat yang diperolehi dapat membantu
pengunderait menilai dengan cepat dan tepat. Dari segi amalan,
borang cadangan kerap digunakan untuk menilai perkara yang
berkaitan dengan risiko yang mudah, dimana maklumat boleh
disediakan dalam format yang tersusun.
12.2.2 Struktur Borang Cadangan
Borang cadangan biasanya dibahagikan kepada beberapa bahagian
dimana setiap bahagian direka untuk mendapatkan maklumat tertentu.
Walaupun bentuk borang cadangan mungkin berbeza antara satu
pengendali Takaful dengan pengendali Takaful yang lain,
Pentadbiran Sijil Takaful Perubatan dan Kesihatan 241
kebanyakannya berkisar kepada keperluan memberitahu dan
mengemukakan maklumat-maklumat berikut:
1. Bahagian 1 (Maklumat Am),
2. Bahagian 2 (Maklumat Perubatan), Kenyataan atau Laporan Ejen,
dan tandatangan semua pihak yang terlibat dalam kontrak
berkenaan.
Soalan-soalan yang terdapat dalam borang cadangan bukanlah
menyeluruh dan pencadang bertanggungjawab untuk mendedahkan
semua fakta material walaupun ia mungkin tidak ditanya dalam
borang berkenaan. Dibawah Seksyen 11 Garis Panduan Perniagaan
Takaful Perubatan dan Kesihatan, pengendali Takaful bertanggung
jawab mengambil langkah-langkah yang sewajarnya membantu
pencadang melaksanakan tanggungjawab mendedahkan atau
memberitahu maklumat-maklumat penting bagi tujuan penilaian
pengunderaitan.
12.2.3 Kandungan Borang Cadangan
Berhubung dengan Seksyen 11 Garis Panduan Perniagaan Takaful
Perubatan dan Kesihatan, sub-seksyen 11(a) dan 11(b) menyatakan
bahawa pengendali Takaful hendaklah memastikan semua borang
cadangan:-
11 (a) memasukkan soalan-soalan khusus yang direka untuk
mendapatkan maklumat yang relevan kepada keputusan
pengendali Takaful sama ada untuk menerima atau menolak
risiko, kadar sumbangan dan syarat-syarat yang dikenakan.
11 (b) secara jelas meminta pencadang mendedahkan apa-apa
keadaan lain yang difikirkan penting, tanpa mengira yang
pengendali Takaful dengan sebaik mungkin telah merangka
soalan yang khusus di bawah perenggan 11 (a) di atas.
242 Amalan Asas Takaful
Biasanya borang cadangan mengandungi perkara-perkara berikut:
1. Kenyataan pemberitahuan seperti yang disyaratkan dibawah Akta
Takaful 1984
Seksyen 28 Akta Takaful 1984 menghendaki pencadang
mendedahkan atau memberitahu secukupnya fakta-fakta yang ia
ketahui. Kenyataan tersebut berbunyi “Anda dikehendaki
menyatakan dalam borang cadangan, keterangan yang lengkap
dan jujur mengenai segala fakta yang anda ketahui atau anda
sepatutnya mengetahui; sekiranya tidak, sijil yang dikeluarkan
akan menjadi tidak sah.”
2. Soalan-soalan am mengenai pencadang
Borang cadangan Takaful perubatan dan kesihatan mengandungi
soalan-soalan asas mengenai butir-butir peribadi pencadang
seperti berikut:
a. Nama pencadang bagi tujuan pengenalan diri. Walau
bagaimanapun, nama juga dapat memberi petunjuk mengenai
aspek risiko yang dicadangkan. Sebagai contoh, nama
syarikat biasanya dapat menunjukkan jenis perniagaan yang
dijalankan.
b. Alamat surat menyurat pencadang
c. Alamat tentang risiko. Alamat dapat menyediakan petunjuk
tempat kerja pencadang. Maklumat ini penting kerana lokasi
yang berisiko tinggi bukan sahaja meningkatkan
kemungkinan berlaku kerugian, tetapi juga tahap keterukan
kerugian yang akan ditanggung.
d. Pekerjaan pencadang. Pekerjaan yang berbeza mempunyai
tahap risiko yang berbeza juga. Contohnya, dari perspektif
Takaful perubatan dan kesihatan, pekerja di tapak pembinaan
dianggap melibatkan pekerjaan yang berisiko tinggi
berbanding dengan pekerja pejabat.
Pentadbiran Sijil Takaful Perubatan dan Kesihatan 243
3. Maklumat mengenai insurans / Takaful yang dimiliki sekarang &
terdahulu.
4. Soalan-soalan khusus mengenai sejarah perubatan dan kesihatan.
Soalan mungkin meliputi perkara-perkara berikut:
a. Sejarah keluarga & perubatan
b. Tabiat merokok
c. Hobi yang merbahaya
d. Soalan berkaitan AIDS
5. Dibawah Seksyen 13 garis panduan yang sama, borang cadangan
yang digunakan hendaklah mengandungi kenyataan
pengisytiharan, yang memasukkan maklumat minimum berikut:-
a. Aqad (kontrak) yang mengikat peserta Takaful;
b. Aqad (kontrak) yang mengikat peserta dan pengendali
Takaful;
c. Peruntukan keuntungan dan surplus pelaburan kepada
peserta; dan
d. Peruntukan keuntungan, surplus dan yuran kepada pengendali
Takaful.
6. Dibawah fasal pengisytiharan, terdapat peruntukan yang
memerlukan tandatangan pencadang berserta tarikh tandatangan.
Pencadang perlu menandatangani borang cadangan berkenaan
kerana ia menandakan tawaran kontrak tersebut.
A12.3 DOKUMEN SIJIL
Pengendali Takaful menyediakan dokumen sijil yang menandakan ia
adalah bukti bertulis kontrak Takaful. Dalam usaha untuk diterima
sebagai keterangan dalam mahkamah undang-undang, sijil Takaful
perlu disetemkan selaras dengan peruntukan Akta Setem. Dokumen
yang kerap disediakan oleh pengendali Takaful adalah merupakan
244 Amalan Asas Takaful
jenis jadual yang dibahagikan kepada beberapa bahagian yang
berbeza dengan butir-butir risiko tertentu yang dilindungi dimasukkan
ke dalam satu bahagian dokumen sijil yang dikeluarkan oleh
pengendali Takaful.
12.3.1 Struktur Dokumen Sijil Takaful Perubatan dan
Kesihatan
Jadual didalam dokumen sijil dibahagikan kepada beberapa bahagian
iaitu:
1. Tajuk
Di bawah seksyen ini, nama penuh dan alamat berdaftar
Pengendali Takaful dicetak dibahagian atas muka surat hadapan.
2. Pendahuluan atau Klausa Kuatkuasa
Klausa ini memperkenalkan atau menyebut tentang pihak-pihak
yang terlibat dalam kontrak – pengendali Takaful dan peserta.
Klausa pendahuluan ini menjadi rujukan sekiranya pelan Takaful
keluarga yang dimaksudkan adalah berdasarkan dari borang
cadangan berserta perisytiharan. Klausa ini juga menyatakan
bahawa peserta telah membayar sumbangan atau telah bersetuju
untuk membayar sumbangan sebagai balasan.
3. Klausa Operasi
Klausa ini menerangkan tentang kandungan penting kontrak
dengan menyatakan peril yang dilindungi dibawah sijil ini dan
keadaan-keadaan yang menjadikan pengendali Takaful
bertanggungjawab untuk membuat bayaran atau seumpamanya
kepada peserta.
Pentadbiran Sijil Takaful Perubatan dan Kesihatan 245
4. Pengecualian
Pengecualian adalah had atau batasan skop perlindungan Takaful.
Ia telah menjadi amalan untuk menyatakan semua bentuk
pengecualian dibawah satu bahagian yang berasingan di dalam
dokumen sijil. Pengecualian disertakan dalam sijil kerana terdapat
peril atau kerugian tertentu yang tidak boleh dilindungi di bawah
sijil Takaful. Sebelum dokumen sijil berjadual diperkenalkan,
pengecualian biasanya dinyatakan dibahagian fasal kuatkuasa dan
syarat-syarat.
5. Jadual manfaat
Seksyen ini mengandungi semua maklumat bercetak yang
berkaitan dengan kontrak berkenaan. Manfaat yang disediakan
dibawah sijil ini hendaklah dinyatakan dengan terang dan nyata
supaya peserta dapat memahami isi kandungannya serta boleh
dijadikan rujukan. Ini biasanya dilakukan dengan menyediakan
jadual faedah secara berasingan atau mukasurat khas dalam sijil.
Contohnya, dalam sijil Takaful perubatan dan kesihatan, jadual
manfaat menyatakan maklumat berikut:
 nama dan alamat peserta
 sumbangan
 nombor sijil
 tarikh dikeluarkan
 agensi
 tarikh lahir peserta
 tempoh perlindungan Takaful
 pekerjaan peserta
 fasal pengecualian tertentu
 pelbagai jenis dan amaun manfaat
246 Amalan Asas Takaful
6. Klausa Penyaksian (attestation) atau Tandatangan
Klausa ini dinamakan sedemikian kerana ia memperuntukkan
kepada pengendali Takaful untuk menyatakan tanggungjawabnya.
Sijil Takaful ditandatangani oleh pegawai yang diberi kuasa oleh
pengendali Takaful.
7. Syarat-syarat
Dalam kontrak Takaful, syarat-syarat perlindungan berbentuk
nyata / tersurat atau tidak nyata / tersirat. Syarat tersirat biasanya
berkaitan dengan perkara-perkara berikut:
 Tanggungjawab Penuh Percaya Mutlak (Utmost Good Faith)
 Kewujudan kepentingan boleh lindung (insurable interest)
 Kewujudan perkara pokok produk Takaful, dan
 Mengenal pasti perkara pokok produk Takaful.
Pengendali Takaful akan mencetak syarat-syarat nyata dalam sijil
dan memantau perlaksanaan kontrak Takaful. Apabila syarat-
syarat nyata tidak dinyatakan, kontrak Takaful akan tertakluk
hanya kepada syarat-syarat yang tersirat. Berikut adalah tiga
kategori syarat-syarat kontrak yang melibatkan masa sebagai
elemen penting:-
 Syarat-syarat Sebelum Kontrak
Untuk memastikan kontrak Takaful sah, terdapat syarat-
syarat yang perlu dipenuhi sebelum sesuatu kontrak itu
mejadi sah. Ia termasuk syarat tersirat seperti Penuh Percaya
Mutlak dan kepentingan boleh insurans.
 Syarat-syarat Semasa Kontrak
Untuk memastikan kontrak kekal sah selepas dikeluarkan,
terdapat beberapa syarat yang perlu dipenuhi. Syarat-syarat
Pentadbiran Sijil Takaful Perubatan dan Kesihatan 247
yang menghendaki peserta memberitahu pengendali Takaful
tentang sebarang perubahan atau pindaan terhadap risiko
yang dilindungi adalah contoh syarat-syarat semasa kontrak.
Ia meliputi syarat-syarat nyata yang disenaraikan dalam sijil
seperti perantaraan, sumbangan, subrogasi dan sebagainya.
 Syarat-syarat Sebelum Liabiliti
Syarat-syarat ini perlu dipenuhi sebelum pengendali Takaful
bertanggungjawab terhadap sebarang tuntutan. Syarat
pemberitahuan dalam Takaful kebakaran adalah contoh syarat
sebelum liabiliti.
8. Daftar Sijil:
Setiap pengendali Takaful yang berdaftar di bawah Akta Takaful
1984 hendaklah mewujudkan dan menyelenggara daftar sijil
Takaful dalam bentuk tertentu seperti yang diperuntukkan, dan
selain dari perkara yang dikecualikan, daftar sijil hendaklah
disimpan di pejabat pengendali Takaful yang menjalankan
perniagaan di Malaysia.
Adalah menjadi keperluan undang-undang di bawah Seksyen 15
Akta Takaful 1984, bahawa pengendali Takaful dikehendaki
mengendali dan mengemaskinikan daftar semua sijil yang telah
dikeluarkan, dan tiada satu pun sijil berkenaan dikeluarkan dari
daftar selagi pengendali Takaful masih menanggung liabiliti
keatas sijil berkenaan. Daftar sijil digunakan sebagai rekod rasmi
sijil yang dikeluarkan oleh pengendali Takaful. Daftar polisi
boleh disimpan dalam bentuk kad atau lembaran lejer atau
cetakan komputer kerana Akta Takaful 1984 tidak menetapkan
bentuk catatan rekod yang khusus bagi tujuan berkenaan.
A12.4 ENDORSEMEN
Pengendali Takaful akan mengeluarkan sijil dalam bentuk standard
meliputi peril tertentu dan mengecualikan yang lainnya. Walau
248 Amalan Asas Takaful
bagaimanapun, sekiranya timbul keperluan untuk meminda terma dan
syarat sijil, pengendali Takaful akan mengepilkan satu atau lebih
memorandum atau endorsemen pada sijil. Endorsemen membentuk
sebahagian dari sijil dan merupakan bukti kontrak.
Pindaan yang dibuat mungkin berkaitan dengan mana-mana yang
berikut:
o perubahan amaun manfaat
o perubahan kepada mana-mana tempoh manfaat maksimum
o perluasan perlidungan Takaful untuk melindungi tambahan
ahli keluarga
o perubahan risiko pekerjaan
o pembatalan Takaful
o pertukaran nama dan alamat peserta
A12.5 NOTIS PEMBAHARUAN
Untuk produk Takaful Perubatan dan Kesihatan pembaharuan
tahunan (biasanya pelan asas), pengendali Takaful biasanya
mengeluarkan notis pembaharuan satu atau dua bulan lebih awal dari
tarikh tamat tempoh, mengingatkan peserta tentang sijil yang akan
tamat tempoh pada tarikh tertentu. Walaupun tiada obligasi dari segi
undang-undang bagi pengendali Takaful untuk memberitahu peserta,
ia telah menjadi amalan biasa dan dianggap sebagai sebahagian dari
urus khidmat pelanggan pengendali Takaful.
Notis pembaharuan mengandungi semua butiran penting sijil
termasuk:
 nama peserta
 nombor sijil
 tarikh tamat sijil
 amaun sumbangan tahunan
 pindaan syarat-syarat sijil (sekiranya berkenaan).
Pentadbiran Sijil Takaful Perubatan dan Kesihatan 249
Pengendali Takaful juga memasukkan nota meminta peserta
mendedahkan sebarang perubahan material terhadap risiko sejak
tarikh kuatkuasa sijil (atau tarikh terakhir pembaharuan sijil).
Untuk kontrak jangka panjang Takaful Perubatan dan Kesihatan,
sumbangan biasanya dibayar berdasarkan kekerapan bayaran yang
telah dipersetujui terlebih dahulu, umpamanya bulanan, suku tahunan,
setengah tahun atau tahunan. Dalam hal ini, pengendali Takaful akan
menghantar notis pemberitahuan sumbangan tiga atau empat minggu
sebelum tarikh jatuh bayaran. Sekiranya terdapat bayaran sumbangan
yang tertunggak, iaitu tidak dibayar dua atau tiga minggu selepas
tarikh jatuh bayaran, pengendali Takaful akan menghantar Notis
Peringatan Sumbangan kepada peserta.
A12.6 DOKUMEN UNTUK PELEPASAN CUKAI BAGI
BAYARAN SUMBANGAN TAKAFUL PERUBATAN
DAN KESIHATAN
Peraturan percukaian masa kini membenarkan seseorang individu
pembayar cukai pemastautin Malaysia menikmati tambahan potongan
cukai seperti berikut:
 Potongan dari pendapatan boleh dicukai sehingga ke had
maksimum RM 3,000 atas bayaran sumbangan Takaful
pendidikan dan Takaful perubatan.
 Potongan dari pendapatan boleh dicukai sehingga ke had
maksimum RM 6,000 atas bayaran sumbangan sijil Takaful dan
sumbangan kepada skim persaraan yang diluluskan.
Tempoh perlindungan Pelan Takaful Perubatan dan Kesihatan
hendaklah dalam jangka masa 12 bulan atau lebih. Perbelanjaan yang
ditanggung hendaklah yang berkaitan dengan rawatan perubatan
disebabkan penyakit, kemalangan atau hilang upaya. Pelan ini
mungkin dalam bentuk sijil asas atau sebagai pelan tambahan (rider)
kepada sijil Takaful Keluarga. Sekiranya perlindungan dalam bentuk
250 Amalan Asas Takaful
pelan tambahan, hanya sumbangan pelan tambahan yang layak
mendapat potongan cukai.
Lembaga Hasil Dalam Negeri memerlukan bukti bayaran sumbangan
bagi melayakkannya mendapat kemudahan potongan cukai. Oleh itu,
peserta dinasihatkan untuk menyimpan segala resit bayaran bagi
tujuan pengauditan cukai dan pengesahan bayaran.
Tuntutan Takaful Perubatan dan Kesihatan 251
BAB A13
TUNTUTAN TAKAFUL PERUBATAN
DAN KESIHATAN
PENGENALAN
Bab A13 akan membincangkan isu-isu berkaitan tuntutan Takaful
perubatan dan kesihatan, yang meliputi aspek-aspek berikut:
 Pemberitahuan tentang Kerugian
 Bukti Kerugian/Tuntutan
 Memeriksa Perlindungan
 Penyiasatan Tuntutan
 Borang Tuntutan Takaful Perubatan dan Kesihatan
 Penafian Liabiliti oleh Pengendali Takaful
 Pertikaian
A13.1 PEMBERITAHUAN TUNTUTAN
Orang ramai menyertai skim Takaful kerana mengharapkan bayaran
pampasan apabila berlaku kerugian. Walau bagaimanapun, apabila
berlaku sesuatu kejadian yang memungkinkan tuntutan dibuat,
pengendali Takaful tidak terus bertindak memproses tuntutan dan
membayar ganti rugi kepada pemilik sijil, melainkan pengendali
Takaful telah diberitahu mengenainya. Oleh itu, pemberitahuan
mengenai tuntutan adalah penting mengikut peruntukan kontrak
Takaful.
Dua sebab utama mengapa pemberitahuan tuntutan itu penting:
pertama, pengendali Takaful perlu diberi peluang untuk menyiasat
tentang kerugian / tuntutan berkenaan, dan kedua, pengendali Takaful
perlu membuat peruntukan bagi menampung kos tuntutan.
252 Amalan Asas Takaful
Sijil Takaful menghendaki pemilik sijil memberitahu pengendali
Takaful secara bertulis tentang apa-apa tuntutan dalam tempoh
tertentu, biasanya dalam tempoh 14 hari hingga 30 hari. Pihak yang
menuntut perlu mengisi borang tuntutan dan mengemukakannya
kepada pengendali Takaful, berserta dokumen-dokumen sokongan
seperti laporan perubatan dan sebagainya yang dapat membantu
proses tuntutan. Kesemua dokumen berkenaan disediakan atas
perbelanjaan pihak yang menuntut. Sekiranya pengendali Takaful
memerlukan siasatan lanjut, kos siasatan berkenaan akan ditanggung
oleh pengendali Takaful.
A13.2 BUKTI TUNTUTAN
Pihak yang menuntut dikehendaki mengemukakan bukti bertulis
mengenai kerugian / tuntutan dalam tempoh seperti yang dinyatakan
dalam peruntukan kerugian. Dalam kes tuntutan manfaat hospital dan
perubatan, bukti sah kemasukan ke hospital (bil hospital yang asal
dan borang tuntutan) hendaklah dikemukakan dalam tempoh masa
yang ditetapkan.
Pihak yang menuntut hendaklah mendaftarkan tuntutannya terlebih
dahulu dengan pengendali Takaful dalam tempoh masa yang
ditetapkan dan kemudiannya mengemukakan semua dokumen yang
berkaitan untuk memudahkan proses tuntutan. Biasanya, dokumen
sokongan yang diperlukan ialah:
 Bukti pengenalan diri,
 Salinan dokumen sijil,
 Bil hospital yang asal di mana peserta telah dimasukkan ke
hospital,
 Sijil daftar keluar dari hospital, dan
 Laporan siasatan yang asal.
Kegagalan mengemukakan dokumen tuntutan dalam tempoh masa
yang ditetapkan tidak boleh menyebabkan tuntutan terbatal sekiranya
dapat dibuktikan bahawa adalah mustahil untuk menyediakan semua
Tuntutan Takaful Perubatan dan Kesihatan 253
bukti dalam tempoh yang diminta, tetapi semua dokumen telah
disiapkan dalam tempoh masa yang dianggap paling wajar.
A13.3 BORANG TUNTUTAN TAKAFUL PERUBATAN
DAN KESIHATAN
Borang tuntutan Takaful Perubatan dan Kesihatan direka untuk
mengetahui maklumat yang diperlukan bagi menentukan liabiliti
pengendali Takaful di bawah sijil berkenaan. Secara amnya, ia
mengandungi kenyataan pihak yang menuntut dan kenyataan dari
doktor yang merawat. Antara soalan-soalan yang dianggap standard
dalam semua borang tuntutan ialah:
 Nama
 Alamat
 Tarikh lahir
 Nombor sijil Takaful dan nombor kumpulan
 Maklumat sekiranya pemilik sijil juga dilindungi di bawah
pelan Takaful berkumpulan melalui majikannya.
 Keterangan mengenai kecederaan atau sakit / penyakit yang
menyebabkan kerugian.
Pihak yang menuntut bukan sahaja perlu menyatakan tarikh
menerima rawatan perubatan atau doktor yang merawat, tetapi juga
perlu memberitahu tarikh berlaku kecederaan atau sakit serta
keterangan lanjut mengenainya. Terdapat beberapa soalan tambahan
atau kemungkinan borang tambahan yang perlu dilengkapkan
sekiranya ia melibatkan kecederaan kerana pengendali Takaful perlu
menentukan adakah kecederaan berkenaan disebabkan oleh kecuaian
pihak ketiga.
Pihak yang menuntut juga perlu memberi keizinan dan kebenaran
kepada penyedia perubatan, doktor atau majikan untuk memberikan
maklumat atau rekod berkaitan dengan sejarah perubatan peserta atau
status pekerjaannya. Keizinan dari peserta ini membolehkan
pengendali Takaful mendapatkan rekod maklumat yang lebih lengkap
bagi memudahkan proses penilaian tuntutan.
254 Amalan Asas Takaful
A13.4 MEMERIKSA PERLINDUNGAN
Apabila pengendali Takaful menerima notis pemberitahuan tuntutan,
jabatan tuntutan akan membuat pemeriksaan awal untuk memastikan
kesahihan tuntutan tersebut.
1. Proses tuntutan bermula dengan menentukan sama ada tuntutan
tersebut adalah sah atau sebaliknya. Antara perkara-perkara yang
perlu diperiksa oleh jabatan tuntutan ialah:
 Adakah sijil masih berkuatkuasa?
 Adakah sumbangan telah dibayar?
 Adakah kerugian disebabkan peril yang dilindungi?
 Adakah perkara pokok yang terlibat dengan kerugian adalah
sama dengan apa yang dilindungi dalam sijil?
 Adakah notis pemberitahuan kerugian telah dibuat tanpa
sebarang kelewatan?
2. Borang Tuntutan
Setelah jabatan tuntutan selesai membuat pemeriksaan awal dan
mendapati tuntutan tersebut adalah sah, borang tuntutan akan
dikeluarkan dan diserahkan kepada pihak yang menuntut. Arahan
yang jelas mengenai prosedur tuntutan dan dokumen-dokumen
yang diperlukan juga akan diberitahu kepada pihak yang
menuntut. Walau bagaimanapun, jika didapati tuntutan yang
dikemukakan adalah tidak sah, pihak yang menuntut akan
diberitahu mengenainya dan proses tuntutan tidak akan
diteruskan.
3. Daftar Tuntutan
Semua tuntutan hendaklah didaftarkan di dalam Buku Daftar
Tuntutan sebaik sahaja pengendali Takaful menerima notis
pemberitahuan. Pengendali Takaful juga hendaklah menyimpan
satu buku daftar terkini bagi semua tuntutan Takaful kerana ia
Tuntutan Takaful Perubatan dan Kesihatan 255
dianggap sebagai rekod rasmi tuntutan. Pengendali Takaful tidak
boleh mengeluarkan sebarang rekod dalam buku daftar selagi ia
pengendali masih bertanggungjawab terhadap tuntutan berkenaan.
A13.5 PENYIASATAN TUNTUTAN
Langkah seterusnya dalam proses tuntutan Takaful ialah membuat
siasatan. Satu siasatan yang menyeluruh akan dilakukan bagi
menentukan sama ada pengendali Takaful bertanggungjawab
terhadap kerugian berkenaan. Sejauh mana siasatan perlu dijalankan
adalah bergantung kepada tahap kerumitan dan saiz (amaun) tuntutan.
Proses Penyiasatan tuntutan melibatkan perkara-perkara berikut:
1. Jabatan tuntutan akan menyiasat bagi menentukan sama ada:
 wujud kerugian
 kerugian disebabkan peril yang dilindungi di bawah sijil
Takaful
 kerugian tidak termasuk dalam skop pengecualian di bawah
sijil Takaful
 pihak yang menuntut adalah pihak yang sah untuk berbuat
demikian.
2. Dokumen Tuntutan
Borang tuntutan direka untuk membantu pengendali Takaful
mengumpulkan maklumat-maklumat penting untuk menilai
tuntutan. Format borang tuntutan mungkin berbeza antara satu
pengendali dengan pengendali yang lain, tetapi beberapa
maklumat penting perlu diketahui tanpa mengira siapa pengendali
Takaful berkenaan. Maklumat tersebut ialah:
 Nama peserta
 Alamat peserta
 No telefon peserta
256 Amalan Asas Takaful
 Nombor sijil
 Sebab-sebab membuat tuntutan.
Pengendali Takaful menyatakan kedudukannya dengan jelas
melalui kenyataan bahawa borang tuntutan dikeluarkan tanpa
sebarang prasangka, yang bermaksud pengeluaran borang
tuntutan tidak bermakna pengendali mengaku untuk menanggung
liabiliti di bawah sijil yang dimaksudkan.
A13.6 PENYELESAIAN TUNTUTAN TAKAFUL
PERUBATAN DAN KESIHATAN
Proses tuntutan Takaful berakhir dengan bayaran tuntutan. Setelah
pengendali Takaful selesai membuat siasatan dan memutuskan untuk
membayar tuntutan, pengendali akan menentukan amaun bayaran dan
seterusnya membuat bayaran tuntutan kepada pihak yang menuntut.
A13.7 PENAFIAN LIABILITI OLEH PENGENDALI
TAKAFUL
Pengendali Takaful mungkin boleh menolak liabiliti tuntutan
berasaskan kepada beberapa sebab yang kukuh. Antaranya ialah:
 Kerugian tidak wujud seperti yang dilaporkan.
 Kerugian atau kerosakan berlaku disebabkan peril yang tidak
dilindungi.
 Kerugian atau kerosakan yang berlaku disebabkan peril yang
dikecualikan.
 Sijil diisytiharkan batal kerana telah melanggar syarat-syarat
sijil.
Apabila sesuatu tuntutan itu ditolak, pengendali Takaful akan
memberitahu pihak yang menuntut dengan cara:
 mengeluarkan surat kepada pemilik sijil dan memberitahu
keputusan penolakan berkenaan.
Tuntutan Takaful Perubatan dan Kesihatan 257
 mengeluarkan surat kepada ejen, mengarahkan ejen
menghubungi dan memberitahu pemilik polisi tentang
keputusan penolakan tuntutan dan memberitahu sebab-sebab
penolakan.
A13.8 PERTIKAIAN
Sungguhpun banyak kes tuntutan yang berjaya diselesaikan setiap
tahun oleh pengendali Takaful, terdapat sebahagian kecil kes tuntutan
yang berakhir dengan pertikaian antara pihak yang menuntut dengan
pengendali Takaful. Pertikaian biasanya melibatkan salah satu dari
isu-isu berikut:
 Persoalan sama ada pengendali Takaful boleh
dipertanggungjawabkan;
 Kuantum atau jumlah kerugian, sekiranya pengendali Takaful
bertanggungjawab.
Sekiranya timbul pertikaian atau perselisihan, ia mungkin boleh
diselesaikan melalui saluran-saluran berikut:
1. Rundingan dan Bertolak ansur
Sekiranya timbul perbalahan, biasanya langkah pertama yang
diambil oleh pengendali Takaful ialah mengadakan perjumpaan
dengan pihak yang menuntut untuk menyelesaikan pertikaian
melalui perbincangan. Wakil dari pengendali, biasanya
kakitangan dari jabatan tuntutan akan menjelaskan sebab-sebab
penolakan tuntutan.
Sekiranya timbul pertikaian mengenai kuantum / amaun kerugian,
wakil pengendali akan berunding mencari jalan penyelesaian
yang dipersetujui oleh kedua-dua belah pihak. Penyelesaian
melalui cara ini biasanya berakhir dengan pengendali terpaksa
membayar lebih dari amaun tawaran asal – dan pihak yang
menuntut menerima bayaran yang kurang dari amaun tuntutan
asal.
258 Amalan Asas Takaful
2. Perundangan
Pihak yang menuntut mungkin memutuskan untuk mengambil
tindakan mahkamah terhadap pengendali Takaful sekiranya ia
tidak berpuashati dengan perbincangan / keputusan dengan pihak
jabatan tuntutan. Walau bagaimanapun, pengendali Takaful
biasanya berpendapat tindakan perundangan adalah pilihan
terakhir. Pengendali Takaful boleh menggunakan kaedah
perundangan lain seperti Biro Perantaraan Kewangan (FMB),
kecuali sekiranya ia melibatkan amaun tuntutan yang besar atau
prinsip utama Takaful.
3. Timbangtara
Fasal timbangtara memperuntukkan bahawa semua perbalahan
atau pertikaian mengenai kuantum / jumlah sahaja yang boleh
dirujuk untuk ditimbangtara. Ia biasanya melibatkan tuntutan sijil
Takaful am.
Timbangtara merupakan suatu kaedah penyelesaian yang paling
terkemuka dan digunakan dengan meluas untuk menyelesaikan
pertikaian. Ia memberikan pilihan kepada pihak-pihak yang
terlibat dengan perselisihan, selain dari kaedah penyelesaian di
mahkamah. Tidak seperti kaedah perundangan, timbangtara
diselesaikan di luar mahkamah: Kedua-dua pihak yang bertelagah
memilih orang tengah / pihak ketiga yang bersikap adil, dikenali
sebagai penimbangtara; kedua-dua pihak bersetuju sejak awal-
awal lagi untuk mematuhi keputusan yang dibuat oleh
penimbangtara; kedua-dua pihak terlibat dalam perbicaraan dan
diberi peluang untuk mengemukakan hujah, bukti dan saksi.
Biasanya, keputusan penimbangtara adalah dianggap muktamad,
dan jarang sekali kedengaran kes mereka dirujukkan ke
mahkamah.
Tuntutan Takaful Perubatan dan Kesihatan 259
4. Perantaraan
Biro Perantaraan Kewangan (Financial Mediation Bureau - FMB)
adalah sebuah badan bebas yang ditubuhkan untuk membantu
menyelesaikan pertikaian antara pelanggan dengan penyedia
perkhidmatan kewangan yang dikawal oleh Bank Negara
Malaysia.
Biro ini bertindak sebagai pusat resolusi pelbagai aduan
pelanggan yang menyediakan perkhidmatan secara percuma,
cepat, cekap dan memudahkan. Skop aduan yang dikendalikan
oleh FMB termasuklah aduan dari individu, syarikat korporat dan
tuntutan `pihak ketiga’ (kerosakan harta sahaja).
Untuk aduan, pertikaian atau tuntutan melibatkan kerugian
kewangan, had maksimum kes yang dikendalikan oleh FMB
adalah seperti berikut:
 RM200,000 bagi perniagaan Takaful motor dan Takaful
kebakaran
 RM100, 000 untuk kelas perniagaan Takaful lain
 Tuntutan dari pihak ketiga dihadkan kepada RM5, 000.
Keputusan yang dibuat oleh FMB akan mengikat pengendali
Takaful untuk mematuhinya, tetapi tidak kepada pihak yang
mengadu. Pengadu yang tidak berpuashati dengan keputusan
FMB boleh merujukkan kesnya ke mahkamah.
Alamat Biro Perantaraan Kewangan ialah;
Biro Perantaraan Kewangan (FMB)
Level 25 Darul Takaful
4 Jln Sultan Sulaiman
50000 Kuala Lumpur
260 Amalan Asas Takaful
A13.9 CONTOH TUNTUTAN
Fazlina menyertai pelan Takaful Perubatan dan Kesihatan pada 10
Februari 2010. Pelan tersebut menetapkan had tahunan sebanyak
RM100,000 dan had sepanjang hayat sebanyak RM500,000. Beliau
juga menyertakan rider manfaat elaun hospital sebanyak RM200
sehari. Peruntukan pelan menetapkan keperluan 10% Takaful
bersama.
Fazlina telah dimasukkan ke hospital pada 20 Ogos 2011. Ini adalah
kali kedua beliau dimasukkan ke hospital. Kali pertama beliau
dimasukkan ke hospital pada Januari 2011 dengan bil hospital
berjumlah RM10,000. Tiga hari kemudian beliau dibenarkan pulang
dan bil hospital berjumlah RM5,500.
Pertama, jabatan tuntutan perlu menjalankan siasatan awal bagi
menentukan perkara berikut:
 Adakah sijil masih dalam keadaan berkuatkuasa?
 Adakah sumbangan telah dibayar?
 Adakah sebab kemasukan ke hospital termasuk dalam senarai
pengecualian?
 Adakah perkara pokok yang mengalami kerugian sama
seperti perkara pokok yang dilindungi di bawah sijil?
 Adakah had tahunan dan had seumur hidup tidak dipatuhi?
Sekiranya tiada apa-apa keraguan terhadap semua persoalan di atas,
tuntutan yang dikemukakan kepada pengendali Takaful mungkin akan
dipertimbangkan. Dalam kebanyakan kes, pengendali Takaful tidak
akan membayar keseluruhan amaun tuntutan kerana terdapat butiran
dalam bil hospital yang tidak dilindungi di bawah sijil.
Andaikan, hanya RM5,000 dari jumlah keseluruhan bil hospital
sebanyak RM5,500 layak dipertimbangkan untuk dibayar balik
tuntutannya. Dengan mengambil kira 10% Takaful bersama, amaun
bayaran balik ialah RM4,500. Fazlina akhirnya perlu menanggung
sendiri bayaran sebanyak RM1,000.
Pengenalan Takaful Keluarga 437
BAHAGIAN
C
TAKAFUL KELUARGA &
PELAN TAKAFUL
BERKAITAN PELABURAN
(ILTP)
438 Aamalan Asas Takaful
Pengenalan Takaful Keluarga 439
BAB C1
PENGENALAN TAKAFUL KELUARGA
PENDAHULUAN
Dalam bab ini, kita akan membiasakan diri dengan beberapa tajuk
penting iaitu:-
 Ciri-ciri Pelan Takaful Keluarga.
 Prinsip-prinsip Asas Kontrak yang Digunakan Dalam
Perlindungan Takaful Keluarga.
 Risiko yang Dilindungi di bawah Pelan Takaful Keluarga.
C1.1 PENGENALAN
Takaful Keluarga adalah skim Takaful yang menyediakan
perlindungan dan simpanan jangka panjang kepada peserta.
Peserta Takaful Keluarga akan menyumbang sejumlah wang ke
dalam dana Takaful. Sebahagian daripada sumbangan itu akan
dikumpulkan di bawah satu dana (Akaun Khas Peserta atau AKP) di
bawah konsep tabarru' (derma) dan sebahagian yang lain akan
digunakan bagi tujuan simpanan dan pelaburan (Akaun Peserta atau
AP). Bahagian yang diagihkan ke AKP akan digunakan untuk
memenuhi kewajipan bantuan bersama, sekiranya mana-mana peserta
menghadapi nasib malang yang timbul dari kematian atau hilang
upaya kekal. Pengendali Takaful akan melabur melalui simpanan
peserta dalam AP dan keuntungan yang diperolehi akan dikongsi
antara peserta dan pengendali Takaful mengikut nisbah yang telah
dipersetujui.
Sekiranya peserta ditimpa musibah, waris peserta akan dibayar
pampasan dengan manfaat kewangan daripada AKP. Walau
bagaimanapun, sekiranya peserta masih hidup sehingga ke tarikh
matang pelan, dia layak berkongsi lebihan bersih daripada dana itu,
440 Aamalan Asas Takaful
jika ada. Peserta juga layak menikmati kemudahan pelepasan cukai
apabila dia menyertai
C1.2 CIRI-CIRI PELAN TAKAFUL KELUARGA
Ciri-ciri asas Takaful Keluarga adalah seperti berikut:
1. Pelan Jangka Panjang Dengan Bayaran Sumbangan Paras
Kontrak Takaful Keluarga adalah kontrak jangka panjang dengan
bayaran sumbangan paras (level). Sumbangan dikira berdasarkan
kepada beberapa faktor. Antara faktor-faktor yang menentukan
kadar sumbangan:-
 mortaliti
 perbelanjaan
 kadar pulangan pelaburan
 cukai
Oleh kerana kontrak ini adalah kontrak jangka panjang,
Pengendali Takaful harus mengendalikan dana dengan penuh
berhemah demi memastikan dana berkenaan sentiasa mencukupi
untuk menampung tuntutan.
2. Kedua-dua Pihak Mesti Mematuhi Prinsip Penuh Percaya
Mutlak
Setiap pihak yang menandatangani kontrak Takaful Keluarga
perlu mempercayai sepenuhnya terhadap pihak yang satu lagi;
bahawa semua representasi dan perisytiharan yang dibuat adalah
benar; dan tiada pihak yang cuba untuk menipu, mengelirukan
atau menyembunyikan maklumat. Setiap pihak dianggap
bertindak dengan Penuh Percaya Mutlak.
Penyembunyian merupakan kegagalan dengan niat untuk tidak
mendedahkan suatu fakta matan / material sebelum kontrak
dimuktamadkan.Sebagai contoh, kegagalan untuk mendedahkan
penyakit sedia ada kepada pengunderait. Salah nyata penipuan
Pengenalan Takaful Keluarga 441
ialah apabila seseorang secara sedar telah membuat kenyataan
palsu yang berhubungan dengan fakta material, contohnya, salah
nyata tentang umur sebenar.
3. Kontrak Aleatori
Dalam kontrak aleatori, satu pihak menyediakan sesuatu yang
bernilai kepada pihak satu lagi sebagai tukaran untuk janji pihak
tersebut melaksanakan tindakan tertentu jika berlaku peristiwa
yang ditetapkan.Ia adalah berdasarkan nilai tawar-menawar yang
tidak setara berasaskan kepada kejadian yang mungkin berlaku
pada masa depan. Peserta berpeluang untuk menerima jumlah
bayaran yang lebih besar daripada jumlah keseluruhan
sumbangan yang dibayar sekiranya timbul tuntutan pada masa
akan datang. Tidak seperti Takaful Am, bayaran tuntutan Takaful
Keluarga ditentukan ketika permulaan kontrak. Dalam Takaful
Am, iabertujuan untuk membayar ganti rugi atau indemniti
kepada peserta, iaitu membayar tuntutan mengikut jumlah
kerugian yang dialami oleh peserta ketika berlaku musibah
(tertakluk kepada had maksimum jumlah perlindungan).
4. Kepentingan Boleh Lindung
Kewujudan kepentingan boleh lindung adalah syarat utama
sebelum kontrak Takaful Keluarga boleh dikuatkuasakan.
Individu yang ingin menyertai pelan Takaful keluarga hendaklah
mempunyai ‘kepentingan boleh lindung’ terhadap peserta. Ia
bermaksud individu berkenaan akan menanggung kerugian
kewangan apabila berlaku kematian ke atas orang yang diberi
perlindungan. Untuk menjelaskan perkara yang dinyatakan di
atas, berikut adalah beberapa situasi di mana kepentingan boleh
lindung wujud:-
 setiap orang dikatakan mempunyai kepentingan tanpa had ke
atas; hayatnya dan hayat pasangan hidupnya (suami atau
isteri);
442 Aamalan Asas Takaful
 Ibu / bapa mempunyai kepentingan boleh lindung ke atas
hayat anaknya yang dibawah umur majoriti;
 Seseorang yang memberi hutang mempunyai kepentingan
boleh lindung ke atas hayat orang yang diberi hutang, tetapi
hanya setakat jumlah hutang yang diberi;
 Majikan mempunyai kepentingan boleh lindung ke atas hayat
kakitangan utamanya seperti pengarah urusan atau pengurus;
 Rakan kongsi niaga mempunyai kepentingan boleh lindung
ke atas hayat rakan kongsi lain, terutama jika terdapat
perjanjian untuk membeli / mengambil alih bahagian rakan
yang meninggal dunia.
Kepentingan boleh lindung hanya perlu wujud pada permulaan
kontrak Takaful Keluarga, iaitu apabila sijil Takaful mula
berkuatkuasa. Kontrak tersebut tidak akan batal sekiranya
kepentingan boleh lindung tidak wujud semasa membuat
tuntutan.
5. Bayaran Tuntutan Akan Menamatkan Kontrak
Perlindungan
Dalam kontrak Takaful keluarga, penyelesaian tuntutan akan
menamatkan kontrak perlindungan. Tidak seperti kontrak Takaful
am, setelah peserta menerima bayaran tuntutan, kontrak Takaful
keluarga akan ditamatkan dengan serta merta. Kontrak Takaful
Am tidak akan ditamatkan dengan sebab bayaran tuntutan.
6. Kontrak Unilateral / Sebelah Pihak
Takaful Keluarga adalah kontrak unilateral di mana Pengendali
Takaful dan peserta mempunyai hak dan tanggungjawab tertentu.
Kontrak unilateral bermaksud saling bertukar janji untuk
melaksanakan suatu tindakan tertentu. Peserta membayar
sumbangan sebagai balasan kepada janji bahawa tuntutan pada
masa hadapan akan dibayar oleh Takaful. Satu-satunya
tanggungjawab peserta ialah membayar sumbangan semasa
kontrak masih berkuatkuasa. Dan hanya pengendali Takaful
Pengenalan Takaful Keluarga 443
sahaja satu-satunya pihak yang boleh didakwa kerana melanggar
kontrak.
Selaras dengan prinsip ini, selagi peserta masih terus membayar
sumbangan dan tidak melanggar peruntukan Seksyen 28 Akta
Takaful 1984 iaitu menyembunyikan fakta-fakta penting,
pengendali Takaful tidak mempunyai hak untuk membatalkan
kontrak.
7. Risiko Yang Dilindungi akan Meningkat Mengikut Masa
Dalam Takaful Keluarga, risiko yang dilindungi akan meningkat
mengikut tempoh kontrak. Semakin panjang tempoh kontrak,
semakin tinggi risiko kemortalan kerana ia meningkat mengikut
pertambahan usia peserta. Semakin meningkat usia peserta,
semakin tinggi kemungkinan peserta ditimpa sakit atau
menghidap sesuatu penyakit.
Sebaliknya, dalam Takaful Am, risiko yang dilindungi mungkin
semakin menurun mengikut peredaran masa kerana peserta
mungkin melaksanakan langkah-langkah pencegahan risiko
(umpamanya melaksanakan pengurusan risiko).
8. Kontrak yang Mengikat Kesertaan (Contract of Adhesion)
Takaful Keluarga adalah kontrak yang mengikat. Pihak pertama
iaitu pengendali Takaful mengeluarkan kontrak dan pihak kedua
iaitu peserta tidak berhak untuk mengubah kontrak. Peserta hanya
boleh menerima atau menolak kontrak berkenaan. Sekiranya
terdapat sebarang kesamaran atau tidak jelas dalam kontrak, ia
boleh dibawa ke mahkamah dan biasanya keputusan mahkamah
akan lebih memihak kepada peserta.
444 Aamalan Asas Takaful
C1.3 PRINSIP-PRINSIP ASAS KONTRAK YANAG
DIGUNAKAN DALAM PERLINDUNGAN TAKAFUL
KELUARGA
Berdasarkan dari konsep fikah al-asl fi al-ashya’ al-ibahah yang
bermaksud ‘semua perkara adalah dibenarkan kecuali terdapat hukum
yang melarangnya’, Takaful Keluarga menerapkan prinsip-prinsip
berikut dalam kontraknya:
 Kepentingan Boleh Lindung;
 Penuh Percaya Mutlak;
 Indemniti;
 Subrogasi;
 Perkongsian Sama RataSumbangan;
 Hampiran Sebab Terhampir;
 Tabarru’
 Waranti;
Di atas semua prinsip yang dinyatakan di atas, Takaful mengamalkan
prinsip tabarru’. Dalam proses membentuk produk-produk Takaful,
prinsip tabarru' yang menjadi prinsip dasar Syariah sentiasa menjadi
keutamaan kontrak. Tabarru’ bermaksud menderma, menyumbang
atau memberi sesuatu. Setiap peserta bersetuju untuk menderma
sebahagian daripada sumbangannya untuk membantu peserta lain
yang mengalami kerugian yang dilindungi. Ia sebagai memenuhi
tuntutan Syari’ah sebagaimana di dalam al-Qur’an menyatakan: “Dan
hendaklah kamu bertolong-tolongan dalam kebaikan dan bertakwa
dan jangan kamu tolong-menolong di dalam kejahatan” (Al-Qur’an,
5:2)
Walau bagaimanapun, perlu difahami bahawa prinsip indemniti,
subrogasi dan sumbangan perkongsian sama rata lebih menepati
kehendak amalan Takaful Am berbanding dengan Takaful keluarga.
Pengenalan Takaful Keluarga 445
C1.4 RISIKO YANG DILINDUNGI DI BAWAH PELAN
TAKAFUL KELUARGA
Risiko yang dilindungi di bawah Takaful Keluarga boleh
dikategorikan kepada tajuk berikut:-
1. Kematian Pra-matang
Kematian adalah satu perkara yang pasti berlaku kepada semua
manusia. Walau bagaimanapun, tiada siapa yang tahu bila mereka
akan mati. Semua orang adalah tertakluk kepada risiko kematian
pra-matang pada setiap masa. Kesan kewangan daripada kematian
pra-matang pencari nafkah mungkin akan berpanjangan. Keluarga
yang ditinggalkan akan menanggung beban kewangan selama
bertahun-tahun berikutan kehilangan pencari nafkah. Mereka
mungkin terpaksa mengambil langkah-langkah untuk memenuhi
obligasi kewangan seperti membuat kerja tambahan, bekerja lebih
masa, meminjam wang, mengeluarkan wang dari akaun simpanan
dan / atau akaun pelaburan dan berpindah ke rumah kediaman
lebih kecil & murah.
Untuk memastikan mereka yang tersayang dapat meneruskan
kehidupan dengan selesa dan menikmati gaya hidup sederhana,
mereka memerlukan dana simpanan yang mencukupi sebagai
menggantikan aliran pendapatan yang telah terhenti. Takaful
keluarga adalah jawapan kepada persoalan di atas bagi
menyediakan kaedah penyelesaian jaminan kewangan ketika ia
amat diperlukan.
2. Hilang Upaya Kekal dan Menyeluruh
Hilang Upaya Kekal dan Menyeluruh bermaksud ketidakupayaan
sepenuhnya pada masa itu dan masa akan datang, untuk
melibatkan diri dalam apa-apa perniagaan atau pekerjaan atau
melakukan apa-apa kerja untuk mendapatkan upah atau
keuntungan. Hilang upaya mungkin disebabkan penyakit atau
kecederaan kemalangan.
446 Aamalan Asas Takaful
Keadaan ini pastinya akan memberi kesan kepada peserta dan
keluarganya kerana peserta tidak lagi berupaya menyara keluarga.
Peserta dan keluarganya akan menghadapi kesukaran untuk
memenuhi keperluan hidup harian dan menampung perbelanjaan
rawatan perubatan kerana peserta tidak mampu menjana sebarang
pendapatan. Seseorang boleh menyertai pelan Takaful Keluarga
untuk memastikan jaminan pendapatan hilang upaya atau bayaran
sekali gus sekiranya berlaku hilang upaya dan ini mampu
melegakan orang yang hilang upaya dari beban pembayaran
sumbangan seterusnya.
3. Usia Lanjut
Sesetengah orang berharap dan berpendapat usia persaraan adalah
masa untuk berehat, melancong dan menikmati kehidupan. Bagi
yang lain pula, ia hanya menjanjikan keadaan yang kritikal.
Walau bagaimanapun, ia bergantung sama ada kita bersedia untuk
memenuhi keperluan persaraan. Adalah penting bagi individu
yang bersara mempunyai sumber kewangan sendiri yang
mencukupi dan mampu untuk menyara diri dan isterinya
menjalani kehidupan seterusnya. Kebanyakan dari kita mungkin
mempunyai zaman persaraan yang lebih panjang dari apa yang
pernah kita bayangkan dan ia mungkin akan berbeza daripada apa
yang kita jangkakan. Masalah kesihatan, kewangan atau keluarga
boleh menyebabkan pelan persaraan menuju ke arah yang jauh
berbeza dari apa yang dirancang.
Takaful Keluarga adalah satu cara yang sesuai dalam
menyediakan jalan penyelesaian terhadap kehilangan keupayaan
memperolehi pendapatan disebabkan persaraan, disamping
berlindung dari bahaya ekonomi lain iaitu kematian pramatang.
Pelan Takaful Keluarga 447
BAB C2
PELAN TAKAFUL KELUARGA
PENDAHULUAN
Peristiwa-peristiwa yang berlaku disepanjang kehidupan manusia
adalah penting kepada masyarakat awam. Peristiwa-peristiwa seperti
kematian, hilang upaya atau penyakit yang berpanjangan dan / atau
umur lanjut boleh menimbulkan bencana / tekanan kewangan kepada
ahli keluarga individu berkenaan. Setiap satu daripada situasi ini
mewujudkan keperluan untuk perlindungan Takaful Keluarga dan
pengendali Takaful sentiasa mencari cara dan kaedah untuk
memenuhi keperluan tersebut iaitu dengan merangka pelbagai jenis
perlindungan dibawah sijil Takaful Keluarga. Setiap produk direka
untuk memenuhi satu atau pelbagai keperluan yang timbul akibat
kontingensi.
Dalam bab ini, kita akan memberi tumpuan kepada bentuk-bentuk
utama dan ciri-ciri pelan Takaful Keluarga yang ditawarkan oleh
pengendali Takaful di Malaysia di bawah tajuk-tajuk berikut:
C2.1 PENGENALAN
Pengendali Takaful menawarkan pelbagai kombinasi pelan asas
Takaful Keluarga untuk disesuaikan dengan keperluan individu dan
korporat yang berbeza-beza tempoh perlindungan, kaedah
pembayaran sumbangan, pengagihan manfaat dan rider (perlindungan
tambahan) yang berkaitan.
Berdasarkan perkembangan terkini di Malaysia, pelan perlindungan
gadai janji membentuk sebahagian besar perniagaan Takaful
keluarga, diikuti dengan pelan perlindungan individu. Pelan asas
Takaful Keluarga terdiri dari Takaful bertempoh, pelan simpanan dan
anuiti.
448 Amalan Asas Takaful
C2.2 JENIS PERLINDUNGAN TAKAFUL KELUARGA
Jenis Perlindungan
Perlindungan Takaful Keluarga yang direka oleh Pengendali Takaful
adalah bertujuan untuk memenuhi keperluan peserta individu dan
firma korporat. Secara amnya, perlindungan Takaful Keluarga boleh
dibahagikan kepada kumpulan berikut:
1. Takaful Keluarga Individu
Pelan ini meliputi perlindungan pendidikan, pelan berkaitan
pelaburan, anuiti, gadai janji, kesihatan dan pelan tambahan
(rider). Di bawah perlindungan pelan biasa ini, peserta disediakan
manfaat kewangan sekiranya berlaku kematian atau hilang upaya,
simpanan (pelaburan) jangka panjang, keuntungan pelaburan
yang dibayar semasa tuntutan, tuntutan sijil matang atau serahan.
2. Takaful Keluarga Berkumpulan
Pelan ini meliputi perlindungan pendidikan berkumpulan,
perubatan berkumpulan dan perlindungan persaraan. Terdapat
peruntukan mengenai jumlah minimum peserta yang diperlukan
untuk membentuk ‘kumpulan’ di bawah pelan ini. Peserta akan
diberi perlindungan manfaat kewangan sekiranya berlaku
kematian atau hilang upaya.
Contoh produk dibawah kategori ini ialah:
a. Takaful Gadai janji Takaful Kredit Berkumpulan
b. Takaful Manfaat Pekerja
i. Takaful Bertempoh Berkumpulan
ii. Takaful Kematian Berkumpulan
iii. Takaful Penghospitalan & Pembedahan Berkumpulan
iv. Takaful Manfaat Bukan-Pekerja
v. Skim Takaful Komprehensif Berkumpulan
Pelan Takaful Keluarga 449
3. Pelan Tambahan (Rider) Takaful Keluarga
Merupakan manfaat tambahan dalam pelan asas Takaful
Keluarga. Pelan tambahan menyediakan perlindungan dari
kemalangan diri individu dan hilang upaya, perubatan dan
kesihatan. Antara pelan tambahan yang ditawarkan ialah:
a. Pelan Tambahan Takaful Manfaat Penyakit Kritikal
b. Pelan Tambahan Takaful Manfaat Kematian dan Hilang
Upaya Akibat Kemalangan
c. Pelan Tambahan Takaful Manfaat Pengecualian Bayaran
Sumbangan Individu
d. Pelan Tambahan Takaful Manfaat Pembayar
e. Pelan Tambahan Takaful Bertempoh
f. Pelan Tambahan Takaful Manfaat Penghospitalan
g. Pelan Tambahan Takaful Pendapatan Keluarga
2.2.1 Pelan Perlindungan Individu
Pelan Takaful Simpanan
Takaful Simpanan adalah pelan yang mengandungi elemen tabungan
dan pulangan ke atas pelaburan berserta perlindungan individu. Ia
adalah jenis pelan pelaburan berserta keuntungan yang akan
diagihkan semula kepada para peserta. Pelan ini direka untuk
mengoptimumkan pulangan pelaburan kepada para peserta.
Perlindungan Takaful Simpanan
Pelan ini menggabungkan dua elemen penting bagi memenuhi
obligasi di bawah Takaful simpanan:
1. Perlindungan Bertempoh Paras; dan
2. Akaun Pelaburan
450 Amalan Asas Takaful
Terma dan Syarat-Syarat Penting
Manfaat  menyediakan pampasan kewangan sekiranya
berlaku kematian atau hilang upaya sebelum
tempoh matang sijil. Jumlah perlindungan
berserta amaun terkumpul dalam Akaun Peserta
(AP) akan dibayar kepada peserta, benefisiari
atau waris peserta.
 Apabila sijil matang, peserta akan menerima
bayaran amaun terkumpul dalam Akaun Peserta
dan layak untuk berkongsi surplus bersih dari
Akaun Khas Peserta (AKP), jika ada.
Amaun
Sumbangan
Amaun sumbangan adalah bergantung kepada umur
semasa kemasukan dan terma-terma sijil.
Pengeluaran
Tunai
Sebahagian
Pengeluaran tunai sebahagian daripada Akaun
Peserta adalah dibenarkan selepas sijil telah
berkuatkuasa untuk beberapa tahun sebagaimana
yang dinyatakan dalam sijil. Mengikut amalan biasa,
pengeluaran dibenarkan sepanjang tempoh
kuatkuasa sijil mengikut polisi Pengendali Takaful.
Setiap pengeluaran boleh dibuat selepas suatu
tempoh minimum Yuran transaksi nominal
dikenakan kepada Akaun Peserta bagi setiap
pengeluaran.
Pilihan
Tambah
Nilai
Bayaran tambah nilai dibenarkan, bermula dari
tarikh kuatkuasa sijil. Amaun tambah nilai tertakluk
kepada keperluan minimum mengikut polisi
Pengendali Takaful. Amaun tambah nilai ini akan
disalurkan sepenuhnya ke Akaun Peserta, bertujuan
memperolehi keuntungan.
Pilihan
Menyertakan
Rider
Peserta boleh memilih untuk menyertakan mana-
mana pelan tambahan yang bersesuaian ke atas sijil
asas.
Pelan Takaful Keluarga 451
Pulangan
Pelaburan
Pelan ini membolehkan pengendali Takaful
mengoptimumkan pulangan pelaburan untuk
diagihkan kepada peserta.
Pengecualian Sijil ini mengecualikan keadaan sedia ada.
Pelan Takaful Pendidikan Kanak-Kanak
Pengenalan
Pelan pendidikan adalah pelan yang menyediakan perlindungan dan
simpanan jangka panjang untuk membiayai perbelanjaan pendidikan
kanak-kanak diperingkat yang lebih tinggi kelak. Kanak-kanak
berkenaan akan disediakan dengan manfaat kewangan sekiranya
pembayar menghadapi musibah yang dilindungi di bawah pelan ini.
Pada masa yang sama, kanak-kanak itu akan disediakan dana yang
diperlukan untuk pendidikan tinggi masa hadapan apabila sijil telah
mencapai tempoh matang. Ibu bapa yang mengambil bahagian dalam
pelan pendidikan layak menerima pelepasan cukai peribadi sehingga
RM3, 000 setiap tahun melalui pelan gabungan perubatan dan
pendidikan.
Pelan pendidikan boleh dikategorikan kepada beberapa kumpulan
iaitu:
1. Takaful Pendidikan Kanak-kanak Biasa: Peserta dan kanak-kanak
akan menerima manfaat kewangan sekiranya berlaku kematian
atau hilang upaya kekal, serta manfaat simpanan jangka panjang
(dana pendidikan), dan keuntungan pelaburan yang diagihkan
semasa bayaran tuntutan, sijil matang atau penyerahan awal.
2. Takaful Pendidikan Kanak-Kanak Berkait Pelaburan: Sebahagian
daripada sumbangan digunakan untuk membeli unit-unit
pelaburan seperti unit dalam ekuiti atau sekuriti pendapatan tetap.
Sebagai tambahan kepada perlindungan Takaful biasa yang
merangkumi kematian dan hilang upaya kekal, unit-unit
452 Amalan Asas Takaful
pelaburan ini akan dijual apabila berlaku tuntutan, sijil matang
atau penyerahan awal.
3. Pelan tambahan Takaful Keluarga atau tambahan kepada
perlindungan asas untuk peserta dan kanak-kanak juga
disediakan. Pelan tambahan ini memberi perlindungan terhadap
kemalangan diri dan hilang upaya, faedah rawatan hospital,
perbelanjaan pengebumian dan penyakit-penyakit kritikal.
Terma dan Syarat-Syarat Penting
Manfaat  Apabila sijil telah mencapai tempoh matang
dan kanak-kanak masih hidup, manfaat yang
dibayar ialah jumlah perlindungan (diberi
berdasarkan konsep hibah di bawah undang-
undang Syari’ah), ditambah dengan amaun
surplus terkumpul. Walau bagaimanapun,
sekiranya pelan pendidikan disertakan dengan
ciri-ciri berkait pelaburan, kanak-kanak itu
akan menerima nilai unit pelaburan sebagai
tambahan kepada jumlah perlindungan yang
dipersetujui di bawah pelan ini. Apabila sijil
telah mencapai tempoh matang, kanak-kanak
akan menerima jumlah terkumpul di dalam
Akaun Peserta (AP) dan juga berhak untuk
berkongsi surplus bersih dari dana Akaun Khas
Peserta (AKP), jika ada.
 Sekiranya pembayar meninggal dunia sebelum
sijil pelan pendidikan matang, sumbangan
berkala atas pelan berkenaan akan dibayar oleh
pengendali Takaful bagi pihak peserta
sehingga tarikh matang sijil. Ketika tarikh
matang, kanak-kanak itu berhak menerima
amaun yang terkumpul di AP, surplus dari
AKP dan berkongsi keuntungan pelaburan
(jika berkenaan).
Pelan Takaful Keluarga 453
 Walau bagaimanapun, jika kesemua
sumbangan disalurkan ke AKP, bergantung
kepada skim Takaful berserta keuntungan,
kaedah diatas akan digunakan atau jumlah
perlindungan akan dibayar terus ke akaun atas
nama kanak-kanak dan diuruskan oleh
pemegang amanah yang dilantik. Amaun yang
akan dibayar ialah manfaat (berasaskan hibah)
sijil berserta amaun perkongsian surplus
terkumpul (jika ada) apabila sijil matang.
Jumlah Perlindungan dicampur dengan amaun
terkumpul di dalam Akaun Peserta (AP) dan
Akaun Khas Peserta (AKP) akan dibayar
sekali gus kepada waris peserta.
 Sekiranya kanak-kanak (sebagai peserta)
meninggal dunia, bergantung kepada skim
Takaful yang disertainya; pemegang sijil akan
menerima amaun perlindungan di bawah pelan
(diberi berdasarkan konsep hibah Syariah)
dicampur dengan amaun perkongsian surplus
terkumpul. Atau, pemegang sijil boleh
menamatkan sijil untuk mendapatkan nilai
serahan atau boleh menamakan anak-anak
yang lain sebagai peserta.
Amaun
Sumbangan
 Amaun sumbangan bergantung kepada umur
semasa kemasukan dan tempoh perlindungan.
 Pengecualian Bayaran Sumbangan: Sekiranya
pembayar meninggal dunia atau mengalami
hilang upaya kekal dan menyeluruh dalam
tempoh perlindungan Takaful, semua bayaran
sumbangan akan datang dibayar melalui dana
Takaful sehingga sampai tempoh matang.
454 Amalan Asas Takaful
Pengeluaran
Tunai
Sebahagian
Kemudahan untuk mengeluarkan sebahagian dari
wang tunai dari dana. Pengeluaran tunai
sebahagian daripada Akaun Peserta adalah
dibenarkan selepas sijil telah berkuatkuasa
minimum untuk beberapa tahun sebagaimana yang
dinyatakan dalam sijil. Mengikut amalan biasa,
pengeluaran dibenarkan sepanjang tempoh
kuatkuasa sijil mengikut polisi pengendali Takaful.
Setiap pengeluaran boleh dibuat selepas suatu
tempoh minimum sahaja. Yuran transaksi nominal
dikenakan kepada Akaun Peserta bagi setiap
pengeluaran.
Pilihan
Tambah Nilai
Bayaran tambah nilai dibenarkan bermula dari
tarikh kuatkuasa sijil. Amaun tambah nilai
tertakluk kepada keperluan minimum mengikut
polisi pengendali Takaful. Amaun tambah nilai ini
akan disalurkan sepenuhnya ke Akaun Peserta
sahaja.
Pilihan
Menyertakan
Rider
Peserta boleh memilih untuk menyertakan mana-
mana rider yang bersesuaian ke atas sijil asas.
Rider Takaful keluarga atau tambahan kepada
perlindungan asas untuk peserta dan kanak-kanak
juga disediakan. Rider menyediakan perlindungan
dari berlakunya kemalangan diri dan hilang upaya,
manfaat penghospitalan, perbelanjaan
pengebumian dan penyakit kritikal.
Pulangan
Pelaburan
Pelan ini membolehkan pengendali Takaful
mengoptimumkan pulangan pelaburan untuk
diagihkan kepada peserta.
Pengecualian Biasanya pelan pendidikan tidak melindungi risiko
berikut:
 cubaan membunuh diri atau mencederakan diri
sendiri samada dalam keadaan siuman atau
Pelan Takaful Keluarga 455
sebaliknya.
 kematian atau kecederaan yang dialami akibat
tindakan yang menyalahi undang-undang.
 melakukan serangan.
 di bawah pengaruh dadah atau minuman keras.
 AIDS dan HIV.
 lain-lain sebab yang dilarang oleh Syariah.
1.2.2 Pelan Takaful Gadai Janji (Mortgage Reducing Term
Takaful)
Membeli dan memiliki sebuah rumah adalah salah satu pencapaian
dalam kehidupan, yang pada dasarnya memenuhi salah satu keperluan
asas manusia untuk mempunyai tempat tinggal. Walau
bagaimanapun, kejadian yang tidak diduga boleh membawa kepada
kehilangan pendapatan atau tidak berupaya untuk memenuhi
tanggungjawab membayar pinjaman atau mendapatkan kemudahan
pembiayaan. Sekiranya berlaku Kematian atau Hilang Upaya Kekal
dan Menyeluruh (Total Permanent Disability) terhadap diri peserta,
ahli keluarga peserta mungkin perlu mengambil alih tanggungjawab
membayar pinjaman perumahan. Dengan Pelan Takaful Gadai Janji,
beban kewangan yang timbul disebabkan kematian atau hilang upaya
dapat dilindungi untuk tempoh jangka panjang. Pelan Takaful Gadai
Janji adalah pelan sumbangan tunggal yang mematuhi keperluan
Syariah. Sekiranya berlaku Kematian atau Hilang Upaya Kekal dan
Menyeluruh, pelan ini menyediakan manfaat Takaful dari Dana
Risiko. Amaun yang dibayar dijangka dapat melangsaikan baki
pinjaman perumahan. Pelan ini juga mempunyai ciri-ciri khusus di
mana peserta atau penamanya akan menerima bayaran lebihan dari
Dana Peserta yang terkumpul.
Jenis-Jenis Perlindungan
Jaminan manfaat untuk melangsaikan baki pinjaman gadai janji
berdasarkan jadual jumlah perlindungan menyusut, ditambah dengan
456 Amalan Asas Takaful
manfaat sampingan akan dibayar apabila berlaku kematian atau
hilang upaya (di dalam lingkungan terma yang dinyatakan).
Terma dan Syarat Penting
Manfaat Pelan ini menyediakan perlindungan kepada
peserta berdasarkan jumlah pembiayaan yang
diterima dari institusi kewangan. Ia menyediakan
sejumlah amaun perlindungan yang menyusut,
akan dibayar apabila berlaku kematian atau hilang
upaya kekal dan menyeluruh (Total Permanent
Disability) bila mana peserta belum
menyelesaikan sepenuhnya baki pembiayaan.
Apabila berlaku kematian / hilang upaya kekal
dan menyeluruh ke atas diri peserta, jumlah
perlindungan yang menyusut akan dibayar kepada
penerima yang sah (mortgagee). Di samping itu,
jumlah yang terkumpul di dalam Akaun Peserta
juga akan dibayar kepada benefisiari.
 Hilang upaya kekal dan menyeluruh adalah
berdasarkan kepada definisi pekerjaan atau
profesion yang ditetapkan di dalam sijil.
 Perkongsian Surplus: berkongsi surplus bersih
dari operasi perniagaan Takaful (jika ada)
selagi tiada tuntutan yang dibuat sepanjang
tempoh perlindungan Takaful.
Amaun
Sumbangan
Takaful gadai janji adalah pelan perlindungan
dengan bayaran sumbangan tunggal. Amaun
sumbangan mempunyai perkaitan rapat dengan
amaun pembiayaan yang disediakan oleh institusi
kewangan, tertakluk kepada kelulusan
pengunderaitan. Tempoh dan amaun kemudahan
pembiayaan kewangan hendaklah sama dengan
amaun dan tempoh amaun kemudahan
pembiayaan perumahan yang diluluskan.
Pelan Takaful Keluarga 457
Jaminan
Manfaat untuk
Menyelesaikan
Baki Gadaijanji
Takaful Gadai Janji memastikan gadai janji akan
diselesaikan dan dengan itu menjamin
pembayaran hutang pembiayaan perumahan.
Manfaat yang dijamin (berdasarkan jadual jumlah
perlindungan berkurangan) akan dibayar apabila
berlaku kematian atau hilang upaya (tertakluk
kepada pengecualian standard ke atas kematian
atau hilang upaya).
 Definisi Umum Hilang Upaya Kekal dan
Menyeluruh: Sekiranya peserta tidak boleh
melakukan pekerjaan sendiri atau latihan,
pendidikan atau pengalaman untuk tempoh
enam bulan berturut-turut, manfaat hilang
upaya kekal dan menyeluruh akan dibayar.
Sementara itu, dalam pelan Takaful gadai janji
lain yang ditawarkan, faedah hilang upaya
kekal dan menyeluruh hanya akan dibayar jika
peserta tidak boleh melakukan apa-apa kerja
untuk menyara hidup sepanjang hayatnya.
 Juga meliputi perlindungan ke atas hartanah
yang telah siap atau dalam pembinaan (iaitu
perlindungan paras sepenuhnya dalam tempoh
pembinaan).
Pelan tambahan Pelan tambahan kemalangan pelbagai boleh
disertakan dalam pelan Takaful gadai janji
sumbangan tahunan.
Penamatan Penyertaan dalam pelan Takaful adalah
merupakan tanggungjawab tempoh jangka
panjang. Penamatan awal sijil Takaful biasanya
akan melibatkan kos yang tinggi dan nilai serahan
yang dibayar mungkin kurang dari jumlah
keseluruhan sumbangan yang dibayar. Penamatan
dibenarkan hanya sekiranya harta yang
458 Amalan Asas Takaful
dimaksudkan telah dijelaskan sepenuhnya
(penyelesaian awal pinjaman) atau harta
berkenaan telah dijual serta baki pinjaman juga
telah dilangsaikan.
Pengecualian Pengecualian dalam perlindungan Takaful:
 Kematian atau Hilang upaya disebabkan
membunuh diri atau cubaan membunuh diri
dan / atau sebab-sebab yang dilarang oleh
undang-undang sivil, undang-undang jenayah
dan undang-undang syariah. Dalam keadaan
tersebut, hanya nilai Dana Peserta pada masa
berlaku kematian sahaja yang dibayar.
 Hilang Upaya Kekal dan Menyeluruh
disebabkan AIDS, peperangan, aktiviti
penerbangan selain daripada sebagai
penumpang berbayar dalam penerbangan
berjadual.
 Di bawah pengaruh minuman keras.
1.2.3 Pelan Perlindungan Berkumpulan
Takaful Kredit Berkumpulan
Pengenalan
Ini adalah jenis pelan Takaful berkumpulan. Pelan ini direka bagi
tujuan menyediakan perlindungan untuk membayar pembiayaan
kemudahan pembiayaan / hutang dari mana-mana institusi kewangan,
sekiranya peserta meninggal dunia (peserta sebagai pemohon /
peminjam) atau jika peserta mengalami hilang upaya kekal dan
menyeluruh.
Pelan Takaful Keluarga 459
Jenis-jenis perlindungan
Terdapat empat jenis perlindungan di bawah pelan ini (sebagai
contoh, ia bergantung kepada kaedah yang digunakan untuk mengira
baki amaun perlindungan):
i. Perlindungan Paras
ii. Perlindungan Menyusut Kadar Rata
iii. Perlindungan Menyusut Kadar Majmuk (Compounded)
iv. Peraturan 78 atau Perangkaan
Terma dan Syarat-Syarat Penting
Manfaat Manfaat Kematian – sekiranya peserta meninggal
dunia mengikut terma didalam sijil, jumlah
perlindungan ditambah dengan baki di dalam Akaun
Peserta akan dibayar sekali gus kepada penerima yang
berhak (grantee).
Manfaat hilang upaya kekal dan menyeluruh –
sekiranya peserta mengalami hilang upaya kekal dan
menyeluruh mengikut terma di dalam sijil, jumlah
perlindungan ditambah dengan baki di dalam Akaun
Peserta akan dibayar sekali gus kepada penerima yang
berhak (grantee).
Sekiranya peserta meninggal dunia / hilang upaya,
jumlah perlindungan akan dibayar kepada penerima
yang berhak. Di samping itu, amaun terkumpul dalam
Akaun Peserta juga akan dibayar.
Manfaat Kematangan – Apabila sijil mencapai tempoh
matang, peserta akan menerima amaun terkumpul
dalam Akaun Peserta.
Amaun
Sumbangan
Ia adalah pelan Takaful bertempoh untuk kumpulan
peserta (peminjam) institusi kewangan (grantee),
dengan kaedah bayaran sumbangan yang berbeza.
460 Amalan Asas Takaful
Pelan perlindungan biasanya direka untuk kaedah
bayaran:
 Sumbangan Tunggal
 Sumbangan Tahunan
Takaful Manfaat Pekerja
Pengenalan
Ia adalah pelan pembaharuan tahunan yang ditawarkan kepada
kumpulan individu dibawah satu sijil induk:-
 Kumpulan Majikan
 Kumpulan Persatuan
 Kumpulan-kumpulan lain yang ditubuhkan bagi tujuan selain
dari untuk menyertai skim Takaful.
Kelebihan Menyertai Pelan Takaful kepada Majikan dan Persatuan:-
 Mencerminkan imej majikan/persatuan yang prihatin dan
menghargai pekerja / ahlinya.
 Meningkatkan moral dan produktiviti pekerja / ahli.
 Menarik minat dan mengekalkan kesetiaan pekerja / ahli.
 Menikmati kemudahan potongan cukai.
 Memenuhi keperluan rundingan hal ehwal buruh.
Jenis-jenis perlindungan
Pelan ini menawarkan perlindungan:-
1. Manfaat Kematian – sekiranya peserta meninggal dunia mengikut
terma di dalam sijil, jumlah perlindungan ditambah dengan baki
didalam Akaun Peserta akan dibayar sekali gus kepada Pemegang
Sijil (majikan, persatuan atau kumpulan berkaitan).
Pelan Takaful Keluarga 461
2. Manfaat hilang upaya kekal dan menyeluruh – sekiranya peserta
mengalami hilang upaya kekal dan menyeluruh mengikut terma
di dalam sijil, jumlah perlindungan ditambah dengan baki di
dalam Akaun Peserta akan dibayar sekali gus kepada penerima
yang berhak (grantee).
3. Perbelanjaan Pengebumian – dibayar kepada waris peserta,
tertakluk kepada bukti kematian yang disahkan.
Terma dan Syarat-Syarat Penting
Kelayakan Had minimum penyertaan adalah tertakluk kepada
polisi pengendali Takaful dan biasanya bilangan
minimum adalah 10 orang. Amaun perlindungan
yang melebihi syarat ‘had tanpa perubatan’ (free
cover limit) memerlukan bukti kebolehlindungan
(insurability) sebelum perlindungan boleh
dikuatkuasakan. Pengendali Takaful berhak untuk
meminda syarat-syarat dan mengubah had
berkenaan, tertakluk kepada umur maksimum
yang ditetapkan polisi pengendali Takaful,
sekiranya perlu.
Umur tamat perlindungan tertakluk kepada polisi
Pengendali Takaful.
Pengendali Takaful boleh memberi kelonggaran
syarat mengikut merit kes, tertakluk kepada had
keperluan pengunderaitan dan Takaful Semula.
Maklumat yang
Diperlukan
Antara maklumat yang diperlukan ialah:-
1. nama syarikat
2. jenis perniagaan
3. nama dan no pengenalan kakitangan
4. tarikh lahir
462 Amalan Asas Takaful
5. jantina
6. gaji (sekiranya jumlah perlindungan
berdasarkan gandaan jumlah gaji).
7. Jumlah perlindungan (ditetapkan atau
mengikut gandaan jumlah gaji).
8. pengalaman tuntutan tiga tahun lepas.
9. perlindungan sedia ada (jika berkenaan).
Pelan:
Takaful
Perbelanjaan
Kematian
Takaful Perbelanjaan Kematian
Keterangan Pelan
Ia adalah skim berkelompok yang direka untuk
meminimumkan pemilihan risiko dan
menyediakan kemudahan yang serupa dalam
melindungi sekumpulan peserta.
Skop Perlindungan:
 Majikan, organisasi atau persatuan adalah
Pemegang Kontrak Induk.
 Tahap Perlindungan: Perlindungan selama
setahun kepada sekumpulan peserta yang
berlainan jenis dan reka bentuk pelan. Reka
bentuk pelan biasanya mempunyai:
a. Pelan jumlah perlindungan sama rata,
umpamanya RM1, 000 untuk semua
peserta.
b. Jumlah perlindungan berdasarkan
kategori yang ditetapkan oleh majikan,
umpamanya:
- Pengurus Kanan RM2,500
- Pengurus RM2,000
- Eksekutif RM1,000
c. Perlindungan berdasarkan kategori
keahlian, umpamanya:
- Ahli Prinsipal RM2,500
Pelan Takaful Keluarga 463
- Pasangan (isteri/suami) RM2,000
- Anak-Anak dibawah Tanggungan
RM1,000
 Kematian disebabkan kemalangan atau sakit:
Sekiranya peserta meninggal dunia mengikut
terma didalam sijil, jumlah perlindungan
ditambah dengan baki didalam Akaun
Peserta akan dibayar sekali gus kepada
Pemegang Sijil Induk atau benefisiari atau
waris peserta.
Takaful Kumpulan Komprehensif
Pengenalan
Pelan ini direka untuk meminimumkan pemilihan risiko dan
menyediakan asas Takaful yang sama untuk melindungi kumpulan
pekerja (peserta) dengan elemen simpanan untuk tujuan persaraan.
Pelan ini dipasarkan berdasarkan unit dengan nilai yang ditetapkan
oleh pengendali Takaful.
Bentuk perlindungan
Sekiranya peserta meninggal dunia atau mengalami hilang upaya
kekal dan menyeluruh mengikut terma didalam sijil, jumlah
perlindungan ditambah dengan baki di dalam Akaun Peserta akan
dibayar kepada penama atau waris peserta.
Terma dan Syarat-Syarat Penting
Manfaat  Manfaat Kematian – sekiranya peserta
meninggal dunia disebabkan sakit / penyakit dan
mengikut terma didalam sijil, jumlah
perlindungan ditambah dengan baki didalam
Akaun Khas Peserta (AKP) akan dibayar kepada
benefisiari atau waris peserta. Sekiranya berlaku
464 Amalan Asas Takaful
kematian disebabkan kemalangan, pengendali
Takaful akan membayar dua kali ganda jumlah
perlindungan, dibayar kepada benefisiari atau
waris peserta.
 Manfaat hilang upaya kekal dan menyeluruh –
sekiranya hilang upaya kekal dan menyeluruh
berlaku (atas sebarang sebab), jumlah
perlindungan boleh dibayar secara ansuran atau
sekaligus, bermula dari tarikh disahkan
mengalami hilang upaya kekal dan menyeluruh.
Amaun
Sumbangan
Sumbangan perlu dibayar sehingga tarikh sijil
matang.
Sumbangan
Tambah Nilai
Peserta dibenarkan membuat tambah nilai
sumbangan apabila sijilnya telah berkuatkuasa
selama setahun. Amaun tambah nilai adalah
tertakluk kepada jumlah minimum sumbangan
bulanan. Amaun tambah nilai akan dikumpulkan
dalam Akaun Peserta sahaja.
Pelan
Tambahan
Pelan tambahan yang disediakan:
 Takaful Manfaat Penghospitalan
Berkumpulan
 Takaful Manfaat Penyakit Kritikal
Berkumpulan
 Takaful Manfaat Kematian Disebabkan
Kemalangan & Hilang Upaya Kekal dan
Menyeluruh Berkumpulan.
 Takaful Manfaat Hilang Upaya Kekal dan
Sebahagian Berkumpulan
 Takaful Manfaat Kematian Serta Merta
Berkumpulan
Pelan Takaful Keluarga 465
Dengan menyertakan manfaat sampingan, ia tidak
meningkatkan jumlah perlindungan tetapi akan
mengurangkan amaun dalam Akaun Peserta.
2.2.4 Pelan Tambahan (Rider)
Pengenalan
Pelan tambahan adalah sesuatu yang ditambah kepada sijil asas untuk
memberi manfaat tambahan - kadang kala memerlukan bayaran
tambahan. Peserta juga boleh menggabungkan satu set Pelan
tambahan dan disertakan dalam sijil asas.
Amaun sumbangan pastinya akan meningkat, bergantung kepada
Pelan tambahan atau gabungan Pelan tambahan yang dipilih. Lanjutan
dari manfaat diatas ialah manfaat hilang upaya menyeluruh /
sebahagian disebabkan kemalangan. Sebab-sebab hilang upaya akan
menentukan amaun bayaran atas jumlah perlindungan. Pembayaran
dibuat sama ada dalam bentuk anuiti atau bayaran sekali gus.
Walaupun tuntutan atas Pelan tambahan telah diselesaikan, manfaat
sijil asas masih kekal. Satu lagi manfaat tambahan ialah Pelan
tambahan pengecualian bayaran sumbangan. Sekiranya hilang upaya
kekal menjejaskan keupayaan peserta untuk mencari pendapatan /
sara hidup, Pelan tambahan ini mengetepikan semua bayaran
sumbangan masa akan datang. Pelan tambahan manfaat bertempoh
bertujuan menyediakan sejumlah wang tambahan, bersamaan dengan
jumlah perlindungan asas maksimum, sekiranya peserta meninggal
dunia semasa sijil dalam keadaan berkuatkuasa.
Pengendali Takaful juga menawarkan manfaat penyakit kritikal.
Sekiranya peserta ditimpa oleh mana-mana penyakit kritikal seperti
yang disenaraikan oleh pengendali Takaful, peserta berpeluang untuk
menerima bayaran pampasan. Walau bagaimanapun, sebaik sahaja
tuntutan berkenaan telah dibayar, tuntutan tambahan atas sebab yang
sama dimasa hadapan tidak akan dipertimbangkan.
466 Amalan Asas Takaful
Pelan tambahan lain yang juga ditawarkan ialah manfaat
penghospitalan dan pembedahan utama. Manfaat pembedahan
melibatkan pembayaran kos pembedahan, bergantung kepada
prosedur pembedahan; sementara manfaat penghospitalan meliputi
perbelanjaan yang terlibat apabila peserta dimasukkan ke hospital
termasuk bayaran caj bilik, tertakluk kepada had tertentu iaitu amaun
maksimum dan bilangan hari dalam setahun yang peserta layak
memperolehi manfaat berkenaan.
Pelan tambahan mengatasi apa-apa percanggahan atau perbezaan
dalam sijil asas. Dalam erti kata lain, jika terdapat peruntukan dalam
Pelan tambahan yang berbeza daripada peruntukan yang sama dalam
sijil asal, maka peruntukan dalam Pelan tambahan dikekalkan. Pelan
tambahan boleh mengecualikan atau mengasingkan perlindungan dan
akan menjadikan kadar sumbangan lebih rendah. Walau
bagaimanapun, dalam kebanyakan kes, Pelan tambahan akan
menambah skop perlindungan atas sijil sedia ada.
Pelan tambahan Takaful Penyakit Kritikal
Pelan tambahan Takaful Penyakit Kritikal merupakan perlindungan
paras individu. Pelan ini menyediakan perlindungan dari sebarang
penyakit kritikal yang dinyatakan dalam sijil dan berlaku dalam
tempoh perlidungan pelan.
Jenis perlindungan
Pelan tambahan ini menyediakan bayaran penuh jumlah perlindungan
penyakit kritikal apabila peserta didiagnosa dan menghidap sebarang
penyakit kritikal yang disenaraikan dalam sijil.
Pelan ini disediakan dalam dua bentuk:
1. Pelan yang Dipercepatkan (Accelerated)
Pelan tambahan ini menyediakan bayaran sekali gus jumlah
perlindungan Penyakit Kritikal, iaitu bayaran pendahuluan dari
Pelan Takaful Keluarga 467
jumlah perlindungan asas apabila didiagnosa dan disahkan menghidap
penyakit kritikal. Tuntutan yang dibuat di bawah rider ini akan
mengurangkan jumlah perlindungan pelan asas.
2. Pelan Tambahan
Pelan tambahan ini menyediakan bayaran sekali gus jumlah
perlindungan Penyakit Kritikal yang didiagnosa dan disahkan.
Pembayaran yang dibuat di bawah rider ini tidak akan mengurangkan
Jumlah Perlindungan Asas, dan menjadikan pelan pilihan ini lebih
mahal berbanding dengan pelan sebelumnya.
Terma dan Syarat-Syarat Penting
Jumlah
Perlindungan
Peserta boleh memilih amaun perlindungan hingga
ke had maksimum jumlah perlindungan sijil asas.
Manfaat Apabila sijil telah mencapai tempoh matang,
peserta akan menerima bayaran amaun terkumpul
di dalam Akaun Khas Peserta (AKP).
Setelah didiagnosa, amaun perlindungan penyakit
kritikal akan dibayar, tertakluk kepada syarat-
syarat berikut:
 Hilang upaya kekal dan menyeluruh adalah
berdasarkan kepada definisi pekerjaan atau
profesion yang ditetapkan di dalam sijil.
 Manfaat Hilang Upaya akan dibayar selepas
memenuhi tempoh kelayakan (tempoh
menunggu) iaitu hilang upaya itu mestilah
berlaku untuk tempoh berterusan tidak kurang
daripada enam (6) bulan.
 Kemortalan tambahan dan / atau bebanan
pekerjaan akan ditambah kedalam amaun
sumbangan, bersesuaian dengan profil peserta
dan definisi hilang upaya kekal dan
468 Amalan Asas Takaful
menyeluruh. Sumbangan tambahan (loading)
dikira sebagai faktor berganda kepada kadar
minimum bersih. Tiada sebarang diskaun
diberikan kerana ia adalah kadar minimum
bersih.
Amaun
Sumbangan
Amaun sumbangan adalah bergantung kepada rider
atau kombinasi pelan yang dipilih.
Pulangan
Pelaburan
Model Takaful ini membolehkan pengendali
Takaful mengoptimumkan pulangan pelaburan
kepada peserta.
Pengecualian  Keadaan sedia ada dikecualikan dari manfaat
ini.
 Nota: Penyakit yang didiagnosa dalam tempoh
tiga (3) bulan dari tarikh kuatkuasa sijil atau
tarikh kuatkuasa semula adalah tidak dilindungi
di bawah pelan ini.
Pelan tambahan Takaful Kematian Disebabkan Kemalangan
Pengenalan
Pelan ini merupakan perlindungan Takaful peringkat individu untuk
yang hanya boleh disertakan kepada Pelan Asas. Pelan ini
menyediakan pampasan kewangan kepada peserta sekiranya berlaku
kematian, hilang upaya kekal dan menyeluruh (Total Permanent
Disablement) atau hilang upaya kekal sebahagian (Permanent Partial
Disablement) akibat kemalangan dalam lingkungan definisi terma
sijil.
Pelan Takaful Keluarga 469
Terma dan Syarat-Syarat Penting
Jumlah
Perlindungan
Jumlah Perlindungan:
Peserta boleh memilih amaun perlindungan
sehingga ke tahap perlindungan asas atau
maksimum beberapa kali ganda amaun
perlindungan asas tertakluk kepada polisi
pengendali Takaful.
Manfaat Pelan ini melindungi:
 Manfaat Kematian Disebabkan Kemalangan -
Sekiranya peserta meninggal dunia akibat
kemalangan mengikut terma di dalam sijil,
jumlah perlindungan ditambah dengan baki di
dalam Akaun Khas Peserta (AKP) akan dibayar.
 Manfaat hilang upaya kekal dan menyeluruh
Disebabkan Kemalangan - Sekiranya peserta
mengalami hilang upaya kekal dan menyeluruh
akibat kemalangan, mengikut terma di dalam
sijil, jumlah perlindungan ditambah dengan baki
didalam Akaun Khas Peserta (AKP) akan
dibayar kepada peserta.
 Manfaat hilang upaya kekal sebahagian
Disebabkan Kemalangan - Sekiranya peserta
mengalami hilang upaya kekal sebahagian
akibat kemalangan, mengikut terma di dalam
sijil, jumlah perlindungan ditambah dengan baki
di dalam Akaun Khas Peserta (AKP) akan
dibayar kepada benefisiari atau waris peserta.
Bayaran amaun perlindungan adalah seperti
yang terkandung dalam Jadual Indemniti.
 Manfaat Kematangan - Apabila sijil telah
mencapai tempoh matang, peserta akan
menerima bayaran amaun terkumpul dalam
Akaun Khas Peserta.
470 Amalan Asas Takaful
Setelah tamat tempoh polisi, baki sumbangan
berserta pulangan keuntungan akan diagih-agihkan
kepada peserta mengikut kadar yang sewajarnya.
Amaun
Sumbangan
Amaun sumbangan adalah bergantung kepada rider
atau kombinasi pelan yang dipilih.
Pengecualian Keadaan sedia ada adalah dikecualikan dari
manfaat ini.
Pelan tambahan Pengecualian Bayaran Sumbangan Penyakit
Kritikal
Pengenalan
Pengecualian bayaran sumbangan merupakan pelan yang
membenarkan semua bayaran sumbangan untuk masa akan datang
(termasuk pelan tambahan lain yang disertakan, kecuali pelan
tambahan penyakit kritikal) adalah dikecualikan, iaitu apabila peserta
didiagnosa menghidap / mengalami mana-mana 39 penyakit kritikal
(sumber daripada Bank Negara Malaysia 2001) seperti yang
ditakrifkan dalam kontrak. Selepas didiagnosa, manfaat yang dibayar
adalah tertakluk kepada syarat-syarat berikut:
 Hilang upaya kekal dan menyeluruh adalah berdasarkan kepada
definisi pekerjaan atau profesion yang ditetapkan didalam sijil.
 Faedah hilang upaya akan dibayar selepas memenuhi tempoh
kelayakan (tempoh menunggu) dimana hilang upaya tersebut
mesti berlaku untuk tempoh berterusan tidak kurang enam (6)
bulan.
 Keadaan sedia ada adalah dikecualikan dari manfaat ini.
Pelan Takaful Keluarga 471
Terma dan Syarat-Syarat Penting
Jumlah
Perlindungan
Peserta boleh memilih amaun perlindungan
sehingga ke tahap perlindungan asas atau
maksimum beberapa kali ganda amaun
perlindungan asas tertakluk kepada polisi
pengendali Takaful.
Manfaat Setelah didiagnosa, manfaat yang dibayar adalah
tertakluk kepada syarat-syarat berikut:
 Hilang upaya kekal dan menyeluruh adalah
berdasarkan kepada definisi pekerjaan atau
profesion yang ditetapkan didalam sijil.
 Faedah hilang upaya akan dibayar selepas
memenuhi tempoh kelayakan (tempoh
menunggu) di mana hilang upaya tersebut mesti
berlaku untuk tempoh berterusan tidak kurang
dari enam (6) bulan.
 Keadaan sedia ada adalah dikecualikan dari
manfaat ini.
 Manfaat Kematangan: Apabila sijil telah
mencapai tempoh matang, peserta akan
menerima bayaran amaun terkumpul dalam
Akaun Khas Peserta.
Amaun
Sumbangan
Amaun sumbangan adalah bergantung kepada rider
atau kombinasi pelan yang dipilih.
Pengecualian Pengecualian bayaran sumbangan pelan tambahan
ini merupakan pelan yang membenarkan semua
bayaran sumbangan untuk masa akan datang
termasuk rider yang disertakan, kecuali rider
penyakit kritikal, adalah dikecualikan iaitu apabila
peserta didiagnosa menghidap/mengalami penyakit
kritikal seperti yang ditakrifkan dalam kontrak.
472 Amalan Asas Takaful
Pelan Tambahan Manfaat Pembayar
Pengenalan
Pelan Tambahan Manfaat Pembayar adalah pelan tambahan yang
hanya boleh disertakan kepada pelan asas. Pelan ini akan
mengecualikan semua bayaran sumbangan masa depan (bukan
tunggakan sumbangan) yang perlu dibayar di bawah sijil ini
(termasuk pelan tambahan yang disertakan) sekiranya peserta
meninggal dunia, mengalami hilang upaya kekal dan menyeluruh dan
/ atau didiagnosa sebagai mengalami mana-mana penyakit kritikal
(seperti yang dinyatakan dalam kontrak) sebelum sijil mencapai
tempoh matang. Pelan ini direka khusus untuk menyediakan
perlindungan kepada pembayar caruman dan juga menggalakkan
peserta menyimpan / melabur.
Jenis-jenis Perlindungan
1. Manfaat Kematian
 Sekiranya pembayar meninggal dunia atas sebarang sebab,
semua bayaran sumbangan untuk masa akan datang (kecuali
tunggakan sumbangan) termasuk rider yang disertakan,
sekiranya berkenaan, adalah dikecualikan,
2. Hilang Upaya Kekal dan Menyeluruh
 Sekiranya pembayar mengalami hilang upaya kekal dan
menyeluruh atas sebarang sebab dan tertakluk kepada syarat
dan peraturan rider, semua bayaran sumbangan (tidak
termasuk tunggakan sumbangan) yang sepatutnya perlu
dibayar dibawah sijil ini (termasuk pelan tambahan yang
disertakan, sekiranya berkenaan) adalah dikecualikan.
Pelan Takaful Keluarga 473
3. Manfaat Penyakit Kritikal
 Sekiranya pembayar didiagnosa dan disahkan menghidap
salah satu penyakit kritikal (seperti yang dinyatakan dalam
kontrak), semua bayaran sumbangan (tidak termasuk
tunggakan sumbangan) yang sepatutnya perlu dibayar di
bawah sijil ini (termasuk pelan tambahan yang disertakan,
sekiranya berkenaan) adalah dikecualikan.
Terma dan Syarat-Syarat Penting
Jumlah
Perlindungan
Peserta boleh memilih amaun perlindungan
sehingga ke tahap jumlah perlindungan pelan
asas.
Syarat-syarat Apabila pembayar mengalami hilang upaya kekal
dan menyeluruh atau didiagnosa menghidap
penyakit kritikal, Jumlah Perlindungan Manfaat
Pembayar (Payor Benefits Sum Covered) akan
dibayar tertakluk kepada syarat-syarat berikut:
 Hilang upaya kekal dan menyeluruh adalah
berdasarkan kepada definisi pekerjaan atau
profesion yang ditetapkan didalam sijil.
 Manfaat hilang upaya akan dibayar selepas
memenuhi tempoh kelayakan (tempoh
menunggu) di mana hilang upaya tersebut
mesti berlaku untuk tempoh berterusan tidak
kurang dari enam (6) bulan.
Manfaat Manfaat Kematian:
Sekiranya pembayar meninggal dunia kerana
sebarang sebab, semua bayaran sumbangan (tidak
termasuk sumbangan tertunggak) yang sepatutnya
perlu dibayar di bawah sijil ini (termasuk pelan
tambahan yang disertakan, sekiranya berkenaan)
adalah dikecualikan.
474 Amalan Asas Takaful
Hilang Upaya Kekal dan Menyeluruh:
Sekiranya pembayar mengalami hilang upaya
kekal dan menyeluruh kerana sebarang sebab dan
tertakluk kepada terma dan syarat rider, semua
bayaran sumbangan (tidak termasuk sumbangan
tertunggak) yang sepatutnya perlu dibayar di
bawah sijil ini (termasuk pelan tambahan yang
disertakan, sekiranya berkenaan) adalah
dikecualikan.
Manfaat Penyakit Kritikal:
Sekiranya pembayar didiagnosa dan disahkan
menghidap salah satu penyakit kritikal (seperti
yang dinyatakan dalam kontrak), semua bayaran
sumbangan (tidak termasuk sumbangan
tertunggak) yang sepatutnya perlu dibayar
dibawah sijil ini (termasuk pelan tambahan yang
disertakan, sekiranya berkenaan) adalah
dikecualikan.
Manfaat Kematangan:
Apabila sijil telah mencapai tempoh matang,
peserta akan menerima bayaran amaun terkumpul
dalam Akaun Khas Peserta (AKP).
Amaun
Sumbangan
Amaun sumbangan adalah bergantung kepada
pelan tambahan atau kombinasi pelan yang
dipilih.
Pengecualian Keadaan sedia ada adalah dikecualikan dari
manfaat ini.
Pelan Takaful Keluarga 475
Pelan Tambahan Takaful Bertempoh
Pengenalan
Pelan Tambahan Bertempoh adalah pelan tambahan Takaful yang
hanya boleh disertakan bersama-sama dengan pelan asas. Ia adalah
perlindungan Takaful peringkat individu dengan perlindungan yang
menyeluruh dan skop manfaat yang lebih meluas.
Jenis-jenis perlindungan
Pelan ini menyediakan perlindungan kewangan sekiranya peserta
meninggal dunia atau mengalami hilang upaya kekal dalam tempoh
sijil berkuatkuasa.
Terma dan Syarat Penting
Jumlah
Perlindungan
Peserta boleh memilih amaun perlindungan
sehingga ke tahap perlindungan asas atau
maksimum beberapa kali ganda amaun
perlindungan asas tertakluk kepada polisi
pengendali Takaful.
Manfaat Manfaat Kematian:
Sekiranya peserta meninggal dunia dalam tempoh
sijil berkuatkuasa, jumlah perlindungan rider
bertempoh ditambah dengan baki di dalam Akaun
Khas Peserta (AKP) akan dibayar sekali gus kepada
benefisiari peserta.
Hilang Upaya kekal dan Menyeluruh:
Sekiranya peserta mengalami hilang upaya kekal
dan menyeluruh dalam tempoh sijil berkuatkuasa,
jumlah perlindungan pelan tambahan bertempoh
ditambah dengan baki didalam Akaun Khas Peserta
akan dibayar sekali gus kepada peserta.
476 Amalan Asas Takaful
Manfaat Kematangan:
Apabila sijil matang, peserta akan menerima
bayaran amaun terkumpul dalam Akaun Khas
Peserta.
Amaun
Sumbangan
Amaun sumbangan adalah bergantung kepada pelan
tambahan atau kombinasi pelan yang dipilih.
Pengecualian Keadaan sedia ada adalah dikecualikan dari manfaat
ini.
Pelan Tambahan Takaful Manfaat Penghospitalan
Pengenalan
Pelan tambahan manfaat penghospitalan adalah pelan tambahan
Takaful individu yang hanya boleh disertakan bersama pelan asas
sahaja. Pelan ini menyediakan manfaat tunai harian sekiranya peserta
dimasukkan ke hospital akibat kemalangan atau penyakit, tertakluk
kepada terma dan syarat pelan tambahan
Jenis perlindungan
Manfaat Penghospitalan
Terma dan Syarat-Syarat Penting
Jumlah
Perlindungan
Peserta boleh memilih amaun perlindungan
serendah RM10 sehari sehingga ke had maksimum
yang ditetapkan oleh pengendali Takaful.
Manfaat Manfaat Penghospitalan:
Sekiranya peserta dimasukkan ke hospital akibat
kemalangan atau penyakit untuk tempoh minimum
yang ditetapkan oleh pengendali Takaful, amaun
manfaat hospital akan dikira dari hari pertama
Pelan Takaful Keluarga 477
dimasukkan ke hospital. Jumlah maksimum hari
yang ia layak adalah tertakluk kepada pelan Takaful
yang disertai (berbeza mengikut pelan dan
pengendali Takaful
Amaun
Sumbangan
Amaun sumbangan adalah bergantung kepada pelan
tambahan atau kombinasi pelan yang dipilih.
Pengecualian  Manfaat penghospitalan tidak dibayar kecuali
peserta dimasukkan ke hospital selepas tempoh
yang ditetapkan di dalam sijil pelan tambahan
(berbeza mengikut pelan dan pengendali
Takaful).
 Manfaat ini mengecualikan keadaan sedia ada.
Pelan Tambahan Takaful Perbelanjaan Kematian
Pengenalan
Pelan tambahan Takaful Perbelanjaan Kematian direka untuk
menyediakan bantuan kewangan dengan serta-merta kepada waris
terdekat sekiranya peserta meninggal dunia.
Jenis perlindungan
Kelulusan Segera Tanpa Sebarang Kerumitan
Setelah berpuashati dengan bukti kematian yang dikemukakan,
benefisiari atau waris terdekat peserta akan menerima bayaran
perbelanjaan serta-merta kematian tanpa memerlukan sebarang
dokumen sokongan.
478 Amalan Asas Takaful
Terma dan Syarat-Syarat Penting
Manfaat Manfaat Kematian:
Sekiranya peserta meninggal dunia dalam tempoh
sijil berkuatkuasa, bayaran perbelanjaan serta-merta
kematian ditambah dengan baki di dalam Akaun
Khas Peserta (AKP) akan dibayar kepada benefisiari
atau waris terdekat peserta.
Manfaat Kematangan:
Apabila sijil telah mencapai tempoh matang, peserta
akan menerima amaun terkumpul dalam Akaun
Khas Peserta (AKP).
Amaun
Sumbangan
Amaun sumbangan adalah bergantung kepada Pelan
tambahan atau kombinasi pelan yang dipilih.
Pengecualian Manfaat ini mengecualikan keadaan sedia ada.
Pelan Tambahan Pendapatan Keluarga
Pengenalan
Pelan Tambahan Pendapatan Keluarga memberikan peserta dan
keluarga suatu jaminan ketenangan sekiranya peserta mengalami
hilang upaya kekal dan menyeluruh atau didiagnosa menghidap
penyakit kritikal dalam tempoh pelan berkuatkuasa. Pelan tambahan
ini membolehkan sebahagian besar daripada peruntukan Akaun
Peserta digunakan untuk tujuan pelaburan yang memberikan kadar
pulangan yang optimum. Ia juga menyediakan peruntukan pendapatan
pelaburan dan surplus yang lebih kerap untuk dimasukkan ke akaun
pelaburan peserta. Pelaburan semula serta merta pulangan pelaburan
dan surplus seterusnya akan menjanjikan jumlah pulangan yang lebih
baik.
Pelan Takaful Keluarga 479
Jenis perlindungan
Sekiranya berlaku kematian, hilang upaya kekal dan menyeluruh atau
peyakit kritikal yang dilindungi di bawah pelan ini, manfaat
pendapatan keluarga akan dibayar kepada benefisiari yang dinamakan
oleh peserta atau waris terdekat, sepanjang tempoh sijil berkuatkuasa.
Terma dan Syarat-Syarat Penting
Jumlah
Perlindungan
Peserta boleh memilih amaun perlindungan
serendah RM10 sehari sehingga ke had maksimum
yang ditetapkan oleh pengendali Takaful.
Manfaat Manfaat Kematian:
Sekiranya peserta meninggal dunia akibat
kemalangan atau penyakit yang dilindungi di bawah
pelan ini, amaun pendapatan keluarga akan dibayar
kepada benefisiari yang dinamakan oleh peserta atau
waris terdekat, sepanjang tempoh kuatkuasa pelan.
Manfaat Hilang Upaya Kekal dan Menyeluruh:
Sekiranya peserta mengalami hilang upaya kekal
dan menyeluruh akibat kemalangan atau penyakit
yang dilindungi dibawah pelan ini, amaun
pendapatan keluarga akan dibayar kepada peserta
sepanjang tempoh kuatkuasa pelan.
Manfaat Penyakit Kritikal:
Sekiranya peserta didiagnosa dan disahkan
menghidap salah satu penyakit kritikal yang
dilindungi dibawah pelan ini, amaun pendapatan
keluarga akan dibayar kepada peserta sepanjang
tempoh kuatkuasa pelan.
480 Amalan Asas Takaful
Manfaat Kematangan:
Apabila sijil telah mencapai tempoh matang, peserta
akan menerima amaun terkumpul dalam Akaun
Khas Peserta (AKP).
Terma dan
Syarat
Sekiranya peserta mengalami hilang upaya kekal
dan menyeluruh atau didiagnosa menghidap salah
satu penyakit kritikal, amaun perlindungan akan
dibayar mengikut syarat-syarat berikut:
 Hilang upaya kekal dan menyeluruh adalah
berdasarkan kepada definisi pekerjaan atau
profesion yang ditetapkan di dalam sijil.
 Manfaat hilang upaya akan dibayar selepas
memenuhi tempoh kelayakan (tempoh
menunggu) dimana hilang upaya tersebut mesti
berlaku untuk tempoh berterusan tidak kurang
dari enam (6) bulan.
Amaun
Sumbangan
Amaun sumbangan adalah bergantung kepada Pelan
Tambahan atau kombinasi pelan yang dipilih.
Pengecualian Manfaat ini mengecualikan keadaan sedia ada.
Amalan Takaful Keluarga: Terma dan Syarat 481
BAB C3
AMALAN TAKAFUL KELUARGA:
TERMA-TERMA DAN SYARAT-SYARAT SIJIL
PENGENALAN
Bab ini akan membincangkan secara terperinci mengenai terma-terma
dan syarat-syarat umum yang biasanya terdapat dalam sijil Takaful
Keluarga.
C3.1 KETERANGAN SIJIL TAKAFUL KELUARGA
Takaful perpaduan keluarga menyediakan perlindungan kepada
peserta dengan manfaat perlindungan kewangan dan simpanan jangka
panjang. Peserta atau waris akan disediakan dengan manfaat
kewangan jika peserta ditimpa musibah. Pada masa yang sama,
peserta akan memiliki tabungan peribadi jangka panjang kerana
sebahagian daripada sumbangan yang dibayar akan disimpan dalam
sebuah akaun bagi tujuan simpanan dan pelaburan. Peserta akan dapat
menikmati pulangan pelaburan daripada bahagian simpanan mengikut
nisbah yang telah dipersetujui dengan Pengendali Takaful.
Adalah penting untuk memahami bahawa perkataan "sijil" dan
"kontrak" adalah tidak sinonim atau tidak sama pegertiannya. Sijil
adalah alat atau perantaraan (mungkin dalam bentuk kertas atau
sebagainya) di mana perjanjian ditulis di atasnya. Sementara kontrak
pula adalah sesuatu yang tidak ketara, iaitu perjanjian perundangan
yang mengikat pihak-pihak berkenaan.
Akta Takaful 1984 mendefinisikan “sijil Takaful” sebagai “apa-apa
kontrak Takaful bagi perniagaan perpaduan keluarga atau perniagaan
am sama ada atau tidak terkandung dalam atau diterangkan oleh suatu
surat cara dalam bentuk sijil, dan sebutan mengenai pengeluaran sijil
hendaklah ditafsirkan dengan sewajarnya. Sebutan mengenai sesuatu
482 Amalan Asas Takaful
sijil Pengendali Takaful termasuklah apa-apa sijil yang berkenaan
dengannya pengendali adalah di bawah apa-apa liabiliti, sama ada
sijil itu telah dikeluarkan oleh pengendali atau liabiliti itu telah
berpindah kepada pengendali daripada seorang pengendali lain”.
C3.2 TRANSAKSI SIJIL
Transaksi sijil boleh dibahagikan kepada tajuk-tajuk berikut:-
i. Sijil pendua, dan
ii. Penyerahan hak sijil Takaful keluarga.
3.2.1 Sijil Pendua
Apabila dokumen sijil hilang atau salah letak, sijil gantian akan
dikeluarkan oleh Pengendali Takaful. Pengendali Takaful biasanya
memerlukan dari peserta, antara lain, dokumen-dokumen berikut
sebelum mengeluarkan sijil gantian:-
i. surat permohonan;
ii. persetujuan untuk membayar ganti rugi kepada Pengendali
Takaful sekiranya timbul sebarang kerugian disebabkan
pengeluaran sijil pendua berkenaan.
Sijil pendua akan dicop dengan perkataan “Sijil Pendua”, dan menjadi
dokumen perundangan yang sah.
3.2.2 Penyerahan Hak Sijil Takaful Keluarga
Perlu difahami bahawa Akta Takaful 1984 mendefinisikan “peserta”
sebagai orang yang diberi perlindungan, dimana setelah sijil diserah
hak kepada pemegang serah hak pada masa itu, dan pemegang serah
hak berhak mendapat manfaat sijil dari pengendali Takaful kerana ia
adalah wakil diri peserta yang telah meninggal dunia.
Penyerahan hak ialah suatu pemindahan hak dan liabiliti oleh
seseorang kepada seseorang yang lain. Di Takaful, pemindahan
Amalan Takaful Keluarga: Terma dan Syarat 483
semua hak dan tanggungan peserta kepada orang lain disebut sebagai
suatu penyerahan hak sijil. Pemegang serahhak, orang yang
mengambil alih hak-hak yang diberikan, akan mempunyai hak yang
sama seperti yang dinikmati oleh penyerah hak. Oleh itu, hak undang-
undang di bawah sijil Takaful keluarga boleh dipindahkan melalui
penyerahan hak.
Penyerahan hak boleh dibuat sama ada serah hak mutlak atau serah
hak bersyarat. Penyerahan hak mutlak tidak meninggalkan apa-apa
hak untuk penyerah hak, kecuali pembayaran sumbangan sekiranya
peserta memilih untuk membayar. Sebaliknya, serah hak bersyarat
akan memberi hak kepada penyerah hak untuk membatalkan
penyerahan hak sekiranya pemegang serah hak meninggal dunia
sebelum manfaat Takaful dibayar atau jika peserta masih hidup
sehingga tarikh matang sijil Takaful. Proses penyerahan hak boleh
dilakukan melalui prosedur berikut:
1. Penyerahan hak hendaklah dibuat secara bertulis. Tanpa notis
bertulis, pengendali Takaful tidak boleh dipertanggungjawabkan
keatas bayaran yang dibuat kepada individu lain, selain dari
pemegang serah hak;
2. Penyerahan hak boleh dikuatkuasakan melalui endorsemen atau
surat ikatan yang berasingan;
3. Notis bertulis mengenai penyerahan hak hendaklah dihantar ke
ibu pejabat pengendali Takaful;
4. Apabila menerima notis penyerahan hak, pengendali Takaful
hendaklah mendaftarkan notis berkenaan. Ini adalah perlu untuk
menentukan susunan keutamaan dalam tuntutan sekiranya sijil
berkenaan mempunyai pelbagai penyerahan hak. Mengikut
keutamaan, penyerahan hak yang lebih awal tarikhnya perlu
didahulukan berbanding dengan penyerahan hak yang didaftarkan
selepas tarikh tersebut.
Penyerahan Hak Amaun Tuntutan
Dalam Takaful, istilah "penyerahan hak" juga digunakan dalam
konteks menyerahkan hak prosid atau manfaat sijil. Penyerahan hak
484 Amalan Asas Takaful
prosid sijil timbul apabila peserta mengarahkan pengendali Takaful
untuk membayar prosid sijil kepada pihak ketiga.
Sebagai contoh, terdapat penyerahan hak prosid sijil apabila peserta
mengarahkan Pengendali Takaful untuk membayar ganti rugi yang
peserta mempunyai hak keatasnya untuk diserahkan kepada pihak
lain. Dalam Takaful Keluarga, penyerahan hak prosid sijil berlaku
apabila pemilik sijil / peserta menamakan benefisiari untuk menerima
manfaat kematian di bawah sijil berkenaan. Dalam penyerahan hak
tersebut, peserta masih kekal sebagai satu pihak kepada kontrak
Takaful dan terus bertanggungjawab terhadap liabiliti yang timbul di
bawah sijil walaupun selepas membuat penyerahan hak prosid sijil.
Semua perolehan sijil bebas untuk diserah hak, melainkan jika
kontrak menyatakan sebaliknya.
Seksyen 6, Akta Takaful 1984, memperuntukkan bahawa hanya
mereka yang telah mencapai umur lapan belas (18) tahun dan ke atas
sahaja yang boleh terlibat dalam kontrak Takaful. Oleh yang
demikian, peserta boleh melantik seseorang untuk menerima manfaat
sijil sekiranya beliau meninggal dunia, dengan memberitahu
pengendali Takaful secara bertulis mengenai butir-butir penama
berikut:
i. Nama dan tarikh lahir,
ii. No kad pengenalan atau no sijil kelahiran, dan
iii. Alamat.
Penamaan tersebut hendaklah disaksikan oleh seseorang yang
berfikiran waras, telah mencapai umur 18 tahun dan yang bukan
merupakan penama yang dinamakan di bawah sijil berkenaan.
C3.3 ENDORSEMEN / PINDAAN KE ATAS SIJIL
Kontrak Takaful keluarga secara umumnya adalah kontrak jangka
panjang dengan tempoh perlindungan berlanjutan sehingga lebih dari
20 tahun. Dalam tempoh yang panjang ini, situasi atau keadaan
pemegang sijil mungkin telah berubah. Fleksibiliti yang terdapat
Amalan Takaful Keluarga: Terma dan Syarat 485
dalam struktur kontrak membolehkan beberapa bentuk pindaan boleh
dilakukan terhadap sijil Takaful.
Dokumen sijil yang standard sering dipinda sebagai pengesahan
terhadap perubahan dan perbezaan keadaan serta keperluan
seseorang. Endorsemen boleh dilakukan:
i. ketika sijil dikeluarkan, atau
ii. selepas sijil dikeluarkan.
Endorsemen Ketika Sijil Dikeluarkan
Secara amnya, berikut adalah tiga syarat-syarat khusus untuk
membuat endorsemen terhadap:-
1. perubahan yang memberi kesan kepada amaun sumbangan atau
kekerapan bayaran. Sebagai contoh, jika pindaan melibatkan
bayaran ansuran sumbangan, maka suatu syarat yang bersesuaian
perlu dikenakan iaitu dengan mengadakan peruntukan bagi
potongan apa-apa tunggakan yang belum dibayar, dilangsaikan
semasa membuat tuntutan kematian;
2. pindaan yang melibatkan perubahan jumlah perlindungan atau
mod bayaran. Sebagai contoh, sekiranya pilihan penyelesaian
ialah menggunakan prosid sijil sebagai deposit atas arahan
pengendali, maka syarat-syarat khas perlu diperuntukkan semasa
membuat endorsemen;
3. pindaan yang menyertakan manfaat tertentu, contohnya pilihan
untuk menukar kontrak sedia ada kepada jenis kontrak yang
berbeza; perlu menyertakan had atau pembatasan tertentu.
Endorsemen Selepas Sijil Dikeluarkan
Endorsemen ini dibuat kerana terdapat perubahan dalam:
i. mod bayaran sumbangan;
ii. perubahan bentuk kontrak;
iii. mengenakan atau mengecualikan sumbangan tambahan.
486 Amalan Asas Takaful
Pindaan-pindaan diatas secara amnya boleh dibahagikan kepada
kategori perubahan berikut:
i. nama atau umur peserta;
ii. sumbangan yang perlu dibayar – mod bayaran dan tarikh
bayaran;
iii. jumlah perlindungan dan amaun sumbangan;
iv. Pelan Takaful.
Pindaan Sijil
Bentuk pindaan yang biasa dilakukana ialah:
1. pertukaran alamat - pindaan ini tidak melibatkan sebarang
perubahan dalam syarat kontrak dan lazimnya diterima oleh
Pengendali Takaful. Perubahan pada rekod pengendali Takaful
akan dibuat dan peserta akan diberitahu mengenainya;
2. pertukaran nama (pemohon / peserta adalah individu yang sama)
– Perubahan ini dilakukan dengan mengeluarkan endorsemen.
Dokumen bukti diperlukan untuk melakukan pindaan ini;
3. perubahan kekerapan bayaran sumbangan;
4. perubahan jumlah perlindungan – Pengendali Takaful biasanya
membenarkan pengurangan jumlah perlindungan dengan syarat
amaun yang dikurangkan itu tidak menjadi lebih rendah dari
amaun perlindungan minimum bagi kategori perniagaan tersebut.
Walau bagaimanapun, Pengendali Takaful tidak menggalakkan
peningkatan amaun perlindungan kerana khuatir terdapat anti
pemilihan. Dalam keadaan ini, laporan kesihatan yang
membuktikan kesihatan peserta adalah memuaskan mungkin
diperlukan oleh pengendali Takaful dan amaun sumbangan akan
diselaraskan untuk mencerminkan peningkatan jumlah
perlindungan. Sebagai alternatif, peserta disarankan untuk
mengambil sijil baru dengan jumlah perlindungan yang lebih
besar;
5. penukaran benefisiari;
6. perubahan tempoh perlindungan, contohnya dari 10 tahun kepada
5 tahun;
Amalan Takaful Keluarga: Terma dan Syarat 487
7. pindaan kontrak kepada sijil jelas dibayar;
8. perubahan pelan Takaful;
9. penepian sumbangan tambahan apabila peserta tidak lagi terdedah
kepada risiko tambahan, seperti hobi, aktiviti masa lapang
dan/atau pekerjaan yang merbahaya.
Setiap pengendali Takaful mempunyai prosedurnya sendiri untuk
meminda sijil. Biasanya, dokumen sijil dan permohonan bertulis dari
peserta hendaklah dihantar ke pejabat pengendali Takaful kerana
perubahan tersebut akan dimasukkan ke dalam dokumen sijil. Apabila
pejabat Pengendali Takaful menerima permohonan bertulis, ia akan
menyemak rekod notis serahan hak untuk mengetahui sama ada ia
melibatkan pihak ketiga yang mempunyai kepentingan ke atas sijil
berkenaan, dan kebenaran dari pihak berkenaan hendaklah diperolehi
terlebih dahulu kerana ianya sangat penting. Pengendali Takaful
kemudiannya akan mengemaskinikan rekod berkaitan.
C3.4 KEISTIMEWAAN DAN SYARAT-SYARAT
Pembayaran jumlah perlindungan adalah tertakluk kepada pemenuhan
syarat-syarat tertentu yang dinyatakan dalam sijil Takaful Keluarga.
Syarat-syarat sijil secara umumnya boleh dikelaskan kepada tiga
kumpulan:-
1. Syarat yang menambah manfaat perlindungan. Syarat berkenaan
juga dikenali sebagai kemudahan;
2. Syarat yang menghadkan skop perlindungan. Ia dikenali sebagai
syarat pembatasan dan secara umumnya ia melibatkan risiko yang
tidak diambilkira dalam pengiraan kadar sumbangan;
3. Syarat yang menerangkan ciri-ciri kontrak
Tempoh Tenggang Sumbangan (grace period)
Tempoh selama tiga puluh hari (atau satu bulan kalendar) biasanya
dibenarkan sebagai tempoh tenggang bagi pembayaran sumbangan
secara tahunan, setengah-tahunan, suku-tahunan dan bulanan.
Perlindungan di bawah sijil Takaful akan terus berkuatkuasa semasa
488 Amalan Asas Takaful
tempoh pertangguhan ini dengan amaun penuh jumlah perlindungan.
Jika sumbangan masih tidak dijelaskan dalam tempoh tersebut,
perlindungan sijil akan ditamatkan, tertakluk kepada sebarang
peruntukan tak lucut hak, sekiranya berkenaan.
Nilai Serahan
Nilai serahan adalah nilai yang terdapat dalam sijil Takaful Keluarga
selepas sumbangan dibayar untuk tempoh minimum beberapa tahun.
Dalam skim Takaful keluarga, nilai serahan difahami sebagai nilai
atau wang tunai yang akan diterima oleh peserta apabila ia
'menyerahkan' atau menamatkan penyertaannya sebelum sijil
mencapai tempoh matang. Dalam hal ini, peserta akan dibayar semua
baki terkumpul dalam Akaun Peserta, tetapi tiada amaun bayaran dari
Akaun Khas Peserta (dana tabarru’) kerana sumbangan untuk akaun
ini telah dianggap sebagai derma.
Pengeluaran Sebahagian
Peserta dibenarkan mengeluarkan simpanannya sendiri untuk
digunakan sekarang, walaupun sepatutnya ia disimpan dalam tabung
untuk kegunaan di masa akan datang. Setiap pengendali Takaful
mempunyai set garis panduan mereka sendiri mengenai jumlah wang
yang boleh dikeluarkan oleh peserta. Biasanya sehingga 50%
daripada baki yang ada dalam Akaun Peserta boleh dibuat
pengeluaran sebahagian. Sudah tentu pengendali Takaful tidak
mengenakan faedah atas pengeluaran yang dibuat, kecuali caj
minimum dikenakan untuk menguruskan transaksi berkenaan. Peserta
boleh memilih untuk membayar balik atau sebaliknya atas
pengeluaran yang telah dibuat, tetapi harus diingat bahawa pulangan
pelaburan Akaun Peserta adalah bergantung kepada amaun yang
terdapat dalam akaun berkenaan.
Syarat-Syarat Tanpa Bayaran
Syarat-syarat tanpa-bayaran merupakan satu keistimewaan yang
sangat berharga kepada peserta yang menghadapi masalah untuk
Amalan Takaful Keluarga: Terma dan Syarat 489
membuat bayaran sumbangan atau buat sementara waktu ia tidak
dapat memenuhi tanggungjawabnya. Peruntukan tanpa-bayaran
memainkan peranannya setelah sijil memperolehi nilai tunai. Ia
adalah nilai tunai yang terkumpul didalam Akaun Peserta yang
digunakan untuk membiayai manfaat / kemudahan tanpa-bayaran.
Berikut adalah antara kaedah yang digunakan untuk melaksanakan
peruntukan syarat-syarat tanpa-bayaran:
Pendahuluan Automatik dari Akaun Peserta
Di bawah peruntukan ini, setiap sumbangan akan dibayar secara
automatik apabila sampai masanya setelah tamat tempoh tenggang.
Sumbangan akan terus berbayar sehingga nilai tunai habis digunakan
dan selepas itu perlindungan akan ditamatkan. Pengendali Takaful
membuat peruntukan ini dalam kontrak mereka untuk menyediakan
kesinambungan perlindungan apabila peserta tidak mampu atau cuai
dan gagal membayar sumbangan.
Peruntukan ini juga membenarkan peserta pada bila-bila masa hak
untuk mengembalikan status asal sijil dengan membayar amaun yang
tertunggak kepada pengendali Takaful. Bukti kebolehlindungan tidak
diperlukan untuk mengembalikan semula sijil kepada status asal.
Tambahan pula, dengan menggunakan pendahuluan automatik dari
Akaun Peserta, ia membolehkan manfaat tambahan seperti penepian
bayaran sumbangan dan manfaat kematian akibat kemalangan dapat
diteruskan.
Tujuan peruntukan tanpa-bayaran ini adalah untuk melindungi
kepentingan peserta yang terlupa membayar premium atau tidak
berkemampuan untuk berbuat demikian buat sementara waktu.
Kemudahan ini bukanlah bertujuan untuk membolehkan peserta
memperolehi perlindungan Takaful keluarga dengan kos minimum.
490 Amalan Asas Takaful
Takaful Berbayar
Pilihan Takaful Berbayar ini membenarkan peserta membuat
penukaran amaun bersih nilai tunai kepada sijil Takaful berbayar dari
jenis yang sama seperti sijil asal tetapi amaun muka yang
berkurangan. Sebaik sahaja sijil ini ditukar menjadi sijil Takaful
berbayar, sumbangan selanjutnya tidak perlu dibayar, dan semua rider
serta manfaat tambahan seperti hilang upaya dan kematian akibat
kemalangan akan dimansuhkan.
Bagi segelintir peserta, peruntukan Takaful berbayar ini merupakan
sesuatu yang dialu-alukan khususya apabila peserta akan mencapai
umur persaraan, yang biasanya pendapatan mereka akan berkurangan.
Takaful Bertempoh Yang Dilanjutkan
Pilihan Takaful bertempoh yang dilanjutkan ini membenarkan peserta
menukar nilai tunai diperolehi kepada perlindungan Takaful
bertempoh berbayar dengan amaun penuh jumlah perlindungan tetapi
tempoh perlindungan dipendekkan. Tempoh perlindungan adalah
bergantung kepada amaun nilai tunai terkumpul yang ada dan boleh
digunakan sebagai bayaran sumbangan tunggal bersih pada tarikh
penukaran.
Pilihan ini adalah lebih sesuai ketika perlindungan Takaful masih
diperlukan tetapi kemampuan kewangan untuk membayar sumbangan
telah terjejas. Untuk sijil yang mempunyai nilai tunai (endowmen),
perlindungan bertempoh yang disediakan biasanya tidak melebihi
tarikh matang sijil asal.
Syarat-Syarat Pengembalian Semula (Reinstatement Condition)
Syarat pengembalian semula membolehkan seseorang memohon
untuk menguatkuasakan semula kontrak setelah tempoh tangguh dan
tempoh tanpa-bayaran telah berakhir. Bukti kesihatan dan bukti-bukti
lain mungkin diperlukan dan pengendali Takaful biasanya berhak
mengenakan termanya sendiri untuk mempertimbangkan permohonan
Amalan Takaful Keluarga: Terma dan Syarat 491
pengembalian semula sijil. Selain dari tempoh tangguh dan tempoh
tanpa-bayaran, biasanya terdapat tempoh lanjutan di mana
pengembalian semula sijil boleh dilakukan. Semasa tempoh
perlindungan di bawah fasal tanpa-bayaran, adalah kebiasaan untuk
menyambung perlindungan sijil dengan amaun penuh jumlah
perlindungan asal iaitu dengan membayar semua tunggakan
sumbangan.
Sijil yang dikembalikan semula kuatkuasanya adalah tertakluk kepada
bukti kesihatan yang memuaskan. Pengembalian semula sijil biasanya
tidak dibenarkan dalam keadaan berikut:-
1. Sijil yang telah luput untuk tempoh tertentu (tertakluk kepada
terma dan syarat pengendali Takaful)
2. Peserta adalah seorang wanita yang mengandung 8 bulan atau
lebih (tertakluk kepada terma dan syarat pengendali Takaful)
3. Peserta yang telah mencapai umur maksimum akan (tertakluk
kepada terma dan syarat Pengendali Takaful)
Adalah penting untuk diketahui bahawa bagi setiap sijil yang
dikuatkuasakan semula, tarikh kuatkuasa untuk:
i. fasal tidak boleh tanding dan fasal bunuh diri yang terkandung
dalam Syarat-Syarat dan Kemudahan sijil, dan
ii. tempoh menunggu yang dinyatakan dalam sijil atau rider, adalah
bermula dari tarikh sijil berkenaan dikembalikan semula.
Syarat-syarat Pembatasan Klausa Bunuh Diri
Sekiranya peserta membunuh diri dalam tempoh yang dinyatakan
dalam sijil, sijil akan batal dan Pengendali Takaful tidak
bertanggungjawab membayar tuntutan, kecuali mengembalikan
semula sumbangan yang diterima melalui Akaun Peserta (tertakluk
kepada terma dan syarat pengendali Takaful).
492 Amalan Asas Takaful
Perjalanan dan Menetap Di Luar Negara
Kebanyakan sijil tidak menghadkan peserta untuk melakukan
perjalanan atau menetap di luar negara. Klausa ini tertakluk kepada
terma dan syarat pengendali Takaful.
Pekerjaan dan Hobi yang Merbahaya
Sumbangan tambahan mungkin dikenakan untuk pekerjaan atau
aktiviti berisiko tinggi, contohnya lumba kereta, luncur udara, pekerja
kuari, pekerja pelantar minyak, polis dan sebagainya.
Salahnyata Umur dan Fasal Tanpa Tanding
Fasal tanpa tanding biasanya dimasukkan dalam kebanyakan sijil
Takaful, selaras dengan Seksyen 26, Akta Takaful 1984 yang
memperuntukkan bahawa tiada sijil Takaful keluarga yang boleh
dipersoalkan oleh pengendali Takaful atas alasan salah nyata umur
peserta.
Begitu juga, sekiranya kenyataan yang diberi atau tidak memberitahu
dalam borang cadangan atau laporan perubatan atau mana-mana
dokumen sehingga menyebabkan sijil Takaful yang dikeluarkan tidak
tepat atau palsu atau mengelirukan, ia tidak boleh dipertikaikan
kecuali Pengendali Takaful boleh membuktikan bahawa kenyataan
yang dibuat atau tidak diberitahu dilakukan dengan niat untuk
menipu.
Penggantian Sijil Takaful Keluarga
Penggantian sijil boleh merugikan kepentingan peserta dan sekiranya
perkara ini dibiarkan berterusan, ia akan meninggalkan kesan buruk
terhadap prestasi kewangan jangka panjang pengendali Takaful serta
imej industri Takaful keseluruhannya.
Amalan Takaful Keluarga: Terma dan Syarat 493
Definisi “Penggantian Sijil”
Bank Negara Malaysia, melalui surat pekeliling bertarikh 30 Mac
2005, No Ruj: JPI/03/2005/TO mentakrifkan Penggantian Sijil
sebagai “sebarang transaksi yang melibatkan penyertaan sijil Takaful
keluarga sekiranya dalam tempoh 12 bulan sebelum atau selepas sijil
baru dikuatkuasakan, sijil Takaful Keluarga yang sedia ada telah:-
1. Dibatalkan atau diserahkan;
2. ditukar atau diubah menjadi sijil Takaful berbayar, diteruskan
sebagai Takaful bertempoh yang dilanjutkan atau pendahuluan
automatik dari akaun peserta atau dalam bentuk lain peruntukan
tanpa-bayaran atau dikurangkan nilai perlindungan dengan
menggunakan peruntukan tanpa-bayaran, atau peruntukan dividen
terkumpul dalam dana tertentu seperti Akaun Peserta; atau
3. ditukar atau diubah sehingga menjadikan amaun sumbangan yang
perlu dibayar menjadi lebih rendah disebabkan pengurangan
jumlah perlindungan dan / atau rider atau membuang rider dari
sijil asas, atau dalam tempoh masa tertentu sijil Takaful keluarga
sedia ada akan terus berkuatkuasa”.
Kaedah Mengenalpasti Penggantian Sijil
Dalam usaha mengenal pasti dan membendung secara dalaman dan
luaran mengenai kegiatan penggantian sijil, Pengendali Takaful
dikehendaki mengambil langkah-langkah berikut:
1. melaksanakan mekanisme kawalan yang berkesan, terutamanya
perlaksanaan sistem automasi bagi mengesan kegiatan
penggantian sijil dimana sijil sedia ada dan sijil baru dikeluarkan
oleh Pengendali Takaful yang sama;
2. memasukkan soalan didalam borang cadangan, bertanyakan
samada cadangan terbarru’ ini dibuat untuk menggantikan atau
berhasrat untuk menggantikan mana-mana sijil sedia ada yang
dikeluarkan oleh Pengendali Takaful semasa atau Pengendali
Takaful lain; dan
494 Amalan Asas Takaful
3. melantik pegawai sepenuh masa di kalangan kakitangan syarikat
untuk membuat tindakan susulan dan memberi khidmat nasihat
secara bertulis kepada pemilik sijil tentang keburukan
menggantikan sijil Takaful serta memberitahu alternatif lain yang
ada, dalam tempoh 7 hari dari tarikh penggantian sijil dikesan.
Dalam surat berkenaan, pengendali dikehendaki menunjukkan
jumlah nilai tunai terkumpul di bawah sijil sedia ada dan tempoh
(tahun) yang diperlukan untuk mengumpulkan jumlah nilai tunai
yang serupa dibawah sijil baru, juga tunjukkan kerugian bersih
yang akan ditanggung oleh pemilik sijil akibat dari penggantian
sijil berkenaan.
C3.5 PENGECUALIAN
Secara amnya, sijil Takaful Keluarga tidak melindungi:
1. kematian, hilang upaya atau perbelanjaan perubatan disebabkan
oleh:
a. peperangan, operasi persiapan berperang, mogok, rusuhan,
kegemparan umum;
b. tidak siuman, bunuh diri atau cubaan membunuh diri;
c. penyakit kelamin, jangkitan atau parasit;
d. mabuk disebabkan alkohol atau dadah; dan
e. bersalin, keguguran atau kehamilan.
2. kematian, hilang upaya atau perbelanjaan perubatan yang
ditanggung oleh peserta:
a. semasa dalam perjalanan di dalam pesawat sebagai anak
kapal;
b. semasa melibatkan diri dalam sukan bermotor, berbasikal,
memburu, mendaki gunung, bermain polo, lumba kuda,
melompat-ski air, aktiviti dalam air, atau mana-mana sukan
ekstrem yang lain; dan
c. semasa melakukan atau cuba melakukan apa-apa perbuatan
yang menyalahi undang-undang.
Amalan Takaful Keluarga: Pengkadaran 495
BAB C4
AMALAN TAKAFUL KELUARGA:
PERNIAGAAN BARU – PENGKADARAN
PENDAHULUAN
Dalam bab ini, tumpuan akan diberikan kepada amalan Takaful
keluarga yang berkaitan dengan perniagaan baru, khususnya dalam
aspek pengunderaitan dan pengkadaran.
C4.1 PENGENALAN
Kontrak Takaful keluarga adalah kontrak jangka panjang dan kadar
sumbangan ditetapkan pada peringkat awal lagi. Oleh itu, tidak
seperti dalam kontrak Takaful Am, sumbangan dalam Takaful
Keluarga tidak boleh dipinda ketika kontrak dalam tempoh
berkuatkuasa. Tambahan lagi, kontrak tidak boleh dibatalkan secara
sebelah pihak iaitu oleh Pengendali Takaful.
C4.2 PENGURUSAN RISIKO
Dalam perniagaan Takaful keluarga, proses pengurusan risiko boleh
dibahagikan kepada beberapa tajuk berikut:-
1. Mengenalpasti faktor risiko;
2. Pemilihan penyertaan;
3. Menilai risiko;
4. Penentuan biaya risiko;
5. Pemantauan dana Takaful.
Faktor-faktor Risiko: Mortaliti (Mortality)
Faktor utama yang mempengaruhi kemortalan ialah: - umur, jantina,
pekerjaan, status sosial, etnik, lokasi geografi, status perkahwinan,
tabiat peribadi, hobi dan menetap di luar negara.
496 Amalan Asas Takaful
Umur
Adalah menjadi fakta umum bahawa mortaliti meningkat seiring
dengan peningkatan usia, terutamanya disebabkan oleh kemalangan
di kalangan mereka yang lanjut usia. Kadar kemortalan meningkat
dengan serta-merta selepas kelahiran bayi (kadar kematian bayi) dan
selepas itu menurun dengan ketara sehingga ke tahap yang agak malar
kerana banyak dipengaruhi oleh generasi usia muda. Perkembangan
tahap ini kemudiannya agak terganggu dengan kenaikan kadar
kemortalan di kalangan mereka disekitar umur 18 hingga 24 tahun,
disebabkan oleh peningkatan jumlah kematian akibat kemalangan di
kalangan mereka. Kadar kemortalan meningkat dengan mendadak
pada peringkat umur yang lebih dewasa.
Kadar mortaliti peserta yang dilindungi adalah lebih rendah daripada
kadar kematian penduduk. Ini adalah disebabkan oleh hakikat bahawa
Pengendali Takaful memilih risiko hayat yang akan dilindungi, di
mana hayat yang mempunyai peluang yang tipis untuk terus hidup
walaupun untuk tempoh yang singkat, pasti akan dikecualikan.
Walau bagaimanapun, ia cukup jelas bahawa semakin meningkat usia
seseorang, kemungkinan untuk menghadapi kematian secara semula
jadi atau kematian akibat usia tua yang berlaku di kalangan mereka
meningkat dengan begitu tinggi. Oleh itu, mereka yang berada pada
usia sedemikian biasanya akan mendapati begitu sukar, atau kadang-
kala mustahil yang mereka boleh diterima sebagai peserta dalam skim
Takaful Keluarga. Meskipun mereka diterima, kadar sumbangan
pastinya berada di tahap tertinggi, dan menjadikannya tidak
menguntungkan untuk menyertai mana-mana skim Takaful Keluarga.
Keadaan akan menjadi lebih teruk sekiranya mereka disahkan
menghidap penyakit tertentu.
Golongan yang berkemampuan biasanya memiliki polisi insurans /
menyertai Takaful.
Amalan Takaful Keluarga: Pengkadaran 497
Takaful Keluarga disertai oleh sektor penduduk yang pada umumnya
mempunyai akses kepada kemudahan perubatan yang lebih baik dan
kemudahan sosial lain.
Jantina
Kadar mortaliti kaum wanita adalah lebih rendah berbanding dengan
kadar mortaliti kaum lelaki.
Statistik mortaliti hayat penduduk dan peserta Takaful mendedahkan
bahawa wanita mengalami kadar mortaliti yang lebih rendah
berbanding dengan lelaki. Fenomena ini ternyata benar untuk semua
peringkat umur. Tahap mortaliti yang lebih rendah yang dialami oleh
kaum wanita dicerminkan melalui kadar sumbangan Takaful
Keluarga yang lebih rendah berbanding dengan kaum lelaki yang
sebaya usianya. Walau bagaimanapun, keadaan sebaliknya berlaku
untuk pelan anuiti.
Kadar morbiditi (morbidity) kaum wanita lebih tinggi berbanding
dengan kemorbidan kaum lelaki.
Dalam kes morbiditi, kaum wanita mengalami kadar penyakit dan
sakit yang lebih tinggi berbanding dengan kaum lelaki, dan
sewajarnya, kaum wanita dikenakan bayaran kadar sumbangan yang
lebih tinggi untuk perlindungan Takaful perubatan dan kesihatan.
Pekerjaan
Satu lagi faktor penting yang mempengaruhi kadar mortaliti ialah
jenis pekerjaan. Pengendali Takaful menggunakan kategori yang luas
berkaitan pekerjaan dalam menentukan kadar sumbangan tambahan
ke atas kadar sumbangan normal disebabkan oleh risiko tambahan
yang ditimbulkan oleh jenis pekerjaan yang berbeza. Adalah jelas
bahawa seorang eksekutif dan pekerja di pelantar minyak terdedah
kepada tahap risiko pekerjaan yang berbeza dan oleh itu adalah
penting untuk mengkategorikan peserta Takaful mengikut jenis
498 Amalan Asas Takaful
pekerjaan masing-masing. Ini akan membolehkan pengendali Takaful
mengenakan sumbangan yang setara dengan risiko yang ditanggung.
Sebagai contoh, pengendali boleh menerima pakai kategori pekerjaan
seperti berikut - Pengurusan, Eksekutif, Kerani dan Buruh, dan
mungkin mengenakan sumbangan tambahan (loading) sumbangan
keatas kategori buruh. Bebanan yang dikenakan kepada buruh adalah
lebih tinggi berbanding dengan kategori pekerja-pekerja lain.
Status Sosial
Faktor ini berkait rapat dengan faktor pekerjaan. Status sosial
seseorang biasanya ditentukan melalui pendapatan yang diperolehi.
Jumlah pendapatan pula berkait rapat dengan jenis pekerjaan mereka.
Etnik
Etnik atau rumpun bangsa seseorang individu juga mempunyai kesan
penting ke atas mortaliti dan morbiditi, contohnya dapat dilihat dalam
mana-mana kaum/orang asli. Ia dipengaruhi terutamanya oleh
warisan budaya, tabiat pemakanan dan sikap terhadap lain-lain aspek
kehidupan. Di Malaysia misalnya, ia dianggap perkara biasa apabila
lebih ramai orang Melayu menghidap diabetes berbanding dengan
kaum-kaum utama yang lain. Ini mungkin disebabkan tabiat
pemakanan dan diet kumpulan bangsa tertentu yang berbeza.
Sehubungan dengan itu, pengendali Takaful berusaha untuk
memainkan peranan yang lebih aktif demi memastikan kejadian-
kejadian sedemikian dapat dikurangkan dan seterusnya meningkatkan
kualiti risiko yang ditanggung.
Lokasi Geografi
Perbezaan yang ketara ialah antara kawasan bandar dan luar bandar.
Mereka yang tinggal di kawasan bandar biasanya mempunyai akses
lebih baik untuk kemudahan rawatan perubatan, manakala penduduk
di kawasan luar bandar mungkin tidak bernasib baik kerana tiada atau
kurang kemudahan asas yang disediakan untuk mereka.
Amalan Takaful Keluarga: Pengkadaran 499
Status Perkahwinan
Statistik menunjukkan bahawa lelaki bujang mengalami kadar
mortaliti yang lebih tinggi daripada lelaki berkahwin. Ini mungkin
disebabkan oleh hakikat bahawa lelaki berkahwin berusaha sedaya
mungkin untuk mengelak dari menghadapi risiko kerana dia
mempunyai tanggungjawab terhadap isteri dan keluarganya.
Manakala lelaki bujang lebih terdedah kepada risiko melalui sikap
dan tindakan mereka yang sukakan cabaran dan oleh itu melihat
risiko dari perspektif yang berbeza.
Tabiat Peribadi dan Sejarah Keluarga
Tabiat seperti merokok dan pengambilan alkohol mempunyai
pengaruh yang jelas terhadap mortaliti dan morbiditi seseorang. Di
samping itu, terdapat beberapa jenis penyakit yang ada perkaitannya
dengan keturunan, dan oleh itu sejarah perubatan keluarga adalah
faktor penting. Penyakit-penyakit seperti kencing manis, darah tinggi,
dan asma dianggap sebagai penyakit keturunan. Oleh itu, pengendali
Takaful perlu mengambil kira maklumat seperti ini apabila
mengetahui bahawa terdapat ahli keluarga bakal peserta yang
menghidap penyakit berkenaan.
Hobi
Beberapa bentuk hobi seperti lumba kereta, meluncur udara dan
sebagainya adalah aktiviti merbahaya dan mereka yang terlibat dalam
sukan itu boleh dijangka akan mengalami kadar mortaliti yang lebih
tinggi berbanding dengan kadar mortaliti purata.
Menetap Di Luar Negara
Tempat tinggal atau menetap di kawasan yang tidak sihat atau di
kawasan yang terdedah kepada pergaduhan secara semula jadi
mempunyai kesan dalam meningkatkan mortaliti dan morbiditi.
Melakukan perjalanan jauh atau menetap di luar negara boleh
menimbulkan risiko tertentu kerana sistem ketahanan badan mungkin
500 Amalan Asas Takaful
tidak bersedia menerima perubahan apabila terdedah kepada suasana
dan bumi asing. Penduduk tempatan telah mendapat imunisasi
tertentu apabila terdedah dalam keadaan yang sama, dan dengan itu
kesihatan mereka tidak terjejas.
Pemilihan Penyertaan
Pengendali Takaful perlu memilih cadangan penyertaan untuk
mengelakkan antipemilihan. Ini terutamanya dilakukan melalui proses
pengunderaitan. Kontrak Takaful Keluarga bukan kontrak ganti rugi.
Jumlah penuh yang dilindungi akan dibayar jika berlaku peristiwa
yang dilindungi. Oleh itu, proses pengunderaitan juga perlu mengenal
pasti, selain faktor risiko biasa yang dikaitkan dengan kesihatan
pencadang, juga kes pembelian lebih perlindungan (over insured).
Pengunderaitan bagi kontrak Takaful keluarga boleh dipertimbangkan
di bawah dua tajuk khusus:-
Pengunderaitan Kewangan
Borang cadangan akan diteliti perkara-perkara berikut:-
1. Kewujudan kepentingan boleh lindung;
2. sama ada amaun perlindungan yang dipohon sepadan dengan
kedudukan kewangan, contohnya keupayaan pencadang menjana
pendapatan;
3. sama ada peserta mengekalkan beberapa polisi insurans / sijil
Takaful dengan syarikat insurans / pengendali lain; dan
4. sama ada Pengendali Takaful yang lain telah menolak
permohonan pencadang untuk perlindungan Takaful, dan jika ya,
apa sebab-sebabnya.
Secara ringkasnya, pengunderaitan kewangan ialah proses mengenal
pasti kewujudan bahaya moral.
Amalan Takaful Keluarga: Pengkadaran 501
Pengunderaitan Perubatan
Jika pengunderaitan kewangan tidak berjaya mendedahkan sebarang
ciri-ciri ganjil dalam permohonan itu, peringkat seterusnya dalam
proses pengunderaitan adalah pengunderaitan perubatan. Jawapan
yang disediakan dalam borang cadangan kepada soalan-soalan
mengenai ketinggian pencadang, berat badan, sejarah perubatan
peribadi dan keluarga, serta gaya hidup merupakan titik permulaan
proses pengunderaitan.
Jika pengunderaitan di atas mendedahkan sebarang ciri-ciri yang luar
biasa, maka pencadang mungkin dikehendaki untuk menjawab
soalan-soalan tambahan, memberikan laporan perubatan atau
menjalani pemeriksaan perubatan lanjutan. Jika jawapan yang
disediakan, bersama-sama dengan laporan pemeriksaan dan perubatan
menunjukkan pencadang berada dalam kesihatan yang baik, proses
pengunderaitan berakhir dan pencadang akan ditawarkan
perlindungan dengan syarat-syarat biasa.
Jika ujian menunjukkan bahawa kesihatan pencadang kurang
memuaskan, ia akan dianggap sebagai risiko yang substandard atau
sebagai risiko yang terjejas. Dalam keadaan ini, pengunderait perlu
membuat keputusan sejauh mana pengendali Takaful mampu
menanggung risiko tambahan tersebut sekiranya cadangan berkenaan
diterima. Pengendali Takaful biasanya menggunakan mana-mana satu
kaedah berikut untuk berhadapan dengan risiko yang sub-standard:-
i. mengenakan amaun sumbangan tambahan;
ii. mengenakan lien atau ‘had’ `, iaitu mengurangkan amaun
yang kena bayar sekiranya berlaku kematian;
iii. menawarkan bentuk kontrak yang berlainan; atau
iv. menolak atau menangguhkan permohonan perlindungan.
Antara contoh terbaik dalam menangani cadangan hayat sub-standard
ialah:
502 Amalan Asas Takaful
1. Mengenakan amaun sumbangan tambahan:
contoh: kadar biasa ialah RM 200/ sebulan
peratusan bebanan substandard 50%,
amaun sumbangan baru RM 200 + RM 100 = RM300.
2. Menawarkan bentuk kontrak yang berlainan:
Contoh: Pelan perlindungan asas yang menyediakan manfaat
kematian / TPD, tetapi pengunderait hanya
menawarkan perlindungan kematian, tanpa
perlindungan TPD.
3. Menangguhkan permohonan perlindungan buat sementara waktu:
Contoh: kehamilan
Sijil boleh dikuatkuasakan hanya apabila pencadang
telah bersalin.
Secara ringkasnya, pengunderaitan perubatan ialah proses menilai
tahap bahaya fizikal dan hubungannya dengan risiko yang
dicadangkan, sekiranya perlindungan diberikan.
Pengunderaitan Tanpa-Perubatan
Disebabkan dunia perubatan telah semakin maju, kemudahan
perubatan yang disediakan juga semakin bertambah baik. Dengan
kenaikan kos mendapatkan rawatan perubatan dan desakan untuk
memproses peningkatan aktiviti perniagaan dengan cepat, ia
membawa kepada pengeluaran sijil Takaful dimana bukti perubatan
tidak diperlukan.
Walau bagaimanapun, keistimewaan perlindungan tanpa bukti
perubatan itu diberikan hanya kepada bentuk perlindungan tetap iaitu
perlindungan bertempoh dan Takaful pelaburan atau simpanan.
Pengunderaitan berdasarkan umur dan jumlah perlindungan masih
dikenakan. Garis panduan had umur dan amaun perlindungan yang
Amalan Takaful Keluarga: Pengkadaran 503
digunakan adalah berbeza-beza di kalangan pengendali Takaful dan
jadual di bawah menunjukkan had pengunderaitan perubatan:-
Umur Jumlah Perlindungan (RM)
1 bulan – 16 tahun 200,000
17 – 40 tahun 350,000
41 – 50 tahun 250,000
51 tahun ke atas bukti perubatan diperlukan
Had Pengunderaitan tanpa-Perubatan untuk Takaful Keluarga
Pencadang masih perlu mengisi borang cadangan yang direka dengan
teliti untuk mendapatkan maklumat tentang sejarah diri dan keluarga,
berat badan, ketinggian dan tabiat. Sekiranya maklumat yang
diberikan memperlihatkan tanda-tanda yang kurang
memberangsangkan, Pengendali Takaful berhak untuk meminta
pencadang menjalani pemeriksaan perubatan.
Sebelum kedatangan penyakit AIDS, terdapat satu trend
menggunakan bentuk borang cadangan bukan-perubatan yang lebih
ringkas, iaitu menghadkan soalan berkaitan kesihatan. Pendekatan ini
berjaya mengurangkan peranan pengunderaitan dalam proses
pemilihan risiko. Walau bagaimanapun, kemungkinan wujudnya anti-
pemilihan akibat AIDS telah mengubah trend tersebut dan kini fungsi
pengunderaitan telah diberikan pengiktirafan yang sewajarnya.
Peranan Ejen dalam Proses Pengunderaitan Takaful Tanpa -
Perubatan
Adalah penting untuk dinyatakan bahawa pengendali Takaful
bergantung kepada ejen-ejen yang berwibawa, jujur dan setia serta
menggunakan pertimbangan yang saksama demi memastikan
pencadang untuk perlindungan bukan-perubatan mendedahkan semua
maklumat penting dengan jujur dan sepenuhnya.
504 Amalan Asas Takaful
Objektif Pemilihan
Tujuan utama pemilihan ialah untuk menentukan samada risiko yang
dicadangkan untuk dilindungi oleh pengendali Takaful itu:-
1. dalam had normal dan boleh diterima oleh pengendali Takaful
berdasarkan kadar sumbangan standard untuk umur peserta
mengikut umur dalam jadual yang dicadangkan, di mana risiko
tersebut dikategorikan sebagai "kelas pertama", "pilih" atau
"standard";
2. di bawah purata tetapi masih diterima oleh pengendali Takaful,
tertakluk kepada beberapa bentuk sekatan untuk melindungi
risiko tambahan, risiko yang disebut sebagai “substandard”;
3. di bawah purata sehingga ke tahap ia tidak diterima oleh
pengendali Takaful pada masa pertimbangan dibuat, tetapi
dengan peredaran masa dan keadaan yang mungkin semakin baik,
cadangan mungkin boleh diterima dimasa akan datang, iaitu
permohonan "ditangguhkan" untuk tempoh tertentu; atau
4. di bawah purata sehingga ke tahap cadangan tidak boleh diterima
dengan apa syarat sekalipun, dan ia adalah cadangan yang
“ditolak” .
Risiko di bawah kategori (2) atau (3) memerlukan maklumat peribadi
tambahan seperti ketinggian, berat, sejarah peribadi & keluarga,
keturunan, pekerjaan atau tempat tinggal; sebelum penilaian akhir
boleh dibuat.
Kaedah Menerima Risiko Sub-Standard
Setelah ditentukan berdasarkan bukti yang dikemukakan bahawa
pencadang tidak boleh dikelaskan sebagai ‘standard’, pengendali
Takaful perlu membuat keputusan untuk mengetahui setakat mana
tahap risiko tambahan itu wujud (dengan andaian risiko berkenaan
masih boleh diterima) dan menentukan kos risiko tambahan ini.
Risiko tambahan secara amnya boleh dikategorikan kepada tiga
kumpulan utama:
Amalan Takaful Keluarga: Pengkadaran 505
1. Kadar mortaliti Tambahan yang Semakin Meningkat;
Gangguan yang menyebabkan peningkatan kadar kemortalan
mortaliti tambahan adalah salah satu faktor penting yang
membawa kepada kegagalan untuk terus hidup, seiring dengan
pertambahan masa dan usia pencadang. Sebagai contoh, berat
badan berlebihan mewujudkan tekanan kepada jantung dan
organ-organ lain.
2. Kadar mortaliti Tambahan Paras (level)
Kemortalan mortaliti tambahan paras merujuk kepada jenis risiko
tambahan yang akan kekal malar dari tahun ke tahun. Beberapa
pekerjaan yang merbahaya atau tidak sihat (contohnya,
perniagaan minuman keras) secara umumnya dianggap
mempengaruhi kemortalan mortaliti tambahan.
3. Kadar mortaliti Tambahan Menurun
Kemortalan mortaliti tambahan menurun menerangkan tentang
jenis risiko yang wujud ketika usia remaja, tetapi kemudiannya
akan berkurangan semasa usia dewasa. Sebagai contoh, seorang
anak remaja yang mengalami batuk kering tetapi telah disahkan
sembuh sepenuhnya, besar kemungkinan penyakit tersebut tidak
berulang dimasa akan datang apabila ia telah dewasa.
Risiko tambahan mungkin dibenarkan mengikut kaedah tertentu
berdasarkan kategori mortaliti tambahan, iaitu:
1. Meningkatkan Amaun Sumbangan
Ini dipanggil “sumbangan tambahan”. Kadar sumbangan standard
boleh ditingkatkan peratusannya berdasarkan jangkaan
peningkatan kadar mortaliti, atau “sumbangan tambahan” boleh
dikenakan dengan mengenakan bayaran sumbangan yang
bersesuaian mengikut umur beberapa tahun lebih tua daripada
usia sebenar pencadang. Kadar rata sumbangan tambahan
506 Amalan Asas Takaful
biasanya digunakan untuk risiko tambahan paras, manakala
“sumbangan tambahan berdasarkan umur” sesuai untuk beberapa
jenis mortaliti yang meningkat. Risiko tambahan yang
berkurangan secara drastik boleh ditangani dengan mengenakan
sumbangan tambahan sementara.
2. Mengurangkan Manfaat Kematian
Sebagai menggantikan bayaran bebanan secara tunai, risiko
tambahan boleh dilindungi mengikut peruntukan yang bermaksud
jumlah perlindungan akan dikurangkan kepada beberapa peratus
lebih rendah dari yang sepatutnya, sekiranya kematian berlaku
dalam tempoh yang ditentukan. Ini dikenali sebagai "lien" atau
"hutang luar jangka". Sumbangan yang dikenakan adalah
mengikut kadar standard dan sekiranya peserta yang dilindungi
masih hidup selepas tempoh lien, sijil Takaful dianggap seolah-
olah telah dikeluarkan untuk hayat standard. Hutang luar jangka
mungkin malar atau mungkin menurun sepanjang tempoh yang
ditentukan. Jika lien itu adalah malar, ia boleh dipanggil hutang
luar jangka "paras" dan sekiranya ia semakin berkurangan, ia
dirujuk sebagai hutang luar jangka "menurun”.
3. Penyelarasan Pulangan Keuntungan
Penyelarasan pulangan keuntungan dalam sijil sertaan adalah
suatu kaedah yang jarang-jarang digunakan bergantung kepada
model dan akad yang digunakan oleh pengendali Takaful.
4. Pelan Sijil Alternatif
Mencadangkan agar suatu kaedah perlindungan yang berbeza
disediakan sebagai suatu jalan penyelesaian. Contohnya,
menawarkan kontrak perlindungan dengan menghadkan tempoh
kontrak yang dikeluarkan untuk hayat yang terjejas.
Amalan Takaful Keluarga: Pengkadaran 507
5. Pengecualian Bahaya Tertentu
Sijil yang dikeluarkan mungkin memperuntukkan fasal
menghadkan liabiliti pengendali Takaful jika kematian berlaku
secara langsung atau tidak langsung akibat gangguan tertentu atau
penyertaan dalam bentuk aktiviti tertentu. Gabungan kaedah ini
boleh digunakan (jika perlu) untuk melindungi risiko tambahan.
Penerimaan Risiko
Apabila cadangan yang dikemukakan kepada pengendali Takaful
tanpa sumbangan dan cadangan itu diluluskan oleh pengendali
Takaful, surat penerimaan akan dikeluarkan kepada pencadang yang
meminta pencadang untuk membuat pembayaran sumbangan dalam
tempoh tertentu (biasanya 30 hari). Jika sumbangan itu tidak dibayar
dalam tempoh yang ditetapkan, pengendali perlu mengesahkan
semula penerimaan cadangan tersebut. Pengendali Takaful boleh
meminta laporan perisytiharan kesihatan yang mengesahkan keadaan
kesihatan yang baik berterusan sebelum mengesahkan semula
penerimaan. Surat penerimaan juga mesti menyebut bahawa tawaran
boleh dibatalkan jika terdapat apa-apa perubahan keadaan kesihatan,
pekerjaan dan keadaan-kaedah lain sejak tarikh mengemukakan
cadangan. Jika terdapat sebarang perubahan yang tidak memuaskan,
pencadang diminta untuk memberitahu perkara tersebut kepada
pengendali Takaful, dan cadangan mungkin disahkan semula
penerimaannya atau sebaliknya, selepas menerima maklumat
berkenaan. Pengendali Takaful akan menanggung risiko dengan serta-
merta apabila menerima ansuran sumbangan pertama selepas
pengeluaran surat penerimaan.
Apabila cadangan dikemukakan bersama-sama dengan sumbangan
awal dan resit bayaran sumbangan telah dikeluarkan, pencadang akan
dilindungi dari kematian akibat kemalangan sahaja dan untuk tempoh
yang singkat. Perlindungan Takaful bermula serta-merta dan kekal
berkuatkuasa sehingga pengendali Takaful menolak permohonan itu
atau meluluskan dan mengeluarkan sijil. Dalam tempoh 15 hari dari
tarikh penerimaan sijil, peserta boleh mengembalikan sijil tanpa
508 Amalan Asas Takaful
memberi apa-apa sebab dan pengendali Takaful akan membayar balik
sumbangan, tertakluk kepada potongan perbelanjaan yang ditanggung
untuk pemeriksaan perubatan peserta. Tempoh ini dikenali sebagai
“tempoh bertenang”.
Surat Sumbangan Tambahan
Sekiranya cadangan dikenakan sumbangan tambahan, surat yang
menyatakan tentang sumbangan tambahan tersebut akan dikeluarkan
dan dihantar kepada pencadang, sebagai surat tawaran balas.
Sekiranya pencadang bersetuju dengan terma dan syarat yang
dikenakan, pencadang dikehendaki menandatangani dan
memulangkan salinan surat tawaran balas kepada pengendali sebagai
tanda penerimaan.
Meletakkan Tarikh Kuatkuasa Ke belakang
Kadang kala tarikh kuatkuasa sijil boleh di kebelakangkan kepada
tarikh yang lebih awal dari tarikh bayaran sumbangan, biasanya
sehingga maksimum enam bulan. Tujuan meletakkan tarikh di
kebelakangkan ini ialah untuk memberi kelebihan kepada pencadang
kerana membayar sumbangan pada umur yang lebih muda dengan
amaun sumbangan yang lebih rendah.
C4.3 TAKAFUL KELUARGA DAN CUKAI PENDAPATAN
Pelepasan Cukai Bagi Caruman Takaful Keluarga
Untuk menggalakkan tabiat menyimpan dikalangan orang ramai di
peringkat nasional dan mempertingkat kemampuan kewangan
individu khususnya sebagai persediaan di hari tua, kerajaan
membenarkan beberapa pelepasan cukai bagi sumbangan yang
dibayar untuk sijil Takaful keluarga dan anuiti tertangguh.
Sumbangan yang layak mendapat pelepasan adalah untuk sijil
Takaful keluarga dan anuiti tertunda di atas:-
Amalan Takaful Keluarga: Pengkadaran 509
1. hayat peserta;
2. hayat pasangan hidup peserta berkenaan;
3. hayat bersama, peserta dan pasangan hidupnya.
Jumlah pelepasan yang dibenarkan untuk semua premium /
sumbangan polisi insurans / sijil Takaful Keluarga di atas hayat
peserta atau pasangan hidup dan untuk caruman ke dana yang
dibenarkan, contohnya KWSP untuk satu tahun taksiran ialah
RM6,000. Sekiranya taksiran suami / isteri dibuat berasingan, jumlah
pelepasan adalah sama iaitu RM6,000. Walau bagaimanapun, untuk
pelan pendidikan, tambahan pelepasan cukai sebanyak RM3,000
adalah dibenarkan.
Berkuatkuasa mulai tahun taksiran 1997, jumlah pelepasan yang
dibenarkan untuk bayaran sumbangan sijil Takaful keluarga tidak lagi
tertakluk kepada had 7% daripada jumlah perlindungan sijil berkaitan.
Sumbangan yang dibayar oleh majikan untuk tujuan membeli sijil
Takaful keluarga yang khusus untuk manfaat pekerja atau tanggungan
pekerja apabila berlaku kejadian yang dilindungi juga termasuk dalam
potongan yang dibenarkan. Caruman yang dibuat oleh majikan ke
dana simpanan, persaraan atau dana-dana lain yang dibenarkan adalah
dianggap sebagai perbelanjaan yang dibolehkan untuk mendapat
pelepasan cukai. Walau bagaimanapun, majikan perlu mendapat
kelulusan terlebih dahulu dari Ketua Pegawai Eksekutif, Lembaga
Hasil Dalam Negeri.
Potongan yang Dibenarkan
Untuk ahli perniagaan atau mereka yang bekerja sendiri, potongan
yang dibenarkan adalah perbelanjaan yang ditanggung semasa
menjalankan perniagaan. Oleh itu, untuk majikan yang mencarum
kepada Takaful Keluarga berkumpulan, sumbangan yang dibayar
untuk sijil ini akan dianggap sebagai potongan yang dibenarkan.
510 Amalan Asas Takaful
C4.4 MENILAI RISIKO
Penggemblengan Risiko Yang Sama
Prinsip asas yang diiktiraf dalam Takaful ialah apabila terdapat
sejumlah besar risiko yang sama digembleng atau dikumpulkan
menjadi satu kumpulan, maka ia dapat mengurangkan kebarangkalian
terhadap amaun kerugian yang akan berlaku dalam satu tempoh
tertentu.
Peraturan Bilangan Jumlah Besar (Law of Large Number)
Pengendali Takaful dengan selamat dan yakin boleh menentukan
lebih awal amaun anggaran kemungkinan tuntutan kematian yang
akan ditanggung, umpamanya di bawah sijil Takaful keluarga
berkumpulan. Dalam usaha mengendalikan perniagaan pada asas
yang kukuh, pengetahuan dan pengalaman tentang kadar kematian
pada masa lalu perlu dikaji. Masa lalu menjadi panduan untuk masa
hadapan. Statistik kemortalan mortaliti individu yang dilindungi
memberikan maklumat pengalaman masa lalu, dan maklumat ini akan
digunakan sebagai panduan untuk membuat carta pola kemortalan
mortaliti untuk masa depan.
Dalam menentukan kadar sumbangan untuk pelan Takaful Keluarga,
diandaikan bahawa kadar kematian dikalangan kumpulan peserta
yang sama usia, pada masa akan datang, adalah mengikut pola yang
sama dengan kumpulan yang serupa yang dikenal pasti pada masa
lalu.
Peratusan peserta yang meninggal dunia dalam masa setahun adalah
berbeza-beza kerana usia peserta semakin meningkat, dan ini dikenali
sebagai kadar kemortalan.
Amalan Takaful Keluarga: Pengkadaran 511
C4.5 PENENTUAN BIAYA RISIKO
Mortaliti
Jadual mortaliti adalah kaedah praktikal yang digunakan oleh
Pengendali Takaful dalam membuat anggaran mortaliti untuk
kumpulan peserta.
Apakah Jadual mortaliti Standard?
Pengendali Takaful biasanya menggunakan Jadual Mortaliti Standard,
atau jadual yang diubahsuai bagi tujuan pengiraan sumbangan. Jadual
ini diperolehi dari gabungan pengalaman mortaliti sekumpulan
Pengendali Takaful dalam satu kawasan tertentu dan biasanya jadual
yang berbeza digunakan untuk setiap jenis sijil; menunjukkan bahawa
kadar mortaliti juga berbeza mengikut jenis sijil.
Bagaimana Jadual mortaliti Disediakan
Dalam menyediakan jadual mortaliti, teknik statistik digunakan untuk
memperolehi kadar mortaliti, bermula dengan setiap umur dengan
menggunakan angka rambang (contohnya 100,000 orang) pada umur
yang paling muda, untuk mendapatkan nilai lajur yang lain.
Pulangan Pelaburan
Pulangan pelaburan adalah antara faktor penting yang perlu
diambilkira bagi tujuan pengiraan sumbangan. Pada asasnya baki
sumbangan yang diterima selepas ditolak perbelanjaan, cukai,
tuntutan dan sebagainya, akan dilaburkan dalam pelaburan
pendapatan dan modal yang mematuhi keperluan Syariah. Walaupun
amaun baki semasa yang diterima boleh dilaburkan dalam pelaburan
yang diketahui kadar pulangannya, perolehan yang akan diterima
pada masa hadapan perlu dilaburkan pada kadar masa itu. Pulangan
pelaburan masa depan adalah tertakluk kepada pelbagai faktor seperti
faktor ekonomi, politik dan sosial.
512 Amalan Asas Takaful
Faktor-faktor ini sukar diramal dengan tepat, kecuali jika untuk
tempoh yang singkat. Oleh itu, insurer perlu membuat anggaran
dengan berhati-hati dan bijaksana tentang kemungkinan kadar
pulangan dari pelaburan jangka sederhana dan jangka panjang, bagi
tujuan pengiraan sumbangan.
Akibat dari Pengabaian Pulangan Pelaburan
Berdasarkan dari fakta yang diberikan, kita mungkin berpendapat
Pengendali Takaful tidak perlu menghiraukan faktor-faktor tersebut
dalam penentuan kadar sumbangan. Walau bagaimanapun, sekiranya
Pengedali Takaful memilih untuk tidak menghiraukan faktor
berkenaan, kadar sumbangan yang ditetapkan kelak mungkin lebih
tinggi berbanding dengan pesaingnya yang mengambil kira pulangan
pelaburan ketika menetapkan kadar sumbangan.
Andaian yang dibuat secara berhati-hati biasanya dinyatakan melalui
angka peratusan pulangan pelaburan dalam setahun seperti 7%
setahun. Ianya selalu dirujuk sebagai kadar anggaran pulangan
pelaburan.
Perbelanjaan
Seperti organisasi perniagaan lain, Pengendali Takaful juga perlu
menanggung pelbagai kos untuk menjalankan operasi kendalian
perniagaannya. Secara amnya, perbelanjaan yang ditanggung oleh
Pengendali Takaful bagi setiap sijil yang dikeluarkan boleh
dibahagikan kepada tiga kategori:-
Kategori Perbelanjaan
1. Perbelanjaan awal
Perbelanjaan awal yang biasanya amat tinggi adalah perbelanjaan
yang ditanggung pada tahun pertama sijil, khusus untuk
memperolehi urusniaga berkenaan. Perbelanjaan awal lebih tinggi
berbanding dengan perbelanjaan pembaharuan seperti:
Amalan Takaful Keluarga: Pengkadaran 513
a. kos pengiklanan;
b. komisen tahun pertama;
c. perbelanjaan pemeriksaan kesihatan;
d. perbelanjaan mengeluarkan sijil, dan sebagainya.
2. Perbelanjaan pembaharuan
Perbelanjaan ini perlu ditanggung (walaupun tidak semestinya)
setiap tahun sepanjang tempoh sijil. Antara contoh perbelanjaan
pembaharuan ialah:
a. komisen pembaharuan;
b. perbelanjaan mengutip sumbangan;
c. perbelanjaan perkhidmatan sijil, dan sebagainya.
3. Perbelanjaan Penamatan
Perbelanjaan ini ditanggung setelah polisi dikeluarkan. Antara
contoh-contohnya ialah:
a. perbelanjaan bayaran tuntutan;
b. perbelanjaan perundangan.
Kaedah menangani perbelanjaan awal
Ketika pengendali Takaful membuat pengiraan sumbangan, faktor
perbelanjaan mestilah diambilkira. Perbelanjaan awal yang tinggi
biasanya diagih-agihkan sepanjang tempoh sijil dan perbelanjaan
pembaharuan ditambah ke dalam sumbangan bersih.
Cukai
Pengendali Takaful juga seperti firma perniagaan lain yang perlu
menanggung liabiliti cukai. Bidang percukaian pengendali Takaful
agak rumit dan tidak akan dibincangkan pada tahap ini.
514 Amalan Asas Takaful
Faktor-faktor lain
Keempat-empat faktor yang dibincangkan sebelum ini iaitu
kemortalan, pulangan pelaburan, perbelanjaan dan cukai adalah faktor
utama dalam menentukan kadar sumbangan. Walau bagaimanapun,
secara amnya adalah memadai untuk kita mengetahui bahawa antara
faktor-faktor lain yang juga diambilkira dalam proses penentuan
sumbangan ialah;
1. kos pembiayaan;
2. kos Takaful semula;
3. kos menyediakan opsyen dan jaminan, sekiranya perlu;
4. kos mengekalkan rezab statutori dan margin kesolvenan.
Sumbangan Tulen Satu Tahun atau Pengiraan Sumbangan
Risiko Satu Tahun
Melalui pengenalan prinsip Kadar Kemortalan, ia membolehkan
pengendali Takaful menentukan kos menawarkan perlindungan
kepada seseorang untuk tempoh setahun. Dengan mengambil contoh
seorang peserta yang berumur 37 tahun dimana kadar kemortalan
mortaliti untuk umur tersebut ialah 4.74 bagi setiap 1000 hayat. Kita
akan membuat andaian yang Pengendali Takaful mempunyai 100,000
peserta yang akan dilindungi di bawah Takaful Keluarga dalam
tempoh satu tahun dan kesemua mereka berusia 37 tahun.
Ilustrasi contoh yang diberikan adalah seperti berikut:
Jumlah peserta berumur 37 tahun = 100,000
Kadar kemortalan mortaliti setiap hayat = 4.74
Bilangan kematian = (4.74x100,000/1,000)
= 474 kes
Amalan Takaful Keluarga: Pengkadaran 515
Pengendali Takaful menjangkakan akan terdapat 474 kematian (4.74
x 100,000 / 1,000) dalam setahun. Dengan lain perkataan, pengendali
akan menerima bayaran premium dari 100,000 orang dan membayar
tuntutan untuk 474 kes. Untuk memudahkan pengiraan, kita andaikan
pengendali tidak menanggung sebarang perbelanjaan serta tidak
berhasrat memperolehi keuntungan.
Sekiranya pengendali bercadang untuk membayar amaun tuntutan
(dipanggil jumlah perlindungan) RM1,000 setiap tuntutan, pengendali
perlu menyediakan RM474,000 yang diperolehi dari kesemua
100,000 peserta yang dilindungi. Dengan lain perkataan, pengendali
perlu mengutip RM4.74 dari setiap peserta sebagai kos asas
(dipanggil sumbangan) bagi menyediakan perlindungan Takaful
untuk tempoh satu tahun. Kita akan dapati bahawa amaun yang perlu
dikutip dari setiap peserta adalah sama dengan kadar kemortalan.
Sekiranya setiap tuntutan kematian ialah RM5,000, sumbangan yang
dikenakan kepada setiap orang akan meningkat lima kali ganda iaitu
RM4.74 x 5 = RM23.70.
Sumbangan Risiko Meningkat Mengikut Umur
Kos asas risiko kematian digelar Sumbangan Risiko atau Sumbangan
Semulajadi. Sumbangan risiko meningkat seiring dengan peningkatan
umur peserta. Sekiranya pengendali mengambil keputusan untuk
mengenakan sumbangan berdasarkan sumbangan risiko, pengendali
terpaksa mengenakan sumbangan yang meningkat untuk peserta yang
sama setiap tahun. Kontrak insurans terawal mempunyai ciri-ciri
seperti ini tetapi didapati kaedah ini menimbulkan pelbagai masaalah
pengendalian operasi perniagaan.
Permulaan tahun Pembaharuan
tahunan
Tahap sumbangan risiko
1 23.70 26.67
2 25.10 26.67
3 26.55 26.67
516 Amalan Asas Takaful
Keburukan Sijil Takaful Keluarga yang Diperbaharui Setiap
Tahun
Dibawah kontrak seperti ini, pengendali dan peserta mempunyai
pilihan untuk memperbaharui kontrak tersebut atau sebaliknya. Jika
kontrak tersebut diperbaharui, sumbangan risiko yang dikenakan akan
menjadi lebih tinggi dari tahun sebelumnya. Jika keadaan kesihatan
peserta tidak memuaskan, pengendali tidak akan memperbaharui
kontrak tersebut. Ini menafikan hak peserta untuk mendapat manfaat
perlindungan apabila ia benar-benar memerlukannya.
Sumbangan Tulen Paras atau Sumbangan Risiko Paras
Kebanyakan sijil Takaful individu yang ada dipasaran hari ini
memperuntukkan bayaran sumbangan paras sepanjang tempoh
perlindungan sijil. Kontrak yang dikeluarkan biasanya kontrak
bertempoh jangka panjang tetapi bayaran sumbangan tetap sama.
Walau bagaimanapun, prinsip asas Sumbangan Risiko yang berbeza
mengikut umurlah yang mendasari konsep sumbangan paras.
Andaikan amaun sumbangan paras untuk sesuatu sijil Takaful
keluarga bagi individu berumur 37 tahun dengan tempoh
perlindungan selama 5 tahun dan jumlah perlindungan ialah
RM5,000. Dibawah kaedah sumbangan risiko, dengan menggunakan
Jadual Kemortalan, pengendali akan mengenakan amaun sumbangan
asas yang berlainan setiap tahun, selama lima tahun.
Permulaan
Tahun
Sumbangan Risiko
Diperbaharui Setiap Tahun
( RM)
Sumbangan Risiko
Paras
(RM)
1 23.70 26.67
2 25.10 26.67
3 26.55 26.67
4 28.10 26.67
5 29.90 26.67
Jumlah 133.35 133.35
Amalan Takaful Keluarga: Pengkadaran 517
Pengiraan Sumbangan Paras
Sumbangan Paras
Berdasarkan dari contoh di atas, peserta perlu membayar sejumlah
RM133.35 untuk tempoh 5 tahun. Sekiranya tidak mengambilkira
kadar pulangan pelaburan dan factor-faktor lain berkaitan dan jika
Pengendali Takaful bercadang untuk mengenakan sumbangan paras,
maka amaun sumbangan yang dikutip ialah RM26.67 (133.35 / 5)
setiap tahun. Amaun paras sebanyak RM26.67 ini adalah lebih tinggi
dari sumbangan risiko yang diperlukan pada tahun pertama, kedua
dan ketiga (RM23.70, RM25.10, dan RM26.55) dan lebih rendah dari
sumbangan risiko pada tahun keempat dan kelima (RM28.10 dan
RM29.90).
Ilustrasi yang disediakan adalah jadual yang paling ringkas dan tidak
mengambil kira semua faktor yang sepatutnya dimasukkan ketika
membuat pengiraan sumbangan paras. Walau bagaimanapun, ia dapat
menerangkan prinsip asas yang melibatkan pengiraan sumbangan
paras bagi melindungi sesuatu risiko yang terus meningkat dari tahun
ke tahun.
Sijil yang Menyediakan Manfaat Pemandirian (survival)
Perbincangan kita setakat ini hanya meliputi caj untuk melindungi
risiko kemortalan mortaliti (iaitu risiko kematian). Biasanya sijil
Takaful Keluarga menyediakan manfaat pemandirian sebagai
tambahan kepada manfaat kematian. Manfaat pemandirian ini
selalunya berbentuk bayaran berkala dalam tempoh sijil, dengan
syarat peserta masih hidup pada ketika itu. Sebagai contoh, dibawah
sijil Takaful keluarga 10 tahun dengan jumlah perlindungan akan
dibayar ketika berlaku kematian dalam tempoh tersebut atau ketika
sijil matang selepas 10 tahun. Manfaat pemandirian ini memerlukan
sumbangan tambahan, selain dari sumbangan manfaat kematian.
Sumbangan tambahan ini juga akan dijadikan sumbangan paras dan
dimasukkan sekali kedalam sumbangan paras perlindungan risiko
kematian.
518 Amalan Asas Takaful
Sumbangan Kasar
Untuk kemudahan urus tadbir sijil, Pengendali Takaful telah
menyediakan jadual kadar sumbangan kasar yang berbeza mengikut
umur dan tempoh bagi jenis sijil Takaful berasingan. Kadar
sumbangan yang dinyatakan dalam jadual kadar sumbangan ini
adalah berbeza dengan sumbangan tulen paras asas yang diterangkan
pada awal bab ini. Ketika menetapkan kadar sumbangan kasar,
pengendali Takaful bukan sahaja perlu mengambilkira kos
kemortalan, malah lain-lain faktor juga perlu dititikberatkan. Yang
paling penting diantara faktor-faktor berkenaan ialah elemen
pulangan pelaburan dan elemen perbelanjaan. Dalam pengertian yang
paling umum, kita perlu memahami hubungan berikut:
Sumbangan Kasar = Sumbangan Bersih (lihat di bawah) +
Bebanan perbelanjaan + Bebanan
keuntungan & kontingensi
Faktor Kadar Pulangan Pelaburan Diteliti Semula
Lebihan Awal Dikumpulkan Untuk Menampung Kekurangan Dimasa
Hadapan
Kita telah mempelajari bahawa jika sumbangan paras tahunan
dikenakan sebagai menggantikan sumbangan risiko yang berbeza-
beza, amaun setiap tahun (dikenali sebagai sumbangan tahunan)
menjadi lebih tinggi daripada apa yang diperlukan untuk melindungi
risiko pada tahun-tahun awal kontrak dan berkurangan pada tahun-
tahun berikutnya. Lebihan sumbangan tahunan dalam tahun-tahun
awal ini digunakan untuk menampung kekurangan pada tahun-tahun
akhir tempoh sijil. Lebihan ini dilaburkan untuk mendapat pulangan
pelaburan sehingga tiba masanya ia diperlukan untuk menampung
kekurangan tadi. Dalam pengiraan sumbangan tahunan paras,
pengendali Takaful akan membuat anggaran yang jelas (dan
konservatif) mengenai pendapatan pelaburan masa hadapan dan
dengan itu mengurangkan amaun sumbangan yang perlu dibayar.
Amalan Takaful Keluarga: Pengkadaran 519
Sijil Takaful Keluarga pada masa kini biasanya menyediakan manfaat
pemandiri sebagai tambahan kepada manfaat kematian. Sumbangan
tambahan yang perlu dibayar untuk manfaat ini juga mengambilkira
pendapatan pelaburan masa hadapan.
Sumbangan Bersih
Caj yang dikenakan bagi meliputi kos kemortalan mortaliti sahaja
digelar Sumbangan Risiko. Apabila caj tersebut dikira selepas
memasukkan elemen kemortalan mortaliti dan pulangan pelaburan, ia
digelar Sumbangan Bersih. Sumbangan bersih tidak mengandungi
elemen perbelanjaan.
C4.6 PERTIMBANGAN-PERTIMBANGAN LAIN
Jadual sumbangan kasar yang ditetapkan setelah mengambil kira
faktor kemortalan, pulangan pelaburan dan perbelanjaan, hendaklah
dibuat ujian lanjut untuk memastikan yang sumbangan yang
dikenakan adalah mencukupi, berdaya saing, tetap dan
menguntungkan.
520 Amalan Asas Takaful
Amalan Takaful Keluarga: Mengawasi Dana Takaful 521
BAB C5
AMALAN TAKAFUL KELUARGA:
MENGAWASI DANA TAKAFUL
PENDAHULUAN
Dalam bab ini, tumpuan akan diberi kepada elemen terakhir
pengurusan risiko dalam amalan Takaful Keluarga iaitu yang
berkaitan dengan pengawasan dana Takaful.
C5.1 PENGENALAN
Sumbangan yang dikenakan di bawah sijil Takaful Keluarga adalah
berdasarkan dari faktor-faktor jangkaan kemortalan, pulangan
pelaburan dan perbelanjaan. Adalah mustahil untuk mengharapkan
bahawa pengalaman sebenar dalam semua elemen-elemen berkaitan
akan sama seperti apa yang dijangka. Ia boleh menjadi lebih baik atau
lebih teruk lagi. Walau apapun keadaannya, adalah perlu untuk
meneliti pengalaman sebenar yang dilalui dari masa ke semasa.
Pemeriksaan berkala terhadap kedudukan kewangan operasi
perniagaan pengendali Takaful biasanya meliputi aspek pengambilan
stok, iaitu ciri-ciri utama penilaian aktuari terhadap aset dan liabiliti.
Penilaian aktuari terhadap pengendali Takaful Keluarga terdiri dari
pengiraan nilai semasa liabiliti bagi semua sijil yang berkuatkuasa
semasa tarikh penilaian dan membandingkannya dengan nilai semasa
pendapatan dan keuntungan modal yang dihasilkan oleh aset-aset
dalam dana Takaful. Jika nilai semasa pendapatan dan keuntungan
modal adalah lebih besar dari nilai semasa liabiliti, Pengendali
Takaful dikatakan dalam keadaan solven.
522 Amalan Asas Takaful
Rangka Kerja Modal Berasaskan Risiko untuk Penanggung
Insurans dan Pengendali Takaful
Rangka kerja modal berasaskan risiko (Risk Based Capital) adalah
rangka kerja yang memastikan kecukupan modal untuk semua insurer
yang dilesenkan di bawah Akta Insurans 1996. Cadangan rangka
kerja memerlukan agar setiap insurer mengekalkan tahap modal yang
mencukupi supaya ia seimbang dengan profil risiko yang ditanggung.
Rangka kerja modal berasaskan risiko untuk penanggung insurans
konvensional mula berkuatkuasa sejak Januari 2009. Walau
bagaimanapun, BNM tidak mewajibkan rangka kerja berkenaan
diterapkan dalam operasi perniagaan Takaful, mungkin sehingga
tahun 2012.
Insurer dikehendaki mengira Nisbah Kecukupan Modal (Capital
Adequacy Ratio) iaitu memastikan peruntukan modal yang
mencukupi dalam dana insurans dan dana pemegang saham bagi
menampung Jumlah Modal yang Diperlukan (Total Capital
Requirement). Nisbah Kecukupan Modal bertindak sebagai petunjuk
utama kekukuhan kedudukan kewangan insurer dan menyediakan
maklumat yang diperlukan oleh Bank Negara Malaysia bagi
menentukan bentuk penyeliaan yang bersesuaian terhadap insurer.
Rangkakerja modal berasaskan risiko digunapakai oleh semua insurer
sama ada di dalam atau di luar Malaysia, termasuk cawangan insurer
asing di Malaysia yang dilesenkan di bawah Akta Insurans 1996.
Perniagaan yang dihasilkan oleh cawangan reinsurer profesional asing
di luar Malaysia dikecualikan dari mematuhi keperluan rangka kerja
sekiranya syarat-syarat yang dinyatakan telah dipenuhi. Syarikat
insurans hendaklah melaksanakan dan mematuhi rangka kerja modal
berasaskan risiko berkuatkuasa mulai 1 Januari 2009. Insurer yang
memiliki keupayaan untuk melaksanakan rangka kerja berkenaan
lebih awal dari tarikh tersebut, boleh berbuat demikian untuk tahun
kewangan 2008.
Amalan Takaful Keluarga: Mengawasi Dana Takaful 523
C5.2 PENILAIAN ASAS LIABILITI
Penilaian aktuari ke atas insurer perlu dilaksanakan atas beberapa
sebab. Antaranya ialah untuk:-
1. menentukan samada insurer berada dalam keadaan solven;
2. menentukan amaun surplus, jika ada, yang boleh diagihkan
kepada pemegang saham dalam bentuk dividen atau bonus;
3. menguji samada skala premium yang digunakan adalah
mencukupi;
4. menentukan samada operasi kendalian perniagaan insurer
perlu diubahsuai;
5. mematuhi keperluan undang-undang
Liabiliti pengendali Takaful Keluarga adalah tanggungjawab
berkontrak kepada peserta, contohnya dibawah sijil Takaful Keluarga
10 tahun, pengendali Takaful bertanggungjawab untuk membayar
amaun tuntutan jika berlaku kematian atau pada penghujung tempoh
10 tahun, tertakluk kepada kejadian yang berlaku dahulu, sebagai
balasan kepada bayaran sumbangan berkala yang dibayar oleh
peserta. Nilai semasa liabiliti di bawah sijil Takaful Keluarga boleh
dinyatakan seperti berikut:
Liabiliti = Nilai semasa manfaat yang perlu dibayar
ditambah
Nilai semasa perbelanjaan
ditolak
Nilai semasa sumbangan akan diterima
Kesukaran yang timbul ialah untuk mengenal pasti nilai semasa
manfaat yang perlu dibayar dan premium yang akan diterima, yang
ditentukan pada tarikh penilaian pengendali Takaful, dengan
mengambil kira dasar penilaian statutori yang perlu dipatuhi oleh
Pengendali Takaful.
524 Amalan Asas Takaful
C5.3 PENILAIAN ASAS ASET
Aset milik pengendali Takaful Keluarga meliputi pelaburan yang
dibuat dari sumbangan yang diterima, setelah mengambil kira
peruntukan untuk membayar tuntutan dan perbelanjaan lain. Aset
tersebut mungkin meliputi kesemua atau sebahagian dari perkara-
perkara berikut:-
1. Wang tunai ditangan dan di bank;
2. Pelaburan dalam sekuriti kerajaan dan separuh kerajaan;
3. Saham di syarikat korporat;
4. Pinjaman dan debentur badan korporat;
5. Harta, tanah dan bangunan;
6. Pinjaman kepada peserta;
7. Perabut dan peralatan kelengkapan, kenderaan dan lain-lain
peralatan pejabat
Aset berkenaan dinilai dengan pelbagai cara, bergantung kepada
tujuan penilaian. Beberapa kaedah penilaian aset termasuklah:-
1. Harga Kos
Ini adalah harga aset ketika dibeli/diperolehi.
2. Nilai Buku
a. Ia adalah nilai yang diletakkan atas aset dalam buku akaun
pengendali Takaful. Ketika aset ini diperolehi, nilai buku
yang tercatat biasanya menunjukkan harga kos. Walau
bagaimanapun, masa yang berlalu memungkinkan nilai aset
semakin meningkat atau menyusut dan nilai buku juga akan
meningkat atau merosot, bergantung kepada amalan
perakaunan pengendali Takaful.
b. Contohnya, pengendali Takaful mungkin telah membuat
pelaburan dalam pemilikan sistem komputer lima tahun lalu
pada kos RM1 juta. Kini ia mungkin hanya bernilai
RM100,000. Ketika membeli aset ini, nilai buku ialah RM1
Amalan Takaful Keluarga: Mengawasi Dana Takaful 525
juta dan nilai ini semakin menyusut dalam tempoh beberapa
tahun dan kini nilai buku aset berkenaan ialah RM100, 000
sahaja sekiranya pengendali Takaful mengamalkan sistem
perakaunan yang betul.
3. Nilai Pasaran
Ia adalah nilai jika aset berkenaan dijual dipasaran terbuka.
Walau apapun kaedah yang digunakan, aset milik pengendali
Takaful perlu dinilai pada tarikh yang sama liabiliti syarikat
dinilai. Tarikh penilaian ini biasanya bersamaan dengan tarikh
akhir bagi tahun kewangan pengendali Takaful.
C5.4 LEBIHAN / SURPLUS DAN KEUNTUNGAN
Lebihan atau surplus adalah perbezaan antara nilai yang ditetapkan
untuk aset dengan nilai liabiliti dan akan berbeza mengikut dasar
penilaian yang dipilih. Ianya diperolehi dari keputusan pengalaman
sebenar kemortalan, faedah perbelanjaan dan nilai aset yang lebih
baik daripada apa yang dianggarkan ketika penilaian dibuat.
Sumber Surplus
Berdasarkan dari amalan semasa, sumber utama surplus diperolehi
dari:
1. Faedah:
Ia meliputi lebihan faedah (selepas ditolak cukai) yang diperolehi
dari dana insurans hayat yang melebihi anggaran penilaian aset,
dan merupakan sumber utama surplus khususnya kadar faedah
dipasaran adalah tinggi.
2. Kemortalan:
Surplus kemortalan diperolehi disebabkan perbezaan pengalaman
kemortalan sebenar dengan asas penilaian anggaran kemortalan.
526 Amalan Asas Takaful
3. Perbelanjaan:
Lebihan ini, jika ada, diperolehi dari peruntukan yang dibuat
untuk penilaian perbelanjaan, berbanding dengan perbelanjaan
sebenar yang ditanggung bagi menentukan amaun lebihan
perbelanjaan.
4. Pelbagai:
Sebahagian surplus diperolehi dari sumber-sumber seperti nilai
serahan, polisi luput, perniagaan baru dan pindaan polisi. Sumber
surplus lain ialah margin kadar premium dan peningkatan nilai
aset.
Pengagihan Surplus
Surplus yang dinyatakan dalam penilaian aktuari tidak semestinya
boleh diagih-agihkan. Pengendali mungkin memikirkan sebahagian
dari surplus mungkin digunakan untuk memperkukuhkan asas
penilaian beberapa aspek tertentu. Sebahagian dari surplus itu
mungkin dipindahkan ke rizab kontingensi. Juga dianggap wajar
untuk membawa ke tahun hadapan akan sebahagian kecil surplus
yang tidak diperuntukkan bagi sebarang tujuan. Amaun selebihnya
adalah surplus untuk diagih-agihkan kepada peserta dan pengendali
Takaful mengikut nisbah yang dipersetujui.
Kaedah Pengagihan Surplus
Pengagihan surplus diantara peserta dan pengendali Takaful biasanya
menggunakan kaedah yang mudah untuk kedua-dua belah pihak.
Amaun surplus yang ditetapkan setiap tahun akan dikreditkan ke
dalam dana masing-masing, iaitu Akaun Peserta (untuk simpanan dan
pelaburan) dan Akaun Khas Peserta (Dana Risiko). Hanya apabila
sijil matang atau berlaku tuntutan kematian, dana terkumpul akan
dibayar kepada pihak yang menuntut / benefisiari.
Amalan Takaful Keluarga: Dokumen Sijil 527
BAB C6
AMALAN TAKAFUL KELUARGA:
DOKUMEN SIJIL
PENGENALAN
Bab ini akan membincangkan secara terperinci mengenai pelbagai
borang dan dokumen yang digunakan oleh pengendali Takaful dalam
usaha mereka untuk mendapatkan perniagaan baru Takaful keluarga.
Seksyen 27 Akta Takaful 1984 mempunyai peruntukan bagi
dokumen-dokumen berkaitan untuk dilaporkan ke Bank Negara
Malaysia (BNM) bagi tujuan kawalan terhadap pelbagai bentuk
borang seperti cadangan, sijil dan risalah. Kegagalan untuk mematuhi
peruntukan ini boleh mengakibatkan Pengendali Takaful dikenakan
denda sehingga RM4, 000.00 bagi setiap kesalahan.
C6.1 SUMBER MAKLUMAT UNTUK PENILAIAN RISIKO
Sebelum menerima permohonan peserta untuk perlindungan Takaful
keluarga, Pengendali Takaful dikehendaki melakukan penilaian yang
menyeluruh terhadap risiko yang dicadangkan - aspek bahaya moral
dan bahaya fizikal, sebelum perlindungan boleh diberikan. Maklumat
yang perlu untuk melakukan penilaian risiko biasanya diperolehi
daripada pelbagai sumber. Sumber-sumber ini termasuk, tetapi tidak
terhad kepada:
 Borang Cadangan
 Laporan Perubatan / X-ray, ECG dan sebagainya
 Kenyataan Doktor Yang Merawat
 Laporan Ejen
 Laporan Terdahulu
 Borang Carian Fakta
528 Amalan Asas Takaful
C6.2 BORANG CADANGAN
Sebahagian besar daripada maklumat yang berkaitan dengan
pemohon diberikan oleh pemohon itu sendiri di dalam borang
cadangan. Borang cadangan ini secara jelas memberitahu amaran
bahawa pencadang hendaklah mendedahkan dengan benar dan jujur
semua maklumat yang dia tahu atau yang sepatutnya dia tahu, dan
kegagalan berbuat demikian boleh menyebabkan sijil yang
dikeluarkan menjadi tidak sah.
Borang cadangan yang perlu diisi dengan lengkap oleh pencadang
mengandungi maklumat-maklumat berikut:-
 Maklumat Peribadi:-
1. nama penuh;
2. alamat;
3. pekerjaan atau profesion;
4. tarikh lahir, tempat dan negara dilahirkan;
5. no kad pengenalan;
6. samada terdapat sebarang cadangan yang ditolak,
ditangguhkan, ditarik balik atau diterima bersyarat.
 Maklumat Perlindungan Yang Dipohon:-
1. pelan Takaful yang dikehendaki;
2. tempoh sijil;
3. jumlah perlindungan;
4. pelan tambahan;
5. kekerapan dan cara pembayaran sumbangan.
 Pekerjaan, Penempatan, Perjalanan dan Hobi yang Merbahaya:-
1. sebarang pertukaran dalam jenis pekerjaan terbaru, terdahulu
atau dijangkakan akan bertukar tidak lama lagi;
2. menyatakan secara mendalam tentang niat untuk membuat
penerbangan bukan sebagai penumpang yang membayar
Amalan Takaful Keluarga: Dokumen Sijil 529
tambang atau kecenderungan-kecenderungan lain yang
merbahaya;
3. menyatakan secara mendalam tentang niat untuk melibatkan
diri dalam aktiviti sukan yang berisiko tinggi dan boleh
menyebabkan kematian akibat kemalangan.
 Sejarah Peribadi dan Keluarga:-
1. maklumat mengenai rawatan perubatan dan nama doktor
yang memberi rawatan sejak beberapa tahun kebelakangkan;
2. tarikh dan sebab mendapatkan rawatan doktor kali yang
terakhir;
3. tinggi dan berat badan sekarang;
4. penggunaan rokok dan / atau alkohol dalam sehari, sekiranya
berkenaan;
5. adakah berlaku kematian dikalangan ahli keluarga seperti ibu
/ bapa dan adik beradik. Jika ada, nyatakan umur ketika
meninggal dunia dan sebab kematian;
6. Adakah pemohon ada / pernah menghidap penyakit / sakit:-
i. penyakit mental atau saraf atau ketidakupayaan
ii. pitam, sawan atau lumpuh
iii. asma, bronkitis, batuk kering atau sakit dada
iv. sakit jantung, sakit dada atau tekanan darah tinggi
v. masalah limpa, prostat atau hati
vi. rheumatisme, atau sakit dalam sendi
vii. kurang hadam, ulser peptik atau penyakit dalam perut
viii. masalah ketumbuhan atau glandular
ix. lain-lain penyakit, kecacatan atau kecederaan
 Perisytiharan dan Memberi Kuasa:-
Seksyen ini mengandungi:
1. pengisytiharan bahawa kenyataan yang diberikan adalah
benar dan lengkap mengikut pengetahuan pemohon serta
pemohon tidak menyembunyikan sebarang maklumat matan;
530 Amalan Asas Takaful
2. memberi kebenaran kepada Pengendali Takaful untuk
mendapatkan maklumat dari mana-mana doktor yang pernah
merawat pencadang atau / dan dari Pengendali Takaful yang
pernah menerima permohonan perlindungan Takaful /
insurans.
C6.3 BORANG PENCARIAN FAKTA PELANGGAN
C6.4 PROSES PENGUNDERAITAN
Pengunderaitan boleh didefinisikan sebagai suatu proses penilaian
dan pemilihan risiko, dan juga penentuan kadar sumbangan, terma
dan syarat-syarat. Untuk mana-mana pelan Takaful, peserta
dikehendaki membuat caruman atau bayaran yang dikenali
sumbangan, dan sumbangan ini dimasukkan ke dalam dana umum
yang digunakan untuk membayar tuntutan. Untuk memastikan dana
umum tersebut mencukupi untuk membayar tuntutan, Pengendali
Takaful perlu:-
1. berhati-hati terhadap antipemilihan;
2. mengenakan kadar sumbangan Takaful yang sepadan dengan
risiko yang ditanggung.
Antipemilihan berlaku apabila lebih banyak risiko substandard
diterima untuk diberi perlindungan yang kemudiannya menyebabkan
keputusan pengunderaitan tidak begitu menguntungkan. Biasanya,
kadar sumbangan adalah berdasarkan sampel yang mewakili profil
risiko pasaran keseluruhan. Apabila antipemilihan berlaku, ia adalah
tanda-tanda pengendali yang kurang kawalan pengunderaitan yang
baik, dan berakhir dengan portfolio yang mengandungi sebahagian
besar risiko yang tidak menguntungkan.
Untuk mengelakkan antipemilihan, pengunderait perlu berhati-hati
dalam membuat penilaian keatas semua permohonan perlindungan
Takaful dan perlu mengenakan kadar sumbangan yang berpadanan
dengan risiko yang ditanggung serta mengenakan syarat
pengecualian, sekiranya perlu. Untuk berlaku adil kepada semua
Amalan Takaful Keluarga: Dokumen Sijil 531
peserta, cadangan yang dianggap substandard harus ditolak atau
dikenakan kadar sumbangan yang lebih tinggi berbanding dengan
risiko yang standard. Tindakan ini akan memungkinkan kepada
pengagihan risiko secara adil di kalangan semua peserta dalam skim
ini.
Untuk perniagaan Takaful Keluarga, proses pengunderaitan akhirnya
akan membawa pengunderait untuk menilai risiko kepada tiga
kategori, iaitu:-
1. Risiko standard (dipersetujui menurut apa yang dipohon oleh
pencadang)
2. Risiko sub-standard / diubahsuai (dipersetujui setelah
pengunderait membuat beberapa pengubahsuaian, tertakluk
kepada penerimaan pencadang terhadap pindaan tersebut)
3. Risiko yang ditolak (risiko tidak memuaskan disebabkan
masaalah kesihatan, bahaya pekerjaan & hobi dan sebagainya)
C6.5 STRUKTUR SIJIL
Sijil, sebagai suatu instrumen yang membuktikan kewujudan kontrak
Takaful, hendaklah jelas dalam susunan perkataannya dan dalam
bentuk yang mudah difahami oleh orang biasa. Adalah menjadi
peraturan undang-undang bahawa sebarang kekaburan dalam
dokumen akan dibebankan ke atas pengendali kerana pengendalilah
yang bertanggungjawab merangka kontrak berkenaan.
Terdapat dua jenis bentuk sijil yang digunakan iaitu jenis naratif dan
jenis jadual. Bentuk naratif sungguhpun pernah digunakan, kini telah
usang dan jenis jadual adalah lebih ringkas, mudah difahami dan
mudah untuk diubahsuai.
Seksyen Utama
Seksyen utama yang terdapat dalam kebanyakan sijil adalah seperti
berikut:-
532 Amalan Asas Takaful
1. Pengenalan
2. Fasal Perisytiharan
3. Fasal Operasi/kuatkuasa
4. Proviso
5. Jadual
6. Fasal penyaksian
7. Syarat-syarat dan Kemudahan
 Pengenalan
Pada bahagian atas sijil biasanya tertera nama Pengendali Takaful
dan alamat pejabat berdaftarnya, bagi tujuan surat- menyurat /
perhubungan.
 Fasal Perisytiharan
Seksyen ini memperkenalkan pihak yang berkaitan dengan
kontrak ini dan menyatakan yang pencadang telah menyerahkan
permohonan untuk perlindungan Takaful termasuk kenyataan
mengenai kesihatan peserta dan telah membayar sumbangan
pertama dan berjanji akan membayar sumbangan seterusnya
apabila sampai masanya.
 Fasal Operasi / Kuatkuasa
Tujuan fasal ini adalah untuk menyatakan peristiwa / kejadian
yang menyebabkan sijil ini berfungsi, iaitu apabila sesuatu
tuntutan dimulakan. Oleh itu, ia biasanya menyatakan yang
pengendali Takaful bersetuju membuat bayaran seperti yang
dinyatakan dalam jadual (dirujuk sebagai jumlah perlindungan)
apabila berlaku peristiwa yang dilindungi yang dinyatakan dalam
fasal kuatkuasa ini, kepada pihak menuntut yang sah atau
warisnya.
Amalan Takaful Keluarga: Dokumen Sijil 533
 Proviso
Seksyen ini termasuk perisytiharan yang semua jawapan yang
diberikan dalam borang cadangan dan laporan perubatan akan
menjadi asas kontrak. Disamping itu, syarat-syarat yang
dinyatakan dalam sijil dianggap sebagai sebahagian daripada
kontrak, dan kontrak adalah tertakluk kepada syarat berkenaan.
 Jadual
Maklumat berikut biasanya dinyatakan dalam jadual:
1. nama dan alamat peserta;
2. tarikh kuatkuasa perlindungan;
3. tarikh cadangan;
4. jumlah perlindungan – amaun, kepada siapa dan bila tuntutan
boleh dibayar, kejadian / peristiwa yang membolehkan
tuntutan dibayar;
5. jenis perlindungan Takaful;
6. sumbangan – amaun setahun, bagaimana ia dibayar, tarikh
jatuh bayaran, tempoh sepatutnya dibayar, tarikh bayaran
terakhir;
7. tarikh lahir / umur peserta, samada telah diperakui atau
sebaliknya;
8. tarikh matang;
9. syarat-syarat khas (jika ada).
 Fasal Penyaksian
Ini adalah seksyen terakhir dalam sijil. Sijil ditandatangani oleh
pegawai tertentu Pengendali Takaful yang diberi kuasa untuk
berbuat demikian.
 Syarat-syarat dan Kemudahan
Syarat-syarat dan kemudahan sijil perlindungan Takaful Keluarga
boleh dibahagikan kepada tiga kategori iaitu:
534 Amalan Asas Takaful
1. Syarat yang menghadkan skop kontrak, umpamanya
membunuh diri atau fasal tidak boleh tanding.
2. Syarat meluaskan skop kontrak, umpamanya tempoh
tangguh, syarat tidak boleh batal dan sebagainya.
3. Syarat menerangkan skop kontrak, umpamanya syarat yang
membatalkan kontrak jika sumbangan tidak dibayar pada
masanya atau terdapat salah nyata fakta matan.
C6.6 ENDORSEMEN
Dokumen sijil yang standard biasanya boleh dipinda untuk
memasukkan aspek yang berlainan keadaan dan keperluan setiap
individu. Endorsemen boleh dibuat samada:
1. ketika pengeluaran sijil, atau
2. selepas pengeluaran sijil.
Endorsemen Ketika Pengeluaran Sijil
Secara amnya, empat syarat khas berikut perlukan endorsemen:-
1. yang melibatkan amaun sumbangan atau kekerapan pembayaran
sumbangan. Sebagai contoh, jika melibatkan ansuran sumbangan,
maka syarat sesuai diperlukan untuk menyediakan potongan
kepada baki yang belum berbayar pada tahun kematian;
2. yang melibatkan jumlah perlindungan atau cara pembayarannya.
Sebagai contoh, jika pilihan penyelesaian ialah untuk
membiarkan prosid sijil sebagai deposit dengan pengendali
Takaful, maka syarat khas adalah perlu untuk membolehkannya
berbuat demikian;
3. yang memasukkan manfaat khas, contohnya pilihan untuk
menukar jenis kontrak, yang menyertakan pembatasan khas;
4. yang berkaitan dengan dokumen yang perlu dihantar oleh peserta,
contohnya kesilapan dalam no kad pengenalan.
Amalan Takaful Keluarga: Dokumen Sijil 535
Endorsemen Selepas Pengeluaran Sijil
Ia melibatkan pindaan terhadap:-
1. mod atau cara pembayaran sumbangan;
2. pindaan bentuk kontrak;
3. mengenakan atau mengeluarkan sumbangan tambahan;
4. permohonan untuk mengurangkan / menambah jumlah
perlindungan.
Perkara di atas boleh dibahagikan secara luas kepada kumpulan-
kumpulan berikut mengikut penukaran pada:
1. nama atau umur peserta;
2. sumbangan yang perlu dibayar – cara dan tarikh bayaran;
3. jumlah perlindungan dan sumbangan;
4. jenis-jenis Takaful.
536 Amalan Asas Takaful
Amalan Takaful Keluarga: Tuntutan dan Pengeluaran Sebahagian 537
BAB C7
AMALAN TAKAFUL KELUARGA:
TUNTUTAN DAN PENGELUARAN
SEBAHAGIAN
PENDAHULUAN
Dalam bab ini, perbincangan akan ditumpukan kepada prosedur
penyelesaian tuntutan, iaitu pelengkap kepada kitaran pengurusan
risiko.
C7.1 PENGENALAN
Penamatan kontrak Takaful keluarga biasanya disempurnakan dengan
bayaran penyelesaian tuntutan. Tuntutan boleh timbul disebabkan
oleh salah satu dari situasi / kejadian berikut:-
1. ketika kematian peserta;
2. ketika sijil Takaful matang;
3. tuntutan manfaat perubatan atau hilang upaya;
4. tuntutan dibawah kontrak tambahan.
Ejen dan Pengendali Takaful diharapkan dapat memberi
perkhidmatan yang baik supaya tuntutan dapat diselesaikan dengan
cepat. Reputasi Pengendali Takaful biasanya bergantung kepada
kecekapan menyelesaikan tuntutan. Maka adalah penting bagi ejen
untuk membiasakan diri dengan prosedur dan dokumen yang
diperlukan supaya tuntutan dapat diselesaikan dengan cepat.
C7.2 PEMBERITAHUAN TUNTUTAN
Apabila berlaku sesuatu perkara atau kejadian yang menyebabkan
timbulnya tuntutan, waris atau pihak menuntut mesti memberitahu
Pengendali Takaful dan menyediakan maklumat berikut:-
538 Amalan Asas Takaful
1. Nama dan nombor kad pengenalan peserta
2. No sijil dan alamat peserta
3. Tarikh dan sebab-sebab kematian, kecederaan atau sakit,
mana-mana yang berkenaan.
Pengendali Takaful akan memberitahu waris atau pihak menuntut
tentang prosedur yang perlu dipatuhi dan dokumen yang diperlukan
sebagai bukti berlakunya kejadian yang membawak kepada tuntutan.
Oleh kerana Takaful pada asasnya adalah berdasarkan ajaran dan
keperluan Syari’ah, para peserta Islam diingatkan bahawa prosid atau
perolehan dari sijil Takaful (sekiranya tuntutan kematian) hendaklah
diagihkan kepada waris-waris yang berhak mengikut fara'id. Oleh itu,
penamaan seseorang dalam sijil Takaful hanya bertindak sebagai
pemegang amanah untuk menerima prosid sijil, yang menjadi
sebahagian daripada harta pusaka si mati, dan kemudiannya
membahagi-bahagikan prosid berkenaan kepada waris yang berhak.
Walau bagaimanapun, peserta mungkin ingin mendermakan
keseluruhan prosid kepada bukan waris seperti wakaf atau organisasi
amal. Oleh itu, perbuatan memberi (hibah) perlu dilaksanakan ketika
peserta masih hidup. Apabila ini dilakukan, maka prosid bukan lagi
menjadi sebahagian daripada harta pusaka itu dan tidak tertakluk
kepada mana-mana agihan harta di bawah fara'id.
C7.3 TUNTUTAN KEMATIAN
Pihak yang menuntut atau waris perlu mengemukakan kepada
pengendali Takaful dokumen yang membuktikan kematian peserta
tanpa sebarang kesangsian. Sebagai tambahan kepada tiga dokumen
yang dinyatakan di atas, pengendali Takaful memerlukan salah satu
dokumen bukti kematian berikut:-
1. sijil kematian;
2. laporan bedah siasat;
3. perintah mengisytiharkan kematian secara andaian statutori,
umpamanya bagi orang yang telah hilang lebih daripada 6 tahun;
Amalan Takaful Keluarga: Tuntutan dan Pengeluaran Sebahagian 539
4. sijil mengesahkan kematian pegawai tentera dan kematian dalam
peperangan;
5. sijil menyatakan kematian berlaku di laut;
6. sijil perubatan dari pegawai perubatan yang terakhir merawat
peserta.
Pengendali juga akan meminta bukti umur peserta meninggal dunia,
jika ini tidak dilakukan pada permulaan kontrak. Pengendali Takaful
perlu memastikan bahawa prosid tuntutan kematian dibayar kepada
orang yang berhak menerimanya. Seksyen 65 Akta Takaful 1984
secara khusus menyebut bahawa apa-apa bayaran manfaat boleh
dibayar oleh Pengendali Takaful tanpa memerlukan sebarang surat
probet atau surat pentadbiran, dan Pengendali Takaful dilepaskan
daripada semua liabiliti berkenaan dengan jumlah yang dibayar.
Walau bagaimanapun, BNM telah menyemak semula Seksyen
berkenaan di mana Pengendali Takaful perlu membuat pembayaran
interim sehingga ke had maksimum RM100,000 kepada orang yang
berhak menerimanya dan baki bayaran akan dibuat selepas pihak
yang menuntut mengemukakan surat probet atau surat pentadbiran.
C7.4 TUNTUTAN HILANG UPAYA KEKAL DAN
MENYELURUH
Terdapat dua jenis tuntutan hilang upaya kekal dan menyeluruh, iaitu
tuntutan hilang upaya disebabkan sakit / penyakit dan hilang upaya
akibat kemalangan.
1. Dokumen yang diperlukan untuk tuntutan hilang upaya kekal dan
menyeluruh disebabkan sakit / penyakit ialah;
a. laporan pengesahan perubatan yang disediakan oleh doktor
yang merawat hilang upaya peserta;
b. salinan kad pengenalan peserta yang diakui sah; dan
c. borang tuntutan yang telah lengkap diisi.
2. Dokumen yang diperlukan untuk tuntutan hilang upaya kekal dan
menyeluruh disebabkan kemalangan ialah:
540 Amalan Asas Takaful
a. laporan pengesahan perubatan yang disediakan oleh doktor
yang merawat, setelah peserta mengalami hilang upaya;
b. salinan kad pengenalan peserta yang diakui sah;
c. borang tuntutan yang telah lengkap diisi; dan
d. salinan laporan polis yang diakui sah.
C7.5 TUNTUTAN KEMATANGAN
Sekiranya peserta masih hidup sehingga akhir tempoh sijil, manfaat
kematangan akan dibayar kepadanya. Pengendali Takaful biasanya
akan memaklumkan kepada pemegang sijil yang sijilnya akan
mencapai tempoh matang dan meminta peserta untuk mematuhi
prosedur tuntutan tertentu.
Pengendali Takaful akan menghantar borang pengenalan, borang
kemandirian (survival) dan baucar pelepasan untuk diisi dengan
lengkap oleh peserta dan mengembalikannya semula berserta
dokumen sijil asal kepada Pengendali Takaful.
Berikut adalah dokumen yang biasanya diperlukan bagi tuntutan
kematangan:
 apabila peserta adalah hayat yang dilindungi:-
1. bukti umur;
2. bukti kemandirian;
3. baucar pelepasan yang telah lengkap diisi oleh peserta; dan
4. dokumen sijil asal
 apabila peserta bukan hayat yang dilindungi:-
1. surat ikatan penyerahan hak atau mana-mana dokumen
hakmilik lain; dan
2. satu kenyataan ringkas yang menyatakan bahawa hayat yang
dilindungi masih hidup dan tidak dapat atau tidak bersedia
untuk menandatangani sijil kemandirian.
Amalan Takaful Keluarga: Tuntutan dan Pengeluaran Sebahagian 541
C7.6 LAIN-LAIN TUNTUTAN
Tanggungjawab untuk membuktikan tuntutan adalah terletak ditangan
peserta dan dia mesti membuktikannya dan bukti tersebut mesti
memenuhi keperluan Pengendali Takaful. Peserta hendaklah
mematuhi semua syarat-syarat lain yang terdapat dalam kontrak.
Bagi sijil perlindungan kemalangan diri, prinsip sebab hampiran
adalah penting kerana mungkin terdapat lebih daripada satu sebab
yang boleh membawa kepada tuntutan. Perlu diketahui bahawa jika
pengendali Takaful berpendapat tuntutan itu disebabkan oleh peril
yang dikecualikan, maka pengendali Takaful perlu membuktikan
dakwaan tersebut.
Berdasarkan amalan industri, pengendali Takaful mengeluarkan
pelbagai bentuk borang bercetak yang jika diisi dengan betul, ia akan
membekalkan semua maklumat yang diperlukan. Borang-borang ini,
disamping memerlukan butir-butir kemalangan atau penyakit, juga
mengandungi soalan-soalan lain yang bertujuan untuk menentukan
sama ada asas perlindungan asal masih kekal atau telah berubah.
Sekiranya pengendali Takaful berpuas hati mengenai kesahihan
semua dokumen yang dikemukakan, sebarang pertanyaan lain yang
telah dijawab sepenuhnya dan tidak melanggar syarat-syarat sijil,
pengendali Takaful akan membayar amaun tuntutan. Walau
bagaimanapun, sekiranya terdapat sebarang keraguan atau tertakluk
kepada pertimbangan khas, pengendali Takaful berhak untuk
menjalankan siasatan lanjut.
C7.7 DAFTAR TUNTUTAN
Ia adalah keperluan undang-undang dibawah Akta Takaful 1984,
bahawa setiap pengedali Takaful hendaklah mengadakan dan
menyimpan satu daftar terkini bagi semua tuntutan Takaful sebaik
sahaja pengendali diberitahu mengenainya. Tiada satu pun daripada
notis tuntutan ini yang boleh dikeluarkan daripada daftar ini selagi
pengendali masih bertanggungjawab keatas tuntutan tersebut.
542 Amalan Asas Takaful
Daftar tuntutan ini dianggap rekod rasmi tuntutan yang dilaporkan
kepada pengendali. Daftar tuntutan ini boleh disimpan dalam bentuk
kad atau di atas helaian ledger atau cetakan komputer.
C7.8 PENGELUARAN SEBAHAGIAN
Kebanyakan Pengendali Takaful membenarkan peserta mereka
membuat pengeluaran sebahagian di bawah sijil Takaful Keluarga
milik mereka, tertakluk kepada terma-terma dan syarat-syarat
tertentu. Amalan ini agak serupa dengan apa yang terdapat dalam
insurans hayat konvensional, tetapi perbezaan utamanya ialah
Pengendali Takaful tidak mengenakan faedah (interest) atas
'pinjaman' yang diambil oleh peserta, kerana wang itu sebenarnya
memang milik mereka.
Oleh kerana bayaran sumbangan untuk Takaful Keluarga dibahagikan
kepada dua dana (Akaun Peserta dan Akaun Khas Peserta),
pengeluaran sebahagian dibenarkan pada Akaun Peserta, tetapi tidak
melebihi daripada 50% amaun dalam akaun ini. Peserta boleh
memilih untuk membayar balik atau sebaliknya, tetapi pengiraan
pulangan pelaburan ke atas Akaun Peserta akan ditolak amaun yang
telah dikeluarkan.
Sekiranya peserta membuat serahan sijil Takaful, pengendali akan
membayar semua amaun terkumpul di dalam Akaun Peserta sahaja,
tidak termasuk Akaun Khas Peserta kerana akaun ini adalah amaun
yang telah didermakan oleh peserta.
Pengiraan Sumbangan Takaful Keluarga 543
BAB C8
PENGIRAAN SUMBANGAN TAKAFUL
KELUARGA
PENGENALAN
Dalam menjalankan kewajipan sebagai Ejen Takaful, anda mungkin
diminta untuk memberi nasihat mengenai pelbagai perkara yang
berkaitan dengan perniagaan. Pastinya akan ada persoalan mengenai
amaun sumbangan yang perlu disediakan sekiranya bakal pelanggan
berminat untuk menyertai skim Takaful Keluarga tertentu.
C8.1 PENGIRAAN UMUR
Apabila berurusan dalam perniagaan Takaful Keluarga, umur peserta
memainkan peranan penting dalam menentukan kadar sumbangan.
Pengendali Takaful menggunakan asas-asas yang berlainan bagi
menentukan usia seseorang individu. Kaedah yang paling biasa
digunakan ialah:
1. Umur harijadi yang telah lepas
2. Umur harijadi akan datang
3. Umur harijadi terhampir
Ilustrasi dibawah menunjukkan kaedah pengiraan umur peserta yang
lahir pada 21 Mac 1965:
 Pengiraan umur harijadi yang telah lepas:
Teknik yang digunakan adalah untuk mendapatkan tarikh harijadi
yang lepas dan melaksanakan penolakan yang perlu seperti yang
ditunjukkan dalam jadual di bawah.
544 Amalan Asas Takaful
Tarikh Rujukan
(Tarikh penghantaran
borang cadangan)
Harijadi yang
lepas
Umur harijadi
yang lepas
20 Mei 2005 21 Mac 2005 2005 – 1965 = 40
1 Januari 2005 21 Mac 2004 2004 – 1965 = 39
31 Disember 2006 21 Mac 2006 2006 – 1965 = 41
 Pengiraan umur harijadi akan datang:
Teknik yang digunakan adalah untuk mendapatkan tarikh harijadi
akan datang dan melaksanakan penolakan yang perlu seperti yang
ditunjukkan dalam jadual di bawah.
Tarikh Rujukan
(Tarikh penghantaran
borang cadangan)
Harijadi akan
datang
Umur harijadi
akan datang
20 Mei 2005 21 Mac 2006 2006 – 1965 = 41
1 Januari 2005 21 Mac 2005 2005 – 1965 = 40
31 Disember 2006 21 Mac 2007 2007 – 1965 = 42
 Pengiraan umur harijadi terhampir:
Teknik yang digunakan adalah untuk mendapatkan tarikh harijadi
terhampir dan melaksanakan penolakan yang perlu seperti yang
ditunjukkan dalam jadual dibawah.
Tarikh Rujukan
(Tarikh penghantaran
borang cadangan)
Harijadi
terhampir
Umur harijadi
terhampir
20 Mei 2005 21 Mac 2005 2005 – 1965 = 40
1 Januari 2005 21 Mac 2005 2005 – 1965 = 40
31 Disember 2006 21 Mac 2007 2007 – 1965 = 42
Amaun sumbangan yang dikenakan untuk sijil Takaful Keluarga
adalah berbeza-beza, bergantung kepada faktor-faktor berikut:-
Pengiraan Sumbangan Takaful Keluarga 545
1. umur dan jantina pencadang;
2. keadaan kesihatan pencadang;
3. jenis sijil Takaful yang dikehendaki;
4. jumlah perlindungan;
5. tempoh perlindungan sijil;
6. mod/cara bayaran sumbangan.
C8.2 MENGGUNAKAN BUKU PENGKADARAN (RATE
BOOK) UNTUK MENGIRA SUMBANGAN
Sumbangan yang dikenakan untuk pelbagai jenis sijil dan tempoh
perlindungan diringkaskan dalam bentuk jadual buku kadar. Adalah
penting untuk diketahui bahawa kadar ini hanyalah untuk risiko biasa,
iaitu pencadang / peserta berada dalam keadaan kesihatan yang baik
mengikut spesifikasi proses pengunderaitan. Hayat yang terjejas atau
sub-standard mungkin tertakluk kepada sumbangan tambahan; dan
kadar sumbangan untuk kategori ini hanya diperolehi selepas butiran
pengunderaitan telah dilakukan.
Dalam seksyen ini, kita akan menunjukkan kaedah penggunaan buku
kadar bagi pengiraan sumbangan ansuran tahunan.
Jadual dibawah menunjukkan seksyen taburan sumbangan sijil
Takaful endowmen 25 tahun, untuk peserta lelaki, bagi setiap
RM1,000 jumlah perlindungan.
Umur
(Harijadi akan datang)
Sumbangan setiap RM1,000 jumlah
perlindungan
25 39.50
26 40.00
27 40.50
28 41.25
29 42.00
30 42.80
31 43.60
Kadar Sumbangan untuk Takaful Endowment 25 tahun, Risiko Lelaki
(Risiko Perempuan adalah 3 tahun lebih muda)
546 Amalan Asas Takaful
Sekiranya Pengendali Takaful menyediakan diskaun untuk jumlah
perlindungan yang lebih besar, ia perlu diambil kira dalam pengiraan
kadar sumbangan. Satu keadaan yang biasa mungkin seperti yang
dicadangkan oleh jadual yang ditunjukkan di bawah:
Jumlah Perlindungan (RM) Diskaun setiap RM1,000
Jumlah Perlindungan
10,000 – 24,999 RM 1.00
25,000 – 39,999 RM 2.00
40,000 – 54,999 RM 3.00
55,000 – 69,999 RM 4.00
70,000 dan ke atas Sebut harga khas
Diskaun untuk Jumlah Perlindungan yang Lebih Besar: Takaful
Endowmen 25 tahun, Risiko Lelaki
Contoh 1:
Maklumat Peribadi Pencadang
Jantina : Lelaki
Tarikh lahir : 24 Oktober 1976
Tarikh Kuatkuasa : 18 Mac 2007
Maklumat Sijil
Jenis : Takaful Keluarga 25 tahun
Jumlah Perlindungan : RM5,000
PENGIRAAN
1) Tentukan umur harijadi akan datang:
Kita perlu mengira umur harijadi akan datang kerana kadar
sumbangan disediakan mengikut kaedah ini. (Lihat jadual di atas)
Tarikh harijadi akan datang yang hampir dengan 18 Mac 2007
ialah 24 Oktober 2007.
Umur harijadi akan datang = 31 tahun (iaitu 2007 – 1976)
Pengiraan Sumbangan Takaful Keluarga 547
2) Kadar Sumbangan Belum Dilaras untuk umur harijadi akan
datang 31 tahun = RM43.60 setiap RM1,000 jumlah
perlindungan.
Untuk jumlah perlindungan RM5,000, sumbangan yang
diperlukan ialah RM 5 x 43.60 = RM 218 setahun.
3) Menentukan kadar diskaun:
Tiada diskaun diberikan kerana jumlah perlindungan kurang dari
RM10,000 (lihat jadual di atas).
4) Sumbangan perlu dibayar
Sumbangan belum Dilaras = RM 218.00
tolak diskaun = 0____
Jumlah RM 218.00
=======
Contoh 2:
Maklumat Pencadang
Jantina : Wanita
Tarikh lahir : 24 Oktober 1976
Tarikh kuatkuasa : 18 Mac 2007
Maklumat sijil
Jenis : Takaful Keluarga 25 tahun
Jumlah Perlindungan : RM5,000
PENGIRAAN
1) Tentukan umur harijadi akan datang
Kita perlu mengira umur harijadi akan datang kerana kadar
sumbangan disediakan mengikut kaedah ini. (Lihat jadual di
atas)
Tarikh harijadi akan datang yang hampir dengan 18 Mac 2007
ialah 24 Oktober 2007.
548 Amalan Asas Takaful
Umur harijadi akan datang = 31 tahun (iaitu 2007 – 1976)
Bagi tujuan pengiraan sumbangan, pencadang wanita ini
diandaikan berumur 28 tahun.
2) Kadar Sumbangan Belum Dilaras untuk umur harijadi akan
datang 28 tahun = RM41.25 setiap RM1,000 jumlah
perlindungan.
Untuk jumlah perlindungan RM5,000, sumbangan yang
diperlukan ialah RM 5 x 41.25 = RM 206.25 setahun.
3) Menentukan kadar diskaun
Tiada diskaun diberikan kerana jumlah perlindungan kurang dari
RM10,000 (lihat jadual di atas).
4) Sumbangan perlu dibayar
Sumbangan belum Dilaras = RM 206.25
Tolak diskaun = 0___
Jumlah RM 206.25
=======
Contoh 3:
Maklumat pencadang
Jantina : Lelaki
Tarikh lahir : 24 Mac 1978
Tarikh kuatkuasa : 18 Mac 2007
Maklumat sijil
Jenis : Takaful Keluarga 25 tahun
Jumlah Perlindungan : RM35,000
PENGIRAAN
1) Tentukan umur harijadi akan datang
Kita perlu mengira umur harijadi akan datang kerana kadar
sumbangan disediakan mengikut kaedah ini. (Lihat jadual di
atas)
Pengiraan Sumbangan Takaful Keluarga 549
Tarikh harijadi akan datang yang hampir dengan 18 Mac 2007
ialah 24 Mac 2007.
Umur harijadi akan datang = 29 tahun (iaitu 2007 – 1978)
2) Kadar Sumbangan Belum Dilaras untuk umur harijadi akan
datang 29 tahun = RM42.00 setiap RM1, 000 jumlah
perlindungan.
Untuk jumlah perlindungan RM35,000, sumbangan yang
diperlukan ialah RM 35,000 x 42.00/1000 = RM 1,470 setahun.
3) Penentuan kadar diskaun
Kelayakan diskaun sebanyak RM2 bagi setiap RM1000 jumlah
perlindungan.
Amaun diskaun = RM35, 000 x RM2/RM1000 = RM 70
setahun.
4) Sumbangan perlu dibayar
Sumbangan Belum Dilaras = RM 1,470
tolak diskaun = 70
Jumlah RM 1,400
======
Pembayaran Sumbangan Lebih Kerap:
Sekiranya sumbangan yang perlu dibayar lebih kerap daripada
setahun, pelarasan selanjutnya akan dibuat sebelum tiba pada jumlah
caruman sebenar yang perlu bayar.
C8.3 PENGELUARAN SEBAHAGIAN
Kebanyakan Pengendali Takaful membenarkan peserta membuat
pengeluaran sebahagian dibawah sijil Takaful Keluarga mereka,
tertakluk kepada terma-terma dan syarat-syarat tertentu. Amalan ini
agak serupa dengan insurans hayat konvensional, tetapi perbezaan
550 Amalan Asas Takaful
utama ialah Pengendali Takaful tidak mengenakan faedah (interest)
atas ‘pinjaman’ yang diambil oleh peserta, kerana wang itu
sebenarnya milik peserta.
Oleh kerana sumbangan untuk Takaful Keluarga dibahagikan kepada
dua dana iaitu Akaun Peserta dan Akaun Khas Peserta, pengeluaran
sebahagian hanya dibenarkan dibawah Akaun Peserta sahaja dan
pengeluaran tidak boleh melebihi 50% dari jumlah amaun dalam
akaun ini. Peserta boleh memilih untuk membayar balik atau
sebaliknya untuk amaun yang telah dikeluarkan, tetapi pengiraan
pulangan pelaburan ke atas Akaun Peserta akan ditolak amaun yang
telah dikeluarkan.
Sekiranya sijil Takaful diserahkan kepada pengendali, semua jumlah
terkumpul di dalam Akaun Peserta sahaja hendaklah dibayar kepada
peserta. Pembayaran tidak melibatkan Akaun Khas Peserta kerana
peserta telah bersetuju untuk mendermakannya.
C8.4 PENGIRAAN NILAI SERAHAN
Sijil Takaful yang memperuntukkan hak memperolehi nilai serahan
biasanya akan menyertakan jadual kadar nilai tertentu. Ia akan
memudahkan proses pengiraan nilai serahan, iaitu setelah mengetahui
tempoh serahan sijil dibuat.
Walau bagaimanapun, apabila nilai serahan tidak ditetapkan terlebih
dahulu, pengiraan nilai-nilai ini memerlukan pertimbangan aktuari. Ia
adalah di luar skop buku ini untuk menangani isu-isu seperti ini.
Pertimbangan Utama dalam Pelan Takaful Berkaitan Pelaburan 551
BAB C9
PERTIMBANGAN UTAMA DALAM PELAN
TAKAFUL BERKAITAN PELABURAN
PENDAHULUAN
Bakal peserta perlu menimbangkan pelbagai faktor sebelum membuat
keputusan sama ada untuk mengambil bahagian dalam pelan Takaful
berkaitan pelaburan. Sebelum mereka membuat keputusan, mereka
perlu memahami dan mempertimbangkan objektif pelaburan mereka,
ciri-ciri produk, dana-dana yang sedia ada, risiko pelaburan, tempoh /
jangkamasa pelaburan, pencukaian dan prestasi pelaburan..
Dalam bab ini, kita akan meneliti setiap pertimbangan utama
pelaburan sebelum bakal peserta membuat keputusan untuk melabur /
mengambil bahagian dalam apa-apa pelan Takaful berkaitan
pelaburan.
C9.1 PENGENALAN
Adalah menjadi tanggungjawab ejen Takaful untuk menerangkan dan
mendidik pelanggan mengenai produk Takaful. Modul ini akan
membantu ejen-ejen Takaful memahami pengetahuan asas pelaburan
seperti bagaimana untuk melabur, apakah jenis pelaburan, bila dan
mengapa perlu melabur.
Pelanggan perlu mengkaji dan mempertimbangkan semua aspek
penting sebelum membuat apa-apa keputusan mengenai pelaburan.
Antara pertimbangan utama yang perlu diketahui dan difahami oleh
pelanggan ialah:
1. Objektif Pelaburan
2. Dana-dana yang sedia ada
3. Risiko atau Keselamatan
552 Amalan Asas Takaful
4. Tempoh / jangkamasa Pelaburan
5. Aspek Percukaian
6. Prestasi Pelaburan
7. Kepelbagaian
C9.2 OBJEKTIF PELABURAN
Sebelum pelabur menentukan objektif pelaburan, ia perlu mengetahui
objektif pelaburan. Ia akan membantu pelabur memilih instrumen
pelaburan dan kelas asset yang sesuai.
Secara ringkasnya, tujuan utama pelaburan ialah untuk menghasilkan
dan memperolehi pertumbuhan modal, menyediakan sumber
pendapatan atau kedua-duanya. Terdapat pelaburan tertentu yang
memberi pulangan seperti yang dihajatkan. Sebagai contoh, seseorang
membeli hartanah kerana peningkatan modal, manakala sesetengah
orang membeli hartanah untuk tujuan sumber pendapatan.
Objektif pelaburan juga boleh berubah mengikut keadaan atau situasi
seseorang. Sebagai contoh pelaburan hartanah, ketika di usia muda
mereka membeli hartanah kerana mereka inginkan pelaburan yang
menjanjikan pertumbuhan modal. Kemudian, iaitu ketika zaman
persaraan, keperluan untuk mempunyai sumber pendapatan tetap
lebih penting dari pertumbuhan modal. Maka, pendapatan dari sewa
hartanah berkenaan menjadi objektif pelaburannya.
Sekiranya pelabur berminat dengan pelaburan dana terkumpul seperti
dana bersama atau dana Takaful berkait pelaburan, pelabur perlu
mengetahui tujuan atau objektif sebelum membuat pelaburan ke
atasnya. Sama seperti instrumen pelaburan lain atau kelas aset, dana
terkumpul boleh memberi pulangan / pertumbuhan modal
(terutamanya pelaburan ekuiti), memperolehi pendapatan (pelaburan
bon) atau kedua-duanya (dana terimbang).
Pertimbangan Utama dalam Pelan Takaful Berkaitan Pelaburan 553
Tiga ciri-ciri asas objektif pelaburan ialah:
1. Keselamatan
Ia telah menjadi norma hidup manusia di mana pelabur akan
sentiasa mencari instrumen pelaburan yang paling selamat dengan
pulangan yang tinggi. Salah satu teori asas kewangan ialah
jangkaan pulangan dan risiko mempunyai korelasi / kaitan yang
positif. Dalam erti kata lain, risiko yang tinggi menjanjikan
pulangan yang tinggi.
2. Pendapatan
Tindakan melabur dalam pelaburan berisiko rendah seperti sukuk
atau akaun pelaburan am adalah untuk tujuan pendapatan kerana
ia menyediakan aliran pendapatan yang stabil. Walaupun sukuk
kadang-kadang didagangkan untuk pertumbuhan modal, tujuan
utama pelaburan masih lagi mengutamakan perolehan
pendapatan. Kelas aset atau instrumen pelaburan juga boleh
menyediakan pertumbuhan modal dan pendapatan pada masa
yang sama. Berdasarkan prinsip am pelaburan, instrumen
pelaburan yang menjanjikan pertumbuhan modal dan peruntukan
pendapatan semakin berkurangan atau sukar ditemui.
3. Pertumbuhan
Pelaburan dalam pasaran saham secara amnya dilakukan untuk
memperolehi peningkatan modal dan walaupun ia juga boleh
memberi pendapatan melalui dividen, tujuan umum melabur
dalam pasaran saham adalah untuk menikmati pertumbuhan
modal.
4. Objektif Pelaburan Lain
a. Persaraan
b. Pendidikan anak-anak
c. Perubatan
554 Amalan Asas Takaful
C9.3 KEBOLEHSEDIAAN MODAL
Melabur sejumlah kecil wang mungkin benar-benar memberi
keuntungan pada suatu hari kelak. Tetapi persoalannya ialah
bagaimana untuk mendapatkan wang atau modal dan melaburkannya.
Adalah menjadi kebiasaan apabila kita mendengar seseorang
menyatakan bahawa mereka tidak mempunyai baki pendapatan setiap
hujung bulan sebagai alasan untuk tidak melabur. Hakikatnya,
terdapat beberapa sumber dana yang boleh digunakan untuk tujuan
pelaburan.
1. Pendapatan
Pendapatan mungkin diperolehi dari upah, gaji, keuntungan,
bayaran dividen, sewa dan pendapatan-pendapatan lain yang
diterima dalam tempoh masa tertentu. Keupayaan untuk
mengenal pasti setiap pendapatan yang diterima, setiap sen yang
dibelanjakan dan ke mana wang tersebut dibelanjakan adalah
amat kritikal; lebih-lebih lagi jika kita merasakan yang kita tidak
mempunyai wang untuk dilaburkan.
Bajet yang betul akan membantu dalam perancangan sumber atau
dana untuk tujuan pelaburan.
2. Wang Tambahan
Ramai di antara kita mendapat wang tambahan dari semasa ke
semasa, termasuk pemberian hadiah wang ketika harijadi,
percutian, kerja lebih masa, bonus dan bayaran insentif. Wang
“durian runtuh” inilah yang akan menjadi sumber utama modal
pelaburan. Peruntukkan sekurang-kurangnya separuh daripada
wang “durian runtuh” tersebut dan depositkan ke akaun simpanan
atau akaun pelaburan. Oleh kerana bajet bulanan berdasarkan
sepenuhnya dari pendapatan tetap bulanan dan bukannya dari
wang tunai tambahan ini, maka ini adalah antara cara
menyediakan modal pelaburan yang tidak menyakitkan.
Pertimbangan Utama dalam Pelan Takaful Berkaitan Pelaburan 555
3. “Bil” Pelaburan Anda
Anggaplah akaun pelaburan anda sebagai satu lagi bil yang perlu
dibayar setiap bulan. Tetapkan matlamat pelaburan bulanan yang
realistik, dan gunakan konsep ‘bayaran untuk diri sendiri’ dan
simpan wang tersebut setiap bulan. Tetapkan satu matlamat yang
realistik - mulakan pelaburan serendah RM50 sebulan. Apa yang
penting ialah untuk memulakannya dan mula menanamkan
disiplin fiskal yang diperlukan. Apabila anda baru bermula, di
mana untuk meletakkan dana pelaburan tidak penting kerana yang
lebih penting ialah hakikat bahawa kita berjaya menyimpan wang
secara konsisten.
C9.4 RISIKO ATAU KESELAMATAN
Disebabkan wujudnya perkaitan yang rapat antara risiko dan
pulangan, pelanggan perlu sedar toleransi risiko peribadi masing-
masing apabila memilih pelaburan untuk portfolio mereka. Bersedia
menghadapi risiko adalah harga yang perlu dibayar untuk mendapat
keuntungan / pulangan. Oleh itu, jika pelanggan ingin mencari
keuntungan, dia tidak boleh menolak semua risiko. Matlamatnya ialah
untuk mencari keseimbangan - pelaburan yang menjana keuntungan
yang berpatutan dan pelanggan masih boleh tidur lena di waktu
malam. Sekiranya pelanggan ingin mendapat kadar pulangan yang
lebih tinggi, dia mesti bersedia untuk mengambil risiko yang lebih
tinggi juga.
C9.5 TEMPOH/JANGKAMASA PELABURAN
Tempoh / jangkamasa pelaburan merujuk kepada tempoh masa bagi
pelabur menyimpan pelaburan sekuriti atau portfolio pelaburannya.
Tempoh masa pelaburan ialah berapa lama pelabur perlu menunggu
sebelum boleh menjual pelaburannya. Ini merupakan suatu konsep
penting apabila pelabur cuba untuk memutuskan apakah bentuk
pelaburan yang sepatutnya ada dalam portfolionya. Prospek pelaburan
digunakan untuk menentukan keperluan pendapatan pelabur dan
556 Amalan Asas Takaful
pendedahan risiko yang diingini, yang kemudiannya digunakan untuk
membantu dalam memilih sekuriti / pelaburan.
Pelabur yang tidak memerlukan wang dalam jangkamasa pendek
boleh memiliki portfolio pelaburan yang lebih berisiko berbanding
dengan seseorang yang memerlukan wang dalam jangkamasa pendek.
Oleh kerana tempoh pelaburan meningkat mengikut masa, ekuiti
mewakili risiko tinggi-pulangan terlaras berbanding dengan sekuriti
pendapatan tetap dan wang tunai. Untuk tempoh pelaburan jangka
pendek, ekuiti menjadi kelas aset yang lebih berisiko kerana ia
membawa tahap kemudahruapan yang lebih tinggi.
Sebagai contoh, seorang profesional muda harus melabur dalam ekuiti
kerana tempoh masa yang ia ada mungkin 30 tahun atau lebih. Untuk
seseorang yang hampir bersara pula, pengekalan modal menjadi lebih
penting, dan oleh itu pelaburan pendapatan tetap adalah lebih sesuai.
Beberapa strategi dagangan, terutamanya yang berdasarkan analisis
teknikal, boleh menggunakan tempoh pelaburan hari, jam atau minit.
Secara amnya, tempoh masa dalam pelaburan mungkin bersifat
jangka pendek, sederhana atau jangka panjang. Berikut adalah
beberapa definisi umum mengenai tempoh masa pelaburan dan tahap
risiko yang wujud. Perlu diingat bahawa definisi di atas adalah tidak
standard dan dinyatakan secara sambil lalu sahaja.
1. Jangka Pendek
Jangka pendek sering ditakrifkan sebagai kurang daripada 3
tahun, dan mungkin tidak sesuai untuk saham, hartanah atau lain-
lain jenis pelaburan yang mempunyai tahap mudahruap yang
tinggi dan risiko yang besar kepada modal pelaburan. Dana sukuk
jangka pendek dan sijil deposit sering dinamakan sebagai pilihan
terbaik untuk pelabur jangka pendek.
Pertimbangan Utama dalam Pelan Takaful Berkaitan Pelaburan 557
Pelabur biasanya tidak mahu mengambil sebarang risiko dengan
wang mereka dan mereka mesti melabur dalam sekuriti yang
dijamin seperti akaun simpanan dividen- tinggi atau sijil deposit.
Dana jangka pendek perlu dilabur dalam pelaburan yang berisiko
sangat rendah seperti sijil deposit, simpanan sukuk dan sekuriti
Perbendaharaan. Pelabur boleh membina urutan bon supaya dana
matang setiap beberapa bulan, dan ia sentiasa tersedia bila
diperlukan atau dilaburkan semula dalam pasaran sukuk jangka
pendek yang lain.
Teknik ini juga mengambil kesempatan daripada kenaikan kadar
keuntungan. Apabila dana matang, ia dilaburkan semula dalam
sekuriti yang menjanjikan kadar pulangan yang lebih tinggi.
2. Jangka Sederhana
Tempoh masa untuk pelaburan jangka sederhana ini mungkin
dalam lingkungan 3-10 tahun. Pelaburan yang bergantung kepada
tempoh masa ini boleh dianggap sebagai berisiko rendah, sukuk
bertempoh sederhana atau stok dan bon pelbagai yang berwajaran
berat terhadap sukuk berisiko rendah.
Jenis pelaburan jangka sederhana ini menetapkan nisbah
campuran yang konservatif iaitu 70% sukuk dan 30% ekuiti.
3. Jangka Panjang
Ia adalah pelaburan untuk tempoh sepuluh tahun atau lebih, yang
membolehkan pelabur memilih untuk mendapatkan pulangan
yang berpotensi lebih tinggi dengan menanggung risiko yang
lebih. Saham dan hartanah boleh memberikan pulangan yang
tertinggi, dengan syarat pelabur selesa dengan risiko yang perlu
dihadapi.
Tempoh masa ini boleh meliputi pelaburan yang paling berisiko
tetapi perlu diingat bahawa pelaburan ekuiti mempunyai tempoh
558 Amalan Asas Takaful
yang sangat panjang dengan pulangan yang rendah. Oleh itu,
pelabur dinasihatkan agar menyertakan pelaburan yang
mempunyai komponen pendapatan tetap, mungkin dengan nisbah
75% ekuiti dan 25% sukuk. Nisbah ini boleh diselaraskan jika
perlu untuk mencari keseimbangan dan ketenangan fikiran.
Modal yang diperuntukkan untuk matlamat jangka panjang harus
dilaburkan dalam sekuriti yang menawarkan kenaikan nilai modal
dan pertumbuhan. Stok menyediakan kedua-dua kriteria tersebut.
Pelabur yang inginkan pelaburan 'satu saiz sesuai untuk semua'
dinasihatkan membuat pertimbangan terhadap dana bersama
terimbang yang melabur dalam saham-saham, bon, dan pelaburan
tunai. Pengurus dana akan memutuskan peratusan pelaburan bagi
setiap kumpulan berdasarkan keadaan pasaran dan keadaan
ekonomi. Portfolio dana saham bersama atau ETF, dana
pertukaran dagangan, saham mewah, dana modal besar atau
sederhana dan dana antarabangsa. Pelaburan sukuk jangka pendek
dan sederhana juga patut diberi pertimbangan.
C9.6 ASPEK PENCUKAIAN
Antara faktor yang perlu dipertimbangkan oleh pelanggan ialah aspek
pencukaian. Ini adalah kerana jenis pelaburan yang berbeza akan
menerima layanan pencukaian yang berbeza juga. Adalah penting
bagi pelanggan untuk mengetahui aspek-aspek pencukaian bagi
pelaburan yang berbeza sebelum dia membuat apa-apa keputusan
mengenai pelaburan.
C9.7 PRESTASI PELABURAN
Prestasi pelaburan ialah pulangan ke atas portfolio pelaburan.
Portfolio pelaburan boleh mengandungi satu jenis aset atau pelbagai
aset. Prestasi pelaburan diukur dalam tempoh masa yang tertentu dan
dalam mata wang tertentu. Pelabur sering membezakan jenis
pulangan.
Pertimbangan Utama dalam Pelan Takaful Berkaitan Pelaburan 559
Terdapat perbezaan di antara jumlah pulangan dan pulangan harga, di
mana jumlah pulangan mengambilkira pendapatan (faedah dan
dividen), manakala pulangan harga hanya mengambil kira
peningkatan modal.
Perbezaan lain adalah antara pulangan bersih dan pulangan kasar.
Pulangan bersih yang betul-betul ‘tulen’ untuk pelabur ialah pulangan
bersih semua yuran, perbelanjaan dan cukai diambilkira, manakala
pulangan kasar yang ‘tulen’ ialah pulangan sebelum semua yuran,
perbelanjaan, dan cukai. Pelbagai variasi timbul mengenai perbezaan
di atas. Apakah bentuk pulangan yang diingini bergantung kepada
kaedah penilaian yang digunakan. Sebagai contoh, jika seseorang
ingin mengikut keupayaan pengurus pelaburan untuk menambah nilai
pelaburan, maka pulangan selepas ditolak perbelanjaan urus niaga;
tetapi pulangan kasar yang meliputi semua yuran, perbelanjaan dan
cukai adalah satu langkah yang sesuai untuk diambil kira kerana
yuran, perbelanjaan dan cukai-cukai lain (selain dari perbelanjaan
urus niaga) adalah di luar kawalan pengurus pelaburan.
Satu lagi perbezaan yang ketara ialah perbezaan diantara pulangan
berwajaran wang dan pulangan berwajaran masa. Pulangan
berwajaran wang lebih sesuai sekiranya pengurus menentukan
tempoh masa aliran tunai masuk atau aliran tunai keluar daripada
portfolio. Sementara pulangan berwajaran masa lebih sesuai
sekiranya pengurus tidak dipertanggungjawabkan untuk menentukan
tempoh masa aliran tunai masuk ke portfolio dan aliran tunai keluar
dari portfolio.
Prestasi pelaburan bergantung kepada faktor-faktor berikut:
1. Keadaan ekonomi negara
2. Keadaan ekonomi serantau dan global
3. Kecekapan dan keupayaan pengurus dana
4. Tahap kos syarikat yang dilaburkan
5. Pencapaian masa lalu
6. Sejarah syarikat yang dilaburkan
7. Kitaran hayat pelaburan
560 Amalan Asas Takaful
C9.8 KEPELBAGAIAN
Kepelbagaian pelaburan didefinisikan sebagai proses melabur di
dalam:
a. Kelas aset - saham, sukuk dan tunai secara amnya tidak
mempunyai kaitan atau korelasi antara satu sama lain, oleh itu
memiliki beberapa unit pelaburan dalam setiap kelas aset akan
membantu mempelbagaikan portfolio pelaburan.
b. Industri - Jika anda memiliki saham secara langsung atau dalam
dana unit amanah, pastikan ada kombinasi yang mencukupi
daripada industri yang berbeza.
c. Negara - Kebanyakan pelabur cenderung untuk memiliki ekuiti
yang terlalu banyak di negara asal mereka dan ini akan
mengurangkan kemampuan untuk mempelbagaikan pelaburan
mereka.
Ia juga bermaksud pelabur perlu membuat pelaburan yang tidak
tertumpu hanya kepada sesebuah syarikat, industri, negara dan juga
kelas aset.
Pepatah ada mengatakan, “Jangan letakkan semua telur anda dalam
satu bakul”. Prinsip yang sama terpakai untuk melabur - meletakkan
pelaburan ke dalam bakul yang berbeza. Jika sesetengah daripada
bakul pelaburan tersebut gagal, maka kerugian masih boleh dikawal.
Biasanya wujud kecenderungan untuk meletakkan peratusan besar
portfolio ke dalam satu saham atau jenis pelaburan diyakini akan
berjaya, tetapi apa yang akan berlaku jika kita tersalah pilih?
Pelaburan akan lenyap kesemuanya! Mempelbagaikan pelaburan ke
dalam kelas aset yang berbeza, industri, negara dan juga mata wang
akan membantu melindungi dari mengalami kerugian besar.
Jenis-Jenis Dana Takaful Berkaitan Pelaburan 561
BAB C10
JENIS-JENIS DANA TAKAFUL
BERKAITAN PELABURAN
(INVESTMENT LINK TAKAFUL PLAN-ILTP)
PENGENALAN
Terdapat pelbagai pilihan entiti pelaburan yang terdapat dipasaran di
Malaysia untuk dijadikan pilihan. Perkembangan pesat dalam industri
kewangan sejak 15 tahun yang lalu telah menyaksikan perkembangan
dan kemunculan produk baru yang inovatif terutamanya dalam
industri kewangan Islam. Ini adalah selaras dengan aspirasi kerajaan
untuk menjadikan Malaysia sebagai hab bagi kewangan Islam.
Dalam bab ini, kita akan membincangkan pelbagai bentuk pelaburan
yang ditawarkan kepada pelabur individu.
C10.1 PILIHAN PELABURAN
1. Tunai dan Deposit
Istilah tunai dan deposit merujuk kepada semua instrumen
kecairan yang tiada atau terdapat sedikit unsur risiko yang boleh
mengakibatkan kehilangan modal pelaburan. Tunai dan deposit
adalah salah satu kaedah pembiayaan pelaburan. Ia termasuk
perkara-perkara berikut:
a. Terbitan Pelaburan Kerajaan
Terbitan Pelaburan Kerajaan (Government Investment Issue -
GII) adalah instrumen hutang boleh niaga versi Islam yang
diterbitkan oleh Kerajaan Malaysia untuk mengumpul dana
dari pasaran modal domestik bagi membiayai perbelanjaan
pembangunan kerajaan dan modal kerja. Bank pusat, Bank
562 Amalan Asas Takaful
Negara Malaysia dalam peranannya sebagai jurubank dan
penasihat kepada Kerajaan, akan memberi nasihat mengenai
butir-butir sekuriti Kerajaan dan bertindak memudahkan
proses penerbitan melalui pelbagai infrastruktur pasaran yang
ia memiliki dan mengendalikannya.
GII diterbitkan bagi membenarkan institusi kewangan Islam
seperti bank-bank Islam dan pengendali Takaful memegang
bil kecairan yang memenuhi keperluan statutori mudah tunai.
Penerbitan bil ini juga membolehkan mereka menggunakan
dana kecairan untuk melabur dalam instrumen yang
dikeluarkan berdasarkan prinsip Syari’ah kerana mereka tidak
boleh untuk membeli atau membuat urus niaga dalam
Sekuriti Kerajaan Malaysia (MGS), Rang Undang-Undang
Perbendaharaan Malaysia (MTB) atau instrument-instrumen
lain yang mempunyai unsur faedah.
Ia adalah jenis pelaburan yang selamat dan dianggap sebagai
tiada risiko, melainkan jika sekiranya keadaan politik negara
menjadi tidak stabil.
b. Akaun Bank
Akaun bank Islam termasuk akaun pelaburan am, akaun
semasa, akaun simpanan, akaun pelaburan dan akaun luar
pesisir. Kadar keuntungan akaun-akaun ini biasanya rendah
dan tidak melindungi pelaburan terhadap inflasi.
i. Akaun Pelaburan Am (General Investment Account -
GIA)
GIA merujuk kepada sejumlah wang yang disimpan
dengan bank dan keuntungan akan dibayar pada tarikh
bayaran interim keuntungan / pada tempoh matang (yang
mana berkenaan). Jumlah keuntungan sebenar hanya
akan diketahui pada tarikh matang berdasarkan pulangan
Jenis-Jenis Dana Takaful Berkaitan Pelaburan 563
kasar semasa untuk nisbah perkongsian keuntungan
dipersetujui.
ii. Akaun Semasa
Bank menawarkan kemudahan akaun semasa untuk
jagaan selamat wang pendeposit. Kemudahan ini, yang
berdasarkan kontrak wadi’ah membolehkan pendeposit
merancang perbelanjaan bulanan dan membolehkan
mereka menguruskan keperluan kewangan tanpa
melibatkan wang tunai.
iii. Akaun Simpanan
Akaun Simpanan ialah kemudahan deposit yang
ditawarkan oleh bank berdasarkan sama ada kontrak
wadi’ah atau kontrak mudarabah. Akaun simpanan
berdasarkan wadi’ah akan membayar hibah, sementara
akaun simpanan berdasarkan mudharabah akan
membayar keuntungan berdasarkan nisbah yang telah
ditetapkan.
Faktor-faktor yang mempengaruhi pemilihan akaun bank
ialah:
i. dana sedia ada
ii. prospek pelaburan, iaitu berapa lama pelabur perlu
menyimpan dana dalam akaun berkenaan.
iii. samada pengeluaran tunai dibenarkan.
iv. situasi ekonomi semasa.
2. Sukuk
Perkataan “sukuk” adalah jamak kepada “sakk”, perkataan Arab
yang bermaksud “sijil”. Sukuk adalah sijil amanah untuk
pemilikan sesuatu aset, atau sijil usufruk. Ia biasanya merujuk
dan mempunyai persamaan dengan bon Islam. Walau
564 Amalan Asas Takaful
bagaimanapun, ia berbeza daripada bon konvensional kerana ia
tidak membayar faedah kerana ia tidak dibenarkan dalam Islam.
Sekuriti Sukuk distrukturkan untuk mematuhi prinsip-prinsip
Syari’ah dan pelaburan. Aset kewangan yang mematuhi undang-
undang Syari’ah boleh dikelaskan mengikut kebolehdagangan
atau tidak boleh didagangkan dalam pasaran sekunder.
Proses penelitian aset konvensional digunakan dalam
penstrukturan sukuk di mana SPV diwujudkan untuk tujuan ini.
SPV (entiti yang ditubuhkan untuk sesuatu tujuan tertentu) akan
mengambil alih aset-aset yang akan disandarkan melalui sukuk
dan untuk menerbitkan tuntutan kewangan ke atas aset-aset
sepanjang tempoh yang ditakrifkan dibawah sukuk. Cagaran aset
mestilah mematuhi keperluan Syari’ah. Pulangan sukuk terikat
kepada aliran tunai yang dijana oleh aset yang dipegang dalam
SPV. Aliran tunai boleh dalam bentuk keuntungan dari jualan,
keuntungan daripada sewa, atau gabungan kedua-duanya.
Terbitan sukuk boleh distrukturkan dalam pelbagai cara. Ia boleh
menawarkan pilihan pendapatan samada secara tetap atau boleh
ubah.
a. Sukuk adalah berdasarkan konsep jualan spot (salam) atau
bayaran tertunda (bai’ al-mu’ajjal) dan / atau atau penjualan
penghantaran tertunda (bai’ al-salam).
Sekuriti ini biasanya diterbitkan untuk jangka pendek,
tempoh antara tiga bulan ke satu tahun, dan digunakan untuk
membiayai perdagangan komoditi. Sukuk yang berasaskan
konsep ini mesti disimpan sehingga matang kerana dagangan
sukuk ini dalam pasaran sekunder melibatkan riba, oleh itu, ia
adalah dilarang.
b. Sukuk berasaskan konsep ijarah
Gabungan bayaran sewa dan modal asal dari aliran tunai yang
dihasilkan oleh perjanjian pajakan-dan-pembelian balik
Jenis-Jenis Dana Takaful Berkaitan Pelaburan 565
adalah dagangan melalui pelabur. Sukuk berasaskan Ijarah
mempunyai tempoh matang jangka sederhana dan
jangkapanjang, mempunyai opsyen jual dan boleh diniagakan
dalam pasaran sekunder.
Sukuk boleh diterbitkan oleh pihak kerajaan dan juga syarikat
swasta. Dalam sukuk korporat, pulangan yang ditawarkan
biasanya lebih tinggi dari sukuk kerajaan. Walau
bagaimanapun, pulangan yang tinggi membawa risiko yang
tinggi juga.
Mengikut perspektif Syari’ah, sijil hutang tidak boleh
didagangkan (timbul pendapat yang berbeza mengenai hal ini
di Malaysia).
Struktur yang paling diterima dan boleh diniagakan adalah
Sukuk al-Ijarah. Dari perspektif Islam, sijil hutang hanya
boleh dibeli sebelum pembiayaan berlaku dan kemudian
disimpan sehingga tarikh matang, yang dianggap kritikal
untuk dagangan hutang pada nilai pasaran yang mengandungi
unsur riba yang dilarang. Oleh kerana Syari’ah berpendapat
wang merupakan alat pengukur nilai, bukan aset itu sendiri, ia
menekankan bahawa seseorang itu tidak seharusnya
menerima pendapatan daripada wang (atau apa-apa yang
mempunyai kaitan dengan wang) semata-mata. Penjanaan
wang dari wang “riba” adalah haram.
Dengan sukuk, kita perlu menilai risiko yang berkaitan
dengan terbitan tertentu, bukannya syarikat itu sendiri,
dengan melihat pada keupayaan penerbit membayar
hutangnya iaitu membuat pembayaran pendapatan apabila
tiba masanya dan membayar balik modal pada tarikh matang.
Sukuk mempunyai keutamaan yang lebih tinggi berbanding
dengan mana-mana ekuiti penggulungan. Sekiranya
pembayaran sukuk menghadapi kesukaran, maka syarikat
566 Amalan Asas Takaful
juga akan menghadapi masalah secara keseluruhan, dan
menimbulkan masaalah kepada pemegang saham ekuiti juga.
Kebaikan dan Keburukan
Ia menyediakan aliran pendapatan tetap kepada pelabur.
Sekiranya ia sukuk kerajaan, risikonya hampir-hampir tiada
dan ia dianggap pelaburan yang paling selamat.
Walau bagaimanapun, keburukan sukuk kerajaan ialah
pulangan yang ditawarkan lebih rendah dari kadar inflasi dan
oleh itu ia memburukkan rekod pelaburan.
3. Saham dan Pelaburan
Saham, yang juga dikenali sebagai stok atau ekuiti merupakan
unit pelaburan dalam syarikat-syarikat individu. ia mempunyai
nilai nominal, misalnya RM1.00, yang mana apabila didarabkan
dengan jumlah saham yang diterbitkan, ia akan membentuk
jumlah modal saham yang dikeluarkan. Nilai nominal tidak
mempunyai persamaan dengan harga pasaran yang sentiasa turun
naik mengikut prinsip permintaan dan penawaran, yang didorong
oleh daya tarikan syarikat dan prestasi perniagaannya.
Ekuiti Islam adalah saham syarikat-syarikat halal iaitu sekuriti
syarikat yang beroperasi dalam aktiviti-aktiviti yang dibenarkan
di bawah prinsip Syari’ah, diluluskan dan dikaji semula secara
berkala oleh para ulama’ Syari’ah melalui proses yang dikenali
sebagai pemeriksaan saham Islam. Bagi syarikat yang boleh
dikatakan halal, majoriti perolehan mestilah terutamanya yang
diperolehi dari aktiviti-aktiviti selain daripada perdagangan
alkohol, senjata api, tembakau, daging babi, pornografi, perjudian
atau keuntungan yang dikaitkan dengan mengenakan kadar
faedah ke atas pinjaman. Penentuan pematuhan Syari’ah terletak
ditangan penghakiman ulama’ Islam.
Jenis-Jenis Dana Takaful Berkaitan Pelaburan 567
Melalui pemilikan stok dan saham, ia memungkinkan para
pelabur mengumpulkan kekayaan melalui tiga cara yang berbeza:
 menerima pendapatan dari bayaran dividen
 menikmati pertumbuhan nilai dan menjualkannya ketika
harga tinggi
 mempunyai kombinasi kedua-dua di atas, dan membentuk
keseimbangan.
Saham menawarkan pelbagai pilihan seperti banyaknya usahawan
dan syarikat-syarikat yang cuba untuk membuat keuntungan
dalam sistem ekonomi. Terdapat beribu-ribu syarikat di pasaran
di Malaysia, dan juga yang disenaraikan di pasaran asing
(penyenaraian berganda). Keseluruhan spektrum membawa
kemungkinan pelaburan kepada pelabur - berisiko tinggi, saham
pertumbuhan tinggi dan syarikat saham mewah.
Saham-saham ditawarkan melalui pelbagai cara yang berbeza,
anda boleh membeli saham dalam syarikat individu, membentuk
portfolio pelaburan anda sendiri atau membeli saham melalui
skim kolektif seperti dana atau amanah pelaburan.
a. Saham Biasa
Saham biasa mencerminkan hak pemilikan keatas sesebuah
syarikat. Saham biasa boleh memberi faedah yang banyak,
seperti hak mengundi dan pembayaran dividen. Setiap saham
biasa yang dimiliki memberikan hak kepada pembeli untuk
satu undi mengenai isu-isu tertentu dalam syarikat. Lembaga
pengarah syarikat akan memutuskan jumlah dividen yang
akan dibayar, dan jumlah ini akan berbeza-beza dari tahun ke
tahun. Pemegang saham biasa berada disenarai terakhir
menerima dividen selepas semua pemberi hutang dan
pemegang saham terpilih; yang bermaksud bahawa mereka
(pemegang saham biasa) akan mendapat bayaran dividen
selepas semua yang lain telah dibayar.
568 Amalan Asas Takaful
Kebaikan dan Keburukan
Kelebihan saham biasa ialah pemegang saham biasa
mempunyai hak untuk mengundi dan memilih lembaga
pengarah. Walau bagaimanapun, kekurangan saham biasa
ialah bayaran dividen tidak dijamin.
b. Saham Utama
Seperti saham biasa, saham utama memberikan hak
pemilikan sebahagian daripada sebuah syarikat.
Perbezaannya pula ialah saham utama dibayar dividen tetap,
iaitu sebelum pembayaran dividen kepada pemilik-pemilik
saham biasa. Kekangan yang timbul ialah saham utama tidak
memberikan hak mengundi dan kurang peningkatan nilai
saham.
Kebaikan dan Keburukan
Pemegang saham utama diberi keutamaan dalam pengagihan
pendapatan berbanding dengan pemegang saham biasa. Oleh
itu, ia adalah satu pelaburan yang kurang berisiko dengan
harga pasaran yang stabil. Walau bagaimanapun, pemegang
saham utama tidak mempunyai hak untuk mengundi dan
memilih lembaga pengarah.
4. Unit Amanah
Dana seperti Unit Amanah yang disebut sebagai pelaburan
‘kolektif’ atau ‘terkumpul’. Ia merupakan kaedah pelaburan yang
terdiri daripada pelbagai jenis pelaburan yang dipilih oleh
pengurus dana. Ia adalah sama dengan unit amanah konvensional,
kecuali unit amanah Islam melabur hanya dalam sekuriti yang
mematuhi Syari’ah. Pengurus unit amanah memberikan
keutamaan kepada sekuriti (saham atau bon) bank-bank Islam dan
institusi kewangan, sekuriti syarikat-syarikat yang dikendalikan
Jenis-Jenis Dana Takaful Berkaitan Pelaburan 569
selaras dengan prinsip-prinsip Islam, dan sekuriti yang termasuk
dalam indeks ekuiti Islam.
Kontrak yang mengawal pertukaran unit antara pengurus unit
amanah dan pelabur biasanya mematuhi prinsip bai’ al-naqdi
(membeli dan menjual secara tunai). Apabila pelabur membeli
unit amanah, pelabur sebenarnya berkongsi pro rata dengan
pelabur-pelabur lain dalam pemilikan aset-aset yang dipegang
oleh amanah itu. Pengurus menerima yuran pengurusan di bawah
konsep ujrah (yuran) untuk menguruskan unit amanah.
Sebab-sebab utama melabur dalam dana unit amanah:
 Dana dapat membantu mengurangkan tahap risiko yang
dihadapi oleh pelabur.
 Dana boleh mengurangkan kos membentuk portfolio
pelaburan yang pelbagai.
 Dana membantu mengurangkan keperluan untuk memilih dan
mengurus sendiri pelaburan.
Kebaikan dan Keburukan
Kebaikan unit amanah ialah:
a. Pengurusan dana dikendalikan oleh para pakar yang mahir
dalam pelbagai aspek pelaburan dan pengurusan dana.
b. Pelabur mempunyai fleksibiliti untuk memilih dari pelbagai
dana unit amanah yang berada dipasaran. Modal dari para
pelabur akan dikumpulkan (pool) dan ini memudahkan
pengurus dana untuk membuat pelaburan, berbanding dengan
melabur secara individu. Ia juga memungkinkan kepada
pembentukan kepelbagaian portfolio dalam dana dan risiko.
c. Ia menyediakan ‘ekonomi berskala besar’ dimana ia mampu
mengurangkan kos transaksi.
Walau bagaimanapun, terdapat beberapa kos yang perlu
ditanggung, berbanding dengan pelabur individu.
570 Amalan Asas Takaful
5. Hartanah
Melabur dalam pasaran hartanah melibatkan pembelian,
pemilikan, pengurusan, sewa dan / atau penjualan hartanah atau
keuntungan. Pelabur membeli hartanah dengan niat untuk
memperolehi pendapatan daripadanya, sama ada melalui
penjualan atau pendapatan melalui sewa. Hartanah biasanya
meliputi bangunan pejabat, kompleks membeli-belah, bangunan
kediaman, dan sebagainya.
Hartanah adalah satu bentuk aset dengan mudah tunai atau
kecairan yang agak terhad berbanding dengan pelaburan lain. Ia
juga merupakan pelaburan yang memerlukan modal yang tinggi
serta aliran tunai yang juga tinggi.
Selain daripada pelaburan dalam bentuk asal harta tanah, pelabur
juga boleh melabur dalam bentuk baru pelaburan hartanah iaitu
Amanah Pelaburan Harta Tanah (REIT).
Amanah Pelaburan Hartanah Islam (I-REITs)
I-REIT adalah sama kepada REIT konvensional. Ia biasanya
distrukturkan sebagai amanah harta, kecuali ia mesti memegang
pelaburan yang mematuhi prinsip-prinsip Syari’ah. Ia
menggunakan pembiayaan pajakan (ijarah) sebagai ganti
pembelian terus harta. Ia melabur terutamanya dalam hartanah
fizikal, tetapi ia juga boleh memegang jenis lain pelaburan seperti
sukuk, syarikat swasta terkemuka yang aset utamanya terdiri
daripada hartanah, sekuriti hartanah dan bukan hartanah yang
mematuhi Syari’ah, lain-lain unit I-REITS, deposit jangka pendek
patuh Syari’ah dan tunai.
I-REIT boleh dimiliki secara awam atau persendirian. REIT
awam boleh disenaraikan di Bursa Kuala Lumpur yang akan
menyediakan pelabur kemudahan jual beli seperti pelaburan
ekuiti.
Jenis-Jenis Dana Takaful Berkaitan Pelaburan 571
Kebaikan dan Keburukan
Terdapat banyak kebaikan dalam pelaburan hartanah, iaitu:
a. Hartanah adalah satu pelaburan yang boleh memberi anda
pendapatan berterusan untuk sepanjang hayat. Jika pelabur
membeli hartanah dan menyewakan harta tersebut, ia boleh
memberikan aliran pendapatan yang berterusan sepanjang
hayat.
b. Satu lagi kelebihan melabur dalam hartanah adalah pelabur
boleh menggunakan banyak pilihan untuk memperolehinya.
Terdapat banyak cara pelabur boleh membeli hartanah tanpa
menggunakan wang sendiri. Salah satu cara untuk berbuat
demikian ialah melalui pembiayaan. Pembiayaan penjual
ialah apabila pelabur membayar wang pendahuluan secara
ansuran kepada penjual dan baki belian dijelaskan oleh pihak
bank.
c. Pelaburan hartanah mempunyai nilai dalaman atau intrinsik.
Saham biasa yang dibeli oleh pelabur boleh kehilangan 99%
daripada nilainya tetapi ia adalah hampir mustahil untuk
membeli saham hartanah yang kehilangan 99% daripada
nilainya.
Walau bagaimanapun, pelaburan hartanah juga ada
keburukannya:
a. Sekiranya kita membeli hartanah dan tidak mampu membuat
bayaran balik pinjaman, harta berkenaan mungkin akan
dirampas dan kemampuan kredit akan terjejas.
b. Terpaksa bergantung kepada ramai orang. Sekiranya penyewa
gagal membayar sewa bulanan, deposit sewa terpaksa
digunakan dan kemungkinan akhirnya ia boleh menjejaskan
keuntungan yang sepatutnya diperolehi.
c. Kos menyelenggara dan membaiki hartanah yang agak tinggi.
Apabila telah selesai membaiki bahagian tertentu pada
hartanah berkenaan maka tidak lama selepas itu terdapat
bahagian lain pula yang harus dibaiki.
572 Amalan Asas Takaful
6. Derivatif
Ia adalah satu instrumen kewangan dimana nilainya berkait rapat
dengan harga sebenar instrumen berkenaan dipasaran tunai,
biasanya ia dalam bentuk kontrak di mana pelabur berjanji untuk
menghantar atau mengambil penghantaran sesuatu aset pada
tarikh tertentu dan pada harga tertentu. Derivatif konvensional
termasuk panggilan dan opsyen jual, niaga hadapan, forwards dan
pertukaran serta digunakan untuk lindung nilai, arbitraj dan
spekulasi.
Walau bagaimanapun, selaras dengan undang-undang Syari’ah
yang melarang penggunaan spekulasi atau judi (maisir),
cendekiawan Islam membenarkan derivatif untuk tujuan
perlindungan nilai dan arbitraj. Ia juga mesti mengelakkan riba
(faedah) dan gharar (ketidakpastian). Derivatif Islam berdasarkan
kontrak yang disokong oleh prinsip-prinsip bai’ al-salam, bai’ al-
istisna', atau ‘urbun.
Produk derivatif Islam termasuk:
a. Deposit Murabahah Berstruktur
Secara harfiah, Murabahah bermakna campuran kos atau
jualan harga tambahan. Kontrak Murabahah boleh digunakan
untuk “pembentukan wang tunai” untuk tujuan pelaburan atau
pembiayaan. Untuk produk deposit menggunakan
Murabahah, konsep berikut:
i. Bai’ al-Inah yang melibatkan pembelian dan penjualan
aset di antara dua (2) pihak.
ii. Kontrak Murabahah komoditi atau Tawwaruq yang
melibatkan pembelian dan penjualan komoditi seperti
minyak sawit, logam dan sebagainya, tetapi urus niaga
biasanya melibatkan tiga (3) atau empat (4) pihak.
Jenis-Jenis Dana Takaful Berkaitan Pelaburan 573
Di bawah konsep Tawarruq, aset sandaran ialah komoditi
seperti minyak sawit atau logam. Beberapa bank
menggunakan stok seperti produk bijih timah halal yang
mudah untuk dikenalpasti dan disentuh. Pada asasnya, ia
adalah jualan barang tertentu, melalui pertukaran, harga
berdasarkan kos campur keuntungan.
Perlu diambil perhatian bahawa Deposit Murabahah
Komoditi adalah produk yang memberikan pelabur kadar
pulangan yang telah ditetapkan terlebih dahulu (berbeza
tetapi mempunyai persamaan dengan FD konvensional)
melalui pembelian dan penjualan komoditi sebagai urus niaga
asas.
b. Pasaran Pertukaran Islam
Pasaran Pertukaran (swap) Islam adalah sebahagian dari
keseluruhan pasaran derivatif Islam. Swap adalah instrumen
derivatif yang digunakan untuk memindahkan risiko. Ia
adalah derivatif di mana pihak-pihak berkenaan membuat
pertukaran manfaat tertentu atas instrumen kewangan satu
pihak ke instrumen kewangan pihak yang lain. Dua struktur
utama pertukaran Islam ialah pertukaran kadar keuntungan
iaitu kadar keuntungan yang serupa dengan pertukaran kadar
faedah konvensional, dan pertukaran mata wang bersilang.
i. Pertukaran Kadar Keuntungan
Swap adalah satu perjanjian pertukaran kadar keuntungan
tetap kepada kadar keuntungan terapung di antara dua
pihak dan dilaksanakan melalui pelaksanaan satu siri
cagaran kontrak dagangan aset tertentu di bawah prinsip
Syari’ah. Ia sama ada boleh menggunakan konsep bai’
bithaman, murabahah atau wa’ad.
Instrumen tersebut digunakan sebagai lindung nilai
terhadap turun naik dalam kadar pinjaman.
574 Amalan Asas Takaful
ii. Pertukaran Matawang Bersilang
Pertukaran Mata Wang Bersilang Islam ialah perjanjian
antara dua pihak untuk bertukar-tukar satu siri
pembayaran keuntungan dan / atau modal yang
dinyatakan dalam satu mata wang kepada siri
pembayaran keuntungan dan / atau modal yang lain
dalam denominasi mata wang lain, berdasarkan jumlah
pokok dan tempoh yang dipersetujui. Perkiraan
menggunakan transaksi komoditi murabahah sebagai urus
niaga asas. Pihak-pihak yang terlibat bersetuju untuk
menjual aset patuh Syari’ah antara satu sama lain untuk
penghantaran serta-merta, tetapi menggunakan kaedah
pembayaran tertunda dalam mata wang yang berbeza.
Ia adalah suatu cara dimana pelabur boleh memindahkan
risiko turun naik mata wang yang wujud dalam pelaburan
atau inventori mereka.
c. Opsyen
Opsyen ialah derivatif kewangan yang mewakili kontrak yang
dijual oleh satu pihak (penerbit opsyen) kepada pihak lain
(pemegang opsyen). Ia adalah suatu kontrak kewangan yang
menawarkan pembeli hak, tetapi bukan kewajipan, untuk
membeli (panggilan) atau menjual (meletakkan) sekuriti atau
aset kewangan lain pada harga yang dipersetujui (harga
strike) dalam tempoh masa tertentu atau pada tarikh tertentu
(tarikh melaksanakan hak). Opsyen panggilan adalah hak
untuk membeli sesuatu pada harga yang tertentu dan pembeli
mengharapkan harga akan naik. Opsyen jual memberikan
pilihan untuk menjual pada harga tertentu, dan pembeli
mengharapkan harga saham akan jatuh.
Opsyen biasanya boleh dijual oleh pembeli asal kepada pihak
lain. Ia boleh diwujudkan dalam bentuk yang seragam dan
didagangkan di kalangan orang awam di bursa opsyen atau
Jenis-Jenis Dana Takaful Berkaitan Pelaburan 575
disesuaikan dengan kemahuan pembeli, biasanya oleh
sesebuah bank pelaburan.
Harga opsyen diperolehi daripada perbezaan diantara harga
rujukan dan nilai aset asas (biasanya saham, sukuk, mata
wang atau kontrak niaga hadapan) ditambah dengan premium
yang berdasarkan baki masa sehingga tamat tempoh opsyen.
Harga rujukan di mana aset asas boleh diniagakan dipanggil
harga ‘strike’ atau harga ketika melaksanakan hak. Proses
mengaktifkan opsyen dan dengan itu dagangan asas pada
harga yang dipersetujui adalah dirujuk sebagai melaksanakan
hak. Kebanyakan opsyen mempunyai tarikh tamat tempoh.
Jika opsyen tidak dilaksanakan, sebelum tarikh tamat tempoh,
ia menjadi tidak sah dan tidak bernilai.
Kebaikan dan Keburukan
Kelebihan opsyen ialah ia boleh digunakan dalam pelbagai
strategi, dari konservatif kepada yang berisiko tinggi, dan
boleh disesuaikan dengan jangkaan yang lebih daripada
hanya "saham akan naik" atau "saham akan turun." Pelabur
boleh mendapat kepelbagaian dalam saham tanpa melakukan
dagangan. Risiko adalah terhad kepada premium opsyen
(kecuali apabila membeli opsyen untuk sekuriti yang belum
dimiliki). Opsyen juga membolehkan pelabur melindungi
kedudukan mereka terhadap turun naik harga apabila ia tidak
wajar untuk mengubah asas pelaburan.
Walau bagaimanapun, keburukan opsyen ialah kos dagangan
opsyen (termasuk kedua-dua komisen dan tawaran) adalah
lebih tinggi berdasarkan peratusan daripada dagangan saham
bercagar, dan kos ini secara drastik boleh menghapuskan
keuntungan. Dengan kepelbagaian harga strike,
sesetengahnya akan mengalami masaalah kecairan yang
sehingga menjadikan dagangan begitu sukar. Opsyen juga
sangat kompleks dan memerlukan banyak pemerhatian dan
penyelenggaraan.
576 Amalan Asas Takaful
d. Waran
Waran ialah pilihan yang diberikan kepada pemegang saham
untuk membeli jumlah saham yang telah ditentukan
jumlahnya terlebih dahulu pada harga yang ditentukan.
Waran mungkin berbentuk boleh dipisahkan atau tidak boleh
dipisahkan. Waran boleh dipisahkan boleh dijual secara
berasingan daripada bon yang dikaitkan dengannya. Oleh itu,
pemegang saham boleh menjual waran tetapi tidak menebus
bon.
Untuk mendapatkan saham biasa, waran hendaklah
diserahkan bersama-sama dengan bayaran wang tunai yang
dipanggil ‘harga perlaksanaan’. Walaupun waran biasanya
matang pada tarikh yang ditetapkan, ada waran yang kekal
selama-lamanya. Pemegang waran boleh melaksanakan
haknya dengan membeli saham, menjual di pasaran kepada
pelabur-pelabur lain, atau terus memegang waran tersebut.
Syarikat tidak boleh memaksa pelabur melaksanakan
warannya. Sekiranya perlu, syarikat mungkin mempunyai
harga perlaksanaan perubahan waran dari masa ke masa
(contohnya, peningkatan setiap tahun). Jika pecahan saham
atau dividen saham diterbitkan sebelum waran itu
dilaksanakan, harga opsyen waran itu akan diselaraskan.
Kebaikan dan Keburukan
Waran membolehkan penerbitan hutang pada kadar
keuntungan yang rendah. Ia boleh digunakan sebagai ‘pelaris’
untuk terbitan hutang atau saham utama. Selain dari itu, ia
membolehkan pembiayaan seimbang antara hutang dan
ekuiti.
Keburukan menerbitkan waran ialah apabila hak
melaksanakan waran digunakan, ia akan menyebabkan
pencairan saham biasa yang seterusnya merendahkan harga
pasaran saham.
Jenis-Jenis Dana Takaful Berkaitan Pelaburan 577
e. Dana Tukaran Dagangan Islam
Dana Tukaran Dagangan (exchange-traded fund - ETF)
adalah dana terbuka yang terdiri daripada sekuriti saham
disebut harga atau bon yang dipilih sebagai penanda aras, dan
bukan seperti dana bersama menjejaki indeks. ETF adalah
pelaburan individu yang mempunyai kaitan dengan prestasi
indeks keseluruhan (pelaburan yang dikumpulkan bersama
berdasarkan kriteria tertentu). Terdapat ETF dengan saham
mewah, saham modal sederhana, saham syarikat kecil,
syarikat dari negara tertentu, sektor pembuatan dan kriteria
saham lain.
Saham ETF Islam distrukturkan sama seperti ETF
konvensional kecuali penanda aras yang digunakan dalam
pembinaan dana indeks sekuriti patuh Syari’ah yang telah
diluluskan untuk memastikan bahawa syarikat-syarikat
terutamanya yang terlibat dalam aktiviti perniagaan yang
dibenarkan dan tidak mempunyai tahap liabiliti yang tinggi.
Sama seperti dana bersama, ETF membolehkan pelabur
memiliki pelbagai bentuk pelaburan (walaupun berlainan
jenis dalam ETF) dengan membeli hanya salah satu
pelaburan. Walau bagaimanapun, tidak seperti indeks dana
bersama, ETF adalah sama seperti stok di mana ia boleh
dibeli dan dijual pada bila-bila masa sepanjang hari dagangan
di bursa. Harga ETF menghampiri nilai aset bersih wajaran
portfolio sekuriti sepanjang hari dagangan.
Kebaikan dan Keburukan
Kebaikan ETF ialah:
a. Kos operasi yang rendah, biasanya separuh dari
perbelanjaan tahunan indeks dana unit amanah.
578 Amalan Asas Takaful
b. ETF amat fleksibel kerana ia boleh didagangkan sama
seperti saham biasa, pada bila-bila masa ketika waktu
urusniaga dan jualan segera.
c. ETF adalah mesra cukai, telus dan boleh dipelbagaikan.
Walau bagaimanapun, ETF mempunyai beberapa keburukan
kecil:
a. Tidak seperti dana unit amanah terbuka, ETF tidak boleh
dilabur semula dividennya. Dividen dibayar kepada
pemilik saham pada akhir setiap suku tahun. Ini
mempunyai sedikit kesan buruk ke atas prestasi dan
dipanggil "seretan dividen."(Dividend Drag)
b. Pembelian ETF juga menanggung komisen broker sama
seperti saham. Harga dagangan ETF adalah berdasarkan
kuasa pasaran, jadi pembeli mungkin membeli pada harga
premium atau diskaun sedikit. Perbezaan di antara harga
sebuah ETF dan harga nilai aset bersih yang menjadi
sandaran itu biasanya sangat kecil.
7. Dana Jaminan Modal
Terdapat dua jenis produk jaminan modal yang terdapat di
pasaran di Malaysia, iaitu:
a. Produk Pasif
Melalui produk ini, sebahagian besar daripada jumlah yang
dilaburkan akan digunakan untuk membeli aset berisiko
rendah yang dijangka akan mempunyai nilai terkumpul dalam
tempoh jangka produk untuk melindungi nilai modal asal.
Baki dari amaun yang dilaburkan akan digunakan untuk
membeli opsyen, dimana potensi produk dijangka akan
diperolehi. Walau bagaimanapun, perlu diketahui mengenai
pengaruh kadar keuntungan kepada jenis produk.
Jenis-Jenis Dana Takaful Berkaitan Pelaburan 579
Contoh:
Seorang pelabur telah melabur RM1,000 produk ini. Jika
hasil yang diunjurkan pada sukuk tiga tahun ialah 6.4%
setahun (berbanding 3% setahun), maka pengurus akan hanya
perlu melabur RM830 dalam aset risiko rendah,
meninggalkan baki RM170 untuk membeli opsyen. Walau
bagaimanapun, jika hasil yang diunjurkan hanya 3%, maka
pelaburan dalam opsyen akan hanya separuh iaitu RM85.
Oleh itu, ia akan mengurangkan potensi produk berkenaan.
b. Produk Aktif
Terdapat persamaan dengan produk terimbang yang
ditawarkan sebagai produk pelaburan yang biasa.
Perbezaannya ialah terdapat jaminan yang diberikan bahawa
pulangan produk ini tidak akan negatif.
Seperti yang dinyatakan di atas, produk-produk ini adalah
sama dengan dana terimbang tradisional. Walau
bagaimanapun, produk ini tidak cuba mengatasi penanda aras
yang telah ditetapkan, pengurus memberi tumpuan kepada
memaksimumkan pulangan mutlak. Jaminan bagi
kematangan produk ini ialah pulangan tidak akan menjadi
negatif.
Walau bagaimanapun, jaminan perlu diberikan oleh pihak
ketiga iaitu penerbit produk seperti yang dikehendaki oleh
Syari’ah.
8. Dana Komoditi Islam
Dana komoditi Islam ialah dana yang mempunyai pegangan
langsung dalam komoditi yang mematuhi prinsip Syari’ah.
Sebagai contoh, dana emas yang menyimpan ketulan emas adalah
contoh dana komoditi yang sebenar.
580 Amalan Asas Takaful
Terdapat beberapa keperluan yang perlu dipenuhi bagi memenuhi
prinsip-prinsip Syari’ah, iaitu:
 komoditi berkenaan perlu mempunyai hak milikan yang sah
pada masa jualan. Jualan singkat tidak dibenarkan tetapi
jualan hadapan dibenarkan di bawah 'salam bai dan bai
istisna'.
 komoditi yang diniagakan mestilah dibenarkan iaitu halal.
 Penjual mesti mempunyai fizikal (dapat dilihat) komoditi
yang hendak didagangkan.
 harga komoditi itu mestilah tetap dan diketahui oleh pihak-
pihak yang terlibat kerana sebarang keraguan yang timbul
akan menyebabkan jualan itu tidak sah.
Kebaikan dan Keburukan
a. Dana komoditi bertindak sebagai aset yang dipelbagaikan,
terutamanya apabila aset-aset lain yang dipegang adalah
ekuiti dan bon kerana ia tidak berkait rapat dengan ekuiti dan
kelas aset pendapatan tetap.
b. Dana komoditi bertujuan untuk menyediakan para pelabur
dengan pendapatan tetap sepanjang tempoh dana, iaitu
keuntungan yang diperolehi dari potensi kenaikan harga
komoditi.
C10.2 JENIS-JENIS PELAN TAKAFUL BERKAITAN
PELABURAN (ILTP)
1. Pelan Berkaitan Pelaburan dengan Sumbangan Tunggal
Pelan berkaitan pelaburan dengan sumbangan tunggal bercirikan
bayaran sumbangan tunggal sekali gus, dimana sumbangan akan
digunakan untuk membeli unit dalam dana berkaitan pelaburan
dan menyediakan perlindungan takaful keluarga. Ia menyediakan
manfaat kematian dan / atau hilang upaya kekal dan menyeluruh
sebanyak 125% daripada jumlah pelaburan sekali gus-gus atau
Jenis-Jenis Dana Takaful Berkaitan Pelaburan 581
sekurang-kurangnya RM5,000. Di Malaysia, sumbangan
minimum untuk pelan sumbangan tunggal ialah RM3,000.
Bayaran manfaat berupa jumlah perlindungan atau nilai unit
pelaburan pada masa tuntutan dibuat, yang mana lebih tinggi.
2. Pelan Berkaitan Pelaburan Sumbangan Tetap
Pelan sumbangan tetap adalah pelan yang menyediakan pilihan
kepada pelabur membayar sumbangan secara tetap iaitu secara
bulanan, suku tahun, setengah tahun atau tahunan. Ia adalah
rancangan yang lebih sesuai bagi orang-orang tidak mahu
melabur sejumlah besar di permulaan pelan. Pelan ini
menyediakan fleksibiliti kepada pelabur / peserta untuk
meningkatkan sumbangan dan perlindungan apabila kedudukan
kewangan mereka bertambah baik pada masa hadapan.
Perlindungan asas Takaful, iaitu sekiranya berlaku kematian dan /
atau hilang upaya kekal menyeluruh, adalah berdasarkan dari
gandaan sumbangan tahunan. Berdasarkan garis panduan terkini
mengenai dana berkaitan pelaburan yang dikeluarkan oleh Bank
Negara Malaysia (berkuat kuasa mulai November 2010), jumlah
minimum Gandaan Jumlah Perlindungan (SAM) untuk pelan
caruman tetap adalah 60 kali sumbangan tahunan. Pembayaran
manfaat ialah jumlah perlindungan berserta nilai unit pelaburan.
3. Pelan Persaraan Individu Berkait Pelaburan
Pelan persaraan individu berkaitan pelaburan adalah pelan
Takaful yang direka untuk menyediakan pendapatan persaraan
bagi menampung sara hidup dan memaksimumkan pulangan
pelaburan.
Pelan persaraan biasanya memerlukan peruntukan sumbangan
yang tinggi untuk mengumpulkan dana yang mencukupi sehingga
mencapai umur persaraan. Sebaik sahaja mencapai umur
582 Amalan Asas Takaful
persaraan, dana itu akan digunakan untuk membeli pelan anuiti
tradisional atau pelan anuiti berkaitan pelaburan.
Sebelum ini, tidak ada elemen perlindungan di dalam pelan ini.
Fokus tunggal pelan ini adalah untuk memberikan pulangan
pelaburan. Walau bagaimanapun, baru-baru ini terdapat
pengenalan elemen perlindungan yang dibiayai melalui
pembatalan unit.
4. Pelan Kesihatan Kekal Berkaitan Pelaburan
Pelan kesihatan kekal berkaitan pelaburan ialah pelan takaful
yang direka untuk menyediakan perlindungan kesihatan atau
terhadap penyakit merbahaya.
5. Pelan Penyakit Kritikal Berkaitan Pelaburan
Pelan penyakit kritikal berkaitan pelaburan adalah pelan takaful
yang direka untuk menyediakan bayaran sekali gus sekiranya
pemilik sijil mengalami mana-mana penyakit kritikal seperti sakit
jantung, strok, pintasan koronari, kegagalan buah pinggang dan
sebagainya.
6. Pelan Pendidikan Berkaitan Pelaburan
Pelan pendidikan berkaitan pelaburan adalah pelan takaful yang
direka khusus sebagai suatu dana simpanan yang menyediakan
sejumlah amaun apabila kanak-kanak telah mencapai usia
kemasukan ke kolej (18 tahun keatas). Dana simpanan itu boleh
digunakan untuk membayar yuran pendidikan pengajian tinggi.
Di bawah pelan ini, kanak-kanak berkenaan merupakan hayat
yang dilindungi, sementara ibu bapa / penjaga merupakan pemilik
sijil.
Jenis-Jenis Dana Takaful Berkaitan Pelaburan 583
C10.3 CIRI-CIRI PELAN TAKAFUL BERKAITAN
PELABURAN (ILTP)
1. Tujuan
ILTP mempunyai tujuan yang pelbagai, iaitu ia boleh digunakan
samada untuk tujuan pelaburan, simpanan biasa, perlindungan
dari hilang upaya kekal d an menyeluruh, kematian atau takaful
kesihatan. Pelanggan bebas menentukannya berdasarkan
keperluan mereka.
2. Pendedahan terhadap Pelaburan Ekuiti
ILTP memberi pendedahan terhadap pelaburan ekuiti yang tinggi
berbanding dengan takaful keluarga tradisional.
3. Risiko Pelaburan
Risiko pelaburan ditanggung oleh pemilik sijil, tidak seperti
takaful keluarga tradisional dimana risiko pelaburan ditanggung
oleh pengendali takaful.
4. Nilai Aset Bersih
Nilai Aset Bersih dana adalah tertakluk kepada prestasi
pelaburan.
5. Kos Perlindungan
Kos perlindungan dibiayai oleh caj yang bergantung kepada umur
dan tahap perlidungan dilakukan melalui pembatalan unit
pelaburan didalam dana.
6. Nilai Tunai
Nilai tunai ialah nilai unit diperuntukkan kepada pemilik sijil,
yang dikira mengikut harga bida.
584 Amalan Asas Takaful
C10.4 KELEBIHAN PELAN TAKAFUL BERKAITAN
PELABURAN (ILTP)
Pelan takaful berkaitan pelaburan mempunyai beberapa ciri-ciri unik:
1. Kebebasan memilih tahap perlindungan dan pelaburan
Pelan takaful berkaitan pelaburan menyediakan fleksibiliti untuk
memilih jumlah perlindungan dan nisbah pelaburan dalam
sumbangan tahunan yang disasarkan. Ia bergantung kepada
keperluan pelanggan. Jika keperluan dan objektif lebih ke arah
pelaburan, dia boleh memilih untuk perlindungan yang lebih
rendah dan meningkatkan pelaburan. Begitu juga jika dia mahu
perlindungan yang lebih, maka dia boleh meningkatkan
perlindungan dan menurunkan nisbah pelaburan.
2. Mempelbagaikan amaun sumbangan mengikut perubahan
keadaan kewangan
ILTP juga menawarkan fleksibiliti untuk meningkatkan portfolio
pelaburan melalui kaedah tambah nilai bagi merebut peluang
pelaburan yang ditawarkan oleh persekitaran luaran atau aliran
pendapatan sendiri.
3. Boleh membuat pertukaran dana pelaburan semasa ke jenis
dana pelaburan lain
Pelabur boleh menukar pelaburannya daripada satu dan ke dana
yang lain dalam payung dana yang sama. Satu dana payung
mengandungi beberapa pecahan dana. Setiap pecahan dana
merupakan unit amanah bebas dan diuruskan berasingan dengan
objektif pelaburan yang berbeza. Dana payung menawarkan
pelbagai peluang pelaburan, bersama-sama dengan kaedah yang
mudah untuk bertukar daripada satu dana ke pecahan dana yang
lain. Ini membolehkan pelabur mengambil kesempatan daripada
keadaan pasaran.
Jenis-Jenis Dana Takaful Berkaitan Pelaburan 585
4. Boleh menebus sebahagian dari unit berkaitan pelaburan
pada bila-bila masa
Untuk menghadapi keadaan yang tidak diduga, syarikat mungkin
menawarkan manfaat pengeluaran sebahagian. Pelabur boleh
membuat pengeluaran dari dana dan mengekalkan amaun
minimum yang ditetapkan.
5. Boleh memilih dari kepelbagaian dana pelaburan (ekuiti, bon
atau instrumen kewangan lain) untuk melabur
ILTP menawarkan pilihan lengkap meliputi pilihan risiko
pelaburan yang tinggi, rendah dan sederhana di bawah pelan yang
sama. Pelanggan boleh memilih satu pilihan yang sesuai
mengikut toleransi risiko, disertakan pula dengan peluang untuk
bertukar-tukar dan tanpa apa-apa perbelanjaan tambahan bagi
bilangan yang tertentu yang ditukar.
586 Amalan Asas Takaful
Struktur Dana Berkaitan Pelaburan 587
BAB C11
STRUKTUR DANA BERKAITAN
PELABURAN
PENDAHULUAN
Dalam bab ini, kita akan mempelajari tentang struktur dana berkait
pelaburan dalam usaha untuk memahami kaedah pengagihan
pendapatan dan jenis pelaburan dana berkaitan pelaburan di Malaysia.
C11.1 PENGENALAN
Bergantung kepada struktur dana berkaitan pelaburan, sumbangan
yang dibayar akan dilaburkan mengikut arahan bertulis daripada
pemilik sijil. Dana berkait pelaburan boleh dibahagikan kepada dua
cara iaitu:-
1. Pengumpulan unit
2. Pengagihan unit
C11.2 JENIS-JENIS BERKAITAN PELABURAN
1. Pengumpulan unit
Pendapatan atau pulangan pelaburan yang diperolehi dari dana ini
akan dimasukkan semula ke dalam dana yang sama dan membentuk
lebih banyak unit. Oleh itu, harga unit pelaburan akan meningkat
dalam tempoh jangka panjang.
2. Pengagihan unit
Di bawah struktur ini, pendapatan pelaburan akan digunakan untuk
membeli unit-unit tambahan. Dana ini akan mengagihkan unit kepada
588 Amalan Asas Takaful
pemilik sijil. Pemilik Sijil akan mempunyai lebih banyak unit tetapi
nilai aset bersih akan kekal tidak berubah.
C11.3 JENIS-JENIS DANA BERKAITAN PELABURAN
Ciri-ciri asas dana berkaitan pelaburan ialah ia merupakan suatu
bentuk pelaburan kolektif yang membolehkan para pelabur dengan
objektif pelaburan yang sama untuk mengumpulkan modal, dan
melabur dalam portfolio sekuriti yang diuruskan oleh ahli profesional
pelaburan.
Terdapat tujuh kategori utama dana berkaitan pelaburan di Malaysia
iaitu:
1. Dana Pendapatan
Dana pendapatan ialah suatu dana yang dirangka untuk
menyediakan pendapatan yang maksimum. Untuk mencapai
matlamat ini, dana pendapatan akan memilih pelaburan yang
biasanya memberikan pulangan dividen atau keuntungan.
Pelaburan ini termasuk sukuk, terutama sukuk pulangan tinggi
dan saham pilihan di mana pulangan dividennya dijamin. Saham
mewah juga menjanjikan pulangan yang tinggi kerana ia adalah
saham syarikat-syarikat besar yang mampu untuk membayar
dividen. Dana pendapatan popular di kalangan pelabur
konservatif yang tidak menggemari risiko, termasuk yang telah
bersara, yang mahu mengekalkan sebanyak mungkin aset yang ia
ada. Dana pendapatan tidak akan meningkat nilainya sebanyak
dana pertumbuhan; ini adalah sebagai pertukaran kepada
pendapatan semasa dana pendapatan. Dana pendapatan biasanya
melabur dalam sektor ekonomi yang rendah kadar
pertumbuhannya.
Sesuai dengan namanya, matlamat utama dana pendapatan adalah
untuk menyediakan sejumlah pendapatan kepada pelabur /
peserta. Mereka boleh melabur semata-mata dalam saham,
membeli syarikat-syarikat di mana pembayaran dividen yang
Struktur Dana Berkaitan Pelaburan 589
tinggi (yang dikenali sebagai perolehan yang tinggi), atau
melabur dalam saham campuran, sukuk atau harta.
Dana yang menghasilkan perolehan tinggi biasanya melabur
dalam ekuiti / saham yang cenderung untuk memberi tumpuan
kepada syarikat-syarikat dalam pasaran matang di mana dasar
dividen yang kukuh membantu mengimbangi kekurangan potensi
peningkatan dalam harga saham. Pastinya, pengurus dana akan
mencari syarikat-syarikat yang mempunyai pendapatan yang
kukuh untuk membiayai pembayaran dividen yang lebih tinggi.
2. Dana Pertumbuhan
Ia merupakan suatu portfolio di mana matlamat utamanya ialah
peningkatan modal sekuriti yang diwakilinya. Pelabur tidak
mengharapkan dividen dan kebanyakan pulangan keatas
pelaburan adalah dalam bentuk nilai aset bersih yang lebih tinggi.
Ini melibatkan pelaburan dalam syarikat-syarikat yang
mempunyai risiko yang lebih tinggi berbanding dengan portfolio
lain. Sebagai contoh, dana pertumbuhan mungkin akan melabur
dalam syarikat baru yang kelihatan berpotensi besar untuk
berkembang, dan bukannya syarikat saham mewah dengan
reputasi yang meyakinkan tetapi tidak menarik. Di samping itu,
dana pertumbuhan memerlukan tempoh masa yang agak panjang,
sebagai syarikat yang baru bermula dan biasanya mengambil
masa untuk menunjukkan peningkatan harga.
Pengurus dana pertumbuhan biasanya sanggup mengambil risiko
yang lebih tinggi untuk memperolehi pulangan yang melebihi
kadar biasa. Jika pertumbuhan kekal kukuh, dana ini mendapat
faedah tetapi sekiranya pertumbuhan terlalu perlahan, dana ini
mungkin akan terus jatuh. Sebagai dana pelaburan yang paling
mudah mengalami kemudahruapan (volatile), dana pertumbuhan
adalah untuk pelabur jangka panjang dengan peruntukan masa
yang cukup untuk menampung kerugian jangka pendek dan
mungkin untuk pelabur sepenuh masa.
590 Amalan Asas Takaful
3. Dana Imbang (Balanced Fund)
Ia adalah dana yang dilaburkan dalam pelaburan saham, sukuk
dan pelaburan deposit. Di dalam Dana Imbang (Balanced Fund),
nisbah pelaburan adalah berbeza-beza tetapi matlamat pelaburan
yang sama; mengekalkan modal, menyediakan sumber
pendapatan dan menyediakan satu tahap pertumbuhan jangka
panjang. Oleh itu, Dana Imbang perlu berusaha untuk memenuhi
lebih dari satu objektif pelaburan. Saham dalam Dana Imbang
(Balanced Fund) menyediakan pertumbuhan manakala sukuk
menyediakan sumber pendapatan dan mengekalkan modal. Dana
Imbang mempunyai tahap risiko yang agak rendah kerana tahap
risiko yang berbeza-beza dalam pelaburan saham, sukuk dan
tunai. Walau bagaimanapun, sebagai tukarannya, dana terimbang
tidak akan menjadi dana cemerlang dipasaran; sahamnya adalah
di dalam syarikat-syarikat besar yang tidak mengalami
kemudahruapan harga. Dana Imbang (Balanced Fund) adalah
dana pilihan di kalangan pelabur konservatif.
Dana Imbang (Balanced Fund) mempunyai kelebihan melabur
dalam pelaburan campuran antara pendapatan dan pertumbuhan.
Ia adalah perkara biasa bagi dana berkenaan yang majoriti
portfolionya dilaburkan dalam campuran saham dan sukuk, dan
bakinya dilaburkan dalam lain-lain instrumen pelaburan seperti
harta dan tunai. Walau bagaimanapun, kelas aset sebenar dan
nisbah bagi setiap kelas akan berbeza-beza mengikut objektif
dana.
4. Dana Tunai
Dana tunai membuat pelaburan dalam sekuriti tunai yang
mematuhi keperluan Syariah. Ia juga melabur dalam dana unit
amanah yang mematuhi syariah dimana sandaran aset ialah saham
bukan ekuiti seperti sukuk dan pasaran wang Islam.
Struktur Dana Berkaitan Pelaburan 591
5. Dana Harta
Dana harta ialah dana yang memegang / melabur dalam portfolio
hartanah dan hartanah yang berkaitan instrumen kewangan.
Hartanah yang dilabur oleh dana hartanah termasuk rumah
kediaman, rumah kedai, bangunan pejabat, perindustrian,
penjagaan kesihatan, hartanah hotel dan kemudahan penyimpanan.
Instrumen kewangan yang dipegang oleh dana hartanah
termasuklah pinjaman pembinaan dan pembangunan, gadaijanji,
dan sekuriti bersandarkan gadai janji.
Dana harta menjana pendapatan yang agak terhad terutamanya
disebabkan pelaburan sumber-sumber pasif (yang sewa,
keuntungan, dividen, dan keuntungan daripada jualan).
6. Dana Terurus (Managed Fund)
Dana terurus merupakan sebuah dana pelaburan yang diuruskan
secara profesional oleh pakar pengurusan dana yang melabur
dalam pelbagai jenis pelaburan. Jenis pelaburan sebenar dan
pelaburan campuran dalam dana ini bergantung kepada mandat
yang telah ditentukan terlebih dahulu oleh Pengurus Dana.
Dana terurus atau unit amanah berfungsi melalui pengumpulan
modal dari beberapa pelabur dan kemudiannya menggunakan
wang tersebut untuk membeli pelbagai jenis pelaburan. Ia
memberikan pelabur kuasa beli yang lebih besar serta
membolehkan mereka berkongsi kos dan memberikan mereka
manfaat dari khidmat yang diberikan melalui pengurusan
profesional.
Apabila pelabur membuat pelaburan, mereka sebenarnya
membeli ‘unit’ - dan kos setiap unit adalah 'harga unit'. Harga
unit bergerak ke atas dan ke bawah untuk mencerminkan nilai
pelaburan di dalam dana.
592 Amalan Asas Takaful
Unit Amanah terbentuk melalui Surat Ikatan Amanah, iaitu suatu
dokumen rasmi yang menyatakan kaedah-kaedah Amanah
sepatutnya beroperasi.
7. Dana Khusus (Specialized Fund)
Dana khusus ini adalah bertujuan mengkhususkan pelaburan
dalam sektor atau industri tertentu sahaja. Kepelbagaian dalam
pelaburan bukanlah matlamat utama dana ini. Oleh itu, pihak
yang terlibat perlu membuat keputusan yang tepat dalam semua
urusniaganya. Pelaburannya mempunyai risiko yang sangat tinggi
kerana ia tidak dipelbagaikan, dimana sejumlah besar modal
dilaburkan dalam pelaburan tertentu sahaja. Sungguhpun
demikian, ia juga menjanjikan keuntungan yang sangat tinggi
sekiranya ia dilaburkan disektor atau industri yang betul.
Penasihat pelaburan yang cekap adalah diperlukan apabila terlibat
dengan dana khusus ini kerana kesilapan kecil boleh
menyebabkan pelabur semua modalnya.
C11.4 PROFIL RISIKO – PULANGAN
Setiap dana berkaitan pelaburan mempunyai profil risiko-pulangan
sendiri. Semakin tinggi pulangan daripada dana itu, semakin tinggi
risikonya. Sebagai contoh, dana ekuiti biasanya membayar pulangan
yang lebih tinggi dan oleh itu risiko pelaburannya juga lebih tinggi.
Sebaliknya, dana tunai biasanya membayar pulangan yang sangat
rendah, berpadanan dengan risiko pelaburan yang rendah juga.
Rajah yang ditunjukkan di bawah menunjukkan kaitan risiko –
pulangan, iaitu semakin tinggi risiko, semakin tinggi pulangannya.
Struktur Dana Berkaitan Pelaburan 593
C11.5 PENUKARAN
Ini adalah aktiviti pelaburan dimana unit pelaburan dari satu dana
dijual dan hasil jualan dilaburkan semula dalam dana yang lain pula.
Aktiviti penukaran dana ini berlaku kerana perubahan persepsi
pelabur terhadap peluang-peluang pelaburan. Ia juga mungkin hasil
daripada perubahan profil risiko pelabur.
Kemudahan ini adalah sangat berguna dalam perancangan kewangan.
Sebagai contoh, pelabur yang mula melabur pada usia 40 tahun
mungkin mahu mengubah peruntukan aset apabila dia mencapai umur
55 tahun. Profil risikonya pada usia 55 tahun mungkin berbeza dari
umur 40 tahun.
Amalan penukaran dana pelaburan adalah berbeza antara satu
pengendali dengan pengendali yang lain. Biasanya, amalan yang
digunakan ialah:
594 Amalan Asas Takaful
1. Pengendali Takaful menawarkan secara percuma bagi penukaran
unit saham yang dibuat pada tahun berkenaan.
2. Pengendali Takaful menawarkan secara percuma penukaran
bilangan unit terhad dalam tempoh yang diberikan. Sebagai
contoh, penukaran unit untuk kali pertama pada tahun berkenaan
adalah percuma. Penukaran unit berikutnya akan dikenakan caj
atau bayaran.
3. Pengendali Takaful akan mengenakan caj atau bayaran bagi
setiap penukaran unit.
Manfaat dan Risiko Melabur dalam Dana Berkaitan Pelaburan 595
BAB C12
MANFAAT DAN RISIKO MELABUR DALAM
DANA BERKAITAN PELABURAN
PENGENALAN
Melabur dalam dana berkaitan pelaburan mempunyai banyak manfaat
untuk pelabur. Walau bagaimanapun, bakal peserta/pelabur juga mesti
memahami bahawa dana berkaitan pelaburan juga mempunyai
pelbagai risiko yang boleh menjejaskan pelaburan. Oleh itu, ia adalah
sangat penting kepada bakal peserta untuk memahami risiko yang
terlibat apabila melabur dalam dana berkaitan pelaburan.
Dalam bab ini, kita akan melihat manfaat melabur dalam dana
berkaitan pelaburan dan risiko yang berkaitan dengannya.
C12.1 MANFAAT
1. Kepelbagaian Dana
Dana berkaitan pelaburan diuruskan secara aktif dan melabur dalam
pelbagai peruntukan aset, yang tidak dapat ditandingi oleh pelabur
individu yang tidak kecukupan modal. Terdapat beratus-ratus
pelaburan dana berkaitan pelaburan yang boleh dipilih. Pelaburan
dana berkaitan pelaburan, sama dengan dana unit amanah boleh
dilaburkan dalam portfolio pelbagai aset. Portfolio boleh terdiri
daripada pelbagai pelaburan seperti ekuiti, sukuk, mata wang, harta,
wang tunai, deposit dan lain-lain. Ini membolehkan pelabur
memegang pelbagai portfolio tanpa mengira jumlah yang dilaburkan,
yang pelabur tidak mampu untuk memilikinya jika mereka mahu
melabur secara peribadi.
596 Amalan Asas Takaful
2. Kepelbagaian Risiko
Oleh kerana pelaburan dibuat dalam portfolio yang pelbagai, risiko
melabur secara langsung dalam satu atau dua saham atau lain-lain
instrumen hutang juga dapat dikurangkan. Apa-apa kerugian dalam
syarikat atau sektor tertentu diganti (off-set) dengan keuntungan yang
diperolehi dalam syarikat-syarikat atau lain-lain sektor.
Jika pelabur merancang untuk melabur di dalam saham-saham atau
pasaran sukuk, pelabur perlu membentuk pelbagai portfolio untuk
mengurangkan risiko. Jika pelabur memegang satu atau dua saham
dan saham berkenaan mengalami penurunan yang ketara, pelabur
boleh mengalamai kerugian. Tetapi jika pelabur memegang beratus-
ratus saham dan satu atau dua saham mengalami kemerosotan, risiko
yang dihadapi menjadi kurang. Adalah sukar untuk mendapatkan
jenis kepelbagaian yang diperlukan sekiranya pembelian saham dan
sukuk dibuat secara langsung, tetapi ia menjadi lebih mudah apabila
pelabur mengambil bahagian dalam dana berkaitan pelaburan.
3. Purata Kos Ringgit
Ia membolehkan pelabur untuk melabur secara berkala dengan
seberapa amaun yang kecil, tanpa perlu memikirkan kesesuaian masa
ketika memasuki pasaran. Bertentangan dengan tindakan melabur
dalam pasaran aset secara sekaligus, pelabur secara perlahan-lahan
membeli sejumlah kecil pelaburan dalam tempoh yang lebih panjang.
Dengan cara ini kos belian boleh dipuratakan atau disebarkan
sepanjang tempoh beberapa tahun, bagi membentuk penebat /
halangan dari berlakunya perubahan harga pasaran.
4. Pengurusan Profesional
Operasi perniagaan pengendali takaful dikawal selia oleh Bank
Negara Malaysia bagi tujuan melindungi orang ramai yang melabur.
Oleh itu, pengendali Takaful perlu melantik pengurus dana
profesional yang mempunyai kepakaran, kemahiran dan sumber-
sumber untuk pengurusan wang, serta kemahiran teknikal dan kerja-
Manfaat dan Risiko Melabur dalam Dana Berkaitan Pelaburan 597
kerja penyelidikan yang amat diperlukan sebagai tenaga sokongan.
Pengendali Takaful juga boleh melantik penasihat pelaburan yang
berdaftar untuk pengurusan portfolio pelaburannya.
5. Mengurangkan Kos Transaksi
Apabila pelabur membuat pelaburan secara langsung, ia perlu
menanggung semua kos seperti kos pembrokeran atau
penyelenggaraan sekuriti. Tetapi di bawah dana berkaitan pelaburan,
pelabur dapat mengurangkan kos kerana dana ini berada di tahap
“ekonomi berskala besar”, kerana jumlah urus niaga yang besar dapat
mengurangkan kos keseluruhan.
6. Kecairan
Dana berkaitan pelaburan ini adalah sama seperti dana unit amanah di
mana ia mempunyai sifat kecairan yang tinggi. Pelabur boleh menarik
balik pelaburan mereka pada bila-bila masa. Nilai aset bersih (NAV)
dana berkaitan pelaburan akan dikira dan diumumkan pada akhir hari
urus niaga berdasarkan nilai asas sekuriti portfolio. Biasanya harga
NAV sehari sebelum hari urus niaga boleh digunakan untuk
permohonan pengeluaran yang diterima sebelum waktu tutup urus
niaga.
7. Objektif Pelaburan Lebih Menyeluruh
Pelabur boleh memilih opsyen pertumbuhan atau opsyen dividen dari
skim yang sama dalam dana berkaitan pelaburan. Jika pelabur
bercadang untuk mengumpul harta / kekayaan, pelabur boleh memilih
opsyen pertumbuhan, dan jika pelabur memerlukan pendapatan tetap
daripada pelaburan, ia boleh memilih opsyen dividen.
8. Urus Khidmat Pelbagai
Pengendali Takaful biasanya meyediakan pelbagai perkhidmatan
tambahan seperti berikut:
598 Amalan Asas Takaful
a. Penukaran
Peserta boleh menukar pelaburannya dari satu dana ke dana yang
lain, bergantung kepada keadaan pasaran dan perspektif terhadap
risiko.
b. Pilihan Tambah Nilai
Peserta mempunyai pilihan untuk membuat tambah nilai
pelaburan dalam usaha meningkatkan amaun pelaburan yang
mampu menjana lebih banyak pulangan.
c. Kemudahan Ekses Harga Dana Melalui Siaran Media
Peserta boleh mengekses harga dana melalui media seperti akhbar
harian utama, laman web pengendali takaful dan majalah
kewangan.
C12.2 RISIKO PELABURAN
1. Pasaran
Risiko pasaran timbul kerana faktor-faktor yang memberi kesan
kepada pasaran keseluruhan dan biasanya termasuk perubahan dalam
undang-undang dan peraturan, politik, teknologi dan ekonomi.
Faktor-faktor ini adalah beberapa contoh elemen yang mempunyai
kesan ke atas perniagaan, sama ada positif atau negatif.
Risiko pasaran boleh dikurangkan melalui kepelbagaian.
Kepelbagaian pelaburan dana ke dalam jenis (ekuiti atau bukan ekuiti
dan lain-lain) dan dengan dasar pelaburan dan strategi yang berlainan
boleh membantu mengurangkan pendedahan kepada ketidaktentuan
dan turun naik pasaran. Ia berpunca dari hakikat bahawa terdapat
bencana ekonomi yang mengancam semua bentuk perniagaan. Oleh
itu, pelabur akan terdedah kepada ketidaktentuan pasaran dan tidak
kira berapa banyak sekuriti dipegang, turun naik dalam persekitaran
Manfaat dan Risiko Melabur dalam Dana Berkaitan Pelaburan 599
ekonomi, politik dan sosial akan menjejaskan harga pasaran
pelaburan sama ada dalam cara yang positif atau negatif.
2. Kecairan
Risiko kecairan adalah risiko dimana instrument / sekuriti yang
dilaburkan tidak boleh dijual dengan mudah atau ditukar menjadi
wang tunai. Ini boleh berlaku apabila jumlah dagangan sekuriti adalah
rendah dan / atau apabila terdapat kekurangan permintaan belian
sekuriti.
Dalam menguruskan risiko kecairan, dana akan menggunakan analisa
kecairan atau jumlah dagangan di pasaran utama dan pasaran
sekunder bagi semua jenis sekuriti. Sekiranya bersesuaian, dana akan
melihat aliran jumlah dagangan bagi sekuriti yang menimbulkan
persoalan. Selepas itu, peruntukan aset yang sesuai boleh dibuat untuk
setiap sekuriti bagi mengurangkan risiko kecairan ke tahap yang
selesa berhubung dengan profil risiko-pulangan sekuriti. Risiko
kecairan juga sebahagiannya dihadkan oleh dasar-dasar kepelbagaian
dana.
3. Kadar Keuntungan
Risiko kadar keuntungan timbul dari keadaan turun naik nilai aset
yang membawa keuntungan seperti pembiayaan atau sukuk,
disebabkan oleh perubahan dalam kadar keuntungan, yang seterusnya
boleh mempengaruhi harga unit dana dengan sukuk sebagai aset
sandaran. Secara amnya, apabila kadar keuntungan meningkat, harga
sukuk akan jatuh.
Risiko ini boleh dikurangkan dengan mempelbagaikan jangka masa
pelaburan pendapatan Islam pada masa yang ditetapkan. Pemantauan
berterusan dan penilaian variabel makro-ekonomi untuk memastikan
strategi yang paling sesuai digunakan dalam portfolio dana.
600 Amalan Asas Takaful
4. Kegagalan Kredit
Kegagalan kredit adalah risiko kerugian akibat kegagalan membayar
balik pembiayaan atau kredit pelaburan lain (sama ada modal pokok
atau keuntungan atau kedua-duanya). Kegagalan kredit termasuk
kelewatan dalam pembayaran balik, penstrukturan semula
pembayaran balik peminjam dan bankrap.
Risiko ini dapat dikurangkan dengan melabur dalam sekuriti yang
berkualiti tinggi kerana ia biasanya mempunyai tahap risiko kredit
yang rendah.
5. Pelaburan
Ini adalah risiko yang dikaitkan dengan melabur dalam aset tertentu.
Semua aset pelaburan membawa risiko walaupun aset pelaburan yang
berbeza mempunyai tahap risiko yang berbeza. Nilai pelaburan
bergantung kepada potensi pertumbuhan dan pendapatan, pengurusan
yang mantap dan juga pelbagai faktor yang lain. Kegagalan untuk
mencapai pendapatan yang dijangka akan mengakibatkan nilai
pelaburan menurun yang seterusnya memberi kesan kepada prestasi
dana. Kesan ini boleh dikurangkan dengan mempelbagaikan portfolio
dana. Pengurus akan menggunakan kriteria pemilihan yang ketat,
untuk meneliti komponen pelaburan bagi mengurus risiko berkenaan.
6. Pengkelasan Semula Status Syari’ah
Risiko ini merujuk kepada risiko yang timbul daripada usaha
menyemak semula status sekuriti yang patuh dengan Syari’ah kini
dipegang dalam dana boleh diklasifikasikan semula sebagai tidak
mematuhi Syari’ah dalam kajian semula secara berkala. Jika ini
berlaku, maka nilai dana itu mungkin terjejas di mana pengurus akan
mengambil langkah-langkah yang perlu untuk melupuskan sekuriti itu
selaras dengan mandat dana yang mematuhi Syari’ah.
Manfaat dan Risiko Melabur dalam Dana Berkaitan Pelaburan 601
Risiko ini boleh dikurangkan dengan menjalankan kajian semula
berkala oleh Jabatan Pematuhan Syari’ah (SCD) dan Jawatankuasa
Syari’ah (SC) Pengendali Takaful.
7. Ketidakpatuhan
Ia merujuk kepada tindakan yang tidak mematuhi peruntukan surat
ikatan, prospektus, garis panduan, dasar-dasar dalaman dan undang-
undang yang berkaitan dengan pengurusan pelaburan. Risiko ini
boleh dikurangkan melalui kawalan dalaman dan pemantauan
pematuhan.
8. Mata wang
Pergerakan dalam kadar pertukaran mata wang boleh mengakibatkan
penurunan dalam pulangan dan kehilangan modal terutama apabila
melabur dalam dana unit amanah bukan-denominasi matawang
tempatan (RM).
Untuk mengurangkan risiko, pelaburan harus dihadkan kepada
beberapa negara supaya risiko mata wang untuk negara tertentu dapat
dikurangkan. Di samping itu, perlindungan nilai mata wang boleh
digunakan untuk mengurangkan risiko.
9. Negara
Sekiranya dana dilaburkan di negara tertentu, pelaburan mungkin
terjejas oleh risiko khusus kepada negara tersebut, di mana iklim
pelaburan berubah umpamanya perubahan dalam asas-asas ekonomi
negara, kestabilan sosial dan politik, pergerakan mata wang, dasar-
dasar pelaburan asing dan lain-lain.
Risiko ini boleh dikurangkan dengan menjalankan penyelidikan
menyeluruh ke atas pasaran masing-masing, keadaan ekonominya,
syarikat-syarikat, politik dan keadaan sosial serta mengambil tindakan
meminimumkan jumlah pelaburan atau menarik diri dari pasaran
pelaburan negara berkenaan.
602 Amalan Asas Takaful
Percukaian dan Undang-Undang Pelan Takaful Berkaitan Pelaburan 603
BAB C13
PERCUKAIAN DAN UNDANG-UNDANG YANG
MELIPUTI PELAN TAKAFUL BERKAITAN
PELABURAN
PENGENALAN
Aspek percukaian adalah salah satu pertimbangan utama untuk bakal
pelabur sebelum ia membuat apa-apa keputusan mengenai pelaburan.
Peserta juga mesti memahami peruntukan-peruntukan seperti yang
dinyatakan di bawah dalam Akta Takaful 1984 dan garis panduan
yang dikeluarkan oleh Bank Negara Malaysia.
Dalam bab ini, kita akan membincangkan tentang percukaian dan
undang-undang yang mengawal perniagaan Takaful, supaya kita
dapat menasihati pelanggan-pelanggan mengenai perkara yang
dinyatakan di atas.
C13.1 PERCUKAIAN DALAM PELAN TAKAFUL
BERKAITAN PELABURAN
Undang-undang utama yang mengawalselia cukai pendapatan di
Malaysia ialah Akta Cukai Pendapatan 1967. Kadar cukai dan
pelepasan cukai (relief) dinyatakan dalam Akta Kewangan selepas
Menteri Kewangan membentangkan belanjawan tahunan.
Pelan Takaful berkaitan pelaburan dikategorikan sebagai produk
Takaful Keluarga. Oleh itu, aspek-aspek percukaian pelan Takaful
berkaitan pelaburan menerima layanan percukaian yang sama seperti
bentuk-bentuk lain sijil Takaful Keluarga.
604 Amalan Asas Takaful
Pelepasan cukai dibenarkan apabila sijil Takaful Keluarga adalah:-
1. atas hayat peserta.
2. atas hayat pasangan peserta (suami atau isteri).
3. atas hayat bersama peserta dan pasangannya.
Untuk penyertaan dalam Takaful Keluarga termasuk pelan berkaitan
pelaburan, peserta layak mendapat pelepasan cukai peribadi seperti
dalam insurans hayat. Jumlah maksimum pelepasan bagi Takaful
Keluarga biasa ialah RM6, 000 setiap tahun ditolak apa-apa caruman
yang dibayar kepada skim faedah persaraan iaitu Kumpulan Wang
Simpanan Pekerja. Bagi pelan perubatan dan pendidikan, pelepasan
cukai ialah RM3,000 setahun.
Oleh yang demikian, sumbangan yang dibayar oleh peserta adalah
layak mendapat pelepasan cukai pendapatan.
Tidak seperti unit amanah, pengendali Takaful tidak mendapat
pengecualian ke atas keuntungan unit daripada realisasi pelaburan.
Walau bagaimanapun, pengendali Takaful dikenakan cukai pada
kadar yang lebih rendah iaitu 8% ke atas pendapatan yang boleh
dikenakan cukai dan realisasi keuntungan modal dana Takaful
Keluarga. Oleh kerana surplus yang dijana daripada pengunderaitan
produk Takaful berkaitan pelaburan telah dikenakan cukai di
peringkat pengendali Takaful, prosid yang diagihkan kepada peserta
pelan Takaful berkaitan pelaburan dikecualikan dari cukai.
Apabila sijil matang atau apabila ia dibayar apabila berlakunya
kejadian yang dilindungi, ia dianggap sebagai penerimaan modal,
bukan pendapatan. Oleh itu, ia tidak dikenakan cukai kerana ia tidak
melibatkan keuntungan modal.
Percukaian dan Undang-Undang Pelan Takaful Berkaitan Pelaburan 605
C13.2 UNDANG-UNDANG YANG MELIPUTI PELAN
TAKAFUL BERKAITAN PELABURAN
Di Malaysia, peraturan perniagaan Takaful dicapai melalui
pentadbiran dan penguatkuasaan Akta Takaful 1984. Penguatkuasaan
Akta adalah di bawah kuasa Gabenor Bank Negara Malaysia yang
juga Ketua Pengarah Takaful.
Tujuan utama Akta tersebut diperkenalkan ialah:-
1. Melindungi kepentingan awam
Memastikan kesolvenan atau kekukuhan kedudukan kewangan
pengendali Takaful agar ia dapat memenuhi tanggungjawabnya
terhadap pemilik sijil dan pihak yang menuntut.
2. Mengutamakan keadilan dan kesaksamaan
Memastikan pengendali Takaful, broker dan penyelaras (secara
kolektif merupakan pemegang lesen dibawah peruntukan Akta)
bersikap adil dan saksama dalam melaksanakan urusniaga dengan
pelanggan dan pihak yang menuntut.
3. Mempamirkan keupayaan
Memberi penekanan agar pengendali Takaful, broker dan
penyelaras menitikberatkan keupayaan mencapai tahap
kecemerlangan profesional dan kejujuran dalam urusniaga.
4. Memainkan peranan kearah pembangunan industri
Menggalakkan pengendali Takaful bertindak aktif memainkan
peranannya dalam pembangunan ekonomi negara.
Akta Takaful 1984 memperuntukkan dasar dan piawaian secara
menyeluruh, sementara keperluan terperinci yang ditetapkan oleh
peraturan atau garis panduan, surat pekeliling dan kod amalan
606 Amalan Asas Takaful
perniagaan yang baik. Garis panduan terkini mengenai Perniagaan
Insurans/Takaful Berkaitan Pelaburan BNM/RH/GL 010-15 yang
dikeluarkan oleh Bank Negara Malaysia pada tahun 2010 dan
berkuatkuasa mulai 12 November, 2010.
1. Definisi Perniagaan Takaful Berkaitan Perniagaan
Mengikut garis panduan terkini, perniagaan Takaful Berkaitan
Pelaburan dirujuk sebagai "menguatkuasa dan melaksanakan
kontrak Takaful atas hayat manusia atau anuiti dimana
sebahagian atau keseluruhan manfaat ditentukan dengan merujuk
kepada nilai, atau pendapatan, atau mana-mana harta yang
terdedah kepada keadaan turun naik harga, atau indeks nilai
mana-mana harta."
2. Syarat-Syarat Kelulusan
Garis panduan tersebut seterusnya menyatakan bahawa
pengendali Takaful berdaftar tidak dibenarkan menjalankan
perniagaan Takaful berkaitan pelaburan kecuali setelah mendapat
kelulusan bertulis dari Bank Negara Malaysia (BNM) dan
tertakluk kepada mana-mana syarat yang ditetapkan. Permohonan
untuk mendapatkan kelulusan menjalankan perniagaan Takaful
berkaitan pelaburan hendaklah dihantar ke Bank Negara
Malaysia, dengan menyertakan sekali pelan rangka kerja
perniagaan yang lengkap agar BNM dapat menilai kepakaran dan
keupayaan teknikal yang dimiliki oleh pengendali Takaful dalam
memasarkan dan menguruskan perniagaan berkenaan dengan
cekap dan berkesan.
3. Dana yang Berasingan
Pengendali Takaful hendaklah mengadakan dan menyelenggara
satu atau lebih dana berkaitan pelaburan secara berasingan bagi
maksud mentadbir perniagaan berkaitan pelaburan. Aset semua
dana berkenaan hendaklah disimpan berasingan daripada semua
aset lain milik Pengendali Takaful.
Percukaian dan Undang-Undang Pelan Takaful Berkaitan Pelaburan 607
4. Had Pelaburan
Pelaburan dana berkaitan pelaburan adalah tertakluk kepada had-
had berikut, sama ada untuk aset di Malaysia atau aset di luar
negara:
Had rakan niaga
a. Nilai pelaburan dana dalam ekuiti mana-mana penerbit
tunggal tidak boleh melebihi 10% daripada nilai aset bersih
(NAV) dana.
b. Jumlah nilai pelaburan dana dalam sekuriti, derivatif OTC
(selain bagi maksud lindung nilai) dan produk berstruktur
mana-mana penerbit tunggal/kumpulan penerbit tidak boleh
melebihi 25% daripada nilai aset bersih (NAV) dana.
Had Aset
a. Jumlah nilai pelaburan dana dalam sekuriti tidak tersenarai
tidak boleh melebihi 10% daripada nilai aset bersih (NAV)
dana.
b. Jumlah nilai pelaburan dana dalam produk berstruktur tidak
boleh melebihi 15% daripada nilai aset bersih (NAV) dana.
c. Jumlah nilai pelaburan dana dalam mana-mana skim
pelaburan kolektif (CIS) tidak boleh melebihi 10% daripada
nilai aset bersih (NAV) dana.
Had ke atas Kelas Sekuriti oleh Penerbit Tunggal
Walau apa pun yang dinyatakan di atas, pelaburan dana dalam
mana-mana kelas sekuriti dari mana-mana penerbit tunggal tidak
boleh melebihi 10% daripada jumlah nilai kelas sekuriti, kecuali
untuk sekuriti yang diterbitkan / dijamin oleh Kerajaan
Persekutuan Malaysia dan Bank Negara Malaysia.
608 Amalan Asas Takaful
5. Penilaian Aset
Garis panduan menyatakan bahawa pengendali Takaful
hendaklah mematuhi penilaian aset yang dinyatakan dibawah:
a. Aset dana Takaful Berkaitan Pelaburan hendaklah dinilai
berdasarkan nilai pasaran harian.
b. Bagi penilaian harta tak alih, Pengendali Takaful hendaklah
menggunapakai ‘FRS 140: Hartanah Pelaburan’ dan ‘FRS
116: Hartanah, Loji dan Peralatan’, yang dikeluarkan oleh
Lembaga Piawaian Perakaunan Malaysia (MASB). Penilaian
harta tak alih yang dimiliki oleh Pengendali Takaful
hendaklah disahkan oleh penilai profesional bebas sekurang-
kurangnya sekali bagi setiap tiga tahun bagi hartanah
pelaburan (selain daripada harta yang dibeli tidak melebihi
setahun sebelum tarikh penilaian), dan sekali bagi setiap lima
tahun bagi hartanah yang diduduki sendiri. Walau
bagaimanapun, Pengendali Takaful perlu membuat
penyelarasan yang sesuai kerana nilai pasaran aset berubah
dengan ketara dalam tempoh antara penilaian.
c. Untuk aset-aset berikut, nilai aset hendaklah tidak melebihi
nilai pasaran:
i. Sekuriti tidak tersenarai; dan
ii. Sekuriti tersenarai yang telah digantung dagangannya
oleh mana-mana bursa saham bagi tempoh 14 hari atau
lebih dagangan berturut-turut pada tarikh nilai aset akan
ditentukan.
Asas dan teknik-teknik yang digunakan dalam menentukan nilai
saksama aset-aset di atas hendaklah didedahkan dan disahkan
oleh juruaudit luar. Untuk instrumen hutang Islam yang tidak
mempunyai pasaran yang aktif, pengendali Takaful atau penilai
bebas mereka boleh menggunakan teknik-teknik penilaian yang
diterima secara meluas yang telah menunjukkan kemampuan
untuk membuat anggaran harga yang boleh dipercayai.
Percukaian dan Undang-Undang Pelan Takaful Berkaitan Pelaburan 609
6. Penilaian Liabiliti
Asas pengiraan liabiliti bukan-unit bagi sijil Takaful berkaitan
pelaburan adalah seperti yang dinyatakan dibawah:
a. Aktuari yang dilantik hendaklah menjalankan penilaian
liabiliti bukan-unit bagi setiap sijil Takaful berkaitan
pelaburan dengan menggunakan unjuran aliran tunai. Liabiliti
komponen bukan-unit sijil Takaful berkaitan pelaburan
dinilai dengan membuat unjuran aliran tunai masa depan
untuk memastikan bahawa semua obligasi pada masa
hadapan boleh dipenuhi tanpa memerlukan bantuan
kewangan atau sokongan tambahan modal pada bila-bila
masa sepanjang tempoh perlindungan sijil Takaful berkait
pelaburan. Aktuari yang dilantik hendaklah membuat unjuran
aliran tunai yang menggunakan asas keperluan yang
ditetapkan dalam perenggan di bawah.
b. Aktuari yang dilantik hendaklah membuat unjuran aliran
tunai untuk penilaian liabiliti bukan-unit bagi setiap sijil
Takaful berkaitan pelaburan menggunakan asas anggaran
yang terbaik. Rizab minimum akan menjadi amaun yang akan
diasingkan supaya amaun terkumpul pada masa depan dengan
anggaran kadar pulangan yang terbaik, bersama-sama dengan
aliran tunai masa depan yang positif, semua aliran negatif
pada masa hadapan adalah sifar. Andaian anggaran terbaik
biasanya meliputi:
i. Kemortalan
Faktor-faktor bersesuaian berdasarkan pengalaman
sebenar atau jadual kemortalan industri.
ii. Pulangan pelaburan
Kadar jangkaan pertumbuhan dana harus mencerminkan
campuran aset sebenar dana dan anggaran terbaik aktuari
610 Amalan Asas Takaful
mengenai perolehan pelaburan masa depan sandaran aset
dana.
iii. Perbelanjaan
 Suatu set andaian yang sesuai hendaklah ditentukan
oleh aktuari yang dilantik berdasarkan siasatan yang
sesuai berkaitan amalan-amalan dana Takaful dan
pengalamannya; dan
 Peruntukan yang sewajarnya mengenai inflasi
hendaklah disediakan dalam unjuran perbelanjaan
masa depan.
iv. Kadar pengeluaran
Suatu set yang bersesuaian mengenai kadar pengeluaran
yang berdasarkan pengalaman sendiri Dana Takaful.
c. Asas yang digunakan dalam penilaian hendaklah seperti apa
yang dilaporkan dalam laporan penilaian aktuari oleh aktuari
yang dilantik.
d. Aktuari yang dilantik hendaklah menilai margin yang sesuai
untuk pengiraan anggaran terbaik yang perlu dimasukkan
untuk menampung turun naik pasaran.
e. Aktuari yang dilantik perlu menilai samada untuk
menggunakan kaedah penilaian yang lebih ketat sekiranya
bersesuaian berdasarkan perspektif profesionalnya.
7. Had Umur Pemilik Sijil
Peserta pelan Takaful berkaitan pelaburan mestilah berumur
sekurang-kurangnya 18 tahun. Syarat ini dikenakan untuk
perniagaan Takaful berkaitan pelaburan memandangkan
keperluan untuk membataskan penjualan pelan itu kepada
individu yang cukup matang untuk membuat penilaian terhadap
Percukaian dan Undang-Undang Pelan Takaful Berkaitan Pelaburan 611
risiko pelaburan yang terlibat dan membuat keputusan pelaburan
yang baik.
8. Peruntukan Tempoh Bertenang
Peserta mempunyai peruntukan ‘free-look’ atau tempoh
bertenang selama 15 hari selepas menerima sijil untuk meneliti
terma dan syarat sijil. Peserta boleh menamatkan kuatkuasa sijil
dalam masa 15 hari tempoh bertenang dan pengendali Takaful
hendaklah membayar balik dengan segera sebarang sumbangan
yang telah dibayar keatas sijil berkenaan.
9. Manfaat Kematian Minimum
Produk Takaful berkaitan pelaburan hendaklah menyediakan
manfaat kematian minimum (tidak termasuk rider) seperti
berikut:
a. untuk sijil sumbangan tunggal - RM 5,000 atau 125% dari
sumbangan tunggal, yang mana lebih tinggi; atau
b. untuk sijil sumbangan tetap - RM 5,000 atau gandaan
sumbangan tahunan, yang mana lebih tinggi.
Pengendali Takaful boleh menawarkan manfaat kematian yang
lebih rendah daripada amaun minimum yang dinyatakan di atas
untuk peserta yang lebih tua usianya dan hayat substandard,
tertakluk kepada amaun minimum RM 5,000 atau 105% daripada
sumbangan tunggal, yang mana lebih tinggi.
10. Bayaran Sumbangan Minimum
Pelan sumbangan tunggal hendaklah mempunyai sumbangan
minimum sebanyak sekurang-kurangnya RM3, OOO. Ini bagi
mencerminkan jumlah pelaburan yang munasabah untuk memberi
manfaat yang lebih bermakna kepada peserta.
612 Amalan Asas Takaful
11. Perantaraan
Hanya ejen dan lain-lain pengantara pengendali Takaful, yang
telah lulus Peperiksaan Asas Takaful (TBA), atau yang setaraf
dengannya, yang dibenarkan memasarkan produk Takaful
berkaitan pelaburan.
12. Pendedahan Maklumat
a. Ilustrasi/Bahan Jualan;
Ilustrasi jualan/pemasaran hendaklah memenuhi kandungan
minimum dan keperluan pendedahan lain yang dinyatakan
dalam Kod dan Garis Panduan Produk Takaful Keluarga.
Disamping itu, ilustrasi jualan/pemasaran untuk sijil Takaful
berkaitan pelaburan juga hendaklah mematuhi format yang
disediakan dalam Garis Panduan.
b. Penyata kepada Pemilik Sijil;
Pengendali Takaful hendaklah menyediakan kepada setiap
peserta satu penyata mengenai nilai sijil peserta sekurang-
kurangnya sekali setahun. Penyata itu hendaklah diedarkan
dalam tempoh dua bulan selepas berakhirnya setiap tahun
kewangan pengendali Takaful, atau akhir tempoh yang
dilaporkan di mana kenyataan yang lebih kerap disediakan.
Penyata yang diedarkan kepada setiap peserta mengenai
status sijil berkaitan pelaburan mestilah mengandungi tetapi
tidak terhad kepada, maklumat yang ditetapkan dalam format
yang disediakan dalam garis panduan.
Setiap urus niaga dalam tempoh tersebut hendaklah
dilaporkan secara individu, bersama-sama dengan tarikh
transaksi berkenaan.
Percukaian dan Undang-Undang Pelan Takaful Berkaitan Pelaburan 613
c. Laporan Prestasi Dana Kepada Pemilik Sijil
Pengendali Takaful hendaklah menyediakan laporan
mengenai prestasi setiap dana berkaitan pelaburan di mana
peserta mempunyai unit, sekurang-kurangnya sekali setahun
kepada setiap peserta. Laporan itu hendaklah diedarkan
dalam tempoh empat bulan dari tarikh akhir setiap tahun
kewangan pengendali Takaful, atau akhir tempoh yang
dilaporkan di mana laporan yang lebih kerap disediakan. Bagi
dana tertutup, Pengendali Takaful boleh menyediakan laporan
yang berdasarkan pada akhir tahun kewangan dana.
Laporan prestasi dana, yang termasuk penyata kewangan dan
nota-nota kepada akaun-akaun, hendaklah mengandungi
maklumat yang minimum seperti yang ditetapkan dalam
format yang disediakan dalam Garis Panduan.
C13.3 LAIN-LAIN KEPERLUAN PERUNDANGAN
Perniagaan Takaful berkait pelaburan tidak hanya tertakluk kepada
Akta Takaful 1984 dan Peraturan-Peraturan, tetapi juga kepada
prinsip undang-undang khas yang termaktub dalam kontrak Takaful
seperti kepentingan boleh insurans, penuh percaya mutlak, indemniti,
sebab hampiran, dan juga undang-undang yang berkaitan dengan
pembentukan kontrak kepada agensi-agensi dan syarikat-syarikat
yang digunakan sama dengan kelas Takaful Keluarga lain.
614 Amalan Asas Takaful
Mengenalpasti dan Mewujudkan Keperluan Pelanggan 615
BAB C14
MENGENALPASTI DAN MEWUJUDKAN
KEPERLUAN PELANGGAN
PENDAHULUAN
Dalam bab ini, kita akan melihat proses memberikan khidmat nasihat
yang akan membantu ejen dalam menjalankan perniagaan mereka
secara profesional. Kita akan melihat setiap proses dan memahami
apa yang perlu dilakukan.
C14.1 PENGENALAN
Ejen Takaful menghadapi cabaran-cabaran baru yang sangat berbeza
berbanding 15 tahun yang lalu. Landskap kewangan yang baru sama
ada di peringkat global atau tempatan telah membuat semua orang
menjadi lebih berhati-hati sebelum terlibat dalam mana-mana
portfolio pelaburan. Istilah kewangan dan ayat-ayat yang sukar
difahami sering mengelirukan dan pelanggan juga tidak mempunyai
pengetahuan yang mencukupi tentang bagaimana pasaran kewangan
yang berbeza memainkan peranannya.
Dalam usaha untuk mengenal pasti dan mewujudkan keperluan
pelanggan, ejen hendaklah mempunyai pengetahuan dan kefahaman
yang diperlukan, bukan sahaja aspek-aspek teknikal dan skop
perlindungan Takaful Keluarga, tetapi juga amalan memberi nasihat
kewangan untuk memenuhi keperluan pelanggan.
Struktur proses memberi khidmat nasihat melibatkan langkah-langkah
berikut:-
1. Mewujudkan dan menjelaskan hubungan pelanggan-ejen.
2. Mengumpulkan semua data kewangan, termasuk matlamat.
3. Menganalisa dan menilai status kewangan pelanggan.
616 Amalan Asas Takaful
4. Merangka dan membentangkan cadangan.
5. Melaksanakan cadangan.
6. Memantau cadangan.
C14.2 MEWUJUD DAN MENJELASKAN HUBUNGAN
PELANGGAN-EJEN
Asas kepada jualan Takaful yang berjaya ialah amanah kerana jika
prospek tidak mempercayai ejen, adalah sukar untuk ejen
memuktamadkan jualan. Membina kitaran amanah adalah bahagian
paling penting dalam penglibatan pelanggan untuk melahirkan
profesional Takaful yang berjaya dan menguntungkan.
Ejen harus memulakan proses ini dengan mewujudkan hubungan
dengan pelanggan. Mewujudkan hubungan yang saling mempercayai
adalah langkah pertama yang berkesan untuk melibatkan pelanggan
supaya mereka secara terbuka boleh berbincang mengenai keperluan
kewangan mereka. Sama ada ejen memanggil mereka pelanggan,
klien atau pembeli, ejen mesti memahami dan mengakui bahawa
mereka semua adalah individu yang berpandangan, bersikap,
berpengetahuan dan berpersepsi terhadap perbincangan tersebut.
Ejen perlu meyakinkan pelanggan bahawa dia (ejen) berada dalam
kedudukan yang boleh membantu pelanggan untuk memenuhi
matlamat kewangan pelanggan. Ini adalah satu langkah yang penting.
Ejen perlu bertanya soalan yang betul untuk mengetahui apa yang
mereka cari, mengapa mereka perlu mencari, keperluan semasa dan
masa depan mereka dan pengalaman mereka dengan ejen insurans
dan pengantara-pengantara lain, semata-mata untuk meraih keyakinan
pelanggan yang dirinya (ejen) adalah penasihat yang boleh
dipercayai, yang mereka boleh bergantung harapan untuk
mengesyorkan produk yang betul, atas sebab-sebab yang betul.
Ejen perlu betul-betul fokus dan mengumpul maklumat sebanyak
mungkin. Akhirnya, ejen akan dapat membentuk kumpulan prospek
yang berkualiti.
Mengenalpasti dan Mewujudkan Keperluan Pelanggan 617
C14.3 MENGUMPULKAN SEMUA DATA KEWANGAN
TERMASUK MATLAMAT
Langkah seterusnya ialah tindakan ejen mengumpul data-data
berkaitan yang akan membantu ejen membuat analisa mengenai apa
yang diperlukan dalam perancangan kewangan pelanggan. Ejen perlu
mengendalikan sesi “pencarian fakta” dan mendapatkan semua data
yang berkaitan untuk membolehkan ejen itu untuk bergerak ke
langkah seterusnya. Ejen harus meminta maklumat mengenai keadaan
kewangan pelanggan, matlamat peribadi dan kewangan, memahami
kekangan masa pelanggan untuk membuat keputusan dan
mengadakan perbincangan.
Semua Pengendali Takaful telah menjadikannya sebagai satu
keperluan mandatori bagi ejen-ejen untuk mengisi borang carian fakta
pelanggan sebelum mengemukakan cadangan perniagaan baru.
Borang carian fakta pelanggan adalah satu dokumen penting dan ia
dapat membantu ejen yang mengumpul semua maklumat yang
relevan mengenai pelanggan, untuk memastikan keadaan kewangan
pelanggan dan seterusnya merangka keperluan pelanggan.
Borang Carian Fakta Pelanggan bertujuan mencari maklumat
mengenai:
 Maklumat Peribadi Pelanggan dan Tanggungannya
 Matlamat Hidup dan keutamaan Kewangan
 Profil Risiko
 Analisa Nilai Bersih
 Analisa Aliran Tunai
 Cadangan dan Rekod Nasihat
Maklumat di atas akan membolehkan ejen membina kefahaman yang
jelas tentang keadaan pelanggan dan membantu ejen untuk
merumuskan cadangan-cadangan untuk mencapai matlamat dan
objektif kewangan pelanggan.
618 Amalan Asas Takaful
C14.4 MERANGKA PELAN DAN STRATEGI UNTUK
MENCAPAI MATLAMAT
Ejen perlu menganalisa maklumat pelanggan untuk menilai keadaan
semasa dan menentukan apa yang diperlukan untuk memenuhi
matlamat pelanggan. Ejen perlu merangka pelan induk yang dapat
membantu pelanggan mencapai matlamatnya. Analisa akan
menyediakan cadangan-cadangan yang akan memenuhi keperluan
pelanggan dalam bidang-bidang seperti;
 Perlindungan yang mencukupi
 Perancangan pendidikan anak-anak
 Perancangan persaraan
 Pengumpulan aset
 Perancangan harta
Senarai di atas tidak lengkap tetapi ia adalah antara aspek-aspek
penting dalam kehidupan yang sering mengganggu fikiran kita. Usaha
merangka pelan yang konstruktif yang dapat memenuhi keperluan
pelanggan adalah amat penting dan ia perlu dilakukan dengan teliti.
C14.5 MEMBINCANGKAN CADANGAN
Sebaik sahaja pelan telah disiapkan, ejen kemudian akan duduk
berbincang dengan pelanggan mengenai pelan yang telah dirangka
khusus untuk pelanggan berkenaan. Ejen harus mengemukakan
cadangan yang dapat menangani matlamat pelanggan berdasarkan
maklumat yang telah dikumpulkan. Ejen perlu menerangkan
cadangan-cadangan berkenaan untuk memastikan pelanggan
memahami sepenuhnya dan membuat keputusan yang wajar. Ejen
juga perlu mendengar pendapat pelanggan dan mengkaji semula
cadangan sekiranya perlu.
Setiap pelanggan adalah berbeza. Sekiranya ejen berfikir untuk
menggunakan strategi atau pelan yang disediakan untuk pelanggan-
pelanggan lain, ejen itu sebenarnya silap. Pelan yang telah disiapkan
Mengenalpasti dan Mewujudkan Keperluan Pelanggan 619
itu adalah unik dan hanya untuk pelanggan berkenaan sahaja, dan ejen
harus memahami perkara ini.
C14.6 MELAKSANAKAN CADANGAN
Pelanggan dan ejen perlu bersetuju bagaimana cadangan-cadangan
tersebut akan dilaksanakan. Ejen boleh menjalankan semua cadangan
seperti yang telah dibincangkan. Sebarang perubahan dalam jumlah
perlindungan atau sumbangan hendaklah disampaikan kepada
pelanggan sebelum cadangan dilaksanakan.
C14.7 MEMANTAU CADANGAN
Pemantauan terhadap sijil pelanggan adalah fungsi yang sangat
penting dalam skop kerja ejen. Pemantauan berkala perlu dilakukan
dan pelanggan juga perlu dimaklumkan mengenai kemajuan dasar-
dasar yang telah ditetapkan. Oleh kerana ejen berurusan dengan
produk-produk Takaful berkaitan pelaburan, pengendali Takaful akan
menghantar laporan suku tahunan atau tahunan kepada pelanggan.
Ejen mestilah memastikan bahawa pelanggan mendapat penyata
laporan berkenaan dan bersedia untuk membantu menjelaskan laporan
kepada pelanggan. Ejen juga mempunyai tanggungjawab moral untuk
memastikan bahawa pertumbuhan dana selaras dengan objektif awal
yang ditetapkan. Ejen seharusnya dapat membantu pelanggan
membuat beberapa penyesuaian dan penyelarasan yang perlu demi
memastikan pelanggan mendapat pulangan terbaik dari sijil Takaful
yang dimiliki.
Ejen mesti melibatkan diri untuk melakukan semakan semula sijil
pada setiap setengah tahun atau secara tahunan. Semakan semula
secara spontan juga boleh dilakukan jika terdapat keperluan khas atau
jika terdapat perubahan besar yang mungkin telah berlaku terhadap
akaun pelaburan pelanggan.
Kebaikannya dengan melakukan kajian semula secara lebih kerap dan
tetap, ialah ia dapat membantu ejen mendapatkan senarai nama
rujukan berkualiti dari pelanggan untuk mengembangkan lagi
620 Amalan Asas Takaful
perniagaan Takaful Keluarga. Ia juga membolehkan ejen itu berada
dikedudukan yang sesuai untuk melakukan jualan silang produk
Takaful lain disamping menjalankan kajian semula yang
dimaksudkan di atas.
Amalan Takaful Keluarga: Pemasaran dan Perkhidmatan 621
BAB C15
AMALAN TAKAFUL KELUARGA:
PEMASARAN DAN PERKHIDMATAN, ETIKA
DAN KOD PERLAKUAN
PENDAHULUAN
Bab ini akan menyentuh mengenai prinsip-prinsip yang paling asas
jualan Takaful dan cara dan kaedah bagaimana ia perlu dilakukan
secara profesional. Ia tidak boleh terlalu menekankan kepentingan
etika dan tingkah laku ejen sepatutnya dalam usaha mereka untuk
mencapai jualan yang disasarkan, tetapi untuk membela kepentingan
pelanggan dari kaca mata mereka.
C15.1 PENGENALAN
Isu-isu mengenai etika dan Kod Perlakuan ejen terus mejadi polemik
yang berterusan di kalangan semua pihak yang berkepentingan sejak
pengendali Takaful yang pertama mula beroperasi di Malaysia pada
akhir tahun 1980-an. Pertumbuhan industri ini amat mengagumkan
dan mengatasi pencapaian industri insurans konvensional secara
konsisten dalam sepuluh tahun yang lalu. Pencapaian ini dibuktikan
melalui Statistik Pengendali Takaful yang Disatukan dalam Statistik
Tahunan Takaful 2010 yang diterbitkan oleh BNM
(www.bnm.gov.my).
Ketika pasaran menjadi lebih berdaya saing lantaran kemasukan
pemain-pemain baru, pengendali Takaful mencari kaedah dan cara
baru untuk meningkatkan kadar penembusan Takaful di Malaysia.
Salah satu strategi ialah dengan memperbaiki dan membangunkan
kemahiran tenaga agensi melalui latihan intensif dalam aspek
Pemasaran dan Perkhidmatan serta pemahaman mereka dan
memantau tahap etika dan Kod Perlakuan mereka. Kewujudan tenaga
agensi yang lebih berkaliber boleh mewujudkan kesan positif dan
622 Amalan Asas Takaful
tanggapan jangka panjang, dan dengan demikian ia menjadikan usaha
pemasaran produk dan perkhidmatan Takaful menjadi lebih mudah.
C15.2 PEMASARAN
Pemasaran adalah lebih bercirikan seni daripada sains, tetapi
pendatang baru perlu mempunyai kewibawaan tersendiri sebelum
mereka boleh memulakan kerjaya sebagai Ejen Takaful yang serba
mencabar ini. Dan maklumat berikut sesungguhnya ejen ’mesti tahu’
pada bila-bila masa apabila berdepan dengan bakal pelanggan:
1. Pengenalan
2. Prinsip-Prinsip Am Jualan
3. Penerangan mengenai Kontrak
4. Pendedahan Maklumat Pengunderaitan
5. Akaun dan Aspek-Aspek Kewangan
Pengenalan
Terminologi am berikut perlu difahami dan ia bermaksud:
1. Istilah “Takaful Keluarga” yang digunakan dalam Kod Etika &
Perlakuan mencakupi semua aspek tentang:
a. Perkhidmatan Rumah Ke-Rumah
b. Keluarga Biasa
c. Anuiti
d. Skim Pencen
e. Takaful Berkaitan Pelaburan dan
f. Takaful Kesihatan Kekal
2. Kod Etika digunapakai oleh semua pengantara, iaitu semua orang,
termasuk kakitangan pengendali Takaful yang memasarkan
mana-mana produk Takaful Keluarga. Broker insurans yang
berdaftar dan / atau broker Takaful dikecualikan kerana mereka
tertakluk di bawah kod tingkah laku profesional yang berasingan.
Amalan Takaful Keluarga: Pemasaran dan Perkhidmatan 623
3. Tanggungjawab diletakkan ke atas syarikat-syarikat ahli
Persatuan Takaful Malaysia untuk menguatkuasakan kod dan
menggunakan usaha terbaik mereka untuk memastikan
pematuhan terhadap pelbagai peruntukan Kod, oleh semua
mereka yang terlibat dalam pemasaran sijil Takaful.
Jawatankuasa Audit / Tatatertib Pengendali Takaful
bertanggungjawab untuk memantau pematuhan oleh pengantara
Takaful keluarga. Jawatankuasa ini juga bertanggungjawab untuk
mengemukakan laporan suku tahunan kepada Bank Negara
Malaysia mengenai sebarang pelanggaran kod etika yang
dilakukan pada suku tahun berkenaan, tindakan pembetulan atau
hukuman yang telah diambil.
4. Sekiranya terdapat aduan daripada peserta yang pengantara telah
bertindak melanggar kod etika, pengantara dikehendaki
bekerjasama dengan pengendali Takaful untuk mengumpulkan
fakta-fakta berkaitan. Pengadu perlu diberitahu bahawa aduan
boleh dikemukakan kepada pengendali Takaful yang berkaitan
sekiranya ia belum berbuat demikian.
5. Perlu ditegaskan bahawa kewajipan utama pengantara ialah untuk
melaksanakan urusniaga pada setiap masa dengan penuh
kesungguhan dan berintegriti.
Prinsip-Prinsip Asas Jualan
Bahagian berikutnya merupakan keterangan lanjut yang dipetik dari
Kod Etika dan Perlakuan dalam usaha mengekalkan semangat dan
objektif kod.
1. Pengantara hendaklah:
a. apabila ejen menghubungi atau berurusan dengan bakal
peserta, pastikan ejen memperkenalkan dirinya, nama
pengendalian Takaful yang diwakili dan menunjukkan Kad
Kuasa Pengantara Berdaftar;
624 Amalan Asas Takaful
b. memastikan agar sijil perlindungan yang dicadangkan
bersesuaian dengan keperluan pelanggan dan tidak melebihi
keupayaan kewangan pelanggan;
c. memberi nasihat hanya pada perkara-perkara di mana ejen
mampu menanganinya dan mencari atau mencadangkan
nasihat pakar lain sekiranya perlu;
d. memastikan semua maklumat yang dibekalkan oleh bakal
peserta adalah sulit dan rahsia dan tidak boleh didedahkan
kepada orang lain;
e. apabila membuat perbandingan dengan polisi-polisi lain, sijil
Takaful atau bentuk pelaburan lain, terangkan perbezaan ciri-
ciri setiap polisi / sijil / pelaburan, tanpa menyebut nama
pengendali Takaful berkaitan;
f. memberikan perkhidmatan yang berterusan kepada peserta.
(After Sales Service)
2. Pengantara tidak dibenarkan;
a. membuat kritikan yang tidak tepat atau tidak adil terhadap
mana-mana pengendali Takaful;
b. memujuk bakal peserta untuk membatalkan mana-mana sijil
yang sedia ada melainkan jika ini jelas tidak memenuhi
keperluan peserta.
Semua syarikat yang menjadi ahli Persatuan Takaful Malaysia
bersetuju untuk memastikan yang semua ejen dan pengantara
telah diingatkan sepenuhnya bahawa adalah suatu tindakan yang
bertentangan dengan kepentingan peserta dan industri Takaful
untuk mengamalkan kaedah penjualan Penggantian Sijil atau
‘pembelitan’ (twisting). Ahli Syarikat juga telah bersetuju untuk
bekerjasama menghapuskan amalan ini. Sekiranya terbukti
wujudnya unsur-unsur pembelitan / penggantian sijil, tindakan
sewajarnya boleh dikenakan terhadap ejen yang terlibat.
Amalan Takaful Keluarga: Pemasaran dan Perkhidmatan 625
Definisi Penggantian Sijil (Replacement of Certificate)
Memberhentikan kuatkuasa sesuatu sijil atau menjadikan sijil
berkenaan sebagai jelas dibayar dan kemudiannya menguatkuasakan
sijil baru dengan pengendali Takaful lain atau pengendali Takaful
yang sama.
Kerugian-kerugian yang akan timbul akibat penggantian sijil ialah:
1. Setiap kali peserta menukar kuatkuasa sijil dari satu pengendali
ke pengendali yang lain, peserta terpaksa memulakan semula
tempoh kelayakan (biasanya dua atau tiga tahun) untuk
menjadikan kontrak baru itu layak untuk mendapatkan nilai
serahan dan masuk dibawah fasal tidak lucut hak (iaitu
perlindungan dari sijil luput dan / atau kehilangan manfaat
kematian peserta samada secara sengaja atau tidak sengaja gagal
membayar sumbangan dalam tempoh tangguh yang diberikan).
2. Amaun sumbangan tahunan di bawah sijil sedia ada mungkin
lebih rendah daripada sijil baru tetapi dengan manfaat yang sama.
Sebarang penggantian sijil jenis yang sama biasanya pada kadar
sumbangan yang lebih tinggi berdasarkan umur peserta pada
masa itu.
3. Oleh kerana kos asal sijil Takaful Keluarga berpandukan kepada
nilai tunai dalam tahun-tahun sebelumnya, maka penggantian sijil
lama kepada sijil baru mengakibatkan peserta menanggung beban
kos-kos berkenaan dua kali ganda.
4. Fasal membunuh diri dan fasal ketidakcabaran (jika ada) akan
bermula semula di dalam sijil baru, yang sepatutnya akan dibayar
di bawah sijil lama yang telah digantikan.
Penerangan mengenai Kontrak
1. Pengantara hendaklah:
i. menerangkan semua peruntukan-peruntukan penting yang
terkandung didalam kontrak kepada bakal peserta;
626 Amalan Asas Takaful
ii. menarik perhatian peserta mengenai sebarang batasan
termasuk pengecualian dibawah sijil berkenaan;
iii. menarik perhatian peserta mengenai kesan jangka panjang
dibawah sijil Takaful berkaitan dan akibat dari penamatan
awal/serahan sijil.
2. Sekiranya sijil menawarkan perkongsian keuntungan atau
sebaliknya bergantung kepada beberapa faktor yang berubah-
ubah seperti prestasi pelaburan, huraian manfaat yang
membezakan di antara manfaat tetap dan unjuran. Dalam kes sijil
cagaran di mana perolehan matang adalah untuk menyelesaikan
baki pinjaman tetapi bergantung kepada manfaat yang tidak
dijamin, ilustrasi jualan perlu menyatakan ”tidak ada jaminan
bahawa jumlah penuh pinjaman akan diperolehi apabila sijil
matang”.
3. Jika terdapat ilustrasi mengenai manfaat sijil, ia hendaklah
dijelaskan bahawa ilustrasi dibuat berdasarkan kepada andaian-
andaian tertentu, dan oleh itu ia tidak dijamin, dan manfaat yang
akan diisytiharkan pada masa akan datang mungkin lebih rendah
atau lebih tinggi daripada apa yang mereka jangkakan, (prestasi
masa lalu tidak semestinya berulang pada masa akan datang).
Mengenai sijil Takaful berkaitan pelaburan, ia perlu dijelaskan
bahawa nilai-nilai unit boleh berubah-ubah naik dan turun
bergantung kepada nilai asas pelaburan.
4. Apabila pengantara telah dibekalkan dengan contoh ilustrasi oleh
pengendali Takaful, pengantara tersebut hendaklah menggunakan
seluruh ilustrasi berkenaan kontrak yang dibincangkan diantara
pengantara dengan bakal peserta. Pengantara tidak boleh
meggunakan ilustrasi lain dan tidak boleh menambah atau
memilih hanya aspek-aspek terbaik dalam sijil berkenaan.
Pendedahan Maklumat Penguderaitan
Pengantara hendaklah mendapatkan borang cadangan yang telah
lengkap diisi atau bahan-bahan lain dengan:-
Amalan Takaful Keluarga: Pemasaran dan Perkhidmatan 627
i. Mengelakkan dari mempengaruhi peserta dan jelaskan bahawa
semua jawapan atau kenyataan yang diberikan adalah atas
tanggungjawab pencadang itu sendiri;
ii. memastikan bahawa akibat yang mungkin timbul sekiranya tidak
mendedahkan dan ketidaktepatan fakta, dengan menarik perhatian
pencadang kepada kenyataan amaran yang terdapat dalam borang
cadangan dan menjelaskan kepada pencadang mengenainya.
Aspek Perakaunan dan Kewangan
Pengantara hendaklah:-
1. mengakui penerimaan (kecuali sebaliknya jika tidak mendapat
kebenaran dari Pengendali Takaful, maka pengantara bertindak
atas dirinya sendiri) dan menyelenggara akaun yang sepatutnya
bagi semua wang yang diterima berkaitan dengan sijil Takaful
dan hendaklah membezakan sumbangan itu dari lain-lain
bayaran;
2. mengemukakan dengan segera semua bayaran yang diterima
berkaitan sijil Takaful Keluarga kepada Pengendali Takaful.
C15.3 GARIS PANDUAN KOD PERLAKUAN
Bahagian ini menerangkan aspek-aspek berkaitan:
1. Kod Etika (Kenyataan Falsafah)
2. Skop Liputan
3. Kaedah Pengawalan
4. Tujuh Prinsip-Prinsip Garis Panduan
5. Kod Perlakuan – hanya sebagai panduan.
Kod Etika (Kenyataan Falsafah)
Garis panduan ini berkisar kepada kenyataan falsafah berikut:-
1. Perniagaan Takaful Keluarga ini adalah berdasarkan falsafah
perkongsian risiko. Oleh itu, perniagaan seperti ini perlu
628 Amalan Asas Takaful
dikendali dan ditadbir dengan tahap kewibawaan serta etika yang
tertinggi.
2. Ia adalah perniagaan yang berasaskan kepercayaan dan kejujuran,
yang memerlukan sepenuh tanggungjawab dan profesionalisme.
3. Kepercayaan pemegang sijil dan orang awam kepada
kewibawaan dan kejujuran pengendali Takaful hendaklah sentiasa
dipelihara dan diperkukuhkan.
4. Pengendali Takaful hendaklah pada sepanjang masa memastikan
perniagaan mereka diurus dengan baik demi memastikan wang
simpanan pemegang sijil terjamin serta kepercayaan mereka
terhadap pengendali terus kukuh.
5. Pengendali Takaful hendaklah sentiasa cekap dan cepat dalam
menyediakan khidmat kepada pemegang sijil dan, membantu
serta menasihati mereka apabila perlu, atas dasar saling
membantu.
Untuk mencapai objektif dan falsafah di atas, Pengendali Takaful
telah berusaha membentuk kod etika untuk menyediakan panduan
kepada mereka yang bekerja dalam industri supaya menyebarkan dan
mengekalkan standard etika yang seragam, dan untuk menegakkan
kepercayaan dan kebajikan pemegang sijil pada setiap masa.
Bahagian berikutnya menyediakan ringkasan peraturan kod etika
dimana kakitangan pengendali Takaful dikehendaki mematuhinya
sepanjang masa.
Skop Liputan
Garis panduan ini meliputi semua kakitangan pengendali Takaful
yang beroperasi di Malaysia. Garis Panduan ini menyediakan
Standard Minimum perlakuan yang sepatutnya diamalkan oleh semua
pekerja pengendali Takaful. Pengendali Takaful juga, sekiranya perlu,
boleh merangka satu set peraturan yang lebih menyeluruh untuk
mengekalkan standard etika dikalangan pekerja mereka.
Amalan Takaful Keluarga: Pemasaran dan Perkhidmatan 629
Kaedah Pengawalan
Untuk memastikan yang garis panduan ini dipatuhi, pihak pengurusan
pengendali Takaful dikehendaki mewujudkan suatu prosedur
minimum berikut:-
1. menghendaki semua pekerja (sedang berkhidmat dan perlantikan
pekerja baru) menandatangani perisytiharan yang mereka akan
patuh kepada garis panduan ini;
2. menghendaki semua pengantara (sedang berkhidmat dan
perlantikan baru), menandatangani perisytiharan yang mereka
akan patuh kepada garis panduan ini;
3. memberi tanggungjawab kepada ketua jabatan untuk memastikan
garis panduan dipatuhi sepanjang masa dan menangani sebarang
pertanyaan dari pekerja berkaitan dengan kod perlakuan;
4. sebarang pengengkaran kod etika hendaklah dilaporkan kepada
Jawatankuasa Disiplin / Audit yang akan berurusan terus dengan
Jawatankuasa Pengurusan Persatuan Takaful Malaysia. Sebagai
tambahan, jawatankuasa ini juga dikehendaki menghantar laporan
suku tahunan kepada Bank Negara Malaysia, tentang sebarang
kes pengengkaran dan bentuk tindakan yang telah diambil dalam
tempoh laporan berkenaan;
5. menyelenggara rekod berpusat tentang pengengkaran;
6. melaporkan dengan segera kes-kes penipuan kepada pihak polis
dan Bank Negara Malaysia.
C15.4 ETIKA DAN PERLAKUAN
Tujuh Prinsip-Prinsip Asas Garis Panduan
Dokumen Kod Etika dan Perlakuan menerangkan dengan terperinci
tentang prinsip-prinsip yang dinyatakan di bawah. Cukup setakat ini
penerangan mengenai garis panduan, mereka yang berminat
digalakkan merujuk kepada dokumen berkaitan.
1. Untuk mengelakkan pertentangan kepentingan;
2. Untuk mengelakkan penyalahgunaan kuasa / kedudukan;
630 Amalan Asas Takaful
3. Untuk mengelakkan salahguna maklumat;
4. Untuk memastikan kelengkapan dan ketepatan rekod berkaitan;
5. Untuk memastikan bahawa semua bentuk komunikasi dan urusan
antara Pengendali Takaful dengan peserta dan pelanggan adalah
sulit;
6. Untuk memastikan layanan yang berpatutan dan adil diberi
kepada setiap pemegang sijil dan individu-individu lain yang
bergantung kepada atau mereka yang mempunyai hubungan
dengan Pengendali Takaful;
7. Untuk menjalankan perniagaan dengan penuh kejujuran dan
berwibawa.
C15.5 KOMISEN DAN PENDEDAHAN KOMISEN
Pengendali Takaful yang cekap dan bertanggungjawab adalah
pengendali yang menjalankan perniagaan secara berhemah, termasuk
menjalankan kawalan ke atas kutipan sumbangan, perbelanjaan dan
strategi pembangunan perniagaan.
Garis panduan Bank Negara Malaysia mengenai Kos Kendalian
Perniagaan Takaful Keluarga yang dikeluarkan pada Disember 2003,
antara lain menyatakan had jumlah komisen yang boleh dibayar
kepada ejen-ejen Takaful Keluarga. Ia juga menetapkan had komisen
agensi keatas perbelanjaan berkaitan dan perbelanjaan pengurusan
lain. Malah, garis panduan itu juga menetapkan Struktur Agensi yang
perlu digunapakai oleh pengendali Takaful kepada agensi-agensi
jualan mereka.
Peratusan maksimum komisen agensi yang kena dibayar atas
perniagaan sijil Takaful Keluarga dengan bayaran sumbangan dalam
tempoh 20 tahun atau lebih adalah seperti berikut:
Amalan Takaful Keluarga: Pemasaran dan Perkhidmatan 631
1 Komisen kepada ejen 110%
2 Komisen Overriding kepada ketua agensi 41%
3 Bonus Produktiviti (pengeluaran) dan Bonus
Persistensi kepada ejen 15%
4 Bonus Produktiviti kepada ketua agensi 5%
JUMLAH 171%
Struktur Komisen Perniagaan Takaful Keluarga
Ejen diminta untuk mendedahkan komisen yang diterima atas
perniagaan tertentu apabila diminta oleh pelanggan / peserta masing-
masing.
C15.6 AMALAN TAKAFUL KELUARGA
Bahagian ini membincangkan aspek-aspek berikut:
1. Pengenalan
2. Tuntutan
3. Borang Cadangan
4. Sijil dan Dokumen Tambahan
5. Bahan Jualan/Pengiklanan
Pengenalan
Matlamat utama seksyen ini ialah untuk mengurangkan formaliti yang
terlibat dalam isu pengeluaran sijil baru dan pembayaran tuntutan.
BNM telah mengeluarkan garis panduan yang dipanggil “Amalan
Nasihat Wajar bagi Perniagaan Takaful Keluarga” yang telah
dikuatkuasakan bulan Mac 2004. Dalam menangani isu ini, garis
panduan telah mengenalpasti masalah-masalah yang dihadapi
disebabkan tidak mendedahkan / memberitahu atau tuntutan yang
tidak wajar, walaupun oleh seorang peserta sahaja. Disebabkan oleh
masaalah ini dan mungkin juga masalah-masalah lain, Kenyataan
Amalan ini tidak diwajibkan.
Jawatankuasa Audit / Tatatertib Persatuan Takaful Malaysia
bertanggungjawab memantau pematuhan garis panduan oleh ahli
632 Amalan Asas Takaful
Pengendali Takaful. Ia juga bertanggungjawab untuk mengemukakan
laporan kepada Bank Negara Malaysia mengenai pelanggaran kod
etika dan tindakan pembetulan atau hukuman yang telah diambil.
Tuntutan
1. Garis panduan ini menghendaki pengendali Takaful tidak boleh
menolak tuntutan yang dikemukakan tanpa alasan yang kukuh.
Lebih-lebih lagi, pengendali Takaful tidak boleh menolak
tuntutan atas alasan tidak mendedahkan fakta atau salah nyata
fakta yang di luar pengetahuan pencadang. Pengecualian yang
diberikan hanyalah untuk keadaan yang disebut dalam
peruntukan-peruntukan sijil atau peruntukan di bawah Akta
Takaful 1984, bersama-sama dengan peraturan-peraturan lain
yang berkaitan.
2. Sekiranya terdapat had masa untuk pemberitahuan tuntutan, pihak
yang menuntut tidak boleh diminta untuk melakukan lebih
daripada melaporkan tuntutan dan memberitahu perkembangan
seterusnya dengan seberapa segera yang semunasabah mungkin.
3. Setelah pihak yang menuntut dapat membuktikan berlakunya
kejadian yang dilindungi di bawah sijil dan hak untuk membuat
tuntutan, pengendali perlu membayar tuntutan dengan kadar
segera, biasanya dalam tempoh 60 hari.
4. Pengendali Takaful tidak boleh mengenakan sebarang yuran
memproses tuntutan dari peserta atau benefisiari.
Borang Cadangan
1. Sekiranya borang cadangan menghendaki pendedahan fakta
material, maka satu kenyataan perlu dimasukkan ke dalam
perisytiharan atau menunjukkannya dengan jelas didalam borang
cadangan atau dalam dokumen yang menjadi sebahagian dari
kontrak.
a. menarik perhatian peserta tentang akibat yang mungkin
timbul atas kegagalan untuk mendedahkan fakta material.
Amalan Takaful Keluarga: Pemasaran dan Perkhidmatan 633
b. memberitahu bakal peserta iaitu sekiranya ia merasa ragu-
ragu tentang sama ada maklumat tertentu itu merupakan fakta
material atau sebaliknya, fakta tersebut perlu didedahkan.
2. Pengendali Takaful perlu menyertakan salinan borang cadangan
yang telah ditandatangani kepada peserta, bersama-sama dengan
sijil Takaful yang asal.
Sijil dan Dokumen Tambahan
1. Pengendali Takaful akan terus menyediakan bentuk borang
cadangan yang lebih jelas dan dokumen sijil yang mengambil
keperluan undang-undang di bawah kontrak Takaful. Sebagai
tambahan kepada borang cadangan, pencadang / pelanggan juga
perlu menandatangani borang “Carian Fakta Pelanggan” semasa
dalam proses pembelian perlindungan Takaful Keluarga. Ini
adalah selaras dengan garis panduan keperluan Amalan Nasihat
Wajar (Proper Advice Practice - PAP).
2. Sijil dan dokumen yang disertakan hendaklah menunjukkan
samaada terdapat hak memperolehi nilai serahan. Jika sijil
menyatakan hak untuk nilai serahan, maka hak tersebut
hendaklah dinyatakan dalaam sijil. Berhubung dengan cadangan
perlindungan bertempoh atau Takaful simpanan risalah jualan
perlu menerangkan perkara berikut di dalam kontrak:
a. ia adalah kontrak jangka panjang;
b. nilai serahan terutamanya pada tahun-tahun terawal, biasanya
lebih rendah dari jumlah keseluruhan sumbangan yang telah
dibayar.
C15.7 PROMOSI BAHAN/PENGIKLANAN
Pengendali Takaful akan memastikan bahawa maklumat yang
terkandung di dalam bahan-bahan jualan dan iklan adalah betul dan
benar dan dengan itu tidak mengelirukan orang ramai. Ia akan
memastikan bahawa perniagaan yang dijalankan akan mematuhi
keperluan Syariah pada setiap masa.
634 Amalan Asas Takaful

TBE Part A dan C: Takaful Exam Notes for Agents

  • 1.
    Pengenalan Mu’amalat Islam1 BAHAGIAN A ASAS TAKAFUL DAN TAKAFUL PERUBATAN & KESIHATAN
  • 2.
  • 3.
    Pengenalan Mu’amalat Islam3 BAB A1 PENGENALAN MU’AMALAT ISLAM PENGENALAN Bermula dengan Nabi Adam a.s., risalah suci mengesakan Allah s.w.t. telah diwahyukan dan seterusnya diperkembangkan sepanjang masa. Nabi Muhammad s.a.w. sebagai Rasul terakhir telah menutup segala kerasulan para anbiya’ dengan termaktubnya satu sistem hidup dengan peraturan tertib Ilahi dengan penuh saksama lagi sempurna. Dalam bahasa Arab, kata dasar bagi perkataan ‘Islam’ yang bermaksud ‘berserah diri atau patuh’ menggambarkan penyerahan sejati yang terkandung di dalamnya makna kata kerja ‘aslama’. Agama Islam mencakupi satu sistem kesempurnaan hidup lagi menyeluruh ke atas setiap aspek kehidupan manusia. Pada dasarnya, Islam adalah ajaran tauhid yang sama telah diperturunkan wahyu Ilahi kepada semua Nabi terdahulu, bermula dari Nabi Adam, Nuh, Ibrahim, Ismail, Daud, Musa, Isa dan seterusnya Nabi akhir zaman, Muhammad s.a.w. Allah telah menyempurnakan agama Islam melalui junjungan besar Nabi Muhammad s.a.w. sebagaimana firman Allah s.w.t. di dalam al- Qur’an:“Pada hari ini, telah Ku sempurnakan bagimu agama kamu dan telah Ku cukupkan nikmatKu kepada kamu dan telah Ku redhai Islam itu menjadi agama untuk kamu” (Al-Qur’an, 5: 3). A1.1 PENGENALAN SYARI’AH 1.1.1 Objektif Syari’ah Syari’ah adalah intipati peraturan Islam, di mana makna asal Syari’ah ialah “jalan ke sumber mata air”. Ia merangkumi keseluruhan undang-undang dan peraturan yang mengawal aspek kehidupan
  • 4.
    4 Amalan AsasTakaful manusia yang melangkaui aspek-aspek perundangan, politik, perniagaan, perbankan, keluarga dan juga masyarakat. Objektif utama Syari’ah ialah untuk memastikan sekalian manusia melaksanakan suruhanNya (kebaikan) serta menjauhi laranganNya (kejahatan). Istilah ma’ruf (kebaikan) merujuk kepada semua kualiti amalan kehidupan yang diterima baik oleh manusia sejagat, sementara istilah munkar merujuk kepada semua kualiti amalan kehidupan yang dianggap keji dan dikutuk masyarakat. 1.1.2 Konsep Ad–Deen (Syari’ah) Sumber: Kitab Mughni al-Muhtaj (Imam Shafi’i); Kitab al-Mughni (Imam Hanafi); Kitab Bidayat al-Mujtahi (Imam Malik) Dilihat dari perspektif yang paling asas, konsep Islam merangkumi tiga komponen utama iaitu Akidah (kepercayaan), Syari’ah (undang- undang) dan Akhlak (kod moral/adab). Akidah bermaksud suatu set kepercayaan atau pegangan. Melihat dari perspektif Islam, Akidah bermaksud ketetapan hati secara pasti dan ISLAM SYARI’AHAKIDAH AKHLAK IBADAT MU’AMALAT JINAYAT POLITIK SOSIAL MUNAKAHAT EKONOMI
  • 5.
    Pengenalan Mu’amalat Islam5 iman yang teguh terhadap Allah s.w.t., para Malaikat, para Rasul, Hari Kiamat, kitab-kitab dan percaya kepada Qada’ dan Qadar. Syari’ah atau undang-undang Islam juga dikenali sebagai Fiqh. Fiqh adalah perundangan Islam yang berkait rapat dengan hukum yang ditetapkan oleh Allah s.w.t. mengenai cara hidup / amalan, moral / adab dan perundangan sosial dalam Islam. Cabang ilmu Fiqh termasuklah Ibadat, Mu’amalat, Munakahat and Jinayat;  Fiqh Ibadat Ibadah iaitu hukum-hakam yang berkaitan dengan hubungan manusia dengan Allah. Ia merangkumi amalan / perbuatan mensucikan diri seperti solat, haji, puasa, zakat, jihad dan bentuk- bentuk ibadah lain. Kesemua aturan hubungan tersebut memperjelaskan tanggungjawab individu dan komuniti terhadap Allah s.w.t.  Fiqh Mu’amalat Bidang ini adalah berkaitan dengan aturan perhubungan sesama manusia dalam urusan harta benda, kotrak / perjanjian, organisasi perniagaan, sekuriti hutang dan kesolvenan, hak pemilikan, pemberian / hadiah, warisan dan wakaf (pemberian sebahagian harta seseorang atas dasar sukarela, kekal dan tidak boleh dibatalkan, sama ada tanah atau barangan kepada jalan Allah).  Fiqh Munakahat Bidang ini menyentuh tentang ketentuan atau aturan yang berkaitan dengan hubungan seseorang dalam keluarga seperti perkahwinan, perceraian, pewarisan harta, hak penjagaan dan perkara-perkara lain yang berkaitan dengannya. Secara konvensionalnya, bidang ini mempunyai persamaan dengan undang-undang persendirian.
  • 6.
    6 Amalan AsasTakaful  Fiqh Jinayat Bidang ini adalah berkaitan dengan jenayah dan hukuman; merangkumi jenayah persetubuhan tanpa nikah (zina), mencuri (sariqah), merompak, lanun dan menyamun, dan jenayah-jenayah lain yang tertakluk di bawah hukum hudud. Dalam ilmu teologi dan falsafah Islam, akhlak merujuk kepada adat kebiasaan, budi pekerti dan adab. Ia merangkumi perangai, resam, tabiat, akhlak, moral atau sifat seseorang. Akhlak juga meliputi tingkah laku, sikap dan etika kerja seseorang Muslim yang boleh mempengaruhi segala tindakannya. 1.1.3 Hukum Mandatori (Hukum Taklifi) Hukum Taklifi ialah ketentuan Allah s.w.t. yang menuntut seseorang Muslim melakukan atau meninggalkan suatu perbuatan atau berbentuk pilihan untuk melakukan atau tidak melakukan suatu perbuatan. Mengikut ajaran Islam, setiap perbuatan seseorang Muslim hendaklah berlandaskan lima rukun (al-Ahkam al-Khamsah) berikut:  Wajib (Iijab) Wajib bermaksud suatu perkara yang diperintahkan oleh syarak secara keras kepada seseorang Muslim untuk melaksanakannya. Contohnya: menunaikan solat dan berpuasa di bulan Ramadhan. Dari sudut teknikal, ia merupakan perintah dari Allah s.w.t. mengikut aturan dan tatacara yang tertentu.  Sunat (Mandub) Sunat adalah suatu perkara yang diperintahkan oleh Allah s.w.t. kepada seseorang Muslim untuk mengerjakannya, namun tidak dikenakan siksa bagi yang meninggalkannya. Ia bermaksud orang yang melaksanakan perintahNya akan mendapat pahala dan meninggalkannya tidak mendapat dosa. Contohnya: memberi derma atau sedekah kepada mereka yang memerlukan.
  • 7.
    Pengenalan Mu’amalat Islam7  Haram Haram bermaksud perkara yang dituntut secara tegas oleh syarak untuk tidak mengerjakannya, mengikut aturan dan tatacara yang tertentu. Contoh perbuatan haram ialah menyalahgunakan harta milik orang lain.  Makruh Makruh adalah perkara yang dituntut oleh syarak untuk meninggalkannya namun tidak begitu keras. Dengan lain perkataan, perkara yang dilarang melakukan tapi tidak disiksa bagi yang mengerjakan. Contoh perbuatan makruh ialah berhutang tanpa dokumen yang sah (tidak direkodkan).  Harus (Mubah) Mubah adalah perkara yang dibebaskan syarak untuk memilih untuk mengerjakannya atau meninggalkannya, dan orang yang melaksanakannya maupun yang meninggalkannya tidak mendapat pahala atau dosa. Contohnya, semua bentuk kontrak / perjanjian adalah dibenarkan kecuali ia dibuktikan sebaliknya. 1.1.4 Sumber-sumber Utama dan Sokongan Syari’ah No. Sumber Utama Keterangan i. Al-Qur’an Al-Qur’an adalah kata-kata dari Allah s.w.t. yang diturunkan kepada Nabi Muhammad s.a.w. dalam bentuk wahyu untuk dijadikan pedoman kepada seluruh umat manusia. Al-Qur’an merupakan satu-satunya mukjizat tertinggi yang menjadi sumber rujukan utama dalam perundangan Islam dan masyarakat Muslim seluruhnya. Al-Qur’an adalah sumber lengkap dan muktamad dalam
  • 8.
    8 Amalan AsasTakaful menentukan sahnya setiap obligasi udang-undang. Al-Qur’an dijadikan sumber panduan yang lengkap dan menyeluruh, dan ia hendaklah diterima pakai dan dilaksanakan seluruhnya. ii. Sunnah Sunnah secara harfiah bermaksud “kaedah” yang merangkumi sesuatu yang diriwayatkan oleh Rasulullah s.a.w. berupa perkataan (qawl), perbuatan (fi’l) dan ketetapan (taqrir). Sebarang amalan yang datangnya dari hasrat dan disandarkan kepada Rasulullah s.a.w adalah juga merupakan inspirasi dan ilham dari Allah s.w.t. Istilah Sunnah perlu dibezakan dengan Hadis, di mana hadis berupa kata-kata atau ucapan Rasulullah s.a.w. No. Sumber Sokongan Keterangan i. Ijma’ (kesepakatan pendapat) Ijma’ ialah kesepakatan pendapat ulama di kalangan masyarakat Islam di zaman selepas kewafatan Rasulullah s.a.w, dalam menyelesaikan masalah berkaitan kedudukan perundangan Islam. Dari sudut perlaksanaannya, Ijmak merupakan persetujuan perundangan oleh para ulama (mujtahid) apabila kaedah penyelesaian masalah tidak diperolehi melalui rujukan al-Qur’an dan Sunah. Para ulama’ perlu mencapai kata sepakat perundangan ketika sesuatu permasalahan itu timbul.
  • 9.
    Pengenalan Mu’amalat Islam9 ii Qiyas (kesimpulan secara perbandingan) Qiyas bermaksud membandingkan dan mencari persamaan dari sudut perundangan atas perkara yang baru terjadi, yang secara jelasnya tidak terdapat dalam al-Qur’an ataupun Hadis. Dengan lain perkataan, para ulama akan merujuk kepada al-Qur’an dan Sunnah perkara yang serupa dengan itu, dan kemudiannya membuat kesimpulan / ketetapan dengan membandingkan di antara permasalahan yang baru terjadi dengan perkara yang telah ada hukum sebelumnya. Secara amnya, Qiyas adalah lanjutan kepada bidang Syari’ah berkaitan permasalahan / kes terdahulu dibandingkan dengan permasaalahan / kes terbaru, disebabkan kes terbaru mempunyai sebab dan akibat serta kesan yang sama dengan kes terdahulu. iii Maslahah (kepentingan umum) Maslahah (pertimbangan kepentingan umum) merupakan suatu konsep dalam perundangan Islam tradisional yang membolehkan atau menghalang sesuatu hukum itu dibuat berasaskan kepada matlamat sama ada ia adalah untuk kebaikan dan menjaga kebajikan orang ramai atau sebaliknya. Konsep Maslahah berkait rapat dengan Istislah. Maslahah bermaksud menjaga ‘pertimbangan kepentingan umum’ sementara Istislah bermaksud ‘mencari yang terbaik demi menjaga kepentingan umum’ yang selain dengan tujuan dan objektif syari’ah.
  • 10.
    10 Amalan AsasTakaful iv ‘Uruf (adat resam atau kebiasaan) ‘Uruf adalah merujuk kepada adat resam atau ‘pengetahuan’ yang dimiliki oleh sesuatu masyarakat yang menyebabkan perubahan dalam perundangan Islam. ‘Uruf merupakan salah satu sumber keputusan/ketetapan Syariat Islam apabila tiada sebarang nas atau teks yang dinyatakan dalam Al-Qur’an dan Sunnah. Uruf juga boleh membuat ketetapan atas sesuatu yang dinyatakan secara umum di dalam al-Qur’an dan Sunnah. v Istishab (andaian) Istishab bermaksud penetapan hukum tentang wujud atau tidaknya sesuatu fakta kes. Ia digunakan apabila tiada sebarang dalil atau bukti yang dapat mengubah hukum tersebut. Istishab menetapkan sesuatu berdasarkan keadaan yang sudah berlaku sebelumnya, sehingga ditemukan dalil yang menunjukkan ada perubahan. vi Istihsan (mengutamakan yang terbaik) Istihsan bermaksud menetapka hukum yang ‘lebih baik’. Pendokong beberapa Mazhab menetapkan hukum yang menjadi keutamaan bagi sesuatu masalah dalam perundangan Islam, mengatasi hokum-hukum lain yang sedia ada. Ia merupakan salah satu prinsip dalam penetapan undang-undang / hukuman yang mengutamakan pentafsiran peribadi atau ijtihad (menggunakan pertimbangan akal).
  • 11.
    Pengenalan Mu’amalat Islam11 1.1.5 Objektif Syari’ah (Maqasid Syari’ah) Maqasid adalah perkataan Arab yang membawa maksud matlamat atau tujuan. Dalam konteks Islam, ia merujuk kepada objektif yang ditetapkan oleh syarak dalam mensyariatkan hukum. Dalam ilmu Maqasid Syari’ah, terdapat 5 perkara utama yang perlu dipelihara. 5 perkara utama tersebut ialah:- Memelihara Keterangan / Catatan Agama Syari’ah menuntut umatnya memelihara dan melindungi agamanya (Ad-Deen) dalam apa jua keadaan. Contohnya, mempertahankan pegangan dan kesucian agama dari ancaman musuh-musuh Islam. Nyawa Syari’ah menuntut umatnya memelihara dan melindungi keselamatan nyawa (Hifz al-Nafs) dalam apa jua keadaan. Contohnya, dalam usaha memelihara nyawa manusia, undang-undang telah digubal untuk mengenakan hukuman yang setimpal kepada mereka yang melakukan pembunuhan. Dalam Islam, hukuman kepada mereka yang membunuh manusia yang tidak berdosa ialah hukuman mati mandatori. Keturunan Syari’ah menuntut umatnya memelihara dan melindungi keturunan masing-masing dalam apa jua keadaan. Contohnya, Islam melarang umatnya melakukan zina atau perbuatan-perbuatan lain tidak bermoral agar kemuliaan keturunan tetap terpelihara. Akal Fikiran Syari’ah menuntut umatnya memelihara dan melindungi kecerdasan akal fikiran (Hifz al-‘Aql) dalam apa jua keadaan. Pemeliharaan akal termasuk melindunginya dari perkara-perkara yang
  • 12.
    12 Amalan AsasTakaful boleh merosakkan dan menjejaskan fungsi serta keupayaan berfikir. Contohnya, Islam telah mengharamkan minuman keras dan benda-benda yang memabukkan kerana ianya boleh menyebabkan seseorang itu hilang pertimbangan akal. Harta Benda Syari’ah menuntut umatnya memelihara dan melindungi harta yang dimiliki dalam apa jua keadaan. Terdapat pelbagai cara mengumpulkan harta secara tidak sah. Antaranya ialah mengamalkan riba, menipu dalam urusan jual beli, pecah amanah dalam urusan berkaitan harta, mencuri harta milik orang lain dan penipuan harta lain yang seumpamanya. Sesungguhnya, Islam melarang keras perbuatan tersebut. A1.2 ASAS MU’AMALAT 1.2.1 Pengenalan Mu’amalat Mu’amalat dari sudut istilah bermaksud “perhubungan” dan peraturan urusan jual beli, manakala secara teknikalnya Mu’amalat merupakan sebarang bentuk peraturan perhubungan dan persetujuan bersama antara manusia dalam menyelesaikan masaalah / keperluan harian, terutamanya hal ehwal yang berkaitan dengan perdagangan dan perniagaan. Mu’amalat adalah suatu bentuk hubungan sosial yang membentuk pelbagai aktiviti ekonomi dan aktiviti bukan ekonomi. Prinsip-Prinsip Asas Mu’amalat Antara prinsip-prinsip asas yang memainkan peranan penting dalam membentuk perundangan Syari’ah dalam bidang Mu’amalat ialah:
  • 13.
    Pengenalan Mu’amalat Islam13  Kebebasan membentuk kontrak / perjanjian Para Muslim bebas menetapkan sebarang terma dan syarat dalam kontrak perjanjian, kecuali meletakkan syarat yang melarang melakukan transaksi yang dibenarkan atau melakukan transaksi yang dilarang.  Status asal perkara berkenaan adalah dibolehkan Kedudukan atau taraf semua perkara kecuali hal ehwal yang berkaitan dengan adat resam adalah dibolehkan oleh syarak, sehinggalah terdapat dalil atau bukti yang melarangnya.  Dibolehkan oleh adat resam Perumpamaan perundangan fiqh ada meyatakan “dikuatkuasakan di bawah budaya dan adat resam”. Dalam kebanyakan kontrak perdagangan Syari’ah, hampir semua perkara yang tidak menyalahi budaya dan adat resam adalah dibenarkan. 1.2.2 Larangan dalam Mu’amalat Semua kegiatan dan aktiviti ekonomi adalah dibenarkan selagi ia tidak menyalahi atau bertentangan dengan tuntutan Syari’ah. Sehubungan dengan itu, kesemua 4 mazhab utama (Hanafi, Maliki, Syafi’i, dan Hanbali) bersepakat pendapat bahawa semua bentuk urusan perniagaan yang bertentangan dengan tuntutan Syari’ah dianggap batal dan tidak sah. Prinsip-Prinsip Am:  Tidak dibenarkan terlibat dalam kotrak jual beli barangan yang ditegah dari hukum syarak seperti minuman keras dan lain-lain produk yang dilarangan.  Tidak dibenarkan terlibat dalam kontrak jual beli yang terdapat unsur-unsur riba (bunga atau faedah).
  • 14.
    14 Amalan AsasTakaful  Kontrak yang melibatkan unsur-unsur perjudian adalah dilarang dalam Syari’ah Islam.  Kontrak yang melibatkan unsur-unsur ketidakpastian (gharar) juga tidak dibenarkan. Kontrak boleh dibatalkan sekiranya terdapat unsur gharar.  Riba (bunga atau faedah) Istilah riba dari sudut bahasa bermaksud ‘melebihkan’ atau ‘tambahan’ kepada sesuatu transaksi. Larangan berkaitan riba adalah sepertimana firman Allah s.w.t. yang bermaksud: “Wahai orang-orang yang beriman!, Janganlah kamu makan atau mengambil riba dengan berlipat ganda, dan hendaklah kamu bertaqwa kepada Allah supaya kamu berjaya” (Al-Qur’an, 3: 130). Dan Nabi Muhammad s.a.w. pernah bersabda, yang maksudnya, “Apabila emas ditukar dengan emas, perak dengan perak, gandum dengan gandum, tamar dengan tamar, garam dengan garam – ia mestilah sama timbangan dan sukatannya, dan ditukar secara terus (pada satu masa). Sekiranya berlainan jenis, maka berjual belilah kamu sebagaimana disukai tetapi bayaran hendaklah dibuat dengan segera” (Riwayat Muslim). Dari Hadis yang dinyatakan di atas, emas dan perak adalah mewakili wang ringgit; sementara gandum, barli, buah tamar dan garam adalah mewakili barangan makanan. Kesemua barangan berkenaan termasuk dalam jenis barangan ribawi. Adalah jelas bahawa pengharaman boleh dibahagikan kepada 2 jenis yang berbeza. Riba yang pertama ialah larangan menambah jumlah hutang (duyun) yang juga dikenali sebagai Riba al-Duyun (Riba Hutang Piutang); sementara dalam urusan pertukaran barangan ribawi yang sama jenis ditukar dengan kadar / nisbah tukaran yang berbeza. Riba ini juga dikenali sebagai Riba al-
  • 15.
    Pengenalan Mu’amalat Islam15 Buyu’ (Riba Jual Beli). Secara ringkasnya, ia adalah seperti berikut: Riba al-Duyun (Riba Hutang Piutang) terbentuk melalui pinjaman kewangan iaitu; i. Riba al-Qard – di mana sejumlah tambahan (bunga atau faedah) dari pinjaman pokok dikenakan dan dipersetujui ketika kontrak dibuat. ii. Riba al-Jahiliyah – di mana hutang yang dibayar melebihi pinjaman pokok kerana si peminjam lewat atau tidak mampu membayar hutangnya pada waktu yang ditetapkan. Riba al-Buyu’ (Riba Jual Beli) terjadi melalui urusan pertukaran barang; iaitu Riba al-Fadl (barangan ribawi sama sejenis tetapi tanpa persamaan timbangan atau sukatan) dan Riba al-Nasi’ah (penangguhan penyerahan atau penerimaan barangan ribawi). Peraturan pertukaran barangan berikut digunakan dalam menentukan sama ada transaksi berkenaan dikategorikan sebagai Riba al-Fadl atau Riba al-Nasi’ah. Peraturan 1: Pertukaran barangan ribawi yang sama jenis (dan kadar atau sukatan) hendaklah menggunakan kadar yang sama berat, sukatan atau jumlah serta bayaran / penghantaran barangan hendaklah dibuat pada waktu itu juga. o Sekiranya pembayaran / penghantaran barangan dibuat dengan serta merta tetapi kadar berat, sukatan atau jumlahnya tidak sama, maka berlakulah Riba al-Fadl. o Sekiranya pembayaran / penghantaran barangan ditangguhkan tetapi kadar berat, sukatan atau jumlahnya adalah sama, maka berlakulah Riba al-Nasi’ah.
  • 16.
    16 Amalan AsasTakaful Peraturan 2: Bayaran dan penghantaran barangan ribawi dari jenis dan kadar yang berbeza hendaklah dibuat pada waktu itu juga walaupun mungkin dengan harga yang berbeza. Kadar berat, sukatan atau jumlah barangan yang ditukar tidak menjadi keutamaan. o Sekiranya pembayaran dan penghantaran barangan tidak dibuat dengan segera (on the spot), maka Riba al-Nasi’ah telah berlaku.  Perjudian (Maisir) Perjudian ialah sebarang aktiviti urus niaga yang di dalamnya terdapat unsur-unsur permainan yang melibatkan pertaruhan atau perjudian. Sesuatu kontrak yang melibatkan unsur-unsur perjudian (maisir) adalah dianggap batal (batil). Judi boleh ditakrifkan sebagai suatu pertaruhan atau mengenakan caj tertentu yang mana bayaran tersebut akan lupus sekiranya seseorang itu tidak berjaya memperolehi keuntungan / ganjaran yang diharapkan. Ia juga dikenali sebagai “permainan dengan hasil bersih sifar”, iaitu nilai ganjaran yang diterima oleh pemenang pertaruhan dan mereka yang kalah pertaruhan adalah bersamaan dengan sifar. Kemenangan yang diperolehi oleh satu pihak adalah kerugian kepada pihak yang lain. Sekiranya sesuatu transaksi itu melibatkan perkara yang menyalahi undang-undang dan membawa keburukan atau kemusnahan harta benda, maka ia boleh dianggap sebagai perjudian. Allah s.w.t. berfirman yang maksudnya: “Mereka akan bertanya kepadamu tentang minuman keras dan judi, katakanlah: pada keduanya terdapat dosa besar dan manfaat bagi manusia. Tetapi dosanya lebih besar dari pada manfaatnya…” (Al-Qur’an, 2: 219)
  • 17.
    Pengenalan Mu’amalat Islam17  Ketidakpastian (Gharar) Gharar atau ketidakpastian dalam sesuatu transaksi atau aktiviti yang tidak berlandaskan Syari’ah, yang menyebabkan berlakunya ketidakadilan kepada pihak-pihak yang terlibat. Ini adalah disebabkan kuantiti dan kualiti barangan yang dinyatakan dalam transaksi berkenaan tidak diketahui atau tidak ditetapkan nilainya. Ayub (2007) mentakrifkan gharar sebagai sejenis permainan judi, untung nasib, pertaruhan atau risiko. Gharar berlaku apabila terdapat unsur-unsur ketidakpastian dalam transaksi dimana ciri- ciri dan kewujudannya tidak dapat dipastikan secara tepat, disebabkan sifatnya yang berisiko. Keadaan tersebut menyebabkan kontrak berkenaan dianggap batal atau boleh dibatalkan. Rasulullah s.a.w. juga melarang umatnya terlibat dalam Gharar, Al-Baji al-Andalusi menyatakan: Nabi Muhammad s.a.w melarang urusan jual beli yang melibatkan gharar dan boleh menyebabkan urusan tersebut tidak sah. Jual beli melibatkan gharar bermaksud transaksi di mana terdapat unsur-unsur gharar yang nyata dan jelas sehingga ia boleh dikategorikan sebagai jual beli gharar. Para ulama’ bersependapat bahawa jual beli seperti ini adalah dilarang dan tidak sah. Sebaliknya, gharar kecil tidak menyebabkan urusan jual beli terbatal kerana para ulama berpendapat tiada kontrak yang benar-benar bersih dari unsur-unsur gharar. Gharar boleh dikategorikan kepada dua pecahan kecil iaitu Gharar Kecil dan Gharar Besar; (i) Gharar Kecil (Yasir) Gharar Kecil diberi kelonggaran dan boleh dimaafkan kerana ia tidak membatalkan kontrak jual beli, bermaksud unsur- unsur gharar di dalamnya tidak mempengaruhi komponen penting dan syarat-syarat utama kontrak (contohnya syarat-
  • 18.
    18 Amalan AsasTakaful syarat berkaitan aset, harga, bahasa yang digunakan dan sebagainya). (ii) Gharar Besar (Fahish) Gharar yang menyebabkan kontrak tidak sah dikenali sebagai Gharar Besar. Secara amnya, gharar besar mengandungi ciri-ciri berikut;  unsur-unsur ketidakpastian (gharar) terlalu nyata sehingga ia tidak boleh diterima sebagai suatu kontrak yang sah; atau ia terlalu kabur sehingga sukar untuk dinilai dan difahami. 1.2.3 Konsep Kontrak dalam Mu’amalat Al-Barbati dalam bukunya, Al-‘Inayah ‘ala Fath al-Qadir mendefinisikan ‘aqad atau kontrak seperti berikut: “Hubungan yang sah di sisi undang-undang tercipta melalui ikatan dua pengisytiharan dan wujud kesan perundangan atas perkara pokok yang dimaksudkan”. ‘Aqad dari sudut bahasa bermaksud “ikatan” atau “simpulan”. Dalam bahasa Inggeris, ia dikenali sebagai ‘kontrak’. Kontrak juga boleh didefinisikan sebagai “pernyataan persetujuan pertukaran hak milik atas barangan / perkara pokok yang ditawarkan oleh penjual dan pernyataan penerimaan barangan / perkara pokok oleh pembeli. Kontrak yang lengkap perlu mengandungi perkara-perkara berikut: Rukun Aqad Keterangan ‘Aqidain (pihak- pihak yang terikat dalam kontrak) Ia merupakan syarat utama yang menjadikan kontrak tersebut sah dimana pihak-pihak yang terlibat memenuhi syarat kelayakan mengikat kontrak. Keupayaan memenuhi syarat kelayakan menjadikan seseorang itu
  • 19.
    Pengenalan Mu’amalat Islam19 mempunyai hak dan layak untuk memikul tanggungjawab yang diamanahkan. Sighah (pernyataan ijab dan qabul) Sighah ialah suatu bentuk kontrak yang mengandungi ikrar ijab (lafaz penjual) dan qabul (lafaz pembeli) atau tawaran dan penerimaan. Tawaran yang dibuat oleh pihak pertama dipanggil ijab kerana ia menawarkan dan mengesahkan persetujuan penerimaan oleh pihak kedua. Ma’qud alaih (barangan dan harga jual beli) Ia adalah perkara pokok atau barangan yang dimaksudkan di dalam kontrak. Mengikut perundangan Islam, terdapat beberapa syarat yang perlu dipenuhi bagi barangan berkenaan untuk menjadikan kontrak tersebut sah; iaitu barangan tersebut hendaklah sah disisi undang- undang, wujud (sedia ada) dan telah dikenalpasti. A1.3 PENERAPAN KONTRAK SYARI’AH DALAM PERNIAGAAN TAKAFUL Dalam perundangan Islam, kontrak boleh wujud dalam bentuk dua keadaan iaitu kontrak dua pihak (bilateral) atau kontrak satu pihak (unilateral). Kontrak didefinisikan sebagai hubungan antara tawaran dan penerimaan yang menghasilkan persetujuan perundangan atas perkara pokok kontrak. Sebarang urusan perjanjian yang melibatkan harta benda perlu memenuhi beberapa keperluan asas kontrak yang bersesuaian dengan tujuan urusniaga berkenaan. Secara amnya skim Takaful melibatkan dua pihak iaitu Pengendali Takaful dan sekumpulan Peserta yang biasanya dikenali sebagai pemegang polisi dalam insurans konvensional. Ringkasnya, kontrak Takaful yang mewujudkan hubungan di antara Pengendali Takaful dengan peserta boleh dikategorikan dalam beberapa bentuk iaitu
  • 20.
    20 Amalan AsasTakaful Tabarru’, Wakalah dan Mudharabah bergantung kepada kehendak dan keperluan pihak-pihak yang terlibat. Keterangan lanjut mengenai bentuk kontrak berkenaan adalah seperti berikut: No. Keterangan Kontrak Keterangan Lanjut Kontrak Takaful i. Kafalah Satu kontrak jaminan di mana seseorang mmenambah kepada dirinya tanggungjawab atau liability bagi pihak orang lain. Dalam perniagaan Takaful, peserta menyumbang kepada dana Takaful dengan persetujuan bersama bahawa Pengendali Takaful diamanahkan untuk melaksanakan dalam menguruskan dana takaful secara berhemat dan membayar manfaat Takaful kepada peserta sekiranya ditimpa musibah. Kontrak Kafalah yang wujud dalam operasi sistem Takaful di Malaysia dan seluruh dunia. ii. Tabarru’ Bermaksud sumbangan atau derma yang diberikan oleh seseorang yang kemudiannya diberikan kepada orang lain yang memerlukannya, tanpa mengharapkan apa-apa balasan. Dalam perniagaan Takaful, peserta bersetuju untuk menderma sejumlah wang ke Dana Takaful berdasarkan kontrak tabarru’. Kontrak Tabarru’ merupakan elemen utama dalam perniagaan Takaful dan ianya bukan sahaja diamalkan di Malaysia, malah ia juga diamalkan diseluruh dunia.
  • 21.
    Pengenalan Mu’amalat Islam21 iii. Wakalah (wakil-mewakil) Kontrak agensi wujud apabila seseorang itu mewakilkan individu lain menjalankan tugas-tugas perniagaan bagi pihaknya. Individu yang menerima tugas tersebut dipanggil ‘wakil’. Oleh yang demikian, kedua-dua pihak iaitu prinsipal dan wakil sama-sama terikat di bawah kontrak wakalah. Kafalah (menjamin atau menjaga). Dalam perniagaan Takaful, peserta melantik Pengendali Takaful sebagai wakilnya untuk mengurus dana dan perlindungan Takaful. Kontrak wakalah diamalkan oleh semua pengendali Takaful di Malaysia dan juga sebahagian besar pengendali Takaful di seluruh dunia. iv. Ju’alah Kontrak menyewa bagi perkhidmatan, di mana satu pihak berjanji untuk membayar amaun yang dinyatakan wang bagi perkhidmatan yang diberikan selaras dengan terma-terma yang dirundingkan di antara mereka. Dalam perniagaan Takaful, para peserta menyumbang sejumlah wang kepada dana Takaful. Pengendali Takaful adalah diamanahkan untuk menguruskan dana Takaful secara berhemah dari segi pelaburan dan pembayaran manfaat Takaful kepada peserta yang layak jika berlaku musibah. Pengendali Takaful berhak kepada fi untuk perkhidmatan yang diberikan. Kontrak Ju’alah diamanahkan oleh semua Pengendali Takaful di Malaysia manakala
  • 22.
    22 Amalan AsasTakaful kebanyakan Pengendali Takaful di seluruh dunia beroperasi di bawah model Wakalah. v. Mudharabah Amalan Mudharabah (berkongsi keuntungan) bermaksud suatu kontrak kewangan di mana pihak pertama yang dikenali sebagai Rabb al-Mal menyediakan dana kepada pihak yang satu lagi yang dipanggil Mudharib. Mudharib kemudiannya diberi tanggungjawab mengurus dana berkenaan melalui urusan pelaburan atau perniagaan yang boleh memberi keuntungan. Kedua-dua pihak akan berkongsi keuntungan yang diperolehi mengikut kadar yang ditetapkan. Dalam perniagaan Takaful, peserta mencarum sejumlah wang ke dana Takaful di mana peserta bertindak sebagai Rabb al-Mal, sementara Pengendali Takaful menjadi Mudharib yang bertindak sebagai pengurus dana dan berusaha mencatat keuntungan dari pelaburan yang dibuat. Peserta dan Pengendali Takaful akan berkongsi keuntungan yang diperolehi mengikut kadar yang dipersetujui terlebih dahulu. Kontrak Mudharabah diamalkan oleh Syarikat Takaful Malaysia Berhad ketika syarikat berkenaan mula beroperasi. Walau bagaimanapun, sebahagian daripada Pengendali Takaful yang beroperasi di Malaysia mengamalkan kontrak Mudharabah hanya pada beberapa produk kewangan sahaja. vi. Musyarakah Kontrak Shirkah (perkongsian). Musyarakah adalah satu Dalam perniagaan Takaful, para pemegang saham masing-masing bersetuju bersama untuk
  • 23.
    Pengenalan Mu’amalat Islam23 perjanjian di antara dua atau lebih pihak untuk mengendalikan perniagaan tertentu di mana semua pihak menyumbang kepada modal untuk berkongsi keuntungan. Dalam urusan musyarakah, pihak yang terlibat di sini berkongsi liabiliti, keuntungan dan juga kerugian berdasarkan kepada persetujuan mereka. menyumbang sejumlah wang untuk memulakan perniagaan Takaful. Ini adalah persejutuan bersama di kalangan para pemegang saham yang dipanggil musyarakah. Kontrak musyarakah diamalkan di kalangan semua pemegang saham semua Pengendali Takaful di Malaysia dan Pengendali Takaful di seluruh dunia.
  • 24.
  • 25.
    Konsep Risiko 25 BABA2 KONSEP RISIKO PENGENALAN Risiko boleh ditakrifkan sebagai ketidakpastian tentang apa yang akan berlaku pada masa hadapan. Istilah ‘risiko’ mempunyai pelbagai pengertian dalam dunia perniagaan dan kehidupan harian. Risiko secara umumnya bermaksud kemungkinan berlakunya kebinasaan, kecederaan atau kerugian. Ia juga boleh ditafsirkan sebagai sebarang situasi di mana terdapatnya ketidakpastian tentang apakah yang akan berlaku dan kesan yang perlu ditanggung. Risiko biasanya dikaitkan dengan kejadian atau kesan yang merugikan, sementara peluang atau nasib dikaitkan dengan hasil atau keputusan yang menggembirakan / menguntungkan. Contoh risiko ialah diagnosa kanser paru-paru di kalangan para penghisap rokok di mana ketidakpastian sentiasa wujud sama ada mereka pasti akan menghidap kanser berkenaan ataupun tidak. A2.1 KONSEP RISIKO Oleh kerana tujuan perbincangan berkait rapat dengan risiko yang boleh diTakafulkan, tumpuan akan diberikan kepada risiko yang berkemungkinan boleh menyebabkan kerugian kewangan. Kerugian kewangan didefinisikan sebagai kehilangan atau penurunan nilai disebabkan berlakunya musibah atau kecelakaan. Selain dari risiko ketidakpastian sama ada sesuatu musibah itu akan menyebabkan kerugian atau tidak, risiko juga mempunyai kaitan dengan kebarangkalian kekerapan (frequency) dan keterukan (severity). Tahap risiko ditentukan melalui hubungan berkenaan. Hubungan tersebut dijelaskan melalui Heinrich Triangle. Heinrich Triangle menerangkan bahawa sekiranya kekerapan kejadian yang berlaku itu adalah tinggi, maka tahap keterukan (severity) adalah rendah. Manakala kejadian yang kurang kerap berlaku akan
  • 26.
    26 Amalan AsasTakaful menyebabkan tahap keterukan yang tinggi. Contohnya, kemalangan di udara yang melibatkan kapalterbang jarang berlaku tetapi sekiranya berlaku kemalangan berkenaan maka tahap keterukan – cedera parah atau kematian – adalah tinggi. 2.1.1 Peril dan Bahaya Konsep Keterangan Contoh Peril Peril digunakan untuk mengenal pasti sebab-sebab kerugian. Sebarang kerugian akibat kemalangan disebabkan oleh sesuatu peril adalah tertakluk kepada tuntutan di bawah polisi / pelan perlindungan yang berkaitan. Contoh-contoh peril termasuklah kebakaran, banjir, pelanggaran, kemalangan, gempa bumi, sakit dan kematian.  Kenderaan yang dilindungi di bawah polisi insurans motor mengalami kerosakan akibat kemalangan (kemalangan adalah peril yang dilindungi). Oleh itu, tuntutan boleh dibuat di bawah polisi ini  Sekiranya sebuah restoran musnah disebabkan kebakaran (kebakaran adalah peril yang dilindungi), maka tuntutan boleh dibuat di bawah polisi insurans kebakaran. Bahaya Bermaksud sesuatu perlakuan atau keadaan yang meningkatkan kebarangkalian berlaku kerugian. Bahaya boleh dibahagikan kepada dua jenis iaitu: 1. Bahaya Fizikal -Merujuk kepada ciri fizikal perkara pokok insurans yang boleh meningkatkan kemungkinan berlakunya kerugian. Kerja-kerja pendawaian yang tidak sempurna dalam sesebuah bangunan yang boleh meningkatkan kemungkinan berlakunya kebakaran.
  • 27.
    Konsep Risiko 27 2.Bahaya Moral – Merujuk kepada sikap seseorang yang meningkatkan kemungkinan berlakunya kerugian. Bahaya moral sukar untuk diramal. Seseorang itu dengan sengaja membakar produk yang tidak laku dijual tetapi telah diinsuranskan untuk menuntut ganti rugi dari insurer; atau pemilik polisi yang tidak jujur membuat tuntutan yang melampau dan sengaja diada-adakan. 2.1.2 Kategori Risiko Risiko boleh dikelaskan kepada beberapa kategori utama iaitu: Risiko Keterangan Contoh Tulen Merujuk kepada kebarangkalian terjadi kerugian ataupun tiada sebarang kerugian. Risiko tulen secara umumnya boleh dilindungi. Kebakaran, petir, banjir taufan, kematian, kemalangan, kecurian dan sebagainya. Spekulatif Merujuk kepada kebarangkalian berlaku kerugian, tiada kerugian atau mengaut keuntungan. Tidak dapat dipastikan sama ada sesuatu kejadian itu boleh membawa keuntungan, kerugian atau tiada kerugian. Risiko spekulatif tidak boleh dilindungi/diisuranskan Pelaburan di pasaran saham, pasaran matawang asing, meneroka bidang perniagaan baru dan sebagainya.
  • 28.
    28 Amalan AsasTakaful 2.1.3 Risiko Asas dan Risiko Khusus Risiko Keterangan Contoh Risiko Asas Risiko Asas akan memberi kesan ekonomi yang menyeluruh kepada masyarakat seluruhnya atau kepada kumpulan individu dalam masyarakat. Risiko Asas adalah di luar kawalan mana- mana individu. Kerosakan harta benda disebabkan gempa bumi, peperangan dan sebagainya. Risiko Khusus Risiko khusus akan hanya memberi kesan kepada individu tertentu dan bukannya keseluruhan masyarakat dan risiko ini boleh dikawal. Kerosakan harta benda disebabkan kemalangan, kecurian, rompakan dan sebagainya. 2.1.4 Jenis-Jenis Risiko Tulen Risiko Tulen biasanya boleh diinsuranskan dan perbincangan mengenai insurans dan Takaful akan memberi tumpuan kepada risiko-risiko berkenaan. Risiko Tulen boleh dikategorikan kepada tiga (3) jenis utama yang kesemuanya boleh menyebabkan ketidakstabilan kewangan iaitu Risiko Peribadi, Risiko Harta, dan Risiko Liabiliti. Risiko Keterangan Contoh Risiko Peribadi Merujuk kepada risiko yang memberi kesan langsung kepada individu yang boleh menyebabkan kemungkinan berlakunya kerugian atau pendapatan semakin berkurangan,
  • 29.
    Konsep Risiko 29 menanggungperbelanjaan tambahan dan nilai aset yang semakin susut. Risiko peribadi boleh dibahagikan kepada empat (4) jenis iaitu: Risiko Mati Awal Kematian ketua keluarga atau pencari nafkah boleh menyebabkan keluarga yang ditinggalkan menghadapi masaalah kewangan. Risiko Simpanan Tidak Mencukupi ketika Persaraan. Para pesara menghadapi kemungkinan kehilangan atau ketiadaan punca pendapatan ketika bersara sekiranya mereka tidak mempunyai aset cair yang mencukupi atau tiada sumber-sumber pendapatan lain ketika persaraan. Risiko yang perlu ditanggung ialah taraf dan gaya hidup yang lebih rendah. Risiko Kesihatan yang semakin Buruk. Kemungkinan seseorang itu perlu menanggung kos perubatan yang amat tinggi dan seterusnya kehilangan pekerjaan / pendapatan. Risiko Kehilangan Pendapatan Merupakan ancaman kewangan yang terbesar disebabkan perniagaan menghadapi zaman kesukaran, perubahan ekonomi dan aplikasi
  • 30.
    30 Amalan AsasTakaful teknologi dan sebagainya. Risiko Harta Merujuk kepada kebarangkalian berlakunya kerugian disebabkan kerosakan harta akibat kebakaran, banjir, gempa bumi atau bencana alam lain. Terdapat dua (2) jenis risiko yang berkaitan dengan harta benda: Kerugian Langsung Kerugian kewangan yang berlaku atas kerosakan fizikal harta benda disebabkan kecurian atau kemusnahan harta tersebut. Sebuah kilang mengalami kerosakan disebabkan kebakaran (kerosakan fizikal kilang berkenaan merupakan kerugian langsung). Kerugian Tidak Langsung atau Kerugian Turutan Kerugian kewangan yang berlaku secara tidak langsung atas kerosakan fizikal harta benda disebabkan kecurian atau kemusnahan harta tersebut. Selain dari kerugian akibat kerosakan fizikal kilang berkenaan, pemilik kilang juga kehilangan mata pencarian / pendapatan sepanjang tempoh kilang tersebut menjalani kerja-kerja baik pulih. Kehilangan pendapatan adalah merupakan kerugian tidak langsung / kerugian turutan.
  • 31.
    Konsep Risiko 31 Risiko Liabiliti Merujukkepada risiko kecederaan badan pihak ketiga atau kerosakan harta. Pihak mahkamah mungkin memerintahkan pihak yang dituntut membayar ganti rugi atas kecederaan anggota badan pihak ketiga. Organisasi atau firma perniagaan terdedah kepada tuntutan liabiliti disebabkan kecacatan produk yang dihasilkan. Produk tersebut mungkin boleh menyebabkan kecederaan anggota badan atau kerosakan harta kepada pengguna yang menggunakan produk berkenaan. 2.1.5 Ciri-Ciri Risiko yang Boleh Diinsuranskan Ciri-Ciri Keterangan Mempunyai Nilai Kewangan Risiko berkait rapat dengan kerugian di mana ganti rugi kewangan boleh dibayar setelah berlaku sesuatu musibah umpamanya kerosakan rumah kediaman disebabkan kebakaran, kecurian kenderaan dan sebagainya. Harta berkenaan mungkin mempunyai nilai kewangan dan nilai peribadi, tetapi ia hanya boleh diinsuranskan berdasarkan nilai kewangan dan bukannya nilai sentimental harta / perkara pokok insurans. Risiko Pendedahan yang Sama Risiko yang hendak diinsuranskan mestilah mempunyai persamaan ciri-ciri dan terdapat jumlah yang banyak, a) Penilaian risiko melalui analisa kebarangkalian dan statistik amat
  • 32.
    32 Amalan AsasTakaful bergantung kepada pengalaman lepas yang dianggap munasabah jumlahnya. b) Sekiranya hanya terdapat 3 atau 4 pengalaman pendedahan, ia akan menyebabkan kos perlindungan dan bayaran premium yang tinggi serta tidak kompetitif. Contohnya insurans perlindungan sepasang kaki milik model / peragawati terkenal. Risiko Tulen Secara umumnya, hanya risiko tulen (kerugian atau tiada kerugian) sahaja yang boleh diinsuranskan kerana seseorang itu tidak boleh meraih keuntungan dari insurans. Risiko spekulatif memberi kemungkinan berlaku kerugian, pulang modal (tiada kerugian) atau meraih keuntungan, dan oleh itu ia tidak boleh diinsuranskan. Risiko Khusus Risiko khusus boleh dilindungi sekiranya ia memenuhi kriteria risiko yang boleh diinsuranskan. Risiko asas biasanya tidak boleh diinsuranskan, contohnya risiko peperangan atau perubahan nilai budaya. Walau bagaimanapun, mungkin terdapat risiko yang boleh diberi perlindungan insurans tetapi ia bergantung kepada lokasi geografi risiko berkenaan. Kerugian Tidak Dijangka Adalah tidak munasabah untuk menginsuranskan risiko yang pasti akan berlaku kerana ia bertentangan dengan salah satu ciri-ciri risiko boleh diinsuranskan iaitu kerugian tidak dijangka. Kekerapan dan
  • 33.
    Konsep Risiko 33 ketenatansesuatu risiko itu mestilah di luar jangkaan, contohnya dalam insurans hayat – bila / tarikh kematian adalah diluar pengetahuan manusia untuk memastikannya. Contoh risiko yang telah dijangka, dengan niat dan disengajakan ialah bunuh diri. Kepentingan Boleh Lindung Bermaksud suatu hak hubungan yang sah di sisi undang-undang di antara diri yang diinsuranskan dengan perkara pokok insurans. Risiko yang hendak dilindungi mestilah mempunyai kepentingan kewangan yang diiktiraf oleh undang-undang. Diri yang diinsuranskan merupakan individu yang akan menanggung kerugian kewangan sekiranya risiko yang dilindungi itu benar-benar terjadi. Contohnya, pemilik rumah berhak menginsuranskan rumah kediamannya. A2.2 KONSEP RISIKO DALAM ISLAM Terdapat sebilangan orang Islam yang terkeliru tentang konsep takdir (Qada’ dan Qadar), yang mana mereka beranggapan takdir mereka telah ditentukan oleh Allah s.w.t. sejak azali lagi dan dengan itu tidak perlu berusaha. Hakikatnya, setiap manusia tetap berkewajipan untuk berusaha dan berikhtiar kerana semua perkara ditentukan oleh Allah tetapi manusia diberi pilihan untuk mencorakkan kesejahteraan hidupnya sendiri. Allah s.w.t. berfirman yang maksudnya: “Sesungguhnya Allah tidak akan mengubah nasib / keadaaan sesuatu kaum sehingga mereka sendiri mengubah keadaan yang ada pada diri mereka” (Al-Qur’an, 13:11)
  • 34.
    34 Amalan AsasTakaful Seterusnya, dalam satu riwayat, Nabi Muhammad s.a.w. bertanya kepada seorang Badwi yang meninggalkan untanya tanpa ditambat, “Mengapa kamu tidak menambat / mengikat unta kamu?” Orang Badwi itu menjawab, “Aku serahkan takdir dan bertawakkal kepada Allah s.w.t”. Nabi Muhammad kemudiannya menjawab, “Ikatkan dahulu unta itu, kemudian barulah bertawakkal”. Pengajaran dari peristiwa di atas mengukuhkan tanggapan bahawa sesungguhnya umat Islam bukan sahaja perlu percaya pada Qada’ dan Qadar Allah, tetapi juga menegaskan yang mereka perlu berusaha dan bertawakal demi mengelakkan malapetaka atau mengurangkan risiko menanggung kerugian. Pengurusan risiko merupakan suatu konsep yang bukan sahaja diterima oleh masyarakat Islam, malah mempercayainya sebagai salah satu cara untuk mencapai objektif dan matlamat hidup, dan seterusnya mencapai matlamat akhir ialah menikmati kehidupan yang penuh keberkatan di dunia dan di akhirat kelak. A2.3 RISIKO DAN TAKAFUL Risiko-risiko yang perlu dihadapi dalam mengendalikaan operasi perniagaan Takaful tidak terhad kepada perkara-perkara yang dinyatakan di bawah: Jenis-jenis Risiko Keterangan Risiko Operasi Risiko menghadapi kerugian disebabkan kegagalan proses kerja dalaman, sumber manusia dan sistem kendalian atau pengaruh luar antara lainnya seperti:  Amalan dan keselamatan tempat kerja: kerugian disebabkan cara bekerja yang tidak selaras atau bertentangan dengan undang- undang dan peraturan pekerjaan, kesihatan dan keselamatan tempat kerja, sistem ganjaran / upah.
  • 35.
    Konsep Risiko 35 Penipuan dalaman: kerugian disebabkan tindakan pekerja yang berniat untuk menipu, menyalahguna harta syarikat atau menyalahi peraturan, undang-undang dan dasar syarikat, amalan rasuah.  Penipuan luaran: kerugian disebabkan tindakan pihak ketiga / luar yang berniat untuk menipu atau pemalsuan dokumen, penyalahgunaan harta syarikat atau menyalahi peraturan/undang-undang.  Kerosakan harta: kerugian disebabkan kerosakan atau kehilangan harta syarikat akibat bencana alam atau tindakan lain seperti keganasan, vandalisme dan sebagainya.  Gangguan perniagaan dan sistem pincang tugas: kerugian disebabkan gangguan bekalan utiliti, kegagalan perkakasan dan perisian komputer.  Proses pengurusan, perlaksanaan dan penyampaian: kerugian akibat kegagalan proses transaksi atau proses pengurusan, kerugian yang berkaitan dengan urusan dengan rakan niaga atau pembekal akibat kesilapan kemasukan data, kesilapan akaun, kegagalan menyiapkan laporan mandatori, kerugian harta pelanggan disebabkan kecuaian.  Pelanggan, produk dan amalan perniagaan: kerugian disebabkan gagal (tanpa niat atau cuai) untuk memenuhi tanggungjawab profesional terhadap pelanggan tertentu (termasuk keperluan industri dan kesesuaian), atau kerugian akibat kecacatan reka bentuk atau ciri-ciri produk.
  • 36.
    36 Amalan AsasTakaful Risiko Undang- undang Risiko kerugian akibat tuntutan udang-undang dari pihak ketiga. Risiko Strategik Risiko kerugian akibat kesilapan membuat keputusan atau strategi perniagaan yang menimbulkan kesan negatif. Risiko Reputasi Sebarang keraguan atau kesilapan dalam membuat keputusan, aktiviti atau inisiatif boleh mencemarkan nama dan reputasi syarikat Pengendali Takaful. Risiko Pengunderaitan Risiko sekiranya dana caruman / tabarru’ tidak mencukupi untuk menampung bayaran tuntutan dan rezab perbelanjaan penyelarasan kerugian semasa tidak mencukupi. Risiko Pelaburan Risiko dalam pelaburan ialah kerugian. Hampir kesemua bentuk pelaburan mempunyai risikonya tersendiri: harga saham jatuh; bon atau sukuk tidak berfungsi sepatutnya, aset sandaran pasaran derivatif tidak berfungsi seperti yang dijangkakan. Risiko Tadbir Urus Biasanya ia berkisar tentang aktiviti perniagaan seperti tadbir urus korporat, pengurusan risiko perusahaan dan pematuhan korporat dengan peraturan dan undang-undang sedia ada. Risiko Meneruskan Perniagaan Iaitu merancang dan mengenal pasti pendedahan organisasi terhadap ancaman dalaman dan luaran serta penggemblengan kemahiran dan aset bagi merangka tindakan pencegahan dan pemulihan yang berkesan untuk organisasi, mengekalkan kelebihan kompetitif dan nilai integriti sistem untuk memastikan kesinambungan dan daya maju syarikat.
  • 37.
    Konsep Risiko 37 Risiko Pematuhan Syariah Terdapatrisiko kemungkinan operasi urus niaga Takaful tidak mematuhi prinsip-prinsip Syariah. Pengendali Takaful mungkin menghadapi risiko tidak memperolehi pendapatan yang dijangka serta risiko reputasi. Sebagai contoh, risiko yang telah diterima mungkin tidak mematuhi prinsip- prinsip Syariah dan oleh itu terpaksa ditolak dan menyarankan agar kotrak dibatalkan atau mendermakan pendapatan kepada badan-badan kebajikan. A2.4 KAEDAH MENANGANI RISIKO Apabila sesuatu risiko itu telah dikenal pasti dan dinilai, semua teknik pengawalan risiko boleh digunakan dan pada dasarnya terdapat empat cara menangani risiko:  Pengelakan risiko  Pengawalan / pengurangan risiko  Pengekalan risiko  Pemindahan risiko  Perkongsian risiko 2.4.1 Pengelakan Risiko Menjauhi atau menghapuskan risiko - Sekiranya diputuskan bahawa terdapat risiko yang tidak boleh diterima, maka organisasi boleh memutuskan untuk tidak meneruskan aktiviti atau perniagaan yang mengandungi risiko berkaitan. Jika keputusan ini dibuat, maka individu atau organisasi telah memutuskan untuk mengelakkan risiko. Pengelakan mungkin seolah-olah jawapan kepada semua risiko, tetapi mengelakkan risiko juga bermakna kehilangan potensi keuntungan sekiranya menerima (mengekalkan) risiko yang dibenarkan. Keputusan untuk tidak meneruskan perniagaan bagi mengelakkan risiko kerugian juga bererti mengelakkan kemungkinan memperolehi keuntungan. Contohnya, tidak membeli harta atau memulakan
  • 38.
    38 Amalan AsasTakaful perniagaan kerana tidak mahu menanggung liabiliti yang terkandung didalamnya. 2.4.2 Pengawalan atau Pengurangan Risiko Ini adalah suatu tindakan yang diambil untuk memperbaiki risiko demi mencapai tahap standard yang boleh diterima pakai. Proses penilaian yang berterusan amat diperlukan untuk memastikan standard yang diingini dapat dicapai. Ia melibatkan kaedah mengurangkan keterukan / ketenatan kerugian atau kemungkinan dapat mencegah dari berlakunya kerugian. Sebagai contoh, memasang sistem perenjis air untuk memadamkan api bagi mengurangkan risiko kerugian disebabkan kebakaran. 2.4.3 Pengekalan Risiko Sekiranya tahap risiko semasa berada di tahap yang boleh diterima, individu atau organisasi boleh memutuskan untuk mengekalkan risiko berkenaan. Ia bererti berkesanggupan menerima kerugian sekiranya ia benar-benar berlaku. Pengekalan risiko merupakan satu strategi yang berdaya maju bagi risiko kecil di mana kos menginsuranskan risiko berkenaan mungkin lebih besar dimasa akan datang berbanding dengan jumlah kerugian yang dialami. 2.4.4 Pemindahan Risiko Ia melibatkan proses pemindahan risiko kepada organisasi (insurer) atau individu. Apabila risiko dipindahkan, kerugian akan dibayar oleh organisasi atau individu kepada mereka yang memindahkan risiko berkenaan. Terdapat dua cara untuk memindahkan risiko Contoh Kotrak Insurans / Takaful: Pemilik rumah boleh memindahkan risiko kerugian sekiranya rumah kediamannya musnah dijilat api iaitu dengan membeli pelan Takaful kebakaran. Contoh Kontrak Bukan Insurans / Takaful: Sesebuah pasar raya boleh memindahkan risiko (liabiliti) yang timbul daripada penjualan produk
  • 39.
    Konsep Risiko 39 yangmegalami kecacatan dengan membuat kontrak perjanjian dengan pengilang di mana pengilang bersetuju untuk membayar ganti rugi kepada pasar raya dari liabiliti yang mungkin timbul daripada produk yang rosak. A2.4.5 Perkongsian Risiko Islam tidak membenarkan risiko ditukar iaitu pemindahan secara keseluruhan kerugian kewangan yang timbul daripada risiko. Ia tidak diiktiraf sebagai adil kepada setiap pihak kerana ia boleh membawa kepada beban lebih-tuntutan di luar niat asal syarikat insurans, atau sebaliknya juga boleh mengakibatkan tahap premium yang tidak boleh diterima oleh pihak yang dilindungi. Sebagai alternatif, individu atau organisasi boleh berkongsi risiko dengan orang lian yang mempunyai sifat risiko yang serupa. Amalan ini dipanggil perlindungan Takaful. A2.5 PENGURUSAN RISIKO 2.5.1 Mengenalpasti Risiko Mengenalpasti risiko merupakan langkah yang paling penting dalam proses pengurusan risiko. Ia perlu dilakukan untuk mengenal pasti risiko-risiko yang boleh menjejaskan kewangan individu atau firma sebelum suatu jalan penyelesaian boleh disediakan. Apabila risiko telah dikenal pasti, ia hendaklah diukur dan dinilai secara individu bagi menentukan kebarangkalian atau kemungkinan berlaku kerugian dan kesan kewangan keatas individu atau firma terbabit. Pengurusan risiko mengambil pandangan bahawa sesebuah firma terdedah kepada risiko dalam pelbagai cara yang kesemuanya boleh menyebabkan kerugian kewangan. Oleh itu, risiko dilihat dalam erti kata yang seluas-luasnya, dan tidak terhad kepada risiko yang boleh diinsuranskan. Tanggungjawab pengurus risiko ialah mengenal pasti risiko yang berkemungkinan boleh menjejaskan perniagaan syarikat.
  • 40.
    40 Amalan AsasTakaful  Kaedah Mengenal pasti Risiko  Pemeriksaan Fizikal Membuat lawatan singkat ke loji adalah penting untuk membantu memahami risiko berkaitan, yang kemudiannya diikuti dengan proses formal mengenal pasti risiko secara lebih menyeluruh.  Carta Organisasi Satu carta yang menunjukkan struktur organisasi syarikat dan hubungan di antara kakitangan dan jabatan yang berlainan dapat membantu mengenal pasti kelemahan struktur organisasi.  Carta Aliran Kerja Satu carta yang menunjukkan bahan-bahan atau kerja 'berfungsi' melalui pelbagai peringkat proses di mana bahagian yang lemah / tidak berfungsi boleh dikenal pasti.  Senarai Semak Suatu senarai soalan pertanyaan atau soal selidik yang berkaitan dengan bidang-bidang utama aktiviti boleh membantu mengenal pasti bahagian-bahagian yang mempunyai risiko. 2.5.2 Pemeriksaan dan Penilaian Risiko Pemeriksaan dan penilaian risiko adalah proses menentukan kesan risiko atau potensi kerugian supaya tindakan sewajarnya dapat diambil berdasarkan sumber-sumber yang sedia ada. Penilaian risiko melibatkan anggaran kekerapan dan keterukan pendedahan risiko dan menentukan tahap kedudukannya berdasarkan kepada perbandingan
  • 41.
    Konsep Risiko 41 kepentingan.Risiko yang berpotensi tinggi menyebabkan kerugian akan diberikan keutamaan dalam pelan pengurusan risiko.  Kekerapan risiko merujuk kepada jumlah atau bilangan sesuatu musibah itu berlaku yang mengakibatkan kerugian, dalam suatu tempoh masa yang ditetapkan (kebarangkalian berlakunya).  Keterukan risiko merujuk kepada kos atau jumlah kerugian dari segi kewangan, yang terpaksa ditanggung akibat dari musibah berkenaan. Tidak semua risiko itu penting dan perlu dikendalikan atau diinsuranskan / dilindungi. Bagi risiko yang lebih kecil, ia boleh diabaikan walaupun terdapat kemungkinan yang ia boleh berlaku. Walau bagaimanapun, saiz risiko sahaja tidak menentukan sama ada ia perlu diberi keutamaan. Risiko yang mempunyai kemungkinan yang sedikit untuk terjadi tetapi membawa kesan yang besar terhadap kedudukan kewangan individu atau firma perlu diberi keutamaan. Contoh: Dalam pelan pengurusan risiko, pendedahan kerugian yang berpotensi untuk menyebabkan sesebuah firma itu muflis adalah jauh lebih penting berbanding dengan pendedahan risiko yang berlaku tetapi hanya melibatkan kos yang kecil. 2.5.3 Pembangunan Pelan Pengurusan Risiko Apabila sesuatu risiko telah dinilai sepenuhnya, sudah tiba masanya untuk memilih kaedah pengurangan risiko yang bersesuaian. Pemilihan kaedah tersebut harus dibuat pada peringkat awal pelan pembangunan dengan mengambilkira kos dan keberkesanannya. Terdapat empat kaedah pengurangan risiko - Pengelakan Risiko; Kawalan Risiko; Pembendungan Risiko dan Pemindahan Risiko. 2.5.4 Perlaksanaan Pelan Pengurusan Risiko Sebaik sahaja pemilihan kaedah yang sesuai telah diputuskan, pelan pengurusan risiko sudah bersedia untuk dilaksanakan. Dalam melaksanakan langkah ini, risiko perlu dikenalpasti keutamaannya dan
  • 42.
    42 Amalan AsasTakaful disesuaikan dengan bentuk tindakan yang akan diambil. Salah satu bentuk tindakan yang kerap diambil ialah dengan menginsuranskan / melindungi risiko tersebut. 2.5.5 Kajian semula dan Pemantauan Pelan Pengurusan Risiko  Kajian semula dan pemantauan adalah satu lagi langkah penting dalam proses pengurusan risiko. Aktiviti-aktiviti ini melibatkan kajian / penilaian semula secara berkala, memantau proses perlaksanaan serta semakan progresif keatas pelan berkenaan supaya ia selaras dengan perubahan dalam persekitaran perniagaan dan ekonomi.  Peringkat pemantauan dan kajian semula risiko termasuk mengeluarkan buku panduan/ manual mengenai risiko , laporan tuntutan, kajian pengalaman dan audit. Secara umumnya, risiko yang berlainan memerlukan kaedah pemantauan yang berbeza, khususnya risiko yang dilindungi yang perlu dipantau secara lebih kerap dan melaporkan terus kepada pihak pengurusan.  Penilaian semula secara berkala boleh membantu mengenal pasti sebarang kekurangan atau pengubahsuaian, dan juga memastikan objektif pelan pengurusan risiko boleh dicapai. Kajian / penilaian semula perlu dilakukan sekurang-kurangnya sekali dalam setahun. 2.5.6 Komunikasi Pelan dan Objektif Pengurusan Risiko  Sering diperkatakan bahawa bukan pelan yang penting, tetapi ketelitian perancangan itu sendiri yang menjadi keutamaan. Ini adalah sangat benar dimana komunikasi yang berkesan disemua fasa perancangan pengurusan risiko amat diperlukan. Keperluan komunikasi sering diabaikan dan akibatnya, fasa perlaksanaan dan pemantauan tidak dititikberatkan sehingga mengakibatkan objektif pelan pengurusan tidak dapat dicapai.
  • 43.
    Konsep Risiko 43 Petunjuk-petunjuk penting dari sumber dalaman atau luaran yang berkaitan dengan pengurusan risiko perlu diambilkira. Kedua-dua sumber berkenaan perlu dimasukkan ke dalam dasar pengurusan risiko. Petunjuk-petunjuk utama ini boleh dipecahkan kepada bidang pengkhususan risiko masing-masing.  Pengurusan risiko perlu diintegrasikan ke dalam budaya korporat. Dalam amalan pengurusan risiko yang moden, setiap individu dalam syarikat bertanggungjawab untuk mencapai objektif pengurusan risiko firma. Oleh itu, dalam semua fasa pengurusan risiko, komunikasi antara pihak-pihak yang terlibat amatlah penting.
  • 44.
  • 45.
    Pengenalan Takaful 45 BABA3 PENGENALAN TAKAFUL PENGENALAN Dalam zaman sebelum kedatangan Islam, adalah menjadi adat orang- orang Arab pagan untuk membayar pampasan atau diyat, di mana penjenayah perlu membayar ganti rugi berupa ‘Darah-Wang’ (diyat) sebagai pampasan kepada ahli keluarga mangsa yang telah mati dibunuh. Ia adalah menjadi hak keluarga si mati untuk menuntut pampasan daripada suku atau keluarga pesalah / pembunuh. Adat membayar diyat diamalkan bagi menggantikan adat primitif sebelumnya iaitu ‘hutang darah dibayar darah’. Diyat diperkenalkan bagi mengelakkan berlakunya balas dendam dan peperangan antara puak. Sistem pampasan 'darah-wang' terus diamalkan walaupun selepas kedatangan Islam kerana kebaikan dan manfaat berikut;  Ia mengurangkan tragedi pertumpahan darah dan persengketaan.  Menjadikan tanggungjawab individu sebagai tanggungjawab kolektif.  Mengurangkan beban kewangan individu yang terlibat.  Memupuk semangat kerjasama dan persaudaraan dikalangan puak masing-masing Doktrin ini telah mendapat perkenan Junjungan Besar Nabi Muhammad s.a.w. dan kemudiannya diwajibkan dalam tempoh Khalifah kedua. Ini adalah doktrin asas yang diperkembangkan dalam amalan insurans Islam hari ini. Dalam Islam, semua aktiviti ekonomi adalah sah dan dibolehkan di sisi undang-undang selagi ia lakukan dengan tidak melampaui batas mana-mana rukun yang telah ditetapkan melalui dua sumber rasmi undang-undang Syari’ah iaitu al-Qur’an dan Sunnah. Selaras dengan ketetapan tersebut, kesemua empat aliran mazhab utama iaitu Hanafi,
  • 46.
    46 Amalan AsasTakaful Maliki, Shafi’i, dan Hanbali telah sebulat suara bersetuju bahawa semua bentuk transaksi perniagaan yang mengandungi unsur faedah / bunga (riba), ketidakpastian (gharar) dan perjudian (maisir) dianggap tidak sah/haram. Doktrin Maqasid Syari’ah menyatakan adalah menjadi tanggungjawab semua umat Islam untuk melindungi aset ketara, harta benda, kebajikan dan kesejahteraan ummah. Kaedah / bentuk perlindungan yang diamalkan perlu mematuhi ketetapan Syari’ah dan garis panduan undang-undang dan prinsip-prinsipnya. Malangnya, hampir kesemua kaedah insurans konvensional adalah berpaksikan amalan-amalan yang dilarang oleh Syari’ah. A3.1 DEFINISI TAKAFUL Perkataan ‘Takaful’ berasal dari kata kerja bahasa Arab kafala yang bermaksud menjaga atau mejamin keperluan seseorang. Oleh itu, permuafakatan antara sekurang-kurangnya dua pihak yang bersetuju untuk saling jamin-menjamin antara satu sama lain sekiranya berlaku kerugian disebabkan ditimpa bencana atau musibah, ia ditakrifkan sebagai 'Takaful '. Begitu juga, jaminan bersama yang mejadi nadi dalam konsep Takaful boleh diterjemahkan dalam mengendalikan operasi perniagaan atau transaksi komersil di sektor tijari atau sektor perniagaan sebagai salah satu pemain kewangan Islam dalam pasaran ekonomi. Dengan cara ini, seperti perbankan, Takaful bukan satu alternative tetapi lebih kepada kewajipan kepada agama. A3.2 KONSEP TAKAFUL Majlis Akademik Liga Dunia Islam, selepas membuat pengubahsuaian yang sewajarnya telah menyimpulkan bahawa bentuk kerjasama insurans boleh diterima dan dianggap sebagai alternatif kepada insurans. Sistem yang berfungsi selaras dengan rangka kerja Islam perlu dirangka berasaskan konsep-konsep berikut:
  • 47.
    Pengenalan Takaful 47 3.2.1Takaful  Para ulama telah sebulat suara bersetuju bahawa perlindungan yang sesuai dengan kehendak Syari’ah hendaklah berdasarkan konsep Takaful Islam. Takaful adalah kata nama yang berasal dari kata kerja bahasa Arab, kafala, bermaksud untuk menjaga dan menjamin keperluan seseorang. Takaful bermaksud gotong- royong di kalangan kumpulan, iaitu setiap ahli kumpulan berusaha untuk membantu orang-orang yang memerlukan dikalangan kumpulan mereka. Konsep Takaful adalah berdasarkan perpaduan, tanggungjawab bersama dan persaudaraan di kalangan ahli. Takaful boleh ditakrifkan sebagai tindakan sekumpulan individu yang berhasrat untuk saling menjamin antara satu sama lain dalam kumpulan tersebut dari kerugian atau kerosakan yang mungkin menimpa keatas salah seorang daripada mereka.  Ciri utama operasi Takaful adalah seperti berikut: o Pihak syarikat atau pengendali Takaful bukanlah pihak yang menanggung risiko, pesertalah yang saling menjamin dan bersetuju melindungi antara satu sama lain. o Syarikat bertindak sebagai pemegang amanah bagi pihak peserta dalam usaha untuk menguruskan operasi perniagaan Takaful. o Semua sumbangan (premium) yang dibayar oleh peserta akan dikumpulkan kedalam Kumpulan Wang Takaful bagi tujuan pembayaran manfaat Takaful. o Dana Takaful pada masa yang sama boleh dilaburkan dalam mana-mana bidang pelaburan yang diluluskan oleh Majlis Syari’ah. 3.2.2 Mudharabah (berkongsi keuntungan)  Mudharabah boleh ditakrifkan sebagai kontrak perkongsian keuntungan komersial di antara pembekal atau penyedia dana dan usahawan yang menjalankan usaha perniagaan.
  • 48.
    48 Amalan AsasTakaful Mudharabah ialah permuafakatan berkongsi keuntungan di mana satu pihak yang dikenali sebagai sahib al-mal (peserta) menyediakan semua modal perniagaan. Pihak yang satu lagi, yang dikenali sebagai mudharib atau usahawan (pengendali Takaful), yang tidak memiliki modal tetapi memiliki kepakaran untuk mengendalikan perniagaan. Semua keuntungan daripada usaha niaga ini akan dikongsi di antara kedua-dua pihak berdasarkan nisbah yang dipersetujui, umpamanya 50:50 atau 60:40 atau apa sahaja yang dipersetujui bersama.  Untuk menjadikan kontrak Mudharabah sah mengikut hukum syara', pelbagai elemen atau komponen perlu wujud, iaitu: o Penyedia modal o Usahawan o Modal o Aktiviti o Nisbah Keuntungan o Tawaran dan Penerimaan  Ciri-ciri Utama Kontrak Mudharabah ialah; o Sekiranya berlaku kerugian, adalah menjadi tanggungjawab pemberi modal untuk menerima dan menanggung kerugian tersebut. o Sekiranya berlaku kerugian yang disebabkan oleh salah urus Pengendali Takaful, maka pengendali Takaful perlu menanggung kerugian tersebut. o Sekiranya usaha niaga tersebut memperolehi keuntungan, maka keuntungan akan dikongsi antara Pengendali Takaful dan pemberi modal. o kontrak berkenaan boleh dibatalkan dan semua modal terkumpul serta keuntungan (perniagaan Takaful Keluarga sahaja) hendaklah dikembalikan kepada pemberi modal, setelah ditolak perbelanjaan pentadbiran.
  • 49.
    Pengenalan Takaful 49 opemberi modal perlu memberi persetujuan untuk melantik usahawan (Pengendali Takaful) untuk mengendalikan usaha niaga bagi pihaknya. o pemberi modal tidak akan mengeluarkan arahan Pengendali Takaful atau terlibat dalam pengurusan perniagaan Takaful. 3.2.3 Tabarru’  Tabarru’ adalah perkataan Arab yang bermaksud derma atau hadiah. Tabarru’ ialah dimana Peserta bersetuju untuk melepaskan semua bahagian atau sebahagian derma atau sumbangan bagi membolehkan ia memenuhi tanggungjawab saling membantu dan saling menjamin.  Dalam kontrak Takaful, apa yang dimaksudkan dengan tabarru’ ialah sejumlah tertentu derma ikhlas yang dibuat oleh peserta bagi tujuan yang tertentu seperti yang dinyatakan dalam perjanjian atas semangat persaudaraan dan saling berkerjasama. Dana ini akan digunakan untuk membantu ahli yang ditimpa kesusahan.  Tabarru’ kini telah mengIslamkan kontrak insurans dengan membuang semua unsur-unsur yang bertentangan dengan Syari’ah. Inilah perbezaan asas yang paling ketara antara insurans yang mematuhi Syari’ah dengan insurans konvensional. Tanpa konsep derma, urus niaga akan bersifat jual beli insurans iaitu membeli janji bahawa beberapa bentuk manfaat akan dibayar sekiranya peserta menghadapi nasib malang. Janji mungkin atau tidak mungkin dipenuhi, bergantung kepada sama ada peristiwa yang diinsuranskan itu berlaku atau tidak. Sekiranya tiada sebarang tuntutan, penanggung insurans akan berpeluang memperolehi kesemua premium yang dibayar.  Walau bagaimanapun, semangat yang tertanam dalam konsep tabarru’ ialah peserta tidak hanya memikirkan perlindungan diri sendiri, malah dia juga memikirkan untuk membantu peserta lain. Peserta mesti sedar bahawa sumbangan ikhlas yang dihulur bukan sahaja membolehkan dirinya dan saudara-saudara seagamanya
  • 50.
    50 Amalan AsasTakaful yang lain diberi perlindungan, malah ia juga akan diberi ganjaran di akhirat kelak. Ini berbeza dengan insurans konvensional di mana seseorang membeli insurans perlindungan tertentu untuk diri mereka sendiri sahaja.  Apa yang membuatkan konsep tabarru' lebih menarik ialah peserta mendapat dua kali ganda manfaat apabila menyertai skim Takaful, pertamanya, mereka mendapat perlindungan insurans yang halal dan kedua, pada masa yang sama ia mendapat ganjaran pahala atas amalan baik yang dilakukannya. 3.2.4 Wakalah  Istilah wakalah dalam Bahasa Arab ertinya wakil atau agensi. Oleh itu di bawah struktur agensi, wakalah ialah hubungan agensi yang dipersetujui bersama di antara dua pihak untuk menjalankan aktiviti perniagaan tertentu. Berdasarkan premis ini, model yang menggambarkan satu perjanjian agensi antara pengendali yang bertindak sebagai ejen atau 'wakil' kepada peserta yang bertindak sebagai prinsipal, untuk menguruskan penglibatan peserta dalam pelbagai produk Takaful yang disediakan oleh pengendali.  Sebagai balasan kepada perkhidmatan agensi yang diberi, pengendali dibenarkan untuk mengenakan bayaran di bawah perjanjian tersebut. Fi atau yuran perkhidmatan dibayar dari dana sumbangan Takaful yang didermakan oleh peserta. Di bawah model ini, perbelanjaan pengurusan boleh dikenakan kepada dana Takaful sebagai bayaran pendahuluan. A3.3 APLIKASI DAN MANFAAT TAKAFUL  Aplikasi Takaful Pakar perundangan memutuskan bahawa sistem insurans yang mengamalkan etika rangka kerja Islam harus dirangka dengan mengambil kira dasar-dasar berikut:
  • 51.
    Pengenalan Takaful 51 Ta’awun Takaful adalah berdasarkan konsep Ta'awun yang bermakna saling membantu. Peserta bersetuju untuk membantu antara satu sama lain dalam aspek kewangan sekiranya timbul keperluan (seperti yang dinyatakan dalam kontrak Takaful), dengan menyumbang kepada dana bersama. Firman Allah s.w.t. yang bermaksud: “Tolong-menolonglah dalam perkara kebajikan dan bertakwa, dan janganlah kamu tolong-menolong dalam perkara-perkara yang menimbulkan permusuhan” (Al-Qur’an, 5: 2) Hadis Rasulullah s.a.w. yang bermaksud: “Sesungguhnya Allah akan sentiasa membantu hambaNya selagi dia membantu orang lain” (Riwayat Imam Ahmad dan Imam Abu Daud).  Pemilikan Di bawah prinsip Milkiyah (pemilikan), manfaat sijil ialah pemilikan sempurna (Milkiyah) oleh peserta. Apabila peserta meninggal dunia, manfaat akan diamanahkan kepada penama.  Tanggungjawab Bersama dan Saling Menjamin Sejajar dengan disiplin Syari’ah Takaful (yang bermaksud tanggungjawab bersama dan saling menjamin), peserta saling bersetuju untuk memberikan pampasan sekiranya berlaku kejadian yang tidak diingini.  Tanggungjawab dan Perlindungan Bersama Peserta skim Takaful bersetuju untuk memikul tanggungjawab bersama atau berkongsi tanggungjawab.
  • 52.
    52 Amalan AsasTakaful  Pampasan Bersama Pengesahan tentang kewujudan konsep Takaful adalah berasal dari adat resam (‘urf) orang-orang Arab yang dipanggil Aqila. Ia merupakan suatu bentuk awal insurans melalui perlindungan bersama dalam satu kumpulan individu yang mengambil langkah-langkah untuk menampung kerugian yang ditanggung. Peserta Skim Takaful kini mengamalkan konsep bekerjasama dan saling membantu antara satu sama lain.  Masalih al-Mursalah (Kepentingan Awam) Takaful juga antara lain adalah berasaskan kepada doktrin Masalih al-Mursalah atau kepentingan awam. Tujuan utama ialah untuk membantu meringankan beban ahli-ahli masyarakat yang ditimpa musibah dan menanggung kerugian.  Kontrak Sijil Takaful mengikat pihak-pihak yang bersetuju dengan tawaran dan penerimaan berdasarkan prinsip-prinsip kontrak. Hubungan antara pengendali Takaful dan peserta adalah tertakluk di bawah satu kontrak khas iaitu kontrak wakalah atau kontrak mudharabah.  Kelebihan Takaful  Memenuhi tanggungjawab sosial terhadap masyarakat dan keluarga  Menghulurkan bantuan kewangan kepada mereka yang kurang bernasib baik  Menjauhi amalan riba (faedah), maisir (perjudian) dan gharar (ketidakpastian) dan elemen-elemen lain yang dilarang  Menggalakkan nilai-nilai moral, etika dan ketelusan dalam semua aktiviti dan operasi perniagaan.
  • 53.
    Pengenalan Takaful 53 Melalui derma kebajikan (tabarru') yang dihulur, ia membolehkan peserta Takaful mengabdikan diri kepada Allah s.w.t. dan mencapai ketenangan fikiran.  Menggalakkan semangat perpaduan, gotong-royong dan persaudaraan.
  • 54.
  • 55.
    Perbandingan di antaraTakaful dan Insurans 55 BAB A4 PERBANDINGAN DI ANTARA TAKAFUL DAN INSURANS PENGENALAN Insurans menyediakan perlindungan kewangan akibat kerugian yang timbul daripada berlakunya kejadian yang tidak diingini. Seseorang boleh mendapatkan perlindungan ini dengan membayar premium kepada syarikat insurans. Dana wang diwujudkan melalui sumbangan yang dibuat oleh individu yang memerlukan perlindungan diri dari pelbagai risiko kehidupan. Premium dikumpul oleh syarikat-syarikat insurans yang juga bertindak sebagai pemegang amanah kepada dana tersebut. Sebarang kerugian yang dialami peserta disebabkan berlakunya kejadian yang tidak diingini, syarikat insurans akan membayar pampasan dengan menggunakan dana berkenaan. Insurans berfungsi berdasarkan prinsip asas perkongsian risiko. Kelebihan utama insurans adalah ia menyebarkan risiko yang dihadapi oleh segelintir peserta kepada kumpulan besar individu yang terdedah kepada risiko yang sama. A4.1 DEFINISI DAN SEJARAH INSURANS Insurans ditakrifkan sebagai kontrak di mana satu pihak yang dikenali sebagai syarikat insurans, sebagai balasan untuk pertimbangan yang dipersetujui yang dikenali sebagai premium, untuk dibayar kepada individu lain yang dikenali sebagai pihak yang diinsuranskan, sejumlah wang, sekiranya berlakunya peristiwa tertentu dalam tempoh tertentu.
  • 56.
    56 Amalan AsasTakaful Oleh itu, dalam erti kata yang lebih mudah, kontrak insurans adalah kontrak di antara dua pihak iaitu Penanggung Insurans dan Pihak yang Diinsuranskan, dengan janji untuk membayar ganti rugi sekiranya berlaku peristiwa yang tidak diingini sebagai balasan atas sumbangan/bayaran premium. Insurans telah wujud sejak berabad lamanya. Para sejarawan mendakwa sejarah awal insurans telah bermula dari tahun 215 CE, iaitu apabila kerajaan Romawi diminta oleh angkatan tenteranya agar menanggung risiko kerosakan peralatan perang yang diangkut dengan menggunakan kapal laut, disebabkan ancaman dan serangan musuh, ribut, dan lain-lain bencana alam. (Omar Fisher, 2009). Bukti terawal kontrak insurans bertarikh sekitar 2800 SM di mana Kod Perundangan Babylon mencatatkan peraturan-peraturan mengenai insurans. Pada asasnya, konsep insurans telah diperkenalkan untuk menangani bencana yang dihadapi oleh pedagang dan peniaga- peniaga di laut. Bentuk perlindungan adalah pelbagai, dari perlindungan ke atas kargo dan barang-barang yang dibawa sehinggalah kepada perlindungan insurans hayat kelasi dan pegawai- pegawainya. Dalam erti kata lain, terdapat satu keperluan bagi manusia untuk bersiap sedia menghadapi kerugian atau kehilangan. Dan sejarah insurans moden boleh dikesan seawal tahun 1600-an, apabila pedagang British dan pemilik kapal berbincang mengenainya di kafe berhampiran Lombard Street di London. Kafe itu dipanggil Llyod's. Mereka mula merangka perjanjian untuk saling berkongsi keuntungan dan juga kerugian dalam perniagaan dan pelayaran kapal laut. (Omar Fisher, 2009). Terdapat bukti yang menunjukkan bahawa amalan saling melindungi juga tersebar luas di kalangan orang Cina, orang-orang Yunani dan Eropah. Tarikh kes insurans hayat pertama dicatatkan di England pada 1583 di mana kontrak bertempoh telah dikeluarkan atas nama William Gybbon. Satu perkembangan penting dalam sejarah industri insurans hayat adalah penciptaan jadual mortaliti oleh Edmund Halley dalam tahun 1693. Walau bagaimanapun, hanya selepas satu abad
  • 57.
    Perbandingan di antaraTakaful dan Insurans 57 kemudian barulah terhasil jadual mortaliti yang lebih tepat dan berwibawa. Sejarah pengenalan insurans di Malaysia bermula sejak abad ke-18 dan ke-19 apabila terdapatnya firma-firma perdagangan dan rumah- rumah agensi yang bertindak sebagai ejen bagi syarikat-syarikat insurans dari United Kingdom. Setelah negara mencapai kemerdekaan, terdapat usaha untuk menubuhkan syarikat insurans tempatan. Awal 1960-an menyaksikan penubuhan beberapa syarikat insurans hayat dan juga syarikat insurans am. Sebahagian daripada syarikat insurans berkenaan beroperasi pada asas yang tidak kukuh dengan garis panduan pengunderaitan yang tidak wajar. Kerajaan kemudiannya bertindak campur tangan dan memperkenalkan Akta Insurans, 1963. Di bawah Akta ini, pengendalian dan pengawasan industri insurans diletakkan di bawah kelolaan Ketua Pengarah Insurans, di bawah Kementerian Kewangan. A4.2 ASAS-ASAS INSURANS Insurans adalah satu proses di mana kerugian yang dialami oleh segelintir individu diagihkan dan dikongsi bersama dikalangan sekumpulan besar individu. Melihat kepada perkembangan industri insurans masa kini, insurans dianggap sebagai satu saluran di mana beban kewangan akibat ditimpa musibah dipindahkan dari pihak yang diinsuranskan kepada Syarikat Insurans. Konsep di sebalik insurans ialah sekumpulan individu yang terdedah kepada risiko yang serupa saling bekerjasama dan memberi sumbangan ke arah pembentukan dana insurans. Sekiranya terdapat individu yang menanggung risiko kerugian, ia akan menerima pampasaan dari dana insurans berkenaan. Sumbangan kepada dana insurans dibuat oleh sekumpulan individu yang berkongsi risiko yang sama di mana sumbangan tersebut dikutip oleh syarikat insurans dalam bentuk premium. Secara amnya, mana-mana individu yang mempunyai hak dan kepentingan kewangan di sisi undang-undang atas mana-mana harta, maka ia boleh menginsuranskan harta berkenaan di bawah suatu
  • 58.
    58 Amalan AsasTakaful kontrak insurans dimana sekiranya berlaku kerosakan atau kehilangan harta berkenaan, individu tersebut akan menanggung kerugian kewangan. Kontrak insurans merupakan suatu ikatan perjanjian yang sah dan dikuatkuasakan oleh undang-undang antara dua pihak yang berkepentingan iaitu Penanggung Insurans dan Pihak yang Diinsuranskan. Atas balasan yang diterima dalam bentuk bayaran premium, penanggung insurans bersetuju bahawa dalam tempoh tertentu, ia akan membayar ganti rugi / indemniti kepada pihak yang diinsuranskan sejumlah amaun yang telah dipersetujui berdasarkan nilai harta yang diinsuranskan, sekiranya harta berkenaan mengalami kerosakan disebabkan peril yang dilindungi. Kontrak insurans adalah kontrak indemniti (tidak termasuk insurans hayat dan insurans kemalangan diri) berdasarkan kepada prinsip yang diguna pakai iaitu untuk meletakkan pihak yang diinsuranskan dalam kedudukan kewangan yang sama seperti sebelum beliau ditimpa musibah. Jumlah yang diinsuranskan perlu ditetapkan di peringkat permulaan perlindungan dan penanggung insurans bersetuju menyediakan jumlah pampasan yang mencukupi sekiranya berlaku kerugian. Untuk insurans hartanah, susut nilai sentiasa perlu diambil kira. Kos insurans akan bergantung kepada skop perlindungan yang diperlukan dan perlindungan tambahan memerlukan premium tambahan. Secara amnya, hanya kerugian yang tidak dijangka dan berlaku secara kebetulan sahaja yang boleh diinsuranskan. Oleh itu, musibah atau kerugian yang boleh diramalkan secara umumnya tidak boleh diinsuranskan (kecuali insurans hayat). A4.3 JENIS-JENIS INSURANS Seksyen 4 Akta Insurans 1996 memperuntukkan bahawa: 1. Bagi tujuan Akta ini, perniagaan insurans dibahagikan kepada dua kelas utama iaitu;- a) Perniagaan Insurans Hayat – iaitu selain dari perniagaan polisi insurans hayat biasa, sebagai tambahan kepada semua perniagaan insurans yang berkaitan dengan polisi insurans
  • 59.
    Perbandingan di antaraTakaful dan Insurans 59 hayat, ia hendaklah termasuk apa-apa jenis perniagaan insurans yang ditawarkan sebagai produk sampingan sahaja di bawah perniagaan penanggung insurans hayat; dan b) Perniagaan Insurans Am – iaitu semua perniagaan insurans yang bukan perniagaan insurans hayat. 2. Bagi tujuan Akta ini, insurans semula liabiliti di bawah sesuatu polisi adalah dianggap sebagai perniagaan insurans di bawah kelas dan perihalan yang berkaitan dengannya di mana polisi tersebut telah pun dikeluarkan oleh penanggung insurans semula. Perniagaan insurans dibahagikan kepada insurans hayat, insurans am dan insurans semula. A4.4 RESOLUSI SYARI’AH MENGENAI INSURANS Konsep insurans konvensional masih belum mendapat persetujuan menyeluruh daripada para ulama’ sama ada ia dibenarkan (halal) atau dilarang (haram). Memandangkan insurans konvensional sebagaimana yang diamalkan sekarang tidak wujud semasa zaman Nabi Muhammad s.a.w., ijtihad atau pertimbangan menggunakan akal digunakan untuk menentukan sama ada ia adalah halal atau sebaliknya. 4.4.1 Fatwa mengenai Larangan Insurans  Majlis Fatwa Kebangsaan Majlis Fatwa Kebangsaan bagi Hal Ehwal Agama Islam dalam mesyuaratnya pada 15 Jun 1972 telah membincangkan secara mendalam mengenai perkara yang berkaitan dengan insurans hayat.
  • 60.
    60 Amalan AsasTakaful Diputuskan: Produk insurans hayat yang ditawarkan oleh syarikat-syarikat insurans hari ini merupakan transaksi perniagaan yang boleh jadi tidak sah kerana ia bercanggah dengan prinsip-prinsip perniagaan Islam, dimana kontrak tersebut mengandungi unsur-unsur Gharar (ketidakpastian), Maisir (perjudian) dan Riba (riba). Oleh yang demikian, berdasarkan dari perspektif Syari’ah, “insurans adalah haram”. Satu jawatankuasa yang dikenali sebagai 'Badan Petugas Khas' telah dibentuk oleh kerajaan pada tahun 1982 untuk mengkaji kemungkinan menubuhkan Insurans Islam di Malaysia. Badan Petugas Khas telah membuat kesimpulan bahawa kontrak insurans konvensional adalah fasid. Walau bagaimanapun, bantahan itu tidak menentang penerapan konsep insurans secara keseluruhan, tetapi terhadap kewujudan kelemahan tertentu dalam kontrak insurans. Akta Takaful 1984 telah digubal dan seterusnya syarikat Takaful yang pertama iaitu Syarikat Takaful Malaysia Bhd telah ditubuhkan pada tahun 1984.  Akademi Fekah Islam, OIC Akademi Fekah Islam yang diilhamkan penubuhannya oleh Pertubuhan Persidangan Islam (OIC), telah mengadakan mesyuarat Sesi Kedua di Jeddah, Arab Saudi, dari 22 himgga 28 Disember 1985. Selepas mengkaji semula laporan perbincangan para ulama’ yang mengambil bahagian dalam sesi perbincangan mengenai subjek ‘Insurans dan insurans semula’, dan selepas dibincangkan bersama dan selepas meneliti semua jenis dan bentuk insurans serta mendalami prinsip asas, objektif dan matlamat, dan setelah meneliti pendapat / keputusan yang dikeluarkan oleh Akademi Fekah dan badan-badan pemikir lain mengenai perkara yang sama; para ulama’ mengambil ketetapan berikut;
  • 61.
    Perbandingan di antaraTakaful dan Insurans 61 Diputuskan: Kontrak Insurans Komersil dengan bayaran premium tetap berkala yang biasanya dipasarkan oleh syarikat insurans komersil adalah kontrak yang mengandungi unsur utama risiko terlarang yang membatalkan kontrak dan oleh itu ia adalah dilarang (Haram) dibawah Syari’ah Islam. Kontrak alternatif yang mematuhi prinsip-prinsip urus niaga Islam adalah kontrak koperasi insurans yang diasaskan atas dasar kebajikan dan kerjasama. Begitu juga dengan urusniaga insurans semula yang mengamalkan urusniaga berdasarkan prinsip-prinsip koperasi insurans. Pihak Akademi telah menjemput perwakilan dari negara-negara Islam untuk bekerjasama mewujudkan institusi insurans koperasi dan koperasi insurans semula. Ia adalah bertujuan untuk membebaskan ekonomi Islam daripada dieksploitasi dan terang- terangan melanggar hukum Allah yang dicipta untuk seluruh umat manusia. 4.4.2 Elemen yang Diharamkan dalam Amalan Insurans  Ketidakpastian (Gharar) Gharar bermaksud tidak jelas terhadap perkara pokok yang dilindungi oleh kontrak atau timbul ‘ketidakpastian’ di mana kesan atau keputusan yang dihasilkan tidak diketahui atau tersembunyi. Dari sudut perniagaan, ia bermaksud bersetuju untuk melaksanakan sesuatu secara membuta tuli tanpa pengetahuan yang mencukupi; atau mengambil risiko dengan melakukan sesuatu tanpa mengetahui dengan tepat apakah hasil yang akan diperolehi kelak.
  • 62.
    62 Amalan AsasTakaful o Justifikasi Larangan  “Seseorang itu dilarang menjual sesuatu barangan tanpa memberitahu dengan jelas keadaan sebenar barangan tersebut, dan juga tidak dibenarkan seseorang yang mengetahui kecacatan sesuatu barangan tetapi tidak memberitahunya” - Al-Hakim dan Al-Bayhaqi.  Ketidakpastian dalam kontrak insurans berlaku apabila satu pihak mendapat apa yang dikehendaki tetapi pihak yang satu lagi tidak menerima haknya - Ibn Taymiyah o Jenis-jenis Gharar  Al-Gharar al-Kathir: Gharar yang keterlaluan, dan menyebabkan kontrak terbatal.  Al-Gharar al-Yasir: Gharar yang remeh, boleh dipertimbangkan dan dibenarkan.  Al-Gharar al-Mutawassit: Gharar yang sederhana, iaitu berada di antara keduanya. o Gharar dalam amalan insurans:  Kedua-dua pihak yang terikat dengan kontrak insurans tidak tahu secara jelas apakah sebenarnya kewajipan dan tanggungjawab mereka antara satu sama lain. Kedua-dua pihak samada syarikat insurans atau pihak yang diinsuranskan tidak mengetahui hasil atau kesan kontrak tersebut.  Pihak yang diinsuranskan tidak mengetahui jumlah pampasan yang dibayar kepadanya sekiranya berlaku kemalangan kerana dia sendiri tidak pasti samada akan ada pampasan dibayar kepadanya kerana akibat atau kesan kontrak insurans berkenaan juga tidak diketahuinya.  Syarikat insurans tidak mengetahui bilakah peril / kecelakaan akan berlaku.
  • 63.
    Perbandingan di antaraTakaful dan Insurans 63  Tidak ada keadilan dalam insurans kerana pihak yang diinsuranskan perlu membayar premium tetapi sekiranya peril yang dilindungi / kecelakaan tidak berlaku, tiada sebarang bayaran yang akan dibuat.  Insurans adalah kontrak janji untuk membayar pampasan yang kadang-kadang dipenuhi dan kadang-kala tidak dapat dipenuhi. Oleh kerana tiada kepastian mengenai peril yang dilindungi ketika kontrak mula berkuat kuasa, hasil atau manfaat yang diperolehi juga tidak dapat dipastikan. o Riba (faedah / bunga) Perkataan riba secara literal bermaksud 'menaikkan' atau 'tambahan' kepada sesuatu. Islam melarang pinjaman wang bagi mendapatkan keuntungan kerana ia akan menyusahkan peminjam dan pada masa yang sama ia akan menjadikan pemberi pinjaman sebagai seorang yang perengus dan dibenci orang ramai. o Justifikasi Larangan “Wahai orang-orang yang beriman, janganlah kamu makan riba sehingga berlipat ganda banyaknya. Hendaklah kamu takut kepada Allah supaya kamu mendapat kejayaan” (Al- Qur’an, 3: 130) o Jenis-jenis Riba  Riba al-Duyun (riba daripada hutang)  Riba al-Qard - Iaitu sebarang manfaat tambahan yang disyaratkan ke atas pinjaman pokok dan syarat ini dibuat pada awal kontrak pinjaman.  Riba al-Jahilliyah – iaitu kadar atau sebarang manfaat tambahan lebih dari jumlah pokok akibat si peminjam gagal atau lewat membayar pada tempoh yang telah dipersetujui.
  • 64.
    64 Amalan AsasTakaful o Riba al-Buyu’ - muncul daripada jual beli barangan ribawi  Riba al-Fadl – berbeza kadar berat dan kuantiti.  Riba al-Nasi’ah – berbeza masa. o Riba dalam amalan insurans;  Syarikat insurans mengutip premium dan melaburkannya dalam pelaburan yang mempunyai elemen faedah / bunga.  Syarikat insurans membayar faedah / bunga atas produk- produknya.  Syarikat insurans mengenakan kadar faedah akan datang dalam pengiraan premiumnya.  Kontrak insurans mengandungi unsur-unsur riba apabila ia berjanji untuk membayar amaun yang lebih dari premium yang dibayar.  Kadar faedah dikenakan sekiranya premium lewat dibayar.  Kadar faedah dikenakan atas pinjaman polisi. o Maisir (perjudian) Perkataan Maisir bermaksud memperolehi sesuatu dengan mudah atau memperolehi keuntungan tanpa usaha. Islam melarang semua bentuk urusniaga di mana keuntungan kewangan diperolehi hanya berdasarkan nasib atau spekulasi dan bukannya dengan usaha gigih untuk mendapatkannya. Tidak seperti gharar di mana terdapat beberapa kelonggaran dan dibenarkan, maisir tidak dibenarkan sama sekali. o Justifikasi Larangan “Wahai orang-orang yang beriman, sesungguhnya minuman keras, perjudian dan daging yang disembelih dengan batu nusub dan ramalan nasib itu semua adalah perbuatan
  • 65.
    Perbandingan di antaraTakaful dan Insurans 65 syaitan. Oleh itu, jauhilah ia agar kamu mendapat kejayaan” Al-Qur’an, 5: 90) o Unsur Perjudian (Maisir) dalam Kontrak Insurans:  Pihak yang diinsuranskan mendapat manfaat bayaran yang tinggi berbanding dengan caruman (premium) yang dibayar.  Membayar premium tanpa mendapat sebarang pulangan.  Syarikat insurans akan menanggung kerugian sekiranya terlalu banyak tuntutan.  Premium yang dikutip melebihi jumlah tuntutan dan syarikat insurans memperolehi keuntungan besar. A4.5 PERBEZAAN DI ANTARA TAKAFUL DAN INSURANS Item Isu-isu Penting Takaful Insurans 1. Intipati Niat Niat adalah untuk mewujudkan hubungan kerohanian dan hubungan undang-undang. Niat adalah untuk mewujudkan hubungan undang- undang sahaja 2. Formaliti Kontrak satu pihak untuk Tabarru’ dan kontrak dua belah pihak untuk Mudharabah dan Wakalah. Kontrak dua belah pihak 3. Isu Perakaunan Untuk Takaful Am, akaun yang disediakan ialah akaun Tabarru’ (derma). Untuk Untuk Insurans Am, bayaran premium dikreditkan ke Akaun Insurans
  • 66.
    66 Amalan AsasTakaful Takaful Keluarga, terdapat dua akaun iaitu Akaun Peserta yang diuruskan mengikut prinsip Mudharabah, dan Akaun Khas Peserta yang diuruskan mengikut prinsip Tabarru’. Am. Untuk Insurans Hayat, premium dikreditkaan ke Akaun Insurans Hayat. 4. Perkara Pokok Perkara pokok yang akan dilindungi hendaklah mematuhi keperluan Syari’ah. Perkara pokok yang akan dilindungi hendaklah mematuhi keperluan undang- undang lazim. 5 Jaminan Pengedali Takaful hanya bertindak sebagai pengurus dana sahaja. Peserta saling jamin menjamin antara satu sama lain. Syarikat insurans yang memberi jaminan. 6. Dana Dana dimiliki oleh para peserta dan diuruskan oleh pengendali Takaful. Pengendali Takaful dibayar yuran perkhidmatan atas perkhidmatan yang diberikan Dana adalah milik syarikat insurans. Terdapat pengasingan dana aset iaitu dana pemegang saham dan dana pemegang polisi.
  • 67.
    Perbandingan di antaraTakaful dan Insurans 67 7. Bayaran premium / sumbangan Bayaran (bahagian caj Takaful) dianggap sebagai derma (Tabarru’). Bayaran premium dianggap sebagai tanggungjawab pemegang polisi atas kontrak jual beli. 8. Elemen terlarang Berlandaskan prinsip Islam yang bebas dari elemen yang terlarang. Polisi insurans diresapi elemen- elemen Gharar, Riba dan Maisir. 9. Pengawasan Syari’ah Akta Takaful 1984 mewajibkan pembentukan Majlis Pengawasan Syari’ah. Tiada keperluan mewujudkan Majlis Pegawasan Syari’ah. 10. Keuntungan Keuntungan dikongsi bersama di antara peserta dan syarikat. Pembahagian keuntungan atas budi bicara syarikat. 11. Kontrak Gabungan antara kontrak tabarru’ (derma) dan agensi atau kontrak berkongsi keuntungan. Kontrak pertukaran (jual beli) antara syarikat dan pemegang polisi. 12. Indemniti Bayaran indemniti (ganti rugi) diperolehi dari Dana Takaful. Bayaran indemniti (ganti rugi) diperolehi dari dana syarikat yang disediakan oleh syarikat insurans.
  • 68.
    68 Amalan AsasTakaful 13. Prinsip- prinsip Operasi Operasi perniagaan adalah mematuhi keperluan Syari’ah. Operasi perniagaan tidak mematuhi keperluan Syari’ah. 14. Kawalan Risiko Konsep perkongsian risiko dikalangan peserta. Konsep perpindahan risiko 15. Percukaian Cukai dan zakat Cukai sahaja 16. Manfaat Dibayar dari dana khas yang diwujudkan secara indemniti bersama di kalangan peserta. Dibayar dari dana yang diwujudkan secara sah oleh syarikat insurans. 17. Keuntungan / Bonus Dinyatakan secara jelas bagaimana keuntungan akan dikongsi bersama antara peserta dan syarikat. Secara umum syarikat menyatakan mungkin akan membayar bonus dan keuntungan atas polisi penyertaan sahaja. 18. Tanggungjaw ab pemegang polisi / peserta Peserta menghulurkan derma dan bersetuju untuk saling menjamin di bawah skim perlindungan. Pemegang polisi membayar premium dan memindahkan risiko kepada syarikat. 19. Liabiliti syarikat Pengendali Takaful bertindak sebagai Syarikat insurans bertanggungjawab
  • 69.
    Perbandingan di antaraTakaful dan Insurans 69 insurans / Pengendali Takaful pentadbir skim perlindungan dan membayar manfaat Takaful melalui dana Takaful. Sekiranya dana tidak mencukupi, Pengendali Takaful akan menyalurkan pinjaman tanpa faedah demi mengatasi masaalah kekurangan tersebut. membayar manfaat polisi seperti yang dijanjikan dari aset yang dimiliki (dana insurans dan dana pemegang saham). 20. Pelaburan dana Dana aset dan dana Takaful dilaburkan dalam instrumen pelaburan yang mematuhi keperluan Syari’ah. Tiada keperluan untuk mematuhi keperluan Syari’ah dalam aktiviti pelaburan, asalkan ia mematuhi dasar-dasar pelaburan syarikat.
  • 70.
  • 71.
    Prinsip dan ModalPerniagaan Takaful 71 BAB A5 PRINSIP-PRINSIP DAN MODEL PERNIAGAAN TAKAFUL PENGENALAN Kontrak Takaful tidak hanya tertakluk kepada prinsip-prinsip am undang-undang kontrak tetapi juga prinsip undang-undang tertentu yang telah termaktub dalam kontrak Takaful. Berdasarkan kepada ketetapan perundangan konsep fekah, al-Asl fi al-Ashya’ al-Ibahah, kontrak Takaful disesuaikan dengan prinsip- prinsip insurans konvensional dalam amalan yang mendokong konsep keadilan dalam urusniaga, seperti yang dijelaskan oleh Syariah. Walau bagaimanapun, prinsip-prinsip tersebut mestilah tidak bercanggah dengan Syari’ah. Prinsip-prinsip khas undang-undang yang terkandung dalam pembentukan kontrak Takaful adalah seperti berikut:  Kepentingan Boleh Lindung;  Penuh Percaya Mutlak;  Indemniti;  Subrogasi;  Perkongsian Sama Rata;  Sebab Terhampir;  Tabarru’  Waranti; A5.1 PRINSIP-PRINSIP ASAS TAKAFUL 5.1.1 Prinsip Kepentingan Boleh Lindung Kepentingan Boleh Lindung merujuk kepada hak di sisi undang- undang untuk menyertai skim Takaful yang timbul daripada
  • 72.
    72 Amalan AsasTakaful hubungan kewangan yang diiktiraf di sisi undang-undang di antara peserta dan perkara pokok Takaful, iaitu orang yang diberi perlindungan. Kepentingan Boleh Lindung wujud apabila terdapat hubungan antara peserta dengan perkara pokok Takaful, yang biasanya timbul daripada beberapa situasi seperti berikut:  Pemilikan harta - pemilik harta akan menanggung kerugian kewangan sekiranya harta benda miliknya rosak atau musnah.  Potensi berhadapan dengan liabiliti undang-undang - Kepentingan Boleh Lindung juga boleh wujud apabila berlaku kerugian kewangan yang timbul daripada liabiliti undang-undang. Sebagai contoh, majikan menanggung liabiliti undang-undang untuk membayar pampasan kepada pekerja-pekerjanya sekiranya berlaku kemalangan semasa bekerja.  Hak perundangan - kepentingan boleh lindung boleh wujud sekiranya terdapat peruntukan dalam kontrak yang menyatakan seseorang itu mempunyai tanggungjawab kewangan atas apa-apa kerugian atau kerosakan kepada harta dan liabiliti pihak ketiga. Hubungan kewangan di antara peserta dengan perkara pokok insurans perlu memperlihatkan yang peserta akan terus menikmati manfaat ekonomi dan kewangan melalui kesinambungan, kekal kewujudan dan keselamatan; atau sebaliknya akan menanggung kerugian ekonomi & kewangan sekiranya berlaku kerosakan atau kehilangan terhadap perkara pokok Takaful. Oleh yang demikian, kepentingan boleh lindung mestilah mampu diukur atau dinilai dari sudut kewangan bagi membolehkannya dilindungi oleh Takaful. Di bawah kontrak Takaful am, kepentingan boleh lindung mesti wujud pada awal dan pada masa berlakunya kerugian - jika tidak, perlindungan Takaful dianggap tidak sah. Contoh: seseorang itu tidak boleh/sah memiliki perlindungan Takaful motor untuk kenderaan yang beluk dimilikinya.
  • 73.
    Prinsip dan ModalPerniagaan Takaful 73 Walau bagaimanapun, peraturan ini tidak terpakai bagi Takaful marin. Dalam Takaful Marin, peserta perlu mempunyai kepentingan boleh lindung pada masa kerugian berlaku bagi membolehkannya membentuk kontrak yang sah. Contoh: Berdasarkan dari keadaan dan sifat perniagaan, pengimport barangan akan mendapatkan perlindungan Takaful terhadap barang dagangan yang ia ada kepentingan keatasnya, iaitu dengan menjadi pemilik kepada barangan berkenaan sebelum bahaya / kerugian yang dilindungi berlaku. Di bawah Pelan Perlindungan Kemalangan Takaful, kepentingan boleh lindung mesti wujud pada masa kontrak itu dikuatkuasakan dan pada masa berlakunya kerugian. Untuk Pelan Takaful Keluarga, kepentingan boleh lindung perlu wujud pada peringkat awal sahaja. Peserta hanya perlu mempunyai kepentingan boleh lindung pada masa kontrak Takaful keluarga itu dikuatkuasakan. Antara contoh seseorang yang mempunyai kepentingan boleh lindung adalah seperti yang dinyatakan di bawah:- a) Seorang individu mempunyai kepentingan boleh lindung yang tidak boleh dipertikaikan terhadap anggota badan dan hayatnya sendiri untuk apa-apa amaun yang difikirkan wajar. Kepentingan tersebut tidak mampu dinilai dan sukar dibuktikan yang ianya adalah perlu (Wainwright v. Bland [1835]). b) Seseorang mempunyai kepentingan boleh lindung terhadap hayat dan harta pasangannya (suami / isteri). c) Seseorang itu mempunyai kepentingan boleh lindung terhadap kanak-kanak atau bayi di bawah umur majoriti ketika perlindungan Takaful mula berkuat kuasa, dan juga terhadap sesiapa yang di bawah jagaannya sepenuh masa atau sebahagian daripadanya. d) Pemiutang mempunyai kepentingan boleh lindung terhadap hayat si penghutang (setakat jumlah hutang) tetapi penghutang tidak mempunyai kepentingan terhadap hayat si pemiutang.
  • 74.
    74 Amalan AsasTakaful e) Penjamin mempunyai kepentingan boleh lindung terhadap peminjam. Pemberi pinjaman mungkin tidak berpuashati sepenuhnya dengan jaminan cagaran yang ditawarkan oleh peminjam, tetapi bersedia untuk menerima jaminan seorang penjamin. Dengan memberi jaminan tersebut, penjamin mempunyai kepentingan boleh lindung atas hayat peminjam. f) Majikan, terhadap hayat pekerja-pekerjanya. g) Pemilik / tuan punya (tunggal atau perkongsian), terhadap harta miliknya. h) Penggadai janji (peminjam) & pemegang gadai janji (pemberi pinjam), masing-masing mempunyai kepentingan ke atas harta berkenaan. i) Penyewa & pemberi sewa juga mempunyai kepentingan ke atas harta yang serupa. j) Bailer – contohnya pemilik pajak gadai, pembawa atau tukang membaiki jam mempunyai kepentingan atas barangan / harta milik pelanggan (bailor) kerana harta berkenaan di bawah tanggungjawab / jagaan mereka. k) Ejen – Prinsipal (Pengendali Takaful) mempunyai kepentingan boleh lindung ke atas ejen dan ia boleh menguatkuasakan pelan perlindungan Takaful bagi pihak ejen. l) Pemegang amanah – mempunyai kepentingan atau hak disisi undang-undang ke atas harta yang diamanahkan kepadanya sekiranya surat ikatan amanah membenarkan atau mengarahkannya. m) Pengendali Takaful dan Pengendali Takaful Semula – kedua- duanya mempunyai kepentingan boleh lindung ke atas hayat peserta-peserta yang menyertai pelan perlindungan Takaful. 5.1.2 Prinsip Tanggungjawab Penuh Percaya Mutlak (Uberrima Fides) Prinsip Penuh Percaya Mutlak boleh ditakrifkan sebagai kewajipan positif secara sukarela mendedahkan dengan tepat dan sepenuhnya semua fakta matan mengenai risiko yang dicadangkan, sama ada ia diminta atau tidak.
  • 75.
    Prinsip dan ModalPerniagaan Takaful 75 Kontrak Takaful Keluarga dan Takaful Am mengikat semua pihak yang terlibat secara penuh percaya mutlak, yang bermaksud kedua- dua pihak (peserta & pengendali Takaful) perlu mendedahkan semua fakta-fakta yang berkaitan, sama ada diminta atau tidak, yang dianggap penting kepada pihak yang satu lagi membuat keputusan untuk terikat dengan kontrak. Kegagalan mendedahkan maklumat penting walaupun tidak diminta, memberikan hak kepada pihak yang terkilan untuk menganggap kontrak tersebut sebagai tidak sah dan terbatal. Di bawah doktrin Penuh Percaya Mutlak, kedua-dua pihak bertanggungjawab mendedahkan semua fakta matan dengan lengkap dan benar. Di bawah pelan Takaful kebakaran, antara contoh fakta matan adalah kegunaan dan jenis bahan pembinaan. Sekiranya pencadang (peserta) mengisytiharkan dalam borang cadangan bahawa bangunan itu digunakan sebagai sebuah kedai runcit yang dibina daripada bahan batu bata, dan kemudiannya didapati selepas berlaku kebakaran bahawa premis itu sebenarnya adalah sebuah bangunan kayu yang digunakan sebagai stor menyimpan bahan kimia. Ini secara jelas bertentangan dengan doktrin Penuh Percaya Mutlak dan boleh menyebabkan tuntutan ditolak. Begitu juga, dalam kes Takaful keluarga, contoh-contoh fakta matan ialah umur, pekerjaan dan keadaan kesihatan. Doktrin Penuh Percaya Mutlak juga menuntut agar tiada penyembunyian, salah nyata atau penipuan fakta matan. Prinsip Penuh Percaya Mutlak ini perlu terus diamalkan sepanjang tempoh perlindungan Takaful di mana peserta dikehendaki memberitahu dan mendedahkan kepada Pengendali Takaful apa-apa perubahan fakta material yang mungkin meningkatkan risiko. Pengendali Takaful akan membuat keputusan sama ada sebarang peningkatan risiko boleh dikenakan kadar caruman / sumbangan yang lebih tinggi, menguatkuasakan syarat-syarat tambahan, atau menolak terus cadangan berkenaan. Contoh: perubahan fungsi/kegunaan sesebuah bangunan daripada sebuah kedai runcit kepada stor penyimpanan bahan bunga api.
  • 76.
    76 Amalan AsasTakaful Walau bagaimanapun, pencadang atau peserta tidak perlu memberitahu perkara-perkara berikut:  Fakta-fakta yang mengurangkan risiko kepada Pengendali Takaful. Sungguhpun demikian, peserta digalakkan untuk memberitahu fakta berkenaan dengan harapan mendapat terma dan syarat kontrak yang lebih baik atau mendapat diskaun premium.  Fakta yang menjadi pengetahuan umum. Umpamanya undang- undang pematuhan dan keselamatan bangunan-bangunan pencakar langit di Kuala Lumpur adalah terletak di bawah pentadbiran Majlis Bandaraya Kuala Lumpur.  Fakta-fakta dan sumber maklumat yang diperolehi dari peserta yang boleh dibuat kesimpulan. Contohnya: peserta yang mempunyai ketinggian 150 dan berat badan 100 kg boleh disimpulkan sebagai obesiti dan akan tertakluk kepada pengunderaitan perubatan.  Fakta-fakta yang tidak diperlukan oleh Pengendali Takaful.  Fakta-fakta yang tertakluk di bawah syarat-syarat dalam Sijil Takaful. Bagi tujuan penguatkuasaan sijil kontrak Takaful, pihak-pihak yang terlibat perlu jujur dan mempunyai niat yang baik. Oleh itu, tindakan tidak memberitahu fakta penting, penipuan, salah nyata atau memberi kenyataan palsu adalah merupakan elemen-elemen yang boleh membatalkan sijil Takaful. Prinsip Penuh Percaya Mutlak tidak dipenuhi apabila pencadang mengetahui atau sepatutnya mengetahui tentang fakta matan tetapi;  gagal untuk memberitahu atau mendedahkan fakta material berkenaan; atau  menyalahnyatakan fakta penting. Apabila peserta gagal memberitahu fakta material, pelanggaran prinsip penuh percaya mutlak tersebut diklasifikasikan sebagai tidak memberitahu / mendedahkan atau menyembunyikan fakta, iaitu
  • 77.
    Prinsip dan ModalPerniagaan Takaful 77 penipuan kerana tidak memberitahu. Sekiranya peserta membuat salah nyata fakta, kesalahan tersebut diklasifikasikan sebagai salahnyata tanpa niat atau penipuan kerana salahnyata. Apabila pelanggaran Prinsip Penuh Percaya Mutlak berlaku, kontrak Takaful boleh terbatal tanpa mengira sama ada pelanggaran itu telah dilakukan tanpa niat atau dengan niat untuk menipu. Kontrak Takaful mengenakan tanggungjawab uberrima fides atau Penuh Percaya Mutlak kepada pihak-pihak yang terlibat dengan kontrak Takaful. Oleh itu, adalah menjadi tanggungjawab peserta untuk memberitahu/ mendedahkan kepada pengendali Takaful tentang semua fakta penting mengenai perkara pokok insurans dan keadaan yang berkaitan dengannya. Fakta matan adalah fakta yang boleh mempengaruhi pertimbangan pengendali / syarikat insurans dalam menetapkan amaun premium / sumbangan atau menentukan sama ada menerima atau menolak risiko yang dicadangkan. (Rivaz v. Gerussi [1880] 6 QBD 222). Sama ada sesuatu fakta itu adalah fakta matan atau sebaliknya, ia bukanlah hak peserta untuk menentukannya. Hakikatnya, keputusan muktamad hanya boleh ditetapkan oleh mahkamah. Fakta matan termasuk perkara-perkara berikut:  Fakta-fakta yang cenderung untuk menyebabkan risiko yang dicadangkan menjadi lebih merbahaya daripada biasa. Kecacatan fizikal seperti kehilangan deria penglihatan atau anggota badan boleh meningkatkan risiko kemalangan dan memberi kesan kepada kesihatan dan tempoh hayat pihak yang dilindungi. Tabiat, aktiviti harian dan sejarah keluarga juga boleh mempengaruhi risiko.  Fakta yang difikirkan perlu untuk menjelaskan sifat-sifat luar biasa risiko yang dicadangkan untuk perlindungan Takaful, di
  • 78.
    78 Amalan AsasTakaful mana tanpanya, pengendali Takaful menganggap ia adalah risiko biasa. Contohnya, pekerjaan yang merbahaya.  Fakta-fakta yang kelihatan mempunyai motif tertentu. Contohnya perlindungan umum. Adalah menjadi keperluan undang-undang untuk menyatakan dengan jelas dan nyata di dalam borang cadangan akan perkara-perkara berikut: Mengikut peruntukan Seksyen 28, Akta Takaful 1984; "Pencadang hendaklah memberitahu sepenuhnya dan dengan jujur dalam borang cadangan akan semua fakta yang diketahui atau sepatutnya diketahui, jika tidak, sijil yang dikeluarkan mungkin menjadi tidak sah”. Tanggungjawab memberitahu fakta matan adalah perlu ketika:-  Ketika permulaan kuat kuasa sijil Tugas memberitahu fakta matan dianggap selesai apabila rundingan mengenai perlindungan dimuktamadkan. Walau bagaimanapun, sebelum risiko diterima atau sekiranya peserta masih perlu mendedahkan fakta-fakta tambahan, peserta bertanggungjawab dan perlu memberitahu fakta-fakta tersebut.  Ketika pembaharuan sijil Tanggungjawab memberitahu memainkan pernanan sekali lagi ketika rundingan memperbaharui sijil.  Ketika sijil sedang berkuatkuasa Peserta mempunyai tanggungjawab untuk memberitahu semua fakta matan yang berkaitan dengan sebarang perubahan terhadap risiko yang dilindungi.
  • 79.
    Prinsip dan ModalPerniagaan Takaful 79 5.1.3 Prinsip Indemniti Indemniti boleh ditakrifkan sebagai mekanisme yang digunakan oleh pengendali Takaful membayar pampasan dalam usaha untuk meletakkan peserta dalam kedudukan kewangan yang sama seperti yang dinikmati sebelum berlakunya kerugian. Kontrak Takaful mejanjikan perlindungan kepada peserta sekiranya berlaku kerugian atau kerosakan. Apabila kerugian berlaku, jumlah gantirugi yang boleh dituntut dikenali sebagai ‘ukuran ganti rugi’. Ia bermaksud bayaran gantirugi disebabkan kecederaan atau kerugian yang dialami. Prinsip indemniti memerlukan pengendali Takaful mengembalikan peserta kepada kedudukan kewangan yang sama sebagaimana yang dinikmati sebelum berlaku kerugian. Semua perlindungan harta dan wang Takaful adalah merupakan kontrak indemniti, iaitu sejumlah amaun yang perlu dibayar apabila berlaku sesuatu kejadian yang dilindungi, terhad kepada setakat amaun kerugian kewangan yang dialami oleh peserta. Oleh itu, apabila berlaku kerugian, tanggungjawab pengendali Takaful adalah meletakkan peserta dalam kedudukan kewangan yang sama sebagaimana yang dinikmati sebelum berlakunya kerugian, tertakluk kepada kecukupan jumlah perlindungan dan syarat-syarat polisi lain - penggunaan prinsip purata (average), lebihan dan had. Produk Takaful menyediakan pampasan kewangan untuk meletakkan peserta dalam kedudukan kewangan yang sama sebagaimana yang dinikmati sebelum berlaku kerugian. Ia memastikan peserta tidak mendapat lebih daripada jumlah sebenar kerugian dan menghalang peserta daripada membuat keuntungan daripada tuntutan itu. Semua kontrak perlindungan harta dan liabiliti Takaful adalah tertakluk kepada prinsip ini. Takaful Keluarga, termasuk pelan perlindungan kesihatan dan kemalangan diri bukan kontrak indemniti kerana kehilangan nyawa tidak boleh dinilai dan diganti dengan ganti rugi kewangan.
  • 80.
    80 Amalan AsasTakaful Prinsip indemniti digunapakai dalam keadaan-keadaan berikut:  Peserta perlu membuktikan bahawa mereka telah megalami kerugian akibat kerosakan atau kehilangan perkara pokok (subject matter) yang dilindungi di bawah pelan perlindungan Takaful dan kerugian tersebut boleh dinilai dalam bentuk nilai kewangan.  Jumlah pampasan yang dibayar adalah jumlah perlindungan dibawah pelan Takaful di mana jumlah indemiti tidak boleh melebihi jumlah perlindungan.  Sekiranya peserta menerima jumlah pampasan yang melebihi jumlah kerugian sebenar, Pengendali Takaful berhak untuk mendapatkan semula amaun lebihan tersebut dari peserta. Begitu juga sekiranya peserta menerima amaun yang melebihi dari kerugian sebenar daripada pihak ketiga selepas ganti rugi sepenuhnya diperolehi dari Pengendali Takaful, Pengendali Takaful mempunyai hak di bawah prinsip Subrogasi untuk mendapatkan kembali apa-apa amaun yang dibayar oleh pihak ketiga.  Perlu diingat bahawa amaun perlindungan bukanlah ukuran sebenar indemniti tetapi hanya sebagai suatu penetapan had amaun yang boleh dibayar. Amaun ganti rugi sebenar adalah berdasarkan prinsip ‘jumlah perlindungan atau nilai pasaran yang mana lebih rendah’. Dalam amalan Takaful Am, peserta perlu memastikan bahawa dia tidak menilai kurang daripada nilai sebenar perkara pokok insurans semata-mata untuk membayar caruman yang lebih rendah dan mengharapkan bayaran pampasan penuh atas kerugian yanag ditanggung. Perbuatan ini dianggap hina di syarak kerana membuat sumbangan yang tidak setimpal kepada dana Takaful serta membebankan peserta lain. Dalam situasi seperti ini, ‘Klausa Purata’ akan digunakan. Sebagai contoh, peserta yang dilindungi di bawah pelan Takaful motor sebanyak RM30,000 amaun perlindungan mengetahui sepenuhnya bahawa nilai pasaran sebenarnya ialah RM50,000. Apabila berlaku kerosakan akibat kemalangan dan kos pembaikan ialah RM20,000 maka peserta akan menerima bayaran
  • 81.
    Prinsip dan ModalPerniagaan Takaful 81 ganti rugi yang dikira berdasarkan formula 'Klausa Purata' seperti berikut: Amaun perlindungan X kerugian Nilai pasaran RM 30,000 X RM 20,000 = RM 12,000 RM 50,000 Berdasarkan contoh di atas, Pengendali Takaful hanya perlu membayar RM12,000, sementara baki sebanyak RM8,000 perlu ditanggung sendiri oleh peserta. Peserta boleh membuat tuntutan ganti rugi atas kerugian kewangan yang ditanggung, dan ia tidak termasuk kerugian emosi atau kerugian-kerugian lain yang berkaitan dengannya. Selain dari itu, peserta tidak boleh mengaut keuntungan dari musibah / kerugian yang ditanggung. Sekiranya kerosakan yang berlaku adalah sebahagian sahaja maka peserta tidak berhak menuntut jumlah penuh kerugian. Tuntutan terhad kepada jumlah kerugian sebenar sahaja. Apabila peserta telah menerima bayaran ganti rugi sepenuhnya, peserta dikehendaki memindahkan hak tuntutan terhadap pihak ketiga kepada Pengendali Takaful. Peserta tidak boleh mendapatkan ganti rugi lanjut daripada pihak ketiga atas kerugian yang sama. (Ini berkaitan dengan hak Subrogasi). Peserta tidak berhak memperolehi bayaran gantirugi lebih daripada sekali, tanpa mengira berapa banyak sijil Takaful yang dimiliki. Peserta tidak boleh menerima bayaran lebih daripada amaun penuh kerugian dari lain-lain pengendali Takaful atas kerugian yang sama. (Ini berkaitan dengan Prinsip Perkongsian Sama Rata). Indemniti menetapkan amaun maksimum yang boleh dibayar di bawah sesuatu pelan Takaful, tertakluk kepada had jumlah perlindungan. Jumlah perlindungan adalah had liabiliti yang perlu ditanggung oleh Pengendali Takaful. Kontrak Takaful Am adalah kontrak indemniti dimana kepentingan boleh lindung boleh diukur; contohnya harta benda, kontrak Takaful
  • 82.
    82 Amalan AsasTakaful kewangan dan liabiliti. Kontrak kemalangan diri dan Takaful keluarga tidak tergolong dalam kontrak indemniti. Ukuran indemniti bergantung kepada jenis-jenis perlindungan Takaful. Secara umumnya, indemniti Takaful harta adalah berdasarkan sama ada kos penggantian selepas ditolak susut nilai atau nilai pasaran; sementara di bawah Takaful liabiliti, indemniti diukur berdasarkan amaun award yang diputuskan oleh pihak mahkamah atau amaun penyelesaian luar mahkamah, termasuk kos dan perbelanjaan yang diluluskan. Indemniti dalam Takaful kewangan diukur berdasarkan jumlah kerugian kewangan yang dialami oleh peserta, sebagai contoh: Skim Takaful Ukuran Indemniti Harta benda Kos Penggantian ditolak susut nilai atau nilai pasaran Liabiliti Award mahkamah + Kos & Perbelanjaan Kewangan Kerugian kewangan 5.1.4 Prinsip Subrogasi Subrogasi boleh ditakrifkan sebagai hak Pengendali Takaful setelah membayar indemniti di bawah obligasi undang-undang, bertindak menggunakan hak dan remidi peserta, sama ada ia telah dikuatkuasakan atau tidak. Ini adalah turutan dari prinsip indemniti. Subrogasi adalah hak Pengendali Takaful yang telah bersetuju membayar ganti rugi, dan setelah bayaran dibuat maka pengendali mempunyai hak untuk menuntut amaun yang sama dari pihak ketiga yang menyebabkan kerugian berkenaan. Prinsip subrogasi merujuk kepada hak Pengendali Takaful bertindak di tempat peserta selepas penyelesaian tuntutan, untuk membuat tuntutan balas daripada pihak ketiga. Hak subrogasi juga boleh digunakan oleh Pengendali Takaful walaupun bayaran tuntutan belum
  • 83.
    Prinsip dan ModalPerniagaan Takaful 83 lagi dibuat. Pada dasarnya, doktrin subrogasi digunakan dalam perkara-perkara berikut:  Ia adalah turutan dari prinsip indemniti bagi memastikan peserta tidak meraih keuntungan dari musibah / kerugian yang berlaku.  Hak ini boleh digunakan sungguhpun amaun gantirugi belum lagi dibayar kepada peserta. Sekiranya sebahagian bayaran telah dibuat oleh pihak ketiga, pengendali Takaful hanya perlu membayar amaun bakinya sahaja.  Amaun tuntutan subrogasi tidak boleh melebihi jumlah tuntutan yang dibayar kepada peserta. Sekiranya Pengendali Takaful menuntut amaun yang lebih tinggi dari apa yang dibayar kepada peserta, lebihan bayaran hendaklah diserahkan kepada peserta.  Prinsip ini tidak boleh digunapakai dalam kontrak Takaful Keluarga dan Kemalangan Diri. Prinsip subrogasi dijelaskan melalui contoh berikut: Rumah kediaman milik peserta A telah musnah dijilat api yang berpunca dari kebakaran disebabkan letupan dikilang berhampiran. Peserta A mengemukakan tuntutan kepada pengendali Takaful sebanyak RM500,000. Apabila pembayaran tuntutan telah dibuat, pengendali Takaful diberikan hak subrogasi untuk menuntut jumlah yang serupa dari pemilik kilang yang bertanggungjawab menyebabkan kebakaran dan kerugian berkenaan. Sebelum hak tersirat Subrogasi yang memihak kepada Pengendali Takaful itu digunakan, dua syarat berikut perlu dipenuhi:- i. Kontrak Takaful yang wujud hendaklah merupakan kontrak indemniti. Oleh itu, subrogasi tidak boleh digunapakai untuk kontrak bukan indemniti seperti kontrak Takaful Keluarga dan Kemalangan Diri. ii. Pengendali Takaful hendaklah menyelesaikan bayaran tuntutan terlebih dahulu. Mengikut amalan biasa, pengendali Takaful menyatakan hal ini dengan jelas di dalam sijil Takaful bagi memperolehi hak subrogasi sebelum bayaran ganti rugi dibuat.
  • 84.
    84 Amalan AsasTakaful Subrogasi adalah hak seseorang untuk bertindak bagi pihak orang lain dengan memiliki semua hak dan remedinya, sama ada ia telah berkuat kuasa atau sebaliknya. (Burnard vs Rodocanachi). Prinsip ini bermaksud setelah membayar indemniti, pengendali Takaful berhak untuk menerima kembali apa-apa bayaran yang diterima daripada mana-mana sumber atas tuntutan yang serupa Hak subrogasi di bawah undang-undang lazim tidak diiktiraf selagi Pengendali Takaful tidak memproses, meluluskan dan membayar tuntutan. Disebabkan masaalah yang timbul dari prinsip ini, Pengendali Takaful meletakkan syarat dalam sijil Takaful yang memberikan diri mereka hak subrogasi sebelum bayaran tuntutan dibuat (kecuali Takaful Marin), tetapi Pengendali Takaful perlu bertindak atas nama peserta. 5.1.5 Prinsip Perkongsian Sama Rata Prinsip ini boleh ditakrifkan sebagai hak Pengendali Takaful untuk meminta Pengendali Takaful lain yang sama-sama menanggung risiko berkenaan supaya membuat sumbangan (bayaran ganti rugi) mengikut bahagian masing-masing. Prinsip tersebut juga adalah satu lagi akibat turutan dari prinsip indemniti. Ia merupakan syarat tersirat dalam kontrak indemniti di mana sekiranya terdapat kontrak indemniti lain yang memberi perlindungan atas perkara pokok dan risiko yang sama, jumlah bayaran ganti rugi kepada peserta hendaklah dibahagikan di kalangan semua pengendali mengikut nisbah masing-masing. Prinsip Perkongsian Sama Rata digunakan di bawah kontrak Takaful Am bagi mengelakkan peserta meraih keuntungan daripada tuntutan berganda atas kerugian yang sama daripada Pengendali Takaful yang berbeza. Di bawah prinsip ini, amaun kerugian hendaklah dikongsi bersama antara Pengendali Takaful mengikut bahagian atau nisbah masing-masing. Amalan ini dapat mengukuhkan prinsip indemniti.
  • 85.
    Prinsip dan ModalPerniagaan Takaful 85 Penjelasan mengenai Prinsip Perkongsian Sama Rata adalah seperti contoh berikut: Peserta B mendapat perlindungan Takaful untuk rumahnya bernilai RM1 juta dengan pengendali Takaful X, Y dan Z dengan harapan untuk membuat keuntungan dengan membuat tuntutan daripada semua Pengendali Takaful bagi jumlah sebanyak RM3 juta (RM1 juta dari setiap pengendali Takaful) sekiranya rumah miliknya itu musah akibat kebakaran. Apabila rumah tersebut musnah dijilat api, peserta B mengemukakan tuntutan kepada semua Pengendali Takaful seperti yang dirancang. Walau bagaimanapun, apabila hal tersebut telah diketahui, setiap pengendali Takaful hanya akan membayar bahagian masing-masing iaitu sebanyak RM333,333 untuk jumlah keseluruhan RM1 juta. Prinsip Perkongsian Sama Rata hanya boleh diguna pakai dalam kontrak indemniti sahaja. Pengendali-Pengendali Takaful yang terlibat mestilah telah memberi perlindungan kepada:  Kepentingan yang sama (iaitu peserta yang sama, melindungi kepentingan yang sama dengan lebih dari satu pengendali Takaful).  Perkara pokok yang sama (iaitu kesemua sijil Takaful yang dikeluarkan melindungi perkara pokok yang sama)  Peril yang sama (di mana prinsip perkongsian sama rata akan digunakan sekiranya semua sijil melindungi peril yang sama yang mengakibatkan berlakunya kerugian). Dengan menyatakan syarat-syarat sumbangan secara terang dan nyata di dalam sijil Takaful, pengendali tidak akan bertanggungjawab untuk membayar atau menyumbang lebih daripada nisbah sepatutnya atas jumlah keseluruhan bayaran pampasan. Jika syarat ini tidak dinyatakan dalam sijil perlindungan, peserta mempunyai hak untuk membuat tuntutan terhadap mana-mana pengendali. Seterusnya, pengendali yang telah membayar ganti rugi akan membuat tuntutan bahagiannya dari pengendali Takaful lain.
  • 86.
    86 Amalan AsasTakaful Di bawah undang-undang lazim, apabila peserta mempunyai lebih daripada satu sijil Takaful, dia hanya boleh membuat tuntutan kepada salah satu pengendali sahaja. Pengendali Takaful perlu membayar gantirugi, terhad kepada jumlah liabilitinya sahaja, kemudian barulah boleh menuntut sumbangan daripada pengendali lain selepas dia telah membayar bahagiannya. Prinsip Perkongsian Sama Rata boleh digunakan hanya apabila syarat-syarat berikut dipenuhi. Sijil Takaful tidak semestinya melindungi kepentingan, peril atau perkara pokok yang sama, tetapi hendaklah terdapat pertindihan sijil di mana: a) Terdapat dua atau lebih sijil indemniti yang berkuatkuasa. b) Sijil-sijil berkenaan melindungi kepentingan yang sama. c) Sijil-sijil tersebut melindungi peril yang sama yang menyebabkan berlakunya kerugian. d) Setiap sijil mestilah bertanggungjawab atas kerugian yang berlaku. Untuk mengatasi kesulitan ini, kebanyakan sijil Takaful Bukan Marin mengandungi klausa perkongsian sama rata. Ia menyatakan bahawa Pengendali Takaful hanya bertanggungjawab atas nisbah atau bahagiannya sahaja. Pengendali Takaful bertanggungjawab atas bahagiannya sahaja, dan peserta boleh membuat tuntutan berasingan terhadap Pengendali- Pengendali Takaful yang lain. Tujuan diadakan fasal sumbangan ini adalah untuk menghalang peserta daripada membuat tuntutan terhadap satu pengendali sahaja sehingga menyebabkan pengendali tersebut terpaksa menanggung jumlah penuh kos tuntutan, walaupun kemudiannya ia berhak meminta / menuntut pengendali lain membuat sumbangan atas kerugian yang sama. Pengendali Takaful bersetuju bahawa kaedah pengiraan kadar sumbangan tidak tertakluk kepada klausa purata (average clause) adalah seperti berikut:
  • 87.
    Prinsip dan ModalPerniagaan Takaful 87 a. Amaun perlindungan dari setiap Pengendali Takaful ------------------------------------------- X kerugian = liabiliti Amaun perlindungan dari semua Pengendali Takaful Contoh A : RM6,000 x RM1,000 = RM600 B : RM4,000 Rugi : RM1,000 A bayar: RM6,000 x RM1,000 = RM600 RM10,000 B bayar: RM4,000 x RM1,000 = RM400 RM10,000 b. Perlindungan harta lain (kaedah lebih kerap digunakan) Sekiranya sijil perlindungan tertakluk kepada fasal purata atau had kerugian individu dikenakan atas amaun perlindungan, kaedah “liabiliti bebas” akan digunakan. Liabiliti bebas ialah jumlah ganti rugi yang perlu dibayar oleh pengendali sekiranya ia adalah antara Pengendali Takaful yang menawarkan perlindungan. Liabiliti pengendali bebas x kerugian = pengendali bebas Jumlah liabiliti dari semua Pengendali Takaful i) A : RM2,000.00 B : RM1,000.00 Rugi : RM 450.00
  • 88.
    88 Amalan AsasTakaful A bayar: RM2,000 x RM450 = RM200 RM4,500 B bayar: RM1,000 x RM450 = RM100 RM4,500 ii) Sekiranya A melindungi RM4,500 A bayar: RM4,500 x RM450 = RM450 RM4,500 B bayar: RM100 x RM450 = RM100 RM550 = RM550 ====== Dalam kes ini, jumlah liabiliti pengendali bebas adalah melebihi amaun kerugian dan nisbah pembayaran ialah: A bayar : RM450 x RM450 = RM368.20 RM550 B bayar : RM100 x RM450 = RM 81.80 RM550 RM450.00 ======== Prinsip ini tidak boleh digunakan di bawah kontrak Takaful kemalangan diri. Oleh yang demikian, seseorang itu boleh menuntut jumlah ganti rugi penuh di bawah beberapa sijil Takaful yang dikeluarkan oleh Pengendali Takaful yang berbeza (kecuali perbelanjaan perubatan). Walau bagaimanapun, semua pengendali menetapkan peraturan agar pencadang memberitahu penanggung akan polisi / sijil perlindungan kemalangan diri lain yang dimilikinya. Terdapat Pengendali Takaful yang menetapkan syarat dalam sijil perlindungan iaitu sijil Takaful akan terbatal sekiranya peserta menguatkuasakan sijil Takaful yang baru tanpa kebenaran bertulis dari Pengendali Takaful terdahulu.
  • 89.
    Prinsip dan ModalPerniagaan Takaful 89 5.1.6 Prinsip Sebab Terhampir (Proximate Cause) Ia ditakrifkan sebagai punca atau sebab paling efektif yang mengungguli rantaian kejadian / peristiwa yang membawa kepada kerugian, tanpa dicemari oleh mana-mana punca lain yang bermula dan berfungsi secara aktif dari punca yang baru dan bebas. Pepatah Latin menyebutnya sebagai sed causa Proxima non-remota spectature (tumpukan kepada sebab hampiran dan bukan sebab terpencil). Sebab-sebab berlakunya kerugian perlu dikenalpasti kerana hanya risiko tertentu yang dilindungi sahaja (tidak dikecualikan risiko seperti yang dinyatakan dalam sijil Takaful) yang boleh dibayar ganti rugi. Kerugian yang berlaku mungkin bukan disebabkan dari peril atau peristiwa tunggal. Mungkin ada sebab-sebab serentak atau rantaian sebab-sebab yang mungkin berlaku dalam turutan peristiwa atau dalam rantaian peristiwa yang berasingan. Doktrin sebab terhampir boleh dijelaskan secara tepat dengan merujuk kepada satu kes perundangan yang berlaku di United Kingdom, di mana seorang pemegang polisi mengalami kecederaan akibat kemalangan ketika memburu. Dia tidak dapat berjalan selepas kemalangan dan terpaksa berbaring di atas tanah basah dan menyebabkan dia mengalami radang paru-paru dan seterusnya meninggal dunia. Terdapat rantaian sebab-sebab yang tidak putus- putus yang menyebabkan kemalangan, kecederaan dan kematian. Mahkamah memutuskan bahawa punca atau sebab terhampir yang membawa kepada kematian adalah kemalangan, bukan sakit radang paru-paru. Beban untuk membuktikan kerugian ditanggung oleh peserta. Apabila berlaku kerugian, tanggungjawab peserta ialah untuk membuktikan bahawa kerugian yang membawa kepada tuntutan ganti rugi adalah disebabkan oleh peril yang dilindungi. Sekiranya kerugian berlaku berpunca dari satu sebab sahaja, tiada kesukaran yang timbul untuk menentukan liabiliti.
  • 90.
    90 Amalan AsasTakaful 5.1.6.1 Pengendali Takaful tidak bertanggungjawab atas peril yang tidak dilindungi atau peril yang dikecualikan Pengendali Takaful bertanggungjawab ke atas kerugian yang disebabkan oleh peril atau bahaya yang dilindungi. Sebaliknya, Pengendali Takaful tidak akan bertanggungjawab keatas kerugian yang disebabkan peril yang tidak dilindungi atau peril yang dikecualikan. Peril yang dilindungi ialah peril yang dinyatakan secara jelas dalam sijil Takaful bahawa ia diberi perlindungan. Peril yang tidak dilindungi ialah peril yang tidak dinyatakan dalam sijil dan oleh itu tiada perlindungan diberikan, kecuali ia berlaku akibat dari peril yang dilindungi. Contoh peril yang tidak dilindungi di bawah sijil Takaful kebakaran ialah asap dan kerosakan disebabkan air. Peril yang dikecualikan ialah peril yang dinyatakan secara jelas dalam sijil bahawa ia tidak dilindungi. Kerugian yang berlaku mungkin disebabkan oleh dua atau lebih sebab-sebab yang terjadi serentak atau pun berturutan. Masalah timbul apabila dua atau lebih sebab-sebab tersebut melibatkan peril yang dilindungi dan juga peril yang dikecualikan. Dalam keadaan yang sedemikian, ia menjadi sukar bagi peserta untuk menentukan punca sebenar kerugian. Untuk menyelesaikan kesukaran ini, undang- undang memperkenalkan doktrin Sebab Terhampir berdasarkan perumpamaan Latin ‘maxim causa proxima non remota spectatur’ yang bermaksud tumpukan kepada sebab hampiran, bukan sebab terpencil. Oleh itu, sekiranya kerugian berlaku disebabkan oleh beberapa sebab hampiran, sebab yang paling unggul atau efektif perlu dikenalpasti dan disahkan sebagai punca kepada kerugian. Sebab Terhampir ialah punca atau sebab paling efektif dan berkesan yang mengungguli rantaian kejadian / peristiwa yang membawa kepada kerugian. Sekiranya Sebab Terhampir itu merupakan peril yang dilindungi, maka ganti rugi akan dibayar. Tiada pampasan untuk peril yang tidak dilindungi. Perlu diambil perhatian bahawa mesti ada hubungan langsung antara sebab dan akibat, di mana ia mestilah merupakan sebab hampiran yang paling efektif dan berkesan, walaupun tidak pada masa berkenaan. Doktrin ini digunapakai
  • 91.
    Prinsip dan ModalPerniagaan Takaful 91 terutamanya apabila kerugian berlaku disebabkan oleh sebab-sebab yang berturutan. 5.1.6.2 Pengendali Takaful bertanggungjawab atas kerugian akibat Sebab Terhampir bagi peril yang dilindungi sahaja. Dalam kes Pawsey & Company v Scottish Union & National Insurance Company (1907), mahkamah mendefinisikan sebab terhampir sebagai “sebab paling efektif dan berkesan yang mengungguli rantaian kejadian / peristiwa yang membawa kepada kerugian, tanpa dicemari oleh mana-mana punca lain yang bermula dan berfungsi secara aktif dari punca yang baru dan bebas”. Biasanya terdapat rantaian kejadian atau sebab-sebab yang membawa kepada kerugian, bukan kerana satu sebab sahaja. Sekiranya kerugian berlaku disebabkan secara langsung oleh peril yang dilindungi maka tuntutan ganti rugi akan dibayar, dengan syarat ia tidak melibatkan peril yang tidak dilindungi / dikecualikan yang menjadi punca utama dalam rantaian peristiwa yang menggerakkan peril yang dilindungi. Doktrin ini sangat penting kerana lebih daripada satu sebab yang boleh dikaitkan sehingga menyebabkan terjadinya keadaan yang membawa kepada tuntutan kerugian. Oleh itu, perlu dikenalpasti samada sebab efektif dan berkesan itu adalah peril yang dilindungi atau dikecualikan dari kontrak perlindungan. Contoh:- 1. Seorang peserta pelan Takaful yang menghidap penyakit batu karang telah dirempuh oleh sebuah kereta dan kemudiannya meninggal dunia. Penyakit batu karang yang dihidapinya tidak menyebabkan kematian. Sebab kematian beliau tidak termasuk peril seperti yang dinyatakan dalam polisi. (Louden v British Merchants Ins. Co. Ltd [1961]).
  • 92.
    92 Amalan AsasTakaful 2. Seorang peserta jatuh dari tangga dan patah kaki, dan kemudiannya dibawa ke hospital. Di hospital, beliau dijangkiti sakit kerongkong dari salah seorang pesakit di katil sebelah. Peserta kemudiannya meninggal dunia. Kemalangan yang berlaku tidak menyebabkan kematian. Sakit kerongkong bukanlah punca yang menyebabkan patah kaki. 3. Sungguhpun demikian, sekiranya terdapat rantaian penyebab kerugian yang tidak terputus, sebab yang paling awal adalah merupakan sebab hampiran. Seorang peserta secara tidak sengaja telah mencalarkan kakinya, menyebabkan erysipelas; kemudiannya merebak menjadi septicemia, diikuti dengan septik neumonia dan akhirnya meninggal dunia. Calar adalah sebab hampiran yang membawa kematian. Setiap jenis penyakit yang dialami adalah dianggap normal atau semulajadi, yang berkemungkinan mempunyai kaitan / rantaian antara calar dan kematian.(Mardorf v Accident Insurance Co [1903]). Contoh-contoh lain ialah:  Sekiranya peserta telah menghidap penyakit sebelum terlibat dalam kemalangan, penyakit dan kemalangan itu dianggap sebagai sebab yang berasingan dan bebas dari sebarang pengaruh. Contohnya, sakit yang dihidapi oleh peserta tidak menghalangnya untuk pergi ketempat kerja. Semasa dalam perjalanan, peserta terlibat dalam kemalangan dan meninggal dunia. Sebab kematian adalah kemalangan, bukan sakit kerana sakit dianggap sebagai sebab yang berasingan.  Sekiranya kesan dari kemalangan telah mendedahkan kewujudan sesuatu penyakit yang merupakan punca tunggal / awal yang mengakibatkan kematian atau hilang upaya, peserta tidak dilindungi oleh sijil Takaful.  Sekiranya selepas berlaku kemalangan, peserta membuat tuntutan atas alasan kemalangan telah menyebabkan tulang retak. Kemalangan tidak menyebabkan sebarang kecederaan,
  • 93.
    Prinsip dan ModalPerniagaan Takaful 93  Sekiranya seseorang itu didapati menghidap penyakit setelah berlaku kemalangan, sebab hampiran tidak semestinya bebas dan berasingan sehingga menyebabkan kematian atau hilang upaya, walaupun mungkin sebab langsung kematian ialah kerana penyakit, namun mungkin juga akibat semula jadi disebabkan kemalangan - penyakit menjadi sebahagian dari rantaian penyebab dan kemalangan menjadi sebab hampiran, bukan sebab terpencil. Oleh itu, kematian disebabkan sakit burut setelah jatuh akibat “kemalangan” adalah menepati peruntukan yang dinyatakan dalam sijil Takaful, kecuali sekiranya dinyatakan secara jelas bahawa sakit burut tidak dilindungi. Sekiranya berlaku kerugian, beban untuk membuktikan bahawa kerugian yang berlaku disebabkan peril yang dilindungi adalah ditanggung oleh peserta. Sebaliknya, beban untuk membuktikan bahawa kerugian yang berlaku tidak dilindungi kerana terdapat pengecualian tertentu adalah ditanggung oleh Pengendali Takaful. 5.1.7 Prinsip Tabarru’ (Derma) Tabarru’ atau derma, bermaksud prinsip berkongsi tanggungjawab dan saling menjamin antara satu sama lain yang secara jelas menyatakan bahawa derma atau caruman yang dikutip akan digunakan untuk membantu “peserta yang memerlukan bantuan mengikut syarat-syarat yang dipersetujui selagi syarat-syarat tersebut tidak bercanggah dengan Syariah”. Dalam perniagaan Takaful Am dan Takaful Keluarga, tabarru' (derma Takaful) adalah suatu kontrak di mana peserta bersetuju menderma ke dana Takaful mengikut kadar tertentu, dan dana itu digunakan untuk membantu peserta yang memerlukannya. Dengan cara ini, peserta telah memenuhi tanggungjawab saling membantu dan menjamin apabila peserta lain mengalami kerugian. Penerapan konsep derma dapat menghapuskan unsur gharar dalam kontrak Takaful.
  • 94.
    94 Amalan AsasTakaful Dengan mengambil kira konsep-konsep asas Takaful, pengamal Takaful telah mengambil langkah kehadapan demi mengembangkan model Takaful sedia ada ke model perniagaan yang lebih berdaya maju dan bernilai komersil. Apabila seseorang itu membuat tuntutan yang sah, pengendali akan membayar gantirugi dengan menggunakan wang dari dana/derma terkumpul. Dalam masa yang sama, dana terkumpul juga akan dilaburkan dalam portfolio pelaburan yang mematuhi keperluan Syariah serta tidak mendedahkan pemegang sijil/polisi kepada sebarang risiko yang merugikan. Agama Islam menerima baik prinsip saling membantu dan menunaikan tanggungjawab bersama. 5.1.8 Prinsip Waranti Satu lagi prinsip yang digunapakai dalam urusniaga Takaful ialah waranti. Waranti adalah “jaminan yang biasanya dibuat secara bertulis tentang integriti sesuatu produk dan tanggungjawab pengeluar untuk membaiki atau mengganti barangan yang rosak”. Waranti yang terdapat dalam perlindungan Takaful ialah janji oleh pihak peserta bahawa kenyataan yang menentukan kesahan sesuatu kontrak itu adalah benar. Kebanyakan kontrak Takaful mengkehendaki peserta membuat waranti tertentu. Contohnya, untuk mendapatkan pelan perlindungan Takaful kesihatan, peserta mungkin perlu memberi jaminan bahawa dia tidak menghidap sebarang penyakit merbahaya. Jika jaminan atau waranti yang dibuat oleh peserta ternyata tidak benar, Pengendali Takaful boleh membatalkan sijil / pelan perlindungan dan menolak sebarang tuntutan. Tidak semua salah nyata yang dibuat oleh peserta memberi hak kepada Pengendali Takaful untuk membatalkan sijil atau perlindungan Takaful atau menolak tuntutan. Hanya salahnyata berkaitan syarat dan waranti dalam kontrak sahaja yang memberi hak berkaitan kepada pengendali. Untuk melayakkannya menjadi suatu syarat atau waranti, kenyataan hendaklah dibuat dengan jelas dan dicatatkan dalam kontrak. Peruntukan syarat hendaklah secara jelas menunjukkan semua pihak bersetuju bahawa hak-hak peserta dan
  • 95.
    Prinsip dan ModalPerniagaan Takaful 95 pengendali adalah tertakluk kepada sejauhmana kebenaran kenyataan yang dibuat. Waranti dalam kontrak Takaful boleh dibahagikan kepada dua jenis iaitu:  Perakuan; dan  Akujanji Jenis Waranti Keterangan Waranti Perakuan Waranti perakuan ialah suatu kenyataan pengakuan mengenai fakta yang dibuat ketika kontrak dibuat. Waranti perakuan yang tidak benar akan menjadikan kontrak Takaful terbatal ketika perlindungan mula berkuatkuasa. Waranti Akujanji Waranti akujanji ialah suatu kenyataan mengenai fakta masa akan datang atau fakta yang akan terus kekal kebenarannya sepanjang tempoh perlindungan. Sebagai contoh, peserta membuat perakuan / waranti bahawa harta miliknya yang dilindungi dibawah sijil Takaful kebakaran tidak akan digunakan sebagai tempat menyimpan bahan letupan. Pengendali Takaful boleh membatalkan perakuan itu jika peserta membuat keputusan untuk memulakan aktiviti pencampuran bahan letupan dipremis berkenaan. Peruntukan waranti perlu menggunakan bahasa yang menyatakan secara jelas sama ada ia adalah Perakuan atau Akujanji. Kontrak Takaful adalah satu perjanjian yang menyatakan Pengendali Takaful akan membayar ganti rugi kepada pemegang sijil atas kerugian yang berlaku disebabkan oleh peril / bahaya yang dilindungi. Sijil Takaful ‘tidak menjamin integriti produk’, seperti rumah, kereta, bot dan sebagainya. Ia juga tidak menjamin bahawa jika sesuatu yang buruk berlaku keatas harta berkenaan (atau kepada
  • 96.
    96 Amalan AsasTakaful peserta), ia akan dilindungi. Sijil Takaful menetapkan kategori khusus apa yang dilindungi dan apa yang tidak dilindungi. A5.2 DANA TAKAFUL Pengendali Takaful dikehendaki mewujudkan dan mengurus tiga kategori dana iaitu:  Dana Takaful Am  Dana Takaful Keluarga  Dana Pemegang Saham Peruntukan undang-undang berkaitan dana Takaful yang terdapat dalam Akta Takaful 1984 adalah seperti yang dinyatakan di bawah: Seksyen 16 – Penubuhan dan penyelenggaraan dana Takaful, dan peruntukan surplus. (1) Setiap pengendali yang didaftarkan di bawah Akta ini hendaklah menubuhkan dan menyelenggara mengikut seksyen ini, suatu kumpulan wang Takaful berkenaan dengan kelas atau setiap kelas perniagaan Takaful yang dijalankan oleh pengendali di Malaysia, sebagai perniagaan yang berkaitan dengan sijil Malaysia. (2) Semua penerimaan (wang) pengendali yang boleh diagihkan kepada perniagaan yang berkaitan dengan dana (termasuk pendapatan dana) hendaklah dimasukkan ke dalam dana Takaful, dan aset yang terkandung dalam dana itu hendaklah digunakan hanya untuk memenuhi apa-apa bahagian liabiliti dan perbelanjaan pengendali sebagaimana yang sepatutnya diagihkan. A5.3 JENIS-JENIS MODEL TAKAFUL Operasi kendalian Takaful dalam sektor tijari (komersil) boleh dibahagikan kepada beberapa model perniagaan seperti yang ditunjukkan dibawah:
  • 97.
    Prinsip dan ModalPerniagaan Takaful 97  Model Wakalah  Model Mudharabah  Model Mudharabah + Wakalah (model hibrid)  Model Waqaf Apa yang penting ialah teras pada mana-mana model seperti yang dinyatakan dalam kontrak masing-masing adalah berdasarkan Syariah. Pilihan model oleh Pengendali Takaful menunjukkan fleksibiliti Syariah. Sesungguhnya, objektif yang perlu dicapai ialah pencapaian umat manusia kearah kesempurnaan seperti yang digariskan dalam Maqasid (objektif) Syari’ah. 5.3.1 Model Wakalah Istilah wakalah dalam Bahasa Arab bermaksud agensi. Oleh itu, di bawah struktur agensi, hubungan agensi telah dipersetujui antara dua pihak untuk menjalankan perniagaan tertentu. Berdasarkan dari pengertian tersebut, model ini menerangkan suatu perjanjian agensi antara pengendali yang bertindak sebagai ejen atau 'wakil' kepada peserta yang bertindak sebagai prinsipal, untuk menguruskan penyertaan prinsipal dalam urus niaga pelbagai produk Takaful yang disediakan oleh pengendali. Sebagai balasan atas perkhidmatan agensi yang diberikan, pengendali dibenarkan untuk mengenakan bayaran di bawah perjanjian itu. Bayaran diperolehi melalui sumbangan Takaful yang didermakan oleh peserta. Di bawah model ini, perbelanjaan pengurusan dikenakan atas dana Takaful sebagai bayaran pendahuluan. Melalui model ini, pengendali memperolehi pendapatan dari yuran agensi dan juga keuntungan dari pelaburan dana pemegang saham. Sungguhpun demikian, terdapat Pengendali Takaful yang mengamalkan model perniagaan ini dengan mengenakan yuran prestasi atas perkhidmatan dan peranan yang dimainkan dalam mengurus pelaburan dana Takaful. Sekiranya berlaku pembatalan atau penyerahan sijil, baki bersih sumbangan / derma (jika ada) akan dipulangkan kepada peserta, selepas ditolak semua caj seperti yuran wakalah dan perbelanjaan pengurusan lain.
  • 98.
    98 Amalan AsasTakaful  Carta Aliran Model Wakalah Takaful Am
  • 99.
    Prinsip dan ModalPerniagaan Takaful 99  Carta Aliran Model Wakalah Takaful Keluarga
  • 100.
    100 Amalan AsasTakaful 5.3.2 Model Mudharabah Pada asasnya, Mudharabah ditakrifkan sebagai satu prinsip perkongsian keuntungan yang biasanya digunakan dalam perniagaan atau kontrak komersial di antara pihak yang menyediakan dana / modal dan pihak yang menguruskan perniagaan. Bagi Takaful, ia bermaksud kontrak perkongsian keuntungan antara peserta-peserta Takaful dan pengendali atas keuntungan (jika ada) perniagaan Takaful. Di bawah perjanjian ini, kontrak perkongsian keuntungan yang ditandatangani oleh pengendali, sebagai usahawan atau yang dipanggil mudharib yang diamanahkan untuk mengurus perniagaan Takaful dan para peserta sebagai pemodal, yang dipanggil sahib al- mal - pihak yang bertanggungjawab membayar sumbangan / derma Takaful sebagai modal atau ra'sul-mal. Kontrak yang ditandatangani akan menentukan keuntungan perniagaan Takaful dan nisbah keuntungan untuk dikongsi bersama di antara kedua-dua pihak seperti 50:50, 60:40 atau 70:30. Pada dasarnya, keuntungan dalam perniagaan Takaful ditakrifkan sebagai pulangan keatas pelaburan dan lebihan dari pengunderaitan yang berkaitan dengan dana Takaful sahaja. Oleh itu, ia tidak termasuk keuntungan yang dicatatkan oleh dana pemegang saham. Bagi perniagaan Takaful keluarga, ia termasuk lebihan kemortalan (mortality) yang diperuntukkan kepada peserta yang layak seperti yang diisytiharkan oleh penilaian aktuari setiap akhir tahun kewangan. Walau bagaimanapun, tidak seperti kontrak Mudharabah bagi produk perbankan Islam, perkongsian keuntungan dalam Takaful akan hanya dilaksanakan selepas semua obligasi Takaful telah diambil kira - obligasi terbesar ialah membayar tuntutan. Sekiranya urus niaga mengalami kerugian atau dana Takaful mengalami defisit, kerugian akan ditanggung sepenuhnya oleh peserta sebagai pemberi modal. Meskipun demikian, adalah menjadi tanggungjawab utama pengendali untuk melindungi kepentingan peserta dalam usaha memastikan perniagaan tidak akan terjejas oleh kerugian yang mungkin menjejaskan kewibawaan dan keyakinan Takaful secara keseluruhan. Atas sebab ini, amalan tadbir urus yang betul, berhemat dan profesionalisme dalam menguruskan perniagaan adalah penting.
  • 101.
    Prinsip dan ModalPerniagaan Takaful 101 Sekiranya perniagaan mencatatkan kerugian, ia adalah tanggungjawab pengendali untuk mengatasinya, umpamanya dengan membuat pinjaman (Qard) dari pemegang saham. Antara ciri-ciri penting di bawah model Mudharabah yang perlu diberi perhatian ialah perbelanjaan pengurusan tidak dikenakan keatas dana Takaful, sebaliknya ia ditanggung oleh dana pemegang saham. Perolehan pedapatan dana pemegang saham ialah dari sebahagian perkongsian keuntungan daripada dana Takaful dengan peserta, dan semua pulangan atas pelaburan para pemegang saham dana itu sendiri.
  • 102.
    102 Amalan AsasTakaful  Carta Aliran Model Mudharabah Takaful Am
  • 103.
    Prinsip dan ModalPerniagaan Takaful 103  Carta Aliran Model Mudharabah Takaful Keluarga
  • 104.
    104 Amalan AsasTakaful 5.3.3 Model Hibrid Seperti yang difahami melalui namanya, model perniagaan ini adalah kombinasi kedua-dua model yang diterangkan sebelum ini. Di bawah model hibrid ini, hubungan antara pengendali yang menggabungkan peranan sebagai usahawan atau mudharib serta ejen atau wakil kepada peserta; manakala peranan kedua ialah mempunyai kapasiti sebagai pemberi modal atau sahib al-mal dan prinsipal kepada ejen. Sebagai Pengendali Takaful melalui ketetapan ini, yuran agensi boleh dibayar sebagai caj pendahuluan dari dana Takaful dan dalam masa yang sama pengendali mempunyai hak untuk berkongsi keuntungan pelaburan dana Takaful seperti yang dinyatakan dalam kontrak Mudharabah. Di bawah model ini, kontrak Mudharabah digunakan bagi tujuan aktiviti pelaburan sahaja. Keuntungan dana diperolehi dari lebihan / surplus pengunderaitan serta pulangan ke atas pelaburan secara keseluruhan. Disamping bayaran yuran wakalah, model ini membenarkan pengendali menggunakan budi bicara untuk mengenakan yuran prestasi keatas lebihan dana Takaful, sebagai balasan khidmat menguruskan perniagaan Takaful secara keseluruhan. Keseluruhannya, Pengendali Takaful mempunyai tiga sumber pendapatan: yuran wakalah dan perkongsian keuntungan daripada pulangan pelaburan dana Takaful; dan pulangan ke atas pelaburan dana pemegang saham. Bagi peserta, mereka mempunyai hak untuk berkongsi lebihan pengunderaitan bersih serta perkongsian keuntungan pelaburan dana Takaful. Model ini menyokong kerjasama perkongsian risiko yang diamalkan di kalangan peserta manakala pengendali memperolehi bayaran atas perkhidmatan yang diberikan sebagai ejen atau wakil kepada peserta. Dalam erti kata lain, sebahagian dari pendapatan pengendali diperolehi dari yuran pendahuluan atas caruman. Tidak seperti model Mudharabah, model ini membolehkan pengendali yang menggunakan sistem agensi mengenakan bayaran perkhidmatan kepada dana
  • 105.
    Prinsip dan ModalPerniagaan Takaful 105 Takaful bagi menampung perbelanjaan pengurusan serta kos agensi. Di samping itu, terdapat perkongsian keuntungan mudharabah atas pelaburan dana Takaful, tetapi sebarang lebihan pengunderaitan dana Takaful akan hanya dikongsi di kalangan peserta sahaja.
  • 106.
    106 Amalan AsasTakaful  Carta Aliran Model Hibrid Takaful Am
  • 107.
    Prinsip dan ModalPerniagaan Takaful 107  Carta Aliran Model Hibrid Takaful Keluarga
  • 108.
    108 Amalan AsasTakaful 5.3.4 Model Wakaf Istilah wakaf yang disebut untuk model ini menjelaskan kontrak Takaful yang menggariskan perjanjian atau persetujuan peserta bahawa sumbangan Takaful yang dibayar sebagai balasan untuk menyertai produk Takaful dikreditkan oleh pengendali ke dalam dana Takaful mengikut prinsip wakaf atau endowmen. Pengendali Takaful perlu mewujudkan akaun wakaf dalam dana Takaful dan untuk mengaktifkan akaun berkenaan, pengendali disyaratkan untuk menyerahkan sesuatu (wang) sebagai wakaf bagi memperolehi keberkatan akaun berkenaan. Akaun wakaf yang berfungsi di bawah dana Takaful ini akan dilaburkan sama seperti pelaburan dalam ketiga-tiga model perniagaan yang dibincangkan sebelum ini. Dana Wakaf diwujudkan untuk mencapai objektif berikut: a) untuk menyalurkan bantuan kewangan kepada peserta yang ditimpa musibah atau kesusahan. b) untuk menyediakan suatu bentuk manfaat / ganjaran kepada peserta mengikut apa yang dinyatakan dalam surat ikatan wakaf. Semua perbelanjaan yang berkaitan dengan pengunderaitan dan kos operasi Takaful hendaklah dicaj kepada dana wakaf. Sebagai pengurus, pengendali Takaful akan melaksanakan semua fungsi yang diperlukan bagi operasi wakaf dengan yuran wakalah yang ditolak dari sumbangan peserta. Sebagai Mudarib, pengendali akan menguruskan pelaburan dana Takaful termasuk akaun wakaf dalam portfolio pelaburan yang mematuhi keperluan Syariah dan akan berkongsi pulangan pelaburan pada nisbah yang telah dipersetujui, iaitu sama dengan struktur perkongsian keuntungan di bawah kontrak Mudharabah. Perlu ditegaskan bahawa prinsip-prinsip Syariah yang berbeza digunakan dalam kontrak Takaful untuk mendapatkan persetujuan peserta agar sumbangan mereka dimasukkan ke dalam dana Takaful bagi tujuan melaksanakan konsep jaminan bersama sebagaimana yang terkandung dalam kontrak Takaful. Berbeza dengan model wakaf, tiga model lain menggunakan prinsip tabarru’ dalam kontrak mereka.
  • 109.
    Prinsip dan ModalPerniagaan Takaful 109 Di antara ciri-ciri asas model perniagaan ialah dana wakaf akan menggariskan peraturan pengagihan prosid kepada benefisiari dan menentukan berapa banyak pampasan akan dibayar kepada peserta. Di samping itu, wakaf berfungsi sebagai pemilik sumbangan dan mempunyai hak untuk bertindak sebagai sebuah entiti yang sah dalam menguruskan surplus atau lebihan. Pengendali Takaful, selain mengurus dana wakaf, ia juga akan berfungsi sebagai pengurus dan juga mudharib atau usahawan.
  • 110.
  • 111.
    Perkembangan dan PengawalanIndustri Takaful di Malaysia 111 BAB A6 PERKEMBANGAN DAN PENGAWALAN INDUSTRI TAKAFUL DI MALAYSIA PENGENALAN Pembangunan industri Takaful di Malaysia pada awal tahun 1980-an didorong oleh keperluan semasa masyarakat Islam untuk mempunyai alternatif insurans yang mematuhi keperluan Syari’ah selain dari insurans konvensional, juga untuk melengkapkan operasi perbankan Islam yang ditubuhkan pada tahun 1983. Desakan ke arah perubahan ini semakin meningkat apabila dicetuskan melalui fatwa dikeluarkan oleh Jawatankuasa Fatwa Kebangsaan Malaysia, yang memutuskan bahawa kontrak insurans hayat yang ada pada waktu itu adalah tidak sah (haram) disebabkan oleh kehadiran unsur-unsur Gharar (ketidakpastian), Riba dan Maisir (perjudian). Pada tahun 1982, sebuah jawatankuasa telah ditubuhkan oleh kerajaan untuk mencari alternatif insurans yang mematuhi undang-undang Islam. Jawatankuasa itu kemudiannya telah mengemukakan laporan dan draf Akta Takaful, yang akhirnya telah diluluskan oleh Parlimen pada tahun 1984. Akta Takaful 1984 adalah sumber undang-undang Takaful di Malaysia di mana Akta Insurans 1963 menjadi asas kepada Akta Takaful 1984. Akta Takaful 1984 (Akta) adalah Akta yang memperuntukkan peraturan kawalselia perniagaan Takaful di Malaysia dan tujuan-tujuan lain yang berkaitan dengan Takaful. A6.1 SEPINTAS LALU INDUSTRI TAKAFUL DI MALAYSIA Perkembangan Industri Takaful di Malaysia 1984- 2010
  • 112.
    112 Amalan AsasTakaful Isu 1984 2010 Pengendali Takaful Satu pengendali komposit dengan modal berbayar RM10 juta, yang menjadi asas kepada industri Takaful. Sembilan pengendali komposit dengan modal minimum RM100 juta setiap pengendali, yang menggalakkan persaingan yang sihat dalam industri. Pelabur / Pemegang Saham Bank Islam, Majlis Agama Negeri dan Yayasan Dakwah Islam. Kumpulan Pelabur yang terdiri dari pelabur swasta, kumpulan perbankan, insurer dan reinsurer. Produk Produk terhad, tumpuan hanya kepada Takaful motor, kebakaran dan gadaijanji. Produk Takaful am menguasai 63% pasaran ( sumbangan / premium kasar) Pelbagai pilihan produk dengan ciri-ciri yang lebih sofistikated. Produk Takaful keluarga menguasai 71% pasaran (sumbangan/ premium kasar). Pelanggan Majoriti orang Islam Islam dan juga bukan Islam, dengan jangkaan, keutamaan, kehendak dan keperluan yang berbeza. Saluran Pengagihan Cawangan-cawangan, Pegawai Pemasaran dan Meja Takaful. Cawangan-cawangan, Pegawai Pemasaran, Anggota Agensi, BankaTakaful, broker, internet dan pakatan kerjasama startegik.
  • 113.
    Perkembangan dan PengawalanIndustri Takaful di Malaysia 113 Bentuk Pelaburan Terhad kepada deposit Islam dan Sekuriti Islam kerajaan. Instrumen pelaburan yang lebih luas yang diterbitkan oleh kerajaan dan sektor swasta. Dalam usaha untuk membangunkan industri Takaful di Malaysia, Bank Negara Malaysia telah memperkenalkan beberapa pendekatan yang dibahagikan kepada tiga fasa:  Fasa I (1984-1992) Bermula dengan enakmen undang-undang kawalselia, iaitu Akta Takaful 1984 dan penubuhan pengendali Takaful yang pertama pada tahun 1984. Akta yang masih digunakan ini digubal untuk mengawal tatacara urus niaga Takaful dan mewajibkan pendaftaran setiap Pengendali Takaful. Akta juga memperuntukkan peraturan penubuhan Jawatankuasa Syari’ah bagi memastikan operasi perniagaan Pengendali Takaful mematuhi prinsip-prinsip Syari’ah.  Fasa II (1993-2000) Mula memperlihatkan persaingan dalam industri Takaful dengan kemunculan beberapa Pengendali Takaful yang mula memasuki pasaran. Tempoh ini juga menyaksikan kerjasama yang lebih erat di kalangan Pengendali Takaful di rantau ini termasuk pembentukan Kumpulan Takaful ASEAN pada tahun 1995 dan penubuhan ASEAN ReTakaful International (L) Ltd pada tahun 1997. Ini telah membantu urusan Takaful semula di kalangan Pengendali Takaful di Malaysia dan di rantau Asean seperti Brunei, Indonesia dan Singapura.  Fasa III (2001-2010) Bermula dengan pengenalan Pelan Induk Sektor Kewangan (PISK) pada tahun 2001 yang antara lain objektifnya ialah untuk
  • 114.
    114 Amalan AsasTakaful meningkatkan keupayaan Pengendali Takaful dan mengukuhkan rangka kerja undang-undang, Syari’ah dan peraturan kawalselia. Seksyen PISK yang berkaitan dengan Perbankan Islam dan Takaful ialah pelan tindakan ke arah merealisasikan aspirasi menjadikan Malaysia sebagai sebuah pusat kewangan Islam antarabangsa. Fasa ini juga telah menyaksikan kadar pertumbuhan yang pesat dalam pembangunan industri Takaful, dengan penubuhan Persatuan Takaful Malaysia (MTA) pada tahun 2002, sebuah persatuan bagi Pengendali Takaful. MTA bercita-cita untuk meningkatkan kawal selia diri dalam industri melalui keseragaman dalam amalan pasaran dan menggalakkan tahap kerjasama yang tinggi di kalangan pemain dalam usaha membangunkan industri. A6.2 PERKEMBANGAN KAWALAN PERATURAN TAKAFUL Seperti yang diterangkan sebelum ini, Takaful bukanlah suatu kontrak pertukaran jual beli. Di bawah kontrak Takaful, risiko tidak dipindahkan dan dilindungi oleh pengendali. Dari perspektif konsep saling membantu dan berkerjasama, ia adalah satu persetujuan dan jaminan bersama di kalangan peserta. Apabila ia diterjemahkan ke dalam operasi praktikal, ia adalah suatu kontrak mudharabah, wakalah, gabungan antara kedua-duanya atau wakaf, di antara peserta dan pengendali. Sebagai pemegang amanah peserta, Pengendali Takaful juga bertindak sebagai pemegang amanah awam, di mana peserta menyumbang dengan objektif dan kewajipan yang berbeza seperti yang ditunjukkan dalam dana Takaful. Selaras dengan tanggungjawab amanah ini, ia menjadi tanggugjawab Pengendali Takaful untuk melindungi kepentingan orang ramai bagi memastikan operasi perniagaan Takaful dikawalselia dan tadbir urus dengan baik. Dalam hal ini, rangkakerja operasi dan kawal selia perniagaan Takaful di Malaysia dikawal oleh peraturan-peraturan berikut:
  • 115.
    Perkembangan dan PengawalanIndustri Takaful di Malaysia 115  Akta Syarikat 1965  Akta Takaful 1984  Pertubuhan Perakaunan dan Pengauditan Institusi Kewangan Islam (AAOIFI)  Lembaga Perkhidmatan Kewangan Islam (IFSB)  Akta Bank Negara Malaysia 2009  Lembaga Standard Perakaunan Malaysia (MASB)  Akta Cukai Pendapatan 1967 6.2.1 Akta Syarikat 1965 Di Malaysia, Pengendali Takaful haruslah merupakan entiti korporat dengan liabiliti terhad dan modal berbayar yang telah ditetapkan. Bagi tujuan ini, pengendali mestilah sebuah syarikat yang diperbadankan di bawah Akta ini. Pengendali menjadi entiti yang sah di sisi undang-undang untuk berurusan dengan ahli-ahli dan pegawai- pegawai termasuk pengarah, seperti yang ditakrifkan dalam Akta, dan perkara-perkara yang berkaitan dengan objektif, kuasa dan kuatkuasa. 6.2.2 Perjanjian Antara Pengendali Takaful (ITA) Rangka kerja yang berkuat kuasa pada bulan Julai 2007 merupakan suatu usaha industri yang bertujuan memperbaiki lagi amalan penyelesaian premium insurans am dengan menumpukan usaha menyelaraskan akaun, bayaran premium dan bayaran komisen antara broker dan syarikat insurans atau Pengendali Takaful. Ia juga memberi penegasan tentang penguatkuasaan yang lebih berkesan terhadap syarat-syarat waranti premium bagi kelas tertentu insurans dan Takaful bukan motor agar ia dapat mengurangkan risiko yang ditanggung oleh penanggung insurans dan Pengendali Takaful bagi polisi yang bayaran premiumnya masih belum diterima. Perlaksanaan Perjanjian Antara Pengendali Takaful (ITA) oleh Pengendali Takaful meningkatkan lagi tahap profesionalisme dalam industri Takaful.
  • 116.
    116 Amalan AsasTakaful ITA memberi tumpuan kepada:-  tatacara atau perlakuan para pengamal Takaful dan intermediari; dan  membantu penubuhan suatu mekanisma berpusat yang berfungsi:  pendaftaran intermediari Takaful,  mekanisma penguatkuasaan dan  rangkakerja disiplin bagi memastikan ia dipatuhi oleh ahlinya. Pelaksanaan ITA akan menggalakkan etika kerja dan perlakuan yang lebih teratur dan memastikan amalan pasaran yang lebih konsisten di kalangan Pengendali Takaful, di samping menggalakkan persaingan yang adil dikalangan penanggung insurans dan Pengendali Takaful. 6.2.3 Peraturan Insurans dan Pelaburan di Malaysia Peraturan-Peraturan Insurans dan Pelaburan di Malaysia diperkenalkan dan dikawalselia oleh Bank Negara Malaysia. Adalah penting bagi para profesional perkhidmatan kewangan di Amerika Syarikat dan di tempat-tempat lain untuk berhati-hati apabila berurusan dengan pendatang atau warganegara Malaysia yang berkaitan dengan kepentingan insurans dan pelaburan di Malaysia. Umum perlu mengetahui bahawa Bank Negara Malaysia adalah bank pusat bagi Malaysia. Bank Negara Malaysia berfungsi mengawal:  Operasi Pelaburan dan Pasaran Kewangan  Kawalselia Insurans dan Takaful A6.3 RANGKA KERJA PERUNDANGAN INDUSTRI TAKAFUL Pada tahun 1982, sebuah jawatankuasa telah ditubuhkan oleh kerajaan untuk mencari alternatif insurans yang mematuhi Syari’ah Islam. Jawatankuasa ini telah mengemukakan laporan dan akhirnya Akta Takaful telah diluluskan oleh Parlimen pada tahun 1984. Akta
  • 117.
    Perkembangan dan PengawalanIndustri Takaful di Malaysia 117 Takaful 1984 adalah sumber undang-undang Takaful di Malaysia. Akta Insurans 1963 menjadi asas kepada pembentukan Akta Takaful 1984. Seksyen 53A Akta Takaful 1984 mengkehendaki pengendali Takaful membentuk Jawatankuasa Syari’ah masing-masing. Akta Takaful 1984 (Akta) merupakan Akta yang menetapkan peruntukan undang-undang perniagaan Takaful di Malaysia dan tujuan-tujuan lain yang berkaitan dengan Takaful. Undang-undang am yang mempengaruhi Takaful meliputi prinsip- prinsip am kontrak di mana mesti ada ijab (tawaran) dan qabul (penerimaan), dan juga pengeluaran nota perlindungan atau nota perlindungan sementara (yang mana berkenaan) kerana sijil Takaful adalah satu kontrak yang mengikat semua pihak. Pertimbangan atau balasan yang wujud dalam kontrak ialah peserta membuat bayaran premium atau sumbangan secara berkala, sementara pengendali Takaful menjanjikan bayaran indemniti kepada peserta / pihak yang diinsuranskan. Perlaksanaan Akta Takaful dilengkapkan dengan pengenalan Peraturan Takaful (Peraturan) dimana Bank Negara Malaysia (BNM) menyatakan dengan terperinci tentang keperluan-keperluan mandatori yang terkandung dalam peruntukan tertentu dibawah Akta berkenaan. A6.4 MAJLIS PENASIHAT SYARI’AH DAN JAWATANKUASA SYARI’AH Majlis Penasihat Syari’ah untuk Perbankan Islam dan Takaful telah ditubuhkan oleh Bank Negara Malaysia pada bulan Mei 1997. Objektif penubuhan adalah untuk meneliti dan menimbangkan sebarang keputusan Syari’ah mengenai perniagaan perbankan Islam dan Takaful di bawah penyeliaan BNM. Majlis ini bertanggungjawab untuk menyelaraskan pentafsiran Syari’ah bagi perkara-perkara yang di bawah bidang kuasa mereka. Akta BNM 1958 dan Akta Takaful 1984 telah dipinda pada tahun 2003 untuk mengukuhkan lagi peranan Majlis Penasihat Syari’ah. Pindaan tersebut telah memberi pengiktirafan kepada majlis sebagai
  • 118.
    118 Amalan AsasTakaful sebuah badan yang berwibawa dan mempunyai hak ke atas perkara Syari’ah yang berkaitan dengan kewangan Islam dan Takaful. Status Majlis telah dinaiktaraf sebagai pusat rujukan bagi mahkamah Malaysia untuk isu-isu berkaitan dengan kewangan Islam dan Takaful. 6.4.1 Majlis Penasihat Syari’ah (SAC) – Bank Negara Malaysia BNM telah meminda Akta Bank Negara Malaysia 1958 bertujuan meningkatkan peranan dan fungsi SAC dalam hal berkaitan Perbankan Islam dan Takaful. Pindaan ini telah mengiktiraf kuasa SAC sebagai badan berkuasa tunggal Syari’ah berkaitan kewangan Islam. Sebagai sebuah badan berkuasa tunggal Syari’ah, SAC akan menjadi pusat rujukan bagi pertikaian melibatkan isu-isu perbankan Islam, kewangan dan Takaful yang dirujuk oleh mahkamah atau penimbang tara. Untuk menjadikannya sebagai sebuah badan yang berkesan, SAC beroperasi sebagai sebuah badan bebas dengan tahap integriti yang tinggi demi meraih keyakinan orang ramai. Dengan cara ini, ia akan dapat merangsang perkembangan industri ketahap yang lebih tinggi. Terdapat keperluan yang mendesak untuk menentukan hubungan diantara SAC dan badan-badan Syari’ah lain yang bertindak sebagai penasihat dalam industri. Sebuah badan Syari’ah industri yang dikenali sebagai Majlis Penyeliaan Syari’ah (SSC) telah diperkenalkan dan akan memainkan peranan sebagai pelengkap dan sokongan kepada SAC. Bank Negara Malaysia telah menyediakan satu garis panduan pematuhan SSC bagi institusi kewangan Islam, di mana SSC akan mengawal tadbir urus institusi Kewangan Islam. Objektif garis panduan adalah untuk mencapai perkara-perkara berikut:-  merangka peraturan, undang-undang dan prosedur penubuhan SSC.  menetapkan peranan, bidang tugas dan tanggungjawab SSC.  menetapkan had hubungan dan kaedah perlaksanaan tugas SSC dan SAC.
  • 119.
    Perkembangan dan PengawalanIndustri Takaful di Malaysia 119 6.4.2 Jawatankuasa Syari’ah (SC) – Pengendali Takaful Setiap Pengendali Takaful dikehendaki membentuk satu jawatankuasa SSC, selaras dengan keperluan Akta Takaful 1984. Keterangan lanjut garis panduan mengenai kawalselia SSC adalah seperti berikut:  Perlantikan ahli Berdasarkan dari cadangan yang dikemukakan oleh Jawatankuasa Penamaan, Lembaga Pengarah akan melantik SSC. Perlantikan ahli SSC perlu mendapat persetujuan bertulis dari Bank Negara Malaysia. Perlantikan ahli SSC adalah sah untuk tempoh dua tahun dan keahlian boleh diperbaharui.  Kelayakan Nama yang dicadangkan untuk menjadi ahli lembaga SSC mestilah mempunyai sijil kelayakan atau mempunyai pengetahuan yang diperlukan, kepakaran atau pengalaman dalam bidang perundangan Islam (Usul al-Fiqh) atau urus niaga Islam/undang-undang komersil (Fiqh al-Mu'amalat). Walau bagaimanapun, memiliki sijil kelayakan dalam bidang / mata pelajaran yang dinyatakan diatas bukanlah syarat wajib, tetapi calon perlu mempunyai kepakaran atau pengalaman yang diperlukan dalam bidang berkaitan.  Jumlah Keahlian Jumlah keahlian dalam SSC hendaklah mengandungi sekurang- kurangnya tiga (3) orang ahli. Sebagai tambahan, sekurang- kurangnya seorang pegawai hendaklah dilantik, di mana calon berkenaan perlu memiliki pengetahuan dalam bidang Syari’ah dan akan bertugas di sekretariat SSC.
  • 120.
    120 Amalan AsasTakaful  Had Sekatan SSC Selaras dengan peruntukan Seksyen 16B (6) Akta Bank Negara Malaysia 1958, pengendali Takaful tidak dibenarkan melantik mana-mana ahli Majlis Penasihat Syari’ah (SAC) dilantik sebagai ahli SSC.  Tugas dan Tanggungjawab SSC Mestilah tidak terlibat dalam kumpulan pengurusan syarikat Takaful. Tugas Pengurusan dan dasar syarikat adalah tanggungjawab Lembaga Pengarah. Untuk memastikan kelicinan perjalanan operasi pengendali Takaful, tugas dan tanggungjawab SSC ditetapkan seperti berikut: o mengemukakan laporan tahunan dan sijil perakuan pematuhan syarikat terhadap keperluan Syari’ah, dalam Mesyuarat Agung Tahunan Pemegang-Pemegang Saham. o mengaudit dan menyelia aplikasi sebenar amalan operasi kontrak agar ia selaras dengan semangat dan objektif fatwa. o memberi maklum balas terhadap pertanyaan atau kemusykilan syarikat berkaitan isu perundangan Islam dalam Takaful. Keputusan hendaklah dibuat secara sebulat suara (syura), bukan berdasarkan keputusan majoriti. o mengemukakan pendapat / cadangan yang difikirkan wajar serta memberi nasihat agar perkara berbangkit dirujuk ke Majlis Penasihat Syari’ah. A6.5 BANK NEGARA MALAYSIA Bank Negara Malaysia sebagai badan pengawal dan penyelia industri Takaful telah merangka dan memperkenalkan rangka kerja kawal selia bagi mengimbangi objektif: 1. Pengawal 2. Pengendali
  • 121.
    Perkembangan dan PengawalanIndustri Takaful di Malaysia 121 3. Pengguna 4. Pemegang saham tempatan dan antarabangsa Tujuan utama rangka kerja adalah untuk memastikan agar pengantara / intermediari Takaful mendapat maklumat yang mencukupi mengenai bakal peserta sebelum memberikan nasihat yang wajar dan kesesuaian sesuatu produk Takaful keluarga kepada bakal peserta. Garis panduan diperkenalkan untuk meningkatkan tahap profesionalisme dan kebertanggungjawaban pengantara Takaful serta melindungi kepentingan peserta dengan memastikan bahawa mereka berada dalam kedudukan untuk membuat keputusan yang betul apabila menyertai skim Takaful keluarga. 6.5.1 Objektif Penyeliaan  Mengekalkan kestabilan industri Takaful  Memupuk keyakinan orang ramai terhadap industri Takaful  Menggalakkan standard kawal selia yang terbaik dalam pengurusan pengendali Takaful  Memastikan pengguna diberitahu sepenuhnya sebelum membuat keputusan  Mengintegrasikan usaha penyeliaan yang merentasi sempadan dan sektor. Bank Negara Malaysian memainkan peranan penting dalam:  Memastikan pengendali Takaful melaksanakan urusniaga dengan cara yang terbaik demi manfaat para peserta.  Memastikan operasi pengendali Takaful mengikut keperluan Syari’ah.  Memupuk keyakinan orang ramai terhadap Takaful dan kewangan Islam secara keseluruhannya.  Menggalakkan amalan pemasaran yang baik serta mengukuhkan tadbir urus korporat.
  • 122.
    122 Amalan AsasTakaful  Memastikan saluran sumber ekonomi yang berkesan dan sesuai. Mengekalkan kestabilan sistem kewangan secara keseluruhannya. BNM sebagai badan pengawal dan penyelia industri Takaful telah mengeluarkan beberapa surat pekeliling dan garis panduan seperti yang termaktub dalam Perundangan Tadbir Urus yang disediakan oleh senarai pekeliling dan garis panduan BNM (www.bnm.gov.my). Untuk perkara-perkara yang berkaitan dengan Kelakuan Pasaran dan Perlindungan Pengguna, Bank Negara Malaysia telah mengenal pasti aspek-aspek berikut:  Pendedahan kepada pengguna - Memastikan peserta memperolehi akses kepada maklumat yang tepat, cepat dan berkaitan.  Kecekapan Pengantara - pengawasan yang lebih rapi amat diperlukan bagi memastikan amalan jualan yang betul memandangkan manfaat yang ditawarkan adalah tidak dijamin.  Pendidikan Pengguna - Memupuk kesedaran yang lebih tinggi dan pemahaman tentang risiko serta hak-hak berkaitan produk Insurans dan Takaful.  Saluran Sedia ada - mekanisme penyelesaian pertikaian yang menawarkan kaedah penyelesaian pertikaian dengan kadar segera. A6.6 AKTA TAKAFUL 1984 Akta Takaful 1984 adalah sumber perundangan Takaful di Malaysia. Akta Insurans 1963 menjadi asas kepada pembentukan Akta Takaful 1984. Akta Takaful 1984 (Akta) merupakan Akta yang menetapkan peruntukan undang-undang perniagaan Takaful di Malaysia dan tujuan-tujuan lain yang berkaitan dengan Takaful. Antara Peruntukan Utama yang terkandung dalam Akta Takaful 1984 ialah:
  • 123.
    Perkembangan dan PengawalanIndustri Takaful di Malaysia 123  Penubuhan anak syarikat (subsidiari) dan pembukaan pejabat cawangan. Peruntukan Akta mengkehendaki Pengendali Takaful mendapatkan lesen kelulusan dari BNM terlebih dahulu sebelum membuka pejabat dalam negeri atau luar negara.  Dana Takaful dan Dana Pemegang Saham Pengendali Takaful perlu menyelenggara dana berasingan untuk urusniaga di Malaysia dan luar negara, serta urusniaga Takaful Keluarga dan Takaful Am, di samping memastikan aset yang mencukupi dalam dana Takaful bagi memenuhi liabiliti.  Modal Berbayar Minimum Peruntukan Akta mengkehendaki Pengendali Takaful yang diperbadankan di Malaysia perlu mempunyai dan mengekalkan modal berbayar minimum sebanyak:  RM35 juta pada atau sebelum 31st Dec 1998  RM50 juta pada atau sebelum 31st Dec 2000  RM100 juta pada atau sebelum 30th June 2001  Margin Kesolvenan Minimum Margin Kesolvenan yang bertindak sebagai penahan (cushion) terhadap turun naik di luar jangkaan dalam tuntutan dan/atau kerugian pelaburan. Peraturan telah menetapkan bahawa Pengendali Takaful berlesen perlu mengekalkan margin kesolvenan minimum. Jumlah minimum yang dikehendaki dibawah Akta bagi setiap kelas perniagaan (Takaful Keluarga dan Takaful Am) ialah:-  RM40 juta, bermula dari 1 Januari 2000  RM50 juta, bermula dari 1 Januar1 2001
  • 124.
    124 Amalan AsasTakaful  Arahan dan Kawalan terhadap Pengendali Takaful yang Ingkar Satu sistem amaran awal disediakan bagi Pengendali Takaful yang mematuhi margin kesolvenan minimum tetapi mencatatkan pulangan perniagaan yang merugikan atau menghadapi kekurangan margin kesolvenan.  Kuasa memeriksa dan menyiasat oleh BNM, penggulungan syarikat dan memindahkan lesen perniagaan. Tugas penyeliaan urusniaga Takaful meliputi pemeriksaan tatalaku urus niaga komersial, aktuari dan tatalaku pasaran perniagaan Pengendali Takaful serta cawangannya. Pemeriksaan juga meliputi kajian semula secara mendalam dan penilaian Perolehan, Pengurusan, Aset dan Kesolvenan (Earning, Management, Assets and Solvency - EMAS ).  Penguatkuasaan Undang-undang oleh BNM terhadap Kesalahan Akta ini memberi kuasa kepada Gabenor BNM untuk mengkompaun kesalahan di bawah Akta atau Peraturan, termasuk mengenakan denda.  Perkara-Perkara berkaitan Sijil / Polisi dan peruntukan- peruntukan am lain. Peraturan menyediakan peruntukan bagi mempercepatkan bayaran manfaat polisi di bawah sijil Takaful Keluarga atau kemalangan diri. Ia juga mewujudkan amanah bagi pihak penama yang merupakan pasangan (suami atau isteri), anak atau ibu bapa.  Mengendali aduan dan pertanyaan awam berkaitan isu Takaful BNM telah menubuhkan Biro Perkhidmatan Pelanggan di bawah Jabatan Kawalan Insurans dan Takaful. Biro Perantaraan Insurans dan Takaful telah ditubuhkan pada 1992 yang berfungsi sebagai
  • 125.
    Perkembangan dan PengawalanIndustri Takaful di Malaysia 125 saluran alternatif kepada orang ramai untuk mengendali aduan mereka.  Dana Skim Jaminan Insurans BNM diberi kuasa untuk menubuhkan dan mengurus Dana Skim Jaminan Takaful (Takaful Guarantee Scheme Fund - (TGSF) yang berasingan untuk perniagaan Takaful Keluarga dan Takaful Am, bagi polisi / sijil yang dikeluarkan di Malaysia. Penubuhan TGSF bertujuan memenuhi liabiliti kesolvenan mana-mana Pengendali Takaful. Dana ini dibiayai dari bayaran levi yang dikenakan ke atas Pengendali Takaful berlesen. A6.7 PERLINDUNGAN PENGGUNA  Biro Perkhidmatan Pelanggan Pada 1 Julai 1998, BNM telah menubuhkan Biro Perkhidmatan Pelanggan (Customer Services Bureau - CSB) di bawah Jabatan Kawalan Insurans, yang berfungsi sebagai pusat rujukan setempat bagi semua aduan dan pertanyaan mengenai perkara-perkara berkaitan insurans yang diterima daripada orang ramai. Setiap pertanyaan atau aduan akan diserahkan kepada penyiasat yang kemudiannya akan mengkaji kes tersebut bagi memastikan syarikat insurans dan / atau pengendali yang terlibat telah mematuhi semua keperluan statut insurans dan peraturan yang berkenaan, serta pengguna telah dilayan secara adil. Ketika mengendalikan kes berkaitan, penyiasat akan menghubungi syarikat insurans / pengendali dan meminta mereka memberi maklumbalas terhadap semua aspek aduan / pertanyaan. Setelah siasatan dan kajian semula itu selesai, penyiasat akan menyediakan dan menghantar laporan keputusan siasatan kepada pengguna. Sekiranya difikirkan wajar, kes akan dirujuk kepada Unit Penguatkuasaan untuk siasatan lanjut, yang mungkin boleh mengenakan tindakan denda / penalti pentadbiran.
  • 126.
    126 Amalan AsasTakaful Kebanyakan aduan yang dibuat terhadap syarikat insurans melibatkan:  kelewatan menyelesaikan tuntutan  pertikaian mengenai amaun tuntutan yang ditawarkan  kelewatan dalam urusan surat menyurat  menolak tuntutan / liabiliti disebabkan syarat-syarat polisi  pembatalan polisi / sijil  Biro Perantaraan Kewangan (Financial Mediation Bureau - FMB) Bank Negara Malaysia telah menubuhkan beberapa agensi bagi memenuhi keperluan pengguna melalui penubuhan Biro Perantaraan Kewangan (Financial Mediation Bureau - FMB) yang berfungsi sebagai alternatif kepada mahkamah, untuk menyelesaikan pertikaian di antara pengguna dan penyedia perkhidmatan kewangan. FMB adalah sebuah organisasi bebas - organisasi tidak berorientasikan keuntungan, yang diperbadankan sebagai sebuah syarikat berhad dengan jaminan, yang disokong oleh ahli-ahlinya dengan levi tahunan, seperti yang ditentukan oleh Lembaga Pengurusan bagi menampung semua perbelanjaan Biro. Fungsi utama FMB ialah menyediakan saluran penyelesaian pertikaian yang bebas, mudah, cekap dan percuma. Perantaraan adalah satu alternatif kepada proses pendakwaan mahkamah. Perantara menjadi pendamai kepada kedua-dua pihak iaitu pengadu dan institusi terbabit, melalui proses meneliti dan / atau menyiasat aduan yang diterima membabitkan isu dan pihak- pihak yang terlibat. Perantara juga perlu meneliti tentang keadaan, situasi dan isu-isu di luar amalan undang-undang dan industri bagi setiap kes yang disiasat. Perantara boleh membincangkan hasil siasatan dengan salah satu atau kedua-dua belah pihak yang bertelagah apabila siasatan selesai. Sekiranya kedua-dua pihak bersetuju dengan jalan penyelesaian yang dicadangkan, perkara tersebut dianggap telah dapat diselesaikan.
  • 127.
    Perkembangan dan PengawalanIndustri Takaful di Malaysia 127 Sekiranya kedua-dua pihak tidak mencapai jalan penyelesaian, perantara akan membuat keputusan berdasarkan: o hasil siasatan dan kajian mengenai kes berkenaan o amalan dalam industri berkaitan serta undang-undang yang berkaitan o maklum balas yang diterima dari penyedia perkhidmatan kewangan o maklumat / dokumen yang disediakan oleh pengadu o pemerhatian perantara keatas kes diluar ketetapan undang- undang atau amalan industri bagi setiap aduan, tuntutan atau pertikaian. Keputusan yang dibuat oleh perantara akan mengikat pihak institusi terbabit tetapi tidak ke atas pengadu. Pengadu mempunyai pilihan sama ada menerima keputusan perantara atau memanjangkan kesnya ke pihak lain (jika ada). Penubuhan biro ini adalah sebahagian daripada Rangka Kerja Perlindungan Pengguna Kebangsaan yang berperanan menyediakan perkhidmatan perantaraan di bawah satu bumbung untuk kemudahan dan keselesaan pengguna. FMB mempunyai kakitangan yang berkelayakan, berpengalaman dan berdedikasi. Bidang kuasa FMB telah diperluaskan kepada: Aduan / pertikaian Amaun tuntutan Amaun dipertingkatkan Amaun terdahulu Insurans/Takaful Motor dan Kebakaran Maksimum RM200,000 Maksimum RM100,000 Kerosakan Harta Pihak Ketiga Maksimum RM5,000 -tiada- Lain-lain Maksimum RM100,000 - tiada-
  • 128.
    128 Amalan AsasTakaful  Pengecualian FMB tidak akan memberi pertimbangan ke atas aduan, pertikaian atau tuntutan yang berkaitan dengan:  Harga produk  Polisi-polisi berkaitan produk  Perkhidmatan ahli  Keputusan berkaitan kredit (diluluskan, ditolak & penjadualan semula pinjaman)  Kes penipuan (selain dari kes yang tidak melebihi RM25,000.00)  Kes yang mempunyai tempoh masa atau melebihi 6 tahun  Kes yang akan / telah dirujukkan ke mahkamah dan / atau timbang tara. A6.8 PERSATUAN-PERSATUAN DALAM INDUSTRI Persatuan-persatuan yang wujud dalam industri adalah merupakan persatuan mandatori, yang dinyatakan secara khusus dalam Akta. Syarikat Insurans dan Pengendali Takaful wajib menyertai atau melanggan persatuan-persatuan mandatori berkaitan sebelum mereka boleh memulakan aktiviti perniagaan. Jika pengendali tidak menyertai persatuan, denda / penalti yang dikenakan ialah sebanyak RM80,000 dan RM16,000 setiap hari, seperti yang diperuntukkan di bawah Seksyen 4(2) d dan 4(5) Akta Takaful, 1984. Tujuan diwujudkan persatuan dalam industri adalah untuk memudahkan proses kawal selia diri (self regulation) dikalangan penggiat-penggiat industri. Ia juga memudahkan proses perantaraan di antara pihak berkuasa dan industri. Ia akan menjadi platform utama yang perlu diberi perhatian oleh pihak pengawal industri.
  • 129.
    Perkembangan dan PengawalanIndustri Takaful di Malaysia 129 No. Nama Persatuan Objektif Utama 1. Persatuan Insurans Am Malaysia (PIAM)  Menggalakkan pembentukan struktur insurans yang kukuh di Malaysia.  Mengumpul dan menyebarkan maklumat dan statistik yang berkaitan dengan insurans am.  Membuat peraturan, undang- undang, tarif dan undang-undang kecil setelah dibincangkan dan mendapat persetujuan Ketua Pengarah Insurans (DGI) untuk dilaksanakan oleh ahli-ahli persatuan.  Mengendali ‘kumpulan motor tidak berinsurans (unplaced motor pool) dan Persatuan Perlindungan Kebakaran.  Membantu dengan apa cara sekalipun yang termampu untuk mengurangkan kadar kerugian dan / atau kemalangan, dan mencegah jenayah.  Bekerjasama dengan persatuan Takaful dalam usaha menggalakkan perkembangan yang sihat dalam industri insurans dan Takaful. 2. Persatuan Broker Insurans dan Takaful Malaysia (Malaysian Insurance and Takaful Brokers Association -  Menggalakkan dan mewujudkan suasana perniagaan pembrokeran yang berdaya saing, dengan kerjasama dan panduan dari Ketua Pengarah Isurans.  Menjaga dan mewakili kepentingan ahli-ahli.
  • 130.
    130 Amalan AsasTakaful (MITBA)  Membuat catatan mengenai peristiwa, kenyataan dan pendapat orang ramai yang boleh memberi kesan kepada ahli, dan menasihatkan mereka agar memperjuangkan kepentingan mereka dengan mengemukakan pendapat atau pandangan sekiranya difikirkan wajar.  Bekerjasama dengan Persatuan- persatuan lain yang serupa dengannya, di dalam atau di luar negara.  Bekerjasama dengan mana-mana badan perundangan atau persatuan atau mana-mana badan yang serupa dengannya yang dilantik bagi tujuan pertimbangan, latihan, pindaan atau pengubahan mana-mana undang- undang yang berkaitan dengan insurans. 3. Persatuan Penyelaras Kerugian Malaysia (Association of Malaysian Loss Adjusters - AMLA)  Menggalak pembentukan struktur penyelarasan kerugian yang dinamik, dengan kerjasama dan nasihat dari pihak berkuasa.  Menjaga dan mewakili kepentingan ahli dengan apa cara sekalipun, selaras dengan undang-undang dan perlembagaan Malaysia.  Bekerjasama dengan lain-lain persatuan yang serupa dengannya, didalam atau diluar negara.  Menyebarkan maklumat yang bermanfaat kepada ahli, membuat perbandingan statistik dan menerbitkannya, menyiarkan mana-
  • 131.
    Perkembangan dan PengawalanIndustri Takaful di Malaysia 131 mana maklumat penting yang berkaitan dengan penyelarasan kerugian.  Bekerjasama dengan mana-mana badan perundangan atau persatuan atau mana-mana badan yang serupa dengannya yang dilantik bagi tujuan pertimbangan, latihan, pindaan atau pengubahan mana-mana undang- undang yang berkaitan dengan penyelarasan kerugian. 4. Persatuan Insurans Hayat Malaysia (Life Insurance Association of Malaysia - LIAM)  Menggalak dan mewakili kepentingan ahli syarikat dan industri insurans hayat.  Memberi khidmat nasihat dan bantuan sewajarnya kepada ahli syarikat apabila diperlukan.  Mengedarkan maklumat yang memberi manfaat kepada ahli syarikat, membuat perbandingan statistik dan menerbitkannya, menyiarkan mana-mana maklumat penting yang berkaitan dengan insurans hayat. 5. Persatuan Kebangsaan Penasihat Insurans Hayat dan Kewangan Malaysia (National Association of Malaysian Life Insurance and Financial Advisors (NAMLIFA)  Ditubuhkan pada tahun 1978  Sebuah persatuan untuk ejen-ejen insurans hayat dan penasihat kewangan Malaysia.  Menitikberatkan dan menjaga kepentingan ahli-ahli yang terlibat dalam bidang penjualan insurans hayat dan pengurusan penjualan.  Menggalak dan meningkatkan tahap profesionalisma dikalangan ahli-
  • 132.
    132 Amalan AsasTakaful ahlinya melalui kerjasama dengan lain-lain organisasi yang serupa dengannya. 6. Persatuan Aktuari Malaysia (The Actuarial Society of Malaysia - ASM)  Menggalakkan pengajian dan penyelidikan bidang aktuari dan kaitannya dengan aspek-aspek insurans hayat; manfaat persaraan pekerja, kewangan dan pelaburan.  Membantu pelajar yang ingin mendalami pengajian aktuari.  Menyediakan Jadual Kemortalan berdasarkan pengalaman kemortalan hayat yang diinsuranskan di Malaysia. 7. Persatuan Insurans Kebangsaan Malaysia (National Insurance Association of Malaysia - NIAM) NIAM ditubuhkan pada 1973, terdiri dari 45 ahli syarikat. Untuk melayakkan diri menjadi ahli penuh, syarikat insurans mestilah sekurang- kurangnya 51% dimiliki oleh rakyat Malaysia.  Sisen (Cessions) dan Retrosisen (Retrocession)  Pelaburan dalam MNRB  Statistik dan tindakan pembetulan  Bidang baru dalam insurans  Insurans hayat  Kumpulan pertukaran insurans semula  Latihan dan pendidikan 8. Persatuan Takaful Malaysia (Malaysian Takaful Association -MTA) Persatuan Takaful Malaysia (MTA) telah diperbadankan pada tahun 2003 dengan objektif utamanya untuk memajukan struktur perniagaan
  • 133.
    Perkembangan dan PengawalanIndustri Takaful di Malaysia 133 Takaful (insurans Islam) yang terbaik di Malaysia dengan kerjasama dan khidmat nasihat dari Ketua Pengarah Takaful.  Menjaga dan mewakili kepentingan ahli syarikat dan industri Takaful.  Memberi khidmat nasihat dan bantuan sewajarnya kepada ahli syarikat apabila diperlukan.  Mengedarkan maklumat yang memberi manfaat kepada ahli syarikat, membuat perbandingan statistik dan menerbitkannya, menyiarkan mana-mana maklumat penting yang berkaitan dengan Takaful.  Bekerjasama dengan persatuan- persatuan lain, samada dalam negeri atau luar negara, demi kepentingan bersama. 9. Biro Insurer Motor (Motor Insurers’ Bureau - MIB) MIB telah ditubuhkan untuk membentuk suatu dana berpusat yang dikendalikan oleh penanggung insurans dimana mangsa kemalangan jalanraya mendapat bayaran pampasan dari dana berkenaan, sekiranya ia adalah mangsa ‘langgar lari’. Dalam kes ini, mangsa dinafikan haknya untuk mendapat bayaran pampasan dari pemandu kenderaan terbabit kerana:  Pemandu tidak mempunyai insurans  Pemandu dan insuransnya tidak dapat dikesan.
  • 134.
    134 Amalan AsasTakaful Walau bagaimanapun, mangsa perlu mengemukakan bukti yang memuaskan dan memenuhi keperluan perundangan ketika membuat tuntutan. 10. Institut Insurans Malaysia (The Malaysian Insurance Institute - MII) MII adalah satu-satunya institut latihan insurans sepenuh masa, yang mengendalikan kursus dan peperiksaan insurans peringkat asas dan lanjutan kepada mereka yang terlibat dalam industri insurans. 11. Institut Perbankan dan Kewangan Islam Malaysia (IBFIM) Merupakan Institut Latihan Kewangan Islam sepenuh masa yang dilantik sebagai institut milik industri, menumpukan masa dan tenaga dalam membentuk individu dan eksekutif yang terlatih dan berkemahiran tinggi serta memiliki kepakaran yang diperlukan dalam industri kewangan Islam. 12. International Centre of Excellence in Islamic Finance (INCEIF) Strategi utama INCEIF ialah membantu membangunkan industri kewangan Islam melalui galakkan kajian penyelidikan oleh pensyarah dan juga pelajar. Bantuan penyelidikan juga diberikan melalui peruntukan kemudahan untuk menganalisa dan membincangkan isu-isu yang dihadapi oleh industri kewangan Islam. 13. Akademi Penyelidikan Syari’ah Antarabangsa – Penubuhan Akademi Penyelidikan Syari’ah Antarabangsa (ISRA) – kewangan Islam, bertujuan menggalakkan kajian penyelidikan
  • 135.
    Perkembangan dan PengawalanIndustri Takaful di Malaysia 135 The International Syari`ah Research Academy - ISRA) gunaan dalam bidang Syari’ah dan kewangan Islam. Akademi ini juga disifatkan sebagai gedung pengetahuan berkaitan fatwa atau pandangan Syari’ah, di samping menjalankan kajian mengenai isu-isu kontemporari dalam industri kewangan Islam. ISRA akan membantu dan menyumbang ke arah memperkasa pembangunan modal insan dalam bidang Syari’ah, menyediakan platform untuk penglibatan yang lebih besar di kalangan para pengamal kewangan, cendekiawan, pengawal selia, ahli akademik melalui penyelidikan dan dialog, dalam persekitaran domestik dan juga antarabangsa. Melalui penyelidikan perintis dan dialog intelektual yang mendalam, ISRA berhasrat untuk menggalakkan inovasi dan kedinamikan ke sempadan baru kewangan Islam. Adalah diharapkan melalui penyelidikan yang menyeluruh serta dialog, sikap saling menghormati dan memberi pengiktirafan akan muncul dalam komuniti industri kewangan Islam global. 14. Asean ReTakaful International Limited (ARIL) Asean ReTakaful International (L) Limited (ARIL) telah diperbadankan pada 17hb Mei 1997 (10 Muharram 1418H) dan dilesenkan dibawah Akta Insurans Luar Pesisir 1990 di Pusat Kewangan Luar Pesisir Antarabangsa Labuan (Labuan International Offshore
  • 136.
    136 Amalan AsasTakaful Financial Center - IOFC), Malaysia. Penubuhan ARIL menandakan kehadiran syarikat insurans semula Islam yang pertama di rantau berkenaan. Sejak dari itu, ia telah berkembang menjadi pengendali insurans semula yang memiliki kepakaran dalam menyediakan perkhidmatan insurans semula Takaful am dan Takaful keluarga. 15. Pertubuhan Perakaunan dan Pengauditan untuk Institusi Kewangan Islam (Accounting and Auditing Organisation for Islamic Financial Institutions - AAOFI) Pertubuhan Perakaunan dan Pengauditan untuk Institusi Kewangan Islam (AAOIFI) merupakan sebuah badan korporat autonomi Islam antarabangsa yang tidak berorientasikan keuntungan, yang berfungsi menyediakan laporan perakaunan, audit, pematuhan, etika dan standard Syari’ah untuk institut dan industri kewangan Islam. Program kelayakan profesional (terutamanya CIPA, -Shari`a Adviser and Auditor “CSAA”, dan program pematuhan korporat) kini dikendalikan oleh AAOIFI dalam usaha untuk meningkatkan asas modal insan dalam industri dan struktur pematuhan. AAOIFI telah ditubuhkan mengikut Perjanjian Persatuan yang ditandatangani oleh institusi kewangan Islam pada 1 Safar, 1410H, bersamaan dengan 26 Februari, 1990 di Algiers. Kemudian, ia telah didaftarkan pada 11 Ramadhan 1411H, bersamaan dengan
  • 137.
    Perkembangan dan PengawalanIndustri Takaful di Malaysia 137 27 Mac, 1991 di Bahrain. Sebagai sebuah organisasi bebas antarabangsa, AAOIFI disokong oleh ahli-ahli institusi (200 ahli dari 45 buah negara) termasuk bank-bank pusat, institusi kewangan Islam, dan para peserta lain dari perbankan Islam antarabangsa dan industri kewangan di seluruh dunia. 16. Kumpulan Takaful Global (Global Takaful Group - GTG) Kumpulan Takaful Global (GTG) telah diperbadankan pada 21 Mei 2007. Sebelum ini, kumpulan Takaful global hanyalah sebuah kumpulan tidak formal pengendali Takaful dan pengendali Takaful semula yang bergerak dibawah nama Kumpulan Takaful ASEAN (ASEAN Takaful Group - ATG). ATG dibentuk pada 28 Oktober 1995 dengan objektif untuk meningkatkan kerjasama dikalangan pengendali Takaful di Malaysia, Republik Indonesia, Negara Brunei Darussalam dan Republik Singapura, dimana ahli asal terdiri dari Syarikat Takaful Malaysia Berhad, Takaful Nasional Sdn Bhd, PT Asuransi Takaful Umum, PT Asuransi Takaful Keluarga, Insurans Islam Taib Sendirian Berhad dan Takaful IBB Berhad. 17. Lembaga Perkhidmatan Kewangan Islam Organisasi penetapan piawaian antarabangsa yang menggalak dan meningkatkan kekukuhan dan
  • 138.
    138 Amalan AsasTakaful (Islamic Financial Services Board - IFSB) kestabilan industri perkhidmatan kewangan Islam telah mengeluarkan piawaian berhemat global dan prinsip panduan industri, yang juga meliputi perkhidmatan perbankan, pasaran modal dan sektor insurans. IFSB juga menjalankan penyelidikan, menyelaras inisiatif mengenai isu-isu berkaitan industri serta menganjurkan persidangan meja bulat, seminar dan persidangan untuk pengawal selia dan pihak berkepentingan industri.
  • 139.
    Takaful Semula 139 BABA7 TAKAFUL SEMULA PENGENALAN Takaful semula (Retakaful) merupakan satu prosedur atau mekanisme melalui perjanjian yang membolehkan pengendali Takaful langsung yang dipanggil ‘cedant’ memindahkan atau menyerahkan sebahagian daripada risiko yang ditanggung kepada Pengendali Takaful atau Pengendali Takaful Semula yang lain. Objektif utama Takaful semula adalah untuk mengurangkan pendedahan risiko dan liabiliti cedant sekiranya berlaku tuntutan. Konsep perkongsian ini akan membolehkan pengagihan risiko yang lebih luas dan membolehkan Pengendali Takaful memanfaatkan sepenuhnya kelebihan peraturan bilangan jumlah besar. Kesimpulannya, Takaful semula berperanan menyumbang kearah mengurangkan beban kewangan dana Takaful. A7.1 DEFINISI TAKAFUL SEMULA Takaful semula telah ditakrifkan di dalam pelbagai bentuk. Ia adalah “satu kontrak di mana berdasarkan kepada suatu balasan, seseorang itu bersetuju untuk membayar keseluruhan atau sebahagian pampasan kepada pihak ketiga atas kerugian atau liabiliti risiko yang telah dilindungi di bawah kontrak yang berasingan dan berlainan sebagai pengendali pihak ketiga”. Oleh yang demikian, kontrak Takaful semula adalah satu kaedah di mana pengendali mendapatkan pihak ketiga untuk melindunginya daripada kerugian atau liabiliti berdasarkan risiko sebenar perlindungan Takaful asal. 7.1.1 Pandangan Syari’ah terhadap Takaful Semula Sejajar dengan resolusi ulama mengenai keharusan Takaful sebagai satu sistem insurans Islam, Takaful Semula (Retakaful) juga telah diputuskan sebagai telah mematuhi keperluan Syari’ah, berasaskan penggunaan prinsip-prinsip Takaful yang sama. Resolusi Akademi
  • 140.
    140 Amalan AsasTakaful Fekah (Resolusi No.9 Disember 1985) OIC mengenai subjek ini adalah sebagaimana berikut: ‘... kontrak insurans komersil yang biasa digunakan oleh syarikat insurans komersial adalah kontrak yang mengandungi unsur-unsur utama risiko yang dilarang mengikut hukum Syari’ah. Alternatif bagi insurans dan insurans semula mestilah berasaskan kepada prinsip- prinsip insurans koperasi...' A7.2 PRINSIP-PRINSIP ASAS TAKAFUL SEMULA Takaful semula adalah suatu aturan di mana sebuah syarikat iaitu Pengendali Takaful Semula, bersetuju untuk membayar ganti rugi kepada Pengendali Takaful iaitu syarikat pemberi (ceding company) atas semua atau sebahagian risiko utama Takaful yang ditaja jamin oleh syarikat pemberi di bawah satu atau lebih kontrak Takaful. Walau bagaimanapun, Takaful semula tidak melepaskan syarikat pemberi daripada liabilitinya terhadap peserta. Dalam hal ini:  Peserta asal (pemegang sijil) tidak mempunyai sebarang hak terhadap Pengendali Takaful Semula dalam apa jua keadaan.  Sekiranya Pengendali Takaful Semula menjadi tidak solven (muflis), syarikat pemberi masih menanggung liabiliti di bawah terma-terma kontrak.  Sekiranya syarikat pemberi menjadi tidak solven (muflis), Pengendali Takaful Semula juga masih menanggung liabiliti di bawah terma-terma kontraknya.  Pengendali Takaful Semula tidak mempunyai hak perundangan terhadap apa-apa kesalahan yang dilakukan oleh peserta asal. Berdasarkan dari definisi di atas, elemen-elemen penting Takaful semula boleh diringkaskan seperti berikut:  Takaful semula adalah sama seperti Takaful tetapi ia mempunyai kontrak yang berbeza dan berasingan daripada kontrak Takaful
  • 141.
    Takaful Semula 141 yangasal. Kontrak Takaful semula mengambil format kontrak Takaful.  Takaful semula boleh menanggung sebahagian daripada risiko, tetapi tidak boleh lebih dari itu.  Kontrak Takaful semula hendaklah melindungi risiko yang sama seperti perlindungan Takaful yang asal.  Kedua-dua sijil Takaful dan sijil Takaful semula hendaklah wujud pada masa yang sama. 7.2.1 Keperluan Takaful Semula Takaful semula adalah satu mekanisma pengurusan risiko yang kritikal yang perlu dihadapi oleh Pengendali Takaful bagi mencapai objektif berikut:  Memastikan keberkesanan penyebaran risiko. Melalui proses ini, pasaran Takaful dan Takaful semula akan dapat berkongsi pembangunan dan pertumbuhan pasaran, dan dalam masa yang sama ia melindungi pengendali Takaful daripada pendedahan risiko yang melampau keatas liabiliti yang ditanggungnya.  Menyediakan kapasiti tambahan bagi Pengendali Takaful (penyerah) untuk menerima penyertaan risiko yang lebih besar dan kompleks yang mungkin melebihi keupayaan kewangan dan teknikal yang dimiliki.  Takaful semula mempunyai kesan penstabilan atau melicinkan aliran pendapatan dan kerugian sepanjang tempoh satu tahun, iaitu suatu tempoh yang agak panjang untuk mewujudkan kestabilan dan daya tahan kepada dana Takaful.  Dengan kepelbagaian dan jumlah besar risiko yang ditanggung dalam portfolio mereka, Pengendali Takaful Semula boleh membuat analisa kajian penyelidikan kerana ia mempunyai pengetahuan dan pengalaman luas mengenai risiko. Ia mampu melihat dari perspektif yang berbeza dan lebih menyeluruh atau perspektif makro, dan dalam kebanyakan kes ia mampu menilai
  • 142.
    142 Amalan AsasTakaful risiko merentasi beberapa bidang kuasa yang berbeza. Maklumat yang unik ini boleh dikongsi dengan pengendali Takaful bagi tujuan memastikan pengurusan risiko yang lebih cekap. Ini seterusnya akan membantu Pengendali Takaful memanfaatkan data yang ada bagi tujuan mereka-bentuk produk baru, penetapan kadar sumbangan, dan yang lebih penting, mampu mewujudkan amalan pengunderaitan yang lebih menyeluruh dan kompetitif.  Dengan kemudahan penyelidikan dan pembangunan (R&D) yang mereka miliki, Pengendali Takaful Semula mampu menyediakan tenaga pakar dalam bidang pengunderaitan, reka bentuk risiko kewangan, perkhidmatan aktuari, penyelesaian IT, mekanisma pemindahan risiko alternatif (alternative risk transfer mechanism), pengurusan tuntutan, pemasaran, dan lain-lain kepada Pengendali Takaful.  Demi menjaga amanah peserta, Pengendali Takaful bersedia melindungi dan menjaga dana Takaful pada setiap masa dari terdedah kepada risiko buruk /tuntutan yang merugikan. Kepada peserta, keupayaan untuk membayar tuntutan oleh pengendali adalah suatu jaminan. Pengendali Takaful perlu berusaha untuk memenuhi janji seperti yang dinyatakan dalam sijil tentang kesediaannya untuk berkongsi lebihan operasi Takaful. Kemudahan dan kelebihan yang ada pada Takaful semula akan membantu Pengendali Takaful berusaha ke arah mencapai objektif berkenaan. 7.2.2 Bidang kuasa Syari’ah mengenai Takaful Semula dengan Syarikat Insurans Semula Insurans semula dalam perniagaan Takaful di bawah prinsip-prinsip Islam dikenali sebagai Takaful semula, suatu konsep insurans semula yang mematuhi dan diluluskan oleh Syari’ah. Pada peringkat awal perniagaan Takaful, kemudahan insurans semula disediakan oleh syarikat-syarikat insurans konvensional kerana:
  • 143.
    Takaful Semula 143 Pengendali Takaful memiliki keupayaan yang terhad.  Pengendali Takaful tidak mempunyai sumber kewangan yang mencukupi.  Tiada kemudahan Takaful semula.  Pengendali Takaful semula adalah terhad.  Pengendali Takaful Semula kekurangan modal.  Pengendali Takaful Semula bertaraf ‘A’ amat terhad. 7.2.3 Pepatah Undang-Undang (Legal Maxims) / Prinsip- Prinsip Syari’ah Antara Pepatah Undang-undang yang sesuai dan boleh digunakan dalam urusniaga Takaful semula adalah seperti berikut: Legal Maxims Keterangan Al-Darurah Tubih al- Mahzurah Mengikut pendapat Ulama’, prinsip ini boleh digunakan sebagai suatu kelonggaran apabila wujud keadaan yang mendesak (darurat). Prinsip ini membenarkan umat Islam mengerjakan perkara yang dilarang semasa waktu biasa atau perbuatan yang menyalahi hukum Syari’ah. Al-Darurah Tuqaddaru Biqadariha Prinsip ini menyatakan bahawa Pengendali Takaful boleh menginsuranskan risiko yang ditanggungnya dengan syarikat insurans semula konvensional hanya pada bahagian risiko yang tidak dapat diTakafulkan dengan Pengendali Takaful Semula. Ma Ubiha lil-Darurah Yataqaddaru Biqadariha Prinsip ini menyatakan bahawa setakat mana had tindakan tersebut boleh dilakukan. Ini bermaksud bahawa
  • 144.
    144 Amalan AsasTakaful walaupun Ulama’ membenarkan melakukan perkara yang terlarang dalam waktu darurat, tetapi ia hendaklah tidak melampaui batas. Ma Jaza Li Uzrin Batala Bi Ziwallihi Prinsip ini menyatakan bahawa perkara yang dibolehkan disebabkan darurat tidak lagi dibenarkan apabila keadaan darurat telah tiada. Apabila tiada darurat, undang-undang Syari’ah akan kembali digunakan, yang bermaksud `Takaful semula dengan syarikat insurans konvensional tidak dibenarkan’. 7.2.4 Garis Panduan untuk Pengendali Takaful Mengurus Takaful Semula dengan Syarikat Insurans Semula Konvensional  Kerjasama dalam urusniaga insurans semula dengan penanggung reinsurans konvensional tidak akan menjejaskan kedudukan kewangan dan ketidakstabilan sistem kewangan negara-negara Islam.  Keutamaan hendaklah diberikan kepada Pengendali Takaful Semula sekiranya ada kemudahan tersebut.  Pakar-pakar Pengendali Takaful Semula perlu bertindak dengan berhati-hati dalam menentukan kuantum liabiliti yang akan dilindungi.  Pengendali Takaful perlu mengkaji semula keperluan Takaful semula setiap tahun dan berusaha seboleh mungkin mengurangkan penggantungan dengan reinsurans konvensional.  Pengendali Takaful hendaklah menyatakan secara jelas syarat- syarat pengecualian dari membayar atau menerima sebarang bayaran yang mengandungi elemen faedah / bunga dari reinsurans konvensional.
  • 145.
    Takaful Semula 145 Apabila kedudukan rezab kewangan mengizinkan dan terdapat Pengendali Takaful semula baru mula memasuki pasaran, penggantungan kepada reinsurans konvensional hendaklah ditamatkan.  Gunakan perkhidmatan reinsurans konvensional hanya apabila risiko yang dilindungi tidak diterima oleh Pengendali Takaful atau Pengendali Takaful Semula.  Gunakan perkhidmatan reinsurans konvensional hanya apabila Pengendali Takaful atau Pengendali Takaful Semula tidak mempunyai kedudukan kewangan yang kukuh untuk menerima risiko berkenaan. A7.3 JENIS-JENIS TAKAFUL SEMULA Secara umumnya terdapat dua jenis Takaful semula iaitu fakultatif dan triti. Takaful semula triti boleh dibahagikan kepada dua: Triti Proposional dan Triti Bukan Proposional. Triti proposional boleh dikategorikan kepada tiga jenis: kongsi kuota (quota-share), surplus dan fakultatif obligatori. Begitu juga, triti bukan proposional boleh dibahagikan kepada dua jenis; lebihan kerugian (excess of loss) dan kerugian tersukat (stop loss). Perniagaan Takaful semula dikategorikan mengikut jenis perniagaan iaitu Takaful Semula Am dan Takaful Semula Keluarga. Dalam Takaful Semula Am, terdapat pengendali yang hanya menyediakan kemudahan Takaful semula untuk kelas tertentu sahaja. Sebagai contoh, terdapat pengendali yang menawarkan Takaful semula triti proposional, sementara pengendali lain menerima triti bukan proposional sahaja. Di seluruh dunia, hanya terdapat beberapa Pengendali Takaful Semula kerana ciri-ciri perniagaan yang begitu khusus, di samping memerlukan modal yang besar untuk memulakan perniagaan Takaful semula. Pengendali Takaful Semula berkenaan menawarkan perkhidmatan mereka mengikut pembahagian rantau tertentu di samping di peringkat antarabangsa, dengan pejabat-pejabat yang terletak di
  • 146.
    146 Amalan AsasTakaful pusat-pusat perdagangan dan luar pesisir utama. Contohnya, sindiket insurans Lloyds di London mempunyai keupayaan menyediakan perkhidmatan Takaful semula untuk pasaran antarabangsa. Satu lagi komponen penting dalam pasaran Takaful semula adalah broker. Perkhidmatan broker profesional Takaful semula biasanya digunakan untuk membantu pengendali Takaful mencari dan merundingkan program Takaful semula yang paling efektif. Gambar rajah berikut memberikan gambaran menyeluruh tentang jenis-jenis Takaful semula yang terdapat dipasaran: Carta Aliran Takaful Semula dan Insurans Semula 7.3.1 Takaful Semula Fakultatif Fakultatif adalah satu bentuk Takaful semula di mana kontrak dirundingkan bagi sijil Takaful atau perlindungan Takaful tertentu. Takaful Semula / Insurans Semula Fakultatif Triti Proposional Bukan-Proposional Surplus Kongsi Kuota (Quota Share) Lebihan Kerugian Kerugian Tersukat (Stop Loss)
  • 147.
    Takaful Semula 147 Kontrakini biasanya memerlukan penyertaan kerana risiko atau perlindungan adalah besar atau luar biasa, dan Pengendali Takaful biasanya begitu berhati-hati berhadapan dengan pendedahan risiko yang sedemikian rupa. Syarikat mengesid (pengendali asal) boleh menawarkan kesemua atau sebahagian dari risiko kepada mana-mana syarikat Takaful semula dan syarikat Takaful semula tersebut bebas untuk memutuskan sama ada untuk menerimanya atau tidak. Takaful semula jenis ini biasanya akan digunakan bagi membolehkan syarikat mengesid/memindahkan sebahagian besar risiko merbahaya di mana skop perlindungannya diluar kemampuan kontrak triti. Ini merujuk kepada kaedah di mana sesuatu risiko (kes demi kes) diserahkan kepada Takaful semula dan sebahagian daripada sumbangan Takaful yang asal akan dibayar kepada Takaful semula mengikut peratusan pegangan. Biasanya komisen tertentu akan dikenakan ke atas Pengendali Takaful Semula. Pengendali Takaful Semula mempunyai pilihan untuk menerima atau menolak tawaran risiko berkenaan. Di bawah ini ialah ilustrasi penempatan risiko yang dibuat menggunakan kaedah Takaful semula fakultatif:  Pengendali Takaful X bercadang untuk menerima cadangan perlindungan bernilai RM10 juta  Pengendali Takaful X mengekalkan RM1 juta  Baki yang perlu disidkan ialah RM9 juta  Sumbangan (contribution) Takaful asal ialah RM10,000
  • 148.
    148 Amalan AsasTakaful Takaful / Takaful Semula Amaun perlindungan / Kongsi Risiko (RM) % Pegangan Pegangan Sumbangan (contribution) (RM) Pengendali Takaful X 1,000,000 10% 1,000 Pengendali Takaful Semula A 2,700,000 27% 2,700 Pengendali Takaful Semula B 4,500,000 45% 4,500 Pengendali Takaful Semula C 1,800,000 18% 1,800 Jumlah 10,000,000 100% 10,000 7.3.2 Takaful Semula Triti Triti adalah suatu perjanjian tahunan yang dibuat secara bertulis di antara Pengendali Takaful Langsung (pejabat pengesid) dan Pengendali Takaful Semula (pejabat penerima), di mana Syarikat Takaful Semula (penerima) secara automatik akan menerima apa-apa penyerahan hak / bahagian perlindungan yang termasuk dalam syarat- syarat perjanjian. Sisen (cession) ialah sejumlah unit / amaun Takaful yang dipindahkan kepada Pengendali Takaful Semula. Perjanjian (triti) ini akan berkuatkuasa untuk tempoh masa tertentu dan tertakluk kepada sekatan kepada jenis risiko atau nilai yang terlibat. Perjanjian itu menyediakan kemudahan secara automatik, iaitu telah dipersetujui lebih awal dan biasanya rundingan hanya perlu diadakan setiap tahun pembaharuan. Kaedah Takaful semula ini biasanya dikendalikan berasaskan ‘portfolio’, iaitu mana-mana nilai risiko yang melebihi had bendungan (retention limit) Pengendali Takaful akan memindahkannya (cede) kepada Pengendali Takaful Semula. Biasanya dalam tempoh setahun perjanjian, semua risiko dalam
  • 149.
    Takaful Semula 149 portfolioyang dipersetujui akan dipindahkan dan secara automatik akan diterima oleh Pengendali Takaful Semula. Urusan perakaunan yang berkaitan dengan portfolio ini akan disediakan dan dipersetujui oleh pihak-pihak yang terlibat dengan perjanjian triti ini setiap suku tahunan. Perbezaan ketara antara fakultatif dan triti ialah dalam fakultatif, risiko dipindahkan mengikut kes (case to case basis) sementara triti pula merujuk kepada program Takaful semula secara pukal (wholesale) yang disidkan dalam tempoh tertentu yang telah dipersetujui. Takaful semula triti boleh dibahagikan kepada dua bentuk iaitu proposional dan bukan proposional. 7.3.3 Triti Proposional Dalam Takaful semula proposional, amaun yang dibendung dan amaun yang disidkan mewakili nisbah tertentu jumlah perlindungan asal yang diterima oleh pejabat mengesid dan sumbangan / premium yang diterima oleh pejabat pengesid akan dikongsi dalam kadar yang sama. Begitu juga, pembayaran tuntutan akan dikongsi bersama oleh pejabat mengesid dan Pengendali Takaful Semula dalam kadar yang sama. a. Kongsi Kuota (Quota Share) Merujuk kepada perjanjian triti di mana pejabat mengesid terikat untuk memindahkan risiko dan Pengendali Takaful perlu menerima bahagian yang ditetapkan bagi setiap risiko dalam portfolio risiko yang dipersetujui oleh kedua-dua pihak. Perjanjian ini ditetapkan dalam bentuk peratusan. Sebagai contoh, sekiranya pejabat mengesid mengambil 20%, syarikat Takaful Semula akan mengambil baki 80%. Caruman Takaful semula dikongsi secara nisbah sumbangan Takaful asal dan setelah mengambil kira kadar komisen yang dipersetujui. Begitu juga dengan liabiliti tuntutan, ia akan dikongsi megikut bahagian masing-masing.
  • 150.
    150 Amalan AsasTakaful Kaedah pengendalian seperti ini biasanya digunakan oleh Pengendali Takaful baru yang tidak mempunyai rekod Takaful semula atau mempunyai pengalaman tuntutan yang buruk. Dengan cara ini, risiko yang baik dan risiko buruk dapat dikongsi bersama bagi mengelakkan anti pemilihan. Syarikat mengesid mesti memindahkan risiko dan Pengendali Takaful Semula mesti menerima bahagian yang dipersetujui bagi setiap risiko yang diambil oleh syarikat mengesid. Syarikat mengesid tidak boleh membendung semua risiko, tidak kira betapa kecil jumlah yang dilindungi. Triti digunakan dalam keadaan berikut:  apabila ia melibatkan perniagaan baru yang amat memerlukan perlindungan Takaful semula pada tahun-tahun awal perlindungan disebabkan kekurangan pengalaman dan kedudukan kewangan tidak mengizinkan.  apabila surplus/lebihan milik syarikat mengesid mengalami kemerosotan yang ketara.  untuk mencapai skala ekonomi sewajarnya dalam pengendalian Takaful semula. b. Surplus / Lebihan Pengendali Takaful Semula Triti berhak untuk berkongsi apa-apa risiko lebihan yang diterima oleh pejabat mengesid, iaitu surplus yang melebihi had bendungan pejabat mengesid sehingga ke had triti. Had kapasiti triti ditunjukkan dalam bentuk lini (lines), dimana satu lini menandakan bendungan risiko syarikat mengesid. Oleh itu, triti sepuluh lini bermaksud jumlah keseluruhan kapasiti kasar syarikat mengesid ialah sebelas kali ganda berbanding dengan amaun yang dibendung. Melalui kaedah ini, Pengendali Takaful (cedant) akan menyerahkan surplus/lebihan keseluruhan risiko yang melebihi had bendungan kepada pengendali Takaful semula, sementara
  • 151.
    Takaful Semula 151 pejabatmengesid hanya menanggung risiko dengan nilai yang lebih kecil. Sumbangan Takaful semula yang diserahkan kepada Pengendali Takaful Semula adalah seimbang dengan sumbangan asal Takaful, setelah ditolak komisen untuk pejabat mengesid. Bayaran komisen dikenakan untuk menampung kos pengambilalihan oleh pejabat pengesid. Menggunakan kaedah yang sama, liabiliti tuntutan dibayar mengikut bahagian masing- masing. Di samping itu, perkongsian surplus yang digelar ‘komisen keuntungan’ dana Takaful semula juga dimasukkan dalam triti. 7.3.4 Triti Bukan Proposional Triti ini hanya akan berfungsi apabila amaun tuntutan melebihi had yang ditetapkan oleh pejabat pengesid. Pejabat pengesid dan Pengendali Takaful Semula tidak berkongsi setiap kerugian dalam kadar yang tetap, malah mungkin sebahagian kerugian tidak dikongsi sama sekali. Syarikat mengesid akan bertanggungjawab bagi semua kerugian dibawah had amaun kerugian, sementara Pengendali Takaful Semula akan bertanggungjawab membayar baki pampasan yang melebihi had yang dinyatakan, biasanya untuk had kerugian tertinggi. Ia merujuk kepada satu persetujuan di mana pejabat pengesid akan menggunakan teknik lindung nilai yang meletakkan had tuntutan, terutamanya terhadap kerugian akibat bencana. Tidak seperti triti proposional, kaedah bukan proposional membolehkan pejabat pengesid memindahkan (ceding) jumlah kerugian sahaja, berbanding dengan mengesidkan risiko dibawah kaedah proposional. Kaedah ini menjadi lebih berkesan apabila jumlah kerugian bersih yang ditanggung oleh pejabat pengesid disebabkan oleh satu kes kerugian besar atau beberapa siri kerugian yang melebihi had yang dipersetujui dibawah triti. Caruman Takaful semula yang dipanggil Sumbangan Deposit Minimum MDC) yang dikenakan di bawah Takaful semula bukan proposional tidak berasaskan kepada sumbangan Takaful asal tetapi berdasarkan kepada struktur penentuan harga yang mengambil kira pengalaman kerugian dan anggaran jumlah sumbangan tahunan bagi kelas perniagaan berkaitan untuk tempoh tiga tahun yang lalu.
  • 152.
    152 Amalan AsasTakaful Terdapat dua jenis triti bukan proposional iaitu: a. Lebihan Kerugian Pejabat pengesid membayar pampasan bagi setiap tuntutan dan setiap risiko sehingga mencapai had yang ditetapkan, sementara Pengendali Takaful Semula membayar jumlah tuntutan yang melebihi had tersebut sehingga ke had jumlah tertentu. Urusan Takaful semula dikendalikan dalam bentuk lapisan (layers) dengan penetapan pelbagai had dan deduktibel. Ia mungkin boleh diseleggarakan dalam bentuk akaun menyeluruh atau akaun berasingan mengikut kelas perniagaan. b. Kerugian Tersukat (Stop Loss) Triti lebihan nisbah kerugian juga dikenali dengan nama triti stop loss. Triti ini direka bentuk untuk menghalang turun naik yang drastik dalam nisbah tuntutan portfolio tertentu dalam tempoh satu tahun kewangan. Contohnya, jika akaun Takaful kebakaran mencatatkan nisbah kerugian 60% untuk beberapa tahun yang lalu dan pihak syarikat menetapkan objektif untuk menghalang nisbah tersebut terus meningkat sehingga ke tahap 90% dalam tahun-tahun tertentu, maka pihak syarikat akan membeli polisi perlindungan lebihan nisbah kerugian pada tahap 90% sehingga 120%. Perlindungan ini direka untuk menghalang turun naik dalam nisbah tuntutan. Ia melindungi Pengendali Takaful terhadap agregat jumlah tuntutan sepanjang tempoh tertentu yang biasanya sepanjang tempoh perjanjian, agar tidak melebihi peratusan yang ditetapkan berbanding dengan jumlah sumbangan Takaful. Takaful semula lebihan nisbah kerugian tidak melindungi tuntutan individu. Kaedah kawalan lebihan nisbah kerugian melindungi pejabat pengesid dari kemungkinan jumlah keseluruhan nisbah kerugian melebihi had amaun tertentu yang telah ditetapkan atau peratusan tertentu jumlah sumbangan Takaful dari kelas perniagaan tertentu. Sebagai contoh, sekiranya
  • 153.
    Takaful Semula 153 nisbahkerugian portfolio perniagaan melebihi had yang dipersetujui, katakan 120%, maka Takaful semula akan membayar lebihan itu sehingga ke had lain yang dipersetujui, katakan 160%. Pada dasarnya, Takaful semula lebihan nisbah kerugian dirangka bagi tujuan melindungi Pengendali Takaful dari pendedahan baki bersih terhadap pengalaman tuntutan yang merugikan. 7.3.5 RetroTakaful Risiko Takaful semula sama seperti risiko Takaful, iaitu ia perlu diurus dan dilindungi oleh Pengendali Takaful Semula melalui pelbagai mekanisma yang terdapat di pasaran. Dalam hal ini, Pengendali Takaful Semula perlu mempunyai program retroTakaful yang sesuai dengan kaedah proposional dan bukan proposional. Berdasarkan dari perkembangan semasa dan disebabkan ketidakcukupan kapasiti retroTakaful, sebahagian besar daripada risiko retroTakaful dipindahkan ke pasaran konvensional, sehinggalah apabila pasaran Takaful semula telah berkembang maju sepenuhnya dan menyeluruh. A7.4 FUNGSI TAKAFUL SEMULA  Fleksibiliti Tanpa Takaful semula, Pengendali Takaful hanya akan menerima risiko dalam jumlah dan jenis yang mereka mampu menanganinya berdasarkan dari sumber-sumber yang mereka ada. Ini akan menghadkan perkhidmatan yang boleh disediakan kepada orang ramai dan juga akan menimbulkan kesukaran kepada pelanggan.  Pengembangan Takaful semula boleh menyediakan kepakaran tambahan kepada pengendali dalam bidang di mana pengendali mempunyai pengalaman, kepakaran atau pengetahuan yang terhad. Dengan
  • 154.
    154 Amalan AsasTakaful memberikan kemudahan ini dan menerima sebahagian atau semua risiko, syarikat yang menerima risiko dapat membantu pengendali memperkenalkan dan mengembangkan barisan produk yang boleh ditawarkan kepada pelanggan.  Penghimpunan Pengendali tidak dapat menanggung kerugian atas beberapa risiko yang berbeza yang terhasil daripada satu kejadian atau peristiwa. Sebagai contoh, pengendali mungkin boleh melindungi sekumpulan individu yang bekerja dibeberapa buah syarikat dan lokasi tempat kerja yang berbeza pada satu-satu masa, dan mungkin mereka menaiki kapal terbang yang sama. Jika kapal terbang terhempas dan semua penumpang terbunuh, tuntutan yang perlu dibayar mungkin jauh melebihi kerugian maksimum yang telah ditentukan terlebih dahulu. Takaful semula membantu pengendali menghadkan kerugian kepada suatu jumlah yang mampu ditanggug oleh pengendali berkenaan. A7.5 PENGURUSAN RISIKO DI BAWAH TAKAFUL SEMULA 7.5.1 Rangka Kerja Kawalan Takaful Semula (BNM/RH/GL/004-12) Demi memastikan perniagaan Takaful semula dapat berkembang maju sejajar dengan pertumbuhan perniagaan Takaful di Malaysia, Bank Negara Malaysia (BNM) telah menggubal satu rangka kerja kawal selia (Rangka Kerja Kawalan Takaful Semula (BNM/RH/GL/004-12) untuk Pengendali Takaful Semula seperti berikut: Rangkakerja Kawalan Pengendali Takaful Semula Keterangan/Catatan Kekukuhan kedudukan kewangan dan Fleksibiliti Kewangan  Pemohon mesti mempunyai kedudukan kewangan yang kukuh, sokongan modal yang
  • 155.
    Takaful Semula 155 memuaskandan berupaya mencatat rekod keuntungan operasi yang menggalakkan untuk memastikan Pengendali Takaful semula baru yang dicadangkan mampu menyediakan jaminan perlindungan dan komitmen berterusan terhadap operasi Takaful semula di Malaysia;  Pemohon perlu mempunyai gabungan modal berbayar dan lebihan sekurang- kurangnya USD100 juta dan mencapai taraf kedudukan antarabangsa atau penarafan yang baik dari agensi penarafan yang diiktiraf. Pengalaman dalam bidang Takaful/Takaful semula Pemohon perlu mempunyai pengalaman mengendali pelbagai jenis perniagaan Takaful semula. Pertimbangan sewajarnya akan diberikan kepada pemohon yang mempunyai kepakaran teknikal tertentu yang boleh memberi manfaat kepada pasaran Takaful Malaysia dan rantau ini. Kemampuan untuk menyumbang ke arah agenda nasional  Pemohon mestilah dapat menunjukkan bahawa Pengendali Takaful Semula yang dicadangkan boleh menyumbang secara
  • 156.
    156 Amalan AsasTakaful berkesan kepada pembangunan industri Takaful dan seterusnya menyokong usaha-usaha yang diambil oleh Kerajaan dan Bank untuk menjadikan Malaysia sebagai pusat kewangan Islam antarabangsa. Pertimbangan akan diberikan kepada pemohon yang bercadang untuk menubuhkan Takaful semula di Malaysia dan menjadikannya sebagai pusat perniagaan Takaful semula serantau atau antarabangsa; dan  Pemohon juga dikehendaki menyediakan pelan perancangan kearah memindahkan pengetahuan teknikal kepada pasaran Takaful tempatan dan mengoptimumkan bakat tempatan dalam pengurusan syarikat. Daya maju operasi di Malaysia Pelan perniagaan Pengendali Takaful Semula yang dicadangkan penubuhannya di Malaysia perlu menunjukkan daya maju dalam tempoh 5 tahun berdasarkan unjuran yang realistik.
  • 157.
    Takaful Semula 157 7.5.2Kapasiti Pembendungan (Retention Capacity) Semua Pengendali Takaful mesti mempunyai had pembendungan (retention limit) kerana adalah penting untuk menetapkan had liabiliti demi melindungi modal, keuntungan, dan juga mampu terus membayar dividen yang munasabah. Yang paling penting ialah dapat menunjukkan pertumbuhan yang kukuh dalam aset bebas (keuntungan modal dan keuntungan terkumpul) supaya dapat menyokong pertambahan dalam sumbangan / premium. Pembendungan ditakrifkan sebagai "had liabiliti yang biasanya dinyatakan dalam bentuk amaun kewangan, yang ditanggung oleh Pengendali Takaful dalam akaun bersih selepas Takaful semula". Ia juga boleh ditakrifkan sebagai 'jumlah maksimum yang mampu dibayar oleh Pengendali Takaful disebabkan kerugian atas sijil, risiko atau kumpulan risiko. Oleh itu, pembendungan akan melibatkan risiko tunggal atau siri risiko, atau kerugian tunggal atau siri kerugian.  Proses penetapan had pembendungan melibatkan beberapa faktor. Had pembendungan ditetapkan berdasarkan kelas perniagaan secara berasingan (keluarga, kebakaran, kemalangan, marin, penerbangan dan lain-lain) dan dalam setiap kelas perniagaan terdapat beberapa sub-bahagiannya. Ia juga mungkin ditetapkan berdasarkan jumlah pembendungan keseluruhan berbanding dengan gabungan portfolio pelbagai kelas. Walaupun faktor- faktor yang menentukan had pembendungan telah menjadi pengetahuan umum, Pengendali Takaful boleh menggunakan nilai yang berbeza bagi setiap faktor dan seterusnya menghasilkan keputusan yang berbeza juga. Oleh itu, adalah penting untuk menetapkan had pembendungan optimum untuk setiap Pengendali Takaful, bukannya had pembendungan yang paling tepat. Had pembendungan optimum boleh membantu Pengendali Takaful meyediakan rangka kerja untuk mencapai objektif tertentu korporat. Oleh itu, jika terdapat dua Pengendali Takaful dengan portfolio yang sama tetapi mempunyai matlamat korporat yang berbeza, besar kemungkinan mereka mempunyai had pembendungan yang berbeza.
  • 158.
    158 Amalan AsasTakaful  Tujuan utama Pengendali Takaful menetapkan had pembendungan adalah untuk mengawal keadaan turun naik dalam: (a) nisbah kerugian, (b) pendapatan perniagaan, atau (c) aliran tunai. Mana-mana Pengendali Takaful akan berhadapan dengan pilihan pengunderaitan samada mengunderait sebanyak mungkin risiko atau meminimumkan risiko. Dengan mengunderait risiko yang lebih tinggi, pengendali akan berhadapan dengan risiko yang lebih tinggi; tetapi jika pengendali tidak berbuat demikian, ia mampu untuk mengunderait lebih banyak kes. Oleh itu, pengendali mesti menetapkan tahap pembendungan atau kapasiti pada tahap yang optimum. Dalam usaha menentukan had keupayaan pembendungan bagi setiap pengendali, perkara yang juga perlu diberi perhatian ialah pengalaman tuntutan. Selain daripada memberi kesan kepada jumlah pembendungan dan nisbah pendapatan caruman kasar, ia juga akan memberi kesan kepada kos dan / atau amaun Takaful semula yang Pengendali Takaful Semula bersedia untuk menawarkannya. Juga, semakin kurang pengalaman tuntutan, sepatutnya semakin konservatif polisi pembendungannya. Ini adalah kerana tahap ketepatan yang boleh dicapai dalam menganggarkan kos tuntutan masa depan mempunyai kaitan langsung dengan jumlah data yang didapati mengenai kekerapan dan ketenatan sesuatu tuntutan. Cara termudah untuk mengukur pengalaman tuntutan ialah melalui nisbah tuntutan, iaitu nisbah kos tuntutan yang dibayar untuk tempoh tertentu dibahagikan dengan pendapatan caruman/sumbangan bagi tempoh yang sama. Nisbah boleh diukur sama ada untuk akaun kasar atau caruman Takaful semula bersih dan mendapatkan kembali tuntutan. Dengan mengira nisbah tuntutan kasar atau bersih, kita akan mendapati bahawa tahap turun naik kos tuntutan berbanding dengan pendapatan dari caruman / sumbangan, dan sejauh mana berkesannya pengendali menguruskan Takaful semula untuk mengurangkan kadar turun naik akaun pembendungan, berbanding dengan akaun kasar.
  • 159.
    Takaful Semula 159 Menurutkajian yang dijalankan, ‘saiz relatif turun naik dalam nisbah tuntutan kasar dari masa ke masa akan cenderung untuk berubah dengan saiz akaun seperti yang diukur oleh pendapatan premium (sumbangan)’. Ringkasnya, semakin kecil pendapatan sumbangan / premium kasar, semakin rendah kapasiti pembendungan. Kesimpulannya, strategi korporat Pengendali Takaful memainkan peranan penting dalam menentukan keupayaan pembendungan pengendali. Pengurusan Pengendali Takaful berbeza dalam falsafah, pandangan, pengalaman, pengetahuan dan juga sikap terhadap risiko.
  • 160.
  • 161.
    Pengantara Takaful 161 BABA8 PENGANTARA TAKAFUL PENGENALAN Pengantara Takaful adalah seseorang yang menjalankan perniagaan Takaful atau memujuk pelanggan berpotensi untuk menandatangani kontrak Takaful dengan Pengendali Takaful. Mereka juga dikenali sebagai ejen Takaful dan broker Takaful.  Ejen merupakan wakil Pengendali Takaful dalam hubungan ejen- prinsipal, yang dilantik mengikut kelaziman undang-undang. Ikatan utama ejen ialah hubungannya dengan Pengendali Takaful, bukan dengan peserta Takaful. Seorang ejen Takaful mewakili Pengendali Takaful dan tugas utamanya ialah mempromosikan pelan atau produk Takaful yang dikeluarkan oleh Pengendali Takaful yang diwakilinya.  Broker secara umumnya tidak mempunyai perjanjian kontrak dengan Pengendali Takaful dan hubungannya bergantung kepada kaedah umum / langsung bagi menyempurnakan urus niaga dengan Pengendali Takaful. Ia memberi impak positif dan bermanfaat terhadap rundingan perniagaan Takaful yang diperolehi melalui broker. Broker Takaful menyediakan pelbagai perkhidmatan profesional pembrokeran Takaful yang komprehensif dalam membantu bakal pelanggan mengenai bagaimana untuk menjadikan sumbangan / premium yang dibayar lebih kos efektif dan dalam masa yang sama dapat menikmati perlindungan maksimum. Berlainan dengan ejen, broker Takaful mewakili pelanggan dan menasihati pelanggan tentang pelan Takaful yang paling sesuai. Penasihat kewangan ialah pihak bebas yang menyediakan perkhidmatan perancangan kewangan kepada pelanggan berdasarkan keperluan kewangan pelanggan.
  • 162.
    162 Amalan AsasTakaful  Penasihat kewangan adalah seorang profesional yang menawarkan perkhidmatan kewangan kepada individu, perniagaan dan kerajaan. Ia mungkin melibatkan khidmat nasihat pelaburan yang merangkumi perancangan persaraan, nasihat mengenai pelan Takaful keluarga dan lain-lain seperti perlindungan pendapatan, penyakit kritikal, dan / atau nasihat mengenai gadai janji, kewangan serta kemudahan pinjaman.  Perancang kewangan atau perancang kewangan peribadi adalah seorang yang profesional dalam membantu orang ramai berurusan dengan pelbagai isu-isu kewangan peribadi melalui perancangan yang rapi dan meliputi bidang-bidang utama seperti pengurusan aliran tunai, perancangan pendidikan, perancangan persaraan, perancangan pelaburan, pengurusan risiko dan perancangan Takaful, perancangan cukai dan zakat, perancangan harta dan wakaf serta perancangan penerusan perniagaan (bagi pemilik perniagaan). Pengantara Takaful seperti ejen, broker atau perancang kewangan perlu mempunyai kemahiran dan memiliki ciri-ciri berikut:  Pengetahuan yang mendalam mengenai produk insurans dan/atau produk Takaful.  Memahami kehendak dan keperluan pelanggan.  Memastikan pelanggan memahami apa yang dibeli atau sertai.  Tidak mengamalkan jualan paksa atau membuat bermacam- macam janji.  Menjelaskan fakta, bukan memaksa atau mengugut.  Memberi perkhidmatan berkualiti dan menepati masa. A8.1 PERKEMBANGAN PENGANTARA TAKAFUL Sistem Kewangan di Malaysia Sistem perbankan yang terdiri dari bank perdagangan, bank pelaburan dan bank-bank Islam adalah penggerak utama dana kewangan dan sumber terpenting pembiayaan bagi menyokong aktiviti-aktiviti
  • 163.
    Pengantara Takaful 163 ekonomidi Malaysia. Pengantara kewangan bukan bank seperti institusi pembangunan kewangan, dana simpanan wang dan dana persaraan syarikat-syarikat insurans / pengendali Takaful telah membantu menyempurnakan peranan institusi perbankan dalam menggerakkan fungsi dana simpanan serta memenuhi keperluan kewangan dalam sistem ekonomi Malaysia. Di dalam struktur monetari dan kewangan negara, Bank Negara Malaysia (BNM) berada dikedudukan yang paling atas. Objektif utama BNM adalah untuk menggalakkan kestabilan monetari dan kewangan yang membantu kepada pertumbuhan mampan ekonomi Malaysia. Fungsi utama BNM seperti yang termaktub dalam Akta Bank Negara Malaysia 2009 yang baru dikuatkuasakan, antara lain ialah:  merangka dan melaksanakan dasar kewangan negara  mengawal dan menyelia aktiviti institusi kewangan yang tertakluk dibawah undang-undang yang dikuatkuasakan oleh BNM  menggalakkan pertumbuhan sistem kewangan yang kukuh, progresif dan menyeluruh  bertindak sebagai penasihat kewangan, penasihat bank dan ejen kewangan kerajaan. Untuk mencapai mandat yang diberikan, BNM diberi kuasa di bawah pelbagai bidang perundangan untuk mengawal dan menyelia institusi perbankan dan pengantara kewangan bukan-perbankan termasuk aktiviti kewangan yang berkaitan dengan Takaful. Lanjutan dari pengumuman yang dibuat pada April 2009 mengenai langkah-langkah liberalisasi sektor perkhidmatan kewangan yang merangkumi pengeluaran lesen baru dan peningkatan had ekuiti asing, terdapat minat yang mendalam di kalangan institusi kewangan antarabangsa untuk menjalankan operasi perniagaan mereka di Malaysia. Langkah-langkah liberalisasi ini bertujuan memperkukuhkan jalinan hubungan ekonomi Malaysia dengan sektor ekonomi negara-negara lain, serta meningkatkan peranan sektor
  • 164.
    164 Amalan AsasTakaful kewangan sebagai penggerak utama dan pemangkin pertumbuhan ekonomi negara. Kewangan Islam merujuk kepada sistem kewangan yang meliputi Perbankan Islam, Pasaran Wang Antara Bank Islam, Takaful dan ReTakaful, Pasaran Modal Islam dan Pengurusan Harta Islam yang kesemuanya mematuhi undang-undang Syariah. Prinsip-prinsip asas yang mengawal kewangan Islam adalah perkongsian risiko dan perkongsian keuntungan dikalangan pihak-pihak yang terlibat, jaminan keadilan untuk semua dan semua transaksi adalah berasaskan aktiviti perniagaan atau aset dasar. Prinsip-prinsip ini disokong oleh nilai-nilai teras kewangan Islam di mana aktiviti-aktiviti yang memupuk semangat keusahawanan, perniagaan dan perdagangan serta usaha murni dalam membangunkan masyarakat adalah digalakkan. Aktiviti-aktiviti yang melibatkan faedah (riba), perjudian (maisir) dan dagangan spekulatif (gharar) adalah dilarang. A8.2 KEPENTINGAN PENGANTARA TAKAFUL Ejen Takaful Keluarga menjalankan urusniaga produk Takaful keluarga sementara ejen Takaful am mempromosikan produk Takaful am. Semua ejen Takaful adalah mewakili prinsipalnya iaitu pengendali Takaful dan fungsi tugas mereka ialah:  Mempromosikan produk Takaful bagi pihak Pengendali Takaful;  Menerangkan ciri-ciri produk / pelan Takaful kepada bakal pelanggan; dan  Memberi perkhidmatan berkaitan pengeluaran, pembaharuan atau kesinambungan mana-mana sijil Takaful. Broker Takaful dilantik oleh pelanggan untuk melaksanakan tugas- tugas berikut:  Membantu pelanggan mendapatkan dan memperbaharui perlindungan Takaful dari pengendali Takaful; dan
  • 165.
    Pengantara Takaful 165 Memberi khidmat nasihat dan mencadangkan pelan / produk perlindungan Takaful yang paling sesuai dan memenuhi kehendak pelanggan serta memberitahu syarat-syarat yang ditawarkan oleh pengendali Takaful. Penasihat kewangan dilantik oleh pelanggan untuk melaksanakan fungsi tugas berikut:  Membantu pelanggan mengendali dan mengekalkan imbangan pendapatan pelaburan, keuntungan modal dan tahap risiko yang boleh diterima dengan menggunakan peruntukan aset yang betul.  Menggunakan saham atau stok, sukuk dan bon, dana bersama, amanah pelaburan hartanah (REIT), opsyen, niaga hadapan, nota, dan produk Takaful untuk memenuhi keperluan pelanggan.  Penasihat kewangan menerima bayaran komisen bagi pelbagai produk kewangan yang mereka pasarkan walaupun bayaran 'berasaskan fi' semakin popular dalam industri perkhidmatan kewangan. Perancang kewangan dilantik oleh pelanggan untuk melakukan tugas- tugas berikut:  Tugas-tugas yang dilaksanakan oleh profesional ini lebih dikenali sebagai perancangan kewangan peribadi.  Ketika melaksanakan fungsi tugas perancangan, dia dipandu oleh proses perancangan kewangan untuk mewujudkan satu pelan kewangan; strategi terperinci yang disesuaikan dengan keperluan unik pelanggan bagi memenuhi matlamat khusus yang telah ditetapkan.  Aspek utama penentu kejayaan perancang kewangan ialah memikirkan semua soalan, maklumat dan bentuk nasihat kerana ia akan memberi impak dan kesan keatas seluruh kehidupan dan keadaan kewangan pelanggan. Pengantara biasanya dibayar komisen atau yuran (seperti yuran pembrokeran untuk broker dan yuran nasihat kewangan atau yuran perancangan) atas setiap pelan / produk yang berjaya dipasarkan.
  • 166.
    166 Amalan AsasTakaful Bayaran komisen adalah dalam bentuk peratusan dari sumbangan / tabarru’ yang dibuat oleh pelanggan-pelanggan yang juga dikenali sebagai ‘peserta’. A8.3 TANGGUNGJAWAB PENGANTARA TAKAFUL DI BAWAH AKTA TAKAFUL 1984 Seksyen 36(1) Akta Takaful 1984 Seksyen ini menghendaki semua ejen atau pengantara yang memasarkan atau memperkenalkan produk Takaful yang dikeluarkan oleh pengendali Takaful, dikehendaki dibawah peruntukan Akta untuk memberitahu kepada semua bakal pelanggannya bahawa ia adalah ejen yang bertindak bagi pihak pengendali Takaful tertentu. Seksyen 36(2) Akta Takaful 1984 Seksyen ini adalah merujuk kepada Seksyen 36(1) dan sekiranya mana-mana ejen didapati tidak mematuhi seksyen ini, melakukan suatu kesalahan dan apabila disabitkan, ejen boleh didenda tidak melebihi RM4,000 atau dipenjarakan selama tempoh tidak melebihi enam bulan atau kedua-duanya. Seksyen 35(1) Akta Takaful 1984 Seksyen ini menyatakan bahawa tiada seorang pun boleh memasarkan atau mempromosikan produk Takaful atau menjalankan perniagaan sebagai ejen atau broker bagi seseorang atau pengendali selain dari pengendali Takaful berlesen. Sekiranya seorang itu didapati tidak mematuhi perutukan Akta dan jika disabitkan kesalahan, ia boleh didenda tidak melebihi RM20,000 atau dipenjarakan selama tempoh tidak melebihi dua belas bulan atau kedua-duanya. Seksyen 35(2) subseksyen (3) Akta Takaful 1984 Seksyen ini menghendaki semua broker Takaful hendaklah menjalankan transaksi perniagaan Takaful dengan pengendali Takaful
  • 167.
    Pengantara Takaful 167 yangberlesen dan berkelayakan sahaja. Seksyen ini juga meyatakan bahawa sekiranya terdapat mana-mana broker Takaful yang didapati tidak mematuhi peruntukan-peruntukan dalam Akta dan jika disabitkan kesalahan, broker Takaful boleh didenda tidak melebihi RM8,000 atau dipenjarakan selama tempoh tidak melebihi enam bulan atau kedua-duanya. Seksyen 35(3) subseksyen (2) Akta Takaful 1984 Seksyen ini menyatakan bahawa kontrak seperti yang ditetapkan dalam Akta hanyalah merujuk kepada perniagaan Takaful langsung sahaja, dan bukannya perniagaan Takaful semula. A8.4 PERLANTIKAN DAN TANGGUNGJAWAB PENGANTARA TAKAFUL Pengantara Takaful adalah seseorang yang menjalankan perniagaan Takaful atau memujuk pelanggan berpotensi untuk menandatangani kontrak Takaful dengan pengendali Takaful. Mereka juga dikenali sebagai ejen Takaful dan broker Takaful. Ejen Takaful mewakili pengendali Takaful dan tugas utamanya ialah mempromosikan produk-produk Takaful yang dikeluarkan oleh pengendali Takaful yang diwakilinya. Broker Takaful pula mewakili pelanggan dan tugas utamanya ialah memberi khidmat nasihat kepada pelanggan tentang pelan / produk Takaful yang paling sesuai dan memenuhi keperluan. Penasihat kewangan merupakan seorang penasihat bebas yang meyediakan perkhidmatan perancangan kewangan kepada pelanggan berdasarkan keperluan kewangan pelanggan.  Ejen Takaful dilesenkan/berdaftar dengan Pendaftar Pengantara Takaful – Persatuan Takaful Malaysia (Malaysian Takaful Association - MTA).  Broker Insurans / Takaful dilesenkan/berdaftar dengan Bank Negara Malaysia (BNM).
  • 168.
    168 Amalan AsasTakaful  Penasihat kewangan dilesenkan / berdaftar dengan Bank Negara Malaysia (BNM).  Perancang Kewangan dilesenkan / berdaftar dengan Suruhanjaya Sekuriti. A8.5 PERATURAN PERILAKU PASARAN UNTUK PENGANTARA TAKAFUL  Penyeliaan dan Penguatkuasaan Perilaku Pasaran Bank Negara Malaysia mengawal amalan perilaku pasaran penyedia perkhidmatan kewangan dan mengambil langkah- langkah pembetulan dan/atau penguatkuasaan terhadap sebarang perlakuan yang melanggar peraturan perilaku pasaran.  Piawaian minimum perkhidmatan Pengantara Takaful dikehendaki memenuhi piawaian minimum perkhidmatan yang ditetapkan sama ada oleh Bank Negara Malaysia, Persatuan Takaful Malaysia (Malaysian Takaful Association, MTA) atau Persatuan Broker-broker Insurans dan Takaful Malaysia (Malaysian Insurance and Takaful Brokers Association, MITBA). Piawaian minimum perkhidmatan ini memastikan pengantara Takaful menjalankan urusan dengan tingkat kebertanggungjawaban dan profesionalisme yang tinggi.  Ejen Takaful am: o tertakluk kepada Tataetika Pengantara Takaful, yang ditetapkan oleh Persatuan Takaful Malaysia (MTA); o dikehendaki lulus Peperiksaan Asas Takaful (Takaful Basic Examination – TBA) dan memenuhi syarat minimum 20 jam latihan setahun di bawah program Pembangunan Profesional Berterusan (Continuous Professional Development - CPD); dan o perlu mematuhi piawaian minimum keperluan pendedahan yang dikeluarkan oleh Bank Negara Malaysia, yang antara
  • 169.
    Pengantara Takaful 169 lainmenghendaki ejen semasa menawarkan produk, memberikan penjelasan kepada bakal peserta tentang ciri-ciri utama produk yang ingin disertai, butir lengkap komisen yang dibayar, dan prosedur untuk membuat tuntutan dan aduan.  Ejen Takaful keluarga: o tertakluk kepada Tataetika untuk Pengantara Takaful yang ditetapkan oleh Persatuan Takaful Malaysia (MTA); o dikehendaki lulus Peperiksaan Asas Takaful (Takaful Basic Examination – TBE) dan memenuhi syarat minimum 30 jam latihan setahun dibawah program Pembangunan Profesional Berterusan (Continuous Professional Development - CPD); dan o perlu mematuhi piawaian minimum nasihat yang wajar yang dikeluarkan oleh Bank Negara Malaysia, yang menghendaki ejen mendapatkan maklumat yang mencukupi tentang bakal pelanggan. Ini bagi membolehkan ejen menganalisis keadaan peribadi dan kewangan bakal pelanggan, dan mengenal pasti keperluan kewangan dan keutamaannya supaya ejen dapat mencadangkan produk Takaful yang bersesuaian dan mampu disertai oleh pelanggan. Sebagai tambahan, ejen Takaful perlu lulus Peperiksaan Asas Takaful mengikut pilihan pengkhususan iaitu sama ada Takaful Keluarga atau Takaful Am atau kedua-duanya.  Broker Takaful:- o tertakluk kepada Piagam Pelanggan berhubung dengan Tataamalan Perniagaan yang Baik, dan Tataetika dan Tatakelakuan yang ditetapkan oleh MITBA; dan o mesti mematuhi peraturan yang ditetapkan dalam Akta Takaful 1984. Selain itu, pengurusan kanan dan ahli lembaga pengarah syarikat broker Takaful mesti memenuhi kriteria ‘layak dan sesuai’ dan
  • 170.
    170 Amalan AsasTakaful kakitangannya juga perlu lulus Kursus Sijil Asas Pembrokeran Insurans. A8.6 TANGGUNGJAWAB PENGANTARA TAKAFUL MEMPROMOSIKAN TAKAFUL 8.6.1 Kod etika asas pengantara Takaful Pengantara Takaful perlu memiliki piawaian kod etika profesional ketika berurusan dengan pelanggan. Pengantara Takaful hendaklah:  menunjukkan Kad Kuasa Ejennya apabila diminta berbuat demikian (berkaitan dengan ejen Takaful sahaja).  ejen yang pendaftarannya telah diluluskan oleh Pendaftar Pengantara Takaful, memiliki Kad Kuasa yang mengandungi maklumat seperti nama pengendali Takaful yang diwakili oleh ejen berkenaan, dan tempoh sah pendaftaran ejen berkenaan.  ejen Takaful am boleh mewakili sebanyak dua pengendali Takaful am sahaja, manakala seseorang ejen Takaful keluarga hanya dibenarkan mewakili satu pengendali Takaful.  ejen Takaful yang mempromosikan produk Takaful keluarga dan juga Takaful am boleh menjadi wakil kepada satu pengendali Takaful keluarga dan dua pengendali Takaful am sahaja.  Seseorang broker Takaful perlu menjadi ahli MITBA dan mempunyai lesen yang dikeluarkan oleh Bank Negara Malaysia.  Lesen ini tertakluk kepada kajian semula setiap tahun; memperlihatkan pengetahuan mendalam tentang produk dan perkhidmatan yang ditawarkan oleh pengendali Takaful dan pasaran Takaful;  memahami keperluan pelanggan dan membantu mereka memilih produk dan perkhidmatan Takaful yang bersesuaian;  menerangkan dengan jelas kepada pelanggan tentang jenis maklumat yang diperlukan dalam borang cadangan dan juga tentang betapa mustahaknya untuk memahami fakta-fakta matan / penting;
  • 171.
    Pengantara Takaful 171 menerangkan dengan jelas, syarat dan terma kontrak Takaful yang dicadangkan untuk memastikan pelanggan benar-benar faham tentang produk Takaful yang dipertimbangkan;  menarik perhatian pelanggan kepada apa-apa sekatan dan pengecualian yang berkenaan di bawah kontrak Takaful yang dicadangkan;  membuat tindakan susulan dan memberikan perkhidmatan yang berterusan kepada pelanggan, seperti memperbaharui sijil Takaful, dan memaklumkan pelanggan tentang maklumat produk- produk baru yang berkaitan;  membantu pelanggan membuat tuntutan terhadap pengendali Takaful. 8.6.2 Kelas-kelas Ejen Setiap ejen termasuk ke dalam salah satu daripada tiga kategori berikut. Mereka dikelaskan mengikut kuasa yang diberi kepada mereka:  Ejen Khusus Ejen khusus adalah ejen yang dilantik untuk melakukan tindakan atau transaksi yang khusus, misalnya seseorang dilantik sebagai proksi untuk menghadiri mesyuarat agung tahunan syarikat bagi pihak pemegang saham.  Ejen Am Ejen am adalah ejen yang boleh berbuat apa sahaja bagi pihak prinsipalnya di dalam had kuasa am yang diberikan kepadanya. Misalnya, ejen insurans yang diberi kuasa untuk menguruskan perniagaan baru tetapi tidak mempunyai kuasa untuk memberi pinjaman atas sijil dan terikat kepada prinsipalnya.  Ejen Universal Ejen universal adalah ejen yang mempunyai kuasa tidak terbatas.
  • 172.
    172 Amalan AsasTakaful Dia boleh berbuat apa sahaja untuk prinsipalnya yang mana prinsipal itu sendiri boleh melakukan tugas tersebut. 8.6.3 Tugas-tugas Ejen Kontrak agensi antara prinsipal dan ejen biasanya dalam bentuk bertulis. Walau bagaimanapun, ia mungkin dinyatakan secara lisan sahaja. Ia mengandungi tempoh dan syarat yang berkaitan dengan tataetika agensi dan kadar upah (komisen) yang boleh dibayar kepada ejen.  Tidak seperti pekerja pejabat, ejen adalah ahli perniagaan bebas yang tidak memerlukannya terikat dengan masa kerja tertentu bagi urusniaga yang telah berjaya dimuktamadkan. Biasanya, sebahagian tertentu masa diperuntukkan untuk perniagaan agensi di luar waktu kerja pejabat. Hak ejen yang paling utama ialah mendapat bayaran dari perkhidmatan yang telah ditawarkan, biasanya dalam bentuk komisen.  Ejen juga layak menerima bayaran balik wangnya yang telah dibelanjakannya dengan kuasa nyata dari prinsipalnya. Walau bagaimanapun, perbelanjaan tersebut hendaklah munasabah dan berpatutan serta tidak melebihi had yang difikirkan wajar.  Ejen berhak menjalankan tanggungjawabnya dalam cara yang difikirkan wajar dan sesuai. Dia boleh menolak sebarang usaha yang dilakukan oleh prinsipalnya untuk mengawal cara ia bekerja.  Ejen bertanggungjawab melaksanakan kerjanya dengan teliti, cekap dan tekun dan juga mematuhi syarat dan terma yang terkandung dalam perjanjian agensinya.  Antara tugas-tugas yang perlu dilaksanakan oleh ejen sebagai tambahan kepada tanggungjawab kontraktual nyata adalah seperti berikut:
  • 173.
    Pengantara Takaful 173 omenyerahkan penyata akaun kepada prinsipal seperti yang diminta. o tidak membiarkan kepentingan diri bertentangan dengan tanggungjawabnya kepada prinsipal. o tidak membocorkan maklumat-maklumat sulit yang diperolehi ketika melaksanakan tanggungjawabnya sebagai ejen kepada pihak lain kecuali principal / syarikat pengendali. o tidak membuat sebarang keuntungan rahsia atau mengambil rasuah dari mana-mana pihak yang ia berurusan bagi pihak prinsipal. o tidak mewakilkan tanggungjawabnya kepada sub-ejen tanpa kuasa nyata atau tersirat. o mematuhi arahan prinsipal dan memberitahunya jika arahan berkenaan tidak dapat dilaksanakan. 8.6.4 Hak-hak Ejen Ejen layak menerima bayaran upah / komisen dan bayaran balik (reimbursement).  Hak paling utama bagi seorang ejen ialah menerima bayaran di atas perkhidmatan yang diberikan, biasanya dalam bentuk komisen atau yuran.  Ejen juga layak menerima bayaran balik wangnya yang telah dibelanjakan dalam had jumlah yang munasabah, setelah mendapat kuasa nyata dari prinsipalnya.  Ejen berhak menjalankan tanggungjawabnya dalam cara yang difikirkan wajar dan sesuai. Dia boleh menolak sebarang usaha yang dilakukan oleh prinsipalnya untuk mengawal cara ia bekerja. 8.6.5 Tanggungjawab Prinsipal Prinsipal mempunyai tanggungjawab berikut terhadap ejen-ejennya:
  • 174.
    174 Amalan AsasTakaful  membayar upah / komisen dan kos perbelanjaan seperti yang dipersetujui: atau perjanjian yang gagal, sebagaimana kebiasaan, atau melanggar kebiasaan, membayar apa yang difikirkan munasabah.  membayar ganti rugi kepada ejen akibat dari sebarang tindakan yang dibuat mengikut undang-undang, yang tidak bercanggah dengan kuasanya, bagi pihak prinsipal. 8.6.6 Penamatan Agensi Hubungan diantara prinsipal dengan ejen boleh ditamatkan oleh pihak-pihak yang terlibat atau melalui kuatkuasa undang-undang seperti berikut:  Melalui notis pembatalan yang diberi oleh prinsipal kepada ejen.  Melalui notis pelepasan yang diberi kepada prinsipal oleh ejen.  Dengan menyelesaikan transaksi di mana kuasa diberi untuk transaksi itu sahaja.  Dengan tamatnya tempoh seperti yang ditetapkan dalam perjanjian agensi.  Melalui persetujuan bersama.  Pada umumnya, dengan sebab kematian, gila atau bankrap samada kepada ejen atau prinsipal.  Melalui kuatkuasa undang-undang yang menyebabkan kontrak dengan ejen berkenaan menjadi tidak sah. 8.6.7 Ciri-ciri Ejen Takaful Ciri-ciri penting bagi seorang ejen insurans ialah dia telah diberi kuasa undang-undang untuk mewujudkan hubungan kontrak antara pengendali Takaful dan peserta. Hakikat bahawa majoriti ejen Takaful direkrut oleh penyelia atau pengurus agensi yang terikat dengan kontrak agensi dengan pengendali Takaful tidak mengubah ciri-ciri asas ini kerana hakikatnya ejen Takaful memegang kontrak untuk memberi
  • 175.
    Pengantara Takaful 175 perkhidmatankepada pengendali Takaful dan bukan dengan orang yang merekrutnya. 8.6.8 Ejen Siapa? Pepatah undang-undang Latin yang terpakai kepada agensi ialah ‘qui facit per alium facit per se’ yang bermaksud “Sesiapa yang melakukan sesuatu melalui orang lain adalah dianggap disisi undang- undang telah melakukannya sendiri”. Oleh itu, ejen insurans yang telah dilantik dan bertindak dalam bidang kuasanya telah mengikat prinsipalnya dengan tindakan-tindakan yang diambil, seolah-olah prinsipal itu sendiri yang melakukan tindakan tersebut. Oleh yang demikian, adalah amat penting bagi ejen untuk membuat keputusan iaitu untuk siapakah ejen Takaful bertindak pada masa yang berkaitan. Oleh itu, adalah tidak mustahil jika dilihat dari sudut undang-undang dikatakan ejen pengendali Takaful dianggap sebagai ejen peserta untuk perbuatan atau tindakan tertentu, dan begitu juga sebaliknya. 8.6.9 Kutipan Sumbangan Apabila pembayaran sumbangan / premium dibuat kepada ejen Takaful yang diberi kuasa, bagi peserta pembayaran tersebut disifatkan sebagai bayaran kepada pengendali. Oleh itu, walaupun sekiranya ejen Takaful gagal mengemukakan sumbangan berkenaan kepada pengendali, peserta masih akan dilindungi. Sebaliknya, jika ejen tidak berdaftar menerima bayaran dari peserta atau orang ramai, pengendali tidak bertanggungjawab ke atas salah laku ejen berkenaan. Adalah penting bagi ejen untuk mengambil perhatian bahawa selagi ia tidak mendepositkan wang sumbangan kepada pengendali Takaful, dia akan terus bertanggungjawab kepada peserta terbabit. 8.6.10 Mewujudkan Hubungan Hubungan antara penanggung insurans dan ejen boleh diwujudkan melalui cara berikut:
  • 176.
    176 Amalan AsasTakaful  Melalui janji nyata.  Melalui implikasi Undang-undang, yang mungkin timbul dari i. tatacara atau perlakuan pihak yang terlibat, atau ii. keperluan kes.  Melalui pengesahan tindakan tidak diberi kuasa.  Melalui statut (Seksyen 151, Akta Insurans 1996). A8.7 PERKHIDMATAN SELEPAS JUALAN Takaful tidak tertakluk dibawah kontrak jual beli mengikut perspektif Syariah. Walau bagaimanapun, didalam kempen produk dan program aktiviti kesedaran termasuk kolateral dan e-pemasaran dengan harapan dapat mewujudkan lebih banyak pengkalan data pelanggan, teknik penjualan dan perundingan memainkan peranan penting dalam industri Takaful. Apabila penekanan diberikan kepada aspek jualan, teknik jualan aggresif kerap digunakan untuk merangsang minat pelanggan terhadap produk syarikat. Setelah pelanggan akhirnya bersetuju untuk membeli produk Takaful melalui ejen atau broker, mereka akan diberi sijil perlindungan Takaful yang mereka mungkin tidak memahaminya, tidak memenuhi keperluan atau mereka tidak mampu untuk membiayainya. 8.7.1 Produk Berorientasikan Pasaran Direka & Dipasarkan demi Memenuhi Keperluan Pengguna Melihat kepada perubahan besar yang berlaku dipersekitaran pasaran, pengendali-pengendali Takaful mula mengubah perspektif menjadi syarikat berorientasikan pasaran. Dalam industri Takaful berorientasikan pasaran, peranan jabatan jualan dan pemasaran ialah untuk menentukan keperluan pelanggan dan memenuhi keperluan ini dengan mencipta dan memasarkan produk / sijil yang menepati citarasa pasaran. Secara amnya, jabatan pemasaran syarikat Takaful yang berorientasikan pasaran perlu menjalankan fungsi-fungsi berikut:
  • 177.
    Pengantara Takaful 177 Harga Ia melibatkan proses penetapan sumbangan dan bagaimana ia harus dibayar.  Pemilihan Saluran Pengedaran Ia melibatkan proses mengenalpasti dan memilih saluran yang paling sesuai untuk mengedarkan pelan / produk Takaful kepada pelanggan. Saluran pegedaran yang digunakan oleh pengendali mungkin termasuk ejen, broker, pekerja bergaji, mel umum, mesin jualan, bank, syarikat kad kredit dan syarikat kad diskaun.  Promosi Ia melibatkan proses mengenal pasti dan memilih aktiviti promosi yang paling sesuai termasuk pengiklanan, promosi jualan dan jualan persendirian yang dapat membantu pengedaran produk. Kesemua yang dinyatakan di atas adalah antara Fungsi Tugas Jabatan Pemasaran. 8.7.2 Ejen Boleh Membantu Membangunkan Produk Yang Memenuhi Keperluan Pelanggan Ejen Takaful sering terlibat dengan beberapa aspek pemasaran. Ejen boleh mempengaruhi reka bentuk produk kerana pandangan mereka biasanya diperlukan oleh operator sebelum mereka memulakan proses mereka bentuk produk baru pelan Takaful. Lebih ketara, ejen membentuk saluran pengedaran yang paling penting. Walaupun lain- lain faktor pemasaran (pelan pemasaran, mengenalpasti pasaran, pembangunan produk, harga dan promosi) boleh mempengaruhi berapa banyak pelan Takaful boleh dijual, ejen-ejen menjadi kuasa utama di belakang kebanyakan insentif pemasaran Takaful. Oleh itu, kejayaan usaha-usaha pemasaran pengendali Takaful bergantung kepada sejauh mana ejen-ejen mengamalkan jualan berorientasikan pasaran. Dalam erti kata lain, untuk memastikan kejayaan dalam usaha pemasaran, pengendali Takaful yang berorientasikan
  • 178.
    178 Amalan AsasTakaful pemasaran mesti disokong oleh anggota agensi yang juga berorientasikan pemasaran. 8.7.3. Khidmat “Selepas Menyertai” Kejayaan memasarkan dan menjual produk Takaful kepada peserta tidak menamatkan jalinan interaksi antara ejen dengan pelanggan- pelanggannya. Malah, kontrak Takaful khususnya pelan Takaful keluarga mungkin memerlukan ejen untuk memberi khidmat 'selepas jualan' secara berterusan. Interaksi ini menjanjikan manfaat bersama. Antara beberapa aspek di mana ejen atau broker, malah pengendali sendiri boleh membantu termasuklah:  Pertikaian mengenai tuntutan yang sah  Kehilangan kad ahli atau kertas kerja  Kos sumbangan  Masaalah kutipan sumbangan  Menngenalpasti polisi alternatif  Pertanyaan mengenai manfaat sijil  Pindaan sijil (penambahan nama ahli keluarga / ahli di bawah jagaan, pertukaran alamat dan lain-lain).  Perubahan keadaan / risiko  Kemungkinan untuk polisi terbatal atau peserta menyertai pengendali Takaful lain boleh dikurangkan.  Keperluan baru pelanggan dapat dikenalpasti dan jualan produk baru boleh dimuktamadkan, dan ini dapat meningkatkan pencapaian perniagaan ejen; dan  Reputasi pengendali Takaful / penanggung insurans sebagai syarikat berorientasikan perkhidmatan dapat dipertingkatkan. Dalam hal ini, perkhidmatan ejen amat diperlukan dalam situasi berikut:
  • 179.
    Pengantara Takaful 179 Situasi/PeristiwaKeterangan Peringatan awal kepada peserta mengenai sumbangan yang sepatutnya dibayar Sumbangan Takaful merupakan suatu balasan dari peserta atas manfaat perlindungan yang disediakan oleh pengendali Takaful. Untuk memastikan kontrak Takaful terus berkuatkuasa, sumbangan hendaklah dibayar mengikut mod bayaran yang dipilih dan dibayar tepat pada masanya atau dalam tempoh tenggang (grace period) yang dibenarkan untuk bayaran lewat. Atas sebab-sebab yang munasabah, sebahagian dari peserta mungkin terlepas pandang untuk membayar sumbangan Takaful (premium) tepat pada waktunya. Membantu pelanggan mengingati tarikh bayaran adalah antara khidmat yang boleh diberikan oleh ejen sepanjang tempoh pelan perlindungan Takaful. Kekerapan dan Kaedah Bayaran Selain dari sijil Takaful sumbangan (premium) tunggal, peserta perlu membayar sumbangan Takaful sama ada secara tahunan, setengah tahunan, suku tahunan dan bulanan. Ini dikenali sebagai kekerapan bayaran. Bayaran sumbangan yang dibuat secara bulanan, suku tahunan dan setengah tahunan adalah lebih tinggi berbanding dengan bayaran secara tahunan kerana: Pertama, kerja-kerja pentadbiran untuk mengutip bayaran sumbangan akan bertambah dan akibatnya kos perbelanjaan menjadi lebih
  • 180.
    180 Amalan AsasTakaful tinggi. Kedua, oleh kerana kadar sumbangan dikira berdasarkan dari andaian bahawa ia akan dibayar pada awal tahun dan kutipan sumbangan akan segera dilaburkan, pengendali Takaful akan menanggung kerugian pendapatan pelaburan apabila sumbangan dibayar selain dari bayaran tahunan. Biasanya, bayaran secara bulanan tidak digalakkan, kecuali ia dibayar dengan menggunakan kaedah arahan bank atau skim potongan gaji. Kaedah bayaran sumbangan secara bulanan ini adalah seperti berikut:  Arahan Bank atau Arahan Tetap Melalui kaedah pembayaran sumbangan ini, pemegang sijil memberi kuasa kepada banknya untuk mengkreditkan sejumlah amaun sumbangan kepada pengendali, yang kemudiannya didebitkan dari akaunnya. Pihak bank akan mengenakan caj kepada pemegang sijil untuk perkhidmatan ini. Jelas sekali, pemegang sijil perlu memastikan bahawa terdapat baki yang mencukupi di dalam akaunnya untuk kiriman wang tetap yang akan dibuat kepada pengendali Takaful.  Perkhidmatan Rumah ke Rumah Skim perkhidmatan rumah ke rumah adalah berkaitan dengan perlindungan Takaful keluarga perindustrian yang biasanya menyediakan perlindungan bagi
  • 181.
    Pengantara Takaful 181 orang-orangyang mampu untuk mengambil perlindungan Takaful hanya dalam jumlah yang rendah. Sumbangan Takaful untuk Takaful keluarga perindustrian dibayar secara mingguan, dua minggu atau bulanan. Sumbangan biasanya dikutip dirumah pemegang sijil oleh pengutip wang yang diberi kuasa yang boleh jadi ejen Takaful, tetapi mungkin juga kakitangan pengendali sendiri.  Skim Potongan Gaji Skim potongan gaji ini adalah berdasarkan kepada perjanjian di antara pengendali dan majikan peserta di mana majikan memotong caruman dari gaji pekerja yang menjadi ahli Takaful dan membayar kepada pengendali setiap bulan. Majikan hanya boleh membuat potongan dengan keizinan (kebenaran) bertulis dari pekerja. Notis Bayaran Sumbangan Untuk memastikan pemegang sijil membayar caruman tepat pada masanya, pengendali biasanya akan menghantar notis pemberitahuan tentang bayaran sumbangan tiga atau empat minggu sebelum tarikh tamat tempoh. Jika sumbangan masih tidak diterima dua hingga tiga minggu selepas tarikh tamat tempoh, notis peringatan akan dihantar kepada peserta. Ada masa-masa tertentu apabila peserta membayar caruman selepas tamat tempoh tangguh. Caruman sedemikian masih boleh
  • 182.
    182 Amalan AsasTakaful diterima di bawah keadaan-keadaan tertentu (contohnya penyerahan borang Waranti Kesihatan) dan bayaran lewat boleh dikenakan denda. Walau bagaimanapun, bayaran denda lewat itu tidak dikira dari tarikh tamat tempoh, tetapi dari tarikh sepatutnya ia dibayar. Perlu difahami bahawa tindakan pengendali mengeluarkan notis pemberitahuan adalah semata-mata sebagai suatu khidmat tambahan untuk mengingatkan peserta. Hakikatnya, adalah menjadi obligasi kontrak kepada peserta untuk membayar caruman secara berkala dan tepat pada masanya. Walau bagaimanapun, pengendali juga mempunyai kepentingan untuk mengeluarkan notis pemberitahuan sumbangan kerana ia boleh membantu secara aktif merealisasikan kutipan sumbangan yang mencukupi. Oleh itu, penghantaran notis ini telah menjadi suatu amalan perniagaan. Resit Bayaran Pengendali akan mengeluarkan resit rasmi setelah menerima bayaran sumbangan. Resit rasmi adalah sah apabila tertera tandatangan bercetak Ketua Eksekutif atau pegawai- pegawai lain yang diberi kuasa, dengan disertai tandatangan juruwang kaunter dan sebagainya. Resit rasmi merupakan bukti pembayaran sumbangan. Tempoh tangguh Adalah menjadi satu syarat kontrak bahawa amaun sumbangan yang kena bayar hendaklah dibayar pada tarikh yang dinyatakan dalam perakuan itu. Walau
  • 183.
    Pengantara Takaful 183 bagaimanapun,kebanyakan kontrak memperuntukkan bahawa pembayaran itu boleh dibuat dalam tempoh beberapa hari, biasanya 30 hari dari tarikh tamat tempoh yang dinyatakan. Tempoh ini dikenali sebagai tempoh tangguh. Terdapat dua faedah penting daripada peruntukan ini. Pertama: sumbangan yang lewat diterima tetapi masih dalam tempoh tangguh tidak akan dikenakan caj faedah. Kedua: dan yang lebih penting, jika peserta meninggal dunia dalam tempoh tangguh ini sedangkan sumbangan masih belum dibayar, tuntutan mungkin boleh ditolak. Adalah menjadi keperluan undang-undang agar setiap pengendali mewujudkan dan menyelenggara dengan mengemaskini buku daftar semua sijil Takaful yang dikeluarkan, dan tiada sijil-sijil yang boleh dipindahkan atau dikeluarkan dari daftar ini selagi pengendali masih bertanggungjawab ke atas pelan Takaful tersebut. Daftar sijil ini berfungsi sebagai rekod rasmi sijil-sijil perlindungan yang dikeluarkan oleh pengendali. Buku daftar sijil mestilah menyatakan maklumat minimum yang diperlukan untuk dimasukkan oleh Akta dan Peraturan- Peraturan. Daftar boleh disediakan sama ada dalam bentuk kad atau lembaran lejer atau dalam bentuk cetakan komputer. Akta tidak menyatakan sebarang bentuk khusus bagi tujuan di atas.
  • 184.
    184 Amalan AsasTakaful Amalan Profesional Sebagai tambahan kepada usaha untuk memastikan penyelesaian tuntutan yang segera dan adil sekiranya berlaku tuntutan, tataetika Amalan Profesional harus menyediakan jadual pemeriksaan pengurusan risiko di mana pemeriksaan boleh dijalankan, nasihat dan laporan tuntutan dibincangkan dengan pelanggan dalam usaha untuk menyediakan dan memastikan situasi yang selesa kepada pelanggan pada setiap masa. Tujuan pemeriksaan tersebut adalah untuk mengurangkan jumlah kos risiko perniagaan, yang akhirnya membawa kepada pengurangan kos pelan Takaful yang disertai pelanggan. Pengendali yang menerapkan Amalan Profesional sedia maklum tentang semua perkataan dan fasal yang terkandung dalam sijil Takaful. Pengendali boleh membantu peserta dengan membuat penilaian semula pelan perlindungan Takaful secara percuma di mana perlindungan sedia ada akan dikaji secara terperinci dan menyediakan laporan mengenai kesesuaian perlindungan tersebut menghadapi risiko. Sekiranya terdapat kekurangan dalam perlindungan sedia ada, jabatan pengunderaitan akan menyediakan laporan yang menonjolkan kekurangan tersebut serta mencadangkan perlindungan tambahan/lain yang bersesuaian.
  • 185.
    Pengantara Takaful 185 A8.8NASIHAT DAN AMALAN YANG WAJAR 8.8.1 Piawaian Syariah Pertubuhan Perakaunan dan Pengauditan untuk Institusi Kewangan Islam (AAOIFI) AAOIFI menyediakan garis panduan mengenai isu-isu Syariah berkaitan operasi Takaful seperti berikut:  Piawaian Syariah 26 – Takaful  Piawaian Syariah 41 – Takaful Semula 8.8.2 Piawaian Perakaunan, Pengauditan dan Pematuhan AAOIFI Garis Panduan Perakaunan, Pengauditan dan Pematuhan AAOIFI berkaitan operasi Takaful adalah seperti berikut:  FAS 12 - Pembentangan dan Pendedahan Umum dalam Penyata Kewangan Pengendali Takaful.  FAS 13 - Pendedahan mengenai Asas bagi Menentukan dan Memperuntukkan Surplus atau Defisit Pengendali Takaful  FAS 14 – Pelaburan Dana  FAS 15 – Peruntukan dan Rezab dalam Operasi Takaful  FAS 19 – Sumbangan dalam Pengendali Takaful 8.8.3 Lembaga Perkhidmatan Kewangan Islam (IFSB) Piawaian IFSB berkaitan operasi Takaful adalah seperti berikut: i. IFSB 8 - Garis Panduan Prinsip-Prinsip Pematuhan Akujanji Takaful Skop dan Liputan Prinsip-Prinsip panduan hendaklah diguna pakai dalam semua urusan operasi perniagaan Takaful atau akujanji, tanpa mengira status mereka di sisi undang-undang. Prinsip itu juga harus
  • 186.
    186 Amalan AsasTakaful diterapkan kepada semua model operasi yang diguna pakai oleh akujanji Takaful. Akujanji Takaful digalakkan untuk melaksanakan penggunaan amalan terbaik secara berterusan, selaras dengan objektif yang ditetapkan oleh Prinsip Panduan ini, dan menjelaskannya dengan membuat pendedahan yang berkaitan. Matlamat mereka seharusnya mampu melaksanakan struktur dan proses tadbir urus agar ia setanding dengan, jika tidak lebih baik dari rakan konvensional mereka. Prinsip-prinsip panduan telah digubal untuk digunakan dalam akujanji Takaful am dan Takaful keluarga. Kesesuaian penggunaannya kepada pengendali Takaful Semula agak terhad kerana konsep operasi mereka yang berbeza dalam hal-hal penting: contohnya, peserta reTakaful adalah pengendali Takaful langsung (sebagai pejabat pengesid) berbanding dengan orang ramai sebagai peserta Takaful. Oleh itu, isu-isu tadbir urus yang timbul adalah agak berbeza. Satu kajian yang menyeluruh mengenai model perniagaan pengendali Takaful semula adalah diperlukan sebelum struktur dan proses tadbir urus yang baik boleh disyorkan. Walau bagaimanapun, pengendali Takaful Semula dan pihak berkuasa yang mengawal operasi Takaful digalakkan untuk mempertimbangkan kebaikan prinsip-prinsip panduan dalam usaha mereka mengukuhkan rangka kerja tadbir urus dan menggunakannya sekiranya bersesuaian. Pengendali Takaful mesti mematuhi sepenuhnya tanggungjawab asas mereka kepada peserta, khususnya berhubung dengan pematuhan dengan peraturan dan prinsip Syariah. Pematuhan terhadap hukum-hukum Syariah perlu terus dikekalkan. Oleh kerana ‘sebab-sebab kewujudan’ (raison d'être - bahasa Perancis) Takaful ialah menawarkan produk perlindungan yang mematuhi keperluan Syariah, prinsip-prinsip panduan hendaklah sentiasa merujuk dan menyesuaikan cadangan dari prinsip-prinsip panduan IFSB mengenai sistem tadbir urus Syariah berkaitan dengan semua isu-isu pematuhan Syariah yang dihadapi oleh pengendali Takaful.
  • 187.
    Pengantara Takaful 187 Menyentuhtentang keperluan pendedahan untuk menggalakkan amalan yang baik dan ketelusan dalam operasi Takaful, Prinsip- Prinsip Panduan mengesyorkan agar menerapkan pendekatan 6 - 'mematuhi atau menerangkan'. Pendekatan ini membolehkan perlaksanaan Prinsip Panduan untuk menangani kepelbagaian rangka kerja undang-undang dalam bidang kuasa masing-masing di mana Takaful beroperasi. Tambahan pula, ia akan memudahkan penerapan rangka kerja tadbir urus yang seimbang dengan saiz, kerumitan dan ciri-ciri setiap Takaful. ii. IFSB 11 – Piawaian Keperluan Kesolvenan Akujanji Takaful (Insurans Islam) Objektif Utama Objektif dasar dokumen ini adalah untuk mengemukakan prinsip- prinsip utama kepada keperluan kesolvenan untuk Takaful. Ia dirangka berdasarkan tujuan dan objektif berikut:  Untuk meningkatkan kemungkinan bahawa Takaful akan dapat memenuhi semua tanggungjawab kontraktual dan komitmennya;  Untuk bertindak sebagai sistem amaran awal bagi campur tangan pengawalseliaan dan tindakan pembetulan dengan serta-merta, dengan mengambil kira bahawa pihak berkuasa penyeliaan kadang-kadang mungkin mempunyai akses hanya kepada maklumat yang tidak lengkap, dan kemungkinan tindakan pembetulan yang diambil akan mengambil masa untuk menghasilkan impak yang diingini;  Untuk menyediakan kaedah penampan supaya walaupun peserta mengalami kerugian apabila berlaku kegagalan dipihak Takaful, kesannya boleh dihadkan atau dikurangkan, terutamanya kesan sistemik; dan  Untuk memupuk keyakinan dikalangan orang ramai, khususnya para peserta terhadap kestabilan kewangan dalam industri Takaful.
  • 188.
    188 Amalan AsasTakaful Skop Penggunaan Piawaian ini adalah terpakai kepada semua perniagaan Takaful dan Takaful Semula. Walau bagaimanapun, pihak berkuasa penyeliaan boleh, mengikut budi bicara mereka, melanjutkan kesesuaian penggunaannya kepada ”jendela” operasi Takaful yang berada dalam bidang kuasa mereka. Di Malaysia operasi “jendela” tidak dibenarkan oleh pihak berkuasa. Piawaian ini memberi tumpuan hanya kepada Takaful sebagai satu entiti tunggal, sementara isu-isu penyeliaan seluruh kumpulan tidak diliputi dalam piawaian ini. Persatuan Penyelia Insurans Antarabangsa secara aktif telah menggubal piawaian dan panduan dalam bidang ini. IFSB akan memantau perkembangan ini dan boleh membuat cadangan-cadangan lanjut pada masa akan datang. Piawaian ini memberi penekanan yang lebih khusus terhadap keperluan kesolvenan untuk 'Dana Risiko Peserta (PRF) atau Akaun Khas Peserta (PSA) yang tertakluk kepada pengunderaitan dan kadar sumbangan yang dibuat atas dasar Tabarru’. Pertimbangan atas keperluan kesolvenan untuk perniagaan Takaful keluarga yang mempunyai elemen simpanan dalam akaun berasingan, yang dipanggil Dana Pelaburan Peserta (PIF) atau Akaun Peserta (PA). Biasanya, dana akaun peserta tidak mengambil kira sama ada keperluan kesolvenan Takaful telah dipenuhi kerana dana ini tidak memiliki surplus dalam PIF atau PA individu atau PA untuk memenuhi kekurangan dalam PRF atau PSA. Di samping itu, PIF atau PA biasanya adalah dana yang dikhususkan kepada pelaburan, dan risiko pelaburan yang berkaitan adalah ditanggung sepenuhnya oleh peserta Takaful tanpa perlu untuk sokongan modal dari pengendali Takaful dalam bentuk Qard (pinjaman).
  • 189.
    Pengantara Takaful 189 8.8.4Garis Panduan Berkaitan untuk Takaful Bank Negara Malaysia (Central Bank of Malaysia) di bawah bidang kuasa Ketua Pengarah Takaful telah menyediakan garis panduan tambahan bagi operasi Takaful yang merangkumi aspek pengunderaitan, pelaburan dan memfailkan pulangan dan data statistik (Penyerahan Statistik Pengendali Takaful - TOSS). BNM juga mempunyai fungsi pemantauan iaitu dengan membuat pemeriksaan audit ke atas pengendali Takaful. Bagi Piawaian Perakaunan, Lembaga Piawaian Perakaunan Malaysia (MASB) telah mengeluarkan piawaian perakaunan bagi operasi perniagaan Takaful am dan Takaful keluarga. Piawaian ini adalah selaras dengan yang Piawaian Laporan Kewangan Antarabangsa yang terpakai bagi entiti kepentingan awam. Akta Cukai Pendapatan Malaysia 1967 menyediakan garis panduan percukaian untuk pengendali Takaful yang mengurus dana Takaful. Terdapat beberapa aspek percukaian keatas beberapa perkara tertentu yang tidak jelas atau meragukan kerana peruntukan percukaian dirujuk kepada operasi insurans konvensional, sedangkan Takaful beroperasi mengikut asas yang berbeza.
  • 190.
  • 191.
    Pengenalan Takaful Perubatandan Kesihatan 191 BAB A9 PENGENALAN TAKAFUL PERUBATAN DAN KESIHATAN PENDAHULUAN Bab ini merupakan pengenalan kepada Takaful Perubatan dan Kesihatan dan ianya akan dibincangkan di bawah tajuk-tajuk berikut:  Pengenalan kepada Takaful Perubatan dan Kesihatan  Prinsip dan Amalan Takaful Perubatan dan Kesihatan  Perundangan dan Peraturan Takaful Perubatan dan Kesihatan  Tanggungjawab Memberitahu  Perlindungan Tidak Ditamatkan dengan Bayaran Tuntutan  Risiko Meningkat mengikut Masa dalam Takaful Perubatan dan Kesihatan  Langkah-langkah Pembendungan Kos  Kemasukan ke Hospital 'Tanpa Tunai’ A9.1 PENGENALAN KEPADA TAKAFUL PERUBATAN DAN KESIHATAN Berdasarkan dari statistik, seseorang itu besar kemungkinan memerlukan beberapa jenis rawatan perubatan ketika hayatnya. Tiada siapa yang boleh meramalkan apa dan berapakah bil-bil perubatan yang akan mereka tanggung kelak. Sekiranya berlaku kemalangan atau penyakit kritikal, kos perubatan boleh menjadi beban yang begitu berat untuk ditanggung. Hanya segelintir individu yang mungkin mampu menanggung kos perubatan. Takaful Perubatan dan Kesihatan merupakan salah satu cara seseorang itu berupaya membayar kos rawatan iaitu melalui pengumpulan sumber-sumber kewangan dari peserta-peserta dan dikumpulkan dalam dana Takaful.
  • 192.
    192 Amalan AsasTakaful Orang ramai menyertai skim Takaful Perubatan dan Kesihatan atas sebab yang sama seperti mereka menyertai lain-lain pelan Takaful iaitu untuk melindungi risiko kewangan mereka. Dengan Takaful Perubatan dan Kesihatan, mereka melindungi diri dan keluarga mereka sekiranya mereka memerlukan rawatan perubatan yang boleh menjadi sangat mahal harganya. Perkara 4 dalam Garis Panduan perniagaan Takaful Perubatan dan Kesihatan mendefinisikan perlindungan Takaful Perubatan dan Kesihatan sebagai sijil Takaful yang menyediakan manfaat tertentu seperti dinyatakan, terhadap risiko yang boleh menjadikan seseorang itu hilang upaya sepenuhnya atau sebahagiannya, disebabkan sakit atau lemah anggota badan. Manfaat mungkin ditawarkan dalam bentuk bayaran balik perbelanjaan perubatan yang ditanggung oleh peserta sama ada dalam bentuk bayaran sekaligus daripada jumlah perlindungan atau bayaran elaun atau aliran pendapatan sepanjang tempoh masa yang dinyatakan, sekiranya peserta mengalami hilang upaya dan/atau dimasukkan ke hospital. A9.2 PRINSIP-PRINSIP DAN AMALAN TAKAFUL PERUBATAN DAN KESIHATAN Prinsip-prinsip Takaful yang sama dalam Takaful bukan-perubatan digunakan dalam Takaful perubatan dan kesihatan. Antaranya ialah: 1. Kepentingan Boleh Lindung 2. Penuh Percaya Mutlak 3. Sebab Terhampir 4. Indemniti 5. Perkongsian Sama Rata 6. Subrogasi 7. Tabarru’ 8. Waranti
  • 193.
    Pengenalan Takaful Perubatandan Kesihatan 193 Amalan Takaful melibatkan proses berikut: 1. Pengunderaitan 2. Urus tadbir Tuntutan A9.3 PERUNDANGAN DAN PERATURAN TAKAFUL PERUBATAN DAN KESIHATAN 9.3.1 Garis Panduan Perniagaan Takaful Perubatan dan Kesihatan Industri Takaful telah mengalami pertumbuhan yang pesat dan perniagaan Takaful Perubatan dan Kesihatan telah muncul sebagai segmen perniagaan yang pesat berkembang dalam industri Takaful. Selaras dengan pertumbuhan industri yang pesat, Bank Negara Malaysia telah memperkenalkan Garis Panduan Perniagaan Takaful Perubatan dan Kesihatan yang dikuatkuasakan untuk semua sijil Perubatan dan Kesihatan Takaful yang dipasarkan atau diperbaharui pada atau selepas 2 Januari 2008. 1. Objektif Objektif garis panduan ini ialah: a. Mengekalkan kewibawaan dan kepercayaan orang ramai untuk memastikan industri ini berkembang dan tumbuh dengan pesat dan teratur. b. Untuk mewujudkan pasaran Takaful kesihatan swasta yang cekap dan berkesan yang menyokong matlamat dasar awam demi memperluaskan liputan Takaful kesihatan swasta dan melengkapi sistem penjagaan kesihatan awam yang sedia ada. Berdasarkan dari objektif tersebut, garis panduan ini telah menetapkan piawaian minimum yang secara keseluruhan bertujuan untuk mencapai matlamat berikut:-
  • 194.
    194 Amalan AsasTakaful a. Memenuhi keperluan individu agar mempunyai akses kepada penjagaan kesihatan swasta mengikut kemampuan komersil yang munasabah untuk penduduk berpendapatan sederhana. b. Menetapkan tahap perlindungan yang sesuai untuk peserta. c. Memastikan perniagaan yang mampan melalui pengunderaitan yang munasabah dan dasar harga yang berpatutan. d. Menggalakkan persaingan yang sihat dalam industri bagi membolehkan orang ramai mempunyai akses kepada pelbagai pilihan perlindungan Takaful perubatan dan kesihatan yang luas dan mampu dimiliki. 2. Skop Garis Panduan Skop garis panduan ini meliputi syarat-syarat dan pengunderaitan sijil Takaful Perubatan dan Kesihatan, had manfaat yang perlu ditetapkan, penetapan harga dan rezab atas polisi / sijil, pemberitahuan kepada pengguna dan keperluan untuk memasarkan sijil perlindungan kumpulan tanpa menjejaskan kepentingan Takaful. Garis panduan ini harus dibaca bersama-sama dengan:- a. Seksyen 25, 26, 27, 28, 35 dan 36 Akta Takaful 1984. b. Garis Panduan Piawaian Minimum mengenai Pemberitahuan Produk dan Ketelusan dalam Memasarkan Pelan Takaful Perubatan dan Kesihatan. c. Garis Panduan mengenai Larangan Terhadap Amalan yang Tidak Adil dalam Perniagaan Takaful. 3. Penggunaan Garis panduan ini adalah terpakai kepada semua jenis produk Takaful Perubatan dan Kesihatan yang termasuk dalam takrif umum di bawah Bahagian II, termasuk, tetapi tidak terhad kepada yang berikut:-
  • 195.
    Pengenalan Takaful Perubatandan Kesihatan 195 a. Perbelanjaan Perubatan atau Hospital dan Takaful Pembedahan; b. Penyakit Kritikal atau Takaful Penyakit Merbahaya; c. Takaful Penjagaan Jangka Panjang; d. Takaful Pendapatan Hospital; dan e. Takaful Pergigian 9.3.2 Piawaian Minimum mengenai Pemberitahuan Produk dan Ketelusan dalam Memasarkan Pelan Takaful Perubatan dan Kesihatan Takaful Perubatan dan Kesihatan adalah satu pelan yang kompleks, oleh itu adalah sangat penting bagi pengguna untuk mempunyai kefahaman yang memuaskan sebelum membuat keputusan untuk menyertai mana-mana pelan Takaful. Pengendali Takaful pula mempunyai tanggungjawab untuk mendedahkan maklumat yang mencukupi dan penting kepada bakal peserta untuk memastikan pelan ini memenuhi keperluan dan kemampuan kewangan mereka. Pemberitahuan Ini akan membantu mereka lebih memahami tentang pelan perlindungan dan mengurangkan kemungkinan kes luput kerana tidak membayar caruman / sumbangan. Oleh yang demikian, surat pekeliling telah dikeluarkan untuk menetapkan piawaian minimum bagi pendedahan produk dan ketelusan dalam pemasaran pelan Takaful Perubatan dan Kesihatan. Piawaian minimum menetapkan keperluan pendedahan bahawa semua pengendali Takaful yang mengunderait perniagaan Takaful Perubatan dan Kesihatan perlu mematuhi piawaian minimum tersebut. Ia juga memberitahu kepada bakal peserta tentang beberapa perspektif maklumat yang perlu didedahkan oleh pengendali Takaful sebelum bakal peserta membuat komitmen untuk menyertai pelan Takaful Perubatan dan Kesihatan. 1. Objektif Objektif surat pekeliling ini ialah:-
  • 196.
    196 Amalan AsasTakaful a. Untuk memastikan peserta diberikan maklumat yang lengkap dan jelas mengenai produk ketika dalam proses pemasaran, bagi membolehkan mereka membuat keputusan dan memastikan produk tersebut benar-benar telah memenuhi keperluan mereka. b. Untuk membantu secara konsisten dalam pendedahan maklumat penting perniagaan Takaful Perubatan dan Kesihatan. c. Untuk meminimumkan kemungkinan berlakunya kesilapan pemasaran pelan Takaful Perubatan dan Kesihatan. 2. Penggunaan Piawaian Minimum ini adalah terpakai untuk semua jenis pelan Takaful Perubatan dan Kesihatan individu, termasuk rider yang disertakan dalam pelan Takaful individu. Untuk pelan Takaful Perubatan dan Kesihatan berkumpulan, pengendali Takaful perlu memastikan agar keperluan pemberitahuan dibuat kepada pemilik sijil induk. Piawaian minimum juga terpakai untuk semua saluran yang digunakan untuk memasarkan pelan Takaful Perubatan dan Kesihatan. Bagi maksud piawaian minimum ini, ‘bahan-bahan pemasaran’ merujuk kepada semua bahan promosi dan apa-apa bahan lain yang digunakan dalam proses penjualan. Sebarang bentuk hebahan atau bahan pengiklanan mengenai pelan Takaful Perubatan dan Kesihatan tidak tertakluk kepada piawaian minimum. Hebahan atau iklan ini perlu memberikan maklumat yang mencukupi kepada bakal peserta dan maklumat yang diberikan hendaklah jelas, adil dan tidak mengelirukan. 3. Keperluan Pendedahan Khusus Perkara 8 garis panduan piawaian minimum menyatakan bahawa terdapat aspek-aspek tertentu didalam sijil Takaful Perubatan dan Kesihatan berkaitan pelan dan ciri-ciri perlindungan yang memerlukan penjelasan yang lebih teliti. Oleh itu, pengendali dan
  • 197.
    Pengenalan Takaful Perubatandan Kesihatan 197 pengantara Takaful perlu menyediakan butir-butir yang mencukupi mengenai ciri-ciri penting pelan Takaful Perubatan dan Kesihatan kepada bakal peserta. Ini bermakna bahawa bahan- bahan pemasaran hendaklah mengandungi maklumat minimum berikut;- a. Maklumat mengenai Pengendali Takaful Bahan-bahan pemasaran perlu menyatakan nama dan alamat pengendali Takaful. Maklumat mengenai pengendali Takaful hendaklah tepat dan terkini. b. Keterangan Produk Pengendali Takaful perlu menyertakan satu kenyataan ringkas yang menerangkan tentang pelan, objektif utama dan tujuan produk berkenaan. c. Manfaat Maklumat khusus mengenai manfaat pelan Takaful Perubatan dan Kesihatan yang perlu dinyatakan adalah seperti berikut:-  Bentuk dan amaun manfaat yang dibayar dibawah sijil perlindungan; dan  Keterangan lanjut mengenai peristiwa, kejadian atau keadaan kecemasan yang membolehkan manfaat dibayar. Sebarang perubahan yang ingin dilakukan terhadap manfaat pelan Takaful Perubatan dan Kesihatan boleh dibuat hanya pada ulang tahun pelan atau apabila pelan diperbaharui. Semua perubahan terhadap manfaat kritikal pelan Takaful Perubatan dan Kesihatan hendaklah menyatakan sebab-sebab dilakukan perubahan dan perlu diberitahu kepada semua pemegang sijil pelan terbabit secara bertulis, sekurang- kurangnya satu bulan sebelum tarikh pertukaran. Ini adalah untuk memastikan pemegang sijil menyedari tentang
  • 198.
    198 Amalan AsasTakaful perubahan yang akan dibuat dan memberi masa yang mencukupi untuk menilai semula keperluan Takaful mereka dan untuk mencari pelan alternatif, jika perlu. d. Pengecualian dan batasan manfaat, pra-syarat sedia ada, penyakit yang ditentukan dan tempoh kelayakan Kebanyakan peserta tidak menyedari bahawa bayaran manfaat Takaful Perubatan dan Kesihatan mungkin dikecualikan atau terhad dibawah keadaan-keadaan tertentu dan tertakluk kepada syarat-syarat sedia ada, penyakit- penyakit yang dinyatakan dan tempoh kelayakan. Oleh itu, maklumat mengenai pengecualian faedah dan batasan sebagaimana yang ditakrifkan dalam Panduan Pengunderaitan Takaful Perubatan dan Kesihatan mestilah didedahkan secukupnya dan diterangkan dengan jelas kepada bakal peserta. Semua kemungkinan pengecualian atau batasan dalam bahan pemasaran hendaklah didedahkan atau diberitahu. Pendedahan sekurang-kurangnya perlu meliputi perkara-perkara berikut:-  Sesuatu pernyataan untuk memberi amaran kepada bakal peserta tentang fakta bahawa terdapat pengecualian dan had batasan dalam manfaat pelan;  Menyatakan pengecualian penting dan had batasan manfaat serta keadaan dimana pengecualian dan had batasan digunakan;  Menyatakan syarat sedia ada yang penting, penyakit yang dinyatakan dan tempoh kelayakan yang dikenakan;  Menyatakan tempoh menunggu, deduktibel, pembayaran balik, Takaful bersama, pemastautin tunggal diluar negara, rawatan di luar negeri dan keadaan yang membolehkan pengecualian dan pembatasan digunakan; dan  Suatu kenyataan untuk memberitahu bakal peserta bahawa pengecualian dan pembatasan manfaat pelan yang dinyatakan adalah tidak menyeluruh dan perlu
  • 199.
    Pengenalan Takaful Perubatandan Kesihatan 199 merujuk kepada sijil Takaful untuk mendapatkan maklumat lanjut. Pengendali Takaful boleh menggunakan contoh-contoh mudah untuk menggambarkan pendedahan diatas. e. Sumbangan Maklumat khusus mengenai sumbangan pelan Takaful Perubatan dan Kesihatan yang perlu didedahkan adalah seperti berikut:-  Jumlah, kekerapan dan tempoh sumbangan perlu dibayar untuk mendapatkan manfaat pelan;  Jadual kadar sumbangan yang menunjukkan kadar sumbangan pelan untuk semua peringkat umur diawal kemasukan;  Keadaan-keadaan yang mungkin membawa kepada senario berikut ketika pembaharuan sijil:-  Sijil diperbaharui dengan sumbangan paras (level).  Sijil diperbaharui dengan sumbangan meningkat.  Sijil tidak boleh diperbaharui. Suatu kenyataan juga perlu dibuat untuk memberi amaran kepada bakal peserta bahawa syarat-syarat yang dinyatakan adalah tidak menyeluruh dan kadar sumbangan mungkin akan dikaji semula atau permohonan pembaharuan sijil ditolak atas sebab-sebab yang wajar;  Samada ia adalah sumbangan paras atau berbeza semasa pembaharuan. Sekiranya sumbangan berbeza-beza sebelum ini, statistik yang menunjukkan peningkatan tahunan dan sumbangan purata untuk pelan berkaitan dalam tempoh tiga tahun sebelumnya, untuk contoh umur yang dipilih pada umur kemasukan 30, 40, 50 dan 60 hendaklah didedahkan. Juga hendaklah ada suatu kenyataan peringatan yang memberitahu bakal peserta bahawa aliran kadar sumbangan yang meningkat pada
  • 200.
    200 Amalan AsasTakaful tahun-tahun sebelumnya tidak semestinya menunjukkan aliran yang serupa pada masa akan datang;  Pengendali Takaful berhak untuk mengkaji semula kadar sumbangan peserta ketika pembaharuan sijil; ;  Implikasi sekiranya sumbangan tidak dibayar, khususnya untuk sijil perlindungan yang bayaran sumbangan adalah selain dari sumbangan tunggal; dan  Apabila maklumat mengenai kelayakan mendapat potongan cukai pendapatan atas sumbangan yang telah dibayar dinyatakan dalam bahan pemasaran, pengendali Takaful harus memastikan bahawa maklumat tersebut adalah benar. Perubahan dalam sumbangan pelan Takaful Perubatan dan Kesihatan boleh dibuat pada ulang tahun sijil atau apabila pembaharuan sahaja. Semua perubahan dalam sumbangan pelan Takaful Perubatan dan Kesihatan serta sebab-sebab bagi perubahan perlu dimaklumkan kepada peserta secara bertulis sekurang-kurangnya satu bulan sebelum tarikh pembaharuan. f. Lain-lain pendedahan maklumat lain yang berkaitan dengan pelan Takaful Perubatan dan Kesihatan adalah seperti berikut:-  Peserta diberi ‘tempoh bebas melihat / tempoh bertenang’ selama 15 hari dari tarikh menerima sijil Takaful untuk mengkaji semula kesesuaian pelan Takaful Perubatan dan Kesihatan yang baru disertai. Pengendali perlu menekankan bahawa peserta boleh mengembalikan sijil, dan potongan perbelanjaan yang ditanggung untuk pemeriksaan perubatan akan dibuat kepada caruman jika sijil Takaful dikembalikan kepada pengendali Takaful dalam tempoh berkenaan; dan  Terdapat kemungkinan peserta akan beralih dari satu jenis pelan Takaful Perubatan dan Kesihatan kepada pelan yang lain atau dari satu pembekal kepada pembekal yang lain. Peserta perlu diberitahu bahawa sekiranya
  • 201.
    Pengenalan Takaful Perubatandan Kesihatan 201 mereka bertindak menukar pelan perlindungan, mereka tidak akan menerima bayaran penuh sebagaimana yang dinyatakan di bawah manfaat Takaful Perubatan dan Kesihatan. 4. Senarai semak Senarai semak menunjukkan pengesahan bahawa pengantara telah memberi penerangan dengan jelas mengenai maklumat- maklumat penting produk kepada bakal peserta. 5. Melaporkan ke Bank Negara Malaysia mengenai Semua Produk Takaful Perubatan dan Kesihatan. Perkara 11, garis panduan piawaian menyatakan bahawa terma- terma dan syarat-syarat, kadar caruman dan bahan-bahan pemasaran semua pelan Takaful Perubatan dan Kesihatan mesti diluluskan oleh aktuari yang dilantik dalam mana-mana perniagaan Takaful Keluarga dan kelulusan aktuari berkelayakan untuk perniagaan Takaful Am, serta melaporkannya kepada Bank Negara Malaysia sekurang-kurangnya 30 hari sebelum ia digunakan untuk memasarkan pelan Takaful Perubatan dan Kesihatan. 9.3.4 JPI/GPI 28 – Garis Panduan Amalan Tidak Adil dalam Perniagaan Takaful Lanjutan dari Cadangan 4.27 Pelan Induk Sektor Kewangan, Bank Negara Malaysia telah mengeluarkan Garis Panduan Amalan Tidak Adil dalam Perniagaan Takaful. Ia bertujuan mengukuhkan peraturan tingkah laku pasaran bagi menggalakkan layanan yang lebih adil dan saksama kepada pengguna. Antara langkah-langkah yang dilaksanakan di bawah garis panduan ini termasuklah menggalakkan standard ketelusan, profesionalisme dan akauntabiliti yang lebih tinggi semasa menjalankan perniagaan Takaful. Garis panduan ini akan terus menyokong asas yang sedia kukuh bagi pembangunan
  • 202.
    202 Amalan AsasTakaful industri Takaful yang teratur dalam persekitaran yang semakin kompetitif di sektor kewangan. A9.4 PERLINDUNGAN TIDAK DITAMATKAN DENGAN BAYARAN TUNTUTAN Pelan Takaful Perubatan dan Kesihatan biasanya menyediakan bayaran tuntutan sehingga ke had yang dinyatakan dalam sijil Takaful. Had bayaran tersebut mungkin salah satu atau kombinasi berikut: 1. Had bagi setiap hilang upaya (per disability limit): Amaun maksimum manfaat yang disediakan untuk peserta bagi setiap hilang upaya, umpamanya bagi setiap kemasukan ke hospital. 2. Had tahunan keseluruhan (overall annual limit): Amaun maksimum manfaat yang disediakan untuk peserta dalam satu tahun sijil. 3. Had sepanjang hayat (lifetime limit): Amaun maksimum manfaat yang disediakan untuk peserta sepanjang hayatnya. Bayaran tuntutan tidak akan menamatkan kuatkuasa sijil, kecuali disebabkan tuntutan kematian. A9.5 RISIKO MENINGKAT MENGIKUT MASA Takaful Perubatan dan Kesihatan melibatkan morbiditi (kebarangkalian hilang upaya akibat dari kemalangan atau penyakit). Secara umumnya, risiko meningkat seiring dengan peningkatan usia. Lain-lain faktor-faktor luaran seperti pekerjaan dan faktor-faktor alam sekitar juga boleh mempengaruhi risiko.
  • 203.
    Pengenalan Takaful Perubatandan Kesihatan 203 A9.6 LANGKAH-LANGKAH MEMBENDUNG KOS Kos penjagaan kesihatan terus meningkat menjadikan Takaful Perubatan dan Kesihatan menjadi kurang menguntungkan. Bagi membendung kos dan penyalahgunaan yang timbul daripada tuntutan yang melambung, pelbagai kaedah digunakan oleh pengendali Takaful, termasuk kaedah berikut: 1. Had kawalan dalaman 2. Jadual prosedur pembedahan 3. Tempoh maksimum pampasan 4. Tempoh masa kos perbelanjaan akan dibayar 5. Pembayaran bersama untuk menaik-taraf bilik 6. Deduktibel 7. Panel hospital A9.7 KEMASUKAN KE HOSPITAL TANPA BAYARAN TUNAI Dibawah konsep kemasukan ke hospital tanpa bayaran tunai, apabila pemegang sijil Takaful Perubatan dan Kesihatan dimasukkan ke hospital, kemasukan ke wad hospital panel diuruskan dengan adanya surat jaminan dan pihak hospital tidak lagi memerlukan bayaran deposit. Apabila pemegang sijil mendaftar keluar dari hospital, ia tidak perlu membayar bil rawatan. Semua faedah rawatan yang layak diterima oleh pemegang sijil akan ditanggug oleh pengendali Takaful. Pengendali Takaful yang diwakili oleh pentadbir pihak ketiga (Third Party Administrator – TPA) akan berurusan dengan pihak hospital dan menyelesaikan semua bayaran bil rawatan. Pemegang sijil hanya perlu membayar caj yang tidak ditanggung oleh pengendali Takaful. Perlu dinyatakan bahawa urusan kemasukan ke hospital tanpa menggunakan wang tunai ini biasanya dibuat tanpa ikatan kontrak tetap, kecuali sekiranya ia dinyatakan secara khusus dalam kontrak Takaful. Kemudahan ini dianggap sebagai khidmat nilai tambah yang disediakan oleh pengendali Takaful kepada pemegang sijil yang layak.
  • 204.
    204 Amalan AsasTakaful 1. Pentadbir Pihak Ketiga (Third Party Administrator – TPA) Pentadbir Pihak Ketiga adalah wakil kepada pengendali Takaful, yang bertanggungjawab menyelesaikan pembayaran balik tuntutan dan tuntutan tanpa tunai. Pentadbir pihak ketiga juga yang meluluskan permintaan pihak yang menuntut (pemegang sijil) perkhidmatan tanpa tunai dan menyediakan perkhidmatan tersebut. Fungsi tugas pentadbir pihak ketiga adalah seperti berikut: a. Perkhidmatan Tanpa Wang Tunai Perkhidmatan tanpa wang tunai adalah salah satu fungsi penting pentadbir pihak ketiga, yang bermaksud sekiranya peserta dimasukkan ke hospital yang disenaraikan dalam senarai panel pengendali Takaful, bil rawatan akan dibayar secara langsung oleh pengendali Takaful dan peserta tidak perlu membayar apa-apa. b. Penyelesaian Tuntutan Pentadbir pihak ketigalah yang bertanggungjawab menguruskan hal ehwal tuntutan – dari menerima notis pemberitahuan tuntutan, menasihati pelanggan mengenai pilihan hospital panel, meluluskan tuntutan tanpa tunai dan pembayaran balik, dan sehinggalah membayar tuntutan kepada pelanggan. c. Menyelenggara Pengkalan Data Apabila sijil Takaful telah dikeluarkan, semua rekod pemegang sijil akan disampaikan kepada pentadbir pihak ketiga. Semua urusan komunikasi peserta adalah dengan pentadbir pihak ketiga dan tidak dengan pengendali Takaful. Adalah menjadi tanggungjawab pentadbir pihak ketiga untuk menyelenggara pangkalan data peserta dan mengeluarkan kad keahlian kepada mereka dengan nombor pengenalan yang unik.
  • 205.
    Jenis-Jenis Takaful Perubatandan Kesihatan 205 BAB A10 JENIS-JENIS TAKAFUL PERUBATAN DAN KESIHATAN PENGENALAN Bab ini akan membincangkan perkara-perkara berikut:  Jenis-jenis pelan Takaful Perubatan dan Kesihatan  Skop perlindungan  Istilah-istilah penting yang digunakan dalam Takaful Perubatan dan Kesihatan A10.1 JENIS PELAN TAKAFUL PERUBATAN DAN KESIHATAN Pelan Takaful Perubatan dan Kesihatan mempunyai pelbagai jenis dan syarat-syarat perlindungan. Ia boleh ditawarkan sebagai pelan individu atau pelan berkumpulan. Untuk pelan individu, sumbangan biasanya bergantung kepada umur dan akan meningkat seiring dengan usia, sementara untuk pelan berkumpulan, sumbangan dikira berdasarkan ciri-ciri kumpulan secara keseluruhan, seperti umur purata dan tahap bahaya pekerjaan. Secara amnya, pelan Takaful Perubatan dan Kesihatan meliputi jenis-jenis berikut: 1. Takaful Perbelanjaan Perubatan iaitu termasuk Takaful Penghospitalan & Pembedahan dan Takaful Perbelanjaan Perubatan Utama. 2. Takaful Faedah Tunai Penghospitalan 3. Takaful Penyakit Kritikal 4. Takaful Pendapatan Hilang Upaya
  • 206.
    206 Amalan AsasTakaful Terdapat pengendali Takaful yang menawarkan pelan Takaful perbelanjaan perubatan yang melindungi: 1. Perbelanjaan klinikal (rawatan pesakit luar) 2. Perbelanjaan pergigian 3. Perbelanjaan bersalin A10.2 SKOP PERLINDUNGAN 1. Perbelanjaan Perubatan (Medical Expenses) Skop perlindungan perbelanjaan perubatan ialah membiayai kos rawatan penyakit dan kecederaan, tertakluk kepada had dan syarat- syarat yang terkandung didalam sijil Takaful. Pelan perbelanjaan perubatan biasanya melindungi amaun yang melebihi amaun deduktibel yang telah dipersetujui lebih awal. 2. Penghospitalan dan Pembedahan (Hospitalization and Surgical) Perlindungan penghospitalan dan pembedahan meliputi perbelanjaan berkaitan kos rawatan kemasukan ke hospital. Tujuan utama pelan ini untuk menampung perbelanjaan pembedahan dan penginapan hospital. Pilihan perlindungan dan kos pembiayaan adalah berbeza-beza, bergantung kepada sijil tertentu. Walau bagaimanapun, perlindungan pelan ini biasanya tidak menyeluruh berbanding dengan pelan Takaful perubatan utama. Secara amnya, manfaat yang disediakan di bawah pelan Takaful penghospitalan dan pembedahan adalah seperti berikut: • Bilik dan Penyediaan Makanan • Unit Kawalan Rapi • Perkhidmatan dan Bekalan Hospital • Yuran Pakar Bius • Yuran Pakar Bedah • Bayaran Bilik Bedah
  • 207.
    Jenis-Jenis Takaful Perubatandan Kesihatan 207 • Lawatan Doktor Pakar di Hospital • Ujian Diagnosa Sebelum Kemasukan Ke Hospital • Khidmat Pakar Runding Sebelum Kemasukan Ke Hospital • Rawatan Selepas Kemasukan Ke Hospital • Rawatan Pesakit Luar Kecemasan / Kemalangan • Bayaran Khidmat Ambulans Terdapat juga pelan yang melindungi: • Elaun Tunai Hospital • Rawatan Kanser Pesakit Luar • Rawatan Dialisis Buah Pinggang Pesakit Luar • Pemindahan Organ 3. Perbelanjaan Perubatan Utama (Major Medical Expenses) Perbelanjaan Perubatan Utama adalah sejenis pelan Takaful perubatan dan kesihatan yang menyediakan manfaat untuk kebanyakan perbelanjaan perubatan yang mungkin ditanggung oleh peserta. Perbelanjaan perubatan utama menyediakan perlindungan yang lebih meluas – termasuk perbelanjaan semasa dimasukkan ke hospital dan selepas keluar dari hospital – dengan manfaat individu yang lebih tinggi dan had maksimum sijil. Perlindungan untuk caj rawatan perubatan adalah lebih meluas dengan beberapa had dalaman dan manfaat maksimum keseluruhan yang lebih tinggi, disediakan dalam pelan berikut: a. Perbelanjaan Perubatan Utama Tambahan (Supplemental Major Medical Expenses) Apabila pelan Perbelanjaan Perubatan Utama Tambahan disertakan, ia biasanya dianggap sebagai sokongan dan memperkukuhkan pelan asas yang biasanya termasuk manfaat hospital, pembedahan dan perlindungan perubatan bersama-sama dengan pelan tambahan yang meliputi pelbagai perbelanjaan perubatan yang lebih meluas. Secara amnya, pelan asas akan
  • 208.
    208 Amalan AsasTakaful menampung perbelanjaan yang tiada deduktibel sehingga ke had sijil. Mana-mana amaun yang melebihi had itu, pelan tambahan akan mula berfungsi iaitu beroperasi dengan cara yang sama seperti pelan komprehensif yang tidak memberikan liputan ringgit yang pertama. Secara mudahnya, apabila bayaran manfaat di bawah pelan asas telah mencapai had maksimum, peserta perlu menanggung amaun deduktibel, dan disinilah perlindungan perubatan utama tambahan akan menampung perbelanjaan tersebut. Oleh kerana deduktibel berlaku antara pelan asas dan pelan tambahan, ia sering dirujuk sebagai koridor yang dibenarkan. Sama seperti pelan Perubatan Utama Komprehensif, pelan tambahan akan memasukkan had stop-loss dan had manfaat sepanjang hayat maksimum. Contoh:- Puan Sakinah menyertai kedua-dua pelan perlindungan iaitu pelan Takaful perubatan asas dan pelan perubatan utama tambahan. Beliau telah dimasukkan ke hospital dan bil rawatan melebihi had manfaat pelan asas. Oleh kerana had manfaat pelan asas telah digunakan sepenuhnya, pelan tambahan akan mula berfungsi. Pelan tambahan ini akan membayar bil perubatan seperti yang dinyatakan dalam sijil, selepas ditolak amaun deduktibel. Sebagai contoh, pelan perlindungan akan membayar 80% dari jumlah keseluruhan sementara Puan Sakinah membayar baki 20% bill rawatan. b. Perbelanjaan Perubatan Utama Komprehensif (Comprehensive Major Medical Expenses) Pelan Perbelanjaan Perubatan Utama Komprehensif adalah pelan perubatan dan kesihatan yang menyediakan perlindungan bagi kebanyakan jenis perbelanjaan perubatan. Ia adalah serupa dengan pelan Takaful Penghospitalan dan Pembedahan, tetapi pelan ini mengenakan sejumlah amaun deduktibel. Kebanyakan pelan perubatan utama akan membayar amaun yang melebihi amaun
  • 209.
    Jenis-Jenis Takaful Perubatandan Kesihatan 209 deduktibel sahaja. Peruntukan deduktibel dianggap telah dipenuhi apabila peserta dapat menunjukkan bukti yang ia telah membayar perbelanjaan yang sepatutnya di bawah tanggungannya. Satu lagi ciri-ciri penting perlindungan perubatan utama ialah ia menggunakan konsep Takaful bersama iaitu perkongsian antara pengendali Takaful dan peserta untuk membayar apa-apa perbelanjaan yang melebihi amaun deduktibel. Pengendali Takaful akan menanggung sebahagian besar perbelanjaan, biasanya membayar 80% manakala peserta bertanggungjawab untuk membayar baki 20%. Nisbah-nisbah lain juga mungkin digunakan seperti yang terkandung dalam sijil tertentu, umpamanya nisbah 75 : 25. c. Perbelanjaan Perubatan Utama Lebihan (Excess Major Medical Expenses) Perbelanjaan Perubatan Utama Lebihan biasanya ditawarkan sebagai amaun tambahan nilai (top-up) kepada pelan perubatan utama. Apabila amaun tuntutan melebihi had pelan asas, pelan perbelanjaan perubatan utama lebihan akan mula berfungsi. • Asas Perlindungan Takaful Pelan Takaful Penghospitalan dan Pembedahan Komprehensif juga dikenali sebagai pelan 'Seperti yang Dikenakan'. Sijil perlindungan biasanya melindungi jumlah sebenar yang dikenakan oleh pihak hospital, selain dari perbelanjaan bilik dan penyediaan makanan. Walau bagaimanapun, pengendali Takaful mungkin mengenakan mekanisma kawalan dengan meletakkan had pampasan bagi setiap manfaat. Antara bentuk had sekatan yang dikenakan oleh pengendali Takaful ialah had bagi setiap hilang upaya, had tahunan keseluruhan dan had sepanjang hayat keseluruhan.
  • 210.
    210 Amalan AsasTakaful • Pelan Takaful Perubatan dan Kesihatan Berkumpulan Pelan Takaful Perubatan dan Kesihatan Berkumpulan adalah sama seperti pelan perubatan dan kesihatan individu. Ia biasanya merupakan pelan perlindungan yang sumbangannya ditanggung oleh majikan untuk melindungi pemilik perniagaan, pekerja dan tanggungan pekerja. Kadar sumbangan dibawah pelan ini dikira berdasarkan ciri-ciri kumpulan secara keseluruhan, seperti umur purata dan tahap bahaya pekerjaan; berbeza dengan pelan individu di mana potensi risiko setiap orang dinilai. Terdapat dua jenis pelan Perubatan dan Kesihatan Berkumpulan iaitu: a. Berasaskan sumbangan (contributory) Dibawah pelan ini, pekerja perlu mencarum sebahagian dari sumbangan kumpulan. Biasanya pelan ini memerlukan sekurang-kurangnya 75% penyertaan pekerja yang layak. b. Berasaskan tanpa sumbangan (non-contributory) Dibawah pelan jenis ini, tiada sumbangan dari pekerja kerana majikan menanggung sepenuhnya bayaran sumbangan. Walau bagaimanapun, pelan ini memerlukan penyertaan 100% pekerja yang layak. • Pelan Takaful Manfaat Tunai Penghospitalan Pelan ini menyediakan manfaat tunai harian sekiranya peserta dimasukkan ke hospital kerana semua sebab-sebab, tertakluk kepada terma-terma dan syarat-syarat rider. Ia boleh ditawarkan sebagai pelan perlindungan asas (stand-alone) atau sebagai rider/manfaat sampingan yang disertakan pada pelan Takaful Perubatan dan Kesihatan.
  • 211.
    Jenis-Jenis Takaful Perubatandan Kesihatan 211 • Pelan Takaful Penyakit Kritikal Pelan ini menyediakan perlindungan terhadap sebarang penyakit kritikal yang disenaraikan dalam sijil. Ia juga dikenali sebagai pelan Takaful penyakit merbahaya. Apabila peserta didiagnosa mengalami atau menghidap salah satu dari penyakit kritikal seperti yang dinyatakan dalam sijil, pelan Takaful ini akan membayar sejumlah amaun sekaligus kepada peserta. Pelan ini ditawarkan sebagai pelan asas atau sebagai rider kepada sijil perlindungan Takaful keluarga. • Pelan Takaful Pendapatan Hilang Upaya Pelan ini melindungi pendapatan benefisiari dari risiko ketidakupayaan untuk melakukan kerja dan oleh itu ia kehilangan pendapatan. Manfaat yang diperolehi termasuklah cuti sakit bergaji, manfaat hilang upaya jangka pendek dan manfaat hilang upaya jangka panjang. A10.3 ISTILAH-ISTILAH PENTING YANG DIGUNAKAN DALAM TAKAFUL PERUBATAN DAN KESIHATAN Istilah Keterangan Kemalangan Suatu peristiwa atau kejadian yang tidak diduga dan tidak diingini. Anti pemilihan Kecenderungan lebih kepada risiko yang buruk berbanding dengan yang normal untuk membeli atau mengekalkan perlindungan Takaful, atau berbanding dengan seseorang yang mempunyai jangkaan kerugian ditahap biasa atau lebih baik dari biasa.
  • 212.
    212 Amalan AsasTakaful Timbangtara Suatu bentuk pilihan penyelesaian pertikaian di mana orang tengah yang tidak berat sebelah atau panel memberikan pendapat tentang tanggungjawab atau takat kerugian. Kenyataan Pakar Perubatan yang Merawat (APS) Lebih kerap disebut sebagai 'rekod perubatan' yang biasanya diperlukan oleh Takaful untuk menentukan keadaan kesihatan pemohon ketika mengemukakan permohonan perlindungan. Pemohon membenarkan pengendali Takaful menghubungi doktor untuk mendapatkan rekod perubatan, sama ada sebelum kelulusan perlindungan atau apabila sijil perlindungan telah berkuatkuasa. Had Manfaat Amaun maksimum yang layak diperolehi untuk perkhidmatan semasa dilindungi dibawah sijil Takaful. Takaful Bersama Peruntukan di mana peserta yang dikenakan nisbah bayaran lebih rendah dari peratusan yang ditanggung oleh pengendali Takaful akan menerima bayaran ganti rugi kurang dari amaun sebenar; peruntukan yang biasanya terdapat dalam Takaful perubatan, dimana peserta dan pengendali Takaful berkongsi kerugian yang dilindungi di bawah sijil dalam nisbah yang ditetapkan, sebagai contoh, 80% oleh pengendali Takaful dan 20% oleh peserta. Takaful Perubatan Utama Komprehensif Pelan Takaful yang direka untuk memberi perlindungan yang ditawarkan di bawah pelan asas dan pelan Takaful perubatan utama.
  • 213.
    Jenis-Jenis Takaful Perubatandan Kesihatan 213 Pembaharuan Bersyarat Peruntukan penerusan sijil Takaful kesihatan dimana pengendali Takaful tidak boleh membatalkan sijil perlindungan ketika ia masih berkuatkuasa, tetapi pengendali boleh menolak permohonan memperbaharui sijil di bawah syarat tertentu yang dinyatakan dalam kontrak. Sumbangan / caruman Pelan Takaful Berkumpulan yang dikeluarkan kepada majikan di mana kedua- dua belah pihak iaitu majikan dan pekerja sama-sama membayar sumbangan / caruman kos pelan berkenaan. Perbelanjaan yang dilindungi Perbelanjaan hospital, perubatan, dan lain- lain perbelanjaan penjagaan kesihatan yang ditanggung oleh peserta, yang layak menerima bayaran manfaat dibawah pelan Takaful kesihatan. Deduktibel Sejumlah bayaran yang perlu ditanggung oleh peserta setiap tahun untuk menampung perbelanjaan perubatan, sebelum pelan Takaful membayar baki bil perbelanjaan berkenaan. Hilang Upaya Kelainan fizikal atau mental yang menghadkan satu atau lebih aktiviti kehidupan normal seseorang individu. Ia mungkin sebahagian atau sepenuhnya. Takaful Kesihatan Takaful terhadap kerugian kewangan akibat penyakit atau kecederaan anggota badan disebabkan kemalangan. Perlindungan yang menyediakan pembayaran manfaat untuk penyakit atau kecederaan yang dilindungi. Pelbagai jenis Takaful dibawah
  • 214.
    214 Amalan AsasTakaful perlindungan ini ialah seperti Takaful Kemalangan, Takaful Pendapatan Hilang Upaya, Takaful Perbelanjaan Perubatan dan Takaful Kematian Akibat Kemalangan. Had Sepanjang Hayat Jumlah maksimum manfaat yang disediakan kepada peserta untuk tempoh sepanjang hayatnya. Penjagaan tempoh Jangka Panjang Perkhidmatan kesihatan dan penjagaan kesihatan yang menyeluruh dan berterusan kepada orang yang berpenyakit kronik, hilang upaya atau terencat. Perkhidmatan boleh diberikan kepada pesakit dalam (kemudahan pemulihan, rumah penjagaan, hospital sakit jiwa) pesakit luar atau penjagaan di rumah. Takaful Perbelanjaan Perubatan Utama Suatu bentuk Takaful kesihatan yang menyediakan manfaat bagi kebanyakan jenis perbelanjaan perubatan sehingga ke had maksimum yang tinggi, umpamanya RM250,000 atau lebih selepas deduktibel, umpamanya RM500 atau lebih. Kontrak berkenaan mungkin menetapkan had dalaman dan biasanya tertakluk kepada Takaful bersama. Takaful Perbelanjaan Perubatan Suatu bentuk Takaful kesihatan yang menyediakan manfaat untuk perbelanjaan yang ditanggung bagi rawatan perubatan. Bentuk Takaful kesihatan ini memberi manfaat perbelanjaan khidmat pakar perubatan, hospital, kejururawatan, perkhidmatan berkaitan kesihatan dan pembekalan. Manfaat-manfaat ini mungkin berkaitan dengan perbelanjaan sebenar,
  • 215.
    Jenis-Jenis Takaful Perubatandan Kesihatan 215 amaun yang dinyatakan atau perkhidmatan yang diberikan. Perlidungan tersebut kadang kala meliputi manfaat langkah pencegahan, diagnosa serta rawatan. Perbelanjaan Pelbagai Perbelanjaan berkaitan dengan Takaful hospital, caj hospital (selain dari caj bilik dan penyediaan makanan) seperti sinar-X, ubat-ubatan, makmal dan caj-caj sampingan lain. (Kadang-kadang dirujuk sebagai caj sampingan). Tanpa Sumbangan Istilah yang digunakan dalam pelan manfaat pekerja di mana majikan menanggung sepenuhnya kos pembiayaan manfaat untuk pekerja. Seratus peratus daripada kakitangan yang layak mesti menyertai pelan perlidungan berkenaan. Pesakit Luar Pesakit yang tidak dimasukkan ke hospital dan menerima rawatan perubatan. Keadaan Sedia Ada Keadaan fizikal dan / atau mental peserta yang diperlihatkan (sedia ada) sebelum pengeluaran sijil atau yang telah wujud sebelum perlindungan dan rawatan diterima. Keadaan fizikal yang wujud sebelum tarikh perlindungan berkuatkuasa. Tempoh Menunggu Suatu tempoh dari tarikh sijil dikeluarkan sehingga ke tarikh tertentu, biasanya 180 hari, di mana dalam tempoh tersebut tiada perlindungan penyakit disediakan. Syarat ini diwujudkan bagi mengurangkan / menghapuskan penyakit yang sebenarnya telah wujud sebelum sijil perlidungan berkuatkuasa.
  • 216.
    216 Amalan AsasTakaful Caj yang Munasabah dan mengikut Kebiasaan Caj penjagaan kesihatan yang sejajar dengan kadar pasaran semasa atau caj bagi kawasan geografi tertentu untuk perkhidmatan yang sama atau serupa. Bayaran Balik Pembayaran bil perbelanjaan yang ditanggung akibat kemalangan atau penyakit, tetapi tidak melebihi apa-apa amaun yang dinyatakan dalam sijil Takaful.
  • 217.
    Pengunderaitan Takaful Perubatandan Kesihatan 217 BAB A11 PENGUNDERAITAN TAKAFUL PERUBATAN DAN KESIHATAN PENGENALAN Pengunderaitan adalah salah satu fungsi terpenting dalam operasi Takaful. Dalam bab ini, perbincangan akan ditumpukan kepada:  Tujuan Pengunderaitan  Borang Cadangan  Anti Pemilihan  Proses Pemilihan Risiko  Pengunderaitan Perubatan  Sumber Maklumat Pengunderaitan  Keputusan Pengunderaitan  Kecukupan Sumbangan  Pengeluaran Sijil  Bayaran Sumbangan  Penamatan Sijil A11.1 TUJUAN PENGUNDERAITAN Pengunderaitan Takaful adalah proses pengkelasan, pengkadaran dan pemilihan risiko. Secara mudahnya, ia adalah satu proses pemilihan risiko. Proses pemilihan ini meliputi prosedur menilai maklumat dan sumber-sumber untuk menentukan bagaimana individu akan diklasifikasikan (sama ada sebagai risiko yang standard atau sub-standard). Setelah prosedur pengkelasan selesai, proses seterusnya ialah penetapan kadar sumbangan yang perlu dibayar oleh pemohon. Sijil kemudiannya akan dikeluarkan dan diserahkan kepada peserta.
  • 218.
    218 Amalan AsasTakaful Tujuan utama pengunderaitan adalah untuk menganalisa risiko, menilai jenis pendedahan risiko yang akan ditanggug oleh pengendali Takaful, dan mewujudkan satu dana sumbangan bagi menampung risiko dan pendedahan berkenaan. Melalui proses tersebut, pengunderait dapat merangka program Takaful yang komprehensif dan memenuhi keperluan peserta pada harga yang paling munasabah. Setelah peserta diterima sebagai ahli pelan Takaful, mereka perlu membayar sumbangan tetap. Sebahagian dari sumbangan akan didermakan ke dana Tabarru’. Dana ini akan digunakan untuk membayar pampasan atau gantirugi. Untuk memastikan dana berkenaan mempunyai baki yang mencukupi bagi menampung bayaran tuntutan, pengunderait perlu: 1. Melindungi atau berhati-hati dengan proses anti pemilihan; 2. Mengenakan kadar sumbangan yang sepadan dengan risiko yang ditanggung. A11.2 BORANG CADANGAN Borang cadangan digunakan oleh pengendali Takaful untuk menentukan sama ada risiko boleh diterima dan jika ya, berapakah kadar sumbangan yang sepatutnya dikenakan. Borang cadangan merupakan suatu keperluan yang paling asas untuk menjadikan kontrak Takaful keluarga diantara peserta dan pengendali Takaful berfungsi. Borang perlu diisi dengan lengkap oleh pencadang, yang mungkin boleh meminta bantuan dari ejen Takaful keluarga untuk melengkapkannya. Borang cadangan diisi bagi tujuan mengumpulkan maklumat asas diri pencadang. Ini termasuklah nama, umur, alamat, taraf pendidikan dan butir-butir pekerjaan pencadang. Borang cadangan juga mengumpulkan maklumat mengenai sejarah perubatan hayat yang dilindungi (peserta). Disamping itu, terdapat soalan-soalan yang berkaitan dengan sejarah kesihatan ahli keluarga hayat yang dilindungi. Pencadang dan hayat yang dilindungi perlu
  • 219.
    Pengunderaitan Takaful Perubatandan Kesihatan 219 menyatakan sumber pendapatan mereka dalam borang cadangan supaya pengendali Takaful dapat menilai keupayaan pencadang membayar caruman / sumbangan. Borang cadangan juga mengandungi soalan-soalan berkaitan dengan Takaful / perlindungan yang disertai atas hayat pencadang dan juga hayat yang dilindungi dari pengendali Takaful Keluarga lain serta butir-butir sijil berkenaan. Hayat yang dilindungi perlu memberitahu atau mendedahkan butiran mengenai tabiat yang berkaitan dengan penggunaan tembakau dan minuman keras. Selepas mengisi borang dan menjawab semua soalan di dalamnya, pencadang perlu menandatangani borang tersebut. Sebarang pindaan atau pembatalan pada borang cadangan perlu disahkan dengan menandatangani pada setiap pindaan yang dibuat. Pencadang boleh melampirkan helaian dokumen tambahan kepada borang cadangan jika dia mahu berkongsi dengan pengendali Takaful apa-apa maklumat yang tidak diminta, yang difikirkan boleh membantu pengendali membuat keputusan yang betul. Ia menjadi kepentingan pencadang untuk berkongsi maklumat yang benar dengan pengendali Takaful keluarga agar ianya dapat membantu pengendali Takaful untuk membuat keputusan yang tepat dan berhemah. Maklumat yang diperolehi akan digunakan oleh pengendali Takaful untuk menentukan sama ada sijil boleh dikeluarkan atau sebalikya. Pengunderait Takaful keluarga menggunakan maklumat mengenai sejarah kesihatan dan keluarga hayat yang dilindungi untuk menentukan kadar sumbangan yang akan dikenakan. Pengendali Takaful memberikan salinan borang cadangan kepada peserta, bersama-sama dengan dokumen sijil Takaful keluarga. Peserta perlu membaca keseluruhan dokumen sijil dengan teliti dan juga salinan borang cadangan Takaful Keluarga. Sebarang percanggahan yang terdapat dalam salinan itu harus dibawa ke pengetahuan pengendali Takaful untuk mengelakkan sebarang penipuan.
  • 220.
    220 Amalan AsasTakaful A11.3 ANTI PEMILIHAN Istilah anti pemilihan menerangkan keadaan di mana permintaan individu untuk Takaful mempunyai kaitan yang positif dengan risiko kerugian dan pengendali Takaful tidak membenarkan korelasi ini dalam penentuan harga atau kadar sumbangan. Ini mungkin kerana beberapa maklumat peribadi hanya diketahui oleh individu berkenaan sahaja, atau kerana peraturan-peraturan atau norma-norma sosial telah menghalang pengendali Takaful menggunakan beberapa kategori maklumat yang diketahui untuk menetapkan harga (contohnya pengendali Takaful mungkin dilarang daripada menggunakan maklumat seperti jantina atau asal-usul etnik atau keputusan ujian genetik). Senario halangan ini kadang-kala dirujuk sebagai ‘kawalan anti pemilihan’. Kecenderungan untuk terpengaruh dengan fenomena pemilihan yang bertentangan (adverse) boleh digambarkan melalui hubungan antara status merokok dan kemortalan. Secara amnya, individu bukan perokok lebih berkemungkinan untuk hidup lebih lama, manakala perokok pula dikatakan lebih berkemungkinan mati ketika usia muda. Jika pengendali Takaful tidak membezakan kadar harga / sumbangan pelan Takaful keluarga mengikut status / tabiat, pengendali dilihat seolah-olah menggalakkan perokok berbanding bukan perokok. Jadi, perokok mungkin lebih berminat untuk menyertai Takaful atau cenderung untuk membeli perlindungan yang lebih tinggi berbanding dengan bukan perokok. Kadar kemortalan purata kumpulan pemilik sijil akan lebih tinggi berbanding dengan mortaliti purata penduduk awam. Dari sudut pandangan pengendali Takaful, kemortalan yang tinggi dikalangan kumpulan yang ‘memilih’ untuk menyertai Takaful adalah ‘bertentangan’ dengan objektif pemilihan. Pengendali Takaful meningkatkan kadar harga / sumbangan Takaful dan akibatnya, bukan perokok mungkin kurang berminat untuk menyertai Takaful (atau membeli dengan nilai yang lebih kecil) jumlah) berbanding dengan sekiranya mereka boleh menyertai Takaful pada harga yang lebih rendah untuk mencerminkan risiko
  • 221.
    Pengunderaitan Takaful Perubatandan Kesihatan 221 mereka yang lebih rendah. Pengurangan bilangan peserta Takaful dari kalangan bukan perokok adalah 'bertentangan' dari sudut pandangan pengendali Takaful dan mungkin juga dari pandangan awam. A11.4 PROSES PEMILIHAN RISIKO Pengunderaitan adalah kaedah yang digunakan untuk menilai kelayakan semasa pencadang untuk diterima sebagai peserta pelan Takaful. Dalam melalui proses penilaian ini, pengendali Takaful menentukan jika cadangan itu adalah risiko yang baik untuk pelan Takaful. Apabila pengendali Takaful memilih untuk melibatkan diri dalam pengunderaitan, terdapat dua kemungkinan yang dijangka akan berlaku. Pertama, pengunderait menunjukkan keyakinan terhadap cadangan tersebut. Kedua, dalam pengunderaitan cadangan Takaful, pengunderait menjangkakan akan memperolehi pulangan keatas pelaburan dimasa akan datang. Pulangan mungkin diperolehi sebagai bayaran tambahan atau sebagai sekali gus pada masa hadapan. Takaful adalah satu contoh di mana bidang pengunderaitan digunakan sepenuhnya sebagai teras operasi perniagaan. Menyentuh tentang Takaful perubatan, pengunderait perlu mengambil kira faktor-faktor berikut dalam proses pemilihan risiko: 1. Faktor-faktor Kesihatan Semasa dan Masa Lampau Pengunderait akan menilai dengan teliti keadaan kesihatan semasa dan masa lampau pemohon, dalam lingkungan bidang yang berkaitan. Dalam kes-kes tertentu, pengunderait mungkin mempunyai beberapa keraguan berdasarkan penilaian sejarah perubatan masa lampau, tetapi memilih untuk menawarkan perlindungan kepadanya, dengan beberapa keadaan sedia ada tidak dilindungi atau dikecualikan bagi tempoh masa tertentu.
  • 222.
    222 Amalan AsasTakaful Pada masa yang lain, sejarah perubatan mungkin menunjukkan tahap risiko yang tidak diterima oleh pengendali Takaful, dan pengunderait memilih untuk tidak menawarkan perlindungan kesihatan. Melalui keputusan tidak menawarkan perlindungan kepada bakal peserta sangat memerlukan Takaful perubatan komprehensif untuk jangka masa panjang, pengunderait mampu mengekalkan kestabilan asas kewangan syarikat dan terus menyediakan perkhidmatan kepada pelanggan-pelanggan lain. 2. Faktor Kewangan Pengunderait juga akan meneliti keadaan kewangan pencadang secara keseluruhan. Adalah penting untuk mengkaji keadaan kewangan keseluruhan pencadang untuk menentukan jumlah yang sesuai dan tahap perlindungan yang diperlukan. Ini adalah untuk menjaga kestabilan dana dari risiko tuntutan pendapatan hilang upaya yang luar biasa tingginya. Terdapat kecenderungan di mana sesetengah pemegang sijil berusaha untuk membuat keuntungan daripada pampasan Takaful dengan melanjutkan tempoh kurang upaya. Tindakan ini dikenali sebagai ‘berpura-pura sakit’ (malingering). 3. Faktor Pekerjaan Pengunderait perlu mengkaji dan meneliti faktor-faktor berkaitan pekerjaan kerana pekerjaan yang berlainan mempunyai tahap bahaya yang berbeza. Semakin tinggi risiko bermakna semakin tinggi kemungkinan tuntutan perbelanjaan perubatan akan berlaku. Pekerjaan dengan risiko yang lebih tinggi seperti pekerjaan Kelas 3 (pekerja kilang) biasanya mempunyai nisbah tuntutan yang lebih tinggi berbanding dengan pekerjaan Kelas 1 dan 2 (pekerja pejabat). 4. Umur dan Jantina Statistik menunjukkan bahawa umur dan jantina adalah antara pertimbangan penting dalam pengunderaitan Takaful perubatan
  • 223.
    Pengunderaitan Takaful Perubatandan Kesihatan 223 dan kesihatan. Usia yang semakin meningkat biasanya memperlihatkan kecenderungan untuk mengalami masalah kesihatan. Jantina juga memainkan peranan yang penting kerana lelaki dan perempuan mempunyai tahap kemortalan (kematian) dan kemorbidan (penyakit) yang berbeza. Statistik telah membuktikan bahawa umumnya kaum wanita akan hidup lebih lama (kadar kemortalan yang rendah) berbanding dengan kaum lelaki yang sama kumpulan umur. Walau bagaimanapun, di bawah Takaful perubatan dan kesihatan, kadar sumbangan untuk peserta wanita adalah lebih tinggi kerana kadar kemorbidan (penyakit) adalah lebih tinggi berbanding dengan kaum lelaki. A11.5 PENGUNDERAITAN PERUBATAN Pengunderaitan perubatan adalah proses menyemak semula rekod perubatan dan kesihatan pencadang Takaful dan menentukan tahap risikonya. Oleh kerana pengendali Takaful mengetahui bahawa pemohon yang berisiko (keadaan kesihatan yang tidak menggalakkan) akan menyebabkan kos rawatan akan meningkat, pengendali biasanya akan menolak permohonan berkenaan atau mungkin menerima dengan mengenakan kadar sumbangan yang tinggi. Sebagai sebahagian dari proses pengunderaitan, maklumat kesihatan boleh digunakan untuk membuat dua keputusan yang saling berkait: 1. Samada untuk menawarkan atau menaikkan perlindungan; dan 2. Berapakah kadar sumbangan yang perlu ditetapkan untuk sijil Takaful berkenaan Untuk melaksanakan pengunderaitan Takaful perubatan, pengendali Takaful akan pertanyaan tentang keadaan kesihatan / perubatan sedia ada. Pengendali Takaful dibenarkan untuk bertanya soalan-soalan tentang sejarah perubatan seseorang untuk memutuskan sama ada untuk menawarkan perlindungan atau menolak permohonan, dan sekiranya diterima adakah caj tambahan perlu dikenakan.
  • 224.
    224 Amalan AsasTakaful  Tujuan Dari sudut pandangan pengendali Takaful, pengunderaitan Takaful perubatan perlu dilakukan untuk menghalang orang ramai menyertai Takaful perubatan dan kesihatan hanya apabila mereka sakit, mengandung atau memerlukan rawatan perubatan. Kecenderungan ini dipanggil ‘pemilihan bertentangan’ atau anti pemilihan iaitu sistem yang menarik minat pengguna berisiko tinggi menyertai Takaful tetapi tidak menggalakkan pencadang berisiko rendah menyertainya. Apabila ramai bakal pelanggan mengambil sikap menunggu untuk mendapatkan perlindungan Takaful perubatan dan kesihatan sehingga timbul keperluan mendesak untuk mendapatkan perlindungan, ia akan mewujudkan kumpulan peserta dengan ‘penggunaan yang tinggi’, yang kemudiannya akan meningkatkan jumlah sumbangan kerana pengendali Takaful mengenakan bayaran yang tinggi untuk membayar tuntutan. Akhirnya, kadar sumbangan semakin tinggi tidak menggalakkan peserta yang sihat mendapatkan perlindungan - terutamanya apabila mereka menyedari bahawa mereka boleh mendapatkan perlindungan apabila mereka benar-benar memerlukan rawatan perubatan.  Kesan Pengunderaitan perubatan memastikan sumbangan Takaful perubatan individu berada ditahap serendah yang mungkin. Kritikan terhadap pengunderaitan perubatan menyatakan bahawa adalah tidak adil bagi orang ramai dengan keadaan kesihatan sedia ada yang tidak serius dan boleh dirawat, dinafikan haknya untuk dilindungi dibawah Takaful perubatan. Penyakit-penyakit yang menyebabkan seseorang individu itu mempunyai risiko antaranya adalah kerana ia menghidap sakit sendi tulang, barah, sakit jantung, dan juga penyakit biasa seperti jerawat, berat badan 20 paun lebih atau kurang dari berat badan normal, dan kecederaan lama kerana aktiviti sukan.
  • 225.
    Pengunderaitan Takaful Perubatandan Kesihatan 225 Kriteria pengunderaitan adalah faktor-faktor yang boleh dibuktikan bahawa ia mempunyai kaitan langsung dengan risiko yang merugikan dan pengendali Takaful menggunakannya untuk menilai keadaan kesihatan pemohon. Kriteria ini bukan sahaja berbeza bagi setiap pelan Takaful, malah ia juga berbeza-beza dari satu pengendali ke pengendali yang lain. 11.5.1 Keadaan Fizikal Semasa Pengendali Takaful mengkehendaki pemohon Takaful perubatan untuk mengisi borang cadangan Takaful dan menyatakan butiran lengkap mengenai sejarah perubatan dan keadaan fizikal setiap pemohon. Perakuan pemohon didalam borang cadangan dan laporan keputusan pemeriksaan perubatan (jika berkenaan) adalah petunjuk pertama keadaan fizikal pemohon pada masa sekarang. 11.5.2 Sejarah Perubatan Proses penilaian bermula dengan meneliti kenyataan pencadang dalam borang cadangan. Pengendali Takaful akan bertanya soalan dan sering meminta pengesahan mengenainya, sejarah perubatan masa lampau pencadang. Rawatan dan diagnosis penyakit tertentu selalunya boleh dikaitkan dengan statistik peningkatan risiko kematian awal, berbanding dengan individu biasa yang tiada masaalah kesihatan. Jika sejarah perubatan mengandungi data yang relevan tentang sakit atau penyakit, ia akan membuat pengendali Takaful percaya bahawa pencadang mempunyai risiko yang meningkat. Kos pelan Takaful akan diselaraskan sewajarnya untuk mengimbangi liabiliti kewangan yang lebih tinggi. Pengendali Takaful mungkin perlu membuat siasatan lanjut sekiranya terdapat sejarah perubatan yang disenaraikan dalam borang cadangan. Contohnya, jika pemohon mengakui menerima rawatan untuk tekanan darah tinggi, kenyataan doktor yang merawat biasanya diperlukan. Laporan doktor ini biasanya
  • 226.
    226 Amalan AsasTakaful mengandungi maklumat fizikal seperti ketinggian, berat badan dan tekanan darah, dan juga pengumpulan sampel darah dan air kencing. Sebaliknya, jika terdapat kenyataan dalam borang cadangan yang menyatakan menerima rawatan patah lengan dan telah pulih sepenuhnya, tiada maklumat lanjut yang diperlukan. Pengendali Takaful membuat semakan semula sejarah perubatan dan kesihatan masa lampau untuk menentukan: 1. Kemungkinan ia akan berulang semula. Terdapat jenis penyakit yang mempunyai kecenderungan untuk berulang semula. 2. Kesan dan pengaruh sejarah perubatan silam terhadap kesihatan am pemohon pada masa kini. 3. Komplikasi atau kerumitan yang mungkin timbul pada masa hadapan. 4. Perkembangan normal berkaitan sebarang kelainan atau penyakit yang boleh dianggap sebagai petunjuk kepada kemungkinan besar akan berlaku perubahan kesihatan pada masa hadapan. Contohnya menghidap obesiti, darah tinggi dan sebagainya. 11.5.3 Sejarah Keluarga Terdapat seksyen dalam borang cadangan Takaful yang bertanyakan beberapa soalan tentang sejarah perubatan ahli keluarga. Kaitan yang jelas perlu dilakukan antara keadaan kesihatan masa kini yang boleh mengancam nyawa dengan perkembangan genetik keluarga, dan pengendali Takaful akan mempertimbangkan kemungkinan keadaan kesihatan saudara mara pencadang sebagai petunjuk risiko yang dihadapi peserta sendiri. Soalan-soalan meminta penjelasan lanjut tentang keadaan kesihatan, tentang pembawa penyakit, dan jawapan yang diberikan hanya yang berkaitan dengan perkembangan genetik keluarga dan kaitannya dengan pencadang. Walau bagaimanapun, sejarah keluarga mertua, ibu / bapa angkat, adik beradik angkat tidak perlu dimasukkan dalam maklumat sejarah keluarga.
  • 227.
    Pengunderaitan Takaful Perubatandan Kesihatan 227 11.5.4 Faktor Kewangan Pengunderait akan mengambil kira faktor-faktor kewangan dan perlindungan yang diperlukan. Ini akan membantu untuk menentukan sama ada pencadang memohon amaun perlindungan yang bersesuaian. Proses penilaian cenderung untuk menapis risiko-risiko kemungkinan peserta mendapati bayaran caruman terlalu membebankan sehingga menyebabkan masalah dalam kutipan sumbangan serta kemungkinan berlaku penipuan dalam tuntutan. 11.5.5 Pekerjaan dan Hobi Satu lagi faktor penting yang perlu diberi pertimbangan ialah pekerjaan. Pekerjaan pencadang memainkan peranan penting dalam menentukan apakah jenis perlindungan yang diperlukan dan berapakah amaun sumbangan yang bersesuaian. Kadar kemorbidan amat berbeza mengikut pekerjaan pencadang. Ia memberi gambaran tentang bahaya yang wujud dalam pekerjaan, kestabilan pekerjaan dan tempoh masa pemulihan yang diperlukan oleh seseorang yang menyandang jawatan berkenaan dapat meneruskan tugas-tugas biasa mereka. Sesetengah pekerjaan melibatkan aktiviti-aktiviti berbahaya (misalnya, sektor penerbangan, bekerja di tempat tinggi) atau bekerja di persekitaran yang merbahaya (seperti sektor perlombongan). Jenis pekerjaan seperti ini pastinya akan meningkatkan kadar sumbangan. Kebanyakan pengendali Takaful enggan menawarkan perlindungan kepada individu yang terlibat dalam pekerjaan yang amat berbahaya seperti peninju profesional atau penyelam laut dalam. Carta berikut menunjukkan jadual pengkelasan pekerjaan yang biasa digunakan:
  • 228.
    228 Amalan AsasTakaful Kelas Pekerjaan Catatan 1. Doktor, Doktor Gigi, Peguam, Akauntan, Guru Sekolah, Aktuari Pekerjaan yang paling kurang risiko / bahaya, termasuk mereka yang bekerja sebagai eksekutif, bahagian pentadbiran atau kerja-kerja perkeranian. Biasanya, para profesional tidak termasuk dalam kelas pekerjaan ini kerana mereka dianggap sebagai `risiko yang diutamakan` dan oleh itu layak memperolehi perlindungan yang lebih tinggi. 2. Pekerja kerana am, juruwang bank, jurujual dengan kerja luar yang minimum, kontraktor bangunan (kerja-kerja pejabat sahaja) Pekerjaan yang memerlukan lebih banyak aktiviti fizikal berbanding dengan Kelas 1. Sesetengah pekerjaan tidak begitu merbahaya tetapi pengalaman tuntutan tidak sebaik Kelas 1. 3. Pelayan ditempat minuman keras, pelayan lelaki, pelayan perempuan, pembantu stesyen petrol, tukang masak, jurujual melakukan banyak kerja luar, juruelektrik Pekerjaan yang menggunakan tenaga fizikal yang minimum atau melibatkan kerja kemahiran, termasuk perusahaan kecil & sederhana di mana pemilik mempunyai kemahiran tertentu. 4. Pekerja binaan jambatan, pekerja di tapak pembinaan, pemandu lori, pekerja Pekerjaan yang memerlukan / melibatkan tenaga fizikal secara maksimum atau tugas- tugas merbahaya.
  • 229.
    Pengunderaitan Takaful Perubatandan Kesihatan 229 / penjaga kebersihan, anggota bomba, polis dan sebagainya. Terdapat seksyen gaya hidup yang bertanyakan sama ada pencadang melibatkan diri dalam sebarang aktiviti berisiko seperti membuat lawatan ke luar negara, penerbangan, menyelam skuba, mendaki gunung, meluncur udara dan sebagainya. Pengendali Takaful menggunakan data yang dikumpul pada soal selidik untuk menilai risiko. Soal selidik biasanya akan menentukan tahap pemeriksaan fizikal yang diperlukan. Melibatkan diri dalam hobi berbahaya seperti terjunan udara, penerbangan pesawat ringan atau lumba kereta juga akan dikenakan kadar sumbangan yang tinggi. 11.5.6 Umur dan Jantina Umur adalah antara faktor utama dalam menentukan sumbangan dan selalunya akan menentukan tahap ketelitian proses pengunderaitan yang akan dilakukan. Kadar sumbangan akan meningkat mengikut usia dan banyak pengendali Takaful tidak akan memberikan perlindungan selepas umur tertentu atau akan menghadkan jumlah perlindungan. Pemohon yang lebih berusia juga boleh dihadkan perlindungan kepada tempoh yang lebih pendek, contohnya 5 atau 10 tahun. Pemohon berusia ini biasanya perlu menjalani pemeriksaan doktor, ujian perubatan tambahan seperti ECG atau ujian darah yang lebih khusus sebelum cadangan itu boleh dipertimbangkan. Faktor jantina menentukan pilihan jadual sumbangan yang perlu digunakan. Oleh kerana kaum wanita dijangka hidup lebih lama, mereka biasanya dikenakan kadar sumbangan yang lebih rendah berbanding lelaki. Walau bagaimanapun, bagi Takaful Perubatan dan Kesihatan, kadar sumbangan untuk wanita adalah lebih tinggi kerana kadar kemorbidan (penyakit) adalah lebih tinggi berbanding lelaki. Kaum wanita juga mungkin mempunyai faktor-
  • 230.
    230 Amalan AsasTakaful faktor risiko tambahan seperti hamil pada masa permohonan Takaful dikemukakan. A11.6 SUMBER MAKLUMAT PENGUNDERAITAN 11.6.1 Permohonan Takaful Keluarga Borang permohonan Takaful Keluarga adalah sebahagian daripada kontrak Takaful. Pencadang menandatangani borang permohonan untuk mengesahkan bahawa semua maklumat yang diberikan adalah benar dan betul sepanjang pengetahuan pencadang, dan pengendali Takaful akan mengeluarkan sijil berdasarkan dari maklumat diberikan. Borang permohonan adalah satu dokumen yang amat penting kerana ia biasanya dilampirkan dan dianggap sebagai sebahagian daripada kontrak Takaful. Oleh itu, kedua-dua pihak mesti mengambil langkah khas untuk memastikan ketepatan fakta demi kepentingan pengendali Takaful dan pencadang. Borang permohonan biasanya dibahagikan kepada beberapa seksyen, dengan setiap seksyen direka khusus untuk mendapatkan maklumat tertentu. Walaupun borang permohonan itu mungkin berbeza dari satu syarikat ke syarikat lain, kebanyakannya memerlukan pencadang mendedahkan maklumat-maklumat berikut:  Bahagian 1 – Maklumat am  Bahagian 2 – Maklumat perubatan dan kesihatan  Bahagian 3 – Kenyataan atau laporan ejen, dan  Bahagian 4 – Tandatangan pihak-pihak yang terlibat. Bahagian 1 – Maklumat Am  Data peribadi  Nama  Alamat
  • 231.
    Pengunderaitan Takaful Perubatandan Kesihatan 231  Tarikh lahir  Pekerjaan  No kad pengenalan  Jantina  Taraf perkahwinan Bahagian 2 - Medical Information  Sejarah perubatan  Keadaan sedia ada  Rawatan perubatan Tanggungjawab ejen Takaful dalam proses mengemukakan permohonan Takaful termasuklah:  Memastikan borang permohonan diisi dengan lengkap dan sepenuhnya  Memastikan semua soalan dijawab dengan tepat  Memastikan bayaran sumbangan diuruskan mengikut prosedur yang betul Bahagian 3 - Kenyataan Ejen Kenyataan ejen merupakan sebahagian dari isi kandungan borang permohonan dan mengkehendaki ejen Takaful menyediakan maklumat tertentu mengenai pencadang. Ini secara amnya termasuklah maklumat mengenai hubungan ejen dengan pencadang, data tentang status kewangan pencadang, tabiat pencadang, ciri-ciri atau sifat-sifat am pencadang dan maklumat- maklumat lain yang berkaitan dengan risiko yang akan ditanggung oleh pengendali Takaful. Bahagian 4 - Laporan Perubatan Sebelum sijil Takaful boleh dikeluarkan, pemeriksaan perubatan hendaklah dilakukan dan laporannya diserahkan bersama-sama dengan laporan sampel darah dan air kencing. Pemeriksaan
  • 232.
    232 Amalan AsasTakaful perubatan meliputi soalan mengenai sejarah perubatan pencadang, ketinggian, berat badan, denyutan nadi dan tekanan darah. Pemeriksa perubatan juga akan meminta nama dan alamat mana- mana doktor yang telah merawat pencadang atau mana-mana hospital yang pernah memberi rawatan kepadanya. Pemeriksa perubatan akan bertanyakan tentang apa-apa penyakit yang dihidapi, ubat-ubatan yang diambil dan rawatan-rawatan lain yang sedang / telah dijalani oleh pencadang. Maklumat dan keperluan tambahan mungkin diperlukan oleh pengendali Takaful, sebagai tambahan kepada pemeriksaan kesihatan dan ia meliputi perkara-perkara berikut:-  Pemeriksaan doktor  ECG semasa rehat  Ujian tekanan Treadmill  X-ray dada 11.6.2 Kenyataan Doktor yang Merawat (Attending Physician’s Statement -APS) Pengendali Takaful sering memerlukan maklumat perubatan dan laporan dari doktor yang merawat untuk memudahkan proses pengunderaitan permohonan Takaful. Kenyataan dari doktor yang merawat ialah kenyataan yang disediakan oleh doktor yang merawat individu yang ingin menyertai pelan Takaful. Huraian yang diberikan dalam kenyataan tersebut (APS) adalah bukti risiko kemortalan pencadang. Doktor yang menyediakan laporan APS mungkin bukan doktor yang merawat pesakit berkenaan. Sebagai contoh, jika seorang pengunderait ingin mencari maklumat tentang pesakit yang pulih dari sakit barah pankreas, besar kemungkinan pengunderait akan meminta laporan APS dari doktor pakar yang merawat pesakit itu sendiri, seperti seorang pakar bedah atau pakar radiologi.
  • 233.
    Pengunderaitan Takaful Perubatandan Kesihatan 233 11.6.3 Rekod Perubatan Hospital Dengan menandatangani dan mengemukakan borang permohonan Takaful, pencadang memberi hak kepada pengendali Takaful untuk mendapatkan dan mengkaji rekod perubatan - sebelum dan selepas menjadi peserta pelan Takaful perubatan dan kesihatan. Rekod perubatan boleh diperolehi dari doktor semasa, doktor terdahulu, farmasi dan pusat kemudahan rawatan. Dalam kebanyakan borang cadangan, terdapat fasal penafian atas permohonan Takaful yang membenarkan pengendali Takaful mendapatkan maklumat perubatan dengan kebenaran dan kelulusan pemohon. A11.7 KEPUTUSAN PENGUNDERAITAN Setiap pengendali Takaful mempunyai garis panduan pengunderaitan sendiri dan standard kepada siapa mereka akan memberi dan tidak akan memberi perlindungan. Proses pengunderaitan adalah kaedah untuk menentukan yang pengendali akan terus berfungsi dalam lingkungan bidang kuasa yang dibenarkan. Setelah analisa mengenai maklumat yang tersedia telah lengkap, pengunderait pada dasarnya mempunyai tiga kategori keputusan pengunderaitan;-  Standard – dipersetujui mengikut apa yang dipohon  Sub-standard / diubahsuai - dipersetujui dengan menyertakan beberapa syarat  Ditolak - permohonan ditolak 11.7.1 Standard – dipersetujui mengikut apa yang dipohon Sekiranya pencadang dikategorikan sebagai mempunyai risiko standard / biasa, pencadang akan dikenakan kadar sumbangan standard tanpa sebarang pengecualian atau pengurangan manfaat.
  • 234.
    234 Amalan AsasTakaful 11.7.2 Sub-Standard / diubahsuai – dipersetujui dengan menyertakan beberapa syarat Sekiranya pencadang mempunyai risiko yang mengatasi risiko standard / biasa (mungkin mengalami tekanan darah tinggi, menghisap rokok atau terlibat dengan aktiviti terjunan udara pada hujung minggu), pencadang dikategorikan sebagai mempunyai risiko yang meningkat dan dikenakan kadar sumbangan yang lebih tinggi. Pengubahsuaian terhadap pelan perlindungan boleh dibuat dalam bentuk:  Pengecualian rider  Tambahan kadar sumbangan  Perubahan manfaat  Kombinasi pilihan di atas 11.7.3 Ditolak - permohonan tidak diterima Keputusan pengunderaitan yang dianggap paling drastik ialah menolak permohonan perlindungan risiko. Sekiranya pencadang dikategorikan sebagai risiko tidak dikehendaki (mungkin peserta menghidap penyakit merbahaya atau terlibat dalam aktiviti atau hobi yang merbahaya), pengendali akan menolak permohonan berkenaan. A11.8 KECUKUPAN SUMBANGAN Takaful menjunjung konsep gotong-royong dan perpaduan dan oleh itu, model Takaful perlu berusaha untuk berlaku adil. Ia perlu memastikan bahawa sumbangan untuk menyertai pelan Takaful ditetapkan pada tahap yang munasabah untuk memastikan kecukupan, ekuiti dan keadilan di kalangan peserta. Pengunderait Takaful perlu melaksanakan proses pengunderaitan demi memastikan hanya risiko yang wajar dipilih dan kadar yang dikenakan adalah sepadan dengan risiko yang ditanggung. Pengendali Takaful akan mengenakan kadar sumbangan yang
  • 235.
    Pengunderaitan Takaful Perubatandan Kesihatan 235 setara dengan risiko yang dikongsi. Dalam erti kata lain, pengendali Takaful akan mengenakan kadar sumbangan yang lebih tinggi kepada pemohon yang mempunyai risiko yang lebih tinggi dari kebarangkalian kerugian purata. A11.9 PENGELUARAN SIJIL 11.9.1 Endorsemen Pengecualian Endorsemen pengecualian digunakan oleh pengendali Takaful sebagai satu cara untuk memberi perlindungan kepada individu yang sepatutnya ditolak permohonannya. Dalam beberapa kes-kes seperti darah tinggi atau tiroid, pengendali Takaful masih boleh memberi perlindungan dengan pengecualian pada penyakit- penyakit berkenaan. 11.9.2 Sumbangan Tambahan Sumbangan tambahan ialah amaun tambahan kepada sumbangan asas yang dikenakan oleh pengendali Takaful untuk menampung perbelanjaan operasi dan mengendali perniagaan. Terdapat dua bentuk sumbangan tambahan iaitu:  Sumbangan tambahan dikenakan kepada peserta berdasarkan risiko seperti yang dinilai oleh pengunderait pengendali Takaful. Biasanya ia dikaitkan dengan sejarah perubatan yang kurang baik, tabiat atau hobi yang berbahaya. Bagi peserta yang merokok, pengendali Takaful mengambil kira bilangan rokok yang dihisap setiap hari dan mengenalpasti risiko seperti yang dinyatakan dalam amalan pengunderaitan.  Sumbangan tambahan dikenakan kepada peserta berdasarkan hubungan dengan pengalaman tuntutan. Dalam beberapa kes penyakit sedia ada, sumbangan tambahan perlu dikenakan kepada risiko yang dianggap lebih tinggi dari risiko biasa. Pada amnya, ia dilakukan selaras dengan had yang ditentukan atau parameter sumbangan tambahan yang difailkan oleh pengendali Takaful dengan pihak berkuasa Takaful. Apabila
  • 236.
    236 Amalan AsasTakaful sijil diperbaharui dan terdapat tuntutan pada tahun sebelumnya, kadar sumbangan akan dinaikkan selaras dengan parameter dan pengiraan, seperti yang dinyatakan dalam sijil Takaful. Sebagai kontrak tahunan dan sekiranya pengalaman tuntutan tidak memuaskan, dasar bebanan berasaskan tuntutan akan ditetapkan oleh pengendali Takaful mengikut budi bicara mereka. 11.9.3 Manfaat yang Diubahsuai Pengendali Takaful mungkin menawarkan manfaat Takaful yang diubah suai kepada pemohon, umpamanya had tahunan yang lebih rendah, amaun deduktibel yang lebih tinggi untuk perbelanjaan perubatan, kadar sumbangan yang lebih tinggi atau pengecualian rider. Pengendali Takaful akan mengambil keputusan ini apabila terdapat beberapa faktor yang tidak meyakinkan dalam keseluruhan risiko. 11.9.4 Pembaharuan Takaful Perubatan dan Kesihatan Terdapat empat pilihan memperbaharui sijil yang diamalkan di bawah pelan Takaful Perubatan dan Kesihatan: 1. Pembaharuan Tidak Boleh Batal dan Pembaharuan Dijamin Pelan Takaful Perubatan dan Kesihatan berserta jaminan pembaharuan menyediakan amaun perlindungan yang lebih besar. Terdapat dua jenis jaminan: a. Kadar sumbangan tidak akan dinaikkan. b. Pengendali Takaful tidak akan menolak permohonan pembaharuan perlindungan. 2. Pembaharuan Dijamin Perbezaan asas diantara perlindungan pembaharuan tidak boleh batal dan pembaharuan dijamin dengan perlindungan
  • 237.
    Pengunderaitan Takaful Perubatandan Kesihatan 237 yang hanya boleh diperbaharui bergantung kepada hak pengendali Takaful untuk mengubah kadar sumbangan. Walau bagaimanapun, pengendali Takaful tidak sepatutnya menaikkan kadar sumbangan peserta hanya kerana pengalaman tuntutan. Sebaliknya, pengendali Takaful boleh menaikkan kadar sumbangan semua peserta dalam kumpulan umur yang sama. 3. Pembaharuan Bersyarat Peruntukan pembaharuan yang ketiga dikenali sebagai pembaharuan bersyarat. Peruntukan pembaharuan bersyarat memberi hak bersyarat kepada pemilik sijil untuk memperbaharui sijil, tetapi pengendali Takaful berhak menolak permohonan pembaharuan sijil peserta didalam kelas tertentu, dan kenaikan kadar sumbangan juga tidak mustahil. Selagi peserta memenuhi syarat-syarat pembaharuan dan membayar amaun sumbangan yang dikenakan tepat pada masanya, Pengendali Takaful menjamin tidak akan membatalkan sijil Takaful. Peruntukan pembaharuan bersyarat biasanya ditawarkan kepada peserta dalam pekerjaan yang berisiko tinggi. 4. Pilihan Boleh Diperbaharui Peruntukan pembaharuan yang keempat menawarkan jaminan pembaharuan yang paling minimum kepada peserta dan hanya sedikit permohonan perlindungan perubatan dan kesihatan moden. Ia dikenali sebagai pilihan perlindungan boleh diperbaharui. Di bawah peruntukan pilihan boleh diperbaharui, kadar sumbangan mungkin akan dinaikkan dan manfaat diubah suai berdasarkan kelas. Di samping itu, Pengendali Takaful boleh membatalkan sijil individu, tetapi hanya pada ulang tahun sijil atau pada tarikh jatuh bayaran sijil.
  • 238.
    238 Amalan AsasTakaful A11.10 BAYARAN SUMBANGAN Pembayaran sumbangan Takaful bergantung kepada jenis sijil. Sesetengah sijil Takaful dikeluarkan berdasarkan ‘tunai-sebelum- lindung’ (cash before cover), manakala sebahagian jenis sijil yang lain sijil lain yang mungkin tertakluk kepada waranti sumbangan 60 hari. Tempoh tenggang mungkin dibenarkan untuk sijil pembaharuan dijamin, sijil pembaharuan bersyarat dan sijil tidak boleh dibatalkan, bagi menyediakan kemudahan kepada pemilik sijil untuk membuat bayaran sumbangan. Walau bagaimanapun, sebarang tuntutan yang berlaku semasa tempoh tenggang tidak akan dibayar walaupun pengendali Takaful tidak akan membatalkan sijil. Sijil akan hanya dianggap batal sekiranya tiada pembayaran sumbangan dibuat sebelum akhir tempoh tenggang. A11.11 PENAMATAN PERLINDUNGAN Apabila berlaku perkara-perkara di bawah, sijil Takaful perubatan dan kesihatan secara automatik akan ditamatkan:  Kematian peserta;  Pada tarikh ulang tahun sijil sejurus selepas umur kelayakan maksimum peserta;  Jumlah manfaat yang dibayar di bawah sijil melebihi had maksimum yang dinyatakan dalam jadual manfaat.
  • 239.
    Pentadbiran Sijil TakafulPerubatan dan Kesihatan 239 BAB A12 PENTADBIRAN SIJIL TAKAFUL PERUBATAN DAN KESIHATAN PENGENALAN Bab ini akan membincangkan isu-isu mengenai pentadbiran sijil Takaful Perubatan dan Kesihatan yang meliputi tajuk-tajuk berikut:  Pentadbiran Sijil Takaful Perubatan dan Kesihatan  Pentadbiran Sijil Takaful  Borang Cadangan  Dokumen Sijil  Endorsemen  Notis Pembaharuan  Dokumen untuk Pelepasan Cukai bagi Bayaran Sumbangan Takaful Perubatan dan Kesihatan A12.1 PENTADBIRAN SIJIL TAKAFUL PERUBATAN DAN KESIHATAN Pentadbiran sijil melibatkan pertukaran dan pengeluaran dokumen sebagai bukti kewujudan kontrak Takaful yang sah. Dokumen berkenaan termasuk perkara-perkara berikut: 1. Borang Cadangan 2. Sijil 3. Endorsemen 4. Notis Pembaharuan 5. Bukti bayaran sumbangan Takaful Perubatan dan Kesihatan bagi tujuan pelepasan cukai Seksyen 27 Akta Takaful 1984 menyatakan tentang kawalan dan penghantaran borang cadangan, sijil dan risalah pengendali Takaful
  • 240.
    240 Amalan AsasTakaful kepada pihak Bank Negara Malaysia. Sebagai tambahan, Seksyen 27 Akta juga menyatakan bahawa Bank Negara Malaysia akan menjelaskan tentang kod amalan terbaik mengenai diskripsi borang cadangan, sijil dan risalah. A12.2 BORANG CADANGAN Borang cadangan pelan Takaful perubatan dan kesihatan merupakan sebahagian dari kontrak Takaful. Pencadang menandatangani borang cadangan sebagai mengesahkan bahawa semua maklumat yang diberikan sepanjang pengetahuannya adalah benar dan betul, dan pengendali Takaful mengeluarkan sijil berdasarkan dari maklumat diatas. Borang cadangan merupakan dokumen yang sangat penting kerana biasanya ia dikepilkan bersama sijil dan menjadi sebahagian dari kontrak Takaful. Oleh yang demikian, pengendali hendaklah mengambil perhatian sepenuhnya terhadap ketepatan isi kandungannya demi menjaga kepentingan kedua-dua belah pihak iaitu pengendali Takaful dan peserta. 12.2.1 Tujuan Borang Cadangan Tujuan diadakan borang cadangan ialah untuk membantu pengendali Takaful mengumpulkan maklumat yang diperlukan bagi tujuan pengunderaitan. Maklumat yang diperolehi dapat membantu pengunderait menilai dengan cepat dan tepat. Dari segi amalan, borang cadangan kerap digunakan untuk menilai perkara yang berkaitan dengan risiko yang mudah, dimana maklumat boleh disediakan dalam format yang tersusun. 12.2.2 Struktur Borang Cadangan Borang cadangan biasanya dibahagikan kepada beberapa bahagian dimana setiap bahagian direka untuk mendapatkan maklumat tertentu. Walaupun bentuk borang cadangan mungkin berbeza antara satu pengendali Takaful dengan pengendali Takaful yang lain,
  • 241.
    Pentadbiran Sijil TakafulPerubatan dan Kesihatan 241 kebanyakannya berkisar kepada keperluan memberitahu dan mengemukakan maklumat-maklumat berikut: 1. Bahagian 1 (Maklumat Am), 2. Bahagian 2 (Maklumat Perubatan), Kenyataan atau Laporan Ejen, dan tandatangan semua pihak yang terlibat dalam kontrak berkenaan. Soalan-soalan yang terdapat dalam borang cadangan bukanlah menyeluruh dan pencadang bertanggungjawab untuk mendedahkan semua fakta material walaupun ia mungkin tidak ditanya dalam borang berkenaan. Dibawah Seksyen 11 Garis Panduan Perniagaan Takaful Perubatan dan Kesihatan, pengendali Takaful bertanggung jawab mengambil langkah-langkah yang sewajarnya membantu pencadang melaksanakan tanggungjawab mendedahkan atau memberitahu maklumat-maklumat penting bagi tujuan penilaian pengunderaitan. 12.2.3 Kandungan Borang Cadangan Berhubung dengan Seksyen 11 Garis Panduan Perniagaan Takaful Perubatan dan Kesihatan, sub-seksyen 11(a) dan 11(b) menyatakan bahawa pengendali Takaful hendaklah memastikan semua borang cadangan:- 11 (a) memasukkan soalan-soalan khusus yang direka untuk mendapatkan maklumat yang relevan kepada keputusan pengendali Takaful sama ada untuk menerima atau menolak risiko, kadar sumbangan dan syarat-syarat yang dikenakan. 11 (b) secara jelas meminta pencadang mendedahkan apa-apa keadaan lain yang difikirkan penting, tanpa mengira yang pengendali Takaful dengan sebaik mungkin telah merangka soalan yang khusus di bawah perenggan 11 (a) di atas.
  • 242.
    242 Amalan AsasTakaful Biasanya borang cadangan mengandungi perkara-perkara berikut: 1. Kenyataan pemberitahuan seperti yang disyaratkan dibawah Akta Takaful 1984 Seksyen 28 Akta Takaful 1984 menghendaki pencadang mendedahkan atau memberitahu secukupnya fakta-fakta yang ia ketahui. Kenyataan tersebut berbunyi “Anda dikehendaki menyatakan dalam borang cadangan, keterangan yang lengkap dan jujur mengenai segala fakta yang anda ketahui atau anda sepatutnya mengetahui; sekiranya tidak, sijil yang dikeluarkan akan menjadi tidak sah.” 2. Soalan-soalan am mengenai pencadang Borang cadangan Takaful perubatan dan kesihatan mengandungi soalan-soalan asas mengenai butir-butir peribadi pencadang seperti berikut: a. Nama pencadang bagi tujuan pengenalan diri. Walau bagaimanapun, nama juga dapat memberi petunjuk mengenai aspek risiko yang dicadangkan. Sebagai contoh, nama syarikat biasanya dapat menunjukkan jenis perniagaan yang dijalankan. b. Alamat surat menyurat pencadang c. Alamat tentang risiko. Alamat dapat menyediakan petunjuk tempat kerja pencadang. Maklumat ini penting kerana lokasi yang berisiko tinggi bukan sahaja meningkatkan kemungkinan berlaku kerugian, tetapi juga tahap keterukan kerugian yang akan ditanggung. d. Pekerjaan pencadang. Pekerjaan yang berbeza mempunyai tahap risiko yang berbeza juga. Contohnya, dari perspektif Takaful perubatan dan kesihatan, pekerja di tapak pembinaan dianggap melibatkan pekerjaan yang berisiko tinggi berbanding dengan pekerja pejabat.
  • 243.
    Pentadbiran Sijil TakafulPerubatan dan Kesihatan 243 3. Maklumat mengenai insurans / Takaful yang dimiliki sekarang & terdahulu. 4. Soalan-soalan khusus mengenai sejarah perubatan dan kesihatan. Soalan mungkin meliputi perkara-perkara berikut: a. Sejarah keluarga & perubatan b. Tabiat merokok c. Hobi yang merbahaya d. Soalan berkaitan AIDS 5. Dibawah Seksyen 13 garis panduan yang sama, borang cadangan yang digunakan hendaklah mengandungi kenyataan pengisytiharan, yang memasukkan maklumat minimum berikut:- a. Aqad (kontrak) yang mengikat peserta Takaful; b. Aqad (kontrak) yang mengikat peserta dan pengendali Takaful; c. Peruntukan keuntungan dan surplus pelaburan kepada peserta; dan d. Peruntukan keuntungan, surplus dan yuran kepada pengendali Takaful. 6. Dibawah fasal pengisytiharan, terdapat peruntukan yang memerlukan tandatangan pencadang berserta tarikh tandatangan. Pencadang perlu menandatangani borang cadangan berkenaan kerana ia menandakan tawaran kontrak tersebut. A12.3 DOKUMEN SIJIL Pengendali Takaful menyediakan dokumen sijil yang menandakan ia adalah bukti bertulis kontrak Takaful. Dalam usaha untuk diterima sebagai keterangan dalam mahkamah undang-undang, sijil Takaful perlu disetemkan selaras dengan peruntukan Akta Setem. Dokumen yang kerap disediakan oleh pengendali Takaful adalah merupakan
  • 244.
    244 Amalan AsasTakaful jenis jadual yang dibahagikan kepada beberapa bahagian yang berbeza dengan butir-butir risiko tertentu yang dilindungi dimasukkan ke dalam satu bahagian dokumen sijil yang dikeluarkan oleh pengendali Takaful. 12.3.1 Struktur Dokumen Sijil Takaful Perubatan dan Kesihatan Jadual didalam dokumen sijil dibahagikan kepada beberapa bahagian iaitu: 1. Tajuk Di bawah seksyen ini, nama penuh dan alamat berdaftar Pengendali Takaful dicetak dibahagian atas muka surat hadapan. 2. Pendahuluan atau Klausa Kuatkuasa Klausa ini memperkenalkan atau menyebut tentang pihak-pihak yang terlibat dalam kontrak – pengendali Takaful dan peserta. Klausa pendahuluan ini menjadi rujukan sekiranya pelan Takaful keluarga yang dimaksudkan adalah berdasarkan dari borang cadangan berserta perisytiharan. Klausa ini juga menyatakan bahawa peserta telah membayar sumbangan atau telah bersetuju untuk membayar sumbangan sebagai balasan. 3. Klausa Operasi Klausa ini menerangkan tentang kandungan penting kontrak dengan menyatakan peril yang dilindungi dibawah sijil ini dan keadaan-keadaan yang menjadikan pengendali Takaful bertanggungjawab untuk membuat bayaran atau seumpamanya kepada peserta.
  • 245.
    Pentadbiran Sijil TakafulPerubatan dan Kesihatan 245 4. Pengecualian Pengecualian adalah had atau batasan skop perlindungan Takaful. Ia telah menjadi amalan untuk menyatakan semua bentuk pengecualian dibawah satu bahagian yang berasingan di dalam dokumen sijil. Pengecualian disertakan dalam sijil kerana terdapat peril atau kerugian tertentu yang tidak boleh dilindungi di bawah sijil Takaful. Sebelum dokumen sijil berjadual diperkenalkan, pengecualian biasanya dinyatakan dibahagian fasal kuatkuasa dan syarat-syarat. 5. Jadual manfaat Seksyen ini mengandungi semua maklumat bercetak yang berkaitan dengan kontrak berkenaan. Manfaat yang disediakan dibawah sijil ini hendaklah dinyatakan dengan terang dan nyata supaya peserta dapat memahami isi kandungannya serta boleh dijadikan rujukan. Ini biasanya dilakukan dengan menyediakan jadual faedah secara berasingan atau mukasurat khas dalam sijil. Contohnya, dalam sijil Takaful perubatan dan kesihatan, jadual manfaat menyatakan maklumat berikut:  nama dan alamat peserta  sumbangan  nombor sijil  tarikh dikeluarkan  agensi  tarikh lahir peserta  tempoh perlindungan Takaful  pekerjaan peserta  fasal pengecualian tertentu  pelbagai jenis dan amaun manfaat
  • 246.
    246 Amalan AsasTakaful 6. Klausa Penyaksian (attestation) atau Tandatangan Klausa ini dinamakan sedemikian kerana ia memperuntukkan kepada pengendali Takaful untuk menyatakan tanggungjawabnya. Sijil Takaful ditandatangani oleh pegawai yang diberi kuasa oleh pengendali Takaful. 7. Syarat-syarat Dalam kontrak Takaful, syarat-syarat perlindungan berbentuk nyata / tersurat atau tidak nyata / tersirat. Syarat tersirat biasanya berkaitan dengan perkara-perkara berikut:  Tanggungjawab Penuh Percaya Mutlak (Utmost Good Faith)  Kewujudan kepentingan boleh lindung (insurable interest)  Kewujudan perkara pokok produk Takaful, dan  Mengenal pasti perkara pokok produk Takaful. Pengendali Takaful akan mencetak syarat-syarat nyata dalam sijil dan memantau perlaksanaan kontrak Takaful. Apabila syarat- syarat nyata tidak dinyatakan, kontrak Takaful akan tertakluk hanya kepada syarat-syarat yang tersirat. Berikut adalah tiga kategori syarat-syarat kontrak yang melibatkan masa sebagai elemen penting:-  Syarat-syarat Sebelum Kontrak Untuk memastikan kontrak Takaful sah, terdapat syarat- syarat yang perlu dipenuhi sebelum sesuatu kontrak itu mejadi sah. Ia termasuk syarat tersirat seperti Penuh Percaya Mutlak dan kepentingan boleh insurans.  Syarat-syarat Semasa Kontrak Untuk memastikan kontrak kekal sah selepas dikeluarkan, terdapat beberapa syarat yang perlu dipenuhi. Syarat-syarat
  • 247.
    Pentadbiran Sijil TakafulPerubatan dan Kesihatan 247 yang menghendaki peserta memberitahu pengendali Takaful tentang sebarang perubahan atau pindaan terhadap risiko yang dilindungi adalah contoh syarat-syarat semasa kontrak. Ia meliputi syarat-syarat nyata yang disenaraikan dalam sijil seperti perantaraan, sumbangan, subrogasi dan sebagainya.  Syarat-syarat Sebelum Liabiliti Syarat-syarat ini perlu dipenuhi sebelum pengendali Takaful bertanggungjawab terhadap sebarang tuntutan. Syarat pemberitahuan dalam Takaful kebakaran adalah contoh syarat sebelum liabiliti. 8. Daftar Sijil: Setiap pengendali Takaful yang berdaftar di bawah Akta Takaful 1984 hendaklah mewujudkan dan menyelenggara daftar sijil Takaful dalam bentuk tertentu seperti yang diperuntukkan, dan selain dari perkara yang dikecualikan, daftar sijil hendaklah disimpan di pejabat pengendali Takaful yang menjalankan perniagaan di Malaysia. Adalah menjadi keperluan undang-undang di bawah Seksyen 15 Akta Takaful 1984, bahawa pengendali Takaful dikehendaki mengendali dan mengemaskinikan daftar semua sijil yang telah dikeluarkan, dan tiada satu pun sijil berkenaan dikeluarkan dari daftar selagi pengendali Takaful masih menanggung liabiliti keatas sijil berkenaan. Daftar sijil digunakan sebagai rekod rasmi sijil yang dikeluarkan oleh pengendali Takaful. Daftar polisi boleh disimpan dalam bentuk kad atau lembaran lejer atau cetakan komputer kerana Akta Takaful 1984 tidak menetapkan bentuk catatan rekod yang khusus bagi tujuan berkenaan. A12.4 ENDORSEMEN Pengendali Takaful akan mengeluarkan sijil dalam bentuk standard meliputi peril tertentu dan mengecualikan yang lainnya. Walau
  • 248.
    248 Amalan AsasTakaful bagaimanapun, sekiranya timbul keperluan untuk meminda terma dan syarat sijil, pengendali Takaful akan mengepilkan satu atau lebih memorandum atau endorsemen pada sijil. Endorsemen membentuk sebahagian dari sijil dan merupakan bukti kontrak. Pindaan yang dibuat mungkin berkaitan dengan mana-mana yang berikut: o perubahan amaun manfaat o perubahan kepada mana-mana tempoh manfaat maksimum o perluasan perlidungan Takaful untuk melindungi tambahan ahli keluarga o perubahan risiko pekerjaan o pembatalan Takaful o pertukaran nama dan alamat peserta A12.5 NOTIS PEMBAHARUAN Untuk produk Takaful Perubatan dan Kesihatan pembaharuan tahunan (biasanya pelan asas), pengendali Takaful biasanya mengeluarkan notis pembaharuan satu atau dua bulan lebih awal dari tarikh tamat tempoh, mengingatkan peserta tentang sijil yang akan tamat tempoh pada tarikh tertentu. Walaupun tiada obligasi dari segi undang-undang bagi pengendali Takaful untuk memberitahu peserta, ia telah menjadi amalan biasa dan dianggap sebagai sebahagian dari urus khidmat pelanggan pengendali Takaful. Notis pembaharuan mengandungi semua butiran penting sijil termasuk:  nama peserta  nombor sijil  tarikh tamat sijil  amaun sumbangan tahunan  pindaan syarat-syarat sijil (sekiranya berkenaan).
  • 249.
    Pentadbiran Sijil TakafulPerubatan dan Kesihatan 249 Pengendali Takaful juga memasukkan nota meminta peserta mendedahkan sebarang perubahan material terhadap risiko sejak tarikh kuatkuasa sijil (atau tarikh terakhir pembaharuan sijil). Untuk kontrak jangka panjang Takaful Perubatan dan Kesihatan, sumbangan biasanya dibayar berdasarkan kekerapan bayaran yang telah dipersetujui terlebih dahulu, umpamanya bulanan, suku tahunan, setengah tahun atau tahunan. Dalam hal ini, pengendali Takaful akan menghantar notis pemberitahuan sumbangan tiga atau empat minggu sebelum tarikh jatuh bayaran. Sekiranya terdapat bayaran sumbangan yang tertunggak, iaitu tidak dibayar dua atau tiga minggu selepas tarikh jatuh bayaran, pengendali Takaful akan menghantar Notis Peringatan Sumbangan kepada peserta. A12.6 DOKUMEN UNTUK PELEPASAN CUKAI BAGI BAYARAN SUMBANGAN TAKAFUL PERUBATAN DAN KESIHATAN Peraturan percukaian masa kini membenarkan seseorang individu pembayar cukai pemastautin Malaysia menikmati tambahan potongan cukai seperti berikut:  Potongan dari pendapatan boleh dicukai sehingga ke had maksimum RM 3,000 atas bayaran sumbangan Takaful pendidikan dan Takaful perubatan.  Potongan dari pendapatan boleh dicukai sehingga ke had maksimum RM 6,000 atas bayaran sumbangan sijil Takaful dan sumbangan kepada skim persaraan yang diluluskan. Tempoh perlindungan Pelan Takaful Perubatan dan Kesihatan hendaklah dalam jangka masa 12 bulan atau lebih. Perbelanjaan yang ditanggung hendaklah yang berkaitan dengan rawatan perubatan disebabkan penyakit, kemalangan atau hilang upaya. Pelan ini mungkin dalam bentuk sijil asas atau sebagai pelan tambahan (rider) kepada sijil Takaful Keluarga. Sekiranya perlindungan dalam bentuk
  • 250.
    250 Amalan AsasTakaful pelan tambahan, hanya sumbangan pelan tambahan yang layak mendapat potongan cukai. Lembaga Hasil Dalam Negeri memerlukan bukti bayaran sumbangan bagi melayakkannya mendapat kemudahan potongan cukai. Oleh itu, peserta dinasihatkan untuk menyimpan segala resit bayaran bagi tujuan pengauditan cukai dan pengesahan bayaran.
  • 251.
    Tuntutan Takaful Perubatandan Kesihatan 251 BAB A13 TUNTUTAN TAKAFUL PERUBATAN DAN KESIHATAN PENGENALAN Bab A13 akan membincangkan isu-isu berkaitan tuntutan Takaful perubatan dan kesihatan, yang meliputi aspek-aspek berikut:  Pemberitahuan tentang Kerugian  Bukti Kerugian/Tuntutan  Memeriksa Perlindungan  Penyiasatan Tuntutan  Borang Tuntutan Takaful Perubatan dan Kesihatan  Penafian Liabiliti oleh Pengendali Takaful  Pertikaian A13.1 PEMBERITAHUAN TUNTUTAN Orang ramai menyertai skim Takaful kerana mengharapkan bayaran pampasan apabila berlaku kerugian. Walau bagaimanapun, apabila berlaku sesuatu kejadian yang memungkinkan tuntutan dibuat, pengendali Takaful tidak terus bertindak memproses tuntutan dan membayar ganti rugi kepada pemilik sijil, melainkan pengendali Takaful telah diberitahu mengenainya. Oleh itu, pemberitahuan mengenai tuntutan adalah penting mengikut peruntukan kontrak Takaful. Dua sebab utama mengapa pemberitahuan tuntutan itu penting: pertama, pengendali Takaful perlu diberi peluang untuk menyiasat tentang kerugian / tuntutan berkenaan, dan kedua, pengendali Takaful perlu membuat peruntukan bagi menampung kos tuntutan.
  • 252.
    252 Amalan AsasTakaful Sijil Takaful menghendaki pemilik sijil memberitahu pengendali Takaful secara bertulis tentang apa-apa tuntutan dalam tempoh tertentu, biasanya dalam tempoh 14 hari hingga 30 hari. Pihak yang menuntut perlu mengisi borang tuntutan dan mengemukakannya kepada pengendali Takaful, berserta dokumen-dokumen sokongan seperti laporan perubatan dan sebagainya yang dapat membantu proses tuntutan. Kesemua dokumen berkenaan disediakan atas perbelanjaan pihak yang menuntut. Sekiranya pengendali Takaful memerlukan siasatan lanjut, kos siasatan berkenaan akan ditanggung oleh pengendali Takaful. A13.2 BUKTI TUNTUTAN Pihak yang menuntut dikehendaki mengemukakan bukti bertulis mengenai kerugian / tuntutan dalam tempoh seperti yang dinyatakan dalam peruntukan kerugian. Dalam kes tuntutan manfaat hospital dan perubatan, bukti sah kemasukan ke hospital (bil hospital yang asal dan borang tuntutan) hendaklah dikemukakan dalam tempoh masa yang ditetapkan. Pihak yang menuntut hendaklah mendaftarkan tuntutannya terlebih dahulu dengan pengendali Takaful dalam tempoh masa yang ditetapkan dan kemudiannya mengemukakan semua dokumen yang berkaitan untuk memudahkan proses tuntutan. Biasanya, dokumen sokongan yang diperlukan ialah:  Bukti pengenalan diri,  Salinan dokumen sijil,  Bil hospital yang asal di mana peserta telah dimasukkan ke hospital,  Sijil daftar keluar dari hospital, dan  Laporan siasatan yang asal. Kegagalan mengemukakan dokumen tuntutan dalam tempoh masa yang ditetapkan tidak boleh menyebabkan tuntutan terbatal sekiranya dapat dibuktikan bahawa adalah mustahil untuk menyediakan semua
  • 253.
    Tuntutan Takaful Perubatandan Kesihatan 253 bukti dalam tempoh yang diminta, tetapi semua dokumen telah disiapkan dalam tempoh masa yang dianggap paling wajar. A13.3 BORANG TUNTUTAN TAKAFUL PERUBATAN DAN KESIHATAN Borang tuntutan Takaful Perubatan dan Kesihatan direka untuk mengetahui maklumat yang diperlukan bagi menentukan liabiliti pengendali Takaful di bawah sijil berkenaan. Secara amnya, ia mengandungi kenyataan pihak yang menuntut dan kenyataan dari doktor yang merawat. Antara soalan-soalan yang dianggap standard dalam semua borang tuntutan ialah:  Nama  Alamat  Tarikh lahir  Nombor sijil Takaful dan nombor kumpulan  Maklumat sekiranya pemilik sijil juga dilindungi di bawah pelan Takaful berkumpulan melalui majikannya.  Keterangan mengenai kecederaan atau sakit / penyakit yang menyebabkan kerugian. Pihak yang menuntut bukan sahaja perlu menyatakan tarikh menerima rawatan perubatan atau doktor yang merawat, tetapi juga perlu memberitahu tarikh berlaku kecederaan atau sakit serta keterangan lanjut mengenainya. Terdapat beberapa soalan tambahan atau kemungkinan borang tambahan yang perlu dilengkapkan sekiranya ia melibatkan kecederaan kerana pengendali Takaful perlu menentukan adakah kecederaan berkenaan disebabkan oleh kecuaian pihak ketiga. Pihak yang menuntut juga perlu memberi keizinan dan kebenaran kepada penyedia perubatan, doktor atau majikan untuk memberikan maklumat atau rekod berkaitan dengan sejarah perubatan peserta atau status pekerjaannya. Keizinan dari peserta ini membolehkan pengendali Takaful mendapatkan rekod maklumat yang lebih lengkap bagi memudahkan proses penilaian tuntutan.
  • 254.
    254 Amalan AsasTakaful A13.4 MEMERIKSA PERLINDUNGAN Apabila pengendali Takaful menerima notis pemberitahuan tuntutan, jabatan tuntutan akan membuat pemeriksaan awal untuk memastikan kesahihan tuntutan tersebut. 1. Proses tuntutan bermula dengan menentukan sama ada tuntutan tersebut adalah sah atau sebaliknya. Antara perkara-perkara yang perlu diperiksa oleh jabatan tuntutan ialah:  Adakah sijil masih berkuatkuasa?  Adakah sumbangan telah dibayar?  Adakah kerugian disebabkan peril yang dilindungi?  Adakah perkara pokok yang terlibat dengan kerugian adalah sama dengan apa yang dilindungi dalam sijil?  Adakah notis pemberitahuan kerugian telah dibuat tanpa sebarang kelewatan? 2. Borang Tuntutan Setelah jabatan tuntutan selesai membuat pemeriksaan awal dan mendapati tuntutan tersebut adalah sah, borang tuntutan akan dikeluarkan dan diserahkan kepada pihak yang menuntut. Arahan yang jelas mengenai prosedur tuntutan dan dokumen-dokumen yang diperlukan juga akan diberitahu kepada pihak yang menuntut. Walau bagaimanapun, jika didapati tuntutan yang dikemukakan adalah tidak sah, pihak yang menuntut akan diberitahu mengenainya dan proses tuntutan tidak akan diteruskan. 3. Daftar Tuntutan Semua tuntutan hendaklah didaftarkan di dalam Buku Daftar Tuntutan sebaik sahaja pengendali Takaful menerima notis pemberitahuan. Pengendali Takaful juga hendaklah menyimpan satu buku daftar terkini bagi semua tuntutan Takaful kerana ia
  • 255.
    Tuntutan Takaful Perubatandan Kesihatan 255 dianggap sebagai rekod rasmi tuntutan. Pengendali Takaful tidak boleh mengeluarkan sebarang rekod dalam buku daftar selagi ia pengendali masih bertanggungjawab terhadap tuntutan berkenaan. A13.5 PENYIASATAN TUNTUTAN Langkah seterusnya dalam proses tuntutan Takaful ialah membuat siasatan. Satu siasatan yang menyeluruh akan dilakukan bagi menentukan sama ada pengendali Takaful bertanggungjawab terhadap kerugian berkenaan. Sejauh mana siasatan perlu dijalankan adalah bergantung kepada tahap kerumitan dan saiz (amaun) tuntutan. Proses Penyiasatan tuntutan melibatkan perkara-perkara berikut: 1. Jabatan tuntutan akan menyiasat bagi menentukan sama ada:  wujud kerugian  kerugian disebabkan peril yang dilindungi di bawah sijil Takaful  kerugian tidak termasuk dalam skop pengecualian di bawah sijil Takaful  pihak yang menuntut adalah pihak yang sah untuk berbuat demikian. 2. Dokumen Tuntutan Borang tuntutan direka untuk membantu pengendali Takaful mengumpulkan maklumat-maklumat penting untuk menilai tuntutan. Format borang tuntutan mungkin berbeza antara satu pengendali dengan pengendali yang lain, tetapi beberapa maklumat penting perlu diketahui tanpa mengira siapa pengendali Takaful berkenaan. Maklumat tersebut ialah:  Nama peserta  Alamat peserta  No telefon peserta
  • 256.
    256 Amalan AsasTakaful  Nombor sijil  Sebab-sebab membuat tuntutan. Pengendali Takaful menyatakan kedudukannya dengan jelas melalui kenyataan bahawa borang tuntutan dikeluarkan tanpa sebarang prasangka, yang bermaksud pengeluaran borang tuntutan tidak bermakna pengendali mengaku untuk menanggung liabiliti di bawah sijil yang dimaksudkan. A13.6 PENYELESAIAN TUNTUTAN TAKAFUL PERUBATAN DAN KESIHATAN Proses tuntutan Takaful berakhir dengan bayaran tuntutan. Setelah pengendali Takaful selesai membuat siasatan dan memutuskan untuk membayar tuntutan, pengendali akan menentukan amaun bayaran dan seterusnya membuat bayaran tuntutan kepada pihak yang menuntut. A13.7 PENAFIAN LIABILITI OLEH PENGENDALI TAKAFUL Pengendali Takaful mungkin boleh menolak liabiliti tuntutan berasaskan kepada beberapa sebab yang kukuh. Antaranya ialah:  Kerugian tidak wujud seperti yang dilaporkan.  Kerugian atau kerosakan berlaku disebabkan peril yang tidak dilindungi.  Kerugian atau kerosakan yang berlaku disebabkan peril yang dikecualikan.  Sijil diisytiharkan batal kerana telah melanggar syarat-syarat sijil. Apabila sesuatu tuntutan itu ditolak, pengendali Takaful akan memberitahu pihak yang menuntut dengan cara:  mengeluarkan surat kepada pemilik sijil dan memberitahu keputusan penolakan berkenaan.
  • 257.
    Tuntutan Takaful Perubatandan Kesihatan 257  mengeluarkan surat kepada ejen, mengarahkan ejen menghubungi dan memberitahu pemilik polisi tentang keputusan penolakan tuntutan dan memberitahu sebab-sebab penolakan. A13.8 PERTIKAIAN Sungguhpun banyak kes tuntutan yang berjaya diselesaikan setiap tahun oleh pengendali Takaful, terdapat sebahagian kecil kes tuntutan yang berakhir dengan pertikaian antara pihak yang menuntut dengan pengendali Takaful. Pertikaian biasanya melibatkan salah satu dari isu-isu berikut:  Persoalan sama ada pengendali Takaful boleh dipertanggungjawabkan;  Kuantum atau jumlah kerugian, sekiranya pengendali Takaful bertanggungjawab. Sekiranya timbul pertikaian atau perselisihan, ia mungkin boleh diselesaikan melalui saluran-saluran berikut: 1. Rundingan dan Bertolak ansur Sekiranya timbul perbalahan, biasanya langkah pertama yang diambil oleh pengendali Takaful ialah mengadakan perjumpaan dengan pihak yang menuntut untuk menyelesaikan pertikaian melalui perbincangan. Wakil dari pengendali, biasanya kakitangan dari jabatan tuntutan akan menjelaskan sebab-sebab penolakan tuntutan. Sekiranya timbul pertikaian mengenai kuantum / amaun kerugian, wakil pengendali akan berunding mencari jalan penyelesaian yang dipersetujui oleh kedua-dua belah pihak. Penyelesaian melalui cara ini biasanya berakhir dengan pengendali terpaksa membayar lebih dari amaun tawaran asal – dan pihak yang menuntut menerima bayaran yang kurang dari amaun tuntutan asal.
  • 258.
    258 Amalan AsasTakaful 2. Perundangan Pihak yang menuntut mungkin memutuskan untuk mengambil tindakan mahkamah terhadap pengendali Takaful sekiranya ia tidak berpuashati dengan perbincangan / keputusan dengan pihak jabatan tuntutan. Walau bagaimanapun, pengendali Takaful biasanya berpendapat tindakan perundangan adalah pilihan terakhir. Pengendali Takaful boleh menggunakan kaedah perundangan lain seperti Biro Perantaraan Kewangan (FMB), kecuali sekiranya ia melibatkan amaun tuntutan yang besar atau prinsip utama Takaful. 3. Timbangtara Fasal timbangtara memperuntukkan bahawa semua perbalahan atau pertikaian mengenai kuantum / jumlah sahaja yang boleh dirujuk untuk ditimbangtara. Ia biasanya melibatkan tuntutan sijil Takaful am. Timbangtara merupakan suatu kaedah penyelesaian yang paling terkemuka dan digunakan dengan meluas untuk menyelesaikan pertikaian. Ia memberikan pilihan kepada pihak-pihak yang terlibat dengan perselisihan, selain dari kaedah penyelesaian di mahkamah. Tidak seperti kaedah perundangan, timbangtara diselesaikan di luar mahkamah: Kedua-dua pihak yang bertelagah memilih orang tengah / pihak ketiga yang bersikap adil, dikenali sebagai penimbangtara; kedua-dua pihak bersetuju sejak awal- awal lagi untuk mematuhi keputusan yang dibuat oleh penimbangtara; kedua-dua pihak terlibat dalam perbicaraan dan diberi peluang untuk mengemukakan hujah, bukti dan saksi. Biasanya, keputusan penimbangtara adalah dianggap muktamad, dan jarang sekali kedengaran kes mereka dirujukkan ke mahkamah.
  • 259.
    Tuntutan Takaful Perubatandan Kesihatan 259 4. Perantaraan Biro Perantaraan Kewangan (Financial Mediation Bureau - FMB) adalah sebuah badan bebas yang ditubuhkan untuk membantu menyelesaikan pertikaian antara pelanggan dengan penyedia perkhidmatan kewangan yang dikawal oleh Bank Negara Malaysia. Biro ini bertindak sebagai pusat resolusi pelbagai aduan pelanggan yang menyediakan perkhidmatan secara percuma, cepat, cekap dan memudahkan. Skop aduan yang dikendalikan oleh FMB termasuklah aduan dari individu, syarikat korporat dan tuntutan `pihak ketiga’ (kerosakan harta sahaja). Untuk aduan, pertikaian atau tuntutan melibatkan kerugian kewangan, had maksimum kes yang dikendalikan oleh FMB adalah seperti berikut:  RM200,000 bagi perniagaan Takaful motor dan Takaful kebakaran  RM100, 000 untuk kelas perniagaan Takaful lain  Tuntutan dari pihak ketiga dihadkan kepada RM5, 000. Keputusan yang dibuat oleh FMB akan mengikat pengendali Takaful untuk mematuhinya, tetapi tidak kepada pihak yang mengadu. Pengadu yang tidak berpuashati dengan keputusan FMB boleh merujukkan kesnya ke mahkamah. Alamat Biro Perantaraan Kewangan ialah; Biro Perantaraan Kewangan (FMB) Level 25 Darul Takaful 4 Jln Sultan Sulaiman 50000 Kuala Lumpur
  • 260.
    260 Amalan AsasTakaful A13.9 CONTOH TUNTUTAN Fazlina menyertai pelan Takaful Perubatan dan Kesihatan pada 10 Februari 2010. Pelan tersebut menetapkan had tahunan sebanyak RM100,000 dan had sepanjang hayat sebanyak RM500,000. Beliau juga menyertakan rider manfaat elaun hospital sebanyak RM200 sehari. Peruntukan pelan menetapkan keperluan 10% Takaful bersama. Fazlina telah dimasukkan ke hospital pada 20 Ogos 2011. Ini adalah kali kedua beliau dimasukkan ke hospital. Kali pertama beliau dimasukkan ke hospital pada Januari 2011 dengan bil hospital berjumlah RM10,000. Tiga hari kemudian beliau dibenarkan pulang dan bil hospital berjumlah RM5,500. Pertama, jabatan tuntutan perlu menjalankan siasatan awal bagi menentukan perkara berikut:  Adakah sijil masih dalam keadaan berkuatkuasa?  Adakah sumbangan telah dibayar?  Adakah sebab kemasukan ke hospital termasuk dalam senarai pengecualian?  Adakah perkara pokok yang mengalami kerugian sama seperti perkara pokok yang dilindungi di bawah sijil?  Adakah had tahunan dan had seumur hidup tidak dipatuhi? Sekiranya tiada apa-apa keraguan terhadap semua persoalan di atas, tuntutan yang dikemukakan kepada pengendali Takaful mungkin akan dipertimbangkan. Dalam kebanyakan kes, pengendali Takaful tidak akan membayar keseluruhan amaun tuntutan kerana terdapat butiran dalam bil hospital yang tidak dilindungi di bawah sijil. Andaikan, hanya RM5,000 dari jumlah keseluruhan bil hospital sebanyak RM5,500 layak dipertimbangkan untuk dibayar balik tuntutannya. Dengan mengambil kira 10% Takaful bersama, amaun bayaran balik ialah RM4,500. Fazlina akhirnya perlu menanggung sendiri bayaran sebanyak RM1,000.
  • 261.
    Pengenalan Takaful Keluarga437 BAHAGIAN C TAKAFUL KELUARGA & PELAN TAKAFUL BERKAITAN PELABURAN (ILTP)
  • 262.
  • 263.
    Pengenalan Takaful Keluarga439 BAB C1 PENGENALAN TAKAFUL KELUARGA PENDAHULUAN Dalam bab ini, kita akan membiasakan diri dengan beberapa tajuk penting iaitu:-  Ciri-ciri Pelan Takaful Keluarga.  Prinsip-prinsip Asas Kontrak yang Digunakan Dalam Perlindungan Takaful Keluarga.  Risiko yang Dilindungi di bawah Pelan Takaful Keluarga. C1.1 PENGENALAN Takaful Keluarga adalah skim Takaful yang menyediakan perlindungan dan simpanan jangka panjang kepada peserta. Peserta Takaful Keluarga akan menyumbang sejumlah wang ke dalam dana Takaful. Sebahagian daripada sumbangan itu akan dikumpulkan di bawah satu dana (Akaun Khas Peserta atau AKP) di bawah konsep tabarru' (derma) dan sebahagian yang lain akan digunakan bagi tujuan simpanan dan pelaburan (Akaun Peserta atau AP). Bahagian yang diagihkan ke AKP akan digunakan untuk memenuhi kewajipan bantuan bersama, sekiranya mana-mana peserta menghadapi nasib malang yang timbul dari kematian atau hilang upaya kekal. Pengendali Takaful akan melabur melalui simpanan peserta dalam AP dan keuntungan yang diperolehi akan dikongsi antara peserta dan pengendali Takaful mengikut nisbah yang telah dipersetujui. Sekiranya peserta ditimpa musibah, waris peserta akan dibayar pampasan dengan manfaat kewangan daripada AKP. Walau bagaimanapun, sekiranya peserta masih hidup sehingga ke tarikh matang pelan, dia layak berkongsi lebihan bersih daripada dana itu,
  • 264.
    440 Aamalan AsasTakaful jika ada. Peserta juga layak menikmati kemudahan pelepasan cukai apabila dia menyertai C1.2 CIRI-CIRI PELAN TAKAFUL KELUARGA Ciri-ciri asas Takaful Keluarga adalah seperti berikut: 1. Pelan Jangka Panjang Dengan Bayaran Sumbangan Paras Kontrak Takaful Keluarga adalah kontrak jangka panjang dengan bayaran sumbangan paras (level). Sumbangan dikira berdasarkan kepada beberapa faktor. Antara faktor-faktor yang menentukan kadar sumbangan:-  mortaliti  perbelanjaan  kadar pulangan pelaburan  cukai Oleh kerana kontrak ini adalah kontrak jangka panjang, Pengendali Takaful harus mengendalikan dana dengan penuh berhemah demi memastikan dana berkenaan sentiasa mencukupi untuk menampung tuntutan. 2. Kedua-dua Pihak Mesti Mematuhi Prinsip Penuh Percaya Mutlak Setiap pihak yang menandatangani kontrak Takaful Keluarga perlu mempercayai sepenuhnya terhadap pihak yang satu lagi; bahawa semua representasi dan perisytiharan yang dibuat adalah benar; dan tiada pihak yang cuba untuk menipu, mengelirukan atau menyembunyikan maklumat. Setiap pihak dianggap bertindak dengan Penuh Percaya Mutlak. Penyembunyian merupakan kegagalan dengan niat untuk tidak mendedahkan suatu fakta matan / material sebelum kontrak dimuktamadkan.Sebagai contoh, kegagalan untuk mendedahkan penyakit sedia ada kepada pengunderait. Salah nyata penipuan
  • 265.
    Pengenalan Takaful Keluarga441 ialah apabila seseorang secara sedar telah membuat kenyataan palsu yang berhubungan dengan fakta material, contohnya, salah nyata tentang umur sebenar. 3. Kontrak Aleatori Dalam kontrak aleatori, satu pihak menyediakan sesuatu yang bernilai kepada pihak satu lagi sebagai tukaran untuk janji pihak tersebut melaksanakan tindakan tertentu jika berlaku peristiwa yang ditetapkan.Ia adalah berdasarkan nilai tawar-menawar yang tidak setara berasaskan kepada kejadian yang mungkin berlaku pada masa depan. Peserta berpeluang untuk menerima jumlah bayaran yang lebih besar daripada jumlah keseluruhan sumbangan yang dibayar sekiranya timbul tuntutan pada masa akan datang. Tidak seperti Takaful Am, bayaran tuntutan Takaful Keluarga ditentukan ketika permulaan kontrak. Dalam Takaful Am, iabertujuan untuk membayar ganti rugi atau indemniti kepada peserta, iaitu membayar tuntutan mengikut jumlah kerugian yang dialami oleh peserta ketika berlaku musibah (tertakluk kepada had maksimum jumlah perlindungan). 4. Kepentingan Boleh Lindung Kewujudan kepentingan boleh lindung adalah syarat utama sebelum kontrak Takaful Keluarga boleh dikuatkuasakan. Individu yang ingin menyertai pelan Takaful keluarga hendaklah mempunyai ‘kepentingan boleh lindung’ terhadap peserta. Ia bermaksud individu berkenaan akan menanggung kerugian kewangan apabila berlaku kematian ke atas orang yang diberi perlindungan. Untuk menjelaskan perkara yang dinyatakan di atas, berikut adalah beberapa situasi di mana kepentingan boleh lindung wujud:-  setiap orang dikatakan mempunyai kepentingan tanpa had ke atas; hayatnya dan hayat pasangan hidupnya (suami atau isteri);
  • 266.
    442 Aamalan AsasTakaful  Ibu / bapa mempunyai kepentingan boleh lindung ke atas hayat anaknya yang dibawah umur majoriti;  Seseorang yang memberi hutang mempunyai kepentingan boleh lindung ke atas hayat orang yang diberi hutang, tetapi hanya setakat jumlah hutang yang diberi;  Majikan mempunyai kepentingan boleh lindung ke atas hayat kakitangan utamanya seperti pengarah urusan atau pengurus;  Rakan kongsi niaga mempunyai kepentingan boleh lindung ke atas hayat rakan kongsi lain, terutama jika terdapat perjanjian untuk membeli / mengambil alih bahagian rakan yang meninggal dunia. Kepentingan boleh lindung hanya perlu wujud pada permulaan kontrak Takaful Keluarga, iaitu apabila sijil Takaful mula berkuatkuasa. Kontrak tersebut tidak akan batal sekiranya kepentingan boleh lindung tidak wujud semasa membuat tuntutan. 5. Bayaran Tuntutan Akan Menamatkan Kontrak Perlindungan Dalam kontrak Takaful keluarga, penyelesaian tuntutan akan menamatkan kontrak perlindungan. Tidak seperti kontrak Takaful am, setelah peserta menerima bayaran tuntutan, kontrak Takaful keluarga akan ditamatkan dengan serta merta. Kontrak Takaful Am tidak akan ditamatkan dengan sebab bayaran tuntutan. 6. Kontrak Unilateral / Sebelah Pihak Takaful Keluarga adalah kontrak unilateral di mana Pengendali Takaful dan peserta mempunyai hak dan tanggungjawab tertentu. Kontrak unilateral bermaksud saling bertukar janji untuk melaksanakan suatu tindakan tertentu. Peserta membayar sumbangan sebagai balasan kepada janji bahawa tuntutan pada masa hadapan akan dibayar oleh Takaful. Satu-satunya tanggungjawab peserta ialah membayar sumbangan semasa kontrak masih berkuatkuasa. Dan hanya pengendali Takaful
  • 267.
    Pengenalan Takaful Keluarga443 sahaja satu-satunya pihak yang boleh didakwa kerana melanggar kontrak. Selaras dengan prinsip ini, selagi peserta masih terus membayar sumbangan dan tidak melanggar peruntukan Seksyen 28 Akta Takaful 1984 iaitu menyembunyikan fakta-fakta penting, pengendali Takaful tidak mempunyai hak untuk membatalkan kontrak. 7. Risiko Yang Dilindungi akan Meningkat Mengikut Masa Dalam Takaful Keluarga, risiko yang dilindungi akan meningkat mengikut tempoh kontrak. Semakin panjang tempoh kontrak, semakin tinggi risiko kemortalan kerana ia meningkat mengikut pertambahan usia peserta. Semakin meningkat usia peserta, semakin tinggi kemungkinan peserta ditimpa sakit atau menghidap sesuatu penyakit. Sebaliknya, dalam Takaful Am, risiko yang dilindungi mungkin semakin menurun mengikut peredaran masa kerana peserta mungkin melaksanakan langkah-langkah pencegahan risiko (umpamanya melaksanakan pengurusan risiko). 8. Kontrak yang Mengikat Kesertaan (Contract of Adhesion) Takaful Keluarga adalah kontrak yang mengikat. Pihak pertama iaitu pengendali Takaful mengeluarkan kontrak dan pihak kedua iaitu peserta tidak berhak untuk mengubah kontrak. Peserta hanya boleh menerima atau menolak kontrak berkenaan. Sekiranya terdapat sebarang kesamaran atau tidak jelas dalam kontrak, ia boleh dibawa ke mahkamah dan biasanya keputusan mahkamah akan lebih memihak kepada peserta.
  • 268.
    444 Aamalan AsasTakaful C1.3 PRINSIP-PRINSIP ASAS KONTRAK YANAG DIGUNAKAN DALAM PERLINDUNGAN TAKAFUL KELUARGA Berdasarkan dari konsep fikah al-asl fi al-ashya’ al-ibahah yang bermaksud ‘semua perkara adalah dibenarkan kecuali terdapat hukum yang melarangnya’, Takaful Keluarga menerapkan prinsip-prinsip berikut dalam kontraknya:  Kepentingan Boleh Lindung;  Penuh Percaya Mutlak;  Indemniti;  Subrogasi;  Perkongsian Sama RataSumbangan;  Hampiran Sebab Terhampir;  Tabarru’  Waranti; Di atas semua prinsip yang dinyatakan di atas, Takaful mengamalkan prinsip tabarru’. Dalam proses membentuk produk-produk Takaful, prinsip tabarru' yang menjadi prinsip dasar Syariah sentiasa menjadi keutamaan kontrak. Tabarru’ bermaksud menderma, menyumbang atau memberi sesuatu. Setiap peserta bersetuju untuk menderma sebahagian daripada sumbangannya untuk membantu peserta lain yang mengalami kerugian yang dilindungi. Ia sebagai memenuhi tuntutan Syari’ah sebagaimana di dalam al-Qur’an menyatakan: “Dan hendaklah kamu bertolong-tolongan dalam kebaikan dan bertakwa dan jangan kamu tolong-menolong di dalam kejahatan” (Al-Qur’an, 5:2) Walau bagaimanapun, perlu difahami bahawa prinsip indemniti, subrogasi dan sumbangan perkongsian sama rata lebih menepati kehendak amalan Takaful Am berbanding dengan Takaful keluarga.
  • 269.
    Pengenalan Takaful Keluarga445 C1.4 RISIKO YANG DILINDUNGI DI BAWAH PELAN TAKAFUL KELUARGA Risiko yang dilindungi di bawah Takaful Keluarga boleh dikategorikan kepada tajuk berikut:- 1. Kematian Pra-matang Kematian adalah satu perkara yang pasti berlaku kepada semua manusia. Walau bagaimanapun, tiada siapa yang tahu bila mereka akan mati. Semua orang adalah tertakluk kepada risiko kematian pra-matang pada setiap masa. Kesan kewangan daripada kematian pra-matang pencari nafkah mungkin akan berpanjangan. Keluarga yang ditinggalkan akan menanggung beban kewangan selama bertahun-tahun berikutan kehilangan pencari nafkah. Mereka mungkin terpaksa mengambil langkah-langkah untuk memenuhi obligasi kewangan seperti membuat kerja tambahan, bekerja lebih masa, meminjam wang, mengeluarkan wang dari akaun simpanan dan / atau akaun pelaburan dan berpindah ke rumah kediaman lebih kecil & murah. Untuk memastikan mereka yang tersayang dapat meneruskan kehidupan dengan selesa dan menikmati gaya hidup sederhana, mereka memerlukan dana simpanan yang mencukupi sebagai menggantikan aliran pendapatan yang telah terhenti. Takaful keluarga adalah jawapan kepada persoalan di atas bagi menyediakan kaedah penyelesaian jaminan kewangan ketika ia amat diperlukan. 2. Hilang Upaya Kekal dan Menyeluruh Hilang Upaya Kekal dan Menyeluruh bermaksud ketidakupayaan sepenuhnya pada masa itu dan masa akan datang, untuk melibatkan diri dalam apa-apa perniagaan atau pekerjaan atau melakukan apa-apa kerja untuk mendapatkan upah atau keuntungan. Hilang upaya mungkin disebabkan penyakit atau kecederaan kemalangan.
  • 270.
    446 Aamalan AsasTakaful Keadaan ini pastinya akan memberi kesan kepada peserta dan keluarganya kerana peserta tidak lagi berupaya menyara keluarga. Peserta dan keluarganya akan menghadapi kesukaran untuk memenuhi keperluan hidup harian dan menampung perbelanjaan rawatan perubatan kerana peserta tidak mampu menjana sebarang pendapatan. Seseorang boleh menyertai pelan Takaful Keluarga untuk memastikan jaminan pendapatan hilang upaya atau bayaran sekali gus sekiranya berlaku hilang upaya dan ini mampu melegakan orang yang hilang upaya dari beban pembayaran sumbangan seterusnya. 3. Usia Lanjut Sesetengah orang berharap dan berpendapat usia persaraan adalah masa untuk berehat, melancong dan menikmati kehidupan. Bagi yang lain pula, ia hanya menjanjikan keadaan yang kritikal. Walau bagaimanapun, ia bergantung sama ada kita bersedia untuk memenuhi keperluan persaraan. Adalah penting bagi individu yang bersara mempunyai sumber kewangan sendiri yang mencukupi dan mampu untuk menyara diri dan isterinya menjalani kehidupan seterusnya. Kebanyakan dari kita mungkin mempunyai zaman persaraan yang lebih panjang dari apa yang pernah kita bayangkan dan ia mungkin akan berbeza daripada apa yang kita jangkakan. Masalah kesihatan, kewangan atau keluarga boleh menyebabkan pelan persaraan menuju ke arah yang jauh berbeza dari apa yang dirancang. Takaful Keluarga adalah satu cara yang sesuai dalam menyediakan jalan penyelesaian terhadap kehilangan keupayaan memperolehi pendapatan disebabkan persaraan, disamping berlindung dari bahaya ekonomi lain iaitu kematian pramatang.
  • 271.
    Pelan Takaful Keluarga447 BAB C2 PELAN TAKAFUL KELUARGA PENDAHULUAN Peristiwa-peristiwa yang berlaku disepanjang kehidupan manusia adalah penting kepada masyarakat awam. Peristiwa-peristiwa seperti kematian, hilang upaya atau penyakit yang berpanjangan dan / atau umur lanjut boleh menimbulkan bencana / tekanan kewangan kepada ahli keluarga individu berkenaan. Setiap satu daripada situasi ini mewujudkan keperluan untuk perlindungan Takaful Keluarga dan pengendali Takaful sentiasa mencari cara dan kaedah untuk memenuhi keperluan tersebut iaitu dengan merangka pelbagai jenis perlindungan dibawah sijil Takaful Keluarga. Setiap produk direka untuk memenuhi satu atau pelbagai keperluan yang timbul akibat kontingensi. Dalam bab ini, kita akan memberi tumpuan kepada bentuk-bentuk utama dan ciri-ciri pelan Takaful Keluarga yang ditawarkan oleh pengendali Takaful di Malaysia di bawah tajuk-tajuk berikut: C2.1 PENGENALAN Pengendali Takaful menawarkan pelbagai kombinasi pelan asas Takaful Keluarga untuk disesuaikan dengan keperluan individu dan korporat yang berbeza-beza tempoh perlindungan, kaedah pembayaran sumbangan, pengagihan manfaat dan rider (perlindungan tambahan) yang berkaitan. Berdasarkan perkembangan terkini di Malaysia, pelan perlindungan gadai janji membentuk sebahagian besar perniagaan Takaful keluarga, diikuti dengan pelan perlindungan individu. Pelan asas Takaful Keluarga terdiri dari Takaful bertempoh, pelan simpanan dan anuiti.
  • 272.
    448 Amalan AsasTakaful C2.2 JENIS PERLINDUNGAN TAKAFUL KELUARGA Jenis Perlindungan Perlindungan Takaful Keluarga yang direka oleh Pengendali Takaful adalah bertujuan untuk memenuhi keperluan peserta individu dan firma korporat. Secara amnya, perlindungan Takaful Keluarga boleh dibahagikan kepada kumpulan berikut: 1. Takaful Keluarga Individu Pelan ini meliputi perlindungan pendidikan, pelan berkaitan pelaburan, anuiti, gadai janji, kesihatan dan pelan tambahan (rider). Di bawah perlindungan pelan biasa ini, peserta disediakan manfaat kewangan sekiranya berlaku kematian atau hilang upaya, simpanan (pelaburan) jangka panjang, keuntungan pelaburan yang dibayar semasa tuntutan, tuntutan sijil matang atau serahan. 2. Takaful Keluarga Berkumpulan Pelan ini meliputi perlindungan pendidikan berkumpulan, perubatan berkumpulan dan perlindungan persaraan. Terdapat peruntukan mengenai jumlah minimum peserta yang diperlukan untuk membentuk ‘kumpulan’ di bawah pelan ini. Peserta akan diberi perlindungan manfaat kewangan sekiranya berlaku kematian atau hilang upaya. Contoh produk dibawah kategori ini ialah: a. Takaful Gadai janji Takaful Kredit Berkumpulan b. Takaful Manfaat Pekerja i. Takaful Bertempoh Berkumpulan ii. Takaful Kematian Berkumpulan iii. Takaful Penghospitalan & Pembedahan Berkumpulan iv. Takaful Manfaat Bukan-Pekerja v. Skim Takaful Komprehensif Berkumpulan
  • 273.
    Pelan Takaful Keluarga449 3. Pelan Tambahan (Rider) Takaful Keluarga Merupakan manfaat tambahan dalam pelan asas Takaful Keluarga. Pelan tambahan menyediakan perlindungan dari kemalangan diri individu dan hilang upaya, perubatan dan kesihatan. Antara pelan tambahan yang ditawarkan ialah: a. Pelan Tambahan Takaful Manfaat Penyakit Kritikal b. Pelan Tambahan Takaful Manfaat Kematian dan Hilang Upaya Akibat Kemalangan c. Pelan Tambahan Takaful Manfaat Pengecualian Bayaran Sumbangan Individu d. Pelan Tambahan Takaful Manfaat Pembayar e. Pelan Tambahan Takaful Bertempoh f. Pelan Tambahan Takaful Manfaat Penghospitalan g. Pelan Tambahan Takaful Pendapatan Keluarga 2.2.1 Pelan Perlindungan Individu Pelan Takaful Simpanan Takaful Simpanan adalah pelan yang mengandungi elemen tabungan dan pulangan ke atas pelaburan berserta perlindungan individu. Ia adalah jenis pelan pelaburan berserta keuntungan yang akan diagihkan semula kepada para peserta. Pelan ini direka untuk mengoptimumkan pulangan pelaburan kepada para peserta. Perlindungan Takaful Simpanan Pelan ini menggabungkan dua elemen penting bagi memenuhi obligasi di bawah Takaful simpanan: 1. Perlindungan Bertempoh Paras; dan 2. Akaun Pelaburan
  • 274.
    450 Amalan AsasTakaful Terma dan Syarat-Syarat Penting Manfaat  menyediakan pampasan kewangan sekiranya berlaku kematian atau hilang upaya sebelum tempoh matang sijil. Jumlah perlindungan berserta amaun terkumpul dalam Akaun Peserta (AP) akan dibayar kepada peserta, benefisiari atau waris peserta.  Apabila sijil matang, peserta akan menerima bayaran amaun terkumpul dalam Akaun Peserta dan layak untuk berkongsi surplus bersih dari Akaun Khas Peserta (AKP), jika ada. Amaun Sumbangan Amaun sumbangan adalah bergantung kepada umur semasa kemasukan dan terma-terma sijil. Pengeluaran Tunai Sebahagian Pengeluaran tunai sebahagian daripada Akaun Peserta adalah dibenarkan selepas sijil telah berkuatkuasa untuk beberapa tahun sebagaimana yang dinyatakan dalam sijil. Mengikut amalan biasa, pengeluaran dibenarkan sepanjang tempoh kuatkuasa sijil mengikut polisi Pengendali Takaful. Setiap pengeluaran boleh dibuat selepas suatu tempoh minimum Yuran transaksi nominal dikenakan kepada Akaun Peserta bagi setiap pengeluaran. Pilihan Tambah Nilai Bayaran tambah nilai dibenarkan, bermula dari tarikh kuatkuasa sijil. Amaun tambah nilai tertakluk kepada keperluan minimum mengikut polisi Pengendali Takaful. Amaun tambah nilai ini akan disalurkan sepenuhnya ke Akaun Peserta, bertujuan memperolehi keuntungan. Pilihan Menyertakan Rider Peserta boleh memilih untuk menyertakan mana- mana pelan tambahan yang bersesuaian ke atas sijil asas.
  • 275.
    Pelan Takaful Keluarga451 Pulangan Pelaburan Pelan ini membolehkan pengendali Takaful mengoptimumkan pulangan pelaburan untuk diagihkan kepada peserta. Pengecualian Sijil ini mengecualikan keadaan sedia ada. Pelan Takaful Pendidikan Kanak-Kanak Pengenalan Pelan pendidikan adalah pelan yang menyediakan perlindungan dan simpanan jangka panjang untuk membiayai perbelanjaan pendidikan kanak-kanak diperingkat yang lebih tinggi kelak. Kanak-kanak berkenaan akan disediakan dengan manfaat kewangan sekiranya pembayar menghadapi musibah yang dilindungi di bawah pelan ini. Pada masa yang sama, kanak-kanak itu akan disediakan dana yang diperlukan untuk pendidikan tinggi masa hadapan apabila sijil telah mencapai tempoh matang. Ibu bapa yang mengambil bahagian dalam pelan pendidikan layak menerima pelepasan cukai peribadi sehingga RM3, 000 setiap tahun melalui pelan gabungan perubatan dan pendidikan. Pelan pendidikan boleh dikategorikan kepada beberapa kumpulan iaitu: 1. Takaful Pendidikan Kanak-kanak Biasa: Peserta dan kanak-kanak akan menerima manfaat kewangan sekiranya berlaku kematian atau hilang upaya kekal, serta manfaat simpanan jangka panjang (dana pendidikan), dan keuntungan pelaburan yang diagihkan semasa bayaran tuntutan, sijil matang atau penyerahan awal. 2. Takaful Pendidikan Kanak-Kanak Berkait Pelaburan: Sebahagian daripada sumbangan digunakan untuk membeli unit-unit pelaburan seperti unit dalam ekuiti atau sekuriti pendapatan tetap. Sebagai tambahan kepada perlindungan Takaful biasa yang merangkumi kematian dan hilang upaya kekal, unit-unit
  • 276.
    452 Amalan AsasTakaful pelaburan ini akan dijual apabila berlaku tuntutan, sijil matang atau penyerahan awal. 3. Pelan tambahan Takaful Keluarga atau tambahan kepada perlindungan asas untuk peserta dan kanak-kanak juga disediakan. Pelan tambahan ini memberi perlindungan terhadap kemalangan diri dan hilang upaya, faedah rawatan hospital, perbelanjaan pengebumian dan penyakit-penyakit kritikal. Terma dan Syarat-Syarat Penting Manfaat  Apabila sijil telah mencapai tempoh matang dan kanak-kanak masih hidup, manfaat yang dibayar ialah jumlah perlindungan (diberi berdasarkan konsep hibah di bawah undang- undang Syari’ah), ditambah dengan amaun surplus terkumpul. Walau bagaimanapun, sekiranya pelan pendidikan disertakan dengan ciri-ciri berkait pelaburan, kanak-kanak itu akan menerima nilai unit pelaburan sebagai tambahan kepada jumlah perlindungan yang dipersetujui di bawah pelan ini. Apabila sijil telah mencapai tempoh matang, kanak-kanak akan menerima jumlah terkumpul di dalam Akaun Peserta (AP) dan juga berhak untuk berkongsi surplus bersih dari dana Akaun Khas Peserta (AKP), jika ada.  Sekiranya pembayar meninggal dunia sebelum sijil pelan pendidikan matang, sumbangan berkala atas pelan berkenaan akan dibayar oleh pengendali Takaful bagi pihak peserta sehingga tarikh matang sijil. Ketika tarikh matang, kanak-kanak itu berhak menerima amaun yang terkumpul di AP, surplus dari AKP dan berkongsi keuntungan pelaburan (jika berkenaan).
  • 277.
    Pelan Takaful Keluarga453  Walau bagaimanapun, jika kesemua sumbangan disalurkan ke AKP, bergantung kepada skim Takaful berserta keuntungan, kaedah diatas akan digunakan atau jumlah perlindungan akan dibayar terus ke akaun atas nama kanak-kanak dan diuruskan oleh pemegang amanah yang dilantik. Amaun yang akan dibayar ialah manfaat (berasaskan hibah) sijil berserta amaun perkongsian surplus terkumpul (jika ada) apabila sijil matang. Jumlah Perlindungan dicampur dengan amaun terkumpul di dalam Akaun Peserta (AP) dan Akaun Khas Peserta (AKP) akan dibayar sekali gus kepada waris peserta.  Sekiranya kanak-kanak (sebagai peserta) meninggal dunia, bergantung kepada skim Takaful yang disertainya; pemegang sijil akan menerima amaun perlindungan di bawah pelan (diberi berdasarkan konsep hibah Syariah) dicampur dengan amaun perkongsian surplus terkumpul. Atau, pemegang sijil boleh menamatkan sijil untuk mendapatkan nilai serahan atau boleh menamakan anak-anak yang lain sebagai peserta. Amaun Sumbangan  Amaun sumbangan bergantung kepada umur semasa kemasukan dan tempoh perlindungan.  Pengecualian Bayaran Sumbangan: Sekiranya pembayar meninggal dunia atau mengalami hilang upaya kekal dan menyeluruh dalam tempoh perlindungan Takaful, semua bayaran sumbangan akan datang dibayar melalui dana Takaful sehingga sampai tempoh matang.
  • 278.
    454 Amalan AsasTakaful Pengeluaran Tunai Sebahagian Kemudahan untuk mengeluarkan sebahagian dari wang tunai dari dana. Pengeluaran tunai sebahagian daripada Akaun Peserta adalah dibenarkan selepas sijil telah berkuatkuasa minimum untuk beberapa tahun sebagaimana yang dinyatakan dalam sijil. Mengikut amalan biasa, pengeluaran dibenarkan sepanjang tempoh kuatkuasa sijil mengikut polisi pengendali Takaful. Setiap pengeluaran boleh dibuat selepas suatu tempoh minimum sahaja. Yuran transaksi nominal dikenakan kepada Akaun Peserta bagi setiap pengeluaran. Pilihan Tambah Nilai Bayaran tambah nilai dibenarkan bermula dari tarikh kuatkuasa sijil. Amaun tambah nilai tertakluk kepada keperluan minimum mengikut polisi pengendali Takaful. Amaun tambah nilai ini akan disalurkan sepenuhnya ke Akaun Peserta sahaja. Pilihan Menyertakan Rider Peserta boleh memilih untuk menyertakan mana- mana rider yang bersesuaian ke atas sijil asas. Rider Takaful keluarga atau tambahan kepada perlindungan asas untuk peserta dan kanak-kanak juga disediakan. Rider menyediakan perlindungan dari berlakunya kemalangan diri dan hilang upaya, manfaat penghospitalan, perbelanjaan pengebumian dan penyakit kritikal. Pulangan Pelaburan Pelan ini membolehkan pengendali Takaful mengoptimumkan pulangan pelaburan untuk diagihkan kepada peserta. Pengecualian Biasanya pelan pendidikan tidak melindungi risiko berikut:  cubaan membunuh diri atau mencederakan diri sendiri samada dalam keadaan siuman atau
  • 279.
    Pelan Takaful Keluarga455 sebaliknya.  kematian atau kecederaan yang dialami akibat tindakan yang menyalahi undang-undang.  melakukan serangan.  di bawah pengaruh dadah atau minuman keras.  AIDS dan HIV.  lain-lain sebab yang dilarang oleh Syariah. 1.2.2 Pelan Takaful Gadai Janji (Mortgage Reducing Term Takaful) Membeli dan memiliki sebuah rumah adalah salah satu pencapaian dalam kehidupan, yang pada dasarnya memenuhi salah satu keperluan asas manusia untuk mempunyai tempat tinggal. Walau bagaimanapun, kejadian yang tidak diduga boleh membawa kepada kehilangan pendapatan atau tidak berupaya untuk memenuhi tanggungjawab membayar pinjaman atau mendapatkan kemudahan pembiayaan. Sekiranya berlaku Kematian atau Hilang Upaya Kekal dan Menyeluruh (Total Permanent Disability) terhadap diri peserta, ahli keluarga peserta mungkin perlu mengambil alih tanggungjawab membayar pinjaman perumahan. Dengan Pelan Takaful Gadai Janji, beban kewangan yang timbul disebabkan kematian atau hilang upaya dapat dilindungi untuk tempoh jangka panjang. Pelan Takaful Gadai Janji adalah pelan sumbangan tunggal yang mematuhi keperluan Syariah. Sekiranya berlaku Kematian atau Hilang Upaya Kekal dan Menyeluruh, pelan ini menyediakan manfaat Takaful dari Dana Risiko. Amaun yang dibayar dijangka dapat melangsaikan baki pinjaman perumahan. Pelan ini juga mempunyai ciri-ciri khusus di mana peserta atau penamanya akan menerima bayaran lebihan dari Dana Peserta yang terkumpul. Jenis-Jenis Perlindungan Jaminan manfaat untuk melangsaikan baki pinjaman gadai janji berdasarkan jadual jumlah perlindungan menyusut, ditambah dengan
  • 280.
    456 Amalan AsasTakaful manfaat sampingan akan dibayar apabila berlaku kematian atau hilang upaya (di dalam lingkungan terma yang dinyatakan). Terma dan Syarat Penting Manfaat Pelan ini menyediakan perlindungan kepada peserta berdasarkan jumlah pembiayaan yang diterima dari institusi kewangan. Ia menyediakan sejumlah amaun perlindungan yang menyusut, akan dibayar apabila berlaku kematian atau hilang upaya kekal dan menyeluruh (Total Permanent Disability) bila mana peserta belum menyelesaikan sepenuhnya baki pembiayaan. Apabila berlaku kematian / hilang upaya kekal dan menyeluruh ke atas diri peserta, jumlah perlindungan yang menyusut akan dibayar kepada penerima yang sah (mortgagee). Di samping itu, jumlah yang terkumpul di dalam Akaun Peserta juga akan dibayar kepada benefisiari.  Hilang upaya kekal dan menyeluruh adalah berdasarkan kepada definisi pekerjaan atau profesion yang ditetapkan di dalam sijil.  Perkongsian Surplus: berkongsi surplus bersih dari operasi perniagaan Takaful (jika ada) selagi tiada tuntutan yang dibuat sepanjang tempoh perlindungan Takaful. Amaun Sumbangan Takaful gadai janji adalah pelan perlindungan dengan bayaran sumbangan tunggal. Amaun sumbangan mempunyai perkaitan rapat dengan amaun pembiayaan yang disediakan oleh institusi kewangan, tertakluk kepada kelulusan pengunderaitan. Tempoh dan amaun kemudahan pembiayaan kewangan hendaklah sama dengan amaun dan tempoh amaun kemudahan pembiayaan perumahan yang diluluskan.
  • 281.
    Pelan Takaful Keluarga457 Jaminan Manfaat untuk Menyelesaikan Baki Gadaijanji Takaful Gadai Janji memastikan gadai janji akan diselesaikan dan dengan itu menjamin pembayaran hutang pembiayaan perumahan. Manfaat yang dijamin (berdasarkan jadual jumlah perlindungan berkurangan) akan dibayar apabila berlaku kematian atau hilang upaya (tertakluk kepada pengecualian standard ke atas kematian atau hilang upaya).  Definisi Umum Hilang Upaya Kekal dan Menyeluruh: Sekiranya peserta tidak boleh melakukan pekerjaan sendiri atau latihan, pendidikan atau pengalaman untuk tempoh enam bulan berturut-turut, manfaat hilang upaya kekal dan menyeluruh akan dibayar. Sementara itu, dalam pelan Takaful gadai janji lain yang ditawarkan, faedah hilang upaya kekal dan menyeluruh hanya akan dibayar jika peserta tidak boleh melakukan apa-apa kerja untuk menyara hidup sepanjang hayatnya.  Juga meliputi perlindungan ke atas hartanah yang telah siap atau dalam pembinaan (iaitu perlindungan paras sepenuhnya dalam tempoh pembinaan). Pelan tambahan Pelan tambahan kemalangan pelbagai boleh disertakan dalam pelan Takaful gadai janji sumbangan tahunan. Penamatan Penyertaan dalam pelan Takaful adalah merupakan tanggungjawab tempoh jangka panjang. Penamatan awal sijil Takaful biasanya akan melibatkan kos yang tinggi dan nilai serahan yang dibayar mungkin kurang dari jumlah keseluruhan sumbangan yang dibayar. Penamatan dibenarkan hanya sekiranya harta yang
  • 282.
    458 Amalan AsasTakaful dimaksudkan telah dijelaskan sepenuhnya (penyelesaian awal pinjaman) atau harta berkenaan telah dijual serta baki pinjaman juga telah dilangsaikan. Pengecualian Pengecualian dalam perlindungan Takaful:  Kematian atau Hilang upaya disebabkan membunuh diri atau cubaan membunuh diri dan / atau sebab-sebab yang dilarang oleh undang-undang sivil, undang-undang jenayah dan undang-undang syariah. Dalam keadaan tersebut, hanya nilai Dana Peserta pada masa berlaku kematian sahaja yang dibayar.  Hilang Upaya Kekal dan Menyeluruh disebabkan AIDS, peperangan, aktiviti penerbangan selain daripada sebagai penumpang berbayar dalam penerbangan berjadual.  Di bawah pengaruh minuman keras. 1.2.3 Pelan Perlindungan Berkumpulan Takaful Kredit Berkumpulan Pengenalan Ini adalah jenis pelan Takaful berkumpulan. Pelan ini direka bagi tujuan menyediakan perlindungan untuk membayar pembiayaan kemudahan pembiayaan / hutang dari mana-mana institusi kewangan, sekiranya peserta meninggal dunia (peserta sebagai pemohon / peminjam) atau jika peserta mengalami hilang upaya kekal dan menyeluruh.
  • 283.
    Pelan Takaful Keluarga459 Jenis-jenis perlindungan Terdapat empat jenis perlindungan di bawah pelan ini (sebagai contoh, ia bergantung kepada kaedah yang digunakan untuk mengira baki amaun perlindungan): i. Perlindungan Paras ii. Perlindungan Menyusut Kadar Rata iii. Perlindungan Menyusut Kadar Majmuk (Compounded) iv. Peraturan 78 atau Perangkaan Terma dan Syarat-Syarat Penting Manfaat Manfaat Kematian – sekiranya peserta meninggal dunia mengikut terma didalam sijil, jumlah perlindungan ditambah dengan baki di dalam Akaun Peserta akan dibayar sekali gus kepada penerima yang berhak (grantee). Manfaat hilang upaya kekal dan menyeluruh – sekiranya peserta mengalami hilang upaya kekal dan menyeluruh mengikut terma di dalam sijil, jumlah perlindungan ditambah dengan baki di dalam Akaun Peserta akan dibayar sekali gus kepada penerima yang berhak (grantee). Sekiranya peserta meninggal dunia / hilang upaya, jumlah perlindungan akan dibayar kepada penerima yang berhak. Di samping itu, amaun terkumpul dalam Akaun Peserta juga akan dibayar. Manfaat Kematangan – Apabila sijil mencapai tempoh matang, peserta akan menerima amaun terkumpul dalam Akaun Peserta. Amaun Sumbangan Ia adalah pelan Takaful bertempoh untuk kumpulan peserta (peminjam) institusi kewangan (grantee), dengan kaedah bayaran sumbangan yang berbeza.
  • 284.
    460 Amalan AsasTakaful Pelan perlindungan biasanya direka untuk kaedah bayaran:  Sumbangan Tunggal  Sumbangan Tahunan Takaful Manfaat Pekerja Pengenalan Ia adalah pelan pembaharuan tahunan yang ditawarkan kepada kumpulan individu dibawah satu sijil induk:-  Kumpulan Majikan  Kumpulan Persatuan  Kumpulan-kumpulan lain yang ditubuhkan bagi tujuan selain dari untuk menyertai skim Takaful. Kelebihan Menyertai Pelan Takaful kepada Majikan dan Persatuan:-  Mencerminkan imej majikan/persatuan yang prihatin dan menghargai pekerja / ahlinya.  Meningkatkan moral dan produktiviti pekerja / ahli.  Menarik minat dan mengekalkan kesetiaan pekerja / ahli.  Menikmati kemudahan potongan cukai.  Memenuhi keperluan rundingan hal ehwal buruh. Jenis-jenis perlindungan Pelan ini menawarkan perlindungan:- 1. Manfaat Kematian – sekiranya peserta meninggal dunia mengikut terma di dalam sijil, jumlah perlindungan ditambah dengan baki didalam Akaun Peserta akan dibayar sekali gus kepada Pemegang Sijil (majikan, persatuan atau kumpulan berkaitan).
  • 285.
    Pelan Takaful Keluarga461 2. Manfaat hilang upaya kekal dan menyeluruh – sekiranya peserta mengalami hilang upaya kekal dan menyeluruh mengikut terma di dalam sijil, jumlah perlindungan ditambah dengan baki di dalam Akaun Peserta akan dibayar sekali gus kepada penerima yang berhak (grantee). 3. Perbelanjaan Pengebumian – dibayar kepada waris peserta, tertakluk kepada bukti kematian yang disahkan. Terma dan Syarat-Syarat Penting Kelayakan Had minimum penyertaan adalah tertakluk kepada polisi pengendali Takaful dan biasanya bilangan minimum adalah 10 orang. Amaun perlindungan yang melebihi syarat ‘had tanpa perubatan’ (free cover limit) memerlukan bukti kebolehlindungan (insurability) sebelum perlindungan boleh dikuatkuasakan. Pengendali Takaful berhak untuk meminda syarat-syarat dan mengubah had berkenaan, tertakluk kepada umur maksimum yang ditetapkan polisi pengendali Takaful, sekiranya perlu. Umur tamat perlindungan tertakluk kepada polisi Pengendali Takaful. Pengendali Takaful boleh memberi kelonggaran syarat mengikut merit kes, tertakluk kepada had keperluan pengunderaitan dan Takaful Semula. Maklumat yang Diperlukan Antara maklumat yang diperlukan ialah:- 1. nama syarikat 2. jenis perniagaan 3. nama dan no pengenalan kakitangan 4. tarikh lahir
  • 286.
    462 Amalan AsasTakaful 5. jantina 6. gaji (sekiranya jumlah perlindungan berdasarkan gandaan jumlah gaji). 7. Jumlah perlindungan (ditetapkan atau mengikut gandaan jumlah gaji). 8. pengalaman tuntutan tiga tahun lepas. 9. perlindungan sedia ada (jika berkenaan). Pelan: Takaful Perbelanjaan Kematian Takaful Perbelanjaan Kematian Keterangan Pelan Ia adalah skim berkelompok yang direka untuk meminimumkan pemilihan risiko dan menyediakan kemudahan yang serupa dalam melindungi sekumpulan peserta. Skop Perlindungan:  Majikan, organisasi atau persatuan adalah Pemegang Kontrak Induk.  Tahap Perlindungan: Perlindungan selama setahun kepada sekumpulan peserta yang berlainan jenis dan reka bentuk pelan. Reka bentuk pelan biasanya mempunyai: a. Pelan jumlah perlindungan sama rata, umpamanya RM1, 000 untuk semua peserta. b. Jumlah perlindungan berdasarkan kategori yang ditetapkan oleh majikan, umpamanya: - Pengurus Kanan RM2,500 - Pengurus RM2,000 - Eksekutif RM1,000 c. Perlindungan berdasarkan kategori keahlian, umpamanya: - Ahli Prinsipal RM2,500
  • 287.
    Pelan Takaful Keluarga463 - Pasangan (isteri/suami) RM2,000 - Anak-Anak dibawah Tanggungan RM1,000  Kematian disebabkan kemalangan atau sakit: Sekiranya peserta meninggal dunia mengikut terma didalam sijil, jumlah perlindungan ditambah dengan baki didalam Akaun Peserta akan dibayar sekali gus kepada Pemegang Sijil Induk atau benefisiari atau waris peserta. Takaful Kumpulan Komprehensif Pengenalan Pelan ini direka untuk meminimumkan pemilihan risiko dan menyediakan asas Takaful yang sama untuk melindungi kumpulan pekerja (peserta) dengan elemen simpanan untuk tujuan persaraan. Pelan ini dipasarkan berdasarkan unit dengan nilai yang ditetapkan oleh pengendali Takaful. Bentuk perlindungan Sekiranya peserta meninggal dunia atau mengalami hilang upaya kekal dan menyeluruh mengikut terma didalam sijil, jumlah perlindungan ditambah dengan baki di dalam Akaun Peserta akan dibayar kepada penama atau waris peserta. Terma dan Syarat-Syarat Penting Manfaat  Manfaat Kematian – sekiranya peserta meninggal dunia disebabkan sakit / penyakit dan mengikut terma didalam sijil, jumlah perlindungan ditambah dengan baki didalam Akaun Khas Peserta (AKP) akan dibayar kepada benefisiari atau waris peserta. Sekiranya berlaku
  • 288.
    464 Amalan AsasTakaful kematian disebabkan kemalangan, pengendali Takaful akan membayar dua kali ganda jumlah perlindungan, dibayar kepada benefisiari atau waris peserta.  Manfaat hilang upaya kekal dan menyeluruh – sekiranya hilang upaya kekal dan menyeluruh berlaku (atas sebarang sebab), jumlah perlindungan boleh dibayar secara ansuran atau sekaligus, bermula dari tarikh disahkan mengalami hilang upaya kekal dan menyeluruh. Amaun Sumbangan Sumbangan perlu dibayar sehingga tarikh sijil matang. Sumbangan Tambah Nilai Peserta dibenarkan membuat tambah nilai sumbangan apabila sijilnya telah berkuatkuasa selama setahun. Amaun tambah nilai adalah tertakluk kepada jumlah minimum sumbangan bulanan. Amaun tambah nilai akan dikumpulkan dalam Akaun Peserta sahaja. Pelan Tambahan Pelan tambahan yang disediakan:  Takaful Manfaat Penghospitalan Berkumpulan  Takaful Manfaat Penyakit Kritikal Berkumpulan  Takaful Manfaat Kematian Disebabkan Kemalangan & Hilang Upaya Kekal dan Menyeluruh Berkumpulan.  Takaful Manfaat Hilang Upaya Kekal dan Sebahagian Berkumpulan  Takaful Manfaat Kematian Serta Merta Berkumpulan
  • 289.
    Pelan Takaful Keluarga465 Dengan menyertakan manfaat sampingan, ia tidak meningkatkan jumlah perlindungan tetapi akan mengurangkan amaun dalam Akaun Peserta. 2.2.4 Pelan Tambahan (Rider) Pengenalan Pelan tambahan adalah sesuatu yang ditambah kepada sijil asas untuk memberi manfaat tambahan - kadang kala memerlukan bayaran tambahan. Peserta juga boleh menggabungkan satu set Pelan tambahan dan disertakan dalam sijil asas. Amaun sumbangan pastinya akan meningkat, bergantung kepada Pelan tambahan atau gabungan Pelan tambahan yang dipilih. Lanjutan dari manfaat diatas ialah manfaat hilang upaya menyeluruh / sebahagian disebabkan kemalangan. Sebab-sebab hilang upaya akan menentukan amaun bayaran atas jumlah perlindungan. Pembayaran dibuat sama ada dalam bentuk anuiti atau bayaran sekali gus. Walaupun tuntutan atas Pelan tambahan telah diselesaikan, manfaat sijil asas masih kekal. Satu lagi manfaat tambahan ialah Pelan tambahan pengecualian bayaran sumbangan. Sekiranya hilang upaya kekal menjejaskan keupayaan peserta untuk mencari pendapatan / sara hidup, Pelan tambahan ini mengetepikan semua bayaran sumbangan masa akan datang. Pelan tambahan manfaat bertempoh bertujuan menyediakan sejumlah wang tambahan, bersamaan dengan jumlah perlindungan asas maksimum, sekiranya peserta meninggal dunia semasa sijil dalam keadaan berkuatkuasa. Pengendali Takaful juga menawarkan manfaat penyakit kritikal. Sekiranya peserta ditimpa oleh mana-mana penyakit kritikal seperti yang disenaraikan oleh pengendali Takaful, peserta berpeluang untuk menerima bayaran pampasan. Walau bagaimanapun, sebaik sahaja tuntutan berkenaan telah dibayar, tuntutan tambahan atas sebab yang sama dimasa hadapan tidak akan dipertimbangkan.
  • 290.
    466 Amalan AsasTakaful Pelan tambahan lain yang juga ditawarkan ialah manfaat penghospitalan dan pembedahan utama. Manfaat pembedahan melibatkan pembayaran kos pembedahan, bergantung kepada prosedur pembedahan; sementara manfaat penghospitalan meliputi perbelanjaan yang terlibat apabila peserta dimasukkan ke hospital termasuk bayaran caj bilik, tertakluk kepada had tertentu iaitu amaun maksimum dan bilangan hari dalam setahun yang peserta layak memperolehi manfaat berkenaan. Pelan tambahan mengatasi apa-apa percanggahan atau perbezaan dalam sijil asas. Dalam erti kata lain, jika terdapat peruntukan dalam Pelan tambahan yang berbeza daripada peruntukan yang sama dalam sijil asal, maka peruntukan dalam Pelan tambahan dikekalkan. Pelan tambahan boleh mengecualikan atau mengasingkan perlindungan dan akan menjadikan kadar sumbangan lebih rendah. Walau bagaimanapun, dalam kebanyakan kes, Pelan tambahan akan menambah skop perlindungan atas sijil sedia ada. Pelan tambahan Takaful Penyakit Kritikal Pelan tambahan Takaful Penyakit Kritikal merupakan perlindungan paras individu. Pelan ini menyediakan perlindungan dari sebarang penyakit kritikal yang dinyatakan dalam sijil dan berlaku dalam tempoh perlidungan pelan. Jenis perlindungan Pelan tambahan ini menyediakan bayaran penuh jumlah perlindungan penyakit kritikal apabila peserta didiagnosa dan menghidap sebarang penyakit kritikal yang disenaraikan dalam sijil. Pelan ini disediakan dalam dua bentuk: 1. Pelan yang Dipercepatkan (Accelerated) Pelan tambahan ini menyediakan bayaran sekali gus jumlah perlindungan Penyakit Kritikal, iaitu bayaran pendahuluan dari
  • 291.
    Pelan Takaful Keluarga467 jumlah perlindungan asas apabila didiagnosa dan disahkan menghidap penyakit kritikal. Tuntutan yang dibuat di bawah rider ini akan mengurangkan jumlah perlindungan pelan asas. 2. Pelan Tambahan Pelan tambahan ini menyediakan bayaran sekali gus jumlah perlindungan Penyakit Kritikal yang didiagnosa dan disahkan. Pembayaran yang dibuat di bawah rider ini tidak akan mengurangkan Jumlah Perlindungan Asas, dan menjadikan pelan pilihan ini lebih mahal berbanding dengan pelan sebelumnya. Terma dan Syarat-Syarat Penting Jumlah Perlindungan Peserta boleh memilih amaun perlindungan hingga ke had maksimum jumlah perlindungan sijil asas. Manfaat Apabila sijil telah mencapai tempoh matang, peserta akan menerima bayaran amaun terkumpul di dalam Akaun Khas Peserta (AKP). Setelah didiagnosa, amaun perlindungan penyakit kritikal akan dibayar, tertakluk kepada syarat- syarat berikut:  Hilang upaya kekal dan menyeluruh adalah berdasarkan kepada definisi pekerjaan atau profesion yang ditetapkan di dalam sijil.  Manfaat Hilang Upaya akan dibayar selepas memenuhi tempoh kelayakan (tempoh menunggu) iaitu hilang upaya itu mestilah berlaku untuk tempoh berterusan tidak kurang daripada enam (6) bulan.  Kemortalan tambahan dan / atau bebanan pekerjaan akan ditambah kedalam amaun sumbangan, bersesuaian dengan profil peserta dan definisi hilang upaya kekal dan
  • 292.
    468 Amalan AsasTakaful menyeluruh. Sumbangan tambahan (loading) dikira sebagai faktor berganda kepada kadar minimum bersih. Tiada sebarang diskaun diberikan kerana ia adalah kadar minimum bersih. Amaun Sumbangan Amaun sumbangan adalah bergantung kepada rider atau kombinasi pelan yang dipilih. Pulangan Pelaburan Model Takaful ini membolehkan pengendali Takaful mengoptimumkan pulangan pelaburan kepada peserta. Pengecualian  Keadaan sedia ada dikecualikan dari manfaat ini.  Nota: Penyakit yang didiagnosa dalam tempoh tiga (3) bulan dari tarikh kuatkuasa sijil atau tarikh kuatkuasa semula adalah tidak dilindungi di bawah pelan ini. Pelan tambahan Takaful Kematian Disebabkan Kemalangan Pengenalan Pelan ini merupakan perlindungan Takaful peringkat individu untuk yang hanya boleh disertakan kepada Pelan Asas. Pelan ini menyediakan pampasan kewangan kepada peserta sekiranya berlaku kematian, hilang upaya kekal dan menyeluruh (Total Permanent Disablement) atau hilang upaya kekal sebahagian (Permanent Partial Disablement) akibat kemalangan dalam lingkungan definisi terma sijil.
  • 293.
    Pelan Takaful Keluarga469 Terma dan Syarat-Syarat Penting Jumlah Perlindungan Jumlah Perlindungan: Peserta boleh memilih amaun perlindungan sehingga ke tahap perlindungan asas atau maksimum beberapa kali ganda amaun perlindungan asas tertakluk kepada polisi pengendali Takaful. Manfaat Pelan ini melindungi:  Manfaat Kematian Disebabkan Kemalangan - Sekiranya peserta meninggal dunia akibat kemalangan mengikut terma di dalam sijil, jumlah perlindungan ditambah dengan baki di dalam Akaun Khas Peserta (AKP) akan dibayar.  Manfaat hilang upaya kekal dan menyeluruh Disebabkan Kemalangan - Sekiranya peserta mengalami hilang upaya kekal dan menyeluruh akibat kemalangan, mengikut terma di dalam sijil, jumlah perlindungan ditambah dengan baki didalam Akaun Khas Peserta (AKP) akan dibayar kepada peserta.  Manfaat hilang upaya kekal sebahagian Disebabkan Kemalangan - Sekiranya peserta mengalami hilang upaya kekal sebahagian akibat kemalangan, mengikut terma di dalam sijil, jumlah perlindungan ditambah dengan baki di dalam Akaun Khas Peserta (AKP) akan dibayar kepada benefisiari atau waris peserta. Bayaran amaun perlindungan adalah seperti yang terkandung dalam Jadual Indemniti.  Manfaat Kematangan - Apabila sijil telah mencapai tempoh matang, peserta akan menerima bayaran amaun terkumpul dalam Akaun Khas Peserta.
  • 294.
    470 Amalan AsasTakaful Setelah tamat tempoh polisi, baki sumbangan berserta pulangan keuntungan akan diagih-agihkan kepada peserta mengikut kadar yang sewajarnya. Amaun Sumbangan Amaun sumbangan adalah bergantung kepada rider atau kombinasi pelan yang dipilih. Pengecualian Keadaan sedia ada adalah dikecualikan dari manfaat ini. Pelan tambahan Pengecualian Bayaran Sumbangan Penyakit Kritikal Pengenalan Pengecualian bayaran sumbangan merupakan pelan yang membenarkan semua bayaran sumbangan untuk masa akan datang (termasuk pelan tambahan lain yang disertakan, kecuali pelan tambahan penyakit kritikal) adalah dikecualikan, iaitu apabila peserta didiagnosa menghidap / mengalami mana-mana 39 penyakit kritikal (sumber daripada Bank Negara Malaysia 2001) seperti yang ditakrifkan dalam kontrak. Selepas didiagnosa, manfaat yang dibayar adalah tertakluk kepada syarat-syarat berikut:  Hilang upaya kekal dan menyeluruh adalah berdasarkan kepada definisi pekerjaan atau profesion yang ditetapkan didalam sijil.  Faedah hilang upaya akan dibayar selepas memenuhi tempoh kelayakan (tempoh menunggu) dimana hilang upaya tersebut mesti berlaku untuk tempoh berterusan tidak kurang enam (6) bulan.  Keadaan sedia ada adalah dikecualikan dari manfaat ini.
  • 295.
    Pelan Takaful Keluarga471 Terma dan Syarat-Syarat Penting Jumlah Perlindungan Peserta boleh memilih amaun perlindungan sehingga ke tahap perlindungan asas atau maksimum beberapa kali ganda amaun perlindungan asas tertakluk kepada polisi pengendali Takaful. Manfaat Setelah didiagnosa, manfaat yang dibayar adalah tertakluk kepada syarat-syarat berikut:  Hilang upaya kekal dan menyeluruh adalah berdasarkan kepada definisi pekerjaan atau profesion yang ditetapkan didalam sijil.  Faedah hilang upaya akan dibayar selepas memenuhi tempoh kelayakan (tempoh menunggu) di mana hilang upaya tersebut mesti berlaku untuk tempoh berterusan tidak kurang dari enam (6) bulan.  Keadaan sedia ada adalah dikecualikan dari manfaat ini.  Manfaat Kematangan: Apabila sijil telah mencapai tempoh matang, peserta akan menerima bayaran amaun terkumpul dalam Akaun Khas Peserta. Amaun Sumbangan Amaun sumbangan adalah bergantung kepada rider atau kombinasi pelan yang dipilih. Pengecualian Pengecualian bayaran sumbangan pelan tambahan ini merupakan pelan yang membenarkan semua bayaran sumbangan untuk masa akan datang termasuk rider yang disertakan, kecuali rider penyakit kritikal, adalah dikecualikan iaitu apabila peserta didiagnosa menghidap/mengalami penyakit kritikal seperti yang ditakrifkan dalam kontrak.
  • 296.
    472 Amalan AsasTakaful Pelan Tambahan Manfaat Pembayar Pengenalan Pelan Tambahan Manfaat Pembayar adalah pelan tambahan yang hanya boleh disertakan kepada pelan asas. Pelan ini akan mengecualikan semua bayaran sumbangan masa depan (bukan tunggakan sumbangan) yang perlu dibayar di bawah sijil ini (termasuk pelan tambahan yang disertakan) sekiranya peserta meninggal dunia, mengalami hilang upaya kekal dan menyeluruh dan / atau didiagnosa sebagai mengalami mana-mana penyakit kritikal (seperti yang dinyatakan dalam kontrak) sebelum sijil mencapai tempoh matang. Pelan ini direka khusus untuk menyediakan perlindungan kepada pembayar caruman dan juga menggalakkan peserta menyimpan / melabur. Jenis-jenis Perlindungan 1. Manfaat Kematian  Sekiranya pembayar meninggal dunia atas sebarang sebab, semua bayaran sumbangan untuk masa akan datang (kecuali tunggakan sumbangan) termasuk rider yang disertakan, sekiranya berkenaan, adalah dikecualikan, 2. Hilang Upaya Kekal dan Menyeluruh  Sekiranya pembayar mengalami hilang upaya kekal dan menyeluruh atas sebarang sebab dan tertakluk kepada syarat dan peraturan rider, semua bayaran sumbangan (tidak termasuk tunggakan sumbangan) yang sepatutnya perlu dibayar dibawah sijil ini (termasuk pelan tambahan yang disertakan, sekiranya berkenaan) adalah dikecualikan.
  • 297.
    Pelan Takaful Keluarga473 3. Manfaat Penyakit Kritikal  Sekiranya pembayar didiagnosa dan disahkan menghidap salah satu penyakit kritikal (seperti yang dinyatakan dalam kontrak), semua bayaran sumbangan (tidak termasuk tunggakan sumbangan) yang sepatutnya perlu dibayar di bawah sijil ini (termasuk pelan tambahan yang disertakan, sekiranya berkenaan) adalah dikecualikan. Terma dan Syarat-Syarat Penting Jumlah Perlindungan Peserta boleh memilih amaun perlindungan sehingga ke tahap jumlah perlindungan pelan asas. Syarat-syarat Apabila pembayar mengalami hilang upaya kekal dan menyeluruh atau didiagnosa menghidap penyakit kritikal, Jumlah Perlindungan Manfaat Pembayar (Payor Benefits Sum Covered) akan dibayar tertakluk kepada syarat-syarat berikut:  Hilang upaya kekal dan menyeluruh adalah berdasarkan kepada definisi pekerjaan atau profesion yang ditetapkan didalam sijil.  Manfaat hilang upaya akan dibayar selepas memenuhi tempoh kelayakan (tempoh menunggu) di mana hilang upaya tersebut mesti berlaku untuk tempoh berterusan tidak kurang dari enam (6) bulan. Manfaat Manfaat Kematian: Sekiranya pembayar meninggal dunia kerana sebarang sebab, semua bayaran sumbangan (tidak termasuk sumbangan tertunggak) yang sepatutnya perlu dibayar di bawah sijil ini (termasuk pelan tambahan yang disertakan, sekiranya berkenaan) adalah dikecualikan.
  • 298.
    474 Amalan AsasTakaful Hilang Upaya Kekal dan Menyeluruh: Sekiranya pembayar mengalami hilang upaya kekal dan menyeluruh kerana sebarang sebab dan tertakluk kepada terma dan syarat rider, semua bayaran sumbangan (tidak termasuk sumbangan tertunggak) yang sepatutnya perlu dibayar di bawah sijil ini (termasuk pelan tambahan yang disertakan, sekiranya berkenaan) adalah dikecualikan. Manfaat Penyakit Kritikal: Sekiranya pembayar didiagnosa dan disahkan menghidap salah satu penyakit kritikal (seperti yang dinyatakan dalam kontrak), semua bayaran sumbangan (tidak termasuk sumbangan tertunggak) yang sepatutnya perlu dibayar dibawah sijil ini (termasuk pelan tambahan yang disertakan, sekiranya berkenaan) adalah dikecualikan. Manfaat Kematangan: Apabila sijil telah mencapai tempoh matang, peserta akan menerima bayaran amaun terkumpul dalam Akaun Khas Peserta (AKP). Amaun Sumbangan Amaun sumbangan adalah bergantung kepada pelan tambahan atau kombinasi pelan yang dipilih. Pengecualian Keadaan sedia ada adalah dikecualikan dari manfaat ini.
  • 299.
    Pelan Takaful Keluarga475 Pelan Tambahan Takaful Bertempoh Pengenalan Pelan Tambahan Bertempoh adalah pelan tambahan Takaful yang hanya boleh disertakan bersama-sama dengan pelan asas. Ia adalah perlindungan Takaful peringkat individu dengan perlindungan yang menyeluruh dan skop manfaat yang lebih meluas. Jenis-jenis perlindungan Pelan ini menyediakan perlindungan kewangan sekiranya peserta meninggal dunia atau mengalami hilang upaya kekal dalam tempoh sijil berkuatkuasa. Terma dan Syarat Penting Jumlah Perlindungan Peserta boleh memilih amaun perlindungan sehingga ke tahap perlindungan asas atau maksimum beberapa kali ganda amaun perlindungan asas tertakluk kepada polisi pengendali Takaful. Manfaat Manfaat Kematian: Sekiranya peserta meninggal dunia dalam tempoh sijil berkuatkuasa, jumlah perlindungan rider bertempoh ditambah dengan baki di dalam Akaun Khas Peserta (AKP) akan dibayar sekali gus kepada benefisiari peserta. Hilang Upaya kekal dan Menyeluruh: Sekiranya peserta mengalami hilang upaya kekal dan menyeluruh dalam tempoh sijil berkuatkuasa, jumlah perlindungan pelan tambahan bertempoh ditambah dengan baki didalam Akaun Khas Peserta akan dibayar sekali gus kepada peserta.
  • 300.
    476 Amalan AsasTakaful Manfaat Kematangan: Apabila sijil matang, peserta akan menerima bayaran amaun terkumpul dalam Akaun Khas Peserta. Amaun Sumbangan Amaun sumbangan adalah bergantung kepada pelan tambahan atau kombinasi pelan yang dipilih. Pengecualian Keadaan sedia ada adalah dikecualikan dari manfaat ini. Pelan Tambahan Takaful Manfaat Penghospitalan Pengenalan Pelan tambahan manfaat penghospitalan adalah pelan tambahan Takaful individu yang hanya boleh disertakan bersama pelan asas sahaja. Pelan ini menyediakan manfaat tunai harian sekiranya peserta dimasukkan ke hospital akibat kemalangan atau penyakit, tertakluk kepada terma dan syarat pelan tambahan Jenis perlindungan Manfaat Penghospitalan Terma dan Syarat-Syarat Penting Jumlah Perlindungan Peserta boleh memilih amaun perlindungan serendah RM10 sehari sehingga ke had maksimum yang ditetapkan oleh pengendali Takaful. Manfaat Manfaat Penghospitalan: Sekiranya peserta dimasukkan ke hospital akibat kemalangan atau penyakit untuk tempoh minimum yang ditetapkan oleh pengendali Takaful, amaun manfaat hospital akan dikira dari hari pertama
  • 301.
    Pelan Takaful Keluarga477 dimasukkan ke hospital. Jumlah maksimum hari yang ia layak adalah tertakluk kepada pelan Takaful yang disertai (berbeza mengikut pelan dan pengendali Takaful Amaun Sumbangan Amaun sumbangan adalah bergantung kepada pelan tambahan atau kombinasi pelan yang dipilih. Pengecualian  Manfaat penghospitalan tidak dibayar kecuali peserta dimasukkan ke hospital selepas tempoh yang ditetapkan di dalam sijil pelan tambahan (berbeza mengikut pelan dan pengendali Takaful).  Manfaat ini mengecualikan keadaan sedia ada. Pelan Tambahan Takaful Perbelanjaan Kematian Pengenalan Pelan tambahan Takaful Perbelanjaan Kematian direka untuk menyediakan bantuan kewangan dengan serta-merta kepada waris terdekat sekiranya peserta meninggal dunia. Jenis perlindungan Kelulusan Segera Tanpa Sebarang Kerumitan Setelah berpuashati dengan bukti kematian yang dikemukakan, benefisiari atau waris terdekat peserta akan menerima bayaran perbelanjaan serta-merta kematian tanpa memerlukan sebarang dokumen sokongan.
  • 302.
    478 Amalan AsasTakaful Terma dan Syarat-Syarat Penting Manfaat Manfaat Kematian: Sekiranya peserta meninggal dunia dalam tempoh sijil berkuatkuasa, bayaran perbelanjaan serta-merta kematian ditambah dengan baki di dalam Akaun Khas Peserta (AKP) akan dibayar kepada benefisiari atau waris terdekat peserta. Manfaat Kematangan: Apabila sijil telah mencapai tempoh matang, peserta akan menerima amaun terkumpul dalam Akaun Khas Peserta (AKP). Amaun Sumbangan Amaun sumbangan adalah bergantung kepada Pelan tambahan atau kombinasi pelan yang dipilih. Pengecualian Manfaat ini mengecualikan keadaan sedia ada. Pelan Tambahan Pendapatan Keluarga Pengenalan Pelan Tambahan Pendapatan Keluarga memberikan peserta dan keluarga suatu jaminan ketenangan sekiranya peserta mengalami hilang upaya kekal dan menyeluruh atau didiagnosa menghidap penyakit kritikal dalam tempoh pelan berkuatkuasa. Pelan tambahan ini membolehkan sebahagian besar daripada peruntukan Akaun Peserta digunakan untuk tujuan pelaburan yang memberikan kadar pulangan yang optimum. Ia juga menyediakan peruntukan pendapatan pelaburan dan surplus yang lebih kerap untuk dimasukkan ke akaun pelaburan peserta. Pelaburan semula serta merta pulangan pelaburan dan surplus seterusnya akan menjanjikan jumlah pulangan yang lebih baik.
  • 303.
    Pelan Takaful Keluarga479 Jenis perlindungan Sekiranya berlaku kematian, hilang upaya kekal dan menyeluruh atau peyakit kritikal yang dilindungi di bawah pelan ini, manfaat pendapatan keluarga akan dibayar kepada benefisiari yang dinamakan oleh peserta atau waris terdekat, sepanjang tempoh sijil berkuatkuasa. Terma dan Syarat-Syarat Penting Jumlah Perlindungan Peserta boleh memilih amaun perlindungan serendah RM10 sehari sehingga ke had maksimum yang ditetapkan oleh pengendali Takaful. Manfaat Manfaat Kematian: Sekiranya peserta meninggal dunia akibat kemalangan atau penyakit yang dilindungi di bawah pelan ini, amaun pendapatan keluarga akan dibayar kepada benefisiari yang dinamakan oleh peserta atau waris terdekat, sepanjang tempoh kuatkuasa pelan. Manfaat Hilang Upaya Kekal dan Menyeluruh: Sekiranya peserta mengalami hilang upaya kekal dan menyeluruh akibat kemalangan atau penyakit yang dilindungi dibawah pelan ini, amaun pendapatan keluarga akan dibayar kepada peserta sepanjang tempoh kuatkuasa pelan. Manfaat Penyakit Kritikal: Sekiranya peserta didiagnosa dan disahkan menghidap salah satu penyakit kritikal yang dilindungi dibawah pelan ini, amaun pendapatan keluarga akan dibayar kepada peserta sepanjang tempoh kuatkuasa pelan.
  • 304.
    480 Amalan AsasTakaful Manfaat Kematangan: Apabila sijil telah mencapai tempoh matang, peserta akan menerima amaun terkumpul dalam Akaun Khas Peserta (AKP). Terma dan Syarat Sekiranya peserta mengalami hilang upaya kekal dan menyeluruh atau didiagnosa menghidap salah satu penyakit kritikal, amaun perlindungan akan dibayar mengikut syarat-syarat berikut:  Hilang upaya kekal dan menyeluruh adalah berdasarkan kepada definisi pekerjaan atau profesion yang ditetapkan di dalam sijil.  Manfaat hilang upaya akan dibayar selepas memenuhi tempoh kelayakan (tempoh menunggu) dimana hilang upaya tersebut mesti berlaku untuk tempoh berterusan tidak kurang dari enam (6) bulan. Amaun Sumbangan Amaun sumbangan adalah bergantung kepada Pelan Tambahan atau kombinasi pelan yang dipilih. Pengecualian Manfaat ini mengecualikan keadaan sedia ada.
  • 305.
    Amalan Takaful Keluarga:Terma dan Syarat 481 BAB C3 AMALAN TAKAFUL KELUARGA: TERMA-TERMA DAN SYARAT-SYARAT SIJIL PENGENALAN Bab ini akan membincangkan secara terperinci mengenai terma-terma dan syarat-syarat umum yang biasanya terdapat dalam sijil Takaful Keluarga. C3.1 KETERANGAN SIJIL TAKAFUL KELUARGA Takaful perpaduan keluarga menyediakan perlindungan kepada peserta dengan manfaat perlindungan kewangan dan simpanan jangka panjang. Peserta atau waris akan disediakan dengan manfaat kewangan jika peserta ditimpa musibah. Pada masa yang sama, peserta akan memiliki tabungan peribadi jangka panjang kerana sebahagian daripada sumbangan yang dibayar akan disimpan dalam sebuah akaun bagi tujuan simpanan dan pelaburan. Peserta akan dapat menikmati pulangan pelaburan daripada bahagian simpanan mengikut nisbah yang telah dipersetujui dengan Pengendali Takaful. Adalah penting untuk memahami bahawa perkataan "sijil" dan "kontrak" adalah tidak sinonim atau tidak sama pegertiannya. Sijil adalah alat atau perantaraan (mungkin dalam bentuk kertas atau sebagainya) di mana perjanjian ditulis di atasnya. Sementara kontrak pula adalah sesuatu yang tidak ketara, iaitu perjanjian perundangan yang mengikat pihak-pihak berkenaan. Akta Takaful 1984 mendefinisikan “sijil Takaful” sebagai “apa-apa kontrak Takaful bagi perniagaan perpaduan keluarga atau perniagaan am sama ada atau tidak terkandung dalam atau diterangkan oleh suatu surat cara dalam bentuk sijil, dan sebutan mengenai pengeluaran sijil hendaklah ditafsirkan dengan sewajarnya. Sebutan mengenai sesuatu
  • 306.
    482 Amalan AsasTakaful sijil Pengendali Takaful termasuklah apa-apa sijil yang berkenaan dengannya pengendali adalah di bawah apa-apa liabiliti, sama ada sijil itu telah dikeluarkan oleh pengendali atau liabiliti itu telah berpindah kepada pengendali daripada seorang pengendali lain”. C3.2 TRANSAKSI SIJIL Transaksi sijil boleh dibahagikan kepada tajuk-tajuk berikut:- i. Sijil pendua, dan ii. Penyerahan hak sijil Takaful keluarga. 3.2.1 Sijil Pendua Apabila dokumen sijil hilang atau salah letak, sijil gantian akan dikeluarkan oleh Pengendali Takaful. Pengendali Takaful biasanya memerlukan dari peserta, antara lain, dokumen-dokumen berikut sebelum mengeluarkan sijil gantian:- i. surat permohonan; ii. persetujuan untuk membayar ganti rugi kepada Pengendali Takaful sekiranya timbul sebarang kerugian disebabkan pengeluaran sijil pendua berkenaan. Sijil pendua akan dicop dengan perkataan “Sijil Pendua”, dan menjadi dokumen perundangan yang sah. 3.2.2 Penyerahan Hak Sijil Takaful Keluarga Perlu difahami bahawa Akta Takaful 1984 mendefinisikan “peserta” sebagai orang yang diberi perlindungan, dimana setelah sijil diserah hak kepada pemegang serah hak pada masa itu, dan pemegang serah hak berhak mendapat manfaat sijil dari pengendali Takaful kerana ia adalah wakil diri peserta yang telah meninggal dunia. Penyerahan hak ialah suatu pemindahan hak dan liabiliti oleh seseorang kepada seseorang yang lain. Di Takaful, pemindahan
  • 307.
    Amalan Takaful Keluarga:Terma dan Syarat 483 semua hak dan tanggungan peserta kepada orang lain disebut sebagai suatu penyerahan hak sijil. Pemegang serahhak, orang yang mengambil alih hak-hak yang diberikan, akan mempunyai hak yang sama seperti yang dinikmati oleh penyerah hak. Oleh itu, hak undang- undang di bawah sijil Takaful keluarga boleh dipindahkan melalui penyerahan hak. Penyerahan hak boleh dibuat sama ada serah hak mutlak atau serah hak bersyarat. Penyerahan hak mutlak tidak meninggalkan apa-apa hak untuk penyerah hak, kecuali pembayaran sumbangan sekiranya peserta memilih untuk membayar. Sebaliknya, serah hak bersyarat akan memberi hak kepada penyerah hak untuk membatalkan penyerahan hak sekiranya pemegang serah hak meninggal dunia sebelum manfaat Takaful dibayar atau jika peserta masih hidup sehingga tarikh matang sijil Takaful. Proses penyerahan hak boleh dilakukan melalui prosedur berikut: 1. Penyerahan hak hendaklah dibuat secara bertulis. Tanpa notis bertulis, pengendali Takaful tidak boleh dipertanggungjawabkan keatas bayaran yang dibuat kepada individu lain, selain dari pemegang serah hak; 2. Penyerahan hak boleh dikuatkuasakan melalui endorsemen atau surat ikatan yang berasingan; 3. Notis bertulis mengenai penyerahan hak hendaklah dihantar ke ibu pejabat pengendali Takaful; 4. Apabila menerima notis penyerahan hak, pengendali Takaful hendaklah mendaftarkan notis berkenaan. Ini adalah perlu untuk menentukan susunan keutamaan dalam tuntutan sekiranya sijil berkenaan mempunyai pelbagai penyerahan hak. Mengikut keutamaan, penyerahan hak yang lebih awal tarikhnya perlu didahulukan berbanding dengan penyerahan hak yang didaftarkan selepas tarikh tersebut. Penyerahan Hak Amaun Tuntutan Dalam Takaful, istilah "penyerahan hak" juga digunakan dalam konteks menyerahkan hak prosid atau manfaat sijil. Penyerahan hak
  • 308.
    484 Amalan AsasTakaful prosid sijil timbul apabila peserta mengarahkan pengendali Takaful untuk membayar prosid sijil kepada pihak ketiga. Sebagai contoh, terdapat penyerahan hak prosid sijil apabila peserta mengarahkan Pengendali Takaful untuk membayar ganti rugi yang peserta mempunyai hak keatasnya untuk diserahkan kepada pihak lain. Dalam Takaful Keluarga, penyerahan hak prosid sijil berlaku apabila pemilik sijil / peserta menamakan benefisiari untuk menerima manfaat kematian di bawah sijil berkenaan. Dalam penyerahan hak tersebut, peserta masih kekal sebagai satu pihak kepada kontrak Takaful dan terus bertanggungjawab terhadap liabiliti yang timbul di bawah sijil walaupun selepas membuat penyerahan hak prosid sijil. Semua perolehan sijil bebas untuk diserah hak, melainkan jika kontrak menyatakan sebaliknya. Seksyen 6, Akta Takaful 1984, memperuntukkan bahawa hanya mereka yang telah mencapai umur lapan belas (18) tahun dan ke atas sahaja yang boleh terlibat dalam kontrak Takaful. Oleh yang demikian, peserta boleh melantik seseorang untuk menerima manfaat sijil sekiranya beliau meninggal dunia, dengan memberitahu pengendali Takaful secara bertulis mengenai butir-butir penama berikut: i. Nama dan tarikh lahir, ii. No kad pengenalan atau no sijil kelahiran, dan iii. Alamat. Penamaan tersebut hendaklah disaksikan oleh seseorang yang berfikiran waras, telah mencapai umur 18 tahun dan yang bukan merupakan penama yang dinamakan di bawah sijil berkenaan. C3.3 ENDORSEMEN / PINDAAN KE ATAS SIJIL Kontrak Takaful keluarga secara umumnya adalah kontrak jangka panjang dengan tempoh perlindungan berlanjutan sehingga lebih dari 20 tahun. Dalam tempoh yang panjang ini, situasi atau keadaan pemegang sijil mungkin telah berubah. Fleksibiliti yang terdapat
  • 309.
    Amalan Takaful Keluarga:Terma dan Syarat 485 dalam struktur kontrak membolehkan beberapa bentuk pindaan boleh dilakukan terhadap sijil Takaful. Dokumen sijil yang standard sering dipinda sebagai pengesahan terhadap perubahan dan perbezaan keadaan serta keperluan seseorang. Endorsemen boleh dilakukan: i. ketika sijil dikeluarkan, atau ii. selepas sijil dikeluarkan. Endorsemen Ketika Sijil Dikeluarkan Secara amnya, berikut adalah tiga syarat-syarat khusus untuk membuat endorsemen terhadap:- 1. perubahan yang memberi kesan kepada amaun sumbangan atau kekerapan bayaran. Sebagai contoh, jika pindaan melibatkan bayaran ansuran sumbangan, maka suatu syarat yang bersesuaian perlu dikenakan iaitu dengan mengadakan peruntukan bagi potongan apa-apa tunggakan yang belum dibayar, dilangsaikan semasa membuat tuntutan kematian; 2. pindaan yang melibatkan perubahan jumlah perlindungan atau mod bayaran. Sebagai contoh, sekiranya pilihan penyelesaian ialah menggunakan prosid sijil sebagai deposit atas arahan pengendali, maka syarat-syarat khas perlu diperuntukkan semasa membuat endorsemen; 3. pindaan yang menyertakan manfaat tertentu, contohnya pilihan untuk menukar kontrak sedia ada kepada jenis kontrak yang berbeza; perlu menyertakan had atau pembatasan tertentu. Endorsemen Selepas Sijil Dikeluarkan Endorsemen ini dibuat kerana terdapat perubahan dalam: i. mod bayaran sumbangan; ii. perubahan bentuk kontrak; iii. mengenakan atau mengecualikan sumbangan tambahan.
  • 310.
    486 Amalan AsasTakaful Pindaan-pindaan diatas secara amnya boleh dibahagikan kepada kategori perubahan berikut: i. nama atau umur peserta; ii. sumbangan yang perlu dibayar – mod bayaran dan tarikh bayaran; iii. jumlah perlindungan dan amaun sumbangan; iv. Pelan Takaful. Pindaan Sijil Bentuk pindaan yang biasa dilakukana ialah: 1. pertukaran alamat - pindaan ini tidak melibatkan sebarang perubahan dalam syarat kontrak dan lazimnya diterima oleh Pengendali Takaful. Perubahan pada rekod pengendali Takaful akan dibuat dan peserta akan diberitahu mengenainya; 2. pertukaran nama (pemohon / peserta adalah individu yang sama) – Perubahan ini dilakukan dengan mengeluarkan endorsemen. Dokumen bukti diperlukan untuk melakukan pindaan ini; 3. perubahan kekerapan bayaran sumbangan; 4. perubahan jumlah perlindungan – Pengendali Takaful biasanya membenarkan pengurangan jumlah perlindungan dengan syarat amaun yang dikurangkan itu tidak menjadi lebih rendah dari amaun perlindungan minimum bagi kategori perniagaan tersebut. Walau bagaimanapun, Pengendali Takaful tidak menggalakkan peningkatan amaun perlindungan kerana khuatir terdapat anti pemilihan. Dalam keadaan ini, laporan kesihatan yang membuktikan kesihatan peserta adalah memuaskan mungkin diperlukan oleh pengendali Takaful dan amaun sumbangan akan diselaraskan untuk mencerminkan peningkatan jumlah perlindungan. Sebagai alternatif, peserta disarankan untuk mengambil sijil baru dengan jumlah perlindungan yang lebih besar; 5. penukaran benefisiari; 6. perubahan tempoh perlindungan, contohnya dari 10 tahun kepada 5 tahun;
  • 311.
    Amalan Takaful Keluarga:Terma dan Syarat 487 7. pindaan kontrak kepada sijil jelas dibayar; 8. perubahan pelan Takaful; 9. penepian sumbangan tambahan apabila peserta tidak lagi terdedah kepada risiko tambahan, seperti hobi, aktiviti masa lapang dan/atau pekerjaan yang merbahaya. Setiap pengendali Takaful mempunyai prosedurnya sendiri untuk meminda sijil. Biasanya, dokumen sijil dan permohonan bertulis dari peserta hendaklah dihantar ke pejabat pengendali Takaful kerana perubahan tersebut akan dimasukkan ke dalam dokumen sijil. Apabila pejabat Pengendali Takaful menerima permohonan bertulis, ia akan menyemak rekod notis serahan hak untuk mengetahui sama ada ia melibatkan pihak ketiga yang mempunyai kepentingan ke atas sijil berkenaan, dan kebenaran dari pihak berkenaan hendaklah diperolehi terlebih dahulu kerana ianya sangat penting. Pengendali Takaful kemudiannya akan mengemaskinikan rekod berkaitan. C3.4 KEISTIMEWAAN DAN SYARAT-SYARAT Pembayaran jumlah perlindungan adalah tertakluk kepada pemenuhan syarat-syarat tertentu yang dinyatakan dalam sijil Takaful Keluarga. Syarat-syarat sijil secara umumnya boleh dikelaskan kepada tiga kumpulan:- 1. Syarat yang menambah manfaat perlindungan. Syarat berkenaan juga dikenali sebagai kemudahan; 2. Syarat yang menghadkan skop perlindungan. Ia dikenali sebagai syarat pembatasan dan secara umumnya ia melibatkan risiko yang tidak diambilkira dalam pengiraan kadar sumbangan; 3. Syarat yang menerangkan ciri-ciri kontrak Tempoh Tenggang Sumbangan (grace period) Tempoh selama tiga puluh hari (atau satu bulan kalendar) biasanya dibenarkan sebagai tempoh tenggang bagi pembayaran sumbangan secara tahunan, setengah-tahunan, suku-tahunan dan bulanan. Perlindungan di bawah sijil Takaful akan terus berkuatkuasa semasa
  • 312.
    488 Amalan AsasTakaful tempoh pertangguhan ini dengan amaun penuh jumlah perlindungan. Jika sumbangan masih tidak dijelaskan dalam tempoh tersebut, perlindungan sijil akan ditamatkan, tertakluk kepada sebarang peruntukan tak lucut hak, sekiranya berkenaan. Nilai Serahan Nilai serahan adalah nilai yang terdapat dalam sijil Takaful Keluarga selepas sumbangan dibayar untuk tempoh minimum beberapa tahun. Dalam skim Takaful keluarga, nilai serahan difahami sebagai nilai atau wang tunai yang akan diterima oleh peserta apabila ia 'menyerahkan' atau menamatkan penyertaannya sebelum sijil mencapai tempoh matang. Dalam hal ini, peserta akan dibayar semua baki terkumpul dalam Akaun Peserta, tetapi tiada amaun bayaran dari Akaun Khas Peserta (dana tabarru’) kerana sumbangan untuk akaun ini telah dianggap sebagai derma. Pengeluaran Sebahagian Peserta dibenarkan mengeluarkan simpanannya sendiri untuk digunakan sekarang, walaupun sepatutnya ia disimpan dalam tabung untuk kegunaan di masa akan datang. Setiap pengendali Takaful mempunyai set garis panduan mereka sendiri mengenai jumlah wang yang boleh dikeluarkan oleh peserta. Biasanya sehingga 50% daripada baki yang ada dalam Akaun Peserta boleh dibuat pengeluaran sebahagian. Sudah tentu pengendali Takaful tidak mengenakan faedah atas pengeluaran yang dibuat, kecuali caj minimum dikenakan untuk menguruskan transaksi berkenaan. Peserta boleh memilih untuk membayar balik atau sebaliknya atas pengeluaran yang telah dibuat, tetapi harus diingat bahawa pulangan pelaburan Akaun Peserta adalah bergantung kepada amaun yang terdapat dalam akaun berkenaan. Syarat-Syarat Tanpa Bayaran Syarat-syarat tanpa-bayaran merupakan satu keistimewaan yang sangat berharga kepada peserta yang menghadapi masalah untuk
  • 313.
    Amalan Takaful Keluarga:Terma dan Syarat 489 membuat bayaran sumbangan atau buat sementara waktu ia tidak dapat memenuhi tanggungjawabnya. Peruntukan tanpa-bayaran memainkan peranannya setelah sijil memperolehi nilai tunai. Ia adalah nilai tunai yang terkumpul didalam Akaun Peserta yang digunakan untuk membiayai manfaat / kemudahan tanpa-bayaran. Berikut adalah antara kaedah yang digunakan untuk melaksanakan peruntukan syarat-syarat tanpa-bayaran: Pendahuluan Automatik dari Akaun Peserta Di bawah peruntukan ini, setiap sumbangan akan dibayar secara automatik apabila sampai masanya setelah tamat tempoh tenggang. Sumbangan akan terus berbayar sehingga nilai tunai habis digunakan dan selepas itu perlindungan akan ditamatkan. Pengendali Takaful membuat peruntukan ini dalam kontrak mereka untuk menyediakan kesinambungan perlindungan apabila peserta tidak mampu atau cuai dan gagal membayar sumbangan. Peruntukan ini juga membenarkan peserta pada bila-bila masa hak untuk mengembalikan status asal sijil dengan membayar amaun yang tertunggak kepada pengendali Takaful. Bukti kebolehlindungan tidak diperlukan untuk mengembalikan semula sijil kepada status asal. Tambahan pula, dengan menggunakan pendahuluan automatik dari Akaun Peserta, ia membolehkan manfaat tambahan seperti penepian bayaran sumbangan dan manfaat kematian akibat kemalangan dapat diteruskan. Tujuan peruntukan tanpa-bayaran ini adalah untuk melindungi kepentingan peserta yang terlupa membayar premium atau tidak berkemampuan untuk berbuat demikian buat sementara waktu. Kemudahan ini bukanlah bertujuan untuk membolehkan peserta memperolehi perlindungan Takaful keluarga dengan kos minimum.
  • 314.
    490 Amalan AsasTakaful Takaful Berbayar Pilihan Takaful Berbayar ini membenarkan peserta membuat penukaran amaun bersih nilai tunai kepada sijil Takaful berbayar dari jenis yang sama seperti sijil asal tetapi amaun muka yang berkurangan. Sebaik sahaja sijil ini ditukar menjadi sijil Takaful berbayar, sumbangan selanjutnya tidak perlu dibayar, dan semua rider serta manfaat tambahan seperti hilang upaya dan kematian akibat kemalangan akan dimansuhkan. Bagi segelintir peserta, peruntukan Takaful berbayar ini merupakan sesuatu yang dialu-alukan khususya apabila peserta akan mencapai umur persaraan, yang biasanya pendapatan mereka akan berkurangan. Takaful Bertempoh Yang Dilanjutkan Pilihan Takaful bertempoh yang dilanjutkan ini membenarkan peserta menukar nilai tunai diperolehi kepada perlindungan Takaful bertempoh berbayar dengan amaun penuh jumlah perlindungan tetapi tempoh perlindungan dipendekkan. Tempoh perlindungan adalah bergantung kepada amaun nilai tunai terkumpul yang ada dan boleh digunakan sebagai bayaran sumbangan tunggal bersih pada tarikh penukaran. Pilihan ini adalah lebih sesuai ketika perlindungan Takaful masih diperlukan tetapi kemampuan kewangan untuk membayar sumbangan telah terjejas. Untuk sijil yang mempunyai nilai tunai (endowmen), perlindungan bertempoh yang disediakan biasanya tidak melebihi tarikh matang sijil asal. Syarat-Syarat Pengembalian Semula (Reinstatement Condition) Syarat pengembalian semula membolehkan seseorang memohon untuk menguatkuasakan semula kontrak setelah tempoh tangguh dan tempoh tanpa-bayaran telah berakhir. Bukti kesihatan dan bukti-bukti lain mungkin diperlukan dan pengendali Takaful biasanya berhak mengenakan termanya sendiri untuk mempertimbangkan permohonan
  • 315.
    Amalan Takaful Keluarga:Terma dan Syarat 491 pengembalian semula sijil. Selain dari tempoh tangguh dan tempoh tanpa-bayaran, biasanya terdapat tempoh lanjutan di mana pengembalian semula sijil boleh dilakukan. Semasa tempoh perlindungan di bawah fasal tanpa-bayaran, adalah kebiasaan untuk menyambung perlindungan sijil dengan amaun penuh jumlah perlindungan asal iaitu dengan membayar semua tunggakan sumbangan. Sijil yang dikembalikan semula kuatkuasanya adalah tertakluk kepada bukti kesihatan yang memuaskan. Pengembalian semula sijil biasanya tidak dibenarkan dalam keadaan berikut:- 1. Sijil yang telah luput untuk tempoh tertentu (tertakluk kepada terma dan syarat pengendali Takaful) 2. Peserta adalah seorang wanita yang mengandung 8 bulan atau lebih (tertakluk kepada terma dan syarat pengendali Takaful) 3. Peserta yang telah mencapai umur maksimum akan (tertakluk kepada terma dan syarat Pengendali Takaful) Adalah penting untuk diketahui bahawa bagi setiap sijil yang dikuatkuasakan semula, tarikh kuatkuasa untuk: i. fasal tidak boleh tanding dan fasal bunuh diri yang terkandung dalam Syarat-Syarat dan Kemudahan sijil, dan ii. tempoh menunggu yang dinyatakan dalam sijil atau rider, adalah bermula dari tarikh sijil berkenaan dikembalikan semula. Syarat-syarat Pembatasan Klausa Bunuh Diri Sekiranya peserta membunuh diri dalam tempoh yang dinyatakan dalam sijil, sijil akan batal dan Pengendali Takaful tidak bertanggungjawab membayar tuntutan, kecuali mengembalikan semula sumbangan yang diterima melalui Akaun Peserta (tertakluk kepada terma dan syarat pengendali Takaful).
  • 316.
    492 Amalan AsasTakaful Perjalanan dan Menetap Di Luar Negara Kebanyakan sijil tidak menghadkan peserta untuk melakukan perjalanan atau menetap di luar negara. Klausa ini tertakluk kepada terma dan syarat pengendali Takaful. Pekerjaan dan Hobi yang Merbahaya Sumbangan tambahan mungkin dikenakan untuk pekerjaan atau aktiviti berisiko tinggi, contohnya lumba kereta, luncur udara, pekerja kuari, pekerja pelantar minyak, polis dan sebagainya. Salahnyata Umur dan Fasal Tanpa Tanding Fasal tanpa tanding biasanya dimasukkan dalam kebanyakan sijil Takaful, selaras dengan Seksyen 26, Akta Takaful 1984 yang memperuntukkan bahawa tiada sijil Takaful keluarga yang boleh dipersoalkan oleh pengendali Takaful atas alasan salah nyata umur peserta. Begitu juga, sekiranya kenyataan yang diberi atau tidak memberitahu dalam borang cadangan atau laporan perubatan atau mana-mana dokumen sehingga menyebabkan sijil Takaful yang dikeluarkan tidak tepat atau palsu atau mengelirukan, ia tidak boleh dipertikaikan kecuali Pengendali Takaful boleh membuktikan bahawa kenyataan yang dibuat atau tidak diberitahu dilakukan dengan niat untuk menipu. Penggantian Sijil Takaful Keluarga Penggantian sijil boleh merugikan kepentingan peserta dan sekiranya perkara ini dibiarkan berterusan, ia akan meninggalkan kesan buruk terhadap prestasi kewangan jangka panjang pengendali Takaful serta imej industri Takaful keseluruhannya.
  • 317.
    Amalan Takaful Keluarga:Terma dan Syarat 493 Definisi “Penggantian Sijil” Bank Negara Malaysia, melalui surat pekeliling bertarikh 30 Mac 2005, No Ruj: JPI/03/2005/TO mentakrifkan Penggantian Sijil sebagai “sebarang transaksi yang melibatkan penyertaan sijil Takaful keluarga sekiranya dalam tempoh 12 bulan sebelum atau selepas sijil baru dikuatkuasakan, sijil Takaful Keluarga yang sedia ada telah:- 1. Dibatalkan atau diserahkan; 2. ditukar atau diubah menjadi sijil Takaful berbayar, diteruskan sebagai Takaful bertempoh yang dilanjutkan atau pendahuluan automatik dari akaun peserta atau dalam bentuk lain peruntukan tanpa-bayaran atau dikurangkan nilai perlindungan dengan menggunakan peruntukan tanpa-bayaran, atau peruntukan dividen terkumpul dalam dana tertentu seperti Akaun Peserta; atau 3. ditukar atau diubah sehingga menjadikan amaun sumbangan yang perlu dibayar menjadi lebih rendah disebabkan pengurangan jumlah perlindungan dan / atau rider atau membuang rider dari sijil asas, atau dalam tempoh masa tertentu sijil Takaful keluarga sedia ada akan terus berkuatkuasa”. Kaedah Mengenalpasti Penggantian Sijil Dalam usaha mengenal pasti dan membendung secara dalaman dan luaran mengenai kegiatan penggantian sijil, Pengendali Takaful dikehendaki mengambil langkah-langkah berikut: 1. melaksanakan mekanisme kawalan yang berkesan, terutamanya perlaksanaan sistem automasi bagi mengesan kegiatan penggantian sijil dimana sijil sedia ada dan sijil baru dikeluarkan oleh Pengendali Takaful yang sama; 2. memasukkan soalan didalam borang cadangan, bertanyakan samada cadangan terbarru’ ini dibuat untuk menggantikan atau berhasrat untuk menggantikan mana-mana sijil sedia ada yang dikeluarkan oleh Pengendali Takaful semasa atau Pengendali Takaful lain; dan
  • 318.
    494 Amalan AsasTakaful 3. melantik pegawai sepenuh masa di kalangan kakitangan syarikat untuk membuat tindakan susulan dan memberi khidmat nasihat secara bertulis kepada pemilik sijil tentang keburukan menggantikan sijil Takaful serta memberitahu alternatif lain yang ada, dalam tempoh 7 hari dari tarikh penggantian sijil dikesan. Dalam surat berkenaan, pengendali dikehendaki menunjukkan jumlah nilai tunai terkumpul di bawah sijil sedia ada dan tempoh (tahun) yang diperlukan untuk mengumpulkan jumlah nilai tunai yang serupa dibawah sijil baru, juga tunjukkan kerugian bersih yang akan ditanggung oleh pemilik sijil akibat dari penggantian sijil berkenaan. C3.5 PENGECUALIAN Secara amnya, sijil Takaful Keluarga tidak melindungi: 1. kematian, hilang upaya atau perbelanjaan perubatan disebabkan oleh: a. peperangan, operasi persiapan berperang, mogok, rusuhan, kegemparan umum; b. tidak siuman, bunuh diri atau cubaan membunuh diri; c. penyakit kelamin, jangkitan atau parasit; d. mabuk disebabkan alkohol atau dadah; dan e. bersalin, keguguran atau kehamilan. 2. kematian, hilang upaya atau perbelanjaan perubatan yang ditanggung oleh peserta: a. semasa dalam perjalanan di dalam pesawat sebagai anak kapal; b. semasa melibatkan diri dalam sukan bermotor, berbasikal, memburu, mendaki gunung, bermain polo, lumba kuda, melompat-ski air, aktiviti dalam air, atau mana-mana sukan ekstrem yang lain; dan c. semasa melakukan atau cuba melakukan apa-apa perbuatan yang menyalahi undang-undang.
  • 319.
    Amalan Takaful Keluarga:Pengkadaran 495 BAB C4 AMALAN TAKAFUL KELUARGA: PERNIAGAAN BARU – PENGKADARAN PENDAHULUAN Dalam bab ini, tumpuan akan diberikan kepada amalan Takaful keluarga yang berkaitan dengan perniagaan baru, khususnya dalam aspek pengunderaitan dan pengkadaran. C4.1 PENGENALAN Kontrak Takaful keluarga adalah kontrak jangka panjang dan kadar sumbangan ditetapkan pada peringkat awal lagi. Oleh itu, tidak seperti dalam kontrak Takaful Am, sumbangan dalam Takaful Keluarga tidak boleh dipinda ketika kontrak dalam tempoh berkuatkuasa. Tambahan lagi, kontrak tidak boleh dibatalkan secara sebelah pihak iaitu oleh Pengendali Takaful. C4.2 PENGURUSAN RISIKO Dalam perniagaan Takaful keluarga, proses pengurusan risiko boleh dibahagikan kepada beberapa tajuk berikut:- 1. Mengenalpasti faktor risiko; 2. Pemilihan penyertaan; 3. Menilai risiko; 4. Penentuan biaya risiko; 5. Pemantauan dana Takaful. Faktor-faktor Risiko: Mortaliti (Mortality) Faktor utama yang mempengaruhi kemortalan ialah: - umur, jantina, pekerjaan, status sosial, etnik, lokasi geografi, status perkahwinan, tabiat peribadi, hobi dan menetap di luar negara.
  • 320.
    496 Amalan AsasTakaful Umur Adalah menjadi fakta umum bahawa mortaliti meningkat seiring dengan peningkatan usia, terutamanya disebabkan oleh kemalangan di kalangan mereka yang lanjut usia. Kadar kemortalan meningkat dengan serta-merta selepas kelahiran bayi (kadar kematian bayi) dan selepas itu menurun dengan ketara sehingga ke tahap yang agak malar kerana banyak dipengaruhi oleh generasi usia muda. Perkembangan tahap ini kemudiannya agak terganggu dengan kenaikan kadar kemortalan di kalangan mereka disekitar umur 18 hingga 24 tahun, disebabkan oleh peningkatan jumlah kematian akibat kemalangan di kalangan mereka. Kadar kemortalan meningkat dengan mendadak pada peringkat umur yang lebih dewasa. Kadar mortaliti peserta yang dilindungi adalah lebih rendah daripada kadar kematian penduduk. Ini adalah disebabkan oleh hakikat bahawa Pengendali Takaful memilih risiko hayat yang akan dilindungi, di mana hayat yang mempunyai peluang yang tipis untuk terus hidup walaupun untuk tempoh yang singkat, pasti akan dikecualikan. Walau bagaimanapun, ia cukup jelas bahawa semakin meningkat usia seseorang, kemungkinan untuk menghadapi kematian secara semula jadi atau kematian akibat usia tua yang berlaku di kalangan mereka meningkat dengan begitu tinggi. Oleh itu, mereka yang berada pada usia sedemikian biasanya akan mendapati begitu sukar, atau kadang- kala mustahil yang mereka boleh diterima sebagai peserta dalam skim Takaful Keluarga. Meskipun mereka diterima, kadar sumbangan pastinya berada di tahap tertinggi, dan menjadikannya tidak menguntungkan untuk menyertai mana-mana skim Takaful Keluarga. Keadaan akan menjadi lebih teruk sekiranya mereka disahkan menghidap penyakit tertentu. Golongan yang berkemampuan biasanya memiliki polisi insurans / menyertai Takaful.
  • 321.
    Amalan Takaful Keluarga:Pengkadaran 497 Takaful Keluarga disertai oleh sektor penduduk yang pada umumnya mempunyai akses kepada kemudahan perubatan yang lebih baik dan kemudahan sosial lain. Jantina Kadar mortaliti kaum wanita adalah lebih rendah berbanding dengan kadar mortaliti kaum lelaki. Statistik mortaliti hayat penduduk dan peserta Takaful mendedahkan bahawa wanita mengalami kadar mortaliti yang lebih rendah berbanding dengan lelaki. Fenomena ini ternyata benar untuk semua peringkat umur. Tahap mortaliti yang lebih rendah yang dialami oleh kaum wanita dicerminkan melalui kadar sumbangan Takaful Keluarga yang lebih rendah berbanding dengan kaum lelaki yang sebaya usianya. Walau bagaimanapun, keadaan sebaliknya berlaku untuk pelan anuiti. Kadar morbiditi (morbidity) kaum wanita lebih tinggi berbanding dengan kemorbidan kaum lelaki. Dalam kes morbiditi, kaum wanita mengalami kadar penyakit dan sakit yang lebih tinggi berbanding dengan kaum lelaki, dan sewajarnya, kaum wanita dikenakan bayaran kadar sumbangan yang lebih tinggi untuk perlindungan Takaful perubatan dan kesihatan. Pekerjaan Satu lagi faktor penting yang mempengaruhi kadar mortaliti ialah jenis pekerjaan. Pengendali Takaful menggunakan kategori yang luas berkaitan pekerjaan dalam menentukan kadar sumbangan tambahan ke atas kadar sumbangan normal disebabkan oleh risiko tambahan yang ditimbulkan oleh jenis pekerjaan yang berbeza. Adalah jelas bahawa seorang eksekutif dan pekerja di pelantar minyak terdedah kepada tahap risiko pekerjaan yang berbeza dan oleh itu adalah penting untuk mengkategorikan peserta Takaful mengikut jenis
  • 322.
    498 Amalan AsasTakaful pekerjaan masing-masing. Ini akan membolehkan pengendali Takaful mengenakan sumbangan yang setara dengan risiko yang ditanggung. Sebagai contoh, pengendali boleh menerima pakai kategori pekerjaan seperti berikut - Pengurusan, Eksekutif, Kerani dan Buruh, dan mungkin mengenakan sumbangan tambahan (loading) sumbangan keatas kategori buruh. Bebanan yang dikenakan kepada buruh adalah lebih tinggi berbanding dengan kategori pekerja-pekerja lain. Status Sosial Faktor ini berkait rapat dengan faktor pekerjaan. Status sosial seseorang biasanya ditentukan melalui pendapatan yang diperolehi. Jumlah pendapatan pula berkait rapat dengan jenis pekerjaan mereka. Etnik Etnik atau rumpun bangsa seseorang individu juga mempunyai kesan penting ke atas mortaliti dan morbiditi, contohnya dapat dilihat dalam mana-mana kaum/orang asli. Ia dipengaruhi terutamanya oleh warisan budaya, tabiat pemakanan dan sikap terhadap lain-lain aspek kehidupan. Di Malaysia misalnya, ia dianggap perkara biasa apabila lebih ramai orang Melayu menghidap diabetes berbanding dengan kaum-kaum utama yang lain. Ini mungkin disebabkan tabiat pemakanan dan diet kumpulan bangsa tertentu yang berbeza. Sehubungan dengan itu, pengendali Takaful berusaha untuk memainkan peranan yang lebih aktif demi memastikan kejadian- kejadian sedemikian dapat dikurangkan dan seterusnya meningkatkan kualiti risiko yang ditanggung. Lokasi Geografi Perbezaan yang ketara ialah antara kawasan bandar dan luar bandar. Mereka yang tinggal di kawasan bandar biasanya mempunyai akses lebih baik untuk kemudahan rawatan perubatan, manakala penduduk di kawasan luar bandar mungkin tidak bernasib baik kerana tiada atau kurang kemudahan asas yang disediakan untuk mereka.
  • 323.
    Amalan Takaful Keluarga:Pengkadaran 499 Status Perkahwinan Statistik menunjukkan bahawa lelaki bujang mengalami kadar mortaliti yang lebih tinggi daripada lelaki berkahwin. Ini mungkin disebabkan oleh hakikat bahawa lelaki berkahwin berusaha sedaya mungkin untuk mengelak dari menghadapi risiko kerana dia mempunyai tanggungjawab terhadap isteri dan keluarganya. Manakala lelaki bujang lebih terdedah kepada risiko melalui sikap dan tindakan mereka yang sukakan cabaran dan oleh itu melihat risiko dari perspektif yang berbeza. Tabiat Peribadi dan Sejarah Keluarga Tabiat seperti merokok dan pengambilan alkohol mempunyai pengaruh yang jelas terhadap mortaliti dan morbiditi seseorang. Di samping itu, terdapat beberapa jenis penyakit yang ada perkaitannya dengan keturunan, dan oleh itu sejarah perubatan keluarga adalah faktor penting. Penyakit-penyakit seperti kencing manis, darah tinggi, dan asma dianggap sebagai penyakit keturunan. Oleh itu, pengendali Takaful perlu mengambil kira maklumat seperti ini apabila mengetahui bahawa terdapat ahli keluarga bakal peserta yang menghidap penyakit berkenaan. Hobi Beberapa bentuk hobi seperti lumba kereta, meluncur udara dan sebagainya adalah aktiviti merbahaya dan mereka yang terlibat dalam sukan itu boleh dijangka akan mengalami kadar mortaliti yang lebih tinggi berbanding dengan kadar mortaliti purata. Menetap Di Luar Negara Tempat tinggal atau menetap di kawasan yang tidak sihat atau di kawasan yang terdedah kepada pergaduhan secara semula jadi mempunyai kesan dalam meningkatkan mortaliti dan morbiditi. Melakukan perjalanan jauh atau menetap di luar negara boleh menimbulkan risiko tertentu kerana sistem ketahanan badan mungkin
  • 324.
    500 Amalan AsasTakaful tidak bersedia menerima perubahan apabila terdedah kepada suasana dan bumi asing. Penduduk tempatan telah mendapat imunisasi tertentu apabila terdedah dalam keadaan yang sama, dan dengan itu kesihatan mereka tidak terjejas. Pemilihan Penyertaan Pengendali Takaful perlu memilih cadangan penyertaan untuk mengelakkan antipemilihan. Ini terutamanya dilakukan melalui proses pengunderaitan. Kontrak Takaful Keluarga bukan kontrak ganti rugi. Jumlah penuh yang dilindungi akan dibayar jika berlaku peristiwa yang dilindungi. Oleh itu, proses pengunderaitan juga perlu mengenal pasti, selain faktor risiko biasa yang dikaitkan dengan kesihatan pencadang, juga kes pembelian lebih perlindungan (over insured). Pengunderaitan bagi kontrak Takaful keluarga boleh dipertimbangkan di bawah dua tajuk khusus:- Pengunderaitan Kewangan Borang cadangan akan diteliti perkara-perkara berikut:- 1. Kewujudan kepentingan boleh lindung; 2. sama ada amaun perlindungan yang dipohon sepadan dengan kedudukan kewangan, contohnya keupayaan pencadang menjana pendapatan; 3. sama ada peserta mengekalkan beberapa polisi insurans / sijil Takaful dengan syarikat insurans / pengendali lain; dan 4. sama ada Pengendali Takaful yang lain telah menolak permohonan pencadang untuk perlindungan Takaful, dan jika ya, apa sebab-sebabnya. Secara ringkasnya, pengunderaitan kewangan ialah proses mengenal pasti kewujudan bahaya moral.
  • 325.
    Amalan Takaful Keluarga:Pengkadaran 501 Pengunderaitan Perubatan Jika pengunderaitan kewangan tidak berjaya mendedahkan sebarang ciri-ciri ganjil dalam permohonan itu, peringkat seterusnya dalam proses pengunderaitan adalah pengunderaitan perubatan. Jawapan yang disediakan dalam borang cadangan kepada soalan-soalan mengenai ketinggian pencadang, berat badan, sejarah perubatan peribadi dan keluarga, serta gaya hidup merupakan titik permulaan proses pengunderaitan. Jika pengunderaitan di atas mendedahkan sebarang ciri-ciri yang luar biasa, maka pencadang mungkin dikehendaki untuk menjawab soalan-soalan tambahan, memberikan laporan perubatan atau menjalani pemeriksaan perubatan lanjutan. Jika jawapan yang disediakan, bersama-sama dengan laporan pemeriksaan dan perubatan menunjukkan pencadang berada dalam kesihatan yang baik, proses pengunderaitan berakhir dan pencadang akan ditawarkan perlindungan dengan syarat-syarat biasa. Jika ujian menunjukkan bahawa kesihatan pencadang kurang memuaskan, ia akan dianggap sebagai risiko yang substandard atau sebagai risiko yang terjejas. Dalam keadaan ini, pengunderait perlu membuat keputusan sejauh mana pengendali Takaful mampu menanggung risiko tambahan tersebut sekiranya cadangan berkenaan diterima. Pengendali Takaful biasanya menggunakan mana-mana satu kaedah berikut untuk berhadapan dengan risiko yang sub-standard:- i. mengenakan amaun sumbangan tambahan; ii. mengenakan lien atau ‘had’ `, iaitu mengurangkan amaun yang kena bayar sekiranya berlaku kematian; iii. menawarkan bentuk kontrak yang berlainan; atau iv. menolak atau menangguhkan permohonan perlindungan. Antara contoh terbaik dalam menangani cadangan hayat sub-standard ialah:
  • 326.
    502 Amalan AsasTakaful 1. Mengenakan amaun sumbangan tambahan: contoh: kadar biasa ialah RM 200/ sebulan peratusan bebanan substandard 50%, amaun sumbangan baru RM 200 + RM 100 = RM300. 2. Menawarkan bentuk kontrak yang berlainan: Contoh: Pelan perlindungan asas yang menyediakan manfaat kematian / TPD, tetapi pengunderait hanya menawarkan perlindungan kematian, tanpa perlindungan TPD. 3. Menangguhkan permohonan perlindungan buat sementara waktu: Contoh: kehamilan Sijil boleh dikuatkuasakan hanya apabila pencadang telah bersalin. Secara ringkasnya, pengunderaitan perubatan ialah proses menilai tahap bahaya fizikal dan hubungannya dengan risiko yang dicadangkan, sekiranya perlindungan diberikan. Pengunderaitan Tanpa-Perubatan Disebabkan dunia perubatan telah semakin maju, kemudahan perubatan yang disediakan juga semakin bertambah baik. Dengan kenaikan kos mendapatkan rawatan perubatan dan desakan untuk memproses peningkatan aktiviti perniagaan dengan cepat, ia membawa kepada pengeluaran sijil Takaful dimana bukti perubatan tidak diperlukan. Walau bagaimanapun, keistimewaan perlindungan tanpa bukti perubatan itu diberikan hanya kepada bentuk perlindungan tetap iaitu perlindungan bertempoh dan Takaful pelaburan atau simpanan. Pengunderaitan berdasarkan umur dan jumlah perlindungan masih dikenakan. Garis panduan had umur dan amaun perlindungan yang
  • 327.
    Amalan Takaful Keluarga:Pengkadaran 503 digunakan adalah berbeza-beza di kalangan pengendali Takaful dan jadual di bawah menunjukkan had pengunderaitan perubatan:- Umur Jumlah Perlindungan (RM) 1 bulan – 16 tahun 200,000 17 – 40 tahun 350,000 41 – 50 tahun 250,000 51 tahun ke atas bukti perubatan diperlukan Had Pengunderaitan tanpa-Perubatan untuk Takaful Keluarga Pencadang masih perlu mengisi borang cadangan yang direka dengan teliti untuk mendapatkan maklumat tentang sejarah diri dan keluarga, berat badan, ketinggian dan tabiat. Sekiranya maklumat yang diberikan memperlihatkan tanda-tanda yang kurang memberangsangkan, Pengendali Takaful berhak untuk meminta pencadang menjalani pemeriksaan perubatan. Sebelum kedatangan penyakit AIDS, terdapat satu trend menggunakan bentuk borang cadangan bukan-perubatan yang lebih ringkas, iaitu menghadkan soalan berkaitan kesihatan. Pendekatan ini berjaya mengurangkan peranan pengunderaitan dalam proses pemilihan risiko. Walau bagaimanapun, kemungkinan wujudnya anti- pemilihan akibat AIDS telah mengubah trend tersebut dan kini fungsi pengunderaitan telah diberikan pengiktirafan yang sewajarnya. Peranan Ejen dalam Proses Pengunderaitan Takaful Tanpa - Perubatan Adalah penting untuk dinyatakan bahawa pengendali Takaful bergantung kepada ejen-ejen yang berwibawa, jujur dan setia serta menggunakan pertimbangan yang saksama demi memastikan pencadang untuk perlindungan bukan-perubatan mendedahkan semua maklumat penting dengan jujur dan sepenuhnya.
  • 328.
    504 Amalan AsasTakaful Objektif Pemilihan Tujuan utama pemilihan ialah untuk menentukan samada risiko yang dicadangkan untuk dilindungi oleh pengendali Takaful itu:- 1. dalam had normal dan boleh diterima oleh pengendali Takaful berdasarkan kadar sumbangan standard untuk umur peserta mengikut umur dalam jadual yang dicadangkan, di mana risiko tersebut dikategorikan sebagai "kelas pertama", "pilih" atau "standard"; 2. di bawah purata tetapi masih diterima oleh pengendali Takaful, tertakluk kepada beberapa bentuk sekatan untuk melindungi risiko tambahan, risiko yang disebut sebagai “substandard”; 3. di bawah purata sehingga ke tahap ia tidak diterima oleh pengendali Takaful pada masa pertimbangan dibuat, tetapi dengan peredaran masa dan keadaan yang mungkin semakin baik, cadangan mungkin boleh diterima dimasa akan datang, iaitu permohonan "ditangguhkan" untuk tempoh tertentu; atau 4. di bawah purata sehingga ke tahap cadangan tidak boleh diterima dengan apa syarat sekalipun, dan ia adalah cadangan yang “ditolak” . Risiko di bawah kategori (2) atau (3) memerlukan maklumat peribadi tambahan seperti ketinggian, berat, sejarah peribadi & keluarga, keturunan, pekerjaan atau tempat tinggal; sebelum penilaian akhir boleh dibuat. Kaedah Menerima Risiko Sub-Standard Setelah ditentukan berdasarkan bukti yang dikemukakan bahawa pencadang tidak boleh dikelaskan sebagai ‘standard’, pengendali Takaful perlu membuat keputusan untuk mengetahui setakat mana tahap risiko tambahan itu wujud (dengan andaian risiko berkenaan masih boleh diterima) dan menentukan kos risiko tambahan ini. Risiko tambahan secara amnya boleh dikategorikan kepada tiga kumpulan utama:
  • 329.
    Amalan Takaful Keluarga:Pengkadaran 505 1. Kadar mortaliti Tambahan yang Semakin Meningkat; Gangguan yang menyebabkan peningkatan kadar kemortalan mortaliti tambahan adalah salah satu faktor penting yang membawa kepada kegagalan untuk terus hidup, seiring dengan pertambahan masa dan usia pencadang. Sebagai contoh, berat badan berlebihan mewujudkan tekanan kepada jantung dan organ-organ lain. 2. Kadar mortaliti Tambahan Paras (level) Kemortalan mortaliti tambahan paras merujuk kepada jenis risiko tambahan yang akan kekal malar dari tahun ke tahun. Beberapa pekerjaan yang merbahaya atau tidak sihat (contohnya, perniagaan minuman keras) secara umumnya dianggap mempengaruhi kemortalan mortaliti tambahan. 3. Kadar mortaliti Tambahan Menurun Kemortalan mortaliti tambahan menurun menerangkan tentang jenis risiko yang wujud ketika usia remaja, tetapi kemudiannya akan berkurangan semasa usia dewasa. Sebagai contoh, seorang anak remaja yang mengalami batuk kering tetapi telah disahkan sembuh sepenuhnya, besar kemungkinan penyakit tersebut tidak berulang dimasa akan datang apabila ia telah dewasa. Risiko tambahan mungkin dibenarkan mengikut kaedah tertentu berdasarkan kategori mortaliti tambahan, iaitu: 1. Meningkatkan Amaun Sumbangan Ini dipanggil “sumbangan tambahan”. Kadar sumbangan standard boleh ditingkatkan peratusannya berdasarkan jangkaan peningkatan kadar mortaliti, atau “sumbangan tambahan” boleh dikenakan dengan mengenakan bayaran sumbangan yang bersesuaian mengikut umur beberapa tahun lebih tua daripada usia sebenar pencadang. Kadar rata sumbangan tambahan
  • 330.
    506 Amalan AsasTakaful biasanya digunakan untuk risiko tambahan paras, manakala “sumbangan tambahan berdasarkan umur” sesuai untuk beberapa jenis mortaliti yang meningkat. Risiko tambahan yang berkurangan secara drastik boleh ditangani dengan mengenakan sumbangan tambahan sementara. 2. Mengurangkan Manfaat Kematian Sebagai menggantikan bayaran bebanan secara tunai, risiko tambahan boleh dilindungi mengikut peruntukan yang bermaksud jumlah perlindungan akan dikurangkan kepada beberapa peratus lebih rendah dari yang sepatutnya, sekiranya kematian berlaku dalam tempoh yang ditentukan. Ini dikenali sebagai "lien" atau "hutang luar jangka". Sumbangan yang dikenakan adalah mengikut kadar standard dan sekiranya peserta yang dilindungi masih hidup selepas tempoh lien, sijil Takaful dianggap seolah- olah telah dikeluarkan untuk hayat standard. Hutang luar jangka mungkin malar atau mungkin menurun sepanjang tempoh yang ditentukan. Jika lien itu adalah malar, ia boleh dipanggil hutang luar jangka "paras" dan sekiranya ia semakin berkurangan, ia dirujuk sebagai hutang luar jangka "menurun”. 3. Penyelarasan Pulangan Keuntungan Penyelarasan pulangan keuntungan dalam sijil sertaan adalah suatu kaedah yang jarang-jarang digunakan bergantung kepada model dan akad yang digunakan oleh pengendali Takaful. 4. Pelan Sijil Alternatif Mencadangkan agar suatu kaedah perlindungan yang berbeza disediakan sebagai suatu jalan penyelesaian. Contohnya, menawarkan kontrak perlindungan dengan menghadkan tempoh kontrak yang dikeluarkan untuk hayat yang terjejas.
  • 331.
    Amalan Takaful Keluarga:Pengkadaran 507 5. Pengecualian Bahaya Tertentu Sijil yang dikeluarkan mungkin memperuntukkan fasal menghadkan liabiliti pengendali Takaful jika kematian berlaku secara langsung atau tidak langsung akibat gangguan tertentu atau penyertaan dalam bentuk aktiviti tertentu. Gabungan kaedah ini boleh digunakan (jika perlu) untuk melindungi risiko tambahan. Penerimaan Risiko Apabila cadangan yang dikemukakan kepada pengendali Takaful tanpa sumbangan dan cadangan itu diluluskan oleh pengendali Takaful, surat penerimaan akan dikeluarkan kepada pencadang yang meminta pencadang untuk membuat pembayaran sumbangan dalam tempoh tertentu (biasanya 30 hari). Jika sumbangan itu tidak dibayar dalam tempoh yang ditetapkan, pengendali perlu mengesahkan semula penerimaan cadangan tersebut. Pengendali Takaful boleh meminta laporan perisytiharan kesihatan yang mengesahkan keadaan kesihatan yang baik berterusan sebelum mengesahkan semula penerimaan. Surat penerimaan juga mesti menyebut bahawa tawaran boleh dibatalkan jika terdapat apa-apa perubahan keadaan kesihatan, pekerjaan dan keadaan-kaedah lain sejak tarikh mengemukakan cadangan. Jika terdapat sebarang perubahan yang tidak memuaskan, pencadang diminta untuk memberitahu perkara tersebut kepada pengendali Takaful, dan cadangan mungkin disahkan semula penerimaannya atau sebaliknya, selepas menerima maklumat berkenaan. Pengendali Takaful akan menanggung risiko dengan serta- merta apabila menerima ansuran sumbangan pertama selepas pengeluaran surat penerimaan. Apabila cadangan dikemukakan bersama-sama dengan sumbangan awal dan resit bayaran sumbangan telah dikeluarkan, pencadang akan dilindungi dari kematian akibat kemalangan sahaja dan untuk tempoh yang singkat. Perlindungan Takaful bermula serta-merta dan kekal berkuatkuasa sehingga pengendali Takaful menolak permohonan itu atau meluluskan dan mengeluarkan sijil. Dalam tempoh 15 hari dari tarikh penerimaan sijil, peserta boleh mengembalikan sijil tanpa
  • 332.
    508 Amalan AsasTakaful memberi apa-apa sebab dan pengendali Takaful akan membayar balik sumbangan, tertakluk kepada potongan perbelanjaan yang ditanggung untuk pemeriksaan perubatan peserta. Tempoh ini dikenali sebagai “tempoh bertenang”. Surat Sumbangan Tambahan Sekiranya cadangan dikenakan sumbangan tambahan, surat yang menyatakan tentang sumbangan tambahan tersebut akan dikeluarkan dan dihantar kepada pencadang, sebagai surat tawaran balas. Sekiranya pencadang bersetuju dengan terma dan syarat yang dikenakan, pencadang dikehendaki menandatangani dan memulangkan salinan surat tawaran balas kepada pengendali sebagai tanda penerimaan. Meletakkan Tarikh Kuatkuasa Ke belakang Kadang kala tarikh kuatkuasa sijil boleh di kebelakangkan kepada tarikh yang lebih awal dari tarikh bayaran sumbangan, biasanya sehingga maksimum enam bulan. Tujuan meletakkan tarikh di kebelakangkan ini ialah untuk memberi kelebihan kepada pencadang kerana membayar sumbangan pada umur yang lebih muda dengan amaun sumbangan yang lebih rendah. C4.3 TAKAFUL KELUARGA DAN CUKAI PENDAPATAN Pelepasan Cukai Bagi Caruman Takaful Keluarga Untuk menggalakkan tabiat menyimpan dikalangan orang ramai di peringkat nasional dan mempertingkat kemampuan kewangan individu khususnya sebagai persediaan di hari tua, kerajaan membenarkan beberapa pelepasan cukai bagi sumbangan yang dibayar untuk sijil Takaful keluarga dan anuiti tertangguh. Sumbangan yang layak mendapat pelepasan adalah untuk sijil Takaful keluarga dan anuiti tertunda di atas:-
  • 333.
    Amalan Takaful Keluarga:Pengkadaran 509 1. hayat peserta; 2. hayat pasangan hidup peserta berkenaan; 3. hayat bersama, peserta dan pasangan hidupnya. Jumlah pelepasan yang dibenarkan untuk semua premium / sumbangan polisi insurans / sijil Takaful Keluarga di atas hayat peserta atau pasangan hidup dan untuk caruman ke dana yang dibenarkan, contohnya KWSP untuk satu tahun taksiran ialah RM6,000. Sekiranya taksiran suami / isteri dibuat berasingan, jumlah pelepasan adalah sama iaitu RM6,000. Walau bagaimanapun, untuk pelan pendidikan, tambahan pelepasan cukai sebanyak RM3,000 adalah dibenarkan. Berkuatkuasa mulai tahun taksiran 1997, jumlah pelepasan yang dibenarkan untuk bayaran sumbangan sijil Takaful keluarga tidak lagi tertakluk kepada had 7% daripada jumlah perlindungan sijil berkaitan. Sumbangan yang dibayar oleh majikan untuk tujuan membeli sijil Takaful keluarga yang khusus untuk manfaat pekerja atau tanggungan pekerja apabila berlaku kejadian yang dilindungi juga termasuk dalam potongan yang dibenarkan. Caruman yang dibuat oleh majikan ke dana simpanan, persaraan atau dana-dana lain yang dibenarkan adalah dianggap sebagai perbelanjaan yang dibolehkan untuk mendapat pelepasan cukai. Walau bagaimanapun, majikan perlu mendapat kelulusan terlebih dahulu dari Ketua Pegawai Eksekutif, Lembaga Hasil Dalam Negeri. Potongan yang Dibenarkan Untuk ahli perniagaan atau mereka yang bekerja sendiri, potongan yang dibenarkan adalah perbelanjaan yang ditanggung semasa menjalankan perniagaan. Oleh itu, untuk majikan yang mencarum kepada Takaful Keluarga berkumpulan, sumbangan yang dibayar untuk sijil ini akan dianggap sebagai potongan yang dibenarkan.
  • 334.
    510 Amalan AsasTakaful C4.4 MENILAI RISIKO Penggemblengan Risiko Yang Sama Prinsip asas yang diiktiraf dalam Takaful ialah apabila terdapat sejumlah besar risiko yang sama digembleng atau dikumpulkan menjadi satu kumpulan, maka ia dapat mengurangkan kebarangkalian terhadap amaun kerugian yang akan berlaku dalam satu tempoh tertentu. Peraturan Bilangan Jumlah Besar (Law of Large Number) Pengendali Takaful dengan selamat dan yakin boleh menentukan lebih awal amaun anggaran kemungkinan tuntutan kematian yang akan ditanggung, umpamanya di bawah sijil Takaful keluarga berkumpulan. Dalam usaha mengendalikan perniagaan pada asas yang kukuh, pengetahuan dan pengalaman tentang kadar kematian pada masa lalu perlu dikaji. Masa lalu menjadi panduan untuk masa hadapan. Statistik kemortalan mortaliti individu yang dilindungi memberikan maklumat pengalaman masa lalu, dan maklumat ini akan digunakan sebagai panduan untuk membuat carta pola kemortalan mortaliti untuk masa depan. Dalam menentukan kadar sumbangan untuk pelan Takaful Keluarga, diandaikan bahawa kadar kematian dikalangan kumpulan peserta yang sama usia, pada masa akan datang, adalah mengikut pola yang sama dengan kumpulan yang serupa yang dikenal pasti pada masa lalu. Peratusan peserta yang meninggal dunia dalam masa setahun adalah berbeza-beza kerana usia peserta semakin meningkat, dan ini dikenali sebagai kadar kemortalan.
  • 335.
    Amalan Takaful Keluarga:Pengkadaran 511 C4.5 PENENTUAN BIAYA RISIKO Mortaliti Jadual mortaliti adalah kaedah praktikal yang digunakan oleh Pengendali Takaful dalam membuat anggaran mortaliti untuk kumpulan peserta. Apakah Jadual mortaliti Standard? Pengendali Takaful biasanya menggunakan Jadual Mortaliti Standard, atau jadual yang diubahsuai bagi tujuan pengiraan sumbangan. Jadual ini diperolehi dari gabungan pengalaman mortaliti sekumpulan Pengendali Takaful dalam satu kawasan tertentu dan biasanya jadual yang berbeza digunakan untuk setiap jenis sijil; menunjukkan bahawa kadar mortaliti juga berbeza mengikut jenis sijil. Bagaimana Jadual mortaliti Disediakan Dalam menyediakan jadual mortaliti, teknik statistik digunakan untuk memperolehi kadar mortaliti, bermula dengan setiap umur dengan menggunakan angka rambang (contohnya 100,000 orang) pada umur yang paling muda, untuk mendapatkan nilai lajur yang lain. Pulangan Pelaburan Pulangan pelaburan adalah antara faktor penting yang perlu diambilkira bagi tujuan pengiraan sumbangan. Pada asasnya baki sumbangan yang diterima selepas ditolak perbelanjaan, cukai, tuntutan dan sebagainya, akan dilaburkan dalam pelaburan pendapatan dan modal yang mematuhi keperluan Syariah. Walaupun amaun baki semasa yang diterima boleh dilaburkan dalam pelaburan yang diketahui kadar pulangannya, perolehan yang akan diterima pada masa hadapan perlu dilaburkan pada kadar masa itu. Pulangan pelaburan masa depan adalah tertakluk kepada pelbagai faktor seperti faktor ekonomi, politik dan sosial.
  • 336.
    512 Amalan AsasTakaful Faktor-faktor ini sukar diramal dengan tepat, kecuali jika untuk tempoh yang singkat. Oleh itu, insurer perlu membuat anggaran dengan berhati-hati dan bijaksana tentang kemungkinan kadar pulangan dari pelaburan jangka sederhana dan jangka panjang, bagi tujuan pengiraan sumbangan. Akibat dari Pengabaian Pulangan Pelaburan Berdasarkan dari fakta yang diberikan, kita mungkin berpendapat Pengendali Takaful tidak perlu menghiraukan faktor-faktor tersebut dalam penentuan kadar sumbangan. Walau bagaimanapun, sekiranya Pengedali Takaful memilih untuk tidak menghiraukan faktor berkenaan, kadar sumbangan yang ditetapkan kelak mungkin lebih tinggi berbanding dengan pesaingnya yang mengambil kira pulangan pelaburan ketika menetapkan kadar sumbangan. Andaian yang dibuat secara berhati-hati biasanya dinyatakan melalui angka peratusan pulangan pelaburan dalam setahun seperti 7% setahun. Ianya selalu dirujuk sebagai kadar anggaran pulangan pelaburan. Perbelanjaan Seperti organisasi perniagaan lain, Pengendali Takaful juga perlu menanggung pelbagai kos untuk menjalankan operasi kendalian perniagaannya. Secara amnya, perbelanjaan yang ditanggung oleh Pengendali Takaful bagi setiap sijil yang dikeluarkan boleh dibahagikan kepada tiga kategori:- Kategori Perbelanjaan 1. Perbelanjaan awal Perbelanjaan awal yang biasanya amat tinggi adalah perbelanjaan yang ditanggung pada tahun pertama sijil, khusus untuk memperolehi urusniaga berkenaan. Perbelanjaan awal lebih tinggi berbanding dengan perbelanjaan pembaharuan seperti:
  • 337.
    Amalan Takaful Keluarga:Pengkadaran 513 a. kos pengiklanan; b. komisen tahun pertama; c. perbelanjaan pemeriksaan kesihatan; d. perbelanjaan mengeluarkan sijil, dan sebagainya. 2. Perbelanjaan pembaharuan Perbelanjaan ini perlu ditanggung (walaupun tidak semestinya) setiap tahun sepanjang tempoh sijil. Antara contoh perbelanjaan pembaharuan ialah: a. komisen pembaharuan; b. perbelanjaan mengutip sumbangan; c. perbelanjaan perkhidmatan sijil, dan sebagainya. 3. Perbelanjaan Penamatan Perbelanjaan ini ditanggung setelah polisi dikeluarkan. Antara contoh-contohnya ialah: a. perbelanjaan bayaran tuntutan; b. perbelanjaan perundangan. Kaedah menangani perbelanjaan awal Ketika pengendali Takaful membuat pengiraan sumbangan, faktor perbelanjaan mestilah diambilkira. Perbelanjaan awal yang tinggi biasanya diagih-agihkan sepanjang tempoh sijil dan perbelanjaan pembaharuan ditambah ke dalam sumbangan bersih. Cukai Pengendali Takaful juga seperti firma perniagaan lain yang perlu menanggung liabiliti cukai. Bidang percukaian pengendali Takaful agak rumit dan tidak akan dibincangkan pada tahap ini.
  • 338.
    514 Amalan AsasTakaful Faktor-faktor lain Keempat-empat faktor yang dibincangkan sebelum ini iaitu kemortalan, pulangan pelaburan, perbelanjaan dan cukai adalah faktor utama dalam menentukan kadar sumbangan. Walau bagaimanapun, secara amnya adalah memadai untuk kita mengetahui bahawa antara faktor-faktor lain yang juga diambilkira dalam proses penentuan sumbangan ialah; 1. kos pembiayaan; 2. kos Takaful semula; 3. kos menyediakan opsyen dan jaminan, sekiranya perlu; 4. kos mengekalkan rezab statutori dan margin kesolvenan. Sumbangan Tulen Satu Tahun atau Pengiraan Sumbangan Risiko Satu Tahun Melalui pengenalan prinsip Kadar Kemortalan, ia membolehkan pengendali Takaful menentukan kos menawarkan perlindungan kepada seseorang untuk tempoh setahun. Dengan mengambil contoh seorang peserta yang berumur 37 tahun dimana kadar kemortalan mortaliti untuk umur tersebut ialah 4.74 bagi setiap 1000 hayat. Kita akan membuat andaian yang Pengendali Takaful mempunyai 100,000 peserta yang akan dilindungi di bawah Takaful Keluarga dalam tempoh satu tahun dan kesemua mereka berusia 37 tahun. Ilustrasi contoh yang diberikan adalah seperti berikut: Jumlah peserta berumur 37 tahun = 100,000 Kadar kemortalan mortaliti setiap hayat = 4.74 Bilangan kematian = (4.74x100,000/1,000) = 474 kes
  • 339.
    Amalan Takaful Keluarga:Pengkadaran 515 Pengendali Takaful menjangkakan akan terdapat 474 kematian (4.74 x 100,000 / 1,000) dalam setahun. Dengan lain perkataan, pengendali akan menerima bayaran premium dari 100,000 orang dan membayar tuntutan untuk 474 kes. Untuk memudahkan pengiraan, kita andaikan pengendali tidak menanggung sebarang perbelanjaan serta tidak berhasrat memperolehi keuntungan. Sekiranya pengendali bercadang untuk membayar amaun tuntutan (dipanggil jumlah perlindungan) RM1,000 setiap tuntutan, pengendali perlu menyediakan RM474,000 yang diperolehi dari kesemua 100,000 peserta yang dilindungi. Dengan lain perkataan, pengendali perlu mengutip RM4.74 dari setiap peserta sebagai kos asas (dipanggil sumbangan) bagi menyediakan perlindungan Takaful untuk tempoh satu tahun. Kita akan dapati bahawa amaun yang perlu dikutip dari setiap peserta adalah sama dengan kadar kemortalan. Sekiranya setiap tuntutan kematian ialah RM5,000, sumbangan yang dikenakan kepada setiap orang akan meningkat lima kali ganda iaitu RM4.74 x 5 = RM23.70. Sumbangan Risiko Meningkat Mengikut Umur Kos asas risiko kematian digelar Sumbangan Risiko atau Sumbangan Semulajadi. Sumbangan risiko meningkat seiring dengan peningkatan umur peserta. Sekiranya pengendali mengambil keputusan untuk mengenakan sumbangan berdasarkan sumbangan risiko, pengendali terpaksa mengenakan sumbangan yang meningkat untuk peserta yang sama setiap tahun. Kontrak insurans terawal mempunyai ciri-ciri seperti ini tetapi didapati kaedah ini menimbulkan pelbagai masaalah pengendalian operasi perniagaan. Permulaan tahun Pembaharuan tahunan Tahap sumbangan risiko 1 23.70 26.67 2 25.10 26.67 3 26.55 26.67
  • 340.
    516 Amalan AsasTakaful Keburukan Sijil Takaful Keluarga yang Diperbaharui Setiap Tahun Dibawah kontrak seperti ini, pengendali dan peserta mempunyai pilihan untuk memperbaharui kontrak tersebut atau sebaliknya. Jika kontrak tersebut diperbaharui, sumbangan risiko yang dikenakan akan menjadi lebih tinggi dari tahun sebelumnya. Jika keadaan kesihatan peserta tidak memuaskan, pengendali tidak akan memperbaharui kontrak tersebut. Ini menafikan hak peserta untuk mendapat manfaat perlindungan apabila ia benar-benar memerlukannya. Sumbangan Tulen Paras atau Sumbangan Risiko Paras Kebanyakan sijil Takaful individu yang ada dipasaran hari ini memperuntukkan bayaran sumbangan paras sepanjang tempoh perlindungan sijil. Kontrak yang dikeluarkan biasanya kontrak bertempoh jangka panjang tetapi bayaran sumbangan tetap sama. Walau bagaimanapun, prinsip asas Sumbangan Risiko yang berbeza mengikut umurlah yang mendasari konsep sumbangan paras. Andaikan amaun sumbangan paras untuk sesuatu sijil Takaful keluarga bagi individu berumur 37 tahun dengan tempoh perlindungan selama 5 tahun dan jumlah perlindungan ialah RM5,000. Dibawah kaedah sumbangan risiko, dengan menggunakan Jadual Kemortalan, pengendali akan mengenakan amaun sumbangan asas yang berlainan setiap tahun, selama lima tahun. Permulaan Tahun Sumbangan Risiko Diperbaharui Setiap Tahun ( RM) Sumbangan Risiko Paras (RM) 1 23.70 26.67 2 25.10 26.67 3 26.55 26.67 4 28.10 26.67 5 29.90 26.67 Jumlah 133.35 133.35
  • 341.
    Amalan Takaful Keluarga:Pengkadaran 517 Pengiraan Sumbangan Paras Sumbangan Paras Berdasarkan dari contoh di atas, peserta perlu membayar sejumlah RM133.35 untuk tempoh 5 tahun. Sekiranya tidak mengambilkira kadar pulangan pelaburan dan factor-faktor lain berkaitan dan jika Pengendali Takaful bercadang untuk mengenakan sumbangan paras, maka amaun sumbangan yang dikutip ialah RM26.67 (133.35 / 5) setiap tahun. Amaun paras sebanyak RM26.67 ini adalah lebih tinggi dari sumbangan risiko yang diperlukan pada tahun pertama, kedua dan ketiga (RM23.70, RM25.10, dan RM26.55) dan lebih rendah dari sumbangan risiko pada tahun keempat dan kelima (RM28.10 dan RM29.90). Ilustrasi yang disediakan adalah jadual yang paling ringkas dan tidak mengambil kira semua faktor yang sepatutnya dimasukkan ketika membuat pengiraan sumbangan paras. Walau bagaimanapun, ia dapat menerangkan prinsip asas yang melibatkan pengiraan sumbangan paras bagi melindungi sesuatu risiko yang terus meningkat dari tahun ke tahun. Sijil yang Menyediakan Manfaat Pemandirian (survival) Perbincangan kita setakat ini hanya meliputi caj untuk melindungi risiko kemortalan mortaliti (iaitu risiko kematian). Biasanya sijil Takaful Keluarga menyediakan manfaat pemandirian sebagai tambahan kepada manfaat kematian. Manfaat pemandirian ini selalunya berbentuk bayaran berkala dalam tempoh sijil, dengan syarat peserta masih hidup pada ketika itu. Sebagai contoh, dibawah sijil Takaful keluarga 10 tahun dengan jumlah perlindungan akan dibayar ketika berlaku kematian dalam tempoh tersebut atau ketika sijil matang selepas 10 tahun. Manfaat pemandirian ini memerlukan sumbangan tambahan, selain dari sumbangan manfaat kematian. Sumbangan tambahan ini juga akan dijadikan sumbangan paras dan dimasukkan sekali kedalam sumbangan paras perlindungan risiko kematian.
  • 342.
    518 Amalan AsasTakaful Sumbangan Kasar Untuk kemudahan urus tadbir sijil, Pengendali Takaful telah menyediakan jadual kadar sumbangan kasar yang berbeza mengikut umur dan tempoh bagi jenis sijil Takaful berasingan. Kadar sumbangan yang dinyatakan dalam jadual kadar sumbangan ini adalah berbeza dengan sumbangan tulen paras asas yang diterangkan pada awal bab ini. Ketika menetapkan kadar sumbangan kasar, pengendali Takaful bukan sahaja perlu mengambilkira kos kemortalan, malah lain-lain faktor juga perlu dititikberatkan. Yang paling penting diantara faktor-faktor berkenaan ialah elemen pulangan pelaburan dan elemen perbelanjaan. Dalam pengertian yang paling umum, kita perlu memahami hubungan berikut: Sumbangan Kasar = Sumbangan Bersih (lihat di bawah) + Bebanan perbelanjaan + Bebanan keuntungan & kontingensi Faktor Kadar Pulangan Pelaburan Diteliti Semula Lebihan Awal Dikumpulkan Untuk Menampung Kekurangan Dimasa Hadapan Kita telah mempelajari bahawa jika sumbangan paras tahunan dikenakan sebagai menggantikan sumbangan risiko yang berbeza- beza, amaun setiap tahun (dikenali sebagai sumbangan tahunan) menjadi lebih tinggi daripada apa yang diperlukan untuk melindungi risiko pada tahun-tahun awal kontrak dan berkurangan pada tahun- tahun berikutnya. Lebihan sumbangan tahunan dalam tahun-tahun awal ini digunakan untuk menampung kekurangan pada tahun-tahun akhir tempoh sijil. Lebihan ini dilaburkan untuk mendapat pulangan pelaburan sehingga tiba masanya ia diperlukan untuk menampung kekurangan tadi. Dalam pengiraan sumbangan tahunan paras, pengendali Takaful akan membuat anggaran yang jelas (dan konservatif) mengenai pendapatan pelaburan masa hadapan dan dengan itu mengurangkan amaun sumbangan yang perlu dibayar.
  • 343.
    Amalan Takaful Keluarga:Pengkadaran 519 Sijil Takaful Keluarga pada masa kini biasanya menyediakan manfaat pemandiri sebagai tambahan kepada manfaat kematian. Sumbangan tambahan yang perlu dibayar untuk manfaat ini juga mengambilkira pendapatan pelaburan masa hadapan. Sumbangan Bersih Caj yang dikenakan bagi meliputi kos kemortalan mortaliti sahaja digelar Sumbangan Risiko. Apabila caj tersebut dikira selepas memasukkan elemen kemortalan mortaliti dan pulangan pelaburan, ia digelar Sumbangan Bersih. Sumbangan bersih tidak mengandungi elemen perbelanjaan. C4.6 PERTIMBANGAN-PERTIMBANGAN LAIN Jadual sumbangan kasar yang ditetapkan setelah mengambil kira faktor kemortalan, pulangan pelaburan dan perbelanjaan, hendaklah dibuat ujian lanjut untuk memastikan yang sumbangan yang dikenakan adalah mencukupi, berdaya saing, tetap dan menguntungkan.
  • 344.
  • 345.
    Amalan Takaful Keluarga:Mengawasi Dana Takaful 521 BAB C5 AMALAN TAKAFUL KELUARGA: MENGAWASI DANA TAKAFUL PENDAHULUAN Dalam bab ini, tumpuan akan diberi kepada elemen terakhir pengurusan risiko dalam amalan Takaful Keluarga iaitu yang berkaitan dengan pengawasan dana Takaful. C5.1 PENGENALAN Sumbangan yang dikenakan di bawah sijil Takaful Keluarga adalah berdasarkan dari faktor-faktor jangkaan kemortalan, pulangan pelaburan dan perbelanjaan. Adalah mustahil untuk mengharapkan bahawa pengalaman sebenar dalam semua elemen-elemen berkaitan akan sama seperti apa yang dijangka. Ia boleh menjadi lebih baik atau lebih teruk lagi. Walau apapun keadaannya, adalah perlu untuk meneliti pengalaman sebenar yang dilalui dari masa ke semasa. Pemeriksaan berkala terhadap kedudukan kewangan operasi perniagaan pengendali Takaful biasanya meliputi aspek pengambilan stok, iaitu ciri-ciri utama penilaian aktuari terhadap aset dan liabiliti. Penilaian aktuari terhadap pengendali Takaful Keluarga terdiri dari pengiraan nilai semasa liabiliti bagi semua sijil yang berkuatkuasa semasa tarikh penilaian dan membandingkannya dengan nilai semasa pendapatan dan keuntungan modal yang dihasilkan oleh aset-aset dalam dana Takaful. Jika nilai semasa pendapatan dan keuntungan modal adalah lebih besar dari nilai semasa liabiliti, Pengendali Takaful dikatakan dalam keadaan solven.
  • 346.
    522 Amalan AsasTakaful Rangka Kerja Modal Berasaskan Risiko untuk Penanggung Insurans dan Pengendali Takaful Rangka kerja modal berasaskan risiko (Risk Based Capital) adalah rangka kerja yang memastikan kecukupan modal untuk semua insurer yang dilesenkan di bawah Akta Insurans 1996. Cadangan rangka kerja memerlukan agar setiap insurer mengekalkan tahap modal yang mencukupi supaya ia seimbang dengan profil risiko yang ditanggung. Rangka kerja modal berasaskan risiko untuk penanggung insurans konvensional mula berkuatkuasa sejak Januari 2009. Walau bagaimanapun, BNM tidak mewajibkan rangka kerja berkenaan diterapkan dalam operasi perniagaan Takaful, mungkin sehingga tahun 2012. Insurer dikehendaki mengira Nisbah Kecukupan Modal (Capital Adequacy Ratio) iaitu memastikan peruntukan modal yang mencukupi dalam dana insurans dan dana pemegang saham bagi menampung Jumlah Modal yang Diperlukan (Total Capital Requirement). Nisbah Kecukupan Modal bertindak sebagai petunjuk utama kekukuhan kedudukan kewangan insurer dan menyediakan maklumat yang diperlukan oleh Bank Negara Malaysia bagi menentukan bentuk penyeliaan yang bersesuaian terhadap insurer. Rangkakerja modal berasaskan risiko digunapakai oleh semua insurer sama ada di dalam atau di luar Malaysia, termasuk cawangan insurer asing di Malaysia yang dilesenkan di bawah Akta Insurans 1996. Perniagaan yang dihasilkan oleh cawangan reinsurer profesional asing di luar Malaysia dikecualikan dari mematuhi keperluan rangka kerja sekiranya syarat-syarat yang dinyatakan telah dipenuhi. Syarikat insurans hendaklah melaksanakan dan mematuhi rangka kerja modal berasaskan risiko berkuatkuasa mulai 1 Januari 2009. Insurer yang memiliki keupayaan untuk melaksanakan rangka kerja berkenaan lebih awal dari tarikh tersebut, boleh berbuat demikian untuk tahun kewangan 2008.
  • 347.
    Amalan Takaful Keluarga:Mengawasi Dana Takaful 523 C5.2 PENILAIAN ASAS LIABILITI Penilaian aktuari ke atas insurer perlu dilaksanakan atas beberapa sebab. Antaranya ialah untuk:- 1. menentukan samada insurer berada dalam keadaan solven; 2. menentukan amaun surplus, jika ada, yang boleh diagihkan kepada pemegang saham dalam bentuk dividen atau bonus; 3. menguji samada skala premium yang digunakan adalah mencukupi; 4. menentukan samada operasi kendalian perniagaan insurer perlu diubahsuai; 5. mematuhi keperluan undang-undang Liabiliti pengendali Takaful Keluarga adalah tanggungjawab berkontrak kepada peserta, contohnya dibawah sijil Takaful Keluarga 10 tahun, pengendali Takaful bertanggungjawab untuk membayar amaun tuntutan jika berlaku kematian atau pada penghujung tempoh 10 tahun, tertakluk kepada kejadian yang berlaku dahulu, sebagai balasan kepada bayaran sumbangan berkala yang dibayar oleh peserta. Nilai semasa liabiliti di bawah sijil Takaful Keluarga boleh dinyatakan seperti berikut: Liabiliti = Nilai semasa manfaat yang perlu dibayar ditambah Nilai semasa perbelanjaan ditolak Nilai semasa sumbangan akan diterima Kesukaran yang timbul ialah untuk mengenal pasti nilai semasa manfaat yang perlu dibayar dan premium yang akan diterima, yang ditentukan pada tarikh penilaian pengendali Takaful, dengan mengambil kira dasar penilaian statutori yang perlu dipatuhi oleh Pengendali Takaful.
  • 348.
    524 Amalan AsasTakaful C5.3 PENILAIAN ASAS ASET Aset milik pengendali Takaful Keluarga meliputi pelaburan yang dibuat dari sumbangan yang diterima, setelah mengambil kira peruntukan untuk membayar tuntutan dan perbelanjaan lain. Aset tersebut mungkin meliputi kesemua atau sebahagian dari perkara- perkara berikut:- 1. Wang tunai ditangan dan di bank; 2. Pelaburan dalam sekuriti kerajaan dan separuh kerajaan; 3. Saham di syarikat korporat; 4. Pinjaman dan debentur badan korporat; 5. Harta, tanah dan bangunan; 6. Pinjaman kepada peserta; 7. Perabut dan peralatan kelengkapan, kenderaan dan lain-lain peralatan pejabat Aset berkenaan dinilai dengan pelbagai cara, bergantung kepada tujuan penilaian. Beberapa kaedah penilaian aset termasuklah:- 1. Harga Kos Ini adalah harga aset ketika dibeli/diperolehi. 2. Nilai Buku a. Ia adalah nilai yang diletakkan atas aset dalam buku akaun pengendali Takaful. Ketika aset ini diperolehi, nilai buku yang tercatat biasanya menunjukkan harga kos. Walau bagaimanapun, masa yang berlalu memungkinkan nilai aset semakin meningkat atau menyusut dan nilai buku juga akan meningkat atau merosot, bergantung kepada amalan perakaunan pengendali Takaful. b. Contohnya, pengendali Takaful mungkin telah membuat pelaburan dalam pemilikan sistem komputer lima tahun lalu pada kos RM1 juta. Kini ia mungkin hanya bernilai RM100,000. Ketika membeli aset ini, nilai buku ialah RM1
  • 349.
    Amalan Takaful Keluarga:Mengawasi Dana Takaful 525 juta dan nilai ini semakin menyusut dalam tempoh beberapa tahun dan kini nilai buku aset berkenaan ialah RM100, 000 sahaja sekiranya pengendali Takaful mengamalkan sistem perakaunan yang betul. 3. Nilai Pasaran Ia adalah nilai jika aset berkenaan dijual dipasaran terbuka. Walau apapun kaedah yang digunakan, aset milik pengendali Takaful perlu dinilai pada tarikh yang sama liabiliti syarikat dinilai. Tarikh penilaian ini biasanya bersamaan dengan tarikh akhir bagi tahun kewangan pengendali Takaful. C5.4 LEBIHAN / SURPLUS DAN KEUNTUNGAN Lebihan atau surplus adalah perbezaan antara nilai yang ditetapkan untuk aset dengan nilai liabiliti dan akan berbeza mengikut dasar penilaian yang dipilih. Ianya diperolehi dari keputusan pengalaman sebenar kemortalan, faedah perbelanjaan dan nilai aset yang lebih baik daripada apa yang dianggarkan ketika penilaian dibuat. Sumber Surplus Berdasarkan dari amalan semasa, sumber utama surplus diperolehi dari: 1. Faedah: Ia meliputi lebihan faedah (selepas ditolak cukai) yang diperolehi dari dana insurans hayat yang melebihi anggaran penilaian aset, dan merupakan sumber utama surplus khususnya kadar faedah dipasaran adalah tinggi. 2. Kemortalan: Surplus kemortalan diperolehi disebabkan perbezaan pengalaman kemortalan sebenar dengan asas penilaian anggaran kemortalan.
  • 350.
    526 Amalan AsasTakaful 3. Perbelanjaan: Lebihan ini, jika ada, diperolehi dari peruntukan yang dibuat untuk penilaian perbelanjaan, berbanding dengan perbelanjaan sebenar yang ditanggung bagi menentukan amaun lebihan perbelanjaan. 4. Pelbagai: Sebahagian surplus diperolehi dari sumber-sumber seperti nilai serahan, polisi luput, perniagaan baru dan pindaan polisi. Sumber surplus lain ialah margin kadar premium dan peningkatan nilai aset. Pengagihan Surplus Surplus yang dinyatakan dalam penilaian aktuari tidak semestinya boleh diagih-agihkan. Pengendali mungkin memikirkan sebahagian dari surplus mungkin digunakan untuk memperkukuhkan asas penilaian beberapa aspek tertentu. Sebahagian dari surplus itu mungkin dipindahkan ke rizab kontingensi. Juga dianggap wajar untuk membawa ke tahun hadapan akan sebahagian kecil surplus yang tidak diperuntukkan bagi sebarang tujuan. Amaun selebihnya adalah surplus untuk diagih-agihkan kepada peserta dan pengendali Takaful mengikut nisbah yang dipersetujui. Kaedah Pengagihan Surplus Pengagihan surplus diantara peserta dan pengendali Takaful biasanya menggunakan kaedah yang mudah untuk kedua-dua belah pihak. Amaun surplus yang ditetapkan setiap tahun akan dikreditkan ke dalam dana masing-masing, iaitu Akaun Peserta (untuk simpanan dan pelaburan) dan Akaun Khas Peserta (Dana Risiko). Hanya apabila sijil matang atau berlaku tuntutan kematian, dana terkumpul akan dibayar kepada pihak yang menuntut / benefisiari.
  • 351.
    Amalan Takaful Keluarga:Dokumen Sijil 527 BAB C6 AMALAN TAKAFUL KELUARGA: DOKUMEN SIJIL PENGENALAN Bab ini akan membincangkan secara terperinci mengenai pelbagai borang dan dokumen yang digunakan oleh pengendali Takaful dalam usaha mereka untuk mendapatkan perniagaan baru Takaful keluarga. Seksyen 27 Akta Takaful 1984 mempunyai peruntukan bagi dokumen-dokumen berkaitan untuk dilaporkan ke Bank Negara Malaysia (BNM) bagi tujuan kawalan terhadap pelbagai bentuk borang seperti cadangan, sijil dan risalah. Kegagalan untuk mematuhi peruntukan ini boleh mengakibatkan Pengendali Takaful dikenakan denda sehingga RM4, 000.00 bagi setiap kesalahan. C6.1 SUMBER MAKLUMAT UNTUK PENILAIAN RISIKO Sebelum menerima permohonan peserta untuk perlindungan Takaful keluarga, Pengendali Takaful dikehendaki melakukan penilaian yang menyeluruh terhadap risiko yang dicadangkan - aspek bahaya moral dan bahaya fizikal, sebelum perlindungan boleh diberikan. Maklumat yang perlu untuk melakukan penilaian risiko biasanya diperolehi daripada pelbagai sumber. Sumber-sumber ini termasuk, tetapi tidak terhad kepada:  Borang Cadangan  Laporan Perubatan / X-ray, ECG dan sebagainya  Kenyataan Doktor Yang Merawat  Laporan Ejen  Laporan Terdahulu  Borang Carian Fakta
  • 352.
    528 Amalan AsasTakaful C6.2 BORANG CADANGAN Sebahagian besar daripada maklumat yang berkaitan dengan pemohon diberikan oleh pemohon itu sendiri di dalam borang cadangan. Borang cadangan ini secara jelas memberitahu amaran bahawa pencadang hendaklah mendedahkan dengan benar dan jujur semua maklumat yang dia tahu atau yang sepatutnya dia tahu, dan kegagalan berbuat demikian boleh menyebabkan sijil yang dikeluarkan menjadi tidak sah. Borang cadangan yang perlu diisi dengan lengkap oleh pencadang mengandungi maklumat-maklumat berikut:-  Maklumat Peribadi:- 1. nama penuh; 2. alamat; 3. pekerjaan atau profesion; 4. tarikh lahir, tempat dan negara dilahirkan; 5. no kad pengenalan; 6. samada terdapat sebarang cadangan yang ditolak, ditangguhkan, ditarik balik atau diterima bersyarat.  Maklumat Perlindungan Yang Dipohon:- 1. pelan Takaful yang dikehendaki; 2. tempoh sijil; 3. jumlah perlindungan; 4. pelan tambahan; 5. kekerapan dan cara pembayaran sumbangan.  Pekerjaan, Penempatan, Perjalanan dan Hobi yang Merbahaya:- 1. sebarang pertukaran dalam jenis pekerjaan terbaru, terdahulu atau dijangkakan akan bertukar tidak lama lagi; 2. menyatakan secara mendalam tentang niat untuk membuat penerbangan bukan sebagai penumpang yang membayar
  • 353.
    Amalan Takaful Keluarga:Dokumen Sijil 529 tambang atau kecenderungan-kecenderungan lain yang merbahaya; 3. menyatakan secara mendalam tentang niat untuk melibatkan diri dalam aktiviti sukan yang berisiko tinggi dan boleh menyebabkan kematian akibat kemalangan.  Sejarah Peribadi dan Keluarga:- 1. maklumat mengenai rawatan perubatan dan nama doktor yang memberi rawatan sejak beberapa tahun kebelakangkan; 2. tarikh dan sebab mendapatkan rawatan doktor kali yang terakhir; 3. tinggi dan berat badan sekarang; 4. penggunaan rokok dan / atau alkohol dalam sehari, sekiranya berkenaan; 5. adakah berlaku kematian dikalangan ahli keluarga seperti ibu / bapa dan adik beradik. Jika ada, nyatakan umur ketika meninggal dunia dan sebab kematian; 6. Adakah pemohon ada / pernah menghidap penyakit / sakit:- i. penyakit mental atau saraf atau ketidakupayaan ii. pitam, sawan atau lumpuh iii. asma, bronkitis, batuk kering atau sakit dada iv. sakit jantung, sakit dada atau tekanan darah tinggi v. masalah limpa, prostat atau hati vi. rheumatisme, atau sakit dalam sendi vii. kurang hadam, ulser peptik atau penyakit dalam perut viii. masalah ketumbuhan atau glandular ix. lain-lain penyakit, kecacatan atau kecederaan  Perisytiharan dan Memberi Kuasa:- Seksyen ini mengandungi: 1. pengisytiharan bahawa kenyataan yang diberikan adalah benar dan lengkap mengikut pengetahuan pemohon serta pemohon tidak menyembunyikan sebarang maklumat matan;
  • 354.
    530 Amalan AsasTakaful 2. memberi kebenaran kepada Pengendali Takaful untuk mendapatkan maklumat dari mana-mana doktor yang pernah merawat pencadang atau / dan dari Pengendali Takaful yang pernah menerima permohonan perlindungan Takaful / insurans. C6.3 BORANG PENCARIAN FAKTA PELANGGAN C6.4 PROSES PENGUNDERAITAN Pengunderaitan boleh didefinisikan sebagai suatu proses penilaian dan pemilihan risiko, dan juga penentuan kadar sumbangan, terma dan syarat-syarat. Untuk mana-mana pelan Takaful, peserta dikehendaki membuat caruman atau bayaran yang dikenali sumbangan, dan sumbangan ini dimasukkan ke dalam dana umum yang digunakan untuk membayar tuntutan. Untuk memastikan dana umum tersebut mencukupi untuk membayar tuntutan, Pengendali Takaful perlu:- 1. berhati-hati terhadap antipemilihan; 2. mengenakan kadar sumbangan Takaful yang sepadan dengan risiko yang ditanggung. Antipemilihan berlaku apabila lebih banyak risiko substandard diterima untuk diberi perlindungan yang kemudiannya menyebabkan keputusan pengunderaitan tidak begitu menguntungkan. Biasanya, kadar sumbangan adalah berdasarkan sampel yang mewakili profil risiko pasaran keseluruhan. Apabila antipemilihan berlaku, ia adalah tanda-tanda pengendali yang kurang kawalan pengunderaitan yang baik, dan berakhir dengan portfolio yang mengandungi sebahagian besar risiko yang tidak menguntungkan. Untuk mengelakkan antipemilihan, pengunderait perlu berhati-hati dalam membuat penilaian keatas semua permohonan perlindungan Takaful dan perlu mengenakan kadar sumbangan yang berpadanan dengan risiko yang ditanggung serta mengenakan syarat pengecualian, sekiranya perlu. Untuk berlaku adil kepada semua
  • 355.
    Amalan Takaful Keluarga:Dokumen Sijil 531 peserta, cadangan yang dianggap substandard harus ditolak atau dikenakan kadar sumbangan yang lebih tinggi berbanding dengan risiko yang standard. Tindakan ini akan memungkinkan kepada pengagihan risiko secara adil di kalangan semua peserta dalam skim ini. Untuk perniagaan Takaful Keluarga, proses pengunderaitan akhirnya akan membawa pengunderait untuk menilai risiko kepada tiga kategori, iaitu:- 1. Risiko standard (dipersetujui menurut apa yang dipohon oleh pencadang) 2. Risiko sub-standard / diubahsuai (dipersetujui setelah pengunderait membuat beberapa pengubahsuaian, tertakluk kepada penerimaan pencadang terhadap pindaan tersebut) 3. Risiko yang ditolak (risiko tidak memuaskan disebabkan masaalah kesihatan, bahaya pekerjaan & hobi dan sebagainya) C6.5 STRUKTUR SIJIL Sijil, sebagai suatu instrumen yang membuktikan kewujudan kontrak Takaful, hendaklah jelas dalam susunan perkataannya dan dalam bentuk yang mudah difahami oleh orang biasa. Adalah menjadi peraturan undang-undang bahawa sebarang kekaburan dalam dokumen akan dibebankan ke atas pengendali kerana pengendalilah yang bertanggungjawab merangka kontrak berkenaan. Terdapat dua jenis bentuk sijil yang digunakan iaitu jenis naratif dan jenis jadual. Bentuk naratif sungguhpun pernah digunakan, kini telah usang dan jenis jadual adalah lebih ringkas, mudah difahami dan mudah untuk diubahsuai. Seksyen Utama Seksyen utama yang terdapat dalam kebanyakan sijil adalah seperti berikut:-
  • 356.
    532 Amalan AsasTakaful 1. Pengenalan 2. Fasal Perisytiharan 3. Fasal Operasi/kuatkuasa 4. Proviso 5. Jadual 6. Fasal penyaksian 7. Syarat-syarat dan Kemudahan  Pengenalan Pada bahagian atas sijil biasanya tertera nama Pengendali Takaful dan alamat pejabat berdaftarnya, bagi tujuan surat- menyurat / perhubungan.  Fasal Perisytiharan Seksyen ini memperkenalkan pihak yang berkaitan dengan kontrak ini dan menyatakan yang pencadang telah menyerahkan permohonan untuk perlindungan Takaful termasuk kenyataan mengenai kesihatan peserta dan telah membayar sumbangan pertama dan berjanji akan membayar sumbangan seterusnya apabila sampai masanya.  Fasal Operasi / Kuatkuasa Tujuan fasal ini adalah untuk menyatakan peristiwa / kejadian yang menyebabkan sijil ini berfungsi, iaitu apabila sesuatu tuntutan dimulakan. Oleh itu, ia biasanya menyatakan yang pengendali Takaful bersetuju membuat bayaran seperti yang dinyatakan dalam jadual (dirujuk sebagai jumlah perlindungan) apabila berlaku peristiwa yang dilindungi yang dinyatakan dalam fasal kuatkuasa ini, kepada pihak menuntut yang sah atau warisnya.
  • 357.
    Amalan Takaful Keluarga:Dokumen Sijil 533  Proviso Seksyen ini termasuk perisytiharan yang semua jawapan yang diberikan dalam borang cadangan dan laporan perubatan akan menjadi asas kontrak. Disamping itu, syarat-syarat yang dinyatakan dalam sijil dianggap sebagai sebahagian daripada kontrak, dan kontrak adalah tertakluk kepada syarat berkenaan.  Jadual Maklumat berikut biasanya dinyatakan dalam jadual: 1. nama dan alamat peserta; 2. tarikh kuatkuasa perlindungan; 3. tarikh cadangan; 4. jumlah perlindungan – amaun, kepada siapa dan bila tuntutan boleh dibayar, kejadian / peristiwa yang membolehkan tuntutan dibayar; 5. jenis perlindungan Takaful; 6. sumbangan – amaun setahun, bagaimana ia dibayar, tarikh jatuh bayaran, tempoh sepatutnya dibayar, tarikh bayaran terakhir; 7. tarikh lahir / umur peserta, samada telah diperakui atau sebaliknya; 8. tarikh matang; 9. syarat-syarat khas (jika ada).  Fasal Penyaksian Ini adalah seksyen terakhir dalam sijil. Sijil ditandatangani oleh pegawai tertentu Pengendali Takaful yang diberi kuasa untuk berbuat demikian.  Syarat-syarat dan Kemudahan Syarat-syarat dan kemudahan sijil perlindungan Takaful Keluarga boleh dibahagikan kepada tiga kategori iaitu:
  • 358.
    534 Amalan AsasTakaful 1. Syarat yang menghadkan skop kontrak, umpamanya membunuh diri atau fasal tidak boleh tanding. 2. Syarat meluaskan skop kontrak, umpamanya tempoh tangguh, syarat tidak boleh batal dan sebagainya. 3. Syarat menerangkan skop kontrak, umpamanya syarat yang membatalkan kontrak jika sumbangan tidak dibayar pada masanya atau terdapat salah nyata fakta matan. C6.6 ENDORSEMEN Dokumen sijil yang standard biasanya boleh dipinda untuk memasukkan aspek yang berlainan keadaan dan keperluan setiap individu. Endorsemen boleh dibuat samada: 1. ketika pengeluaran sijil, atau 2. selepas pengeluaran sijil. Endorsemen Ketika Pengeluaran Sijil Secara amnya, empat syarat khas berikut perlukan endorsemen:- 1. yang melibatkan amaun sumbangan atau kekerapan pembayaran sumbangan. Sebagai contoh, jika melibatkan ansuran sumbangan, maka syarat sesuai diperlukan untuk menyediakan potongan kepada baki yang belum berbayar pada tahun kematian; 2. yang melibatkan jumlah perlindungan atau cara pembayarannya. Sebagai contoh, jika pilihan penyelesaian ialah untuk membiarkan prosid sijil sebagai deposit dengan pengendali Takaful, maka syarat khas adalah perlu untuk membolehkannya berbuat demikian; 3. yang memasukkan manfaat khas, contohnya pilihan untuk menukar jenis kontrak, yang menyertakan pembatasan khas; 4. yang berkaitan dengan dokumen yang perlu dihantar oleh peserta, contohnya kesilapan dalam no kad pengenalan.
  • 359.
    Amalan Takaful Keluarga:Dokumen Sijil 535 Endorsemen Selepas Pengeluaran Sijil Ia melibatkan pindaan terhadap:- 1. mod atau cara pembayaran sumbangan; 2. pindaan bentuk kontrak; 3. mengenakan atau mengeluarkan sumbangan tambahan; 4. permohonan untuk mengurangkan / menambah jumlah perlindungan. Perkara di atas boleh dibahagikan secara luas kepada kumpulan- kumpulan berikut mengikut penukaran pada: 1. nama atau umur peserta; 2. sumbangan yang perlu dibayar – cara dan tarikh bayaran; 3. jumlah perlindungan dan sumbangan; 4. jenis-jenis Takaful.
  • 360.
  • 361.
    Amalan Takaful Keluarga:Tuntutan dan Pengeluaran Sebahagian 537 BAB C7 AMALAN TAKAFUL KELUARGA: TUNTUTAN DAN PENGELUARAN SEBAHAGIAN PENDAHULUAN Dalam bab ini, perbincangan akan ditumpukan kepada prosedur penyelesaian tuntutan, iaitu pelengkap kepada kitaran pengurusan risiko. C7.1 PENGENALAN Penamatan kontrak Takaful keluarga biasanya disempurnakan dengan bayaran penyelesaian tuntutan. Tuntutan boleh timbul disebabkan oleh salah satu dari situasi / kejadian berikut:- 1. ketika kematian peserta; 2. ketika sijil Takaful matang; 3. tuntutan manfaat perubatan atau hilang upaya; 4. tuntutan dibawah kontrak tambahan. Ejen dan Pengendali Takaful diharapkan dapat memberi perkhidmatan yang baik supaya tuntutan dapat diselesaikan dengan cepat. Reputasi Pengendali Takaful biasanya bergantung kepada kecekapan menyelesaikan tuntutan. Maka adalah penting bagi ejen untuk membiasakan diri dengan prosedur dan dokumen yang diperlukan supaya tuntutan dapat diselesaikan dengan cepat. C7.2 PEMBERITAHUAN TUNTUTAN Apabila berlaku sesuatu perkara atau kejadian yang menyebabkan timbulnya tuntutan, waris atau pihak menuntut mesti memberitahu Pengendali Takaful dan menyediakan maklumat berikut:-
  • 362.
    538 Amalan AsasTakaful 1. Nama dan nombor kad pengenalan peserta 2. No sijil dan alamat peserta 3. Tarikh dan sebab-sebab kematian, kecederaan atau sakit, mana-mana yang berkenaan. Pengendali Takaful akan memberitahu waris atau pihak menuntut tentang prosedur yang perlu dipatuhi dan dokumen yang diperlukan sebagai bukti berlakunya kejadian yang membawak kepada tuntutan. Oleh kerana Takaful pada asasnya adalah berdasarkan ajaran dan keperluan Syari’ah, para peserta Islam diingatkan bahawa prosid atau perolehan dari sijil Takaful (sekiranya tuntutan kematian) hendaklah diagihkan kepada waris-waris yang berhak mengikut fara'id. Oleh itu, penamaan seseorang dalam sijil Takaful hanya bertindak sebagai pemegang amanah untuk menerima prosid sijil, yang menjadi sebahagian daripada harta pusaka si mati, dan kemudiannya membahagi-bahagikan prosid berkenaan kepada waris yang berhak. Walau bagaimanapun, peserta mungkin ingin mendermakan keseluruhan prosid kepada bukan waris seperti wakaf atau organisasi amal. Oleh itu, perbuatan memberi (hibah) perlu dilaksanakan ketika peserta masih hidup. Apabila ini dilakukan, maka prosid bukan lagi menjadi sebahagian daripada harta pusaka itu dan tidak tertakluk kepada mana-mana agihan harta di bawah fara'id. C7.3 TUNTUTAN KEMATIAN Pihak yang menuntut atau waris perlu mengemukakan kepada pengendali Takaful dokumen yang membuktikan kematian peserta tanpa sebarang kesangsian. Sebagai tambahan kepada tiga dokumen yang dinyatakan di atas, pengendali Takaful memerlukan salah satu dokumen bukti kematian berikut:- 1. sijil kematian; 2. laporan bedah siasat; 3. perintah mengisytiharkan kematian secara andaian statutori, umpamanya bagi orang yang telah hilang lebih daripada 6 tahun;
  • 363.
    Amalan Takaful Keluarga:Tuntutan dan Pengeluaran Sebahagian 539 4. sijil mengesahkan kematian pegawai tentera dan kematian dalam peperangan; 5. sijil menyatakan kematian berlaku di laut; 6. sijil perubatan dari pegawai perubatan yang terakhir merawat peserta. Pengendali juga akan meminta bukti umur peserta meninggal dunia, jika ini tidak dilakukan pada permulaan kontrak. Pengendali Takaful perlu memastikan bahawa prosid tuntutan kematian dibayar kepada orang yang berhak menerimanya. Seksyen 65 Akta Takaful 1984 secara khusus menyebut bahawa apa-apa bayaran manfaat boleh dibayar oleh Pengendali Takaful tanpa memerlukan sebarang surat probet atau surat pentadbiran, dan Pengendali Takaful dilepaskan daripada semua liabiliti berkenaan dengan jumlah yang dibayar. Walau bagaimanapun, BNM telah menyemak semula Seksyen berkenaan di mana Pengendali Takaful perlu membuat pembayaran interim sehingga ke had maksimum RM100,000 kepada orang yang berhak menerimanya dan baki bayaran akan dibuat selepas pihak yang menuntut mengemukakan surat probet atau surat pentadbiran. C7.4 TUNTUTAN HILANG UPAYA KEKAL DAN MENYELURUH Terdapat dua jenis tuntutan hilang upaya kekal dan menyeluruh, iaitu tuntutan hilang upaya disebabkan sakit / penyakit dan hilang upaya akibat kemalangan. 1. Dokumen yang diperlukan untuk tuntutan hilang upaya kekal dan menyeluruh disebabkan sakit / penyakit ialah; a. laporan pengesahan perubatan yang disediakan oleh doktor yang merawat hilang upaya peserta; b. salinan kad pengenalan peserta yang diakui sah; dan c. borang tuntutan yang telah lengkap diisi. 2. Dokumen yang diperlukan untuk tuntutan hilang upaya kekal dan menyeluruh disebabkan kemalangan ialah:
  • 364.
    540 Amalan AsasTakaful a. laporan pengesahan perubatan yang disediakan oleh doktor yang merawat, setelah peserta mengalami hilang upaya; b. salinan kad pengenalan peserta yang diakui sah; c. borang tuntutan yang telah lengkap diisi; dan d. salinan laporan polis yang diakui sah. C7.5 TUNTUTAN KEMATANGAN Sekiranya peserta masih hidup sehingga akhir tempoh sijil, manfaat kematangan akan dibayar kepadanya. Pengendali Takaful biasanya akan memaklumkan kepada pemegang sijil yang sijilnya akan mencapai tempoh matang dan meminta peserta untuk mematuhi prosedur tuntutan tertentu. Pengendali Takaful akan menghantar borang pengenalan, borang kemandirian (survival) dan baucar pelepasan untuk diisi dengan lengkap oleh peserta dan mengembalikannya semula berserta dokumen sijil asal kepada Pengendali Takaful. Berikut adalah dokumen yang biasanya diperlukan bagi tuntutan kematangan:  apabila peserta adalah hayat yang dilindungi:- 1. bukti umur; 2. bukti kemandirian; 3. baucar pelepasan yang telah lengkap diisi oleh peserta; dan 4. dokumen sijil asal  apabila peserta bukan hayat yang dilindungi:- 1. surat ikatan penyerahan hak atau mana-mana dokumen hakmilik lain; dan 2. satu kenyataan ringkas yang menyatakan bahawa hayat yang dilindungi masih hidup dan tidak dapat atau tidak bersedia untuk menandatangani sijil kemandirian.
  • 365.
    Amalan Takaful Keluarga:Tuntutan dan Pengeluaran Sebahagian 541 C7.6 LAIN-LAIN TUNTUTAN Tanggungjawab untuk membuktikan tuntutan adalah terletak ditangan peserta dan dia mesti membuktikannya dan bukti tersebut mesti memenuhi keperluan Pengendali Takaful. Peserta hendaklah mematuhi semua syarat-syarat lain yang terdapat dalam kontrak. Bagi sijil perlindungan kemalangan diri, prinsip sebab hampiran adalah penting kerana mungkin terdapat lebih daripada satu sebab yang boleh membawa kepada tuntutan. Perlu diketahui bahawa jika pengendali Takaful berpendapat tuntutan itu disebabkan oleh peril yang dikecualikan, maka pengendali Takaful perlu membuktikan dakwaan tersebut. Berdasarkan amalan industri, pengendali Takaful mengeluarkan pelbagai bentuk borang bercetak yang jika diisi dengan betul, ia akan membekalkan semua maklumat yang diperlukan. Borang-borang ini, disamping memerlukan butir-butir kemalangan atau penyakit, juga mengandungi soalan-soalan lain yang bertujuan untuk menentukan sama ada asas perlindungan asal masih kekal atau telah berubah. Sekiranya pengendali Takaful berpuas hati mengenai kesahihan semua dokumen yang dikemukakan, sebarang pertanyaan lain yang telah dijawab sepenuhnya dan tidak melanggar syarat-syarat sijil, pengendali Takaful akan membayar amaun tuntutan. Walau bagaimanapun, sekiranya terdapat sebarang keraguan atau tertakluk kepada pertimbangan khas, pengendali Takaful berhak untuk menjalankan siasatan lanjut. C7.7 DAFTAR TUNTUTAN Ia adalah keperluan undang-undang dibawah Akta Takaful 1984, bahawa setiap pengedali Takaful hendaklah mengadakan dan menyimpan satu daftar terkini bagi semua tuntutan Takaful sebaik sahaja pengendali diberitahu mengenainya. Tiada satu pun daripada notis tuntutan ini yang boleh dikeluarkan daripada daftar ini selagi pengendali masih bertanggungjawab keatas tuntutan tersebut.
  • 366.
    542 Amalan AsasTakaful Daftar tuntutan ini dianggap rekod rasmi tuntutan yang dilaporkan kepada pengendali. Daftar tuntutan ini boleh disimpan dalam bentuk kad atau di atas helaian ledger atau cetakan komputer. C7.8 PENGELUARAN SEBAHAGIAN Kebanyakan Pengendali Takaful membenarkan peserta mereka membuat pengeluaran sebahagian di bawah sijil Takaful Keluarga milik mereka, tertakluk kepada terma-terma dan syarat-syarat tertentu. Amalan ini agak serupa dengan apa yang terdapat dalam insurans hayat konvensional, tetapi perbezaan utamanya ialah Pengendali Takaful tidak mengenakan faedah (interest) atas 'pinjaman' yang diambil oleh peserta, kerana wang itu sebenarnya memang milik mereka. Oleh kerana bayaran sumbangan untuk Takaful Keluarga dibahagikan kepada dua dana (Akaun Peserta dan Akaun Khas Peserta), pengeluaran sebahagian dibenarkan pada Akaun Peserta, tetapi tidak melebihi daripada 50% amaun dalam akaun ini. Peserta boleh memilih untuk membayar balik atau sebaliknya, tetapi pengiraan pulangan pelaburan ke atas Akaun Peserta akan ditolak amaun yang telah dikeluarkan. Sekiranya peserta membuat serahan sijil Takaful, pengendali akan membayar semua amaun terkumpul di dalam Akaun Peserta sahaja, tidak termasuk Akaun Khas Peserta kerana akaun ini adalah amaun yang telah didermakan oleh peserta.
  • 367.
    Pengiraan Sumbangan TakafulKeluarga 543 BAB C8 PENGIRAAN SUMBANGAN TAKAFUL KELUARGA PENGENALAN Dalam menjalankan kewajipan sebagai Ejen Takaful, anda mungkin diminta untuk memberi nasihat mengenai pelbagai perkara yang berkaitan dengan perniagaan. Pastinya akan ada persoalan mengenai amaun sumbangan yang perlu disediakan sekiranya bakal pelanggan berminat untuk menyertai skim Takaful Keluarga tertentu. C8.1 PENGIRAAN UMUR Apabila berurusan dalam perniagaan Takaful Keluarga, umur peserta memainkan peranan penting dalam menentukan kadar sumbangan. Pengendali Takaful menggunakan asas-asas yang berlainan bagi menentukan usia seseorang individu. Kaedah yang paling biasa digunakan ialah: 1. Umur harijadi yang telah lepas 2. Umur harijadi akan datang 3. Umur harijadi terhampir Ilustrasi dibawah menunjukkan kaedah pengiraan umur peserta yang lahir pada 21 Mac 1965:  Pengiraan umur harijadi yang telah lepas: Teknik yang digunakan adalah untuk mendapatkan tarikh harijadi yang lepas dan melaksanakan penolakan yang perlu seperti yang ditunjukkan dalam jadual di bawah.
  • 368.
    544 Amalan AsasTakaful Tarikh Rujukan (Tarikh penghantaran borang cadangan) Harijadi yang lepas Umur harijadi yang lepas 20 Mei 2005 21 Mac 2005 2005 – 1965 = 40 1 Januari 2005 21 Mac 2004 2004 – 1965 = 39 31 Disember 2006 21 Mac 2006 2006 – 1965 = 41  Pengiraan umur harijadi akan datang: Teknik yang digunakan adalah untuk mendapatkan tarikh harijadi akan datang dan melaksanakan penolakan yang perlu seperti yang ditunjukkan dalam jadual di bawah. Tarikh Rujukan (Tarikh penghantaran borang cadangan) Harijadi akan datang Umur harijadi akan datang 20 Mei 2005 21 Mac 2006 2006 – 1965 = 41 1 Januari 2005 21 Mac 2005 2005 – 1965 = 40 31 Disember 2006 21 Mac 2007 2007 – 1965 = 42  Pengiraan umur harijadi terhampir: Teknik yang digunakan adalah untuk mendapatkan tarikh harijadi terhampir dan melaksanakan penolakan yang perlu seperti yang ditunjukkan dalam jadual dibawah. Tarikh Rujukan (Tarikh penghantaran borang cadangan) Harijadi terhampir Umur harijadi terhampir 20 Mei 2005 21 Mac 2005 2005 – 1965 = 40 1 Januari 2005 21 Mac 2005 2005 – 1965 = 40 31 Disember 2006 21 Mac 2007 2007 – 1965 = 42 Amaun sumbangan yang dikenakan untuk sijil Takaful Keluarga adalah berbeza-beza, bergantung kepada faktor-faktor berikut:-
  • 369.
    Pengiraan Sumbangan TakafulKeluarga 545 1. umur dan jantina pencadang; 2. keadaan kesihatan pencadang; 3. jenis sijil Takaful yang dikehendaki; 4. jumlah perlindungan; 5. tempoh perlindungan sijil; 6. mod/cara bayaran sumbangan. C8.2 MENGGUNAKAN BUKU PENGKADARAN (RATE BOOK) UNTUK MENGIRA SUMBANGAN Sumbangan yang dikenakan untuk pelbagai jenis sijil dan tempoh perlindungan diringkaskan dalam bentuk jadual buku kadar. Adalah penting untuk diketahui bahawa kadar ini hanyalah untuk risiko biasa, iaitu pencadang / peserta berada dalam keadaan kesihatan yang baik mengikut spesifikasi proses pengunderaitan. Hayat yang terjejas atau sub-standard mungkin tertakluk kepada sumbangan tambahan; dan kadar sumbangan untuk kategori ini hanya diperolehi selepas butiran pengunderaitan telah dilakukan. Dalam seksyen ini, kita akan menunjukkan kaedah penggunaan buku kadar bagi pengiraan sumbangan ansuran tahunan. Jadual dibawah menunjukkan seksyen taburan sumbangan sijil Takaful endowmen 25 tahun, untuk peserta lelaki, bagi setiap RM1,000 jumlah perlindungan. Umur (Harijadi akan datang) Sumbangan setiap RM1,000 jumlah perlindungan 25 39.50 26 40.00 27 40.50 28 41.25 29 42.00 30 42.80 31 43.60 Kadar Sumbangan untuk Takaful Endowment 25 tahun, Risiko Lelaki (Risiko Perempuan adalah 3 tahun lebih muda)
  • 370.
    546 Amalan AsasTakaful Sekiranya Pengendali Takaful menyediakan diskaun untuk jumlah perlindungan yang lebih besar, ia perlu diambil kira dalam pengiraan kadar sumbangan. Satu keadaan yang biasa mungkin seperti yang dicadangkan oleh jadual yang ditunjukkan di bawah: Jumlah Perlindungan (RM) Diskaun setiap RM1,000 Jumlah Perlindungan 10,000 – 24,999 RM 1.00 25,000 – 39,999 RM 2.00 40,000 – 54,999 RM 3.00 55,000 – 69,999 RM 4.00 70,000 dan ke atas Sebut harga khas Diskaun untuk Jumlah Perlindungan yang Lebih Besar: Takaful Endowmen 25 tahun, Risiko Lelaki Contoh 1: Maklumat Peribadi Pencadang Jantina : Lelaki Tarikh lahir : 24 Oktober 1976 Tarikh Kuatkuasa : 18 Mac 2007 Maklumat Sijil Jenis : Takaful Keluarga 25 tahun Jumlah Perlindungan : RM5,000 PENGIRAAN 1) Tentukan umur harijadi akan datang: Kita perlu mengira umur harijadi akan datang kerana kadar sumbangan disediakan mengikut kaedah ini. (Lihat jadual di atas) Tarikh harijadi akan datang yang hampir dengan 18 Mac 2007 ialah 24 Oktober 2007. Umur harijadi akan datang = 31 tahun (iaitu 2007 – 1976)
  • 371.
    Pengiraan Sumbangan TakafulKeluarga 547 2) Kadar Sumbangan Belum Dilaras untuk umur harijadi akan datang 31 tahun = RM43.60 setiap RM1,000 jumlah perlindungan. Untuk jumlah perlindungan RM5,000, sumbangan yang diperlukan ialah RM 5 x 43.60 = RM 218 setahun. 3) Menentukan kadar diskaun: Tiada diskaun diberikan kerana jumlah perlindungan kurang dari RM10,000 (lihat jadual di atas). 4) Sumbangan perlu dibayar Sumbangan belum Dilaras = RM 218.00 tolak diskaun = 0____ Jumlah RM 218.00 ======= Contoh 2: Maklumat Pencadang Jantina : Wanita Tarikh lahir : 24 Oktober 1976 Tarikh kuatkuasa : 18 Mac 2007 Maklumat sijil Jenis : Takaful Keluarga 25 tahun Jumlah Perlindungan : RM5,000 PENGIRAAN 1) Tentukan umur harijadi akan datang Kita perlu mengira umur harijadi akan datang kerana kadar sumbangan disediakan mengikut kaedah ini. (Lihat jadual di atas) Tarikh harijadi akan datang yang hampir dengan 18 Mac 2007 ialah 24 Oktober 2007.
  • 372.
    548 Amalan AsasTakaful Umur harijadi akan datang = 31 tahun (iaitu 2007 – 1976) Bagi tujuan pengiraan sumbangan, pencadang wanita ini diandaikan berumur 28 tahun. 2) Kadar Sumbangan Belum Dilaras untuk umur harijadi akan datang 28 tahun = RM41.25 setiap RM1,000 jumlah perlindungan. Untuk jumlah perlindungan RM5,000, sumbangan yang diperlukan ialah RM 5 x 41.25 = RM 206.25 setahun. 3) Menentukan kadar diskaun Tiada diskaun diberikan kerana jumlah perlindungan kurang dari RM10,000 (lihat jadual di atas). 4) Sumbangan perlu dibayar Sumbangan belum Dilaras = RM 206.25 Tolak diskaun = 0___ Jumlah RM 206.25 ======= Contoh 3: Maklumat pencadang Jantina : Lelaki Tarikh lahir : 24 Mac 1978 Tarikh kuatkuasa : 18 Mac 2007 Maklumat sijil Jenis : Takaful Keluarga 25 tahun Jumlah Perlindungan : RM35,000 PENGIRAAN 1) Tentukan umur harijadi akan datang Kita perlu mengira umur harijadi akan datang kerana kadar sumbangan disediakan mengikut kaedah ini. (Lihat jadual di atas)
  • 373.
    Pengiraan Sumbangan TakafulKeluarga 549 Tarikh harijadi akan datang yang hampir dengan 18 Mac 2007 ialah 24 Mac 2007. Umur harijadi akan datang = 29 tahun (iaitu 2007 – 1978) 2) Kadar Sumbangan Belum Dilaras untuk umur harijadi akan datang 29 tahun = RM42.00 setiap RM1, 000 jumlah perlindungan. Untuk jumlah perlindungan RM35,000, sumbangan yang diperlukan ialah RM 35,000 x 42.00/1000 = RM 1,470 setahun. 3) Penentuan kadar diskaun Kelayakan diskaun sebanyak RM2 bagi setiap RM1000 jumlah perlindungan. Amaun diskaun = RM35, 000 x RM2/RM1000 = RM 70 setahun. 4) Sumbangan perlu dibayar Sumbangan Belum Dilaras = RM 1,470 tolak diskaun = 70 Jumlah RM 1,400 ====== Pembayaran Sumbangan Lebih Kerap: Sekiranya sumbangan yang perlu dibayar lebih kerap daripada setahun, pelarasan selanjutnya akan dibuat sebelum tiba pada jumlah caruman sebenar yang perlu bayar. C8.3 PENGELUARAN SEBAHAGIAN Kebanyakan Pengendali Takaful membenarkan peserta membuat pengeluaran sebahagian dibawah sijil Takaful Keluarga mereka, tertakluk kepada terma-terma dan syarat-syarat tertentu. Amalan ini agak serupa dengan insurans hayat konvensional, tetapi perbezaan
  • 374.
    550 Amalan AsasTakaful utama ialah Pengendali Takaful tidak mengenakan faedah (interest) atas ‘pinjaman’ yang diambil oleh peserta, kerana wang itu sebenarnya milik peserta. Oleh kerana sumbangan untuk Takaful Keluarga dibahagikan kepada dua dana iaitu Akaun Peserta dan Akaun Khas Peserta, pengeluaran sebahagian hanya dibenarkan dibawah Akaun Peserta sahaja dan pengeluaran tidak boleh melebihi 50% dari jumlah amaun dalam akaun ini. Peserta boleh memilih untuk membayar balik atau sebaliknya untuk amaun yang telah dikeluarkan, tetapi pengiraan pulangan pelaburan ke atas Akaun Peserta akan ditolak amaun yang telah dikeluarkan. Sekiranya sijil Takaful diserahkan kepada pengendali, semua jumlah terkumpul di dalam Akaun Peserta sahaja hendaklah dibayar kepada peserta. Pembayaran tidak melibatkan Akaun Khas Peserta kerana peserta telah bersetuju untuk mendermakannya. C8.4 PENGIRAAN NILAI SERAHAN Sijil Takaful yang memperuntukkan hak memperolehi nilai serahan biasanya akan menyertakan jadual kadar nilai tertentu. Ia akan memudahkan proses pengiraan nilai serahan, iaitu setelah mengetahui tempoh serahan sijil dibuat. Walau bagaimanapun, apabila nilai serahan tidak ditetapkan terlebih dahulu, pengiraan nilai-nilai ini memerlukan pertimbangan aktuari. Ia adalah di luar skop buku ini untuk menangani isu-isu seperti ini.
  • 375.
    Pertimbangan Utama dalamPelan Takaful Berkaitan Pelaburan 551 BAB C9 PERTIMBANGAN UTAMA DALAM PELAN TAKAFUL BERKAITAN PELABURAN PENDAHULUAN Bakal peserta perlu menimbangkan pelbagai faktor sebelum membuat keputusan sama ada untuk mengambil bahagian dalam pelan Takaful berkaitan pelaburan. Sebelum mereka membuat keputusan, mereka perlu memahami dan mempertimbangkan objektif pelaburan mereka, ciri-ciri produk, dana-dana yang sedia ada, risiko pelaburan, tempoh / jangkamasa pelaburan, pencukaian dan prestasi pelaburan.. Dalam bab ini, kita akan meneliti setiap pertimbangan utama pelaburan sebelum bakal peserta membuat keputusan untuk melabur / mengambil bahagian dalam apa-apa pelan Takaful berkaitan pelaburan. C9.1 PENGENALAN Adalah menjadi tanggungjawab ejen Takaful untuk menerangkan dan mendidik pelanggan mengenai produk Takaful. Modul ini akan membantu ejen-ejen Takaful memahami pengetahuan asas pelaburan seperti bagaimana untuk melabur, apakah jenis pelaburan, bila dan mengapa perlu melabur. Pelanggan perlu mengkaji dan mempertimbangkan semua aspek penting sebelum membuat apa-apa keputusan mengenai pelaburan. Antara pertimbangan utama yang perlu diketahui dan difahami oleh pelanggan ialah: 1. Objektif Pelaburan 2. Dana-dana yang sedia ada 3. Risiko atau Keselamatan
  • 376.
    552 Amalan AsasTakaful 4. Tempoh / jangkamasa Pelaburan 5. Aspek Percukaian 6. Prestasi Pelaburan 7. Kepelbagaian C9.2 OBJEKTIF PELABURAN Sebelum pelabur menentukan objektif pelaburan, ia perlu mengetahui objektif pelaburan. Ia akan membantu pelabur memilih instrumen pelaburan dan kelas asset yang sesuai. Secara ringkasnya, tujuan utama pelaburan ialah untuk menghasilkan dan memperolehi pertumbuhan modal, menyediakan sumber pendapatan atau kedua-duanya. Terdapat pelaburan tertentu yang memberi pulangan seperti yang dihajatkan. Sebagai contoh, seseorang membeli hartanah kerana peningkatan modal, manakala sesetengah orang membeli hartanah untuk tujuan sumber pendapatan. Objektif pelaburan juga boleh berubah mengikut keadaan atau situasi seseorang. Sebagai contoh pelaburan hartanah, ketika di usia muda mereka membeli hartanah kerana mereka inginkan pelaburan yang menjanjikan pertumbuhan modal. Kemudian, iaitu ketika zaman persaraan, keperluan untuk mempunyai sumber pendapatan tetap lebih penting dari pertumbuhan modal. Maka, pendapatan dari sewa hartanah berkenaan menjadi objektif pelaburannya. Sekiranya pelabur berminat dengan pelaburan dana terkumpul seperti dana bersama atau dana Takaful berkait pelaburan, pelabur perlu mengetahui tujuan atau objektif sebelum membuat pelaburan ke atasnya. Sama seperti instrumen pelaburan lain atau kelas aset, dana terkumpul boleh memberi pulangan / pertumbuhan modal (terutamanya pelaburan ekuiti), memperolehi pendapatan (pelaburan bon) atau kedua-duanya (dana terimbang).
  • 377.
    Pertimbangan Utama dalamPelan Takaful Berkaitan Pelaburan 553 Tiga ciri-ciri asas objektif pelaburan ialah: 1. Keselamatan Ia telah menjadi norma hidup manusia di mana pelabur akan sentiasa mencari instrumen pelaburan yang paling selamat dengan pulangan yang tinggi. Salah satu teori asas kewangan ialah jangkaan pulangan dan risiko mempunyai korelasi / kaitan yang positif. Dalam erti kata lain, risiko yang tinggi menjanjikan pulangan yang tinggi. 2. Pendapatan Tindakan melabur dalam pelaburan berisiko rendah seperti sukuk atau akaun pelaburan am adalah untuk tujuan pendapatan kerana ia menyediakan aliran pendapatan yang stabil. Walaupun sukuk kadang-kadang didagangkan untuk pertumbuhan modal, tujuan utama pelaburan masih lagi mengutamakan perolehan pendapatan. Kelas aset atau instrumen pelaburan juga boleh menyediakan pertumbuhan modal dan pendapatan pada masa yang sama. Berdasarkan prinsip am pelaburan, instrumen pelaburan yang menjanjikan pertumbuhan modal dan peruntukan pendapatan semakin berkurangan atau sukar ditemui. 3. Pertumbuhan Pelaburan dalam pasaran saham secara amnya dilakukan untuk memperolehi peningkatan modal dan walaupun ia juga boleh memberi pendapatan melalui dividen, tujuan umum melabur dalam pasaran saham adalah untuk menikmati pertumbuhan modal. 4. Objektif Pelaburan Lain a. Persaraan b. Pendidikan anak-anak c. Perubatan
  • 378.
    554 Amalan AsasTakaful C9.3 KEBOLEHSEDIAAN MODAL Melabur sejumlah kecil wang mungkin benar-benar memberi keuntungan pada suatu hari kelak. Tetapi persoalannya ialah bagaimana untuk mendapatkan wang atau modal dan melaburkannya. Adalah menjadi kebiasaan apabila kita mendengar seseorang menyatakan bahawa mereka tidak mempunyai baki pendapatan setiap hujung bulan sebagai alasan untuk tidak melabur. Hakikatnya, terdapat beberapa sumber dana yang boleh digunakan untuk tujuan pelaburan. 1. Pendapatan Pendapatan mungkin diperolehi dari upah, gaji, keuntungan, bayaran dividen, sewa dan pendapatan-pendapatan lain yang diterima dalam tempoh masa tertentu. Keupayaan untuk mengenal pasti setiap pendapatan yang diterima, setiap sen yang dibelanjakan dan ke mana wang tersebut dibelanjakan adalah amat kritikal; lebih-lebih lagi jika kita merasakan yang kita tidak mempunyai wang untuk dilaburkan. Bajet yang betul akan membantu dalam perancangan sumber atau dana untuk tujuan pelaburan. 2. Wang Tambahan Ramai di antara kita mendapat wang tambahan dari semasa ke semasa, termasuk pemberian hadiah wang ketika harijadi, percutian, kerja lebih masa, bonus dan bayaran insentif. Wang “durian runtuh” inilah yang akan menjadi sumber utama modal pelaburan. Peruntukkan sekurang-kurangnya separuh daripada wang “durian runtuh” tersebut dan depositkan ke akaun simpanan atau akaun pelaburan. Oleh kerana bajet bulanan berdasarkan sepenuhnya dari pendapatan tetap bulanan dan bukannya dari wang tunai tambahan ini, maka ini adalah antara cara menyediakan modal pelaburan yang tidak menyakitkan.
  • 379.
    Pertimbangan Utama dalamPelan Takaful Berkaitan Pelaburan 555 3. “Bil” Pelaburan Anda Anggaplah akaun pelaburan anda sebagai satu lagi bil yang perlu dibayar setiap bulan. Tetapkan matlamat pelaburan bulanan yang realistik, dan gunakan konsep ‘bayaran untuk diri sendiri’ dan simpan wang tersebut setiap bulan. Tetapkan satu matlamat yang realistik - mulakan pelaburan serendah RM50 sebulan. Apa yang penting ialah untuk memulakannya dan mula menanamkan disiplin fiskal yang diperlukan. Apabila anda baru bermula, di mana untuk meletakkan dana pelaburan tidak penting kerana yang lebih penting ialah hakikat bahawa kita berjaya menyimpan wang secara konsisten. C9.4 RISIKO ATAU KESELAMATAN Disebabkan wujudnya perkaitan yang rapat antara risiko dan pulangan, pelanggan perlu sedar toleransi risiko peribadi masing- masing apabila memilih pelaburan untuk portfolio mereka. Bersedia menghadapi risiko adalah harga yang perlu dibayar untuk mendapat keuntungan / pulangan. Oleh itu, jika pelanggan ingin mencari keuntungan, dia tidak boleh menolak semua risiko. Matlamatnya ialah untuk mencari keseimbangan - pelaburan yang menjana keuntungan yang berpatutan dan pelanggan masih boleh tidur lena di waktu malam. Sekiranya pelanggan ingin mendapat kadar pulangan yang lebih tinggi, dia mesti bersedia untuk mengambil risiko yang lebih tinggi juga. C9.5 TEMPOH/JANGKAMASA PELABURAN Tempoh / jangkamasa pelaburan merujuk kepada tempoh masa bagi pelabur menyimpan pelaburan sekuriti atau portfolio pelaburannya. Tempoh masa pelaburan ialah berapa lama pelabur perlu menunggu sebelum boleh menjual pelaburannya. Ini merupakan suatu konsep penting apabila pelabur cuba untuk memutuskan apakah bentuk pelaburan yang sepatutnya ada dalam portfolionya. Prospek pelaburan digunakan untuk menentukan keperluan pendapatan pelabur dan
  • 380.
    556 Amalan AsasTakaful pendedahan risiko yang diingini, yang kemudiannya digunakan untuk membantu dalam memilih sekuriti / pelaburan. Pelabur yang tidak memerlukan wang dalam jangkamasa pendek boleh memiliki portfolio pelaburan yang lebih berisiko berbanding dengan seseorang yang memerlukan wang dalam jangkamasa pendek. Oleh kerana tempoh pelaburan meningkat mengikut masa, ekuiti mewakili risiko tinggi-pulangan terlaras berbanding dengan sekuriti pendapatan tetap dan wang tunai. Untuk tempoh pelaburan jangka pendek, ekuiti menjadi kelas aset yang lebih berisiko kerana ia membawa tahap kemudahruapan yang lebih tinggi. Sebagai contoh, seorang profesional muda harus melabur dalam ekuiti kerana tempoh masa yang ia ada mungkin 30 tahun atau lebih. Untuk seseorang yang hampir bersara pula, pengekalan modal menjadi lebih penting, dan oleh itu pelaburan pendapatan tetap adalah lebih sesuai. Beberapa strategi dagangan, terutamanya yang berdasarkan analisis teknikal, boleh menggunakan tempoh pelaburan hari, jam atau minit. Secara amnya, tempoh masa dalam pelaburan mungkin bersifat jangka pendek, sederhana atau jangka panjang. Berikut adalah beberapa definisi umum mengenai tempoh masa pelaburan dan tahap risiko yang wujud. Perlu diingat bahawa definisi di atas adalah tidak standard dan dinyatakan secara sambil lalu sahaja. 1. Jangka Pendek Jangka pendek sering ditakrifkan sebagai kurang daripada 3 tahun, dan mungkin tidak sesuai untuk saham, hartanah atau lain- lain jenis pelaburan yang mempunyai tahap mudahruap yang tinggi dan risiko yang besar kepada modal pelaburan. Dana sukuk jangka pendek dan sijil deposit sering dinamakan sebagai pilihan terbaik untuk pelabur jangka pendek.
  • 381.
    Pertimbangan Utama dalamPelan Takaful Berkaitan Pelaburan 557 Pelabur biasanya tidak mahu mengambil sebarang risiko dengan wang mereka dan mereka mesti melabur dalam sekuriti yang dijamin seperti akaun simpanan dividen- tinggi atau sijil deposit. Dana jangka pendek perlu dilabur dalam pelaburan yang berisiko sangat rendah seperti sijil deposit, simpanan sukuk dan sekuriti Perbendaharaan. Pelabur boleh membina urutan bon supaya dana matang setiap beberapa bulan, dan ia sentiasa tersedia bila diperlukan atau dilaburkan semula dalam pasaran sukuk jangka pendek yang lain. Teknik ini juga mengambil kesempatan daripada kenaikan kadar keuntungan. Apabila dana matang, ia dilaburkan semula dalam sekuriti yang menjanjikan kadar pulangan yang lebih tinggi. 2. Jangka Sederhana Tempoh masa untuk pelaburan jangka sederhana ini mungkin dalam lingkungan 3-10 tahun. Pelaburan yang bergantung kepada tempoh masa ini boleh dianggap sebagai berisiko rendah, sukuk bertempoh sederhana atau stok dan bon pelbagai yang berwajaran berat terhadap sukuk berisiko rendah. Jenis pelaburan jangka sederhana ini menetapkan nisbah campuran yang konservatif iaitu 70% sukuk dan 30% ekuiti. 3. Jangka Panjang Ia adalah pelaburan untuk tempoh sepuluh tahun atau lebih, yang membolehkan pelabur memilih untuk mendapatkan pulangan yang berpotensi lebih tinggi dengan menanggung risiko yang lebih. Saham dan hartanah boleh memberikan pulangan yang tertinggi, dengan syarat pelabur selesa dengan risiko yang perlu dihadapi. Tempoh masa ini boleh meliputi pelaburan yang paling berisiko tetapi perlu diingat bahawa pelaburan ekuiti mempunyai tempoh
  • 382.
    558 Amalan AsasTakaful yang sangat panjang dengan pulangan yang rendah. Oleh itu, pelabur dinasihatkan agar menyertakan pelaburan yang mempunyai komponen pendapatan tetap, mungkin dengan nisbah 75% ekuiti dan 25% sukuk. Nisbah ini boleh diselaraskan jika perlu untuk mencari keseimbangan dan ketenangan fikiran. Modal yang diperuntukkan untuk matlamat jangka panjang harus dilaburkan dalam sekuriti yang menawarkan kenaikan nilai modal dan pertumbuhan. Stok menyediakan kedua-dua kriteria tersebut. Pelabur yang inginkan pelaburan 'satu saiz sesuai untuk semua' dinasihatkan membuat pertimbangan terhadap dana bersama terimbang yang melabur dalam saham-saham, bon, dan pelaburan tunai. Pengurus dana akan memutuskan peratusan pelaburan bagi setiap kumpulan berdasarkan keadaan pasaran dan keadaan ekonomi. Portfolio dana saham bersama atau ETF, dana pertukaran dagangan, saham mewah, dana modal besar atau sederhana dan dana antarabangsa. Pelaburan sukuk jangka pendek dan sederhana juga patut diberi pertimbangan. C9.6 ASPEK PENCUKAIAN Antara faktor yang perlu dipertimbangkan oleh pelanggan ialah aspek pencukaian. Ini adalah kerana jenis pelaburan yang berbeza akan menerima layanan pencukaian yang berbeza juga. Adalah penting bagi pelanggan untuk mengetahui aspek-aspek pencukaian bagi pelaburan yang berbeza sebelum dia membuat apa-apa keputusan mengenai pelaburan. C9.7 PRESTASI PELABURAN Prestasi pelaburan ialah pulangan ke atas portfolio pelaburan. Portfolio pelaburan boleh mengandungi satu jenis aset atau pelbagai aset. Prestasi pelaburan diukur dalam tempoh masa yang tertentu dan dalam mata wang tertentu. Pelabur sering membezakan jenis pulangan.
  • 383.
    Pertimbangan Utama dalamPelan Takaful Berkaitan Pelaburan 559 Terdapat perbezaan di antara jumlah pulangan dan pulangan harga, di mana jumlah pulangan mengambilkira pendapatan (faedah dan dividen), manakala pulangan harga hanya mengambil kira peningkatan modal. Perbezaan lain adalah antara pulangan bersih dan pulangan kasar. Pulangan bersih yang betul-betul ‘tulen’ untuk pelabur ialah pulangan bersih semua yuran, perbelanjaan dan cukai diambilkira, manakala pulangan kasar yang ‘tulen’ ialah pulangan sebelum semua yuran, perbelanjaan, dan cukai. Pelbagai variasi timbul mengenai perbezaan di atas. Apakah bentuk pulangan yang diingini bergantung kepada kaedah penilaian yang digunakan. Sebagai contoh, jika seseorang ingin mengikut keupayaan pengurus pelaburan untuk menambah nilai pelaburan, maka pulangan selepas ditolak perbelanjaan urus niaga; tetapi pulangan kasar yang meliputi semua yuran, perbelanjaan dan cukai adalah satu langkah yang sesuai untuk diambil kira kerana yuran, perbelanjaan dan cukai-cukai lain (selain dari perbelanjaan urus niaga) adalah di luar kawalan pengurus pelaburan. Satu lagi perbezaan yang ketara ialah perbezaan diantara pulangan berwajaran wang dan pulangan berwajaran masa. Pulangan berwajaran wang lebih sesuai sekiranya pengurus menentukan tempoh masa aliran tunai masuk atau aliran tunai keluar daripada portfolio. Sementara pulangan berwajaran masa lebih sesuai sekiranya pengurus tidak dipertanggungjawabkan untuk menentukan tempoh masa aliran tunai masuk ke portfolio dan aliran tunai keluar dari portfolio. Prestasi pelaburan bergantung kepada faktor-faktor berikut: 1. Keadaan ekonomi negara 2. Keadaan ekonomi serantau dan global 3. Kecekapan dan keupayaan pengurus dana 4. Tahap kos syarikat yang dilaburkan 5. Pencapaian masa lalu 6. Sejarah syarikat yang dilaburkan 7. Kitaran hayat pelaburan
  • 384.
    560 Amalan AsasTakaful C9.8 KEPELBAGAIAN Kepelbagaian pelaburan didefinisikan sebagai proses melabur di dalam: a. Kelas aset - saham, sukuk dan tunai secara amnya tidak mempunyai kaitan atau korelasi antara satu sama lain, oleh itu memiliki beberapa unit pelaburan dalam setiap kelas aset akan membantu mempelbagaikan portfolio pelaburan. b. Industri - Jika anda memiliki saham secara langsung atau dalam dana unit amanah, pastikan ada kombinasi yang mencukupi daripada industri yang berbeza. c. Negara - Kebanyakan pelabur cenderung untuk memiliki ekuiti yang terlalu banyak di negara asal mereka dan ini akan mengurangkan kemampuan untuk mempelbagaikan pelaburan mereka. Ia juga bermaksud pelabur perlu membuat pelaburan yang tidak tertumpu hanya kepada sesebuah syarikat, industri, negara dan juga kelas aset. Pepatah ada mengatakan, “Jangan letakkan semua telur anda dalam satu bakul”. Prinsip yang sama terpakai untuk melabur - meletakkan pelaburan ke dalam bakul yang berbeza. Jika sesetengah daripada bakul pelaburan tersebut gagal, maka kerugian masih boleh dikawal. Biasanya wujud kecenderungan untuk meletakkan peratusan besar portfolio ke dalam satu saham atau jenis pelaburan diyakini akan berjaya, tetapi apa yang akan berlaku jika kita tersalah pilih? Pelaburan akan lenyap kesemuanya! Mempelbagaikan pelaburan ke dalam kelas aset yang berbeza, industri, negara dan juga mata wang akan membantu melindungi dari mengalami kerugian besar.
  • 385.
    Jenis-Jenis Dana TakafulBerkaitan Pelaburan 561 BAB C10 JENIS-JENIS DANA TAKAFUL BERKAITAN PELABURAN (INVESTMENT LINK TAKAFUL PLAN-ILTP) PENGENALAN Terdapat pelbagai pilihan entiti pelaburan yang terdapat dipasaran di Malaysia untuk dijadikan pilihan. Perkembangan pesat dalam industri kewangan sejak 15 tahun yang lalu telah menyaksikan perkembangan dan kemunculan produk baru yang inovatif terutamanya dalam industri kewangan Islam. Ini adalah selaras dengan aspirasi kerajaan untuk menjadikan Malaysia sebagai hab bagi kewangan Islam. Dalam bab ini, kita akan membincangkan pelbagai bentuk pelaburan yang ditawarkan kepada pelabur individu. C10.1 PILIHAN PELABURAN 1. Tunai dan Deposit Istilah tunai dan deposit merujuk kepada semua instrumen kecairan yang tiada atau terdapat sedikit unsur risiko yang boleh mengakibatkan kehilangan modal pelaburan. Tunai dan deposit adalah salah satu kaedah pembiayaan pelaburan. Ia termasuk perkara-perkara berikut: a. Terbitan Pelaburan Kerajaan Terbitan Pelaburan Kerajaan (Government Investment Issue - GII) adalah instrumen hutang boleh niaga versi Islam yang diterbitkan oleh Kerajaan Malaysia untuk mengumpul dana dari pasaran modal domestik bagi membiayai perbelanjaan pembangunan kerajaan dan modal kerja. Bank pusat, Bank
  • 386.
    562 Amalan AsasTakaful Negara Malaysia dalam peranannya sebagai jurubank dan penasihat kepada Kerajaan, akan memberi nasihat mengenai butir-butir sekuriti Kerajaan dan bertindak memudahkan proses penerbitan melalui pelbagai infrastruktur pasaran yang ia memiliki dan mengendalikannya. GII diterbitkan bagi membenarkan institusi kewangan Islam seperti bank-bank Islam dan pengendali Takaful memegang bil kecairan yang memenuhi keperluan statutori mudah tunai. Penerbitan bil ini juga membolehkan mereka menggunakan dana kecairan untuk melabur dalam instrumen yang dikeluarkan berdasarkan prinsip Syari’ah kerana mereka tidak boleh untuk membeli atau membuat urus niaga dalam Sekuriti Kerajaan Malaysia (MGS), Rang Undang-Undang Perbendaharaan Malaysia (MTB) atau instrument-instrumen lain yang mempunyai unsur faedah. Ia adalah jenis pelaburan yang selamat dan dianggap sebagai tiada risiko, melainkan jika sekiranya keadaan politik negara menjadi tidak stabil. b. Akaun Bank Akaun bank Islam termasuk akaun pelaburan am, akaun semasa, akaun simpanan, akaun pelaburan dan akaun luar pesisir. Kadar keuntungan akaun-akaun ini biasanya rendah dan tidak melindungi pelaburan terhadap inflasi. i. Akaun Pelaburan Am (General Investment Account - GIA) GIA merujuk kepada sejumlah wang yang disimpan dengan bank dan keuntungan akan dibayar pada tarikh bayaran interim keuntungan / pada tempoh matang (yang mana berkenaan). Jumlah keuntungan sebenar hanya akan diketahui pada tarikh matang berdasarkan pulangan
  • 387.
    Jenis-Jenis Dana TakafulBerkaitan Pelaburan 563 kasar semasa untuk nisbah perkongsian keuntungan dipersetujui. ii. Akaun Semasa Bank menawarkan kemudahan akaun semasa untuk jagaan selamat wang pendeposit. Kemudahan ini, yang berdasarkan kontrak wadi’ah membolehkan pendeposit merancang perbelanjaan bulanan dan membolehkan mereka menguruskan keperluan kewangan tanpa melibatkan wang tunai. iii. Akaun Simpanan Akaun Simpanan ialah kemudahan deposit yang ditawarkan oleh bank berdasarkan sama ada kontrak wadi’ah atau kontrak mudarabah. Akaun simpanan berdasarkan wadi’ah akan membayar hibah, sementara akaun simpanan berdasarkan mudharabah akan membayar keuntungan berdasarkan nisbah yang telah ditetapkan. Faktor-faktor yang mempengaruhi pemilihan akaun bank ialah: i. dana sedia ada ii. prospek pelaburan, iaitu berapa lama pelabur perlu menyimpan dana dalam akaun berkenaan. iii. samada pengeluaran tunai dibenarkan. iv. situasi ekonomi semasa. 2. Sukuk Perkataan “sukuk” adalah jamak kepada “sakk”, perkataan Arab yang bermaksud “sijil”. Sukuk adalah sijil amanah untuk pemilikan sesuatu aset, atau sijil usufruk. Ia biasanya merujuk dan mempunyai persamaan dengan bon Islam. Walau
  • 388.
    564 Amalan AsasTakaful bagaimanapun, ia berbeza daripada bon konvensional kerana ia tidak membayar faedah kerana ia tidak dibenarkan dalam Islam. Sekuriti Sukuk distrukturkan untuk mematuhi prinsip-prinsip Syari’ah dan pelaburan. Aset kewangan yang mematuhi undang- undang Syari’ah boleh dikelaskan mengikut kebolehdagangan atau tidak boleh didagangkan dalam pasaran sekunder. Proses penelitian aset konvensional digunakan dalam penstrukturan sukuk di mana SPV diwujudkan untuk tujuan ini. SPV (entiti yang ditubuhkan untuk sesuatu tujuan tertentu) akan mengambil alih aset-aset yang akan disandarkan melalui sukuk dan untuk menerbitkan tuntutan kewangan ke atas aset-aset sepanjang tempoh yang ditakrifkan dibawah sukuk. Cagaran aset mestilah mematuhi keperluan Syari’ah. Pulangan sukuk terikat kepada aliran tunai yang dijana oleh aset yang dipegang dalam SPV. Aliran tunai boleh dalam bentuk keuntungan dari jualan, keuntungan daripada sewa, atau gabungan kedua-duanya. Terbitan sukuk boleh distrukturkan dalam pelbagai cara. Ia boleh menawarkan pilihan pendapatan samada secara tetap atau boleh ubah. a. Sukuk adalah berdasarkan konsep jualan spot (salam) atau bayaran tertunda (bai’ al-mu’ajjal) dan / atau atau penjualan penghantaran tertunda (bai’ al-salam). Sekuriti ini biasanya diterbitkan untuk jangka pendek, tempoh antara tiga bulan ke satu tahun, dan digunakan untuk membiayai perdagangan komoditi. Sukuk yang berasaskan konsep ini mesti disimpan sehingga matang kerana dagangan sukuk ini dalam pasaran sekunder melibatkan riba, oleh itu, ia adalah dilarang. b. Sukuk berasaskan konsep ijarah Gabungan bayaran sewa dan modal asal dari aliran tunai yang dihasilkan oleh perjanjian pajakan-dan-pembelian balik
  • 389.
    Jenis-Jenis Dana TakafulBerkaitan Pelaburan 565 adalah dagangan melalui pelabur. Sukuk berasaskan Ijarah mempunyai tempoh matang jangka sederhana dan jangkapanjang, mempunyai opsyen jual dan boleh diniagakan dalam pasaran sekunder. Sukuk boleh diterbitkan oleh pihak kerajaan dan juga syarikat swasta. Dalam sukuk korporat, pulangan yang ditawarkan biasanya lebih tinggi dari sukuk kerajaan. Walau bagaimanapun, pulangan yang tinggi membawa risiko yang tinggi juga. Mengikut perspektif Syari’ah, sijil hutang tidak boleh didagangkan (timbul pendapat yang berbeza mengenai hal ini di Malaysia). Struktur yang paling diterima dan boleh diniagakan adalah Sukuk al-Ijarah. Dari perspektif Islam, sijil hutang hanya boleh dibeli sebelum pembiayaan berlaku dan kemudian disimpan sehingga tarikh matang, yang dianggap kritikal untuk dagangan hutang pada nilai pasaran yang mengandungi unsur riba yang dilarang. Oleh kerana Syari’ah berpendapat wang merupakan alat pengukur nilai, bukan aset itu sendiri, ia menekankan bahawa seseorang itu tidak seharusnya menerima pendapatan daripada wang (atau apa-apa yang mempunyai kaitan dengan wang) semata-mata. Penjanaan wang dari wang “riba” adalah haram. Dengan sukuk, kita perlu menilai risiko yang berkaitan dengan terbitan tertentu, bukannya syarikat itu sendiri, dengan melihat pada keupayaan penerbit membayar hutangnya iaitu membuat pembayaran pendapatan apabila tiba masanya dan membayar balik modal pada tarikh matang. Sukuk mempunyai keutamaan yang lebih tinggi berbanding dengan mana-mana ekuiti penggulungan. Sekiranya pembayaran sukuk menghadapi kesukaran, maka syarikat
  • 390.
    566 Amalan AsasTakaful juga akan menghadapi masalah secara keseluruhan, dan menimbulkan masaalah kepada pemegang saham ekuiti juga. Kebaikan dan Keburukan Ia menyediakan aliran pendapatan tetap kepada pelabur. Sekiranya ia sukuk kerajaan, risikonya hampir-hampir tiada dan ia dianggap pelaburan yang paling selamat. Walau bagaimanapun, keburukan sukuk kerajaan ialah pulangan yang ditawarkan lebih rendah dari kadar inflasi dan oleh itu ia memburukkan rekod pelaburan. 3. Saham dan Pelaburan Saham, yang juga dikenali sebagai stok atau ekuiti merupakan unit pelaburan dalam syarikat-syarikat individu. ia mempunyai nilai nominal, misalnya RM1.00, yang mana apabila didarabkan dengan jumlah saham yang diterbitkan, ia akan membentuk jumlah modal saham yang dikeluarkan. Nilai nominal tidak mempunyai persamaan dengan harga pasaran yang sentiasa turun naik mengikut prinsip permintaan dan penawaran, yang didorong oleh daya tarikan syarikat dan prestasi perniagaannya. Ekuiti Islam adalah saham syarikat-syarikat halal iaitu sekuriti syarikat yang beroperasi dalam aktiviti-aktiviti yang dibenarkan di bawah prinsip Syari’ah, diluluskan dan dikaji semula secara berkala oleh para ulama’ Syari’ah melalui proses yang dikenali sebagai pemeriksaan saham Islam. Bagi syarikat yang boleh dikatakan halal, majoriti perolehan mestilah terutamanya yang diperolehi dari aktiviti-aktiviti selain daripada perdagangan alkohol, senjata api, tembakau, daging babi, pornografi, perjudian atau keuntungan yang dikaitkan dengan mengenakan kadar faedah ke atas pinjaman. Penentuan pematuhan Syari’ah terletak ditangan penghakiman ulama’ Islam.
  • 391.
    Jenis-Jenis Dana TakafulBerkaitan Pelaburan 567 Melalui pemilikan stok dan saham, ia memungkinkan para pelabur mengumpulkan kekayaan melalui tiga cara yang berbeza:  menerima pendapatan dari bayaran dividen  menikmati pertumbuhan nilai dan menjualkannya ketika harga tinggi  mempunyai kombinasi kedua-dua di atas, dan membentuk keseimbangan. Saham menawarkan pelbagai pilihan seperti banyaknya usahawan dan syarikat-syarikat yang cuba untuk membuat keuntungan dalam sistem ekonomi. Terdapat beribu-ribu syarikat di pasaran di Malaysia, dan juga yang disenaraikan di pasaran asing (penyenaraian berganda). Keseluruhan spektrum membawa kemungkinan pelaburan kepada pelabur - berisiko tinggi, saham pertumbuhan tinggi dan syarikat saham mewah. Saham-saham ditawarkan melalui pelbagai cara yang berbeza, anda boleh membeli saham dalam syarikat individu, membentuk portfolio pelaburan anda sendiri atau membeli saham melalui skim kolektif seperti dana atau amanah pelaburan. a. Saham Biasa Saham biasa mencerminkan hak pemilikan keatas sesebuah syarikat. Saham biasa boleh memberi faedah yang banyak, seperti hak mengundi dan pembayaran dividen. Setiap saham biasa yang dimiliki memberikan hak kepada pembeli untuk satu undi mengenai isu-isu tertentu dalam syarikat. Lembaga pengarah syarikat akan memutuskan jumlah dividen yang akan dibayar, dan jumlah ini akan berbeza-beza dari tahun ke tahun. Pemegang saham biasa berada disenarai terakhir menerima dividen selepas semua pemberi hutang dan pemegang saham terpilih; yang bermaksud bahawa mereka (pemegang saham biasa) akan mendapat bayaran dividen selepas semua yang lain telah dibayar.
  • 392.
    568 Amalan AsasTakaful Kebaikan dan Keburukan Kelebihan saham biasa ialah pemegang saham biasa mempunyai hak untuk mengundi dan memilih lembaga pengarah. Walau bagaimanapun, kekurangan saham biasa ialah bayaran dividen tidak dijamin. b. Saham Utama Seperti saham biasa, saham utama memberikan hak pemilikan sebahagian daripada sebuah syarikat. Perbezaannya pula ialah saham utama dibayar dividen tetap, iaitu sebelum pembayaran dividen kepada pemilik-pemilik saham biasa. Kekangan yang timbul ialah saham utama tidak memberikan hak mengundi dan kurang peningkatan nilai saham. Kebaikan dan Keburukan Pemegang saham utama diberi keutamaan dalam pengagihan pendapatan berbanding dengan pemegang saham biasa. Oleh itu, ia adalah satu pelaburan yang kurang berisiko dengan harga pasaran yang stabil. Walau bagaimanapun, pemegang saham utama tidak mempunyai hak untuk mengundi dan memilih lembaga pengarah. 4. Unit Amanah Dana seperti Unit Amanah yang disebut sebagai pelaburan ‘kolektif’ atau ‘terkumpul’. Ia merupakan kaedah pelaburan yang terdiri daripada pelbagai jenis pelaburan yang dipilih oleh pengurus dana. Ia adalah sama dengan unit amanah konvensional, kecuali unit amanah Islam melabur hanya dalam sekuriti yang mematuhi Syari’ah. Pengurus unit amanah memberikan keutamaan kepada sekuriti (saham atau bon) bank-bank Islam dan institusi kewangan, sekuriti syarikat-syarikat yang dikendalikan
  • 393.
    Jenis-Jenis Dana TakafulBerkaitan Pelaburan 569 selaras dengan prinsip-prinsip Islam, dan sekuriti yang termasuk dalam indeks ekuiti Islam. Kontrak yang mengawal pertukaran unit antara pengurus unit amanah dan pelabur biasanya mematuhi prinsip bai’ al-naqdi (membeli dan menjual secara tunai). Apabila pelabur membeli unit amanah, pelabur sebenarnya berkongsi pro rata dengan pelabur-pelabur lain dalam pemilikan aset-aset yang dipegang oleh amanah itu. Pengurus menerima yuran pengurusan di bawah konsep ujrah (yuran) untuk menguruskan unit amanah. Sebab-sebab utama melabur dalam dana unit amanah:  Dana dapat membantu mengurangkan tahap risiko yang dihadapi oleh pelabur.  Dana boleh mengurangkan kos membentuk portfolio pelaburan yang pelbagai.  Dana membantu mengurangkan keperluan untuk memilih dan mengurus sendiri pelaburan. Kebaikan dan Keburukan Kebaikan unit amanah ialah: a. Pengurusan dana dikendalikan oleh para pakar yang mahir dalam pelbagai aspek pelaburan dan pengurusan dana. b. Pelabur mempunyai fleksibiliti untuk memilih dari pelbagai dana unit amanah yang berada dipasaran. Modal dari para pelabur akan dikumpulkan (pool) dan ini memudahkan pengurus dana untuk membuat pelaburan, berbanding dengan melabur secara individu. Ia juga memungkinkan kepada pembentukan kepelbagaian portfolio dalam dana dan risiko. c. Ia menyediakan ‘ekonomi berskala besar’ dimana ia mampu mengurangkan kos transaksi. Walau bagaimanapun, terdapat beberapa kos yang perlu ditanggung, berbanding dengan pelabur individu.
  • 394.
    570 Amalan AsasTakaful 5. Hartanah Melabur dalam pasaran hartanah melibatkan pembelian, pemilikan, pengurusan, sewa dan / atau penjualan hartanah atau keuntungan. Pelabur membeli hartanah dengan niat untuk memperolehi pendapatan daripadanya, sama ada melalui penjualan atau pendapatan melalui sewa. Hartanah biasanya meliputi bangunan pejabat, kompleks membeli-belah, bangunan kediaman, dan sebagainya. Hartanah adalah satu bentuk aset dengan mudah tunai atau kecairan yang agak terhad berbanding dengan pelaburan lain. Ia juga merupakan pelaburan yang memerlukan modal yang tinggi serta aliran tunai yang juga tinggi. Selain daripada pelaburan dalam bentuk asal harta tanah, pelabur juga boleh melabur dalam bentuk baru pelaburan hartanah iaitu Amanah Pelaburan Harta Tanah (REIT). Amanah Pelaburan Hartanah Islam (I-REITs) I-REIT adalah sama kepada REIT konvensional. Ia biasanya distrukturkan sebagai amanah harta, kecuali ia mesti memegang pelaburan yang mematuhi prinsip-prinsip Syari’ah. Ia menggunakan pembiayaan pajakan (ijarah) sebagai ganti pembelian terus harta. Ia melabur terutamanya dalam hartanah fizikal, tetapi ia juga boleh memegang jenis lain pelaburan seperti sukuk, syarikat swasta terkemuka yang aset utamanya terdiri daripada hartanah, sekuriti hartanah dan bukan hartanah yang mematuhi Syari’ah, lain-lain unit I-REITS, deposit jangka pendek patuh Syari’ah dan tunai. I-REIT boleh dimiliki secara awam atau persendirian. REIT awam boleh disenaraikan di Bursa Kuala Lumpur yang akan menyediakan pelabur kemudahan jual beli seperti pelaburan ekuiti.
  • 395.
    Jenis-Jenis Dana TakafulBerkaitan Pelaburan 571 Kebaikan dan Keburukan Terdapat banyak kebaikan dalam pelaburan hartanah, iaitu: a. Hartanah adalah satu pelaburan yang boleh memberi anda pendapatan berterusan untuk sepanjang hayat. Jika pelabur membeli hartanah dan menyewakan harta tersebut, ia boleh memberikan aliran pendapatan yang berterusan sepanjang hayat. b. Satu lagi kelebihan melabur dalam hartanah adalah pelabur boleh menggunakan banyak pilihan untuk memperolehinya. Terdapat banyak cara pelabur boleh membeli hartanah tanpa menggunakan wang sendiri. Salah satu cara untuk berbuat demikian ialah melalui pembiayaan. Pembiayaan penjual ialah apabila pelabur membayar wang pendahuluan secara ansuran kepada penjual dan baki belian dijelaskan oleh pihak bank. c. Pelaburan hartanah mempunyai nilai dalaman atau intrinsik. Saham biasa yang dibeli oleh pelabur boleh kehilangan 99% daripada nilainya tetapi ia adalah hampir mustahil untuk membeli saham hartanah yang kehilangan 99% daripada nilainya. Walau bagaimanapun, pelaburan hartanah juga ada keburukannya: a. Sekiranya kita membeli hartanah dan tidak mampu membuat bayaran balik pinjaman, harta berkenaan mungkin akan dirampas dan kemampuan kredit akan terjejas. b. Terpaksa bergantung kepada ramai orang. Sekiranya penyewa gagal membayar sewa bulanan, deposit sewa terpaksa digunakan dan kemungkinan akhirnya ia boleh menjejaskan keuntungan yang sepatutnya diperolehi. c. Kos menyelenggara dan membaiki hartanah yang agak tinggi. Apabila telah selesai membaiki bahagian tertentu pada hartanah berkenaan maka tidak lama selepas itu terdapat bahagian lain pula yang harus dibaiki.
  • 396.
    572 Amalan AsasTakaful 6. Derivatif Ia adalah satu instrumen kewangan dimana nilainya berkait rapat dengan harga sebenar instrumen berkenaan dipasaran tunai, biasanya ia dalam bentuk kontrak di mana pelabur berjanji untuk menghantar atau mengambil penghantaran sesuatu aset pada tarikh tertentu dan pada harga tertentu. Derivatif konvensional termasuk panggilan dan opsyen jual, niaga hadapan, forwards dan pertukaran serta digunakan untuk lindung nilai, arbitraj dan spekulasi. Walau bagaimanapun, selaras dengan undang-undang Syari’ah yang melarang penggunaan spekulasi atau judi (maisir), cendekiawan Islam membenarkan derivatif untuk tujuan perlindungan nilai dan arbitraj. Ia juga mesti mengelakkan riba (faedah) dan gharar (ketidakpastian). Derivatif Islam berdasarkan kontrak yang disokong oleh prinsip-prinsip bai’ al-salam, bai’ al- istisna', atau ‘urbun. Produk derivatif Islam termasuk: a. Deposit Murabahah Berstruktur Secara harfiah, Murabahah bermakna campuran kos atau jualan harga tambahan. Kontrak Murabahah boleh digunakan untuk “pembentukan wang tunai” untuk tujuan pelaburan atau pembiayaan. Untuk produk deposit menggunakan Murabahah, konsep berikut: i. Bai’ al-Inah yang melibatkan pembelian dan penjualan aset di antara dua (2) pihak. ii. Kontrak Murabahah komoditi atau Tawwaruq yang melibatkan pembelian dan penjualan komoditi seperti minyak sawit, logam dan sebagainya, tetapi urus niaga biasanya melibatkan tiga (3) atau empat (4) pihak.
  • 397.
    Jenis-Jenis Dana TakafulBerkaitan Pelaburan 573 Di bawah konsep Tawarruq, aset sandaran ialah komoditi seperti minyak sawit atau logam. Beberapa bank menggunakan stok seperti produk bijih timah halal yang mudah untuk dikenalpasti dan disentuh. Pada asasnya, ia adalah jualan barang tertentu, melalui pertukaran, harga berdasarkan kos campur keuntungan. Perlu diambil perhatian bahawa Deposit Murabahah Komoditi adalah produk yang memberikan pelabur kadar pulangan yang telah ditetapkan terlebih dahulu (berbeza tetapi mempunyai persamaan dengan FD konvensional) melalui pembelian dan penjualan komoditi sebagai urus niaga asas. b. Pasaran Pertukaran Islam Pasaran Pertukaran (swap) Islam adalah sebahagian dari keseluruhan pasaran derivatif Islam. Swap adalah instrumen derivatif yang digunakan untuk memindahkan risiko. Ia adalah derivatif di mana pihak-pihak berkenaan membuat pertukaran manfaat tertentu atas instrumen kewangan satu pihak ke instrumen kewangan pihak yang lain. Dua struktur utama pertukaran Islam ialah pertukaran kadar keuntungan iaitu kadar keuntungan yang serupa dengan pertukaran kadar faedah konvensional, dan pertukaran mata wang bersilang. i. Pertukaran Kadar Keuntungan Swap adalah satu perjanjian pertukaran kadar keuntungan tetap kepada kadar keuntungan terapung di antara dua pihak dan dilaksanakan melalui pelaksanaan satu siri cagaran kontrak dagangan aset tertentu di bawah prinsip Syari’ah. Ia sama ada boleh menggunakan konsep bai’ bithaman, murabahah atau wa’ad. Instrumen tersebut digunakan sebagai lindung nilai terhadap turun naik dalam kadar pinjaman.
  • 398.
    574 Amalan AsasTakaful ii. Pertukaran Matawang Bersilang Pertukaran Mata Wang Bersilang Islam ialah perjanjian antara dua pihak untuk bertukar-tukar satu siri pembayaran keuntungan dan / atau modal yang dinyatakan dalam satu mata wang kepada siri pembayaran keuntungan dan / atau modal yang lain dalam denominasi mata wang lain, berdasarkan jumlah pokok dan tempoh yang dipersetujui. Perkiraan menggunakan transaksi komoditi murabahah sebagai urus niaga asas. Pihak-pihak yang terlibat bersetuju untuk menjual aset patuh Syari’ah antara satu sama lain untuk penghantaran serta-merta, tetapi menggunakan kaedah pembayaran tertunda dalam mata wang yang berbeza. Ia adalah suatu cara dimana pelabur boleh memindahkan risiko turun naik mata wang yang wujud dalam pelaburan atau inventori mereka. c. Opsyen Opsyen ialah derivatif kewangan yang mewakili kontrak yang dijual oleh satu pihak (penerbit opsyen) kepada pihak lain (pemegang opsyen). Ia adalah suatu kontrak kewangan yang menawarkan pembeli hak, tetapi bukan kewajipan, untuk membeli (panggilan) atau menjual (meletakkan) sekuriti atau aset kewangan lain pada harga yang dipersetujui (harga strike) dalam tempoh masa tertentu atau pada tarikh tertentu (tarikh melaksanakan hak). Opsyen panggilan adalah hak untuk membeli sesuatu pada harga yang tertentu dan pembeli mengharapkan harga akan naik. Opsyen jual memberikan pilihan untuk menjual pada harga tertentu, dan pembeli mengharapkan harga saham akan jatuh. Opsyen biasanya boleh dijual oleh pembeli asal kepada pihak lain. Ia boleh diwujudkan dalam bentuk yang seragam dan didagangkan di kalangan orang awam di bursa opsyen atau
  • 399.
    Jenis-Jenis Dana TakafulBerkaitan Pelaburan 575 disesuaikan dengan kemahuan pembeli, biasanya oleh sesebuah bank pelaburan. Harga opsyen diperolehi daripada perbezaan diantara harga rujukan dan nilai aset asas (biasanya saham, sukuk, mata wang atau kontrak niaga hadapan) ditambah dengan premium yang berdasarkan baki masa sehingga tamat tempoh opsyen. Harga rujukan di mana aset asas boleh diniagakan dipanggil harga ‘strike’ atau harga ketika melaksanakan hak. Proses mengaktifkan opsyen dan dengan itu dagangan asas pada harga yang dipersetujui adalah dirujuk sebagai melaksanakan hak. Kebanyakan opsyen mempunyai tarikh tamat tempoh. Jika opsyen tidak dilaksanakan, sebelum tarikh tamat tempoh, ia menjadi tidak sah dan tidak bernilai. Kebaikan dan Keburukan Kelebihan opsyen ialah ia boleh digunakan dalam pelbagai strategi, dari konservatif kepada yang berisiko tinggi, dan boleh disesuaikan dengan jangkaan yang lebih daripada hanya "saham akan naik" atau "saham akan turun." Pelabur boleh mendapat kepelbagaian dalam saham tanpa melakukan dagangan. Risiko adalah terhad kepada premium opsyen (kecuali apabila membeli opsyen untuk sekuriti yang belum dimiliki). Opsyen juga membolehkan pelabur melindungi kedudukan mereka terhadap turun naik harga apabila ia tidak wajar untuk mengubah asas pelaburan. Walau bagaimanapun, keburukan opsyen ialah kos dagangan opsyen (termasuk kedua-dua komisen dan tawaran) adalah lebih tinggi berdasarkan peratusan daripada dagangan saham bercagar, dan kos ini secara drastik boleh menghapuskan keuntungan. Dengan kepelbagaian harga strike, sesetengahnya akan mengalami masaalah kecairan yang sehingga menjadikan dagangan begitu sukar. Opsyen juga sangat kompleks dan memerlukan banyak pemerhatian dan penyelenggaraan.
  • 400.
    576 Amalan AsasTakaful d. Waran Waran ialah pilihan yang diberikan kepada pemegang saham untuk membeli jumlah saham yang telah ditentukan jumlahnya terlebih dahulu pada harga yang ditentukan. Waran mungkin berbentuk boleh dipisahkan atau tidak boleh dipisahkan. Waran boleh dipisahkan boleh dijual secara berasingan daripada bon yang dikaitkan dengannya. Oleh itu, pemegang saham boleh menjual waran tetapi tidak menebus bon. Untuk mendapatkan saham biasa, waran hendaklah diserahkan bersama-sama dengan bayaran wang tunai yang dipanggil ‘harga perlaksanaan’. Walaupun waran biasanya matang pada tarikh yang ditetapkan, ada waran yang kekal selama-lamanya. Pemegang waran boleh melaksanakan haknya dengan membeli saham, menjual di pasaran kepada pelabur-pelabur lain, atau terus memegang waran tersebut. Syarikat tidak boleh memaksa pelabur melaksanakan warannya. Sekiranya perlu, syarikat mungkin mempunyai harga perlaksanaan perubahan waran dari masa ke masa (contohnya, peningkatan setiap tahun). Jika pecahan saham atau dividen saham diterbitkan sebelum waran itu dilaksanakan, harga opsyen waran itu akan diselaraskan. Kebaikan dan Keburukan Waran membolehkan penerbitan hutang pada kadar keuntungan yang rendah. Ia boleh digunakan sebagai ‘pelaris’ untuk terbitan hutang atau saham utama. Selain dari itu, ia membolehkan pembiayaan seimbang antara hutang dan ekuiti. Keburukan menerbitkan waran ialah apabila hak melaksanakan waran digunakan, ia akan menyebabkan pencairan saham biasa yang seterusnya merendahkan harga pasaran saham.
  • 401.
    Jenis-Jenis Dana TakafulBerkaitan Pelaburan 577 e. Dana Tukaran Dagangan Islam Dana Tukaran Dagangan (exchange-traded fund - ETF) adalah dana terbuka yang terdiri daripada sekuriti saham disebut harga atau bon yang dipilih sebagai penanda aras, dan bukan seperti dana bersama menjejaki indeks. ETF adalah pelaburan individu yang mempunyai kaitan dengan prestasi indeks keseluruhan (pelaburan yang dikumpulkan bersama berdasarkan kriteria tertentu). Terdapat ETF dengan saham mewah, saham modal sederhana, saham syarikat kecil, syarikat dari negara tertentu, sektor pembuatan dan kriteria saham lain. Saham ETF Islam distrukturkan sama seperti ETF konvensional kecuali penanda aras yang digunakan dalam pembinaan dana indeks sekuriti patuh Syari’ah yang telah diluluskan untuk memastikan bahawa syarikat-syarikat terutamanya yang terlibat dalam aktiviti perniagaan yang dibenarkan dan tidak mempunyai tahap liabiliti yang tinggi. Sama seperti dana bersama, ETF membolehkan pelabur memiliki pelbagai bentuk pelaburan (walaupun berlainan jenis dalam ETF) dengan membeli hanya salah satu pelaburan. Walau bagaimanapun, tidak seperti indeks dana bersama, ETF adalah sama seperti stok di mana ia boleh dibeli dan dijual pada bila-bila masa sepanjang hari dagangan di bursa. Harga ETF menghampiri nilai aset bersih wajaran portfolio sekuriti sepanjang hari dagangan. Kebaikan dan Keburukan Kebaikan ETF ialah: a. Kos operasi yang rendah, biasanya separuh dari perbelanjaan tahunan indeks dana unit amanah.
  • 402.
    578 Amalan AsasTakaful b. ETF amat fleksibel kerana ia boleh didagangkan sama seperti saham biasa, pada bila-bila masa ketika waktu urusniaga dan jualan segera. c. ETF adalah mesra cukai, telus dan boleh dipelbagaikan. Walau bagaimanapun, ETF mempunyai beberapa keburukan kecil: a. Tidak seperti dana unit amanah terbuka, ETF tidak boleh dilabur semula dividennya. Dividen dibayar kepada pemilik saham pada akhir setiap suku tahun. Ini mempunyai sedikit kesan buruk ke atas prestasi dan dipanggil "seretan dividen."(Dividend Drag) b. Pembelian ETF juga menanggung komisen broker sama seperti saham. Harga dagangan ETF adalah berdasarkan kuasa pasaran, jadi pembeli mungkin membeli pada harga premium atau diskaun sedikit. Perbezaan di antara harga sebuah ETF dan harga nilai aset bersih yang menjadi sandaran itu biasanya sangat kecil. 7. Dana Jaminan Modal Terdapat dua jenis produk jaminan modal yang terdapat di pasaran di Malaysia, iaitu: a. Produk Pasif Melalui produk ini, sebahagian besar daripada jumlah yang dilaburkan akan digunakan untuk membeli aset berisiko rendah yang dijangka akan mempunyai nilai terkumpul dalam tempoh jangka produk untuk melindungi nilai modal asal. Baki dari amaun yang dilaburkan akan digunakan untuk membeli opsyen, dimana potensi produk dijangka akan diperolehi. Walau bagaimanapun, perlu diketahui mengenai pengaruh kadar keuntungan kepada jenis produk.
  • 403.
    Jenis-Jenis Dana TakafulBerkaitan Pelaburan 579 Contoh: Seorang pelabur telah melabur RM1,000 produk ini. Jika hasil yang diunjurkan pada sukuk tiga tahun ialah 6.4% setahun (berbanding 3% setahun), maka pengurus akan hanya perlu melabur RM830 dalam aset risiko rendah, meninggalkan baki RM170 untuk membeli opsyen. Walau bagaimanapun, jika hasil yang diunjurkan hanya 3%, maka pelaburan dalam opsyen akan hanya separuh iaitu RM85. Oleh itu, ia akan mengurangkan potensi produk berkenaan. b. Produk Aktif Terdapat persamaan dengan produk terimbang yang ditawarkan sebagai produk pelaburan yang biasa. Perbezaannya ialah terdapat jaminan yang diberikan bahawa pulangan produk ini tidak akan negatif. Seperti yang dinyatakan di atas, produk-produk ini adalah sama dengan dana terimbang tradisional. Walau bagaimanapun, produk ini tidak cuba mengatasi penanda aras yang telah ditetapkan, pengurus memberi tumpuan kepada memaksimumkan pulangan mutlak. Jaminan bagi kematangan produk ini ialah pulangan tidak akan menjadi negatif. Walau bagaimanapun, jaminan perlu diberikan oleh pihak ketiga iaitu penerbit produk seperti yang dikehendaki oleh Syari’ah. 8. Dana Komoditi Islam Dana komoditi Islam ialah dana yang mempunyai pegangan langsung dalam komoditi yang mematuhi prinsip Syari’ah. Sebagai contoh, dana emas yang menyimpan ketulan emas adalah contoh dana komoditi yang sebenar.
  • 404.
    580 Amalan AsasTakaful Terdapat beberapa keperluan yang perlu dipenuhi bagi memenuhi prinsip-prinsip Syari’ah, iaitu:  komoditi berkenaan perlu mempunyai hak milikan yang sah pada masa jualan. Jualan singkat tidak dibenarkan tetapi jualan hadapan dibenarkan di bawah 'salam bai dan bai istisna'.  komoditi yang diniagakan mestilah dibenarkan iaitu halal.  Penjual mesti mempunyai fizikal (dapat dilihat) komoditi yang hendak didagangkan.  harga komoditi itu mestilah tetap dan diketahui oleh pihak- pihak yang terlibat kerana sebarang keraguan yang timbul akan menyebabkan jualan itu tidak sah. Kebaikan dan Keburukan a. Dana komoditi bertindak sebagai aset yang dipelbagaikan, terutamanya apabila aset-aset lain yang dipegang adalah ekuiti dan bon kerana ia tidak berkait rapat dengan ekuiti dan kelas aset pendapatan tetap. b. Dana komoditi bertujuan untuk menyediakan para pelabur dengan pendapatan tetap sepanjang tempoh dana, iaitu keuntungan yang diperolehi dari potensi kenaikan harga komoditi. C10.2 JENIS-JENIS PELAN TAKAFUL BERKAITAN PELABURAN (ILTP) 1. Pelan Berkaitan Pelaburan dengan Sumbangan Tunggal Pelan berkaitan pelaburan dengan sumbangan tunggal bercirikan bayaran sumbangan tunggal sekali gus, dimana sumbangan akan digunakan untuk membeli unit dalam dana berkaitan pelaburan dan menyediakan perlindungan takaful keluarga. Ia menyediakan manfaat kematian dan / atau hilang upaya kekal dan menyeluruh sebanyak 125% daripada jumlah pelaburan sekali gus-gus atau
  • 405.
    Jenis-Jenis Dana TakafulBerkaitan Pelaburan 581 sekurang-kurangnya RM5,000. Di Malaysia, sumbangan minimum untuk pelan sumbangan tunggal ialah RM3,000. Bayaran manfaat berupa jumlah perlindungan atau nilai unit pelaburan pada masa tuntutan dibuat, yang mana lebih tinggi. 2. Pelan Berkaitan Pelaburan Sumbangan Tetap Pelan sumbangan tetap adalah pelan yang menyediakan pilihan kepada pelabur membayar sumbangan secara tetap iaitu secara bulanan, suku tahun, setengah tahun atau tahunan. Ia adalah rancangan yang lebih sesuai bagi orang-orang tidak mahu melabur sejumlah besar di permulaan pelan. Pelan ini menyediakan fleksibiliti kepada pelabur / peserta untuk meningkatkan sumbangan dan perlindungan apabila kedudukan kewangan mereka bertambah baik pada masa hadapan. Perlindungan asas Takaful, iaitu sekiranya berlaku kematian dan / atau hilang upaya kekal menyeluruh, adalah berdasarkan dari gandaan sumbangan tahunan. Berdasarkan garis panduan terkini mengenai dana berkaitan pelaburan yang dikeluarkan oleh Bank Negara Malaysia (berkuat kuasa mulai November 2010), jumlah minimum Gandaan Jumlah Perlindungan (SAM) untuk pelan caruman tetap adalah 60 kali sumbangan tahunan. Pembayaran manfaat ialah jumlah perlindungan berserta nilai unit pelaburan. 3. Pelan Persaraan Individu Berkait Pelaburan Pelan persaraan individu berkaitan pelaburan adalah pelan Takaful yang direka untuk menyediakan pendapatan persaraan bagi menampung sara hidup dan memaksimumkan pulangan pelaburan. Pelan persaraan biasanya memerlukan peruntukan sumbangan yang tinggi untuk mengumpulkan dana yang mencukupi sehingga mencapai umur persaraan. Sebaik sahaja mencapai umur
  • 406.
    582 Amalan AsasTakaful persaraan, dana itu akan digunakan untuk membeli pelan anuiti tradisional atau pelan anuiti berkaitan pelaburan. Sebelum ini, tidak ada elemen perlindungan di dalam pelan ini. Fokus tunggal pelan ini adalah untuk memberikan pulangan pelaburan. Walau bagaimanapun, baru-baru ini terdapat pengenalan elemen perlindungan yang dibiayai melalui pembatalan unit. 4. Pelan Kesihatan Kekal Berkaitan Pelaburan Pelan kesihatan kekal berkaitan pelaburan ialah pelan takaful yang direka untuk menyediakan perlindungan kesihatan atau terhadap penyakit merbahaya. 5. Pelan Penyakit Kritikal Berkaitan Pelaburan Pelan penyakit kritikal berkaitan pelaburan adalah pelan takaful yang direka untuk menyediakan bayaran sekali gus sekiranya pemilik sijil mengalami mana-mana penyakit kritikal seperti sakit jantung, strok, pintasan koronari, kegagalan buah pinggang dan sebagainya. 6. Pelan Pendidikan Berkaitan Pelaburan Pelan pendidikan berkaitan pelaburan adalah pelan takaful yang direka khusus sebagai suatu dana simpanan yang menyediakan sejumlah amaun apabila kanak-kanak telah mencapai usia kemasukan ke kolej (18 tahun keatas). Dana simpanan itu boleh digunakan untuk membayar yuran pendidikan pengajian tinggi. Di bawah pelan ini, kanak-kanak berkenaan merupakan hayat yang dilindungi, sementara ibu bapa / penjaga merupakan pemilik sijil.
  • 407.
    Jenis-Jenis Dana TakafulBerkaitan Pelaburan 583 C10.3 CIRI-CIRI PELAN TAKAFUL BERKAITAN PELABURAN (ILTP) 1. Tujuan ILTP mempunyai tujuan yang pelbagai, iaitu ia boleh digunakan samada untuk tujuan pelaburan, simpanan biasa, perlindungan dari hilang upaya kekal d an menyeluruh, kematian atau takaful kesihatan. Pelanggan bebas menentukannya berdasarkan keperluan mereka. 2. Pendedahan terhadap Pelaburan Ekuiti ILTP memberi pendedahan terhadap pelaburan ekuiti yang tinggi berbanding dengan takaful keluarga tradisional. 3. Risiko Pelaburan Risiko pelaburan ditanggung oleh pemilik sijil, tidak seperti takaful keluarga tradisional dimana risiko pelaburan ditanggung oleh pengendali takaful. 4. Nilai Aset Bersih Nilai Aset Bersih dana adalah tertakluk kepada prestasi pelaburan. 5. Kos Perlindungan Kos perlindungan dibiayai oleh caj yang bergantung kepada umur dan tahap perlidungan dilakukan melalui pembatalan unit pelaburan didalam dana. 6. Nilai Tunai Nilai tunai ialah nilai unit diperuntukkan kepada pemilik sijil, yang dikira mengikut harga bida.
  • 408.
    584 Amalan AsasTakaful C10.4 KELEBIHAN PELAN TAKAFUL BERKAITAN PELABURAN (ILTP) Pelan takaful berkaitan pelaburan mempunyai beberapa ciri-ciri unik: 1. Kebebasan memilih tahap perlindungan dan pelaburan Pelan takaful berkaitan pelaburan menyediakan fleksibiliti untuk memilih jumlah perlindungan dan nisbah pelaburan dalam sumbangan tahunan yang disasarkan. Ia bergantung kepada keperluan pelanggan. Jika keperluan dan objektif lebih ke arah pelaburan, dia boleh memilih untuk perlindungan yang lebih rendah dan meningkatkan pelaburan. Begitu juga jika dia mahu perlindungan yang lebih, maka dia boleh meningkatkan perlindungan dan menurunkan nisbah pelaburan. 2. Mempelbagaikan amaun sumbangan mengikut perubahan keadaan kewangan ILTP juga menawarkan fleksibiliti untuk meningkatkan portfolio pelaburan melalui kaedah tambah nilai bagi merebut peluang pelaburan yang ditawarkan oleh persekitaran luaran atau aliran pendapatan sendiri. 3. Boleh membuat pertukaran dana pelaburan semasa ke jenis dana pelaburan lain Pelabur boleh menukar pelaburannya daripada satu dan ke dana yang lain dalam payung dana yang sama. Satu dana payung mengandungi beberapa pecahan dana. Setiap pecahan dana merupakan unit amanah bebas dan diuruskan berasingan dengan objektif pelaburan yang berbeza. Dana payung menawarkan pelbagai peluang pelaburan, bersama-sama dengan kaedah yang mudah untuk bertukar daripada satu dana ke pecahan dana yang lain. Ini membolehkan pelabur mengambil kesempatan daripada keadaan pasaran.
  • 409.
    Jenis-Jenis Dana TakafulBerkaitan Pelaburan 585 4. Boleh menebus sebahagian dari unit berkaitan pelaburan pada bila-bila masa Untuk menghadapi keadaan yang tidak diduga, syarikat mungkin menawarkan manfaat pengeluaran sebahagian. Pelabur boleh membuat pengeluaran dari dana dan mengekalkan amaun minimum yang ditetapkan. 5. Boleh memilih dari kepelbagaian dana pelaburan (ekuiti, bon atau instrumen kewangan lain) untuk melabur ILTP menawarkan pilihan lengkap meliputi pilihan risiko pelaburan yang tinggi, rendah dan sederhana di bawah pelan yang sama. Pelanggan boleh memilih satu pilihan yang sesuai mengikut toleransi risiko, disertakan pula dengan peluang untuk bertukar-tukar dan tanpa apa-apa perbelanjaan tambahan bagi bilangan yang tertentu yang ditukar.
  • 410.
  • 411.
    Struktur Dana BerkaitanPelaburan 587 BAB C11 STRUKTUR DANA BERKAITAN PELABURAN PENDAHULUAN Dalam bab ini, kita akan mempelajari tentang struktur dana berkait pelaburan dalam usaha untuk memahami kaedah pengagihan pendapatan dan jenis pelaburan dana berkaitan pelaburan di Malaysia. C11.1 PENGENALAN Bergantung kepada struktur dana berkaitan pelaburan, sumbangan yang dibayar akan dilaburkan mengikut arahan bertulis daripada pemilik sijil. Dana berkait pelaburan boleh dibahagikan kepada dua cara iaitu:- 1. Pengumpulan unit 2. Pengagihan unit C11.2 JENIS-JENIS BERKAITAN PELABURAN 1. Pengumpulan unit Pendapatan atau pulangan pelaburan yang diperolehi dari dana ini akan dimasukkan semula ke dalam dana yang sama dan membentuk lebih banyak unit. Oleh itu, harga unit pelaburan akan meningkat dalam tempoh jangka panjang. 2. Pengagihan unit Di bawah struktur ini, pendapatan pelaburan akan digunakan untuk membeli unit-unit tambahan. Dana ini akan mengagihkan unit kepada
  • 412.
    588 Amalan AsasTakaful pemilik sijil. Pemilik Sijil akan mempunyai lebih banyak unit tetapi nilai aset bersih akan kekal tidak berubah. C11.3 JENIS-JENIS DANA BERKAITAN PELABURAN Ciri-ciri asas dana berkaitan pelaburan ialah ia merupakan suatu bentuk pelaburan kolektif yang membolehkan para pelabur dengan objektif pelaburan yang sama untuk mengumpulkan modal, dan melabur dalam portfolio sekuriti yang diuruskan oleh ahli profesional pelaburan. Terdapat tujuh kategori utama dana berkaitan pelaburan di Malaysia iaitu: 1. Dana Pendapatan Dana pendapatan ialah suatu dana yang dirangka untuk menyediakan pendapatan yang maksimum. Untuk mencapai matlamat ini, dana pendapatan akan memilih pelaburan yang biasanya memberikan pulangan dividen atau keuntungan. Pelaburan ini termasuk sukuk, terutama sukuk pulangan tinggi dan saham pilihan di mana pulangan dividennya dijamin. Saham mewah juga menjanjikan pulangan yang tinggi kerana ia adalah saham syarikat-syarikat besar yang mampu untuk membayar dividen. Dana pendapatan popular di kalangan pelabur konservatif yang tidak menggemari risiko, termasuk yang telah bersara, yang mahu mengekalkan sebanyak mungkin aset yang ia ada. Dana pendapatan tidak akan meningkat nilainya sebanyak dana pertumbuhan; ini adalah sebagai pertukaran kepada pendapatan semasa dana pendapatan. Dana pendapatan biasanya melabur dalam sektor ekonomi yang rendah kadar pertumbuhannya. Sesuai dengan namanya, matlamat utama dana pendapatan adalah untuk menyediakan sejumlah pendapatan kepada pelabur / peserta. Mereka boleh melabur semata-mata dalam saham, membeli syarikat-syarikat di mana pembayaran dividen yang
  • 413.
    Struktur Dana BerkaitanPelaburan 589 tinggi (yang dikenali sebagai perolehan yang tinggi), atau melabur dalam saham campuran, sukuk atau harta. Dana yang menghasilkan perolehan tinggi biasanya melabur dalam ekuiti / saham yang cenderung untuk memberi tumpuan kepada syarikat-syarikat dalam pasaran matang di mana dasar dividen yang kukuh membantu mengimbangi kekurangan potensi peningkatan dalam harga saham. Pastinya, pengurus dana akan mencari syarikat-syarikat yang mempunyai pendapatan yang kukuh untuk membiayai pembayaran dividen yang lebih tinggi. 2. Dana Pertumbuhan Ia merupakan suatu portfolio di mana matlamat utamanya ialah peningkatan modal sekuriti yang diwakilinya. Pelabur tidak mengharapkan dividen dan kebanyakan pulangan keatas pelaburan adalah dalam bentuk nilai aset bersih yang lebih tinggi. Ini melibatkan pelaburan dalam syarikat-syarikat yang mempunyai risiko yang lebih tinggi berbanding dengan portfolio lain. Sebagai contoh, dana pertumbuhan mungkin akan melabur dalam syarikat baru yang kelihatan berpotensi besar untuk berkembang, dan bukannya syarikat saham mewah dengan reputasi yang meyakinkan tetapi tidak menarik. Di samping itu, dana pertumbuhan memerlukan tempoh masa yang agak panjang, sebagai syarikat yang baru bermula dan biasanya mengambil masa untuk menunjukkan peningkatan harga. Pengurus dana pertumbuhan biasanya sanggup mengambil risiko yang lebih tinggi untuk memperolehi pulangan yang melebihi kadar biasa. Jika pertumbuhan kekal kukuh, dana ini mendapat faedah tetapi sekiranya pertumbuhan terlalu perlahan, dana ini mungkin akan terus jatuh. Sebagai dana pelaburan yang paling mudah mengalami kemudahruapan (volatile), dana pertumbuhan adalah untuk pelabur jangka panjang dengan peruntukan masa yang cukup untuk menampung kerugian jangka pendek dan mungkin untuk pelabur sepenuh masa.
  • 414.
    590 Amalan AsasTakaful 3. Dana Imbang (Balanced Fund) Ia adalah dana yang dilaburkan dalam pelaburan saham, sukuk dan pelaburan deposit. Di dalam Dana Imbang (Balanced Fund), nisbah pelaburan adalah berbeza-beza tetapi matlamat pelaburan yang sama; mengekalkan modal, menyediakan sumber pendapatan dan menyediakan satu tahap pertumbuhan jangka panjang. Oleh itu, Dana Imbang perlu berusaha untuk memenuhi lebih dari satu objektif pelaburan. Saham dalam Dana Imbang (Balanced Fund) menyediakan pertumbuhan manakala sukuk menyediakan sumber pendapatan dan mengekalkan modal. Dana Imbang mempunyai tahap risiko yang agak rendah kerana tahap risiko yang berbeza-beza dalam pelaburan saham, sukuk dan tunai. Walau bagaimanapun, sebagai tukarannya, dana terimbang tidak akan menjadi dana cemerlang dipasaran; sahamnya adalah di dalam syarikat-syarikat besar yang tidak mengalami kemudahruapan harga. Dana Imbang (Balanced Fund) adalah dana pilihan di kalangan pelabur konservatif. Dana Imbang (Balanced Fund) mempunyai kelebihan melabur dalam pelaburan campuran antara pendapatan dan pertumbuhan. Ia adalah perkara biasa bagi dana berkenaan yang majoriti portfolionya dilaburkan dalam campuran saham dan sukuk, dan bakinya dilaburkan dalam lain-lain instrumen pelaburan seperti harta dan tunai. Walau bagaimanapun, kelas aset sebenar dan nisbah bagi setiap kelas akan berbeza-beza mengikut objektif dana. 4. Dana Tunai Dana tunai membuat pelaburan dalam sekuriti tunai yang mematuhi keperluan Syariah. Ia juga melabur dalam dana unit amanah yang mematuhi syariah dimana sandaran aset ialah saham bukan ekuiti seperti sukuk dan pasaran wang Islam.
  • 415.
    Struktur Dana BerkaitanPelaburan 591 5. Dana Harta Dana harta ialah dana yang memegang / melabur dalam portfolio hartanah dan hartanah yang berkaitan instrumen kewangan. Hartanah yang dilabur oleh dana hartanah termasuk rumah kediaman, rumah kedai, bangunan pejabat, perindustrian, penjagaan kesihatan, hartanah hotel dan kemudahan penyimpanan. Instrumen kewangan yang dipegang oleh dana hartanah termasuklah pinjaman pembinaan dan pembangunan, gadaijanji, dan sekuriti bersandarkan gadai janji. Dana harta menjana pendapatan yang agak terhad terutamanya disebabkan pelaburan sumber-sumber pasif (yang sewa, keuntungan, dividen, dan keuntungan daripada jualan). 6. Dana Terurus (Managed Fund) Dana terurus merupakan sebuah dana pelaburan yang diuruskan secara profesional oleh pakar pengurusan dana yang melabur dalam pelbagai jenis pelaburan. Jenis pelaburan sebenar dan pelaburan campuran dalam dana ini bergantung kepada mandat yang telah ditentukan terlebih dahulu oleh Pengurus Dana. Dana terurus atau unit amanah berfungsi melalui pengumpulan modal dari beberapa pelabur dan kemudiannya menggunakan wang tersebut untuk membeli pelbagai jenis pelaburan. Ia memberikan pelabur kuasa beli yang lebih besar serta membolehkan mereka berkongsi kos dan memberikan mereka manfaat dari khidmat yang diberikan melalui pengurusan profesional. Apabila pelabur membuat pelaburan, mereka sebenarnya membeli ‘unit’ - dan kos setiap unit adalah 'harga unit'. Harga unit bergerak ke atas dan ke bawah untuk mencerminkan nilai pelaburan di dalam dana.
  • 416.
    592 Amalan AsasTakaful Unit Amanah terbentuk melalui Surat Ikatan Amanah, iaitu suatu dokumen rasmi yang menyatakan kaedah-kaedah Amanah sepatutnya beroperasi. 7. Dana Khusus (Specialized Fund) Dana khusus ini adalah bertujuan mengkhususkan pelaburan dalam sektor atau industri tertentu sahaja. Kepelbagaian dalam pelaburan bukanlah matlamat utama dana ini. Oleh itu, pihak yang terlibat perlu membuat keputusan yang tepat dalam semua urusniaganya. Pelaburannya mempunyai risiko yang sangat tinggi kerana ia tidak dipelbagaikan, dimana sejumlah besar modal dilaburkan dalam pelaburan tertentu sahaja. Sungguhpun demikian, ia juga menjanjikan keuntungan yang sangat tinggi sekiranya ia dilaburkan disektor atau industri yang betul. Penasihat pelaburan yang cekap adalah diperlukan apabila terlibat dengan dana khusus ini kerana kesilapan kecil boleh menyebabkan pelabur semua modalnya. C11.4 PROFIL RISIKO – PULANGAN Setiap dana berkaitan pelaburan mempunyai profil risiko-pulangan sendiri. Semakin tinggi pulangan daripada dana itu, semakin tinggi risikonya. Sebagai contoh, dana ekuiti biasanya membayar pulangan yang lebih tinggi dan oleh itu risiko pelaburannya juga lebih tinggi. Sebaliknya, dana tunai biasanya membayar pulangan yang sangat rendah, berpadanan dengan risiko pelaburan yang rendah juga. Rajah yang ditunjukkan di bawah menunjukkan kaitan risiko – pulangan, iaitu semakin tinggi risiko, semakin tinggi pulangannya.
  • 417.
    Struktur Dana BerkaitanPelaburan 593 C11.5 PENUKARAN Ini adalah aktiviti pelaburan dimana unit pelaburan dari satu dana dijual dan hasil jualan dilaburkan semula dalam dana yang lain pula. Aktiviti penukaran dana ini berlaku kerana perubahan persepsi pelabur terhadap peluang-peluang pelaburan. Ia juga mungkin hasil daripada perubahan profil risiko pelabur. Kemudahan ini adalah sangat berguna dalam perancangan kewangan. Sebagai contoh, pelabur yang mula melabur pada usia 40 tahun mungkin mahu mengubah peruntukan aset apabila dia mencapai umur 55 tahun. Profil risikonya pada usia 55 tahun mungkin berbeza dari umur 40 tahun. Amalan penukaran dana pelaburan adalah berbeza antara satu pengendali dengan pengendali yang lain. Biasanya, amalan yang digunakan ialah:
  • 418.
    594 Amalan AsasTakaful 1. Pengendali Takaful menawarkan secara percuma bagi penukaran unit saham yang dibuat pada tahun berkenaan. 2. Pengendali Takaful menawarkan secara percuma penukaran bilangan unit terhad dalam tempoh yang diberikan. Sebagai contoh, penukaran unit untuk kali pertama pada tahun berkenaan adalah percuma. Penukaran unit berikutnya akan dikenakan caj atau bayaran. 3. Pengendali Takaful akan mengenakan caj atau bayaran bagi setiap penukaran unit.
  • 419.
    Manfaat dan RisikoMelabur dalam Dana Berkaitan Pelaburan 595 BAB C12 MANFAAT DAN RISIKO MELABUR DALAM DANA BERKAITAN PELABURAN PENGENALAN Melabur dalam dana berkaitan pelaburan mempunyai banyak manfaat untuk pelabur. Walau bagaimanapun, bakal peserta/pelabur juga mesti memahami bahawa dana berkaitan pelaburan juga mempunyai pelbagai risiko yang boleh menjejaskan pelaburan. Oleh itu, ia adalah sangat penting kepada bakal peserta untuk memahami risiko yang terlibat apabila melabur dalam dana berkaitan pelaburan. Dalam bab ini, kita akan melihat manfaat melabur dalam dana berkaitan pelaburan dan risiko yang berkaitan dengannya. C12.1 MANFAAT 1. Kepelbagaian Dana Dana berkaitan pelaburan diuruskan secara aktif dan melabur dalam pelbagai peruntukan aset, yang tidak dapat ditandingi oleh pelabur individu yang tidak kecukupan modal. Terdapat beratus-ratus pelaburan dana berkaitan pelaburan yang boleh dipilih. Pelaburan dana berkaitan pelaburan, sama dengan dana unit amanah boleh dilaburkan dalam portfolio pelbagai aset. Portfolio boleh terdiri daripada pelbagai pelaburan seperti ekuiti, sukuk, mata wang, harta, wang tunai, deposit dan lain-lain. Ini membolehkan pelabur memegang pelbagai portfolio tanpa mengira jumlah yang dilaburkan, yang pelabur tidak mampu untuk memilikinya jika mereka mahu melabur secara peribadi.
  • 420.
    596 Amalan AsasTakaful 2. Kepelbagaian Risiko Oleh kerana pelaburan dibuat dalam portfolio yang pelbagai, risiko melabur secara langsung dalam satu atau dua saham atau lain-lain instrumen hutang juga dapat dikurangkan. Apa-apa kerugian dalam syarikat atau sektor tertentu diganti (off-set) dengan keuntungan yang diperolehi dalam syarikat-syarikat atau lain-lain sektor. Jika pelabur merancang untuk melabur di dalam saham-saham atau pasaran sukuk, pelabur perlu membentuk pelbagai portfolio untuk mengurangkan risiko. Jika pelabur memegang satu atau dua saham dan saham berkenaan mengalami penurunan yang ketara, pelabur boleh mengalamai kerugian. Tetapi jika pelabur memegang beratus- ratus saham dan satu atau dua saham mengalami kemerosotan, risiko yang dihadapi menjadi kurang. Adalah sukar untuk mendapatkan jenis kepelbagaian yang diperlukan sekiranya pembelian saham dan sukuk dibuat secara langsung, tetapi ia menjadi lebih mudah apabila pelabur mengambil bahagian dalam dana berkaitan pelaburan. 3. Purata Kos Ringgit Ia membolehkan pelabur untuk melabur secara berkala dengan seberapa amaun yang kecil, tanpa perlu memikirkan kesesuaian masa ketika memasuki pasaran. Bertentangan dengan tindakan melabur dalam pasaran aset secara sekaligus, pelabur secara perlahan-lahan membeli sejumlah kecil pelaburan dalam tempoh yang lebih panjang. Dengan cara ini kos belian boleh dipuratakan atau disebarkan sepanjang tempoh beberapa tahun, bagi membentuk penebat / halangan dari berlakunya perubahan harga pasaran. 4. Pengurusan Profesional Operasi perniagaan pengendali takaful dikawal selia oleh Bank Negara Malaysia bagi tujuan melindungi orang ramai yang melabur. Oleh itu, pengendali Takaful perlu melantik pengurus dana profesional yang mempunyai kepakaran, kemahiran dan sumber- sumber untuk pengurusan wang, serta kemahiran teknikal dan kerja-
  • 421.
    Manfaat dan RisikoMelabur dalam Dana Berkaitan Pelaburan 597 kerja penyelidikan yang amat diperlukan sebagai tenaga sokongan. Pengendali Takaful juga boleh melantik penasihat pelaburan yang berdaftar untuk pengurusan portfolio pelaburannya. 5. Mengurangkan Kos Transaksi Apabila pelabur membuat pelaburan secara langsung, ia perlu menanggung semua kos seperti kos pembrokeran atau penyelenggaraan sekuriti. Tetapi di bawah dana berkaitan pelaburan, pelabur dapat mengurangkan kos kerana dana ini berada di tahap “ekonomi berskala besar”, kerana jumlah urus niaga yang besar dapat mengurangkan kos keseluruhan. 6. Kecairan Dana berkaitan pelaburan ini adalah sama seperti dana unit amanah di mana ia mempunyai sifat kecairan yang tinggi. Pelabur boleh menarik balik pelaburan mereka pada bila-bila masa. Nilai aset bersih (NAV) dana berkaitan pelaburan akan dikira dan diumumkan pada akhir hari urus niaga berdasarkan nilai asas sekuriti portfolio. Biasanya harga NAV sehari sebelum hari urus niaga boleh digunakan untuk permohonan pengeluaran yang diterima sebelum waktu tutup urus niaga. 7. Objektif Pelaburan Lebih Menyeluruh Pelabur boleh memilih opsyen pertumbuhan atau opsyen dividen dari skim yang sama dalam dana berkaitan pelaburan. Jika pelabur bercadang untuk mengumpul harta / kekayaan, pelabur boleh memilih opsyen pertumbuhan, dan jika pelabur memerlukan pendapatan tetap daripada pelaburan, ia boleh memilih opsyen dividen. 8. Urus Khidmat Pelbagai Pengendali Takaful biasanya meyediakan pelbagai perkhidmatan tambahan seperti berikut:
  • 422.
    598 Amalan AsasTakaful a. Penukaran Peserta boleh menukar pelaburannya dari satu dana ke dana yang lain, bergantung kepada keadaan pasaran dan perspektif terhadap risiko. b. Pilihan Tambah Nilai Peserta mempunyai pilihan untuk membuat tambah nilai pelaburan dalam usaha meningkatkan amaun pelaburan yang mampu menjana lebih banyak pulangan. c. Kemudahan Ekses Harga Dana Melalui Siaran Media Peserta boleh mengekses harga dana melalui media seperti akhbar harian utama, laman web pengendali takaful dan majalah kewangan. C12.2 RISIKO PELABURAN 1. Pasaran Risiko pasaran timbul kerana faktor-faktor yang memberi kesan kepada pasaran keseluruhan dan biasanya termasuk perubahan dalam undang-undang dan peraturan, politik, teknologi dan ekonomi. Faktor-faktor ini adalah beberapa contoh elemen yang mempunyai kesan ke atas perniagaan, sama ada positif atau negatif. Risiko pasaran boleh dikurangkan melalui kepelbagaian. Kepelbagaian pelaburan dana ke dalam jenis (ekuiti atau bukan ekuiti dan lain-lain) dan dengan dasar pelaburan dan strategi yang berlainan boleh membantu mengurangkan pendedahan kepada ketidaktentuan dan turun naik pasaran. Ia berpunca dari hakikat bahawa terdapat bencana ekonomi yang mengancam semua bentuk perniagaan. Oleh itu, pelabur akan terdedah kepada ketidaktentuan pasaran dan tidak kira berapa banyak sekuriti dipegang, turun naik dalam persekitaran
  • 423.
    Manfaat dan RisikoMelabur dalam Dana Berkaitan Pelaburan 599 ekonomi, politik dan sosial akan menjejaskan harga pasaran pelaburan sama ada dalam cara yang positif atau negatif. 2. Kecairan Risiko kecairan adalah risiko dimana instrument / sekuriti yang dilaburkan tidak boleh dijual dengan mudah atau ditukar menjadi wang tunai. Ini boleh berlaku apabila jumlah dagangan sekuriti adalah rendah dan / atau apabila terdapat kekurangan permintaan belian sekuriti. Dalam menguruskan risiko kecairan, dana akan menggunakan analisa kecairan atau jumlah dagangan di pasaran utama dan pasaran sekunder bagi semua jenis sekuriti. Sekiranya bersesuaian, dana akan melihat aliran jumlah dagangan bagi sekuriti yang menimbulkan persoalan. Selepas itu, peruntukan aset yang sesuai boleh dibuat untuk setiap sekuriti bagi mengurangkan risiko kecairan ke tahap yang selesa berhubung dengan profil risiko-pulangan sekuriti. Risiko kecairan juga sebahagiannya dihadkan oleh dasar-dasar kepelbagaian dana. 3. Kadar Keuntungan Risiko kadar keuntungan timbul dari keadaan turun naik nilai aset yang membawa keuntungan seperti pembiayaan atau sukuk, disebabkan oleh perubahan dalam kadar keuntungan, yang seterusnya boleh mempengaruhi harga unit dana dengan sukuk sebagai aset sandaran. Secara amnya, apabila kadar keuntungan meningkat, harga sukuk akan jatuh. Risiko ini boleh dikurangkan dengan mempelbagaikan jangka masa pelaburan pendapatan Islam pada masa yang ditetapkan. Pemantauan berterusan dan penilaian variabel makro-ekonomi untuk memastikan strategi yang paling sesuai digunakan dalam portfolio dana.
  • 424.
    600 Amalan AsasTakaful 4. Kegagalan Kredit Kegagalan kredit adalah risiko kerugian akibat kegagalan membayar balik pembiayaan atau kredit pelaburan lain (sama ada modal pokok atau keuntungan atau kedua-duanya). Kegagalan kredit termasuk kelewatan dalam pembayaran balik, penstrukturan semula pembayaran balik peminjam dan bankrap. Risiko ini dapat dikurangkan dengan melabur dalam sekuriti yang berkualiti tinggi kerana ia biasanya mempunyai tahap risiko kredit yang rendah. 5. Pelaburan Ini adalah risiko yang dikaitkan dengan melabur dalam aset tertentu. Semua aset pelaburan membawa risiko walaupun aset pelaburan yang berbeza mempunyai tahap risiko yang berbeza. Nilai pelaburan bergantung kepada potensi pertumbuhan dan pendapatan, pengurusan yang mantap dan juga pelbagai faktor yang lain. Kegagalan untuk mencapai pendapatan yang dijangka akan mengakibatkan nilai pelaburan menurun yang seterusnya memberi kesan kepada prestasi dana. Kesan ini boleh dikurangkan dengan mempelbagaikan portfolio dana. Pengurus akan menggunakan kriteria pemilihan yang ketat, untuk meneliti komponen pelaburan bagi mengurus risiko berkenaan. 6. Pengkelasan Semula Status Syari’ah Risiko ini merujuk kepada risiko yang timbul daripada usaha menyemak semula status sekuriti yang patuh dengan Syari’ah kini dipegang dalam dana boleh diklasifikasikan semula sebagai tidak mematuhi Syari’ah dalam kajian semula secara berkala. Jika ini berlaku, maka nilai dana itu mungkin terjejas di mana pengurus akan mengambil langkah-langkah yang perlu untuk melupuskan sekuriti itu selaras dengan mandat dana yang mematuhi Syari’ah.
  • 425.
    Manfaat dan RisikoMelabur dalam Dana Berkaitan Pelaburan 601 Risiko ini boleh dikurangkan dengan menjalankan kajian semula berkala oleh Jabatan Pematuhan Syari’ah (SCD) dan Jawatankuasa Syari’ah (SC) Pengendali Takaful. 7. Ketidakpatuhan Ia merujuk kepada tindakan yang tidak mematuhi peruntukan surat ikatan, prospektus, garis panduan, dasar-dasar dalaman dan undang- undang yang berkaitan dengan pengurusan pelaburan. Risiko ini boleh dikurangkan melalui kawalan dalaman dan pemantauan pematuhan. 8. Mata wang Pergerakan dalam kadar pertukaran mata wang boleh mengakibatkan penurunan dalam pulangan dan kehilangan modal terutama apabila melabur dalam dana unit amanah bukan-denominasi matawang tempatan (RM). Untuk mengurangkan risiko, pelaburan harus dihadkan kepada beberapa negara supaya risiko mata wang untuk negara tertentu dapat dikurangkan. Di samping itu, perlindungan nilai mata wang boleh digunakan untuk mengurangkan risiko. 9. Negara Sekiranya dana dilaburkan di negara tertentu, pelaburan mungkin terjejas oleh risiko khusus kepada negara tersebut, di mana iklim pelaburan berubah umpamanya perubahan dalam asas-asas ekonomi negara, kestabilan sosial dan politik, pergerakan mata wang, dasar- dasar pelaburan asing dan lain-lain. Risiko ini boleh dikurangkan dengan menjalankan penyelidikan menyeluruh ke atas pasaran masing-masing, keadaan ekonominya, syarikat-syarikat, politik dan keadaan sosial serta mengambil tindakan meminimumkan jumlah pelaburan atau menarik diri dari pasaran pelaburan negara berkenaan.
  • 426.
  • 427.
    Percukaian dan Undang-UndangPelan Takaful Berkaitan Pelaburan 603 BAB C13 PERCUKAIAN DAN UNDANG-UNDANG YANG MELIPUTI PELAN TAKAFUL BERKAITAN PELABURAN PENGENALAN Aspek percukaian adalah salah satu pertimbangan utama untuk bakal pelabur sebelum ia membuat apa-apa keputusan mengenai pelaburan. Peserta juga mesti memahami peruntukan-peruntukan seperti yang dinyatakan di bawah dalam Akta Takaful 1984 dan garis panduan yang dikeluarkan oleh Bank Negara Malaysia. Dalam bab ini, kita akan membincangkan tentang percukaian dan undang-undang yang mengawal perniagaan Takaful, supaya kita dapat menasihati pelanggan-pelanggan mengenai perkara yang dinyatakan di atas. C13.1 PERCUKAIAN DALAM PELAN TAKAFUL BERKAITAN PELABURAN Undang-undang utama yang mengawalselia cukai pendapatan di Malaysia ialah Akta Cukai Pendapatan 1967. Kadar cukai dan pelepasan cukai (relief) dinyatakan dalam Akta Kewangan selepas Menteri Kewangan membentangkan belanjawan tahunan. Pelan Takaful berkaitan pelaburan dikategorikan sebagai produk Takaful Keluarga. Oleh itu, aspek-aspek percukaian pelan Takaful berkaitan pelaburan menerima layanan percukaian yang sama seperti bentuk-bentuk lain sijil Takaful Keluarga.
  • 428.
    604 Amalan AsasTakaful Pelepasan cukai dibenarkan apabila sijil Takaful Keluarga adalah:- 1. atas hayat peserta. 2. atas hayat pasangan peserta (suami atau isteri). 3. atas hayat bersama peserta dan pasangannya. Untuk penyertaan dalam Takaful Keluarga termasuk pelan berkaitan pelaburan, peserta layak mendapat pelepasan cukai peribadi seperti dalam insurans hayat. Jumlah maksimum pelepasan bagi Takaful Keluarga biasa ialah RM6, 000 setiap tahun ditolak apa-apa caruman yang dibayar kepada skim faedah persaraan iaitu Kumpulan Wang Simpanan Pekerja. Bagi pelan perubatan dan pendidikan, pelepasan cukai ialah RM3,000 setahun. Oleh yang demikian, sumbangan yang dibayar oleh peserta adalah layak mendapat pelepasan cukai pendapatan. Tidak seperti unit amanah, pengendali Takaful tidak mendapat pengecualian ke atas keuntungan unit daripada realisasi pelaburan. Walau bagaimanapun, pengendali Takaful dikenakan cukai pada kadar yang lebih rendah iaitu 8% ke atas pendapatan yang boleh dikenakan cukai dan realisasi keuntungan modal dana Takaful Keluarga. Oleh kerana surplus yang dijana daripada pengunderaitan produk Takaful berkaitan pelaburan telah dikenakan cukai di peringkat pengendali Takaful, prosid yang diagihkan kepada peserta pelan Takaful berkaitan pelaburan dikecualikan dari cukai. Apabila sijil matang atau apabila ia dibayar apabila berlakunya kejadian yang dilindungi, ia dianggap sebagai penerimaan modal, bukan pendapatan. Oleh itu, ia tidak dikenakan cukai kerana ia tidak melibatkan keuntungan modal.
  • 429.
    Percukaian dan Undang-UndangPelan Takaful Berkaitan Pelaburan 605 C13.2 UNDANG-UNDANG YANG MELIPUTI PELAN TAKAFUL BERKAITAN PELABURAN Di Malaysia, peraturan perniagaan Takaful dicapai melalui pentadbiran dan penguatkuasaan Akta Takaful 1984. Penguatkuasaan Akta adalah di bawah kuasa Gabenor Bank Negara Malaysia yang juga Ketua Pengarah Takaful. Tujuan utama Akta tersebut diperkenalkan ialah:- 1. Melindungi kepentingan awam Memastikan kesolvenan atau kekukuhan kedudukan kewangan pengendali Takaful agar ia dapat memenuhi tanggungjawabnya terhadap pemilik sijil dan pihak yang menuntut. 2. Mengutamakan keadilan dan kesaksamaan Memastikan pengendali Takaful, broker dan penyelaras (secara kolektif merupakan pemegang lesen dibawah peruntukan Akta) bersikap adil dan saksama dalam melaksanakan urusniaga dengan pelanggan dan pihak yang menuntut. 3. Mempamirkan keupayaan Memberi penekanan agar pengendali Takaful, broker dan penyelaras menitikberatkan keupayaan mencapai tahap kecemerlangan profesional dan kejujuran dalam urusniaga. 4. Memainkan peranan kearah pembangunan industri Menggalakkan pengendali Takaful bertindak aktif memainkan peranannya dalam pembangunan ekonomi negara. Akta Takaful 1984 memperuntukkan dasar dan piawaian secara menyeluruh, sementara keperluan terperinci yang ditetapkan oleh peraturan atau garis panduan, surat pekeliling dan kod amalan
  • 430.
    606 Amalan AsasTakaful perniagaan yang baik. Garis panduan terkini mengenai Perniagaan Insurans/Takaful Berkaitan Pelaburan BNM/RH/GL 010-15 yang dikeluarkan oleh Bank Negara Malaysia pada tahun 2010 dan berkuatkuasa mulai 12 November, 2010. 1. Definisi Perniagaan Takaful Berkaitan Perniagaan Mengikut garis panduan terkini, perniagaan Takaful Berkaitan Pelaburan dirujuk sebagai "menguatkuasa dan melaksanakan kontrak Takaful atas hayat manusia atau anuiti dimana sebahagian atau keseluruhan manfaat ditentukan dengan merujuk kepada nilai, atau pendapatan, atau mana-mana harta yang terdedah kepada keadaan turun naik harga, atau indeks nilai mana-mana harta." 2. Syarat-Syarat Kelulusan Garis panduan tersebut seterusnya menyatakan bahawa pengendali Takaful berdaftar tidak dibenarkan menjalankan perniagaan Takaful berkaitan pelaburan kecuali setelah mendapat kelulusan bertulis dari Bank Negara Malaysia (BNM) dan tertakluk kepada mana-mana syarat yang ditetapkan. Permohonan untuk mendapatkan kelulusan menjalankan perniagaan Takaful berkaitan pelaburan hendaklah dihantar ke Bank Negara Malaysia, dengan menyertakan sekali pelan rangka kerja perniagaan yang lengkap agar BNM dapat menilai kepakaran dan keupayaan teknikal yang dimiliki oleh pengendali Takaful dalam memasarkan dan menguruskan perniagaan berkenaan dengan cekap dan berkesan. 3. Dana yang Berasingan Pengendali Takaful hendaklah mengadakan dan menyelenggara satu atau lebih dana berkaitan pelaburan secara berasingan bagi maksud mentadbir perniagaan berkaitan pelaburan. Aset semua dana berkenaan hendaklah disimpan berasingan daripada semua aset lain milik Pengendali Takaful.
  • 431.
    Percukaian dan Undang-UndangPelan Takaful Berkaitan Pelaburan 607 4. Had Pelaburan Pelaburan dana berkaitan pelaburan adalah tertakluk kepada had- had berikut, sama ada untuk aset di Malaysia atau aset di luar negara: Had rakan niaga a. Nilai pelaburan dana dalam ekuiti mana-mana penerbit tunggal tidak boleh melebihi 10% daripada nilai aset bersih (NAV) dana. b. Jumlah nilai pelaburan dana dalam sekuriti, derivatif OTC (selain bagi maksud lindung nilai) dan produk berstruktur mana-mana penerbit tunggal/kumpulan penerbit tidak boleh melebihi 25% daripada nilai aset bersih (NAV) dana. Had Aset a. Jumlah nilai pelaburan dana dalam sekuriti tidak tersenarai tidak boleh melebihi 10% daripada nilai aset bersih (NAV) dana. b. Jumlah nilai pelaburan dana dalam produk berstruktur tidak boleh melebihi 15% daripada nilai aset bersih (NAV) dana. c. Jumlah nilai pelaburan dana dalam mana-mana skim pelaburan kolektif (CIS) tidak boleh melebihi 10% daripada nilai aset bersih (NAV) dana. Had ke atas Kelas Sekuriti oleh Penerbit Tunggal Walau apa pun yang dinyatakan di atas, pelaburan dana dalam mana-mana kelas sekuriti dari mana-mana penerbit tunggal tidak boleh melebihi 10% daripada jumlah nilai kelas sekuriti, kecuali untuk sekuriti yang diterbitkan / dijamin oleh Kerajaan Persekutuan Malaysia dan Bank Negara Malaysia.
  • 432.
    608 Amalan AsasTakaful 5. Penilaian Aset Garis panduan menyatakan bahawa pengendali Takaful hendaklah mematuhi penilaian aset yang dinyatakan dibawah: a. Aset dana Takaful Berkaitan Pelaburan hendaklah dinilai berdasarkan nilai pasaran harian. b. Bagi penilaian harta tak alih, Pengendali Takaful hendaklah menggunapakai ‘FRS 140: Hartanah Pelaburan’ dan ‘FRS 116: Hartanah, Loji dan Peralatan’, yang dikeluarkan oleh Lembaga Piawaian Perakaunan Malaysia (MASB). Penilaian harta tak alih yang dimiliki oleh Pengendali Takaful hendaklah disahkan oleh penilai profesional bebas sekurang- kurangnya sekali bagi setiap tiga tahun bagi hartanah pelaburan (selain daripada harta yang dibeli tidak melebihi setahun sebelum tarikh penilaian), dan sekali bagi setiap lima tahun bagi hartanah yang diduduki sendiri. Walau bagaimanapun, Pengendali Takaful perlu membuat penyelarasan yang sesuai kerana nilai pasaran aset berubah dengan ketara dalam tempoh antara penilaian. c. Untuk aset-aset berikut, nilai aset hendaklah tidak melebihi nilai pasaran: i. Sekuriti tidak tersenarai; dan ii. Sekuriti tersenarai yang telah digantung dagangannya oleh mana-mana bursa saham bagi tempoh 14 hari atau lebih dagangan berturut-turut pada tarikh nilai aset akan ditentukan. Asas dan teknik-teknik yang digunakan dalam menentukan nilai saksama aset-aset di atas hendaklah didedahkan dan disahkan oleh juruaudit luar. Untuk instrumen hutang Islam yang tidak mempunyai pasaran yang aktif, pengendali Takaful atau penilai bebas mereka boleh menggunakan teknik-teknik penilaian yang diterima secara meluas yang telah menunjukkan kemampuan untuk membuat anggaran harga yang boleh dipercayai.
  • 433.
    Percukaian dan Undang-UndangPelan Takaful Berkaitan Pelaburan 609 6. Penilaian Liabiliti Asas pengiraan liabiliti bukan-unit bagi sijil Takaful berkaitan pelaburan adalah seperti yang dinyatakan dibawah: a. Aktuari yang dilantik hendaklah menjalankan penilaian liabiliti bukan-unit bagi setiap sijil Takaful berkaitan pelaburan dengan menggunakan unjuran aliran tunai. Liabiliti komponen bukan-unit sijil Takaful berkaitan pelaburan dinilai dengan membuat unjuran aliran tunai masa depan untuk memastikan bahawa semua obligasi pada masa hadapan boleh dipenuhi tanpa memerlukan bantuan kewangan atau sokongan tambahan modal pada bila-bila masa sepanjang tempoh perlindungan sijil Takaful berkait pelaburan. Aktuari yang dilantik hendaklah membuat unjuran aliran tunai yang menggunakan asas keperluan yang ditetapkan dalam perenggan di bawah. b. Aktuari yang dilantik hendaklah membuat unjuran aliran tunai untuk penilaian liabiliti bukan-unit bagi setiap sijil Takaful berkaitan pelaburan menggunakan asas anggaran yang terbaik. Rizab minimum akan menjadi amaun yang akan diasingkan supaya amaun terkumpul pada masa depan dengan anggaran kadar pulangan yang terbaik, bersama-sama dengan aliran tunai masa depan yang positif, semua aliran negatif pada masa hadapan adalah sifar. Andaian anggaran terbaik biasanya meliputi: i. Kemortalan Faktor-faktor bersesuaian berdasarkan pengalaman sebenar atau jadual kemortalan industri. ii. Pulangan pelaburan Kadar jangkaan pertumbuhan dana harus mencerminkan campuran aset sebenar dana dan anggaran terbaik aktuari
  • 434.
    610 Amalan AsasTakaful mengenai perolehan pelaburan masa depan sandaran aset dana. iii. Perbelanjaan  Suatu set andaian yang sesuai hendaklah ditentukan oleh aktuari yang dilantik berdasarkan siasatan yang sesuai berkaitan amalan-amalan dana Takaful dan pengalamannya; dan  Peruntukan yang sewajarnya mengenai inflasi hendaklah disediakan dalam unjuran perbelanjaan masa depan. iv. Kadar pengeluaran Suatu set yang bersesuaian mengenai kadar pengeluaran yang berdasarkan pengalaman sendiri Dana Takaful. c. Asas yang digunakan dalam penilaian hendaklah seperti apa yang dilaporkan dalam laporan penilaian aktuari oleh aktuari yang dilantik. d. Aktuari yang dilantik hendaklah menilai margin yang sesuai untuk pengiraan anggaran terbaik yang perlu dimasukkan untuk menampung turun naik pasaran. e. Aktuari yang dilantik perlu menilai samada untuk menggunakan kaedah penilaian yang lebih ketat sekiranya bersesuaian berdasarkan perspektif profesionalnya. 7. Had Umur Pemilik Sijil Peserta pelan Takaful berkaitan pelaburan mestilah berumur sekurang-kurangnya 18 tahun. Syarat ini dikenakan untuk perniagaan Takaful berkaitan pelaburan memandangkan keperluan untuk membataskan penjualan pelan itu kepada individu yang cukup matang untuk membuat penilaian terhadap
  • 435.
    Percukaian dan Undang-UndangPelan Takaful Berkaitan Pelaburan 611 risiko pelaburan yang terlibat dan membuat keputusan pelaburan yang baik. 8. Peruntukan Tempoh Bertenang Peserta mempunyai peruntukan ‘free-look’ atau tempoh bertenang selama 15 hari selepas menerima sijil untuk meneliti terma dan syarat sijil. Peserta boleh menamatkan kuatkuasa sijil dalam masa 15 hari tempoh bertenang dan pengendali Takaful hendaklah membayar balik dengan segera sebarang sumbangan yang telah dibayar keatas sijil berkenaan. 9. Manfaat Kematian Minimum Produk Takaful berkaitan pelaburan hendaklah menyediakan manfaat kematian minimum (tidak termasuk rider) seperti berikut: a. untuk sijil sumbangan tunggal - RM 5,000 atau 125% dari sumbangan tunggal, yang mana lebih tinggi; atau b. untuk sijil sumbangan tetap - RM 5,000 atau gandaan sumbangan tahunan, yang mana lebih tinggi. Pengendali Takaful boleh menawarkan manfaat kematian yang lebih rendah daripada amaun minimum yang dinyatakan di atas untuk peserta yang lebih tua usianya dan hayat substandard, tertakluk kepada amaun minimum RM 5,000 atau 105% daripada sumbangan tunggal, yang mana lebih tinggi. 10. Bayaran Sumbangan Minimum Pelan sumbangan tunggal hendaklah mempunyai sumbangan minimum sebanyak sekurang-kurangnya RM3, OOO. Ini bagi mencerminkan jumlah pelaburan yang munasabah untuk memberi manfaat yang lebih bermakna kepada peserta.
  • 436.
    612 Amalan AsasTakaful 11. Perantaraan Hanya ejen dan lain-lain pengantara pengendali Takaful, yang telah lulus Peperiksaan Asas Takaful (TBA), atau yang setaraf dengannya, yang dibenarkan memasarkan produk Takaful berkaitan pelaburan. 12. Pendedahan Maklumat a. Ilustrasi/Bahan Jualan; Ilustrasi jualan/pemasaran hendaklah memenuhi kandungan minimum dan keperluan pendedahan lain yang dinyatakan dalam Kod dan Garis Panduan Produk Takaful Keluarga. Disamping itu, ilustrasi jualan/pemasaran untuk sijil Takaful berkaitan pelaburan juga hendaklah mematuhi format yang disediakan dalam Garis Panduan. b. Penyata kepada Pemilik Sijil; Pengendali Takaful hendaklah menyediakan kepada setiap peserta satu penyata mengenai nilai sijil peserta sekurang- kurangnya sekali setahun. Penyata itu hendaklah diedarkan dalam tempoh dua bulan selepas berakhirnya setiap tahun kewangan pengendali Takaful, atau akhir tempoh yang dilaporkan di mana kenyataan yang lebih kerap disediakan. Penyata yang diedarkan kepada setiap peserta mengenai status sijil berkaitan pelaburan mestilah mengandungi tetapi tidak terhad kepada, maklumat yang ditetapkan dalam format yang disediakan dalam garis panduan. Setiap urus niaga dalam tempoh tersebut hendaklah dilaporkan secara individu, bersama-sama dengan tarikh transaksi berkenaan.
  • 437.
    Percukaian dan Undang-UndangPelan Takaful Berkaitan Pelaburan 613 c. Laporan Prestasi Dana Kepada Pemilik Sijil Pengendali Takaful hendaklah menyediakan laporan mengenai prestasi setiap dana berkaitan pelaburan di mana peserta mempunyai unit, sekurang-kurangnya sekali setahun kepada setiap peserta. Laporan itu hendaklah diedarkan dalam tempoh empat bulan dari tarikh akhir setiap tahun kewangan pengendali Takaful, atau akhir tempoh yang dilaporkan di mana laporan yang lebih kerap disediakan. Bagi dana tertutup, Pengendali Takaful boleh menyediakan laporan yang berdasarkan pada akhir tahun kewangan dana. Laporan prestasi dana, yang termasuk penyata kewangan dan nota-nota kepada akaun-akaun, hendaklah mengandungi maklumat yang minimum seperti yang ditetapkan dalam format yang disediakan dalam Garis Panduan. C13.3 LAIN-LAIN KEPERLUAN PERUNDANGAN Perniagaan Takaful berkait pelaburan tidak hanya tertakluk kepada Akta Takaful 1984 dan Peraturan-Peraturan, tetapi juga kepada prinsip undang-undang khas yang termaktub dalam kontrak Takaful seperti kepentingan boleh insurans, penuh percaya mutlak, indemniti, sebab hampiran, dan juga undang-undang yang berkaitan dengan pembentukan kontrak kepada agensi-agensi dan syarikat-syarikat yang digunakan sama dengan kelas Takaful Keluarga lain.
  • 438.
  • 439.
    Mengenalpasti dan MewujudkanKeperluan Pelanggan 615 BAB C14 MENGENALPASTI DAN MEWUJUDKAN KEPERLUAN PELANGGAN PENDAHULUAN Dalam bab ini, kita akan melihat proses memberikan khidmat nasihat yang akan membantu ejen dalam menjalankan perniagaan mereka secara profesional. Kita akan melihat setiap proses dan memahami apa yang perlu dilakukan. C14.1 PENGENALAN Ejen Takaful menghadapi cabaran-cabaran baru yang sangat berbeza berbanding 15 tahun yang lalu. Landskap kewangan yang baru sama ada di peringkat global atau tempatan telah membuat semua orang menjadi lebih berhati-hati sebelum terlibat dalam mana-mana portfolio pelaburan. Istilah kewangan dan ayat-ayat yang sukar difahami sering mengelirukan dan pelanggan juga tidak mempunyai pengetahuan yang mencukupi tentang bagaimana pasaran kewangan yang berbeza memainkan peranannya. Dalam usaha untuk mengenal pasti dan mewujudkan keperluan pelanggan, ejen hendaklah mempunyai pengetahuan dan kefahaman yang diperlukan, bukan sahaja aspek-aspek teknikal dan skop perlindungan Takaful Keluarga, tetapi juga amalan memberi nasihat kewangan untuk memenuhi keperluan pelanggan. Struktur proses memberi khidmat nasihat melibatkan langkah-langkah berikut:- 1. Mewujudkan dan menjelaskan hubungan pelanggan-ejen. 2. Mengumpulkan semua data kewangan, termasuk matlamat. 3. Menganalisa dan menilai status kewangan pelanggan.
  • 440.
    616 Amalan AsasTakaful 4. Merangka dan membentangkan cadangan. 5. Melaksanakan cadangan. 6. Memantau cadangan. C14.2 MEWUJUD DAN MENJELASKAN HUBUNGAN PELANGGAN-EJEN Asas kepada jualan Takaful yang berjaya ialah amanah kerana jika prospek tidak mempercayai ejen, adalah sukar untuk ejen memuktamadkan jualan. Membina kitaran amanah adalah bahagian paling penting dalam penglibatan pelanggan untuk melahirkan profesional Takaful yang berjaya dan menguntungkan. Ejen harus memulakan proses ini dengan mewujudkan hubungan dengan pelanggan. Mewujudkan hubungan yang saling mempercayai adalah langkah pertama yang berkesan untuk melibatkan pelanggan supaya mereka secara terbuka boleh berbincang mengenai keperluan kewangan mereka. Sama ada ejen memanggil mereka pelanggan, klien atau pembeli, ejen mesti memahami dan mengakui bahawa mereka semua adalah individu yang berpandangan, bersikap, berpengetahuan dan berpersepsi terhadap perbincangan tersebut. Ejen perlu meyakinkan pelanggan bahawa dia (ejen) berada dalam kedudukan yang boleh membantu pelanggan untuk memenuhi matlamat kewangan pelanggan. Ini adalah satu langkah yang penting. Ejen perlu bertanya soalan yang betul untuk mengetahui apa yang mereka cari, mengapa mereka perlu mencari, keperluan semasa dan masa depan mereka dan pengalaman mereka dengan ejen insurans dan pengantara-pengantara lain, semata-mata untuk meraih keyakinan pelanggan yang dirinya (ejen) adalah penasihat yang boleh dipercayai, yang mereka boleh bergantung harapan untuk mengesyorkan produk yang betul, atas sebab-sebab yang betul. Ejen perlu betul-betul fokus dan mengumpul maklumat sebanyak mungkin. Akhirnya, ejen akan dapat membentuk kumpulan prospek yang berkualiti.
  • 441.
    Mengenalpasti dan MewujudkanKeperluan Pelanggan 617 C14.3 MENGUMPULKAN SEMUA DATA KEWANGAN TERMASUK MATLAMAT Langkah seterusnya ialah tindakan ejen mengumpul data-data berkaitan yang akan membantu ejen membuat analisa mengenai apa yang diperlukan dalam perancangan kewangan pelanggan. Ejen perlu mengendalikan sesi “pencarian fakta” dan mendapatkan semua data yang berkaitan untuk membolehkan ejen itu untuk bergerak ke langkah seterusnya. Ejen harus meminta maklumat mengenai keadaan kewangan pelanggan, matlamat peribadi dan kewangan, memahami kekangan masa pelanggan untuk membuat keputusan dan mengadakan perbincangan. Semua Pengendali Takaful telah menjadikannya sebagai satu keperluan mandatori bagi ejen-ejen untuk mengisi borang carian fakta pelanggan sebelum mengemukakan cadangan perniagaan baru. Borang carian fakta pelanggan adalah satu dokumen penting dan ia dapat membantu ejen yang mengumpul semua maklumat yang relevan mengenai pelanggan, untuk memastikan keadaan kewangan pelanggan dan seterusnya merangka keperluan pelanggan. Borang Carian Fakta Pelanggan bertujuan mencari maklumat mengenai:  Maklumat Peribadi Pelanggan dan Tanggungannya  Matlamat Hidup dan keutamaan Kewangan  Profil Risiko  Analisa Nilai Bersih  Analisa Aliran Tunai  Cadangan dan Rekod Nasihat Maklumat di atas akan membolehkan ejen membina kefahaman yang jelas tentang keadaan pelanggan dan membantu ejen untuk merumuskan cadangan-cadangan untuk mencapai matlamat dan objektif kewangan pelanggan.
  • 442.
    618 Amalan AsasTakaful C14.4 MERANGKA PELAN DAN STRATEGI UNTUK MENCAPAI MATLAMAT Ejen perlu menganalisa maklumat pelanggan untuk menilai keadaan semasa dan menentukan apa yang diperlukan untuk memenuhi matlamat pelanggan. Ejen perlu merangka pelan induk yang dapat membantu pelanggan mencapai matlamatnya. Analisa akan menyediakan cadangan-cadangan yang akan memenuhi keperluan pelanggan dalam bidang-bidang seperti;  Perlindungan yang mencukupi  Perancangan pendidikan anak-anak  Perancangan persaraan  Pengumpulan aset  Perancangan harta Senarai di atas tidak lengkap tetapi ia adalah antara aspek-aspek penting dalam kehidupan yang sering mengganggu fikiran kita. Usaha merangka pelan yang konstruktif yang dapat memenuhi keperluan pelanggan adalah amat penting dan ia perlu dilakukan dengan teliti. C14.5 MEMBINCANGKAN CADANGAN Sebaik sahaja pelan telah disiapkan, ejen kemudian akan duduk berbincang dengan pelanggan mengenai pelan yang telah dirangka khusus untuk pelanggan berkenaan. Ejen harus mengemukakan cadangan yang dapat menangani matlamat pelanggan berdasarkan maklumat yang telah dikumpulkan. Ejen perlu menerangkan cadangan-cadangan berkenaan untuk memastikan pelanggan memahami sepenuhnya dan membuat keputusan yang wajar. Ejen juga perlu mendengar pendapat pelanggan dan mengkaji semula cadangan sekiranya perlu. Setiap pelanggan adalah berbeza. Sekiranya ejen berfikir untuk menggunakan strategi atau pelan yang disediakan untuk pelanggan- pelanggan lain, ejen itu sebenarnya silap. Pelan yang telah disiapkan
  • 443.
    Mengenalpasti dan MewujudkanKeperluan Pelanggan 619 itu adalah unik dan hanya untuk pelanggan berkenaan sahaja, dan ejen harus memahami perkara ini. C14.6 MELAKSANAKAN CADANGAN Pelanggan dan ejen perlu bersetuju bagaimana cadangan-cadangan tersebut akan dilaksanakan. Ejen boleh menjalankan semua cadangan seperti yang telah dibincangkan. Sebarang perubahan dalam jumlah perlindungan atau sumbangan hendaklah disampaikan kepada pelanggan sebelum cadangan dilaksanakan. C14.7 MEMANTAU CADANGAN Pemantauan terhadap sijil pelanggan adalah fungsi yang sangat penting dalam skop kerja ejen. Pemantauan berkala perlu dilakukan dan pelanggan juga perlu dimaklumkan mengenai kemajuan dasar- dasar yang telah ditetapkan. Oleh kerana ejen berurusan dengan produk-produk Takaful berkaitan pelaburan, pengendali Takaful akan menghantar laporan suku tahunan atau tahunan kepada pelanggan. Ejen mestilah memastikan bahawa pelanggan mendapat penyata laporan berkenaan dan bersedia untuk membantu menjelaskan laporan kepada pelanggan. Ejen juga mempunyai tanggungjawab moral untuk memastikan bahawa pertumbuhan dana selaras dengan objektif awal yang ditetapkan. Ejen seharusnya dapat membantu pelanggan membuat beberapa penyesuaian dan penyelarasan yang perlu demi memastikan pelanggan mendapat pulangan terbaik dari sijil Takaful yang dimiliki. Ejen mesti melibatkan diri untuk melakukan semakan semula sijil pada setiap setengah tahun atau secara tahunan. Semakan semula secara spontan juga boleh dilakukan jika terdapat keperluan khas atau jika terdapat perubahan besar yang mungkin telah berlaku terhadap akaun pelaburan pelanggan. Kebaikannya dengan melakukan kajian semula secara lebih kerap dan tetap, ialah ia dapat membantu ejen mendapatkan senarai nama rujukan berkualiti dari pelanggan untuk mengembangkan lagi
  • 444.
    620 Amalan AsasTakaful perniagaan Takaful Keluarga. Ia juga membolehkan ejen itu berada dikedudukan yang sesuai untuk melakukan jualan silang produk Takaful lain disamping menjalankan kajian semula yang dimaksudkan di atas.
  • 445.
    Amalan Takaful Keluarga:Pemasaran dan Perkhidmatan 621 BAB C15 AMALAN TAKAFUL KELUARGA: PEMASARAN DAN PERKHIDMATAN, ETIKA DAN KOD PERLAKUAN PENDAHULUAN Bab ini akan menyentuh mengenai prinsip-prinsip yang paling asas jualan Takaful dan cara dan kaedah bagaimana ia perlu dilakukan secara profesional. Ia tidak boleh terlalu menekankan kepentingan etika dan tingkah laku ejen sepatutnya dalam usaha mereka untuk mencapai jualan yang disasarkan, tetapi untuk membela kepentingan pelanggan dari kaca mata mereka. C15.1 PENGENALAN Isu-isu mengenai etika dan Kod Perlakuan ejen terus mejadi polemik yang berterusan di kalangan semua pihak yang berkepentingan sejak pengendali Takaful yang pertama mula beroperasi di Malaysia pada akhir tahun 1980-an. Pertumbuhan industri ini amat mengagumkan dan mengatasi pencapaian industri insurans konvensional secara konsisten dalam sepuluh tahun yang lalu. Pencapaian ini dibuktikan melalui Statistik Pengendali Takaful yang Disatukan dalam Statistik Tahunan Takaful 2010 yang diterbitkan oleh BNM (www.bnm.gov.my). Ketika pasaran menjadi lebih berdaya saing lantaran kemasukan pemain-pemain baru, pengendali Takaful mencari kaedah dan cara baru untuk meningkatkan kadar penembusan Takaful di Malaysia. Salah satu strategi ialah dengan memperbaiki dan membangunkan kemahiran tenaga agensi melalui latihan intensif dalam aspek Pemasaran dan Perkhidmatan serta pemahaman mereka dan memantau tahap etika dan Kod Perlakuan mereka. Kewujudan tenaga agensi yang lebih berkaliber boleh mewujudkan kesan positif dan
  • 446.
    622 Amalan AsasTakaful tanggapan jangka panjang, dan dengan demikian ia menjadikan usaha pemasaran produk dan perkhidmatan Takaful menjadi lebih mudah. C15.2 PEMASARAN Pemasaran adalah lebih bercirikan seni daripada sains, tetapi pendatang baru perlu mempunyai kewibawaan tersendiri sebelum mereka boleh memulakan kerjaya sebagai Ejen Takaful yang serba mencabar ini. Dan maklumat berikut sesungguhnya ejen ’mesti tahu’ pada bila-bila masa apabila berdepan dengan bakal pelanggan: 1. Pengenalan 2. Prinsip-Prinsip Am Jualan 3. Penerangan mengenai Kontrak 4. Pendedahan Maklumat Pengunderaitan 5. Akaun dan Aspek-Aspek Kewangan Pengenalan Terminologi am berikut perlu difahami dan ia bermaksud: 1. Istilah “Takaful Keluarga” yang digunakan dalam Kod Etika & Perlakuan mencakupi semua aspek tentang: a. Perkhidmatan Rumah Ke-Rumah b. Keluarga Biasa c. Anuiti d. Skim Pencen e. Takaful Berkaitan Pelaburan dan f. Takaful Kesihatan Kekal 2. Kod Etika digunapakai oleh semua pengantara, iaitu semua orang, termasuk kakitangan pengendali Takaful yang memasarkan mana-mana produk Takaful Keluarga. Broker insurans yang berdaftar dan / atau broker Takaful dikecualikan kerana mereka tertakluk di bawah kod tingkah laku profesional yang berasingan.
  • 447.
    Amalan Takaful Keluarga:Pemasaran dan Perkhidmatan 623 3. Tanggungjawab diletakkan ke atas syarikat-syarikat ahli Persatuan Takaful Malaysia untuk menguatkuasakan kod dan menggunakan usaha terbaik mereka untuk memastikan pematuhan terhadap pelbagai peruntukan Kod, oleh semua mereka yang terlibat dalam pemasaran sijil Takaful. Jawatankuasa Audit / Tatatertib Pengendali Takaful bertanggungjawab untuk memantau pematuhan oleh pengantara Takaful keluarga. Jawatankuasa ini juga bertanggungjawab untuk mengemukakan laporan suku tahunan kepada Bank Negara Malaysia mengenai sebarang pelanggaran kod etika yang dilakukan pada suku tahun berkenaan, tindakan pembetulan atau hukuman yang telah diambil. 4. Sekiranya terdapat aduan daripada peserta yang pengantara telah bertindak melanggar kod etika, pengantara dikehendaki bekerjasama dengan pengendali Takaful untuk mengumpulkan fakta-fakta berkaitan. Pengadu perlu diberitahu bahawa aduan boleh dikemukakan kepada pengendali Takaful yang berkaitan sekiranya ia belum berbuat demikian. 5. Perlu ditegaskan bahawa kewajipan utama pengantara ialah untuk melaksanakan urusniaga pada setiap masa dengan penuh kesungguhan dan berintegriti. Prinsip-Prinsip Asas Jualan Bahagian berikutnya merupakan keterangan lanjut yang dipetik dari Kod Etika dan Perlakuan dalam usaha mengekalkan semangat dan objektif kod. 1. Pengantara hendaklah: a. apabila ejen menghubungi atau berurusan dengan bakal peserta, pastikan ejen memperkenalkan dirinya, nama pengendalian Takaful yang diwakili dan menunjukkan Kad Kuasa Pengantara Berdaftar;
  • 448.
    624 Amalan AsasTakaful b. memastikan agar sijil perlindungan yang dicadangkan bersesuaian dengan keperluan pelanggan dan tidak melebihi keupayaan kewangan pelanggan; c. memberi nasihat hanya pada perkara-perkara di mana ejen mampu menanganinya dan mencari atau mencadangkan nasihat pakar lain sekiranya perlu; d. memastikan semua maklumat yang dibekalkan oleh bakal peserta adalah sulit dan rahsia dan tidak boleh didedahkan kepada orang lain; e. apabila membuat perbandingan dengan polisi-polisi lain, sijil Takaful atau bentuk pelaburan lain, terangkan perbezaan ciri- ciri setiap polisi / sijil / pelaburan, tanpa menyebut nama pengendali Takaful berkaitan; f. memberikan perkhidmatan yang berterusan kepada peserta. (After Sales Service) 2. Pengantara tidak dibenarkan; a. membuat kritikan yang tidak tepat atau tidak adil terhadap mana-mana pengendali Takaful; b. memujuk bakal peserta untuk membatalkan mana-mana sijil yang sedia ada melainkan jika ini jelas tidak memenuhi keperluan peserta. Semua syarikat yang menjadi ahli Persatuan Takaful Malaysia bersetuju untuk memastikan yang semua ejen dan pengantara telah diingatkan sepenuhnya bahawa adalah suatu tindakan yang bertentangan dengan kepentingan peserta dan industri Takaful untuk mengamalkan kaedah penjualan Penggantian Sijil atau ‘pembelitan’ (twisting). Ahli Syarikat juga telah bersetuju untuk bekerjasama menghapuskan amalan ini. Sekiranya terbukti wujudnya unsur-unsur pembelitan / penggantian sijil, tindakan sewajarnya boleh dikenakan terhadap ejen yang terlibat.
  • 449.
    Amalan Takaful Keluarga:Pemasaran dan Perkhidmatan 625 Definisi Penggantian Sijil (Replacement of Certificate) Memberhentikan kuatkuasa sesuatu sijil atau menjadikan sijil berkenaan sebagai jelas dibayar dan kemudiannya menguatkuasakan sijil baru dengan pengendali Takaful lain atau pengendali Takaful yang sama. Kerugian-kerugian yang akan timbul akibat penggantian sijil ialah: 1. Setiap kali peserta menukar kuatkuasa sijil dari satu pengendali ke pengendali yang lain, peserta terpaksa memulakan semula tempoh kelayakan (biasanya dua atau tiga tahun) untuk menjadikan kontrak baru itu layak untuk mendapatkan nilai serahan dan masuk dibawah fasal tidak lucut hak (iaitu perlindungan dari sijil luput dan / atau kehilangan manfaat kematian peserta samada secara sengaja atau tidak sengaja gagal membayar sumbangan dalam tempoh tangguh yang diberikan). 2. Amaun sumbangan tahunan di bawah sijil sedia ada mungkin lebih rendah daripada sijil baru tetapi dengan manfaat yang sama. Sebarang penggantian sijil jenis yang sama biasanya pada kadar sumbangan yang lebih tinggi berdasarkan umur peserta pada masa itu. 3. Oleh kerana kos asal sijil Takaful Keluarga berpandukan kepada nilai tunai dalam tahun-tahun sebelumnya, maka penggantian sijil lama kepada sijil baru mengakibatkan peserta menanggung beban kos-kos berkenaan dua kali ganda. 4. Fasal membunuh diri dan fasal ketidakcabaran (jika ada) akan bermula semula di dalam sijil baru, yang sepatutnya akan dibayar di bawah sijil lama yang telah digantikan. Penerangan mengenai Kontrak 1. Pengantara hendaklah: i. menerangkan semua peruntukan-peruntukan penting yang terkandung didalam kontrak kepada bakal peserta;
  • 450.
    626 Amalan AsasTakaful ii. menarik perhatian peserta mengenai sebarang batasan termasuk pengecualian dibawah sijil berkenaan; iii. menarik perhatian peserta mengenai kesan jangka panjang dibawah sijil Takaful berkaitan dan akibat dari penamatan awal/serahan sijil. 2. Sekiranya sijil menawarkan perkongsian keuntungan atau sebaliknya bergantung kepada beberapa faktor yang berubah- ubah seperti prestasi pelaburan, huraian manfaat yang membezakan di antara manfaat tetap dan unjuran. Dalam kes sijil cagaran di mana perolehan matang adalah untuk menyelesaikan baki pinjaman tetapi bergantung kepada manfaat yang tidak dijamin, ilustrasi jualan perlu menyatakan ”tidak ada jaminan bahawa jumlah penuh pinjaman akan diperolehi apabila sijil matang”. 3. Jika terdapat ilustrasi mengenai manfaat sijil, ia hendaklah dijelaskan bahawa ilustrasi dibuat berdasarkan kepada andaian- andaian tertentu, dan oleh itu ia tidak dijamin, dan manfaat yang akan diisytiharkan pada masa akan datang mungkin lebih rendah atau lebih tinggi daripada apa yang mereka jangkakan, (prestasi masa lalu tidak semestinya berulang pada masa akan datang). Mengenai sijil Takaful berkaitan pelaburan, ia perlu dijelaskan bahawa nilai-nilai unit boleh berubah-ubah naik dan turun bergantung kepada nilai asas pelaburan. 4. Apabila pengantara telah dibekalkan dengan contoh ilustrasi oleh pengendali Takaful, pengantara tersebut hendaklah menggunakan seluruh ilustrasi berkenaan kontrak yang dibincangkan diantara pengantara dengan bakal peserta. Pengantara tidak boleh meggunakan ilustrasi lain dan tidak boleh menambah atau memilih hanya aspek-aspek terbaik dalam sijil berkenaan. Pendedahan Maklumat Penguderaitan Pengantara hendaklah mendapatkan borang cadangan yang telah lengkap diisi atau bahan-bahan lain dengan:-
  • 451.
    Amalan Takaful Keluarga:Pemasaran dan Perkhidmatan 627 i. Mengelakkan dari mempengaruhi peserta dan jelaskan bahawa semua jawapan atau kenyataan yang diberikan adalah atas tanggungjawab pencadang itu sendiri; ii. memastikan bahawa akibat yang mungkin timbul sekiranya tidak mendedahkan dan ketidaktepatan fakta, dengan menarik perhatian pencadang kepada kenyataan amaran yang terdapat dalam borang cadangan dan menjelaskan kepada pencadang mengenainya. Aspek Perakaunan dan Kewangan Pengantara hendaklah:- 1. mengakui penerimaan (kecuali sebaliknya jika tidak mendapat kebenaran dari Pengendali Takaful, maka pengantara bertindak atas dirinya sendiri) dan menyelenggara akaun yang sepatutnya bagi semua wang yang diterima berkaitan dengan sijil Takaful dan hendaklah membezakan sumbangan itu dari lain-lain bayaran; 2. mengemukakan dengan segera semua bayaran yang diterima berkaitan sijil Takaful Keluarga kepada Pengendali Takaful. C15.3 GARIS PANDUAN KOD PERLAKUAN Bahagian ini menerangkan aspek-aspek berkaitan: 1. Kod Etika (Kenyataan Falsafah) 2. Skop Liputan 3. Kaedah Pengawalan 4. Tujuh Prinsip-Prinsip Garis Panduan 5. Kod Perlakuan – hanya sebagai panduan. Kod Etika (Kenyataan Falsafah) Garis panduan ini berkisar kepada kenyataan falsafah berikut:- 1. Perniagaan Takaful Keluarga ini adalah berdasarkan falsafah perkongsian risiko. Oleh itu, perniagaan seperti ini perlu
  • 452.
    628 Amalan AsasTakaful dikendali dan ditadbir dengan tahap kewibawaan serta etika yang tertinggi. 2. Ia adalah perniagaan yang berasaskan kepercayaan dan kejujuran, yang memerlukan sepenuh tanggungjawab dan profesionalisme. 3. Kepercayaan pemegang sijil dan orang awam kepada kewibawaan dan kejujuran pengendali Takaful hendaklah sentiasa dipelihara dan diperkukuhkan. 4. Pengendali Takaful hendaklah pada sepanjang masa memastikan perniagaan mereka diurus dengan baik demi memastikan wang simpanan pemegang sijil terjamin serta kepercayaan mereka terhadap pengendali terus kukuh. 5. Pengendali Takaful hendaklah sentiasa cekap dan cepat dalam menyediakan khidmat kepada pemegang sijil dan, membantu serta menasihati mereka apabila perlu, atas dasar saling membantu. Untuk mencapai objektif dan falsafah di atas, Pengendali Takaful telah berusaha membentuk kod etika untuk menyediakan panduan kepada mereka yang bekerja dalam industri supaya menyebarkan dan mengekalkan standard etika yang seragam, dan untuk menegakkan kepercayaan dan kebajikan pemegang sijil pada setiap masa. Bahagian berikutnya menyediakan ringkasan peraturan kod etika dimana kakitangan pengendali Takaful dikehendaki mematuhinya sepanjang masa. Skop Liputan Garis panduan ini meliputi semua kakitangan pengendali Takaful yang beroperasi di Malaysia. Garis Panduan ini menyediakan Standard Minimum perlakuan yang sepatutnya diamalkan oleh semua pekerja pengendali Takaful. Pengendali Takaful juga, sekiranya perlu, boleh merangka satu set peraturan yang lebih menyeluruh untuk mengekalkan standard etika dikalangan pekerja mereka.
  • 453.
    Amalan Takaful Keluarga:Pemasaran dan Perkhidmatan 629 Kaedah Pengawalan Untuk memastikan yang garis panduan ini dipatuhi, pihak pengurusan pengendali Takaful dikehendaki mewujudkan suatu prosedur minimum berikut:- 1. menghendaki semua pekerja (sedang berkhidmat dan perlantikan pekerja baru) menandatangani perisytiharan yang mereka akan patuh kepada garis panduan ini; 2. menghendaki semua pengantara (sedang berkhidmat dan perlantikan baru), menandatangani perisytiharan yang mereka akan patuh kepada garis panduan ini; 3. memberi tanggungjawab kepada ketua jabatan untuk memastikan garis panduan dipatuhi sepanjang masa dan menangani sebarang pertanyaan dari pekerja berkaitan dengan kod perlakuan; 4. sebarang pengengkaran kod etika hendaklah dilaporkan kepada Jawatankuasa Disiplin / Audit yang akan berurusan terus dengan Jawatankuasa Pengurusan Persatuan Takaful Malaysia. Sebagai tambahan, jawatankuasa ini juga dikehendaki menghantar laporan suku tahunan kepada Bank Negara Malaysia, tentang sebarang kes pengengkaran dan bentuk tindakan yang telah diambil dalam tempoh laporan berkenaan; 5. menyelenggara rekod berpusat tentang pengengkaran; 6. melaporkan dengan segera kes-kes penipuan kepada pihak polis dan Bank Negara Malaysia. C15.4 ETIKA DAN PERLAKUAN Tujuh Prinsip-Prinsip Asas Garis Panduan Dokumen Kod Etika dan Perlakuan menerangkan dengan terperinci tentang prinsip-prinsip yang dinyatakan di bawah. Cukup setakat ini penerangan mengenai garis panduan, mereka yang berminat digalakkan merujuk kepada dokumen berkaitan. 1. Untuk mengelakkan pertentangan kepentingan; 2. Untuk mengelakkan penyalahgunaan kuasa / kedudukan;
  • 454.
    630 Amalan AsasTakaful 3. Untuk mengelakkan salahguna maklumat; 4. Untuk memastikan kelengkapan dan ketepatan rekod berkaitan; 5. Untuk memastikan bahawa semua bentuk komunikasi dan urusan antara Pengendali Takaful dengan peserta dan pelanggan adalah sulit; 6. Untuk memastikan layanan yang berpatutan dan adil diberi kepada setiap pemegang sijil dan individu-individu lain yang bergantung kepada atau mereka yang mempunyai hubungan dengan Pengendali Takaful; 7. Untuk menjalankan perniagaan dengan penuh kejujuran dan berwibawa. C15.5 KOMISEN DAN PENDEDAHAN KOMISEN Pengendali Takaful yang cekap dan bertanggungjawab adalah pengendali yang menjalankan perniagaan secara berhemah, termasuk menjalankan kawalan ke atas kutipan sumbangan, perbelanjaan dan strategi pembangunan perniagaan. Garis panduan Bank Negara Malaysia mengenai Kos Kendalian Perniagaan Takaful Keluarga yang dikeluarkan pada Disember 2003, antara lain menyatakan had jumlah komisen yang boleh dibayar kepada ejen-ejen Takaful Keluarga. Ia juga menetapkan had komisen agensi keatas perbelanjaan berkaitan dan perbelanjaan pengurusan lain. Malah, garis panduan itu juga menetapkan Struktur Agensi yang perlu digunapakai oleh pengendali Takaful kepada agensi-agensi jualan mereka. Peratusan maksimum komisen agensi yang kena dibayar atas perniagaan sijil Takaful Keluarga dengan bayaran sumbangan dalam tempoh 20 tahun atau lebih adalah seperti berikut:
  • 455.
    Amalan Takaful Keluarga:Pemasaran dan Perkhidmatan 631 1 Komisen kepada ejen 110% 2 Komisen Overriding kepada ketua agensi 41% 3 Bonus Produktiviti (pengeluaran) dan Bonus Persistensi kepada ejen 15% 4 Bonus Produktiviti kepada ketua agensi 5% JUMLAH 171% Struktur Komisen Perniagaan Takaful Keluarga Ejen diminta untuk mendedahkan komisen yang diterima atas perniagaan tertentu apabila diminta oleh pelanggan / peserta masing- masing. C15.6 AMALAN TAKAFUL KELUARGA Bahagian ini membincangkan aspek-aspek berikut: 1. Pengenalan 2. Tuntutan 3. Borang Cadangan 4. Sijil dan Dokumen Tambahan 5. Bahan Jualan/Pengiklanan Pengenalan Matlamat utama seksyen ini ialah untuk mengurangkan formaliti yang terlibat dalam isu pengeluaran sijil baru dan pembayaran tuntutan. BNM telah mengeluarkan garis panduan yang dipanggil “Amalan Nasihat Wajar bagi Perniagaan Takaful Keluarga” yang telah dikuatkuasakan bulan Mac 2004. Dalam menangani isu ini, garis panduan telah mengenalpasti masalah-masalah yang dihadapi disebabkan tidak mendedahkan / memberitahu atau tuntutan yang tidak wajar, walaupun oleh seorang peserta sahaja. Disebabkan oleh masaalah ini dan mungkin juga masalah-masalah lain, Kenyataan Amalan ini tidak diwajibkan. Jawatankuasa Audit / Tatatertib Persatuan Takaful Malaysia bertanggungjawab memantau pematuhan garis panduan oleh ahli
  • 456.
    632 Amalan AsasTakaful Pengendali Takaful. Ia juga bertanggungjawab untuk mengemukakan laporan kepada Bank Negara Malaysia mengenai pelanggaran kod etika dan tindakan pembetulan atau hukuman yang telah diambil. Tuntutan 1. Garis panduan ini menghendaki pengendali Takaful tidak boleh menolak tuntutan yang dikemukakan tanpa alasan yang kukuh. Lebih-lebih lagi, pengendali Takaful tidak boleh menolak tuntutan atas alasan tidak mendedahkan fakta atau salah nyata fakta yang di luar pengetahuan pencadang. Pengecualian yang diberikan hanyalah untuk keadaan yang disebut dalam peruntukan-peruntukan sijil atau peruntukan di bawah Akta Takaful 1984, bersama-sama dengan peraturan-peraturan lain yang berkaitan. 2. Sekiranya terdapat had masa untuk pemberitahuan tuntutan, pihak yang menuntut tidak boleh diminta untuk melakukan lebih daripada melaporkan tuntutan dan memberitahu perkembangan seterusnya dengan seberapa segera yang semunasabah mungkin. 3. Setelah pihak yang menuntut dapat membuktikan berlakunya kejadian yang dilindungi di bawah sijil dan hak untuk membuat tuntutan, pengendali perlu membayar tuntutan dengan kadar segera, biasanya dalam tempoh 60 hari. 4. Pengendali Takaful tidak boleh mengenakan sebarang yuran memproses tuntutan dari peserta atau benefisiari. Borang Cadangan 1. Sekiranya borang cadangan menghendaki pendedahan fakta material, maka satu kenyataan perlu dimasukkan ke dalam perisytiharan atau menunjukkannya dengan jelas didalam borang cadangan atau dalam dokumen yang menjadi sebahagian dari kontrak. a. menarik perhatian peserta tentang akibat yang mungkin timbul atas kegagalan untuk mendedahkan fakta material.
  • 457.
    Amalan Takaful Keluarga:Pemasaran dan Perkhidmatan 633 b. memberitahu bakal peserta iaitu sekiranya ia merasa ragu- ragu tentang sama ada maklumat tertentu itu merupakan fakta material atau sebaliknya, fakta tersebut perlu didedahkan. 2. Pengendali Takaful perlu menyertakan salinan borang cadangan yang telah ditandatangani kepada peserta, bersama-sama dengan sijil Takaful yang asal. Sijil dan Dokumen Tambahan 1. Pengendali Takaful akan terus menyediakan bentuk borang cadangan yang lebih jelas dan dokumen sijil yang mengambil keperluan undang-undang di bawah kontrak Takaful. Sebagai tambahan kepada borang cadangan, pencadang / pelanggan juga perlu menandatangani borang “Carian Fakta Pelanggan” semasa dalam proses pembelian perlindungan Takaful Keluarga. Ini adalah selaras dengan garis panduan keperluan Amalan Nasihat Wajar (Proper Advice Practice - PAP). 2. Sijil dan dokumen yang disertakan hendaklah menunjukkan samaada terdapat hak memperolehi nilai serahan. Jika sijil menyatakan hak untuk nilai serahan, maka hak tersebut hendaklah dinyatakan dalaam sijil. Berhubung dengan cadangan perlindungan bertempoh atau Takaful simpanan risalah jualan perlu menerangkan perkara berikut di dalam kontrak: a. ia adalah kontrak jangka panjang; b. nilai serahan terutamanya pada tahun-tahun terawal, biasanya lebih rendah dari jumlah keseluruhan sumbangan yang telah dibayar. C15.7 PROMOSI BAHAN/PENGIKLANAN Pengendali Takaful akan memastikan bahawa maklumat yang terkandung di dalam bahan-bahan jualan dan iklan adalah betul dan benar dan dengan itu tidak mengelirukan orang ramai. Ia akan memastikan bahawa perniagaan yang dijalankan akan mematuhi keperluan Syariah pada setiap masa.
  • 458.