BAB I
PENDAHULUAN
1.1 Latar Belakang
Pada zaman yang serba maju ini dunia dipenuhi oleh teknologi-teknologi
canggih yang setiap harinya mengalami perubahan ke arah yang lebih maju.
Sehingga tidak jarang mahasiswa teknik mesin dituntut untuk berpikir ke arah
depan guna menghadapi persaingan dunia luar.
Alat-alat yang digunakan juga banyak menggunakan sistem pneumatik
terutama didunia industri dan perusahaan-perusahaan yang besar yang ada
didaerah kita.
Oleh karena itu praktikum pneumatik ini merupakan mata kuliah yang harus
diselesaikan oleh mahasiswa teknik mesin untuk dapat mempraktekan serta
memahami dalam melaksanakan sehingga mahasiswa dapat mengetahui peralatan
apa saja yang menggunakan aplikasi pneumatik.
1.2 Tujuan
Adapun tujuan dilaksanakan praktikum pneumatik ini adalah sebagai berikut :
1. Agar mahasiswa mengetahui fungsi dari katup yang digunakan dan dapat
membuat rangkaian pneumatik dengan benar.
2. Agar mahasiswa mengetahui peralatan apa saja yang menggunakan sistem
pneumatik.
3. Agar mahasiswa mengerti prinsip kerja dari rangkaian pneumatik yang
dibuat pada saat praktikum.
4. Agar mahasiswa mengetahui jenis-jenis katup yang digunakan dalam
praktikum pneumatik.
1
1.3 Manfaat
Adapun manfaat yang didapat setelah melakukan praktikum pneumatik ini
adalah sebagai berikut :
1. Mahasiswa dapat mengetahui prinsip kerja dari setiap rangkaian
pneumatik.
2. Mahasiswa dapat membuat rangkaian dengan benar serta rangkaian
tersebut bisa berjalan sesuai dengan yang dinginkan.
3. Mahasiswa mengetahui peralatan apa saja yang menggunakan aplikasi dari
sistem pneumatik.
1.4 Sistematika Penulisan Laporan
Adapun sistematika penulisan dari laporan praktikum pneumatik ini adalah
antara lain :
BAB I PENDAHULUAN
Pada bab ini berisikan tentang latar belakang, tujuan dari praktikum,
manfaat serta sistematika penulisan.
BAB II TEORI DASAR
Pada bab ini berisikan tentang teori dasar mengenai praktikum
pneumatik.
BAB III JAWABAN DARI SOAL-SOAL PADA MODUL YANG SUDAH
DIKERJAKAN
Bab ini berisi tentang jawaban soal-soal yang dikerjakan pada saat
praktikum.
BAB IV KESIMPULAN DAN SARAN
Bab ini berisi tentang kesimpulan dan saran yang dapat selama
praktikum.
2
BAB II
TEORI DASAR
2.1 Pengertian
Pneumatik berasal dari kata Yunani yaitu ”pneuma” yang berarti udara.
Jadi Pneumatik adalah ilmu yang berkaitan dengan gerakan maupun kondisi yang
berkaitan dengan udara. Perangkat Pneumatik bekerja dengan memanfaatkan
udara yang dimampatkan (compressed air).
Dalam hal ini udara yang dimampatkan akan didistribusikan kepada sistem
yang ada sehingga kapasitas sistem terpenuhi. Untuk memenuhi kebutuhan udara
yang dimampatkan kita memerlukan Compressor.
2.2 Komponen Sistem Pneumatik
1. Kompressor
Kompressor digunakan untuk menghisap udara di atmosfer dan
menyimpannya kedalam tangki penampung atau receiver. Kondisi udara dalam
atmosfer dipengaruhi oleh suhu dan tekanan.
Kompresor yang biasa digunakan ada 2 macam yaitu :
a. Kompresor langkah positif (positive-displecement)
Pada kompresor langkah positif ada dua jenis :
1. Kompresor bolak-balik (reciprocating) input terbagi lagi jadi 2 yaitu :
dengan mempergunakan piston (piston compressor) dan dengan
mengunakan diapragma (diaphragma compressor).
2. Kompressor berputar (rotary compressor) terbagi lagi menjadi beberapa
bagian yaitu : slinding vane rotary compressor (baling-baling), two axial
screw compresor (kompressor ulir) dan root blower.
b. Kompressor turbo (turbo compressor)
Kompresor ini tidak cocok apabila digunakan sebagai sumber (pengolah)
udara yang dimampatkan untuk pneumatik, hal ini disebabkan kerena tekanan
udara yang dihasilkan terlalu besar.
3
2. Oil and Water Trap
Pneumatik, tetapi dapat menjadi penyebab serius dari tidak berfungsinya
sistem. Fungsi dari Oil and Water Trap adalah sebagai pemisah oli dan air dari
udara yang masuk dari kompressor. Jumlah air persentasenya sangat kecil dalam
udara yang masuk kedalam sistem
3. Dehydrator.
Fungsi unit ini adalah sebagai pemisah kimia untuk memisahkan sisa uap
lembab yang mana boleh jadi tertinggal waktu udara melewati unit Oil and Water
Trap.
4. The Air Filter
Setelah udara yang dikompresi melewati unit Oil and Water Trap dan unit
Dehydrator, akhirnya udara yang dikompresi akan melewati Filter untuk
memisahkan udara dari kemungkinan adanya debu dan kotoran yang mana
mungkin tedapat dalam udara.
Gambar 2.1 The Air Filter
5. Restrictor
Restrictor adalah tipe dari pengontrol klep yang digunakan dalam sistem
Pneumatik, Restrictor yang biasa digunakan ada dua tipe yaitu : tipe Orifice dan
Variable Restrictor.
6. Pressure Regulator.
Sistem tekanan udara siap masuk pada tekanan tinggi menambah tekanan
pada bilik dan mendesak beban pada piston.
4
Gambar 2.2 Pressure Regulator
2.3 Aktuator
Aktuator adalah bagian terakhir dari output suatu sistem kontrol Pneumatik.
Output biasanya digunakan untuk mengidentifikasi suatu sistem kontrol ataupun
aktuator. Pada Pneumatik, jenis aktuator ada bermacam-macam, diantaranya:
1. Aktuator gerakan linier:
a. Silinder aksi tunggal (Single acting cylinder)
Silinder kerja tunggal mempunyai seal piston tunggal yang dipasang pada
sisi suplai udara bertekanan. Pembuangan udara pada sisi batang piston silinder
dikeluarkan ke atmosfir melalui saluran pembuangan.
Gambar 2.3 Silinder Aksi Tunggal
b. Silinder aksi ganda (Double acting cylinder)
Konstruksi silinder kerja ganda adalah sama dengan silinder kerja tunggal,
tetapi tidak mempunyai pegas pengembali. Silinder kerja ganda mempunyai dua
saluran (saluran masukan dan saluran pembuangan).
5
Prinsip kerja dari silinder kerja ganda ini dengan memberikan udara
bertekanan pada satu sisi permukaan piston (arah maju), sedangkan sisi yang lain
(arah mundur) terbuka ke atmosfir,
Gambar 2.4 Silinder Aksi Ganda
2. Aktuator gerakan berputar:
a. Motor yang digerakkan oleh udara. Motor Pneumatik adalah suatu peralatan
Pneumatik yang menghasilkan gerakan putar yang sudut putarnya tidak
terbatas bila terhadap peralatan ini dialiri udara yang dimampatkan. Ada 4
jenis motor Pneumatik, yaitu piston motors, sliding vane motors, gear
motors, turbin.
b. Aktuator yang berputar atau gerakan putar.
2.4 Katup Pneumatik
Sistem perangkaian Pneumatik terdiri atas katup-katup yang memiliki
fungsi dan kegunaan yang berbeda-beda, diantaranya yaitu:
1. Katup kontrol arah (Directional Control Valve),
Katup kontrol arah adalah bagian yang mempengaruhi jalannya aliran udara.
Aliran udara akan lewat, terblokir atau membuang ke atmosfir tergantung dari
lubang dan jalan aliran katup kontrol arah tersebut.
Menurut jenisnya katup pengarah dapat di bagi menjadi beberapa jenis :
a. Katup 3/2
Katup 3/2 adalah katup yang membangkitkan sinyal dengan sifat bahwa
sebuah sinyal keluaran dapat dibangkitkan juga dapat dibatalkan/diputuskan.
Katup 3/2 mempunyai 3 lubang dan 2 posisi.
6
Ada 2 konstruksi sambungan keluaran :
a. Posisi normal tertutup (N/C): katup belum diaktifkan, pada lubang
keluaran tidak ada aliran udara bertekanan yang keluar.
b. Posisi normal terbuka (N/O): katup belum diaktifkan, pada lubang
keluaran sudah ada aliran udara bertekanan yang keluar.
Adapun dari jenis-jenis katup 3/2 adalah sebagai berikut :
1) Katup 3/2 Diaktifkan Secara Pneumatik
Katup 3/2 diaktifkan secara Pneumatik , dioperasikan oleh sinyal udara pada
lubang pengaktifan 12(Z), menggunakan udara dari luar sebagai pembantu. Ini
digolongkan sebagai katup beroperasi dengan pilot tunggal, karena hanya ada satu
sinyal kontrol dan katup mempunyai pegas pengembali.
2. Katup 3/2 Pilot Tunggal N/C
Gambar 2.5 Katup 3/2 Pilot Tunggal N/C
3. Katup 3/2 Pilot Tunggal N/O
Gambar 2.6 Katup 3/2 Pilot Tunggal N/O
7
4. Katup 3/2 N/C , Bola Duduk
Gambar 2.7 Katup Dalam Keadaan Aktif
5. Katup 3/2 Geser Dengan Tangan ( Hand Slide Valve )
Gambar 2.8 Katup 3/2 Geser Dengan Tangan
6. Katup 3/2 Dengan Tuas Rol
Gambar 2.9 Katup 3/2 , NC Pengaktifan Dengan Tuas Rol
8
Jenis katup 3/2 normal terbuka dengan tuas rol diperlihatkan seperti pada
gambar di bawah :
Gambar 2.10 Katup 3/2 , NO, Pengaktifan Dengan Rol
b. Katup 4/2
Katup 4/2 mempunyai 4 lubang dan 2 posisi kontak. Sebuah katup 4/2
dengan kedudukan piringan adalah sama konstruksi dengan kombinasi gabungan
dua katup 3/2 .
Gambar 2.11 Katup 4/2 Dudukan Piringan, Dalam Keadaan Tidak Aktif
c. Katup 4/3
Katup 4/3 mempunyai 4 lubang dan 3 posisi kontak. Contoh katup ini
adalah katup geser pelat dengan pengaktifan tangan. Konstruksi katup
diperlihatkan seperti pada gambar di bawah :
9
Gambar 2.12 Katup 4/3 , Plat Geser Dengan Posisi Tengah Tertutup
Pada saat posisi normal ( pegangan di tengah ), semua lubang terblokir.
Pada saat aktif, kanal-kanal sirkulasi akan saling berhubungan dengan berputarnya
dua piringan. Jika pegangan diputar ke kanan, aliran dari 1(P) ke 4(A) dan 2(B) ke
3(R) terbuka. Sedangkan jika pegangan diputar ke kiri, aliran dari 1(P) ke 2(B)
dan 4(A) ke 3(R) terbuka.
d. Katup 5/2
Gambar 2.13 Katup 5/2 , Prinsip Geser Mendatar
7. Katup searah (Non return valve),
Katup satu arah adalah bagian yang menutup aliran ke satu arah dan
melewatkannya ke arah yang berlawanan.
Jenis- jenis katup searah
a. Check valves
10
Hanya mempunyai 1 inlet dan 1 outlet, dapat menutup aliran pada satu
arah aliran. Pada arah lainnya katup ini dengan bebas dapat mengalirkan
aliran udara dengan tekanan rendah.
Gambar 2.14 Katup Cek
b. Two pressure valve
Mempunyai 2 inlet dan 1 outlet. Udara mampat mengalir melalui katup ini
bila sinyal udara terdapat pada kedua sambungan inlet. (= Logic AND
function)
Gambar 2.15 Katup Fungsi “DAN” Dengan Input Pada Y
c. Shuttle valve (= Logic OR function)
Udara mampat dapat mengalir dari salah satu atau kedua saluran inlet
menuju outlet.
Gambar 2.16 Katup Fungsi“ATAU” Dengan Input Pada Y
11
d. Quick exhaust valve
Katup ini berfungsi sebagai penambah kecepatan silinder. Dengan ini
memungkinkan waktu yang diperlukan untuk langkah kerja silinder
terutama untuk single acting cylinder lebih singkat lagi.
Gambar 2.17 Katup Buangan Cepat, Udara Mengalir Ke Silinder
3. Katup pengatur aliran (Flow control valve), berfungsi mengatur aliran udara
secara volumetrik.
Katup kontrol aliran mempengaruhi volume aliran udara bertekanan yang
keluar pada dua arah.
a. Bi-directional flow control valve, mengatur udara ke dua arah.
Gambar 2.18 Katup Bi-Directional Flow Control Valve
b. One way flow control valve, mengalirkan udara ke satu arah untuk
mengatur kecepatan aktuator.
12
Gambar 2.19 Katup Kontrol Aliran, Satu Arah
4. Katup pengatur tekanan (pressure valve), fungsinya mengatur besarnya tekanan
udara yang diperlukan.
a. Pressure regulating valve
Berfungsi mengatur tekanan udara konstan yang dibutuhkan.
Gambar 2.20 Katup Pembatas Tekanan
b. Pressure limiting valve
Gambar 2.21 Katup Pengatur Tekanan
13
Simbol-simbol Pneumatik yang digunakan berdasarkan DIN (Deutche
Institut fur Normung) No. 1219 dan sudah dijadikan ISO dengan nomor yang
sama.
1. Simbol yang digunakan untuk konversi energi dan preparasi
Gambar 2.22 Konversi Energi Dan Preparasi
14
2. Simbol katup penentu arah (simbol penyeimbangan)
Gambar 2.23 Simbol Penyeimbangan
3. Simbol katup pengatur arah, sambungan port dan posisi
Gambar 2.24 Simbol Katup Pengatur Arah
4. Simbol/Metoda Aktuasi
15
Gambar 2.25 Simbol Metoda Aktuasi
16
5. Contoh penggambaran katup penentu arah beserta sinyal/kontrolnya
Gambar 2.26 Katup Penentu Arah Beserta Sinyal/Kontrolnya
6. Simbol katup searah
Gambar 2.27 Simbol Katup Searah
7. Simbol Katup pengatur aliran
Gambar 2.28 Simbol Katup Pengatur Aliran
8. Simbol katup pengatur tekanan
17
Gambar 2.29 Simbol Katup Pengatur Tekanan
18
9. Simbol aktuator linier
Gambar 2.30 Simbol Aktuator Linier
2.5 Susunan Sistem Pneumatik
Susunan sistem Pneumatik merupakan suatu rangkaian yang bila dijalankan
maka akan melakukan kerja.Adapun susunan sistem Pneumatik terdiri atas:
1. Catu daya (energi supply)
Yang dimaksud catu daya ini adalah pembangkit udara bertekanan
(compressor). Catu daya merupakan tempat tersimpannya energi yang siap
melakukan tekanan kerja pada suatu rangkaian jika kran penutup dibuka.
2. Elemen masukan (sensors)
Elemen masukan atau sensor disini merupakan suatu alat yang digunakan
untuk memulai jalan kerja pada setiap rangkaian.
3. Elemen pengolah (processors)
Elemen pengolah merupakan alat yang melakukan pengolahan aliran
sebelum aliran sebelum aliran dijalankan ke elemen control
4. Elemen pengontrol (final control elemen)
Elemen pengontrol merupakan terdiri dari alat atau katup yang mengontrol
gerakan kerja aliran udara sesuai dengan sinyal-sinyal yang diberikan.
5. Elemen kerja
19
Elemen kerja disini berupa silinder yang dapat menggerakkan piston sesuai
dengan aliran udara yang diberikan.
2.6 Udara Bertekanan
Udara bertekanan memiliki banyak sekali keuntungan, tetapi dengan
sendirinya juga terdapat segi-segi yang merugikan atau pembatasan-pembatasan
pada penggunaan nya. Hal-hal yang menguntungkan dari pneumatik pada
mekanisasi yang sesuai dengan tujuan sudah diakui oleh cabang-cabang industri
yang lebih banyak lagi. Pneumatik mulai digunakan untuk pengendalian maupun
penggerakan mesin-mesin dan alat-alat.
Sifat-sifat udara yang mempengaruhi sifat-sifat pengontrolan sistem
pneumatik antara lain :
1. Udara tidak mempunyai bentuk khusus. Bentuknya selalu sesuai dengan
tempatnya.
2. Dapat dimampatkan /kompresible.
3. Memenuhi semua ruang dengan sama rata.
4. Dapat dikontrol baik laju alirannya maupun tekanan dan gaya yang bekerja.
Ada beberapa media kerja (bentuk energi) yaitu elektrik, hidrolik dan
pneumatik.Persaingan antara peralatan pneumatik dengan peralatan mekanik,
hidrolik atau elektrik makin menjadi besar.
Dalam penggunaannya sistem pneumatik diutamakan karena beberapa hal
yaitu :
1. Paling banyak dipertimbangkan untuk beberapa mekanisasi
2. Dapat bertahan lebih baik terhadap keadaan-keadaan tertentu Sering kali
suatu proses tertentu dengan cara pneumatik, berjalan lebih rapi (efisien)
dibandingkan dengan cara lainnya.
20
Gambar 2.31 Susunan Sistem Pneumatik
2.7 Aljabar Bool Dasar dan Gerbang Logika Dasar
1. Bilangan Biner
Bilangan biner adalah bilangan yang berbasis dua (2), jadi hanya memiliki
dua nilai, yaitu : 0 dan 1. Pada permasalahan teknik, arti nilai bilangan biner
tersebut berkembang lagi dan menjadi dasar dari pola pikir logika, seperti pada
tabel berikut :
Tabel 2.1 Aljabar Bool
Nilai Kondisi sinyal Lampu Level Tombol
0 Low Padam Rendah Tidak ditekan
1 High Nyala Tinggi Ditekan
21
Tabel berikut memudahkan untuk pengkonversian :
Tabel 2.2 Konversi Biner ke Desimal
Bilangan Biner Bilangan
Desimal
No.Bit 7 6 5 4 3 2 1 0
Pengali 27
26
25
24
23
22
21
20
Dst 0 0 0 0 1 0 1 0 10
2. Gerbang Logika Dasar
Catatan : Untuk Operasi Logika “BUKAN”, dibaca “BAR” atau “NOT”
Misalnya : Ã Dibaca “A BAR” atau “NOT-A”
Aturan penghitungan
Tabel 2.3 Gerbang Logika Dasar
DAN ATAU BUKAN
A.0=0
A.1=A
A.A=A
A.A=0
A+0=A
A+1=1
A+A=A
A+A=1
à = X
A = A=X
A = A=X
A =A=X
22
BAB III
JAWABAN DARI SOAL-SOAL PADA MODUL YANG SUDAH
DIKERJAKAN
PENGATURAN KECEPATAN LANGKAH MAJU-MUNDUR TERPISAH
[PRAKTIKUM 1]
Prisip kerja
Ketika tombol start ditekan maka saluran (P) dan (A) pada katup 3/2 with
push botton normaly close terhubung, sehingga udara dari manifold mengalir dari
saluran (P) menuju saluran (A) pada katup 3/2 with push botton normaly close.
Dan mengalir menuju saluran (S) pada flow control 1 , yang berfungsi mengatur
tekanan balik piston pada posisi semula, lalu mengalir menuju saluran (T).
kemudian mengalir lagi menuju saluran masuk (U) pada flow control (2) yang
berfungsi mengatur tekanan maju piston, kemudian mengalir menuju saluran (V)
23
dan mengalir ke saluran (W) pada sigle acting cylinder sehingga menekan piston
maju.
Ketika tombol start pada katup 3/2 with push botton normaly close dilepas
maka, hubungan saluran (P) dan (A) pada 3/2 with push botton normaly close
terputus, dan piston kembali ke semula karna adanya spring. Udara mengalir ke
saluran (W) single acting cylinder menuju saluran (V) pada flow control 2 dan
saluran (U) . dan mengalir menuju saluran (T) pada flow control (1) dan mengalir
menuju saluran (S) pada flow control (1) dan mengalir kembali menuju saluran
(A) dan mengalir keluar menuju saluran (R) pada katup 3/2 with push botton
normaly close.
MEMPERBESAR KECEPATAN LANGKAH MUNDUR
[PRAKTIKUM 2]
24
PRINSIP KERJA
Ketika tombol start ditekan maka saluran (P) dan (A) pada katup 3/2 with
push button normaly close terhubung udara dari manifold mengalir menuju
saluran (P) pada katup 3/2 with push button normaly close menuju saluran (A)
dan udara mengalir ke saluran (D) pada flow control yang berfungsi mengatur
tekanan maju piston. Dan udara mengalir menuju saluran (E) dan mengalir
menuju saluran (F) pada quick exhaust valve yang berfungsi mempercepat
pembuangan udara, dan mengalir menuju saluran (G) dan mengalir pada saluran
(H) pada single acting cylinder, sehingga menekan piston maju.
Pada saat tombol start push botton 3/2 normaly close dilepas , maka saluran
(P) dan (A) pada katup 3/2 with push button terputus. Dan piston kembali ke
posisi semula karna adanya spring, dan udara dari saluran (H) mengalir menuju
saluran (G) quick exhaust valve dan udara mengalir keluar menuju saluran (I)
quick exhaust valve.
25
PENGATURAN KECEPATAN LANGKAH MAJU-MUNDUR MELALUI
PENYUMBATAN UDARA CATU
[PRAKTIKUM 3]
PRINSIP KERJA:
Sebelum tombol start ditekan saluran (P) dan saluran (B) pada katup 5/2
with push button terhubung udara dari manifold masuk menuju saluran (P) dan
mengalir ke saluran (B) pada katup 5/2 with push button. Dan mengalir menuju
saluran (C) flow control (1), dan saluran (D), dan menuju saluran (E) pada double
acting cylinder yang menekan piston pada posisi normal.
Ketika tombol start 5/2 with push button ditekan maka, saluran (P) dan
saluran (B) terputus, dan saluran (P) terhubung ke saluran (A). sehingga udara
dari manifold mengalir menuju saluran (P) dan menuju saluran (A) pada katup
5/2 with push button dan udara mengalir menuju saluran (H) pada flow control (2)
yang berfungsi mengatur tekanan maju piston. Dan mengalir kembali menuju
saluran (G) pada flow control (2) dan mengalir menuju saluran ( F) pada double
acting cylinder sehingga piston maju.
Pada saat tombol start 5/2 with push button dilepas saluran (P) dan saluran
(B) terhubung, udara dari manifold mengalir menuju saluran (P) dan mengalir
menuju saluran (B) pada katup 5/2 with push button dan udara mengalir menuju
26
saluran (C) pada flow control (1) yang berfungsi mengatur tekanan balik piston
dan mengalir menuju saluran (D) pada flow control (1) dan mengalir ke saluran
(E) pada doule acting cylinder yang menekan piston mundur, dan udara mengalir
ke saluran (F) pada doule acting cylinder, dan mengalir menuju saluran (G) pada
flow control (2) yang berfungsi mengatur tekanan maju piston. Dan mengalir ke
saluran (H) flow control (2) dan mengalir menuju saluran (A) pada 5/2 with push
button dan keluar menuju saluran (S) pada 5/2 with push button.
27
PENGATURAN KECEPATAN LANGKAH MAJU-MUNDUR MELALUI
PENYUMBATAN UDARA BUANG
[PRAKTIKUM 4]
PRINSIP KERJA:
Sebelum tombol start ditekan saluran (P) dan (B) pada 5/2 with push
button terhubung, udara dari manifold mengalir menuju saluran (P) pada katup
5/2 with push button dan mengalir menuju saluran (K) pada flow control (1) yang
berfungsi mengatur kecepatan balik piston. Dan mengalir ke saluran (L) pada flow
control (1) dan mengalir ke saluran (M) pada double acting cylinder yang
menekan piston mundur ke posisi normal.
Ketika tombol start 5/2 with push button ditekan maka, saluran (P) dan
saluran (B) pada katup 5/2 with push button terputus. Dan saluran (P) dan (A)
pada katup 5/2 with push button terhubung. Udara dari manifold mengalir ke
saluran (P) dan (A) pada katup 5/2 with push button , dan mengalir menuju
saluran (Z) pada flow control (2) yang berfungsi mengatur kecepatan mundur
28
piston. Dan mengalir ke saluran (O) pada flow control (2) dan mengalir ke saluran
(N) pada double acting cylinder, sehingga piston keluar.
Pada saat tombol start 5/2 with push button dilepas saluran (P) dan (B)
pada katup 5/2 with push button terhubung , udara dari manifold mengalir menuju
saluran (P) dan (B) pada katup 5/2 with push button dan mengalir menuju saluran
(K) pada flow control (1) yang berfungsi mengatur kecepatan balik piston, dan
mengalir ke saluran (L) pada flow control (1) dan mengalir ke saluran (M) double
acting cylinder, sehingga piston bergerak mundur, dan udara mengalir ke saluran
(N) pada double acting cylinder , dan mengalir menuju saluran (O) pada flow
control (2) yang berfungsi mengatur kecepatan maju piston, dan mengalir ke
saluran (Z) pada flow control (2) dan mengalir ke saluran (A) pada katup 5/2 with
push button dan mengalir keluar menuju saluran (S) pada katup 5/2 with push
button.
29
PENGATURAN KECEPATAN LANGKAH SATU ARAH
[PRAKTIKUM 5]
A. SUPPLY AIR THROTTLING
PRINSIP KERJA:
Sebelum tombol start ditekan saluran (P) dan (B) pada katup 5/2 with push
button terhubung, udara dari manifold mengalir menuju saluran (P) dan (B) pada
katup 5/2 with push button. Dan mengalir menuju saluran (F) pada double acting
cylinder sehingga piston mundur pada posisi normal.
Ketika tombol start ditekan saluran (P) dan (A) pada katup 5/2 with push
button terhubung , udara dari manifold mengalir menuju saluran (P) dan mengalir
ke saluran (A) pada katup 5/2 with push button dan udara mengalir menuju
saluaran (C) pada flow control yang berfungsi mengatur kecepatan maju piston,
dan mengalir menuju saluran (D) flow control dan udara mengalir menuju saluran
(E) pada double acting cylinder dan udara mendorong piston maju.
30
Ketika tombol start 5/2 with push button dilepas maka, saluran (P) dan (B)
pada katup 5/2 with push button terhubung kemudian udara dari manifold
mengalir ke saluran (P) dan (B) pada katup 5/2 with push button dan mengalir
menuju saluran (F) pada double acting cylinder dan udara menekan piston pada
posisi normal. Udara mengalir ke saluran (E) pada double acting cylinder dan
mengalir menuju saluran (D) flow control yang berfungsi mengatur kecepatan
maju piston. Dan mengalir menuju saluran (C) pada flow control dan mengalir ke
saluran (A) pada 5/2 with push button dan keluar menuju saluran (S) pada 5/2
with push button.
31
B. EXHAUST AIR THROTTLING
PRINSIP KERJA
Sebelum tombol start ditekan saluran (P) dan (B) pada 5/2 with push button
terhubung, udara dari manifold mengalir menuju saluran (P) dan saluran (B) pada
5/2 with push button dan mengalirmenuju saluran (S) pada flow control yang
berfungsi mengatur kecepatan maju pada piston dan mengalir menuju saluran (E)
pada flow control dan mengalir menuju saluran (T) pada double acting cylinder,
sehingga menekan piston mundur ke posisi normal.
Ketika tombol start ditekan saluran (P) dan (A) pada 5/2 with push button
terhubung , sehingga udara dari manifold mengalir menuju saluran (P) dan (A)
pada katup 5/2 with push button dan mengalir menuju saluran (O) pada double
acting cylinder sehingga piston bergerak maju
Ketika tombol start dilepas, saluran (P) dan (B) pada katup 5/2 with push
button terhubung udara dari manifold mengalir menuju saluran (P) dan (B) pada
katup 5/2 with push button dan mengalir menuju saluran (S) pada flow control
32
yang berfungsi mengatur kecepatan maju piston , dan udara mengalir ke saluran
(E) pda flow control dan udara mengalir ke saluran (T) double actng cylinder dan
mengalir menuju saluran (A) pada katup 5/2 with push button dan keluar ke
saluran (S pada katup 5/2 with push button.
PENGGUNAAN DUA BUAH ROLLER UNTUK PENGEMBALIAN SECARA
OTOMATIS
[PRAKTIKUM 6]
PRINSIP KERJA:
Sebelum tombol strat 3/2 with push button normaly close ditekan maka udara
dari manifold masuk ke katup 5/2 double pilot valve melalui saluran (P) yang
terhubung ke saluran (B) dan udara mengalir ke saluran (X) pada double acting
cylinder , dan piston masuk ke dalam . pada saat itu Udara dari manifold menuju
ke roller (B) pada saluran (P) yang terhubung ke saluran (A) pada roller(B). udara
masuk ke dual pressure melalui saluran (Y).
Pada saat tombol start 3/2 with push button normaly close ditekan saluran (P)
dan (A) pada katup 3/2 with push button normaly close terhubung, udara dari
manifold masuk kesaluran (P) dan (A) pada katup 3/2 with push button normaly
33
close dan udara mengalir ke saluran (X) pada dual pressure valve, udara dari
saluran (A) pada dual pressure valve mengalir ke saluran 14(Z) pada katup 5/2
double pilot valve , sehingga posisi katup berubah saluran (P) dan (A) pada katup
5/2 double pilot valve terhubung, udara dari manifold mengalir menuju saluran
(P) dan (A) pada katup 5/2 double pilot valve dam mengalir ke saluran (M) pada
double acting cylinder sehingga mendorong piston keluar, pada saat ujung piston
menyentuh roller (A) sehingga posisi 3/2 roller valve (A) berubah udara dari
saluran (P) terhubung ke saluran (A) menuju saluran 12(Y) pada katup 5/2 double
pilot valve, sehingga posisi katup 5/2 double pilot valve berubah saluran (P) dan
(B) pada katup 5/2 double pilot valve tethubung , udara dari manifold masuk ke
saluran (P) dan (B) pada katup 5/2 double pilot valve, dan mengalir menuju
saluran (X) pada double acting cylinder sehingga piston masuk , maka terjadilah
gerakan bolak-balik.
Pada saat tombol start 3/2 with push button normaly close dilepas maka saluran
(P) dan (A) pada 3/2 with push button normaly close terputus dan udara dari
manifold tidak mengalir dan udara dari saluran (X) pada double acting cylinder
mengalir menuju saluran (B) pada katup (5/2) double pilot valve, dan udara keluar
melalui saluran (S) pada katup double pilot valve
34
PENGONTROLAN SECARA MANUAL
[PRAKTIKUM 7]
35
PENGONTROLAN SECARA AUTOMATIK
[PRAKTIKUM 8]
36
RANGKAIAN LOGIKA ‘OR’
[PRAKTIKUM 9]
37
RANGKAIAN LOGIKA ‘AND’
[PRAKTIKUM 10]
38
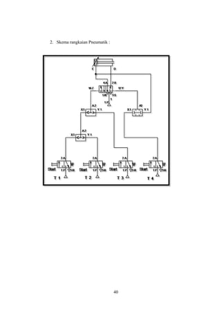
PRAKTIKUM11 RANGKAIAN KONBINASI LOGIKA ‘AND-OR’(ANF OR
CIRCUIT)
1. Persamaan aljabar bool
= T1 + T2 + T3 . A3
= (T1 . T2. T3) T4
1. Skema rangkaian digital
39
2. Skema rangkaian Pneumatik :
40
RANGKAIAN APLIKASI SQUENSIONAL
(PRAKTIKUM 12)
Prinsip kerja 12
Sebelum tombol start 3/2 with push button normaly close ditekan, udara dai
manifold masuk ke katup 5/2 double pilot valve, melalui saluran (P) terhubung ke
saluran (B) dan udara mengalir ke saluran (M) pada double acting cylinder dan
piston masuk kedalam.pada saat itu udara dari manifold masuk ke roller (A) pada
saluran (P) yang terhubung ke saluran (A) pada roller (A) udara masuk ke dual
pressure melalui saluran 12(Y)
Ketika tombol start 3/2 with push button normaly close ditekan maka , saluran
(P) dan (A) pada 3/2 with push button normaly close terhubung. Udara dari
41
manifold masuk menuju saluran (P) dan mengalir ke saluran (A) pada katup 3/2
with push button normaly close dan mengalir ke saluran 12(Z) pada pressure
sequence valve yang berfungsi mengatur tekanan piston maju untuk beberapa saat,
sehingga saluran (P) dan (A) pada pada pressure sequence valve dan mengalir ke
saluran 14(Z) 5/2 double pilot valve, sehingga saluran (P) dan (A) pada 5/2
double pilot valve terhubung udara dari manifold mengalir menuju saluran (P) dan
(A) pada 5/2 double pilot valve dan mengalir ke saluran (X) pada double acting
cylinder dan piston bergerak maju.
Pada saat tombol start 3/2 with push button normaly close dilepas maka,
saluran (P) dan (A) pada katup3/2 with push button normaly close terputus, udara
dari manifold tidak mengalir dan piston bergerak mundur. Udara dari saluran (M)
double acting cylinder dan mengalir menuju saluran (B) pada 5/2 double pilot
valve dan mengalir keluar melalui saluran (S) pada 5/2 double pilot valve.
42
RANGKAIAN APLIKASI KATUP TIME DELAY
[PRAKTIKUM 13]
Prinsip kerja 13:
Pada saat tombol start 3/2 with push button normaly close ditekan, maka
saluran (P) dan (A) pada katup 3/2 with push button normaly close terhubung ,
udara dari manifold masuk menuju saluran (P) dan mengalir ke saluran (A) pada
katup 3/2 with push button normaly close dan mengalir ke saluran 12(Z) pada
time delay yang berfungsi mengatur waktu tunda pada saat piston maju, sehingga
saluran (P) dan (A) pada time delay terhubung, udara dari manifold mengalir ke
saluran (P) dan (A) pada time delay dan udara mengalir menuju saluran 12(Z)
pada 3/2 pneumatic valve normaly close, sehingga saluran (P) dan (A) pada 3/2
pneumatic valve normaly close terhubung, udara dari manifold mengalir ke
43
saluran (P) dan (A) pada 3/2 pneumatic valve normaly close dan mengalir ke
saluran (M) pada single acting cylinder, sehingga piston bergerak maju.
Pada saat tombol pada 3/2 pneumatic valve normaly close dilepas , saluran
(P) dan (A) pada 3/2 pneumatic valve normaly close terputus, sehingga udara dari
manifold tidak mengalir dan udara dari saluran (M) pada single acting cylinder
mengalir menuju saluran (A) pada pada 3/2 pneumatic valve normaly close dan
keluar menuju saluran (R) pada pada 3/2 pneumatic valve normaly close.
RANGKAIAN APLIKASI PENGHITUNG
[PRAKTIKUM 14 PEMISAHAN KOTAK]
44
SISTEM PENGUNCIAN DOMINAN “OFF:
[PRAKTIKUM 15]
Prinsip kerja 15
Pada saat tombol on pada 3/2 with push button normaly close ditekan maka
saluran (P) dan (A) pada 3/2 with push button normaly close terhubung, sehingga
udara dari manifold mengalir menuju saluran (P) dan (A) pada 3/2 with push
button normaly close dan udara mengalir ke saluran (Y) pada shutt valve dan
mengalir melalui saluran (P) dan (A) pada 3/2 katup with push button normaly
open dan udara mengalir ke saluran 14(Z) pada 3/2 pneumatic valve normaly
close, sehingga saluran (P) dan (A) pada 3/2 pneumatic valve terhubung. Udara
dari saluran (A) pada 3/2 pneumatic valve terbagi ke beberapa saluran
1. Saluran (M) pada single acting cylinder sehingga piston keluar
45
2. Saluran (X) pada shuttle valve udara mengalir ke saluran (A) pada
shuttle valve terhubung ke katup 3/2 push button normaly open saluran
(A) dan (P) pada 3/2 push button normaly open terhubung dan mengalir
ke 14(Z) pada 3/2 pneumatic valve normaly close, sehingga saluran (P)
dan (A) pada 3/2 pneumatic valve normaly close terhubung dan mengalir
ke saluran (M) pada single acting cylinder sehingga piston tetap tertahan
di luar.
Apabila tombol off pada 3/2 swith push button normaly open ditekan maka
saluran (P) dan (A) pada katup 3/2 swith push button normaly open terputus ,
sehingga berubah menjadi katup 3/2 swith push button normaly close dan udara
dari manifold tidak mengalir dan piston bergerak mundur , dari saluran (M) pada
single acting cylinder mengalir menuju saluran (A) pada 3/2 pneumatic valve
menuju salurabn (R) pada 3/2 pneumatic valve .
Sistem penguncian dominan off apabila kedua tombol on dan off ditekan
bersamaan maka piston berada pada posisi normal.
46
SISTEM PENGUNCIAN DOMINAN “ON:
[PRAKTIKUM 16]
Prinsip Kerja Praktikum 16
Apabila tombol ON pada katup 3/2 normaly close ditekan maka saluran
(P) dan (A) pada katup 3/2 normaly close terhubung, udara darai manifold masuk
menuju katup 3/2 normaly close dari saluran (P) dan (A) serta masuk menuju
saluran (Y) pada shutt valve terhubung ke saluran 14(Z) pada katup 3/2 pneumatic
valve normaly close. Sehingga posisi katup berubah saluran (P) dan (A) pada
katup 3/2 pneumatic valve normaly close, terhubung , udara dari manifold masuk
menuju saluran (P) dan (A) pada pneumatic valve normaly close, dari saluran (A)
pneumatic valve normaly close, udara terbagi :
1. Ke saluran (M) pada single acting cylinder sehingga piston keluar
47
2. Ke katup 3/2 normaly open, udara dari saluran (P) terhubung ke saluran
(A) pada 3/2 normaly open, dan udara mengalir ke saluran (X) pada shutt
valve, terhubung ke seluran 14(Z) pada 3/2 pneumatic valve normaly close
udara mengalir ke saluran (A) dan mengalir menuju saluran (M) single
acting cylinder sehingga piston tetap tertahan di luar.
Apabila tombol OFF pada katup 3/2 normaly open ditekan maka katup 3/2
normaly open berubah ke posisi close, sehingga udara dari saluran (P) yang
terhubung ke saluran (A) pada katup 3/2 normaly open terputus, udara dari
saluran (A) pada katup shutt valve yang terhubung ke saluran 14(Z) pada katup
3/2 pneumatic valve normaly close tidak dialiri udara, sehingga katup 3/2
pneumatic valve normaly close berubah maka piston masuk ke silinder, udara dari
saluran (M) masuk ke saluran (A) 3/2 pneumatic valve normaly close dan keluar
ke saluran (R) pada katup 3/2 pneumatic valve normaly close.
System penguncian dikatakan dominan ON apabila kedua tombol ON dan
OFF ditekan bersamaan maka piston keluar.
48
RANGKAIAN APLIKASI KATUP TUNDA WAKTU DAN IMPULS DIRAC
[PRAKTIKUM 17 PRESS UNTUK PENGELEMAN]
49
IMPULS DIRAC DENGAN ONE-WAY FLOW CONTROL
[PRAKTIKUM 18]
Prinsip Kerja
Pada saat tombol start 3/2 with push button normaly close ditekan maka,
saluran (1) dan (2) pada 3/2 with push button normaly close terhubung, udara dari
manifold mengalir ke saluran (1) dan (2) pada katup 3/2 with push button normaly
close. Dari saluran (2) pada 3/2 with push button normaly close udara terbagi
menuju:
1. Saluran (1) dan (2) pada katup 3/2 pneumatic normaly open.
2. Menuju saluran (Y) pada flow control yang berfungsi mengatur besarnya
tekanan udara yang akan menuju katup 3/2 pneumatic normaly open,
melalui saluran 12 (Z), kemudian udara dari saluran (1) dan (2) pada katup
3/2 pneumatic valve normaly open terhubung dalam waktu sesaat, sebelum
50
katup terdorong, udara dari saluran (2) pada 3/2 pneumatic valve normaly
open mengalir ke saluran (X) pada single acting cylinder, sehingga
mendorong piston maju dalam waktu sesaat lalu piston bergerak mundur
ke posisi normal.
IMPULS DIRAC DENGAN TIME DELAY SWITCH ON NORMALY OPEN
[PRAKTIKUM 19]
Prinsip Kerja
Pada saat tombol start pada 3/2 with push button normaly close ditekan
maka, saluran (P) dan (A) pada katup 3/2 with push button normaly close
terhubung udara dari manifold masuk menuju saluran (P) dan (A) udara dari
saluran (A) pada katup 3/2 with push button normaly close terbagi dengan
mengunakan fitting menuju :
1. Saluran (P) menuju saluran (A) pada time delay swith on normaly open
dan mengalir menuju saluran (X) pada single acting cylinder, sehingga
posisi silinder bergerak maju.
51
2. Saluran (Z) pada time delay swith on normaly open berubah menjadi close,
sehingga saluran (P) dan (A) terputus dan mengakibatkan piston mundur.
RANGKAIAN APLIKASI KATUP GERBANG LOGIKA DAN IMPULS
DIRAC
[PRAKTIKUM 20 : PENGAMANAN MESIN FREIS]
RANGKAIAN KOMBINASI EXOR
[PRAKTIKUM 21 PENGONTROL PINTU DENGAN DUA TOMBOL]
1.Tabel Kebenaran.
T1 T2 Y
0 0 0
52
0 1 1
1 0 1
1 1 0
3.Skema Rangkaian Pneumatik
PRAKTIKUM 22 PENGONTROL PINTU DENGAN TIGA TOMBOL
1.Tabel Kebenaran
T1 T2 T3 Y
0 0 0 0
0 0 1 1
0 1 0 0
0 1 1 0
1 0 1 0
53
1 0 0 1
1 1 0 0
1 1 1 0
2.Persamaan Aljabar Bool.
Y= A.B.C+A.B.C+A.B.C
= A.(B.C+B.C)+A.B.C
3. Skema Rangkaian Pneumatik
54
BI-STABIL DENGAN LAGIKA “OR”
[PRAKTIKUM 23]
Prinsip Kerja
Sebelum tombol start ditakan, maka saluran (P) dan (B) pada katup 5/2
double pilot (2) terhubung, udara dari manifold mengalir ke saluran (P) dan (B)
pada katup 5/2 double pilot (2). Dan mengalir ke saluran (K) pada flow control
(B) yang berfungsi mengatur aliran udara. Kemudian udara ke saluran (L) flow
control (B) menuju saluran (M) pada cylinder aksi ganda. Sehingga piston berada
55
pada posisi normal, sehingga udara dari saluran (B) 5/2 double pilot mengalir ke
saluran (X) shutt valve (2) melalui fitting. Yang berfungsi membagi udara dari
saluran (B) 5/2 double pilot. Kemudian udara mengalir ke saluran (A) pada shutt
valve (2) dan mengalir menuju saluran (Y) pada katup 5/2 double pilot (1).
Pada saat tombol start pada katup 3/2 with push button ditekan maka
saluran (P) dan (A) pada katup 5/2 with push button normaly close terhubung,
sehingga udara dari manifold mengalir menuju saluran (P) dan (A) pada katup 5/2
with push button normaly close dan udara mengalir ke saluran (P) pada katup 5/2
double pilot (1) dan saluran (B), kemudian udara mengalir ke saluran 14(Z) pada
katup 5/2 duble pilot (2), sehingga saluran (P) dan (A) pada katup 5/2 double pilot
(2) mengalir ke saluran (O) pada flow control (A) yang berfungsi mengatur aliran
udara dan mengalir ke saluran (N) dan mengalir ke saluran (X) pada double
acting cylinder dan mendorong piston bergerak maju, sebagian udara pada saluran
(B) double pilot (1) mengalir ke saluran (Y) pada shutt valve (2) dan mengalir ke
saluran (A) dan mengalir ke saluran 12(Y).
Udara yang berada pada saluran (Y) pada silinderaksi ganda, akan
mengalir ke saluran (L) dan (K) pada flow control (B) menuju saluran (B) dan (R)
pada katup 5/2 double pilot (2).
Pada rangakaian inipiston bergerak sesuai dengan tombol 3/2 with push
button normaly close, meskipun ketika piston belum sampai pada posisi terluar.
56
BI-STABIL DENGAN GERBANG LOGIKA “AND”
[PRAKTIKUM 24]
Prinsip Kerja
Sebelum tombol start 5/2 with push button ditekan, maka saluran (P) dan
(B) pada katup 5/2 with push button terhubung udara dari manifold mengalir
menuju saluran (P) dan (B) pada katup double pilot (2) dan udara mengalir ke
saluran (M) flow control (2) yang berfungsi mengatur aliran udara , dan mengalir
ke saluran (N) pada flow control (2) dan mengalir ke saluran (L) pada double
acting cylinder sehingga posisi piston berada pada posisi normal, udara dari
saluran (B) pada katup 5/2 double pilot (2) sebagian mengalir ke saluran (X) pada
katup dual pressure (2).
57
Pada saat tombol start pada 5/2 with push button ditekan, maka saluran (P)
dan (A) pada katup 5/2 with push button terhubung, udara dari manifold mengalir
ke saluran (P) dan (A) pada 5/2 with push button, dan mengalir ke saluran (P) dan
(B) pada katup 5/2 double pilot (1) dan mengalir menuju saluran 14(Z) pada katup
5/2 double pilot (2) sehingga saluran (P) dan (A) pada katup double pilot (2)
terhubung dan mengalir menuju saluran (P) pada flow control (1) yang berfungsi
mengatur aliran udara, sebagian udara mengalir ke saluran (X) pada dual pressure
(1), dan udara mengalir ke flow control (1) saluran (O) dan mengalir menuju
saluran (X) pada silinder aksi ganda sehingga piston bergerak maju. Ketika itu
tombol 5/2 wihh push button dilepas dan posisi piston masih berada diluar.
Piston akan kembali ke posisi normal apabila tombol 5/2 push button
ditekan kembali.
58
BI-STABIL DENGAN KATUP 3/2
[PRAKTIKUM 25]
rinsip Kerja
Sebelum tombol start ditekan saluran (P) dan (B) pada katup 5/2 double
selenoid (2) terhubung udara dari manifold mengalir ke saluran (P) dan (B) pada
katup 5/2 double selenoid (2), udara dari saluran (B) 5/2 double selenoid (2)
terbagi 2 yaitu:
a. Menuju saluran (S) pada flow control (B) dan saluran (T) flow control (B)
dan mengalir ke saluran (U) pada double acting cylinder dan menekan
piston pada posisi normal
59
b. Menuju saluran (P) pada katup 3/2 pneumatic valve normaly open
Pada saat tombol start pada 3/2 with push button normaly close di tekan maka
saluran (P) dan (A) pada 3/2 with push button normaly close terhubung, udara dari
manifold masuk ke saluran (P) dan (A), dan dari saluran (A) pada 3/2 with push
button normaly close udara terbagi ke tiga saluran
1. Saluran 14(Z) pada katup 3/2 pneumatic valve normaly open (1).
2. Saluran 14(Z) pada katup 3/2 pneumatic valve normaly open (2).
3. Ke saluran (P) pada katup 5/2 double pilot (1) dan saluran (P) dan (B)
pada 5/2 double pilot (1) terhubung, dari saluran (B) pada 5/2 doule pilot
(2) udara mengalir ke 14(Z) pada 5/2 double pilot (2) sehingga posisi
katup berubah saluran (P) dan (A) pada 5/2 double pilot (2) terhubung dan
udara mengalir ke saluran (X) pada flow control (A), dan mengalir ke
saluran (W) pada flow control (A) dan mengalir ke saluran (V) double
acting cylinder sehingga mengakibatkan piston bergerak maju dan
tertahan.
Pada saat tombol start pada 3/2 with push button normaly close di tekan
kembali maka saluran (P) dan (A) pada 3/2 with push button normaly close
terhubung udara dari manifold mengalir ke saluran (P) dan (A) pada katup 3/2
with push button normaly close, dan udara dari saluran (P) dan (A) pada 5/2
double pilot (2) mengalir menuju saluran (P) pada 3/2 pneumatic normaly open
dan mengalir menuju saluran (A) 3/2 pnematic valve dan mengalirmenuju saluran
12(Y) pada 5/2 duoble pilot valve (1) sehingga posisi katup berubah saluran (P)
dan (A) pada 5/2 duoble pilot valve (1) terhubung, udara mengalir ke saluran
12(Y) pada double pilot (2) sehingga saluran (P) dan (B) double pilot (2)
terhubung dan udara mengalir ke saluran (S) pada flow control (B) dan mengalir
menuju saluran (T) pada flow control (B), serta mengalir menuju saluran (U) pada
double acting cylinder dan menekan piston maju.
60
BAB IV
KESIMPULAN DAN SARAN
4.1 KESIMPULAN
Adapun kesimpulan yang dapat dalam praktikum pneumatiki adalah:
1. Pneumatik adalah ilmu yang berkaitan dengan gerakan maupun kondisi yang
berkaitan dengan udara. Perangkat Pneumatik bekerja dengan memanfaatkan
udara yang dimampatkan (compressed air).
2. Untuk dapat menyelesaikan suatu permasalahan pada pneumatic dapat
diselesaikan dengan banyak cara dan dengan penggunaan katup yang
berbeda-beda juga sesuai dengan penggunaanya.
3. Sistem pneumatik pada suatu rangkaian akan bekerja dengan benar jika
penggunaan komponen sesuai dengan fungsinya.
4.2 SARAN
Adapun saran yang dapat penulis berikan setelah melakukan praktikum
yaitu:
1. Supaya tidak sulit dalam membuat suatu rangkaian pneumatik mahasiswa
seharusnya lebih mengetahui fungsi dari berbagai macam katup, dan
komponen-komponen pneumatik lainya.
2. Dalam membuat suatu rangkaian haruslah benar-benar teliti agar rangkaian
yang di buat sesuai dengan yang dinginkan.
3. Ketika ingin memasang selang dari manifold ke katup sebaiknya selang
dipasang pada katup terlebih dahulu kemudian baru dipasang pada manifold,
supaya selang tidak terbang ketika dipasang., dan jika selang sering lepas
gunakanlah kain untuk menganjalnya.
4. Ketika ingin melepas selang dari manifold hendalaklah penjepit pada katup
atau manifold ditekan kedalam terlebih dahulu.
61
62

Pneumatik

  • 1.
    BAB I PENDAHULUAN 1.1 LatarBelakang Pada zaman yang serba maju ini dunia dipenuhi oleh teknologi-teknologi canggih yang setiap harinya mengalami perubahan ke arah yang lebih maju. Sehingga tidak jarang mahasiswa teknik mesin dituntut untuk berpikir ke arah depan guna menghadapi persaingan dunia luar. Alat-alat yang digunakan juga banyak menggunakan sistem pneumatik terutama didunia industri dan perusahaan-perusahaan yang besar yang ada didaerah kita. Oleh karena itu praktikum pneumatik ini merupakan mata kuliah yang harus diselesaikan oleh mahasiswa teknik mesin untuk dapat mempraktekan serta memahami dalam melaksanakan sehingga mahasiswa dapat mengetahui peralatan apa saja yang menggunakan aplikasi pneumatik. 1.2 Tujuan Adapun tujuan dilaksanakan praktikum pneumatik ini adalah sebagai berikut : 1. Agar mahasiswa mengetahui fungsi dari katup yang digunakan dan dapat membuat rangkaian pneumatik dengan benar. 2. Agar mahasiswa mengetahui peralatan apa saja yang menggunakan sistem pneumatik. 3. Agar mahasiswa mengerti prinsip kerja dari rangkaian pneumatik yang dibuat pada saat praktikum. 4. Agar mahasiswa mengetahui jenis-jenis katup yang digunakan dalam praktikum pneumatik. 1
  • 2.
    1.3 Manfaat Adapun manfaatyang didapat setelah melakukan praktikum pneumatik ini adalah sebagai berikut : 1. Mahasiswa dapat mengetahui prinsip kerja dari setiap rangkaian pneumatik. 2. Mahasiswa dapat membuat rangkaian dengan benar serta rangkaian tersebut bisa berjalan sesuai dengan yang dinginkan. 3. Mahasiswa mengetahui peralatan apa saja yang menggunakan aplikasi dari sistem pneumatik. 1.4 Sistematika Penulisan Laporan Adapun sistematika penulisan dari laporan praktikum pneumatik ini adalah antara lain : BAB I PENDAHULUAN Pada bab ini berisikan tentang latar belakang, tujuan dari praktikum, manfaat serta sistematika penulisan. BAB II TEORI DASAR Pada bab ini berisikan tentang teori dasar mengenai praktikum pneumatik. BAB III JAWABAN DARI SOAL-SOAL PADA MODUL YANG SUDAH DIKERJAKAN Bab ini berisi tentang jawaban soal-soal yang dikerjakan pada saat praktikum. BAB IV KESIMPULAN DAN SARAN Bab ini berisi tentang kesimpulan dan saran yang dapat selama praktikum. 2
  • 3.
    BAB II TEORI DASAR 2.1Pengertian Pneumatik berasal dari kata Yunani yaitu ”pneuma” yang berarti udara. Jadi Pneumatik adalah ilmu yang berkaitan dengan gerakan maupun kondisi yang berkaitan dengan udara. Perangkat Pneumatik bekerja dengan memanfaatkan udara yang dimampatkan (compressed air). Dalam hal ini udara yang dimampatkan akan didistribusikan kepada sistem yang ada sehingga kapasitas sistem terpenuhi. Untuk memenuhi kebutuhan udara yang dimampatkan kita memerlukan Compressor. 2.2 Komponen Sistem Pneumatik 1. Kompressor Kompressor digunakan untuk menghisap udara di atmosfer dan menyimpannya kedalam tangki penampung atau receiver. Kondisi udara dalam atmosfer dipengaruhi oleh suhu dan tekanan. Kompresor yang biasa digunakan ada 2 macam yaitu : a. Kompresor langkah positif (positive-displecement) Pada kompresor langkah positif ada dua jenis : 1. Kompresor bolak-balik (reciprocating) input terbagi lagi jadi 2 yaitu : dengan mempergunakan piston (piston compressor) dan dengan mengunakan diapragma (diaphragma compressor). 2. Kompressor berputar (rotary compressor) terbagi lagi menjadi beberapa bagian yaitu : slinding vane rotary compressor (baling-baling), two axial screw compresor (kompressor ulir) dan root blower. b. Kompressor turbo (turbo compressor) Kompresor ini tidak cocok apabila digunakan sebagai sumber (pengolah) udara yang dimampatkan untuk pneumatik, hal ini disebabkan kerena tekanan udara yang dihasilkan terlalu besar. 3
  • 4.
    2. Oil andWater Trap Pneumatik, tetapi dapat menjadi penyebab serius dari tidak berfungsinya sistem. Fungsi dari Oil and Water Trap adalah sebagai pemisah oli dan air dari udara yang masuk dari kompressor. Jumlah air persentasenya sangat kecil dalam udara yang masuk kedalam sistem 3. Dehydrator. Fungsi unit ini adalah sebagai pemisah kimia untuk memisahkan sisa uap lembab yang mana boleh jadi tertinggal waktu udara melewati unit Oil and Water Trap. 4. The Air Filter Setelah udara yang dikompresi melewati unit Oil and Water Trap dan unit Dehydrator, akhirnya udara yang dikompresi akan melewati Filter untuk memisahkan udara dari kemungkinan adanya debu dan kotoran yang mana mungkin tedapat dalam udara. Gambar 2.1 The Air Filter 5. Restrictor Restrictor adalah tipe dari pengontrol klep yang digunakan dalam sistem Pneumatik, Restrictor yang biasa digunakan ada dua tipe yaitu : tipe Orifice dan Variable Restrictor. 6. Pressure Regulator. Sistem tekanan udara siap masuk pada tekanan tinggi menambah tekanan pada bilik dan mendesak beban pada piston. 4
  • 5.
    Gambar 2.2 PressureRegulator 2.3 Aktuator Aktuator adalah bagian terakhir dari output suatu sistem kontrol Pneumatik. Output biasanya digunakan untuk mengidentifikasi suatu sistem kontrol ataupun aktuator. Pada Pneumatik, jenis aktuator ada bermacam-macam, diantaranya: 1. Aktuator gerakan linier: a. Silinder aksi tunggal (Single acting cylinder) Silinder kerja tunggal mempunyai seal piston tunggal yang dipasang pada sisi suplai udara bertekanan. Pembuangan udara pada sisi batang piston silinder dikeluarkan ke atmosfir melalui saluran pembuangan. Gambar 2.3 Silinder Aksi Tunggal b. Silinder aksi ganda (Double acting cylinder) Konstruksi silinder kerja ganda adalah sama dengan silinder kerja tunggal, tetapi tidak mempunyai pegas pengembali. Silinder kerja ganda mempunyai dua saluran (saluran masukan dan saluran pembuangan). 5
  • 6.
    Prinsip kerja darisilinder kerja ganda ini dengan memberikan udara bertekanan pada satu sisi permukaan piston (arah maju), sedangkan sisi yang lain (arah mundur) terbuka ke atmosfir, Gambar 2.4 Silinder Aksi Ganda 2. Aktuator gerakan berputar: a. Motor yang digerakkan oleh udara. Motor Pneumatik adalah suatu peralatan Pneumatik yang menghasilkan gerakan putar yang sudut putarnya tidak terbatas bila terhadap peralatan ini dialiri udara yang dimampatkan. Ada 4 jenis motor Pneumatik, yaitu piston motors, sliding vane motors, gear motors, turbin. b. Aktuator yang berputar atau gerakan putar. 2.4 Katup Pneumatik Sistem perangkaian Pneumatik terdiri atas katup-katup yang memiliki fungsi dan kegunaan yang berbeda-beda, diantaranya yaitu: 1. Katup kontrol arah (Directional Control Valve), Katup kontrol arah adalah bagian yang mempengaruhi jalannya aliran udara. Aliran udara akan lewat, terblokir atau membuang ke atmosfir tergantung dari lubang dan jalan aliran katup kontrol arah tersebut. Menurut jenisnya katup pengarah dapat di bagi menjadi beberapa jenis : a. Katup 3/2 Katup 3/2 adalah katup yang membangkitkan sinyal dengan sifat bahwa sebuah sinyal keluaran dapat dibangkitkan juga dapat dibatalkan/diputuskan. Katup 3/2 mempunyai 3 lubang dan 2 posisi. 6
  • 7.
    Ada 2 konstruksisambungan keluaran : a. Posisi normal tertutup (N/C): katup belum diaktifkan, pada lubang keluaran tidak ada aliran udara bertekanan yang keluar. b. Posisi normal terbuka (N/O): katup belum diaktifkan, pada lubang keluaran sudah ada aliran udara bertekanan yang keluar. Adapun dari jenis-jenis katup 3/2 adalah sebagai berikut : 1) Katup 3/2 Diaktifkan Secara Pneumatik Katup 3/2 diaktifkan secara Pneumatik , dioperasikan oleh sinyal udara pada lubang pengaktifan 12(Z), menggunakan udara dari luar sebagai pembantu. Ini digolongkan sebagai katup beroperasi dengan pilot tunggal, karena hanya ada satu sinyal kontrol dan katup mempunyai pegas pengembali. 2. Katup 3/2 Pilot Tunggal N/C Gambar 2.5 Katup 3/2 Pilot Tunggal N/C 3. Katup 3/2 Pilot Tunggal N/O Gambar 2.6 Katup 3/2 Pilot Tunggal N/O 7
  • 8.
    4. Katup 3/2N/C , Bola Duduk Gambar 2.7 Katup Dalam Keadaan Aktif 5. Katup 3/2 Geser Dengan Tangan ( Hand Slide Valve ) Gambar 2.8 Katup 3/2 Geser Dengan Tangan 6. Katup 3/2 Dengan Tuas Rol Gambar 2.9 Katup 3/2 , NC Pengaktifan Dengan Tuas Rol 8
  • 9.
    Jenis katup 3/2normal terbuka dengan tuas rol diperlihatkan seperti pada gambar di bawah : Gambar 2.10 Katup 3/2 , NO, Pengaktifan Dengan Rol b. Katup 4/2 Katup 4/2 mempunyai 4 lubang dan 2 posisi kontak. Sebuah katup 4/2 dengan kedudukan piringan adalah sama konstruksi dengan kombinasi gabungan dua katup 3/2 . Gambar 2.11 Katup 4/2 Dudukan Piringan, Dalam Keadaan Tidak Aktif c. Katup 4/3 Katup 4/3 mempunyai 4 lubang dan 3 posisi kontak. Contoh katup ini adalah katup geser pelat dengan pengaktifan tangan. Konstruksi katup diperlihatkan seperti pada gambar di bawah : 9
  • 10.
    Gambar 2.12 Katup4/3 , Plat Geser Dengan Posisi Tengah Tertutup Pada saat posisi normal ( pegangan di tengah ), semua lubang terblokir. Pada saat aktif, kanal-kanal sirkulasi akan saling berhubungan dengan berputarnya dua piringan. Jika pegangan diputar ke kanan, aliran dari 1(P) ke 4(A) dan 2(B) ke 3(R) terbuka. Sedangkan jika pegangan diputar ke kiri, aliran dari 1(P) ke 2(B) dan 4(A) ke 3(R) terbuka. d. Katup 5/2 Gambar 2.13 Katup 5/2 , Prinsip Geser Mendatar 7. Katup searah (Non return valve), Katup satu arah adalah bagian yang menutup aliran ke satu arah dan melewatkannya ke arah yang berlawanan. Jenis- jenis katup searah a. Check valves 10
  • 11.
    Hanya mempunyai 1inlet dan 1 outlet, dapat menutup aliran pada satu arah aliran. Pada arah lainnya katup ini dengan bebas dapat mengalirkan aliran udara dengan tekanan rendah. Gambar 2.14 Katup Cek b. Two pressure valve Mempunyai 2 inlet dan 1 outlet. Udara mampat mengalir melalui katup ini bila sinyal udara terdapat pada kedua sambungan inlet. (= Logic AND function) Gambar 2.15 Katup Fungsi “DAN” Dengan Input Pada Y c. Shuttle valve (= Logic OR function) Udara mampat dapat mengalir dari salah satu atau kedua saluran inlet menuju outlet. Gambar 2.16 Katup Fungsi“ATAU” Dengan Input Pada Y 11
  • 12.
    d. Quick exhaustvalve Katup ini berfungsi sebagai penambah kecepatan silinder. Dengan ini memungkinkan waktu yang diperlukan untuk langkah kerja silinder terutama untuk single acting cylinder lebih singkat lagi. Gambar 2.17 Katup Buangan Cepat, Udara Mengalir Ke Silinder 3. Katup pengatur aliran (Flow control valve), berfungsi mengatur aliran udara secara volumetrik. Katup kontrol aliran mempengaruhi volume aliran udara bertekanan yang keluar pada dua arah. a. Bi-directional flow control valve, mengatur udara ke dua arah. Gambar 2.18 Katup Bi-Directional Flow Control Valve b. One way flow control valve, mengalirkan udara ke satu arah untuk mengatur kecepatan aktuator. 12
  • 13.
    Gambar 2.19 KatupKontrol Aliran, Satu Arah 4. Katup pengatur tekanan (pressure valve), fungsinya mengatur besarnya tekanan udara yang diperlukan. a. Pressure regulating valve Berfungsi mengatur tekanan udara konstan yang dibutuhkan. Gambar 2.20 Katup Pembatas Tekanan b. Pressure limiting valve Gambar 2.21 Katup Pengatur Tekanan 13
  • 14.
    Simbol-simbol Pneumatik yangdigunakan berdasarkan DIN (Deutche Institut fur Normung) No. 1219 dan sudah dijadikan ISO dengan nomor yang sama. 1. Simbol yang digunakan untuk konversi energi dan preparasi Gambar 2.22 Konversi Energi Dan Preparasi 14
  • 15.
    2. Simbol katuppenentu arah (simbol penyeimbangan) Gambar 2.23 Simbol Penyeimbangan 3. Simbol katup pengatur arah, sambungan port dan posisi Gambar 2.24 Simbol Katup Pengatur Arah 4. Simbol/Metoda Aktuasi 15
  • 16.
    Gambar 2.25 SimbolMetoda Aktuasi 16
  • 17.
    5. Contoh penggambarankatup penentu arah beserta sinyal/kontrolnya Gambar 2.26 Katup Penentu Arah Beserta Sinyal/Kontrolnya 6. Simbol katup searah Gambar 2.27 Simbol Katup Searah 7. Simbol Katup pengatur aliran Gambar 2.28 Simbol Katup Pengatur Aliran 8. Simbol katup pengatur tekanan 17
  • 18.
    Gambar 2.29 SimbolKatup Pengatur Tekanan 18
  • 19.
    9. Simbol aktuatorlinier Gambar 2.30 Simbol Aktuator Linier 2.5 Susunan Sistem Pneumatik Susunan sistem Pneumatik merupakan suatu rangkaian yang bila dijalankan maka akan melakukan kerja.Adapun susunan sistem Pneumatik terdiri atas: 1. Catu daya (energi supply) Yang dimaksud catu daya ini adalah pembangkit udara bertekanan (compressor). Catu daya merupakan tempat tersimpannya energi yang siap melakukan tekanan kerja pada suatu rangkaian jika kran penutup dibuka. 2. Elemen masukan (sensors) Elemen masukan atau sensor disini merupakan suatu alat yang digunakan untuk memulai jalan kerja pada setiap rangkaian. 3. Elemen pengolah (processors) Elemen pengolah merupakan alat yang melakukan pengolahan aliran sebelum aliran sebelum aliran dijalankan ke elemen control 4. Elemen pengontrol (final control elemen) Elemen pengontrol merupakan terdiri dari alat atau katup yang mengontrol gerakan kerja aliran udara sesuai dengan sinyal-sinyal yang diberikan. 5. Elemen kerja 19
  • 20.
    Elemen kerja disiniberupa silinder yang dapat menggerakkan piston sesuai dengan aliran udara yang diberikan. 2.6 Udara Bertekanan Udara bertekanan memiliki banyak sekali keuntungan, tetapi dengan sendirinya juga terdapat segi-segi yang merugikan atau pembatasan-pembatasan pada penggunaan nya. Hal-hal yang menguntungkan dari pneumatik pada mekanisasi yang sesuai dengan tujuan sudah diakui oleh cabang-cabang industri yang lebih banyak lagi. Pneumatik mulai digunakan untuk pengendalian maupun penggerakan mesin-mesin dan alat-alat. Sifat-sifat udara yang mempengaruhi sifat-sifat pengontrolan sistem pneumatik antara lain : 1. Udara tidak mempunyai bentuk khusus. Bentuknya selalu sesuai dengan tempatnya. 2. Dapat dimampatkan /kompresible. 3. Memenuhi semua ruang dengan sama rata. 4. Dapat dikontrol baik laju alirannya maupun tekanan dan gaya yang bekerja. Ada beberapa media kerja (bentuk energi) yaitu elektrik, hidrolik dan pneumatik.Persaingan antara peralatan pneumatik dengan peralatan mekanik, hidrolik atau elektrik makin menjadi besar. Dalam penggunaannya sistem pneumatik diutamakan karena beberapa hal yaitu : 1. Paling banyak dipertimbangkan untuk beberapa mekanisasi 2. Dapat bertahan lebih baik terhadap keadaan-keadaan tertentu Sering kali suatu proses tertentu dengan cara pneumatik, berjalan lebih rapi (efisien) dibandingkan dengan cara lainnya. 20
  • 21.
    Gambar 2.31 SusunanSistem Pneumatik 2.7 Aljabar Bool Dasar dan Gerbang Logika Dasar 1. Bilangan Biner Bilangan biner adalah bilangan yang berbasis dua (2), jadi hanya memiliki dua nilai, yaitu : 0 dan 1. Pada permasalahan teknik, arti nilai bilangan biner tersebut berkembang lagi dan menjadi dasar dari pola pikir logika, seperti pada tabel berikut : Tabel 2.1 Aljabar Bool Nilai Kondisi sinyal Lampu Level Tombol 0 Low Padam Rendah Tidak ditekan 1 High Nyala Tinggi Ditekan 21
  • 22.
    Tabel berikut memudahkanuntuk pengkonversian : Tabel 2.2 Konversi Biner ke Desimal Bilangan Biner Bilangan Desimal No.Bit 7 6 5 4 3 2 1 0 Pengali 27 26 25 24 23 22 21 20 Dst 0 0 0 0 1 0 1 0 10 2. Gerbang Logika Dasar Catatan : Untuk Operasi Logika “BUKAN”, dibaca “BAR” atau “NOT” Misalnya : Ã Dibaca “A BAR” atau “NOT-A” Aturan penghitungan Tabel 2.3 Gerbang Logika Dasar DAN ATAU BUKAN A.0=0 A.1=A A.A=A A.A=0 A+0=A A+1=1 A+A=A A+A=1 Ã = X A = A=X A = A=X A =A=X 22
  • 23.
    BAB III JAWABAN DARISOAL-SOAL PADA MODUL YANG SUDAH DIKERJAKAN PENGATURAN KECEPATAN LANGKAH MAJU-MUNDUR TERPISAH [PRAKTIKUM 1] Prisip kerja Ketika tombol start ditekan maka saluran (P) dan (A) pada katup 3/2 with push botton normaly close terhubung, sehingga udara dari manifold mengalir dari saluran (P) menuju saluran (A) pada katup 3/2 with push botton normaly close. Dan mengalir menuju saluran (S) pada flow control 1 , yang berfungsi mengatur tekanan balik piston pada posisi semula, lalu mengalir menuju saluran (T). kemudian mengalir lagi menuju saluran masuk (U) pada flow control (2) yang berfungsi mengatur tekanan maju piston, kemudian mengalir menuju saluran (V) 23
  • 24.
    dan mengalir kesaluran (W) pada sigle acting cylinder sehingga menekan piston maju. Ketika tombol start pada katup 3/2 with push botton normaly close dilepas maka, hubungan saluran (P) dan (A) pada 3/2 with push botton normaly close terputus, dan piston kembali ke semula karna adanya spring. Udara mengalir ke saluran (W) single acting cylinder menuju saluran (V) pada flow control 2 dan saluran (U) . dan mengalir menuju saluran (T) pada flow control (1) dan mengalir menuju saluran (S) pada flow control (1) dan mengalir kembali menuju saluran (A) dan mengalir keluar menuju saluran (R) pada katup 3/2 with push botton normaly close. MEMPERBESAR KECEPATAN LANGKAH MUNDUR [PRAKTIKUM 2] 24
  • 25.
    PRINSIP KERJA Ketika tombolstart ditekan maka saluran (P) dan (A) pada katup 3/2 with push button normaly close terhubung udara dari manifold mengalir menuju saluran (P) pada katup 3/2 with push button normaly close menuju saluran (A) dan udara mengalir ke saluran (D) pada flow control yang berfungsi mengatur tekanan maju piston. Dan udara mengalir menuju saluran (E) dan mengalir menuju saluran (F) pada quick exhaust valve yang berfungsi mempercepat pembuangan udara, dan mengalir menuju saluran (G) dan mengalir pada saluran (H) pada single acting cylinder, sehingga menekan piston maju. Pada saat tombol start push botton 3/2 normaly close dilepas , maka saluran (P) dan (A) pada katup 3/2 with push button terputus. Dan piston kembali ke posisi semula karna adanya spring, dan udara dari saluran (H) mengalir menuju saluran (G) quick exhaust valve dan udara mengalir keluar menuju saluran (I) quick exhaust valve. 25
  • 26.
    PENGATURAN KECEPATAN LANGKAHMAJU-MUNDUR MELALUI PENYUMBATAN UDARA CATU [PRAKTIKUM 3] PRINSIP KERJA: Sebelum tombol start ditekan saluran (P) dan saluran (B) pada katup 5/2 with push button terhubung udara dari manifold masuk menuju saluran (P) dan mengalir ke saluran (B) pada katup 5/2 with push button. Dan mengalir menuju saluran (C) flow control (1), dan saluran (D), dan menuju saluran (E) pada double acting cylinder yang menekan piston pada posisi normal. Ketika tombol start 5/2 with push button ditekan maka, saluran (P) dan saluran (B) terputus, dan saluran (P) terhubung ke saluran (A). sehingga udara dari manifold mengalir menuju saluran (P) dan menuju saluran (A) pada katup 5/2 with push button dan udara mengalir menuju saluran (H) pada flow control (2) yang berfungsi mengatur tekanan maju piston. Dan mengalir kembali menuju saluran (G) pada flow control (2) dan mengalir menuju saluran ( F) pada double acting cylinder sehingga piston maju. Pada saat tombol start 5/2 with push button dilepas saluran (P) dan saluran (B) terhubung, udara dari manifold mengalir menuju saluran (P) dan mengalir menuju saluran (B) pada katup 5/2 with push button dan udara mengalir menuju 26
  • 27.
    saluran (C) padaflow control (1) yang berfungsi mengatur tekanan balik piston dan mengalir menuju saluran (D) pada flow control (1) dan mengalir ke saluran (E) pada doule acting cylinder yang menekan piston mundur, dan udara mengalir ke saluran (F) pada doule acting cylinder, dan mengalir menuju saluran (G) pada flow control (2) yang berfungsi mengatur tekanan maju piston. Dan mengalir ke saluran (H) flow control (2) dan mengalir menuju saluran (A) pada 5/2 with push button dan keluar menuju saluran (S) pada 5/2 with push button. 27
  • 28.
    PENGATURAN KECEPATAN LANGKAHMAJU-MUNDUR MELALUI PENYUMBATAN UDARA BUANG [PRAKTIKUM 4] PRINSIP KERJA: Sebelum tombol start ditekan saluran (P) dan (B) pada 5/2 with push button terhubung, udara dari manifold mengalir menuju saluran (P) pada katup 5/2 with push button dan mengalir menuju saluran (K) pada flow control (1) yang berfungsi mengatur kecepatan balik piston. Dan mengalir ke saluran (L) pada flow control (1) dan mengalir ke saluran (M) pada double acting cylinder yang menekan piston mundur ke posisi normal. Ketika tombol start 5/2 with push button ditekan maka, saluran (P) dan saluran (B) pada katup 5/2 with push button terputus. Dan saluran (P) dan (A) pada katup 5/2 with push button terhubung. Udara dari manifold mengalir ke saluran (P) dan (A) pada katup 5/2 with push button , dan mengalir menuju saluran (Z) pada flow control (2) yang berfungsi mengatur kecepatan mundur 28
  • 29.
    piston. Dan mengalirke saluran (O) pada flow control (2) dan mengalir ke saluran (N) pada double acting cylinder, sehingga piston keluar. Pada saat tombol start 5/2 with push button dilepas saluran (P) dan (B) pada katup 5/2 with push button terhubung , udara dari manifold mengalir menuju saluran (P) dan (B) pada katup 5/2 with push button dan mengalir menuju saluran (K) pada flow control (1) yang berfungsi mengatur kecepatan balik piston, dan mengalir ke saluran (L) pada flow control (1) dan mengalir ke saluran (M) double acting cylinder, sehingga piston bergerak mundur, dan udara mengalir ke saluran (N) pada double acting cylinder , dan mengalir menuju saluran (O) pada flow control (2) yang berfungsi mengatur kecepatan maju piston, dan mengalir ke saluran (Z) pada flow control (2) dan mengalir ke saluran (A) pada katup 5/2 with push button dan mengalir keluar menuju saluran (S) pada katup 5/2 with push button. 29
  • 30.
    PENGATURAN KECEPATAN LANGKAHSATU ARAH [PRAKTIKUM 5] A. SUPPLY AIR THROTTLING PRINSIP KERJA: Sebelum tombol start ditekan saluran (P) dan (B) pada katup 5/2 with push button terhubung, udara dari manifold mengalir menuju saluran (P) dan (B) pada katup 5/2 with push button. Dan mengalir menuju saluran (F) pada double acting cylinder sehingga piston mundur pada posisi normal. Ketika tombol start ditekan saluran (P) dan (A) pada katup 5/2 with push button terhubung , udara dari manifold mengalir menuju saluran (P) dan mengalir ke saluran (A) pada katup 5/2 with push button dan udara mengalir menuju saluaran (C) pada flow control yang berfungsi mengatur kecepatan maju piston, dan mengalir menuju saluran (D) flow control dan udara mengalir menuju saluran (E) pada double acting cylinder dan udara mendorong piston maju. 30
  • 31.
    Ketika tombol start5/2 with push button dilepas maka, saluran (P) dan (B) pada katup 5/2 with push button terhubung kemudian udara dari manifold mengalir ke saluran (P) dan (B) pada katup 5/2 with push button dan mengalir menuju saluran (F) pada double acting cylinder dan udara menekan piston pada posisi normal. Udara mengalir ke saluran (E) pada double acting cylinder dan mengalir menuju saluran (D) flow control yang berfungsi mengatur kecepatan maju piston. Dan mengalir menuju saluran (C) pada flow control dan mengalir ke saluran (A) pada 5/2 with push button dan keluar menuju saluran (S) pada 5/2 with push button. 31
  • 32.
    B. EXHAUST AIRTHROTTLING PRINSIP KERJA Sebelum tombol start ditekan saluran (P) dan (B) pada 5/2 with push button terhubung, udara dari manifold mengalir menuju saluran (P) dan saluran (B) pada 5/2 with push button dan mengalirmenuju saluran (S) pada flow control yang berfungsi mengatur kecepatan maju pada piston dan mengalir menuju saluran (E) pada flow control dan mengalir menuju saluran (T) pada double acting cylinder, sehingga menekan piston mundur ke posisi normal. Ketika tombol start ditekan saluran (P) dan (A) pada 5/2 with push button terhubung , sehingga udara dari manifold mengalir menuju saluran (P) dan (A) pada katup 5/2 with push button dan mengalir menuju saluran (O) pada double acting cylinder sehingga piston bergerak maju Ketika tombol start dilepas, saluran (P) dan (B) pada katup 5/2 with push button terhubung udara dari manifold mengalir menuju saluran (P) dan (B) pada katup 5/2 with push button dan mengalir menuju saluran (S) pada flow control 32
  • 33.
    yang berfungsi mengaturkecepatan maju piston , dan udara mengalir ke saluran (E) pda flow control dan udara mengalir ke saluran (T) double actng cylinder dan mengalir menuju saluran (A) pada katup 5/2 with push button dan keluar ke saluran (S pada katup 5/2 with push button. PENGGUNAAN DUA BUAH ROLLER UNTUK PENGEMBALIAN SECARA OTOMATIS [PRAKTIKUM 6] PRINSIP KERJA: Sebelum tombol strat 3/2 with push button normaly close ditekan maka udara dari manifold masuk ke katup 5/2 double pilot valve melalui saluran (P) yang terhubung ke saluran (B) dan udara mengalir ke saluran (X) pada double acting cylinder , dan piston masuk ke dalam . pada saat itu Udara dari manifold menuju ke roller (B) pada saluran (P) yang terhubung ke saluran (A) pada roller(B). udara masuk ke dual pressure melalui saluran (Y). Pada saat tombol start 3/2 with push button normaly close ditekan saluran (P) dan (A) pada katup 3/2 with push button normaly close terhubung, udara dari manifold masuk kesaluran (P) dan (A) pada katup 3/2 with push button normaly 33
  • 34.
    close dan udaramengalir ke saluran (X) pada dual pressure valve, udara dari saluran (A) pada dual pressure valve mengalir ke saluran 14(Z) pada katup 5/2 double pilot valve , sehingga posisi katup berubah saluran (P) dan (A) pada katup 5/2 double pilot valve terhubung, udara dari manifold mengalir menuju saluran (P) dan (A) pada katup 5/2 double pilot valve dam mengalir ke saluran (M) pada double acting cylinder sehingga mendorong piston keluar, pada saat ujung piston menyentuh roller (A) sehingga posisi 3/2 roller valve (A) berubah udara dari saluran (P) terhubung ke saluran (A) menuju saluran 12(Y) pada katup 5/2 double pilot valve, sehingga posisi katup 5/2 double pilot valve berubah saluran (P) dan (B) pada katup 5/2 double pilot valve tethubung , udara dari manifold masuk ke saluran (P) dan (B) pada katup 5/2 double pilot valve, dan mengalir menuju saluran (X) pada double acting cylinder sehingga piston masuk , maka terjadilah gerakan bolak-balik. Pada saat tombol start 3/2 with push button normaly close dilepas maka saluran (P) dan (A) pada 3/2 with push button normaly close terputus dan udara dari manifold tidak mengalir dan udara dari saluran (X) pada double acting cylinder mengalir menuju saluran (B) pada katup (5/2) double pilot valve, dan udara keluar melalui saluran (S) pada katup double pilot valve 34
  • 35.
  • 36.
  • 37.
  • 38.
  • 39.
    PRAKTIKUM11 RANGKAIAN KONBINASILOGIKA ‘AND-OR’(ANF OR CIRCUIT) 1. Persamaan aljabar bool = T1 + T2 + T3 . A3 = (T1 . T2. T3) T4 1. Skema rangkaian digital 39
  • 40.
    2. Skema rangkaianPneumatik : 40
  • 41.
    RANGKAIAN APLIKASI SQUENSIONAL (PRAKTIKUM12) Prinsip kerja 12 Sebelum tombol start 3/2 with push button normaly close ditekan, udara dai manifold masuk ke katup 5/2 double pilot valve, melalui saluran (P) terhubung ke saluran (B) dan udara mengalir ke saluran (M) pada double acting cylinder dan piston masuk kedalam.pada saat itu udara dari manifold masuk ke roller (A) pada saluran (P) yang terhubung ke saluran (A) pada roller (A) udara masuk ke dual pressure melalui saluran 12(Y) Ketika tombol start 3/2 with push button normaly close ditekan maka , saluran (P) dan (A) pada 3/2 with push button normaly close terhubung. Udara dari 41
  • 42.
    manifold masuk menujusaluran (P) dan mengalir ke saluran (A) pada katup 3/2 with push button normaly close dan mengalir ke saluran 12(Z) pada pressure sequence valve yang berfungsi mengatur tekanan piston maju untuk beberapa saat, sehingga saluran (P) dan (A) pada pada pressure sequence valve dan mengalir ke saluran 14(Z) 5/2 double pilot valve, sehingga saluran (P) dan (A) pada 5/2 double pilot valve terhubung udara dari manifold mengalir menuju saluran (P) dan (A) pada 5/2 double pilot valve dan mengalir ke saluran (X) pada double acting cylinder dan piston bergerak maju. Pada saat tombol start 3/2 with push button normaly close dilepas maka, saluran (P) dan (A) pada katup3/2 with push button normaly close terputus, udara dari manifold tidak mengalir dan piston bergerak mundur. Udara dari saluran (M) double acting cylinder dan mengalir menuju saluran (B) pada 5/2 double pilot valve dan mengalir keluar melalui saluran (S) pada 5/2 double pilot valve. 42
  • 43.
    RANGKAIAN APLIKASI KATUPTIME DELAY [PRAKTIKUM 13] Prinsip kerja 13: Pada saat tombol start 3/2 with push button normaly close ditekan, maka saluran (P) dan (A) pada katup 3/2 with push button normaly close terhubung , udara dari manifold masuk menuju saluran (P) dan mengalir ke saluran (A) pada katup 3/2 with push button normaly close dan mengalir ke saluran 12(Z) pada time delay yang berfungsi mengatur waktu tunda pada saat piston maju, sehingga saluran (P) dan (A) pada time delay terhubung, udara dari manifold mengalir ke saluran (P) dan (A) pada time delay dan udara mengalir menuju saluran 12(Z) pada 3/2 pneumatic valve normaly close, sehingga saluran (P) dan (A) pada 3/2 pneumatic valve normaly close terhubung, udara dari manifold mengalir ke 43
  • 44.
    saluran (P) dan(A) pada 3/2 pneumatic valve normaly close dan mengalir ke saluran (M) pada single acting cylinder, sehingga piston bergerak maju. Pada saat tombol pada 3/2 pneumatic valve normaly close dilepas , saluran (P) dan (A) pada 3/2 pneumatic valve normaly close terputus, sehingga udara dari manifold tidak mengalir dan udara dari saluran (M) pada single acting cylinder mengalir menuju saluran (A) pada pada 3/2 pneumatic valve normaly close dan keluar menuju saluran (R) pada pada 3/2 pneumatic valve normaly close. RANGKAIAN APLIKASI PENGHITUNG [PRAKTIKUM 14 PEMISAHAN KOTAK] 44
  • 45.
    SISTEM PENGUNCIAN DOMINAN“OFF: [PRAKTIKUM 15] Prinsip kerja 15 Pada saat tombol on pada 3/2 with push button normaly close ditekan maka saluran (P) dan (A) pada 3/2 with push button normaly close terhubung, sehingga udara dari manifold mengalir menuju saluran (P) dan (A) pada 3/2 with push button normaly close dan udara mengalir ke saluran (Y) pada shutt valve dan mengalir melalui saluran (P) dan (A) pada 3/2 katup with push button normaly open dan udara mengalir ke saluran 14(Z) pada 3/2 pneumatic valve normaly close, sehingga saluran (P) dan (A) pada 3/2 pneumatic valve terhubung. Udara dari saluran (A) pada 3/2 pneumatic valve terbagi ke beberapa saluran 1. Saluran (M) pada single acting cylinder sehingga piston keluar 45
  • 46.
    2. Saluran (X)pada shuttle valve udara mengalir ke saluran (A) pada shuttle valve terhubung ke katup 3/2 push button normaly open saluran (A) dan (P) pada 3/2 push button normaly open terhubung dan mengalir ke 14(Z) pada 3/2 pneumatic valve normaly close, sehingga saluran (P) dan (A) pada 3/2 pneumatic valve normaly close terhubung dan mengalir ke saluran (M) pada single acting cylinder sehingga piston tetap tertahan di luar. Apabila tombol off pada 3/2 swith push button normaly open ditekan maka saluran (P) dan (A) pada katup 3/2 swith push button normaly open terputus , sehingga berubah menjadi katup 3/2 swith push button normaly close dan udara dari manifold tidak mengalir dan piston bergerak mundur , dari saluran (M) pada single acting cylinder mengalir menuju saluran (A) pada 3/2 pneumatic valve menuju salurabn (R) pada 3/2 pneumatic valve . Sistem penguncian dominan off apabila kedua tombol on dan off ditekan bersamaan maka piston berada pada posisi normal. 46
  • 47.
    SISTEM PENGUNCIAN DOMINAN“ON: [PRAKTIKUM 16] Prinsip Kerja Praktikum 16 Apabila tombol ON pada katup 3/2 normaly close ditekan maka saluran (P) dan (A) pada katup 3/2 normaly close terhubung, udara darai manifold masuk menuju katup 3/2 normaly close dari saluran (P) dan (A) serta masuk menuju saluran (Y) pada shutt valve terhubung ke saluran 14(Z) pada katup 3/2 pneumatic valve normaly close. Sehingga posisi katup berubah saluran (P) dan (A) pada katup 3/2 pneumatic valve normaly close, terhubung , udara dari manifold masuk menuju saluran (P) dan (A) pada pneumatic valve normaly close, dari saluran (A) pneumatic valve normaly close, udara terbagi : 1. Ke saluran (M) pada single acting cylinder sehingga piston keluar 47
  • 48.
    2. Ke katup3/2 normaly open, udara dari saluran (P) terhubung ke saluran (A) pada 3/2 normaly open, dan udara mengalir ke saluran (X) pada shutt valve, terhubung ke seluran 14(Z) pada 3/2 pneumatic valve normaly close udara mengalir ke saluran (A) dan mengalir menuju saluran (M) single acting cylinder sehingga piston tetap tertahan di luar. Apabila tombol OFF pada katup 3/2 normaly open ditekan maka katup 3/2 normaly open berubah ke posisi close, sehingga udara dari saluran (P) yang terhubung ke saluran (A) pada katup 3/2 normaly open terputus, udara dari saluran (A) pada katup shutt valve yang terhubung ke saluran 14(Z) pada katup 3/2 pneumatic valve normaly close tidak dialiri udara, sehingga katup 3/2 pneumatic valve normaly close berubah maka piston masuk ke silinder, udara dari saluran (M) masuk ke saluran (A) 3/2 pneumatic valve normaly close dan keluar ke saluran (R) pada katup 3/2 pneumatic valve normaly close. System penguncian dikatakan dominan ON apabila kedua tombol ON dan OFF ditekan bersamaan maka piston keluar. 48
  • 49.
    RANGKAIAN APLIKASI KATUPTUNDA WAKTU DAN IMPULS DIRAC [PRAKTIKUM 17 PRESS UNTUK PENGELEMAN] 49
  • 50.
    IMPULS DIRAC DENGANONE-WAY FLOW CONTROL [PRAKTIKUM 18] Prinsip Kerja Pada saat tombol start 3/2 with push button normaly close ditekan maka, saluran (1) dan (2) pada 3/2 with push button normaly close terhubung, udara dari manifold mengalir ke saluran (1) dan (2) pada katup 3/2 with push button normaly close. Dari saluran (2) pada 3/2 with push button normaly close udara terbagi menuju: 1. Saluran (1) dan (2) pada katup 3/2 pneumatic normaly open. 2. Menuju saluran (Y) pada flow control yang berfungsi mengatur besarnya tekanan udara yang akan menuju katup 3/2 pneumatic normaly open, melalui saluran 12 (Z), kemudian udara dari saluran (1) dan (2) pada katup 3/2 pneumatic valve normaly open terhubung dalam waktu sesaat, sebelum 50
  • 51.
    katup terdorong, udaradari saluran (2) pada 3/2 pneumatic valve normaly open mengalir ke saluran (X) pada single acting cylinder, sehingga mendorong piston maju dalam waktu sesaat lalu piston bergerak mundur ke posisi normal. IMPULS DIRAC DENGAN TIME DELAY SWITCH ON NORMALY OPEN [PRAKTIKUM 19] Prinsip Kerja Pada saat tombol start pada 3/2 with push button normaly close ditekan maka, saluran (P) dan (A) pada katup 3/2 with push button normaly close terhubung udara dari manifold masuk menuju saluran (P) dan (A) udara dari saluran (A) pada katup 3/2 with push button normaly close terbagi dengan mengunakan fitting menuju : 1. Saluran (P) menuju saluran (A) pada time delay swith on normaly open dan mengalir menuju saluran (X) pada single acting cylinder, sehingga posisi silinder bergerak maju. 51
  • 52.
    2. Saluran (Z)pada time delay swith on normaly open berubah menjadi close, sehingga saluran (P) dan (A) terputus dan mengakibatkan piston mundur. RANGKAIAN APLIKASI KATUP GERBANG LOGIKA DAN IMPULS DIRAC [PRAKTIKUM 20 : PENGAMANAN MESIN FREIS] RANGKAIAN KOMBINASI EXOR [PRAKTIKUM 21 PENGONTROL PINTU DENGAN DUA TOMBOL] 1.Tabel Kebenaran. T1 T2 Y 0 0 0 52
  • 53.
    0 1 1 10 1 1 1 0 3.Skema Rangkaian Pneumatik PRAKTIKUM 22 PENGONTROL PINTU DENGAN TIGA TOMBOL 1.Tabel Kebenaran T1 T2 T3 Y 0 0 0 0 0 0 1 1 0 1 0 0 0 1 1 0 1 0 1 0 53
  • 54.
    1 0 01 1 1 0 0 1 1 1 0 2.Persamaan Aljabar Bool. Y= A.B.C+A.B.C+A.B.C = A.(B.C+B.C)+A.B.C 3. Skema Rangkaian Pneumatik 54
  • 55.
    BI-STABIL DENGAN LAGIKA“OR” [PRAKTIKUM 23] Prinsip Kerja Sebelum tombol start ditakan, maka saluran (P) dan (B) pada katup 5/2 double pilot (2) terhubung, udara dari manifold mengalir ke saluran (P) dan (B) pada katup 5/2 double pilot (2). Dan mengalir ke saluran (K) pada flow control (B) yang berfungsi mengatur aliran udara. Kemudian udara ke saluran (L) flow control (B) menuju saluran (M) pada cylinder aksi ganda. Sehingga piston berada 55
  • 56.
    pada posisi normal,sehingga udara dari saluran (B) 5/2 double pilot mengalir ke saluran (X) shutt valve (2) melalui fitting. Yang berfungsi membagi udara dari saluran (B) 5/2 double pilot. Kemudian udara mengalir ke saluran (A) pada shutt valve (2) dan mengalir menuju saluran (Y) pada katup 5/2 double pilot (1). Pada saat tombol start pada katup 3/2 with push button ditekan maka saluran (P) dan (A) pada katup 5/2 with push button normaly close terhubung, sehingga udara dari manifold mengalir menuju saluran (P) dan (A) pada katup 5/2 with push button normaly close dan udara mengalir ke saluran (P) pada katup 5/2 double pilot (1) dan saluran (B), kemudian udara mengalir ke saluran 14(Z) pada katup 5/2 duble pilot (2), sehingga saluran (P) dan (A) pada katup 5/2 double pilot (2) mengalir ke saluran (O) pada flow control (A) yang berfungsi mengatur aliran udara dan mengalir ke saluran (N) dan mengalir ke saluran (X) pada double acting cylinder dan mendorong piston bergerak maju, sebagian udara pada saluran (B) double pilot (1) mengalir ke saluran (Y) pada shutt valve (2) dan mengalir ke saluran (A) dan mengalir ke saluran 12(Y). Udara yang berada pada saluran (Y) pada silinderaksi ganda, akan mengalir ke saluran (L) dan (K) pada flow control (B) menuju saluran (B) dan (R) pada katup 5/2 double pilot (2). Pada rangakaian inipiston bergerak sesuai dengan tombol 3/2 with push button normaly close, meskipun ketika piston belum sampai pada posisi terluar. 56
  • 57.
    BI-STABIL DENGAN GERBANGLOGIKA “AND” [PRAKTIKUM 24] Prinsip Kerja Sebelum tombol start 5/2 with push button ditekan, maka saluran (P) dan (B) pada katup 5/2 with push button terhubung udara dari manifold mengalir menuju saluran (P) dan (B) pada katup double pilot (2) dan udara mengalir ke saluran (M) flow control (2) yang berfungsi mengatur aliran udara , dan mengalir ke saluran (N) pada flow control (2) dan mengalir ke saluran (L) pada double acting cylinder sehingga posisi piston berada pada posisi normal, udara dari saluran (B) pada katup 5/2 double pilot (2) sebagian mengalir ke saluran (X) pada katup dual pressure (2). 57
  • 58.
    Pada saat tombolstart pada 5/2 with push button ditekan, maka saluran (P) dan (A) pada katup 5/2 with push button terhubung, udara dari manifold mengalir ke saluran (P) dan (A) pada 5/2 with push button, dan mengalir ke saluran (P) dan (B) pada katup 5/2 double pilot (1) dan mengalir menuju saluran 14(Z) pada katup 5/2 double pilot (2) sehingga saluran (P) dan (A) pada katup double pilot (2) terhubung dan mengalir menuju saluran (P) pada flow control (1) yang berfungsi mengatur aliran udara, sebagian udara mengalir ke saluran (X) pada dual pressure (1), dan udara mengalir ke flow control (1) saluran (O) dan mengalir menuju saluran (X) pada silinder aksi ganda sehingga piston bergerak maju. Ketika itu tombol 5/2 wihh push button dilepas dan posisi piston masih berada diluar. Piston akan kembali ke posisi normal apabila tombol 5/2 push button ditekan kembali. 58
  • 59.
    BI-STABIL DENGAN KATUP3/2 [PRAKTIKUM 25] rinsip Kerja Sebelum tombol start ditekan saluran (P) dan (B) pada katup 5/2 double selenoid (2) terhubung udara dari manifold mengalir ke saluran (P) dan (B) pada katup 5/2 double selenoid (2), udara dari saluran (B) 5/2 double selenoid (2) terbagi 2 yaitu: a. Menuju saluran (S) pada flow control (B) dan saluran (T) flow control (B) dan mengalir ke saluran (U) pada double acting cylinder dan menekan piston pada posisi normal 59
  • 60.
    b. Menuju saluran(P) pada katup 3/2 pneumatic valve normaly open Pada saat tombol start pada 3/2 with push button normaly close di tekan maka saluran (P) dan (A) pada 3/2 with push button normaly close terhubung, udara dari manifold masuk ke saluran (P) dan (A), dan dari saluran (A) pada 3/2 with push button normaly close udara terbagi ke tiga saluran 1. Saluran 14(Z) pada katup 3/2 pneumatic valve normaly open (1). 2. Saluran 14(Z) pada katup 3/2 pneumatic valve normaly open (2). 3. Ke saluran (P) pada katup 5/2 double pilot (1) dan saluran (P) dan (B) pada 5/2 double pilot (1) terhubung, dari saluran (B) pada 5/2 doule pilot (2) udara mengalir ke 14(Z) pada 5/2 double pilot (2) sehingga posisi katup berubah saluran (P) dan (A) pada 5/2 double pilot (2) terhubung dan udara mengalir ke saluran (X) pada flow control (A), dan mengalir ke saluran (W) pada flow control (A) dan mengalir ke saluran (V) double acting cylinder sehingga mengakibatkan piston bergerak maju dan tertahan. Pada saat tombol start pada 3/2 with push button normaly close di tekan kembali maka saluran (P) dan (A) pada 3/2 with push button normaly close terhubung udara dari manifold mengalir ke saluran (P) dan (A) pada katup 3/2 with push button normaly close, dan udara dari saluran (P) dan (A) pada 5/2 double pilot (2) mengalir menuju saluran (P) pada 3/2 pneumatic normaly open dan mengalir menuju saluran (A) 3/2 pnematic valve dan mengalirmenuju saluran 12(Y) pada 5/2 duoble pilot valve (1) sehingga posisi katup berubah saluran (P) dan (A) pada 5/2 duoble pilot valve (1) terhubung, udara mengalir ke saluran 12(Y) pada double pilot (2) sehingga saluran (P) dan (B) double pilot (2) terhubung dan udara mengalir ke saluran (S) pada flow control (B) dan mengalir menuju saluran (T) pada flow control (B), serta mengalir menuju saluran (U) pada double acting cylinder dan menekan piston maju. 60
  • 61.
    BAB IV KESIMPULAN DANSARAN 4.1 KESIMPULAN Adapun kesimpulan yang dapat dalam praktikum pneumatiki adalah: 1. Pneumatik adalah ilmu yang berkaitan dengan gerakan maupun kondisi yang berkaitan dengan udara. Perangkat Pneumatik bekerja dengan memanfaatkan udara yang dimampatkan (compressed air). 2. Untuk dapat menyelesaikan suatu permasalahan pada pneumatic dapat diselesaikan dengan banyak cara dan dengan penggunaan katup yang berbeda-beda juga sesuai dengan penggunaanya. 3. Sistem pneumatik pada suatu rangkaian akan bekerja dengan benar jika penggunaan komponen sesuai dengan fungsinya. 4.2 SARAN Adapun saran yang dapat penulis berikan setelah melakukan praktikum yaitu: 1. Supaya tidak sulit dalam membuat suatu rangkaian pneumatik mahasiswa seharusnya lebih mengetahui fungsi dari berbagai macam katup, dan komponen-komponen pneumatik lainya. 2. Dalam membuat suatu rangkaian haruslah benar-benar teliti agar rangkaian yang di buat sesuai dengan yang dinginkan. 3. Ketika ingin memasang selang dari manifold ke katup sebaiknya selang dipasang pada katup terlebih dahulu kemudian baru dipasang pada manifold, supaya selang tidak terbang ketika dipasang., dan jika selang sering lepas gunakanlah kain untuk menganjalnya. 4. Ketika ingin melepas selang dari manifold hendalaklah penjepit pada katup atau manifold ditekan kedalam terlebih dahulu. 61
  • 62.