1
INDEX
CHAPTER TITLE PAGE NO.
1. INTRODUCTION
2. REVIEW OF LITERATURE
3. ORGANIZATIONAL STRUCTURE
OF GIC
4. HUMAN RESOURCE MANAGEMENT
IN INSURANCE SECTOR
5. CONCLUSION
2
Chapter 1
Introduction
1.1 Introduction
It is rather difficult to say spontaneously what management means, through
we are studied a course in management. But it is necessary to recall what
management is before studying Human Resource Management (HRM).
Management has been defined by Mary Follett as, “The art of getting
things done through people.”1
But it is felt that management is much more
then what is said in this definition. Management id further defined as, “….
That field of human behavior in which in which managers plan, organize,
staff, direct and control human, physical and financial resources in an
organized effort, in order to achieve desired individual and group objectives
with optimum efficiency and effectiveness.”2
It is clear from the definition
that management is concerned with the accomplishment of objectives by
utilizing physical and financial resources through the efforts of human
resources. Thus, human resource is a crucial sub-system in the process of
management. The term human resource is quite popular in India with the
institution of ‘Ministry of Human Resources Development’ in the union
cabinet. But most people may not know what exactly the term human
resource means.
3
Human Resource Management is the process of managing the people of an
organization with a human approach. It also includes Human Resource
planning, development, career planning, succession planning, maintaining a
high quality work life taking care of the welfare of the people who work
forte organization, counseling, guiding, motivating, actuating, compensation,
rewarding, evaluating, integrating, information storing and finally separating
in addition to recruitment, training, placement, induction, etc; Thus, human
resource management is the system that focuses on human resources
development, on the hand, and effective management of people on the other,
so that people will enjoy human dignity in their employment.
One of the earlier views of HRM put forward by Scheain was HRPD
(Human Resources Planning and Development). According to him, HRPD
should match organizational need for human resources and individual needs
for a career and growth. His HRDP included human resource planning,
recruitment, selection, performance appraisal, educating, job enrichment,
counseling, and other functions. Training and development, feedback,
organization development ,research and developmental activities has been
additionally included in the HRD system by writers like Udai Pareek and
T.V. Rao, In fathom must be capable to accommodate all such aspects.
Human Resource Management is involved in providing human dignity to the
employees taking into account their capabilities, potential, talent,
achievement, motivation, skill, commitment, creative abilities and so on, so
that their personalities are reckoned as valuable human beings. Thus, HRM
is involved in every business, managerial activity, or function. We can
remark here: if actuating implies getting things done by people, which is the
4
primary managerial job, management is primarily human resource
management.
In this context, Human Resource Management is the process of managing
human beings as the most important resource of an organization. A stress on
the human performance. In the contrary, individual human beings are
enabled to enjoy dignity of being associated with their organization’s since
they are treated as the most valuable assets and resources leading to
humanization of the work environment, it implies that human resource
management approach provides as superior quality of work life which gives
a sense of belonging and a higher job satisfaction to an organization’s own
people. Thus, Human Resource Management is totally a novel approach to
an organization’s own people at work on the one hand to the organization’s
own business on the other.
Human Resource Management can be define as that part of management
process which develops, and manages the human elements of enterprise
considering the resourcefulness of the organization’s own people in terms of
e knowledge, skills, creative abilities, talents, aptitudes and potentialities for
effective actuating. Every individual is the part of the resource of an
organization, while he or she is a valuable soul. By mismanaging the human
resources, a manager kills, not only the invaluable resourcefulness of his
people, but the most important souls. Hence, every human resource
management strategy must be guided by the golden rule, “give love and get
love.”
From this discussion, it is to be emphasized that HRM is not a dignified term
of personnel management, through personnel management is enmeshed
5
harmoniously in it. While HRM is closely linked with HRD, counseling is
indispensable for effective human resources development. As we already
observed, HRM is at the center of actuating.
1.2. Human Resources: The Concept
Human Resource Management (HRM) is concerned with the human beings
in an organization. It reflected a new philosophy, a new outlook, approach,
ad strategy, which views an organization’s manpower as its resources and
assets, and not as liabilities or mere hands.
Resources are the means which can be drawn on. They are collective means
for production, support and defence, as well as a source of strength and aid.
Human resources are wealth or means that can be drawn on. Human capital
and manpower of the company can be treated as its human resources. It can
otherwise be understood as the resourcefulness of the human resources. It
can otherwise be understood as the resourcefulness of the human beings or
people available for an organization.
In generic terms, human resources can be define as the total knowledge,
skills, creative abilities, talent and aptitudes of an organization’s workforce,
as well as the values, attitudes, approaches and beliefs of the individuals
involved in the affairs of the organization. It is the sum total or aggregate of
6
inherent abilities, acquired knowledge’s and skills represented by the talents
and aptitudes of the employed persons in an organization.
Human resources approaches takes into consideration the potentiality and
vitality of the people available for the organization. Even in the age of the
automation as of today, manpower is the most essential and indispensable
resources of any organization. Resourcefulness of various categories of
people says: managers, scientific and research people, executives,
supervisors, workers (skilled, unskilled) and all such people available for the
organization to be drawn on, can be treated as human resources. In fact,
without appreciate human resources, no business or organization can exit
and grow. This is the perhaps, the reason why human resources management
has become the focus of attention of progressive organization of today.
1.3. Definitions or Meaning of Human Resource Management
(HRM)
Different terms are used to denote human resource management. They are:
labour management, labour administration, labour management relationship,
employee -employer relations, industrial relations, personnel administration,
personnel management, human capital management, human asst
management, human resource management and the like. In simple sense,
human resource management means employing people, developing their
7
resources, utilizing, maintaining and compensating their services in tune
with the job and organizational requirement.
Wendell French describes Human Resource Management as “The
philosophy, policies, procedures and practices related to the
management of people within the organization.”
According to Decenzo and Robbins, “Human Resource Management is
concerned with the ‘people’ dimensions in management. It is the process
of the acquisition development, motivation and maintenance if human
resources.”
Human Resource Management (personnel management) as defined by the
Institute of Human Resource Management (personnel management) in U.K.
and subsequently adopted by Indian Institute of Human Resource
Management (Personnel management) is as follows:
“Human Resource Management (personnel management) is
responsibility of all those who manage people as well as being a
description of the work of those who are employed as specialists. It is
that part of management which is concerned with people at work and
with their relationship within an enterprise. It applies not only to
industry and commerce nut to all fields of employment.”4
Michael J. Jucius defined Human Resource Management (personnel
management) as, “The field of management which has to so with
planning, organizing, directing and controlling the functions of
8
procuring, developing, maintaining and utilizing a labour force, such
that the -----
(a) Objective for which the company is established is attained
economically and effectively, (b) Objectives of all levels of Human
(personnel) are served to the highest possible degree, (c) Objectives of
society are duly considered and served.”5
1.4. Functions of Human Resource Management (HRM)
Human Resource Management involves a large number of functions or
activities. The number varies according to the size and need of the
organization internally. The major functions of Human Resource
Management are:-
1. Human Resource Planning:-
Human Resource Planning is the process of assessing the organization’s
human resource need in the luminosity of organizational aspiration and
changing state of affairs and making plans to ensure that a proficient
motivated work force is employed.
Human Resource Planning is very important in these modern epochs
where everything is fluid and changes are stirring at enormous speed.
2. Organizational and Job Design:-
A important activity of Human Resource Management developing an
organization which caters for all the activities required, groups them together
9
in a way which encourages integration, co-operation and provides for
effective communication and design making.
3. Staffing:-
Staffing or acquisition of Human Resources is an additional bustle of
Human Resource Management. Staffing actions determine the
reimbursement of an organization’s Human Resources.
Staffing activity includes:
• Attracting qualified people to the organization;
• Selecting from in the midst of candidates;
• Reassigning employees through transfer;
• Promotion or relegation and ultimately managing the
employees division through resignation;
• Discharge or retirement.
4. Training and Development:-
This activity of Human Resource Management focuses on improving the
performance of individual and groups within the organization. These
activities aim to help employees gain knowledge of new dexterity and purify
existing skills.
10
Human Resource Managers must decide which skill or knowledge areas
require development and which methods are most effective for serving
employees get hold of skills and knowledge.
5. Performance Appraisal and Review:-
Performance appraisal and review is an ongoing evaluation of individual
and group contributions to the organizations and the communication of the
evaluations to the persons involved.
The Human Resource Managements function is carried out for a number
of purposes:-
 To provide feedback about performance, to determine the
need or training;
 To make decisions about promotions, pay increased and so
on.
6. Compensation and Reward:-
Organizations reimburse employees through wages and salaries, bonuses
and benefits, such as health insurance, vacation instance and pension
programmes. The charisma and dearth of plunder and appreciation is
essential to employee moral and performance. This is looked subsequent to
Human Resource Management.
7. Managing Effective Employee Employer Relationship:-
11
An important function of Human Resource Management is to promote
harmonious relationship between the management and employees. The aim
of Human Resource Management is to increase in the companies affairs.
The functions of Human Resource Management include addressing
employee grievances and taking suitable steps towards solving them.
8. Health and Safety Management:-
The function of Human Resource Management includes activities and
events that serve to protect organization members from illness and physical
dangers in the workplace and to assist them with their physical and
emotional health.
For many organizations, protecting the health and safety of Human
Resources is a prime social responsibility. This Human Resource
Management functions serves to preserve the Human Resources of the
organization.
9. Employee Participation:-
This is relatively new unction of Human Resource Management.
Employee participation focuses on giving employees a voice, sharing
information with them and consulting them on matters of mutual interest.
Employee’s participation is an important step in establishing industrial
democracy.
10. Organizational improvement:-
Organizations must constantly improve themselves due to the emergence
of new ideas regarding productivity, rapid changing technology and
competition from other organizations.
12
The function of Human Resource Manager is to ensure the flow of event
through which people in the organization improve the organization’s
effectiveness. He has to constantly look out for ways to improve the
organization through employee training implementing work redesign
programs and so on.
1.5. RESEARCH DESIGN & METHODOLOGY
This study involved an exploratory research aimed at developing
solution for present HRM problems. It is based as an inter-disciplinary
approach whereby techniques available in various related fields are used to
develop solution for present HRM.
It is realized that the concept of human capital exposes a broader view
of human investment at macro level than that of the human assets at the
enterprise level. The difference between the two concepts relates to the
views which economists and accountants holds regarding what comprises
human investment at enterprise level. Where as the economic concept of
human capital considers investment in health services, migration (internal
mobility of labour) and acquisition of labour market information as a part of
the human investment, these investment are unjustified excluded from the
reckoning of the human assets at the enterprise level. However, since the
13
economic concept of human capital is theoretically well entrenched, and has
a better conceptual orientation than the accounting concept of human assets,
the distinguish between these two concepts seems to be rather artificial and
totally unwarranted. To bring, therefore, some consistency into the treatment
of these two concepts, it is found crucial to extend the confines of human
investment at enterprise level to include investments in such activities as
health services, internal mobility of labour, and acquisition of market
information.
1.5.1. The Universe – The present study has covered all the apex
insurance companies having corporate office in Maharastra State. Below
mentioned insurance companies are financially sound and giving first
priority to human resource as compared to its any other assets in the
balance sheet.
1. Life Insurance corporation of India Ltd
2. Max New York Life Insurance
3. State Bank of India.
4. The Thane District Central Bank Ltd.
5. Vijaya Bank.
6. UTI Bank.
7. Indian Bank.
8. Caneara Bank.
9. ICICI Bank.
14
10.HDFC Bank.
11.Union Bank Of Indian.
12.Bank Of Maharastra
1.5.2 Techniques of Analysis – For this study, the collected data has
been processed and tabulated by way of tables. The tables have been formed
to bring out the information on all aspects of HRA, and the queries and
suggestion of administration wing. While analyzing the data, simple
statistical techniques such as percentages, ratio and average were used.
Moreover the data was presented with the help of charts, flow chars &
tables. For evaluating the performance of insurance companies.
1.6 TOOLS USED FOR COLLECTION OF DATA
1.6.1 For the Secondary Data: - The secondary data was gathered from
following sources;
A) Published Sources – Books, Periodicals etc.
B) Audited financial Statements of the selected insurance companies.
C) Professional Bodies Circulars.
D) Internet web sides of various research journals.
1.7 SIGNIFICANCE OF THE STUDY
When we are at the threshold of the 21st
century, management profession has
to be prepared to meet the challenges of fast changing global environment.
15
The need for an information system, which will deal with human
resources, is seen by many as one of the most important shortcomings in
present managerial information. Its use would aid decision-making by
management and investors. It would provide a better estimate of the value of
the insurance companies and its return on investment and would lead to a
more efficient allocation of resources within the economy.
Keeping in view these considerations, it is possible that human
resource management will represent one of the major innovations in
management and control in the times to come.
The need for the value of human resources being shown in the
insurance companies balance sheet has been very nicely brought out in
the following poem by Webster: 41
“Though your balance sheet is a model of what balance sheets should
be;
Typed and ruled with great precision in a type that all can see;
Though the grouping of the assets is commendable and clear;
And the details which are given more than usually appear;
Though investments have been valued at the sale price of the day;
Moreover, the auditor’s certificate shows everything O.K.;
One asset is omitted, and its worth I want to know;
The asset is the value of the men who run the show.”
1.8 SCOPE AND LIMITATIONS OF THE STUDY
16
The findings of this study and the conclusions reached are based
on analysis of the information supplied in the questionnaire. As
responses have been checked according to the perception of the person
filling the questionnaire, the probability of certain amount of
subjectivity in the response cannot be ruled out.
In preparing the questionnaire related to stock of human
resource, labour turnover, absenteeism, age, qualification, grouping,
earnings, own funds, total assets, HRD expenditure, net sales, profit
information, capital employed etc. has been used , as it was felt that
the other basis would create confusion in the mind of respondents.
As stated earlier, the term human resource reefers to the knowledge,
skills, creative abilities’, talents, aptitude, values and beliefs of an
organization’s workforce.
17
References
1. Peter F. Drucker, management: Tasks, Responsibilities, Practice,
William Heinemann Ltd., London, 1973, p. 308.
2. James A.F. stoner, management, prentice-Hall of India (p) Ltd; New
Delhi, 1984, p.87
3. Quoted in chandan J.S., Fundamentals of modern management, Vikas
Publishing House (p) Ltd; 1986, New Delhi p.1.
4. Megginson, Leon C., Personnel and Human Resources
Administration,, Richard D. Irwin Inc., Homewood, IIIinois, 1977,
p.4.
5. Sur Mary (Ed.), personnel Management in India, complied by Indian
institute of personnel management, Asia publishing House 1973, p.
31.
6. R. Wayne Mondy and Robert M. Noe III, personnel; the Management
of Human Resources, Allyn and Bacon Inc., Boston, 1981, p.5.
7. Michal J. Jucius, Personnel Management, Richard D. Irwin Inc.,
Homewood, IIIinois, 1979, p.5.
8. Lewis Arthur, The History of Economic Growth, George Allen &
Urwin Ltd., London, 1965, p.(ii)
9. Leon C. Megginson, Personnel, Richard D. Irwin Inc., Homewood,
IIIinois, 1972, p.14.
10.Myrdal Gunnar, Asian Drama, Penguin Book Ltd., Middlesex, 1968.
11.Curle, Adam, some aspects of Educational Planning In
Underdeveloped Areas Harvard Business Review, vol.32, No.3,
summer 1962, p. 360.
18
12.Dale s. Beach, Personnel , Macmillan publishing co. New york, 1985,
p.109.
13.Dale S. Beach, op. cit., pp. 36.
19
Chapter 2
Review of Literature
2.1 History:-
Human Resource Management is about managing people. It is a process of
binding people and organization together so that the objectives of each are
achieved. It is the most precious processions of any organization. It is,
therefore essential to take utmost care for the endurance and enlargement.
Liberalization and globalization has augmented the magnitude of human
resources management by manifold.
2.1.2. Ancient Indian Literature:-
There are traces of some sort of human resources approach in the ancient
Indian literature. Valmiki, in his Ramayana (sundarakand sarge 64, slokas
16 and 17), observed that people who carried out difficult and important task
must be give due respect, and no coercion was mandatory for such people to
complete fighting fit. It was implied that good performers obligatory having
sovereignty of achievement and admiration. It is also interesting to note that
Thiruvalluvar, a Tamil scholar who lived 2000 years ago, emphasized the
need for careful selection of employees. Employers were instructed to
entrust tasks to the employees’ only after properly testing them.
Thiruvalluvar specifically suggested that full trust must be put on the
employees who were found trustworthy. A good employee is the one, who
20
performs, not only assigned main task, but also additional complementary
tasks according to Valmiki.
One who performed only the assigned tasks may be considered as average
employee, while one who failed to complete even the assigned task is a bad
servant. This can be used as standards for performance evaluation. Payment
of remuneration may be influenced by such performance evaluation.
In selection and recruitment of employees, Brihaspati has disapproved the
appointment of hostile (vive/Sino), indolent (alasa), and timid (bhiravh)
avaricious, too old or too young. Cruel master ill-treated and punished
employees, while kind and humane treatment to the employees was
considered as a virtue by many people.
In Kalidasa’s shakuntalam, kanva muni (sage) advised shakuntala to treat the
servants of the king’s household mercifully. However, an autocratic style of
managing people existed during the rule of pathans and Mughals which did
nit last for a very long time. A tradition-bound feudalistic society, backed by
serfdom and bonded labour existed in, medieval India, had less scope for
human resources approach. Good relations existed in the factories during the
Mauryan period. Workers were well regarded and the employer-employee
relations were cordial.
2.2. HRM vis-à-vis HRD
Some writers have used both the terms interchangeably. But these two terms
cannot be one and the same or synonyms. They are used in different context
21
and they represent different concepts. At the same time HRD is at the center
of HRM. HRD is examined in detail elsewhere in this book.
As a result of the fundamental changes in attitudes, approaches, outlook,
philosophy, perspective and practices emerged I the personnel area in the
form of human resources management (HRM) strategy, it has become
necessary for every organization to develop skill, talent, potentialities,
capabilities and attitudes of company’s own people to meet the emerging
challenges. Hence, HRD (human resource development) have been adopted
by many companies. It is now-a-day spreading to many others. HRD
strategies are supported to bring forth necessary changes in skills,
capabilities and attitudes of people who are required to cope with the
emerging changes. Thus, HRD has become an integral part of human
resources management.
The new HRD approach, which stresses the need for developing the
company’s own people to suit the update technology, modernization of
machinery and equipments and the changing trends in attitudes and
approaches, necessitates to develop individual employee in accordance with
his aspirations and potentialities on the one hand, and the company’s
requirement in the other. This is what the HRD does. Quite often
Organization Development (OD) programmes are effectively integrated with
the HRD programmes. Of course, OD programmes are the programmes
which the OD interventionists prescribe for the effectiveness of the
organization. It needs not to be what the individual members of the
organizational needs. Training and development programmes from part of
22
OD, while training and development are the most decisive aspects of HRD
too.
HRD efforts are now described in terms of the training and educating
programmes and the number of people who are exposed to these
programmes. Unless a systematic and constant monitoring of these
programmes, in terms of actual result achieved can be determined, it may
not be possible to understand whether the real purpose is served be these
programmes. At present, therefore, the end result of both HRD and OD are
perceived as synonymous. Of course, no change can be effectively and
totally incorporated nor their results achieved considerably long period.
These efforts must go on simultaneously with the human resources
management strategy.
HRM has its various tools like appraisal schemes, feed-back system, Quality
Circle and Organization Development intervention, T-Group training, MBO
objective setting, consensus in decision-making, and so on. All such tools
are useful in human resources development also. At present, however,
training programmes seem to determine the HRD scene. An effective
management information system backed by information collecting, storing
and retrieval system and research and analysis must be the basis for every
HRD programme. This would enable the organization to motivate its own
people to strive to be developed in accordance with the organization to
motivate its own (existing and expected). Thus, HRM is the integrated
approach to actuating and managing the company’s own people, while their
aspirations and to suit the organizational needs. Both are not synonyms; the
23
latter is at the center of the former, and both are interdependent and
integrated into one system.
2.3. Evaluation and Development of Human Resource
Management (HRM)
The history of development of Human Resources Management in India is
comparatively of recent origin, But Kautilya had dealt with some of the
important aspects of human resources management in his “Arthasastra”400
B.C. Government in those days adopted the techniques of H.R.M. as
suggested be Kautilya. In its modern sense it had developed only since
independence. Though the importance of labour officers was recognized as
early as 1929, the appointment of officer to solve labour and welfare
problems gained momentum only after the enactment of the Factories Act of
1948. Section 49 of the Act required the appointment of Welfare Officers in
companies employing more then 500 workers. At the beginning,
Government was concerned only with limited aspects of labour welfare. The
earliest labour legislation in India dealt with certain aspect of Indian laborers
(Regulation of Recruitment, Forwarding and Employment) sent to various
British colonies in 1830. Important phases of evolution of HRM are
presented in Exhibit 1.1
Period Development
Status
Outlook Emphasis Status
Clerical
24
1920s-
1930s-
Beginning Pragmatism
of capitalists
Statutory, welfare
paternalism
1940s-
1960s-
Struggling for
recognition
Technical,
Legalistic
Introduction of
Techniques
Administrativ
e
1970s- Achieving Professional, Regulatory,
conform-
Ing Imposition
of
Managerial
1980s- Sophistication
promising
Legalistic,
impersonal
Standards on
other functions
1990s- Philosophical Human values,
produ ctivity
through people
Executive
2.4.Scope Of Human Resource Management (HRM)
Human Resource Management (HRM) approach improves the
organizational efficiency, work culture, job satisfaction of people, better
understanding and human relationships resulting in the cordial industrial
relations and better productivity. While the management incorporates human
resources policy backed by great human values, understanding, concern for
the welfare of their people, and constant efforts of human development there
is possibility for the organization’s people to reciprocate with better
behavior, self co-ordination, sincerity, achievement motivation and greater
cooperation. To be precise, HRM has great scope to improve organizational
climate and efficiency. The vast scope of HRM in the context of a business
organization can be summed up as follows:
25
• A cordial worker manager relationship would be possible;
• Management would be able to understand their people
better;
• A situation would be created in the organization for the
employees to enjoy their work and gain substantial job
satisfaction;
• Management would be able to get better coordination from
its workers / employees.
• Employees would be able to gain a sense of
accomplishment through their work;
• Organizational efficiency and workers’ productivity would
increase;
• It would help the employee to gain a scene of belonging to
their work place;
• Better organizational climate and culture may emerge as a
result of good HRM;
26
• As the people would be able to foster a scene of belonging,
their sense of fulfillment and accomplishment would remain
high;
• Management gets enlightened workforce;
• A good communication channel would become possible as
a result of mutual understanding and better coordination;
• Influence level of management and manager would
increase;
• Gulf between management and workers can be reduced;
• A good HRM policy would improve the possibility for
industrial peace, which is badly needed in India now-a-
days; and
• It would become easier for the management to identify and
train appropriate talents for every job.
In fact, a well planned human resource management process id the
need of the hour. It helps in efficiently managing business. The scope
of HRM is therefore, extensive to the extent that there cannot be a
study of management without proper attention on human resources
management; through it has its own limitations also.
27
2.5. ROLE OF Human Resource Management (HRM)
The Human Resource Department has staff relationship with other
departments /managers in the total organization. The Human Resource
Department is responsible for advising management from Managing
Directors to the lowest line supervisor on all areas relating to the personnel
management and Industrial relations. Human Resource Department performs
various functions of employment, training and development. It represent
management in many of the relationships that affect the organization as a
whole It also conscientious for representing various workers problem to
management.
Human Resource Department generally acts I an advisory capacity; it
provides information, offers suggestions and is not responsible for the end
results. The Human Resource Manager must exercise control very tactfully
in order to win the confidence and co-operation of all line managers. He has
to persuade the line managers to work with staff specialist and not against
them. The Authority of Human Resource Manager should derive from
concrete personnel policy and programmes and from the advantage and
result of accepted specialized knowledge.
2.5.1. As a Source of Help:-
28
In certain situations (when line managers lack skill or knowledge in dealing
with employee problems) experienced Human Resource Managers assume
line responsibility for personnel matters. But it may be resented by the very
managers who ought to seek staff assistance in meeting their personnel
responsibilities. Human Resources Managers should earn the reputation and
confidence of line managers of being a source of help rather than a source of
threat to line managers. Staff assistance is likely to be effective when it is
wanted rather than imposed.
2.5.2. As a Change Agent:-
Human Resource Manager should work as an enable and change agent
regarding personnel areas and he should be a familiar with different
disciplines like management, technology, sociology, psychological and
organizational behavior as organizational adaptability, viability and
development are dependent on Human Resource Development. So the
Human Resource Manager should work as a consultant of an organizational
development by providing necessary information and infrastructure to the
line manager. Thus, the role of Human Resource manager is more concerned
with providing information and offering advice to the decision makers rather
then making decisions.
2.5.3. As a Controller:-
29
Nevertheless it is still true that effective personnel executives’ advices on
policies help managers in implementing their programmes and provide
service and exercise the monitoring and control function sparingly.
2.5.4. Responsibilities within Human Resource Department:-
As other managers the Human Resource Manager is also a line manager in
relation to subordinates within the Human Resource Department. Human
Resource Manager is responsible for the success or failure of his department
in contributing to the organizational goals. In most of the organizations the
Human Resource Manager is responsible for supervising the activities of his
subordinates, like employment manager, wage and salary manager, manager
for training ad development, manager industrial relations etc; He is also
responsible for the operations of Human Resource Manager at divisional and
branch levels.
As the chief of the Human Resource Department the ‘human Resource
Manager has to get effective result with the co-operation of a;; the
employees working in the department and showing the viability of the
concept of the team work. The success of the Human Resource Department
should be measured in terms of its contribution to the personnel
programmes.
2.6. Task of Human Resource Management:-
30
2.6.1.Job Design:-
Job design is define as the process of deciding on the content of a job in
terms of its duties and responsibilities; on the methods to be used in carrying
out the job, in terms of the techniques, systems and procedures and on the
relationships that should exist between the job holder and his superiors,
subordinates and colleagues.”1
Two important goals of job design are:
I) To meet the organizational requirements such as higher
productivity, operational efficiency, quality of product/service etc. and
II) To satisfy the need if the individual employees like interests,
challenge, achievement or accomplishment, etc. Finally the goal of the job
design is to integrate the need of the individual with the organizational
requirements.
Chapter 3
Organizational Structure of the GIC
31
3. Organizational Structure of General Insurance Corporation.
3.1 Meaning
Organization provides the structure of an organization which holds a key
position and plays an important part as a vital and vigorous instrument for
achieving the objective of the organization the frame on which rests the
management of the enterprise like all structures. It updates the management
functions in their totality and inter-relationship aiding their movement to the
set goal.
It is often said that efficient people can make any organizational work but
they will work together most effectively if they know the part which is to be
played in any collaborative Endeavour and how their roles related to one
another. To design and maintain this system of roles is basically the
managerial function of any organization. Every organization sets its
objectives and co-relates with its structure every set of organization must be
shaped and placed according to its determined position.
3.2. Objectives of organization structure
There are certain basic objectives of an organizational structure.
32
(I) It should reflect a viril awareness of the dynamic goal of the
Enterprise.
(II) It should reflect adequate decentralization.
(III) The unity of command and line of responsibility should be clear.
(IV) The channel of communication should be free, easy and logical.
(V) The channels of communication vertically and horizontally should
be well laid out. Vertically upwards each management level must
know to whom he is accountable; downwards, who must take order
from him. Horizontally a manager should know who shall be
consulted. If consultation among managers at the same level is
overdone, it causes delay and held-ups. If it is ignored or omitted it
hurts co-ordination and relationship.
3.3. Functions and Importance.
It is observed that organization supplies the frame and structure to the
management process. It embodies and upholds the logic of the enterprise
functioning as a system aiming at its goal. A system is not the end in itself. It
is nothing if it does not stand for the aim and achieve it. A system moves in
revolving self adjusting cycles. It demands a dynamic element in the
organization too. In this sense organization is a vehicle, moving the
management efforts-through the management team, with the help of the
resources of enterprise to the appointed fruition.
(I) It embodies the objective of the enterprise.
33
(II) It helps in showing the break down of the objective into functional
and sub divisional goals at the different levels portrayed in the
organizational chart.
(III) It thus helps each manager to see his task; it also tells him what
authority he has to accomplish.
(IV) It tells each manager where his accountability lies and who (under
him) are in his sphere of command.
(V) The organization structure helps a visual appraisal of how well (or
otherwise) the human talent is absorbed into the scheme of
management. By blending the functional and the people-centered
strategy of developing the organization it achieves two purposes.
(a) Securing the best out of the management team, and
(b) Adding the essential flexibility (and dynamics) to the structure.
Research into organizational system has taken up to the supreme importance
of the human component in any organizational set-up. The stated aim of
organizational analysis and planning is designing the most effective overall
human system for achieving the objectives of an organization.
The object stated above stresses the role of the human system in the
organization for most effectively achieving the organizational goal.
The Ten Commandments were formulated by the AMA as sound
principles of a good organization. These are summarized (and adopted)
below
(I) Well defined responsibilities for each management level.
(II) Matching responsibility with authority.
34
(III) No change in the assignment of a level (authority and
responsibility) without prior consultation.
(IV) Each one should take orders from only one (unity of command).
(V) No by-passing of levels in issuing executive orders.
(VI) Chasten subordinates privately; not in the presence of his
colleagues or juniors.
(VII) Attend to all conflicts among levels concerning authority and
responsibility.
(VIII) Orders concerning advancement, wages and discipline to be
approved by the executive immediately superior to the one directly
responsible.
(IX) No executive or employees should be a critic of his own boss.
(X) An executive whose work is subject to inspection should be helped
to enable him to appraise independently the quality of his own
work.
In various contexts, during the discussion so far (in this research work) one
realization expressly or covertly, has appeared almost; - a recurring theme.
This is that the science in management has run around on the shoals of
unpredictability and irrationality, wherever the behaviors element
intervened.
Organizational theory extends over a growing area of research in a variety
of fields bearing on organizational behavior, performance and group
dynamics.
3.4. GRAPHS
35
3.4.1. A Regional Office can be divided into development, general
administration, technical accounts, vigilance, internal audit, non-traditional
business and personnel sections, each parallel to the other.
They can be summarized in the chart as follows:
REGIONAL OFFICE
Regional Officers generally are the mandatory officers which issue the
guidelines to the divisional office and take reviewed of the activities
performed by the subordinate offices. Hence the Regional Office should be
manned with the experienced and expert personnel. The Regional Offices
Technical Vigilance Non Traditional
Business
Development
Gen.
Administration
Internal
Audit
Personnel Sector
Accounts
36
which are situated in the Metropolitan cities or ‘A’ grade cities are headed
by an Asstt. General Manger within the permitted cadre strength. The
Regional Offices below the categories as mentioned above are headed by
managers. At some places where the work load is more and area of business
is larger an Additional Manager may be posted.
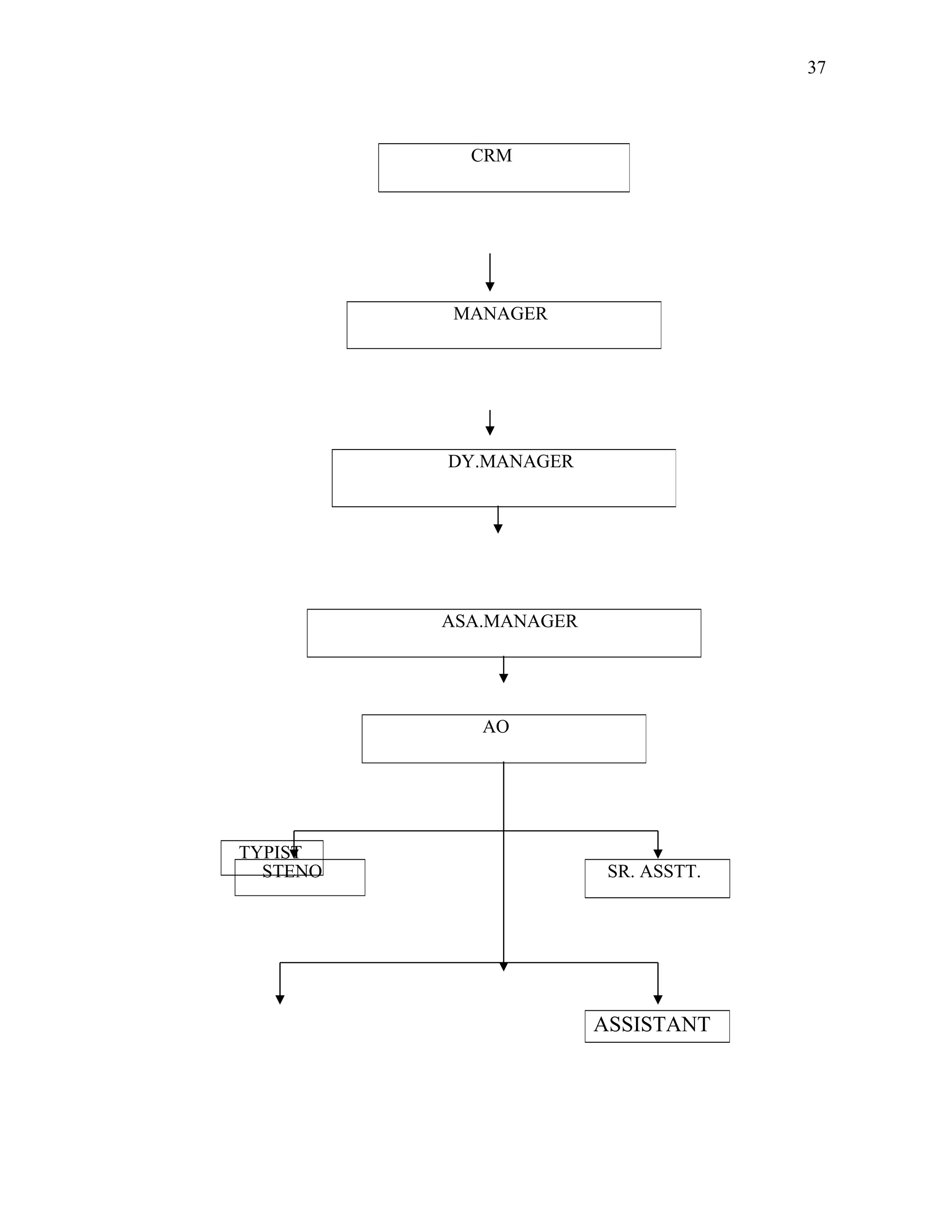
3.4.2. The chart as given below can show the Personnel Organizational
structure of the corporation at the HO level. The Organizational set-up of the
Regional Level is shown below
Chart Showing the Organizational structure The Organizational
Structure at the Regional Level of the GIC.
37
CRM
MANAGER
DY.MANAGER
ASA.MANAGER
AO
STENO SR. ASSTT.
ASSISTANT
TYPIST
38
In the above chart the RM can exercise his powers to make transfers up to
the AAO grade within the Region and not beyond, but he can not make any
change in the nature of job of any employee. Most of the transfers and
personnel work take place on the RO level. Power to transfer from Region to
Region is vested in the jurisdiction of the HO. The selection of class I
officials is made by the HO, while calls III officials at the RO level.
The comment is by way of explanation, certain organization charts
presented in this chapter should be taken as presumption as they have a base
of mutuality stemming from certain commonness (overlap) of the underlying
themes.
3.5 THE ROLE OF GRNERAL INSURANCE
CORPORATION IN INDIAN ECONOMY
Indian economy is a developing economy. Uncertainty causes low rate of
investment. Here insurance becomes a vital organ of the national economy.
Hence insurance is a device which plays a very vital role and can be proved
as a tool in the national economic development. The role of GIC can be
studied under the sub heading as given below.
RECORD CLEARK
39
(a) Minimization of Economic Waste: Incentives are given for
reducing loss by the corporation, by lowering the premium e.g. in fire
insurance, discounts are allowed for improvement in risk. Reduction
of losses causes lesser payment to the assured and more saving to
insurers which ‘ultimately results in reduction of premium and
expansion of insurance business. This way, the insurance assists
financial help to health organizations. Fire Brigades, Educational
Institutions and the other Organization / Agencies engaged in loss
prevention works.
(b) Funds for Investment: Insurers are the custodians of the funds
consisting of premium received from the public. A part of it is
utilized for current expenses and liabilities; the balance is kept as
reserve which is invested in the Government securities etc. Thus
capital is provided to the government and the industry.
(c) Earns Foreign Exchange: The insurance business has potential to
earn foreign exchange like shipping and banking service. Indian
insurance companies transact in the foreign countries particularly in
the Middle East, Africa and South East Asia through branch offices
and agencies. As a matter of fact, the contribution of the insurance in
the total foreign exchange earning is quite nominal even though it
should not be ignored.
40
Chapter 4
Human Resource Management in Insurance Sector
4.1. Human Resource Management in Insurance Sector
An Overview
Human Resource Management (HRM) is an approach to the management of
the people, based on four fundamental principles. First, human resources are
the most important assets of the organization have and their effective
management is the key to its success. Second, this success is most likely to
be achieved, if the personnel policies and procedure of the enterprise are
closely linked with, and make a major contribution to, the achievement of
corporate objectives and strategic plans. Third, the corporate culture and the
values, organizational climate and managerial behavior that emanate from
that culture will exert a major influence in the achievement of excellence.
This culture therefore, e managed which means that organizational values
may need to be changed or reinforced, and that continuous efforts, starting
from the top, will require getting them accepted and act upon. Finally, HRM
41
is concerned with integration-getting all the members of the organization
involved and working together with a sense of common purpose.
HRM is a strategic approach to the acquisition, motivation, development and
management of the organizations human resources. It is the specialized field
that attempts to develop programmes, policies and activities to promote the
satisfaction of both individual and organizational needs, goals and
objectives. It is devoted to shaping an appropriate corporate culture, and
introducing programmes which reflect and support the core values of the
enterprise and ensure its success. HRM is proactive rather then reactive, i.e.,
always looking forward to what need to be done and then doing it, rather
then waiting to be told what to do about recruiting, paying or training
people, or dealing with employee relations problems as they arise. The
techniques for the application of HRM will include many familiar functions
of personnel managers, such as manpower planning, selection, performance
appraisal, salary administration, training and management development.
These will be overlaid by special programmes designed to improve
communication systems, involvement, commitment, and productivity.
Broadly, there are three meanings attached to the concept of HRM. In the
first place, persons working in organizations are regarded as a valuable
source, implying that there is a need to invest time and effort in their
development. Secondly they are human resources which mean that they have
their own special characteristics and, therefore, cannot be treated like
material resources. The approach focuses on the need to humanize
organizational life and introduce human values in the organization. And,
thirdly, human resources do not merely focus on employees as individuals,
42
but also on other social realities, units and process in the organization. These
include the role or the job a person has in the organization, the dyadic unit
(consisting of the person and his superior), the various teams in which
people work, inter-team processes, and the entity of the total organization.
In its essence, HRM is the qualitative improvement of the human being who
is considered the most valuable asset of an organization –the sources,
resources, and end-user of all products and services. HRM is, no doubt, an
outgrowth of the older process and approach. But it is much more than its
parent disciplines viz., personnel management and behavioral science. HRM
is also more comprehensive and deep-rooted than training and development.
Its approach is multi-disciplinary from the beginning to the end. It is a
scientific process of continuously enabling the employees to improve their
competency and capability to play their present as well as future expected
roles so that the goal of the organization are achieved more fully and at the
same time the needs of the employees are also met to an adequate extent.
HRM is the production model approach to personnel management. The
HRM model is characterized as being employee-oriented with an emphasis
on the maximization of individual skills and motivation through consultation
with the workforce so as to produce high levels of commitment to company
strategic management is non-strategic, separate from the business, reactive,
short-term, and constrained by a limited definition of its role as dealing with
mostly unionized and low level employees. The major attention of
traditional personnel function is on personnel administration or management
while the major attention of HRM is on developing people and their
43
competencies. If personnel management is creative, HRM is preventive. The
key distinguished feature of HRM is it evolving strategic role.
Legge (1989) drew distinction between personnel management and HRM by
reviewing the definition of a variety of writers and she identified three main
differences:
a) Personnel management is an activity aimed primarily to non-managers
whereas HRM is less clearly focused but is certainly concerned more with
managerial staff;
b) HRM is much more of an integrated line management activity whereas
personnel management seeks to influence line management;
c) HRM emphasis the importance of management of culture whereas
personnel management has always been rather suspicious of organization
development and related unitarist, socio-psychologically-oriented ideas.
Practitioners in the field regard HRM as ‘just another set of initials’ or ‘old
wine in new bottles’ or ‘old bottles with new labels’ (Armstrong 1987).
HRM essentially emphasizes and incorporates those expectations which are
not being fulfilled through the traditional personnel management. It
integrates in meaningful way the various sub-systems like performance
appraisal, potentiality appraisal and development, career planning, training
and development, organization development, research and system
development, rewards, employee welfare and quality of work life, industrial
relations and human resource information. Under the HRM approach, some
44
basic assumptions about human resources are different from the traditional
approach.
The important assumptions of HRM are as follows:
1. The members of an organization are reservoirs of these
resources.
2. There is scope for unlimited development of these resources.
3. It is more in the nature of self-development than development
thrust from outside. the employees.
4. The organization also undergoes development with the overall
benefits along with the development of its members.
5. The organization further develops a culture in which utmost
emphasis is placed on harmonious superior-subordinate
relations, teamwork, and collaboration among different groups
of individuals, open communication, and above all, integration
of the goals of the organization with the needs of the
employees.
6. Top management takes the initiative of HRM, formulates
necessary plans and strategies, and creates an overall climate
and support for its implementation.
The management of human resources is more of an art than a science. In
practice it is an “art” full of pitfalls, judgment calls, and learning from past
mistakes.
45
4.2. Some basic Assumptions Underlying Traditional
personnel Function and Human Resources system
Traditional Personnel Function
(TPF)
Human Resource System (HRS)
TPF is as independent function. HRS is a sub-system of a larger
system (organization)
There are several sub-functions
under TPF
HRS is an organic whole: All the
pates are interlinked
The main task of TPF is to respond
effectively to the demands (coping
role)
The main task of HRS is to develop
enabling capabilities (proacting role)
The major attention of TPF is on
personnel administration or
management.
The major attention of HRS is on
developing people and their
competencies
Personnel system and procedures
should be designed to achieve
maximum efficiency
HR systems and procedures should
be designed on the basis of process
values to reduce human wastage
People in the organization are
motivated mainly be salary and
rewards
People are primarily motivated by
challenges and opportunities for
development and creativity
46
The primary objective of HRM is to ensure the availability of competent and
willing workforce to an organization. Beyond this, there are other objectives
too. Specifically, HRM objectives are four fold societal, organizational,
functional and personal.
INSURANCE BUSINESS IN PRE-NATIONALIZATION
ERA
In India, the history of insurance, in its present form, can be traced with the
establishment of a British Firms, Oriental Life Insurance Company in
Calcutta in 1818. This was followed by the formation of Bombay Life
Insurance Company in 1823, the Madras Equitable Life Insurance Company
in 1829 and the Oriental Government Security Life Insurance Company in
1874. The first general insurance limited company was established in 1850.
The Indian Mercantile Insurance Company Limited, which was set-up in
Bombay in 1907, was the first Indian Company to transact all classes of
general insurance business. Even though the first life insurance company
was established as early as 1818, there was no exclusive legislation to
govern the activities of insurance companies during the nineteenth century.
The Indian Companies Act passed in 1866 regulated all companies,
including insurance companies.
After the Indian Insurance Companies Act 1938 was passed, there was
mushroom growth of insurance companies in India. In spite of mushrooming
47
of many insurance companies per capita insurance in India was merely Rs. 8
in 1944 as against Rs. 2000 and Rs. 600 in US and UK respectively. Even
this limited growth is marked by many malpractices, deficiencies, and
frequent liquidations of insurance companies shaking publics’ confidence
and depriving policyholders of their saving and security. It is reported that in
those days insurance and banking was in the control of big industry houses
resulting in interlocking of funds between banks and insurance companies.
These dark deeds of dishonest insurance men helped to intensify the public
chauvinism and invited public demand for nationalization. As a consequence
the entire private companies less than one corporation.
INSURANCE BUSINESS IN POST-NATIONALIZATION
ERA
Life Insurance Corporation of India set-up by Government of India in the
year 1956 dominated life insurance sector. General insurance sector still was
in private hands. It was mainly confined to small entrepreneurs and ancillary
units attached to big industrial plants. With the growth in the process of
industrialization in India, number of companies in the general insurance
sector increased steadily and by 1972 their number had gone to 107. But
many of these companies did not have a strong financial base as they were
mainly dependent upon premiums received units to run their operations.
Because of there was in a decade (1962, 1965 and 1971) focus of Central
Government shifted from industrial sector to defense sector. This shift
caused economic slowdown, which resulted in fund shortage faced by
48
industrial units. All these developments had a bad effect on the end of 1972;
more than 50% were in financially bad shape.
Since 1973, the insurance sector has been totally under the control of
government of India through LIC and GIC and its subsidiaries. As a result,
revenue of both of them increased significantly in the later years.
4.3. Components of Human Resource Management
4.3.1. Human Resource Organization:-
Human Resource Organization is concerned with achieving success by
organization designed and development, motivation, the application of
effective leadership, and the process of getting across the message about
what the enterprise is setting out to do and how it purposes to do it. The
fundamental objectives of human resource organization is to ensure that
every aspect of the organization, employment, motivation, and management
of people is integrated with the strategic objectives of the business and
contribute to the successful achieve of those objectives. The human resource
organization programme has to take account of cultural issues so that the
desired corporate culture can be developed or reinforced. Moreover,
organizational development programmes and intervention are needed to
achieve better integration, improve teamwork, motivate human resource,
develop proper leadership, facilitate communication system, manage conflict
and change, and obtain commitment.
49
4.3.2. Human Resource Planning;-
Human resource planning sets out to define how many people the
organization wants; the type of people the organization need at present and
future, In terms of their expertise; and how they “fit” the corporate culture. It
involves the forecasting of both the supply and demand for future labour. It
provides the base for recruitment programmes and for human resources
development plans.
4.3.3. Human Resource System:-
Human resource systems are the essential programmes needed to recruit,
appraise, pay and look after the health, safety and well-being of the
employees in the organization. The key programmes are:
a. Recruitment management: It is a process of obtaining the
required human resource for an organization.
b. Information Management: It is a method of ensuring that all
policies and practices are to be well articulated and effectively
communicated to the workforce.
c. Training Management: It is a system of identification of
training needs, preparation of training strategy, and an
appropriate training system.
d. Performance Management: It is techniques of appraising
performance systematically against define criteria, reviewing
50
progress to data and assuming the potential for advancement.
There are three main appraisal systems such as performance
appraisal, potential appraisal, and performance coaching or
counseling.
e. Reward Management: It is a method to ensure that people are
rewarded in accordance with their contribution.
f. Career Management: It is a system f charting special career
paths for the individual employees for advancement in the
organization.
g. Health and Safety Management: It is a system of maintaining a
healthy and safe system of work in an organization.
h. Disciplinary Management: It is a system of administrating
discipline to foster positive employee behavior that will
promote organizational objectives.
i. Culture Management: It is a system of thinking and behaving
shaped by the values, attitudes, rituals and sanction in an
organization.
4.3.4. Human Resource Development:
Lippit (1978) points out that HRD as a system depends on:
 The work itself which generates higher degree of responsibility
for the employee;
 The individual’s personal and professional growth;
 The improved quality output as a result of increased
responsibility; and
51
 The organization as an open system. Focus on all these aspects
is what HRD all about.
Rao (1985) defines HRD as “a process by which the employees of an
organization are helped, I a continuous planned way to:
 Acquire or sharpen capabilities are required to perform
various tasks and functions associated with their present
or expected future roles;
 Develop their general enabling capabilities as individuals
so that they are able to discover and exploited their own
inner potentials for their own and/ or organizational
development purposes; and
 Develop an organizational culture where superior-
subordinate relationship, team-work, and collaborations
among different sub-units ate strong and contribute to the
organizational health, dynamism a and pride of
employees;”
HRD is a series of organized activities conducted within a specified time and
designed to produce behavioral change. It is rooted I the belief that human
beings have the potential to do better. It has two main purposes:
i. To provide employees with a greater opportunity to grow and
succeed within a company; and
ii. To strengthen management and professional teams at all
organizational levels.
52
Furthermore, it aims at developing employee capabilities in line with their
interests and with the Pareek (1970) found the following sub-systems
necessary for introducing HRD in the organization:
1. Planning and administration of human resources. This includes
four main aspects , viz;
 Manpower planning
 Recruitment
 Promotion
 Career planning
2. The second HRD system is about job and salary administration
like performance appraisal, job analysis, and potential
appraisal.
3. The third aspects of HRD is mainly confined to training,
performance feedback, counseling and organizational
development.
4. The last system relates to the industrial relations and welfare of
workers.
HRD as a function consist of various activities related to training, education
and development, and performance appraisal. All aspects of training and
appraisal play a significant role in achieving the individual’s growth and
development. In this respect HRD is more a proactive and supportive
function wherein the organization has to tale a lead in helping the people to
grow and realize their potential role.
Human Resource development programmes help to ensure that the
organization has the people with the skill and knowledge it needs to achieve
53
its strategic objectives. They aim to train new employees to the level of
performance required I their jobs quickly and economically and to develop
the abilities of existing staff so that performance in their present jobs are
improved and they are prepared to take on increased responsibilities in the
future.
The trust on human resource development is on training and development. It
is a dynamic process which aims at improving the skills and talents of the
personnel. Training fills the gap between what someone can do and what he
should be able to do. Its first aim is to ensure that, as quickly as possible,
people can reach an acceptable level I their jobs. Training then builds on this
foundation by enhancing skills and knowledge as required to improve
performance in the present job or to develop the potential for the potential
for the future. Development operates at all levels- shop floor level, middle
management level, and top management level covering executives and non-
executives.
Perhaps one of the biggest mistakes that many companies make is to
delegate much of the HRD accountability to the personnel department. The
personnel staff typically has the expertise in this area, but line management
is in the best position to implement the programmes. Line management, not
the personnel department is top management’s key representative to
employees in most organizations. The personnel department should establish
key policies, practices, and programmes as well as advising line managers
regarding the implementation. Human resource specialist should act as
consultants to line managers, providing information about various
techniques or suggestions about policies and ways to implement them.
HRD is an important force for the future. The challenges to HRD will
continue. Instead of doers, HRD practitioners will be the process designers,
54
researchers, strategists, advisors, business managers, and consultants.
Looking a head to the 21st
century, it is clear that the HRD community must
accelerate the trends that have just begun. They must:
• Ensure that all people practice and support continues
development, learning and high performance;
• Work to create participative cultures and to dissolve autocratic
and dependent mindsets;
• Help prepare people and institutions to succeed in a rapidly
changing global village;
• Treat their employees like customers for enduring success of
the organization.
4.3.5. Human Resource Relationships:
Human Resource relationships deal with the handling of employees
individually and collectively as members of trade unions or staff
associations. Their main aim is to increase co-operation and trust and to
involve employees actively in the company’s affairs. It also deals with
problem solving techniques, particularly to solve problems relating to
disciplinary cases and grievances. There are two sides to a dispute in most
organizations- the management and workers. There is a gap and the means
have to be found to bridge that gap. Whether or not unions exist, it is highly
desirable for the management to develop methods of dealing with employees
collectively. Nonetheless, relationships with unions often involved
confrontations. The necessary techniques must be evolved for encouraging
mutuality and working together in the interest of all. Unions have to be
managed like everything else in an organization. Management normally gets
55
the union it deserved. If it handles unions the wrong way, the result for the
results for the organization can be disastrous.
An approach to collective dealing should be:
a. The recognition of the union,
b. The respective role performance of management and
union,
c. The type of procedures one can adopt to regularize
relationship with unions,
d. The basis techniques of negotiating with unions,
e. The mechanism of involvement through participation,
both traditional forms of joint consultation as well as the
more recent Japanese import of quality circles.
4.3.6. Human Resource Utilization:
According to Peters and waterman, to achieve productivity through people,
it is very essential to “treat them as adults, treat them as parent treat them
with dignity, and treat them with respect.” These fundamental human
relations values provide the base or productivity management programmes,
which use techniques such as method study to improve efficiency. Both
managers and workers must be persuaded somehow to realize that they have
a common interest in increasing output.
The following actions are required to improve the use of human resources:
a. Conduct a productivity drive;
b. Improve manpower budgeting and control techniques;
c. Introduce work measurement;
d. Use appropriate payment method by results, bonus and
profit-sharing schemes;
e. Improve motivation;
56
f. Involve employees in improvement programmes;
g. Introduce new technology;
h. Negotiate appropriate productivity agreement; and
i. Introduce training programmes based on an analysis of
productivity needs.
4.4. Human Resource Functions:-
HR’s primary function is managing the entirety of an organization’s human
resources. HR involves nothing less than managing change, technology,
innovation and diversity. HR has become dynamic, flexible, and creative. It
is no longer confined to the culture or ethos of any single organization; its
keynote is a cross-fertilization of ideas from different organizations. Periodic
social audit of HR functions are consider essential.
HR professionals have an all-encompassing role. They are required to have a
though knowledge of the organization and its intricacies and complexities.
The ultimate goal of every HR person should be to develop a linkage
between the employee and the organization because the employee’s
commitment to the organization is crucial. The first and foremost role of HR
functionary is to impart continuous education to employees about the
changes and challenges facing the country in general and their organization
in particular. The employee should know about their balance sheet, sales
progress, diversification plans, restructuring plans, sharp price movements,
turnover and all such details. The HR professionals should import education
to all employees through small booklets, video films, lectures, and the like.
The primary responsibilities of a human resource manager are:
1. To develop a through knowledge of corporate culture,
plans and policies.
57
2. To act as an internal change agent and consultant.
3. To initiate change and act as an expert and facilitator.
4. To actively involve himself in company’s strategy
formulation.
5. To keep communication lines open between the HRD
functions and individuals and groups both within an
outside the organization.
6. To identify and evolve HRD strategies in consonance
with overall business strategy.
7. To facilitate the development of various organizational
teams and their working relationship with other teams
and individuals.
8. To try and relate people and work so that the
organization objectives are achieves effectively and
efficiently.
9. To diagnose problems and to determine appropriate
solution particularly in the human resource areas.
10.To provide co-ordination and support services for the
delivery of HRD programmes and services.
11.To evaluate impact of an HRD intervention or to conduct
research so as to identify, develop or test how HRD in
general has improved individual or organizational
performance.
The following are to nine new roles of HR practitioner as suggested by Pat
McLegan:
a. To bring the issues and trends concerning an
organization’s external and internal people to the
58
attention of strategic decision-makers, and to recommend
long-term strategies to support organizational excellence
and endurance.
b. To design and prepared HR systems and actions for
implementation so that they can produce maximum
impact on organizational performance and development.
c. To facilitate the development and implementation of
strategies for transforming one’s own organization by
pursuing values and visions.
d. To create the smoothest flow of products and services to
customers; to ensure the best and most flexible use of
resources and competencies; and to create commitment
among the people who help us to meet customers’ needs
whether those people work directly for the organization
or not.
e. To identify learning needs and then design and develop
structured learning programmes and materials to help
accelerate for individuals and groups.
f. To help individuals and groups work in new situations
and to expand and change their views so that people in
power move from authoritarian to participative models of
leadership.
g. To help people assess their competencies, values, and
goals so that they can identify, plans, and implement
development actions.
59
h. To assist individuals to add value in the workplace and to
focus on the interventions and interpersonal skills for
helping people change and sustain change.
i. To assess the impact of HRD practices and programmes
and to communicate result so that the organization and its
people accelerate their change and development.
To compete today, HR departments are asked to achieve four seemingly
contradictory goals; First, HR functions are being asked to be more strategic.
Second, HR functions are also being asked to be more flexible. Third, they
are also being asked to take a hard line of costs. Finally, HR departments
have to be more strategic, flexible, cost-efficient, and system-oriented.
Ironically, while the need for HR is obviously booming, the future of the
human resource department itself sometimes seems in doubt. Human
resource departments will face downsizing, reengineering and outsourcing.
They face pressure from senior management to add value t the organization
or have their functions contracted out. The human resource activities which
are normally outsourced are temporary staffing, recruiting, benefits and
services administration, payroll, or training. Cost reduction is the most
commonly cited explanation for these measures.
What the human resource departments have to do keep themselves from
getting outsourced? They need to focus more on activities that clearly add
value to the company’s bottom line activities such as strategic planning,
change management, corporate culture transition, and development of
human capital.
Human Resource Management has receives tremendous attention in recent
years. Its role in organizations has also undergone a substantial change and
many organizations have gradually oriented themselves from the traditional
60
personnel management to a human resource management approach, although
many see it as the “old wine in a new bottle.” The basic approach of HRM
systems are designed without understanding the organization’s structure,
tasks, processes and people. It is imperative for any HRM activity to have a
conductive organizational climate to stabilize such efforts in reality. It is
essential that HRM systems are designed in the framework of the total
organization. HRM efforts fail miserable in such organizations where no
attention is paid to these systems. HR intranet offers the greatest innovation
to HR departments since the advent of the desktop computer. HR intranets
allow the HR department to be open virtually 24 hours per day to efficiently
perform many of the routine tasks required of human resources
organizations. These include:
• Rapid dissemination of valuable information on a wide variety
of topics.
• Collection o information from employees.
• Enabling employees to perform HR related tasks with minimal
HR time requirement.
4.5. Total Quality Management Approach to HRM
Total Quality Management (TQM) is a set of concepts and tools for getting
all employees focused on continuous improvement in the eyes if the
customer. It involves collection of data, multi-functional teams, brain
storming, advance experimental methods and group based rewards and
recognition. The journey toward total quality can be broadly segregated into
six major steps:
 Preparation,
61
 Planning,
 Awareness,
 Deployment,
 Implementation, and
 Continuous improvement.
Preparation involves homework that top management must do. They must
understand quality as a means of gaining competitive advantage and
customer satisfaction. Planning necessitates setting broad goals for
improving quality, selecting a quality management system and developing
and improvement plan. Awareness is about communicating all that has been
done. Everyone needs to become familiar with the philosophy, direction and
approach that the management team has developed. This is where the
management capture the heart and minds of people and makes them believes
that pursuing TQM is in their best interest. Deployment involves organizing
teams, relevant and appropriate training and assigning responsibilities. At
the implementation stage process and product improvements actually takes
place. Continuous improvement is a never ending process. It involves
assessing and rewarding progress, resetting improvement goals, and
conducting on-going training.
Philip Crosby, despite his reservations about HR executives, believes` that
“HR should the architect of corporate culture.” It is the function of HR
departments to build values and practices supporting continuous,
incremental improvement in quality throughout the organization. And that
emphasis must be applied with equal force within the HR department itself.
W. Edwards Deming talks about driving fear out of the workplace. Much of
this fear is tied into the control and hierarchy-dominated fabric of many
62
organizations. The “workers” fear the “bosses”, and this fear distracts from
high-quality, collaborative work.
Once the HRM department has learned to make quality a way of life within
its own function, it can assume an expanded role of supporting TQM
throughout the organization a long history of research has focused on the
relationship between product (and service) quality and a number of HR
practices and systems. With the emphasis on TQM some of the current
human resource practices need to be reviewed. The following HR practices
can have a significant impact on quality performance.
4.5. Selection:
For decades, research in this field has validated various selection devices as
indicators of how a candidate will perform on the job, in both productivity
and quality. The current focus on total quality management, however, has
brought a new dimension into play. Ability testing, in particular, needs to be
viewed differently. Organizations that adopt a total quality management
approach required individuals who are keen problem solvers, and good at
teamwork. These are the abilities which need to be tested during the
selection process. Many Japanese companies that operate in the US have an
extensive selection process. Selection should also identify candidates who
can function well in group setting.
4.6. Development and Training:
Development and training are the major features of all TQM programmes.
Typically, the training covers problem-solving techniques, problem analysis,
statistical process control, and quality measurement. All these go beyond a
63
specific job skill. Organizations also conduct extensive training in group
process and group decision-making. At a higher level, managers and others
are also required to be sensitized to the importance of quality. HR
department can add value to the efforts if they approach towards training
with a customer service focus.
4.7. Career Development:
Traditionally, most organizations are supported linear careers, i.e., careers
that move up the hierarch. For TQM, however, a different focus is required.
TQM requires employees with a system-oriented-a view of the whole as
well as expertise in particular functions. It requires cross-functional
experience, and more power and decision-making authority in the hands of
individuals at lower levels of the organization.
4.8. Performance Management:
In most of the organizations, performance appraisal is the basis of human
resource management. It is used for determining reward levels, to validate
tests, to aid career development, to improve communications, and to
facilitate understanding of job duties. Most quality gurus are critical about
the existing performance appraisal practices. They point out that these
practices focus too much on the individual as far as quality problems are
concerned. Deming argues that most quality problems are the product of
systems and processes. According to him, focus on individuals is
counterproductive, in that it diverts attention from the root causes of poor
quality. Hence, he calls for total scrapping of individual performance
appraisal systems particularly those that encourage competence within the
64
organization. An ideal performance management system can focus strongly
on developing skills and abilities necessary to perform well and, as such,
directly support collective responsibility.
4.9. Pay System:
Most pay systems have likewise focused on individuals, job descriptions
spell out what an individual is to do, job evaluation systems suggest how
much the job is worth, and merit rating reflect how well the individual has
done the job. Again, there is a strong, direct conflict between these
traditional practices and the TQM emphasis on collective responsibility,
horizontal relationships, and horizontal learning. Quality management
programmes have emphasized abandoning individual-based merit increase
systems. Typically, however, they have not suggested an alternative.
4.10. Industrial Relationships:
Industrial relations experienced by most organizations are just the opposite
of what is required under shared responsibility to produce high quality
products and services. If union management agreements are based in
contract, carefully specified jobs, accountabilities, and elaborate grievance
procedure, there is little room for participation, problem- solving and
systems solutions. TQM recognizes unions as partners in the organization’s
success and regard them as critical players. The union also assumes
responsibility for quality improvement. All this creates a climate in which
employees participate in important discussions. If there is no union support
there is a danger that employees will not trust the purpose and activities that
65
are part of the total quality programme. Thus, relationship with union has to
be moved into a partnership mode for a TQM effort to succeed. It requires
considerable change in related activities such as collective bargaining,
grievance handling, and the like.
4.11. Communication:
Information is a very versatile commodity. Easier said than done making
information flow within the organization is a complex and difficult task.
Information and total quality are inter-linked. Feedback about quality and
information is a critical to all quality improvement programmes. Open flow
of information about quality and business results must e shared throughout
the organization. This is in contrast to prevailing practices in many large
organizations which are secretive about their performance results, business
plans and major changes for a variety of reasons. Employees who receive
information should possess necessary skills to understand the same and
participate in problem-solving activities.
4.12. Computerizing of Human Resource Systems:
Consider the paper work required to manage the company’s human resource
system. Very small firms can handle all or most of the human resource
record keeping through manual systems. But as the company grows, various
components of the human resource systems have to be computerized if the
firm is to remain competitive. As the company grows, it become
increasingly unwieldy and uncompetitive to rely exclusively on manual
66
human resource systems. There are firms which provide software solutions
for virtually all personnel tasks ranging from benefits management,
compensation, statutory compliance, employee relations, outsourcing,
payroll, time and attendance systems, writing employee policy manuals,
writing performance reviews, creating job descriptions, and conducting
employee surveys.
4.13. Mergers and Acquisitions:
One strategy organizations can use in response to organizational pressure is
to become smaller- i.e., to downsize. Another strategy is to become larger.
Instead of just becoming a larger version of what the organization already is,
organization can choose to “marry” another organization as a way of
increasing their size. Organizational marriages encompass the concept of
mergers and acquisitions. The technical distinction between mergers and
acquisitions is slim. A merger is the joining of two organizations of equal
status and power. Their union is mutually decided. Both organizations think
they will be more prosperous by their formal association with the other. An
acquisition, on the other hand, is the procurement on=f one organization by
the other. The purchasing organization becomes more dominant and plays a
powerful role.
Once the merger or acquisition is agreed, it has to be successfully managed.
Employees need to be afforded opportunities to participate in the
organizational change and communication process. People aspect is very
important in any acquisition process. The success of any merger or
acquisition is highly dependent on managing cultural differences. The
various questions that can be raised in this context are:
1) How do the respective companies go about their business?
67
2) What are the social and educational backgrounds of key
executives?
3) Does the company to be acquired have hierarchical or flat
structure?
4) What is the status of a trade union, if any, and how the
relationship is being managed?
5) What do the compensation and benefit policies signify?
These and other questions can provide the basis for an audit of human
resource management that will provide essential information if the new
company is to be successfully integrated. The communications framework is
the most important factor for smooth integration in an acquisition. With
effective communications the acquiring company can develop a climate of
confidence and, hopefully, eliminate much of the friction which frequently
occurs.
4.14. HUMAN RESOURCE MANAGEMENT IN LIC
4.14.1 Recruitment At LIC
Recruitment at LIC is done by the central office at Mumbai. The recruitment
process for Assistant Administrative Officers (AAOs) at LIC begins with the
placing of advertisements in popular national and regional newspapers
across the country.
Candidates applying for the post of AAOs should be between 21 and 28
years of age. They should hold a graduate / postgraduate degree in any
subject with minimum of 50% marks. Candidates from certain backgrounds
68
(SC, ST, and OBC) are given some concessions with regard to age and
marks.
Short listed candidates are asked to appear for an entrance examination. The
entrance examination has two papers – one is of an objective types and the
other an essay type. The objective type paper test intelligence, aptitude,
mathematical knowledge, logical reasoning, general knowledge and
awareness of political and cultural events.
After the written test, candidates have to appear for interview, which are
conducted by LIC offices across the country. Based on their overall
performance, candidates are selected.
4.14.2. PRAMOTIONAL POLICIES IN LIC
In LIC, employees promoted to higher posts are placed on probation ranging
from 6 months to 1 year depending upon the class (explain below) to which
he belongs. The competent authorities may used their discretion to a
maximum period of 2 years.
An employee on probation is liable to be reverted to his earlier position
without notice; however the period of probation will be counted permanent
service for all purposes.
The organizational hierarchy in LIC is expressed in terms of various classes.
1. CLASS 1: Include the chairman, the managing directors, the executive
directors, branch managers or administrative officers to assistant branch
managers or assistant administrative officers.
69
2. CLASS 2: This class comprises of development officers. These
development officers have agent under then who work on commission and
not on salary.
3. CLASS 3: This class comprises of all the administrative staff they are
higher-grade assistant (HGA), assistances, record clerks (RC), cashier and
machine operators.
4. CLASS 4: This class comprises of the sub-staff. They are the peons,
watchmen, sweepers, divers, etc.
REFERANCES
1. Tarmoom, A. Z., “A conceptual structure for human resource -
Total cost accounting model”, Himalaya Publishing House,
New Delhi-110002, p. 17
2. Ibid, p. 18
3. Ibid, p. 18
4. Likert R., The human organization: Its management and value,
McGraw Hill, New York, 1967.
5. Giles, W. J. and D. F. Robinson, Human asset accounting,
Lawrence – Allen, Great Britain Revised 1980.
6. American Accounting Association 1971, A statement of basic
70
accounting theory, Evanston III, p. 10.
7. American Accounting Association 1972, “A report of the
committee on human resource accounting”, The Accounting
Review, Supplement, Vol. XLVII,pp. 182 – 185.
8. Jurkus, A. F., “The Uncertainty factor in Human Resource
Accounting”, Personal Journal, Vol.56, No. – 6, Nov. – Dec. –
1979. P.72 -75.
9. Flamholtz, E. G. , “Human Resource Accounting: Advances in
concepts, methods and applications”, Jessey – Base INC, San
Francisco, California, Second Edition- 1986.p.96.
10. Ibid, p.121.
11. Batra, G. S., Modern Trends In Accounting Research, Deep
and Deep Publications, New Delhi- 110027, p.233 – 235.
12. Ibid, p.224.
13. Ibid, p.224.
71
Chapter 5
CONCLUSION AND SUGGESTIONS
5.1. Summary
The human capital of an organization represents one of its largest
investments. The objectives of HRM include getting the organization right
people, paying and treating them fairly, and getting them involved in
working productively. The attainment of these objectives necessitates the
performance of several functions. The main HRM systems are:
 Appraisal system;
 Career system;
 Training system;
72
 Work system;
 Cultural system; and
 Self-renewal system.
All systems and sub systems of HRM must be incorporated in the
organization while setting the goals and objectives. This will also indicate
the purpose and processes and make HRM more meaningful. Human
resource functions are many and varied and include such things as human
resource planning, recruitment, selecting, training, and canceling employees,
compensation management, and employer-employee relations. In small
organizations, most human resource functions are performed by owners or
operating managers. Large organizations usually have a human resource or
personnel department that is responsible for co-coordinating and directing
the human resource functions. However, little systematic information exists
in the area of HRM policies and programmed that are generally followed in
organizations to achieve their corporate goals and objectives. The General
Insurance Corporation recognizes that human recourses are its most valuable
assets. Training and performance appraisal in the GIC is dealt in the 3rd
chapter. It is concluded that the training brings perfection and specialization
in the performance of the individual in the GIC. It has been conducted
various training program from time to time in order to maintain and for the
augment of the skills of its employees. Successful human resource
management is essential to organizational growth and success. In the light of
new challenges, organization’s long-range planning and policy-making
activities.
73
BIBLOGRAPHY
BOOKS:
1. Batra G.S., Modern Trends in Accounting
Research. Deep & Deep Publications, New
Delhi, 2000.
2. Stewart Thomas A., “Your Bank’s most valuable
asset: Intellectual Capital.” Fortune, Oct. 3,
1994.
3. Sadan, S.S. and L.B. Auerbach, Op.cit,
74
4. Tarmoom, A.Z., A conceptual structure for
human resource – Total cost accounting
model”, Himalaya Publishing House,
New Delhi-110002
5. Likert R., The human organization: Its
management and value, McGraw Hill, New
York, 1967.
6. Dr. Mamta Jain, Insurance HRD practice.

MBa project HRM

  • 1.
    1 INDEX CHAPTER TITLE PAGENO. 1. INTRODUCTION 2. REVIEW OF LITERATURE 3. ORGANIZATIONAL STRUCTURE OF GIC 4. HUMAN RESOURCE MANAGEMENT IN INSURANCE SECTOR 5. CONCLUSION
  • 2.
    2 Chapter 1 Introduction 1.1 Introduction Itis rather difficult to say spontaneously what management means, through we are studied a course in management. But it is necessary to recall what management is before studying Human Resource Management (HRM). Management has been defined by Mary Follett as, “The art of getting things done through people.”1 But it is felt that management is much more then what is said in this definition. Management id further defined as, “…. That field of human behavior in which in which managers plan, organize, staff, direct and control human, physical and financial resources in an organized effort, in order to achieve desired individual and group objectives with optimum efficiency and effectiveness.”2 It is clear from the definition that management is concerned with the accomplishment of objectives by utilizing physical and financial resources through the efforts of human resources. Thus, human resource is a crucial sub-system in the process of management. The term human resource is quite popular in India with the institution of ‘Ministry of Human Resources Development’ in the union cabinet. But most people may not know what exactly the term human resource means.
  • 3.
    3 Human Resource Managementis the process of managing the people of an organization with a human approach. It also includes Human Resource planning, development, career planning, succession planning, maintaining a high quality work life taking care of the welfare of the people who work forte organization, counseling, guiding, motivating, actuating, compensation, rewarding, evaluating, integrating, information storing and finally separating in addition to recruitment, training, placement, induction, etc; Thus, human resource management is the system that focuses on human resources development, on the hand, and effective management of people on the other, so that people will enjoy human dignity in their employment. One of the earlier views of HRM put forward by Scheain was HRPD (Human Resources Planning and Development). According to him, HRPD should match organizational need for human resources and individual needs for a career and growth. His HRDP included human resource planning, recruitment, selection, performance appraisal, educating, job enrichment, counseling, and other functions. Training and development, feedback, organization development ,research and developmental activities has been additionally included in the HRD system by writers like Udai Pareek and T.V. Rao, In fathom must be capable to accommodate all such aspects. Human Resource Management is involved in providing human dignity to the employees taking into account their capabilities, potential, talent, achievement, motivation, skill, commitment, creative abilities and so on, so that their personalities are reckoned as valuable human beings. Thus, HRM is involved in every business, managerial activity, or function. We can remark here: if actuating implies getting things done by people, which is the
  • 4.
    4 primary managerial job,management is primarily human resource management. In this context, Human Resource Management is the process of managing human beings as the most important resource of an organization. A stress on the human performance. In the contrary, individual human beings are enabled to enjoy dignity of being associated with their organization’s since they are treated as the most valuable assets and resources leading to humanization of the work environment, it implies that human resource management approach provides as superior quality of work life which gives a sense of belonging and a higher job satisfaction to an organization’s own people. Thus, Human Resource Management is totally a novel approach to an organization’s own people at work on the one hand to the organization’s own business on the other. Human Resource Management can be define as that part of management process which develops, and manages the human elements of enterprise considering the resourcefulness of the organization’s own people in terms of e knowledge, skills, creative abilities, talents, aptitudes and potentialities for effective actuating. Every individual is the part of the resource of an organization, while he or she is a valuable soul. By mismanaging the human resources, a manager kills, not only the invaluable resourcefulness of his people, but the most important souls. Hence, every human resource management strategy must be guided by the golden rule, “give love and get love.” From this discussion, it is to be emphasized that HRM is not a dignified term of personnel management, through personnel management is enmeshed
  • 5.
    5 harmoniously in it.While HRM is closely linked with HRD, counseling is indispensable for effective human resources development. As we already observed, HRM is at the center of actuating. 1.2. Human Resources: The Concept Human Resource Management (HRM) is concerned with the human beings in an organization. It reflected a new philosophy, a new outlook, approach, ad strategy, which views an organization’s manpower as its resources and assets, and not as liabilities or mere hands. Resources are the means which can be drawn on. They are collective means for production, support and defence, as well as a source of strength and aid. Human resources are wealth or means that can be drawn on. Human capital and manpower of the company can be treated as its human resources. It can otherwise be understood as the resourcefulness of the human resources. It can otherwise be understood as the resourcefulness of the human beings or people available for an organization. In generic terms, human resources can be define as the total knowledge, skills, creative abilities, talent and aptitudes of an organization’s workforce, as well as the values, attitudes, approaches and beliefs of the individuals involved in the affairs of the organization. It is the sum total or aggregate of
  • 6.
    6 inherent abilities, acquiredknowledge’s and skills represented by the talents and aptitudes of the employed persons in an organization. Human resources approaches takes into consideration the potentiality and vitality of the people available for the organization. Even in the age of the automation as of today, manpower is the most essential and indispensable resources of any organization. Resourcefulness of various categories of people says: managers, scientific and research people, executives, supervisors, workers (skilled, unskilled) and all such people available for the organization to be drawn on, can be treated as human resources. In fact, without appreciate human resources, no business or organization can exit and grow. This is the perhaps, the reason why human resources management has become the focus of attention of progressive organization of today. 1.3. Definitions or Meaning of Human Resource Management (HRM) Different terms are used to denote human resource management. They are: labour management, labour administration, labour management relationship, employee -employer relations, industrial relations, personnel administration, personnel management, human capital management, human asst management, human resource management and the like. In simple sense, human resource management means employing people, developing their
  • 7.
    7 resources, utilizing, maintainingand compensating their services in tune with the job and organizational requirement. Wendell French describes Human Resource Management as “The philosophy, policies, procedures and practices related to the management of people within the organization.” According to Decenzo and Robbins, “Human Resource Management is concerned with the ‘people’ dimensions in management. It is the process of the acquisition development, motivation and maintenance if human resources.” Human Resource Management (personnel management) as defined by the Institute of Human Resource Management (personnel management) in U.K. and subsequently adopted by Indian Institute of Human Resource Management (Personnel management) is as follows: “Human Resource Management (personnel management) is responsibility of all those who manage people as well as being a description of the work of those who are employed as specialists. It is that part of management which is concerned with people at work and with their relationship within an enterprise. It applies not only to industry and commerce nut to all fields of employment.”4 Michael J. Jucius defined Human Resource Management (personnel management) as, “The field of management which has to so with planning, organizing, directing and controlling the functions of
  • 8.
    8 procuring, developing, maintainingand utilizing a labour force, such that the ----- (a) Objective for which the company is established is attained economically and effectively, (b) Objectives of all levels of Human (personnel) are served to the highest possible degree, (c) Objectives of society are duly considered and served.”5 1.4. Functions of Human Resource Management (HRM) Human Resource Management involves a large number of functions or activities. The number varies according to the size and need of the organization internally. The major functions of Human Resource Management are:- 1. Human Resource Planning:- Human Resource Planning is the process of assessing the organization’s human resource need in the luminosity of organizational aspiration and changing state of affairs and making plans to ensure that a proficient motivated work force is employed. Human Resource Planning is very important in these modern epochs where everything is fluid and changes are stirring at enormous speed. 2. Organizational and Job Design:- A important activity of Human Resource Management developing an organization which caters for all the activities required, groups them together
  • 9.
    9 in a waywhich encourages integration, co-operation and provides for effective communication and design making. 3. Staffing:- Staffing or acquisition of Human Resources is an additional bustle of Human Resource Management. Staffing actions determine the reimbursement of an organization’s Human Resources. Staffing activity includes: • Attracting qualified people to the organization; • Selecting from in the midst of candidates; • Reassigning employees through transfer; • Promotion or relegation and ultimately managing the employees division through resignation; • Discharge or retirement. 4. Training and Development:- This activity of Human Resource Management focuses on improving the performance of individual and groups within the organization. These activities aim to help employees gain knowledge of new dexterity and purify existing skills.
  • 10.
    10 Human Resource Managersmust decide which skill or knowledge areas require development and which methods are most effective for serving employees get hold of skills and knowledge. 5. Performance Appraisal and Review:- Performance appraisal and review is an ongoing evaluation of individual and group contributions to the organizations and the communication of the evaluations to the persons involved. The Human Resource Managements function is carried out for a number of purposes:-  To provide feedback about performance, to determine the need or training;  To make decisions about promotions, pay increased and so on. 6. Compensation and Reward:- Organizations reimburse employees through wages and salaries, bonuses and benefits, such as health insurance, vacation instance and pension programmes. The charisma and dearth of plunder and appreciation is essential to employee moral and performance. This is looked subsequent to Human Resource Management. 7. Managing Effective Employee Employer Relationship:-
  • 11.
    11 An important functionof Human Resource Management is to promote harmonious relationship between the management and employees. The aim of Human Resource Management is to increase in the companies affairs. The functions of Human Resource Management include addressing employee grievances and taking suitable steps towards solving them. 8. Health and Safety Management:- The function of Human Resource Management includes activities and events that serve to protect organization members from illness and physical dangers in the workplace and to assist them with their physical and emotional health. For many organizations, protecting the health and safety of Human Resources is a prime social responsibility. This Human Resource Management functions serves to preserve the Human Resources of the organization. 9. Employee Participation:- This is relatively new unction of Human Resource Management. Employee participation focuses on giving employees a voice, sharing information with them and consulting them on matters of mutual interest. Employee’s participation is an important step in establishing industrial democracy. 10. Organizational improvement:- Organizations must constantly improve themselves due to the emergence of new ideas regarding productivity, rapid changing technology and competition from other organizations.
  • 12.
    12 The function ofHuman Resource Manager is to ensure the flow of event through which people in the organization improve the organization’s effectiveness. He has to constantly look out for ways to improve the organization through employee training implementing work redesign programs and so on. 1.5. RESEARCH DESIGN & METHODOLOGY This study involved an exploratory research aimed at developing solution for present HRM problems. It is based as an inter-disciplinary approach whereby techniques available in various related fields are used to develop solution for present HRM. It is realized that the concept of human capital exposes a broader view of human investment at macro level than that of the human assets at the enterprise level. The difference between the two concepts relates to the views which economists and accountants holds regarding what comprises human investment at enterprise level. Where as the economic concept of human capital considers investment in health services, migration (internal mobility of labour) and acquisition of labour market information as a part of the human investment, these investment are unjustified excluded from the reckoning of the human assets at the enterprise level. However, since the
  • 13.
    13 economic concept ofhuman capital is theoretically well entrenched, and has a better conceptual orientation than the accounting concept of human assets, the distinguish between these two concepts seems to be rather artificial and totally unwarranted. To bring, therefore, some consistency into the treatment of these two concepts, it is found crucial to extend the confines of human investment at enterprise level to include investments in such activities as health services, internal mobility of labour, and acquisition of market information. 1.5.1. The Universe – The present study has covered all the apex insurance companies having corporate office in Maharastra State. Below mentioned insurance companies are financially sound and giving first priority to human resource as compared to its any other assets in the balance sheet. 1. Life Insurance corporation of India Ltd 2. Max New York Life Insurance 3. State Bank of India. 4. The Thane District Central Bank Ltd. 5. Vijaya Bank. 6. UTI Bank. 7. Indian Bank. 8. Caneara Bank. 9. ICICI Bank.
  • 14.
    14 10.HDFC Bank. 11.Union BankOf Indian. 12.Bank Of Maharastra 1.5.2 Techniques of Analysis – For this study, the collected data has been processed and tabulated by way of tables. The tables have been formed to bring out the information on all aspects of HRA, and the queries and suggestion of administration wing. While analyzing the data, simple statistical techniques such as percentages, ratio and average were used. Moreover the data was presented with the help of charts, flow chars & tables. For evaluating the performance of insurance companies. 1.6 TOOLS USED FOR COLLECTION OF DATA 1.6.1 For the Secondary Data: - The secondary data was gathered from following sources; A) Published Sources – Books, Periodicals etc. B) Audited financial Statements of the selected insurance companies. C) Professional Bodies Circulars. D) Internet web sides of various research journals. 1.7 SIGNIFICANCE OF THE STUDY When we are at the threshold of the 21st century, management profession has to be prepared to meet the challenges of fast changing global environment.
  • 15.
    15 The need foran information system, which will deal with human resources, is seen by many as one of the most important shortcomings in present managerial information. Its use would aid decision-making by management and investors. It would provide a better estimate of the value of the insurance companies and its return on investment and would lead to a more efficient allocation of resources within the economy. Keeping in view these considerations, it is possible that human resource management will represent one of the major innovations in management and control in the times to come. The need for the value of human resources being shown in the insurance companies balance sheet has been very nicely brought out in the following poem by Webster: 41 “Though your balance sheet is a model of what balance sheets should be; Typed and ruled with great precision in a type that all can see; Though the grouping of the assets is commendable and clear; And the details which are given more than usually appear; Though investments have been valued at the sale price of the day; Moreover, the auditor’s certificate shows everything O.K.; One asset is omitted, and its worth I want to know; The asset is the value of the men who run the show.” 1.8 SCOPE AND LIMITATIONS OF THE STUDY
  • 16.
    16 The findings ofthis study and the conclusions reached are based on analysis of the information supplied in the questionnaire. As responses have been checked according to the perception of the person filling the questionnaire, the probability of certain amount of subjectivity in the response cannot be ruled out. In preparing the questionnaire related to stock of human resource, labour turnover, absenteeism, age, qualification, grouping, earnings, own funds, total assets, HRD expenditure, net sales, profit information, capital employed etc. has been used , as it was felt that the other basis would create confusion in the mind of respondents. As stated earlier, the term human resource reefers to the knowledge, skills, creative abilities’, talents, aptitude, values and beliefs of an organization’s workforce.
  • 17.
    17 References 1. Peter F.Drucker, management: Tasks, Responsibilities, Practice, William Heinemann Ltd., London, 1973, p. 308. 2. James A.F. stoner, management, prentice-Hall of India (p) Ltd; New Delhi, 1984, p.87 3. Quoted in chandan J.S., Fundamentals of modern management, Vikas Publishing House (p) Ltd; 1986, New Delhi p.1. 4. Megginson, Leon C., Personnel and Human Resources Administration,, Richard D. Irwin Inc., Homewood, IIIinois, 1977, p.4. 5. Sur Mary (Ed.), personnel Management in India, complied by Indian institute of personnel management, Asia publishing House 1973, p. 31. 6. R. Wayne Mondy and Robert M. Noe III, personnel; the Management of Human Resources, Allyn and Bacon Inc., Boston, 1981, p.5. 7. Michal J. Jucius, Personnel Management, Richard D. Irwin Inc., Homewood, IIIinois, 1979, p.5. 8. Lewis Arthur, The History of Economic Growth, George Allen & Urwin Ltd., London, 1965, p.(ii) 9. Leon C. Megginson, Personnel, Richard D. Irwin Inc., Homewood, IIIinois, 1972, p.14. 10.Myrdal Gunnar, Asian Drama, Penguin Book Ltd., Middlesex, 1968. 11.Curle, Adam, some aspects of Educational Planning In Underdeveloped Areas Harvard Business Review, vol.32, No.3, summer 1962, p. 360.
  • 18.
    18 12.Dale s. Beach,Personnel , Macmillan publishing co. New york, 1985, p.109. 13.Dale S. Beach, op. cit., pp. 36.
  • 19.
    19 Chapter 2 Review ofLiterature 2.1 History:- Human Resource Management is about managing people. It is a process of binding people and organization together so that the objectives of each are achieved. It is the most precious processions of any organization. It is, therefore essential to take utmost care for the endurance and enlargement. Liberalization and globalization has augmented the magnitude of human resources management by manifold. 2.1.2. Ancient Indian Literature:- There are traces of some sort of human resources approach in the ancient Indian literature. Valmiki, in his Ramayana (sundarakand sarge 64, slokas 16 and 17), observed that people who carried out difficult and important task must be give due respect, and no coercion was mandatory for such people to complete fighting fit. It was implied that good performers obligatory having sovereignty of achievement and admiration. It is also interesting to note that Thiruvalluvar, a Tamil scholar who lived 2000 years ago, emphasized the need for careful selection of employees. Employers were instructed to entrust tasks to the employees’ only after properly testing them. Thiruvalluvar specifically suggested that full trust must be put on the employees who were found trustworthy. A good employee is the one, who
  • 20.
    20 performs, not onlyassigned main task, but also additional complementary tasks according to Valmiki. One who performed only the assigned tasks may be considered as average employee, while one who failed to complete even the assigned task is a bad servant. This can be used as standards for performance evaluation. Payment of remuneration may be influenced by such performance evaluation. In selection and recruitment of employees, Brihaspati has disapproved the appointment of hostile (vive/Sino), indolent (alasa), and timid (bhiravh) avaricious, too old or too young. Cruel master ill-treated and punished employees, while kind and humane treatment to the employees was considered as a virtue by many people. In Kalidasa’s shakuntalam, kanva muni (sage) advised shakuntala to treat the servants of the king’s household mercifully. However, an autocratic style of managing people existed during the rule of pathans and Mughals which did nit last for a very long time. A tradition-bound feudalistic society, backed by serfdom and bonded labour existed in, medieval India, had less scope for human resources approach. Good relations existed in the factories during the Mauryan period. Workers were well regarded and the employer-employee relations were cordial. 2.2. HRM vis-à-vis HRD Some writers have used both the terms interchangeably. But these two terms cannot be one and the same or synonyms. They are used in different context
  • 21.
    21 and they representdifferent concepts. At the same time HRD is at the center of HRM. HRD is examined in detail elsewhere in this book. As a result of the fundamental changes in attitudes, approaches, outlook, philosophy, perspective and practices emerged I the personnel area in the form of human resources management (HRM) strategy, it has become necessary for every organization to develop skill, talent, potentialities, capabilities and attitudes of company’s own people to meet the emerging challenges. Hence, HRD (human resource development) have been adopted by many companies. It is now-a-day spreading to many others. HRD strategies are supported to bring forth necessary changes in skills, capabilities and attitudes of people who are required to cope with the emerging changes. Thus, HRD has become an integral part of human resources management. The new HRD approach, which stresses the need for developing the company’s own people to suit the update technology, modernization of machinery and equipments and the changing trends in attitudes and approaches, necessitates to develop individual employee in accordance with his aspirations and potentialities on the one hand, and the company’s requirement in the other. This is what the HRD does. Quite often Organization Development (OD) programmes are effectively integrated with the HRD programmes. Of course, OD programmes are the programmes which the OD interventionists prescribe for the effectiveness of the organization. It needs not to be what the individual members of the organizational needs. Training and development programmes from part of
  • 22.
    22 OD, while trainingand development are the most decisive aspects of HRD too. HRD efforts are now described in terms of the training and educating programmes and the number of people who are exposed to these programmes. Unless a systematic and constant monitoring of these programmes, in terms of actual result achieved can be determined, it may not be possible to understand whether the real purpose is served be these programmes. At present, therefore, the end result of both HRD and OD are perceived as synonymous. Of course, no change can be effectively and totally incorporated nor their results achieved considerably long period. These efforts must go on simultaneously with the human resources management strategy. HRM has its various tools like appraisal schemes, feed-back system, Quality Circle and Organization Development intervention, T-Group training, MBO objective setting, consensus in decision-making, and so on. All such tools are useful in human resources development also. At present, however, training programmes seem to determine the HRD scene. An effective management information system backed by information collecting, storing and retrieval system and research and analysis must be the basis for every HRD programme. This would enable the organization to motivate its own people to strive to be developed in accordance with the organization to motivate its own (existing and expected). Thus, HRM is the integrated approach to actuating and managing the company’s own people, while their aspirations and to suit the organizational needs. Both are not synonyms; the
  • 23.
    23 latter is atthe center of the former, and both are interdependent and integrated into one system. 2.3. Evaluation and Development of Human Resource Management (HRM) The history of development of Human Resources Management in India is comparatively of recent origin, But Kautilya had dealt with some of the important aspects of human resources management in his “Arthasastra”400 B.C. Government in those days adopted the techniques of H.R.M. as suggested be Kautilya. In its modern sense it had developed only since independence. Though the importance of labour officers was recognized as early as 1929, the appointment of officer to solve labour and welfare problems gained momentum only after the enactment of the Factories Act of 1948. Section 49 of the Act required the appointment of Welfare Officers in companies employing more then 500 workers. At the beginning, Government was concerned only with limited aspects of labour welfare. The earliest labour legislation in India dealt with certain aspect of Indian laborers (Regulation of Recruitment, Forwarding and Employment) sent to various British colonies in 1830. Important phases of evolution of HRM are presented in Exhibit 1.1 Period Development Status Outlook Emphasis Status Clerical
  • 24.
    24 1920s- 1930s- Beginning Pragmatism of capitalists Statutory,welfare paternalism 1940s- 1960s- Struggling for recognition Technical, Legalistic Introduction of Techniques Administrativ e 1970s- Achieving Professional, Regulatory, conform- Ing Imposition of Managerial 1980s- Sophistication promising Legalistic, impersonal Standards on other functions 1990s- Philosophical Human values, produ ctivity through people Executive 2.4.Scope Of Human Resource Management (HRM) Human Resource Management (HRM) approach improves the organizational efficiency, work culture, job satisfaction of people, better understanding and human relationships resulting in the cordial industrial relations and better productivity. While the management incorporates human resources policy backed by great human values, understanding, concern for the welfare of their people, and constant efforts of human development there is possibility for the organization’s people to reciprocate with better behavior, self co-ordination, sincerity, achievement motivation and greater cooperation. To be precise, HRM has great scope to improve organizational climate and efficiency. The vast scope of HRM in the context of a business organization can be summed up as follows:
  • 25.
    25 • A cordialworker manager relationship would be possible; • Management would be able to understand their people better; • A situation would be created in the organization for the employees to enjoy their work and gain substantial job satisfaction; • Management would be able to get better coordination from its workers / employees. • Employees would be able to gain a sense of accomplishment through their work; • Organizational efficiency and workers’ productivity would increase; • It would help the employee to gain a scene of belonging to their work place; • Better organizational climate and culture may emerge as a result of good HRM;
  • 26.
    26 • As thepeople would be able to foster a scene of belonging, their sense of fulfillment and accomplishment would remain high; • Management gets enlightened workforce; • A good communication channel would become possible as a result of mutual understanding and better coordination; • Influence level of management and manager would increase; • Gulf between management and workers can be reduced; • A good HRM policy would improve the possibility for industrial peace, which is badly needed in India now-a- days; and • It would become easier for the management to identify and train appropriate talents for every job. In fact, a well planned human resource management process id the need of the hour. It helps in efficiently managing business. The scope of HRM is therefore, extensive to the extent that there cannot be a study of management without proper attention on human resources management; through it has its own limitations also.
  • 27.
    27 2.5. ROLE OFHuman Resource Management (HRM) The Human Resource Department has staff relationship with other departments /managers in the total organization. The Human Resource Department is responsible for advising management from Managing Directors to the lowest line supervisor on all areas relating to the personnel management and Industrial relations. Human Resource Department performs various functions of employment, training and development. It represent management in many of the relationships that affect the organization as a whole It also conscientious for representing various workers problem to management. Human Resource Department generally acts I an advisory capacity; it provides information, offers suggestions and is not responsible for the end results. The Human Resource Manager must exercise control very tactfully in order to win the confidence and co-operation of all line managers. He has to persuade the line managers to work with staff specialist and not against them. The Authority of Human Resource Manager should derive from concrete personnel policy and programmes and from the advantage and result of accepted specialized knowledge. 2.5.1. As a Source of Help:-
  • 28.
    28 In certain situations(when line managers lack skill or knowledge in dealing with employee problems) experienced Human Resource Managers assume line responsibility for personnel matters. But it may be resented by the very managers who ought to seek staff assistance in meeting their personnel responsibilities. Human Resources Managers should earn the reputation and confidence of line managers of being a source of help rather than a source of threat to line managers. Staff assistance is likely to be effective when it is wanted rather than imposed. 2.5.2. As a Change Agent:- Human Resource Manager should work as an enable and change agent regarding personnel areas and he should be a familiar with different disciplines like management, technology, sociology, psychological and organizational behavior as organizational adaptability, viability and development are dependent on Human Resource Development. So the Human Resource Manager should work as a consultant of an organizational development by providing necessary information and infrastructure to the line manager. Thus, the role of Human Resource manager is more concerned with providing information and offering advice to the decision makers rather then making decisions. 2.5.3. As a Controller:-
  • 29.
    29 Nevertheless it isstill true that effective personnel executives’ advices on policies help managers in implementing their programmes and provide service and exercise the monitoring and control function sparingly. 2.5.4. Responsibilities within Human Resource Department:- As other managers the Human Resource Manager is also a line manager in relation to subordinates within the Human Resource Department. Human Resource Manager is responsible for the success or failure of his department in contributing to the organizational goals. In most of the organizations the Human Resource Manager is responsible for supervising the activities of his subordinates, like employment manager, wage and salary manager, manager for training ad development, manager industrial relations etc; He is also responsible for the operations of Human Resource Manager at divisional and branch levels. As the chief of the Human Resource Department the ‘human Resource Manager has to get effective result with the co-operation of a;; the employees working in the department and showing the viability of the concept of the team work. The success of the Human Resource Department should be measured in terms of its contribution to the personnel programmes. 2.6. Task of Human Resource Management:-
  • 30.
    30 2.6.1.Job Design:- Job designis define as the process of deciding on the content of a job in terms of its duties and responsibilities; on the methods to be used in carrying out the job, in terms of the techniques, systems and procedures and on the relationships that should exist between the job holder and his superiors, subordinates and colleagues.”1 Two important goals of job design are: I) To meet the organizational requirements such as higher productivity, operational efficiency, quality of product/service etc. and II) To satisfy the need if the individual employees like interests, challenge, achievement or accomplishment, etc. Finally the goal of the job design is to integrate the need of the individual with the organizational requirements. Chapter 3 Organizational Structure of the GIC
  • 31.
    31 3. Organizational Structureof General Insurance Corporation. 3.1 Meaning Organization provides the structure of an organization which holds a key position and plays an important part as a vital and vigorous instrument for achieving the objective of the organization the frame on which rests the management of the enterprise like all structures. It updates the management functions in their totality and inter-relationship aiding their movement to the set goal. It is often said that efficient people can make any organizational work but they will work together most effectively if they know the part which is to be played in any collaborative Endeavour and how their roles related to one another. To design and maintain this system of roles is basically the managerial function of any organization. Every organization sets its objectives and co-relates with its structure every set of organization must be shaped and placed according to its determined position. 3.2. Objectives of organization structure There are certain basic objectives of an organizational structure.
  • 32.
    32 (I) It shouldreflect a viril awareness of the dynamic goal of the Enterprise. (II) It should reflect adequate decentralization. (III) The unity of command and line of responsibility should be clear. (IV) The channel of communication should be free, easy and logical. (V) The channels of communication vertically and horizontally should be well laid out. Vertically upwards each management level must know to whom he is accountable; downwards, who must take order from him. Horizontally a manager should know who shall be consulted. If consultation among managers at the same level is overdone, it causes delay and held-ups. If it is ignored or omitted it hurts co-ordination and relationship. 3.3. Functions and Importance. It is observed that organization supplies the frame and structure to the management process. It embodies and upholds the logic of the enterprise functioning as a system aiming at its goal. A system is not the end in itself. It is nothing if it does not stand for the aim and achieve it. A system moves in revolving self adjusting cycles. It demands a dynamic element in the organization too. In this sense organization is a vehicle, moving the management efforts-through the management team, with the help of the resources of enterprise to the appointed fruition. (I) It embodies the objective of the enterprise.
  • 33.
    33 (II) It helpsin showing the break down of the objective into functional and sub divisional goals at the different levels portrayed in the organizational chart. (III) It thus helps each manager to see his task; it also tells him what authority he has to accomplish. (IV) It tells each manager where his accountability lies and who (under him) are in his sphere of command. (V) The organization structure helps a visual appraisal of how well (or otherwise) the human talent is absorbed into the scheme of management. By blending the functional and the people-centered strategy of developing the organization it achieves two purposes. (a) Securing the best out of the management team, and (b) Adding the essential flexibility (and dynamics) to the structure. Research into organizational system has taken up to the supreme importance of the human component in any organizational set-up. The stated aim of organizational analysis and planning is designing the most effective overall human system for achieving the objectives of an organization. The object stated above stresses the role of the human system in the organization for most effectively achieving the organizational goal. The Ten Commandments were formulated by the AMA as sound principles of a good organization. These are summarized (and adopted) below (I) Well defined responsibilities for each management level. (II) Matching responsibility with authority.
  • 34.
    34 (III) No changein the assignment of a level (authority and responsibility) without prior consultation. (IV) Each one should take orders from only one (unity of command). (V) No by-passing of levels in issuing executive orders. (VI) Chasten subordinates privately; not in the presence of his colleagues or juniors. (VII) Attend to all conflicts among levels concerning authority and responsibility. (VIII) Orders concerning advancement, wages and discipline to be approved by the executive immediately superior to the one directly responsible. (IX) No executive or employees should be a critic of his own boss. (X) An executive whose work is subject to inspection should be helped to enable him to appraise independently the quality of his own work. In various contexts, during the discussion so far (in this research work) one realization expressly or covertly, has appeared almost; - a recurring theme. This is that the science in management has run around on the shoals of unpredictability and irrationality, wherever the behaviors element intervened. Organizational theory extends over a growing area of research in a variety of fields bearing on organizational behavior, performance and group dynamics. 3.4. GRAPHS
  • 35.
    35 3.4.1. A RegionalOffice can be divided into development, general administration, technical accounts, vigilance, internal audit, non-traditional business and personnel sections, each parallel to the other. They can be summarized in the chart as follows: REGIONAL OFFICE Regional Officers generally are the mandatory officers which issue the guidelines to the divisional office and take reviewed of the activities performed by the subordinate offices. Hence the Regional Office should be manned with the experienced and expert personnel. The Regional Offices Technical Vigilance Non Traditional Business Development Gen. Administration Internal Audit Personnel Sector Accounts
  • 36.
    36 which are situatedin the Metropolitan cities or ‘A’ grade cities are headed by an Asstt. General Manger within the permitted cadre strength. The Regional Offices below the categories as mentioned above are headed by managers. At some places where the work load is more and area of business is larger an Additional Manager may be posted. 3.4.2. The chart as given below can show the Personnel Organizational structure of the corporation at the HO level. The Organizational set-up of the Regional Level is shown below Chart Showing the Organizational structure The Organizational Structure at the Regional Level of the GIC.
  • 37.
  • 38.
    38 In the abovechart the RM can exercise his powers to make transfers up to the AAO grade within the Region and not beyond, but he can not make any change in the nature of job of any employee. Most of the transfers and personnel work take place on the RO level. Power to transfer from Region to Region is vested in the jurisdiction of the HO. The selection of class I officials is made by the HO, while calls III officials at the RO level. The comment is by way of explanation, certain organization charts presented in this chapter should be taken as presumption as they have a base of mutuality stemming from certain commonness (overlap) of the underlying themes. 3.5 THE ROLE OF GRNERAL INSURANCE CORPORATION IN INDIAN ECONOMY Indian economy is a developing economy. Uncertainty causes low rate of investment. Here insurance becomes a vital organ of the national economy. Hence insurance is a device which plays a very vital role and can be proved as a tool in the national economic development. The role of GIC can be studied under the sub heading as given below. RECORD CLEARK
  • 39.
    39 (a) Minimization ofEconomic Waste: Incentives are given for reducing loss by the corporation, by lowering the premium e.g. in fire insurance, discounts are allowed for improvement in risk. Reduction of losses causes lesser payment to the assured and more saving to insurers which ‘ultimately results in reduction of premium and expansion of insurance business. This way, the insurance assists financial help to health organizations. Fire Brigades, Educational Institutions and the other Organization / Agencies engaged in loss prevention works. (b) Funds for Investment: Insurers are the custodians of the funds consisting of premium received from the public. A part of it is utilized for current expenses and liabilities; the balance is kept as reserve which is invested in the Government securities etc. Thus capital is provided to the government and the industry. (c) Earns Foreign Exchange: The insurance business has potential to earn foreign exchange like shipping and banking service. Indian insurance companies transact in the foreign countries particularly in the Middle East, Africa and South East Asia through branch offices and agencies. As a matter of fact, the contribution of the insurance in the total foreign exchange earning is quite nominal even though it should not be ignored.
  • 40.
    40 Chapter 4 Human ResourceManagement in Insurance Sector 4.1. Human Resource Management in Insurance Sector An Overview Human Resource Management (HRM) is an approach to the management of the people, based on four fundamental principles. First, human resources are the most important assets of the organization have and their effective management is the key to its success. Second, this success is most likely to be achieved, if the personnel policies and procedure of the enterprise are closely linked with, and make a major contribution to, the achievement of corporate objectives and strategic plans. Third, the corporate culture and the values, organizational climate and managerial behavior that emanate from that culture will exert a major influence in the achievement of excellence. This culture therefore, e managed which means that organizational values may need to be changed or reinforced, and that continuous efforts, starting from the top, will require getting them accepted and act upon. Finally, HRM
  • 41.
    41 is concerned withintegration-getting all the members of the organization involved and working together with a sense of common purpose. HRM is a strategic approach to the acquisition, motivation, development and management of the organizations human resources. It is the specialized field that attempts to develop programmes, policies and activities to promote the satisfaction of both individual and organizational needs, goals and objectives. It is devoted to shaping an appropriate corporate culture, and introducing programmes which reflect and support the core values of the enterprise and ensure its success. HRM is proactive rather then reactive, i.e., always looking forward to what need to be done and then doing it, rather then waiting to be told what to do about recruiting, paying or training people, or dealing with employee relations problems as they arise. The techniques for the application of HRM will include many familiar functions of personnel managers, such as manpower planning, selection, performance appraisal, salary administration, training and management development. These will be overlaid by special programmes designed to improve communication systems, involvement, commitment, and productivity. Broadly, there are three meanings attached to the concept of HRM. In the first place, persons working in organizations are regarded as a valuable source, implying that there is a need to invest time and effort in their development. Secondly they are human resources which mean that they have their own special characteristics and, therefore, cannot be treated like material resources. The approach focuses on the need to humanize organizational life and introduce human values in the organization. And, thirdly, human resources do not merely focus on employees as individuals,
  • 42.
    42 but also onother social realities, units and process in the organization. These include the role or the job a person has in the organization, the dyadic unit (consisting of the person and his superior), the various teams in which people work, inter-team processes, and the entity of the total organization. In its essence, HRM is the qualitative improvement of the human being who is considered the most valuable asset of an organization –the sources, resources, and end-user of all products and services. HRM is, no doubt, an outgrowth of the older process and approach. But it is much more than its parent disciplines viz., personnel management and behavioral science. HRM is also more comprehensive and deep-rooted than training and development. Its approach is multi-disciplinary from the beginning to the end. It is a scientific process of continuously enabling the employees to improve their competency and capability to play their present as well as future expected roles so that the goal of the organization are achieved more fully and at the same time the needs of the employees are also met to an adequate extent. HRM is the production model approach to personnel management. The HRM model is characterized as being employee-oriented with an emphasis on the maximization of individual skills and motivation through consultation with the workforce so as to produce high levels of commitment to company strategic management is non-strategic, separate from the business, reactive, short-term, and constrained by a limited definition of its role as dealing with mostly unionized and low level employees. The major attention of traditional personnel function is on personnel administration or management while the major attention of HRM is on developing people and their
  • 43.
    43 competencies. If personnelmanagement is creative, HRM is preventive. The key distinguished feature of HRM is it evolving strategic role. Legge (1989) drew distinction between personnel management and HRM by reviewing the definition of a variety of writers and she identified three main differences: a) Personnel management is an activity aimed primarily to non-managers whereas HRM is less clearly focused but is certainly concerned more with managerial staff; b) HRM is much more of an integrated line management activity whereas personnel management seeks to influence line management; c) HRM emphasis the importance of management of culture whereas personnel management has always been rather suspicious of organization development and related unitarist, socio-psychologically-oriented ideas. Practitioners in the field regard HRM as ‘just another set of initials’ or ‘old wine in new bottles’ or ‘old bottles with new labels’ (Armstrong 1987). HRM essentially emphasizes and incorporates those expectations which are not being fulfilled through the traditional personnel management. It integrates in meaningful way the various sub-systems like performance appraisal, potentiality appraisal and development, career planning, training and development, organization development, research and system development, rewards, employee welfare and quality of work life, industrial relations and human resource information. Under the HRM approach, some
  • 44.
    44 basic assumptions abouthuman resources are different from the traditional approach. The important assumptions of HRM are as follows: 1. The members of an organization are reservoirs of these resources. 2. There is scope for unlimited development of these resources. 3. It is more in the nature of self-development than development thrust from outside. the employees. 4. The organization also undergoes development with the overall benefits along with the development of its members. 5. The organization further develops a culture in which utmost emphasis is placed on harmonious superior-subordinate relations, teamwork, and collaboration among different groups of individuals, open communication, and above all, integration of the goals of the organization with the needs of the employees. 6. Top management takes the initiative of HRM, formulates necessary plans and strategies, and creates an overall climate and support for its implementation. The management of human resources is more of an art than a science. In practice it is an “art” full of pitfalls, judgment calls, and learning from past mistakes.
  • 45.
    45 4.2. Some basicAssumptions Underlying Traditional personnel Function and Human Resources system Traditional Personnel Function (TPF) Human Resource System (HRS) TPF is as independent function. HRS is a sub-system of a larger system (organization) There are several sub-functions under TPF HRS is an organic whole: All the pates are interlinked The main task of TPF is to respond effectively to the demands (coping role) The main task of HRS is to develop enabling capabilities (proacting role) The major attention of TPF is on personnel administration or management. The major attention of HRS is on developing people and their competencies Personnel system and procedures should be designed to achieve maximum efficiency HR systems and procedures should be designed on the basis of process values to reduce human wastage People in the organization are motivated mainly be salary and rewards People are primarily motivated by challenges and opportunities for development and creativity
  • 46.
    46 The primary objectiveof HRM is to ensure the availability of competent and willing workforce to an organization. Beyond this, there are other objectives too. Specifically, HRM objectives are four fold societal, organizational, functional and personal. INSURANCE BUSINESS IN PRE-NATIONALIZATION ERA In India, the history of insurance, in its present form, can be traced with the establishment of a British Firms, Oriental Life Insurance Company in Calcutta in 1818. This was followed by the formation of Bombay Life Insurance Company in 1823, the Madras Equitable Life Insurance Company in 1829 and the Oriental Government Security Life Insurance Company in 1874. The first general insurance limited company was established in 1850. The Indian Mercantile Insurance Company Limited, which was set-up in Bombay in 1907, was the first Indian Company to transact all classes of general insurance business. Even though the first life insurance company was established as early as 1818, there was no exclusive legislation to govern the activities of insurance companies during the nineteenth century. The Indian Companies Act passed in 1866 regulated all companies, including insurance companies. After the Indian Insurance Companies Act 1938 was passed, there was mushroom growth of insurance companies in India. In spite of mushrooming
  • 47.
    47 of many insurancecompanies per capita insurance in India was merely Rs. 8 in 1944 as against Rs. 2000 and Rs. 600 in US and UK respectively. Even this limited growth is marked by many malpractices, deficiencies, and frequent liquidations of insurance companies shaking publics’ confidence and depriving policyholders of their saving and security. It is reported that in those days insurance and banking was in the control of big industry houses resulting in interlocking of funds between banks and insurance companies. These dark deeds of dishonest insurance men helped to intensify the public chauvinism and invited public demand for nationalization. As a consequence the entire private companies less than one corporation. INSURANCE BUSINESS IN POST-NATIONALIZATION ERA Life Insurance Corporation of India set-up by Government of India in the year 1956 dominated life insurance sector. General insurance sector still was in private hands. It was mainly confined to small entrepreneurs and ancillary units attached to big industrial plants. With the growth in the process of industrialization in India, number of companies in the general insurance sector increased steadily and by 1972 their number had gone to 107. But many of these companies did not have a strong financial base as they were mainly dependent upon premiums received units to run their operations. Because of there was in a decade (1962, 1965 and 1971) focus of Central Government shifted from industrial sector to defense sector. This shift caused economic slowdown, which resulted in fund shortage faced by
  • 48.
    48 industrial units. Allthese developments had a bad effect on the end of 1972; more than 50% were in financially bad shape. Since 1973, the insurance sector has been totally under the control of government of India through LIC and GIC and its subsidiaries. As a result, revenue of both of them increased significantly in the later years. 4.3. Components of Human Resource Management 4.3.1. Human Resource Organization:- Human Resource Organization is concerned with achieving success by organization designed and development, motivation, the application of effective leadership, and the process of getting across the message about what the enterprise is setting out to do and how it purposes to do it. The fundamental objectives of human resource organization is to ensure that every aspect of the organization, employment, motivation, and management of people is integrated with the strategic objectives of the business and contribute to the successful achieve of those objectives. The human resource organization programme has to take account of cultural issues so that the desired corporate culture can be developed or reinforced. Moreover, organizational development programmes and intervention are needed to achieve better integration, improve teamwork, motivate human resource, develop proper leadership, facilitate communication system, manage conflict and change, and obtain commitment.
  • 49.
    49 4.3.2. Human ResourcePlanning;- Human resource planning sets out to define how many people the organization wants; the type of people the organization need at present and future, In terms of their expertise; and how they “fit” the corporate culture. It involves the forecasting of both the supply and demand for future labour. It provides the base for recruitment programmes and for human resources development plans. 4.3.3. Human Resource System:- Human resource systems are the essential programmes needed to recruit, appraise, pay and look after the health, safety and well-being of the employees in the organization. The key programmes are: a. Recruitment management: It is a process of obtaining the required human resource for an organization. b. Information Management: It is a method of ensuring that all policies and practices are to be well articulated and effectively communicated to the workforce. c. Training Management: It is a system of identification of training needs, preparation of training strategy, and an appropriate training system. d. Performance Management: It is techniques of appraising performance systematically against define criteria, reviewing
  • 50.
    50 progress to dataand assuming the potential for advancement. There are three main appraisal systems such as performance appraisal, potential appraisal, and performance coaching or counseling. e. Reward Management: It is a method to ensure that people are rewarded in accordance with their contribution. f. Career Management: It is a system f charting special career paths for the individual employees for advancement in the organization. g. Health and Safety Management: It is a system of maintaining a healthy and safe system of work in an organization. h. Disciplinary Management: It is a system of administrating discipline to foster positive employee behavior that will promote organizational objectives. i. Culture Management: It is a system of thinking and behaving shaped by the values, attitudes, rituals and sanction in an organization. 4.3.4. Human Resource Development: Lippit (1978) points out that HRD as a system depends on:  The work itself which generates higher degree of responsibility for the employee;  The individual’s personal and professional growth;  The improved quality output as a result of increased responsibility; and
  • 51.
    51  The organizationas an open system. Focus on all these aspects is what HRD all about. Rao (1985) defines HRD as “a process by which the employees of an organization are helped, I a continuous planned way to:  Acquire or sharpen capabilities are required to perform various tasks and functions associated with their present or expected future roles;  Develop their general enabling capabilities as individuals so that they are able to discover and exploited their own inner potentials for their own and/ or organizational development purposes; and  Develop an organizational culture where superior- subordinate relationship, team-work, and collaborations among different sub-units ate strong and contribute to the organizational health, dynamism a and pride of employees;” HRD is a series of organized activities conducted within a specified time and designed to produce behavioral change. It is rooted I the belief that human beings have the potential to do better. It has two main purposes: i. To provide employees with a greater opportunity to grow and succeed within a company; and ii. To strengthen management and professional teams at all organizational levels.
  • 52.
    52 Furthermore, it aimsat developing employee capabilities in line with their interests and with the Pareek (1970) found the following sub-systems necessary for introducing HRD in the organization: 1. Planning and administration of human resources. This includes four main aspects , viz;  Manpower planning  Recruitment  Promotion  Career planning 2. The second HRD system is about job and salary administration like performance appraisal, job analysis, and potential appraisal. 3. The third aspects of HRD is mainly confined to training, performance feedback, counseling and organizational development. 4. The last system relates to the industrial relations and welfare of workers. HRD as a function consist of various activities related to training, education and development, and performance appraisal. All aspects of training and appraisal play a significant role in achieving the individual’s growth and development. In this respect HRD is more a proactive and supportive function wherein the organization has to tale a lead in helping the people to grow and realize their potential role. Human Resource development programmes help to ensure that the organization has the people with the skill and knowledge it needs to achieve
  • 53.
    53 its strategic objectives.They aim to train new employees to the level of performance required I their jobs quickly and economically and to develop the abilities of existing staff so that performance in their present jobs are improved and they are prepared to take on increased responsibilities in the future. The trust on human resource development is on training and development. It is a dynamic process which aims at improving the skills and talents of the personnel. Training fills the gap between what someone can do and what he should be able to do. Its first aim is to ensure that, as quickly as possible, people can reach an acceptable level I their jobs. Training then builds on this foundation by enhancing skills and knowledge as required to improve performance in the present job or to develop the potential for the potential for the future. Development operates at all levels- shop floor level, middle management level, and top management level covering executives and non- executives. Perhaps one of the biggest mistakes that many companies make is to delegate much of the HRD accountability to the personnel department. The personnel staff typically has the expertise in this area, but line management is in the best position to implement the programmes. Line management, not the personnel department is top management’s key representative to employees in most organizations. The personnel department should establish key policies, practices, and programmes as well as advising line managers regarding the implementation. Human resource specialist should act as consultants to line managers, providing information about various techniques or suggestions about policies and ways to implement them. HRD is an important force for the future. The challenges to HRD will continue. Instead of doers, HRD practitioners will be the process designers,
  • 54.
    54 researchers, strategists, advisors,business managers, and consultants. Looking a head to the 21st century, it is clear that the HRD community must accelerate the trends that have just begun. They must: • Ensure that all people practice and support continues development, learning and high performance; • Work to create participative cultures and to dissolve autocratic and dependent mindsets; • Help prepare people and institutions to succeed in a rapidly changing global village; • Treat their employees like customers for enduring success of the organization. 4.3.5. Human Resource Relationships: Human Resource relationships deal with the handling of employees individually and collectively as members of trade unions or staff associations. Their main aim is to increase co-operation and trust and to involve employees actively in the company’s affairs. It also deals with problem solving techniques, particularly to solve problems relating to disciplinary cases and grievances. There are two sides to a dispute in most organizations- the management and workers. There is a gap and the means have to be found to bridge that gap. Whether or not unions exist, it is highly desirable for the management to develop methods of dealing with employees collectively. Nonetheless, relationships with unions often involved confrontations. The necessary techniques must be evolved for encouraging mutuality and working together in the interest of all. Unions have to be managed like everything else in an organization. Management normally gets
  • 55.
    55 the union itdeserved. If it handles unions the wrong way, the result for the results for the organization can be disastrous. An approach to collective dealing should be: a. The recognition of the union, b. The respective role performance of management and union, c. The type of procedures one can adopt to regularize relationship with unions, d. The basis techniques of negotiating with unions, e. The mechanism of involvement through participation, both traditional forms of joint consultation as well as the more recent Japanese import of quality circles. 4.3.6. Human Resource Utilization: According to Peters and waterman, to achieve productivity through people, it is very essential to “treat them as adults, treat them as parent treat them with dignity, and treat them with respect.” These fundamental human relations values provide the base or productivity management programmes, which use techniques such as method study to improve efficiency. Both managers and workers must be persuaded somehow to realize that they have a common interest in increasing output. The following actions are required to improve the use of human resources: a. Conduct a productivity drive; b. Improve manpower budgeting and control techniques; c. Introduce work measurement; d. Use appropriate payment method by results, bonus and profit-sharing schemes; e. Improve motivation;
  • 56.
    56 f. Involve employeesin improvement programmes; g. Introduce new technology; h. Negotiate appropriate productivity agreement; and i. Introduce training programmes based on an analysis of productivity needs. 4.4. Human Resource Functions:- HR’s primary function is managing the entirety of an organization’s human resources. HR involves nothing less than managing change, technology, innovation and diversity. HR has become dynamic, flexible, and creative. It is no longer confined to the culture or ethos of any single organization; its keynote is a cross-fertilization of ideas from different organizations. Periodic social audit of HR functions are consider essential. HR professionals have an all-encompassing role. They are required to have a though knowledge of the organization and its intricacies and complexities. The ultimate goal of every HR person should be to develop a linkage between the employee and the organization because the employee’s commitment to the organization is crucial. The first and foremost role of HR functionary is to impart continuous education to employees about the changes and challenges facing the country in general and their organization in particular. The employee should know about their balance sheet, sales progress, diversification plans, restructuring plans, sharp price movements, turnover and all such details. The HR professionals should import education to all employees through small booklets, video films, lectures, and the like. The primary responsibilities of a human resource manager are: 1. To develop a through knowledge of corporate culture, plans and policies.
  • 57.
    57 2. To actas an internal change agent and consultant. 3. To initiate change and act as an expert and facilitator. 4. To actively involve himself in company’s strategy formulation. 5. To keep communication lines open between the HRD functions and individuals and groups both within an outside the organization. 6. To identify and evolve HRD strategies in consonance with overall business strategy. 7. To facilitate the development of various organizational teams and their working relationship with other teams and individuals. 8. To try and relate people and work so that the organization objectives are achieves effectively and efficiently. 9. To diagnose problems and to determine appropriate solution particularly in the human resource areas. 10.To provide co-ordination and support services for the delivery of HRD programmes and services. 11.To evaluate impact of an HRD intervention or to conduct research so as to identify, develop or test how HRD in general has improved individual or organizational performance. The following are to nine new roles of HR practitioner as suggested by Pat McLegan: a. To bring the issues and trends concerning an organization’s external and internal people to the
  • 58.
    58 attention of strategicdecision-makers, and to recommend long-term strategies to support organizational excellence and endurance. b. To design and prepared HR systems and actions for implementation so that they can produce maximum impact on organizational performance and development. c. To facilitate the development and implementation of strategies for transforming one’s own organization by pursuing values and visions. d. To create the smoothest flow of products and services to customers; to ensure the best and most flexible use of resources and competencies; and to create commitment among the people who help us to meet customers’ needs whether those people work directly for the organization or not. e. To identify learning needs and then design and develop structured learning programmes and materials to help accelerate for individuals and groups. f. To help individuals and groups work in new situations and to expand and change their views so that people in power move from authoritarian to participative models of leadership. g. To help people assess their competencies, values, and goals so that they can identify, plans, and implement development actions.
  • 59.
    59 h. To assistindividuals to add value in the workplace and to focus on the interventions and interpersonal skills for helping people change and sustain change. i. To assess the impact of HRD practices and programmes and to communicate result so that the organization and its people accelerate their change and development. To compete today, HR departments are asked to achieve four seemingly contradictory goals; First, HR functions are being asked to be more strategic. Second, HR functions are also being asked to be more flexible. Third, they are also being asked to take a hard line of costs. Finally, HR departments have to be more strategic, flexible, cost-efficient, and system-oriented. Ironically, while the need for HR is obviously booming, the future of the human resource department itself sometimes seems in doubt. Human resource departments will face downsizing, reengineering and outsourcing. They face pressure from senior management to add value t the organization or have their functions contracted out. The human resource activities which are normally outsourced are temporary staffing, recruiting, benefits and services administration, payroll, or training. Cost reduction is the most commonly cited explanation for these measures. What the human resource departments have to do keep themselves from getting outsourced? They need to focus more on activities that clearly add value to the company’s bottom line activities such as strategic planning, change management, corporate culture transition, and development of human capital. Human Resource Management has receives tremendous attention in recent years. Its role in organizations has also undergone a substantial change and many organizations have gradually oriented themselves from the traditional
  • 60.
    60 personnel management toa human resource management approach, although many see it as the “old wine in a new bottle.” The basic approach of HRM systems are designed without understanding the organization’s structure, tasks, processes and people. It is imperative for any HRM activity to have a conductive organizational climate to stabilize such efforts in reality. It is essential that HRM systems are designed in the framework of the total organization. HRM efforts fail miserable in such organizations where no attention is paid to these systems. HR intranet offers the greatest innovation to HR departments since the advent of the desktop computer. HR intranets allow the HR department to be open virtually 24 hours per day to efficiently perform many of the routine tasks required of human resources organizations. These include: • Rapid dissemination of valuable information on a wide variety of topics. • Collection o information from employees. • Enabling employees to perform HR related tasks with minimal HR time requirement. 4.5. Total Quality Management Approach to HRM Total Quality Management (TQM) is a set of concepts and tools for getting all employees focused on continuous improvement in the eyes if the customer. It involves collection of data, multi-functional teams, brain storming, advance experimental methods and group based rewards and recognition. The journey toward total quality can be broadly segregated into six major steps:  Preparation,
  • 61.
    61  Planning,  Awareness, Deployment,  Implementation, and  Continuous improvement. Preparation involves homework that top management must do. They must understand quality as a means of gaining competitive advantage and customer satisfaction. Planning necessitates setting broad goals for improving quality, selecting a quality management system and developing and improvement plan. Awareness is about communicating all that has been done. Everyone needs to become familiar with the philosophy, direction and approach that the management team has developed. This is where the management capture the heart and minds of people and makes them believes that pursuing TQM is in their best interest. Deployment involves organizing teams, relevant and appropriate training and assigning responsibilities. At the implementation stage process and product improvements actually takes place. Continuous improvement is a never ending process. It involves assessing and rewarding progress, resetting improvement goals, and conducting on-going training. Philip Crosby, despite his reservations about HR executives, believes` that “HR should the architect of corporate culture.” It is the function of HR departments to build values and practices supporting continuous, incremental improvement in quality throughout the organization. And that emphasis must be applied with equal force within the HR department itself. W. Edwards Deming talks about driving fear out of the workplace. Much of this fear is tied into the control and hierarchy-dominated fabric of many
  • 62.
    62 organizations. The “workers”fear the “bosses”, and this fear distracts from high-quality, collaborative work. Once the HRM department has learned to make quality a way of life within its own function, it can assume an expanded role of supporting TQM throughout the organization a long history of research has focused on the relationship between product (and service) quality and a number of HR practices and systems. With the emphasis on TQM some of the current human resource practices need to be reviewed. The following HR practices can have a significant impact on quality performance. 4.5. Selection: For decades, research in this field has validated various selection devices as indicators of how a candidate will perform on the job, in both productivity and quality. The current focus on total quality management, however, has brought a new dimension into play. Ability testing, in particular, needs to be viewed differently. Organizations that adopt a total quality management approach required individuals who are keen problem solvers, and good at teamwork. These are the abilities which need to be tested during the selection process. Many Japanese companies that operate in the US have an extensive selection process. Selection should also identify candidates who can function well in group setting. 4.6. Development and Training: Development and training are the major features of all TQM programmes. Typically, the training covers problem-solving techniques, problem analysis, statistical process control, and quality measurement. All these go beyond a
  • 63.
    63 specific job skill.Organizations also conduct extensive training in group process and group decision-making. At a higher level, managers and others are also required to be sensitized to the importance of quality. HR department can add value to the efforts if they approach towards training with a customer service focus. 4.7. Career Development: Traditionally, most organizations are supported linear careers, i.e., careers that move up the hierarch. For TQM, however, a different focus is required. TQM requires employees with a system-oriented-a view of the whole as well as expertise in particular functions. It requires cross-functional experience, and more power and decision-making authority in the hands of individuals at lower levels of the organization. 4.8. Performance Management: In most of the organizations, performance appraisal is the basis of human resource management. It is used for determining reward levels, to validate tests, to aid career development, to improve communications, and to facilitate understanding of job duties. Most quality gurus are critical about the existing performance appraisal practices. They point out that these practices focus too much on the individual as far as quality problems are concerned. Deming argues that most quality problems are the product of systems and processes. According to him, focus on individuals is counterproductive, in that it diverts attention from the root causes of poor quality. Hence, he calls for total scrapping of individual performance appraisal systems particularly those that encourage competence within the
  • 64.
    64 organization. An idealperformance management system can focus strongly on developing skills and abilities necessary to perform well and, as such, directly support collective responsibility. 4.9. Pay System: Most pay systems have likewise focused on individuals, job descriptions spell out what an individual is to do, job evaluation systems suggest how much the job is worth, and merit rating reflect how well the individual has done the job. Again, there is a strong, direct conflict between these traditional practices and the TQM emphasis on collective responsibility, horizontal relationships, and horizontal learning. Quality management programmes have emphasized abandoning individual-based merit increase systems. Typically, however, they have not suggested an alternative. 4.10. Industrial Relationships: Industrial relations experienced by most organizations are just the opposite of what is required under shared responsibility to produce high quality products and services. If union management agreements are based in contract, carefully specified jobs, accountabilities, and elaborate grievance procedure, there is little room for participation, problem- solving and systems solutions. TQM recognizes unions as partners in the organization’s success and regard them as critical players. The union also assumes responsibility for quality improvement. All this creates a climate in which employees participate in important discussions. If there is no union support there is a danger that employees will not trust the purpose and activities that
  • 65.
    65 are part ofthe total quality programme. Thus, relationship with union has to be moved into a partnership mode for a TQM effort to succeed. It requires considerable change in related activities such as collective bargaining, grievance handling, and the like. 4.11. Communication: Information is a very versatile commodity. Easier said than done making information flow within the organization is a complex and difficult task. Information and total quality are inter-linked. Feedback about quality and information is a critical to all quality improvement programmes. Open flow of information about quality and business results must e shared throughout the organization. This is in contrast to prevailing practices in many large organizations which are secretive about their performance results, business plans and major changes for a variety of reasons. Employees who receive information should possess necessary skills to understand the same and participate in problem-solving activities. 4.12. Computerizing of Human Resource Systems: Consider the paper work required to manage the company’s human resource system. Very small firms can handle all or most of the human resource record keeping through manual systems. But as the company grows, various components of the human resource systems have to be computerized if the firm is to remain competitive. As the company grows, it become increasingly unwieldy and uncompetitive to rely exclusively on manual
  • 66.
    66 human resource systems.There are firms which provide software solutions for virtually all personnel tasks ranging from benefits management, compensation, statutory compliance, employee relations, outsourcing, payroll, time and attendance systems, writing employee policy manuals, writing performance reviews, creating job descriptions, and conducting employee surveys. 4.13. Mergers and Acquisitions: One strategy organizations can use in response to organizational pressure is to become smaller- i.e., to downsize. Another strategy is to become larger. Instead of just becoming a larger version of what the organization already is, organization can choose to “marry” another organization as a way of increasing their size. Organizational marriages encompass the concept of mergers and acquisitions. The technical distinction between mergers and acquisitions is slim. A merger is the joining of two organizations of equal status and power. Their union is mutually decided. Both organizations think they will be more prosperous by their formal association with the other. An acquisition, on the other hand, is the procurement on=f one organization by the other. The purchasing organization becomes more dominant and plays a powerful role. Once the merger or acquisition is agreed, it has to be successfully managed. Employees need to be afforded opportunities to participate in the organizational change and communication process. People aspect is very important in any acquisition process. The success of any merger or acquisition is highly dependent on managing cultural differences. The various questions that can be raised in this context are: 1) How do the respective companies go about their business?
  • 67.
    67 2) What arethe social and educational backgrounds of key executives? 3) Does the company to be acquired have hierarchical or flat structure? 4) What is the status of a trade union, if any, and how the relationship is being managed? 5) What do the compensation and benefit policies signify? These and other questions can provide the basis for an audit of human resource management that will provide essential information if the new company is to be successfully integrated. The communications framework is the most important factor for smooth integration in an acquisition. With effective communications the acquiring company can develop a climate of confidence and, hopefully, eliminate much of the friction which frequently occurs. 4.14. HUMAN RESOURCE MANAGEMENT IN LIC 4.14.1 Recruitment At LIC Recruitment at LIC is done by the central office at Mumbai. The recruitment process for Assistant Administrative Officers (AAOs) at LIC begins with the placing of advertisements in popular national and regional newspapers across the country. Candidates applying for the post of AAOs should be between 21 and 28 years of age. They should hold a graduate / postgraduate degree in any subject with minimum of 50% marks. Candidates from certain backgrounds
  • 68.
    68 (SC, ST, andOBC) are given some concessions with regard to age and marks. Short listed candidates are asked to appear for an entrance examination. The entrance examination has two papers – one is of an objective types and the other an essay type. The objective type paper test intelligence, aptitude, mathematical knowledge, logical reasoning, general knowledge and awareness of political and cultural events. After the written test, candidates have to appear for interview, which are conducted by LIC offices across the country. Based on their overall performance, candidates are selected. 4.14.2. PRAMOTIONAL POLICIES IN LIC In LIC, employees promoted to higher posts are placed on probation ranging from 6 months to 1 year depending upon the class (explain below) to which he belongs. The competent authorities may used their discretion to a maximum period of 2 years. An employee on probation is liable to be reverted to his earlier position without notice; however the period of probation will be counted permanent service for all purposes. The organizational hierarchy in LIC is expressed in terms of various classes. 1. CLASS 1: Include the chairman, the managing directors, the executive directors, branch managers or administrative officers to assistant branch managers or assistant administrative officers.
  • 69.
    69 2. CLASS 2:This class comprises of development officers. These development officers have agent under then who work on commission and not on salary. 3. CLASS 3: This class comprises of all the administrative staff they are higher-grade assistant (HGA), assistances, record clerks (RC), cashier and machine operators. 4. CLASS 4: This class comprises of the sub-staff. They are the peons, watchmen, sweepers, divers, etc. REFERANCES 1. Tarmoom, A. Z., “A conceptual structure for human resource - Total cost accounting model”, Himalaya Publishing House, New Delhi-110002, p. 17 2. Ibid, p. 18 3. Ibid, p. 18 4. Likert R., The human organization: Its management and value, McGraw Hill, New York, 1967. 5. Giles, W. J. and D. F. Robinson, Human asset accounting, Lawrence – Allen, Great Britain Revised 1980. 6. American Accounting Association 1971, A statement of basic
  • 70.
    70 accounting theory, EvanstonIII, p. 10. 7. American Accounting Association 1972, “A report of the committee on human resource accounting”, The Accounting Review, Supplement, Vol. XLVII,pp. 182 – 185. 8. Jurkus, A. F., “The Uncertainty factor in Human Resource Accounting”, Personal Journal, Vol.56, No. – 6, Nov. – Dec. – 1979. P.72 -75. 9. Flamholtz, E. G. , “Human Resource Accounting: Advances in concepts, methods and applications”, Jessey – Base INC, San Francisco, California, Second Edition- 1986.p.96. 10. Ibid, p.121. 11. Batra, G. S., Modern Trends In Accounting Research, Deep and Deep Publications, New Delhi- 110027, p.233 – 235. 12. Ibid, p.224. 13. Ibid, p.224.
  • 71.
    71 Chapter 5 CONCLUSION ANDSUGGESTIONS 5.1. Summary The human capital of an organization represents one of its largest investments. The objectives of HRM include getting the organization right people, paying and treating them fairly, and getting them involved in working productively. The attainment of these objectives necessitates the performance of several functions. The main HRM systems are:  Appraisal system;  Career system;  Training system;
  • 72.
    72  Work system; Cultural system; and  Self-renewal system. All systems and sub systems of HRM must be incorporated in the organization while setting the goals and objectives. This will also indicate the purpose and processes and make HRM more meaningful. Human resource functions are many and varied and include such things as human resource planning, recruitment, selecting, training, and canceling employees, compensation management, and employer-employee relations. In small organizations, most human resource functions are performed by owners or operating managers. Large organizations usually have a human resource or personnel department that is responsible for co-coordinating and directing the human resource functions. However, little systematic information exists in the area of HRM policies and programmed that are generally followed in organizations to achieve their corporate goals and objectives. The General Insurance Corporation recognizes that human recourses are its most valuable assets. Training and performance appraisal in the GIC is dealt in the 3rd chapter. It is concluded that the training brings perfection and specialization in the performance of the individual in the GIC. It has been conducted various training program from time to time in order to maintain and for the augment of the skills of its employees. Successful human resource management is essential to organizational growth and success. In the light of new challenges, organization’s long-range planning and policy-making activities.
  • 73.
    73 BIBLOGRAPHY BOOKS: 1. Batra G.S.,Modern Trends in Accounting Research. Deep & Deep Publications, New Delhi, 2000. 2. Stewart Thomas A., “Your Bank’s most valuable asset: Intellectual Capital.” Fortune, Oct. 3, 1994. 3. Sadan, S.S. and L.B. Auerbach, Op.cit,
  • 74.
    74 4. Tarmoom, A.Z.,A conceptual structure for human resource – Total cost accounting model”, Himalaya Publishing House, New Delhi-110002 5. Likert R., The human organization: Its management and value, McGraw Hill, New York, 1967. 6. Dr. Mamta Jain, Insurance HRD practice.