UNIT I
CIRCUIT BREAKERS
M MURALI
ASSOC.PROFESSOR
DEPT. OF EEE
VEMU IT
High Resistance Method :
From the phenomenon of arc, it is clear that
the current flowing in the circuit entirely
depends upon the arc resistance.
In this method, resistance is increased to such
a value that the current is decreased to a very
low value. Once the current is decreased the arc
is extinguished.
The resistance of arc can be increased in
following ways
Increasing the Length of the Arc: We know
that, resistance R ∝ ρl /A. If the length of the arc
is increased then the resistance is increased, once
the resistance is increased, the current decreases.
By Reducing the Area of Cross-section of the
Arc: If the area of cross-section of the arc is
reduced, the resistance increases as R ∝ ρl/A.
When the resistance is increased, the current is
automatically interrupted thereby, the arc is
extinguished .
Cooling the Arc: By providing any cooling
agent, the ionized particles present between
the contacts can be reduced. The reduction
of ionized particles increases the resistance
between the contacts and hence decreases
the current.
Splitting the Arc: The arc is made to split
into a number of sections. In each section,
resistance is increased due to the effect of
cooling and lengthening of arc.
Low Resistance Method or Current Zero Method :
It is applicable only to ac circuits. We know that the
current becomes zero twice a cycle in case of ac.
When it becomes zero, the arc extinguishes for a longer
duration of time.
During the next half-cycle, it reappears again, if the
dielectric strength of the air gap is less than the voltage
gradient between the contacts. Using this property of ac
circuits, the arc can be extinguished easily when the
current becomes zero.
For such conditions to prevail, the dielectric strength of
the medium surrounding the ionized particle has to be
improved. It is possible by either cooling or sweeping
out the ionized particles and deionizing the medium.
The different methods for deionization of the medium for
extinguishing arc are,
Increasing the Length of the Gap - The dielectric
strength of the medium can be increased by increasing
the length of the arc as the dielectric strength ∈ is directly
proportional to the length l i.e., ∈ ∝ l. Once the dielectric
strength of the medium is increased, the arc fails to
restrike again and the flow of current is interrupted, thus
extinguishing the arc.
Cooling - During cooling the ionized particles are
deionized into neutral molecules. By means of cooling the
dielectric strength of the medium is increased and the arc
is extinguished.
High Pressure - If the pressure near the contacts
is maintained at a high value, it helps in the rapid
deionization of the ionized particles to neutral
molecules thereby increasing the dielectric
strength of the medium.
Blast Effect - In this type of effect either high-
pressure oil is forced to pass through the arc gap
or gas is used in order to sweep away the ionized
particles and improve the dielectric strength of
the medium.
Rate of Rise of Re-striking Voltage (RRRV):
The transient voltage that appears across the contacts of the circuit breaker
at the current zero period during arcing is known as Restriking voltage.
The expression for the re-striking voltage is VC( t ) = Vm(1− cos ωnt )
The maximum value of the re-striking voltage occurs at t = π / ωn = π √ L C
The maximum value of re-striking voltage = 2 Vm = 2 × peak value of the
system voltage.
The rate of rise of re-striking voltage (RRRV) = d/dt [ Vm (1− cos ωnt ) ]
∴ RRRV = Vm ωn sin ωnt
The rate of rise of re-striking voltage is directly proportional to the natural
frequency.
R R R V ∝ ωn ∝ 1 √ L C
Where L is the inductance of the system
C is the capacitance of the system
So, the rate of rise of re-striking voltage (RRRV) is dependent upon both
the inductance and capacitance of the system.
Now, the maximum value of RRRV occurs when ωnt = π/2 i.e. when
t = π/2ωn
∴The maximum value of RRRV = V mω n = Vm / √ L C
RRRVmax = Vm / √ L C
Sulphur Hexafluoride(SF6) circuit breaker
In SF6 circuit breakers, sulphur hexafluoride (SF6) gas
is used as the arc quenching medium.
The SF6 is an electro-negative gas and has a strong
tendency to absorb free electrons.
The contacts of the breaker are opened in a high-
pressure flow of SF6 gas and an arc is struck between
them.
The conducting free electrons in the arc are rapidly
captured by the gas to form relatively immobile
negative ions.
This loss of conducting electrons in the arc quickly
builds up enough insulation strength to extinguish the
Constructional Details
It consists of fixed and moving contacts enclosed in
a chamber (called arc interruption chamber)
containing SF6 gas. This chamber is connected to
the SF6 gas reservoir.
When the contacts of breaker are opened, the valve
mechanism permits a high-pressure SF6 gas from
the reservoir to flow towards the arc interruption
chamber.
The fixed contact is a hollow cylindrical current
carrying contact fitted with an arcing horn.
The moving contact is also a hollow cylinder with
rectangular holes in the sides to permit the SF6
gas to let out through these holes after flowing
along and across the arc.
The tips of fixed contact, moving a contact
and arcing horn are coated with copper-
tungsten arc-resistant material.
Since SF6 gas is costly, it is reconditioned
and reclaimed by a suitable auxiliary system
after each operation of the breaker.
Working Operation :
In the closed position of the SF6 circuit
breaker, the contacts remain surrounded by SF6
gas at a pressure of about 2·8 kg/cm2.
When the breaker operates, the moving contact is
pulled apart and an arc is struck between the
contacts.
The movement of the moving contact is
synchronised with the opening of a valve which
permits SF6 gas at 14 kg/cm2 pressure from the
reservoir to the arc interruption chamber.
The high-pressure flow of SF6 rapidly
absorbs the free electrons in the arc path to
form immobile negative ions which are
ineffective as charge carriers.
The result is that the medium between the
contacts quickly builds up high dielectric
strength and causes the extinction of the
arc.
After the breaker operation (i.e., after arc
extinction), the valve is closed by the action
of a set of springs.
Advantages:
(i) Due to the superior arc quenching property of
SF6, such circuit breakers have very short arcing
time.
(ii) Since the dielectric strength of SF6 gas is 2 to 3
times that of air, such breakers can interrupt
much larger currents.
(iii) The SF6 circuit breaker gives noiseless
operation due to its closed gas circuit and no
exhaust to atmosphere, unlike the air blast circuit
breaker.
(iv) The closed gas enclosure keeps the interior dry
so that there is no moisture problem.
(v) There is no risk of fire in such breakers because
SF6 gas is non-inflammable.
(vi) The SF6 Circuit breakers have a low
maintenance cost, light foundation requirements
and minimum auxiliary equipment.
(vii) Since SF6 breakers are totally enclosed and
sealed from the atmosphere, they are particularly
suitable where explosion hazard exists e.g., coal
mines.
Disadvantages:
(i)SF6 breakers are costly due to the high cost of SF6.
(ii) Since SF6 gas has to be reconditioned after every
operation of the breaker, additional equipment is required for
this purpose.
Applications:
A typical SF6 circuit breaker consists of
interrupter units each capable of dealing with
currents up-to 60 kA and voltages in the range
of 50—80 kVA number of units are connected in
series according to the system voltage.SF6
circuit breakers have been developed for
voltages 115 kV to 230 kV, power ratings 10
MVA to 20 MVA and interrupting time less than
3cycles.
Minimum Oil Circuit Breaker (Low oil
Circuit Breakers) (MOCB)
In case of bulk oil circuit breaker, the oil is used for two
functions.
-Firstly it acts as an arc-quenching medium and
- Secondly it insulates the live parts from earth.
But for arc extinction purpose a very small amount of oil is
sufficient while the major part is utilized for insulation
purposes.
Thus the oil required in case of bulk oil circuit breaker is
large and need frequent replacement.
This increases the overall cost; tank size and weight of or
the breaker.
Above drawbacks of bulk oil circuit breakers are removed
in minimum oil circuit (also known as MOCB) breaker in
which a small quantity of oil is used for arc extinction and
for insulation purpose.
Constructional Details
The MOCB has three chambers; the arc chamber and the
supporting chamber,Top Chamber.
The arc chamber includes fixed and moving
contact filled with oil. This chamber is used for
extinguishing the arc.
It is made from porcelain with bakelised paper
encasing. It also includes vents for gas release at
the top.
The supporting chamber provides support to the
arc chamber. It is made of porcelain filled with oil
for insulation.
It insulates the arc chamber that is mounted on
top of it. It includes an arm operated by a
mechanism to move the moving contact upward
The moving contact is also attached to a piston
that develops the pressure necessary for arc
quenching.
Therefore, MOCB is a type of Forced Blast oil
circuit breaker where the pressure is developed by
external means independent of the arc current.
This arrangement permits two advantages.
- Firstly, the circuit breaking chambers
requires a small volume of oil which is just enough
for arc extinction.
- Secondly the amount of oil to be replaced
is reduced, as the oil in the supporting chamber
does not get contaminated by the arc.
Working Operation :
•Under normal operating conditions, the moving
contact remains engaged with the upper fixed
contact.
•As soon as fault occurs on the system, the moving
contact is pulled down by the tripping springs and
arc is struck between the two contacts.
•The heat of arc causes vaporisation of the oil and
produces gases under high pressure.
•Due to this action, the oil is pass through a
central hole in the moving contact and creates
turbulance of the oil.
• This causes successively quenching of arc by the
effect of separate stream of oil moving across each
section in turn and bearing away its gases.
Advantages:
1. It requires a very little amount of oil.
2. Less amount of oil means the risk of fire hazards
is low.
3. It has low weight.
4. It has small size and takes up small space
5. It is cheaper than BOCB.
6. It has easier maintenance and oil can be easily
replaced.
7. Best for installation in places where it is not
frequently used.
Disadvantages :
1.Lesser oil is more affected by the amount of
carbonization from the contacts.
2.The oil quickly losses its dielectric strength..
3.It requires more frequent maintenance.
Applications of Oil Circuit Breaker:
The oil circuit breakers are used in high
voltage applications such as in power grids,
substations, powerlines and transmission
and distribution systems for up to 220 kV.
Vacuum Circuit Breaker
1.The vacuum circuit breaker (also known
as vacuum interrupter or VCB) uses the
arc quenching process in the vacuum as a
switching medium.
2.The vacuum has the highest insulating strength.
So, it has far superior arc quenching properties
than any other medium.
3.The degree of vacuum is in the range of 10^-7 to
10^-5 Torr. It is suitable for medium-voltage power
distribution ranging from 22kV to 66 kV.
Constructional Details:
1.The vacuum circuit breaker consists of fixed
contact, moving contact and an arc shield mounted
in a vacuum interrupter.
2.The moving contact is connected to the control
mechanism by stainless steel bellow.
3.The Arc shields are supported to the insulating
housing such that they cover these shields and is
prevented from condensing on the insulating
enclosure.
4.The possibility of a leak is eliminated due to the
permanent sealing of the Vacuum chamber for that
a glass vessel or ceramic vessel is used as the
outer insulating body.
Working of Vacuum Circuit Breaker:
When the breaker operates, the moving contact
separates from the fixed contact and an arc is
struck between the contacts.
The production of the arc is due to the ionization
of metal ions and depends very much upon the
material of contacts.
The arc is quickly extinguished because the
metallic vapors, electrons, and ions produced
during arc are diffused in a short time.
Since vacuum has a very fast rate of recovery of
dielectric strength, the arc extinction in a
vacuum breaker occurs with a short contact
separation (say 0.625 cm).
Advantages :
1.Compact and reliable.
2.Longer life.
3.No risk of fire.
4.Environmental friendly than SF6 CB.
5.High dielectric strength.
6.Easy maintenance.
7.Arc extinction is very fast.
8.User friendly.
Disadvantages:
1.The cost of VCB will increase if the voltage
exceeds 38kV.
2.It is Uneconomical at voltages exceeding
38kv.
Applications of VCB :
1.High voltage circuits
2.Used in substations and generators
3.Interrupts the double earth faults and out
of phase currents
4.Applications that require high switching
sequences use VCBs
5.Railway applications use this circuit
breaker for traction current and electric
supply switching.
6.To switch motor drives.
Air blast circuit breaker
Air blast circuit breaker employs a high-
pressure air blast as an arc quenching medium.
Air blast circuit breakers are using compressed
air or gas as the circuit breaking or interrupting
medium. Gases such as nitrogen, carbon dioxide,
hydrogen or Freon can be used as arc interrupting
medium.
Constructional Details:
The major components of the air blast circuit
breaker are,
1.Air reservoir
2.Hallow insulator assembly
3.Arc extinction chamber
4.Valves 5.Current carrying conductors.
Hallow Insulators Assembly :
These are mounted on the air reservoir that connects the
air reservoir to the arc extinction chamber for the supply of
high-pressure air from the air reservoir to the arc extinction
chamber.
Valves are provided at the base of the hallow insulators
that control the flow of high-pressure air.
Arc Extinction Chamber :
The arc extinction chamber is mounted on the hollow
insulator assembly.
The making and breaking of the circuit are carried out in
the arc extinction chamber.
It consists of fixed and moving contacts with a spring
mechanism. The moving contact moves away and closes to
the fixed contact depending upon the air pressure.
Valves :
These are provided at the base of the insulators
that regulate the flows of high-pressure air from
the air reservoir to the arc extinction chamber.
When there is a fault in the circuit the values get
opened with the help of an operating rod connected
to the pneumatic operating mechanism.
Current Carrying Conductors :
The current carrying conductors link all the arc
extinction chambers in series and the poles of
neighboring equipment.
Working Operation of ABCB :
Under normal conditions, the breaker contacts
present in the arc extinction chamber are in
contact with each other.
Under fault conditions, the breaker receives a
tripping signal and this makes the valves open by
operating rod connected to it. When the valves get
opened, the high-pressure air enters into the arc
extinction chamber through the hallow insulator
assembly.
Once the high-pressure air enters into arc
extinction chamber, it causes to increase the
pressure on the moving contact inside the arc
extinction chamber. Hence the moving contact gets
separated from the fixed contact.
At the time of separation, an arc is drawn
between the two contacts. The arc is formed due to
the ionization of air present between the contacts
and this ionized air is taken out by the high-
pressure air through the air outlet valves.
Thus the arc formed between the two contacts
gets extinguished.
Types of Air Blast Circuit Breakers:
Air blast circuit breakers are classified on the basis the
direction of air blast to the arc. They are classified into :
Axial Blast Type – air blast is directed along the arc path.
Cross Blast Type – air blast is directed at right angles to
the arc path.
Radial Blast Type – air blast is directed radially.
Axial Blast Circuit Breaker:
Under Normal Condition
The fixed and moving contacts are held in a closed
position with the help of spring pressure. There is
an air reservoir connected to the arcing chamber
through an air valve.
The air valve controls the flow of air into the arcing
chamber. The valve is closed under normal conditions.
Under Faulty Condition
When a fault occurs a tripping impulse is produced
which causes the opening of the air valve.
Since the air valve connects the air reservoir and
the arcing chamber, a high-pressure air enters
the arcing chamber. This air pushes away the
moving contact against the spring pressure.
The moving contact is separated and an arc is
struck. At the same time, high-pressure air blast
flows along the arc and takes away the ionized
gases along with it.
Consequently, the arc is extinguished and the
current flow is interrupted.
Cross Blast Circuit Breaker:
In this type of breaker, an air-blast is directed at
right angles to the arc. The cross blast lengthens
and forces the arc into a suitable chute for arc
extinction.
When the moving contact is withdrawn, an arc is
struck between the fixed and moving contacts.
The high-pressure cross-blast forces the arc into a
chute consisting of arc splitters and baffles. The
splitters serve to increase the length of the arc and
baffles give improved cooling.
The result is that arc is extinguished and the flow
of current is interrupted.
Radial air blast Circuit Breaker:
The air blast flows radially into space between the
contacts. The contacts are separated and an arc is
formed between them. The air flows at a great
speed axially along the arc.
Advantages :
There is no need for oil in air blast circuit breakers. This
eliminates the oil maintenance requirement as compared
to the oil circuit breaker.
It is easily accessible and the weight is relatively less.
The air blast circuit breaker has a high rupturing capacity.
High-speed operation (rapid reclosing at successive
operation) is possible.
Deterioration of oil is eliminated and the arcing products
produced are completely removed.
Fire risk in case of air blast circuit breaker is eliminated.
The breaker allows the high-speed interruption.
These types of circuit breakers are almost maintenance-
free.
Disadvantages :
1.There can be a possibility of air leaks at
the fittings of the pipeline.
2.The variations in RRRV (Rate of Rising of
Recovery Voltage) will affect the
performance of the air blast circuit
breaker.
3.The breaker requires additional
equipment like the electric motor, air
compressors, etc., which increases the
cost.
Circuit Breaker Ratings and Specifications :
The circuit breaker needs to work under severe
electrodynamic forces, thermal stress, etc.
These are very high under short circuit fault
conditions. Hence, its rating will be different
when compared with other equipments. Its rating
specifies all the characteristics values that define
the working conditions for which it has been
designed.
A few of the important specifications are,
•Rated voltage
•Rated current
•Rated frequency
•Making capacity
•Breaking capacity
Rated Voltage :
The rated voltage of a circuit breaker is defined
as the highest rms value of voltage for which it is
designed.
Usually, the rated voltage will be greater than the
rated nominal system voltage.
Rated Current :
The Rated current of a circuit breaker is defined
as the highest rms value of current that it can
carry continuously while maintaining the
temperature (in various parts) within the
prescribed limits.
Rated Frequency :
The rated frequency of a circuit breaker is the
frequency at which it has been designed to operate.
If the circuit breaker is intended to operate at
some other frequency, then its effects like
temperature rise, breaking time, etc., must be
taken into consideration.
The standard rated frequency is 50 Hz.
Breaking Capacity :
The breaking capacities are divided into two
types symmetrical breaking capacity and
asymmetrical breaking capacity.
The symmetrical breaking capacity of a circuit
breaker is defined as the product of symmetrical
breaking current (rms value of ac current) and
recovery voltage VR.
The asymmetrical breaking capacity of a circuit
breaker is defined as the product of asymmetrical
breaking current (rms value of total current) and
recovery voltage VR.
Making Capacity :
The making current or making capacity of a
circuit breaker is given by,
= 1.8 x √2 x Symmetrical breaking current or
breaking capacity
Factor √2 converts rms value to maximum value
and factor 1.8 takes the doubling effect of short-
circuit current (due to dc component) into account.
Auto Reclosers
UNIT II
RELAYS
Induction Type Non Directional Over Current Relay
 The overcurrent relay operates when the current in the circuit
exceeds a certain preset value.
 The induction type non directional overcurrent relay has a
construction similar to a watt-hour meter, with slight
modification.
 It consists of two electromagnets.
 The upper is E shaped while the lower is U shaped.
 The aluminium disc is free to rotate between the two magnets.
 The spindle of the disc carries moving contacts and when the
disc rotates the moving contacts come in contact with fixed
contacts which are the terminals of a trip circuit.
 The upper magnet has two windings, primary and
secondary. The primary is connected to the
secondary of C.T on the line to be protected.
This winding is tapped at intervals. The tappings
are connected to plug setting bridge. With the
help of this bridge, the number of turns of the
primary winding can be adjusted.
Thus the desired current setting for the Non-
directional Induction Overcurrent Relay can be
obtained.
 The time required to rotate the disc depends on a
torque.
 The torque varies as current in the primary circuit.
More the torque, lesser is the time required
hence Non-directional Overcurrent relay has
inverse time characteristics.
 The figure below shows the time-current
characteristics for the Non-directional overcurrent
relay. Such characteristics are called Inverse
Definite Minimum Time (I.D.M.T.) characteristics.
Working Operation:
 This torque is opposed by restraining force produced
by spiral springs.
 Under normal conditions, the restraining force is
more than driving force or Torque produced by the
relay coil current and hence disc remains stationary.
 Under fault conditions when the current becomes
high, driving torque becomes greater than the
restraining torque. So the disc rotates through the
preset angle and makes contact with the fixed
contacts of the trip circuit.
 The trip circuit opens the circuit breaker, isolating the
faulty part from rest of the healthy system.
Induction Type Directional Overcurrent Relay
 The directional power relay is not suitable to use as a
protective relay under short circuit conditions.
 This is because under short circuit conditions the
voltage falls drastically and such a reduced voltage
may not be sufficient to produce the driving torque
required for the relay operation.
 Hence in practice, directional induction type
overcurrent relay is used. This relay operates almost
independent of system voltage and power factor.
 The directional induction type overcurrent relay uses
two relay elements mounted on a common case.
These elements are,
1.Directional element
2.Non directional element or overcurrent element
Directional element:
The directional element is nothing but a directional
power relay which operates when power in the circuit
flows in a particular direction.
The voltage coil of this element is energized by a
system voltage through a potential transformer.
The current coil on the lower magnet is energized by
the system current through a current transformer.
The trip contacts of this relay are connected in series
with the secondary winding of non directional
element.
Non directional element:
The current coil of the directional element is
connected in series with the primary winding of non
directional element.
The plug setting bridge is provided in this element to
adjust current setting as per the requirment.
The spindle of the disc of this element carries a
moving contact which closes the fixed/trip circuit
contacts after the operation of directional element.
Operation :
When the power flows in its normal direction, the directional
power relay (upper element) does not operate. Thereby, by
keeping the overcurrent element un-energised.
But as soon as there is a reversal of current or power ( due to
short circuit) the disc of the upper element starts rotating and
bridges fixed contacts 1 and 2. this complete the circuit for the
overcurrent element. Due to overcurrent a torque is set up on
the disc (lower element) and the action closes the trip contacts.
there by enabling the circuit breaker to operate.
The relay operates only when the following conditions are
satisfied:
1.The direction of current is in reverse direction.
2.The current in reverse direction exceeds the treset value.
3.The excessive current permits for long duration than its time
setting.
INDUCTION RELAYS:
Induction relays are two types
1.Non directional relays
2.Directional relays
Difference between the two:…………?
• Non directional relays are activated by only
current flowing in the circuit to be protected.
• Directional relays are activated by power flowing
in the specific direction.
Hence it requires both current and voltage of the
circuit to be protected.
* it requires specific direction of current flow also.
DIRECTIONAL POWER RELAY:
 This relay operates when the power in the circuit
flows in a specific direction.
 It consists of two electro magnets
1)upper magnet which is E-shaped
2) lower magnet which is U-shaped.
 The upper magnet consists of primary winding on
the central limb which is energized by voltage
from secondary of P.T.
 The lower magnet houses secondary winding
which is energized by current of the circuit from
secondary of C.T. Further lower magnet is
connected to PSM.
In between this two electro magnets we have aluminum
disc pivoted as shown in fig.
This aluminum disc carries a moving contact which can
bridge fixed contact by rotating though a pre set angle.
• The time of operation depends upon the pre set angle.
• Restraining torque is provide by spring which twists in
reverse direction.
Operation:
• from the diagram , we have two flux quantities: φ1 &
φ2 .
φ1 is always lags V by 90 Degrees
φ2 is in phase with current I
Due to phase difference between two flux quantities i.e.,
α= 90-θ
Φ1 αV & φ2 αI
Hence , T = φ1 φ2 sin α
= φ1 φ2 sin(90-θ)
= VI COS θ
= Power
• Hence the relay activated only when there is a specific
direction of power flow.
• when power flows in normal direction both driving
torque and restraining torque twists in same direction
and relay does not operates.
• when the power flow is in reverse direction, driving
torque and restraining torque acts in opposite direction
and relay operates. therefore CB operates and
disconnects faulty
Static Relay
In this relay does not have any moving parts in
it and it purely contains only electronic
elements (such as diodes, BJT, etc.) therefore, it
is also known as a solid-state relay.
Definition: The relay which does not contain
any moving parts Is known as the static relay.
The static relay consists of a rectifier, amplifier, output unit,
and relay measuring circuit.
The relay measuring circuit consists of the level detectors,
logic gate, and the comparators (amplitude and phase
comparators).
Constructional details:
 The transmission line is connected to the CT or PT i.e.,
that transmission line feeds the input to the current
transformer or the potential transformer.
 The output of the CT is supplied as an input to the
rectifier. Here, the rectifier is responsible for rectifying
the input alternating current signal into the direct
current (linear) signal. And that direct current signal is
applied to the relay measuring unit.
 The relay measuring unit performs the most important
action i.e It detects the level of the input signal through
the level detectors, compares the magnitude and the
phase of the signal through the comparators, and
performs the logic gate operations.
 Two types of comparators are present in this relay unit,i.e
amplitude comparator and a phase comparator.
 The amplitude comparator compares the magnitude of
the input signal and the phase comparator compares the
phase difference of the input quantity.
 The output of the relay measuring unit is applied to the
amplifier. The amplifier amplifies the magnitude of the
signal and fed it to the output device.
The output device energizes the trip coil which trips the
circuit breaker.
 The amplifier, relay measuring unit, and the output
device need an additional dc supply for their
operations.
Working Operation :
First, the CT or PT takes the input quantity signal (it can be
voltage or current) from the transmission line and fed the
output to the rectifier. The rectifier then converts the
alternating current signal into the direct current signals and
passes its output to the relay measuring unit.
Now the relay measuring unit detects the level of the input
signal. Then comparators present in the unit compare the
magnitude and the phase of the signal. The comparators
compare the input signal to check whether the signal is
faulty or not.
Then the amplifier amplifies the magnitude of the signal and
sends it to the output device which energizes the trip coil
which trips the circuit breaker.
Advantages of Static Relay :
1.It shows high accuracy
2.Less maintenance required
3.Response time is very fast
4.Static relays provide resistance to vibrations and
shock
5.Resetting time is very quick
6.Consume less power and they draw power from
auxiliary dc supply
7.Compact size
8.Operates for a very long period
Disadvantages of Static Relay:
1.It is sensitive to temperature and voltage. A spike
in temperature or voltage can cause component
damage or complete failure.
2.Expensive than the electromagnetic relay
3.It needs a secondary supply
4.It has less overloading capacity
Applications:
1.Overcurrent schemes
2.Earth fault protection schemes
Differential Relay
 One of the most important protection scheme
in power system is differential protection.
 It is used to protect the electrical equipment
against internal fault such as internal winding
short circuit or , inter turn short circuits ,
winding puncture etc.
 It works based on Kirchhoff’s current law. It
stats that the algebraic sum of a node in a
circuit is equal to zero.
 The differential relay can be defined as the
relay operates when the phasor difference
between the two or more electrical quantities
exceed the pre-set value.
Types of differential relay:
1.Current balance differential relay
2.Voltage balance differential relay
3.Biased differential relay or percentage
differential relay
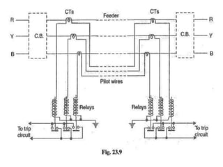
Current balance differential relay:
 In current balance differential relay, the two
current’s magnitude and phasor comparison
takes place.
 Consider a circuit shown in , two current I1 and
I2 are Two CT’s output. The operating coil K is
placed across the current transformer.
 During normal condition two currents I1 and I2
have equal magnitude and phasor. Hence at a
point A both cancels each other. Therefore, the
current flow through the coil K is zero and the
relay become inoperative.
 During abnormal condition, the current I1 is
not equal with I2. Then there is a current flow
through the coil K, if the current flow through
the coil k is exceed the preset value, then the
relay operates the associated circuit breaker.
Voltage Balance differential relay:
 This is also called opposed voltage method. In
this type, the over current relay is connected in
series with the secondaries of the current
transformers. As shown in above fig.
 Under normal conditions, the current at the two
ends of the section to be protected is same.
Hence there is no voltage drop across the relay
to cause the current to flow.
 Under fault conditions, the currents in the two
secondaries of current transformers are
different. This causes a large voltage drop across
the relay. Thus the voltage balance of the circuit
gets disturbed. Hence large current flows
through the relay due to which the relay
Percentage Differential Relay or Biased Beam Relay :
 The most extensively used form of differential
relay is the percentage differential or biased
beam relay. It consists of two coils, a
restraining coil, and an operating coil.
 The operating coil is connected to the midpoint
of the restraining coil. The operating coil
produces the operating torque which makes the
relay operate, while the restraining coil
produces a restraining torque (bias force) which
is opposite to the operating torque.
 Under normal operating condition the
restraining torque will be greater than the
operating torque. Therefore, the relay remains
inoperative.
 when there is a fault in the protected zone
the operating torque will be greater than
the restraining torque. Due to this, the
beam closes the trip circuit thereby
initiating a trip signal by the relay to the
circuit breaker.
MICROPROCESSOR BASED RELAYS
 Microprocessor relays provide many functions that were
not available in electromechanical or solid-state designs.
 The relay can be ON or OFF, that is, it has two stable states
 The output of the CT line is given to the input receiver
block where the signal is processed.
 Signal processing includes overvoltage protector, rectifier,
smoothing filters, auxiliary CT, etc., depending on the
requirements.
 This signal is an analog signal. The A / D converter
converts this into a digital signal that is accepted by the
microprocessor.
 The microprocessor is a block of decision making.
 The received digital signal is compared with the
reference to generate the appropriate trigger
signal.
 This is a digital signal that is converted back to
analog to operate the trip coil. This is achieved
by the D / A converter.
 The data logger captures the data and sends it to
the microprocessor when there is a request from
the microprocessor.
 The information can be displayed with a suitable
display device when taking the signal from the
microprocessor.
Advantages of microprocesser based relay:
1. Very efficient and reliable.
2. Highly accurate.
3. Very fast in operation.
4. Programmable in nature.
5. A unit can perform retransmission of several systems.
6. economical for large systems.
7. Useful for centrally coordinated backup protection.
Disadvantages:
1. reliable operating current required
2. needs electromagnetic compatibility
3. needs information security
4. narrow operating temperature range
Microprocessor Based Over Current Relay :
1.Current is taken from C.T. and given to I to V converter because many
electronics circuit require voltage signal for operation.
2.The A.C. voltage is converted into D.C. voltage by using rectifier.
3.This D.C. voltage is proportional to load current only.
4.The output of rectifier is given to Multiplexer.
5.The Multiplexer gives output to A/D Converter where Analog DC voltage is
converted to Digital form (in form of O and 1 i.e. binary form).
6.Microprocessor understands only codes in 0 and 1 form.
7.Microprocessor gives S/C (start of conversion) signal to A/D converter (I.e.
analog to digital conversion is started .
8.When converting from analog to digital is over (finish) then A/D converter
sends E/C signal to Microprocessor (E/C – End of Conversion).
9.When work of A/D is over then compare the magnitude of this incoming
current with required current value (I.e. set value or reference value).
10.If incoming value is more – fault is occurring and trip signal is send to CB
circuit breaker.
Based on the relay operating time-characteristics,
overcurrent relay can be classified into the
following types,
1.Definite time overcurrent relay
2.Inverse time overcurrent relay
3.Inverse definite minimum time (IDMT)
overcurrent relay
Microprocessor based Inverse Definite Minimum Time
Overcurrent Relay:
Microprocessor based Distance Relay:
UNIT-III
PROTECTION OF ALTERNATORS
INTRODUCTION
1.Generator is the most important and costly
equipment in power system.
2.The cost is high because the alternator unit is
accompanied by prime mover, excitation
system, voltage regulator, cooling systems etc.
3.as soon as the fault develops on an
alternator, it should be immediately
disconnected from the other generating plant
to avoid the damage of it.
(viii) Thermal loading: this is caused due
to Overheating of stator winding and
insulation failure.
(ix) Rotor Earth Faults: Single fault does
not harm, second fault causes unbalanced
magnetic forces causing damage to shaft,
bearings.
Types of Protection of Alternator:
1.Differential Protection of Alternator or
Merz-Price Circulating Current Scheme
2.Balanced Earth-Fault Protection
3.StatorInter-Turn Protection
4.Restricted Earth-Fault Protection
RESTRICTED EARTH FAULT PROTECTION OF
ALTERNATOR
The earth fault protection scheme consists of line CTs,
neutral CT and the earth fault relay, which gives the
tripping command to the circuit breaker and hence
restricted the fault current.
The secondary terminal of the current transformers are
connected in parallel with the relay.
Working:
Let F1 be the external fault occurs in the network. This fault
induces the I1 and I2 current which flows in the secondary of the
CTs. The resultant current of the I1 and I2 becomes zero. When
the fault occurs inside the protective zone say F2, then only
current I2 exist, and I1 is neglected. The current I2 passes
through the earth fault relay. The earth fault relay operates only
for the internal fault of the protective zone.
TRANSFORMER PROTECTION
PROTECTION OF FEEDERS
& BUSBARS
Presented by
M Murali
Dept.of EEE
VEMU IT
The common methods of line protection
are,
1.Time-grade overcurrent protection
2.Differential protection
3.Distance protection
Protection of Ring Main Feeder :
In this system, the various power stations
or sub-stations are interconnected by
alternate routes, thus forming a closed ring.
In case of damage to any section of the
ring, that section may be disconnected for
repairs, and power will be supplied from both
ends of the ring thereby maintaining
continuity of supply.
The above single line diagram consisting of
one generator G supplying four sub-stations
S1,S2,S3 and S4. In this arrangement, Power can
flow in both directions under fault conditions.
Therefore, it is necessary to grade in both directions
round the ring and also to use directional relays.
Suppose a short circuit occurs at the point as
shown above, it is desired that only circuit breakers
at E and F should open to clear the fault whereas
other sections of the ring should be intact to
maintain continuity of supply.
The power will be fed to the fault via two routes viz
(i) from G around S1 and S2 and (ii) from G around
S4 and S3. It is clear that relays at A,B,C and D as
well as J,I,H and G will not trip. Therefore, only
relays at E and F will operate before any other relay
operates because of their lower time-setting.
Translay Scheme
Contruction:
The relay used in this scheme is essentially
overcurrent induction type relays. Each relay has
two electromagnetic elements.
The upper element carries a winding (A or A1)
which is energised as a summation transformer
from the secondaries of the line CTs connected in
the phases of the line to be protected.
The upper element also carries a secondary
winding (B or B1) which is connected in series with
the operating winding (C or C1) on the lower
magnet.
The secondary windings (B or B1) and operating
windings (C or C1) are connected in series in such a
way that voltages induced in them oppose each
other.
Operation:
Under healthy conditions, the currents at its two ends are
equal so that the secondary currents in both sets of CTs are
equal. Consequently, the currents flowing in the relay primary
winding (A or A1) will be equal and they will induce equal
voltages in the secondary windings (B or B1). Since these
windings are connected in opposition, no currents flows in
them or in the operating windings (C or C1).
During fault on the protected line, the line current at one end
must carry a greater current than that at the other end. The
result is that voltages induced in the secondary windings (B or
B1) will be different and the current will flow through the
operating coils (C or C1) and the pilot circuit. Under these
conditions, both upper and lower elements of each relay are
energised and a forward torque acts on the each relay disc. The
operation of the relays will open the circuit breakers at both
ends of the line.
Three Zone Distance Protection of Transmission
Line :
It uses a number of distance relays associated
with timing relays, such that the power system is
divided into a number of zones with varying tripping
times associated with each zone. The three-zone
protection is shown in the below figure.
 First Zone - The first zone of distance protection is set
to reach up to 80 to 90% of the length of the line section
to be protected. It is a high-speed unit and is used for
the primary protection of the line and also its operation
is instantaneous.
 Second Zone - The second zone is mainly used to
provide primary protection to the remaining 20 to 10% of
the line section to be protected and also it is set to cover
up to 50% of the next section. It operates after a certain
time delay usually 0.2 to 0.5 sec.
 Third Zone - The third zone is provided for complete
backup protection for all faults at all locations with
more time delay.
 Pilot types of protection operate only for faults occurring
within the protected section and also give no backup
protection, whereas distance protection provides backup
protection and it is a non-unit form of protection.
Carrier Current Protection of Transmission Lines:
 Carrier current protection is mostly preferred
protection scheme for long transmission lines
because it is more reliable, cheaper, and provides
protection at a faster rate.
 In this protection scheme, the transmission line
serves two purposes, it transmits the power and
at the same time, it acts as the medium for
carrying information from one to the other end of
the line i.e., the power lines themselves carry
power as well as communication signals.
 The main elements of the carrier channel are a
transmitter, receiver, coupling equipment, and
line trap.
 The carrier signal which is responsible for
performing both initiating and preventing tripping
operations of the relay is directly fed into the
power line circuit which is to be protected.
 The line traps and coupling capacitors are
connected at both ends of the protected line.
 Line traps are used to restrict the carrier currents
within the protected section avoiding interference
with or from the adjacent carrier current
channels.
 Coupling capacitors provide an impedance
(reactance) of low value to the high-frequency
currents. They can also be used as potential
dividers to supply reduced voltage to instruments.
 In this protection schemes, the phase angle of the
current at the two phases of the line are compared
instead of the actual current. And then the phase
angle of the line decides whether the fault is
internal and external.
Methods of Carrier Current Protection :
1.Directional Comparison protection, and
2.Phase comparison protection.
Directional Comparison Protection :
In this protection scheme, the fault in the protected section can
be detected by comparing the power flow direction at both
ends of the line. The modern directional comparison relaying
scheme operates in conjunction with distance relays that acts as
backup protection.
Phase Comparison Carrier Protection :
The phase comparison method operates on the principle of
phase angle comparison. The phase angle of the current
entering at one end is compared with the phase angle of the
current leaving the other end of the protected line section. It
should be observed that the magnitudes of the currents are not
compared.
Advantage of Carrier Current Protection:
1.It has a fast and simultaneous operation of
circuit breakers at both the ends.
2.No separate wires are required for signalling
because the power line themselves carry the
power as well as communication signalling.
4.It’s simultaneously tripping of circuit breakers at
both the end of the line in one to three cycles.
5.This system is best suited for fast relaying also
with modern fast circuit breakers.
2.Fault Bus Protection:
This can be achieved by providing earthed
metal barrier (known as Fault bus)
surrounding each conductor throughout its
entire length in the bus structure. With this
arrangement , every fault that might occur
must involve a connection between a
conductor and an earthed metal part. this
types of protection is known as fault bus
protection.
In arrangement of fault bus protection, the metal
supporting structure or fault bus is earthed
through a current transformer. A relay is connected
across the secondary of this CT.
Under normal operating condition, there is no
current flow from fault bus to ground and the relay
remains inoperative.
When a fault occurs between a conductor and
earthed supporting structure will result in
current flow to ground through the fault bus,
causing the relay to operate. The operation of relay
will trip all breakers connecting equipment to the
bus.
UNIT V
PROTECTION AGAINST OVER
VOLTAGE
The overvoltage or transients or surge
voltages are the voltages whose values are much
more than the normal voltages.
These are of short duration which can cause
malfunction or failure of equipment in the
system depending upon the severity of the
voltage level.
The main causes of over voltages in power
systems are classified as,
1.Internal causes, and
2.External causes.
Internal causes of over voltages are mainly due
to,
1.Switching surges,
2.Insulation failure,
3.Arcing ground, and
4.Resonance.
1.Switching Surges :
Switching surges are the over voltages produced on
a power system due to switching operations. The
study of switching surges is important for
designing the insulation of winding.
the causes for the production of switching surges
are listed below,
 Switching of an Unloaded Line or Open Line.
 Switching of a Loaded Line.
 Short-circuits and Line-faults Interruption -(In a
circuit breaker, after clearing faults a transient
restriking voltage appears which may cause over
voltages.)
 Reactor Switching- may cause current chopping
 Auto-reclosing of Circuit-breaker in Long EHV
Lines
2.Insulation Failure :
The over voltages are also caused due to the
insulation failure between line and ground or the
grounding of the conductor in a power system.
3.Arcing Ground :
Arcing ground is commonly caused in long
transmission line operations on high voltages due
to oscillation. The high voltage surges produced
due to the arcing ground can damage the power
system apparatus severely. The voltage produced
due to arcing grounds is nearly 3 to 4 times the
power frequency voltage. Arcing grounds can be
avoided by earthing the neutral.
4.Resonance :
In an electrical system when inductive reactance
of the circuit becomes equal to capacitive
reactance, resonance takes place. High voltage
surges are produced in the power system due to
resonance in transmission lines.
Overvoltage due to External Causes :
External causes of over voltages in a power system
are mainly due to lightning.
Methods of Protection Against Lightning :
These are mainly three main methods generally
used for protection against lightning. They are
1.Earthing screen.
2.Overhead earth wire.
3.Lighning arrester or surge dividers.
1.Earthing Screen:
The power stations and sub-stations generally
house expensive equipment.
These stations can be protected against direct
lightning strokes by providing earthing screen.
It consists of a network of copper conductors
(generally called shield or screen) mounted all
over the electrical equipment in the sub-station or
power station.
The shield is properly connected to earth on at
least two points through a low impedance. On the
occurrence of direct stroke on the station, screen
provides a low resistance path by which lightning
surges are conducted to ground. In this way,
station equipment is protected against damage.
2.Overhead Earth/Ground Wire:
The most effective method of providing
protection to transmission lines against
direct lightning strokes is by the use of
overhead ground wires
The ground wires are placed above the line
conductors
The ground wires are grounded at each
tower or pole through as low resistance as
possible. Due to their proper location, the
*ground wires will take up all the lightning
strokes instead of allowing them to line
3.Lightning Arrester:
The earthing screen and ground wires can well protect the electrical
system against direct lightning strokes but they fail to provide protection
against travelling waves which may reach the terminal apparatus.
The lightning arresters or surge diverters provide protection against
such surges.
A lightning arrester or a surge diverter is a protective device which
conducts the high voltage surges on the power system to the ground
It consists of a spark gap in series with a non-linear
resistor.
One end of the diverter is connected to the terminal
of the equipment to be protected and the other end is
effectively grounded.
The length of the gap is so set that normal line
voltage is not enough to cause an arc across the gap
but a dangerously high voltage will break down the
air insulation and form an arc.
The property of the non-linear resistance is that its
resistance decreases as the voltage (or current)
increases and vice-versa.
1.Under normal operation, the lightning arrester
is off the line i.e. it conducts **no current to
earth or the gap is non-conducting.
2.On the occurrence of overvoltage, the air
insulation across the gap breaks down and an
arc is formed, providing a low resistance path
for the surge to the ground. In this way, the
excess charge on the line due to the surge is
harmlessly conducted through the arrester to the
ground instead of being sent back over the line.
The advantages of lightning arrestors are,
 They reduce the damage from lightning
strokes.
 They are able to protect the outdoor
equipment.
 They reduce the over-voltage surges.
 They reduce electromagnetic interference.
 They are very simple to use.
Types of Lightening arrestors:
1.Rod Gap Arrester
2.Sphere Gap Arrester
3.Horn Gap Arrester
4.Multiple-Gap Arrester
5.Valve Type Lightning Arresters
6.Thyrite Lightning Arrester
7.Metal Oxide Lightning Arrester
Valve Type Lightning Arrester :
This type of arrester is also known as nonlinear type
lightning arrester, which is extensively used on systems
operating at high voltages up to 440 kV.
Valve-type arrester Consists of series spark gaps and
nonlinear resistors sets. These two are connected in series
with each other and placed in a tight porcelain container.
Series Spark Gap :
The spark gap consists of a number of series-connected
identical spark gaps. Every spark gap is formed by two
electrodes with a fixed gap between them.
The spark gaps are constructed in such a way that under
normal conditions it does not spark over and during high
voltage surges, spark over takes place.
Nonlinear Resistance :
The Non linear elements decreases with the increase in
current through them.
They are made up of an inorganic compound such as
thyrite or metrosil.
These resistors have a very low resistance under high-
frequency surge currents, Where as under power frequency
voltage it offers high resistance.
Working:
Under normal conditions, the spark
remains non conducting.
When a surge voltage occurs on the line, a
spark over takes place in the spark gaps and
high current flows to the ground through
nonlinear resistors.
Advantages:
1.These arrestors provide very effective
protection against surges (especially for
transformers and cables etc).
2.Speed of operation is very high (operation
overs in less than one second).
3.It sparks over at a predetermined voltage.
The Disadvantage of this type of
equipment is that, The performance
characteristics is adversely affected by the
ingress of moisture into the enclosure.
Metal Oxide Lightning Arrester:
 It is also called Zinc Oxide diverter.
 This type of arrester comprises of numbers of
solid zinc oxide disc.
 This discs are arranged one by one to form a
cylindrical stack. The number of zinc oxide
discs used per lightning arrester depends
upon the voltage rating of the system.
 This stack is kept inside a cylindrical housing
of polymer or porcelain. Then the stack is
placed inside the housing and highly pressed
by heavy spring load attached to end cap at
top.
Working :
Under normal conditions, the potential
barrier does not allow the current to flow
through it.
During over voltage, the barrier collapse and
sharp transition of current from insulating
to conducting state take place. The current
start flowing and the surge is diverted to
ground.
 The equipment connection terminal for
line is projected from top cap and
connection terminal for earth is
projected from the bottom cap.
Advantages of Metal Oxide Surge Arrester:
1.It eliminates the risk of spark over and also the
risk of shock to the system when the gaps break
down.
2.At the normal operating condition, the leakage
current in the ZnO is very low as compared to
other diverters.
3.It has high energy absorbing capability.
4.In ZnO diverter, it is possible to control the
dynamic over voltages in addition to switching
surges.
5. It eliminates the need of voltage grading system.
Insulation Co-ordination
Insulation coordination is the process of
knowing the insulation levels of the power
system components. Or
In other words, it is the process of
determining the insulation strength of the
equipment.
Generally, The internal and external
insulation of the electrical equipment is
exposed to continuous normal voltage and
temporary abnormal voltage.
The equipment insulation is designed in such a
manner so that it withstands the highest power
frequency system voltage, occasional temporary
power frequency overvoltage and occasional
lightning surges.
The equipment of power system has assigned the
rated insulation level, and their capability can be
approved by applying different types of test.
The requirement of insulations is determined by
considering the following factors.
1. Highest Power Frequency System Voltage.
2. Temporary Power Frequency Over voltages.
3. Transient Overvoltage Surge.
Necessity of Insulation Co-ordination
 To ensure the reliability and continuity of
service
 To minimize the number of failures due to
over voltages
 To minimize the cost of design, installation
and operation
BIL(Basic Insulation Level):
The basic insulation level is the reference level
expressed in impulse crest voltage with a
stranded wave not higher than 1.2/50 μs.
Equipment grounding deals with earthing the
non-current-carrying metal parts of the electrical
equipment.
System grounding deals earthing some part of
the electrical system e.g. earthing of neutral point
of star-connected system in generating stations
and sub stations
Grounding or Earthing may be classified as:
1.Equipment grounding
2.System grounding
The earthing is essential because of the
following reasons,
 The earthing protects the personnel from
the short circuit current.
 The earthing provides the easiest path to
the flow of short circuit current even after
the failure of the insulation.
 The earthing protects the apparatus and
personnel from the high voltage surges
and lightning discharge.
Advantages of Neutral Grounding:
 Voltages of the healthy phases do not exceed line
to ground voltages e. they remain nearly constant.
 The high voltages due to arcing grounds are
eliminated.
 The over voltages due to lightning are discharged
to earth.
 It provides greater safety to personnel and
equipment.
 It provides improved service reliability.
 Operating and maintenance expenditures are
reduced.
 It provides improved service reliability.
 Improved life of equipment, machines etc.
Equipment Grounding :
1.Ungrounded enclosure: Below fig. shows the case
of ungrounded metal enclosure.
If a person touches the metal enclosure, nothing will
happen if the equipment is functioning correctly.
But if the winding insulation becomes faulty, the
resistance Re between the motor and enclosure
drops to a low value (a few hundred ohms or less). A
person having a body resistance Rb would complete
the current path as shown below.
If Re is small, the leakage current IL through the
person’s body could be dangerously high. As a
result, the person would get severe electric shock
which may be fatal. Therefore, this system is unsafe.
2.Grounded Enclosure :
When Enclosure is connected to neutral wire. It
may appear that the above problem can be solved
by connecting the enclosure to the grounded
neutral wire as shown below fig.
Now the leakage current IL flows from the motor,
through the enclosure and straight back to the
neutral wire Shown in fig. Therefore, the enclosure
remains at earth potential. Consequently, the
operator would not experience any electric shock.
Ungrounded And Grounded Neutral
System:
Generally earthing of neutral point of
the transformer and the generator is called
the system earthing.
Now, if the neutral point for any system is
connected to the earth then it will be called
a grounded system.
But when the neutral for any system is not
connected with the earth then it will be
called the ungrounded system.
Disadvantage of Ungrounded Neutral :
System Voltage Increase: When the earth’s fault
occurs in line then for a healthy line voltage will
increase three times if its ungrounded system.
Protection Complicacy: In this system earth fault is not
easy to sense and troubleshooting will become
complicated.
Arcing Ground: Sudden temporary fault can be caused
by the failure of a branch creates an arc between the
overload line and the ground. This is called arcing ground.
Advantage Of Grounded Neutral Earthing
System:
1.It will be a stable neutral point.
2.The life of the insulation will increase.
3.Will get general safety to personnel and
the equipment due to the operation of
the fuses.
4.Overvoltage due to sudden lightning will
be discharged to the earth.
5.Arcing Grounds are Eliminated.
Advantages of the Solid Grounding
1.The neutral is held at the zero potential.
2.The voltage of healthy phase under fault in any
of phases remains constant and thus no arcing
voltage and over-voltage conditions occur.
3.Heavy current flowing through earth can be
easily sensed by the current transformer and
faulty section can be isolated quickly by circuit
breaker or fuses.
4.Solid grounding reduce the possibility of over
voltages.
Disadvantages of the Solid Grounding
1.The heavy earth fault current flows in the case of solidly
grounded system and thus the system goes under heavy
electrical and mechanical stress. It may even cause
equipment damage if fault current is not interrupted by
circuit breaker in time.
2.The heavy fault current can create interference in the
neighboring communication circuit.
3.The ground fault current is limited by system impedance
only and thus the ground fault current magnitude is very
high. This high current can cause an arc flash at the point
of fault and can cause severe damage.
HT 6.6 KV VCB OPERATION AND MAINTENANCE PPT
HT 6.6 KV VCB OPERATION AND MAINTENANCE PPT
HT 6.6 KV VCB OPERATION AND MAINTENANCE PPT
HT 6.6 KV VCB OPERATION AND MAINTENANCE PPT
HT 6.6 KV VCB OPERATION AND MAINTENANCE PPT
HT 6.6 KV VCB OPERATION AND MAINTENANCE PPT
HT 6.6 KV VCB OPERATION AND MAINTENANCE PPT
HT 6.6 KV VCB OPERATION AND MAINTENANCE PPT
HT 6.6 KV VCB OPERATION AND MAINTENANCE PPT
HT 6.6 KV VCB OPERATION AND MAINTENANCE PPT
HT 6.6 KV VCB OPERATION AND MAINTENANCE PPT

HT 6.6 KV VCB OPERATION AND MAINTENANCE PPT

  • 1.
    UNIT I CIRCUIT BREAKERS MMURALI ASSOC.PROFESSOR DEPT. OF EEE VEMU IT
  • 15.
    High Resistance Method: From the phenomenon of arc, it is clear that the current flowing in the circuit entirely depends upon the arc resistance. In this method, resistance is increased to such a value that the current is decreased to a very low value. Once the current is decreased the arc is extinguished. The resistance of arc can be increased in following ways
  • 16.
    Increasing the Lengthof the Arc: We know that, resistance R ∝ ρl /A. If the length of the arc is increased then the resistance is increased, once the resistance is increased, the current decreases. By Reducing the Area of Cross-section of the Arc: If the area of cross-section of the arc is reduced, the resistance increases as R ∝ ρl/A. When the resistance is increased, the current is automatically interrupted thereby, the arc is extinguished .
  • 17.
    Cooling the Arc:By providing any cooling agent, the ionized particles present between the contacts can be reduced. The reduction of ionized particles increases the resistance between the contacts and hence decreases the current. Splitting the Arc: The arc is made to split into a number of sections. In each section, resistance is increased due to the effect of cooling and lengthening of arc.
  • 18.
    Low Resistance Methodor Current Zero Method : It is applicable only to ac circuits. We know that the current becomes zero twice a cycle in case of ac. When it becomes zero, the arc extinguishes for a longer duration of time. During the next half-cycle, it reappears again, if the dielectric strength of the air gap is less than the voltage gradient between the contacts. Using this property of ac circuits, the arc can be extinguished easily when the current becomes zero. For such conditions to prevail, the dielectric strength of the medium surrounding the ionized particle has to be improved. It is possible by either cooling or sweeping out the ionized particles and deionizing the medium.
  • 19.
    The different methodsfor deionization of the medium for extinguishing arc are, Increasing the Length of the Gap - The dielectric strength of the medium can be increased by increasing the length of the arc as the dielectric strength ∈ is directly proportional to the length l i.e., ∈ ∝ l. Once the dielectric strength of the medium is increased, the arc fails to restrike again and the flow of current is interrupted, thus extinguishing the arc. Cooling - During cooling the ionized particles are deionized into neutral molecules. By means of cooling the dielectric strength of the medium is increased and the arc is extinguished.
  • 20.
    High Pressure -If the pressure near the contacts is maintained at a high value, it helps in the rapid deionization of the ionized particles to neutral molecules thereby increasing the dielectric strength of the medium. Blast Effect - In this type of effect either high- pressure oil is forced to pass through the arc gap or gas is used in order to sweep away the ionized particles and improve the dielectric strength of the medium.
  • 25.
    Rate of Riseof Re-striking Voltage (RRRV): The transient voltage that appears across the contacts of the circuit breaker at the current zero period during arcing is known as Restriking voltage. The expression for the re-striking voltage is VC( t ) = Vm(1− cos ωnt ) The maximum value of the re-striking voltage occurs at t = π / ωn = π √ L C The maximum value of re-striking voltage = 2 Vm = 2 × peak value of the system voltage. The rate of rise of re-striking voltage (RRRV) = d/dt [ Vm (1− cos ωnt ) ] ∴ RRRV = Vm ωn sin ωnt The rate of rise of re-striking voltage is directly proportional to the natural frequency. R R R V ∝ ωn ∝ 1 √ L C Where L is the inductance of the system C is the capacitance of the system So, the rate of rise of re-striking voltage (RRRV) is dependent upon both the inductance and capacitance of the system. Now, the maximum value of RRRV occurs when ωnt = π/2 i.e. when t = π/2ωn ∴The maximum value of RRRV = V mω n = Vm / √ L C RRRVmax = Vm / √ L C
  • 26.
    Sulphur Hexafluoride(SF6) circuitbreaker In SF6 circuit breakers, sulphur hexafluoride (SF6) gas is used as the arc quenching medium. The SF6 is an electro-negative gas and has a strong tendency to absorb free electrons. The contacts of the breaker are opened in a high- pressure flow of SF6 gas and an arc is struck between them. The conducting free electrons in the arc are rapidly captured by the gas to form relatively immobile negative ions. This loss of conducting electrons in the arc quickly builds up enough insulation strength to extinguish the
  • 28.
    Constructional Details It consistsof fixed and moving contacts enclosed in a chamber (called arc interruption chamber) containing SF6 gas. This chamber is connected to the SF6 gas reservoir. When the contacts of breaker are opened, the valve mechanism permits a high-pressure SF6 gas from the reservoir to flow towards the arc interruption chamber. The fixed contact is a hollow cylindrical current carrying contact fitted with an arcing horn. The moving contact is also a hollow cylinder with rectangular holes in the sides to permit the SF6 gas to let out through these holes after flowing along and across the arc.
  • 29.
    The tips offixed contact, moving a contact and arcing horn are coated with copper- tungsten arc-resistant material. Since SF6 gas is costly, it is reconditioned and reclaimed by a suitable auxiliary system after each operation of the breaker.
  • 30.
    Working Operation : Inthe closed position of the SF6 circuit breaker, the contacts remain surrounded by SF6 gas at a pressure of about 2·8 kg/cm2. When the breaker operates, the moving contact is pulled apart and an arc is struck between the contacts. The movement of the moving contact is synchronised with the opening of a valve which permits SF6 gas at 14 kg/cm2 pressure from the reservoir to the arc interruption chamber.
  • 31.
    The high-pressure flowof SF6 rapidly absorbs the free electrons in the arc path to form immobile negative ions which are ineffective as charge carriers. The result is that the medium between the contacts quickly builds up high dielectric strength and causes the extinction of the arc. After the breaker operation (i.e., after arc extinction), the valve is closed by the action of a set of springs.
  • 32.
    Advantages: (i) Due tothe superior arc quenching property of SF6, such circuit breakers have very short arcing time. (ii) Since the dielectric strength of SF6 gas is 2 to 3 times that of air, such breakers can interrupt much larger currents. (iii) The SF6 circuit breaker gives noiseless operation due to its closed gas circuit and no exhaust to atmosphere, unlike the air blast circuit breaker. (iv) The closed gas enclosure keeps the interior dry so that there is no moisture problem. (v) There is no risk of fire in such breakers because SF6 gas is non-inflammable.
  • 33.
    (vi) The SF6Circuit breakers have a low maintenance cost, light foundation requirements and minimum auxiliary equipment. (vii) Since SF6 breakers are totally enclosed and sealed from the atmosphere, they are particularly suitable where explosion hazard exists e.g., coal mines. Disadvantages: (i)SF6 breakers are costly due to the high cost of SF6. (ii) Since SF6 gas has to be reconditioned after every operation of the breaker, additional equipment is required for this purpose.
  • 34.
    Applications: A typical SF6circuit breaker consists of interrupter units each capable of dealing with currents up-to 60 kA and voltages in the range of 50—80 kVA number of units are connected in series according to the system voltage.SF6 circuit breakers have been developed for voltages 115 kV to 230 kV, power ratings 10 MVA to 20 MVA and interrupting time less than 3cycles.
  • 35.
    Minimum Oil CircuitBreaker (Low oil Circuit Breakers) (MOCB) In case of bulk oil circuit breaker, the oil is used for two functions. -Firstly it acts as an arc-quenching medium and - Secondly it insulates the live parts from earth. But for arc extinction purpose a very small amount of oil is sufficient while the major part is utilized for insulation purposes. Thus the oil required in case of bulk oil circuit breaker is large and need frequent replacement. This increases the overall cost; tank size and weight of or the breaker. Above drawbacks of bulk oil circuit breakers are removed in minimum oil circuit (also known as MOCB) breaker in which a small quantity of oil is used for arc extinction and for insulation purpose.
  • 36.
    Constructional Details The MOCBhas three chambers; the arc chamber and the supporting chamber,Top Chamber. The arc chamber includes fixed and moving contact filled with oil. This chamber is used for extinguishing the arc. It is made from porcelain with bakelised paper encasing. It also includes vents for gas release at the top. The supporting chamber provides support to the arc chamber. It is made of porcelain filled with oil for insulation. It insulates the arc chamber that is mounted on top of it. It includes an arm operated by a mechanism to move the moving contact upward
  • 37.
    The moving contactis also attached to a piston that develops the pressure necessary for arc quenching. Therefore, MOCB is a type of Forced Blast oil circuit breaker where the pressure is developed by external means independent of the arc current. This arrangement permits two advantages. - Firstly, the circuit breaking chambers requires a small volume of oil which is just enough for arc extinction. - Secondly the amount of oil to be replaced is reduced, as the oil in the supporting chamber does not get contaminated by the arc.
  • 39.
    Working Operation : •Undernormal operating conditions, the moving contact remains engaged with the upper fixed contact. •As soon as fault occurs on the system, the moving contact is pulled down by the tripping springs and arc is struck between the two contacts. •The heat of arc causes vaporisation of the oil and produces gases under high pressure. •Due to this action, the oil is pass through a central hole in the moving contact and creates turbulance of the oil. • This causes successively quenching of arc by the effect of separate stream of oil moving across each section in turn and bearing away its gases.
  • 40.
    Advantages: 1. It requiresa very little amount of oil. 2. Less amount of oil means the risk of fire hazards is low. 3. It has low weight. 4. It has small size and takes up small space 5. It is cheaper than BOCB. 6. It has easier maintenance and oil can be easily replaced. 7. Best for installation in places where it is not frequently used. Disadvantages : 1.Lesser oil is more affected by the amount of carbonization from the contacts. 2.The oil quickly losses its dielectric strength.. 3.It requires more frequent maintenance.
  • 41.
    Applications of OilCircuit Breaker: The oil circuit breakers are used in high voltage applications such as in power grids, substations, powerlines and transmission and distribution systems for up to 220 kV.
  • 42.
    Vacuum Circuit Breaker 1.Thevacuum circuit breaker (also known as vacuum interrupter or VCB) uses the arc quenching process in the vacuum as a switching medium. 2.The vacuum has the highest insulating strength. So, it has far superior arc quenching properties than any other medium. 3.The degree of vacuum is in the range of 10^-7 to 10^-5 Torr. It is suitable for medium-voltage power distribution ranging from 22kV to 66 kV.
  • 44.
    Constructional Details: 1.The vacuumcircuit breaker consists of fixed contact, moving contact and an arc shield mounted in a vacuum interrupter. 2.The moving contact is connected to the control mechanism by stainless steel bellow. 3.The Arc shields are supported to the insulating housing such that they cover these shields and is prevented from condensing on the insulating enclosure. 4.The possibility of a leak is eliminated due to the permanent sealing of the Vacuum chamber for that a glass vessel or ceramic vessel is used as the outer insulating body.
  • 45.
    Working of VacuumCircuit Breaker: When the breaker operates, the moving contact separates from the fixed contact and an arc is struck between the contacts. The production of the arc is due to the ionization of metal ions and depends very much upon the material of contacts. The arc is quickly extinguished because the metallic vapors, electrons, and ions produced during arc are diffused in a short time. Since vacuum has a very fast rate of recovery of dielectric strength, the arc extinction in a vacuum breaker occurs with a short contact separation (say 0.625 cm).
  • 46.
    Advantages : 1.Compact andreliable. 2.Longer life. 3.No risk of fire. 4.Environmental friendly than SF6 CB. 5.High dielectric strength. 6.Easy maintenance. 7.Arc extinction is very fast. 8.User friendly. Disadvantages: 1.The cost of VCB will increase if the voltage exceeds 38kV. 2.It is Uneconomical at voltages exceeding 38kv.
  • 47.
    Applications of VCB: 1.High voltage circuits 2.Used in substations and generators 3.Interrupts the double earth faults and out of phase currents 4.Applications that require high switching sequences use VCBs 5.Railway applications use this circuit breaker for traction current and electric supply switching. 6.To switch motor drives.
  • 48.
    Air blast circuitbreaker Air blast circuit breaker employs a high- pressure air blast as an arc quenching medium. Air blast circuit breakers are using compressed air or gas as the circuit breaking or interrupting medium. Gases such as nitrogen, carbon dioxide, hydrogen or Freon can be used as arc interrupting medium. Constructional Details: The major components of the air blast circuit breaker are, 1.Air reservoir 2.Hallow insulator assembly 3.Arc extinction chamber 4.Valves 5.Current carrying conductors.
  • 50.
    Hallow Insulators Assembly: These are mounted on the air reservoir that connects the air reservoir to the arc extinction chamber for the supply of high-pressure air from the air reservoir to the arc extinction chamber. Valves are provided at the base of the hallow insulators that control the flow of high-pressure air. Arc Extinction Chamber : The arc extinction chamber is mounted on the hollow insulator assembly. The making and breaking of the circuit are carried out in the arc extinction chamber. It consists of fixed and moving contacts with a spring mechanism. The moving contact moves away and closes to the fixed contact depending upon the air pressure.
  • 51.
    Valves : These areprovided at the base of the insulators that regulate the flows of high-pressure air from the air reservoir to the arc extinction chamber. When there is a fault in the circuit the values get opened with the help of an operating rod connected to the pneumatic operating mechanism. Current Carrying Conductors : The current carrying conductors link all the arc extinction chambers in series and the poles of neighboring equipment.
  • 52.
    Working Operation ofABCB : Under normal conditions, the breaker contacts present in the arc extinction chamber are in contact with each other. Under fault conditions, the breaker receives a tripping signal and this makes the valves open by operating rod connected to it. When the valves get opened, the high-pressure air enters into the arc extinction chamber through the hallow insulator assembly. Once the high-pressure air enters into arc extinction chamber, it causes to increase the pressure on the moving contact inside the arc extinction chamber. Hence the moving contact gets separated from the fixed contact.
  • 53.
    At the timeof separation, an arc is drawn between the two contacts. The arc is formed due to the ionization of air present between the contacts and this ionized air is taken out by the high- pressure air through the air outlet valves. Thus the arc formed between the two contacts gets extinguished. Types of Air Blast Circuit Breakers: Air blast circuit breakers are classified on the basis the direction of air blast to the arc. They are classified into : Axial Blast Type – air blast is directed along the arc path. Cross Blast Type – air blast is directed at right angles to the arc path. Radial Blast Type – air blast is directed radially.
  • 55.
    Axial Blast CircuitBreaker: Under Normal Condition The fixed and moving contacts are held in a closed position with the help of spring pressure. There is an air reservoir connected to the arcing chamber through an air valve. The air valve controls the flow of air into the arcing chamber. The valve is closed under normal conditions.
  • 56.
    Under Faulty Condition Whena fault occurs a tripping impulse is produced which causes the opening of the air valve. Since the air valve connects the air reservoir and the arcing chamber, a high-pressure air enters the arcing chamber. This air pushes away the moving contact against the spring pressure. The moving contact is separated and an arc is struck. At the same time, high-pressure air blast flows along the arc and takes away the ionized gases along with it. Consequently, the arc is extinguished and the current flow is interrupted.
  • 57.
    Cross Blast CircuitBreaker: In this type of breaker, an air-blast is directed at right angles to the arc. The cross blast lengthens and forces the arc into a suitable chute for arc extinction.
  • 58.
    When the movingcontact is withdrawn, an arc is struck between the fixed and moving contacts. The high-pressure cross-blast forces the arc into a chute consisting of arc splitters and baffles. The splitters serve to increase the length of the arc and baffles give improved cooling. The result is that arc is extinguished and the flow of current is interrupted. Radial air blast Circuit Breaker: The air blast flows radially into space between the contacts. The contacts are separated and an arc is formed between them. The air flows at a great speed axially along the arc.
  • 59.
    Advantages : There isno need for oil in air blast circuit breakers. This eliminates the oil maintenance requirement as compared to the oil circuit breaker. It is easily accessible and the weight is relatively less. The air blast circuit breaker has a high rupturing capacity. High-speed operation (rapid reclosing at successive operation) is possible. Deterioration of oil is eliminated and the arcing products produced are completely removed. Fire risk in case of air blast circuit breaker is eliminated. The breaker allows the high-speed interruption. These types of circuit breakers are almost maintenance- free.
  • 60.
    Disadvantages : 1.There canbe a possibility of air leaks at the fittings of the pipeline. 2.The variations in RRRV (Rate of Rising of Recovery Voltage) will affect the performance of the air blast circuit breaker. 3.The breaker requires additional equipment like the electric motor, air compressors, etc., which increases the cost.
  • 61.
    Circuit Breaker Ratingsand Specifications : The circuit breaker needs to work under severe electrodynamic forces, thermal stress, etc. These are very high under short circuit fault conditions. Hence, its rating will be different when compared with other equipments. Its rating specifies all the characteristics values that define the working conditions for which it has been designed. A few of the important specifications are, •Rated voltage •Rated current •Rated frequency •Making capacity •Breaking capacity
  • 62.
    Rated Voltage : Therated voltage of a circuit breaker is defined as the highest rms value of voltage for which it is designed. Usually, the rated voltage will be greater than the rated nominal system voltage. Rated Current : The Rated current of a circuit breaker is defined as the highest rms value of current that it can carry continuously while maintaining the temperature (in various parts) within the prescribed limits.
  • 63.
    Rated Frequency : Therated frequency of a circuit breaker is the frequency at which it has been designed to operate. If the circuit breaker is intended to operate at some other frequency, then its effects like temperature rise, breaking time, etc., must be taken into consideration. The standard rated frequency is 50 Hz.
  • 64.
    Breaking Capacity : Thebreaking capacities are divided into two types symmetrical breaking capacity and asymmetrical breaking capacity. The symmetrical breaking capacity of a circuit breaker is defined as the product of symmetrical breaking current (rms value of ac current) and recovery voltage VR. The asymmetrical breaking capacity of a circuit breaker is defined as the product of asymmetrical breaking current (rms value of total current) and recovery voltage VR.
  • 66.
    Making Capacity : Themaking current or making capacity of a circuit breaker is given by, = 1.8 x √2 x Symmetrical breaking current or breaking capacity Factor √2 converts rms value to maximum value and factor 1.8 takes the doubling effect of short- circuit current (due to dc component) into account.
  • 67.
  • 75.
  • 122.
    Induction Type NonDirectional Over Current Relay  The overcurrent relay operates when the current in the circuit exceeds a certain preset value.  The induction type non directional overcurrent relay has a construction similar to a watt-hour meter, with slight modification.  It consists of two electromagnets.  The upper is E shaped while the lower is U shaped.  The aluminium disc is free to rotate between the two magnets.  The spindle of the disc carries moving contacts and when the disc rotates the moving contacts come in contact with fixed contacts which are the terminals of a trip circuit.
  • 123.
     The uppermagnet has two windings, primary and secondary. The primary is connected to the secondary of C.T on the line to be protected. This winding is tapped at intervals. The tappings are connected to plug setting bridge. With the help of this bridge, the number of turns of the primary winding can be adjusted. Thus the desired current setting for the Non- directional Induction Overcurrent Relay can be obtained.
  • 124.
     The timerequired to rotate the disc depends on a torque.  The torque varies as current in the primary circuit. More the torque, lesser is the time required hence Non-directional Overcurrent relay has inverse time characteristics.  The figure below shows the time-current characteristics for the Non-directional overcurrent relay. Such characteristics are called Inverse Definite Minimum Time (I.D.M.T.) characteristics.
  • 126.
    Working Operation:  Thistorque is opposed by restraining force produced by spiral springs.  Under normal conditions, the restraining force is more than driving force or Torque produced by the relay coil current and hence disc remains stationary.  Under fault conditions when the current becomes high, driving torque becomes greater than the restraining torque. So the disc rotates through the preset angle and makes contact with the fixed contacts of the trip circuit.  The trip circuit opens the circuit breaker, isolating the faulty part from rest of the healthy system.
  • 127.
    Induction Type DirectionalOvercurrent Relay  The directional power relay is not suitable to use as a protective relay under short circuit conditions.  This is because under short circuit conditions the voltage falls drastically and such a reduced voltage may not be sufficient to produce the driving torque required for the relay operation.  Hence in practice, directional induction type overcurrent relay is used. This relay operates almost independent of system voltage and power factor.  The directional induction type overcurrent relay uses two relay elements mounted on a common case. These elements are, 1.Directional element 2.Non directional element or overcurrent element
  • 129.
    Directional element: The directionalelement is nothing but a directional power relay which operates when power in the circuit flows in a particular direction. The voltage coil of this element is energized by a system voltage through a potential transformer. The current coil on the lower magnet is energized by the system current through a current transformer. The trip contacts of this relay are connected in series with the secondary winding of non directional element.
  • 130.
    Non directional element: Thecurrent coil of the directional element is connected in series with the primary winding of non directional element. The plug setting bridge is provided in this element to adjust current setting as per the requirment. The spindle of the disc of this element carries a moving contact which closes the fixed/trip circuit contacts after the operation of directional element.
  • 131.
    Operation : When thepower flows in its normal direction, the directional power relay (upper element) does not operate. Thereby, by keeping the overcurrent element un-energised. But as soon as there is a reversal of current or power ( due to short circuit) the disc of the upper element starts rotating and bridges fixed contacts 1 and 2. this complete the circuit for the overcurrent element. Due to overcurrent a torque is set up on the disc (lower element) and the action closes the trip contacts. there by enabling the circuit breaker to operate. The relay operates only when the following conditions are satisfied: 1.The direction of current is in reverse direction. 2.The current in reverse direction exceeds the treset value. 3.The excessive current permits for long duration than its time setting.
  • 132.
    INDUCTION RELAYS: Induction relaysare two types 1.Non directional relays 2.Directional relays Difference between the two:…………? • Non directional relays are activated by only current flowing in the circuit to be protected. • Directional relays are activated by power flowing in the specific direction. Hence it requires both current and voltage of the circuit to be protected. * it requires specific direction of current flow also.
  • 133.
    DIRECTIONAL POWER RELAY: This relay operates when the power in the circuit flows in a specific direction.  It consists of two electro magnets 1)upper magnet which is E-shaped 2) lower magnet which is U-shaped.  The upper magnet consists of primary winding on the central limb which is energized by voltage from secondary of P.T.  The lower magnet houses secondary winding which is energized by current of the circuit from secondary of C.T. Further lower magnet is connected to PSM.
  • 135.
    In between thistwo electro magnets we have aluminum disc pivoted as shown in fig. This aluminum disc carries a moving contact which can bridge fixed contact by rotating though a pre set angle. • The time of operation depends upon the pre set angle. • Restraining torque is provide by spring which twists in reverse direction. Operation: • from the diagram , we have two flux quantities: φ1 & φ2 . φ1 is always lags V by 90 Degrees φ2 is in phase with current I
  • 136.
    Due to phasedifference between two flux quantities i.e., α= 90-θ Φ1 αV & φ2 αI Hence , T = φ1 φ2 sin α = φ1 φ2 sin(90-θ) = VI COS θ = Power • Hence the relay activated only when there is a specific direction of power flow. • when power flows in normal direction both driving torque and restraining torque twists in same direction and relay does not operates. • when the power flow is in reverse direction, driving torque and restraining torque acts in opposite direction and relay operates. therefore CB operates and disconnects faulty
  • 138.
    Static Relay In thisrelay does not have any moving parts in it and it purely contains only electronic elements (such as diodes, BJT, etc.) therefore, it is also known as a solid-state relay. Definition: The relay which does not contain any moving parts Is known as the static relay.
  • 139.
    The static relayconsists of a rectifier, amplifier, output unit, and relay measuring circuit. The relay measuring circuit consists of the level detectors, logic gate, and the comparators (amplitude and phase comparators).
  • 141.
    Constructional details:  Thetransmission line is connected to the CT or PT i.e., that transmission line feeds the input to the current transformer or the potential transformer.  The output of the CT is supplied as an input to the rectifier. Here, the rectifier is responsible for rectifying the input alternating current signal into the direct current (linear) signal. And that direct current signal is applied to the relay measuring unit.  The relay measuring unit performs the most important action i.e It detects the level of the input signal through the level detectors, compares the magnitude and the phase of the signal through the comparators, and performs the logic gate operations.
  • 142.
     Two typesof comparators are present in this relay unit,i.e amplitude comparator and a phase comparator.  The amplitude comparator compares the magnitude of the input signal and the phase comparator compares the phase difference of the input quantity.  The output of the relay measuring unit is applied to the amplifier. The amplifier amplifies the magnitude of the signal and fed it to the output device. The output device energizes the trip coil which trips the circuit breaker.  The amplifier, relay measuring unit, and the output device need an additional dc supply for their operations.
  • 143.
    Working Operation : First,the CT or PT takes the input quantity signal (it can be voltage or current) from the transmission line and fed the output to the rectifier. The rectifier then converts the alternating current signal into the direct current signals and passes its output to the relay measuring unit. Now the relay measuring unit detects the level of the input signal. Then comparators present in the unit compare the magnitude and the phase of the signal. The comparators compare the input signal to check whether the signal is faulty or not. Then the amplifier amplifies the magnitude of the signal and sends it to the output device which energizes the trip coil which trips the circuit breaker.
  • 144.
    Advantages of StaticRelay : 1.It shows high accuracy 2.Less maintenance required 3.Response time is very fast 4.Static relays provide resistance to vibrations and shock 5.Resetting time is very quick 6.Consume less power and they draw power from auxiliary dc supply 7.Compact size 8.Operates for a very long period
  • 145.
    Disadvantages of StaticRelay: 1.It is sensitive to temperature and voltage. A spike in temperature or voltage can cause component damage or complete failure. 2.Expensive than the electromagnetic relay 3.It needs a secondary supply 4.It has less overloading capacity Applications: 1.Overcurrent schemes 2.Earth fault protection schemes
  • 152.
    Differential Relay  Oneof the most important protection scheme in power system is differential protection.  It is used to protect the electrical equipment against internal fault such as internal winding short circuit or , inter turn short circuits , winding puncture etc.  It works based on Kirchhoff’s current law. It stats that the algebraic sum of a node in a circuit is equal to zero.  The differential relay can be defined as the relay operates when the phasor difference between the two or more electrical quantities exceed the pre-set value.
  • 153.
    Types of differentialrelay: 1.Current balance differential relay 2.Voltage balance differential relay 3.Biased differential relay or percentage differential relay Current balance differential relay:
  • 154.
     In currentbalance differential relay, the two current’s magnitude and phasor comparison takes place.  Consider a circuit shown in , two current I1 and I2 are Two CT’s output. The operating coil K is placed across the current transformer.  During normal condition two currents I1 and I2 have equal magnitude and phasor. Hence at a point A both cancels each other. Therefore, the current flow through the coil K is zero and the relay become inoperative.
  • 155.
     During abnormalcondition, the current I1 is not equal with I2. Then there is a current flow through the coil K, if the current flow through the coil k is exceed the preset value, then the relay operates the associated circuit breaker. Voltage Balance differential relay:
  • 156.
     This isalso called opposed voltage method. In this type, the over current relay is connected in series with the secondaries of the current transformers. As shown in above fig.  Under normal conditions, the current at the two ends of the section to be protected is same. Hence there is no voltage drop across the relay to cause the current to flow.  Under fault conditions, the currents in the two secondaries of current transformers are different. This causes a large voltage drop across the relay. Thus the voltage balance of the circuit gets disturbed. Hence large current flows through the relay due to which the relay
  • 157.
    Percentage Differential Relayor Biased Beam Relay :
  • 158.
     The mostextensively used form of differential relay is the percentage differential or biased beam relay. It consists of two coils, a restraining coil, and an operating coil.  The operating coil is connected to the midpoint of the restraining coil. The operating coil produces the operating torque which makes the relay operate, while the restraining coil produces a restraining torque (bias force) which is opposite to the operating torque.  Under normal operating condition the restraining torque will be greater than the operating torque. Therefore, the relay remains inoperative.
  • 159.
     when thereis a fault in the protected zone the operating torque will be greater than the restraining torque. Due to this, the beam closes the trip circuit thereby initiating a trip signal by the relay to the circuit breaker.
  • 160.
    MICROPROCESSOR BASED RELAYS Microprocessor relays provide many functions that were not available in electromechanical or solid-state designs.  The relay can be ON or OFF, that is, it has two stable states  The output of the CT line is given to the input receiver block where the signal is processed.  Signal processing includes overvoltage protector, rectifier, smoothing filters, auxiliary CT, etc., depending on the requirements.  This signal is an analog signal. The A / D converter converts this into a digital signal that is accepted by the microprocessor.  The microprocessor is a block of decision making.
  • 161.
     The receiveddigital signal is compared with the reference to generate the appropriate trigger signal.  This is a digital signal that is converted back to analog to operate the trip coil. This is achieved by the D / A converter.  The data logger captures the data and sends it to the microprocessor when there is a request from the microprocessor.  The information can be displayed with a suitable display device when taking the signal from the microprocessor.
  • 163.
    Advantages of microprocesserbased relay: 1. Very efficient and reliable. 2. Highly accurate. 3. Very fast in operation. 4. Programmable in nature. 5. A unit can perform retransmission of several systems. 6. economical for large systems. 7. Useful for centrally coordinated backup protection. Disadvantages: 1. reliable operating current required 2. needs electromagnetic compatibility 3. needs information security 4. narrow operating temperature range
  • 164.
  • 165.
    1.Current is takenfrom C.T. and given to I to V converter because many electronics circuit require voltage signal for operation. 2.The A.C. voltage is converted into D.C. voltage by using rectifier. 3.This D.C. voltage is proportional to load current only. 4.The output of rectifier is given to Multiplexer. 5.The Multiplexer gives output to A/D Converter where Analog DC voltage is converted to Digital form (in form of O and 1 i.e. binary form). 6.Microprocessor understands only codes in 0 and 1 form. 7.Microprocessor gives S/C (start of conversion) signal to A/D converter (I.e. analog to digital conversion is started . 8.When converting from analog to digital is over (finish) then A/D converter sends E/C signal to Microprocessor (E/C – End of Conversion). 9.When work of A/D is over then compare the magnitude of this incoming current with required current value (I.e. set value or reference value). 10.If incoming value is more – fault is occurring and trip signal is send to CB circuit breaker.
  • 166.
    Based on therelay operating time-characteristics, overcurrent relay can be classified into the following types, 1.Definite time overcurrent relay 2.Inverse time overcurrent relay 3.Inverse definite minimum time (IDMT) overcurrent relay
  • 167.
    Microprocessor based InverseDefinite Minimum Time Overcurrent Relay:
  • 168.
  • 169.
  • 170.
    INTRODUCTION 1.Generator is themost important and costly equipment in power system. 2.The cost is high because the alternator unit is accompanied by prime mover, excitation system, voltage regulator, cooling systems etc. 3.as soon as the fault develops on an alternator, it should be immediately disconnected from the other generating plant to avoid the damage of it.
  • 177.
    (viii) Thermal loading:this is caused due to Overheating of stator winding and insulation failure. (ix) Rotor Earth Faults: Single fault does not harm, second fault causes unbalanced magnetic forces causing damage to shaft, bearings.
  • 178.
    Types of Protectionof Alternator: 1.Differential Protection of Alternator or Merz-Price Circulating Current Scheme 2.Balanced Earth-Fault Protection 3.StatorInter-Turn Protection 4.Restricted Earth-Fault Protection
  • 189.
    RESTRICTED EARTH FAULTPROTECTION OF ALTERNATOR The earth fault protection scheme consists of line CTs, neutral CT and the earth fault relay, which gives the tripping command to the circuit breaker and hence restricted the fault current. The secondary terminal of the current transformers are connected in parallel with the relay. Working: Let F1 be the external fault occurs in the network. This fault induces the I1 and I2 current which flows in the secondary of the CTs. The resultant current of the I1 and I2 becomes zero. When the fault occurs inside the protective zone say F2, then only current I2 exist, and I1 is neglected. The current I2 passes through the earth fault relay. The earth fault relay operates only for the internal fault of the protective zone.
  • 191.
  • 214.
    PROTECTION OF FEEDERS &BUSBARS Presented by M Murali Dept.of EEE VEMU IT
  • 218.
    The common methodsof line protection are, 1.Time-grade overcurrent protection 2.Differential protection 3.Distance protection
  • 226.
    Protection of RingMain Feeder : In this system, the various power stations or sub-stations are interconnected by alternate routes, thus forming a closed ring. In case of damage to any section of the ring, that section may be disconnected for repairs, and power will be supplied from both ends of the ring thereby maintaining continuity of supply.
  • 227.
    The above singleline diagram consisting of one generator G supplying four sub-stations S1,S2,S3 and S4. In this arrangement, Power can flow in both directions under fault conditions. Therefore, it is necessary to grade in both directions round the ring and also to use directional relays.
  • 228.
    Suppose a shortcircuit occurs at the point as shown above, it is desired that only circuit breakers at E and F should open to clear the fault whereas other sections of the ring should be intact to maintain continuity of supply. The power will be fed to the fault via two routes viz (i) from G around S1 and S2 and (ii) from G around S4 and S3. It is clear that relays at A,B,C and D as well as J,I,H and G will not trip. Therefore, only relays at E and F will operate before any other relay operates because of their lower time-setting.
  • 233.
    Translay Scheme Contruction: The relayused in this scheme is essentially overcurrent induction type relays. Each relay has two electromagnetic elements. The upper element carries a winding (A or A1) which is energised as a summation transformer from the secondaries of the line CTs connected in the phases of the line to be protected. The upper element also carries a secondary winding (B or B1) which is connected in series with the operating winding (C or C1) on the lower magnet.
  • 234.
    The secondary windings(B or B1) and operating windings (C or C1) are connected in series in such a way that voltages induced in them oppose each other.
  • 235.
    Operation: Under healthy conditions,the currents at its two ends are equal so that the secondary currents in both sets of CTs are equal. Consequently, the currents flowing in the relay primary winding (A or A1) will be equal and they will induce equal voltages in the secondary windings (B or B1). Since these windings are connected in opposition, no currents flows in them or in the operating windings (C or C1). During fault on the protected line, the line current at one end must carry a greater current than that at the other end. The result is that voltages induced in the secondary windings (B or B1) will be different and the current will flow through the operating coils (C or C1) and the pilot circuit. Under these conditions, both upper and lower elements of each relay are energised and a forward torque acts on the each relay disc. The operation of the relays will open the circuit breakers at both ends of the line.
  • 240.
    Three Zone DistanceProtection of Transmission Line : It uses a number of distance relays associated with timing relays, such that the power system is divided into a number of zones with varying tripping times associated with each zone. The three-zone protection is shown in the below figure.
  • 241.
     First Zone- The first zone of distance protection is set to reach up to 80 to 90% of the length of the line section to be protected. It is a high-speed unit and is used for the primary protection of the line and also its operation is instantaneous.  Second Zone - The second zone is mainly used to provide primary protection to the remaining 20 to 10% of the line section to be protected and also it is set to cover up to 50% of the next section. It operates after a certain time delay usually 0.2 to 0.5 sec.  Third Zone - The third zone is provided for complete backup protection for all faults at all locations with more time delay.  Pilot types of protection operate only for faults occurring within the protected section and also give no backup protection, whereas distance protection provides backup protection and it is a non-unit form of protection.
  • 242.
    Carrier Current Protectionof Transmission Lines:  Carrier current protection is mostly preferred protection scheme for long transmission lines because it is more reliable, cheaper, and provides protection at a faster rate.  In this protection scheme, the transmission line serves two purposes, it transmits the power and at the same time, it acts as the medium for carrying information from one to the other end of the line i.e., the power lines themselves carry power as well as communication signals.  The main elements of the carrier channel are a transmitter, receiver, coupling equipment, and line trap.
  • 244.
     The carriersignal which is responsible for performing both initiating and preventing tripping operations of the relay is directly fed into the power line circuit which is to be protected.  The line traps and coupling capacitors are connected at both ends of the protected line.  Line traps are used to restrict the carrier currents within the protected section avoiding interference with or from the adjacent carrier current channels.  Coupling capacitors provide an impedance (reactance) of low value to the high-frequency currents. They can also be used as potential dividers to supply reduced voltage to instruments.
  • 245.
     In thisprotection schemes, the phase angle of the current at the two phases of the line are compared instead of the actual current. And then the phase angle of the line decides whether the fault is internal and external.
  • 247.
    Methods of CarrierCurrent Protection : 1.Directional Comparison protection, and 2.Phase comparison protection. Directional Comparison Protection : In this protection scheme, the fault in the protected section can be detected by comparing the power flow direction at both ends of the line. The modern directional comparison relaying scheme operates in conjunction with distance relays that acts as backup protection. Phase Comparison Carrier Protection : The phase comparison method operates on the principle of phase angle comparison. The phase angle of the current entering at one end is compared with the phase angle of the current leaving the other end of the protected line section. It should be observed that the magnitudes of the currents are not compared.
  • 248.
    Advantage of CarrierCurrent Protection: 1.It has a fast and simultaneous operation of circuit breakers at both the ends. 2.No separate wires are required for signalling because the power line themselves carry the power as well as communication signalling. 4.It’s simultaneously tripping of circuit breakers at both the end of the line in one to three cycles. 5.This system is best suited for fast relaying also with modern fast circuit breakers.
  • 254.
    2.Fault Bus Protection: Thiscan be achieved by providing earthed metal barrier (known as Fault bus) surrounding each conductor throughout its entire length in the bus structure. With this arrangement , every fault that might occur must involve a connection between a conductor and an earthed metal part. this types of protection is known as fault bus protection.
  • 256.
    In arrangement offault bus protection, the metal supporting structure or fault bus is earthed through a current transformer. A relay is connected across the secondary of this CT. Under normal operating condition, there is no current flow from fault bus to ground and the relay remains inoperative. When a fault occurs between a conductor and earthed supporting structure will result in current flow to ground through the fault bus, causing the relay to operate. The operation of relay will trip all breakers connecting equipment to the bus.
  • 257.
  • 260.
    The overvoltage ortransients or surge voltages are the voltages whose values are much more than the normal voltages. These are of short duration which can cause malfunction or failure of equipment in the system depending upon the severity of the voltage level.
  • 261.
    The main causesof over voltages in power systems are classified as, 1.Internal causes, and 2.External causes. Internal causes of over voltages are mainly due to, 1.Switching surges, 2.Insulation failure, 3.Arcing ground, and 4.Resonance.
  • 262.
    1.Switching Surges : Switchingsurges are the over voltages produced on a power system due to switching operations. The study of switching surges is important for designing the insulation of winding. the causes for the production of switching surges are listed below,  Switching of an Unloaded Line or Open Line.  Switching of a Loaded Line.  Short-circuits and Line-faults Interruption -(In a circuit breaker, after clearing faults a transient restriking voltage appears which may cause over voltages.)  Reactor Switching- may cause current chopping  Auto-reclosing of Circuit-breaker in Long EHV Lines
  • 263.
    2.Insulation Failure : Theover voltages are also caused due to the insulation failure between line and ground or the grounding of the conductor in a power system. 3.Arcing Ground : Arcing ground is commonly caused in long transmission line operations on high voltages due to oscillation. The high voltage surges produced due to the arcing ground can damage the power system apparatus severely. The voltage produced due to arcing grounds is nearly 3 to 4 times the power frequency voltage. Arcing grounds can be avoided by earthing the neutral.
  • 264.
    4.Resonance : In anelectrical system when inductive reactance of the circuit becomes equal to capacitive reactance, resonance takes place. High voltage surges are produced in the power system due to resonance in transmission lines. Overvoltage due to External Causes : External causes of over voltages in a power system are mainly due to lightning.
  • 265.
    Methods of ProtectionAgainst Lightning : These are mainly three main methods generally used for protection against lightning. They are 1.Earthing screen. 2.Overhead earth wire. 3.Lighning arrester or surge dividers.
  • 266.
    1.Earthing Screen: The powerstations and sub-stations generally house expensive equipment. These stations can be protected against direct lightning strokes by providing earthing screen. It consists of a network of copper conductors (generally called shield or screen) mounted all over the electrical equipment in the sub-station or power station. The shield is properly connected to earth on at least two points through a low impedance. On the occurrence of direct stroke on the station, screen provides a low resistance path by which lightning surges are conducted to ground. In this way, station equipment is protected against damage.
  • 268.
    2.Overhead Earth/Ground Wire: Themost effective method of providing protection to transmission lines against direct lightning strokes is by the use of overhead ground wires The ground wires are placed above the line conductors The ground wires are grounded at each tower or pole through as low resistance as possible. Due to their proper location, the *ground wires will take up all the lightning strokes instead of allowing them to line
  • 270.
    3.Lightning Arrester: The earthingscreen and ground wires can well protect the electrical system against direct lightning strokes but they fail to provide protection against travelling waves which may reach the terminal apparatus. The lightning arresters or surge diverters provide protection against such surges. A lightning arrester or a surge diverter is a protective device which conducts the high voltage surges on the power system to the ground
  • 271.
    It consists ofa spark gap in series with a non-linear resistor. One end of the diverter is connected to the terminal of the equipment to be protected and the other end is effectively grounded. The length of the gap is so set that normal line voltage is not enough to cause an arc across the gap but a dangerously high voltage will break down the air insulation and form an arc. The property of the non-linear resistance is that its resistance decreases as the voltage (or current) increases and vice-versa.
  • 272.
    1.Under normal operation,the lightning arrester is off the line i.e. it conducts **no current to earth or the gap is non-conducting. 2.On the occurrence of overvoltage, the air insulation across the gap breaks down and an arc is formed, providing a low resistance path for the surge to the ground. In this way, the excess charge on the line due to the surge is harmlessly conducted through the arrester to the ground instead of being sent back over the line.
  • 273.
    The advantages oflightning arrestors are,  They reduce the damage from lightning strokes.  They are able to protect the outdoor equipment.  They reduce the over-voltage surges.  They reduce electromagnetic interference.  They are very simple to use.
  • 274.
    Types of Lighteningarrestors: 1.Rod Gap Arrester 2.Sphere Gap Arrester 3.Horn Gap Arrester 4.Multiple-Gap Arrester 5.Valve Type Lightning Arresters 6.Thyrite Lightning Arrester 7.Metal Oxide Lightning Arrester
  • 276.
    Valve Type LightningArrester : This type of arrester is also known as nonlinear type lightning arrester, which is extensively used on systems operating at high voltages up to 440 kV. Valve-type arrester Consists of series spark gaps and nonlinear resistors sets. These two are connected in series with each other and placed in a tight porcelain container.
  • 277.
    Series Spark Gap: The spark gap consists of a number of series-connected identical spark gaps. Every spark gap is formed by two electrodes with a fixed gap between them. The spark gaps are constructed in such a way that under normal conditions it does not spark over and during high voltage surges, spark over takes place. Nonlinear Resistance : The Non linear elements decreases with the increase in current through them. They are made up of an inorganic compound such as thyrite or metrosil. These resistors have a very low resistance under high- frequency surge currents, Where as under power frequency voltage it offers high resistance.
  • 278.
    Working: Under normal conditions,the spark remains non conducting. When a surge voltage occurs on the line, a spark over takes place in the spark gaps and high current flows to the ground through nonlinear resistors.
  • 279.
    Advantages: 1.These arrestors providevery effective protection against surges (especially for transformers and cables etc). 2.Speed of operation is very high (operation overs in less than one second). 3.It sparks over at a predetermined voltage. The Disadvantage of this type of equipment is that, The performance characteristics is adversely affected by the ingress of moisture into the enclosure.
  • 280.
    Metal Oxide LightningArrester:  It is also called Zinc Oxide diverter.  This type of arrester comprises of numbers of solid zinc oxide disc.  This discs are arranged one by one to form a cylindrical stack. The number of zinc oxide discs used per lightning arrester depends upon the voltage rating of the system.  This stack is kept inside a cylindrical housing of polymer or porcelain. Then the stack is placed inside the housing and highly pressed by heavy spring load attached to end cap at top.
  • 282.
    Working : Under normalconditions, the potential barrier does not allow the current to flow through it. During over voltage, the barrier collapse and sharp transition of current from insulating to conducting state take place. The current start flowing and the surge is diverted to ground.  The equipment connection terminal for line is projected from top cap and connection terminal for earth is projected from the bottom cap.
  • 283.
    Advantages of MetalOxide Surge Arrester: 1.It eliminates the risk of spark over and also the risk of shock to the system when the gaps break down. 2.At the normal operating condition, the leakage current in the ZnO is very low as compared to other diverters. 3.It has high energy absorbing capability. 4.In ZnO diverter, it is possible to control the dynamic over voltages in addition to switching surges. 5. It eliminates the need of voltage grading system.
  • 288.
    Insulation Co-ordination Insulation coordinationis the process of knowing the insulation levels of the power system components. Or In other words, it is the process of determining the insulation strength of the equipment. Generally, The internal and external insulation of the electrical equipment is exposed to continuous normal voltage and temporary abnormal voltage.
  • 289.
    The equipment insulationis designed in such a manner so that it withstands the highest power frequency system voltage, occasional temporary power frequency overvoltage and occasional lightning surges. The equipment of power system has assigned the rated insulation level, and their capability can be approved by applying different types of test. The requirement of insulations is determined by considering the following factors. 1. Highest Power Frequency System Voltage. 2. Temporary Power Frequency Over voltages. 3. Transient Overvoltage Surge.
  • 290.
    Necessity of InsulationCo-ordination  To ensure the reliability and continuity of service  To minimize the number of failures due to over voltages  To minimize the cost of design, installation and operation
  • 294.
    BIL(Basic Insulation Level): Thebasic insulation level is the reference level expressed in impulse crest voltage with a stranded wave not higher than 1.2/50 μs.
  • 297.
    Equipment grounding dealswith earthing the non-current-carrying metal parts of the electrical equipment. System grounding deals earthing some part of the electrical system e.g. earthing of neutral point of star-connected system in generating stations and sub stations Grounding or Earthing may be classified as: 1.Equipment grounding 2.System grounding
  • 298.
    The earthing isessential because of the following reasons,  The earthing protects the personnel from the short circuit current.  The earthing provides the easiest path to the flow of short circuit current even after the failure of the insulation.  The earthing protects the apparatus and personnel from the high voltage surges and lightning discharge.
  • 299.
    Advantages of NeutralGrounding:  Voltages of the healthy phases do not exceed line to ground voltages e. they remain nearly constant.  The high voltages due to arcing grounds are eliminated.  The over voltages due to lightning are discharged to earth.  It provides greater safety to personnel and equipment.  It provides improved service reliability.  Operating and maintenance expenditures are reduced.  It provides improved service reliability.  Improved life of equipment, machines etc.
  • 300.
    Equipment Grounding : 1.Ungroundedenclosure: Below fig. shows the case of ungrounded metal enclosure. If a person touches the metal enclosure, nothing will happen if the equipment is functioning correctly. But if the winding insulation becomes faulty, the resistance Re between the motor and enclosure drops to a low value (a few hundred ohms or less). A person having a body resistance Rb would complete the current path as shown below. If Re is small, the leakage current IL through the person’s body could be dangerously high. As a result, the person would get severe electric shock which may be fatal. Therefore, this system is unsafe.
  • 302.
    2.Grounded Enclosure : WhenEnclosure is connected to neutral wire. It may appear that the above problem can be solved by connecting the enclosure to the grounded neutral wire as shown below fig. Now the leakage current IL flows from the motor, through the enclosure and straight back to the neutral wire Shown in fig. Therefore, the enclosure remains at earth potential. Consequently, the operator would not experience any electric shock.
  • 303.
    Ungrounded And GroundedNeutral System: Generally earthing of neutral point of the transformer and the generator is called the system earthing. Now, if the neutral point for any system is connected to the earth then it will be called a grounded system. But when the neutral for any system is not connected with the earth then it will be called the ungrounded system.
  • 304.
    Disadvantage of UngroundedNeutral : System Voltage Increase: When the earth’s fault occurs in line then for a healthy line voltage will increase three times if its ungrounded system. Protection Complicacy: In this system earth fault is not easy to sense and troubleshooting will become complicated. Arcing Ground: Sudden temporary fault can be caused by the failure of a branch creates an arc between the overload line and the ground. This is called arcing ground.
  • 305.
    Advantage Of GroundedNeutral Earthing System: 1.It will be a stable neutral point. 2.The life of the insulation will increase. 3.Will get general safety to personnel and the equipment due to the operation of the fuses. 4.Overvoltage due to sudden lightning will be discharged to the earth. 5.Arcing Grounds are Eliminated.
  • 308.
    Advantages of theSolid Grounding 1.The neutral is held at the zero potential. 2.The voltage of healthy phase under fault in any of phases remains constant and thus no arcing voltage and over-voltage conditions occur. 3.Heavy current flowing through earth can be easily sensed by the current transformer and faulty section can be isolated quickly by circuit breaker or fuses. 4.Solid grounding reduce the possibility of over voltages.
  • 309.
    Disadvantages of theSolid Grounding 1.The heavy earth fault current flows in the case of solidly grounded system and thus the system goes under heavy electrical and mechanical stress. It may even cause equipment damage if fault current is not interrupted by circuit breaker in time. 2.The heavy fault current can create interference in the neighboring communication circuit. 3.The ground fault current is limited by system impedance only and thus the ground fault current magnitude is very high. This high current can cause an arc flash at the point of fault and can cause severe damage.