STRUCTURAL ANALYSIS
OF A BUNGALOW
BUILDING STRUCTURES
[BLD61003]
PROJECT 2
Tay Jit Ying 0319002
Tan Wei Xin 0322731
Ng Yi Yang 0319688
DESIGN BRIEF
Structural frame plays an important role in a building. It keeps the building
intact, provide supports of cladding, resist weather and different loads and forces. It
is important to understand the building structure analytically to aid in the safety of
building. This report aims to understand the building structure as well as the forces
and load that acts against it. A double storey bungalow is designed with a skeletal
frame to study the load distribution of the slabs, beams, columns and walls throught
the use of calculations and analysis. The house is designed with reinforcement
concrete and brick wall as the main materials.
PAGE OF CONTENT
1.0 Floor Plans
1.1 Ground Floor Plan
1.2 First Floor Plan
1.3 Roof Plan
2.0 Structural Plan
2.1 Foundation Plan
2.2 Ground Floor Plan
2.3 FIrst Floor Plan
2.4 Roof Plan
3.0 Quantity Life and Dead Loads Acting On Structure
4.0 Load Distribution Diagram
4.1 Ground Floor Plan
4.2 FIrst Floor Plan
4.3 Roof Plan
5.0 Tributary Area
5.1 Ground Floor Plan
5.2 FIrst Floor Plan
5.3 Roof Plan
6.0 Columns and Beams Calculation
6.1 Tay Jit Ying
6.2 Tang Wei XIn
6.3 Ng Yi Yang
1.0 FLOOR PLANS
GROUND FLOOR PLAN
SCALE 1 : 150
1.0 FLOOR PLANS
FIRST FLOOR PLAN
SCALE 1 : 150
1.0 FLOOR PLANS
ROOF PLAN
SCALE 1 : 150
2.0 STRUCTURAL PLANS
FOUNDATION STRUCTURAL PLAN
SCALE 1 : 150
2.0 STRUCTURAL PLANS
GROUND FLOOR STRUCTURAL PLAN
SCALE 1 : 150
2.0 STRUCTURAL PLANS
FIRST FLOOR STRUCTURAL PLAN
SCALE 1 : 150
2.0 STRUCTURAL PLANS
ROOF STRUCTURAL PLAN
SCALE 1 : 150
3.0 Quantity Life and Dead Loads Acting On Structure
Density of Materials
RC Concrete = 24kN/m3
Brick Wall = 19kN/m3
Dead Load Factor
Wall = Height x Thickness x Density of Brick Wall
= 3.0m x 0.15 m x 19kN/m3
= 8.55kN/m
Columns = Height x Size x Density of RC Concrete
= 3.0m x (0.3m x 0.3m) x 24kN/m3
= 6.48kN
Beams = Size of beams x Density of RC Concrete
= (0.2m x 0.3m) x 24kN/m3
= 1.44kN/m
Floor Slabs = Thickness of floor slabs x Density of RC Concrete
= 0.15m x 24kN/m3
= 3.6 kN/m2
Live Load Factor
Entrance = 1.5
Living Room = 4.0
Reading Room = 3.0
Study Area = 1.5
Corridor = 4.0
Family Area = 2.0
Dining = 2 0
Wet kitchen = 3.0
Kitchen = 3.0
Bedroom = 1.5
Storeroom = 2.5
Laundry room = 3.0
Toilet = 2.0
Stairs = 1.5
Roof = 0.5
4.0 LOAD DISTRIBUTION DIAGRAM
GROUND FLOOR PLAN
SCALE 1 : 150
4.0 LOAD DISTRIBUTION DIAGRAM
FIRST FLOOR PLAN
SCALE 1 : 150
4.0 LOAD DISTRIBUTION DIAGRAM
ROOF PLAN
SCALE 1 : 150
5.0 TRIBUTARY AREA
GROUND FLOOR PLAN
SCALE 1 : 150
5.0 TRIBUTARY AREA
FIRST FLOOR PLAN
SCALE 1 : 150
5.0 TRIBUTARY AREA
ROOF PLAN
SCALE 1 : 150
6.1 COLUMNS AND BEAMS CALCULATION
by Tay Jit Ying
Ground floor beam G/4-6
Ground floor beam 6/F-J
Columns G1
Columns G3
Columns G4
Ground Floor Plan
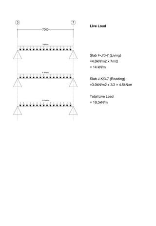
First floor beam J/3-7
First floor beam 7/I-K
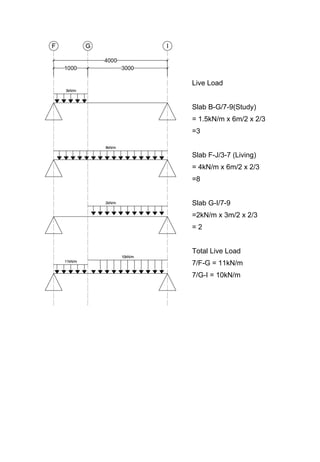
First floor beam G/7-9
First floor beam 7/F-I
First Floor Plan
Beam G/4-6
Ground Floor Plan
Beam G/4-6
Dead Load
Beam Self Weight
=0.2mx0.2mx24kN/m3
=1.44kN/m
Slab E-G/3-6 Self Weight
=(0.15mx24kN/m3) X 2.25m/2
=4.05kN/m
Slab G-J/4-6 Self Weight
=(0.15mx24kN/m3) X 2.5m/2
=4.5kN/m
Brick Wall Self Weight
=3.0m x 0.15m x 19kN/m3
=8.55kN/m
Total Dead Load
G/4-6=18.54kN/m
Live Load
Slab E-G/4-6 (Dining)
=2.0kN/m2 x 2.25m/2
=9kN/m
Total Live Load
G/4-6 = 9kN/m
Ultimate Load
Ultimate Dead Load G/4-6 = 18.54 x 1.4
= 25.956kN/m
Ultimate Live Load G/4-6 = 9 x 1.6
= 14.4kN/m
Ultimate Load = 40.356kN/m
∑m = 0
9 = (Ra x 2.5) – (1.25 x 100.89) = 0
2.5Ra = 126.1125
Ra = 50.445kN/m
∑y = 0
50.445 – 100.89 + Rb = 0
Rb = 50.445
50.445 – (40.356 X 2.5) = –50.445
-50.445 + 50.445 = 0
Positive Area
i. 50.445 X 1.25 X ½ = 31.5281 – (1)
Negative Area
ii. 50.445 X 1.25 X ½ = 31.5281 – (2)
(1) = (2)
Beam G/4-6
Ground Floor Plan
Beam 6/F-J
Dead Load
Beam Self Weight
=0.2m x 0.3m x 24kN/m3
=1.44kN/m
Slab F-J/4-6 Self Weight
= 0.15m x 24kN/m3) x 2.5m/2
= 4.5kN/m
Brick Wall Self Weight
=3.0m x 0.15m x 19kN/m3
=8.55kN/m
Total Dead Load
6/F-G = 9.9kN/m
6/G-J = 14.49kN/m
Live Load
Slab G-J/4-6 (Entrance)
=1.5kN/m2 X 2.5/2
=1.875kN/m
Ultimate Load
Ultimate Dead Load 6/F-G
= 9.9 X 1.4 = 13.86 kN/m
Ultimate Dead Load 6/G-J
= 14.49 X 1.4 = 20.286 kN/m
Ultimate Live Load 6/G-J
= 1.875 X 1.6 = 3 kN/m
Point Load of Beam G/4-6 = 50.445k/N
(previous question)
Ultimate Load 6/F-G = 13.86kN/m
Ultimate Load 6/G-J = 23.286kN/m
∑m = 0
(Ra X 6) – (13.86 X 5.5) – (50.445 X 5)
– (116.43 X 2.5) = 0
6Ra = 619.53
Ra = 103.255
∑y = 0
103.255 – 13.86 – 50.445 – 116.43 = Rb = 0
Rb = 77.48
103.255 – (13.86 X 1) = 89.395
89.395 – 50.445 = 38.95
38.95 – (5 X 23.286) = –77.48
–77.48 = 77.48 = 0
38.95/x = 77.48/(5–x)
116.43x = 195.75
x = 1.6727
Positive Area
i. (103.255 + 89.395) x 1 x ½ = 96.325
ii. 38.95 x 1.6727 x ½ = 32.5758
96.325 + 32.5758 = 128.9008 – (1)
Negative Area
iii. 3.3272 x 77.48 x ½
= 128.8996 – (2)
(1) = (2)
First Floor Plan
Beam J/3-7
Dead Load
Beam Self Weight
=0.2m x 0.3m x 24kN/m3
=1.44kN/m
Slab F-J/3-7 Self Weight
=(0.15m x 24kN/m3) x 7m/2
=12.6kN/m
Slab J-K/3-7 Self Weight
=(0.15m x 24kN/m3) x 3/m2
=5.4kN/m
Brick Wall Self Weight
=3.0m x 0.15m x 19kN/m3
=8.55kN/m
Total Dead Load
J/3-7 = 27.99kN/m
Live Load
Slab F-J/3-7 (Living)
=4.0kN/m2 x 7m/2
= 14 kN/m
Slab J-K/3-7 (Reading)
=3.0kN/m2 x 3/2 = 4.5kN/m
Total Live Load
= 18.5kN/m
Ultimate Load
Ultimate Dead Load J/3-7
= 27.99kN/m x 1.4 = 39.186 kN/m
Ultimate Live Load J/3-7
= 18.5kN/m x 1.6 = 29.6 kN/m
Ultimate Load = 68.786 kN/m
∑m = 0
(Ra x 7) – (3.5 x 481.502) = 0
7Ra = 1685.257
Ra = 240.751 kN
∑y = 0
240.751 – 482.502 + Rb = 0
Rb = 240.751kN
240.751 – (68.786 x 7) = -240.751
-240.751 + 240.751 = 0
Positive Area
i. 240.751 x 3.5 x ½ = 421.31 - (1)
Negative Area
ii. 240.751 x 3.5 x ½ = 421.31 – (2)
(1) = (2)
First Floor Plan
Beam 7/I-K
Dead Load
Beam Self Weight
=0.2m x 0.3m x 24kN/m3
=1.44kN/m
Slab F-J/3-7 Self Weight
=(0.15m x 24kN/m3) x 6m/2 x 2/3
= 7.2kN/m
Brick Wall Self Weight
=3.0m x 0.15m x 19kN/m3
=8.55kN/m
Total Dead Load
7/I-J =17.19kN/m
7/J-K = 9.99kN/m
Live Load
Slab F-J/3-7 (Living)
=4.0kN/m2 x 6m/2x 2/3
= 8kN/m
Total Live Load
=8kN/m
Ultimate Load
Ultimate Dead Load 7/I-J
= 17.19 x 1.4 = 24.066kN/m
Ultimate Dead Load 7/J-K = 9.99 x 1.4
= 13.986kN/m
Ultimate Live Load 7/I-J
= 8 x 1.6
= 12.8kN/m
Point Load of Beam J/3-7 = 240.751k/N
(previous question)
Ultimate Load I-J
= 24.066 + 12.8 = 36.866kN/m
Ultimate Load J-K = 13.986kN/m
Point Load J/3-7 = 240.751kN/m
∑m = 0
(Ra x 5) – (73.732x4) – (240.751 x 3) –
(41.958 x 1.5) = 0
5Ra = 1080.118
Ra = 216.0236
∑y = 0
216.0236 – 73.732 – 240.751 – 41.958
+ Rb = 0
Rb= 140.4174
Positive Area
i. (216.0236 + 142.2916) x 2 x½ =358.3152– (1)
Negative Area
ii. (140.4174+98.4594) x 3 x ½ = 358.3152– (2)
(1) = (2)
First Floor Plan
Dead Load
Beam Self Weight
=0.2m x 0.3m x 24kN/m3
=1.44kN/m
Slab B-G/7-9 Self Weight
= (0.15m x 24kN/m3) x 6m/2 x 2/3
=7.2kN/m
Slab G-I/7-9 Self Weight
=(0.15m x 24kN/m3) x 3m/2
=5.4kN/m
Brick Wall Self Weight
=3.0m x 0.15m x 19kN/m3
=8.55kN/m
Total Dead Load
G/7-9 = 22.59kN/m
Live Load
Slab B-G/7-9 (Study)
=1.5kn/m2 x 6m/2 x 2/3
=3kN/m
Slab G-I/7-9 (Toilet)
= 2.0kN/m x 3m/2
=3kN/m
Total Live Load = 6kN/m
Ultimate Load
Ultimate Dead Load G/7-9
= 22.59 x 1.4
= 31.626kN/m
Ultimate Live Load G7/9
= 6 x 1.6 = 9.6kN/m
Ultimate Load = 41.226kN/m
∑m = 0
(Rax6) – (3x247.356) = 0
6Ra = 742.068
Ra = 123.678
∑y = 0
123.678 – 247.356 + Rb = 0
Rb = 123.678
123.678 – (41.226x6) = -123.678
-123.678 + 123.678 = 0
Positive Area
i. 123.678 x 3 x ½ = 185.51 –(1)
Negative Area
ii. 123.678 x 3 x ½ = 185.517 – (2)
(1) = (2)
First Floor Plan
Dead Load
Beam Self Weight
=0.2m x 0.3m x 24kN/m3
=1.44kN/m
Slab B-G/7-9 Self Weight
=(0.15m x 24kN/m3) x 6m/2 x 2/3
=7.2kN/m
Slab F-J/3-7 Self Weight
=(0.15m x 24kN/m3) x 6m/2 x 2/3
=7.2kN/m
Slab G-I/7-9
=(0.15 x 24kN/m3) x 3m/2 x 2/3
= 3.6kN/m
Brick Wall Self Weight
=3.0m x 0.15m x 19kN/m3
=8.55kN/m
Total Dead Load
7/F-G = 24.39kN/m
7/G-I = 20.79kN/m
Live Load
Slab B-G/7-9(Study)
= 1.5kN/m x 6m/2 x 2/3
=3
Slab F-J/3-7 (Living)
= 4kN/m x 6m/2 x 2/3
=8
Slab G-I/7-9
=2kN/m x 3m/2 x 2/3
= 2
Total Live Load
7/F-G = 11kN/m
7/G-I = 10kN/m
Ultimate Load
Ultimate Dead Load 7/FG = 24.39 x 1.4
= 34.146kN/m
Ultimate Dead Load 7/GI = 20.79 x 1.4
= 29.106kN/m
Ultimate Live Load 7/FG = 11x 1.6
=17.6kN/m
Ultimate Live Load 7/GI = 10 x 1.6
=16kN/m
Point Load of Beam G/7-9 = 123.678k/N
(previous question)
Ultimate Load 7/FG = 51.746
Ultimate Load 7/GI = 45.106
Point Load G/7-9 = 123.678k/N
∑m = 0
(Ra x 4) – (51.746 x 3.5) – (123.678 x 3) –
(135.318 x 1.5 ) = 0
4Ra = 755.122
Ra = 188.7805
∑y = 0
188.7805 – 51.746 – 123.678 – 135.318 + Rb = 0
Rb = 121.9615
13.3565/x = 121.9615/3-x
135.318x = 40.0695
X = 0.2961
Positive Area
i. (188.7805 + 137.0345 ) x ½ x 1 = 162.9075
ii. 13.3565 x 0.291 x ½ = 1.9434
Total = 164.8509 ~ 165 – (1)
Negative Area
iii. 2.709 x 121.9615 x ½ = 165.1968 ~ 165 -- (2)
Column G1
Roof Level
Dead load
Slab : (3.2m x 4.5m) x 3.6kN/m2
= 51.84kN
Beam : 4.5 x 1.44
= 6.48kN
Total : 51.84 + 6.48
= 58.32kN
Live Load
Slab: (3.2 x 4.5) x 0.5kN/m
= 7.2kN
First Floor Level
Dead load
Walls: (0.75 + 1.25 + 1 + 1)m + 3kN/m
= 7 x 8.55
= 59.85kN
Slabs: (4 x 3.2)m x 3.6kN/m2
= 46.08kN
Beams: 7m x 1.44kN/m
= 10.08kN
Column : 0.3m x 0.3m x 3.0m x 24kN/m3
= 6.48kN
Total : 122.49kN
Live Load
Bedroom : (3.2 x 4)m x 1.5kN/m2
= 19.2kN
Ground Floor Level
Dead Load
Walls: 7.1m x 8.55
= 60.705kN
Slabs: [1.6 x (0.75+1.25+1+2.5)] x 3.6 = 31.68kN
Beams: (0.75+1.25+1+2.5) + (1.6 x 1.44) = 10.224kN
Total : 109.089kN
Live Load
Bedroom : 3 x 1.6 x 1.5 = 7.2kN
Corridor : (2.5 x 1.6) x 4 = 16kN
Total = 16 + 7.2
= 23.2kN
Ultimate Dead Load
(58.32+122.49+109.89) x 1.4 = 405.8586kN
Ultimate Live Load
(19.2 + 23.2 + 7.2) x 1.6 = 79.36
Ultimate Load = 405.8586 + 79.36 = 485.2186
Column G3
Roof Level
Dead Load
Slab: (4.5 x 6.3)m x 3.6kN/m2
= 102.06kN
Beam: 4.5m x 1.44kN/m
= 6.48kN
Total: 108.54kN
Live Load
Slab: (4.5 x 6.3)m x 0.5kN/m
= 14.175kN
First Floor Level
Dead Load
Walls: 10.3m x 8.55kN/m
= 88.065kN
Slabs: (2.8 x 4.5) x 3.6kN/m2
= 45.36kN
Beams: 10.3m x 1.44kN/m
= 14.832kN
Column: 0.3m x 0.3m x 3.0m x 24kN/m3
= 6.48kN
Total: 154.737kN
Live Load
Bedroom: (2.8m x 4m) x 1.5kN/m2 = 16.8kN
Corridor: (0.5m x 3m) x 4kN/m2 = 6kN
Washroom: (3.5m x 2m) x 2kN/m2 = 14kN
Living Room: (2.5m x 3.5m) x 2kN/m2 = 8.75kN
Total: 45.55kN
Ultimate Dead Load
(22.68 + 154.737)
= 177.417 x 1.4
= 248.3838kN
Ultimate Live Load
(45.55 + 14.175) x 1.6
= 95.56
Ultimate Load = 343.9438kN
Column G1
Ground Floor Level
Dead Load
Walls: 11.5m x 8.55kN/m
= 98.325kN
Slabs: (3.75 x 5.5)m x 3.6kN/m2
= 74.25kN
Beams: 11.5m x 1.44kN/m
= 16.56kN
Column: 0.3m x 0.3m x 3.0m x 24kN/m3
= 6.48kN
Total: 195.615kN
Live Load
Dining: [(0.75+1.25+1) x 2.5] x 2
= 15kN
Living: (2.5 x 2.5) x 4
=20kN
Entrance: (1.25 x 2.5) x 1.5
= 4.6875kN
Total: 39.6875kN
Ultimate Dead Load
195.615 x 1.4 = 273.861kN
Ultimate Live Load
39.6875 x 1.6 = 63.5
Ultimate Load = 337.361kN
6.2 COLUMNS AND BEAMS CALCULATION
by Tang Wei Xin
Ground floor beam H/1-3
Ground floor beam G-I/3
Ground floor beam B-F/5
Ground floor beam B/3-7
Ground floor beam F/3-7
Ground floor beam B-H/3
Columns B1
Columns J4
Columns F7
Beam H/1-3
Dead Load
Beam Self Weight
=0.2m x 0.3m x 24kN/m3
=1.44kN/m
Slab B-H/1-3 Self Weight
= (0.15m x 24kN/m3) x 6m/2 x 2/3
=7.2kN/m
Slab H-I/1-3 Self Weight
= (0.15m x 24kN/m3) x 2m/2
=3.6kN/m
Brick Wall Self Weight
=3.0m x 0.15m x 19kN/m3
=8.55kN/m
Total Dead Load = 20.79kN/m
Live Load
Slab B-H/1-3 (Bedroom)
=1.5kN/m2 x 6m/2 x 2/3
=3kN/m
Slab H-I/1-3 (Corridor)
=4.0kN/m2 x 2m/2
=4.0kN/m
Total Live Load
=7kN/m
Ultimate Load
Ultimate Dead Load = 20.79 x 1.4 = 29.106kN/m
Ultimate Live Load = 7.0 x 1.6 = 11.2kN/m
Ultimate Load = 40.31kN/m
∑m = 0
(Ra x 6) – (40.31 x 6) x 3 = 0
6Ra = 725.58
Ra = 120.93kN
∑y = 0
120.93 – (40.31 x 6) + Rb = 0
Rb = 120.93kN
Positive Area
i. 120.93 x 3 x ½
= 181.4 – (1)
Negative Area
ii. 120.93 x 3 x ½
= 181.4 – (2)
(1) = (2)
Beam G-I/3
Dead Load
Beam Self Weight
=0.2m x 0.3m x 24kN/m3
=1.44kN/m
Slab B-H/1-3 Self Weight
= (0.15m x 24kN/m3) x 6m/2
=10.8kN/m
Slab F-J/3-7 Self Weight
= (0.15m x 24kN/m3) x 6m/2 x 2/3
=7.2kN/m
Brick Wall Self Weight
=3.0m x 0.15m x 19kN/m3
=8.55kN/m
Total Dead Load
G-H/3 = 20.79kN/m
H-I/3 = 8.64kN/m
Live Load
Slab B-H/1-3 (Bedroom)
=1.5kN/m2 x 6m/2
=4.5kN/m
Slab F-J/3-7 (Living Room)
=4.0kN/m2 x 6m/2 x 2/3
=8kN/m
Total Live Load
G-H/3 = 4.5kN/m
H-I/3 = 8kN/m
Ultimate Load
Ultimate Dead Load G-H/3 = 20.79 x 1.4 = 29.11kN/m
Ultimate Dead Load H-I/3 = 8.64 x 1.4 = 12.1kN/m
Ultimate Live Load G-H/3 = 4.5 x 1.6 = 7.2kN/m
Ultimate Live Load H-I/3 = 8 x 1.6 = 12.8kN/m
Ultimate Load G-H/3 = 36.31kN/m
Ultimate Load H-I/3 = 24.9kN/m
Point Load G-H/3 = 120.93kN/m
∑m = 0
(Ra x 3) – (36.31 x 1) x 2.5 – (24.9 x 2) x 1 – (120.93 x 2) = 0
3Ra = 382.44
Ra = 127.48kN
∑y = 0
Rb + 127.48 – (36.31 x 1) - (24.9 x 2) – 120.93 = 0
Rb = 79.56kN
Positive Area
i. (127.48 + 91.17) x 1 x ½ = 109.33 – (1)
Negative Area
ii. (29.76 + 79.56) x 2 x ½ = 109.33 – (2)
(1) = (2)
Beam B-F/5
Dead Load
Beam Self Weight
=0.2m x 0.3m x 24kN/m3
=1.44kN/m
Slab B-F/3-5 Self Weight
= (0.15m x 24kN/m3) x 4m/2
=7.2kN/m
Slab B-F/5-7 Self Weight
= (0.15m x 24kN/m3) x 3m/2
=5.4kN/m
Brick Wall Self Weight
=3.0m x 0.15m x 19kN/m3
=8.55kN/m
Total Dead Load
=22.59kN/m
Live Load
Slab B-F/3-5 (Washroom)
=2.0kN/m2 x 4m/2
=4kN/m
Slab B-F/5-7 (Corridor)
=4.0kN/m2 x 3m/2
=6kN/m
Total Live Load
=10kN/m
Ultimate Load
Ultimate Dead Load = 22.59 x 1.4 = 31.63kN/m
Ultimate Live Load 10kN/m x 1.6 = 16kN/m
Ultimate Load = 47.63kN/m
∑m = 0
(Ra x 5) – (47.63 x5) x 2.5 = 0
Ra = 119.075kN
∑y = 0
119.075 – (47.63 x 5) + Rb = 0
Rb = 119.075kN
Positive Area
i. 119.075 x 2.5 x ½ = 148.84 – (1)
Negative Area
ii. 119.075 x 2.5 x ½ = 148.84 – (2)
(1) = (2)
Beam B/3-7
Dead Load
Beam Self Weight
=0.2m x 0.3m x 24kN/m3
=1.44kN/m
Slab A-B/ 3-7 Self Weight
= (0.15m x 24kN/m3) x 4m/2
=7.2kN/m
Slab B-F/3-5 Self Weight
= (0.15m x 24kN/m3) x 4m/2 x 2/3
=4.8kN/m
Slab B-F/5-7 Self Weight
= (0.15m x 24kN/m3) x 3m/2 x 2/3
=3.6kN/m
Brick Wall Self Weight
=3.0m x 0.15m x 19kN/m3
=8.55kN/m
Total Dead Load
B/3-5 = 21.99kN/m
B/5-7 = 20.79kN/m
Live Load
Slab A-B/3-7 (Bedroom)
=1.5kN/m2 x 4m/2
=3kN/m
Slab B-F/3-5 (Washroom)
=2.0kN/m2 x 4m/2 x 2/3
=2.67kN/m
Slab B-F/5-7 (Corridor)
=4kN/m2 x 3m/2 x 2/3
=4kN/m
Total Live Load
B/3-5 = 5.67kN/m
B/5-7 = 7kN/m
Ultimate Load
Ultimate Dead Load B/3-5 = 21.99 x 1.4 = 30.79kN/m
Ultimate Dead Load B/5-7 = 20.79 x 1.4 = 29.11kN/m
Ultimate Live Load B/3-5 = 5.67 x 1.6 = 9.072kN/m
Ultimate Live Load B/5-7 = 7 x 1.6 = 11.2kN/m
Ultimate Load B/3-5 = 39.862kN/m
Ultimate Load B/5-7 = 40.31kN/m
Point Load B/3-7 = 119.075kN/m
∑m = 0
(Ra x 7) – (39.862 x 4) – (40.31 x 3) x 1.5
– (119.075 x 3) = 0
Ra = 1335.88
Ra = 190.84kN
∑y = 0
190.84 – (39.862 x 4) – (40.31 x 3)
– 119.075 + Rb = 0
Rb = 208.613kN
Positive Area
i. (31.392 + 190.84) x 4 x ½ = 444.46 – (1)
Negative Area
ii. (208.613 + 87.683) x 3 x ½ = 444.46 – (2)
(1) = (2)
Beam F/3-7
Dead Load
Beam Self Weight
=0.2m x 0.3m x 24kN/m3
=1.44kN/m
Slab A-B/ 3-7 Self Weight
= (0.15m x 24kN/m3) x 4m/2 x 2/3
=4.8kN/m
Slab B-F/5-7 Self Weight
= (0.15m x 24kN/m3) x 3m/2 x 2/3
=3.6kN/m
Slab F-J/3-7 Self Weight
= (0.15m x 24kN/m3) x 6m/2
=10.8kN/m
Brick Wall Self Weight
=3.0m x 0.15m x 19kN/m3
=8.55kN/m
Total Dead Load
F/3-5 = 25.59kN/m
F/5-7 = 15.84kN/m
Live Load
Slab B-F/3-5 (Washroom)
=2.0kN/m2 x 4m/2 x 2/3
=2.67kN/m
Slab B-F/5-7 (Corridor)
=3.6kN/m2 x 3m/2 x 2/3
=3.6kN/m
Slab F-J/3-7 (Living room)
=4kN/m2 x 6m/2
=12kN/m
Total Live Load
F/3-5 = 14.67kN/m
F/5-7 = 15.6kN/m
Ultimate Load
Ultimate Dead Load F/3-5 = 25.59 x 1.4
= 35.826kN/m
Ultimate Dead Load F/5-7 = 15.84 x 1.4
= 22.176kN/m
Ultimate Live Load F/3-5 = 14.67 x 1.6 = 23.472kN/m
Ultimate Live Load F/5-7 = 15.6 x 1.6 = 24.96kN/m
Ultimate Load F/3-5 = 59.298kN/m
Ultimate Load F/5-7 = 47.136kN/m
Point Load F/5 = 119.075kN/m
∑m = 0
(Ra x 7) – (59.298 x 4) x 5 – (119.075 x 3)
– (47.136 x 3) x 1.5 = 0
Ra = 250.756kN
∑y = 0
250.756 – (59.298 x 4) – (47.136 x 3) – 119.075
+ Rb = 0
Rb = 246.919kN
Positive Area
i. (13.564 + 250.756) x 4 x ½ = 528.64 – (1)
Negative Area
ii. (246.919 + 105.511) x 3 x ½ = 528.64 – (2)
(1) = (2)
Beam B-H/3
Dead Load
Beam Self Weight
=0.2m x 0.3m x 24 kN/m3
=1.44kN/m
Slab B-H/ 1-3 Self Weight
= (0.15m x 24 kN/m3) x 6m/2
=10.8kN/m
Slab B-F/3-5 Self Weight
= (0.15m x 24 kN/m3) x 4m/2
=7.2kN/m
Slab F-H/3-7 Self Weight
= (0.15m x 24kN/m3) x 6m/2 x 2/3
=7.2kN/m
Brick Wall Self Weight
=3.0m x 0.15m x 19kN/m3
=8.55kN/m
Total Dead Load
B-F/3 = 27.99kN/m
F-H/3 = 27.99kN/m
Live Load
Slab B-H/1-3 (Bedroom)
=1.5kN/m2 x 6m/2
=4.5kN/m
Slab B-F/3-5 (Washroom)
=2kN/m2 x 4m/2
=4kN/m
Slab F-H/3-7 (Living room)
=4kN/m2 x 6m/2 x 2/3
=8kN/m
Total Live Load
B-F/3 = 8.5kN/m
F-H/3 = 12kN/m
Ultimate Load
Ultimate Dead Load B-F/3 = 27.99 x 1.4
= 39.186kN/m
Ultimate Dead Load F-H/3 = 27.99 x 1.4
= 39.186kN/m
Ultimate Live Load B-F/3 = 8.5 x 1.6
= 13.6kN/m
Ultimate Live Load F-H/3 = 12 x 1.6
= 19.2kN/m
Ultimate Load B-F/3 = 52.786kN/m
Ultimate Load F-H/3 = 58.386kN/m
Point Load F/3 = 250.756kN/m
∑m = 0
(Ra x 7) – (52.786 x 5) x 4.5 – (250.756 x 2)
– (58.386 x 2) x 1 = 0
Ra = 258 kN
∑y = 0
258 – (52.786 x 5) – 250.756 – (58.386 x 2)
+ Rb = 0
Rb = 373.458kN
258: 5.93 = 5 – a: a
29.65 – 5.93a = 258a
263.93a = 29.65
a = 0.11
Positive Area
i. 258 x (5 - 0.11) x ½ = 631– (1)
Negative Area
ii. (373.458 + 256.686) x 2 x ½
+ (0.11 x 5.96 x 1/2)= 631 – (2)
(1) = (2)
Column B1
Roof Level
Dead Load
Slab : (3 x 3) x (0.15 x 24 kN/m2)
= 32.4kN
Beam : (3 x 3)m x 1.44kN/m
=12.96kN
Total : 45.36kN
Live Load
Slab : (3 x 3) x 0.5kN/m
= 4.5kN
First Floor Level
Dead Load
Walls : (3 + 3)m x 8.55kN/m
=76.95kN
Slabs : (2 x 3)m + (3 x 3)m x 3.6kN/m2
= 54 kN
Beams : (3 + 3 + 2))m x 1.44kN/m
= 11.52kN
Column : 0.3m x 0.3m x 3.0m x 24 kN/m3
= 6.48kN
Total : 148.95kN
Live Load
Bedroom : (3.3m x 3.0m) x 1.5kN/m2
= 13.5kN
Total : 13.5kN
Ground FLoor Level
Dead Load
Walls : (2 + 1.5 + 1 + 0.5 + 3.2 + 3.5/2)m x 8.55kN/m
= 85.0725kN
Slabs : (3.2m x 5m) x 3.6kN/m2)
= 57.6kN
Beams : 9.95m x 1.44kN/m
= 14.328kN
Column : 0.3m x 0.3m x 3.0m x 24kN/m3
= 6.48kN
Total : 163.48kN
Live Load
Wet Kitchen : (3,2m x 3.5m) x 3.0kN/m
= 33.6kN
Bedroom : (3.2m x 1.5m) x 1.5kN/m2
= 7.2kN
Total : 40.8kN
Ultimate Dead Load
(45.36 + 148.95 + 163.48) x 1.4 = 500.906kN
Ultimate Live Load
(13.5 + 40.8)) x 1.6 = 94.08kN
Ultimate Load = 594.986kN
Column J4
Ground Floor Level
Dead Load
Walls : (1.25 + 2.5 + 2.5 + 1.5 + 1.5/2)m x 8.55kN/m
=72.675kN
Slabs : (3.75m x 4m) x 3.6kN/m2
= 54 kN
Beams : (1.25 + 2.5 + 2.5 + 1.5 + 1.5/2)m x 1.44kN/m
= 12.24kN
Column : 0.3m x 0.3m x 3.0m x 24 kN/m3
= 6.48kN
Total : 145.395kN
Live Load
Entrance : (1.25m x 2.5m) x 1.5kN/m2
= 4.688 kN
Living room : (2.5m x 2.5m) x 4 kN/m2
= 25 kN
Corridor : (1.5m x 3.75m) x 4 kN/m2
= 22.5 kN
Total : 52.188kN
Ultimate Dead Load
145.395kN x 1.4 = 203.553kN
Ultimate Live Load
52.188 x 1.6 = 83.5kN
Ultimate Load = 287.053kN
Column F7
Roof Level
Dead Load
Slabs : (6.5m x 4.5m) x 3.6kN/m2
= 105.3 kN
Beams : 4.5 m x 1.44kN/m
= 6.48 kN
Total : 111.78 kN
Live Load
Roof: (6.5 x 4.5) x 0.5 kN/m2
= 14.625 kN
First Floor Level
Dead Load
Walls : (2 + 2 + 3)m x 8.55kN/m
=59.85 kN
Slabs : (6.5m x 4.5m) x 3.6kN/m2
= 105.3 kN
Beams : (2 +2 + 3 +3 )m x 1.44kN/m
= 14.4 kN
Column : 0.3m x 0.3m x 3.0m x 24 kN/m3
= 6.48kN
Total : 186.03kN
Live Load
Study area : (3m x 3.5m) x 1.5kN/m2
= 15.75 kN
Washroom : (3m x 1m) x 2 kN/m2
= 6 kN
Corridor : (2m x 3.5m) x 4 kN/m2
= 28 kN
Living area : (3.5m x 2m) x 4 kN/m2
= 28 kN
Total : 77.75 kN
Ultimate Dead Load
(111.78 + 186.03)kN x 1.4 = 416.935 kN
Ultimate Live Load
(77.75 + 14.625) x 1.6 = 147.8 kN
Ultimate Load = 564.734kN
6.3 COLUMNS AND BEAMS CALCULATION
by Ng Yi Yang
Ground floor beam 2/A-C
Ground floor beam C/1-3
Ground floor beam E/3-6
Ground floor beam C/6-8
Ground floor beam 6/B-F
Ground floor beam 8/B-F
Columns B3
Columns F6
Columns B9
Beam 2/A-C
Beam 2/A-C
Dead Load
Beam Self Weight
=0.2m x 0.3m x 24kN/m3
=1.44kN/m
Slab A-C/1-2 Self Weight
=(0.15m x 24kN/m3) x 3.2m/2
=5.76kN/m
Slab A-C/2-3 Self Weight
=(0.15m x 24kN/m3) x 2.8m/2
=5.04kN/m
Brick Wall Self Weight
=3.0m x 0.15m x 19kN/m3
=8.55kN/m
Total Dead Load
2/A-B = 21.09kN/m
2/B-C = 12.24kN/m
Live Load
Slab A-C/1-2 (Wet Kitchen)
=3.0kN/m2 x 3.2m/2
=4.8kN/m
Slab A-C/2-3 (Dry Kitchen)
=3.0kN/m2 x 2.8m/2
=4.2kN/m
Total Live Load
=9.0kN/m
Ultimate Load
Ultimate Dead Load 2/A-B
= 20.79 x 1.4 = 29.106kN/m
Ultimate Dead Load 2/B-C
= 12.24 x 1.4 = 17.136kN/m
Ultimate Live Load 2/A-C
= 9.0 x 1.6 = 14.4kN/m
Ultimate Load 2/A-B = 43.506kN/m
Ultimate Load 2/B-C = 31.536kN/m
∑m = 0
(Ra x 5.5) – (174.024 x 3.5) – (47.304 x 0.75)
= 0
5.5Ra = 644.478
Ra = 117.178kN
∑y = 0
117.178 – 174.024 – 47.304 + Rb = 0
Rb = 104.15kN
117.178/(4 - )x = 56.846/x
174.024x = 227.384
X = 1.307
Positive Area
i. (4.0 – 1.307) x 117.178 x ½
= 158 – (1)
Negative Area
ii. [ (1.307 x 56.846) x ½ ] +
[ (56.846 + 104.15) x 1.5 x ½
= 157.896 ~ 158 – (2)
(1) = (2)
Beam C/1-3
Dead Load
Beam Self Weight
=0.2m x 0.3m x 24kN/m3
=1.44kN/m
Slab A-C/1-2 Self Weight
=(0.15m x 24kN/m3) x 3.2m/2 x 2/3
=3.84kN/m
Slab A-C/2-3 Self Weight
=(0.15m x 24kN/m3) x 2.8m/2 x 2/3
=3.36kN/m
Slab C-G/1-3 Self Weight
=(0.15m x 24kN/m3) x 4.5m/2
=8.1kN/m
Brick Wall Self Weight
=3.0m x 0.15m x 19kN/m3
=8.55kN/m
Total Dead Load
C/1-2 = 21.93kN/m
C/2-3 = 21.45kN/m
Live Load
Slab A-C/1-2 (Wet Kitchen)
=3.0kN/m2 x 3.2m/2 x 2/3
=3.2kN/m
Slab A-C/2-3 (Dry Kitchen)
=3.0kN/m2 x 2.8m/2 x 2/3
=2.5kN/m
Slab C-F/6-8 (Storeroom)
=1.5kN/m2 x 4.5m/2
=3.375kN/m
Total Live Load
C/1-2 = 6.575kN/m
C/2-3 = 6.175kN/m
Ultimate Load
Ultimate Dead Load C/1-2 = 21.93 x 1.4
= 30.702kN/m
Ultimate Dead Load C/2-3 = 21.45 x 1.4
= 30.03kN/m
Ultimate Live Load C/1-2 = 6.575 x 1.6
= 10.52kN/m
Ultimate Live Load C/2-3 = 6.175 x 1.6
= 9.88kN/m
Point Load from beam 2/A-C = 104.15kN/m
Ultimate Load C/1-2 = 41.222kN/m
Ultimate Load C/2-3 = 39.91kN/m
Point Load 2/A-C = 104.15kN/m
∑m = 0
(Ra x 6) – (131.910 x 4.4) –
(104.15 x 2.8) – (83.748 x 1.4) = 0
6Ra = 989.273
Ra = 164.879kN
∑y = 0
164.879 – 131.910 –
104.15 – 83.748 + Rb = 0
Rb = 154.929kN
Positive Area
i. (164.879 + 32.969) x 3.2 x ½
= 316.557 ~ 316 – (1)
Negative Area
ii. (71.181 + 154.929) x 2.8 x ½
= 316.555 ~ 316 – (2)
(1) = (2)
Beam E/3-6
Dead Load
Beam Self Weight
=0.2m x 0.3m x 24kN/m3
=1.44kN/m
Slab B-E/3-6 Self Weight
=(0.15m x 24kN/m3) x 3.75m/2
=6.75kN/m
Slab E-G/3-6 Self Weight
=(0.15m x 24kN/m3) x 2.25m/2
=4.05kN/m
Total Dead Load
=12.24kN/m
Live Load
Slab B-E/3-6 (Dining)
=2.0kN/m2 x 3.75m/2
=3.75kN/m
Slab E-G/3-6 (Dining)
=2.0kN/m2 x 2.25m/2
=2.25kN/m
Total Live Load
=6kN/m
Ultimate Load
Ultimate Dead Load = 12.24 x 1.4
= 17.136kN/m
Ultimate Live Load 6kN/m x 1.6
= 9.6kN/m
Ultimate Load = 26.736kN/m
∑m = 0
(Ra x 5) – (2.5 x 133.68) = 0
5Ra = 334.2
Ra = 66.84kN
∑y = 0
66.84 - 133.68 + Rb = 0
Rb = 66.84kN
Positive Area
i. 66.84 x 2.5 x ½ = 83.55 – (1)
Negative Area
ii. 66.84 x 2.5 x ½ = 83.55 – (2)
(1) = (2)
Beam C/6-8
Dead Load
Beam Self Weight
=0.2m x 0.3m x 24kN/m3
=1.44kN/m
Slab A-C/6-8 Self Weight
=(0.15m x 24kN/m3) x 4m/2 x 2/3
=4.8kN/m
Slab C-F/6-8 Self Weight
=(0.15m x 24kN/m3) x 3.5m/2
=6.3kN/m
Brick Wall Self Weight
=3.0m x 0.15m x 19kN/m3
=8.55kN/m
Total Dead Load
=21.09kN/m
Live Load
Slab A-C/6-8 (Bedroom)
=1.5kN/m2 x 4m/2 x 2/3
=2kN/m
Slab C-F/6-8 (Storeroom)
=2.5kN/m2 x 3.5m/2
=4.375kN/m
Total Live Load
=6.375kN/m
Ultimate Load
Ultimate Dead Load = 21.09 x 1.4
= 29.526kN/m
Ultimate Live Load = 6.375 x 1.6
= 10.2kN/m
Ultimate Load = 39.726kN/m
∑m = 0
(Ra x 4) – (2 x 158.904) = 0
4Ra = 317.808
Ra = 79.452kN
∑y = 0
79.452 – 158.904 + Rb = 0
Rb = 79.452kN
Positive Area
i. 79.452 x2 x ½ = 79.452 – (1)
Negative Area
ii. 79.452 x2 x ½ = 79.452 – (2)
(1) = (2)
Beam 6/B-F
Dead Load
Beam Self Weight
=0.2m x 0.3m x 24kN/m3
=1.44kN/m
Slab A-C/6-8 Self Weight
=(0.15m x 24kN/m3) x 4m/2
=7.2kN/m
Slab B-E/3-6 Self Weight
=(0.15m x 24kN/m3) x 3.75m/2 x 2/3
=4.5kN/m
Slab C-F/6-8 Self Weight
=(0.15m x 24kN/m3) x 3.5m/2 x 2/3
=4.2kN/m
Brick Wall Self Weight
=3.0m x 0.15m x 19kN/m3
=8.55kN/m
Total Dead Load
6/B-C = 21.69kN/m
6/C-E = 18.69kN/m
6/E-F = 14.19kN/m
Live Load
Slab A-C/6-8 (Bedroom)
=1.5kN/m2 x 4m/2
=3kN/m
Slab B-E/3-6 (Dining)
=2.0kN/m2 x 3.75m/2 x 2/3
=2.5kN/m
Slab C-F/6-8 (Storeroom)
=2.5kN/m2 x 3.5m/2 x 2/3
=2.917kN/m
Total Live Load
6/B-C = 5.5kN/m
6/C-E = 5.417kN/m
6/E-F = 2.917kN/m
Ultimate Load
Ultimate Dead Load 6/B-C = 21.69 x 1.4
= 30.366kN/m
Ultimate Dead Load 6/C-E = 18.69 x 1.4
= 26.166kN/m
Ultimate Dead Load 6/E-F = 14.19 x 1.4
= 19.866kN/m
Ultimate Live Load 6/B-C = 5.5 x 1.6
= 8.8kN/m
Ultimate Live Load 6/C-E = 5.417 x 1.6
= 8.667kN/m
Ultimate Live Load 6/E-F = 2.917 x 1.6
= 4.667kN/m
Point Load from beam C/6-8 = 79.452kN
Point Load from beam E/3-6 = 66.84kN
Ultimate Load 6/B-C = 39.166kN/m
Ultimate Load 6/C-E = 34.833kN/m
Ultimate Load 6/E-F = 24.533kN/m
Point Load C/6-8 = 79.452kN
Point Load E/3-6 = 66.84kN
∑m = 0
(Ra x 5) – (58.749 x 4.25) – (79.452 x 3.5) –
(78.374 x 2.375) – (66.84 x 1.25) –
(30.666 x 0.625) = 0
5Ra = 816.619
Ra = 163.324kN
∑y = 0
163.324 – 58.749 – 79.374 –
78.374 - 66.84 – 30.666 + Rb = 0
Rb = 150.757kN
25.125/x = 53.251/(2.25-x)
78.376x = 56.531
x = 0.721
Positive Area
i. (163.324 + 104.575) x 1.5 x ½ = 200.924
ii. 25.125 x 0.721 x ½ = 9.058
Total = 209.982 ~ 210 – (1)
Negative Area
iii. 53.251 x (2.25 – 0.721) x ½ = 40.710
iv. (150.757 + 120.091) x 1.25 x ½ = 169.28
Total = 209.99 ~ 210 – (2)
(1) = (2)
Beam 8/B-F
Dead Load
Beam Self Weight
=0.2m x 0.3m x 24kN/m3
=1.44kN/m
Slab A-C/6-8 Self Weight
=(0.15m x 24kN/m3) x 4m/2
=7.2kN/m
Slab B-E/3-6 Self Weight
=(0.15m x 24kN/m3) x 3.5m/2 x 2/3
=4.2kN/m
Brick Wall Self Weight
=3.0m x 0.15m x 19kN/m3
=8.55kN/m
Total Dead Load
8/B-C = 14.79kN/m
8/C-F = 16.29kN/m
Live Load
Slab A-C/6-8 (Bedroom)
=1.5kN/m2 x 4m/2
=3.0kN/m
Slab C-F/6-8 (Storeroom)
=2.5kN/m2 x 3.5m/2 x 2/3
=2.917kN/m
Total Live Load
8/B-C = 3.0kN/m
8/C-F = 2.917kN/m
Ultimate Load
Ultimate Dead Load 8/B-C = 14.79 x 1.4
= 20.706kN/m
Ultimate Dead Load 8/C-F = 16.29 x 1.4
= 22.806kN/m
Ultimate Live Load 8/B-C = 3.0 x 1.6
= 4.8kN/m
Ultimate Live Load 8/C-F = 2.917 x 1.6
= 4.753kN/m
Point Load from beam C6/8 = 79.452kN
Ultimate Load 8/B-C = 99.869kN/m
Ultimate Load 8/C-F = 27.559kN/m
Point Load C/6-8 = 79.452kN
∑m = 0
(Ra x 5) – (149.804 x 4.25) –
(79.452 x 3.5) – (1.75 x 96.457) = 0
5Ra = 1083.549
Ra = 216.710kN
∑y = 0
216.71 - 149.804 - 79.452 - 96.457 + Rb = 0
Rb = 109.003kN
Positive Area
i. (66.906 + 216.710) x 1.5 x ½
= 212.712 ~ 212.71 – (1)
Negative Area
ii. (12.546 + 109.003) x 3.5 x ½
= 212.711 ~ 212.71 – (2)
(1) = (2)
Column B3
Roof Level
Dead Load
Slab : [ (6.3m x 5.0m) - (2.8m x 2.0m) ] x (0.15 x 24kN/m2)
= 93.24kN
Beam : 8.0m x 1.44kN/m
=11.52kN
Total : 104.76kN
Live Load
Slab : [ (6.3m x 5.0m) - (2.8m x 2.0m) ] x 0.5kN/m
= 12.95kN
First Floor Level
Dead Load
Walls : 11.5m x 8.55kN/m
=98.325kN
Slabs : (6.5m x 5m) x 3.6kN/m2)
= 117kN
Beams : 11.5m x 1.44kN/m
= 16.56kN
Column : 0.3m x 0.3m x 3.0m x 24kN/m3
= 6.48kN
Total : 238.365kN
Live Load
Bedroom : (3.5m x 2.0m) x 1.5kN/m2
= 10.5kN
Bedroom : (3.0m x 3.0m) x 1.5kN/m2
= 13.5kN
Toilet: (3.5m x 3m) x 2.0kN/m2
= 21kN
Total : 45kN
Ground FLoor Level
Dead Load
Walls : 10.05m x 8.55kN/m
= 85.9275kN
Slabs : (4.05m x 5m) x 3.6kN/m2)
= 72.9kN
Beams : 10.8m x 1.44kN/m
= 11.232kN
Column : 0.3m x 0.3m x 3.0m x 24kN/m3
= 6.48kN
Total : 176.54kN
Live Load
Laundry Room : (1.25m x 2m) x 3.0kN/m
= 7.5kN
Dry Kitchen : (2.8m x 3.5m) x 3.0kN/m
= 29.4kN
Bedroom : (2.8m x 1.5m) x 1.5kN/m2
= 6.3kN
Dining : (1.25m x 3.0m) x 2.0kN/m2
= 7.5kN
Total : 50.7kN
Ultimate Dead Load
(104.76 + 238.365 + 176.54) x 1.4 = 727.531kN
Ultimate Live Load
(12.95 + 45.0 + 50.7) x 1.6 = 173.84kN
Ultimate Load = 251.271kN
Column F6
Ground Floor Level
Dead Load
Walls : 8.0m x 8.55kN/m
=68.4kN
Slabs : [ (3.25m x 6m) - (2.0m x 3.5m) ] x 3.6kN/m2)
= 45kN
Beams : 10.5m x 1.44kN/m
= 15.12kN
Column : 0.3m x 0.3m x 3.0m x 24kN/m3
= 6.48kN
Total : 135kN
Live Load
Storeroom : (2.0m x 2.5m) x 1.5kN/m2
= 12.5kN
Dining : (1.25m x 2.25m) x 1.5kN/m2
= 5.625kN
Dining : (1.25m x 1.25m) x 1.5kN/m2
= 3.125kN
Entrance : (1.25m x 2.5m) x 1.5kN/m2
= 4.6875
Total : 25.933kN
Ultimate Dead Load
135kN x 1.4 = 189kN
Ultimate Live Load
25.9325 x 1.6 = 41.492kN
Ultimate Load = 230.492kN
Column B9
Roof Level
Dead Load
Slabs : (4m x 3.5m) x 3.6kN/m2
= 50.4kN
Beams : 4.5m x 1.44kN/m
= 6.48kN
Total : 56.88kN
Live Load
Slabs : (4m x 3.5m) x 0.5
= 7kN
First Floor Level
Dead Load
Walls : 5.5m x 8.55kN/m
=64.125kN
Slabs : [ (3.0m x 4.5m) x 3.6kN/m2
= 48.6kN
Beams : 5.5m x 1.44kN/m
= 10.8kN
Column : 0.3m x 0.3m x 3.0m x 24kN/m3
= 6.48kN
Total : 130.005kN
Live Load
Bedroom : (3m x 2m) x 1.5kN/m2
= 9kN
Study Area : (2.5m x 3.0m) x 1.5m
= 11.25
Total : 20.25kN
Ground Floor Level
Dead Load
Column : 0.3m x 0.3m x 3.0m x 24kN/m3
= 6.48kN
Ultimate Dead Load
(56.88 + 130.005 + 6.48) x 1.4 = 270.711kN
Ultimate Live Load
20.25 x 1.6 = 32.4kN
Ultimate Load = 303.111kN

Final structure report

  • 1.
    STRUCTURAL ANALYSIS OF ABUNGALOW BUILDING STRUCTURES [BLD61003] PROJECT 2 Tay Jit Ying 0319002 Tan Wei Xin 0322731 Ng Yi Yang 0319688
  • 2.
    DESIGN BRIEF Structural frameplays an important role in a building. It keeps the building intact, provide supports of cladding, resist weather and different loads and forces. It is important to understand the building structure analytically to aid in the safety of building. This report aims to understand the building structure as well as the forces and load that acts against it. A double storey bungalow is designed with a skeletal frame to study the load distribution of the slabs, beams, columns and walls throught the use of calculations and analysis. The house is designed with reinforcement concrete and brick wall as the main materials.
  • 3.
    PAGE OF CONTENT 1.0Floor Plans 1.1 Ground Floor Plan 1.2 First Floor Plan 1.3 Roof Plan 2.0 Structural Plan 2.1 Foundation Plan 2.2 Ground Floor Plan 2.3 FIrst Floor Plan 2.4 Roof Plan 3.0 Quantity Life and Dead Loads Acting On Structure 4.0 Load Distribution Diagram 4.1 Ground Floor Plan 4.2 FIrst Floor Plan 4.3 Roof Plan 5.0 Tributary Area 5.1 Ground Floor Plan 5.2 FIrst Floor Plan 5.3 Roof Plan 6.0 Columns and Beams Calculation 6.1 Tay Jit Ying 6.2 Tang Wei XIn 6.3 Ng Yi Yang
  • 4.
    1.0 FLOOR PLANS GROUNDFLOOR PLAN SCALE 1 : 150
  • 5.
    1.0 FLOOR PLANS FIRSTFLOOR PLAN SCALE 1 : 150
  • 6.
    1.0 FLOOR PLANS ROOFPLAN SCALE 1 : 150
  • 7.
    2.0 STRUCTURAL PLANS FOUNDATIONSTRUCTURAL PLAN SCALE 1 : 150
  • 8.
    2.0 STRUCTURAL PLANS GROUNDFLOOR STRUCTURAL PLAN SCALE 1 : 150
  • 9.
    2.0 STRUCTURAL PLANS FIRSTFLOOR STRUCTURAL PLAN SCALE 1 : 150
  • 10.
    2.0 STRUCTURAL PLANS ROOFSTRUCTURAL PLAN SCALE 1 : 150
  • 11.
    3.0 Quantity Lifeand Dead Loads Acting On Structure Density of Materials RC Concrete = 24kN/m3 Brick Wall = 19kN/m3 Dead Load Factor Wall = Height x Thickness x Density of Brick Wall = 3.0m x 0.15 m x 19kN/m3 = 8.55kN/m Columns = Height x Size x Density of RC Concrete = 3.0m x (0.3m x 0.3m) x 24kN/m3 = 6.48kN Beams = Size of beams x Density of RC Concrete = (0.2m x 0.3m) x 24kN/m3 = 1.44kN/m Floor Slabs = Thickness of floor slabs x Density of RC Concrete = 0.15m x 24kN/m3 = 3.6 kN/m2 Live Load Factor Entrance = 1.5 Living Room = 4.0 Reading Room = 3.0 Study Area = 1.5 Corridor = 4.0 Family Area = 2.0 Dining = 2 0 Wet kitchen = 3.0 Kitchen = 3.0 Bedroom = 1.5 Storeroom = 2.5 Laundry room = 3.0 Toilet = 2.0 Stairs = 1.5 Roof = 0.5
  • 12.
    4.0 LOAD DISTRIBUTIONDIAGRAM GROUND FLOOR PLAN SCALE 1 : 150
  • 13.
    4.0 LOAD DISTRIBUTIONDIAGRAM FIRST FLOOR PLAN SCALE 1 : 150
  • 14.
    4.0 LOAD DISTRIBUTIONDIAGRAM ROOF PLAN SCALE 1 : 150
  • 15.
    5.0 TRIBUTARY AREA GROUNDFLOOR PLAN SCALE 1 : 150
  • 16.
    5.0 TRIBUTARY AREA FIRSTFLOOR PLAN SCALE 1 : 150
  • 17.
    5.0 TRIBUTARY AREA ROOFPLAN SCALE 1 : 150
  • 18.
    6.1 COLUMNS ANDBEAMS CALCULATION by Tay Jit Ying Ground floor beam G/4-6 Ground floor beam 6/F-J Columns G1 Columns G3 Columns G4 Ground Floor Plan
  • 19.
    First floor beamJ/3-7 First floor beam 7/I-K First floor beam G/7-9 First floor beam 7/F-I First Floor Plan
  • 20.
  • 21.
    Beam G/4-6 Dead Load BeamSelf Weight =0.2mx0.2mx24kN/m3 =1.44kN/m Slab E-G/3-6 Self Weight =(0.15mx24kN/m3) X 2.25m/2 =4.05kN/m Slab G-J/4-6 Self Weight =(0.15mx24kN/m3) X 2.5m/2 =4.5kN/m Brick Wall Self Weight =3.0m x 0.15m x 19kN/m3 =8.55kN/m Total Dead Load G/4-6=18.54kN/m
  • 22.
    Live Load Slab E-G/4-6(Dining) =2.0kN/m2 x 2.25m/2 =9kN/m Total Live Load G/4-6 = 9kN/m
  • 23.
    Ultimate Load Ultimate DeadLoad G/4-6 = 18.54 x 1.4 = 25.956kN/m Ultimate Live Load G/4-6 = 9 x 1.6 = 14.4kN/m Ultimate Load = 40.356kN/m
  • 24.
    ∑m = 0 9= (Ra x 2.5) – (1.25 x 100.89) = 0 2.5Ra = 126.1125 Ra = 50.445kN/m ∑y = 0 50.445 – 100.89 + Rb = 0 Rb = 50.445 50.445 – (40.356 X 2.5) = –50.445 -50.445 + 50.445 = 0 Positive Area i. 50.445 X 1.25 X ½ = 31.5281 – (1) Negative Area ii. 50.445 X 1.25 X ½ = 31.5281 – (2) (1) = (2)
  • 25.
  • 26.
    Beam 6/F-J Dead Load BeamSelf Weight =0.2m x 0.3m x 24kN/m3 =1.44kN/m Slab F-J/4-6 Self Weight = 0.15m x 24kN/m3) x 2.5m/2 = 4.5kN/m Brick Wall Self Weight =3.0m x 0.15m x 19kN/m3 =8.55kN/m Total Dead Load 6/F-G = 9.9kN/m 6/G-J = 14.49kN/m Live Load Slab G-J/4-6 (Entrance) =1.5kN/m2 X 2.5/2 =1.875kN/m
  • 27.
    Ultimate Load Ultimate DeadLoad 6/F-G = 9.9 X 1.4 = 13.86 kN/m Ultimate Dead Load 6/G-J = 14.49 X 1.4 = 20.286 kN/m Ultimate Live Load 6/G-J = 1.875 X 1.6 = 3 kN/m Point Load of Beam G/4-6 = 50.445k/N (previous question) Ultimate Load 6/F-G = 13.86kN/m Ultimate Load 6/G-J = 23.286kN/m
  • 28.
    ∑m = 0 (RaX 6) – (13.86 X 5.5) – (50.445 X 5) – (116.43 X 2.5) = 0 6Ra = 619.53 Ra = 103.255 ∑y = 0 103.255 – 13.86 – 50.445 – 116.43 = Rb = 0 Rb = 77.48 103.255 – (13.86 X 1) = 89.395 89.395 – 50.445 = 38.95 38.95 – (5 X 23.286) = –77.48 –77.48 = 77.48 = 0 38.95/x = 77.48/(5–x) 116.43x = 195.75 x = 1.6727 Positive Area i. (103.255 + 89.395) x 1 x ½ = 96.325 ii. 38.95 x 1.6727 x ½ = 32.5758 96.325 + 32.5758 = 128.9008 – (1) Negative Area iii. 3.3272 x 77.48 x ½ = 128.8996 – (2) (1) = (2)
  • 29.
  • 30.
    Beam J/3-7 Dead Load BeamSelf Weight =0.2m x 0.3m x 24kN/m3 =1.44kN/m Slab F-J/3-7 Self Weight =(0.15m x 24kN/m3) x 7m/2 =12.6kN/m Slab J-K/3-7 Self Weight =(0.15m x 24kN/m3) x 3/m2 =5.4kN/m Brick Wall Self Weight =3.0m x 0.15m x 19kN/m3 =8.55kN/m Total Dead Load J/3-7 = 27.99kN/m
  • 31.
    Live Load Slab F-J/3-7(Living) =4.0kN/m2 x 7m/2 = 14 kN/m Slab J-K/3-7 (Reading) =3.0kN/m2 x 3/2 = 4.5kN/m Total Live Load = 18.5kN/m
  • 32.
    Ultimate Load Ultimate DeadLoad J/3-7 = 27.99kN/m x 1.4 = 39.186 kN/m Ultimate Live Load J/3-7 = 18.5kN/m x 1.6 = 29.6 kN/m Ultimate Load = 68.786 kN/m
  • 33.
    ∑m = 0 (Rax 7) – (3.5 x 481.502) = 0 7Ra = 1685.257 Ra = 240.751 kN ∑y = 0 240.751 – 482.502 + Rb = 0 Rb = 240.751kN 240.751 – (68.786 x 7) = -240.751 -240.751 + 240.751 = 0 Positive Area i. 240.751 x 3.5 x ½ = 421.31 - (1) Negative Area ii. 240.751 x 3.5 x ½ = 421.31 – (2) (1) = (2)
  • 34.
  • 35.
    Beam 7/I-K Dead Load BeamSelf Weight =0.2m x 0.3m x 24kN/m3 =1.44kN/m Slab F-J/3-7 Self Weight =(0.15m x 24kN/m3) x 6m/2 x 2/3 = 7.2kN/m Brick Wall Self Weight =3.0m x 0.15m x 19kN/m3 =8.55kN/m Total Dead Load 7/I-J =17.19kN/m 7/J-K = 9.99kN/m
  • 36.
    Live Load Slab F-J/3-7(Living) =4.0kN/m2 x 6m/2x 2/3 = 8kN/m Total Live Load =8kN/m Ultimate Load Ultimate Dead Load 7/I-J = 17.19 x 1.4 = 24.066kN/m Ultimate Dead Load 7/J-K = 9.99 x 1.4 = 13.986kN/m Ultimate Live Load 7/I-J = 8 x 1.6 = 12.8kN/m Point Load of Beam J/3-7 = 240.751k/N (previous question) Ultimate Load I-J = 24.066 + 12.8 = 36.866kN/m Ultimate Load J-K = 13.986kN/m Point Load J/3-7 = 240.751kN/m
  • 37.
    ∑m = 0 (Rax 5) – (73.732x4) – (240.751 x 3) – (41.958 x 1.5) = 0 5Ra = 1080.118 Ra = 216.0236 ∑y = 0 216.0236 – 73.732 – 240.751 – 41.958 + Rb = 0 Rb= 140.4174 Positive Area i. (216.0236 + 142.2916) x 2 x½ =358.3152– (1) Negative Area ii. (140.4174+98.4594) x 3 x ½ = 358.3152– (2) (1) = (2)
  • 38.
  • 39.
    Dead Load Beam SelfWeight =0.2m x 0.3m x 24kN/m3 =1.44kN/m Slab B-G/7-9 Self Weight = (0.15m x 24kN/m3) x 6m/2 x 2/3 =7.2kN/m Slab G-I/7-9 Self Weight =(0.15m x 24kN/m3) x 3m/2 =5.4kN/m Brick Wall Self Weight =3.0m x 0.15m x 19kN/m3 =8.55kN/m Total Dead Load G/7-9 = 22.59kN/m
  • 40.
    Live Load Slab B-G/7-9(Study) =1.5kn/m2 x 6m/2 x 2/3 =3kN/m Slab G-I/7-9 (Toilet) = 2.0kN/m x 3m/2 =3kN/m Total Live Load = 6kN/m Ultimate Load Ultimate Dead Load G/7-9 = 22.59 x 1.4 = 31.626kN/m Ultimate Live Load G7/9 = 6 x 1.6 = 9.6kN/m Ultimate Load = 41.226kN/m
  • 41.
    ∑m = 0 (Rax6)– (3x247.356) = 0 6Ra = 742.068 Ra = 123.678 ∑y = 0 123.678 – 247.356 + Rb = 0 Rb = 123.678 123.678 – (41.226x6) = -123.678 -123.678 + 123.678 = 0 Positive Area i. 123.678 x 3 x ½ = 185.51 –(1) Negative Area ii. 123.678 x 3 x ½ = 185.517 – (2) (1) = (2)
  • 42.
  • 43.
    Dead Load Beam SelfWeight =0.2m x 0.3m x 24kN/m3 =1.44kN/m Slab B-G/7-9 Self Weight =(0.15m x 24kN/m3) x 6m/2 x 2/3 =7.2kN/m Slab F-J/3-7 Self Weight =(0.15m x 24kN/m3) x 6m/2 x 2/3 =7.2kN/m Slab G-I/7-9 =(0.15 x 24kN/m3) x 3m/2 x 2/3 = 3.6kN/m Brick Wall Self Weight =3.0m x 0.15m x 19kN/m3 =8.55kN/m Total Dead Load 7/F-G = 24.39kN/m 7/G-I = 20.79kN/m
  • 44.
    Live Load Slab B-G/7-9(Study) =1.5kN/m x 6m/2 x 2/3 =3 Slab F-J/3-7 (Living) = 4kN/m x 6m/2 x 2/3 =8 Slab G-I/7-9 =2kN/m x 3m/2 x 2/3 = 2 Total Live Load 7/F-G = 11kN/m 7/G-I = 10kN/m
  • 45.
    Ultimate Load Ultimate DeadLoad 7/FG = 24.39 x 1.4 = 34.146kN/m Ultimate Dead Load 7/GI = 20.79 x 1.4 = 29.106kN/m Ultimate Live Load 7/FG = 11x 1.6 =17.6kN/m Ultimate Live Load 7/GI = 10 x 1.6 =16kN/m Point Load of Beam G/7-9 = 123.678k/N (previous question) Ultimate Load 7/FG = 51.746 Ultimate Load 7/GI = 45.106 Point Load G/7-9 = 123.678k/N
  • 46.
    ∑m = 0 (Rax 4) – (51.746 x 3.5) – (123.678 x 3) – (135.318 x 1.5 ) = 0 4Ra = 755.122 Ra = 188.7805 ∑y = 0 188.7805 – 51.746 – 123.678 – 135.318 + Rb = 0 Rb = 121.9615 13.3565/x = 121.9615/3-x 135.318x = 40.0695 X = 0.2961 Positive Area i. (188.7805 + 137.0345 ) x ½ x 1 = 162.9075 ii. 13.3565 x 0.291 x ½ = 1.9434 Total = 164.8509 ~ 165 – (1) Negative Area iii. 2.709 x 121.9615 x ½ = 165.1968 ~ 165 -- (2)
  • 47.
    Column G1 Roof Level Deadload Slab : (3.2m x 4.5m) x 3.6kN/m2 = 51.84kN Beam : 4.5 x 1.44 = 6.48kN Total : 51.84 + 6.48 = 58.32kN Live Load Slab: (3.2 x 4.5) x 0.5kN/m = 7.2kN First Floor Level Dead load Walls: (0.75 + 1.25 + 1 + 1)m + 3kN/m = 7 x 8.55 = 59.85kN Slabs: (4 x 3.2)m x 3.6kN/m2 = 46.08kN Beams: 7m x 1.44kN/m = 10.08kN Column : 0.3m x 0.3m x 3.0m x 24kN/m3 = 6.48kN Total : 122.49kN Live Load Bedroom : (3.2 x 4)m x 1.5kN/m2 = 19.2kN
  • 48.
    Ground Floor Level DeadLoad Walls: 7.1m x 8.55 = 60.705kN Slabs: [1.6 x (0.75+1.25+1+2.5)] x 3.6 = 31.68kN Beams: (0.75+1.25+1+2.5) + (1.6 x 1.44) = 10.224kN Total : 109.089kN Live Load Bedroom : 3 x 1.6 x 1.5 = 7.2kN Corridor : (2.5 x 1.6) x 4 = 16kN Total = 16 + 7.2 = 23.2kN Ultimate Dead Load (58.32+122.49+109.89) x 1.4 = 405.8586kN Ultimate Live Load (19.2 + 23.2 + 7.2) x 1.6 = 79.36 Ultimate Load = 405.8586 + 79.36 = 485.2186
  • 49.
    Column G3 Roof Level DeadLoad Slab: (4.5 x 6.3)m x 3.6kN/m2 = 102.06kN Beam: 4.5m x 1.44kN/m = 6.48kN Total: 108.54kN Live Load Slab: (4.5 x 6.3)m x 0.5kN/m = 14.175kN First Floor Level Dead Load Walls: 10.3m x 8.55kN/m = 88.065kN Slabs: (2.8 x 4.5) x 3.6kN/m2 = 45.36kN Beams: 10.3m x 1.44kN/m = 14.832kN Column: 0.3m x 0.3m x 3.0m x 24kN/m3 = 6.48kN Total: 154.737kN Live Load Bedroom: (2.8m x 4m) x 1.5kN/m2 = 16.8kN Corridor: (0.5m x 3m) x 4kN/m2 = 6kN Washroom: (3.5m x 2m) x 2kN/m2 = 14kN Living Room: (2.5m x 3.5m) x 2kN/m2 = 8.75kN Total: 45.55kN
  • 50.
    Ultimate Dead Load (22.68+ 154.737) = 177.417 x 1.4 = 248.3838kN Ultimate Live Load (45.55 + 14.175) x 1.6 = 95.56 Ultimate Load = 343.9438kN
  • 51.
    Column G1 Ground FloorLevel Dead Load Walls: 11.5m x 8.55kN/m = 98.325kN Slabs: (3.75 x 5.5)m x 3.6kN/m2 = 74.25kN Beams: 11.5m x 1.44kN/m = 16.56kN Column: 0.3m x 0.3m x 3.0m x 24kN/m3 = 6.48kN Total: 195.615kN Live Load Dining: [(0.75+1.25+1) x 2.5] x 2 = 15kN Living: (2.5 x 2.5) x 4 =20kN Entrance: (1.25 x 2.5) x 1.5 = 4.6875kN Total: 39.6875kN Ultimate Dead Load 195.615 x 1.4 = 273.861kN Ultimate Live Load 39.6875 x 1.6 = 63.5 Ultimate Load = 337.361kN
  • 52.
    6.2 COLUMNS ANDBEAMS CALCULATION by Tang Wei Xin Ground floor beam H/1-3 Ground floor beam G-I/3 Ground floor beam B-F/5 Ground floor beam B/3-7 Ground floor beam F/3-7 Ground floor beam B-H/3 Columns B1 Columns J4 Columns F7
  • 54.
    Beam H/1-3 Dead Load BeamSelf Weight =0.2m x 0.3m x 24kN/m3 =1.44kN/m Slab B-H/1-3 Self Weight = (0.15m x 24kN/m3) x 6m/2 x 2/3 =7.2kN/m Slab H-I/1-3 Self Weight = (0.15m x 24kN/m3) x 2m/2 =3.6kN/m Brick Wall Self Weight =3.0m x 0.15m x 19kN/m3 =8.55kN/m Total Dead Load = 20.79kN/m
  • 55.
    Live Load Slab B-H/1-3(Bedroom) =1.5kN/m2 x 6m/2 x 2/3 =3kN/m Slab H-I/1-3 (Corridor) =4.0kN/m2 x 2m/2 =4.0kN/m Total Live Load =7kN/m Ultimate Load Ultimate Dead Load = 20.79 x 1.4 = 29.106kN/m Ultimate Live Load = 7.0 x 1.6 = 11.2kN/m Ultimate Load = 40.31kN/m
  • 56.
    ∑m = 0 (Rax 6) – (40.31 x 6) x 3 = 0 6Ra = 725.58 Ra = 120.93kN ∑y = 0 120.93 – (40.31 x 6) + Rb = 0 Rb = 120.93kN Positive Area i. 120.93 x 3 x ½ = 181.4 – (1) Negative Area ii. 120.93 x 3 x ½ = 181.4 – (2) (1) = (2)
  • 58.
    Beam G-I/3 Dead Load BeamSelf Weight =0.2m x 0.3m x 24kN/m3 =1.44kN/m Slab B-H/1-3 Self Weight = (0.15m x 24kN/m3) x 6m/2 =10.8kN/m Slab F-J/3-7 Self Weight = (0.15m x 24kN/m3) x 6m/2 x 2/3 =7.2kN/m Brick Wall Self Weight =3.0m x 0.15m x 19kN/m3 =8.55kN/m Total Dead Load G-H/3 = 20.79kN/m H-I/3 = 8.64kN/m
  • 59.
    Live Load Slab B-H/1-3(Bedroom) =1.5kN/m2 x 6m/2 =4.5kN/m Slab F-J/3-7 (Living Room) =4.0kN/m2 x 6m/2 x 2/3 =8kN/m Total Live Load G-H/3 = 4.5kN/m H-I/3 = 8kN/m
  • 60.
    Ultimate Load Ultimate DeadLoad G-H/3 = 20.79 x 1.4 = 29.11kN/m Ultimate Dead Load H-I/3 = 8.64 x 1.4 = 12.1kN/m Ultimate Live Load G-H/3 = 4.5 x 1.6 = 7.2kN/m Ultimate Live Load H-I/3 = 8 x 1.6 = 12.8kN/m Ultimate Load G-H/3 = 36.31kN/m Ultimate Load H-I/3 = 24.9kN/m Point Load G-H/3 = 120.93kN/m
  • 61.
    ∑m = 0 (Rax 3) – (36.31 x 1) x 2.5 – (24.9 x 2) x 1 – (120.93 x 2) = 0 3Ra = 382.44 Ra = 127.48kN ∑y = 0 Rb + 127.48 – (36.31 x 1) - (24.9 x 2) – 120.93 = 0 Rb = 79.56kN Positive Area i. (127.48 + 91.17) x 1 x ½ = 109.33 – (1) Negative Area ii. (29.76 + 79.56) x 2 x ½ = 109.33 – (2) (1) = (2)
  • 63.
    Beam B-F/5 Dead Load BeamSelf Weight =0.2m x 0.3m x 24kN/m3 =1.44kN/m Slab B-F/3-5 Self Weight = (0.15m x 24kN/m3) x 4m/2 =7.2kN/m Slab B-F/5-7 Self Weight = (0.15m x 24kN/m3) x 3m/2 =5.4kN/m Brick Wall Self Weight =3.0m x 0.15m x 19kN/m3 =8.55kN/m Total Dead Load =22.59kN/m
  • 64.
    Live Load Slab B-F/3-5(Washroom) =2.0kN/m2 x 4m/2 =4kN/m Slab B-F/5-7 (Corridor) =4.0kN/m2 x 3m/2 =6kN/m Total Live Load =10kN/m Ultimate Load Ultimate Dead Load = 22.59 x 1.4 = 31.63kN/m Ultimate Live Load 10kN/m x 1.6 = 16kN/m Ultimate Load = 47.63kN/m
  • 65.
    ∑m = 0 (Rax 5) – (47.63 x5) x 2.5 = 0 Ra = 119.075kN ∑y = 0 119.075 – (47.63 x 5) + Rb = 0 Rb = 119.075kN Positive Area i. 119.075 x 2.5 x ½ = 148.84 – (1) Negative Area ii. 119.075 x 2.5 x ½ = 148.84 – (2) (1) = (2)
  • 67.
    Beam B/3-7 Dead Load BeamSelf Weight =0.2m x 0.3m x 24kN/m3 =1.44kN/m Slab A-B/ 3-7 Self Weight = (0.15m x 24kN/m3) x 4m/2 =7.2kN/m Slab B-F/3-5 Self Weight = (0.15m x 24kN/m3) x 4m/2 x 2/3 =4.8kN/m Slab B-F/5-7 Self Weight = (0.15m x 24kN/m3) x 3m/2 x 2/3 =3.6kN/m Brick Wall Self Weight =3.0m x 0.15m x 19kN/m3 =8.55kN/m Total Dead Load B/3-5 = 21.99kN/m B/5-7 = 20.79kN/m
  • 68.
    Live Load Slab A-B/3-7(Bedroom) =1.5kN/m2 x 4m/2 =3kN/m Slab B-F/3-5 (Washroom) =2.0kN/m2 x 4m/2 x 2/3 =2.67kN/m Slab B-F/5-7 (Corridor) =4kN/m2 x 3m/2 x 2/3 =4kN/m Total Live Load B/3-5 = 5.67kN/m B/5-7 = 7kN/m
  • 69.
    Ultimate Load Ultimate DeadLoad B/3-5 = 21.99 x 1.4 = 30.79kN/m Ultimate Dead Load B/5-7 = 20.79 x 1.4 = 29.11kN/m Ultimate Live Load B/3-5 = 5.67 x 1.6 = 9.072kN/m Ultimate Live Load B/5-7 = 7 x 1.6 = 11.2kN/m Ultimate Load B/3-5 = 39.862kN/m Ultimate Load B/5-7 = 40.31kN/m Point Load B/3-7 = 119.075kN/m
  • 70.
    ∑m = 0 (Rax 7) – (39.862 x 4) – (40.31 x 3) x 1.5 – (119.075 x 3) = 0 Ra = 1335.88 Ra = 190.84kN ∑y = 0 190.84 – (39.862 x 4) – (40.31 x 3) – 119.075 + Rb = 0 Rb = 208.613kN Positive Area i. (31.392 + 190.84) x 4 x ½ = 444.46 – (1) Negative Area ii. (208.613 + 87.683) x 3 x ½ = 444.46 – (2) (1) = (2)
  • 72.
    Beam F/3-7 Dead Load BeamSelf Weight =0.2m x 0.3m x 24kN/m3 =1.44kN/m Slab A-B/ 3-7 Self Weight = (0.15m x 24kN/m3) x 4m/2 x 2/3 =4.8kN/m Slab B-F/5-7 Self Weight = (0.15m x 24kN/m3) x 3m/2 x 2/3 =3.6kN/m Slab F-J/3-7 Self Weight = (0.15m x 24kN/m3) x 6m/2 =10.8kN/m Brick Wall Self Weight =3.0m x 0.15m x 19kN/m3 =8.55kN/m Total Dead Load F/3-5 = 25.59kN/m F/5-7 = 15.84kN/m
  • 73.
    Live Load Slab B-F/3-5(Washroom) =2.0kN/m2 x 4m/2 x 2/3 =2.67kN/m Slab B-F/5-7 (Corridor) =3.6kN/m2 x 3m/2 x 2/3 =3.6kN/m Slab F-J/3-7 (Living room) =4kN/m2 x 6m/2 =12kN/m Total Live Load F/3-5 = 14.67kN/m F/5-7 = 15.6kN/m
  • 74.
    Ultimate Load Ultimate DeadLoad F/3-5 = 25.59 x 1.4 = 35.826kN/m Ultimate Dead Load F/5-7 = 15.84 x 1.4 = 22.176kN/m Ultimate Live Load F/3-5 = 14.67 x 1.6 = 23.472kN/m Ultimate Live Load F/5-7 = 15.6 x 1.6 = 24.96kN/m Ultimate Load F/3-5 = 59.298kN/m Ultimate Load F/5-7 = 47.136kN/m Point Load F/5 = 119.075kN/m
  • 75.
    ∑m = 0 (Rax 7) – (59.298 x 4) x 5 – (119.075 x 3) – (47.136 x 3) x 1.5 = 0 Ra = 250.756kN ∑y = 0 250.756 – (59.298 x 4) – (47.136 x 3) – 119.075 + Rb = 0 Rb = 246.919kN Positive Area i. (13.564 + 250.756) x 4 x ½ = 528.64 – (1) Negative Area ii. (246.919 + 105.511) x 3 x ½ = 528.64 – (2) (1) = (2)
  • 77.
    Beam B-H/3 Dead Load BeamSelf Weight =0.2m x 0.3m x 24 kN/m3 =1.44kN/m Slab B-H/ 1-3 Self Weight = (0.15m x 24 kN/m3) x 6m/2 =10.8kN/m Slab B-F/3-5 Self Weight = (0.15m x 24 kN/m3) x 4m/2 =7.2kN/m Slab F-H/3-7 Self Weight = (0.15m x 24kN/m3) x 6m/2 x 2/3 =7.2kN/m Brick Wall Self Weight =3.0m x 0.15m x 19kN/m3 =8.55kN/m Total Dead Load B-F/3 = 27.99kN/m F-H/3 = 27.99kN/m
  • 78.
    Live Load Slab B-H/1-3(Bedroom) =1.5kN/m2 x 6m/2 =4.5kN/m Slab B-F/3-5 (Washroom) =2kN/m2 x 4m/2 =4kN/m Slab F-H/3-7 (Living room) =4kN/m2 x 6m/2 x 2/3 =8kN/m Total Live Load B-F/3 = 8.5kN/m F-H/3 = 12kN/m
  • 79.
    Ultimate Load Ultimate DeadLoad B-F/3 = 27.99 x 1.4 = 39.186kN/m Ultimate Dead Load F-H/3 = 27.99 x 1.4 = 39.186kN/m Ultimate Live Load B-F/3 = 8.5 x 1.6 = 13.6kN/m Ultimate Live Load F-H/3 = 12 x 1.6 = 19.2kN/m Ultimate Load B-F/3 = 52.786kN/m Ultimate Load F-H/3 = 58.386kN/m Point Load F/3 = 250.756kN/m
  • 80.
    ∑m = 0 (Rax 7) – (52.786 x 5) x 4.5 – (250.756 x 2) – (58.386 x 2) x 1 = 0 Ra = 258 kN ∑y = 0 258 – (52.786 x 5) – 250.756 – (58.386 x 2) + Rb = 0 Rb = 373.458kN 258: 5.93 = 5 – a: a 29.65 – 5.93a = 258a 263.93a = 29.65 a = 0.11 Positive Area i. 258 x (5 - 0.11) x ½ = 631– (1) Negative Area ii. (373.458 + 256.686) x 2 x ½ + (0.11 x 5.96 x 1/2)= 631 – (2) (1) = (2)
  • 81.
    Column B1 Roof Level DeadLoad Slab : (3 x 3) x (0.15 x 24 kN/m2) = 32.4kN Beam : (3 x 3)m x 1.44kN/m =12.96kN Total : 45.36kN Live Load Slab : (3 x 3) x 0.5kN/m = 4.5kN First Floor Level Dead Load Walls : (3 + 3)m x 8.55kN/m =76.95kN Slabs : (2 x 3)m + (3 x 3)m x 3.6kN/m2 = 54 kN Beams : (3 + 3 + 2))m x 1.44kN/m = 11.52kN Column : 0.3m x 0.3m x 3.0m x 24 kN/m3 = 6.48kN Total : 148.95kN Live Load Bedroom : (3.3m x 3.0m) x 1.5kN/m2 = 13.5kN Total : 13.5kN
  • 82.
    Ground FLoor Level DeadLoad Walls : (2 + 1.5 + 1 + 0.5 + 3.2 + 3.5/2)m x 8.55kN/m = 85.0725kN Slabs : (3.2m x 5m) x 3.6kN/m2) = 57.6kN Beams : 9.95m x 1.44kN/m = 14.328kN Column : 0.3m x 0.3m x 3.0m x 24kN/m3 = 6.48kN Total : 163.48kN Live Load Wet Kitchen : (3,2m x 3.5m) x 3.0kN/m = 33.6kN Bedroom : (3.2m x 1.5m) x 1.5kN/m2 = 7.2kN Total : 40.8kN Ultimate Dead Load (45.36 + 148.95 + 163.48) x 1.4 = 500.906kN Ultimate Live Load (13.5 + 40.8)) x 1.6 = 94.08kN Ultimate Load = 594.986kN
  • 83.
    Column J4 Ground FloorLevel Dead Load Walls : (1.25 + 2.5 + 2.5 + 1.5 + 1.5/2)m x 8.55kN/m =72.675kN Slabs : (3.75m x 4m) x 3.6kN/m2 = 54 kN Beams : (1.25 + 2.5 + 2.5 + 1.5 + 1.5/2)m x 1.44kN/m = 12.24kN Column : 0.3m x 0.3m x 3.0m x 24 kN/m3 = 6.48kN Total : 145.395kN Live Load Entrance : (1.25m x 2.5m) x 1.5kN/m2 = 4.688 kN Living room : (2.5m x 2.5m) x 4 kN/m2 = 25 kN Corridor : (1.5m x 3.75m) x 4 kN/m2 = 22.5 kN Total : 52.188kN Ultimate Dead Load 145.395kN x 1.4 = 203.553kN Ultimate Live Load 52.188 x 1.6 = 83.5kN Ultimate Load = 287.053kN
  • 84.
    Column F7 Roof Level DeadLoad Slabs : (6.5m x 4.5m) x 3.6kN/m2 = 105.3 kN Beams : 4.5 m x 1.44kN/m = 6.48 kN Total : 111.78 kN Live Load Roof: (6.5 x 4.5) x 0.5 kN/m2 = 14.625 kN First Floor Level Dead Load Walls : (2 + 2 + 3)m x 8.55kN/m =59.85 kN Slabs : (6.5m x 4.5m) x 3.6kN/m2 = 105.3 kN Beams : (2 +2 + 3 +3 )m x 1.44kN/m = 14.4 kN Column : 0.3m x 0.3m x 3.0m x 24 kN/m3 = 6.48kN Total : 186.03kN
  • 85.
    Live Load Study area: (3m x 3.5m) x 1.5kN/m2 = 15.75 kN Washroom : (3m x 1m) x 2 kN/m2 = 6 kN Corridor : (2m x 3.5m) x 4 kN/m2 = 28 kN Living area : (3.5m x 2m) x 4 kN/m2 = 28 kN Total : 77.75 kN Ultimate Dead Load (111.78 + 186.03)kN x 1.4 = 416.935 kN Ultimate Live Load (77.75 + 14.625) x 1.6 = 147.8 kN Ultimate Load = 564.734kN
  • 86.
    6.3 COLUMNS ANDBEAMS CALCULATION by Ng Yi Yang Ground floor beam 2/A-C Ground floor beam C/1-3 Ground floor beam E/3-6 Ground floor beam C/6-8 Ground floor beam 6/B-F Ground floor beam 8/B-F Columns B3 Columns F6 Columns B9
  • 87.
  • 88.
    Beam 2/A-C Dead Load BeamSelf Weight =0.2m x 0.3m x 24kN/m3 =1.44kN/m Slab A-C/1-2 Self Weight =(0.15m x 24kN/m3) x 3.2m/2 =5.76kN/m Slab A-C/2-3 Self Weight =(0.15m x 24kN/m3) x 2.8m/2 =5.04kN/m Brick Wall Self Weight =3.0m x 0.15m x 19kN/m3 =8.55kN/m Total Dead Load 2/A-B = 21.09kN/m 2/B-C = 12.24kN/m
  • 89.
    Live Load Slab A-C/1-2(Wet Kitchen) =3.0kN/m2 x 3.2m/2 =4.8kN/m Slab A-C/2-3 (Dry Kitchen) =3.0kN/m2 x 2.8m/2 =4.2kN/m Total Live Load =9.0kN/m
  • 90.
    Ultimate Load Ultimate DeadLoad 2/A-B = 20.79 x 1.4 = 29.106kN/m Ultimate Dead Load 2/B-C = 12.24 x 1.4 = 17.136kN/m Ultimate Live Load 2/A-C = 9.0 x 1.6 = 14.4kN/m Ultimate Load 2/A-B = 43.506kN/m Ultimate Load 2/B-C = 31.536kN/m
  • 91.
    ∑m = 0 (Rax 5.5) – (174.024 x 3.5) – (47.304 x 0.75) = 0 5.5Ra = 644.478 Ra = 117.178kN ∑y = 0 117.178 – 174.024 – 47.304 + Rb = 0 Rb = 104.15kN 117.178/(4 - )x = 56.846/x 174.024x = 227.384 X = 1.307 Positive Area i. (4.0 – 1.307) x 117.178 x ½ = 158 – (1) Negative Area ii. [ (1.307 x 56.846) x ½ ] + [ (56.846 + 104.15) x 1.5 x ½ = 157.896 ~ 158 – (2) (1) = (2)
  • 92.
  • 93.
    Dead Load Beam SelfWeight =0.2m x 0.3m x 24kN/m3 =1.44kN/m Slab A-C/1-2 Self Weight =(0.15m x 24kN/m3) x 3.2m/2 x 2/3 =3.84kN/m Slab A-C/2-3 Self Weight =(0.15m x 24kN/m3) x 2.8m/2 x 2/3 =3.36kN/m Slab C-G/1-3 Self Weight =(0.15m x 24kN/m3) x 4.5m/2 =8.1kN/m Brick Wall Self Weight =3.0m x 0.15m x 19kN/m3 =8.55kN/m Total Dead Load C/1-2 = 21.93kN/m C/2-3 = 21.45kN/m
  • 94.
    Live Load Slab A-C/1-2(Wet Kitchen) =3.0kN/m2 x 3.2m/2 x 2/3 =3.2kN/m Slab A-C/2-3 (Dry Kitchen) =3.0kN/m2 x 2.8m/2 x 2/3 =2.5kN/m Slab C-F/6-8 (Storeroom) =1.5kN/m2 x 4.5m/2 =3.375kN/m Total Live Load C/1-2 = 6.575kN/m C/2-3 = 6.175kN/m
  • 95.
    Ultimate Load Ultimate DeadLoad C/1-2 = 21.93 x 1.4 = 30.702kN/m Ultimate Dead Load C/2-3 = 21.45 x 1.4 = 30.03kN/m Ultimate Live Load C/1-2 = 6.575 x 1.6 = 10.52kN/m Ultimate Live Load C/2-3 = 6.175 x 1.6 = 9.88kN/m Point Load from beam 2/A-C = 104.15kN/m Ultimate Load C/1-2 = 41.222kN/m Ultimate Load C/2-3 = 39.91kN/m Point Load 2/A-C = 104.15kN/m
  • 96.
    ∑m = 0 (Rax 6) – (131.910 x 4.4) – (104.15 x 2.8) – (83.748 x 1.4) = 0 6Ra = 989.273 Ra = 164.879kN ∑y = 0 164.879 – 131.910 – 104.15 – 83.748 + Rb = 0 Rb = 154.929kN Positive Area i. (164.879 + 32.969) x 3.2 x ½ = 316.557 ~ 316 – (1) Negative Area ii. (71.181 + 154.929) x 2.8 x ½ = 316.555 ~ 316 – (2) (1) = (2)
  • 97.
  • 98.
    Dead Load Beam SelfWeight =0.2m x 0.3m x 24kN/m3 =1.44kN/m Slab B-E/3-6 Self Weight =(0.15m x 24kN/m3) x 3.75m/2 =6.75kN/m Slab E-G/3-6 Self Weight =(0.15m x 24kN/m3) x 2.25m/2 =4.05kN/m Total Dead Load =12.24kN/m
  • 99.
    Live Load Slab B-E/3-6(Dining) =2.0kN/m2 x 3.75m/2 =3.75kN/m Slab E-G/3-6 (Dining) =2.0kN/m2 x 2.25m/2 =2.25kN/m Total Live Load =6kN/m
  • 100.
    Ultimate Load Ultimate DeadLoad = 12.24 x 1.4 = 17.136kN/m Ultimate Live Load 6kN/m x 1.6 = 9.6kN/m Ultimate Load = 26.736kN/m
  • 101.
    ∑m = 0 (Rax 5) – (2.5 x 133.68) = 0 5Ra = 334.2 Ra = 66.84kN ∑y = 0 66.84 - 133.68 + Rb = 0 Rb = 66.84kN Positive Area i. 66.84 x 2.5 x ½ = 83.55 – (1) Negative Area ii. 66.84 x 2.5 x ½ = 83.55 – (2) (1) = (2)
  • 102.
  • 103.
    Dead Load Beam SelfWeight =0.2m x 0.3m x 24kN/m3 =1.44kN/m Slab A-C/6-8 Self Weight =(0.15m x 24kN/m3) x 4m/2 x 2/3 =4.8kN/m Slab C-F/6-8 Self Weight =(0.15m x 24kN/m3) x 3.5m/2 =6.3kN/m Brick Wall Self Weight =3.0m x 0.15m x 19kN/m3 =8.55kN/m Total Dead Load =21.09kN/m
  • 104.
    Live Load Slab A-C/6-8(Bedroom) =1.5kN/m2 x 4m/2 x 2/3 =2kN/m Slab C-F/6-8 (Storeroom) =2.5kN/m2 x 3.5m/2 =4.375kN/m Total Live Load =6.375kN/m
  • 105.
    Ultimate Load Ultimate DeadLoad = 21.09 x 1.4 = 29.526kN/m Ultimate Live Load = 6.375 x 1.6 = 10.2kN/m Ultimate Load = 39.726kN/m
  • 106.
    ∑m = 0 (Rax 4) – (2 x 158.904) = 0 4Ra = 317.808 Ra = 79.452kN ∑y = 0 79.452 – 158.904 + Rb = 0 Rb = 79.452kN Positive Area i. 79.452 x2 x ½ = 79.452 – (1) Negative Area ii. 79.452 x2 x ½ = 79.452 – (2) (1) = (2)
  • 107.
  • 108.
    Dead Load Beam SelfWeight =0.2m x 0.3m x 24kN/m3 =1.44kN/m Slab A-C/6-8 Self Weight =(0.15m x 24kN/m3) x 4m/2 =7.2kN/m Slab B-E/3-6 Self Weight =(0.15m x 24kN/m3) x 3.75m/2 x 2/3 =4.5kN/m Slab C-F/6-8 Self Weight =(0.15m x 24kN/m3) x 3.5m/2 x 2/3 =4.2kN/m Brick Wall Self Weight =3.0m x 0.15m x 19kN/m3 =8.55kN/m Total Dead Load 6/B-C = 21.69kN/m 6/C-E = 18.69kN/m 6/E-F = 14.19kN/m
  • 109.
    Live Load Slab A-C/6-8(Bedroom) =1.5kN/m2 x 4m/2 =3kN/m Slab B-E/3-6 (Dining) =2.0kN/m2 x 3.75m/2 x 2/3 =2.5kN/m Slab C-F/6-8 (Storeroom) =2.5kN/m2 x 3.5m/2 x 2/3 =2.917kN/m Total Live Load 6/B-C = 5.5kN/m 6/C-E = 5.417kN/m 6/E-F = 2.917kN/m
  • 110.
    Ultimate Load Ultimate DeadLoad 6/B-C = 21.69 x 1.4 = 30.366kN/m Ultimate Dead Load 6/C-E = 18.69 x 1.4 = 26.166kN/m Ultimate Dead Load 6/E-F = 14.19 x 1.4 = 19.866kN/m Ultimate Live Load 6/B-C = 5.5 x 1.6 = 8.8kN/m Ultimate Live Load 6/C-E = 5.417 x 1.6 = 8.667kN/m Ultimate Live Load 6/E-F = 2.917 x 1.6 = 4.667kN/m Point Load from beam C/6-8 = 79.452kN Point Load from beam E/3-6 = 66.84kN Ultimate Load 6/B-C = 39.166kN/m Ultimate Load 6/C-E = 34.833kN/m Ultimate Load 6/E-F = 24.533kN/m Point Load C/6-8 = 79.452kN Point Load E/3-6 = 66.84kN
  • 111.
    ∑m = 0 (Rax 5) – (58.749 x 4.25) – (79.452 x 3.5) – (78.374 x 2.375) – (66.84 x 1.25) – (30.666 x 0.625) = 0 5Ra = 816.619 Ra = 163.324kN ∑y = 0 163.324 – 58.749 – 79.374 – 78.374 - 66.84 – 30.666 + Rb = 0 Rb = 150.757kN 25.125/x = 53.251/(2.25-x) 78.376x = 56.531 x = 0.721 Positive Area i. (163.324 + 104.575) x 1.5 x ½ = 200.924 ii. 25.125 x 0.721 x ½ = 9.058 Total = 209.982 ~ 210 – (1) Negative Area iii. 53.251 x (2.25 – 0.721) x ½ = 40.710 iv. (150.757 + 120.091) x 1.25 x ½ = 169.28 Total = 209.99 ~ 210 – (2) (1) = (2)
  • 112.
  • 113.
    Dead Load Beam SelfWeight =0.2m x 0.3m x 24kN/m3 =1.44kN/m Slab A-C/6-8 Self Weight =(0.15m x 24kN/m3) x 4m/2 =7.2kN/m Slab B-E/3-6 Self Weight =(0.15m x 24kN/m3) x 3.5m/2 x 2/3 =4.2kN/m Brick Wall Self Weight =3.0m x 0.15m x 19kN/m3 =8.55kN/m Total Dead Load 8/B-C = 14.79kN/m 8/C-F = 16.29kN/m
  • 114.
    Live Load Slab A-C/6-8(Bedroom) =1.5kN/m2 x 4m/2 =3.0kN/m Slab C-F/6-8 (Storeroom) =2.5kN/m2 x 3.5m/2 x 2/3 =2.917kN/m Total Live Load 8/B-C = 3.0kN/m 8/C-F = 2.917kN/m
  • 115.
    Ultimate Load Ultimate DeadLoad 8/B-C = 14.79 x 1.4 = 20.706kN/m Ultimate Dead Load 8/C-F = 16.29 x 1.4 = 22.806kN/m Ultimate Live Load 8/B-C = 3.0 x 1.6 = 4.8kN/m Ultimate Live Load 8/C-F = 2.917 x 1.6 = 4.753kN/m Point Load from beam C6/8 = 79.452kN Ultimate Load 8/B-C = 99.869kN/m Ultimate Load 8/C-F = 27.559kN/m Point Load C/6-8 = 79.452kN
  • 116.
    ∑m = 0 (Rax 5) – (149.804 x 4.25) – (79.452 x 3.5) – (1.75 x 96.457) = 0 5Ra = 1083.549 Ra = 216.710kN ∑y = 0 216.71 - 149.804 - 79.452 - 96.457 + Rb = 0 Rb = 109.003kN Positive Area i. (66.906 + 216.710) x 1.5 x ½ = 212.712 ~ 212.71 – (1) Negative Area ii. (12.546 + 109.003) x 3.5 x ½ = 212.711 ~ 212.71 – (2) (1) = (2)
  • 117.
    Column B3 Roof Level DeadLoad Slab : [ (6.3m x 5.0m) - (2.8m x 2.0m) ] x (0.15 x 24kN/m2) = 93.24kN Beam : 8.0m x 1.44kN/m =11.52kN Total : 104.76kN Live Load Slab : [ (6.3m x 5.0m) - (2.8m x 2.0m) ] x 0.5kN/m = 12.95kN First Floor Level Dead Load Walls : 11.5m x 8.55kN/m =98.325kN Slabs : (6.5m x 5m) x 3.6kN/m2) = 117kN Beams : 11.5m x 1.44kN/m = 16.56kN Column : 0.3m x 0.3m x 3.0m x 24kN/m3 = 6.48kN Total : 238.365kN Live Load Bedroom : (3.5m x 2.0m) x 1.5kN/m2 = 10.5kN Bedroom : (3.0m x 3.0m) x 1.5kN/m2 = 13.5kN Toilet: (3.5m x 3m) x 2.0kN/m2 = 21kN Total : 45kN
  • 118.
    Ground FLoor Level DeadLoad Walls : 10.05m x 8.55kN/m = 85.9275kN Slabs : (4.05m x 5m) x 3.6kN/m2) = 72.9kN Beams : 10.8m x 1.44kN/m = 11.232kN Column : 0.3m x 0.3m x 3.0m x 24kN/m3 = 6.48kN Total : 176.54kN Live Load Laundry Room : (1.25m x 2m) x 3.0kN/m = 7.5kN Dry Kitchen : (2.8m x 3.5m) x 3.0kN/m = 29.4kN Bedroom : (2.8m x 1.5m) x 1.5kN/m2 = 6.3kN Dining : (1.25m x 3.0m) x 2.0kN/m2 = 7.5kN Total : 50.7kN Ultimate Dead Load (104.76 + 238.365 + 176.54) x 1.4 = 727.531kN Ultimate Live Load (12.95 + 45.0 + 50.7) x 1.6 = 173.84kN Ultimate Load = 251.271kN
  • 119.
    Column F6 Ground FloorLevel Dead Load Walls : 8.0m x 8.55kN/m =68.4kN Slabs : [ (3.25m x 6m) - (2.0m x 3.5m) ] x 3.6kN/m2) = 45kN Beams : 10.5m x 1.44kN/m = 15.12kN Column : 0.3m x 0.3m x 3.0m x 24kN/m3 = 6.48kN Total : 135kN Live Load Storeroom : (2.0m x 2.5m) x 1.5kN/m2 = 12.5kN Dining : (1.25m x 2.25m) x 1.5kN/m2 = 5.625kN Dining : (1.25m x 1.25m) x 1.5kN/m2 = 3.125kN Entrance : (1.25m x 2.5m) x 1.5kN/m2 = 4.6875 Total : 25.933kN Ultimate Dead Load 135kN x 1.4 = 189kN Ultimate Live Load 25.9325 x 1.6 = 41.492kN Ultimate Load = 230.492kN
  • 120.
    Column B9 Roof Level DeadLoad Slabs : (4m x 3.5m) x 3.6kN/m2 = 50.4kN Beams : 4.5m x 1.44kN/m = 6.48kN Total : 56.88kN Live Load Slabs : (4m x 3.5m) x 0.5 = 7kN First Floor Level Dead Load Walls : 5.5m x 8.55kN/m =64.125kN Slabs : [ (3.0m x 4.5m) x 3.6kN/m2 = 48.6kN Beams : 5.5m x 1.44kN/m = 10.8kN Column : 0.3m x 0.3m x 3.0m x 24kN/m3 = 6.48kN Total : 130.005kN Live Load Bedroom : (3m x 2m) x 1.5kN/m2 = 9kN Study Area : (2.5m x 3.0m) x 1.5m = 11.25 Total : 20.25kN
  • 121.
    Ground Floor Level DeadLoad Column : 0.3m x 0.3m x 3.0m x 24kN/m3 = 6.48kN Ultimate Dead Load (56.88 + 130.005 + 6.48) x 1.4 = 270.711kN Ultimate Live Load 20.25 x 1.6 = 32.4kN Ultimate Load = 303.111kN