UNIT – IV(a) Development of surfaces:Introduction, methods of development, development of lateral surfaces of right solids, cube, prisms, cylinders, pyramid and cone.(b) Isometric projection: Introduction, isometric axes, lines and planes, isometric scale, isometric projection and isometric view of simple objects.
.Explain development of surfaces      (S09)4.1 Development of a SurfaceA layout of the complete surface of a three dimensional object on a plane is called its development or pattern.
.Q. What are the practical applications of      development.                (W09)Q. What is development?   (S10)Q. Explain development of surfaces.  (S09)
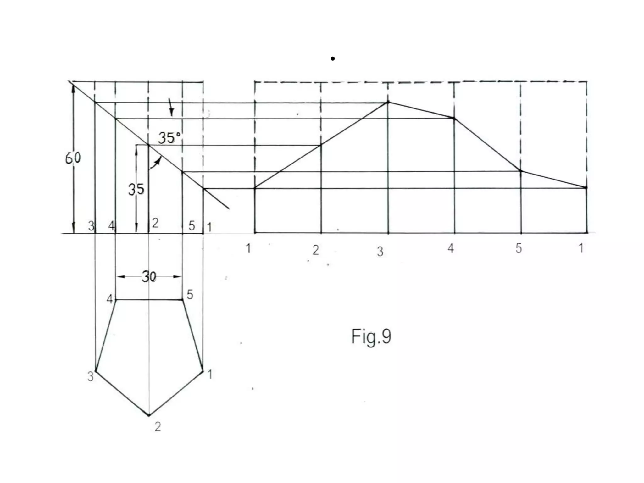
.4.1 A pentagonal prism of base sides 30 mm and axis length 60 mm is resting on HP on its base with a side of base parallel to VP. It is cut by a plane inclined at 35˚ to HP and perpendicular to VP and meets the axis 35 mm from the base. Draw the development of lower portion of the prism.                                                                  16                                                                                                 (W 06-07)
..
.4.2 Draw the development of lateral surface of pentagonal prism with edge of base 40 mm and length 90 mm, kept on HP on its base with an edge of base parallel to VP when it is cut by an AIP inclined at 30˚ to HP and bisecting the axis of prism.                                                      8                                              (W 07)
..
.4.3 A square pyramid, base 40 mm side and axis 65 mm long has its base on the ground with two edges parallel to the VP. It is cut by a section plane, perpendicular to the VP and inclined at 45˚ to the HP and bisecting the axis. Draw development of the surface of lower position of the pyramid.                                                                     8                                                       (W 08-09)
..
.4.4 Draw the development of the lateral surface of the part P of the cone. The front view of which is shown in the figure.          7                                                            (S 09)
..
.4.5 A hexagonal prism of side of base 30 mm and axis 75 mm long, is resting on its base on HP such that, a rectangular face is parallel to VP. It is cut by a sectional plane perpendicular to VP and inclined at 30˚ to HP. The section plane is passing through the top end of an extreme lateral edge of the prism. Draw the development of the lateral surface of the cut prism.                                                            7                                                         (W 09-10) 
..
.4.6 Draw the development of the lateral surface P of the cylinder shown in Fig.    7                                                         (S 10)
..
.4.7 A cone base 75 mm diameter and axis 80 mm long is resting on the ground. It is cut by a section plane perpendicular to the V.P.  and parallel to and 12 mm away from one of its end generators. Draw its front view, sectional top view and true shape of the section. Draw also the development of the remaining parts of its surface.
..
.4.8 A cone of base diameter 60 mm and height 70 mm is resting on its base on H.P. It is cut by a plane perpendicular to both the H.P. and V.P. at a distance of 15 mm to the left of the axis. Draw the development of the lateral surface of the remaining portion.(S07)
.
.4.7 Draw the isometric  projection of a sphere resting centrally on the top of a square prism, the front of which is shown.                         7                                                              (S 10)
..
.4.8 Draw the isometric view.                                                              (W 06-07)
..
.4.9 Draw isometric view of the casting shown in two views in following figure.                          (W 07)
..
.4.10 Draw the isometric view of the frustum of the hexagonal pyramid having side 40 mm and axis 90 mm long and its base is on the ground as shown in following figure. (W 07)
..
..
.4.11 Draw the isometric view of the object shown in two views in following figures.  (W 08) 
..
.4.12 Draw the isometric view of the paper weight with spherical knob shown in the following figure.                                  (W 08)
..
.4.13 Draw the isometric drawing of the frustum of a right regular pyramid, side of base hexagon is 20 mm and of the top hexagon is 10 mm and height of the frustum is 40 mm.                                            (W 09)
..
.4.14 Plan and elevation of an object are identical as shown in figure, draw the isometric view.                                     (W 09)
..
.4.15 Draw the isometric view of the casting shown in two views.                                (S10)
..

Eg4 n

  • 1.
    UNIT – IV(a)Development of surfaces:Introduction, methods of development, development of lateral surfaces of right solids, cube, prisms, cylinders, pyramid and cone.(b) Isometric projection: Introduction, isometric axes, lines and planes, isometric scale, isometric projection and isometric view of simple objects.
  • 2.
    .Explain development ofsurfaces (S09)4.1 Development of a SurfaceA layout of the complete surface of a three dimensional object on a plane is called its development or pattern.
  • 3.
    .Q. What arethe practical applications of development. (W09)Q. What is development? (S10)Q. Explain development of surfaces. (S09)
  • 4.
    .4.1 A pentagonalprism of base sides 30 mm and axis length 60 mm is resting on HP on its base with a side of base parallel to VP. It is cut by a plane inclined at 35˚ to HP and perpendicular to VP and meets the axis 35 mm from the base. Draw the development of lower portion of the prism. 16 (W 06-07)
  • 5.
  • 6.
    .4.2 Draw thedevelopment of lateral surface of pentagonal prism with edge of base 40 mm and length 90 mm, kept on HP on its base with an edge of base parallel to VP when it is cut by an AIP inclined at 30˚ to HP and bisecting the axis of prism. 8 (W 07)
  • 7.
  • 8.
    .4.3 A squarepyramid, base 40 mm side and axis 65 mm long has its base on the ground with two edges parallel to the VP. It is cut by a section plane, perpendicular to the VP and inclined at 45˚ to the HP and bisecting the axis. Draw development of the surface of lower position of the pyramid. 8 (W 08-09)
  • 9.
  • 10.
    .4.4 Draw thedevelopment of the lateral surface of the part P of the cone. The front view of which is shown in the figure. 7 (S 09)
  • 11.
  • 12.
    .4.5 A hexagonalprism of side of base 30 mm and axis 75 mm long, is resting on its base on HP such that, a rectangular face is parallel to VP. It is cut by a sectional plane perpendicular to VP and inclined at 30˚ to HP. The section plane is passing through the top end of an extreme lateral edge of the prism. Draw the development of the lateral surface of the cut prism. 7 (W 09-10) 
  • 13.
  • 14.
    .4.6 Draw thedevelopment of the lateral surface P of the cylinder shown in Fig. 7 (S 10)
  • 15.
  • 16.
    .4.7 A conebase 75 mm diameter and axis 80 mm long is resting on the ground. It is cut by a section plane perpendicular to the V.P. and parallel to and 12 mm away from one of its end generators. Draw its front view, sectional top view and true shape of the section. Draw also the development of the remaining parts of its surface.
  • 17.
  • 18.
    .4.8 A coneof base diameter 60 mm and height 70 mm is resting on its base on H.P. It is cut by a plane perpendicular to both the H.P. and V.P. at a distance of 15 mm to the left of the axis. Draw the development of the lateral surface of the remaining portion.(S07)
  • 19.
  • 20.
    .4.7 Draw theisometric projection of a sphere resting centrally on the top of a square prism, the front of which is shown. 7 (S 10)
  • 21.
  • 22.
    .4.8 Draw theisometric view. (W 06-07)
  • 23.
  • 24.
    .4.9 Draw isometricview of the casting shown in two views in following figure. (W 07)
  • 25.
  • 26.
    .4.10 Draw theisometric view of the frustum of the hexagonal pyramid having side 40 mm and axis 90 mm long and its base is on the ground as shown in following figure. (W 07)
  • 27.
  • 28.
  • 29.
    .4.11 Draw theisometric view of the object shown in two views in following figures. (W 08) 
  • 30.
  • 31.
    .4.12 Draw theisometric view of the paper weight with spherical knob shown in the following figure. (W 08)
  • 32.
  • 33.
    .4.13 Draw theisometric drawing of the frustum of a right regular pyramid, side of base hexagon is 20 mm and of the top hexagon is 10 mm and height of the frustum is 40 mm. (W 09)
  • 34.
  • 35.
    .4.14 Plan andelevation of an object are identical as shown in figure, draw the isometric view. (W 09)
  • 36.
  • 37.
    .4.15 Draw theisometric view of the casting shown in two views. (S10)
  • 38.