ОПИСАНИЕ
ПОЛЕЗНОЙ
МОДЕЛИ К
ПАТЕНТУ
(12)
РЕСПУБЛИКА БЕЛАРУСЬ
НАЦИОНАЛЬНЫЙ ЦЕНТР
ИНТЕЛЛЕКТУАЛЬНОЙ
СОБСТВЕННОСТИ
(19) BY (11) 7320
(13) U
(46) 2011.06.30
(51) МПК (2009)
A 01B 33/00
(54) РАБОЧИЙ ОРГАН КУЛЬТИВАТОРА
(21) Номер заявки: u 20100604
(22) 2010.07.06
(71) Заявитель: Учреждение образования
"Белорусская государственная ор-
денов Октябрьской Революции и
Трудового Красного Знамени сель-
скохозяйственная академия" (BY)
(72) Авторы: Клименко Владимир Ивано-
вич; Петровец Владимир Романович;
Самсонов Виталий Леонидович; Дуд-
ко Николай Иванович (BY)
(73) Патентообладатель: Учреждение обра-
зования "Белорусская государственная
орденов Октябрьской Революции и
Трудового Красного Знамени сельско-
хозяйственная академия" (BY)
(57)
Рабочий орган культиватора, включающий пружинную стойку с наконечником и бол-
тами крепления дополнительных рыхлительных элементов, а также крепления стойки к
раме почвообрабатывающего орудия, отличающийся тем, что дополнительные элементы
в виде пружинных пальцев крепятся на пружинную рыхлительную лапу с помощью ком-
бинированного хомута, состоящего из двух отдельных П-образных пластин с зажимным
устройством с тыльной стороны лапы и прикрепленным к нему прямоугольным держате-
лем в горизонтальной плоскости, в котором имеется отверстие для фиксации дополни-
тельных элементов болтом.
Фиг. 1
BY7320U2011.06.30
BY 7320 U 2011.06.30
2
(56)
1. Картофель / Шпаар Д., Дрегер Д., Иванюк В. и др. - Минск: ФУАинформ, 1999. - С. 108.
2. Карпенко А.Н., Халанский В.М. Сельскохозяйственные машины. - М.: Колос, 1983. -
С. 76.
Полезная модель относится к сельскохозяйственному направлению, в частности к ра-
бочим органам культиваторов, позволяющим производить основную обработку почвы с
дополнительным крошением на мелкие комочки, для создания мульчированного слоя на
глубину заделки семян.
Известен рабочий орган культиватора с дополнительно прикрепленными к нему до-
полнительными элементами для рыхления почвы в виде рыхлительной лапы с пружинной
стойкой и подрезающим сорняки наконечником [1, 2].
Недостатком этого рабочего органа является то, что он недостаточно эффективно про-
водит рыхление почвы, а также исполнение этих лап не формирует маленькие комочки
почвы согласно агротребованиям, чтобы предотвратить капиллярное испарение влаги,
кроме того, эти лапы не обеспечивают равномерное перемешивание почвы и раститель-
ных остатков.
Задача заявляемой полезной модели - улучшение качества основной обработки почвы
без оборачивания, а также обеспечение равномерного перемешивания и разрыхления поч-
вы для создания влажного слоя на глубине заделки семян при работе на разных агрофо-
нах, за счет разного расположения по высоте на одной рыхлительной лапе
дополнительных рыхлительных элементов в виде пружинных пальцев.
Решение поставленной задачи достигается тем, что в отличие от обычного рабочего
органа, состоящего из рыхлительной лапы с пружинной стойкой, на пружинной стойке
рыхлительной лапы расположены дополнительные рыхлительные элементы в виде пру-
жинных пальцев разной длины, плавно меняющейся по всей высоте расположения их на
рыхлительной лапе с различным шагом расположения пружинных зубьев по вертикали,
прикрепленных к тыльной стороне рыхлительной лапы, которые прикреплены при помо-
щи хомута, состоящего из двух прижимных пластин. При помощи такого крепления мож-
но изменять шаг расстановки пружинных зубьев, а также их расположение по высоте и
количество, мы можем производить обработку почвы на различную глубину, уменьшая
при этом количество дополнительных рядов расположения лап на почвообрабатывающем
агрегате. Различный шаг установки пружинных зубьев на пружинной стойке можно изме-
нять при помощи специального крепления. С помощью этого крепления также возможна
установка на пружинную лапу дополнительных пружинных элементов различной конфи-
гурации.
На фиг. 1 изображен рабочий орган культиватора, состоящий из пружинной стойки 1
и наконечника 2 для подрезания почвы, с рыхлящими почву дополнительными пружин-
ными элементами 3, расположенными под углом относительно горизонта α1 и с различ-
ным шагом установки h1 и h2 по высоте.
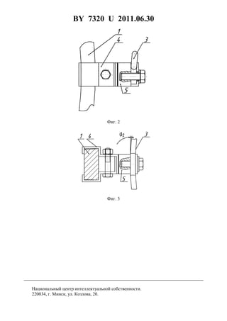
На фиг. 2 представлено крепление дополнительных пружинных элементов на пружин-
ную стойку почвообрабатывающего агрегата, где представлена пружинная стойка 1,
П-образные пластины 4 с зажимным устройством, дополнительные пружинные элементы
3, которые отклонены назад под углом α2 для плавного схода с них земли и растительных
остатков, прямоугольный держатель 5, прикрепленный к внешней стороне комбинирован-
ного хомута при помощи сварки (вид сбоку).
На фиг. 3 представлено крепление дополнительных пружинных элементов на пружин-
ную стойку почвообрабатывающего агрегата (вид сверху), на котором изображены пру-
жинная стойка 1 почвообрабатывающего орудия, прижимные П-образные пластины 4,
BY 7320 U 2011.06.30
3
дополнительный пружинный элемент 3, прямоугольный держатель 5, прикрепленный к
внешней стороне П-образных пластин.
Предлагаемый почвообрабатывающий рабочий орган культиватора способен выпол-
нять как предпосевную, так и основную обработку почвы на различную глубину. При та-
ком исполнении рабочий орган культиватора способен формировать маленькие комочки
земли, обеспечив равномерное перемешивание почвы и частичное вычесывание сорняков
дополнительными пружинными элементами на разной высоте, разрыхлить почву для со-
здания влажного слоя на глубине заделки семян при работе на разных агрофонах, за счет
расположения на одном рабочем органе культиватора, при помощи комбинированного
хомута, дополнительных пружинных элементов.
При таком исполнении рабочий орган культиватора способен формировать мелкоком-
коватый верхний слой почвы, обеспечив равномерное рыхление и перемешивание почвы
для последующей заделки семян. Это достигается за счет расположения на одной комби-
нированной рыхлительной лапе нескольких рядов дополнительных пружинных элементов
3 (фиг. 1). А при помощи такого крепления дополнительных пружинных элементов 3 к
пружинной стойке 1 (фиг. 2) можно менять расстояние между пружинными пальцами и
при необходимости их количество и конфигурацию в зависимости от агрофонов почвы.
Принцип крепления дополнительных пружинных элементов к пружинной стойке поч-
вообрабатывающего орудия таков.
Крепление заключается в том, что комбинированный хомут состоит из двух
П-образных пластин, соединенных вместе при помощи болтового соединения, которое
сжимает их относительно друг друга. Комбинированный хомут охватывает пружинную
стойку рыхлительной лапы почвообрабатывающего орудия и прижимается к пружинной
стойке рыхлительной лапы, что исключает его самопроизвольное перемещение по пру-
жинной стойке почвообрабатывающего орудия. К комбинированному хомуту, в свою оче-
редь, прикреплен прямоугольный держатель с болтовым соединением для удерживания
дополнительных пружинных элементов.
При помощи комбинированного хомута можно устанавливать различное расположе-
ние дополнительных пружинных элементов по глубине обработки почвы, а также увели-
чивать их количество и устанавливать разную конфигурацию. Такой способ крепления
дополнительных пружинных элементов к пружинной стойке лапы почвообрабатывающего
орудия прост как в эксплуатации, так и в обслуживании.
Использование рабочего органа культиватора с дополнительными пружинными эле-
ментами позволит использовать рабочий орган культиватора в различных условиях и на
различных агрофонах. Благодаря минимизации повреждения почвы рыхлительная лапа
создает вертикальную макропористую структуру почвы, которая облегчает впитывание
почвой излишков дождевой воды, улучшает аэрацию более глубоких слоев почвы и об-
легчает проникновение корней.
Применение такого рабочего органа культиватора позволит повысить качество пред-
посевной обработки почвы при работе на различных агрофонах за счет дополнительного
рыхления почвы и создания слоя мелкой комковатости, чтобы было лучшее подтягивание
и распространение влаги в почве для всходов семян, проникновения и развития корневой
системы растений в нижние слоя почвы и рыхления земли между комбинированными
рыхлительными лапами, тем самым разрушая ее структуру. При этом можно уменьшить
количество рядов рыхлительных лап, установленных на почвообрабатывающем орудии, за
счет чего значительно снижается тяговое сопротивление агрегата, а соответственно, про-
исходит экономия ресурсов.
BY 7320 U 2011.06.30
4
Фиг. 2
Фиг. 3
Национальный центр интеллектуальной собственности.
220034, г. Минск, ул. Козлова, 20.

7320

  • 1.
    ОПИСАНИЕ ПОЛЕЗНОЙ МОДЕЛИ К ПАТЕНТУ (12) РЕСПУБЛИКА БЕЛАРУСЬ НАЦИОНАЛЬНЫЙЦЕНТР ИНТЕЛЛЕКТУАЛЬНОЙ СОБСТВЕННОСТИ (19) BY (11) 7320 (13) U (46) 2011.06.30 (51) МПК (2009) A 01B 33/00 (54) РАБОЧИЙ ОРГАН КУЛЬТИВАТОРА (21) Номер заявки: u 20100604 (22) 2010.07.06 (71) Заявитель: Учреждение образования "Белорусская государственная ор- денов Октябрьской Революции и Трудового Красного Знамени сель- скохозяйственная академия" (BY) (72) Авторы: Клименко Владимир Ивано- вич; Петровец Владимир Романович; Самсонов Виталий Леонидович; Дуд- ко Николай Иванович (BY) (73) Патентообладатель: Учреждение обра- зования "Белорусская государственная орденов Октябрьской Революции и Трудового Красного Знамени сельско- хозяйственная академия" (BY) (57) Рабочий орган культиватора, включающий пружинную стойку с наконечником и бол- тами крепления дополнительных рыхлительных элементов, а также крепления стойки к раме почвообрабатывающего орудия, отличающийся тем, что дополнительные элементы в виде пружинных пальцев крепятся на пружинную рыхлительную лапу с помощью ком- бинированного хомута, состоящего из двух отдельных П-образных пластин с зажимным устройством с тыльной стороны лапы и прикрепленным к нему прямоугольным держате- лем в горизонтальной плоскости, в котором имеется отверстие для фиксации дополни- тельных элементов болтом. Фиг. 1 BY7320U2011.06.30
  • 2.
    BY 7320 U2011.06.30 2 (56) 1. Картофель / Шпаар Д., Дрегер Д., Иванюк В. и др. - Минск: ФУАинформ, 1999. - С. 108. 2. Карпенко А.Н., Халанский В.М. Сельскохозяйственные машины. - М.: Колос, 1983. - С. 76. Полезная модель относится к сельскохозяйственному направлению, в частности к ра- бочим органам культиваторов, позволяющим производить основную обработку почвы с дополнительным крошением на мелкие комочки, для создания мульчированного слоя на глубину заделки семян. Известен рабочий орган культиватора с дополнительно прикрепленными к нему до- полнительными элементами для рыхления почвы в виде рыхлительной лапы с пружинной стойкой и подрезающим сорняки наконечником [1, 2]. Недостатком этого рабочего органа является то, что он недостаточно эффективно про- водит рыхление почвы, а также исполнение этих лап не формирует маленькие комочки почвы согласно агротребованиям, чтобы предотвратить капиллярное испарение влаги, кроме того, эти лапы не обеспечивают равномерное перемешивание почвы и раститель- ных остатков. Задача заявляемой полезной модели - улучшение качества основной обработки почвы без оборачивания, а также обеспечение равномерного перемешивания и разрыхления поч- вы для создания влажного слоя на глубине заделки семян при работе на разных агрофо- нах, за счет разного расположения по высоте на одной рыхлительной лапе дополнительных рыхлительных элементов в виде пружинных пальцев. Решение поставленной задачи достигается тем, что в отличие от обычного рабочего органа, состоящего из рыхлительной лапы с пружинной стойкой, на пружинной стойке рыхлительной лапы расположены дополнительные рыхлительные элементы в виде пру- жинных пальцев разной длины, плавно меняющейся по всей высоте расположения их на рыхлительной лапе с различным шагом расположения пружинных зубьев по вертикали, прикрепленных к тыльной стороне рыхлительной лапы, которые прикреплены при помо- щи хомута, состоящего из двух прижимных пластин. При помощи такого крепления мож- но изменять шаг расстановки пружинных зубьев, а также их расположение по высоте и количество, мы можем производить обработку почвы на различную глубину, уменьшая при этом количество дополнительных рядов расположения лап на почвообрабатывающем агрегате. Различный шаг установки пружинных зубьев на пружинной стойке можно изме- нять при помощи специального крепления. С помощью этого крепления также возможна установка на пружинную лапу дополнительных пружинных элементов различной конфи- гурации. На фиг. 1 изображен рабочий орган культиватора, состоящий из пружинной стойки 1 и наконечника 2 для подрезания почвы, с рыхлящими почву дополнительными пружин- ными элементами 3, расположенными под углом относительно горизонта α1 и с различ- ным шагом установки h1 и h2 по высоте. На фиг. 2 представлено крепление дополнительных пружинных элементов на пружин- ную стойку почвообрабатывающего агрегата, где представлена пружинная стойка 1, П-образные пластины 4 с зажимным устройством, дополнительные пружинные элементы 3, которые отклонены назад под углом α2 для плавного схода с них земли и растительных остатков, прямоугольный держатель 5, прикрепленный к внешней стороне комбинирован- ного хомута при помощи сварки (вид сбоку). На фиг. 3 представлено крепление дополнительных пружинных элементов на пружин- ную стойку почвообрабатывающего агрегата (вид сверху), на котором изображены пру- жинная стойка 1 почвообрабатывающего орудия, прижимные П-образные пластины 4,
  • 3.
    BY 7320 U2011.06.30 3 дополнительный пружинный элемент 3, прямоугольный держатель 5, прикрепленный к внешней стороне П-образных пластин. Предлагаемый почвообрабатывающий рабочий орган культиватора способен выпол- нять как предпосевную, так и основную обработку почвы на различную глубину. При та- ком исполнении рабочий орган культиватора способен формировать маленькие комочки земли, обеспечив равномерное перемешивание почвы и частичное вычесывание сорняков дополнительными пружинными элементами на разной высоте, разрыхлить почву для со- здания влажного слоя на глубине заделки семян при работе на разных агрофонах, за счет расположения на одном рабочем органе культиватора, при помощи комбинированного хомута, дополнительных пружинных элементов. При таком исполнении рабочий орган культиватора способен формировать мелкоком- коватый верхний слой почвы, обеспечив равномерное рыхление и перемешивание почвы для последующей заделки семян. Это достигается за счет расположения на одной комби- нированной рыхлительной лапе нескольких рядов дополнительных пружинных элементов 3 (фиг. 1). А при помощи такого крепления дополнительных пружинных элементов 3 к пружинной стойке 1 (фиг. 2) можно менять расстояние между пружинными пальцами и при необходимости их количество и конфигурацию в зависимости от агрофонов почвы. Принцип крепления дополнительных пружинных элементов к пружинной стойке поч- вообрабатывающего орудия таков. Крепление заключается в том, что комбинированный хомут состоит из двух П-образных пластин, соединенных вместе при помощи болтового соединения, которое сжимает их относительно друг друга. Комбинированный хомут охватывает пружинную стойку рыхлительной лапы почвообрабатывающего орудия и прижимается к пружинной стойке рыхлительной лапы, что исключает его самопроизвольное перемещение по пру- жинной стойке почвообрабатывающего орудия. К комбинированному хомуту, в свою оче- редь, прикреплен прямоугольный держатель с болтовым соединением для удерживания дополнительных пружинных элементов. При помощи комбинированного хомута можно устанавливать различное расположе- ние дополнительных пружинных элементов по глубине обработки почвы, а также увели- чивать их количество и устанавливать разную конфигурацию. Такой способ крепления дополнительных пружинных элементов к пружинной стойке лапы почвообрабатывающего орудия прост как в эксплуатации, так и в обслуживании. Использование рабочего органа культиватора с дополнительными пружинными эле- ментами позволит использовать рабочий орган культиватора в различных условиях и на различных агрофонах. Благодаря минимизации повреждения почвы рыхлительная лапа создает вертикальную макропористую структуру почвы, которая облегчает впитывание почвой излишков дождевой воды, улучшает аэрацию более глубоких слоев почвы и об- легчает проникновение корней. Применение такого рабочего органа культиватора позволит повысить качество пред- посевной обработки почвы при работе на различных агрофонах за счет дополнительного рыхления почвы и создания слоя мелкой комковатости, чтобы было лучшее подтягивание и распространение влаги в почве для всходов семян, проникновения и развития корневой системы растений в нижние слоя почвы и рыхления земли между комбинированными рыхлительными лапами, тем самым разрушая ее структуру. При этом можно уменьшить количество рядов рыхлительных лап, установленных на почвообрабатывающем орудии, за счет чего значительно снижается тяговое сопротивление агрегата, а соответственно, про- исходит экономия ресурсов.
  • 4.
    BY 7320 U2011.06.30 4 Фиг. 2 Фиг. 3 Национальный центр интеллектуальной собственности. 220034, г. Минск, ул. Козлова, 20.