РЕСПУБЛИКА КАЗАХСТАН
(19) KZ (13) A4 (11) 29294
(51) E21B 4/16 (2006.01)
E21B 7/00 (2006.01)
МИНИСТЕРСТВА ЮСТИЦИИ РЕСПУБЛИКИ КАЗАХСТАН
ОПИСАНИЕ ИЗОБРЕТЕНИЯ
К ИННОВАЦИОННОМУ ПАТЕНТУ
(21) 2013/1716.1
(22) 08.11.2013
(45) 15.12.2014, бюл. №12
(72) Кабетенов Тулеген; Латыпов Авис
Самигуллинович; Столповских Иван Никитович;
Өмирғали Арманбек Қасымұлы; Ахметова Света
Нұржанкызы
(73) Республиканское государственное предприятие
на праве хозяйственного ведения " Казахский
национальный технический университет им.
К.И. Сатпаева" Министерства образования и науки
Республики Казахстан
(56) Предварительный патент РК №12109, кл. Е21В
4/16, бюл.№10, 15.10.2002г.
Патент РК №13168, кл. Е21В 7/00, бюл. №3,
14.03.2008г
(54) УСТРОЙСТВО ДЛЯ УДАРНО-
ВРАЩАТЕЛЬНОГО БУРЕНИЯ СКВАЖИН И
СПОСОБ БУРЕНИЯ СКВАЖИН БОЛЬШОГО
ДИАМЕТРА
(57) Изобретение относится к области горного дела,
в частности к бурению скважин ударно-
вращательным способом.
Для этого в устройстве для ударно-
вращательного бурения, включающем колонну
бурильных труб, на погружаемом в скважину конце
которой расположен узел формирования ударных
нагрузок в виде, по меньшей мере, двух
последовательно установленных ударных
машин, снабженных индивидуальными
породоразрушающими элементами, каждый их
которых выполнен в виде ступенчато
располагаемых коронок, узел формирования
ударных нагрузок выполнен в виде последовательно
установленных более двух ударных машин.
Технический результат изобретения состоит в
разработке устройства ударно-вращательного
бурения, позволяющего бурить скважины большого
диаметра и снизить затраты по статье «истирание
материалы».
(19)KZ(13)A4(11)29294
29294
2
Изобретение относится к области горного дела, в
частности к бурению скважин ударно-
вращательным способом.
Близкой по технической сущности является
ударно-вращательная компоновка [Теория и
практика ударно-вращательного бурения. М.: Недра.
1967, с.114], содержащая узел формирования
ударных нагрузок, выполненный в виде
двухпоршневого пневмоударника, распределитель
рабочего агента, буровую колонну и
породоразрушающий инструмент.
Основным недостатком известной компоновки
является то, что в ней ударники поочередно
передают ударные импульсы на один
породоразрушающий инструмент полного забоя,
вследствие чего не достигается увеличение
величины удельной энергии удара, а удваивается
только их частота, что недостаточно для
эффективного разрушения весьма крепких пород.
Известно устройство для ударно-вращательного
бурения скважин погружными ударными машинами
[KZ предварительный патент №12109, Е21В 4/16,
опубл. бюл.10, 15.10.2002], включающее колонну
бурильных труб, на нижнем конце которой
расположены породоразрушающий инструмент и
узел формирования ударных нагрузок,
установленный с возможностью передачи нагрузок
через породоразрушающий инструмент на забой
скважины, узел формирования ударных нагрузок
выполненный в виде, по меньшей мере, двух
тандемно расположенных ударных механизмов,
породоразрушающий инструмент которых
содержит, по меньшей мере, две концентрично
расположенные коронки, каждая из которых
установлена с возможностью восприятия ударной
нагрузки одного из упомянутых ударных
механизмов и разрушения своей части забоя
скважины.
Одним из недостатков известного устройства
является то обстоятельство, что при проходке
крепких пород увеличивается износ периферийных
резцов породоразрушающих наконечников, что
ведет к увеличению расхода числа их.
Известен способ бурения скважин увеличенного
диаметра [KZ патент №13168 Е21В 7/00, опубл. в
бюл. №3, 14.03.2008], включающий ступенчатое
разрушение пород, слагающих стенки скважины.
Основным недостатком известного способа
является то обстоятельство, что при проходке
скважин в крепких породах ввиду износа
периферийных резцов долота приходится изымать
все долото, то есть увеличивается расход
истирающих материалов.
Задачей изобретения является разработка
компоновки породоразрушающих элементов,
работающих в режиме ударно-вращательного
бурения скважин увеличенного диаметра,
позволяющих снизить затраты по статье
«истирающие материалы».
Задача решается за счет использования
устройства для ударно-вращательного бурения
скважин, включающее колонну бурильных труб, на
призабойном конце которой расположен в виде, по
меньшей мере, двух тандемно расположенных
ударных машин, снабженных индивидуальными
породоразрушающими элементами, каждый из
которых выполнен в виде ступенчато
располагаемых коронок, армированных радиально
располагаемыми резцами или симметрично
располагаемыми калибрующими и радиальными
резцами, установленными с возможностью замены.
В частных случаях исполнения:
- проходной канал колонны бурильных труб
выполнен достаточным для пропуска необходимого
количества рабочего агента для привода
установленного количества ударных машин,
которые начиная со второго со стороны забоя
скважин снабжены каналами для пропуска
необходимого количества рабочего агента для
привода ниже расположенных ударных машин;
Узел формирования ударных нагрузок выполнен
в виде последовательно установленных более двух
ударных машин, снабжённых индивидуальными
породоразрушающими элементами.
Технический результат изобретения состоит в
разработке устройства для ударно-вращательного
бурения скважин большого диаметра, позволяющего
снизить затраты по статье «истирание материалы».
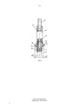
Изобретение поясняется графическими
материалами, где на фиг.1 представлена схема двух
последовательно расположенных ударных машин;
на фиг.2 - конструкция устройства с
дополнительной ударной машиной.
Устройство для ударно-вращательного бурения
скважин (фиг.1), по меньшей мере, состоит из двух
ударных машин 1 и 2, формирующих ударные
нагрузки на индивидуальные породоразрушающие
элементы 3 и 4. Породоразрушающий элемент 3
может быть цельным, в виде долота, хвостовик
которого взаимодействует с ударником 5 ударной
машины 1, а породоразрушающий элемент 4,
располагаемый выше породоразрушающего
элемента 3 выполнен в виде установленных друг над
другом коронок 6 и 7 с возможностью продольного
перемещения, отличающихся наружным диаметром,
верхняя 7 из которых взаимодействует с нижним
торцом нижнего переходника 8 ударной машины 1 и
имеют возможность продольного перемещения
относительно шлицевого вала 9
породоразрушающего элемента 3. Верхняя ударная
машина 2 имеет специальный соединительный
ниппель - наковальню 10, имеющую каналы 11 для
выпуска отработанной рабочей среды из ударной
машины 2 и напорные каналы 12 для перепуска
рабочего агента из полости колонны бурильных
труб 13 (в дальнейшем КБТ 13) в ударную машину
1. Напорные каналы могут быть периферийными
при использовании идентичных ударных машин,
или центральными при использовании машин
различного типа. Для бурения скважин
увеличенного диаметра (фиг.2) пристыкованы
дополнительные ударные машины 14, в которых
имеется ниппель- наковальня 15 другого типа,
имеющая шток 16 с шлицами для расположенных
последовательно кольцевых коронок 17. Ниппель-
наковальня 15 имеет каналы идентичные
29294
3
вышеописанным. Проходные каналы КБТ 13
должны быть достаточными для работы всех
нижерасположенных ударных машин. В кольцевых
коронках 6, 7 и 17 для бурения скважин в крепких
породах можно устанавливать симметрично
расположенные радиальные 18 и калибрующие 19
резцы.
Бурение скважин большого диаметра
предлагаемым устройством происходит следующим
образом. Первоначально в соответствии с фиг.1 и
фиг.2 производят сборку компоновки, состоящей, по
меньшей мере, из двух последовательно
установленных ударных машин и осуществляют
бурение общеизвестным способом. При этом
ударная машина 1 по мере подачи рабочей среды
формирует пилотный участок Д1 скважины
воздействием породоразрушающего элемента 3,
который в дальнейшем расширяется до значения Д2
по мере взаимодействия коронок 5 и 6
породоразрушающего элемента 4. В случае
необходимости дальнейшего увеличения диаметра
скважины в состав бурового инструмента включают
ударную машину 14 по мере углубления в скважину
ударной машины 2, что позволяет получить
скважину диаметром Д3. При этом в случае
необходимости увеличения пропускной
способности КБТ 13 следует заменить КБТ. При
необходимости увеличения диаметра скважины
можно увеличить диаметры кольцевых коронок
породоразрушающих элементов ударных машин 2 и
14 или включить в состав бурового инструмента еще
одну или более того ударных машин, принцип
действия и конструкции которых, например,
описаны в литературе [см. Иванов К.И., Латышев
В.А., Андреев В.Д. Техника бурения при разработке
месторождений полезных ископаемых. - М.: Недра,
1987г., с.152-158]. В случае бурения скважин по
крепким породам необходимо устанавливать
коронки 6, 7 и 17, снабжённые калиброванными 18 и
радиальными 19 резцами, расположенными
симметрично.
ФОРМУЛА ИЗОБРЕТЕНИЯ
1. Устройство для ударно-вращательного
бурения скважин, включающее колонну бурильных
труб, имеющую на погружаемом в скважине конце
узел формирования ударных нагрузок в виде, по
меньшей мере, двух расположенных тандемно
ударных машин с индивидуальными
породоразрушающими элементами,
расположенными на одном долоте, отличающееся
тем, что породоразрушающие элементы их
выполнены в виде ступенчато расположенных
коронок, армированных радиально расположенными
резцами или симметрично располагаемыми
калибровочными и радиальными резцами,
установленных с возможностью смены.
2. Устройство по п.1, отличающееся тем, что
проходной канал колонны бурильных труб
выполнен достаточным для пропуска необходимого
количества рабочего агента для привода
установленного в устройстве количества
упомянутых ударных машин, которые начиная со
второго от забоя скважины имеют выкидные каналы
для отработанной рабочей среды и каналы для
пропуска необходимого количества рабочего агента
для привода ниже расположенных ударных машин.
3. Устройство по п.п.1 и 2, отличающееся тем,
что погружной узел формирования ударных
нагрузок содержит более двух последовательно
установленных ударных машин,
снабжённых индивидуальными
породоразрушающими элементами.
4. Способ бурения скважин увеличенного
диаметра, включающий ступенчатое разрушение
пород, стен скважины, отличающийся тем, что для
бурения скважины увеличенного диаметра
используют устройства по п.п. 1, 2 и 3.
29294
4
Верстка Ж. Жомартбек
Корректор К. Нгметжанова

29294ip

  • 1.
    РЕСПУБЛИКА КАЗАХСТАН (19) KZ(13) A4 (11) 29294 (51) E21B 4/16 (2006.01) E21B 7/00 (2006.01) МИНИСТЕРСТВА ЮСТИЦИИ РЕСПУБЛИКИ КАЗАХСТАН ОПИСАНИЕ ИЗОБРЕТЕНИЯ К ИННОВАЦИОННОМУ ПАТЕНТУ (21) 2013/1716.1 (22) 08.11.2013 (45) 15.12.2014, бюл. №12 (72) Кабетенов Тулеген; Латыпов Авис Самигуллинович; Столповских Иван Никитович; Өмирғали Арманбек Қасымұлы; Ахметова Света Нұржанкызы (73) Республиканское государственное предприятие на праве хозяйственного ведения " Казахский национальный технический университет им. К.И. Сатпаева" Министерства образования и науки Республики Казахстан (56) Предварительный патент РК №12109, кл. Е21В 4/16, бюл.№10, 15.10.2002г. Патент РК №13168, кл. Е21В 7/00, бюл. №3, 14.03.2008г (54) УСТРОЙСТВО ДЛЯ УДАРНО- ВРАЩАТЕЛЬНОГО БУРЕНИЯ СКВАЖИН И СПОСОБ БУРЕНИЯ СКВАЖИН БОЛЬШОГО ДИАМЕТРА (57) Изобретение относится к области горного дела, в частности к бурению скважин ударно- вращательным способом. Для этого в устройстве для ударно- вращательного бурения, включающем колонну бурильных труб, на погружаемом в скважину конце которой расположен узел формирования ударных нагрузок в виде, по меньшей мере, двух последовательно установленных ударных машин, снабженных индивидуальными породоразрушающими элементами, каждый их которых выполнен в виде ступенчато располагаемых коронок, узел формирования ударных нагрузок выполнен в виде последовательно установленных более двух ударных машин. Технический результат изобретения состоит в разработке устройства ударно-вращательного бурения, позволяющего бурить скважины большого диаметра и снизить затраты по статье «истирание материалы». (19)KZ(13)A4(11)29294
  • 2.
    29294 2 Изобретение относится кобласти горного дела, в частности к бурению скважин ударно- вращательным способом. Близкой по технической сущности является ударно-вращательная компоновка [Теория и практика ударно-вращательного бурения. М.: Недра. 1967, с.114], содержащая узел формирования ударных нагрузок, выполненный в виде двухпоршневого пневмоударника, распределитель рабочего агента, буровую колонну и породоразрушающий инструмент. Основным недостатком известной компоновки является то, что в ней ударники поочередно передают ударные импульсы на один породоразрушающий инструмент полного забоя, вследствие чего не достигается увеличение величины удельной энергии удара, а удваивается только их частота, что недостаточно для эффективного разрушения весьма крепких пород. Известно устройство для ударно-вращательного бурения скважин погружными ударными машинами [KZ предварительный патент №12109, Е21В 4/16, опубл. бюл.10, 15.10.2002], включающее колонну бурильных труб, на нижнем конце которой расположены породоразрушающий инструмент и узел формирования ударных нагрузок, установленный с возможностью передачи нагрузок через породоразрушающий инструмент на забой скважины, узел формирования ударных нагрузок выполненный в виде, по меньшей мере, двух тандемно расположенных ударных механизмов, породоразрушающий инструмент которых содержит, по меньшей мере, две концентрично расположенные коронки, каждая из которых установлена с возможностью восприятия ударной нагрузки одного из упомянутых ударных механизмов и разрушения своей части забоя скважины. Одним из недостатков известного устройства является то обстоятельство, что при проходке крепких пород увеличивается износ периферийных резцов породоразрушающих наконечников, что ведет к увеличению расхода числа их. Известен способ бурения скважин увеличенного диаметра [KZ патент №13168 Е21В 7/00, опубл. в бюл. №3, 14.03.2008], включающий ступенчатое разрушение пород, слагающих стенки скважины. Основным недостатком известного способа является то обстоятельство, что при проходке скважин в крепких породах ввиду износа периферийных резцов долота приходится изымать все долото, то есть увеличивается расход истирающих материалов. Задачей изобретения является разработка компоновки породоразрушающих элементов, работающих в режиме ударно-вращательного бурения скважин увеличенного диаметра, позволяющих снизить затраты по статье «истирающие материалы». Задача решается за счет использования устройства для ударно-вращательного бурения скважин, включающее колонну бурильных труб, на призабойном конце которой расположен в виде, по меньшей мере, двух тандемно расположенных ударных машин, снабженных индивидуальными породоразрушающими элементами, каждый из которых выполнен в виде ступенчато располагаемых коронок, армированных радиально располагаемыми резцами или симметрично располагаемыми калибрующими и радиальными резцами, установленными с возможностью замены. В частных случаях исполнения: - проходной канал колонны бурильных труб выполнен достаточным для пропуска необходимого количества рабочего агента для привода установленного количества ударных машин, которые начиная со второго со стороны забоя скважин снабжены каналами для пропуска необходимого количества рабочего агента для привода ниже расположенных ударных машин; Узел формирования ударных нагрузок выполнен в виде последовательно установленных более двух ударных машин, снабжённых индивидуальными породоразрушающими элементами. Технический результат изобретения состоит в разработке устройства для ударно-вращательного бурения скважин большого диаметра, позволяющего снизить затраты по статье «истирание материалы». Изобретение поясняется графическими материалами, где на фиг.1 представлена схема двух последовательно расположенных ударных машин; на фиг.2 - конструкция устройства с дополнительной ударной машиной. Устройство для ударно-вращательного бурения скважин (фиг.1), по меньшей мере, состоит из двух ударных машин 1 и 2, формирующих ударные нагрузки на индивидуальные породоразрушающие элементы 3 и 4. Породоразрушающий элемент 3 может быть цельным, в виде долота, хвостовик которого взаимодействует с ударником 5 ударной машины 1, а породоразрушающий элемент 4, располагаемый выше породоразрушающего элемента 3 выполнен в виде установленных друг над другом коронок 6 и 7 с возможностью продольного перемещения, отличающихся наружным диаметром, верхняя 7 из которых взаимодействует с нижним торцом нижнего переходника 8 ударной машины 1 и имеют возможность продольного перемещения относительно шлицевого вала 9 породоразрушающего элемента 3. Верхняя ударная машина 2 имеет специальный соединительный ниппель - наковальню 10, имеющую каналы 11 для выпуска отработанной рабочей среды из ударной машины 2 и напорные каналы 12 для перепуска рабочего агента из полости колонны бурильных труб 13 (в дальнейшем КБТ 13) в ударную машину 1. Напорные каналы могут быть периферийными при использовании идентичных ударных машин, или центральными при использовании машин различного типа. Для бурения скважин увеличенного диаметра (фиг.2) пристыкованы дополнительные ударные машины 14, в которых имеется ниппель- наковальня 15 другого типа, имеющая шток 16 с шлицами для расположенных последовательно кольцевых коронок 17. Ниппель- наковальня 15 имеет каналы идентичные
  • 3.
    29294 3 вышеописанным. Проходные каналыКБТ 13 должны быть достаточными для работы всех нижерасположенных ударных машин. В кольцевых коронках 6, 7 и 17 для бурения скважин в крепких породах можно устанавливать симметрично расположенные радиальные 18 и калибрующие 19 резцы. Бурение скважин большого диаметра предлагаемым устройством происходит следующим образом. Первоначально в соответствии с фиг.1 и фиг.2 производят сборку компоновки, состоящей, по меньшей мере, из двух последовательно установленных ударных машин и осуществляют бурение общеизвестным способом. При этом ударная машина 1 по мере подачи рабочей среды формирует пилотный участок Д1 скважины воздействием породоразрушающего элемента 3, который в дальнейшем расширяется до значения Д2 по мере взаимодействия коронок 5 и 6 породоразрушающего элемента 4. В случае необходимости дальнейшего увеличения диаметра скважины в состав бурового инструмента включают ударную машину 14 по мере углубления в скважину ударной машины 2, что позволяет получить скважину диаметром Д3. При этом в случае необходимости увеличения пропускной способности КБТ 13 следует заменить КБТ. При необходимости увеличения диаметра скважины можно увеличить диаметры кольцевых коронок породоразрушающих элементов ударных машин 2 и 14 или включить в состав бурового инструмента еще одну или более того ударных машин, принцип действия и конструкции которых, например, описаны в литературе [см. Иванов К.И., Латышев В.А., Андреев В.Д. Техника бурения при разработке месторождений полезных ископаемых. - М.: Недра, 1987г., с.152-158]. В случае бурения скважин по крепким породам необходимо устанавливать коронки 6, 7 и 17, снабжённые калиброванными 18 и радиальными 19 резцами, расположенными симметрично. ФОРМУЛА ИЗОБРЕТЕНИЯ 1. Устройство для ударно-вращательного бурения скважин, включающее колонну бурильных труб, имеющую на погружаемом в скважине конце узел формирования ударных нагрузок в виде, по меньшей мере, двух расположенных тандемно ударных машин с индивидуальными породоразрушающими элементами, расположенными на одном долоте, отличающееся тем, что породоразрушающие элементы их выполнены в виде ступенчато расположенных коронок, армированных радиально расположенными резцами или симметрично располагаемыми калибровочными и радиальными резцами, установленных с возможностью смены. 2. Устройство по п.1, отличающееся тем, что проходной канал колонны бурильных труб выполнен достаточным для пропуска необходимого количества рабочего агента для привода установленного в устройстве количества упомянутых ударных машин, которые начиная со второго от забоя скважины имеют выкидные каналы для отработанной рабочей среды и каналы для пропуска необходимого количества рабочего агента для привода ниже расположенных ударных машин. 3. Устройство по п.п.1 и 2, отличающееся тем, что погружной узел формирования ударных нагрузок содержит более двух последовательно установленных ударных машин, снабжённых индивидуальными породоразрушающими элементами. 4. Способ бурения скважин увеличенного диаметра, включающий ступенчатое разрушение пород, стен скважины, отличающийся тем, что для бурения скважины увеличенного диаметра используют устройства по п.п. 1, 2 и 3.
  • 4.