РЕСПУБЛИКА КАЗАХСТАН
(19) KZ (13) A4 (11) 28835
(51) E21B 7/28 (2006.01)
КОМИТЕТ ПО ПРАВАМ
ИНТЕЛЛЕКТУАЛЬНОЙ СОБСТВЕННОСТИ
МИНИСТЕРСТВА ЮСТИЦИИ РЕСПУБЛИКИ КАЗАХСТАН
ОПИСАНИЕ ИЗОБРЕТЕНИЯ
К ИННОВАЦИОННОМУ ПАТЕНТУ
(21) 2013/1329.1
(22) 09.10.2013
(45) 15.08.2014, бюл. №8
(72) Грузин Владимир Васильевич (KZ); Нураков
Серик Нуракович (KZ); Грузин Андрей Васильевич
(RU); Жантлесов Жангабыл Хамитович (KZ);
Есбергенов Кайсарбек Балтабаевич (KZ)
(73) Акционерное общество "Казахский
агротехнический университет им.
Сакена Сейфуллина"
(56) US2310045, кл.Е02F 5/18, E21B 7/26,
опубл.10.07.2007
(54) НАВЕСНОЕ ОБОРУДОВАНИЕ ДЛЯ
РАСКАТЫВАНИЯ В ГРУНТЕ СКВАЖИН
СЛОЖНОГО ПРОФИЛЯ
(57) Изобретение относится к строительству, а
именно к навесному оборудованию для
раскатывания в грунте скважин сложного профиля
без выемки грунта.
Задачей изобретения является образование в
грунте скважин сложного профиля с развернутой
боковой поверхностью, обеспечивающих
повышенную удельную несущую способность
набивных свай на уплотненном основании.
Задача решается за счет того, что в навесном
оборудовании для раскатывания в грунте скважин
сложного профиля коаксиально соединенные между
собой гидропривод, формирователь поперечного
профиля, раскатчик круглых скважин и
конусообразный лидерный шнек подвижно
установлены на направляющей штанге,
кинематически соединенной с оборудованием
базовой машины. При этом формирователь
поперечного профиля, установленный на приводном
валу гидропривода, включает в себя жёстко
соединённое с приводным валом водило, на котором
на равном расстоянии от оси вращения параллельно
установлены две подвижные оси, на первой из
которых с двух сторон жёстко закреплены сателлит,
который при повороте водила обкатывает
неподвижное опорное зубчатое колесо, и
промежуточная шестерня; и вторая подвижная ось,
на которой жёстко закреплена рабочая шестерня,
приводимая в движение промежуточной шестерней,
и на которой закреплена подвижная ось с
установленным на ней свободно вращающийся
конусообразный формообразующий элемент,
поперечное круглое сечение скважины в визуально-
подобное правильному многоугольнику.
Отношение диаметров D11 неподвижного
опорного зубчатого колеса и D10 сателлита равно
целому числу N , которое больше или равно трём:
,
10
11
N
D
D
= (1)
где D10 и D11 - соответственно, диаметры
сателлита 10 и опорного зубчатого колеса 11;
N - целое число, равное 3, 4, 5 или 6.
Отношение диаметров D12 промежуточной
шестерни и D13 рабочей шестерни равно:
,1
13
12
=
D
D (2)
где D12 и D13 - соответственно, диаметры
промежуточной и рабочей шестерен.
Расстояние между осями вращения рабочей
шестерни и конусообразного формообразующего
элемента определяется зависимостью:
,
2
13D
kL ⋅= (3)
где L - расстояние между осями вращения
рабочей шестерни и конусообразного
формообразующего элемента;
k - коэффициент, равный 0,5 для N=3; 0,4 - для
N=4; 0,3 - для N=5; 0,2 -для N=6;
D13 - диаметр рабочей шестерни.
Диаметр большего основания конусообразного
формообразующего элемента равен:
).1(1316 kDD бо
+⋅= (4)
где D13 - диаметр рабочей шестерни;
k - коэффициент, равный 0,5 для N=3; 0,4 - для
N=4; 0,3 - для N=5; 0,2 -для N=6.
Технический результат изобретения достигается
движением конусообразного формообразующего
элемента в поперечном сечении скважины по
гипоциклоидальной траектории, в результате чего
он, перемещаясь по внутренней стороне лидерной
скважины, локально деформирует в радиальном
направлении стенки скважины в виде визуально-
подобного правильного многоугольника.
(19)KZ(13)A4(11)28835
28835
2
Изобретение относится к строительству, а
именно к оборудованию для устройства
уплотненных скважин без выемки грунта.
Из существующего уровня техники известно
оборудование для образования скважин в грунте
методом раскатки, включающее шпиндель с
наконечником и вальцами, установленными
эксцентрично с возможностью вращения, при этом
вальцы выполнены с внутренними сферическими
поверхностями, а устройство снабжено
сферическими кольцами, установленными с
возможностью взаимодействия со сферическими
поверхностями вальцов, а торцевые поверхности
колец установлены с возможностью
контактирования и относительного перемещения
(А.с. СССР №861535, МПК Е21В 7/28, бюл. №33,
опубл. 07.09.1981).
Недостатком известного устройства является
образование скважин с поперечным сечением
только круглой формы.
Наиболее близким аналогом изобретения
является оборудование для проходки скважин в
грунте, содержащее соединенный с приводом вал с
установленными на нем съемными модулями, в том
числе коническим наконечником с резьбой и
модулями прямого и обратного ходов, при этом
модуль обратного хода выполнен в виде
конического бурава, а модуль прямого хода
составлен из ряда эксцентрических,
последовательно развернутых относительно оси
вращения колес, состоящих из жестко связанных с
приводным валом ступиц, на которых с
возможностью вращения установлены ободья (US
№2310045, МПК E02F 5/18, Е21В 7/26, опубл.
10.07.2007).
Недостатком известного устройства является
образование скважин с поперечным сечением
только круглой формы.
Задачей изобретения является образование в
грунте скважин сложного профиля с развернутой
боковой поверхностью, обеспечивающих
повышенную удельную несущую способность
набивных свай на уплотненном основании.
Техническим результатом является
формирование в грунте скважин сложного профиля
с поперечным сечением подобным правильному
многоугольнику.
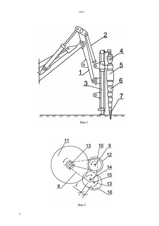
Сущность изобретения поясняется следующими
рисунками: Фиг.1 - Общий вид навесного
оборудования с раскатывающим рабочим органом.
Фиг.2 - Планетарный механизм формирователя
поперечного сечения скважины заданной формы
(вид сверху).
Фиг.3 - Принципиальная кинематическая схема
устройства планетарного механизма формирователя
поперечного сечения скважины заданной формы
(вид сбоку).
Фиг.4 - Сформированное поперечное сечение
скважины в виде визуально-подобного правильного
треугольника.
Навесное оборудование для раскатывания
скважин сложного профиля (см. фиг.1) используется
в качестве сменного навесного оборудования на
гидравлические экскаваторы II и III размерных
групп. К рукояти экскаватора 1 с гидроцилиндром
управления ею 2 крепится навесное оборудование,
которое состоит из направляющей штанги 3,
гидропривода 4, который служит источником
вращательного движения комбинированного
рабочего органа, состоящего из трёх
последовательно смонтированных взаимосвязанных
секций: формирователя поперечного профиля 5,
раскатчика круглых скважин 6 и конусообразного
лидерного шнека 7.
Формирователь поперечного профиля 5
представляет собой планетарный механизм (см.
фиг.2), который состоит из водила 8, на котором на
равном расстоянии от оси вращения закреплены две
подвижные оси:
- подвижная ось 9, с двух сторон на которой
жёстко закреплены две шестерни: сателлит 10,
который при повороте водила 8 обкатывает
неподвижное опорное зубчатое колесо 11, и
промежуточная шестерня 12;
- подвижная ось 14, на которой жёстко
закреплена рабочая шестерня 13 таким образом, что
промежуточная шестерня 12 передаёт момент
вращения на рабочую шестерню 13, при этом
параллельно оси вращения 14 и на некотором
расстоянии L от неё на рабочей шестерне 13
закреплена подвижная ось 15, на которой в свою
очередь закреплён свободно вращающийся
конусообразный формообразующий элемент 16.
Отношение диаметров N неподвижного опорного
зубчатого колеса 11 и сателлита равно целому
числу, которое больше или равно трём:
,
10
11
N
D
D
= (1)
где D10 и D11 - соответственно, диаметры
сателлита 10 и опорного зубчатого колеса 11;
N - целое число, равное 3, 4, 5 или 6.
Отношение диаметров промежуточной шестерни
12 и рабочей шестерни 13 равно:
,1
13
12
=
D
D (2)
где D12 и D13 - соответственно, диаметры
промежуточной 12 и рабочей шестерен 13.
Расстояние L между осями вращения рабочей
шестерни 13 и конусообразного формообразующего
элемента 16 определяется зависимостью:
,
2
13D
kL ⋅= (3)
где L - расстояние между осями вращения
рабочей шестерни 13 и конусообразного
формообразующего элемента 16;
k - коэффициент, равный 0,5 для N=3; 0,4 - для
N=4; 0,3 - для N=5; 0,2 -для N=6;
D13 - диаметр рабочей шестерни 13.
Диаметр
бо
D16 большего основания
конусообразного формообразующего элемента
равен:
).1(1316 kDD бо
+⋅= (4)
28835
3
Навесное оборудование для раскатывания
скважин сложного профиля работает следующим
образом (см. фиг.3).
Круговое вращение вала гидропривода 4 с
жёстко закреплённым на нём водилом 8 приводит к
обкатыванию сателлитом 10 неподвижного
опорного зубчатого колеса 11. Возникшее
вследствие этого вращательное движение сателлита
10 через подвижную ось 9 передаётся
промежуточной шестерне 12, которая посредством
зубчатого зацепления передаёт вращение рабочей
шестерне 13. На рабочей шестерне 13 параллельно
её оси вращения и на расстоянии L от неё
закреплена подвижная ось 14, на которой закреплён
свободно вращающийся конусообразный
формообразующий элемент 16, движение которого в
поперечном сечении скважины происходит по
гипоциклоидальной траектории. При контакте
конусообразного формообразующего элемента 16 с
грунтом возникают силы трения, которые приводят
к его вращению. Перемещаясь по внутренней
стороне лидерной скважины, конусообразный
формообразующий элемент 16 локально
деформирует в радиальном направлении стенки
скважины, формируя поперечное сечение скважины
в виде визуально-подобного правильного
многоугольника, например, треугольника (см.
фиг.4).
В зависимости от исходных параметров в
конструкции формирователя поперечного профиля 5
результатом локального уплотнения стенок
скважины может быть её поперечное сечение в
форме визуально-подобных треугольнику, квадрату,
пятиугольнику и шестиугольнику.
ФОРМУЛА ИЗОБРЕТЕНИЯ
1. Навесное оборудование для раскатывания в
грунте скважин сложного профиля, включающее в
себя привод, соединенный с валом и
установленными на нем катками, коническим
наконечником со шнеком и модулями прямого и
обратного ходов, установленными эксцентрично с
возможностью вращения, отличающееся тем, что
коаксиально соединенные между собой
гидропривод, формирователь поперечного профиля,
раскатчик круглых скважин и конусообразный
лидерный шнек подвижно установлены на
направляющей штанге, кинематически соединенной
с оборудованием базовой машины.
2. Навесное оборудование для раскатывания в
грунте скважин сложного профиля по п.1,
отличающееся тем, что формирователь
поперечного профиля, установленный на приводном
валу гидропривода, включает в себя жёстко
соединённое с приводным валом водило, на котором
на равном расстоянии от оси вращения параллельно
установлены две подвижные оси, на первой из
которых с двух сторон жёстко закреплены сателлит,
который при повороте водила обкатывает
неподвижное опорное зубчатое колесо, и
промежуточная шестерня; и вторая подвижная ось,
на которой жёстко закреплена рабочая шестерня,
приводимая в движение промежуточной шестерней,
и на которой закреплена подвижная ось с
установленным на ней свободно вращающийся
конусообразный формообразующий элемент,
поперечное круглое сечение скважины в визуально-
подобное правильному многоугольнику.
3. Навесное оборудование для раскатывания в
грунте скважин сложного профиля по п.1,
отличающееся тем, что отношение диаметров D11
неподвижного опорного зубчатого колеса и D10
сателлита равно целому числу N, которое больше
или равно трём:
,
10
11
N
D
D
= (1)
где D10 и D11 - соответственно, диаметры
сателлита 10 и опорного зубчатого колеса 11;
N - целое число, равное 3, 4, 5 или 6.
4. Навесное оборудование для раскатывания в
грунте скважин сложного профиля по п.1,
отличающееся тем, что отношение диаметров D12
промежуточной шестерни и D13 рабочей шестерни
равно:
,1
13
12
=
D
D (2)
где D12 и D13 - соответственно, диаметры
промежуточной и рабочей шестерен.
5. Навесное оборудование для раскатывания в
грунте скважин сложного профиля по п.1,
отличающееся тем, что расстояние между осями
вращения рабочей шестерни и конусообразного
формообразующего элемента определяется
зависимостью:
,
2
13D
kL ⋅= (3)
где L - расстояние между осями вращения
рабочей шестерни и конусообразного
формообразующего элемента;
k - коэффициент, равный 0,5 для N =3; 0,4 - для
N=4; 0,3 - для N=5; 0,2 -для N=6;
D13 - диаметр рабочей шестерни.
6. Навесное оборудование для раскатывания в
грунте скважин сложного профиля по п.1,
отличающееся тем, что диаметр большего
основания конусообразного формообразующего
элемента равен:
).1(1316 kDD бо
+⋅= (4)
где D13 - диаметр рабочей шестерни;
k - коэффициент, равный 0,5 для N=3; 0,4 - для
N=4; 0,3 - для N=5; 0,2 -для N=6.
28835
4
28835
5
Верстка Ж. Жомартбек
Корректор Е. Барч

28835ip

  • 1.
    РЕСПУБЛИКА КАЗАХСТАН (19) KZ(13) A4 (11) 28835 (51) E21B 7/28 (2006.01) КОМИТЕТ ПО ПРАВАМ ИНТЕЛЛЕКТУАЛЬНОЙ СОБСТВЕННОСТИ МИНИСТЕРСТВА ЮСТИЦИИ РЕСПУБЛИКИ КАЗАХСТАН ОПИСАНИЕ ИЗОБРЕТЕНИЯ К ИННОВАЦИОННОМУ ПАТЕНТУ (21) 2013/1329.1 (22) 09.10.2013 (45) 15.08.2014, бюл. №8 (72) Грузин Владимир Васильевич (KZ); Нураков Серик Нуракович (KZ); Грузин Андрей Васильевич (RU); Жантлесов Жангабыл Хамитович (KZ); Есбергенов Кайсарбек Балтабаевич (KZ) (73) Акционерное общество "Казахский агротехнический университет им. Сакена Сейфуллина" (56) US2310045, кл.Е02F 5/18, E21B 7/26, опубл.10.07.2007 (54) НАВЕСНОЕ ОБОРУДОВАНИЕ ДЛЯ РАСКАТЫВАНИЯ В ГРУНТЕ СКВАЖИН СЛОЖНОГО ПРОФИЛЯ (57) Изобретение относится к строительству, а именно к навесному оборудованию для раскатывания в грунте скважин сложного профиля без выемки грунта. Задачей изобретения является образование в грунте скважин сложного профиля с развернутой боковой поверхностью, обеспечивающих повышенную удельную несущую способность набивных свай на уплотненном основании. Задача решается за счет того, что в навесном оборудовании для раскатывания в грунте скважин сложного профиля коаксиально соединенные между собой гидропривод, формирователь поперечного профиля, раскатчик круглых скважин и конусообразный лидерный шнек подвижно установлены на направляющей штанге, кинематически соединенной с оборудованием базовой машины. При этом формирователь поперечного профиля, установленный на приводном валу гидропривода, включает в себя жёстко соединённое с приводным валом водило, на котором на равном расстоянии от оси вращения параллельно установлены две подвижные оси, на первой из которых с двух сторон жёстко закреплены сателлит, который при повороте водила обкатывает неподвижное опорное зубчатое колесо, и промежуточная шестерня; и вторая подвижная ось, на которой жёстко закреплена рабочая шестерня, приводимая в движение промежуточной шестерней, и на которой закреплена подвижная ось с установленным на ней свободно вращающийся конусообразный формообразующий элемент, поперечное круглое сечение скважины в визуально- подобное правильному многоугольнику. Отношение диаметров D11 неподвижного опорного зубчатого колеса и D10 сателлита равно целому числу N , которое больше или равно трём: , 10 11 N D D = (1) где D10 и D11 - соответственно, диаметры сателлита 10 и опорного зубчатого колеса 11; N - целое число, равное 3, 4, 5 или 6. Отношение диаметров D12 промежуточной шестерни и D13 рабочей шестерни равно: ,1 13 12 = D D (2) где D12 и D13 - соответственно, диаметры промежуточной и рабочей шестерен. Расстояние между осями вращения рабочей шестерни и конусообразного формообразующего элемента определяется зависимостью: , 2 13D kL ⋅= (3) где L - расстояние между осями вращения рабочей шестерни и конусообразного формообразующего элемента; k - коэффициент, равный 0,5 для N=3; 0,4 - для N=4; 0,3 - для N=5; 0,2 -для N=6; D13 - диаметр рабочей шестерни. Диаметр большего основания конусообразного формообразующего элемента равен: ).1(1316 kDD бо +⋅= (4) где D13 - диаметр рабочей шестерни; k - коэффициент, равный 0,5 для N=3; 0,4 - для N=4; 0,3 - для N=5; 0,2 -для N=6. Технический результат изобретения достигается движением конусообразного формообразующего элемента в поперечном сечении скважины по гипоциклоидальной траектории, в результате чего он, перемещаясь по внутренней стороне лидерной скважины, локально деформирует в радиальном направлении стенки скважины в виде визуально- подобного правильного многоугольника. (19)KZ(13)A4(11)28835
  • 2.
    28835 2 Изобретение относится кстроительству, а именно к оборудованию для устройства уплотненных скважин без выемки грунта. Из существующего уровня техники известно оборудование для образования скважин в грунте методом раскатки, включающее шпиндель с наконечником и вальцами, установленными эксцентрично с возможностью вращения, при этом вальцы выполнены с внутренними сферическими поверхностями, а устройство снабжено сферическими кольцами, установленными с возможностью взаимодействия со сферическими поверхностями вальцов, а торцевые поверхности колец установлены с возможностью контактирования и относительного перемещения (А.с. СССР №861535, МПК Е21В 7/28, бюл. №33, опубл. 07.09.1981). Недостатком известного устройства является образование скважин с поперечным сечением только круглой формы. Наиболее близким аналогом изобретения является оборудование для проходки скважин в грунте, содержащее соединенный с приводом вал с установленными на нем съемными модулями, в том числе коническим наконечником с резьбой и модулями прямого и обратного ходов, при этом модуль обратного хода выполнен в виде конического бурава, а модуль прямого хода составлен из ряда эксцентрических, последовательно развернутых относительно оси вращения колес, состоящих из жестко связанных с приводным валом ступиц, на которых с возможностью вращения установлены ободья (US №2310045, МПК E02F 5/18, Е21В 7/26, опубл. 10.07.2007). Недостатком известного устройства является образование скважин с поперечным сечением только круглой формы. Задачей изобретения является образование в грунте скважин сложного профиля с развернутой боковой поверхностью, обеспечивающих повышенную удельную несущую способность набивных свай на уплотненном основании. Техническим результатом является формирование в грунте скважин сложного профиля с поперечным сечением подобным правильному многоугольнику. Сущность изобретения поясняется следующими рисунками: Фиг.1 - Общий вид навесного оборудования с раскатывающим рабочим органом. Фиг.2 - Планетарный механизм формирователя поперечного сечения скважины заданной формы (вид сверху). Фиг.3 - Принципиальная кинематическая схема устройства планетарного механизма формирователя поперечного сечения скважины заданной формы (вид сбоку). Фиг.4 - Сформированное поперечное сечение скважины в виде визуально-подобного правильного треугольника. Навесное оборудование для раскатывания скважин сложного профиля (см. фиг.1) используется в качестве сменного навесного оборудования на гидравлические экскаваторы II и III размерных групп. К рукояти экскаватора 1 с гидроцилиндром управления ею 2 крепится навесное оборудование, которое состоит из направляющей штанги 3, гидропривода 4, который служит источником вращательного движения комбинированного рабочего органа, состоящего из трёх последовательно смонтированных взаимосвязанных секций: формирователя поперечного профиля 5, раскатчика круглых скважин 6 и конусообразного лидерного шнека 7. Формирователь поперечного профиля 5 представляет собой планетарный механизм (см. фиг.2), который состоит из водила 8, на котором на равном расстоянии от оси вращения закреплены две подвижные оси: - подвижная ось 9, с двух сторон на которой жёстко закреплены две шестерни: сателлит 10, который при повороте водила 8 обкатывает неподвижное опорное зубчатое колесо 11, и промежуточная шестерня 12; - подвижная ось 14, на которой жёстко закреплена рабочая шестерня 13 таким образом, что промежуточная шестерня 12 передаёт момент вращения на рабочую шестерню 13, при этом параллельно оси вращения 14 и на некотором расстоянии L от неё на рабочей шестерне 13 закреплена подвижная ось 15, на которой в свою очередь закреплён свободно вращающийся конусообразный формообразующий элемент 16. Отношение диаметров N неподвижного опорного зубчатого колеса 11 и сателлита равно целому числу, которое больше или равно трём: , 10 11 N D D = (1) где D10 и D11 - соответственно, диаметры сателлита 10 и опорного зубчатого колеса 11; N - целое число, равное 3, 4, 5 или 6. Отношение диаметров промежуточной шестерни 12 и рабочей шестерни 13 равно: ,1 13 12 = D D (2) где D12 и D13 - соответственно, диаметры промежуточной 12 и рабочей шестерен 13. Расстояние L между осями вращения рабочей шестерни 13 и конусообразного формообразующего элемента 16 определяется зависимостью: , 2 13D kL ⋅= (3) где L - расстояние между осями вращения рабочей шестерни 13 и конусообразного формообразующего элемента 16; k - коэффициент, равный 0,5 для N=3; 0,4 - для N=4; 0,3 - для N=5; 0,2 -для N=6; D13 - диаметр рабочей шестерни 13. Диаметр бо D16 большего основания конусообразного формообразующего элемента равен: ).1(1316 kDD бо +⋅= (4)
  • 3.
    28835 3 Навесное оборудование дляраскатывания скважин сложного профиля работает следующим образом (см. фиг.3). Круговое вращение вала гидропривода 4 с жёстко закреплённым на нём водилом 8 приводит к обкатыванию сателлитом 10 неподвижного опорного зубчатого колеса 11. Возникшее вследствие этого вращательное движение сателлита 10 через подвижную ось 9 передаётся промежуточной шестерне 12, которая посредством зубчатого зацепления передаёт вращение рабочей шестерне 13. На рабочей шестерне 13 параллельно её оси вращения и на расстоянии L от неё закреплена подвижная ось 14, на которой закреплён свободно вращающийся конусообразный формообразующий элемент 16, движение которого в поперечном сечении скважины происходит по гипоциклоидальной траектории. При контакте конусообразного формообразующего элемента 16 с грунтом возникают силы трения, которые приводят к его вращению. Перемещаясь по внутренней стороне лидерной скважины, конусообразный формообразующий элемент 16 локально деформирует в радиальном направлении стенки скважины, формируя поперечное сечение скважины в виде визуально-подобного правильного многоугольника, например, треугольника (см. фиг.4). В зависимости от исходных параметров в конструкции формирователя поперечного профиля 5 результатом локального уплотнения стенок скважины может быть её поперечное сечение в форме визуально-подобных треугольнику, квадрату, пятиугольнику и шестиугольнику. ФОРМУЛА ИЗОБРЕТЕНИЯ 1. Навесное оборудование для раскатывания в грунте скважин сложного профиля, включающее в себя привод, соединенный с валом и установленными на нем катками, коническим наконечником со шнеком и модулями прямого и обратного ходов, установленными эксцентрично с возможностью вращения, отличающееся тем, что коаксиально соединенные между собой гидропривод, формирователь поперечного профиля, раскатчик круглых скважин и конусообразный лидерный шнек подвижно установлены на направляющей штанге, кинематически соединенной с оборудованием базовой машины. 2. Навесное оборудование для раскатывания в грунте скважин сложного профиля по п.1, отличающееся тем, что формирователь поперечного профиля, установленный на приводном валу гидропривода, включает в себя жёстко соединённое с приводным валом водило, на котором на равном расстоянии от оси вращения параллельно установлены две подвижные оси, на первой из которых с двух сторон жёстко закреплены сателлит, который при повороте водила обкатывает неподвижное опорное зубчатое колесо, и промежуточная шестерня; и вторая подвижная ось, на которой жёстко закреплена рабочая шестерня, приводимая в движение промежуточной шестерней, и на которой закреплена подвижная ось с установленным на ней свободно вращающийся конусообразный формообразующий элемент, поперечное круглое сечение скважины в визуально- подобное правильному многоугольнику. 3. Навесное оборудование для раскатывания в грунте скважин сложного профиля по п.1, отличающееся тем, что отношение диаметров D11 неподвижного опорного зубчатого колеса и D10 сателлита равно целому числу N, которое больше или равно трём: , 10 11 N D D = (1) где D10 и D11 - соответственно, диаметры сателлита 10 и опорного зубчатого колеса 11; N - целое число, равное 3, 4, 5 или 6. 4. Навесное оборудование для раскатывания в грунте скважин сложного профиля по п.1, отличающееся тем, что отношение диаметров D12 промежуточной шестерни и D13 рабочей шестерни равно: ,1 13 12 = D D (2) где D12 и D13 - соответственно, диаметры промежуточной и рабочей шестерен. 5. Навесное оборудование для раскатывания в грунте скважин сложного профиля по п.1, отличающееся тем, что расстояние между осями вращения рабочей шестерни и конусообразного формообразующего элемента определяется зависимостью: , 2 13D kL ⋅= (3) где L - расстояние между осями вращения рабочей шестерни и конусообразного формообразующего элемента; k - коэффициент, равный 0,5 для N =3; 0,4 - для N=4; 0,3 - для N=5; 0,2 -для N=6; D13 - диаметр рабочей шестерни. 6. Навесное оборудование для раскатывания в грунте скважин сложного профиля по п.1, отличающееся тем, что диаметр большего основания конусообразного формообразующего элемента равен: ).1(1316 kDD бо +⋅= (4) где D13 - диаметр рабочей шестерни; k - коэффициент, равный 0,5 для N=3; 0,4 - для N=4; 0,3 - для N=5; 0,2 -для N=6.
  • 4.
  • 5.