РЕСПУБЛИКА КАЗАХСТАН
(19) KZ (13) A4 (11) 28941
(51) F16G 11/04 (2006.01)
КОМИТЕТ ПО ПРАВАМ
ИНТЕЛЛЕКТУАЛЬНОЙ СОБСТВЕННОСТИ
МИНИСТЕРСТВА ЮСТИЦИИ РЕСПУБЛИКИ КАЗАХСТАН
ОПИСАНИЕ ИЗОБРЕТЕНИЯ
К ИННОВАЦИОННОМУ ПАТЕНТУ
(21) 2013/1975.1
(22) 27.12.2013
(45) 15.09.2014, бюл. №9
(76) Мулладжанов Руслан Равильевич; Ниязова
Сайера Руслановна
(56) EP 0861994A1, 1998
(54) ЗАПОРНО-ПЛОМБИРОВОЧНОЕ
УСТРОЙСТВО "КАШАЛОТ-М"
(57) Изобретение предназначено для использования
во всех отраслях, где необходимо применение
отрезка троса, фиксируемого с заклинивающим
действием, например, как охранное устройство,
предохраняющее объект, имеющий парные петли
или специальные парные ушки на запираемых
створках дверей, люков, задвижек и др.
закрываемых деталей для продевания сквозь парные
петли или парные ушки троса, от
несанкционированного проникновения и вскрытия,
как заклинивающий по всему периметру отрезка
троса зажим.
Задачей изобретения является повышение
компактности устройства и надежности при
попытке несанкционированного вскрытия запорно-
пломбировочного устройства, расширение области
его использования в разных климатических поясах.
Для этого в запорно-пломбировочном
устройстве, содержащем корпус, отрезок троса с
жестко закрепленным одним концом, свободным
концом, который при запирании пропускается через
корпус с образованием петли, расположенные в
корпусе фиксирующие элементы в виде стальных
шариков, согласно изобретению, внутренняя
поверхность с одной стороны корпуса выполнена
конусной, а с другой стороны корпус имеет
плоскую часть с двумя отверстиями, при этом со
стороны внутренней конусной поверхности корпуса
размещена подвижная пластиковая втулка с углом
конусности 15°-16°, с пазами в горизонтальной
плоскости, в которых расположены стальные
шарики, подвижная пластиковая втулка
подпружинена стальной пружиной с углом
конусности 15°-16°, прикрепленной к зажимному
колпачку со сквозным центральным отверстием и
двумя отверстиями, соосными отверстиям в плоской
части корпуса для пропускания сквозь них конца
отрезка троса и жесткого крепления его вне
корпуса.
(19)KZ(13)A4(11)28941
28941
2
Изобретение предназначено для использования
во всех отраслях, где необходимо применение
отрезка троса, фиксируемого с заклинивающим
действием, например, как охранное устройство,
предохраняющее объект, имеющий парные петли
или специальные парные ушки на запираемых
створках дверей, люков, задвижек и др.
закрываемых деталей для продевания сквозь парные
петли или парные ушки троса, от
несанкционированного проникновения и вскрытия,
как заклинивающий по всему периметру отрезка
троса зажим.
Известно гибкое запорно-пломбировочное
устройство, содержащее корпус, в котором
предварительно закрепляют один конец отрезка
троса, а второй конец при запирании пропускают
сквозь корпус с образованием петли и фиксируют в
нем посредством двух подпружиненных стальных
шариков разного диаметра, расположенных внутри
корпуса в специально предусмотренном посадочном
месте - подпружиненной втулке. Шарики
равномерно воздействуют на отрезок троса с одной
его стороны для распределения нагрузки
подклинивающего действия. Это уменьшает
концентрацию нагрузки на отрезок троса так, что он
разрушается только при максимальной
растягивающей нагрузке (ЕР 0 861 994 А2, 1998).
Известное устройство имеет недостаток,
связанный с тем, что в нем не исключена
возможность вскрытия втулки со стороны
крепления пружины в корпусе и свободного
вытягивания отрезка троса из корпуса при
злоумышленном воздействии, что снижает
надежность устройств и ограничивает его
применимость.
Известно гибкое и запорно-пломбировочное
устройство, описанное в патенте US 3,994,521, 1976.
В этом известном устройстве для запирания
используется отрезок троса, один конец которого
предварительно жестко фиксируется в корпусе.
Непосредственно в корпусе размещается
подпружиненная обойма с фиксирующими второй
свободный конец отрезка троса фиксирующими
элементами. Фиксирующие элементы выполнены в
форме шариков и перемещаются в посадочных
пазах обоймы при запирании по внутренней
конической поверхности корпуса.
Крепление одного конца троса в корпусе создает
устройство громоздким. Кроме того, обойма для
фиксирующих элементов в известном устройстве
выполнена в виде сегментов, образующих
пирамидальнообразное посадочное место для
фиксирующих элементов, что делает обойму
технически сложной и менее надежной как при
запирании устройства, так и при попытке
несанкционированного вскрытия устройства.
Задачей изобретения является повышение
компактности устройства и надежности при
попытке несанкционированного вскрытия запорно-
пломбировочного устройства, расширение области
его использования в разных климатических поясах.
Технический результат достигается тем, что в
запорно-пломбировочном устройстве, содержащем
корпус, отрезок троса с жестко закрепленным одним
концом, свободным концом, который при запирании
пропускается через корпус с образованием петли,
расположенные в корпусе фиксирующие элементы в
виде стальных шариков, согласно изобретению,
внутренняя поверхность с одной стороны корпуса
выполнена конусной, а с другой стороны корпус
имеет плоскую часть с двумя отверстиями, при этом
со стороны внутренней конусной поверхности
корпуса размещена подвижная пластиковая втулка с
углом конусности 15°-16°, с пазами в
горизонтальной плоскости, в которых расположены
стальные шарики, подвижная пластиковая втулка
подпружинена стальной пружиной с углом
конусности 15°-16°, прикрепленной к зажимному
колпачку со сквозным центральным отверстием и
двумя отверстиями, соосными отверстиям в плоской
части корпуса для пропускания сквозь них конца
отрезка троса и жесткого крепления его вне
корпуса.
Для увеличения максимального сжимающего и
фиксирующего действия стальных шариков
конусная внешняя поверхность подвижной
пластиковой втулки повторяет конусную
внутреннюю поверхность корпуса, а прижимающее
действие стальной конусной пружины обеспечивает
сдавливающее действие стальных шариков на
отрезок троса в пределах конусной поверхности
корпуса и подвижной пластиковой втулки до 15°-
16°. Заклинивающий точечный эффект каждого из
стальных шариков, свободно перемещающихся в
перпендикулярных продольной оси корпуса пазах
подвижной пластиковой втулки, не позволят
прокручивать отрезок троса и препятствует
несанкционированному извлечению троса из
корпуса запорного устройства.
Внешняя поверхность корпуса запорно-
пломбировочного устройства может быть
полностью цилиндрической или конической, или
коническо-цилиндрической, а внутренняя
поверхность - оптимально, цилиндрическо-
коническая, с внутренней конической поверхностью
в нижней части корпуса.
Изобретение поясняется рисунками общего вида
запорно-пломбировочного устройства,
продольными и поперечными сечениями в рабочем
состоянии в варианте с корпусом, имеющим
цилиндро-коническую как внешнюю, так и
внутреннюю поверхность.
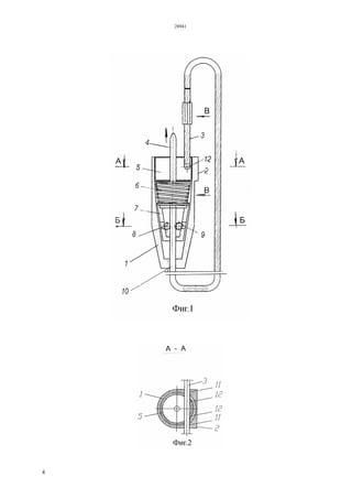
На фиг.1 представлено продольное сечение
запорно-пломбировочного устройства, вид сбоку с
продеванием свободного конца отрезка троса.
На фиг.2 представлено поперечное сечение
запорно-пломбировочного устройства с продетым
концом отрезка троса по А-А на фиг.1.
На фиг.3 представлено поперечное сечение
запорно-пломбировочного устройства с продетым
свободным концом отрезка троса по Б-Б на фиг.1.
На фиг.4 представлено крепление одного конца
отрезка троса вне корпуса запорно-
пломбировочного устройства и с продетым
свободным концом отрезка троса в корпусе, вид В-В
на фиг.1.
28941
3
Корпус 1 запорно-пломбировочного устройства
содержит плоскую часть 2 с одной стороны и
конусную - с другой стороны. Отрезок троса имеет
один конец 3 и свободный конец 4. В корпусе 1
размещены зажимной колпачок 5, к которому
прикреплена стальная конусная пружина 6,
подвижная пластиковая втулка 7 с углом
конусности 15°-16°, стальные шарики 8. В
подвижной пластиковой втулке 7 выполнены
прорези 9. В конусной части 2 корпуса 1 выполнено
центральное отверстие 10, в плоской части 2
корпуса 1 выполнены отверстия 11, в зажимном
колпачке 5 выполнены отверстия 12. Отверстия 11,
12 выполнены для пропускания конца 3 отрезка
троса через корпус 1 и зажимной колпачок 5 с
последующим креплением его с помощью зажима
13 вне корпуса 1.
Запорно-пломбировочное устройство
используется следующим образом. Размещают в
плоской части 2 корпуса 1 и зажимном колпачке 5
один конец 3 отрезка троса путем продевания этого
конца через отверстия 11 в плоской части 2 и
отверстия 12 в зажимном колпачке 5. Затем конец 3
отрезка троса зажимают с помощью зажима 13 вне
корпуса 1. При продевании свободного конца 4
отрезка троса через центральное отверстие 10
корпуса 1 и прохождении его через подвижную
пластиковую втулку 7, между стальными шариками
8, перемещающимися по пазам 9, отжимается вверх
стальная конусная пружина 6, фиксируемая
зажимным колпачком 5. Таким образом, свободный
конец 4 отрезка троса проходит через весь корпус 1.
При этом стальные шарики 8 в подвижной
пластиковой втулке 7 с углом конусности 15°-16°,
прижимаемой к внутренней поверхности конусной
части корпуса 1, максимально сжимают с двух
противоположных сторон свободный конец 4
отрезка троса. Под действием стальной конусной
пружины 6 подвижная пластиковая втулка 7
максимально прижимается к внутренней
поверхности корпуса 1 с таким же углом
конусности 15°-16°, а стенки конусной части
корпуса 1 прижимают стальные шарики 8 с двух
сторон к свободному концу 4 отрезка троса, при
этом стальные шарики 8 вдавливаются между
стальными проволоками троса и плотно
защемляются. При попытке выдвижения свободного
конца 4 отрезка троса из отверстия 10 конусной
части 2 корпуса 1 запорно-пломбирующего
устройства или попытке прокручивания троса
происходит ещё большее заклинивание и запирание
свободного конца 4 отрезка троса за счет
максимального и усиливающего прижимного
действия стальных шариков 8, давления конусной
пружины 6, а также формы конусной подвижной
пластиковой втулки 7 и внутренней конусной
поверхности корпуса 1.
Крепление конца 3 отрезка троса вне корпуса
обеспечивает возможность изготовления корпуса
более компактным, а конструктивное выполнение
подвижной пластиковой втулки - технологически
проще, при этом повышается надежность
устройства в целом.
Работа запорно-пломбирующего устройства
остается надежной при любых климатических
условиях, так как размеры отверстий соответствуют
плотному прилеганию троса, внешние щели
закрываются влагонепроницаемым пленочным
материалом, предотвращается проникновение влаги
и ее промерзание внутри корпуса.
Все детали устройства выполнены из одного
материала, поэтому коэффициент линейного и
объемного расширения при нагревании запорно-
пломбирующего устройства одинаковый для всех
элементов. Материал пластиковой втулки имеет
меньшую прочность чем материал корпуса, так как
может свободно перемещаться внутри корпуса и не
несет большую нагрузку. Нагрев устройства
приводит к равномерному тепловому расширению
всех деталей, что обеспечивает сохранение
запорного эффекта выдерживания нагрузок по
запиранию свободного конца отрезка троса, которые
предъявляются существующими правилами и
нормативными документами, действующими на
территории СНГ и других государств.
ФОРМУЛА ИЗОБРЕТЕНИЯ
Запорно-пломбировочное устройство,
содержащее корпус, отрезок троса с жестко
закрепленным одним концом, свободным концом,
который при запирании пропускается через корпус с
образованием петли, расположенные в корпусе
фиксирующие элементы в виде стальных шариков,
отличающееся тем, что внутренняя поверхность с
одной стороны корпуса выполнена конусной, а с
другой стороны корпус имеет плоскую часть с
двумя отверстиями, при этом со стороны
внутренней конусной поверхности корпуса
размещена подвижная пластиковая втулка с углом
конусности 15°-16° и с пазами в горизонтальной
плоскости, в которых расположены стальные
шарики, подвижная пластиковая втулка
подпружинена стальной пружиной с углом
конусности 15°-16°, прикрепленной к зажимному
колпачку со сквозным центральным отверстием и
двумя отверстиями, соосными отверстиям в плоской
части корпуса для пропускания сквозь них конца
отрезка троса и жесткого крепления его вне
корпуса.
28941
4
28941
5
Верстка Ж. Жомартбек
Корректор Е. Барч

28941ip

  • 1.
    РЕСПУБЛИКА КАЗАХСТАН (19) KZ(13) A4 (11) 28941 (51) F16G 11/04 (2006.01) КОМИТЕТ ПО ПРАВАМ ИНТЕЛЛЕКТУАЛЬНОЙ СОБСТВЕННОСТИ МИНИСТЕРСТВА ЮСТИЦИИ РЕСПУБЛИКИ КАЗАХСТАН ОПИСАНИЕ ИЗОБРЕТЕНИЯ К ИННОВАЦИОННОМУ ПАТЕНТУ (21) 2013/1975.1 (22) 27.12.2013 (45) 15.09.2014, бюл. №9 (76) Мулладжанов Руслан Равильевич; Ниязова Сайера Руслановна (56) EP 0861994A1, 1998 (54) ЗАПОРНО-ПЛОМБИРОВОЧНОЕ УСТРОЙСТВО "КАШАЛОТ-М" (57) Изобретение предназначено для использования во всех отраслях, где необходимо применение отрезка троса, фиксируемого с заклинивающим действием, например, как охранное устройство, предохраняющее объект, имеющий парные петли или специальные парные ушки на запираемых створках дверей, люков, задвижек и др. закрываемых деталей для продевания сквозь парные петли или парные ушки троса, от несанкционированного проникновения и вскрытия, как заклинивающий по всему периметру отрезка троса зажим. Задачей изобретения является повышение компактности устройства и надежности при попытке несанкционированного вскрытия запорно- пломбировочного устройства, расширение области его использования в разных климатических поясах. Для этого в запорно-пломбировочном устройстве, содержащем корпус, отрезок троса с жестко закрепленным одним концом, свободным концом, который при запирании пропускается через корпус с образованием петли, расположенные в корпусе фиксирующие элементы в виде стальных шариков, согласно изобретению, внутренняя поверхность с одной стороны корпуса выполнена конусной, а с другой стороны корпус имеет плоскую часть с двумя отверстиями, при этом со стороны внутренней конусной поверхности корпуса размещена подвижная пластиковая втулка с углом конусности 15°-16°, с пазами в горизонтальной плоскости, в которых расположены стальные шарики, подвижная пластиковая втулка подпружинена стальной пружиной с углом конусности 15°-16°, прикрепленной к зажимному колпачку со сквозным центральным отверстием и двумя отверстиями, соосными отверстиям в плоской части корпуса для пропускания сквозь них конца отрезка троса и жесткого крепления его вне корпуса. (19)KZ(13)A4(11)28941
  • 2.
    28941 2 Изобретение предназначено дляиспользования во всех отраслях, где необходимо применение отрезка троса, фиксируемого с заклинивающим действием, например, как охранное устройство, предохраняющее объект, имеющий парные петли или специальные парные ушки на запираемых створках дверей, люков, задвижек и др. закрываемых деталей для продевания сквозь парные петли или парные ушки троса, от несанкционированного проникновения и вскрытия, как заклинивающий по всему периметру отрезка троса зажим. Известно гибкое запорно-пломбировочное устройство, содержащее корпус, в котором предварительно закрепляют один конец отрезка троса, а второй конец при запирании пропускают сквозь корпус с образованием петли и фиксируют в нем посредством двух подпружиненных стальных шариков разного диаметра, расположенных внутри корпуса в специально предусмотренном посадочном месте - подпружиненной втулке. Шарики равномерно воздействуют на отрезок троса с одной его стороны для распределения нагрузки подклинивающего действия. Это уменьшает концентрацию нагрузки на отрезок троса так, что он разрушается только при максимальной растягивающей нагрузке (ЕР 0 861 994 А2, 1998). Известное устройство имеет недостаток, связанный с тем, что в нем не исключена возможность вскрытия втулки со стороны крепления пружины в корпусе и свободного вытягивания отрезка троса из корпуса при злоумышленном воздействии, что снижает надежность устройств и ограничивает его применимость. Известно гибкое и запорно-пломбировочное устройство, описанное в патенте US 3,994,521, 1976. В этом известном устройстве для запирания используется отрезок троса, один конец которого предварительно жестко фиксируется в корпусе. Непосредственно в корпусе размещается подпружиненная обойма с фиксирующими второй свободный конец отрезка троса фиксирующими элементами. Фиксирующие элементы выполнены в форме шариков и перемещаются в посадочных пазах обоймы при запирании по внутренней конической поверхности корпуса. Крепление одного конца троса в корпусе создает устройство громоздким. Кроме того, обойма для фиксирующих элементов в известном устройстве выполнена в виде сегментов, образующих пирамидальнообразное посадочное место для фиксирующих элементов, что делает обойму технически сложной и менее надежной как при запирании устройства, так и при попытке несанкционированного вскрытия устройства. Задачей изобретения является повышение компактности устройства и надежности при попытке несанкционированного вскрытия запорно- пломбировочного устройства, расширение области его использования в разных климатических поясах. Технический результат достигается тем, что в запорно-пломбировочном устройстве, содержащем корпус, отрезок троса с жестко закрепленным одним концом, свободным концом, который при запирании пропускается через корпус с образованием петли, расположенные в корпусе фиксирующие элементы в виде стальных шариков, согласно изобретению, внутренняя поверхность с одной стороны корпуса выполнена конусной, а с другой стороны корпус имеет плоскую часть с двумя отверстиями, при этом со стороны внутренней конусной поверхности корпуса размещена подвижная пластиковая втулка с углом конусности 15°-16°, с пазами в горизонтальной плоскости, в которых расположены стальные шарики, подвижная пластиковая втулка подпружинена стальной пружиной с углом конусности 15°-16°, прикрепленной к зажимному колпачку со сквозным центральным отверстием и двумя отверстиями, соосными отверстиям в плоской части корпуса для пропускания сквозь них конца отрезка троса и жесткого крепления его вне корпуса. Для увеличения максимального сжимающего и фиксирующего действия стальных шариков конусная внешняя поверхность подвижной пластиковой втулки повторяет конусную внутреннюю поверхность корпуса, а прижимающее действие стальной конусной пружины обеспечивает сдавливающее действие стальных шариков на отрезок троса в пределах конусной поверхности корпуса и подвижной пластиковой втулки до 15°- 16°. Заклинивающий точечный эффект каждого из стальных шариков, свободно перемещающихся в перпендикулярных продольной оси корпуса пазах подвижной пластиковой втулки, не позволят прокручивать отрезок троса и препятствует несанкционированному извлечению троса из корпуса запорного устройства. Внешняя поверхность корпуса запорно- пломбировочного устройства может быть полностью цилиндрической или конической, или коническо-цилиндрической, а внутренняя поверхность - оптимально, цилиндрическо- коническая, с внутренней конической поверхностью в нижней части корпуса. Изобретение поясняется рисунками общего вида запорно-пломбировочного устройства, продольными и поперечными сечениями в рабочем состоянии в варианте с корпусом, имеющим цилиндро-коническую как внешнюю, так и внутреннюю поверхность. На фиг.1 представлено продольное сечение запорно-пломбировочного устройства, вид сбоку с продеванием свободного конца отрезка троса. На фиг.2 представлено поперечное сечение запорно-пломбировочного устройства с продетым концом отрезка троса по А-А на фиг.1. На фиг.3 представлено поперечное сечение запорно-пломбировочного устройства с продетым свободным концом отрезка троса по Б-Б на фиг.1. На фиг.4 представлено крепление одного конца отрезка троса вне корпуса запорно- пломбировочного устройства и с продетым свободным концом отрезка троса в корпусе, вид В-В на фиг.1.
  • 3.
    28941 3 Корпус 1 запорно-пломбировочногоустройства содержит плоскую часть 2 с одной стороны и конусную - с другой стороны. Отрезок троса имеет один конец 3 и свободный конец 4. В корпусе 1 размещены зажимной колпачок 5, к которому прикреплена стальная конусная пружина 6, подвижная пластиковая втулка 7 с углом конусности 15°-16°, стальные шарики 8. В подвижной пластиковой втулке 7 выполнены прорези 9. В конусной части 2 корпуса 1 выполнено центральное отверстие 10, в плоской части 2 корпуса 1 выполнены отверстия 11, в зажимном колпачке 5 выполнены отверстия 12. Отверстия 11, 12 выполнены для пропускания конца 3 отрезка троса через корпус 1 и зажимной колпачок 5 с последующим креплением его с помощью зажима 13 вне корпуса 1. Запорно-пломбировочное устройство используется следующим образом. Размещают в плоской части 2 корпуса 1 и зажимном колпачке 5 один конец 3 отрезка троса путем продевания этого конца через отверстия 11 в плоской части 2 и отверстия 12 в зажимном колпачке 5. Затем конец 3 отрезка троса зажимают с помощью зажима 13 вне корпуса 1. При продевании свободного конца 4 отрезка троса через центральное отверстие 10 корпуса 1 и прохождении его через подвижную пластиковую втулку 7, между стальными шариками 8, перемещающимися по пазам 9, отжимается вверх стальная конусная пружина 6, фиксируемая зажимным колпачком 5. Таким образом, свободный конец 4 отрезка троса проходит через весь корпус 1. При этом стальные шарики 8 в подвижной пластиковой втулке 7 с углом конусности 15°-16°, прижимаемой к внутренней поверхности конусной части корпуса 1, максимально сжимают с двух противоположных сторон свободный конец 4 отрезка троса. Под действием стальной конусной пружины 6 подвижная пластиковая втулка 7 максимально прижимается к внутренней поверхности корпуса 1 с таким же углом конусности 15°-16°, а стенки конусной части корпуса 1 прижимают стальные шарики 8 с двух сторон к свободному концу 4 отрезка троса, при этом стальные шарики 8 вдавливаются между стальными проволоками троса и плотно защемляются. При попытке выдвижения свободного конца 4 отрезка троса из отверстия 10 конусной части 2 корпуса 1 запорно-пломбирующего устройства или попытке прокручивания троса происходит ещё большее заклинивание и запирание свободного конца 4 отрезка троса за счет максимального и усиливающего прижимного действия стальных шариков 8, давления конусной пружины 6, а также формы конусной подвижной пластиковой втулки 7 и внутренней конусной поверхности корпуса 1. Крепление конца 3 отрезка троса вне корпуса обеспечивает возможность изготовления корпуса более компактным, а конструктивное выполнение подвижной пластиковой втулки - технологически проще, при этом повышается надежность устройства в целом. Работа запорно-пломбирующего устройства остается надежной при любых климатических условиях, так как размеры отверстий соответствуют плотному прилеганию троса, внешние щели закрываются влагонепроницаемым пленочным материалом, предотвращается проникновение влаги и ее промерзание внутри корпуса. Все детали устройства выполнены из одного материала, поэтому коэффициент линейного и объемного расширения при нагревании запорно- пломбирующего устройства одинаковый для всех элементов. Материал пластиковой втулки имеет меньшую прочность чем материал корпуса, так как может свободно перемещаться внутри корпуса и не несет большую нагрузку. Нагрев устройства приводит к равномерному тепловому расширению всех деталей, что обеспечивает сохранение запорного эффекта выдерживания нагрузок по запиранию свободного конца отрезка троса, которые предъявляются существующими правилами и нормативными документами, действующими на территории СНГ и других государств. ФОРМУЛА ИЗОБРЕТЕНИЯ Запорно-пломбировочное устройство, содержащее корпус, отрезок троса с жестко закрепленным одним концом, свободным концом, который при запирании пропускается через корпус с образованием петли, расположенные в корпусе фиксирующие элементы в виде стальных шариков, отличающееся тем, что внутренняя поверхность с одной стороны корпуса выполнена конусной, а с другой стороны корпус имеет плоскую часть с двумя отверстиями, при этом со стороны внутренней конусной поверхности корпуса размещена подвижная пластиковая втулка с углом конусности 15°-16° и с пазами в горизонтальной плоскости, в которых расположены стальные шарики, подвижная пластиковая втулка подпружинена стальной пружиной с углом конусности 15°-16°, прикрепленной к зажимному колпачку со сквозным центральным отверстием и двумя отверстиями, соосными отверстиям в плоской части корпуса для пропускания сквозь них конца отрезка троса и жесткого крепления его вне корпуса.
  • 4.
  • 5.