(19) BY (11) 10362
(13) U
(46) 2014.10.30
(51) МПК
B 60J 11/00
E 04H 15/00
(2006.01)
(2006.01)
ОПИСАНИЕ
ПОЛЕЗНОЙ
МОДЕЛИ К
ПАТЕНТУ
(12)
РЕСПУБЛИКА БЕЛАРУСЬ
НАЦИОНАЛЬНЫЙ ЦЕНТР
ИНТЕЛЛЕКТУАЛЬНОЙ
СОБСТВЕННОСТИ
(54) АВТОМОБИЛЬНЫЙ СТОЯНОЧНЫЙ ТЕНТ
С КРЕПЛЕНИЕМ НА ЛЕЕРЕ
(21) Номер заявки: u 20140097
(22) 2014.03.14
(71) Заявитель: Чехович Дмитрий Фомич
(BY)
(72) Авторы: Чехович Дмитрий Фомич; Че-
хович Владимир Дмитриевич (BY)
(73) Патентообладатель: Чехович Дмитрий
Фомич (BY)
(57)
1. Автомобильный стояночный тент с креплением на леере, выполненный в виде чех-
ла, покрывающего кузов автомобиля, оснащенного средствами крепления и фиксации
чехла на кузове, отличающийся тем, что через закрепленные по периметру развернутого
на поверхности кузова автомобиля полотна чехла петли пропущен леер с возможностью
его натяжения на протекторах колес и фиксирования посредством замка-фиксатора, в пе-
редней части полотна чехла закреплен нерегулируемый шнур-стабилизатор с возможно-
стью его пропускания под бампером автомобиля, в задней части полотна чехла закреплен
расположенный поперек тента карман удлиненной формы со вставленным в него гибким
валом, предназначенным для наматывания полотна чехла при сворачивании его в рулон.
2. Тент по п. 1, отличающийся тем, что петли имеют длину, обеспечивающую лееру
возможность упора и зацепления за протектор всех четырех колес при натяжении леера.
3. Тент по п. 1, отличающийся тем, что выполнен из водонепроницаемого материала,
в частности из ткани с водоотталкивающим эффектом.
4. Тент по п. 3, отличающийся тем, что выполнен из материала, представляющего со-
бой паропроницаемую мембрану плотностью более 60 г/м2
.
5. Тент по п. 3 или 4, отличающийся тем, что содержит вставки или нашивки из ме-
таллизированных материалов, отражающих солнечную радиацию.
(56)
1. RU 81919, 2009.
2. RU 62357, 2007.
3. RU 119293, 2012.
Фиг. 1
BY10362U2014.10.30
BY 10362 U 2014.10.30
2
Автомобильный стояночный тент с креплением на леере относится к области бескар-
касных укрытий для легковых автомобилей, джипов, минивэнов, микроавтобусов, приме-
няемых в любую погоду, а также к категории съемных наружных чехлов, специально
предназначенных для защиты транспортных средств от атмосферных воздействий.
Известен защитный чехол транспортного средства, содержащий эластичную оболочку
по форме кузова транспортного средства и систему крепления ее на кузове - стягивающие
шнуры для фиксации чехла снизу. [1].
Известен тент для временно неэксплуатируемого автомобиля, представляющий собой
чехол из гибкого материала, выполненный одеваемым сверху на автомобиль и имеющий
боковые полотнища, связанные с полотнищем, покрывающим крышу и капот автомобиля,
а также средства прикрепления чехла к элементам кузова автомобиля [2].
Известен универсальный защитный мини-чехол для легкового автомобиля, выполнен-
ный в виде оболочки из влагонепроницаемого материала и содержащий переднюю и зад-
нюю фиксирующие ленты крепления оболочки к крыльям автомобиля с помощью
имеющихся на концах лент крючков [3] - прототип.
Каждый из указанных чехлов выполнен в виде оболочки, покрывающей кузов автомо-
биля, имеет систему крепления и фиксации чехла на кузове.
Недостатками данных чехлов являются:
длительное время и сложность установки и снятия тента, так как при малейшем ветре
тент-футляр превращается в парус;
отсутствие возможности компактного складывания снятых с автомобиля изделий для
транспортировки и хранения;
представленные в розничной продаже тенты автомобильные, известные как изделия
бескаркасного стояночного тента для легковых автомобилей, выполненного в форме фут-
ляра, повторяющего контуры автомобиля, закрывающего его до земли и стягиваемого
внизу эластичной тесьмой или шнуром, в силу универсальности не учитывают особенно-
стей марки и модели автомобиля, поэтому имеют складки и провисания тента при исполь-
зовании;
форма футляра, облегающего машину, способствует интенсивному сбору и конденса-
ции на поверхности в скрытых полостях машины испарений, идущих от земли в любую
погоду.
Задачей полезной модели является создание эффективного, легко устанавливаемого
автомобильного тента и расширение арсенала съемных наружных автомобильных чехлов.
Технический результат, обеспечивающий решение поставленной задачи, состоит в
устранении возможности накопления паров и образования конденсата на поверхностях
автомобиля, в снижении трудоемкости и упрощении процесса установки и снятия бескар-
касного стояночного тента в эксплуатации с одновременным уменьшением габаритных
размеров тента в сложенном состоянии, упрощающих его транспортировку и хранение в
легковом автомобиле.
Решение задачи обеспечивается достижением технического результата посредством
автомобильного стояночного тента с креплением на леере, выполненного в виде чехла,
покрывающего кузов автомобиля, оснащенного средствами крепления и фиксации чехла
на кузове, отличия которого согласно полезной модели в том, что через закрепленные по
периметру развернутого на поверхности кузова автомобиля полотна чехла петли пропу-
щен леер с возможностью его натяжения на протекторах колес и фиксирования посредст-
вом замка-фиксатора, в передней части полотна чехла закреплен нерегулируемый шнур-
стабилизатор с возможностью его пропускания под бампером автомобиля, в задней части
полотна чехла закреплен расположенный поперек тента карман удлиненной формы со
вставленным в него гибким валом, предназначенным для наматывания полотна чехла при
сворачивании его в рулон.
BY 10362 U 2014.10.30
3
Длина петель, размещенных на кромках полотна спереди и сзади, такова, что обеспе-
чивает лееру упор и зацепление за протектор всех четырех колес при натяжении леера и
блокировке его обратного хода в замке-фиксаторе.
Тент выполнен из водонепроницаемого материала, в частности из ткани с водооттал-
кивающим эффектом.
Тент выполнен из материала, представляющего собой паропроницаемую мембрану
плотностью более 60 г/м2
.
Тент содержит вставки или нашивки из металлизированных материалов, отражающих
солнечную радиацию.
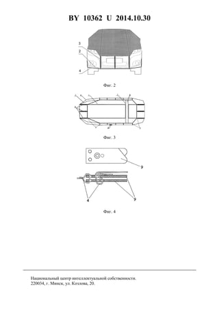
Сущность полезной модели раскрывается с помощью фиг. 1-3. На фиг. 1, 2 изображен
тент, установленный на автомобиле, причем на фиг. 1 показан боковой вид, на фиг. 2 - вид
спереди. На фиг. 3 изображен чертеж тента в развернутом виде. На фиг. 4 изображен за-
мок-фиксатор.
Как представлено на фиг. 1-3, автомобильный стояночный тент с креплением на леере
состоит из полотна 1, шнура-стабилизатора 2, петель 3, леера 4, замка-фиксатора 5, кем-
бриков 6, кармана 7, вала 8.
Существенным отличием предлагаемого тента от известного прототипа является его
форма и материал. Тент изготавливается в виде чехла плоской конструкции с полотном 1
специальной формы (фиг. 3), обшитым по периметру прочной лентой. В передней части
полотна 1 закреплен нерегулируемый шнур-стабилизатор 2, упрощающий процесс в на-
чальный момент установки и при снятии тента. Вдоль периметра полотна 1 через проме-
жутки, зависящие от конкретной модели автомобиля, пришиты петли 3, удерживающие
пропущенный через них леер 4. Концы леера сведены вместе и зафиксированы в замке-
фиксаторе 5.
Петли 3 с протянутым через них леером 4, расположенные вдоль боковых кромок по-
лотна, имеют длину, достаточную для закрывания чехлом области дверных замков. Длину
петель, закрепленных на кромках полотна спереди и сзади, выбирают таким образом, что-
бы при натяжении леера и последующей блокировке его перемещения в обратном направ-
лении (обратного хода леера) в замке-фиксаторе обеспечивалось упирание леера в
нижнюю часть протектора как передних, так и задних колес и, следовательно, фиксиро-
ванное положение тента на автомобиле. Размер петель по периметру тента такой, что
обеспечивает лееру при его натяжении упор и зацепление за протектор всех четырех ко-
лес, обеспечивая надежное удержание тента на автомобиле при ветровой нагрузке. Петли
3 и участки леера 4 под бамперами защищают от грязи помещением их в гладкие кембри-
ки 6.
В задней части тента имеется карман 7, расположенный поперек всего изделия. В дан-
ный карман вставлен гибкий легкий вал 8, служащий для быстрого и удобного сворачива-
ния тента в компактный рулон, обеспечивая удобное хранение.
На леере 4 установлен специальный замок-фиксатор 5, который может быть произ-
вольной известной конструкции, предусматривающей возможность блокировки обратного
хода леера в его натянутом положении с упором в протекторы колес автомобиля. Пример
такой конструкции замка-фиксатора 5, выполненной из пластин с отверстиями, представ-
лен на фиг. 4.
В передней части полотна 1 закреплен нерегулируемый шнур-стабилизатор 2, упро-
щающий процесс в начальный момент установки и при снятии тента, что особенно важно
в ветреную погоду. В начальный момент установки тента шнур-стабилизатор 2 заводится
под передний бампер машины и дает возможность легко и быстро развернуть тент на ав-
томобиле и завести леер под задний бампер. Участки леера, проходящие под бамперами
машины, а также петли, размещенные на передней и задней кромках полотна чехла, за-
щищены от грязи надетыми на них кембриками 6.
BY 10362 U 2014.10.30
4
Замок-фиксатор 5 работает таким образом, что при натяжении леер 4 свободно прохо-
дит через петли и сквозь отверстия в пластинах 9 замка и легко движется в одном направ-
лении, а при прекращении затягивания тотчас же происходит блокировка движения леера
в обратном направлении посредством пластин в замке. Чем сильнее натяжение леера, тем
выше сила его фиксации на нижней части протекторов колес при закреплении концов лее-
ра замком. Такая система крепления тента обеспечивает надежное его удержание при
сильных порывах ветра. Для освобождения леера достаточно раздвинуть пластины 9 замка.
Форма полотна тента подобрана таким образом, чтобы оно закрывало поверхность ку-
зова автомобиля сверху области дверных замков в боковых частях кузова и поверхности
капота и багажника до бамперов спереди и сзади соответственно. Тем самым при опреде-
ленной длине петель обеспечиваются эффективная циркуляция воздушных потоков под
тентом.
Легкий гибкий вал 8 в кармане 7 в задней части тента обеспечивает быстрое и легкое
снятие (наматыванием полотна 1) и установку (разматыванием полотна) тента.
Указанные выше цели достигаются за счет того, что в конструкции тента применен
леер, который фиксирует в натянутом положении полотно тента с помощью петель опре-
деленной длины; специальный замок, блокируя перемещение леера, фиксирует его поло-
жение в натянутом виде на протекторе колес автомобиля; форма полотна тента и
определенная длина петель обеспечивают эффективную циркуляцию воздушных потоков
под тентом; легкий гибкий вал в кармане в задней части тента обеспечивает быстрое и
легкое снятие и установку тента. Форма и размеры предлагаемого автомобильного стоя-
ночного тента обеспечивают укрытие автомашины вдоль кузова - от верхней части перед-
него бампера до верхней части заднего бампера, поперек кузова - от ручек левых дверей
до ручек правых дверей, что отвечает требованиям правил хранения автомашин на авто-
стоянках, эффективную защиту автомобиля от атмосферных осадков, удобство в эксплуа-
тации.
Данная форма и размеры тента обеспечивают, в отличие от известного прототипа, сво-
бодное движение воздуха между тентом и поверхностями автомобиля, тем самым устра-
няя возможность скопления испарений от земли и образования конденсата, создавая
условия для просушки укрытых поверхностей автомобиля, даже если тент был установлен
во время дождя, что усиливает эффективность химических средств защиты лакокрасоч-
ных покрытий автомобиля и в конечном счете продлевает срок его эксплуатации.
Высокая эффективность вентиляции поверхностей автомобиля под предлагаемой кон-
струкцией тента позволяет использовать не только ткани с водоотталкивающим эффек-
том, но и полностью водонепроницаемые материалы. Наибольший защитный эффект
достигнут при использовании паропроницаемых мембран плотностью от 60 г/м2
и выше, с
вставками или нашивками из паропроницаемых металлизированных мембран или других
подобных легких материалов, отражающих солнечную радиацию и усиливающих защиту
салона автомобиля от перегрева, а внутренние панели, кожу сидений, резиновые уплотни-
тели стекол и дверей от деформации и растрескивания.
BY 10362 U 2014.10.30
5
Фиг. 2
Фиг. 3
Фиг. 4
Национальный центр интеллектуальной собственности.
220034, г. Минск, ул. Козлова, 20.

10362

  • 1.
    (19) BY (11)10362 (13) U (46) 2014.10.30 (51) МПК B 60J 11/00 E 04H 15/00 (2006.01) (2006.01) ОПИСАНИЕ ПОЛЕЗНОЙ МОДЕЛИ К ПАТЕНТУ (12) РЕСПУБЛИКА БЕЛАРУСЬ НАЦИОНАЛЬНЫЙ ЦЕНТР ИНТЕЛЛЕКТУАЛЬНОЙ СОБСТВЕННОСТИ (54) АВТОМОБИЛЬНЫЙ СТОЯНОЧНЫЙ ТЕНТ С КРЕПЛЕНИЕМ НА ЛЕЕРЕ (21) Номер заявки: u 20140097 (22) 2014.03.14 (71) Заявитель: Чехович Дмитрий Фомич (BY) (72) Авторы: Чехович Дмитрий Фомич; Че- хович Владимир Дмитриевич (BY) (73) Патентообладатель: Чехович Дмитрий Фомич (BY) (57) 1. Автомобильный стояночный тент с креплением на леере, выполненный в виде чех- ла, покрывающего кузов автомобиля, оснащенного средствами крепления и фиксации чехла на кузове, отличающийся тем, что через закрепленные по периметру развернутого на поверхности кузова автомобиля полотна чехла петли пропущен леер с возможностью его натяжения на протекторах колес и фиксирования посредством замка-фиксатора, в пе- редней части полотна чехла закреплен нерегулируемый шнур-стабилизатор с возможно- стью его пропускания под бампером автомобиля, в задней части полотна чехла закреплен расположенный поперек тента карман удлиненной формы со вставленным в него гибким валом, предназначенным для наматывания полотна чехла при сворачивании его в рулон. 2. Тент по п. 1, отличающийся тем, что петли имеют длину, обеспечивающую лееру возможность упора и зацепления за протектор всех четырех колес при натяжении леера. 3. Тент по п. 1, отличающийся тем, что выполнен из водонепроницаемого материала, в частности из ткани с водоотталкивающим эффектом. 4. Тент по п. 3, отличающийся тем, что выполнен из материала, представляющего со- бой паропроницаемую мембрану плотностью более 60 г/м2 . 5. Тент по п. 3 или 4, отличающийся тем, что содержит вставки или нашивки из ме- таллизированных материалов, отражающих солнечную радиацию. (56) 1. RU 81919, 2009. 2. RU 62357, 2007. 3. RU 119293, 2012. Фиг. 1 BY10362U2014.10.30
  • 2.
    BY 10362 U2014.10.30 2 Автомобильный стояночный тент с креплением на леере относится к области бескар- касных укрытий для легковых автомобилей, джипов, минивэнов, микроавтобусов, приме- няемых в любую погоду, а также к категории съемных наружных чехлов, специально предназначенных для защиты транспортных средств от атмосферных воздействий. Известен защитный чехол транспортного средства, содержащий эластичную оболочку по форме кузова транспортного средства и систему крепления ее на кузове - стягивающие шнуры для фиксации чехла снизу. [1]. Известен тент для временно неэксплуатируемого автомобиля, представляющий собой чехол из гибкого материала, выполненный одеваемым сверху на автомобиль и имеющий боковые полотнища, связанные с полотнищем, покрывающим крышу и капот автомобиля, а также средства прикрепления чехла к элементам кузова автомобиля [2]. Известен универсальный защитный мини-чехол для легкового автомобиля, выполнен- ный в виде оболочки из влагонепроницаемого материала и содержащий переднюю и зад- нюю фиксирующие ленты крепления оболочки к крыльям автомобиля с помощью имеющихся на концах лент крючков [3] - прототип. Каждый из указанных чехлов выполнен в виде оболочки, покрывающей кузов автомо- биля, имеет систему крепления и фиксации чехла на кузове. Недостатками данных чехлов являются: длительное время и сложность установки и снятия тента, так как при малейшем ветре тент-футляр превращается в парус; отсутствие возможности компактного складывания снятых с автомобиля изделий для транспортировки и хранения; представленные в розничной продаже тенты автомобильные, известные как изделия бескаркасного стояночного тента для легковых автомобилей, выполненного в форме фут- ляра, повторяющего контуры автомобиля, закрывающего его до земли и стягиваемого внизу эластичной тесьмой или шнуром, в силу универсальности не учитывают особенно- стей марки и модели автомобиля, поэтому имеют складки и провисания тента при исполь- зовании; форма футляра, облегающего машину, способствует интенсивному сбору и конденса- ции на поверхности в скрытых полостях машины испарений, идущих от земли в любую погоду. Задачей полезной модели является создание эффективного, легко устанавливаемого автомобильного тента и расширение арсенала съемных наружных автомобильных чехлов. Технический результат, обеспечивающий решение поставленной задачи, состоит в устранении возможности накопления паров и образования конденсата на поверхностях автомобиля, в снижении трудоемкости и упрощении процесса установки и снятия бескар- касного стояночного тента в эксплуатации с одновременным уменьшением габаритных размеров тента в сложенном состоянии, упрощающих его транспортировку и хранение в легковом автомобиле. Решение задачи обеспечивается достижением технического результата посредством автомобильного стояночного тента с креплением на леере, выполненного в виде чехла, покрывающего кузов автомобиля, оснащенного средствами крепления и фиксации чехла на кузове, отличия которого согласно полезной модели в том, что через закрепленные по периметру развернутого на поверхности кузова автомобиля полотна чехла петли пропу- щен леер с возможностью его натяжения на протекторах колес и фиксирования посредст- вом замка-фиксатора, в передней части полотна чехла закреплен нерегулируемый шнур- стабилизатор с возможностью его пропускания под бампером автомобиля, в задней части полотна чехла закреплен расположенный поперек тента карман удлиненной формы со вставленным в него гибким валом, предназначенным для наматывания полотна чехла при сворачивании его в рулон.
  • 3.
    BY 10362 U2014.10.30 3 Длина петель, размещенных на кромках полотна спереди и сзади, такова, что обеспе- чивает лееру упор и зацепление за протектор всех четырех колес при натяжении леера и блокировке его обратного хода в замке-фиксаторе. Тент выполнен из водонепроницаемого материала, в частности из ткани с водооттал- кивающим эффектом. Тент выполнен из материала, представляющего собой паропроницаемую мембрану плотностью более 60 г/м2 . Тент содержит вставки или нашивки из металлизированных материалов, отражающих солнечную радиацию. Сущность полезной модели раскрывается с помощью фиг. 1-3. На фиг. 1, 2 изображен тент, установленный на автомобиле, причем на фиг. 1 показан боковой вид, на фиг. 2 - вид спереди. На фиг. 3 изображен чертеж тента в развернутом виде. На фиг. 4 изображен за- мок-фиксатор. Как представлено на фиг. 1-3, автомобильный стояночный тент с креплением на леере состоит из полотна 1, шнура-стабилизатора 2, петель 3, леера 4, замка-фиксатора 5, кем- бриков 6, кармана 7, вала 8. Существенным отличием предлагаемого тента от известного прототипа является его форма и материал. Тент изготавливается в виде чехла плоской конструкции с полотном 1 специальной формы (фиг. 3), обшитым по периметру прочной лентой. В передней части полотна 1 закреплен нерегулируемый шнур-стабилизатор 2, упрощающий процесс в на- чальный момент установки и при снятии тента. Вдоль периметра полотна 1 через проме- жутки, зависящие от конкретной модели автомобиля, пришиты петли 3, удерживающие пропущенный через них леер 4. Концы леера сведены вместе и зафиксированы в замке- фиксаторе 5. Петли 3 с протянутым через них леером 4, расположенные вдоль боковых кромок по- лотна, имеют длину, достаточную для закрывания чехлом области дверных замков. Длину петель, закрепленных на кромках полотна спереди и сзади, выбирают таким образом, что- бы при натяжении леера и последующей блокировке его перемещения в обратном направ- лении (обратного хода леера) в замке-фиксаторе обеспечивалось упирание леера в нижнюю часть протектора как передних, так и задних колес и, следовательно, фиксиро- ванное положение тента на автомобиле. Размер петель по периметру тента такой, что обеспечивает лееру при его натяжении упор и зацепление за протектор всех четырех ко- лес, обеспечивая надежное удержание тента на автомобиле при ветровой нагрузке. Петли 3 и участки леера 4 под бамперами защищают от грязи помещением их в гладкие кембри- ки 6. В задней части тента имеется карман 7, расположенный поперек всего изделия. В дан- ный карман вставлен гибкий легкий вал 8, служащий для быстрого и удобного сворачива- ния тента в компактный рулон, обеспечивая удобное хранение. На леере 4 установлен специальный замок-фиксатор 5, который может быть произ- вольной известной конструкции, предусматривающей возможность блокировки обратного хода леера в его натянутом положении с упором в протекторы колес автомобиля. Пример такой конструкции замка-фиксатора 5, выполненной из пластин с отверстиями, представ- лен на фиг. 4. В передней части полотна 1 закреплен нерегулируемый шнур-стабилизатор 2, упро- щающий процесс в начальный момент установки и при снятии тента, что особенно важно в ветреную погоду. В начальный момент установки тента шнур-стабилизатор 2 заводится под передний бампер машины и дает возможность легко и быстро развернуть тент на ав- томобиле и завести леер под задний бампер. Участки леера, проходящие под бамперами машины, а также петли, размещенные на передней и задней кромках полотна чехла, за- щищены от грязи надетыми на них кембриками 6.
  • 4.
    BY 10362 U2014.10.30 4 Замок-фиксатор 5 работает таким образом, что при натяжении леер 4 свободно прохо- дит через петли и сквозь отверстия в пластинах 9 замка и легко движется в одном направ- лении, а при прекращении затягивания тотчас же происходит блокировка движения леера в обратном направлении посредством пластин в замке. Чем сильнее натяжение леера, тем выше сила его фиксации на нижней части протекторов колес при закреплении концов лее- ра замком. Такая система крепления тента обеспечивает надежное его удержание при сильных порывах ветра. Для освобождения леера достаточно раздвинуть пластины 9 замка. Форма полотна тента подобрана таким образом, чтобы оно закрывало поверхность ку- зова автомобиля сверху области дверных замков в боковых частях кузова и поверхности капота и багажника до бамперов спереди и сзади соответственно. Тем самым при опреде- ленной длине петель обеспечиваются эффективная циркуляция воздушных потоков под тентом. Легкий гибкий вал 8 в кармане 7 в задней части тента обеспечивает быстрое и легкое снятие (наматыванием полотна 1) и установку (разматыванием полотна) тента. Указанные выше цели достигаются за счет того, что в конструкции тента применен леер, который фиксирует в натянутом положении полотно тента с помощью петель опре- деленной длины; специальный замок, блокируя перемещение леера, фиксирует его поло- жение в натянутом виде на протекторе колес автомобиля; форма полотна тента и определенная длина петель обеспечивают эффективную циркуляцию воздушных потоков под тентом; легкий гибкий вал в кармане в задней части тента обеспечивает быстрое и легкое снятие и установку тента. Форма и размеры предлагаемого автомобильного стоя- ночного тента обеспечивают укрытие автомашины вдоль кузова - от верхней части перед- него бампера до верхней части заднего бампера, поперек кузова - от ручек левых дверей до ручек правых дверей, что отвечает требованиям правил хранения автомашин на авто- стоянках, эффективную защиту автомобиля от атмосферных осадков, удобство в эксплуа- тации. Данная форма и размеры тента обеспечивают, в отличие от известного прототипа, сво- бодное движение воздуха между тентом и поверхностями автомобиля, тем самым устра- няя возможность скопления испарений от земли и образования конденсата, создавая условия для просушки укрытых поверхностей автомобиля, даже если тент был установлен во время дождя, что усиливает эффективность химических средств защиты лакокрасоч- ных покрытий автомобиля и в конечном счете продлевает срок его эксплуатации. Высокая эффективность вентиляции поверхностей автомобиля под предлагаемой кон- струкцией тента позволяет использовать не только ткани с водоотталкивающим эффек- том, но и полностью водонепроницаемые материалы. Наибольший защитный эффект достигнут при использовании паропроницаемых мембран плотностью от 60 г/м2 и выше, с вставками или нашивками из паропроницаемых металлизированных мембран или других подобных легких материалов, отражающих солнечную радиацию и усиливающих защиту салона автомобиля от перегрева, а внутренние панели, кожу сидений, резиновые уплотни- тели стекол и дверей от деформации и растрескивания.
  • 5.
    BY 10362 U2014.10.30 5 Фиг. 2 Фиг. 3 Фиг. 4 Национальный центр интеллектуальной собственности. 220034, г. Минск, ул. Козлова, 20.