РЕСПУБЛИКА КАЗАХСТАН
(19) KZ (13) A4 (11) 28466
(51) E02B 8/08 (2006.01)
КОМИТЕТ ПО ПРАВАМ
ИНТЕЛЛЕКТУАЛЬНОЙ СОБСТВЕННОСТИ
МИНИСТЕРСТВА ЮСТИЦИИ РЕСПУБЛИКИ КАЗАХСТАН
ОПИСАНИЕ ИЗОБРЕТЕНИЯ
К ИННОВАЦИОННОМУ ПАТЕНТУ
(21) 2013/0615.1
(22) 04.05.2013
(45) 15.05.2014, бюл. №5
(72) Ким Аркадий Игнатьевич
(73) Товарищество с ограниченной
ответственностью "Казахский научно-
исследовательский институт рыбного хозяйства"
(56) http://www.vzlet-omsk.ru/kontakty
(54) ПЛАВУЧАЯ НАСОСНАЯ СТАНЦИЯ СО
ВСТРОЕННОЙ РЫБОЗАЩИТОЙ
(57) Изобретение относился к гидротехническому
строительству, а именно, к устройствам,
позволяющим защищать рыб и их молодь от
попадания в водозаборные сооружения.
Предназначено для водозабора мощностью до
4,5 м3
/с. Устройство позволяет защищать молодь
рыб минимальных размеров, за счет понижения
скорости подхода воды к РЗУ менее 0,15 м/с.
Наиболее близким аналогом является плавучая
насосная станция «Иртыш» с встроенной
рыбозащитой, конструкции насосного завода
«Взлет» г. Омск.
Плавучая насосная станция со встроенной
рыбозащитой монтируется на плавучей опоре
вокруг которой имеется каркас для навески боковых
и донно-торцовых сетчатых рыбозащитных экранов
и жалюзийного экрана. Жалюзийный экран отводит
водный поток и защищает сетчатый экран от коряг и
льдин. Сетчатый экран расположен за жалюзийным
и состоит из боковых и донно-торцовых
рыбозащитных экранов. Отдельный сетчатый экран
представляет собой полосу мелкоячейного полотна
сшитую в бесконечную ленту, натянутую и
вращающуюся на ведущем ведомом валах. Рядом с
валом для вращения сетчатого полотна
располагается вал механической очистки с
ворсистой круговой щеткой.
Водяные насосы устанавливаются на настиле
плавучей опоры. Поверх водяных моторов
устраивается крытый павильон для защиты моторов
от осадков и хранения инвентаря. Внутри павильона
имеется шкаф управления электрооборудованием и
электроталь для монтажа и техобслуживания
водяных насосов. На крыше павильона
устанавливается молниеотвод. По бортам
устанавливается леерное ограждение для
безопасности персонала. На носу и корме
монтируются кнехты для набора или подпуска
якорных и береговых канатов фиксирующих ПНС
на заданной точке водоема.
Общая рабочая площадь мелкоячейного полотна
сетчатых экранов составляет 30 м2
. При скорости
фильтрации воды через сетчатый экран 0,15 м/с,
соответствующей пороговой сносящей скорости
течения для молоди (СНиП 2.06.07-87), общий
объем воды проходящей через сетчатый экран при
установленной скорости составит 4,5 м3
/с.
Следовательно данная ПНС будет иметь
максимальную допустимую мощность 4,5 м3
/с.
Поскольку скорость воды при прохождении через
сетчатое полотно не превышает пороговую
сносящую скорость то молодь рыб не будет
сноситься и прижиматься к поверхности сетного
полотна. Ячеи сменных сетчатых экранов в период
массового ската ранней молоди не должны
превышать 2×2 мм. С подрастанием молоди в
водоеме размер ячей в сетных полотнах можно
увеличивать от 3×3 мм до 5×5 мм.
(19)KZ(13)A4(11)28466
28466
2
Изобретение относится к гидротехническому
строительству, а именно, к устройствам,
позволяющим защищать рыб и их молодь от
попадания в водозаборные сооружения.
Водозаборы на рыбохозяйственных водоемах, не
оборудованные эффективными рыбозащитными
устройствами (далее РЗУ), могут нанести
существенный ущерб из-за закачивания рыбы и
молоди. Согласно Водного кодекса РК по
состоянию на 17.07 2009 г. ст 88 п.1., пп. 2, и п.4
протокола совещания МСХ РК по вопросам
развития рыбного хозяйства №1, от 20.11.2008 г, не
допускается работа водозаборов без эффективных
рыбозащитных устройств.
Плавучие насосные станции (далее ПНС) имеют
то преимущество перед береговыми водозаборами,
что менее подвержены воздействию колебания
уровня воды, и могут иметь в своем составе
встроенную рыбозащиту. Предлагаемое устройство
предназначено для водозабора мощностью до
4,5 м3
/с. Устройство позволяет защищать молодь
рыб минимальных размеров, за счет понижения
скорости подхода воды к РЗУ менее 0,15 м/с -
пороговой сносящей скорости течения, при
превышении которой молодь рыб сносит потоком
(СНиП 2.06.07-87. Подпорные стены, судоходные
шлюзы, рыбопропускные и рыбозащитные
сооружения). Встроенное в конструкцию ПНС
рыбозащитное устройство имеет повышенную
площадь сетчатых экранов и приспособление для их
постоянной механической очистки. Сетчатые
экраны сменные, для выбора оптимального размера
ячеи по сезонам года. По бортам и дну устройство
оснащается жалюзийным ограждением для отвода
водного потока и защиты сетчатых экранов от коряг
и льдин.
Наиболее близким аналогом является плавучая
насосная станция «Иртыш» с встроенной
рыбозащитой, конструкции насосного завода
«Взлет» г. Омск (интернет-ресурс http://www.vzlet-
omsk.ru/kontakty). Аналог состоит из стальных
поплавков, их диаметр зависит от
производительности и размеров станции. На
поплавках смонтирован павильон из сендвич-
панелей. Внутри павильона установлены погружные
насосы. Насосы полностью погружены в воду и
помещаются в рыбозащитное устройство в виде
прямоугольного каркаса обтянутого мелкоячейной
сеткой. Над насосами расположен монорельс с
талью на опорах. Для нормальной эксплуатации
аналога необходимо исключить перемещение
станции вдоль берега; обеспечить шарнирную связь
береговой опоры и станции; организовать
профилактические защитные мероприятия во время
ледохода. Схема аналога представлена ниже.
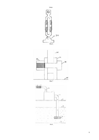
Плавучая насосная станция «Иртыш», разрез вид
спереди 1 - стальные поплавки диаметром 1420мм; 2
- погружной насос; 3 - опора для насосов; 4 -
сетчатое рыбозащитное устройство; 5 - трубная
обвязка с фланцами; 6 - монорельс на опорах; 7 -
грузоподъемное оборудование; 8 - павильон; 9 -
леерное ограждение; 10 - шкаф управления
насосами; 11 - молниезащита: 12 - система
антиобледенения.
Причинами, препятствующими получению
требуемого технического результата при
использовании аналога являются следующие:
- ограниченные размеры мелкоячейного сетного
полотна рыбозащитного устройства, и его
незначительное отдаление от всасывающей части
погружного насоса увеличивают скорость воды на
подходе к рыбозащите. Это может быть причиной
принудительного сноса ранней молоди рыб в
водозабор, или прижимания молоди к стенкам
рыбозащитного устройства;
- не предусмотрена постоянная очистка сетных
полотен от засорения;
- не предусмотрена система отбива водного
потока от устройства, для отвода скатывающейся по
течению молоди в реках.
Сущность изобретения
1. Задачи
- защита молоди и рыб от попадания в
водозаборы:
- обеспечение беспрерывного функционирования
РЗУ при повышенной мутности воды и содержания
мелких органических взвесей и коряг.
2. Ожидаемый технический результат:
- уменьшение скорости подхода воды к РЗУ
ниже пороговой, сносящей молодь скорости
0,15 м/с;
- постоянная механическая очистка
мелкоячейных полотен РЗУ;
- внешняя механическая защита от плавучих
коряг;
- отвод водного потока от внешнего контура
устройства.
3. Достижение технического результата
осуществляется следующим образом:
- плавучая насосная станция со встроенной
рыбозащитой монтируется на плавучей основе,
представляющей собой две металлические трубы
(ф1,2, эл1) диаметром 1,25 м и длиной 5 м. Они
жестко соединены между собой перемычкой (ф1,
эл2) из металлических труб диаметром 8 см.
Расстояние между двумя параллельными частями
плавучей опоры - 1,2 м. Поверх плавучей опоры
имеется настил (ф1,2.3. эл3) из листового металла
армированный уголковым профилем. Вокруг
плавучей опоры и с днища имеется каркас (ф1, эл4)
из металлических труб диаметром 5 см, служащий
опорой для навески боковых сетчатых
рыбозащитных экранов (ф1,2,3, эл5), донно-
торцовых сетчатых рыбозащитных экранов (ф2,3,
эл18-19), и жалюзийного экрана (ф1,2,3,9 эл6);
- жалюзийный экран расположен в 5 см от
боковых и донно-торцовых сетчатых рыбозащитных
экранов, однако в передней части устройства он
выгнут образуя обтекаемую носовую часть (ф2,3,
эл8). Экран состоит из вертикальных металлических
планок толщиной 0,3 см шириной 5 см. Концы
планок приварены к раме. Планки расположены под
углом 40° относительно бортовой линии, при
направлении острого угла навстречу течению (в
носовой части угол 25-30°). Расстояние между
28466
3
планками 7 см. Встречное течение отводится
отогнутыми планками от контура РЗУ, не допуская
прямого наноса водного потока с молодью на
поверхность сетчатых экранов. Помимо этого
жалюзийный экран защищает сетчатый экран от
коряг и льдин. Он крепится к боковым и донным
стойкам каркаса через продольные консоли (ф9,
эл55) расположенные в промежутках между
раздельными частями сетчатого экрана;
- сетчатый экран расположен за жалюзийным
экраном. Промежуток между ними 5 см со дна,
боков и с кормы, а носовая выдвинутая часть
жалюзийного экрана более отдалена. Сетчатый
экран состоит из боковых и донно-торцовых
рыбозащитных экранов - по 2 аналогичных экрана с
каждого борта, и по 2 аналогичных экрана с каждого
торца. Это разделение вызвано необходимостью
уменьшения ширины сетчатого полотна, для
удобства очистки и техобслуживания;
- отдельный боковой сетчатый экран
представляет собой полосу мелкоячейного полотна
(ф4,9, эл59) шириной 183 см и длиной 420 см.
Концевые кромки полосы сшиты в бесконечную
ленту, натянутую и вращающуюся на верхнем
ведущем боковом валу (ф1,2,3, эл7) и нижнем
ведомом боковом валу (ф1, эл10). Данные валы
имеют цепной привод состоящий из ведущих
верхних звездочек (ф1,2,3, эл9) и ведомых нижних
звездочек (ф1, эл12) на которые натянута стальная
роликовая цепь (ф4, эл11) к которой крепится
мелкоячейное полотно. Таким образом, бесконечное
полотно образует двойной экран;
- рядом с валом для вращения сетчатого полотна
располагается вал механической очистки (ф1,2,3,
эл13), с ворсистой круговой щеткой (ф1.3, эл14). В
середине данного вала располагается вращающий
силовой привод, состоящий из электромотора-
редуктора (ф3, эл15), например типа компактного
МЧ 2, вала червячной передачи (ф3, эл16)
крутящего момента на вал механической очистки.
От последнего, посредством цепного привода (ф3,
эл17) крутящий момент передается верхнему
боковом валу сетчатого экрана. В данном цепном
приводе, звездочка на вале механической очистке в
2 раза меньше звездочки на боковом вале, за счет
чего скорость вращения вала очистки в 2 раза
быстрее, что обеспечивает более лучшую очистку
медленно движущегося (0,1 м/с) полотна. Два
боковых сетчатых экрана по каждому борту имеют
один общий верхний и один общий нижний вал и
один общий вал механической очистки. Таким
образом один электромотор вращает валы по всему
борту;
- донно-торцовой сетчатый рыбозащитный экран
поперечно длины разделен на две части - носовую
(ф2, эл18) и кормовую (ф2, эл19) посредством двух
ведомых раздельных аналогичных валов (ф2. эл20) в
донной стороне. В свою очередь носовая и кормовая
донно-торцевые части продольно разделены на две
линии. Таким образом донно-торцовой сетчатый
экран состоит из 4 частей. В каждой из них длина
сетчатого полотна 780 см, ширина 160 см. Такое
разделение вызвано с целью уменьшения глины
цепных передач и ширины сетчатых полотен для
снижения нагрузки. При этом носовая и кормовая
донно-торцевые части имеют свои отдельные валы
вращения сетчатого полотна (ф2. эл22-24) с
ведущими звездочками (ф2, эл21,23), и валы
механической очистки (ф2,3, эл25-26). Вращение
идентичных валов носовой и кормовой части донно-
торцового экрана осуществляется электроприводом
(ф3, эл27-29) аналогичным электроприводу валов
бокового экрана;
- верхние палубные валы устанавливаются на
опорных кронштейнах на настиле, а валы донной
части - на опорных кронштейнах закрепляемых на
нижних элементах каркаса. Опорные кронштейны
верхних палубных валов сетчатых полотен имеют
регулируемую длину для коррекции натяжения
цепей. Регулировка их длины проводится
закручиванием или откручиванием резьбовых
втулок (ф5, эл30) на двух плечевых опорах (ф5,
эл31) которые состоят из двух половин с
резьбовыми концами вкручиваемыми в втулки. При
одновременном раскручивании втулок концы
плечевых опор раздвигаются и высота кронштейна
увеличивается. Наличие двух плечевых опор
предотвращает смещение головки кронштейна (ф5,
эл32), с подшипниковом гнездом (ф5, эл33) для
вала, от оси вала. Опорные кронштейны валов
очистки имеют аналогичную схему регулирования
длины, но при этом и регулируемый уровень
наклона для коррекции силы прижимания
очищающей поверхности к сетчатому полотну. Это
достигается узлом регулировки наклона (ф6, эл34).
В нем уплощенное основание (ф7, эл35) плечевой
опоры помещается между пластинами (ф7, эл36) на
основании (ф7, эл37). Уплощенное основание
совмещается с пластинами болтом (ф7, эл38),
проходящим через отверстие в основании плечевой
опоры и пластинах, и закручиваемом гайкой (ф7,
эл39). При ослабленной гайке кронштейн наклоняют
под нужным углом и закручиванием гайки
фиксируют нужный угол;
- сетчатое полотно имеет по бокам матерчатую
кромку (ф4, эл40). В нее вшиты резиновые вставки
(ф4, эл41) с выступающей петлей (ф4, эл42) с
отверстием диаметром 2 мм. На наружной пластине
звеньев цепи (со стороны сетчатого полотна)
приварен г - образный штырек с загнутым вверх
концом, на вершине которого имеется шарик
диаметром 4 мм. На эти штырьки нанизываются
путем продавливания резиновые петли, таким
образом гибко соединяя сетчатое полотно с цепью
привода. При снятии полотна резиновые петли
выдавливают из штырьков. Концы сетчатого
полотна имеют матерчатые кромки которые
сшиваются при установке;
- водяные насосы (ф1,3,8, эл43) устанавливаются
на настиле плавучей опоры, они несколько смещены
к корме для компенсации веса носовой части.
Водозаборная труба (ф8, эл44) проходит сквозь
пастил и погружена в воду ниже ватерлинии на 2/3
глубины до дна. На конце трубы ниже обратного
клапана расположен водоприемник (ф8, эл45)
представляющий собой уплощенный металлический
28466
4
цилиндр диаметром 90 см и высотой 30 см, с
круглыми отверстиями диаметром 5 см в боковой
части, для равномерного тока закачиваемой воды.
Выходная труба (ф8, эл46) выброса воды имеет узел
гибкого соединения (ф8, эл47) с водоотводящей
трубой (ф8, эл48), для компенсации небольших
сдвигов ПНС вдоль берега под влиянием ветра;
- поверх водяных моторов устраивается крытый
павильон (ф1,2, эл51) для защиты моторов от
осадков и хранения инвентаря. Внутри павильона
имеется шкаф управления электрообрудованием
(ф2, эл52), и электроталь (ф2, эл53) для монтажа и
техобслуживания водяных насосов. На носу и корме
монтируются кнехты (ф3, эл54) для набора или
подпуска якорных и береговых канатов
фиксирующих ПНС на заданной точке водоема;
- в промежутках между раздельными сетчатыми
экранами расположены продольные консоли (ф9,
эл55) приваренные к каркасу. К данным консолям
крепится жалюзийный экран и дуговая полоса-
накладка (ф9, эл56) закрывающая сверху внахлест
промежутки между раздельными экранами. Причем
на краях полосы-накладки прикреплена загнутая
назад окантовка из мягкой резины (ф9, эл57)
шириной 5 см, прижимающаяся к сетному полотну,
чтобы закрыть прохождение воды в обход сетного
экрана. Поскольку сетное полотно выгибается
внутрь под давлением течения, сразу за наружной
плоскостью двойного экрана установлена опорная
решетка (ф9, эл58) с ячеей 10×10 см из проволоки
толщиной 0,5 см. Она располагается внутри
двойного экрана крепится к продольным консолям,
там где боковины двойного экрана открыты. Служит
для сохранения ровного положения наружной
плоскости экрана, и плотного прилегания к ней
резиновой окантовки полосы-накладки;
- общая рабочая площадь мелкоячейного полотна
сетчатых экранов составляет 30 м2
. При скорости
фильтрации воды через сетчатый экран 0,15 м/с,
соответствующей пороговой сносящей скорости
течения для молоди (СНиП 2.06.07-87), общий
объем воды проходящей через сетчатый экран при
установленной скорости составит 4,5 м3
/с.
Следовательно данная ПНС будет иметь
максимальную допустимую мощность 4,5 м3
/с.
Поскольку скорость воды при прохождении через
сетчатое полотно не превышает пороговую
сносящую скорость то молодь рыб не будет
сноситься и прижиматься к поверхности сетного
полотна. Ячеи сменных сетчатых экранов в период
массового ската ранней молоди не должны
превышать 2×2 мм. С подрастанием молоди в
водоеме размер ячей в сетных полотнах можно
увеличивать до 5×5 мм;
- сетное полотно посредством вращающих валов
движется вниз со скоростью 0,1 м/с. Навстречу ему
вращается прижатый ворсом вал очистки со
скоростью 2 оборота в секунду, этим достигается
очистка сетного полотна от мелких растительных
фракций и мусора. Очищенное сетное полотно
движется вниз в воду заменяя загрязненные участки.
Наиболее существенными отличительными
признаками от аналога являются следующие:
- сетчатый рыбозащитный экран рабочей
площадью 30 м3
расположен по наружному
бортовому и донному контуру плавучей опоры и
выполнен в виде движущихся бесконечных сетных
полотен;
- имеется приспособление для постоянной
механической очистки сетных полотен от засорения
мелкими растительными фракциями;
- имеется жалюзийный экран для отвода водного
потока от контура РЗУ, и защиты сетных полотен от
коряг и льдин.
Совокупными признаками аналога и
изобретения, обеспечивающими получение
технического результата, являются следующие:
- имеется плавучая опора в виде из двух
металлических труб большого диаметра;
- имеется встроенная рыбозащита физического
типа;
- в качестве основного элемента рыбозащиты
используется мелкоячейное полотно.
Плавучая насосная станция со встроенной
рыбозащитой монтируется на плавучей основе,
представляющей собой две металлические трубы
(ф1,2, эл1) диаметром 1,25 м и длиной 5 м. Они
жестко соединены между собой перемычкой (ф1,
эл2) из металлических труб диаметром 8 см.
Расстояние между двумя параллельными частями
плавучей опоры - 1,2 м. Поверх плавучей опоры
имеется настил (ф 1,2,3, эл3) из листового металла
армированный уголковым профилем. Вокруг
плавучей опоры и с днища имеется каркас (ф1, эл4)
из металлических труб диаметром 5 см, служащий
опорой для навески боковых сетчатых
рыбозащитных экранов (ф 1,2,3, эл5), донно-
торцовых сетчатых рыбозащитных экранов (ф2,3,
эл18-19), и жалюзийного экрана (ф1,2,3,9, эл6).
Сооружение плавучей опоры ведется с соблюдением
норм проектирования всн 33 12-87 (ведомственные
строительные нормы).
Жалюзийный экран расположен в 5 см от
боковых и донно-торцовых сетчатых рыбозащитных
экранов, однако в передней части устройства он
выгнут образуя обтекаемую носовую часть (ф2.3,
эл8). Экран состоит из вертикальных металлических
планок толщиной 0,3 см шириной 5 см. Концы
планок приварены к раме. Планки расположены под
углом 40° относительно бортовой линии, при
направлении острого угла навстречу течению (в
носовой части угол 25-30°). Расстояние между
планками 7 см. В бортовой части жалюзийный экран
разделен продольной горизонтальной перегородкой
на две полосы одинаковой высоты, а в донной части
на четыре продольные полосы для увеличения
жесткости планок. Встречное течение отводится
отогнутыми планками от контура РЗУ, не допуская
прямого наноса водного потока с молодью на
поверхность сетчатых экранов. Помимо этого
жалюзийный экран защищает сетчатый экран от
коряг и льдин. Он крепится к боковым и донным
стойкам каркаса через продольные консоли (ф9,
эл55) расположенные в промежутках между
раздельными частями сетчатого экрана.
28466
5
Сетчатый экран расположен за жалюзийным
экраном. Промежуток между ними 5 см с дна, боков
и с кормы, а носовая выдвинутая часть жалюзийного
экрана более отдалена. Сетчатый экран состоит из
боковых и донно-торцовых рыбозащитных экранов -
по 2 аналогичных экрана с каждого борта, и по 2
аналогичных экрана с каждого торца. Это
разделение вызвано необходимостью уменьшения
ширины сетчатого полотна, для удобства очистки и
техобслуживания.
Отдельный боковой сетчатый экран представляет
собой полосу мелкоячейного полотна (ф4,9, эл59)
шириной 183 см и длиной 420 см. Концевые кромки
полосы сшиты в бесконечную ленту, натянутую и
вращающуюся на верхнем ведущем боковом валу
(ф1,2,3, эл7) и нижнем ведомом боковом валу (ф1.
эл10). Данные валы имеют цепной привод
состоящий из ведущих верхних звездочек (ф1.2.3,
эл9) и ведомых нижних звездочек (ф1, эл12) на
которые натянута стальная роликовая цепь (ф4,
эл11) к которой крепится мелкоячейное полотно.
Таким образом, бесконечное полотно образует
двойной экран.
Рядом с валом для вращения сетчатого полотна
располагается вал механической очистки (ф1,2,3, эл
13), с ворсистой круговой щеткой (ф1,3, эл14). В
середине данного вала располагается вращающий
силовой привод, состоящий из электромотора-
редуктора (ф3, эл15), например типа компактного
МЧ 2, вала червячной передачи (ф3, эл16)
крутящего момента на вал механической очистки.
От последнего посредством цепного привода (ф3,
эл17) крутящий момент передается верхнему
боковом валу сетчатого экрана. В данном цепном
приводе, звездочка на вале механической очистке в
2 раза меньше звездочки на боковом вале, за счет
чего скорость вращения вала очистки в 2 раза
быстрее, что обеспечивает более лучшую очистку
медленно движущегося (0,1 м/с) полотна. Два
боковых сетчатых экрана по каждому борту имеют
один общий верхний и один общий нижний вал и
один общий вал механической очистки. Таким
образом один электромотор вращает валы по всему
борту. Электромотор-редуктор с червячной
передачей характеризуются компактностью,
плавностью и бесшумностью работы. Также он
имеет развернутое под 90 градусов расположение
выходного вала, что удобно в данном случае т.к. не
требуется соосное расположение.
Донно-торцовой сетчатый рыбозащитный экран
поперечно длины разделен на две части - носовую
(ф2, эл18) и кормовую (ф2, эл19) посредством двух
ведомых раздельных аналогичных валов (ф2, эл20) в
донной стороне. В свою очередь носовая и кормовая
донно-торцевые части продольно разделены на две
линии. Таким образом донно-торцовой сетчатый
экран состоит из 4 частей. В каждой из них длина
сетчатого полотна 780 см, ширина 160 см. Такое
разделение вызвано с целью уменьшения длины
цепных передач и ширины сетчатых полотен для
снижения нагрузки. При этом носовая и кормовая
донно-торцевые части имеют свои отдельные валы
вращения сетчатого полотна (ф2, эл22-24) с
ведущими звездочками (ф2, эл21,23), и валы
механической очистки (ф2,3, эл25-26). Вращение
идентичных валов носовой и кормовой части донно-
торцового экрана осуществляется электроприводом
(ф3, эл27-29) аналогичным электроприводу валов
бокового экрана.
Верхние палубные валы устанавливаются на
опорных кронштейнах на настиле, а валы донной
части - на опорных кронштейнах закрепляемых на
нижних элементах каркаса. Опорные кронштейны
верхних палубных валов сетчатых полотен имеют
регулируемую длину для коррекции натяжения
цепей. Регулировка их длины проводится
закручиванием или откручиванием резьбовых
втулок (ф5, эл30) на двух плечевых опорах (ф5,
эл31) которые состоят из двух половин с
резьбовыми концами вкручиваемыми в втулки. При
одновременном раскручивании втулок концы
плечевых опор раздвигаются и высота кронштейна
увеличивается. Наличие двух плечевых опор
предотвращает смещение головки кронштейна (ф5,
эл32), с подшипниковом гнездом (ф5, эл33) для
вала, от оси вала. Опорные кронштейны валов
очистки имеют аналогичную схему регулирования
длины, но при этом и регулируемый уровень
наклона для коррекции силы прижимания
очищающей поверхности к сетчатому полотну. Это
достигается узлом регулировки наклона (ф6, эл34).
В нем уплощенное основание (ф7, эл35) плечевой
опоры помещается между пластинами (ф7, эл36) на
основании (ф7, эл37). Уплощенное основание
совмещается с пластинами болтом (ф7, эл38).
проходящим через отверстие в основании плечевой
опоры и пластинах, и закручиваемом гайкой (ф7,
эл39). При ослабленной гайке кронштейн наклоняют
под нужным углом и закручиванием гайки
фиксируют нужный угол.
Сетчатое полотно имеет по бокам матерчатую
кромку (ф4, эл40). В нее вшиты резиновые вставки
(ф4, эл41) с выступающей петлей (ф4, эл42) с
отверстием диаметром 2 мм. На наружной пластине
звеньев цепи (со стороны сетчатого полотна)
приварен Г -образный штырек с загнутым вверх
концом, на вершине которого имеется шарик
диаметром 4 мм. На эти штырьки нанизываются
путем продавливания резиновые петли, таким
образом гибко соединяя сетчатое полотно с цепью
привода. При снятии полотна резиновые петли
выдавливают из штырьков. Концы сетчатого
полотна имеют матерчатые кромки которые
сшиваются при установке.
Водяные насосы (ф1,3,8, эл43) устанавливаются
на настиле плавучей опоры, они несколько смещены
к корме для компенсации веса носовой части.
Водозаборная труба (ф8, эл44) проходит сквозь
настил и погружена в воду ниже ватерлинии на 2/3
глубины до дна. На конце трубы ниже обратного
клапана расположен водоприемник (ф8, эл45)
представляющий собой уплощенный металлический
цилиндр диаметром 90 см и высотой 30 см, с
круглыми отверстиями диаметром 5 см в боковой
части, для равномерного тока закачиваемой воды.
Выходная труба (ф8, эл46) выброса воды имеет узел
28466
6
гибкого соединения (ф8, эл47) с водоотводящей
трубой (ф8, эл48), для компенсации небольших
сдвигов ПНС вдоль берега под влиянием ветра.
Поверх водяных моторов устраивается крытый
павильон (ф1,2, эл51) для защиты моторов от
осадков и хранения инвентаря. Внутри павильона
имеется шкаф управления электрообрудованием
(ф2, эл52), и электроталь (ф2, эл53) для монтажа и
техобслуживания водяных насосов. На крыше
павильона устанавливается молниеотвод. По бортам
устанавливается леерное ограждение для
безопасности персонала. На носу и корме
монтируются кнехты (ф3, эл54) для набора или
подпуска якорных и береговых канатов
фиксирующих ПНС на заданной точке водоема.
В промежутках между раздельными сетчатыми
экранами расположены продольные консоли (ф9,
эл55) приваренные к каркасу. К данным консолям
крепится жалюзийный экран и дуговая полоса-
накладка (ф9, эл56) закрывающая сверху внахлест
промежутки между раздельными экранами. Причем
на краях полосы-накладки прикреплена загнутая
назад окантовка из мягкой резины (ф9, эл57)
шириной 5 см, прижимающаяся к сетному полотну,
чтобы закрыть прохождение воды в обход сетною
экрана. Поскольку сетное полотно выгибается
внутрь под давлением течения, сразу за наружной
плоскостью двойного экрана установлена опорная
решетка (ф9. эл58) с ячеей 10x10 см из проволоки
толщиной 0,5 см. Она располагается внутри
двойного экрана крепится к продольным консолям,
там где боковины двойного экрана открыты. Служит
для сохранения ровного положения наружной
плоскости экрана, и плотного прилегания к ней
резиновой окантовки полосы-накладки.
Общая рабочая площадь мелкоячейного полотна
сетчатых экранов составляет 30 м2. При скорости
фильтрации воды через сетчатый экран 0,15 м/с,
соответствующей пороговой сносящей скорости
течения для молоди (СНиП 2.06.07-87), общий
объем воды проходящей через сетчатый экран при
установленной скорости составит 4,5 м3
/с.
Следовательно данная ПНС будет иметь
максимальную допустимую мощность 4,5 м3
/с.
Поскольку скорость воды при прохождении через
сетчатое полотно не превышает пороговую
сносящую скорость то молодь рыб не будет
сноситься и прижиматься к поверхности сетного
полотна. Ячеи сменных сетчатых экранов в период
массового ската ранней молоди не должны
превышать 2×2 мм. С подрастанием молоди в
водоеме размер ячей в сетных полотнах можно
увеличивать от 3×3 мм до 5×5 мм.
Сетное полотно посредством вращающих валов
движется вниз со скоростью 0,1 м/с. Навстречу ему
вращается прижатый ворсом вал очистки со
скоростью 2 оборота в секунду, этим достигается
очистка сетного полотна от мелких растительных
фракций и мусора. Очищенное сетное полотно
движется вниз в воду, заменяя загрязненные
участки.
По обеим сторонам бокового сетчатого экрана
имеются незакрытые пролеты, образованные
угловыми выступами носовой и кормовой части.
Они стационарно закрываются мелко
перфорированным металлическим листом, не
допуская прохода воды внутрь в обход сетчатых
полотен. Перфорированный лист неподвижно
крепится к элементам каркаса и продольным
консолям.
В носовых и кормовых частях плавучей опоры
устраивают балластные отсеки для регулирования
балансировки. Для контроля, а плавучестью
устройства в балластных отсеках и посередине труб
плавучей опоры сверху имеются люки, через
которые постоянно ведется контроль на появление
течи воды. Устройство фиксируется на заданной
точке водоема посредством якорей и береговых
швартов.
ФОРМУЛА ИЗОБРЕТЕНИЯ
Плавучая насосная станция со встроенной
рыбозащитой, включающая в себя плавучую опору,
водяные насосы и сетчатое рыбозащитное
устройство, отличающаяся тем, что сетчатый
рыбозащитный экран располагается по наружному
контуру плавучей опоры, имеется приспособление
для постоянной механической очистки сетных
полотен от засорения, а также имеется жалюзийный
экран для отвода водного потока от контура РЗУ и
защиты сетных полотен от коряг и льдин.
28466
7
28466
8
28466
9
28466
10
Верстка Ж. Жомартбек
Корректор Е. Барч

28466ip

  • 1.
    РЕСПУБЛИКА КАЗАХСТАН (19) KZ(13) A4 (11) 28466 (51) E02B 8/08 (2006.01) КОМИТЕТ ПО ПРАВАМ ИНТЕЛЛЕКТУАЛЬНОЙ СОБСТВЕННОСТИ МИНИСТЕРСТВА ЮСТИЦИИ РЕСПУБЛИКИ КАЗАХСТАН ОПИСАНИЕ ИЗОБРЕТЕНИЯ К ИННОВАЦИОННОМУ ПАТЕНТУ (21) 2013/0615.1 (22) 04.05.2013 (45) 15.05.2014, бюл. №5 (72) Ким Аркадий Игнатьевич (73) Товарищество с ограниченной ответственностью "Казахский научно- исследовательский институт рыбного хозяйства" (56) http://www.vzlet-omsk.ru/kontakty (54) ПЛАВУЧАЯ НАСОСНАЯ СТАНЦИЯ СО ВСТРОЕННОЙ РЫБОЗАЩИТОЙ (57) Изобретение относился к гидротехническому строительству, а именно, к устройствам, позволяющим защищать рыб и их молодь от попадания в водозаборные сооружения. Предназначено для водозабора мощностью до 4,5 м3 /с. Устройство позволяет защищать молодь рыб минимальных размеров, за счет понижения скорости подхода воды к РЗУ менее 0,15 м/с. Наиболее близким аналогом является плавучая насосная станция «Иртыш» с встроенной рыбозащитой, конструкции насосного завода «Взлет» г. Омск. Плавучая насосная станция со встроенной рыбозащитой монтируется на плавучей опоре вокруг которой имеется каркас для навески боковых и донно-торцовых сетчатых рыбозащитных экранов и жалюзийного экрана. Жалюзийный экран отводит водный поток и защищает сетчатый экран от коряг и льдин. Сетчатый экран расположен за жалюзийным и состоит из боковых и донно-торцовых рыбозащитных экранов. Отдельный сетчатый экран представляет собой полосу мелкоячейного полотна сшитую в бесконечную ленту, натянутую и вращающуюся на ведущем ведомом валах. Рядом с валом для вращения сетчатого полотна располагается вал механической очистки с ворсистой круговой щеткой. Водяные насосы устанавливаются на настиле плавучей опоры. Поверх водяных моторов устраивается крытый павильон для защиты моторов от осадков и хранения инвентаря. Внутри павильона имеется шкаф управления электрооборудованием и электроталь для монтажа и техобслуживания водяных насосов. На крыше павильона устанавливается молниеотвод. По бортам устанавливается леерное ограждение для безопасности персонала. На носу и корме монтируются кнехты для набора или подпуска якорных и береговых канатов фиксирующих ПНС на заданной точке водоема. Общая рабочая площадь мелкоячейного полотна сетчатых экранов составляет 30 м2 . При скорости фильтрации воды через сетчатый экран 0,15 м/с, соответствующей пороговой сносящей скорости течения для молоди (СНиП 2.06.07-87), общий объем воды проходящей через сетчатый экран при установленной скорости составит 4,5 м3 /с. Следовательно данная ПНС будет иметь максимальную допустимую мощность 4,5 м3 /с. Поскольку скорость воды при прохождении через сетчатое полотно не превышает пороговую сносящую скорость то молодь рыб не будет сноситься и прижиматься к поверхности сетного полотна. Ячеи сменных сетчатых экранов в период массового ската ранней молоди не должны превышать 2×2 мм. С подрастанием молоди в водоеме размер ячей в сетных полотнах можно увеличивать от 3×3 мм до 5×5 мм. (19)KZ(13)A4(11)28466
  • 2.
    28466 2 Изобретение относится кгидротехническому строительству, а именно, к устройствам, позволяющим защищать рыб и их молодь от попадания в водозаборные сооружения. Водозаборы на рыбохозяйственных водоемах, не оборудованные эффективными рыбозащитными устройствами (далее РЗУ), могут нанести существенный ущерб из-за закачивания рыбы и молоди. Согласно Водного кодекса РК по состоянию на 17.07 2009 г. ст 88 п.1., пп. 2, и п.4 протокола совещания МСХ РК по вопросам развития рыбного хозяйства №1, от 20.11.2008 г, не допускается работа водозаборов без эффективных рыбозащитных устройств. Плавучие насосные станции (далее ПНС) имеют то преимущество перед береговыми водозаборами, что менее подвержены воздействию колебания уровня воды, и могут иметь в своем составе встроенную рыбозащиту. Предлагаемое устройство предназначено для водозабора мощностью до 4,5 м3 /с. Устройство позволяет защищать молодь рыб минимальных размеров, за счет понижения скорости подхода воды к РЗУ менее 0,15 м/с - пороговой сносящей скорости течения, при превышении которой молодь рыб сносит потоком (СНиП 2.06.07-87. Подпорные стены, судоходные шлюзы, рыбопропускные и рыбозащитные сооружения). Встроенное в конструкцию ПНС рыбозащитное устройство имеет повышенную площадь сетчатых экранов и приспособление для их постоянной механической очистки. Сетчатые экраны сменные, для выбора оптимального размера ячеи по сезонам года. По бортам и дну устройство оснащается жалюзийным ограждением для отвода водного потока и защиты сетчатых экранов от коряг и льдин. Наиболее близким аналогом является плавучая насосная станция «Иртыш» с встроенной рыбозащитой, конструкции насосного завода «Взлет» г. Омск (интернет-ресурс http://www.vzlet- omsk.ru/kontakty). Аналог состоит из стальных поплавков, их диаметр зависит от производительности и размеров станции. На поплавках смонтирован павильон из сендвич- панелей. Внутри павильона установлены погружные насосы. Насосы полностью погружены в воду и помещаются в рыбозащитное устройство в виде прямоугольного каркаса обтянутого мелкоячейной сеткой. Над насосами расположен монорельс с талью на опорах. Для нормальной эксплуатации аналога необходимо исключить перемещение станции вдоль берега; обеспечить шарнирную связь береговой опоры и станции; организовать профилактические защитные мероприятия во время ледохода. Схема аналога представлена ниже. Плавучая насосная станция «Иртыш», разрез вид спереди 1 - стальные поплавки диаметром 1420мм; 2 - погружной насос; 3 - опора для насосов; 4 - сетчатое рыбозащитное устройство; 5 - трубная обвязка с фланцами; 6 - монорельс на опорах; 7 - грузоподъемное оборудование; 8 - павильон; 9 - леерное ограждение; 10 - шкаф управления насосами; 11 - молниезащита: 12 - система антиобледенения. Причинами, препятствующими получению требуемого технического результата при использовании аналога являются следующие: - ограниченные размеры мелкоячейного сетного полотна рыбозащитного устройства, и его незначительное отдаление от всасывающей части погружного насоса увеличивают скорость воды на подходе к рыбозащите. Это может быть причиной принудительного сноса ранней молоди рыб в водозабор, или прижимания молоди к стенкам рыбозащитного устройства; - не предусмотрена постоянная очистка сетных полотен от засорения; - не предусмотрена система отбива водного потока от устройства, для отвода скатывающейся по течению молоди в реках. Сущность изобретения 1. Задачи - защита молоди и рыб от попадания в водозаборы: - обеспечение беспрерывного функционирования РЗУ при повышенной мутности воды и содержания мелких органических взвесей и коряг. 2. Ожидаемый технический результат: - уменьшение скорости подхода воды к РЗУ ниже пороговой, сносящей молодь скорости 0,15 м/с; - постоянная механическая очистка мелкоячейных полотен РЗУ; - внешняя механическая защита от плавучих коряг; - отвод водного потока от внешнего контура устройства. 3. Достижение технического результата осуществляется следующим образом: - плавучая насосная станция со встроенной рыбозащитой монтируется на плавучей основе, представляющей собой две металлические трубы (ф1,2, эл1) диаметром 1,25 м и длиной 5 м. Они жестко соединены между собой перемычкой (ф1, эл2) из металлических труб диаметром 8 см. Расстояние между двумя параллельными частями плавучей опоры - 1,2 м. Поверх плавучей опоры имеется настил (ф1,2.3. эл3) из листового металла армированный уголковым профилем. Вокруг плавучей опоры и с днища имеется каркас (ф1, эл4) из металлических труб диаметром 5 см, служащий опорой для навески боковых сетчатых рыбозащитных экранов (ф1,2,3, эл5), донно- торцовых сетчатых рыбозащитных экранов (ф2,3, эл18-19), и жалюзийного экрана (ф1,2,3,9 эл6); - жалюзийный экран расположен в 5 см от боковых и донно-торцовых сетчатых рыбозащитных экранов, однако в передней части устройства он выгнут образуя обтекаемую носовую часть (ф2,3, эл8). Экран состоит из вертикальных металлических планок толщиной 0,3 см шириной 5 см. Концы планок приварены к раме. Планки расположены под углом 40° относительно бортовой линии, при направлении острого угла навстречу течению (в носовой части угол 25-30°). Расстояние между
  • 3.
    28466 3 планками 7 см.Встречное течение отводится отогнутыми планками от контура РЗУ, не допуская прямого наноса водного потока с молодью на поверхность сетчатых экранов. Помимо этого жалюзийный экран защищает сетчатый экран от коряг и льдин. Он крепится к боковым и донным стойкам каркаса через продольные консоли (ф9, эл55) расположенные в промежутках между раздельными частями сетчатого экрана; - сетчатый экран расположен за жалюзийным экраном. Промежуток между ними 5 см со дна, боков и с кормы, а носовая выдвинутая часть жалюзийного экрана более отдалена. Сетчатый экран состоит из боковых и донно-торцовых рыбозащитных экранов - по 2 аналогичных экрана с каждого борта, и по 2 аналогичных экрана с каждого торца. Это разделение вызвано необходимостью уменьшения ширины сетчатого полотна, для удобства очистки и техобслуживания; - отдельный боковой сетчатый экран представляет собой полосу мелкоячейного полотна (ф4,9, эл59) шириной 183 см и длиной 420 см. Концевые кромки полосы сшиты в бесконечную ленту, натянутую и вращающуюся на верхнем ведущем боковом валу (ф1,2,3, эл7) и нижнем ведомом боковом валу (ф1, эл10). Данные валы имеют цепной привод состоящий из ведущих верхних звездочек (ф1,2,3, эл9) и ведомых нижних звездочек (ф1, эл12) на которые натянута стальная роликовая цепь (ф4, эл11) к которой крепится мелкоячейное полотно. Таким образом, бесконечное полотно образует двойной экран; - рядом с валом для вращения сетчатого полотна располагается вал механической очистки (ф1,2,3, эл13), с ворсистой круговой щеткой (ф1.3, эл14). В середине данного вала располагается вращающий силовой привод, состоящий из электромотора- редуктора (ф3, эл15), например типа компактного МЧ 2, вала червячной передачи (ф3, эл16) крутящего момента на вал механической очистки. От последнего, посредством цепного привода (ф3, эл17) крутящий момент передается верхнему боковом валу сетчатого экрана. В данном цепном приводе, звездочка на вале механической очистке в 2 раза меньше звездочки на боковом вале, за счет чего скорость вращения вала очистки в 2 раза быстрее, что обеспечивает более лучшую очистку медленно движущегося (0,1 м/с) полотна. Два боковых сетчатых экрана по каждому борту имеют один общий верхний и один общий нижний вал и один общий вал механической очистки. Таким образом один электромотор вращает валы по всему борту; - донно-торцовой сетчатый рыбозащитный экран поперечно длины разделен на две части - носовую (ф2, эл18) и кормовую (ф2, эл19) посредством двух ведомых раздельных аналогичных валов (ф2. эл20) в донной стороне. В свою очередь носовая и кормовая донно-торцевые части продольно разделены на две линии. Таким образом донно-торцовой сетчатый экран состоит из 4 частей. В каждой из них длина сетчатого полотна 780 см, ширина 160 см. Такое разделение вызвано с целью уменьшения глины цепных передач и ширины сетчатых полотен для снижения нагрузки. При этом носовая и кормовая донно-торцевые части имеют свои отдельные валы вращения сетчатого полотна (ф2. эл22-24) с ведущими звездочками (ф2, эл21,23), и валы механической очистки (ф2,3, эл25-26). Вращение идентичных валов носовой и кормовой части донно- торцового экрана осуществляется электроприводом (ф3, эл27-29) аналогичным электроприводу валов бокового экрана; - верхние палубные валы устанавливаются на опорных кронштейнах на настиле, а валы донной части - на опорных кронштейнах закрепляемых на нижних элементах каркаса. Опорные кронштейны верхних палубных валов сетчатых полотен имеют регулируемую длину для коррекции натяжения цепей. Регулировка их длины проводится закручиванием или откручиванием резьбовых втулок (ф5, эл30) на двух плечевых опорах (ф5, эл31) которые состоят из двух половин с резьбовыми концами вкручиваемыми в втулки. При одновременном раскручивании втулок концы плечевых опор раздвигаются и высота кронштейна увеличивается. Наличие двух плечевых опор предотвращает смещение головки кронштейна (ф5, эл32), с подшипниковом гнездом (ф5, эл33) для вала, от оси вала. Опорные кронштейны валов очистки имеют аналогичную схему регулирования длины, но при этом и регулируемый уровень наклона для коррекции силы прижимания очищающей поверхности к сетчатому полотну. Это достигается узлом регулировки наклона (ф6, эл34). В нем уплощенное основание (ф7, эл35) плечевой опоры помещается между пластинами (ф7, эл36) на основании (ф7, эл37). Уплощенное основание совмещается с пластинами болтом (ф7, эл38), проходящим через отверстие в основании плечевой опоры и пластинах, и закручиваемом гайкой (ф7, эл39). При ослабленной гайке кронштейн наклоняют под нужным углом и закручиванием гайки фиксируют нужный угол; - сетчатое полотно имеет по бокам матерчатую кромку (ф4, эл40). В нее вшиты резиновые вставки (ф4, эл41) с выступающей петлей (ф4, эл42) с отверстием диаметром 2 мм. На наружной пластине звеньев цепи (со стороны сетчатого полотна) приварен г - образный штырек с загнутым вверх концом, на вершине которого имеется шарик диаметром 4 мм. На эти штырьки нанизываются путем продавливания резиновые петли, таким образом гибко соединяя сетчатое полотно с цепью привода. При снятии полотна резиновые петли выдавливают из штырьков. Концы сетчатого полотна имеют матерчатые кромки которые сшиваются при установке; - водяные насосы (ф1,3,8, эл43) устанавливаются на настиле плавучей опоры, они несколько смещены к корме для компенсации веса носовой части. Водозаборная труба (ф8, эл44) проходит сквозь пастил и погружена в воду ниже ватерлинии на 2/3 глубины до дна. На конце трубы ниже обратного клапана расположен водоприемник (ф8, эл45) представляющий собой уплощенный металлический
  • 4.
    28466 4 цилиндр диаметром 90см и высотой 30 см, с круглыми отверстиями диаметром 5 см в боковой части, для равномерного тока закачиваемой воды. Выходная труба (ф8, эл46) выброса воды имеет узел гибкого соединения (ф8, эл47) с водоотводящей трубой (ф8, эл48), для компенсации небольших сдвигов ПНС вдоль берега под влиянием ветра; - поверх водяных моторов устраивается крытый павильон (ф1,2, эл51) для защиты моторов от осадков и хранения инвентаря. Внутри павильона имеется шкаф управления электрообрудованием (ф2, эл52), и электроталь (ф2, эл53) для монтажа и техобслуживания водяных насосов. На носу и корме монтируются кнехты (ф3, эл54) для набора или подпуска якорных и береговых канатов фиксирующих ПНС на заданной точке водоема; - в промежутках между раздельными сетчатыми экранами расположены продольные консоли (ф9, эл55) приваренные к каркасу. К данным консолям крепится жалюзийный экран и дуговая полоса- накладка (ф9, эл56) закрывающая сверху внахлест промежутки между раздельными экранами. Причем на краях полосы-накладки прикреплена загнутая назад окантовка из мягкой резины (ф9, эл57) шириной 5 см, прижимающаяся к сетному полотну, чтобы закрыть прохождение воды в обход сетного экрана. Поскольку сетное полотно выгибается внутрь под давлением течения, сразу за наружной плоскостью двойного экрана установлена опорная решетка (ф9, эл58) с ячеей 10×10 см из проволоки толщиной 0,5 см. Она располагается внутри двойного экрана крепится к продольным консолям, там где боковины двойного экрана открыты. Служит для сохранения ровного положения наружной плоскости экрана, и плотного прилегания к ней резиновой окантовки полосы-накладки; - общая рабочая площадь мелкоячейного полотна сетчатых экранов составляет 30 м2 . При скорости фильтрации воды через сетчатый экран 0,15 м/с, соответствующей пороговой сносящей скорости течения для молоди (СНиП 2.06.07-87), общий объем воды проходящей через сетчатый экран при установленной скорости составит 4,5 м3 /с. Следовательно данная ПНС будет иметь максимальную допустимую мощность 4,5 м3 /с. Поскольку скорость воды при прохождении через сетчатое полотно не превышает пороговую сносящую скорость то молодь рыб не будет сноситься и прижиматься к поверхности сетного полотна. Ячеи сменных сетчатых экранов в период массового ската ранней молоди не должны превышать 2×2 мм. С подрастанием молоди в водоеме размер ячей в сетных полотнах можно увеличивать до 5×5 мм; - сетное полотно посредством вращающих валов движется вниз со скоростью 0,1 м/с. Навстречу ему вращается прижатый ворсом вал очистки со скоростью 2 оборота в секунду, этим достигается очистка сетного полотна от мелких растительных фракций и мусора. Очищенное сетное полотно движется вниз в воду заменяя загрязненные участки. Наиболее существенными отличительными признаками от аналога являются следующие: - сетчатый рыбозащитный экран рабочей площадью 30 м3 расположен по наружному бортовому и донному контуру плавучей опоры и выполнен в виде движущихся бесконечных сетных полотен; - имеется приспособление для постоянной механической очистки сетных полотен от засорения мелкими растительными фракциями; - имеется жалюзийный экран для отвода водного потока от контура РЗУ, и защиты сетных полотен от коряг и льдин. Совокупными признаками аналога и изобретения, обеспечивающими получение технического результата, являются следующие: - имеется плавучая опора в виде из двух металлических труб большого диаметра; - имеется встроенная рыбозащита физического типа; - в качестве основного элемента рыбозащиты используется мелкоячейное полотно. Плавучая насосная станция со встроенной рыбозащитой монтируется на плавучей основе, представляющей собой две металлические трубы (ф1,2, эл1) диаметром 1,25 м и длиной 5 м. Они жестко соединены между собой перемычкой (ф1, эл2) из металлических труб диаметром 8 см. Расстояние между двумя параллельными частями плавучей опоры - 1,2 м. Поверх плавучей опоры имеется настил (ф 1,2,3, эл3) из листового металла армированный уголковым профилем. Вокруг плавучей опоры и с днища имеется каркас (ф1, эл4) из металлических труб диаметром 5 см, служащий опорой для навески боковых сетчатых рыбозащитных экранов (ф 1,2,3, эл5), донно- торцовых сетчатых рыбозащитных экранов (ф2,3, эл18-19), и жалюзийного экрана (ф1,2,3,9, эл6). Сооружение плавучей опоры ведется с соблюдением норм проектирования всн 33 12-87 (ведомственные строительные нормы). Жалюзийный экран расположен в 5 см от боковых и донно-торцовых сетчатых рыбозащитных экранов, однако в передней части устройства он выгнут образуя обтекаемую носовую часть (ф2.3, эл8). Экран состоит из вертикальных металлических планок толщиной 0,3 см шириной 5 см. Концы планок приварены к раме. Планки расположены под углом 40° относительно бортовой линии, при направлении острого угла навстречу течению (в носовой части угол 25-30°). Расстояние между планками 7 см. В бортовой части жалюзийный экран разделен продольной горизонтальной перегородкой на две полосы одинаковой высоты, а в донной части на четыре продольные полосы для увеличения жесткости планок. Встречное течение отводится отогнутыми планками от контура РЗУ, не допуская прямого наноса водного потока с молодью на поверхность сетчатых экранов. Помимо этого жалюзийный экран защищает сетчатый экран от коряг и льдин. Он крепится к боковым и донным стойкам каркаса через продольные консоли (ф9, эл55) расположенные в промежутках между раздельными частями сетчатого экрана.
  • 5.
    28466 5 Сетчатый экран расположенза жалюзийным экраном. Промежуток между ними 5 см с дна, боков и с кормы, а носовая выдвинутая часть жалюзийного экрана более отдалена. Сетчатый экран состоит из боковых и донно-торцовых рыбозащитных экранов - по 2 аналогичных экрана с каждого борта, и по 2 аналогичных экрана с каждого торца. Это разделение вызвано необходимостью уменьшения ширины сетчатого полотна, для удобства очистки и техобслуживания. Отдельный боковой сетчатый экран представляет собой полосу мелкоячейного полотна (ф4,9, эл59) шириной 183 см и длиной 420 см. Концевые кромки полосы сшиты в бесконечную ленту, натянутую и вращающуюся на верхнем ведущем боковом валу (ф1,2,3, эл7) и нижнем ведомом боковом валу (ф1. эл10). Данные валы имеют цепной привод состоящий из ведущих верхних звездочек (ф1.2.3, эл9) и ведомых нижних звездочек (ф1, эл12) на которые натянута стальная роликовая цепь (ф4, эл11) к которой крепится мелкоячейное полотно. Таким образом, бесконечное полотно образует двойной экран. Рядом с валом для вращения сетчатого полотна располагается вал механической очистки (ф1,2,3, эл 13), с ворсистой круговой щеткой (ф1,3, эл14). В середине данного вала располагается вращающий силовой привод, состоящий из электромотора- редуктора (ф3, эл15), например типа компактного МЧ 2, вала червячной передачи (ф3, эл16) крутящего момента на вал механической очистки. От последнего посредством цепного привода (ф3, эл17) крутящий момент передается верхнему боковом валу сетчатого экрана. В данном цепном приводе, звездочка на вале механической очистке в 2 раза меньше звездочки на боковом вале, за счет чего скорость вращения вала очистки в 2 раза быстрее, что обеспечивает более лучшую очистку медленно движущегося (0,1 м/с) полотна. Два боковых сетчатых экрана по каждому борту имеют один общий верхний и один общий нижний вал и один общий вал механической очистки. Таким образом один электромотор вращает валы по всему борту. Электромотор-редуктор с червячной передачей характеризуются компактностью, плавностью и бесшумностью работы. Также он имеет развернутое под 90 градусов расположение выходного вала, что удобно в данном случае т.к. не требуется соосное расположение. Донно-торцовой сетчатый рыбозащитный экран поперечно длины разделен на две части - носовую (ф2, эл18) и кормовую (ф2, эл19) посредством двух ведомых раздельных аналогичных валов (ф2, эл20) в донной стороне. В свою очередь носовая и кормовая донно-торцевые части продольно разделены на две линии. Таким образом донно-торцовой сетчатый экран состоит из 4 частей. В каждой из них длина сетчатого полотна 780 см, ширина 160 см. Такое разделение вызвано с целью уменьшения длины цепных передач и ширины сетчатых полотен для снижения нагрузки. При этом носовая и кормовая донно-торцевые части имеют свои отдельные валы вращения сетчатого полотна (ф2, эл22-24) с ведущими звездочками (ф2, эл21,23), и валы механической очистки (ф2,3, эл25-26). Вращение идентичных валов носовой и кормовой части донно- торцового экрана осуществляется электроприводом (ф3, эл27-29) аналогичным электроприводу валов бокового экрана. Верхние палубные валы устанавливаются на опорных кронштейнах на настиле, а валы донной части - на опорных кронштейнах закрепляемых на нижних элементах каркаса. Опорные кронштейны верхних палубных валов сетчатых полотен имеют регулируемую длину для коррекции натяжения цепей. Регулировка их длины проводится закручиванием или откручиванием резьбовых втулок (ф5, эл30) на двух плечевых опорах (ф5, эл31) которые состоят из двух половин с резьбовыми концами вкручиваемыми в втулки. При одновременном раскручивании втулок концы плечевых опор раздвигаются и высота кронштейна увеличивается. Наличие двух плечевых опор предотвращает смещение головки кронштейна (ф5, эл32), с подшипниковом гнездом (ф5, эл33) для вала, от оси вала. Опорные кронштейны валов очистки имеют аналогичную схему регулирования длины, но при этом и регулируемый уровень наклона для коррекции силы прижимания очищающей поверхности к сетчатому полотну. Это достигается узлом регулировки наклона (ф6, эл34). В нем уплощенное основание (ф7, эл35) плечевой опоры помещается между пластинами (ф7, эл36) на основании (ф7, эл37). Уплощенное основание совмещается с пластинами болтом (ф7, эл38). проходящим через отверстие в основании плечевой опоры и пластинах, и закручиваемом гайкой (ф7, эл39). При ослабленной гайке кронштейн наклоняют под нужным углом и закручиванием гайки фиксируют нужный угол. Сетчатое полотно имеет по бокам матерчатую кромку (ф4, эл40). В нее вшиты резиновые вставки (ф4, эл41) с выступающей петлей (ф4, эл42) с отверстием диаметром 2 мм. На наружной пластине звеньев цепи (со стороны сетчатого полотна) приварен Г -образный штырек с загнутым вверх концом, на вершине которого имеется шарик диаметром 4 мм. На эти штырьки нанизываются путем продавливания резиновые петли, таким образом гибко соединяя сетчатое полотно с цепью привода. При снятии полотна резиновые петли выдавливают из штырьков. Концы сетчатого полотна имеют матерчатые кромки которые сшиваются при установке. Водяные насосы (ф1,3,8, эл43) устанавливаются на настиле плавучей опоры, они несколько смещены к корме для компенсации веса носовой части. Водозаборная труба (ф8, эл44) проходит сквозь настил и погружена в воду ниже ватерлинии на 2/3 глубины до дна. На конце трубы ниже обратного клапана расположен водоприемник (ф8, эл45) представляющий собой уплощенный металлический цилиндр диаметром 90 см и высотой 30 см, с круглыми отверстиями диаметром 5 см в боковой части, для равномерного тока закачиваемой воды. Выходная труба (ф8, эл46) выброса воды имеет узел
  • 6.
    28466 6 гибкого соединения (ф8,эл47) с водоотводящей трубой (ф8, эл48), для компенсации небольших сдвигов ПНС вдоль берега под влиянием ветра. Поверх водяных моторов устраивается крытый павильон (ф1,2, эл51) для защиты моторов от осадков и хранения инвентаря. Внутри павильона имеется шкаф управления электрообрудованием (ф2, эл52), и электроталь (ф2, эл53) для монтажа и техобслуживания водяных насосов. На крыше павильона устанавливается молниеотвод. По бортам устанавливается леерное ограждение для безопасности персонала. На носу и корме монтируются кнехты (ф3, эл54) для набора или подпуска якорных и береговых канатов фиксирующих ПНС на заданной точке водоема. В промежутках между раздельными сетчатыми экранами расположены продольные консоли (ф9, эл55) приваренные к каркасу. К данным консолям крепится жалюзийный экран и дуговая полоса- накладка (ф9, эл56) закрывающая сверху внахлест промежутки между раздельными экранами. Причем на краях полосы-накладки прикреплена загнутая назад окантовка из мягкой резины (ф9, эл57) шириной 5 см, прижимающаяся к сетному полотну, чтобы закрыть прохождение воды в обход сетною экрана. Поскольку сетное полотно выгибается внутрь под давлением течения, сразу за наружной плоскостью двойного экрана установлена опорная решетка (ф9. эл58) с ячеей 10x10 см из проволоки толщиной 0,5 см. Она располагается внутри двойного экрана крепится к продольным консолям, там где боковины двойного экрана открыты. Служит для сохранения ровного положения наружной плоскости экрана, и плотного прилегания к ней резиновой окантовки полосы-накладки. Общая рабочая площадь мелкоячейного полотна сетчатых экранов составляет 30 м2. При скорости фильтрации воды через сетчатый экран 0,15 м/с, соответствующей пороговой сносящей скорости течения для молоди (СНиП 2.06.07-87), общий объем воды проходящей через сетчатый экран при установленной скорости составит 4,5 м3 /с. Следовательно данная ПНС будет иметь максимальную допустимую мощность 4,5 м3 /с. Поскольку скорость воды при прохождении через сетчатое полотно не превышает пороговую сносящую скорость то молодь рыб не будет сноситься и прижиматься к поверхности сетного полотна. Ячеи сменных сетчатых экранов в период массового ската ранней молоди не должны превышать 2×2 мм. С подрастанием молоди в водоеме размер ячей в сетных полотнах можно увеличивать от 3×3 мм до 5×5 мм. Сетное полотно посредством вращающих валов движется вниз со скоростью 0,1 м/с. Навстречу ему вращается прижатый ворсом вал очистки со скоростью 2 оборота в секунду, этим достигается очистка сетного полотна от мелких растительных фракций и мусора. Очищенное сетное полотно движется вниз в воду, заменяя загрязненные участки. По обеим сторонам бокового сетчатого экрана имеются незакрытые пролеты, образованные угловыми выступами носовой и кормовой части. Они стационарно закрываются мелко перфорированным металлическим листом, не допуская прохода воды внутрь в обход сетчатых полотен. Перфорированный лист неподвижно крепится к элементам каркаса и продольным консолям. В носовых и кормовых частях плавучей опоры устраивают балластные отсеки для регулирования балансировки. Для контроля, а плавучестью устройства в балластных отсеках и посередине труб плавучей опоры сверху имеются люки, через которые постоянно ведется контроль на появление течи воды. Устройство фиксируется на заданной точке водоема посредством якорей и береговых швартов. ФОРМУЛА ИЗОБРЕТЕНИЯ Плавучая насосная станция со встроенной рыбозащитой, включающая в себя плавучую опору, водяные насосы и сетчатое рыбозащитное устройство, отличающаяся тем, что сетчатый рыбозащитный экран располагается по наружному контуру плавучей опоры, имеется приспособление для постоянной механической очистки сетных полотен от засорения, а также имеется жалюзийный экран для отвода водного потока от контура РЗУ и защиты сетных полотен от коряг и льдин.
  • 7.
  • 8.
  • 9.
  • 10.