DIREKTORATPENDIDIKANMADRASAH
DIREKTORATJENDERALPENDIDIKANISLAM
KEMENTERIANAGAMARI
PEDOMAN
PENERIMAANPESERTADIDIK BARU
(PPDB)
TAHUNPEMBELAJARAN2013-2014
Menimbang :4.
Mengingat
KEPUTUSAN DIREKTUR JENDERAL PENDIDIKAN ISLAM
NOMOR: 682 TAHUN 2013
TENTANG
PEDOMAN PENERIMAAN PESERTA DIDIK BARU (PPDB)
TAHLIN PEMBELAJARAN 2OI3 - 2OI4
: 1.
2.
3.
4.
5.
6.
DENGAN RAHMAT TUHAN YANG MAHA ESA
DIREKTUR JENDERAL PENDIDIKAN ISLAM,
bahwa pembangunan nasional dalam bidang pendidikan dimaksudkan untuk
mencerdaskhn kehidupan bangsa dan meningkatkan kualitas manusia
Indonesia yang beriman, bertakwa dan berakhlak mulia serta menguasai ilmu
pengetahuan teknologi dan seni untuk mewujudkan masyarakat yang maju,
adil, makmur dan beradab;
bahwa untuk mendukung tujuan tersebut perlu dilakukan pembinaan dan
bimbingan tekni s tentang pelaksanaan pendidikan;
bahwa salah satu bimbingan teknis terkait dengan pendidikan adalah
penerimaan peserta didik baru setiap awal tahun pembelajaran dilakukan
dalam rangka memberikan petunjuk tata cwa penerimaan peserta didik baru
secara benar;
bahwa sehubungan dengan huruf a, huruf b dan huruf c, maka perlu disusun
Pedoman Penerimaan Peserta Didik Baru (PPDB) Tahun Pembelajaran2}l3-
2014;
bahwa berdasarkan pertimbangan sebagaimana dimaksud pada huruf a, huruf
b, huruf c dan huruf d perlu menetapkan Surat Keputusan Direktur Jenderal
Pendidikan Islam tentang Pedoman Penerimaan Peserta Didik Baru (PPDB)
Tahtrn Pembelaj ar an 20 | 3 -20 | 4.
Undang-undang Nomor 4 Tahun 1979 tentang Kesejahteraan Anak;
Undang-undang Nomor 39 Tahun 1999 tentang HAM pasal 52 sampai pasal
66 mengenai Hak Anak;
Undang-undang Nornor 23 Tahun 2002tentang Perlindungan Anak;
Undang-undang Nomor 20 Tahun 2003 tentang Sistem Pendidikan Nasional;
Peraturan Pemerintah Republik Indonesia Nomor 19 Tahun 2005 tentang
Standar Nasional Pendidikan;
Peraturan Presiden RI Nomor 9 Tahun 2005 tentang Kedudukan, Tugas,
Fungsi, Kewenangan, Susunan Organisasi dan Tata Kerja Kementerian
Negara RI sebagaimana telah diubah terakhir dengan Peraturan Presiden
Nomor 94 Tahun 2006;
b.
d.
e.
7. Peraturan Menteri Pendidikan Nasional RI Nomor 39 Tahun 2008 tentang
Pembinaan Kesiswaan;
Peraturan Menteri Agama RI Nomor 10 Tahun 2010 tentang Organisasi dan
Tata Kerja Kementerian Agama Agama RI;
Peraturan Menteri Agama RI Nomor 13 Tahun 2012 tentang Organisasi dan
Tata Kerja Instansi Vertikal Kementerian Agama Agama RI;
8.
9.
Memperhatikan
Menetapkan
Kesatu
Kedua
Kalender akademik Tahun Pembelajaran 2012 * 2013 segera berakhir;
MEMUTUSKAN
KEPUTUSAN DIREKTUR JENDERAL PENDIDIKAN ISLAM TENTANG
PEDOMAN PENERIMAAN PESERTA DIDIK BARU (PPDB) TAHI-IN
PEMBELAJARAN 2OI3 _ 2OI 4.
Pedoman Penerimaan Peserta Didik Baru (PPDB) Tahun Pembelajaran 2013 -
2014 digunakan sebagai petujuk teknis penerimaan siswa baru tahun
pembelaj ar an 2013 - 201 4.
Pedoman Penerimaan Peserta Didik Baru (PPDB) Tahun'Pembelajaran 2013 -
2014 memberikan kesempatan pada setiap madrasah untuk menyesuaikan dengan
situasi dan kondisi yang ada.
Surat Keputusan ini berlaku sejak tanggal ditetapkan;
Ditetapkan di : Jakarta
Pada tanggal : 25 Maret 2013
Krttg"
TUR JENDERAL
KATA PENGANTAR
Pembangunan nasional dalam bidang pendidikan dimaksudkan untuk mencerdaskan
kehidupan bangsa dan meningkatkan kualitas manusia lndonesia yang beriman, bertakwa dan
berakhlak mulia serta menguasai ilmu pengetahuan teknologi dan seni untuk mewujudkan
masyarakat yang maju, adil, makmur dan beradab. Meningkatkan kualitas lndonesia yang
cerdas dan berkualitas yang diindikasikan dengan kuatnya pengetahuhn di bidang IPTEK,
keimanan dan ketakwaan serta akhlak mulia masyarakat merupakan bagian dan tanggung
jawab pemerintah yang harus dilaksanakan melalui proses pendidikan yang bermutu dan
berkualitas.
Untuk mendukung tujuan tersebut, Direktorat Pendidikan Madrasah Kementerian Agama telah
banyak melakukan berbagai upaya salah satunya memberikan bimbingan teknis tentang
Penerimaan Peserta Didik Baru (PPDB). Salah satu bimbingan teknis terkait dengan hal
tersebut yaitu diterbitkannya Pedoman PPDB baik untuk RA, Ml, MTs maupun MA. Pedoman
ini diharapkan dapat dijadikan acuan oleh RA dan Madrasah pada saat PPDB dengan
memberikan kesempatan pada setiap madrasah untuk menyesuaikan dengan situasi dan
kondisi yang ada.
Akhirnya kami sampaikan terima kasih atas kerjasamanya dengan harapan agar madrasah
kita terus maju, bermutu dan berkualitas. Amiin
Jakarta, 25 Maret2013
Pedoman Penerimaan Peserta Didik Baru (PPDB) Tahun 2013-2074
Pedoman Penerimaan Peserta Didik Baru (PPDB) Tahun 201 - ii
DAFTAR ISI
KATA PENGANTAR ........................................................................................................... i
DAFTAR ISI ........................................................................................................................ ii
BAB I KETENTUAN UMUM ..........................................................................................
BAB II TUJUAN, PRINSIP DAN AZAS ..........................................................................
BAB III CALON PESERTA DIDIK ...................................................................................
BAB IV PERSYARATAN PENERIMAAN PESERTA DIDIK BARU .................................
BAB V DASAR SELEKSI, TATA CARA PENDAFTARAN,
TEMPAT PENDAFTARAN, MATERI SELEKSI DAN
JADWAL PENDAFTARAN .................................................................................
BAB VI DAYA TAMPUNG DAN WAKTU BELAJAR .......................................................
BAB VII KEPANITIAAN DAN PEMBIAYAAN ...................................................................
BAB VIII PENUTUP ..........................................................................................................
LAMPIRAN
LAMPIRAN 1 SURAT PERNYATAAN CALON PESERTA DIDIK BARU
LAMPIRAN 2 SURAT PERNYATAAN ORANG TUA/WALI
LAMPIRAN 3 LAPORAN TENTANG PPDB MADRASAH NEGERI
TAHUN PELAJARAN 201
LAMPIRAN 4 LAPORAN PANITIA PPDB TINGKAT RA/MI/MTs/MA
TENTANG KASUS-KASUS SELAMA PPDB
TAHUN PELAJARAN 201
LAMPIRAN 5 DATA PESERTA DIDIK KELAS I/VI/X
TAHUN PELAJARAN 201
LAMPIRAN 6 DAFTAR PESERTA DIDIK YANG DITERIMA
TAHUN PELAJARAN 201
LAMPIRAN 7 SURAT PENGANTAR PENDAFTARAN PESERTA
SELEKSI MADRASAH SECARA KOLEKTIF
LAMPIRAN 8 RAUDATHUL ATHFAL LAPORAN AWAL
TAHUN PELAJARAN 201
LAMPIRAN 9 LAPORAN AWAL TAHUN PELAJARAN 201
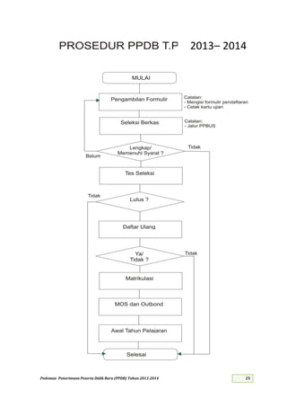
PROSEDUR PPDB T.P 201 –
Pedoman Penerimaan Peserta Didik Baru (PPDB) Tahun 2013-
BAB I
KETENTUAN UMUM
Pasal 1
Dalam keputusan ini yang dimaksud dengan :
1. Direktorat Jenderal adalah Direktorat Jenderal Pendidikan Islam Kementerian Agama
Republik Indonesia;
2. Direktur Pendidikan Madrasah adalah Direktur Pendidikan Madrasah Direktorat Jenderal
Pendidikan Islam Kementerian Agama Republik Indonesia;
3. Kanwil adalah Kantor Wilayah Kementerian Agama Provinsi;
4. Kankemenag adalah Kantor Kementerian Agama Kota/Kabupaten;
5. Kepala Bidang Pendidikan Madrasah adalah Kepala Bidang Pendidikan Madrasah
Kanwil Kementerian Agama Provinsi;
6. Kasi Pendidikan Madrasah Kota/Kabupaten adalah Kepala Seksi Pendidikan Madrasah
Kantor Kementerian Agama Kota/Kabupaten;
7. Madrasah adalah satuan pendidikan formal yang menyelenggarakan pendidikan agama
Islam dan pendidikan umum yang berada di lingkungan/jajaran Kementerian Agama
yang meliputi Raudlatul Athfal, Madrasah Ibtidaiyah, Madrasah Tsanawiyah dan
Madrasah Aliyah;
8. Raudlatul Athfal yang selanjutnya disingkat RA adalah salah satu satuan pendidikan
Anak Usia Dini pada jalur pendidikan formal yang menyelenggarakan program
pendidikan dengan kekhasan agama Islam bagi anak berusia 4 (empat) tahun sampai
dengan 6 (enam) tahun;
9. Madrasah Ibtidaiyah yang selanjutnya disingkat MI adalah salah satu satuan pendidikan
formal dalam binaan Kementerian Agama yang menyelenggarakan Pendidikan Umum
dengan kekhasan Agama Islam pada jenjang Pendidikan Dasar;
10. Madrasah Tsanawiyah yang selanjutnya disingkat MTs adalah salah satu bentuk satuan
pendidikan formal dalam binaan Kementerian Agama yang menyelenggarakan
Pendidikan Umum dengan kekhasan Agama Islam pada jenjang Pendidikan Dasar
sebagai lanjutan dari MI, SD atau yang sederajat.;
11. Madrasah Aliyah yang selanjutnya disingkat MA adalah salah satu satuan pendidikan
formal dalam binaan Kementerian Agama yang menyelenggarakan Pendidikan Umum
dengan kekhasan Agama Islam pada jenjang Pendidikan Menengah sebagai lanjutan
dari MTs, SMP atau yang sederajat.;
12. Madrasah Standar Nasional (MSN) adalah Madrasah yang penyelenggaraannya
disiapkan sesuai dengan Standar Nasional Pendidikan;
13. Peserta Didik adalah peserta didik pada Tingkat Satuan Pendidikan RA, MI, MTs dan
MA;
14. Calon Peserta Didik adalah mereka yang masih berusia sekolah dan belum menikah;
15. Madrasah daerah perbatasan adalah madrasah yang berlokasi di wilayah perbatasan
baik dengan wilayah maupun negara lain;
16. Madrasah Luar Provinsi adalah madrasah di luar daerah Provinsi yang menerima
Pendaftaran Peserta Didik Baru;
17. Penerimaan Peserta Didik Baru (PPDB) adalah Proses Penerimaan Peserta Didik Baru
di awal tahun pelajaran yang dilaksanakan oleh madrasah dengan mempertimbangkan
rasio daya tampung, kondisi, fasilitas, jumlah tenaga pendidik dan tenaga kependidikan
yang ada di masing-masing satuan pendidikan pada madrasah;
18. Peserta Didik Baru adalah Peserta Didik yang mendaftarkan dirinya pada Raudlatul
Athfal, Madrasah Ibtidaiyah, Tsanawiyah, dan Aliyah;
Pedoman Penerimaan Peserta Didik Baru (PPDB) Tahun 2013-
19. Daya tampung adalah jumlah lokal/ruang belajar yang tersedia pada suatu Madrasah
yang dipersiapkan untuk peserta didik baru dengan mempertimbangkan rasio kelas;
20. Rasio kelas adalah perbandingan antara ruang belajar dengan jumlah peserta didik
dalam kelas itu sesuai dengan ketentuan yang berlaku dan kelayakan pada interaksi
belajar mengajar;
21. Seleksi adalah penyaringan calon peserta didik baru berdasarkan aturan yang telah
ditetapkan;
22. Kartu Hasil Seleksi (KHS) adalah kartu yang menyatakan bahwa calon peserta didik
diterima atau tidak diterima berdasarkan hasil seleksi di madrasah tersebut;
23. Surat Keterangan Hasil Ujian Nasional selanjutnya disebut SKHUN adalah Daftar Nilai
Ujian Nasional yang diberikan kepada peserta didik setelah mengikuti ujian seluruh mata
pelajaran yang diujikan;
24. Surat Tanda Tamat Belajar (STTB) adalah surat pernyataan resmi dan sah yang
menerangkan bahwa peserta didik telah tamat belajar pada satuan pendidikan
madrasah tertentu;
25. Ijazah adalah dokumen resmi yang diterbitkan oleh Kementerian Agama sebagai bukti
yang menyatakan bahwa peserta didik telah lulus dari satuan pendidikan;
26. Surat Keterangan Yang Berpenghargaan Sama (SKYBS) adalah surat pernyataan resmi
dan sah yang berpenghargaan sama dengan STTB/Ijazah;
27. Orang tua/wali calon peserta didik adalah seseorang yang menjadi penanggung jawab
langsung calon peserta didik yang dibuktikan dengan surat keterangan yang sah dari
Lurah atau instansi lain yang berwenang.
Pedoman Penerimaan Peserta Didik Baru (PPDB) Tahun 2013-
BAB II
TUJUAN, PRINSIP DAN AZAS
Bagian Kesatu
Tujuan
Pasal 2
Penerimaan Peserta Didik Baru (PPDB) bertujuan memberikan layanan bagi anak usia
sekolah/lulusan RA/TK, MI/SD, MTs/SMP dan MA/SMA atau yang sederajat untuk memasuki
satuan pendidikan yang lebih tinggi secara tertib, terarah dan benar.
Bagian Kedua
Prinsip
Pasal 3
(1) Semua anak usia sekolah memiliki kesempatan yang sama untuk memperoleh
pendidikan pada satuan pendidikan.
(2) Pada dasarnya tidak ada penolakan Peserta Didik Baru (PPDB), bagi yang memenuhi
syarat kecuali jika daya tampung di RA atau madrasah yang bersangkutan tidak
mencukupi dan ketentuan waktu proses PPDB telah berakhir.
(3) Sejak awal pendaftaran calon peserta didik dapat menentukan pilihannya, ke RA atau
pada madrasah negeri atau swasta.
Bagian Ketiga
Azas
Pasal 4
(1) Objektif, artinya bahwa Penerimaan Peserta Didik Baru, maupun pindahan harus
memenuhi ketentuan umum yang telah ditetapkan;
(2) Transparan, artinya Penerimaan Peserta Didik Baru bersifat terbuka dan dapat
diketahui oleh masyarakat termasuk orang tua peserta didik, untuk menghindarkan
penyimpangan-penyimpangan yang mungkin terjadi;
(3) Akuntabel, artinya Penerimaan Peserta Didik Baru dapat dipertanggungjawabkan baik
prosedur maupun hasilnya;
(4) Tidak diskriminatif, artinya Penerimaan Peserta Didik Baru RA, MI MTs, MA tanpa
membedakan suku, golongan kaya atau miskin;
(5) Kompetitif, artinya Penerimaan Peserta Didik Baru dilakukan melalui seleksi
berdasarkan kompetensi yang disyaratkan oleh satuan pendidikan tertentu.
Pedoman Penerimaan Peserta Didik Baru (PPDB) Tahun 2013-
BAB III
CALON PESERTA DIDIK
Pasal 5
Calon Peserta Didik
Calon Peserta Didik tingkat satuan pendidikan RA, MI, MTs dan MA Negeri dan Swasta
adalah mereka yang memenuhi persyaratan.
Pasal 6
Calon Peserta Didik yang berasal dari Madrasah/Sekolah
Luar Provinsi/Luar Negeri Berkesempatan Memperoleh Pendidikan
1. Calon Peserta Didik yang berasal dari luar provinsi dan berminat menjadi calon peserta
didik baru tingkat satuan pendidikan MI, MTs dan MA Negeri diberikan alokasi 10% atau
sesuai dengan kondisi dan daya tampung madrasah.
2. Perpindahan peserta didik baru dari satuan pendidikan asing ke satuan pendidikan
madrasah dapat dilakukan setelah mendapat persetujuan dari Direktur Jenderal
Pendidikan Islam.
Pasal 7
Calon Peserta Didik Tamatan Sebelum Tahun Pelajaran Berjalan
Calon Peserta Didik tamatan sebelum tahun Pelajaran berjalan yang memenuhi syarat PPDB
dapat mengikuti seleksi masuk madrasah.
Pedoman Penerimaan Peserta Didik Baru (PPDB) Tahun 2013-
BAB IV
PERSYARATAN PENERIMAAN PESERTA DIDIK BARU
Pasal 8
Raudlatul Athfal
Calon peserta didik baru Raudlatul Athfal dengan syarat-syarat sebagai berikut:
1. Usia 4 tahun untuk kelompok A;
2. Usia 5 tahun untuk kelompok B;
3. Memiliki akte kelahiran/Surat Keterangan Lahir;
4. Kelompok A, B, bukan merupakan jenjang belajar, melainkan semata-mata
pengelompokkan belajar yang berdasarkan pada kelompok usia anak.
Pasal 9
Madrasah Ibtidaiyah Kategori Standar/Reguler
Calon Peserta Didik Baru Madrasah Ibtidaiyah dengan syarat-syarat sebagai berikut:
1. Pada tanggal 1 Juli calon peserta didik telah berusia 7 tahun dan setinggi-
tingginya 12 tahun dapat diterima sebagai Peserta Didik Baru di kelas 1 (satu);
2. Apabila rasio kelas belum terpenuhi, calon peserta didik yang pada tanggal Juli
sekurang-kurangnya telah berusia 6 tahun dapat diterima sebagai peserta didik baru
kelas 1 dengan prioritas usia yang lebih tua berdasarkan peringkat;
3. Calon Peserta Didik MI tidak disyaratkan pernah mengikuti RA/TK;
4. Memiliki akte kelahiran/Surat Keterangan Lahir;
5. Apabila pendaftar melebihi daya tampung maka madrasah tersebut berhak mengadakan
seleksi.
Pasal 10
Madrasah Ibtidaiyah Standar Nasional
1. Pada tanggal Juli calon peserta didik telah berusia 7 tahun dan setinggi-
tingginya 12 tahun;
2. Apabila rasio kelas belum terpenuhi, calon peserta didik yang pada tanggal Juli
sekurang-kurangnya telah berusia 6 tahun dapat diterima sebagai peserta didik baru
kelas 1 dengan prioritas usia yang lebih tua berdasarkan peringkat;
3. Usia kurang dari 6 tahun harus disertakan Surat Rekomendasi dari Psykologi tentang
persiapan siswa yang bersangkutan.
4. Calon Peserta Didik MI tidak disyaratkan pernah mengikuti RA/TK;
5. Memiliki akte kelahiran/Surat Keterangan Lahir;
6. Mengikuti seleksi potensi calon peserta didik meliputi:
a. Seleksi Berkas
b. Seleksi Akademik
c. Psikotest
d. Wawancara
Pedoman Penerimaan Peserta Didik Baru (PPDB) Tahun 2013-
Pasal 11
Madrasah Tsanawiyah Kategori Standar/Reguler
Calon Peserta Didik Baru Madrasah Tsanawiyah dengan syarat:
1. Memiliki ijazah/SKYBS Madrasah Ibtidaiyah/Sekolah Dasar atau lembaga pendidikan
lain yang sederajat;
2. Usia maksimum 1 tahun, pada tanggal Juli ;
3. Lulusan Madrasah Ibtidaiyah/Sekolah Dasar atau lembaga pendidikan lain yang
sederajat yang dibuktikan dengan Rapor, Ijazah, SKHUN atau Tanda Lulus.
Pasal 12
Madrasah Tsanawiyah Standar Nasional
Calon Peserta Didik Baru Madrasah Tsanawiyah dengan syarat:
1. Memiliki ijazah/SKYBS Madrasah Ibtidaiyah/Sekolah Dasar atau lembaga pendidikan lain
yang sederajat;
2. Usia maksimum 1 tahun, pada tanggal Juli ;
3. Memiliki nilai rapor kelas IV sampai dengan kelas VI MI/SD dan khusus untuk mata
pelajaran IPA, Matematika, Bahasa Indonesia minimal 70;
4. Calon Peserta Didik MTs Standar Nasional harus lulus seleksi administrasi yang meliputi:
a. Surat keterangan sehat dari dokter;
b. Surat Keterangan sedang belajar dikelas VI dari madrasah/sekolah asal;
c. Surat Keterangan berkelakuan baik dari madrasah/sekolah asal;
d. Surat Keterangan/Sertifikat Bahasa Inggris dan Bahasa Arab jika ada;
e. Surat Keterangan/Sertifikat berprestasi dalam kompetisi akademik dan non akademik
minimal tingkat kabupaten/kota jika ada;
f. Membuat surat pernyataan;
- bersedia mengikuti program MSN
- bersedia megikuti rangkaian tes bakat skolastik, tes akademik umum, agama dan
praktek ibadah, psikotest dan wawancara
- bersedia kembali ke kelas reguler apabila tidak mampu mengikuti program MSN
5. Kriteria penentuan kelulusan seleksi Peserta Didik Baru MTs Standar Nasional;
a. Seleksi berkas
b. Tes akademik
c. Tes non akademik
d. Wawancara
Pasal 13
Madrasah Aliyah Kategori Standar/Reguler
Calon Peserta Didik Baru Madrasah Aliyah dengan syarat:
1. Memiliki ijazah/SKYBS Madrasah Tsanawiyah/Sekolah Menengah Pertama atau
lembaga pendidikan lain yang sederajat;
2. Usia maksimum tahun, pada tanggal Juli ;
3. Lulusan MTs/SMP yang dibuktikan dengan Rapor, Ijazah dan SKHUN.
4. Kriteria penentuan kelulusan seleksi Peserta Didik Baru Madrasah Aliyah Standar Nasional;
a. Seleksi berkas
b. Tes Akademik Umum (TAU)
c. Agama dan Praktek Ibadah
d. Tes Bakat Skolastik (TBS)
e. Wawancara
Pedoman Penerimaan Peserta Didik Baru (PPDB) Tahun 2013-
Pasal 14
Madrasah Aliyah Standar Nasional
Calon Peserta Didik Baru Madrasah Aliyah Standar Nasional dengan syarat:
1. Memenuhi seluruh persyaratan yang ada pada pasal 13;
2. Memiliki IQ ≥ ;
3. Memiliki nilai rapor MTs/SMP kelas VII sampai dengan kelas IX khusus mata pelajaran
Matematika, Bahasa Inggris, IPA minimal 70 yang telah dilegalisasi;
4. Calon Peserta Didik MA Standar Nasional harus lulus seleksi administrasi yang meliputi:
a. Surat keterangan sehat dari dokter;
b. Surat Keterangan sedang belajar dikelas IX dari madrasah/sekolah asal;
c. Surat Keterangan berkelakuan baik dari madrasah/sekolah asal;
d. Surat Keterangan Sertifikat Bahasa Inggris, Bahasa Arab dan lain-lain;
e. Surat Keterangan/Sertifikat berprestasi dalam kompetisi akademik dan non akademik
minimal tingkat kabupaten/kota, jika ada;
f. Membuat surat pernyataan bersedia mengikuti program MSN
5. Kriteria penentuan kelulusan seleksi Peserta Didik Baru Madrasah Aliyah Standar
Nasional;
a. Seleksi berkas
b. Tes Akademik Umum (TAU), Agama dan Praktek Ibadah
c. Tes Bakat Skolastik (TBS)
d. Wawancara
Pasal 16
Calon Peserta Didik Baru yang Berasal dari Luar Provinsi
Calon Peserta Didik Baru yang berasal dari luar provinsi, karena kepindahan orang tua/wali
atau hal lain, maka pada waktu mendaftarkan diri wajib menyerahkan Surat Keterangan
Tanda Lapor Diri (SKTLD)/Surat Keterangan Domisili dari Lurah/pemerintah setempat.
Pasal 17
Calon Peserta Didik Baru yang Berasal dari Perbatasan Provinsi
1. Calon Peserta Didik Baru yang berasal dari daerah yang berbatasan dengan wilayah
Provinsi dapat mendaftarkan langsung ke madrasah Provinsi setempat sesuai dengan
madrasah yang diinginkan.
2. Calon Peserta Didik sebagaimana dimaksudkan pada ayat (1) pasal ini yang akan
mendaftar masuk MTs atau MA langsung atau kolektif melalui Kepala Madrasah/Kepala
Sekolah masing–masing ke madrasah yang dituju dengan melengkapi semua
persyaratan yang sudah ditentukan.
Pedoman Penerimaan Peserta Didik Baru (PPDB) Tahun 2013-
BAB V
DASAR SELEKSI, TATA CARA PENDAFTARAN, TEMPAT PENDAFTARAN,
MATERI SELEKSI DAN JADWAL PENDAFTARAN
Pasal 18
Dasar Seleksi
Jika daya tampung tidak memungkinkan untuk menerima semua Calon Peserta Didik Baru,
madrasah dapat mengadakan seleksi dengan memperhatikan hal-hal sebagai berikut:
a. Raudlatul Athfal
1) Usia;
2) Lokasi sekolah tujuan dengan tempat tinggal calon Peserta Didik.
b. Madrasah Ibtidaiyah
1) Seleksi dilakukan dengan memperhatikan:
a. Usia;
b. Lokasi sekolah tujuan dan tempat tinggal peserta didik;
c. Khusus Madrasah Ibtidaiyah Standar Nasional memperhatikan Standar Mutu dan
Potensi Peserta Didik.
c. Madrasah Tsanawiyah
1) Nilai UN, Nilai Rapor dan Nilai UAM/UAS;
2) Usia
3) Nilai tes akademik umum, Agama dan Praktek Ibadah
4) Khusus calon Peserta Didik Baru Madrasah Tsanawiyah Standar Nasional harus lulus :
a. Tes Akademik
1. Tes tertulis mata pelajaran IPA, Matematika, Bahasa Indonesia dan Bahasa
Inggris dan Bahasa Arab
2. Tes Lisan dalam Bahasa Inggris dan Pengetahuan Umum.
b. Tes Non Akademik
1. Wawancara dengan calon peserta didik dan orang tua/wali peserta didik
2. Tes Bakat dan kemampuan
3. Praktek Ibadah
4. Tes baca tulis qur’an (BTQ)
d. Madrasah Aliyah
1. Nilai UN, Nilai Rapor dan Nilai UAM/UAS;
2. Usia;
3. Nilai Tes Akademik Umum (TAU), Agama, Tes Bakat Skolastik (TBS) dan Praktek
Ibadah;
4. Khusus calon Peserta Didik Baru Madrasah Aliyah Standar Nasional harus lulus:
a. Seleksi Berkas
b. Tes Akademik Umum (IPA, Matematika, Bahasa Indonesia, Bahasa Inggris dan
Bahasa Arab) dan
c. Agama dan Praktek Ibadah;
d. Tes Bakat Skolastik;
e. Wawancara dengan calon peserta didik dan orang tua/wali peserta didik
Pedoman Penerimaan Peserta Didik Baru (PPDB) Tahun 2013-
Pasal 19
Tata Cara Pendaftaran
1. Calon Peserta Didik Baru Raudlatul Athfal, Madrasah Ibtidaiyah, Madrasah Tsanawiyah
dan Madrasah Aliyah dapat dilakukan dengan dua cara:
a. Kolektif, dilakukan oleh lembaga pendidikan asal Peserta Didik Baru (dari RA/TK ke
MI dan dari MI/SD ke MTs maupun dari MTs/SMP ke MA) dengan surat pengantar
dan daftar nama-nama Peserta Didik baru, serta melampirkan syarat-syarat yang
telah ditentukan;
b. Perorangan, dengan cara mendaftarkan langsung ke RA, MI, MTs dan MA yang
dituju dengan membawa syarat-syarat yang telah ditentukan;
1. Mengambil formulir pendaftaran untuk diisi oleh calon pendaftar.
2. Pengambilan formulir dilakukan di RA/madrasah tempat pendaftaran.
3. Menyerahkan kembali formulir yang telah diisi dan ditandatangani dengan
kelengkapannya.
Pasal 20
Tempat Pendaftaran
1. Tempat pendaftaran calon Peserta Didik Baru berada pada masing-masing
RA/madrasah yang dituju/online untuk RA/madrasah yang memiliki jaringan tersebut.
2. Tempat pendaftaran penerimaan calon Peserta Didik baru dipublikasikan kepada
masyarakat melalui pengumuman di RA/madrasah, media cetak atau elektronik.
Pasal 21
Materi Seleksi
1. Materi Seleksi meliputi:
a. TAU (Tes Akademik Umum);
b. TBS (Tes Bakat Skolastik);
c. Tes baca tulis qur’an (BTQ) dan praktek ibadah;
d. Tes lain sesuai kebutuhan madrasah masing-masing.
2. Selain Tes kemampuan (achievment test), madrasah dapat melaksanakan tes
penempatan (placement test) sesuai dengan kebutuhan.
Pasal 22
Jadwal Pendaftaran dan Seleksi
1) RAUDLATUL ATHFAL
NO KEGIATAN WAKTU JAM KETERANGAN
Pendaftaran PPDB 1 s/d Juni - Di Raudlatul
Athfal tujuanPengumuman PPDB Juli
Lapor Diri PPDB s/d Juli -
Hari Pertama masuk RA Juli
2) MADRASAH IBTIDAIYAH KATEGORI STANDAR/REGULER
NO KEGIATAN WAKTU JAM KETERANGAN
Pendaftaran PPDB s/d Juni - Di Madrasah
tujuanSeleksi Masuk dan 2 Juni -
Pengumuman PPDB Juli
Lapor Diri PPDB s/d Juli -
Hari Pertama masuk madrasah Juli
Pedoman Penerimaan Peserta Didik Baru (PPDB) Tahun 2013-
3) MADRASAH IBTIDAIYAH STANDAR NASIONAL
NO KEGIATAN WAKTU JAM KETERANGAN
Pendaftaran PPDB s/d April - Di Madrasah
tujuanSeleksi Masuk Mei s/d Mei -
Pengumuman PPDB Mei
Lapor Diri PPDB s/d Mei -
Hari Pertama masuk
madrasah
Juli
4) MADRASAH TSANAWIYAH KATEGORI STANDAR/REGULER
NO KEGIATAN WAKTU JAM KETERANGAN
Pendaftaran PPDB 1 s/d Juni - Di Madrasah
tujuanSeleksi Masuk s/d 2 Juni -
Pengumuman PPDB Juni
Lapor Diri PPDB Juni s/d Juli -
Masa Orientasi Peserta Didik
Baru (MOPDB)
8 s/d 10 Juli 2013
. Hari Pertama masuk madrasah Juli
5) MADRASAH TSANAWIYAH STANDAR NASIONAL
NO KEGIATAN WAKTU JAM KETERANGAN
Pendaftaran PPDB April s/d April - Di Madrasah
tujuan
Seleksi Masuk Mei s/d Mei -
Pengumuman PPDB Mei
Lapor Diri PPDB s/d Mei -
Masa Orientasi Peserta Didik
Baru (MOPDB)
8 s/d 10 Juli 2013
. Hari Pertama masuk madrasah Juli
6) MADRASAH ALIYAH KATEGORI STANDAR/REGULER
NO KEGIATAN WAKTU JAM KETERANGAN
Pendaftaran PPDB Mei s/d Juni - Di Madrasah
tujuan
Seleksi Masuk s/d 27 Juni -
Pengumuman PPDB Juli
Lapor Diri PPDB s/d Juli -
Masa Orientasi Peserta Didik
Baru (MOPDB)
11 s/d 13 Juli
Hari Pertama masuk madrasah Juli
7) MADRASAH ALIYAH STANDAR NASIONAL
NO KEGIATAN WAKTU JAM KETERANGAN
Pendaftaran PPDB April s/d April - Di Madrasah
tujuan
Seleksi Masuk s/d April -
Pengumuman PPDB Mei
Lapor Diri PPDB s/d Mei -
Hari Pertama masuk madrasah Juli
Pedoman Penerimaan Peserta Didik Baru (PPDB) Tahun 2013-
Pasal 23
Pernyataan Tertulis
1. Peserta Didik Baru yang diterima pada suatu madrasah wajib mentaati peraturan dan
tata tertib madrasah yang bersangkutan dengan menandatangani surat pernyataan
bermaterai Rp. 6.000,- sebagaimana contoh terlampir;
2. Orang tua/wali Peserta Didik Baru yang diterima, wajib menandatangani surat
pernyataan bermaterai RP. 6000,- sebagaimana contoh terlampir yang diketahui oleh
Kepala Madrasah yang bersangkutan.
Pasal 24
Monitoring, Pengendalian, Evaluasi dan Pelaporan (Mopel)
1. Monitoring, pengendalian, Evaluasi, dan Pelaporan Penerimaan Peserta Didik Baru
(PPDB) dilaksanakan secara terpadu dan terus-menerus mulai persiapan, pelaksanaan
dan penutupan;
2. Pengawas Pendidikan Agama Islam RA/TK dan MI/SD melakukan Supervisi, Monitoring,
Evaluasi PPDB pada RA dan MI dan melaporkan pelaksanaannya kepada Kepala
Kankemenag Kota/Kabupaten, Up. Kasi Pendidikan Madrasah, tembusan Kabid
Pendidikan Madrasah Kanwil Kementerian Agama Provinsi;
3. Pengawas Pendidikan Agama Islam MTs/SMP dan MA/SLTA dan Pengawas Rumpun
ata Pelajaran Kanwil Kementerian Agama Provinsi melakukan Supervisi, Monitoring,
evaluasi PPDB pada MTs dan MA dan melaporkan pelaksanaannya kepada Kepala
Kanwil Kementerian Agama Provinsi, Up. Kepala Bidang Pendidikan Madrasah;
4. Kepala Madrasah wajib membuat laporan terdiri dari laporan Penerimaan Peserta Didik
Baru dan Laporan Awal Tahun paling lambat dua minggu setelah pelaksanaan
Penerimaan Peserta Didik Baru, laporan disampaikan kepada :
a. Kepala Kankemenag Up. Kasi Pendidikan Madrasah Kota/Kabupaten dan tembusan
kepada Kepala Bidang Pendidikan madrasah Kanwil Kementerian Agama Provinsi
untuk RA, MI dan MTs;
b. Kepala Kanwil Up. Kepala Bidang Pendidikan Madrasah Kanwil Kementerian Agama
Provinsi untuk MA.
5. Laporan Penerimaan Peserta Didik Baru dan Laporan Awal tahun dibuat sesuai dengan
blanko terlampir;
6. Laporan dibuat rangkap 3 (tiga) disampaikan kepada:
a. Kankemenag Kota/Kabupaten Up. Kasi Mapenda (RA, MI, dan MTs);
b. Kanwil Kementerian Agama Provinsi Up. Bidang Mapenda (RA, MI, MTs, dan MA);
c. Arsip madrasah yang bersangkutan.
Pedoman Penerimaan Peserta Didik Baru (PPDB) Tahun 2013-
BAB VI
DAYA TAMPUNG KEGIATAN AWAL TAHUN DAN WAKTU BELAJAR
Pasal 25
Daya Tampung
1. Jumlah Penerimaan Peserta Didik Baru bagi RA/madrasah, jumlah Peserta Didik setiap
kelas paling banyak sebagai berikut:
a. Raudlatul Athfal 20 orang;
b. Madrasah Ibtidaiyah, Tsanawiyah dan Aliyah Kategori Standar 40 orang;
c. Madrasah Ibtidaiyah Standar Nasional 28 orang;
d. Madrasah Tsanawiyah dan Aliyah Standar Nasional 32 orang;
Pasal 26
Kegiatan Awal Tahun Pembelajaran
1. Masa orientasi Siswa (MOS) merupakan kegiatan yang wajib dilaksanakan untuk
siswa baru pada setiap jenjang pendidikan;
2. MOS dilaksanakan sebelum pelaksanaan belajar efektif;
3. Materi yang dilaksanakan sekurang-kurangnya meliputi pengenalan lingkungan
madrasah, wiyata mandala, tata tertib dan kedisiplinan, motivasi, orientasi pendidikan
madrasah, akhlak/etika, ibadah, kreatifitas dan lain-lain.
Pasal 2
Waktu Kegiatan Belajar Mengajar
1. Waktu kegiatan belajar mengajar bagi Raudlatul Athfal mulai pukul 07.30 s.d 10.30,
Madrasah Ibtidaiyah, Madrasah Tsanawiyah dan Madrasah Aliyah diselenggarakan
pada pagi hari, mulai pukul 06.30 s.d 15.15 WIB, atau disesuaikan dengan daerah
masing-masing.
2. Jika keadaan memaksa waktu kegiatan belajar mengajar dapat diselenggarakan pada
siang hari (pukul 13.00 – . 0) dengan mengemukakan alasan yang logis secara
tertulis dari Kepala Madrasah kepada Kepala Kanwil Up. Kepala Bidang Pendidikan
Madrasah Kanwil Kementerian Agama Provinsi;
3. Waktu kegiatan belajar mengajar dapat dilaksanakan pada siang hari jika telah
mendapat izin tertulis dari Kepala Kanwil Kementerian Agama Provinsi Up. Kepala
Pendidikan Madrasah.
Pedoman Penerimaan Peserta Didik Baru (PPDB) Tahun 2013-
BAB VII
KEPANITIAAN DAN PEMBIAYAAN
Pasal 27
Kepanitiaan
1. Panitia Penerimaan Peserta Didik Baru ditetapkan melalui Surat Keputusan masing-
masing Kepala RA/Kepala Madrasah yang bersangkutan;
2. Struktur Panitia Penerimaan Siswa disesuaikan dengan kebutuhan terdiri dari:
a. Pengarah
b. Penanggung Jawab
c. Ketua
d. Sekretaris
e. Bendahara
f. Anggota
3. Tugas dan wewenang panitia diatur oleh Keputusan Kepala RA/Kepala Madrasah yang
bersangkutan.
Pasal 28
Biaya
1. Biaya Penerimaan Peserta Didik Baru (PPDB) Tingkat MI dan MTs Negeri dari Dana
BOS dan BOP;
2. Biaya PPDB bagi calon Peserta Didik dari luar Provinsi dan tamatan sebelum tahun
pelajaran yang berjalan dibebankan kepada calon Peserta Didik;
3. Biaya Penerimaan Peserta Didik Baru (PPDB) bagi RA, MI dan MTs Swasta diperoleh
dari Sumbangan Calon Peserta Didik Baru yang besarnya ditetapkan berdasarkan hasil
keputusan rapat antara Kepala Madrasah dan seluruh anggota pengurus komite
madrasah yang diketahui Kepala Kankemenag up.Kasi Mapenda Kota/Kabupaten
dengan tidak memberatkan orang tua Peserta Didik;
4. Biaya Penerimaan Peserta Didik Baru (PPDB) bagi MA Negeri/Swasta, diperoleh dari
Sumbangan Calon Peserta Didik Baru yang besarnya ditetapkan berdasarkan hasil
keputusan rapat antara Kepala Madrasah dan Pengurus Komite madrasah yang
diketahui Kepala Kanwil Up. Kabid Mapenda;
5. Kepala MI dan MTs Negeri wajib membebaskan biaya pendidikan seluruh peserta didik
dan dilarang memungut biaya dana dari orang tua/wali siswa;
6. Komite madrasah dapat menghimpun sumbangan sukarela yang tidak mengikat dari
masyarakat dan dunia usaha serta harus dipertanggungjawabkan sesuai dengan
ketentuan yang berlaku.
Pedoman Penerimaan Peserta Didik Baru (PPDB) Tahun 2013-
BAB VIII
PENUTUP
Pasal 29
Ketentuan Lain-lain
1. Hal-hal yang belum diatur dalam pedoman ini akan diatur kemudian, sepanjang tidak
bertentangan dengan keputusan ini;
2. Apabila terdapat kekeliruan dalam pedoman ini akan diadakan perbaikan sebagaimana
mestinya;
Pedoman Penerimaan Peserta Didik Baru (PPDB) Tahun 2013-
Lampiran 1
SURAT PERNYATAAN CALON PESERTA DIDIK BARU
Yang bertanda tangan di bawah ini:
1. Nama :.................................................................................
2. NISN :.................................................................................
3. Tempat/tanggal lahir :.................................................................................
4. Jenis Kelamin :.................................................................................
5. Agama :.................................................................................
6. Nomor Pendaftaran :.................................................................................
7. Diterima di kelas :.................................................................................
8. Nama Orang tua/wali :.................................................................................
9. Pekerjaan Orang Tua :.................................................................................
10. Agama Orang Tua :.................................................................................
11. Nama Wali :.................................................................................
12. Pekerjaan Wali :.................................................................................
13. Hubungan Keluarga dengan wali :.................................................................................
14. Alamat orang tua/wali :.................................................................................
Telp/HP :.................................................................................
Dengan ini kami menyatakan dengan sesungguhnya, bahwa selama di Madrasah ini:
Akan belajar dengan tekun, sungguh-sungguh dan penuh semangat;
Akan menjaga nama baik diri sendiri, keluarga, masyarakat dan madrasah;
Sanggup menaati seluruh tata tertib dan peraturan yang berlaku, mematuhi pelaksanaan
wiyata mandala termasuk berpakaian seragam madrasah, OSIS dan lain-lain.
Siap menerima sanksi sesuai ketentuan madrasah.
Demikian surat pernyataan ini kami buat dengan sebenarnya dan penuh rasa tanggung
jawab.
Mengetahui : ..................., …
Orang tua/wali
( ………………………………………… )
Yang membuat pernyataan
( ………………………………………… )
Pedoman Penerimaan Peserta Didik Baru (PPDB) Tahun 2013-
Lampiran 2
SURAT PERNYATAAN ORANG TUA/WALI
Yang bertanda tangan di bawah ini:
1. Nama orang tua/wali : .............................................................
2. Pekerjaan orang tua/wali : .............................................................
3. Alamat orang tua/wali : .............................................................
4. Telepon/HP orang tua/wali : .............................................................
5. Agama : .............................................................
6. Nama Peserta Didik : .............................................................
7. Jenis Kelamin Peserta Didik : .............................................................
8. Diterima di kelas : .............................................................
9. Hubungan keluarga dgn calon peserta didik : .............................................................
MENYATAKAN
Bahwa Saya selaku orang tua/wali dari peserta didik yang bernama
........................................ kelas .............. MI/MTs/MA .....................................
Menyatakan dengan sesungguhnya:
1. Bersedia membimbing dan mengawasi peserta didik tersebut diatas untuk menaati
tata tertib madrasah
2. Tidak keberatan peserta didik diatas menerima sanksi sesuai dengan ketentuan
madrasah.
Demikian surat pernyataan ini saya buat dengan sebenarnya serta penuh rasa
tanggung jawab.
Mengetahui ; ......................., …..……………
Kepala Madrasah
( ………………………………………… )
Yang membuat pernyataan
Orang Tua / Wali
( ………………………………………… )
Pedoman Penerimaan Peserta Didik Baru (PPDB) Tahun 2013-
Lampiran: 3
LAPORAN
TENTANG PPDB MADRASAH NEGERI
TAHUN PELAJARAN
No.
Jenis
Madrasah
Daya Tampung
Kelas I /VII/X
Jumlah
Calon
peserta
didik yang
mendaftar
Jumlah yang
sudah diterima
Kekurangan/kelebihan
peserta didik menurut
Daya Tampung
Ruang
Peserta
Didik
Ruang
Peserta
Didik
Lebih Kurang
...................,
.......................................
Pedoman Penerimaan Peserta Didik Baru (PPDB) Tahun 2013-
Lampiran: 4
LAPORAN PANITIA PPDB TINGKAT RA/MI/MTS/MA
TENTANG KASUS-KASUS SELAMA PPDB
TAHUN PELAJARAN
No.
Kasus dan Lokasi
kejadian
Masalah Yang
Timbul
Pemecahan
Masalah
Saran Tindak
Lanjut
.............,
Panitia PPDB ...................
.......................................
Pedoman Penerimaan Peserta Didik Baru (PPDB) Tahun 2013-
Lampiran 5 :
DATA PESERTA DIDIK KELAS I/VII/X
TAHUN PELAJARAN
Nama Madrasah : .........................................................................................................
Jenis Madrasah : .......................................................................... ..............................
Alamat : .........................................................................................................
Nomor Telepon : .........................................................................................................
Kecamatan : .........................................................................................................
Kota : .........................................................................................................
1. Daya Tampung : ..............................Kelas = ....................... orang
2. Peserta Didik Tinggal Kelas : ...............orang, melapor = ....................... orang
3. Peserta didik berprestasi : ...............orang, melapor = ....................... orang
4. Hasil seleksi Tahap I : ...............orang, melapor = ....................... orang
5. Hasil seleksi Tahap II : ...............orang, melapor = ....................... orang
6. Total Peserta Didik yang telah lapor diri
(peserta didik tinggal kelas, peserta didik berprestasi, tahap I, tahap II)= .............. orang
7. Sisa bangku kosong setelah tahap II (No.1-No.7) = ....................... orang
.............., ................................
Kepala Madrasah,
....................................
NIP
Pedoman Penerimaan Peserta Didik Baru (PPDB) Tahun 2013-
Lampiran 6 :
DAFTAR PESERTA DIDIK
YANG DITERIMA TAHUN PELAJARAN
No. Nama Peserta Didik
Nama Orang Tua/Wali
Peserta Didik
Alamat Rumah
Peserta Didik
Telp.
........................, .......
Kepala Madrasah .................................
...............................................................
NIP.
Pedoman Penerimaan Peserta Didik Baru (PPDB) Tahun 2013-
Lampiran :
SURAT PENGANTAR PENDAFTARAN PESERTA SELEKSI
MADRASAH SECARA KOLEKTIF
NAMA MADRASAH : .................................................................
ALAMAT MADRASAH: ..................................................................
-----------------------------------------------------------------------------------------------
Nomor : .................., ............................
Lamp : ...... berkas
Hal : Pendaftaran Calon Peserta
Seleksi Masuk MTs / MA
Tahun Pelajaran
Kepada Yth,
Sdr. Kepala ...............................
..............................................
Jakarta
Assalamu’alaikum wr wb
Dengan ini kami sampaikan daftar nama peserta didik Madrasah .....................
sejumlah ...... orang sebagaimana terlampir, untuk didaftar sebagai calon
peserta seleksi pada MTs/MA ............................... Tahun Pelajaran
dengan syarat yang sudah ditentukan.
Demikian agar maklum dan terima kasih atas kerjasamanya.
Wassalam,
Kepala Madrasah
..................................................
.................................................
NIP.
Pedoman Penerimaan Peserta Didik Baru (PPDB) Tahun 2013-
Lampiran :
RAUDLATUL ATHFAL
LAPORAN AWAL TAHUN PELAJARAN
Nama Madrasah : .............................................................................................................
Alamat Madrasah : .............................................................................................................
Status : .............................................................................................................
Keadaan Gedung : .............................................................................................................
Luas Tanah : .............................................................................................................
Luas Bangunan : .............................................................................................................
Jumlah Ruang Belajar : .............................................................................................................
Waktu Belajar : .............................................................................................................
No. Statistik : .............................................................................................................
No. Pendirian : .............................................................................................................
No. Izin Operasional : .............................................................................................................
Tahun Akreditasi : .............................................................................................................
Keadaan Peserta Didik : .............................................................................................................
A. Peserta Didik Lama : L : ............... P : ...............
Usia 4 Tahun : .............
Usia 5 Tahun : .............
Usia 6 Tahun : .............
B. Peserta Didik Baru: L : ............... P : ...............
Usia 4 Tahun : .............
Usia 5 Tahun : .............
Usia 6 Tahun : .............
Jumlah : L : ....................... P : .........................
Usia 4 Tahun : .............
Usia 5 Tahun : .............
Usia 6 Tahun : .............
C. Peserta Didik Yang Lulus Tahun 20 :
D. Melanjutkan Ke MI : .................. SD : ..................
. Keadaan Guru
NO N A M A
L/
P
Tempat /
Tgl. Lahir
Mulai
Tugas
Status
PNS Swasta
Lulusan Sertifikat
Alamat & No.
HP
.- Daftar nama-nama siswa kelas pertama sampai terakhir untuk RA/MI/MTs/MA terlampir (sesuai dengan
blangko 8355)
..............., .......................................................
Kepala Madrasah ...........................................
........................................................................
NIP.
Pedoman Penerimaan Peserta Didik Baru (PPDB) Tahun 2013-
Lampiran :
LAPORAN AWAL TAHUN PELAJARAN
Nama Madrasah : ...........................................................................................
Alamat Madrasah : ...........................................................................................
Status : ...........................................................................................
Keadaan Gedung : ...........................................................................................
Luas Tanah : ...........................................................................................
Luas Bangunan : ...........................................................................................
Jumlah Ruang Belajar : ...........................................................................................
Waktu Belajar : ...........................................................................................
Keadaan Peserta Didik : ...........................................................................................
9.1 RA
KELAS
JENIS KELAMIN
JUMLAH LOKAL
L P
A
B
9.2 MI
KELAS
JENIS KELAMIN
JUMLAH LOKAL
L P
I
II
III
IV
V
VI
9.3 MTS
KELAS
JENIS KELAMIN
JUMLAH LOKAL
L P
VII
VIII
IX
9.4 MA
KELAS
JENIS KELAMIN
JUMLAH LOKAL
L P
X
XI
XII
Peserta Didik kelas baru berasal dari:
10.1. MI
ASAL
JENIS KELAMIN
JUMLAH LOKAL
L P
RA
TK
JUMLAH
Pedoman Penerimaan Peserta Didik Baru (PPDB) Tahun 2013-
10.2. MTS
ASAL
JENIS KELAMIN
JUMLAH LOKAL
L P
MI
SD
JUMLAH
10.3. MA
ASAL
JENIS KELAMIN
JUMLAH LOKAL
L P
MTS
SMP
JUMLAH
. Peserta Didik yang berusia 7-13 Tahun ........... orang
. Peserta Didik yang berusia 13-16 Tahun .......... orang
. Peserta Didik yang berusia 16-21 Tahun ........... orang
. Siswa yang lulus Tahun Pelajaran 20 : .......... orang
. Melanjutkan Pendidikan
a. Dari RA ke : - MI ................. orang
- SD ................. orang
b. Dari MI ke : - MTs ................. orang
- SMP ................. orang
c. Dari MTs ke : - MA ................. orang
- MAK ............... orang
- SMU ................ orang
c. Dari MA ke : - PT ................. orang
Daftar nama-nama guru terlampir
Daftar nama-nama peserta kelas pertama sampai terakhir untuk RA/MI/MTs/MA
terlampir (sesuai dengan blangko 8355)
................, .............................
Kepala Madrasah/RA
...............................................
...............................................
NIP.
Pedoman Penerimaan Peserta Didik Baru (PPDB) Tahun 2013-
2013– 2014

04 26 ppdb pedoman 2013

  • 1.
  • 2.
    Menimbang :4. Mengingat KEPUTUSAN DIREKTURJENDERAL PENDIDIKAN ISLAM NOMOR: 682 TAHUN 2013 TENTANG PEDOMAN PENERIMAAN PESERTA DIDIK BARU (PPDB) TAHLIN PEMBELAJARAN 2OI3 - 2OI4 : 1. 2. 3. 4. 5. 6. DENGAN RAHMAT TUHAN YANG MAHA ESA DIREKTUR JENDERAL PENDIDIKAN ISLAM, bahwa pembangunan nasional dalam bidang pendidikan dimaksudkan untuk mencerdaskhn kehidupan bangsa dan meningkatkan kualitas manusia Indonesia yang beriman, bertakwa dan berakhlak mulia serta menguasai ilmu pengetahuan teknologi dan seni untuk mewujudkan masyarakat yang maju, adil, makmur dan beradab; bahwa untuk mendukung tujuan tersebut perlu dilakukan pembinaan dan bimbingan tekni s tentang pelaksanaan pendidikan; bahwa salah satu bimbingan teknis terkait dengan pendidikan adalah penerimaan peserta didik baru setiap awal tahun pembelajaran dilakukan dalam rangka memberikan petunjuk tata cwa penerimaan peserta didik baru secara benar; bahwa sehubungan dengan huruf a, huruf b dan huruf c, maka perlu disusun Pedoman Penerimaan Peserta Didik Baru (PPDB) Tahun Pembelajaran2}l3- 2014; bahwa berdasarkan pertimbangan sebagaimana dimaksud pada huruf a, huruf b, huruf c dan huruf d perlu menetapkan Surat Keputusan Direktur Jenderal Pendidikan Islam tentang Pedoman Penerimaan Peserta Didik Baru (PPDB) Tahtrn Pembelaj ar an 20 | 3 -20 | 4. Undang-undang Nomor 4 Tahun 1979 tentang Kesejahteraan Anak; Undang-undang Nomor 39 Tahun 1999 tentang HAM pasal 52 sampai pasal 66 mengenai Hak Anak; Undang-undang Nornor 23 Tahun 2002tentang Perlindungan Anak; Undang-undang Nomor 20 Tahun 2003 tentang Sistem Pendidikan Nasional; Peraturan Pemerintah Republik Indonesia Nomor 19 Tahun 2005 tentang Standar Nasional Pendidikan; Peraturan Presiden RI Nomor 9 Tahun 2005 tentang Kedudukan, Tugas, Fungsi, Kewenangan, Susunan Organisasi dan Tata Kerja Kementerian Negara RI sebagaimana telah diubah terakhir dengan Peraturan Presiden Nomor 94 Tahun 2006; b. d. e. 7. Peraturan Menteri Pendidikan Nasional RI Nomor 39 Tahun 2008 tentang Pembinaan Kesiswaan; Peraturan Menteri Agama RI Nomor 10 Tahun 2010 tentang Organisasi dan Tata Kerja Kementerian Agama Agama RI; Peraturan Menteri Agama RI Nomor 13 Tahun 2012 tentang Organisasi dan Tata Kerja Instansi Vertikal Kementerian Agama Agama RI; 8. 9.
  • 3.
    Memperhatikan Menetapkan Kesatu Kedua Kalender akademik TahunPembelajaran 2012 * 2013 segera berakhir; MEMUTUSKAN KEPUTUSAN DIREKTUR JENDERAL PENDIDIKAN ISLAM TENTANG PEDOMAN PENERIMAAN PESERTA DIDIK BARU (PPDB) TAHI-IN PEMBELAJARAN 2OI3 _ 2OI 4. Pedoman Penerimaan Peserta Didik Baru (PPDB) Tahun Pembelajaran 2013 - 2014 digunakan sebagai petujuk teknis penerimaan siswa baru tahun pembelaj ar an 2013 - 201 4. Pedoman Penerimaan Peserta Didik Baru (PPDB) Tahun'Pembelajaran 2013 - 2014 memberikan kesempatan pada setiap madrasah untuk menyesuaikan dengan situasi dan kondisi yang ada. Surat Keputusan ini berlaku sejak tanggal ditetapkan; Ditetapkan di : Jakarta Pada tanggal : 25 Maret 2013 Krttg" TUR JENDERAL
  • 4.
    KATA PENGANTAR Pembangunan nasionaldalam bidang pendidikan dimaksudkan untuk mencerdaskan kehidupan bangsa dan meningkatkan kualitas manusia lndonesia yang beriman, bertakwa dan berakhlak mulia serta menguasai ilmu pengetahuan teknologi dan seni untuk mewujudkan masyarakat yang maju, adil, makmur dan beradab. Meningkatkan kualitas lndonesia yang cerdas dan berkualitas yang diindikasikan dengan kuatnya pengetahuhn di bidang IPTEK, keimanan dan ketakwaan serta akhlak mulia masyarakat merupakan bagian dan tanggung jawab pemerintah yang harus dilaksanakan melalui proses pendidikan yang bermutu dan berkualitas. Untuk mendukung tujuan tersebut, Direktorat Pendidikan Madrasah Kementerian Agama telah banyak melakukan berbagai upaya salah satunya memberikan bimbingan teknis tentang Penerimaan Peserta Didik Baru (PPDB). Salah satu bimbingan teknis terkait dengan hal tersebut yaitu diterbitkannya Pedoman PPDB baik untuk RA, Ml, MTs maupun MA. Pedoman ini diharapkan dapat dijadikan acuan oleh RA dan Madrasah pada saat PPDB dengan memberikan kesempatan pada setiap madrasah untuk menyesuaikan dengan situasi dan kondisi yang ada. Akhirnya kami sampaikan terima kasih atas kerjasamanya dengan harapan agar madrasah kita terus maju, bermutu dan berkualitas. Amiin Jakarta, 25 Maret2013 Pedoman Penerimaan Peserta Didik Baru (PPDB) Tahun 2013-2074
  • 5.
    Pedoman Penerimaan PesertaDidik Baru (PPDB) Tahun 201 - ii DAFTAR ISI KATA PENGANTAR ........................................................................................................... i DAFTAR ISI ........................................................................................................................ ii BAB I KETENTUAN UMUM .......................................................................................... BAB II TUJUAN, PRINSIP DAN AZAS .......................................................................... BAB III CALON PESERTA DIDIK ................................................................................... BAB IV PERSYARATAN PENERIMAAN PESERTA DIDIK BARU ................................. BAB V DASAR SELEKSI, TATA CARA PENDAFTARAN, TEMPAT PENDAFTARAN, MATERI SELEKSI DAN JADWAL PENDAFTARAN ................................................................................. BAB VI DAYA TAMPUNG DAN WAKTU BELAJAR ....................................................... BAB VII KEPANITIAAN DAN PEMBIAYAAN ................................................................... BAB VIII PENUTUP .......................................................................................................... LAMPIRAN LAMPIRAN 1 SURAT PERNYATAAN CALON PESERTA DIDIK BARU LAMPIRAN 2 SURAT PERNYATAAN ORANG TUA/WALI LAMPIRAN 3 LAPORAN TENTANG PPDB MADRASAH NEGERI TAHUN PELAJARAN 201 LAMPIRAN 4 LAPORAN PANITIA PPDB TINGKAT RA/MI/MTs/MA TENTANG KASUS-KASUS SELAMA PPDB TAHUN PELAJARAN 201 LAMPIRAN 5 DATA PESERTA DIDIK KELAS I/VI/X TAHUN PELAJARAN 201 LAMPIRAN 6 DAFTAR PESERTA DIDIK YANG DITERIMA TAHUN PELAJARAN 201 LAMPIRAN 7 SURAT PENGANTAR PENDAFTARAN PESERTA SELEKSI MADRASAH SECARA KOLEKTIF LAMPIRAN 8 RAUDATHUL ATHFAL LAPORAN AWAL TAHUN PELAJARAN 201 LAMPIRAN 9 LAPORAN AWAL TAHUN PELAJARAN 201 PROSEDUR PPDB T.P 201 –
  • 6.
    Pedoman Penerimaan PesertaDidik Baru (PPDB) Tahun 2013- BAB I KETENTUAN UMUM Pasal 1 Dalam keputusan ini yang dimaksud dengan : 1. Direktorat Jenderal adalah Direktorat Jenderal Pendidikan Islam Kementerian Agama Republik Indonesia; 2. Direktur Pendidikan Madrasah adalah Direktur Pendidikan Madrasah Direktorat Jenderal Pendidikan Islam Kementerian Agama Republik Indonesia; 3. Kanwil adalah Kantor Wilayah Kementerian Agama Provinsi; 4. Kankemenag adalah Kantor Kementerian Agama Kota/Kabupaten; 5. Kepala Bidang Pendidikan Madrasah adalah Kepala Bidang Pendidikan Madrasah Kanwil Kementerian Agama Provinsi; 6. Kasi Pendidikan Madrasah Kota/Kabupaten adalah Kepala Seksi Pendidikan Madrasah Kantor Kementerian Agama Kota/Kabupaten; 7. Madrasah adalah satuan pendidikan formal yang menyelenggarakan pendidikan agama Islam dan pendidikan umum yang berada di lingkungan/jajaran Kementerian Agama yang meliputi Raudlatul Athfal, Madrasah Ibtidaiyah, Madrasah Tsanawiyah dan Madrasah Aliyah; 8. Raudlatul Athfal yang selanjutnya disingkat RA adalah salah satu satuan pendidikan Anak Usia Dini pada jalur pendidikan formal yang menyelenggarakan program pendidikan dengan kekhasan agama Islam bagi anak berusia 4 (empat) tahun sampai dengan 6 (enam) tahun; 9. Madrasah Ibtidaiyah yang selanjutnya disingkat MI adalah salah satu satuan pendidikan formal dalam binaan Kementerian Agama yang menyelenggarakan Pendidikan Umum dengan kekhasan Agama Islam pada jenjang Pendidikan Dasar; 10. Madrasah Tsanawiyah yang selanjutnya disingkat MTs adalah salah satu bentuk satuan pendidikan formal dalam binaan Kementerian Agama yang menyelenggarakan Pendidikan Umum dengan kekhasan Agama Islam pada jenjang Pendidikan Dasar sebagai lanjutan dari MI, SD atau yang sederajat.; 11. Madrasah Aliyah yang selanjutnya disingkat MA adalah salah satu satuan pendidikan formal dalam binaan Kementerian Agama yang menyelenggarakan Pendidikan Umum dengan kekhasan Agama Islam pada jenjang Pendidikan Menengah sebagai lanjutan dari MTs, SMP atau yang sederajat.; 12. Madrasah Standar Nasional (MSN) adalah Madrasah yang penyelenggaraannya disiapkan sesuai dengan Standar Nasional Pendidikan; 13. Peserta Didik adalah peserta didik pada Tingkat Satuan Pendidikan RA, MI, MTs dan MA; 14. Calon Peserta Didik adalah mereka yang masih berusia sekolah dan belum menikah; 15. Madrasah daerah perbatasan adalah madrasah yang berlokasi di wilayah perbatasan baik dengan wilayah maupun negara lain; 16. Madrasah Luar Provinsi adalah madrasah di luar daerah Provinsi yang menerima Pendaftaran Peserta Didik Baru; 17. Penerimaan Peserta Didik Baru (PPDB) adalah Proses Penerimaan Peserta Didik Baru di awal tahun pelajaran yang dilaksanakan oleh madrasah dengan mempertimbangkan rasio daya tampung, kondisi, fasilitas, jumlah tenaga pendidik dan tenaga kependidikan yang ada di masing-masing satuan pendidikan pada madrasah; 18. Peserta Didik Baru adalah Peserta Didik yang mendaftarkan dirinya pada Raudlatul Athfal, Madrasah Ibtidaiyah, Tsanawiyah, dan Aliyah;
  • 7.
    Pedoman Penerimaan PesertaDidik Baru (PPDB) Tahun 2013- 19. Daya tampung adalah jumlah lokal/ruang belajar yang tersedia pada suatu Madrasah yang dipersiapkan untuk peserta didik baru dengan mempertimbangkan rasio kelas; 20. Rasio kelas adalah perbandingan antara ruang belajar dengan jumlah peserta didik dalam kelas itu sesuai dengan ketentuan yang berlaku dan kelayakan pada interaksi belajar mengajar; 21. Seleksi adalah penyaringan calon peserta didik baru berdasarkan aturan yang telah ditetapkan; 22. Kartu Hasil Seleksi (KHS) adalah kartu yang menyatakan bahwa calon peserta didik diterima atau tidak diterima berdasarkan hasil seleksi di madrasah tersebut; 23. Surat Keterangan Hasil Ujian Nasional selanjutnya disebut SKHUN adalah Daftar Nilai Ujian Nasional yang diberikan kepada peserta didik setelah mengikuti ujian seluruh mata pelajaran yang diujikan; 24. Surat Tanda Tamat Belajar (STTB) adalah surat pernyataan resmi dan sah yang menerangkan bahwa peserta didik telah tamat belajar pada satuan pendidikan madrasah tertentu; 25. Ijazah adalah dokumen resmi yang diterbitkan oleh Kementerian Agama sebagai bukti yang menyatakan bahwa peserta didik telah lulus dari satuan pendidikan; 26. Surat Keterangan Yang Berpenghargaan Sama (SKYBS) adalah surat pernyataan resmi dan sah yang berpenghargaan sama dengan STTB/Ijazah; 27. Orang tua/wali calon peserta didik adalah seseorang yang menjadi penanggung jawab langsung calon peserta didik yang dibuktikan dengan surat keterangan yang sah dari Lurah atau instansi lain yang berwenang.
  • 8.
    Pedoman Penerimaan PesertaDidik Baru (PPDB) Tahun 2013- BAB II TUJUAN, PRINSIP DAN AZAS Bagian Kesatu Tujuan Pasal 2 Penerimaan Peserta Didik Baru (PPDB) bertujuan memberikan layanan bagi anak usia sekolah/lulusan RA/TK, MI/SD, MTs/SMP dan MA/SMA atau yang sederajat untuk memasuki satuan pendidikan yang lebih tinggi secara tertib, terarah dan benar. Bagian Kedua Prinsip Pasal 3 (1) Semua anak usia sekolah memiliki kesempatan yang sama untuk memperoleh pendidikan pada satuan pendidikan. (2) Pada dasarnya tidak ada penolakan Peserta Didik Baru (PPDB), bagi yang memenuhi syarat kecuali jika daya tampung di RA atau madrasah yang bersangkutan tidak mencukupi dan ketentuan waktu proses PPDB telah berakhir. (3) Sejak awal pendaftaran calon peserta didik dapat menentukan pilihannya, ke RA atau pada madrasah negeri atau swasta. Bagian Ketiga Azas Pasal 4 (1) Objektif, artinya bahwa Penerimaan Peserta Didik Baru, maupun pindahan harus memenuhi ketentuan umum yang telah ditetapkan; (2) Transparan, artinya Penerimaan Peserta Didik Baru bersifat terbuka dan dapat diketahui oleh masyarakat termasuk orang tua peserta didik, untuk menghindarkan penyimpangan-penyimpangan yang mungkin terjadi; (3) Akuntabel, artinya Penerimaan Peserta Didik Baru dapat dipertanggungjawabkan baik prosedur maupun hasilnya; (4) Tidak diskriminatif, artinya Penerimaan Peserta Didik Baru RA, MI MTs, MA tanpa membedakan suku, golongan kaya atau miskin; (5) Kompetitif, artinya Penerimaan Peserta Didik Baru dilakukan melalui seleksi berdasarkan kompetensi yang disyaratkan oleh satuan pendidikan tertentu.
  • 9.
    Pedoman Penerimaan PesertaDidik Baru (PPDB) Tahun 2013- BAB III CALON PESERTA DIDIK Pasal 5 Calon Peserta Didik Calon Peserta Didik tingkat satuan pendidikan RA, MI, MTs dan MA Negeri dan Swasta adalah mereka yang memenuhi persyaratan. Pasal 6 Calon Peserta Didik yang berasal dari Madrasah/Sekolah Luar Provinsi/Luar Negeri Berkesempatan Memperoleh Pendidikan 1. Calon Peserta Didik yang berasal dari luar provinsi dan berminat menjadi calon peserta didik baru tingkat satuan pendidikan MI, MTs dan MA Negeri diberikan alokasi 10% atau sesuai dengan kondisi dan daya tampung madrasah. 2. Perpindahan peserta didik baru dari satuan pendidikan asing ke satuan pendidikan madrasah dapat dilakukan setelah mendapat persetujuan dari Direktur Jenderal Pendidikan Islam. Pasal 7 Calon Peserta Didik Tamatan Sebelum Tahun Pelajaran Berjalan Calon Peserta Didik tamatan sebelum tahun Pelajaran berjalan yang memenuhi syarat PPDB dapat mengikuti seleksi masuk madrasah.
  • 10.
    Pedoman Penerimaan PesertaDidik Baru (PPDB) Tahun 2013- BAB IV PERSYARATAN PENERIMAAN PESERTA DIDIK BARU Pasal 8 Raudlatul Athfal Calon peserta didik baru Raudlatul Athfal dengan syarat-syarat sebagai berikut: 1. Usia 4 tahun untuk kelompok A; 2. Usia 5 tahun untuk kelompok B; 3. Memiliki akte kelahiran/Surat Keterangan Lahir; 4. Kelompok A, B, bukan merupakan jenjang belajar, melainkan semata-mata pengelompokkan belajar yang berdasarkan pada kelompok usia anak. Pasal 9 Madrasah Ibtidaiyah Kategori Standar/Reguler Calon Peserta Didik Baru Madrasah Ibtidaiyah dengan syarat-syarat sebagai berikut: 1. Pada tanggal 1 Juli calon peserta didik telah berusia 7 tahun dan setinggi- tingginya 12 tahun dapat diterima sebagai Peserta Didik Baru di kelas 1 (satu); 2. Apabila rasio kelas belum terpenuhi, calon peserta didik yang pada tanggal Juli sekurang-kurangnya telah berusia 6 tahun dapat diterima sebagai peserta didik baru kelas 1 dengan prioritas usia yang lebih tua berdasarkan peringkat; 3. Calon Peserta Didik MI tidak disyaratkan pernah mengikuti RA/TK; 4. Memiliki akte kelahiran/Surat Keterangan Lahir; 5. Apabila pendaftar melebihi daya tampung maka madrasah tersebut berhak mengadakan seleksi. Pasal 10 Madrasah Ibtidaiyah Standar Nasional 1. Pada tanggal Juli calon peserta didik telah berusia 7 tahun dan setinggi- tingginya 12 tahun; 2. Apabila rasio kelas belum terpenuhi, calon peserta didik yang pada tanggal Juli sekurang-kurangnya telah berusia 6 tahun dapat diterima sebagai peserta didik baru kelas 1 dengan prioritas usia yang lebih tua berdasarkan peringkat; 3. Usia kurang dari 6 tahun harus disertakan Surat Rekomendasi dari Psykologi tentang persiapan siswa yang bersangkutan. 4. Calon Peserta Didik MI tidak disyaratkan pernah mengikuti RA/TK; 5. Memiliki akte kelahiran/Surat Keterangan Lahir; 6. Mengikuti seleksi potensi calon peserta didik meliputi: a. Seleksi Berkas b. Seleksi Akademik c. Psikotest d. Wawancara
  • 11.
    Pedoman Penerimaan PesertaDidik Baru (PPDB) Tahun 2013- Pasal 11 Madrasah Tsanawiyah Kategori Standar/Reguler Calon Peserta Didik Baru Madrasah Tsanawiyah dengan syarat: 1. Memiliki ijazah/SKYBS Madrasah Ibtidaiyah/Sekolah Dasar atau lembaga pendidikan lain yang sederajat; 2. Usia maksimum 1 tahun, pada tanggal Juli ; 3. Lulusan Madrasah Ibtidaiyah/Sekolah Dasar atau lembaga pendidikan lain yang sederajat yang dibuktikan dengan Rapor, Ijazah, SKHUN atau Tanda Lulus. Pasal 12 Madrasah Tsanawiyah Standar Nasional Calon Peserta Didik Baru Madrasah Tsanawiyah dengan syarat: 1. Memiliki ijazah/SKYBS Madrasah Ibtidaiyah/Sekolah Dasar atau lembaga pendidikan lain yang sederajat; 2. Usia maksimum 1 tahun, pada tanggal Juli ; 3. Memiliki nilai rapor kelas IV sampai dengan kelas VI MI/SD dan khusus untuk mata pelajaran IPA, Matematika, Bahasa Indonesia minimal 70; 4. Calon Peserta Didik MTs Standar Nasional harus lulus seleksi administrasi yang meliputi: a. Surat keterangan sehat dari dokter; b. Surat Keterangan sedang belajar dikelas VI dari madrasah/sekolah asal; c. Surat Keterangan berkelakuan baik dari madrasah/sekolah asal; d. Surat Keterangan/Sertifikat Bahasa Inggris dan Bahasa Arab jika ada; e. Surat Keterangan/Sertifikat berprestasi dalam kompetisi akademik dan non akademik minimal tingkat kabupaten/kota jika ada; f. Membuat surat pernyataan; - bersedia mengikuti program MSN - bersedia megikuti rangkaian tes bakat skolastik, tes akademik umum, agama dan praktek ibadah, psikotest dan wawancara - bersedia kembali ke kelas reguler apabila tidak mampu mengikuti program MSN 5. Kriteria penentuan kelulusan seleksi Peserta Didik Baru MTs Standar Nasional; a. Seleksi berkas b. Tes akademik c. Tes non akademik d. Wawancara Pasal 13 Madrasah Aliyah Kategori Standar/Reguler Calon Peserta Didik Baru Madrasah Aliyah dengan syarat: 1. Memiliki ijazah/SKYBS Madrasah Tsanawiyah/Sekolah Menengah Pertama atau lembaga pendidikan lain yang sederajat; 2. Usia maksimum tahun, pada tanggal Juli ; 3. Lulusan MTs/SMP yang dibuktikan dengan Rapor, Ijazah dan SKHUN. 4. Kriteria penentuan kelulusan seleksi Peserta Didik Baru Madrasah Aliyah Standar Nasional; a. Seleksi berkas b. Tes Akademik Umum (TAU) c. Agama dan Praktek Ibadah d. Tes Bakat Skolastik (TBS) e. Wawancara
  • 12.
    Pedoman Penerimaan PesertaDidik Baru (PPDB) Tahun 2013- Pasal 14 Madrasah Aliyah Standar Nasional Calon Peserta Didik Baru Madrasah Aliyah Standar Nasional dengan syarat: 1. Memenuhi seluruh persyaratan yang ada pada pasal 13; 2. Memiliki IQ ≥ ; 3. Memiliki nilai rapor MTs/SMP kelas VII sampai dengan kelas IX khusus mata pelajaran Matematika, Bahasa Inggris, IPA minimal 70 yang telah dilegalisasi; 4. Calon Peserta Didik MA Standar Nasional harus lulus seleksi administrasi yang meliputi: a. Surat keterangan sehat dari dokter; b. Surat Keterangan sedang belajar dikelas IX dari madrasah/sekolah asal; c. Surat Keterangan berkelakuan baik dari madrasah/sekolah asal; d. Surat Keterangan Sertifikat Bahasa Inggris, Bahasa Arab dan lain-lain; e. Surat Keterangan/Sertifikat berprestasi dalam kompetisi akademik dan non akademik minimal tingkat kabupaten/kota, jika ada; f. Membuat surat pernyataan bersedia mengikuti program MSN 5. Kriteria penentuan kelulusan seleksi Peserta Didik Baru Madrasah Aliyah Standar Nasional; a. Seleksi berkas b. Tes Akademik Umum (TAU), Agama dan Praktek Ibadah c. Tes Bakat Skolastik (TBS) d. Wawancara Pasal 16 Calon Peserta Didik Baru yang Berasal dari Luar Provinsi Calon Peserta Didik Baru yang berasal dari luar provinsi, karena kepindahan orang tua/wali atau hal lain, maka pada waktu mendaftarkan diri wajib menyerahkan Surat Keterangan Tanda Lapor Diri (SKTLD)/Surat Keterangan Domisili dari Lurah/pemerintah setempat. Pasal 17 Calon Peserta Didik Baru yang Berasal dari Perbatasan Provinsi 1. Calon Peserta Didik Baru yang berasal dari daerah yang berbatasan dengan wilayah Provinsi dapat mendaftarkan langsung ke madrasah Provinsi setempat sesuai dengan madrasah yang diinginkan. 2. Calon Peserta Didik sebagaimana dimaksudkan pada ayat (1) pasal ini yang akan mendaftar masuk MTs atau MA langsung atau kolektif melalui Kepala Madrasah/Kepala Sekolah masing–masing ke madrasah yang dituju dengan melengkapi semua persyaratan yang sudah ditentukan.
  • 13.
    Pedoman Penerimaan PesertaDidik Baru (PPDB) Tahun 2013- BAB V DASAR SELEKSI, TATA CARA PENDAFTARAN, TEMPAT PENDAFTARAN, MATERI SELEKSI DAN JADWAL PENDAFTARAN Pasal 18 Dasar Seleksi Jika daya tampung tidak memungkinkan untuk menerima semua Calon Peserta Didik Baru, madrasah dapat mengadakan seleksi dengan memperhatikan hal-hal sebagai berikut: a. Raudlatul Athfal 1) Usia; 2) Lokasi sekolah tujuan dengan tempat tinggal calon Peserta Didik. b. Madrasah Ibtidaiyah 1) Seleksi dilakukan dengan memperhatikan: a. Usia; b. Lokasi sekolah tujuan dan tempat tinggal peserta didik; c. Khusus Madrasah Ibtidaiyah Standar Nasional memperhatikan Standar Mutu dan Potensi Peserta Didik. c. Madrasah Tsanawiyah 1) Nilai UN, Nilai Rapor dan Nilai UAM/UAS; 2) Usia 3) Nilai tes akademik umum, Agama dan Praktek Ibadah 4) Khusus calon Peserta Didik Baru Madrasah Tsanawiyah Standar Nasional harus lulus : a. Tes Akademik 1. Tes tertulis mata pelajaran IPA, Matematika, Bahasa Indonesia dan Bahasa Inggris dan Bahasa Arab 2. Tes Lisan dalam Bahasa Inggris dan Pengetahuan Umum. b. Tes Non Akademik 1. Wawancara dengan calon peserta didik dan orang tua/wali peserta didik 2. Tes Bakat dan kemampuan 3. Praktek Ibadah 4. Tes baca tulis qur’an (BTQ) d. Madrasah Aliyah 1. Nilai UN, Nilai Rapor dan Nilai UAM/UAS; 2. Usia; 3. Nilai Tes Akademik Umum (TAU), Agama, Tes Bakat Skolastik (TBS) dan Praktek Ibadah; 4. Khusus calon Peserta Didik Baru Madrasah Aliyah Standar Nasional harus lulus: a. Seleksi Berkas b. Tes Akademik Umum (IPA, Matematika, Bahasa Indonesia, Bahasa Inggris dan Bahasa Arab) dan c. Agama dan Praktek Ibadah; d. Tes Bakat Skolastik; e. Wawancara dengan calon peserta didik dan orang tua/wali peserta didik
  • 14.
    Pedoman Penerimaan PesertaDidik Baru (PPDB) Tahun 2013- Pasal 19 Tata Cara Pendaftaran 1. Calon Peserta Didik Baru Raudlatul Athfal, Madrasah Ibtidaiyah, Madrasah Tsanawiyah dan Madrasah Aliyah dapat dilakukan dengan dua cara: a. Kolektif, dilakukan oleh lembaga pendidikan asal Peserta Didik Baru (dari RA/TK ke MI dan dari MI/SD ke MTs maupun dari MTs/SMP ke MA) dengan surat pengantar dan daftar nama-nama Peserta Didik baru, serta melampirkan syarat-syarat yang telah ditentukan; b. Perorangan, dengan cara mendaftarkan langsung ke RA, MI, MTs dan MA yang dituju dengan membawa syarat-syarat yang telah ditentukan; 1. Mengambil formulir pendaftaran untuk diisi oleh calon pendaftar. 2. Pengambilan formulir dilakukan di RA/madrasah tempat pendaftaran. 3. Menyerahkan kembali formulir yang telah diisi dan ditandatangani dengan kelengkapannya. Pasal 20 Tempat Pendaftaran 1. Tempat pendaftaran calon Peserta Didik Baru berada pada masing-masing RA/madrasah yang dituju/online untuk RA/madrasah yang memiliki jaringan tersebut. 2. Tempat pendaftaran penerimaan calon Peserta Didik baru dipublikasikan kepada masyarakat melalui pengumuman di RA/madrasah, media cetak atau elektronik. Pasal 21 Materi Seleksi 1. Materi Seleksi meliputi: a. TAU (Tes Akademik Umum); b. TBS (Tes Bakat Skolastik); c. Tes baca tulis qur’an (BTQ) dan praktek ibadah; d. Tes lain sesuai kebutuhan madrasah masing-masing. 2. Selain Tes kemampuan (achievment test), madrasah dapat melaksanakan tes penempatan (placement test) sesuai dengan kebutuhan. Pasal 22 Jadwal Pendaftaran dan Seleksi 1) RAUDLATUL ATHFAL NO KEGIATAN WAKTU JAM KETERANGAN Pendaftaran PPDB 1 s/d Juni - Di Raudlatul Athfal tujuanPengumuman PPDB Juli Lapor Diri PPDB s/d Juli - Hari Pertama masuk RA Juli 2) MADRASAH IBTIDAIYAH KATEGORI STANDAR/REGULER NO KEGIATAN WAKTU JAM KETERANGAN Pendaftaran PPDB s/d Juni - Di Madrasah tujuanSeleksi Masuk dan 2 Juni - Pengumuman PPDB Juli Lapor Diri PPDB s/d Juli - Hari Pertama masuk madrasah Juli
  • 15.
    Pedoman Penerimaan PesertaDidik Baru (PPDB) Tahun 2013- 3) MADRASAH IBTIDAIYAH STANDAR NASIONAL NO KEGIATAN WAKTU JAM KETERANGAN Pendaftaran PPDB s/d April - Di Madrasah tujuanSeleksi Masuk Mei s/d Mei - Pengumuman PPDB Mei Lapor Diri PPDB s/d Mei - Hari Pertama masuk madrasah Juli 4) MADRASAH TSANAWIYAH KATEGORI STANDAR/REGULER NO KEGIATAN WAKTU JAM KETERANGAN Pendaftaran PPDB 1 s/d Juni - Di Madrasah tujuanSeleksi Masuk s/d 2 Juni - Pengumuman PPDB Juni Lapor Diri PPDB Juni s/d Juli - Masa Orientasi Peserta Didik Baru (MOPDB) 8 s/d 10 Juli 2013 . Hari Pertama masuk madrasah Juli 5) MADRASAH TSANAWIYAH STANDAR NASIONAL NO KEGIATAN WAKTU JAM KETERANGAN Pendaftaran PPDB April s/d April - Di Madrasah tujuan Seleksi Masuk Mei s/d Mei - Pengumuman PPDB Mei Lapor Diri PPDB s/d Mei - Masa Orientasi Peserta Didik Baru (MOPDB) 8 s/d 10 Juli 2013 . Hari Pertama masuk madrasah Juli 6) MADRASAH ALIYAH KATEGORI STANDAR/REGULER NO KEGIATAN WAKTU JAM KETERANGAN Pendaftaran PPDB Mei s/d Juni - Di Madrasah tujuan Seleksi Masuk s/d 27 Juni - Pengumuman PPDB Juli Lapor Diri PPDB s/d Juli - Masa Orientasi Peserta Didik Baru (MOPDB) 11 s/d 13 Juli Hari Pertama masuk madrasah Juli 7) MADRASAH ALIYAH STANDAR NASIONAL NO KEGIATAN WAKTU JAM KETERANGAN Pendaftaran PPDB April s/d April - Di Madrasah tujuan Seleksi Masuk s/d April - Pengumuman PPDB Mei Lapor Diri PPDB s/d Mei - Hari Pertama masuk madrasah Juli
  • 16.
    Pedoman Penerimaan PesertaDidik Baru (PPDB) Tahun 2013- Pasal 23 Pernyataan Tertulis 1. Peserta Didik Baru yang diterima pada suatu madrasah wajib mentaati peraturan dan tata tertib madrasah yang bersangkutan dengan menandatangani surat pernyataan bermaterai Rp. 6.000,- sebagaimana contoh terlampir; 2. Orang tua/wali Peserta Didik Baru yang diterima, wajib menandatangani surat pernyataan bermaterai RP. 6000,- sebagaimana contoh terlampir yang diketahui oleh Kepala Madrasah yang bersangkutan. Pasal 24 Monitoring, Pengendalian, Evaluasi dan Pelaporan (Mopel) 1. Monitoring, pengendalian, Evaluasi, dan Pelaporan Penerimaan Peserta Didik Baru (PPDB) dilaksanakan secara terpadu dan terus-menerus mulai persiapan, pelaksanaan dan penutupan; 2. Pengawas Pendidikan Agama Islam RA/TK dan MI/SD melakukan Supervisi, Monitoring, Evaluasi PPDB pada RA dan MI dan melaporkan pelaksanaannya kepada Kepala Kankemenag Kota/Kabupaten, Up. Kasi Pendidikan Madrasah, tembusan Kabid Pendidikan Madrasah Kanwil Kementerian Agama Provinsi; 3. Pengawas Pendidikan Agama Islam MTs/SMP dan MA/SLTA dan Pengawas Rumpun ata Pelajaran Kanwil Kementerian Agama Provinsi melakukan Supervisi, Monitoring, evaluasi PPDB pada MTs dan MA dan melaporkan pelaksanaannya kepada Kepala Kanwil Kementerian Agama Provinsi, Up. Kepala Bidang Pendidikan Madrasah; 4. Kepala Madrasah wajib membuat laporan terdiri dari laporan Penerimaan Peserta Didik Baru dan Laporan Awal Tahun paling lambat dua minggu setelah pelaksanaan Penerimaan Peserta Didik Baru, laporan disampaikan kepada : a. Kepala Kankemenag Up. Kasi Pendidikan Madrasah Kota/Kabupaten dan tembusan kepada Kepala Bidang Pendidikan madrasah Kanwil Kementerian Agama Provinsi untuk RA, MI dan MTs; b. Kepala Kanwil Up. Kepala Bidang Pendidikan Madrasah Kanwil Kementerian Agama Provinsi untuk MA. 5. Laporan Penerimaan Peserta Didik Baru dan Laporan Awal tahun dibuat sesuai dengan blanko terlampir; 6. Laporan dibuat rangkap 3 (tiga) disampaikan kepada: a. Kankemenag Kota/Kabupaten Up. Kasi Mapenda (RA, MI, dan MTs); b. Kanwil Kementerian Agama Provinsi Up. Bidang Mapenda (RA, MI, MTs, dan MA); c. Arsip madrasah yang bersangkutan.
  • 17.
    Pedoman Penerimaan PesertaDidik Baru (PPDB) Tahun 2013- BAB VI DAYA TAMPUNG KEGIATAN AWAL TAHUN DAN WAKTU BELAJAR Pasal 25 Daya Tampung 1. Jumlah Penerimaan Peserta Didik Baru bagi RA/madrasah, jumlah Peserta Didik setiap kelas paling banyak sebagai berikut: a. Raudlatul Athfal 20 orang; b. Madrasah Ibtidaiyah, Tsanawiyah dan Aliyah Kategori Standar 40 orang; c. Madrasah Ibtidaiyah Standar Nasional 28 orang; d. Madrasah Tsanawiyah dan Aliyah Standar Nasional 32 orang; Pasal 26 Kegiatan Awal Tahun Pembelajaran 1. Masa orientasi Siswa (MOS) merupakan kegiatan yang wajib dilaksanakan untuk siswa baru pada setiap jenjang pendidikan; 2. MOS dilaksanakan sebelum pelaksanaan belajar efektif; 3. Materi yang dilaksanakan sekurang-kurangnya meliputi pengenalan lingkungan madrasah, wiyata mandala, tata tertib dan kedisiplinan, motivasi, orientasi pendidikan madrasah, akhlak/etika, ibadah, kreatifitas dan lain-lain. Pasal 2 Waktu Kegiatan Belajar Mengajar 1. Waktu kegiatan belajar mengajar bagi Raudlatul Athfal mulai pukul 07.30 s.d 10.30, Madrasah Ibtidaiyah, Madrasah Tsanawiyah dan Madrasah Aliyah diselenggarakan pada pagi hari, mulai pukul 06.30 s.d 15.15 WIB, atau disesuaikan dengan daerah masing-masing. 2. Jika keadaan memaksa waktu kegiatan belajar mengajar dapat diselenggarakan pada siang hari (pukul 13.00 – . 0) dengan mengemukakan alasan yang logis secara tertulis dari Kepala Madrasah kepada Kepala Kanwil Up. Kepala Bidang Pendidikan Madrasah Kanwil Kementerian Agama Provinsi; 3. Waktu kegiatan belajar mengajar dapat dilaksanakan pada siang hari jika telah mendapat izin tertulis dari Kepala Kanwil Kementerian Agama Provinsi Up. Kepala Pendidikan Madrasah.
  • 18.
    Pedoman Penerimaan PesertaDidik Baru (PPDB) Tahun 2013- BAB VII KEPANITIAAN DAN PEMBIAYAAN Pasal 27 Kepanitiaan 1. Panitia Penerimaan Peserta Didik Baru ditetapkan melalui Surat Keputusan masing- masing Kepala RA/Kepala Madrasah yang bersangkutan; 2. Struktur Panitia Penerimaan Siswa disesuaikan dengan kebutuhan terdiri dari: a. Pengarah b. Penanggung Jawab c. Ketua d. Sekretaris e. Bendahara f. Anggota 3. Tugas dan wewenang panitia diatur oleh Keputusan Kepala RA/Kepala Madrasah yang bersangkutan. Pasal 28 Biaya 1. Biaya Penerimaan Peserta Didik Baru (PPDB) Tingkat MI dan MTs Negeri dari Dana BOS dan BOP; 2. Biaya PPDB bagi calon Peserta Didik dari luar Provinsi dan tamatan sebelum tahun pelajaran yang berjalan dibebankan kepada calon Peserta Didik; 3. Biaya Penerimaan Peserta Didik Baru (PPDB) bagi RA, MI dan MTs Swasta diperoleh dari Sumbangan Calon Peserta Didik Baru yang besarnya ditetapkan berdasarkan hasil keputusan rapat antara Kepala Madrasah dan seluruh anggota pengurus komite madrasah yang diketahui Kepala Kankemenag up.Kasi Mapenda Kota/Kabupaten dengan tidak memberatkan orang tua Peserta Didik; 4. Biaya Penerimaan Peserta Didik Baru (PPDB) bagi MA Negeri/Swasta, diperoleh dari Sumbangan Calon Peserta Didik Baru yang besarnya ditetapkan berdasarkan hasil keputusan rapat antara Kepala Madrasah dan Pengurus Komite madrasah yang diketahui Kepala Kanwil Up. Kabid Mapenda; 5. Kepala MI dan MTs Negeri wajib membebaskan biaya pendidikan seluruh peserta didik dan dilarang memungut biaya dana dari orang tua/wali siswa; 6. Komite madrasah dapat menghimpun sumbangan sukarela yang tidak mengikat dari masyarakat dan dunia usaha serta harus dipertanggungjawabkan sesuai dengan ketentuan yang berlaku.
  • 19.
    Pedoman Penerimaan PesertaDidik Baru (PPDB) Tahun 2013- BAB VIII PENUTUP Pasal 29 Ketentuan Lain-lain 1. Hal-hal yang belum diatur dalam pedoman ini akan diatur kemudian, sepanjang tidak bertentangan dengan keputusan ini; 2. Apabila terdapat kekeliruan dalam pedoman ini akan diadakan perbaikan sebagaimana mestinya;
  • 20.
    Pedoman Penerimaan PesertaDidik Baru (PPDB) Tahun 2013- Lampiran 1 SURAT PERNYATAAN CALON PESERTA DIDIK BARU Yang bertanda tangan di bawah ini: 1. Nama :................................................................................. 2. NISN :................................................................................. 3. Tempat/tanggal lahir :................................................................................. 4. Jenis Kelamin :................................................................................. 5. Agama :................................................................................. 6. Nomor Pendaftaran :................................................................................. 7. Diterima di kelas :................................................................................. 8. Nama Orang tua/wali :................................................................................. 9. Pekerjaan Orang Tua :................................................................................. 10. Agama Orang Tua :................................................................................. 11. Nama Wali :................................................................................. 12. Pekerjaan Wali :................................................................................. 13. Hubungan Keluarga dengan wali :................................................................................. 14. Alamat orang tua/wali :................................................................................. Telp/HP :................................................................................. Dengan ini kami menyatakan dengan sesungguhnya, bahwa selama di Madrasah ini: Akan belajar dengan tekun, sungguh-sungguh dan penuh semangat; Akan menjaga nama baik diri sendiri, keluarga, masyarakat dan madrasah; Sanggup menaati seluruh tata tertib dan peraturan yang berlaku, mematuhi pelaksanaan wiyata mandala termasuk berpakaian seragam madrasah, OSIS dan lain-lain. Siap menerima sanksi sesuai ketentuan madrasah. Demikian surat pernyataan ini kami buat dengan sebenarnya dan penuh rasa tanggung jawab. Mengetahui : ..................., … Orang tua/wali ( ………………………………………… ) Yang membuat pernyataan ( ………………………………………… )
  • 21.
    Pedoman Penerimaan PesertaDidik Baru (PPDB) Tahun 2013- Lampiran 2 SURAT PERNYATAAN ORANG TUA/WALI Yang bertanda tangan di bawah ini: 1. Nama orang tua/wali : ............................................................. 2. Pekerjaan orang tua/wali : ............................................................. 3. Alamat orang tua/wali : ............................................................. 4. Telepon/HP orang tua/wali : ............................................................. 5. Agama : ............................................................. 6. Nama Peserta Didik : ............................................................. 7. Jenis Kelamin Peserta Didik : ............................................................. 8. Diterima di kelas : ............................................................. 9. Hubungan keluarga dgn calon peserta didik : ............................................................. MENYATAKAN Bahwa Saya selaku orang tua/wali dari peserta didik yang bernama ........................................ kelas .............. MI/MTs/MA ..................................... Menyatakan dengan sesungguhnya: 1. Bersedia membimbing dan mengawasi peserta didik tersebut diatas untuk menaati tata tertib madrasah 2. Tidak keberatan peserta didik diatas menerima sanksi sesuai dengan ketentuan madrasah. Demikian surat pernyataan ini saya buat dengan sebenarnya serta penuh rasa tanggung jawab. Mengetahui ; ......................., …..…………… Kepala Madrasah ( ………………………………………… ) Yang membuat pernyataan Orang Tua / Wali ( ………………………………………… )
  • 22.
    Pedoman Penerimaan PesertaDidik Baru (PPDB) Tahun 2013- Lampiran: 3 LAPORAN TENTANG PPDB MADRASAH NEGERI TAHUN PELAJARAN No. Jenis Madrasah Daya Tampung Kelas I /VII/X Jumlah Calon peserta didik yang mendaftar Jumlah yang sudah diterima Kekurangan/kelebihan peserta didik menurut Daya Tampung Ruang Peserta Didik Ruang Peserta Didik Lebih Kurang ..................., .......................................
  • 23.
    Pedoman Penerimaan PesertaDidik Baru (PPDB) Tahun 2013- Lampiran: 4 LAPORAN PANITIA PPDB TINGKAT RA/MI/MTS/MA TENTANG KASUS-KASUS SELAMA PPDB TAHUN PELAJARAN No. Kasus dan Lokasi kejadian Masalah Yang Timbul Pemecahan Masalah Saran Tindak Lanjut ............., Panitia PPDB ................... .......................................
  • 24.
    Pedoman Penerimaan PesertaDidik Baru (PPDB) Tahun 2013- Lampiran 5 : DATA PESERTA DIDIK KELAS I/VII/X TAHUN PELAJARAN Nama Madrasah : ......................................................................................................... Jenis Madrasah : .......................................................................... .............................. Alamat : ......................................................................................................... Nomor Telepon : ......................................................................................................... Kecamatan : ......................................................................................................... Kota : ......................................................................................................... 1. Daya Tampung : ..............................Kelas = ....................... orang 2. Peserta Didik Tinggal Kelas : ...............orang, melapor = ....................... orang 3. Peserta didik berprestasi : ...............orang, melapor = ....................... orang 4. Hasil seleksi Tahap I : ...............orang, melapor = ....................... orang 5. Hasil seleksi Tahap II : ...............orang, melapor = ....................... orang 6. Total Peserta Didik yang telah lapor diri (peserta didik tinggal kelas, peserta didik berprestasi, tahap I, tahap II)= .............. orang 7. Sisa bangku kosong setelah tahap II (No.1-No.7) = ....................... orang .............., ................................ Kepala Madrasah, .................................... NIP
  • 25.
    Pedoman Penerimaan PesertaDidik Baru (PPDB) Tahun 2013- Lampiran 6 : DAFTAR PESERTA DIDIK YANG DITERIMA TAHUN PELAJARAN No. Nama Peserta Didik Nama Orang Tua/Wali Peserta Didik Alamat Rumah Peserta Didik Telp. ........................, ....... Kepala Madrasah ................................. ............................................................... NIP.
  • 26.
    Pedoman Penerimaan PesertaDidik Baru (PPDB) Tahun 2013- Lampiran : SURAT PENGANTAR PENDAFTARAN PESERTA SELEKSI MADRASAH SECARA KOLEKTIF NAMA MADRASAH : ................................................................. ALAMAT MADRASAH: .................................................................. ----------------------------------------------------------------------------------------------- Nomor : .................., ............................ Lamp : ...... berkas Hal : Pendaftaran Calon Peserta Seleksi Masuk MTs / MA Tahun Pelajaran Kepada Yth, Sdr. Kepala ............................... .............................................. Jakarta Assalamu’alaikum wr wb Dengan ini kami sampaikan daftar nama peserta didik Madrasah ..................... sejumlah ...... orang sebagaimana terlampir, untuk didaftar sebagai calon peserta seleksi pada MTs/MA ............................... Tahun Pelajaran dengan syarat yang sudah ditentukan. Demikian agar maklum dan terima kasih atas kerjasamanya. Wassalam, Kepala Madrasah .................................................. ................................................. NIP.
  • 27.
    Pedoman Penerimaan PesertaDidik Baru (PPDB) Tahun 2013- Lampiran : RAUDLATUL ATHFAL LAPORAN AWAL TAHUN PELAJARAN Nama Madrasah : ............................................................................................................. Alamat Madrasah : ............................................................................................................. Status : ............................................................................................................. Keadaan Gedung : ............................................................................................................. Luas Tanah : ............................................................................................................. Luas Bangunan : ............................................................................................................. Jumlah Ruang Belajar : ............................................................................................................. Waktu Belajar : ............................................................................................................. No. Statistik : ............................................................................................................. No. Pendirian : ............................................................................................................. No. Izin Operasional : ............................................................................................................. Tahun Akreditasi : ............................................................................................................. Keadaan Peserta Didik : ............................................................................................................. A. Peserta Didik Lama : L : ............... P : ............... Usia 4 Tahun : ............. Usia 5 Tahun : ............. Usia 6 Tahun : ............. B. Peserta Didik Baru: L : ............... P : ............... Usia 4 Tahun : ............. Usia 5 Tahun : ............. Usia 6 Tahun : ............. Jumlah : L : ....................... P : ......................... Usia 4 Tahun : ............. Usia 5 Tahun : ............. Usia 6 Tahun : ............. C. Peserta Didik Yang Lulus Tahun 20 : D. Melanjutkan Ke MI : .................. SD : .................. . Keadaan Guru NO N A M A L/ P Tempat / Tgl. Lahir Mulai Tugas Status PNS Swasta Lulusan Sertifikat Alamat & No. HP .- Daftar nama-nama siswa kelas pertama sampai terakhir untuk RA/MI/MTs/MA terlampir (sesuai dengan blangko 8355) ..............., ....................................................... Kepala Madrasah ........................................... ........................................................................ NIP.
  • 28.
    Pedoman Penerimaan PesertaDidik Baru (PPDB) Tahun 2013- Lampiran : LAPORAN AWAL TAHUN PELAJARAN Nama Madrasah : ........................................................................................... Alamat Madrasah : ........................................................................................... Status : ........................................................................................... Keadaan Gedung : ........................................................................................... Luas Tanah : ........................................................................................... Luas Bangunan : ........................................................................................... Jumlah Ruang Belajar : ........................................................................................... Waktu Belajar : ........................................................................................... Keadaan Peserta Didik : ........................................................................................... 9.1 RA KELAS JENIS KELAMIN JUMLAH LOKAL L P A B 9.2 MI KELAS JENIS KELAMIN JUMLAH LOKAL L P I II III IV V VI 9.3 MTS KELAS JENIS KELAMIN JUMLAH LOKAL L P VII VIII IX 9.4 MA KELAS JENIS KELAMIN JUMLAH LOKAL L P X XI XII Peserta Didik kelas baru berasal dari: 10.1. MI ASAL JENIS KELAMIN JUMLAH LOKAL L P RA TK JUMLAH
  • 29.
    Pedoman Penerimaan PesertaDidik Baru (PPDB) Tahun 2013- 10.2. MTS ASAL JENIS KELAMIN JUMLAH LOKAL L P MI SD JUMLAH 10.3. MA ASAL JENIS KELAMIN JUMLAH LOKAL L P MTS SMP JUMLAH . Peserta Didik yang berusia 7-13 Tahun ........... orang . Peserta Didik yang berusia 13-16 Tahun .......... orang . Peserta Didik yang berusia 16-21 Tahun ........... orang . Siswa yang lulus Tahun Pelajaran 20 : .......... orang . Melanjutkan Pendidikan a. Dari RA ke : - MI ................. orang - SD ................. orang b. Dari MI ke : - MTs ................. orang - SMP ................. orang c. Dari MTs ke : - MA ................. orang - MAK ............... orang - SMU ................ orang c. Dari MA ke : - PT ................. orang Daftar nama-nama guru terlampir Daftar nama-nama peserta kelas pertama sampai terakhir untuk RA/MI/MTs/MA terlampir (sesuai dengan blangko 8355) ................, ............................. Kepala Madrasah/RA ............................................... ............................................... NIP.
  • 30.
    Pedoman Penerimaan PesertaDidik Baru (PPDB) Tahun 2013- 2013– 2014