Module-2
CONTENTS
• Television- Scanning, Blanking &
Synchronization
• Picture signal-
INTRODUCTION
• Television means Tele + Vision, i.e., Television is used to see the picture telecast from long
distance.
•
• In TV transmission both picture and sound are transmitted. For picture AM Modulation is used
and for sound FM modulation is used.
simplified block diagram of a Monochrome TV Transmitter RECEPTION BASIC MONOCHROME TV
• TELEVISION CAMERA: Its function is to convert optical image of television scene into electrical
signal by the scanning process
• VIDEO AMPLIFIER: Video amplifier amplifies the video signal.
• AM MODULATING AMPLIFIER: The video signals are amplified by the modulating amplifier to get
the modulated signal.
• AUDIO AMPLIFIER: Audio amplifier amplifies the electrical form of audio signal from the
microphone.
• FM MODULATING AMPLIFIER: Sound signal from audio amplifier is frequency modulated by FM
Modulating amplifier.
• FM SOUND TRANSMITTER: FM modulated amplified signal is transmitted through this FM sound
transmitter to transmitting antenna through the combining network.
• CRYSTAL OSCILLATOR: Crystal Oscillator generates the allotted picture carrier frequency.
• RF AMPLIFIER:RF amplifier amplifies the picture carrier frequency generated by crystal oscillator to
required level.
• POWER AMPLIFIER: Power amplifier varies according to the modulating signal from AM modulating
amplifier.
SCANNING AND SYNCHRONIZING CIRCUITS
• Scanning is the process where picture elements are converted
into corresponding varying electrical signal
• COMBINING NETWORK: Combining network is used to
isolate the AM picture and FM sound signal during
transmission.
• TRANSMITTING ANTENNA: Transmitting antenna
receives the AM picture signal and FM sound signal from
combining network for radiation as electromagnetic waves.
• MICROPHONE: Converts sound associated with picture
being televised into proportionate electrical signal.
RECEPTION BASIC MONOCHROME TV
• RECEIVER: Block diagram of a monochrome TV receiver is shown. It
consists of RF Tuner, Receiver antenna, common IF amplifier, video
detector, video amplifier, scanning and synchronizing circuits, sound IF
amplifier, FM Sound demodulator, Audio amplifier, Loud Speaker,
Picture tube.
• RF TUNER: RF Tuner selects the desired channel frequency band from
the receiving antenna.
• RECEIVER ANTENNA: Receiver antenna intercepts the radiated RF
signals and sends it to RF Tuner.
• COMMON IF AMPLIFIER: There are 2 or 3 stages of IF amplifiers.
• VIDEO DETECTOR: Used to detect video signals coming from last
stage of IF amplifiers.
• VIDEO AMPLIFIER: It amplifies the detected video signal to the
level required.
SCANNING AND SYNCHRONIZING CIRCUITS:
• Scanning is the process where picture elements are converted
into corresponding varying electrical signals.
• SOUND IF AMPLIFIER: Detected audio signal is separated and
selected for its IF range and amplified.
• FM SOUND DEMODULATOR: FM Sound signal is demodulated
in this stage.
• AUDIO AMPLIFIER:FM demodulated audio signal is amplified
to the required level to feed into the loud speaker.
• LOUD SPEAKER: Loud Speaker converts FM demodulated
amplifier signal associated with picture being televised into
proportionate sound signal.
• PICTURE TUBE: In picture tube the amplified video signal is
converted back into picture elements.
SCANNING
• SCANNING:
• Scanning is the process used to convert the optical into electrical signal.
Fastest movement of electron beam on the image is called scanning.
• SCANNING PROCESS:
• Scanning process is a technique similar to reading of written information
on a page starting at the top left and processing line by line downwards to
the end at the bottom right.
• Scanning is done frame by frame. Each frame consists of 625 horizontal
lines. Each frame is scanned at a rate of 25 frames / sec.
• Scanning types:
• 1.Horizontal Scanning 2.Vertical Scanning
• 3.Sequential (or) Progressive Scanning 4.Interlaced Scanning.
SCANNING TYPES
• HORIZONTAL SCANNING (H-SCANNING): Movement of electron beam from
left to right on the screen is known as trace period. When the beam returns quickly
from right to left is called retrace or fly back.
 Trace and retrace period together in horizontal direction is known as Horizontal
Scanning.
 Horizontal frequency = Number of lines in a Frame * Number of frames/sec
 625 * 25 = 15,625 Hz
• VERTICAL SCANNING (V – SCANNING)
 Movement of electron beam in vertical direction. Movement of electron beam from top to
bottom is called trace. Movement of beam from bottom to top of the frame is called
retrace.
 Vertical frequency = Number of frames /sec= 25 Hz
SEQUENTIAL (OR) PROGRESSIVE SCANNING:
 Sequential or progressive Scanning is the process in which both horizontal and vertical
directions are scanned simultaneously to provide complete pictures. Horizontal lines are
scanned one by one. So complete picture will be scanned through this type.
• FLICKER:
• The sensation produced by incident light on the nerves of the eyes retina does
not cease immediately. It persists for about 1/25th of a second (.062 Sec.) This
storage characteristic is called as persistence of vision of eye.
• Flicker means if the scanning rate of picture is low, the time taken to move one
frame to another frame will be high. This results in alternate bright and dark
picture in the screen. This is called “Flicker”.
• To avoid flicker, the scanning rate of the picture should be increased i.e. 50
frames/Sec.
• INTERLACED SCANNING:
• To reduce flicker, the vertical scanning is done 50 times per second in TV system.
However only 25 frames are scanned per sec.
• In interlaced scanning the 625 lines are grouped into two fields. They are called as
even field and odd field. Each field contains 312.5 lines. Even field contains even
numbered lines and odd field contains odd numbered lines.
• During first scanning line numbers 1, 3, 5 are scanned. During next scan, line
numbers 2, 4, 6. are scanned. That is alternate lines are scanned every time
SCANNING PERIODS
• Useful video signals are obtained during the trace period only. So the trace time is
larger than the retrace time.
NEED FOR SYNCHRONIZATION
• At any time the same co-ordinate will be scanned by the electron beam in both
the camera tube and picture tube. Otherwise distorted picture will be seen on
the screen. So synchronization between the transmitter and receiver is needed.
For that we are using Sync pulses.
• At the receiver side these pulses are identified, separated and used for
triggering the oscillator circuit.
• Horizontal Sync pulse time period = 4.7 µSec.
• Horizontal Sync pulse Frequency =15,625 Hz.
• Vertical Sync pulse time period = 160 µSec.
• Vertical Sync pulse frequency = 50 Hz.
ASPECT RATIO
• The ratio between width to height of rectangle picture frame adopted
in TV system is known as aspect ratio.
• Reasons for having this ratio is,
•
• Most of the objects are moving only in horizontal plane.
• Our eye can see the movement of object comfortably only in
horizontal plane than in vertical plane.
• The frame size of motion picture already existing is having the aspect
ratio of 4 : 3
BLANKING PULSES
• The video signal obtained during the horizontal and vertical retrace are not useful one.
So there is no need to transmit them.
• So to make the retrace signal invisible we are using blanking pulses. During horizontal
blanking, horizontal retrace is blanked. This is 19% of horizontal time period.
• Horizontal blanking = 64 * .19 = 12 µSec.
• Remaining 52 v Sec contains picture information and this is called as active line
period. For a single line one blanking pulse is needed. So for 1 sec, 15,625 blanking
pulses are needed.
• In vertical retrace, for one frame two vertical blanking pulse is needed. So in 1 sec, 25
frames are scanned and so 50 V blanking pulses are needed.
• Vertical blanking = 20 H
• = 20 x 64 µ Sec. = 1280µ Sec.
HORIZONTALAND VERTICAL RESOLUTION
• The ability of the image reproducing system to resolve the fine details of the picture distinctly
in both horizontal and vertical direction is called as “resolution”.
• VERTICAL RESOLUTION:
• The ability to resolve and reproduce fine details of picture in vertical direction is called as
Vertical resolution.
• Vertical resolution (VR) =No. of active lines * Kell factor or resolution factor= Na * k=
585.69 = 400Lines
• HORIZONTAL RESOLUTION :
• The ability of the system to resolve maximum number of picture elements along the scanning
determines the horizontal resolution.
• Horizontal resolution =VR * Aspect ratio
• = 400 * 4/3= 534 Pixels
• VIDEO BANDWIDTH :
COMPOSITE VIDEO SIGNAL (CVS)
• CVS consists of,
 Camera signal corresponding to the picture to be transmitted.
 Blanking pulses to made the retrace invisible.
 Sync pulse to synchronize the transmitter and receiver.
• Total amplitude is 100%
• Y-axis Amplitude:
 Extreme White level = 10% Tolerance ± 2.5%
• Black level = 70 % amplitude. Blanking retrace period amplitude
increase to 70 %. But actually, blanking pulse of amp 75 % used
 Blanking Pulse = 75% amplitude Sync Pulse = 75% to 100%
amplitude
• X-Axis Time details:
• Horizontal tracing time=52 v Sec.
• Horizontal retracing time=12 v Sec.
• H – Sync pulse time =4.7 v Sec.
KELL Factor
• In practical scanning process the maximum vertical
resolution no. of horizontal line is less than the active
no. of line available for scanning purpose , this is due
to finite beam size and its alignment not perfectly
matching with the elementary resolution of line , so
thee is a degradation in practical scanning process
and the average no. of effective line is the order of
0.64 to 0.85 time of total no. of active lines.
• The factor indicating the reduction in effective no. of
line is kell factor. Its value is 0.7.
VIDEO BANDWIDTH
• No of lines per picture=625
• Vertical retracing takes 40 line period.
• So effective no. of line(theorietically)=625-40=585
• Kell factor-0.7
• 585*0.7=410
• No of vertical lines(practically)=410*4/3=546
• One line period=64 microsec
• 12 micosec loss by horizontal retrace.
• Actually tracing of 1 line=64-12=52 microsec
• Hence in 52 microsec 546 pixels has to be scanned.
• Each video cycle can be accommodate to pixels information.
• So time period per pixel =52/546microsec*2=T
• F=1/T=546/52*2=5.25MHZ
• Calculate the video bandwidth if no of time
scanned in CCIR-B is 900.
• Find out the video bandwidth in CCIR-B if it
utilizes rectangular scanning instead of
interlaced scanning?
CAMERA TUBE-VIDICON
It converts picture to electrical signal.
If brightness is more then conductivity is more and resistance is less , so
current is more. (300 namp,R-2 M ohm)
If pixel is black brightness is less the conductivity is less , resistance is high
and current is less.(20namp,R-200M ohm)
• Dark Current: even if the illumination of the
face plate the photo conductive layer has a
large but finite resistance , which resulting
small current which is called as dark current in
camera tube.
• Line Period: it is the complete duration of one line in which tracing and
retracing is carried out.
• It is denoted by 1H=64 µsec=1/15,625
• Line Blanking Period: it is the period during which horizontal retracing is
carried out.
 1LB=0.19H=12 µsec
 Front porch=0.025H
 Line pulse=0.075H=4.7 µsec
 Back porch=0.09H
PORCH
• It is of 2 types:
 Front Porch and Back Porch
 Front Porch-blank while still moving right, past the end of
the scan line.
 Back porch-it is the portion of each scan line between the
end of the horizontal sync pulse and start of active video.
 Front Porch:
 It is of 2 types :
I. Buffer
II. Reduce the pulling on white effect
FONT PORCH
• Buffer: front porch act as a buffer when resolution
between sync pulse and video signal occurs and
synchronization will be 100% accurate.
• Reduces the pulling on white Effect:
• If the video signal fails to rise to blanking level before
the leading edge of the line sync pulse occurs the time
based triggers lately and the spot is arrived in the left
end of the screen and the next line picture information
is displayed to the left.
• Hence the front porch allows to minimize this effect.
• Line Sync Pulse: it is of 0.075H i.e 4.7 µsec, used to
maintain the same scanning process at the receiver as
it was at the transmitter.
• It triggers the time based signal for providing proper
sweep signal waveform.
Back Porch
• It have 3 main function :
 Minimizing disturbances on the oscillation ckt
 AGC
 Colour Burst
 The back porch permits the line retrace to complete and all the
oscillation in the deflection ckt to lie down before the next
tracing start.
 Back porch provides reference level in preserving the dc
component of the video signal ,hence helpful for automatic
gain control of the tv receiver ckt.
 Back Porch also helps in colour tv to accommodate 8-11
cycles of colour burst sub carrier to produce the necessary
colour information.
CCD Camera
• These sensors are operating on the principal of charge coupled devices. Here a large
number of CCD array are formed together to construct the image plate.
• P-type substrate, a thin layer of silicon dioxide is formed. Then by masking and
etching process, an array of metal electrodes are formed.
• Large number of smalls MOS capacitors are formed on the surface of the substrate.
• By the application of small positive potential at the gate, every third electron is
connected to common conductor.
• The spot under each metal electrode serve as a light sensitive element. These
electrons are collected in the potential well and represent the optical image.
• The charge stored in one element is transferred to next element by applying more
positive voltage to the next gate. The charge movement takes place.
• Like this the charge is moved to the end. It is collected to form the signal current.
The one dimensional array as explained about is used to represent one scanning line.
• These lines are independently addressed and output is read out using the address
register and drive phases.
• ADVANTAGE
 Good image quality.
 Not troubled by noise.
 No need of electron gun and beam.
• LIMITATIONS
 Requires external processing unit.
 Relatively high power consumption.
 Expensive.
EHT Generation
• The EHT (Extra High Tension or HV to the CRT) is generated from a
secondary winding on the fly back transformer having several thousand
turns of very fine wire.
• If the EHT voltage drops, then the electrons will be accelerated less and
will move through the deflection field at a lower velocity. As a result they
will be easier to deflect by the magnetic field, and the picture size will
grow.
• Without special measures, brighter pictures will be larger. The measure is
to feed some EHT information or beam current information to the
deflection circuits, reducing the deflection current amplitude a bit for
bright pictures.
• The EHT information is also used to protect the fly back transformer from
overload. As the load increases, the average primary current rises.
Ultimately it may reach a level where the transformer core may go into
saturation. This causes large peak currents in the HOT which might lead to
destruction.
Vestigial Side Band Transmission
• In the video signal very low frequency modulating components exist along with
the rest of the signal. These components give rise to sidebands very close to the
carrier frequency which are difficult to remove by physically realizable filters.
• The low video frequencies contain the most important information of the picture
and any effort to completely suppress the lower sideband would result in
objectionable phase distortion at these frequencies.
• This distortion will be seen by the eye as ‘smear’ in the reproduced picture.
Therefore, as a compromise, only a part of the lower sideband, is suppressed, and
the radiated signal then consists of a full upper sideband together with the carrier,
and the vestige (remaining part) of the partially suppressed lower sideband.
• This pattern of transmission of the modulated signal is known as vestigial
sideband. In the 625 line system, frequencies up to 0.75 MHz in the lower
sideband are fully radiated.
• The picture signal is seen to occupy a bandwidth of 6.75 MHz instead to 11
MHz.
COLOUR TV
• Similar to B/W television system, only difference is for a pixel the concern RGB
combination is transmitted, instead of only the brightness information.
• Two way compatibility in a colour TV system-
1. The colour signal should produce b/w picture on a b/w TV receiver.
2. The b/w signal should produce b/w picture in a colour TV receiver.
• For achieving this two way compatibility
1. The transmitted RF signal bandwidth should be 7 MHZ.
2. Colour signal should be accommodated in such a way that the transmitted signal
should not disturb the B/W information.
3. Location of the picture carrier and sound carrier should be same.
4. The colour signal should have the same brightness information as it would be for
a b/w system.
5. The system should employ the same deflection frequency and synchronization
signal and used for monochrome transmission and reception.
It uses specialized mirrors called as dichoric mirror which passes the two colours and
reflects its characteristics colour.
Then the light reflected is focused on the face plate of the primary camera tubes and a
varying voltage i.e. VG,VB,VR is observed as per the percentage of the incoming signal
intensity.
Colour Fundamentals
• The colour of an object is decided by the reflected colour for an opaque object,
while the transparent object ,the wavelength transmitted through it, determine the
colour of an object.
• Any practically available colour contains the % of 3 primary colours called as
Red,Green,Blue.
• The mixing of colour is of 2 types
1. Additive Mixing: light from 2 or more independent source is obtained & creates a
combine sensation of different colour.
2. Subtractive Mixing: it is the reflective properties of pigments having diff colours
are utilized, used in colour painting and printing.
• In colour TV additive mixing happens when tiny light emitting dots are closed to
each other giving a common impression of diff. colours, hence diff. colours are
called upon a white screen which can reflect all of them together with different
percentage and provide a new colour.
Additive Mixing
Y=0.3R+0.59G+0.11B
Y=luminance signal(white)
In order to define a colour light
for human eye as well as for
achieving to a compatibility
instead of R-G-B signal Y,U,V are
transmitted.
Y=0.3R+0.59G+0.11B
U=B-Y
V=R-Y
Chromaticity Diagram
• It is the diagram of convenient space coordinates representation of all
spectral colors and mixtures.
• It is the hue and saturation in XY plane and brightness and luminance in z-
axis.
• Here the color of rainbow is arranged along in a horseshoe shaped
triangular curved.
• The various saturated pure spectral colors are represented along the
perimeter of the curve, the corner represents the 3 primary colors i.e. RGB.
• As the central area of the triangle approaches the colors becomes faded and
less saturated representing less saturated mixed color.
X Y
R 0.67 0.33
G 0.21 0.71
B 0.14 0.09
W 0.31 0.32
Chrominance (Color Difference signal)-hue and saturation
• Luminance: it is the amount of light intensity or energy received by
human eye regulation of color.
• Ex: luminance of dark or black is zero.
• Hue: it is the predominant spectral color of the receive signal.
• Ex: green leaves have green hue and red light has red hue.
• Saturation: it is the spectral purity of the color light, It is the indication of
how little a color is dilute by white.
• Ex: vivid green is fully saturated and when diluted by white it becomes
light green.
• In a chromaticity diagram:
1. Saturation is specified by distance from the white point. i.e. x=0.31 &
y=0.32
2. Brightness is measured as along z-axis, as brightness increases the
chromaticity diagram becomes larger and larger and hence more color
detail will be available.
3. Hue can be determined from the chromaticity diagram by an angular
measurement of the radius with a reference line may be red color.
Color TV Transmitter
• The Y, I and Q outputs from the Color TV Transmission matrix are fed to their respective
low-pass filters. These filters attenuate the unwanted frequencies, but they also introduce
un­
wanted phase shifts. Phase-compensating networks (not shown) are inserted after the
filters, to produce the correct phase relationships at the balanced modulators.
• The output of the Color TV Transmission subcarrier generator is sent in three directions.
One of the three outputs is used to synchronize the blanking and sync pulse generators.
Their output, in turn, is transmitted as in monochrome TV, and a portion of it is used to
synchronize the transmitter cameras, as well as introducing blanking into the transmitted
video. The second path for the 3.58-MHz oscillator output is to the color burst generator,
which is a fairly complex piece of equipment that ensures the correct transmission (and
phase preservation) of the color burst. The last output from this oscillator is fed to a 57°
phase shifter, to provide the necessary shift for the I signal. A further 90° phase shift is
produced, giving a total of 147° for the Q signal. Note the 90° phase difference between
the I and Q signals.
• The I balanced modulator produces a double-sideband (suppressed-carrier) signal
stretching 1.5 MHz on either side of the 3.58-MHz subcarrier. The vestigial­
-sideband
filter then removes the top 1 MHz from that. The output of the Q balanced modulator is a
signal occupying the range of 0.5 MHz below and above the suppressed 3.58-MHz
subcarrier. The added 90° phase shift puts this signal in quadrature with the I component;
hence the name “Q signal.”
• All these signals are fed to the adder, whose output therefore contains:
• The Y luminance signal, occupying the band from 0 to 4.2 MHz, and virtually
indistinguishable from the video signal in monochrome TV
• Synchronizing and blanking pulses, identical to those in monochrome TV, except that
the scanning frequencies have been slightly shifted as discussed, to 15,734.26 Hz for
the horizontal frequency and 59.94 Hz for the vertical frequency.
• (Approximately) 8 cycles of the 3.579545-MHz color subcarrier reference burst
superimposed on the front porch of each horizontal sync pulse, with an amplitude of
±7.5 percent of peak modulation
• An I chroma signal, occupying the frequency range from 1.5 MHz below to 5 MHz
above the color subcarrier frequency, and an energy dispersal occupying the
frequency clusters not used by the luminance signal
• A Q chroma signal, occupying the frequency range from 0.5 MHz below to 5 MHz
above the color subcarrier frequency, and an energy dispersal occupying the same
frequency clusters as the I signal, but with a 90° phase shift with respect to the I
signal
• The output of the adder then undergoes the same amplifying and modulating
processes as did the video signal at this point in a black-and-white transmitter. The
signal is finally combined with the output of an FM sound transmitter, whose carrier
frequency is 4.5 MHz above the picture carrier frequency, as in monochrome TV.
Color TV Receiver
• The color TV receiver consist of five section namely
• Radio Frequency (RF) Tuner
• Video Section
• PAL decoder / Color Processing section
• Synch Section
• Sound Section
• RF TUNER
• It consists of VHF (Very High Frequency) and UHF (Ultra High Frequency). It selects the
desired T.V Channel and provides constant values of PIF = 38.9 MHZ and SIF = 33.4
MHZ.
• Video Section
• It consist of video detector which provides composite colour video signal (CCVS).This
CCVS consist of pure video, synch pulses, colour signals, colour bus, AGC bias is also
obtained from this section.
• PAL Decoder / Color Processing section
• It consist of color demodulator which provides demodulated U and V signals. PAL
decoder provides R.G.B signals.
• Which are applied to picture tube and PAL decoder also consist of ACC (Automatic Color
Control ) and color killer circuit.
• Synchronization Section
• This section provides horizontal and vertical synchronize pulses. It also
provides color bus which is used as trigger signal to generate CSC ( Color
Sub carrier ) signal. The horizontal and vertical pulses are applied to
deflection coils of PT (Picture tube).The horizontal signal is also used to
generate EHT (Extra high tension) supply of about 25 Kv.
• Sound section
• The output of FM (Frequency Modulator) detector is processed and the
audio signal is reproduced by the speaker.
Frequency Interleaving
• The frequency gap is observed in the modulated spectrum of Y signal. Thus U & V
signals are in corporate in that gap(spectrum hole),so that the chrominance signal
will transmitted without any disturbance to the luminance signal and the process is
called as frequency interleaving.
• The U & V signals are amplitude modulated using sub-carrier of 4.43 MHZ, where
the u signal is modulated in phase and v signal is modulated in quadrature phase.
• Here to avoid interference with the monochrome signal(Y) the chrominance signal
is placed on the higher side of the video band ,so that the maximum amplitude of
the sidebands of the color subcarrier occurs where the monochrome sideband signal
are small.
PAL Encoder(Phase Alternate Line)
• The block diagram of PAL encoder is shown in figure, it uses the gamma corrected
RGB signals from the camera tube as input and produces the composite color video
signal at its output.
• The gamma corrected RGB signals are applied to the Y matrix, which is a resistive
network. It will attenuate RGB signals in adequate proportions to produce the
luminance signal Y and its inverted version (–Y).
• The Y signal is applied to the delay line while -Y signal is applied to the (V-U)
matrix.
• The (V-U) matrix is a resistive network which combines the R, B and –Y signals in
appropriate proportion to produce the chrominance signal V and U. The relation
between V and U and RGB signals can be expressed using the following equations:
• Mathematically,
• Y = 0.3R + 0.59G + 0.11B
• U = 0.477(R-Y)
• V = 0.895(B-Y)
• At the output of (V-U) matrix we get U and V signals as shown in figure, the 90 degree
phase shifted colour subcarrier(CSC) and the U signal are applied to the U modulator. The
U and V signals are bandlimited to 1-2 MHz. The U modulator output is denoted by a Fu.
• The CSC is also applied to the PAL switch controlled by the sync pulse generator to
obtain phase shift of zero degree and 180 degree on alternate lines. This CSC is
modulated by V signal to produce signal ±Fv at the output of the V modulator.
• The Fu and ±Fv signals are then added together to obtain the F signal, which is further
added to the delay compensated luminance Y and the sync and blanking pulses from the
sync pulse generator to produce the composite colour video signal.
PAL Decoder
• The modulated signal is applied at its input and the primary color signals R, G and
B are obtained at its output. These signals are applied to the color picture tube to
reproduce the colored picture.
• The Pal Decoder is similar to the NTSC decoder with an additional 64 µsec delay
line and an electronic switch operated by a color burst which is separated from the
received signal.
• Electronic switch will reverse the phase of subcarriers applied to the V detector on
every alternating line. The modulated signal received at the input is passed through
a video detector which modulates it to obtain the composite color video signal.
• The luminance signal ‘Y’ is applied to the Y amplifier which is a wideband video
amplifier with a bandwidth of 5 MHz It is further passed through a delay Network
and applied to the RGB matrix.
• The colors sub-carrier and its sidebands are separated by using 3-5 MHz amplifier.
This amplifier will allow only color burst signal and the chroma signal to pass
through it. The signal is applied to the subcarrier generator to generate the phase
synchronous color sub-carrier.
• The color burst is also applied to the line sync. identification circuit the output of which
controls the phase reverse switch the identification signal derived from the color burst is
needed to synchronize the phase reversal switch.
• The Chroma signal is applied to 64 µsec delay line the output of which produces a delayed
Chroma signal by one H-line period.
• The direct and delayed chroma signals are combined in an add and subtract network is also
called as delay line matrix, and the output of adder and subtractor are applied to the U and V
detectors respectively.
• The regenerated CSC is applied directly to the U detector produce U signal. The subtractor
output and phase alternating CSC is applied to the V detector obtained V signal.
• The detected U and V signals are applied to a resistive matrix to produce the (R-Y), (B-Y) and
(G-Y) signal which are applied to RGB matrix along with luminance signal ‘Y’ to produce R,
G and B signals.
NTSC(National Television Standard
Committee) System
• The NTSC color system is compatible with the American 525 line
monochrome system.
• The NTSC receiver consists of five sections:
 Super-heterodyne section (pick up antenna, RF amplifier, local
oscillator, mixer and IF stages).
 Video section (video detector, video pre-amplifier, video power-
amplifier and delay line).
 Color decoder (band pass amplifiers, sub-carrier generator, balanced
demodulators, de-weighting circuits, adders and color drivers).
 Deflection circuits and picture tube (sync generator, saw-tooth current
generators for V and H-deflections and picture tube).
 Sound section (inter-carrier frequency amplifier, FM demodulator, audio
amplifiers and loudspeaker).
NTSC Encoder
• NTSC encoder is shown in diagram below, the encoding process of color signals at the NTSC transmitter.
A suitable matrix is used to get both I and Q signals directly from the three camera outputs.
• Since I = 0.60R – 0.28G – 0.32B, the green and blue camera outputs are inverted before feeding them to
the appropriate matrix. Similarly for Q = 0.21R – 0.52G + 0.31B, in inverter is placed at the output of
green camera before mixing it with the other two camera outputs.
• The bandwidths of both I and Q are restricted before feeding them to the corresponding balanced
modulators.
• The subcarrier to the I modulator is phase shifted 57° clockwise with respect to the color burst. The carrier
is shifted by another 90° before applying it to the Q modulator. Thus relative phase shift of 90° between
the two subcarriers is maintained for quadrature amplitude modulation.
• Thus, with the subcarrier phase angles shifted to the locations of I and Q, the outputs from both the
modulators retain full identity of the modulating color difference signals.
• The sideband restricted output from the I modulator combines with the output of Q modulator to form the
chrominance signal. It is then combined with the composite Y signal and color burst in an adder to form
composite chrominance signal.
• The output from the adder feeds into the main transmitter and modulates the channel picture carrier
frequency. Note that color subcarrier has the same frequency (3.579545 MHz) for all the stations whereas
the assigned picture carrier frequency is different for each channel.
NTSC Decoder
 Chroma signal (C) is separated from the Y signal by band pass filters and amplifiers
shown in two blocks BPA-I and BPA-II.
 Color burst signal is also separated from the CCVS signal and amplified.
 The color burst signal is used to synchronize the locally generated sub-carrier with
the help of an automatic frequency and phase-control circuit.
 Output of the band pass amplifiers (C signal) goes to the synchronous BM detectors
I and II.
 BM detector I also receives the synchronized sub-carrier.
 The sub-carrier going to BM detector I have a phase of 57o with (B-Y) axis.
 The sub-carrier’s phase is further changed to +90o and this then go to BM detector
II.
 Thus sub-carrier is in phase with signal I at the first BM detector (synchronous) and
therefore it detects the I phasor and not Q.
 The sub-carrier is in phase with Q signal at the second BM detector and therefore it
detects Q phasor only and not I phasor.
 Thus the two decoders detect I and Q phasors which are then de-weighted to obtain
basic colour difference signals B-Y and R-Y. A resistive matrix gives G-Y signal.
 The Y signal is added to the three color difference signals in an adder and we get R, G
and B signals as follows:
 (R-Y) + Y = R
 (G-Y) + Y = G
 (B-Y) + Y = B
 These three signals are amplified by respective color drivers and then fed to the control
grids of the color picture tube.
 They change the strength of the respective electron beams and finally produce the
original picture on the screen with the help of the scanning process identical to the
scanning that was done at the transmitter.
 Deflection circuits:
 Deflection circuits for color receiver are similar to that in a monochrome system except
that additional currents for removing pincushion effect are made available for the
deflection yoke.
 Color picture tube required for this section is totally different from the monochrome
picture tube.
 It consists of three guns which receive three respective color signals (R, G and B) and
three beams strike the three respective phosphor dots (in delta gun picture tube) or stripes
(in precision in-line picture tube) to reproduce the original colors on the screen.
NTSC Decoder Diagram
SECAM(Sequential Color &Memory)
• Features of the SECAM System:
• Developed in France
• 625-line system, 50 fields per second, 2:1 interlaced system.
• Instead of transmitting R & B information together, they are sent one by one
(hence, sequential) and information about the color from the preceding line is
used (hency, memory). Transmits Db signal (blue color information) on one line
and Dr signal (red color information) on the next line while Y is transmitted on
each line.Here,
• Db=1.505(B’-Y) &
• Dr=-1.902(R’-Y)
• The color sub-carrier frequencies for Blue & Red signals are 4.25 MHz and 4.4
MHz respectively and FM is used as color modulation.
• Variants of SECAM are SECAM B, G, D, K, K1, & L. (B & G use a video
bandwidth of 5 MHz while others use a video bandwidth of 6MHz.
SCEAM Encoder
• The color camera signals are fed into a matrix where they are combined to
form the luminance (Y = 0.3R 0.59G 0.11B) and color-difference signals.
• The SECAM weighting and sign factors are applied to the color-difference
signals so that the same subcarrier modulator can be used for both the
chrominance (DR and DB) signals.
• The Indent signal is also added in the same matrix.
• An electronic switch which changes its mode during every line blanking
interval directs DR and DB signals to the frequency modulator in a
sequential manner, i.e., when DR is being transmitted on the line, then DB
is not used and vice versa.
SECAM Decoder
• The chroma signal is first filtered from the composite color signal.
• The band pass filter, besides rejecting unwanted low frequency luminance
components, has inverse characteristics to that of the bell-shaped high frequency
pre-emphasis filter used in the coder.
• The output from the band pass filter is amplified and fed to the electronic line-by-
line switch via two parallel paths.
• The 64 μs delay lines ensures that each transmitted signal is used twice, one on the
line on which it is transmitted and a second time on the succeeding line of that
field.
• The electronic switch ensures that DR signals, whether coming by the direct path or
the delayed path, always go to the DR demodulator.
• Similarly DB signals are routed only to the DB demodulator.
• The switch is operated by line frequency pulses.
• In case phasing of the switch turns out to be wrong, i.e., it is directing DR and DB
signals to the wrong demodulators, the output of each demodulator during the
Indent signal period becomes positive instead of negative going.
• The electronic switch directs the frequency modulated signals to limiters and
frequency discriminators.
• The discriminators have a wider bandwidth than that employed for detecting
commercial FM sound broadcasts.
• After demodulation the color difference signals are deemphasized with the same
time constant as employed while pre-emphasing.
• As in other receivers the matrix networks combine the color difference signals with
the Y signal to give primary color signals R, G and B which control the three
electronic beams of the picture tube.
Comparison

Module-2-TV. B. Tech 7th sem BPUT, ROURKELA

  • 1.
  • 2.
    CONTENTS • Television- Scanning,Blanking & Synchronization • Picture signal-
  • 3.
    INTRODUCTION • Television meansTele + Vision, i.e., Television is used to see the picture telecast from long distance. • • In TV transmission both picture and sound are transmitted. For picture AM Modulation is used and for sound FM modulation is used. simplified block diagram of a Monochrome TV Transmitter RECEPTION BASIC MONOCHROME TV
  • 4.
    • TELEVISION CAMERA:Its function is to convert optical image of television scene into electrical signal by the scanning process • VIDEO AMPLIFIER: Video amplifier amplifies the video signal. • AM MODULATING AMPLIFIER: The video signals are amplified by the modulating amplifier to get the modulated signal. • AUDIO AMPLIFIER: Audio amplifier amplifies the electrical form of audio signal from the microphone. • FM MODULATING AMPLIFIER: Sound signal from audio amplifier is frequency modulated by FM Modulating amplifier. • FM SOUND TRANSMITTER: FM modulated amplified signal is transmitted through this FM sound transmitter to transmitting antenna through the combining network. • CRYSTAL OSCILLATOR: Crystal Oscillator generates the allotted picture carrier frequency. • RF AMPLIFIER:RF amplifier amplifies the picture carrier frequency generated by crystal oscillator to required level. • POWER AMPLIFIER: Power amplifier varies according to the modulating signal from AM modulating amplifier.
  • 5.
    SCANNING AND SYNCHRONIZINGCIRCUITS • Scanning is the process where picture elements are converted into corresponding varying electrical signal • COMBINING NETWORK: Combining network is used to isolate the AM picture and FM sound signal during transmission. • TRANSMITTING ANTENNA: Transmitting antenna receives the AM picture signal and FM sound signal from combining network for radiation as electromagnetic waves. • MICROPHONE: Converts sound associated with picture being televised into proportionate electrical signal.
  • 6.
    RECEPTION BASIC MONOCHROMETV • RECEIVER: Block diagram of a monochrome TV receiver is shown. It consists of RF Tuner, Receiver antenna, common IF amplifier, video detector, video amplifier, scanning and synchronizing circuits, sound IF amplifier, FM Sound demodulator, Audio amplifier, Loud Speaker, Picture tube. • RF TUNER: RF Tuner selects the desired channel frequency band from the receiving antenna. • RECEIVER ANTENNA: Receiver antenna intercepts the radiated RF signals and sends it to RF Tuner. • COMMON IF AMPLIFIER: There are 2 or 3 stages of IF amplifiers. • VIDEO DETECTOR: Used to detect video signals coming from last stage of IF amplifiers. • VIDEO AMPLIFIER: It amplifies the detected video signal to the level required.
  • 7.
    SCANNING AND SYNCHRONIZINGCIRCUITS: • Scanning is the process where picture elements are converted into corresponding varying electrical signals. • SOUND IF AMPLIFIER: Detected audio signal is separated and selected for its IF range and amplified. • FM SOUND DEMODULATOR: FM Sound signal is demodulated in this stage. • AUDIO AMPLIFIER:FM demodulated audio signal is amplified to the required level to feed into the loud speaker. • LOUD SPEAKER: Loud Speaker converts FM demodulated amplifier signal associated with picture being televised into proportionate sound signal. • PICTURE TUBE: In picture tube the amplified video signal is converted back into picture elements.
  • 8.
    SCANNING • SCANNING: • Scanningis the process used to convert the optical into electrical signal. Fastest movement of electron beam on the image is called scanning. • SCANNING PROCESS: • Scanning process is a technique similar to reading of written information on a page starting at the top left and processing line by line downwards to the end at the bottom right. • Scanning is done frame by frame. Each frame consists of 625 horizontal lines. Each frame is scanned at a rate of 25 frames / sec. • Scanning types: • 1.Horizontal Scanning 2.Vertical Scanning • 3.Sequential (or) Progressive Scanning 4.Interlaced Scanning.
  • 9.
    SCANNING TYPES • HORIZONTALSCANNING (H-SCANNING): Movement of electron beam from left to right on the screen is known as trace period. When the beam returns quickly from right to left is called retrace or fly back.  Trace and retrace period together in horizontal direction is known as Horizontal Scanning.  Horizontal frequency = Number of lines in a Frame * Number of frames/sec  625 * 25 = 15,625 Hz • VERTICAL SCANNING (V – SCANNING)  Movement of electron beam in vertical direction. Movement of electron beam from top to bottom is called trace. Movement of beam from bottom to top of the frame is called retrace.  Vertical frequency = Number of frames /sec= 25 Hz SEQUENTIAL (OR) PROGRESSIVE SCANNING:  Sequential or progressive Scanning is the process in which both horizontal and vertical directions are scanned simultaneously to provide complete pictures. Horizontal lines are scanned one by one. So complete picture will be scanned through this type.
  • 11.
    • FLICKER: • Thesensation produced by incident light on the nerves of the eyes retina does not cease immediately. It persists for about 1/25th of a second (.062 Sec.) This storage characteristic is called as persistence of vision of eye. • Flicker means if the scanning rate of picture is low, the time taken to move one frame to another frame will be high. This results in alternate bright and dark picture in the screen. This is called “Flicker”. • To avoid flicker, the scanning rate of the picture should be increased i.e. 50 frames/Sec. • INTERLACED SCANNING: • To reduce flicker, the vertical scanning is done 50 times per second in TV system. However only 25 frames are scanned per sec. • In interlaced scanning the 625 lines are grouped into two fields. They are called as even field and odd field. Each field contains 312.5 lines. Even field contains even numbered lines and odd field contains odd numbered lines. • During first scanning line numbers 1, 3, 5 are scanned. During next scan, line numbers 2, 4, 6. are scanned. That is alternate lines are scanned every time
  • 12.
    SCANNING PERIODS • Usefulvideo signals are obtained during the trace period only. So the trace time is larger than the retrace time.
  • 13.
    NEED FOR SYNCHRONIZATION •At any time the same co-ordinate will be scanned by the electron beam in both the camera tube and picture tube. Otherwise distorted picture will be seen on the screen. So synchronization between the transmitter and receiver is needed. For that we are using Sync pulses. • At the receiver side these pulses are identified, separated and used for triggering the oscillator circuit. • Horizontal Sync pulse time period = 4.7 µSec. • Horizontal Sync pulse Frequency =15,625 Hz. • Vertical Sync pulse time period = 160 µSec. • Vertical Sync pulse frequency = 50 Hz.
  • 14.
    ASPECT RATIO • Theratio between width to height of rectangle picture frame adopted in TV system is known as aspect ratio. • Reasons for having this ratio is, • • Most of the objects are moving only in horizontal plane. • Our eye can see the movement of object comfortably only in horizontal plane than in vertical plane. • The frame size of motion picture already existing is having the aspect ratio of 4 : 3
  • 15.
    BLANKING PULSES • Thevideo signal obtained during the horizontal and vertical retrace are not useful one. So there is no need to transmit them. • So to make the retrace signal invisible we are using blanking pulses. During horizontal blanking, horizontal retrace is blanked. This is 19% of horizontal time period. • Horizontal blanking = 64 * .19 = 12 µSec. • Remaining 52 v Sec contains picture information and this is called as active line period. For a single line one blanking pulse is needed. So for 1 sec, 15,625 blanking pulses are needed. • In vertical retrace, for one frame two vertical blanking pulse is needed. So in 1 sec, 25 frames are scanned and so 50 V blanking pulses are needed. • Vertical blanking = 20 H • = 20 x 64 µ Sec. = 1280µ Sec.
  • 16.
    HORIZONTALAND VERTICAL RESOLUTION •The ability of the image reproducing system to resolve the fine details of the picture distinctly in both horizontal and vertical direction is called as “resolution”. • VERTICAL RESOLUTION: • The ability to resolve and reproduce fine details of picture in vertical direction is called as Vertical resolution. • Vertical resolution (VR) =No. of active lines * Kell factor or resolution factor= Na * k= 585.69 = 400Lines • HORIZONTAL RESOLUTION : • The ability of the system to resolve maximum number of picture elements along the scanning determines the horizontal resolution. • Horizontal resolution =VR * Aspect ratio • = 400 * 4/3= 534 Pixels • VIDEO BANDWIDTH :
  • 17.
    COMPOSITE VIDEO SIGNAL(CVS) • CVS consists of,  Camera signal corresponding to the picture to be transmitted.  Blanking pulses to made the retrace invisible.  Sync pulse to synchronize the transmitter and receiver.
  • 18.
    • Total amplitudeis 100% • Y-axis Amplitude:  Extreme White level = 10% Tolerance ± 2.5% • Black level = 70 % amplitude. Blanking retrace period amplitude increase to 70 %. But actually, blanking pulse of amp 75 % used  Blanking Pulse = 75% amplitude Sync Pulse = 75% to 100% amplitude • X-Axis Time details: • Horizontal tracing time=52 v Sec. • Horizontal retracing time=12 v Sec. • H – Sync pulse time =4.7 v Sec.
  • 19.
    KELL Factor • Inpractical scanning process the maximum vertical resolution no. of horizontal line is less than the active no. of line available for scanning purpose , this is due to finite beam size and its alignment not perfectly matching with the elementary resolution of line , so thee is a degradation in practical scanning process and the average no. of effective line is the order of 0.64 to 0.85 time of total no. of active lines. • The factor indicating the reduction in effective no. of line is kell factor. Its value is 0.7.
  • 20.
    VIDEO BANDWIDTH • Noof lines per picture=625 • Vertical retracing takes 40 line period. • So effective no. of line(theorietically)=625-40=585 • Kell factor-0.7 • 585*0.7=410 • No of vertical lines(practically)=410*4/3=546 • One line period=64 microsec • 12 micosec loss by horizontal retrace. • Actually tracing of 1 line=64-12=52 microsec • Hence in 52 microsec 546 pixels has to be scanned. • Each video cycle can be accommodate to pixels information. • So time period per pixel =52/546microsec*2=T • F=1/T=546/52*2=5.25MHZ
  • 21.
    • Calculate thevideo bandwidth if no of time scanned in CCIR-B is 900. • Find out the video bandwidth in CCIR-B if it utilizes rectangular scanning instead of interlaced scanning?
  • 22.
    CAMERA TUBE-VIDICON It convertspicture to electrical signal. If brightness is more then conductivity is more and resistance is less , so current is more. (300 namp,R-2 M ohm) If pixel is black brightness is less the conductivity is less , resistance is high and current is less.(20namp,R-200M ohm)
  • 23.
    • Dark Current:even if the illumination of the face plate the photo conductive layer has a large but finite resistance , which resulting small current which is called as dark current in camera tube.
  • 24.
    • Line Period:it is the complete duration of one line in which tracing and retracing is carried out. • It is denoted by 1H=64 µsec=1/15,625 • Line Blanking Period: it is the period during which horizontal retracing is carried out.  1LB=0.19H=12 µsec  Front porch=0.025H  Line pulse=0.075H=4.7 µsec  Back porch=0.09H
  • 25.
    PORCH • It isof 2 types:  Front Porch and Back Porch  Front Porch-blank while still moving right, past the end of the scan line.  Back porch-it is the portion of each scan line between the end of the horizontal sync pulse and start of active video.  Front Porch:  It is of 2 types : I. Buffer II. Reduce the pulling on white effect
  • 26.
    FONT PORCH • Buffer:front porch act as a buffer when resolution between sync pulse and video signal occurs and synchronization will be 100% accurate. • Reduces the pulling on white Effect: • If the video signal fails to rise to blanking level before the leading edge of the line sync pulse occurs the time based triggers lately and the spot is arrived in the left end of the screen and the next line picture information is displayed to the left. • Hence the front porch allows to minimize this effect.
  • 27.
    • Line SyncPulse: it is of 0.075H i.e 4.7 µsec, used to maintain the same scanning process at the receiver as it was at the transmitter. • It triggers the time based signal for providing proper sweep signal waveform.
  • 28.
    Back Porch • Ithave 3 main function :  Minimizing disturbances on the oscillation ckt  AGC  Colour Burst  The back porch permits the line retrace to complete and all the oscillation in the deflection ckt to lie down before the next tracing start.  Back porch provides reference level in preserving the dc component of the video signal ,hence helpful for automatic gain control of the tv receiver ckt.  Back Porch also helps in colour tv to accommodate 8-11 cycles of colour burst sub carrier to produce the necessary colour information.
  • 29.
    CCD Camera • Thesesensors are operating on the principal of charge coupled devices. Here a large number of CCD array are formed together to construct the image plate. • P-type substrate, a thin layer of silicon dioxide is formed. Then by masking and etching process, an array of metal electrodes are formed. • Large number of smalls MOS capacitors are formed on the surface of the substrate. • By the application of small positive potential at the gate, every third electron is connected to common conductor. • The spot under each metal electrode serve as a light sensitive element. These electrons are collected in the potential well and represent the optical image. • The charge stored in one element is transferred to next element by applying more positive voltage to the next gate. The charge movement takes place. • Like this the charge is moved to the end. It is collected to form the signal current. The one dimensional array as explained about is used to represent one scanning line. • These lines are independently addressed and output is read out using the address register and drive phases.
  • 30.
    • ADVANTAGE  Goodimage quality.  Not troubled by noise.  No need of electron gun and beam. • LIMITATIONS  Requires external processing unit.  Relatively high power consumption.  Expensive.
  • 31.
    EHT Generation • TheEHT (Extra High Tension or HV to the CRT) is generated from a secondary winding on the fly back transformer having several thousand turns of very fine wire. • If the EHT voltage drops, then the electrons will be accelerated less and will move through the deflection field at a lower velocity. As a result they will be easier to deflect by the magnetic field, and the picture size will grow. • Without special measures, brighter pictures will be larger. The measure is to feed some EHT information or beam current information to the deflection circuits, reducing the deflection current amplitude a bit for bright pictures. • The EHT information is also used to protect the fly back transformer from overload. As the load increases, the average primary current rises. Ultimately it may reach a level where the transformer core may go into saturation. This causes large peak currents in the HOT which might lead to destruction.
  • 32.
    Vestigial Side BandTransmission • In the video signal very low frequency modulating components exist along with the rest of the signal. These components give rise to sidebands very close to the carrier frequency which are difficult to remove by physically realizable filters. • The low video frequencies contain the most important information of the picture and any effort to completely suppress the lower sideband would result in objectionable phase distortion at these frequencies. • This distortion will be seen by the eye as ‘smear’ in the reproduced picture. Therefore, as a compromise, only a part of the lower sideband, is suppressed, and the radiated signal then consists of a full upper sideband together with the carrier, and the vestige (remaining part) of the partially suppressed lower sideband. • This pattern of transmission of the modulated signal is known as vestigial sideband. In the 625 line system, frequencies up to 0.75 MHz in the lower sideband are fully radiated. • The picture signal is seen to occupy a bandwidth of 6.75 MHz instead to 11 MHz.
  • 34.
    COLOUR TV • Similarto B/W television system, only difference is for a pixel the concern RGB combination is transmitted, instead of only the brightness information. • Two way compatibility in a colour TV system- 1. The colour signal should produce b/w picture on a b/w TV receiver. 2. The b/w signal should produce b/w picture in a colour TV receiver. • For achieving this two way compatibility 1. The transmitted RF signal bandwidth should be 7 MHZ. 2. Colour signal should be accommodated in such a way that the transmitted signal should not disturb the B/W information. 3. Location of the picture carrier and sound carrier should be same. 4. The colour signal should have the same brightness information as it would be for a b/w system. 5. The system should employ the same deflection frequency and synchronization signal and used for monochrome transmission and reception.
  • 35.
    It uses specializedmirrors called as dichoric mirror which passes the two colours and reflects its characteristics colour. Then the light reflected is focused on the face plate of the primary camera tubes and a varying voltage i.e. VG,VB,VR is observed as per the percentage of the incoming signal intensity.
  • 36.
    Colour Fundamentals • Thecolour of an object is decided by the reflected colour for an opaque object, while the transparent object ,the wavelength transmitted through it, determine the colour of an object. • Any practically available colour contains the % of 3 primary colours called as Red,Green,Blue. • The mixing of colour is of 2 types 1. Additive Mixing: light from 2 or more independent source is obtained & creates a combine sensation of different colour. 2. Subtractive Mixing: it is the reflective properties of pigments having diff colours are utilized, used in colour painting and printing. • In colour TV additive mixing happens when tiny light emitting dots are closed to each other giving a common impression of diff. colours, hence diff. colours are called upon a white screen which can reflect all of them together with different percentage and provide a new colour.
  • 37.
    Additive Mixing Y=0.3R+0.59G+0.11B Y=luminance signal(white) Inorder to define a colour light for human eye as well as for achieving to a compatibility instead of R-G-B signal Y,U,V are transmitted. Y=0.3R+0.59G+0.11B U=B-Y V=R-Y
  • 38.
    Chromaticity Diagram • Itis the diagram of convenient space coordinates representation of all spectral colors and mixtures. • It is the hue and saturation in XY plane and brightness and luminance in z- axis. • Here the color of rainbow is arranged along in a horseshoe shaped triangular curved. • The various saturated pure spectral colors are represented along the perimeter of the curve, the corner represents the 3 primary colors i.e. RGB. • As the central area of the triangle approaches the colors becomes faded and less saturated representing less saturated mixed color.
  • 39.
    X Y R 0.670.33 G 0.21 0.71 B 0.14 0.09 W 0.31 0.32 Chrominance (Color Difference signal)-hue and saturation
  • 40.
    • Luminance: itis the amount of light intensity or energy received by human eye regulation of color. • Ex: luminance of dark or black is zero. • Hue: it is the predominant spectral color of the receive signal. • Ex: green leaves have green hue and red light has red hue. • Saturation: it is the spectral purity of the color light, It is the indication of how little a color is dilute by white. • Ex: vivid green is fully saturated and when diluted by white it becomes light green. • In a chromaticity diagram: 1. Saturation is specified by distance from the white point. i.e. x=0.31 & y=0.32 2. Brightness is measured as along z-axis, as brightness increases the chromaticity diagram becomes larger and larger and hence more color detail will be available. 3. Hue can be determined from the chromaticity diagram by an angular measurement of the radius with a reference line may be red color.
  • 41.
  • 42.
    • The Y,I and Q outputs from the Color TV Transmission matrix are fed to their respective low-pass filters. These filters attenuate the unwanted frequencies, but they also introduce un­ wanted phase shifts. Phase-compensating networks (not shown) are inserted after the filters, to produce the correct phase relationships at the balanced modulators. • The output of the Color TV Transmission subcarrier generator is sent in three directions. One of the three outputs is used to synchronize the blanking and sync pulse generators. Their output, in turn, is transmitted as in monochrome TV, and a portion of it is used to synchronize the transmitter cameras, as well as introducing blanking into the transmitted video. The second path for the 3.58-MHz oscillator output is to the color burst generator, which is a fairly complex piece of equipment that ensures the correct transmission (and phase preservation) of the color burst. The last output from this oscillator is fed to a 57° phase shifter, to provide the necessary shift for the I signal. A further 90° phase shift is produced, giving a total of 147° for the Q signal. Note the 90° phase difference between the I and Q signals. • The I balanced modulator produces a double-sideband (suppressed-carrier) signal stretching 1.5 MHz on either side of the 3.58-MHz subcarrier. The vestigial­ -sideband filter then removes the top 1 MHz from that. The output of the Q balanced modulator is a signal occupying the range of 0.5 MHz below and above the suppressed 3.58-MHz subcarrier. The added 90° phase shift puts this signal in quadrature with the I component; hence the name “Q signal.” • All these signals are fed to the adder, whose output therefore contains:
  • 43.
    • The Yluminance signal, occupying the band from 0 to 4.2 MHz, and virtually indistinguishable from the video signal in monochrome TV • Synchronizing and blanking pulses, identical to those in monochrome TV, except that the scanning frequencies have been slightly shifted as discussed, to 15,734.26 Hz for the horizontal frequency and 59.94 Hz for the vertical frequency. • (Approximately) 8 cycles of the 3.579545-MHz color subcarrier reference burst superimposed on the front porch of each horizontal sync pulse, with an amplitude of ±7.5 percent of peak modulation • An I chroma signal, occupying the frequency range from 1.5 MHz below to 5 MHz above the color subcarrier frequency, and an energy dispersal occupying the frequency clusters not used by the luminance signal • A Q chroma signal, occupying the frequency range from 0.5 MHz below to 5 MHz above the color subcarrier frequency, and an energy dispersal occupying the same frequency clusters as the I signal, but with a 90° phase shift with respect to the I signal • The output of the adder then undergoes the same amplifying and modulating processes as did the video signal at this point in a black-and-white transmitter. The signal is finally combined with the output of an FM sound transmitter, whose carrier frequency is 4.5 MHz above the picture carrier frequency, as in monochrome TV.
  • 44.
    Color TV Receiver •The color TV receiver consist of five section namely • Radio Frequency (RF) Tuner • Video Section • PAL decoder / Color Processing section • Synch Section • Sound Section • RF TUNER • It consists of VHF (Very High Frequency) and UHF (Ultra High Frequency). It selects the desired T.V Channel and provides constant values of PIF = 38.9 MHZ and SIF = 33.4 MHZ. • Video Section • It consist of video detector which provides composite colour video signal (CCVS).This CCVS consist of pure video, synch pulses, colour signals, colour bus, AGC bias is also obtained from this section. • PAL Decoder / Color Processing section • It consist of color demodulator which provides demodulated U and V signals. PAL decoder provides R.G.B signals. • Which are applied to picture tube and PAL decoder also consist of ACC (Automatic Color Control ) and color killer circuit.
  • 45.
    • Synchronization Section •This section provides horizontal and vertical synchronize pulses. It also provides color bus which is used as trigger signal to generate CSC ( Color Sub carrier ) signal. The horizontal and vertical pulses are applied to deflection coils of PT (Picture tube).The horizontal signal is also used to generate EHT (Extra high tension) supply of about 25 Kv. • Sound section • The output of FM (Frequency Modulator) detector is processed and the audio signal is reproduced by the speaker.
  • 46.
    Frequency Interleaving • Thefrequency gap is observed in the modulated spectrum of Y signal. Thus U & V signals are in corporate in that gap(spectrum hole),so that the chrominance signal will transmitted without any disturbance to the luminance signal and the process is called as frequency interleaving. • The U & V signals are amplitude modulated using sub-carrier of 4.43 MHZ, where the u signal is modulated in phase and v signal is modulated in quadrature phase. • Here to avoid interference with the monochrome signal(Y) the chrominance signal is placed on the higher side of the video band ,so that the maximum amplitude of the sidebands of the color subcarrier occurs where the monochrome sideband signal are small.
  • 47.
    PAL Encoder(Phase AlternateLine) • The block diagram of PAL encoder is shown in figure, it uses the gamma corrected RGB signals from the camera tube as input and produces the composite color video signal at its output. • The gamma corrected RGB signals are applied to the Y matrix, which is a resistive network. It will attenuate RGB signals in adequate proportions to produce the luminance signal Y and its inverted version (–Y). • The Y signal is applied to the delay line while -Y signal is applied to the (V-U) matrix. • The (V-U) matrix is a resistive network which combines the R, B and –Y signals in appropriate proportion to produce the chrominance signal V and U. The relation between V and U and RGB signals can be expressed using the following equations: • Mathematically, • Y = 0.3R + 0.59G + 0.11B • U = 0.477(R-Y) • V = 0.895(B-Y)
  • 48.
    • At theoutput of (V-U) matrix we get U and V signals as shown in figure, the 90 degree phase shifted colour subcarrier(CSC) and the U signal are applied to the U modulator. The U and V signals are bandlimited to 1-2 MHz. The U modulator output is denoted by a Fu. • The CSC is also applied to the PAL switch controlled by the sync pulse generator to obtain phase shift of zero degree and 180 degree on alternate lines. This CSC is modulated by V signal to produce signal ±Fv at the output of the V modulator. • The Fu and ±Fv signals are then added together to obtain the F signal, which is further added to the delay compensated luminance Y and the sync and blanking pulses from the sync pulse generator to produce the composite colour video signal.
  • 50.
    PAL Decoder • Themodulated signal is applied at its input and the primary color signals R, G and B are obtained at its output. These signals are applied to the color picture tube to reproduce the colored picture. • The Pal Decoder is similar to the NTSC decoder with an additional 64 µsec delay line and an electronic switch operated by a color burst which is separated from the received signal. • Electronic switch will reverse the phase of subcarriers applied to the V detector on every alternating line. The modulated signal received at the input is passed through a video detector which modulates it to obtain the composite color video signal. • The luminance signal ‘Y’ is applied to the Y amplifier which is a wideband video amplifier with a bandwidth of 5 MHz It is further passed through a delay Network and applied to the RGB matrix. • The colors sub-carrier and its sidebands are separated by using 3-5 MHz amplifier. This amplifier will allow only color burst signal and the chroma signal to pass through it. The signal is applied to the subcarrier generator to generate the phase synchronous color sub-carrier.
  • 51.
    • The colorburst is also applied to the line sync. identification circuit the output of which controls the phase reverse switch the identification signal derived from the color burst is needed to synchronize the phase reversal switch. • The Chroma signal is applied to 64 µsec delay line the output of which produces a delayed Chroma signal by one H-line period. • The direct and delayed chroma signals are combined in an add and subtract network is also called as delay line matrix, and the output of adder and subtractor are applied to the U and V detectors respectively. • The regenerated CSC is applied directly to the U detector produce U signal. The subtractor output and phase alternating CSC is applied to the V detector obtained V signal. • The detected U and V signals are applied to a resistive matrix to produce the (R-Y), (B-Y) and (G-Y) signal which are applied to RGB matrix along with luminance signal ‘Y’ to produce R, G and B signals.
  • 52.
    NTSC(National Television Standard Committee)System • The NTSC color system is compatible with the American 525 line monochrome system. • The NTSC receiver consists of five sections:  Super-heterodyne section (pick up antenna, RF amplifier, local oscillator, mixer and IF stages).  Video section (video detector, video pre-amplifier, video power- amplifier and delay line).  Color decoder (band pass amplifiers, sub-carrier generator, balanced demodulators, de-weighting circuits, adders and color drivers).  Deflection circuits and picture tube (sync generator, saw-tooth current generators for V and H-deflections and picture tube).  Sound section (inter-carrier frequency amplifier, FM demodulator, audio amplifiers and loudspeaker).
  • 54.
    NTSC Encoder • NTSCencoder is shown in diagram below, the encoding process of color signals at the NTSC transmitter. A suitable matrix is used to get both I and Q signals directly from the three camera outputs. • Since I = 0.60R – 0.28G – 0.32B, the green and blue camera outputs are inverted before feeding them to the appropriate matrix. Similarly for Q = 0.21R – 0.52G + 0.31B, in inverter is placed at the output of green camera before mixing it with the other two camera outputs. • The bandwidths of both I and Q are restricted before feeding them to the corresponding balanced modulators. • The subcarrier to the I modulator is phase shifted 57° clockwise with respect to the color burst. The carrier is shifted by another 90° before applying it to the Q modulator. Thus relative phase shift of 90° between the two subcarriers is maintained for quadrature amplitude modulation. • Thus, with the subcarrier phase angles shifted to the locations of I and Q, the outputs from both the modulators retain full identity of the modulating color difference signals. • The sideband restricted output from the I modulator combines with the output of Q modulator to form the chrominance signal. It is then combined with the composite Y signal and color burst in an adder to form composite chrominance signal. • The output from the adder feeds into the main transmitter and modulates the channel picture carrier frequency. Note that color subcarrier has the same frequency (3.579545 MHz) for all the stations whereas the assigned picture carrier frequency is different for each channel.
  • 56.
    NTSC Decoder  Chromasignal (C) is separated from the Y signal by band pass filters and amplifiers shown in two blocks BPA-I and BPA-II.  Color burst signal is also separated from the CCVS signal and amplified.  The color burst signal is used to synchronize the locally generated sub-carrier with the help of an automatic frequency and phase-control circuit.  Output of the band pass amplifiers (C signal) goes to the synchronous BM detectors I and II.  BM detector I also receives the synchronized sub-carrier.  The sub-carrier going to BM detector I have a phase of 57o with (B-Y) axis.  The sub-carrier’s phase is further changed to +90o and this then go to BM detector II.  Thus sub-carrier is in phase with signal I at the first BM detector (synchronous) and therefore it detects the I phasor and not Q.  The sub-carrier is in phase with Q signal at the second BM detector and therefore it detects Q phasor only and not I phasor.  Thus the two decoders detect I and Q phasors which are then de-weighted to obtain basic colour difference signals B-Y and R-Y. A resistive matrix gives G-Y signal.
  • 57.
     The Ysignal is added to the three color difference signals in an adder and we get R, G and B signals as follows:  (R-Y) + Y = R  (G-Y) + Y = G  (B-Y) + Y = B  These three signals are amplified by respective color drivers and then fed to the control grids of the color picture tube.  They change the strength of the respective electron beams and finally produce the original picture on the screen with the help of the scanning process identical to the scanning that was done at the transmitter.  Deflection circuits:  Deflection circuits for color receiver are similar to that in a monochrome system except that additional currents for removing pincushion effect are made available for the deflection yoke.  Color picture tube required for this section is totally different from the monochrome picture tube.  It consists of three guns which receive three respective color signals (R, G and B) and three beams strike the three respective phosphor dots (in delta gun picture tube) or stripes (in precision in-line picture tube) to reproduce the original colors on the screen.
  • 58.
  • 59.
    SECAM(Sequential Color &Memory) •Features of the SECAM System: • Developed in France • 625-line system, 50 fields per second, 2:1 interlaced system. • Instead of transmitting R & B information together, they are sent one by one (hence, sequential) and information about the color from the preceding line is used (hency, memory). Transmits Db signal (blue color information) on one line and Dr signal (red color information) on the next line while Y is transmitted on each line.Here, • Db=1.505(B’-Y) & • Dr=-1.902(R’-Y) • The color sub-carrier frequencies for Blue & Red signals are 4.25 MHz and 4.4 MHz respectively and FM is used as color modulation. • Variants of SECAM are SECAM B, G, D, K, K1, & L. (B & G use a video bandwidth of 5 MHz while others use a video bandwidth of 6MHz.
  • 60.
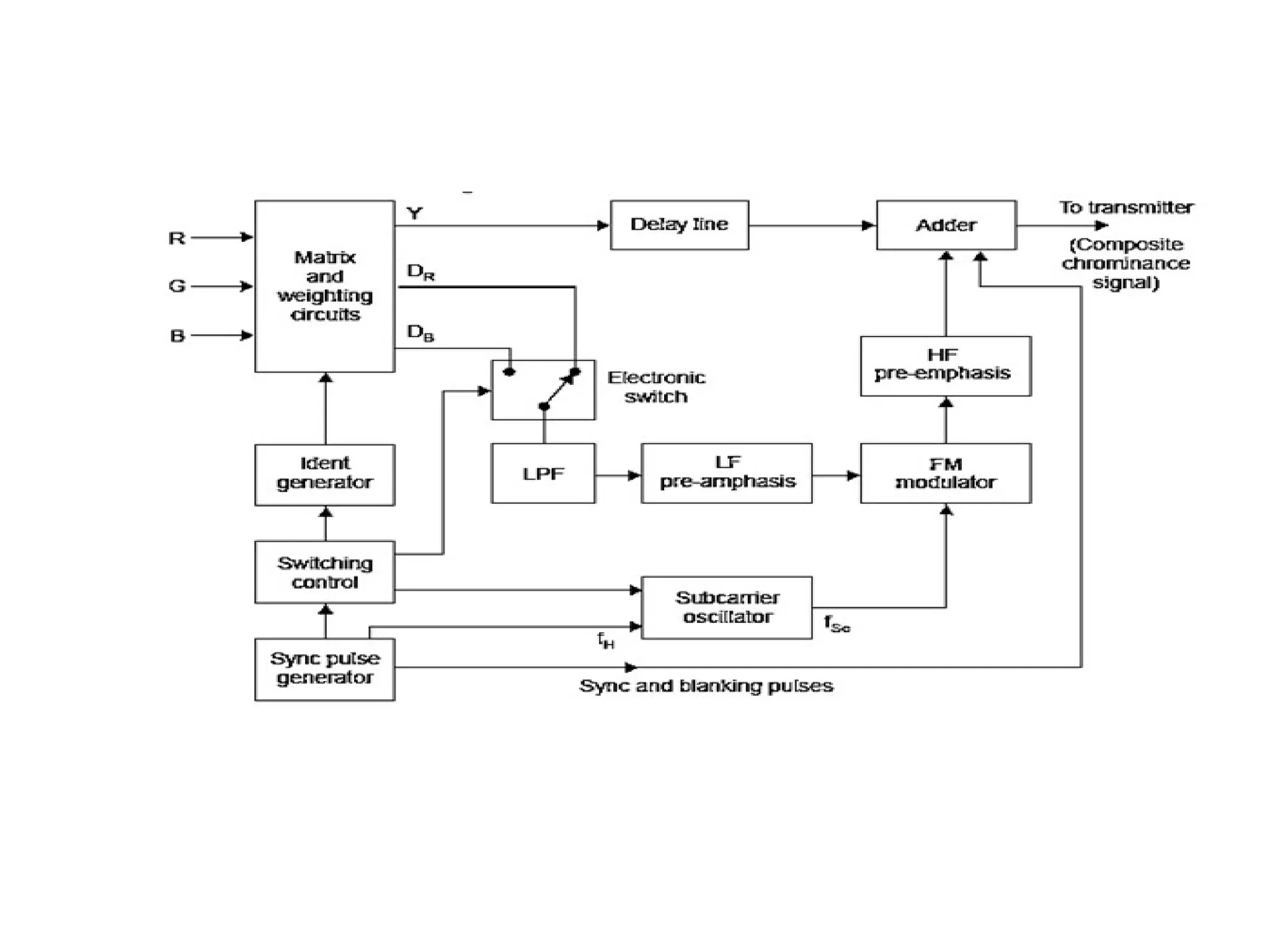
    SCEAM Encoder • Thecolor camera signals are fed into a matrix where they are combined to form the luminance (Y = 0.3R 0.59G 0.11B) and color-difference signals. • The SECAM weighting and sign factors are applied to the color-difference signals so that the same subcarrier modulator can be used for both the chrominance (DR and DB) signals. • The Indent signal is also added in the same matrix. • An electronic switch which changes its mode during every line blanking interval directs DR and DB signals to the frequency modulator in a sequential manner, i.e., when DR is being transmitted on the line, then DB is not used and vice versa.
  • 62.
    SECAM Decoder • Thechroma signal is first filtered from the composite color signal. • The band pass filter, besides rejecting unwanted low frequency luminance components, has inverse characteristics to that of the bell-shaped high frequency pre-emphasis filter used in the coder. • The output from the band pass filter is amplified and fed to the electronic line-by- line switch via two parallel paths. • The 64 μs delay lines ensures that each transmitted signal is used twice, one on the line on which it is transmitted and a second time on the succeeding line of that field. • The electronic switch ensures that DR signals, whether coming by the direct path or the delayed path, always go to the DR demodulator. • Similarly DB signals are routed only to the DB demodulator. • The switch is operated by line frequency pulses. • In case phasing of the switch turns out to be wrong, i.e., it is directing DR and DB signals to the wrong demodulators, the output of each demodulator during the Indent signal period becomes positive instead of negative going. • The electronic switch directs the frequency modulated signals to limiters and frequency discriminators.
  • 63.
    • The discriminatorshave a wider bandwidth than that employed for detecting commercial FM sound broadcasts. • After demodulation the color difference signals are deemphasized with the same time constant as employed while pre-emphasing. • As in other receivers the matrix networks combine the color difference signals with the Y signal to give primary color signals R, G and B which control the three electronic beams of the picture tube.
  • 64.