19E602 – DIGITAL SIGNAL PROCESSING
PRESENTED BY
AKALYA – 22E104
GANASRI – 22E117
MADHUMITHA – 22E131
MEHALAN – 22E132
VYSHALI – 22E162
REALIZATION OF FIR FILTERS
Introduction to FIR Filter Realization
• Finite Impulse Response (FIR) filters are a fundamental class of
digital filters characterized by a finite-duration impulse
response.
• The realization of an FIR filter refers to the practical
implementation of its difference equation using a specific filter
structure.
• The choice of realization impacts computational efficiency,
numerical stability, and hardware implementation feasibility.
• A Finite Impulse Response (FIR) filter is a type of linear time-
invariant (LTI) system where the impulse response h(n) is of
finite duration (i.e., it settles to zero in a finite number of
samples).
Mathematical Representation of FIR Filters
The discrete-time FIR filter is defined by the convolution sum:
FIR Filter Realization Structures
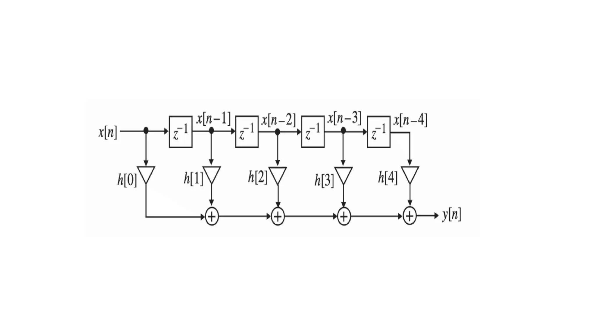
Transversal Realization
GANASRI R
22E117
DIRECT FORM
• The direct form of a Finite Impulse Response (FIR) filter refers to its
straightforward implementation based on the difference equation.
• This is called “direct form” because it is a direct implementation of
the convolution operation.
• The number of delays is equal to the order of the filter, hence this
structure is canonic.
• The direct-form structure is directly obtained from the
difference equation.
• For an FIR filter of order N, the output y[n] is computed as a
weighted sum of the current and past input samples:
y[n] =
• where:
x[n] is the input signal,
y[n] is the output signal,
h[k] represents the FIR filter coefficients (impulse response),
N is the order of the filter.
EXAMPLE
• Determine the direct form realization of the system function :
H(z) = 1 + 2 - 3 - 4 + 5
Solution :
Direct form of the system H(z) =
H(z) = 1 + 2 - 3 - 4 + 5
1 + 2 - 3 - 4 + 5
Y(z) = X(z) + 2X(z) - 3X(z) - 4X(z) + 5X(z)
ADVANTAGES
• Simple structure and straight
forward implementation.
• Always stable, since FIR
filters do not use feedback.
• Linear phase response if
coefficients are symmetric.
DISADVANTAGES
• Higher computational
complexity for large N, as it
requires N+1 multiplications
and additions per sample.
• Increased memory
requirement due to the need
to store past input values.
CASCADE FORM
• The cascade form of an FIR filter refers to implementing a higher-
order FIR filter as a series connection of multiple lower-order FIR
filters (typically second-order sections).
• While the direct form is derived from the difference
equation, the cascade structure is obtained from the system
function H(z).
• The idea is to decompose the target system function into a
cascade of second-order FIR systems.
• In other words, we need to find second-order systems
which satisfy :
• where,
P is the integer part of
EXAMPLE
• Determine the cascade realization of the system function :
H(z) = (1 + 2 - )(1 + - )
Solution :
H(z) = (z) . (z)
H(z) = (1 + 2 - )(1 + - )
(z) = = 1 + 2 -
= (z)+ 2(z) - (z)
Eq1
(z) = = 1 + -
= + -
Eq2
ADVANTAGES
• Improved numerical accuracy
(especially in fixed-point
implementations).
• Better stability for large-order
FIR filters.
• Easier debugging as sections can
be tested independently.
• Optimized implementation in
hardware (e.g., FPGA, DSP).
DISADVANTAGES
• Increased latency, as multiple
stages process sequentially.
• More memory usage, since
intermediate outputs must be
stored.
FIR Filter
Madhumitha K M
22E131
FILTER
In signal processing, a filter is a device or process that removes some
unwanted components or features from a signal
APPLICATION
1.Speech analysis
2. SPATIAL BEAMFORMING
➔ A signal processing technique used in sensor arrays for directional signal
transmission or reception.
➔ Beamforming can be used at both the transmitting and receiving ends in
order to achieve spatial selectivity.
➔ Used for radio or sound waves, in radar, sonar, seismology, wireless
communications, radio astronomy, acoustics and biomedicine.
3.Linear predictive Coding
➔ It is a method used mostly in audio signal processing and speech
processing for representing the spectral envelope of a digital signal of
speech in compressed form.
➔ Method for encoding good quality speech at a low bit rate and provides
highly accurate estimates of speech parameters.
4.Linear Interpolation
5. Speech modeling
The process of utilizing your complete
speech and language system to help your
child's developing speech and language
system grow
6. Multirate Signal Processing “multiple
sampling rates”
A multirate DSP system uses multiple sampling
rates within the system.
7. Averaging Filter
It calculates the output sample using the
average from a finite number of input samples.
The averaging filter is used in situations where is
necessary to smooth data that carrying high
frequency distortion
Disadvantages of FIR Filters
● High Order: Requires a higher order for sharp frequency responses.
● More Computations: The computations are more intensive due to many coefficients.
● Memory Usage: More memory is used for storing the coefficients.
● Longer Delay: Longer group delay compared to IIR filters.
● Limited Use: Less efficient in real-time processing that requires speed for efficiency reasons.

Digital signal processing realization of FIR filters

  • 1.
    19E602 – DIGITALSIGNAL PROCESSING PRESENTED BY AKALYA – 22E104 GANASRI – 22E117 MADHUMITHA – 22E131 MEHALAN – 22E132 VYSHALI – 22E162 REALIZATION OF FIR FILTERS
  • 2.
    Introduction to FIRFilter Realization • Finite Impulse Response (FIR) filters are a fundamental class of digital filters characterized by a finite-duration impulse response. • The realization of an FIR filter refers to the practical implementation of its difference equation using a specific filter structure. • The choice of realization impacts computational efficiency, numerical stability, and hardware implementation feasibility. • A Finite Impulse Response (FIR) filter is a type of linear time- invariant (LTI) system where the impulse response h(n) is of finite duration (i.e., it settles to zero in a finite number of samples).
  • 3.
    Mathematical Representation ofFIR Filters The discrete-time FIR filter is defined by the convolution sum:
  • 9.
    FIR Filter RealizationStructures Transversal Realization GANASRI R 22E117
  • 10.
    DIRECT FORM • Thedirect form of a Finite Impulse Response (FIR) filter refers to its straightforward implementation based on the difference equation. • This is called “direct form” because it is a direct implementation of the convolution operation. • The number of delays is equal to the order of the filter, hence this structure is canonic. • The direct-form structure is directly obtained from the difference equation.
  • 11.
    • For anFIR filter of order N, the output y[n] is computed as a weighted sum of the current and past input samples: y[n] = • where: x[n] is the input signal, y[n] is the output signal, h[k] represents the FIR filter coefficients (impulse response), N is the order of the filter.
  • 13.
    EXAMPLE • Determine thedirect form realization of the system function : H(z) = 1 + 2 - 3 - 4 + 5 Solution : Direct form of the system H(z) = H(z) = 1 + 2 - 3 - 4 + 5 1 + 2 - 3 - 4 + 5 Y(z) = X(z) + 2X(z) - 3X(z) - 4X(z) + 5X(z)
  • 15.
    ADVANTAGES • Simple structureand straight forward implementation. • Always stable, since FIR filters do not use feedback. • Linear phase response if coefficients are symmetric. DISADVANTAGES • Higher computational complexity for large N, as it requires N+1 multiplications and additions per sample. • Increased memory requirement due to the need to store past input values.
  • 16.
    CASCADE FORM • Thecascade form of an FIR filter refers to implementing a higher- order FIR filter as a series connection of multiple lower-order FIR filters (typically second-order sections). • While the direct form is derived from the difference equation, the cascade structure is obtained from the system function H(z). • The idea is to decompose the target system function into a cascade of second-order FIR systems.
  • 17.
    • In otherwords, we need to find second-order systems which satisfy : • where, P is the integer part of
  • 19.
    EXAMPLE • Determine thecascade realization of the system function : H(z) = (1 + 2 - )(1 + - ) Solution : H(z) = (z) . (z) H(z) = (1 + 2 - )(1 + - ) (z) = = 1 + 2 - = (z)+ 2(z) - (z) Eq1
  • 20.
    (z) = =1 + - = + - Eq2
  • 21.
    ADVANTAGES • Improved numericalaccuracy (especially in fixed-point implementations). • Better stability for large-order FIR filters. • Easier debugging as sections can be tested independently. • Optimized implementation in hardware (e.g., FPGA, DSP). DISADVANTAGES • Increased latency, as multiple stages process sequentially. • More memory usage, since intermediate outputs must be stored.
  • 22.
  • 23.
    FILTER In signal processing,a filter is a device or process that removes some unwanted components or features from a signal
  • 24.
  • 25.
    2. SPATIAL BEAMFORMING ➔A signal processing technique used in sensor arrays for directional signal transmission or reception. ➔ Beamforming can be used at both the transmitting and receiving ends in order to achieve spatial selectivity. ➔ Used for radio or sound waves, in radar, sonar, seismology, wireless communications, radio astronomy, acoustics and biomedicine.
  • 26.
    3.Linear predictive Coding ➔It is a method used mostly in audio signal processing and speech processing for representing the spectral envelope of a digital signal of speech in compressed form. ➔ Method for encoding good quality speech at a low bit rate and provides highly accurate estimates of speech parameters.
  • 27.
    4.Linear Interpolation 5. Speechmodeling The process of utilizing your complete speech and language system to help your child's developing speech and language system grow
  • 28.
    6. Multirate SignalProcessing “multiple sampling rates” A multirate DSP system uses multiple sampling rates within the system. 7. Averaging Filter It calculates the output sample using the average from a finite number of input samples. The averaging filter is used in situations where is necessary to smooth data that carrying high frequency distortion
  • 29.
    Disadvantages of FIRFilters ● High Order: Requires a higher order for sharp frequency responses. ● More Computations: The computations are more intensive due to many coefficients. ● Memory Usage: More memory is used for storing the coefficients. ● Longer Delay: Longer group delay compared to IIR filters. ● Limited Use: Less efficient in real-time processing that requires speed for efficiency reasons.